2017 Nissan Frontier | Owner's Manual And Maintenance Information USA Owner
User Manual: 2017 Nissan Frontier Navigation Manual PDF | SERVICE MANUAL OWNERS
Open the PDF directly: View PDF
.
Page Count: 482 [warning: Documents this large are best viewed by clicking the View PDF Link!]

2017 FRONTIER
OWNER’S MANUAL
and MAINTENANCE INFORMATION
For your safety, read carefully and keep in this vehicle.

Welcome to the growing family of new NISSAN
owners. This vehicle is delivered to you with
confidence. It was produced using the latest
techniques and strict quality control.
This manual was prepared to help you under-
stand the operation and maintenance of your
vehicle so that you may enjoy many miles (kilome-
ters) of driving pleasure. Please read through this
manual before operating your vehicle.
A separate Warranty Information Booklet
explains details about the warranties cov-
ering your vehicle. The “Maintenance and
schedules” section of this manual explains
details about maintaining and servicing
your vehicle. Additionally, a separate Cus-
tomer Care/Lemon Law Booklet (U.S. only)
will explain how to resolve any concerns
you may have with your vehicle, and clarify
your rights under your state’s lemon law.
When you require any service or have any ques-
tions, a NISSAN dealer will be glad to assist you
with the extensive resources available to them.
In addition to factory-installed options, your ve-
hicle may also be equipped with additional ac-
cessories installed prior to delivery. It is recom-
mended that you visit a NISSAN dealer for details
concerning the particular accessories with which
your vehicle is equipped. It is important that you
familiarize yourself with all disclosures, warnings,
cautions and instructions concerning proper use
of such accessories prior to operating the vehicle
and/or accessory. It is recommended that you
visit a NISSAN dealer for details concerning the
particular accessories with which your vehicle is
equipped.
Before driving your vehicle, please read this
Owner’s Manual carefully. This will ensure famil-
iarity with controls and maintenance require-
ments assisting you in the safe operation of your
vehicle.
WARNING
IMPORTANT SAFETY INFORMATION
REMINDERS!
Follow these important driving rules to
help ensure a safe and comfortable trip
for you and your passengers!
●NEVER drive under the influence of al-
cohol or drugs.
●ALWAYS observe posted speed limits
and never drive too fast for conditions.
●
ALWAYS give your full attention to driving
and avoid using vehicle features or taking
other actions that could distract you.
●
ALWAYS use your seat belts and appro-
priate child restraint systems. Pre-teen
children should be seated in the rear seat.
●ALWAYS provide information about the
proper use of vehicle safety features to
all occupants of the vehicle.
●ALWAYS review this Owner’s Manual
for important safety information.
FOREWORD READ FIRST—THEN DRIVE SAFELY

For descriptions specified for 4-wheel drive
models, a mark is placed at the begin-
ning of the applicable sections/items.
As with other vehicles with features for
off-road use, failure to operate 4-wheel
drive models correctly may result in loss of
control or a collision. For additional infor-
mation, refer to “Driving safety precau-
tions” in the “Starting and driving” section
of this manual.
ON-PAVEMENT AND OFF-ROAD DRIV-
ING
This vehicle will handle and maneuver
differently from an ordinary passenger
car because it has a higher center of
gravity for off-road use. As with other
vehicles with features of this type, fail-
ure to operate this vehicle correctly may
result in loss of control or an accident.
For additional information, refer to “On-
pavement and off-road driving
precautions”, “Avoiding collision and
rollover” and “Driving safety precau-
tions” in the “Starting and driving” sec-
tion of this manual.
MODIFICATION OF YOUR VEHICLE
This vehicle should not be modified.
Modification could affect its
performance, safety, emissions or dura-
bility and may even violate governmental
regulations. In addition, damage or per-
formance problems resulting from modi-
fications may not be covered under
NISSAN warranties.
WARNING
Installing an aftermarket On-Board Diag-
nostic (OBD) plug-in device that uses the
port during normal driving, for example
remote insurance company monitoring,
remote vehicle diagnostics, telematics or
engine reprogramming, may cause inter-
ference or damage to vehicle systems. We
do not recommend or endorse the use of
any aftermarket OBD plug-in devices, un-
less specifically approved by NISSAN. The
vehicle warranty may not cover damage
caused by any aftermarket plug-in device.
This manual includes information for all features
and equipment available on this model. Features
and equipment in your vehicle may vary depend-
ing on model, trim level, options selected, order,
date of production, region or availability. There-
fore, you may find information about features or
equipment that are not included or installed on
your vehicle.
All information, specifications and illustrations in
this manual are those in effect at the time of
printing. NISSAN reserves the right to change
specifications, performance, design or compo-
nent suppliers without notice and without obliga-
tion. From time to time, NISSAN may update or
revise this manual to provide Owners with the
most accurate information currently available.
Please carefully read and retain with this manual
all revision updates sent to you by NISSAN to
ensure you have access to accurate and up-to-
date information regarding your vehicle. Current
versions of vehicle Owner’s Manuals and any
updates can also be found in the Owner section
of the NISSAN website at
https://owners.nissanusa.com/nowners/
navigation/manualsGuide. If you have ques-
tions concerning any information in your Owner’s
Manual, contact NISSAN Consumer Affairs. For
contact information, refer to the NISSAN CUS-
TOMER CARE PROGRAM page in this Owner’s
Manual.
WHEN READING THE MANUAL

IMPORTANT INFORMATION ABOUT
THIS MANUAL
You will see various symbols in this manual. They
are used in the following ways:
WARNING
This is used to indicate the presence of a
hazard that could cause death or serious
personal injury. To avoid or reduce the
risk, the procedures must be followed
precisely.
CAUTION
This is used to indicate the presence of a
hazard that could cause minor or moder-
ate personal injury or damage to your ve-
hicle. To avoid or reduce the risk, the pro-
cedures must be followed carefully.
If you see this symbol, it means “Do not do this”
or “Do not let this happen.”
If you see a symbol similar to these in an illustra-
tion, it means the arrow points to the front of the
vehicle.
Arrows in an illustration that are similar to these
indicate movement or action.
Arrows in an illustration that are similar to these
call attention to an item in the illustration.
CALIFORNIA PROPOSITION 65
WARNING
WARNING
Engine exhaust, some of its constituents,
and certain vehicle components contain or
emit chemicals known to the State of
California to cause cancer and birth de-
fects or other reproductive harm. In addi-
tion, certain fluids contained in vehicles
and certain products of component wear
contain or emit chemicals known to the
State of California to cause cancer and
birth defects or other reproductive harm.
CALIFORNIA PERCHLORATE
ADVISORY
Some vehicle parts, such as lithium batter-
ies, may contain perchlorate material. The
following advisory is provided: “Perchlo-
rate Material – special handling may apply.
For additional information, refer to
www.dtsc.ca.gov/hazardouswaste/perchlorate/”.
APD1005

BLUETOOTH® is a
trademark owned by
Bluetooth SIG, Inc.
and licensed to
Visteon and Bosch.
SiriusXM® services
require a subscription
after trial period and
are sold separately or
as a package. The
satellite service is
available only in the
48 contiguous USA
and DC. SiriusXM®
satellite service is
also available in
Canada; see
www.siriusxm.ca.
© 2017 NISSAN NORTH AMERICA, INC.
All rights reserved. No part of this Owner’s
Manual may be reproduced or stored in a retrieval
system, or transmitted in any form, or by any
means, electronic, mechanical, photocopying,
recording or otherwise, without the prior written
permission of Nissan North America, Inc.
NISSAN CARES...
Both NISSAN and your NISSAN dealer are dedicated to serving all your automotive needs. Your satisfaction with your vehicle and your NISSAN dealer are
our primary concerns. Your NISSAN dealer is always available to assist you with all your automobile sales and service needs.
However, if there is something that your NISSAN
dealer cannot assist you with or you would like to
provide NISSAN directly with comments or
questions, please contact the NISSAN Con-
sumer Affairs Department using our toll-free
number:
For U.S. customers
1-800-NISSAN-1
(1-800-647-7261)
For Canadian customers
1-800-387-0122
The Consumer Affairs Department will ask for the
following information:
– Your name, address, and telephone number
– Vehicle identification number (attached to the
top of the instrument panel on the driver’s
side)
– Date of purchase
– Current odometer reading
– Your NISSAN dealer’s name
– Your comments or questions
OR
You can write to NISSAN with the information at:
For U.S. customers
Nissan North America, Inc.
Consumer Affairs Department
P.O. Box 685003
Franklin, TN 37068-5003
or via e-mail at:
nnaconsumeraffairs@nissan-usa.com
For Canadian customers
Nissan Canada Inc.
5290 Orbitor Drive
Mississauga, Ontario L4W 4Z5
or via e-mail at:
information.centre@nissancanada.com
If you prefer, visit us at:
www.nissanusa.com (for U.S. customers) or
www.nissan.ca (for Canadian customers)
We appreciate your interest in NISSAN and thank you for buying a quality NISSAN vehicle.
NISSAN CUSTOMER CARE PROGRAM

Table of
Contents
Illustrated table of contents
Safety—Seats, seat belts and supplemental restraint system
Instruments and controls
Pre-driving checks and adjustments
Monitor, climate, audio, phone and voice recognition systems
Starting and driving
In case of emergency
Appearance and care
Do-it-yourself
Maintenance and schedules
Technical and consumer information
Index
0
1
2
3
4
5
6
7
8
9
10
11

0 Illustrated table of contents
Air bags, seat belts and child restraints ..............0-2
Exterior front ......................................0-3
Exterior rear.......................................0-4
Passenger compartment ...........................0-5
Instrument panel...................................0-6
Engine compartment check locations . . ..............0-8
Warning and indicator lights .......................0-10

1. Rear seat belts (P. 1-15)
2. Roof-mounted curtain side-impact and
rollover supplemental air bag (P. 1-71)
3. Head restraints/headrests (P.1-10)
4. Front seat belts with pretensioner(s)
and shoulder height adjuster
(P. 1-15, 1-71)
5. Supplemental front-impact air bags
(P.1-71)
6. Seats (P. 1-2)
7. Occupant classification sensor
(pressure sensor) (P. 1-71)
8. Front seat-mounted side-impact
supplemental air bag (P. 1-71)
9. LATCH (Lower Anchors and Tethers for
CHildren) system (P. 1-26)
10. Top tether strap anchor (P. 1-26)
Refer to the page number indicated in pa-
rentheses for operating details.
LII2310
AIR BAGS, SEAT BELTS AND CHILD
RESTRAINTS
0-2 Illustrated table of contents

1. Engine hood (P. 3-10)
2. Wiper and washer switch (P. 2-27)
3. Windshield (P. 8-19)
4. Windows (P. 2-49)
5. Door locks (P. 3-3)
Key fob (if so equipped) (P. 3-6)
Keys (P. 3-2)
6. Mirrors (P. 3-15)
7. Tire pressure (P. 8-30)
Flat tire (P. 6-3)
Tire chains (P. 8-30)
8. Headlight and turn signal switch
(P. 2-29)
Daytime running lights system
(if so equipped) (P. 2-29)
Replacing bulbs (P. 8-26)
9. Fog light switch (if so equipped)
(P. 2-29)
Refer to the page number indicated in pa-
rentheses for operating details.
LII2481
EXTERIOR FRONT
Illustrated table of contents 0-3

1. Rear sliding window (if so equipped)
(P. 2-49)
2. Vehicle loading (P. 10-17)
Tailgate (P. 3-18)
Truck box (P. 3-18)
Rearview camera (if so equipped)
(P. 4-10)
3. Rear sonar sensors (if so equipped)
(P. 5-40)
4. Replacing bulbs (P. 8-26)
5. Fuel-filler cap (P. 3-11)
Fuel recommendation (P. 10-2)
Refer to the page number indicated in pa-
rentheses for operating details.
LII2482
EXTERIOR REAR
0-4 Illustrated table of contents

1. Power moonroof (if so equipped)
(P. 2-52)
2. Map lights (if so equipped) (P. 2-53)
3. Sun visors (P. 3-14)
4. Rearview mirror (P. 3-15)
Homelink® universal transceiver
(if so equipped) (P. 2-55)
5. Glove box (P. 2-40)
6. Shift lever (P. 5-14)
7. Cup holders (P. 2-40)
8. Console box (P. 2-40)
9. Spare tire tools location (P. 6-3)
Refer to the page number indicated in pa-
rentheses for operating details.
LII2483
PASSENGER COMPARTMENT
Illustrated table of contents 0-5

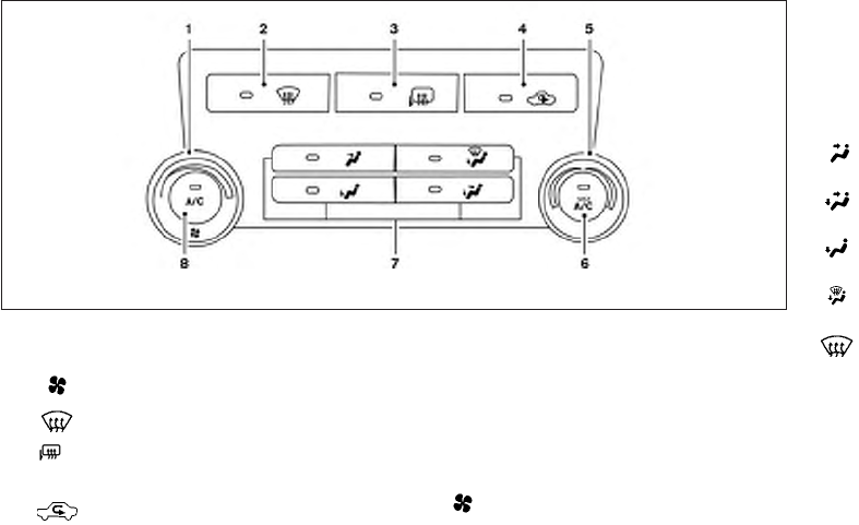
1. Vents (P. 4-16)
2. Headlight/fog light (if so equipped)/turn
signal switch (P. 2-29)
3. Steering wheel switch for audio control
(if so equipped) (P. 4-76)
Bluetooth® Hands-Free Phone System
(if so equipped) (P. 4-73, 4-93)
4. Driver supplemental air bag (P. 1-71)
Horn (P. 2-33)
5. Meters and gauges (P. 2-3)
Warning and indicator lights (P. 2-14)
6. Cruise control main/set switches
(if so equipped) (P. 5-21)
7. Wiper and washer switch (P. 2-27)
8. Storage (P. 2-40)
9. Audio system (if so equipped) (P. 4-40)
10. Front passenger supplemental air bag
(P. 1-71)
11. Upper and lower glove box (P. 2-44)
12. Passenger air bag status light (P. 1-80)
13. USB connection port (if so equipped)
(P. 4-40)
AUX input (if so equipped) (P. 4-40)
14. Power outlets (P. 2-39)
LII2484
INSTRUMENT PANEL
0-6 Illustrated table of contents
15. Electronic locking rear differential
(E-Lock) system switch
(if so equipped) (P. 2-37)
Heated seat switch (if so equipped)
(P. 2-34)
Rear sonar switch (if so equipped)
(P. 2-38)
Vehicle Dynamic Control (VDC) OFF
switch (P. 2-35)
16. Shift lever (P. 5-14)
17. 4WD shift switch (if so equipped)
(P. 5-25)
18. Climate controls (P. 4-17)
19. Hazard warning flasher switch (P. 6-2)
20. Ignition switch (P. 5-10)
21. Tilt steering wheel control
(if so equipped) (P. 3-13)
22. Cargo lamp switch (P. 2-34)
Clutch interlock (clutch start) switch
(if so equipped) (P. 2-38)
Hill descent control switch
(if so equipped) (P. 2-36)
Outside mirror controls (if so equipped)
(P. 3-15)
Illustrated table of contents 0-7

QR25DE engine
1. Windshield-washer fluid reservoir
(P. 8-12)
2. Fuse/Fusible link box (P. 8-21)
3. Fuse and relay box (P. 8-21)
4. Air cleaner (P. 8-17)
5. Engine oil filler cap (P. 8-7)
6. Engine oil dipstick (P. 8-7)
7. Brake and clutch (if so equipped) fluid
reservoir (P. 8-11)
8. Drive belt location (P.8-15)
9. Radiator cap (P. 8-5)
10. Power steering fluid reservoir (P. 8-11)
11. Battery (P. 8-13)
12. Engine coolant reservoir (P. 8-5)
Refer to the page number indicated in pa-
rentheses for operating details.
WDI0643
ENGINE COMPARTMENT CHECK
LOCATIONS
0-8 Illustrated table of contents

VQ40DE engine
1. Windshield-washer fluid reservoir
(P. 8-12)
2. Fuse/Fusible link box (P. 8-21)
3. Fuse and relay box (P. 8-21)
4. Engine oil filler cap (P. 8-7)
5. Engine oil dipstick (P. 8-7)
6. Brake and clutch (if so equipped) fluid
reservoir (P. 8-11)
7. Air cleaner (P. 8-17)
8. Drive belt location (P.8-15)
9. Radiator cap (P. 8-5)
10. Power steering fluid reservoir (P. 8-11)
11. Battery (P. 8-13)
12. Engine coolant reservoir (P. 8-5)
*Engine cover removed for clarity.
Refer to the page number indicated in pa-
rentheses for operating details.
LII0167
Illustrated table of contents 0-9

Warning
light
Name Page
4WD warning light
(model)
2-15
or
Anti-lock Braking
System (ABS)
warning light
2-15
Automatic transmis-
sion check warning
light (if so equipped)
2-16
Automatic transmis-
sion oil temperature
warning light
(if so equipped)
2-16
Automatic transmis-
sion park warning light
(model)
2-16
Warning
light
Name Page
or
Brake warning light 2-16
Charge warning light 2-17
Door open warning
light
2-17
Engine oil pressure
warning light
2-17
Low fuel warning light 2-18
Low tire pressure
warning light
2-18
Low windshield-
washer fluid warning
light (if so equipped)
2-20
Warning
light
Name Page
Seat belt warning light
and chime
2-20
Supplemental air bag
warning light
2-20
Indicator
light
Name Page
4WD shift indicator
light ( model)
2-20
Automatic transmis-
sion position indicator
light (if so equipped)
2-21
Cruise main switch
indicator light
(if so equipped)
2-21
Cruise set switch
indicator light
(if so equipped)
2-21
WARNING AND INDICATOR LIGHTS
0-10 Illustrated table of contents

Indicator
light
Name Page
Electronic locking rear
differential (E-Lock)
system ON indicator
light (if so equipped)
2-21
Front passenger air
bag status light
2-21
High beam indicator
light (blue)
2-21
Hill descent control
system ON indicator
light (if so equipped)
2-21
Malfunction Indicator
Light (MIL)
2-22
Overdrive OFF
indicator light
(if so equipped)
2-22
Security indicator light
(if so equipped)
2-22
Indicator
light
Name Page
Slip indicator light 2-23
Transfer 4LO position
indicator light
(model)
2-23
Turn signal/hazard
indicator lights
2-23
Vehicle Dynamic
Control (VDC) OFF
indicator light
2-23
Illustrated table of contents 0-11
1 Safety—Seats, seat belts and
supplemental restraint system
Seats ............................................1-2
Front manual seat adjustment
(if so equipped) ................................1-3
Front power seat adjustment
(if so equipped) ................................1-5
Rear bench seat (if so equipped) .................1-6
Jump seat (if so equipped).......................1-7
Armrest (if so equipped).........................1-7
Flexible seating.................................1-7
Head restraints/headrests .........................1-10
Adjustable head restraint/headrest
components ..................................1-11
Non-adjustable head restraint/headrest
components ..................................1-12
Remove ......................................1-12
Install ........................................1-13
Adjust........................................1-13
Front-seat active head restraints ................1-14
Seat belts .......................................1-15
Precautions on seat belt usage..................1-15
Seat belt warning light .........................1-18
Pregnant women ..............................1-18
Injured persons................................1-18
Three-point type seat belt with retractor..........1-18
Seat belt extenders ............................1-23
Seat belt maintenance .........................1-23
Child safety ......................................1-24
Infants........................................1-25
Small children.................................1-25
Larger children ................................1-25
Child restraints ...................................1-26
Precautions on child restraints ..................1-27
LATCH (Lower Anchors and Tethers for
CHildren) system ..............................1-29
Rear-facing child restraint installation using
LATCH (Crew Cab models).....................1-33
Rear-facing child restraint installation using
LATCH — jump seat (King Cab models)..........1-35
Rear-facing child restraint installation using
the seat belts (Crew Cab models) . . .............1-39
Rear-facing child restraint installation using
the seat belts — jump seat
(King Cab models).............................1-42
Forward-facing child restraint installation
using LATCH (Crew Cab models) ...............1-46
Forward-facing child restraint installation
using LATCH — jump seat
(King Cab models).............................1-50

Forward-facing child restraint installation
using the seat belts — front passenger and
rear bench seat (Crew Cab models) .............1-54
Forward-facing child restraint installation
using the seat belts — front passenger and
jump seats (King Cab models) . . ................1-59
Booster seats .................................1-66
Supplemental Restraint System (SRS) ..............1-71
Precautions on SRS ...........................1-71
Supplemental air bag warning labels.............1-86
Supplemental air bag warning light ..............1-86

WARNING
●Do not ride in a moving vehicle when
the seatback is reclined. This can be
dangerous. The shoulder belt will not
be against your body. In an accident,
you could be thrown into it and receive
neck or other serious injuries. You
could also slide under the lap belt and
receive serious internal injuries.
●For the most effective protection when
the vehicle is in motion, the seat should
be upright. Always sit well back and
upright in the seat with both feet on the
floor and adjust the seat properly. For
additional information, refer to “Pre-
cautions on seat belt usage” in this
section.
●After adjustment, gently rock in the seat
to make sure it is securely locked.
●Do not leave children unattended inside
the vehicle. They could unknowingly ac-
tivate switches or controls or make the
vehicle move. Unattended children
could become involved in serious
accidents.
●To help avoid risk of injury or death
through unintended operation of the
vehicle and/or its systems, do not leave
children, people who require the assis-
tance of others or pets unattended in
your vehicle. Additionally, the tempera-
ture inside a closed vehicle on a warm
day can quickly become high enough to
cause a significant risk of injury or
death to people and pets.
●Do not adjust the driver’s seat while
driving so full attention may be given to
vehicle operation. The seat may move
suddenly and could cause loss of con-
trol of the vehicle.
●The seatback should not be reclined
any more than needed for comfort. Seat
belts are most effective when the pas-
senger sits well back and straight up in
the seat. If the seatback is reclined, the
risk of sliding under the lap belt and
being injured is increased.
ARS1152
SEATS
1-2 Safety—Seats, seat belts and supplemental restraint system

CAUTION
When adjusting the seat positions, be
sure not to contact any moving parts to
avoid possible injuries and/or damage.
FRONT MANUAL SEAT
ADJUSTMENT (if so equipped)
Your vehicle seats can be adjusted manually. For
additional information about adjusting the seats,
refer to the steps outlined in this section.
Forward and backward
Pull the lever up and hold it while you slide the
seat forward or backward to the desired position.
Release the lever to lock the seat in position.
Reclining
To recline the seatback, pull the lever up and lean
back. To bring the seatback forward, pull the lever
up and lean your body forward. Release the lever
to lock the seatback in position.
The reclining feature allows adjustment of the
seatback for occupants of different sizes for
added comfort and to help obtain proper seat
belt fit. For additional information, refer to “Pre-
cautions on seat belt usage” in this section. Also,
the seatback can be reclined to allow occupants
to rest when the vehicle is stopped and the shift
lever is in P (Park) or N (Neutral) position with the
parking brake fully applied.
WRS0175 WRS0176
Safety—Seats, seat belts and supplemental restraint system 1-3

Seat lifter (if so equipped for driver’s
seat)
Turn either dial to adjust the angle and height of
the seat cushion to the desired position.
Lumbar support (if so equipped for
driver’s seat)
The lumbar support feature provides adjustable
lower back support to the driver. Move the lever
forward or backward to adjust the seat lumbar
area.
WRS0131 WRS0389
1-4 Safety—Seats, seat belts and supplemental restraint system

FRONT POWER SEAT ADJUSTMENT
(if so equipped)
Operating tips
●The power seat motor has an auto-reset
overload protection circuit. If the motor
stops during operation, wait 30 seconds
then reactivate the switch.
●Do not operate the power seat switch for a
long period of time when the engine is off.
This will discharge the battery.
Forward and backward
Moving the switch as shown will slide the seat
forward or backward to the desired position.
Reclining
Move the recline switch as shown until the de-
sired angle is obtained.
The reclining feature allows adjustment of the
seatback for occupants of different sizes for
added comfort and to help obtain proper seat
belt fit. For additional information, refer to “Pre-
cautions on seat belt usage” in this section. Also,
the seatback can be reclined to allow occupants
to rest when the vehicle is stopped and the shift
lever is in P (Park) or N (Neutral) position with the
parking brake fully applied.
WRS0163
Safety—Seats, seat belts and supplemental restraint system 1-5

Seat lifter (driver’s seat)
Move the switch as shown to adjust the angle
and height of the seat cushion.
Lumbar support (driver’s seat)
The lumbar support feature provides adjustable
lower back support to the driver. Move the lever
forward or backward to adjust the seat lumbar
area.
REAR BENCH SEAT (if so equipped)
The rear bench seat is non-adjustable. However,
the seats can be folded up and folded to lay flat.
For additional information, refer to “Flexible seat-
ing” in this section.
LRS2729 WRS0389 LRS2471
1-6 Safety—Seats, seat belts and supplemental restraint system

JUMP SEAT (if so equipped)
WARNING
●Do not use a child restraint in the driv-
er’s side jump seat. This seating posi-
tion is not suitable for child restraint
installation. A child restraint can be in-
stalled in the passenger’s side jump
seat when the seat extension is un-
folded from the seat base.
●When folding the jump seat, be careful
not to squeeze your finger between the
seat cushion and the body side.
ARMREST (if so equipped)
To use the center armrest on the rear bench seat,
pull on the tab in the center of the seat and fold it
down as shown.
FLEXIBLE SEATING
WARNING
●Never allow anyone to ride in the cargo
area or on the rear seats when they are
in the fold-down position. In a collision,
people riding in these areas without
proper restraints are more likely to be
seriously injured or killed.
●Do not allow people to ride in any area
of your vehicle that is not equipped with
seats and seat belts. Be sure everyone
in your vehicle is in a seat and using a
seat belt properly.
●Do not allow more than one person to
use the same seat belt.
●Do not fold down the rear seats when
occupants are in the rear seat area or
any luggage is on the rear seats.
– Make sure that the seat path is clear
before moving the seat.
– Be careful not to allow hands or feet
to get caught or pinched in the seat.
●Head restraints/headrests should be
adjusted properly as they may provide
significant protection against injury in
an accident. Always replace and adjust
them properly if they have been re-
moved for any reason.
●If the head restraints/headrests are re-
moved for any reason, they should be
securely stored to prevent them from
causing injury to passengers or damage
to the vehicle in case of sudden braking
or an accident.
LRS0556 LRS2089
Safety—Seats, seat belts and supplemental restraint system 1-7

●When returning the seatbacks to the
upright position, be certain they are
completely secured in the latched posi-
tion. If they are not completely secured,
passengers may be injured in an acci-
dent or sudden stop.
●Properly secure all cargo to help pre-
vent it from sliding or shifting. Do not
place cargo higher than the seatbacks.
In a sudden stop or collision, unsecured
cargo could cause personal injury.
Folding the rear bench seat up (if so
equipped)
To fold the rear bench seat up:
1. Lift up on the lever, located on the side of the
seat, while lifting the front of the seat cush-
ion up.
2. Fold the bottom of the seat cushion toward
the back of the vehicle until it locks in place.
LRS2475 LRS2476
1-8 Safety—Seats, seat belts and supplemental restraint system

3. Repeat this process to raise and secure the
seat cushion on the other side of the vehicle
for maximum storage capacity.
To return the rear bench seat to a seating posi-
tion, reverse the process. Make sure to prop-
erly push the seat cushion down into place.
WARNING
●When the vehicle is being used to carry
cargo, properly secure all cargo to help
prevent it from sliding or shifting. Do
not place cargo higher than the seat-
backs. In a sudden stop or collision,
unsecured cargo could cause personal
injury.
●Do not allow people to ride in any area
of your vehicle that is not equipped with
seats and seat belts. Be sure everyone
in your vehicle is in a seat and using a
seat belt properly. Never ride in the rear
seat unless the seat bottom cushions
are in place and latched.
●When returning the seatbacks to the
upright position, be certain they are
completely secured in the latched posi-
tion. If they are not completely secured,
passengers may be injured in an acci-
dent or sudden stop.
A. Child restraint anchor points
Folding the rear bench seat down (if
so equipped)
The rear bench seatback can be tilted forward to
access the child restraint anchor point locations
or the jacking equipment.
To tilt the seatback forward, pull the strap up 䊊
1
and tilt the seatback. The child restraint anchor
points can be accessed behind the rear bench
seatback. The jacking equipment can be ac-
cessed from behind the passenger’s side seat-
back.
LRS2477 LRS2478
Safety—Seats, seat belts and supplemental restraint system 1-9

WARNING
Never allow anyone to ride in the cargo
area or on the rear seat when it is in the
fold-down position. Use of these areas by
passengers without proper restraints
could result in serious injury or death in an
accident or sudden stop.
WARNING
Head restraints/headrests supplement
the other vehicle safety systems. They may
provide additional protection against in-
jury in certain rear end collisions. Adjust-
able head restraints/headrests must be
adjusted properly, as specified in this sec-
tion. Check the adjustment after someone
else uses the seat. Do not attach anything
to the head restraint/headrest stalks or
remove the head restraint/headrest. Do
not use the seat if the head
restraint/headrest has been removed. If
the head restraint/headrest was removed,
reinstall and properly adjust the head
restraint/headrest before an occupant
uses the seating position. Failure to fol-
low these instructions can reduce the ef-
fectiveness of the head
restraints/headrests. This may increase
the risk of serious injury or death in a
collision.
Crew Cab
LRS2361
HEAD RESTRAINTS/HEADRESTS
1-10 Safety—Seats, seat belts and supplemental restraint system

The illustration shows the seating positions
equipped with head restraints/headrests.
䉱Indicates the seating position is equipped with
a head restraint.
䡲Indicates the seating position is equipped with
a headrest.
+ Indicates the seating position is not equipped
with a head restraint or headrest (if applicable).
●Your vehicle is equipped with a head
restraint/headrest that may be integrated,
adjustable or non-adjustable.
●Adjustable head restraints/headrests have
multiple notches along the stalk(s) to lock
them in a desired adjustment position.
●
The non-adjustable head restraints/headrests
have a single locking notch to secure them to
the seat frame.
●Proper Adjustment:
– For the adjustable type, align the head
restraint/headrest so the center of your
ear is approximately level with the center
of the head restraint/headrest.
– If your ear position is still higher than the
recommended alignment, place the head
restraint/headrest at the highest position.
●If the head restraint/headrest has been re-
moved, ensure that it is reinstalled and
locked in place before riding in that desig-
nated seating position.
ADJUSTABLE HEAD RESTRAINT/
HEADREST COMPONENTS
1. Removable head restraint/headrest
2. Multiple notches
3. Lock knob
4. Stalks
King Cab
LRS2362 LRS2300
Safety—Seats, seat belts and supplemental restraint system 1-11

NON-ADJUSTABLE HEAD
RESTRAINT/HEADREST
COMPONENTS
1. Removable head restraint/headrest
2. Single notch
3. Lock knob
4. Stalks
REMOVE
Use the following procedure to remove the head
restraint/headrest:
1. Pull the head restraint/headrest up to the
highest position.
2. Push and hold the lock knob.
3. Remove the head restraint/headrest from
the seat.
4. Store the head restraint/headrest properly in
a secure place so it is not loose in the
vehicle.
5. Reinstall and properly adjust the head
restraint/headrest before an occupant uses
the seating position.
LRS2299 LRS2302
1-12 Safety—Seats, seat belts and supplemental restraint system

INSTALL
1. Align the head restraint/headrest stalks with
the holes in the seat. Make sure that the
head restraint/headrest is facing the correct
direction. The stalk with the notch (notches)
䊊
1must be installed in the hole with the lock
knob 䊊
2.
2. Push and hold the lock knob and push the
head restraint/headrest down.
3. Properly adjust the head restraint/headrest
before an occupant uses the seating posi-
tion.
ADJUST
For adjustable head restraint/headrest
Adjust the head restraint/headrest so the center
is level with the center of your ears. If your ear
position is still higher than the recommended
alignment, place the head restraint/headrest at
the highest position.
For non-adjustable head restraint/headrest
Make sure the head restraint/headrest is posi-
tioned so the lock knob is engaged in the notch
before riding in that designated seating position.
LRS2303 WRS0134 LRS2351
Safety—Seats, seat belts and supplemental restraint system 1-13

Raise
To raise the head restraint/headrest, pull it up.
Make sure the head restraint/headrest is posi-
tioned so the lock knob is engaged in the notch
before riding in that designated seating position.
Lower
To lower, push and hold the lock knob and push
the head restraint/headrest down.
Make sure the head restraint/headrest is posi-
tioned so the lock knob is engaged in the notch
before riding in that designated seating position.
FRONT-SEAT ACTIVE HEAD
RESTRAINTS
WARNING
●Always adjust the head restraints prop-
erly as specified in this section. Failure
to do so can reduce the effectiveness of
the active head restraint.
●Active head restraints are designed to
supplement other safety systems. Al-
ways wear seat belts. No system can
prevent all injuries in any accident.
LRS2305 LRS2306 SPA1025
1-14 Safety—Seats, seat belts and supplemental restraint system

●Do not attach anything to the head re-
straint stalks. Doing so could impair
active head restraint function.
The active head restraint moves forward utilizing
the force that the seatback receives from the
occupant in a rear-end collision. The movement
of the head restraint helps support the occu-
pant’s head by reducing its backward movement
and helping absorb some of the forces that may
lead to whiplash-type injuries.
Active head restraints are effective for collisions
at low to medium speeds in which it is said that
whiplash injury occurs most.
Active head restraints operate only in certain
rear-end collisions. After the collision, the head
restraints return to their original positions.
Properly adjust the active head restraints as de-
scribed in this section.
PRECAUTIONS ON SEAT BELT
USAGE
If you are wearing your seat belt properly ad-
justed and you are sitting upright and well back in
your seat with both feet on the floor, your chances
of being injured or killed in a collision and/or the
severity of injury may be greatly reduced.
NISSAN strongly encourages you and all of your
passengers to buckle up every time you drive,
even if your seating position includes a supple-
mental air bag.
Most U.S. states and Canadian provinces or
territories specify that seat belts be worn at
all times when a vehicle is being driven.
SSS0136
SEAT BELTS
Safety—Seats, seat belts and supplemental restraint system 1-15

WARNING
●Every person who drives or rides in this
vehicle should use a seat belt at all
times. Children should be in the rear
seats and in an appropriate restraint.
WARNING
●The seat belt should be properly ad-
justed to a snug fit. Failure to do so may
reduce the effectiveness of the entire
restraint system and increase the
chance or severity of injury in an acci-
dent. Serious injury or death can occur if
the seat belt is not worn properly.
SSS0134 SSS0016
1-16 Safety—Seats, seat belts and supplemental restraint system

WARNING
●Always route the shoulder belt over
your shoulder and across your chest.
Never put the belt behind your back,
under your arm or across your neck. The
belt should be away from your face and
neck, but not falling off your shoulder.
●Position the lap belt as low and snug as
possible AROUND THE HIPS, NOT THE
WAIST. A lap belt worn too high could
increase the risk of internal injuries in
an accident.
●Be sure the seat belt tongue is securely
fastened to the proper buckle.
●Do not wear the seat belt inside out or
twisted. Doing so may reduce its
effectiveness.
●Do not allow more than one person to
use the same seat belt.
●Never carry more people in the vehicle
than there are seat belts.
●If the seat belt warning light glows con-
tinuously while the ignition is turned
ON with all doors closed and all seat
belts fastened, it may indicate a mal-
function in the system. Have the system
checked. It is recommended that you
visit a NISSAN dealer for this service.
●No changes should be made to the seat
belt system. For example, do not modify
the seat belt, add material, or install
devices that may change the seat belt
routing or tension. Doing so may affect
the operation of the seat belt system.
Modifying or tampering with the seat
belt system may result in serious per-
sonal injury.
●Once seat belt pretensioner(s) have ac-
tivated, they cannot be reused and must
be replaced together with the retractor.
It is recommended that you visit a
NISSAN dealer for this service.
●All seat belt assemblies, including re-
tractors and attaching hardware, should
be inspected after any collision. It is
recommended that you visit a NISSAN
dealer for this service. NISSAN recom-
mends that all seat belt assemblies in
use during a collision be replaced un-
less the collision was minor and the
belts show no damage and continue to
operate properly. Seat belt assemblies
not in use during a collision should also
be inspected and replaced if either
damage or improper operation is noted.
●All child restraints and attaching hard-
ware should be inspected after any col-
lision. Always follow the restraint
manufacturer’s inspection instructions
and replacement recommendations.
The child restraints should be replaced
if they are damaged.
SSS0014
Safety—Seats, seat belts and supplemental restraint system 1-17

SEAT BELT WARNING LIGHT
Both the driver’s and passenger’s front seats are
equipped with a seat belt warning light. The
warning light, located on the instrument panel,
will show the status of the driver and passenger
seat belt.
NOTE:
The front passenger seat belt warning light
will not light up if the seat is not occupied.
For additional information, refer to “Warning lights,
indicator lights and audible reminders” in the
“Instruments and controls” section of this manual.
PREGNANT WOMEN
NISSAN recommends that pregnant women use
seat belts. The seat belt should be worn snug and
always position the lap belt as low as possible
around the hips, not the waist. Place the shoulder
belt over your shoulder and across your chest.
Never run the lap/shoulder belt over your ab-
dominal area. Contact your doctor for specific
recommendations.
INJURED PERSONS
NISSAN recommends that injured persons use
seat belts. Check with your doctor for specific
recommendations.
THREE-POINT TYPE SEAT BELT
WITH RETRACTOR
WARNING
●Every person who drives or rides in this
vehicle should use a seat belt at all
times. Children should be in the rear
seats and in an appropriate restraint.
●Do not ride in a moving vehicle when
the seatback is reclined. This can be
dangerous. The shoulder belt will not
be against your body. In an accident,
you could be thrown into it and receive
neck or other serious injuries. You
could also slide under the lap belt and
receive serious internal injuries.
●For the most effective protection when
the vehicle is in motion, the seat should
be upright. Always sit well back and
upright in the seat with both feet on the
floor and adjust the seat belt properly.
●Do not allow children to play with the
seat belts. Most seating positions are
equipped with Automatic Locking Re-
tractor (ALR) mode seat belts. If the seat
belt becomes wrapped around a child’s
neck with the ALR mode activated, the
child can be seriously injured or killed if
the seat belt retracts and becomes
tight. This can occur even if the vehicle
is parked. Unbuckle the seat belt to
release the child. If the seat belt cannot
be unbuckled or is already unbuckled,
release the child by cutting the seat belt
with a suitable tool (such as a knife or
scissors) to release the seat belt.
LRS0786
1-18 Safety—Seats, seat belts and supplemental restraint system

Fastening the seat belts (front seats all
models and rear seats Crew Cab
models)
1. Adjust the seat. For additional information,
refer to “Seats” in this section.
Manual front seat shown (if so equipped)
WRS0175
Power front seat shown (if so equipped)
WRS0163
Safety—Seats, seat belts and supplemental restraint system 1-19

2. Slowly pull the seat belt out of the retractor
and insert the tongue into the buckle 䊊
Auntil
you hear and feel the latch engage.
●The retractor is designed to lock dur-
ing a sudden stop or on impact. A
slow pulling motion permits the seat
belt to move, and allows you some
freedom of movement in the seat.
●If the seat belt cannot be pulled from
its fully retracted position, firmly pull
the belt and release it. Then
smoothly pull the belt out of the re-
tractor.
3. Position the lap belt portion low and snug
on the hips 䊊
Bas shown.
4. Pull the shoulder belt portion toward the
retractor to take up extra slack 䊊
C. Be sure
the shoulder belt is routed over your shoul-
der and across your chest.
The front passenger seat and the rear seating
positions’ three-point seat belts have two modes
of operation:
●Emergency Locking Retractor (ELR)
●Automatic Locking Retractor (ALR)
The ELR mode allows the seat belt to extend and
retract to allow the driver and passengers some
freedom of movement in the seat. The ELR locks
the seat belt when the vehicle slows down rapidly
or during certain impacts.
The ALR mode (child restraint mode) locks the
seat belt for child restraint installation.
When the ALR mode is activated, the seat belt
cannot be extended again until the seat belt
tongue is detached from the buckle and fully
retracted. The seat belt returns to the ELR mode
after the seat belt fully retracts. For additional
information, refer to “Child restraints” in this sec-
tion.
The ALR mode should be used only for
child restraint installation. During normal
seat belt use by an occupant, the ALR mode
should not be activated. If it is activated it
may cause uncomfortable seat belt ten-
sion. It can also change the operation of
the front passenger air bag. For additional
information, refer to “Front passenger air
bag and status light” in this section.
WARNING
When fastening the seat belts, be certain
that the seatbacks are completely secured
in the latched position. If they are not
completely secured, passengers may be
injured in an accident or sudden stop.
LRS2674 LRS2675
1-20 Safety—Seats, seat belts and supplemental restraint system

Fastening the seat belts (jump seats
for King Cab models)
1. Open the jump seat. For additional informa-
tion, refer to “Seats” in this section.
2. Slowly pull the seat belt out of the retractor
and insert the tongue into the buckle 䊊
Auntil
you hear and feel the latch engage.
●The retractor is designed to lock during
a sudden stop or on impact. A slow
pulling motion permits the seat belt to
move, and allows you some freedom of
movement in the seat.
●If the seat belt cannot be pulled from
its fully retracted position, firmly pull
the belt and release it. Then smoothly
pull the belt out of the retractor.
3. Position the lap belt portion low and snug
on the hips 䊊
Bas shown.
4. Pull the shoulder belt portion toward the
retractor to take up extra slack 䊊
C. Be sure
the shoulder belt is routed over your shoul-
der and across your chest.
The jump seat position’s three-point seat belts
have two modes of operation:
●Emergency Locking Retractor (ELR)
●Automatic Locking Retractor (ALR)
The ELR mode allows the seat belt to extend and
retract to allow the passengers some freedom of
LRS0556 LRS2723 LRS2724
Safety—Seats, seat belts and supplemental restraint system 1-21

movement in the seat. The ELR locks the seat belt
when the vehicle slows down rapidly or during
certain impacts.
The ALR mode (child restraint mode) locks the
seat belt for child restraint installation.
When the ALR mode is activated, the seat belt
cannot be extended again until the seat belt
tongue is detached from the buckle and fully
retracted. The seat belt returns to the ELR mode
after the seat belt fully retracts. For additional
information, refer to “Child restraints” in this sec-
tion.
The ALR mode should be used only for
child restraint installation. During normal
seat belt use by an occupant, the ALR mode
should not be activated. If it is activated it
may cause uncomfortable seat belt ten-
sion. It can also change the operation of
the front passenger air bag. For additional
information, refer to “Front passenger air
bag and status light” in this section.
WARNING
When fastening the seat belts, be certain
that the seatbacks are completely secured
in the latched position. If they are not
completely secured, passengers may be
injured in an accident or sudden stop.
Unfastening the seat belts
To unfasten the seat belt, press the button on the
buckle 䊊
1. The seat belt automatically retracts.
Checking seat belt operation
Seat belt retractors are designed to lock seat belt
movement by two separate methods:
●When the seat belt is pulled quickly from the
retractor
●When the vehicle slows down rapidly
To increase your confidence in the seat belts,
check the operation as follows:
●Grasp the shoulder belt and pull forward
quickly. The retractor should lock and re-
strict further belt movement.
If the retractor does not lock during this check,
get the system checked. It is recommended that
you visit a NISSAN dealer for this service or to
learn more about seat belt operation.
WRS0139
1-22 Safety—Seats, seat belts and supplemental restraint system

Shoulder belt height adjustment (front
seats)
The shoulder belt anchor height should be ad-
justed to the position best for you. For additional
information, refer to “Precautions on seat belt
usage” in this section. To adjust, pull out the
adjustment button 䊊
1and move the shoulder belt
anchor to the desired position 䊊
2, so the belt
passes over the center of the shoulder. The belt
should be away from your face and neck, but not
falling off your shoulder. Release the adjustment
button to lock the shoulder belt anchor into posi-
tion.
WARNING
●After adjustment, release the adjust-
ment button and try to move the shoul-
der belt anchor up and down to make
sure it is securely fixed in position.
●The shoulder belt anchor height should
be adjusted to the position best for you.
Failure to do so may reduce the effec-
tiveness of the entire restraint system
and increase the chance or severity of
injury in an accident.
SEAT BELT EXTENDERS
If, because of body size or driving position, it is
not possible to properly fit the lap/shoulder belt
and fasten it, an extender that is compatible with
the installed seat belts is available for purchase.
The extender adds approximately 8 in (200 mm)
of length and may be used for either the driver or
front passenger seating position. It is recom-
mended that you visit a NISSAN dealer for assis-
tance with purchasing an extender if an extender
is required.
WARNING
●Only NISSAN seat belt extenders, made
by the same company which made the
original equipment seat belts, should
be used with NISSAN seat belts.
●Adults and children who can use the
standard seat belt should not use an
extender. Such unnecessary use could
result in serious personal injury in the
event of an accident.
●Never use seat belt extenders to install
child restraints. If the child restraint is
not secured properly, the child could be
seriously injured or killed in a collision
or a sudden stop.
SEAT BELT MAINTENANCE
●To clean the seat belt webbing, apply a
mild soap solution or any solution recom-
mended for cleaning upholstery or carpet.
Then wipe with a cloth and allow the seat
belts to dry in the shade. Do not allow the
seat belts to retract until they are completely
dry.
●If dirt builds up in the shoulder belt
guide of the seat belt anchors, the seat
belts may retract slowly. Wipe the shoulder
belt guide with a clean, dry cloth.
LRS0242
Safety—Seats, seat belts and supplemental restraint system 1-23

●Periodically check to see that the seat
belt and the metal components, such as
buckles, tongues, retractors, flexible wires
and anchors, work properly. If loose parts,
deterioration, cuts or other damage on the
webbing is found, the entire seat belt as-
sembly should be replaced.
WARNING
Do not allow children to play with the seat
belts. Most seating positions are
equipped with Automatic Locking Retrac-
tor (ALR) mode seat belts. If the seat belt
becomes wrapped around a child’s neck
with the ALR mode activated, the child can
be seriously injured or killed if the seat
belt retracts and becomes tight. This can
occur even if the vehicle is parked. Un-
buckle the seat belt to release the child. If
the seat belt cannot be unbuckled or is
already unbuckled, release the child by
cutting the seat belt with a suitable tool
(such as a knife or scissors) to release the
seat belt.
Children need adults to help protect them.
They need to be properly restrained.
In addition to the general information in this
manual, child safety information is available from
many other sources, including doctors, teachers,
government traffic safety offices, and community
organizations. Every child is different, so be sure
to learn the best way to transport your child.
There are three basic types of child restraint
systems:
●Rear-facing child restraint
●Forward-facing child restraint
●Booster seat
The proper restraint depends on the child’s size.
Generally, infants up to about 1 year and less
than 20 lbs. (9 kg) should be placed in rear-
facing child restraints. Forward-facing child re-
straints are available for children who outgrow
rear-facing child restraints and are at least 1 year
old. Booster seats are used to help position a
vehicle lap/shoulder belt on a child who can no
longer use a forward-facing child restraint.
WARNING
Infants and children need special protec-
tion. The vehicle’s seat belts may not fit
them properly. The shoulder belt may
come too close to the face or neck. The lap
belt may not fit over their small hip bones.
In an accident, an improperly fitting seat
belt could cause serious or fatal injury.
Always use appropriate child restraints.
All U.S. states and Canadian provinces or territo-
ries require the use of approved child restraints
for infants and small children. For additional infor-
mation, refer to “Child restraints” in this section.
CHILD SAFETY
1-24 Safety—Seats, seat belts and supplemental restraint system
A child restraint may be secured in the vehicle by
using either the LATCH (Lower Anchors and
Tethers for CHildren) system or with the vehicle
seat belt. For additional information, refer to
“Child restraints” in this section.
NISSAN recommends that all pre-teens
and children be restrained in the rear seat if
available (Crew Cab models). Studies show
that children are safer when properly re-
strained in the rear seat than in the front
seat.
This is especially important because your
vehicle has a supplemental restraint sys-
tem (air bag system) for the front passen-
ger. For additional information, refer to
“Supplemental Restraint System (SRS)” in
this section.
INFANTS
Infants up to at least 1 year old should be placed
in a rear-facing child restraint. NISSAN recom-
mends that infants be placed in child restraints
that comply with Federal Motor Vehicle Safety
Standards or Canadian Motor Vehicle Safety
Standards. You should choose a child restraint
that fits your vehicle and always follow the manu-
facturer’s instructions for installation and use.
SMALL CHILDREN
Children that are over 1 year old and weigh at least
20 lbs. (9 kg) should remain in a rear-facing child
restraint as long as possible up to the height or
weight limit of the child restraint. Children who
outgrow the height or weight limit of the rear-facing
child restraint and are at least 1 year old should be
secured in a forward-facing child restraint with a
harness. Refer to the manufacturer’s instructions
for minimum and maximum weight and height rec-
ommendations. NISSAN recommends that small
children be placed in child restraints that comply
with Federal Motor Vehicle Safety Standards or
Canadian Motor Vehicle Safety Standards. You
should choose a child restraint that fits your vehicle
and always follow the manufacturer’s instructions
for installation and use.
LARGER CHILDREN
Children should remain in a forward-facing child
restraint with a harness until they reach the maxi-
mum height or weight limit allowed by the child
restraint manufacturer.
Once a child outgrows the height or weight limit
of the harness-equipped forward-facing child re-
straint, NISSAN recommends that the child be
placed in a commercially available booster seat to
obtain proper seat belt fit. For a seat belt to fit
properly, the booster seat should raise the child
so that the shoulder belt is properly positioned
across the chest and the top, middle portion of
the shoulder. The shoulder belt should not cross
the neck or face and should not fall off the shoul-
der. The lap belt should lie snugly across the
lower hips or upper thighs, not the abdomen. A
booster seat can only be used in seating posi-
tions that have a three-point type seat belt. The
booster seat should fit the vehicle seat and have
a label certifying that it complies with Federal
Motor Vehicle Safety Standards or Canadian Mo-
tor Vehicle Safety Standards.
A booster seat should be used until the child can
pass the seat belt fit test below:
●Are the child’s back and hips against the
vehicle seatback?
●Is the child able to sit without slouching?
●Do the child’s knees bend easily over the
front edge of the seat with feet flat on the
floor?
●Can the child safely wear the seat belt (lap
belt low and snug across the hips and shoul-
der belt across mid-chest and shoulder)?
●Is the child able to use the properly adjusted
head restraint/headrest?
●Will the child be able to stay in position for
the entire ride?
Safety—Seats, seat belts and supplemental restraint system 1-25

If you answered no to any of these questions, the
child should remain in a booster seat using a
three-point type seat belt.
NOTE:
Laws in some communities may follow dif-
ferent guidelines. Check local and state
regulations to confirm your child is using
the correct restraint system before travel-
ing.
WARNING
Never let a child stand or kneel on any seat
and do not allow a child in the cargo area.
The child could be seriously injured or
killed in a sudden stop or collision.
LRS2690 ARS1098
CHILD RESTRAINTS
1-26 Safety—Seats, seat belts and supplemental restraint system

PRECAUTIONS ON CHILD
RESTRAINTS
WARNING
●Failure to follow the warnings and in-
structions for proper use and installa-
tion of child restraints could result in
serious injury or death of a child or
other passengers in a sudden stop or
collision:
– Do not install rear-facing child re-
straints in the driver’s side rear seat-
ing position.
– For forward-facing child seats and
boosters, DO NOT install if the child
restraint base extends past the for-
ward edge of the seat cushion.
– The child restraint must be used and
installed properly. Always follow all
of the child restraint manufacturer’s
instructions for installation and use.
– Infants and children should never be
held on anyone’s lap. Even the stron-
gest adult cannot resist the forces of
a collision.
– Do not put a seat belt around both a
child and another passenger.
– NISSAN recommends that all child
restraints be installed in the rear
seat. Studies show that children are
safer when properly restrained in the
rear seat than in the front seat. If you
must install a forward-facing child
restraint in the front seat, refer to
“Forward-facing child restraint in-
stallation using the seat belts” in this
section.
– Even with the NISSAN Advanced Air
Bag System, never install a rear-
facing child restraint in the front seat.
An inflating air bag could seriously
injure or kill a child. A rear-facing
child restraint must only be used in
the rear seat.
– Be sure to purchase a child restraint
that will fit the child and vehicle.
Some child restraints may not fit
properly in your vehicle.
– Child restraint anchorages are de-
signed to withstand only those loads
imposed by correctly fitted child re-
straints. Under no circumstances are
they to be used to attach adult seat
belts, or other items or equipment to
the vehicle. Doing so could damage
the child restraint anchorages. The
child restraint will not be properly
installed using the damaged anchor-
age, and a child could be seriously
injured or killed in a collision.
– Never use the anchor points for adult
seat belts or harnesses.
– A child restraint with a top tether
strap should not be used in the front
passenger seat (King Cab models).
WRS0256
Safety—Seats, seat belts and supplemental restraint system 1-27

– Keep seatbacks as upright as pos-
sible after fitting the child restraint.
– Infants and children should always
be placed in an appropriate child re-
straint while in the vehicle.
●When the child restraint is not in use,
keep it secured with the LATCH system
or a seat belt. In a sudden stop or colli-
sion, loose objects can injure occupants
or damage the vehicle.
CAUTION
A child restraint in a closed vehicle can
become very hot. Check the seating sur-
face and buckles before placing a child in
the child restraint.
This vehicle is equipped with a universal child
restraint anchor system, referred to as the LATCH
(Lower Anchors and Tethers for CHildren) sys-
tem. Some child restraints include rigid or
webbing-mounted attachments that can be con-
nected to these anchors. For additional informa-
tion, refer to “LATCH (Lower Anchors and Teth-
ers for CHildren) system” in this section.
If you do not have a LATCH compatible child
restraint, the vehicle seat belts can be used.
Several manufacturers offer child restraints for
infants and children of various sizes. When se-
lecting any child restraint, keep the following
points in mind:
●Choose only a restraint with a label certifying
that it complies with Federal Motor Vehicle
Safety Standard 213 or Canadian Motor
Vehicle Safety Standard 213.
●Check the child restraint in your vehicle to be
sure it is compatible with the vehicle’s seat
and seat belt system.
●If the child restraint is compatible with your
vehicle, place your child in the child restraint
and check the various adjustments to be
sure the child restraint is compatible with
your child. Choose a child restraint that is
designed for your child’s height and weight.
Always follow all recommended procedures.
●If the combined weight of the child and child
restraint is less than 65 lbs. (29.5 kg), you
may use either the LATCH anchors or the
seat belt to install the child restraint (not both
at the same time).
●If the combined weight of the child and child
restraint is greater than 65 lbs. (29.5 kg),
use the vehicle’s seat belt (not the lower
anchors) to install the child restraint.
●Be sure to follow the child restraint manufac-
turer’s instructions for installation.
All U.S. states and Canadian provinces or
territories require that infants and small
children be restrained in an approved child
restraint at all times while the vehicle is
being operated. Canadian law requires the
top tether strap on forward-facing child re-
straints be secured to the designated an-
chor point on the vehicle.
1-28 Safety—Seats, seat belts and supplemental restraint system

LATCH (Lower Anchors and Tethers
for CHildren) SYSTEM
Your vehicle is equipped with special anchor
points that are used with LATCH system compat-
ible child restraints. This system may also be
referred to as the ISOFIX or ISOFIX compatible
system. With this system, you do not have to use
a vehicle seat belt to secure the child restraint
unless the combined weight of the child and child
restraint exceeds 65 lbs., (29.5 kg). If the com-
bined weight of the child and child restraint is
greater than 65 lbs. (29.5 kg) use the vehicle’s
seat belt (not the lower anchors) to install the
child restraint. Be sure to follow the child restraint
manufacturer’s instructions for installation.
The LATCH lower anchor points are provided to
install child restraints in the rear outboard seating
positions only. Do not attempt to install a child
restraint in the center position using the LATCH
lower anchors.
LATCH lower anchor
WARNING
Failure to follow the warnings and instruc-
tions for proper use and installation of
child restraints could result in serious in-
jury or death of a child or other passen-
gers in a sudden stop or collision:
– Attach LATCH system compatible
child restraints only at the locations
shown in the illustration.
– Do not secure a child restraint in the
center rear seating position using the
LATCH lower anchors. The child re-
straint will not be secured properly.
– Inspect the lower anchors by insert-
ing your fingers into the lower anchor
area. Feel to make sure there are no
obstructions over the anchors such
as seat belt webbing or seat cushion
material. The child restraint will not
be secured properly if the lower an-
chors are obstructed.
LATCH system lower anchor locations
(Crew Cab models)
LRS2859
LATCH system lower anchor locations
(King Cab models)
LRS2862
Safety—Seats, seat belts and supplemental restraint system 1-29

– Child restraint anchorages are de-
signed to withstand only those loads
imposed by correctly fitted child re-
straints. Under no circumstances are
they to be used to attach adult seat
belts, or other items or equipment to
the vehicle. Doing so could damage
the child restraint anchorages. The
child restraint will not be properly
installed using the damaged anchor-
age, and a child could be seriously
injured or killed in a collision.
LATCH lower anchor location
The LATCH lower anchors are located as shown.
A label is attached to the seatback (Crew Cab
models) to help you locate the LATCH lower
anchors.
LATCH lower anchor location
LRS0748
LATCH label locations (Crew Cab models)
LRS0571
1-30 Safety—Seats, seat belts and supplemental restraint system

Installing child restraint LATCH lower
anchor attachments
LATCH compatible child restraints include two
rigid or webbing-mounted attachments that can
be connected to two anchors located at certain
seating positions in your vehicle. With this sys-
tem, you do not have to use a vehicle seat belt to
secure the child restraint. Check your child re-
straint for a label stating that it is compatible with
LATCH. This information may also be in the in-
structions provided by the child restraint manu-
facturer.
When installing a child restraint, carefully read
and follow the instructions in this manual and
those supplied with the child restraint.
Top tether anchor
WARNING
●Do not allow cargo to contact the top
tether strap when it is attached to the
top tether anchor. Properly secure the
cargo so it does not contact the top
tether strap. Cargo that is not properly
secured or cargo that contacts the top
tether strap may damage it during a
collision. A child could be seriously in-
jured or killed in a collision if the top
tether strap is damaged.
●Child restraint anchorages are de-
signed to withstand only those loads
imposed by correctly fitted child re-
straints. Under no circumstances are
they to be used to attach adult seat
belts, or other items or equipment to
the vehicle. Doing so could damage the
child restraint anchorages. The child re-
straint will not be properly installed us-
ing the damaged anchorages, and a
child could be seriously injured or killed
in a collision.
LATCH webbing-mounted attachment
LRS0661
LATCH rigid-mounted attachment
LRS0662
Safety—Seats, seat belts and supplemental restraint system 1-31

1. Top tether strap
2. Anchor point
Top tether anchor point locations
Anchor points are located in the following loca-
tions:
●On the back of the front passenger seat
(King Cab models) as shown.
●Under the rear window behind the rear
bench seat (Crew Cab models) as shown. 1. Cover plate
2. Routing bracket
3. Anchor point
●On the floor between the jump seat belt
buckles in the center of the vehicle (King
Cab models) as shown.
The anchor point is located on the floor between
the jump seat belt buckles in the center of the
vehicle. The routing bracket is located behind the
cover plate under the rear window above the
jump seat.
Front passenger seat (King Cab models)
LRS0572
Rear bench seat (Crew Cab models)
LRS0393
Jump seats
(King Cab models - passenger side shown)
LRS2101
1-32 Safety—Seats, seat belts and supplemental restraint system

REAR-FACING CHILD RESTRAINT
INSTALLATION USING LATCH (Crew
Cab models)
For additional information, refer to all Warnings
and Cautions in the “Child safety” and “Child
restraints” sections of this manual before install-
ing a child restraint.
Do not use the lower anchors if the combined
weight of the child and the child restraint exceeds
65 lbs. (29.5 kg). If the combined weight of the
child and the child restraint is greater than
65 lbs., (29.5 kg) use the vehicle’s seat belt (not
the lower anchors) to install the child restraint. Be
sure to follow the child restraint manufacturer’s
instructions for installation.
Follow these steps to install a rear-facing child
restraint in the rear seats using the LATCH sys-
tem:
1. Position the child restraint on the seat. Al-
ways follow the child restraint manufactur-
er’s instructions.
2. Secure the child restraint anchor attach-
ments to the LATCH lower anchors. Check
to make sure the LATCH attachment is prop-
erly attached to the lower anchors.
Rear-facing webbing-mounted – step 2
WRS0801
Rear-facing rigid-mounted – step 2
WRS0802
Safety—Seats, seat belts and supplemental restraint system 1-33

3. For child restraints that are equipped with
webbing-mounted attachments, remove any
additional slack from the anchor attach-
ments. Press downward and rearward firmly
in the center of the child restraint with your
hand to compress the vehicle seat cushion
and seatback while tightening the webbing
of the anchor attachments.
4. After attaching the child restraint, test it be-
fore you place the child in it. Push it from side
to side while holding the child restraint near
the LATCH attachment path. The child re-
straint should not move more than 1 inch
(25 mm), from side to side. Try to tug it
forward and check to see if the LATCH at-
tachment holds the restraint in place. If the
restraint is not secure, tighten the LATCH
attachment as necessary, or put the restraint
in another seat and test it again. You may
need to try a different child restraint or try
installing by using the vehicle seat belt (if
applicable). Not all child restraints fit in all
types of vehicles.
5. Check to make sure the child restraint is
properly secured prior to each use. If the
child restraint is loose, repeat steps 2
through 4.
Rear-facing – step 3
LRS0673
Rear-facing – step 4
LRS0674
1-34 Safety—Seats, seat belts and supplemental restraint system

REAR-FACING CHILD RESTRAINT
INSTALLATION USING LATCH —
JUMP SEAT (King Cab models)
WARNING
●If a child restraint system is not in-
stalled properly, the child could be seri-
ously injured or killed in a sudden stop
or collision.
– Never install a rear-facing child re-
straint system on the driver’s side
jump seat.
– Do not install a child restraint system
on the passenger’s side jump seat
without unfolding the seat extender.
WARNING
●To install a rear-facing child restraint on
the passenger’s side jump seat, it will
be necessary to move the front passen-
ger’s seat fully forward and place the
front seatback upright or tilt it forward.
Failure to do so may cause the child
restraint to not be installed properly
and cause serious injury or death in a
sudden stop or collision.
LRS2357 LRS2356
Safety—Seats, seat belts and supplemental restraint system 1-35

– The front seat cannot be used when a
rear-facing child restraint is installed
on the jump seat. Attempting to do so
could cause serious injury in a sud-
den stop or collision.
For additional information, refer to all Warnings
and Cautions in the “Child safety” and “Child
restraints” sections of this manual before install-
ing a child restraint.
Do not use the lower anchors if the combined
weight of the child and the child restraint exceeds
65 lbs. (29.5 kg). If the combined weight of the
child and the child restraint is greater than
65 lbs., (29.5 kg) use the vehicle’s seat belt (not
the lower anchors) to install the child restraint. Be
sure to follow the child restraint manufacturer’s
instructions for installation.
Follow these steps to install a child restraint on
the jump seat.
1. To access the jump seat extension (passen-
ger’s side only) 䊊
Aon the jump seat, pull up
䊊
Bon the extension to unfold it to the open
position. Then unfold the two support legs
䊊
Cand lower the jump seat to the full open
seating position.
LRS2725
1-36 Safety—Seats, seat belts and supplemental restraint system

2. Move the front passenger’s seat into the full
forward position. Then move the front seat-
back to the upright or tilted forward position.
Position the child restraint on the jump seat.
The direction of the child restraint depends
on the type of the child restraint and the size
of the child. Always follow the child restraint
manufacturer’s instructions.
3. Position the child restraint on the seat. Al-
ways follow the child restraint manufactur-
er’s instructions.
4. Secure the child restraint anchor attach-
ments to the LATCH lower anchors. Check
to make sure the LATCH attachment is prop-
erly attached to the lower anchors.
Full open seating position
LRS2502
Rear-facing — step 2
LRS2552
Rear-facing webbing-mounted – step 4
WRS0801
Safety—Seats, seat belts and supplemental restraint system 1-37

5. For child restraints that are equipped with
webbing-mounted attachments, remove any
additional slack from the anchor attach-
ments. Press downward and rearward firmly
in the center of the child restraint with your
hand to compress the vehicle seat cushion
and seatback while tightening the webbing
of the anchor attachments.
6. After attaching the child restraint, test it be-
fore you place the child in it. Push it from side
to side while holding the child restraint near
the LATCH attachment path. The child re-
straint should not move more than 1 inch
(25 mm), from side to side. Try to tug it
forward and check to see if the LATCH at-
tachment holds the restraint in place. If the
restraint is not secure, tighten the LATCH
attachment as necessary, or put the restraint
in another seat and test it again. You may
need to try a different child restraint or try
installing by using the vehicle seat belt (if
applicable). Not all child restraints fit in all
types of vehicles.
Rear-facing rigid-mounted – step 4
WRS0802
Rear-facing – step 5
LRS0673
Rear-facing – step 6
LRS0674
1-38 Safety—Seats, seat belts and supplemental restraint system

7. Check to make sure the child restraint is
properly secured prior to each use. If the
child restraint is loose, repeat steps 1
through 6.
REAR-FACING CHILD RESTRAINT
INSTALLATION USING THE SEAT
BELTS (Crew Cab models)
WARNING
The three-point seat belt with Automatic
Locking Retractor (ALR) must be used
when installing a child restraint. Failure to
use the ALR mode will result in the child
restraint not being properly secured. The
restraint could tip over or be loose and
cause injury to a child in a sudden stop or
collision. Also, it can change the operation
of the front passenger air bag. For addi-
tional information, refer to “Front passen-
ger air bag and status light” in this section.
For additional information, refer to all Warnings
and Cautions in the “Child safety” and “Child
restraints” sections of this manual before install-
ing a child restraint.
Do not use the lower anchors if the combined
weight of the child and the child restraint exceeds
65 lbs. (29.5 kg). If the combined weight of the
child and the child restraint is greater than 65 lbs.
(29.5 kg), use the vehicle’s seat belt (not the
lower anchors) to install the child restraint. Be
sure to follow the child restraint manufacturer’s
instructions for installation.
Follow these steps to install a rear-facing child
restraint using the vehicle seat belts in the rear
seats:
1. Child restraints for infants must be
used in the rear-facing direction and
therefore must not be used in the front
seat. Position the child restraint on the seat.
Always follow the child restraint manufactur-
er’s instructions.
Rear-facing – step 1
WRS0256
Safety—Seats, seat belts and supplemental restraint system 1-39

2. Route the seat belt tongue through the child
restraint and insert it into the buckle until you
hear and feel the latch engage. Be sure to
follow the child restraint manufacturer’s in-
structions for belt routing.
3. Pull the shoulder belt until the belt is fully
extended. At this time, the seat belt retractor
is in the ALR mode (child restraint mode). It
reverts to the ELR mode when the seat belt
is fully retracted.
4. Allow the seat belt to retract. Pull up on the
shoulder belt to remove any slack in the belt.
Rear-facing – step 2
WRS0761
Rear-facing – step 3
LRS0669
Rear-facing – step 4
LRS0670
1-40 Safety—Seats, seat belts and supplemental restraint system

5. Remove any additional slack from the seat
belt; press downward and rearward firmly in
the center of the child restraint to compress
the vehicle seat cushion and seatback while
pulling up on the seat belt.
6. After attaching the child restraint, test it be-
fore you place the child in it. Push it from side
to side while holding the child restraint near
the seat belt path. The child restraint should
not move more than 1 inch (25 mm), from
side to side. Try to tug it forward and check
to see if the belt holds the restraint in place.
If the restraint is not secure, tighten the seat
belt as necessary, or put the restraint in
another seat and test it again. You may need
to try a different child restraint. Not all child
restraints fit in all types of vehicles.
7. Check to make sure that the child restraint is
properly secured prior to each use. If the
seat belt is not locked, repeat steps 3
through 6.
After the child restraint is removed and the seat
belt fully retracted, the ALR mode (child restraint
mode) is canceled.
Rear-facing – step 5
WRS0762
Rear-facing – step 6
WRS0763
Safety—Seats, seat belts and supplemental restraint system 1-41

REAR-FACING CHILD RESTRAINT
INSTALLATION USING THE SEAT
BELTS — JUMP SEAT (King Cab
models)
WARNING
●The three-point seat belt with Auto-
matic Locking Retractor (ALR) must be
used when installing a child restraint.
Failure to use the ALR mode will result
in the child restraint not being properly
secured. The restraint could tip over or
be loose and cause injury to a child in a
sudden stop or collision. Also, it can
change the operation of the front pas-
senger air bag. For additional informa-
tion, refer to “Front passenger air bag
and status light” in this section.
●A child restraint system will not be in-
stalled properly and the child could be
seriously injured or killed in a sudden
stop or collision.
– Never install a rear-facing child re-
straint system on the driver’s side
jump seat.
– Do not install a child restraint system
on the passenger’s side jump seat
without unfolding the seat extender.
WARNING
●To install a rear-facing child restraint on
the passenger’s side jump seat, it will
be necessary to move the front passen-
ger’s seat fully forward and place the
front seatback upright or tilt it forward.
Failure to do so may cause the child
restraint to not be installed properly
and cause serious injury or death in a
sudden stop or collision.
LRS0597 LRS0549
1-42 Safety—Seats, seat belts and supplemental restraint system

– The front seat cannot be used when a
rear-facing child restraint is installed
on the jump seat. Attempting to do so
could cause serious injury in a sud-
den stop or collision.
For additional information, refer to all Warnings
and Cautions in the “Child safety” and “Child
restraints” sections of this manual before install-
ing a child restraint.
Do not use the lower anchors if the combined
weight of the child and the child restraint exceeds
65 lbs. (29.5 kg). If the combined weight of the
child and the child restraint is greater than 65 lbs.
(29.5 kg), use the vehicle’s seat belt (not the
lower anchors) to install the child restraint. Be
sure to follow the child restraint manufacturer’s
instructions for installation.
Follow these steps to install a child restraint on
the passenger’s side jump seat.
1. To access the jump seat extension 䊊
Aon the
passenger’s side jump seat, pull up 䊊
Bon
the extension to unfold it to the open posi-
tion. Then unfold the two support legs 䊊
C
and lower the jump seat to the full open
seating position.
LRS2725
Safety—Seats, seat belts and supplemental restraint system 1-43

2. Move the front passenger’s seat into the full
forward position. Then move the front seat-
back to the upright or tilted forward position.
Position the child restraint on the jump seat.
The direction of the child restraint depends
on the type of the child restraint and the size
of the child. Always follow the child restraint
manufacturer’s instructions.
3. Route the seat belt tongue through the child
restraint and insert it into the buckle until you
hear and feel the latch engage 䊊
A.
Be sure to follow the child restraint manu-
facturer’s instructions for belt routing.
Full open seating position
LRS2502
Rear-facing — step 2
LRS2552
Rear-facing — step 3
LRS2726
1-44 Safety—Seats, seat belts and supplemental restraint system

4. Pull the shoulder belt until the belt is fully
extended 䊊
B. At this time, the seat belt re-
tractor is in the ALR mode (child restraint
mode). It reverts to the ELR mode when the
seat belt is fully retracted.
5. Allow the seat belt to retract. Pull up on the
shoulder belt 䊊
Cto remove any slack in the
belt.
6. Remove any additional slack from the seat
belt; press downward and rearward firmly in
the center of the child restraint to compress
the vehicle seat cushion and seatback while
pulling up on the seat belt.
Rear-facing — step 4
LRS2727
Rear-facing — step 5
LRS2728
Rear-facing – step 6
WRS0762
Safety—Seats, seat belts and supplemental restraint system 1-45

7. After attaching the child restraint, test it be-
fore you place the child in it. Push it from side
to side while holding the seat near the seat
belt path. The child restraint should not
move more than 1 inch (25 mm), from side to
side. Try to tug it forward and check to see if
the seat belt holds the restraint in place. If
the restraint is not secure, tighten the seat
belt as necessary, or put the restraint in
another seat and test it again. You may need
to try a different child restraint. Not all child
restraints fit in all types of vehicles.
8. Check to make sure that the child restraint is
properly secured prior to each use. If the
seat belt is not locked, repeat steps 3
through 7.
After the child restraint is removed and the seat
belt fully retracted, the ALR mode (child restraint
mode) is canceled.
FORWARD-FACING CHILD
RESTRAINT INSTALLATION USING
LATCH (Crew Cab models)
For additional information, refer to all Warnings
and Cautions in the “Child safety” and “Child
restraints” sections of this manual before install-
ing a child restraint.
Do not use the lower anchors if the combined
weight of the child and the child restraint exceeds
65 lbs. (29.5 kg). If the combined weight of the
child and the child restraint is greater than
65 lbs., (29.5 kg) use the vehicle’s seat belt (not
the lower anchors) to install the child restraint. Be
sure to follow the child restraint manufacturer’s
instructions for installation.
Follow these steps to install a forward-facing
child restraint in the rear seats using the LATCH
system:
1. Position the child restraint on the seat. Al-
ways follow the child restraint manufactur-
er’s instructions.
Rear-facing — step 7
WRS0918
1-46 Safety—Seats, seat belts and supplemental restraint system

2. Secure the child restraint anchor attach-
ments to the LATCH lower anchors. Check
to make sure the LATCH attachment is prop-
erly attached to the lower anchors.
If the child restraint is equipped with a top
tether strap, route the top tether strap and
secure the tether strap to the tether anchor
point. For additional information, refer to “In-
stalling top tether strap” in this section. Do
not install child restraints that require the use
of a top tether strap in seating positions that
do not have a top tether anchor.
3. The back of the child restraint should be
secured against the vehicle seatback.
If necessary, adjust or remove the head
restraint/headrest to obtain the correct child
restraint fit. If the head restraint/headrest is
removed, store it in a secure place. Be sure
to reinstall the head restraint/headrest
when the child restraint is removed. For
additional information about head
restraint/headrest adjustment, refer to
“Head restraints/headrests” in this section.
If the seating position does not have an
adjustable head restraint/headrest and it is
interfering with the proper child restraint fit,
try another seating position or a different
child restraint.
Forward-facing webbing-mounted – step 2
WRS0799
Forward-facing rigid-mounted – step 2
WRS0800
Safety—Seats, seat belts and supplemental restraint system 1-47

4. For child restraints that are equipped with
webbing-mounted attachments, remove any
additional slack from the anchor attach-
ments. Press downward and rearward firmly
in the center of the child restraint with your
knee to compress the vehicle seat cushion
and seatback while tightening the webbing
of the anchor attachments.
5. Tighten the tether strap according to the
manufacturer’s instructions to remove any
slack.
6. After attaching the child restraint, test it be-
fore you place the child in it. Push it from side
to side while holding the child restraint near
the LATCH attachment path. The child re-
straint should not move more than 1 inch
(25 mm), from side to side. Try to tug it
forward and check to see if the LATCH at-
tachment holds the restraint in place. If the
restraint is not secure, tighten the LATCH
attachment as necessary, or put the restraint
in another seat and test it again. You may
need to try a different child restraint. Not all
child restraints fit in all types of vehicles.
7. Check to make sure the child restraint is
properly secured prior to each use. If the
child restraint is loose, repeat steps 3
through 6.
Forward-facing – step 4
LRS0671
Forward-facing – step 6
WRS0697
1-48 Safety—Seats, seat belts and supplemental restraint system

1. Pull strap
2. Anchor points
Installing top tether strap (rear bench
seat for Crew Cab models)
To access the anchor points behind the rear
bench seat, tilt the rear seatback forward by
lifting up on the pull strap behind the seatback.
1. Top tether strap
2. Tether strap
3. Tether anchor point
Before securing the child restraint with the
LATCH lower anchors (rear outboard seating po-
sitions for Crew Cab models) follow these steps.
1. If necessary, raise or remove the head
restraint/headrest to position the top tether
strap as shown. If the head
restraint/headrest is removed, store it in a
secure place. Be sure to reinstall the head
restraint/headrest when the child restraint is
removed. For additional information
about head restraint/headrest adjust-
ment, removal and installation, refer to
“Head restraints/headrests” in this
section.
2. Position the top tether strap as shown.
3. Secure the tether strap to the tether anchor
point as shown.
4. Return the seatback to the locked position.
5. Refer back to child restraint installation
steps before tightening the tether strap.
If you have any questions when installing a
top tether strap, it is recommended that
you visit a NISSAN dealer for this service.
Anchor point access
LRS0392
Rear bench seat (Crew Cab models)
LRS0576
Safety—Seats, seat belts and supplemental restraint system 1-49

FORWARD-FACING CHILD
RESTRAINT INSTALLATION USING
LATCH — JUMP SEAT (King Cab
models)
WARNING
●If a child restraint system is not in-
stalled properly, the child could be seri-
ously injured or killed in a sudden stop
or collision.
– Do not install a child restraint system
on the passenger’s side jump seat
without unfolding the seat extender.
– For forward-facing child seats and
boosters, DO NOT install if the child
restraint base extends past the for-
ward edge of the driver’s side seat
cushion.
For additional information, refer to all Warnings
and Cautions in the “Child safety” and “Child
restraints” sections of this manual before install-
ing a child restraint.
Do not use the lower anchors if the combined
weight of the child and the child restraint exceeds
65 lbs. (29.5 kg). If the combined weight of the
child and the child restraint is greater than 65 lbs.
(29.5 kg), use the vehicle’s seat belt (not the
lower anchors) to install the child restraint. Be
sure to follow the child restraint manufacturer’s
instructions for installation.
LRS2360 LRS2725
1-50 Safety—Seats, seat belts and supplemental restraint system

Follow these steps to install a child restraint on
the jump seat.
1. To access the jump seat extension (passen-
ger’s side only) 䊊
Aon the jump seat, pull up
䊊
Bon the extension to unfold it to the open
position. Then unfold the two support legs
䊊
Cand lower the jump seat to the full open
seating position.
2. Position the child restraint on the seat. Al-
ways follow the child restraint manufactur-
er’s instructions.
3. Secure the child restraint anchor attach-
ments to the LATCH lower anchors. Check
to make sure the LATCH attachment is prop-
erly attached to the lower anchors.
If the child restraint is equipped with a top
tether strap, route the top tether strap and
secure the tether strap to the tether anchor
point. For additional information, refer to “In-
stalling top tether strap” in this section. Do
not install child restraints that require the use
of a top tether strap in seating positions that
do not have a top tether anchor.
Full open seating position
LRS2502
Forward-facing webbing-mounted – step 3
WRS0799
Safety—Seats, seat belts and supplemental restraint system 1-51

4. The back of the child restraint should be
secured against the vehicle seatback.
If necessary, adjust or remove the head
restraint/headrest to obtain the correct child
restraint fit. If the head restraint/headrest is
removed, store it in a secure place. Be sure
to reinstall the head restraint/headrest
when the child restraint is removed. For
additional information about head
restraint/headrest adjustment, refer to
“Head restraints/headrests” in this section.
If the seating position does not have an
adjustable head restraint/headrest and it is
interfering with the proper child restraint fit,
try another seating position or a different
child restraint.
5. For child restraints that are equipped with
webbing-mounted attachments, remove any
additional slack from the anchor attach-
ments. Press downward and rearward firmly
in the center of the child restraint with your
knee to compress the vehicle seat cushion
and seatback while tightening the webbing
of the anchor attachments.
6. Tighten the tether strap according to the
manufacturer’s instructions to remove any
slack.
Forward-facing rigid-mounted – step 3
WRS0800
Forward-facing – step 5
LRS0671
1-52 Safety—Seats, seat belts and supplemental restraint system

7. After attaching the child restraint, test it be-
fore you place the child in it. Push it from side
to side while holding the child restraint near
the LATCH attachment path. The child re-
straint should not move more than 1 inch
(25 mm), from side to side. Try to tug it
forward and check to see if the LATCH at-
tachment holds the restraint in place. If the
restraint is not secure, tighten the LATCH
attachment as necessary, or put the restraint
in another seat and test it again. You may
need to try a different child restraint. Not all
child restraints fit in all types of vehicles.
8. Check to make sure the child restraint is
properly secured prior to each use. If the
child restraint is loose, repeat steps 1
through 7.
1. Top tether strap
2. Routing bracket
3. Tether anchor point
Forward-facing – step 7
WRS0697
Jump seat (King Cab models)
LRS0561
Safety—Seats, seat belts and supplemental restraint system 1-53

Installing top tether strap — jump seat
(King Cab models)
WARNING
●Do not secure the top tether strap to the
routing bracket. If the child restraint is
not anchored properly, the risk of a
child being injured or killed in a colli-
sion or a sudden stop greatly increases.
●Child restraint anchorages are de-
signed to withstand only those loads
imposed by correctly fitted child re-
straints. Under no circumstances are
they to be used to attach adult seat
belts or other items or equipment to the
vehicle. Doing so could damage the
child restraint anchorages. The child re-
straint will not be properly installed us-
ing the damaged anchorages, and a
child could be seriously injured or killed
in a collision.
The child restraint top tether strap must be used
when installing the child restraint with LATCH
lower anchor attachments.
First, secure the child restraint with the LATCH
lower anchors (rear seating positions).
1. Pull the cover plate off to access the top
tether strap routing bracket for the jump
seat.
2. Route the top tether strap through the rout-
ing bracket.
3. Secure the top tether strap to the tether
anchor point as shown.
4. Refer back to child restraint installation
steps before tightening the tether strap.
If you have any questions when installing a
top tether strap, it is recommended that
you visit a NISSAN dealer for this service.
FORWARD-FACING CHILD
RESTRAINT INSTALLATION USING
THE SEAT BELTS — FRONT
PASSENGER AND REAR BENCH
SEAT (Crew Cab models)
WARNING
The three-point seat belt with Automatic
Locking Retractor (ALR) must be used
when installing a child restraint. Failure to
use the ALR mode will result in the child
restraint not being properly secured. The
restraint could tip over or be loose and
cause injury to a child in a sudden stop or
collision. Also, it can change the operation
of the front passenger air bag. For addi-
tional information, refer to “Front passen-
ger air bag and status light” in this section.
1-54 Safety—Seats, seat belts and supplemental restraint system

For additional information, refer to all Warnings
and Cautions in the “Child safety” and “Child
restraints” sections of this manual before install-
ing a child restraint.
Do not use the lower anchors if the combined
weight of the child and the child restraint exceeds
65 lbs. (29.5 kg). If the combined weight of the
child and the child restraint is greater than 65 lbs.
(29.5 kg), use the vehicle’s seat belt (not the
lower anchors) to install the child restraint. Be
sure to follow the child restraint manufacturer’s
instructions for installation.
Follow these steps to install a forward-facing
child restraint using the vehicle seat belt in the
rear seats (Crew Cab models) or in the front
passenger seat:
1. If you must install a child restraint in
the front seat, it should be placed in a
forward-facing direction only. Move
the seat to the rearmost position. Child
restraints for infants must be used in
the rear-facing direction and therefore
must not be used in the front seat.
2. Position the child restraint on the seat. Al-
ways follow the child restraint manufactur-
er’s instructions.
The back of the child restraint should be
secured against the vehicle seatback.
If necessary, adjust or remove the head
restraint/headrest to obtain the correct child
restraint fit. If the head restraint/headrest is
removed, store it in a secure place. Be sure
to reinstall the head restraint/headrest
when the child restraint is removed. For
additional information about head
restraint/headrest adjustment, removal and
installation, refer to “Head
restraints/headrests” in this section.
If the seating position does not have an
adjustable head restraint/headrest and it is
interfering with the proper child restraint fit,
try another seating position or a different
child restraint.
Forward-facing (front passenger seat) –
step 1
WRS0699
Safety—Seats, seat belts and supplemental restraint system 1-55

3. Route the seat belt tongue through the child
restraint and insert it into the buckle until you
hear and feel the latch engage. Be sure to
follow the child restraint manufacturer’s in-
structions for belt routing.
If the child restraint is equipped with a top
tether strap, route the top tether strap and
secure the tether strap to the tether anchor
point (rear seat installation only). For addi-
tional information, refer to “Installing top
tether strap” in this section.
Do not install child restraints that require the
use of a top tether strap in seating positions
that do not have a top tether anchor.
4. Pull the shoulder belt until the belt is fully
extended. At this time, the seat belt retractor
is in the ALR mode (child restraint mode). It
reverts to ELR mode when the seat belt is
fully retracted.
Forward-facing – step 3
WRS0680
Forward-facing – step 4
LRS0667
1-56 Safety—Seats, seat belts and supplemental restraint system

5. Allow the seat belt to retract. Pull up on the
shoulder belt to remove any slack in the belt.
6. Remove any additional slack from the seat
belt; press downward and rearward firmly in
the center of the child restraint with your
knee to compress the vehicle seat cushion
and seatback while pulling up on the seat
belt.
7. Tighten the tether strap according to the
manufacturer’s instructions to remove any
slack.
8. After attaching the child restraint, test it be-
fore you place the child in it. Push it from side
to side while holding the child restraint near
the seat belt path. The child restraint should
not move more than 1 inch (25 mm), from
side to side. Try to tug it forward and check
to see if the seat belt holds the restraint in
place. If the restraint is not secure, tighten
the seat belt as necessary, or put the re-
straint in another seat and test it again. You
may need to try a different child restraint. Not
all child restraints fit in all types of vehicles.
Forward-facing – step 5
LRS0668
Forward-facing – step 6
WRS0681
Forward-facing – step 8
WRS0698
Safety—Seats, seat belts and supplemental restraint system 1-57

9. Check to make sure the child restraint is
properly secured prior to each use. If the
seat belt is not locked, repeat steps 3
through 8.
10. If the child restraint is installed in the front
passenger seat, place the ignition switch in
the ON position. The front passenger air bag
status light should illuminate. If this
light is not illuminated, refer to ⬙Front pas-
senger air bag and status light⬙in this sec-
tion. Move the child restraint to another
seating position. Have the system
checked. It is recommended that you visit a
NISSAN dealer for this service.
After the child restraint is removed and the seat
belt is fully retracted, the ALR mode (child re-
straint mode) is canceled.
1. Pull strap
2. Anchor points
Installing top tether strap (rear bench
seat for Crew Cab models)
To access the anchor points behind the rear
bench seat, tilt the rear seatback forward by
lifting up on the pull strap behind the seatback.
Forward-facing – step 10
WRS0475
Anchor point access
LRS0392
1-58 Safety—Seats, seat belts and supplemental restraint system

1. Top tether strap
2. Tether strap
3. Tether anchor point
The child restraint top tether strap must be used
when installing the child restraint with the seat
belts.
First, secure the child restraint with the seat belt.
1. If necessary, raise or remove the head
restraint/headrest to position the top tether
strap as shown. If the head
restraint/headrest is removed, store it in a
secure place. Be sure to reinstall the head
restraint/headrest when the child restraint is
removed. For additional information
about head restraint/headrest adjust-
ment, removal and installation, refer to
“Head restraints/headrests” in this
section.
2. Position the top tether strap as shown.
3. Secure the tether strap to the tether anchor
point as shown.
4. Return the seatback to the locked position.
5. Refer back to child restraint installation
steps before tightening the tether strap.
If you have any questions when installing a
top tether strap, it is recommended that
you visit a NISSAN dealer for this service.
FORWARD-FACING CHILD
RESTRAINT INSTALLATION USING
THE SEAT BELTS — FRONT
PASSENGER AND JUMP SEATS
(King Cab models)
Rear bench seat (Crew Cab models)
LRS0576 LRS0598
Safety—Seats, seat belts and supplemental restraint system 1-59

WARNING
●The three-point seat belt with Auto-
matic Locking Retractor (ALR) must be
used when installing a child restraint.
Failure to use the ALR mode will result
in the child restraint not being properly
secured. The restraint could tip over or
be loose and cause injury to a child in a
sudden stop or collision. Also, it can
change the operation of the front pas-
senger air bag. For additional informa-
tion, refer to “Front passenger air bag
and status light” in this section.
●If a child restraint system is not in-
stalled properly, the child could be seri-
ously injured or killed in a sudden stop
or collision.
– Do not install a child restraint system
on the passenger’s side jump seat
without unfolding the seat extender.
– For forward-facing child seats and
boosters, DO NOT install if the child
restraint system base extends past
the forward edge of the driver’s side
seat cushion.
For additional information, refer to all Warnings
and Cautions in the “Child safety” and “Child
restraints” sections of this manual before install-
ing a child restraint.
Do not use the lower anchors if the combined
weight of the child and the child restraint exceeds
65 lbs. (29.5 kg). If the combined weight of the
child and the child restraint is greater than 65 lbs.
(29.5 kg) use the vehicle’s seat belt (not the
lower anchors) to install the child restraint. Be
sure to follow the child restraint manufacturer’s
instructions for installation.
Follow these steps to install a forward-facing
child restraint using the vehicle seat belt in the
jump seats (King Cab models) or in the front
passenger seat:
1. If you must install a child restraint in
the front seat, it should be placed in a
forward-facing direction only. Move
the seat to the rearmost position. Child
restraints for infants must be used in
the rear-facing direction and therefore
must not be used in the front seat.
Forward-facing (front passenger seat) —
step 1
WRS0699
Forward-facing (jump seat for King Cab
models) — step 2
LRS2725
1-60 Safety—Seats, seat belts and supplemental restraint system

2. To access the jump seat extension (passen-
ger’s side only) 䊊
Aon the jump seat, pull up
䊊
Bon the extension to unfold it to the open
position. Then unfold the two support legs
䊊
Cand lower the jump seat to the full open
seating position.
3. Position the child restraint on the seat. Al-
ways follow the child restraint manufactur-
er’s instructions.
The back of the child restraint should be
secured against the vehicle seatback.
If necessary, adjust or remove the head
restraint/headrest to obtain the correct child
restraint fit. If the head restraint/headrest is
removed, store it in a secure place. Be sure
to reinstall the head restraint/headrest
when the child restraint is removed. For
additional information about head
restraint/headrest adjustment, removal and
installation, refer to “Head
restraints/headrests” in this section.
If the seating position does not have an
adjustable head restraint/headrest and it is
interfering with the proper child restraint fit,
try another seating position or a different
child restraint.
Full open seating position
LRS2502
Forward-facing — step 3
WRS0919
Safety—Seats, seat belts and supplemental restraint system 1-61

4. Route the seat belt tongue through the child
restraint and insert it into the buckle until you
hear and feel the latch engage. Be sure to
follow the child restraint manufacturer’s in-
structions for belt routing.
If the child restraint is equipped with a top
tether strap, route the top tether strap and
secure the tether strap to the tether anchor
point. For additional information, refer to “In-
stalling top tether strap” in this section.
Do not install child restraints that require the
use of a top tether strap to seating positions
that do not have a top tether anchor.
5. Pull the shoulder belt until the belt is fully
extended. At this time, the seat belt retractor
is in the ALR mode (child restraint mode). It
reverts to the ELR mode when the seat belt
is fully retracted.
6. Allow the seat belt to retract. Pull up on the
shoulder belt to remove any slack in the belt.
Forward-facing — step 4
WRS0680
Forward-facing — step 5
LRS0667
Forward-facing — step 6
LRS0668
1-62 Safety—Seats, seat belts and supplemental restraint system

7. Remove any additional slack from the seat
belt; press downward and rearward firmly in
the center of the child restraint with your
knee to compress the vehicle seat cushion
and seatback while pulling up on the seat
belt.
8. Tighten the tether strap according to the
manufacturer’s instructions to remove any
slack.
9. After attaching the child restraint, test it be-
fore you place the child in it. Push it from side
to side while holding the seat near the seat
belt path. The child restraint should not
move more than 1 inch (25 mm) from side to
side. Try to tug it forward and check to see if
the belt holds the restraint in place. If the
restraint is not secure, tighten the belt as
necessary, or put the restraint in another
seat and test it again. You may need to try a
different child restraint. Not all child re-
straints fit in all types of vehicles.
10. Check to make sure that the child restraint is
properly secured prior to each use. If the
seat belt is not locked, repeat steps 3
through 9.
Forward-facing – step 7
WRS0681
Forward-facing — step 9
WRS0698
Safety—Seats, seat belts and supplemental restraint system 1-63

11. If the child restraint is installed in the front
passenger seat, place the ignition switch in
the ON position. The front passenger air bag
status light should illuminate. If this
light is not illuminated, refer to “Front pas-
senger air bag and status light” in this sec-
tion. Move the child restraint to another
seating position. Have the system
checked. It is recommended that you visit a
NISSAN dealer for this service.
After the child restraint is removed and the seat
belt is fully retracted, the ALR mode (child re-
straint mode) is canceled.
1. Top tether strap
2. Anchor point
Installing top tether strap — front
passenger seat (King Cab models)
WARNING
Child restraint anchorages are designed
to withstand only those loads imposed by
correctly fitted child restraints. Under no
circumstances are they to be used to at-
tach adult seat belts or other items or
equipment to the vehicle. Doing so could
damage the child restraint anchorages.
The child restraint will not be properly
installed using the damaged anchorages,
and a child could be seriously injured or
killed in a collision.
The child restraint top tether strap must be used
when installing the child restraint with the seat belts.
First, secure the child restraint with the seat belt.
1. If necessary, raise or remove the head
restraint/headrest to position the top tether
straps over the top of the seatback. If the
head restraint/headrest is removed, store it
in a secure place. Be sure to reinstall the
head restraint/headrest when the child re-
straint is removed. For additional information
about head restraint/headrest adjustment,
removal and installation, refer to “Head
restraints/headrests” in this section.
Forward-facing — step 11
WRS0475
Front passenger seat (King Cab models)
LRS0572
1-64 Safety—Seats, seat belts and supplemental restraint system

2. Position the top tether strap as shown.
3. Secure the tether strap to the tether anchor
point as shown.
4. Tighten the tether strap according to the
manufacturer’s instructions to remove any
slack.
If you have any questions when installing a
top tether strap, it is recommended that
you visit a NISSAN dealer for this service.
1. Top tether strap
2. Routing bracket
3. Tether anchor point
Installing top tether strap — jump seat
(King Cab models)
WARNING
●Do not secure the top tether strap to the
routing bracket. If the child restraint is
not anchored properly, the risk of a
child being injured or killed in a colli-
sion or a sudden stop greatly increases.
●Child restraint anchorages are de-
signed to withstand only those loads
imposed by correctly fitted child re-
straints. Under no circumstances are
they to be used to attach adult seat
belts or other items or equipment to the
vehicle. Doing so could damage the
child restraint anchorages. The child re-
straint will not be properly installed us-
ing the damaged anchorages, and a
child could be seriously injured or killed
in a collision.
The child restraint top tether strap must be used
when installing the child restraint with the seat
belts.
First, secure the child restraint with the seat belt.
1. Pull the cover plate off to access the top
tether strap routing bracket for the jump
seat.
2. Route the top tether strap through the rout-
ing bracket.
3. Secure the top tether strap to the tether
anchor point as shown.
4. Refer back to child restraint installation
steps before tightening the tether strap.
Jump seat (King Cab models)
LRS0561
Safety—Seats, seat belts and supplemental restraint system 1-65

If you have any questions when installing a
top tether strap, it is recommended that
you visit a NISSAN dealer for this service.
BOOSTER SEATS
For additional information on installing a booster
seat in your vehicle, follow the instructions out-
lined in this section.
Precautions on booster seats
WARNING
If a booster seat and seat belt are not used
properly, the risk of a child being injured
or killed in a sudden stop or collision
greatly increases:
– Make sure the shoulder portion of
the belt is away from the child’s face
and neck and the lap portion of the
belt does not cross the stomach.
– Make sure the shoulder belt is not
behind the child or under the child’s
arm.
– A booster seat must only be installed
in a seating position that has a
lap/shoulder belt.
A. Low back booster seat
B. High back booster seat
Booster seats of various sizes are offered by
several manufacturers. When selecting any
booster seat, keep the following points in mind:
●Choose only a booster seat with a label
certifying that it complies with Federal Motor
Vehicle Safety Standard 213 or Canadian
Motor Vehicle Safety Standard 213.
●Check the booster seat in your vehicle to be
sure it is compatible with the vehicle’s seat
and seat belt system.
LRS2479 LRS0453
1-66 Safety—Seats, seat belts and supplemental restraint system

●Make sure the child’s head will be properly
supported by the booster seat or vehicle
seat. The seatback must be at or above the
center of the child’s ears. For example, if a
low back booster seat is chosen, the vehicle
seatback must be at or above the center of
the child’s ears. If the seatback is lower than
the center of the child’s ears, a high back
booster seat should be used.
●If the booster seat is compatible with your
vehicle, place the child in the booster seat
and check the various adjustments to be
sure the booster seat is compatible with the
child. Always follow all recommended pro-
cedures.
All U.S. states and Canadian provinces or
territories require that infants and small
children be restrained in an approved child
restraint at all times while the vehicle is
being operated.
The instructions in this section apply to booster
seat installation in the rear seats or the front
passenger seat.
Booster seat installation — front
passenger seat and rear seat (Crew
Cab models)
WARNING
To avoid injury to child, do not use the
lap/shoulder belt in the Automatic Lock-
ing Retractor (ALR) mode when using a
booster seat with the seat belts.
For additional information, refer to all Warnings
and Cautions in the “Child safety”, “Child re-
straints” and “Booster seats” sections of this
manual before installing a child restraint.
Follow these steps to install a booster seat in the
rear seat or in the front passenger seat:
1. If you must install a booster seat in the
front seat, move the seat to the rear-
most position.
2. Position the booster seat on the seat. Only
place it in a front-facing direction. Always
follow the booster seat manufacturer’s in-
structions.
LRS0464 WRS0699
Safety—Seats, seat belts and supplemental restraint system 1-67

3. The booster seat should be positioned on
the vehicle seat so that it is stable.
If necessary, adjust or remove the head
restraint/headrest to obtain the correct
booster seat fit. If the head
restraint/headrest is removed, store it in a
secure place. Be sure to reinstall the
head restraint/headrest when the
booster seat is removed. For additional
information about head restraint/headrest
adjustment, removal and installation, refer to
“Head restraints/headrests” in this section.
If the seating position does not have an
adjustable head restraint/headrest and it is
interfering with the proper booster seat fit,
try another seating position or a different
booster seat.
4. Position the lap portion of the seat belt low
and snug on the child’s hips. Be sure to
follow the booster seat manufacturer’s in-
structions for adjusting the seat belt routing.
5. Pull the shoulder belt portion of the seat belt
toward the retractor to take up extra slack.
Be sure the shoulder belt is positioned
across the top, middle portion of the child’s
shoulder. Be sure to follow the booster seat
manufacturer’s instructions for adjusting the
seat belt routing.
6. Follow the warnings, cautions and instruc-
tions for properly fastening a seat belt
shown in “Three-point type seat belt with
retractor” in this section.
7. If the booster seat is installed in the front
passenger seat, place the ignition switch in
the ON position. The front passenger air bag
status light may or may not illuminate,
depending on the size of the child and the
type of booster seat being used. For addi-
tional information, refer to “Front passenger
air bag and status light” in this section.
Front passenger position
LRS0454 WRS0475
1-68 Safety—Seats, seat belts and supplemental restraint system

Booster seat installation — jump seat
(King Cab models)
WARNING
●If a child restraint system is not in-
stalled properly, the child could be seri-
ously injured or killed in a sudden stop
or collision.
– For boosters, DO NOT install if the
child restraint system base extends
past the forward edge of the seat
cushion.
– Do not install a child restraint system
on the passenger’s side jump seat
without unfolding the seat extender.
●To avoid injury to child, do not use the
lap/shoulder belt in the Automatic
Locking Retractor (ALR) mode when us-
ing a booster seat with the seat belts.
For additional information, refer to all Warnings
and Cautions in the “Child safety”, “Child re-
straints” and “Booster seats” sections of this
manual before installing a child restraint.
Follow these steps to install a booster seat in the
jump seats:
1. To access the jump seat extension (passen-
ger’s side only) 䊊
Aon the jump seat, pull up
䊊
Bon the extension to unfold it to the open
position. Then unfold the two support legs
䊊
Cand lower the jump seat to the full open
seating position.
LRS2725 LRS2502
Safety—Seats, seat belts and supplemental restraint system 1-69

2. Position the booster seat on the seat. Only
place it in a front-facing direction. Always
follow the booster seat manufacturer’s in-
structions.
3. The booster seat should be positioned on
the vehicle seat so that it is stable.
If necessary, adjust or remove the head
restraint/headrest to obtain the correct
booster seat fit. If the head
restraint/headrest is removed, store it in a
secure place. Be sure to reinstall the
head restraint/headrest when the
booster seat is removed. For additional
information about head restraint/headrest
adjustment, removal and installation, refer to
“Head restraint/headrest” in this section.
If the seating position does not have an
adjustable head restraint/headrest and it is
interfering with the proper booster seat fit,
try another seating position or a different
booster seat.
4. Position the lap portion of the seat belt low
and snug on the child’s hips. Be sure to
follow the booster seat manufacturer’s in-
structions for adjusting the seat belt routing.
5. Pull the shoulder belt portion of the seat belt
toward the retractor to take up extra slack.
Be sure the shoulder belt is positioned
across the top, middle portion of the child’s
shoulder. Be sure to follow the booster seat
manufacturer’s instructions for adjusting the
seat belt routing.
6. Follow the warnings, cautions and instruc-
tions for properly fastening a seat belt
shown in “Three-point type seat belt with
retractor” in this section.
7. If the booster seat is installed in the front
passenger seat, place the ignition switch in
the ON position. The front passenger air bag
status light may or may not illuminate,
depending on the size of the child and the
type of booster seat being used. For addi-
tional information, refer to “Front passenger
air bag and status light” in this section.
LRS0539 WRS0475
1-70 Safety—Seats, seat belts and supplemental restraint system
PRECAUTIONS ON SRS
This SRS section contains important information
concerning the following systems:
●Driver and front passenger supplemental
front-impact air bag (NISSAN Advanced Air
Bag System)
●Front seat-mounted side-impact supple-
mental air bag
●Roof-mounted curtain side-impact and roll-
over supplemental air bag
●Seat belt with pretensioner(s) (front seats)
Supplemental front-impact air bag system
The NISSAN Advanced Air Bag System can help
cushion the impact force to the head and chest of
the driver and front passenger in certain frontal
collisions.
Front seat-mounted side-impact supple-
mental air bag system
This system can help cushion the impact force to
the chest area of the driver and front passenger in
certain side-impact collisions. The side air bags
are designed to inflate on the side where the
vehicle is impacted.
Roof-mounted curtain side-impact and
rollover supplemental air bag system
This system can help cushion the impact force to
the head of occupants in front and rear outboard
seating positions in certain side-impact or roll-
over collisions. In a side-impact, the curtain air
bags are designed to inflate on the side where
the vehicle is impacted. In a rollover, the curtain
air bags are designed to inflate and remain in-
flated for a short time.
The SRS is designed to supplement the crash
protection provided by the seat belts and is not a
substitute for them. Seat belts should always be
correctly worn and the occupant seated a suit-
able distance away from the steering wheel, in-
strument panel and door finishers. For additional
information about instructions and precautions
on seat belt usage, refer to “Seat belts” in this
section.
The supplemental air bags operate only
when the ignition switch is in the ON or
START position.
After placing the ignition switch in the ON
position, the supplemental air bag warning
light illuminates. The supplemental air bag
warning light will turn off after about 7 sec-
onds if the system is operational.
SUPPLEMENTAL RESTRAINT
SYSTEM (SRS)
Safety—Seats, seat belts and supplemental restraint system 1-71

WARNING
●The front air bags ordinarily will not
inflate in the event of a side impact, rear
impact, rollover, or lower severity fron-
tal collision. Always wear your seat
belts to help reduce the risk or severity
of injury in various kinds of accidents.
●The front passenger air bag will not
inflate if the passenger air bag status
light is lit or if the front passenger seat
is unoccupied. For additional informa-
tion, refer to “Front passenger air bag
and status light” in this section.
●The seat belts and the front air bags are
most effective when you are sitting well
back and upright in the seat. The front
air bags inflate with great force. Even
with the NISSAN Advanced Air Bag Sys-
tem, if you are unrestrained, leaning
forward, sitting sideways or out of posi-
tion in any way, you are at greater risk of
injury or death in a crash. You may also
receive serious or fatal injuries from the
front air bag if you are up against it
when it inflates. Always sit back against
the seatback and as far away as practi-
cal from the steering wheel or instru-
ment panel. Always properly use the
seat belts.
●The driver and front passenger seat belt
buckles are equipped with sensors that
detect if the seat belts are fastened. The
NISSAN Advanced Air Bag System
monitors the severity of a collision and
seat belt usage, then inflates the air
bags as needed. Failure to properly
wear seat belts can increase the risk or
severity of injury in an accident.
●The front passenger seat is equipped
with an occupant classification sensor
(pressure sensor) that turns the front
passenger air bag OFF under some con-
ditions. This sensor is only used in this
seat. Failure to be properly seated and
wearing the seat belt can increase the
risk or severity of injury in an accident.
For additional information, refer to
“Front passenger air bag and status
light” in this section.
●Keep hands on the outside of the steer-
ing wheel. Placing them inside the
steering wheel rim could increase the
risk that they are injured when the front
air bag inflates.
WRS0031
1-72 Safety—Seats, seat belts and supplemental restraint system

WARNING
●Never let children ride unrestrained or
extend their hands or face out of the
window. Do not attempt to hold them in
your lap or arms. Some examples of
dangerous riding positions are shown
in the illustrations.
ARS1133 ARS1041
Safety—Seats, seat belts and supplemental restraint system 1-73

WARNING
●Children may be severely injured or
killed when the front air bags, side air
bags or curtain air bags inflate if they
are not properly restrained. Pre-teens
and children should be properly re-
strained in the rear seat, if possible.
ARS1042 ARS1043 ARS1044
1-74 Safety—Seats, seat belts and supplemental restraint system

WARNING
●Even with the NISSAN Advanced Air
Bag System, never install a rear-facing
child restraint in the front seat. An in-
flating front air bag could seriously in-
jure or kill your child. For additional
information, refer to “Child restraints”
in this section.
WARNING
Front seat-mounted side-impact supple-
mental air bags and roof-mounted curtain
side-impact and rollover supplemental air
bags:
●The side air bags and curtain air bags
ordinarily will not inflate in the event of
a frontal impact, rear impact, or lower
severity side collision. Always wear
your seat belts to help reduce the risk or
severity of injury in various kinds of
accidents.
ARS1045 WRS0256
Do not lean against the door.
WRS0431
Safety—Seats, seat belts and supplemental restraint system 1-75

WARNING
●The seat belts, the side air bags and
curtain air bags are most effective when
you are sitting well back and upright in
the seat. The side air bag and curtain air
bag inflate with great force. Do not al-
low anyone to place their hand, leg or
face near the side air bag on the side of
the seatback of the front seat or near
the side roof rails. Do not allow anyone
sitting in the front seats or rear out-
board seats to extend their hand out of
the window or lean against the door.
Some examples of dangerous riding
positions are shown in the previous
illustrations.
Do not lean against doors or windows.
LRS0396
Do not lean against doors or windows.
SSS0162
1-76 Safety—Seats, seat belts and supplemental restraint system

WARNING
●When sitting in the rear seat, do not
hold onto the seatback of the front seat.
If the side air bag inflates, you may be
seriously injured. Be especially careful
with children, who should always be
properly restrained. Some examples of
dangerous riding positions are shown
in the illustrations.
●Do not use seat covers on the front
seatbacks. They may interfere with side
air bag inflation.
LRS0421 SSS0159
Safety—Seats, seat belts and supplemental restraint system 1-77

NISSAN Advanced Air Bag System
(front seats)
1. Roof-mounted curtain side-impact and
rollover supplemental air bag inflators
2. Seat belt with pretensioner(s) (front seats)
3. Front seat-mounted side-impact
supplemental air bag module
4. Roof-mounted curtain side-impact and
rollover supplemental air bags
5. Seat belt buckle switches
6. Air bag Control Unit (ACU)
7. Supplemental front-impact air bag modules
8. Crash zone sensor
9. Occupant classification system control unit
10. Occupant classification sensor
(pressure sensor)
11. Satellite sensors
This vehicle is equipped with the NISSAN Ad-
vanced Air Bag System for the driver and front
passenger seats. This system is designed to
meet certification requirements under U.S. regu-
lations. It is also permitted in Canada. However,
LRS2861
1-78 Safety—Seats, seat belts and supplemental restraint system
all of the information, cautions and warn-
ings in this manual still apply and must be
followed.
The driver supplemental front-impact air bag is
located in the center of the steering wheel. The
front passenger supplemental front-impact air
bag is mounted in the dashboard above the glove
box. The front air bags are designed to inflate in
higher severity frontal collisions, although they
may inflate if the forces in another type of collision
are similar to those of a higher severity frontal
impact. They may not inflate in certain frontal
collisions. Vehicle damage (or lack of it) is not
always an indication of proper front air bag sys-
tem operation.
The NISSAN Advanced Air Bag System monitors
information from the crash zone sensor, the Air
bag Control Unit (ACU), seat belt buckle sen-
sors, occupant classification sensor (pressure
sensor) and passenger seat belt tension sensor.
Inflator operation is based on the severity of a
collision and seat belt usage for the driver. For the
front passenger, it additionally monitors the
weight of an occupant or object on the seat and
seat belt tension. Based on information from the
sensors, only one front air bag may inflate in a
crash, depending on the crash severity and
whether the front occupants are belted or un-
belted. Additionally, the front passenger air bag
may be automatically turned off under some con-
ditions, depending on the weight detected on the
front passenger seat and how the seat belt is
used. If the front passenger air bag is OFF, the
front passenger air bag status light will be illumi-
nated (if the seat is unoccupied, the light will not
be illuminated, but the air bag will be off). For
additional information, refer to “Front passenger
air bag and status light” in this section. One front
air bag inflating does not indicate improper per-
formance of the system.
If you have any questions about your air bag
system, it is recommended that you visit a
NISSAN dealer to obtain information about the
system. If you are considering modification of
your vehicle due to a disability, you may also
contact NISSAN. Contact information is con-
tained in the front of this Owner’s Manual.
When a front air bag inflates, a fairly loud noise
may be heard, followed by the release of smoke.
This smoke is not harmful and does not indicate a
fire. Care should be taken to not inhale it, as it may
cause irritation and choking. Those with a history
of a breathing condition should get fresh air
promptly.
Front air bags, along with the use of seat belts,
help to cushion the impact force on the face and
chest of the front occupants. They can help save
lives and reduce serious injuries. However, an
inflating front air bag may cause facial abrasions
or other injuries. Front air bags do not provide
restraint to the lower body.
Even with NISSAN Advanced Air Bags, seat
belts should be correctly worn and the driver and
front passenger seated upright as far as practical
away from the steering wheel or instrument
panel. The front air bags inflate quickly in order to
help protect the front occupants. Because of this,
the force of the front air bag inflating can increase
the risk of injury if the occupant is too close to, or
is against, the front air bag module during infla-
tion.
The front air bags deflate quickly after a collision.
The front air bags operate only when the
ignition switch is in the ON or START posi-
tion.
After placing the ignition switch in the ON
position, the supplemental air bag warning
light illuminates. The supplemental air bag
warning light will turn off after about 7 sec-
onds if the system is operational.
Safety—Seats, seat belts and supplemental restraint system 1-79

Front passenger air bag and status light
WARNING
The front passenger air bag is designed to
automatically turn OFF under some condi-
tions. Read this section carefully to learn
how it operates. Proper use of the seat,
seat belt and child restraints is necessary
for most effective protection. Failure to
follow all instructions in this manual con-
cerning the use of seats, seat belts and
child restraints can increase the risk or
severity of injury in an accident.
Status light
The front passenger air bag status light is
located near the climate controls. After the igni-
tion switch is placed in the ⬙ON⬙position, the
front passenger air bag status light on the instru-
ment panel illuminates for about 7 seconds and
then turns off or remains illuminated depending
on the front passenger seat occupied status. The
light operates as follows:
●Unoccupied front passenger’s seat:
The light is OFF and the front passen-
ger air bag is OFF and will not inflate in a
crash.
●Front passenger’s seat occupied by a small
adult, child or child restraint as outlined in
this section: The light illuminates to
indicate that the front passenger air bag is
OFF and will not inflate in a crash.
●Occupied front passenger seat and the pas-
senger meet the conditions outlined in this
section: The light is OFF to indicate
that the front passenger air bag is opera-
tional.
Front passenger air bag
The front passenger air bag is designed to auto-
matically turn OFF when the vehicle is operated
under some conditions as described below in
accordance with U.S. regulations. If the front
passenger air bag is OFF it will not inflate in a
crash. The driver air bag and other air bags in your
vehicle are not part of this system.
The purpose of the regulation is to help reduce
the risk of injury or death from an inflating air bag
to certain front passenger seat occupants, such
as children, by requiring the air bag to be auto-
matically turned OFF. Certain sensors are used to
meet the requirements.
One sensor used is the occupant classification
sensor (pressure sensor). It is in the bottom of the
front passenger seat cushion and is designed to
detect an occupant and objects on the seat by
weight. It works together with seat belt sensors
described in this section. For example, if a child is
in the front passenger seat, the NISSAN Ad-
vanced Air Bag System is designed to turn the
front passenger air bag OFF in accordance with
the regulations. Also, if a child restraint of the type
specified in the regulations is on the seat, its
weight and the child’s weight can be detected
and cause the air bag to turn OFF. Occupant
classification sensor operation can vary depend-
ing on the front passenger seat belt sensors.
The front passenger seat belt sensors are de-
signed to detect if the seat belt is buckled and the
amount of tension on the seat belt, such as when
it is in the Automatic Locking Retractor (ALR)
mode (child restraint mode). Based on the
WRS0475
1-80 Safety—Seats, seat belts and supplemental restraint system
weight on the seat detected by the occupant
classification sensor and the belt tension de-
tected on the seat belt, the NISSAN Advanced
Air Bag System determines whether the front
passenger air bag should be automatically turned
OFF as required by the regulations.
Front passenger seat adult occupants who are
properly seated and using the seat belt as out-
lined in this manual should not cause the front
passenger air bag to be automatically turned
OFF. For small adults it may be turned OFF,
however, if the occupant does not sit in the seat
properly (for example, by not sitting upright, by
sitting on an edge of the seat, or by otherwise
being out of position), this could cause the sen-
sor to turn the air bag OFF. In addition, if the
occupant improperly uses the seat belt in the
ALR mode, this could cause the air bag to be
turned OFF. Always be sure to be seated and
wearing the seat belt properly for the most effec-
tive protection by the seat belt and supplemental
air bag.
NISSAN recommends that pre-teens and chil-
dren be properly restrained in a rear seat.
NISSAN also recommends that appropriate child
restraints and booster seats be properly installed
in a rear seat. If this is not possible, the occupant
classification sensor and seat belt sensors are
designed to operate as described above to turn
the front passenger air bag OFF for specified
child restraints as required by the regulations.
Failing to properly secure child restraints and to
use the ALR mode may allow the restraint to tip or
move in a collision or sudden stop. This can also
result in the passenger air bag inflating in a crash
instead of being OFF. For additional information
about proper use and installation, refer to “Child
restraints” in this section.
If the front passenger seat is not occupied, the
front passenger air bag is designed not to inflate
in a crash. However, heavy objects placed on the
seat could result in air bag inflation, because of
the object’s weight detected by the occupant
classification sensor. Other conditions could also
result in air bag inflation, such as if a child is
standing on the seat, or if two children are on the
seat, contrary to the instructions in this manual.
Always be sure that you and all vehicle occupants
are seated and restrained properly.
Using the front passenger air bag status light, you
can monitor when the front passenger air bag is
automatically turned OFF with the seat occupied.
The light will not illuminate when the front pas-
senger seat is unoccupied.
If an adult occupant is in the seat but the front
passenger air bag status light is illuminated (indi-
cating that the air bag is OFF), it could be that the
person is a small adult, or is not sitting on the seat
properly or not using the seat belt properly.
If a child restraint must be used in the front seat,
the front passenger air bag status light may or
may not be illuminated, depending on the size of
the child and the type of child restraint being
used. If the air bag status light is not illuminated
(indicating that the air bag might inflate in a
crash), it could be that the child restraint or seat
belt is not being used properly. Make sure that
the child restraint is installed properly, the seat
belt is used properly and the occupant is posi-
tioned properly. If the air bag status light is not
illuminated, reposition the occupant or child re-
straint in a rear seat.
If the front passenger air bag status light will not
illuminate even though you believe that the child
restraint, the seat belts and the occupant are
properly positioned, the system may be sensing
an unoccupied seat (in which case the air bag is
OFF). A NISSAN dealer can check that the sys-
tem is OFF by using a special tool. However, until
you have confirmed with a dealer that your air bag
is working properly, reposition the occupant or
child restraint in a rear seat.
The NISSAN Advanced Air Bag System and front
passenger air bag status light will take a few
seconds to register a change in the passenger
seat status. For example, if a large adult who is
sitting in the front passenger seat exits the ve-
hicle, the front passenger air bag status light will
go from OFF to ON for a few seconds and then to
Safety—Seats, seat belts and supplemental restraint system 1-81

OFF. This is normal system operation and does
not indicate a malfunction.
If a malfunction occurs in the front passenger air
bag system, the supplemental air bag warning
light , located in the meter and gauges area
of the instrument panel, will blink. Have the sys-
tem checked. It is recommended that you visit a
NISSAN dealer for this service.
Other supplemental front-impact air bag
precautions
WARNING
●Do not place any objects on the steering
wheel pad or on the instrument panel.
Also, do not place any objects between
any occupant and the steering wheel or
instrument panel. Such objects may be-
come dangerous projectiles and cause
injury if the front air bags inflate.
●Immediately after inflation, several
front air bag system components will be
hot. Do not touch them; you may se-
verely burn yourself.
●No unauthorized changes should be
made to any components or wiring of
the supplemental air bag system. This is
to prevent accidental inflation of the
supplemental air bag or damage to the
supplemental air bag system.
●Do not make unauthorized changes to
your vehicle’s electrical system, sus-
pension system or front end structure.
This could affect proper operation of
the front air bag system.
●Tampering with the front air bag system
may result in serious personal injury.
Tampering includes changes to the
steering wheel and the instrument
panel assembly by placing material
over the steering wheel pad and above
the instrument panel or by installing
additional trim material around the air
bag system.
●Modifying or tampering with the front
passenger seat may result in serious
personal injury. For example, do not
change the front seats by placing mate-
rial on the seat cushion or by installing
additional trim material, such as seat
covers, on the seat that are not specifi-
cally designed to assure proper air bag
operation. Additionally, do not stow any
objects under the front passenger seat
or the seat cushion and seatback. Such
objects may interfere with the proper
operation of the occupant classification
sensor (pressure sensor).
●No unauthorized changes should be
made to any components or wiring of
the seat belt system. This may affect the
front air bag system. Tampering with
the seat belt system may result in seri-
ous personal injury.
1-82 Safety—Seats, seat belts and supplemental restraint system

●It is recommended that you visit a
NISSAN dealer for work on and around
the front air bag. It is also recom-
mended that you visit a NISSAN dealer
for installation of electrical equipment.
The Supplemental Restraint System
(SRS) wiring harnesses* should not be
modified or disconnected. Unauthor-
ized electrical test equipment and prob-
ing devices should not be used on the
air bag system.
●A cracked windshield should be re-
placed immediately by a qualified repair
facility. A cracked windshield could af-
fect the function of the supplemental air
bag system.
*The SRS wiring harness connectors are
yellow and orange for easy identification.
When selling your vehicle, we request that you
inform the buyer about the front air bag system
and guide the buyer to the appropriate sections
in this Owner’s Manual.
Front seat-mounted side-impact
supplemental air bag and roof-
mounted curtain side-impact and
rollover supplemental air bag systems
The side air bags are located in the outside of the
seatback of the front seats. The curtain air bags
are located in the side roof rails. All of the
information, cautions and warnings in this
manual apply and must be followed. The
side air bags and curtain air bags are designed to
inflate in higher severity side collisions, although
they may inflate if the forces in another type of
collision are similar to those of a higher severity
impact. They are designed to inflate on the side
where the vehicle is impacted. They may not
inflate in certain side collisions.
Curtain air bags are also designed to inflate in
certain types of rollover collisions or near roll-
overs. As a result, certain vehicle movements (for
example, during severe off-roading) may cause
the curtain air bags to inflate.
Vehicle damage (or lack of it) is not always an
indication of proper side air bag and curtain air
bag operation.
When the side air bags and curtain air bags
inflate, a fairly loud noise may be heard, followed
by release of smoke. This smoke is not harmful
and does not indicate a fire. Care should be taken
not to inhale it, as it may cause irritation and
choking. Those with a history of a breathing con-
dition should get fresh air promptly.
Side air bags, along with the use of seat belts,
help to cushion the impact force on the chest and
pelvic area of the front occupants. Curtain air
bags help to cushion the impact force to the head
of occupants in the front and rear outboard seat-
ing positions. They can help save lives and re-
duce serious injuries. However, an inflating side
air bag or curtain air bag may cause abrasions or
other injuries. Side air bags and curtain air bags
do not provide restraint to the lower body.
LRS2501
Safety—Seats, seat belts and supplemental restraint system 1-83

The seat belts should be correctly worn and the
driver and passenger seated upright as far as
practical away from the side air bag. Rear seat
passengers should be seated as far away as
practical from the door finishers and side roof
rails. The side air bags and curtain air bags inflate
quickly in order to help protect the occupants.
Because of this, the force of the side air bag and
curtain air bag inflating can increase the risk of
injury if the occupant is too close to, or is against,
these air bag modules during inflation. The side
air bag will deflate quickly after the collision is
over.
The curtain air bags will remain inflated for a short
time.
The side air bags and curtain air bags op-
erate only when the ignition switch is in the
ON or START position.
After placing the ignition switch in the ON
position, the supplemental air bag warning
light illuminates. The supplemental air bag
warning light will turn off after about 7 sec-
onds if the system is operational.
WARNING
●Do not place any objects near the seat-
back of the front seats. Also, do not
place any objects (an umbrella, bag,
etc.) between the front door finisher
and the front seat. Such objects may
become dangerous projectiles and
cause injury if a side air bag inflates.
●Right after inflation, several side air bag
and curtain air bag system components
will be hot. Do not touch them; you may
severely burn yourself.
●No unauthorized changes should be
made to any components or wiring of
the side air bag and curtain air bag
systems. This is to prevent damage to or
accidental inflation of the side air bag
and curtain air bag systems.
●Do not make unauthorized changes to
your vehicle’s electrical system, sus-
pension system or side panel. This
could affect proper operation of the cur-
tain air bag systems.
●Tampering with the side air bag system
may result in serious personal injury.
For example, do not change the front
seats by placing material near the seat-
backs or by installing additional trim
material, such as seat covers, around
the side air bag.
●It is recommended that you visit a
NISSAN dealer for work on and around
the side air bag and curtain air bag. It is
also recommended that you visit a
NISSAN dealer for installation of elec-
trical equipment. The SRS wiring har-
nesses* should not be modified or dis-
connected. Unauthorized electrical test
equipment and probing devices should
not be used on the side air bag or cur-
tain air bag systems.
* The SRS wiring harness or connectors are
yellow or orange for easy identification.
When selling your vehicle, we request that you
inform the buyer about the side air bag and
curtain air bag systems and guide the buyer to
the appropriate sections in this Owner’s Manual.
1-84 Safety—Seats, seat belts and supplemental restraint system

Seat belt with pretensioner(s) (front
seats)
WARNING
●The pretensioner(s) cannot be reused
after activation. They must be replaced
together with the retractor and buckle
as a unit.
●If the vehicle becomes involved in a
collision but pretensioner(s) are not ac-
tivated, be sure to have the preten-
sioner system checked and, if neces-
sary, replaced. It is recommended that
you visit a NISSAN dealer for this
service.
●No unauthorized changes should be
made to any components or wiring of
the pretensioner system. This is to pre-
vent damage to or accidental activation
of the pretensioner(s). Tampering with
the pretensioner system may result in
serious personal injury.
●It is recommended that you visit a
NISSAN dealer for work on and around
the pretensioner system. It is also rec-
ommended that you visit a NISSAN
dealer for installation of electrical
equipment. Unauthorized electrical test
equipment and probing devices should
not be used on the pretensioner system.
●If you need to dispose of the preten-
sioner(s) or scrap the vehicle, it is rec-
ommended that you visit a NISSAN
dealer for this service. Incorrect dis-
posal procedures could cause personal
injury.
The pretensioner system may activate with the
supplemental air bag system in certain types of
collisions. Working with the seat belt retractor,
the pretensioner(s) help tighten the seat belt
when the vehicle becomes involved in certain
types of collisions, helping to restrain front seat
occupants.
The pretensioner(s) are encased within the seat
belt retractor and to the seat belt anchor affixed
to the floor of the vehicle. These seat belts are
used the same way as conventional seat belts.
When pretensioner(s) activate, smoke is re-
leased and a loud noise may be heard. This
smoke is not harmful and does not indicate a fire.
Care should be taken not to inhale it, as it may
cause irritation and choking. Those with a history
of a breathing condition should get fresh air
promptly.
After the pretensioner(s’) activation, load limiters
allow the seat belt to release webbing (if neces-
sary) to reduce forces against the chest.
The supplemental air bag warning light is
used to indicate malfunctions in the pretensioner
system. For additional information, refer to
⬙Supplemental air bag warning light⬙in this sec-
tion. If the operation of the supplemental air bag
warning light indicates there is a malfunction,
have the system checked. It is recommended that
you visit a NISSAN dealer for this service.
When selling your vehicle, we request that you
inform the buyer about the pretensioner system
and guide the buyer to the appropriate sections
in this Owner’s Manual.
Safety—Seats, seat belts and supplemental restraint system 1-85

1. SRS Air bag warning labels
The warning labels are located on the sur-
face of the sun visor.
SUPPLEMENTAL AIR BAG
WARNING LABELS
Warning labels about the supplemental front-
impact air bag system are placed in the vehicle as
shown in the illustration.
WARNING
Do not use a rear-facing child restraint on
a seat protected by an air bag in front of it.
If the air bag deploys, it may cause serious
injury or death.
SUPPLEMENTAL AIR BAG
WARNING LIGHT
The supplemental air bag warning light,
displaying in the instrument panel, moni-
tors the circuits for the air bag systems, preten-
sioner(s) and all related wiring.
When the ignition switch is placed in the ON or
START position, the supplemental air bag warn-
ing light illuminates for about 7 seconds and then
turns off. This means the system is operational.
WRS0885 LRS0100
1-86 Safety—Seats, seat belts and supplemental restraint system

If any of the following conditions occur, the front
air bag, side air bag, curtain air bag and preten-
sioner systems need servicing:
●The supplemental air bag warning light re-
mains on after approximately 7 seconds.
●The supplemental air bag warning light
flashes intermittently.
●The supplemental air bag warning light does
not come on at all.
Under these conditions, the front air bag, side air
bag, curtain air bag or pretensioner systems may
not operate properly. They must be checked and
repaired. It is recommended that you visit a
NISSAN dealer for this service.
WARNING
If the supplemental air bag warning light
is on, it could mean that the front air bag,
side air bag, curtain air bag and/or preten-
sioner systems will not operate in an acci-
dent. To help avoid injury to yourself or
others, have your vehicle checked as soon
as possible. It is recommended that you
visit a NISSAN dealer for this service.
Repair and replacement procedure
The front air bags, side air bags, curtain air bags
and pretensioner(s) are designed to inflate on a
one-time-only basis. As a reminder, unless it is
damaged, the supplemental air bag warning light
remains illuminated after inflation has occurred.
These systems should be repaired and/or re-
placed as soon as possible. It is recommended
that you visit a NISSAN dealer for this service.
When maintenance work is required on the ve-
hicle, the front air bags, side air bags, curtain air
bags, pretensioner(s) and related parts should be
pointed out to the person performing the mainte-
nance. The ignition switch should always be
placed in the LOCK position when working under
the hood or inside the vehicle.
WARNING
●Once a front air bag, side air bag, or
curtain air bag has inflated, the air bag
module will not function again and
must be replaced. Additionally, the acti-
vated pretensioner(s) must also be re-
placed. The air bag module and preten-
sioner(s) should be replaced. It is
recommended that you visit a NISSAN
dealer for this service. However, the air
bag module and pretensioner(s) cannot
be repaired.
●The front air bag, side air bag, curtain
air bag systems and the pretensioner
system should be inspected if there is
any damage to the front end or side
portion of the vehicle. It is recom-
mended that you visit a NISSAN dealer
for this service.
●If you need to dispose of the supple-
mental air bag or pretensioner systems
or scrap the vehicle, it is recommended
that you visit a NISSAN dealer. Incorrect
disposal procedures could cause per-
sonal injury.
●If there is an impact to your vehicle from
any direction, your Occupant Classifica-
tion Sensor (OCS) should be checked to
verify it is still functioning correctly. It is
recommended that you visit a NISSAN
dealer for this service. The OCS should
be checked even if no air bags deploy as
a result of the impact. Failure to verify
proper OCS function may result in an
improper air bag deployment resulting
in injury or death.
Safety—Seats, seat belts and supplemental restraint system 1-87
2 Instruments and controls
Instrument panel...................................2-2
Meters and gauges ................................2-3
Speedometer and odometer .....................2-4
Tachometer ....................................2-6
Engine coolant temperature gauge ...............2-6
Fuel gauge ....................................2-7
Engine oil pressure gauge (if so equipped) ........2-8
Voltmeter (if so equipped) .......................2-8
Trip computer (if so equipped) ...................2-9
Compass and outside temperature display
(if so equipped) ..................................2-10
Outside temperature display ....................2-10
Compass .....................................2-11
Warning lights, indicator lights and audible
reminders........................................2-14
Checking lights ...............................2-15
Warning lights ................................2-15
Indicator lights ................................2-20
Audible reminders .............................2-24
Security systems (if so equipped) ..................2-24
Vehicle security system (if so equipped)..........2-25
NISSAN vehicle immobilizer system
(if so equipped) ...............................2-26
Wiper and washer switch .........................2-27
Switch operation ..............................2-28
Rear window or outside mirror defroster switch
(if so equipped) ..................................2-28
Headlight and turn signal switch....................2-29
Headlight control switch........................2-29
Daytime Running Light (DRL) system
(if so equipped) ...............................2-32
Instrument brightness control ...................2-32
Turn signal switch .............................2-33
Fog light switch (if so equipped) ................2-33
Horn ............................................2-33
Cargo lamp switch................................2-34
Heated seat switches (if so equipped) ..............2-34
Vehicle Dynamic Control (VDC) off switch...........2-35
Hill descent control switch (if so equipped)..........2-36
Electronic locking rear differential (E-Lock) system
switch (if so equipped) ............................2-37
Clutch interlock (clutch start) switch
(if so equipped) ..................................2-38
Rear sonar system off switch (if so equipped)........2-38
Power outlets ....................................2-39
Storage .........................................2-40
Front-door pocket .............................2-40
Seatback pocket (if so equipped) . . .............2-41

Under-seat storage bins........................2-42
Storage trays .................................2-43
Glove box ....................................2-44
Console box ..................................2-45
Overhead sunglasses storage
(if so equipped) ...............................2-45
Cup holders ..................................2-46
Roof rack (if so equipped) ......................2-48
Windows ........................................2-49
Manual windows (if so equipped)................2-49
Power windows (if so equipped) ................2-49
Rear sliding window (if so equipped) ............2-52
Moonroof (if so equipped) .........................2-52
Power moonroof...............................2-52
Interior lights .....................................2-53
Map lights (if so equipped) .....................2-55
HomeLink® universal transceiver (if so equipped) ....2-55
Programming HomeLink® ......................2-56
Programming HomeLink® for Canadian
customers and gate openers....................2-57
Operating the HomeLink® Universal
Transceiver ...................................2-57
Programming trouble-diagnosis .................2-58
Clearing the programmed information ............2-58
Reprogramming a single HomeLink® button......2-58
If your vehicle is stolen .........................2-59

1. Vents (P. 4-16)
2. Headlight/fog light (if so equipped)/turn
signal switch (P. 2-29)
3. Steering wheel switch for audio control
(if so equipped) (P. 4-76)
Bluetooth® Hands-Free Phone System
(if so equipped) (P. 4-73, 4-93)
4. Driver supplemental air bag (P. 1-71)
Horn (P. 2-33)
5. Meters and gauges (P. 2-3)
Warning and indicator lights (P. 2-14)
6. Cruise control main/set switches (if so
equipped) (P. 5-21)
7. Wiper and washer switch (P. 2-27)
8. Storage (P. 2-40)
9. Audio system (if so equipped) (P. 4-40)
10. Front passenger supplemental air bag
(P. 1-71)
11. Upper and lower glove box (P. 2-44)
12. Passenger air bag status light (P. 1-80)
13. USB connection port (if so equipped)
(P. 4-40)
AUX input (if so equipped) (P. 4-40)
14. Power outlets (P. 2-39)
LII2484
INSTRUMENT PANEL
2-2 Instruments and controls

15. Electronic locking rear differential
(E-Lock) system switch
(if so equipped) (P. 2-37)
Heated seat switch (if so equipped)
(P. 2-34)
Rear sonar switch (if so equipped)
(P. 2-38)
Vehicle Dynamic Control (VDC) OFF
switch (P. 2-35)
16. Shift lever (P. 5-14)
17. 4WD shift switch (if so equipped)
(P. 5-25)
18. Climate controls (P. 4-17)
19. Hazard warning flasher switch (P. 6-2)
20. Ignition switch (P. 5-10)
21. Tilt steering wheel control (if so
equipped) (P. 3-13)
22. Cargo lamp switch (P. 2-34)
Clutch interlock (clutch start) switch
(if so equipped) (P. 2-38)
Hill descent control switch
(if so equipped) (P. 2-36)
Outside mirror controls (if so equipped)
(P. 3-15)
1. Warning and indicator lights
2. Tachometer
3. Speedometer
4. Fuel gauge
5. Change/reset button
6. Voltmeter (if so equipped)
7. Odometer
Twin trip odometer
Trip computer (if so equipped)
8. Engine oil pressure gauge
(if so equipped)
9. Engine coolant temperature gauge
LIC3327
METERS AND GAUGES
Instruments and controls 2-3

SPEEDOMETER AND ODOMETER
This vehicle is equipped with a speedometer and
odometer. The speedometer is located on the
right side or in the center of the meter cluster. The
odometer is located within the trip computer.
Speedometer
The speedometer indicates vehicle speed.
Odometer/Twin trip odometer
The odometer/twin trip odometer is displayed
when the ignition switch is placed in the ON
position.
The odometer records the total distance the ve-
hicle is driven.
The twin trip odometer records the distance of
individual trips.
Changing the display
For vehicles equipped with twin trip odometer,
pressing the change/reset button changes the
display as follows:
Trip →Trip →Trip
LIC3629
With twin trip odometer
LIC0780
2-4 Instruments and controls

For vehicles equipped with trip computer, press-
ing the change/reset button changes the display
as follows:
Trip →Trip →Distance to Empty →
Average speed →Average fuel consumption →
Journey time →Trip
For additional information, refer to “Trip com-
puter” in this section.
Resetting the trip odometer
Pressing the change/reset button for more than
1 second resets the currently displayed trip
odometer to zero.
Loose fuel cap warning message
Press the change/reset button 䊊
Afor more than
1 second to reset the LOOSE FUEL CAP warn-
ing message after the fuel cap has been tight-
ened. For additional information, refer to “Fuel-
filler cap” in the “Pre-driving checks and
adjustments” section of this manual.
Check tire pressure warning message
The CHECK TIRE PRES (pressure) warning
message is displayed when the low tire pressure
warning light is illuminated and low tire pressure
is detected. Check and adjust the tire pressure to
the recommended COLD tire pressure shown on
the Tire and Loading Information label. The
CHECK TIRE PRES (pressure) warning mes-
sage turns off when the low tire pressure warning
light turns off.
The low tire pressure warning light remains illu-
minated until the tires are inflated to the recom-
mended COLD tire pressure. The CHECK TIRE
PRES (pressure) warning message is displayed
With trip computer
WIC0922 LRS2004 LIC3328
Instruments and controls 2-5

each time the ignition switch is placed in the ON
position as long as the low tire pressure warning
light remains illuminated. For additional informa-
tion, refer to “Low tire pressure warning light” in
this section, “Tire Pressure Monitoring System
(TPMS)” in the “Starting and driving” section, and
“Wheels and tires” in the “Do-it-yourself” section
of this manual.
TACHOMETER
The tachometer indicates engine speed in revo-
lutions per minute (rpm).
Do not rev the engine into the red zone 䊊
1.
CAUTION
When engine speed approaches the red
zone, shift to a higher gear or reduce en-
gine speed. Operating the engine in the
red zone may cause serious engine
damage.
ENGINE COOLANT TEMPERATURE
GAUGE
The gauge indicates the engine coolant tempera-
ture. The engine coolant temperature is within the
normal range 䊊
1when the gauge needle points
within the zone shown in the illustration.
The engine coolant temperature varies with the
outside air temperature and driving conditions.
LIC0738 LIC0739
2-6 Instruments and controls

CAUTION
If the gauge indicates coolant tempera-
ture near the hot (H) end of the normal
range, reduce vehicle speed to decrease
temperature. If the gauge is over the nor-
mal range, stop the vehicle as soon as
safely possible. If the engine is over-
heated, continued operation of the vehicle
may seriously damage the engine. For ad-
ditional information, refer to “If your ve-
hicle overheats” in the “In case of emer-
gency” section of this manual for
immediate action required.
FUEL GAUGE
The gauge indicates the approximate fuel level
in the tank.
The gauge may move slightly during braking,
turning, acceleration, or going up or down hills.
The gauge needle returns to 0 (Empty) after the
ignition switch is placed in the OFF position.
The low fuel warning light comes on when the
amount of fuel in the tank is getting low.
Refill the fuel tank before the gauge regis-
ters 0 (Empty).
The indicates that the fuel-filler door is
located on the driver’s side of the vehicle.
CAUTION
●If the vehicle runs out of fuel, the
Malfunction Indicator Light (MIL) may
come on. Refuel as soon as possible.
After a few driving trips. the light
should turn off. If the light remains on
after a few driving trips, have the vehicle
inspected. It is recommended that you
visit a NISSAN dealer for this service.
●For additional information, refer to
“Malfunction Indicator Light (MIL)” in
this section.
LIC1060
Instruments and controls 2-7

ENGINE OIL PRESSURE GAUGE (if
so equipped)
The gauge indicates the engine lubrication sys-
tem oil pressure while the engine is running. The
needle should be in the middle of the gauge when
the engine is running.
CAUTION
●This gauge is not designed to indicate
low engine oil level. Use the dipstick to
check the oil level. For additional infor-
mation, refer to “Engine oil” in the “Do-
it-yourself” section of this manual.
●If the gauge needle does not move with
the proper amount of engine oil, have
the vehicle checked. It is recommended
that you visit a NISSAN dealer for this
service. Continued vehicle operation in
such a condition could cause serious
damage to the engine.
VOLTMETER (if so equipped)
When the ignition switch is placed in the ON
position, the voltmeter indicates the battery volt-
age. When the engine is running, it indicates the
generator voltage.
While cranking the engine, the volts drop below
the normal range. If the needle is not in the normal
range (11 - 15 volts) 䊊
1while the engine is
running, it may indicate that the charging system
is not functioning properly. Have the system
checked. It is recommended that you visit a
NISSAN dealer for this service.
LIC0741 WIC1299
2-8 Instruments and controls

TRIP COMPUTER (if so equipped)
The display of the trip computer is situated in the
speedometer display. When the ignition switch is
placed in the ON position, the display scrolls all
the modes of the trip computer and then shows
the mode chosen before the ignition switch was
placed in the OFF position.
When the ignition switch is placed in the ON
position, modes of the trip computer can be
selected by pressing the change/reset button.
The following modes can be selected:
Distance to empty (dte—mile or km)
The distance to empty (dte) mode provides you
with an estimation of the distance that can be
driven before refueling. The dte is constantly be-
ing calculated, based on the amount of fuel in the
fuel tank and the actual fuel consumption.
The display is updated every 30 seconds.
The dte mode includes a low range warning
feature: when the fuel level is low, the dte mode is
automatically selected and the digits blink in or-
der to draw the driver’s attention. Press the
change/reset button if you wish to return to the
mode that was selected before the warning oc-
curred. The dte mark will remain blinking until the
vehicle is refueled.
When the fuel level drops even lower, the dte
display will change to (----).
NOTE:
●
If the amount of fuel added while the
ignition switch is OFF is small, the display
just before the ignition switch is turned
OFF may continue to be displayed.
●When driving uphill or rounding curves,
the fuel in the tank shifts, which may
momentarily change the display.
Average fuel consumption (Mpg or
l/100km)
The average fuel consumption mode shows the
average fuel consumption since the last reset.
Resetting is done by pressing the change/reset
button for more than approximately 1 second.
The display is updated every 30 seconds. At
about the first 1/3 miles (500 m) after a reset, the
display shows (----).
Average speed (mph or km/h)
The average speed mode shows the average
vehicle speed since last reset. Resetting is done
by pressing the change/reset button for more
than approximately 1 second. The display is up-
dated every 30 seconds. The first 30 seconds
after a reset, the display shows (----).
Journey time
The journey time mode shows the time since the
last reset. The displayed time can be reset by
pressing the change/reset button for more than
approximately 1 second.
Trip computer reset
Pressing the change/reset button for more than
3 seconds will reset all modes except Trip A and
distance to empty.
LIC3329
Instruments and controls 2-9

This unit has the following functions:
●Measures terrestrial magnetism and indi-
cates heading direction of vehicle
●Indicates outside air temperature
With the ignition switch in the ON position, press
the or button as described in the
charts below to activate various features of the
automatic anti-glare rearview mirror.
Type A (if so equipped)
Press and hold
the
button for about:
Feature:
(Press button again for about 1 sec-
ond to change settings)
1 second Compass toggles on/off
8 seconds Automatic anti-glare/indicator light
toggles on/off
11 seconds Compass zone can be changed to
correct false compass readings
13 seconds Compass enters calibration mode
Type B (if so equipped)
Press and hold
the
button for about:
Feature:
(Press button again for about 1 sec-
ond to change settings)
1 second Compass toggles on/off
8 seconds Compass zone can be changed to
correct false compass readings
10 seconds Compass enters calibration mode
For additional information, refer to “Automatic
anti-glare rearview mirror” in the “Pre-driving
checks and adjustments” section of this manual.
OUTSIDE TEMPERATURE DISPLAY
Push the or button for about 1 sec-
ond when the ignition key is in the ON position to
toggle the outside temperature and compass
direction display 䊊
1on or off.
●To change from °F to °C, push and hold
the button for about 5 seconds or
the button for about 3 seconds until
the display begins to flash. Press the button
again to toggle between °C and °F.
Type A (if so equipped)
WIC0904
COMPASS AND OUTSIDE
TEMPERATURE DISPLAY (if so
equipped)
2-10 Instruments and controls

●When the outside temperature is between
140°F (60°C) and 194°F (90°C), the display
will read 140°F (60°C). When the tempera-
ture is above 194°F (90°C), the display will
read “SC”.
●When the outside temperature is between
than -40°F (-40°C) and -60°F (-51°C), the
display will read -40°F (-40°C). When the
temperature is below -60°F (-51°C), the dis-
play will read “OC”.
●The outside temperature sensor is located in
front of the radiator. The sensor may be
affected by road or engine heat, wind direc-
tion and other driving conditions. The display
may differ from the actual outside tempera-
ture or the temperature displayed on various
signs or billboards.
COMPASS
Push the or button for about 1 sec-
ond when the ignition switch is placed in the ON
position to toggle the outside temperature and
compass direction display 䊊
1on or off. The dis-
play will indicate the direction that the vehicle is
heading.
N: North
E: East
S: South
W: West
If the display reads “C”, calibrate the compass by
driving the vehicle in three complete circles at
less than 5 mph (8 km/h).
You can also calibrate the compass by driving
your vehicle on your everyday route. The com-
pass will be calibrated once it has tracked three
complete circles.
Type B (if so equipped)
LIC0583
Instruments and controls 2-11

Zone variation change procedure
The difference between magnetic north and geo-
graphical north is known as variance. In some
areas, this difference can sometimes be great
enough to cause false compass readings. Follow
these instructions to set the variance for your
particular location if this happens:
1. Press and hold the button for about
11 seconds or the button for about
8 seconds. The current zone number will
appear in the display. Release the button.
2. Find your current location on the zone map.
Refer to the illustration.
3. Press the or the button repeat-
edly to toggle through the zone numbers
until the desired number appears in the dis-
play. Once you have selected a zone num-
ber, the display will show a compass direc-
tion within a few seconds.
Inaccurate compass direction
The compass display is equipped with automatic
correction function. If the correct direction is not
shown, follow this procedure.
1. With the display turned on, press and hold
the for about 10 seconds. The “C”
icon in the compass display will illuminate.
2. Calibrate the compass by driving the vehicle
in three complete circles at a maximum
speed of 5 mph (8 km/h).
3. After completing the circles, the display
should return to normal.
LIC2294
2-12 Instruments and controls

CAUTION
●Do not install a ski rack, antenna, etc.,
which are attached to the vehicle by
means of a magnet. They affect the op-
eration of the compass.
●When cleaning the mirror, use a paper
towel or similar material dampened
with glass cleaner. Do not spray glass
cleaner directly on the mirror as it may
cause the liquid cleaner to enter the
mirror housing.
Instruments and controls 2-13

4WD warning light ( model) Low tire pressure warning light High beam indicator light (blue)
or Anti-lock Braking System (ABS)
warning light
Low windshield-washer fluid warning light (if so
equipped)
Hill descent control system ON indicator light
(if so equipped)
Automatic transmission check warning light (if
so equipped)
Seat belt warning light and chime Malfunction Indicator Light (MIL)
Automatic transmission oil temperature warning
light (if so equipped)
Supplemental air bag warning light Overdrive OFF indicator light (if so equipped)
Automatic transmission park warning light
(model)
4WD shift indicator light ( model) Security indicator light (if so equipped)
or Brake warning light Automatic transmission position indicator light
(if so equipped)
Slip indicator light
Charge warning light Cruise main switch indicator light (if so
equipped)
Transfer 4LO position indicator light
(model)
Door open warning light Cruise set switch indicator light (if so equipped) Turn signal/hazard indicator lights
Engine oil pressure warning light Electronic locking rear differential (E-Lock) sys-
tem ON indicator light (if so equipped)
Vehicle Dynamic Control (VDC) OFF indicator
light
Low fuel warning light Front passenger air bag status light
WARNING LIGHTS, INDICATOR
LIGHTS AND AUDIBLE REMINDERS
2-14 Instruments and controls

CHECKING LIGHTS
With all doors closed, apply the parking brake,
fasten the seat belts and place the ignition switch
in the ON position without starting the engine.
The following lights (if so equipped) will come on:
, or , , ,
The following lights (if so equipped) come on
briefly and then go off:
or , , , ,
, , , ,
If any light fails to come on or operate in a way
other than described, it may indicate a burned-
out bulb and/or a system malfunction. Have the
system checked. It is recommended that you visit
a NISSAN dealer for this service.
WARNING LIGHTS
This vehicle has various warning lights that may
illuminate to indicate a potential problem. For
additional information, refer to the specific light in
this section.
4WD warning light
(model)
The 4WD warning light comes on when the igni-
tion switch is turned to ON. It turns off soon after
the engine is started.
If the engine or vehicle is not functioning properly,
the warning light will either remain illuminated or
blink. For additional information, refer to “4WD
warning light” in the “Starting and driving” section
of this manual.
CAUTION
●If the warning light comes on or blinks
during operation, have your vehicle
checked as soon as possible. It is rec-
ommended that you visit a NISSAN
dealer for this service.
●Do not drive on dry hard surface roads
in the 4H or 4LO position. If the 4WD
warning light turns on when you are
driving on dry hard surface roads:
– in the 4H position, shift the 4WD shift
switch to 2WD.
– in the 4LO position for automatic
transmission models, stop the ve-
hicle and shift the shift lever to the N
(Neutral) position with the brake
pedal depressed and shift the 4WD
shift switch to 2WD.
– in the 4LO position for manual trans-
mission models, stop the vehicle and
shift the shift lever to the N (Neutral)
position with the clutch pedal de-
pressed and shift the 4WD shift
switch to 2WD,
●If the warning light is still on after the
above operation, have your vehicle
checked as soon as possible. It is rec-
ommended that you visit a NISSAN
dealer for this service.
or Anti-lock Braking
System (ABS)
warning light
When the ignition switch is placed in the ON
position, the ABS warning light illuminates and
then turns off. This indicates the ABS is opera-
tional.
Instruments and controls 2-15

If the ABS warning light illuminates while the
engine is running or while driving, it may indicate
the ABS is not functioning properly. Have the
system checked. It is recommended that you visit
a NISSAN dealer for this service.
If an ABS malfunction occurs, the anti-lock func-
tion is turned off. The brake system then operates
normally but without anti-lock assistance. For
additional information, refer to “Brake system” in
the “Starting and driving” section of this manual.
Automatic transmission check
warning light (if so equipped)
When the ignition switch is placed in the ON
position, the light comes on for about 2 seconds.
If the light comes on at any other time, it may
indicate the automatic transmission system is not
functioning properly. Have the system checked. It
is recommended that you visit a NISSAN dealer
for this service.
Automatic transmission oil
temperature warning light (if so
equipped)
This light comes on when the automatic transmis-
sion oil temperature is too high. If the light comes
on while driving, reduce the vehicle speed as
soon as safely possible until the light turns off.
CAUTION
Continued vehicle operation when the A/T
oil temperature warning light is on may
damage the automatic transmission.
Automatic transmission park
warning light ( model)
WARNING
●If the ATP light is ON, this indicates that
the automatic transmission P (Park) po-
sition will not function and the transfer
case is in neutral.
●When parking, always make sure that
the 4WD shift indicator light illuminates
and the parking brake is set. Failure to
engage the transfer position in 2WD, 4H
or 4LO could result in the vehicle mov-
ing unexpectedly, resulting in serious
personal injury or property damage.
●Shift the 4WD switch into the 2WD, 4H
or 4LO position again to turn off the ATP
warning light when the shift lever is in
the P position and the ATP warning light
is ON. (Before shifting the 4WD switch
into the 4LO position, move the shift
lever into the N position once, shift the
shift lever into P again and make sure
the ATP warning light is OFF.)
This light indicates that the automatic transmis-
sion parking function is not engaged. If the trans-
fer control is not secured in any drive position
while the shift lever is in the P (Park) position, the
transmission will disengage and the drive wheels
will not lock.
or Brake warning light
This light functions for both the parking brake and
the foot brake systems.
Parking brake indicator
When the ignition switch is placed in the ON
position, the light comes on when the parking
brake is applied.
2-16 Instruments and controls

Low brake fluid warning light
When the ignition switch is placed in the ON
position, the light warns of a low brake fluid level.
If the light comes on while the engine is running,
with the parking brake not applied, stop the ve-
hicle and perform the following:
1. Check the brake fluid level. Add brake fluid
as necessary. For additional information, re-
fer to “Brake fluid” in the “Do-it-yourself”
section of this manual.
2. If the brake fluid level is correct, have the
warning system checked. It is recommended
that you visit a NISSAN dealer for this ser-
vice.
WARNING
●Your brake system may not be working
properly if the warning light is on. Driv-
ing could be dangerous. If you judge it
to be safe, drive carefully to the nearest
service station for repairs. Otherwise,
have your vehicle towed because driv-
ing it could be dangerous.
●Pressing the brake pedal with the en-
gine stopped and/or a low brake fluid
level may increase your stopping dis-
tance and braking will require greater
pedal effort as well as pedal travel.
●If the brake fluid level is below the
MINIMUM or MIN mark on the brake
fluid reservoir, do not drive until the
brake system has been checked. It is
recommended that you visit a NISSAN
dealer for this service.
Anti-lock Braking System (ABS) warning
indicator
When the parking brake is released and the
brake fluid level is sufficient, if both the brake
warning light and the ABS warning light illumi-
nate, it may indicate the ABS is not functioning
properly. Have the brake system checked and, if
necessary, repaired. It is recommended that you
visit a NISSAN dealer for this service. Avoid
high-speed driving and abrupt braking. For addi-
tional information, refer to “Anti-lock Braking Sys-
tem (ABS) warning light” in this section.
Charge warning light
If this light comes on while the engine is running,
it may indicate the charging system is not func-
tioning properly. Turn the engine off and check
the generator belt. If the belt is loose, broken,
missing, or if the light remains on, have the sys-
tem checked. It is recommended that you visit a
NISSAN dealer for this service.
CAUTION
●Do not ground electrical accessories di-
rectly to the battery terminal. Doing so
will bypass the variable voltage control
system and the vehicle battery may not
charge completely. For additional infor-
mation, refer to “Variable voltage con-
trol system” in the “Do-it-yourself” sec-
tion of this manual.
●Do not continue driving if the generator
belt is loose, broken or missing.
Door open warning light
This light comes on when any of the doors are not
closed securely while the ignition switch is in the
ON position.
Engine oil pressure warning
light
This light warns of low engine oil pressure. If the
light flickers or comes on during normal driving,
pull off the road in a safe area, stop the engine
immediately and call a NISSAN dealer or other
authorized repair shop.
Instruments and controls 2-17

The engine oil pressure warning light is not
designed to indicate a low oil level. Use the
dipstick to check the oil level. For additional in-
formation, refer to “Engine oil” in the “Do-it-
yourself” section of this manual.
CAUTION
Running the engine with the engine oil
pressure warning light on could cause se-
rious damage to the engine almost imme-
diately. Such damage is not covered by
the NISSAN New Vehicle Limited War-
ranty. Turn off the engine as soon as it is
safe to do so.
Low fuel warning light
This light comes on when the fuel level in the fuel
tank is getting low. Refuel as soon as it is conve-
nient, preferably before the fuel gauge reaches E
(Empty). There will be a small reserve of fuel
in the tank when the fuel gauge needle
reaches E (Empty).
Low tire pressure warning light
Your vehicle is equipped with a Tire Pressure
Monitoring System (TPMS) that monitors the tire
pressure of all tires except the spare.
The low tire pressure warning light warns of low
tire pressure or indicates that the TPMS is not
functioning properly.
After the ignition switch is placed in the ON
position, this light illuminates for about 1 second
and turns off.
Low tire pressure warning
If the vehicle is being driven with low tire
pressure, the warning light will illuminate.
A CHECK TIRE PRES (pressure) warning
message is also displayed in the odometer.
When the low tire pressure warning light
illuminates, you should stop and adjust the
tire pressure of all four tires to the recom-
mended COLD tire pressure shown on the
Tire and Loading Information label located
in the driver’s door opening. The low tire
pressure warning light does not automati-
cally turn off when the tire pressure is ad-
justed. After the tire is inflated to the rec-
ommended pressure, the vehicle must be
driven at speeds above 16 mph (25 km/h) to
activate the TPMS and turn off the low tire
pressure warning light. Use a tire pressure
gauge to check the tire pressure.
The low tire pressure warning light remains illu-
minated until the tires are inflated to the recom-
mended COLD tire pressure. The CHECK TIRE
PRES warning message is displayed each time
the ignition switch is placed in the ON position as
long as the low tire pressure warning light re-
mains illuminated.
For additional information, refer to “Check tire
pressure warning message” in this section and
“Tire Pressure Monitoring System (TPMS)” in the
“Starting and driving” section and in the “In case
of emergency” section of this manual.
TPMS malfunction
If the TPMS is not functioning properly, the low
tire pressure warning light will flash for approxi-
mately 1 minute when the ignition switch is
placed in the ON position. The light will remain on
after 1 minute. Have the system checked. It is
recommended that you visit a NISSAN dealer for
this service. The ⬙CHECK TIRE PRES⬙warning
does not appear if the low tire pressure warning
light illuminates to indicate a TPMS malfunction.
For additional information, refer to “Tire Pressure
Monitoring System (TPMS)” in the “Starting and
driving” section and “Tire pressure” in the “Do-it-
yourself” section of this manual.
2-18 Instruments and controls

WARNING
●Radio waves could adversely affect
electric medical equipment. Those who
use a pacemaker should contact the
electric medical equipment manufac-
turer for the possible influences before
use.
●If the light does not illuminate with the
ignition switch placed in the ON posi-
tion, have the vehicle checked as soon
as possible. It is recommended that you
visit a NISSAN dealer for this service.
●If the light illuminates while driving,
avoid sudden steering maneuvers or
abrupt braking, reduce vehicle speed,
pull off the road to a safe location and
stop the vehicle as soon as possible.
Driving with under-inflated tires may
permanently damage the tires and in-
crease the likelihood of tire failure. Se-
rious vehicle damage could occur and
may lead to an accident and could result
in serious personal injury or death.
Check the tire pressure for all four tires.
Adjust the tire pressure to the recom-
mended COLD tire pressure shown on
the Tire and Loading Information label
located in the driver’s door opening to
turn the low tire pressure warning light
off. If the light still illuminates while
driving after adjusting the tire pressure,
a tire may be flat or the TPMS may be
malfunctioning. If you have a flat tire,
replace it with a spare tire as soon as
possible. If no tire is flat and all tires are
properly inflated, have the vehicle
checked. It is recommended that you
visit a NISSAN dealer for this service.
●Since the spare tire is not equipped with
TPMS, when a spare tire is mounted or a
wheel is replaced the TPMS will not
function and the low tire pressure warn-
ing light will flash for approximately
1 minute. The light will remain on after
1 minute. Have your tires replaced
and/or TPMS system reset as soon as
possible. It is recommended that you
visit a NISSAN dealer for these services.
●Replacing tires with those not originally
specified by NISSAN could affect the
proper operation of the TPMS.
CAUTION
●The TPMS is not a substitute for the
regular tire pressure check. Be sure to
check the tire pressure regularly.
●If the vehicle is being driven at speeds
of less than 16 mph (25 km/h), the
TPMS may not operate correctly.
●Be sure to install the specified size of
tires to the four wheels correctly.
Instruments and controls 2-19

Low windshield-washer fluid
warning light (if so equipped)
This light comes on when the windshield-washer
fluid is at a low level. Add windshield-washer fluid
as necessary. For additional information, refer to
“Windshield-washer fluid” in the “Do-it-yourself”
section of this manual.
Seat belt warning light and
chime
The light and chime remind you to fasten your
seat belts. The light illuminates whenever the
ignition switch is placed in the ON or START
position and remains illuminated until the driver’s
seat belt is fastened. At the same time, the chime
sounds for about 6 seconds unless the driver’s
seat belt is securely fastened.
The seat belt warning light may also illuminate if
the front passenger’s seat belt is not fastened
when the front passenger’s seat is occupied. For
7 seconds after the ignition switch is placed in
the ON position, the system does not activate the
warning light for the front passenger.
For additional information, refer to “Seat belts” in
the “Safety—Seats, seat belts and supplemental
restraint system” section of this manual.
Supplemental air bag warning
light
When the ignition switch is placed in the ON or
START position, the supplemental air bag warn-
ing light illuminates for about 7 seconds and then
turns off. This means the system is operational.
If any of the following conditions occur, the front
air bag, side air bag, curtain air bag, and preten-
sioner seat belt systems need servicing:
●The supplemental air bag warning light re-
mains on after approximately 7 seconds.
●The supplemental air bag warning light
flashes intermittently.
●The supplemental air bag warning light does
not come on at all.
It is recommended that you visit a NISSAN dealer
for these services.
Unless checked and repaired, the supplemental
restraint system (air bag system) and/or the pre-
tensioner(s) may not function properly. For addi-
tional information, refer to “Supplemental Re-
straint System (SRS)” in the “Safety—Seats, seat
belts and supplemental restraint system” section
of this manual.
WARNING
If the supplemental air bag warning light
is on, it could mean that the front air bag,
side air bag, curtain air bag and/or preten-
sioner systems will not operate in an acci-
dent. To help avoid injury to yourself or
others, have your vehicle checked as soon
as possible. It is recommended that you
visit a NISSAN dealer for this service.
INDICATOR LIGHTS
This vehicle has various indicator lights that may
illuminate to indicate a system status. For addi-
tional information, refer to the specific light in this
section.
4WD shift indicator light
(model)
The light should turn off within 1 second after
placing the ignition switch in the ON position.
While the engine is running, the 4WD shift indi-
cator light will illuminate the position selected by
the 4WD shift switch.
The 4WD shift indicator light may blink
while shifting from one drive mode to the
other.
2-20 Instruments and controls

Automatic transmission
position indicator light (if so
equipped)
For additional information, refer to “Driving the
vehicle” in the “Starting and driving” section of
this manual.
Cruise main switch indicator
light (if so equipped)
The light comes on when the cruise control main
switch is pushed. The light goes out when the
main switch is pushed again. When the cruise
main switch indicator light comes on, the cruise
control system is operational.
For additional information, refer to “Cruise con-
trol” in the “Starting and driving” section of this
manual.
Cruise set switch indicator
light (if so equipped)
The light comes on while the vehicle speed is
controlled by the cruise control system. If the light
blinks while the engine is running, it may indicate
the cruise control system is not functioning prop-
erly. Have the system checked. It is recom-
mended that you visit a NISSAN dealer for this
service.
Electronic locking rear
differential (E-Lock) system
ON indicator light (if so
equipped)
This light comes on when the electronic locking
rear differential (E-Lock) system clutch is fully
engaged.
The indicator light flashes when the system is first
turned on. When the system fully engages, the
light remains on. If the switch is on and the
indicator light continues to flash, the system is
not engaged.
For additional information, refer to “Electronic
locking rear differential (E-Lock) system switch”
in this section and “Electronic locking rear differ-
ential (E-Lock) system” in the “Starting and driv-
ing” section of this manual.
Front passenger air bag status
light
The front passenger air bag status light will
be lit and the passenger front air bag will be off
depending on how the front passenger seat is
being used.
For additional information, refer to “Front passen-
ger air bag and status light” in the “Safety —
Seats, seat belts and supplemental restraint sys-
tem” section of this manual.
High beam indicator light
(blue)
This blue light comes on when the headlight high
beams are on and goes out when the low beams
are selected.
The high beam indicator light also comes on
when the passing signal is activated.
Hill descent control system
ON indicator light (if so
equipped)
When the ignition switch is placed in the ON
position, this light comes on briefly and then turns
off.
The light comes on when the hill descent control
system is activated.
If the hill descent control switch is on and the
indicator light blinks, the system is not engaged.
If the indicator light does not come on when the
hill descent switch is on, the system may not be
functioning properly. Have the system checked. It
is recommended that you visit a NISSAN dealer
for this service.
For additional information, refer to “Hill Descent
Control (HDC) switch” in this section and “Hill
descent control system” in the “Starting and driv-
ing” section of this manual.
Instruments and controls 2-21

Malfunction Indicator Light
(MIL)
If this indicator light comes on steady or blinks
while the engine is running, it may indicate a
potential emission control malfunction.
The MIL may also come on steady if the fuel-filler
cap is loose or missing, or if the vehicle runs out
of fuel. Check to make sure the fuel-filler cap is
installed and closed tightly, and that the vehicle
has at least 3 gal (11.4 L) of fuel in the fuel tank.
After a few driving trips, the light should
turn off if no other potential emission control
system malfunction exists.
If this indicator light comes on steady for 20 sec-
onds and then blinks for 10 seconds when the
engine is not running, it indicates that the vehicle
is not ready for an emission control system
inspection/maintenance test. For additional infor-
mation, refer to “Readiness for
inspection/maintenance (I/M) test” in the “Tech-
nical and consumer information” section of this
manual.
Operation
The MIL will come on in one of two ways:
●MIL on steady — An emission control system
malfunction has been detected. Check the
fuel-filler cap if the LOOSE FUEL CAP
warning appears in the trip computer. If the
fuel-filler cap is loose or missing, tighten or
install the cap and continue to drive the
vehicle. The light should turn off after
a few driving trips. If the light does not
turn off after a few driving trips, have the
vehicle inspected. It is recommended that
you visit a NISSAN dealer for this service.
You do not need to have your vehicle towed
to the dealer.
●MIL blinking — An engine misfire has been
detected which may damage the emission
control system. To reduce or avoid emission
control system damage:
– do not drive at speeds above 45 mph
(72 km/h).
– avoid hard acceleration or deceleration.
– avoid steep uphill grades.
– if possible, reduce the amount of cargo
being hauled or towed.
The MIL may stop blinking and come on steady.
Have the vehicle inspected. It is recommended
that you visit a NISSAN dealer for this service.
You do not need to have your vehicle towed to the
dealer.
CAUTION
Continued vehicle operation without hav-
ing the emission control system checked
and repaired as necessary could lead to
poor driveability, reduced fuel economy,
and possible damage to the emission con-
trol system.
Overdrive OFF indicator light
(if so equipped)
This light comes on when the overdrive function
is OFF.
The automatic transmission overdrive function is
controlled by the overdrive switch.
For additional information, refer to “Driving the
vehicle” in the “Starting and driving” section of
this manual.
Security indicator light (if so
equipped)
This light blinks when the ignition switch is in the
OFF, LOCK or ACC position. This function indi-
cates the security systems equipped on the ve-
hicle are operational.
For additional information, refer to “Security sys-
tems” in this section.
2-22 Instruments and controls

Slip indicator light
This indicator will blink when the VDC system is
operating, thus alerting the driver to the fact that
the road surface is slippery and the vehicle is
nearing its traction limits.
You may feel or hear the system working; this is
normal.
The light will blink for a few seconds after the
VDC system stops limiting wheel spin.
The indicator light also comes on when
you place the ignition switch in the ON position.
The light will turn off after approximately 2 sec-
onds if the system is operational. If the light does
not come on have the system checked. It is
recommended that you visit a NISSAN dealer for
this service.
Transfer 4LO position indicator
light ( model)
This light comes on when the 4WD shift switch is
set in the 4LO position with the ignition switch in
the ON position.
The transfer case may be damaged if you shift the
switch while driving.
Make sure the transfer 4LO position indicator
light turns on when you shift the 4WD shift switch
to 4LO.
The indicator light may blink while shifting
from one drive mode to the other.
The 4LO indicator light must stop blinking and
remain illuminated or turn off before shifting the
transmission into gear. If the shift lever is shifted
from the N (Neutral) position to any other gear
when the 4LO indicator light is blinking, the ve-
hicle may move unexpectedly.
When you shift between 4H and 4LO, follow the
instructions below:
●For automatic transmission models, stop the
vehicle and shift the shift lever to the N
(Neutral) position with the brake pedal de-
pressed, then depress and turn the 4WD
shift switch to 4LO or 4H.
●For manual transmission models, stop the
vehicle and shift the shift lever to the N
(Neutral) position with the clutch pedal de-
pressed, then depress and turn the 4WD
shift switch to 4LO or 4H.
You cannot move the transfer 4WD shift switch
between 4H and 4LO unless you stop the vehicle
and shift the shift lever to the N position with the
brake pedal (A/T models) or clutch pedal (M/T
models) depressed.
Turn signal/hazard indicator
lights
The appropriate light flashes when the turn signal
switch is activated.
Both lights flash when the hazard switch is turned
on.
Vehicle Dynamic Control
(VDC) OFF indicator light
This indicator light comes on when the VDC OFF
switch is pushed to OFF, the transfer case is in
the 4LO position ( model), or when the
VDC system is not functioning properly. This
indicates the VDC system is not operating.
Push the VDC OFF switch again or restart the
engine and the system will operate normally. For
additional information, refer to “Vehicle Dynamic
Control (VDC) system” in the “Starting and driv-
ing” section of this manual.
The VDC light also comes on when you turn the
ignition key to the ON position. The light will turn
off after about 2 seconds if the system is opera-
tional. If the light stays on or comes on along with
the SLIP ( ) indicator light while you are
driving, have the VDC system checked. It is rec-
ommended that you visit a NISSAN dealer for this
service.
Instruments and controls 2-23

If the battery is removed or discharged, the VDC
system is disabled and the VDC indicator light
will not turn off after 2 seconds when the ignition
switch is turned to the ON position. To reset the
system, you must perform the reset procedure.
For additional information, refer to “Vehicle Dy-
namic Control (VDC) system” in the “Starting and
driving” section of this manual.
If the light does not go off after performing the
reset procedure, have the traction control system
checked. It is recommended that you visit a
NISSAN dealer for this service.
While the VDC system is operating, you might
feel slight vibration or hear the system working
when starting the vehicle or accelerating, but this
is normal.
The VDC system will be disabled and the VDC
light will illuminate when the electronic locking
rear differential (E-lock) system switch (if so
equipped) is turned on and the E-lock system is
engaged. If the E-lock system disengages or the
switch is turned off, the VDC system will be
enabled and the VDC light will turn off.
AUDIBLE REMINDERS
Brake pad wear warning
The disc brake pads have audible wear warnings.
When a disc brake pad requires replacement, it
makes a high pitched scraping sound when the
vehicle is in motion, whether or not the brake
pedal is depressed. Have the brakes checked as
soon as possible if the warning sound is heard.
Key reminder chime
A chime sounds if the driver’s door is opened
while the key is left in the ignition switch. Remove
the key and take it with you when leaving the
vehicle.
Light reminder chime
With the ignition switch placed in the OFF posi-
tion, a chime sounds when the driver’s door is
opened if the headlights or parking lights are on.
Turn the headlight control switch off before leav-
ing the vehicle.
Your vehicle may have two types of security sys-
tems:
●Vehicle security system (if so equipped)
●NISSAN Vehicle Immobilizer System (if so
equipped)
LIC0359
SECURITY SYSTEMS (if so equipped)
2-24 Instruments and controls

VEHICLE SECURITY SYSTEM (if so
equipped)
The vehicle security system provides visual and
audible alarm signals if someone opens the doors
when the system is armed. It is not, however, a
motion detection-type system that activates
when a vehicle is moved or when a vibration
occurs.
The system helps deter vehicle theft but cannot
prevent it, nor can it prevent the theft of interior or
exterior vehicle components in all situations. Al-
ways secure your vehicle even if parking for a
brief period. Never leave your keys in the ignition,
and always lock the vehicle when unattended. Be
aware of your surroundings, and park in secure,
well-lit areas whenever possible.
Many devices offering additional protection, such
as component locks, identification markers, and
tracking systems, are available at auto supply
stores and specialty shops. A NISSAN dealer
may also offer such equipment. Check with your
insurance company to see if you may be eligible
for discounts for various theft protection features.
How to arm the vehicle security
system
1. Close all windows. (The system can be
armed even if the windows are open.)
2. Remove the key from the ignition switch.
3. Close all doors. Lock all doors. The doors
can be locked with the key, power door lock
switch (if the door is opened, locked and
then closed), or with the key fob.
Key fob operation:
●Press the button on the key fob.
All doors lock. The hazard lights flash
twice and the horn beeps once to indicate
all doors are locked.
●When the button is pressed with
all doors locked, the hazard lights flash
twice and the horn beeps once as a re-
minder that the doors are already locked.
The horn may or may not beep. For addi-
tional information, refer to “Silencing the
horn beep feature” in the “Pre-driving
checks and adjustments” section of this
manual.
4. Confirm that the indicator light comes
on. The light stays on for about
30 seconds. The vehicle security system is
now pre-armed. After about 30 seconds the
vehicle security system automatically shifts
into the armed phase. The light begins
to flash once every 3 seconds. If, during the
30-second pre-arm time period, the driver’s
door is unlocked by the key or the key fob, or
the ignition switch is placed in ACC or ON
position, the system will not arm.
●If the key is turned slowly when locking
the driver’s door, the system may not
arm. Furthermore, if the key is turned
beyond the vertical position toward the
unlock position the system may be dis-
armed when the key is removed. If the
indicator light fails to glow for a period
of time, unlock the door once and lock
it again.
●Even when the driver and/or passen-
gers are in the vehicle, the system will
arm with all doors closed and locked
with the ignition switch placed in the
OFF position.
Vehicle security system activation
The vehicle security system will give the following
alarm:
●The headlights blink and the horn sounds
intermittently.
Instruments and controls 2-25

●The alarm automatically turns off after a pe-
riod of time. However, the alarm reactivates if
the vehicle is tampered with again. The alarm
can be shut off by unlocking the driver’s door
with the key or by pressing the button
on the key fob.
The alarm is activated by:
●Opening a door without using the key or key
fob (even if the door is unlocked by using the
inside lock knob or the power door lock
switch).
How to stop an activated alarm
The alarm stops only by unlocking the driver’s
door with the key or by pressing the button
on the key fob.
NISSAN VEHICLE IMMOBILIZER
SYSTEM (if so equipped)
The NISSAN Vehicle Immobilizer System will not
allow the engine to start without the use of a
registered key.
If the engine fails to start using a registered key
(for example, when interference is caused by
another registered key, an automated toll road
device or automatic payment device on the key
ring), restart the engine using the following pro-
cedures:
1. Leave the ignition switch in the ON position
for approximately 5 seconds.
2. Turn the ignition switch to the OFF or LOCK
position, and wait approximately 10 sec-
onds.
3. Repeat steps 1 and 2.
4. Restart the engine while holding the device
(which may have caused the interference)
separate from the registered key.
If the no start condition re-occurs, NISSAN rec-
ommends placing the registered key on a sepa-
rate key ring to avoid interference from other
devices.
FCC Notice:
For USA:
This device complies with Part 15 of the
FCC Rules. Operation is subject to the fol-
lowing two conditions; (1) This device may
not cause harmful interference, and (2) this
device must accept any interference re-
ceived, including interference that may
cause undesired operation of the device.
NOTE:
Changes or modifications not expressly ap-
proved by the party responsible for compli-
ance could void the user’s authority to op-
erate the equipment.
For Canada:
This device complies with Industry Canada
licence-exempt RSS standard(s). Opera-
tion is subject to the following two condi-
tions: (1) this device may not cause inter-
ference, and (2) this device must accept any
interference, including interference that
may cause undesired operation of the de-
vice.
2-26 Instruments and controls

Security indicator light
This light blinks when the ignition switch is
placed in the LOCK position with the key re-
moved from the ignition switch.
This function indicates the NISSAN Vehicle Im-
mobilizer System is operational.
If the NISSAN Vehicle Immobilizer System is mal-
functioning, the light will remain on while the
ignition switch is placed in the ON position.
If the light still remains on and/or the en-
gine will not start, seek service for the
NISSAN Vehicle Immobilizer System as
soon as possible. Please bring all regis-
tered keys that you have. It is recom-
mended that you visit a NISSAN dealer for
this service.
LIC0474
Type A (if so equipped)
WIC0854
WIPER AND WASHER SWITCH
Instruments and controls 2-27

SWITCH OPERATION
The windshield wiper and washer operates when
the ignition switch is in the ON position.
Push the lever down to operate the wiper at the
following speed:
䊊
1Intermittent (INT) — intermittent operation
can be adjusted by turning the knob toward
䊊
A(Slower) or 䊊
B(Faster)
䊊
2Low (LO) — continuous low speed operation
䊊
3High (HI) — continuous high speed opera-
tion
Push the lever up 䊊
4to have one sweep opera-
tion (MIST) of the wiper.
Pull the lever toward you 䊊
5to operate the
washer. The wiper will also operate several times.
WARNING
In freezing temperatures the washer solu-
tion may freeze on the windshield and
obscure your vision which may lead to an
accident. Warm the windshield with the
defroster before you wash the windshield.
CAUTION
●Do not operate the washer continuously
for more than 30 seconds.
●Do not operate the washer if the reser-
voir tank is empty.
To defrost the rear window glass (if so equipped),
start the engine and push the rear window de-
froster switch on. The rear window defroster in-
dicator light on the switch comes on. Push the
switch again to turn the defroster off.
To defrost the outside mirrors (if so equipped),
start the engine and push the outside mirror
defroster switch on. The outside mirror defroster
indicator light on the switch comes on. Push the
switch again to turn the defroster off.
The rear window/outside mirror defroster auto-
matically turns off after approximately 15 minutes.
Type B (if so equipped)
LIC2866
Type A (if so equipped)
LIC0783
REAR WINDOW OR OUTSIDE
MIRROR DEFROSTER SWITCH (if so
equipped)
2-28 Instruments and controls

CAUTION
When cleaning the inner side of the rear
window, be careful not to scratch or dam-
age the rear window defroster.
HEADLIGHT CONTROL SWITCH
Lighting
䊊
1Rotate the switch to the position, and
the front parking, tail, license plate, and in-
strument panel lights will come on.
䊊
2Rotate the switch to the position, and
the headlights will come on and all the other
lights remain on.
Type B (if so equipped)
LIC1419
Type C (if so equipped)
LIC3279
Type A (if so equipped)
WIC1424
HEADLIGHT AND TURN SIGNAL
SWITCH
Instruments and controls 2-29

CAUTION
Use the headlights with the engine run-
ning to avoid discharging the vehicle
battery.
Autolight system (if so equipped)
The autolight system allows the headlights to be
set so they turn on and off automatically. The
autolight system can:
●Turn on the headlights, front parking, tail,
license plate and instrument panel lights au-
tomatically when it is dark.
●Turn off all the lights when it is light.
●Keep all the lights on for a period of time after
you turn the key to OFF and all doors are
closed.
Type B (if so equipped)
WIC1452
Type C (if so equipped)
WIC1426 LIC0561
2-30 Instruments and controls

To turn on the autolight system:
1. Turn the headlight switch to the AUTO posi-
tion 䊊
1.
2. Turn the ignition switch to ON.
3. The autolight system automatically turns the
headlights on and off.
Initially, if the ignition switch is turned OFF and a
door is opened and left open, the headlights
remain ON for a period of time. If another door is
opened while the headlights are on, then the
timer is reset.
To turn the autolight system off, turn the switch to
the OFF, ,or position. Be sure you do not put anything on top of
the autolight sensor 䊊
1located in the top
side of the instrument panel. The autolight
sensor controls the autolight; if it is cov-
ered, the autolight sensor reacts as if it is
dark out and the headlights will illuminate.
If this occurs while parked with the engine
off and the switch in the ON position, your
vehicle’s battery could become discharged.
Headlight beam select
䊊
1To select the high beam function, push the
lever forward. The high beam lights come on
and the light illuminates.
䊊
2Pull the lever back to select the low beam.
䊊
3Pulling and releasing the lever flashes the
headlight high beams on and off.
Battery saver system
If the ignition switch is placed in the OFF position
while the headlight switch is in the
or position, the headlights will turn off after
a period of time.
LIC0835 LIC0562
Instruments and controls 2-31

After the headlights automatically turn off with the
headlight switch in the or position,
the headlights will illuminate again if the headlight
switch is moved to the OFF position and then
turned to the or position.
CAUTION
Even though the battery saver feature au-
tomatically turns off the headlights after a
period of time, you should turn the head-
light switch to the OFF position when the
engine is not running to avoid discharging
the vehicle battery.
DAYTIME RUNNING LIGHT (DRL)
SYSTEM (if so equipped)
The Daytime Running Lights (DRL) automatically
illuminate when the engine is started with the
parking brake released. The DRL operate with
the headlight switch in the OFF position or in
the position. Turn the headlight switch to
the position for full illumination when driv-
ing at night.
If the parking brake is applied before the engine is
started, the DRL do not illuminate. The DRL illu-
minate when the parking brake is released. The
DRL will remain on until the ignition switch is
placed in the OFF position.
WARNING
When the DRL system is active, tail lights
on your vehicle are not on. It is necessary
at dusk to turn on your headlights. Failure
to do so could cause an accident injuring
yourself and others.
INSTRUMENT BRIGHTNESS
CONTROL
The instrument brightness control operates when
the headlight control switch is in the AUTO (if so
equipped), or position.
Turn the control 䊊
Ato adjust the brightness of the
instrument panel lights when driving at night.
WIC0917
2-32 Instruments and controls

TURN SIGNAL SWITCH
Turn signal
䊊
1Move the lever up or down to signal the
turning direction. When the turn is com-
pleted, the turn signal cancels automatically.
Lane change signal
䊊
2Move the lever up or down until the turn
signal begins to flash, but the lever does not
latch, to signal a lane change. Hold the lever
until the lane change is complete.
FOG LIGHT SWITCH (if so equipped)
To turn the fog lights on, turn the headlight switch
to the position, then turn the fog light
switch to the position.
To turn the fog lights on with the headlight switch
in the AUTO position (if so equipped), the head-
lights must be on, then turn the fog light switch to
the position.
To turn the fog lights off, turn the fog light switch
to the OFF position.
The headlights must be on and the low beams
selected for the fog lights to operate. The fog
lights automatically turn off when the high beam
headlights are selected.
To sound the horn, push the area between the
horn icons on the steering wheel.
WARNING
Do not disassemble the horn. Doing so
could affect proper operation of the
supplemental front air bag system. Tam-
pering with the supplemental front air bag
system may result in serious personal
injury.
LIC0563 LIC0393 WIC1449
HORN
Instruments and controls 2-33

To turn on the cargo lamp, push the switch down
to the ON position.
CAUTION
Be sure to turn the light switch to the OFF
position when you leave the vehicle for
extended periods of time, otherwise the
battery will go dead.
The front seats are warmed by built-in heaters.
1. Start the engine.
2. Push the LO or HI position of the switch, as
desired, depending on the temperature. The
indicator light in the switch will illuminate.
The heater is controlled by a thermostat,
automatically turning the heater on and off.
The indicator light will remain on as long as
the switch is on.
3. When the seat is warmed or before you
leave the vehicle, be sure to turn the switch
off.
WARNING
Do not use or allow occupants to use the
seat heater if you or the occupants cannot
monitor elevated seat temperatures or
have an inability to feel pain in body parts
that contact the seat. Use of the seat
heater by such people could result in seri-
ous injury.
CAUTION
●Do not use the seat heater for extended
periods or when no one is using the
seat.
●Do not put anything on the seat which
insulates heat, such as a blanket, cush-
ion, seat cover, etc. Otherwise, the seat
may become overheated.
●Do not place anything hard or heavy on
the seat or pierce it with a pin or similar
object. This may result in damage to the
heater.
●Any liquid spilled on the heated seat
should be removed immediately with a
dry cloth.
●When cleaning the seat, never use
gasoline, benzine, thinner, or any simi-
lar materials.
LIC0616 LIC3037
CARGO LAMP SWITCH HEATED SEAT SWITCHES (if so
equipped)
2-34 Instruments and controls

●If any malfunctions are found or the
heated seat does not operate, turn the
switch off and have the system checked.
It is recommended that you visit a
NISSAN dealer for this service.
●The battery could run down if the seat
heater is operated while the engine is
not running.
The vehicle should be driven with the VDC sys-
tem on for most driving conditions.
If the vehicle is stuck in mud or snow, the VDC
system reduces the engine output to reduce
wheel spin. The engine speed will be reduced
even if the accelerator is depressed to the floor. If
maximum engine power is needed to free a stuck
vehicle, turn the VDC system off.
To turn off the VDC system, push the VDC OFF
switch. The indicator will come on.
Push the VDC OFF switch again or restart the
engine to turn on the system. For additional infor-
mation, refer to “Vehicle Dynamic Control (VDC)
system” in the “Starting and driving” section of
this manual.
LIC1548
VEHICLE DYNAMIC CONTROL (VDC)
OFF SWITCH
Instruments and controls 2-35

WARNING
●Never rely solely on the hill descent
control system to control vehicle speed
when driving on steep downhill grades.
Always drive carefully when using the
hill descent control system and deceler-
ate the vehicle speed by depressing the
brake pedal if necessary. Be especially
careful when driving on frozen, muddy
or extremely steep downhill roads. Fail-
ure to control vehicle speed may result
in a loss of control of the vehicle and
possible serious injury or death.
●The hill descent control may not control
the vehicle speed on a hill under all load
or road conditions. Always be prepared
to depress the brake pedal to control
vehicle speed. Failure to do so may re-
sult in a collision or serious personal
injury.
CAUTION
When the hill descent control system op-
erates continuously for a long time, the
temperature of the brake pads may in-
crease and the hill descent control system
may be temporarily disabled (the indicator
light will blink). If the indicator light does
not come on continuously after blinking,
stop using the system.
The hill descent control system is designed to
reduce driver workload when going down steep
hills. The hill descent control system helps to
control vehicle speed so the driver can concen-
trate on steering the vehicle.
To activate the hill descent control system:
●the shift lever must be in forward or reverse
gear,
●the 4WD switch must be in the 4L position
and the vehicle speed must be under
25 km/h (15 mph) or
●the 4WD switch must be in the 4H position
and the vehicle speed must be under
35 km/h (21 mph), and
●the hill descent control system switch must
be ON.
The hill descent control system on indicator light
will come on when the system is activated. Also,
the stop/tail lights illuminate while the hill descent
control system applies the brakes to control ve-
hicle speed.
If the accelerator or brake pedal is depressed
while the hill descent control system is on, the
system will stop operating temporarily. As soon
as the accelerator or brake pedal is released, the
hill descent control system begins to function
again if the hill descent control operating condi-
tions are fulfilled.
The hill descent control system on indicator light
blinks if the switch is on and all conditions for
system activation are not met or if the system
becomes disengaged for any reason.
To turn off the hill descent control system, push
the switch to the OFF position.
For additional information, refer to “Hill descent
control system on indicator light” in this section
and “Hill descent control system” in the “Starting
and driving” section of this manual.
LIC0743
HILL DESCENT CONTROL SWITCH (if
so equipped)
2-36 Instruments and controls

The E-Lock system can help provide added trac-
tion if the vehicle is stuck or becoming stuck.
To activate the E-Lock system:
●the 4WD switch must be in the 4LO position
(4-wheel drive vehicles),
●the vehicle must be stopped or moving at
4 mph (7 km/h) or less, and
●the E-Lock system switch must be turned
ON.
When the E-Lock switch is turned ON, the indi-
cator light will flash until the system engages.
However, if all operation conditions listed above
are not met or the system becomes disengaged,
the indicator light will continue to flash.
The Anti-Lock Brake (ABS) system is disabled
and the ABS light illuminates when the E-Lock
system is ON. Also, the Vehicle Dynamic Control
(VDC) system is disabled and the VDC light
illuminates when the E-Lock system is ON.
For additional information, refer to “Electronic
locking rear differential (E-Lock) system” in the
“Starting and driving” section of this manual for
further explanation and system limitations.
WARNING
●Never leave the E-Lock system ON when
driving on paved or hard-surfaced
roads. Turning the vehicle may result in
the rear wheels slipping and result in an
accident and personal injury. After us-
ing the E-Lock system to free the ve-
hicle, turn the system OFF.
●Use the E-Lock system only when free-
ing a stuck vehicle. Try the 4LO position
before using the E-Lock system. Never
use the E-Lock system on a slippery
road surface such as snow or ice sur-
face. Using the E-Lock system when
driving in these road conditions may
cause unexpected movement of the ve-
hicle during engine braking, accelerat-
ing or turning, which may result in an
accident and serious personal injury.
CAUTION
●After using the E-Lock system, turn the
switch OFF to prevent possible damage
to driveline components from extended
use.
●Do not drive over 12 mph (20 km/h)
when the system is engaged. Doing so
could result in possible damage to the
driveline.
●Do not turn on the E-lock system while
the tires are spinning. Doing so could
damage drivetrain components.
LIC0729
ELECTRONIC LOCKING REAR
DIFFERENTIAL (E-Lock) SYSTEM
SWITCH (if so equipped)
Instruments and controls 2-37

WARNING
Pay special attention to your surroundings
when using the clutch interlock switch.
The vehicle will move forward or backward
according to the gear selected.
The clutch interlock (clutch start) switch allows
for starting the engine without depressing the
clutch pedal. This feature helps you restart the
engine if it stops under difficult conditions. (For
example, the engine stops on a steep hill and a
slight movement forward or backward might be
dangerous.)
To use the clutch interlock switch:
1. Set the parking brake.
2. Depress the brake pedal with your right foot.
3. Place your left foot on the brake pedal and
release the parking brake.
4. Turn the ignition switch to the ON position.
5. Press and release the clutch interlock
switch. The CANCEL light on the switch will
illuminate.
6. Turn the ignition to the START position to
start the engine and, at the same time, de-
press the accelerator pedal with your right
foot. As the vehicle begins to move, take
your left foot off the brake. Once the engine
has started, the clutch interlock switch
CANCEL light shuts off. Do not use the
interlock switch to start the engine under
normal driving conditions.
WARNING
The rear sonar system is a convenience
but it is not a substitute for proper back-
ing. Always turn and check that it is safe to
do so before backing up. Always back up
slowly.
The rear sonar system (if so equipped) is active
when the ignition switch is placed in the ON
position and the shift lever is in R (Reverse).
When sensors detect obstacles within 6 ft
(1.8 m) of the rear bumper, a beeping tone is
emitted.
WIC0817 LIC0471
CLUTCH INTERLOCK (clutch start)
SWITCH (if so equipped)
REAR SONAR SYSTEM OFF SWITCH
(if so equipped)
2-38 Instruments and controls

The rear sonar system can be disabled by push-
ing the OFF switch. When the system is disabled,
the indicator light on the switch will illuminate.
The system will automatically reset the next time
the ignition switch is placed in the ON position.
For additional information, refer to “Rear sonar
system (RSS)” in the “Starting and driving” sec-
tion in this manual.
The power outlets are for powering electrical
accessories such as cellular telephones. They
are rated at 12 volt, 120W (10A) maximum.
The power outlets are powered only when the
ignition switch is in the ACC or ON position.
Open the cap to use a power outlet.
CAUTION
●The outlet and plug may be hot during
or immediately after use.
●Only certain power outlets are designed
for use with a cigarette lighter unit. Do
not use any other power outlet for an
accessory lighter. It is recommended
that you visit a NISSAN dealer for addi-
tional information.
●Do not use with accessories that exceed
a 12 volt, 120W (10A) power draw.
●Do not use double adapters or more
than one electrical accessory.
Front row
LIC3645
Center console
LIC0761
POWER OUTLETS
Instruments and controls 2-39

●Use power outlets with the engine run-
ning to avoid discharging the vehicle
battery.
●Avoid using power outlets when the air
conditioner, headlights or rear window
defroster is on.
●Before inserting or disconnecting a
plug, be sure the electrical accessory
being used is turned OFF.
●Push the plug in as far as it will go. If
good contact is not made, the plug may
overheat or the internal temperature
fuse may open.
●When not in use, be sure to close the
cap. Do not allow water or any other
liquids to contact the outlet.
FRONT-DOOR POCKET
WIC0824
Type A (if so equipped)
LIC0826
STORAGE
2-40 Instruments and controls

SEATBACK POCKET (if so equipped)
A seatback pocket may be located on the back of
the driver’s seat. The pocket may be used to store
maps.
Type B (if so equipped)
LIC0825 LIC1328
Rear row under-seat storage bin
(King Cab model)
LIC0821
Instruments and controls 2-41

UNDER-SEAT STORAGE BINS
WARNING
●Properly secure all cargo with ropes or
straps to help prevent it from sliding or
shifting. In a sudden stop or collision,
unsecured cargo could cause personal
injury.
●The cargo restrained in the under-seat
storage bins must not exceed the
weight limits listed below or the bins
may not stay secured. In a sudden stop
or collision, the unsecured bins could
cause personal injury.
King Cab model: 16 lbs. (7.25 kg)
Crew Cab model
Driver’s side: 16 lbs. (7.25 kg)
Passenger’s side: 25 lbs. (11.33 kg)
●If the under-seat storage bins are re-
moved for any reason, they should be
securely stored to prevent them from
causing injury to passengers or damage
to the vehicle in case of sudden braking
or an accident.
●Do not place sharp objects in the under-
seat storage bins. Such objects may
become dangerous projectiles and
cause injury when the vehicle is moving
or if the vehicle is involved in a collision.
To access the under-seat storage bins:
For King Cab model, lift up the jump seat. For
additional information, refer to “Jump seat” in the
“Safety—Seats, seat belts and supplemental re-
straint system” section of this manual.
For Crew Cab model, lift up the rear bench seat.
For additional information, refer to “Folding the
rear bench seat down” in the “Safety—Seats,
seat belts and supplemental restraint system”
section of this manual.
Rear row under-seat storage bin
(Crew Cab model)
LIC0820
2-42 Instruments and controls

To remove the under-seat storage bins:
1. Remove the storage net.
2. Turn the knobs to the UNLOCK position 䊊
2.
3. Remove the tray by lifting it out of the stor-
age bin (King Cab model).
To install the under-seat storage bins:
1. Position the under-seat storage bin so the
holes line up with the holes in the floorboard.
2. Insert the knobs and turn them to the LOCK
position 䊊
1.
STORAGE TRAYS
WARNING
Do not place sharp objects in the trays to
help prevent injury in an accident or sud-
den stop.
LIC0822
Top center tray
LIC1539
A/T model
LIC0818
Instruments and controls 2-43

GLOVE BOX
To open the top portion of the glove box, push the
latch 䊊
Aup and raise the lid.
To open the lower portion of the glove box, pull
the handle 䊊
Bdown and lower the lid.
WARNING
Keep glove box lid closed while driving to
help prevent injury in an accident or a
sudden stop.
M/T model — Type A (if so equipped)
LIC3646
M/T model — Type B (if so equipped)
LIC3647 LIC0768
2-44 Instruments and controls

CONSOLE BOX
Pull up on the lever 䊊
1to open the console box lid
䊊
2.
OVERHEAD SUNGLASSES
STORAGE (if so equipped)
To open the sunglasses holder, push and release.
Only store one pair of sunglasses in the holder.
WARNING
Keep the sunglasses holder closed while
driving to avoid obstructing the driver’s
view and to help prevent an accident.
CAUTION
●Do not use for anything other than
sunglasses.
●Do not leave sunglasses in the sun-
glasses holder while parking in direct
sunlight. The heat may damage the
sunglasses.
LIC0766 WIC0253
Instruments and controls 2-45

CUP HOLDERS
The front cup holders have adapters that can be
removed to accommodate larger cups.
WARNING
The cup holder should not be used while
driving so full attention may be given to
vehicle operation.
CAUTION
●Avoid abrupt starting and braking when
the cup holder is being used to prevent
spilling the drink. If the liquid is hot, it
can scald you or your passenger.
●Use only soft cups in the cup holder.
Hard objects can injure you in an
accident.
To open the rear row cup holders (rear of the front
console), lower the lid. To close, raise the lid. If
stepped on, the cup holder is designed to snap
loose from the console. To re-install, close the
cup holder assembly and push it back into the
console opening.
To fold the rear seat back, first close the cup
holder.
Front
WIC0827
Rear seat (rear of front console)
WIC0771
2-46 Instruments and controls

CAUTION
●Do not use bottle holder for any other
objects that could be thrown about in
the vehicle and possibly injure people
during sudden braking or an accident.
●Do not use bottle holder for open liquid
containers.
Bottle holder (front row)
LIC0784
Bottle holder (Rear seat, Crew Cab)
WIC0828
Instruments and controls 2-47

ROOF RACK (if so equipped)
WARNING
●Drive extra carefully when the vehicle is
loaded at or near the cargo carrying
capacity, especially if the significant
portion of that load is carried on the
roof rack.
●Heavy loading of the roof rack has the
potential to affect the vehicle stability
and handling during sudden or abnor-
mal handling maneuvers.
●Roof rack load should be evenly
distributed.
●Do not exceed maximum roof rack load
weight capacity.
●Properly secure all cargo with ropes or
straps to help prevent it from sliding or
shifting. In a sudden stop or collision,
unsecured cargo could cause personal
injury.
CAUTION
Use care when placing or removing items
from the roof rack. If you cannot comfort-
ably lift the items onto the roof rack from
the ground, use a ladder or stool.
WIC0857
2-48 Instruments and controls

Always evenly distribute the cargo on the tubular
roof rack. The maximum total load is 125 lbs.
(56 kg) evenly distributed. Be careful that your
vehicle does not exceed the Gross Vehicle
Weight Rating (GVWR) or the Gross Axle
Weight Ratings (GAWR front and rear). The
GVWR and GAWR are located on the F.M.V.S.S.
label (located on the driver’s side door jamb
pillar). For additional information regarding
GVWR and GAWR, refer to “Vehicle loading
information” in the “Technical and consumer in-
formation” section of this manual.
The front crossbar can be adjusted or removed.
Use the TORX® driver provided in the tool kit to
loosen both crossbar adjusting screws.
To adjust:
1. Loosen the adjusting screws with the
TORX® driver 䊊
1by turning counterclock-
wise 䊊
A.
2. When the clamp is loosened, move the
crossbar so the cargo can be positioned on
the crossbar 䊊
B.
3. Tighten the crossbar adjusting screws with
the TORX® driver by turning clockwise.
4. Secure the cargo with rope.
5. Always check the tightness of the crossbar
adjusting screws.
To remove:
1. Loosen the adjusting screws with the
TORX® driver 䊊
1by turning counterclock-
wise 䊊
A.
2. Rotate the clamps 䊊
C.
3. Remove the crossbar.
4. Reverse to install.
5. Always check the tightness of the crossbar
adjusting screws.
If you hear wind noise coming from the roof rack
while driving, adjust the roof rack crossbar to the
neutral position.
MANUAL WINDOWS (if so equipped)
The side windows can be opened or closed by
turning the hand crank on each door.
POWER WINDOWS (if so equipped)
WARNING
●Make sure that all passengers have
their hands, etc. inside the vehicle while
it is in motion and before closing the
windows. Use the window lock switch to
prevent unexpected use of the power
windows.
LIC3352
WINDOWS
Instruments and controls 2-49

●To help avoid risk of injury or death
through unintended operation of the
vehicle and/or its systems, including
entrapment in windows or inadvertent
door lock activation, do not leave chil-
dren, people who require the assistance
of others or pets unattended in your
vehicle. Additionally, the temperature
inside a closed vehicle on a warm day
can quickly become high enough to
cause a significant risk of injury or
death to people and pets.
The power windows operate when the ignition
switch is placed in the ON position, or for a
period of time after the ignition switch is placed in
the OFF position. If the driver’s or passenger’s
door is opened during this period of time, the
power to the windows is canceled.
1. Window lock button
2. Power door lock switch
3. Front passenger side window switch
4. Right rear passenger window switch
(Crew Cab models only)
5. Left rear passenger window switch
(Crew Cab models only)
6. Driver’s side automatic switch
Driver’s side power window switch
The driver’s side control panel is equipped with
switches to open or close the front and rear
passenger windows.
To open a window, push the switch and hold it
down. To close a window, pull the switch and
hold it up. To stop the opening or closing function
at any time, simply release the switch.
LIC1329
2-50 Instruments and controls

Front passenger’s power window
switch
The passenger’s window switch operates only
the corresponding passenger’s window. To open
the window, push the switch and hold it down 䊊
1.
To close the window, pull the switch up 䊊
2.
Rear power window switch (Crew Cab
models only)
The rear power window switches open or close
only the corresponding passenger window. To
open the window, push the switch and hold it
down 䊊
1. To close the window, push the switch
up 䊊
2.
Locking passengers’ windows
When the window lock switch is depressed, only
the driver’s side window can be opened or
closed. Push it again to cancel the window lock
function.
Automatic operation
To fully open a window equipped with automatic
operation, press the window switch down to the
second detent and release it; it need not be held.
The window automatically opens all the way. To
stop the window, lift the switch up while the
window is opening.
WIC0260 WIC0357 LIC0410
Instruments and controls 2-51

REAR SLIDING WINDOW (if so
equipped)
Squeeze the handles of the lever 䊊
1, then slide
the window open 䊊
2.
POWER MOONROOF
The moonroof will only operate when the ignition
switch is in the ON position. The power moonroof
is operational for about 45 seconds, even if the
ignition switch is turned to the ACC or OFF
position. If the driver’s door or the front passen-
ger’s door is opened during this period of about
45 seconds, power to the moonroof is canceled.
Sliding the moonroof
To fully open the moonroof, push the switch to-
ward DOWN/OPEN 䊊
1.
To fully close the moonroof, push the switch
toward UP/CLOSE 䊊
2.
To open or close the moonroof part way, push the
switch in any direction while the moonroof is
sliding to stop it in the desired position.
Tilting the moonroof
Close the moonroof by pushing the switch to-
ward UP/CLOSE 䊊
2. Release the switch, then
push the UP/CLOSE switch again to tilt the
moonroof up.
To tilt the moonroof down, push the switch to-
ward DOWN/OPEN 䊊
1.
Auto-reverse function (when closing or
tilting down the moonroof)
The auto-reverse function can be activated when
the moonroof is closed or tilted down by auto-
matic operation when the ignition switch is
placed in the ON position or for a period of time
after the ignition switch is placed in the OFF
position.
Depending on the environment or driving
conditions, the auto-reverse function may
be activated if an impact or load similar to
something being caught in the moonroof
occurs.
WIC0352 WIC0882
MOONROOF (if so equipped)
2-52 Instruments and controls

WARNING
There are some small distances immedi-
ately before the closed position which
cannot be detected. Make sure that all
passengers have their hands, etc., inside
the vehicle before closing the moonroof.
When closing
If the control unit detects something caught in the
moonroof as it moves to the front, the moonroof
will immediately open backward.
When tilting down
If the control unit detects something caught in the
moonroof as it tilts down, the moonroof will im-
mediately tilt up.
If the auto-reverse function malfunctions and re-
peats opening or tilting up the moonroof, keep
pushing the tilt down switch within 5 seconds
after it happens; the moonroof will fully close
gradually. Make sure nothing is caught in the
moonroof.
WARNING
●In an accident you could be thrown from
the vehicle through an open moonroof.
Always use seat belts and child
restraints.
●Do not allow anyone to stand up or
extend any portion of their body out of
the moonroof opening while the vehicle
is in motion or while the moonroof is
closing.
CAUTION
●Remove water drops, snow, ice or sand
from the moonroof before opening.
●Do not place heavy objects on the
moonroof or surrounding area.
If the moonroof does not close
Have your moonroof checked and repaired. It is
recommended that you visit a NISSAN dealer for
this service.
The interior lights have a three-position switch
and operate regardless of ignition switch posi-
tion.
When the switch is in the ON position 䊊
1, the
interior lights illuminate, regardless of door posi-
tion. The lights will go off after a period of time
unless the ignition switch is in the ON position.
Type A (if so equipped)
LIC0789
INTERIOR LIGHTS
Instruments and controls 2-53

When the switch is in the O (DOOR) position 䊊
2,
the interior lights will stay on for a period of time
when:
●The doors are unlocked by the key fob, a key
or the power door lock switch while all doors
are closed and the ignition switch is in the
OFF position.
●The driver’s door is opened and then closed
while the key is removed from the ignition
switch.
●The key is removed from the ignition switch
while all doors are closed.
The lights will turn off while the timer is activated
when:
●The driver’s door is locked by the key fob, a
key, or the power door lock switch.
●The ignition switch is turned ON.
The lights will turn off automatically after a period
of time while doors are open to prevent the bat-
tery from becoming discharged.
When the switch is in the OFF position 䊊
3, the
interior lights do not illuminate, regardless of door
position.
CAUTION
Do not use for extended periods of time
with the engine stopped. This could result
in a discharged battery.
Type B (if so equipped)
LIC0792
Type C (if so equipped)
LIC0630
2-54 Instruments and controls

MAP LIGHTS (if so equipped)
To turn the map lights on, press the lenses. To
turn them off, press the lenses of the lights again.
CAUTION
Do not use for extended periods of time
with the engine stopped. This could result
in a discharged battery.
The HomeLink® Universal Transceiver provides
a convenient way to consolidate the functions of
up to three individual hand-held transmitters into
one built-in device.
HomeLink® Universal Transceiver:
●Will operate most Radio Frequency devices
such as garage doors, gates, home and of-
fice lighting, entry door locks and security
systems.
●Is powered by your vehicle’s battery. No
separate batteries are required. If the vehi-
cle’s battery is discharged or is discon-
nected, HomeLink® will retain all program-
ming.
When the HomeLink® Universal Trans-
ceiver is programmed, retain the original
transmitter for future programming proce-
dures (Example: new vehicle purchases).
Upon sale of the vehicle, the programmed
HomeLink® Universal Transceiver buttons
should be erased for security purposes. For
additional information, refer to “Program-
ming HomeLink®” in this section.
WARNING
●Do not use the HomeLink® Universal
Transceiver with any garage door
opener that lacks safety stop and re-
verse features as required by federal
safety standards. (These standards be-
came effective for opener models
manufactured after April 1, 1982). A ga-
rage door opener which cannot detect
an object in the path of a closing garage
door and then automatically stop and
reverse, does not meet current federal
safety standards. Using a garage door
opener without these features in-
creases the risk of serious injury or
death.
●During the programming procedure
your garage door or security gate will
open and close (if the transmitter is
within range). Make sure that people or
objects are clear of the garage door,
gate, etc. that you are programming.
●Your vehicle’s engine should be turned
off while programming the HomeLink®
Universal Transceiver.
LIC0791
HOMELINK® UNIVERSAL
TRANSCEIVER (if so equipped)
Instruments and controls 2-55

PROGRAMMING HOMELINK®
If you have any questions or are having difficulty
programming your HomeLink® buttons, refer to
the HomeLink® web site at: www.homelink.com
or call 1-800-355-3515.
NOTE:
Place the ignition switch in the ACC posi-
tion when programming HomeLink®. It is
also recommended that a new battery be
placed in the hand-held transmitter of the
device being programmed to HomeLink®
for quicker programming and accurate
transmission of the radio-frequency.
1. Position the end of your hand-held transmit-
ter 1–3 in (2–8 cm) away from the
HomeLink® surface, keeping the
HomeLink® indicator light 䊊
1in view.
2. Using both hands, simultaneously press and
hold the desired HomeLink® button and
hand-held transmitter button. DO NOT re-
lease until the HomeLink® indicator light 䊊
1
flashes slowly and then rapidly. When the
indicator light flashes rapidly, both buttons
may be released. (The rapid flashing indi-
cates successful programming.)
NOTE:
Some devices may require you to replace
Step 2 with the cycling procedure noted in
“Programming HomeLink® for Canadian
customers and gate openers” in this sec-
tion.
3. Press and hold the programmed
HomeLink® button and observe the indica-
tor light.
●If the indicator light 䊊
1is
solid/continuous, programming is
complete and your device should acti-
vate when the HomeLink® button is
pressed and released.
●If the indicator light 䊊
1blinks rapidly for
2 seconds and then turns to a
solid/continuous light, continue
with Steps 4-6 for a rolling code device.
A second person may make the following
steps easier. Use a ladder or other device.
LIC2365 LIC2366
2-56 Instruments and controls
Do not stand on your vehicle to perform
the next steps.
4. At the receiver located on the garage door
opener motor in the garage, locate the
“learn” or “smart” button (the name and color
of the button may vary by manufacturer but it
is usually located near where the hanging
antenna wire is attached to the unit). If there
is difficulty locating the button, reference the
garage door opener’s manual.
5. Press and release the “learn” or “smart” but-
ton.
6. Return to the vehicle and firmly press and
hold the trained HomeLink® button for
2 seconds and release. Repeat the
“press/hold/release” sequence up to three
times to complete the training process.
HomeLink® should now activate your rolling
code equipped device.
7. If you have any questions or are having diffi-
culty programming your HomeLink® but-
tons, refer to the HomeLink® web site at:
www.homelink.com or call 1-800-355-
3515.
PROGRAMMING HOMELINK® FOR
CANADIAN CUSTOMERS AND
GATE OPENERS
Canadian radio-frequency laws require transmit-
ter signals to “time-out” (or quit) after several
seconds of transmission – which may not be long
enough for HomeLink® to pick up the signal
during training. Similar to this Canadian law,
some U.S. gate operators are designed to “tim-
eout” in the same manner.
If you live in Canada or you are having difficulties
training a gate operator or garage door opener
by using the “Training” procedures, replace
“Programming HomeLink®” Step 2 with the fol-
lowing:
NOTE:
When programming a garage door opener,
etc., unplug the device during the “cycling”
process to prevent possible damage to the
garage door opener components.
1. For additional information, refer to “Pro-
gramming HomeLink®” step 1 in this sec-
tion.
2. Using both hands, simultaneously press and
hold the desired HomeLink® button and the
hand-held transmitter button. During train-
ing, your hand-held transmitter may auto-
matically stop transmitting. Continue to
press and hold the desired HomeLink® but-
ton while you press and re-press (“cycle”)
your hand-held transmitter every 2 seconds
until the frequency signal has been learned.
The HomeLink® indicator light will flash
slowly and then rapidly after several seconds
upon successful training. DO NOT release
until the HomeLink® indicator light flashes
slowly and then rapidly. When the indicator
light flashes rapidly, both buttons may be
released. The rapid flashing indicates suc-
cessful training.
Proceed with “Programming HomeLink®”
step 3 to complete.
If the device was unplugged during the pro-
gramming procedure, remember to plug it
back in when programming is completed.
OPERATING THE HOMELINK®
UNIVERSAL TRANSCEIVER
The HomeLink® Universal Transceiver, after it is
programmed, can be used to activate the pro-
grammed device. To operate, simply press and
release the appropriate programmed
HomeLink® Universal Transceiver button. The
amber indicator light will illuminate while the sig-
nal is being transmitted.
For convenience, the hand-held transmitter of the
device may also be used at any time.
Instruments and controls 2-57
PROGRAMMING TROUBLE-
DIAGNOSIS
If the HomeLink® does not quickly learn the
hand-held transmitter information:
●replace the hand-held transmitter batteries
with new batteries.
●position the hand-held transmitter with its
battery area facing away from the
HomeLink® surface.
●press and hold both the HomeLink® and
hand-held transmitter buttons without inter-
ruption.
●position the hand-held transmitter 1 -
3 inches (26 - 76 mm) away from the
HomeLink® surface. Hold the transmitter in
that position for up to 15 seconds. If
HomeLink® is not programmed within that
time, try holding the transmitter in another
position – keeping the indicator light in view
at all times.
If you have any questions or are having difficulty
programming your HomeLink® buttons, refer to
the HomeLink® web site at: www.homelink.com
or call 1-800-355-3515.
CLEARING THE PROGRAMMED
INFORMATION
The following procedure clears the programmed
information from both buttons. Individual buttons
cannot be cleared. However, individual buttons
can be reprogrammed. For additional informa-
tion, refer to “Reprogramming a single
HomeLink® button” in this section.
To clear all programming:
1. Press and hold the two outer HomeLink®
buttons until the indicator light begins to
flash in approximately 10 seconds. Do not
hold for longer than 20 seconds.
2. Release both buttons.
HomeLink® is now in the programming mode
and can be programmed at any time beginning
with “Programming HomeLink®” - Step 1.
REPROGRAMMING A SINGLE
HOMELINK® BUTTON
To reprogram a HomeLink® Universal Trans-
ceiver button, complete the following:
1. Press and hold the desired HomeLink® but-
ton. DO NOT release the button.
2. The indicator light will begin to flash after
20 seconds. Without releasing the
HomeLink® button, proceed with “Pro-
gramming HomeLink®” - Step 1.
For questions or comments, contact HomeLink®
at: www.homelink.com or 1–800–355–3515
(except Mexico).
The HomeLink® Universal Transceiver button
has now been reprogrammed. The new device
can be activated by pushing the HomeLink®
button that was just programmed. This procedure
will not affect any other programmed HomeLink®
buttons.
2-58 Instruments and controls
IF YOUR VEHICLE IS STOLEN
If your vehicle is stolen, you should change the
codes of any non-rolling code device that has
been programmed into HomeLink®. Consult the
Owner’s Manual of each device or call the manu-
facturer or dealer of those devices for additional
information.
When your vehicle is recovered, you will
need to reprogram the HomeLink® Univer-
sal Transceiver with your new transmitter
information.
FCC Notice:
For USA:
This device complies with Part 15 of the
FCC Rules. Operation is subject to the fol-
lowing two conditions: (1) This device may
not cause interference, and (2) this device
must accept any interference received, in-
cluding interference that may cause unde-
sired operation.
NOTE:
Changes or modifications not expressly ap-
proved by the party responsible for compli-
ance could void the user’s authority to op-
erate the equipment.
For Canada:
This device complies with Industry Canada
licence-exempt RSS standard(s). Opera-
tion is subject to the following two condi-
tions: (1) this device may not cause inter-
ference, and (2) this device must accept any
interference, including interference that
may cause undesired operation of the de-
vice.
Instruments and controls 2-59
MEMO
2-60 Instruments and controls

3 Pre-driving checks and adjustments
Keys.............................................3-2
NISSAN Vehicle Immobilizer System keys
(if so equipped) ................................3-2
Doors ............................................3-3
Locking with key................................3-3
Locking with inside lock knob ....................3-4
Locking with power door lock switch
(if so equipped) ................................3-4
Rear doors (if so equipped)......................3-5
Automatic door locks (if so equipped). . . ..........3-5
Child safety rear door lock (if so equipped) ........3-6
Remote keyless entry system (if so equipped).........3-6
How to use remote keyless entry system ..........3-7
Hood ...........................................3-10
Fuel-filler door ...................................3-11
Fuel-filler cap .................................3-11
Steering wheel ...................................3-13
Tilt operation..................................3-13
Sun visors .......................................3-14
Vanity mirrors (if so equipped)...................3-15
Mirrors ..........................................3-15
Manual anti-glare rearview mirror
(if so equipped) ...............................3-15
Automatic anti-glare rearview mirror
(if so equipped) ...............................3-15
Outside mirrors ...............................3-16
Truck box ........................................3-18
Tailgate.......................................3-18
Bed Extender (if so equipped) ..................3-22
Tie down hooks (if so equipped) ................3-23

1. Two master keys (black) with transponder
chip and chrome NISSAN brand symbol on
one side
2. Transponder chip
3. Key number plate
A key number plate is supplied with your keys.
Record the key number and keep the plate in a
safe place (such as your wallet), not in the ve-
hicle. If you lose your keys, it is recommended
that you visit a NISSAN dealer for duplicates by
using the key number. NISSAN does not record
key numbers so it is very important to keep track
of your key number plate.
A key number is only necessary when you have
lost all your keys. If you still have a key, it can
duplicated without knowing the key number.
NISSAN VEHICLE IMMOBILIZER
SYSTEM KEYS (if so equipped)
You can only drive your vehicle using the master
key which is registered to the NISSAN Vehicle
Immobilizer System components in your vehicle.
This key has a transponder chip in the key head.
The master key can be used for all the locks.
Never leave these keys in the vehicle.
Additional or replacement keys:
If you still have a key, the key number is not
necessary when you need extra NISSAN Vehicle
Immobilizer System keys. A NISSAN dealer can
duplicate your existing key. As many as five
NISSAN Vehicle Immobilizer System keys can be
used with one vehicle. You should bring all
NISSAN Vehicle Immobilizer System keys that
you have to the NISSAN dealer for registration.
This is because the registration process will
erase the memory of all key codes previously
registered into the NISSAN Vehicle Immobilizer
System. After the registration process, these
components will only recognize keys coded into
the NISSAN Vehicle Immobilizer System during
registration. Any key that is not given to the dealer
at the time of registration will no longer be able to
start your vehicle.
CAUTION
Do not allow the immobilizer system key,
which contains an electrical transponder,
to come into contact with water or salt
water. This could affect system function.
LPD0348
KEYS
3-2 Pre-driving checks and adjustments

When the doors are locked using one of the
following methods, the doors cannot be opened
using the inside or outside door handles. The
doors must be unlocked to open the doors.
WARNING
●Always have the doors locked while
driving. Along with the use of seat belts,
this provides greater safety in the event
of an accident by helping to prevent
persons from being thrown from the
vehicle. This also helps keep children
and others from unintentionally open-
ing the doors, and will help keep out
intruders.
●Before opening any door, always look
for and avoid oncoming traffic.
●To help avoid risk of injury or death
through unintended operation of the
vehicle and or its systems, including
entrapment in windows or inadvertent
door lock activation, do not leave chil-
dren, people who require the assistance
of other or pets unattended in your ve-
hicle. Additionally, the temperature in-
side a closed vehicle on a warm day can
quickly become high enough to cause a
significant risk of injury or death or
people and pets.
LOCKING WITH KEY
To lock or unlock the vehicle, turn the key as
shown.
Manual (if so equipped)
To lock a door, turn the key toward the front of the
vehicle 䊊
1. To unlock, turn the key toward the rear
䊊
2.
Power (if so equipped)
The power door lock system allows you to lock or
unlock all doors at the same time.
Turning the key toward the front 䊊
1of the vehicle
locks all the doors.
Turning the key 1 time toward the rear 䊊
2of the
vehicle unlocks that door. From that position,
returning the key to neutral 䊊
3(where the key can
only be removed and inserted) and turning it
toward the rear again within 5 seconds unlocks
all doors 䊊
4.
Driver’s side and Passenger’s side
(if so equipped)
WPD0311
Driver’s side
LPD0240
DOORS
Pre-driving checks and adjustments 3-3

LOCKING WITH INSIDE LOCK
KNOB
To lock the door without the key, move the inside
lock knob to the lock position 䊊
1, then close the
door.
To unlock the door without the key, move the
inside lock knob to the unlock position 䊊
2.
LOCKING WITH POWER DOOR
LOCK SWITCH (if so equipped)
To lock all the doors without a key, push the door
lock switch (driver’s or front passenger’s side) to
the lock position 䊊
1. When locking the door this
way, be certain not to leave the key inside the
vehicle.
To unlock all the doors without a key, push the
door lock switch (driver’s or front passenger’s
side) to the unlock position 䊊
2.
Lockout protection
When the power door lock switch (driver’s or
front passenger’s side) is moved to the lock
position with the key in the ignition switch and any
door opens, all doors will lock and then unlock
automatically. This helps to prevent the keys from
being accidently locked inside the vehicle.
Inside lock
LPD0298
Driver’s side
WPD0381
3-4 Pre-driving checks and adjustments

REAR DOORS (if so equipped)
1. Open the driver’s or passenger’s door.
2. From the outside, pull the door handle 䊊
A
toward you.
3. Open the door to the desired position.
AUTOMATIC DOOR LOCKS (if so
equipped)
●All doors lock automatically when the vehicle
speed reaches 15 mph (24 km/h).
●For automatic transmission models: All
doors unlock automatically when the trans-
mission is placed in the P (Park) position.
●For manual transmission models: All doors
unlock automatically when the key is re-
moved from the ignition.
LPD0278 LPD0312 WPD0313
Pre-driving checks and adjustments 3-5

CHILD SAFETY REAR DOOR LOCK
(if so equipped)
Child safety locks help prevent the rear doors
from being opened accidentally, especially when
small children are in the vehicle.
The child safety lock levers are located on the
edge of the rear doors.
When the lever is in the LOCK position, the
door can be opened only from the outside.
WARNING
●Radio waves could adversely affect
electric medical equipment. Those who
use a pacemaker should contact the
electric medical equipment manufac-
turer for the possible influences before
use.
●The remote keyless entry key fob trans-
mits radio waves when the buttons are
pressed. The FAA advises radio waves
may affect aircraft navigation and com-
munication systems. Do not operate the
remote keyless entry key fob while on
an airplane. Make sure the buttons are
not operated unintentionally when the
unit is stored for a flight.
It is possible to lock/unlock all doors, turn the
interior light on, and activate the panic alarm by
using the key fob from outside the vehicle.
Be sure to remove the key from the vehicle
before locking the doors.
The key fob can operate at a distance of approxi-
mately 33 ft (10 m) from the vehicle. The effective
distance depends upon the conditions around
the vehicle.
As many as five key fobs can be used with one
vehicle. For information concerning the purchase
and use of additional key fobs, it is recommended
that you visit a NISSAN dealer.
The key fob will not function when:
●The battery is discharged.
●The distance between the vehicle and the
key fob is over 33 ft (10 m).
The panic alarm will not activate when the
key is in the ignition switch.
CAUTION
Listed below are conditions or occur-
rences which will damage the key fob:
●Do not allow the key fob, which con-
tains electrical components, to come
into contact with water or salt water.
This could affect the system function.
●Do not drop the key fob.
●Do not strike the key fob sharply
against another object.
●Do not change or modify the key fob.
●Wetting may damage the key fob. If the
key fob gets wet, immediately wipe until
it is completely dry.
WPD0037
REMOTE KEYLESS ENTRY SYSTEM
(if so equipped)
3-6 Pre-driving checks and adjustments

●Do not place the key fob for an ex-
tended period in an area where tem-
peratures exceed 140°F (60°C)
●Do not attach the key fob with a key
holder that contains a magnet.
●Do not place the key fob near equip-
ment that produces a magnetic field,
such as a TV, audio equipment and per-
sonal computers.
If a key fob is lost or stolen, NISSAN rec-
ommends erasing the ID code of that key
fob. This will prevent the key fob from
unauthorized use to unlock the vehicle.
For information regarding the erasing
procedure, it is recommended that you
visit a NISSAN dealer.
HOW TO USE REMOTE KEYLESS
ENTRY SYSTEM
Locking doors
1. Close all windows.
2. Remove the key from the ignition switch.
3. Close the hood and all doors.
4. Press the button on the key fob. All
the doors lock. The hazard warning lights
flash twice and the horn beeps once to
indicate all doors are locked.
●When the button is pressed with
all doors locked, the hazard warning lights
flash twice and the horn beeps once as a
reminder that the doors are already
locked.
●If a door is open and you press
the button, the doors will lock
but the horn will not beep and the hazard
lights will not flash.
The horn may or may not beep. For additional
information, refer to “Silencing the horn beep
feature” in this section.
LPD0209
Pre-driving checks and adjustments 3-7

Unlocking doors
Press the button on the key fob once.
●Only the driver’s door unlocks.
●The hazard warning lights flash once if all
doors are completely closed with the ignition
switch in any position except the ON posi-
tion.
●The interior lights illuminate for a period of
time when the interior light switch is in the
normal operation position.
Press the button on the key fob again
within 5 seconds.
●All doors unlock.
●The hazard warning lights flash once if all
doors are completely closed.
The interior lights can be turned off without wait-
ing by inserting the key into the ignition switch
and placing the ignition switch in the ON or
START position, locking the doors with the key
fob or pushing the interior light switch to the OFF
position.
Auto relock
When the button on the key fob is
pressed, all doors will lock automatically within
1 minute unless one of the following operations is
performed:
●Any door is opened.
●A key is inserted into the ignition switch and
the switch is cycled from OFF to ON.
Opening windows (if so equipped)
The key fob allows you to open windows
equipped with automatic operation.
●To open the windows, press the but-
ton on the key fob for longer than 3 sec-
onds after all doors are unlocked.
The door windows will open while pressing
the button on the key fob.
The door windows cannot be closed by
using the key fob.
WPD0158
3-8 Pre-driving checks and adjustments

Using the panic alarm
If you are near your vehicle and feel threatened,
you may activate the panic alarm to call attention
by pressing and holding the button on the
key fob for longer than 0.5 seconds.
The panic alarm and headlights will stay on for a
period of time.
The panic alarm stops when:
●It has run for a period of time.
●Any button is pressed on the key fob.
Using the interior lights
Press the button on the key fob once to
turn on the interior lights.
For additional information, refer to “Interior lights”
in the “Instruments and controls” section in this
manual.
Silencing the horn beep feature
If desired, the horn beep feature can be deacti-
vated using the key fob.
To deactivate: Press and hold the
and buttons for at least 2 seconds.
The hazard warning lights will flash three times to
confirm that the horn beep feature has been
deactivated.
To activate: Press and hold the
and buttons for at least 2 seconds once
more.
LPD2497 LPD0262
Pre-driving checks and adjustments 3-9

The hazard warning lights will flash once and the
horn will sound once to confirm that the horn
beep feature has been reactivated.
Deactivating the horn beep feature does not si-
lence the horn if the alarm is triggered.
1. Pull the hood lock release handle 䊊
1located
below the driver’s side instrument panel. The
hood will spring up slightly.
2. Push the lever 䊊
2at the front of the hood to
the side as illustrated with your fingertips
and raise the hood.
3. Insert the support rod into the slot on the
underside of the hood 䊊
3.
When closing the hood, return the hood rod to its
original position. Lower the hood approximately
12 in (30 cm) above the latch and release it. This
allows proper engagement of the hood latch.
WARNING
●Make sure the hood is completely
closed and latched before driving. Fail-
ure to do so could cause the hood to fly
open and result in an accident.
●If you see steam or smoke coming from
the engine compartment, to avoid injury
do not open the hood.
LPD0302
HOOD
3-10 Pre-driving checks and adjustments

FUEL-FILLER CAP
WARNING
●Gasoline is extremely flammable and
highly explosive under certain condi-
tions. You could be burned or seriously
injured if it is misused or mishandled.
Always stop the engine and do not
smoke or allow open flames or sparks
near the vehicle when refueling.
●Do not attempt to top off the fuel tank
after the fuel pump nozzle shuts off
automatically. Continued refueling may
cause fuel overflow, resulting in fuel
spray and possibly a fire.
●Use only an original equipment type
fuel-filler cap as a replacement. It has a
built-in safety valve needed for proper
operation of the fuel system and emis-
sion control system. An incorrect cap
can result in a serious malfunction and
possible injury. It could also cause
the Malfunction Indicator Light
(MIL) to come on.
●Never pour fuel into the throttle body to
attempt to start your vehicle.
●Do not fill a portable fuel container in
the vehicle or trailer. Static electricity
can cause an explosion of flammable
liquid, vapor or gas in any vehicle or
trailer. To reduce the risk of serious
injury or death when filling portable fuel
containers:
– Always place the container on the
ground when filling.
– Do not use electronic devices when
filling.
– Keep the pump nozzle in contact
with the container while you are fill-
ing it.
– Use only approved portable fuel con-
tainers for flammable liquid.
CAUTION
●The LOOSE FUEL CAP warning mes-
sage will be displayed if the fuel-filler
cap is not properly tightened. It may
take a few driving trips for the message
to be displayed. Failure to tighten the
fuel-filler cap properly after the LOOSE
FUEL CAP warning message is dis-
played may cause the Malfunc-
tion Indicator Light (MIL) to illuminate.
●Failure to tighten the fuel-filler cap
properly may cause the Malfunc-
tion Indicator Light (MIL) to illuminate.
If the light illuminates because
the fuel-filler cap is loose or missing,
tighten or install the cap and continue
to drive the vehicle. The light
should turn off after a few driving trips.
If the light does not turn off after a
few driving trips, have the vehicle in-
spected. It is recommended that you
visit a NISSAN dealer for this service.
LPD2082
FUEL-FILLER DOOR
Pre-driving checks and adjustments 3-11

●For additional information, refer to the
“Malfunction Indicator Light (MIL)” in
the “Instruments and Controls” section
in this manual.
●If fuel is spilled on the vehicle body,
flush it away with water to avoid paint
damage.
Fuel recommendation (without Flexible
Fuel Vehicle option):
●Do not use E-15 or E-85 fuel in your
vehicle. For additional information, re-
fer to the “Fuel Recommendation” in
the “Technical and consumer informa-
tion” section of this manual.
Flexible Fuel Vehicle (FFV)
recommendation:
●Only vehicles with the E-85 filler door
label can operate on up to E-85 fuel.
Fuel system or other damage can occur
if up to E-85 fuel is used in vehicles that
are not designed to run on E-85 fuel. For
additional information, refer to “Fuel
recommendation” in the “Technical and
consumer information” section of this
manual.
For additional information, refer to “Fuel recom-
mendation (without Flexible Fuel Vehicle option)”
and “Flexible Fuel Vehicle (FFV) recommenda-
tion” in the “Technical and consumer information”
section of this manual.
To remove the fuel-filler cap:
1. Turn the fuel-filler cap counterclockwise to
remove.
2. Loop the tether strap around the hook 䊊
1
while refueling.
To install the fuel-filler cap:
1. Insert the fuel-filler cap straight into the fuel-
filler tube.
2. Turn the fuel-filler cap clockwise until a
single click is heard.
LPD2082
3-12 Pre-driving checks and adjustments

LOOSE FUEL CAP warning message
The LOOSE FUEL CAP warning message dis-
plays in the odometer when the fuel-filler cap is
not tightened correctly after the vehicle has been
refueled. It may take a few driving trips for the
message to be displayed. To turn off the warning
message, perform the following:
1. Remove and install the fuel-filler cap as de-
scribed above as soon as possible.
2. Tighten the fuel-filler cap until it clicks.
3. Press the loose fuel cap change/reset but-
ton 䊊
Ain the meter for about one second to
turn off the LOOSE FUEL CAP warning
message after tightening the fuel-filler cap.
For additional information, refer to “Meters and
gauges” in the “Instruments and controls” section
of this manual.
TILT OPERATION
WARNING
●Do not adjust the steering wheel while
driving. You could lose control of your
vehicle and cause an accident.
LRS2004 LPD0304
STEERING WHEEL
Pre-driving checks and adjustments 3-13

●Do not adjust the steering wheel any
closer to you than is necessary for
proper steering operation and comfort.
The driver’s air bag inflates with great
force. If you are unrestrained, leaning
forward, sitting sideways or out of posi-
tion in any way, you are at greater risk of
injury or death in a crash. You may also
receive serious or fatal injuries from the
air bag if you are up against it when it
inflates. Always sit back against the
seatback and as far away as practical
from the steering wheel. Always use the
seat belts.
Pull the lock lever toward the driver and hold it to
adjust the steering wheel up or down to the
desired position.
Release the lock lever to lock the steering wheel
in place.
1. To block glare from the front, swing down 䊊
1
the main sun visor.
2. To block glare from the side, remove the
main sun visor from the center mount and
swing the visor to the side 䊊
2.
3. To extend 䊊
3the sun visor, slide in or out as
needed (if so equipped).
CAUTION
●Do not store the sun visor before return-
ing the extension to its original
position.
●Do not pull the extension sun visor
forcedly downward.
WPD0344
SUN VISORS
3-14 Pre-driving checks and adjustments

VANITY MIRRORS (if so equipped)
To access the vanity mirror, pull the sun visor
down and flip open the mirror cover. Some vanity
mirrors are illuminated and turn on when the
mirror cover is open.
MANUAL ANTI-GLARE REARVIEW
MIRROR (if so equipped)
Use the night position 䊊
1to reduce glare from
the headlights of vehicles behind you at night.
Use the day position 䊊
2when driving in daylight
hours.
WARNING
Use the night position only when neces-
sary, because it reduces rear view clarity.
AUTOMATIC ANTI-GLARE
REARVIEW MIRROR (if so equipped)
The inside mirror is designed so that it automati-
cally dims during night time conditions and ac-
cording to the intensity of the headlights of the
vehicle following you. The automatic anti-glare
feature is activated when the ignition switch is in
the ON position.
The indicator light 䊊
2will illuminate when the
automatic anti-glare feature is operating.
NOTE:
Do not hang any objects over the sensors
䊊
1or apply glass cleaner to the sensors.
Doing so will reduce the sensitivity of the
sensors, resulting in improper operation.
WPD0307 WPD0126
MIRRORS
Pre-driving checks and adjustments 3-15

The indicator light will illuminate when the auto-
matic anti-glare feature is operating.
With the ignition switch in the ON position, press
the button as described:
●To turn off the anti-glare feature, press
the button. The indicator light will turn
off.
●To turn on the anti-glare feature, press
the button again. The indicator light
will turn on.
For information on HomeLink® Universal Trans-
ceiver (if so equipped) operation, refer to the
“HomeLink® Universal Transceiver” in the “In-
struments and controls” section of this manual.
For additional information about the compass 䊊
3
and compass features, refer to “Compass dis-
play” in the “Instruments and controls” section of
this manual.
OUTSIDE MIRRORS
WARNING
●Objects viewed in the outside mirror on
the passenger side are closer than they
appear. Be careful when moving to the
right. Using only this mirror could cause
an accident. Use the inside mirror or
glance over your shoulder to properly
judge distances to other objects.
●Do not adjust the mirrors while driving.
You could lose control of your vehicle
and cause an accident.
Type A (if so equipped)
LPD2505
Type B (if so equipped)
LPD2504
3-16 Pre-driving checks and adjustments

Manual control type (if so equipped)
The outside mirror can be moved in any direction
for a better rear view.
Electric control type (if so equipped)
The outside mirror remote control will operate
only when the ignition switch is placed in the
ACC or ON position.
Move the small switch 䊊
1to select the right or left
mirror. Move the large switch 䊊
2to adjust each
mirror to the desired position.
Foldable outside mirrors
Pull the outside mirror toward the door to fold it.
Heated mirrors (if so equipped)
Some outside mirrors can be heated to defrost,
defog, or de-ice for improved visibility. For addi-
tional information, refer to “Rear window or out-
side mirror defroster switch (if so equipped)” in
the “Instruments and controls” section of this
manual.
WPD0170 LPD0237 LPD0259
Pre-driving checks and adjustments 3-17

TAILGATE
Opening the tailgate
Pull the tailgate handle upward and lower the
tailgate. The support cables hold the tailgate
open.
When closing the tailgate, make sure the latches
are securely locked.
Do not drive the vehicle with the tailgate
down, unless equipped with NISSAN’s Bed
Extender (accessory) or equivalent in the
extended position.
For additional information on proper truck box
loading, refer to “Vehicle loading information” in
the “Technical and consumer information” sec-
tion of this manual.
WARNING
●Never allow anyone to ride in the cargo
area or on the rear seat when it is in the
folded position. Use of these areas by
passengers without proper restraints
could result in serious injury or death in
an accident or sudden stop.
●It is extremely dangerous to ride in a
cargo area inside a vehicle. In a colli-
sion, people riding in these areas are
more likely to be seriously injured or
killed.
●Do not allow people to ride in any area
of your vehicle that is not equipped with
seats and seat belts.
●Be sure everyone in your vehicle is in a
seat and using a seat belt properly.
LPD0270
TRUCK BOX
3-18 Pre-driving checks and adjustments

Disconnecting the rear camera (if so
equipped)
Before removing the tailgate disconnect the rear
camera by performing the following:
1. Open the tailgate to access the rear camera
connector bracket 䊊
1located on the rear
sill.
2. Remove the connector bracket 䊊
2from the
sill by pressing the locking tab inward, in the
direction shown, while pulling the bracket
apart.
3. Disconnect the chassis wiring harness 䊊
3
by pressing inward on the locking tab, in the
direction shown, while pulling the connec-
tors apart. Hold the connector firmly to pre-
vent the connector in the chassis harness
from falling into the sill.
4. Take the chassis plug and bracket from the
glove box and connect them to the chassis
wiring harness to avoid contamination to the
terminals which will lead to malfunction of
the rear camera.
5. Insert the bracket back into the sill.
6. Take the tailgate plug from the glove box and
connect it to the tailgate wiring harness to
avoid contamination which will lead to mal-
function of the rear camera.
7. Remove the tailgate. For additional informa-
tion, refer to “Removing the tailgate” in this
section.
LPD2097
Pre-driving checks and adjustments 3-19

Removing the tailgate
1. Release the tailgate support cables.
CAUTION
●The tailgate is heavy. Two people
should remove or install it. Be careful
not to drop it during removal.
●After releasing the support cables, do
not let the tailgate rest on the bumper.
2. Hold the tailgate at a 15 degree angle.
3. Pull the tailgate out from the right side hinge.
4. Slide the tailgate out of the left side hinge.
Installing the tailgate
1. Insert the tailgate into the left side hinge.
2. Hold the tailgate at a 15 degree angle and
insert into the right side hinge.
3. Continue to hold the tailgate at a 15 degree
angle and attach the tailgate support cables.
4. Close the tailgate securely.
LPD2208
3-20 Pre-driving checks and adjustments

Connecting the rear camera (if so
equipped)
Before closing the tailgate reconnect the rear
camera by performing the following:
1. After attaching the rear tailgate to the truck,
keep the tailgate open and check that the
tailgate harness is not hanging below the
tailgate.
2. Remove the connector bracket 䊊
2from the
sill by pressing the locking tab inward, in the
direction shown, while pulling the bracket
apart.
3. Disconnect the chassis plug and bracket
from the chassis wiring harness 䊊
3. Keep
the connector and bracket in a safe place
such as the glove box.
4. Disconnect the tailgate plug from the tail-
gate wiring harness. Keep the tailgate plug
in a safe place such as the glove box.
5. Connect the tailgate wiring harness to the
chassis wiring harness.
6. Securely fix the rear camera connector
bracket 䊊
1to the rear sill.
7. Close the tailgate securely.
Locking the tailgate
To lock the tailgate, turn the key toward the pas-
senger side of the vehicle 䊊
1. To unlock, turn the
key toward the driver side 䊊
2.
LPD2097 LPD0272
Pre-driving checks and adjustments 3-21

BED EXTENDER (if so equipped)
CAUTION
●Do not overload the bed extender.
Maximum load on the open tailgate is
200 lbs. (890N).
●Evenly distribute and properly secure
all cargo.
●Do not use the bed extender or tailgate
to secure cargo.
Positioning the bed extender
To use the bed extender in the inward position
perform the following:
1. Rotate the bed extender 䊊
1toward the cab
of the truck.
2. If necessary, remove tethers from the tailgate
latch.
3. Tighten the knobs to secure the extender
into the desired position.
4. Close the tailgate.
5. Place cargo inside the bed extender in the
truck bed.
6. Properly secure the cargo.
LPD0480
3-22 Pre-driving checks and adjustments

To use the bed extender in the outward position
perform the following:
1. Open the tailgate.
2. Rotate the bed extender 䊊
2away from the
cab of the truck until the extender sits on the
tailgate.
3. Lock the buckles 䊊
3into the tailgate latch on
both sides.
The bed extender can be adjusted in the outward
position by moving the extender along the rail.
NOTE:
Use care when rotating extender, buckles
may come in contact with the truck bed
railing.
Removing and installing the bed
extender
To remove or install the bed extender perform the
following:
1. Open the tailgate.
2. Rotate the bed extender into a vertical posi-
tion and lift straight up (to remove) or lower
straight down (to install).
To store the bed extender in the front of the truck
when not in use perform the following:
1. Position the sliding brackets past the center
of the wheel well.
2. Re-install the extender into the brackets (see
above).
3. Rotate the extender to the inward position.
4. Push the brackets forward until the extender
comes in contact with the front wall of the
truck box.
TIE DOWN HOOKS (if so equipped)
For your convenience, tie down hooks are placed
at each corner of the truck box. These may be
used to help secure cargo loaded into the truck
box.
●The weight of the cargo load must be evenly
distributed over both the front and the rear
axles.
●All cargo should be securely fastened with
ropes or straps to prevent it from shifting or
sliding within the vehicle.
LPD0479 LTI0102
Pre-driving checks and adjustments 3-23

WARNING
●Properly secure all cargo with ropes or
straps to help prevent it from sliding or
shifting. In a sudden stop or collision,
unsecured cargo could cause personal
injury.
3-24 Pre-driving checks and adjustments

4 Monitor, climate, audio, phone and voice
recognition systems
Control panel buttons — color screen with
Navigation System (if so equipped) ..................4-4
How to use the touch-screen . . ..................4-5
How to use the BACK button ....................4-7
How to use the button ...................4-7
button...................................4-9
How to use the ON-OFF button/VOL
(volume) control knob ...........................4-9
How to use the CAMERA button .................4-9
RearView Monitor (if so equipped)..................4-10
RearView Monitor system operation .............4-11
How to read the displayed lines .................4-11
Difference between predicted and actual
distances .....................................4-12
Adjusting the screen ...........................4-14
RearView Monitor system limitations .............4-14
System maintenance...........................4-16
Vents ...........................................4-16
Heater (manual) (if so equipped) ...................4-17
Controls......................................4-17
Heater operation ..............................4-18
Air flow charts.................................4-19
Heater and air conditioner (manual)
(if so equipped) ..................................4-22
Controls......................................4-23
Controls......................................4-24
Controls......................................4-25
Heater operation ..............................4-26
Air conditioner operation .......................4-27
Air flow charts (Type A) (if so equipped)..........4-28
Air flow charts (Type B or Type C)
(if so equipped) ...............................4-32
Heater and air conditioner (automatic)
(if so equipped) ..................................4-35
Automatic operation ...........................4-38
Manual operation ..............................4-38
Operating tips.................................4-39
Servicing Air Conditioner (if so equipped) ...........4-40
Audio system (if so equipped)......................4-40
Radio ........................................4-40
FM radio reception ............................4-40
AM radio reception ............................4-41
Satellite radio reception (if so equipped) .........4-41
Audio operation precautions ....................4-41
FM/AM radio with compact disc (CD) player
(if so equipped) ...............................4-48
FM/AM/SAT radio with compact disc (CD)
player (Type A) (if so equipped) .................4-52
FM/AM/SAT radio with compact disc (CD)
player (Type B) (if so equipped) .................4-58
USB (Universal Serial Bus) Connection Port
(models without Navigation System)
(if so equipped) ...............................4-64
USB (Universal Serial Bus) Connection Port
(models with Navigation System)
(if so equipped) ...............................4-66
iPod® Player Operation (models without
Navigation System) (if so equipped) .............4-68
iPod® Player Operation (models with
Navigation System) (if so equipped) .............4-70
Bluetooth® streaming audio without
Navigation System (if so equipped) ..............4-73
Bluetooth® streaming audio with Navigation
System (if so equipped) ........................4-74
CD care and cleaning ..........................4-75
Steering wheel switch for audio control
(if so equipped) ...............................4-76
Antenna ......................................4-77
NissanConnect
SM
Mobile Apps (if so equipped) .....4-78
Registering with NissanConnect
SM
Mobile
Apps.........................................4-78
Connect Phone ...............................4-78
Application Download..........................4-78
Siri® Eyes Free (if so equipped) ...................4-79
Requirements .................................4-79
Siri® Activation ...............................4-79
Operating Siri® Eyes Free......................4-80
Changing Siri® Eyes Free Settings
(models without navigation system) ..............4-80
Troubleshooting guide .........................4-81
Car phone or CB radio ............................4-82
Bluetooth® Hands-Free Phone System without
Navigation System (if so equipped) .................4-82
Regulatory Information .........................4-84
Using the system ..............................4-84
Control buttons ...............................4-86
Connecting procedure .........................4-86
Voice commands ..............................4-87
Making a call. .................................4-88
Receiving a call ...............................4-89
During a call ..................................4-89
Ending a call ..................................4-89
Text messaging (if so equipped) .................4-90
Bluetooth® settings ...........................4-91
Manual control . . ..............................4-92
Bluetooth® Hands-Free Phone System with
Navigation System (if so equipped) .................4-93
Regulatory Information .........................4-95
Voice commands ..............................4-95
Connecting Procedure .........................4-95
Vehicle phonebook ............................4-96
Making a call..................................4-96
Receiving a call ...............................4-96
During a call ..................................4-96
Ending a call ..................................4-96
Text messaging (if so equipped) .................4-97
Bluetooth® settings ...........................4-99
Phone settings ...............................4-100
Troubleshooting guide ........................4-101
NISSAN Voice Recognition System
(if so equipped) .................................4-102
Using the system .............................4-102
System features ..............................4-103
Bluetooth® Hands-Free Phone System
voice commands .............................4-104
Navigation System voice commands ............4-104
Audio system voice commands.................4-105
Information voice commands...................4-105
My Apps voice commands.....................4-105
Help voice commands ........................4-105
Troubleshooting guide ........................4-106

WARNING
●Positioning of the heating or air condi-
tioning controls and display controls
should not be done while driving in or-
der that full attention may be given to
the driving operation.
●Do not disassemble or modify this sys-
tem. If you do, it may result in accidents,
fire, or electrical shock.
●Do not use this system if you notice any
abnormality, such as a frozen screen or
lack of sound. Continued use of the
system may result in accident, fire or
electric shock.
●In case you notice any foreign object in
the system hardware, spill liquid on it,
or notice smoke or smell coming from it,
stop using the system immediately. Ig-
noring such conditions may lead to ac-
cidents, fire or electrical shock. It is rec-
ommended that you visit a NISSAN
dealer for servicing.
1. MAP button*
2. Display screen
3. button**
4. button
5. (brightness control) button
6. BACK button
7. ENTER/AUDIO button / TUNE knob
8. ON-OFF button/VOL (volume) control knob
LHA3138
CONTROL PANEL BUTTONS —
COLOR SCREEN WITH NAVIGATION
SYSTEM (if so equipped)
4-4 Monitor, climate, audio, phone and voice recognition systems

9. CAMERA button
10. NAV button*
* For additional information, refer to the separate
Navigation System Owner’s Manual regarding
the Navigation system control buttons.
** For additional information, refer to the
“Bluetooth® Hands-Free Phone System with
navigation system” in this section.
When you use this system, make sure the engine
is running.
If you use the system with the engine not
running (ignition ON or ACC) for a long
time, it will discharge the battery, and the
engine will not start.
Reference symbols:
“Example” — Words marked in quotes refer to a
key shown only on the display. These keys can be
selected by touching the screen.
HOW TO USE THE TOUCH-
SCREEN
CAUTION
●The glass display screen may break if it
is hit with a hard or sharp object. If the
glass screen breaks, do not touch it.
Doing so could result in an injury.
●To clean the display, never use a rough
cloth, alcohol, benzine, thinner or any
kind of solvent or paper towel with a
chemical cleaning agent. They will
scratch or deteriorate the panel.
●Do not splash any liquid such as water
or car fragrance on the display. Contact
with liquid will cause the system to
malfunction.
To help ensure safe driving, some functions can-
not be operated while driving.
The on-screen functions that are not available
while driving will be grayed out or muted.
Park the vehicle in a safe location and then oper-
ate the navigation system.
WARNING
●ALWAYS give your full attention to
driving.
●Avoid using vehicle features that could
distract you. If distracted, you could
lose control of your vehicle and cause
an accident.
Monitor, climate, audio, phone and voice recognition systems 4-5

Touch-screen operation
Menu Item Result
Selecting the item Touch an item to select . To select the “Audio” key, touch the “Audio” key on the screen. Press the BACK button to return to the
previous screen.
Adjusting the item Touch the “+” key or the “⫺” key to adjust the settings of an item. Touch the up arrow to scroll up the page one item at a time,
or touch the double up arrow to scroll up an entire page. Touch the down arrow to scroll down the page one item at a time, or
touch the double down arrow to scroll down an entire page.
Inputting characters Touch the letter or number key. There are some options available when inputting characters.
123/ABC Changes the available character set to numbers.
Space Inserts a space.
Delete Deletes the last inputted character with one touch. Touch and hold the “Delete” key to delete all of the characters.
OK Completes the character input.
LHA3748
4-6 Monitor, climate, audio, phone and voice recognition systems

Touch-screen maintenance
If you clean the display screen, use a dry, soft
cloth. If additional cleaning is necessary, use a
small amount of neutral detergent with a soft
cloth. Never spray the screen with water or de-
tergent. Dampen the cloth first and then wipe the
screen.
HOW TO USE THE BACK BUTTON
Press the BACK button to return to the previous
screen.
HOW TO USE THE BUTTON
For additional information, refer to the separate
Navigation System Owner’s Manual regarding
the “SiriusXM Travel Link” and “SiriusXM Traffic”
features.
For additional information, refer to “NissanCon-
nect
SM
Mobile Apps” in this section.
For additional information, refer to “NISSAN
Voice Recognition System” in this section.
To select and/or adjust several functions, fea-
tures and modes that are available for your ve-
hicle:
1. Press the [ ] button.
2. Touch the “Settings” key.
3. Touch the desired item.
LHA3622 LHA3748
Monitor, climate, audio, phone and voice recognition systems 4-7

Menu item Result
Audio For additional information, refer to “Audio system” in this section.
Navigation For additional information, refer to the separate Navigation System Owner’s Manual.
Phone & Bluetooth For additional information, refer to “Bluetooth® Hands-Free Phone System with Navigation System” in this section.
System Touch this key to select and/or adjust various functions of this system. A screen with additional options will appear.
Display Touch this key to adjust the appearance of the display.
Brightness Adjusts the brightness of the display.
Display Mode Adjusts to fit the level of lighting in the vehicle. Touch key to cycle through options. “Day” and “Night” modes are suited for the respec-
tive times of day while “Auto” controls the display automatically.
Scroll Direction Adjusts the direction of the menu scroll. Choose to either move up or down.
Clock Touch this key to adjust the time.
Time Format The clock can be set to 12 hours or 24 hours.
Date Format Select from five possible formats for displaying the day, month, and year.
Clock Mode Adjust the mode for the clock. “Auto” uses the system’s GPS to automatically maintain the time. “Manual” allows you to set the clock
using the “Set Clock Manually” key.
Set Clock
Manually
Adjust the clock manually, Touch the “+” or “-” keys to adjust the hours, minutes, day, month and year up or down. “Clock Mode” must
be set to manual for this option to be available.
Daylight Sav-
ings Time
Adjusts the daylight savings time on or off.
Time Zone Choose the applicable time zone from the list.
Language Touch this key to change the language on the display.
Camera Settings Touch this key to change the camera settings.
Display Mode Touch this key to select the touch-screen display mode (day, night, or automatic).
Brightness Adjust touch-screen brightness.
Contrast Adjust touch-screen contrast.
Color Adjust touch-screen color.
4-8 Monitor, climate, audio, phone and voice recognition systems

Menu item Result
Temperature Unit Touch this key to change the temperature unit being displayed (Fahrenheit or Celsius).
Touchscreen click Toggles the touch-screen click feature on or off. When activated a click sound will be heard every time a key on the screen is touched.
System Beeps Toggle the system beep tones feature on or off. When activated, a beep sound will be heard when a pop-up message appears on the
screen or a button on the unit (such as the button) is pressed and held for 2 seconds.
Return to Factory Settings/
Clear Memory
Touch this key to return all settings to default and to clear the memory.
Software Licenses Touch this key to display software licensing information.
Traffic Touch this key to display traffic settings. For additional information, refer to the separate Navigation System Owner’s Manual.
SXM Touch this key to display SXM status information. For additional information, refer to “Audio System” in this section.
BUTTON
To change the display brightness, press
the button. Pressing the button again will
change the display to day or night display mode.
If no operation is performed within 5 seconds, the
display will return to the previous display.
Press and hold the button for more than
2 seconds to turn the display off. Press the button
again to turn the display on.
HOW TO USE THE ON-OFF
BUTTON/VOL (volume) CONTROL
KNOB
Press the ON-OFF button to turn audio function
on and off. Turn the volume control knob to adjust
audio volume.
HOW TO USE THE CAMERA
BUTTON
For additional information, refer to “RearView
Monitor” in this section.
Monitor, climate, audio, phone and voice recognition systems 4-9

1. ENTER/SETTING button (models without
navigation)
2. CAMERA button (models with navigation)
WARNING
●Failure to follow the warnings and in-
structions for proper use of the Rear-
View Monitor system could result in se-
rious injury or death.
●RearView Monitor is a convenience fea-
ture and is not a substitute for proper
backing. Always turn and look out the
windows and check mirrors to be sure
that it is safe to move before operating
the vehicle. Always back up slowly.
LHA3670
REARVIEW MONITOR (if so
equipped)
4-10 Monitor, climate, audio, phone and voice recognition systems

●The system is designed as an aid to the
driver in showing large stationary ob-
jects directly behind the vehicle, to help
avoid damaging the vehicle.
●The distance guide line and the vehicle
width line should be used as a reference
only when the vehicle is on a level
paved surface. The distance viewed on
the monitor is for reference only and
may be different than the actual dis-
tance between the vehicle and dis-
played objects.
CAUTION
Do not scratch the camera lens when
cleaning dirt or snow from the front of the
camera.
The RearView Monitor system automatically
shows a rear view of the vehicle when the shift
lever is shifted into the R (Reverse) position or
when the CAMERA button (if so equipped) is
pressed while in the R (Reverse) position to cycle
through guideline options. The radio can still be
heard while the RearView Monitor is active.
To display the rear view, the RearView Monitor
system uses a camera located next to the tailgate
handle 䊊
1.
REARVIEW MONITOR SYSTEM
OPERATION
With the ignition switch in the ON position, move
the shift lever to the R (Reverse) position to
operate the RearView Monitor.
HOW TO READ THE DISPLAYED
LINES
Guiding lines which indicate the vehicle width
and distances to objects with reference to the
vehicle body line 䊊
Aare displayed on the monitor.
Distance guide lines
Indicate distances from the vehicle body.
●Red line 䊊
1: approx. 1.5 ft (0.5 m)
●Yellow line 䊊
2: approx. 3 ft (1 m)
●Green line 䊊
3: approx. 7 ft (2 m)
●Green line 䊊
4: approx. 10 ft (3 m)
LHA3671 LHA2944
Monitor, climate, audio, phone and voice recognition systems 4-11

Vehicle width guide lines 䊊
5
Indicate the vehicle width when backing up.
DIFFERENCE BETWEEN
PREDICTED AND ACTUAL
DISTANCES
The displayed guidelines and their locations on
the ground are for approximate reference only.
Objects on uphill or downhill surfaces or project-
ing objects will be actually located at distances
different from those displayed in the monitor rela-
tive to the guidelines (refer to illustrations). When
in doubt, turn around and view the objects as you
are backing up, or park and exit the vehicle to
view the positioning of objects behind the ve-
hicle.
Backing up on a steep uphill
When backing up the vehicle up a hill, the dis-
tance guide lines and the vehicle width guide
lines are shown closer than the actual distance.
Note that any object on the hill is further than it
appears on the monitor.
Backing up on a steep downhill
When backing up the vehicle down a hill, the
distance guide lines and the vehicle width guide
lines are shown farther than the actual distance.
Note that any object on the hill is closer than it
appears on the monitor.
LHA3672 LHA3673
4-12 Monitor, climate, audio, phone and voice recognition systems

Backing up near a projecting object
The vehicle may seem to nearly clear the object in
the display. However, the vehicle may hit the
object if it projects over the actual backing up
course.
Backing up behind a projecting object
The position 䊊
Cis shown farther than the position
䊊
Bin the display. However, the position 䊊
Cis
actually at the same distance as the position 䊊
A.
The vehicle may hit the object when backing up to
the position 䊊
Aif the object projects over the
actual backing up course.
LHA2946 LHA3674
Monitor, climate, audio, phone and voice recognition systems 4-13

ADJUSTING THE SCREEN
The procedure for adjusting the display settings
of the screen differs depending on the type of
screen present on the vehicle.
For vehicles without Navigation System
1. Firmly apply the brake and place the shift
lever in R (reverse)
2. Press the ENTER/SETTING button.
3. The screen will display the Brightness set-
tings.
4. Turn the TUNE/FOLDER or TUNE/SCROLL
knob to adjust the setting up or down.
5. Press the ENTER/SETTING button again to
display the Contrast settings.
6. Turn the TUNE/FOLDER or TUNE/SCROLL
knob to adjust the setting up or down.
7. Press the ENTER/SETTING button to com-
plete the adjustment.
●Do not adjust the display settings of the
RearView Monitor while the vehicle is mov-
ing.
For vehicles with Navigation System
1. Firmly apply the brake and place the shift
lever in R (reverse)
2. Press the button on the control panel.
3. The screen will display the Night settings.
4. Turn the TUNE knob to adjust the setting up
or down.
5. Press the button again to access the
Auto settings.
6. Turn the TUNE knob to adjust the setting up
or down.
●Do not adjust the display settings of the
RearView Monitor while the vehicle is mov-
ing.
REARVIEW MONITOR SYSTEM
LIMITATIONS
WARNING
Listed below are the system limitations for
RearView Monitor. Failure to operate the
vehicle in accordance with these system
limitations could result in serious injury or
death.
Models without navigation
LHA3639
Models with navigation
LHA3679
4-14 Monitor, climate, audio, phone and voice recognition systems

●The system cannot completely elimi-
nate blind spots and may not show ev-
ery object.
●Underneath the bumper and the corner
areas of the bumper cannot be viewed
on the RearView Monitor because of its
monitoring range limitation. The system
will not show small objects below the
bumper, and may not show objects
close to the bumper or on the ground.
●Objects viewed in the RearView Moni-
tor differ from actual distance because
a wide-angle lens is used.
●Objects in the RearView Monitor will
appear visually opposite compared to
when viewed in the rearview and out-
side mirrors.
●Use the displayed lines as a reference.
The lines are highly affected by the
number of occupants, fuel level, vehicle
position, road conditions and road
grade.
●Make sure that the tailgate is securely
closed when backing up.
●Do not put anything on the rearview
camera. The rearview camera is in-
stalled on the tailgate.
●When washing the vehicle with high
pressure water, be sure not to spray it
around the camera. Otherwise, water
may enter the camera unit causing wa-
ter condensation on the lens, a mal-
function, fire or an electric shock.
●Do not strike the camera. It is a preci-
sion instrument. Otherwise, it may mal-
function or cause damage resulting in a
fire or an electric shock.
The following are operating limitations and do not
represent a system malfunction:
●When the temperature is extremely high or
low, the screen may not clearly display ob-
jects.
●When strong light directly shines on the
camera, objects may not be displayed
clearly.
●Vertical lines may be seen in objects on the
screen. This is due to strong reflected light
from the bumper.
●The screen may flicker under fluorescent
light.
●The colors of objects on the RearView Moni-
tor may differ somewhat from the actual
color of objects.
●Objects on the monitor may not be clear in a
dark environment.
●There may be a delay when switching be-
tween views.
●If dirt, rain or snow accumulate on the cam-
era, RearView Monitor may not display ob-
jects clearly. Clean the camera.
●Do not use wax on the camera lens. Wipe off
any wax with a clean cloth dampened with a
diluted mild cleaning agent, then wipe with a
dry cloth.
Monitor, climate, audio, phone and voice recognition systems 4-15

SYSTEM MAINTENANCE
CAUTION
●Do not use alcohol, benzine or thinner
to clean the camera. This will cause
discoloration.
●Do not damage the camera as the moni-
tor screen may be adversely affected.
If dirt, rain or snow accumulates on the camera
䊊
1, the RearView Monitor may not display ob-
jects clearly. Clean the camera by wiping it with a
cloth dampened with a diluted mild cleaning
agent and then wiping it with a dry cloth.
Adjust air flow direction for the vents directed at
the driver’s and passenger’s side windows 䊊
1,
driver and passenger 䊊
2, or center 䊊
3by moving
the vent slide and/or vent assemblies.
LHA3671 LHA0534
VENTS
4-16 Monitor, climate, audio, phone and voice recognition systems

WARNING
●The air conditioner cooling function op-
erates only when the engine is running.
●Do not leave children or adults who
would normally require the assistance
of others alone in your vehicle. Pets
should also not be left alone. They
could accidentally injure themselves or
others through inadvertent operation of
the vehicle. Also, on hot, sunny days,
temperatures in a closed vehicle could
quickly become high enough to cause
severe or possibly fatal injuries to
people or animals.
●Do not use the recirculation mode for
long periods as it may cause the interior
air to become stale and the windows to
fog up.
NOTE:
●Odors from inside and outside the vehicle
can build up in the air conditioner unit. Odor
can enter the passenger compartment
through the vents.
●When parking, set the heater controls to turn
off air recirculation to allow fresh air into the
passenger compartment. This should help
reduce odors inside the vehicle.
CONTROLS
1. Fan control dial
2. Temperature control dial
3. Air flow control dial
4. Air recirculation button
Fan control dial
The fan control dial turns the fan on and off,
and controls fan speed.
Air flow control dial
The air flow control dial allows you to select the
air flow outlets.
— Air flows from center and side
vents.
— Air flows from center and side
vents and foot outlets.
— Air flows mainly from foot outlets.
— Air flows from defroster outlets and
foot outlets.
— Air flows mainly from defroster
outlets.
LHA3161
HEATER (manual) (if so equipped)
Monitor, climate, audio, phone and voice recognition systems 4-17

Temperature control dial
The temperature control dial allows you to adjust
the temperature of the outlet air. To lower the
temperature, turn the dial to the left. To increase
the temperature, turn the dial to the right.
Air recirculation button
ON position
Press the button to recirculate air inside
the vehicle.
Press the button to the ON position when:
●driving on a dusty road.
●to prevent traffic fumes from entering pas-
senger compartment
The air recirculation mode is only functional when
the air flow control mode is in the following
positions: or .
OFF position
Press the button again to turn air recircu-
lation off. Outside air is drawn into the passenger
compartment and distributed through the se-
lected outlet.
Use the OFF position for normal heater opera-
tion.
HEATER OPERATION
Heating
This mode is used to direct heated air to the foot
outlets. Some air also flows from the defog out-
lets and the side vent outlets.
1. Press the button to the OFF position.
2. Turn the air flow control dial to the
position.
3. Turn the fan control dial to the desired
position.
4. Turn the temperature control dial to the de-
sired position between the middle and the
hot position.
Ventilation
This mode directs outside air to the side and
center vents.
1. Press the button to the OFF position.
The indicator light on the button will
go off.
2. Turn the air flow control dial to
the position.
3. Turn the fan control dial to the desired
position.
4. Turn the temperature control dial to the de-
sired position.
Defrosting or defogging
This mode directs the air to the defog outlets to
defog the windows.
1. Press the button to the OFF position.
The indicator light on the button will
go off.
2. Turn the air flow control dial to the
position.
3. Turn the fan control dial to the desired
position.
4. Turn the temperature control dial to the de-
sired position between the middle and the
hot position.
●To quickly remove ice or fog from the win-
dows, turn the fan control dial to the
right and the temperature control to the full
hot position.
4-18 Monitor, climate, audio, phone and voice recognition systems

Bi-level heating
The bi-level mode directs warmed air to the side
and center vents and to the front and rear floor
outlets.
1. Push the button to the OFF position.
The indicator light on the button will
go off.
2. Turn the air flow control dial to the
position.
3. Turn the fan control dial to the desired
position.
4. Turn the temperature control dial to the de-
sired position.
Heating and defogging
This mode heats the interior and defogs the wind-
shield.
1. Turn the airflow control dial to the
position.
2. Turn the fan control dial to the desired
position.
3. Turn the temperature control dial to the de-
sired position between the middle and the
hot position.
●If is selected for more than 1 minute,
the system will continue to operate until
the fan control dial is turned to OFF or
the vehicle is shut off. This dehumidifies the
air which helps defog the windshield.
The mode automatically turns off, al-
lowing outside air to be drawn into the pas-
senger compartment to further improve the
defogging performance.
Operating tips
Clear snow and ice from the wiper blades
and air inlet in front of the windshield. This
improves heater operation.
AIR FLOW CHARTS
The following charts show the button and dial
positions for MAXIMUM AND QUICK heating
or defrosting. The air recirculation button
should always be in the OFF position for
heating and defrosting.
Monitor, climate, audio, phone and voice recognition systems 4-19

LHA3162 LHA3164
4-20 Monitor, climate, audio, phone and voice recognition systems

LHA3165 LHA3166
Monitor, climate, audio, phone and voice recognition systems 4-21

WARNING
●The air conditioner cooling function op-
erates only when the engine is running.
●Do not leave children or adults who
would normally require the assistance
of others alone in your vehicle. Pets
should also not be left alone. They
could accidentally injure themselves or
others through inadvertent operation of
the vehicle. Also, on hot, sunny days,
temperatures in a closed vehicle could
quickly become high enough to cause
severe or possibly fatal injuries to
people or animals.
●Do not use the recirculation mode for
long periods as it may cause the interior
air to become stale and the windows to
fog up.
NOTE:
●Odors from inside and outside the vehicle
can build up in the air conditioner unit. Odor
can enter the passenger compartment
through the vents.
●When parking, set the heater and air condi-
tioner controls to turn off air recirculation to
allow fresh air into the passenger compart-
ment. This should help reduce odors inside
the vehicle.
HEATER AND AIR CONDITIONER
(manual) (if so equipped)
4-22 Monitor, climate, audio, phone and voice recognition systems

CONTROLS
1. Fan speed control dial
2. Temperature control dial
3. Air flow control dial
4. Air recirculation button
5. Rear window or outside mirror
defroster switch (if so equipped)
6. A/C (air conditioner) button
Type A (if so equipped)
LHA3154
Monitor, climate, audio, phone and voice recognition systems 4-23

CONTROLS
1. Fan speed control dial
2. Front window defroster button
3. Rear window defroster switch
(if so equipped)
4. Air recirculation button
5. Temperature control dial
6. Max A/C button
7. Air flow control buttons
8. A/C (air conditioner) button
Type B (if so equipped)
WHA1406
4-24 Monitor, climate, audio, phone and voice recognition systems

CONTROLS
1. Fan speed control dial
2. Front window defroster button
3. Outside mirror defroster switch
(if so equipped)
4. Air recirculation button
5. Temperature control dial
6. Max A/C button
7. Air flow control buttons
8. A/C (air conditioner) button
Fan control dial
The fan control dial turns the fan on and off,
and controls fan speed.
Air flow control dial or buttons
The air flow control dial or buttons allow you to
select the air flow outlets.
MAX A/C — Air flows from center and side
vents with maximum cooling
(air conditioning).
— Air flows from center and side
vents.
— Air flows from center and side
vents and foot outlets.
— Air flows mainly from foot
outlets.
— Air flows from defroster out-
lets and foot outlets.
— Air flows mainly from defroster
outlets.
Temperature control dial
The temperature control dial allows you to adjust
the temperature of the outlet air. To lower the
temperature, turn the dial to the left. To increase
the temperature, turn the dial to the right.
Type C (if so equipped)
LHA3167
Monitor, climate, audio, phone and voice recognition systems 4-25

Air recirculation button
ON position (Indicator light on)
Interior air is recirculated inside the vehicle.
Press the button to the ON position when:
●driving on a dusty road.
●to prevent traffic fumes from entering pas-
senger compartment.
●for maximum cooling when using the air con-
ditioner.
OFF position (Indicator light off)
Outside air is drawn into the passenger compart-
ment and distributed through the selected outlet.
Use the OFF position for normal heater or air
conditioner operation.
Air conditioner button
Start the engine, turn the fan control dial to
the desired position and press the button
to turn on the air conditioner. To turn off the air
conditioner, press the button again.
The air conditioner cooling function oper-
ates only when the engine is running.
Rear window or outside mirror
defroster switch (if so equipped)
For additional information about the rear window
or outside mirror defroster switch, refer to “Rear
window or outside mirror defroster switch.” in the
“Instruments and controls”section of this manual.
HEATER OPERATION
Heating
This mode is used to direct heated air to the foot
outlets. Some air also flows from the defrost
outlets.
1. Turn the air flow control dial to the
position or press the air flow control
button.
2. Turn the fan control dial to the desired
position.
3. Turn the temperature control dial to the de-
sired position between the middle and the
hot position.
Ventilation
This mode directs outside air to the side and
center vents.
1. Press the button to the OFF position.
The indicator light on the button will
go off.
2. Turn the air flow control dial to the
position or press the air flow control
button.
3. Turn the fan control dial to the desired
position.
4. Turn the temperature control dial to the de-
sired position.
Defrosting or defogging
This mode directs the air to the defrost outlets to
defrost/defog the windows.
1. Turn the air flow control dial to the
position or press the defrost/defog
button.
2. Turn the fan control dial to the desired
position.
3. Turn the temperature control dial to the de-
sired position between the middle and the
hot position.
●To quickly remove ice or fog from the win-
dows, turn the fan control dial to the
highest setting and the temperature control
to the full HOT position.
4-26 Monitor, climate, audio, phone and voice recognition systems

●When the position is selected, the air
conditioner automatically turns on if the out-
side temperature is more than 36°F (2°C).
This dehumidifies the air which helps defog
the windshield. The mode automati-
cally turns off, allowing outside air to be
drawn into the passenger compartment to
further improve the defogging performance.
The recirculation mode cannot be activated
in the position.
Bi-level heating
The bi-level mode directs warmed air to the side
and center vents and to the front and rear floor
outlets.
1. Press the button to the OFF position.
The indicator light on the button will
go off.
2. Turn the air flow control dial to the
position or press the air flow control
button.
3. Turn the fan control dial to the desired
position.
4. Turn the temperature control dial to the de-
sired position.
Heating and defogging
This mode heats the interior and defogs the wind-
shield.
1. Turn the air flow control dial to the
position or press the air flow control
button.
2. Turn the fan control dial to the desired
position.
3. Turn the temperature control dial to the de-
sired position between the middle and the
hot position.
●When the position is selected, the air
conditioner automatically turns on if the out-
side temperature is more than 36°F (2°C). If
the position or the air flow con-
trol button is selected for more than 1 min-
ute, the air conditioning system will continue
to operate until the fan control dial is
turned to OFF, the vehicle is shut off, or the
A/C button is used to turn off the compres-
sor even if the air flow control dial is turned to
a position other than the position.
This dehumidifies the air which helps defog
the windshield. The mode automati-
cally turns off, allowing outside air to be
drawn into the passenger compartment to
further improve the defogging performance.
Operating tips
Clear snow and ice from the wiper blades
and air inlet in front of the windshield. This
improves heater operation.
AIR CONDITIONER OPERATION
Start the engine, turn the fan control dial to
the desired position, and press the button
to activate the air conditioner. When the air con-
ditioner is on, cooling and dehumidifying func-
tions are added to the heater operation.
The air conditioner cooling function oper-
ates only when the engine is running.
Cooling
This mode is used to cool and dehumidify the air.
1. Press the button to the OFF position.
2. Turn the air flow control dial to the
position or press the air flow control
button.
3. Turn the fan control dial to the desired
position.
4. Press the button.
5. Turn the temperature control dial to the de-
sired position.
Monitor, climate, audio, phone and voice recognition systems 4-27

●For quick cooling when the outside tem-
perature is high, press the button to
the ON position. Be sure to return the
to the OFF position for normal cooling. The
indicator light on the button will go off.
You may also select MAX A/C for quick
cooling.
Dehumidified heating
This mode is used to heat and dehumidify the air.
1. Turn the air flow control dial to the
position or press the air flow control
button.
2. Turn the fan control dial to the desired
position.
3. Press the button on.
4. Turn the temperature control dial to the de-
sired position.
Dehumidified defogging
This mode is used to defog the windows and
dehumidify the air.
1. Turn the air flow control dial to the
position or press the air flow control
button.
2. Turn the fan control dial to the desired
position.
●When the or are selected, the
air conditioner automatically turns on if the
outside temperature is more than 36° F (2°
C). This dehumidifies the air which helps
defog the windshield. The mode au-
tomatically turns off, allowing outside air to
be drawn into the passenger compartment
to further improve the defogging perfor-
mance.
●The air conditioner is always on in the
mode, regardless of whether the indicator
light is on or off.
3. Turn the temperature control dial to the de-
sired position.
Operating tips
●Keep the windows closed while the air con-
ditioner is in operation.
●After parking in the sun, drive for 2 or 3 min-
utes with the windows open to vent hot air
from the passenger compartment. Then,
close the windows. This allows the air con-
ditioner to cool the interior more quickly.
●The air conditioning system should be
operated for approximately 10 minutes
at least once a month. This helps pre-
vent damage to the system due to lack
of lubrication.
●A visible mist may be seen coming from the
ventilators in hot, humid conditions as the air
is cooled rapidly. This does not indicate a
malfunction.
●If the engine coolant temperature
gauge indicates engine coolant tem-
perature over the normal range, turn
the air conditioner off. For additional
information, refer to “If your vehicle
overheats” in the “In case of emer-
gency” section of this manual.
AIR FLOW CHARTS (Type A) (if so
equipped)
The following charts show the button and dial
positions for MAXIMUM AND QUICK heating,
cooling or defrosting. The air recirculation
() button should always be in the OFF
position for heating and defrosting.
4-28 Monitor, climate, audio, phone and voice recognition systems

LHA2025 WHA0781
Monitor, climate, audio, phone and voice recognition systems 4-29

WHA0782 WHA0783
4-30 Monitor, climate, audio, phone and voice recognition systems

WHA1063
Monitor, climate, audio, phone and voice recognition systems 4-31

AIR FLOW CHARTS (Type B or Type
C) (if so equipped)
The following charts show the button and dial
positions for MAXIMUM AND QUICK heating,
cooling or defrosting. The air recirculation
() button should always be in the OFF
position for heating and defrosting.
WHA0916
4-32 Monitor, climate, audio, phone and voice recognition systems

WHA0917 WHA0918
Monitor, climate, audio, phone and voice recognition systems 4-33

WHA0919 WHA0920
4-34 Monitor, climate, audio, phone and voice recognition systems

1. Driver temperature control dial
2. A/C (air conditioner) button
3. Front window defroster button
4. Fan speed control dial
5. OFF button
6. Fresh air intake button
7. Air recirculation button
8. Passenger temperature control dial
9. DUAL button
10. Air flow control buttons
11. AUTO button
Type A (if so equipped)
LHA2886
HEATER AND AIR CONDITIONER
(automatic) (if so equipped)
Monitor, climate, audio, phone and voice recognition systems 4-35

1. Driver temperature control dial
2. A/C (air conditioner) button
3. Front window defroster button
4. Fan speed control dial
5. OFF button
6. Rear window defroster switch
7. Air recirculation button
8. Passenger temperature control dial
9. DUAL button
10. Air flow control buttons
11. AUTO button
Type B (if so equipped)
LHA2611
4-36 Monitor, climate, audio, phone and voice recognition systems

1. Driver temperature control dial
2. A/C (air conditioner) button
3. Front window defroster button
4. Fan speed control dial
5. OFF button
6. Outside mirror defroster switch
7. Air recirculation button
8. Passenger temperature control dial
9. DUAL button
10. Air flow control buttons
11. AUTO button
WARNING
●The air conditioner cooling function op-
erates only when the engine is running.
●Do not leave children or adults who
would normally require the assistance
of others alone in your vehicle. Pets
should also not be left alone. They
could accidentally injure themselves or
others through inadvertent operation of
the vehicle. Also, on hot, sunny days,
temperatures in a closed vehicle could
quickly become high enough to cause
severe or possibly fatal injuries to
people or animals.
●Do not use the recirculation mode for
long periods as it may cause the interior
air to become stale and the windows to
fog up.
Start the engine and operate the controls to
activate the air conditioner.
NOTE:
●Odors from inside and outside the vehicle
can build up in the air conditioner unit. Odor
can enter the passenger compartment
through the vents.
Type C (if so equipped)
LHA3168
Monitor, climate, audio, phone and voice recognition systems 4-37

●When parking, set the heater and air condi-
tioner controls to turn off air recirculation to
allow fresh air into the passenger compart-
ment. This should help reduce odors inside
the vehicle.
AUTOMATIC OPERATION
Cooling or heating (auto)
This mode may be normally used all year round as
the system automatically works to keep a con-
stant temperature. Air flow distribution and fan
speed are also controlled automatically.
1. Press the AUTO button on.
2. Turn the temperature dial to the left or right
to set the desired temperature. Driver and
passenger temperatures can be set inde-
pendently. Press DUAL to activate dual cli-
mate control functions. Turn the passenger’s
side temperature control dial to the left or
right to set the desired passenger’s tem-
perature.
●Adjust the temperature dial to about 75°F
(24°C) for normal operation.
●The temperature of the passenger compart-
ment will be maintained automatically. Air
flow distribution, fan speed and A/C on/off
are also controlled automatically.
●A visible mist may be seen coming from the
vents in hot, humid conditions as the air is
cooled rapidly. This does not indicate a mal-
function.
Heating (A/C OFF)
The air conditioner does not activate. When you
need to heat only, use this mode.
1. Press the AUTO button.
2. Turn the temperature control dial to set the
desired temperature.
●The temperature of the passenger compart-
ment will be maintained automatically. Air
flow distribution and fan speed are also con-
trolled automatically.
●Do not set the temperature lower than the
outside air temperature. Otherwise, the sys-
tem may not work properly.
●Not recommended if windows fog up.
Dehumidified defrosting or defogging
1. Press the defroster control switch to
turn the system on. The indicator light in the
button will illuminate.
2. Turn the temperature dial to the left or right
to set the desired temperature.
●To quickly remove ice from the outside of the
windows, turn the manual fan control to the
maximum position.
●As soon as possible after the windshield is
clean, press the AUTO button to return to
the auto mode.
●When the control is activated, the air
conditioner will automatically be turned on at
outside temperatures above 36°F (2°C). If in
defrost mode for more than 1 minute, the air
conditioning system will continue to operate
until the fan control is turned OFF, the ve-
hicle is shut off or the A/C button is used to
turn off the compressor even if an air flow
button other than is selected. This
dehumidifies the air which helps defog the
windshield. The air recirculation mode auto-
matically turns off, allowing outside air to be
drawn into the passenger compartment to
further improve the defogging performance.
MANUAL OPERATION
Fan speed control
Turn the fan speed control dial to manually
control the fan speed.
Press the AUTO button to return to automatic
control of the fan speed.
4-38 Monitor, climate, audio, phone and voice recognition systems

Air recirculation
Press the air recirculation button to recir-
culate interior air inside the vehicle. Press the
AUTO button to return to automatic mode.
The air recirculation cannot be activated when
the air conditioner is in the front defogging
mode.
Fresh air intake (if so equipped)
Press the fresh air intake button to draw
outside air into the passenger compartment.
The indicator light on the button will come
on.
A/C (air conditioner) button
Start the engine, press the fan speed con-
trol buttons to the desired position and press
the button to turn on the air conditioner. To
turn off the air conditioner, press the but-
ton again.
The air conditioner cooling function oper-
ates only when the engine is running.
Air flow control
Press the air flow control buttons to manually
control air flow and select the air outlet:
— Air flows from center and side
vents.
— Air flows from center and side vents
and foot outlets.
— Air flows mainly from foot outlets.
— Air flows from defroster and foot
outlets.
— Air flows from defroster outlets.
To turn system off
Press the OFF button.
Rear window or outside mirror
defroster switch (if so equipped)
For additional information, refer to “Rear window
or outside mirror defroster switch” in the “Instru-
ments and controls” section of this manual.
OPERATING TIPS
The sunload sensor 䊊
1, located on the top center
of the instrument panel, helps the system main-
tain a constant temperature. Do not put anything
on or around this sensor.
●When the engine coolant temperature and
outside air temperature are low, the air flow
from the foot outlets may not operate for a
maximum of 150 seconds. However, this is
not a malfunction. After the coolant tempera-
ture warms up, air flow from the foot outlets
will operate normally.
LIC0515
Monitor, climate, audio, phone and voice recognition systems 4-39

The air conditioner system in your NISSAN ve-
hicle is charged with a refrigerant designed with
the environment in mind.
This refrigerant does not harm the earth’s
ozone layer.
Special charging equipment and lubricant is re-
quired when servicing your NISSAN air condi-
tioner. Using improper refrigerants or lubricants
will cause severe damage to your air conditioner
system. For additional information, refer to “Air
conditioner system (if so equipped) refrigerant
and oil recommendations” in the “Technical and
consumer information” section of this manual.
It is recommended that you visit a NISSAN dealer
to service your “environmentally friendly” air con-
ditioning system.
WARNING
The air conditioner system contains refrig-
erant under high pressure. To avoid per-
sonal injury, any air conditioner service
should be done only by an experienced
technician with proper equipment.
RADIO
With the ignition placed in the ACC or ON posi-
tion, press the (power) or ON•OFF button
to turn the radio on. If you listen to the radio with
the engine not running, the ignition should be
placed in the ACC position.
Radio reception is affected by station signal
strength, distance from radio transmitter, build-
ings, bridges, mountains and other external influ-
ences. Intermittent changes in reception quality
normally are caused by these external influences.
Using a cellular phone in or near the vehicle
may influence radio reception quality.
Radio reception
Your NISSAN radio system is equipped with
state-of-the-art electronic circuits to enhance ra-
dio reception. These circuits are designed to
extend reception range, and to enhance the qual-
ity of that reception.
However, there are some general characteristics
of both FM and AM radio signals that can affect
radio reception quality in a moving vehicle, even
when the finest equipment is used. These char-
acteristics are completely normal in a given re-
ception area and do not indicate any malfunction
in your NISSAN radio system.
Reception conditions will constantly change be-
cause of vehicle movement. Buildings, terrain,
signal distance and interference from other ve-
hicles can work against ideal reception. De-
scribed below are some of the factors that can
affect your radio reception.
Some cellular phones or other devices may
cause interference or a buzzing noise to come
from the audio system speakers. Storing the de-
vice in a different location may reduce or elimi-
nate the noise.
FM RADIO RECEPTION
Range: FM range is normally limited to 25 – 30 mi
(40 – 48 km), with monaural (single channel) FM
having slightly more range than stereo FM. Exter-
nal influences may sometimes interfere with FM
station reception even if the FM station is within
25 mi (40 km). The strength of the FM signal is
directly related to the distance between the
transmitter and receiver. FM signals follow a line-
of-sight path, exhibiting many of the same char-
acteristics as light. For example, they will reflect
off objects.
Fade and drift: As your vehicle moves away from
a station transmitter, the signals will tend to fade
and/or drift.
SERVICING AIR CONDITIONER (if so
equipped)
AUDIO SYSTEM (if so equipped)
4-40 Monitor, climate, audio, phone and voice recognition systems

Static and flutter: During signal interference from
buildings, large hills or due to antenna position
(usually in conjunction with increased distance
from the station transmitter), static or flutter can
be heard. This can be reduced by adjusting the
treble control to reduce treble response.
Multipath reception: Because of the reflective
characteristics of FM signals, direct and reflected
signals reach the receiver at the same time. The
signals may cancel each other, resulting in mo-
mentary flutter or loss of sound.
AM RADIO RECEPTION
AM signals, because of their low frequency, can
bend around objects and skip along the ground.
In addition, the signals can be bounced off the
ionosphere and bent back to earth. Because of
these characteristics, AM signals are also sub-
ject to interference as they travel from transmitter
to receiver.
Fading: Occurs while the vehicle is passing
through freeway underpasses or in areas with
many tall buildings. It can also occur for several
seconds during ionospheric turbulence even in
areas where no obstacles exist.
Static: Caused by thunderstorms, electrical
power lines, electric signs and even traffic lights.
SATELLITE RADIO RECEPTION (if so
equipped)
When the satellite radio is used for the first time
or the battery has been replaced, the satellite
radio may not work properly. This is not a mal-
function. Wait more than 10 minutes with satellite
radio ON and the vehicle outside of any metal or
large building for satellite radio to receive all of
the necessary data.
No satellite radio reception is available and “NO
SAT” is displayed when the SAT band option is
selected unless optional satellite receiver and
antenna are installed and a SiriusXM® Satellite
Radio service subscription is active. Satellite ra-
dio is not available in Alaska, Hawaii and Guam.
Satellite radio performance may be affected if
cargo carried on the roof blocks the satellite radio
signal.
If possible, do not put cargo over the satellite
antenna.
A build up of ice on the satellite radio antenna can
affect satellite radio performance. Remove the
ice to restore satellite radio reception. AUDIO OPERATION PRECAUTIONS
LHA0099
Monitor, climate, audio, phone and voice recognition systems 4-41

Compact disc (CD) player
CAUTION
●Do not force a compact disc into the CD
insert slot. This could damage the CD
and/or CD player.
●Trying to load a CD with the CD door
closed could damage the CD and/or CD
player.
●Only one CD can be loaded into the CD
player at a time.
●Only use high quality 4.7 in (12 cm)
round discs that have the “COMPACT
disc DIGITAL AUDIO” logo on the disc
or packaging.
●During cold weather or rainy days, the
player may malfunction due to the hu-
midity. If this occurs, remove the CD
and dehumidify or ventilate the player
completely.
●The player may skip while driving on
rough roads.
●The CD player sometimes cannot func-
tion when the compartment tempera-
ture is extremely high or low.
Decrease/increase the temperature
before use.
●Do not expose the CD to direct sun-
light.
●CDs that are in poor condition or are
dirty, scratched or covered with finger-
prints may not work properly.
●The following CDs may not work prop-
erly:
●Copy control compact discs (CCCD)
●Recordable compact discs (CD-R)
●Rewritable compact discs (CD-RW)
●Do not use the following CDs as they
may cause the CD player to malfunc-
tion:
●3.1 in (8 cm) discs with an adapter
●CDs that are not round
●CDs with a paper label
●CDs that are warped, scratched, or
have abnormal edges
●This audio system can only play pre-
recorded CDs. It has no capability to
record or burn CDs.
●If the CD cannot be played, one of the
following messages will be displayed.
CHECK DISC
●Confirm that the CD is inserted cor-
rectly (the label side is facing up,
etc.).
●Confirm that the CD is not bent or
warped and it is free of scratches.
PRESS EJECT
This is an error due to excessive tem-
perature inside the player. Remove the
CD by pressing the EJECT button. After
a short time, reinsert the CD. The CD
can be played when the temperature of
the player returns to normal.
UNPLAYABLE
The file is unplayable in this audio sys-
tem (only MP3 or WMA (if so equipped)
CD).
4-42 Monitor, climate, audio, phone and voice recognition systems

Compact disc with MP3 or WMA (if
so equipped)
Terms
●MP3 — MP3 is short for Moving Pictures
Experts Group Audio Layer 3. MP3 is the
most well-known compressed digital audio
file format. This format allows for near “CD
quality” sound, but at a fraction of the size of
normal audio files. MP3 conversion of an
audio track from CD-ROM can reduce the
file size by approximately a 10:1 ratio with
virtually no perceptible loss in quality. MP3
compression removes the redundant and
irrelevant parts of a sound signal that the
human ear doesn’t hear.
●WMA — Windows Media Audio (WMA)* is a
compressed audio format created by Micro-
soft as an alternative to MP3. The WMA
codec offers greater file compression than
the MP3 codec, enabling storage of more
digital audio tracks in the same amount of
space when compared to MP3s at the same
level of quality.
●Bit rate — Bit rate denotes the number of
bits per second used by a digital music file.
The size and quality of a compressed digital
audio file is determined by the bit rate used
when encoding the file.
●Sampling frequency — Sampling frequency
is the rate at which the samples of a signal
are converted from analog to digital (A/D
conversion) per second.
●Multisession — Multisession is one of the
methods for writing data to media. Writing
data once to the media is called a single
session, and writing more than once is called
a multisession.
●ID3/WMA Tag — The ID3/WMA tag is the
part of the encoded MP3 or WMA file that
contains information about the digital music
file such as song title, artist, encoding bit
rate, track time duration, etc. ID3 tag infor-
mation is displayed on the Artist/song title
line on the display.
* Windows® and Windows Media® are regis-
tered trademarks and trademarks in the United
States of America and other countries of Micro-
soft Corporation of the USA.
Playback order
Music playback order of a CD with MP3 or WMA
files is as illustrated.
●The names of folders not containing MP3 or
WMA files are not shown in the display.
Playback order chart
WHA1078
Monitor, climate, audio, phone and voice recognition systems 4-43

●If there is a file in the top level of the disc,
“Root Folder” is displayed.
●The playback order is the order in which the
files were written by the writing software.
Therefore, the files might not play in the
desired order.
Specification chart
Supported media CD, CD-R, CD-RW
Supported file systems ISO9660 LEVEL1, ISO9660 LEVEL2, Apple ISO, Romeo, Joliet * ISO9660 Level 3 (packet writing) is not supported.
Supported
versions*1
MP3
Version MPEG1, MPEG2, MPEG2.5
Sampling frequency 8 kHz - 48 kHz
Bit rate 8 kbps - 320 kbps, VBR
WMA Version WMA7, WMA8, WMA9
Sampling frequency 32 kHz - 48 kHz
Bit rate 48 kbps - 192 kbps, VBR
Tag information ID3 tag VER1.0, VER1.1, VER2.2, VER2.3 (MP3 only)
Folder levels Folder levels: 8, Max folders: 255 (including root folder), Files: 512 (Max. 255 files for one folder)
Text character number limitation 128 characters
Displayable character codes*2 01: ASCII, 02: ISO-8859-1, 03: UNICODE (UTF-16 BOM Big Endian), 04: UNICODE (UTF-16 Non-BOM Big Endian),
05: UNICODE (UTF-8), 06: UNICODE (Non-UTF-16 BOM Little Endian)
*1 Files created with a combination of 48 kHz sampling frequency and 64 kbps bit rate cannot be played.
*2 Available codes depend on what kind of media, versions and information are going to be displayed.
4-44 Monitor, climate, audio, phone and voice recognition systems

Troubleshooting guide
Symptom Cause and Countermeasure
Cannot play
Check if the disc was inserted correctly.
Check if the disc is scratched or dirty.
Check if there is condensation inside the player. If there is, wait until the condensation is gone (about 1 hour) before using the player.
If there is a temperature increase error, the CD player will play correctly after it returns to the normal temperature.
If there is a mixture of music CD files (CD-DA data) and MP3/WMA files on a CD, only the music CD files (CD-DA data) will be played.
Files with extensions other than “.MP3”,“.WMA”, “.mp3” or “.wma” cannot be played. In addition, the character codes and number of characters for
folder names and file names should be in compliance with the specifications.
Check if the finalization process, such as session close and disc close, is done for the disc.
Check if the disc is protected by copyright.
Poor sound quality Check if the disc is scratched or dirty.
Bit rate may be too low.
It takes a relatively long time
before the music starts
playing.
If there are many folders or file levels on the MP3/WMA disc, or if it is a multisession disc, some time may be required before the music starts playing.
Music cuts off or skips The writing software and hardware combination might not match, or the writing speed, writing depth, writing width, etc., might not match the
specifications. Try using the slowest writing speed.
Skipping with high bit rate
files
Skipping may occur with large quantities of data, such as for high bit rate data.
Moves immediately to the
next song when playing
When a non-MP3/WMA file has been given an extension of “.MP3”, “.WMA”, .“mp3”or “.wma”, or when play is prohibited by copyright protection, there
will be approximately 5 seconds of no sound and then the player will skip to the next song.
Songs do not play back in
the desired order
The playback order is the order in which the files were written by the writing software. Therefore, the files might not play in the desired order.
Monitor, climate, audio, phone and voice recognition systems 4-45

USB (Universal Serial Bus)
Connection Port (if so equipped)
WARNING
Do not connect, disconnect, or operate the
USB device while driving. Doing so can be
a distraction. If distracted you could lose
control of your vehicle and cause an acci-
dent or serious injury.
CAUTION
●Do not force the USB device into the
USB port. Inserting the USB device
tilted or up-side-down into the port may
damage the port. Make sure that the
USB device is connected correctly into
the USB port.
●Do not grab the USB port cover (if so
equipped) when pulling the USB device
out of the port. This could damage the
port and the cover.
●Do not leave the USB cable in a place
where it can be pulled unintentionally.
Pulling the cable may damage the port.
The vehicle is not equipped with a USB device.
USB devices should be purchased separately as
necessary.
This system cannot be used to format USB de-
vices. To format a USB device, use a personal
computer.
In some jurisdictions, the USB device for the front
seats plays only sound without images for regu-
latory reasons, even when the vehicle is parked.
This system supports various USB memory de-
vices, USB hard drives and iPod® players. Some
USB devices may not be supported by this sys-
tem.
●Partitioned USB devices may not play cor-
rectly.
●Some characters used in other languages
(Chinese, Japanese, etc.) may not appear
properly in the display. Using English lan-
guage characters with a USB device is rec-
ommended.
General notes for USB use
●
For additional information, refer to your device
manufacturer’s owner information regarding
the proper use and care of the device.
Notes for iPod® use
iPod® is a trademark of Apple Inc., registered in
the U.S. and other countries.
●Improperly plugging in the iPod® may cause
a checkmark to be displayed on and off
(flickering). Always make sure that the
iPod® is connected properly.
●An iPod® nano (1st Generation) may remain
in fast forward or rewind mode if it is con-
nected during a seek operation. In this case,
please manually reset the iPod®.
●An iPod® nano (2nd Generation) will con-
tinue to fast-forward or rewind if it is discon-
nected during a seek operation.
●An incorrect song title may appear when the
Play Mode is changed while using an iPod®
nano (2nd Generation).
●Audiobooks may not play in the same order
as they appear on an iPod®.
●Large video files cause slow responses in an
iPod®. The vehicle center display may mo-
mentarily black out, but will soon recover.
●If an iPod® automatically selects large video
files while in the shuffle mode, the vehicle
center display may momentarily black out,
but will soon recover.
4-46 Monitor, climate, audio, phone and voice recognition systems

Bluetooth® streaming audio (if so
equipped)
●Some Bluetooth® audio devices may not be
recognized by the in-vehicle audio system.
●It is necessary to set up the wireless con-
nection between a compatible Bluetooth®
audio device and the in-vehicle Bluetooth®
module before using the Bluetooth® audio.
●Operating procedure of the Bluetooth® au-
dio will vary depending on the devices. Refer
to how to operate your audio device before
using it with this system.
●The Bluetooth® audio may be stopped un-
der the following conditions:
●Receiving a call on the Hands-Free
Phone System.
●Checking the connection to the hands-
free phone.
●Do not place the Bluetooth® audio device in
an area surrounded by metal or far away from
the in-vehicle Bluetooth® module to prevent
tone quality degradation and wireless con-
nection disruption.
●While an audio device is connected through
the Bluetooth® wireless connection, the
battery power of the device may discharge
quicker than usual.
●This system supports the Bluetooth® Audio
Distribution Profile (A2DP, AVRCP).
BLUETOOTH® is a
trademark owned by
Bluetooth SIG, Inc.
and licensed to
Visteon and Bosch.
Monitor, climate, audio, phone and voice recognition systems 4-47

FM/AM RADIO WITH COMPACT
DISC (CD) PLAYER (if so equipped)
For additional information, refer to “Audio opera-
tion precautions” in this section.
1. CD eject button
2. FM•AM button
3. CD insert slot
4. Display screen
5. SCAN button
6. SEEK/TRACK buttons
7. iPod MENU button
8. BACK button
9. ENTER/SETTING button and
TUNE/FOLDER control knob
10. Station select (1–6) buttons
11. RDM button
12. RPT button
13. VOL (volume) knob / (power) button
14. DISP button
15. MEDIA button
16. CD button
Audio main operation
(power) button / VOL (volume)
control knob
Place the ignition switch in the ACC or ON
position and press the (power) button
while the system is off to call up the mode (radio,
CD, AUX, Bluetooth® audio, USB or iPod®) that
was playing immediately before the system was
turned off.
To turn the system off, press the (power)
button.
LHA3026
4-48 Monitor, climate, audio, phone and voice recognition systems

Turn the VOL (volume) control knob to adjust the
volume.
This vehicle may be equipped with Speed Sen-
sitive Volume. When this feature is active, the
audio volume changes as the driving speed
changes.
ENTER/SETTING button
Press the ENTER/SETTING button to show the
Settings screen on the display. Turn the
TUNE/FOLDER knob to navigate the options and
then press the ENTER/SETTING button to make
a selection.
Audio
Bass Adjusts the bass to the desired level.
Treble Adjusts the treble to the desired level.
Balance Adjusts the balance to the desired level. Balance adjusts the sound level between the left and right speakers.
Fade Adjusts the fade to the desired level. Fade adjusts the sound level between the front and rear speakers.
Speed Sens Vol. (Speed Sensitive Volume) Adjusts the speed sensitive volume function, which increases the volume of the audio system as the speed of
the vehicle increases. Set to “OFF” to disable the feature. The higher the setting, the more the volume in-
creases in relation to vehicle speed.
AUX Vol. Choose a setting from 0 to +3 to control the boost of incoming auxiliary device volume. A setting of 0 provides
no additional boost in volume. A setting of +3 provides the greatest boost in volume.
Brightness and Contrast Adjust the brightness or contrast to adjust the appearance of the display screen.
Clock Allows the user to set time manually.
On-Screen Clock Toggles ON or OFF the clock display on the upper right corner of the display screen.
RDS Display Toggles ON or OFF the RDS information displayed on the screen while the radio is playing.
Language Select the desired language for the system from the available options.
Bass, treble, balance and fade can also be adjusted by pressing the ENTER/SETTING button and turning the TUNE/FOLDER control knob to select the item
to adjust. When the desired item is shown on the display, turn the tuning to adjust and then press the ENTER/SETTING button until the display returns to
the main audio screen. If the button is not pressed for approximately 10 seconds, the radio or CD display will automatically reappear.
Monitor, climate, audio, phone and voice recognition systems 4-49

Clock Set
1. Press the ENTER/SETTING button.
2. Turn the TUNE/FOLDER knob to select
CLOCK.
3. Press the ENTER/SETTING button.
4. Turn the TUNE/FOLDER knob to select “set
time”.
5. Press the ENTER/SETTING button.
6. Rotate the TUNE/FOLDER knob to adjust
hours.
7. Press the ENTER/SETTING button.
8. Turn the TUNE/FOLDER knob to adjust min-
utes.
9. Press the ENTER/SETTING button.
10. Press the BACK button to finish.
DISP button
The display screen can be turned off by pressing
the DISP button. You can listen to music while the
display is off. If you want to turn the screen on,
either press the DISP button or press the FM·AM,
CD or MEDIA button.
iPod MENU button
This button can only be used for iPod® opera-
tions. For additional information, refer to “iPod®
player operation without Navigation System” in
this section.
FM/AM radio operation
FM·AM button
Press the FM·AM button to change the band as
follows:
AM →FM1 →FM2 →AM
If another audio source is playing when the
FM·AM button is pressed, the audio source play-
ing will automatically be turned off and the last
radio station played will begin playing.
TUNE/FOLDER knob (Tuning)
Turn the TUNE/FOLDER knob to the left or right
for manual tuning.
SEEK tuning
Press the SEEK button or TRACK
button to tune from low to high or high to low
frequencies and to stop at the next broadcasting
station.
SCAN tuning
Press the SCAN button to stop at each broad-
casting station for 5 seconds. SCAN will appear
on the screen while the radio is scan tuning.
Pressing the button again during this 5 second
period will stop SCAN tuning and the radio will
remain tuned to that station. If the SCAN button is
not pressed within 5 seconds, SCAN tuning
moves to the next station.
1 to 6 Station memory operations
Six stations can be set for the AM band. Twelve
stations can be set for the FM band (six for FM1,
six for FM2).
1. Choose the radio band AM, FM1 or FM2
using the FM·AM button.
2. Tune to the desired station using manual,
SEEK or SCAN tuning. Press and hold any
of the desired station memory buttons (1 –
6) until the preset number is updated on the
display and the sound is briefly muted.
3. The channel indicator will then come on and
the sound will resume. Programming is now
complete.
4.
Other buttons can be set in the same manner.
If the battery cable is disconnected, or if the fuse
opens, the radio memory will be canceled. In that
case, reset the desired stations.
4-50 Monitor, climate, audio, phone and voice recognition systems

Compact disc (CD) player operation
If the radio is already operating, it automatically
turns off and the compact disc begins to play.
MEDIA button
With a CD loaded, press the MEDIA button until
the CD mode is displayed on the screen.
CD/MP3 display mode
While listening to an MP3/WMA CD, certain text
may be displayed on the screen if the CD has
been encoded with text information. Depending
on how the MP3/WMA CD is encoded, informa-
tion such as Artist, Song and Folder will be dis-
played.
The track number and the total number of tracks
in the current folder or on the current disc are
displayed on the screen as well.
SEEK/TRACK (Reverse or
Fast Forward) button
Press and hold the SEEK/TRACK button
or for 1.5 seconds while the compact disc
is playing to reverse or fast forward the track
being played. The compact disc plays at an in-
creased speed while reversing or fast forwarding.
When the button is released, the compact disc
returns to normal play speed.
SEEK/TRACK button
Press the SEEK/TRACK button while a CD
or MP3/WMA CD is playing to return to the
beginning of the current track. Press
the SEEK/TRACK button several times to
skip backward several tracks.
Press the SEEK/TRACK button while a CD
or MP3/WMA CD is playing to advance one
track. Press the SEEK/TRACK button sev-
eral times to skip forward several tracks. If the last
track on a CD is skipped, the first track on the
disc is played. If the last track in a folder of an
MP3/WMA CD is skipped, the first track of the
next folder is played.
TUNE/FOLDER knob (MP3/WMA CD only)
If a MP3/WMA CD with multiple folders is play-
ing, turn the TUNE/FOLDER knob to change
folders. Turn the knob to the left to skip back a
folder. Turn the knob to the right to skip ahead a
folder.
RPT (repeat) button
When the RPT button is pressed while a com-
pact disc is playing, the play pattern can be
changed as follows:
CD:
1 Track Repeat ←→ OFF
CD with MP3 or WMA:
1 Folder Repeat →1 Track Repeat →OFF
1 Track Repeat: the current track will be re-
peated.
1 Folder Repeat: the current folder will be re-
peated.
OFF: No repeat play pattern is applied. The indi-
cator on the display will turn off.
The current play pattern of the CD is displayed on
the screen unless no pattern is applied.
RDM (random) button
When the RDM button is pressed while a com-
pact disc is playing, the play pattern can be
changed as follows:
CD:
1 Disc Random ←→ OFF
CD with MP3 or WMA:
1 Disc Random →1 Folder Random →OFF
1 Disc Random: all tracks on the disc will be
played randomly.
1 Folder Random: all tracks in the current folder
will be played randomly.
OFF: No random play pattern is applied. The
indicator on the display will turn off.
Monitor, climate, audio, phone and voice recognition systems 4-51

The current play pattern of the CD is displayed on
the screen unless no pattern is applied.
EJECT button
When the button is pressed with a com-
pact disc loaded, the compact disc will eject and
the last source will be played.
When the button is pressed twice with a
compact disc loaded, the compact disc will be
ejected further for easier CD removal. If the disc
is not removed within 20 seconds, the disc will
reload.
Additional features
For additional information, refer to “iPod® player
operation without Navigation System” in this sec-
tion.
For additional information, refer to “USB (Univer-
sal Serial Bus) connection port (models without
Navigation System)” in this section.
For additional information, refer to “Bluetooth®
streaming audio without Navigation System” in
this section. FM/AM/SAT RADIO WITH
COMPACT DISC (CD) PLAYER (Type
A) (if so equipped)
For additional information, refer to “Audio opera-
tion precautions” in this section.
1. CD eject button
2. RPT button
3. RDM button
4. Display screen
LHA4427
4-52 Monitor, climate, audio, phone and voice recognition systems

5. SCAN button
6. SEEK/CAT buttons
7. iPod MENU button
8. BACK button
9. ENTER/SETTING button and
TUNE/SCROLL control knob
10. Station select (1–6) buttons
11. VOL (volume) knob / (power) button
12. DISP button
13. MEDIA button
14. XM button*
15. FM•AM button
*No satellite radio reception is available when the
XM button is pressed to access satellite radio
stations unless optional satellite receiver and an-
tenna are installed and an SiriusXM® Satellite
Radio service subscription is active. Satellite ra-
dio is not available in Alaska, Hawaii or Guam.
Audio main operation
(power) button / VOL (volume)
control knob
Place the ignition switch in the ACC or ON
position and press the (power) button
while the system is off to call up the mode (radio,
CD, AUX, Bluetooth® audio, USB or iPod®) that
was playing immediately before the system was
turned off.
To turn the system off, press the (power)
button.
Turn the VOL (volume) control knob to adjust the
volume.
This vehicle may be equipped with Speed Sen-
sitive Volume. When this feature is active, the
audio volume changes as the driving speed
changes.
ENTER/SETTING button
Press the ENTER/SETTING button to show the
Settings screen on the display. Turn the
TUNE/SCROLL knob to navigate the options
and then press the ENTER/SETTING button to
make a selection.
Monitor, climate, audio, phone and voice recognition systems 4-53

Audio
Bass Adjusts the bass to the desired level.
Treble Adjusts the treble to the desired level.
Balance Adjusts the balance to the desired level. Balance adjusts the sound level between the left and right speakers.
Fade Adjusts the fade to the desired level. Fade adjusts the sound level between the front and rear speakers.
Speed Sens Vol. (Speed Sensitive Volume) Adjusts the speed sensitive volume function, which increases the volume of the audio system as the speed of
the vehicle increases. Set to “OFF” to disable the feature. The higher the setting, the more the volume in-
creases in relation to vehicle speed.
AUX Vol. Choose a setting from 0 to +3 to control the boost of incoming auxiliary device volume. A setting of 0 provides
no additional boost in volume. A setting of +3 provides the greatest boost in volume.
Brightness and Contrast Adjust the brightness or contrast to adjust the appearance of the display screen.
Clock Allows the user to set time manually.
On-Screen Clock Toggles ON or OFF the clock display on the upper right corner of the display screen.
RDS Display Toggles ON or OFF the RDS information displayed on the screen while the radio is playing.
Language Select the desired language for the system from the available options.
Bass, treble, balance and fade can also be adjusted by pressing the ENTER/SETTING button and turning the TUNE/SCROLL control knob to select the item
to adjust. When the desired item is shown on the display, turn the tuning to adjust and then press the ENTER/SETTING button until the display returns to
the main audio screen. If the button is not pressed for approximately 10 seconds, the radio or CD display will automatically reappear.
4-54 Monitor, climate, audio, phone and voice recognition systems

Clock Set
1. Press the ENTER/SETTING button.
2. Turn the TUNE/SCROLL knob to select
CLOCK.
3. Press the ENTER/SETTING button.
4. Turn the TUNE/SCROLL knob to select “set
time”.
5. Press the ENTER/SETTING button.
6. Rotate the TUNE/SCROLL knob to adjust
hours.
7. Press the ENTER/SETTING button.
8. Turn the TUNE/SCROLL knob to adjust min-
utes.
9. Press the ENTER/SETTING button.
10. Press the BACK button to finish.
DISP button
The display screen can be turned off by pressing
the DISP button. You can listen to music while the
display is off. If you want to turn the screen on,
either press the DISP button or press the FM·AM,
CD or MEDIA button.
iPod MENU button
This button can only be used for iPod® opera-
tions. For additional information, refer to “iPod®
player operation without Navigation System” in
this section.
FM/AM/SAT radio operation
FM·AM button
Press the FM·AM button to change the band as
follows:
AM →FM1 →FM2 →AM
If another audio source is playing when the
FM·AM button is pressed, the audio source play-
ing will automatically be turned off and the last
radio station played will begin playing.
XM band select
Press the XM button to change the band as follows:
XM1* →XM2* →XM3* →XM1 (satellite, if so
equipped)
When the XM button is pressed while the ignition
switch is in the ACC or ON position, the radio will
come on at the station last played.
The last station played will also come on when
the (power) button is pressed on.
*When the XM button is pressed, the satellite
radio reception will not be available unless an
optional satellite receiver and antenna are in-
stalled and a SiriusXM® Satellite Radio service
subscription is active. Satellite radio is not avail-
able in Alaska, Hawaii and Guam.
If a compact disc is playing when the XM button
is pressed, the compact disc will automatically be
turned off and the last radio station played will
come on.
TUNE/SCROLL knob (Tuning)
Turn the TUNE/SCROLL knob to the left or right
for manual tuning.
SEEK tuning
Press the SEEK button or CAT but-
ton to tune from low to high or high to low
frequencies and to stop at the next broadcasting
station.
SCAN tuning
Press the SCAN button to stop at each broad-
casting station for 5 seconds. SCAN will appear
on the screen while the radio is scan tuning.
Pressing the button again during this 5 second
period will stop SCAN tuning and the radio will
remain tuned to that station. If the SCAN button is
not pressed within 5 seconds, SCAN tuning
moves to the next station.
Monitor, climate, audio, phone and voice recognition systems 4-55

1 to 6 Station memory operations
Six stations can be set for the AM band. Twelve
stations can be set for the FM band (six for FM1,
six for FM2).
1. Choose the radio band AM, FM1 or FM2
using the FM·AM button.
2. Tune to the desired station using manual,
SEEK or SCAN tuning. Press and hold any
of the desired station memory buttons (1 –
6) until the preset number is updated on the
display and the sound is briefly muted.
3. The channel indicator will then come on and
the sound will resume. Programming is now
complete.
4. Other buttons can be set in the same man-
ner.
If the battery cable is disconnected, or if the fuse
opens, the radio memory will be canceled. In that
case, reset the desired stations.
Compact disc (CD) player operation
If the radio is already operating, it automatically
turns off and the compact disc begins to play.
MEDIA button
With a CD loaded, press the MEDIA button until
the CD mode is displayed on the screen.
CD/MP3 display mode
While listening to an MP3/WMA CD, certain text
may be displayed on the screen if the CD has
been encoded with text information. Depending
on how the MP3/WMA CD is encoded, informa-
tion such as Artist, Song and Folder will be dis-
played.
The track number and the total number of tracks
in the current folder or on the current disc are
displayed on the screen as well.
SEEK/CAT (Reverse or
Fast Forward) button
Press and hold the SEEK/CAT button
or for 1.5 seconds while the compact disc
is playing to reverse or fast forward the track
being played. The compact disc plays at an in-
creased speed while reversing or fast forwarding.
When the button is released, the compact disc
returns to normal play speed.
SEEK/CAT button
Press the SEEK/CAT button while a CD or
MP3/WMA CD is playing to return to the begin-
ning of the current track. Press
the SEEK/CAT button several times to skip
backward several tracks.
Press the SEEK/CAT button while a CD or
MP3/WMA CD is playing to advance one track.
Press the SEEK/CAT button several times
to skip forward several tracks. If the last track on
a CD is skipped, the first track on the disc is
played. If the last track in a folder of an
MP3/WMA CD is skipped, the first track of the
next folder is played.
TUNE/SCROLL knob (MP3/WMA CD only)
If a MP3/WMA CD with multiple folders is play-
ing, turn the TUNE/SCROLL knob to change
folders. Turn the knob to the left to skip back a
folder. Turn the knob to the right to skip ahead a
folder.
RPT (repeat) button
When the RPT button is pressed while a com-
pact disc is playing, the play pattern can be
changed as follows:
CD:
1 Track Repeat ←→ OFF
CD with MP3 or WMA:
1 Folder Repeat →1 Track Repeat →OFF
1 Track Repeat: the current track will be re-
peated.
1 Folder Repeat: the current folder will be re-
peated.
4-56 Monitor, climate, audio, phone and voice recognition systems

OFF: No repeat play pattern is applied. The indi-
cator on the display will turn off.
The current play pattern of the CD is displayed on
the screen unless no pattern is applied.
RDM (random) button
When the RDM button is pressed while a com-
pact disc is playing, the play pattern can be
changed as follows:
CD:
1 Disc Random ←→ OFF
CD with MP3 or WMA:
1 Disc Random →1 Folder Random →OFF
1 Disc Random: all tracks on the disc will be
played randomly.
1 Folder Random: all tracks in the current folder
will be played randomly.
OFF: No random play pattern is applied. The
indicator on the display will turn off.
The current play pattern of the CD is displayed on
the screen unless no pattern is applied.
EJECT button
When the button is pressed with a com-
pact disc loaded, the compact disc will eject and
the last source will be played.
When the button is pressed twice with a
compact disc loaded, the compact disc will be
ejected further for easier CD removal. If the disc
is not removed within 20 seconds, the disc will
reload.
Additional features
For additional information, refer to “iPod® player
operation without Navigation System” in this sec-
tion.
For additional information, refer to “USB (Univer-
sal Serial Bus) connection port (models without
Navigation System)” in this section.
For additional information, refer to “Bluetooth®
streaming audio without Navigation System” in
this section.
Monitor, climate, audio, phone and voice recognition systems 4-57

FM/AM/SAT RADIO WITH
COMPACT DISC (CD) PLAYER (Type
B) (if so equipped)
1. CD eject button
2. FM-AM button
3. AUX button
4. CD insert slot
5. Backward seek button and
Forward seek button
6. BACK button
7. AUDIO button / TUNE knob
8. Display screen
9. ON-OFF button / VOL (volume) control
knob
10. CD button
11. SXM button*
*No satellite radio reception is available when the
SXM button is pressed to access satellite radio
stations unless optional satellite receiver and an-
tenna are installed and an SiriusXM® Satellite
Radio service subscription is active. Satellite ra-
dio is not available in Alaska, Hawaii and Guam.
For additional information, refer to “Audio opera-
tion precautions” regarding all operation precau-
tions in this section.
Audio main operation
ON-OFF button / VOL (volume) control
knob
Place the ignition switch in the ACC or ON
position and press the ON-OFF button while the
system is off to call up the mode (radio, CD, AUX,
Bluetooth® audio, USB or iPod®) that was play-
ing immediately before the system was turned off.
To turn the system off, press the ON-OFF button.
LHA2895
4-58 Monitor, climate, audio, phone and voice recognition systems

Turn the VOL (volume) control knob to adjust the
volume.
This vehicle may be equipped with Speed Sen-
sitive Volume. When this feature is active, the
audio volume changes as the driving speed
changes.
Audio settings
1. Press the [ ] button.
2. Touch the “Settings” key.
3. Touch the “Audio” key.
Use the touch-screen to adjust the following
items to the desired setting:
Audio
Bass Adjusts the bass to the desired level.
Treble Adjusts the treble to the desired level.
Balance Adjusts the balance to the desired level. Balance adjusts the sound level between the left and right speakers.
Fade Adjusts the fade to the desired level. Fade adjusts the sound level between the front and rear speakers.
Speed Sensitive Vol. Adjusts the speed sensitive volume function, which increases the volume of the audio system as the speed of the
vehicle increases. Set to “OFF” to disable the feature. The higher the setting, the more the volume increases in relation
to vehicle speed.
AUX Volume Level/AUX Level Controls the volume level of incoming sound when an auxiliary device is connected to the system. Available options are
Low (Quiet), Medium, and High (Loud).
Bass, treble, balance and fade can also be adjusted by pressing the AUDIO button and turning the TUNE knob to select the item to adjust. When the desired
item is shown on the display, turn the tuning to adjust and then press the AUDIO button until the display returns to the main audio screen. If the button is not
pressed for approximately 10 seconds, the radio or CD display will automatically reappear.
Monitor, climate, audio, phone and voice recognition systems 4-59

SXM settings
To view the SXM settings:
1. Press the [ ] button.
2. Touch the “Settings” key.
3. Touch the “SXM” key.
The signal strength, activation status and other
information are displayed on the screen.
FM/AM/SAT radio operation
FM·AM button
Press the FM·AM button to change the band as
follows:
AM →FM1 →FM2 →AM
If another audio source is playing when the
FM·AM button is pressed, the audio source play-
ing will automatically be turned off and the last
radio station played will begin playing.
The FM stereo indicator (STEREO) is shown on the
screen during FM stereo reception. When the ste-
reo broadcast signal is weak, the radio automati-
cally changes from stereo to monaural reception.
SXM band select
Pressing the SXM button will change the band as
follows:
SXM1* →SXM2* →SXM3* →SXM1* (satellite,
if so equipped)
When the SXM button is pressed while the igni-
tion switch is in the ACC or ON position, the
radio will come on at the last station played.
The last station played will also come on when
the ON-OFF button is pressed to turn the radio
on.
*When the SXM button is pressed, the satellite
radio mode will be skipped unless an optional
satellite receiver and antenna are installed and a
SiriusXM® Satellite Radio service subscription is
active. Satellite radio is not available in Alaska,
Hawaii and Guam.
If a compact disc is playing when the SXM button
is pressed, the compact disc will automatically be
turned off and the last radio station played will
come on.
While the radio is in SXM mode, the operation
can be controlled through the touch-screen.
Touch the “Channels” key to display a list of
channels. Touch a channel displayed on the list to
change to that channel. Touch the “Categories”
key to display a list of categories. Touch a cat-
egory displayed on the list to display options
within that category.
Tuning with the touch-screen
When in AM or FM mode, the radio can be tuned
using the touch-screen. To bring up the visual
tuner, touch the “Tune” key on the lower right
corner of the screen. A screen appears with a bar
running from low frequencies on the left to high
frequencies on the right. Touch the screen at the
location of the frequency you wish to tune and the
station will change to that frequency. To return to
the regular radio display screen, touch the “OK”
key.
Tuning with the TUNE knob
The radio can also be manually tuned using the
TUNE knob. When in FM or AM mode, turn the
TUNE knob to the left for lower frequencies or to
the right for higher frequencies. When in SXM
mode, turn the TUNE knob to change the chan-
nel.
SEEK tuning
When in FM or AM mode, press the
or seek buttons to tune from low to high or
high to low frequencies and to stop at the next
broadcasting station.
When in SXM mode, press the or
seek buttons to change the category.
4-60 Monitor, climate, audio, phone and voice recognition systems

1 to 6 Station memory operations
Twelve stations can be set for the FM band (six for
FM1, six for FM2) and six stations can be set for
the AM band. Eighteen stations can be set for the
SXM band (six for SXM1, six for SXM2 & six
SXM3).
1. Choose the radio band AM, FM1 or FM2
using the FM·AM select button or choose
the radio band SXM1, SXM2 & SXM3 using
the SXM button.
2. Tune to the desired station using manual or
seek tuning. Press and hold any of the de-
sired station memory buttons (1 – 6) until a
beep sound is heard.
3. The channel indicator will then come on and
the sound will resume. Programming is now
complete.
4. Other buttons can be set in the same man-
ner.
If the battery cable is disconnected or if the fuse
opens, the radio memory will be canceled. In that
case, reset the desired stations.
Presets can also be selected by touching the
desired preset number on the screen.
Smart Favorites Preset Setup (if so
equipped)
The Smart Favorites feature allows the user to
designate presets, within the SXM1, SXM2 and
SXM3 bands, as their Smart Favorites. When any
of the Smart Favorite presets are selected, the
current track on that station will play from the
beginning of the song.
LHA2899 LHA3085
Monitor, climate, audio, phone and voice recognition systems 4-61

To program a Smart Favorite preset:
1. Press the SXM button.
2. Touch the “Setup” key.
3. Touch the “Tune Start” key to activate (ON)
or deactivate (OFF) Smart Favorites.
4. Touch the “Add Preset” key to select an
available preset.
For additional information, refer to “1 to 6 station
memory operations”in this section regarding pre-
set memory options.
NOTE:
• Smart Favorites will start functioning only
after the audio unit is turned on for a few
minutes.
• Tune Start is supported for music chan-
nels only.
Replay Screen
The Replay Screen gives the user the ability to
replay, skip, pause or rewind the currently aired
track.
When the “Replay” key is touched, the Replay
Screen is prompted.
REPLAY To replay a track from the
beginning, press the
seek button. The user can
continue to press the
seek button to replay previ-
ous songs, but can only go
back as far as the system
permits. The system will
warn the user when they
cannot skip any further back
by displaying “At the End” in
the bottom left corner of the
screen.
SKIP To skip a track, press
the track button.
“Live” will appear in the bot-
tom left corner of the screen
indicating the difference
from play time to live audio.
PAUSE To pause a track, press
the pause button.
LHA3087
4-62 Monitor, climate, audio, phone and voice recognition systems

REWIND/
FAST
FORWARD
To rewind/ fast forward a
track, hold the or
seek/track button.
Compact disc (CD) player operation
If the radio is already operating, it automatically
turns off and the compact disc begins to play.
CD button
When the CD button is pressed with the system
off and the compact disc loaded, the system will
turn on and the compact disc will start to play.
When the CD button is pressed with a compact
disc loaded and the radio playing, the radio will
automatically be turned off and the compact disc
will start to play.
CD/MP3 display mode
Menu item
CD/MP3 display mode
While listening to a CD or an MP3/WMA CD, certain text may be displayed (when a CD encoded with text is
being used). Depending on how the CD or MP3/WMA CD is encoded, the text is displayed listing the artist,
album and song title. There are other keys displayed on the screen when a CD is playing:
Random/Mix
Touch the “Random” key to apply a random play pattern to the CD. If an MP3 CD is playing, touching
“Random” or alternates between Random Folder, and Random All. This text will appear on the display.
To cancel Random/Mix mode, touch the “Random” or “Mix” key until the key is no longer highlighted.
Repeat
Touch the “Repeat” key to apply a repeat play pattern to the CD. If an MP3 CD is playing, touching “Repeat”
alternates between repeating the current song and repeating the current folder. This text will appear on the
display. To cancel Repeat mode, touch the “Repeat” key until the key is no longer highlighted
Browse
Touch the “Browse” key to display the titles on the CD in list format. Touch the title of a song in the list to begin
playing that song. If an MP3 CD is playing, touching the “Browse” key will also list the folders on the disc.
Follow the procedure for selecting a song with the touch-screen to choose a folder.
Monitor, climate, audio, phone and voice recognition systems 4-63

SEEK (Reverse or Fast
Forward) buttons
Press and hold the or seek buttons
for 1.5 seconds while the compact disc is playing
to reverse or fast forward the track being played.
The compact disc plays at an increased speed
while reversing or fast forwarding. When the but-
ton is released, the compact disc returns to nor-
mal play speed.
SEEK buttons
Press the seek button while a CD or
MP3/WMA CD is playing to return to the begin-
ning of the current track. Press the seek
button several times to skip backward several
tracks.
Press the seek button while a CD or
MP3/WMA CD is playing to advance one track.
Press the seek button several times to skip
forward several tracks. If the last track on a CD is
skipped, the first track on the disc is played. If the
last track in a folder of an MP3/WMA CD is
skipped, the first track of the next folder is played.
AUX button
The AUX IN audio input port accepts any stan-
dard analog audio input such as from a portable
cassette tape/CD player, MP3 player or a laptop
computer. Press the AUX button to play a com-
patible device plugged into the AUX IN port.
CD EJECT button
When the CD EJECT button is pressed
with a compact disc loaded, the compact disc
will eject and the last source will be played.
If the disc is not removed within 10 seconds, the
disc will reload.
Additional features
For additional information, refer to “iPod® player
operation with Navigation System” in this section.
For additional information, refer to “USB (Univer-
sal Serial Bus) Connection Port (models with
Navigation System)” in this section.
For additional information, refer to “Bluetooth®
streaming audio with Navigation System” in this
section.
USB (Universal Serial Bus)
CONNECTION PORT (models
without Navigation System) (if so
equipped)
Connecting a device to the USB
connection port
WARNING
Do not connect, disconnect, or operate the
USB device while driving. Doing so can be
a distraction. If distracted you could lose
control of your vehicle and cause an acci-
dent or serious injury.
LHA4319
4-64 Monitor, climate, audio, phone and voice recognition systems

CAUTION
●Do not force the USB device into the
USB port. Inserting the USB device
tilted or up-side-down into the port may
damage the port. Make sure that the
USB device is connected correctly into
the USB port.
●Do not grab the USB port cover (if so
equipped) when pulling the USB device
out of the port. This could damage the
port and the cover.
●Do not leave the USB cable in a place
where it can be pulled unintentionally.
Pulling the cable may damage the port.
Refer to your device manufacturer’s owner infor-
mation regarding the proper use and care of the
device.
The USB port is located on the instrument panel.
Insert the USB device into the instrument panel.
When a compatible storage device is plugged
into the connection port, compatible audio files
on the storage device can be played through the
vehicle’s audio system.
Audio file operation
MEDIA button
Place the ignition switch in the ON or ACC
position and press the MEDIA button to switch to
the USB input mode. If a CD is playing or another
audio source is plugged in through the AUX IN
jack, the MEDIA button toggles between the
three sources.
Play information
Information about the audio files being played
can be displayed on the display screen of the
vehicle’s audio system. Depending on how the
audio files are encoded, information such as
Folder, Song and Artist will be displayed.
The track number and number of total tracks in
the folder are displayed on the screen as well.
SEEK/CAT or TRACK
(Reverse or Fast Forward)
buttons
Press and hold the or SEEK/CAT or
TRACK buttons for 1.5 seconds while an audio
file on the USB device is playing to reverse or fast
forward the track being played. The track plays at
an increased speed while reversing or fast for-
warding. When the button is released, the audio
file returns to normal play speed.
SEEK/CAT or TRACK
buttons
Press the SEEK/CAT or TRACK button
while an audio file on the USB device is playing to
return to the beginning of the current track. Press
the SEEK/CAT or TRACK button several
times to skip backward several tracks.
Press the SEEK/CAT or TRACK button
while an audio file on the USB device is playing to
advance one track. Press the SEEK/CAT or
TRACK button several times to skip for-
ward several tracks. If the last track in a folder on
the USB device is skipped, the first track of the
next folder is played.
RDM (random) button
When the RDM (random) button is pressed while
an audio file on the USB device is playing, the
play pattern can be changed as follows:
All Random →1 Folder Random →OFF
All Random: all tracks on the USB device will be
played randomly.
1 Folder Random: all tracks in the current folder
will be played randomly.
OFF: No random play pattern is applied. The
indicator on the display will turn off.
The current play pattern of the USB device is dis-
played on the screen unless no pattern is applied.
Monitor, climate, audio, phone and voice recognition systems 4-65

RPT (repeat) button
When the RPT (repeat) button is pressed while
an audio file on the USB device is playing, the
play pattern can be changed as follows:
1 Folder Repeat →1 Track Repeat →OFF
1 Track Repeat: the current track will be re-
peated.
1 Folder Repeat: the current folder will be re-
peated.
OFF: No repeat play pattern is applied. The indi-
cator on the display will turn off.
The current play pattern of the USB device is
displayed on the screen unless no pattern is
applied.
TUNE/FOLDER or TUNE/SCROLL knob
If there are multiple folders with audio files on the
USB device, turn the TUNE/FOLDER or
TUNE/SCROLL knob to change folders. Turn the
knob to the left to skip back a folder. Turn the
knob to the right to skip ahead a folder. If there is
only one folder of audio files on the USB device,
turning the TUNE/FOLDER or TUNE/SCROLL
knob in either direction will return to the first track
on the USB device.
USB (Universal Serial Bus)
CONNECTION PORT (models with
Navigation System) (if so equipped)
Connecting a device to the USB
connection port
WARNING
Do not connect, disconnect, or operate the
USB device while driving. Doing so can be
a distraction. If distracted you could lose
control of your vehicle and cause an acci-
dent or serious injury.
CAUTION
●Do not force the USB device into the
USB port. Inserting the USB device
tilted or up-side-down into the port may
damage the port. Make sure that the
USB device is connected correctly into
the USB port.
●Do not grab the USB port cover (if so
equipped) when pulling the USB device
out of the port. This could damage the
port and the cover.
●Do not leave the USB cable in a place
where it can be pulled unintentionally.
Pulling the cable may damage the port.
Refer to your device manufacturer’s owner infor-
mation regarding the proper use and care of the
device.
The USB port is located on the instrument panel.
Insert the USB device into the instrument panel.
When a compatible storage device is plugged
into the connection port, compatible audio files
on the storage device can be played through the
vehicle’s audio system.
LHA4319
4-66 Monitor, climate, audio, phone and voice recognition systems

Audio file operation
AUX (auxiliary) button
Place the ignition switch in the ON or ACC
position and press the AUX button to switch to
the USB input mode. If another audio source is
playing and a USB connection port device is
inserted, press the AUX button until the center
display changes to the USB memory mode.
If the system has been turned off while the USB
memory was playing, press the ON-OFF button
to restart the USB memory.
Play information
Information about the audio files being played is
shown on the display screen of the vehicle’s
audio system. Touch “Browse” to display the list
of folders and files on the USB device. Touch the
name of a song on the screen to begin playing
that song.
Seeking buttons
Press the seeking button while an audio
file on the USB device is playing to return to the
beginning of the current track. Press the
seeking button several times to skip backward
several tracks.
Press the seeking button while an audio
file on the USB device is playing to advance one
track. Press the seeking button several
times to skip forward several tracks. If the last
track in a folder on the USB device is skipped, the
first track of the next folder is played.
Random and repeat play mode
While files on a USB device are playing, the play
pattern can be altered so that songs are repeated
or played randomly.
Random
Touch the “Random” key to apply a random play
pattern to the USB device. When the Random
mode is active, the text “Random” on the key will
illuminate. By touching the “Random” key again,
the text “Random Folder” appears. By touching
the “Random” key once more, the text “Random
All” appears. To cancel Random mode, touch the
“Random” key until no text is illuminated.
Repeat
Touch the “Repeat” key to apply a repeat play
pattern to the USB device. When the Repeat
mode is active, the text on the “Repeat” key will
illuminate. By touching the “Repeat” key again,
the text “Repeat Track” appears. By touching the
“Repeat” key once more, the text “Repeat Folder”
appears. To cancel Repeat mode, touch the “Re-
peat” key until no text is illuminated.
LHA1496
Monitor, climate, audio, phone and voice recognition systems 4-67

iPod® PLAYER OPERATION (models
without Navigation System) (if so
equipped)
Connecting a device to the USB
connection port
WARNING
Do not connect, disconnect, or operate the
USB device while driving. Doing so can be
a distraction. If distracted you could lose
control of your vehicle and cause an acci-
dent or serious injury.
CAUTION
●Do not force the USB device into the
USB port. Inserting the USB device
tilted or up-side-down into the port may
damage the port. Make sure that the
USB device is connected correctly into
the USB port.
●Do not grab the USB port cover (if so
equipped) when pulling the USB device
out of the port. This could damage the
port and the cover.
●Do not leave the USB cable in a place
where it can be pulled unintentionally.
Pulling the cable may damage the port.
Refer to your device manufacturer’s owner infor-
mation regarding the proper use and care of the
device.
The USB port is located on the instrument panel.
Insert the USB device into the instrument panel.
When a compatible storage device is plugged
into the connection port, compatible audio files
on the storage device can be played through the
vehicle’s audio system.
Compatibility
The following models are compatible:
●iPod® 5th Generation
(firmware version 1.3 or later)
●iPod® Classic (80GB)
(firmware version 1.1.2PC or later)
●iPod® Classic (120GB)
(firmware version 2.0.1PC or later)
●iPod® nano - 1st generation
(firmware version 1.3.1 or later)
●iPod® nano - 2nd generation
(firmware version 1.1.3 or later)
●iPod® nano - 3rd generation
(firmware version 1.1.3PC or later)
●iPod® nano - 4th generation
(firmware version 1.0PC or later)
●iPod® nano - 5th generation (8GB)
(firmware version 1.0.2PC or later)
●iPod® nano - 5th generation (16GB)
(firmware version 1.0.1PC or later)
●iPod® nano - 6th generation (8GB)
(firmware version 1.2PC or later)
●iPod® nano - 6th generation (8GB)
(firmware version 1.1PC or later)
LHA4319
4-68 Monitor, climate, audio, phone and voice recognition systems

●iPod® Touch - 1st generation
(firmware version 2.2.1 or later)
●iPod® Touch - 2nd generation
(firmware version 2.2.1 or later)
●iPod® Touch - 3rd generation
(firmware version 3.1.3 or later)
●iPod® Touch - 4th generation
(firmware version 4.3.5 or later)
●iPhone® 3G (firmware version 4.1 or later)
●iPhone® 3GS (firmware version 4.3 or later)
●iPhone® 4 (firmware version 5.0 or later)
●iPhone® 4S (firmware version 5.1 or later)
●iPad® (firmware version 4.3.2 or later)
●iPad® 2 (firmware version 4.3.3 or later)
Make sure that your iPod® firmware is updated to
the version indicated above.
Audio main operation
Place the ignition switch to the ACC or ON
position. Then, press the MEDIA button or iPod
MENU button (if so equipped) repeatedly to
switch to the iPod® mode.
If the audio system is turned off while the iPod® is
playing, the iPod® plays when the audio system
is turned back on.
If the audio system is off, pressing the MEDIA
button or iPod MENU button (if so equipped)
turns the audio system on and plays the iPod®.
If the audio system is on, the audio system auto-
matically begins playing tracks from the iPod®
when it is plugged into the port.
MEDIA button
Press the MEDIA button while the iPod® is con-
nected to show the iPod® operation menu on the
audio display. Scroll through the menu list using
the TUNE/FOLDER or TUNE/SCROLL knob.
Press ENTER/SETTING button to select a menu
item. Items in the iPod® menu appear on the
display in the following order:
●Now playing
●Playlists
●Artists
●Albums
●Songs
●Podcasts
●Genres
●Composers
●Audiobooks
●Shuffle songs
For additional information, refer to the iPod®
Owner’s Manual regarding each item.
SEEK/CAT or TRACK buttons
When the or SEEK/CAT or TRACK
button is pressed for less than 1.5 seconds while
the iPod® is playing, the next track or the begin-
ning of the current track on the iPod® will be
played.
When the or SEEK/CAT or TRACK
button is pressed for more than 1.5 seconds
while the iPod® is playing, the iPod® will play
while fast forwarding or rewinding. When the
button is released, the iPod® will return to the
normal play speed.
REPEAT (RPT)
When the RPT button is pressed while a track is
being played, the play pattern can be changed as
follows:
Repeat Off →1 Track Repeat →All Repeat →
Repeat Off
1 Track Repeat: the current track will be re-
peated.
All Repeat: all songs in the current list are re-
peated.
Repeat Off: no repeat play pattern is applied.
Monitor, climate, audio, phone and voice recognition systems 4-69

RANDOM (RDM)
When the RDM button is pressed while a track is
being played, the play pattern can be changed as
follows:
Shuffle Off →Track Shuffle →Album Shuffle →
Shuffle Off
Track Shuffle: the tracks in the current list will be
played randomly.
Album Shuffle: the albums in the current list will
be played randomly.
Shuffle Off: no random play pattern is applied.
BACK button
When the BACK button is pressed, it re-
turns to the previous menu. iPod® PLAYER OPERATION (models
with Navigation System) (if so
equipped)
Connecting a device to the USB
connection port
WARNING
Do not connect, disconnect, or operate the
USB device while driving. Doing so can be
a distraction. If distracted you could lose
control of your vehicle and cause an acci-
dent or serious injury.
CAUTION
●Do not force the USB device into the
USB port. Inserting the USB device
tilted or up-side-down into the port may
damage the port. Make sure that the
USB device is connected correctly into
the USB port.
●Do not grab the USB port cover (if so
equipped) when pulling the USB device
out of the port. This could damage the
port and the cover.
●Do not leave the USB cable in a place
where it can be pulled unintentionally.
Pulling the cable may damage the port.
Refer to your device manufacturer’s owner infor-
mation regarding the proper use and care of the
device.
The USB port is located on the instrument panel.
Insert the USB device into the instrument panel.
When a compatible storage device is plugged
into the connection port, compatible audio files
on the storage device can be played through the
vehicle’s audio system.
LHA4319
4-70 Monitor, climate, audio, phone and voice recognition systems

Compatibility
The following models are compatible:
●iPod® Classic 5th generation
(firmware version 1.3.0 or later)
●iPod® Classic 6th generation
(firmware version 2.0.1 or later)
●iPod® Classic 7th generation
(firmware version 2.0.4 or later)
●iPod® Touch 2nd generation
(firmware version 4.2.1 or later)*
●iPod® Touch 3rd generation
(firmware version 5.1 or later)
●iPod® Touch 4th generation
(firmware version 5.1 or later)
●iPod® nano - 1st generation
(firmware version 1.3.1 or later)
●iPod® nano - 2nd generation
(firmware version 1.1.3 or later)
●iPod® nano - 3rd generation
(firmware version 1.1.3 or later)
●iPod® nano - 4th generation
(firmware version 1.0.4 or later)
●iPod® nano - 5th generation
(firmware version 1.0.2 or later)
●iPod® nano - 6th generation
(firmware version 1.1 or later)
●iPhone® 3G (firmware version 4.2.1 or later)
●iPhone® 3GS (firmware version 5.1 or later)
●iPhone® 4 (firmware version 5.1 or later)
●iPhone® 4S (firmware version 5.1 or later)
* Some features of this iPod® may not be fully
functional.
Make sure that your iPod® firmware is updated to
the version indicated above.
Audio main operation
Place the ignition switch in the ACC or ON
position. Press the AUX button repeatedly to
switch to the iPod® mode.
If the system has been turned off while the iPod®
was playing, pressing the VOL/ON·OFF control
knob will start the iPod®.
LHA2911
Monitor, climate, audio, phone and voice recognition systems 4-71

AUX button
When the AUX button is pressed with the system
off and the iPod® connected, the system will turn
on. If another audio source is playing and the
iPod® is connected, press the AUX button re-
peatedly until the center display changes to the
iPod® mode.
Interface
The interface for iPod® operation shown on the
vehicle’s audio system display screen is similar to
the iPod® interface. Use the touch-screen,
BACK button or the scrolling knob to navigate
the menus on the screen.
When the iPod® is playing, touch the “Menu” key
to bring up the iPod® interface.
Depending on the iPod® model, the following
items may be available on the menu list screen.
For additional information, refer to the iPod®
Owner’s Manual regarding each menu item.
●Playlists
●Artists
●Albums
●Genres
●Songs
●Composers
●Audiobooks
●Podcasts
Shuffle and repeat play mode
While the iPod® is playing, the play pattern can
be altered so that songs are repeated or played
randomly.
Shuffle
Touch the “Shuffle” key to apply a random play
pattern to the iPod®. When the Shuffle mode is
active, the text is illuminated. Touching the
“Shuffle” key once more will display the “Shuffle
songs” key. To cancel Shuffle mode, touch the
“Shuffle” key again until the text is no longer
illuminated.
LHA2907
4-72 Monitor, climate, audio, phone and voice recognition systems

Repeat
Touch the “Repeat” key to apply a repeat play
pattern to the iPod®. When the repeat mode is
active, the text is illuminated. Touching the “Re-
peat” key once more will display the “Repeat
song” key. To cancel Repeat mode, touch the
“Repeat” key again until the text is no longer
illuminated.
SEEK buttons
Press the SEEK button or to skip
backward or forward one track.
Press and hold the SEEK button or
for 1.5 seconds while a track is playing to reverse
or fast forward the track being played. The track
plays at an increased speed while reversing or
fast forwarding. When the button is released, the
track returns to normal play speed.
Scrolling menus
While navigating long lists of artists, albums or
songs in the music menu, it is possible to scroll
the list by the first character in the name. To
activate character indexing, touch and hold the
“A-Z” key in the upper right corner of the screen.
Turn the TUNE knob to choose the number or
letter to jump to in the list and then press the
ENTER/AUDIO button.
If no character is selected after a few seconds,
the display returns to normal.
BLUETOOTH® STREAMING AUDIO
WITHOUT NAVIGATION SYSTEM (if
so equipped)
If you have a compatible Bluetooth® audio de-
vice that is capable of playing audio files, the
device can be connected to the vehicle’s audio
system so that the audio files on the device play
through the vehicle’s speakers.
LHA2279
Monitor, climate, audio, phone and voice recognition systems 4-73

Connecting Bluetooth® audio
To connect your Bluetooth® audio device to the
vehicle, follow the procedure below:
1. Press the ENTER/SETTING button.
2. Select the “Bluetooth” key.
3.
Select the “Add Phone or Device” key. This
same screen can be accessed to remove, re-
place or select a different Bluetooth® device.
4. The system acknowledges the command
and asks you to initiate connecting from the
phone handset. The connecting procedure
of the cellular phone varies according to
each cellular phone model. For additional
information, refer to the cellular phone Own-
er’s Manual. You can also visit
www.nissanusa.com/bluetooth or
www.nissan.ca/bluetooth for instructions on
connecting NISSAN recommended cellular
phones.
Audio main operation
To switch to the Bluetooth® audio mode, press
the MEDIA button repeatedly until the
Bluetooth® audio mode is displayed on the
screen.
The controls for the Bluetooth® audio are dis-
played on the screen. Use the Preset 3 button for
play and the Preset 4 button for pause.
BLUETOOTH® STREAMING AUDIO
WITH NAVIGATION SYSTEM (if so
equipped)
If you have a compatible Bluetooth® audio de-
vice that is capable of playing audio files, the
device can be connected to the vehicle’s audio
system so that the audio files on the device play
through the vehicle’s speakers.
Connecting Bluetooth® audio
To connect your Bluetooth® audio device to the
vehicle, follow the procedure below:
1. Press the [ ] button.
2. Touch the “Settings” key.
3. Touch the “Phone & Bluetooth” key.
LHA2775 LHA3622
4-74 Monitor, climate, audio, phone and voice recognition systems

4. Touch the “Connect New Device” key.
5. The system acknowledges the command
and asks you to initiate connecting from the
phone handset.
NOTE:
The connecting procedure of the cellular
phone varies according to each cellular
phone model. For additional information, re-
fer to the cellular phone Owner’s Manual. You
can also visit www.nissanusa.com/bluetooth
or www.nissan.ca/bluetooth for instructions
on connecting NISSAN recommended cellu-
lar phones.
Audio main operation
To switch to the Bluetooth® audio mode, press
the AUX button repeatedly until the Bluetooth®
audio mode is displayed on the screen.
The controls for the Bluetooth® audio are dis-
played on the screen.
CD CARE AND CLEANING
●Handle a CD by its edges. Do not bend the
disc. Never touch the surface of the disc.
●Always place the discs in the storage case
when they are not being used.
●To clean a disc, wipe the surface from the
center to the outer edge using a clean, soft
cloth. Do not wipe the disc using a circular
motion.
●Do not use a conventional record cleaner or
alcohol intended for industrial use.
LHA2844 LHA0049
Monitor, climate, audio, phone and voice recognition systems 4-75

●A new disc may be rough on the inner and
outer edges. Remove the rough edges by
rubbing the inner and outer edges with the
side of a pen or pencil as illustrated.
STEERING WHEEL SWITCH FOR
AUDIO CONTROL (if so equipped)
The audio system can be operated using the
controls on the steering wheel.
1. Volume control switch
2. MODE select switch
3. Tuning switch/ENTER button
MODE select switch
Push the MODE select switch to change the
mode in the following sequence:
AM →FM1 →FM2 →XM1 (satellite radio, if so
equipped) →XM2 (satellite radio, if so equipped)
→XM3 (satellite radio, if so equipped) →CD* →
USB/iPod®* (if so equipped) →Bluetooth®
Audio* →AUX* →AM.
* These modes are only available when compat-
ible media storage is inserted into the device or
connected to the system.
Volume control switch
Push the volume control switch to increase or
decrease the volume.
Tuning switch/ENTER
button
While the display is showing a map or audio
screen, tilt the Tuning switch upward or down-
ward to select a station, track, CD or folder. For
most audio sources, tilting the switch up/down
for more than 1.5 seconds provides a different
function than a tilting up/down for less than
1.5 seconds.
LHA2559
4-76 Monitor, climate, audio, phone and voice recognition systems

AM and FM
●Tilt up/down for less than 1.5 seconds to
increase or decrease the preset station.
●Tilt up/down for more than 1.5 seconds to
seek up or down to the next station.
●Press the ENTER button to show the list of
preset stations.
SXM (if so equipped)
●Tilt up/down for less than 1.5 seconds to
increase or decrease the preset station.
●Tilt up/down for more than 1.5 seconds to
go to the next or previous channel.
●Press the ENTER button to show the SXM
Menu.
iPod®
●Tilt up/down for less than 1.5 seconds to
increase or decrease the track number.
●Press the ENTER button to show the iPod
Menu.
CD
●Tilt up/down for less than 1.5 seconds to
increase or decrease the track number.
●Tilt up/down for more than 1.5 seconds to
increase or decrease the folder number (if
playing compressed audio files).
●Press the ENTER button to show the CD
Menu.
USB
●Tilt up/down for less than 1.5 seconds to
increase or decrease the track number.
●Tilt up/down for more than 1.5 seconds to
increase or decrease the folder number.
●Press the ENTER button to show the USB
Menu.
Bluetooth® Audio
●Tilt up/down for less than 1.5 seconds to
skip ahead or back to the next song.
●Tilt up/down for more than 1.5 seconds to
reverse or fast forward the current song.
AUX
●Press the ENTER button to show the AUX
Menu.
ANTENNA
The antenna cannot be shortened, but can be
removed. When you need to remove the antenna,
turn the antenna rod counterclockwise.
To install the antenna rod, turn the antenna rod
clockwise and hand tighten.
CAUTION
●Always properly tighten the antenna
rod during installation or the antenna
rod may break during vehicle operation.
●Be sure that the antenna is removed
before the vehicle enters an automatic
car wash.
●Be sure to fold down the antenna be-
fore the vehicle enters a garage with a
low ceiling.
Monitor, climate, audio, phone and voice recognition systems 4-77
This vehicle is equipped with Smartphone Inte-
gration technology. This allows many compatible
Smartphone applications to be displayed and
easily controlled through the vehicle’s touch-
screen.
NOTE:
A compatible smartphone and registration
is required to use mobile applications or to
access connected features of certain ve-
hicle applications.
REGISTERING WITH
NISSANCONNECT
SM
MOBILE APPS
To use the Smartphone Integration feature, it is
necessary for the user to register. In order to
register, visit the NissanConnect
SM
Mobile App
website, www.nissanusa.com/connect/ or
www.canada.nissanconnect.com (For Canada)
and sign up or create an account through the
prompts on the NissanConnect Mobile App.
Once registered, download the NissanConnect
App from your compatible phone’s application
download source and then log into the applica-
tion. If you already have an account created
through the App, please log in.
CONNECT PHONE
To use this feature, a compatible smartphone
must be connected via Bluetooth® or USB to the
vehicle. For additional information, refer to
“Bluetooth® Hands-Free Phone System with
Navigation System” in this section.
NOTE:
For vehicles with navigation, Apple
iPhones® REQUIRE the phone to be
plugged in via USB for NissanConnect
Mobile Apps to function.
For vehicles without Navigation, Apple
iPhones® must be paired via Bluetooth®
for NissanConnect Mobile Apps to function.
NOTE:
For Android phones, NissanConnect
Mobile Apps REQUIRES the phone to be
paired via Bluetooth®.
APPLICATION DOWNLOAD
Once connected, the NissanConnect Mobile
App will search your phone to determine which
compatible applications are currently installed.
The user will then choose which apps they want
to bring into their vehicle from the list of apps
within the “Manage My Apps” section of the
NissanConnect Mobile App on their smartphone.
The vehicle will then download the in-vehicle
interface for each of these compatible applica-
tions. Once downloaded, the user can access
their selected smartphone applications through
the vehicle display. For additional information on
application availability visit
www.nissanusa.com/connect/ or
www.canada.nissanconnect.com
NISSANCONNECT
SM
MOBILE APPS
(if so equipped)
4-78 Monitor, climate, audio, phone and voice recognition systems

Apple Siri® Eyes Free personal assistant can be
accessed from the vehicle. Siri Eyes Free can be
accessed in Siri Eyes Free mode to reduce user
distraction. In this mode, Siri Eyes Free is avail-
able for interaction by voice control. After con-
necting a compatible Apple device by using
Bluetooth®, Siri Eyes Free can be activated from
the TALK switch on the steering wheel.
Siri® is a trademark of Apple Inc., registered in
the U.S. and other countries.
●Some Siri Eyes Free functions, such as dis-
playing pictures or opening apps, may not
be available while driving.
●For getting best results, always update your
device to the latest software version.
●Keep the interior of the vehicle as quiet as
possible. Close the windows to eliminate the
surrounding noises (traffic noises, vibration
sounds, etc.), which may prevent the system
from recognizing the voice commands cor-
rectly.
●For functions that can be used in Siri Eyes
Free, please refer to the Apple website.
REQUIREMENTS
Siri is only available on the iPhone® 4S or later.
Devices released before iPhone® 4S are not
supported by the Siri Eyes Free system. Visit
www.apple.com/ios/siri for details about device
compatibility.
Siri must be enabled on the phone. Please check
phone settings.
If the device has a lock screen, Siri must be
accessible from the lock screen. Please check
phone settings.
For best results, always update your device to the
latest software version.
SIRI® ACTIVATION
Siri® Eyes Free function can be activated by
pushing TALK switch on the steering
wheel.
Models with navigation system
1. Connect an Siri Eyes Free enabled iPhone®
to the vehicle. For additional information,
refer to “Connecting procedure” in this sec-
tion.
2. After the Bluetooth® connection is estab-
lished, push and hold the TALK
switch to activate the Siri Eyes Free function.
LHA2589
SIRI® EYES FREE (if so equipped)
Monitor, climate, audio, phone and voice recognition systems 4-79

Models without navigation system
1. Connect a Siri Eyes Free enabled iPhone®
to the vehicle. For additional information,
refer to “Initialization” in this section.
2. After the Bluetooth® connection is estab-
lished, the switch operation select screen is
displayed.
3. Select “Short Press” or “Long Press” for Siri
Eyes Free activation Switch action can also
be changed from the Bluetooth® settings
menu. For additional information, refer to
“Changing Siri® Eyes Free Settings (mod-
els without navigation system)” in this sec-
tion.
OPERATING SIRI® EYES FREE
1. Push or push and hold the TALK
switch.
2. Speak your command and then listen to the
Siri Eyes Free reply.
After starting Siri Eyes Free, push the
TALK switch again within 5 seconds of the end of
the Siri Eyes Free announcement to extend the
session.
Example 1 – Playing music
1. Push or push and hold the TALK
switch.
2. Say “Play (artist name, song name, etc.)”.
3. Your vehicle will automatically change to
Bluetooth® Audio or iPod® mode* when
the music starts playing. Mode selection is
determined by the phone.
* If the iPhone® is also connected with the USB
cable.
If the audio track does not start playing automati-
cally after Siri Eyes Free ends, try changing the
track or audio source to resume playback.
NOTE:
For best results, use the native music app.
Performance of music control function
while using Podcasts, Audiobook or other
3rd party music apps may vary and is con-
trolled by the iPhone®.
Example 2 – Replying to text messages
1. If a compatible iPhone® is connected and
“Show Notifications” of the iPhone® set-
tings is enabled, the vehicle will display a
notification for new incoming text messages.
2. After reading the message, push or push
and hold the TALK switch to reply
using Siri Eyes Free.
3. After a beep sounds, say “Text message” or
a similar command to reply using Siri Eyes
Free.
CHANGING SIRI® EYES FREE
SETTINGS (models without navigation
system)
Settings for Siri® Eyes Free can be found in the
Bluetooth settings menu. For additional informa-
tion, refer to “Bluetooth® settings”in this section.
1. Press the ENTER/SETTING button.
2. Use the TUNE/FOLDER or TUNE/SCROLL
knob to select “Bluetooth” and then press
the ENTER/SETTING button.
3. Use the TUNE/FOLDER or TUNE/SCROLL
knob to select “Siri” and then press the
ENTER/SETTING button.
4. Select “Short Press” or “Long Press” using
the TUNE/SCROLL knob and then press
the ENTER/SETTING button.
4-80 Monitor, climate, audio, phone and voice recognition systems

TROUBLESHOOTING GUIDE
Symptom Cause and Countermeasure
Cannot access Siri Eyes
Free from switch on the
steering wheel
Check if a Bluetooth® connection is established between the iPhone® and the system.
Check if Siri is enabled on the device. On your phone, go to Siri setting.
Check that Siri can be accessed from the device lock screen. This can be set in the settings menu of your phone.
Models without navigation system:
Check the settings for Siri Eyes Free activation on the vehicle audio system. If the setting is “Long Press”, you must push and hold the TALK
switch on the steering wheel for more than 1.5 seconds to start Siri Eyes Free. If the setting is “Short Press”, a short push and release of the switch
should start Siri Eyes Free.
Audio Source does not
change automatically to
iPod® or Bluetooth® Audio
mode
For best results, use the native Music app. Performance of music control function while using Podcasts, Audiobook or other 3rd party music apps may
vary.
For best results, play media already stored on your device. Streaming music or playback from cloud storage may degrade performance.
Switch the source manually by pressing the AUX or MEDIA button on the vehicle audio system or the MODE select switch on the steering wheel.
Play, pause, next track,
previous track or play timer
does not work
For best results, use the native Music app. Performance of music control function while using Podcasts, Audiobook or other 3rd party music apps may
vary and is controlled by the device.
Cannot hear any music/
audio being played back
from a connected iPhone®
Check that the audio source is set to Bluetooth® Audio or iPod® mode. A USB connection is required for iPod® mode.
Cannot hear map turn-by-
turn direction guidance from
a connected iPhone®
Check that the audio source is set to Bluetooth® Audio or iPod® mode. A USB connection is required for iPod® mode.
Cannot receive text message
notifications on the vehicle
audio system
Check if “Send Notifications” is enabled on your phone. On the phone, go to Bluetooth® settings. Find the device name, like “My Car”. Press the info
button. Turn on “Show Notifications”.
Cannot reply to text
message notifications by
Siri Eyes Free
After receiving an incoming text message, follow on-screen guidance. Push or push and hold the TALK switch on the steering wheel for Siri
Eyes Free. After Siri Eyes Free starts, say “Text Message”.
Monitor, climate, audio, phone and voice recognition systems 4-81

When installing a CB, ham radio or car phone in
your vehicle, be sure to observe the following
precautions; otherwise, the new equipment may
adversely affect the engine control system and
other electronic parts.
WARNING
●A cellular phone should not be used for
any purpose while driving so full atten-
tion may be given to vehicle operation.
Some jurisdictions prohibit the use of
cellular phones while driving.
●If you must make a call while your ve-
hicle is in motion, the hands free cellu-
lar phone operational mode (if so
equipped) is highly recommended. Ex-
ercise extreme caution at all times so
full attention may be given to vehicle
operation.
●If you are unable to devote full attention
to vehicle operation while talking on
the phone, pull off the road to a safe
location and stop your vehicle.
CAUTION
●Keep the antenna as far away as pos-
sible from the electronic control
modules.
●Keep the antenna wire more than 8 in
(20 cm) away from the electronic control
system harnesses. Do not route the an-
tenna wire next to any harness.
●Adjust the antenna standing-wave ratio
as recommended by the manufacturer.
●Connect the ground wire from the CB
radio chassis to the body.
●For additional information, it is recom-
mended that you visit a NISSAN dealer.
●Do not ground electrical accessories di-
rectly to the battery terminal. Doing so
will bypass the variable voltage control
system and the vehicle battery may not
charge completely. For additional infor-
mation, refer to “Variable voltage con-
trol system” in the “Do-it-yourself” sec-
tion of this manual.
●Use electrical accessories with the en-
gine running to avoid discharging the
vehicle battery.
WARNING
●Use a phone after stopping your vehicle
in a safe location. If you have to use a
phone while driving, exercise extreme
caution at all times so full attention may
be given to vehicle operation.
●If you are unable to devote full attention
to vehicle operation while talking on
the phone, pull off the road to a safe
location and stop your vehicle.
CAUTION
To avoid discharging the vehicle battery,
use a phone after starting the engine.
CAR PHONE OR CB RADIO BLUETOOTH® HANDS-FREE PHONE
SYSTEM WITHOUT NAVIGATION
SYSTEM (if so equipped)
4-82 Monitor, climate, audio, phone and voice recognition systems

Your NISSAN is equipped with the Bluetooth®
Hands-Free Phone System. If you have a com-
patible Bluetooth® enabled cellular phone, you
can set up the wireless connection between your
cellular phone and the in-vehicle phone module.
With Bluetooth® wireless technology, you can
make or receive a hands-free telephone call with
your cellular phone in the vehicle.
Once your cellular phone is connected to the
in-vehicle phone module, no other phone con-
necting procedure is required. Your phone is
automatically connected with the in-vehicle
phone module when the ignition switch is placed
in the ON position with the previously connected
cellular phone turned on and carried in the ve-
hicle.
NOTE:
Some devices require the user to accept
connections to other Bluetooth® devices. If
your phone does not connect automatic
ally to the system, consult the phone’s
Owner’s Manual for details on device op-
eration.
You can connect up to five different Bluetooth®
cellular phones to the in-vehicle phone module.
However, you can talk on only one cellular phone
at a time.
Before using the Bluetooth® Hands-Free Phone
System, refer to the following notes.
●Set up the wireless connection between a
compatible cellular phone and the in-vehicle
phone module before using the hands-free
phone system.
●Some Bluetooth® enabled cellular phones
may not be recognized or work properly.
Please visit www.nissanusa.com/bluetooth
or www.nissan.ca/bluetooth for a recom-
mended phone list and connecting instruc-
tions.
LHA3143
Monitor, climate, audio, phone and voice recognition systems 4-83

●You will not be able to use a hands-free
phone under the following conditions:
– Your vehicle is outside of the cellular ser-
vice area.
– Your vehicle is in an area where it is
difficult to receive a cellular signal; such
as in a tunnel, in an underground parking
garage, near a tall building or in a moun-
tainous area.
– Your cellular phone is locked to prevent it
from being dialed.
●When the radio wave condition is not ideal
or ambient sound is too loud, it may be
difficult to hear the other person’s voice dur-
ing a call.
●Do not place the cellular phone in an area
surrounded by metal or far away from the
in-vehicle phone module to prevent tone
quality degradation and wireless connection
disruption.
●While a cellular phone is connected through
the Bluetooth® wireless connection, the
battery power of the cellular phone may dis-
charge quicker than usual. The Bluetooth®
Hands-Free Phone System cannot charge
cellular phones.
●For additional information, you can vist
www.nissanusa.com/bluetooth or
www.nissan.ca/bluetooth for troubleshoot-
ing help.
●Some cellular phones or other devices may
cause interference or a buzzing noise to
come from the audio system speakers. Stor-
ing the device in a different location may
reduce or eliminate the noise.
●For additional information, refer to the cellu-
lar phone Owner’s Manual regarding the
telephone charges, cellular phone antenna
and body, etc.
REGULATORY INFORMATION
FCC Regulatory information
– CAUTION: To maintain compliance with
FCC’s RF exposure guidelines, use only the
supplied antenna. Unauthorized antenna,
modification, or attachments could damage
the transmitter and may violate FCC regula-
tions.
– Operation is subject to the following two con-
ditions:
1. This device may not cause interference and
2. this device must accept any interference,
including interference that may cause unde-
sired operation of the device.
IC Regulatory information
– Operation is subject to the following two con-
ditions: (1) this device may not cause interfer-
ence, and (2) this device must accept any
interference, including interference that may
cause undesired operation of the device.
– This Class B digital apparatus meets all re-
quirements of the Canadian Interference-
Causing Equipment Regulations.
BLUETOOTH® is a
trademark owned by
Bluetooth SIG, Inc.
and licensed to
Visteon.
USING THE SYSTEM
The system allows hands-free operation of the
Bluetooth® Hands-Free Phone System.
If the vehicle is in motion, some commands may
not be available so full attention may be given to
vehicle operation.
Initialization
When the ignition switch is placed in the ON
position, NISSAN Voice Recognition is initialized,
which takes a few seconds. If the button is
pressed before the initialization completes, the
4-84 Monitor, climate, audio, phone and voice recognition systems

system will announce “Hands-free phone system
not ready” and will not react to voice commands.
Operating tips
To get the best performance out of the NISSAN
Voice Recognition system, observe the following:
●Keep the interior of the vehicle as quiet as
possible. Close the windows to eliminate
surrounding noises (traffic noises, vibration
sounds, etc.), which may prevent the system
from recognizing voice commands correctly.
●Wait until the tone sounds before speaking a
command. Otherwise, the command will not
be received properly.
●Start speaking a command within 5 seconds
after the tone sounds.
●Speak in a natural voice without pausing
between words.
Giving voice commands
To operate NISSAN Voice Recognition, press
and release the button located on the
steering wheel. After the tone sounds, speak a
command.
The command given is picked up by the micro-
phone, and voice feedback is given when the
command is accepted.
●If you need to hear the available commands
for the current menu again, say “Help” and
the system will repeat them.
●If a command is not recognized, the system
announces, “Command not recognized.
Please try again.” Make sure the command is
said exactly as prompted by the system and
repeat the command in a clear voice.
●If you want to go back to the previous com-
mand, you can say “Go back” or “Correc-
tion” any time the system is waiting for a
response.
●You can cancel a command when the sys-
tem is waiting for a response by saying,
“Cancel” or “Quit.” The system announces
“Cancel” and ends the NISSAN Voice Rec-
ognition session. You can also press and
hold the button on the steering wheel
for 5 seconds at any time to end the NISSAN
Voice Recognition session. Whenever the
NISSAN Voice Recognition session is can-
celled, a double beep is played to indicate
you have exited the system.
●If you want to adjust the volume of the voice
feedback, press the Volume control
switches (+ or -) on the steering wheel while
being provided with feedback. You can also
use the radio volume control knob.
●In most cases you can interrupt the voice
feedback to speak the next command by
pressing the button on the steering
wheel.
●To use the system faster, you may speak the
second level commands with the main menu
command on the main menu. For example,
press the button and after the tone
say, “Call Redial.”
Voice Prompt Interrupt
In most cases you can interrupt the voice feed-
back to speak the next command by pressing
the button on the steering wheel. After
interrupting the system, wait for a beep before
speaking your command.
One Shot Call
To use the system faster, you may speak the
second level commands with the main menu
command on the main menu. For example, press
the button and after the tone say, “Call
Redial”.
Monitor, climate, audio, phone and voice recognition systems 4-85

CONTROL BUTTONS
The control buttons for the Bluetooth® Hands-
Free Phone System are located on the steering
wheel.
PHONE/SEND
Press the button to initiate
a Voice Recognition session or
answer an incoming call.
If the operation of “Siri” is set to
“Short Press” on the Bluetooth®
setting menu, pressing and hold-
ing the button initiates a
Voice Recognition session for the
Hands-Free Phone operation. For
additional information, refer to
“Bluetooth® settings” in this
section.
You can also use the button
to interrupt the system feedback
and give a command at once. For
additional information, refer to
“Voice Commands” and “During a
call” in this section.
PHONE/END
While the voice recognition sys-
tem is active, press and hold
the button for 5 seconds to
quit the voice recognition system
at any time.
Tuning switch
While using the voice recognition
system, tilt the tuning switch up or
down to manually control the
phone system.
CONNECTING PROCEDURE
NOTE:
The connecting procedure must be per-
formed when the vehicle is stationary. If the
vehicle starts moving during the procedure,
the procedure will be canceled.
To connect a phone to the Bluetooth® Hands-
Free Phone System:
1. Press the ENTER/SETTING button.
2. Use the TUNE/FOLDER or TUNE/SCROLL
knob to select “Bluetooth” and then press
the ENTER/SETTING button.
LHA2561
4-86 Monitor, climate, audio, phone and voice recognition systems

Menu Item Result
Bluetooth ON/OFF Allows user to switch Bluetooth® on and off. Bluetooth® must be turned on in order to connect device.
On Turns Bluetooth® functionality on
Off Turns Bluetooth® functionality off
Add Phone Upon pressing this button, a message with a PIN appears on the screen. operate the Bluetooth® phone to enter the PIN and complete the
connection process.
Delete Phone Delete a phone currently connected to the system.
Replace Phone Replace the phone currently connected to the system. This option allows the user to keep any voice tags that were recorded using the
previous phone if vehicle is equipped with voice recognition.
Select Phone Choose a phone from a list of previously connected or currently connected phones.
The connecting procedure varies according to each phone. For additional information, refer to your cellular phone’s Owner’s Manual.
VOICE COMMANDS
Voice commands can be used to operate the
Bluetooth® Hands-Free Phone System. Press
the button and say “Phone” to bring up the
phone command menu. The available options are:
●Call
●Phonebook
●Recent Calls
●Messaging
●Show Applications
●Select Phone
“Call”
For additional information, refer to “Making a call”
in this section.
“Phonebook”
The following commands are available under
“Phonebook”:
●(A Name)
Say a name in the phonebook to bring up a
list of options for that phonebook entry. The
system will say the name it interpreted based
on the voice command provided. If the name
is incorrect, say “Correction” to hear another
name.
Once the correct phonebook entry is identi-
fied, say “Dial” to dial the number or “Send
Text” to send a text message to that number.
Say “Record Name” to record a name for the
phonebook entry. Say “Delete Recording” to
delete a recorded name for the phonebook
entry.
Monitor, climate, audio, phone and voice recognition systems 4-87

●List Names
Speak this command to have the system list
the names in the phonebook one by one
alphabetically. Say “Dial” to dial the number
of the current name or “Send Text” to send a
text message to that number. Say “Next En-
try” or “Previous Entry” to move through the
list alphabetically. Say “Record Name” to
record a name for the current phonebook
entry. Say “Delete Recording” to delete a
recorded name for the current phonebook
entry.
“Recent Calls”
The following commands are available under
“Recent Calls”:
●Incoming
Speak this command to list the last five
incoming calls to the vehicle. If the call is
from an entry in the phonebook, the name
will be displayed. Otherwise, the phone
number of the incoming call will be dis-
played.
Say “Dial” to call the number or “Send Text”
to send a text message to that number. Say
“Next Entry” or “Previous Entry” to move
through the list of incoming calls.
●Missed
Speak this command to list the last five
missed calls to the vehicle. If the call is from
an entry in the phonebook, the name will be
displayed. Otherwise, the phone number of
the missed call will be displayed.
Say “Dial” to call the number or “Send Text”
to send a text message to that number. Say
“Next Entry” or “Previous Entry” to move
through the list of missed calls.
●Outgoing
Speak this command to list the last five
outgoing calls from the vehicle. If the call
was to an entry in the phonebook, the name
will be displayed. Otherwise, the phone
number of the outgoing call will be dis-
played.
Say “Dial” to call the number or “Send Text”
to send a text message to that number. Say
“Next Entry” or “Previous Entry” to move
through the list of outgoing calls.
●Redial
Speak this command to call the last number
dialed.
●Call Back
Speak this command to call the number of
the last incoming call to the vehicle.
“Messaging (if so equipped)”
Speak this command to access text messaging
functions. For additional information, refer to
“Text messaging” in this section.
“Show Applications” (if so equipped)
Speak this command to display list of smart-
phone apps available.
NOTE:
Compatible smartphone and registration
necessary to access applications.
“Select Phone”
Speak this command to select a phone to use
from a list of those phones connected to the
vehicle.
MAKING A CALL
To make a call from a phone connected to the
vehicle’s Bluetooth® Hands-Free Phone Sys-
tem:
1. Press the button on the steering
wheel.
2. The system will prompt you for a command.
Say “Call”.
4-88 Monitor, climate, audio, phone and voice recognition systems

3. Select one of the available voice commands
to continue:
●“(A Name)” — Speak the name of a phone-
book entry to place a call to that entry. The
system will respond with the name it inter-
preted from your command and will prompt
you to confirm that the name is correct. Say
“Yes” to initiate the call or “No” to hear an-
other name from the phonebook.
●“Phone Number” — Speak this command to
place a call by inputting numbers. For 7– to
10–digit phone number, speak the numbers.
Say “Correction” at any time in the process
to correct a misspoken or misinterpreted
number. For phone numbers with more dig-
its or special characters, say “Special Num-
ber”, then speak the digits. Up to 24 digits
can be entered. Available special characters
are “start”, “pound”, “plus”, and “pause”.
When finished, say “Dial” to initiate the call.
Say “Correction” at any time in the process
to correct a misspoken or misinterpreted
number or character.
●“Redial” – Speak this command to dial the
number of the last outgoing call. The system
will display “Re-dialing <name/number>”.
The name of the phonebook entry will be
displayed if it available, otherwise the num-
ber being re-dialed will be displayed.
●“Call Back” – Speak this command to dial
the number of the last incoming call. The
system will display “Calling back
<name/number>”. The name of the phone-
book entry will be displayed if it available,
otherwise the number being called back will
be displayed.
RECEIVING A CALL
When a call is received by the phone connected
to the vehicle’s Bluetooth® Hands-Free Phone
System, the call information is displayed on the
control panel display.
Press the button to accept the call. Press
the button to reject the call.
DURING A CALL
While a call is active, press the button to
access additional options. Speak one of the fol-
lowing commands:
●“Send” – Speak this command followed by
the digits to enter digits during the phone
call.
●“Mute On” or “Mute Off” – Speak the com-
mand to mute or unmute the system.
●
“Transfer Call” – Speak this command to
transfer the call to the handset. To transfer the
call back from the handset to the Bluetooth®
Hands-Free Phone System, press the
button and confirm when prompted.
If supported by the phone, the Bluetooth®
Hands-Free Phone System allows for call waiting
functionality. If a call is received while another call
is already active, a message will be displayed on
the screen. Press the button to hold the
active call and switch to the second call. Press
the button to reject the second call.
While the second call is active, pressing
the button will allow the same commands
that are available during any call as well as two
additional commands:
●“Switch Call” – Speak this command to hold
the second call and switch back to the origi-
nal call.
●
“End Other Call” – Speak this command to stay
with the second call and end the original call.
Press the button to accept the call. Press
the button to reject the call.
ENDING A CALL
To end an active call, press the button.
Monitor, climate, audio, phone and voice recognition systems 4-89

TEXT MESSAGING (if so equipped)
WARNING
●Laws in some jurisdictions may restrict
the use of “Text-to-Speech”. Check lo-
cal regulations before using this
feature.
●Laws in some jurisdictions may restrict
the use of some of the applications and
features, such as social networking and
texting. Check local regulations for any
requirements.
●Use the text messaging feature after
stopping your vehicle in a safe location.
If you have to use the feature while
driving, exercise extreme caution at all
times so full attention may be given to
vehicle operation.
●If you are unable to devote full attention
to vehicle operation while using the text
messaging feature, pull off the road to a
safe location and stop your vehicle.
NOTE:
This feature is automatically disabled if the
connected device does not support the
Message Access Profile (MAP). For addi-
tional information, refer to the phone’s
Owner’s Manual for details and instruc-
tions.
NOTE:
Many phones may require special permis-
sion to enable text messaging. Check the
phone’s screen during Bluetooth® pairing.
For some phones, you may need to enable
‘Notifications’ in the phone’s Bluetooth®
menu for text messages to appear on the
headunit. For additional information, refer
to your phone’s Owner’s manual. Text mes-
sage integration requires that the phone
support MAP (Message Access Profile) for
both receiving and sending text messages.
Some phones may not support all text mes-
saging features. For additional informa-
tion, please refer to
www.nissanusa.com/bluetooth or
www.nissan.ca/bluetooth for compatibility
information, as well as your device’s Own-
er’s manual.
The system allows for the sending and receiving
of text messages through the vehicle interface.
Sending a text message:
1. Press the button on the steering
wheel.
2. Say “Phone” after the tone.
3. Say “Send Text” after the tone.
4. The system will provide a list of available
commands in order to determine the recipi-
ent of the text message. Choose from the
following:
●To (a name)
●Enter Number
●Missed Calls
●Incoming Calls
●Outgoing Calls
For additional information about these options,
refer to “Voice commands” in this section.
5. Once a recipient is chosen, the system
prompts for which message to send. Nine
predefined messages are available as well
as three custom messages. To choose one
of the predefined messages, speak one of
the following after the tone:
●“Driving, can’t text”
●“Call me”
4-90 Monitor, climate, audio, phone and voice recognition systems

●“On my way”
●“Running late”
●“Okay”
●“Yes”
●“No”
●“Where are you?”
●“When?”
●“Custom Messages”
To send one of the custom messages, say
“Custom Messages”. If more than one cus-
tom message is stored, the system will
prompt for the number of the desired cus-
tom message. For additional information on
setting and managing custom text mes-
sages, refer to “Bluetooth® settings” in this
section.
Reading a received text message:
1. Press the button on the steering
wheel.
2. Say “Phone” after the tone.
3. Say “Read Text” after the tone.
The text message, sender and delivery time are
shown on the screen. Use the tuning switch to
scroll through all text messages if more than one
are available. Press the button to exit the
text message screen. Press the button to
access the following options for replying to the
text message:
●Call Back
Speak this command to call the sender of
the text message using the Bluetooth®
Hands-Free Phone System.
●Send Text
Speak this command to send a text message
response to the sender of the text message.
●Read Text
Speak this command to read the text mes-
sage again.
●Previous Text
Speak this command to move to the previ-
ous text message (if available).
●Next Text
Speak this command to move to the next text
message (if available).
Siri® Eyes Free (if so equipped)
If a connected phone is equipped with Siri®, it
can also be used to create custom messages
that are sent through the phone. For additional
information, refer to “Siri® Eyes Free” in this
section.
NOTE:
Text messages are only displayed if the
vehicle speed is less than 5 mph (8 km/h).
NOTE:
For Apple iPhones®, text messages can
only be sent through Siri.
BLUETOOTH® SETTINGS
To access and adjust the settings for the
Bluetooth® Hands-Free Phone System:
1. Press the ENTER/SETTING button.
2. Use the TUNE/FOLDER or TUNE/SCROLL
knob to select “Bluetooth” and then press
the ENTER/SETTING button:
●Bluetooth
Select “On” or “Off” to turn the vehicle’s
Bluetooth® system on or off.
●Add Phone or Device
For additional information, refer to “Con-
necting procedure” in this section.
●Delete Phone or Device
Select to delete a phone from the displayed
list. The system will ask to confirm before
deleting the phone.
Monitor, climate, audio, phone and voice recognition systems 4-91

●Replace Phone
Select to replace a phone from the displayed
list. When a selection is made, the system
will ask to confirm before proceeding. The
recorded phonebook for the phone being
deleted will be saved as long as the new
phone’s phonebook is the same as the old
phone’s phonebook.
●Select Phone
Select to connect to a previously connected
phone from the displayed list.
●Show Incoming Calls
Incoming call information may be displayed
on the center display screen.
●Phonebook Download
Select to turn on or off the automatic down-
load of a connected phone’s phonebook.
●Text Message (if so equipped)
Select to turn on or off the vehicle’s text
messaging feature.
●New Text Sound (if so equipped)
Select to adjust the volume of the sound that
plays when a new text is received by a phone
connected to the Bluetooth® Hands-Free
Phone System. The setting all the way to the
left indicates that the new text sound will be
muted.
●Show Incoming Text (if so equipped)
Incoming text messages may be displayed
on the center display screen. Select “None”
to have no display of incoming text mes-
sages.
●Edit Custom Messages (if so equipped)
Select to set a custom message that will be
available with the standard options when
sending a text message. To set a custom
message, send a text message to your own
phone number while the phone is connected
to the system. Three custom messages can
be set. Custom messages can only be set
while the vehicle is stationary.
●Auto Reply (if so equipped)
Select to turn on or off the Auto Reply func-
tion. When enabled, the vehicle will auto-
matically send a predefined text message to
the sender when a text message is received
while driving.
●Auto Reply Message (if so equipped)
Select to choose the message that is sent
when the Auto Reply function is enabled.
Choose from “I’m Driving” or one of the three
custom messages stored in the system.
●Vehicle Signature On/Off (if so equipped)
Select to choose whether or not the vehicle
signature is added to outgoing text mes-
sages from the vehicle. This message can-
not be changed or customized.
MANUAL CONTROL
While using the Voice Recognition system, it is
possible to select menu options by using the
steering wheel controls instead of speaking voice
commands. To activate manual control mode,
press the button on the steering wheel to
access the phone menu and then push either up
or down on the tuning switch .
The manual control mode does not allow dialing a
phone number by digits. The user may select an
entry from the Phonebook or Recent Calls lists.
To reactivate Voice Recognition, exit the manual
control mode by pressing and holding the
button. At that time, pressing the button
will start the Hands Free Phone System.
4-92 Monitor, climate, audio, phone and voice recognition systems

WARNING
●Use a phone after stopping your vehicle
in a safe location. If you have to use a
phone while driving, exercise extreme
caution at all times so full attention may
be given to vehicle operation.
●If you are unable to devote full attention
to vehicle operation while talking on
the phone, pull off the road to a safe
location and stop your vehicle.
CAUTION
To avoid discharging the vehicle battery,
use a phone after starting the engine.
Your NISSAN is equipped with the Bluetooth®
Hands-Free Phone System. If you have a com-
patible Bluetooth® enabled cellular phone, you
can set up the wireless connection between your
cellular phone and the in-vehicle phone module.
With Bluetooth® wireless technology, you can
make or receive a hands-free telephone call with
your cellular phone in the vehicle.
Once your cellular phone is connected to the
in-vehicle phone module, no other phone con-
necting procedure is required. Your phone is
automatically connected with the in-vehicle
LHA3144
BLUETOOTH® HANDS-FREE PHONE
SYSTEM WITH NAVIGATION SYSTEM
(if so equipped)
Monitor, climate, audio, phone and voice recognition systems 4-93
phone module when the ignition switch is placed
in the ON position with the connected cellular
phone turned on and carried in the vehicle.
You can register up to five different Bluetooth®
cellular phones to the in-vehicle phone module.
However, you can talk on only one cellular phone
at a time.
NISSAN Voice Recognition system supports the
phone commands, so dialing a phone number
using your voice is possible. For additional infor-
mation, refer to “NISSAN Voice Recognition Sys-
tem” in this section.
Before using the Bluetooth® Hands-Free Phone
System, refer to the following notes.
●Set up the wireless connection between a
cellular phone and the in-vehicle phone
module before using the hands-free phone
system.
●Some Bluetooth® enabled cellular phones
may not be recognized by the in-vehicle
phone module. Please visit
www.nissanusa.com/bluetooth or
www.nissan.ca/bluetooth for a recom-
mended phone list and connecting instruc-
tions.
●You will not be able to use a hands-free
phone under the following conditions:
– Your vehicle is outside of the cellular ser-
vice area.
– Your vehicle is in an area where it is
difficult to receive cellular signal; such as
in a tunnel, in an underground parking
garage, near a tall building or in a moun-
tainous area.
– Your cellular phone is locked to prevent it
from being dialed.
●When the radio wave condition is not ideal
or ambient sound is too loud, it may be
difficult to hear the other person’s voice dur-
ing a call.
●Immediately after the ignition switch is
placed in the ON position, it may be impos-
sible to receive a call for a short period of
time.
●Do not place the cellular phone in an area
surrounded by metal or far away from the
in-vehicle phone module to prevent tone
quality degradation and wireless connection
disruption.
●While a cellular phone is connected through
the Bluetooth® wireless connection, the
battery power of the cellular phone may dis-
charge quicker than usual. The Bluetooth®
Hands-Free Phone System cannot charge
cellular phones.
●If the hands-free phone system seems to be
malfunctioning, refer to “Troubleshooting
guide” in this section. You can also visit
www.nissanusa.com/bluetooth or
www.nissan.ca/bluetooth for troubleshoot-
ing help.
●Some cellular phones or other devices may
cause interference or a buzzing noise to
come from the audio system speakers. Stor-
ing the device in a different location may
reduce or eliminate the noise.
●Refer to the cellular phone owner’s manual
regarding the telephone charges, cellular
phone antenna and body, etc.
●The signal strength display on the monitor
will not coincide with the signal strength
display of some cellular phones.
4-94 Monitor, climate, audio, phone and voice recognition systems

REGULATORY INFORMATION
FCC Regulatory information
– CAUTION: To maintain compliance with
FCC’s RF exposure guidelines, use only the
supplied antenna. Unauthorized antenna,
modification, or attachments could damage
the transmitter and may violate FCC regula-
tions.
– Operation is subject to the following two con-
ditions:
1. This device may not cause interference and
2. this device must accept any interference,
including interference that may cause unde-
sired operation of the device.
IC Regulatory information
– Operation is subject to the following two con-
ditions: (1) this device may not cause interfer-
ence, and (2) this device must accept any
interference, including interference that may
cause undesired operation of the device.
– This Class B digital apparatus meets all re-
quirements of the Canadian Interference-
Causing Equipment Regulations.
BLUETOOTH® is a
trademark owned by
Bluetooth SIG, Inc.
and licensed to
Bosch.
VOICE COMMANDS
You can use voice commands to operate various
Bluetooth® Hands-Free Phone System features
using the NISSAN Voice Recognition system. For
additional information, refer to “NISSAN Voice
Recognition System” in this section.
Voice Prompt Interrupt
While using the Voice Recognition system, the
system voice can be interrupted to allow the user
to speak commands. While the system is speak-
ing, press the button on the steering
wheel. The system voice will stop and a tone will
be heard. After the tone, speak desired command
(displayed on the touch-screen).
One Shot Call
To use the system faster, you may speak the
second level commands with the main menu
command on the main menu. For example, press
the button and after the tone say, “Call
Redial”.
CONNECTING PROCEDURE
NOTE:
The connecting procedure must be per-
formed when the vehicle is stationary. If the
vehicle starts moving during the procedure,
the procedure will be canceled.
1. Press the [ ] button on the control
panel.
2. Touch the “Settings” key.
3. Touch the “Phone & Bluetooth” key.
4. Touch the “Connect New Device” key.
LHA3622
Monitor, climate, audio, phone and voice recognition systems 4-95

5. Initiate the connecting process from the
handset. The system will display the mes-
sage: “Is PIN XXXXXX displayed on your
Bluetooth device?”. If the PIN is displayed
on your Bluetooth® device, select “Yes” to
complete the pairing process.
For additional information, refer to the
Bluetooth® device’s Owner’s Manual.
VEHICLE PHONEBOOK
To access the vehicle phonebook:
1. Press the button on the control panel.
2. Touch the “Phonebook” key.
3. Choose the desired entry from the displayed
list.
4.
The number of the entry will be displayed on the
screen. Touch the number to initiate dialing.
NOTE:
To scroll quickly through the list, touch the
“A-Z” key in the upper right corner of the
screen. Turn the TUNE knob to choose a
letter or number and then press the
ENTER/AUDIO button. The list will move to
the first entry that begins with that number
or letter.
MAKING A CALL
To make a call, follow the procedure below:
1. Press the button on the control panel.
The “Phone” screen will appear on the dis-
play.
2. Select one of the following options to make a
call:
●“Phonebook”: Select the name from an entry
stored in the vehicle phonebook.
●“Call Lists”: Select the name from the in-
coming, outgoing or missed.
●“Redial”: Dial the last outgoing call from the
vehicle.
●“”: Input the phone number manually
using a keypad displayed on the screen. For
additional information, refer to “How to use
the touch-screen” in this section.
RECEIVING A CALL
When a call is placed to the connected phone,
the display will change to phone mode.
To accept the incoming call, either:
●Press the button on the steering
wheel, or
●Touch the icon on the screen.
To reject the incoming call, either:
●Press the button on the steering
wheel, or
●Touch the icon on the screen.
DURING A CALL
While a call is active, the following options are
available on the screen:
●“Handset”
Select this option to switch control of the
phone call over to the handset.
●“Mute Mic.”
Select this option to mute the microphone.
Select again to unmute the microphone.
●Phone icon
Select to end the phone call.
ENDING A CALL
To end a phone call, select the red phone
icon on the screen or press the button on
the steering wheel.
4-96 Monitor, climate, audio, phone and voice recognition systems

TEXT MESSAGING (if so equipped)
WARNING
●
Laws in some jurisdictions may restrict
the use of “Text-to-Speech”. Check local
regulations before using this feature.
●Laws in some jurisdictions may restrict
the use of some of the applications and
features, such as social networking and
texting. Check local regulations for any
requirements.
●Use the text messaging feature after
stopping your vehicle in a safe location.
If you have to use the feature while
driving, exercise extreme caution at all
times so full attention may be given to
vehicle operation.
●If you are unable to devote full attention
to vehicle operation while using the text
messaging feature, pull off the road to a
safe location and stop your vehicle.
NOTE:
This feature is automatically disabled if the
connected device does not support the Mes-
sage Access Profile (MAP). For additional
information, refer to the phone’s Owner’s
Manual for details and instructions.
NOTE:
Many phones may require special permis-
sion to enable text messaging. Check the
phone’s screen during Bluetooth® pairing.
For some phones, you may need to enable
‘Notifications’ in the phone’s Bluetooth®
menu for text messages to appear on the
headunit. For additional information, refer
to your phone’s Owner’s manual. Text mes-
sage integration requires that the phone
support MAP (Message Access Profile) for
both receiving and sending text messages.
Some phones may not support all text mes-
saging features. For additional informa-
tion, please refer to
www.nissanusa.com/bluetooth or
www.nissan.ca/bluetooth for compatibility
information, as well as your device’s Own-
er’s manual.
The system allows for the sending and receiving
of text messages through the vehicle interface.
Sending a text message:
1. Press the button on the steering
wheel.
2. Say “Phone” after the tone.
3. Say “Send Text” after the tone.
4. The system will provide a list of available
commands in order to determine the recipi-
ent of the text message. Choose from the
following:
●To (a name)
●Enter Number
●Missed Calls
●Incoming Calls
●Outgoing Calls
For additional information about these options,
refer to “Voice commands” in this section.
5. Once a recipient is chosen, the system
prompts for which message to send. Nine
predefined messages are available as well
as three custom messages. To choose one
of the predefined messages, speak one of
the following after the tone:
●“Driving, can’t text”
●“Call me”
●“On my way”
●“Running late”
●“Okay”
●“Yes”
●“No”
Monitor, climate, audio, phone and voice recognition systems 4-97

●“Where are you?”
●“When?”
●“Custom Messages”
To send one of the custom messages, say
“Custom Messages”. If more than one cus-
tom message is stored, the system will
prompt for the number of the desired cus-
tom message. For additional information on
setting and managing custom text mes-
sages, refer to “Bluetooth® settings” in this
section.
Reading a received text message:
1.
Press the button on the steering wheel.
2. Say “Phone” after the tone.
3. Say “Read Text” after the tone.
The text message, sender and delivery time are
shown on the screen. Use the tuning switch to
scroll through all text messages if more than one
are available. Press the button to exit the
text message screen. Press the button to
access the following options for replying to the
text message:
●Call Back
Speak this command to call the sender of
the text message using the Bluetooth®
Hands-Free Phone System.
●Send Text
Speak this command to send a text message
response to the sender of the text message.
●Read Text
Speak this command to read the text mes-
sage again.
●Previous Text
Speak this command to move to the previ-
ous text message (if available).
●Next Text
Speak this command to move to the next text
message (if available).
Siri® Eyes Free (if so equipped)
If a connected phone is equipped with Siri®, it
can also be used to create custom messages
that are sent through the phone. For additional
information, refer to “Siri® Eyes Free” in this
section.
NOTE:
Text messages are only displayed if the
vehicle speed is less than 5 mph (8 km/h).
NOTE:
For Apple iPhones®, text messages can
only be sent through Siri.
LHA2844
4-98 Monitor, climate, audio, phone and voice recognition systems

BLUETOOTH® SETTINGS
To access the phone settings:
1. Press the [ ] button.
2. Touch the “Settings” key.
3. Touch the “Phone & Bluetooth” key.
Menu Item Result
Phone Settings For additional information, refer to “Phone settings” in this section.
Connect New Device Select to connect a new Bluetooth® device to the Bluetooth® Hands-Free Phone System.
Select Connected Device Select to choose a Bluetooth® device from a list of those devices connected to the Bluetooth® Hands-Free Phone System.
Replace Connected Device Select to replace a Bluetooth® device from a list of those devices connected to the Bluetooth® Hands-Free Phone System.
Delete Connected Device Select to delete a Bluetooth® device from a list of those devices connected to the Bluetooth® Hands-Free Phone System.
Bluetooth Select to toggle Bluetooth® on and off.
Monitor, climate, audio, phone and voice recognition systems 4-99

PHONE SETTINGS
To access the phone settings:
1. Press the [ ] button.
2. Touch the “Settings” key.
3. Touch the “Phone & Bluetooth” key.
4. Touch the “Phone Settings” key and adjust
the following settings as desired:
●Start Siri by:
Touch “Short Press” or “Long Press” to set
how Siri® is operated on the steering wheel.
●Sort Phonebook By:
Touch “First Name” or “Last Name” to
choose how phonebook entries are alpha-
betically displayed on the screen.
●Use Phonebook From:
Touch “Handset” to use the phone’s phone-
book. Touch “SIM” to use the phonebook on
the SIM card. Select “Both” to use both
sources.
●Download Phonebook Now:
Touch to download the phonebook to the
vehicle from the chosen source.
●Record Name for Phonebook Entry:
Touch to record a name for a phonebook
entry for use with the NISSAN Voice Recog-
nition System.
●Phone Notifications for:
Notifications may be displayed on the center
display screen.
●Text Messaging (if so equipped):
Touch to toggle the text message function-
ality on or off.
●Show Incoming Text for:
Text notifications may be displayed on the
center display screen. Touch “Off” to turn off
all text notifications.
●Auto Reply:
Touch to toggle the auto reply functionality
on or off.
●Auto Reply Message:
Touch to indicate preferred message to be
sent when “Auto Reply” function is activated.
●Use Vehicle’s Signature:
Touch to toggle on or off the addition of the
vehicle signature to outgoing messages.
●Custom Text Messages:
Touch this option to select a custom mes-
sage to edit. There are 4 customer message
slots available.
4-100 Monitor, climate, audio, phone and voice recognition systems

TROUBLESHOOTING GUIDE
The system should respond correctly to all voice
commands without difficulty. If problems are en-
countered, try the following solutions.
Where the solutions are listed by number, try
each solution in turn, starting with number 1, until
the problem is resolved.
Symptom Solution
System fails to interpret the command correctly.
1. Ensure that the command is valid. For additional information, refer to “Voice Recognition”.
2. Ensure that the command is spoken after the tone.
3. Speak clearly without pausing between words and at a level appropriate to the ambient noise level in the vehicle.
4. Ensure that the ambient noise level is not excessive (for example, windows open or defroster on).
NOTE: If it is too noisy to use the phone, it is likely that the voice commands will not be recognized.
5. If more than one command was said at a time, try saying the commands separately.
The system consistently selects the wrong entry from the
phone book.
1. Ensure that the phone book entry name requested matches what was originally stored. For additional information,
refer to “Vehicle phonebook” in this section.
2. Replace one of the names being confused with a new name.
3. Please speak both first and last name of contact to improve recognition accuracy.
Monitor, climate, audio, phone and voice recognition systems 4-101

The NISSAN Voice Recognition System allows
hands-free operation of the systems equipped on
this vehicle, such as the phone and navigation
systems.
To operate NISSAN Voice Recognition, press
the button located on the steering wheel.
When prompted, speak the command for the
system you wish to activate. The command given
is picked up by the microphone and performed
when it is properly recognized. NISSAN Voice
Recognition will provide a voice response as well
as a message in the center display to inform you
of the command results.
USING THE SYSTEM
Initialization
When the ignition switch is in the ON position,
NISSAN Voice Recognition is initialized, which
takes a few seconds. When completed, the sys-
tem is ready to accept voice commands. If
the button is pressed before the initializa-
tion completes, the system will announce: “Voice
Recognition System not ready. Please wait.”
Giving voice commands
1. Press the button.
2. The system announces: “Please say a cat-
egory like phone or a command like points of
interest followed by a brand name”. A list of
available commands is then spoken by the
system.
3. After the tone sounds and the face icon on
the display changes, speak a command.
Available commands are discussed in this
section.
4. Voice and display feedback are provided
when the command is accepted.
●If the command is not recognized, the sys-
tem announces: “Command not recog-
nized”. Repeat the command in a clear voice.
●If you want to cancel the command or go
back to the previous menu of commands,
press the button. The system will an-
nounce: “Canceling Voice Recognition” or
“Go back” depending on the current menu
level.
●If you want to adjust the volume of the voice
feedback, use the volume control switches
on the steering wheel or the volume knob on
the control panel.
●The voice command screen can also be
accessed using the control panel display:
1. Press the [ ] button.
2. Touch the “Voice Commands” key.
LHA2589
NISSAN VOICE RECOGNITION
SYSTEM (if so equipped)
4-102 Monitor, climate, audio, phone and voice recognition systems

Operating tips
To get the best performance out of NISSAN
Voice Recognition, observe the following:
●Keep the interior of the vehicle as quiet as
possible. Close the windows to eliminate the
surrounding noises (traffic noises, vibration
sounds, etc.), which may prevent the system
from recognizing the voice commands cor-
rectly.
●Wait until a tone sounds before speaking a
command. Otherwise, the command will not
be received properly.
●Start speaking a command within 3.5 sec-
onds after the tone sounds.
●Speak in a natural voice without pausing
between words.
SYSTEM FEATURES
NISSAN Voice Recognition can activate the fol-
lowing systems:
●Bluetooth® Hands-Free Phone System
●Navigation
●Audio
●Information
●My Apps
For additional information, refer to the separate
Navigation System Owner’s Manual.
How to say numbers
NISSAN Voice Recognition requires a certain
way to speak numbers in voice commands. Refer
to the following examples.
General rule: Either “zero” or “oh” can be used for
“0”.
Phone numbers
Speak phone numbers according to the following
example. For 1-800-662-6200, say dial number
and then speak the phone number in any of the
following formats:
●“one eight oh oh six six two six two oh oh”
●“one eight hundred six six two six two oh oh”
●“one eight zero zero six six two six two oh oh”
For the best voice recognition phone dialing re-
sults, say phone numbers as single digits. Also,
full numbers can only be spoken for “800”. For
example, you cannot say 555-6000 as “five five
five six thousand”.
LHA4373
Monitor, climate, audio, phone and voice recognition systems 4-103

BLUETOOTH® HANDS-FREE
PHONE SYSTEM VOICE
COMMANDS
To access the Bluetooth® Hands-Free Phone
System voice commands:
1. Press the button.
2. Say “Call” and then a name in the vehicle
phonebook to call that entry. Otherwise, say
“Phone” to access various phone com-
mands.
If the Bluetooth® has been set to “Off”, the
system announces: “Bluetooth® is off. Would
you like to turn Bluetooth® on?”
If no phone is connected to the system and the
vehicle is stationary, the system announces:
“There is no phone connected. Would you like to
connect a phone now?” Say “Yes” to connect a
phone. All further Bluetooth® Hands-Free Phone
System voice commands are only available if a
phone is connected.
If a phone is connected and Bluetooth® is set to
“On”, the following voice commands are available:
●Call (a name)
Speak the name of the contact in which you
are trying to call. System will confirm correct
contact. Say “Dial” to initiate dialing.
●Dial Number
Allows for up to 24 digits to be dialed. After
the number is entered, say “Dial” to initiate
dialing. Say “Correction” to correct the num-
ber entered. Say “Go Back” to return to the
main menu.
●List Phonebook
Starting with the first alphabetical entry in
the vehicle phonebook, the system prompts
for an additional command. Say “Dial” to call
the number of the phonebook entry. Say
“Send Text” to send a text message to the
number of the phonebook entry. Say “Next
Entry” to skip to the next alphabetical entry in
the vehicle phonebook, where the same op-
tions will then be available.
●Recent Calls
The system prompts for an additional com-
mand. Say “Missed Calls”, “Incoming Calls”
or “Outgoing Calls” to display a list of such
calls on the screen.
Speak the number of the entry displayed on
the screen to dial that number or say “Next
Page” to view entries on the next page (if
available).
●Redial
Redials the last called number.
●Read Text
Reads an incoming text message.
●Send Text
Sends a text message.
●Select Phone
The system replies “Please use manual con-
trols to continue”. Use manual controls to
change the active phone from among the
listed phones connected to the vehicle.
●Siri (if so equipped)
The system replies “starting Siri”. For addi-
tional information, refer to “Operating Siri
Eyes Free” in this section.
For additional information, refer to “Bluetooth®
Hands-Free Phone System with Navigation Sys-
tem” in this section.
NAVIGATION SYSTEM VOICE
COMMANDS
The following voice commands are available for
the Navigation System:
●Street Address (address)
●Points of Interest (name)
●POI by Category
4-104 Monitor, climate, audio, phone and voice recognition systems

●Home
●Address Book
●Previous Destinations
●Enter Address in Steps
●Cancel Route
For additional information, refer to the separate
Navigation System Owner’s Manual.
AUDIO SYSTEM VOICE
COMMANDS
To access the audio system voice commands:
1. Press the button.
2. Say “Audio”
3. Speak a command from the following avail-
able commands:
●Play (AM, FM, etc.)
Allows user to select radio band
●Tune AM (number)
Allows user to tune directly to a desired AM
frequency
●Tune FM (number)
Allows user to tune directly to a desired FM
frequency
●SXM channel (number)
Allows user to tune directly to a desired
SXM station (if so equipped)
●CD Track (number)
Allows user to select track to be played
●Play Song (name)
Allows user to select song name to be
played
●Play Artist (name)
Allows user to select artist to be played
●Play Album (name)
Allows user to select album name to be
played
For additional information, refer to “Audio sys-
tem” in this section.
INFORMATION VOICE COMMANDS
The following voice commands are available for
the information functions of the Navigation Sys-
tem:
●Traffic
●Fuel Prices
●Stocks
●Movie Listings
●Current Weather
●Weather Map
●5 — day Forecast
●6 — hour Forecast
For additional information, refer to the separate
Navigation System Owner’s Manual.
MY APPS VOICE COMMANDS
Many Apps can be accessed using this voice
command. For additional information, refer to
“NissanConnect
SM
Mobile Apps” in this section.
HELP VOICE COMMANDS
The following voice commands can be spoken to
have the system provide instructions and tips for
using the NISSAN Voice Recognition System.
●List Commands
●What Can I Say?
●General Help
●Quit
●Exit
Monitor, climate, audio, phone and voice recognition systems 4-105

TROUBLESHOOTING GUIDE
The system should respond correctly to all voice
commands without difficulty. If problems are en-
countered, follow the solutions given in this guide
for the appropriate error. Where the solutions are
listed by number, try each solution in turn, starting
with number one, until the problem is resolved.
Symptom/error message Solution
The system responds “Command Not
Recognized” or the system fails to rec-
ognize the command correctly.
1. Ensure that the command format is valid. Use the “List Commands” or “What Can I Say?” command under the “Help” menu.
2. Speak clearly without pausing between words and at a level appropriate to the ambient noise level.
3. Ensure that the ambient noise level is not excessive (for example, with the windows open or the defroster on).
NOTE:
If it is too noisy to use the phone, it is likely that voice commands will not be recognized.
4. If optional words of the command have been omitted, then the command should be tried with these in place.
4-106 Monitor, climate, audio, phone and voice recognition systems
MEMO
Monitor, climate, audio, phone and voice recognition systems 4-107

5 Starting and driving
Precautions when starting and driving................5-2
Exhaust gas (carbon monoxide) ..................5-2
Three-way catalyst..............................5-3
Tire Pressure Monitoring System (TPMS)..........5-3
On-pavement and off-road driving
precautions ....................................5-6
Avoiding collision and rollover. . ..................5-6
Off-road recovery...............................5-7
Rapid air pressure loss ..........................5-7
Drinking alcohol/drugs and driving................5-8
Driving safety precautions .......................5-8
Ignition switch....................................5-10
Automatic transmission (if so equipped)..........5-10
Manual transmission (if so equipped) ............5-11
Key positions .................................5-12
NISSAN Vehicle Immobilizer System
(if so equipped) ...............................5-12
Before starting the engine .........................5-12
Starting the engine ...............................5-13
Driving the vehicle ................................5-14
Automatic transmission (if so equipped)..........5-14
Manual transmission (if so equipped) ............5-18
Parking brake ....................................5-20
Cruise control (if so equipped) . . ...................5-21
Precautions on cruise control ...................5-21
Cruise control operations.......................5-21
Break-in schedule ................................5-22
Fuel efficient driving tips...........................5-23
Increasing fuel economy...........................5-24
Using 4–wheel drive (4WD)
(if so equipped) ..................................5-24
Transfer case shifting procedures . . .............5-25
Electronic locking rear differential (E-Lock) system
(if so equipped) ..................................5-30
Parking/parking on hills............................5-32
Power steering ...................................5-33
Brake system ....................................5-33
Brake precautions .............................5-33
Anti-lock Braking System (ABS).................5-34
Active brake limited slip (ABLS) system .............5-35
Vehicle Dynamic Control (VDC) system .............5-36
Brake force distribution ........................5-37
Hill descent control system (if so equipped) .........5-38
Hill start assist system (if so equipped)..............5-39
Rear sonar system (RSS) (if so equipped) ...........5-40
Cold weather driving..............................5-41

Freeing a frozen door lock ......................5-41
Antifreeze.....................................5-41
Battery .......................................5-41
Draining of coolant water .......................5-41
Tire equipment . . ..............................5-41
Special winter equipment.......................5-41
Driving on snow or ice .........................5-41
Engine block heater (if so equipped).............5-42

WARNING
●Do not leave children or adults who
would normally require the assistance
of others alone in your vehicle. Pets
should also not be left alone. They
could accidentally injure themselves or
others through inadvertent operation of
the vehicle. Also, on hot, sunny days,
temperatures in a closed vehicle could
quickly become high enough to cause
severe or possibly fatal injuries to
people or animals.
●Properly secure all cargo with ropes or
straps to help prevent it from sliding or
shifting. Do not place cargo higher than
the seatbacks. In a sudden stop or col-
lision, unsecured cargo could cause
personal injury.
EXHAUST GAS (carbon monoxide)
WARNING
●Do not breathe exhaust gases; they
contain colorless and odorless carbon
monoxide. Carbon monoxide is danger-
ous. It can cause unconsciousness or
death.
●If you suspect that exhaust fumes are
entering the vehicle, drive with all win-
dows fully open, and have the vehicle
inspected immediately.
●Do not run the engine in closed spaces
such as a garage.
●Do not park the vehicle with the engine
running for any extended length of time.
●Keep the rear vent windows, liftgates,
doors and trunk lids (if so equipped)
closed while driving, otherwise exhaust
gases could be drawn into the passen-
ger compartment. If you must drive with
one of these open, follow these
precautions:
1. Open all the windows.
2. Set the air recirculation but-
ton to off and the fan control dial to
high to circulate the air.
●If electrical wiring or other cable con-
nections must pass to a trailer through
the seal on the liftgate or the body,
follow the manufacturer’s recommen-
dation to prevent carbon monoxide en-
try into the vehicle.
●The exhaust system and body should be
inspected by a qualified mechanic
whenever:
a. The vehicle is raised for service.
b. You suspect that exhaust fumes are
entering into the passenger
compartment.
c. You notice a change in the sound of
the exhaust system.
d. You have had an accident involving
damage to the exhaust system, un-
derbody, or rear of the vehicle.
●If a special body, camper, or other
equipment is added for recreational or
other usage, follow the manufacturer’s
recommendation to prevent carbon
monoxide entry into the vehicle. Do not
occupy these areas while the engine is
running even if the vehicle is parked.
Some recreational vehicle appliances
such as stoves, refrigerators, heaters,
etc. may also generate carbon
monoxide.
PRECAUTIONS WHEN STARTING
AND DRIVING
5-2 Starting and driving

THREE-WAY CATALYST
The three-way catalyst is an emission control
device installed in the exhaust system. Exhaust
gases in the three-way catalyst are burned at
high temperatures to help reduce pollutants.
WARNING
●The exhaust gas and the exhaust sys-
tem are very hot. Keep people, animals
or flammable materials away from the
exhaust system components.
●Do not stop or park the vehicle over
flammable materials such as dry grass,
waste paper or rags. They may ignite
and cause a fire.
CAUTION
●Do not use leaded gasoline. Deposits
from leaded gasoline will seriously re-
duce the three-way catalyst’s ability to
help reduce exhaust pollutants.
●Keep your engine tuned up. Malfunc-
tions in the ignition, fuel injection, or
electrical systems can cause overrich
fuel flow into the three-way catalyst,
causing it to overheat. Do not keep driv-
ing if the engine misfires, or if notice-
able loss of performance or other un-
usual operating conditions are
detected. Have the vehicle inspected
promptly. It is recommended that you
visit a NISSAN dealer for this service.
●Avoid driving with an extremely low fuel
level. Running out of fuel could cause
the engine to misfire, damaging the
three-way catalyst.
●Do not race the engine while warming it
up.
●Do not push or tow your vehicle to start
the engine.
TIRE PRESSURE MONITORING
SYSTEM (TPMS)
Each tire, including the spare (if provided),
should be checked monthly when cold and in-
flated to the inflation pressure recommended by
the vehicle manufacturer on the vehicle placard
or tire inflation pressure label. (If your vehicle has
tires of a different size than the size indicated on
the vehicle placard or tire inflation pressure label,
you should determine the proper tire inflation
pressure for those tires.)
As an added safety feature, your vehicle has been
equipped with a Tire Pressure Monitoring System
(TPMS) that illuminates a low tire pressure telltale
when one or more of your tires is significantly
under-inflated. Accordingly, when the low tire
pressure telltale illuminates, you should stop and
check all four tires as soon as possible, and
inflate them to the proper pressure. Driving on a
significantly under-inflated tire causes the tire to
overheat and can lead to tire failure. Under-
inflation also reduces fuel efficiency and tire tread
life, and may affect the vehicle’s handling and
stopping ability.
Please note that the TPMS is not a substitute for
proper tire maintenance, and it is the driver’s
responsibility to maintain correct tire pressure,
even if under-inflation has not reached the level to
trigger illumination of the TPMS low tire pressure
telltale.
Your vehicle has also been equipped with a
TPMS malfunction indicator to indicate when the
system is not operating properly. The TPMS mal-
function indicator is combined with the low tire
pressure telltale. When the system detects a
malfunction, the telltale will flash for approxi-
mately 1 minute and then remain continuously
illuminated. This sequence will continue upon
Starting and driving 5-3
subsequent vehicle start-ups as long as the mal-
function exists. When the malfunction indicator is
illuminated, the system may not be able to detect
or signal low tire pressure as intended. TPMS
malfunctions may occur for a variety of reasons,
including the installation of replacement or alter-
nate tires or wheels on the vehicle that prevent
the TPMS from functioning properly. Always
check the TPMS malfunction telltale after replac-
ing one or more tires or wheels on your vehicle to
ensure that the replacement or alternate tires and
wheels allow the TPMS to continue to function
properly.
Additional information:
●Since the spare tire is not equipped with the
TPMS, the TPMS does not monitor the tire
pressure of the spare tire.
●The TPMS will activate only when the vehicle
is driven at speeds above 16 mph (25 km/h).
Also, this system may not detect a sudden
drop in tire pressure (for example, a flat tire
while driving).
●The low tire pressure warning light does not
automatically turn off when the tire pressure
of your tires are adjusted. After the tires are
inflated to the recommended pressure, the
vehicle must be driven at speeds above
16 mph (25 km/h) to activate the TPMS and
turn off the low tire pressure warning light.
Use a tire pressure gauge to check the tire
pressure.
●The CHECK TIRE PRES (pressure) warning
message is displayed in the odometer when
the low tire pressure warning light is illumi-
nated and low tire pressure is detected. The
CHECK TIRE PRES warning message turns
off when the low tire pressure warning light
turns off. The low tire pressure warning light
remains illuminated until the tires are inflated
to the recommended COLD tire pressure.
The CHECK TIRE PRES warning message
is displayed each time the ignition switch is
placed in the ON position as long as the low
tire pressure warning light remains illumi-
nated. For additional information, refer to
“Check tire pressure warning message” in
the “Instruments and controls”section of this
manual.
●The CHECK TIRE PRES warning is not dis-
played if the low tire pressure warning light
illuminates to indicate a TPMS malfunction.
●The CHECK TIRE PRES warning appears
each time the ignition switch is placed in the
ON position as long as the low tire pressure
warning light remains illuminated.
●Tire pressure rises and falls depending on
the heat caused by the vehicle’s operation
and the outside temperature. Do not reduce
the tire pressure after driving because the
tire pressure rises after driving. Low outside
temperature can lower the temperature of
the air inside the tire which can cause a
lower tire inflation pressure. This may cause
the low tire pressure warning light to illumi-
nate. If the warning light illuminates, check
the tire pressure for all four tires.
●The Tire and Loading Information label is
located in the driver’s door opening.
For additional information, refer to “Low tire pres-
sure warning light” in the “Instruments and con-
trols” section and “Tire Pressure Monitoring Sys-
tem (TPMS)” in the “In case of emergency”
section of this manual.
5-4 Starting and driving

WARNING
●Radio waves could adversely affect
electric medical equipment. Those who
use a pacemaker should contact the
electric medical equipment manufac-
turer for the possible influences before
use.
●If the low tire pressure warning light
illuminates while driving, avoid sudden
steering maneuvers or abrupt braking,
reduce vehicle speed, pull off the road
to a safe location and stop the vehicle
as soon as possible. Driving with under-
inflated tires may permanently damage
the tires and increase the likelihood of
tire failure. Serious vehicle damage
could occur and may lead to an accident
and could result in serious personal in-
jury. Check the tire pressure for all four
tires. Adjust the tire pressure to the
recommended COLD tire pressure
shown on the Tire and Loading Informa-
tion label to turn the low tire pressure
warning light off. If you have a flat tire,
replace it with a spare tire as soon as
possible. For additional information, re-
fer to “Flat tire” in the “In case of emer-
gency” section of this manual for
changing a flat tire.
●Since the spare tire is not equipped with
the TPMS, when a spare tire is mounted
or a wheel is replaced, the TPMS will
not function and the low tire pressure
warning light will flash for approxi-
mately 1 minute. The light will remain
on after 1 minute. Have your tires re-
placed and/or TPMS system reset as
soon as possible. It is recommended
that you visit a NISSAN dealer for this
service.
●Replacing tires with those not originally
specified by NISSAN could affect the
proper operation of the TPMS.
●Do not inject any tire liquid or aerosol
tire sealant into the tires, as this may
cause a malfunction of the tire pressure
sensors.
CAUTION
Do not place metalized film or any metal
parts (antenna, etc.) on the windows. This
may cause poor reception of the signals
from the tire pressure sensors, and the
TPMS will not function properly.
Some devices and transmitters may temporarily
interfere with the operation of the TPMS and
cause the low tire pressure warning light to illu-
minate.
Some examples are:
●Facilities or electric devices using similar
radio frequencies are near the vehicle.
●If a transmitter set to similar frequencies is
being used in or near the vehicle.
●If a computer (or similar equipment) or a
DC/AC converter is being used in or near
the vehicle.
The low tire pressure warning light may illuminate
in the following cases:
●If the vehicle is equipped with a wheel and
tire without TPMS.
●If the TPMS has been replaced and the ID
has not been registered.
●If the wheel is not originally specified by
NISSAN.
Starting and driving 5-5

FCC Notice:
For USA:
This device complies with Part 15 of the
FCC Rules. Operation is subject to the fol-
lowing two conditions: (1) This device may
not cause harmful interference, and (2) this
device must accept any interference re-
ceived, including interference that may
cause undesired operation.
NOTE:
Changes or modifications not expressly ap-
proved by the party responsible for compli-
ance could void the user’s authority to op-
erate the equipment.
For Canada:
This device complies with Industry Canada
license-exempt RSS standard(s). Opera-
tion is subject to the following two condi-
tions: (1) this device may not cause inter-
ference, and (2) this device must accept any
interference, including interference that
may cause undesired operation of the de-
vice.
ON-PAVEMENT AND OFF-ROAD
DRIVING PRECAUTIONS
Utility vehicles have a significantly higher
rollover rate than other types of vehicles.
They have higher ground clearance than passen-
ger cars to make them capable of performing in a
variety of on-pavement and off-road applications.
This gives them a higher center of gravity than
ordinary vehicles. An advantage of higher ground
clearance is a better view of the road, allowing
you to anticipate problems. However, they are not
designed for cornering at the same speeds as
conventional 2-wheel drive vehicles any more
than low-slung sports cars are designed to per-
form satisfactorily under off-road conditions. If at
all possible, avoid sharp turns at high speeds. As
with other vehicles of this type, failure to operate
this vehicle correctly may result in loss of control
or vehicle rollover. In a rollover crash, an unbelted
person is significantly more likely to die than a
person wearing a seat belt.
For additional information, refer to “Driving safety
precautions” in this section.
AVOIDING COLLISION AND
ROLLOVER
WARNING
Failure to operate this vehicle in a safe
and prudent manner may result in loss of
control or an accident.
Be alert and drive defensively at all times. Obey
all traffic regulations. Avoid excessive speed,
high speed cornering, or sudden steering ma-
neuvers, because these driving practices could
cause you to lose control of your vehicle.
As with any vehicle, loss of control could
result in a collision with other vehicles or
objects or cause the vehicle to roll over,
particularly if the loss of control causes the
vehicle to slide sideways.
Be attentive at all times, and avoid driving when
tired. Never drive when under the influence of
alcohol or drugs (including prescription or over-
the-counter drugs which may cause drowsi-
ness). Always wear your seat belt as outlined in
the “Safety – Seats, seat belts and supplemental
restraint system” section of this manual, and also
instruct your passengers to do so.
Seat belts help reduce the risk of injury in colli-
sions and rollovers. In a rollover crash, an
unbelted or improperly belted person is
5-6 Starting and driving

significantly more likely to be injured or
killed than a person properly wearing a
seat belt.
OFF-ROAD RECOVERY
While driving, the right side or left side wheels
may unintentionally leave the road surface. If this
occurs, maintain control of the vehicle by follow-
ing the procedure below. Please note that this
procedure is only a general guide. The vehicle
must be driven as appropriate based on the con-
ditions of the vehicle, road and traffic.
1. Remain calm and do not overreact.
2. Do not apply the brakes.
3. Maintain a firm grip on the steering wheel
with both hands and try to hold a straight
course.
4. When appropriate, slowly release the accel-
erator pedal to gradually slow the vehicle.
5. If there is nothing in the way, steer the ve-
hicle to follow the road while vehicle speed
is reduced. Do not attempt to drive the ve-
hicle back onto the road surface until vehicle
speed is reduced.
6. When it is safe to do so, gradually turn the
steering wheel until both tires return to the
road surface. When all tires are on the road
surface, steer the vehicle to stay in the ap-
propriate driving lane.
●If you decide that it is not safe to return the
vehicle to the road surface based on ve-
hicle, road or traffic conditions, gradually
slow the vehicle to a stop in a safe place
off the road.
RAPID AIR PRESSURE LOSS
Rapid air pressure loss or a “blow-out” can occur
if the tire is punctured or is damaged due to
hitting a curb or pothole. Rapid air pressure loss
can also be caused by driving on under-inflated
tires.
Rapid air pressure loss can affect the handling
and stability of the vehicle, especially at highway
speeds.
Help prevent rapid air pressure loss by maintain-
ing the correct air pressure and visually inspect
the tires for wear and damage. For additional
information, refer to “Wheels and tires” in the
“Do-it-yourself” section of this manual. If a tire
rapidly loses air pressure or “blows-out” while
driving, maintain control of the vehicle by follow-
ing the procedure below. Please note that this
procedure is only a general guide. The vehicle
must be driven as appropriate based on the con-
ditions of the vehicle, road and traffic.
WARNING
The following actions can increase the
chance of losing control of the vehicle if
there is a sudden loss of tire air pressure.
Losing control of the vehicle may cause a
collision and result in personal injury.
●The vehicle generally moves or pulls in
the direction of the flat tire.
●Do not rapidly apply the brakes.
●Do not rapidly release the accelerator
pedal.
●Do not rapidly turn the steering wheel.
1. Remain calm and do not overreact.
2.
Maintain a firm grip on the steering wheel with
both hands and try to hold a straight course.
3. When appropriate, slowly release the accel-
erator pedal to gradually slow the vehicle.
4. Gradually steer the vehicle to a safe location
off the road and away from traffic if possible.
5. Lightly apply the brake pedal to gradually
stop the vehicle.
6. Turn on the hazard warning flashers and
contact a roadside emergency service to
change the tire. For additional information,
refer to “Changing a flat tire” in the “In case
of emergency” section of this manual.
Starting and driving 5-7

DRINKING ALCOHOL/DRUGS AND
DRIVING
WARNING
Never drive under the influence of alcohol
or drugs. Alcohol in the bloodstream re-
duces coordination, delays reaction time
and impairs judgement. Driving after
drinking alcohol increases the likelihood
of being involved in an accident injuring
yourself and others. Additionally, if you
are injured in an accident, alcohol can
increase the severity of the injury.
NISSAN is committed to safe driving. However,
you must choose not to drive under the influence
of alcohol. Every year thousands of people are
injured or killed in alcohol-related collisions. Al-
though the local laws vary on what is considered
to be legally intoxicated, the fact is that alcohol
affects all people differently and most people
underestimate the effects of alcohol.
Remember, drinking and driving don’t mix! That is
true for drugs (over-the-counter, prescription)
and illegal drugs, too. Don’t drive if your ability to
operate your vehicle is impaired by alcohol,
drugs, or some other physical condition.
DRIVING SAFETY PRECAUTIONS
Your NISSAN is designed for both normal and
off-road use. However, avoid driving in deep wa-
ter or mud as your NISSAN is mainly designed for
leisure use, unlike a conventional off-road ve-
hicle.
Remember that 2-wheel drive models are less
capable than 4-wheel drive models for rough
road driving and extrication when stuck in deep
snow or mud, or the like.
Please observe the following precautions:
WARNING
●Drive carefully when off the road and
avoid dangerous areas. Every person
who drives or rides in this vehicle
should be seated with their seat belt
fastened. This will keep you and your
passengers in position when driving
over rough terrain.
●Do not drive across steep slopes. In-
stead drive either straight up or straight
down the slopes. Off-road vehicles can
tip over sideways much more easily
than they can forward or backward.
●Many hills are too steep for any vehicle.
If you drive up them, you may stall. If
you drive down them, you may not be
able to control your speed. If you drive
across them, you may roll over.
●Do not shift gears while driving on
downhill grades as this could cause
loss of control of the vehicle.
●Stay alert when driving to the top of a
hill. At the top there could be a drop-off
or other hazard that could cause an
accident.
●If your engine stalls or you cannot make
it to the top of a steep hill, never at-
tempt to turn around. Your vehicle could
tip or roll over. Always back straight
down in R (Reverse) gear. Never back
down in N (Neutral) or with the clutch
depressed (manual transmission ve-
hicles), using only the brake, as this
could cause loss of control.
●Heavy braking going down a hill could
cause your brakes to overheat and fade,
resulting in loss of control and an acci-
dent. Apply brakes lightly and use a low
gear to control your speed. Use the hill
descent control feature (if so
equipped).
5-8 Starting and driving

●Unsecured cargo can be thrown around
when driving over rough terrain. Prop-
erly secure all cargo so it will not be
thrown forward and cause injury to you
or your passengers.
●To avoid raising the center of gravity
excessively, do not exceed the rated
capacity of the roof rack (if so equipped)
and evenly distribute the load. Secure
heavy loads in the cargo area as far
forward and as low as possible. Do not
equip the vehicle with tires larger than
specified in this manual. This could
cause your vehicle to roll over.
●Do not grip the inside or spokes of the
steering wheel when driving off-road.
The steering wheel could move sud-
denly and injure your hands. Instead
drive with your fingers and thumbs on
the outside of the rim.
●Before operating the vehicle, ensure
that the driver and all passengers have
their seat belts fastened.
●Always drive with the floor mats in place
as the floor may become hot.
●Lower your speed when encountering
strong crosswinds. With a higher center
of gravity, your NISSAN is more affected
by strong side winds. Slower speeds
ensure better vehicle control.
●Do not drive beyond the performance
capability of the tires, even with 4WD
engaged (if so equipped).
●For 4WD equipped vehicles, do not at-
tempt to raise two wheels off the
ground and shift the transmission to
any drive or reverse position with the
engine running. Doing so may result in
drivetrain damage or unexpected ve-
hicle movement which could result in
serious vehicle damage or personal
injury.
●Do not attempt to test a 4WD equipped
vehicle on a 2-wheel dynamometer
(such as the dynamometers used by
some states for emissions testing), or
similar equipment even if the other two
wheels are raised off the ground. Make
sure you inform test facility personnel
that your vehicle is equipped with 4WD
before it is placed on a dynamometer.
Using the wrong test equipment may
result in drivetrain damage or unex-
pected vehicle movement which could
result in serious vehicle damage or per-
sonal injury.
●Accelerating quickly, sharp steering
maneuvers or sudden braking may
cause loss of control.
●If at all possible, avoid sharp turning
maneuvers, particularly at high speeds.
Your NISSAN 4-wheel drive vehicle has
a higher center of gravity than a passen-
ger car. The vehicle is not designed for
cornering at the same speeds as pas-
senger cars. Failure to operate this ve-
hicle correctly could result in loss of
control and/or a rollover accident.
Starting and driving 5-9

●Always use tires of the same type, size,
brand, construction (bias, bias-belted,
or radial), and tread pattern on all four
wheels. Install tire chains on the rear
wheels when driving on slippery roads
and drive carefully.
●Be sure to check the brakes immedi-
ately after driving in mud or water. For
additional information, refer to “Wet
brakes” in this section.
●Avoid parking your vehicle on steep
hills. If you get out of the vehicle and it
rolls forward, backward or sideways,
you could be injured.
●Whenever you drive off-road through
sand, mud or water as deep as the
wheel hub, more frequent maintenance
may be required. For additional infor-
mation, refer to “Periodic maintenance”
in the “Maintenance and schedules”
section of this manual.
WARNING
●Never remove the ignition key or place
the ignition switch in the LOCK position
while driving. The steering wheel will
lock (for models with a steering lock
mechanism). This may cause the driver
to lose control of the vehicle and could
result in serious vehicle damage or per-
sonal injury.
AUTOMATIC TRANSMISSION (if so
equipped)
The ignition lock is designed so the ignition
switch cannot be placed in the LOCK position
and the key removed until the shift lever is moved
to the P (Park) position.
When removing the key from the ignition, make
sure the shift lever is in the P (Park) position.
If the shift lever is not returned to P (Park) posi-
tion, the ignition switch cannot be moved to the
LOCK position.
WSD0041
IGNITION SWITCH
5-10 Starting and driving

To remove the key from the ignition switch:
1. Shift the shift lever to the P (Park) position
with the ignition switch in the ON position.
2. Place the ignition switch to the LOCK posi-
tion.
3. Remove the key from the ignition.
If the shift lever is shifted to the P (Park) position
after the ignition switch is placed in the OFF
position or when the ignition switch cannot be
turned to the LOCK position, proceed as follows
to remove the key.
1. Move the shift lever into the P (Park) posi-
tion.
2. Turn the ignition key slightly toward the ON
position.
3. Turn the key to the LOCK position.
4. Remove the key.
The shift lever is designed so it cannot be moved
out of P (Park) and into any of the other gear
positions if the ignition key is turned to the OFF
position or if the key is removed from the switch.
The shift lever can be moved if the ignition
switch is in the ON position and the foot
brake pedal is depressed.
There is an OFF position between the
LOCK and ON positions. The OFF position
is indicated by a “1” on the ignition switch.
When the ignition is in the OFF position,
the steering wheel is not locked (for mod-
els with a steering lock mechanism).
In order for the steering wheel to be locked, it
must be turned about 1/8 of a turn clockwise
from the straight up position.
To lock the steering wheel, turn the key to
the LOCK position. Remove the key. To
unlock the steering wheel, insert the key
and turn it gently while rotating the steer-
ing wheel slightly right and left.
If the key will not turn from the LOCK posi-
tion, turn the steering wheel to the left or
right while turning the key to unlock the key
cylinder.
MANUAL TRANSMISSION (if so
equipped)
The ignition switch includes a device that helps
prevent accidental removal of the key while driv-
ing.
The key can only be removed when the ignition
switch is in the LOCK position.
On manual transmission models, to turn the igni-
tion switch to the LOCK position from the ACC or
ON position, place the ignition switch in the OFF
position, push the key in, then place the ignition
switch in the LOCK position.
WSD0052
Starting and driving 5-11
KEY POSITIONS
LOCK: Normal parking position (0)
OFF: (Not used) (1)
ACC: (Accessories) (2)
This position activates electrical accessories
such as the radio when the engine is not running.
ON: Normal operating position (3)
This position turns on the ignition system and the
electrical accessories.
START: (4)
This position starts the engine. As soon as the
engine has started, release the key. It automati-
cally returns to the ON position.
NISSAN VEHICLE IMMOBILIZER
SYSTEM (if so equipped)
The NISSAN Vehicle Immobilizer System will not
allow the engine to start without the use of the
registered key.
If the engine fails to start using a registered key
(for example, when interference is caused by
another registered key, an automated toll road
device or automatic payment device on the key
ring), restart the engine using the following pro-
cedures:
1. Leave the ignition switch in the ON position
for approximately 5 seconds.
2.
Turn the ignition switch to the OFF or LOCK
position, and wait approximately 10 seconds.
3. Repeat steps 1 and 2.
4. Restart the engine while holding the device
(which may have caused the interference)
separate from the registered key.
If the no start condition re-occurs, NISSAN rec-
ommends placing the registered key on a sepa-
rate key ring to avoid interference from other
devices.
●Make sure the area around the vehicle is
clear.
●Check fluid levels such as engine oil, cool-
ant, brake and clutch fluid (if so equipped),
and windshield-washer fluid as frequently as
possible, or at least whenever you refuel.
●Check that all windows and lights are clean.
●Visually inspect tires for their appearance
and condition. Also check tires for proper
inflation.
●Check that all doors are closed.
●Position seat and adjust head
restraints/headrests.
●Adjust inside and outside mirrors.
●Fasten the seat belt and ask all passengers
to do likewise.
●Check the operation of warning lights when
the key is turned to the ON position. For
additional information, refer to “Warning
lights, indicator lights and audible remind-
ers” in the “Instruments and controls” sec-
tion of this manual.
BEFORE STARTING THE ENGINE
5-12 Starting and driving

1. Apply the parking brake.
2. Automatic transmission:
Move the shift lever to P (Park) or N (Neu-
tral). P (Park) is recommended.
The shift lever cannot be moved out of
the P (Park) position and into any of
the other gear positions if the ignition
switch is placed in the OFF position or
if the key is removed from the ignition
switch.
The starter is designed not to operate if
the shift lever is in any of the driving
positions.
Manual transmission:
Move the shift lever to N (Neutral). Depress
the clutch pedal to the floor while cranking
the engine.
The starter is designed not to operate
unless the clutch pedal is fully de-
pressed.
3. Crank the engine with your foot off the
accelerator pedal by placing the ignition
switch in the START position. Release the
key when the engine starts. If the engine
starts, but fails to run, repeat the above
procedure.
●If the engine is very hard to start in ex-
tremely cold weather or when restarting,
depress the accelerator pedal a little (ap-
proximately 1/3 to the floor) and hold it
and then crank the engine. Release the
key and the accelerator pedal when the
engine starts.
●If the engine is very hard to start because
it is flooded, depress the accelerator
pedal all the way to the floor and hold it.
Crank the engine for 5-6 seconds. After
cranking the engine, release the accel-
erator pedal. Crank the engine with your
foot off the accelerator pedal by plac-
ing the ignition in the START position.
Release the key when the engine starts. If
the engine starts, but fails to run, repeat
the above procedure.
CAUTION
Do not operate the starter for more than
15 seconds at a time. If the engine does
not start, turn the key off and wait 10 sec-
onds before cranking again, otherwise the
starter could be damaged.
4. Allow the engine to idle for at least 30 sec-
onds after starting. Do not race the engine
while warming it up. Drive at moderate
speed for a short distance first, especially in
cold weather.
NOTE:
Care should be taken to avoid situations
that can lead to potential battery discharge
and potential no-start conditions such as:
1. Installation or extended use of elec-
tronic accessories that consume bat-
tery power when the engine is not run-
ning (phone chargers, GPS, DVD
players, etc.).
2. The vehicle is not driven regularly
and/or only driven short distances.
In these cases, the battery may need to be
charged to maintain battery health.
STARTING THE ENGINE
Starting and driving 5-13

AUTOMATIC TRANSMISSION (if so
equipped)
WARNING
●Do not depress the accelerator pedal
while shifting from P (Park) or N (Neu-
tral) to R (Reverse), D (Drive), 3, 2 or 1.
Always depress the brake pedal until
shifting is completed. Failure to do so
could cause you to lose control and
have an accident.
●Cold engine idle speed is high, so use
caution when shifting into a forward or
reverse gear before the engine has
warmed up.
●Never shift to either the P (Park) or R
(Reverse) position while the vehicle is
moving forward and P (Park) or D
(Drive) position while the vehicle is re-
versing. This could cause an accident or
damage the transmission.
●Except in an emergency, do not shift to
the N (Neutral) position while driving.
Coasting with the transmission in the N
(Neutral) position may cause serious
damage to the transmission.
●Do not downshift abruptly on slippery
roads. This may cause a loss of control.
CAUTION
●Except in an emergency, do not shift to
the N (Neutral) position while driving.
Coasting with the transmission in the N
(Neutral) position may cause serious
damage to the transmission.
●To avoid possible damage to your ve-
hicle, when stopping the vehicle on an
uphill grade, do not hold the vehicle by
depressing the accelerator pedal. The
foot brake should be used for this
purpose
The automatic transmission in your vehicle is
electronically controlled to produce maximum
power and smooth operation.
The recommended operating procedures for this
transmission are shown on the following pages.
Follow these procedures for maximum vehicle
performance and driving enjoyment.
Starting the vehicle
1. After starting the engine, fully depress the
foot brake pedal before moving the shift
lever out of the P (Park) position.
2. Keep the foot brake pedal depressed and
move the shift lever into a driving gear.
3. Release the foot brake, then gradually start
the vehicle in motion.
The automatic transmission is designed so
the foot brake pedal MUST be depressed
before shifting from P (Park) to any drive
position while the ignition switch is in the
ON position.
The shift lever cannot be moved out of the
P (Park) position and into any of the other
gear positions if the ignition switch is
placed in the LOCK or OFF position.
DRIVING THE VEHICLE
5-14 Starting and driving

To move the shift lever:
Press the button while depressing the
brake pedal
Press the button to shift
Shift without depressing brake pedal
Shifting
After starting the engine, fully depress the brake
pedal and move the shift lever out of the P (Park)
position.
WARNING
Apply the parking brake if the shift lever is
in any position while the engine is not
running. Failure to do so could cause the
vehicle to move unexpectedly or roll away
and result in serious personal injury or
property damage.
If the ignition switch is placed in the OFF position
for any reason while the vehicle is in N (Neutral),
or any D (Drive) position, the ignition switch can-
not be placed in the LOCK position and the key
cannot be removed from the ignition switch.
Move the shift lever to the P (Park) position, then
the ignition switch can be placed in LOCK.
P (Park)
CAUTION
To prevent transmission damage, use the
P (Park) position only when the vehicle is
completely stopped.
Use the P (Park) shift lever position when the
vehicle is parked or when starting the engine.
Make sure the vehicle is completely stopped.
The brake pedal should be depressed to
move the shift lever from N (Neutral) or any
drive position to P (Park).
Apply the parking brake. When parking on a hill,
apply the parking brake first, then move the shift
lever into the P (Park) position.
R (Reverse)
CAUTION
To prevent transmission damage, use the
R (Reverse) position only when the vehicle
is completely stopped.
Use the R (Reverse) position to back up. Make
sure the vehicle is completely stopped before
selecting the R (Reverse) position. The brake
pedal must be depressed to move the shift
lever from P (Park), N (Neutral) or any drive
position to R (Reverse).
N (Neutral)
Neither forward nor reverse gear is engaged. The
engine can be started in this position. You may
shift to N (Neutral) and restart a stalled engine
while the vehicle is moving.
D (Drive)
Use this position for all normal forward driving.
LSD0151
Starting and driving 5-15

3 (Third gear)
Use this position for driving up and down long
slopes where engine braking would be advanta-
geous.
Do not downshift into the 3 position at speeds
over the following and do not exceed the follow-
ing speeds in the 3 position.
2WD:
99 mph (160 km/h)
4H:
93 mph (150 km/h)
4LO:
34 mph (55 km/h)
2 (Second gear)
Use this position for hill climbing or engine brak-
ing on downhill grades.
Do not downshift into the 2 position at speeds
over the following and do not exceed the follow-
ing speeds in the 2 position.
2WD:
62 mph (100 km/h)
4H:
59 mph (95 km/h)
4LO:
21 mph (35 km/h)
1 (Low gear)
Use this position when climbing steep hills slowly
or slow driving through deep snow, sand or mud,
or for maximum engine braking on steep downhill
grades.
Do not downshift into the 1 position at speeds
over the following and do not exceed the follow-
ing speeds in the 1 position.
2WD:
37 mph (60 km/h)
4H:
37 mph (60 km/h)
4LO:
12 mph (20 km/h)
Shift lock release
If the battery is discharged, the shift lever may not
be moved from the P (Park) position even with the
brake pedal depressed.
To move the shift lever, release the shift lock. The
shift lever can be moved to N (Neutral). However,
the steering wheel will be locked unless the igni-
tion switch is placed in the ON position (for
models with a steering lock mechanism). This
allows the vehicle to be moved if the battery is
discharged.
LSD0141
5-16 Starting and driving

To push the shift lock release, complete the fol-
lowing procedure:
1. Place the ignition switch in the LOCK posi-
tion and remove the key.
2. Apply the parking brake.
3. Remove the shift lock release cover as
shown.
4. Use a protective cloth on the tip of a small
screwdriver before inserting it in the shift
lock release slot and pushing down.
5. Move the shift lever to the N (Neutral) posi-
tion while holding down the shift lock re-
lease.
6. Place the ignition switch in the ON position
to unlock the steering wheel (for models with
a steering lock mechanism).
7. Now the vehicle may be moved to the de-
sired location.
If the shift lever cannot be moved out of P (Park),
have the automatic transmission system checked
as soon as possible. It is recommended that you
visit a NISSAN dealer for this service.
WARNING
If the shift lever cannot be moved from the
P (Park) position while the engine is run-
ning and the brake pedal is depressed, the
stop lights may not work. Malfunctioning
stop lights could cause an accident injur-
ing yourself and others.
Accelerator downshift
— in D (Drive) position —
For passing or hill climbing, depress the accel-
erator pedal to the floor. This shifts the transmis-
sion down into a lower gear, depending on the
vehicle speed.
Overdrive (O/D) OFF switch
Each time your vehicle is started, the transmis-
sion is automatically “reset” to overdrive ON.
ON: With the engine running and the
shift lever in the D (Drive) position,
the transmission upshifts into over-
drive as vehicle speed increases.
Overdrive does not engage until the engine
has reached operating temperature.
WSD0045
Starting and driving 5-17

OFF: For driving up and down long
slopes where engine braking is nec-
essary push the overdrive switch
once. The Overdrive OFF indicator
light in the instrument panel comes
on at this time.
When cruising at a low speed or climbing a
gentle slope, you may feel uncomfortable shift
shocks as the transmission shifts into and out of
overdrive repeatedly. In this case, depress the
overdrive switch to turn the overdrive off. The
Overdrive OFF indicator light in the instrument
panel comes on at this time.
When driving conditions change, depress the
overdrive switch to turn the overdrive on.
Remember not to drive at high speeds for ex-
tended periods of time with the overdrive off. This
reduces fuel economy.
MANUAL TRANSMISSION (if so
equipped)
WARNING
●Do not downshift abruptly on slippery
roads. This may cause a loss of control.
●Do not over-rev the engine when shift-
ing to a lower gear. This may cause a
loss of control or engine damage.
CAUTION
●Do not rest your foot on the clutch pedal
while driving. This may cause clutch
damage.
●Fully depress the clutch pedal before
shifting to help prevent transmission
damage.
●Stop your vehicle completely before
shifting into R (Reverse).
●When the vehicle is stopped with the
engine running (for example, at a stop
light), shift to N (Neutral) and release
the clutch pedal with the foot brake
applied.
Shifting
To change gears, or when upshifting or down-
shifting, depress the clutch pedal fully, shift into
the appropriate gear, then release the clutch
slowly and smoothly.
To ensure smooth gear changes, fully depress
the clutch pedal before operating the shift lever. If
the clutch pedal is not fully depressed before the
transmission is shifted, a gear noise may be
heard. Transmission damage could occur.
Start the vehicle in 1st gear and shift to 2nd, 3rd,
4th, 5th and 6th (if so equipped) gear in se-
quence according to vehicle speed.
5 - speed
WSD0154
5-18 Starting and driving

To back up, depress the shift lever and then move
it to the R (Reverse) position after stopping the
vehicle completely.
On the 5-speed manual transmission model, you
cannot shift directly from the 5th gear into R
(Reverse). First shift into N (Neutral), then in to R
(Reverse) after stopping the vehicle completely.
If it is difficult to move the shift lever into R
(Reverse) or 1 (First), shift into N (Neutral), then
release the clutch pedal. Fully depress the clutch
pedal again and shift into R (Reverse) or 1 (First).
If your vehicle is equipped with 4-wheel drive,
refer to “Transfer case shifting procedures” in this
section.
Suggested up-shift speeds
The following are suggested vehicle speeds for
shifting into a higher gear. These suggestions
relate to fuel economy and vehicle performance.
Actual upshift speeds will vary according to road
conditions, the weather and individual driving
habits.
●For QR25DE 2-wheel drive models:
GEAR CHANGE mph (km/h)
1st to 2nd 11 (17)
2nd to 3rd 15 (24)
3rd to 4th 24 (38)
4th to 5th 35 (56)
●For VQ40DE 4-wheel drive models and
4-wheel drive models (2H and 4H position):
GEAR CHANGE mph (km/h)
1st to 2nd 11 (17)
2nd to 3rd 17 (27)
3rd to 4th 25 (40)
4th to 5th 32 (51)
5th to 6th 45 (72)
Suggested maximum speed in each
gear
Downshift to a lower gear if the engine is not
running smoothly, or if you need to accelerate.
Do not exceed the maximum suggested speed
(shown below) in any gear. For level road driving,
use the highest gear suggested for that speed.
Always observe posted speed limits, and drive
according to the road conditions, which will en-
sure safe operation. Do not over-rev the engine
when shifting to a lower gear as it may cause
engine damage or loss of vehicle control.
Allowable maximum speed in each gear:
2–wheel drive models (QR25DE engine)
GEAR mph (km/h)
1st 34 (54)
2nd 58 (94)
3rd 89 (144)
4th —
5th —
2–wheel drive models (VQ40DE engine)
GEAR mph (km/h)
1st 35 (56)
2nd 60 (97)
3rd 87 (141)
4th —
5th —
6 - speed
LSD0148
Starting and driving 5-19

4–wheel drive models (VQ40DE engine)
2H/4H position
GEAR mph (km/h)
1st 33 (54)
2nd 58 (93)
3rd 84 (135)
4th —
5th —
6th —
4L position
GEAR mph (km/h)
1st 12 (20)
2nd 22 (35)
3rd 32 (51)
4th 43 (70)
5th 55 (89)
6th —
WARNING
●Be sure the parking brake is fully re-
leased before driving. Failure to do so
can cause brake failure and lead to an
accident.
●Do not release the parking brake from
outside the vehicle.
●Do not use the shift lever in place of the
parking brake. When parking, be sure
the parking brake is fully engaged.
●To help avoid risk of injury or death
through unintended operation of the
vehicle and/or its systems, do not leave
children, people who require the assis-
tance of others or pets unattended in
your vehicle. Additionally, the tempera-
ture inside a closed vehicle on a warm
day can quickly become high enough to
cause a significant risk of injury or
death to people and pets.
To engage: Pull the parking brake lever up 䊊
A.
To release:
1. Firmly apply the foot brake.
2. Manual transmission models:
Place the shift lever in the N (Neutral) position.
Automatic transmission models:
Move the shift lever to the P (Park) position.
3. While pulling up on the parking brake lever
slightly, press the button 䊊
Band lower the
lever completely.
4. Before driving, be sure the brake warning
light goes out.
LSD2755
PARKING BRAKE
5-20 Starting and driving

PRECAUTIONS ON CRUISE
CONTROL
1. ACCEL/RES switch
2. COAST/SET switch
3. CANCEL switch
4. ON/OFF switch
●If the cruise control system malfunctions, it
cancels automatically. The SET indicator
light in the instrument panel then blinks to
warn the driver.
●If the SET indicator light blinks, turn the
cruise control main switch off and have the
system checked. It is recommended that you
visit a NISSAN dealer for this service.
●The SET indicator light may blink when the
cruise control main switch is turned ON
while pushing the ACCEL/RES,
COAST/SET, or CANCEL switch (located
on the steering wheel). To properly set the
cruise control system, use the following pro-
cedures.
WARNING
Do not use the cruise control when driving
under the following conditions:
●When it is not possible to keep the
vehicle at a set speed.
●In heavy traffic or in traffic that varies in
speed.
●On winding or hilly roads.
●On slippery roads (rain, snow, ice, etc.).
●In very windy areas.
Doing so could cause a loss of vehicle
control and result in an accident.
CAUTION
On manual transmission models, do not
shift into N (Neutral) without depressing
the clutch pedal when the cruise control is
set. Should this occur, depress the clutch
pedal and turn the main switch off imme-
diately. Failure to do so may cause engine
damage.
CRUISE CONTROL OPERATIONS
The cruise control allows driving at a speed be-
tween 25 - 89 mph (40 - 144 km/h) without
keeping your foot on the accelerator pedal.
To turn on the cruise control, push the main
switch. The CRUISE indicator light in the instru-
ment panel comes on.
To set cruising speed, accelerate the vehicle to
the desired speed, push the COAST/SET switch
and release it. The SET indicator light in the
instrument panel comes on. Take your foot off the
accelerator pedal. Your vehicle maintains the set
speed.
●To pass another vehicle, depress the ac-
celerator pedal. When you release the
pedal, the vehicle returns to the previously
set speed.
LSD2753
CRUISE CONTROL (if so equipped)
Starting and driving 5-21

●The vehicle may not maintain the set speed
when going up or down steep hills. If this
happens, drive without the cruise control.
To cancel the preset speed, use one of the
following three methods:
●Press the CANCEL button; the SET indica-
tor light in the instrument panel goes out.
●Tap the brake pedal; the SET indicator light
goes out.
●Turn the main switch off. Both the CRUISE
indicator light and SET indicator light in the
instrument panel go out.
The cruise control is automatically canceled and
the SET light in the instrument panel goes out if:
●You depress the brake or clutch pedal (if so
equipped) while pushing the ACCEL/RES
or COAST/SET switch. The preset speed is
deleted from memory.
●The vehicle slows down more than 8 mph
(13 km/h) below the set speed.
●You depress the clutch pedal (manual trans-
mission), or move the shift lever to N (Neu-
tral) (automatic transmission).
To reset at a faster cruising speed, use one of
the following three methods:
●Depress the accelerator pedal. When the
vehicle attains the desired speed, push and
release the COAST/SET switch.
●Push and hold the ACCEL/RES switch.
When the vehicle attains the speed you de-
sire, release the switch.
●Push and release the ACCEL/RES switch.
Each time you do this, the set speed in-
creases by about 1 mph (1.6 km/h).
To reset at a slower cruising speed, use one
of the following three methods:
●Lightly tap the brake pedal. When the ve-
hicle attains the desired speed, push the
COAST/SET switch and release it.
●Push and hold the COAST/SET switch. Re-
lease the switch when the vehicle slows to
the desired speed.
●Push and release the COAST/SET switch.
Each time you do this, the set speed de-
creases by about 1 mph (1.6 km/h).
To resume the preset speed, push and re-
lease the ACCEL/RES switch. The vehicle re-
turns to the last set cruising speed when the
vehicle speed is over 25 mph (40 km/h).
CAUTION
During the first 1,200 miles (2,000 km),
follow these recommendations to obtain
maximum engine performance and ensure
the future reliability and economy of your
new vehicle. Failure to follow these rec-
ommendations may result in shortened
engine life and reduced engine
performance.
●Avoid driving for long periods at constant
speed, either fast or slow, and do not run the
engine over 4,000 RPM.
●Do not accelerate at full throttle in any gear.
●Avoid quick starts.
●Avoid hard braking as much as possible.
●Do not tow a trailer for the first 500 miles
(805 kilometers). Your engine, axle or other
parts could be damaged.
BREAK-IN SCHEDULE
5-22 Starting and driving
Follow these easy-to-use Fuel Efficient Driving
Tips to help you achieve the most fuel economy
from your vehicle.
1. Use Smooth Accelerator and Brake
Pedal Application
●Avoid rapid starts and stops.
●Use smooth, gentle accelerator and
brake application whenever possible.
●Maintain constant speed while commut-
ing and coast whenever possible.
2. Maintain Constant Speed
●Look ahead to try and anticipate and mini-
mize stops.
●
Synchronizing your speed with traffic lights
allows you to reduce your number of stops.
●
Maintaining a steady speed can minimize
red light stops and improve fuel efficiency.
3. Use Air Conditioning (A/C) at Higher
Vehicle Speeds
●Below 40 mph (64 km/h), it is more effi-
cient to open windows to cool the vehicle
due to reduced engine load.
●Above 40 mph (64 km/h), it is more effi-
cient to use A/C to cool the vehicle due to
increased aerodynamic drag.
●Recirculating the cool air in the cabin
when the A/C is on reduces cooling load.
4. Drive at Economical Speeds and Dis-
tances
●Observing the speed limit and not ex-
ceeding 60 mph (97 km/h) (where legally
allowed) can improve fuel efficiency due
to reduced aerodynamic drag.
●Maintaining a safe following distance be-
hind other vehicles reduces unnecessary
braking.
●Safely monitoring traffic to anticipate
changes in speed permits reduced brak-
ing and smooth acceleration changes.
●Select a gear range suitable to road con-
ditions.
5. Use Cruise Control
●Using cruise control during highway driv-
ing helps maintain a steady speed.
●Cruise control is particularly effective in
providing fuel savings when driving on flat
terrains.
6. Plan for the Shortest Route
●Utilize a map or navigation system to de-
termine the best route to save time.
7. Avoid Idling
●Shutting off your engine when safe for
stops exceeding 30–60 seconds saves
fuel and reduces emissions.
8. Buy an Automated Pass for Toll Roads
●Automated passes permit drivers to use
special lanes to maintain cruising speed
through the toll and avoid stopping and
starting.
9. Winter Warm Up
●Limit idling time to minimize impact to fuel
economy.
●Vehicles typically need no more than
30 seconds of idling at start-up to effec-
tively circulate the engine oil before driv-
ing.
●Your vehicle will reach its ideal operating
temperature more quickly while driving
versus idling.
10. Keeping your Vehicle Cool
●Park your vehicle in a covered parking
area or in the shade whenever possible.
●When entering a hot vehicle, opening the
windows will help to reduce the inside
temperature faster, resulting in reduced
demand on your A/C system.
FUEL EFFICIENT DRIVING TIPS
Starting and driving 5-23

●Keep your engine tuned up.
●Follow the recommended scheduled main-
tenance.
●Keep the tires inflated to the correct pres-
sure. Low tire pressure increases tire wear
and lowers fuel economy.
●Keep the wheels in correct alignment. Im-
proper alignment increases tire wear and
lowers fuel economy.
●For vehicles equipped with , use 4H
or 4L position only when necessary. Four-
wheel drive operation lowers fuel economy.
●Use the recommended viscosity engine oil.
For additional information, refer to “Engine
oil and oil filter recommendations” in the
“Technical and consumer information” sec-
tion of this manual.
WARNING
●For 4WD equipped vehicles, do not at-
tempt to raise two wheels off the
ground and shift the transmission to
any drive or reverse position with the
engine running. Doing so may result in
drivetrain damage or unexpected ve-
hicle movement which could result in
serious vehicle damage or personal
injury.
●Do not attempt to test a 4WD equipped
vehicle on a 2-wheel dynamometer
(such as the dynamometers used by
some states for emissions testing), or
similar equipment even if the other two
wheels are raised off the ground. Make
sure you inform test facility personnel
that your vehicle is equipped with 4WD
before it is placed on a dynamometer.
Using the wrong test equipment may
result in drivetrain damage or unex-
pected vehicle movement which could
result in serious vehicle damage or per-
sonal injury.
CAUTION
●Do not drive the vehicle in the 4H or 4LO
position on dry hard surface roads. Driv-
ing on dry, hard surfaces in 4H or 4LO
may cause unnecessary noise, tire wear
and increased fuel consumption.
If the 4WD warning light turns on when
you are driving on dry hard surface roads:
– in the 4H position, shift the 4WD shift
switch to 2WD.
– in the 4LO position for automatic
transmission vehicles, stop the ve-
hicle and shift the shift lever to the N
position with the brake pedal de-
pressed and shift the 4WD shift
switch to 2WD.
– in the 4LO position for manual trans-
mission vehicles, stop the vehicle
and shift the shift lever to the N po-
sition with the clutch pedal de-
pressed and shift the 4WD shift
switch to 2WD.
●If the warning light is still on after the
above operation, have your vehicle
checked as soon as possible. It is rec-
ommended that you visit a NISSAN
dealer for this service.
INCREASING FUEL ECONOMY USING 4–WHEEL DRIVE
(4WD) (if so equipped)
5-24 Starting and driving

TRANSFER CASE SHIFTING PROCEDURES
The part time 4WD system provides three positions (2WD, 4H and 4LO), so you can select the desired drive mode according to the driving conditions.
2WD or 4WD shift procedure:
4WD Shift
Switch Position Wheels Driven Indicator Light Use Conditions 4WD Shift Procedure
4WD shift Transfer 4LO position
2WD
Rear wheels For driving on dry, paved
roads (Economy drive)
Move the 4WD switch.
2WD <—> 4H
4WD shift indicator light will indicate transfer shift position
engaged.
4H
4 wheels
For driving on rocky,
sandy or snow-covered
roads
Neutral
*1
May blink
Neutral disengages the
automatic transmission
mechanical parking lock,
which will allow the
vehicle to roll. Do not
leave the transfer shift
position in Neutral.*2
1. Stop the vehicle.
2. For automatic transmission vehicles: Shift the shift lever
to the N (Neutral) position with the brake pedal
depressed.
For manual transmission vehicles: Shift the shift lever to
the N (Neutral) position with the clutch depressed.
3. For automatic transmission vehicles: Depress and turn
the 4WD shift switch to 4LO or 4H with the brake pedal
depressed.
For manual transmission vehicles: Depress and turn the
4WD switch to 4LO or 4H with the clutch pedal
depressed.
THE TRANSFER CASE DOES NOT ENGAGE BETWEEN 4H
AND 4LO (OR 4LO TO 4H) UNLESS YOU HAVE FIRST
STOPPED THE VEHICLE, DEPRESSED THE BRAKE PEDAL
AND MOVED THE SHIFT LEVER TO NEUTRAL FOR AUTO-
MATIC TRANSMISSION VEHICLES. FOR MANUAL TRANS-
MISSION VEHICLES YOU MUST MOVE THE SHIFT LEVER
TO NEUTRAL. *3
4LO
4 wheels
Illuminated
For use when maximum
power and traction is
required (for example: on
steep grades or rocky,
sandy, muddy roads)
Starting and driving 5-25

*1: Before moving the shift lever from neutral, wait until the 4LO indicator light stays on steady. This indicates that the 4WD shift procedure is completed and
the transfer gear is correctly set in the 4LO position. If the vehicle is shifted into gear before the indicator is on steady, the transfer gear may grind, not
engage correctly or stay in the neutral position.
- If the 4WD warning light illuminates, perform the following procedure to return the transfer case to correct operating condition.
1. Turn off the engine by turning the ignition switch OFF.
2. Start the engine.
- Check that the 4WD warning light turns off. If the 4WD warning light illuminates, have the system checked. It is recommended that you visit a NISSAN
dealer for this service.
3. Apply the parking brake, for automatic transmission vehicles, depress the brake pedal and move the shift lever to N (Neutral) position. For manual
transmission vehicles, move the shift lever to N (Neutral) position.
4. With the brake pedal depressed on automatic transmission vehicles or with the clutch pedal depressed on manual transmission vehicles, move the
4WD shift switch to desired mode.
- Be sure to wait until the transfer gear change completes before shifting the shift lever from N (Neutral) position.
*2: While changing in and out of 4LO, the ignition key must be ON and the vehicle’s engine must be running for a shift to take place and for the indicator
lights (4WD shift and 4LO position indicator) to be operable. Otherwise, the shift will not take place and no indicator lights will be on or flashing.
*3: Make sure the transfer 4LO position indicator light turns on when you shift the 4WD shift switch to 4LO. The indicator light will also turn on when
4LO is selected. For additional information, refer to “Vehicle Dynamic Control (VDC) system” in this section.
5-26 Starting and driving

The transfer case 4WD shift switch is used to
select either 2WD or 4WD depending on the
driving conditions. There are three types of drive
modes available, 2WD, 4H and 4LO.
The 4WD shift switch electronically controls the
transfer case operation. Rotate the switch to
move between each mode, 2WD, 4H and 4LO.
To change into or out of 4LO, the vehicle
MUST be stationary, shift the shift lever to
N (Neutral), and for automatic transmission
vehicles depress the brake pedal or for
manual transmission vehicles depress the
clutch pedal. The switch must be depressed
and turned when changing into or out of
4LO.
WARNING
●When parking, apply the parking brake
before stopping the engine and make
sure that the 4WD shift indicator light is
on and the ATP warning light goes off.
Otherwise, the vehicle could unexpect-
edly move even if the automatic trans-
mission is in the P position.
●The 4LO indicator light must stop blink-
ing and remain illuminated or turn off
before shifting the transmission into
gear. If the shift lever is shifted from the
N (Neutral) position to any other gear
when the 4LO indicator light is blinking,
the vehicle may move unexpectedly.
CAUTION
●Never shift the 4WD shift switch be-
tween 4LO and 4H while driving.
●The 4H position provides greater trac-
tion. Avoid excessive speed, as it will
cause increased fuel consumption and
higher oil temperatures, and could
damage drivetrain components. Speeds
over 62 mph (100 km/h) in 4H is not
recommended
●The 4LO position provides maximum
power and traction. Avoid raising ve-
hicle speed excessively, as the maxi-
mum speed is approximately 31 mph
(50 km/h).
●When driving straight, shift the 4WD
shift switch to the 2WD or 4H position.
Do not move the 4WD shift switch when
making a turn or reversing.
●Do not shift the 4WD shift switch (be-
tween 2WD and 4H) while driving on
steep downhill grades. Use the engine
brake and low automatic transmission
gears (D1 or D2) or manual transmis-
sion (1st gear or 2nd gear) for engine
braking.
●Do not operate the 4WD shift switch
(between 2WD and 4H) with the rear
wheels spinning.
●Do not drive on dry hard surface roads
in the 4H or 4LO position. Driving on dry
hard surfaces in 4H or 4LO may cause
unnecessary noise and tire wear.
NISSAN recommends driving in the
2WD position under these conditions.
●The 4WD transfer case may not be
shifted between 4H and 4LO at low am-
bient temperatures and the transfer
4LO position indicator light may blink
even when the 4WD shift switch is
shifted. After driving for a while you can
change the 4WD transfer case between
4H and 4LO.
When driving on rough roads,
●Set the 4WD shift switch to 4H or 4LO.
●Drive carefully according to the road surface
conditions.
Starting and driving 5-27

When the vehicle is stuck,
●Set the 4WD shift switch to 4H or 4LO.
●Use the Electronic Locking Rear Differential
(E-Lock) system (if so equipped). Turn the
switch ON while the vehicle is stationary and
apply the throttle to try to free the vehicle.
●If it is difficult to free the vehicle, rock the
vehicle back and forth between reverse and
drive gears.
●If the vehicle is stuck deep in mud, place
stones or wooden blocks under the tires.
Then try the recovery procedures above. Tire
chains may be effective.
CAUTION
●Do not spin the tires excessively. Tires
will sink deep into the mud, making it
difficult to free the vehicle.
●Avoid shifting gears with the engine
running at high speeds as this may
cause malfunction.
4WD shift switch operations
●Shift the 4WD shift switch to either the
2WD, 4H or 4LO position, depending on
driving conditions.
●If the 4WD shift switch is operated
while making a turn, accelerating or
decelerating or if the key switch is
turned off while in the 4H or 4LO posi-
tion, you may feel a jolt. This is not
abnormal.
●When the vehicle is stopped after mak-
ing a turn, you may feel a slight jolt
after the shift lever is shifted to N or P.
This occurs because the transfer clutch
is released and not because of a mal-
function.
CAUTION
●When driving straight, shift the 4WD
shift switch to the 2WD or 4H position.
Do not move the 4WD shift switch when
making a turn or reversing.
●Do not shift the 4WD shift switch while
driving on steep downhill grades. Use
the engine brake and low automatic
transmission gears (D1 or D2) or
manual transmission (1st gear or 2nd
gear) for engine braking.
●Do not operate the 4WD shift switch
with the rear wheels spinning.
●Before placing the 4WD shift switch in
the 4H position from 2WD, ensure the
vehicle speed is less than 62 mph
(100 km/h). Failure to do so can damage
the 4WD system.
●Never shift the 4WD shift switch be-
tween 4LO and 4H while driving.
LSD0145
5-28 Starting and driving

4WD shift indicator light
The 4WD shift indicator light is located in the
odometer display.
The light should turn off within 1 second after
turning the ignition switch to the ON position.
While the engine is running, the 4WD shift indi-
cator light will illuminate the position selected by
the 4WD shift switch.
●The 4WD shift indicator light may blink
while shifting from one drive mode to
the other. When the shifting is com-
pleted, the 4WD shift indicator light will
come on.
●If the 4WD warning light comes on, the
4WD shift indicator light goes out.
CAUTION
If the 4WD shift indicator light indication
changes to 2WD when the 4WD shift
switch is shifted to the 4H position at low
ambient temperatures, the 2WD mode
may be being engaged due to malfunc-
tioning drive system. If the indicator does
not return to normal and the 4WD warning
light comes on, have the system checked.
It is recommended that you visit a NISSAN
dealer for this service.
4WD warning light
Warning light Comes on or
blinks when:
Comes on
Thereisa
malfunction in the
4–wheel drive
system
Blinks
slowly
The difference in
wheel rotation is
large
The 4WD warning light is located in the meter.
The 4WD warning light comes on when the igni-
tion switch is turned to ON. It turns off soon after
the engine is started.
If any malfunction occurs in the 4WD system
when the ignition switch is ON, the warning light
will either remain illuminated or blink.
If the 4WD warning light comes on, the 4WD
shift indicator light goes out.
A large difference between the diameters of front
and rear wheels will make the warning light blink
slowly (about once per 2 seconds). Change the
4WD shift switch into 2WD and do not drive fast.
CAUTION
●If the warning light comes on or blinks
slowly during operation, have your ve-
hicle checked as soon as possible. It is
recommended that you visit a NISSAN
dealer for this service.
●Shifting between 4H and 4LO is not
recommended when the 4WD warning
light turns on.
LSD0147
Starting and driving 5-29

●When the warning light comes on, the
2WD mode may be engaged even if the
4WD shift switch is in 4H. Be especially
careful when driving. If corresponding
parts are malfunctioning, the 4WD
mode will not be engaged even if the
4WD shift switch is shifted.
●Do not drive the vehicle in the 4H or 4LO
position on dry hard surface roads. Driv-
ing on dry, hard surfaces in 4H or 4LO
may cause unnecessary noise, tire wear
and increased fuel consumption.
If the 4WD warning light turns on when
you are driving on dry hard surface
roads:
– in the 4H position, shift the 4WD shift
switch to 2WD.
– in the 4LO position for automatic
transmission vehicles, stop the ve-
hicle and shift the shift lever to the N
position with the brake pedal de-
pressed and shift the 4WD shift
switch to 2WD.
– in the 4LO position for manual trans-
mission vehicles, stop the vehicle
and shift the shift lever to the N po-
sition with the clutch pedal de-
pressed and shift the 4WD shift
switch to 2WD.
●If the warning light is still on after the
above operation, have your vehicle
checked as soon as possible. It is rec-
ommended that you visit a NISSAN
dealer for this service.
●The transfer case may be damaged if
you continue driving with the warning
light blinking.
The E-Lock system can provide additional trac-
tion and should only be used when a vehicle has
become or is becoming stuck. This system oper-
ates by electronically “locking” the two rear drive
wheels together, allowing them to turn at the
same speed. The system is used when it is not
possible to free a stuck vehicle even when using
the 4LO position (4-wheel drive vehicles).
When added traction is required, activate the
E-Lock system by pushing the switch ON. For
additional information, refer to “Electronic locking
rear differential (E-Lock) system switch” in the
“Instruments and controls”section of this manual.
Once the system fully engages, the indicator light
in the instrument panel will remain ON. When the
system is activated, both rear wheels will engage,
providing added traction.
The rear wheels may momentarily slip or move to
engage the system, and the system will only
engage up to approximately 4 mph (7 km/h).
Once the vehicle is free, the system should be
turned OFF and driving resumed.
The Anti-Lock Brake (ABS) system is disabled
and the ABS light illuminates when the E-Lock
system is ON. Also, the Vehicle Dynamic Control
(VDC) system is disabled and the light
illuminates when the E-Lock system is ON.
ELECTRONIC LOCKING REAR
DIFFERENTIAL (E-Lock) SYSTEM (if
so equipped)
5-30 Starting and driving

WARNING
●Never leave the E-Lock system ON when
driving on paved or hard-surfaced
roads. Turning the vehicle may result in
the rear wheels slipping and result in an
accident and personal injury. After us-
ing the E-Lock system to free the ve-
hicle, turn the system OFF.
●Use the E-Lock system only when free-
ing a stuck vehicle. Try the 4LO position
before using the E-Lock system. Never
use the E-Lock system on a slippery
road surface such as snow or ice sur-
face. Using the E-Lock system when
driving in these road conditions may
cause unexpected movement of the ve-
hicle during engine braking, accelerat-
ing or turning, which may result in an
accident and serious personal injury.
CAUTION
●After using the E-Lock system, turn the
switch OFF to prevent possible damage
to driveline components from extended
use.
●Do not drive the vehicle at speeds faster
than 12 mph (20 km/h) when the system
is engaged. Doing so could damage
drivetrain components.
●Do not turn on the E-lock system while
the tires are spinning. Doing so could
damage drivetrain components.
Starting and driving 5-31

WARNING
●Do not stop or park the vehicle over
flammable materials such as dry grass,
waste paper or rags. They may ignite
and cause a fire.
●Safe parking procedures require that
both the parking brake be set and the
transmission placed into P (Park) for
automatic transmission models or in an
appropriate gear for manual transmis-
sion models. Failure to do so could
cause the vehicle to move unexpectedly
or roll away and result in an accident.
Make sure the shift lever has been
pushed as far forward as it can go and
cannot be moved without depressing
the foot brake pedal.
●Never leave the engine running while
the vehicle is unattended.
●To help avoid risk of injury or death
through unintended operation of the
vehicle and/or its systems, do not leave
children, people who require the assis-
tance of others or pets unattended in
your vehicle. Additionally, the tempera-
ture inside a closed vehicle on a warm
day can quickly become high enough to
cause a significant risk of injury or
death to people and pets.
1. Firmly apply the parking brake.
2. Manual transmission models:
Place the shift lever in the R (Reverse) posi-
tion. When parking on an uphill grade, place
the shift lever in 1st gear.
Automatic transmission models:
Move the shift lever to the P (Park) position.
3. To help prevent the vehicle from rolling into
traffic when parked on an incline, it is a good
practice to turn the wheels as illustrated.
●HEADED DOWNHILL WITH CURB 䊊
A:
Turn the wheels into the curb and move the
vehicle forward until the curb side wheel
gently touches the curb.
WSD0050
PARKING/PARKING ON HILLS
5-32 Starting and driving

●HEADED UPHILL WITH CURB 䊊
B:
Turn the wheels away from the curb and
move the vehicle back until the curb side
wheel gently touches the curb.
●HEADED UPHILL OR DOWNHILL, NO
CURB 䊊
C:
Turn the wheels toward the side of the road
so the vehicle will move away from the cen-
ter of the road if it moves.
4. Turn the ignition switch to the LOCK position
and remove the key.
The power assisted steering uses a hydraulic
pump, driven by the engine, to assist steering.
If the engine stops or the drive belt breaks, you
will still have control of the vehicle. However,
much greater steering effort is needed, especially
in sharp turns and at low speeds.
WARNING
If the engine is not running or is turned off
while driving, the power assist for the
steering will not work. Steering will be
harder to operate.
The brake system has two separate hydraulic
circuits. If one circuit malfunctions, you will still
have braking at two wheels.
BRAKE PRECAUTIONS
Vacuum assisted brakes
The brake booster aids braking by using engine
vacuum. If the engine stops, you can stop the
vehicle by depressing the brake pedal. However,
greater foot pressure on the brake pedal will be
required to stop the vehicle and stopping dis-
tance will be longer.
Using the brakes
Avoid resting your foot on the brake pedal while
driving. This will overheat the brakes, wear out the
brake pads faster, and reduce gas mileage.
To help reduce brake wear and to prevent the
brakes from overheating, reduce speed and
downshift to a lower gear before going down a
slope or long grade. Overheated brakes may
reduce braking performance and could result in
loss of vehicle control.
POWER STEERING BRAKE SYSTEM
Starting and driving 5-33

WARNING
●While driving on a slippery surface, be
careful when braking, accelerating or
downshifting. Abrupt braking or accel-
erating could cause the wheels to skid
and result in an accident.
●If the engine is not running or is turned
off while driving, the power assist for
the brakes will not work. Braking will be
harder.
Wet brakes
When the vehicle is washed or driven through
water, the brakes may get wet. As a result, your
braking distance will be longer and the vehicle
may pull to one side during braking.
To dry the brakes, drive the vehicle at a safe
speed while lightly pressing the brake pedal to
heat up the brakes. Do this until the brakes return
to normal. Avoid driving the vehicle at high
speeds until the brakes function correctly.
Parking brake break-in
Break in the parking brake shoes whenever the
stopping effect of the parking brake is weakened
or whenever the parking brake shoes and/or
drums/rotors are replaced, in order to assure the
best braking performance.
This procedure is described in the vehicle service
manual. It is recommended that you visit a
NISSAN dealer for this service.
ANTI-LOCK BRAKING SYSTEM
(ABS)
WARNING
●The ABS is a sophisticated device, but it
cannot prevent accidents resulting from
careless or dangerous driving tech-
niques. It can help maintain vehicle con-
trol during braking on slippery surfaces.
Remember that stopping distances on
slippery surfaces will be longer than on
normal surfaces even with ABS. Stop-
ping distances may also be longer on
rough, gravel or snow covered roads, or
if you are using tire chains. Always
maintain a safe distance from the ve-
hicle in front of you. Ultimately, the
driver is responsible for safety.
●Tire type and condition may also affect
braking effectiveness.
– When replacing tires, install the
specified size of tires on all four
wheels.
– When installing a spare tire, make
sure that it is the proper size and type
as specified on the Tire and Loading
Information label. For additional in-
formation, refer to “Tire and Loading
Information label” in the “Technical
and consumer information” section
of this manual.
– For additional information, refer to
“Wheels and tires” in the “Do-it-
yourself” section of this manual.
The ABS controls the brakes so the wheels do
not lock during hard braking or when braking on
slippery surfaces. The system detects the rota-
tion speed at each wheel and varies the brake
fluid pressure to prevent each wheel from locking
and sliding. By preventing each wheel from lock-
ing, the system helps the driver maintain steering
control and helps to minimize swerving and spin-
ning on slippery surfaces.
Using the system
Depress the brake pedal and hold it down. De-
press the brake pedal with firm steady pressure,
but do not pump the brakes. The ABS will oper-
ate to prevent the wheels from locking up. Steer
the vehicle to avoid obstacles.
5-34 Starting and driving

WARNING
Do not pump the brake pedal. Doing so
may result in increased stopping
distances.
Self-test feature
The ABS includes electronic sensors, electric
pumps, hydraulic solenoids and a computer. The
computer has a built-in diagnostic feature that
tests the system each time you start the engine
and move the vehicle at a low speed in forward or
reverse. When the self-test occurs, you may hear
a “clunk”noise and/or feel a pulsation in the brake
pedal. This is normal and does not indicate a
malfunction. If the computer senses a malfunc-
tion, it switches the ABS off and illuminates the
ABS warning light on the instrument panel. The
brake system then operates normally but without
anti-lock assistance.
If the ABS warning light illuminates during the
self-test or while driving, have the vehicle
checked. It is recommended that you visit a
NISSAN dealer for this service.
Normal operation
The ABS operates at speeds above3-6mph(5
- 10 km/h). The speed varies according to road
conditions.
When the ABS senses that one or more wheels
are close to locking up, the actuator rapidly ap-
plies and releases hydraulic pressure. This action
is similar to pumping the brakes very quickly. You
may feel a pulsation in the brake pedal and hear a
noise from under the hood or feel a vibration from
the actuator when it is operating. This is normal
and indicates that the ABS is operating properly.
However, the pulsation may indicate that road
conditions are hazardous and extra care is re-
quired while driving.
●The ABLS system uses automatic braking to
transfer power from a slipping drive wheel to
the wheel on the same axle with more trac-
tion. The ABLS system applies braking to
the slipping wheel, which helps redirect
power to the other wheel.
●On 4WD models the ABLS system operates
in both 4H and 4LO modes. If 4WD mode is
engaged, the ABLS system operates for
both drive axles. On 2WD vehicles, the
ABLS system operates on the drive axle
only.
●The ABLS system is always ON. In some
conditions, the system may automatically
turn the ABLS system off. If the system is
automatically turned off, normal brake func-
tion will continue. ABLS will function even
when the VDC system is turned OFF.
●The ABLS does not operate if both wheels
on a drive axle are slipping.
ACTIVE BRAKE LIMITED SLIP (ABLS)
SYSTEM
Starting and driving 5-35

WARNING
●The ABLS system helps provide in-
creased traction, but will not prevent
accidents due to abrupt steering opera-
tion or by careless driving or dangerous
driving practices. Reduce vehicle speed
and be especially careful when driving
and cornering on slippery surfaces. Al-
ways drive carefully.
●
Do not modify the vehicle’s suspension. If
suspension parts such as shock absorb-
ers, struts, springs, stabilizer bars, bush-
ings and wheels are not NISSAN ap-
proved for your vehicle or are extremely
deteriorated, the ABLS system may not
operate properly. This could adversely af-
fect vehicle handling performance, and
the slip indicator light may illuminate.
●If brake related parts such as brake
pads, rotors and calipers are not
NISSAN recommended or are extremely
deteriorated, the ABLS system may not
operate properly and the slip indicator
light may illuminate.
●If wheels or tires other than the NISSAN
recommended ones are used, the ABLS
system may not operate properly and
the slip indicator light may illuminate.
The VDC system uses various sensors to monitor
driver inputs and vehicle motion. Under certain
driving conditions, the VDC System helps to per-
form the following functions:
●Controls brake pressure to reduce wheel
slip on one slipping drive wheel so power is
transferred to a non slipping drive wheel on
the same axle.
●Controls brake pressure and engine output
to reduce drive wheel slip based on vehicle
speed (traction control function).
●If the 4WD transfer case is shifted into 4LO
the indicator light will come on and
the VDC system will be turned off. For addi-
tional information, refer to “Using 4–wheel
drive (4WD)” in this section.
●Controls brake pressure at individual wheels
and engine output to help the driver maintain
control of the vehicle in the following condi-
tions:
– Understeer (vehicle tends to not follow
the steered path despite increased steer-
ing input)
– Oversteer (vehicle tends to spin due to
certain road or driving conditions)
The VDC system can help the driver to maintain
control of the vehicle, but it cannot prevent loss of
vehicle control in all driving situations.
When the VDC system operates, the indi-
cator in the instrument panel flashes so note the
following:
●The road may be slippery or the system may
determine some action is required to help
keep the vehicle on the steered path.
●You may feel a pulsation in the brake pedal
and hear a noise or vibration from under the
hood. This is normal and indicates that the
VDC system is working properly.
●Adjust your speed and driving to the road
conditions.
For additional information, refer to “Slip indicator
light” and ”Vehicle Dynamic Control (VDC) OFF
indicator light” in the ”Instruments and controls”
section of this manual.
If a malfunction occurs in the system, the
indicator light will come on in the instrument
panel. The VDC system automatically turns off
when these indicator lights are off.
The VDC OFF switch is used to turn off the VDC
system. The indicator illuminates to indi-
cate the VDC system is off.
When the VDC switch is used to turn off the
system, the VDC system still operates to prevent
one drive wheel from slipping by transferring
power to a non slipping drive wheel. The
VEHICLE DYNAMIC CONTROL (VDC)
SYSTEM
5-36 Starting and driving

indicator flashes if this occurs. All other VDC
functions are off and the indicator will not
flash.
The VDC system is automatically reset to on
when the ignition switch is placed in the off
position then back to the on position.
The computer has a built in diagnostic feature
that tests the system each time you start the
engine and move the vehicle forward or in reverse
at a slow speed. When the self-test occurs, you
may hear a clunk noise and/or feel a pulsation in
the brake pedal. This is normal and is not an
indication of a malfunction.
WARNING
●The VDC system is designed to help the
driver maintain stability but does not
prevent accidents due to abrupt steer-
ing operation at high speeds or by care-
less or dangerous driving techniques.
Reduce vehicle speed and be especially
careful when driving and cornering on
slippery surfaces and always drive
carefully.
●Do not modify the vehicle’s suspension.
If suspension parts such as shock ab-
sorbers, struts, springs, stabilizer bars,
bushings and wheels are not NISSAN
recommended for your vehicle or are
extremely deteriorated, the VDC system
may not operate properly. This could
adversely affect vehicle handling per-
formance, and the indicator may
flash or the indicator light may
illuminate.
●If brake related parts such as brake
pads, rotors and calipers are not
NISSAN recommended or are extremely
deteriorated, the VDC system may not
operate properly and the indica-
tor and light may illuminate.
●If engine control related parts are not
NISSAN recommended or are extremely
deteriorated, both the and
indicator light may illuminate.
●When driving on extremely inclined sur-
faces such as higher banked corners,
the VDC system may not operate prop-
erly and the indicator may flash or
the indicator light may illuminate.
Do not drive on these types of roads.
●When driving on an unstable surface
such as a turntable, ferry, elevator or
ramp, the indicator may flash or
the indicator light may illuminate.
This is not a malfunction. Restart the
engine after driving onto a stable
surface.
●If wheels or tires other than the NISSAN
recommended ones are used, the VDC
system may not operate properly and
the indicator may flash or
the indicator light may illuminate.
●The VDC system is not a substitute for
winter tires or tire chains on a snow
covered road.
BRAKE FORCE DISTRIBUTION
During braking while driving through turns, the
system optimizes the distribution of force to each
of the four wheels depending on the radius of the
turn.
Starting and driving 5-37

WARNING
●The VDC system is designed to help the
driver maintain stability but does not
prevent accidents due to abrupt steer-
ing operation at high speeds or by care-
less or dangerous driving techniques.
Reduce vehicle speed and be especially
careful when driving and cornering on
slippery surfaces and always drive
carefully.
●Do not modify the vehicle’s suspension.
If suspension parts such as shock ab-
sorbers, struts, springs, stabilizer bars,
bushings and wheels are not NISSAN
recommended for your vehicle or are
extremely deteriorated, the VDC system
may not operate properly. This could
adversely affect vehicle handling per-
formance, and the indicator may
flash or the indicator light may
illuminate.
●If brake related parts such as brake
pads, rotors and calipers are not
NISSAN recommended or are extremely
deteriorated, the VDC system may not
operate properly and the indica-
tor and light may illuminate.
●If engine control related parts are not
NISSAN recommended or are extremely
deteriorated, both the and
indicator light may illuminate.
●When driving on extremely inclined sur-
faces such as higher banked corners,
the VDC system may not operate prop-
erly and the indicator may flash or
the indicator light may illuminate.
Do not drive on these types of roads.
●When driving on an unstable surface
such as a turntable, ferry, elevator or
ramp, the indicator may flash or
the indicator light may illuminate.
This is not a malfunction. Restart the
engine after driving onto a stable
surface.
●If wheels or tires other than the NISSAN
recommended ones are used, the VDC
system may not operate properly and
the indicator may flash or
the indicator light may illuminate.
●The VDC system is not a substitute for
winter tires or tire chains on a snow
covered road.
WARNING
●Never rely solely on the hill descent
control system to control vehicle speed
when driving on steep downhill grades.
Always drive carefully and attentively
when using the hill descent control sys-
tem and decelerate the vehicle speed by
depressing the brake pedal if neces-
sary. Be especially careful when driving
on frozen, muddy or extremely steep
downhill roads. Failure to control ve-
hicle speed may result in a loss of con-
trol of the vehicle and possible serious
injury or death.
●The hill descent control may not control
the vehicle speed on a hill under all load
or road conditions. Always be prepared
to depress the brake pedal to control
vehicle speed. Failure to do so may re-
sult in a collision or serious personal
injury.
The hill descent control system helps maintain
vehicle speed when driving under 15-21 mph
(25-35 km/h) on steeper downhill grades. Hill
descent control is useful when engine braking
alone in 4H or 4L cannot control vehicle speed.
Hill descent control applies the vehicle brakes to
control vehicle speed allowing the driver to con-
HILL DESCENT CONTROL SYSTEM (if
so equipped)
5-38 Starting and driving

centrate on steering while reducing the burden of
brake and accelerator operation.
●When additional braking is required on
steep downhill roads, activate the hill de-
scent control system by pushing the switch
ON. For additional information, refer to “Hill
descent control switch” in the “Instruments
and controls” section of this manual.
●Once the system is activated, the indicator
light will remain on in the instrument panel.
For additional information, refer to “Hill de-
scent control system ON indicator light” in
the “Instruments and controls”section of this
manual.
If the accelerator or brake pedal is depressed
while the hill descent control system is on, the
system will stop operating temporarily. As soon
as the accelerator or brake pedal is released, the
hill descent control system begins to function
again if the hill descent control operating condi-
tions are fulfilled.
For the best results, when descending steep
downhill grades, the hill descent control switch
should be ON and the shift lever in 2 (Second
gear) or 1 (Low gear) for engine braking.
WARNING
●Never rely solely on the hill start assist
system to prevent the vehicle from mov-
ing backward on a hill. Always drive
carefully and attentively. Depress the
brake pedal when the vehicle is stopped
on a steep hill. Be especially careful
when stopped on a hill on frozen or
muddy roads. Failure to prevent the ve-
hicle from rolling backwards may result
in a loss of control of the vehicle and
possible serious injury or death.
●The hill start assist system is not de-
signed to hold the vehicle at a standstill
on a hill. Depress the brake pedal when
the vehicle is stopped on a steep hill.
Failure to do so may cause the vehicle
to roll backwards and may result in a
collision or serious personal injury.
●The hill start assist may not prevent the
vehicle from rolling backwards on a hill
under all load or road conditions. Al-
ways be prepared to depress the brake
pedal to prevent the vehicle from rolling
backwards. Failure to do so may result
in a collision or serious personal injury.
When the vehicle is stopped on a hill, the hill start
assist system automatically keeps the brakes ap-
plied. This helps prevents the vehicle from rolling
backward in the time it takes the driver to release
the brake pedal and apply the accelerator.
Hill start assist will operate automatically under
the following conditions:
●The shift lever is shifted to a forward or
reverse gear.
●The vehicle is stopped completely on a hill
by applying the brake.
The maximum holding time is 2 seconds. After
2 seconds the vehicle will begin to roll back and
hill start assist will stop operating completely.
Hill start assist will not operate when the shift
lever is shifted into N (Neutral) or P (Park) or on a
flat and level road.
HILL START ASSIST SYSTEM (if so
equipped)
Starting and driving 5-39

WARNING
●Always turn and look back before back-
ing up. The RSS is not a substitute for
proper backing procedures.
●Read and understand the limitations of
the rear sonar system as contained in
this section. Inclement weather may af-
fect the function of the RSS; this may
include reduced performance or a false
activation.
●This system is not designed to prevent
contact with small or moving objects.
●The system is designed as an aid to the
driver in detecting large stationary ob-
jects to help avoid damaging the ve-
hicle. The system will not detect small
objects below the bumper, and may not
detect objects close to the bumper or
on the ground.
●If your vehicle sustains damage to the
rear bumper fascia, leaving it mis-
aligned or bent, the sensing zone may
be altered causing inaccurate measure-
ment of obstacles or false alarms.
The RSS sounds a tone to warn the driver of
obstacles near the rear bumper when the shift
lever is in R (Reverse). The system may not
detect objects at speeds above 3 mph (5 km/h)
and may not detect certain angular or moving
objects.
The RSS detects obstacles up to 5.9 ft (1.8 m)
from the rear bumper with a decreased coverage
area at the outer corners of the bumper (refer to
the illustration for approximate zone coverage
areas). As you move closer to the obstacle, the
rate of the tone increases. When the obstacle is
less than 10 in (25.0 cm) away, the tone will
sound continuously. If the RSS detects a station-
ary or receding object further than 10 in
(25.0 cm) from the side of the vehicle, the tone
will sound for only 3 seconds. Once the system
detects an object approaching, the tone will
sound again.
The RSS automatically turns on when the shift
lever is placed in R (Reverse) and the ignition is
ON. The RSS OFF switch on the instrument
panel allows the driver to turn the RSS on and off.
To turn the RSS off, the ignition must be ON, and
the shift lever in R (Reverse). An indicator light on
the switch will illuminate when the system is
turned off. If the indicator light illuminates when
the RSS is not turned off, it may indicate a mal-
function in the RSS.
Keep the RSS sensors (located on the rear bum-
per fascia) free from snow, ice and large accumu-
lations of dirt (do not clean the sensors with sharp
objects). If the sensors are covered, it will affect
the accuracy of the RSS.
WSD0103
REAR SONAR SYSTEM (RSS) (if so
equipped)
5-40 Starting and driving

FREEING A FROZEN DOOR LOCK
To prevent a door lock from freezing, apply de-
icer through the key hole. If the lock becomes
frozen, heat the key before inserting it into the key
hole or use the remote keyless entry key fob (if so
equipped).
ANTIFREEZE
In the winter when it is anticipated that the tem-
perature will drop below 32°F (0°C), check the
antifreeze to assure proper winter protection. For
additional information, refer to “Engine cooling
system” in the “Do-it-yourself” section of this
manual.
BATTERY
If the battery is not fully charged during extremely
cold weather conditions, the battery fluid may
freeze and damage the battery. To maintain maxi-
mum efficiency, the battery should be checked
regularly. For additional information, refer to “Bat-
tery” in the “Do-it-yourself” section of this manual.
DRAINING OF COOLANT WATER
If the vehicle is to be left outside without anti-
freeze, drain the cooling system, including the
engine block. Refill before operating the vehicle.
For additional information, refer to “Changing
engine coolant” in the “Do-it-yourself” section of
this manual.
TIRE EQUIPMENT
1. SUMMER tires have a tread designed to
provide superior performance on dry pave-
ment. However, the performance of these
tires will be substantially reduced in snowy
and icy conditions. If you operate your ve-
hicle on snowy or icy roads, NISSAN recom-
mends the use of MUD & SNOW or ALL
SEASON TIRES on all four wheels. It is
recommended that you visit a NISSAN
dealer for the tire type, size, speed rating and
availability information.
2. For additional traction on icy roads, studded
tires may be used. However, some U.S.
states and Canadian provinces prohibit their
use. Check local, state and provincial laws
before installing studded tires.
Skid and traction capabilities of studded
snow tires on wet or dry surfaces may be
poorer than that of non-studded snow tires.
3. Tire chains may be used. For additional in-
formation, refer to “Tire chains” in the “Do-it-
yourself” section of this manual.
SPECIAL WINTER EQUIPMENT
It is recommended that the following items be
carried in the vehicle during winter:
●A scraper and stiff-bristled brush to remove
ice and snow from the windows and wiper
blades.
●A sturdy, flat board to be placed under the
jack to give it firm support.
●A shovel to dig the vehicle out of snowdrifts.
●Extra washer fluid to refill the windshield-
washer fluid reservoir.
DRIVING ON SNOW OR ICE
WARNING
●Wet ice (32°F, 0°C and freezing rain),
very cold snow or ice can be slick and
very hard to drive on. The vehicle will
have much less traction or “grip” under
these conditions. Try to avoid driving on
wet ice until the road is salted or
sanded.
●Whatever the condition, drive with cau-
tion. Accelerate and slow down with
care. If accelerating or downshifting too
fast, the drive wheels will lose even
more traction.
COLD WEATHER DRIVING
Starting and driving 5-41

●Allow more stopping distance under
these conditions. Braking should be
started sooner than on dry pavement.
●Allow greater following distances on
slippery roads.
●Watch for slippery spots (glare ice).
These may appear on an otherwise
clear road in shaded areas. If a patch of
ice is seen ahead, brake before reach-
ing it. Try not to brake while on the ice,
and avoid any sudden steering
maneuvers.
●Do not use the cruise control on slip-
pery roads.
●Snow can trap dangerous exhaust
gases under your vehicle. Keep snow
clear of the exhaust pipe and from
around your vehicle.
ENGINE BLOCK HEATER (if so
equipped)
Engine block heaters are used to assist with cold
temperature starting.
The engine block heater should be used when
the outside temperature is 20°F (-7°C) or lower.
WARNING
●Do not use your engine block heater
with an ungrounded electrical system or
a 2-pronged adapter. You can be seri-
ously injured by an electrical shock if
you use an ungrounded connection.
●Disconnect and properly store the en-
gine block heater cord before starting
the engine. Damage to the cord could
result in an electrical shock and can
cause serious injury.
●Use a heavy-duty 3-wire, 3-pronged ex-
tension cord rated for at least 10 A. Plug
the extension cord into a Ground Fault
Interrupt (GFI) protected, grounded
110-VAC outlet. Failure to use the
proper extension cord or a grounded
outlet can result in a fire or electrical
shock and cause serious personal
injury.
To use the engine block heater:
1. Turn the engine off.
2. Open the hood and unwrap the engine block
heater cord.
3. Plug the engine block heater cord into a
grounded 3-wire, 3-pronged extension
cord.
4. Plug the extension cord into a Ground Fault
Interrupt (GFI) protected, grounded 110-
volt AC (VAC) outlet.
5. The engine block heater must be plugged in
for at least 2–4 hours, depending on outside
temperatures, to properly warm the engine
coolant. Use an appropriate timer to turn the
engine block heater on.
6. Before starting the engine, unplug and prop-
erly store the cord to keep it away from
moving parts.
5-42 Starting and driving

6 In case of emergency
Hazard warning flasher switch ......................6-2
First aid kit (if so equipped) .........................6-2
Flat tire ...........................................6-3
Tire Pressure Monitoring System (TPMS)..........6-3
Changing a flat tire .............................6-4
Jump starting ....................................6-12
Push starting.....................................6-14
If your vehicle overheats ...........................6-14
Towing your vehicle ...............................6-15
Towing recommended by NISSAN ..............6-15
Vehicle recovery (freeing a stuck vehicle) .........6-19

Push the switch on to warn other drivers when
you must stop or park under emergency condi-
tions. All turn signal lights flash.
WARNING
●If stopping for an emergency, be sure to
move the vehicle well off the road.
●Do not use the hazard warning flashers
while moving on the highway unless
unusual circumstances force you to
drive so slowly that your vehicle might
become a hazard to other traffic.
●Turn signals do not work when the haz-
ard warning flasher lights are on.
The flashers will operate with the ignition switch
placed in any position.
Some jurisdictions may prohibit the use of
the hazard warning flasher switch while
driving.
The first aid kit is located in the under-seat stor-
age bins.
To access the first aid kit:
LIC0394
HAZARD WARNING FLASHER
SWITCH
FIRST AID KIT (if so equipped)
6-2 In case of emergency

For King Cab model, lift up the rear jump seat and
remove net to remove the first aid kit. For addi-
tional information, refer to “Jump Seats (if so
equipped)” in the “Safety — Seats, seat belts and
supplemental restraint system” section of this
manual.
For Crew Cab model, lift up the rear bench seat
and remove the net to remove the first aid kit. For
additional information, refer to “Folding the rear
bench seat up” in the “Safety — Seats, seat belts
and supplemental restraint system” section of
this manual.
TIRE PRESSURE MONITORING
SYSTEM (TPMS)
This vehicle is equipped with TPMS. It monitors
tire pressure of all tires except the spare. When
the low tire pressure warning light is lit, and the
CHECK TIRE PRES (pressure) warning mes-
sage is displayed in the odometer, one or more of
your tires is significantly under-inflated. If the
vehicle is being driven with low tire pressure, the
TPMS will activate and warn you of it by the low
tire pressure warning light. This system will acti-
vate only when the vehicle is driven at speeds
above 16 mph (25 km/h). For additional informa-
tion, refer to “Warning lights, indicator lights and
audible reminders” in the “Instruments and Con-
trols” section, and “Tire Pressure Monitoring Sys-
tem (TPMS)” in the “Starting and Driving” section
of this manual.
WARNING
●Radio waves could adversely affect
electric medical equipment. Those who
use a pacemaker should contact the
electric medical equipment manufac-
turer for the possible influences before
use.
King Cab model
LCE0108
Crew Cab model
LCE0113
FLAT TIRE
In case of emergency 6-3

●If the low tire pressure warning light
illuminates while driving, avoid sudden
steering maneuvers or abrupt braking,
reduce vehicle speed, pull off the road
to a safe location and stop the vehicle
as soon as possible. Driving with under-
inflated tires may permanently damage
the tires and increase the likelihood of
tire failure. Serious vehicle damage
could occur and may lead to an accident
and could result in serious personal in-
jury. Check the tire pressure for all four
tires. Adjust the tire pressure to the
recommended COLD tire pressure
shown on the Tire and Loading Informa-
tion label to turn the low tire pressure
warning light OFF. If you have a flat tire,
replace it with a spare tire as soon as
possible.
●Since the spare tire is not equipped with
the TPMS, when a spare tire is mounted
or a wheel is replaced, the TPMS will
not function and the low tire pressure
warning light will flash for approxi-
mately 1 minute. The light will remain
on after 1 minute. Have your tires re-
placed and/or TPMS system reset as
soon as possible. It is recommended
that you visit a NISSAN dealer for these
services.
●Replacing tires with those not originally
specified by NISSAN could affect the
proper operation of the TPMS.
●Do not inject any tire liquid or aerosol
tire sealant into the tires, as this may
cause a malfunction of the tire pressure
sensors.
CHANGING A FLAT TIRE
If you have a flat tire, follow the instructions be-
low:
Stopping the vehicle
1. Safely move the vehicle off the road and
away from traffic.
2. Turn on the hazard warning flashers.
3. Park on a level surface and apply the parking
brake. Shift the manual transmission into R
(Reverse), or the automatic transmission
into P (Park).
4. Turn off the engine.
5. Raise the hood to warn other traffic and to
signal professional road assistance person-
nel that you need assistance.
6. Have all passengers get out of the vehicle
and stand in a safe place, away from traffic
and clear of the vehicle.
WARNING
●Make sure the parking brake is securely
applied and the manual transmission is
shifted into R (Reverse), or the auto-
matic transmission into P (Park).
●Never change tires when the vehicle is
on a slope, ice or slippery areas. This is
hazardous.
●Never change tires if oncoming traffic is
close to your vehicle. Wait for profes-
sional road assistance.
6-4 In case of emergency

A. Blocks
B. Flat tire
Blocking wheels
Place suitable blocks at both the front and back
of the wheel diagonally opposite the flat tire to
prevent the vehicle from moving when it is jacked
up.
WARNING
Be sure to block the wheel as the vehicle
may move and result in personal injury.
Getting the spare tire and tools (King
Cab models)
The tool storage compartment is located be-
tween the two rear jump seats.
1. Turn the knob from the lock to the unlock
position and remove the lid from the tool
storage compartment.
2. Release the strap to remove the tool bag.
3. Collapse the jack to remove it from the stor-
age location by inserting the wheel-nut
wrench into the jack screw at the top of the
jack as shown. Turn the wheel-nut wrench
counterclockwise as shown until the jack
screw becomes loose. Then loosen the jack
with your fingers to free.
4. Remove the jack.
5. To reinstall the jack and tools, reverse
steps 1 to 4.
LCE2142 LCE0109 LCE0110
In case of emergency 6-5

Getting the spare tire and tools (Crew
Cab models)
The tools and tool bag are located behind the
rear bench seat.
1. Remove the head restraints/headrests and
fold the rear bench seat down. For additional
information, refer to “Folding the rear bench
seat down ” in the “Safety–Seats, seat belts
and supplemental restraint system” section
of this manual.
2. Remove the tool bag and locate the wheel-
nut wrench.
3. Collapse the jack to remove it from the stor-
age location by inserting the wheel-nut
wrench into the jack screw as shown and
turning the wheel-nut wrench towards you
until the jack becomes loose. Then loosen
the jack screw with your fingers until it is
free.
4. Remove the jack from behind the seat.
5. To reinstall the jack and tools, reverse
steps 1 to 4.
LCE2164 LCE2159 LCE2165
6-6 In case of emergency

Getting the spare tire and tools (All
models)
1. Seat the T-shaped end of the jack rod into
the T-shaped opening of the spare tire
winch. Apply pressure to keep the jack rod
engaged in the spare tire winch and turn the
jack rod counterclockwise to lower the
spare tire.
2. Once the spare tire is completely lowered,
reach under the vehicle, remove the retainer
chain, and carefully slide the tire from under
the rear of the vehicle.
3. To reinstall the wheel, insert the tire chain
through the wheel. Be sure the rubber
spacer is centered on the wheel before lift-
ing. Use the assembled jack rod and slowly
rotate the winch clockwise to raise the
wheel to the vehicle.
NOTE:
Inspect the spacer every six years and re-
place as necessary. It is recommended that
you visit a NISSAN dealer for this service.
WCE0070
LCE2022
In case of emergency 6-7

CAUTION
●Be sure to center the spare tire sus-
pending plate on the wheel and then lift
the spare tire.
●Failure to use the spacer may allow the
chain to get stuck on the wheel nut
holes.
Removing wheel cover (if so
equipped)
CAUTION
Do not use your hands to pry off wheel
caps or wheel covers. Doing so could re-
sult in personal injury.
To remove the wheel cover, use the jack rod 䊊
1
as illustrated.
Apply cloth 䊊
2between the wheel and jack rod to
prevent damaging the wheel and wheel cover.
Use caution not to scratch the wheel cover or
wheel surface.
Jacking up vehicle and removing the
damaged tire
WARNING
●Never get under the vehicle while it is
supported only by the jack. If it is nec-
essary to work under the vehicle, sup-
port it with safety stands.
●Use only the jack provided with your
vehicle to lift the vehicle. Do not use the
jack provided with your vehicle on other
vehicles. The jack is designed for lifting
only your vehicle during a tire change.
●Use the correct jack-up points. Never
use any other part of the vehicle for jack
support.
●Never jack up the vehicle more than
necessary.
●Never use blocks on or under the jack.
●
Do not start or run the engine while ve-
hicle is on the jack. It may cause the
vehicle to move. This is especially true for
vehicles with limited slip differentials.
●Do not allow passengers to stay in the
vehicle while it is on the jack.
●
Never run the engine with a wheel(s) off the
ground. It may cause the vehicle to move.
SCE0630
6-8 In case of emergency

Always refer to the illustration for the correct
placement and jack-up points for your specific
vehicle model and jack type.
Carefully read the caution label attached to
the jack body and the following instruc-
tions.
1. Loosen each wheel nut 1 or 2 turns by
turning counterclockwise with the wheel nut
wrench. Do not remove the wheel nuts
until the tire is off the ground.
2. Place the jack directly under the jack-up
point as illustrated so the top of the jack
contacts the vehicle at the jack-up point.
Align the jack head between the 2 notches in
the front or the rear as shown. Also fit the
groove of the jack head between the
notches as shown.
The jack should be used on firm and
level ground.
WCE0152
In case of emergency 6-9

3. Install the assembled jack rod into the jack
as shown.
4. To lift the vehicle, securely hold the jack lever
and rod. Carefully raise the vehicle until the
tire clears the ground.
5. Remove the wheel nuts and then remove the
tire.
Installing the spare tire
The spare tire is designed for emergency
use. For additional information, refer to
“Wheels and tires” in the “Do-it-yourself”
section of this manual.
1. Clean any mud or dirt from the surface be-
tween the wheel and hub.
2. Carefully put the spare tire on and tighten
the wheel nuts finger tight.
3. With the wheel nut wrench, tighten wheel
nuts alternately and evenly in the sequence
illustrated (䊊
1,䊊
2,䊊
3,䊊
4,䊊
5,䊊
6) until they
are tight.
LCE0087
WCE0063
6-10 In case of emergency

4. Lower the vehicle slowly until the tire
touches the ground. Then, with the wheel
nut wrench, tighten the wheel nuts securely
in the sequence illustrated
(䊊
1,䊊
2,䊊
3,䊊
4,䊊
5,䊊
6). Lower the vehicle
completely .
WARNING
●Incorrect wheel nuts or improperly
tightened wheel nuts can cause the
wheel to become loose or come off.
This could cause an accident.
●Do not use oil or grease on the wheel
studs or nuts. This could cause the nuts
to become loose.
●Retighten the wheel nuts when the ve-
hicle has been driven for 620 miles
(1,000 km) (also in cases of a flat tire,
etc.).
As soon as possible, tighten the wheel nuts
to the specified torque with a torque
wrench.
Wheel nut tightening torque:
98 ft-lb (133 N·m)
The wheel nuts must be kept tightened to
specification at all times. It is recom-
mended that wheel nuts be tightened to
specifications at each lubrication interval.
Adjust tire pressure to the COLD pressure.
COLD pressure: After vehicle has been
parked for 3 hours or more or driven less
than 1 mile (1.6 km).
COLD tire pressures are shown on the Tire
and Loading Information label located in
the driver’s door opening.
5. Securely store the jacking equipment in the
vehicle and the flat tire under the vehicle. For
additional information about storing the flat
tire, refer to “Getting the spare tire and tools”
in this section.
WARNING
●Always make sure that the spare tire
and jacking equipment are properly se-
cured after use. Such items can become
dangerous projectiles in an accident or
sudden stop.
●The spare tire is designed for emer-
gency use. For additional information,
refer to “Wheels and tires” in the “Do-
it-yourself” section of this manual.
In case of emergency 6-11

To start your engine with a booster battery, the
instructions and precautions below must be fol-
lowed.
WARNING
●If done incorrectly, jump starting can
lead to a battery explosion, resulting in
severe injury or death. It could also
damage your vehicle.
●Explosive hydrogen gas is always pres-
ent in the vicinity of the battery. Keep all
sparks and flames away from the
battery.
●Do not allow battery fluid to come into
contact with eyes, skin, clothing or
painted surfaces. Battery fluid is a cor-
rosive sulfuric acid solution which can
cause severe burns. If the fluid should
come into contact with anything, imme-
diately flush the contacted area with
water.
●Keep battery out of the reach of
children.
●The booster battery must be rated at
12 volts. Use of an improperly rated
battery can damage your vehicle.
●Whenever working on or near a battery,
always wear suitable eye protectors (for
example, goggles or industrial safety
spectacles) and remove rings, metal
bands, or any other jewelry. Do not lean
over the battery when jump starting.
●Do not attempt to jump start a frozen
battery. It could explode and cause se-
rious injury.
●The automatic engine cooling fan (if so
equipped) may come on at any time
without warning, even if the ignition
switch is in the OFF position and the
engine is not running. To avoid injury,
keep hands and other objects away
from it
JUMP STARTING
6-12 In case of emergency

WARNING
Always follow the instructions below. Fail-
ure to do so could result in damage to the
charging system and cause personal
injury.
1. If the booster battery is in another vehicle,
position the 2 vehicles to bring their batter-
ies near each other.
Do not allow the two vehicles to touch.
2. Apply the parking brake. Move the shift lever
to P (Park). Switch off all unnecessary elec-
trical systems (lights, heater, air conditioner,
etc.).
3. Ensure the vent caps are level and tight.
4. Connect the jumper cables in the sequence
illustrated (䊊
A,䊊
B,䊊
C,䊊
D).
CAUTION
●Always connect positive (⫹) to positive
(⫹) and negative (⫺) to body ground (for
example, strut mounting bolt, engine
lift bracket, etc.) — not to the battery.
●Make sure the jumper cables do not
touch moving parts in the engine com-
partment and that the cable clamps do
not contact any other metal.
5. Start the engine of the booster vehicle and
let it run for a few minutes.
6. Keep the engine speed of the booster ve-
hicle at about 2,000 rpm and start the en-
gine of the vehicle being jump started.
CAUTION
Do not keep the starter motor engaged for
more than 10 seconds. If the engine does
not start right away, place the ignition
switch in the OFF position and wait 3 to
4 seconds before trying again.
7. After starting the engine, carefully discon-
nect the negative cable and then the positive
cable.
LCE2223
In case of emergency 6-13

CAUTION
●Do not push start this vehicle. The 3-way
catalyst may be damaged.
●Automatic transmission models cannot
be push-started or tow-started. At-
tempting to do so may cause transmis-
sion damage.
●For manual transmission models, never
try to start the vehicle by towing it.
When the engine starts, the forward
surge could cause the vehicle to collide
with the tow vehicle.
WARNING
●Do not continue to drive if your vehicle
overheats. Doing so could cause engine
damage or a vehicle fire.
●To avoid the danger of being scalded,
never remove the radiator cap while the
engine is still hot. When the radiator
cap is removed, pressurized hot water
will spurt out, possibly causing serious
injury.
●Do not open the hood if steam is com-
ing out.
If your vehicle is overheating (indicated by an
extremely high temperature gauge reading), or if
you feel a lack of engine power, detect abnormal
noise, etc. take the following steps.
1. Move the vehicle safely off the road, apply
the parking brake and move the shift lever to
N (Neutral) (manual transmission) or to P
(Park) (automatic transmission).
Do not stop the engine.
2. Turn off the air conditioner. Open all the
windows, move the heater or air conditioner
temperature control to maximum hot and fan
control to high speed.
3. Get out of the vehicle. Look and listen for
steam or coolant escaping from the radiator
before opening the hood. If steam or coolant
is escaping, turn off the engine. Do not open
the hood further until no steam or coolant
can be seen.
4. Open the engine hood.
WARNING
If steam or water is coming from the en-
gine, stand clear to prevent getting
burned.
5. Visually check drive belts for damage or
looseness. Also check if the cooling fan is
running. The radiator hoses and radiator
should not leak water. If coolant is leaking,
the water pump belt is missing or loose, or
the cooling fan does not run, stop the en-
gine.
WARNING
Be careful not to allow your hands, hair,
jewelry or clothing to come into contact
with, or get caught in, engine belts or the
engine cooling fan. The engine cooling fan
can start at any time.
PUSH STARTING IF YOUR VEHICLE OVERHEATS
6-14 In case of emergency

6. After the engine cools down, check the cool-
ant level in the engine coolant reservoir tank
with the engine running. Add coolant to the
engine coolant reservoir tank if necessary.
Have your vehicle repaired. It is recom-
mended that you visit a NISSAN dealer for
this service.
When towing your vehicle, all jurisdictional and
local regulations for towing must be followed.
Incorrect towing equipment could damage your
vehicle. Towing instructions are available from a
NISSAN dealer. Local service operators are gen-
erally familiar with the applicable laws and proce-
dures for towing. To assure proper towing and to
prevent accidental damage to your vehicle,
NISSAN recommends having a service operator
tow your vehicle. It is advisable to have the ser-
vice operator carefully read the following precau-
tions:
WARNING
●Never ride in a vehicle that is being
towed.
●Never get under your vehicle after it has
been lifted by a tow truck.
CAUTION
●When towing, make sure that the trans-
mission, axles, steering system and
powertrain are in working condition. If
any of these conditions apply, dollies or
a flatbed tow truck must be used.
●Always attach safety chains before
towing.
For additional information about towing your ve-
hicle behind a Recreational Vehicle (RV), refer to
“Flat towing for 4-Wheel drive vehicle” or “Flat
towing for rear wheel drive vehicle” in the “Tech-
nical and consumer information” section of this
manual.
TOWING RECOMMENDED BY
NISSAN
NISSAN recommends towing your vehicle based
upon the type of drivetrain. Please refer to the
diagrams in this section to ensure that your ve-
hicle is properly towed.
TOWING YOUR VEHICLE
In case of emergency 6-15

Four-wheel drive models with
automatic transmission
NISSAN recommends that towing dollies be
used when towing your vehicle or place the ve-
hicle on a flatbed truck as illustrated.
CAUTION
Never tow 4WD models equipped with an
automatic transmission with any of the
wheels on the ground as this may cause
serious and expensive damage to the
transfer case and transmission.
LCE2141
6-16 In case of emergency

Four-wheel drive models with manual
transmission
NISSAN recommends that towing dollies be
used when towing your vehicle or place the ve-
hicle on a flatbed truck as illustrated.
If you must use a pull behind tow truck put the
manual transmission in N (Neutral).
For 4WD vehicles, always tow with the transfer
case in the 2 HI position.
Your vehicle speed should never exceed 60 mph
(97 km/h) when towing your vehicle. After towing
500 miles, start and idle the engine with the
transmission in N (Neutral) for two minutes. Fail-
ure to idle the engine after every 500 miles of
towing may cause damage to the transmission’s
internal parts.
CAUTION
Failure to follow these guidelines can re-
sult in severe transmission damage.
CAUTION
If you have to tow manual transmission
models with the rear wheels on the
ground (if you do not use towing dollies)
or four wheels on the ground:
●Always release the parking brake.
●Move the transmission shift lever to the
N (Neutral) position
●For 4WD vehicles, always tow with the
transfer case in the 2 HI position.
●Observe the following restricted towing
speeds and distances for manual trans-
mission models only:
Speed: Below 60 mph (97 km/h)
Distance: Less than 500 miles (805 km)
When towing long distances or speeds in excess
of 60 mph (97 km/h), remove the propeller shaft
before towing to prevent damage to the transmis-
sion. It is recommended that you visit a NISSAN
dealer for more information.
LCE2310
In case of emergency 6-17

Two-wheel drive models with
automatic transmission
NISSAN recommends that your vehicle be towed
with the driving (rear) wheels off the ground or
place the vehicle on a flatbed truck as illustrated.
CAUTION
●Never tow automatic transmission
models with the rear wheels on the
ground or four wheels on the ground
(forward or backward), as this may
cause serious and expensive damage to
the transmission. If it is necessary to
tow the vehicle with the front wheels
raised always use towing dollies under
the rear wheels.
●When towing automatic models with
the front wheels on the ground or on
towing dollies:
– Place the ignition switch in the OFF
position, and secure the steering
wheel in a straight-ahead position
with a rope or similar device. Never
secure the steering wheel by placing
the ignition switch in the LOCK posi-
tion. This may damage the steering
lock mechanism (for models with a
steering lock mechanism).
LCE2311
6-18 In case of emergency

Two-wheel drive models with manual
transmission
NISSAN recommends that towing dollies be
used when towing your vehicle or place the ve-
hicle on the flatbed truck as illustrated.
If you must use a pull behind tow truck put the
manual transmission in N (Neutral).
Your vehicle speed should never exceed 60 mph
(97 km/h) when towing your vehicle. After towing
500 miles, start and idle the engine with the
transmission in N (Neutral) for two minutes. Fail-
ure to idle the engine after every 500 miles of
towing may cause damage to the transmission’s
internal parts.
CAUTION
Failure to follow these guidelines can re-
sult in severe transmission damage.
CAUTION
If you have to tow manual transmission
models with the rear wheels on the
ground (if you do not use towing dollies)
or four wheels on the ground:
●Always release the parking brake.
●Move the transmission shift lever to the
N (Neutral) position
●Observe the following restricted towing
speeds and distances for manual trans-
mission models only:
Speed: Below 60 mph (97 km/h)
Distance: Less than 500 miles (805 km)
When towing long distances or speeds in excess
of 60 mph (97 km/h), remove the propeller shaft
before towing to prevent damage to the transmis-
sion. It is recommended that you visit a NISSAN
dealer for more information.
VEHICLE RECOVERY (freeing a stuck
vehicle)
There are two options to recover a stuck vehicle:
pulling and rocking. For additional information
regarding these options, please refer to “Pulling a
stuck vehicle” in this section.
LCE2310
In case of emergency 6-19

Pulling a stuck vehicle
WARNING
To avoid vehicle damage, serious personal
injury or death when recovering a stuck
vehicle:
●Contact a professional towing service
to recover the vehicle if you have any
questions regarding the recovery
procedure.
●Attach recovery devices only to main
structural members of the vehicle or the
recovery hooks.
●Do not use the vehicle tie-downs to tow
or free a stuck vehicle.
●Only use devices specifically designed
for vehicle recovery and follow the
manufacturer’s instructions.
●Always pull the recovery device straight
out from the front of the vehicle. Never
pull at an angle.
●Route recovery devices so they do not
touch any part of the vehicle except the
attachment point.
If your vehicle is stuck in sand, snow, mud, etc.,
use a tow strap or other device designed specifi-
cally for vehicle recovery. Always follow the
manufacturer’s instructions for the recovery de-
vice.
Rocking a stuck vehicle
WARNING
●Stand clear of a stuck vehicle.
●Do not spin your tires at high speed.
This could cause them to explode and
result in serious injury. Parts of your
vehicle could also overheat and be
damaged.
If your vehicle is stuck in sand, snow, mud, etc.,
use the following procedure:
1. Turn off the Vehicle Dynamic Control (VDC)
system.
2. Make sure the area in front and behind the
vehicle is clear of obstructions.
3. Turn the steering wheel right and left to clear
an area around the front tires.
4. Slowly rock the vehicle forward and back-
ward.
●Shift back and forth between R (Reverse)
and D (Drive) (automatic transmission
models) or 1st (Low) and R (Reverse)
(manual transmission models).
●Apply the accelerator as little as possible
to maintain the rocking motion.
●Release the accelerator pedal before
shifting between R and D (automatic
transmission models) or 1st and R
(manual transmission models).
●Do not spin the tires above 34 mph
(55 km/h).
5. If the vehicle cannot be freed after a few
tries, contact a professional towing service
to remove the vehicle.
6-20 In case of emergency

7 Appearance and care
Cleaning exterior ..................................7-2
Washing ......................................7-2
Waxing........................................7-2
Removing spots ................................7-3
Underbody ....................................7-3
Glass .........................................7-3
Aluminum alloy wheels (if so equipped) ...........7-3
Chrome parts ..................................7-3
Tire dressings ..................................7-3
Cleaning interior...................................7-4
Air fresheners ..................................7-4
Floor mats (if so equipped) ......................7-5
Seat belts .....................................7-6
Corrosion protection ...............................7-6
Most common factors contributing to vehicle
corrosion ......................................7-6
Environmental factors influence the rate of
corrosion ......................................7-6
Protect your vehicle from corrosion...............7-7

In order to maintain the appearance of your ve-
hicle, it is important to take proper care of it.
To protect the paint surfaces, please wash your
vehicle as soon as you can:
●After a rainfall to prevent possible damage
from acid rain.
●After driving on coastal roads.
●When contaminants such as soot, bird drop-
pings, tree sap, metal particles or bugs get
on the paint surface.
●When dust or mud builds up on the surface.
Whenever possible, store or park your vehicle
inside a garage or in a covered area.
When it is necessary to park outside, park in a
shady area or protect the vehicle with a body
cover.
Be careful not to scratch the paint surface
when putting on or removing the body
cover.
WASHING
Wash dirt off with a wet sponge and plenty of
water. Clean the vehicle thoroughly using a mild
soap, a special vehicle soap or general purpose
dishwashing liquid mixed with clean, lukewarm
(never hot) water.
CAUTION
●Do not use car washes that use acid in
the detergent. Some car washes, espe-
cially brushless ones, use some acid for
cleaning. The acid may react with some
plastic vehicle components, causing
them to crack. This could affect their
appearance, and also could cause them
not to function properly. Always check
with your car wash to confirm that acid
is not used.
●Do not wash the vehicle with strong
household soap, strong chemical deter-
gents, gasoline or solvents.
●Do not wash the vehicle in direct sun-
light or while the vehicle body is hot, as
the surface may become water-spotted.
●Avoid using tight-napped or rough
cloths, such as washing mitts. Care
must be taken when removing
caked-on dirt or other foreign sub-
stances so the paint surface is not
scratched or damaged.
Rinse the vehicle thoroughly with plenty of clean
water.
Inside edges, seams and folds on the doors,
hatches and hood are particularly vulnerable to
the effects of road salt. Therefore, these areas
must be cleaned regularly. Take care that the
drain holes in the lower edge of the door are
open. Spray water under the body and in the
wheel wells to loosen the dirt and wash away
road salt.
A damp chamois can be used to dry the vehicle to
avoid water spots.
WAXING
Regular waxing protects the paint surface and
helps retain new vehicle appearance. Polishing is
recommended to remove built-up wax residue
and to avoid a weathered appearance before
re-applying wax.
A NISSAN dealer can assist you in choosing the
proper product.
●Wax your vehicle only after a thorough wash-
ing. Follow the instructions supplied with the
wax.
●Do not use a wax containing any abrasives,
cutting compounds or cleaners that may
damage the vehicle finish.
Machine compounding or aggressive polishing
on a base coat/clear coat paint finish may dull the
finish or leave swirl marks.
CLEANING EXTERIOR
7-2 Appearance and care

REMOVING SPOTS
Remove tar and oil spots, industrial dust, insects,
and tree sap as quickly as possible from the
surface of the paint to avoid lasting damage or
staining. Special cleaning products are available
at a NISSAN dealer or any automotive accessory
store. It is recommended that you visit a NISSAN
dealer for these products.
UNDERBODY
In areas where road salt is used in winter, it is
necessary to clean the underbody regularly in
order to prevent dirt and salt from building up and
causing the acceleration of corrosion on the un-
derbody and suspension. Before the winter pe-
riod and again in the spring, the underseal must
be checked and, if necessary, re-treated.
GLASS
Use glass cleaner to remove smoke and dust film
from the glass surfaces. It is normal for glass to
become coated with a film after the vehicle is
parked in the hot sun. Glass cleaner and a soft
cloth will easily remove this film.
CAUTION
When cleaning the inside of the windows,
do not use sharp-edged tools, abrasive
cleaners or chlorine-based disinfectant
cleaners. They could damage the electrical
conductors, radio antenna elements or
rear window defroster elements.
ALUMINUM ALLOY WHEELS (if so
equipped)
Wash the wheels regularly with a sponge damp-
ened in a mild soap solution, especially during
winter months in areas where road salt is used. If
not removed, road salt can discolor the wheels.
CAUTION
Follow the directions below to avoid
staining or discoloring the wheels:
●
Do not use a cleaner that uses strong acid
or alkali contents to clean the wheels.
●Do not apply wheel cleaners to the
wheels when they are hot. The wheel
temperature should be the same as am-
bient temperature.
●Rinse the wheel to completely remove
the cleaner within 15 minutes after the
cleaner is applied.
CHROME PARTS
Clean all chrome parts regularly with a non-
abrasive chrome polish to maintain the finish.
TIRE DRESSINGS
NISSAN does not recommend the use of tire
dressings. Tire manufacturers apply a coating to
the tires to help reduce discoloration of the rub-
ber. If a tire dressing is applied to the tires, it may
react with the coating and form a compound. This
compound may come off the tire while driving and
stain the vehicle paint.
If you choose to use a tire dressing, take the
following precautions:
●Use a water-based tire dressing. The coat-
ing on the tire dissolves more easily than
with an oil-based tire dressing.
●Apply a light coat of tire dressing to help
prevent it from entering the tire
tread/grooves (where it would be difficult to
remove).
●Wipe off excess tire dressing using a dry
towel. Make sure the tire dressing is com-
pletely removed from the tire tread/grooves.
●Allow the tire dressing to dry as recom-
mended by the tire dressing manufacturer.
Appearance and care 7-3

Occasionally remove loose dust from the interior
trim, plastic parts and seats using a vacuum
cleaner or soft bristled brush. Wipe the vinyl and
leather surfaces with a clean, soft cloth damp-
ened in mild soap solution, then wipe clean with a
dry, soft cloth.
Regular care and cleaning is required in order to
maintain the appearance of the leather.
Before using any fabric protector, read the manu-
facturer’s recommendations. Some fabric pro-
tectors contain chemicals that may stain or
bleach the seat material.
Use a cloth dampened only with water to clean
the meter and gauge lens.
WARNING
Do not use water or acidic cleaners (hot
steam cleaners) on the seat. This can dam-
age the seat or occupant classification
sensor (pressure sensor). This can also
affect the operation of the air bag system
and result in serious personal injury.
CAUTION
●Never use benzine, thinner or any simi-
lar material.
●Small dirt particles can be abrasive and
damaging to leather surfaces and
should be removed promptly. Do not
use saddle soap, car waxes, polishes,
oils, cleaning fluids, solvents, deter-
gents or ammonia-based cleaners as
they may damage the leather’s natural
finish.
●Never use fabric protectors unless rec-
ommended by the manufacturer.
●Do not use glass or plastic cleaner on
meter or gauge lens covers. It may dam-
age the lens cover.
AIR FRESHENERS
Most air fresheners use a solvent that could affect
the vehicle interior. If you use an air freshener,
take the following precautions:
●Hanging-type air fresheners can cause per-
manent discoloration when they contact ve-
hicle interior surfaces. Place the air fresh-
ener in a location that allows it to hang free
and not contact an interior surface.
●Liquid-type air fresheners typically clip on
the vents. These products can cause imme-
diate damage and discoloration when
spilled on interior surfaces.
Carefully read and follow the manufacturer’s in-
structions before using the air fresheners.
CLEANING INTERIOR
7-4 Appearance and care

FLOOR MATS (if so equipped)
WARNING
To avoid potential pedal interference that
may result in a collision, injury or death:
●NEVER place a floor mat on top of an-
other floor mat in the driver front posi-
tion or install them upside down or
backwards.
●Use only Genuine NISSAN floor mats, or
equivalent floor mats, that are specifi-
cally designed for use in your vehicle
model and model year.
●Properly position the mats in the floor-
well using the floor mat positioning
hook. For additional information, refer
to ⴖFloor mat installationⴖin this
section.
●Make sure the floor mat does not inter-
fere with pedal operation.
●Periodically check the floor mats to
make sure they are properly installed.
●After cleaning the vehicle interior,
check the floor mats to make sure they
are properly installed.
The use of Genuine NISSAN floor mats can
extend the life of your vehicle carpet and make it
easier to clean the interior. Mats should be main-
tained with regular cleaning and replaced if they
become excessively worn.
Floor mat installation
Your vehicle is equipped with floor mat position-
ing hook(s). The number and shape of the floor
mat positioning hooks for each seating position
varies depending on the vehicle.
When installing Genuine NISSAN floor mats,
follow the installation instructions provided with
the mat and the following:
1. Position the floor mat in the floorwell so that
the floor mat grommet holes are aligned with
the hook(s).
2. Secure the grommet holes into the hook(s)
and ensure that the floor mat is properly
positioned.
3. Make sure the floor mat does not interfere
with pedal operation. With the ignition in the
OFF position, the selector lever in the P
(Park) position (automatic Transmission
models) or the shift lever in the N (Neutral)
position (manual Transmission models) fully
apply and release all pedals. The floor mat
must not interfere with pedal operation or
prevent the pedal from returning to its nor-
mal position.
It is recommended that you visit a NISSAN dealer
for details about installing the floor mats in your
vehicle.
LAI0009
Appearance and care 7-5

The illustration shows the location of the floor mat
positioning hooks.
SEAT BELTS
The seat belts can be cleaned by wiping them
with a sponge dampened in a mild soap solution.
Allow the belts to dry completely in the shade
before using them. For additional information,
refer to “Seat belt maintenance” in the “Safety-
–Seats, seat belts and supplemental restraint
system” section of this manual.
WARNING
Do not allow wet seat belts to roll up in the
retractor. NEVER use bleach, dye or
chemical solvents to clean the seat belts,
since these materials may severely
weaken the seat belt webbing.
MOST COMMON FACTORS
CONTRIBUTING TO VEHICLE
CORROSION
Most vehicle corrosion is caused by:
●The accumulation of moisture-retaining dirt
and debris in body panel sections, cavities,
and other areas.
●Damage to paint and other protective coat-
ings caused by gravel and stone chips or
minor traffic collisions.
ENVIRONMENTAL FACTORS
INFLUENCE THE RATE OF
CORROSION
Moisture
Accumulation of sand, dirt and water on the ve-
hicle body underside can accelerate corrosion.
Wet floor coverings will not dry completely inside
the vehicle and should be removed for drying to
avoid floor panel corrosion.
Relative humidity
Corrosion will be accelerated in areas of high
relative humidity, especially those areas where
the temperatures stay above freezing and where
atmospheric pollution exists and road salt is
used.
Positioning hooks
LAI2042
CORROSION PROTECTION
7-6 Appearance and care

Temperature
High temperatures accelerate the rate of corro-
sion to those parts which are not well ventilated.
Air pollution
Industrial pollution, the presence of salt in the air
in coastal areas, or heavy road salt use acceler-
ates the corrosion process. Road salt also accel-
erates the disintegration of paint surfaces.
PROTECT YOUR VEHICLE FROM
CORROSION
●Wash and wax your vehicle often to keep the
vehicle clean.
●Always check for minor damage to the paint
and repair it as soon as possible.
●Keep drain holes at the bottom of the doors
open to avoid water accumulation.
●Check the underbody for accumulation of
sand, dirt or salt. If present, wash with water
as soon as possible.
CAUTION
●NEVER remove dirt, sand or other de-
bris from the passenger compartment
by washing it out with a hose. Remove
dirt with a vacuum cleaner or broom.
●Never allow water or other liquids to
come in contact with electronic compo-
nents inside the vehicle as this may
damage them.
Chemicals used for road surface de-icing are
extremely corrosive. They accelerate corrosion
and deterioration of underbody components
such as the exhaust system, fuel and brake lines,
brake cables, floor pan and fenders.
In winter, the underbody must be cleaned
periodically.
For additional protection against rust and corro-
sion, which may be required in some areas, it is
recommended that you consult a NISSAN dealer.
Appearance and care 7-7
MEMO
7-8 Appearance and care

8 Do-it-yourself
Maintenance precautions ...........................8-2
Engine compartment check locations ................8-3
Engine cooling system .............................8-5
Checking engine coolant level ...................8-6
Changing engine coolant ........................8-6
Engine oil.........................................8-7
Checking engine oil level ........................8-7
Changing engine oil ............................8-8
Changing engine oil filter ........................8-9
5-speed automatic transmission fluid (ATF)
(if so equipped) ..................................8-10
Power steering fluid...............................8-11
Brake and clutch (if so equipped) fluid ..............8-11
Brake fluid ....................................8-11
Clutch (if so equipped) fluid ....................8-12
Windshield-washer fluid...........................8-12
Windshield-washer fluid reservoir ...............8-12
Battery ..........................................8-13
Jump starting .................................8-14
Variable voltage control system.....................8-15
Drive belt ........................................8-15
Spark plugs......................................8-16
Replacing spark plugs .........................8-16
Air cleaner .......................................8-17
In-cabin microfilter (if so equipped) ..............8-18
Windshield wiper blades ..........................8-19
Cleaning .....................................8-19
Replacing ....................................8-19
Brakes ..........................................8-20
Fuses ...........................................8-21
Engine compartment...........................8-21
Passenger compartment .......................8-22
Battery replacement ..............................8-24
Key fob (if so equipped) ........................8-25
Lights ...........................................8-26
Headlights....................................8-26
Fog lights (if so equipped) ......................8-27
Exterior and interior lights.......................8-28
Wheels and tires .................................8-30
Tire pressure..................................8-30
Tire labeling...................................8-34
Types of tires..................................8-36
Tire chains....................................8-37
Changing wheels and tires .....................8-37

When performing any inspection or maintenance
work on your vehicle, always take care to prevent
serious accidental injury to yourself or damage to
the vehicle. The following are general precau-
tions which should be closely observed.
WARNING
●Park the vehicle on a level surface, ap-
ply the parking brake securely and
block the wheels to prevent the vehicle
from moving. Move the shift lever to P
(Park).
●Be sure the ignition key is in the OFF or
LOCK position when performing any
parts replacement or repairs.
●If you must work with the engine run-
ning, keep your hands, clothing, hair
and tools away from moving fans, belts
and any other moving parts.
●It is advisable to secure or remove any
loose clothing and remove any jewelry,
such as rings, watches, etc. before
working on your vehicle.
●Always wear eye protection whenever
you work on your vehicle.
●
Your vehicle is equipped with an auto-
matic engine cooling fan. It may come on
at any time without warning, even if the
ignition key is in the OFF position and the
engine is not running. To avoid injury,
always disconnect the negative battery
cable before working near the fan.
●If you must run the engine in an en-
closed space such as a garage, be sure
there is proper ventilation for exhaust
gases to escape.
●Never get under the vehicle while it is
supported only by a jack. If it is neces-
sary to work under the vehicle, support
it with safety stands.
●
Keep smoking materials, flame and sparks
away from the fuel tank and battery.
●On gasoline engine models, the fuel
filter or fuel lines should be serviced. It
is recommended that you visit a
NISSAN dealer for this service because
the fuel lines are under high pressure
even when the engine is off.
CAUTION
●Do not work under the hood while the
engine is hot. Turn the engine off and
wait until it cools down.
●Avoid contact with used engine oil and
coolant. Improperly disposed engine
oil, engine coolant and/or other vehicle
fluids can damage the environment. Al-
ways conform to local regulations for
disposal of vehicle fluid.
●Never leave the engine or the transmis-
sion related component harness con-
nector disconnected while the ignition
switch is in the ON position.
●Never connect or disconnect the battery
or any transistorized component while
the ignition switch is in the ON position.
This “Do-it-yourself” section gives instructions
regarding only those items which are relatively
easy for an owner to perform.
A Genuine NISSAN service manual is also avail-
able. For additional information, refer to “Owner’s
Manual/Service Manual order information” in the
“Technical and consumer information” section of
this manual.
You should be aware that incomplete or improper
servicing may result in operating difficulties or
excessive emissions, and could affect warranty
coverage. If in doubt about any servicing, it
is recommended that you have it done by a
NISSAN dealer.
MAINTENANCE PRECAUTIONS
8-2 Do-it-yourself

QR25DE engine
1. Windshield-washer fluid reservoir
2. Fuse/Fusible link box
3. Fuse and relay box
4. Air cleaner
5. Engine oil filler cap
6. Engine oil dipstick
7. Brake and clutch (if so equipped) fluid
reservoir
8. Drive belt location
9. Radiator cap
10. Power steering fluid reservoir
11. Battery
12. Engine coolant reservoir
WDI0643
ENGINE COMPARTMENT CHECK
LOCATIONS
Do-it-yourself 8-3

VQ40DE engine
1. Windshield-washer fluid reservoir
2. Fuse/Fusible link box
3. Fuse and relay box
4. Engine oil filler cap
5. Engine oil dipstick
6. Brake and clutch (if so equipped) fluid
reservoir
7. Air cleaner
8. Drive belt location
9. Radiator cap
10. Power steering fluid reservoir
11. Battery
12. Engine coolant reservoir
LII0167
8-4 Do-it-yourself

The engine cooling system is filled at the factory
with a pre-diluted mixture of 50% Genuine
NISSAN Long Life Antifreeze/Coolant (blue) and
50% water to provide year-round antifreeze and
coolant protection. The antifreeze solution con-
tains rust and corrosion inhibitors. Additional en-
gine cooling system additives are not necessary.
WARNING
●Never remove the radiator or coolant
reservoir cap when the engine is hot.
Wait until the engine and radiator cool
down. Serious burns could be caused
by high pressure fluid escaping from
the radiator. For additional information
on precautions, refer to “If your vehicle
overheats” in the “In case of emer-
gency” section of this manual.
●The radiator is equipped with a pres-
sure type radiator cap. To prevent en-
gine damage, use only a Genuine
NISSAN radiator cap.
CAUTION
●Never use any cooling system additives
such as radiator sealer. Additives may
clog the cooling system and cause dam-
age to the engine, transmission and/or
cooling system.
●When adding or replacing coolant, be
sure to use only Genuine NISSAN Long
Life Antifreeze/Coolant (blue) or
equivalent. Genuine NISSAN Long Life
Antifreeze/Coolant (blue) is pre-diluted
to provide antifreeze protection to -34°
F (-37° C). If additional freeze protection
is needed due to weather where you
operate your vehicle, add Genuine
NISSAN Long Life Antifreeze/Coolant
(blue) concentrate following the direc-
tions on the container. If an equivalent
coolant other than Genuine NISSAN
Long Life Antifreeze/Coolant (blue) is
used, follow the coolant manufacturer’s
instructions to maintain minimum anti-
freeze protection to -34° F (-37° C). The
use of other types of coolant solutions
other than Genuine NISSAN Long Life
Antifreeze/Coolant (blue) or equivalent
may damage the engine cooling
system.
●The life expectancy of the factory-fill
coolant is 105,000 miles (168,000 km) or
7 years. Mixing any other type of cool-
ant other than Genuine NISSAN Long
Life Antifreeze/Coolant (blue), includ-
ing Genuine NISSAN Long Life
Antifreeze/Coolant (green), or the use
of non-distilled water will reduce the
life expectancy of the factory-fill cool-
ant. For additional information, refer to
the ⴖMaintenance and schedulesⴖsec-
tion of this manual.
ENGINE COOLING SYSTEM
Do-it-yourself 8-5

CHECKING ENGINE COOLANT
LEVEL
Check the coolant level in the reservoir when
the engine is cold. If the coolant level is below
the MIN level 䊊
B, add coolant to the MAX level
䊊
A. If the reservoir is empty, check the coolant
level in the radiator when the engine is cold. If
there is insufficient coolant in the radiator, fill the
radiator with coolant up to the filler opening and
also add it to the reservoir up to the MAX level 䊊
A.
This vehicle contains Genuine NISSAN Long Life
Antifreeze/Coolant (blue). The life expectancy of
the factory-fill coolant is 105,000 miles
(168,000 km) or 7 years. Mixing any other type of
coolant or the use of non-distilled water will re-
duce the life expectancy of the factory-fill coolant.
For additional information, refer to the ⬙Mainte-
nance and Schedules⬙section of this manual.
If the cooling system frequently requires
coolant, it is recommended that you visit a
NISSAN dealer for this service.
For additional information on the location of the
engine coolant reservoir, refer to “Engine com-
partment check locations” in this section.
CHANGING ENGINE COOLANT
A NISSAN dealer can change the engine coolant.
The service procedure can be found in the
NISSAN Service Manual.
Improper servicing can result in reduced
heater performance and engine overheat-
ing.
WARNING
●To avoid the danger of being scalded,
never change the coolant when the en-
gine is hot.
●Never remove the radiator or engine
coolant reservoir cap when the engine
is hot. Serious burns could be caused by
high pressure fluid escaping from the
radiator.
●Avoid direct skin contact with used
coolant. If skin contact is made, wash
thoroughly with soap or hand cleaner as
soon as possible.
●Keep coolant out of the reach of chil-
dren and pets.
Engine coolant must be disposed of properly.
Check your local regulations.
LDI2831
8-6 Do-it-yourself

CHECKING ENGINE OIL LEVEL
1. Park the vehicle on a level surface and apply
the parking brake.
2. Start the engine and let it idle until it reaches
operating temperature.
3. Turn off the engine. Wait more than
10 minutes for the oil to drain back into
the oil pan.
4. Remove the dipstick and wipe it clean. Re-
insert it all the way.
5. Remove the dipstick again and check the oil
level. It should be between the H (High) and
L (Low) marks 䊊
B. This is the normal oper-
ating oil level range. If the oil level is below
the L (Low) mark 䊊
A, remove the oil filler cap
and pour recommended oil through the
opening. Do not overfill 䊊
C.
6. Recheck oil level with the dipstick.
It is normal to add some oil between oil
maintenance intervals or during the
break-in period, depending on the severity
of operating conditions.
VQ40DE
LDI2488
QR25DE
LDI0467 LDI0371
ENGINE OIL
Do-it-yourself 8-7

CAUTION
Oil level should be checked regularly. Op-
erating the engine with an insufficient
amount of oil can damage the engine, and
such damage is not covered by warranty.
CHANGING ENGINE OIL
1. Park the vehicle on a level surface and apply
the parking brake.
2. Start the engine and let it idle until it reaches
operating temperature, then turn it off.
3. Remove the oil filler cap 䊊
Aby turning it
counterclockwise.
VQ40DE
LDI2832
QR25DE
LDI2833
8-8 Do-it-yourself

4. Place a large drain pan under the drain plug
䊊
B.
5. Remove the drain plug with a wrench by
turning it counterclockwise and completely
drain the oil.
If the oil filter is to be changed, remove and
replace it at this time. For additional informa-
tion, refer to “Changing engine oil filter” in
this section.
●Waste oil must be disposed of prop-
erly.
●Check your local regulations.
WARNING
●Prolonged and repeated contact with
used engine oil may cause skin cancer.
●Try to avoid direct skin contact with
used oil. If skin contact is made, wash
thoroughly with soap or hand cleaner as
soon as possible.
●Keep used engine oil out of reach of
children.
CAUTION
Be careful not to burn yourself. The engine
oil may be hot.
6. Clean and reinstall the drain plug and a new
washer. Securely tighten the drain plug with
a wrench. Do not use excessive force.
Drain plug tightening torque:
25 ft-lb (34 N·m)
7. Refill engine with recommended oil through
the oil filler opening, then install the oil filler
cap securely.
For additional information on drain and refill
capacity, refer to “Recommended
fluids/lubricants and capacities” in the
“Technical and consumer information” sec-
tion of this manual.
The drain and refill capacity depends on the
oil temperature and drain time. Use these
specifications for reference only. Always use
the dipstick to determine when the proper
amount of oil is in the engine.
8. Start the engine. Check for leakage around
the drain plug and oil filter. Correct as re-
quired.
9. Turn the engine off and wait more than
10 minutes. Check the oil level with the
dipstick. Add engine oil if necessary. CHANGING ENGINE OIL FILTER
1. Park the vehicle on a level surface and apply
the parking brake.
2. Turn the engine off.
VQ40DE
LDI2834
Do-it-yourself 8-9

3. Place a large drain pan under the oil filter.
4. Unscrew 䊊
Athe plate covering the oil filter
exposing the filter. (For VQ40DE engine)
5. Loosen the oil filter 䊊
Bwith an oil filter
wrench by turning it counterclockwise. Then
remove the oil filter by turning it by hand.
CAUTION
Be careful not to burn yourself. The engine
oil may be hot.
6. Wipe the engine oil filter sealing surface with
a clean rag.
CAUTION
Be sure to remove any old gasket material
remaining on the sealing surface of the
engine. Failure to do so could lead to
engine damage.
7. Coat the gasket on the new filter with clean
engine oil.
8. Screw on the oil filter until a slight resistance
is felt, then tighten an additional 2/3 turn.
9. Start the engine and check for leakage
around the oil filter. Correct as required.
10. Install the plate covering the oil filter. (For
VQ40DE engine)
11. Turn the engine off and wait more than
10 minutes. Check the oil level. Add engine
oil if necessary.
When checking or replacement is required, we
recommend a NISSAN dealer for servicing.
CAUTION
●Use Genuine NISSAN Matic S ATF (or
equivalent). If Genuine NISSAN Matic S
ATF is not available, Genuine NISSAN
Matic J ATF (or equivalent) may also be
used.
●Using automatic transmission fluid
other than Genuine NISSAN Matic S
ATF or Matic J ATF (or their equivalents)
may cause deterioration in driveability
and automatic transmission durability,
and may damage the automatic trans-
mission. Damage caused by use of
other fluids is not covered by the
NISSAN New Vehicle Limited Warranty.
The specified automatic transmission fluid is also
described on caution labels located in the engine
compartment.
QR25DE
LDI2865
5-SPEED AUTOMATIC
TRANSMISSION FLUID (ATF) (if so
equipped)
8-10 Do-it-yourself

The fluid level should be checked using the HOT
MAX range on the power steering fluid reservoir
at fluid temperatures of 122° - 176°F (50° -
80°C) or using the COLD MAX range on the
power steering fluid reservoir at fluid tempera-
tures of 32° - 86°F (0° - 30°C).
If the fluid is at or below the MIN line, add Genu-
ine NISSAN PSF. Remove the cap and fill
through the opening.
CAUTION
●DO NOT OVERFILL.
●Recommended fluid is Genuine
NISSAN PSF or equivalent.
For additional information on brake fluid specifi-
cation, refer to “Recommended fluids/lubricants
and capacities” in the “Technical and consumer
information” section of this manual.
WARNING
●Use only new fluid from a sealed con-
tainer. Old, inferior or contaminated
fluid may damage the brake and clutch
(if so equipped) systems. The use of
improper fluids can damage the brake
and clutch system and affect the vehi-
cle’s stopping ability.
●Clean the filler cap before removing.
●Brake and clutch fluid is poisonous and
should be stored carefully in marked
containers out of reach of children.
CAUTION
Do not spill the fluid on any painted sur-
faces. This will damage the paint. If fluid is
spilled, immediately wash the surface with
water.
BRAKE FLUID
Check the brake fluid level in the reservoir. If the
fluid level is below the MIN line 䊊
Bor the brake
warning light comes on, add Genuine NISSAN
Super Heavy Duty Brake Fluid or equivalent DOT
3fluid up to the MAX line 䊊
A. If fluid must be
added frequently, the system should be checked.
It is recommended that you visit a NISSAN dealer
for this service.
WDI0256 LDI2835
POWER STEERING FLUID BRAKE AND CLUTCH (if so equipped)
FLUID
Do-it-yourself 8-11

CLUTCH (if so equipped) FLUID
Check the fluid level in the reservoir. The brake
fluid reservoir is shared with the clutch hydraulic
system for manual transmissions. If the level is
below the MIN line 䊊
B, or the brake warning light
comes on, add Genuine NISSAN Super Heavy
Duty Brake Fluid or equivalent DOT 3 fluid up to
the MAX line 䊊
A. If fluid must be added fre-
quently, the system should be checked. It is rec-
ommended that you visit a NISSAN dealer for this
service.
WINDSHIELD-WASHER FLUID
RESERVOIR
Fill the windshield-washer fluid reservoir periodi-
cally. Add windshield-washer fluid when the low
windshield-washer fluid warning light (if so
equipped) comes on.
To fill the windshield-washer fluid reservoir, lift
the cap off the reservoir and pour the windshield-
washer fluid into the reservoir opening.
Add a washer solvent to the washer for better
cleaning. In the winter season, add a windshield-
washer antifreeze. Follow the manufacturer’s in-
structions for the mixture ratio.
Refill the reservoir more frequently when driving
conditions require an increased amount of
windshield-washer fluid.
Recommended fluid is Genuine NISSAN
Windshield-Washer Concentrate Cleaner & An-
tifreeze or equivalent.
CAUTION
●Do not substitute engine antifreeze
coolant for windshield-washer solution.
This may result in damage to the paint.
●Do not fill the windshield-washer reser-
voir with washer fluid concentrates at
full strength. Some methyl alcohol
based washer fluid concentrates may
permanently stain the grille if spilled
while filling the windshield-washer
reservoir.
●Pre-mix washer fluid concentrates with
water to the manufacturer’s recom-
mended levels before pouring the fluid
into the windshield-washer reservoir.
Do not use the windshield-washer res-
ervoir to mix the washer fluid concen-
trate and water.
LDI2835 LDI2837
WINDSHIELD-WASHER FLUID
8-12 Do-it-yourself

●Keep the battery surface clean and dry.
Clean the battery with a solution of baking
soda and water.
●Make certain the terminal connections are
clean and securely tightened.
●If the vehicle is not to be used for 30 days or
longer, disconnect the negative (-) battery
terminal cable to prevent discharge.
NOTE:
Care should be taken to avoid situations
that can lead to potential battery discharge
and potential no-start conditions such as:
1. Installation or extended use of electronic
accessories that consume battery power
when the engine is not running (Phone char-
gers, GPS, DVD players, etc.)
2. Vehicle is not driven regularly and/or only
driven short distances. In these cases, the
battery may need to be charged to maintain
battery health.
WARNING
●Do not expose the battery to flames, an
electrical spark or a cigarette. Hydrogen
gas generated by the battery is explo-
sive. Explosive gases can cause blind-
ness or injury. Do not allow battery fluid
to contact your skin, eyes, fabrics or
painted surfaces. Sulfuric acid can
cause blindness or injury. After touch-
ing a battery or battery cap, do not
touch or rub your eyes. Thoroughly
wash your hands. If the acid contacts
your eyes, skin or clothing, immediately
flush with water for at least 15 minutes
and seek medical attention.
●Do not operate the vehicle if the fluid in
the battery is low. Low battery fluid can
cause a higher load on the battery
which can generate heat, reduce battery
life, and in some cases lead to an
explosion.
●When working on or near a battery, al-
ways wear suitable eye protection and
remove all jewelry.
●Battery posts, terminals and related ac-
cessories contain lead and lead com-
pounds. Wash hands after handling.
●Keep battery out of the reach of
children.
●Do not tip the battery. Keep the vent
caps tight and the battery level.
BATTERY
Do-it-yourself 8-13

1. Remove the vent caps with a screwdriver as
shown. Use a cloth to protect the battery
case.
2. Check the fluid level in each cell. If it is
necessary to add fluid, add only distilled
water to bring the level up to the bottom of
the filler opening. Do not overfill. Reinstall
the vent caps.
Vehicles operated in high temperatures or under
severe conditions require frequent checks of the
battery fluid level.
JUMP STARTING
If jump starting is necessary, refer to “Jump start-
ing” in the “In case of emergency” section of this
manual. If the engine does not start by jump
starting, the battery may have to be replaced. It is
recommended that you visit a NISSAN dealer for
this service.
WDI0224
LDI0302
8-14 Do-it-yourself

CAUTION
●Do not ground accessories directly to
the battery terminal. Doing so will by-
pass the variable voltage control sys-
tem and the vehicle battery may not
charge completely.
●Use electrical accessories with the en-
gine running to avoid discharging the
vehicle battery.
Your vehicle is equipped with a variable voltage
control system. This system measures the
amount of electrical discharge from the battery
and controls voltage generated by the generator.
The current sensor 䊊
Ais located near the battery
along the negative battery cable. If you add elec-
trical accessories to your vehicle, be sure to
ground them to a suitable body ground such as
the frame or engine block area.
1. Power steering fluid pump pulley
2. Automatic belt tensioner pulley
3. Cooling fan pulley
4. Air conditioner compressor pulley
5. Crankshaft pulley
6. Generator pulley
WARNING
Be sure the ignition key is in the OFF or
LOCK position before servicing drive belt.
The engine could rotate unexpectedly.
LDI0454
VQ40DE
WDI0639
VARIABLE VOLTAGE CONTROL
SYSTEM
DRIVE BELT
Do-it-yourself 8-15

1. Visually inspect the belt for signs of unusual
wear, cuts, fraying or looseness. If the belt is
in poor condition or is loose, have it replaced
or adjusted. It is recommended that you visit
a NISSAN dealer for this service.
2. Have the belt checked regularly for condi-
tion and tension in accordance with the
maintenance schedule found in the ⬙Mainte-
nance and Schedules⬙section of this
manual.
1. Power steering fluid pump pulley
2. Water pump pulley
3. Air conditioner compressor pulley (if so
equipped)
4. Crankshaft pulley
5. Generator pulley
REPLACING SPARK PLUGS
Platinum-tipped spark plugs (QR25DE
models)
It is not necessary to replace platinum-tipped 䊊
A
spark plugs as frequently as conventional type
spark plugs because they last much longer. Fol-
low the maintenance log shown in the ⬙Mainte-
nance and Schedules⬙section of this manual. Do
not service platinum-tipped spark plugs by clean-
ing or regapping.
●Always replace spark plugs with rec-
ommended or equivalent ones.
If replacement is required, it is recommended that
you visit a NISSAN dealer for this service.
QR25DE
LDI0461 SDI1895
SPARK PLUGS
8-16 Do-it-yourself

Iridium-tipped spark plugs (VQ40DE
models)
It is not necessary to replace iridium-tipped 䊊
A
spark plugs as frequently as conventional type
spark plugs because they last much longer. Fol-
low the maintenance log shown in the ⬙Mainte-
nance and Schedules⬙section of this manual. Do
not service iridium-tipped spark plugs by clean-
ing or regapping.
●Always replace spark plugs with rec-
ommended or equivalent ones.
If replacement is required, it is recommended that
you visit a NISSAN dealer for this service.
The air cleaner filter should not be cleaned and
reused. Replace it according to the maintenance
log shown in the ⬙Maintenance and Schedules⬙
section of this manual. When replacing the filter,
wipe the inside of the air cleaner filter housing
and the cover with a damp cloth.
To remove the VQ40DE air cleaner filter:
䊊
1Unlatch the clips and remove the air cleaner
cover. Remove the air cleaner filter.
To remove the QR25DE air cleaner filter:
1. Unlatch the clips 䊊
A,䊊
B,䊊
C.
2. Push down half of air cleaner to clear the
bottom retainers.
3. Lift up on half of air cleaner to remove the air
cleaner filter
VQ40DE
WDI0686
QR25DE
LDI0465
AIR CLEANER
Do-it-yourself 8-17

WARNING
●Operating the engine with the air
cleaner removed can cause you or oth-
ers to be burned. The air cleaner not
only cleans the air, it stops the flame if
the engine backfires. If it isn’t there, and
the engine backfires, you could be
burned. Do not drive with the air cleaner
removed, and be careful when working
on the engine with the air cleaner
removed.
●Never pour fuel into the throttle body or
attempt to start the engine with the air
cleaner removed. Doing so could result
in serious injury. IN-CABIN MICROFILTER (if so
equipped)
The in-cabin microfilter restricts the entry of air-
borne dust and pollen particles and reduces
some objectionable outside odors. The filter is
located behind the glove box. For additional in-
formation on change intervals, refer to the ⬙Main-
tenance and Schedules⬙section of this manual.
To replace the filter, perform the following proce-
dure:
1. Open the glove box and press in on the
sides so that it will open completely allowing
it to hang by the cord.
2. Gently lift up on the tab 䊊
1.
3. Pull the filter cover toward you and then
down 䊊
2.
4. Remove the old filter 䊊
3.
NOTE:
The filter is marked with air flow arrows.
The end of the filter with the arrow should
face the rear of the vehicle. The arrows
should face downward.
5. Insert the new filter into the housing and
slide it over to the right.
LDI0442 LDI2047
8-18 Do-it-yourself

6. Replace the filter cover. The cover will click
into place under the tab.
7. Install the glove box door.
CLEANING
If your windshield is not clear after using the
windshield-washer or if a wiper blade chatters
when running, wax or other material may be on
the blade or windshield.
Clean the outside of the windshield with a washer
solution or a mild detergent. Your windshield is
clean if beads do not form when rinsing with clear
water.
Clean each blade by wiping it with a cloth soaked
in a washer solution or a mild detergent. Then
rinse the blades with clear water. If your wind-
shield is still not clear after cleaning the blades
and using the wiper, replace the blades.
CAUTION
Worn windshield wiper blades can dam-
age the windshield and impair driver
vision.
REPLACING
Replace the wiper blades if they are worn.
1. Lift the wiper arm away from the windshield.
2. Push and hold the release tab 䊊
A, and then
move the wiper blade down 䊊
Bthe wiper
arm to remove.
3. Remove the wiper blade.
4. Insert the new wiper blade onto the wiper
arm until it clicks into place.
LDI2725
WINDSHIELD WIPER BLADES
Do-it-yourself 8-19

CAUTION
●After wiper blade replacement, return
the wiper arm to its original position;
otherwise it may be damaged when the
hood is opened.
●Make sure the wiper blades contact the
glass; otherwise the arms may be dam-
aged from wind pressure.
Be careful not to let anything get into the washer
nozzle 䊊
D. This may cause clogging or improper
windshield–washer operation. If something gets
into the nozzle, remove it with a needle or small
pin 䊊
C.
If the brakes do not operate properly, have the
brakes checked. It is recommended that you visit
a NISSAN dealer for this service.
Self-adjusting brakes
Your vehicle is equipped with self-adjusting
brakes.
The front and rear disc-type brakes self-adjust
every time the brake pedal is applied.
WARNING
Have your brake system checked if the
brake pedal height does not return to nor-
mal. It is recommended that you visit a
NISSAN dealer for this service.
Brake pad wear indicators
The disc brake pads on your vehicle have audible
wear indicators. When a brake pad requires re-
placement, a high pitched scraping or screech-
ing sound will be heard when the vehicle is in
motion. The noise will be heard whether or not the
brake pedal is depressed. Have the brakes
checked as soon as possible if the wear indicator
sound is heard.
LDI2836
BRAKES
8-20 Do-it-yourself

Under some driving or climate conditions, occa-
sional brake squeak, squeal or other noise may
be heard. Occasional brake noise during light to
moderate stops is normal and does not affect the
function or performance of the brake system.
Proper brake inspection intervals should
be followed. For additional information regard-
ing brake inspections, refer to the appropriate
maintenance schedule information in the ⬙Main-
tenance and schedules⬙section of this manual.
If any electrical equipment does not operate,
check for an open fuse.
Fuses are used in the passenger and engine
compartment. Spare fuses are provided and can
be found in the passenger compartment fuse
box.
When installing a fuse make sure the fuse is
installed in the fuse box securely.
ENGINE COMPARTMENT
WARNING
Never use a fuse of a higher or lower
amperage rating than specified on the
fuse box cover. This could damage the
electrical system or electronic control
units or cause a fire.
LDI2385 LDI2838
FUSES
Do-it-yourself 8-21

If any electrical equipment does not come on,
check for an open fuse.
1. Be sure the ignition switch and the headlight
switch are OFF.
2. Open the engine hood.
3. Remove the fuse box cover by pushing the
tab and lifting the cover up.
4. Remove the fuse with the fuse puller. The
fuse puller is located in the center of the fuse
block in the passenger compartment.
5. If the fuse is open 䊊
A, replace it with a new
fuse 䊊
B.
6. If a new fuse also opens, have the electrical
system checked and repaired. It is recom-
mended that you visit a NISSAN dealer for
this service.
Fusible links
If the electrical equipment does not operate and
fuses are in good condition, check the fusible
links. If any of these fusible links are melted,
replace with only Genuine NISSAN parts.
PASSENGER COMPARTMENT
WARNING
Never use a fuse of a higher or lower
amperage rating than specified on the
fuse box cover. This could damage the
electrical system or electronic control
units or cause a fire.
LDI0456 LDI2839
8-22 Do-it-yourself

If any electrical equipment does not operate,
check for an open fuse.
1. Be sure the ignition switch and the headlight
switch are OFF.
2. Pull the fuse box cover to remove.
3. Remove the fuse with the fuse puller.
4. If the fuse is open 䊊
A, replace it with an
equivalent good fuse 䊊
B.
5. Reverse step 2 to reinstall fuse box cover.
6. If a new fuse also opens, have the electrical
system checked and repaired. It is recom-
mended that you visit a NISSAN dealer for
this service.
Extended storage switch
If any electrical equipment does not operate,
remove the extended storage switch and check
for an open fuse.
NOTE:
The extended storage switch is used for
long term vehicle storage. Even if the ex-
tended storage switch is broken it is not
necessary to replace it. Replace only the
open fuse in the switch with a new fuse.
LDI0456 LDI2736
Do-it-yourself 8-23

How to replace the extended storage switch:
1. To remove the extended storage switch, be
sure the ignition switch is in the OFF or
LOCK position.
2. Be sure the headlight switch is in the OFF
position.
3. Remove the fuse box cover.
4. Pinch the locking tabs 䊊
Afound on each
side of the storage switch.
5. Pull the storage switch straight out from the
fuse box 䊊
B.
CAUTION
Be careful not to allow children to swallow
the battery or removed parts.
BATTERY REPLACEMENT
8-24 Do-it-yourself

KEY FOB (if so equipped)
Replace the battery in the key fob as follows:
䊊
1Open the lid using a coin 䊊
A.
䊊
2Remove the battery 䊊
B.
䊊
3Install a new battery 䊊
Cwith the “+” facing
down.
●Hold the battery by the edges. Holding the
battery across the contact points will seri-
ously deplete the storage capacity.
●Do not touch the internal circuit and electric
terminals as it could cause a malfunction.
●When changing the battery, do not let dust
or oil get on the key fob.
●There is danger of explosion if a lithium bat-
tery is incorrectly replaced. Replace only
with the same or equivalent type.
Recommended battery: CR2025 or equivalent.
䊊
4Close the lid securely.
5. Press the button, then the
button two or three times to check the key
fob operation.
If the battery is removed for any reason
other than replacement, perform step 5.
●An improperly disposed battery can
hurt the environment. Always confirm
local regulations for battery disposal.
●The key fob is water-resistant; how-
ever, if it does get wet, immediately
wipe completely dry.
●The operational range of the key fob
extends to approximately 33 ft (10 m)
from the vehicle. This range may vary
with conditions.
LDI0484
Do-it-yourself 8-25

FCC Notice:
For USA:
This device complies with Part 15 of the
FCC Rules. Operation is subject to the fol-
lowing two conditions: (1) This device may
not cause harmful interference, and (2) this
device must accept any interference re-
ceived, including interference that may
cause undesired operation.
Note:
Changes or modifications not expressly ap-
proved by the party responsible for compli-
ance could void the user’s authority to op-
erate the equipment.
For Canada:
This devise complies with Industry Canada
licence-exempt RSS standard(s). Opera-
tion is subject to the following two condi-
tions: (1) this device may not cause inter-
ference, and (2) this device must accept any
interference, including interference that
may cause undesired operation of the de-
vice.
HEADLIGHTS
The headlight is a semi-sealed beam type which
uses a replaceable headlight (halogen) bulb. A
bulb can be replaced from inside the engine
compartment without removing the headlight as-
sembly.
CAUTION
●High pressure halogen gas is sealed
inside the halogen bulb. The bulb may
break if the glass envelope is scratched
or the bulb is dropped.
●When handling the bulb, do not touch
the glass envelope.
●DO NOT TOUCH THE BULB WITH BARE
HANDS.
●Use the same number and wattage as
shown in the chart.
●Do not leave the bulb out of the head-
light reflector for a long period of time
as dust, moisture and smoke may enter
the headlight body and affect the per-
formance of the headlight.
●Aiming is not necessary after replacing
the bulb. When aiming adjustment is
necessary, it is recommended that you
visit a NISSAN dealer for this sevice.
Fog may temporarily form inside the lens of the
exterior lights in the rain or in a car wash. A
temperature difference between the inside and
the outside of the lens causes the fog. This is not
a malfunction. If large drops of water collect
inside the lens, it is recommended that you visit a
NISSAN dealer for servicing.
LIGHTS
8-26 Do-it-yourself

Removing the headlight bulb
1. Open the hood.
2. Disconnect the negative (-) battery cable.
3. Disconnect the electrical connector from the
rear end of the bulb.
4. Turn the bulb retaining ring 䊊
Acounterclock-
wise until it is free from the headlight reflec-
tor and then remove it.
5. Carefully remove the headlight bulb. Do not
shake or rotate the bulb 䊊
Bwhen removing
it.
Replacing the headlight bulb
1. Insert the bulb.
DO NOT TOUCH THE BULB WITH BARE
HANDS.
2. Install and tighten the bulb retainer.
●Be sure the lip of the bulb socket con-
tacts the headlight body.
3. Push the electrical connector into the bulb
plastic base until it snaps and stops.
4. Connect the negative (-) battery cable.
5. Close the hood.
FOG LIGHTS (if so equipped)
For additional information on fog light bulb re-
placement, refer to the instructions outlined in
this section.
Replacing the fog light bulb
If fog light bulb replacement is required, it is
recommended that you visit a NISSAN dealer for
this service.
CAUTION
●High pressure halogen gas is sealed
inside the halogen bulb. The bulb may
break if the glass envelope is scratched
or the bulb is dropped.
●When handling the bulb, do not touch
the glass envelope.
●Use the same number and wattage as
originally installed as shown in the
chart.
●Do not leave the bulb out of the fog light
for a long period of time as dust, mois-
ture and smoke may enter the fog light
body and affect the performance of the
fog light.
WDI0294
Do-it-yourself 8-27

EXTERIOR AND INTERIOR LIGHTS
Item Wattage (W) Bulb No.
Headlight assembly
High/Low/Daytime running (Canada only) 60/55 HB5
Turn/Park 28/8 28W8W
Side marker 3.8 194
Fog light (if so equipped)* 55 H11
Rear combination light
Turn 27 3156AK
Stop/Tail 27/8 3157KK
Back-up (reversing) 18 921
High-mounted stop light/Cargo light* 12.8 912
License plate light 5 W5W
Map lights (if so equipped) 8 —
Vanity mirror light (if so equipped)* — —
Room light 8 —
Always check with the Parts Department at a NISSAN dealer for the latest parts information.
* The bulb is not serviceable in vehicle. It is recommended that you visit a NISSAN dealer for this service.
1. Map lights (if so equipped)
2. Room light
3. High-mounted stop light/Cargo light
4. License plate light
5. Rear combination light
6. Fog light (if so equipped)
7. Headlight assembly
LDI0713
8-28 Do-it-yourself

Replacement procedures
All other lights are either type A, B, C or D. When
replacing a bulb, first remove the lens and/or
cover using a cloth and suitable tool.
: Indicates bulb removal
: Indicates bulb installation
Use a cloth 䊊
1to protect the housing.
WDI0306
Map lights (if so equipped)
LDI0478
Do-it-yourself 8-29

If you have a flat tire, refer to “Flat tire” in
the “In case of emergency” section of this
manual.
TIRE PRESSURE
Tire Pressure Monitoring System
(TPMS)
This vehicle is equipped with TPMS. It
monitors tire pressure of all tires except
the spare. When the low tire pressure
warning light is lit and the CHECK TIRE
PRES (pressure) warning message is dis-
played in the odometer, one or more of
your tires is significantly under-inflated.
TPMS will activate only when the vehicle
is driven at speeds above 16 mph
(25 km/h). Also, this system may not de-
tect a sudden drop in tire pressure (for
example, a flat tire while driving).
For additional information, refer to “Low
tire pressure warning light” in the “Instru-
ments and controls” section, “Tire Pres-
sure Monitoring System (TPMS)” in the
“Starting and driving” section, and “Flat
tire” in the “In case of emergency” section
of this manual.
Rear combination light
WDI0300
License plate light
WDI0411
WHEELS AND TIRES
8-30 Do-it-yourself

Tire inflation pressure
Check the tire pressures (including the
spare) often and always prior to long dis-
tance trips. The recommended tire pres-
sure specifications are shown on the
F.M.V.S.S./C.M.V.S.S. certification label
or the Tire and Loading Information label
under the “Cold Tire Pressure” heading.
The Tire and Loading Information label is
affixed to the driver side center pillar. Tire
pressures should be checked regularly
because:
●Most tires naturally lose air over time.
●Tires can lose air suddenly when
driven over potholes or other objects
or if the vehicle strikes a curb while
parking.
The tire pressures should be checked
when the tires are cold. The tires are
considered COLD after the vehicle has
been parked for 3 or more hours, or driven
less than 1 mile (1.6 km) at moderate
speeds.
Incorrect tire pressure, including un-
der inflation, may adversely affect
tire life and vehicle handling.
WARNING
●Improperly inflated tires can fail
suddenly and cause an accident.
●The Gross Vehicle Weight Rating
(GVWR) is located on the
F.M.V.S.S./C.M.V.S.S. certifica-
tion label. The vehicle weight ca-
pacity is indicated on the Tire and
Loading Information label. Do
not load your vehicle beyond this
capacity. Overloading your ve-
hicle may result in reduced tire
life, unsafe operating conditions
due to premature tire failure, or
unfavorable handling character-
istics and could also lead to a
serious accident. Loading beyond
the specified capacity may also
result in failure of other vehicle
components.
●Before taking a long trip, or
whenever you heavily load your
vehicle, use a tire pressure gauge
to ensure that the tire pressures
are at the specified level.
●For additional information re-
garding tires, refer to “Important
Tire Safety Information” (US) or
“Tire Safety Information”
(Canada) in the Warranty Infor-
mation Booklet.
Do-it-yourself 8-31

Tire and Loading Information label
䊊
1Seating capacity: The maximum num-
ber of occupants that can be seated
in the vehicle.
䊊
2Vehicle load limit: Refer to loading
information in the “Technical and
consumer information” section of this
manual.
䊊
3Original tire size: The size of the tires
originally installed on the vehicle at
the factory.
䊊
4Cold tire pressure: Inflate the tires to
this pressure when the tires are cold.
Tires are considered COLD after the
vehicle has been parked for 3 or more
hours, or driven less than 1 mile
(1.6 km) at moderate speeds. The
recommended cold tire inflation is set
by the manufacturer to provide the
best balance of tire wear, vehicle
handling, driveability, tire noise, etc.,
up to the vehicle’s GVWR.
䊊
5Tire size - refer to “Tire labeling” in
this section.
䊊
6Spare tire size.
LDI2007
8-32 Do-it-yourself

Checking tire pressure
1. Remove the valve stem cap from the
tire.
2. Press the pressure gauge squarely
onto the valve stem. Do not press too
hard or force the valve stem side-
ways, or air will escape. If the hissing
sound of air escaping from the tire is
heard while checking the pressure,
reposition the gauge to eliminate this
leakage.
3. Remove the gauge.
4. Read the tire pressure on the gauge
stem and compare to the specifica-
tion shown on the
F.M.V.S.S./C.M.V.S.S. label or the
Tire and Loading Information label.
5. Add air to the tire as needed. If too
much air is added, press the core of
the valve stem briefly with the tip of
the gauge stem to release pressure.
Recheck the pressure and add or
release air as needed.
6. Install the valve stem cap.
7. Check the pressure of all other tires,
including the spare.
Size Cold Tire Inflation
Pressure
Front Original Tire:
235/75R15
P265/70R16
P265/75R16
P265/60R18
240 kPa, 35 PSI
Rear Original Tire:
235/75R15
P265/70R16
P265/75R16
P265/60R18
240 kPa, 35 PSI
Spare Tire:
235/75R15
P265/70R16
P265/75R16
P265/60R18
240 kPa, 35 PSI
LDI0393
Do-it-yourself 8-33

TIRE LABELING
Federal law requires tire manufacturers to
place standardized information on the
sidewall of all tires. This information iden-
tifies and describes the fundamental
characteristics of the tire and also pro-
vides the tire identification number (TIN)
for safety standard certification. The TIN
can be used to identify the tire in case of a
recall.
䊊
1Tire size (example: P215/65R15 95H)
1. P: The “P” indicates the tire is de-
signed for passenger vehicles (not all
tires have this information).
2. Three-digit number (215): This num-
ber gives the width in millimeters of
the tire from sidewall edge to side-
wall edge.
3. Two-digit number (65): This number,
known as the aspect ratio, gives the
tire’s ratio of height to width.
4. R: The “R” stands for radial.
5. Two-digit number (15): This number
is the wheel or rim diameter in inches.
6. Two- or three-digit number (95): This
number is the tire’s load index. It is a
measurement of how much weight
each tire can support. You may not
find this information on all tires be-
cause it is not required by law.
7. H: Tire speed rating. You should not
drive the vehicle faster than the tire
speed rating.
Example
WDI0394
Example
WDI0395
8-34 Do-it-yourself

䊊
2TIN (Tire Identification Number) for a
new tire (example: DOT XX XX XXX
XXXX)
1. DOT: Abbreviation for the “Depart-
ment Of Transportation”. The symbol
can be placed above, below or to the
left or right of the Tire Identification
Number.
2. Two-digit code: Manufacturer’s
identification mark.
3. Two-digit code: Tire size.
4. Three-digit code: Tire type code
(Optional).
5. Four numbers represent the week
and year the tire was built. For ex-
ample, the numbers 3103 means the
31st week of 2003. If these numbers
are missing then look on the other
sidewall of the tire.
䊊
3Tire ply composition and material
The number of layers or plies of rubber-
coated fabric in the tire. Tire manufactur-
ers also must indicate the materials in the
tire, which include steel, nylon, polyester
and others.
䊊
4
Maximum permissible inflation pressure
This number is the greatest amount of air
pressure that should be put in the tire. Do
not exceed the maximum permissible in-
flation pressure.
䊊
5Maximum load rating
This number indicates the maximum load in
kilograms and pounds that can be carried
by the tire. When replacing the tires on the
vehicle, always use a tire that has the same
load rating as the factory installed tire.
䊊
6Term of “tubeless” or “tube type”
Indicates whether the tire requires an in-
ner tube (“tube type”) or not (“tubeless”).
䊊
7The word “radial”
The word “radial” is shown if the tire has
radial structure.
䊊
8Manufacturer or brand name
Manufacturer or brand name is shown.
Example
LDI2786
Do-it-yourself 8-35

Other Tire-related Terminology
In addition to the many terms that are
defined throughout this section, Intended
Outboard Sidewall is (1) the sidewall that
contains a whitewall, bears white lettering
or bears manufacturer, brand, and/or
model name molding that is higher or
deeper than the same molding on the
other sidewall of the tire, or (2) the out-
ward facing sidewall of an asymmetrical
tire that has a particular side that must
always face outward when mounted on a
vehicle.
TYPES OF TIRES
WARNING
●When changing or replacing tires, be
sure all four tires are of the same type
(i.e., Summer, All Season or Snow) and
construction. A NISSAN dealer may be
able to help you with information about
tire type, size, speed rating and
availability.
●Replacement tires may have a lower
speed rating than the factory equipped
tires, and may not match the potential
maximum vehicle speed. Never exceed
the maximum speed rating of the tire.
●For additional information regarding
tires, refer to “Important Tire Safety In-
formation” (US) or “Tire Safety Informa-
tion” (Canada) in the Warranty Informa-
tion Booklet.
All season tires
NISSAN specifies All Season tires on some mod-
els to provide good performance all year, includ-
ing snowy and icy road conditions. All Season
tires are identified by ALL SEASON and/or M&S
on the tire sidewall. Snow tires have better snow
traction than All Season tires and may be more
appropriate in some areas.
Summer tires
NISSAN specifies summer tires on some models
to provide superior performance on dry roads.
Summer tire performance is substantially re-
duced in snow and ice. Summer tires do not have
the tire traction rating “M&S” on the tire sidewall.
If you plan to operate your vehicle in snowy or icy
conditions, NISSAN recommends the use of
SNOW tires or ALL SEASON tires on all four
wheels.
Snow tires
If snow tires are needed, it is necessary to select
tires equivalent in size and load rating to the
original equipment tires. If you do not, it can
adversely affect the safety and handling of your
vehicle.
Generally, snow tires have lower speed ratings
than factory equipped tires and may not match
the potential maximum vehicle speed. Never ex-
ceed the maximum speed rating of the tire.
If you install snow tires, they must be the same
size, brand, construction and tread pattern on all
four wheels.
For additional traction on icy roads, studded tires
may be used. However, some U.S. states and
Canadian provinces prohibit their use. Check
local, state and provincial laws before installing
studded tires. Skid and traction capabilities of
studded snow tires on wet or dry surfaces may be
poorer than that of non-studded snow tires.
8-36 Do-it-yourself

TIRE CHAINS
Use of tire chains may be prohibited according to
location. Check the local laws before installing
tire chains. When installing tire chains, make sure
they are the proper size for the tires on your
vehicle and are installed according to the chain
manufacturer’s suggestions. Use only SAE
class “S” chains. Class “S” chains are used on
vehicles with restricted tire to vehicle clearance.
Vehicles that can use Class “S” chains are de-
signed to meet the minimum clearances between
the tire and the closest vehicle suspension or
body component required to accommodate the
use of a winter traction device (tire chains or
cables). The minimum clearances are determined
using the factory equipped tire size. Other types
may damage your vehicle. Use chain tensioners
when recommended by the tire chain manufac-
turer to ensure a tight fit. Loose end links of the
tire chain must be secured or removed to prevent
the possibility of whipping action damage to the
fenders or underbody. If possible, avoid fully load-
ing your vehicle when using tire chains. In addi-
tion, drive at a reduced speed. Otherwise, your
vehicle may be damaged and/or vehicle handling
and performance may be adversely affected.
Tire chains must be installed only on the
rear wheels and not on the front wheels.
Do not use tire chains on dry roads. Driving with
chains in such conditions can cause damage to
the various mechanisms of the vehicle due to
some overstress.
Use only the 2WD range when driving on clear
paved roads.
CHANGING WHEELS AND TIRES
Tire rotation
NISSAN recommends rotating the tires
every 5,000 miles (8,000 km).
For additional information on tire replac-
ing procedures, refer to “Flat tire”in the “In
case of emergency” section in this
manual.
As soon as possible, tighten the
wheel nuts to the specified torque
with a torque wrench.
WDI0258
Do-it-yourself 8-37

Wheel nut tightening torque:
98 ft-lb (133 N·m)
The wheel nuts must be kept tight-
ened to specifications at all times. It
is recommended that wheel nuts be
tightened to specification at each
tire rotation interval.
WARNING
●After rotating the tires, check and
adjust the tire pressure.
●Retighten the wheel nuts when
the vehicle has been driven for
600 miles (1,000 km) (also in
cases of a flat tire, etc.).
●Do not include the spare tire in
the tire rotation.
●For additional information re-
garding tires, refer to “Important
Tire Safety Information” (US) or
“Tire Safety Information”
(Canada) in the Warranty Infor-
mation Booklet.
Tire wear and damage
1. Wear indicator
2. Location mark
WARNING
●Tires should be periodically in-
spected for wear, cracking, bulg-
ing or objects caught in the tread.
If excessive wear, cracks, bulging
or deep cuts are found, the tire(s)
should be replaced.
●The original tires have built-in
tread wear indicators. When the
wear indicators are visible, the
tire(s) should be replaced.
●Tires degrade with age and use.
Have tires, including the spare,
over 6 years old checked by a
qualified technician because
some tire damage may not be ob-
vious. Replace the tires as neces-
sary to prevent tire failure and
possible personal injury.
●Improper service of the spare tire
may result in serious personal in-
jury. If it is necessary to repair the
spare tire, it is recommended that
you visit a NISSAN dealer for this
service.
●For additional information re-
garding tires, refer to “Important
Tire Safety Information” (US) or
“Tire Safety Information”
(Canada) in the Warranty Infor-
mation Booklet.
WDI0259
8-38 Do-it-yourself

Replacing wheels and tires
When replacing a tire, use the same size, tread
design, speed rating and load carrying capacity
as originally equipped. For additional information,
refer to “Wheels and tires” in the “Technical and
consumer information” section of this manual.
WARNING
●The use of tires other than those recom-
mended or the mixed use of tires of
different brands, construction (bias,
bias-belted or radial), or tread patterns
can adversely affect the ride, braking,
handling, Vehicle Dynamic Control
(VDC) system, ground clearance, body-
to-tire clearance, tire chain clearance,
speedometer calibration, headlight aim
and bumper height. Some of these ef-
fects may lead to accidents and could
result in serious personal injury.
●If your vehicle was originally equipped
with 4 tires that were the same size and
you are only replacing 2 of the 4 tires,
install the new tires on the rear axle.
Placing new tires on the front axle may
cause loss of vehicle control in some
driving conditions and cause an acci-
dent and personal injury.
●If the wheels are changed for any rea-
son, always replace with wheels which
have the same off-set dimension.
Wheels of a different off-set could
cause premature tire wear, degrade ve-
hicle handling characteristics, affect the
VDC system and/or interference with
the brake discs. Such interference can
lead to decreased braking efficiency
and/or early brake pad wear. For addi-
tional information on wheel off-set di-
mensions, refer to “Wheels and tires” in
the “Technical and consumer informa-
tion” section of this manual.
●Since the spare tire is not equipped with
the TPMS, when a spare tire is mounted
or a wheel is replaced, tire pressure will
not be indicated, the TPMS will not
function and the low tire pressure warn-
ing light will flash for approximately
1 minute. The light will remain on after
1 minute. Have your tires replaced
and/or TPMS system reset as soon as
possible. It is recommended that you
visit a NISSAN dealer for this service.
●Replacing tires with those not originally
specified by NISSAN could affect the
proper operation of the TPMS.
●The TPMS sensor may be damaged if it
is not handled correctly. Be careful
when handling the TPMS sensor.
●When replacing the TPMS sensor, the
ID registration may be required. It is
recommended that you visit a NISSAN
dealer for ID registration.
●Do not use a valve stem cap that is not
specified by NISSAN. The valve stem
cap may become stuck.
●Be sure that the valve stem caps are
correctly fitted. Otherwise the valve may
be clogged up with dirt and cause a
malfunction or loss of pressure.
●Do not install a damaged or deformed
wheel or tire even if it has been re-
paired. Such wheels or tires could have
structural damage and could fail with-
out warning.
●The use of retread tires is not
recommended.
●For additional information regarding
tires, refer to “Important Tire Safety In-
formation” (US) or “Tire Safety Informa-
tion” (Canada) in the Warranty Informa-
tion Booklet.
Do-it-yourself 8-39

Four-wheel drive models
CAUTION
Always use tires of the same type, size,
brand, construction (bias, bias-belted or
radial), and tread pattern on all four
wheels. Failure to do so may result in a
circumference difference between tires on
the front and rear axles which will cause
excessive tire wear and may damage the
transmission, transfer case and differen-
tial gears.
If excessive tire wear is found, it is recommended
that all four tires be replaced with tires of the
same size, brand, construction and tread pattern.
The tire pressure and wheel alignment should
also be checked and corrected as necessary. It is
recommended that you visit a NISSAN dealer for
this service.
Wheel balance
Unbalanced wheels may affect vehicle handling
and tire life. Even with regular use, wheels can get
out of balance. Therefore, they should be bal-
anced as required.
Wheel balance service should be per-
formed with the wheels off the vehicle.
Spin balancing the wheels on the vehicle
could lead to mechanical damage.
●For additional information regarding
tires, refer to “Important Tire Safety
Information” (US) or “Tire Safety Infor-
mation” (Canada) in the Warranty In-
formation Booklet.
Care of wheels
●Wash the wheels when washing the vehicle
to maintain their appearance.
●Clean the inner side of the wheels when the
wheel is changed or the underside of the
vehicle is washed.
●Do not use abrasive cleaners when washing
the wheels.
●Inspect wheel rims regularly for dents or
corrosion. Such damage may cause loss of
pressure or poor seal at the tire bead.
●NISSAN recommends waxing the road
wheels to protect against road salt in areas
where it is used during winter.
8-40 Do-it-yourself

9 Maintenance and schedules
Maintenance requirements..........................9-2
General maintenance ...........................9-2
Scheduled maintenance.........................9-2
Where to go for service .........................9-2
General maintenance ..............................9-2
Explanation of general maintenance items .........9-2
Explanation of scheduled maintenance items .........9-5
Emission Control System Maintenance: ...........9-5
Chassis and Body Maintenance: .................9-6
Maintenance schedules ............................9-7
Additional Maintenance Items for severe
operating conditions ............................9-7
Standard maintenance .............................9-7
Emission control system maintenance.............9-8
Chassis & body maintenance ...................9-10
Maintenance under severe operating conditions......9-12
Severe driving conditions.......................9-12
Maintenance log..................................9-13
Some day-to-day and regular maintenance is es-
sential to maintain your vehicle good mechanical
condition, as well as its emissions and engine
performance.
It is the owner’s responsibility to make sure that
the scheduled maintenance, as well as general
maintenance, is performed.
As the vehicle owner, you are the only one who
can ensure that your vehicle receives proper
maintenance. You are a vital link in the mainte-
nance chain.
GENERAL MAINTENANCE
General maintenance includes those items which
should be checked during normal day-to-day op-
eration. They are essential for proper vehicle op-
eration. It is your responsibility to perform these
procedures regularly as prescribed.
Performing general maintenance checks requires
minimal mechanical skill and only a few general
automotive tools.
These checks or inspections can be done by
yourself, a qualified technician or, if you prefer, a
NISSAN dealer.
SCHEDULED MAINTENANCE
The maintenance items listed in this section are
required to be serviced at regular intervals. How-
ever under severe driving conditions, additional
or more frequent maintenance will be required.
WHERE TO GO FOR SERVICE
If maintenance service is required or your vehicle
appears to malfunction, have the systems
checked and serviced. It is recommended that
you visit a NISSAN dealer for this service.
NISSAN technicians are well-trained specialists
and are kept up-to-date with the latest service
information through technical bulletins, service
tips and training programs. They are completely
qualified to work on NISSAN vehicles before
work begins.
You can be confident that a NISSAN dealer’s
service department can perform the service
needed to meet the maintenance requirements
on your vehicle.
During the normal day-to-day operation of the
vehicle, general maintenance should be per-
formed regularly as prescribed in this section. If
you detect any unusual sounds, vibrations or
smells, be sure to check for the cause or have a
NISSAN dealer do it promptly. In addition, it is
recommended that you visit a NISSAN dealer if
you think that repairs are required.
When performing any checks or maintenance
work, closely observe the “Maintenance precau-
tions” in the “Do-it-yourself” section of this
manual.
EXPLANATION OF GENERAL
MAINTENANCE ITEMS
Additional information on the following
items with“*”isfound in the “Do-it-
yourself” section of this manual.
Outside the vehicle
The maintenance items listed here should be
performed from time to time, unless otherwise
specified.
MAINTENANCE REQUIREMENTS GENERAL MAINTENANCE
9-2 Maintenance and schedules
Doors and engine hood: Check that the doors
and engine hood operate properly. Also ensure
that all latches lock securely. Lubricate hinges,
latches, latch pins, rollers and links if necessary.
Make sure that the secondary latch keeps the
hood from opening when the primary latch is
released.
When driving in areas using road salt or other
corrosive materials, check lubrication frequently.
Lights*: Clean the headlights on a regular basis.
Make sure that the headlights, stop lights, tail
lights, turn signal lights, and other lights are all
operating properly and installed securely. Also
check headlight aim.
Road wheel nuts (lug nuts)*: When checking
the tires, make sure no wheel nuts are missing,
and check for any loose wheel nuts. Tighten if
necessary.
Tire rotation*: Tires should be rotated every
5,000 miles (8,000 km).
Tires*: Check the pressure with a gauge often
and always prior to long distance trips. If neces-
sary, adjust the pressure in all tires, including the
spare, to the pressure specified. Check carefully
for damage, cuts or excessive wear.
Tire Pressure Monitoring System (TPMS)
transmitter components: Replace the TPMS
transmitter grommet seal, valve core and cap
when the tires are replaced due to wear or age.
Wheel alignment and balance: If the vehicle
should pull to either side while driving on a
straight and level road, or if you detect uneven or
abnormal tire wear, there may be a need for wheel
alignment. If the steering wheel or seat vibrates at
normal highway speeds, wheel balancing may be
needed.
For additional information regarding tires, refer to
“Important Tire Safety Information” (US) or “Tire
Safety Information” (Canada) in the Warranty In-
formation Booklet.
Windshield: Clean the windshield on a regular
basis. Check the windshield at least every six
months for cracks or other damage. Have a dam-
aged windshield repaired by a qualified repair
facility.
Windshield wiper blades*: Check for cracks
or wear if they do not wipe properly.
Inside the vehicle
The maintenance items listed here should be
checked on a regular basis, such as when per-
forming scheduled maintenance, cleaning the ve-
hicle, etc.
Accelerator pedal: Check the pedal for smooth
operation and make sure the pedal does not
catch or require uneven effort. Keep the floor mat
away from the pedal.
Automatic transmission P (Park) mecha-
nism: On a fairly steep hill check that the vehicle
is held securely with the shift lever in the P (Park)
position without applying any brakes.
Brake pedal: Check the pedal for smooth op-
eration. If the brake pedal suddenly goes down
further than normal, the pedal feels spongy or the
vehicle seems to take longer to stop, have your
vehicle checked immediately. It is recommended
that you visit a NISSAN dealer for this service.
Keep the floor mat away from the pedal.
Brakes: Check that the brakes do not pull the
vehicle to one side when applied.
Parking brake: Check the parking brake opera-
tion regularly. The vehicle should be securely held
on a fairly steep hill with only the parking brake
applied. If the parking brake needs adjustment, it
is recommended that you visit a NISSAN dealer
for this service.
Maintenance and schedules 9-3
Seats: Check seat position controls such as
seat adjusters, seatback recliner, etc., to ensure
they operate smoothly and all latches lock se-
curely in every position. Check that the head
restraints/headrests move up and down
smoothly and the locks (if so equipped) hold
securely in all latched positions.
Seat belts: Check that all parts of the seat belt
system (for example, buckles, anchors, adjusters
and retractors) operate properly and smoothly,
and are installed securely. Check the belt web-
bing for cuts, fraying, wear or damage.
Steering wheel: Check for changes in the
steering system, such as excessive free play,
hard steering or strange noises.
Warning lights and chimes: Make sure all
warning lights and chimes are operating properly.
Windshield defroster: Check that the air
comes out of the defroster outlets properly and in
sufficient quantity when operating the heater or
air conditioner.
Windshield wiper and washer*: Check that
the wipers and washer operate properly and that
the wipers do not streak.
Under the hood and vehicle
The maintenance items listed here should be
checked periodically (for example, each time you
check the engine oil or refuel).
Battery*: Check the fluid level in each cell. The
fluid should be at the bottom of the filler opening.
Vehicles operated in high temperatures or under
severe conditions require frequent checks of the
battery fluid level.
NOTE:
Care should be taken to avoid situations
that can lead to potential battery discharge
and potential no-start conditions such as:
1. Installation or extended use of elec-
tronic accessories that consume bat-
tery power when the engine is not run-
ning (Phone chargers, GPS, DVD
players, etc.).
2. Vehicle is not driven regularly and/or
only driven short distances.
In these cases, the battery may need to be
charged to maintain battery health.
Brake fluid level*: Make sure that the brake
fluid level is between the MAX and MIN lines on
the reservoir.
Engine coolant level*: Check the coolant level
when the engine is cold.
Engine drive belts*: Make sure the drive belts
are not frayed, worn, cracked or oily.
Engine oil level*: Check the level after parking
the vehicle on a level spot and turning off the
engine. Wait more than 15 minutes for the oil to
drain back into the oil pan.
Exhaust system: Make sure there are no loose
supports, cracks or holes. If the sound of the
exhaust seems unusual or there is a smell of
exhaust fumes, immediately have the exhaust
system inspected. It is recommended that you
visit a NISSAN dealer for this service. For addi-
tional information, refer to “Exhaust gas (carbon
monoxide)”in the “Starting and driving” section of
this manual.
Fluid leaks: Check under the vehicle for fuel, oil,
water or other fluid leaks after the vehicle has
been parked for a while. Water dripping from the
air conditioner after use is normal. If you should
notice any leaks or if fuel fumes are evident,
check for the cause and have it corrected imme-
diately.
Power steering fluid level* and lines: Check
the level when the fluid is cold, with the engine
off. Check the lines for proper attachment, leaks,
cracks, etc.
9-4 Maintenance and schedules
Radiator and hoses: Check the front of the
radiator and clean off any dirt, insects, leaves,
etc., that may have accumulated. Make sure the
hoses have no cracks, deformation, rot or loose
connections.
Underbody: The underbody is frequently ex-
posed to corrosive substances such as those
used on icy roads or to control dust. It is very
important to remove these substances, other-
wise rust may form on the floor pan, frame, fuel
lines and around the exhaust system. At the end
of winter, the underbody should be thoroughly
flushed with plain water, being careful to clean
those areas where mud and dirt may accumulate.
For additional information, refer to the “Appear-
ance and care” section of this manual.
Windshield-washer fluid*: Check that there is
adequate fluid in the reservoir.
The following descriptions are provided to give
you a better understanding of the scheduled
maintenance items that should be regularly
checked or replaced. The maintenance schedule
indicates at which mileage/time intervals each
item requires service.
In addition to scheduled maintenance, your ve-
hicle requires that some items be checked during
normal day-to-day operation. For additional infor-
mation, refer to “General maintenance” in this
section.
Items marked with “*” are recommended by
NISSAN for reliable vehicle operation. You are
not required to perform maintenance on these
items in order to maintain the warranties which
come with your NISSAN. Other maintenance
items and intervals are required.
When applicable, additional information can be
found in the “Do-it-yourself” section of this
manual.
NOTE:
NISSAN does not advocate the use of non-
OEM approved aftermarket flushing sys-
tems and strongly advises against perform-
ing these services on a NISSAN product.
Many of the aftermarket flushing systems
use non-OEM approved chemicals or sol-
vents, the use of which has not been vali-
dated by NISSAN.
For recommended fuel, lubricants, fluids,
grease, and refrigerant, refer to “Recom-
mended fluids/lubricants and capacities”
in the “Technical and consumer informa-
tion” section of this manual.
EMISSION CONTROL SYSTEM
MAINTENANCE:
Drive belts*: Check engine drive belts for wear,
fraying or cracking and for proper tension. Re-
place any damaged drive belts.
Engine air filter: Replace at specified intervals.
When driving for prolonged periods in dusty con-
ditions, check/replace the filter more frequently.
EXPLANATION OF SCHEDULED
MAINTENANCE ITEMS
Maintenance and schedules 9-5
Engine coolant*: Replace coolant at the speci-
fied interval. When adding or replacing coolant,
be sure to use only Genuine NISSAN Long Life
Antifreeze/Coolant (blue) or equivalent with the
proper mixture. (For additional information on the
proper mixture for your area, refer to “Engine
cooling system” in the “Do-it-yourself” section of
this manual.)
NOTE:
Mixing any other type of coolant or
the use of non-distilled water may reduce the
recommended service interval of the coolant.
Engine oil and oil filter: Replace engine oil
and oil filter at the specified intervals. For recom-
mended oil grade and viscosity refer to “Recom-
mended fluids/lubricants and capacities” in the
“Technical and consumer information” section of
this manual.
Evaporative emissions control vapor lines*:
Check vapor lines for leaks or looseness. Tighten
connections or replace parts as necessary.
Fuel lines*: Check the fuel hoses, piping and
connections for leaks, looseness, or deteriora-
tion. Tighten connections or replace parts as
necessary.
Spark plugs: Replace at specified intervals. In-
stall new plugs of the same type as originally
equipped.
CHASSIS AND BODY
MAINTENANCE:
Brake lines and cables: Visually inspect for
proper installation. Check for chafing, cracks,
deterioration, and signs of leaking. Replace any
deteriorated or damaged parts immediately.
Brake pads and rotors: Check for wear, dete-
rioration and fluid leaks. Replace any deteriorated
or damaged parts immediately.
Exhaust system: Visually inspect the exhaust
pipes, muffler and hangers for leaks, cracks, de-
terioration, and damage. Tighten connections or
replace parts as necessary.
In-cabin microfilter: Replace at specified in-
tervals. When driving for prolonged periods in
dusty conditions, replace the filter more fre-
quently.
Steering gear and linkage, axle and sus-
pension parts, drive shaft boots: Check for
damage, looseness, and leakage of oil or grease.
Under severe driving conditions, inspect more
frequently.
Tire rotation: Tires should be rotated every
5,000 miles (8,000 km) according to the instruc-
tions under “Explanation of general maintenance
items” in this section. When rotating tires, check
for damage and uneven wear. Replace if neces-
sary.
Transmission fluid/oil, differential oil: Visu-
ally inspect for signs of leakage at specified inter-
vals.
9-6 Maintenance and schedules
To help ensure smooth, safe and economical
driving, NISSAN provides two maintenance
schedules that may be used, depending upon the
conditions in which you usually drive. These
schedules contain both distance and time inter-
vals, up to 120,000 miles
(192,000 km)/144 months. For most people, the
odometer reading will indicate when service is
needed. However, if you drive very little, your
vehicle should be serviced at the regular time
intervals shown in the schedule.
After 120,000 miles
(192,000 km)/144 months, continue main-
tenance at the same mileage/time inter-
vals.
ADDITIONAL MAINTENANCE ITEMS
FOR SEVERE OPERATING
CONDITIONS
Additional maintenance items for severe
operating conditions should be performed on
vehicles that are driven under especially de-
manding conditions. Additional maintenance
items should be performed if you primarily oper-
ate your vehicle under the following conditions:
●Repeated short trips of less than 5 miles
(8 km).
●Repeated short trips of less than 10 miles
(16 km) with outside temperatures remain-
ing below freezing.
●Operating in hot weather in stop-an-go
“rush hour” traffic.
●Extensive idling and/or low speed driving for
long distances, such as police, taxi or door-
to-door delivery use.
●Driving in dusty conditions.
●Driving on rough, muddy or salt spread
roads.
●Towing a trailer, using a camper or using a
car-top carrier.
NOTE:
For vehicles operated in Canada, both
standard and severe maintenance items
should be performed at every interval.
The following tables show the standard mainte-
nance schedule. Depending upon weather and
atmospheric conditions, varying road surfaces,
individual driving habits and vehicle usage, addi-
tional or more frequent maintenance may be re-
quired. After 120,000 miles
(192,000 km)/144 months, continue main-
tenance at the same mileage/time interval.
MAINTENANCE SCHEDULES STANDARD MAINTENANCE
Maintenance and schedules 9-7

EMISSION CONTROL SYSTEM MAINTENANCE
Abbreviations: I = Inspect and correct or replace as necessary, R = Replace
MAINTENANCE OPERATION
Perform at number of miles, kilometers or
months, whichever comes first. miles x 1,000
(km x 1,000)
Months
MAINTENANCE INTERVAL
5
(8)
6
10
(16)
12
15
(24)
18
20
(32)
24
25
(40)
30
30
(48)
36
35
(56)
42
40
(64)
48
45
(72)
54
50
(80)
60
55
(88)
66
60
(96)
72
Drive belts See NOTE (1) I* I* I*
Air cleaner filter See NOTE (2) R R
EVAP vapor lines I* I* I*
Fuel lines I* I* I*
Fuel filter See NOTE (3)
Engine coolant* See NOTE (4)(5)
Engine oil RRRRRRRRRRRR
Engine oil filter RRRRRRRRRRRR
Spark plugs See NOTE (6) Replace every 105,000 miles (168,000 km)
Intake and exhaust valve clearances* See NOTE (7)
9-8 Maintenance and schedules

MAINTENANCE OPERATION
Perform at number of miles, kilometers or
months, whichever comes first. miles x 1,000
(km x 1,000)
Months
MAINTENANCE INTERVAL
65
(104)
78
70
(112)
84
75
(120)
90
80
(128)
96
85
(136)
102
90
(144)
108
95
(152)
114
100
(160)
120
105
(168)
126
110
(176)
132
115
(184)
138
120
(192)
144
Drive belts See NOTE (1) I* I* I* I* I* I*
Air cleaner filter See NOTE (2) R R
EVAP vapor lines I* I* I*
Fuel lines I* I* I*
Fuel filter See NOTE (3)
Engine coolant* See NOTE (4)(5)
Engine oil RRRRRRRRRRRR
Engine oil filter RRRRRRRRRRRR
Spark plugs See NOTE (6) Replace every 105,000 miles (168,000 km)
Intake and exhaust valve clearances* See NOTE (7)
NOTE:
(1) After 40,000 miles (64,000 km) or 48 months, inspect every 10,000 miles (16,000 km) or 12 months. Replace the drive belts if found
damaged.
(2) If operating mainly in dusty conditions, more frequent maintenance may be required.
(3) Periodic maintenance is not required.
(4) First replacement interval is 105,000 miles (168,000 km) or 84 months. After first replacement, replace every 75,000 miles (120,000 km)
or 60 months.
(5) Use only Genuine NISSAN Long Life Antifreeze/Coolant (blue) or equivalent with proper mixture ration of 50% antifreeze and 50%
demineralized or distilled water. Mixing any other type of coolant or the use of non-distilled water may reduce the life expectancy of
the factory fill coolant.
(6) Replace spark plug when the plug gap exceeds 0.053 in (1.35 mm) even if within specified periodic replacement mileage.
(7) Periodic maintenance is not required. However, if valve noise increased, inspect valve clearance.
* Maintenance items and intervals with “*” are recommended by NISSAN for reliable vehicle operation. The owner need not perform such
maintenance in order to maintain the emission warranty or manufacturer recall liability. Other maintenance items and intervals are required.
Maintenance and schedules 9-9

CHASSIS & BODY MAINTENANCE
Abbreviations: I = Inspect and correct or replace as necessary, R = Replace,
MAINTENANCE OPERATION
Perform at number of miles, kilometers or months, whichever
comes first. miles x 1,000
(km x 1,000)
Months
MAINTENANCE INTERVAL
5
(8)
6
10
(16)
12
15
(24)
18
20
(32)
24
25
(40)
30
30
(48)
36
35
(56)
42
40
(64)
48
45
(72)
54
50
(80)
60
55
(88)
66
60
(96)
72
Brake lines & cables II I II I
Brake pads & rotors夝II I II I
Brake fluid夝RRR
Automatic transmission fluid See NOTE (1) I I I I I I
Manual transmission gear oil See NOTE (2) I I I I I I
Differential gear oil See NOTE (2) I I I I I I
Transfer fluid See NOTE (2) I I I I I I
Steering gear and linkage, axle and suspension parts夝III
Propeller shaft & drive shaft boots (4WD models)夝II I II I
Propeller shaft grease (4WD models)夝II I II I
Tire rotation See NOTE (3)
Exhaust system夝III
In-cabin microfilter RRRR
9-10 Maintenance and schedules

MAINTENANCE OPERATION
Perform at number of miles, kilometers or months,
whichever comes first. miles x 1,000
(km x 1,000)
Months
MAINTENANCE INTERVAL
65
(104)
78
70
(112)
84
75
(120)
90
80
(128)
96
85
(136)
102
90
(144)
108
95
(152)
114
100
(160)
120
105
(168)
126
110
(176)
132
115
(184)
138
120
(192)
144
Brake lines & cables I I I I I I
Brake pads & rotors夝IIIIII
Brake fluid夝RRR
Automatic transmission fluid See NOTE (1) I I I I I I
Manual transmission gear oil See NOTE (2) I I I I I I
Differential gear oil See NOTE (2) I I I I I I
Transfer fluid See NOTE (2) I I I I I I
Steering gear and linkage, axle and suspension parts夝III
Propeller shaft & drive shaft boots (4WD models)夝IIIIII
Propeller shaft grease (4WD models)夝IIIIII
Tire rotation See NOTE (3)
Exhaust system夝III
In-cabin microfilter RRRR
NOTE:
Maintenance items with “夝” should be performed more frequently according to “Maintenance under severe driving conditions”.
(1) If towing a trailer, using a car-top carrier, or driving on rough or muddy roads, change (not just inspect) oil at every 20,000 miles
(32,000 km) or 24 months. Using automatic transmission fluid other than Genuine NISSAN Matic S ATF or Matic J ATF (or their
equivalents) may cause deterioration in driveability and automatic transmission durability, and may damage the automatic transmis-
sion. Damage caused by the use of other fluids is not covered by the NISSAN New Vehicle Limited Warranty.
(2) If towing a trailer, using a camper or a car-top, or driving on rough or muddy roads, change (not just inspect) oil at every 20,000 miles
(32,000 km) or 24 months.
(3) For additional information on tire rotation, refer to “General maintenance” in this section.
Maintenance and schedules 9-11

The maintenance intervals shown on the preced-
ing pages are for normal operating conditions. If
the vehicle is mainly operated under severe driv-
ing conditions as shown below, more frequent
maintenance must be performed on the following
items as shown in the table.
SEVERE DRIVING CONDITIONS
●Repeated short trips of less than 5 miles
(8 km).
●Repeated short trips of less than 10 miles
(16 km) with outside temperatures remain-
ing below freezing.
●Operating in hot weather in stop-and-go
“rush hour” traffic.
●Extensive idling and/or low speed driving for
long distance, such as police, taxi or door-
to-door delivery use.
●Driving in dusty conditions.
●Driving on rough, muddy or salt spread
roads.
●Towing a trailer, using a camper or a car-top
carrier.
Maintenance operation: Inspect = Inspect and correct or replace as necessary.
Maintenance item Maintenance operation Maintenance interval
Brake fluid Replace Every 10,000 miles (16,000 km) or 12 months
Brake pads & rotors Inspect Every 5,000 miles (8,000 km) or 6 months
Steering gear & linkage, axle & suspension parts Inspect Every 5,000 miles (8,000 km) or 6 months
Propeller shaft & drive shaft boots (4WD models) Inspect Every 5,000 miles (8,000 km) or 6 months
Exhaust system Inspect Every 5,000 miles (8,000 km) or 6 months
MAINTENANCE UNDER SEVERE
OPERATING CONDITIONS
9-12 Maintenance and schedules

5,000 Miles (8,000 km) or 6 Months
Dealer Name:
Date:
Mileage:
Dealer
Stamp:
10,000 Miles (16,000 km) or
12 Months
Dealer Name:
Date:
Mileage:
Dealer
Stamp:
15,000 Miles (24,000 km) or
18 Months
Dealer Name:
Date:
Mileage:
Dealer
Stamp:
20,000 Miles (32,000 km) or
24 Months
Dealer Name:
Date:
Mileage:
Dealer
Stamp:
25,000 Miles (40,000 km) or
30 Months
Dealer Name:
Date:
Mileage:
Dealer
Stamp:
30,000 Miles (48,000 km) or
36 Months
Dealer Name:
Date:
Mileage:
Dealer
Stamp:
35,000 Miles (56,000 km) or
42 Months
Dealer Name:
Date:
Mileage:
Dealer
Stamp:
40,000 Miles (64,000 km) or
48 Months
Dealer Name:
Date:
Mileage:
Dealer
Stamp:
45,000 Miles (72,000 km) or
54 Months
Dealer Name:
Date:
Mileage:
Dealer
Stamp:
MAINTENANCE LOG
Maintenance and schedules 9-13

50,000 Miles (80,000 km) or
60 Months
Dealer Name:
Date:
Mileage:
Dealer
Stamp:
55,000 Miles (88,000 km) or
66 Months
Dealer Name:
Date:
Mileage:
Dealer
Stamp:
60,000 Miles (96,000 km) or
72 Months
Dealer Name:
Date:
Mileage:
Dealer
Stamp:
65,000 Miles (104,000 km) or
78 Months
Dealer Name:
Date:
Mileage:
Dealer
Stamp:
70,000 Miles (112,000 km) or
84 Months
Dealer Name:
Date:
Mileage:
Dealer
Stamp:
75,000 Miles (120,000 km) or
90 Months
Dealer Name:
Date:
Mileage:
Dealer
Stamp:
80,000 Miles (128,000 km) or
96 Months
Dealer Name:
Date:
Mileage:
Dealer
Stamp:
85,000 Miles (136,000 km) or
102 Months
Dealer Name:
Date:
Mileage:
Dealer
Stamp:
90,000 Miles (144,000 km) or
108 Months
Dealer Name:
Date:
Mileage:
Dealer
Stamp:
9-14 Maintenance and schedules

95,000 Miles (152,000 km) or
114 Months
Dealer Name:
Date:
Mileage:
Dealer
Stamp:
100,000 Miles (160,000 km) or
120 Months
Dealer Name:
Date:
Mileage:
Dealer
Stamp:
105,000 Miles (168,000 km) or
126 Months
Dealer Name:
Date:
Mileage:
Dealer
Stamp:
110,000 Miles (176,000 km) or
132 Months
Dealer Name:
Date:
Mileage:
Dealer
Stamp:
115,000 Miles (184,000 km) or
138 Months
Dealer Name:
Date:
Mileage:
Dealer
Stamp:
120,000 Miles (192,000 km) or
144 Months
Dealer Name:
Date:
Mileage:
Dealer
Stamp:
Maintenance and schedules 9-15
10 Technical and consumer information
Recommended fluids/lubricants and capacities ......10-2
Fuel recommendation
(without Flexible Fuel Vehicle option).............10-5
Flexible fuel vehicle (FFV) fuel
recommendation (if so equipped)................10-7
Engine oil and oil filter recommendations .........10-9
Air conditioner system (if so equipped)
refrigerant and oil recommendations ............10-10
Specifications...................................10-11
Engine ......................................10-11
Wheels and tires .............................10-12
Dimensions and weights ......................10-12
When traveling or registering in another country.....10-13
Vehicle identification .............................10-13
Vehicle identification number (VIN) plate ........10-13
Engine serial number..........................10-13
F.M.V.S.S./C.M.V.S.S. certification label .........10-14
Emission control information label ..............10-15
Tire and loading information label...............10-15
Air conditioner specification label
(if so equipped) ..............................10-16
Installing front license plate .......................10-16
Installing front license plate with grommets ......10-16
Installing front license plate without
grommets ...................................10-16
Vehicle loading information .......................10-17
Terms .......................................10-17
Vehicle load capacity .........................10-17
Securing the load.............................10-19
Utili-track™ channel system (if so equipped) .....10-20
Loading tips .................................10-25
Truck-camper loading information .................10-25
Crew cab models.............................10-25
King Cab models .............................10-25
Special Body vehicles.........................10-25
Location for center of gravity...................10-26
Vehicle load weight capacity ...................10-26
Measurement of weights ......................10-26
Towing a trailer ..................................10-27
Maximum load limits ..........................10-27
Towing load/specification......................10-31

Towing safety ................................10-32
Flat towing – 4WD with automatic
transmission .................................10-38
Flat towing – 2WD with automatic
transmission .................................10-38
Flat towing – 2WD/4WD with manual
transmission .................................10-39
Uniform tire quality grading .......................10-39
Emission control system warranty .................10-40
Reporting safety defects .........................10-40
Readiness for inspection/maintenance (I/M) test ....10-41
Event Data Recorders (EDR)......................10-42
Owner’s Manual/Service Manual order information . .10-43

The following are approximate capacities. The actual refill capacities may be a little different. When refilling, follow the procedure
described in the “Do-it-yourself” section to determine the proper refill capacity.
Fluid type Capacity (approximate) Recommended Fluids/Lubricants
Metric
Measure
US
Measure
Imperial
Measure
Fuel 80 L 21-1/8 gal 17-5/8 gal
• For additional information, refer to “Fuel recommendations
(without Flexible Fuel Vehicle option)” or “Flexible fuel vehicle
(FFV) fuel recommendation (if so equipped)” in this section.
Engine oil*1
Drain and refill
*1: For additional
information, refer to “En-
gine” in the “Do-it-
yourself” section of this
manual.
QR25DE
With oil filter
change 4.6 L 4-7/8 qt 4 qt • Genuine “Nissan Motor Oil 5W-30 SN” is recommended.
• If the above motor oil is not available, use an equivalent motor
oil that matches the above grade and viscosity. For additional
information, refer to “Engine oil and oil filter recommendation” in
this section.
Without oil filter
change 4.3 L 4-1/2 qt 3-3/4 qt
VQ40DE
With oil filter
change 5.1 L 5-3/8 qt 4-1/2 qt • Genuine “Nissan Motor Oil Ester 5W-30 SN” is recommended.
• If the above motor oil is not available, use an equivalent motor
oil that matches the above grade and viscosity. For additional
information, refer to “Engine oil and oil filter recommendation” in
this section.
Without oil filter
change 4.8 L 5-1/8 qt 4-1/4 qt
Engine coolant
(with reservoir)
QR25DE 9.4 L 2-1/2 gal 2-1/8 gal • Pre-diluted Genuine NISSAN Long Life Antifreeze/Coolant
(blue) or equivalent
VQ40DE 10.2 L 2-3/4 gal 2-1/4 gal
Manual transmission gear oil
5 M/T 2.9 L 3-1/8 qt 2-1/2 qt • Genuine NISSAN Manual Transmission Fluid (MTF) HQ Multi
75W-85 or equivalent
6 M/T 4X2 4.0 L 4-1/4 qt 3-1/2 qt
6 M/T 4X4 4.2 L 4-1/2 qt 3-3/4 qt
RECOMMENDED FLUIDS/
LUBRICANTS AND CAPACITIES
10-2 Technical and consumer information

Fluid type Capacity (approximate) Recommended Fluids/Lubricants
Metric
Measure
US
Measure
Imperial
Measure
Automatic transmission fluid Refill to the proper level according to the instruc-
tions in the “Do-it-yourself” section.
• Genuine NISSAN Matic S ATF or equivalent
• NISSAN recommends using Genuine NISSAN Matic S ATF in
NISSAN automatic transmissions. If Genuine NISSAN Matic S
ATF is not available, Genuine NISSAN Matic J ATF may also be
used. Do not mix with other fluids. Using fluids that are not
equivalent to Genuine NISSAN Matic S ATF or Genuine NISSAN
Matic J ATF may damage the automatic transmission. Damage
caused by the use of other automatic transmission fluids is not
covered under the NISSAN New Vehicle Limited Warranty.
Transfer fluid 2.0 L 2-1/8 qt 1-3/4 qt
• Genuine NISSAN Matic D ATF recommended
• Using fluid other than Genuine NISSAN Matic D ATF may
cause deterioration in driveability and transfer durability, and may
damage the transfer. Damage caused by the use of other fluids is
not covered by the NISSAN New Vehicle Limited Warranty.
Front final drive oil 0.85 L 1-3/4 pt 1-1/2 pt • Genuine NISSAN Differential Oil Hypoid Super GL-5 80W-90
or equivalent conventional (non-synthetic) oil
Rear final drive oil (except for 6 speed M/T or E-Lock vehicles) 1.6 L 3-3/8 pt 2-7/8 pt • API GL-5 synthetic gear oil, Viscosity SAE 75W-90
Rear final drive oil (for 6 speed M/T or E-Lock vehicles) 2.0 L 4-1/4 pt 3-1/2 pt • Genuine NISSAN Differential Oil synthetic 75W-140 or API
GL-5 synthetic gear oil, Viscosity SAE 75W-140
Power Steering Fluid (PSF) — — — • Genuine NISSAN PSF or equivalent.
• DEXRON® VI type ATF may also be used.
Brake and clutch (if so equipped) fluid — — —
• Genuine NISSAN Super Heavy Duty Brake Fluid*2 or equiva-
lent DOT 3
*2: Available in mainland USA through a NISSAN dealer.
Multi-purpose grease — — — • NLGI No. 2 (Lithium Soap base)
Technical and consumer information 10-3

Fluid type Capacity (approximate) Recommended Fluids/Lubricants
Metric
Measure
US
Measure
Imperial
Measure
Air conditioning system refrigerant — — —
• HFC-134a (R-134a)
• For additional information, refer to “Air conditioner specification
label” in this section.
Air conditioning system oil — — —
• Genuine NISSAN A/C System Oil Type R (KLH00-PAGR0) or
equivalent
• For additional information, refer to “Air conditioner specification
label” in this section.
Windshield-washer fluid 4.5 L 1-1/4 gal 1 gal • Genuine NISSAN Windshield Washer Concentrate Cleaner &
Antifreeze or equivalent
10-4 Technical and consumer information

FUEL RECOMMENDATION (without
Flexible Fuel Vehicle option)
Use unleaded regular gasoline with an octane
rating of at least 87 AKI (Anti-Knock Index) num-
ber (Research octane number 91).
CAUTION
●Only vehicles with the E-85 filler door
label can operate on E-85. Fuel system
or other damage can occur if E-85 is
used in vehicles that are not designed
to run on E-85.
●Using a fuel other than that specified
could adversely affect the emission
control system, and may also affect the
warranty coverage.
●Under no circumstances should a
leaded gasoline be used, because this
will damage the three-way catalyst.
●Do not use E-15 or E-85 fuel in your
vehicle. Your vehicle is not designed to
run on E-15 or E-85 fuel. Using E-15 or
E-85 fuel in a vehicle not specifically
designed for E-15 or E-85 fuel can ad-
versely affect the emission control de-
vices and systems of the vehicle. Dam-
age caused by such fuel is not covered
by the NISSAN New Vehicle Limited
Warranty.
●Do not use fuel that contains the octane
booster methylcyclopentadienyl man-
ganese tricarbonyl (MMT). Using fuel
containing MMT may adversely affect
vehicle performance and vehicle emis-
sions. Not all fuel dispensers are la-
beled to indicate MMT content, so you
may have to consult your gasoline re-
tailer for more details. Note that Fed-
eral and California laws prohibit the use
of MMT in reformulated gasoline.
●U.S. government regulations require
ethanol dispensing pumps to be identi-
fied by a small, square, orange and
black label with the common abbrevia-
tion or the appropriate percentage for
that region.
Gasoline specifications
NISSAN recommends using gasoline that meets
the World-Wide Fuel Charter (WWFC) specifi-
cations where it is available. Many of the automo-
bile manufacturers developed this specification
to improve emission control system and vehicle
performance. Ask your service station manager if
the gasoline meets the WWFC specifications.
Reformulated gasoline
Some fuel suppliers are now producing reformu-
lated gasolines. These gasolines are specially
designed to reduce vehicle emissions. NISSAN
supports efforts towards cleaner air and sug-
gests that you use reformulated gasoline when
available.
Gasoline containing oxygenates
Some fuel suppliers sell gasoline containing oxy-
genates such as ethanol, Methyl Tert-butyl Ether
(MTBE) and methanol with or without advertising
their presence. NISSAN does not recommend
the use of fuels of which the oxygenate content
and the fuel compatibility for your NISSAN can-
not be readily determined. If in doubt, ask your
service station manager.
Technical and consumer information 10-5
If you use oxygenate-blend gasoline, please take
the following precautions as the usage of such
fuels may cause vehicle performance problems
and/or fuel system damage.
●The fuel should be unleaded and have
an octane rating no lower than that
recommended for unleaded gasoline.
●If an oxygenate-blend other than
methanol blend is used, it should con-
tain no more than 10% oxygenate.
(MTBE may, however, be added up to
15%.)
●E-15 fuel contains more than 10% oxy-
genate. E-15 fuel will adversely affect
the emission control devices and sys-
tems of the vehicle and should not be
used. Damage caused by such fuel is
not covered by the NISSAN New Ve-
hicle Limited Warranty.
●If a methanol blend is used, it should
contain no more than 5% methanol
(methyl alcohol, wood alcohol). It
should also contain a suitable amount
of appropriate cosolvents and corro-
sion inhibitors. If not properly formu-
lated with appropriate cosolvents and
corrosion inhibitors, such methanol
blends may cause fuel system damage
and/or vehicle performance problems.
At this time, sufficient data is not avail-
able to ensure that all methanol blends
are suitable for use in NISSAN ve-
hicles.
If any driveability problems such as engine stall-
ing and difficult hot-starting are experienced after
using oxygenate-blend fuels, immediately
change to a non-oxygenate fuel or a fuel with a
low blend of MTBE.
Take care not to spill gasoline during refu-
eling. Gasoline containing oxygenates can
cause paint damage.
E–15 fuel
E-15 fuel is a mixture of approximately 15% fuel
ethanol and 85% unleaded gasoline. E-15 can
only be used in vehicles designed to run on E-15
fuel. Do not use E-15 in your vehicle. U.S. gov-
ernment regulations require fuel ethanol dispens-
ing pumps to be identified with small, square,
orange and black label with the common abbre-
viation or the appropriate percentage for that
region.
E–85 fuel
E-85 fuel is a mixture of approximately 85% fuel
ethanol and 15% unleaded gasoline. E-85 can
only be used in a Flexible Fuel Vehicle (FFV). Do
not use E-85 in your vehicle. U.S. government
regulations require fuel ethanol dispensing
pumps to be identified by a small, square, orange
and black label with the common abbreviation or
the appropriate percentage for that region.
Fuel containing MMT
MMT, or methylcyclopentadienyl manganese tri-
carbonyl, is an octane boosting additive. NISSAN
does not recommend the use of fuel containing
MMT. Such fuel may adversely affect vehicle per-
formance, including the emissions control sys-
tem. Note that while some fuel pumps label MMT
content, not all do, so you may have to consult
your gasoline retailer for more details.
10-6 Technical and consumer information

Aftermarket fuel additives
NISSAN does not recommend the use of any
aftermarket fuel additives (for example, fuel injec-
tor cleaner, octane booster, intake valve deposit
removers, etc.) which are sold commercially.
Many of these additives intended for gum, varnish
or deposit removal may contain active solvents or
similar ingredients that can be harmful to the fuel
system and engine.
Octane rating tips
Using unleaded gasoline with an octane
rating lower than recommended can cause
persistent, heavy “spark knock.” (“Spark
knock” is a metallic rapping noise.) If se-
vere, this can lead to engine damage. If you
detect a persistent heavy spark knock even
when using gasoline of the stated octane
rating, or if you hear steady spark knock
while holding a steady speed on level
roads, have a NISSAN dealer correct the
condition. Failure to correct the condition
is misuse of the vehicle, for which NISSAN
is not responsible.
Incorrect ignition timing may result in spark
knock, after-run and/or overheating, which may
cause excessive fuel consumption or engine
damage. If any of the above symptoms are en-
countered, have your vehicle checked. It is rec-
ommended that you visit a NISSAN dealer for
servicing.
However, now and then you may notice
light spark knock for a short time while
accelerating or driving up hills. This is not a
cause for concern, because you get the
greatest fuel benefit when there is light
spark knock for a short time under heavy
engine load.
FLEXIBLE FUEL VEHICLE (FFV) FUEL
RECOMMENDATION (if so equipped)
Your vehicle is designed to use (E-85) Fuel Etha-
nol, “Regular” unleaded regular gasoline or any
percentage of the two fuels combined.
U.S. government regulations require Fuel
Ethanol dispensing pumps to have a small,
square, orange and black label with the
common abbreviation or the appropriate
percentage for that region.
CAUTION
Use of other fuels such as Fuel Methanol
may cause powertrain damage or a loss of
vehicle performance.
Under no circumstances should a leaded
gasoline be used, because this will cause
damage to the three-way catalyst.
General information
This information is for Flexible Fuel vehicles (FFV)
only. FFV vehicles can be identified by the fuel
filler door label that states Ethanol (E-85) or
Unleaded Gasoline Only. This section only cov-
ers those subjects that are unique to Flexible Fuel
vehicles.
CAUTION
Only vehicles with the E-85 filler door la-
bel can operate on E-85. Fuel system or
other damage can occur if E-85 is used in
vehicles that are not designed to run on
E-85.
Ethanol Fuel (E-85)
E-85 is a mixture of approximately 85% fuel etha-
nol and 15% unleaded gasoline.
WARNING
●Ethanol vapors are extremely flam-
mable and could cause serious per-
sonal injury.
Technical and consumer information 10-7

●Never have any smoking materials lit in
or near the vehicle when removing the
fuel filler cap or filling the tank.
●Do not use E-85 as a cleaning agent and
never use it near an open flame.
Fuel requirements
Your vehicle will operate on both unleaded regu-
lar gasoline with an octane rating of at least
87 AKI (Anti-Knock Index) number (Research
octane number 91), or E-85 fuel, or any mixture of
these two.
For the best starting and vehicle driveability re-
sults, do not continually switch between E-85
and unleaded regular gasoline. If you must switch
fuels, NISSAN recommends the following:
●do not switch when the fuel gauge indicates
less than 1/4 full
●add more than 5 gallons of fuel
●operate the vehicle immediately after refuel-
ing for a period of at least 5 minutes
NOTE:
When the ambient temperature is above
90°F (32°C), you may experience hard start-
ing and rough idle following start up even if
the above recommendations are followed.
Starting
The characteristics of E-85 fuel make it unsuit-
able for use when ambient temperatures fall be-
low 0°F (-18°C). In the range of 0°F (-18°C) to
32°F (0°C), you may experience an increase in
the time it takes for you engine to start, and a
deterioration in drivability (sags and/or hesita-
tions) until the engine is fully warmed up.
Fuel consumption
Because E-85 fuel contains less energy per gal-
lon than gasoline, you will experience an increase
in fuel consumption. You can expect your fuel
mileage to decrease by about 30% compared to
gasoline operation.
Replacement parts
Many components in your Flexible Fuel Vehicle
(FFV) are designed to be compatible with etha-
nol. Always be sure that your vehicle is serviced
with correct ethanol compatible parts.
CAUTION
Replacing fuel system components with
non-ethanol compatible components can
damage your vehicle and may also affect
the warranty coverage.
Maintenance
If you operate your vehicle using E-85 fuel, follow
the correct maintenance log shown in the “Main-
tenance and schedules” section of this manual.
CAUTION
Do not use ethanol mixture greater than
85% in your vehicle. It will cause difficulty
in cold starting and may affect driveability.
10-8 Technical and consumer information

ENGINE OIL AND OIL FILTER
RECOMMENDATIONS
Selecting the correct oil
It is essential to choose the correct grade, quality
and viscosity engine oil to ensure satisfactory
engine life and performance. For additional infor-
mation, refer to “Recommended fluids/lubricants
and capacities” in this section. NISSAN recom-
mends the use of an energy conserving oil in
order to improve fuel economy.
Select only engine oils that meet the American
Petroleum Institute (API) certification or Interna-
tional Lubricant Standardization and Approval
Committee (ILSAC) certification and SAE vis-
cosity standard. These oils have the API certifica-
tion mark on the front of the container. Oils which
do not have the specified quality label should not
be used as they could cause engine damage.
Oil additives
NISSAN does not recommend the use of oil
additives. The use of an oil additive is not neces-
sary when the proper oil type is used and main-
tenance intervals are followed.
Oil which may contain foreign matter or has been
previously used should not be used.
Oil viscosity
The engine oil viscosity or thickness changes
with temperature. Because of this, it is important
to select the engine oil viscosity based on the
temperatures at which the vehicle will be oper-
ated before the next oil change. Choosing an oil
viscosity other than that recommended could
cause serious engine damage.
Selecting the correct oil filter
Your new NISSAN vehicle is equipped with a
high-quality Genuine NISSAN oil filter. When
replacing, use a Genuine NISSAN oil filter or its
equivalent for the reason described in “Change
intervals.”
Change intervals
The oil and oil filter change intervals for your
engine are based on the use of the specified
quality oils and filters. Using engine oil and filters
that are not of the specified quality, or exceeding
recommended oil and filter change intervals
could reduce engine life. Damage to the engine
caused by improper maintenance or use of incor-
rect oil and filter quality and/or viscosity is not
covered by the NISSAN New Vehicle Limited
Warranty.
LTI2061
Technical and consumer information 10-9

Your engine was filled with a high-quality engine
oil when it was built. You do not have to change
the oil before the first recommended change
interval. Oil and filter change intervals depend
upon how you use your vehicle.
Operation under the following conditions may
require more frequent oil and filter changes:
●repeated short distance driving at cold out-
side temperatures
●driving in dusty conditions
●extensive idling
●towing a trailer
●stop and go commuting
For additional information, refer to the “Mainte-
nance and schedules” section of this manual.
AIR CONDITIONER SYSTEM (if so
equipped) REFRIGERANT AND OIL
RECOMMENDATIONS
The air conditioner system in your NISSAN
vehicle must be charged with the refriger-
ant HFC-134a (R-134a) and NISSAN A/C
system oil Type R (KLH00-PAGR0) or the
exact equivalents.
CAUTION
The use of any other refrigerant or oil will
cause severe damage to the air condition-
ing system and will require the replace-
ment of all air conditioner system
components.
The refrigerant HFC-134a (R-134a) in your
NISSAN vehicle does not harm the earth’s ozone
layer. Although this refrigerant does not affect the
earth’s atmosphere, certain government regula-
tions require the recovery and recycling of any
refrigerant during automotive air conditioner sys-
tem service. A NISSAN dealer has the trained
technicians and equipment needed to recover
and recycle your air conditioner system refriger-
ant.
It is recommended that you visit a NISSAN dealer
when servicing your air conditioner system.
10-10 Technical and consumer information

ENGINE
Model QR25DE VQ40DE
Type Gasoline, 4-cycle, DOHC Gasoline, 4-cycle, DOHC
Cylinder arrangement 4-cylinder in-line 6-cylinder, V-block, Slanted at 60°
Bore x Stroke in (mm) 3.5 x 3.9 (89.0 x 100.0) 3.760 x 3.622 (95.5 x 92)
Displacement cu in (cm
3
) 151.82 (2,488) 241.30 (3,954)
Firing order 1–3–4–2 1–2–3–4–5–6
Idle speed
M/T
A/T in N (Neutral) position Refer to the “Emission control information label” on the underside of the hood.
Ignition timing (degree B.T.D.C. at idle
speed)
CO%atidle
Spark plug Standard PLZKAR6A-11 DILFR5A-11
Spark plug gap (Nominal) in (mm) 0.043 (1.1) 0.043 (1.1)
Camshaft operation Timing chain Timing chain
This spark ignition system complies with the Canadian standard ICES-002.
SPECIFICATIONS
Technical and consumer information 10-11

WHEELS AND TIRES
Wheel Type Offset in (mm) Size
Steel 1.18 (30) 15 x 6.5JJ
Steel 1.18 (30) 16 x 7JJ
Aluminum 1.18 (30) 16 x 7J
Aluminum 1.18 (30) 18 x 7.5JJ
Tires Size
235/75R15
P265/70R16
P265/75R16
P265/60R18
Spare tire Size
Steel Full size
Alloy Full size
DIMENSIONS AND WEIGHTS
Overall length
Short wheel base in (mm) 205.5 (5,220)
Long wheel base in (mm) 219.4 (5,574)
Overall width in (mm) 72.8 (1,850)
Overall height
With roof rack in (mm) 73.9 (1,878)
Without roof rack
S and SV I-4 King Cab models in (mm) 68.7 (1,745)
SV, DR and Pro-4X King Cab
models in (mm) 69.7 (1,770)
Crew Cab models in (mm) 70.1 (1,780)
Track Width
Front and rear in (mm) 61.8 (1,570)
Wheelbase
Short wheel base in (mm) 125.9 (3,200)
Long wheel base in (mm) 139.9 (3,554)
Gross vehicle weight rating lbs. (kg) Refer to the “F.M.V.S.S./C.M.
V.S.S. certification label” on
the center pillar between the
driver’s side front and rear
doors.
Gross axle weight rating
Front lbs. (kg)
Rear lbs. (kg)
10-12 Technical and consumer information

When planning to drive your NISSAN ve-
hicle in another country, you should first find
out if the fuel available is suitable for your vehi-
cle’s engine.
Using fuel with an octane rating that is too low
may cause engine damage. All gasoline vehicles
must be operated with unleaded gasoline. There-
fore, avoid taking your vehicle to areas where
appropriate fuel is not available.
When transferring the registration of your
vehicle to another country, state, province
or district, it may be necessary to modify the
vehicle to meet local laws and regulations.
The laws and regulations for motor vehicle emis-
sion control and safety standards vary according
to the country, state, province or district; there-
fore, vehicle specifications may differ.
When any vehicle is to be taken into an-
other country, state, province or district and
registered, its modifications, transporta-
tion and registration are the responsibility
of the user. NISSAN is not responsible for
any inconvenience that may result.
VEHICLE IDENTIFICATION NUMBER
(VIN) PLATE
The VIN plate is attached as shown. This number
is the identification for your vehicle and is used in
the vehicle registration.
ENGINE SERIAL NUMBER
The number is stamped on the engine as shown.
LTI0085
QR25DE engine
LTI0130
WHEN TRAVELING OR REGISTERING
IN ANOTHER COUNTRY
VEHICLE IDENTIFICATION
Technical and consumer information 10-13

F.M.V.S.S./C.M.V.S.S.
CERTIFICATION LABEL
The Federal/Canadian Motor Vehicle Safety
Standard (F.M.V.S.S./C.M.V.S.S.) certification la-
bel is affixed as shown. This label contains valu-
able vehicle information, such as: (GVWR),
(GAWR), month and year of manufacture, (VIN),
etc. Review it carefully.
VQ40DE engine
LTI0127
Type A (if so equipped)
LTI0135
Type B (if so equipped)
WTI0099
10-14 Technical and consumer information

EMISSION CONTROL
INFORMATION LABEL
The emission control information label is at-
tached to the underside of the hood as shown.
TIRE AND LOADING INFORMATION
LABEL
The cold tire pressure is shown on the Tire and
Loading Information label. The label is located as
shown.
LTI0133
Type A (if so equipped)
LTI2252
Type B (if so equipped)
LTI2253
Technical and consumer information 10-15

AIR CONDITIONER SPECIFICATION
LABEL (if so equipped)
The air conditioner specification label is affixed as
shown.
INSTALLING FRONT LICENSE
PLATE WITH GROMMETS
Use the following steps to mount the front license
plate with grommets:
1. Make holes on the plastic finisher at the
location mark (small dimple) using a 0.37 in
(9.5 mm) drill. Apply light pressure to the
drill. Insert two plastic grommets provided.
Install the license plate holder using the two
bolts (and washers) provided.
2. Mount the license plate using two M6-
14 mm bolts.
License plate bolt tightening torque:
3.8 - 4.7 ft-lb (5.10 - 6.37 N·m)
INSTALLING FRONT LICENSE
PLATE WITHOUT GROMMETS
Use the following steps to mount the front license
plate without grommets:
1. Make a shallow hole in each plastic finisher
at the location mark (small dimple) using a
0.31 in (8 mm) drill. To avoid damaging the
threads behind the finisher, apply only light
pressure to the drill.
2. Mount the license plate bracket using two
8 mm slotted hex head screws.
LTI0206 LTI0137
INSTALLING FRONT LICENSE PLATE
10-16 Technical and consumer information

WARNING
●It is extremely dangerous to ride
in a cargo area inside a vehicle. In
a collision, people riding in these
areas are more likely to be seri-
ously injured or killed.
●Do not allow people to ride in any
area of your vehicle that is not
equipped with seats and seat
belts.
●Be sure everyone in your vehicle
is in a seat and using a seat belt
properly.
TERMS
It is important to familiarize yourself with
the following terms before loading your
vehicle:
●Curb Weight (actual weight of your
vehicle) - vehicle weight including:
standard and optional equipment, flu-
ids, emergency tools, and spare tire
assembly. This weight does not in-
clude passengers and cargo.
●GVW (Gross Vehicle Weight) - curb
weight plus the combined weight of
passengers and cargo.
●GVWR (Gross Vehicle Weight Rat-
ing) - maximum total combined
weight of the unloaded vehicle, pas-
sengers, luggage, hitch, trailer
tongue load and any other optional
equipment. This information is lo-
cated on the F.M.V.S.S./C.M.V.S.S.
certification label.
●GAWR (Gross Axle Weight Rating) -
maximum weight (load) limit specified
for the front or rear axle. This informa-
tion is located on the
F.M.V.S.S./C.M.V.S.S. certification
label.
●GCWR (Gross Combined Weight
rating) - The maximum total weight
rating of the vehicle, passengers,
cargo, and trailer.
●Vehicle Capacity Weight, Load limit,
Total load capacity - maximum total
weight limit specified of the load
(passengers and cargo) for the ve-
hicle. This is the maximum combined
weight of occupants and cargo that
can be loaded into the vehicle. If the
vehicle is used to tow a trailer, the
trailer tongue weight must be in-
cluded as part of the cargo load. This
information is located on the Tire and
Loading Information label.
●Cargo capacity - permissible weight
of cargo, the subtracted weight of
occupants from the load limit.
VEHICLE LOAD CAPACITY
Before driving a loaded vehicle, confirm
that you do not exceed the Gross Vehicle
Weight Rating (GVWR) or the Gross Axle
Weight Rating (GAWR) for your vehicle.
Both the GVWR and GAWR are located
on the F.M.V.S.S./C.M.V.S.S. certification
label. For additional information, refer to
“Measurement of weights” in this section.
VEHICLE LOADING INFORMATION
Technical and consumer information 10-17

Do not exceed the load limit of your ve-
hicle shown as “The combined weight of
occupants and cargo” on the Tire and
Loading Information label. Do not exceed
the number of occupants shown as
“Seating Capacity” on the Tire and Load-
ing Information label.
To get “the combined weight of occu-
pants and cargo”, add the weight of all
occupants, then add the total luggage
weight. Examples are shown in the follow-
ing illustration.
Example
LTI0152
10-18 Technical and consumer information

Steps for determining correct load
limit
1. Locate the statement “The combined
weight of occupants and cargo
should never exceed XXX lbs. or XXX
kg” on your vehicle’s placard.
2. Determine the combined weight of
the driver and passengers that will be
riding in your vehicle.
3. Subtract the combined weight of the
driver and passengers from XXX lbs.
or XXX kg.
4. The resulting figure equals the avail-
able amount of cargo and luggage
load capacity. For example, if the
XXX amount equals 1,400 lbs. and
there will be five 150 lbs. passengers
in your vehicle, the amount of avail-
able cargo and luggage load capac-
ity is 650 lbs. (1,400-750 (5 X 150)
= 650 lbs.) or (640-340 (5 X 70) =
300 kg.)
5. Determine the combined weight of
luggage and cargo being loaded on
the vehicle. That weight may not
safely exceed the available cargo and
luggage load capacity calculated in
step 4.
6. If your vehicle will be towing a trailer,
load from your trailer will be trans-
ferred to your vehicle. Consult this
manual to determine how this re-
duces the available cargo and lug-
gage load capacity of your vehicle.
Before driving a loaded vehicle, confirm
that you do not exceed the GVWR or the
GAWR for your vehicle. For additional
information, refer to “Measurement of
weights” in this section.
Also check tires for proper inflation pres-
sures. For additional information, refer to
the “Tire and Loading Information label” in
the “Do-it-yourself” section of this
manual.
SECURING THE LOAD
For your convenience, tie down hooks (if so
equipped) are placed at each corner of the truck
box. These may be used to help secure cargo
loaded into the truck box.
WARNING
●Properly secure all cargo with ropes or
straps to help prevent it from sliding or
shifting. Do not place cargo higher than
the seatbacks. In a sudden stop or col-
lision, unsecured cargo could cause
personal injury.
LTI0102
Technical and consumer information 10-19

●Do not load your vehicle any heavier
than the GVWR or the maximum front
and rear GAWRs. If you do, parts of your
vehicle can break, tire damage could
occur, or it can change the way your
vehicle handles. This could result in loss
of control and cause personal injury.
UTILI-TRACK™ CHANNEL SYSTEM
(if so equipped)
1. Side channels
2. Header channel
3. Header channel
WARNING
●Properly install and tighten the tie-
down cleats into the Utili-track™ chan-
nel system. Also, do not attach any rope
or straps directly to the channel. Failure
to properly install the tie-down cleats or
attaching ropes or straps directly to the
channel can cause the cargo to become
unsecured. In a sudden stop or colli-
sion, unsecured cargo could cause per-
sonal injury.
●Properly secure all cargo with ropes or
straps to help prevent it from sliding or
shifting. In a sudden stop or collision,
unsecured cargo could cause personal
injury.
The Utili-track™ channel system allows you to
move tie-down clamps in the bed to the best
location to secure a load.
The tie-down cleats must be installed so the
clamp is properly seated in the notches in the rail.
If the tie-down cleat is not seated in the notches,
it will not be flush with the rail and cannot be
properly tightened. The bolt in the center of the
cleat must be tightened hand tight (20 – 40 in-
lbs)
LTI2082
10-20 Technical and consumer information

Check the tightness of the tie-down cleat peri-
odically during a trip to make sure the center bolt
has not become loose.
Install the tie-down cleat as follows:
1. Remove the side channels by sliding them
out the back of the truck bed. Properly store
the side channels.
2. Loosen the center bolt completely.
3. Insert the cleat into the channel perpendicu-
lar to the channel as shown. Then rotate the
cleat clockwise 90° and slide it to the de-
sired location.
4. Position the cleat so the nubs on the bottom
fully seat into the channel detents.
LTI0103
LTI0104
Technical and consumer information 10-21

5. There should be no gap between the bottom
of the cleat and the top of the channel.
Tighten the center bolt hand tight (20-40 in-
lbs ).
WTI0124
10-22 Technical and consumer information

CAUTION
●Install only one cleat per section of
channel.
●Applying loads at angles to the cleats
greater then 45° or loads greater than
150 lbs. (header and floor channels) or
200 lbs. (side channels) may cause dam-
age to the channel or bed.
LTI0106
Technical and consumer information 10-23

WARNING
Do not install accessories over the gap
between the front and rear side channels.
Doing this could affect the rear structure
in certain rear impacts, which could result
in serious injury.
CAUTION
Properly secure all cargo with ropes or
straps to prevent it from sliding or shifting.
Use the channel end stoppers to help se-
cure items in the channels from sliding off
the end of the truck bed.
Channel end stoppers (if so equipped)
The channel end stoppers should be used to help
prevent accessories installed in the channels
from sliding or shifting off the end of the truck
bed.
They must be installed so they are properly
seated in the detents in the channel.
1 correct installation, 2 incorrect installation
LTI0123 WTI0119
10-24 Technical and consumer information

Install the channels end stoppers as follows:
1. Remove the channel protectors by sliding
them out the back of the truck bed. Properly
store the channel protectors.
2. Loosen the bolt on the center of the end
stopper with the provided wrench and insert
it into the channel.
3. Position the end stopper to the desired lo-
cation on the channel so the nubs on the
bottom of the end stopper fully seat into the
channel detents.
4. Tighten the bolt on the center of the end
stopper with the provided wrench.
LOADING TIPS
●The GVW must not exceed GVWR
or GAWR as specified on the
F.M.V.S.S./C.M.V.S.S. certification
label.
●Do not load the front and rear axle to
the GAWR. Doing so will exceed the
GVWR.
WARNING
●Properly secure all cargo with
ropes or straps to help prevent it
from sliding or shifting. Do not
place cargo higher than the seat-
backs. In a sudden stop or colli-
sion, unsecured cargo could
cause personal injury.
●Do not load your vehicle any
heavier than the GVWR or the
maximum front and rear GAWRs.
If you do, parts of your vehicle can
break, tire damage could occur,
or it can change the way your
vehicle handles. This could result
in loss of control and cause per-
sonal injury.
●Overloading not only can shorten
the life of your vehicle and the
tire, but can also cause unsafe
vehicle handling and longer brak-
ing distances. This may cause a
premature tire failure which
could result in a serious accident
and personal injury. Failures
caused by overloading are not
covered by the vehicle’s warranty.
CREW CAB MODELS
Crew Cab short wheel base models should
not be used to carry a slide-in camper.
KING CAB MODELS
This information is provided for you to properly
install a slide-in camper and is based on the
National Highway Traffic Safety Administration
regulations. It is recommended that, before in-
stalling the camper, you carefully read the follow-
ing information and ensure that the camper
meets the specifications.
This information may not apply to some Canada
model vehicles.
SPECIAL BODY VEHICLES
Some vehicles are equipped with commercial or
camper bodies. However, this Owner’s Manual
does not cover these options. For additional in-
formation, refer to the body manufacturer’s in-
struction manual.
TRUCK-CAMPER LOADING
INFORMATION
Technical and consumer information 10-25

LOCATION FOR CENTER OF
GRAVITY
The illustration indicates the recommended
cargo center of gravity location.
King Cab:
L1 = 41.5 in (1,054 mm)
WARNING
Improper loading may be dangerous. If a
load is too far back, it can affect handling
characteristics. If a load is too far forward,
the front axle may be overloaded.
When the truck is used to carry a slide-in camper,
the total cargo load of the truck consists of the
camper manufacturer’s weight figure, plus:
●the weight of installed additional camper
equipment not included in the camper
manufacturer’s weight figure,
●the weight of camper cargo,
●and the weight of occupants in the camper.
The total cargo load should not exceed the
truck’s pay load weight rating and the camper’s
center of gravity should fall within the truck’s
recommended center of gravity location when
installed.
WARNING
Overloading or improper loading can ad-
versely affect vehicle handling, braking
and performance and may lead to
accidents.
VEHICLE LOAD WEIGHT CAPACITY
The vehicle payload weight capacity shown on
the Tire and Loading Information label, refer to
“Tire and Loading Information label” in this sec-
tion, indicates the maximum total weight of pas-
sengers, optional equipment (air conditioning,
trailer hitch, etc) and cargo that your vehicle is
designed to carry.
Before driving a loaded vehicle, confirm that you
do not exceed the GVWR or the GAWR for your
vehicle. For additional information, refer to
’’Vehicle loading information’’ in this section.
Also check tires for proper inflation pressures.
For additional information, refer to the Tire and
Loading Information label.
MEASUREMENT OF WEIGHTS
Secure loose items to prevent weight
shifts that could affect the balance of your
vehicle. When the vehicle is loaded, drive
to a scale and weigh the front and the rear
wheels separately to determine axle
LTI0128 LTI0129
10-26 Technical and consumer information

loads. Individual axle loads should not ex-
ceed either of the GAWR. The total of the
axle loads should not exceed the GVWR.
These ratings are given on the vehicle
certification label. If weight ratings are
exceeded, move or remove items to bring
all weights below the ratings.
WARNING
Overloading or improper loading of a
trailer and its cargo can adversely affect
vehicle handling, braking and perfor-
mance and may lead to accidents.
CAUTION
●Do not tow a trailer or haul a heavy load
for the first 500 mile (805 km). Your
engine, axle or other parts could be
damaged.
●For the first 500 miles (805 km) that you
tow a trailer, do not drive over 50 mph
(80 km/h) and do not make starts at full
throttle. This helps the engine and other
parts of your vehicle wear in at the
heavier loads.
Your new vehicle was designed to be used pri-
marily to carry passengers and cargo. Remember
that towing a trailer places additional loads on
your vehicle’s engine, drive train, steering, brak-
ing and other systems.
A NISSAN Towing Guide (U.S. only) is available
on the website at www.nissanusa.com. This
guide includes information on trailer towing ca-
pability and the special equipment required for
proper towing.
MAXIMUM LOAD LIMITS
Maximum trailer loads
Never allow the total trailer load to exceed the
value specified in the “Towing
Load/Specification” chart found in this section.
The total trailer load equals trailer weight plus its
cargo weight.
●When towing a trailer load of 3,500 lbs.
(1,587 kg) or more, trailers with a brake
system MUST be used.
The maximum Gross Combined Weight Rating
(GCWR) should not exceed the value specified
in the following “Towing Load/Specification”
chart.
TOWING A TRAILER
Technical and consumer information 10-27

The GCWR equals the combined weight of the
towing vehicle (including passengers and cargo)
plus the total trailer load. Towing loads greater
than these or using improper towing equipment
could adversely affect vehicle handling, braking
and performance.
The ability of your vehicle to tow a trailer is not
only related to the maximum trailer loads, but also
the places you plan to tow. Tow weights appro-
priate for level highway driving may have to be
reduced for low traction situations (for example,
on slippery boat ramps).
Temperature conditions can also affect towing.
For example, towing a heavy trailer in high outside
temperatures on graded roads can affect engine
performance and cause overheating. The engine
protection mode, which helps reduce the chance
of engine damage, could activate and automati-
cally decrease engine power. Vehicle speed may
decrease under high load. Plan your trip carefully
to account for trailer and vehicle load, weather
and road conditions.
WARNING
Overheating can result in reduced engine
power and vehicle speed. The reduced
speed may be lower than other traffic,
which could increase the chance of a col-
lision. Be especially careful when driving.
If the vehicle cannot maintain a safe driv-
ing speed, pull to the side of the road in a
safe area. Allow the engine to cool and
return to normal operation. For additional
information, refer to “If your vehicle over-
heats” in the “In case of emergency” sec-
tion of this manual.
CAUTION
Vehicle damage resulting from improper
towing procedures is not covered by
NISSAN warranties.
Tongue load
When using a weight carrying or a weight distrib-
uting hitch, keep the tongue load between 10 -
15% of the total trailer load or use the trailer
tongue load specified by the trailer manufacturer.
The tongue load must be within the maximum
tongue load limits shown in the following “Towing
Load/Specification” chart. If the tongue load be-
comes excessive, rearrange cargo to allow for
proper tongue load.
LTI0161 WTI0160
10-28 Technical and consumer information

Maximum Gross Vehicle Weight
(GVW)/maximum Gross Axle Weight
(GAW)
The GVW of the towing vehicle must not exceed
the Gross Vehicle Weight Rating (GVWR)
shown on the F.M.V.S.S./C.M.V.S.S. certification
label. The GVW equals the combined weight of
the unloaded vehicle, passengers, luggage,
hitch, trailer tongue load and any other optional
equipment. In addition, front or rear GAW must
not exceed the Gross Axle Weight Rating
(GAWR) shown on the F.M.V.S.S./C.M.V.S.S.
certification label.
Towing capacities are calculated assuming a
base vehicle with driver and any options required
to achieve the rating. Additional passengers,
cargo and/or optional equipment, such as the
trailer hitch, will add weight to the vehicle and
reduce your vehicle’s maximum towing capacity
and trailer tongue load.
The vehicle and trailer need to be weighed to
confirm the vehicle is within the GVWR, Front
GAWR, Rear GAWR, Gross Combined Weight
Rating (GCWR) and Towing capacity.
All vehicle and trailer weights can be measured
using platform type scales commonly found at
truck stops, highway weigh stations, building
supply centers or salvage yards.
To determine the available payload capacity for
tongue load, use the following procedure.
1. Locate the GVWR on the
F.M.V.S.S./C.M.V.S.S. certification label.
2. Weigh your vehicle on the scale with all of
the passengers and cargo that are normally
in the vehicle when towing a trailer.
3. Subtract the actual vehicle weight from the
GVWR. The remaining amount is the avail-
able maximum tongue load.
To determine the available towing capacity, use
the following procedure.
1. Find the GCWR for your vehicle on the
⬙Towing Load/Specification⬙chart found in
this section.
2. Subtract the actual vehicle weight from the
GCWR. The remaining amount is the avail-
able maximum towing capacity.
To determine the Gross Trailer Weight, weigh
your trailer on a scale with all equipment and
cargo, that are normally in the trailer when it is
towed. Make sure the Gross Trailer Weight is not
more than the Gross Trailer Weight Rating shown
on the trailer and is not more than the calculated
available maximum towing capacity.
Also weigh the front and rear axles on the scale to
make sure the Front Gross Axle Weight and Rear
Gross Axle Weight are not more than Front
Gross Axle Weight and Rear Gross Axle Weight
on the F.M.V.S.S./C.M.V.S.S. certification label.
The cargo in the trailer and vehicle may need to
be moved or removed to meet the specified rat-
ings.
Example:
●Gross Vehicle Weight (GVW) as weighed
on a scale- including passengers, cargo and
hitch - 5,185 lbs. (2352 kg).
CA0036
Technical and consumer information 10-29

●Gross Vehicle Weight Rating (GVWR) from
F.M.V.S.S./C.M.V.S.S. certification label -
5,815 lbs. (2638 kg).
●Gross Combined Weight Rating (GCWR)
from “Towing Load/Specification⬙chart -
11,133 lbs. (5050 kg).
●Maximum Trailer towing capacity from “Tow-
ing Load/Specification⬙chart - 6,100 lbs.
(2767 kg).
5,815 lbs. (2638 kg) GVWR
– 5,185 lbs. (2352 kg) GVW
= 630 lbs. (286 kg) Available for tongue
weight
11,133 lbs. (5050 kg) GCWR
– 5,185 lbs. (2352 kg) GVW
= 5,948 lbs. (2698 kg) Capacity available for
towing
630 lbs. (286 kg) Available tongue weight
/ 5,948 lbs. (2698 kg) Available capacity
= 10 % tongue weight
The available towing capacity may be less than
the maximum towing capacity due to the passen-
ger and cargo load in the vehicle.
Remember to keep trailer tongue weight be-
tween 10 - 15 percent of the trailer weight or
within the trailer tongue load specification rec-
ommended by the trailer manufacturer. If the
tongue load becomes excessive, rearrange the
cargo to obtain the proper tongue load. Do not
exceed the maximum tongue weight specification
shown in the “Towing load/specification” chart
even if the calculated available tongue weight is
greater than 15 percent. If the calculated tongue
weight is less than 10 percent, reduce the total
trailer weight to match the available tongue
weight.
Always verify that available capacities are within
the required ratings.
Trailer frontal area
CAUTION
Exceeding the maximum trailer frontal
area specification may exceed the towing
capacity of the vehicle. This may affect the
towing performance and lead to vehicle
damage.
The trailer frontal area affects the towing load of a
trailer. The frontal area is the total area of the
vehicle and trailer that is affected by air resis-
tance while towing. Do not exceed the maximum
trailer frontal area specification shown in the
⬙Towing Load/Specification” chart. The frontal
area can be determined by multiplying the width
of the trailer by the height of the trailer. For
example, a trailer that is 8 feet wide by 6 feet tall
has a trailer frontal area of 48 square feet.
10-30 Technical and consumer information

TOWING LOAD/SPECIFICATION
King Cab 2WD (4 cyl) King Cab 2WD (6 cyl) King Cab 4WD (6 cyl) Crew Cab 2WD Crew Cab 4WD
Maximum Towing Capacity*1, *2, *3 3,500 lbs. (1,588 kg) 6,500 lbs. (2,949 kg) 6,300 lbs. (2,858 kg) 6,300 lbs. (2,858 kg) 6,100 lbs. (2,767 kg)
Maximum Tongue Load*2, *3 350 lbs. (158 kg) 650 lbs. (295 kg) 630 lbs. (285 kg) 630 lbs. (285 kg) 610 lbs. (276 kg)
Maximum Gross Combined Weight
Rating 7,936 lbs. (3,600 kg) 11,230 lbs. (5,094 kg) 11,230 lbs. (5,094 kg) 11,230 lbs. (5,094 kg) 11,230 lbs. (5,094 kg)
Maximum trailer frontal area 30sq feet (2.78 sq meters)
*1:
●The towing capacity is calculated using the SAE International SAE J2807 test method. Additional passengers, cargo and/or optional equipment will add
weight to the vehicle and reduce your vehicle’s maximum towing capacity.
●All towing above 1,000 lbs. (454 kg) requires the use of trailer brakes.
●NISSAN recommends the use of a tandem axle trailer whenever towing above 3,000 lbs. (1,361 kg).
*2: The maximum towing capacity when using the Genuine NISSAN step bumper as a ball mount is 3,500 lbs. (1,588 kg) and 350 lbs. (158 kg) tongue load.
*3: Use of a weight-distributing hitch system is recommended when towing over 5,000 lbs.
Technical and consumer information 10-31

TOWING SAFETY
Trailer hitch
Your vehicle may be equipped with an optional
trailer tow package. The trailer tow package in-
cludes a receiver-type frame mounted hitch. This
hitch is rated for the maximum towing capacity of
this vehicle when the proper towing equipment is
used. Choose a proper ball mount and hitch ball
that is rated for the trailer to be towed. Genuine
NISSAN ball mounts and hitch balls are available
from a NISSAN dealer.
If your vehicle is not equipped with the optional
trailer tow package, check the towing capacity of
your bumper hitch or receiver-type frame
mounted hitch. Choose a proper hitch for your
vehicle and trailer. A Genuine NISSAN trailer
hitch is available from a NISSAN dealer. Make
sure the trailer hitch is securely attached to the
vehicle to help avoid personal injury or property
damage due to sway caused by crosswinds,
rough road surfaces or passing trucks.
WARNING
Trailer hitch components have specific
weight ratings. Your vehicle may be ca-
pable of towing a trailer heavier than the
weight rating of the hitch components.
Never exceed the weight rating of the
hitch components. Doing so can cause
serious personal injury or property
damage.
Hitch ball
Choose a hitch ball of the proper size and weight
rating for your trailer:
●The required hitch ball size is stamped on
most trailer couplers. Most hitch balls also
have the size printed on the top of the ball.
●Choose the proper class hitch ball based on
the trailer weight.
●The diameter of the threaded shank of the
hitch ball must be matched to the ball mount
hole diameter. The hitch ball shank should
be no more than 1/16” smaller than the hole
in the ball mount.
●The threaded shank of the hitch ball must be
long enough to be properly secured to the
ball mount. There should be at least 2
threads showing beyond the lock washer
and nut.
Ball mount
The hitch ball is attached to the ball mount and
the ball mount is inserted into the hitch receiver.
Choose a proper class ball mount based on the
trailer weight. Additionally, the ball mount should
be chosen to keep the trailer tongue level with the
ground.
10-32 Technical and consumer information

Bumper towing
The Genuine NISSAN step bumper has provi-
sions to install a trailer hitch ball and is designed
to tow trailers of a maximum weight of 3,500 lbs.
(1,588 kg).
To install a trailer hitch ball cut out the circle in the
center of the step bumper 䊊
A, then remove it to
install the trailer hitch ball.
Weight carrying hitches
A weight carrying or “dead weight” ball mount is
one that is designed to carry the whole amount of
tongue weight and gross weight directly on the
ball mount and on the receiver.
Weight distribution hitch
This type of hitch is also called a “load-leveling”or
“equalizing” hitch. A set of bars attach to the ball
mount and to the trailer to distribute the tongue
weight (hitch weight) of your trailer. Many ve-
hicles can’t carry the full tongue weight of a given
trailer, and need some of the tongue weight
transferred through the frame and pushing down
on the front wheels. This gives stability to the tow
vehicle.
A weight-distributing hitch system (Class IV) is
recommended if you plan to tow trailers with a
maximum weight over 5,000 lbs. (2,268 kg).
Check with the trailer and towing equipment
manufacturers to determine if they recommend
the use of a weight-distributing hitch system.
NOTE:
A weight-distributing hitch system may af-
fect the operation of trailer surge brakes. If
you are considering use of a weight-
distributing hitch system with a surge
brake-equipped trailer, check with the
surge brake, hitch or trailer manufacturer
to determine if and how this can be done.
Follow the instructions provided by the manufac-
turer for installing and using the weight-
distributing hitch system.
General set-up instructions are as follows:
1. Park unloaded vehicle on a level surface.
With the ignition on and the doors closed,
allow the vehicle to stand for several minutes
so that it can level.
2. Measure the height of a reference point on
the front and rear bumpers at the center of
the vehicle.
3. Attach the trailer to the vehicle and adjust
the hitch equalizers so that the front bumper
height is within0-.5inches (0 – 13 mm) of
the reference height measured in step 2. The
rear bumper should be no higher than the
reference height measured in step 2.
WARNING
Properly adjust the weight distributing
hitch so the rear of the bumper is no
higher than the measured reference
height when the trailer is attached. If the
rear bumper is higher than the measured
reference height when loaded, the vehicle
may handle unpredictably which could
cause a loss of vehicle control and cause
serious personal injury or property
damage.
LTI0132
Technical and consumer information 10-33

Sway control device
Sudden maneuvers, wind gusts, and buffeting
caused by other vehicles can affect trailer han-
dling. Sway control devices may be used to help
control these affects. If you choose to use one,
contact a reputable trailer hitch supplier to make
sure the sway control device will work with the
vehicle, hitch, trailer and the trailer’s brake sys-
tem. Follow the instructions provided by the
manufacturer for installing and using the sway
control device.
Class I hitch
Class I trailer hitch equipment (receiver, ball
mount and hitch ball) can be used to tow trailers
of a maximum weight of 2,000 lbs. (907 kg).
Class II hitch
Class II trailer hitch equipment (receiver, ball
mount and hitch ball) can be used to tow trailers
of a maximum weight of 3,500 lbs. (1,587 kg).
The Genuine NISSAN step bumper is consid-
ered a Class II ball mount.
Class III hitch
Class III trailer hitch equipment (receiver, ball
mount and hitch ball) can be used to tow trailers
of a maximum weight of 5,000 lbs. (2,268 kg).
Class IV hitch
Class IV trailer hitch equipment (receiver, ball
mount and hitch ball) can be used to tow trailers
of a maximum weight of 10,000 lbs. (4,535 kg). A
weight distributing hitch should be used to tow
trailers that weigh over 5,000 lbs. (2,268 kg).
Your vehicle may be equipped with Class IV
trailer hitch equipment that has a 10,000 lbs.
(4,535 kg) maximum weight rating, but your ve-
hicle is only capable of towing the maximum
trailer weights shown in the “Towing
Load/Specification” chart in this section.
CAUTION
●Special hitches which include frame re-
inforcements are required for towing
above 2,000 lbs. (907 kg). Suitable
Genuine NISSAN hitches, ball mounts
and hitch balls for pickup trucks and
sport utility vehicles are available at a
NISSAN dealer.
●The hitch should not be attached to or
affect the operation of the impact-
absorbing bumper.
●Do not use axle-mounted hitches.
●Do not modify the vehicle exhaust sys-
tem, brake system, etc. to install a
trailer hitch.
●To reduce the possibility of additional
damage if your vehicle is struck from
the rear, where practical, remove the
receiver when not in use.
●Regularly check that all trailer hitch
mounting bolts are securely mounted.
Tire pressures
●When towing a trailer, inflate the ve-
hicle tires to the recommended cold
tire pressure indicated on the Tire
and Loading Information label.
●Trailer tire condition, size, load rating
and proper inflation pressure should
be in accordance with the trailer and
tire manufacturer’s specifications.
Safety chains
Always use suitable safety chains between your
vehicle and the trailer. The safety chains should
be crossed and should be attached to the hitch,
not to the vehicle bumper or axle. The safety
chains can be attached to the bumper if the hitch
10-34 Technical and consumer information

ball is mounted to the bumper. Be sure to leave
enough slack in the chains to permit turning
corners.
Trailer lights
CAUTION
When splicing into the vehicle electrical
system, a commercially available power-
type module/converter must be used to
provide power for all trailer lighting. This
unit uses the vehicle battery as a direct
power source for all trailer lights while
using the vehicle tail light, stoplight and
turn signal circuits as a signal source. The
module/converter must draw no more that
15 milliamps from the stop and tail lamp
circuits. Using a module/converter that
exceeds these power requirements may
damage the vehicle’s electrical system.
See a reputable trailer dealer to obtain the
proper equipment and to have it installed.
Trailer lights should comply with federal and/or
local regulations. For assistance in hooking up
trailer lights, it is recommended that you visit a
NISSAN dealer or reputable trailer dealer. Ve-
hicles equipped with the optional trailer tow
package are equipped with a 7-pin trailer har-
ness connector. A flat 4–pin harness is available
from your dealer for vehicles without a tow pack-
age. If your trailer is equipped with a flat 4-pin
connector, an adapter will be needed to connect
the trailer lights to the vehicle. Adapters are avail-
able at auto parts stores and hitch retailers.
Trailer brakes
If your trailer is equipped with a braking system,
make sure it conforms to federal and/or local
regulations and that it is properly installed.
Vehicles equipped with a 7–pin trailer harness
connector are pre-wired for a trailer brake con-
troller. It is recommended that you visit a NISSAN
dealer for a trailer brake adapter harness.
WARNING
Never connect a trailer brake system di-
rectly to the vehicle brake system.
When towing a trailer load of 3,500 lbs.
(1587 kg) or more, trailers with a brake
system MUST be used. However, most states
require a separate braking system on trailers with
a loaded weight above a specific amount. Make
sure the trailer meets the local regulations and
the regulations where you plan to tow.
Several types of braking systems are available.
Surge Brakes -The surge brake actuator is
mounted on the trailer tongue with a hydraulic line
running to each trailer wheel. Surge brakes are
activated by the trailer pushing against the hitch
ball when the tow vehicle is braking. Hydraulic
surge brakes are common on rental trailers and
some boat trailers. In this type of system, there is
no hydraulic or electric connection for brake op-
eration between the tow vehicle and the trailer.
Electric Trailer Brakes -Electric braking sys-
tems are activated by an electronic signal sent
from a trailer brake controller (special brake-
sensing module). If electric trailer brakes are
used, refer to “Electric trailer brake controller⬙in
this section.
Have a professional supplier of towing equip-
ment make sure the trailer brakes are properly
installed and demonstrate proper brake function
testing.
Electric trailer brake controller
Trailers equipped with electric brakes may re-
quire the installation of an aftermarket trailer
brake controller.
A Genuine NISSAN jumper harness is available
that is specifically designed to be used when
installing an aftermarket brake controller.
Install the aftermarket electric trailer brake con-
troller according to the manufacturer’s instruc-
tions.
Technical and consumer information 10-35

Pre-towing tips
●Be certain your vehicle maintains a level
position when a loaded and/or unloaded
trailer is hitched. Do not drive the vehicle if it
has an abnormal nose-up or nose-down
condition; check for improper tongue load,
overload, worn suspension or other possible
causes of either condition.
●Always secure items in the trailer to prevent
load shift while driving.
●Keep the cargo load as low as possible in
the trailer to keep the trailer center of gravity
low.
●Load the trailer so approximately 60% of the
trailer load is in the front half and 40% is in
the back half. Also make sure the load is
balanced side to side.
●Check your hitch, trailer tire pressure, ve-
hicle tire pressure, trailer light operation, and
trailer wheel lug nuts every time you attach a
trailer to the vehicle.
●Be certain your rearview mirrors conform to
all federal, state or local regulations. If not,
install any mirrors required for towing before
driving the vehicle.
●
Determine the overall height of the vehicle and
trailer so the required clearance is known.
Trailer towing tips
In order to gain skill and an understanding of the
vehicle’s behavior, you should practice turning,
stopping and backing up in an area which is free
from traffic. Steering stability and braking perfor-
mance will be somewhat different than under
normal driving conditions.
●Always secure items in the trailer to prevent
load shift while driving.
●Lock the trailer hitch coupler with a pin or
lock to prevent the coupler from inadver-
tently becoming unlatched.
●Avoid abrupt starts, acceleration or stops.
●Avoid sharp turns or lane changes.
●Always drive your vehicle at a moderate
speed.
●When backing up, hold the bottom of the
steering wheel with one hand. Move your
hand in the direction in which you want the
trailer to go. Make small corrections and
back up slowly. If possible, have someone
guide you when you are backing up.
Always block the wheels on both vehicle and
trailer when parking. Parking on a slope is not
recommended; however, if you must do so:
CAUTION
If you move the shift lever to the P (Park)
position before blocking the wheels and
applying the parking brake, transmission
damage could occur.
1. Apply and hold the brake pedal.
2. Have someone place blocks on the downhill
side of the vehicle and trailer wheels.
3. After the wheel blocks are in place, slowly
release the brake pedal until the blocks ab-
sorb the vehicle load.
4. Apply the parking brake.
5. Shift the transmission into P (Park).
6. Make sure the indicator light (if so
equipped) indicates the transfer case is in
4H, 4L, or 2H and that the ATP light is off. If
the indicator light is flashing, or the
ATP light is ON, make sure the transmission
is in P (Park) (A/T) and turn the 4WD switch
to 2WD or 4H. For additional information,
refer to “Automatic transmission park warn-
ing light” in the “Instruments and controls”
section and “Using four wheel drive (4WD)”
in the “Starting and driving” section of this
manual.
7. Turn off the engine.
10-36 Technical and consumer information
To drive away:
1. Start the vehicle.
2. Apply and hold the brake pedal.
3. Shift the transmission into gear.
4. Release the parking brake.
5. Drive slowly until the vehicle and trailer are
clear from the blocks.
6. Apply and hold the brake pedal.
7. Have someone retrieve and store the blocks.
●While going downhill, the weight of the
trailer pushing on the tow vehicle may de-
crease overall stability. Therefore, to main-
tain adequate control, reduce your speed
and shift to a lower gear. Avoid long or
repeated use of the brakes when descend-
ing a hill, as this reduces their effectiveness
and could cause overheating. Shifting to a
lower gear instead provides “engine brak-
ing” and reduces the need to brake as fre-
quently.
●If the engine coolant temperature rises to a
high temperature, refer to “If your vehicle
overheats” in the “In case of emergency”
section of this manual.
●Trailer towing requires more fuel than normal
circumstances.
●Avoid towing a trailer for your vehicle’s first
500 miles (805 km).
●For the first 500 miles (805 km) that you do
tow, do not drive over 50 mph (80 km/h).
●Have your vehicle serviced more often than
at intervals specified in the recommended
Maintenance Schedule in the “Maintenance
and Schedules” section of this manual.
●When making a turn, your trailer wheels will
be closer to the inside of the turn than your
vehicle wheels. To compensate for this,
make a larger than normal turning radius
during the turn.
●Crosswinds and rough roads will adversely
affect vehicle/trailer handling, possibly caus-
ing vehicle sway. When being passed by
larger vehicles, be prepared for possible
changes in crosswinds that could affect ve-
hicle handling.
Do the following if the trailer begins to sway:
1. Take your foot off the accelerator pedal to
allow the vehicle to coast and steer as
straight ahead as the road conditions allow.
This combination will help stabilize the ve-
hicle
– Do not correct trailer sway by steering or
applying the brakes.
2. When the trailer sway stops, gently apply the
brakes and pull to the side of the road in a
safe area.
3. Try to rearrange the trailer load so it is bal-
anced as described in this section.
●Be careful when passing other vehicles.
Passing while towing a trailer requires con-
siderably more distance than normal pass-
ing. Remember, the length of the trailer must
also pass the other vehicle before you can
safely change lanes.
●Downshift the transmission to a lower gear
for engine braking when driving down steep
or long hills. This will help slow the vehicle
without applying the brakes.
●Avoid holding the brake pedal down too long
or too frequently. This could cause the
brakes to overheat, resulting in reduced
braking efficiency.
●Increase your following distance to allow for
greater stopping distances while towing a
trailer. Anticipate stops and brake gradually.
●NISSAN recommends that the cruise con-
trol not be used while towing a trailer.
Technical and consumer information 10-37

●Some states or provinces have specific
regulations and speed limits for vehicles that
are towing trailers. Obey the local speed
limits.
●Check your hitch, trailer wiring harness con-
nections, and trailer wheel lug nuts after
50 miles (80 km) of travel and at every break.
●When launching a boat, don’t allow the wa-
ter level to go over the exhaust tail pipe or
rear bumper.
●Make sure you disconnect the trailer lights
before backing the trailer into the water or
the trailer lights may burn out.
When towing a trailer, final drive gear oil
should be replaced and transmission
oil/fluid should be changed more fre-
quently. For additional information, refer to
“Do-it-yourself” section in this manual.
FLAT TOWING – 4WD WITH
AUTOMATIC TRANSMISSION
Towing a vehicle behind a recreational vehicle,
such as a motor home, is sometimes called flat
towing.
CAUTION
●DO NOT flat tow a 4WD vehicle
equipped with an automatic transmis-
sion. Flat towing or using a vehicle dolly
WILL DAMAGE internal transmission
parts due to lack of lubrication.
●For emergency towing procedures refer
to “Towing recommended by NISSAN”
in the “In case of emergency” section of
this manual.
FLAT TOWING – 2WD WITH
AUTOMATIC TRANSMISSION
Towing a vehicle behind a recreational vehicle,
such as a motor home, is sometimes called flat
towing.
CAUTION
●Failure to follow these guidelines can
result in severe transmission damage.
●Whenever flat towing your vehicle, al-
ways tow forward, never backward.
●DO NOT tow any automatic transmis-
sion vehicle with all four wheels on the
ground. Doing so WILL DAMAGE inter-
nal transmission parts due to lack of
transmission lubrication.
●For emergency towing procedures refer
to “Towing recommended by NISSAN”
in the “In case of emergency” section of
this manual.
To tow a vehicle equipped with an automatic
transmission, an appropriate vehicle dolly MUST
be placed under the towed vehicle’s drive
wheels. Always follow the dolly manufacturer’s
recommendations when using their product.
10-38 Technical and consumer information

FLAT TOWING – 2WD/4WD WITH
MANUAL TRANSMISSION
Towing a vehicle behind a recreational vehicle, such
as a motor home, is sometimes called flat towing.
CAUTION
●Failure to follow these guidelines can
result in severe transmission damage.
●Whenever flat towing your vehicle, al-
ways tow forward, never backward.
●For emergency towing procedures refer
to “Towing recommended by NISSAN”
in the “In case of emergency” section of
this manual.
●Always tow with the manual transmission in
Neutral.
●For 4WD vehicles, always flat tow with the
transfer case in the 2 HI position.
●Your vehicle should never exceed 60 mph
(97 km/h) when flat towing your vehicle.
●After towing 500 miles (805 km), start and
idle the engine with the transmission in Neu-
tral for two minutes. Failure to idle the engine
after every 500 miles (805 km) of towing
may cause damage to the transmission’s
internal parts.
DOT (Department of Transportation) Quality
Grades: All passenger car tires must conform to
federal safety requirements in addition to these
grades.
Quality grades can be found where applicable on
the tire sidewall between tread shoulder and
maximum section width. For example:
Treadwear 200 Traction AA Temperature A
Treadwear
The treadwear grade is a comparative rating
based on the wear rate of the tire when tested
under controlled conditions on a specified gov-
ernment test course. For example, a tire graded
150 would wear one and one-half (1 1/2) times
as well on the government course as a tire graded
100. The relative performance of tires depends
upon the actual conditions of their use, however,
and may depart significantly from the norm due to
variations in driving habits, service practices and
differences in road characteristics and climate.
Traction AA, A, B and C
The traction grades, from highest to lowest, are
AA, A, B, and C. Those grades represent the
tire’s ability to stop on wet pavement as mea-
sured under controlled conditions on specified
government test surfaces of asphalt and con-
crete. A tire marked C may have poor traction
performance.
WARNING
The traction grade assigned to this tire is
based on straight-ahead braking traction
tests, and does not include acceleration,
cornering, hydroplaning, or peak traction
characteristics.
Temperature A, B and C
The temperature grades are A (the highest), B,
and C, representing the tire’s resistance to the
generation of heat, and its ability to dissipate heat
when tested under controlled conditions on a
specified indoor laboratory test wheel. Sustained
high temperature can cause the material of the
tire to degenerate and reduce tire life, and exces-
sive temperature can lead to sudden tire failure.
The grade C corresponds to a level of perfor-
mance which all passenger car tires must meet
under the Federal Motor Safety Standard No.
109. Grades B and A represent higher levels of
performance on the laboratory test wheel than
the minimum required by law.
UNIFORM TIRE QUALITY GRADING
Technical and consumer information 10-39

WARNING
The temperature grade for this tire is es-
tablished for a tire that is properly inflated
and not overloaded. Excessive speed,
under-inflation, or excessive loading, ei-
ther separately or in combination, can
cause heat build-up and possible tire
failure.
Your NISSAN vehicle is covered by the following
emission warranties:
For USA
1. Emission Defects Warranty
2. Emissions Performance Warranty
Details of this warranty may be found with other
vehicle warranties in your Warranty Information
Booklet which comes with your NISSAN vehicle.
If you did not receive a Warranty Information
Booklet, or it is lost, you may obtain a replace-
ment by writing to:
●Nissan North America, Inc.
Consumer Affairs Department
P.O. Box 685003
Franklin, TN 37068-5003
For Canada
Emission Control System Warranty
Details of this warranty may be found with other
vehicle warranties in your Warranty Information
Booklet which comes with your NISSAN vehicle.
If you did not receive a Warranty Information
Booklet, or it is lost, you may obtain a replace-
ment by writing to:
●Nissan Canada Inc.
5290 Orbitor Drive
Mississauga, Ontario, L4W 4Z5
For USA
If you believe that your vehicle has a de-
fect which could cause a crash or could
cause injury or death, you should immedi-
ately inform the National Highway Traffic
Safety Administration (NHTSA) in addi-
tion to notifying NISSAN.
If NHTSA receives similar complaints, it
may open an investigation, and if it finds
that a safety defect exists in a group of
vehicles, it may order a recall and remedy
campaign. However, NHTSA cannot be-
come involved in individual problems be-
tween you, your dealer, or NISSAN.
To contact NHTSA, you may call the Ve-
hicle Safety Hotline toll-free at 1-888-
327-4236 (TTY: 1-800-424-9153); go
to http://www.safercar.gov; or write to:
Administrator, NHTSA, 400 Seventh
Street, SW., Washington, D.C. 20590.
You can also obtain other information
about motor vehicle safety from
http://www.safercar.gov.
EMISSION CONTROL SYSTEM
WARRANTY
REPORTING SAFETY DEFECTS
10-40 Technical and consumer information

You may notify NISSAN by contacting our
Consumer Affairs Department, toll-free, at
1-800-NISSAN-1.
For Canada
If you believe that your vehicle has a de-
fect which could cause a crash or could
cause injury or death, you should immedi-
ately inform Transport Canada in addition
to notifying NISSAN.
If Transport Canada receives complaints,
it may open an investigation, and if it finds
that a safety defect exists in a group of
vehicles, it may request that NISSAN con-
duct a recall campaign. However, Trans-
port Canada cannot become involved in
individual problems between you, your
dealer, or NISSAN.
You may contact Transport Canada’s De-
fect Investigations and Recalls Division
toll free at 1-800-333-0510. You may
also report safety defects online at:
https://wwwapps.tc.gc.ca/Saf-Sec-Sur/
7/PCDB-BDPP/fc-cp.aspx?lang=eng
(English speakers) or
https://wwwapps.tc.gc.ca/Saf-Sec-Sur/
7/PCDB-BDPP/fc-cp.aspx?lang=fra
(French speakers)
Additional information concerning motor
vehicle safety may be obtained from Trans-
port Canada’s Road Safety Information
Centre at 1-800-333-0371 or online at
www.tc.gc.ca/roadsafety (English speak-
ers) or www.tc.gc.ca/securiteroutiere
(French speakers).
To notify NISSAN of any safety concerns
please contact our Consumer Information
Centre toll free at 1-800-387-0122.
WARNING
A vehicle equipped with Four-Wheel Drive
(4WD) should never be tested using a two
wheel dynamometer (such as the dyna-
mometers used by some states for emis-
sions testing), or similar equipment. Make
sure you inform the test facility personnel
that your vehicle is equipped with 4WD
before it is placed on a dynamometer.
Using the wrong test equipment may re-
sult in transmission damage or unex-
pected vehicle movement which could re-
sult in serious vehicle damage or personal
injury.
Due to legal requirements in some states and
Canadian Provinces, your vehicle may be re-
quired to be in what is called the “ready condi-
tion” for an Inspection/Maintenance (I/M) test of
the emission control system.
The vehicle is set to the “ready condition” when it
is driven through certain driving patterns. Usually,
the ready condition can be obtained by ordinary
usage of the vehicle.
READINESS FOR INSPECTION/
MAINTENANCE (I/M) TEST
Technical and consumer information 10-41
If a powertrain system component is repaired or
the battery is disconnected, the vehicle may be
reset to a “not ready” condition. Before taking the
I/M test, check the vehicle’s
inspection/maintenance test readiness condi-
tion. Place the ignition switch in the ON position
without starting the engine. If the Malfunction
Indicator Light (MIL) comes on steady for 20 sec-
onds and then blinks for 10 seconds, the I/M test
condition is “not ready”. If the MIL does not blink
after 20 seconds, the I/M test condition is
“ready”. It is recommended that you visit a
NISSAN dealer to set the “ready condition” or to
prepare the vehicle for testing.
This vehicle is equipped with an Event Data Re-
corder (EDR). The main purpose of an EDR is to
record, in certain crash or near crash-like situa-
tions, such as an air bag deployment or hitting a
road obstacle, data that will assist in understand-
ing how a vehicle’s systems performed. The EDR
is designed to record data related to vehicle
dynamics and safety systems for a short period of
time, typically 30 seconds or less. The EDR in this
vehicle is designed to record such data as:
●How various systems in your vehicle were
operating;
●Whether or not the driver and passenger
safety belts were buckled/fastened;
●How far (if at all) the driver was depressing
the accelerator and/or brake pedal; and,
●How fast the vehicle was traveling.
●Sounds are not recorded.
These data can help provide a better understand-
ing of the circumstances in which crashes and
injuries occur. NOTE: EDR data are recorded by
your vehicle only if a nontrivial crash situation
occurs; no data are recorded by the EDR under
normal driving conditions and no personal data
(e.g. name, gender, age and crash location) are
recorded. However, other parties, such as law
enforcement, could combine the EDR data with
the type of personally identifying data routinely
acquired during a crash investigation.
To read data recorded by an EDR, special equip-
ment is required and access to the vehicle or the
EDR is needed. In addition to the vehicle manu-
facturer and NISSAN dealer, other parties, such
as law enforcement, that have the special equip-
ment, can read the information if they have ac-
cess to the vehicle or the EDR. EDR data will only
be accessed with the consent of the vehicle
owner or lessee or as otherwise required or per-
mitted by law.
EVENT DATA RECORDERS (EDR)
10-42 Technical and consumer information
Genuine NISSAN Service Manuals for this model
year and prior can be purchased. A Genuine
NISSAN Service Manual is the best source of
service and repair information for your vehicle.
This manual is the same one used by the factory-
trained technicians working at NISSAN dealer-
ships. Genuine NISSAN Owner’s Manuals can
also be purchased.
For USA
For current pricing and availability of Genuine
NISSAN Service Manuals, contact:
www.nissan-techinfo.com
For current pricing and availability of Genuine
NISSAN Owner’s Manuals, contact:
1-800-247-5321
For Canada
To purchase a copy of a Genuine NISSAN Ser-
vice Manual or Owner’s Manual, for this model
year and prior, please contact your nearest
NISSAN dealer. For the phone number and loca-
tion of a NISSAN dealer in your area, call the
NISSAN Information Center at 1-800-387-0122
and a bilingual NISSAN representative will assist
you.
OWNER’S MANUAL/SERVICE
MANUAL ORDER INFORMATION
Technical and consumer information 10-43
MEMO
10-44 Technical and consumer information

11 Index
4WDwarninglight...............2-15
A
Active brake limited slip (ABLS) system . . .5-35
Air bag (See supplemental restraint
system).....................1-71
Air bag system
Front (See supplemental front impact air bag
system)...................1-78
Air bag warning labels . . . . . . . . . . . . .1-86
Air bag warning light. . . . . . . . . . .1-86, 2-20
Air bag warning light, supplemental . .1-86, 2-20
Air cleaner housing filter ............8-17
Air conditioner
Air conditioner operation ..........4-27
Air conditioner service ...........4-40
Air conditioner specification label . . . .10-16
Air conditioner system refrigerant and
oil recommendations ...........10-10
Air conditioner system refrigerant
recommendations .............10-10
Heater and air conditioner
controls................4-22,4-38
Servicing air conditioner ..........4-40
Air flow charts. . . . . . . . . . .4-19, 4-28, 4-32
Alarm system
(See vehicle security system) .........2-24
Anchor point locations .............1-32
Antenna .....................4-77
Antifreeze ....................5-41
Anti-lock brake warning light..........2-15
Anti-lock Braking System (ABS)........5-34
Apps .......................4-78
Audible reminders ...............2-24
Audio system ..................4-40
AM radio reception . . . . . . . . . . . . .4-41
Bluetooth® audio . . . . . . . . . .4-73, 4-74
Compact disc (CD) player . .4-51, 4-56, 4-63
FM/AM radio with compact disc (CD)
player....................4-48
FM/AM/SAT radio with compact disc (CD)
player.................4-52,4-58
FM radio reception . . . . . . . . . . . . .4-40
Radio ....................4-40
Steering wheel audio control switch . . .4-76
Autolight switch.................2-30
Automatic
Automatic power window switch .....2-51
Automatic transmission position indicator
light.....................2-21
Driving with automatic transmission ....5-14
Automatic anti-glare inside mirror .......3-15
Automatic door locks ..............3-5
AUXjack ....................4-64
B
Backbutton....................4-7
Battery ..................5-41,8-13
Charge warning light . . . . . . . . . . . .2-17
Battery replacement ..............8-24
Keyfob................8-24,8-25
Before starting the engine ...........5-12
Belt (See drive belt) ..............8-15
Block heater
Engine ....................5-42
Bluetooth® audio ............4-73,4-74
Bluetooth® hands-free phone system ....4-93
Bluetooth® Hands-Free Phone System without
Navigation System ...............4-82
Bluetooth® streaming audio with Navigation
System .....................4-74
Boosterseats..................1-66
Brake
Anti-lock Braking System (ABS)......5-34
Brake fluid ..................8-11
Brake light (See stop light). . . . . . . . .8-28
Brake system ................5-33
Brake warning light . . . . . . . . . . . . .2-16
Brake wear indicators . . . . . . . .2-24, 8-20
Parking brake operation ..........5-20
Self-adjusting brakes ............8-20
Brake fluid ....................8-11
Brakes ......................8-20
Brake system ..................5-33
Break-inschedule ...............5-22
Brightness/contrast button ...........4-9
Brightness control
Instrument panel ..............2-32
Bulb check/instrument panel..........2-15
Bulbreplacement................8-28

C
Capacities and recommended
fuel/lubricants ..................10-2
Cargolightswitch................2-34
Cargo (See vehicle loading information) . . .10-17
Car phone or CB radio .............4-82
CD care and cleaning ..............4-75
CD player (See audio system) . .4-51, 4-56, 4-63
Child restraints . . . . . . .1-24, 1-25, 1-26, 1-29
LATCH (Lower Anchors and Tethers for
CHildren) System ..............1-29
Precautions on child
restraints. . . . . . . . .1-27, 1-39, 1-54, 1-66
Top tether strap anchor point locations . .1-32
Child restraint with top tether strap.......1-31
Child safety rear door lock ............3-6
Chimes, audible reminders ...........2-24
Cleaning exterior and interior . . . . . . . .7-2, 7-4
Clock
(models without navigation system)
. .4-50, 4-55
Clockset .................4-50,4-55
Clock set/adjustment ...............4-7
Clock setting
(models with Navigation System) ........4-7
Clock setting
(models without Navigation
System) . . . . . . . . . . .4-49, 4-50, 4-53, 4-55
Clutch
Clutch fluid ..................8-12
Clutch interlock (clutch start) switch ......2-38
C.M.V.S.S. certification label .........10-14
Cold weather driving...............5-41
Compact disc (CD) player . . . .4-51, 4-56, 4-63
Compass display.................2-10
Connect phone .................4-78
Console box ...................2-45
Control panel buttons ...............4-4
Back button ..................4-7
Brightness/contrast button ..........4-9
Enterbutton..................4-4
Setting button .................4-7
With navigation system .........4-4,4-5
Controls
Audio controls (steering wheel).......4-76
Heater and air conditioner
controls................4-22,4-38
Coolant
Capacities and recommended
fuel/lubricants ................10-2
Changing engine coolant . . . . . . . . . . .8-6
Checking engine coolant level ........8-6
Engine coolant temperature gauge .....2-6
Corrosion protection ...............7-6
Cruisecontrol..................5-21
Cupholders...................2-46
Curtain side-impact and rollover air bag . . . .1-83
D
Daytime running light system (Canada only) . .2-32
Defroster switch
Rear window and outside mirror defroster
switch.....................2-28
Rear window defroster switch .......2-28
Dimensions and weights. . . . . . . . . . . .10-12
Dimmer switch for instrument panel ......2-32
Display controls (see control panel buttons) . .4-4
Door locks .....................3-3
Door open warning light.............2-17
Drive belt .....................8-15
Driving
Cold weather driving.............5-41
Driving with automatic transmission ....5-14
Driving with manual transmission ......5-18
Precautions when starting and driving ....5-2
Driving the vehicle ................5-14
E
Economy-fuel..................5-24
Electronic locking rear differential (E-Lock)
system ......................5-30
Electronic locking rear differential (E-Lock)
system switch ..................2-37
Emission control information label ......10-15
Emission control system warranty.......10-40
Engine
Before starting the engine..........5-12
Blockheater.................5-42
Capacities and recommended
fuel/lubricants . . . . . . . . . . . . . . . .10-2
Changing engine coolant ...........8-6
Changingengineoil..............8-8
Changing engine oil filter ...........8-9
Checking engine coolant level ........8-6
Checking engine oil level ...........8-7
Engine compartment check locations ....8-3
Engine coolant temperature gauge .....2-6
Engine cooling system ............
8
-5
Engineoil ...................8-7
Engine oil and oil filter recommendation . .10-9
Engine oil pressure gauge . . . . . . . . . .2-8
Engine oil pressure warning light ......2-17
Engine oil viscosity..............10-9
11-2

Engine serial number............10-13
Engine specifications ...........10-11
Starting the engine .............5-13
Engine coolant temperature gauge .......2-6
Engine oil pressure gauge . . . . . . . . . . . .2-8
Enterbutton....................4-4
Event Data recorders .............10-42
Exhaust gas (Carbon monoxide) .........5-2
Explanation of maintenance items ........9-2
Explanation of scheduled maintenance items . .9-5
Extended storage switch . . . . . . . . . . . .8-23
Eyeglass case ..................2-45
F
First aid kit .....................6-2
Flashers (See hazard warning flasher switch) . .6-2
Flat tire ....................6-3,6-4
Floor mat positioning aid .............7-5
Fluid
Brake fluid ..................8-11
Capacities and recommended
fuel/lubricants ................10-2
Clutchfluid..................8-12
Engine coolant.................8-5
Engine oil ...................8-7
Power steering fluid .............8-11
Windshield-washer fluid. . . . . . . . . . .8-12
F.M.V.S.S. certification label ..........10-14
Foglightswitch.................2-33
Front air bag system
(See supplemental restraint system) ......1-78
Front power seat adjustment ...........1-5
Frontseats.....................1-2
Fuel
Capacities and recommended
fuel/lubricants ................10-2
Fuel economy ................5-24
Fuel gauge ...................2-7
Fuel octane rating ..............10-7
Fuel recommendation ............10-5
Loose fuel cap warning ........2-5,3-11
Fuel efficient driving tips.............5-23
Fuel-filler door ..................3-11
Fuelgauge.....................2-7
Fuses.......................8-21
Fusiblelinks...................8-22
G
Garage door opener, HomeLink® Universal
Transceiver . . . . . .2-55, 2-56, 2-57, 2-58, 2-59
Gauge
Engine coolant temperature gauge .....2-6
Engine oil pressure gauge ..........2-8
Fuel gauge ...................2-7
Odometer ...................2-4
Speedometer .................2-4
Tachometer ..................2-6
Trip computer .................2-9
Trip odometer .................2-4
Voltmeter....................2-8
General maintenance ...............9-2
Glovebox.....................2-44
H
Hands-free phone system, Bluetooth® ....4-93
Hazard warning flasher switch ..........6-2
Headlight and turn signal switch . . . . . . . .2-29
Headlight control switch . . . . . . . . . . . .2-29
Headlights....................8-26
Head restraints..................1-10
Heated seats ...................2-34
Heater
Heater and air conditioner
controls ................4-22,4-38
Heater operation . . . .4-17, 4-18, 4-26, 4-38
Hill descent control switch ...........2-36
Hill descent control system ...........5-38
Hill start assist system..............5-39
HomeLink® Universal
Transceiver . . . . . .2-55, 2-56, 2-57, 2-58, 2-59
Hoodrelease...................3-10
Horn .......................2-33
I
Ignition switch ..................5-10
Immobilizer system ............2-26,5-12
Important vehicle information label ......10-14
In-cabin microfilter ................8-18
Increasing fuel economy.............5-24
Indicator lights and audible reminders
(See warning/indicator lights and audible
reminders)....................2-20
Inside automatic anti-glare mirror ........3-15
Instrument brightness control ..........2-32
Instrument panel . . . . . . . . . . . . . . .0-6, 2-2
Instrument panel dimmer switch ........2-32
Interior light....................2-53
ISOFIX child restraints .............1-29
11-3

J
Jumpseat.....................1-7
Jump starting ...............6-12,8-14
K
Key.........................3-2
Key fob battery replacement .......8-24,8-25
Keyless entry
Without Intelligent Key system
(See remote keyless entry system)......3-7
Keys
NISSAN Vehicle Immobilizer System keys. .3-2
L
Labels
Air conditioner specification label .....10-16
C.M.V.S.S. certification label .......10-14
Emission control information label . . . .10-15
Engine serial number............10-13
F.M.V.S.S. certification label ........10-14
Tire and Loading Information label . . . .10-15
Vehicle identification number (VIN) . . . .10-13
Vehicle identification number (VIN)
plate .....................10-13
Warning labels (for SRS) ..........1-86
LATCH (Lower Anchors and Tethers for CHildren)
System ......................1-29
License plate
Installing the license plate .........10-16
Light
Air bag warning light .........1-86,2-20
Brake light (See stop light) .........8-28
Bulb check/instrument panel ........2-15
Bulb replacement . . . . . . . . . . . . . .8-28
Charge warning light ............2-17
Exterior and Interior lights ..........8-28
Foglights...................8-27
Foglightswitch...............2-33
Headlight and turn signal switch ......2-29
Headlight control switch ..........2-29
Headlights..................8-26
Interiorlight..................2-53
Lightbulbs..................8-26
Low tire pressure warning light .......2-18
Low windshield-washer fluid warning
light......................2-20
Passenger air bag and status light .....1-80
Security indicator light............2-22
Warning/indicator lights and audible
reminders...................2-20
Lights.......................8-26
Maplights ..................2-55
Lock
Child safety rear door lock ..........3-6
Door locks ...................3-3
Power door locks ...............3-4
Loose fuel cap warning ..........2-5,3-11
Low fuel warning light . . . . . . . . . . . . . .2-18
Low tire pressure warning light .........2-18
Low windshield-washer fluid warning light. . .2-20
Luggage rack (see roof rack) ..........2-48
Luggage (See vehicle loading information). .10-17
M
Maintenance
General maintenance .............9-2
Insidethevehicle...............9-3
Maintenance precautions ...........8-2
Outside the vehicle ..............9-2
Seat belt maintenance............1-23
Under the hood and vehicle .........9-4
Maintenancelog.................9-13
Maintenance requirements ............9-2
Maintenance schedules..............9-7
Maintenance under severe operation
conditions ....................9-12
Malfunction indicator light ............2-22
Manual front seat adjustment...........1-3
Manual windows .................2-49
Maplights ....................2-55
Mappocket....................2-40
Meters and gauges ................2-3
Instrument brightness control ........
2
-32
Mirror
Automatic anti-glare inside mirror......3-15
Outside mirrors ...............3-16
Rearview ...................3-15
Vanity mirror .................3-15
Mirrors ......................3-15
Mobileapps...................4-78
Moonroof .....................2-52
N
NissanConnect
SM
................4-78
NISSAN Vehicle Immobilizer System . .2-26, 5-12
11-4

NISSAN voice recognition system ......4-102
O
Octane rating (See fuel octane rating) . . . . .10-7
Odometer .....................2-4
Oil
Capacities and recommended
fuel/lubricants ................10-2
Changing engine oil ..............8-8
Changing engine oil filter ...........8-9
Checking engine oil level ...........8-7
Engine oil ...................8-7
Engine oil and oil filter recommendation . .10-9
Engine oil viscosity..............10-9
Oneshotcall...............4-85,4-95
Outside mirrors .................3-16
Overdrive switch .................5-17
Overhead sunglasses holder ..........2-45
Overheat
If your vehicle overheats . . . . . . . . . . .6-14
Owner’s manual order form ..........10-43
Owner’s manual/service manual order
information ...................10-43
P
Parking
Parking brake operation ...........5-20
Parking/parking on hills ...........5-32
Phone, Bluetooth® hands-free system.....4-93
Power
Front seat adjustment .............1-5
Power door locks ...............3-4
Power outlet .................2-39
Power steering fluid .............8-11
Power steering system ...........5-33
Power windows ...............2-49
Rear power windows ............2-51
Power outlet ...................2-39
Power steering ..................5-33
Power steering fluid ...............8-11
Precautions
Maintenance precautions ...........8-2
On-pavement and off-road driving
precautions ..................5-6
Precautions on booster
seats . . . . . . . . . . .1-27, 1-39, 1-54, 1-66
Precautions on child
restraints. . . . . . . . .1-27, 1-39, 1-54, 1-66
Precautions on seat belt usage .......1-15
Precautions on supplemental restraint
system ....................1-71
Precautions when starting and driving ....5-2
Programmable features . . . . . . . . . . . . . .4-7
Push starting ...................6-14
R
Radio
Car phone or CB radio ...........4-82
FM/AM radio with compact disc (CD)
player .....................4-48
FM/AM/SAT radio with compact disc (CD)
player .................4-52,4-58
Steering wheel audio control switch ....4-76
Readiness for inspection maintenance (I/M)
test.......................10-41
Rear power windows ..............2-51
Rearseat......................1-6
Rear sliding window ...............2-52
Rear sonar system ................5-40
Rear sonar system off switch ..........2-38
Rearview mirror .................3-15
RearView Monitor ................4-10
Rear window and outside mirror defroster
switch.......................2-28
Rear window defroster switch .........2-28
Recommended Fluids ..............
10-2
Recorders
EventData.................10-42
Refrigerant recommendation .........10-10
Registering a vehicle in another country . . .10-13
Remote keyless entry system ........3-6,3-7
Reporting safety defects (US only) ......10-40
Roof rack .....................2-48
S
Safety
Child safety rear door lock ..........3-6
Child seat belts . . . . .1-27, 1-39, 1-54, 1-66
Reporting safety defects (US only) . . . .10-40
Seat
Jumpseat...................1-7
Seat adjustment
Front manual seat adjustment ........1-3
Front power seat adjustment .........1-5
Seatbackpockets................2-41
Seat belt
Child safety..................1-24
Infants and small children ..........1-25
Injured Person ................1-18
Largerchildren................1-25
11-5

Precautions on seat belt usage . . . . . . .1-15
Pregnant women...............1-18
Seat belt extenders .............1-23
Seat belt maintenance............1-23
Seat belts ................1-15,7-6
Shoulder belt height adjustment ......1-23
Three-point type with retractor .......1-18
Seat belt extenders ...............1-23
Seat belt warning light . . . . . . . . . .1-18, 2-20
Seats
Adjustment...................1-2
Frontseats...................1-2
Heatedseats.................2-34
Manual front seat adjustment.........1-3
Rear seat....................1-6
Security indicator light..............2-22
Security system (NISSAN Vehicle Immobilizer
System), engine start ...........2-26,5-12
Security systems
Vehicle security system ...........2-24
Self-adjusting brakes ..............8-20
Service manual order form...........10-43
Servicing air conditioner.............4-40
Setting button ...................4-7
Shifting
Automatic transmission ...........5-15
Manual transmission .............5-18
Shift lock release.................5-16
Shoulder belt height adjustment ........1-23
Side air bag system (See supplemental side air
bag, curtain and rollover air bag systems) . . .1-83
Siri® Eyes-Free .................4-79
Smartphone connectivity ............4-78
Sonar
Rear system .................5-40
Spark plug replacement .............8-16
Sparkplugs ...................8-16
Specifications .................10-11
Speedometer ...................2-4
SRSwarninglabel................1-86
Stability control .................5-36
Standard maintenance ..............9-7
Starting
Before starting the engine..........5-12
Jump starting .............6-12,8-14
Precautions when starting and driving ....5-2
Push starting .................6-14
Starting the engine .............5-13
Starting the engine ...............5-13
Steering
Power steering fluid .............8-11
Power steering system ...........5-33
Tilting steering wheel ............3-13
Steeringwheel..................3-13
Steering wheel audio control switch ......4-76
Stoplight.....................8-28
Storage......................2-40
Storage tray ................2-42,2-43
Sunglassescase.................2-45
Sunglassesholder................2-45
Sunroof (see Moonroof) . . . . . . . . . . . . .2-52
Sun visors ....................3-14
Supplemental air bag warning labels ......1-86
Supplemental air bag warning light . . .1-86, 2-20
Supplemental front impact air bag system . . .1-78
Supplemental restraint system
Information and warning labels .......1-86
Precautions on supplemental restraint
system ....................1-71
Supplemental restraint system
(Supplemental air bag system) .........1-71
Switch
Autolightswitch...............2-30
Automatic power window switch ......
2-51
Clutch interlock (clutch start) switch ....2-38
Electronic locking rear differential (E-Lock)
system switch ................2-37
Fog light switch ...............2-33
Hazard warning flasher switch ........6-2
Headlight and turn signal switch . . . . . .2-29
Headlight control switch ..........2-29
Hill descent control switch . . . . . . . . .2-36
Ignition switch ................5-10
Instrument brightness control ........2-32
Overdrive switch ...............5-17
Power door lock switch ............3-4
Rear sonar system off switch ........2-38
Rear window and outside mirror defroster
switch.....................2-28
Rear window defroster switch . . . . . . .2-28
Turnsignalswitch..............2-33
Vehicle dynamic control (VDC) off
switch.....................2-35
T
Tachometer ....................2-6
Tailgate ..................3-18,3-18
Tailgate latch ...............3-22,3-23
Temperature gauge
Engine coolant temperature gauge .....2-6
Theft (NISSAN Vehicle Immobilizer System),
engine start ................2-26,5-12
Three-way catalyst ................5-3
Tie down hooks .................3-23
Tilting steering wheel ..............3-13
11-6

Tire
Flat tire ..................6-3,6-4
Spare tire ...................6-5
Tire and Loading Information label . . . .10-15
Tire chains ..................8-37
Tirepressure.................8-30
Tire rotation..................8-37
Tires of 4-wheel drive ............8-40
Types of tires .................8-36
Uniform tire quality grading ........10-39
Wheels and tires ..........8-30,10-12
Wheel/tire size ...............10-12
Tire pressure
Low tire pressure warning light .......2-18
Tire Pressure Monitoring System (TPMS) ....5-3
Top tether strap child restraint .........1-31
Towing
4-wheel drive models . . . . .6-17, 6-18, 6-19
Flattowing.................10-38
Towing load/specification .........10-31
Towtrucktowing...............6-15
Trailer towing ................10-27
Towing a trailer .................10-27
Transceiver
HomeLink® Universal
Transceiver . . . .2-55, 2-56, 2-57, 2-58, 2-59
Transmission
Driving with automatic transmission ....5-14
Driving with manual transmission ......5-18
Travel (See registering a vehicle in another
country) .....................10-13
Trip computer ...................2-9
Trip odometer ...................2-4
Troubleshooting guide (NISSAN voice recognition
system) .....................4-106
Truckbox .................3-18,3-18
Truck - camper loading ............10-25
Turn signal switch ................2-33
U
Uniform tire quality grading ..........10-39
USB interface
Audio file operation ..........4-65,4-67
V
Vanity mirror ...................3-15
Variable voltage control system .........8-15
Vehicle dimensions and weights .......10-12
Vehicle dynamic control (VDC) off switch . . .2-35
Vehicle dynamic control (VDC) system.....5-36
Vehicle Dynamic Control (VDC) system ....5-36
Vehicle identification ..............10-13
Vehicle identification number (VIN) ......10-13
Vehicle identification number (VIN) plate . . .10-13
Vehicle immobilizer system ........2-26,5-12
Vehicle loading information ..........10-17
Vehicle recovery .................6-19
Vehicle security system .............2-24
Vehicle security system (NISSAN Vehicle
Immobilizer System), engine start . . . .2-26, 5-12
Ventilators ....................4-16
Visors.......................3-14
Voice Prompt Interrupt ..........4-85,4-95
Voice recognition system ...........4-102
Voltmeter......................2-8
W
Warning
4WD warning light..............2-15
Air bag warning light . . . . . . . . .1-86, 2-20
Anti-lock brake warning light ........2-15
Battery charge warning light ........2-17
Brake warning light .............
2
-16
Door open warning light...........2-17
Engine oil pressure warning light ......2-17
Hazard warning flasher switch ........6-2
Loose fuel cap warning ........2-5,3-11
Low fuel warning light ............2-18
Low tire pressure warning light .......2-18
Low windshield-washer fluid warning
light......................2-20
Passenger air bag and status light .....1-80
Seat belt warning light ........1-18,2-20
Supplemental air bag warning
light ..................1-86,2-20
Vehicle security system ...........2-24
Warning/indicator lights and audible
reminders...................2-20
Warning labels (for SRS) ..........1-86
Warning/indicator lights and audible
reminders.....................2-20
Audible reminders . . . . . . . . . . . . . .2-20
Indicatorlights................2-20
Warning lights ................2-20
Warning lights ..................2-20
Warning lights, indicator lights and audible
reminders.....................2-14
Weights (See dimensions and weights) . . .10-12
Wheels and tires ............8-30,10-12
Wheel/tire size .................10-12
11-7
When traveling or registering in another
country .....................10-13
Windows .....................2-49
Locking passengers’ windows .......2-51
Manual windows ...............2-49
Power windows ...............2-49
Rear power windows ............2-51
Rear sliding window .............2-52
Windshield-washer fluid. . . . . . . . . . . . .8-12
Windshield wiper blades ............8-19
Wiper
Wiperblades.................8-19
Wiper and washer switch . . . . . . . . . . . .2-27
11-8

FUEL RECOMMENDATION (without
Flexible Fuel Vehicle [FFV] option):
Use unleaded regular gasoline with an octane
rating of at least 87 AKI (Anti-Knock Index) num-
ber (Research octane number 91).
CAUTION
●Only vehicles with the E-85 filler door
label can operate on E-85. Fuel system
or other damage can occur if E-85 is
used in vehicles that are not designed
to run on E-85.
●Using a fuel other than that specified
could adversely affect the emission
control system, and may also affect the
warranty coverage.
●Under no circumstances should a
leaded gasoline be used, because this
will damage the three-way catalyst.
●Do not use E-15 or E-85 fuel in your
vehicle. Your vehicle is not designed to
run on E-15 or E-85 fuel. Using E-15 or
E-85 fuel in a vehicle not specifically
designed for E-15 or E-85 fuel can ad-
versely affect the emission control de-
vices and systems of the vehicle. Dam-
age caused by such fuel is not covered
by the NISSAN New Vehicle Limited
Warranty.
●Do not use fuel that contains the octane
booster methylcyclopentadienyl man-
ganese tricarbonyl (MMT). Using fuel
containing MMT may adversely affect
vehicle performance and vehicle emis-
sions. Not all fuel dispensers are la-
beled to indicate MMT content, so you
may have to consult your gasoline re-
tailer for more details. Note that Fed-
eral and California laws prohibit the use
of MMT in reformulated gasoline.
●U.S. government regulations require
ethanol dispensing pumps to be identi-
fied by a small, square, orange and
black label with the common abbrevia-
tion or the appropriate percentage for
that region.
For additional information, refer to “Recom-
mended fluids/lubricants and capacities” in the
“Technical and consumer information” section of
this manual.
FLEXIBLE FUEL VEHICLE (FFV)
FUEL RECOMMENDATION (if so
equipped):
If your vehicle is equipped as a Flexible Fuel
vehicle (FFV) your vehicle is designed to use
(E-85) Fuel Ethanol, “Regular” unleaded regular
gasoline or any percentage of the two fuels com-
bined.
CAUTION
●Using a fuel other than that specified
could adversely affect the emission
control system, and may also affect the
warranty coverage.
●Under no circumstances should a
leaded gasoline be used, because this
will damage the three-way catalyst.
For additional information, refer to “Recom-
mended fluids/lubricants and capacities” in the
“Technical and consumer information” section of
this manual.
GAS STATION INFORMATION
ENGINE OIL RECOMMENDATION:
QR25DE engine models:
• Genuine “Nissan Motor Oil 5W-30 SN”
VQ40DE engine models:
• Genuine “Nissan Motor Oil Ester 5W-30 SN”
For additional information, refer to “Engine oil and
oil filter recommendations” in the “Technical and
consumer information” section of this manual.
COLD TIRE PRESSURE:
For additional information, refer to “Tire and
Loading Information label” in the “Technical and
consumer information” section of this manual.
The label is typically located on the driver side
center pillar or on the driver’s door. For additional
information, refer to “Wheels and tires” in the
“Do-it-yourself” section of this manual.
RECOMMENDED NEW VEHICLE
BREAK-IN PROCEDURE:
During the first 1,200 miles (2,000 km) of vehicle
use, follow the break-in procedure recommenda-
tions for the future reliability and economy of your
new vehicle. For additional information, refer to
“Break-in schedule” in the “Starting and driving”
section of this manual. Failure to follow these
recommendations may result in vehicle damage
or shortened engine life.

D40-D
Printing : June 2017 (27)
Publication No.: OM1E 0D40U1
Printed in U.S.A.
OM17EA 0D40U3