!! 356 005m
Preview ! 356-005m Stanley Lawn Mower Manuals - Lawn Mower Manuals – The Best Lawn Mower Manuals Collection
User Manual: !! Stanley Lawn Mower Manuals - Lawn Mower Manuals – The Best Lawn Mower Manuals Collection
Open the PDF directly: View PDF
.
Page Count: 48
- Accessories
- Important Safety Information
- Introduction
- Section 1 Assembly and Set-Up
- Section 2 Operation
- Section 3 Adjustments
- Section 4 Maintenance and Lubrication
- Maintenance Locations
- Maintenance Schedule
- Maintenance
- Torque Values
- Tires
- Hour Meter
- Lubrication
- Electrical System
- Access to Engine and Hydraulic Pumps
- Hydraulic System
- Fuel System
- Engine Oil and Filter
- Engine Air Filter
- Engine Air Filter Service Procedure
- General Engine Maintenance
- Belt Replacement
- Mower Blade Maintenance
- Mower Blade Removal
- STORAGE
- Preparation of Engine for Storage
- New Season Preparation
- Section 5 Specifications and Capacities
- Section 6 Features and Benefits
- Section 7 Troubleshooting
- Section 8 Appendix

Table of Contents
Cover photo may show optional
equipment not supplied with
standard unit.
© Copyright 2010 Printed
Read the Operator’s manual entirely. When
you see this symbol, the subsequent
instructions and warnings are serious - follow
without exception. Your life and the lives of
others depend on it!
!
356-005M
4/19/10
Z52, Z60 & Z72 Accu-Z®
Zero Turn Mowers
19097
Operator’s Manual

Table of Contents
Z52, Z60 & Z72 Accu-Z® Zero Turn Mowers 356-005M 4/19/10
Table of Contents
©Copyright 2010 All rights Reserved
Land Pride provides this publication “as is” without warranty of any kind, either expressed or implied. While every precaution has been taken in the preparation of this manual, Land
Pride assumes no responsibility for errors or omissions. Neither is any liability assumed for damages resulting from the use of the information contained herein. Land Pride reserves
the right to revise and improve its products as it sees fit. This publication describes the state of this product at the time of its publication, and may not reflect the product in the future.
Land Pride is a registered trademark.
All other brands and product names are trademarks or registered trademarks of their respective holders.
Printed in the United States of America.
Important Safety Information . . . . . . . . . . . . . . . . . . 1
Introduction . . . . . . . . . . . . . . . . . . . . . . . . . . . . . . . 6
Application . . . . . . . . . . . . . . . . . . . . . . . . . . . . . . . 6
Using This Manual . . . . . . . . . . . . . . . . . . . . . . . . . 6
Owner Assistance . . . . . . . . . . . . . . . . . . . . . . . . . 6
Further Assistance . . . . . . . . . . . . . . . . . . . . . . 6
Section 1 Assembly and Set-Up . . . . . . . . . . . . . . . 7
Control Lever and Seat Assembly . . . . . . . . . . . . . 7
Remote Air Cleaner Assembly . . . . . . . . . . . . . . . . 7
Optional Equipment Assemblies . . . . . . . . . . . . . . 8
Remote Air Cleaner Assembly . . . . . . . . . . . . . 8
Control Lever Extensions . . . . . . . . . . . . . . . . . 8
Accu-Vac Assembly . . . . . . . . . . . . . . . . . . . . . . . . 9
Mower Deck Preparation . . . . . . . . . . . . . . . . . . 9
Blower, Pulley and Pulley Cover Assembly . . . 10
Bagger Assembly . . . . . . . . . . . . . . . . . . . . . . 11
Front Lift and Weight Assembly . . . . . . . . . . . 12
Section 2 Operation . . . . . . . . . . . . . . . . . . . . . . . . 13
Controls . . . . . . . . . . . . . . . . . . . . . . . . . . . . . . . . 13
Ignition Switch . . . . . . . . . . . . . . . . . . . . . . . . . 13
Throttle Control . . . . . . . . . . . . . . . . . . . . . . . . 13
Choke Control . . . . . . . . . . . . . . . . . . . . . . . . . 13
Blade Engagement Switch . . . . . . . . . . . . . . . 14
Control Levers . . . . . . . . . . . . . . . . . . . . . . . . . 14
Deck Lift Pedal . . . . . . . . . . . . . . . . . . . . . . . . 14
Instrumentation . . . . . . . . . . . . . . . . . . . . . . . . . . 15
Electronic Hour Meter . . . . . . . . . . . . . . . . . . . 15
Oil Pressure Light . . . . . . . . . . . . . . . . . . . . . . 15
Safety Start Interlock System . . . . . . . . . . . . . . . . 15
Engine Starting . . . . . . . . . . . . . . . . . . . . . . . . . . 15
Moving Mower with Stalled Engine . . . . . . . . . . . 16
Driving the Mower . . . . . . . . . . . . . . . . . . . . . . . . 17
Steering . . . . . . . . . . . . . . . . . . . . . . . . . . . . . 17
To Stop or Decrease Speed . . . . . . . . . . . . . . 17
To Increase Speed . . . . . . . . . . . . . . . . . . . . . 17
Operating Suggestions . . . . . . . . . . . . . . . . . . . . 17
Mower Deck Operation . . . . . . . . . . . . . . . . . . . . 18
Operating Instructions . . . . . . . . . . . . . . . . . . . . . 19
Section 3 Adjustments . . . . . . . . . . . . . . . . . . . . . . 20
Torque Values . . . . . . . . . . . . . . . . . . . . . . . . . . . 20
Steering Linkage . . . . . . . . . . . . . . . . . . . . . . . . . 20
Control Lever Neutral Adjustment . . . . . . . . . . 21
Control Lever Stops . . . . . . . . . . . . . . . . . . . . . . . 22
Reverse Spring Adjustment . . . . . . . . . . . . . . . . . 22
Steering Dampener . . . . . . . . . . . . . . . . . . . . . . . 23
Control Lever Adjustment . . . . . . . . . . . . . . . . . . .23
Park Brake Adjustment . . . . . . . . . . . . . . . . . . . .23
Hydraulic Pump Belt Adjustment . . . . . . . . . . . . .25
Deck Drive Belt Adjustment . . . . . . . . . . . . . . . . .25
Engine RPM Setting . . . . . . . . . . . . . . . . . . . . . . .25
Deck Leveling and Height Adjustment . . . . . . . . .25
Deck Level Adjustments . . . . . . . . . . . . . . . . .26
Deck Cutting Height Adjustment . . . . . . . . . . . . .28
Anti-Scalp Rollers . . . . . . . . . . . . . . . . . . . . . . . .29
Section 4 Maintenance and Lubrication . . . . . . . .30
Maintenance Locations . . . . . . . . . . . . . . . . . . . . . 30
Maintenance Schedule . . . . . . . . . . . . . . . . . . . . . 31
Maintenance . . . . . . . . . . . . . . . . . . . . . . . . . . . .32
Torque Values . . . . . . . . . . . . . . . . . . . . . . . . . . .32
Tires . . . . . . . . . . . . . . . . . . . . . . . . . . . . . . . . . . .32
Hour Meter . . . . . . . . . . . . . . . . . . . . . . . . . . . . . .33
Lubrication . . . . . . . . . . . . . . . . . . . . . . . . . . . . . .33
Electrical System . . . . . . . . . . . . . . . . . . . . . . . . .33
Access to Engine and Hydraulic Pumps . . . . . . . .34
Hydraulic System . . . . . . . . . . . . . . . . . . . . . . . . .34
Fuel System . . . . . . . . . . . . . . . . . . . . . . . . . . . . .35
Engine Oil and Filter . . . . . . . . . . . . . . . . . . . . . . .35
Engine Air Filter . . . . . . . . . . . . . . . . . . . . . . . . . .36
Over Servicing . . . . . . . . . . . . . . . . . . . . . . . . .36
Improper Installation . . . . . . . . . . . . . . . . . . . .36
Damaged Filter, Seals or Canister . . . . . . . . . .37
Incorrect Air Filter Element . . . . . . . . . . . . . . .37
Engine Air Filter Service Procedure . . . . . . . . . . .37
General Engine Maintenance . . . . . . . . . . . . . . . .37
Belt Replacement . . . . . . . . . . . . . . . . . . . . . . . . .38
Mower Blade Maintenance . . . . . . . . . . . . . . . . . .38
Lift Jack Option . . . . . . . . . . . . . . . . . . . . . . . .38
Mower Blade Removal . . . . . . . . . . . . . . . . . . . . .38
STORAGE . . . . . . . . . . . . . . . . . . . . . . . . . . . . . .39
Preparation of Engine for Storage . . . . . . . . . . . .39
New Season Preparation . . . . . . . . . . . . . . . . . . .39
Section 5 Specifications and Capacities . . . . . . . .40
Accessories . . . . . . . . . . . . . . . . . . . . . . . . . . . . .41
Section 6 Features and Benefits . . . . . . . . . . . . . .42
Section 7 Troubleshooting . . . . . . . . . . . . . . . . . . .43
Section 8 Appendix . . . . . . . . . . . . . . . . . . . . . . . . .44
Torque Values Chart for Common Bolt Sizes . . . .44
Tire Inflation Chart . . . . . . . . . . . . . . . . . . . . . . . .44
Warranty . . . . . . . . . . . . . . . . . . . . . . . . . . . . . . .45

1
Important Safety Information
4/19/10 Z52, Z60 & Z72 Accu-Z® Zero Turn Mowers 356-005M
Table of Contents
Important Safety Information
▲
These are common practices that may or may not be applicable to the products described in
this manual.
Safety at All Times
Thoroughly read and understand
the instructions given in this
manual before operation. Refer to
the “Safety Label” section, read
all instructions noted on them.
Do not allow anyone to operate
this equipment who has not fully
read and comprehended this
manual and who has not been
properly trained in the safe
operation of the equipment.
▲Operator should be familiar with
all functions of the unit.
▲Operate mower from the driver’s
seat only.
▲Do not leave mower unattended
with engine running.
▲Dismounting from a moving
mower could cause serious injury
or death.
▲Keep hands, feet, and clothing
away from power-driven parts.
▲Wear snug fitting clothing to avoid
entanglement with moving parts.
▲Make sure all persons are clear of
working area.
▲Turning mower too tight while
towing could result in injury or
equipment damage.
▲Clear area of wire, rocks, metal
objects, etc. before mowing. The
cutting blades are capable of
throwing objects causing serious
injury or death.
!Look For The Safety Alert Symbol
The SAFETY ALERT SYMBOL indicates there is a
potential hazard to personal safety involved and
extra safety precaution must be taken. When you
see this symbol, be alert and carefully read the
message that follows it. In addition to design and
configuration of equipment, hazard control and
accident prevention are dependent upon the
awareness, concern, prudence and proper training
of personnel involved in the operation, transport,
maintenance and storage of equipment.
Be Aware of
Signal Words
A Signal word designates a degree or
level of hazard seriousness. The
signal words are:
Indicates an imminently hazardous
situation which, if not avoided, will
result in death or serious injury. This
signal word is limited to the most
extreme situations, typically for
machine components that, for
functional purposes, cannot be
guarded.
!DANGER
Indicates a potentially hazardous
situation which, if not avoided, could
result in death or serious injury, and
includes hazards that are exposed
when guards are removed. It may also
be used to alert against unsafe
practices.
Indicates a potentially hazardous
situation which, if not avoided, may
result in minor or moderate injury. It
may also be used to alert against
unsafe practices.
!WARNING
!CAUTION
For Your Protection
▲Thoroughly read and understand
the “Safety Label” section, read all
instructions noted on them.
Shutdown and Storage
▲Lower machine to ground, put
tractor in park, turn off engine, and
remove the key.
▲Detach and store implements in a
area where children normally do
not play. Secure implement by
using blocks and supports.
OFF
REMOVE

2
Important Safety Information
Z52, Z60 & Z72 Accu-Z® Zero Turn Mowers 356-005M 4/19/10
Table of Contents
Practice Safe Maintenance
▲Understand procedure before
doing work. Use proper tools and
equipment, refer to Operator’s
Manual for additional information.
▲Work in a clean dry area.
▲Do not grease or oil while in
operation.
▲Inspect all parts. Make sure parts
are in good condition & installed
properly.
▲Remove buildup of grease, oil or
debris.
▲Remove all tools and unused
parts before operation.
These are common practices that may or may not be applicable to the products described in
this manual.
Keep Riders
Off Machinery
▲Riders obstruct the operator’s
view, they could be struck by
foreign objects or thrown from the
machine.
▲Never allow children to operate
equipment.
Prepare for Emergencies
▲Be prepared if a fire starts.
▲Keep a first aid kit and fire
extinguisher handy.
▲Keep emergency numbers for
doctor, ambulance, hospital and
fire department near phone.
911
Wear
Protective Equipment
▲Protective clothing and equipment
should be worn.
▲Wear clothing and equipment
appropriate for the job. Avoid
loose fitting clothing.
▲Prolonged exposure to loud noise
can cause hearing impairment or
hearing loss. Wear suitable
hearing protection such as
earmuffs or earplugs.
▲Operating equipment safely
requires the full attention of the
operator. Avoid wearing radio
headphones while operating
machinery.
Avoid High
Pressure Fluids Hazard
▲Escaping fluid under pressure can
penetrate the skin causing serious
injury.
▲Avoid the hazard by relieving
pressure before disconnecting
hydraulic lines.
▲Use a piece of paper or
cardboard, NOT BODY PARTS, to
check for suspected leaks.
▲Wear protective gloves and safety
glasses or goggles when working
with hydraulic systems.
▲If an accident occurs, see a
doctor immediately. Any fluid
injected into the skin must be
surgically removed within a few
hours or gangrene may result.

3
Important Safety Information
4/19/10 Z52, Z60 & Z72 Accu-Z® Zero Turn Mowers 356-005M
Table of Contents
Safety Labels
1. Your mower comes equipped with all safety labels in place.
They were designed to help you safely operate your mower.
Read and follow their directions.
2. Keep all safety labels clean and legible.
3. Replace all damaged or missing labels. To order new labels
go to your Land Pride dealer.
4. Some new equipment installed during repair require safety
labels to be affixed to the replaced component as specified
by Land Pride. When ordering new components make sure
the correct safety labels are included in the request. To
order new labels go to your Land Pride dealer.
5. Refer to this section for proper label placement.
To install new labels:
a. Clean the area the label is to be placed.
b. Spray soapy water on the surface where the label is to
be placed.
c. Peel backing from label. Press firmly onto the surface.
d. Squeeze out air bubbles with the edge of a credit card.
838-303C
Danger: Battery
(Beneath Seat)
19097
838-305C
Warning: Rollover Hazard (Beneath
Bumper on Back of Frame)
19098

6
Introduction
Z52, Z60 & Z72 Accu-Z® Zero Turn Mowers 356-005M 4/19/10
Table of Contents
Introduction
The parts on your Accu-Z Mower have been specially
designed and should only be replaced with genuine Land
Pride parts. Therefore, should your Accu-Z require
replacement parts go to your Land Pride Dealer.
Serial Number
Refer to the Figure 1 for the location of your serial
number.
Serial Number Location
Figure 1
Further Assistance
Your dealer wants you to be satisfied with your new
mower. If for any reason you do not understand any part
of this manual or are not satisfied with the service
received, the following actions are suggested:
1. Discuss the matter with your dealership service
manager making sure he is aware of any problems
you may have and that he has had the opportunity to
assist you.
2. If you are still not satisfied, seek out the owner or
general manager of the dealership, explain the
problem and request assistance.
3. For further assistance write or E-mail to:
Land Pride
Service Department
P.O. Box 5060
Salina, KS 674022-5060
E-mail address
lpservicedept@landpride.com
IMPORTANT:
For parts and service for your engine contact your
nearest dealer or Call Customer Service Hotline.
Honda Engine Information:
Service Manual:P/N 61ZJ410Z
Owner’s Manual: P/N 31ZJ4620
Service Hotline: 1-770-497-6400
Kawasaki Engine Information:
Service Manual:P/N 99924-2045-02
Owner’s Manual: P/N 99920-2145-02
Service Hotline: 1-800-433-5640
19097
Land Pride welcomes you to the growing family of new
product owners.
This mower has been designed with care and built by
skilled workers using quality materials. Proper assembly,
maintenance, and safe operating practices will help you
get years of satisfactory use from the machine.
Application
The Accu-Z Razor®mowers from Land Pride are
compact in size and ideal for homeowner and
commercial grass maintenance . The Accu-Z is a true
zero-turn mower: When mowing alongside a building or
landscaping, the Accu-Z turns within its own width,
allowing you to turn away and not hit anything with the
rear end. This makes it the perfect choice for cemeteries,
parks, recreational areas, sports fields and schools
where obstacles are prevalent. An optional Vacuum
Bagger, Mulching Kit and Control Lever Extensions are
also available. See “Features and Benefits”,“Section
6” for additional information.
Using This Manual
•This Operator’s Manual is designed to help familiarize
you with safety, assembly, operation, adjustments,
troubleshooting, and maintenance. Read this manual
and follow the recommendations to help ensure safe
and efficient operation.
•The information contained within this manual was
current at the time of printing. Some parts may change
slightly to assure you of the best performance.
•To order a new Operator’s or Parts Manual contact
your authorized dealer. Manuals can also be
downloaded, free-of-charge from our website at
www.landpride.com.
Terminology
“Right” or “Left” as used in this manual is determined by
facing forward in the direction the machine will operate
while in use unless otherwise stated.
Definitions
Owner Assistance
The Warranty Registration card should be filled out by
the dealer at the time of purchase. This information is
necessary to provide you with quality customer service.
If customer service or repair parts are required contact a
Land Pride dealer. A dealer has trained personnel, repair
parts and equipment needed to service the implement.
NOTE: A special point of information that the
operator must be aware of before continuing.
IMPORTANT: A special point of information related
to its preceding topic. Land Pride’s intention is that
this information should be read and noted before
continuing.

7
Section 1 Assembly and Set-Up
4/19/10 Z52, Z60 & Z72 Accu-Z® Zero Turn Mowers 356-005M
Table of Contents
Section 1 Assembly and Set-Up
Control Lever and Seat Assembly
The seat is removed for ease in shipping and the control
lever’s upper bolts and flat washers are removed and the
levers are rotated down.
Refer to Figure 1-1:
1. Install the standard seat (#1) (or the optional
suspension seat) to the seat pan (#2) using four 5/
16” nuts (#3) and four 5/16” flat washers (#4).
2. Connect the switch wires on the mower with the
switch wires on the seat. Secure the switch wires to
the seat pan (#2) using three wire ties (#5).
3. Flip the seat over into the operating position and
rotate the control levers up until the holes line up and
replace the bolts and flat washers.
Remote Air Cleaner Assembly
Refer to Figure 1-2:
1. Slide air cleaner clamp (#1) over air cleaner housing
(#2), position the clamp so the bolt holes are facing
down (away from the intake) and the notches on the
clamp fit in the notches on the housing.
2. Insert air cleaner element (#3) inside air cleaner
housing (#2) and attach housing end (#4) (with the
arrows pointing up). Place rubber grommet (#5) over
opening in housing end (#4).
3. Attach air cleaner intake cap (#6) to the air cleaner
housing (#2) using a hose clamp (#7).
4. Attach air cleaner hose (#8) to the air cleaner (#2)
using a hose clamp (#7).
Refer To Figure 1-3:
5. Remove plastic cap from carburetor intake.
!CAUTION!
Be careful to not allow any foreign material into the carburetor
while performing this assembly.
Seat Assembly
Figure 1-1
20858
Carburetor Intake
Figure 1-3
20859
Plastic Cap
Air Cleaner Assembly
Figure 1-2
20862

8
Section 1 Assembly and Set-Up
Z52, Z60 & Z72 Accu-Z® Zero Turn Mowers 356-005M 4/19/10
Table of Contents
Refer to Figure 1-4:
6. Insert the air cleaner hose through the hole in the air
cleaner hood and slide hose end over the carburetor
intake.
7. Secure air cleaner to the air cleaner hood with two 5/
16” bolts, four 5/16” flat washers and two 5/16” nuts.
8. Secure hose to the carburetor intake with hose
clamp.
Optional Equipment Assemblies
Remote Air Cleaner Assembly
Refer to Figure 1-2 page 7:
The remote air cleaner is standard equipment on
mowers with Serial No. 364548 and above.
However, it may be purchased as an option on mowers
with Serial No. 364547 and below.
Control Lever Extensions
Refer to Figure 1-5:
1. Install the Extensions (#4) as shown.
Hose Clamp
5/16” Bolt
20860
Control Lever Assembly
Figure 1-5
19121
Figure 1-4
Air Cleaner

9
Section 1 Assembly and Set-Up
4/19/10 Z52, Z60 & Z72 Accu-Z® Zero Turn Mowers 356-005M
Table of Contents
Chute, Pulley and Pulley Cover Removal
Figure 1-6
19907
Accu-Vac Assembly
Refer to Figure 1-9 on page 12
Land Pride offers as an option an Accu-Vac Collection
System designed to collect mower clippings into two 30
gallon rubber containers mounted on the back of the
mower.
!WARNING!
Do not operate Accu-Vac System without remote air cleaner set-
up or engine damage may occur.
!WARNING!
Do not operate mower without deflector chute or Accu-Vac in
place.
Mower Deck Preparation
Refer to Figure 1-6:
Park the Accu-Z mower on a flat surface. Shut off the
ignition switch and remove the key from the switch.
Disconnect the negative battery cable.
Before the Accu-Vac can be installed, the right side
pulley cover (4) and discharge chute assembly (1) must
be removed. Loosen the tensioner for the blade belt and
remove pulley (7). Parts 2, 3, 6 and 8 will be used to
assemble Accu-Vac.
NOTE: Accu-Vac Collection System cannot be
mounted on Accu-Z mowers manufactured with
Honda engines. Use only with Kawasaki engines.
IMPORTANT: Retain all other parts as they will be
re-installed when the Accu-Vac is removed.

10
Section 1 Assembly and Set-Up
Z52, Z60 & Z72 Accu-Z® Zero Turn Mowers 356-005M 4/19/10
Table of Contents
6. Install blower belt (#16) to double pulley and route it
as shown. (Belt must be on top pulley)
7. Assemble pulley cover (#17) using existing knobs
(#18).
Route Belt to
Top Pulley
Blower Belt
20855
Blower
Drive Belt
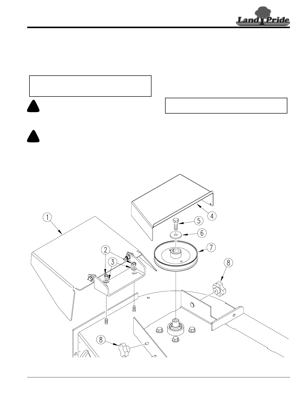
Blower, Pulley and Pulley Cover Assembly
Refer to Figure 1-7:
1. Install double pulley (#13) with the bolt (#11) and
existing flat washer (#12) Torque bolt 65 - 75 lbs.
2. Reinstall blade drive belt on lower grove of pulley
(13).
3. Assemble bracket (#4) where the chute bracket was
assembled using the existing hardware (#2) and
(#3).
4. Assemble blower pivot (#5) with carriage bolt (#6)
and existing hardware (#7), (#8), (#9) and (#10).
5. Install blower (#1) on blower pivot and swing blower
around and secure to bracket with pin (#14) and
hair pin cotter (#15).
Blower Assembly
Figure 1-7

11
Section 1 Assembly and Set-Up
4/19/10 Z52, Z60 & Z72 Accu-Z® Zero Turn Mowers 356-005M
Table of Contents
Bagger Assembly
Refer to Figure 1-8:
1. Remove and retain rear bumper bolts (#3) and flat
washers (#4). Do not remove bumper.
2. Assemble left bracket (#1) and right bracket (#2)
through the same slots using the bolts and flat
washers retained from the bumper.
!CAUTION!
Muffler can cause burning. Muffler should be cool before pro-
ceeding.
3. Position muffler deflector (#5) on existing muffler
exhaust so that deflector is pointing away from the
plastic containers. Mark for hole through deflector
(#5) and drill hole for screw using a #26 (.147) drill
bit.
4. Install muffler deflector to existing exhaust and
fasten with screw (#6) through hole in deflector and
drilled hole.
NOTE: Accu-Vac Collection System cannot be
mounted on Accu-Z mowers manufactured with
Honda engines. Use only with Kawasaki engines.
19910
Bagger Brackets and Muffler Deflector Assembly
Figure 1-8
IMPORTANT: Damage will occur if:
Failure to install and/or adjust muffler exhaust deflector,
will result in damage to either grass catcher container
or mower.
With engine cool:
Install the muffler exhaust deflector onto current muffler
exhaust pipe.
Swivel deflector around so the exhaust is porting away
from both unit and bagger. Start mower and check air
flow out of deflector. Make sure hot exhaust air is not
diverted onto unit or bagger. Exhaust should be
divertedout to side.
Mark muffler exhaust pipe using hole in diverter.
Drill muffler exhaust pipe using #26 (.147) drill bit.

12
Section 1 Assembly and Set-Up
Z52, Z60 & Z72 Accu-Z® Zero Turn Mowers 356-005M 4/19/10
Table of Contents
Z52 Left Side
19909
Front Lift and Weight Assembly
Figure 1-10
5. Install bagger (#1) through brackets and secure with
pins (#2).
6. Assemble clamps (#3) on the ends of the bagger
tube (#4) and slide the tube over the bagger inlet and
the blower as shown in Figure 1-9 and tighten
clamps.
IMPORTANT: Lubricant can be used when installing
tube to bagger so the tube will slide over bagger inlet
easier.
Bagger Assembly
Figure 1-9
19911
Front Lift and Weight Assembly
(For Blade Service or Replacement)
1. The front weight bracket (#1) will mount to the
front of the mower frame with the four u-bolts
(#2) lock washers (#3) and nuts (#4) on the Z60
& Z72 mowers. The Z52 mounts with two u-
bolts (#2) on the right side and one bolt (#7) and
nut (#4) on the left side of frame as shown in
Figure 1-10.
2. Fill the weight (#5) with sand and secure to
weight bracket with bolts (#8), lock washers
(#9) and flat washers (#10).
3. Assemble jack (#6) to the jack mount on the
weight bracket.
IMPORTANT: Do not use jack to support mower
while working under the deck. Chock back
wheels and securely block unit up before
working under the deck.

13
Section 2 Operation
4/19/10 Z52, Z60 & Z72 Accu-Z® Zero Turn Mowers 356-005M
Table of Contents
Section 2 Operation
Controls
For general location of the controls described in this
section, refer to Figure 2-1.
Ignition Switch
Refer to Figure 2-2:
A three position switch: off, run, and start. With key
inserted, rotate it clockwise to START position; release
key when engine starts, and switch will automatically
return to the RUN position.
Throttle Control
Refer to Figure 2-2:
A cable is linked to engine throttle for controlling engine
speed. Move lever forward to increase engine rpm, move
lever rearward to decrease engine rpm.
Choke Control
Refer to Figure 2-2:
A cable is linked to manually operate the engine choke.
When the lever is in the down position, the choke is in the
off (run) position. When the lever is pulled up, the choke
is in the on (start) position. DO NOT operate the machine
in the on (start) position.
Control Panel
Figure 2-2
Ignition Switch
Blade Engagement
Switch
Oil Pressure
Light Throttle
19097
Choke
1. Ignition Switch
2. Throttle Lever
3. Control Levers
4. Blade Engagement
Switch
5. Deck Lift Pedal
6. Hour Meter
7. Oil Pressure Light
8. Fuel Tanks
9. Hydraulic Reservoir
10. Battery
11. Deck Adjusting Rod
12. Anti-Scalp Wheels
13. Discharge Chute
14. Left Belt/Pulley Cover
15. Right Belt/Pulley Cover
16. Deck Height Indicator
17. Brake Switch
18. Choke Lever
Accu Z Controls
Figure 2-1
19058

14
Section 2 Operation
Z52, Z60 & Z72 Accu-Z® Zero Turn Mowers 356-005M 4/19/10
Table of Contents
Left/Right Fuel Tank Valve
Refer to Figure 2-3:
The mower is equipped with a Left/Right Fuel Tank Valve
that will determine which fuel tank the mower is operating
from. It is not important which fuel tank the mower is
using.
Blade Engagement Switch
Refer to Figure 2-2:
This switch engages the deck blades. Pull the switch up
to engage and push switch down to disengage the clutch.
Control Levers
Parking Brake
The Parking Brakes are applied by moving the control
levers from the Neutral Position (Figure 2-5) to an
outward position (Refer to Figure 2-4). Each rear wheel
brake operates independently of the other.
!WARNING!
In the event of a system failure while mowing, engage both
parking brakes to stop or slow mower. Refer to Figure 2-4.
Refer to Figure 2-5:
These levers control the mower’s speed, direction,
neutral lock and park brake. Levers are used to steer,
accelerate, brake and change direction. The mower will
not move when the engine is on, drive pumps are
operating and the control levers are in the park brake
position (out)
Figure 2-4.
!WARNING!
The parking brake is not designed to hold the mower on steep
slopes.
Deck Lift Pedal
Refer to Figure 2-6:
The deck lift pedal is used to raise or lower the deck.
Push on the pedal to raise the deck and then place the
deck height locking pin into the desired cutting height
hole.
Push the deck lift pedal to raise the deck when going
over obstructions.
Left/Right Fuel Tank Switch
Figure 2-3
IMPORTANT: Never engage clutch with engine
running at high rpm or when the deck is under
load. Clutch, belts or deck could be damaged.
Control Levers in Parking Brake Position
Figure 2-4
19698
Control Levers
Figure 2-5
Control Levers
19060
Deck Lift
Pedal
Deck Lift Pedal
Figure 2-6 19061
Deck Height
Locking Pin

15
Section 2 Operation
4/19/10 Z52, Z60 & Z72 Accu-Z® Zero Turn Mowers 356-005M
Table of Contents
Instrumentation
Electronic Hour Meter
Refer to Figure 2-7:
Registers 1/10 hour increments up to 9,999.9 total hours.
Connected to the ignition switch, the meter records the
accumulative time while the ignition key is switched to
the RUN position and the operator is on the seat.
Oil Pressure Light
Refer to Figure 2-2:
This light comes on when the ignition switch is placed in
the RUN position and stays lit until the engine is running
and a safe oil pressure is developed. If light comes on
during operation, shut engine off immediately and locate
and correct the problem.
Safety Start Interlock System
The mower is equipped with a safety start interlock
system consisting of the brake switches, seat switch, and
deck clutch switch. Check mower safety start interlock
system daily, prior to operation. This system is an
important mower safety feature. It should be repaired
immediately if it malfunctions. The machine incorporates
a separate seat switch which will stop the mower engine
when the operator is unseated for any reason while the
mower is moving or the deck clutch is engaged. This is a
safety feature designed to prevent runaway or accidental
entanglement. To inspect the system:
1. The operator must be on the seat when testing the
seat switch.
2. Set both control levers in the park brake position.
3. Start the engine and allow it to warm up to operating
temperature.
4. With the deck clutch switch down and the control
levers in the park brake position, slowly raise off of
the seat. The engine should continue to run.
5. With the deck clutch switch up and/or the control
levers in the neutral position, slowly raise off of the
seat. The engine should stop within two seconds.
6. If the engine fails to stop when the deck clutch switch
is up or one or both of the control levers is in and the
operator is off the seat, check the function of the seat
switch. If the seat switch is not operating properly
and if the cause can not be determined, replace the
seat switch.
If the problem can not be located, contact your Land
Pride Dealer.
!WARNING!
The safety interlock system should always function per steps 4
and 5. If it does not function properly, it should be corrected
immediately. Do not operate the mower without a properly
functioning seat safety switch.
!WARNING!
The safety interlock system must not be disconnected or
bypassed
Engine Starting
The Accu Z safety start interlock system is also designed
to protect the operator and others from accidental injury
due to unintentional engine starting. The engine starting
motor will not engage until:
A. Control levers are in the brake position.
B. Deck clutch switch is in the down (OFF) position.
The following steps are the correct procedures for
starting the engine. If difficulty is encountered, contact
the Land Pride Dealer in your area.
1. Before starting mower each day, perform daily pre-
operation checking.
2. Make sure the control levers are in the brake position
and deck clutch switch is disengaged.
3. Set throttle at approximately 1/2 open position.
4. Insert key in ignition switch and rotate full clockwise
to engage starting motor. Release key when engine
starts.
Hour Meter
Figure 2-7
Hour Meter
19062
NOTE: The operator’s seat is equipped with a
separate safety switch. If for any reason the
operator should become unseated when the neutral
switches are disengaged or the deck clutch switch is
engaged the engine will stop.
NOTE: Use choke position when engine is cold, or
if warm engine fails to start within 5 seconds of
cranking. Avoid flooding and operate engine without
choking as soon as possible.

16
Section 2 Operation
Z52, Z60 & Z72 Accu-Z® Zero Turn Mowers 356-005M 4/19/10
Table of Contents
5. Perform test to make sure safety start interlock
system is operating properly. Refer to Safety start
interlock system section.
6. As soon as engine begins to run, check to make
certain the oil warning light is off. If not, stop engine
immediately and check for the cause.
7. Allow the engine to idle a few minutes before
advancing the throttle and/or engaging the deck
clutch.
8. Before stopping the engine, place the control levers
in the brake position, disengage the deck clutch, and
throttle back to low idle for a couple of minutes; then
rotate ignition key counter-clockwise to the OFF
position. Remove the key from switch before leaving
the seat.
!WARNING!
Never leave the machine unattended with key in ignition switch.
Moving Mower with Stalled Engine
If it becomes necessary to move the mower when the
engine is inoperative, the hydraulic pumps are equipped
with bypass valves. Before moving the unit, turn bypass
valves counter clockwise one-half to one revolution. The
valve stems on each hydraulic pump are located near the
top and are identified as a hex stud. Refer to Figure 2-8.
Do not tow the machine. Move it by hand or use a winch
to load on a trailer for transporting.
IMPORTANT: The engine starter should not be
operated for periods longer then 30 seconds at a
time. An interval of at least two minutes should be
allowed between such cranking periods to protect the
starter from overheating and burn-out.
19064
Bypass Valve
Figure 2-8
Bypass
Valve
IMPORTANT: Always make certain the two bypass
valves are returned to their operating position before
running the mower following repairs.
Steering
Figure 2-9
Front of mower Faces This Direction
NN
Forward Travel Pivot Right Turn Forward Travel
Right Turn Reverse Travel
Right Turn Reverse Travel
N= Neutral Position
Direction of arrows indicate direction of mower movement.

17
Section 2 Operation
4/19/10 Z52, Z60 & Z72 Accu-Z® Zero Turn Mowers 356-005M
Table of Contents
Driving the Mower
!DANGER!
Never make sudden stops or reverse direction, especially when
going down a slope. The steering is designed for sensitive
response. Rapid movement of the control levers in either
direction could result in a reaction of the mower that can cause
serious injury.
Steering
Refer to Figure 2-9:
After starting engine, engage the control levers and steer
as follows:
To Go Forward:
Push control levers forward an equal distance.
To Go in Reverse:
Pull control levers rearward an equal distance.
To Turn Left:
Move the right control lever farther forward from neutral
than the left control lever.
To Turn Right:
Move the left control lever farther forward from neutral
than the right control lever.
To Pivot Turn:
Move one control lever forward and the other control
lever back of neutral, this will allow the drive wheels to
counter-rotate.
To Stop or Decrease Speed
!WARNING!
In the event of a system failure while mowing, engage both
parking brakes to stop or slow mower. Refer to Figure 2-4.
Move control levers to neutral. When going forward pull
back gently on control levers. When going in reverse
push forward gently on control levers.
!DANGER!
When going in reverse push forward gently on control levers
and avoid sudden movement. Any sudden movement could
cause the front of the mower to come off of the ground resulting
in possible loss of control.
To Increase Speed
Increase control levers equal distance from neutral. The
farther forward control levers are from neutral, the faster
mower will travel forward. The farther back control levers
are from neutral, the faster mower will go in reverse.
Operating Suggestions
!DANGER!
Prior to operating the mower the operator should be thoroughly
familiar with the proper use and operation of the equipment,
should read the manual completely and thoroughly, and should
have attempted slow moving maneuvers to become familiar with
the operation of the equipment before attempting normal speed
operation. An inexperienced operator should not mow on slopes
or on uneven terrain.
!WARNING!
The mower’s control levers are very responsive: Easy does it!
For smooth operation, move lever slowly, avoid sudden
movement. Skill and ease of operation come with practice and
experience.
Inexperienced operators may have a tendency to
over-steer and lose control. Slow-moving practice
maneuvers are recommended to become familiar with
these characteristics before attempting normal speed
operation.
!WARNING!
Sharp depressions or raised obstacles (such as gutters or curbs)
should not be directly approached at high speed in an attempt
to jump them as the operator could be thrown from the
equipment. Approach at a slow speed and angle one drive wheel
at the obstruction. Continue at an angle until the wheel clears
and then pivot the opposite wheel around.
When turning on soft wet turf, keep both wheels rolling
either forward or backward. Pivoting on one stopped
wheel can damage turf. This is especially important
when mowing.
Peak mowing performance is maintained when the
throttle is set at full rpm. This gives maximum power to
the drive wheels and deck when needed. Use the control
levers to control ground speed rather than engine rpm.
!WARNING!
Do not operate the equipment while wearing sandals, tennis
shoes, sneakers, shorts or any type of loose fitting clothing.
Always wear long pants, safety glasses and safety shoes when
operating this machine.
Keep blades sharp. Many professional mowing
companies have additional sets of blades and change
blades twice a day: once in the morning and again at
noon. Many problems with incorrect cutting patterns are
due to dull blades or blades which have been sharpened
incorrectly. Information on sharpening blades is listed in
this manual’s maintenance section. In addition, most
communities have individuals or companies which
specialize in sharpening mower blades. Blade
sharpness should be checked daily.

18
Section 2 Operation
Z52, Z60 & Z72 Accu-Z® Zero Turn Mowers 356-005M 4/19/10
Table of Contents
Use high blade speed. Your Accu Z is designed to
operate at full throttle. The throttle setting directly
controls blade speed. The highest blade speed generally
gives the best cut.
Direct grass discharge to right, away from unmown
area. Select a mowing pattern that directs grass
discharge towards the outside, not towards center, of
mowing area. Generally, this means using a pattern
utilizing left turns because side discharge is to right.
Refer to Figure 2-10. In any case, avoid throwing grass
discharge onto unmowed area because grass is then
mowed twice. Mowing twice puts an unnecessary load
on the unit and reduces mowing efficiency.
!WARNING!
Never direct discharge of material from mower deck towards
bystanders.
!WARNING!
Never operate the mower deck with discharge chute removed or
in raised position.
!WARNING!
Always check area to be mowed for rocks and other debris
before mowing.
Mower Deck Operation
!DANGER!
Never attempt to make any adjustments to the mower deck while
the engine is running or with the blade engagement switch
engaged. Mower blades cannot be seen and are located very
close to deck housing. Fingers and toes can be cut off instantly.
With the engine running, engage the blade engagement
switch (Refer to Figure 2-11) and advance engine throttle
to full rpm.
Blade Engagement Switch
Figure 2-11
Discharge Chute
Figure 2-10
Discharge
Chute 19065
NOTE: Engaging the blade engagement switch at
high engine rpm or when under heavy load (in tall
grass for example) can cause belts to slip, resulting
in premature wear or possible damage.
Blade Engagement
Switch
19059

19
Section 2 Operation
4/19/10 Z52, Z60 & Z72 Accu-Z® Zero Turn Mowers 356-005M
Table of Contents
Operating Instructions
After thoroughly familiarizing yourself with the Operator’s
Manual and completing the Operator’s Checklist, you are
almost ready to begin mowing.
Approach the mower from the front and make sure the
steering levers are spread fully apart in parking brake
position. Stand just to the outside rear of the left front
anti-scalp wheel and grab the left side steering lever for
support. Taking care not to step on the mower deck, step
up onto the operator’s platform and comfortably seat
yourself. With both steering levers still wide apart, reach
for the throttle and choke control to your right side.
Position the throttle control at half throttle and pull the
choke to the “up/on” position. Insert your ignition key and
rotate the ignition key clockwise until you hear the engine
begin to start. Release the ignition key and push the
choke to “down/off” position. Allow the engine to warm up
momentarily. If your mower has just been running and
the engine is already warm, using the choke is usually
not necessary.
With the engine at half throttle, reach forward and bring
both steering levers equally together in the neutral
position just in front of you. It’s now time to test your
steering skills. Gently push both steering levers equally
forward. The farther forward you push the levers, the
faster you will go. Pull back equally and you will slow
down, coming to a stop when you reach the neutral
position. Now slowly pull the levers back toward your
body past neutral position. The mower will reverse
direction and increase in speed as you pull further back.
If you push one lever forward and pull one lever back the
mower will do a zero turn in the direction of the steering
lever closest to your body. Now take a few moments in a
safe area to practice maneuvering and steering your
mower with the engine still at half throttle. Gradually
increase your throttle speed until you feel totally
confident of your mower steering and handling ability
around obstacles and in tight areas.
It’s now time to cut the grass. You should have already
removed any obstacles from the lawn that you do not
want run over. With your mower at half throttle, place
your right foot on the deck lift pedal and release and
lower the deck to your preset cutting height. With your
right hand, pull up on the cutting blade engagement knob
and increase the engine speed to full throttle. You may
now begin mowing.
When you are done mowing or just want to take a break,
make sure you do all of the following. Park on level
ground, disengage the cutting blade, throttle back, leave
the steering levers in wide-open parking brake position,
turn the engine off, remove the key, and step carefully off
the left front corner of the operator’s platform.
If your mower is equipped with the Accu-Vac Collection
System and you need to empty the clipping containers, it
is not necessary to shut the engine off. You must,
however, disengage the cutting blade and spread the
steering levers into parking brake position before you
dismount or the unit will shut off automatically when you
lift off of the seat. Simply reverse this process when you
are ready to continue mowing.

20
Section 3 Adjustments
Z52, Z60 & Z72 Accu-Z® Zero Turn Mowers 356-005M 4/19/10
Table of Contents
Section 3 Adjustments
!WARNING!
Unless specifically required, DO NOT have engine running
when servicing or making adjustments to the mower. Place
control levers in the park brake position and remove ignition
switch key. Repairs or maintenance requiring engine power
should be performed by trained personnel only. To prevent
carbon monoxide poisoning, be sure proper ventilation is
available when engine must be operated in an enclosed area.
Read and observe safety warnings in front of manual.
Your Accu Z was adjusted before it left the factory and
was checked during pre-delivery setup. However, after
start-up and continued use, a certain amount of break-in
wear will cause some adjustments to change.
Remain alert for unusual noises, they could be signaling
a problem. Visually inspect the machine for any
abnormal wear or damage. A good time to detect
potential problems is while performing scheduled
maintenance service. Correcting the problem as quickly
as possible is the best insurance.
!WARNING!
Keep your machine clean and remove heavy deposits of trash
and clippings, they can cause engine fires and hydraulic
overheating as well as excessive belt wear.
Clear away heavy build-up of grease, oil and dirt,
especially in the area of reservoir and oil and engine
combustion air; minute dust particles are abrasive to
close-tolerance engine and hydraulic assemblies.
Some repairs require the assistance of a trained service
mechanic and should not be attempted by unskilled
personnel. Consult your Land Pride service center when
assistance is needed.
Torque Values
!WARNING!
Particular attention must be given to tightening the drive wheel
lug nuts and wheel motor nuts. Failure to correctly torque these
items may result in the loss of a wheel, which can cause serious
damage or personal injury.
Refer to “Torque Values” on page 32.
It is recommended that the following be checked after the
first 2 hours of initial operation, initially and every 50
hours following removal for repair or replacement.
Wheel lug nuts
Wheel motor nut
Blade spindle bolts (top and bottom)
For engine torque values, see engine owner’s manual.
Steering Linkage
The neutral adjustment for the control levers in the
neutral position is discussed in this section.
The steering has been factory adjusted to eliminate
creeping when the control levers are in the neutral
position (Refer to Figure 3-1).
However, should the mower begin to creep, adjustments
can be made as outlined on the following page.
Control Lever In Neutral Position
Figure 3-1
19078
Control
Lever
Park Brake
Slot

21
Section 3 Adjustments
4/19/10 Z52, Z60 & Z72 Accu-Z® Zero Turn Mowers 356-005M
Table of Contents
Control Lever Neutral Adjustment
Before considering any adjustment, check the tire air
pressure and make certain hydraulic system oil is at
operating temperature. Unequal tire pressure will cause
the mower to drift to one side. Refer to “Tire Inflation
Chart” on page 44.
Fine adjustment to the steering is made with the
adjustable pump linkage rods located between the
control lever and pump arms. Refer to Figure 3-2.
Neutral is properly adjusted when the control levers are
in the neutral position and the drive wheels are not
turning.
If the mower creeps in the neutral position the control
linkage may be adjusted as follows:
1. Raise and block the mower up so the drive wheels
are off of the floor.
!WARNING!
Make certain mower is secure when it is raised and placed on
the jack stands. The jack stands should not allow the mower to
move when the engine is running and the drive wheels are
rotating. Use only certified jack stands.
2. Position the control levers in the neutral position.
Disengage the deck clutch.
3. Start the engine and observe which way the wheels
are rotating.
4. If wheel(s) are rotating forward, loosen the jam nuts
on the pump linkage rods and rotate the rod to
lengthen the steering control linkage until the
wheel(s) come to a stop. Refer to Figure 3-2. Repeat
for the opposite side if necessary.
5. If wheel(s) are rotating in reverse then loosen the jam
nuts on the pump linkage rods and rotate the rod to
shorten the steering control linkage until the
wheel(s) come to a stop. Refer to Figure 3-2. Repeat
for the opposite side if necessary.
6. When both wheels remain in neutral, tighten the jam
nuts to lock the turnbuckle in place.
7. Test again by moving the control levers forward and
backward before returning them to the neutral
position. If the tires are in neutral, the unit is now
ready for operation.
8. After adjusting for neutral it may be necessary to
re-adjust the reverse spring and/or the control lever
stop Refer to Figure 3-3 and Figure 3-4.
Fine Adjustments to Steering
Figure 3-2
Jam Nut
PumpLinkage
Rod Jam Nut
19079
NOTE: The left linkage controls the right hydraulic
pump and the right linkage controls the left hydraulic
pump.
Control Lever Stop
Figure 3-3
19080
Stop
Control
Lever
Jam Nut

22
Section 3 Adjustments
Z52, Z60 & Z72 Accu-Z® Zero Turn Mowers 356-005M 4/19/10
Table of Contents
Control Lever Stops
The control lever stops (Figure 3-3) are designed to do
two things: First, and most important, they must keep the
pumps from bottoming out internally. Second, the stops
may be adjusted to help drive straight when the control
levers are pushed forward against the stops.
To keep the pumps from bottoming out internally use the
following procedure:
1. To make the first adjustment the mower engine must
NOT be running.
2. Check to make sure the control levers are against the
stops before the pumps are bottomed out internally.
To do this, gently and slowly move the control levers
forward and feel if there is some resistance on the
pump lever before the control levers hit the stops.
Check one side at a time. If you sense that the pump
arms are stopping the forward motion of the control
arms, loosen the jam nut on the adjustable stop of
the corresponding side and turn the stop (set screw)
inward to stop the control levers slightly before the
pump bottoms out. Lock in place when the
adjustment is correct by re-tightening the jam nut.
3. Do this for each side.
To adjust the stops for driving straight when control
levers are against the stops during operation:
Determine which drive tire is rotating too fast when both
control levers are against the stops. Then stop the
mower and loosen the lock nut on the side which is
rotating too fast and turn the stop (set screw) inward to
stop the control lever sooner. Tighten the lock nut on the
stop and test again. Repeat this procedure until unit
drives straight.
Reverse Spring Adjustment
Refer to Figure 3-4:
The reverse spring is designed to bring the control levers
to the neutral position after they are released from the
reverse position.
To adjust:
1. Make certain the control lever neutral adjustment is
correct. If not, refer to Steering Linkage section.
2. When control lever is in the reverse position the
spring should force the control lever to return to
neutral after the lever is released.
3. Adjust the top nylock nut on the spring linkage until
the control lever returns to the neutral position from
the reverse position properly. Tightening the nylock
nut will cause the control lever to travel forward less
before stopping. Loosening the nylock nut will allow
the control lever to travel farther forward.
4. Check the length of the reverse spring when the
control lever is in the neutral position. This dimension
should be 1 7/8”. If it is not, adjust the lower nylock
nut until the dimension is achieved.
5. Repeat for other side.
19081
Reverse Spring
Figure 3-4
Top Nylock
Nut
Reverse
Spring
Lower
Nylock Nut Spring
Linkage
NOTE: Since this is a hydrostatic drive, variables
such as temperature of oil, efficiency of pumps and
motors, tire pressure etc., may effect the
consistency of the ability to rely on the stops to drive
straight without the operator making minor steering
adjustments with the control arms.

23
Section 3 Adjustments
4/19/10 Z52, Z60 & Z72 Accu-Z® Zero Turn Mowers 356-005M
Table of Contents
Steering Dampener
Refer to Figure 3-5:
The steering dampeners are incorporated into the unit to
provide some resistance when the control levers are
moving forward or rearward. To set the steering
dampeners in the correct operating position follow these
steps:
1. Place the control lever in the neutral position.
2. Check the center distance from the dampeners front
mounting hole to the rear mounting hole. This
dimension should be 8 9/16”. If it is not, loosen the
front attaching bolt and slide the dampener in the
mounting slot until this dimension is attained.
Re-tighten front attaching bolt.
Control Lever Adjustment
The control levers can be adjusted for operator comfort.
By loosening the cap screws that attach the upper
control lever to the lower lever (Fig. 5-6), the upper
control lever can be pivoted to fit the operator s personal
preference. The control levers should be adjusted so that
they align with each other when in the neutral position.
Park Brake Adjustment
Occasionally check the park brakes and adjustment
using the following method:
1. Position the control levers in the neutral position.
Disengage the deck clutch.
!WARNING!
Make certain mower is secure when it is raised and placed on
the jack stands. The jack stands should not allow the mower to
move when the engine is running and the drive wheels are
rotating. Use only certified jack stands.
NOTE: The dampener must not bottom out when
the pump lever is fully stroked in either direction.
19081
Steering Dampener Adjustment
Figure 3-5
Steering
Dampener
8.54”
Control Lever Adjustment
Figure 3-6
19082
Cap Screw
Lower
Control
Lever
Upper
Control
Lever
NOTE: The front brake link is not adjustable. Refer
to Figure 3-7.

24
Section 3 Adjustments
Z52, Z60 & Z72 Accu-Z® Zero Turn Mowers 356-005M 4/19/10
Table of Contents
2. Raise and block the mower up so the drive wheels
are off of the floor.
3. Open the hydraulic pump’s bypass valve (Refer to
Figure 3-8) on the side that is being adjusted, by
turning bypass valve counter clockwise one-half to
one revolution. The valve stems on each hydraulic
pump are located near the top and are identified as a
hex stud.
4. Rotate the tire. The tire should rotate. Remember
hydraulic oil resistance will prevent the tire from
rotating freely even with the bypass valves open.
There should be no resistance from the brakes at this
point.
5. Move the control lever to where it is touching the
outside edge of the lever’s travel slot.
Refer to Figure 3-9.
6. Rotate the tire. If the brake is adjusted properly the
tire will still rotate but friction will start to become
noticeable here. However, if no brake resistance is
noticed, the brake needs adjusted as follows:
7. Loosen the brake linkage jam nuts. Refer to
Figure 3-10.
Front Brake Link
Figure 3-7
Front Brake Link
(Right Side)
19083
By-Pass Valve
Figure 3-8
By-Pass Valve
Control Lever Touching Edge
Figure 3-9
19084
Control Lever
Park Brake Slot
Outside Edge
Travel Slot
Loosen Brake Linkage Jam Nut
Figure 3-10
19085
Jam Nut
Brake Linkage Turnbuckle
Jam Nut

25
Section 3 Adjustments
4/19/10 Z52, Z60 & Z72 Accu-Z® Zero Turn Mowers 356-005M
Table of Contents
8. Rotate the tire and at the same time rotate the
turnbuckle to shorten the length of the brake linkage
to increase the brake pressure. When you feel the
brake begin to engage, stop adjusting the turnbuckle.
Re-tighten the jam nuts on the turnbuckle.
9. Place the control lever in the park brake slot. Refer to
Figure 3-9. The tire should not rotate when the
control lever is in the park brake position.
10. Place the control lever in the neutral position. The tire
should rotate freely.
11. Close the hydraulic pump’s bypass valve.
12. Repeat steps 3 thru 11 for the other side.
13. Remove from the jack stands and lower the unit. It is
now ready to operate.
Hydraulic Pump Belt Adjustment
Refer to Figure 3-11.
The pump drive belt tension remains constant by means
of a tension idler and spring. There is no tension
adjustment of this belt.
Deck Drive Belt Adjustment
Refer to Figure 3-12:
The spindle belt tension remains constant by means of a
tension idler and spring.
The spring tension should be such that the belt does not
slip under normal operating load conditions, assuming
the belt is not excessively worn or damaged. As belt
stretches and wears in, adjustment may become
necessary. To increase belt tension, move the spring
chain one (or more) link(s) at the anchor bracket (Figure
3-12). Installed spring length should be 9" + or - 3/8"
originally with adjustments of 5/8" per chain link.
Engine RPM Setting
The Accu Z is designed so that the engine will run at
3600 rpm static pump load only. At this speed the
hydraulic pumps are running at their maximum rated
speed.
Deck Leveling and Height Adjust-
ment
The mower deck has three areas that may need to be
checked and adjusted periodically. Before considering
any mower deck leveling adjustments, check that the tire
air pressure is within the specified range.
Pump Belt Adjustment
Figure 3-11
19086
Spring
PumpDrive
Belt
Tension
Idler
Chain
Anchor
Bracket
Tension
Idler
Spring
Drive Belt Adjustment
Figure 3-12
19087
NOTE: Do not over tension the spring to
compensate for a badly worn belt or pulley.
Spring Tension
Figure 3-13
21201

26
Section 3 Adjustments
Z52, Z60 & Z72 Accu-Z® Zero Turn Mowers 356-005M 4/19/10
Table of Contents
Deck Level Adjustments
Leveling the deck must be done in the following manner
and order:
1. Check tire pressures to make certain they are
properly inflated before starting to level deck. See
“Tire Inflation Chart” page 44.
!WARNING!
Stop engine. Make sure deck clutch switch is in the down (OFF)
position. Place control levers in the brake position before
leaving machine.
2. Park the unit on a flat surface.
3. Raise deck and place 3" of blocking under all 4
corners of the deck. This will set the cutting height at
3“. Refer to Figure 3-14.
4. Set cutting height at 3" on the height indicator by
placing the height adjusting stop in the 3" hole, and
turning the height stop so that the flat side is against
the stop handle. Refer to Figure Figure 3-15.
5. Clamp the height adjusting stop against the stop
handle (Figure 3-15). This will assure that the height
will not move during the setting process. Otherwise,
spring pressure from the deck lift springs will tend to
pull the stop away from the handle.
6. Refer to Figure 3-16, Figure 3-17 & Figure 3-18.
Loosen all nuts on the deck lift threaded rods, and
the hardware on the adjuster (on the right front), until
all the deck lift chains are loose, and the deck is
sitting tightly on all four blocks.
NOTE: Back of deck will automatically be set 1/4"
higher.
Blocking up Deck
Figure 3-14
19088
Blocks
Cutting Height
Figure 3-15
19089
Height Adjusting
Stop
Stop
Handle
Chain
Deck Lift
threaded Rod
Nut Nut
Deck Level Adjustment
Figure 3-16
19090

27
Section 3 Adjustments
4/19/10 Z52, Z60 & Z72 Accu-Z® Zero Turn Mowers 356-005M
Table of Contents
7. Loosen the two nuts on the front of height indicator
so that the foot pedal is free. Refer to Figure 3-19.
8. Start the leveling process on the left front of the
mower.
9. Set the amount of threads protruding on the deck lift
rod from the lift block at approximately 1".
Refer to Figure 3-20.
Nut
Nut
Chain
Deck Lift
threaded Rod
Deck Level Adjustment
Figure 3-17
19092
Deck Level Adjustment
Figure 3-18
19093
Adjuster
Hardware
5/16” Bolt
Jam Nut
Deck Level Adjustment Foot Pedal
Figure 3-19
19094
Nut
Foot Pedal
Left Rod Protruding Threads
Figure 3-20
19095
1”
1”
Lift Block
Deck Lift
Assist Springs
Deck Lift Rod

28
Section 3 Adjustments
Z52, Z60 & Z72 Accu-Z® Zero Turn Mowers 356-005M 4/19/10
Table of Contents
10. Jam both nuts against the block.
11. Push or pull on the deck lift foot pedal until the chain
on the left front just becomes tight, making sure that
the deck stays tight against the 3" block.
12. While keeping the chain tight, tighten the nuts
against the deck lift block on the height indicator rod.
See Figure 3-19.
13. Go to the right front of the mower.
14. Loosen the 5/16" jam nut on the adjuster lift chain
(Figure 3-18), and back the adjuster bolt out to allow
the adjuster to move up and down freely.
15. Be sure that adjuster is free to move up and down.
16. Tighten the adjuster bolt until the chain just becomes
tight, making sure that the deck stays tight against
the 3" block.
17. Tighten the adjuster bolt jam nut to prevent the
adjuster bolt from moving. See Figure 3-18.
18. Tighten the hardware holding the chain and adjuster
onto the deck lift arm.
19. Go to the right rear of the mower.
20. Make sure that there is still slack in the chain. If not,
loosen the two nuts on the block holding the threaded
rod until there is slack in the deck lift chain.
See Figure 3-17.
21. Tighten the appropriate nut until the chain just
becomes tight, making sure that the deck stays tight
against the 3" block.
22. Tighten the other nut on the opposite side of the
block, and jam them tightly together against the
block.
23. Go to the left rear of the mower.
24. Make sure that there is still slack in the chain. If not,
loosen the two nuts on the block holding the threaded
rod until there is slack in the deck lift chain.
See Figure 3-16.
25. Tighten the appropriate nut until the chain just
becomes tight.
26. Tighten the other nut on the opposite side of the
block, and jam them tightly together against the
block.
27. Compress the deck lift assist springs so that there is
1” of space between the front nut and on the spring
and the rear nut on the deck lift block (Figure 3-20).
Typical both sides.
28. When completed, all chains will be tight, and deck
cutting height will be set to the deck height indicator.
Deck Cutting Height Adjustment
Deck height is adjustable from 1” to 5” in 1/4” increments.
The holes in the height adjusting bar are spaced at 1/2”
intervals. By turning the height adjusting stop around, 1/
4” increments can be attained due to the 1/4” plate that is
part of the stop. Refer to Figure 3-21.
EXAMPLE: When the height adjusting stop is placed in
the 1” hole, with the 1/4” plate facing to the front of the
unit, the cutting height is at 1”. When the height adjusting
stop is placed in the 1” hole, with the 1/4” plate on the
operator’s side of the hole, the cutting height is at 1 1/4”.
When the height adjusting stop is placed in one of the
holes, with the 1/4” plate on the operator’s side of the
hole, the deck height will be set at one of the following: 1
1/4”,
1 3/4”, 2 1/4”, 2 3/4”, 3 1/4”, 3 3/4”, 4 1/4” or 4 3/4”.
When the height adjusting stop is placed in one of the
holes, with the 1/4” plate facing to the front of the unit, the
deck height will be set at one of the following: 1”, 1 1/2”,
2”, 2 1/2”, 3”, 3 1/2”, 4”, 4 1/2” or 5”.
The notch located at the rear of the right height adjusting
bar is to used when the deck is placed in the transport
mode.
Deck Cutting Height
Figure 3-21
19089
Height Adjusting
Stop
1/4”
Plate

29
Section 3 Adjustments
4/19/10 Z52, Z60 & Z72 Accu-Z® Zero Turn Mowers 356-005M
Table of Contents
Anti-Scalp Rollers
Anti-scalp rollers are standard on the Accu Z. These anti-
scalp rollers are designed to minimize scalping when
mowing on rough uneven terrain.
After setting the cutting height, adjust the front anti-scalp
rollers so they extend below the deck but do not contact
the ground. They should always be at least 1/4” to 3/4”
below the deck. With the unit sitting on a flat level
surface, the front wheel position can be adjusted up or
down as needed from 3/4” to 1 3/4” below the blade
surface. Move the front wheels up or down, in 1/2”
increments, using the different axle mount holes in the
roller mount bracket.
See Figure Figure 3-22.
When adjusting the rear anti-scalp rollers, the roller
should be in the lower axle mount hole when the front
anti-scalp rollers are in the lower or middle axle mount
holes. When the front rollers are in the upper axle mount
hole, the rear rollers should be in the upper axle mount
hole as well.
Anti-Scalp Roller Adjustment
Figure 3-22
19096
Adjusting
Holes
Anti-Scalp Rollers
NOTE: When the anti-scalp rollers are installed, the
minimum cutting height is 1” with the anti-scalp
rollers set at 3/4”.

30
Section 4 Maintenance and Lubrication
Z52, Z60 & Z72 Accu-Z® Zero Turn Mowers 356-005M 4/19/10
Table of Contents
Section 4 Maintenance and Lubrication
1. Engine Oil Fill & Dipstick
2. Fuel Filter
3. Donaldson Engine Air Cleaner
4. Engine Oil Drain Plug
5. Battery
6. Fuel Tanks
7. Hydraulic Oil Reservoir
8. Deck Idler Zerk (1)
9. Deck Pusher Arm Zerks (2)
10. Hydraulic Oil Filter
11. Gauge Wheel Bearing Zerks (2)
12. Engine Oil Filter
13. Deck Height Pivot Zerks (4)
14. Safety Interlock Switch (brake)
15. Drive Tire
16. Pump Idler Zerk (1)
17. Deck Belt
18. Spindle Housing Zerk (3)
19. Pump Belt
20. Blades
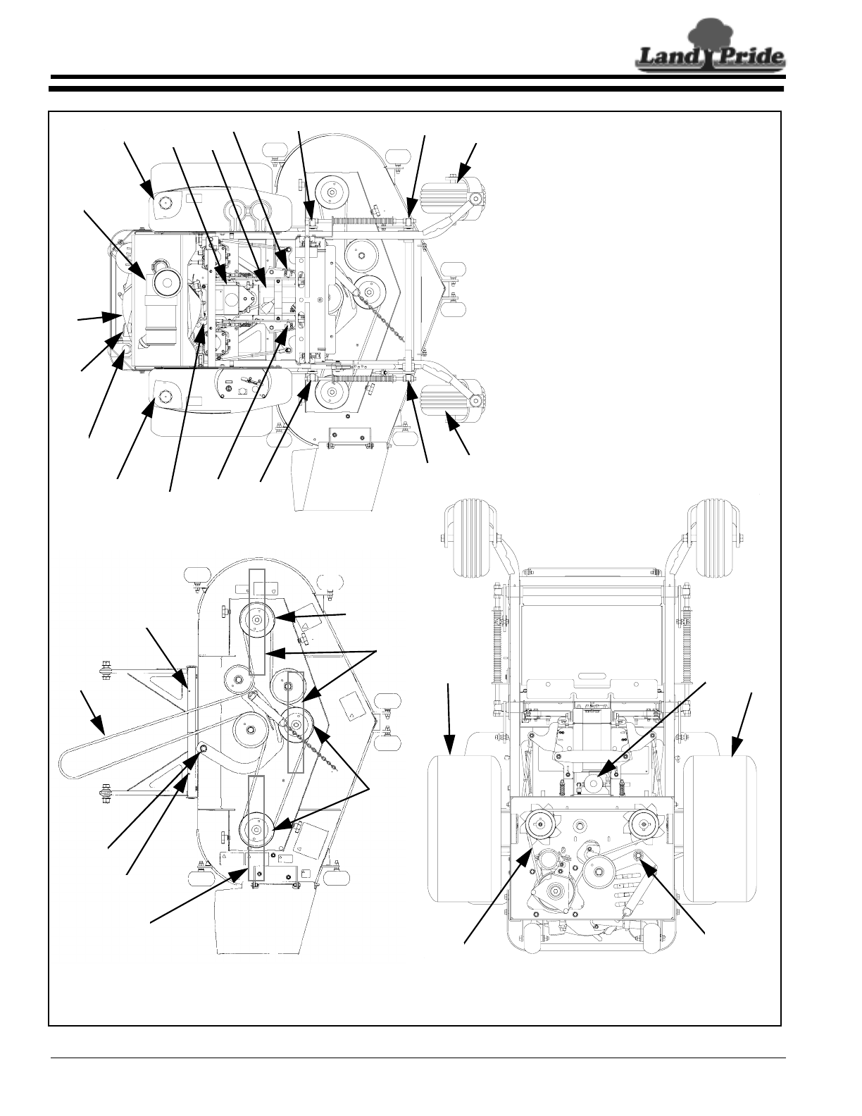
Maintenance Locations
Figure 4-1
12
1
62
4
3
675
14 13 13 11
11
13
13
14
918
20
17
18
8
9
20
15 10 15
19 16
Deck Top View Bottom View
Top View

31
Section 4 Maintenance and Lubrication
4/19/10 Z52, Z60 & Z72 Accu-Z® Zero Turn Mowers 356-005M
Table of Contents
NOTES:
1. Initial oil change is after 5 hours of operation. Thereafter, change oil after every 40 hours of operation. Change
more often under dusty or dirty conditions and during hot weather periods.
2. Torque initially and after first 2 hours of operation.
3. Perform initial hydraulic filter change after 50 hours (one week) of operation.
4. Change engine oil filter per the engine manufacturer’s recommendations. Refer to Engine Owner’s Manual.
5. Refer to Engine Owner’s Manual.
6. Service more often under dusty or dirty conditions. Use caution when servicing to prevent dust contamination in
the engine. Do not clean filter element. Replace with a new one.
7. Inspect every 100 hours and replace if worn or cracking is noticed. Otherwise, replace every 1000 hours or 2
years whichever comes first.
8. Check fuel line hoses, fuel valve and grommet for any cracks or leaks.
Maintenance Schedule
Service at Intervals Indicated Weekly or 50
Hours Monthly or 100
Hours Annually or 500
Hours
Verify Safety Start Interlock System Daily
Visually Inspect Unit for loose hardware and/or
damaged parts Daily
Visually Inspect Tires Daily
Check Oil Level, Engine (1) Daily or every 4 hours
Clean Air Intake Screen Daily or every 4 hours
Check Fuel Level Daily
Blades - Sharpen & Securely Fastened Daily
Discharge Chute - Securely In Place & In
Lowest Position Daily
Replace Remote Air Cleaner paper element (6) As needed
Grease Deck Idler X
Grease Deck Pusher Arms X
Grease Pump Idler X
Grease Deck Height Pivots X
Grease Gauge Wheel Bearings X
Change Engine Oil & Filter (1) (4) X
Clean Cylinder And Head Fins (5) X
Check Battery Connections X
Check Tire Pressure With A Gauge X
Check Hydraulic Oil Level X
Clean Engine Exterior (5) X
Clean And Re-gap Spark Plugs (5) X
Check Pump Belt and Deck Belt
for Tension and Condition (7) X
Check Fuel And Hydraulic Lines (8) X
Check Fuel Valve And Grommet (8) X
Change Fuel Filter X
Clean Or Replace Hydraulic Fill Cap X
Change Hydraulic Filter And Oil (3) X
Grease Deck Spindle Housings X
Replace Spark Plugs X

32
Section 4 Maintenance and Lubrication
Z52, Z60 & Z72 Accu-Z® Zero Turn Mowers 356-005M 4/19/10
Table of Contents
Maintenance
!WARNING!
Unless specifically required, DO NOT have engine running
when servicing or making adjustments to mower. Place control
levers in the neutral position, disengage deck clutch, and
remove ignition switch key. Repairs or maintenance requiring
engine power should be performed by trained personnel only.
To prevent carbon monoxide poisoning, be sure proper
ventilation is available when engine must be operated in an
enclosed area. Read and observe safety warnings in front of
manual.
!DANGER!
Before working on or under the deck, make certain engine
cannot be accidentally started. Shut engine off and remove
ignition switch key for maximum safety. Repairs or maintenance
requiring engine power should be performed by trained
personnel only.
!DANGER!
Exercise caution when working under the deck as the mower
blades are extremely sharp. Wearing gloves is advisable when
working around or with the blades.
!WARNING!
Except when changing or checking belt, always keep belt covers
on mower for safety as well as cleanliness.
!WARNING!
When possible, clean under mower using a stick or similar
instrument making sure that no part of the body, especially arms
and hands are under mower.
Regular maintenance is the best prevention for costly
downtime or expensive, premature repair. The following
pages contain suggested maintenance information and
schedules which the operator should follow on a routine
basis.
Remain alert for unusual noises, they could be signaling
a problem. Visually inspect the machine for any
abnormal wear or damage. A good time to detect
potential problems is while performing scheduled
maintenance service. Correcting the problem as quickly
as possible is the best insurance.
!WARNING!
Keep your machine clean and remove any deposits of trash and
clippings, which can cause engine fires and hydraulic
overheating as well as excessive belt wear.
Clear away heavy build-up of grease, oil and dirt,
especially in the engine and hydraulic reservoir area;
minute dust particles are abrasive to close-tolerance
engine and hydraulic assemblies.
Daily inspect mower for grass clippings and wire and
string tangles. The underside of the mower deck will
collect a build-up of grass clippings and dirt, especially
when grass is wet or has high moisture content. This
build-up will harden, restricting blade and air movement
and will probably show a poorer quality of cutting.
Therefore it should be removed routinely.
To do this it will be necessary to raise and block the deck
in the full up position and scrape the build-up from
underneath.
Some repairs require the assistance of a trained service
mechanic and should not be attempted by unskilled
personnel. Consult your Land Pride dealer when
assistance is needed.
Torque Values
!WARNING!
Particular attention must be given to tightening the drive wheel
lug nuts, wheel motor nuts, and blade spindle nuts. Failure to
correctly torque these items may result in the loss of a wheel or
blade, which can cause serious damage or personal injury.
It is recommended that these be checked after the first 2
hours of initial operation and every 50 hours following
removal for repair or replacement.
For all other torques refer to “Torque Values Chart”
page 44.
For engine torque values, see engine owner’s manual.
Tires
It is important for level mowing that the tires have the
same amount of air pressure.
Refer to “Tire Inflation Chart” page 44.
Solid fill tires are not recommended for the Accu Z
mower. On any machine, with solid filled tires, the
warranty claim will be denied.
NOTE: After completing maintenance cycle
(500 hours), repeat cycle.
Torque Values
FT - lbs. Nm
Wheel lug nuts 65 - 75 88.14 -
101.7
Wheel motor nut 350 -
375 474.6 -
508.5
Blade spindle bolts
(top & bottom)
65 - 75 88.14 -
101.7

33
Section 4 Maintenance and Lubrication
4/19/10 Z52, Z60 & Z72 Accu-Z® Zero Turn Mowers 356-005M
Table of Contents
Hour Meter
To recognize when your machine needs servicing, check
the hour meter and the maintenance schedule. The hour
meter shows the number of hours the engine has run and
the maintenance schedule lists the service intervals. See
Figure 4-2.
Lubrication
1. Grease the front gauge wheel bearings per the
Maintenance Schedule. Use SAE multi-purpose
grease.
2. Grease the four deck lift pivots, located to the side of
the operator’s footrest per the Maintenance
Schedule. Use SAE multi-purpose grease.
3. Grease the deck idler per the Maintenance
Schedule. Use SAE multi-purpose grease.
4. Grease the pump idler per the Maintenance
Schedule. Use SAE multi-purpose grease.
5. Grease the two deck pusher arm pivots per the
Maintenance Schedule. Use SAE multi-purpose
grease.
6. Grease the blade spindle assemblies per the
Maintenance Schedule. Each spindle shaft is
equipped with a grease zerk located under the deck.
Use no more than one or two ounces of SAE
multi-purpose grease, (1 to 2 pumps on an average
grease gun). Do not force lubricant into grease zerks.
Bearings are sealed and do not require much
lubricant.
Electrical System
The electrical system is a 12 volt, negative ground.
Recommended battery size is a garden mower BCI
group U1R with 225 or better cranking AMP rating. A
maintenance-free battery is recommended. Otherwise,
follow battery manufacturer’s maintenance, safety,
storing and charging specifications.
The battery is located under the seat. See Figure 4-3.
!WARNING!
Avoid skin contact with battery acid. Always wear eye
protection when checking the battery, acid can cause serious
injury to skin and eyes. If contact occurs, flush area with clean
water and call physician immediately. Acid will also damage
clothing. Do not allow open flame near the battery when
charging. Hydrogen gas forms inside the battery. This gas is
both toxic and flammable and may cause an explosion if
exposed to flame. Always remove the negative ground first and
replace it last. Do not overfill battery. Electrolyte may overflow
and damage paint, wiring or structure. When cleaning the
battery, use soap and water. Be careful not to get soap and
water into the battery. Use soda mixed in water to clean
corrosion off the terminals.
Common circuit failures are usually caused by shorting,
corroded or dirty terminals, loose connections, defective
wire insulation or broken wires. Switches, solenoids and
ignition components may also fail, causing a shorted or
open circuit.
Before attempting any failure diagnosis of the electrical
system, use a test light or voltmeter to check the battery
voltage. If the battery voltage is satisfactory, check the
Hour Meter
Hour Meter
Figure 4-2
19062 Battery
Figure 4-3
19069
Battery

34
Section 4 Maintenance and Lubrication
Z52, Z60 & Z72 Accu-Z® Zero Turn Mowers 356-005M 4/19/10
Table of Contents
cleanliness and tightness of the terminals and ground
connections. A general understanding of electrical
servicing and use of basic test equipment is necessary
for troubleshooting and repair.
Major overhaul or repair of the starting motor or
alternator should be performed by trained technicians
only.
Access to Engine and Hydraulic
Pumps
The hydraulic pumps are accessed by lifting the seat
platform. The seat platform is hinged at the front. To
raise it, release seat latch and tilt seat platform up and
forward. The seat platform catch (See Figure 4-4) will
prevent the seat from going all the way over. However, if
more access is desired under the seat platform, the seat
platform catch can be raised allowing the seat to pivot
more. Make certain to place the control arms in the park
brake position and lift the seat arms before raising the
seat.
!WARNING!
Always wear adequate eye protection when servicing the
hydraulic system and battery.
Hydraulic System
!WARNING!
Hydraulic oil escaping under pressure can penetrate skin.
Hydraulic oil may cause infection in a minor cut or opening in
the skin. If exposed to hydraulic fluid, see a doctor at once.
Before applying pressure to hydraulic system, make sure all
connections are tight and all hoses and lines are in good
condition. To find a leak under pressure, use a piece of
cardboard or wood, never use your hands. Relieve all pressure
in the system before disconnecting or working on hydraulic
lines. To relieve pressure, place control levers in park.
The 1.0 U.S. gallon (3.79 liter) hydraulic reservoir is
located in front of the engine and under the operator’s
platform. See Figure 4-5.
Check oil level in hydraulic system after every 50 hours
of operation or weekly, whichever occurs first. Check
more often if system appears to be leaking or otherwise
malfunctioning.
Fluid level should be 1” from top of reservoir. Use only
SAE 10W40 SG, SF/CC, CD service motor oil.
Change hydraulic system filter element (Land Pride P/N
831-030C) (Fig. 4-5) after first 50 hours of mower
operation, then replace filter and oil in reservoir every
500 hours thereafter. When changing hydraulic oil use 1/
2 unit (approximately 3.5 oz.) of Lubrizol additive (Land
Pride
P/N 821-041C). This additive, available from your Land
Pride dealer, will increase the performance life of the
hydraulic system components.
The system filter is located directly in front of the
hydraulic reservoir. A standard oil filter wrench is used to
change filter, threads are right handed. Use an Accu Z
approved filter element only (Land Pride P/N 831-030C).
Access to Engine and Hydraulic Pumps
Figure 4-4
19070
Seat Platform Catch
Seat Platform
Control Lever
IMPORTANT: Never use hydraulic or automatic
transmission fluid in this system; use only motor oil as
specified. Remember, dirt is the primary enemy of
any hydraulic system.
Hydraulic Reservoir and Filter
Figure 4-5
19069
Hydraulic Reservoir
Hydraulic Filter
IMPORTANT: Pre-fill the filter element with clean oil,
before installing, to prevent drawing air into the
system pump.

35
Section 4 Maintenance and Lubrication
4/19/10 Z52, Z60 & Z72 Accu-Z® Zero Turn Mowers 356-005M
Table of Contents
1. Fill the filter element with clean system oil. Smear a
light coating of oil on upper surface of rubber seal.
2. Install the filter element on base. Tighten the oil filter
by hand until the filter seal makes contact with the
filter head, then tighten an additional 3/4” turn with
an oil filter wrench. DO NOT OVERTIGHTEN.
3. Start mower engine and let run at approximately 2/3
throttle for a few minutes to work any trapped air out
of the system before engaging the steering control
lever.
4. Stop the engine and check the filter and connections
for leaks.
5. Check the hydraulic reservoir for specified oil level.
Add clean oil as necessary.
Clean or replace hydraulic reservoir cap annually. Cap
may be cleaned by dipping in or flushing with cleaning
solvent. Follow manufacturer’s instructions and
warnings for application of solvent type selected.
Fuel System
!WARNING!
Observe usual fuel handling precautions; do not smoke while
refueling, do not fill tank with engine running or while engine is
hot, allow engine to cool before storing machine inside a
building, keep fuel away from open flame or spark and store
machine away from open flame or spark if there is fuel in the
tank. Read and observe safety precautions at front of this
manual.
The fuel tanks are located in the mower’s fenders. (See
Figure 4-6) Total capacity for the fuel tanks is 12 U.S.
gallons.
Use regular unleaded gasoline with an octane rating of
87 or higher.
Refer to Figure 4-7. The fuel filter is installed in the fuel
line between fuel tanks and engine fuel pump on the front
side of the engine. Replace filter annually or after every
500 hours of operation, whichever occurs first.
When replacing the fuel filter, check the fuel line hoses
for any cracks or leaks. Replace as needed.
Engine Oil and Filter
Refer to Figure 4-8:
Check engine oil daily and after every 4 hours of
operation. Crankcase dipstick and oil filler tube are
located at the rear of the machine. Mower must be sitting
level when checking oil. Refer to engine manual and
maintenance schedule for oil recommendation and
capacities.
Change the engine oil and filter after the first 5 hours of
operation, per the engine manufacturer’s
recommendations after that. If mower is being operated
in extremely dirty conditions, then it is recommended oil
be changed more frequently.
The oil drain and oil filter are located at the rear of the
engine.
NOTE: The hydraulic pumps are equipped with
bypass valves. For more information refer to
Operation section, “Moving Mower with Stalled
Engine”.
19071
Fuel Tank
Figure 4-6
Fuel Filter
Figure 4-7
19071
Fuel Filter

36
Section 4 Maintenance and Lubrication
Z52, Z60 & Z72 Accu-Z® Zero Turn Mowers 356-005M 4/19/10
Table of Contents
Kawasaki Engine Shown
Figure 4-8
Engine Air Filter
Refer to Figure 4-9
Perform engine air filter maintenance per Maintenance
Schedule on page 31.
A specially designed dry filter is standard equipment on
the mower and supplies clean combustion air to the
engine.
Figure 4-9
Many engine failures can be attributed to improper air
cleaner servicing. Ingested dust and dirt will cause
cylinder, piston and bearing damage in a few hours.
Dusted engines will result from:
1. Over servicing the air filter element.
2. Improper installation of an air filter element.
3. Damaged filter, seals or canister.
4. Incorrect air filter element size and/or use of poorly
designed aftermarket air filter elements.
Air cleaner servicing is an inexpensive maintenance
check that can prevent costly non-warrantable
premature engine damage.
Over Servicing
Over servicing occurs when an air filter element is
removed for cleaning or replacement before it is
necessary. Each time the filter is removed a small
amount of dirt and dust could fall in the intake system.
This accumulated dirt can cause a dusted engine. It only
takes a few grams of ingested dirt over the normal
service life of an engine to cause a dusted engine.
Do not clean element, replace with a new element
only. Cleaning used air filter elements, through improper
cleaning procedures, can get dust on the inside of the
filter causing dirt ingestion and engine failure.
It is important to note that whenever an air filter element
is cleaned by any method, the person or company
performing the cleaning assumes responsibility for the
integrity of the filter from then on. The Donaldson
warranty for air filters expires upon cleaning or
servicing in any manner because the condition of the
filter after servicing is completely out of their
control. Therefore, on a dust ingested engine failure,
there will be no warranty consideration if the air filter
element has been cleaned or serviced in any manner.
A partially dirty air filter element works better than a new
element. Therefore, a dirty filter element is not bad for
the engine unless it is excessively restricting the air flow
and engine performance is affected. The reason is
simple. The media in the filter must be porous to allow air
to pass through it. When dirty air passes through the
filter, the dirt plugs some of the holes in the media and
actually acts as part of the filter media. When the next
round of dirt enters, the first dirt helps filter out even
smaller particles making the filter more efficient at
stopping dirt from entering the engine. This is referred to
as barrier filtration.
Of course, at some point the filter media becomes too
clogged to allow air to pass.
The mowing conditions will determine the frequency of
air filter element changing.
Improper Installation
Dust must not leak past the seals on each end of the air
filter element. The filter must be aligned within the
canister and properly seated for an effective seal so that
no dirt can enter the engine.
19072
Oil Filter
Engine Oil Filler Tube
Drain Plug
Pre-cleaner
Canister

37
Section 4 Maintenance and Lubrication
4/19/10 Z52, Z60 & Z72 Accu-Z® Zero Turn Mowers 356-005M
Table of Contents
Damaged Filter, Seals or Canister
Never bang or bump the filter element against the tire or
any solid object, as dust and dirt particles will be forced
through the media causing continual passing of dirt into
the engine. Visually inspect the outside of the air cleaner
canister periodically for external damage and replace if
necessary.
Incorrect Air Filter Element
Use only the correct Donaldson air filter element, Land
Pride part number 839-312C, which is designed to fit the
canister properly. Land Pride air filter elements have the
correct media composition, filter area, micron size and
dimensions. Always use genuine Land Pride filters.
Many aftermarket filters have been found to be
incompatible with Land Pride’s canisters and engines.
The air filter must remain intact to block passage of dirt
and foreign particles from entering the engine. Being
inclined to disbelieve the need for more expensive air
filter elements used on gasoline engines may cause
some individuals to opt for a less expensive part.
The filter element must be sufficient size and
construction to withstand stresses, caused by rapid
cycling of the air volume demanded by the engine,
without cracking or tearing under fatigue and pressure
(especially diesel engines). Therefore, Land Pride and
the engine manufacturers have carefully selected a
reliable filter designed to fit the needs of the engines. The
filter specified is a Donaldson filter, Land Pride part
number 839-312C.
Owners should be reminded that failure to use original
equipment replacement parts is an alteration and will not
be considered for warranty in the event of engine
damage.
Engine Air Filter Service Procedure
1. Release clamps and remove element. Clean the
canister with a damp cloth.
2. Before installing a new element, inspect it by placing
a bright light inside and rotate the element slowly,
looking for any holes or tears in the paper. Also check
gaskets for cuts or tears. Do not attempt to use a
damaged element which will allow abrasive particles
to enter the engine.
3. Reinstall the dust cup. Make sure it seals all the way
around the air cleaner body, then tighten the clamps.
4. Check all fittings and clamps periodically for
tightness and inspect hoses for holes or cracks.
5. Periodically check the intake hose for signs of
ingested dust. Locate and repair the source of
ingested dirt.
6. Never operate a machine without an air filter
installed.
General Engine Maintenance
Detailed instructions and recommendations for break-in
and regular maintenance are specified in the Engine
Operator’s manual. Please refer to this manual for
engine servicing, lubricating oil levels with quality and
viscosity recommendations, bolt torques, etc. The
engine warranty is backed by the engine manufacturer.
Special attention should be paid to applicable data which
will not be duplicated here.
1. Spindle drive belt
2. Deck blade spindle pulley
3. Spindle belt tension idler
4. Spindle belt tension idler
spring (9.0" at operation)
5. Deck belt idler
6. Idler arm
Deck Belt Drive Layout
Figure 4-10 Mower Viewed from Bottom Deck
Figure 4-11
1. Pump belt
2. Engine pulley
3. Pump idler pulley
4. Pump idler arm
5. Pump pulley
6. Electric deck clutch
7. Pump idler spring
1
3
2
5
6
4
2,6
5
2
5
2
1
54
7
3
19067 19068

38
Section 4 Maintenance and Lubrication
Z52, Z60 & Z72 Accu-Z® Zero Turn Mowers 356-005M 4/19/10
Table of Contents
Belt Replacement
Refer to Figure 4-10 and Figure 4-11:
Replace belts which show signs of severe cuts, tears,
excessive weather checking and cracking or burns
caused by slipping. Slight raveling of belt covering does
not indicate failure, trim ravelings with a sharp knife.
Inspect the belt pulley grooves and flanges for wear. A
new belt, or one in good condition, should never run
against the bottom of the groove. Replace the pulley
when this is the case, otherwise belt will lose power and
slip excessively.
Never pry a belt to get it on a pulley as this will cut or
damage the fibers of the belt covering.
Keep oil and grease away from belts, and never use belt
dressings. Any of these will destroy the belt composition
in a very short time.
Mower Blade Maintenance
Lift Jack Option
For easier blade maintenance a lift jack can be
purchased from your Land Pride Dealer and easily
assembled to your mower. Refer to Figure 4-12.
Check the mower blades daily, they are the key to power
efficiency and well groomed turf. Keep them sharp, a dull
blade will tear rather than cut the grass, leaving a brown
ragged top on the grass within a few hours. A dull blade
also requires more power from the engine.
Replace any blade which is bent, cracked or broken.
Never attempt to straighten a bent blade by heating, or
weld a cracked or broken blade as the blade may break
and cause serious injury.
!DANGER!
Never work with blades while engine is running or deck clutch
is engaged. Always place deck clutch in the disengaged
position, place control levers in park position and turn engine
off. Block up mower when you must work under it. Do not use
jack as blocks. Jack is for lifting only. Separate blocks must be
used prior to servicing under mower. Wear gloves when
handling blades. Always check for blade damage if mower
strikes rock, branch or other foreign object during mowing!
Mower Blade Removal
Use a 3/4" wrench to remove the 1/2" cap screw holding
blade to spindle saddle from underneath.
Sharpen the blades on a grinder following pattern as
shown in Figure 4-13. Touch-up sharpening can be done
with a file.
Check the blades for balance following grinding. A
commercial balancing tool is available through most
hardware supply stores, or balancing can be done by
placing the blade on an inverted line punch or 1/2" bolt.
Blade should not lean or tilt. Spin the blade slowly, blade
should not wobble. If blade is out of balance, true it up
before reinstalling.
Lay the blade on a flat surface and check for distortion.
Replace any distorted blade. Refer Figure 4-14 and
Figure 4-15 on next page.
Lift Jack
Figure 4-12
19912
Resharpening Pattern
Do not sharpen to original pattern (below).
It is easier to get a straight cutting edge following the
resharpening pattern shown above.
Original Edge
Blade Resharpening
Figure 4-13
19074
19075

39
Section 4 Maintenance and Lubrication
4/19/10 Z52, Z60 & Z72 Accu-Z® Zero Turn Mowers 356-005M
Table of Contents
Do not re-use spindle bolts which have stripped, worn or
undercut threads. Refer to “Torque Values Chart” on
page 44 when replacing hardware for proper torque.
!WARNING!
When mounting blades, rotate them after installation to ensure
blade tips do not touch each other or sides of the mower.
!WARNING!
Failure to correctly torque the bolt may result in the loss of the
blade which can cause serious injury.
STORAGE
When storing the unit at the end of the mowing season,
the following steps should be taken to ensure readiness
for the next mowing season.
1. Remove all grass, dirt, and trash. Clean and touch up
all scrapes with Land Pride spray paint.
2. Clean paper air filter. Replace if necessary. Wash
and re-oil foam pre-cleaner.
3. Check thoroughly for any worn or damaged parts
that need replacing and order them from your dealer.
4. Thoroughly lubricate machine, according to
lubrication instructions.
5. Check hydraulic oil level. Add oil if necessary.
Change oil and filter every 500 hours. Lubrizol
additive is required. Refer to Maintenance section.
6. Block mower up so weight is off tires.
7. Protect battery from freezing temperatures.
Occasionally recharging battery during storage will
extend battery life.
8. Perform separate engine preparation as listed below.
9. Store mower in a clean, dry place.
Preparation of Engine for Storage
When engine is to be unused for long periods, proceed
as follows:
1. Run engine for a minimum of 15 minutes.
2. Drain oil from crankcase while engine is still warm.
3. Refill with fresh oil of proper viscosity.
4. Drain fuel tank and run the engine until it stops from
lack of fuel. Gasoline evaporates if left in carburetor
for long periods, forming gum and varnish deposits in
carburetor. These deposits will cause engine
flooding and loss of power.
5. Remove and replace fuel filter if not done in previous
100 hours.
6. Remove spark plugs and pour a tablespoon of
engine oil into each spark plug hole. Install plugs, but
do not reconnect plug leads.
7. Crank engine with starter at least a dozen revolutions
to distribute oil over cylinder walls and valve
mechanism.
8. Clean exterior surface of engine. Spread a light film
of oil over any exposed metal surfaces of engine that
are subject to corrosion.
9. Clean dirt and chaff from cylinders and fins, blower
housing and muffler.
10. Check oil filler cap and fuel tank cap to make certain
they are securely in place.
New Season Preparation
Before starting the mower following post season storage,
the following servicing is required:
1. Clean mower, removing trash and dirt accumulation.
2. Check engine oil and hydraulic oil levels.
3. Fill fuel tank with fresh gasoline. Run machine at half
speed for 5 minutes, checking operation of steering
control levers. Stop engine and check for oil leaks,
loose fittings and so forth.
4. Tighten any bolts that have loosened and make sure
all hair pins, cotter pins and clevis pins are in place.
5. Install all safety shields and review safety
precautions listed in this manual.
6. Check and inflate tires to 8-12 psi.
7. Reconnect spark plug leads to spark plug.
19076
19077
Warped Blade (Replace)
Straight Blade
Comparison of Warped and Straight Blades
Figure 4-14
Cutting Plane
End View of Blades, Twisted & Straight Blades
Figure 4-15
Cutting Plane
Cutting Edge
Cutting Edge
Twisted Blade Edge (Replace)
Straight Blade Edge
NOTE: Do not deflate tires.

40
Section 5 Specifications and Capacities
Z52, Z60 & Z72 Accu-Z® Zero Turn Mowers 356-005M 4/19/10
Table of Contents
Section 5 Specifications and Capacities
Z52, Z60, & Z72 Accu-Z Series (Engine)
Kawasaki Kawasaki Honda
Horsepower 23 25 24
No. of Cylinders 222
Displacement 41.2 cu. in. (675cc) 41.2 cu. in. (675cc) 40.9 cu. in. (670cc)
Compression Ratio 8.1:1 8.1:1 8.3:1
Max Torque 39.8 FT. LBS @ 2400 RPM 41.2 FT. LBS @ 2400 RPM 37.5 FT. LBS @ 2500 RPM
Oil Capacity 2 US quarts 2 US quarts 1.8 US quarts
Z52, Z60, & Z72 Accu-Z Series (General)
Z52 Z60 Z72
Height 39”
Length 76"
Width of Cut 52" 60" 72"
Overall width 64" 65" 82 1/2"
Weight 1,065 lbs. 1,100 lbs. 1,230 lbs.
Drive tires 23 x 9.50 - 12, turf tread 24 x 12.00 - 12, turf tread 24 x 12.00 - 12, turf tread
Front Tires 13 x 6.5 - 6, rib tread
Tire-to-tire width: 53"
Starter 12-volt (.8 KW), solenoid shift positive engagement.
Ignition Electronic
Charging System Kawasaki: 12-volt, 15 amp
Honda: 12-volt, 20 amp
Governor Mechanical
Cooling Kawasaki: Air cooled, Fly-wheel fan Honda: Air cooled, Fly-wheel fan with oil cooler
Fuel Unleaded gasoline with octane rating of 87 or higher
Fuel capacities 12 US GAL
Fuel Filter Replaceable, automotive-type
Traction Drive Type Dual Hydrostatic Transmission
Hydraulic Drive oil 10W40 motor oil
Hydraulic Oil Capacity 1.5 US GAL (7.57 L)
Hydraulic Pumps Two Hydro-Gear® BDP10 variable displacement, axial piston type.
Hydraulic Filter 40 micron, Replaceable spin-on type
Hydraulic Pump Drive V-belt drive from engine crankshaft
Final Drive Ross MB15 direct-drive high-torque wheel motors for each drive wheel.
Ground Speed Forward: 0-11 MPH Reverse: 0-5 MPH
Steering Type Twin lever steering provides independent control of each drive wheel.
Twin Lever Steering Controls Speed, forward, reverse, brake, and turns.
Steering Turning Radius True zero degree. Turns within its own length with counter-rotating independent drive
wheels
Brake Type Hydrostatic dynamic braking
Parking Automotive-style drum brakes. Integral park brakes are automatically engaged when
steering levers are placed in neutral.

41
Section 5 Specifications and Capacities
4/19/10 Z52, Z60 & Z72 Accu-Z® Zero Turn Mowers 356-005M
Table of Contents
Accessories
Mulch Kit
Recycles clippings under deck allowing clippings to be cut and recut, then discharged down into the grass. Reduces
handling of clippings, improves appearance, and recycles nutrients back into the soil.
Accu-Vac Collection System
Four blade impeller running off right hand deck spindle, 2 each 30 gallon rubber containers, 8.0 cu/ft. (10 bushel)
capacity, 6” reinforced hose, latched hood with gas filled lift support, three pin quick dismount of total unit, 100 lb.
weight kit. Adds 1 3/16” width to existing Accu-Z. Adds 24” to rear of Accu-Z. Accu-Vac length: 31”, Width: 34”, Height:
41 7/8”
Lift Jack Kit
Easy to mount screw jack to lift mower enough to perform blade removal/installation.
Weight Kit
100 lb. front weight kit standard with Accu-Vac Collection System.
Mower Drive Single V-belt with electric clutch and spring tension idler pulley
Safety Features Operator presence system connected to deck and drive clutches.
Stabilizer rollers rear of tractor.
Seat Standard: Molded-vinyl seat with armrests, forward adjustments, & reverse adjustment.
Optional: Molded-vinyl suspension seat with armrests, forward adjustments,
Reverse adjustments, and suspension adjustments.
Cup Holder Two cup holder molded into the left side fuel tank. Accommodates nearly any cup size.
Hand Operated Controls Choke/throttle, ignition switch, electric mower clutch and Integrated parking brakes.
Indicators Hour meter & Engine warning light.
Cutting Heights Foot-operated deck height adjustment. Pin for setting height, transport position. Height
adjustment in 1/4" increments from 1" to 5"
Mowing Blades Heavy-duty, heat-treated, high-lift steel blades
1/4" x 2 3/4" x 17.8" 1/4" x 2 3/4" x 21" 1/4" x 2 3/4" x 24"
Blade Tip Speed 16,647 FPM 18, 30 FPM 18880 FPM
Blade Drive V-belt drive to all three spindles with spring tension idler pulleys.
Spindles Machine ductile housing, 1" diameter high carbon steel shafts and sealed ball bearings.
Cast ductile cast iron blade saddles with trash guard.
Flotation Suspended mower floats on four spring-assisted chains. 4 anti-scalp wheels are standard.
Mainframe Construction 1.5" x 3" x 3/16" rectangular steel tubing.
Drive motor mount 3/16" welded steel
Caster wheels Mounted with roller bearings on each wheel.
Front caster forks 1/2" steel.
Deck Type Free-floating mower using three blades with center blade to the front. Mower is suspended
at the corners. Includes 6 deck-mounted anti-scalp rollers to improve flotation in rolling and
uneven terrain.
Deck Lift Foot-operated deck height adjustment.
Pin for setting height, transport position.
Deck Construction 1/8” welded steel. Solid 1” X 3/8” steel bars reinforce impact areas on trim edges. 3/16” x 3/
8” in box-section reinforced front edge. Reinforcements welded onto spindle mount areas.
Steel deck housing is 5” deep to provide room for high-capacity mowing.
Z52, Z60, & Z72 Accu-Z Series (General)
Z52 Z60 Z72

42
Section 6 Features and Benefits
Z52, Z60 & Z72 Accu-Z® Zero Turn Mowers 356-005M 4/19/10
Table of Contents
Section 6 Features and Benefits
LPZ60, & LPZ72 Accu-Z Riding Mower
Features Benefits
60” and 72” Cutting width Most popular cutting widths for upper homeowner market and entry into light commercial
market.
Mid-mount deck design Mid-mount design puts the deck closer to the operator’s line of sight for a more efficient
and precise operation.
Compact size 76” in length, is the shortest ZTR on the market. Enhances mowing maneuverability, as
well as fitting on trailers or storing more efficiently.
53” Drive tire stance Narrow width allows for tight turns in corners, yet gives a very stable platform for the
operator.
Steering levers Dual steering levers which control each drive wheel, have a shape and position that is very
user friendly, hand and arm fatigue are greatly minimized.
Deck construction
3/16” Deck w/ 3/8”
reinforcement
One of the heaviest built decks in the industry for years of rigorous use. Reinforced front
edge where most of the punishment happens.
Floating deck design Deck has a spring assisted chain suspension which offers excellent flotation over uneven
terrain.
Deck height adjustment Height is changed by a spring-loaded foot operated lever and pin. Easy to push and faster
than waiting on an electric actuation.
Anti-scalp rollers Front and four corners to keep scalping to a minimum.
Cutting height 1” to 5” Range in 1/4” increments to cut any type of turf grass.
High blade tip speed Z60 = 18,350 fpm and Z72 = 18,800 fpm
Assures a good finish cut.
High lift blades Heavy-duty 1/4” high lift blades are thick to handle the wear, with a high lift design to stand
the grass up before cutting.
Mulching kit A mulching kit is available to recycle clippings and discharge them down into the grass.
1” Blade spindles 1” Blades spindles with sealed ball bearings handle heavy shock loads.
Single belt drive Single belt design offers easier maintenance over multiple belt designs, less expensive to
maintain.
Electric clutch control Easy and smooth engagement of the mower blade drive system.
Parking Brake & Safety
Lockout Drum brakes and safety lockout are engaged when steering levers are placed in neutral,
does not require a separate operation to place in neutral. One less thing to look for if
mower does not start
Drive Each rear drive wheel has a separate hydrostatic pump & direct drive motor.
Electric start Easily starts with the turn of a key.
Engine hour meter Helps in determining maintenance schedules and trade-in values.
12.2 gallon fuel capacity Less down time.
Easy engine maintenance Engine is mounted so that all of the maintenance items can be serviced from the rear of
the mower vs. the side.
No daily lube points Blade spindles require grease only once a year. Sealed bearings on front caster wheel
forks.
Molded vinyl seat Molded seat incorporates a high back and armrests to give extra comfort for the long jobs.
Molded-in cup holders Easy to reach cup holders fit a wide variety of cups, and are in easy access to driver.
Steering lever extensions For extra comfort for the larger person. Add the extensions to give more leg room.
Floating deck design Deck has a spring assisted chain suspension which offers excellent flotation over uneven
terrain.

43
Section 7 Troubleshooting
4/19/10 Z52, Z60 & Z72 Accu-Z® Zero Turn Mowers 356-005M
Table of Contents
Section 7 Troubleshooting
Symptoms Probable Causes Suggested Remedies
Starting motor does not crank Control handles not in park brake
position (out) or switch not adjusted Place control handle in park brake
position or re-adjust switch
Mower clutch switch engaged Disengage clutch switch
Weak or dead battery Recharge or replace
For additional causes See engine manual
Engine cranks but does not start No fuel or line plugged Fill tank or replace line
Numerous See engine manual
Engine:
Runs with continuous misfiring or
engine runs unevenly or erratically
Numerous See engine manual
Loss of power or system will not operate
in either direction Restrictions in air cleaner Service air cleaner
Hydraulic line blockage See your dealer
Internal interference or leakage in
wheel motor See your dealer
Insufficient hydraulic oil supply Check level in reservoir
Have dealer check hydraulic pump
Poor compression See your dealer
Steering linkage needs adjustment Adjust linkage
Air in system Check filter & fittings
For additional causes See engine manual
Overheating Air intake screen or cleaning fins
clogged Clean screen and fin
For additional causes See engine manual
Low oil pressure Low oil level Add oil
Oil diluted or too light Change oil and check for source of
contamination
High oil consumption Numerous See your dealer
Mower jerky when starting or operates in
one direction only Steering control linkage needs
adjustment Adjust linkage
Pump or wheel motors faulty See your dealer
Hydraulic system operates hot (oil in
reservoir smells rancid) Low hydraulic oil level Fill reservoir
Hydraulic pump faulty See your dealer
Mower creeps when steering control
levers are in neutral Steering linkage needs adjustment Adjust linkage
Mower circles or veers in one direction Steering linkage needs adjustment Adjust linkage
Wheel motors faulty See your dealer
Hydraulic pump faulty See your dealer
Mower creeps when parking brake
engaged Steering linkage needs adjustment Adjust steering linkage
Brakes need adjustment Adjust parking brakes

44
Section 8 Appendix
Z52, Z60 & Z72 Accu-Z® Zero Turn Mowers 356-005M 4/19/10
Table of Contents
Section 8 Appendix
Torque Values Chart for Common Bolt Sizes
in-tpi1N · ft-lb3N · m ft-lb N · m ft-lb mm x N · m ft-lb N · m ft-lb N · m ft-lb
1/4" - 20 7.4 5.6 11 816 12 M 5 X 0.8436597
1/4" - 28 8.5 613 10 18 14 M 6 X 1 7511 815 11
5/16" - 18 15 11 24 17 33 25 M 8 X 1.25 17 12 26 19 36 27
5/16" - 24 17 13 26 19 37 27 M 8 X 1 18 13 28 21 39 29
3/8" - 16 27 20 42 31 59 44 M10 X 1.5 33 24 52 39 72 53
3/8" - 24 31 22 47 35 67 49 M10 X 0.75 39 29 61 45 85 62
7/16" - 14 43 32 67 49 95 70 M12 X 1.75 58 42 91 67 125 93
7/16" - 20 49 36 75 55 105 78 M12 X 1.5 60 44 95 70 130 97
1/2" - 13 66 49 105 76 145 105 M12 X 1 90 66 105 77 145 105
1/2" - 20 75 55 115 85 165 120 M14 X 2 92 68 145 105 200 150
9/16" - 12 95 70 150 110 210 155 M14 X 1.5 99 73 155 115 215 160
9/16" - 18 105 79 165 120 235 170 M16 X 2 145 105 225 165 315 230
5/8" - 11 130 97 205 150 285 210 M16 X 1.5 155 115 240 180 335 245
5/8" - 18 150 110 230 170 325 240 M18 X 2.5 195 145 310 230 405 300
3/4" - 10 235 170 360 265 510 375 M18 X 1.5 220 165 350 260 485 355
3/4" - 16 260 190 405 295 570 420 M20 X 2.5 280 205 440 325 610 450
7/8" - 9 225 165 585 430 820 605 M20 X 1.5 310 230 650 480 900 665
7/8" - 14 250 185 640 475 905 670 M24 X 3 480 355 760 560 1050 780
1" - 8 340 250 875 645 1230 910 M24 X 2 525 390 830 610 1150 845
1" - 12 370 275 955 705 1350 995 M30 X 3.5 960 705 1510 1120 2100 1550
1-1/8" - 7 480 355 1080 795 1750 1290 M30 X 2 1060 785 1680 1240 2320 1710
1 1/8" - 12 540 395 1210 890 1960 1440 M36 X 3.5 1730 1270 2650 1950 3660 2700
1 1/4" - 7 680 500 1520 1120 2460 1820 M36 X 2 1880 1380 2960 2190 4100 3220
1 1/4" - 12 750 555 1680 1240 2730 2010
1 3/8" - 6 890 655 1990 1470 3230 2380 1 in-tpi = nominal thread dia. in inches-threads per inch
1 3/8" - 12 1010 745 2270 1670 3680 2710 2N· m = newton-meters
1 1/2" - 6 1180 870 2640 1950 4290 3160 3 ft-lb= foot pounds
1 1/2" - 12 1330 980 2970 2190 4820 3560 4mm x pitch = nominal thread dia. in millimeters x thread pitch
Torque tolerance + 0%, -15% of torquing values. Unless otherwise specified use torque values listed above.
5.8 8.8 10.9
Class 5.8 Class 8.8 Class 10.9
Bolt Head Identification
Bolt Size
(Metric)
Grade 2 Grade 5 Grade 8
Bolt Head Identification
Bolt Size
(Inches)
Tire Inflation Chart
Tire Inflation
PSI
Drive Wheels 8-12
Gauge Wheels 8-12

45
Section 8 Appendix
4/19/10 Z52, Z60 & Z72 Accu-Z® Zero Turn Mowers 356-005M
Table of Contents
Warranty
Land Pride warrants to the original purchaser that this Land Pride product will
be free from defects in material and workmanship beginning on the date of
purchase by the end user according to the following schedule when used as
intended and under normal service and conditions for personal use.
Overall unit: 2 years or 1200 hours limited warranty on parts and labor,
whichever comes first.
Engine: 2 years limited warranty through Engine manufacturer.
Hydraulic Wheel Motors and Pumps: 2 years on Parts and Labor.
Front Edge of Mower Deck: Limited warranty against all defects in the deck
which results in the front edge of the deck being bent into the blades for the
entire length of ownership by the original purchaser.
Frame: Frame breakage through the entire length of ownership by the original
purchaser.
Blade Spindle: 3 years or 1200 hours Parts and Labor.
Front Gauge Wheel Yoke Bearings: 3 years or 1200 hours Parts and Labor
Battery: 1 year limited warranty.
Rental Units: Limited warranty on all materials and workmanship for a period of
90 days.
Belts, blades, and tires are considered wear items.
Filters and Plugs are considered maintenance items.
This Warranty is limited to the replacement of any defective part by Land Pride
and the installation by the dealer of any such replacement part, and does not cover
common wear items such as blades, belts, tines, etc. Land Pride reserves the right
to inspect any equipment or parts which are claimed to have been defective in
material or workmanship.
This Warranty does not apply to any part or product which in Land Pride’s
judgment shall have been misused or damaged by accident or lack of normal
maintenance or care, or which has been repaired or altered in a way which
adversely affects its performance or reliability, or which has been used for a
purpose for which the product is not designed. Misuse also specifically includes
failure to properly maintain oil levels, grease points, and driveline shafts.
Claims under this Warranty must be made to the dealer which originally sold
the product and all warranty adjustments must be made through such dealer. Any
action for breach of warranty must be commenced within 25 months following
delivery in non-rented application, and within 120 days following delivery in rented
application.
This Warranty shall not be interpreted to render Land Pride liable for damages
of any kind, direct, consequential, or contingent to property. Furthermore, Land
Pride shall not be liable for damages resulting from any cause beyond its
reasonable control. This Warranty does not extend to loss of crops, any expense
or loss for labor, supplies, rental machinery or for any other reason.
No other warranty of any kind whatsoever, express or implied, is made with
respect to this sale; and all implied warranties of merchantability and fitness for a
particular purpose which exceed the obligations set forth in this written warranty
are hereby disclaimed and excluded from this sale.
This Warranty is not valid unless registered with Land Pride within 30 days from
the date of purchase by the end user.

Corporate Office: P.O. Box 5060
Salina, Kansas 67402-5060 USA
www.landpride.com

