Manual For The 63353 10 Ft. X 12 Greenhouse With 4 Vents
User Manual: Manual for the 63353 10 ft. x 12 ft. Greenhouse with 4 Vents 10 ft. x 12 ft. Greenhouse with 4 Vents
Open the PDF directly: View PDF
.
Page Count: 32

Shelving unit and pots not included.
Visit our website at: http://www.harborfreight.com
Email our technical support at: productsupport@harborfreight.com
Read this material before using this product.
Failure to do so can result in serious injury.
SAVE THIS MANUAL.
Copyright© 2016 by Harbor Freight Tools®. All rights reserved.
No portion of this manual or any artwork contained herein may be reproduced in
any shape or form without the express written consent of Harbor Freight Tools.
Diagrams within this manual may not be drawn proportionally. Due to continuing
improvements, actual product may differ slightly from the product described herein.
Tools required for assembly and service may not be included.
When unpacking, make sure that the product is intact
and undamaged. If any parts are missing or broken,
please call 1-888-866-5797 as soon as possible.
Save This Manual Keep this manual for the safety warnings and precautions, assembly, operating,
inspection, maintenance and cleaning procedures. Write the product’s serial number in the back of the manual
near the assembly diagram (or month and year of purchase if product has no number). Keep this manual and
the receipt in a safe and dry place for future reference.
Owner’s Manual & Safety Instructions
Greenhouse
12’ L x 10’ W x 10’ 3” H
Owner’s Manual & Safety Instructions
Save This Manual Keep this manual for the safety warnings and precautions, assembly,
operating, inspection, maintenance and cleaning procedures. Write the product’s serial number in the
back of the manual near the assembly diagram (or month and year of purchase if product has no number).
Keep this manual and the receipt in a safe and dry place for future reference.
When unpacking, make sure that the product is intact
and undamaged. If any parts are missing or broken,
please call 1-888-866-5797 as soon as possible.
Copyright© 2016 by Harbor Freight Tools®. All rights reserved.
No portion of this manual or any artwork contained herein may be reproduced in
any shape or form without the express written consent of Harbor Freight Tools.
Diagrams within this manual may not be drawn proportionally. Due to continuing
improvements, actual product may differ slightly from the product described herein.
Tools required for assembly and service may not be included.
Read this material before using this product.
Failure to do so can result in serious injury.
SAVE THIS MANUAL.
REV 16j

Page 2 For technical questions, please call 1-888-866-5797. Item 63353
Table of Contents
Safety ......................................................... 3
Specifications ............................................. 4
Assembly .................................................... 5
Maintenance .............................................. 29
Warranty .................................................... 32
Parts List.................................................... 30
WARNING SYMBOLS AND DEFINITIONS
This is the safety alert symbol. It is used to alert you to potential personal injury hazards.
Obey all safety messages that follow this symbol to avoid possible injury or death.
Indicates a hazardous situation which, if not avoided,
will result in death or serious injury.
Indicates a hazardous situation which, if not avoided,
could result in death or serious injury.
Indicates a hazardous situation which, if not avoided,
could result in minor or moderate injury.
Addresses practices not related to personal injury.

Page 3For technical questions, please call 1-888-866-5797.Item 63353
IMPORTANT SAFETY INFORMATION
The warnings, precautions, and instructions discussed in this manual cannot cover all possible conditions
and situations that may occur. The operator must understand that common sense and caution are factors,
which cannot be built into this product, but must be supplied by the operator.
Assembly / Installation Precautions
1. Assemble only according to these instructions.
Improper assembly can create hazards.
2. Wear ANSI-approved safety goggles and
heavy-duty work gloves during assembly.
3. This unit contains pieces with sharp edges.
The machined edges of the aluminum parts
and the ends of the panel clips may be sharp.
Handle all parts carefully.
4. Keep assembly area clean and well lit.
5. Keep bystanders out of the area during assembly.
6. Do not assemble when tired or when under the
influence of alcohol, drugs or medication.
7. Product capabilities apply to properly and
completely assembled product only.
8. Locate the Greenhouse on a flat, level, surface.
A concrete foundation is recommended
for a high-quality installation.
9. WARNING: The brass components of this product
contain lead, a chemical known to the State
of California to cause cancer and birth defects
or other reproductive harm. (California Health
& Safety Code § 25249.5, et seq.)
Use / Service Precautions
1. This product is not a toy. Do not allow
children to play in or climb on this product.
Although this greenhouse does include some caps,
there are still some exposed sharp edges.
In addition, protective covers may fall off in time.
Children must be supervised if
allowed near the greenhouse.
2. SNOW/DEBRIS ACCUMULATION HAZARD.
The heavy weight of accumulated snow or other
debris can cause parts of this greenhouse to buckle
suddenly. Do not allow debris to accumulate on
top of the greenhouse. If snowfall is expected,
place additional supports (not provided) underneath
the Crown. NEVER enter a greenhouse
with accumulated debris on top.
3. Use as intended only.
4. Inspect periodically; replace damaged parts
immediately and do not enter greenhouse
if parts are loose or damaged.
5. For your safety, service and maintenance should
be performed regularly by a qualified technician.
SAVE THESE INSTRUCTIONS.

Page 4 For technical questions, please call 1-888-866-5797. Item 63353
Specifications
Overall Dimensions 12' L x 10' W x 10' 3" H
Window Dimensions 23-1/4" W x 31-1/4" L
Door Dimensions 75-1/2" H x 35-1/2" W x 1-1/4" Thick
Materials Aluminum Frame
Transparent Polycarbonate Sheets
Aluminum Thickness 0.038"
Polycarbonate Sheet Thickness 0.165"

Page 5For technical questions, please call 1-888-866-5797.Item 63353
Assembly
Read the ENTIRE IMPORTANT SAFETY INFORMATION section at the beginning of this document
including all text under subheadings therein before set up or use of this product.
IMPORTANT–READ THE FOLLOWING CAREFULLY BEFORE PROCEEDING
• The first step in assembly is to assemble a proper base. The greenhouse must be properly
supported to help prevent property damage and injury in the event of strong winds or
inclement weather. Wind and ground conditions may vary from site to site, and may affect
the practicality and effectiveness of anchoring methods substantially. If you have any doubt
regarding the stability of the base/foundation you are to use, consult a professional.
• It is always your responsibility to ensure that the greenhouse is properly anchored.
Harbor Freight Tools cannot be held responsible for personal injury, damage to the greenhouse,
or other property damage that occurs as a result of improperly anchoring the greenhouse.
• Be certain to check with local authorities to obtain all required building permits
and to familiarize yourself with any building codes that may apply.
• Decide on a location for the greenhouse. The location should optimally be a
level, well-lit area that is sheltered from the wind. The door of the greenhouse
should not open towards the prevailing wind, if possible.
IMPORTANT ASSEMBLY TIPS
• Assemble Bolts with their heads facing the outside of the greenhouse, unless stated otherwise.
Tighten Nuts (67) only about 1/4 turn past finger-tight; be careful not to overtighten.
• Lay out all parts by number prior to assembly.
• At least two assistants will be necessary during assembly.
• Assemble on a clear, calm day. Wind will damage the Greenhouse and make assembly difficult.

Page 6 For technical questions, please call 1-888-866-5797. Item 63353
Phase 1: Base Assembly
All parts in this phase
are fastened using
32 Normal Bolts (65)
and 32 Nuts (67).

Page 7For technical questions, please call 1-888-866-5797.Item 63353
Base Assembly Instructions
1. Excavate an area for the base of the greenhouse.
The area must be 10′ 2″ wide by 12′ 2″ long by
5″ deep. The floor of the hole must be level
and square. The diagonal dimensions, from
corner to corner, should each be 15′ 5″.
2. Assemble the Base outside the hole as shown on
facing page. Note that the angled edges of the
Base Plates (43, 44) need to face the corners of
the base. Use Normal Bolts (65), Nuts (67), and
Connectors (45, 46) to secure the pieces together.
3. With assistance, lower the Base into the hole.
The diagonal dimensions,
from outside corner to outside corner,
must be equal for the base to be square.
4. Fill the hole around the outside of the base with soil.
5. This base will need to be filled with about
40 cubic feet of gravel or another appropriate
fill material (not provided). The gravel should
reach up to about 1″ below the lip of the base.

Page 8 For technical questions, please call 1-888-866-5797. Item 63353
Phase 2: Floor Plate Installation
All parts in this phase
are fastened using
16 Normal Bolts (65)
and 16 Nuts (67).
44
44
44
43
43
43
43
44
44
5
1a
2a
(Front)
(Right)
(Rear)
(Left)
3
6
3
47
a
b
c
Floor
Plate
Base
Plate
gravel
Hold-down Connector (47)
attachment
a. Slide Connector (47) under lip.
b. Insert Regular Bolt (65).
c. Fasten with Nut (67)
Grey parts are in place before this phase.

Page 9For technical questions, please call 1-888-866-5797.Item 63353
Floor Plate Installation Instructions
1.
gravel
ground Base Plate
(43, 44)
Rear/Side
Floor Plates
(3 – 6)
Front Floor
Plate (1a, 2a)
outside
greenhouse
Cross Section
When placing the Floor Plates (1a–6) on top of
the Base Plates (43, 44), align them as illustrated
above. The lip should extend slightly over the
edge of the Base Plate and the raised flange with
bolt holes should face inside the greenhouse.
2. Place the Front-Left Floor Plate (1a)
on top of the Base Plate (44). Lay the
Front-Right Floor Plate (2a) on top of it and line
up the two holes where the Plates overlap.
3. Fasten the Front Floor Plates (1a, 2a) together,
and secure to the Base Plate (44) using a
Hold-down Connector (47) over one of the
Bolts (65); see inset on facing page.
4. Place the Side Floor Plates (4) on the
Side Base Plates (43) on the front-right
and rear left corners as illustrated. Lay the
Upper Side Floor Plates (3) on top so that the
three holes line up where the Plates overlap.
5. Fasten the Side Floor Plates (3, 4) together,
and secure to the Base Plates (43) using three
Hold-down Connectors (47) on each side
of the greenhouse in the places illustrated;
see illustration and inset on facing page.
6. Lay the Rear-right Floor Plate (6) on top of the
Rear-left Floor Plate (5) so that the two holes
line up where the Plates overlap. Fasten the
Rear Floor Plates (5, 6) together through those holes.
7. Place the assembled Rear Floor Plates
on top of the Base Plates (44).
8. Secure the Rear Floor Plates to the Base Plates
using two Hold-down Connectors (47) in the locations
shown; see illustration and inset on facing page.

Page 10 For technical questions, please call 1-888-866-5797. Item 63353
47
47
67
67
65
65
7
Phase 3: Corner Post Installation
Parts in this phase
are fastened using
10 Normal Bolts (65),
14 Brace Bolts (66),
2 Double Brace Bolts (78),
and 26 Nuts (67).(Front)
(Right)
(Rear)
(Left)
5
6
4
3
3
4
1a
2a
7
49
49
49
49
7
7
7
31
31
79
79
79
79
80
80
80
80
a
b
d
c
Floor
Plate
Base
Plate
gravel
Hold-down Connector (47)
attachment with Strut (79, 80)
a. Slide Connector (47) under lip.
b. Insert Brace Bolt (66).
c. Slide Strut (79, 80) over Bolt.
d. Fasten with Nut (67)
Grey parts are in place before this phase.

Page 11For technical questions, please call 1-888-866-5797.Item 63353
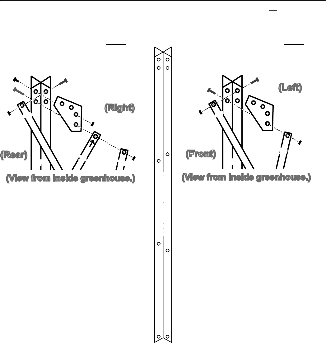
Corner Post Installation Instructions
1. There are 4 Corner Posts (7) to be attached
to the Floor Plates (1–6). The end with two
holes should be at the bottom, as shown in
the illustration in the center of this page.
2. Attach one Corner Post (7) on the outside of the
right rear Floor Plates (3, 6) using two Normal
Bolts (65), two Hold-down Connectors (47),
and two Nuts (67); see inset on facing page.
3.
49
66
65
78
67
67
67
731 79
80
(Rear)
(Right)
(View from inside greenhouse.)
Fasten a Corner Bracket (49) to the top
of the Corner Post (7) over the Rear Floor
Plate (6) using one Normal Bolt (65) for
now. Install it angled up towards the center
of the greenhouse, as shown above.
4. Install a Double Brace Bolt (78) through the
bottom hole of the Corner Bracket. Place a Rear
Brace (31) over it with the arrow pointing towards
the Bolt. Also place Front/Rear Diagonal Strut (79)
over the Bolt, and thread on Nut (67) hand-tight.
5. Fasten a Side Diagonal Strut (80) to
the free top hole on the Corner Post (7)
using Brace Bolt (66) and Nut (67).
6. Fasten Struts (79, 80) to Floor Plates using
Brace Bolts (66), Hold-down Connectors (47),
and Nuts (67); see inset on facing page.
Allow Rear Braces to hang free.
7. Repeat steps 2 through 6 for the left rear
Corner Post (7) on the left side. Keep
in mind that the connections will be
reversed compared to the right side.
8. Attach one Corner Post (7) on the outside
of the front left Floor Plates (1a, 3) using
two Normal Bolts (65), two Hold-down
Connectors (47), and two Nuts (67).
9.
49
66
66
67
67
7
79
80
(Front)
(Left)
(View from inside greenhouse.)
Insert a Brace Bolt (66) through the second
hole from the top of the Corner Post (7) over the
Front Floor Plate (1a). Place the bottom hole
of the Corner Bracket (49) over the Bolt with it
angled up towards the center of the greenhouse,
as shown above. Secure it using a Nut (67).
10. Fasten a Side Diagonal Strut (80) to the top
hole on the Corner Post (7) over the Side Floor
Plate using a Brace Bolt (66) and Nut (67).
11. Secure the Struts (79, 80) to the Floor
Plates using Brace Bolts (66), Hold-
down Connectors (47), and Nuts (67);
see inset on facing page.
12. Repeat steps 8 through 11 for the right
front Corner Post (7) on the right side.
Keep in mind that the connections will be
reversed compared to the left side.
BOTTOM
TOP
Corner Post (7)

Page 12 For technical questions, please call 1-888-866-5797. Item 63353
1. Insert Normal Bolts (65) through all holes in the
front of the Front Ceiling Plates (24, 25), as
shown. Thread a Nut (67) onto each
Bolt, but leave all Nuts loose for now.
2. Slide the slot on the Right
Door Rail (27) over
the heads of the 2
Bolts on the
Front-
right
Ceiling Plate (25) until the right end
is flush, as shown.
The illustration in the center of this
page shows how to slide the Rail
over the Bolt heads.
Tighten the Nuts on those 2 Bolts.
3. Slide the Bolt heads on the Front-left
Ceiling Plate (24) into the slot of the
Right Door Rail (27) from the left edge until
it rests against the Front-right Ceiling
Plate (25).
Tighten the 2 right-most
Nuts on the Ceiling Plate.
4. Slide the slot on the Left Door Rail (26) over the
heads of the remaining three Bolts in the Front-
left Ceiling Plate (24) until it presses against the
Right Door Rail (27).
Tighten the remaining Nuts.
Phase 4a: Ceiling Plate Assembly, Front
26, 27
24, 25
65
Parts in this phase
are fastened using
7 Normal Bolts (65)
and 7 Nuts (67).
Step 3
25
27
24
Tighten these two
Nuts after sliding
Step 4
27
26 25
24
Step 2
25
27
Step 1
24 25
65 65 65 65 65

Page 13For technical questions, please call 1-888-866-5797.Item 63353
Phase 4b: Ceiling Plate Assembly, Side
1. Insert a Plain Side Ceiling Plate (13) in the brackets
on the end of a Side Ceiling Plate with Brackets (12).
2. Secure in place with six Normal Bolts (65)
and six Nuts (67). The heads of the Bolts
should all face the gutter side of the Ceiling
Plates, as shown in the inset above.
3. Repeat the two previous steps for the
remaining Plain Side Ceiling Plate (13) and
Side Ceiling Plate with Brackets (12).
4. Attach an End Cap (72) to the top outer corner
of each Corner Post (7) at this point.
Parts in this phase
are fastened using
a total of
12 Normal Bolts (65)
and 12 Nuts (67).
13
12
65
65
67
13
12
67
67
67
65
65
67
67
65
65
13
12
13
12

Page 14 For technical questions, please call 1-888-866-5797. Item 63353
Phase 5: Ceiling Plate Installation
Parts in this phase are fastened using
2 Normal Bolts (65),
8 Brace Bolts (66),
and 10 Nuts (67).
Additional Bolts and Nuts are already
in place before this phase.
(Front)
(Right)
(Rear)
(Left)
7
7
7
80
80
80
7
13
12
13
12
31
31
80
24, 25
48 48
Grey parts are in place before this phase.
Means that the nearby Bolt
will be removed and then re-
attached at the same location.

Page 15For technical questions, please call 1-888-866-5797.Item 63353
Ceiling Plate Installation Instructions
1. Insert one Normal Bolt (65) through the Corner
Bracket (49) and the upper hole in the Corner
Post (7) at both front corners of the greenhouse,
from the inside out, as shown above. This is for the
later attachment of the Front Ceiling Plate (24-27).
2.
(View from inside greenhouse.)
49
67
7
(Front)
(Left)
80
79
12
A
To attach one end of a Side Ceiling Plate (12, 13):
a. Remove the Nut (67) where the Side Diagonal
Strut (80) connects to the Corner Post (7) in
one corner, marked A in the illustration above.
b. Temporarily disconnect that
Side Diagonal Strut (80) from the
Brace Bolt (66), but leave the Bolt in place.
c. Orient the gutter opening up as shown above.
d. Place the Side Ceiling Plate (12, 13) then
the Side Diagonal Strut (80) on the end of
the Bolt, and secure with a Nut (65).
3. Secure the other end of that
Side Ceiling Plate (12, 13) similarly.
4. Attach the Front Ceiling Plate (24, 25)
to the two Normal Bolts (65) put in
place in step 1 on the outside of the
greenhouse, note orientation at right.
5. Attach the remaining Side Ceiling Plate (12, 13)
along the other side according to steps 2 & 3,
with the gutter opening up.
6.
31
31
48 48
(View from
inside
greenhouse.)
67 67
67 67
66
66
66
66
Bolt two Post Connectors (48) to a
Rear Brace (31) using Brace Bolts (66)
through their bottom holes, from the outside
in. Place Post Connectors on the outside of the
greenhouse with the flat side against the Brace,
as shown above. Only finger tighten for now.
7. Swing the Rear Braces (31) together and bolt the
second Brace to the second from bottom holes on
the Post Connectors (48), using Brace Bolts (66)
from the outside in. Only finger tighten for now.
Note: The Rear Braces will be under tension.
8. If you cannot attach the second
Post Connector (48), or if they are not parallel:
Make sure that the arrows on both
of the Rear Braces (31) are pointing
towards the Corner Posts (7).

Page 16 For technical questions, please call 1-888-866-5797. Item 63353
Phase 6: Post Installation
Parts in this phase are fastened using
8 Normal Bolts (65),
2 Brace Bolts (66),
4 Double Brace Bolts (78),
and 14 Nuts (67).
Additional Bolts and Nuts are already
in place before this phase.
(Front)
(Right)
(Rear)
(Left)
80
80
80
14
66(x4)
14
66(x4)
14
66(x4)
14
66,78,66
31
31 80
13
12
13
12
14
66(x4)
14
66(x4)
14
66(x4)
14
66,78,66
14
66,78,66
14
66(x4)
17
66(x2)
16
66(x2)
14
66(x4)
14
66,78,66
81
81
81
81
44 Brace Bolts (66)
are inserted into Posts
during this phase for
use in phase 7.
3
3
4
4
5
6
48
48
Grey parts are in place before this phase.
Means that the nearby Bolt will be removed
and then re-attached at the same location.
Means that the bolt underneath will be
loosened, a Post will slide over the bolt
head, and then it will be re-tightened.

Page 17For technical questions, please call 1-888-866-5797.Item 63353
Post Installation Instructions
Note: All Posts (14, 16, 17) in this phase
require extra Bolts to be inserted into
their slot before assembly. The small
numbers under the main part number on
the facing page are the type and number
of hardware. See the examples below:
14
66,78,66
17
66(x2)
Post Part Number
Inserted Bolt
Part Numbers
Meaning: Insert two
Brace Bolts (66) into the
Rear Right Post (17)
before attaching it.
Meaning: Insert a Brace
Bolt (66), then a Double
Brace Bolt (78), then
another Brace Bolt (66)
into this Side Post (14)
before attaching it.
1. Loosen a Bolt on one of the Side Floor Plates (3, 4)
in an attachment location as shown. Slide the slot
in a Side Post (14) over the head of that Bolt.
2. Insert the required Bolts (see note
above and illustration on facing page)
into the slot in the Side Post.
3. Attach the top of the Side Post (14) to the Ceiling
Plate (12, 13), using a Normal Bolt (65) in the slot or
using the Bolt already in place for the center Post.
4. Repeat above steps for all ten Side Posts (14)
on the left and right sides of the greenhouse.
5. Slide a white Bushing (81) over all four inserted
Double Brace Bolts (78). Place the center hole of
each Side Diagonal Strut (80) over the end of each
Double Brace Bolt and secure with a Nut (67).
6. Loosen a Bolt on the Rear Floor Plate (5, 6) in a
location that a Side Post (14) attaches, and slide
a Side Post over the head of that Bolt. Insert
four Brace Bolts (66) into the slot of that Post.
7.
(View from outside greenhouse.)
66
66
48
31
31
14
Side Post (14) must extend
no farther than halfway up
the Post Connector (48).
Remove the two Brace Bolts (66) connecting the
Post Connector (48) near that Side Post. Slide the
heads of those Bolts into the Side Post and insert
them through the Post Connector. Align the top of
the Post with the center of the Connector as shown
above, and press it in place. Reattach the Rear
Braces (31) to the Brace Bolts (66) and secure them.
8. Repeat steps 6 & 7 for another Side
Post (14) and Post Connector (48).
9. Loosen the Bolts (66) where the Rear
Diagonal Struts (79) connect to the Rear Floor
Plate (5, 6). Slide the slot in the Rear-Left
Post (16) over the head of the left Bolt and the
Rear-Right Post (17) over the right Bolt.
10. The slanted ends of the Posts must be
on top and slant towards the center of the
greenhouse. Retighten the Bolts.
11. Slide two Brace Bolts (66) into the
slot of each Rear Post (16, 17).
12. Slide one more Brace Bolt (66) into the top
of each Rear Post. Attach the Rear Posts to
the Rear Braces (31) using those Bolts.
13. The frame should now rest square. Measure
diagonally from corner to corner at the top. If
the measurements are not equal, adjust
the frame as needed until square. Some
Nuts (67) may need to be loosened to adjust
the frame. Tighten all Nuts after adjustment.

Page 18 For technical questions, please call 1-888-866-5797. Item 63353
Phase 7: Brace Installation
Parts in this phase are fastened using
2 Normal Bolts (65),
20 Brace Bolts (66),
and 66 Nuts (67).
Additional Bolts and Nuts are already
in place before this phase.
Grey parts are in place before this phase.
Means that the nearby Bolt will be removed
and then re-attached at the same location.
(Front)
(Right)
(Rear)
(Left)
7
80
14
14
14
14
14
17
14
14
16
80
28
80
29
80
31
31
31
31
30
30
30
30
30
30
30
30
14
14
14
14
14
7
7
24, 25
7
32
32
32
32

Page 19For technical questions, please call 1-888-866-5797.Item 63353
Brace Installation Instructions
Note:
Brace
(30 - 32)
Strut (79, 80)
Post (14, 16, 17)
Corner Post (7)
All Braces are installed inside the Posts,
but outside the Struts. See diagram above,
shown from inside the greenhouse facing out.
1.
to (left)
Corner
Post (7)
(Outside greenhouse)
(Doorway)
(Inside greenhouse)
to (right)
Corner
Post (7)
29 28
(View from above.)
Using a Normal Bolt (65) at top and the Brace
Bolt (66) already in place at the bottom for each,
attach the Left and Right Doorway Posts (28, 29)
to the outside of the Front Floor Plates (1a, 2a) and
to the inside of the Front Ceiling Plates (24, 25).
Install the Posts with the cut-outs at top and
oriented as shown in the illustration above.
2. Using Brace Bolts (66), connect the Front
Braces (32) between the Corner Posts (7) and
the Doorway Posts (28, 29). Install Braces
inside Posts but outside Struts, as shown
in the diagram at the top of this page.
Note: Install the Braces on the walls so that they are
level. If the frame is level and all Braces are level,
the Braces should not interfere with one another.
3. Connect the four remaining Rear Braces (31) onto
the rear wall as shown on the facing page, with
the arrows pointing towards the Corner Posts (7).
Secure in place using Brace Bolts (66) at the Corner
Post and the inserted Brace Bolts in the remaining
holes. Install Braces inside Posts but outside Struts,
as shown in the diagram at the top of this page.
4. Connect four Side Braces (30) onto each side
wall as shown on the facing page, with the arrows
pointing towards the Corner Posts (7). Secure in
place using Brace Bolts (66) at the Corner Post and
the inserted Brace Bolts in the remaining holes.
Install Braces inside Posts but outside Struts, as
shown in the diagram at the top of this page.
5. Place the Gutter End Caps (73) onto the ends of the
Side Ceiling Plates (12, 13) oriented with a gap in
the bottom to allow water to drain out of the gutters.

Page 20 For technical questions, please call 1-888-866-5797. Item 63353
(Front)
(Right)
(Rear)
(Left)
17
14
14
16
28
29
24, 25
8
18
10
11
9
22
20
21 23
8
19 9
Phase 8: Gable and Crown Installation
Parts in this phase are fastened using
36 Normal Bolts (65)
and 36 Nuts (67).
Additional Bolts and Nuts are already
in place before this phase.
Grey parts are in place before this phase.
Means that the bolt underneath will be
loosened, a Post will slide over the bolt
head, and then it will be re-tightened.
12
12
13
13
48

Page 21For technical questions, please call 1-888-866-5797.Item 63353
Gable and Crown Installation Instructions
Note: Leave Bolts (65) finger tight
until step 5 of this phase.
1. Use one Normal Bolt (65) each to attach the
Front Gable Posts (20-23) to the outside top of
the Front Ceiling Plates (24, 25) in the positions
shown on facing page. The bottoms of the two
outer Front Gable Posts (22, 23) will be secured
using the Normal Bolts already in place. The sloped
ends of the Posts must be on the top and slant
upward toward the center of the greenhouse.
2. Insert two Normal Bolts (65) into the slot in
each Rear Gable Post (18, 19), and use those
Bolts to attach them to the top two holes of
the Post Connectors (48) on the outside.
Once again, the sloped ends of the Posts
must be on the top and slant upward toward
the center of the greenhouse. The bottoms of
those Rear Gable Posts must be pressed down
flat against the tops of the Side Posts (14).
Note: The only difference between Right- and
Left-Handed Crown Beams is the location of the holes.
The Beam edges with three drilled holes should
align with the Side Ceiling Plate (12, 13) and the
edges with four holes should point down.
3. Attach the Right- and Left-Handed Crown
Beams (8, 9) to the Greenhouse using five
Normal Bolts (65) for each Beam. The angled
edges should meet at the top of the roof. The
Beams are placed on the outside of the Ceiling
Plates (12, 13) and the Corner Brackets (49)
and on the inside of the Posts (16-23).
4. Assemble the Front Crown (11) to the brackets on
the Rear Crown (10) using six Normal Bolts (65).
5. Press the Crown Beams (8, 9) down against
the tops of the Posts (16-23) while tightening
all Bolts (65) to secure them in place.
Crown (10, 11)
Right-handed
Crown Beam (8)
Left-
handed
Crown
Beam (9)
(View from underneath.)
6. With assistance, raise the completed Crown (10, 11)
up underneath the tops of the Crown Beams (8, 9),
and bolt it in place on each end to the bottom of the
Beams using two Normal Bolts (65) as shown above.
7. Attach an End Cap (72) to the top outer
corner of each Crown Beam (8, 9).

Page 22 For technical questions, please call 1-888-866-5797. Item 63353
Phase 9: Rafter and Brace Installation
Grey parts are in place before this phase.
Means that the bolt underneath will be
loosened, a Rafter will slide over the bolt
head, and then it will be re-tightened.
Parts in this phase are fastened using
24 Normal Bolts (65),
20 Brace Bolts (66),
44 Nuts (67),
and 8 Window Screws (71).
Additional Bolts and Nuts are already
in place before this phase.
(Front)
(Right)
(Rear)
(Left)
8
10
12
12
13
30
30 42 42
42
50,71(x2)
50,71(x2)
50,71(x2)
42
30
30
13
11
9
8
9
15
66,65
15
66,65
15
66,66,65
15
66,66,65
15
66,66
15
66,65
15
66,65
15
66,66,65
15
66,66,65
15
66,66
50,71(x2)

Page 23For technical questions, please call 1-888-866-5797.Item 63353
Rafter and Brace Installation Instructions
Note: All Rafters (15) require extra Bolts to
be inserted into their slot before assembly.
The small numbers under the main part
number on the facing page are the type and
number of hardware in the order they are
inserted from the TOP of the Rafter.
See the examples below:
15
66,66,65
15
66(x2)
Rafter Part
Number
Inserted Bolt
Part Numbers
Meaning: Insert two
Brace Bolts (66) into the
top of this Rafter (15)
before attaching
it to the frame.
Meaning: Insert two
Brace Bolts (66), then
a Normal Bolt (65)
into the top of this
Rafter (15) before
attaching it to the frame.
1. Insert the required Bolts (see note
above and illustration on facing page)
into the slot in one of the Rafters.
2. Attach the Rafter to the Ceiling Plate (12, 13) and the
Crown (10, 11), using Normal Bolts (65) in the slot or
using the Bolts already in place for the center Rafters.
3. Make sure the Rafter is completely seated over the
Normal Bolts (65) on each end before tightening.
4. Repeat above steps for all ten Rafters.
5. Connect four Side Braces (30) onto the underside
of the roof as shown on the facing page, with the
arrows pointing towards the Crown Beams (8, 9).
Secure in place using Brace Bolts (66) at the Crown
Beam and the inserted Brace Bolts in the remaining
holes. Finger tighten first and install the Braces so
that they are touching, side-by-side as shown.
6.
(View from underneath.)
42
50
Using two Window Screws (71) each, attach a
Window Stop (50) on the flat side of each Window
Support Beam (42) with its tab pointing away
from the bolt slot openings, as shown above.
7.
(View from underneath.)
to Crown (10, 11)
42
15
65 65
15
30
Place one of the bolt slots on a Window Support
Beam (42) over one of the inserted Normal Bolts (65)
and swing it over the inserted Normal Bolt on the
other Rafter as shown in the diagram above. Note
that the Window Stop (50) and flat side of the
Window Support Beam are both facing the inside
of the greenhouse. Thread Nuts (67) onto the
Normal Bolts and finger tighten them for now.

Page 24 For technical questions, please call 1-888-866-5797. Item 63353
Phase 10: Window Assembly and Installation
Parts in this phase are fastened
using
16 Normal Bolts (65),
16 Nuts (67),
and 8 Window Screws (71).
1. Attach the Side Window Frames (39) to the
Top Window Frame (38), as shown to the left. The threaded
shafts of the Bolts should extend out the bottom of the window.
2. Insert Normal Bolts (65) into the holes at other
end of the Side Window Frames, so that the
threads stick out the bottom of the window.
38
39
65
67
38
39
39
(View from underneath
window, flat side of pieces.)
65
67
65
65
65
67
3. Remove the protective film from
both sides of the Window Pane (61).
Slide the Window Pane into the three-
sided frame.
4. Slide the Bottom Window Frame (40)
onto the two Normal Bolts (65) and
the Window Pane. Secure it in place
with Nuts (67). Press on the heads of
the Bolts through the Window Pane to
allow the Nuts to thread on properly.
(View from underneath
window, flat side of pieces.)
38
39
61
40
65
65
39
67
67

Page 25For technical questions, please call 1-888-866-5797.Item 63353
38
39
61
39
40
41
71
5. Attach the Window Brace (41) to the
Bottom Window Frame (40) using two
Window Screws (71). The holes on
the Window Brace should face away
from the window, as shown below.
6. Hold the assembled window level with the ground at the
outer edge of the Crown (10, 11). Slide the top edge of the
Top Window Frame (38) into the slot at the top of the Crown –
see illustration to the left. Align the window with the Window
Brace (41) underneath it. Slide the window into place over the
Window Support Beam (42). Gradually lower it into place.
7. Loosen the Nuts (67) holding the Window Support
Beam in place and slide the Window Support Beam
up to touch the window. Secure it in place.
8. Repeat the steps in this phase for all four windows.
Crown
(10, 11)
Top Window
Frame (38)
(View from end of Crown.)

Page 26 For technical questions, please call 1-888-866-5797. Item 63353
Phase 11: Door Assembly and Installation
(Profiles exaggerated for clarity.)
36
36
36
37
33 33
51 51
64
64
64
64
70
70
70
70
70
70
70
70
70
70
34, 35
(top)
(bottom)
(top)
(bottom)
(front)
(back)
65
34
35
36363637
33
51
64646464
67
7070707070

Page 27For technical questions, please call 1-888-866-5797.Item 63353
Door Assembly and Installation Instructions
Parts in this phase are fastened using
8 Normal Bolts (65), 8 Nuts (67),
and 40 Door Screws (70).
Note: The Door Screws (70) thread directly into the
round portions in the center of the door frames. Leave all
Screws slightly loose until the door is mounted on the rail.
1. Place the Side Door Frame (33)
with the rubber flap down.
Attach three Center Door
Frames (36) to the Side Door
Frame (33). Assemble them
with the rounded portion facing
the front (away from the flap),
as shown to the right.
2. Using two Normal Bolts (65) and
two Nuts (67), attach the Door Slider
(34) to the Top Door Frame (35)
oriented as shown to the right.
3. Attach the Top Door Frame (35) to the Side
Door Frames (33) with the Door Slider (34) at
top and the rounded portion facing the front.
4.
(view from behind)
Insert a Door Bottom Slider (51) into each end of
the Bottom Door Frame (37). Make sure that the
Sliders are assembled the correct way, with the gap
facing the back of the door – see diagram. Attach
the Bottom Door Frame to the Side Door Frames (33)
using two Screws (70) on each side – the one on the
top into the Bottom Door Frame and the bottom one
into the Door Bottom Slider.
5. Remove the protective film from both sides of four
Door Panels (64). Slide the Door Panels into the
door between the Door Frame (35-37) pieces.
6. Attach the other Side Door Frame (33) to the
Center Door Frames (36) in the same way.
7.
1a
51
33
(side view)
Raise the assembled Door up and insert the
first roller of its Door Slider (34) onto the Door
Rail (26, 27). Carefully align the first Bottom
Door Slider (51) over the edge of the Front Floor
Plate (1a, 2a) – see illustration above. Carefully
slide the door over and align the other top Roller
and bottom Slider as you did the first ones.
8. Assemble and install the second door
by following the previous steps.
9. Once both doors are installed,
tighten all Door Screws (70).
10. Install a Normal Bolt (65) and Nut (67) into the
hole on the end of each Door Rail (26, 27),
and in the hole on the end of each Front Floor
Plate (1a, 2a) to prevent the doors from sliding
off the rails. Attach the Left and Right Rail End
Caps (74,75) onto the ends of the Door Rails.
65
34
35
67

Page 28 For technical questions, please call 1-888-866-5797. Item 63353
Phase 12: Panel Installation
52
Outside
Greenhouse
Inside
Greenhouse
56/57
58
X = Panel Clip (53) Location
O = Panel Connector (52) Location
12/13
59/60
58
X
X
X
X
X
X
X
X
X
X
X
X
X
X
X
X
X
X
X
XXX
X
X
X
X
XX
X
X
X
X
X
X
X
X
X
X
X
X
X
X
XX
X
X
X
X
X
X
X
X
X
X
X
X
XX
X
XXXX
XXXX
X
X
X
X
X
X
X
X
X
X
X
X
XXXX
X
X
X
X
X
X
X
X
X
X
X
X
X
X
X
X
X
X
X
XX
X
X
X
X
X
X
X
X
X
X
X
X
X
X
X
X
X
X
X
X
X
X
X
X
X
X
X
X
X
X
X
X
X
X
X
X
X
X
X
X
X
X
X
X
X
X
X
X
X
X
X
X
X
X
X
X
X
X
X
X
warning
label
location

Page 29For technical questions, please call 1-888-866-5797.Item 63353
Transparent Panel Installation Instructions
1. Panel Clips (53) are used to secure the Transparent
Panels in place on the Greenhouse. Their
locations are marked with X on the facing page.
Note: Remove the protective film from both sides
of all panels as they are installed.
Stick the warning label to one of the Door Panels (64)
after removing the protective film from the Panel.
Install this Door Panel so that the warning label
is easily readable from outside the greenhouse.
Refer to label location on facing page.
2. The Roof Panels (60) and the Roof Window
Panel (59) will need to be placed as shown in the
insets on the facing page. The top edges of these
panels need to be placed up under the edge of the
Crown (10, 11) or the Window Support Beam (42).
3. The Panel Connectors (52) are used to connect
the Rear Top and Center Panels (56, 57) to the
top of the Wall Panels (58) in the rear of the
Greenhouse. Refer to the locations marked
with O and the inset on the facing page.
4. One at a time, place each Transparent Panel
(55 – 64) in its proper location on the Ceiling and
Frame of the Greenhouse. Then, secure the
Transparent Panel in place, using the quantity and
location of Panel Clips as shown on facing page.
5. To attach Panel Clips, see illustration and
instructions below. Use the included Clip Placement
Tool (68) to facilitate Panel Clip installation.
a. Place the two loose ends of the Clip
into the groove in the frame
b. Swing the center portion of the
Clip up against the Panel
c. Two edges of the Clip swing under
the edge of the panel and the center
edge holds the panel in place.
Clip Placement Tool
Be careful, Panel Clip ends may be sharp and may spring back!
Use and Maintenance
1. BEFORE EACH USE, inspect the general condition
of the Greenhouse. Check for loose screws,
misalignment or binding of moving parts, cracked
or broken parts, and any other condition that
may affect the safe operation of the Greenhouse.
If a problem occurs with the Greenhouse, have it
corrected before further use.
Do not use damaged equipment.
2. TO CLEAN: Wipe with a damp cloth, using a mild
detergent.
Do not use cleaners that are combustible,
corrosive, or not compatible with aluminum.
3. WHEN STORING: Keep the Greenhouse
in a box and in a clean, dry location.

Page 30 For technical questions, please call 1-888-866-5797. Item 63353
PLEASE READ THE FOLLOWING CAREFULLY
THE MANUFACTURER AND/OR DISTRIBUTOR HAS PROVIDED THE PARTS LISTS IN THIS DOCUMENT
AS A REFERENCE TOOL ONLY. NEITHER THE MANUFACTURER OR DISTRIBUTOR MAKES ANY
REPRESENTATION OR WARRANTY OF ANY KIND TO THE BUYER THAT HE OR SHE IS QUALIFIED TO
MAKE ANY REPAIRS TO THE PRODUCT, OR THAT HE OR SHE IS QUALIFIED TO REPLACE ANY PARTS
OF THE PRODUCT. IN FACT, THE MANUFACTURER AND/OR DISTRIBUTOR EXPRESSLY STATES
THAT ALL REPAIRS AND PARTS REPLACEMENTS SHOULD BE UNDERTAKEN BY CERTIFIED AND
LICENSED TECHNICIANS, AND NOT BY THE BUYER. THE BUYER ASSUMES ALL RISK AND LIABILITY
ARISING OUT OF HIS OR HER REPAIRS TO THE ORIGINAL PRODUCT OR REPLACEMENT PARTS
THERETO, OR ARISING OUT OF HIS OR HER INSTALLATION OF REPLACEMENT PARTS THERETO.
Parts List
Lengths given are rounded to the nearest inch. Hardware lengths are approximate.
PART DESCRIPTION QTY
1a Front-Left
Floor Plate 2' 8″ 1
2a Front-Right
Floor Plate 7' 3″ 1
3Upper Side
Floor Plate 6' 2
4 Side Floor Plate 6' 2
5Rear-Left
Floor Plate 4' 11″ 1
6Rear-Right
Floor Plate 4' 11″ 1
7 Corner Post 6' 6″ 4
8Right-handed
Crown Beam 5' 10″ 2
9Left-handed
Crown Beam 5' 10″ 2
10 Rear Crown
with Brackets 5' 9″ 1
11 Front Crown 5' 10″ 1
12 Side Ceiling Plate
with Brackets 5' 9″ 2
13 Plain Side
Ceiling Plate 5' 10″ 2
14 Side Post 6' 6″ 12
15 Rafter 5' 9″ 10
16 Rear-Left Post 7' 9″ 1
17 Rear-Right Post 7' 9″ 1
18 Rear-Left
Gable Post 2' 7″ 1
PART DESCRIPTION QTY
19 Rear-Right
Gable Post 2' 7″ 1
20 Front Center-Left
Gable Post 2' 8″ 1
21 Front Center-Right
Gable Post 2' 8″ 1
22 Front-Left
Gable Post 1' 5″ 1
23 Front-Right
Gable Post 1' 5″ 1
24 Front-Left
Ceiling Plate 7' 5″ 1
25 Front-Right
Ceiling Plate 2' 3″ 1
26 Left Door Rail 4' 10″ 1
27 Right Door Rail 4' 10″ 1
28 Left Doorway
Post 6' 6″ 1
29 Right Doorway
Post 6' 6″ 1
30 Side Brace 7' 9″ 12
31 Rear Brace 5' 10″ 6
32 Front Brace 2' 4
33 Side Door Frame 6' 3″ 4
34 Door Slider 2' 10″ 2
35 Top Door
Frame 2' 10″ 2
36 Center Door
Frame 2' 10″ 6

Page 31For technical questions, please call 1-888-866-5797.Item 63353
Lengths given are rounded to the nearest inch. Hardware lengths are approximate.
PART DESCRIPTION QTY
37 Bottom Door
Frame 2' 10″ 2
38 Top Window
Frame 1' 11″ 4
39 Side Window
Frame 2' 5″ 8
40 Bottom Window
Frame 1' 11″ 4
41 Window Brace 10″ 4
42 Window Support
Beam 2' 4
43 Side Base Plate 5' 11″ 4
44 Front/Rear Base
Plate 4' 11″ 4
45 Base Plate Corner
Connector 4
46 Base Plate End
Connector 4
47 Hold-down
Connector 25
48 Post Connector 2
49 Corner Bracket 4
50 Window Stop 4
51 Door Bottom
Slider 4
52 Panel Connector 6
53 Panel Clip 320
54 Peak Cap 2
55 Rear Side Panel 1' 11″
x 7’ 9″ 2
56 Front/Rear Top
Panel
1' 11″
x 2' 7″ 4
57 Front/Rear Center
Panel
1' 11″
x 3' 3″ 2
58 Wall Panel 1' 11″
x 6' 5″ 15
PART DESCRIPTION QTY
59 Roof Window
Panel
1' 11″
x 3' 4″ 4
60 Roof Panel 1' 11″
x 5' 9″ 8
61 Window Pane 1' 11″
x 2' 6″ 4
62 Front Corner
Panel
1' 11″
x 1' 4″ 2
63 Front Side Panel 2' x
6' 5″ 2
64 Door Panel 1' 5″ x
2' 10″ 8
65 Normal Bolt M6 x
3/8″173
66 Brace Bolt M6 x
3/4″108
67 Nut M6 287
68 Clip Placement
Tool 1
70 Door Screw 4.3 x
3/4″40
71 Window Screw 4.0 x
5/8″16
72 End Cap 8
73 Gutter End Cap 4
74 Left Rail End Cap 1
75 Right Rail End
Cap 1
76 Spanner Wrench 1
77 Wrench 1
78 Double Brace Bolt M6 x
1″ 6
79 Front/Rear
Diagonal Strut 6' 7″ 4
80 Side Diagonal
Strut 7' 7″ 4
81 Bushing Ø.5″ x
0.4″ 4
Record Serial Number Here:
Note: If product has no serial number, record
month and year of purchase instead.
Note: Some parts are listed and shown for
illustration purposes only, and are not available
individually as replacement parts.

3491 Mission Oaks Blvd. • PO Box 6009 • Camarillo, CA 93011 • 1-888-866-5797
Limited 90 Day Warranty
Harbor Freight Tools Co. makes every effort to assure that its products meet high quality and durability standards,
and warrants to the original purchaser that this product is free from defects in materials and workmanship for the
period of 90 days from the date of purchase. This warranty does not apply to damage due directly or indirectly,
to misuse, abuse, negligence or accidents, repairs or alterations outside our facilities, criminal activity, improper
installation, normal wear and tear, or to lack of maintenance. We shall in no event be liable for death, injuries
to persons or property, or for incidental, contingent, special or consequential damages arising from the use of
our product. Some states do not allow the exclusion or limitation of incidental or consequential damages, so the
above limitation of exclusion may not apply to you. THIS WARRANTY IS EXPRESSLY IN LIEU OF ALL OTHER
WARRANTIES, EXPRESS OR IMPLIED, INCLUDING THE WARRANTIES OF MERCHANTABILITY AND FITNESS.
To take advantage of this warranty, the product or part must be returned to us with transportation charges
prepaid. Proof of purchase date and an explanation of the complaint must accompany the merchandise.
If our inspection verifies the defect, we will either repair or replace the product at our election or we may
elect to refund the purchase price if we cannot readily and quickly provide you with a replacement. We will
return repaired products at our expense, but if we determine there is no defect, or that the defect resulted
from causes not within the scope of our warranty, then you must bear the cost of returning the product.
This warranty gives you specific legal rights and you may also have other rights which vary from state to state.