Manual For The 68740 Portable Air Compressor, 2 Horsepower, 8 Gallon, 125 PSI
Central Pneumatic Air Compressor Air Compressor 67501 68740
User Manual: Manual for the 68740 Portable Air Compressor, 2 Horsepower, 8 Gallon, 125 PSI 8 gal. 2 HP 125 PSI Oil Lube Air Compressor
Open the PDF directly: View PDF
.
Page Count: 20

Visit our website at: http://www.harborfreight.com
Email our technical support at: productsupport@harborfreight.com
8
GAL oil lubricated
air compressor
Owner’s Manual & Safety Instructions
Save This Manual Keep this manual for the safety warnings and precautions, assembly,
operating, inspection, maintenance and cleaning procedures. Write the product’s serial number in the
back of the manual near the assembly diagram (or month and year of purchase if product has no number).
Keep this manual and the receipt in a safe and dry place for future reference.
When unpacking, make sure that the product is intact
and undamaged. If any parts are missing or broken,
please call 1-888-866-5797 as soon as possible.
Copyright© 2011 by Harbor Freight Tools®. All rights reserved.
No portion of this manual or any artwork contained herein may be reproduced in
any shape or form without the express written consent of Harbor Freight Tools.
Diagrams within this manual may not be drawn proportionally. Due to continuing
improvements, actual product may differ slightly from the product described herein.
Tools required for assembly and service may not be included.
Read this material before using this product.
Failure to do so can result in serious injury.
SAVE THIS MANUAL.
REV 16h

Page 2 For technical questions, please call 1-888-866-5797. Item 68740
Contents
IMPORTANT SAFETY INFORMATION ...........................................................................................................................3
GENERAL COMPRESSOR SAFETY WARNINGS ...................................................................................................3
AIR COMPRESSOR SAFETY WARNINGS .............................................................................................................. 5
GROUNDING ...................................................................................................................................................................6
110-120 VAC GROUNDED COMPRESSORS: COMPRESSORS WITH THREE PRONG PLUGS .........................6
SYMBOLOGY ............................................................................................................................................................ 7
SPECIFICATIONS ............................................................................................................................................................8
UNPACKING ....................................................................................................................................................................8
INSTRUCTIONS FOR PUTTING INTO USE ...................................................................................................................8
FUNCTIONS ..............................................................................................................................................................8
WORK PIECE AND WORK AREA SET UP ..............................................................................................................9
ASSEMBLY/MOUNTING ........................................................................................................................................... 9
CHECKING THE OIL ............................................................................................................................................... 10
GENERAL OPERATING INSTRUCTIONS .................................................................................................................... 11
EMERGENCY DEPRESSURIZATION ....................................................................................................................12
AUTOMATIC SHUT OFF SYSTEM .........................................................................................................................12
MAINTENANCE AND SERVICING ................................................................................................................................13
CLEANING, MAINTENANCE, AND LUBRICATION ..............................................................................................13
MAINTENANCE SCHEDULE ..................................................................................................................................13
OIL MAINTENANCE................................................................................................................................................14
DRAINING MOISTURE FROM THE TANK .............................................................................................................14
AIR FILTER MAINTENANCE ..................................................................................................................................14
TROUBLESHOOTING ............................................................................................................................................15
PARTS LIST ................................................................................................................................................................... 17
ASSEMBLY DIAGRAM .................................................................................................................................................. 18
WARRANTY ................................................................................................................................................................... 19

Page 3For technical questions, please call 1-888-866-5797.Item 68740
Important Safety Information
In this manual, on the labeling, and all other
information provided with this product:
This is the safety alert symbol. It is
used to alert you to potential personal
injury hazards. Obey all safety
messages that follow this symbol
to avoid possible injury or death.
DANGER indicates a
hazardous situation which, if
not avoided, will result in death or serious
injury.
WARNING indicates a
hazardous situation which, if
not avoided, could result in death or
serious injury.
CAUTION, used with the
safety alert symbol,
indicates a hazardous situation which, if
not avoided, could result in minor or
moderate injury.
NOTICE is used to address
practices not related to
personal injury.
CAUTION, without the safety
alert symbol, is used to
address practices not related to personal
injury.
General Compressor
Safety Warnings
WARNING Read all safety warnings and
instructions. Failure to follow the warnings and
instructions may result in electric shock, fire and/
or serious injury.
Save all warnings and instructions
for future reference.
1. Work area safety
a. Keep work area clean and well lit.
Cluttered or dark areas invite accidents.
b. Do not operate the Compressor in
explosive atmospheres, such as in the
presence of flammable liquids, gases or
dust. Compressor motors produce sparks
which may ignite the dust or fumes.
c. Keep children and bystanders away
from an operating compressor.
2. Electrical safety
a. Compressor plugs must match the outlet.
Never modify the plug in any way. Do not
use any adapter plugs with a grounded
compressor. Standard plugs and matching
outlets will reduce risk of electric shock.
b. Do not expose the compressor to rain or
wet conditions. Water entering a compressor
will increase the risk of electric shock.
c. Do not abuse the cord. Never use the cord
for pulling or unplugging the compressor.
Keep cord away from heat, oil, sharp edges
or moving parts. Damaged or entangled
cords increase the risk of electric shock.
3. Personal safety
a. Stay alert, watch what you are doing and
use common sense when operating this
compressor. Do not use this compressor
while you are tired or under the influence
of drugs, alcohol or medication. A moment
of inattention while operating a compressor
may result in serious personal injury.
b. Use personal protective equipment. Always
wear eye protection. Safety equipment such
as a dust mask, non-skid safety shoes, hard
hat, or hearing protection used for appropriate
conditions will reduce personal injuries.
c. Prevent unintentional starting. Ensure the
switch is in the off-position before connecting
to power source or moving the compressor.
d. Only use safety equipment that has been
approved by an appropriate standards agency.
Unapproved safety equipment may not provide
adequate protection. Eye protection must be ANSI-
approved and breathing protection must be NIOSH-
approved for the specific hazards in the work area.
4. Compressor use and care
a. Do not use the compressor if the switch
does not turn it on and off. Any compressor
that cannot be controlled with the switch
is dangerous and must be repaired.
b. Disconnect the plug from the power source
of the compressor before making any
adjustments, changing accessories, or storing
it. Such preventive safety measures reduce the
risk of starting the compressor accidentally.
c. Store an idle compressor out of the reach
of children and do not allow persons
unfamiliar with the compressor or these
instructions to operate it. A compressor is
dangerous in the hands of untrained users.
d. Maintain the compressor. Keep the compressor
clean for better and safer performance.
Following instructions for lubricating and
changing accessories. Keep dry, clean and free
from oil and grease. Check for misalignment
or binding of moving parts, breakage of parts
and any other condition that may affect the
compressor’s operation. If damaged, have the
compressor repaired before use. Many accidents
are caused by a poorly maintained compressor.
e. Use the compressor in accordance with these
instructions, taking into account the working

Page 4 For technical questions, please call 1-888-866-5797. Item 68740
conditions and the work to be performed. Use of
the compressor for operations different from those
intended could result in a hazardous situation.
5. Service
a. Have your compressor serviced by a
qualified repair person using only identical
replacement parts. This will ensure that the
safety of the compressor is maintained.
Air Compressor Safety Warnings
1. Risk of fire or explosion - Do not spray flammable
liquid in a confined area or towards a hot surface.
Spray area must be well-ventilated. Do not
smoke while spraying or spray where spark or
flame is present. Arcing parts - Keep compressor
at least 20 feet away from explosive vapors,
such as when spraying with a spray gun.
2. Risk of bursting - Do not adjust regulator higher
than maximum stated pressure of attachment.
3. Risk of injury - Do not direct air
stream at people or animals.
4. To reduce the risk of electric shock, do
not expose to rain. Store indoors.
5. Wear ANSI-approved safety goggles during use.
6. Do not use to supply breathing air.
7. Do not use the air hose to move the compressor.
8. Drain Tank daily and after use. Internal rust
causes tank failure and explosion.
9. Add correct amount of compressor oil before first
use and every use. Operating with low or no oil
causes permanent damage and voids warranty.
10. Do not remove the Pressure Switch (54)
cover or adjust the internal components.
11. Do not use the air hose to move the compressor.
12. Compressor head gets hot during operation.
Do not touch it or allow children nearby
during or immediately following operation.
13. Release the pressure in the storage
tank before moving.
14. The use of accessories or attachments not
recommended by the manufacturer may
result in a risk of injury to persons.
15. All air line components, including hoses, pipe,
connectors, filters, etc., must be rated for a minimum
working pressure of 150 PSI, or 150% of the
maximum system pressure, whichever is greater.
16. USE OF AN EXTENSION CORD IS NOT
RECOMMENDED. If you choose to use an
extension cord, use the following guidelines:
RECOMMENDED MINIMUM WIRE
GAUGE FOR EXTENSION CORDS
(120 VOLT)
NAMEPLATE
AMPERES
(at full load)
EXTENSION CORD
LENGTH
25’ 50’ 100’ 150’
0 – 6 18 16 16 14
6.1 – 10 18 16 14 12
10.1 – 12 16 16 14 12
12.1 – 16 14 12 Do not use.
TABLE A
a. Make sure your extension cord is in good condition.
b. Be sure to use an extension cord which is heavy
enough to carry the current your product will draw.
An undersized cord will cause a drop in line voltage
resulting in loss of power and overheating. Table
A shows the correct size to use depending on
cord length and nameplate ampere rating. If in
doubt, use the next heavier gauge. The smaller
the gauge number, the heavier the cord.
17. Industrial applications must follow OSHA guidelines.
18. Maintain labels and nameplates on the
compressor. These carry important safety
information. If unreadable or missing, contact
Harbor Freight Tools for a replacement.
19. This product is not a toy. Keep it
out of reach of children.
20. Operate unit on level surface. Check oil level
daily and fill to marked level if needed.
21. People with pacemakers should consult their
physician(s) before use. Electromagnetic fields in
close proximity to heart pacemaker could cause
pacemaker interference or pacemaker failure.
22. WARNING: The brass components of this product
contain lead, a chemical known to the State
of California to cause cancer and birth defects
or other reproductive harm. (California Health
& Safety Code § 25249.5, et seq.)
23. WARNING: The cord of this product contains
lead and/or di (2-ethylhexyl) phthalate (DEHP),
chemicals known to the State of California
to cause cancer, and birth defects or other
reproductive harm. Wash hands after handling.
(California Health & Safety Code § 25249.5, et seq.)
24. The warnings, precautions, and instructions
discussed in this instruction manual cannot
cover all possible conditions and situations
that may occur. It must be understood by the
operator that common sense and caution are
factors which cannot be built into this product,
but must be supplied by the operator.
SAVE THESE INSTRUCTIONS.

Page 5For technical questions, please call 1-888-866-5797.Item 68740
Grounding
TO PREVENT ELECTRIC
SHOCK AND DEATH FROM
INCORRECT GROUNDING WIRE
CONNECTION:
Check with a qualified electrician if you are
in doubt as to whether the outlet is
properly grounded. Do not modify the
power cord plug provided with the
compressor. Never remove the grounding
prong from the plug. Do not use the
compressor if the power cord or plug is
damaged. If damaged, have it repaired by
a service facility before use. If the plug will
not fit the outlet, have a proper outlet
installed by a qualified electrician.
110-120 VAC Grounded Compressors:
Compressors with Three Prong Plugs
1. In the event of a malfunction or breakdown,
grounding provides a path of least resistance
for electric current to reduce the risk of electric
shock. This compressor is equipped with an
electric cord having an equipment-grounding
conductor and a grounding plug. The plug
must be plugged into a matching outlet that is
properly installed and grounded in accordance
with all local codes and ordinances.
2. Do not modify the plug provided – if it will
not fit the outlet, have the proper outlet
installed by a qualified electrician.
3. Improper connection of the equipment-grounding
conductor can result in a risk of electric shock.
The conductor with insulation having an outer
surface that is green with or without yellow
stripes is the equipment-grounding conductor. If
repair or replacement of the electric cord or plug
is necessary, do not connect the equipment-
grounding conductor to a live terminal.
4. Check with a qualified electrician or service
personnel if the grounding instructions are
not completely understood, or if in doubt as to
whether the compressor is properly grounded.
5. Use only 3-wire extension cords that have
3-prong grounding plugs and 3-pole receptacles
that accept the compressor’s plug.
6. Repair or replace damaged or
worn cord immediately.
120 VAC 3-Prong
Plug and Outlet
(for up to 120 VAC and up to 15.5 A)
Grounding
Pin
7. This compressor is intended for use on a
circuit that has an outlet that looks like the one
illustrated above in 120 VAC 3-Prong Plug
and Outlet. The compressor has a grounding
plug that looks like the plug illustrated above
in 120 VAC 3-Prong Plug and Outlet.
8. The outlet must be properly installed and grounded
in accordance with all codes and ordinances.
9. Do not use an adapter to connect this
compressor to a different outlet.
Symbology
Double Insulated
Canadian Standards Association
Underwriters Laboratories, Inc.
VAC Volts Alternating Current
AAmperes
n0 xxxx/min. No Load Revolutions
per Minute (RPM)

Page 6 For technical questions, please call 1-888-866-5797. Item 68740
Specifications
Electrical
Requirements 120 VAC / 60 Hz / 2 HP
Amperage 14A (Dedicated circuit
recommended)
Air Outlet Size 1/4″-18 NPT
Air Pressure Auto Shut-Off @ 125 PSI
Restart @ 95 PSI
Air Tank Capacity 8 Gallons
Air Flow Capacity 4.5 SCFM @ 90 PSI
5.5 SCFM @ 40 PSI
Oil Capacity 5.6 oz.
Oil Type
SAE 30W non-detergent
Air Compressor Oil
(Sold separately)
Decibel Level 88 dB @ 1m
263525
Instructions for putting into use
Read the ENTIRE IMPORTANT
SAFETY INFORMATION section at the
beginning of this manual including
all text under subheadings therein
before set up or use of this product.
TO PREVENT SERIOUS
INJURY FROM ACCIDENTAL
OPERATION:
Turn the Power Lever “OFF” and unplug
the Air Compressor from its electrical
outlet before assembling or making any
adjustments to the compressor.
Note: For additional information regarding the parts
listed in the following pages, refer to the Assembly
Diagram near the end of this manual.
Functions
OFF
ON
ON/OFF
Power
Lever
Tank Pressure
Gauge (53)
Output
Pressure
Gauge
(77)
Pressure
Regulator
(74)
Pressure
Switch
(54)
Figure 1
ON/OFF
Power Lever
(On Pressure
Switch (54))
Oil Sight
Glass
(33)
Pressure
Regulator
(74)
Safety
Valve (73)
Tank Pressure
Gauge (53)
Output
Pressure
Gauge
(77)
Coupler for
attaching
in-line shutoff
valve, air hose
and tool
Drain Valve (66)
(Top View)
Work Piece and Work
Area Set Up
1. Designate a work area that is clean and well-
lit. The work area must not allow access
by children or pets to prevent injury.
2. Locate the Compressor on a flat level surface to
ensure proper pump lubrication and to prevent
damage to the unit. Keep at least 12″ of space
around the unit to allow air circulation.
3. Route the power cord from the compressor
to the grounded wall outlet, along a safe path
without creating a tripping hazard or exposing
the power cord to possible damage.

Page 7For technical questions, please call 1-888-866-5797.Item 68740
Assembly/Mounting
1.
Figure 2
Bolt (64)
Bolt (64)
Hex
Nuts
(65)
Handle (72)
Bolts (71)
Bolts (71)
Tank (70)
Wheel (63)
Wheel (63)
Attach the Wheels (63) to the Tank (70),
using the Bolts (64) and Hex Nuts (65).
2. Slide the Handle (72) into the two slots on the top of
the Tank and secure in place with four Bolts (71).
3.
Figure 3
Air Filter
(6)
Cylinder Head (7)
Thread the Air Filter (6) onto the
side of the Cylinder Head (7).
4. Break in the new Air Compressor as follows:
a. Make sure the Power Lever is OFF and the
unit is unplugged. Insert a male coupler (sold
separately) into the female Quick Coupler (76)
and fully open all regulators and valves.
b. Plug in the Power Cord.
c. Turn the Power Lever ON.
d. Let the unit run for 30 minutes. Air will
expel freely through the Coupler.
e. Turn the Power Lever OFF.
f. Unplug the Power Cord and
remove the male coupler.
5. Connect a regulator valve, an in-line shut off valve
and a 1/4″ NPT air hose to the Quick Coupler (76)
(all sold separately). The air hose must be long
enough to reach the work area with enough extra
length to allow free movement while working.
Note: An in-line shutoff ball valve is an important
safety device because it controls the air
supply even if the air hose is ruptured.
The shutoff valve should be a ball valve
because it can be closed quickly.
6. Depending on the tool which you will be using
with this compressor, you may need to incorporate
additional components, such as an in-line oiler, a
filter, or a dryer (all sold separately). Consult your air
tool’s manual for needed accessories. See typical
Air Line Set up Charts on the following pages.
This compressor is a portable type compressor.

Page 8 For technical questions, please call 1-888-866-5797. Item 68740
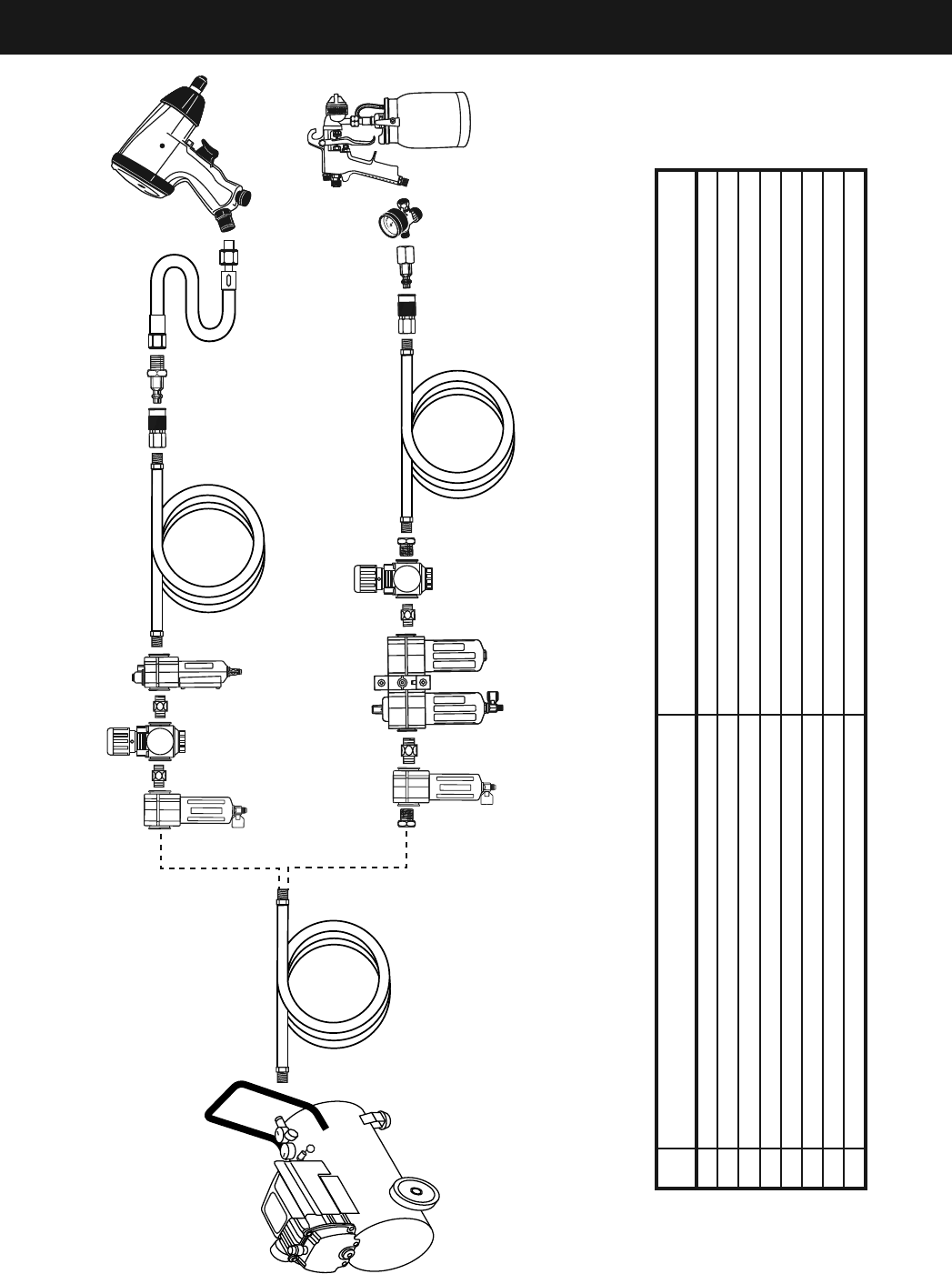
G
A
E
E H
F
B
Non-lubricated
Tools
Lubricated
Tools
A
B
C
C
DA
Description Function
A Air Hose Connects air to tool
B Filter Prevents dirt and condensation from damaging tool or work piece
C Regulator Adjusts air pressure to tool
D Lubricator (optional) For air tool lubrication
E Coupler and Plug Provides each connections
F Leader Hose (optional) Increases coupler life
G Air Cleaner / Dryer (optional) Prevents water vapor from damaging work piece
H Air Adjusting Valve (optional) For ne tuning airow at tool
Air Tool & Spray Gun Portable Setup

Page 9For technical questions, please call 1-888-866-5797.Item 68740
Description Function
A Vibration Pads For noise and vibration reduction
B Anchor Bolts Secures air compressor in place
C Ball Valve Isolates sections of system for maintenance
D Isolation Hose For vibration reduction
EMain Air Line - 3/4″ minimum recommended Distributes air to branch lines
F Ball Valve To drain moisture from system
GBranch Air Line -1/2″ minimum recommended Brings air to point of use
H Filter Prevents dirt and condensation from damaging tool or work piece
I Air Cleaner / Dryer (optional) Prevents water vapor from damaging work piece
J Regulator Adjusts air pressure to tool
K Lubricator For air tool lubrication
L Air Hose Connects air to tool
M Coupler and Plug Provides each connections
NAir Adjusting Valve For ne tuning airow at tool
O Leader Hose Increases coupler life
I
M
M N
O
C
C
Non-lubricated
Tools
Lubricated
Tools
L
H
H
J
JKL
F
G
E
Slope
F
F
B B
A A
CD
Air Tool & Spray Gun Stationary Setup

Page 10 For technical questions, please call 1-888-866-5797. Item 68740
Checking the Oil
1. Check the oil level before operation. Fill the
Pump Crankcase (39) with premium quality SAE
30-weight, non-detergent air compressor oil.
IMPORTANT: Running the Air Compressor with the
incorrect amount of oil will cause damage
to the equipment and void the warranty. To
prevent damage, do not use with overfilled or
low oil. Slowly fill to full line, wait 2 minutes
and fill back up to full line. Compressor
has small passages that will fill slowly.
2.
Oil Sight Glass (33)
Crankcase Cover (31)
Tank (70)
OVERFILL
LOW
FULL
OIL LEVEL
Figure 5
The oil level should be at the center of the “full”
level on the oil level sight glass, as shown in
Figure 5. Add oil as needed to maintain this
level. Do not let the oil level go below the
center dot (LOW as shown above) and do not
overfill the oil so that it is above the center dot
(OVERFILL as shown above) on the sight glass.
3. To add oil:
a. Remove the Oil Plug (37).
b. Using a funnel to avoid spills, pour enough
oil into the Pump Crankcase (39) to reach
the “full” level in the Oil Sight Glass (33).
c. Replace the Oil Plug.
Cold Weather Operation
Premium quality 30-weight, non-detergent air
compressor oil (sold separately) is recommended
for use with this compressor. Start compressor in
heated area if outdoor temperatures drop below
32° F. If this is not practical, drain out the old
pump oil and use SAE 10W Non-detergent Air
Compressor Oil in the pump crankcase instead
whenever the compressor’s temperature will fall
below 40°. Do not use multi-viscosity oil (such
as 10W-30), they leave carbon deposits on pump
components and lead to accelerated failure. Heavy
operation may require heavier viscosity oil.
4. If uncertain which oil to use for this compressor,
please call Harbor Freight Tools customer
service at 1-888-866-5797 for assistance.
5. Change the compressor oil after the first
hour of use to remove any debris.
WARNING! To prevent serious injury from
burns: Do not add or change the oil while
the compressor is in operation. Allow the
compressor to cool before replacing oil.

Page 11For technical questions, please call 1-888-866-5797.Item 68740
General Operating Instructions
Read the ENTIRE IMPORTANT
SAFETY INFORMATION section at the
beginning of this manual including
all text under subheadings therein
before set up or use of this product.
1. IMPORTANT: First, turn the Power Switch OFF.
This releases tank pressure and allows the motor
to start freely, without tripping the Circuit Breaker.
2. Close the Drain Valve (66).
3. Make sure all nuts and bolts are tight.
4. Check for oil leaks and check the oil
level (See Checking the Oil).
5. Close the in-line Shutoff Valve between
the compressor and the air hose.
6. Make sure the air tool’s throttle or
switch is in the off position.
7. Connect the air tool to the air hose.
8. Plug the Air Compressor Power Cord into
a grounded 120 V electrical outlet.
9. Open the in-line Shutoff Valve.
10. Turn the Power Lever ON.
11. Allow the Air Compressor to build
up pressure until it cycles off.
Note: At the beginning of the day’s first use of the Air
Compressor, check for air leaks by applying soapy
water to connections while the Air Compressor is
pumping and after pressure cut-out. Look for air
bubbles. If air bubbles are present at connections,
tighten connections. Do not use the air compressor
unless all connections are air tight, the extra air
leaking out will cause the compressor to operate
too often, increasing wear on the compressor.
Note: As long as the Power Lever is ON, the operation
of the Air Compressor is automatic, controlled
by an internal pressure switch. The Compressor
will turn on automatically when the air pressure
drops to 95 PSI as indicated on the Tank Pressure
Gauge (53), and will turn off automatically when
the air pressure reaches 125 PSI as indicated.
IMPORTANT: The internal pressure switch is
not user adjustable, do not make changes
to the air pressure settings of the internal
pressure switch. Any change to the automatic
pressure levels may cause excess pressure to
accumulate, causing a hazardous situation.
12. Adjust the Air Compressor’s Pressure Regulator
(74) so that the air output is enough to properly
power the tool, but the output will not exceed the
tool’s maximum air pressure at any time. Turn
the knob clockwise to increase the pressure
and counter-clockwise to decrease pressure.
Adjust the pressure gradually, while checking
the air output gauge to set the pressure.
13. Use the air tool as needed.
14. After the job is complete, turn the Power Lever OFF.
Note: Turn the switch off before
unplugging the compressor.
15. Unplug the Air Compressor.
16. Close the in-line Shutoff Valve.
17. Bleed air from the tool then disconnect the tool.
18. Turn the Drain Valve (66), at the bottom
of the Tank, two turns to release any built-
up moisture and the internal tank pressure.
Close the valve after moisture has drained
out. Do not remove the Drain Valve.
19. Clean, then store the Air Compressor indoors.
Emergency Depressurization
If it is necessary to quickly depressurize the Compressor,
turn the Power Lever OFF. Then, pull on the ring on the
Safety Valve (73) to quickly release stored air pressure.
Automatic Shut off System
1.
Reset Button
Figure 4
If the Compressor automatically shuts off:
a. Shut off all tools.
b. Wait until the Compressor cools
down (about 10 minutes);
c. If the unit does not start up again on it’s own,
press the Reset Button to start the compressor;
d. Resume operation.
2. Possible causes of repeated automatic
shut off of the compressor are:
a. Using an extension cord that is too long or narrow;
b. An air leak or open hose causing the compressor
to cycle too often and build up heat.
3. Correct any issues before further use to
avoid damage to the compressor.

Page 12 For technical questions, please call 1-888-866-5797. Item 68740
Maintenance and Servicing
Procedures not specifically explained
in this manual must be performed
only by a qualified technician.
TO PREVENT SERIOUS
INJURY FROM ACCIDENTAL
OPERATION:
Turn the Power Lever “OFF” and unplug
the Compressor from its electrical outlet
before performing any inspection,
maintenance, or cleaning procedures.
TO PREVENT SERIOUS INJURY FROM
TOOL FAILURE:
Do not use damaged equipment. If
abnormal noise or vibration occurs, have
the problem corrected before further use.
Cleaning, Maintenance,
and Lubrication
1. BEFORE EACH USE, inspect the general condition
of the Air Compressor. Check for loose hardware,
misalignment or binding of moving parts, cracked
or broken parts, damaged electrical wiring, and any
other condition that may affect its safe operation.
2. AFTER USE, wipe external surfaces
of the tool with a clean cloth.
3. WARNING! If the supply cord of this
power tool is damaged, it must be replaced
only by a qualified service technician.
Maintenance Schedule
Following are general guidelines for
maintenance checks of the Air Compressor.
Note: The environment in which the compressor is
used, and the frequency of use can affect how
often you will need to check the Air Compressor
components and perform maintenance procedures.
Daily:
a. Check oil level.
b. Check for oil leaks.
c. Make sure all nuts and bolts are tight.
d. Drain moisture from air tank.
e. Check for abnormal noise or vibration.
f. Check for air leaks.*
g. Wipe off any oil or dirt from the compressor.**
Weekly:
a. Inspect Air Filter (6).
b. Inspect Oil Plug (37).
Monthly:
Inspect Safety Valve (73).
Every 6 months or 100 Operation Hours:
Replace Pump oil.***
* To check for air leaks, apply soapy water to joints while
the Air Compressor is pressurized. Look for air bubbles.
** To clean the compressor surface, wipe with a damp
cloth, using a mild detergent or mild solvent.
*** Use Air Compressor Oil only (sold separately).

Page 13For technical questions, please call 1-888-866-5797.Item 68740
Oil Maintenance
Check oil periodically for clarity. Replace oil
if it appears milky or if debris is present, or
every 6 months, or 100 hours of runtime,
whichever comes first. In harsh environments
such as high heat or high humidity, you will
need to replace the oil more frequently.
WARNING: Risk of personal injury hazard. Allow Air
Compressor to cool before changing the oil.
To drain the oil from the Pump Crankcase (39):
a. Place a container under the Drain Plug (35).
b. Remove the Oil Plug (37) to allow
air flow into the Pump.
c. Remove the Drain Plug, allowing the
oil to drain into the container.
d. When the oil is completely drained from
the Pump, replace the Drain Plug.
e. Fill the Pump with new compressor oil to the
FULL level on the Oil Sight Glass (33).
f. Replace and tighten the Oil Plug.
g. Discard the old oil according to local,
state and federal regulations.
Draining Moisture from the Tank
The Drain Valve (66) is located under the Tank (70).
It must be accessed daily to release all trapped
air and moisture from the Tank. This will eliminate
condensation which can cause tank corrosion.
Note: Do not open the Drain Valve so that more
than four threads are showing.
To empty the air and condensation:
a. Make sure the Power Lever of
the compressor is off.
b. Place a collection pan under the Drain Valve.
c. Unthread the Drain Valve two or three turns ONLY.
d. When all the pressure is released,
close the Drain Valve.
Air Filter Maintenance
Check the Air Filter weekly to see if it
needs replacement. If working in dirty
environments, you may need to replace the
filter more often. To replace the Air Filter:
a. Remove the Cover (1).
b. Remove the Air Filter (6).
c. Replace with a new Air Filter.
d. Replace the Cover.

Page 14 For technical questions, please call 1-888-866-5797. Item 68740
Troubleshooting
Problem Possible Causes Likely Solutions
Compressor does
not start or restart
1. Incorrect power supply.
2. No power at outlet.
3. Power cord not plugged
in properly.
4. Thermal overload
switch tripped.
5. Building power supply circuit
tripped or blown fuse.
6. Tanks are pressurized.
7. Cord wire size is too small or
cord is too long to properly
power compressor.
8. Compressor needs service.
1. Check that circuit matches compressor requirements.
2. Reset circuit breaker, or have outlet
serviced by a qualied technician.
3. Check that cord is plugged in securely.
4. Turn off Tool. Turn off Compressor and wait for it to
cool down. Press reset button. Resume operation.
5. Reset circuit or replace fuse. Check for low voltage
conditions. It may be necessary to disconnect
other electrical appliances from the circuit or
move the compressor to its own circuit.
6. Fully bleed tanks of air.
7. Use larger diameter or shorter extension cord or
eliminate extension cord. See Recommended Wire
Gauge for Extension Cords in Safety section.
8. Have unit inspected by a qualied technician.
Compressor builds
pressure too slowly
1. Incorrect power supply.
2. Crankcase overlled with
oil or oil too thick.
3. Working environment too cold.
4. Safety valve needs service.
5. Loose ttings.
1. Check that circuit matches compressor requirements.
2. Drain oil and rell to proper level
with recommended oil.
3. Move unit to a warmer location. Check that
recommended oil is in crankcase.
4. Listen for air leaking from valve. If leaking
replace with identical valve with same rating.
5. Reduce air pressure, then check all ttings
with a soap solution for air leaks and tighten
as needed. Do not overtighten.
Compressor not
building enough
air pressure
1. Filters need cleaning/replacing.
2. Crankcase oil too thick.
3. Check Valve needs service.
4. Compressor not large enough
for job.
5. Loose ttings.
6. Hose or hose connections
not adequate.
7. High altitude reducing
air output.
1. Check inlet and outlet lters. Clean
and/or replace as needed.
2. Drain oil and rell to proper level
with recommended oil.
3. Clean or replace, as needed.
4. Check if accessory SCFM is met by Compressor.
If Compressor cannot supply enough air ow
(SCFM), you need a larger Compressor.
5. Reduce air pressure, then check all ttings
with a soap solution for air leaks and tighten
as needed. Do not overtighten.
6. Replace with larger hose and/or hose connections.
7. You may need a larger compressor if you
are situated in a high altitude location.
High Oil
Consumption
1. Crankcase oil too thin.
2. Unit not on level surface.
3. Crankcase vents clogged.
1. Drain oil and rell to proper level
with recommended oil.
2. Reposition unit on a level surface.
3. Clean Crankcase vents.
Follow all safety precautions whenever diagnosing or servicing
the compressor. Disconnect power supply before service.

Page 15For technical questions, please call 1-888-866-5797.Item 68740
Problem Possible Causes Likely Solutions
Overheating 1. Filters need cleaning/replacing.
2. Crankcase oil too thin
or incorrect type.
3. Crankcase oil level too low.
4. Unusually dusty environment.
5. Cord is too small of a gauge or
too long to handle compressor.
6. Unit not on level surface.
1. Check inlet and outlet lters. Clean
and/or replace as needed.
2. Drain oil and rell to proper level
with recommended oil.
3. Add oil to proper level, check for leaks.
4. Clean and/or replace lters more often or
move unit to cleaner environment.
5. Increase cord size or use shorter length extension
cord, or eliminate extension cord. See Recommended
Wire Gauge for Extension Cords in Safety section.
6. Reposition unit on a level surface.
Compressor
starts and stops
excessively
1. Compressor not large enough
for job.
2. Loose ttings.
1. Check if accessory SCFM is met by Compressor.
If Compressor doesn’t reach accessory
SCFM, you need a larger Compressor.
2. Reduce air pressure, then check all ttings
with a soap solution for air leaks and tighten
as needed. Do not overtighten.
Excessive noise 1. Crankcase overlled
with oil or oil is incorrect
thickness or type.
2. Crankcase oil level too low.
3. Loose or damaged belt guard.
4. Loose ttings.
5. Unit not on level surface.
1. Drain oil and rell to proper level with recommended
oil.
2. Add oil to proper level, check for leaks.
3. Replace belt guard.
4. Reduce air pressure, then check all ttings
with a soap solution for air leaks and tighten
as needed. Do not overtighten.
5. Reposition unit on a level surface.
Moisture in
discharge air
Too much moisture in air. Install inline air lter/dryer, and/or relocate
to less humid environment.
Oil in discharge air 1. Crankcase oil too thin or
crankcase overlled with oil.
2. Crankcase vents clogged.
1. Drain oil and rell to proper level
with recommended oil.
2. Clean Crankcase vents.
Safety Valve “pops” Safety valve needs service. Pull on test ring of safety valve. If it still pops, replace.
Air leaks from
pump or ttings
Loose ttings. Reduce air pressure, then check all ttings
with a soap solution for air leaks and
tighten as needed. Do not overtighten.
Air leaks from tank Defective or rusted tank. Have tank replaced by a qualied technician.
Follow all safety precautions whenever diagnosing or servicing
the compressor. Disconnect power supply before service.

Page 16 For technical questions, please call 1-888-866-5797. Item 68740
Part Description Qty
1 Cover 1
2 Elbow 1
3 Start Valve 1
4 Spring Washer M6 8
5 Screw M6 x 50 4
6 Air Filter 1
7 Cylinder Head 1
8 Head Gasket 1
9 Valve Plate 2
10 Metal Gasket 1
11 Valve 2
12 Valve Plate Gasket 1
13 Cylinder 1
14 Bolt M8 x 30 2
15 Spring Washer M8 3
16 Cylinder Gasket 1
17 Pin 1
18 Compression Ring 2
19 Oil Ring 1
20 Wrist Pin Retainer 2
21 Piston 1
22 Connecting Rod 1
23 Screw M6 x 20 5
24 Hex Nut M6 3
25 Crank Shaft 1
26 O-Ring 2
26a Zip Tie 1
27 Capacitor 1
28 Screw M8 x 20 1
29 Capacitor Bracket 1
30 Hex Nut M8 1
31 Crank Case Cover 1
32 O-Ring 1
33 Oil Sight Glass 1
34 O-Ring 1
35 Drain Plug M5 x 10 1
36 O-Ring 1
37 Oil Plug 1
38 Crankcase Cover Gasket 1
39 Pump Crankcase 1
40 Washer M5 10
Part Description Qty
41 Screw M5 x 16 10
42 Manual Overload Protector 1
43 Oil Seal 1
44 Bearing 1
45 Rotator 1
46 Bearing 1
47 Stator 1
48 Automatic Thermal Protector 1
49 End Cover 1
50 Fan 1
51 Circlip 1
51a Plain Washer 5 4
51b Spring Washer 5 4
51c Bolt 4
52 Connector 1
53 Tank Pressure Gauge 1
54 Pressure Switch 1
55 Unloader Tube 1
56 Nut 1
57 Ferrule 1
58 Check Valve 1
59 Ferrule 2
60 Nut 2
61 Exhaust Tube 1
62 Cooling Fin 1
63 Wheel 2
64 Bolt M12 x 55 2
65 Hex Nut M12 2
66 Drain Valve 1
67 Foot Pad 2
68 Washer 2
69 Screw M6 x 25 2
70 Tank 1
71 Bolt M6 x 10 4
72 Handle 1
73 Safety Valve 1
74 Pressure Regulator 1
75 Motor Cord 1
76 Quick Coupler 1
77 Output Pressure Gauge 1
78 Plug 1
Parts List

Page 17For technical questions, please call 1-888-866-5797.Item 68740
ASSEMBLY DIAGRAM

Page 18 For technical questions, please call 1-888-866-5797. Item 68740
PLEASE READ THE FOLLOWING CAREFULLY
THE MANUFACTURER AND/OR DISTRIBUTOR HAS PROVIDED THE PARTS LIST AND ASSEMBLY DIAGRAM IN
THIS MANUAL AS A REFERENCE TOOL ONLY. NEITHER THE MANUFACTURER OR DISTRIBUTOR MAKES ANY
REPRESENTATION OR WARRANTY OF ANY KIND TO THE BUYER THAT HE OR SHE IS QUALIFIED TO MAKE ANY
REPAIRS TO THE PRODUCT, OR THAT HE OR SHE IS QUALIFIED TO REPLACE ANY PARTS OF THE PRODUCT.
IN FACT, THE MANUFACTURER AND/OR DISTRIBUTOR EXPRESSLY STATES THAT ALL REPAIRS AND PARTS
REPLACEMENTS SHOULD BE UNDERTAKEN BY CERTIFIED AND LICENSED TECHNICIANS, AND NOT BY THE
BUYER. THE BUYER ASSUMES ALL RISK AND LIABILITY ARISING OUT OF HIS OR HER REPAIRS TO THE
ORIGINAL PRODUCT OR REPLACEMENT PARTS THERETO, OR ARISING OUT OF HIS OR HER INSTALLATION
OF REPLACEMENT PARTS THERETO.
Record Product’s Serial Number Here:
Note: If product has no serial number, record month and year of purchase instead.
Note: Some parts are listed and shown for illustration purposes only, and
are not available individually as replacement parts.

Page 19For technical questions, please call 1-888-866-5797.Item 68740
Limited 90 Day Warranty
Harbor Freight Tools Co. makes every effort to assure that its products meet high quality and durability standards,
and warrants to the original purchaser that this product is free from defects in materials and workmanship for the
period of 90 days from the date of purchase. This warranty does not apply to damage due directly or indirectly,
to misuse, abuse, negligence or accidents, repairs or alterations outside our facilities, criminal activity, improper
installation, normal wear and tear, or to lack of maintenance. We shall in no event be liable for death, injuries
to persons or property, or for incidental, contingent, special or consequential damages arising from the use of
our product. Some states do not allow the exclusion or limitation of incidental or consequential damages, so the
above limitation of exclusion may not apply to you. THIS WARRANTY IS EXPRESSLY IN LIEU OF ALL OTHER
WARRANTIES, EXPRESS OR IMPLIED, INCLUDING THE WARRANTIES OF MERCHANTABILITY AND FITNESS.
To take advantage of this warranty, the product or part must be returned to us with transportation charges
prepaid. Proof of purchase date and an explanation of the complaint must accompany the merchandise.
If our inspection verifies the defect, we will either repair or replace the product at our election or we may
elect to refund the purchase price if we cannot readily and quickly provide you with a replacement. We will
return repaired products at our expense, but if we determine there is no defect, or that the defect resulted
from causes not within the scope of our warranty, then you must bear the cost of returning the product.
This warranty gives you specific legal rights and you may also have other rights which vary from state to state.

3491 Mission Oaks Blvd. • PO Box 6009 • Camarillo, CA 93011 • 1-888-866-5797