91alb00_e 91BOS_E 91BOS E
User Manual: 91BOS_E
Open the PDF directly: View PDF
.
Page Count: 88
- Notes for the user
- Quality and support
- Safety regulations
- Norms
- Information for driverselection
- A LAUER driver
- A1 First commisioning
- A1.1 Description of the handling software
- A1.2 Scan time extension
- A1.3 Parameterization of the PCSKOMM PB
- A1.4 Set-up of the cross-reference DB
- A1.5 Operation the PLC with EPROM/EEPROM
- A2 Communication
- A2.1 Description PCS 830.3/.1 handling
- A2.2 Description of the handling software
- A2.3 Parameters of the PCSKOMM PB'S (FB'S)
- A2.4 Set-up of the cross-reference data block
- A2.5 Operation the PLC with EPROM/EEPROM
- A2.6 Implementation of the handling PB/FB
- A2.6 Program integration
- A3 Program listing
- A4 Technical apendix
- A4.1 PCS 830.3
- A4.2 PCS 830.1
- A4.3 Interfaces TTY1..3
- A4.4 Data transfer PCS 830.x I/O BUS
- B Buep 19-Expander driver
- B1 First commissioning
- B1.2 Description of the handling software
- B1.3 Implementation of the software
- B1.4 Settings of the PLC
- B2 Communication
- C Buep 19e-Expander driver
- C1 First commissioning
- C1.2 Description of the handling software
- C1.3 Implementation of the software
- C1.4 Board settings
- C2 Communication
- D Buep 19e-Direct driver
- D1 First commissioning
- D1.1 Asynchronous communication
- D1.2 Synchronous communication
- D1.3 Description of the handling software
- D1.4 Implementation of the software
- D1.5 Boarding settings
- D2 Communication
- D3 Program listing
- Index
Reg 10258/0100
CiS-Nr.: 360.110.0100
Version 2/02.03
© Systeme Lauer GmbH & Co KG
PCS 91.BOS
english
One does not refer in the manual explicitly to the devices of the PCS plus/win series, the
description applies to all devices. With differentiations between the equipment series the
following allocations apply:
PCS topline = micro/mini: PCS 009, PCS 090, PCS 095, PCS 095.1, PCS 095.2
midi: PCS 900, PCS 950, PCS 950c, PCS 950q, PCS 950qc,
maxi: PCS 9000/9100
PCS plus = micro/mini: PCS 009 plus, PCS 090 plus, PCS 095 plus
midi: PCS 950 plus, PCS 950c plus, PCS 950q plus,
PCS 950qc plus
PCS win = micro/mini: PCS 009 win, PCS 090 win, PCS 095 win
midi: PCS 950 win, PCS 950c win, PCS 950q win,
PCS 950qc win

© Systeme Lauer GmbH & Co KG • Kelterstr.59 • 72669 Unterensingen • Tel. (07022) 96 60-0 • Fax (07022) 96 60-103
0-2
Systeme Lauer GmbH & CoKG
Postfach 1465
D-72604 Nürtingen
Operator reference manual: PCS 91.BOS
Version: 04. Februar 2003
Person responsible: Zoch
Operating manuals, reference manuals, and software are protected by
copyright. All rights remain reserved. The copying, duplication,
translation, conversion in the whole or into parts are not permitted. An
exception applies to making a copy of the own use.
• We reserve the right make changes to the reference manual without
prior notice.
• We can not guarantee the accuracy of the programs and data stored
on the diskette and the fault-free state of this information.
• Since diskette represent manipulatable data media, we can only
guarantee the physical completeness. The responsibility is limited to
a replacement.
• At any time, we welcome suggestions for improvements and remarks
on errors.
• The agreement also applies to the special appendices to this reference
manual.
Microsoft, MS, MS DOS, Windows, Windows 95, Windows NT and the
Windows logo are either registered trademark or trademarks of the Micro-
soft Corporation in the USA and/or other countries.
SIMATIC and STEP are registered trademarks of the Siemens AG.
The remaining designations in this document can be brand names who`s
use by parties for their purposes can violate the rights of the owners.

© Systeme Lauer GmbH & Co KG • Kelterstr.59 • 72669 Unterensingen • Tel. (07022) 96 60-0 • Fax (07022) 96 60-103 0-3
Notes for the user
Please read the manual before beginning and keep the manual for later
use.
Target group The manual has been conceived and written for users who are experienced
in the use of PCs and automation technology.
Typographical conventions [KEY] Keys that are to be pressed by the user are given
in square brackets,e.g [CTRL] or [DEL]
Courier On-screen messages are given in the Courier font,
e.g. C:\>
Courier bold Keyboard input to be made by the user are given
in Courier bold, e.g. C:\>DIR
Italics
Names of buttons to be pressed, menus or other
on-screen elements and product names are given
in italics.
Pictograms The manual uses the following pictograms to highlight certain text
passages:
Danger!
Possibly dangerous situation. Injury to persons can be the result.
Attention!
Possibly dangerous situation. Property damages can be the result.
Tips and supplementary notes

© Systeme Lauer GmbH & Co KG • Kelterstr.59 • 72669 Unterensingen • Tel. (07022) 96 60-0 • Fax (07022) 96 60-103
0-4
Inhaltsverzeichnis
Notes for the user 0-3
Quality and support 0-5
Safety regulations 0-6
Norms 0-7
Information for driverselection 0-8
A LAUER driver A-1
A1 First commisioning......................................................... A-1
A1.1 Description of the handling software ........................ A-3
A1.2 Scan time extension ............................................... A-3
A1.3 Parameterization of the PCSKOMM PB .................. A-4
A1.4 Set-up of the cross-reference DB ............................ A-5
A1.5 Operation the PLC with EPROM/EEPROM ............. A-6
A2 Communication ............................................................... A-8
A2.1 Description PCS 830.3/.1 handling ........................ A-12
A2.2 Description of the handling software ...................... A-16
A2.3 Parameters of the PCSKOMM PB’S (FB’S) .......... A-18
A2.4 Set-up of the cross-reference data block ............... A-20
A2.5 Operation the PLC with EPROM/EEPROM ........... A-22
A2.6 Implementation of the handling PB/FB .................. A-22
A2.6 Program integration ............................................... A-23
A3 Program listing ............................................................. A-24
A4 Technical apendix ......................................................... A-32
A4.1 PCS 830.3 ............................................................ A-32
A4.2 PCS 830.1 ............................................................ A-33
A4.3 Interfaces TTY1..3 ................................................ A-34
A4.4 Data transfer PCS 830.x I/O BUS ......................... A-36
B Buep 19-Expander driver B-1
B1 First commissioning ....................................................... B-1
B1.2 Description of the handling software ........................ B-6
B1.3 Implementation of the software ............................... B-7
B1.4 Settings of the PLC................................................. B-8
B2 Communication ............................................................... B-9
C Buep 19e-Expander driver C-1
C1 First commissioning ....................................................... C-1
C1.2 Description of the handling software ........................ C-6
C1.3 Implementation of the software ............................... C-7
C1.4 Board settings......................................................... C-8
C2 Communication ............................................................... C-9
D Buep 19e-Direct driver D-1
D1 First commissioning ....................................................... D-1
D1.1 Asynchronous communication ................................ D-6
D1.2 Synchronous communication .................................. D-7
D1.3 Description of the handling software ........................ D-8
D1.4 Implementation of the software ............................... D-9
D1.5 Boarding settings .................................................. D-10
D2 Communication ............................................................. D-12
D3 Program listing ............................................................. D-14
Index i-1

© Systeme Lauer GmbH & Co KG • Kelterstr.59 • 72669 Unterensingen • Tel. (07022) 96 60-0 • Fax (07022) 96 60-103 0-5
Quality and support
In our company, quality comes first. From the electronics component up
to the finished device, the quality assurance test competently and
comprehensively.
National an internation test standards (ISO, TÜV, Germanischer Lloyd)
are the basis.
Within 48 hours, every device passes a 100% check and continuous test
under worst case conditions at changing temperatures (0...50°C) and
test voltages.
A guarantee for maximum quality.
Our products not only feature a maximum economic efficiency and
reliability but also a comprehensive complete service.
You not only receive demo devices but we rather make specialists available
who support you in person with your first application.
Qualified user consultation by competent sales engineers is obvious for
us.
Our support is for you for the side with advice and deed every day.
We set up training programs and technical training for you in our mo-
dern training center or alternatively also in your house.
Request the curent training catalog.
From the consultation up to the user support, from the hotline up to the
service, from the reference manual up to the training an all covering
and individual service for the entire product line is waiting for you.
Whenever you need us, we are there for you:
dynamically, creatively and enormously efficiently. With the entire
experience of a world-wide successful enterprise.
Telephone 07022/9660-132, -231, -230
eMail support@systeme-lauer .de
Web site www.lauer-systeme.net
Systeme Lauer Active Area
(Download of Software, driver, manuals, Forum...)

© Systeme Lauer GmbH & Co KG • Kelterstr.59 • 72669 Unterensingen • Tel. (07022) 96 60-0 • Fax (07022) 96 60-103
0-6
Safety regulations
This reference manual contains the most important remarks in order to
safely operate the device.
• This operator‚s guide, particulary the safety remarks are to be noted
byall persons working with the device.
• Furtherrmore, the rules and regulations for the accident prevention
applying to the application location are to be observed.
• Use as directed. The device is deigned for the application in the
industrial area.
• The device is manufactured to the state of the art and the official
safeguarding regulations. Nevertheless, due to the application, dangers
or impairments can result to the machine or to material assets.
• The device meets the requirement of the EMC guidelines and
harmonized European standards. Any hardware-related modification
of the system can influence the EMC behavior.
• The device may not be used without special protective measures in
the hazardous area and in plants requiring a special monitoring.
• Do not heat up the buffer batteries. Danger of explosion. Serious
burning can be the result.
• The installation and operation may only be performed by trained
personnel.
• The operating voltage of the device may only be in the specified
ranges.
• You find information on this on the type plate and in the specifications
of this reference manual.

© Systeme Lauer GmbH & Co KG • Kelterstr.59 • 72669 Unterensingen • Tel. (07022) 96 60-0 • Fax (07022) 96 60-103 0-7
Norms
The device is constructed using up-to-date technologies and fulfils the
requirements of the following guidelines and norms:
• Compliant with the EMC Directive 89/336/EEC and the German law
on electro-magnetic compatibility
• Interference compliant with the generic requirements norm EN 50081-
2 and product norm EN 55022:
• Measurement of the conducted interference voltage as per EN 55022
• Measurement of the radiated radio interference field power as per
EN 55022 class A
• Interference immunity in compliance with generic requirements norm
EN 50082-2 and product norm EN 61000-6-2:
- Electro-static discharge (ESD) as per with EN 61000-4-2
- High-frequency electromagnetic fields as per EN 61000-4-3
and ENV 50204
- Fast transient interference (burst) as per EN 61000-4-4
- Surge voltages as per EN 61000-4-5
- High-frequency conducted fields as per EN 61000-4-6
- Voltage dips and short-term interruptions as per EN 61000-4-11
The assembly and connection instructions contained in this documen-
tation must be followed.
Conformity of this equipment is confirmed by the CE logo.
The EC declaration of conformity can be requested from:
Systeme Lauer GmbH & Co KG
P-O-Box 1465
D-72604 Nürtingen

© Systeme Lauer GmbH & Co KG • Kelterstr.59 • 72669 Unterensingen • Tel. (07022) 96 60-0 • Fax (07022) 96 60-103
0-8
Information for driverselection
A Lauer driver Communication with PCS micro/mini, plus/midi und maxi. Requires PLC-
Programme.
Operating panel: PCS 009/090/095/900/920/950 and 9000
PLC-system: CL300/CL400/CL500
Interface: PCS 830.1/830.3
Protocol: Lauer Protocol
Adaptercable: PCS 736
Kind of driver: Expander driver
B Buep 19-Expander driver Communication with PCS micro/mini, plus. Requires PLC-Programme.
Operating panel: PCS 009/090/095
PLC-system: CL300
Interface: PG-connection
Protocol: Buep 19
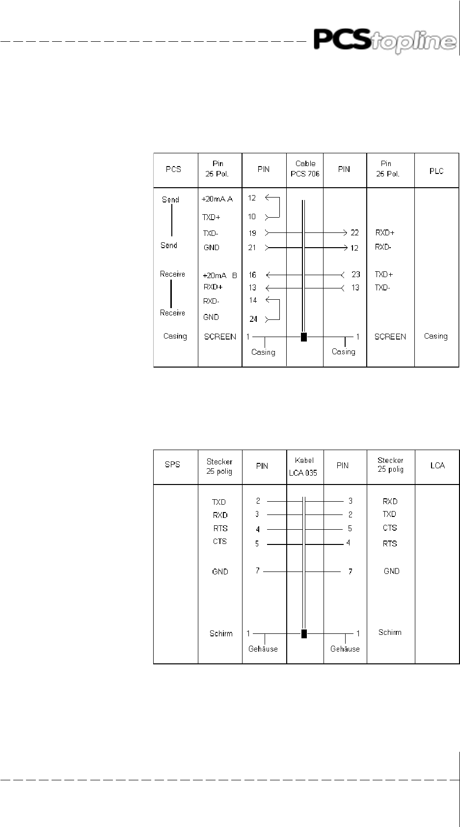
Adaptercable: PCS 706
Kind of driver: Expander driver
C Buep 19e-Expander driver Communication with PCS micro/mini, plus/midi. Requires PLC-Program-
me.
Operating panel: PCS 009/090/095/900/920/950/950c
PLC-system: CL200/CL400/CL500
Interface: PG-connection
additional CL500: SK500
Protocol: BUEP 19e
Adaptercable: PCS 706
Kind of driver: Expander driver
D Buep 19e-Direct driver Communication with PCS midi. Requires PLC-Programme.
Operating panel: PCS 900/920/950/950c
PLC-system: CL200/CL400/CL500
Interface: PG-connection
additional CL500: SK500
Protocol: BUEP 19e
Adaptercable: PCS 706
Kind of driver: Direct driver

© Systeme Lauer GmbH & Co KG • Kelterstr.59 • 72669 Unterensingen • Tel. (07022) 96 60-0 • Fax (07022) 96 60-103 A-1
A LAUER driverA LAUER driver
A1 First commisioning
Adressing of the board The PCS 830 board is slot-independent. It uses 4EZ/AZ addresses (4
additional input bytes and 4 additional output bytes) and can be freely
addressed in steps of 4 via the DIL-switch which is located on the board.
Please take care that the set address does not intersect with already
used addresses.
Selection of the address Among others, the areas EZ0 to EZ63 and AZ0 to AZ63 are reserved for
analog I/O boards. The PCS 830 board is also addressed in this area.
The base address can be set to 0 and to all addresses divisible by 4.
Input and output addresses (EZ / AZ) must lie in parallel, i.e. they can not
be differently set!
Attention!
Take note, that after re-addressing of the board you must adjust the first
three words of the cross-reference data! (Refer to section 1.5 and 1.12)
Example EZ/AZ 4 (EZ4-EZ7, AZ4-AZ7)
6-segment DIL-switch (below the male multipoint connector)
OFF log 0
ON log 1
DIL no.: 654321
A7 A6 A5 A4 A3 A2
Valence: 128 64 32 16 8 4
Baud rate settings The baud rate for communication between the PCS and the PCS 830 is
set via the 8-segment DIL-switch which is located at the upper board
edge. Please note, that this switch is only read after a restart and/or after
a communication reset.

© Systeme Lauer GmbH & Co KG • Kelterstr.59 • 72669 Unterensingen • Tel. (07022) 96 60-0 • Fax (07022) 96 60-103
A-2
A LAUER driver
Example: Baud rate setting for 19200 baud.
8-segment DIL-switch (upper board edge):
OFF log 0
ON log 1
DIL Nr.: 8 7 6 5 4 3 2 1
DIL87654321BAUD
OFF OFF OFF OFF OFF OFF OFF OFF 1200
OFF OFF OFF OFF OFF OFF OFF ON 4800
OFF OFF OFF OFF OFF OFF ON OFF 9600
OFF OFF OFF OFF OFF OFF ON ON 19200
Status display The PCS 830 features a 7-segment STATUS display which informs about
the state of the board! The following display states are currently possible:
„0“: programmable controller is set to „STOP“, i.e. the PCS 830 waits
for the „RUN“ signal.
„1“: The PCS 830 waits for the complete reception of the cross-
reference list.
„7“: TIMEOUT fault, i.e. the communication between PCS 830 and PCS
was either interrupted (PCS shows „TIMEOUT“ -> cable break) or
the PCS has twice received (one after another) wrong data (PCS
shows „CONNECT“). In case of the „CONNECT“ fault, noise
suppression measures are to be explored and/or to be improved if
necessary.
„8“: CONNECT fault, i.e. the PCS 830 has twice received (one after
another) wrong data (PCS shows „TIMEOUT“). In this case, noise
suppression measures are to be explored and/or to be improved if
necessary.
„9“: WATCHDOG fault, i.e. the PCS 830 board is either located in an
very noisy environment or the PCS 830 is defective (communi-
cations cannot be started anymore).
„-“: The PCS 830 has either sent or received a repeat request. With a
reparable fault, the „-“ extinguishes subsequently again. If the fault
was not reparable, a „7“( TIMEOUT) or „8“( CONNECT) is
subsequently displayed.
„.“: This point lights as so soon as the PCS 830 has received a tested
package and is thus ready for the data interchange with the
programmable controller. With an increasing data throughput this
point will be dimmed. This can be influenced by specifying the ZV,
S,... parameter for the serial programming of the PCS.

© Systeme Lauer GmbH & Co KG • Kelterstr.59 • 72669 Unterensingen • Tel. (07022) 96 60-0 • Fax (07022) 96 60-103 A-3
A LAUER driver
A1.1 Description of the handling software
The enclosed -PCSKOMM PB manages the data transfer between the
transfer area (a data block by default) and a PCS 830.
The README.DOC file contains current notes concerning the use of the
various projects.
1. The PB uses the MBs 246 to 255 as temporary flags. Writing to
these MWs does not influence the PB as long as they are not
simultaneously used by interrupt programs. The contents must be
written newly on entering the PB and saved on exiting if these MWs
are required by other PBs. In no case, interrupt programs are allowed
to write to these MWs!
2. The transfer area may not be specified within the data block when
using EPROM modules. In this case, the cross-reference DB must
be adjusted in such a way that the system area and the used varia-
bles are located in the RAM area of the CPU (for instance in the data
buffer).
The implementation is limited (besides the cyclical call of the-
PCSKOMM PB) to reading of and writing to the DWs in the transfer
DB (only with default assignment!). The presence of the (selectable)
transfer DB is not examined. It must be present with the required net
length (dynamic) in the programmable controller. Otherwise the
programmable controller shows a fault (possibly only at the first call of
a present value). A general fault bit (P3) enables the communication
status to be evaluated by the ladder diagram. The data transfer has
been stopped if this fault bit is set to 1. It can be restarted by setting
the (P2) flag. Furthermore, another restart flag is required. This is
set after the first successful processing of the handling PB. The restart
flag must be reset in OB 7 and 8.
A1.2 Scan time extension
Each task requires a header with one additional word. Since the length of
task 5 depends on the number of the external variables in the display (0
to 24 words including headers if the data sources are not consecutive), a
maximum of 40 words per cycle will be transferred with the PB. The transfer
of the clock happens only every second and costs 3 additional words. All
other tasks can be neglected for the average calculation since they only
appear isolated.
On average, the processing time of the -PCSKOMM PB totals approxi-
mately 10 milliseconds (CL 300).
Refer to section 2.3.1. for the limitation of the package length. The lengths
of the individual tasks can be taken from the section 5.3.
The response is optimal if the scan time is selected sufficiently large with
the PCSKOMM PB finding a PCS 830 board ready for data interchange
in each cycle. The test and the perhaps required repetition of the packages
is organized in the PCS 830.
The design of the PCSKOMM PB contains provisions for aborting the
communi-cation on every occurring fault and signalling it to the outside.
After this, communication must be explecitely restarted using an input
(Parameters P2). Of course, this does not affect repetitions caused by
reparable faults as these are treated in the PCS 830 internally.

© Systeme Lauer GmbH & Co KG • Kelterstr.59 • 72669 Unterensingen • Tel. (07022) 96 60-0 • Fax (07022) 96 60-103
A-4
A LAUER driver
Customer-specific presettings are to be inserted at 2 positions:
PB INIT customer specific presetting for restart
PB COFF customer specific assignment for an error case
Attention!
In all projects on the floppy disk, the INIT and COFF PBs are to be adjusted
specifically for the connected operating console. The contained HLT
commands are to be deleted.
A1.3 Parameterization of the PCSKOMM PB
P0: Cross-reference data block (here -QUERWL)
The cross-reference addresses are listed in this block. At the restart,
these addresses will be transferred once into the PCS 830. It is
ensured, that the download of the cross-reference list is made in the
first cycle of the programmable controller. In the CL 300 this first
cycle is extended due to the download by approx. 100 ms. During
the following cycles, the -PCSKOMM PB receives the corresponding
cross-reference address directly from the PCS 830 (time saving).
P1: Communication data block (here -PCSKOMM)
This block is active during processing of the handling block. Cross-
reference addresses specified in the cross-reference data block
addressing a data word relate to the here indicated data block.
P2: Switch for resetting following a fault (bit)
On a communication fault, communications can be restarted using
this bit. The faults indicated in DW3 (default assignment) are then
reset automatically! Please note that no edge evaluation is made.
I.e. with the P2 bit set, communication is automatically restarted after
a fault has appeared! This mechanism can also be realized by
connecting the P3 fault output directly to the P2 reset input.
P3: General error message (bit)
The P3 general fault bit is set for any error in the connection between
the programmable controller and the PCS 100. DW3 (default
assignment) can be evaluated for the exact cause of error. This bit is
reset as soon as the communication is running without a fault.
P4: Flag for the first processing of the handling block (bit)
This flag should be reset before the first call (restart) of the handling
block. It is automatically set during the first execution of the PB. Among
other things, it is used for presetting during a restart.
P5: Customer-specific presetting for communication start
The -INIT PB is selected at communication start. PCS-specific preset-
tings are performed by this PB. The HLT command must be removed.
P6: Customer-specific presetting for communication loss
The -COFF PB is selected at communication loss. PCS-specific
presettings are performed by this PB. The HLT command must be
removed.

© Systeme Lauer GmbH & Co KG • Kelterstr.59 • 72669 Unterensingen • Tel. (07022) 96 60-0 • Fax (07022) 96 60-103 A-5
A LAUER driver
A1.4 Set-up of the cross-reference DB
The cross-reference data block contains 256 decimal word addresses.
During a restart, these addresses are stored by the download procedure
on the PCS 830 board. Values for these addresses must be taken from
the CL300 software manual (operation list). The address pointers are
required for indirect addressing. The PCS 830 board addresses must be
specified in the first 3 words (0-2). In the following words (4-255) the
source and/or destination addresses are specified for each word.
Therefore, it is possible to assign the system area command word (DW
14) directly to a flag word without copying the flag word to the data word
and conversely using a transfer command.
The following table shows a section for detailing the structure of the cross-
reference data block.
DB0 name: QUVERWL comment: cross-reference data block RAM/EPROM: R
No. Symbol Type Vz Datafield F
D0 RDADR Word N 3590;corresponds to EZ6 D
D2 WRADR Word N 4102;corresponds to AZ6 D
D4 STADR Word N 3589;corresponds to EZ5 D
D6 ERADR Word N 2054;corresponds to D3W D
D8 W4 Word N 2056;corresponds to D4W D
D10 W5 Word N 2058;corresponds to D5W D
D12 W6 Word N 2060;corresponds to D6W D
D14 W7 Word N 2062;corresponds to D7W D
D16 W8 Word N 2064;corresponds to D7W D
D18 W9 Word N 2066;corresponds to D7W D
D20 W10 Word N 2068;corresponds to D7W D
D22 W11 Word N 2070;corresponds to D7W D
D24 W12 Word N 2072;corresponds to D7W D
D26 W13 Word N 2074;corresponds to D7W D
D28 W14 Word N 2076;corresponds to D7W D
D30 W15 Word N 2078;corresponds to D7W D
D32 W16 Word N 2080;corresponds to D7W D
D34 W17 Word N 2082;corresponds to D7W D
D36 W18 Word N 2084;corresponds to D7W D
D38 W19 Word N 2086;corresponds to D7W D
D40 W20 Word N 2088;corresponds to D7W D
D42 W21 Word N 2090;corresponds to D7W D
D44 W22 Word N 2092;corresponds to D22W D
D46 W23 Word N 0256;corresponds to M0W (flag word 0) D
D48 W24 Word N 0194;corresponds to A1W (output word 1) D
D50 W25 Word N 2098;corresponds to D27W D
D52 W26 Word N 2100;corresponds to D26W D
Attention!
The first 3 addresses in the cross-reference data block are to be adjusted
when re-addressing the board (6-segment Dil-switch).

© Systeme Lauer GmbH & Co KG • Kelterstr.59 • 72669 Unterensingen • Tel. (07022) 96 60-0 • Fax (07022) 96 60-103
A-6
A LAUER driver
Word no.: Meaning:
D0 RDADR: Boards - base address +2 reading (EZ)
D2 WRADR: Boards - base address +2 writing (AZ)
D4 STAADR: Boards - base address +1 reading (EZ)
A1.5 Operation the PLC with EPROM/EEPROM
Please note the following. When using EPROM and EEPROM memory
modules in the programmable controller, the communication area cannot
be located within one data block since these data words are fixed in
EPROM/EEPROM and thus cannot be manipulated anymore (write
operations are not possible).
The only possibility consists in altering the cross-reference data block so
that the entire system area (word 3 to word 22 including) and the used
variable area (from word 23 to 255 maximum) are located in a modifiable
memory area (e.g. flag area, data buffers etc.).
Implementation of the handling PB 1. Power-down the programmable controller
2. Define the PCS 830 address and the baud rate using the DIL-switches
3. Plug-in the board
4. Set the programmable controller to stop and apply power
5. Re-adjust the cross-reference data block addresses if necessary
6. Reset P4 (flag for restart) in the OBs 7 and 8
7. Select and parameterize the -PCSKOMM PB of OB1 (or anywhere
else)
8. Adjust INIT and COFF
9. Define the reset pushbutton and set P2 (reset) with the positive edge
10. Assign, link, and download all data blocks into the controller
11. Switch the programmable controller to RUN
The implementation has been successfully completed if the K8000H fault
(timeout if no PCS is connected) appears in DW3 (default assignment)
and the flags P4 (restart) and P3 (general error message) are both set to
logical 1. In addition, the PCS 830 must indicate the „STATUS“ value „7“.
An example (OB1) is contained on the floppy disk which indicates a fault
on output 0.0, expects a reset pushbutton on E 0.0, uses the flag 20.0,
and addresses the PCS 830 board as EZ/AZ 4-7. The baud rate set at
the PCS and at the PCS 830 using the DIL-segments is used as
communication baud rate.

© Systeme Lauer GmbH & Co KG • Kelterstr.59 • 72669 Unterensingen • Tel. (07022) 96 60-0 • Fax (07022) 96 60-103 A-7
A LAUER driver
The following transfer operations must be performed for the integration
into your program (not required functions can be left out):
• Before calling -PCSKOMM PB: all values read by the PCS must be
copied into the corresponding DWs. This affects DW12 to DW22 and
all variables but only if you do not directly access the corresponding
words by altering the cross-reference data block (example: flag words,
data buffers, input words etc.).
• After calling -PCSKOMM PB: all values changed by the PCS must
be written back to flags. This affects DW4 to DW14, all message bits
with delete behavior 2, and all set values, however only if the cross-
reference data block has not been adjusted.
The PCS assumes the following conditions after restart:
• Date and time have become invalid and thus will be immediately
transfer-red.
• All message bits are turned off. If several messages should be
activated at the restart they are newly entered in the sequence of
their numbers (lowest first) into memory.
• Text number zero is selected as idle text.
• All menus have been terminated before switching off.
• All pushbuttons and DIL-switches are transferred once after restart.

© Systeme Lauer GmbH & Co KG • Kelterstr.59 • 72669 Unterensingen • Tel. (07022) 96 60-0 • Fax (07022) 96 60-103
A-8
A LAUER driver
A2 Communication
Adaptercable PCS 736 The connection is made via 2 TTY channels. The PCS supplies the line
current for both channels. Thus, a strict potential separation exists with
regard to the programmable controller.
When using shielded standard cable (4 * 0.14, untwisted) the following
recommended maximum length apply:
19200 baud 10 meters
9600 baud 20 meters
4800 baud 40 meters
1200 baud 160 meters
When using low-capacity data cables twisted in pairs the 10-fold lengths
can be projected. Interrupting the connection is registered by the PCS
009/090/095/900/9000/PCS plus and in the PCS 830. The fault is indi-
cated in the error word (DW3) for the further evaluation.
Screening
The shield should be connected on both sides to a metallized connector
hood. If non-metallized connector hoods are used, the shield may also
be connected to pin 1, but this is not recommended due to interferences,
because the data lines should be completely covered by the shield (if
possible). However, it should be noticed that grounding on both sides
may require an equipotential bonding conductor with a cross section of
10 times that of the shield in order to compensate for earth potential
variations and to prevent equalizing currents on the cable shield! This is
especially important, if the PCS and the programmable controller are not
connected to the same common point (if they are for example installed in
different control cabinets).

© Systeme Lauer GmbH & Co KG • Kelterstr.59 • 72669 Unterensingen • Tel. (07022) 96 60-0 • Fax (07022) 96 60-103 A-9
A LAUER driver
Programming cable PCS 733 Connection PC to PCS
Use this cable for programming (loading of the driver and user program)
the PCS.
Data transmission PCS-PCS 830 Data traffic between the PCS and the programmable controller is effected
in data packets. Each data packet is assigned a checksum. The package
content is checked for possible errors by the PCS 830. Each packet
consists of a minimum of one sub-packet which performs a clearly defined
task. The tasks to be integrated in a packet are determined by the PCS
based on the pro-grammable controller scan-time, the baud rate and the
priority of each task. Each of this tasks is assigned a specific start priority.
Priority management assures that no task is lost. The indicated packet
lengths refer to words, including header.

© Systeme Lauer GmbH & Co KG • Kelterstr.59 • 72669 Unterensingen • Tel. (07022) 96 60-0 • Fax (07022) 96 60-103
A-10
A LAUER driver
The tasks are listed below in detail:
TASK PRIOR. LENGTH START CRITERION
1. Write keyboard status 8 3 When pressing or releasing a key
2. Reset message bit 7 2 Press CLR for delete behavior 2
3. Write PLC setpoint 6 2..3 Always after changing a setpoint variable and leaving
the entry field
4. Read actual values 5 2..24 *) In priorities 0..2, 6 continuously, otherwise when
display is refreshed
5. Read message bits 4 9 Continuously
6. Send PCS status 4 3 After changes
7. Read LEDs, flashing LEDs,
memory and display
behavior 3 3 Continuously
8. Read command word 3 4**) Continuously (menu selections only if the temporary
buffer is empty)
9. Send time and date 2 3..6 After changes
*) Depends on the number of variables displayed and if the addresses
are adjacent. If the addresses are not adjacent, one header is required
per non-adjacent variable (1 word).
**) Task with 2 headers and one data word each.
ZV,S parameters, PLC scan-time The response time can be optimized via the timeout parameter (PCSPRO/
driver parameter). For an optimal response time a data interchange must
take place with the PCS 830 in each programmable controller cycle. The
PCS adjusts the package length of each package to the PLC scan-time
so that the above-mentioned condition is adhered to as much as possible.
Timing sequence of the data transfer:
1111 2222222222222222 33 44444 55555 6666666666666666 (1111)
• 1111
The PCS assembles a new package. The required time totals 2.5
milliseconds in the online operation and 10 milliseconds in the off-
line operation.
• 2222222222222222222
The package is transferred. The required time depends on the
package length and the baud rate. Since the package length is not
constant, this time can on principle not be determined.
•33
The PCS 830 examines the package on plausibility and signals the
handling PB the readiness for the data interchange.
• 44444
Waiting time, until the handling PB is processed.

© Systeme Lauer GmbH & Co KG • Kelterstr.59 • 72669 Unterensingen • Tel. (07022) 96 60-0 • Fax (07022) 96 60-103 A-11
A LAUER driver
• 55555
The handling PB performs the data interchange in both directions.
The required times are to be taken from the description of the hand-
ling PB.
• 6666666666666666666
The answer package is transferred. Also the length of this package
is variable. As soon as the package is completely received by the
PCS, a new package is assembled, as described under 1.
If a (minimum) scan-time (without the time required for the handling PB)
is specified, the PCS calculates the package length for 2 and 6 during
each cycle, to keep time 4 as small as possible.
This logic functions only within certain limit values. So all tasks are guar-
anteed to be included in the package with a scan time of 60 milliseconds
and up and a baud rate of 19200 baud. With a scan time specification of
0 only 1 sub-packet will be included in each data interchange cycle. The
average length (without variable transfer) then totals 5.3 words (1.3
headers + 4 words of data).
The specification must be made in multiples of 1/100 seconds. Limit values
are 0..50 * 1/100 seconds, the default value totals 400 milliseconds.
Data transfer PCS 830 and I/O BUS The PCS 830 uses respectively 4 addresses in the additional I/O area
(EZ/AZ) on the I/O bus. These addresses have the following meaning
(only for diagnosis purposes):
1. Basis address +0 writing (AZ) = Board reset (hardware reset)
Basis address +0 reading (EZ) = presently without function
2. Basis address +1 writing (AZ) = Reset during communication
(software reset)
Basis address +1 reading (EZ) = Status channel
Bit 7 = 1 (Frame ready)-board is ready for data inter -
change
Bit 6 = 1 (Fetch list)-request of the cross-reference list
Bit 5 = 1 (Watchdog)-watchdog has been activated
Bit 4...3 = presently without function
3. Basis address +2,3 writing (AZ) + reading (EZ) = Data channel
Here, the data will be submitted.
The data transfer is managed by the enclosed -PCSKOMM PB, so no
evaluation is required by the user. The indicated meanings are only rele-
vant for diagnosis purposes. However, attention must be paid that the
user program never accesses the PCS 830 board. Otherwise correct
communication between the PCS 009/090/095/900/9000/9100/PCS plus
and PCS 830 is not guaranteed anymore.
This start behavior must be observed when presetting the transfer data
block.

© Systeme Lauer GmbH & Co KG • Kelterstr.59 • 72669 Unterensingen • Tel. (07022) 96 60-0 • Fax (07022) 96 60-103
A-12
A LAUER driver
A2.1 Description PCS 830.3/.1 handling
Settings of the board
adressing (6-segment DIL switch) The PCS board 830.3 is an interface module with three built-in TTY (20
mA) interfaces (active or passive). The PCS 830.1 is identical but it is
only equipped with 1 TTY interface (2 current sources).
It is used for the communication between a BOSCH programmable con-
trollers CL300, CL400, CL500 or PC600 and one (PCS 830.1) or three
(PCS 830.3) operating consoles. The PCS 830.3 and PCS 830.1 boards
are slot-independant. The PCS 830.3 uses altogether 12 additional input
bytes and additional output bytes (EZ/AZ). 4 EZ/AZ addresses are required
for each interface (channel). The PCS 830.1 requires exactly 4 EZ/AZ
addresses.
Each channel can be freely addressed in steps of 4 via one 6-segment
DIL-switch. Please take care that the set address does not intersect with
already used addresses or channels! Refer to section 2.1 (Specifications
of the PCS 830.3/1) for the position of the DIL-switch segments of the
corresponding channel.
Selection of the address
Among others, the areas EZ0 to EZ63 and AZ0 to AZ63 are reserved for
analog I/O boards. The PCS 830.3/31 board is also addressed in this
area. The base address can be set to 0 and to all addresses divisible by
4. Input and output addresses (EZ/AZ) must lie in parallel, i.e. they can
not be differently set.
Attention!
Take note, that after re-addressing of the board you must adjust the first
three words of the cross-reference data.
Example Setting of the base address to EZ/AZ 4 (EZ4-EZ7, AZ4-AZ7)
6-segment DIL-switch:
OFF log 0
ON log 1
DIL no.: 6 5 4 3 2 1
A7 A6 A5 A4 A3 A2
Valence: 128 64 32 16 8 4

© Systeme Lauer GmbH & Co KG • Kelterstr.59 • 72669 Unterensingen • Tel. (07022) 96 60-0 • Fax (07022) 96 60-103 A-13
A LAUER driver
Address assignment table The following table contains the possible address settings for the 3
channels of the PCS 830.3 (or 1 channel for the PCS 830.1). Take note,
that DIL 5 and DIL 6 must be set to OFF (logical 0) for single processor
systems (CL300, PC 600). The assignment is set to the corresponding
ZE central unit for a CL500 multi-processor system.
EZ/AZ D0W D1W D2W DIL6 DIL5 DIL4 DIL3 DIL2 DIL1 CL500, ZE:
0-3 0E02 1002 0E01 0 0 0 0 0 0 0
4-7 0E06 1006 0E05 0 0 0 0 0 1 0 D4
8-11 0E0A 100A 0E09 0 0 0 0 1 0 0 D5
12-15 0E0E 100E 0E0D 0 0 0 0 1 1 0 D6
16-19 0E12 1012 0E11 0 0 0 1 0 0 0
20-23 0E16 1016 0E15 0 0 0 1 0 1 0
24-27 0E1A 101A 0E19 0 0 0 1 1 0 0
28-31 0E1E 101E 0E1D 0 0 0 1 1 1 0
32-35 0E22 1022 0E21 0 0 1 0 0 0 0
36-39 0E26 1026 0E25 0 0 1 0 0 1 0
40-43 0E2A 102A 0E29 0 0 1 0 1 0 0
44-47 0E2E 102E 0E2D 0 0 1 0 1 1 0
48-51 0E32 1032 0E31 0 0 1 1 0 0 0
52-55 0E36 1036 0E35 0 0 1 1 0 1 0
56-59 0E3A 103A 0E39 0 0 1 1 1 0 0
60-63 0E3E 103E 0E3D 0 0 1 1 1 1 0
0-60 0EXX 10XX 0EXX 0 1 x x x x 1 *)
0-60 0EXX 10XX 0EXX 1 0 x x x x 2 *)
0-60 0EXX 10XX 0EXX 1 1 x x x x 3 *)
0: logical 0 (OFF)
1: logical 1 (ON)
x: Arbitrary setting
*): only allowed for CL500 (DIL 1..4 settings depend on the EZ/AZ
address -> refer to ZE central unit settings)
D4..D6: Factory set state and address setting as an example (channel
1..3 D4..D6)
D0..2W: RDADR/WRADR/STADR (CL300 and CL500 entries in the
QUVERWX data block)

© Systeme Lauer GmbH & Co KG • Kelterstr.59 • 72669 Unterensingen • Tel. (07022) 96 60-0 • Fax (07022) 96 60-103
A-14
A LAUER driver
Channel parameters
(8-segment DIL-switch) Using one 8-segment DIL-switch, parameter settings for the communi-
cation between the PCS-operating console and the PCS 830.3 can be
separately made for each channel (at the PCS 830.1 likewise only one
channel). The position of the DIL-switch segments for the corresponding
channel can be take from section 1.16 and 1.17 (Specifications). The
following settings can be made via these DIL-switch segments:
• Maximum number of allowed repeat requests WDHA; DIL 5-8
• Diagnosis function DIAG (test of the received cross-reference list); DIL
4
• Baud rate BAUD for the communication; DIL 1,2
Please take note that these switch segments are only read after a restart
or after a communications reset. DIL 3 is reserved for later expansions
and should be set for compatibility reasons to OFF.
Example and factory set state (channel 1..3 D1..D3):
Number of repeat requests: 1 max.
Diagnosis function: OFF
Baud rate: 19200 baud
8-segment DIL-switch:
OFF log 0
ON log 1
DIL no.: 8 7 6 5 4 3 2 1
BAUD WDHA DIAG DIL8 DIL7 DIL6 DIL5 DIL4 DIL3 DIL2 DIL1
1200 X OFF X X X X 0 0 0 0
4800 X OFF X X X X 0 0 0 1
9600 X OFF X X X X 0 0 1 0
19200 X OFF X X X X 0 0 1 1
X 1 OFF 0 0 0 0 0 0 X X
X 2 OFF 0 0 0 1 0 0 X X
X 3 OFF 0 0 1 0 0 0 X X
X 4 OFF 0 0 1 1 0 0 X X
X 5 OFF 0 1 0 0 0 0 X X
X 6 OFF 0 1 0 1 0 0 X X
X 7 OFF 0 1 1 0 0 0 X X
X 8 OFF 0 1 1 1 0 0 X X
X 9 OFF 1 0 0 0 0 0 X X
X 10 OFF 1 0 0 1 0 0 X X
X 11 OFF 1 0 1 0 0 0 X X
X 12 OFF 1 0 1 1 0 0 X X
X 13 OFF 1 1 0 0 0 0 X X
X 14 OFF 1 1 0 1 0 0 X X
X 15 OFF 1 1 1 0 0 0 X X
X 16 OFF 1 1 1 1 0 0 X X
XXONXXXX10XX
0: logical 0 (OFF)
1: logical 1 (ON)
X: arbitrary

© Systeme Lauer GmbH & Co KG • Kelterstr.59 • 72669 Unterensingen • Tel. (07022) 96 60-0 • Fax (07022) 96 60-103 A-15
A LAUER driver
Status indicators The PCS 830.3/31 features a 7-segment „ST.x“ display which informs
about the state of the channel.
The following display states are currently possible:
„0“ programmable controller is set to „STOP“, i.e. the PCS 830.3/31 waits
for the „RUN“ signal and/or for the outputs to be enabled. This display
is simultaneously shown for all three channels.
„1“ The corresponding channel waits for the complete reception of the
cross-reference list. This channel was not parameterized correctly,
or the address (6-segment DIL) was incorrectly set, or the first three
words of the cross-reference data block have been incorrectly set if
this display does not extinguish.
„2“ (flashing). The corresponding channel is set to the DIAG diagnosis
function. The cross-reference list was correctly received. This function
is only possible along with the CL300 and CL500 and the examples
contained on the floppy disk.
„7“ TIMEOUT fault - time infringement of the corresponding channel.
Interruption of the communication between the PCS 830.3/31 and
the PCS operating console. Possible fault conditions:
PCS operating console: „TIMEOUT“
Cause: Cable break or the handling block has not been processed
for sometimes.
Remedy: Check the cabling and select the handling block cyclically.
Extend the timeout time of the operating console if possible. PCS
operating console: „CONNECT(ION)“ or „TOO MANY
REPETITIONS“.
Cause: The operating console has received multiple times wrong
data (following another).
Remedy: Checking the noise suppression measures and increase
the WDHA if possible.
„8“ CONNECT fault, i.e. the corresponding channel of the PCS 830.3
has received multiple times wrong data (following another) (the PCS
operating console shows „TIMEOUT“). In this case, noise
suppression measures are to be explored and/or to be improved if
necessary!
„9“ WATCHDOG fault, i.e. either the PCS 830.3/31 board is located in a
very noisy environment, or it is defective (communication cannot be
restarted). If at all, this display appears for all channels simultaneously.
„-“ The corresponding channel has either sent or received a repeat
request. With a reparabel fault, the „-“ extinguishes subsequently
again. If the fault was not reparabel, a „7“ (TIMEOUT) or „8“
(CONNECT) is subse-quently displayed. Constant flickering of this
segment informs about a very noisy environment.

© Systeme Lauer GmbH & Co KG • Kelterstr.59 • 72669 Unterensingen • Tel. (07022) 96 60-0 • Fax (07022) 96 60-103
A-16
A LAUER driver
„.“ This point lights as so soon as the corresponding channel has rec-
eived a tested package and is thus ready for the data interchange
between the PCS 830.3/31 and the programmable controller. With
an increasing data throughput this point will be dimmed (scan time
depended). This can be influenced by specifying the ZV, S,... timeout
parameter and the „AA“ driver parameter. This determines both the
time monitoring for the communication as well as the maximum packet
length for the serial transfer. For some PCS operating consoles, this
time can also be influenced by deactivating the transfers (LEDs,
message blocks).
„F“ (flashing). The corresponding channel is set to the DIAG diagnosis
function. The cross-reference list was incorrectly received. This
function is only possible along with the CL300 and CL500 and the
examples con-tained on the floppy disk.
A2.2 Description of the handling software
The following directories are located on the floppy disk:
CL300: 3P83110.300 for CL300
CL400: 4P83110.C00 for CL400
CL500: 5P83110.500 for CL500
PC600: 6P83110.600 for PC600
The enclosed -PCSKOMM PB (for the PC600 it is an FB) determines the
data transfer between the transfer area (a data block by default) and the
PCS 830.3. The data block can be parameterized and can be used for all
three channels of the PCS 830.3. It can also be used for the PCS830.1.
Call examples along with the handling blocks are available on the floppy
disk. The README.DOC file contains current notes concerning the use
of the various projects. The calls of the handling block for the interface
two and three must be removed if you use the PCS 830.1.
1. The handling block uses the MBs 246 to 255 (PC600: MBs 502 to
512) as temporary flags. Writing to these MWs does not influence
the handling block as long as they are not simultaneously used by
interrupt programs. The contents must be written newly on entring
the PB and saved on exit if these MWs are required by other PBs or
FBs. In no case interrupt programs are allowed to write to these
MWs. This also applies to the parameterizable INIT PB or FB which
is called at communication start. The use of these flag bytes in this
block is not recommended.
2. The transfer area may not be specified within the data block when
using EPROM modules (for the programmable controller program).
In this case, the cross-reference DBs must be adjusted in such a
way that the system area and the used variables are located in the
RAM area of the CPU (for instance in the data buffer).

© Systeme Lauer GmbH & Co KG • Kelterstr.59 • 72669 Unterensingen • Tel. (07022) 96 60-0 • Fax (07022) 96 60-103 A-17
A LAUER driver
The implementation is limited (besides the cyclical call of the
PCSKOMM PB) to reading of and writing to the DWs in the transfer
data block (only with default assignment!). The presence of the (selec-
table) transfer data block is not examined. It must be present in the
programmable controller with the required net length (dynamic).
Otherwise the programmable controller shows a fault (possibly only
at the first call of a present value). A general fault bit ERORX (P3)
enables the communication status to be evaluated by the ladder
diagram. The data transfer has been stopped if this fault bit is set to
1. It can be restarted by setting the RSETX (P2) flag. Furthermore,
another flag FIRSTRUX (P4) for the restart is required. This is set
after the first successful processing of the handling block. The restart
flag must be reset in start OBs (as in the example on the floppy
disk).
Customer-specific blocks (PBs) are selected at 2 positions in the PCSKOMM
block:
1: (INIT) customer-specific presetting for the communication start
2: (COFF) customer-specific assignment for the communication loss
They are to be created and/or to be extended (perhaps separately per
channel).
Attention!
These blocks are of course available on the floppy disk (common for all
channels). However, they contain only one „HLT“ command with subse-
quent examples for the corresponding PCS operating consoles.
You should delete the „HLT“ command and extend the block corresponding
to the used operating console before you execute the example. If this is
not considered, the CPU enters the STOP state with the status „1“ shown
on the display.
Scan time extension The processing time of the handling block depends on several elements.
This is for one the specification of the programmable controller scan-
time (ZV, S,.. and/or „AA“ driver parameter) in the operating console. If
the specified time is sufficiently large compared to the selected baud
rate (e.g. exceeding 500 ms at 19200 baud), all cyclical tasks of the
operating console will be contained in each data packet i.e. all tasks are
cyclically replaced. On the other hand the number of the words to be
replaced depends on the number of variables (present values) in the
display and the message words to be transferred. This number is
adjustable for some PCS operating consoles.
Control Process time/ch.
CL300 approx. 10 ms
CL400/500 approx. 650 µs
PC600 approx. 3 ms
The response is optimal if the scan time is specified sufficiently large (in
the PCS) with the -PCSKOMM PB finding a PCS 830.3/1 board ready for
data interchange in each cycle.

© Systeme Lauer GmbH & Co KG • Kelterstr.59 • 72669 Unterensingen • Tel. (07022) 96 60-0 • Fax (07022) 96 60-103
A-18
A LAUER driver
The test and the repetition of the packages is organized in the PCS 830.3/
1.
The design of the PCSKOMM handling block contains provisions for ab-
orting the communication on every coccuring fault and signalling it to the
outside. After this, communication must be explecitely restarted using
the RSETx input (P2 parameter). Of course, this does not affect repetitions
caused by reparable faults as these are treated in the PCS 830.3/1
internally.
A2.3 Parameters of the PCSKOMM PB’S (FB’S)
Attention!
Check the action/reaction of the PLC!
Check the desired action/reaction of the programmable controller after a
restart following a communication interruption to avoid unwanted
malfunctionings.
P0: Cross-reference data block (here: -QUVERW1..QUVERW3)
The cross-reference addresses are listed in this block. At the restart,
these addresses will be transferred once into the PCS 830.3/31. It is
ensured, that the download of the cross-reference list of is made in
the first cycle of the programmable controller. In the CL 300 this first
cycle is extended due to the download by approx. 100 ms. During
the following cycles, the PCSKOMM PB receives the corresponding
cross-reference address directly from the PCS 830.3/1 (time saving).
When using several channels and/or PCS 830.3/1 boards, scan time
problems can be created along with the user program. Therefore,
the handling block contains the additional P5 bit parameter. This bit
signals the user program that the cross-reference list was transferred
in the just finished programmable controller cycle. This way it can be
prevented that several cross-reference lists are transferred in the
same programmable controller cycle. This has been realized in the
example.
CL300, CL500: block parameters (example - QUVERW1, DB0)
PC600: constant K00XXH (example - QUVERW1, K0H); xx = DBnr.
P1: Communication data block (here: -PCSDB1..PCSDB3)
This block is active during processing of the handling block. Cross-
reference addresses specified in the cross-reference data block and
addressing a data word relate to the here indicated data block.
CL300, CL500: block parameters (example - PCSDB1, DB1)
PC600: constant K00XXH (example - PCSDB1, K1H); xx = DBnr.
P2: Switch and/or pushbutton for resetting following a fault (here:
RSET1.. RSET3)
On a communication fault, communications of the corresponding
channel can be restarted using this bit. The faults indicated in DW3
(default assignment) are then reset automatically. Please note that
no edge evaluation is made. I.e. with the P2 bit set communication is
auto-matically restarted after appearing of a fault! This mechanism
can also be realized by connecting the P3 fault output directly to the
P2 reset.
CL300, CL500, PC600: bit parameters (example - RSET1, E0.0)

© Systeme Lauer GmbH & Co KG • Kelterstr.59 • 72669 Unterensingen • Tel. (07022) 96 60-0 • Fax (07022) 96 60-103 A-19
A LAUER driver
P3: Genral error message (here: -EROR1..EROR3)
The P3 general fault bit is set for any error in the connection between
the programmable controller and the PCS operating console. DW3
(default assignment) can be evaluated for the exact cause of error.
This bit is reset as soon as the first packet has been correctly
received.
CL300, CL500, PC600: bit parameters (example - EROR1, A0.0)
P4: Flag for the first processing of the handling block (here:
FIRSTRU1.. FIRSTRU3)
This flag should be reset before the first call (restart) of the handling
block. It is automatically set during the first execution of the PB. Among
other things, it is used for presetting during a restart.
CL300, CL500, PC600: bit parameters (example - FIRSTRU1, M20.0)
P5: Flag for cross-reference data block has been transferred in the
current cycle (here: -QVL_OUT)
Using this common (global) bit it can be prevented that the entire
cross-reference lists are transferred in the first cycle if several
channels and/or PCS 830.3/31 interface modules are inserted. This
bit is set in the handling block as soon as the cross-reference list of
a channel is transferred.
Note!
The transfer of the cross-reference list happens only once at the start. To
prevent a scan time infringement, the transfer of the cross-reference lists
can be distributed across the first programmable controller cycles if several
channels are used.
Description of the execution sequence (as in the example realized):
This bit is reset before any of the PCS handling blocks are called.
This bit must be scanned starting with the call of the second handling
block. The following handling blocks may not be called if this bit is set
to logical 1.
CL300, CL500, PC600: bit parameters (example - QVL _ OUT, M20.3)
P6: Presetting PB (here: -INIT)
Here, the PB must be specified which should be called at the com-
munication start of the corresponding channel. This block must be
generated for customer-specific presettings. This block is of course
available on the floppy disk (once for all three channels) but it contains
only one „HLT“ instruction which will switch the CPU to STOP (status
„1“) with the remark to program the block.
CL300, CL500: block parameters (example -INIT, PB1)
PC600: constant K80XXH (example -INIT, K8000H); xx = block no.

© Systeme Lauer GmbH & Co KG • Kelterstr.59 • 72669 Unterensingen • Tel. (07022) 96 60-0 • Fax (07022) 96 60-103
A-20
A LAUER driver
P7: Presetting PB (here: -COFF)
Here, the PB must be specified which should be called at the com-
munication start of the corresponding channel. This block must be
generated for customer-specific presettings. This block is of course
available on the floppy disk (once for all three channels) but it contains
only one „HLT“ instruction which will switch the CPU to STOP (status
„1“) with the remark to program the block.
CL300, CL500: block parameters (example - COFF, PB1)
PC600: constant K80XXH (example - COFF, K8001H); xx = block
no.
A2.4 Set-up of the cross-reference data block
A cross-reference data block contains 256 decimal word addresses and
must be specified for each interface (channel). During a restart, these
addresses are stored by the download procedure on the PCS 830.3/1
board. Values for these addresses must be taken from the CL300, CL500,
or PC600 software manual (operation list). The address pointers are
required for indirect addressing. The PCS 830.3 board addresses must
be specified in the first 3 words (0-2). In the following words (4-255) the
source and/or destination addresses are specified for each word.
Therefore, it is possible to assign the system area command word (DW
14) directly to a flag word without copying the flag word to the data word
and conversely using a transfer command.
The following table shows a section for detailing the structure of the cross-
reference data block:
• CL300, CL400, CL500
No. Symbol Type Sg Data field F
D 0 RDADR Word N 0E06 H
D 2 WRADR Word N 1006 H
D 4 STADR Word N 0E05 H
D 6 ERADR Word N 0806 H
D 8 W4 Word N 0808 H
DB 2 name: QUVERW2 comment: Cross-reference db PCS2 RAM/
EPROM: R
No. Symbol Type Sg Data field F
D 0 Word N 0E0A H
D 2 Word N 100A H
D 4 Word N 0E09 H
D 6 Word N 0806 H
D 8 W4 Word N 0808 H
DB 4 name: QUVERW3 comment: Cross-reference db PCS3 RAM/
EPROM: R
No. Symbol Type Sg Data field F
D 0 Word N 0E0E H
D 2 Word N 100E H
D 4 Word N 0E0D H
D 6 Word N 0806 H
D 8 Word N 0808 H

© Systeme Lauer GmbH & Co KG • Kelterstr.59 • 72669 Unterensingen • Tel. (07022) 96 60-0 • Fax (07022) 96 60-103 A-21
A LAUER driver
Example (CL300):
D 44 W22 Word N 2092 ;corresponds to D22W D
D 46 W23 Word N 0256 ;corresponds to M0W (flag
word 0) D
D 48 W24 Word N 0194 ;corresponds to A1W
(output word 1) D
D 50 W25 Word N 2098 ;corresponds to D27W D
D 52 W26 Word N 2100 ;corresponds to D26W D
Attention!
Take note, that after re-adressing of the board (6-seg. DIL-switch) you
must adjust the first three words of the cross-reference data.
Word no.:Meaning:
D0 RDADR: board base address +2 reading (EZ)
D2 WRADR: board base address +2 writing (AZ)
D4 STAADR: board base address +1 reading (EZ)
• PC600
DB 0 name: QUVERW1 comment: Cross-reference db PCS1 RAM/
EPROM: R
No. Symbol Type Sg Data field F
D 0 RESADR Word N 0104 H
D 2 STATADR Word N 0105 H
D 4 WR/RDADR Word N 0106 H
D 6 ERADR Word N 3843 D
D 8 W4 Word N 3844 D
DB 2 name: QUVERW2 comment: Cross-reference db PCS2 RAM/
EPROM: R
No. Symbol Type Sg Data field F
D 0 Word N 0108 H
D 2 Word N 0109 H
D 4 Word N 010A H
D 6 Word N 3843 D
D 8 Word N 3844 D
DB 4 name: QUVERW3 comment: Cross-reference db PCS3 RAM/
EPROM: R
No. Symbol Type Sg Data field F
D 0 Word N 010C H
D 2 Word N 010D H
D 4 Word N 010E H
D 6 Word N 3843 D
D 8 Word N 3844 D
Attention!
Take note, that after re-adressing of the board (6-seg. DIL-switch) you
must adjust the first three words of the cross-reference data.
Word no.:Meaning:
D0 RESADR: board base address +0 (EZ/AZ)
D2 STATADR: board base address +2 (EZ/AZ)
D4 STAADR: board base address +1 (EZ/AZ)

© Systeme Lauer GmbH & Co KG • Kelterstr.59 • 72669 Unterensingen • Tel. (07022) 96 60-0 • Fax (07022) 96 60-103
A-22
A LAUER driver
• CL500
Attention!
The entire system (all processors) must be stopped and restarted after
changing the cross-reference list. Otherwise the cross-reference list will
not be newly transferred.
No outputs (independantly of the processor) may be disabled when
starting the entire system. This would result in a faulty reception of the
cross-reference list.
A2.5 Operation the PLC with EPROM/EEPROM
When using EPROM and EEPROM memory modules in the
programmable controller, the communication area cannot be located within
one data block since these data words are fixed in EPROM/EEPROM
and thus cannot be manipulated anymore (write operations are not
possible).
The only possibility consists in altering the cross-reference data block so
that the entire system area (refer to the PCS operating console manual)
and the used variable area are located in a modifiable memory area (e.g.
flag area, data buffers etc.).
A2.6 Implementation of the handling PB/FB
1. Power-down the programmable controller
2. Define the PCS 830.3/1 address, the baud rate and the number of
repitions using the DIL-switches (6-segment and 8-segment). DIL 4
must be set to OFF (diagnosis function).
3. plug-in the board
4. Set the programmable controller to stop and apply power
5. Re-adjust the cross-reference data block addresses if nece
6. Reset P4 (flag for restart) in the starting OBs (for the CL 300 this is
OB 7 and OB 8)
7. Select and parameterize the -PCSKOMM handling PB (FB) of OB1
(or anywhere else). This is perhaps required by QVL_OUT (P5) when
using several channels.
8. Determine reset pushbutton and „wire „with P2 (reset)
9. Program -INIT and -COFF presetting blocks (perhaps for each
channel separately)
Attention!
These blocks are of course available on the floppy disk (common for all
channels). However, they contain only one „HLT“ command with subse-
quent examples for the corresponding PCS operating consoles.
10. Assign, link, and download all data blocks into the controller
11. Switch the programmable controller to RUN

© Systeme Lauer GmbH & Co KG • Kelterstr.59 • 72669 Unterensingen • Tel. (07022) 96 60-0 • Fax (07022) 96 60-103 A-23
A LAUER driver
The implementation has been successfully completed if the K8000H fault
(time-out - no PCS connected) appears in DW3 (default assignment)
and the flags P4 (restart) and P3 (general error message) are both set to
logical 1. In addition, the PCS 830.3/1 must indicate the „STATUS“ value
„7“ for all accessed channels.
An example (OB1) is contained on the floppy disk which indicates a fault
on output A0.0..0.2, expects a reset pushbutton on E0.0..E0.2, uses the
flag M20.0..M20.3 and addresses the PCS 830.3/1 board as EZ/AZ 4-15
(channel 1: 4-7, channel 2: 8-11, channel 3: 12-15). The baud rate is set
to correspond to the settings of the 8-segment DIL.
A2.6 Program integration
The following transfer operations must be performed for the integration
into your program (not required functions can be left out):
• Before calling the -PCSKOMM handling block all values read by the
PCS must be copied into the corresponding DWs. This affects:
All words read by the PCS (refer to the PCS operating console
manual)
But only if you do not directly access the corresponding words by
altering the cross-reference data block (example: flag words, data
buffers, input words etc.).
• After calling the -PCSKOMM handling block all values changed by
the PCS must be written back to flags. This affects:
All words written to by the PCS (refer to the PCS operating console
manual)
Dut only if the cross-reference data block has not been adjusted.

© Systeme Lauer GmbH & Co KG • Kelterstr.59 • 72669 Unterensingen • Tel. (07022) 96 60-0 • Fax (07022) 96 60-103
A-24
A LAUER driver
A3 Program listing
Tip!
Inspect the function of the handling software to avoid failures of the PCS
or PLC.
Statement listing CL300
Prg. contr. documentation Bosch CL300 Version 3.30z Date: Apr. 4, 1995
Projekt: 3P83110/ZS0 File: OB1.P3O (OB1) Page: 2
PZ: 1
1 UN B -QVL_OUT
2 U B -QVL_OUT
3 = B -QVL_OUT
;*****HANDLING BLOCK PCS1*****
4 BA -PCSKOMM,8
P0 -QUVERW1 ;CROSS-REFERENCE DATA BLOCK
P1 -PCSDB1 ;COMMUNICATIONS DATA BLOCK
P2 B -RSET1 ;SWITCH FOR RESTART AFTER A COMMUNICATION ERROR
P3 B -EROR1 ;GENERAL ERROR MESSAGE
P4 B -FIRSTRU1 ;FLAG FOR FIRST SCAN (-PCSKOMM)
P5 B -QVL_OUT ;FLAG FOR TRANSFER CROSS-REFERENCE DATA BLOCK
P6 -INIT ;INIT (RESTART PRESETTING;COMMUNICATIONS START)
P7 -COFF ;COFF (FAULT PRESETTING;COMMUNICATIONS LOSS)
;*****HANDLING BLOCK PCS2*****
PZ: 2
5 UN B -QVL_OUT ;ONE XREF DATA BLOCK PER SCAN CYCLE ->PCS830.3
6 BAB -PCSKOMM,8 ;*****HANDLING BLOCK PCS2*****
P0 -QUVERW2 ;CROSS-REFERENCE DATA BLOCK
P1 -PCSDB2 ;COMMUNICATIONS DATA BLOCK
P2 B -RSET2 ;SWITCH FOR RESTART AFTER A COMMUNICATION ERROR
P3 B -EROR2 ;GENERAL ERROR MESSAGE
P4 B -FIRSTRU2 ;FLAG FOR FIRST SCAN (-PCSKOMM)
P5 B -QVL_OUT ;FLAG FOR TRANSFER CROSS-REFERENCE DATA BLOCK
P6 -INIT ;INIT (RESTART PRESETTING;COMMUNICATIONS START)
P7 -COFF ;COFF (FAULT PRESETTING;COMMUNICATIONS LOSS)
;*****HANDLING BLOCK PCS3*****
PZ: 3
7 UN B -QVL_OUT ;ONE XREF DATA BLOCK PER SCAN CYCLE ->PCS830.3
8 BAB -PCSKOMM,8 ;*****HANDLING BLOCK PCS3*****
P0 -QUVERW3 ;CROSS-REFERENCE DATA BLOCK
P1 -PCSDB3 ;COMMUNICATIONS DATA BLOCK
P2 B -RSET3 ;SWITCH FOR RESTART AFTER A COMMUNICATION ERROR
P3 B -EROR3 ;GENERAL ERROR MESSAGE
P4 B -FIRSTRU3 ;FLAG FOR FIRST SCAN (-PCSKOMM)
P5 B -QVL_OUT ;FLAG FOR TRANSFER CROSS-REFERENCE DATA BLOCK
P6 -INIT ;INIT (RESTART PRESETTING;COMMUNICATIONS START)
P7 -COFF ;COFF (FAULT PRESETTING;COMMUNICATIONS LOSS)
Prg. contr. documentation Bosch CL300 Version 3.30z Date: Apr. 4, 1995
Projekt: 3P83110/ZS0 File: OB7.P3O (OB7) Page: 4
PZ: 1
1 U B -FIRSTRU1
2 UN B -FIRSTRU1
3 = B -FIRSTRU1 ;FLAG FOR FIRST SCAN PCS1 SET TO ZERO
PZ: 2
4 U B -FIRSTRU2

© Systeme Lauer GmbH & Co KG • Kelterstr.59 • 72669 Unterensingen • Tel. (07022) 96 60-0 • Fax (07022) 96 60-103 A-25
A LAUER driver
5 UN B -FIRSTRU2
6 = B -FIRSTRU2 ;FLAG FOR FIRST SCAN PCS2 SET TO ZERO
PZ: 3
7 U B -FIRSTRU3
8 UN B -FIRSTRU3
9 = B -FIRSTRU3 ;FLAG FOR FIRST SCAN PCS3 SET TO ZERO
10 BE
Prg. contr. documentation Bosch CL300 Version 3.30z Date: Apr. 4, 1995
Projekt: 3P83110/ZS0 File: OB8.P3O (OB8) Page: 5
PZ: 1
1 U B -FIRSTRU1
2 UN B -FIRSTRU1
3 = B -FIRSTRU1 ;FLAG FOR FIRST SCAN PCS1 SET TO ZERO
PZ: 2
4 U B -FIRSTRU2
5 UN B -FIRSTRU2
6 = B -FIRSTRU2 ;FLAG FOR FIRST SCAN PCS2 SET TO ZERO
PZ: 3
7 U B -FIRSTRU3
8 UN B -FIRSTRU3
9 = B -FIRSTRU3 ;FLAG FOR FIRST SCAN PCS3 SET TO ZERO
10 BE
Prg. contr. documentation Bosch CL300 Version 3.30z Date: Apr. 4, 1995
Projekt: 3P83110/ZS0 File: INIT.P30 (PB1) Page: 10
;*********************************************************************************************
;** INIT (APPLICATION-SPECIFIC PRE-ASSIGNMENTS; PCS COMMUNICATIONS START)
;*********************************************************************************************
1 HLT
;**********************************PRE-ASSIGNMENTS FOR COMMUNICATIONS START
;**********************************INSERT OR ADD !!!!!
;*****EXAMPLE PCS 090/095*****
2 L W K0FC8H,A
3 T W A,D13W ;COMMAND WORD A
4 L W K0080H,A
5 T W A,D14W ;COMMAND WORD B
6BE
;*****EXAMPLE PCS 100*****
7 L W K0D,A
8 T W A,D6W ;DATA
9 L W K0F00H,A
10 T W A,D14W ;COMMAND WORD
11 BE
;*****EXAMPLE PCS 200 AND PCS 300*****
12 L W K0D,A
13 T W A,D7W ;DATA
14 T W A,D19W ;COMMAND WORD C
15 L W K0080H,A
16 T W A,D18W ;COMMAND WORD B
17 L W K0F00H,A
18 T W A,D17W ;COMMAND WORD A
19 BE

© Systeme Lauer GmbH & Co KG • Kelterstr.59 • 72669 Unterensingen • Tel. (07022) 96 60-0 • Fax (07022) 96 60-103
A-26
A LAUER driver
Statement listing CL400/CL500 Since the listing of the CL400 is absolutely identical to the CL500 it is not
printed here.
Prg. contr. documentation Bosch CL500 Version 3.30z Date: Apr. 4, 1995
Projekt: 5P83110/ZS0 File: OB1.P5O (OB1) Page: 2
DEF SM30.3.-LOGO
PZ: 1
1 U B -LOGO
2 = B -QVL_OUT
;*****HANDLING BLOCK PCS1*****
3 BA -PCSKOMM,8
P0 -QUVERW1 ;CROSS-REFERENCE DATA BLOCK
P1 -PCSDB1 ;COMMUNICATIONS DATA BLOCK
P2 B -RSET1 ;SWITCH FOR RESTART AFTER A COMMUNICATION ERROR
P3 B -EROR1 ;GENERAL ERROR MESSAGE
P4 B -FIRSTRU1 ;FLAG FOR FIRST SCAN (-PCSKOMM)
P5 B -QVL_OUT ;FLAG FOR TRANSFER CROSS-REFERENCE DATA BLOCK (=1)
P6 -INIT ;INIT (RESTART PRESETTING;COMMUNICATIONS START)
P7 -COFF ;COFF (FAULT PRESETTING;COMMUNICATIONS LOSS)
;*****HANDLING BLOCK PCS2*****
PZ: 2
4 UN B -QVL_OUT ;ONE XREF DATA BLOCK PER SCAN CYCLE ->PCS830.3
5 BAB -PCSKOMM,8
P0 -QUVERW2 ;CROSS-REFERENCE DATA BLOCK
P1 -PCSDB2 ;COMMUNICATIONS DATA BLOCK
P2 B -RSET2 ;SWITCH FOR RESTART AFTER A COMMUNICATION ERROR
P3 B -EROR2 ;GENERAL ERROR MESSAGE
P4 B -FIRSTRU2 ;FLAG FOR FIRST SCAN (-PCSKOMM)
P5 B -QVL_OUT ;FLAG FOR TRANSFER CROSS-REFERENCE DATA BLOCK (=1)
P6 -INIT ;INIT (RESTART PRESETTING;COMMUNICATIONS START)
P7 -COFF ;COFF (FAULT PRESETTING;COMMUNICATIONS LOSS)
;*****HANDLING BLOCK PCS3*****
PZ: 3
6 UN B -QVL_OUT ;ONE XREF DATA BLOCK PER SCAN CYCLE ->PCS830.3
7 BAB -PCSKOMM,8
P0 -QUVERW3 ;CROSS-REFERENCE DATA BLOCK
P1 -PCSDB3 ;COMMUNICATIONS DATA BLOCK
P2 B -RSET3 ;SWITCH FOR RESTART AFTER A COMMUNICATION ERROR
P3 B -EROR3 ;GENERAL ERROR MESSAGE
P4 B -FIRSTRU3 ;FLAG FOR FIRST SCAN (-PCSKOMM)
P5 B -QVL_OUT ;FLAG FOR TRANSFER CROSS-REFERENCE DATA BLOCK (=1)
P6 -INIT ;INIT (RESTART PRESETTING;COMMUNICATIONS START)
P7 -COFF ;COFF (FAULT PRESETTING;COMMUNICATIONS LOSS)
8PE
Prg. contr. documentation Bosch CL500 Version 3.30z Date: Apr. 4, 1995
Projekt: 5P83110/ZS0 File: OB1.P3O (OB1) Page: 4
DEF SM30.3.-LOGO
PZ: 1
1 U B -LOGO
2 = B -FIRSTRU1 ;FLAG FOR FIRST SCAN PCS1 SET TO ZERO
3 = B -FIRSTRU2 ;FLAG FOR FIRST SCAN PCS2 SET TO ZERO
4 = B -FIRSTRU3 ;FLAG FOR FIRST SCAN PCS3 SET TO ZERO
5BE

© Systeme Lauer GmbH & Co KG • Kelterstr.59 • 72669 Unterensingen • Tel. (07022) 96 60-0 • Fax (07022) 96 60-103 A-27
A LAUER driver
Prg. contr. documentation Bosch CL500 Version 3.30z Date: Apr. 4, 1995
Projekt: 5P83110/ZS0 File: OB6.P5O (OB6) Page: 5
DEF SM30.3.-LOGO
PZ: 1
1 U B -LOGO
2 = B -FIRSTRU1 ;FLAG FOR FIRST SCAN PCS1 SET TO ZERO
3 = B -FIRSTRU2 ;FLAG FOR FIRST SCAN PCS2 SET TO ZERO
4 = B -FIRSTRU3 ;FLAG FOR FIRST SCAN PCS3 SET TO ZERO
5BE
Prg. contr. documentation Bosch CL500 Version 3.30z Date: Apr. 4, 1995
Projekt: 5P83110/ZS0 File: OB7.P5O (OB7) Page: 6
DEF SM30.3.-LOGO
PZ: 1
1 U B -LOGO
2 = B -FIRSTRU1 ;FLAG FOR FIRST SCAN PCS1 SET TO ZERO
3 = B -FIRSTRU2 ;FLAG FOR FIRST SCAN PCS2 SET TO ZERO
4 = B -FIRSTRU3 ;FLAG FOR FIRST SCAN PCS3 SET TO ZERO
5BE
Prg. contr. documentation Bosch CL500 Version 3.30z Date: Apr. 4, 1995
Projekt: 3P83110/ZS0 File: OB8.P5O (OB8) Page: 7
DEF SM30.3.-LOGO
PZ: 1
1 U B -LOGO
2 = B -FIRSTRU1 ;FLAG FOR FIRST SCAN PCS1 SET TO ZERO
3 = B -FIRSTRU2 ;FLAG FOR FIRST SCAN PCS2 SET TO ZERO
4 = B -FIRSTRU3 ;FLAG FOR FIRST SCAN PCS3 SET TO ZERO
5BE
Prg. contr. documentation Bosch CL500 Version 3.30z Date: Apr. 4, 1995
Projekt: 5P83110/ZS0 File: INIT.P5O (PB1) Page: 12
;*********************************************************************************************
;** INIT (APPLICATION-SPECIFIC PRE-ASSIGNMENTS; PCS COMMUNICATIONS START)
;*********************************************************************************************
1 HLT ;!!!!! INSERT OR ADD PCS AND EQUIPMENT-
;**********************************PRE-ASSIGNMENTS FOR COMMUNICATIONS START
;**********************************START HERE !!!!!
;*****EXAMPLE PCS 090/095*****
2 L W K0FC8H,A
3 T W A,D13W ;COMMAND WORD A
4 L W K0080H,A
5 T W A,D14W ;COMMAND WORD B
6BE
;*****EXAMPLE PCS 100*****
7 L W K0D,A
8 T W A,D6W ;DATA
9 L W K0F00H,A
10 T W A,D14W ;COMMAND WORD
11 BE
;*****EXAMPLE PCS 200 AND PCS 300*****
12 L W K0D,A
13 T W A,D7W ;DATA
14 T W A,D19W ;COMMAND WORD C
15 L W K0080H,A
16 T W A,D18W ;COMMAND WORD B
17 L W K0F00H,A
18 T W A,D17W ;COMMAND WORD A
19 BE

© Systeme Lauer GmbH & Co KG • Kelterstr.59 • 72669 Unterensingen • Tel. (07022) 96 60-0 • Fax (07022) 96 60-103
A-28
A LAUER driver
Prg. contr. documentation Bosch CL500 Version 3.30z Date: Apr. 4, 1995
Projekt: 5P83110/ZS0 File: COFF.P5O (PB2) Page: 13
;***********************************************************************************************
;** COFF (APPLICATION-SPECIFIC FAULT PRE-ASSIGNMENTS; PCS COMMUNICATIONS LOSS)
;***********************************************************************************************
1 HLT ;!!!!! INSERT PCS AND EQUIPMENT-SPECIFIC
;********************************** FAULT PRESSTINGS FOR COMMUNICATIONS
;********************************** LOSS HERE !!!!!
;********************************** !!!!! ATTENTION: !!!!!
;********************************** SET AT LEAST HERE KEYWORDS TO ZERO
;********************************** (PCS-SPECIFIC) !
;*****EXAMPLE PCS 090/095*****
2 L W K0D,A
3 T W A,D4W ;KEYS
4 T W A,D5W
5 T W A,D23W
6BE
;*****EXAMPLE PCS 100*****
7 L W K0D,A
8 T W A,D4W ;KEYS
9 T W A,D5W
10 T W A,D6W
11 BE
;*****EXAMPLE PCS 200 AND PCS 300*****
12 L W K0D,A
13 T W A,D4W ;KEYS
14 T W A,D5W
15 T W A,D6W
16 T W A,D7W
17 BE
Statement listing PC600
Prg. contr. documentation Bosch PC600 Version 3.30z Date: Apr. 4, 1995
Projekt: 6P83110/ZS0 File: OB1.P6O (OB1) Page: 2
DEF K0H, -QUVERW1
DEF K1H, -PCSDB1
DEF K2H, -QUVERW2
DEF K3H, -PCSDB2
DEF K4H, -QUVERW3
DEF K5H, -PCSDB3
DEF K8000H, -INIT
DEF K8001H, -COFF
PZ: 1
1 UN B -QVL_OUT
2 U B -QVL_OUT
3 = B -QVL_OUT
;*****HANDLING BLOCK PCS1*****
4 BA -PCSKOMM,8
P0 -QUVERW1 ;CROSS-REFERENCE DATA BLOCK
P1 -PCSDB1 ;COMMUNICATIONS DATA BLOCK
P2 B -RSET1 ;SWITCH FOR RESTART AFTER A COMMUNICATION ERROR
P3 B -EROR1 ;GENERAL ERROR MESSAGE
P4 B -FIRSTRU1 ;FLAG FOR FIRST SCAN (-PCSKOMM)
P5 B -QVL_OUT ;FLAG FOR TRANSFER CROSS-REFERENCE DATA BLOCK (=1)
P6 -INIT ;INIT (RESTART PRESETTING;COMMUNICATIONS START)
P7 -COFF ;COFF (FAULT PRESETTING;COMMUNICATIONS LOSS)

© Systeme Lauer GmbH & Co KG • Kelterstr.59 • 72669 Unterensingen • Tel. (07022) 96 60-0 • Fax (07022) 96 60-103 A-29
A LAUER driver
;*****HANDLING BLOCK PCS2*****
PZ: 2
5 UN B -QVL_OUT ;ONE XREF DATA BLOCK PER SCAN CYCLE ->PCS830.3
6 BAB -PCSKOMM,8
P0 -QUVERW2 ;CROSS-REFERENCE DATA BLOCK
P1 -PCSDB2 ;COMMUNICATIONS DATA BLOCK
P2 B -RSET2 ;SWITCH FOR RESTART AFTER A COMMUNICATION ERROR
P3 B -EROR2 ;GENERAL ERROR MESSAGE
P4 B -FIRSTRU2 ;FLAG FOR FIRST SCAN (-PCSKOMM)
P5 B -QVL_OUT ;FLAG FOR TRANSFER CROSS-REFERENCE DATA BLOCK (=1)
P6 -INIT ;INIT (RESTART PRESETTING;COMMUNICATIONS START)
P7 -COFF ;COFF (FAULT PRESETTING;COMMUNICATIONS LOSS)
;*****HANDLING BLOCK PCS3*****
PZ: 3
7 UN B -QVL_OUT ;ONE XREF DATA BLOCK PER SCAN CYCLE ->PCS830.3
8 BAB -PCSKOMM,8
P0 -QUVERW3 ;CROSS-REFERENCE DATA BLOCK
P1 -PCSDB3 ;COMMUNICATIONS DATA BLOCK
P2 B -RSET3 ;SWITCH FOR RESTART AFTER A COMMUNICATION ERROR
P3 B -EROR3 ;GENERAL ERROR MESSAGE
P4 B -FIRSTRU3 ;FLAG FOR FIRST SCAN (-PCSKOMM)
P5 B -QVL_OUT ;FLAG FOR TRANSFER CROSS-REFERENCE DATA BLOCK (=1)
P6 -INIT ;INIT (RESTART PRESETTING;COMMUNICATIONS START)
P7 -COFF ;COFF (FAULT PRESETTING;COMMUNICATIONS LOSS)
9PE
Prg. contr. documentation Bosch PC600 Version 3.30z Date: Apr. 4, 1995
Projekt: 6P83110/ZS0 File: OB27.P6O (OB27) Page: 4
PZ: 1
1 U B -FIRSTRU1
2 UN B -FIRSTRU1
3 = B -FIRSTRU1 ;FLAG FOR FIRST SCAN PCS1 SET TO ZERO
PZ: 2
4 U B -FIRSTRU2
5 UN B -FIRSTRU2
6 = B -FIRSTRU2 ;FLAG FOR FIRST SCAN PCS1 SET TO ZERO
PZ: 3
7 U B -FIRSTRU3
8 UN B -FIRSTRU3
9 = B -FIRSTRU3 ;FLAG FOR FIRST SCAN PCS1 SET TO ZERO
10 BE
Prg. contr. documentation Bosch PC600 Version 3.30z Date: Apr. 4, 1995
Projekt: 6P83110/ZS0 File: OB28.P6O (OB28) Page: 5
PZ: 1
1 U B -FIRSTRU1
2 UN B -FIRSTRU1
3 = B -FIRSTRU1 ;FLAG FOR FIRST SCAN PCS2 SET TO ZERO
PZ: 2
4 U B -FIRSTRU2
5 UN B -FIRSTRU2
6 = B -FIRSTRU2 ;FLAG FOR FIRST SCAN PCS2 SET TO ZERO
PZ: 3
7 U B -FIRSTRU3
8 UN B -FIRSTRU3
9 = B -FIRSTRU3 ;FLAG FOR FIRST SCAN PCS2 SET TO ZERO
10 BE

© Systeme Lauer GmbH & Co KG • Kelterstr.59 • 72669 Unterensingen • Tel. (07022) 96 60-0 • Fax (07022) 96 60-103
A-30
A LAUER driver
Prg. contr. documentation Bosch PC600 Version 3.30z Date: Apr. 4, 1995
Projekt: 6P83110/ZS0 File: OB29.P60 (OB29) Page: 6
PZ: 1
1 U B -FIRSTRU1
2 UN B -FIRSTRU1
3 = B -FIRSTRU1 ;FLAG FOR FIRST SCAN PCS3 SET TO ZERO
PZ: 2
4 U B -FIRSTRU2
5 UN B -FIRSTRU2
6 = B -FIRSTRU2 ;FLAG FOR FIRST SCAN PCS3 SET TO ZERO
PZ: 3
7 U B -FIRSTRU3
8 UN B -FIRSTRU3
9 = B -FIRSTRU3 ;FLAG FOR FIRST SCAN PCS3 SET TO ZERO
10 BE
Prg. contr. documentation Bosch PC600 Version 3.30z Date: Apr. 4, 1995
Projekt: 6P83110/ZS0 File: INIT.P60 (PB0) Page: 7
;*********************************************************************************************
;** INIT (APPLICATION-SPECIFIC PRE-ASSIGNMENTS; PCS COMMUNICATIONS START)
;*********************************************************************************************
1 HLT ;!!!!! INSERT OR ADD PCS AND EQUIPMENT-
;**********************************SPECIFIC PRE-ASSIGNMENTS FOR COMMUNICATIONS
;**********************************START HERE !!!!!
;*****EXAMPLE PCS 090/095*****
2 L W K0FC8H,A
3 T W A,D13W ;COMMAND WORD A
4 L W K0080H,A
5 T W A,D14W ;COMMAND WORD B
6BE
;*****EXAMPLE PCS 100*****
7 L W K0D,A
8 T W A,D6W ;DATA
9 L W K0F00H,A
10 T W A,D14W ;COMMAND WORD
11 BE
;*****EXAMPLE PCS 200 AND PCS 300*****
12 L W K0D,A
13 T W A,D7W ;DATA
14 T W A,D19W ;COMMAND WORD C
15 L W K0080H,A
16 T W A,D18W ;COMMAND WORD B
17 L W K0F00H,A
18 T W A,D17W ;COMMAND WORD A
19 BE

© Systeme Lauer GmbH & Co KG • Kelterstr.59 • 72669 Unterensingen • Tel. (07022) 96 60-0 • Fax (07022) 96 60-103 A-31
A LAUER driver
Prg. contr. documentation Bosch PC600 Version 3.30z Date: Apr. 4, 1995
Projekt: 6P83110/ZS0 File: COFF.P60 (PB1) Page: 8
;***********************************************************************************************
;** COFF (APPLICATION-SPECIFIC FAULT PRE-ASSIGNMENTS; PCS COMMUNICATIONS LOSS)
;***********************************************************************************************
1 HLT ;!!!!! INSERT PCS AND EQUIPMENT-SPECIFIC
;********************************** FAULT PRESSTINGS FOR COMMUNICATIONS
;********************************** LOSS HERE !!!!!
;********************************** !!!!! ATTENTION: !!!!!
;********************************** SET AT LEAST HERE KEYWORDS TO ZERO
;********************************** (PCS-SPECIFIC) !
;*****EXAMPLE PCS 090/095*****
2 L W K0D,A
3 T W A,D4W ;KEYS
4 T W A,D5W
5 T W A,D23W
6BE
;*****EXAMPLE PCS 100*****
7 L W K0D,A
8 T W A,D4W ;KEYS
9 T W A,D5W
10 T W A,D6W
11 BE
;*****EXAMPLE PCS 200 AND PCS 300*****
12 L W K0D,A
13 T W A,D4W ;KEYS
14 T W A,D5W
15 T W A,D6W
16 T W A,D7W
17 BE

© Systeme Lauer GmbH & Co KG • Kelterstr.59 • 72669 Unterensingen • Tel. (07022) 96 60-0 • Fax (07022) 96 60-103
A-32
A LAUER driver
A4 Technical apendix
A4.1 PCS 830.3
This part of the manual contains special informations which are reqiered
for the setup: cable assignment, transfer addresses and a short explanation
of the data transfer using the communication port and the I/O bus.
Mechanical design Board with 64-pole DIN 41612 „C“ connector
Power supply Via motherboard: 12 V
Current requirement 300 mA max. (typically 250 mA)
Address allocation 12 addresses in the EZ/AZ area;
4 successive addresses (selectable via
DIL-switches) in the additional I/O area (EZ/AZ)
with EZ/AZ-addresses lying in parallel
Interfaces 3 x TTY (20 mA)
TTY current sources Internal/external selectable
Potential separation Yes, optocouplers hp 4100/4200
Dimensions 233.4 * 160 * 30 mm
Front elements 3 7-segment status displays „St.x“
3 LED „TXx“ = transmit current
3 LED „RXx“ = receive current
3 JD female connector „TTY1“
3-pole inline connector (RIA, 24V, earth, 0V)
Current source supply 24V DC (current requirement 50 mA max.)
stabilized
Connections 24V, earth, 0V (potentially isolated)

© Systeme Lauer GmbH & Co KG • Kelterstr.59 • 72669 Unterensingen • Tel. (07022) 96 60-0 • Fax (07022) 96 60-103 A-33
A LAUER driver
Circuit board diagram
X1 (DIN 41612 „C“ connector)
D1-3: 8-segment DILs, channel parameters (1 per cannel)
D4-6: 6-segment DILs, addressing in the EZ/AZ-field (1 per cannel)
A4.2 PCS 830.1
Mechanical design Board with 64-pole DIN 41612 „C“ connector
Power supply Via motherboard: 12 V
Current requirement 250 mA max. (typically 200 mA)
Address allocation 4 addresses in the EZ/AZ area;
4 successive addresses (selectable via DIL
switches) in the additional I/O area (EZ/AZ) with
EZ/AZ-addresses lying in parallel
Interfaces 1 x TTY (20 mA)
TTY current sources Internal/external selectable
Potential separation Yes, opto-couplers hp 4100/4200
Dimensions 233.4 * 160 * 30 mm
Front elements 1 7-segment status displays „St.x“
1 LED „TXx“ = transmit current
1 LED „RXx“ = receive current
1 JD female connector „TTY1“
3-pole inline connector (RIA, 24V, earth, 0V)
Current source supply 24V DC (current requirement 50 mA max.)
stabilized
Connections 24V, earth, 0V (potentially isolated)

© Systeme Lauer GmbH & Co KG • Kelterstr.59 • 72669 Unterensingen • Tel. (07022) 96 60-0 • Fax (07022) 96 60-103
A-34
A LAUER driver
Circuit board diagram
X1 (DIN 41612 „C“ connector)
D1: 8-segment DIL, channel parameters
D2: 6-segment DIL, addressing
RIA (24V, earth, 0V): 3-pole inline connector for the active oper-
ation of the current sources
A4.3 Interfaces TTY1..3
Pin assignment of the TTY interfaces:
Pin no. Meaning
Case screen (connec. with frontplate and RIA shield. termin.)
1 „ „ „ „ „ „ „
10 TX+
12 current source 1 (20mA) active with stab. 24 V supplied
13 RX+
14 RX -
16 current source 2 (20mA) active with stab. 24 V supplied
19 TX -
21,24 0 V (external)
2 additional current sources per interface can be activated by connecting
stabilized 24 VDC to the 3-pole RIA terminal if a printer without it´s own
current source is connected to the PCS operating console (e.g. PCS
900). Then, these current sources supply the line current for the com-
munication between the PCS operating console and the PCS 830.3/1
TTYx interface while the current sources built into the PCS operating
console supply the line current for the printer port.
The PCS 736 cable can also be used when using these current sources.
Only the cable ends are to be reversed („Prog. contr. interface“ cable end
is plugged into the PCS operating console and the „PCS“ cable end is
plugged into the PCS 830.3/1).

© Systeme Lauer GmbH & Co KG • Kelterstr.59 • 72669 Unterensingen • Tel. (07022) 96 60-0 • Fax (07022) 96 60-103 A-35
A LAUER driver
Communications cable PCS 736 For each interface, the connection is made via 2 TTY channels. The line
currents for both channels are supplied by the PCS operating console.
Thus, the programmable controller is galvanically isolated.
When using shielded standard cable (2 * 2 * 0.14, untwisted) the following
recommended maximum length apply:
19200 baud 10 meters
9600 baud 20 meters
4800 baud 40 meters
1200 baud 160 meters
When using low-capacity data cables twisted in pairs the 10-fold lengths
can be projected (example: Belden cable 8723; alternative: 2-fold foil
shielded 4-wire 2*2*0,2 mm cables twisted in pairs).
Interrupting the connection is registered by the PCS operating console
and shown on the PCS 830.3 display (status „St.x“). The fault is indicated
in the error word (DW3) for the further evaluation.
Screening
Connector hoods are used, the shield may also be connected to pin 1,
but this is not recommended due to interferences, because the data lines
should be completely covered by the shield (if possible). It should be
noticed, however, that grounding on both sides may require an
equipotential bonding conductor with a cross section of 10 times that of
the shield (in order to compensate for ground potential variations and to
prevent equalizing currents on the cable shield)! This is especially
important, if the PCS and the programmable controller are not connected
to the same common point (if they are for example installed in different
control cabinets).

© Systeme Lauer GmbH & Co KG • Kelterstr.59 • 72669 Unterensingen • Tel. (07022) 96 60-0 • Fax (07022) 96 60-103
A-36
A LAUER driver
A4.4 Data transfer PCS 830.x I/O BUS
The PCS 830.3/31 uses for each channel (separately settable) 4
addresses respectively in the EZ/AZ area on the I/O bus. These addresses
have the following meaning (only for diagnosis purposes):
ADDRESS: base address +0
DIRECTION: writing (AZ)
-- presently not used
DIRECTION: reading (EZ)
-- presently not used
STATUS CHANNEL
ADDRESS: base address +1
DIRECTION: reading (EZ)
bit 7 = 1 (frame ready) - data interchange readiness!
bit 6 = 1 (fetch list) - cross-reference list transfer!
bit 5 = 1 (watchdog) - watchdog has been activated!
bit 4..0 presently not used
DIRECTION: writing (AZ)
-- reset during communication (software reset)
for exiting the menus (PCS 100)
DATA CHANNEL
ADDRESS: base address +2 and bass address +3 (word-by-word)
DIRECTION: reading (EZ) and writing (AZ)
COMMANDS PCS -> prog. contr.
DATA PCS <-> prog. contr.
The data transfer is managed by the enclosed PCSKOMM PB, so no
evaluation is required by the user. The indicated meanings are only rele-
vant for diagnosis purposes. However, attention must be paid that the
user program never accesses the base addresses +2, +3 of the corres-
ponding channel. Otherwise, correct communication between the PCS
operating console and the PCS 830.3/31 is not guaranteed anymore.
Consequences are e.g. stop of the programmable controller, corruption
of the programmable controller program and data.

© Systeme Lauer GmbH & Co KG • Kelterstr.59 • 72669 Unterensingen • Tel. (07022) 96 60-0 • Fax (07022) 96 60-103 B-1
B Buep 19-Expander driverB Buep 19-Expander driver
B1 First commissioning
Preface The successful parameterization of the PCS 009/090/095/PCS plus as
described in the PCS manual is presupposed. This appendix relates
exclusively to the use of the PCS together with the BOSCH CL300
programmable controller via the programming interface by means of the
BUEP19 protocol. In the following, this controller is referred to as
programmable controller and the driver to be loaded into the PCS as
3P90BUEP. The BOSCH specific terminology and the programming of
the programmable controller with the BOSCH software are presupposed
as known.
Required devices and accessories The following products are required for the operation of a programmable
controller with an already parameterized PCS 009/090/095/PCS plus
(Systeme Lauer company):
1. The PCS PCS 009/090/095/PCS plus operating console itself
(already parameterized).
2. The PCS 706 connecting cable for the connection programmable
controller via the TTY interface or LCA 035/235 for the connection
via the RS-232C interface.
3. PCS 091 manual plus this appendix (PCS 91.BOS)
4. Floppy disk with PCS 91.BOS handling block.
Furthermore are required (BOSCH company):
5. Programming card, programming cable, software, and the copy
protection device for programming the programmable controller
6. CL300 rack (BGT 300, BGT 300-K, BGT 301, or BGT 301-K)
7. Power supply NT 300 or NT 301
8. ZE 300 or ZE 301 CPU board (with 16k or 32k RAM module)
9. Optionally a digital I/O board
Loading of the 3P90BUEP driver Both, the application program with data and a selected driver are
transferred during the configuration. The procedure described in the PCS
091 manual applies also here.
Variable settings The following settings must be made in the OPTIONS/DRIVER PARA-
METERS menu of PCSPRO software for the correct operation of the
driver. These are: baud rate and interface, (DB number) and (Timeout
time).

© Systeme Lauer GmbH & Co KG • Kelterstr.59 • 72669 Unterensingen • Tel. (07022) 96 60-0 • Fax (07022) 96 60-103
B-2
B Buep 19-Expander driver
Interfaces Interface and baud rate can be selected from combinations set with the
DIL switches 5 and 6 on the rearside of the PCS 090. The choice consists
of: RS-232C or TTY, 19200, 9600, 4800, or 1200 baud. The speed of the
communication depends decisively on the baud rate (e.g. a changed va-
riable must be read 2 times!). Select only on a slower baud rate if you
have longer distances between the participants. We recommend to
communicate with 19200 baud via TTY.
The relation baud rate to maximum distance is as follows:
Baudrate max length RS-232C max. length TTY
19200 15m 150m*)
9600 15m 300m*)
4800 15m 350m*)
1200 15m 350m*)
*) When using a shielded and twisted cable with 14 x 0,14mm, a line resistance
of less than 138 /km, and a capacity of less than 120 pF/m.
Communication data block The number of the communication data block containing the send ad
receive buffers must be passed on to the 3P90BUEP drivers. The value 0
(default value) must be entered if you do not change the communications
software in the programmable controller. The communication data block
consists of 2 times 32 data words (= 128 bytes).
Timeout time The timeout time to be set is the maximum time, the programmable con-
troller needs for the cyclical call of the PCSKOMM communication pro-
gram plus the communication time. The time is settable between 0.5 and
2.55 seconds. Time monitoring is activated only if the order read by the
PCS is not yet the current one.
Thus, the resulting timeout parameter (element x 10 ms) and the timeout
parameter P6 (Kx.1 = x 100ms) for the programmable controller without
user program is as follows:
Baudrate Timeout PCS P6 (timeout progr. contr.)
19200 50 K2.1
9600 50 K3.1
4800 50 K5.1
1200 170 K17.1
Attention!
You must add the maximum scan time to the above indicated times.
Example: 19200 baud, 800 ms maximum scan time -> timeout PCS =
130, P6 = K10.1.

© Systeme Lauer GmbH & Co KG • Kelterstr.59 • 72669 Unterensingen • Tel. (07022) 96 60-0 • Fax (07022) 96 60-103 B-3
B Buep 19-Expander driver
Connection to the PLC 1. Set DIL switches 8 and 9 on the rear side of the PCS to OFF. The
DIL switches 5 and 6 are set according to the selected baud rate and
interface. Initiate a PCS reset.
2. Supply operating voltage (19..33V) to the PCS. At least the ERR
LED must light now.
3. Connect the programming interface of the programmable controller
to the PCS using a suited cable.
4. Now, the ERR LED at the PCS must be activated.
Trouble-shooting Errors which might occur during first commissioning are listed below:
1. DIL switch 8 is set to ON. In this case, the PCS starts a diagnosis
routine after being switched on. This routine is only required for test
purposes. Remedy: Set the DIL switch to OFF and restart the PCS
(by switching it off for a short time or by shortly pressing the RESET
push-button located above the DIL switch).
2. The DIL switches 5 and 6 (interface and baud rate selection) are not
correctly set. Check the settings at the PCS using the HLP key and
arrowdown key.
3. Is the correct cable being used? This is PCS 706 for TTY (observe
the polarity) and LCA 035/235 for RS-232 (polarity not important) or
a cable as described in chapter 2.5.
4. Has the correct program being loaded into the programmable
controller? Has the programmable controller being switched off
following a „Program load“? Does the P2 parameter indicate a „Rest-
art after fault“?
5. DW 3 of the PCS data block shows a value <> 0KH in case of an
error. If this the case the error is to be searched in the programmable
controller to PCS connection. The cable is possibly defective.
6. Communication is established but after a certain time the PCS
displays the following message:
======== COMMUNICATION ERROR =========
In this case, please read the following section.
Communication ERROR When communicating with each other the PCS operates as master (AST)
and the programmable controller as slave (PST). Thus, it is the PCS´s
task to set up the communication and to perform monitoring. Thereby, 3
criteria must be monitored: is communication active, is communication
processing in the programmable controller active, and does the
programmable controller indicate faults. Data are transferred to/read from
the programmable controller via the BUEP 19 protocol. The timeout times
for the protocol are fixed (3.2s max.) which allows no statement about
data processing. Therefore, the processing timeout is set using the
PROJECT/DRIVER PARAMETER menu in PCSPRO.

© Systeme Lauer GmbH & Co KG • Kelterstr.59 • 72669 Unterensingen • Tel. (07022) 96 60-0 • Fax (07022) 96 60-103
B-4
B Buep 19-Expander driver
•TIMEOUT
Time monitoring for the serial data interchange is active in the PCS
as well as in the programmable controller. In case of an error, an
error message is displayed on the PCS and the ERROR LED flashes.
The PCS tries to set up communication again in the background.
The error message is erased if this has been successful. In the
PCSPRO, the timeout time for order processing is adjustable in the
range of 500ms to 2.55 s.
The following message is displayed in case of a complete communi-
cation loss with the programmable controller:
========== COMMUNICATION ERROR ==========
TIMEOUT COMMUNICATION!
The following display appears in case the tasks are not processed
by the programmable controller. This is the case if the PCSKOMM
program will not be executed or the restart input is not set after a
programmable controller timeout. The cable is possibly defective.
========== COMMUNICATION ERROR ==========
TIMEOUT PLC
• PLC ERROR RECEIVED
Ba means of the protocol, the programmable controller indicates if a
fault has appeared. It will receive a fault byte which informs about
the appeared fault. Please refer to the BOSCH „CL300 Computer
linking module R301“ manual for the possible fault description. In
the shown example, the fault value „2C „ is indicated which
corresponds to addressing an inadmissible DB (is variable AG
correct?).
========== COMMUNICATION ERROR ==========
PLC ERROR RECEIVED: 2C!
• TOO MANY REPETITIONS
The faulty position is repeated if a fault appears in the communication.
The communication is interrupted and the following error message
is output after 3 unsuccessful repetitions. In this case the PCS/
programmable controller connection has been routed through a noisy
environment, the cable is too long for the selected baud rate, or
earthing is insufficient.
========== COMMUNICATION ERROR ==========
TOO MANY REPETITIONS!

© Systeme Lauer GmbH & Co KG • Kelterstr.59 • 72669 Unterensingen • Tel. (07022) 96 60-0 • Fax (07022) 96 60-103 B-5
B Buep 19-Expander driver
Notes concerning the connection of the PCS to a PLC:
• Connect the cable screening to the central common of the control
cabinet.
• Ensure appropriate chassis groundings with regard to the PCS housi-
ng on the one hand and the PLC bus board on the other. Remember
that a copper grounding strip, due to its large surface, ensures a
considerably higher RF conductivity than normal stranded intercon-
necting wire.
• Avoid, as far as possible, high frequency interferences, because
damping is very difficult in this case. The progr. contr. and the PCS
are electrically isolated by optocouplers, but this isolation is not
effective in case of high-speed transients, because optocouplers
feature a coupling capacitance (although it is very low).
• Ensure clear supply voltage reference points. To facilitate this, the
power supply is potential-free.
• If the supply voltage is influenced by high interferences, use a sepa-
rate power supply for the PCS (24 V, 10 VA). It should be equipped
with appropriate noise filters. In this case, 0 Volt can directly be
connected to protective earth at the PCS.
• Ensure a minimum distance of 200 mm between noise sources and
the PCS/the communication cable. This especially concerns inductors
and frequency converters.
• Please take care that the serial data lines are covered completely (if
possible) by the shield. Use a metallized connector hood at PCS as
well as at the progr. contr. side and ensure a highly conductive
connection between the connector hood and the shield. Please notice
that grounding on both sides may require an equipotential bonding
conductor with a cross section of 10 times that of the shield. This is
especially important, if the PCS and the progr. contr. are not con-
nected to the same common point (if they are for example installed
in different control cabinets). This is necessary to prevent equalizing
currents on the cable shield.

© Systeme Lauer GmbH & Co KG • Kelterstr.59 • 72669 Unterensingen • Tel. (07022) 96 60-0 • Fax (07022) 96 60-103
B-6
B Buep 19-Expander driver
B1.2 Description of the handling software
The 3P90BUEP communication block is located on the PCS 91.BOS
floppy disk. The scan time without user program (only PCSKOMM and
the I/O cycle) totals about 40 ms. A maximum of 80 ms are possible.
Since the maximum scan time of the ZE300 totals 1600ms the user pro-
gram should not require more than approx. 1500 ms.
The effective response time speed between programmable controller and
PCS depends on the baud rate and the cyclical call time of PCSKOMM.
The response time is approx. 0.2 seconds without user program and
19200 baud communication rate. Please match the P6 timeout time and
the PCS Timeout time parameters correspondingly (refer to 2.1). However,
the actual response time can be increased for variables since a changed
set value variable is read 2 times before it is assumed accepted.
Description of the programs • OB 1
Call of the programs using parameters. Change the settings for the
PCSKOMM program here. Thus, no changes are required in PCSKOMM.
Link your application program in after calling the PCSKOMM program.
Thereby, activated keys are immediately processed.
• OB7, OB8
Set the flag for the programmable controller start.
• PCSKOMM communication program.
Reads reception buffer of TRANSDB and processes a received order
packet. Enters corresponding data into PCSDB and reads from it.
Writes data to be read into the transmitting buffer of TRANSDB. The
communication is monitored using the timer P7. P3 and P5 are set if
the P7 timeout time has expired without a new order being entered.
IF P2 is = 1, the communication starts automatically again after com-
munications error if an order packet has been received. Please specify
the presettings for the PCS at the -PCSVORB label: LEDs, display
and memory behavior, enable priorities, ect. Please specify the
reactions to communication loss at the -PCSNOTF label: reset the
PCS status (keys,..), reset of variables (the communication can fail
during a menu), and start conditions of the PCS for the restart.
Parameterization of the PCSKOMM handling block:
P0: Communication data block (here: DB0, 64 words)
The send and receive buffers are specified by this block. Orders of
the PCS and processed data (for reading orders) are stored in these
buffers. The block must consist of 64 data words.
P1: PCS control block (here: DB1, 255 words)
The programmable controller and the PCS exchange information
via this data block. It is activated during the processing of the handling
block.
P2: Switch for restart after faults (bit, here E0.0)
Using this bit, the communication can be restarted if a communi-
cations error appears (faults are then reset automatically!). It is to be
considered that no edge evaluation is made, i.e. with bit P2 set, the
communication is automatically restarted after a fault has appeared.

© Systeme Lauer GmbH & Co KG • Kelterstr.59 • 72669 Unterensingen • Tel. (07022) 96 60-0 • Fax (07022) 96 60-103 B-7
B Buep 19-Expander driver
P3: General error message (bit, here A0.0)
The P3 general fault bit is set for any error in the connection between
the programmable controller and the PCS. This bit is automatically
reset as soon as the communication is running without a fault.
P4: Flag for the first processing of the handling block (bit, here
M20.0)
This flag should be reset before the first call of the handling block. At
the first execution, it is automatically set to 1.
P5: Flag bit for appeared timeout faults (here: M20.2)
P6: Time value for timeout monitoring (refer also to 1.4.3). Structure:
e.g. K2.2 = 2 seconds timeout
multiplication element 1 = 100 ms, 2 = 1 s
value
P7: Name of the used timer for timeout (here: T15)
P8: Flag bit for waiting for the first order (here: M20.1)
TRANSDB is the data block containing the send and receive buffers.
Must be 64 words in length. PCSDB is the information interchange
data block between the PCS and the programmable controller. Must
be 255 words in length.
B1.3 Implementation of the software
The README.DOC file on the PCS 91.BOS floppy disk contains current
notes concerning the use of the various projects.
The 200.0-213.7 flags are used as temporary flags by the communication
program. They may also be used by other programs as temporary flags.
The P7 timeout timer (here: T15) and the flags P4, P5 and P8 (here:
M20.0-M20.2) must not be used by other programs.
Implementation of the PLC software
• Equip the rack
• Set the digital I/O boards to address 0 (for this set all DILs to OFF)
• Copy the corresponding project stored on the PCS 91.BOS floppy
disk to the hard disk
• Supply voltage to the programmable controller
• Transfer the programmable controller program into the controller using
the loader (if necessary, link in your application program, correct the
configuration and link newly)
• Turn off power to the programmable controller (important!), remove
the programming cable, set the programmable controller interface
parameters (refer to 2.4), turn on power to the programmable
controller and set the mode switch to RUN
• Connect the PCS and the programmable controller using an comm-
unications cable described in sections 3 (are DIL-switch segments
5 and 6 at the PCS correspondingly set).
• Apply 24 volts for a short-term to input E0.0 (Precondition: 24 V
input module).

© Systeme Lauer GmbH & Co KG • Kelterstr.59 • 72669 Unterensingen • Tel. (07022) 96 60-0 • Fax (07022) 96 60-103
B-8
B Buep 19-Expander driver
Now, the ERR LED (PCS) and the A0.0 output LED (programmable
controller) must have been deactivated. Also the 7-segment display
at the CPU must remain dark. Thus, the communication is active.
Attention!
In all projects on the floppy disk, the INIT and COFF PBs are to be adjusted
specifically for the connected operating console. The contained HLT
commands are to be deleted.
B1.4 Settings of the PLC
Please set the segments of the switch of the ZE 300/301 board as follows:
S1 switch
DIL87654321
X X X X X OFF ON ON 1200 BAUD
XXXXXONOFFON 4800 BAUD
XXXXXONONOFF 9600 BAUD
XXXXXONONON 19200 BAUD
The switch is located on the upper edge of the ZE 300/301 board. The
exact location can be taken from the „BOSCH CL300 devices manual“.
Turn shortly off the programmable controller after changing switch
positions.

© Systeme Lauer GmbH & Co KG • Kelterstr.59 • 72669 Unterensingen • Tel. (07022) 96 60-0 • Fax (07022) 96 60-103 B-9
B Buep 19-Expander driver
B2 Communication
Adapter cable PCS 706 Connection of the PCS - PLC via TTY interface
LCA 035/235 PCS to PLC via RS-232 interface
Use a zero-modem cable for the connection of the PLC to PCS via
RS-232C. Systeme Lauer offers the LCA 035/235 cable for this purpose.
The necessary connections are as follows:

© Systeme Lauer GmbH & Co KG • Kelterstr.59 • 72669 Unterensingen • Tel. (07022) 96 60-0 • Fax (07022) 96 60-103
B-10
B Buep 19-Expander driver
Screening
The shield should be connected on both sides to a metallized connector
hood. If non-metallized connector hoods are used, the shield may also
be connected to pin 1, but this is not recommended due to interferences,
because the data lines should be completely covered by the shield (if
possible). It should be noticed, however, that earthing on both sides may
require an equipotential bonding conductor with a cross section of 10
times that of the shield in order to compensate for earth potential variations
and to prevent equalizing currents on the cable shield! This is especially
important, if the PCS and the programmable controller are not connected
to the same common point (if they are for example installed in different
control cabinets).
Programming cable PCS 733 Connection PLC to PCS
Use this cable for the programming (loading of the driver and user pro-
gram) of the PCS.
Data transmission PCS - PLC Data transfer between the PCS and the programmable controller is ef-
fected in data packets. Each data packet is assigned a checksum (CRC).
The package content is checked for possible errors by the programmable
controller operating system and the PCS. Each packet consists of a mini-
mum of one sub-packet which performs a clearly defined task. The tasks
to be integrated in a packet are determined by the PCS based on numer-
ous single criteria. A criterion represents the importance of a task. Each
of these tasks is assigned a specific start priority. Priority management
assures that no task is lost. The highest priorities are processed first.
These priorities have nothing in common with the priority management
(PCS manual)! The indicated packet lengths refer to words, including
header. Data word 13 is used to prevent transmission of specific data
words (PCS manual).

© Systeme Lauer GmbH & Co KG • Kelterstr.59 • 72669 Unterensingen • Tel. (07022) 96 60-0 • Fax (07022) 96 60-103 B-11
B Buep 19-Expander driver
The tasks are listed below in detail:
TASK PRIOR. LENGTH START CRITERION
1. Write keyboard status 8 3 When pressing or releasing a key
2. Reset message bit 7 2 Press CLR for delete behavior 2
3. Write PLC setpiont 6 2..3 Always after changing a setpoint variable
and leaving the entry field
4. Read actual values 5 2..24*) In priorities 0..6, 12 continuously, other-
wise when display is refreshed
5. Read message bits 4 9 max. Continuously
6. Send PCS status 4 5 After changes
7. Read LEDs, flashing 3 4 Continuously
LEDs, memory and
display behavior
8. Read command word 3 3 Continuously (menu selections only if the
temporary buffer is empty)
*) Depends on the number of variables displayed and if the addresses
are adjacent. If the addresses are not adjacent, one header is required
per non-adjacent variable (1 word).
Data transfer procedure When communicating with each other the PCS operates as master (AST).
It is the master´s task to set up the communication and to send orders to
the PLC. PCS and PLC communicate with the following settings: TTY or
RS-232C, 19200/9600/4800/1200 baud, 8 bit, EVEN parity, 1 stop bit.
Only the interchange of the packets is described in this manual. Refer to
the BOSCH „BUEP 19 transfer protocol“ manual for the structuring of the
packets.

© Systeme Lauer GmbH & Co KG • Kelterstr.59 • 72669 Unterensingen • Tel. (07022) 96 60-0 • Fax (07022) 96 60-103
B-12
B Buep 19-Expander driver
Structure of the reading cycle:
PCS —— PLC
ENQ →
←ACK
READ DATA →
DB AREA ←ACK
EOT →
←ENQ
ACK →
←DATA THE DB AREA
ACK →
←EOT
Structure of the writing cycle:
PCS —— SPS
ENQ →
←ACK
WRITE DATA →
DB AREA ←ACK
EOT →
←ENQ
ACK →
←ORDER SUCCESSFULLY
PERFORMED
ACK →
←EOT
The packets designated above as „data“ specify the real content of the
communication. These data are written into the receive buffer of the
communication data block of the programmable controller (write cycle)
and are processed by the communication program of the programmable
controller. Information is written into the send buffer in the communication
data block of the programmable controller if the processing of the data
has been completed. This send buffer is read by the reading cycle. The
validity of an order is verified via an order number in the data. The send
and receive buffers use 128 bytes in a data block and are not adjustable
within this data block.

© Systeme Lauer GmbH & Co KG • Kelterstr.59 • 72669 Unterensingen • Tel. (07022) 96 60-0 • Fax (07022) 96 60-103 C-1
C Buep 19e-Expander driverC Buep 19e-Expander driver
C1 First commissioning
Preface The successful parameterization of the PCS as described in the PCS
091/991/925/995 manual is presupposed. This appendix relates
exclusively to the use of the PCS micro/mini/midi and plus together with
the BOSCH CL200/CL400/CL500 PLC via the programming interface by
means of the BUEP19E protocol. In the following, this controller is referred
to as programmable controller and the driver to be loaded into the PCS
as 5P90BUEP. The BOSCH specific terminology and the programming
of the programmable controller with the BOSCH software are presupposed
as known.
Attention!
Use only the software PCSPRO or PCSPROWIN for programming. Other
software packages can release failures of the PCS and PLC.
The following products are required for the operation of a programmable
controller with an PCS (Systeme Lauer company):
1. PCS 009/090/095/900/920/950/950c/PCS plus operating console
2. The PCS 706 connecting cable for the PCS to programmable con-
troller connection via the TTY interface or a zero-modem cable for
the connection via the RS-232C interface
3. PCSPRO floppy disk with 5P90BUEP driver, version 1.3 or later
4. PCS 091/925/995 manual
5. PCS 91.BOS appendix including BOSCH handling software floppy
disk
Furthermore are required (BOSCH company):
1. Programming card, programming cable, software (version 3.12 or
later) and the copy protection device for programming the PLC
2. CL500/CL400/CL200 racks
3. Power supply NT 3
4. Coordinator board SK 500 (not for CL400/CL200)
5. One or several ZS 500 CPU boards (with 32k or 64k RAM module)
6. One or several I/O boards
7. Power supplies for the PCS console and Bosch I/O boards

© Systeme Lauer GmbH & Co KG • Kelterstr.59 • 72669 Unterensingen • Tel. (07022) 96 60-0 • Fax (07022) 96 60-103
C-2
C Buep 19e-Expander driver
Loading of the 5P90BUEP Driver After selecting the 5P90BUEP driver in PCSPRO you have to set various
variables which are used by the drivers for the correct addressing of the
programmable controller. These are: baud rate, interface, data block
number, board address, number of sub-packets and timeout time.
Interfaces Interface and baud rate can be selected from combinations set with the
DIL switches 5 and 6 on the rearside of the PCS 090. The choice consists
of: RS-232C or TTY, 19200, 9600, 4800, or 1200 baud. The speed of the
communication depends decisively on the baud rate. Select only on a
slower baud rate if you have longer distances between the participants.
We recommend to communicate with 19200 baud via TTY.
The relation baud rate to maximum distance is as follows:
Baudrate max length RS-232C max. length TTY
19200 15m 150m*)
9600 15m 300m*)
4800 15m 350m*)
1200 15m 350m*)
*) When using a shielded and twisted cable with 14 x 0,14mm, a line resistance
of less than 138 /km, and a capacity of less than 120 pF/m.
Communication data block The number of the communication data block containing the send and
receive buffers must be passed on to the 5P90BUEP drivers (default
value=2). The communication data block consists of 69 data words (=
138 bytes).
Slot address The slot address (= block address) of the CPU to be addressed must be
passed on to the 5P90BUEP driver. Possible values are 0..3 for the CL
500, 30 for the CL 400, and 0 for the CL200 (default settings is 0). Once
you have set the address you can plug the communications cable into an
arbitrary programming unit interface in the CL 500 rack (including the SK
500). Always the CPU on this slot is addressed.
Number of sub-packets The number of sub-packets per sent packet can be set. If you select a
small value, the scan time load of the Expander module in the PLC is
decreased. However, simultaneously the response time of the com-
munication is increased. Possible values are between 1 and 50 (default
value).
Timeout time The timeout time to be set is the time in which a complete communi-
cation cycle must have been started including packet processing in the
programmable controller. Thus, the timeout time is composed out of 1
programmable controller scan time plus the data transfer time. The timeout
time is settable between 2.5 and 6 seconds. 2,5 seconds is default value.

© Systeme Lauer GmbH & Co KG • Kelterstr.59 • 72669 Unterensingen • Tel. (07022) 96 60-0 • Fax (07022) 96 60-103 C-3
C Buep 19e-Expander driver
Connection of the PCS to the PLC 1. Set DIL-switch 8 to „OFF“ and DIL 9 to „ON“ (on the rearside the
PCS). Set the DIL-switches 5 and 6 according to the selected baud
rate and interface. Initiate a reset of the PCS.
2. Apply operating voltage (19..33V) to the PCS. At least the ERR LED
must light now.
3. Connect the programming interface of the programmable controller
to the PCS using a suited cable.
4. Set the P2 restart input to „1“.
5. Now the ERR LED at the PCS must be deactivated. Idle text 0 is
shown on the display of the PCS.
After setting and loading the PLC corresponding to section 2, you can
connect the PCS to the PLC corresponding to the following instructions.
Attention!
Check the function of the PCS and PLC after programming or driver
installation. All parameterized functions have to be checked. Otherwise
failures of the PCS or PLC are possible.
Trouble-shooting Errors which might occur during first commissioning are listed below:
1. DIL switch 8 is set to ON. In this case, the PCS starts a diagnosis
routine after being switched on. This routine is only required for test
purposes. Remedy: Set the DIL switch to OFF and restart the PCS
(by switching it off for a short time or by shortly pressing the RESET
push-button located above the DIL switch).
2. The DIL switches 5 and 6 (interface and baud rate selection) are not
correctly set. Check the settings at the PCS using the HLP key and
arrow-down key.
3. Is the correct cable being used? This is PCS 706 for TTY (observe
the polarity) and LCA 035/235 for RS-232 (polarity not important) or
a cable as described in chapter 3.
4. Has the correct program being loaded into the programmable
controller? Does the P2 parameter indicate a „Restart after fault“?
5. In dataword 3 of the PCS datablock will be reportet an error wiith a
value different to zero. In this case the error should be searched in
the PLC-PCS connection. Possibly the cable is defect.
6. Communication is established but after a certain time the PCS
displays the following message:
======== COMMUNICATION ERROR ========
In this case, please read the following section.

© Systeme Lauer GmbH & Co KG • Kelterstr.59 • 72669 Unterensingen • Tel. (07022) 96 60-0 • Fax (07022) 96 60-103
C-4
C Buep 19e-Expander driver
Communication ERROR When communicating with each other the PCS operates as master (AST)
and the PLC as slave (PST). Thus, it is the PCS´s task to set up the
communication and to perform monitoring. Thereby, 3 criteria must be
monitored: is communication active, is communication processing in the
PLC active, and does the PLC indicate faults. Data are transferred to/
read from the PLC via the BUEP19E protocol. The timeout times for the
protocol are fixed (2.4s max.) which allows no statement about data
processing. Therefore, the processing timeout is set using the PROJECT/
DRIVER PARAMETER menu in PCSPRO.
In case of an error, an error message is displayed on the PCS and the
ERROR LED flashes. The PCS tries to set up communication again in
the background. The error message is erased if this has been successful.
Error message (whereby the fault text on the bottom line is described
below):
========== COMMUNICATION ERROR ==========
FAULT TEXT
•TIMEOUT COMMUNICATION
This error message is output if the protocol timeout time of 2.4 expires.
TIMEOUT PLC. This display is shown in case the task package is
not processed by the programmable controller. This is the case if the
program will not execute PCS_KOMM, or the restart input is not set
following a communication loss. The Timeout time for the order
processing is settable via the timeout parameter in the range of 500ms
to 2.55 s.
•PLC ERROR RECEIVED
The programmable controller indicates via the BUEP19E protocol if
a fault has appeared. This can happen if the addressed data block is
too small or not present or an inadmissible access occurs. Therefore,
examine the settings of the driver variables and the definitions in the
programmable controller (e.g. symbol file).
•TOO MANY REPETITIONS
The faulty position is repeated if a fault appears in the communication.
The communication is interrupted and the following error message
is output after 3 unsuccessful repetitions. In this case the PCS/PLC
connection has been routed through a noisy environment, the cable
is too long for the selected baud rate or earthing is insufficient.
•PLC IN STOP
This error message is output if the status of the PLC has been check
and the CPU was not in „RUN“ mode.
•WRONG BLOCK NUMBER
The block address of the CPU (set via CPU slot) to be addressed is
checked by the protocol. This error message is output if the corres-
ponding CPU is not present.

© Systeme Lauer GmbH & Co KG • Kelterstr.59 • 72669 Unterensingen • Tel. (07022) 96 60-0 • Fax (07022) 96 60-103 C-5
C Buep 19e-Expander driver
Notes concerning the connection of the PCS to a PLC:
• Connect the cable screening to the central common of the control
cabinet.
• Ensure appropriate chassis groundings with regard to the PCS
housing on the one hand and the PLC bus board on the other.
Remember that a copper grounding strip, due to its large surface,
ensures a considerably higher RF conductivity than normal stranded
interconnecting wire.
• Avoid, as far as possible, high frequency interferences, because dam-
ping is very difficult in this case. The PLC and the PCS are electrically
isolated by optocouplers, but this isolation is not effective in case of
high-speed transients, because optocouplers feature a coupling capa-
citance (although it is very low).
• Ensure clear supply voltage reference points. To facilitate this, the
power supply is potential-free.
• If the supply voltage is influenced by high interferences, use a sepa-
rate power supply for the PCS (24 V, 10 VA). It should be equipped
with appropriate noise filters. In this case, 0 Volt can directly be
connected to protective earth at the PCS.
• Ensure a minimum distance of 200 mm between noise sources and
the PCS/the communication cable. This especially concerns inductors
and frequency converters.
• Please take care that the serial data lines are covered completely (if
possible) by the shield. Use a metallized connector hood at PCS as
well as at the PLC side and ensure a highly conductive connection
between the connector hood and the shield. Please notice that groun-
ding on both sides may require an equipotential bonding conductor
with a cross section of 10 times that of the shield. This is especially
important, if the PCS and the PLC are not connected to the same
common point (if they are for example installed in different control
cabinets). This is necessary to prevent equalizing currents on the
cable shield.

© Systeme Lauer GmbH & Co KG • Kelterstr.59 • 72669 Unterensingen • Tel. (07022) 96 60-0 • Fax (07022) 96 60-103
C-6
C Buep 19e-Expander driver
C1.2 Description of the handling software
The 3P90BUEP communication block is located on the BOSCH floppy
disk. The scan time load is less than 1 ms. The effective response time
speed between PLC and PCS depends on the baud rate and the cyclical
call time of PCS_KOMM. The response time is approx. 0.2 seconds without
user program and 19200 baud communication rate.
Description of the programs • OB1
Call of the programs using parameters. Change the settings for the
PCS_KOMM program here. Thus, no changes are required in PCS_
KOMM. Link your application program in after calling the PCS_KOMM
program. Thereby, activated keys are immediately processed.
TEST Example for a data access:
F1 activates the menu 1, F2 disabled all menus, F3 sets the message
bits M0..15, F4 disables these message bits again. The keys are
copied to the LEDs.
• PCS_KOMM communication program
Reads reception buffer in P1 and processes a received order packet.
Enters corresponding data into P0 and reads from it. Writes data to
be read into the transmitting buffer of P1. The communication is
monitored using the timer P3. P5 is set if the P4 timeout time has
expired without a new order being entered. IF P2 is = 1, the com-
munication starts automatically again after communications error if
an order packet has been received. Please specify the presettings
for the PCS at the -START_KO label: LEDs, display and memory
behavior, enable priorities, ect. Please specify the reactions to
communication loss at the -KOMM_FEL label: reset the PCS status
(keys,..), reset of variables (the communication can fail during a
menu), and start conditions of the PCS for the restart.
• INIT
Typical presets for a restart (e.g. release of massage texts)
• COFF
Emergency case presets (e.g. keys set zero)
Parameterization of the PCSKOMM handling block:
P0: PCS communication data block (here: DB1, 256 words)
The programmable controller and the PCS exchange informations
via this data block.
P1: Send and receive data block (here: DB2, 138 bytes)
The send and receive buffers are specified by this block. Orders of
the PCS and processed data (for reading orders) are stored in
these buffers. The block must consist of 69 data words.
P2: Switch for restart after faults (bit, here E0.0)
Using this bit, the communication can be restarted if a communi-
cations error appears (faults are then reset automatically!). It is to
be considered that no edge evaluation is made, i.e. with bit P2 set,
the communication is automatically restarted after a fault has
appeared.

© Systeme Lauer GmbH & Co KG • Kelterstr.59 • 72669 Unterensingen • Tel. (07022) 96 60-0 • Fax (07022) 96 60-103 C-7
C Buep 19e-Expander driver
P3: Name of the used timer for timeout (here: T0)
P4: Time value for timeout monitoring. Structure:
e.g. K4.2 = 4 seconds timeout
multiplication element 1 = 100 ms, 2 = 1 s
value
P5: General error message (bit, here M100.0)
The P5 general fault bit is set for any error in the connection between
the programmable controller and the PCS. This bit is automatically
reset as soon as the communication is running without a fault.
C1.3 Implementation of the software
The README.DOC/PROJECT.DOC files on the PCS 91.BOS floppy disk
contain current notes concerning the use of the various projects.
Implementation of the PLC software
• Equip the rack
• Set the block address on CPU and I/O boards
• Set the interface on the CPU and the SK (if possible set all to the
same parameters)
• Copy the corresponding project stored on the PCS 91.BOS floppy
disk to the hard disk
• Supply voltage to the PLC and the I/O boards
• Run the PLC programming software, select the project for the CPU,
enter the configuration in the SK table and transfer it into SK (under
LOADER).
• Transfer the PLC program into the controller using the loader (if
necessary, link in your application program and link newly)
• Connect PCS and PLC using an adapter cable described in section
3.6 (are the DIL-switch segments 5 and 6 at the PCS correspon-
dingly set?). The location for attaching the adapter cable is arbitrary.
How-ever, the block address must be correct and the communication
baud rate must correspond with the PCS.
• Set the E0.0 input to „1“
Now, the ERR LED (PCS) and the A0.0 output LED (PLC) must have
been deactivated. Also the 7-segment display at the SK must remain
dark. Thus, the communication is active.
Using this protocol, the addressed CPU can be accessed from an arbitrary
programming unit connector. This way, it is possible to manage several
PCSs by one CPU if each PCS is assigned it´s own communication block
and data block. However, it is possibly dangerous to assign several PCSs
to the same data block (the data transmitted by the PCS are then no
longer clearly alloca-table). A parallel mode of the programming unit and
the PCS is easily possible.

© Systeme Lauer GmbH & Co KG • Kelterstr.59 • 72669 Unterensingen • Tel. (07022) 96 60-0 • Fax (07022) 96 60-103
C-8
C Buep 19e-Expander driver
C1.4 Board settings
Please set the segments of the switch of the ZS500 and SK500 boards
for setting the interface parameters as follows:
S6 switch
DIL12345678
ON OFF ON ON ON ON ON OFF 19200 BAUD
ON OFF ON ON OFF ON ON OFF 9600 BAUD
ON OFF ON ON ON OFF ON OFF 4800 BAUD
ON OFF ON ON ON ON OFF OFF 1200 BAUD
Please set the segments of switch 5 of the ZS500 and SK500 boards (I/
O groups in parenthesis) for setting the board address as follows:
DIL 1(7) 2(8) board
OFF OFF 0
ON OFF 1
OFF ON 2
ON ON 3
For adjustment of the transfer rate adjust the DIP-switches for the CL200
as following:
DIL 1 2 Baud
OFF OFF 9600
ON OFF 19200
OFF ON 38400
Tip!
Inspect the function of the handling software to avoid failures of the PCS
or PLC.
R200 coupling card settings Pay attention that in the CPU of the CL200 is loadrd at least the Firm-
ware version 1.5 of 06.03.1996 eingespielt ist.
On the settings of the card pay attention to the DIP-switches S1 and S2.
DIP-Switches
DS1 DS2 Protokoll
ON OFF BUEP19e-Protocol
DS3 DS4
ON ON Parity
DS5 DS6 DS7 Transfer rate
OFF OFF OFF 38 400 Baud
ON ON ON 19 200 Baud
OFF ON ON 9 600 Baud
ON OFF ON 4 800 Baud
DS8
OFF Control signals not evaluate

© Systeme Lauer GmbH & Co KG • Kelterstr.59 • 72669 Unterensingen • Tel. (07022) 96 60-0 • Fax (07022) 96 60-103 C-9
C Buep 19e-Expander driver
C2 Communication
Adapter cable PCS 706 Connection PCS to PLC via TTY interface
Screening
The shield should be connected on both sides to a metallized connector
hood. If non-metallized connector hoods are used, the shield may also
be connected to pin 1, but this is not recommended due to interferences,
because the data lines should be completely covered by the shield (if
possible). It should be noticed, however, that earthing on both sides may
require an equipotential bonding conductor with a cross section of 10
times that of the shield in order to compensate for earth potential variations
and to prevent equalizing currents on the cable shield! This is especially
important, if the PCS and the programmable controller are not connected
to the same common point (if they are for example installed in different
control cabinets).

© Systeme Lauer GmbH & Co KG • Kelterstr.59 • 72669 Unterensingen • Tel. (07022) 96 60-0 • Fax (07022) 96 60-103
C-10
C Buep 19e-Expander driver
LCA 035/235 PCS to PLC via RS-232 interface
Use a zero-modem cable for the connection of the PLC to PCS via
RS-232C. Systeme Lauer offers the LCA 035/235 cable for this purpose.
The necessary connections are as follows:
Programming cable PCS 733 Connection PLC to PCS
Use this cable for the programming (loading of the driver and user pro-
gram) of the PCS.

© Systeme Lauer GmbH & Co KG • Kelterstr.59 • 72669 Unterensingen • Tel. (07022) 96 60-0 • Fax (07022) 96 60-103 C-11
C Buep 19e-Expander driver
Data transmission PCS-PLC Data transfer between the PCS and the PLC is effected in data packets.
Each data packet is assigned a checksum (CRC). The package content
is checked for possible errors by the PLC operating system and the PCS.
Each packet consists of a minimum of one sub-packet which performs a
clearly defined task. The tasks to be integrated in a packet are determined
by the PCS based on numerous single criteria. A criterion represents the
importance of a task. Each of these tasks is assigned a specific start
priority. Priority management assures that no task is lost. The highest
priorities are processed first. These priorities have nothing in common
with the priority management (PCS manual). The indicated packet lengths
refer to words, including header. Data word 13 is used to prevent
transmission of specific data words (PCS manual).
The tasks are listed below in detail:
TASK PRIOR. LENGTH START CRITERION
1. Write keyboard status 8 3 When pressing or releasing a key
2. Reset message bit 7 2 Press CLR for delete behavior 2
3. Write PLC setpoint 6 2..3 Always after changing a setpoint variable and
leaving the entry field
4. Read actual values 5 2..24*) In priorities 0..6, 12 continuously, otherwise when
display is refreshed
5. Read message bits 4 9 max. Continuously
6. Send PCS status 4 5 After changes
7. Read LEDs, flashing LEDs, 3 4 Continuously (menu selections only if the
memory and display temporary buffer is empty)
behavior
8. Read command word 3 3 Continuously
*) Depends on the number of variables displayed and if the addresses
are adjacent. If the addresses are not adjacent, one header is required
per non-adjacent variable (1 word).
Data transfer procedure When communicating with each other the PCS operates as master (AST).

© Systeme Lauer GmbH & Co KG • Kelterstr.59 • 72669 Unterensingen • Tel. (07022) 96 60-0 • Fax (07022) 96 60-103
C-12
C Buep 19e-Expander driver
It is the master´s task to set up the communication and to send orders to
the PLC. PCS and PLC communicate with the following settings: TTY or
RS-232C, 19200/9600/4800/1200 baud, 8 bit, EVEN parity, 1 stop bit.
Only the interchange of the packets is described in this manual. Refer to
the BOSCH „BUEP 19 transfer protocol“ manual for the structuring of the
packets.
Structure of the reading cycle:
PCS —— PLC
ENQ →
←ACK
READ DATA →
DB AREA ←ACK
EOT →
←ENQ
ACK →
←DATA THE DB AREA
ACK →
←EOT
Structure of the writing cycle:
PCS —— PLC
ENQ →
←ACK
WRITE DATA →
DB AREA ←ACK
EOT →
←ENQ
ACK →
←ORDER SUCCESSFULLY PERFORMED
ACK →
←EOT
The packets designated above as „data“ specific the real content of the
communication. These data are written into the receive buffer of the
communication data block of the programmable controller (write cycle)
and are processed by the communication program of the programmable
controller. Information is written into the send buffer in the communication
data block of the program-mable controller if the processing of the data
has been completed. This send buffer is read by the reading cycle. The
validity of an order is verified via an order number in the data. The send
and receive buffers use 138 bytes in a data block and are not adjustable
within this data block.

© Systeme Lauer GmbH & Co KG • Kelterstr.59 • 72669 Unterensingen • Tel. (07022) 96 60-0 • Fax (07022) 96 60-103 D-1
D Buep 19e-Direct driverD Buep 19e-Direct driver
D1 First commissioning
Preface The successful parameterization of the PCS as described in the PCSPRO
manual is presupposed. This appendix relates exclusively to the use of
the PCS 900/950 together with the BOSCH PLC by means of the
BUEP19E protocol. In the following, this controller is referred to as PLC
and the driver to be loaded into the PCS as B19EDIR. The BOSCH specific
terminology and the programming of the PLC with the BOSCH software
are presupposed as known.
Attention!
Use only the software PCSPRO or PCSPROWIN for programming. Other
software packages can release failures of the PCS and PLC.
Required devices and accessories The following products are required for the operation of a PLC with an
PCS (Systeme Lauer company):
1. PCS 900/920/950 operating console
2. The PCS 706 connecting cable for the PCS to PLC connection via
the TTY interface or a zero-modem cable for the connection via the
RS-232C interface
3. PCSPRO floppy disk with 5P90BUEP driver, version 2.4 or later
4. PCS 991/925/995 manual
5. PCS 91.BOS appendix including BOSCH handling software
6. Optionally: PG-MUX PCS 809.BOS for the simultaneous operation
of the programming unit and the PCS via one programming interface.
Furthermore are required (BOSCH company):
1. „PROFI“ software (version 3.3 or later), programming cable, and the
copy protection device for programming the PLC
2. CL500 rack (or other PLC supporting the BUEP19E protocol)
3. Power supply NT 3
4. Coordinator board SK 500
5. One or several ZS 500/501 CPU boards (with 32k or 64k RAM
module)
6. One or several I/O boards
7. Power supplies for the PCS console and Bosch I/O boards

© Systeme Lauer GmbH & Co KG • Kelterstr.59 • 72669 Unterensingen • Tel. (07022) 96 60-0 • Fax (07022) 96 60-103
D-2
D Buep 19e-Direct driver
Loading of the 5P90BUEP driver After selecting the 5P90BUEP driver in PCSPRO you have to set various
variables which are used by the drivers for the correct addressing of the
PLC. These are: baud rate, interface, cross-reference list, board address,
and timeout time.
Interfaces Interface and baud rate can be selected from combinations set with the
DIL switches 5 and 6 on the rearside of the PCS. The choice consists of:
RS-232C or TTY, 19200, 9600, or 4800 baud. The speed of the communi-
cation depends decisively on the baud rate. Select only on a slower baud
rate if you have longer distances between the participants. We recom-
mend to communicate with 19200 baud via TTY. With Sync you decide
for a synchronized data interchange between the PCS and the
programmable controller, Nosync disables the synchronization (see also
Chapter 4.2 and 4.3).
The relation baud rate to maximum distance is as follows:
Baud rate max. length RS232 max. length TTY
19200 15m 150m*)
9600 15m 300m*)
4800 15m 350m*)
*) When using a shielded and twisted cable with 14 x 0,14mm, a line
resistance of less than 138 /km, and a capacity of less than 120 pF/m.
Slot address The slot address (= block address) of the CPU to be addressed must be
passed on to the B19EDIR driver. Possible values are 0..3 for the CL
500, 30 for the CL 400, and 0 for the CL200 (default settings is 0). Once
you have set the address you can plug the communications cable into an
arbitrary BUEP19E interface in the rack (including the SK 500). Always
the CPU on this slot is addressed.
Timeout time The timeout time to be set is the time in which a complete communi-
cation cycle must have been started in the PLC. Thus, the timeout time is
composed of 1 PLC scan time plus the data transfer time. The timeout
time is settable between 2 and 9.9 seconds. 4 seconds is default value.
Data block number The number of the transfer data block must be passed on to the B19EDIR
drivers (default value=2). Possible values are in the range of 0 and 255.
The default setting is 1. The transfer data block consists of 256 data
words (= 512 bytes). The PLC and the PCS exchange information via this
block.

© Systeme Lauer GmbH & Co KG • Kelterstr.59 • 72669 Unterensingen • Tel. (07022) 96 60-0 • Fax (07022) 96 60-103 D-3
D Buep 19e-Direct driver
Connection to the PLC After setting and loading the programmable controller corresponding to
section 4.5 and 4.6, you can connect the PCS to the PLC corresponding
to the following instructions.
Attention!
Check the function of the PCS after parameterization and/or driver
installation. All parameterized functions must be examined. Otherwise,
malfunctions of the PCS and/or the programmable controller are possible.
1. Set DIL-switch 8 to „OFF“ and DIL 9 to „ON“ (on the rearside the
PCS). Set the DIL-switches 5 and 6 according to the selected baud
rate and interface. Initiate a reset of the PCS.
2. Apply operating voltage (19..33V) to the PCS. At least the ERR LED
must light now.
3. Connect the programming interface of the PLC to the PCS using a
suited cable.
4. Set the P2 restart input to „1“.
5. Now the ERR LED at the PCS must be deactivated. Idle text 0 is
shown on the display of the PCS.
Trouble-shooting Errors which might occur during first commissioning are listed below:
1. DIL switch 8 is set to ON. In this case, the PCS starts a diagnosis
routine after being switched on. This routine is only required for test
purposes. Remedy: Set the DIL switch to OFF and restart the PCS
(by switching it off for a short time or by shortly pressing the RESET
push-button located above the DIL switch).
2. The DIL switches 5 and 6 (interface and baud rate selection) are not
correctly set. Check the settings at the PCS using the HLP key and
arrow-down key. There is possibly also an incorrect DIL-switch setting
of a corresponding BOSCH board.
3. Is the correct cable being used? This is PCS 706 for TTY (observe
the polarity) and LCA 035/235 for RS-232 (polarity not important) or
a cable as described in chapter 4.7.
4. Has the correct program being loaded into the PLC? Does the P2
parameter indicate a „Restart after fault“?
5. Communication is established but after a certain time the PCS
displays the following message:
======== COMMUNICATION ERROR ========
In this case, please read the following section.

© Systeme Lauer GmbH & Co KG • Kelterstr.59 • 72669 Unterensingen • Tel. (07022) 96 60-0 • Fax (07022) 96 60-103
D-4
D Buep 19e-Direct driver
Communication ERROR When communicating with each other the PCS operates as master (AST)
and the PLC as slave (PST). Thus, it is the PCS´s task to set up the
communication and to perform monitoring. Thereby, 3 criteria must be
monitored: is communication active, is communication processing in the
PLC active, and does the PLC in dicate faults. Data are transferred to/
read from the PLC via the BUEP19E protocol. The timeout times for the
protocol are fixed (2.4s max.) which allows no statement about data
processing. Therefore, the processing timeout is set using the PROJEKT/
DRIVER PARAMETER menu in PCSPRO.
In case of an error, an error message is displayed on the PCS and the
ERROR LED flashes. The PCS tries to set up communication again in
the background. The error message is erased if this has been successful.
Error message (whereby the fault text on the bottom line is described
below):
========== COMMUNICATION ERROR ==========
FAULT TEXT
•TIMEOUT COMMUNICATION
This error message is output if the protocol timeout time of 2.4
seconds expires.
•TIMEOUT PLC
This display is shown in case the task packet is not processed by
the PLC. This is the case if the program will not execute PCS_ KOMM,
or the restart input is not set following a communication loss. The
Timeout time for the order processing is settable via the timeout
parameter in the range of 2 s to 9.9 s. This fault appears only during
synchronous operation.
•PLC ERROR RECEIVED
The PLC indicates via the BUEP19E protocol if a fault has appeared.
This can happen if the addressed data block is too small or not present
or an inadmissible access occurs. Therefore, examine the settings
of the driver variables and the definitions in the PLC (e.g. symbol
file).
•TOO MANY REPETITIONS
The faulty position is repeated if a fault appears in the communication.
The communication is interrupted and the following error message
is output after 3 unsuccessful repetitions. In this case the PCS/PLC
connection has been routed through a noisy environment, the cable
is too long for the selected baud rate, or earthing is insufficient.
•PLC IN STOP
This error message is output if the status of the PLC has been check
and the CPU was not in „RUN“ mode.
•WRONG BLOCK NUMBER
The block address of the CPU (set via CPU slot) to be addressed is
checked by the protocol. This error message is output if the corres-
ponding CPU is not present.

© Systeme Lauer GmbH & Co KG • Kelterstr.59 • 72669 Unterensingen • Tel. (07022) 96 60-0 • Fax (07022) 96 60-103 D-5
D Buep 19e-Direct driver
Notes concerning the connection of the PCS to a PLC:
• Connect the cable screening to the central common of the control
cabinet.
• Ensure appropriate chassis groundings with regard to the PCS
housing on the one hand and the PLC bus board on the other.
Remember that a copper grounding strip, due to its large surface,
ensures a considerably higher RF conductivity than normal stranded
interconnecting wire.
• Avoid, as far as possible, high frequency interferences, because
damping is very difficult in this case. The progr. contr. and the PCS
are electrically isolated by optocouplers, but this isolation is not
effective in case of high-speed transients, because optocouplers
feature a coupling capacitance (although it is very low).
• Ensure clear supply voltage reference points. To facilitate this, the
power supply is potential-free.
• If the supply voltage is influenced by high interferences, use a sepa-
rate power supply for the PCS (24 V, 10 VA). It should be equipped
with appropriate noise filters. In this case, 0 Volt can directly be
connected to protective earth at the PCS.
• Ensure a minimum distance of 200 mm between noise sources and
the PCS/the communication cable. This especially concerns inductors
and frequency converters.
• Please take care that the serial data lines are covered completely (if
possible) by the shield. Use a metallized connector hood at PCS as
well as at the progr. contr. side and ensure a highly conductive con-
nection between the connector hood and the shield. Please notice
that grounding on both sides may require an equipotential bonding
conductor with a cross section of 10 times that of the shield. This is
especially important, if the PCS and the PLC are not connected to
the same common point (if they are for example installed in different
control cabinets). This is necessary to prevent equalizing currents
on the cable shield.
Attention!
Check the function of the PCS after parameterization and/or driver in-
stallation. All parameterized functions must be examined. Otherwise
malfunctions of the PCS and/or the programmable controller are possible.

© Systeme Lauer GmbH & Co KG • Kelterstr.59 • 72669 Unterensingen • Tel. (07022) 96 60-0 • Fax (07022) 96 60-103
D-6
D Buep 19e-Direct driver
The BOSMULPS communication block is located on the BOSCH floppy
disk. The effective response time speed between PLC and PCS depends
on the baud rate, the used interface, and the data volume. E.g. the SK
interface is therefore approx. 50% slower than the direct CPU interface.
• Access types
The used B19EDIR driver is a direct driver i.e. it exchanges data
words between the PLC and the PCS directly. No or just a small PLC
program is required. Therefore, the scan time in the PLC is only
slightly loaded.
• SYNC or NOSYNC
Since the data interchange occurs asynchronous via several PLC
writing and reading cycles, data written by the PLC can be overwritten
by the PCS and conversely. Thus, a data consistency is not given.
Possible solutions are either a strict separation of read and write
data words (-> NO SYNC) or the use of a synchronization word (->
SYNCS). The use of a synchronization word enables the use of a
timeout timer on the PCS side.
D1.1 Asynchronous communication
• Preset value and actual value data words must be strictly separated
(write accesses can disturb each other). Even then, for example the
reading of a variable which extends across several data words can
result in an error at the time when the variable is read although only
a part of it has been written.
• Bit variables should be used only 1 time per word since the access
of the PCS occurs only word-by-word. A word fetched by the PCS
which is changed and written back can overwrite another bit varia-
ble in this word. This applies also for the message bit area in delete
behavior 2 (resetting of the bit in the PLC).
• Timeout monitoring is possible only in the PLC. To implement this
function, the PCS sends a count word which is incremented by 1 in
each communication cycle in the 3rd word. The use of the timeout
timer is described in the handling software.
Advantages in comparison to the SYNC operation are:
• A faster data interchange. The scan time of the PLC does not influence
the calculation of the response time.
• No program is needed in the PLC for communicating. Only the word
area with the correct size must be available. Access to the word
area in the PLC program must be possible at any time.

© Systeme Lauer GmbH & Co KG • Kelterstr.59 • 72669 Unterensingen • Tel. (07022) 96 60-0 • Fax (07022) 96 60-103 D-7
D Buep 19e-Direct driver
D1.2 Synchronous communication
The access to the data in the PLC must be synchronized if you want to
make use of the entire functional extent of the PCS. I.e. the PLC and the
PCS access data alternately. Therefore, a synchronization word is
transmitted to the PLC. OB1 examines this word and releases the access
of the PLC application program in the „test“ program. The synchronization
word in PCS_KOMM is changed and the PCS accesses the data area if
the application program has terminated the processing of the data words.
While the PCS processes the data, the application program may not
access to the data. This Ping-Pong game implements the possibility to
perform a timeout monitoring both in PCS_KOMM as well as in the PCS.
The timer is newly started whenever the PCS reads the inverted
synchronization word. A timeout is present if the time of the timer expires.
Implementing the alternating access allows for mixing of actual and preset
values, using of bit variables, and realizing delete behavior 2 etc. Therefore,
the entire intelligence of the PCS is at your disposal. The disadvantage is
the decreasing reaction speed between PCS and programmable controller.
Furthermore, access admission must be determined everywhere in the
PLC program before accessing data.
The timeout time, i.e. the time which passes from the last writing to DW3
up to the timeout message in the PLC should be set to a minimum of 4
seconds. The timeout time in the PCS is set via the „AA“ or
COM_TIMEOUT driver variable.
GENERAL PROCEDURE
To implement a synchronous communication between the PCS and the
programmable controller:
• select the“SYNCHRONIZATION“ setting on the PCS
• load the PCS_SYNCS handling software in the PLC
This handling software is described in the following. Of course you can
also implement these tasks differently in your software. It is only important
to adhere to the following procedure:
1. The data area used by the PCS and the programmable controller
must be defined in the programmable controller. The parameters are
to be passed on to the PCS via the AL and AM driver variables. The
programmable controller word words have initialization values and
should be correctly pre-assigned.
2. The PCS sends the order number (byte-by-byte incremented by 1
every time) in word 3, e.g: „01“. Thus, word 2 is different from word 3.
This signals the programmable controller that the data area can be
processed.
3. After terminating the processing of the data area, the inverted sync
word is copied from word 3 to word 2 and word 3, e.g. using the „FE“
data. This is the signal for the PCS to access to the data area. From
now on, the programmable controller program is not allowed to per-
form any changes in the data area anymore! Furthermore, a timeout
timer can be newly started (if one is used).
From now on, steps 2 and 3 are cyclically performed. On a timeout,
the communication loss sequence (in the example COFF) is executed
once. The procedure is resumed at step 2 with order number“ 01".

© Systeme Lauer GmbH & Co KG • Kelterstr.59 • 72669 Unterensingen • Tel. (07022) 96 60-0 • Fax (07022) 96 60-103
D-8
D Buep 19e-Direct driver
D1.3 Description of the handling software
• OB1
Call of the programs using parameters. Change the settings for the
PCS_KOMM program here. Thus, no changes are required in PCS_KOMM.
The „TEST“ data access program is selected in PCS_KOMM.
• Test
Example for a data access:
F1 activates the menu 1, F2 disabled all menus, F3 sets the message
bits M0..15, F4 disables these message bits again. The keys are
copied to the LEDS.
• PCS_KOMM Communication program
The program evaluates whether an access to the data area is allowed
in the programmable controller program. The „TEST“ program is
called if an access is enabled. The sync word is processed after a
data access. Also, a timeout timer will be using „TIMER“ to monitor
the communica-tion. „COFF“ is selected and the M100.0. flag is set
if the timer times out. With the E0.0 restart input set to „1“,
communication will be restarted automatically. Otherwise it remains
disabled.
Attention!
Check the functioning of the handling software to avoid malfunc-tioning
of the PCS and/or programmable controller.
Parameterization of the PCS_ KOMM handling block:
P0: PCS transfer data block (here: DB1, 256 words)
The programmable controller and the PCS exchange informations via
this data block.
P1: Switch for restart after faults (bit, here E0.0)
Using this bit, the communication can be restarted if a communi-
cations error appears (faults are then reset automatically!). It is to be
considered that no edge evaluation is made, i.e. with bit P2 set, the
communication is automatically restarted after a fault has appeared.
P2: Time value for timeout monitoring
Structure:
e.g. K2.2 = 2 seconds timeout
multiplication element 1 = 100 ms, 2 = 1 s
value
P3: General error message (bit, here M100.0)
The P5 general fault bit is set for any error in the connection between
the programmable controller and the PCS. This bit is automatically
reset as soon as the communication is running without a fault.
P4: Initialization program
The data words for the programmable controller start are pre-
assigned in this PB.
P5: Communication loss program
The data words for the communication loss are pre-assigned using
this PB. The block will be executed once in case of an error.

© Systeme Lauer GmbH & Co KG • Kelterstr.59 • 72669 Unterensingen • Tel. (07022) 96 60-0 • Fax (07022) 96 60-103 D-9
D Buep 19e-Direct driver
Other:
Timer T1 „TIMER“ is used for timeout monitoring in the PCS_KOMM
program.
INITDetermines the initialization values of the PCS data area. Here, you
can pre-assign the interlocks for the data transfer. Allow only so much
data exchange as needed. With the exchange of fewer data, the
communica-tion speed is increased.
COFF
Determines the measures at a communication loss. The block is
executed once after a communication loss.
Attention!
Check the functioning of the handling software. The INIT and COFF blocks
must be pre-assigned for the respective PCS. The program listing shows
some examples.
D1.4 Implementation of the software
The README.DOC/PROJECT.DOC files on the PCS 91.BOS floppy disk
contain current notes concerning the use of the various projects.
Procedure:
• Equip the rack
• Set the block address on CPU and I/O boards
• Set the interface on the CPU and the SK (if possible set all to the
same parameters)
• Copy the corresponding project (e.g. BOSMULPS.500) stored on
the PCS 91.BOS floppy disk to the hard disk
• Supply voltage to the programmable controller and the I/O boards
• Run the programmable controller programming software, select the
project for the CPU, enter the configuration in the SK table and transfer
it into SK (under LOADER).
• Transfer the programmable controller program into the controller using
the loader (if necessary, link in your application program and link
newly)
• Connect PCS and programmable controller using an adapter cable
described in section 4 (are the DIL-switch segments 5 and 6 at the
PCS correspon-dingly set?). The location for attaching the adapter
cable is arbitrary. How-ever, the block address must be correct and
the communication baud rate must correspond with the PCS.
Plugging the communications cable into the addressed CPU will
increase the communication speed.

© Systeme Lauer GmbH & Co KG • Kelterstr.59 • 72669 Unterensingen • Tel. (07022) 96 60-0 • Fax (07022) 96 60-103
D-10
D Buep 19e-Direct driver
• Set the E0.0 input to „1“
Now, the ERR LED (PCS) and the A0.0 output LED (PLC) must have
been deactivated. Also the 7-segment display at the SK must remain
dark. Thus, the communication is active.
Using this protocol, the addressed CPU can be accessed from an arbitrary
programming unit connector. This way, it is possible to manage several
PCSs by one CPU if each PCS is assigned it´s own communication block
and data block. However, it is possibly dangerous to assign several PCSs
to the same data block (the data transmitted by the PCS are then no
longer clearly allocatable). A parallel mode of the programming unit and
the PCS is easily possible.
D1.5 Boarding settings
Please set the segments of the switch of the ZS500 and SK500 boards
for setting the interface parameters as follows:
S6 switch
DIL12345678
ON OFF ON ON ON ON ON OFF 19200 BAUD
ON OFF ON ON OFF ON ON OFF 9600 BAUD
ON OFF ON ON OFF ON ON OFF 4800 BAUD
ON OFF ON ON ON OFF ON OFF 1200 BAUD
Please set the segments of switch 5 of the ZS500 and SK500 boards (I/
O groups in parenthesis) for setting the board address as follows:
DIL 1(7) 2(8) Board
OFF OFF 0
ON OFF 1
OFF ON 2
ON ON 3
For adjustment of the transfer rate adjust the DIP-switches for the CL200
as following:
DIL 1 2 Baud
OFF OFF 9600
ON OFF 19200
OFF ON 38400
Tip!
Inspect the function of the handling software to avoid failures of the PCS
or PLC.

© Systeme Lauer GmbH & Co KG • Kelterstr.59 • 72669 Unterensingen • Tel. (07022) 96 60-0 • Fax (07022) 96 60-103 D-11
D Buep 19e-Direct driver
R200 coupling card settings Pay attention that in the CPU of the CL200 is loadrd at least the Firm-
ware version 1.5 of 06.03.1996 eingespielt ist.
On the settings of the card pay attention to the DIP-switches S1 and S2.
DIP-Switches
DS1 DS2 Protokoll
ON OFF BUEP19e-Protocol
DS3 DS4
ON ON Parity
DS5 DS6 DS7 Transfer rate
OFF OFF OFF 38 400 Baud
ON ON ON 19 200 Baud
OFF ON ON 9 600 Baud
ON OFF ON 4 800 Baud
DS8
OFF Control signals not evaluate

© Systeme Lauer GmbH & Co KG • Kelterstr.59 • 72669 Unterensingen • Tel. (07022) 96 60-0 • Fax (07022) 96 60-103
D-12
D Buep 19e-Direct driver
D2 Communication
Adapter cable PCS 706 Connection PCS-PLC via TTY interface
Screening
The shield should be connected on both sides to a metallized connector
hood. If non-metallized connector hoods are used, the shield may also
be connected to pin 1, but this is not recommended due to interferences,
because the data lines should be completely covered by the shield (if
possible). It should be noticed, however, that earthing on both sides may
require an equipotential bonding conductor with a cross section of 10
times that of the shield in order to compensate for earth potential variations
and to prevent equalizing currents on the cable shield! This is especially
important, if the PCS and the programmable controller are not connected
to the same common point (if they are for example installed in different
control cabinets).

© Systeme Lauer GmbH & Co KG • Kelterstr.59 • 72669 Unterensingen • Tel. (07022) 96 60-0 • Fax (07022) 96 60-103 D-13
D Buep 19e-Direct driver
LCA 035/235 PCS to PLC via RS-232 interface
Use a zero-modem cable for the connection of the PLC to PCS via
RS-232C. The necessary connections are as follows:
Programming cable PCS 733 Connection PLC to PCS
Use this cable for the programming (loading of the driver and user pro-
gram) of the PCS.

© Systeme Lauer GmbH & Co KG • Kelterstr.59 • 72669 Unterensingen • Tel. (07022) 96 60-0 • Fax (07022) 96 60-103
D-14
D Buep 19e-Direct driver
D3 Program listing
;**************************************************************************
; OB1
;**************************************************************************
; File name: OB1
; Function: Organizational block
;**************************************************************************
; P r o g r a m
;**************************************************************************
1 BA -PCS_KOMM,6
P0 W -DB1
P1 B -RESTART
P2 W K4.2
P3 B M100.0
P4 W -INIT
P5 W -COFF
PZ: 1
2 U B M100.0 ; display communication loss
3 = B A0.0
4 PE ; ---------------------------------------------->
;Program end
-COFF PB3 PCS communication loss
-DB1 DB1 PCS data field
-INIT PB2 PCS initialization values
-PCS_KOMM PB0 SYNC block for the CL500
-RESTART E0.0 Restart input for communication loss
Para. Res. Ind Symbol < > Comment | Version: 1.0
P0 W P0 < DB Application db, keys, LED, variable, ...
P1 B P1 < E restart input
P2 W P2 < K „watch dog“ time value
P3 B P3 > M communication error output
P4 W P4 < PB communication start pre-assignments
P5 W P5 < PB communication loss pre-assignments
;**************************************************************************
; PCSKOMM
; Synchronization block for the communication with a PCS 090/095
; via 5P90BUEP.drv drivers
;**************************************************************************
; File name: PCS_KOMM
; Function: Sync block for the CL00
; Transfer format: BUEP19E
;
;**************************************************************************
; D e c l a r a t i o n
;**************************************************************************
; Block parameters:
;~~~~~~~~~~~~~~~~~~~~~~~~~~
;BA -PCS_KOMM,7
;P0 W DB1 ; <= DB Application db, keys, LED, variable ..
;P1 B m ; <= M autom. restart after „watch dog“
;P2 W k4.2 ; <= K „watch dog“ time value
;P3 B M100.0 ; => M communication error „watch dog“ active
;P4 W PB2 ; <= PB pre-assignment block start communication
;P5 W PB3 ; <= PB error block communication loss

© Systeme Lauer GmbH & Co KG • Kelterstr.59 • 72669 Unterensingen • Tel. (07022) 96 60-0 • Fax (07022) 96 60-103 D-15
D Buep 19e-Direct driver
;**************************************************************************
; P r o g r a m
;**************************************************************************
1 BX -P0 ; open PCS DB
;**************************************************************************
; Processor reset => INIT
;———————————————————-
PZ: 1
2 U B -P_RI ; start after Halt
3 O B -NEU_RI ; restart
4 SPB -START_KO ; ------>
; no processing in case of timeout and restart input = 0
;—————————————————————————————
PZ: 2
5 UN B -P1 ; timeout ?
6 U B -P3 ; restart ?
7 BEB
; Sync word 2 = Sync word 3 ? yes = end
;————————————————————————————-
8 L W DX4,A
9 L W DX6,B
-NEU_RI SM20.7 RI on power-up or prog. restart
-P0 P0 DB Application db, keys, LED, variable, ...
-P1 P1 E restart input
-P3 P3 M comm. error output
-P_RI SM20.0 Processor RI after every processor Halt
10 VGL W B,A
11 SPZ -NO_AUFTR
12 BA -TEST ; Data word access
;=========================================
; Order processed
-AUFT_END ; <————
; negate sync word and => D2, D3
; —————————————————-
13 L W D6,D ; read order no. D3
14 XO W KFFFH,D ; negate order no.
15 T W D,DX6 ; write order no. D2,D3
16 T W D,DX4
; watch dog
; ——————
; time routine 0 edge for new triggering
; ————————————————————
17 U W -P2,D ; time value
PZ: 3
18 U B -LOGO
19 SE D,-TIMER ; time routine = 0
PZ: 4
20 U B -LOG1 ; reset watchdog flag
21 R B -P3
22 BE ; ————————————————————>
; End order processed
; ========================================
; End order processing
; *******************************************************************
; no order
; -NO_AUFTR ; <——————
23 L W -P2,D ; time value
PZ: 5
24 U B -LOG1
25 SE D,-TIMER
PZ: 6
26 U B -TIMER ; time routine
27 BEI ; ————————————————————>
-LOG0 SM30.3 logical 0
-LOG1 SM31.1 logical 1
-P2 P2 K time value for watch dog
-P3 P3 M comm. error output

© Systeme Lauer GmbH & Co KG • Kelterstr.59 • 72669 Unterensingen • Tel. (07022) 96 60-0 • Fax (07022) 96 60-103
D-16
D Buep 19e-Direct driver
-TEST PB1 PCS data access example
-TIMER T0 PCS communication watch dog timer
; set fault watch dog has triggered
;—————————————————————————————
-KOM_FEL
28 S B -P3 ; watch dog is active
29 X0 W D,D
; initialize application data block
;————————————————————————————-
30 BA -P0 ; open user data block
31 BA -P5 ; COFF
32 BE ; ————————————————————>
; End watch dog
; *******************************************************************
; *******************************************************************
; Start communication
-START_K0 ; <————
; time routine 0 edge
; ——————————-
33 L W -P2,D ; time value for watch dog
PZ: 7
34 U B -LOG0
35 SE D,-TIMER ; time routine = 0
; reset fault
; —————-
PZ: 8
36 U B -LOG1
37 R B -P3 ; watch dog is active = 0
; initialize application data block
; ——————————————————
38 BA -P0 ; open user data block 1.DB
39 BA -P4 ; INIT
40 BE ; ————————————————————>
; End start communication
; *******************************************************************
; Program end
-LOG0 SM30.3 logical 0
-LOG1 SM31.1 logical 1
-P0 P0 DB application data block, keys, variable, ...
-P2 P2 K time value for watch dog
-P3 P3 M comm. error output
-P4 P4 PB communication start presetting
-P5 P5 PB communication loss presetting
-TIMER T0 PCS communication watch dog timer

© Systeme Lauer GmbH & Co KG • Kelterstr.59 • 72669 Unterensingen • Tel. (07022) 96 60-0 • Fax (07022) 96 60-103 D-17
D Buep 19e-Direct driver
;**************************************************************************
; TEST: Example program for PCS 090/095 data access
;**************************************************************************
1 BA -DB1 ; open data block
2 L W D8,A
3 VGL W K8000H,A
4 SPN -TEST1
5 L W K0081H,A ; F1 -> preset value menu 1
6 T W A,D28
-TEST1
7 L W D8,A
8 VGL W K4000H,A
9 SPN -TEST2
10 L W K0000H,A ; F2 -> preset value menu 1 off
11 T W A,D28
-TEST2
12 L W D8,A
13 VGL W K2000H,A
14 SPN -TEST3
15 L W KFFFFH,A ; F3 -> message bits M0..15 on
16 T W A,D30
-TEST3
17 L W D8,A
18 VGL W K1000H,A
19 SPN -TEST4
20 L W K0000H,A ; F4 -> message bits M0..15 off
21 T W A,D30
-TEST4
22 L W D8,A
23 T W B,D20 ; keys -> LEDs
24 BE

© Systeme Lauer GmbH & Co KG • Kelterstr.59 • 72669 Unterensingen • Tel. (07022) 96 60-0 • Fax (07022) 96 60-103
D-18
D Buep 19e-Direct driver
;***********************************************************************************************
;** COFF (APPLICATION-SPECIFIC ERROR PRESETTING; PCS COMMUNICATIONS LOSS)
;***********************************************************************************************
;!!!!! ADD PCS AND EQUIPMENT-SPECIFIC
;********************************** ERROR PRESSTINGS FOR COMMUNICATIONS
;********************************** LOSS HERE !!!!!
;********************************** !!!!! ATTENTION: !!!!!
;********************************** SET AT LEAST HERE KEYWORDS TO ZERO
;********************************** (PCS-SPECIFIC) !
;*****EXAMPLE PCS 090/095*****
1 L W K0D,A
2 T W A,D4W ;KEYS
3 T W A,D5W
4 T W A,D23W
;*****EXAMPLE PCS 900*****
;L W K0D,A
;T W A,D4W ;KEYS
;T W A,D5W
;T W A,D6W
;set possible additional keys also to 0
;T W A,D9W ;data
5BE
;*********************************************************************************************
;** INIT (APPLICATION-SPECIFIC PRESETTINGS; PCS COMMUNICATIONS START)
;*********************************************************************************************
;!!!!! ADD OR INSERT PCS AND EQUIPMENT-SPECIFIC
;**********************************ERROR PRESETTINGS FOR COMMUNICATION
;**********************************START HERE !!!!!
;*****EXAMPLE PCS 090/095*****
1 L W KOD,A
2 T W A,D4W ;KEYS
3 L W A,D5W
4 T W A,D23W
5 L W K0FC8H,A
6 T W A,D13W ;COMMAND WORD A
7 L W K0080H,A
8 T W A,D14W ;COMMAND WORD B
;*****EXAMPLE PCS 900*****
;L W K0D,A
;T W A,D4W ;KEYS
;T W A,D5W
;T W A,D6W
;T W A,D9W ;data
;T W A,D39W ;COMMAND WORD D
;L W K0080H,A
;T W A,D38W ;COMMAND WORD C
;L W K00FFH,A
;T W A,D37W ;COMMAND WORD B
;L W K1F00H,A
;T W A,D36W ;COMMAND WORD A
5BE

Index
© Systeme Lauer GmbH & Co KG • Kelterstr.59 • 72669 Unterensingen • Tel. (07022) 96 60-0 • Fax (07022) 96 60-103 i-1
Index
A
Adapter cable ........................ A-8, B-9, C-9, D-12
Address assignment table ...............................A-13
Adressing of the board ......................................A-1
Asynchronous communication .......................... D-6
B
Baud rate settings..............................................A-1
Board settings .................................................. C-8
Boarding settings ............................................ D-10
Buep 19-Expanderdriver ....................................B-1
C
Channel parameters ........................................A-14
Communication...............................A-8, C-9, D-12
Communication data block........................ B-2, C-2
Communication ERROR ........................... C-4, D-4
Communication Error .........................................B-3
Communications cable PCS 736 .....................A-35
Connection of the PCS to the PLC ................... C-3
Connection to the PLC.............................. B-3, D-3
D
Data block number............................................ D-2
Data transfer PCS 830 and I/O BUS ................A-11
Data transfer PCS 830.x I/O BUS ....................A-36
Data transfer procedure ........................ B-11, C-11
Data transmission PCS - PLC ......................... B-10
Data transmission PCS-PCS 830 ......................A-9
Data transmission PCS-PLC .......................... C-11
Description of the handling software . A-3, A-16, B-
6, C-6
Description of the programs...................... B-6, C-6
Description PCS 830.3/.31 handling ................A-12
Descrition of the handling software ................... D-8
F
First commissioning ..........................B-1, C-1, D-1
I
Implementation of the handlind PB ....................A-6
Implementation of the handling PB/FB.............A-22
Implementation of the software .........B-7, C-7, D-9
Information for driverselection............................ 0-8
Interfaces..........................................B-2, C-2, D-2
Interfaces TTY1..3 ...........................................A-34
L
LCA 035/235 ................................B-9, C-10, D-13
Loading of the 3P90BUEP driver .......................B-1
Loading of the 5P90BUEP Driver ..................... C-2
Loading of the 5P90BUEP driver ...................... D-2
N
Number of sub-packets..................................... C-2
O
Operation the PLC with EPROM/EEPROM A-6, A-
22
P
Parameterization of the PCSKOMM PB .............A-4
Parameters of the PCSKOMM PB’S (FB’S) .....A-18
PCS 706 .........................................B-9, C-9, D-12
PCS 733 ............................ A-9, B-10, C-10, D-13
PCS 736 ............................................................A-8
PLC scan-time ................................................. A-10
Preface .............................................B-1, C-1, D-1
Program integration .........................................A-23
Program listing...................................... A-24, D-14
Programming cable............ A-9, B-10, C-10, D-13
R
Required devices and accessories ........... B-1, D-1
S
Scan time extension ............................... A-3, A-17
Screening ............................................... A-8, B-10
Set-up of the cross-reference data block .........A-20
Set-up of the cross-reference DB ......................A-5
Settings of the boardadressing ........................A-12
Settings of the PLC............................................B-8
Slot address ............................................. C-2, D-2
Status display ....................................................A-2
Status indicators ..............................................A-15
Synchronous communication............................ D-7
T
Technical apendix PCS 830.1 ..........................A-33
Technical apendix PCS 830.3 ..........................A-32
Timeout time.....................................B-2, C-2, D-2
Trouble-shooting ...............................B-3, C-3, D-3
