Toshiba Printer B EX4 EX4T1 EX4T2 Product Description(SPTM 0152)
User Manual: Toshiba Printer B-EX4
Open the PDF directly: View PDF
.
Page Count: 57
- OUTLINE
- SUPPLY SPECIFICATIONS
- OPTIONAL KIT

PRINTED IN JAPAN
TOSHIBA Thermal Printer
B-EX4 T1/T2 SERIES
Document No. SPTM-0152
Original Feb, 2012
(Revised )
Product Descri
p
tion

TABLE OF CONTENTS
Page
1. OUTLINE -------------------------------------------------------------------------------------------------1- 1
1.1 PRINTER SPECIFICATIONS --------------------------------------------------------------------------- 1- 1
1.2 DESCRIPTION OF MODEL NUMBER --------------------------------------------------------------- 1- 1
1.3 APPEARANCE AND DIMENTIONS (APPROXIMATE) -----------------------------------------1- 2
1.4 BASIC SPECIFICATIONS ------------------------------------------------------------------------------- 1- 4
1.5 ELECTRONICS SPECIFICATIONS------------------------------------------------------------------- 1- 9
2. SUPPLY SPECIFICATIONS-------------------------------------------------------------------------2- 1
2.1 MEDIA (Paper)----------------------------------------------------------------------------------------------2- 1
2.2 RIBBON ---------------------------------------------------------------------------------------------------- 2- 11
2.3 CARE AND HANDLING OF THE MEDIA AND RIBBON -------------------------------------- 2- 15
2.4 PRINT CONDITIONS ----------------------------------------------------------------------------------- 2- 16
2.5 SPECIFICATION OF RFID TAG (for B-EX700-RFID-H1-QM-R) --------------------------- 2- 18
2.6 SPECIFICATION OF RFID TAG (for B-EX700-RFID-U2-EU-R) ---------------------------- 2- 21
2.7 SPECIFICATION OF RFID TAG (for B-EX700-RFID-U2-US-R) ---------------------------- 2- 25
2.8 SPECIFICATION OF RFID TAG (for B-EX700-RFID-U2-CN-R) ---------------------------- 2- 29
3. OPTIONAL KIT -----------------------------------------------------------------------------------------3- 1
3.1 CUTTER MODULE: B-EX204-QM-R (Disk Cutter), ----------------------------------------------- 3- 2
3.2 PEEL MODULE: B-EX904-H-QM-R ------------------------------------------------------------------ 3- 3
3.3 EXPASION I/O CARD: B-EX700-IO-QM-R---------------------------------------------------------- 3- 5
3.4 RTC/USB host INTERFACE BOARD: B-EX700-RTC-QM-R -----------------------------------3- 5
3.5 RFID MODULE: B-EX700-RFID-H1-QM-R---------------------------------------------------------- 3- 5
3.6 RFID MODULE: B-EX700-RFID-U2-EU/US/CN-R ------------------------------------------------3- 6
3.7 WIRELESS LAN BOARD: B-EX700-WLAN-QM-R ------------------------------------------------ 3- 8
CAUTION!
1. This manual may not be copied in whole or in part without prior written permission of TOSHIBA
TEC.
2. The contents of this manual may be changed without notification.
3. Please refer to your local Authorised Service representative with regard to any queries you
may have in this manual.
Copyright © 2011-2012
by TOSHIBA TEC CORPORATION
A
ll Rights Reserved
570 Ohito, Izunokuni-shi, Shizuoka-ken, JAPAN

1. OUTLINE SPTM-0152
1.1 PRINTER SPECIFICATIONS
1-1
1. OUTLINE
1.1 PRINTER SPECIFICATIONS
1) Various bar codes, characters and graphic data can be printed using both thermal transfer and
thermal direct methods. This printer can also print writable characters and logos at designated
coordinates by using a graphic command.
2) The USB and LAN interface are available as standard interfaces between the printer and a PC. In
addition, optional interfaces such as RS-232C interface, Centronics interface, expansion I/O
interface, RTC & USB Host interface and Wireless LAN interface are available.
3) A 32-bit CPU and ASIC equipped with several peripheral LSIs realizes high system performance.
4) With the element positioned at the edge of the print head, print quality is improved because the
media passes straight through.
5) The B-EX4 series accommodates a max. printing speed of 14”/sec.
6) High throughput can be obtained with “on-the-fly” formatting.
7) Installation space is minimized because the media is loaded internally.
8) The metal cover and damper provide a heavy-duty enclosure.
9) Various optional devices, including the Strip module including the rewinder, the ribbon saving
module which economizes ribbon usage, rotary cutter module, disk cutter module, RFID module,
RS-232C interface, Centronics interface, expansion I/O interface, RTC & USB Host interface and
Wireless LAN interface are available.
NOTE: Every size is written in millimeter (mm) in this manual. To obtain the size in inch, divide by 25.4.
1.2 DESCRIPTION OF MODEL NUMBER
B - E X 4 T 2 - G S 1 2 - QM - R
Compliance with ROHS
R: RoHS compliant model
Destination Code
QM: Global
CN: China
None: Japan
Machine Type
2: Oversea Standard Model
5: Japan Model
6: WLAN with CN Model
8: RFID with CN model
Machine Version
1: Version 1
Issue mode
S: Standard type
H: Peel-off type
C: Cutter type
Resolution
G: 203dpi
T: 305dpi or 300dpi
H: 600dpi
Print head type / Sensor Position
1: Near Edge head / Center
2: Flat head / left side
Printing method
D: Thermal direct
T: Thermal transfer and thermal direct
Printing width
4: 4 inches width
6: 6 inches width

1. OUTLINE SPTM-0152
1.3 APPEARANCE AND DIMENSIONS (APPROXIMATE)
1-2
1.3 APPEARANCE AND DIMENSIONS (APPROXIMATE)
1.3.1 Appearance
Front drawing Side drawing
1.3.2 Operation Panel
Key Function
(1) Feeds one sheet of paper. [FEED]
(2) Prints the data in the image buffer
on one label according to the
system mode setting.
(1) Resumes printing after a temporary
stop of label printing or after an
error.
(2) Places the printer in the usual initial
state which is obtained when the
power is turned on.
[RESTART]
(3) Switches to user mode.
(1) Stops label printing temporarily. [PAUSE]
(2) Programs the threshold values.
[MODE] (1) Switches to user mode.
[CANCEL] (1) Clears the job.
[ENTER] (1) Displays help messages.
[UP] (1) No function
[DOWN] (1) No function
[LEFT] (1) No function
[RIGHT] (1) Displays help messages.

1. OUTLINE SPTM-0152
1.3 APPEARANCE AND DIMENSIONS (APPROXIMATE)
1-3
1.3.3 Dimensions (Approximate)
Color : Metal cover: Cool Black Mold cover: Cool Black
Weight : B-EX4 T2 19.0Kg(acking condition) 17.0Kg(rinter only)
Outside dimension : Width 278mm x Depth 460mm x Hight 310mm
It is based on individual product specifications.

1. OUTLINE SPTM-0152
1.4 BASIC SPECIFICATIONS
1-4
1.4 BASIC SPECIFICATIONS
1) Printing method ................... Thermal direct printing or thermal transfer printing
2) Print head
[GS model]
(1) Total number of dots ...... 832 dots (3) Effective print width ....... 104.0 mm
(2) Dot density ..................... 8 dots/mm (4) Thermal pitch .......…...... 0.125 mm
[TS model]
(1) Total number of dots ...... 1,253 dots (3) Effective print width ....... 104.0 mm
(2) Dot density ..................... 11.8 dots/mm (4) Thermal pitch .......…...... 0.085 mm
[HS model]
3) Print speed
GS model ............................. 3”/sec., 6”/sec., 10”/sec. 12”/sec.
TS model.............................. 3”/sec., 5”/sec, 8”/sec., 10”/sec. 12”/sec.
[HS model]
NOTE: These print speeds are available when printing ratio is less than 15% of the entire label or tag
paper.
4) Format size (W) x (L)
GS model ............................. Max. 104.0 mm x 1500.0 mm
TS model.............................. Max. 104.0 mm x 1500.0 mm
[HS model]
5) Issue mode .......................... Batch
Cut (Option)
Peel-off (Option)
6) Type of bar code/two dimensional code
(1) JAN8, EAN8, JAN13, EAN13, UPC-A, UPC-E (13) PDF417
(2) EAN8, EAN13, UPC-A, UPC-E + 2digit (14) QR Code
(3) EAN8, EAN13, UPC-A, UPC-E + 5digit (15) Industrial 2 of 5
(4) NW-7 (16) Customer Bar Code
(5) CODE39 (STANDARD) (17) POSTNET
(6) CODE39 (FULL ASCII) (18) RM4SCC
(7) ITF (Royal Mail 4 State Customer Code)
(8) MSI (19) KIX CODE
(9) CODE93 (20) Maxi Code
(10) CODE128 (21) Micro PDF417
(11) EAN128 (22) CP CODE
(12) Data Matrix (23) GS1 Databer
(The composite is included.)
7) Bar code rotation ................. 0°, 90°, 180°, 270°

1. OUTLINE SPTM-0152
1.4 BASIC SPECIFICATIONS
1-5
8) Type of characters
[GS model]
(1) Times Roman medium (12, 15 point) (12) Courier bold (18 point)
(2) Times Roman bold (15, 18, 21 point) (13) OCR-A, B (12 point)
(3) Times Roman Italic (18 point) (14) Outline font (Helvetica bold, Helvetica bold proportional,
(4) Helvetica medium (9, 15, 18 point) Price Font (1,2,3), Times roman proportional, Pop
(5) Helvetica bold (18, 21 point) Proportional, Proportional)
(6) Helvetica Italic (18 point) (15) Writable characters (2-byte character is available.)
(7) Presentation bold (27 point) (16) Gothic 725 black
(8)
(9)
Letter Gothic medium (14.3 point)
Prestige Elite medium (10.5 point)
(17)
(18)
China font (24x24) for CHINA model only
Mincho font (24x24, 32x32),
(10)
(11)
Prestige Elite bold (15 point)
Courier medium (15 point)
Gothic font (16x16, 24x24, 32x32, 48x48) for Japan
Model
[TS model]
(1) Times Roman medium (8, 10 point) (12) Courier bold (12 point)
(2) Times Roman bold (10, 12, 14 point) (13) OCR-A, B (12 point)
(3) Times Roman Italic (12 point) (14) Outline font (Helvetica bold, Helvetica bold proportional,
(4) Helvetica medium (6, 10, 12 point) Price Font (1,2,3), Times roman proportional, Pop
(5) Helvetica bold (12, 14 point) Proportional, Proportional)
(6) Helvetica Italic (12 point) (15) Writable characters (2-byte character is available.)
(7) Presentation bold (18 point) (16) Gothic 725 black
(8)
(9)
Letter Gothic medium (9.5 point)
Prestige Elite medium (7 point)
(17)
(18)
China font (24x24) for CHINA model only
Mincho font (24x24, 32x32),
(10)
(11)
Prestige Elite bold (10 point)
Courier medium (10 point)
Gothic font (16x16, 24x24, 32x32, 48x48) for Japan
Model
[HS model]
(1) Times Roman medium (8, 10 point) (12) Courier bold (12 point)
(2) Times Roman bold (10, 12, 14 point) (13) OCR-A, B (12 point)
(3) Times Roman Italic (12 point) (14) Outline font (Helvetica bold, Helvetica bold proportional,
(4) Helvetica medium (6, 10, 12 point) Price Font (1,2,3), Times roman proportional, Pop
(5) Helvetica bold (12, 14 point) Proportional, Proportional)
(6) Helvetica Italic (12 point) (15) Writable characters (2-byte character is available.)
(7) Presentation bold (18 point) (16) Gothic 725 black
(8)
(9)
Letter Gothic medium (9.5 point)
Prestige Elite medium (7 point)
(17)
(18)
China font (24x24) for CHINA model only
Mincho font (24x24, 32x32),
(10)
(11)
Prestige Elite bold (10 point)
Courier medium (10 point)
Gothic font (16x16, 24x24, 32x32, 48x48) for Japan
Model
9) Character code
(1) PC-850 (2) PC-8 (3) PC-852 (4) PC-857 (5) Arabic (6) LATIN 9 (7) PC-1257 (8) PC-1254
(9) PC-1253 (10) PC-1252 (11) PC-1251 (12) PC-1250 (13) PC-855 (14) PC-851 (15) UTF-8
(16) PC-866
10) Character magnification
(1) Regular font: 0.5 ~ 9.5 times (magnified by 0.5 times in each direction)
(2) Outline font: 2.0 ~ 150.0 mm (magnified 0.1 mm in each direction)
NOTE: When the outline font size is large, the ribbon may wrinkle according to the quality of the
ribbon or print tone.
11) White or black background all types of characters are available.
12) Character rotation ........................... 0°, 90°, 180°, 270°
13) Character strings rotation ............... 0°, 90°, 180°, 270°
14) Type of line
(1) Horizontal line (2) Vertical line (3) Slant line (4) Square (5) Rounded Rectangle (6) Circle
15) Line Width ....................................... 0.1 to 0.9 mm can be specified (in unit of 0.1 mm)

1. OUTLINE SPTM-0152
1.4 BASIC SPECIFICATIONS
1-6
16) Mechanism
(1) Mechanism
(2) Paper Sensor
Peel-off bar
13.75mm
Peel-off senso
r
15.3mm
Label sensor 77.25mm
Ribbon end sensor
47.4mm
Transmissive sensor
Reflect sensor
10mm
57mm
Paper left edge

1. OUTLINE SPTM-0152
1.4 BASIC SPECIFICATIONS
1-7
(3) Cutter mechanism
When the cutter module is installed, the backing paper of the label stock or tag paper is cut
individually.
Disk cutter: Stop and cut
Item Specification
Cutter type DISK CUTTER
Paper width 30.0mm -
Tag 25.4- 500mm
(T.B.D)
Cut
length Label 38.0 - 1500mm
(T.B.D)
Possible
cut size
Thickness 80 - 170μm(T.B.D)
Cutter life 1,000,000 cut (160μm tag) (T.B.D)
* Cutter life is confirmed by using same width paper.
Disk Cutter:21.9

1. OUTLINE SPTM-0152
1.4 BASIC SPECIFICATIONS
1-8
17) Power supply
CN model: AC220 - 240 V ±10%, 50Hz
QM model: AC100 - 240 V ±10%, 50/60Hz
Global(QM) China(CN)
Input voltage/frequency AC100V-240V ±10%
50-60Hz
AC100V-240V ±10%
50Hz
AC cord Not include Not include
100V: 22A
240V: 71A
240V: 71A Rush current
In order to exceed 10A, explane to users set up
exclusive plug socket.
Sleep
(Factory inital)
5.7W 0.09A 5.7W 0.09A
Stand-by
(Maximum)
Less than 8W (Print ready)
Less than 15W (Option full-operating)
Power
consumption
Operation *1 157.34W
2.0A-0.7A
157.34W
2.0A-0.7A
Power
supply
specification
Energy star appliance Yes
*1 An operation is a power consumption at the time of a 20% slant line.
(It is based on a specification test format.)
18) Current consumption
[B-EX4T2]
QM-R & CN-R model (100V) QM-R & CN-R model (240V)
Printing 166.31W,1.6888A 157.34W, 0.7147 A
Sleep mode 4.5W, 0.0893A 5.7W, 0.0861A
NOTES:
Be sure to provide an exclusive AC outlet for this machine. (This is 20% slant line print)
Energy Star Program appliance
19) Rush current
QM model: 100V: 22.1A, 240V: 70.6A

1. OUTLINE SPTM-0152
1.5 ELECTRONICS SPECIFICATIONS
1-9
1.5 ELECTRONICS SPECIFICATIONS
1) CPU ..................................... R8A77211C133BGV
2) Memory
(1) Program ............................2 x 16MB Flash ROM
(2) Image buffer + Work.......... 2 x 16MB SDRAM
Hardware
Model Flash ROM SDRAM Font ROM Type Font
B-EX4T2-GS12-QM-R
B-EX4T2-TS12-QM-R
B-EX4T2-HS12-QM-R
None
B-EX4T1-GS12-CN-R
B-EX4T1-TS12-CN-R
B-EX4T1-HS12-CN-R
16MB 32MB
8MB Simplified
Chinese
3) Interface
(1) USB
1) Standard: USB V2.0
2) Transfer mode: Control transfer, Bulk transfer
3) Transfer rate: Full speed (12M bps)
4) Class Printer class
5) USB interface Connector: USB-Type B
Power: Self-power
6) USB cable Type-A and Type-B cable of USB V2.0
(2) Wired LAN
1) Standard: IEEE802.3
2) Protocol: Physical layer: 10BASE-T, 100BASE-TX
Auto negotiation 10/100Mbps. Full/Half, Duplex
Data link layer: CSMA/CD
Network layer: IP, ICMP, ARP
Transport layer: TCP, UDP
Application layer: Server: LPR, SOCKET, HTTP, FTP
lient: POP3, SMTP, DHCP, WINS
Agent: SMMP
3) Network interface: Connector RJ-45
(3) RS-232C interface (Option)
1) Communication mode: Full-duplex
2) Transmission speed: 2400,4800,9600,19200, 38400, 115200 bps (selectable)
3) Asynchronous communication method
4) Transmission parameter
* Parity: None, EVEN, ODD
* Start bit: 1-bit
* Stop bit: 1-bit or 2-bit
* Word length: 7-bit or 8-bit
5) Error detection
* Parity check: VRC (Vertical Redundancy Checking)
* Framing error: This error occurs when no stop bit is found in the frame specified
starting with the start bit.
6) Data entry code: ASCII, 8-bit code for European characters, 8-bit code for graphic
7) Receiving buffer: B-EX4T: 6MB

1. OUTLINE SPTM-0152
1.5 ELECTRONICS SPECIFICATIONS
1-10
8) Protocol
* XON/XOFF (DC1/DC3) protocol
• When initialized after power on, this printer becomes ready to receive data and sends
an XON code (11H). (Transmission or non-transmission of XON code is selectable by
means of the parameter setting.)
• The printer sends an XOFF code (13H) when the free area in the receive buffer
becomes 10K Bytes or less.
• The printer sends an XON code (11H) when the free area in the receive buffer are
512KB or more.
• When there is no free area in the receive buffer, the printer discards received data
which exceeds the receive buffer capacity without storing it in the buffer. (After
detecting the XOFF code, the host computer must stop transmission before the printer
receive buffer becomes full.)
• The printer sends an XOFF code (13H) at power off time. (Transmission or non-
transmission of XOFF code is selectable with the parameter setting.)
• The DTR signal is always “High” level (Ready).
• The RTS signal is always “High” level (Ready).
* READY/BUSY (DTR) protocol
• When initialized after power on, this printer becomes ready to receive data and
converts the DTR signal to "High" level (READY).
• The printer converts the DTR signal to "Low" level (BUSY) when the free area in the
receive buffer amount to 10K bytes or less.
• The printer converts the DTR signal to "High" level (READY) when the free area in the
receive buffer amount to 512KB or more.
• When there is no free area in the receive buffer, the printer discards received data
which exceeds the receive buffer capacity without storing it in the buffer. (After
detecting a BUSY signal, the host computer must stop transmission before the printer
receive buffer becomes full.)
• The RTS signal is always “High” level.
* XON/XOFF (DC1/DC3) protocol + READY/BUSY (DTR) protocol
• When initialized after power on, this printer becomes ready to receive data and
converts the DTR signal to "High" level (READY). The printer sends an XON code
(11H).
• When the free area in the receive buffer are 10K bytes or less, the printer converts the
DTR signal to "Low" level (BUSY) and sends an XOFF code (13H).
• When the free area in the receive buffer are 512KB or more, the printer converts the
DTR signal to "High" level (READY) and sends an XON code (11H).
• When there is no free area in the receive buffer, the printer discards received data
which exceeds the receive buffer capacity without storing it in the buffer. (After
detecting the XOFF code or BUSY signal, the host computer must stop transmission
before the printer receive buffer becomes full.)
• The printer sends an XOFF code (13H) at power off time.
• The RTS signal is always “High” level.
* READY/BUSY (RTS) Protocol
• When initialized after power on, this printer becomes ready to receive data and
converts the RTS signal to "High" level (READY).
• The printer converts the RTS signal to “Low” level (BUSY) when the free area in the
receive buffer amount to 10K bytes or less.
• The printer converts the RTS signal to “High” level (READY) when the free area in the
receive buffer amount to 512KB or more.
• When there is no free area in the receive buffer, the printer discards received data
which exceed the receive buffer capacity without storing it in the buffer. (After detecting
a BUSY signal, the host computer must stop transmission before the printer receive
buffer becomes full.)
• The DTR signal is always “High” level (READY).
• The host should keep the DSR signal “High” level.
NOTE: Be sure to select the READY/BUSY (RTS) protocol when controlling the flow
between the Windows. Also, be sure to select “Hardware” for the flow control in
the Windows communication port setting.

1. OUTLINE SPTM-0152
1.5 ELECTRONICS SPECIFICATIONS
1-11
9) Pin description
Pin No. Signal I/O Description
1 FG (Frame Ground) --- Ground line for circuit protection.
2 RD (Received Data) Input
Data line from which the printer receives data from
the host (receive data line).
Logic “1” is “Low”, and “0” is “High”. It is LOW
(MARK) while no data is being sent.
3 TD (Transmit Data) Output
Data line from which the printer sends data to the
host (send data line).
Logic “1” is “low”, and “0” is “High”. It is LOW
(MARK) while no data is being sent.
4 CTS (Clear to Send) Input Input signal from the host. This printer ignores this
signal.
5 RTS (Request to Send) Output
Output signal to the host.
When READ/BUSY (RTS) protocol is selected,
this signal means READY to receive data.
When the receive buffer is nearly full, the signal
turns to “Low”, and “High” when nearly empty.
In case of other protocol is selected, this signal is
always “High” level after the power is turned on.
6 DTR (Data Terminal
Ready) Output
Output signal from the printer.
When READY/BUSY (DTR) or XON/XOFF
(DC1/DC3)+READY/BUSY (DTR) is selected, this
signal means READY to receive data.
When the receive buffer is nearly full, the signal
turns to “Low”, and “High” when nearly eimpty.
In case of XON/XOFF (DC1/DC3) or READY/BUSY
(RTS), this signal is always “High” level after the
power is turned on.
7 SG (Signal Ground) --- Ground line for all data and control signals.
20 DSR (Data Set Ready) Input Input signal from the host. It must be “High” for the
printer to receive data.
10) Interface circuit
* Circuit
* Signal level
Input voltage: "H" .. +2.4 V to + 25V Output voltage: "H" = MIN +5.0V, Typ. +5.4V
"L" ... –25V to 0.6V "L" = MIN -5.0V, Typ. -5.4V

1. OUTLINE SPTM-0152
1.5 ELECTRONICS SPECIFICATIONS
1-12
(4) Centronics interface (Option)
1) Data input method: 8-bit parallel (DATA 1 to 8)
2) Control signals
SPP mode: nStrobe, nAck, Busy, PError, Select, nAutoFd, nInit, nFault,
nSelectIn
Nibble mode: HostClk, PtrClk, PtrBusy, AckDataReq, Xflag, HostBusy, nInit,
nDataAvail, IEEE1284Active
3) Data input code: ASCII, JIS 8-bit code for European characters, 8-bit code for
graphic
4) Receiving buffer: 6MB (Max. 65536 lines)
5) Input/Output circuit configuration and Input/Output conditions
Connector
Amp. Japan 552742-1 or equivalent
Printer side: DDK 57RE-40360-73B or equivalent
Amp. Japan 552470-1 or equivalent
Cable side: DDK 57E-30360 or equivalent

1. OUTLINE SPTM-0152
1.5 ELECTRONICS SPECIFICATIONS
1-13
(5) Expansion I/O interface (Option)
Interface circuit
* Input circuit
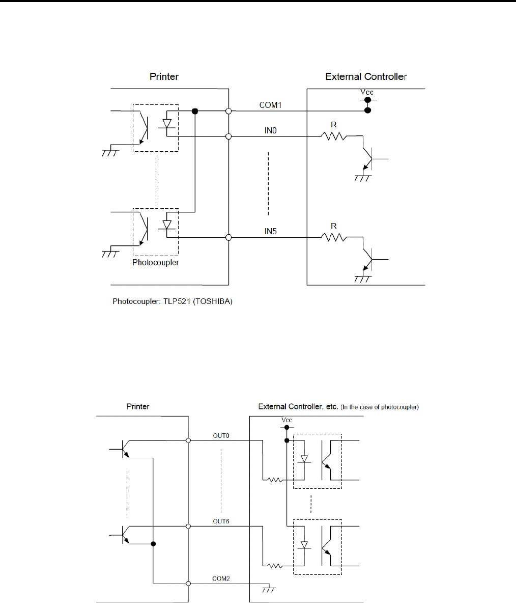
There are 6 input circuits, and each input is a current loop using the photo coupler. The anode
of the photo coupler of each circuit is connected to the common pin COM 1. The cathodes are
independent. The voltage of Vcc is 5 to 24 V, while the diode operating current is 16 mA
(average).
* Output circuit
There are 7 output circuits, and each output is an open collector. The voltage of Vcc is 5 to 24 V,
while the drive current is 150 mA (max.).
For other details, please refer to the Expansion I/O specifications stored in the enclosed CD-
ROM or posted on the web site with the URL, http://barcode.toshibatec.co.jp.

1. OUTLINE SPTM-0152
1.5 ELECTRONICS SPECIFICATIONS
1-14
(6) USBH (Option)
1) Standard: USB V2.0
2) Transfer mode: Control transfer, Bulk transfer
3) Transfer rate: Full speed (12M bps)
4) USB interface Connector: USB-Type A
Power supply specification: 500mA output
(7) Wireless LAN (Option)
1) Standard: IEEE802.11b/g
2) Protocol: Physical layer: 802.11b/g
Date link layer: CSMA/CA
Network layer: IP, ICMP, ARP
Transport layer: TCP, UDP
Application layer: Server: LPR, SOCKET, HTTP, FTP
Client: POP3, SMTP, DHCP, WINS
Agent: SNMP
Security: IEEE802.11i
Encryption: WEP (64/128bit), TKIP (WPA), AES
(WPA2)
Authentication: Shared key (for WEP), PSK, PEAP, TLS,
TTLS, MD5, LEAP, EAP-FAST
3) Communicable distance: Class1, 100m (When there is no obstacle),
360 deg. (depending on conditions)
4) Antenna: Built-in (Not available for external antenna)
5) Certification: WiFi, CCX V3, V4
4) Sensor/switch
Transmittive sensor Transmittive (Movable/Adjustable)
Refrective sensor Refrective (Movable/Adjustable)
Outer temperature sensor Detect range: 0 to 70°C
Head temperature sensor Detect range 0 to 80°C
Head up sensor Optical slit sensor
Ribbon rotation detect sensor Optical slit sensor (Ribbon diameter detection for rewinder, back
tension block)
Ribbon end sensor Refrective (Detect silver area of ribbon end tape)

2. SUPPLY SPECIFICATIONS SPTM-0152
2.1 MEDIA (Paper)
2-1
2. SUPPLY SPECIFICATIONS
Information regarding the supply specifications contained in Product Description is essential to service
engineers. Detail specifications and other information on the media and ribbon are described in Supply
Manual by model. It is issued by and sent from TOSHIBA TEC H.Q (Sales Division) upon release of
new model or manual's revision. When purchasing the supplies locally, be sure to refer to the Supply
Manual for details. Use of non-specified media may shorten the print head life and result in problems
with bar code readability or print quality. Be sure to read carefully and understand the Supply Manual
since it also includes the details about notes, precision of the print start position, limitations on printing,
etc. When selling the products to VARs, instruct them to buy media and ribbons that the substances
described in the following precautions are not included.
2.1 MEDIA (Paper)
2.1.1 Types of paper
Two types of paper are available, labels and tags, each being further divided into the direct
thermal type and thermal transfer type. The approved paper must be used.
Use of any non-approval paper may cause problems.
2.1.2 Paper Size and Shape
Item B-EX4T2
Thermal head density 8dots/mm (203dpi) 11.8dots/mm (300dpi) 23.6dots/mm (600dpi)
Thermal head width 104.0mm 108.416mm 105.58mm
Contents Issue type Batch
Strip
*Note1
Disc
Cutter Batch Strip
*Note1
Disc
Cutter Batch Strip Disc
Cutter
Min. 10.0 25.4 25.4 10.0 25.4 25.4 8.0 25.4 25.4
Label Max. 1500.0 256.0 1500.0 1500.0 256.0 1500.0 500.0 256.0 500.0
Min. 10.0 - 25.4 10.0 - 25.4 10.0 - 25.4
A: Paper
Pitch Tag Max. 1500.0 - 1500.0 1500.0 - 1500.0 500.0 - 500.0
Min. 8.0 23.4
23.4
*Note2 8.0 23.4
23.4
*Note2 6.0 23.4
23.4
*Note2
B: Paper length
Max. 1498.0 254.0 1494.0 1498.0 254.0 1494.0 498.0 254.0 494.0
Min. 30.0 50.0 30.0 30.0 50.0 30.0 30.0 50.0 30.0
C:
Tag width
Backing
paper width Max. 114.0 114.0 114.0
Min. 27.0 27.0 27.0
D: Label width Max. 111.0 111.0 111.0
Min. 2.0 6.0 2.0 6.0 2.0 6.0
E: Label-to-label
gap Max. 20.0 20.0 20.0
Min. 2.0 2.0 2.0
F: Black mark
length Max. 10.0 10.0 10.0
G
:
Max. effective
print width Max. 104.0 +-0.2 104.0 +-0.2 104.0 +-0.2
Min. 6.0 21.4 21.4 6.0 21.4 21.4 6.0 21.4 21.4
Label Max. 1496.0 252.0 1492.0 1496.0 252.0 1492.0 496.0 252.0 492.0
Min. 8.0 - 21.4 8.0 - 21.4 8.0 - 21.4
H: Effective print
length Tag Max. 1498.0 - 1498.0 1498.0 - 1498.0 498.0 - 498.0
Slow-up 1.0 1.0 1.0
I:
Slow-up and
down area
(Un-print
area)
Slow-down 1.0 1.0 1.0
Min. 0.13 0.13 0.13
J: Paper
thickness Max. 0.17 0.17 0.17
K: Max. on-the-fly printing length 749.0 749.0 249.0
L: Max. paper roll diameter φ200
(Using external rewinder φ180)
φ200
(Using external rewinder φ180)
φ200
(Using external rewinder φ180)
M
: Paper winding direction Inside the printing side
(STD.)
Inside the printing side
(STD.)
Inside the printing side
(STD.)
N: Paper core Inside diameter
φ76.2±0.3
Inside diameter
φ76.2±0.3
Inside diameter
φ76.2±0.3
*Note1: When using the peel-off at 12”/sec or more for 203dpi model, issue at 10”/sec.
When using the peel-off at 10”/sec or more for 300dpi model, issue at 8”/sec.
*Note2: When using the disk cutter, the label length must meet the following condition:
Label length
≧
18.0mm - (Gap length/2).

2. SUPPLY SPECIFICATIONS SPTM-0152
2.1 MEDIA (Paper)
2-2
Feed direction
I
H B
E
G
D
C
A
H
F
A
C
G
B
Feed direction
Black Mark(Reverse Side)
Roll method: Labels facing inside
Roll method: Labels facing outside
Roll method: Tag facing inside
Roll method: Tags facing outside
K
K
J
J
<Labels>
<Tags>
1.5mm
1.5mm
K
J
K
J

2. SUPPLY SPECIFICATIONS SPTM-0152
2.1 MEDIA (Paper)
2-3
NOTES:
1. For label issues, set the head lever to position
c
LABEL.
2. For tag issues, set the head lever to position
d
TAG.
3. When using narrow paper, may need to set the head lever to position
d
TAG, or need to adjust the
right head pressure.
4. The ratio of “Label length” to “Gap length” must be 3:1 or more.
5. The backing paper is approved together with label.
6. The paper width for the label includes its backing paper.
7. The backing paper to be used must be glassine paper (white or 7K) or equivalent, and must have a
transmission factor of 22% or more.
8. A label showing “TEC”, item code, and lot number must be attached to the paper core inside.
For reference;
Relationship between Paper Roll Length and Paper Core Diameter
L =
L: Paper length
D: Paper roll diameter
d: Paper core outside diameter
t: Paper thickness
In calculation, the unit of each factor must be
the same.
9. In the cut issue mode, the backing paper of labels (the gap between labels) can be cut. The label
itself cannot be cut. When the perforated label is used, it is necessary to test and confirm the cutting
performance beforehand.
10. In the cut issue mode, the gap length must be 6 mm or more, and the cut position must be adjusted
so that the cutter cuts in the center of the gap.
11. When the stop position is not proper, the print stop position should be changed by the strip position
fine adjustment.
12. When the gap between labels is 5 mm or more, the effective print length should be set to the
maximum value (Label pitch minus 2 mm), then the print stop position should be changed by the
strip position fine adjustment.
13. When the rotary cutter is used, a cut and issue should be performed with the head-up operation
being activated
by using ribbon save unit together.
14. If paper is jammed at the platen when cut issue is performed, enable the forward feed function
(“FORWARD WAIT”) in system mode.
15. When the paper thickness is more than 200 µm, the print head installation position may need to be
changed.
(D2 - d2) π
4t
Label roll dia.
(
Pa
p
er roll dia.
)
Label showing “TEC”,
item code, and lot number
Paper
core ID

2. SUPPLY SPECIFICATIONS SPTM-0152
2.1 MEDIA (Paper)
2-4
2.1.3 Detection Area on Labels and Tags
2.1.3.1 Sensor position
The sensor is movable in the range from the center of the paper to the left end.
Transmissive sensor and Reflective sensor are moving from side to side at same time each sensor
unit.
2.1.3.2 Detection Area of Transmissive Sensor
<Tags>
Transmissive
Sensor position
Min. 2.0 mm
Min. 10mm Rectangular
holes
(
Center of paper
)
View from the
print side
Paper feed
direction
Magnified view of detection area
Detection of hole
Rectangular hole
(Round holes are
Unacceptable.)
Transmissive sensor is
movable within this range.
Transmissive sensor(○circle)
Reflective sensor(□square)
Sensor
distance
51mm
6mm
Movement
range
Sensor unit
Factory initial
setting
Paper position
(left)
Paper position
(Right)
Center of paper
Transmissive
Sensor
Reflective
Sensor position
Should be keep 5mm
5 mm
16mm

2. SUPPLY SPECIFICATIONS SPTM-0152
2.1 MEDIA (Paper)
2-5
<Labels>
2.1.3.4 Detection Area of Reflective Sensor
1. The sensor is movable in the range from the center of the paper to the left end.
(For detail, refer to 2.3.1)
2. The reflectance of the black mark must be 10% or less with a waveform length of 950 nm.
3. The sensor detects at the center of the black mark.
4. The black marks, if necessary, must be printed on the labels in the gap areas. (See (5) in section
2.4.4.)
5. Rectangular holes can substitute the black marks, on the condition that nothing is printed on the
back side. Round holes cannot be detected by the reflective sensor.
16mm
(
Center of paper
)
Transmissive
Sensor
View from the
print side
Paper feed
direction
Transmissive
Sensor position
Necessary
detection area
Label
Gap
Label
Min. 2.0 mm
Min. 12 mm
Magnified view of detection area
(Min.6.0mm
when the cutter
is used.)
Transmissive sensor is
movable within this range.
Reflective Sensor
position
Min. 2.0 mm
Min. 12 mm
Perspective on the back side
View from the
print surface
Paper feed
direction
(Center of paper) Reflective
Senso
r
6mm Reflective sensor is
movable within this range.

2. SUPPLY SPECIFICATIONS SPTM-0152
2.1 MEDIA (Paper)
2-6
2.1.4 Effective Print Area of Paper
2.1.4.1 Relationship between Print Head Effective Print Width and Paper Width
2.1.4.2 Effective Print Area of Tags and Labels
NOTES:
1. Print quality in the shaded area is not guaranteed. For the label, printing in the 1-mm width area
around the label is not guaranteed as well as the shaded area shown above.
2. This printer paper set position is left side,
The center of the paper (label and tag) is not almost aligned with the center of the print head.
3. If printing is performed in the shaded area, the ribbon may wrinkle. This may affect the print quality
of the guaranteed printing area.
2 mm Outside
printing
area
Outside
printing
area 8 mm
104.0mm±0.2mm
(Effective print head width)
114.0mm
(Max. paper width)
Printing area
30.0mm
(Min. paper width)
Paper
position
(Left)
Paper
position
(Right)
10 mm to 1500 mm
Label/tag length
Feed direction
Label/tag width (See Note below.)
(Backing paper width)
1.5 mm from right
edge of paper
1 mm
Detection area
3.5 mm from left
edge of paper
Detection area
1 mm
Guaranteed printing area
Feed direction

2. SUPPLY SPECIFICATIONS SPTM-0152
2.1 MEDIA (Paper)
2-7
2.1.4.3 Print Position Misalignment
(1) Horizontal(Meandering)
Horizontal misalignment due to repetition:
A = ±1.0 mm
To determine the reference value for A,
make a print test 10 times or more using
the specified label or tag, and adjust the
print position using the average value of
the variations to the programmed print
position.
(2) Vertical (Feed Direction)
Vertical misalignment due to repetition: B
B = ±1.0 mm
To determine the reference value for B,
make a print test 10 times or more using
the specified label or tag, and adjust the
print position using the average value of
the variations to the programmed print
position. B has a ±3% variation to the
programmed value.
Precaution for Preprinting
Preprinting should be performed in the area at least 1.5 mm from the printing area, taking the print
position variation into consideration.
(Example)
Paper feed
direction
A
+ direction – direction
Printing area
Paper feed
direction
B
+ direction
–
direction
Printing area
Min. 1.5 mm
Min. 1.5 mm Min. 1.5 mm
Label
Printing
area Preprinted frame

2. SUPPLY SPECIFICATIONS SPTM-0152
2.1 MEDIA (Paper)
2-8
2.1.4.4 Suggestions for Designing Labels
(1) Multiple-piece Labels
To properly detect each label by the transmissive sensor, the necessary detecting area that is
specified in section 2.3.1 should be provided. At the same time, the shaded area shown below
must be non-transmissive, excluding the necessary detecting area.
(2) Use a label of which silicon layer at the die-cut part is not damaged.
[Judgment Method]
Remove some labels from the backing paper, slightly apply stamp ink all over the backing
paper surface. Judge the cut condition by observing the darkness of the ink.
The stamp ink will enter into the cut marks, and label shapes will emerge.
c If the back of the backing paper is saturated with ink, this means the silicon layer is
damaged. The label is unacceptable.
d If the darkness of the cut marks is clearly uneven, the label is unacceptable.
e If the entire cut marks look light, the label is acceptable.
Sensor position Center of paper
Label feed direction
The sensor must be placed
within this range.
Label
Glue
Silicon la
y
e
r
Backing paper
Not good
Only the label and
g
lue are cut.
Good
Silicon layer on
surface
Backing paper
Cut marks
Slightly apply
stamp ink all over.

2. SUPPLY SPECIFICATIONS SPTM-0152
2.1 MEDIA (Paper)
2-9
(3) Perforation
Labels and tags must always be perforated from the printing side.
Note) At present time, Fanfold paper has not been certified.
If using Fanfold paper, paper retainer should be required.
(4) Preprinting
The print head may be abnormally worn depending on the ink to be used. Ink which do not contain
materials of high hardness, such as, calcium carbonate and kaolin, should be used for preprinting.
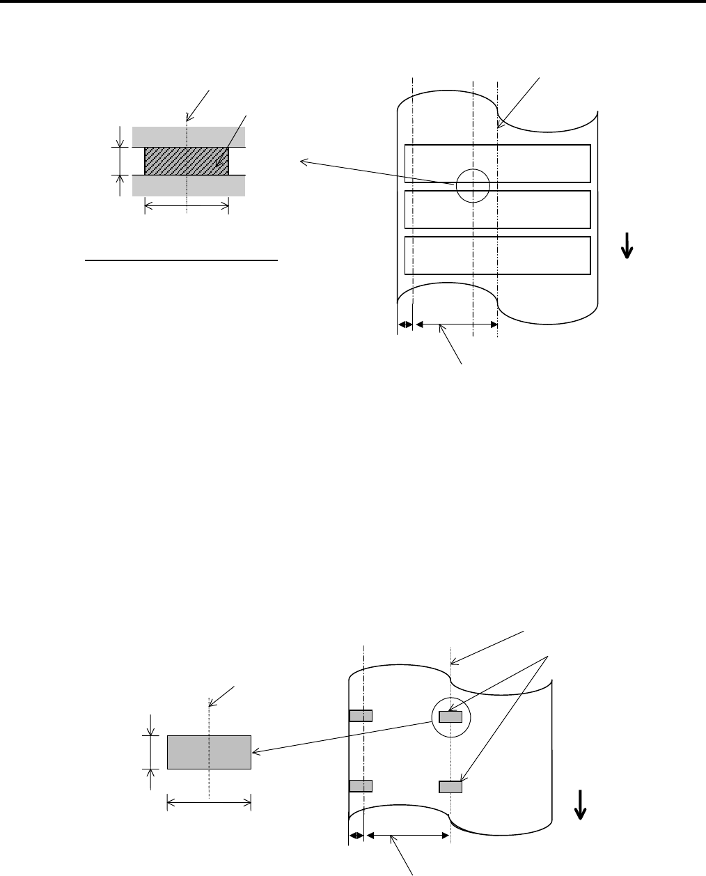
(5) Printing Black Marks on the Label
The black marks should be printed on the back of the gaps.
The black marks should be positioned so that they come in contact with or partly overlap the
previous label. (See the figure below.)
(Example) Gap length: 10 mm
Black mark: 4 mm
(Center of paper)
Black mark should come in contact with or
partly overlap the previous label.
Black mark (Perspective of the back side)
Feed direction
4 mm
10 mm
(Print side)
Min. 12 mm Label

2. SUPPLY SPECIFICATIONS SPTM-0152
2.1 MEDIA (Paper)
2-10
2.1.5 Approved Paper
Type Item Code Manufacturer
Type No.
Paper
Thickness
(µm)
Manufacturer Remarks
150LA-1P 82 RICOH
Direct
thermal
type
Vellum Raflatac (Uncoated)
Transtherm 1C Fasson (Coated, gloss)
VES-85 85
OSAKA SEALING
PRINTING (Yupo)
FR1412-50 White PET 50 LINTEC
FR1510-50 Silver sand mat 50 LINTEC
FR1615-50 Silver chemical mat 50 LINTEC
Label Thermal
transfer
type
130LAB-1-150 150 RICOH
Direct
thermal
type
IS50 I-BEST S 164
OSAKA SEALING
PRINTING
Tag Thermal
transfer
type
NOTE:
1. The print head life varies depending on the print pattern (printing ratio).

2. SUPPLY SPECIFICATIONS SPTM-0152
2.2 RIBBON
2-11
2.2 RIBBON
2.2.1 Ribbon
The approved ribbon must be used.
Use of any non-approved ribbon may cause problems.
2.2.2 Shape and Size of Ribbon
No. Item Specification
1 Ribbon Shape Spool type
Ribbon Width 68(40) ±1 mm to 112 mm
2 Ribbon Winding Width 68(40) mm to 112 mm
3 Max. Ribbon Length 600 m (Ø90 mm or less)
4 Max. Ribbon OD Ø90 mm
5 Back Treatment Coated
Material Paper
6 Ribbon Core Shape See Fig. 1.
7 Leader Tape Polyester film (silver), 300 ± 5 mm long
8 End Tape Polyester film (silver), 250 ± 5 mm long
9 Winding Method The ribbon is wound outside.
For the core and ribbon winding positions, see Fig. 2.
NOTES:
1. The ribbon type number and the lot No. should be marked on the ribbon core end with black
indelible ink. (If doing this is impossible, separately specify the location where the type number and
the lot number are stamped.)
2. It is recommended that the ribbon is wider than the paper width by 5 mm or more.
• When the difference between the ribbon width and the paper width is same or too minimum, the
ribbon may wrinkle.
• When the difference between the ribbon width and the paper width is too large, the ribbon may
wrinkle.
• Be careful of the upper limit of the ribbon width.
3. The ribbon which is narrower than the paper width by 5 mm or more can be used, but the print area
becomes narrower.
Fig. 1: Core Shape
+2
-1
Max.112 ± 0.5
Ø25.7
± 0.2

2. SUPPLY SPECIFICATIONS SPTM-0152
2.2 RIBBON
2-12
Fig. 2: Positional Relationship between Core and Ribbon
NOTE: Wind the ink ribbon so that the ribbon center aligns with the core center.
Fig. 3: Connection between Leader Tape and Ribbon
NOTE: The ink ribbon must be wound at a right angle to the core.
The inked surface faces the outside.
Adhesive
tape A
Ink ribbon
Core
Adhesive
tape
Leader
tape
Take-up core
Inked side
Base Treated back side
Adhesive
tape

2. SUPPLY SPECIFICATIONS SPTM-0152
2.2 RIBBON
2-13
2.2.3 NOTES on using ribbon
If the difference between the ribbon width and the paper width is too large, the ribbon may wrinkle. Refer
to the table below and choose the paper appropriate to the ribbon width. Even if the ribbon is narrower
than paper, printing can be performed. However, it results in the narrower print range.
B-EX4T Type2 series
Ribbon width 41mm 50mm 68mm 84mm 112mm
Appropriate
paper width 30 to 36 mm 36 to 45 mm 45 to 63 mm 63 to 79 mm 79 to 114 mm
When use paper width over 108mm, we recommend ribbon width using 112mm or over.
The ribbon tension adjustment may be further required according to the ribbon width. In the case a
narrower width of the ribbon is used, if the ribbon tension is strong, the ribbon will wrinkle. According to the
print patterns, fine adjustment of the ribbon take-up motor voltage is required. As a guide, regardless of
the print speed, it should be set to “-3” (FW) and “-1” (BK) for 68-mm wide ribbon, and “-4” (FW) and “-2”
(BK) for 50-mm wide or less ribbon, respectively.
2.2.4 Approved Ribbon
The manufacturer ink names must be handled carefully and must not be revealed.
problem.
Type: N: Normal P: Premium S: Super premium
Item Code
(Grobal)
Item Code
(Japanese)
Manufacturer
Ink Name
Ink
Thickness
(µm)
Base
Thickness
(µm)
Manufacturer Type Remarks
BR-*****AW3 BR-*****W10N AWR6 ARMOR N
BR-*****AW5 AWX-FH ARMOR N
BR-*****AW6F AWARD ARMOR N
BR-*****AW7F BR-*****W05 AWR470Solfree ARMOR N
BR-*****AG3 APR6 ARMOR P
BR-*****AG4 BR-*****A11N APX-FH ARMOR P
BR-*****AS1 BR-*****A21 AXR7+ ARMOR S
BR-*****AS2 AXR8 ARMOR S
BR-*****AS3 AXR9 ARMOR S
BR-*****RG2 BR-*****R1 B110A RICOH P
BR-*****R1S B110AXS RICOH P Japanese only
BR-*****RS1 BR-*****R2 B110C RICOH S
BR-*****R2S B110CR RICOH S Japanese only
BR-*****SW1 TR4085 DNP N
BR-*****SG3F TR5080 DNP P
BR-*****SG4F N280 DNP P
BR-*****SS2F R510HF DNP S

2. SUPPLY SPECIFICATIONS SPTM-0152
2.2 RIBBON
2-14
2.2.5 NOTES
2.2.5.1 If printing is performed using only a narrow range of the ribbon as shown below, the
ribbon may wrinkle.
2.2.5.2 When a ribbon error occurs, the ribbon tension value for the ribbon feed motor should be
adjusted in the negative (−) direction. For details regarding the fine adjustment of the ribbon
motor drive voltage, refer to the Key Operation Specification (EAA-03184).
ABCDEF
ABCDEF
ABCDEF
ABCDEF
ABCDEF
ABCDEF
ABCDEF
ABCDEF
Feed direction
Feed direction
ABCDEF
ABCDEF
ABCDEF
ABCDEF
ABCDEF
ABCDEF
ABCDEF
ABCDEF
ABCDEF
ABCDEF
ABCDEF
ABCDEF
ABCDEF
ABCDEF
ABCDEF
ABCDEF

2. SUPPLY SPECIFICATIONS SPTM-0152
2.3 CARE AND HANDLING OF THE MEDIA AND RIBBON
2-15
2.3 CARE AND HANDLING OF THE MEDIA AND RIBBON
• Do not store the media and ribbon for longer than the manufactures recommended shelf life.
• Store media rolls on the flat end, do not store them on the curved sides as this might flatten that
side causing erratic media advance and poor print quality.
• Store the media in plastic bags and always reseal after opening. Unprotected media can get dirty
and the extra abrasion from the dust and dirt particles will shorten the print head life.
• Store the media and ribbon in a cool, dry place. Avoid areas where they would be exposed to
direct sunlight, high temperature, high humidity, dust or gas.
For further information please contact your local distributor or your media and ribbon manufacturer.
CAUTION!
Be sure to read carefully and understand the Supply Manual. Use only media and ribbon which
meet specified requirements. Use of non-specified media and ribbon may shorten the head life and
result in problems with bar code readability or print quality. All media and ribbon should be handled
with care to avoid any damage to the media, ribbon or printer. Read the following guideline carefully.

2. SUPPLY SPECIFICATIONS SPTM-0152
2.4 PRINT CONDITIONS
2-16
2.4 PRINT CONDITIONS
2.4.1 Print Quality of Bar Code
Bar code Head
Resolution Speed NB NS WB WS CS Criteria
3”/sec 2 2 5 5 2 Grade B
6”/sec 2 2 5 5 2 Grade B
10”/sec 2 2 5 5 2 Grade C
203dpi
12”/sec 2 2 5 5 2 Grade C
3”/sec 3 3 8 8 3 Grade B
5”/sec 3 3 8 8 3 Grade B
8”/sec 3 3 8 8 3 Grade C
10”/sec 3 3 8 8 3 Grade C
300dpi
12”/sec 3 3 8 8 3 Grade C
2”/sec 6 6 16 16 6 Grade B
3”/sec 6 6 16 16 6 Grade B
4”/sec 6 6 16 16 6 Grade B
5”/sec 6 6 16 16 6 Grade B
Parallel
600dpi
6”/sec 6 6 16 16 6 Grade B
3”/sec 2 2 5 5 2 Grade C
6”/sec 2 2 5 5 2 Grade C
10”/sec 2 4 5 7 4 Readable
203dpi
12”/sec 2 4 5 7 4 Readable
3”/sec 3 3 8 8 3 Grade C
5”/sec 3 3 8 8 3 Grade C
8”/sec 2 5 6 10 5 Readable
10”/sec 2 5 6 10 5 Readable
300dpi
12”/sec 2 5 6 10 5 Readable
2”/sec 6 6 16 16 6 Grade C
3”/sec 6 6 16 16 6 Grade C
4”/sec 6 6 16 16 6 Grade C
5”/sec 6 6 16 16 6 Grade C
Serial
600dpi
6”/sec 6 6 16 16 6 Grade C
NB: Narrow bar width, NS: Narrow space width, WB: Wide bar width, WS: Wide space width,
CS: Space between characters, Bar code type: CODE39
NOTES:
1. Serial bar codes may not be readable depending on the number of bar code digits, supplies used or
print density fine adjustment, even if the above conditions are satisfied. The spaces (NS, WS) should
be increased, or the print density should be turned down.
2. If print data of high printing ratio, like serial bar codes, continues, spots may be printed where the print
head stops due to accumulated heat in the print head. In this case, take the following action:
1) In case of printing labels, set the effective print length to the max. value (label pitch minus 2 mm)
so that the print head stops on the gap.
2) In case of printing tags in the cut mode, set the effective print length to the max. value (tag pitch
minus 2 mm) so that the tag will be cut at the stop position.
3) In case of printing perforated tags, change the stop position by the fine adjustment so that it is
just on the perforations.
4) If the problem cannot be eliminated by the above 1) to 3), lower the print speed, lower the print
density using the fine adjustment, or change the print pattern.

2. SUPPLY SPECIFICATIONS SPTM-0152
2.4 PRINT CONDITIONS
2-17
2.4.2 PRINT QUALITY OF QR CODE
Head Resolution Speed 1 cell Criteria
3”/sec 3 dots or more Grade D
6”/sec 4 dots or more Grade D
10”/sec 4 dots or more Readable
203dpi
12”/sec 4 dots or more Readable
3”/sec 3 dots or more Grade D
5”/sec 4 dots or more Grade D
8”/sec 4 dots or more Readable
10”/sec 4 dots or more Readable
300dpi
12”/sec 4 dots or more Readable
2”/sec T.B.D. T.B.D.
3”/sec T.B.D. T.B.D.
4”/sec T.B.D. T.B.D.
5”/sec T.B.D. T.B.D.
600dpi
6”/sec T.B.D. T.B.D.
Model: Model 1, Error correction level: Q
Note: JIS X 05109 (2-D code symbol QR code Basic Specification)
1) QR codes may not be readable depending on the print formats, supplies used or print density fine
adjustment, even if the above conditions are satisfied. The number of dot per 1cell should be
increased, or the print density should be turned down.
● LINE PRINTING
(1) Lines of 3 or more dots are guaranteed. Although 1 or 2 dots can be designated, avoid printing them.
(2) When printing horizontal lines, the combination of paper and ribbon, may cause the printing stick.
Accordingly, may cause the printing disconnection, the bleed printing, etc.
When sticking occurred, try the following items.
This horizontal line changes the border thinning.
Thermal head Tone adjustment change to lower.
Change the combination of paper and ribbon
● PRINT TONE
The print density should be adjusted according to print data and supplies used, with reference to
ATTACHMENT-3. When the serial bar code is regarded as important, turn down the print density (adjust
in the negative (-) direction), and when the horizontal line is regarded as important, turn up the print
density (adjust in the positive (+) direction). If voids occur, turn up the print density, and if reverse thermal
transfer or ribbon wrinkle occurs, turn down the print density.
● DURABILITY
If the printout is used in an environment where its surface may be rubbed, confirm the durability of the
printout before it is used. Basically rubbing the printout surface deteriorates the quality. The supply that is
suitable for that particular environment should be used.
● OTHER CAUTIONS
(1) The thermal paper used for direct thermal printing must not have specifications that exceed Na+ 800
ppm, K+ 250 ppm and Cl- 500 ppm.
(2) Use of paper containing SiO2 talc, which may cause abnormal abrasion of the print head protection
layer, should be avoided.
(3) If the paper and ribbon are left under pressure of the print head for a long period of time, the ribbon
may stick to the paper, which causes a problem at a start of printing. In addition, there is the case that
a pressure welding trace (smudge) of the ribbon occurs at the time of a printing start and the end by a
kind of the ribbon.

2. SUPPLY SPECIFICATIONS SPTM-0152
2.5 SPECIFICATION OF RFID TAG (for B-EX700-RFID-H1-QM-R)
2-18
2.5 SPECIFICATION OF RFID TAG (for B-EX700-RFID-H1-QM-R)
2.5.1 General Description
The RFID supplies are RFID tag (wireless IC tag) inlays designed to be converted into tag and label
applications. Printers, which are equipped with an RFID kit, can print data on the surface of RFID tags
as well as write data on them.
The B-EX series optional RFID kit, B-EX700-RFID-H1-QM-R, is destined for Europe and operates in
the UHF band 13.56MHz.
(RFID module and antenna are locally purchased.)
Although the specified frequency band can be used in the other countries than Europe, the destination
is limited to Europe because the certification is obtained only for Europe.
NOTE: Regarding the specification of RFID supplies and the ribbon used for printing on them, refer to
Section 2.1 MEDIA and Section 2.2 RIBBON.
2.5.2 Available RFID Tag
• TagSys C210, C220, C240, I-Code, Tag-it, ISO15693
2.5.3 Location of RFID Tag
The location of an RFID tag on a label influences on the accuracy of writing data on the RFID tag.
It is impossible to define the one best location for every RFID tag on labels because the best location
depends on the type of RFID tag and RFID tag antenna.
The B-EX RFID Analyze Tool can evaluate the accuracy of writing data on the RFID tag. For the
usage of this tool, refer to the B-EX RFID Analyze Tool Operation Specification.
2.5.4 Cautions for using RFID Tags
1) Lift-up of Print Head
An RFID tag chip or the print head may be damaged when the print head passes over the chip.
This can be prevented by using the ribbon saving module (standard feature for the B-EX6T and
optional for the B-EX4T). The print head is lifted by the ribbon saving module when it passes over
the chip to prevent it from touching the chip.
The print head is lifted by approximately 1 mm from the platen.
2) Storage of RFID Supplies
Do not store RFID tags close to printers, or their communication performance may not be as
specified when they are used.
3) Roll-type RFID Supplies
When RFID supplies are to be rolled, roll hardness must be concerned.
Although it depends on the type of glue, tag, and backing paper, RFID-tag embedded labels tend to
stay rolled. Especially, when they are wound outside, a media jam error may occur. Unless
otherwise specified, it is recommended that the RFID-tag embedded labels be wound inside.
4) Sensor
When the transmissive sensor or reflective sensor is enabled, transmissivity or reflectivity of a label
or tag may vary at an RFID-tag embedded area depending on the pattern of an antenna or other
factors. In such cases, a manual threshold setting is required in Online mode. For details, refer to
the B-EX Key Operation Specifications.

2. SUPPLY SPECIFICATIONS SPTM-0152
2.5 SPECIFICATION OF RFID TAG (for B-EX700-RFID-H1-QM-R)
2-19
5) Cutter
When an RFID label or tag is used in cut issue mode, care must be taken not to cut an antenna of
the RFID tag or an IC chip in order not to damage the cutter.
6) Static Electricity
When printing is performed in a place where humidity is low or under some specific conditions,
writing data on an RFID tag may fail due to static electricity generated by a label or a ribbon.
7) Printing on Bump (Chip/Antenna) Area
Embedding an RFID tag in labels creates bumps in a chip/antenna area in the labels, causing
incomplete printing.
Uneven printing or incomplete printing can occur easily, especially within 5 mm back and forth of
the RFID tag, and right and left sides of the RFID-tag embedded area, as shown in the figure below.
NOTE: The degree of poor printing quality differs depending on height of a chip/antenna used.
8) Ambient Temperature
Low temperature deteriorates wireless performance, under which conditions writing data on an
RFID tag may fail.
9) Head-up Back feed
When an RFID label is used, a back feed may be required before an issue depending on the
location of an RFID tag in the label.
A printer without the ribbon saving module may not be able to perform a back feed properly
because the print head may be caught by an edge of the label. For this reason, the ribbon saving
module must be installed in the printer when media, which requires a back feed before an issue, is
used.
RFID-tag
Embedded area
Poor printing may occur in
this area due to bump.
5 mm
5 mm
Media feeding
direction
Poor printing may occur in
this area due to bump.

2. SUPPLY SPECIFICATIONS SPTM-0152
2.5 SPECIFICATION OF RFID TAG (for B-EX700-RFID-H1-QM-R)
2-20
10) Strip Issue
Stripping performance in strip issue mode depends on the type of glue, tag, and backing paper.
For some RFID supplies used, an issue may not be performed properly in strip issue mode.
11) Caution for Minimum Label Pitch Length
When media, of which label pitch length is short, is used, data may be written on an RFID tag next
to the target RFID tag.
As the location, where data is to be written, differs among RFID tag types, a check must be
performed to make sure that the data is written on the target RFID tags.
The B-EX RFID Analyze Tool can be used for this purpose.
12) Defective RFID Supply
RFID supplies may include defective RFID tags at the time of shipment from the maker. The
defect rate differs depending on tag types, method of converting to supplies, etc.
The RFID supply maker should provide a way to distinguish defective tags by printing a mark on
them or any other methods.
Or, defective tags should be rejected in the production process.
How to distinguish a defective tag from good one must be notified to end users.
2.5.5 Improvement of Writing Accuracy
As RFID tags use wireless technologies, writing data on the RFID tag may fail depending on
environment and characteristics of the RFID tags.
In order to improve the accuracy of writing data on the RFID tags, the following method can be used:
1) Change of the maximum number of RFID write retries
The maximum number of RFID write retries is variable and can be changed by the RFID settings
in System mode. Setting the high number can improve the writing accuracy. However, overall
printing throughput may become worse because a retry is also performed for tags on which data
cannot be written.
For details of settings, refer to the B-EX Key Operation Specification.
2) Enabling of RFID adjustment for retry
The printer has the RFID adjustment for retry feature. If writing data on the RFID tag fails, the
printer automatically feeds the RFID tag forward or backward for a specified length in order to retry
writing data.
Enabling this feature can improve the writing accuracy. However, overall printing throughput may
become worse because a retry is also performed for tags on which data cannot be written.
For details of settings, refer to the B-EX Key Operation Specification.
3) Adjustment of location of antenna
When writing data on tags, especially on short-pitch tags, the antenna may communicate with non-
target tags, and this lowers the write rate.
The B-EX4T/EX6T has a feature to pinpoint a target tag by evaluating the output power (AGC) of
tags. Setting an AGC threshold for data write enables choosing a tag of which AGC is higher than
the threshold, determining this tag to be a target tag positioned just above the antenna, and writing
data on it. This feature can prevent writing data to non-target tags (= off the antenna).
For details of settings, refer to the B-EX4T/EX6T Key Operation Specification.
NOTE: The writing control by AGC is impossible in the H1 series.

2. SUPPLY SPECIFICATIONS SPTM-0152
2.6 SPECIFICATION OF RFID TAG (for B-EX700-RFID-U2-EU-R)
2-21
20 mm
5 mm
2.6 SPECIFICATION OF RFID TAG (for B-EX700-RFID-U2-EU-R)
2.6.1 General Description
The RFID supplies are RFID tag (wireless IC tag) inlays designed to be converted into tag and label
applications. Printers, which are equipped with an RFID kit, can print data on the surface of RFID
supplies as well as write data on the embedded RFID tags.
The B-EX700-RFID-U2-EU-R is destined for Europe/India and operates in the UHF band (869.85MHz).
2.6.2 Available RFID Tag
EPC Generation 2, ISO-18000-6C
2.6.3 Location of RFID Tag
The location of an RFID tag in a label influences on the accuracy of writing data on the RFID tag. It is
impossible to define the one best location for every RFID tag in labels because the best location
depends on the type of RFID tag and RFID tag antenna.
The RFID Analyze Tool can evaluate the accuracy of writing data on the RFID tag. For the usage of
this tool, refer to the RFID Analyze Tool Operation Specification.
2.6.4 Short-pitch Tag
A short-pitch tag kit is supplied with the B-EX700-RFID-U2-EU-R to enable the RFID kit to encode
short-pitch tags properly. When the short-pitch tag kit is attached to the printer, the write field will be
narrower.
The RFID kit is designed so that the second label is positioned just above the antenna while the first
label is at the print start position, when using the following short-pitch label.
After printing a label, a reverse feed for a distance equivalent to one label pitch is required to write data
onto its tag. During this reverse feed, the bottom edge of the printed label may be stuck on the print
head edge, causing a feed jam. This is because the labels become thicker due to embedded tags.
When several labels are issued in a batch, set the offset printing parameter to 1 (Offset printing is
performed without a reverse feed of the first label.) in order to make the printer issue labels without
performing a reverse feed. In this case, however, the printer does not print or write data on the first
label, so it is wasteful. This mode is not suitable for applications where a small number of labels are
issued on an as-needed basis.
For details of the offset printing feature, refer to the B-EX4T/EX6T External Equipment Interface
Specification.
B-EX700-RFID-U2-EU-R

2. SUPPLY SPECIFICATIONS SPTM-0152
2.6 SPECIFICATION OF RFID TAG (for B-EX700-RFID-U2-EU-R)
2-22
2.6.5 Cautions for using RFID Tags
1) Lift-up of Print Head
An RFID tag chip or the thermal head may be damaged when the thermal head passes over the
chip. This can be prevented by using the ribbon saving module (standard feature for the B-EX6T
and optional for the B-EX4T) by which the thermal head is lifted up preventing it from touching the
chip when it passes over the chip.
When the thermal head is lifted up, the distance from the platen roller to the head is approximately
1 mm.
2) Storage of RFID Supplies
Do not store RFID tags close to printers, or their communication performance may not be as
specified when they are used.
3) Roll-type RFID Supplies
When RFID supplies are to be rolled, roll hardness must be concerned.
Although it depends on the type of glue, tag, and backing paper, RFID-tag embedded labels tend
to stay rolled. Especially, when they are wound outside, a media jam error may occur. Unless
otherwise specified, it is recommended that the RFID-tag embedded labels be wound inside.
4) Sensor
When the transmissive sensor or reflective sensor is enabled, transmissivity or reflectivity of a
label or tag may vary at an RFID-tag embedded area depending on the pattern of an antenna or
other factors. In such cases, a manual threshold setting is required in the printer system mode.
For details, refer to the B-EX4T/EX6T Key Operation Specifications.
5) Cutter
When an RFID label or tag is used in cut issue mode, care must be taken not to cut the antenna or
the IC chip of an RFID tag in order not to damage the cutter.
6) Static Electricity
When printing is performed in a place where humidity is low or under some specific conditions,
writing data on an RFID tag may fail due to static electricity generated by a label or a ribbon.

2. SUPPLY SPECIFICATIONS SPTM-0152
2.6 SPECIFICATION OF RFID TAG (for B-EX700-RFID-U2-EU-R)
2-23
7) Printing on Bump (Chip/Antenna) Area
Embedding RFID tags in labels creates bumps in a chip/antenna area in the labels, causing
incomplete printing.
Especially, in the areas 5 mm from and left and right sides of the RFID-tag embedded area shown
in the figure below, uneven printing or incomplete printing can occur easily.
* The degree of poor printing quality differs depending on height of a chip/antenna used.
8) Ambient temperature
Low operating temperature deteriorates wireless performance, under which conditions writing data
on an RFID tag may fail.
9) Strip issue
Stripping performance in strip issue mode depends on the type of glue, tag, and backing paper.
For some RFID supplies used, an issue may not be performed properly in strip issue mode.
10) Caution for minimum label pitch length
When short-pitch media is used, data may be written on a next RFID tag instead of the target
RFID tag.
As the location, where data is to be written, differs among RFID tag types, a check must be
performed using the labels to be used to make sure that the data is written on the target RFID tags.
The RFID Analyze Tool (7FM001113) can be used for this purpose.
Media
feed
direction
RFID tag
embedded
area
Print qualit
y
on the
sides of RFID tag is
not guaranteed.
Print quality on
bumps is not
guaranteed.
Print quality on
bumps is not
guaranteed.
Print quality on
the IC chip is not
guaranteed.
5mm
5mm

2. SUPPLY SPECIFICATIONS SPTM-0152
2.6 SPECIFICATION OF RFID TAG (for B-EX700-RFID-U2-EU-R)
2-24
11) Defective RFID Tag
Defective tags could be embedded while they are converted into labels, and the error rate differs
depending on the tag types or the conversion methods.
Label manufacturers should mark such defective labels with something to indicate the tag is
defective, or should prevent defective tags from being used.
Also, how to identify defective tags and good tags should be properly notified to end users.
12) PRINT POSITION ACCURACY
When using RFID tag embedded media, the print position accuracy may exceed the guaranteed
tolerance of ±1 mm in all issue modes.
It is required to check the print position accuracy for each media type.
13) PAPER JAM ERROR
Depending on the type of glue or the flexibility of labels, a label may come unstuck in front of the
sensor unit, which cause a paper jam. Particularly, the frequency of paper jam could become
higher on the condition of low operating temperature or use of short-pitch labels.
It is required to check the media feed using the media to be used under the actual operating
environment.
2.6.6 Improvement of Writing Accuracy
As RFID tags use wireless technologies, writing data on the RFID tag may fail depending on
environment and characteristics of the RFID tags.
In order to improve the accuracy of writing data on the RFID tags, the following method can be used:
(1) Change of the maximum number of write retries
The maximum number of write retries is variable and can be changed in the system mode. Setting
the greater value can improve the writing accuracy. However, overall printing throughput may
become worse because a retry is also performed for tags on which data cannot be written.
For details of settings, refer to the B-EX4T/EX6T Key Operation Specification.
(2) Enabling of RFID adjustment for retry
The printer has the RFID adjustment for retry feature. If writing data on the RFID tag fails, the
printer automatically feeds the RFID tag forward or backward for a specified length in order to retry
a data write.
Enabling this feature can improve the writing accuracy. However, overall printing throughput may
become worse because a retry is performed even for defective tags.
For details of settings, refer to the B-EX4T/EX6T Key Operation Specification.
(3) Adjustment of location of antenna
When writing data on tags, especially on short-pitch tags, the antenna may communicate with non-
target tags, and this lowers the write rate.
The B-EX4T/EX5T has a feature to pinpoint a target tag by evaluating the output power (AGC) of
tags. Setting an AGC threshold for data write enables choosing a tag of which AGC is higher than
the threshold, determining this tag to be a target tag positioned just above the antenna, and writing
data on it. This feature can prevent writing data to non-target tags (= off the antenna).
For details of settings, refer to the B- EX4T/EX6T Key Operation Specification.

2. SUPPLY SPECIFICATIONS SPTM-0152
2.7 SPECIFICATION OF RFID TAG (for B-EX700-RFID-U2-US-R)
2-25
2.7 SPECIFICATION OF RFID TAG (for B-EX700-RFID-U2-US-R)
2.7.1 General Description
The RFID supplies are RFID tag (wireless IC tag) inlays designed to be converted into tag and label
applications. Printers, which are equipped with an RFID kit, can print data on the surface of RFID supplies
as well as write data on the embedded RFID tags.
The B-EX700-RFID-U2-US-R (Serial Number: 2809Axxxxxx or later) is destined for North America,
Australia, Taiwan, South Korea, Brazil, Mexico and operates in the following UHF band.
US setting 902.75 to 927.25MHz (UHF for North America)
AU setting 918.25 to 925.75MHz (UHF for Australia)
TW setting 922.25 to 927.25MHz (UHF for Taiwan)
KR setting 920.4 to 913.6MHz (UHF for South Korea)
2.7.2 Available RFID Tag
EPC Generation 2, ISO-18000-6C
2.7.3 Location of RFID Tag
The location of an RFID tag in a label influences on the accuracy of writing data on the RFID tag. It is
impossible to define the one best location for every RFID tag in labels because the best location depends
on the type of RFID tag and RFID tag antenna.
The RFID Analyze Tool can evaluate the accuracy of writing data on the RFID tag. For the usage of this
tool, refer to the RFID Analyze Tool Operation Specification.
2.7.4 Short-pitch Tag
A short-pitch tag kit is supplied with the B-EX700-RFID-U2-US-R to enable the RFID kit to encode short-
pitch tags properly. When the short-pitch tag kit is attached to the printer, the write field will be narrower.
The RFID kit is designed so that the second label is positioned just above the antenna while the first label is
at the print start position, when using the following short-pitch label.
20 mm
5 mm
Rafsec Short Dipole2 Tag
Media feed direction

2. SUPPLY SPECIFICATIONS SPTM-0152
2.7 SPECIFICATION OF RFID TAG (for B-EX700-RFID-U2-US-R)
2-26
After printing a label, a reverse feed for a distance equivalent to one label pitch is required to write data
onto its tag. During this reverse feed, the bottom edge of the printed label may be stuck on the print
head edge, causing a feed jam. This is because the labels become thicker due to embedded tags.
In most cases, this problem can be avoided by enabling the ribbon saving function of the printer which
raises the thermal head during a reverse feed. When using short-pitch tags, enable the ribbon saving
function.
When several labels are issued in a batch, set the offset printing parameter to 1 (Offset printing is
performed without a reverse feed of the first label.) in order to make the printer issue labels without
performing a reverse feed. In this case, however, the printer does not print or write data on the first
label, so it is wasteful. This mode is not suitable for applications where a small number of labels are
issued on an as-needed basis.
For details of the offset printing feature, refer to the B-EX4T/EX6T External Equipment Interface
Specification.
2.7.5 Cautions for using RFID Tags
1) Lift-up of Print Head
An RFID tag chip or the thermal head may be damaged when the thermal head passes over the
chip. This can be prevented by using the ribbon saving module (standard feature for the B-EX5T
and optional for the B-EX4T) by which the thermal head is lifted up preventing it from touching the
chip when it passes over the chip.
When the thermal head is lifted up, the distance from the platen roller to the head is approximately
1 mm.
2) Storage of RFID Supplies
Do not store RFID tags close to printers, or their communication performance may not be as
specified when they are used.
3) Roll-type RFID Supplies
When RFID supplies are to be rolled, roll hardness must be concerned.
Although it depends on the type of glue, tag, and backing paper, RFID-tag embedded labels tend
to stay rolled. Especially, when they are wound outside, a media jam error may occur. Unless
otherwise specified, it is recommended that the RFID-tag embedded labels be wound inside.
4) Sensor
When the transmissive sensor or reflective sensor is enabled, transmissivity or reflectivity of a
label or tag may vary at an RFID-tag embedded area depending on the pattern of an antenna or
other factors. In such cases, a manual threshold setting is required in the printer system mode.
For details, refer to the B-EX4T/B-E6T Key Operation Specifications.
5) Cutter
When an RFID label or tag is used in cut issue mode, care must be taken not to cut the antenna or
the IC chip of an RFID tag in order not to damage the cutter.
6) Static Electricity
When printing is performed in a place where humidity is low or under some specific conditions,
writing data on an RFID tag may fail due to static electricity generated by a label or a ribbon.

2. SUPPLY SPECIFICATIONS SPTM-0152
2.7 SPECIFICATION OF RFID TAG (for B-EX700-RFID-U2-US-R)
2-27
7) Printing on Bump (Chip/Antenna) Area
Embedding RFID tags in labels creates bumps in a chip/antenna area in the labels, causing
incomplete printing.
Especially, in the areas 5 mm from and left and right sides of the RFID-tag embedded area shown
in the figure below, uneven printing or incomplete printing can occur easily.
* The degree of poor printing quality differs depending on height of a chip/antenna used.
8) Ambient temperature
Low operating temperature deteriorates wireless performance, under which conditions writing data
on an RFID tag may fail.
9) Strip issue
Stripping performance in strip issue mode depends on the type of glue, tag, and backing paper.
For some RFID supplies used, an issue may not be performed properly in strip issue mode.
10) Caution for minimum label pitch length
When short-pitch media is used, data may be written on a next RFID tag instead of the target
RFID tag.
As the location, where data is to be written, differs among RFID tag types, a check must be
performed using the labels to be used to make sure that the data is written on the target RFID tags.
The RFID Analyze Tool can be used for this purpose.
Media
feed
direction
RFID tag
embedded
area
Print qualit
y
on the
sides of RFID tag is
not guaranteed.
Print quality on
bumps is not
guaranteed.
Print quality on
bumps is not
guaranteed.
Print quality on
the IC chip is not
guaranteed.
5mm
5mm

2. SUPPLY SPECIFICATIONS SPTM-0152
2.7 SPECIFICATION OF RFID TAG (for B-EX700-RFID-U2-US-R)
2-28
11) Defective RFID Tag
Defective tags could be embedded while they are converted into labels, and the error rate differs
depending on the tag types or the conversion methods.
Label manufacturers should mark such defective labels with something to indicate the tag is
defective, or should prevent defective tags from being used.
Also, how to identify defective tags and good tags should be properly notified to end users.
12) PRINT POSITION ACCURACY
When using RFID tag embedded media, the print position accuracy may exceed the guaranteed
tolerance of ±1 mm in all issue modes.
It is required to check the print position accuracy for each media type.
13) PAPER JAM ERROR
Depending on the type of glue or the flexibility of labels, a label may come unstuck in front of the
sensor unit, which cause a paper jam. Particularly, the frequency of paper jam could become
higher on the condition of low operating temperature or use of short-pitch labels.
It is required to check the media feed using the media to be used under the actual operating
environment.
2.7.6 Improvement of Writing Accuracy
As RFID tags use wireless technologies, writing data on the RFID tag may fail depending on
environment and characteristics of the RFID tags.
In order to improve the accuracy of writing data on the RFID tags, the following method can be used:
(1) Change of the maximum number of write retries
The maximum number of write retries is variable and can be changed in the system mode. Setting
the greater value can improve the writing accuracy. However, overall printing throughput may
become worse because a retry is also performed for tags on which data cannot be written.
For details of settings, refer to the B-EX4T/EX6T Key Operation Specification.
(2) Enabling of RFID adjustment for retry
The printer has the RFID adjustment for retry feature. If writing data on the RFID tag fails, the
printer automatically feeds the RFID tag forward or backward for a specified length in order to retry
a data write.
Enabling this feature can improve the writing accuracy. However, overall printing throughput may
become worse because a retry is performed even for defective tags.
For details of settings, refer to the B-EX4T/EX6T Key Operation Specification.
(3) Adjustment of location of antenna
When writing data on tags, especially on short-pitch tags, the antenna may communicate with non-
target tags, and this lowers the write rate.
The B-EX4T/EX6T has a feature to pinpoint a target tag by evaluating the output power (AGC) of
tags. Setting an AGC threshold for data write enables choosing a tag of which AGC is higher than
the threshold, determining this tag to be a target tag positioned just above the antenna, and writing
data on it. This feature can prevent writing data to non-target tags (= off the antenna).
For details of settings, refer to the B-EX4T/EX6T Key Operation Specification.

2. SUPPLY SPECIFICATIONS SPTM-0152
2.8 SPECIFICATION OF RFID TAG (for B-EX700-RFID-U2-CN-R)
2-29
2.8 SPECIFICATION OF RFID TAG (for B-EX700-RFID-U2-CN-R)
2.8.1 General Description
The RFID supplies are RFID tag (wireless IC tag) inlays designed to be converted into tag and label
applications. Printers, which are equipped with an RFID kit, can print data on the surface of RFID
supplies as well as write data on the embedded RFID tags.
The B-EX700-RFID-U2-CN-R is destined for China, Hong Kong, Singapore, Thailand and operates in
the UHF band (920.625-924.375 MHz).
2.8.2 Available RFID Tag
EPC UHF Gen2, ISO-18000-6C
2.8.3 Location of RFID Tag
The location of an RFID tag in a label influences on the accuracy of writing data on the RFID tag. It is
impossible to define the one best location for every RFID tag in labels because the best location
depends on the type of RFID tag and RFID tag antenna.
The RFID Analyze Tool can evaluate the accuracy of writing data on the RFID tag. For the usage of
this tool, refer to the RFID Analyze Tool Operation Specification.
2.8.4 Short-pitch Tag
A short-pitch tag kit is supplied with the B-EX700-RFID-U2-CN-R to enable the RFID kit to encode
short-pitch tags properly.
However, an adjustment will be necessary for each type of short-pitch tags individually. When short-
pitch tags are used, consult TOSHIBA TEC Japan.
2.8.5 Cautions for using RFID Tags
1) Lift-up of Print Head
An RFID tag chip or the thermal head may be damaged when the thermal head passes over the
chip. This can be prevented by using the ribbon saving module (standard feature for B-EXT1-
TS15-R and optional for B-EXT1-GS12-QM-R and B-EXT1-GS12-CN-R) by which the thermal
head is lifted up preventing it from touching the chip when it passes over the chip.
When the thermal head is lifted up, the distance from the platen roller to the head is approximately
1 mm.
2) Storage of RFID Supplies
Do not store RFID tags close to printers, or their communication performance may not be as
specified when they are used.
3) Roll-type RFID Supplies
When RFID supplies are to be rolled, roll hardness must be concerned.
Although it depends on the type of glue, tag, and backing paper, RFID-tag embedded labels tend
to stay rolled. Especially, when they are wound outside, a media jam error may occur. Unless
otherwise specified, it is recommended that the RFID-tag embedded labels be wound inside.
4) Sensor
When the transmissive sensor or reflective sensor is enabled, transmissivity or reflectivity of a
label or tag may vary at an RFID-tag embedded area depending on the pattern of an antenna or
other factors. In such cases, a manual threshold setting is required in the printer system mode.
For details, refer to the B-EX4T/6T Key Operation Specifications.

2. SUPPLY SPECIFICATIONS SPTM-0152
2.8 SPECIFICATION OF RFID TAG (for B-EX700-RFID-U2-CN-R)
2-30
5) Cutter
When an RFID label or tag is used in cut issue mode, care must be taken not to cut the antenna or
the IC chip of an RFID tag in order not to damage the cutter.
6) Static Electricity
When printing is performed in a place where humidity is low or under some specific conditions,
writing data on an RFID tag may fail due to static electricity generated by a label or a ribbon.
7) Printing on Bump (Chip/Antenna) Area
Embedding RFID tags in labels creates bumps in a chip/antenna area in the labels, causing
incomplete printing.
Especially, in the areas 5 mm from and left and right sides of the RFID-tag embedded area shown
in the figure below, uneven printing or incomplete printing can occur easily.
* The degree of poor printing quality differs depending on height of a chip/antenna used.
8) Ambient temperature
Low operating temperature deteriorates wireless performance, under which conditions writing data
on an RFID tag may fail.
9) Strip issue
Stripping performance in strip issue mode depends on the type of glue, tag, and backing paper.
For some RFID supplies used, an issue may not be performed properly in strip issue mode.
Media
feed
direction
RFID tag
embedded
area
Print qualit
y
on the
sides of RFID tag is
not guaranteed.
Print quality on
bumps is not
guaranteed.
Print quality on
bumps is not
guaranteed.
Print quality on
the IC chip is not
guaranteed.
5mm
5mm

2. SUPPLY SPECIFICATIONS SPTM-0152
2.8 SPECIFICATION OF RFID TAG (for B-EX700-RFID-U2-CN-R)
2-31
10) Caution for minimum label pitch length
When short-pitch media is used, data may be written on a next RFID tag instead of the target
RFID tag.
As the location, where data is to be written, differs among RFID tag types, a check must be
performed using the labels to be used to make sure that the data is written on the target RFID tags.
The RFID Analyze Tool can be used for this purpose.
11) Defective RFID Tag
Defective tags could be embedded while they are converted into labels, and the error rate differs
depending on the tag types or the conversion methods.
Label manufacturers should mark such defective labels with something to indicate the tag is
defective, or should prevent defective tags from being used.
Also, how to identify defective tags and good tags should be properly notified to end users.
12) PRINT POSITION ACCURACY
When using RFID tag embedded media, the print position accuracy may exceed the guaranteed
tolerance of ±1 mm in all issue modes.
It is required to check the print position accuracy for each media type.
13) PAPER JAM ERROR
Depending on the type of glue or the flexibility of labels, a label may come unstuck in front of the
sensor unit, which cause a paper jam. Particularly, the frequency of paper jam could become
higher on the condition of low operating temperature or use of short-pitch labels.
It is required to check the media feed using the media to be used under the actual operating
environment.
2.8.6 Improvement of Writing Accuracy
As RFID tags use wireless technologies, writing data on the RFID tag may fail depending on
environment and characteristics of the RFID tags.
In order to improve the accuracy of writing data on the RFID tags, the following method can be used:
(1) Change of the maximum number of write retries
The maximum number of write retries is variable and can be changed in the system mode. Setting
the greater value can improve the writing accuracy. However, overall printing throughput may
become worse because a retry is also performed for tags on which data cannot be written.
For details of settings, refer to the B-EX4T/EX6T Key Operation Specification.
(2) Enabling of RFID adjustment for retry
The printer has the RFID adjustment for retry feature. If writing data on the RFID tag fails, the
printer automatically feeds the RFID tag forward or backward for a specified length in order to retry
a data write.
Enabling this feature can improve the writing accuracy. However, overall printing throughput may
become worse because a retry is performed even for defective tags.
For details of settings, refer to the B-EX4T/EX6T Key Operation Specification.
(3) Adjustment of location of antenna
When writing data on tags, especially on short-pitch tags, the antenna may communicate with non-
target tags, and this lowers the write rate.
The B-EX4T/EX6T has a feature to pinpoint a target tag by evaluating the output power (AGC) of
tags. Setting an AGC threshold for data write enables choosing a tag of which AGC is higher than
the threshold, determining this tag to be a target tag positioned just above the antenna, and writing
data on it. This feature can prevent writing data to non-target tags (= off the antenna).
For details of settings, refer to the B-EX4T/EX6T Key Operation Specification.

3. OPTIONAL KIT SPTM-0152
3. OPTIONAL KIT
3-1
3. OPTIONAL KIT
Option
Name Type Applicable Model Use
B-EX204-QM-R B-EX4T1/T2
Disc cutter
module
B-EX206-QM-R B-EX6T2
This cutter module uses a disc or
rotary cutter. It cuts backing paper
of labels and tag paper automatically
in “Stop and cut” mode.
B-EX904-H-QM-R B-EX4T1/T2
Peel off
module (with
internal
rewinder) B-EX906-H-QM-R B-EX6T2
This strip module strips the label
from the backing paper with the take-
up block and strip block. When the
rewinder guide plate is attached, the
tag paper and label with backing
paper are wound.
Expansion
I/O card B-EX700-IO-QM-R All models
Installing this board allows
connection to external devices.
RTC/USB
host I/F card B-EX700-RTC-QM-R All models Can be using the USB memory.
B-EX700-RFID-H1-QM-R
B-EX700-RFID-U2-EU-R
B-EX700-RFID-U2-US-R
RFID module
B-EX700-RFID-U2-CN-R
All models Installing this module enables read
and write of RFID tags.
Wireless
LAN Module B-EX700-WLAN-QM-R All models
Installing this PC board allows a
communication by wireless LAN.
Parallel I/F
card B-EX700-CEN-QM-R All models
Serial I/F
card B-EX700-RS-QM-R All models
NOTE: To purchase the optional kits, please contact the TOSHIBA TEC Head Quarters.

3. OPTIONAL KIT SPTM-0152
3.1 CUTTER MODULE: B-EX204-QM-R (Disk Cutter)
3-2
3.1 CUTTER MODULE: B-EX204-QM-R (Disk Cutter)
This compact cutter module uses a built-in disk cutter. The specification is provided below:
1) Disc cutter module:
Paper Specifications
Contents Specification
Label
Paper length 12 to 1500mm
Cut width 15 to 120mm
Label width 13 to 117mm
Gap length 2 to 20mm
Tag
Paper length 10 to 1498mm
Black mark Length 2 to 10mm
Common Specifications
Contents Specification
Cut paper thickness 87μm to 170μm
Cut method Round trip cutting by Disc cutter
Cut form Stop cut(Cut after printing)
Cut accuracy ±1mm
Minimum cut length 10mm
Cutter life 100milion cut Tag or liner
Interlock SW Yes
Sensor Home Position Sensor
(Right and Left side)
Max print speed 14ips
Operation temparature 5 to 40 °C
Humidity 10~90% (Does not dew)

3. OPTIONAL KIT SPTM-0152
3.2 PEEL OFF MODULE: B-EX904-H-QM-R
3-3
3.2 PEEL OFF MODULE: B-EX904-H-QM-R
This strip module consists of the take-up block and the strip block. Installing the strip module enables
the printer to not only remove labels from the backing paper, but wind the tag paper or label with
backing paper onto the take-up spool by using the rewinder guide plate. The rewind full sensor is
provided to detect the overflow if the wound tag paper or label exceeds the specified amount is
provided.
Specification:
Contents Specification
Peel-off method Rewind paper with DC motor.
Select SW Can selectable 2mode of rewind
function.
・ Standard Peel-off mode
・ Rewind mode
Note:Using this function should be
indication by print command.
Peel-off Sensor The sensor, which detects the Peel-off
label.
Function
Over flow Sensor The sensor, which detects the over
flow of rewind liner.
Operation temparature 5 to 40 °C
Humidity 10 to 90%(Does not dew)
EXPIO
Type1(STD)
3-10ips Print speed set to
10ips over,
operate 10ips
automatically
203dpi
EXPIO
Type2(In-line)
Selected print speed
Automatic pre-peel-off
mode for over 10ips.
Do not support
internal rewinder
EXPIO
Type1(STD)
3-8ips Print speed set to
8ips over,
operate 8ips
automatically
Print speed
300dpi
305dpi
EXPIO
Type2(In-line)
Selected print speed
Automatic pre-peel-off
mode for over 10ips.
Do not support
internal rewinder

3. OPTIONAL KIT SPTM-0152
3.2 PEEL OFF MODULE: B-EX904-H-QM-R
3-4
Performance:
Notes: Refer to B-EX supply specifications (RAA-1396) for the conditions of Peel-off issue.
Liner paper width 30 to 120mm
Label width 27 to 117mm
Label length *1 23.4 to 1494.0mm
Max Print speed *2 203dpi: Max 6ips
305(300) dpi: Max 5ips
*1: Label length is 76.2mm or more, The removed label may hang down and it may stick to an
Peel-off unit.

3. OPTIONAL KIT SPTM-0152
3.3 EXPANSION I/O CARD: B-EX700-IO-QM-R
3-5
3.3 EXPANSION I/O CARD: B-EX700-IO-QM-R
This interface board is used to connect the printer to external devices, such as a labeler. The
input/output signals from the connected external devices can control label feeding or printing and
indicate the print status.
3.4 RTC/USB host INTERFACE BOARD: B-EX700-RTC-QM-R
Installing this board enables a connection USB memory.
* Conforming to USB 1.1 USB HOST
* Supporting Full-speed (12M bps) transmission
3.5 RFID MODULE: B-EX700-RFID-H1-QM-R
Installing this module enables the printer to write data on an RFID tag as well as to print on the surface
of RFID supplies.
The three RFID module types are different from each other in frequency band and applicable countries.
HF RFID kit destined for Europe (RFID module and antenna are locally purchased.)
Although the specified frequency band can be used in the other countries than Europe, the destination
is limited to Europe because the certification is obtained only for Europe.
Antenna cover Nylon washer
Ribbon guide Spacer
RFID module plate
Installation
Manual
Antenna frame
Cord bush
Cable clamp
Harness
Screws
Specification
Contents Specification
RFID Module TagSys MEDIO S002
(This module does not enclose to the kit)
Frequency 13.56MHz
Output 200mW
RFID Spec.
RFID Tag TagSys C210, C220, C240, I-Code, Tag-it,
ISO15693
Operation temperature 5~40 °C
Humidity 10 to 90% (Does not dew)
RFID module can write in using an evaluation tag sample,
About the write-in performance to a RFID tag, it is not a guarantee diplomatically in market.

3. OPTIONAL KIT SPTM-0152
3.6 RFID MODULE: B-EX700-RFID-U2-EU/US/CN-R
3-6
3.6 RFID MODULE: B-EX700-RFID-U2-EU/US/CN-R
Installing this module enables the printer to write data on an RFID tag as well as to print on the surface
of RFID supplies.
Applicable model:
(1) This optional device is intended for the following models:
B-EXT1-GS12-QM-R and B-EXT1-GS12-CN-R, RFID ready printer.
An RFID Ready printer can be identified by the model name sticker on the front of the printer.
Be careful not to install this product in the B-EXT1-TS15-R RFID Ready printers.
(2) The countries where the use of this device is allowed are as follows:
Model Name Frequency Band Applicable Countries
B-EX704-RFID-U2-EU-R UHF 869.7 to 870.0MHz
(Center frequency: 869.85MHz)
EU member states and EFTA member states
B-EX704-RFID-U2-CN-R UHF 920.625 to 924.375MHz
(Center frequency: 922.5MHz)
China
B-EX704-RFID-U2-US-R
(Serial Number:
2808Yxxxxxx and earlier)
UHF 902.75 to 927.5MHz
(Center frequency: 915.125MHz)
U.S.A., Canada
Destination Code Setting should be performed in the system mode of the printer according to the
destination.
The countries where the use of this device is allowed are as follows:
Model Name Setting Frequency Band Applicable Countries
US UHF 902.75 to 927.5MHz U.S.A., Canada
AU UHF 918.25 to 925.75 MHz Australia
KR UHF 910.4 to 913.6 MHz South Korea
B-SX704-RFID–U2-US-R
(Serial Number:
2809Axxxxxx or later)
TW UHF 922.25 to 927.25 MHz Taiwan

3. OPTIONAL KIT SPTM-0152
3.6 RFID MODULE: B-EX700-RFID-U2-EU/US/CN-R
3-7
Specification:
The specification of the B-EX700-RFID-U2-EU/ US/CN-R is as follows.
Item Specification
Module
EU: TOSHIBA TEC TRW-EUM-01 for Europe
US (Serial Number 2808Yxxxxxx and earlier):
TOSHIBA TEC TRW-USM-01 for U.S.A. and Canada
US (Serial Number 2809Axxxxxx or earlier):
TOSHIBA TEC TRW-USM-01 for U.S.A., Canada, Australia, South
Korea, Taiwan
CN: TOSHIBA TEC TRW-CNM-01 for CHina
Applicable standard
EU: ETSI EN 300 220
AU: C-Tick AS.NZS 428(2003); A1
US: FCC Part15 Subpart C
TW: NCC (National Communications Commission)
LP2002 Low-power Radio-frequency Devices Technical Specifications
KR: KCC (Korea Communications Commission)
Radio Certification Standard No. 2008-26 Article 98
Frequency range
EU: 869.7 - 870.0MHz
AU: 918.25 - 925.75MHz
US: 902.75 - 927.5MHz
KR: 910.4 - 913.6 MHz
TW: 922.25 - 927.25 MHz
CN: 920.625 - 924.375MHz
Center frequency
EU: 869.85MHz
AU: 922MHz
US: 915.125MHz
KR: 912MHz
TW: 924.75MHz
CN: 922.5MHz
Output power (ERP) EU: Max. 5mW (Power class 7a)
Output power (Conducted) 10 - 100mW
Modulation method (RW to Tag) DSB-ASK
Modulation method (Tag to RW) Back scatter ASK
Transmission speed (RW to Tag) 40kbps
Transmission speed (Tag to RW) 40kbps
Encoding (RW to Tag) PIE
Encoding (Tag to RW) FM0
Number of channels
EU: 1
AU: 31 (Frequency Hopping)
US: 99 (Frequency Hopping)
TW: 21 (Frequency Hopping)
KR: 17 (Frequency Hopping)
CN: 16 (Frequency Hopping)
Duty Cycle EU: Max. 100% (Class 4)
Carrier sense feature None
Environmental standard RoHS directive
Available RFID tags EPC C1 Gen2, ISO-18000-6C

3. OPTIONAL KIT SPTM-0152
3.7 WIRELESS LAN BOARD: B-EX700-WLAN-QM-R
3-8
3.7 WIRELESS LAN BOARD: B-EX700-WLAN-QM-R
Country code:
Be sure to set the country code beforehand because the frequency band differs depending on the country.
Please ask end-users to confirm the country code setting. Using the printer with wrong country code may
conflict with the radio law of each country, causing a penalty.
Setting the country code not listed below will be processed as that of Japan.
Country code Country 11b
Usable Channel
11g
Usable Channel
392 Japan 1-14 1-13
840 USA 1-11 1-11
124 Canada 1-11 1-11
36 Australia 1-13 1-13
554 New Zealand 1-13 1-13
484 Mexico 1-11 1-11
710 South Africa 1-13 1-13
156 China 1-13 1-13
344 Hong Kong 1-13 1-13
158 Taiwan 1-11 1-11
410 Republic of Korea 1-13 1-13
56 Belgium 1-13 1-13
528 Netherlands 1-13 1-13
442 Luxembourg 1-13 1-13
250 France 1-13 1-13
380 Italy 1-13 1-13
276 Germany 1-13 1-13
208 Denmark 1-13 1-13
372 Ireland 1-13 1-13
826 United Kingdom 1-13 1-13
300 Greece 1-13 1-13
724 Spain 1-13 1-13
620 Portugal 1-13 1-13
40 Austria 1-13 1-13
246 Finland 1-13 1-13
752 Sweden 1-13 1-13
203 Czech Republic 1-13 1-13
233 Estonia 1-13 1-13
196 Cyprus 1-13 1-13
428 Latvia 1-13 1-13
440 Lithuania 1-13 1-13
348 Hungary 1-13 1-13
470 Malta 1-13 1-13
616 Poland 1-13 1-13
705 Slovenia 1-13 1-13
703 Slovakia 1-13 1-13
100 Bulgaria 1-13 1-13
642 Romania 1-13 1-13
578 Norway 1-13 1-13
438 Liechtenstein 1-13 1-13
352 Iceland 1-13 1-13
756 Switzerland 1-13 1-13

3. OPTIONAL KIT SPTM-0152
3.7 WIRELESS LAN BOARD: B-EX700-WLAN-QM-R
3-9
MAC Address:
MAC address is described on the wireless LAN module and the accessory sticker.
It is required when using the MAC address filtering function of the Access Point (AP). Please describe it in
the installation manual, etc. which is managed by end-users.
The MAC address can be confirmed by the maintenance counter print in the system mode.
Specification:
1) Hardware
Item Description
Standard IEEE802.11b/g
Enabled Device B-EP2DL/B-EP4DL Series
Operating Temperature 0°C to +50°C
Destination Japan USA Europe
Frequency
(Center Channel)
2412 to 2484MHz 2412 to 2462MHz 2412 to 2472MHz
Channel 1 to 14ch 1 to 11ch 1 to 13ch
Spacing 5MHz
Transmission
method
Conforming to IEEE802.11b DSSS method
Channel Depending on the country
IEEE802.
11b
Data transmission
speed/
Modulation
11/5.5Mbps:CCK
2Mbps:DQPSK
1Mbps:DBPSK
Transmission
method
Conforming to IEEE802.11g OFDM method
DSSS method
Channel Depending on the country
Transmission speed/
Modulation
IEEE802.
11g
Data transmission
speed/
Modulation
54/48Mbps:64QAM
36/24Mbps:16QAM
18/12Mbps:QPSK
9/6Mbps:BPSK
Antenna Chip type antenna (Built-in module)
802.11b 13dBm(19.95mW) Max
Aerial power 802.11g 11dBm(12.59mW) Max
2) Software
Item Description
Connection mode (Refer to Note 1) Infrastructure, Adhoc
Default Country Code JPN
Default IP Address 192.168.xxx.yyy Set the printer ID for xxx,yyy.
Default Subnet Mask 255.255.0.0
Default ESSID TOSHIBATEC
Security IEEE802.11i
Cryptography WEP (64/128bit), TKIP(WPA), AES(WPA2)
Authorization Shared Key (for WEP), PSK, PEAP, TLS,
TTLS, MD5, LEAP, EAP-FAST
Browser Microsoft IE5.01 and greater
Protocol (Refer to Note 2) TCP/IP,Socket,LPD(LPR),DHCP/WINS,HTTPD,(SNMP)
Wireless LAN Parameter Setting and Status
monitor (Refer to Note 3)
Parameter Setting: Command (PC Setting Tool)
Status monitor: via HTTP

3. OPTIONAL KIT SPTM-0152
3.7 WIRELESS LAN BOARD: B-EX700-WLAN-QM-R
3-10
NOTES:
1. The printer constantly performs communication with cordless handset in Adhoc mode, therefore, the
consumption current in standby status increases, causing the time available of the battery pack to be
reduced.
2. SNMP protocol is only for the download with the network tool.
3. Part of the parameter setting can be performed by key operations.