Sec 46 (3000 Series).qxp RDTH RDTH60 BHRDTH84PM
User Manual: RDTH RDTH60
Open the PDF directly: View PDF .
Page Count: 28

LAND MAINTENANCE
REPAIR PARTS MANUAL
MODEL: RDTH SERIES
RDTH 60, RDTH 72, RDTH 84
SECTION: 54
BUSH HOG®
2501 Griffin Ave. • Selma, AL 36703
(334) 872-6261 • (334) 874-2700
Parts Ordering 1-800-304-2836
Fax 1-800-572-1784
www.bushhog.com

BUSH HOG / LAND MAINTENANCE REPAIR PARTS MANUAL
RDTH 60, RDTH 72, RDTH 84
ALPHABETICAL INDEX
CONTENTS PAGE
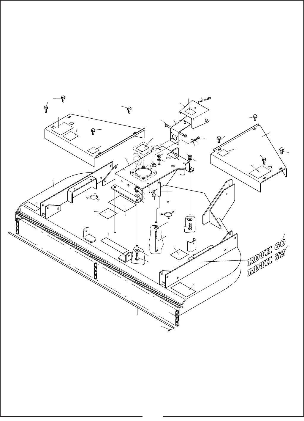
Base Frame RDTH 60 & RDTH72 .............................................................................................54-1-2, 54-1-3
Base Frame RDTH 84............................................................................................................................54-1-1
Belts, Drive RDTH 60 & RDTH 72..........................................................................................................54-2-1
Belts, Drive RDTH 84 .............................................................................................................................54-2-3
Caster Arm RDTH 60 & RDTH 72..........................................................................................................54-5-3
Caster Arm RDTH 84 .............................................................................................................................54-5-4
Decals RDTH 60 & RDTH 72 .................................................................................................................54-1-1
Decals RDTH 84.....................................................................................................................................54-1-2
Driveshaft Assemblies...............................................................................................................54-4-1– 54-4-4
Gearbox Assemblies..................................................................................................................54-3-1, 54-3-2
Mast & Support RDTH 60 & RDTH 72 ...................................................................................................54-5-1
Mast & Support RDTH 84.......................................................................................................................54-5-2
Pulleys, Drive & Idlers RDTH 60 & 72....................................................................................................54-2-1
Pulleys, Drive & Idlers RDTH 84 ............................................................................................................54-2-2
Roller, Front RDTH 60 & RDTH 72 .......................................................................................................54-5-5
Roller, Front RDTH 84............................................................................................................................54-5-6
Shields, Safety RDTH 60 & RDTH 72............................................................................54-1-1 through 54-1-3
Shields, Safety RDTH 84 ...........................................................................................................54-1-4, 54-1-5
Spindle Assembly RDTH 60 & RDTH 72................................................................................................54-2-2
Spindle Assembly RDTH 84...................................................................................................................54-2-4
Wheel & Fork Assembly RDTH 60 & RDTH 72......................................................................................54-5-3
Wheel & Fork Assembly RDTH 84 .........................................................................................................54-5-4
APRIL, 2008

BUSH HOG / LAND MAINTENANCE REPAIR PARTS MANUAL
54-1-1
REF. PART
NO. NO. QTY. DESCRIPTION
1 50055113 2 Bush Hog Decal
2 –––– 2 Capscrew 3/8” x 3/4”
3 –––– 2 Lockwasher 3/8”
4 –––– 2 Flatwasher 3/8”
5 98284 1 Swell Latch
6 50014067 2 Cap
7 44215 4 Capscrew M8 x 1.25 x 15
8 –––– 4 Lockwasher 5/16”
9 50031934 1 Base Weldment, Gearbox Shield
10 –––– 4 Capscrew 5/8” x 1-3/4”
11 50012616 2 Danger Decal
12 50028356 3 Model Decal
13 50042281 1 Caution Decal, 540 RPM
14 50042284 1 Warning Decal
15 50042283 1 Warning Decal
16 50012615 2 Warning Decal
17 50055121 1 Bush Hog Decal
18 50031768 1 Shield Weldment
REF. PART
NO. NO. QTY. DESCRIPTION
19 50056744 2 Belt Shield w/ Decal, Blue
50056745 2 Belt Shield w/ Decal, Green
50056746 2 Belt Shield w/ Decal, Orange
50056747 2 Belt Shield w/ Decal, Red
20 20414 4 Flanged Locknut 5/8”
21 50056740 1 Deck w/ Decals, Blue
50056741 1 Deck w/ Decals, Green
50056742 1 Deck w/ Decals, Orange
50056743 1 Deck w/ Decals, Red
22 83056 1 Warning Decal
23 95736 1 Knob
24 71335 1 Gearbox Assy.
25 98251 1 Input Shield
26 50042282 1 Danger Decal
27 50038320 1 Decal, Belt Installation
28 50042285 1 Warning Decal
5
78
14
28
22
12
13
10 15 27
11
2
12
19
23
18
3
21
1
20
17
26
11
6
25
24
9
16
2
3
4
12
19
16
BASE ASSEMBLY
MODEL RDTH 84
APRIL, 2008

BUSH HOG / LAND MAINTENANCE REPAIR PARTS MANUAL
54-1-2
BASE ASSEMBLY
MODELS RDTH 60 & RDTH 72
23
423
39
23
15
38
14
26 27
28 14 29
225 22
21
20
32 31
30 23
23
3
23
23
16
14
8
9
19
18
24
21
20
19
11
13
34
35
33
36
37
19
18
17
11
10
6
7
5
12
1
APRIL, 2008

BUSH HOG / LAND MAINTENANCE REPAIR PARTS MANUAL
54-1-3
REF. PART NO. PART NO.
NO. RDTH 60 RDTH 72 QTY. DESCRIPTION
1 50056724 50056732 1 Deck w/ Decals, Blue
50056725 50056733 1 Deck w/ Decals, Green
50056726 50056734 1 Deck w/ Decals, Orange
50056727 50056735 1 Deck w/ Decals, Red
2 50056728 50056736 1 Gearbox Mount w/ Decals, Blue
50056729 50056737 1 Gearbox Mount w/ Decals, Green
50056730 50056738 1 Gearbox Mount w/ Decals, Orange
50056731 50056739 1 Gearbox Mount w/ Decals, Red
3 50055171 50055191 1 R.H. Shield w/ Decals, Blue
50055172 50055192 1 R.H. Shield w/ Decals, Green
50055173 50055193 1 R.H. Shield w/ Decals, Orange
50055174 50055194 1 R.H. Shield w/ Decals, Red
4 50055175 50055195 1 L.H. Shield w/ Decals, Blue
50055176 50055196 1 L.H. Shield w/ Decals, Green
50055177 50055197 1 L.H. Shield w/ Decals, Orange
50055178 50055198 1 L.H. Shield w/ Decals, Red
5 94227 —— 1 Chain Rod 60” Deck
—— 94228 1 Chain Rod 72” Deck
6 94226 —— 71 Chain 60” Deck
—— 94226 84 Chain 72” Deck
7 —— —— 1 Cotter Pin 3/32” x 1”
8 96101 —— 1 Model Decal RDTH60
9 —— 96102 1 Model Decal RDTH72
10 50042282 50042282 1 Danger Decal
11 50012616 50012616 2 Danger Decal
12 83056 83056 1 Warning Decal
13 88655 88655 1 Belt Installation Decal
14 50012615 50012615 3 Warning Decal
15 50042284 50042284 1 Warning Decal
16 50042283 50042283 1 Warning Decal
17 50055113 50055113 1 Bush Hog Decal
18 —— —— 4 Capscrew 1/2” x 1-1/2” Gr. 5
19 —— —— 4 Flatwasher 1/2”
20 —— —— 4 Lockwasher 1/2”
21 —— —— 4 Hex Nut 1/2”
22 50042281 50042281 1 Decal, 540 RPM
23 86873 86873 8 Capscrew, Flanged 3/8” x 3/4”
24 15165 15165 4 Capscrew 5/8” x 1-3/4” Gr. 5
25 20414 20414 4 Locknut, Flanged 5/8”
26 50014067 50014067 2 Cap, Friction
27 94305 94305 1 Shield Mount
28 94306 94306 1 Shield
29 6050096 6050096 1 Pin & Chain Assy.
30 44215 44215 4 Capscrew M8 x 1.25 x 15mm
31 44311 44311 4 Lockwasher M8
32 44216 44216 4 Flatwasher M8
33 –––– 97613 1 Spacer (RDTH 72 Only)
34 20680 20680 1 Capscrew 3/8” x 5-1/2” Gr.5
35 –––– –––– 1 Flatwasher 3/8”
36 –––– –––– 1 Lockwasher 3/8”
37 –––– –––– 1 Hex Nut 3/8”
38 50042285 50042285 1 Warning Decal
39 50057096 50057096 1 Warranty Decal, 5 Yr.
BASE ASSEMBLY
MODELS RDTH 60 & RDTH 72
APRIL, 2008

BUSH HOG / LAND MAINTENANCE REPAIR PARTS MANUAL
54-2-1
REF. PART
NO. NO. QTY. DESCRIPTION
1 88667 1 Drive Belt for 5’ Deck
88843 1 Drive Belt for 6’ Deck
2 88666 1 Drive Sheave for 5’ Deck
88741 1 Drive Sheave for 6’ Deck
3 70228 1 Key 6 x 6 x 30mm
4 70286 1 Spring Washer
5 70287 1 Hex Nut M30 x 2
6 88663 2 Idler Pulley
7 50008038 1 Tension Spring
8 88669 1 Rod Weldment
9 88753 3 Woodruff Key #606
10 —3Flatwasher 5/8” SAE
11 20414 3 Locknut 5/8” Flanged
12 88756 3 Sheave 5-1/2”
13 —1Capscrew 5/8” x 2” Gr. 5
14 —1Lockwasher 5/8”
15 6050133 1 Special Washer
16 —9Capscrew 1/2” x 1-1/2” Gr. 5
17 —9Lockwasher 1/2”
REF. PART
NO. NO. QTY. DESCRIPTION
18 —9Hex Nut 1/2”
19 —2Hex Nut 3/8”
20 —1Capscrew 1/2” x 2-1/4” Gr. 5 (5’ Only)
21 15519 1 Jam Nut 1/2”
22 88671 1 Idler Arm Assembly
23 88703 1 Idler Arm Weldment
24 88691 1 Bushing
25 —1Capscrew 5/8” x 3” Gr. 5
26 15598 1 Locknut 5/8”
27 20376 1 Flatwasher 1”
28 —1Cotter Pin 3/16” x 1-1/2”
29 88754 1 Blade Washer
30 44040 3 Safety Washer
31 44506 3 Blade Bolt 1/2” x 1-3/4” UNF Gr. 8
32 82324 3 Blade for 5’ Deck, 21”
50029159 3 Mulching Blade, 21”
82325 3 Blade for 6’ Deck, 25”
50029160 3 Mulching Blade, 25”
33 50051388 3 Spindle Assembly
34 97658 A/R Blade Spacer
PULLEYS AND BELTS
For RDTH 60 & RDTH 72
1
25
28
23
24
27
6
26
7
20
21
8
19
4
5
2
32
3
30
31
29 16
34
33
18
17
12
11
10
9
6
15
14
13
22
JANUARY 2007

BUSH HOG / LAND MAINTENANCE REPAIR PARTS MANUAL
2
3
5
4
1
3
2
50051388 SPINDLE ASSEMBLY
FOR RDTH 60 & RDTH 72
REF. PART QTY. DESCRIPTION
NO. NO.
1 88751 1 Spindle Housing
2 97685 2 Retaining Ring
3 88749 2 Bearing 25mm
4 50051387 1 Shaft
5 449 1 Grease Fitting
54-2-2
JANUARY 2007

BUSH HOG / LAND MAINTENANCE REPAIR PARTS MANUAL
54-2-3
REF. PART
NO. NO. QTY. DESCRIPTION
1 19518 1 Flanged Locknut 1/2”
2 95818 1 Pivot Weldment
3 50035330 1 Rod, threaded
4 44226 1 Carriage Bolt 5/8” x 2”
5 –––– 1 Capscrew 5/8” x 4-1/2”
6 05161614 9 Carriage Bolt 1/2” x 1-1/2”
7 50040718 3 Spindle Assembly
8 –––– 1 Flatwasher 5/8”
9 –––– 12 Hex Nut 1/2”
10 20414 2 Flanged Locknut 5/8”
11 50031996 1 Idler Arm Bushing
12 50031528 1 Belt
13 95827 1 Spring
14 50032236 1 Idler Arm
REF. PART
NO. NO. QTY. DESCRIPTION
15 50031997 2 Idler
16 –––– 6 Capscrew 1/2” x 1-3/4”
17 20964 6 Locknut 1/2” NF
18 50031815 3 Blade Bar
19 50033779 3 Blade, 29”
50042934 3 Blade, Low Lift
20 ––––– 9 Lockwasher 1/2”
21 50031938 1 Pivot Weldment
22 50031998 1 Sheave, 11.125”
23 70286 1 Ext. Tooth Washer
24 70287 1 Hex Nut M30
25 70288 1 Parallel Key 6 x 6 x 30
26 44506 1 Capscrew 1/2” x 1-3/4” Gr.8 UNF
PULLEYS AND BELTS
For Model RDTH 84
15
21
9
9
3
13
10
4
5
2
1
12
10
20 15
10
8
11
14
17
18
19
16
16 26
23
24
25 22
6
9
7
JANUARY 2007

BUSH HOG / LAND MAINTENANCE REPAIR PARTS MANUAL
54-2-4
REF. PART
NO. NO. QTY. DESCRIPTION
1 50031813 1 Spindle Housing
2 20414 1 Flanged Locknut 5/8”
3 50051389 1 Shaft
4 44506 1 Capscrew 1/2” x 1-3/4” UNF G8
5 88753 1 Woodruff Key #606
6 88756 1 Sheave 5.5”
7 44040 1 Safety Washer
8 50031811 1 Bearing Washer
9 449 1 Grease Fitting
10 50032181 1 Bearing 6206 Z
11 50032182 1 Bearing 6206 RS
50040718 SPINDLE ASSMBLY
For RDTH84
9
2
6
10
5
3
1
11
8
7
4
JANUARY 2007

BUSH HOG / LAND MAINTENANCE REPAIR PARTS MANUAL
REF. PART QTY. DESCRIPTION
NO. NO.
1 70329 A/R Shim .3mm
70330 A/R Shim .4mm
70331 A/R Shim .5mm
70332 A/R Shim 1.3mm
2 70229 1 Bearing
3 70133 1 Retaining Ring
4 70279 1 Cap
5 70226 1 Key M10 x 8 x 30
6 70281 1 Shaft
7 70110 2 Outside Retaining Ring
8 70094 1 Gear 26 teeth
9 70326 4 Capscrew M8 x 16
10 70092 1 Top Plate
11 70282 1 Pinion 12 teeth
12 70082 2 Bearing
13 70393 1 Vent Plug
14 N/A 1 Serial No. Plate
15 70129 1 Bearing
16 70283 1 Housing
17 70284 1 Spacer Ring
18 70081 1 Gasket
19 70285 1 Bushing
20 70080 1 Seal
21 70079 1 Shoulder Ring
*Silicone Sealer may be used in place of gasket
Abbreviations:
A/R – As Required
N/A – Not Available
REF. PART QTY. DESCRIPTION
NO. NO.
22 70286 1 Spring Washer
23 70287 1 Hex Nut
24 70288 1 Key 6 x 6 x 30 mm
25 70290 1 Seal
26 70291 1 Retaining Ring
*27 70181 1 Plug 3/8”
70015BH GEARBOX ASSEMBLY
(Replaced by 50069162 Gearbox Assembly)
For RDTH 60 & RDTH 72
54-3-1
NOVEMBER, 2011

BUSH HOG / LAND MAINTENANCE REPAIR PARTS MANUAL
54-3-2
REF. PART
NO. NO. QTY. DESCRIPTION
1 71336 1 Casting
2 50035329 1 Pinion, 13 Teeth
3 71314 1 Castle Nut M24
4 –––– 2 Shim Kit
70639 2 Shim, 60.3 x 71.7 x .3
70640 2 Shim, 60.3 x 71.7 x .4
70641 2 Shim, 60.3 x 71.7 x .5
70642 2 Shim, 60.3 x 71x 1.0
5 70133 2 Snap Ring 72 x 75 x 2.5
6 71338 1 Input Shaft
7 70108 1 Oil Seal
8 70797 1 Roller Bearing
9 71339 1 Top Plate
10 80538 1 Oil Vent Plug, 1/2” GAS
11 70250 1 Snap Ring
12 50035328 1 Crown Gear, 28 Teeth
13 70279 1 Cap
14 71300 1 Cotter Pin
15 –––– 1 Shim, 35.3 x 48 x 2.5
70332 2 Shim, 35.3 x 48 x 1.3
70331 2 Shim, 35.3 x 48 x .5
70330 2 Shim, 35.3 x 48 x .4
70329 2 Shim, 35.3 x 48 x .3
16 70801 1 Roller Bearing
17 50035327 1 Output Shaft
18 70795 1 Roller Bearing
19 71194 1 Oil Seal
20 70288 1 Parallel Key 6 x 6 x 30
21 70695 2 Flatwasher
22 70287 1 Hex Nut M30 x 2
23 70903 4 Bolt M8 x 1.25 x 14
24 70229 1 Ball Bearing
25 –––– 1 Shim Kit
50035323 1 Shim 32.2 x 48 x .3
50035325 1 Shim 32.2 x 48 x .4
50035326 1 Shim 32.2 x 48 x .5
26 70286 1 Ext. Tooth Washer
27 70393 2 Oil Level Plug, 1/2” GAS
71335 GEARBOX ASSEMBLY
For Model RDTH 84
7
5
15 6
24 1
11
12
2
21
14
9
10
23
3
16
8
45
13
18
17
20
19
26
22
27
4
25
MAY, 2010

BUSH HOG / LAND MAINTENANCE REPAIR PARTS MANUAL
54-3-3
REF. PART
NO. NO. QTY. DESCRIPTION
1 50069164 1 Casting
2 70133 2 Snap Ring 72 x 75 x 2.5
3 70279 1 Oil Cap
4 70797 1 Ball Bearing 30207
5 70639 2 Shim 60.3 x 71.7 x .03
70640 2 Shim 60.3 x 71.7 x .04
70641 2 Shim 60.3 x 71.7 x .05
70642 2 Shim 60.3 x 71.7 x 1.0
6 70348 1 Shim 45.3 x 65.3 x .03
70349 1 Shim 45.3 x 65.3 x .04
70350 1 Shim 45.3 x 65.3 x .05
70351 1 Shim 45.3 x 65.3 x 1.0
7 70796 2 Roller Bearing 30209
8 70905 1 Nut M45
9 70848 1 Dust Lip 40 x 90 x 8
10 50042822 1 Input Shaft 1-3/8” Z6
11 70134 1 Oil Seal 35 x 72 x 12
12 71453 1 Ball Bearing 6207
13 50042823 1 Cover
14 F7502811 1 Shim 35.3 x 48 x 2.5
15 80538 1 1/2” GAS Solid Plug
16 70250 1 Snap Ring 40 x 37.5 x 2.5
17 50042824 1 Crown Z30
18 70288 1 Parallel Key 6 x 6 x 30
19 50042826 1 Pinion Z12
20 70286 1 Ext. Tooth Washer 31 x 48
21 70287 1 Hex Nut M30
22 70278 4 Bolt M8 x 1.25 x 20
23 70292 1 3/8” GAS Solid Plug
50069162 GEARBOX ASSEMBLY
(FORMERLY IDENTIFIED AS 71334)
Mfd. by Comer
Used on Model RDTH 60 & RDTH 72
11
2
512 14
10
23
16
1
19
18
6
7
17 4
5
2
3
13
15
22
7
8
9
20
21
NOVEMBER, 2011

BUSH HOG / LAND MAINTENANCE REPAIR PARTS MANUAL
54-4-1
12
20
3
4
21
55
66
7
8
9
10
11
12
14
15
13
17
18
16 16
19
REF. PART
NO. NO. QTY. DESCRIPTION
1 76808 1 Outer Half w/Shield
2 76096 1 Inner Half w/Shield
3 50017480 1 Ball Collar Kit 1-3/8”
4 76711 1 Complete Collar Yoke
5 64694 2 Cross Bearing Kit
6 63956 2 Grease Fitting
7 78571 1 Outer Yoke
8 78577 1 Roll Pin for Outer Yoke
9 82800 1 Outer Tube
10 78786 1 Danger Decal
11 82801 1 Inner Tube
12 78578 1 Roll Pin for Inner Yoke
13 78570 1 Inner Yoke
14 76146 1 Shield Assy.
15 76192 1 Outer Bearing
16 87992 6 Shield Bolt
17 76191 1 Inner Bearing
18 78608 1 Danger Decal
19 64814 2 Safety Chain
20 76126 1 Push Pin Yoke
21 76062 1 Push Pin Set
76722 DRIVESHAFT ASSEMBLY
540 RPM 1-3/8” – 6 Spline Yoke
Mfr: Comer/EG
Models: RDTH60 & RDTH72
Replaced by 50053120 Driveshaft
Note: Some early driveshafts were shipped with
push pins on the tractor yoke end. Order 76062
push pin set to replace pin. Order 76711 for com-
plete yoke replacement.
76062 Push Pin Set
Note: Extended length of this driveshaft is 56-1/2”
JANUARY 2007

BUSH HOG / LAND MAINTENANCE REPAIR PARTS MANUAL
54-4-2
REF. PART
NO. NO. QTY. DESCRIPTION
1 50035260 1 Complete Collar Yoke
2 64694 2 Cross Journal Set
3 63956 2 Grease Nipple
4 78571 1 Outer Tube Yoke
5 78577 1 Flexible Pin
6 82800 1 Outer Tube
7 82801 1 Inner Tube
8 78578 1 Flexible Pin
9 78570 1 Inner Tube Yoke
10 64692 1 Outer Yoke
11 90008 1 Outer Bearing
12 50042832 1 Inner Bearing
13 64814 2 Chain
14 50035261 1 Ball Collar Kit
15 50035268 1 Half Shaft, Outer
16 50035295 1 Half Shaft, Inner
17 90012 1 Safety Guard
18 78786 1 Danger Decal
19 78608 1 Danger Decal
(OBSOLETE)
50034246 DRIVESHAFT ASSEMBLY
540 RPM, 1-3/8” – 6 spline, ASAE Size 3
Mfr: Binacchi
Models: RDTH60, RDTH72, RDTH84
Replaced by 50063616 Driveshaft Assembly
1
15 14
6
18
4
5
2
19
13
11
16
8
7
910
2
12
17
3
3
MAY, 2010

BUSH HOG / LAND MAINTENANCE REPAIR PARTS MANUAL
54-4-3
12
20
4
3
55
66
7
8
9
10 11
12
14
15
13
17
18
16 16
19
REF. PART
NO. NO. QTY. DESCRIPTION
1 76986 1 Outer Half w/Shield
2 76987 1 Inner Half w/Shield
3 76062 1 Push Pin Set
4 76711 1 Complete Collar Yoke
5 64694 2 Cross Bearing Kit
6 63956 2 Grease Fitting
7 78571 1 Outer Yoke
8 78577 1 Roll Pin for Outer Yoke
9 76983 1 Outer Tube
10 78786 1 Danger Decal
11 76984 1 Inner Tube
12 78578 1 Roll Pin for Inner Yoke
13 78570 1 Inner Yoke
14 76985 1 Shield Assy.
15 76192 1 Outer Bearing
16 87992 6 Shield Bolt
17 76191 1 Inner Bearing
18 78608 1 Danger Decal
19 64814 2 Safety Chain
20 76126 1 Push Pin Yoke
76978 DRIVESHAFT ASSEMBLY
540 RPM 1-3/8” – 6 Spline Yoke
Mfr: Comer/EG
Model: RDTH84
Note: Extended length of this driveshaft is 50-1/2”
JANUARY 2007

BUSH HOG / LAND MAINTENANCE REPAIR PARTS MANUAL
54-4-4
REF. PART
NO. NO. QTY. DESCRIPTION
1 50042827 1 Complete Collar Yoke
2 64694 2 Cross Journal Set
3 63956 2 Grease Nipple
4 78571 1 Outer Tube Yoke
5 78577 1 Flexible Pin
6 50042829 1 Outer Tube
7 50042830 1 Inner Tube
8 78578 1 Flexible Pin
9 78570 1 Inner Tube Yoke
10 64692 1 Outer Yoke
11 50042831 1 Outer Bearing
12 50042832 1 Inner Bearing
13 64814 2 Chain
14 50042833 1 Ball Collar Kit
15 50035268 1 Half Shaft, Outer
16 50035295 1 Half Shaft, Inner
17 90012 1 Safety Guard
18 78786 1 Danger Decal
19 78608 1 Danger Decal
20 63945 1 Complete Push Button
(OBSOLETE)
50042430 DRIVESHAFT ASSEMBLY
540 RPM, 1-3/8” – 6 spline, ASAE Size 3
Mfr: Binacchi
Replaced By 50063620
Model: RDTH84
1
15 14
6
18
4
5
2
19
13
11
16
8
7
910 20
2
12
17
3
3
MAY, 2010

BUSH HOG/ LAND MAINTENANCE REPAIR PARTS MANUAL
50063616 DRIVE SHAFT ASSEMBLY
(Replaces the 50034246 Driveshaft Assy.)
MODELS: RDTH 60, RDTH72
ASAE Size 3
540 RPM, 1-3/8” - Spline Tractor
Mfd. by Bondioli & Pavesi
13
47
13
568
10 10
11
914
18
17
16
15
12 12
REF. PART
NO. NO. QTY. DESCRIPTION
1 50064902 2 Ball Collar Yoke Assy.
2 64964 2 Cross Bearing Kit
3 78571 1 Yoke Outer Tube
4 78577 1 Roll Pin for Outer Tube
5 50064906 1 Outer Tube
6 50064907 1 Inner Tube
7 78578 1 Roll Pin Inner Tube
8 78570 1 Yoke for Inner Tube
9 50064911 1 Outer Shield Bearing
REF. PART
NO. NO. QTY. DESCRIPTION
10 71404 6 Self Tapping Screw
11 50064912 1 Inner Shield Bearing
12 50064890 2 Shield Chain
13 78786 1 Danger Decal, Outer Tube
14 78608 1 Danger Decal, Inner Tube
15 50064645 2 Ball Collar Kit
16 50064914 1 Outer Half Assy.
17 50064940 1 Inner Half Assy.
18 50064916 1 Complete Shield Kit
2
1
15
54-4-5
May, 2010

BUSH HOG/ LAND MAINTENANCE REPAIR PARTS MANUAL
50063620 DRIVE SHAFT ASSEMBLY
(Replaces the 50034246 Driveshaft Assy.)
MODEL: RDTH 84
ASAE Size 3
540 RPM, 1-3/8” - Spline Tractor
Mfd. by Bondioli & Pavesi
13
47
13
568
10 10
11
914
18
17
16
15
12 12
REF. PART
NO. NO. QTY. DESCRIPTION
1 50064902 2 Ball Collar Yoke Assy.
2 64964 2 Cross Bearing Kit
3 78571 1 Yoke Outer Tube
4 78577 1 Roll Pin for Outer Tube
5 50064776 1 Outer Tube
6 50064777 1 Inner Tube
7 78578 1 Roll Pin Inner Tube
8 78570 1 Yoke for Inner Tube
9 50064911 1 Outer Shield Bearing
REF. PART
NO. NO. QTY. DESCRIPTION
10 71404 6 Self Tapping Screw
11 50064912 1 Inner Shield Bearing
12 50064890 2 Shield Chain
13 78786 1 Danger Decal, Outer Tube
14 78608 1 Danger Decal, Inner Tube
15 50064645 2 Ball Collar Kit
16 50064778 1 Outer Half Assy.
17 50064779 1 Inner Half Assy.
18 50064950 1 Complete Shield Kit
2
1
15
54-4-6
May, 2010

BUSH HOG / LAND MAINTENANCE REPAIR PARTS MANUAL
54-5-1
REF. PART
NO. NO. QTY. DESCRIPTION
1 82815 1 Flex Link
2 88678 2 Mast Half
3 94934 2 Mast Support 60”
95953 2 Mast Support 72”
4 88686 2 Lift Arm
5 82817 1 Pivot Tube
6 88687 2 Lift Arm Spacer
7 63765 2 Lift Pin Cat. 1
8 —— 2 Capscrew 1/2” x 2” Gr. 5
9 —— 1 Capscrew 1/2” x 5” Gr. 5
10 —— 4 Capscrew 1/2” x 1-1/2” Gr. 5
11 —— 7 Lockwasher 1/2”
12 —— 7 Hex Nut 1/2”
13 —— 2 Flatwasher 1/2”
14 —— 2 Lockwasher 7/8”
15 44061 2 Hex Nut 7/8” NF
12 11 1
5
9
3
2
7
3
2
4
14 15
613
13
11 12 12
13
12
11
6
8
15 14
4
7
10
10
10
11
12
12
11
10
8
11
12
MAST & SUPPORTS FOR
For RDTH 60 & RDTH 72
JULY, 2002

BUSH HOG / LAND MAINTENANCE REPAIR PARTS MANUAL
54-5-2
REF. PART
NO. NO. QTY. DESCRIPTION
1 50031576 2 Mast
2 –––– 2 Capscrew 5/8” x 1-3/4”
3 –––– 2 Capscrew 1/2” x 3-1/2”
4 –––– 2 Flatwasher 1/2”
5 44061 2 Hex Nut 7/8” NF
6 –––– 4 Lockwasher 1/2”
7 64114 1 Flex Link Cat. 1
8 64113 1 Pivot Tube
9 50031581 2 Mast Support
10 50028325 2 Lift Arm
11 –––– 2 Hex Nut 1/2”
12 20414 2 Flanged Locknut 5/8”
13 20558 2 Lynch Pin
14 63765 2 Lift Pin Cat. 1
15 20166 2 Cotter Pin 1/8” x 1-1/4”
16 50032155 2 Clevis Pin
17 –––– 1 Capscrew 5/8” x 5-1/2”
18 –––– 1 Lockwasher 5/8”
19 –––– 1 Hex Nut 5/8”
20 50038241 1 Driveline Hanger
21 20363 2 Locknut 3/8”
22 –––– 2 Flatwasher 3/4” SAE
MAST & SUPPORTS
For Model RDTH 84
13 16
10
10
16
13
15
22
22
15
12
12
6
5
56
2
2
20
21
1
17
9
3
3
4
4
6
6
11
11
9
7
18
19
8
14
14
MAY, 2010

BUSH HOG / LAND MAINTENANCE REPAIR PARTS MANUAL
54-5-3
CASTER ARM & WHEELS
FOR RDTH 60 & RDTH 72
REF. PART
NO. NO. QTY. DESCRIPTION
1 94933 4 Caster Arm Weldment
2 —— 8 Capscrew 5/8” x 3-1/2” Gr. 5
3 —— 8 Lockwasher 5/8”
4 —— 8 Hex Nut 5/8”
5 84613 16 Spacer 1”
6 84612 8 Spacer 1/2”
7 20312 4 Lynch Pin
8 88683 4 Solid Tire & Fork Assy.
9 88956 4 Pneumatic Tire & Fork Assy.
10 88695 1 Fork for Solid Tire
11 88973 1 Fork for Pneumatic Tire
12 62574 1 Sleeve (Solid Tire)
13 88970 1 Sleeve (Pneumatic Tire)
14 44030 1 Capscrew 1/2” x 5” (Solid Tire)
15 20776 1 Capscrew 1/2” x 6” (Pneumatic Tire)
16 15554 1 Locknut 1/2”
17 87750 1 Solid Tire Assy.
18 88957 1 Pneumatic Tire Assy.
19 85398 2 Bushing
20 88971 1 Rim w/Bushing
21 88969 1 Pneumatic Tire 410/350/4
22 91096 1 Roller Bearing Kit
(Optional, replacement for 4 wheels)
23 90810 1 Roller Bearing
24 449 1 Grease Fitting
10
16
14
12
19
17
8
11
16
15
13
19
20
21
18
9
24
7
6
6
5
5
5
5
1
234
23
19
22
APRIL, 2008

BUSH HOG / LAND MAINTENANCE REPAIR PARTS MANUAL
54-5-4
REF. PART
NO. NO. QTY. DESCRIPTION
1 50031587 2 Caster Arm Assembly
2 50021066 8 Bronze Bushing
3 449 4 Grease Fitting
4 –––– 8 Capscrew 5/8” x 3-1/2”
5 –––– 8 Flatwasher 5/8”
6 –––– 8 Lockwasher 5/8”
7 –––– 8 Hex Nut 5/8”
8 50031881 4 Caster Fork Weldment
9 99291 4 Spacer, 1/2”
10 99290 16 Spacer, 1”
11 50017304 4 Lynch Pin
12 20638 4 Locknut 3/4”
13 44090 4 Capscrew 3/4” x 7” Gr.5
14 50031954 4 Tire & Hub Assembly, Solid Tire
15 50053794 4 Grease Fitting
16 –––– 20 Capscrew 5/16” x 1”
17 –––– 20 Locknut 5/16”
18 50073 8 Bearing Cone
19 14-6-198 8 Bearing Cup
20 50031285 8 Spacer
21 50031458 8 Seal
22 50031284 4 Tire & Hub Assembly, Pneumatic Tire
CASTER ARM & WHEELS
For Model RDTH 84
7
7
6
6
5
5
4
4
13
8
11
2
3
22
2
9
10
12
17 15
15
16
1
2
2
3
20
20
21
21
18
18
19 19
14
20
20
21
18
18
19 19
21
MAY, 2010
Note: When replacing items 8, or 13 the old style
tailwheel brackets with a square hole and a round
hole has been replaced by a bracket with two round
holes and uses a capscrew rather than a carriage
bolt. When replacing the bracket that has a carriage
bolt, a 44090 Capscrew 3/4” x 7 “ Gr.5 Must be
ordered also for use in place of the carriage bolt.

BUSH HOG / LAND MAINTENANCE REPAIR PARTS MANUAL
54-5-5
FRONT ROLLER ASSEMBLY
For RDTH 60 & RDTH 72
REF. PART
NO. NO. QTY. DESCRIPTION
1 79057 1 Front Roller
2 90865 1 Left Roller Mount
3 90864 1 Right Roller Mount
4 83055 1 Roller Shaft
5 83054 1 Retainer
6 19443 1 Roll Pin 3/13” x 2”
7 5161212 4 Carriage Bolt 3/8” x 1 1/4” Gr.5
8 –––– 4 Flatwasher 3/8”
9 –––– 4 Lockwasher 3/8”
10 –––– 4 Hex Nut 3/8”
10
9
8
7
2
61
4
5
3
JULY, 2002

BUSH HOG / LAND MAINTENANCE REPAIR PARTS MANUAL
54-5-6
REF. PART
NO. NO. QTY. DESCRIPTION
1 95415 1 Roller Assembly
2 50021173 1 Stud
3 15554 3 Locknut 1/2”
4 50021172 1 Sleeve
5 50028237 2 Roller Bracket
6 44109 2 Carriage Bolt 3/8” x 1” Gr.5
7 –––– 4 Hex Nut 3/8”
8 –––– 8 Lockwasher 3/8”
9 15921 2 Flatwasher 3/4”
10 19418 2 Carriage Bolt 3/8” x 1-1/4”
FRONT ROLLER ASSEMBLY
For Model RDTH 84
7
7
8
8
5
5
3
4
2
3
9
9
1
6
6
10
10
APRIL, 2003

2501 Griffin Ave. • Selma, AL 36703
(334) 872-6261 • (334) 874-2700
Parts Ordering 1-800-304-2836
Fax 1-800-572-1784
www.bushhog.com