47775E D9412G D7412G PEG Program Manual
User Manual: D7412G Program Manual AlarmHow.net Library
Open the PDF directly: View PDF
.
Page Count: 142 [warning: Documents this large are best viewed by clicking the View PDF Link!]

EN
Program Entry Guide
Control Panels
D9412G/D7412G

D9412G/D7412G | Program Entry Guide | EN | 2
Bosch Security Systems | 1/04 | 47775E
Trademarks
CoBox is a registered trademark of Lantronix®.
Windows® is either a registered trademark of Microsoft
Corporation in the United States and/or other
countries.
Documentation Conventions
Type Styles Used in this Manual
To help identify important items in the text, the
following type styles are used:
Bold text Usually indicates selections that
you might use while programming
your control panel. It can also
indicate an important fact.
Italicized text Used to refer the user to another
part of this manual or another
manual entirely. It can also used to
symbolize names for records that
the user creates.
Courier Text Indicates what can appear on the
Remote Programmer’s display,
command center/keypad or
internal printer.
[CAPITALIZED
TEXT]
Used to indicate that a specific key
should be pressed.
Promp
t
A thick border is used to indicate a
main programming entry as seen
in the Remote Programmer’s
Display. It is used as a section
heading and screen example.
Shaded boxes indicate
programmer prompts that are only
available when Custom or View
events are selected.
Sub-Promp
t
A dashed border indicates a sub
entry under a main programming
entry.
Tips, Notes, Cautions and Warnings
Throughout this document helpful tips and notes are
presented concerning the entire application and/or
programming the unit. They are displayed as follows:
Application Tip:
These are helpful shortcuts or reminders in
using the unit.
Application Note:
These are notes and clarifications of
different aspects of the application.
0101
0101
0101
Programming Notes:
These cover notes and clarifications
specific to programming the unit.
0101
0101
0101
Programming Tip:
These are helpful shortcuts or reminders for
programming the unit.
Important Notes
These notes should be heeded for
successful operation and programming.
Warning!
These warn of the possibility of physical
damage to the operator, program and/or
equipment. Use this when there is an
increased risk of physical damage to the
operator (severe injury or death) or
equipment (destruction of physical
components).
Caution
These caution the operator that physical
damage to the program and/or equipment.
Access control tip.

D9412G/D7412G | Program Entry Guide | Table of Contents EN | 3
Bosch Security Systems | 1/04 | 47775E
Table of Contents
1.0 Introduction.......................................................5
1.1 How to use this Program Entry Guide.............5
1.2 Literature Referenced.........................................5
1.3 Differences Between the D9412G and
D7412G ...............................................................5
1.4 New Features.......................................................6
1.5 Product Handlers................................................8
1.6 Programming Options........................................8
1.7 Programming the Control Panel with the
D5200 Programmer............................................9
2.0 9000MAIN ........................................................11
2.1 Phone .................................................................11
2.2 Phone Parameters.............................................12
2.3 Routing ..............................................................15
2.3.1 Called Party Disconnect ..................................15
2.3.2 Route Number Groups: Which Has the
Highest Priority?...............................................15
2.3.3 Programming a Primary and Backup
Destination ........................................................16
2.3.4 Enhanced Routing............................................16
2.3.5 Programming a Duplicate Report...................16
2.3.6 Routing Destination Communication
Failures...............................................................16
2.3.7 Message Prioritization within a Route
Number..............................................................16
2.3.8 Dialing Attempts...............................................16
2.4 Enhanced Routing............................................23
2.4.1 Programming a Primary and Backup
Destination ........................................................23
2.4.2 Programming a Duplicate Report...................24
2.5 Power Supervision............................................27
2.6 Printer Parameters ............................................29
2.7 RAM Parameters ..............................................31
2.7.1 Uploading and Downloading Reports ...........31
2.7.2 Log Threshold Reports ....................................31
2.7.3 RAM Callback Reports ...................................31
2.8 Miscellaneous....................................................34
2.9 Area Parameters................................................34
2.9.1 Area Parameters................................................34
2.9.2 Programming Account Numbers in 9000
Series Control Panels, versions 6.20 and
Higher ................................................................35
2.9.3 Shared-Area Characteristics ............................40
2.9.4 Bell Parameters .................................................40
2.9.5 Open/Close Options........................................42
2.10 Command Center.............................................46
2.10.1 Cmd Cntr (Command Center) Assignment.. 46
2.10.2 Area Text .......................................................... 50
2.10.3 Custom Function.............................................. 51
2.11 User Interface ................................................... 53
2.11.1 Commands........................................................ 53
2.11.2 Command Center Selections.......................... 53
2.11.3 Authority Level Selections.............................. 59
2.12 Function List..................................................... 67
2.13 Relay Parameters ............................................. 67
2.13.1 Area Relays....................................................... 68
2.13.2 Panel-Wide Relays........................................... 71
3.0 RADXUSR1/RADXUSR2 ............................ 73
3.1 Passcode/Token Worksheet............................ 73
3.1.1 User Groups...................................................... 73
3.1.2 Passcodes........................................................... 73
3.1.3 User Group Window ....................................... 73
3.1.4 Authority Level by Area ................................. 73
3.1.5 User Name........................................................ 73
3.1.6 Tokens/Cards ................................................... 73
3.1.7 Reporting and Logging.................................... 73
4.0 RADXPNTS..................................................... 77
4.1 Point Index ....................................................... 77
4.1.1 Point Responses................................................ 81
4.2 Point Assignments............................................ 91
4.3 COMMAND 7 and COMMAND 9 ............. 94
5.0 RADXSKED.................................................... 95
5.1 Windows ........................................................... 95
5.1.1 Opening and Closing....................................... 95
5.1.2 User Group Windows.................................... 102
5.2 Skeds................................................................ 104
5.3 Holiday Indexes............................................. 113
5.3.1 Add/Change/Delete ...................................... 113
5.3.2 View Holidays................................................ 114
6.0 RADXAUX1.................................................. 115
6.1 Introduction .................................................... 115
6.2 RAM IV and D5200 Handler
Requirements.................................................. 115
6.3 SDI Automation ............................................. 115
6.4 SDI RAM Parameters.................................... 116
6.4.1 User Interface Modifications for
COMMAND 43............................................. 117
6.4.2 Using an External Modem............................ 118
6.5 Enhanced Communications.......................... 122
6.5.1 Programming Path Numbers and
IP Addresses ................................................... 123
6.6 SDI RAM/Enhanced Communications
Configuration.................................................. 125
6.6.1 Route Group Attempts .................................. 126

D9412G/D7412G | Program Entry Guide | Table of Contents EN | 4
Bosch Security Systems | 1/04 | 47775E
6.7 Miscellaneous..................................................127
6.8 Cross Point Parameters..................................128
7.0 RADXAXS .....................................................131
7.1 Door Profile.....................................................131
7.2 Strike Profile....................................................133
7.3 Event Profile....................................................134
Programming Prompts Directory ...........................136
Figures
Figure 1: Pager Display Fields.......................................25
Figure 2: Account Number Entry .................................36
Figure 3: User Group 122 Example..............................74
Figure 4: Example Opening Window Timeline (using
two Opening Windows on same day)..........97
Figure 5: COMMAND 43 Flow Chart.......................117
Figure 6: RAM IP Address Prompts...........................118
Figure 7: Com Port Selection within
HyperTerminal.............................................120
Figure 8: External Modem Connection .....................120
Figure 9: Path # IP Add1 to Add4 .............................123
Figure 10: Poll Rate Timeline......................................124
Tables
Table 1: Literature Referenced .....................................5
Table 2: Differences between the D9412G and
D7412G............................................................5
Table 3: New Features...................................................6
Table 4: Product Handlers ............................................8
Table 5: Programming Error Displays.........................9
Table 6: Modem IIIa2 Communication Format Data -
User ID Numbers..........................................13
Table 7: Modem IIIa2 Communication Format Data –
Point Numbers ..............................................13
Table 8: Zones ..............................................................13
Table 9: Diagnostic Reports........................................18
Table 10: Burglar Reports .............................................18
Table 11: User Reports..................................................19
Table 12: Test Reports...................................................20
Table 13: Diagnostic Reports........................................21
Table 14: Relay Reports................................................21
Table 15: Auto-Function Reports .................................21
Table 16: RAM Reports ................................................22
Table 17: Point Reports.................................................22
Table 18: User Change Reports ...................................23
Table 19: Access Reports ..............................................23
Table 20: Event Descriptions, Priorities, and
Numbers.........................................................26
Table 21: Programming Four Digit Account
Numbers ........................................................ 35
Table 22: Programming Ten Digit Account
Numbers ........................................................ 35
Table 23: Verify Time................................................... 37
Table 24: CF### Custom Function Keystrokes........ 52
Table 25: Command Center Programming
Choices .......................................................... 53
Table 26: Authority Level Selections .......................... 59
Table 27: L## Secure Door-Door Mode
Definitions ..................................................... 62
Table 28: BSFK User Code Report ............................. 74
Table 29: P### BFSK/Relay Codes/Relays.............. 93
Table 30: Point Text for Points 240 to 247................. 93
Table 31: Window Selections....................................... 95
Table 32: Programming for Two Same Day Opening
Windows (see Figure 4)................................. 98
Table 33: Programming to Link Two Days over
Midnight ........................................................ 98
Table 34: W# Close Window Stop Programming
Example......................................................... 99
Table 35: Opening/Closing Windows Worksheet... 101
Table 36: Opening/Closing Windows....................... 101
Table 37: Normal Store Hours* ................................. 101
Table 38: Delivery Schedule*..................................... 102
Table 39: Monthly Auditor’s Schedule*.................... 102
Table 40: Cross Point Ranges Within Groups ......... 128

D9412G/D7412G | Program Entry Guide | 1.0 Introduction EN | 5
Bosch Security Systems | 1/04 | 47775E
1.0 Introduction
1.1 How to use this Program Entry Guide
This guide addresses the programming of the
D9412G/D7412G Control Panels only, and should not
be used in conjunction with other control panels.
Although this guide specifically refers to the D9412G
Control Panels, it can be used for programming the
D7412G Control Panels. Differences between the
D9412G and D7412G are shown Table 2.
1.2 Literature Referenced
Throughout this guide, references are made to other
documents. See Table 1 for a part numbers list of the
referenced literature for ordering purposes.
Read the following documents before installing and
programming the products.
Table 1: Literature Referenced
Document Name Part Number
1.
D1255 Installation Instructions 74-06819-000
2.
D1256/D1257 Installation
Instructions
74-06925-000
3.
D1260 Installation Guide 48101
4.
D1260 Owner’s Manual 50410
5.
D5200 Operations Manual 74-06176-000
6.
D6500 Report Directory 74-04651-001
7.
D6600 Communications
Receiver/Gateway Computer
Interface Manual
39963
8.
D720 Installation Instructions 74-06918-000
9.
D9210B Operation and
Installation Guide
32206
10.
D9210B Program Entry Guide 32207
11.
D9210B Program Record Sheet 32208
12.
D9412G/D7412G Operation
and Installation Guide
43488
13.
D9412G/D7412G Program
Record Sheet
47488
14.
RPS Operations Manual 38849
1.3 Differences Between the D9412G
and D7412G
Table 2 describes the differences between the D9412G
and the D7412G Control Panels.
Table 2: Differences between the D9412G and
D7412G
Features D9412G D7412G
Access Control Yes
Eight Doors
Yes
Two Doors
Expanded users
Arm/disarm
Passcodes
Cards/tokens
249
996
99
396
Passcode-protected
custom functions
16 4
Number of printers 3 1
Number of points 246 75
Number of relays 128 64

D9412G/D7412G | Program Entry Guide | 1.0 Introduction EN | 6
Bosch Security Systems | 1/04 | 47775E
1.4 New Features
The items shown Table 3 are new features added to the D9412G/D7412G Control Panels since version 6.10.
Table 3: New Features
Feature Description
Ground Fault Detect
(Version 6.10)
For the D9412G/D7412G to detect ground fault conditions, the earth ground terminal on the
control panel was electrically isolated from all other terminals. A ground fault detect enable switch
(S4) was added to the control panel and is located under Terminal 10, earth ground. For more
information on the operation of this function, see the D9412G/D7412G Operation and Installation
Guide (P/N: 43488).
Added Feature when
Using Ground Fault
Detect (Version 6.10)
When ground fault detect is enabled (S4 closed), Points 1 to 8 can be used for non-powered fire-
initiating devices; such as, heat detectors, 4-wire smoke detectors, or pull stations. A D125B
Powered Loop Interface or a D129 Dual Class A Interface Module is no longer required when
connecting non-powered fire-initiating devices to Points 1 to 8.
Fire Supervision Restoral
Event (Version 6.20)
A new Fire Supervision Restoral Event was added to the Fire Events route group allowing this
event to be transmitted when a Fire Supervision point restores to normal. Previous versions sent
either a Fire Alarm Restore or Fire Trouble Restore Event.
AC Fail Time modification
(Version 6.20)
The AC Fail Time entry was modified to allow additional programming flexibility. In previous
versions, the AC Fail Time was made in either minutes or seconds (depending on the firmware
version). However, version 6.20 allows you to select minutes or seconds and the length of time the
AC Fail message is delayed (6 hours or 12 hours) after the occurrence. See the AC Fail Time
prompt in Section 2.5 Power Supervision for additional information.
Fire Trouble Resound
(Version 6.20)
The D9412G and D7412G can be programmed to re-sound the fire trouble tone at command
center(s) at midnight or at noon if the Fire point is still in a trouble condition. See the A # Silent
Alarm prompt in Section 2.13.1 Area Relays for additional information.
Perimeter Armed Relay
Operation (Version 6.20)
The D9412G and D7412G can be programmed to activate a relay output when an area becomes
Perimeter Armed using COMMAND 2 (Perimeter Instant), COMMAND 3 (Perimeter Delayed), or
COMMAND 8 (Perimeter Partial). See the A # Silent Alarm prompt in Section 2.13.1 Area Relays
for additional programming information.
Poll Rate Operation
(Version 6.20)
In versions 6.00 and 6.10, a poll rate can be programmed to supervise the connection between the
control panel, D9133TTL-E, and the D6600 Receiver. If the supervision connection was lost, future
events were still routed to the Primary Path first before attempting the Backup Path. In version 6.20,
the ability to instruct the control panel to automatically use the Backup Path if the Primary Path is
compromised was added.
Programming Account
Numbers (Version 6.20)
The 9000MAIN version 1.12 handler and version 6.20 firmware and higher now can program a
four-digit or ten-digit account number for each area. See the A# Acct Number prompt in Section
2.9 Area Parameters for additional programming information.
The D9412G and D7412G can now be programmed to group multiple points together in a Cross
Point configuration mode. This feature, more commonly known as Cross Zoning, instructs the
control panel to delay its alarm response for a programmed period of time before additional points
go into an alarm condition, verifying the burglar alarm condition. To program the D9412G or
D7412G for Cross Point operation, review the following:
Location Item
Table 10 R# Unverified Evt
Section 4.1.1 Point Responses Cross Point prompt
Cross Point Operation
(Version 6.30)
Section 6.8 Cross Point Parameters Cross Point prompt
D1260 Alpha V Command
Center Support (Version
6.30)
The new D1260 Alpha V Command Center boasts an easy-to-read, four-line by twenty-character
LCD display, eight soft keys for displaying simple selections, and the standard Bosch Security
Systems command structure (COMMAND 1, COMMAND 2, and so on). See the Enhanced
Command Center prompt in Section 2.10.1 Cmd Cntr (Command Center) Assignment for further
programming information.

D9412G/D7412G | Program Entry Guide | 1.0 Introduction EN | 7
Bosch Security Systems | 1/04 | 47775E
Table 3: continued
Feature Description
Fire Trouble Resound
Mode (Version 6.30)
To help our Bosch Security Systems dealers program this feature more easily, the prompt, Fire
Trouble Resound was added to Section 6.7 Miscellaneous.
Sked Functions (Version
6.30)
The D9412G and D7412G can be programmed to execute Sked 28 (Expanded Off-Normal Test
Reports) and Sked 29 (Non-Expanded Off-Normal Test Reports). These new skeds allow the
control panel to generate Expanded or Non-Expanded Off-Normal Test Report Event instead of the
previously used Expanded Test Report or Non-Expanded Test Report Event. See the S## Function
Code prompt, 28 and 29, in Section 5.2 Skeds for further programming information.
Inovonics Premises RF
Compatibility
(Version 6.30)
In version 6.30 you can add Inovonics Premises RF. Through the use of the D8125INV Wireless
Interface, which connects directly to ZONEX 1 and ZONEX 2 (D9412G only) and an Inovonics
FA400 Wireless Receiver, up to 238 wireless transmitters can be added to a D9412G (up to 67
can be added to the D7412G). Each D8125INV supports up to 119 wireless transmitters (or 67 if
connected to a D7412G). Transmitters added to the system can be monitored for activation,
tamper, and low battery conditions. The FA400 Receiver is also supervised and the Inovonics
Repeaters can be programmed to be supervised.
High Speed PSTN RPS
Communications (Version
6.30)
Using an off-the-shelf modem (capable of communicating at 9600-baud) and a D9133DC Direct
Connect Programming Module, RPS can now communicate with a D9412G or D7412G at 9600-
baud instead of using the on-board 300 baud modem chip. This is especially useful for those
accounts requiring constant RPS communication sessions, such as passcode or token changes or
copying the logger. The use of this feature dramatically reduces the time (and money) spent online
with the control panel. See Section 6.4.2 Using an External Modem for programming details on the
operation of this feature.
New Buzz On Fault Mode
(Version 6.30)
A Buzz on Fault Mode (Option 3) was added to the point index parameters. For points with Option
3 enabled, a trouble tone is generated at the keypad when the point is off-normal while the area is
disarmed. The user (by either passcode or COMMAND 4) cannot silence this buzz. It silences
automatically when the point restores. Apply this feature when you want to monitor specific points
and produce an audible annunciation at the command center when the point is faulted. For
example, this feature could be used for a driveway sensor or a vestibule door that alerts you to an
approaching individual.
Disarm Now message
enhancement (Version
6.30)
The DISARM NOW text that appears during entry delay was modified beginning with version 6.30.
The new text that appears alternates between DISARM NOW and the point text of the point that
caused the area to go into entry delay. For example, if the point causing the area to go into entry
delay was named Front Office Dr, then the control panel displays DISARM NOW then FRONT
OFFICE DR during the entirety of entry delay.
Panel Buzzer (Version
6.30
Beginning with version 6.3 and higher, the control panel’s on-board buzzer pulses 1 second on, 1
second off, if a supervised command center no longer responds to polls from the control panel. The
buzzer is silenced when the supervised command center begins responding to polls again or when
[COMMAND][4] is entered from an operational command center.

D9412G/D7412G | Program Entry Guide | 1.0 Introduction EN | 8
Bosch Security Systems | 1/04 | 47775E
1.5 Product Handlers
Programming the 9000 Series requires multiple product handlers. The availability of each handler is indicated in
Table 4. See the control panel specific Release Notes to determine the most up-to-date handler versions.
Although the handlers shown in Table 4 can be used to program any of the new control panels, not all of the
functions operate. For example, the RADXUSR1 Handler is used to program users 000 through 124. Even though
the handler allows you to program users 100 through 124, the D7412G does not allow the activation of these
users.
Table 4: Product Handlers
Product Handler Function D9412G D7412G
9000MAIN Covers Panel-Wide, Area, Command Center Function List, User
Interface, and Relay programming modules.
RADXUSR1 Covers Passcode/Token programming for Users 000 through 124
(99 users for the D7412G).
RADXUSR2 Covers Passcode/Token programming for Users 125 through 249. N/A
RADXPNTS Covers Point Index and Point Assignment programming for all points.
RADXSKED Covers Open/Close Windows, User Access Windows, Skeds, and
Holiday Index programming modules.
RADXAUX1 Covers SDI Automation, SDI RAM Parameters, Enhanced
Communication Parameters, Route Group Attempts, Miscellaneous,
and Cross Point Parameters.
RADXAXS Covers the programming parameters for installed D9210B Door
Controllers. The Program Entry Guide and Program Record Sheet for
this handler comes with the D9210B Access Control Module.
1.6 Programming Options
This Program Entry Guide is set up in a specific order.
Related program entries are grouped together in
modules as they appear in the specific product
handlers. The handler and the programming module
are listed at the top of each page to help you find
specific programming prompts.
This Program Entry Guide shows the programming
options for each product handler. Each option is
listed with:
• The Program Item Prompt: Each prompt is
shown, as it appears in the D5200 Programmer
[see the D5200 Programmer Operations Manual
(P/N: 74-06176-000)] or the Remote Account
Manager [see the RPS Operations Manual (P/N:
38849)]. Sometimes, for space considerations, a
prompt must be abbreviated in the Programmer
display. In these cases, the meaning of the
prompt is explained below the prompt
• Program Entry Default Setting: Because
defaults are set for the typical installation, you
may not need to program each prompt. Review
the default entries in the Program Record Sheet
shipped with the control panel to determine
which prompts must be programmed.
• Program Entry Selections: Only the selections
listed can be used for a particular program item.
The programmer does not accept inappropriate
entries.
• Program Entry Description: Provides concise
information regarding what can occur with the
various entry selections. Read the descriptions
carefully to avoid improperly programmed
equipment.
• Custom Programming: A new feature of the
D5200 Programmer is the option to select
custom programming (Yes or No) to expand
programming modules within the D5200.
Programming Custom as Yes does not affect a
parameter’s programming. It allows parameters
for special applications to be visible in the
programmer.

D9412G/D7412G | Program Entry Guide | 1.0 Introduction EN | 9
Bosch Security Systems | 1/04 | 47775E
1.7 Programming the Control Panel
with the D5200 Programmer
Latch the jumper in the upper right hand corner of
the control panel labeled as RESET on the PCB and
Reset Pin on the faceplate.
Connect the molex end of the cord to the connector
labeled PROG on the PCB and PROG CONN on
the faceplate.
Always initiate a control panel copy at the
NEWRECORD or FILENAME display when pressing
the [RECV] (copy) key of the D5200.
Always initiate a control panel load at the
FILENAME
prompt or set as factory default at the
NEWRECORD
prompt when pressing the [SEND]
(load) key.
Disconnect the D5200 before releasing the reset pin.
Do not leave the D5200 connected to the
PROG connector without latching the
RESET pin. Doing so causes SDI ##
TROUBLE and CALL FOR SERVICE to
display on the command centers. Door
controllers also activate depending upon
the SDI failure DIP switch setting.
Table 5: Programming Error Displays
Display Description
INCOMPATIBLE PANEL You are connected to the
wrong control panel or
using the wrong handler.
Check the faceplate for the
model number and the
handler title.
CHECK CORD/RESET
PIN Check the cord and reset
pin
0101
0101
0101
There is a 5 second to 25 second pause
after the reset pin is unlatched during
which the control panel scans all the
points and properly displays, logs, and
reports them.

D9412G/D7412G | Program Entry Guide | 1.0 Introduction EN | 10
Bosch Security Systems | 1/04 | 47775E
Notes:

D9412G/D7412G | Program Entry Guide | 2.0 9000MAIN EN | 11
Bosch Security Systems | 1/04 | 47775E
2.0 9000MAIN
Use this programming module to define the
operating characteristics that affect panel-wide
functions. There are nine programming categories in
this module: Phone, Phone Parameters, Routing,
Enhanced Communications, Area Parameters,
Command Center, User Interface, Function List, and
Relay Parameters.
2.1 Phone
The control panel can dial up to four different
telephone numbers when sending event reports. All
telephone numbers use the same receiver format.
Event report routing and communication protocols
are discussed in Section 2.3 Routing.
Phone 1
Default: Blank
Selection: Up to 24 characters (do not enter
[SPACE])
0 to 9 Numbers 0 through 9
C 3-second pause
D 7-second dial-tone detect.
# or * Used for the same purpose as pressing
this key on a telephone keypad when
manually dialing. For example, an
asterisk (*) may be needed to access
your long distance service. Do not use
these characters when pulse dialing.
Blank Control panel dials no phone number.
Programming this item Blank does not
disable phone routing. To disable
reporting to this phone, see Section 2.3
Routing.
This is the telephone number the control panel dials
to contact the central station receiver when sending
event reports. This number is Phone 1 referred to in
the prompts in Section 2.3 Routing.
The control panel is pre-programmed with a
7-second dial tone detect period. When a dial tone is
detected or the waiting period ends, the control
panel begins to dial. To extend the dial tone detect
period, place a D before the phone number. To
insert a pause during or after dialing, use C in the
number sequence. For example, if the control panel
hangs up before it hears the Modem IIIa2 Ack tone
from the D6500/D6600, program extra Cs after the
phone number. The control panel waits on line for
three extra seconds for each C programmed.
Enter up to 24 of the following characters to define
dialing characteristics.
0101
0101
0101
Using both phone data entry lines: The first
line of the phone number data entry line
must be filled (twelve characters) before
you press [ENTER] to move on to the
second line. If you enter characters on the
second line, and there are less than twelve
characters on the first line, the second line
clears when you press [ENTER].
Phone 2
Default: Blank
Selection: Up to 24 characters (do not enter
[SPACE])
See explanation of
Phone 1
. This number is Phone
2, referred to in the prompts in Section 2.3 Routing.
Phone 3
Default: Blank
Selection: Up to 24 characters (do not enter
[SPACE])
See explanation of
Phone 1
. This number is Phone
3, referred to in the prompts in Section 2.3 Routing.
Phone 4
Default: Blank
Selection: Up to 24 characters (do not enter
[SPACE])
See explanation of
Phone 1
. This number is Phone
4, referred to in the prompts in Section 2.3 Routing.

D9412G/D7412G | Program Entry Guide | 2.0 9000MAIN EN | 12
Bosch Security Systems | 1/04 | 47775E
2.2 Phone Parameters
The program items in this category describe panel-
wide characteristics for telephone dialing, receiver
format, and supervision.
Modem Format
Default: Yes
Selection: Yes or No
Yes Radionics’ Modem IIIa2
Communication Format: Reports
identify points as 001 through 247 and
passcode User ID codes as 000 through
249 at the D6500/D6600 Receiver
(unless
Point/User Flag
is
programmed Yes; see the
Point/User
Flag
prompt in this section). When
reporting point events, Radionics’
Modem IIIa2 Communication Format
also sends point text to the
D6500/D6600 as programmed in Point
Assignments.
No BFSK (2300 Hz or 1400 Hz
acknowledgment tone).
Central Station Receiver Format for
Transmission of Reports: Modem format provides
many reporting advantages over the BFSK format.
See the D6500/D6600 Report Directory for more
information about the effect of reporting formats.
Modem Format must be set to Yes when
sending events over a network to a D6600
receiver (NetCom).
0101
0101
0101
If Modem Format is No, be sure to assign
a number to identify Duress Reports in
BFSK Duress Code in this programming
section.
Point/User Flag
Default: Yes
Selection: Yes or No
Yes The control panel sends a flag with
each report telling the D6500/D6600 to
convert point numbers and User ID
numbers to COMEX format. The
conversions are shown in Table 6 and
Table 7. No matter how the
D6500/D6600 is programmed for
output to the computer system, points
and User ID numbers are converted
when this item is Yes. (See the D6600
Communications Receiver/Gateway
Computer Interface Manual, Appendix C,
Numbered Table and Note 1.)
No The control panel does not send the
flag. The D6500/D6600 outputs point
numbers as 001 to 247 (rather than 100
to 732) and User ID numbers as 000 to
249 (rather than 000 to F08), as
indicated in Table 6 and Table 7.
This program item determines how point and User
ID numbers are presented at the D6500/D6600
display, printer, and computer RS-232 output.
When
Modem Format
is Yes, the control panel
sends expanded Radionics’ Modem IIIa2
Communication Format reports to the
D6500/D6600. If your central station data files are
not set up for point and User ID number reporting,
you can use this program item to convert these
numbers to COMEX Reports.
When
Modem Format
is Yes, the control panel
sends expanded Radionics’ Modem IIIa2
Communication Format Reports to the receiver.
Point/User Flag
affects Radionics’ Modem IIIa2
Communication Format data as shown in Table 6.
The Bosch Security Systems D6500/D6600 Receiver
adds the leading zero in the User ID number with
Point/User Flag
programmed No.

D9412G/D7412G | Program Entry Guide | 2.0 9000MAIN EN | 13
Bosch Security Systems | 1/04 | 47775E
Table 6: Modem IIIa2 Communication Format
Data - User ID Numbers
Point/User Flag
NO
Point/User Flag
YES
000 000
001 to 005 001 to 005
006 to 013 601 to 608
014 to 021 701 to 708
022 to 029 801 to 808
030 to 037 B01 to B08
038 to 045 C01 to C08
046 to 053 D01 to D08
054 to 061 E01 to E08
062 to 069 F01 to F08
070 to 249 000
Table 7: Modem IIIa2 Communication Format
Data – Point Numbers
Point/User Flag
NO
Point/User Flag
YES
001 to 008 100 to 800
009 to 024 101 to 116
025 to 040 201 to 216
041 to 056 301 to 316
057 to 072 401 to 416
073 to 088 501 to 516
089 to 104 601 to 616
105 to 120 701 to 716
121 to 136 801 to 816
153 to 168 217 to 232
169 to 184 317 to 332
185 to 200 417 to 432
201 to 216 517 to 532
217 to 232 617 to 632
233 – 247 717 to 731
Independent Zone Control Notice: When using
Independent Zone Controls (IZC) to send
Opening/Closing Reports by point, do not duplicate
reporting independent point numbers with User ID
Reports (see Section 3.1 Passcode/Token Worksheet). For
example: If an IZC is connected to Point 8, User ID
8 should not be used.
D6000: Opening/Closing User ID numbers are
identified at the receiver as ZONEs (same
identification as independent points).
Table 8: Zones
User ID Number Zone
1 B
2C
3 D
4E
5 F
66
7 7
88
91 1
92 2
93 3
94 4
95 5
96 0
D6500/D6600 Receiving BFSK Format:
Opening/closing User ID numbers are identified at
the receiver as ZN (same identification as
independent points). The ZN numbers are based on
the tens digit of the User ID number. This only
applies for Users 000 through 099. Users 100
through 249 do not report in BFSK format.
DTMF Dialing
Default: Yes
Selection: Yes or No
Yes Dials the programmed phone
number(s) using DTMF.
No Pulse dialing only.
Use dual-tone multi-frequency (DTMF) to dial the
central station receiver phone number(s) for event
reports, and/or the RPS.

D9412G/D7412G | Program Entry Guide | 2.0 9000MAIN EN | 14
Bosch Security Systems | 1/04 | 47775E
Phone Supv Time
Default: Blank
Selection: Blank or 10 to 240
Blank No phone line supervision.
10 to 240 Enter the number of seconds (in 10
second increments) you wish to
supervise the phone line. After a faulted
phone line restores, it takes the same
amount of time to initiate restoral
responses.
Phone line trouble responses: Command centers
display SERVC PH LINE # to indicate which
phone line failed. The command center initiates a
trouble tone if
Buzz on Fail
is Yes and
CC Trouble
Tone
is Yes.
With dual phone lines (using the D928 Module), the
restored phone line handles all messages regardless
of the phone line’s number.
Phone, Trouble, and Restoral Events report when
they occur. They report also when a Diagnostic
Report is initiated from a command center or by a
Sked.
Alarm On Fail
Default: No
Selection: Yes or No
Yes Generate alarm responses when a
phone line fails.
No Phone failures report as trouble
responses for Area 1 and/or the
account number for Area 1.
0101
0101
0101 Phone Supv Time must be programmed to
use this feature.
Phone Failure Alarm Responses: The
Alarm Bell relay for Area 1 activates. All
Phone Event messages report as Area 1
and/or the account number for Area 1.
Buzz on Fail
Default: No
Selection: Yes or No
Yes Generate panel-wide trouble tones and
display PHONE FAIL # at command
centers when a Phone Fail Event
occurs.
No Does not generate trouble tones at
command centers when a Phone Fail
Event occurs. PHONE FAIL # still
displays.
0101
0101
0101 Phone Supv Time must be programmed to
use this feature.
De-selecting individual command
centers for panel-wide trouble tones:
Panel-wide trouble tones for programming
CC can turn off individual command
centers (based on their CC # 1 through 8)
# Trouble Tone in Command Center
Parameters as No.
Two Phone Lines
Default: No
Selection: Yes or No
Yes The D928 Dual Phone Line Module is
installed. The LEDs on the D928 light
to indicate primary or secondary line
trouble and COMM FAIL.
No No D928 Dual Phone Line Module.
Use this program item when a D928 Dual Phone
Line Module is connected to the control panel. Both
lines must operate the same; either ground start or
loop start.
0101
0101
0101 IMPORTANT! Program Phone Supv Time
when using two phone lines.
NFPA standards prohibit the use of ground
start phone lines in systems monitoring
Fire points.

D9412G/D7412G | Program Entry Guide | 2.0 9000MAIN EN | 15
Bosch Security Systems | 1/04 | 47775E
BFSK Duress Code
Default: 0
Selection: 0 to 9
If Duress Enable in Area Parameters is Yes and
Modem Format
in Phone Parameters is No, you
must program a number to identify Duress Reports
at the central station.
Expand Test Rpt
Default: No
Selection: Yes or No
Yes Report events listed in Routing Group
Test Reports report to the central
station if they are off-normal.
No Does not report off-normal conditions
for the events listed in the Routing
Group Test Reports at test time.
Use this program item to add system event
information to scheduled Test Reports. Test Reports
are set up as scheduled events. See Section 5.2 Skeds.
This parameter is related only to Sked
Function Code 9 (Test Report) and
whether this Sked transmits Expanded
Test Report information or not. It does not
have any bearing on Sked Function Codes
28 (Expanded Off-Normal Test Report)
and 29 (Non-Expanded Off-Normal Test
Report).
Ground Start
Default: Long
Selection: Long or Short
Long Standard duration of ground. Use this
setting for most ground start telephone
systems. The duration is 700
milliseconds.
Short Shorter duration of ground. Use this
setting for telephone systems where
specified. The duration is 250
milliseconds.
Some newer ground start telephone exchange
switches require a shorter amount of time to initiate
dial tone. If the control panel cannot initiate a dial
tone on the ground start line with the default (long)
setting, try the short setting.
Press the [SPACE] bar to scroll through the
selections. Press [ENTER] when the correct selection
appears in the display.
Use this program item only when the control
panel is connected to ground start
telephone lines. Ground start is not allowed
on UL Listed systems.
2.3 Routing
Use routing to select full or partial groups of events
which report to up to four different destinations.
Routing includes choosing the most important
destination (route number), the events reported to a
single or multiple destination, and if the events fail,
selecting a backup destination.
2.3.1 Called Party Disconnect
Telephone companies provide called party
disconnect to allow the called party to terminate a
call. The called party must go on hook (hang up) for
a fixed interval before a dial tone is available for a
new call. This interval varies with telephone
company equipment. D9412G/D7412G firmware
allows for called party disconnect by adding a 35
second on hook interval to the dial tone detect
function. If the control panel does not detect a dial
tone in 7 seconds, it puts the phone line on hook for
35 seconds to activate called party disconnect, goes
off hook and begins a 7-second dial tone detect. If
no dial tone is detected, the control panel dials the
number anyway. Each time the number is dialed,
the control panel records this as an attempt. After
ten attempts, the control panel goes into
communications failure and Comm Fail Route #
displays on the command centers.
2.3.2 Route Number Groups: Which Has the
Highest Priority?
To program a group, first choose a route number.
The lower the route number, the higher priority that
group has (for example, events reported for Route 1
have a higher priority than Routes 2, 3, or 4 if each
group tries to send a message at the same time). This
becomes important when programming duplicate
reports or choosing the events you want to ensure
report first regardless of the number of events that
need to report to multiple groups. Route 1 group
primary device is the first destination the control
panel attempts to dial if an event in that group must
be reported. If the control panel is idle, any event
generated for any group initiates a dialing sequence.

D9412G/D7412G | Program Entry Guide | 2.0 9000MAIN EN | 16
Bosch Security Systems | 1/04 | 47775E
2.3.3 Programming a Primary and Backup
Destination
Each route number has an
R# Primary Device
and
an
R# Backup Device
. In typical applications
where two phone numbers are programmed, the
R#
Primary Device
destination is the phone number
the route group attempts to dial first. If the
R#
Primary Device
destination fails to connect to the
central station receiver after two dialing attempts, the
R# Backup Device
destination is dialed. In
addition, the control panel can be programmed so
the
R# Primary Device
and/or the
R# Backup
Device
can be an SDI device, such as a D9133TTL-
E Network Interface Module. The control panel can
also be programmed to make only one attempt for
the
R# Primary Device
before attempting to send
events using the
R# Backup Device
.
2.3.4 Enhanced Routing
In previous versions, only Phone numbers 1 through
4 could be programmed for the Primary and Backup
Destinations. The D9412G/D7412G allow events to
be transmitted to up to four additional SDI Paths.
The D9133TTL-E Network Interface Module (with
Ethernet) connects directly to the SDI Bus and
occupies SDI Address 88. For additional information
regarding the specific programming requirements for
enhanced communications, see Sections 2.4 Enhanced
Routing and 6.5 Enhanced Communications.
2.3.5 Programming a Duplicate Report
To allow an event within a group to report to
multiple groups, the event should be Yes for each
route number available. For instance, programming
Fire Alarms for Route Group 1 and Route Group 2
results in the fire alarms first reporting to Route
Group 1 followed by a duplicate report to Route
Group 2.
2.3.6 Routing Destination Communication
Failures
When the
R# Primary Device
fails to connect with
the central station after one or two attempts (see
RG# 1 Attempt in
Sectio
n
6.6.1
Route Group
Attempts), the
R# Backup Device
phone number or
SDI Path is attempted. The central station receives
the original event with a COMM FAIL PHONE# =
(1, 2, 3, or 4) if the
R# Primary Device
destination
is a phone number. If the
R# Primary Device
is an
SDI Path, the central station receives the original
event with A COMM FAIL RG# SDI## (SDI Path
1 = 88, SDI Path 2 = 89, SDI Path 3 = 90, SDI Path
4 = 91). When all attempts to both the
R# Primary
Device
and
R# Backup Device
fail, a Comm Fail
RG# Event is generated. Comm Restore Events are
not generated.
2.3.7 Message Prioritization within a Route
Number
The D9412G/D7412G Control Panels meet the
digital reporting requirements for UL 864. Fire
Alarm Events have the highest priority and are
reported first for each group. The next highest
priority events are in the following order: panic,
duress, medical, intrusion alarm, supervisory, and all
troubles and restorals.
0101
0101
0101
To comply with NFPA and UL864, you
must program Route 1 to report only Fire
Alarm Events to ensure the fastest
reporting time.
2.3.8 Dialing Attempts
The D9412G/D7412G Control Panels have a
prompt called
RG# 1 Attempt
(see Section
6.6.1
Route Group Attempts.).
If this item is set to No, the control panel first makes
up to six attempts to make contact using the primary
device within a route group. If unsuccessful, it makes
up to four attempts to make contact using the
backup device before initiating a Comm Fail Report.
When only one destination is programmed, the
control panel makes ten attempts to contact that
destination. Each group takes approximately 10
minutes to go into Comm Fail.
If this item is set to Yes, the control panel only
makes one attempt (instead of two) to contact the
primary device before attempting to contact the
backup device. The route group still makes a total of
ten attempts; however, the
R# Primary Device
makes five attempts and then the
R# Backup
Device
makes five attempts.

D9412G/D7412G | Program Entry Guide | 2.0 9000MAIN EN | 17
Bosch Security Systems | 1/04 | 47775E
Route #
Default: 1
Selection: 1 to 4
1 First group sent
2 Second group sent
3 Third group sent
4 Fourth group sent
Enter the number specifying the route group to
program. The route represents the group you wish to
send a group of reports. The groups are prioritized. 1
is the first group to report and 4 is the last group to
report. Each group has a primary and a backup
device. The primary device is the first (most
important) destination used to reach the
programmed route within this group. The backup
device is used if the primary device fails.
R# Primary Device
Default: Blank
Selection: Blank, 1 to 4
1 Phone 1 or SDI Path 1 is this group’s
primary destination.
2 Phone 2 or SDI Path 2 is this group’s
primary destination.
3 Phone 3 or SDI Path 3 is this group’s
primary destination.
4 Phone 4 or SDI Path 4 is this group’s
primary destination.
Enter the number specifying the primary device.
R# Backup Device
Default: Blank
Selection: Blank, 1 to 4
1 Phone 1 or SDI Path 1 is this group’s
backup destination if the primary
destination fails.
2Phone 2 or SDI Path 2 is this group’s
backup destination if the primary
destination fails.
3 Phone 3 or SDI Path 3 is this group’s
backup destination if the primary
destination fails.
4 Phone 4 or SDI Path 4 is this group’s
backup destination if the primary
destination fails.
Enter the number specifying the backup device. The
backup device is used when the primary device fails
to reach the programmed destination.
View Events?
Default: No
Selection: Yes or No
Yes Access each routing group and
program individual events for this
route group only (D5200).
No Continue programming without
viewing individual groups.
The D5200 Programmer reveals the following sub-
prompts. Leaving
View Events?
as No allows the
user to ignore a large area of programming that
might not need to be changed.

D9412G/D7412G | Program Entry Guide | 2.0 9000MAIN EN | 18
Bosch Security Systems | 1/04 | 47775E
Fire Reports
Selecting Yes enables a report to be sent when the
event occurs.
Table 9: Diagnostic Reports
Report Selections Description
R# Fire Alarm Yes, No Reports Fire Event.
R# Fire Restore
(Alarm)
Yes, No Reports fire restoral
from alarm.
R# Fire Missing Yes, No Reports missing Fire
point.
R# Fire Trouble Yes, No Reports fire trouble.
R# Fire
Supervis
Yes, No Reports fire
supervision.
R# Fire Restore
(T/M/S)
Yes, No Reports fire restoral
from trouble,
missing, or bypass.
R# Fire Cancel Yes, No Reports canceled
fire alarm.
R# Fire Sup
Miss
Yes, No Report fire
supervisory missing.
R# Fire Supv
Rest*
Yes, No Reports restorals
from Fire
Supervision.
* This event is not reported when using BFSK format.
Burglar Reports
Selecting Yes enables sending a report when the
event occurs.
Table 10: Burglar Reports
Report Selections Description
R# Alarm Yes, No Report Burglar Alarm
Event.
R# Burg
Restore
Yes, No Reports non-fire
restoral from trouble,
missing, or
supervisory.
R# Duress Yes, No Duress Report.
R# Missing
Alarm
Yes, No Reports missing
Alarm point.
R# Usr Code
Tmpr
Yes, No Reports user code
tamper.
R# Trouble Rpt Yes, No Reports Trouble
Event.
R# Missing Trbl Yes, No Reports Missing
Trouble Event.
R# Non Fire
Suprv
Yes, No Reports Non-fire
Supervision Event.
R# Pt Bus Fail Yes, No Reports point bus
failure.
R# Pt Bus Rstl Yes, No Reports restoral of
point bus after failure.
R# Non Fire
Cncl
Yes, No Reports canceled
non-fire alarm.
R# Alarm
Restore
Yes, No Reports non-fire
restoral from alarm.
R# Sup Missing Yes, No Reports supervisory
missing.
R# Unverfied
Evt†*
Yes, No Reports Unverified
Events for Cross
points.
† This event is not reported when using BFSK format.
* This event does not produce a corresponding Restoral
Event.
0101
0101
0101
The Unverified Event is transmitted when a
single point programmed in Cross Point
Group faults into an alarm condition then
restores before the Cross Point Time
elapses. This event encompasses both
Fire and Non-fire points. It is not, however,
related to the Verify Time used for smoke
detectors.

D9412G/D7412G | Program Entry Guide | 2.0 9000MAIN EN | 19
Bosch Security Systems | 1/04 | 47775E
Restoral Reports are not sent if the
control panel is reset after a point is
bypassed and then the point is
unbypassed. This is true for both Fire and
Non-fire points.
The 9000 Series Control Panels log a
Ground Fault Event as Trouble Point 256.
User Reports
Selecting Yes enables a report to be sent when the
event occurs.
Table 11: User Reports
Report Selections Description
R# Point
Bypass
Yes, No Reports Point
Bypass Event.
R# Forced
Point
Yes, No Reports Forced
Point Event.
R# Point Open Yes, No Reports Point
Opening Event.
R# Point Close Yes, No Reports Point
Closing Event.
R# Forced Arm Yes, No Reports point forced
armed.
R# Fail To
Open
Yes, No Reports Fail to
Open Event.
R# Fail To
Close
Yes, No Reports Fail to
Close Event.
R# Ext Clos Tm Yes, No Reports Extend
Close Time Event.
R# Opening
Rpt
Yes, No Reports Opening
Events.
R# Forced
Close
Yes, No Reports Point
Forced Close Event
R# Closing Rpt Yes, No Reports Closing
Events.
R# FC Perim
Inst
Yes, No Reports Forced
Close Perimeter
Instant Armed Event.
R# FC Perim
Delay
Yes, No Reports Forced
Close Perimeter
Delay Armed Event.
R# Perim Inst
Arm
Yes, No Reports Perimeter
Instant Armed Event.
R# Perim Delay
Arm
Yes, No Reports Perimeter
Delay Armed Event.
R# Send User
Text
Yes, No Reports user text.

D9412G/D7412G | Program Entry Guide | 2.0 9000MAIN EN | 20
Bosch Security Systems | 1/04 | 47775E
Test Reports
0101
0101
0101
To send a single Test Report (R# Test
Report), enable Sked Function Code #9
(Test Report) in the Skeds section of the
program.
To expand this Test Report to include any
off-normal point condition or other off-
normal conditions of events listed in Diag
Reports as a Non-status Event following a
Test Report, Expand Test Rpt in Section
2.2 Phone Parameters must be
programmed Yes.
Events R# Log Threshold, R# Log
Overflow, and R# RAM Fail are added to
the reports sent with Expanded Test
Reports if they are enabled in RAM Reports
and Expand Test Rpt is also enabled.
To initiate a Status Report, which includes
all R# S: ____ Events as a Status Event (as
opposed to a Non-status Event), Sked
Function Code #10 must be enabled in the
Skeds section of the program.
Reporting off-normal conditions as a Status
Report following a Test Report is required
by some automation systems. Reporting off-
normal conditions as a Non-status Report,
which follows a Test Report, is required for
other automation systems.
An off-normal condition is any point which is
missing, trouble, supervisory, or in alarm (as
opposed to normal). Also, points not
cleared at the command center report as
off-normal.
Control Panels with Firmware version 6.30
or higher can generate an Expanded Off-
Normal Test Report by using Sked Function
Code 28 or a Non-Expanded Off-Normal
Test Report using Sked Function Code 29.
To generate this event, one or more points
must be in an off-normal state at the time
the Sked executes. Expanded Off-Normal
Test Reports include the Off Normal Test
Report Event as well as events for any
points that are in an off-normal state at the
time the report is generated. Non-Expanded
Off-Normal Test Report Events are only
sent when a point is in the off-normal state
but only sends the Off Normal Test Report
Event.
Table 12: Test Reports
Report Selections Description
R# S: Alarm Yes, No Status Alarm Report
R# S: Trouble Yes, No Status Trouble
Report
R# S:
Supervised
Yes, No Status Supervised
Report
R# Status
Report
Yes, No Status Report
R# S: Open Yes, No Status Open Report
R# S: Close Yes, No Status Close Report
R# Test Report Yes, No Test Report
R# S: Perim
Inst
Yes, No Status Perimeter
Instant Arm Report
R# S: Perim
Delay
Yes, No Status Perimeter
Delay Arm Report
R# S: Fire Supv Yes, No Status Fire
Supervision Report
R# S: Fire
Alarm
Yes, No Status Fire Alarm
Report
R# S: Fire Trbl Yes, No Status Fire Trouble
Report
R# S: Msng
Fire
Yes, No Status Fire Missing
Report
R# S:
MsngBurgTr
Yes, No Status Burg Missing
Trouble Report
R# S:
MsngBurgAl
Yes, No Status Burg Missing
Alarm Report
R# S:
FireSpMsng
Yes, No Status Fire
Supervision Missing
Report
R# S:
SuperMsng
Yes, No Status Non-fire
Supervision Missing
Report
R# S:
DrLeftOpen
Yes, No Status Door Left
Open Report
Diag Reports
Selecting Yes enables sending a report when the
event occurs. If the off-normal state of the following
events (indicated with an *) still exist, they report
when a Test Report (see the
Test Reports
sub-
prompt in Section 2.3.8 Dialing Attempts) is initiated
and Expanded Test Rpt is programmed Yes.

D9412G/D7412G | Program Entry Guide | 2.0 9000MAIN EN | 21
Bosch Security Systems | 1/04 | 47775E
Table 13: Diagnostic Reports
Report Selections Description
R# SDI Dev Fail*Yes, No Reports SDI device
failure.
R# SDI Dev Restl Yes, No Reports restoral of SDI
device failure.
R# Watchdog
Rset Yes, No Reports Watchdog
Reset Event.
R#
ParaChksmFail Yes, No Reports parameter
checksum failure.
R# Reboot Yes, No Reports Reboot Event.
R# Ph Line Fail*Yes, No Reports failure of phone
line.
R# Ph Line Rstl Yes, No Reports restoral of
phone line after failure.
R# AC Fail*Yes, No Reports failure of AC
power to control panel.
R# AC Restorl Yes, No Reports restoral of AC
power to control panel
after failure.
R# Batt Missing*Yes, No Reports Battery Missing
Detection Event.
R# Battery Low*Yes, No Reports low battery
power.
R# Battery Rstl Yes, No Reports restoral of
battery power to control
panel after Missing or
Low Event.
R# Rt Comm
Fail*1Yes, No Reports failure to send
report to specific route.
R# Rt Comm Rstl Yes, No Reports restoral of
communication to
specific route after a
failure.
R# Checksum
Fail Yes, No Reports Checksum Fail
Event.
R# Network Fail2Yes, No Reports failure of
network.
R# Network
Rest2
Yes, No Reports restoral of
network.
R# Network
Cond2
Yes, No Reports condition of
network.
1 This event covers Comm Fail Route Group and Comm
Fail Phone. If enabled, both events are sent; if disabled,
neither event is sent.
2 This event reserved for future use.
0101
0101
0101 Only turn on Rt Comm Fail and Rt Comm
Restore in one route group.
Relay Reports
Selecting Yes enables sending a report when the
event occurs.
Table 14: Relay Reports
Report Selections Description
R# Sensor
Reset
Yes, No Reports Sensor
Reset Event.
R# Relay Set Yes, No Reports Relay
Set Event.
R# Relay Reset Yes, No Reports Relay
Reset Event.
When activating an on-board relay using
PC9000, the 9000 Series Control Panel
logs and prints the event as Relay 250
(Relay A), Relay 251 (Relay B), and Relay
252 (Relay C).
AutoFunc Reports
The following prompts support customized routing
of Auto Function Reports. Selecting Yes enables a
report to be sent when the event occurs.
Table 15: Auto-Function Reports
Report Selections Description
R# Sked
Executed
Yes, No Reports Sked
Executed Event.
R# Sked
Changed
Yes, No Reports Sked
Changed Event.
R# Execute Fail Yes, No Reports a Fail to
Execute Event.

D9412G/D7412G | Program Entry Guide | 2.0 9000MAIN EN | 22
Bosch Security Systems | 1/04 | 47775E
RAM Reports
Selecting Yes enables sending a report when the
RAM Passcode Event occurs.
RAM Access Fail can indicate a
wrong RAM passcode when
communicating with the control panel, or a
valid RAM session was terminated by a
means other than a Good-bye or Reset-
bye command. Remote Reset indicates
a Reset-bye command issued from RAM,
Bad Call to RAM indicates the control
panel called RAM but was unable to
connect.
Table 16: RAM Reports
Report Selection
s
Description
R# Log
Threshold
Yes, No Reports Event log
threshold reached.
R# Log
Overflow
Yes, No Reports Log is full,
old events are
overwritten.
R# Para
Changed
Yes, No Reports RAM
Parameter Change
Event.
R# RAM OK Yes, No Reports Successful
RAM Access Event.
R# RAM Fail Yes, No Reports Failed
Access RAM Event.
R# Remote
Reset
Yes, No Reports Remote
Reset Event.
R# Program
OK
Yes, No Reports Successful
Laptop Access
Event.
R# Program
Fail
Yes, No Reports Failed
Laptop Access
Event.
Point Reports
Selecting Yes enables a report to be sent when the
event occurs.
Table 17: Point Reports
Report Selections Description
R# Service
Start
Yes, No Reports Service
Walk Test Start
Event.
R# Service End Yes, No Reports Service
Walk Test End
Event.
R# Fire Walk St Yes, No Reports Fire Walk
Start event.
R# Fire Walk
End
Yes, No Reports Fire Walk
End Event.
R# Walk Test
St
Yes, No Reports Walk Test
Start Event for Walk
Test and Invisible
Walk Test.
R# Walk Test
End
Yes, No Reports Walk Test
End Event for Walk
Test and Invisible
Walk Test.
R# Extra Point Yes, No Reports Extra Point
Event.
R# Send Point
Text*
Yes, No Reports point text.
R# RF Low Bat Yes, No Reports low battery
conditions for RF
points.
R# RF Low Bat
Res
Yes, No Reports low battery
restoral conditions
for RF points.
* Point text is always transmitted when using
NetCom applications.

D9412G/D7412G | Program Entry Guide | 2.0 9000MAIN EN | 23
Bosch Security Systems | 1/04 | 47775E
User Chng Reports
Selecting Yes enables a report to be sent when the
event occurs.
Table 18: User Change Reports
Report Selections Description
R# Date
Changed
Yes, No Reports Date
Change Event.
R# Time
Changed
Yes, No Reports Time
Change Event.
R# Delete
User*
Yes, No Reports Delete User
Code Event.
R# User Code
Chg
Yes, No Reports User
Passcode Add or
Change Event.
R# Area Watch Yes, No Reports area watch
start and watch end.
R# Card
Assigned
Yes, No Reports Card
Assigned to User
Event.
R# Change
Level
Yes, No Reports Access
Control Level
Change Event.
* With R# Delete User Events, the control panel
always uses the account number from Area 1.
Access Reports
Selecting Yes enables a report to be sent when the
event occurs.
Access Granted, No Entry, Request to
Enter (RTE) and Request to Exit (REX)
Events may be turned on or off by each
D9210B.
Table 19: Access Reports
Report Selections Description
R# Access
Granted
Yes, No Reports Access
Granted Event.
R# No Entry Yes, No Reports No Entry
Event.
R# Door Lt
Open
Yes, No Reports Door Left
Open Event.
R# Cycle
Door
Yes, No Reports Open Door
Event.
R# Door
Unlocked
Yes, No Reports Unlock Door
Event.
R# Door
Secure
Yes, No Reports Secure Door
Event.
R# Door
Request
Yes, No Reports RTE or REX
Event.
R# Door
Locked
Yes, No Reports Locked Door
Event.
2.4 Enhanced Routing
Enhanced routing allows the control panels to
determine whether events are routed over standard
telephone lines and/or a local/wide area network
(LAN/WAN). To send events over a LAN/WAN, a
D9133TTL-E (SDI-Network Interface Module) is
required. Additionally, enhanced routing
enables/disables the control panel’s ability to send
events to a numeric pager. If the installation does
not require these applications, skip this section.
With enhanced routing, whether you use standard
telephone lines or the D9133TTL-E, you can select
full or partial groups of events to be reported to up
to four different destinations. Routing includes
choosing the most important destination, whether
events report to a single or multiple destinations, and
if the events fail, the backup destination used.
2.4.1 Programming a Primary and Backup
Destination
Each route number has an
R# Primary Device
and
an
R# Backup Device
. With the addition of
enhanced communications, the
R# Primary Device
destination can be either the phone number or the
path number IP address to which the route group
first attempts to send the event. If the
R# Primary
Device
destination fails to connect to the central
station receiver after one or two attempts (see also
RG# 1 Attempt
), the
R# Backup Device
destination is attempted.

D9412G/D7412G | Program Entry Guide | 2.0 9000MAIN EN | 24
Bosch Security Systems | 1/04 | 47775E
2.4.2 Programming a Duplicate Report
To allow an event within a group to report to
multiple groups, the event should be Yes for each
route number available. For instance, programming
Fire Alarms for Route Group 1 and Route Group 2
results in the fire alarms first reporting to Route
Group 1 followed by a duplicate report to Route
Group 2.
Section 2.4 Enhanced Routing determines the route
groups and which destinations within the route
groups use D9133TTL-E Modules for reporting
purposes. A single D9133TTL-E Module can be
used to transmit events to up to four different
destinations.
For example, if you want to send events using Route
Group 1 over a LAN/WAN as your primary
destination, and use a standard telephone line as
your backup destination, you must program the
following sections:
1. Routing (see Section 2.3 Routing)
a. Select Route Group 1
b. Program a 1 for Primary Destination
c. Program a 1 for Backup Destination
d. Enable all applicable events to be included
in Route Group 1.
Phone (see Section 2.1 Phone)
a. Select Phone 1.
b. Program Phone 1 with the applicable central
station receiver phone number.
Enhanced Routing (see Section 2.4 Enhanced Routing)
a. Enter Yes for Route Group 1 Primary SDI.
(Tells the control panel to send the events to
the D9133TTL-E using IP Address 1.)
b. Enter No for Route Group 1 Backup SDI.
(Tells the control panel to use the phone
line to send events if the primary destination
fails after one or two attempts.)
Because you are using an SDI Path to send events,
you must also program the applicable items in
Section 6.5 Enhanced Communications.
If you use a D9133TTL-E as a Primary
Device in any of the route groups, follow
these programming rules:
• Assign IP Address 1 as the Primary
Device in Route Group 1.
• Assign IP Address 2 as the Primary
Device in Route Group 2.
• Assign IP Address 3 as the Primary
Device in Route Group 3.
• Assign IP Address 4 as the Primary
Device in Route Group 4.
The backup device in any route group can
use any phone number or IP address
number.
If the External Modem feature is used,
RG# Primary SDI and RG# Backup SDI
must be set to No. The control panel
supports either enhanced communication
or external modem, but not both at the
same time.
RG# Primary SDI
Default: No
Selection: Yes or No
Determines if the primary destination for Route
Group 1 (2, 3, or 4) is sent to the D913TTL-E.
RG# Backup SDI
Default: No
Selection: Yes or No
This item determines if the backup destination for
Route Group 1 (2, 3, or 4) is sent to the D913TTL-E.
To completely disable Enhanced Routing
over an SDI path, RG#Primary SDI,
RG#Backup SDI, and Enhanced Comm
prompts must all be set to No.
The poll rate entry for the backup SDI path
might need to increase due to the amount
of traffic on the network and/or excessive
signals generated at once. Comm prompts
must all be set to No.

D9412G/D7412G | Program Entry Guide | 2.0 9000MAIN EN | 25
Bosch Security Systems | 1/04 | 47775E
RG# Primary Pager
Default: No
Selection: Yes or No
Determines if this route group sends events to a
numeric pager. To send events to a numeric pager, a
phone number must also be programmed in the
route group’s primary destination.
0101
0101
0101
If programming the control panel to dial a
numeric pager, choose its route group
carefully. If there are any events to transmit
to a central station, be sure to place those
events in a lower numbered route group
class than the events that are in the route
group for the numeric pager.
Numeric Pager Capability
The D9412G/D7412G Control Panels can transmit
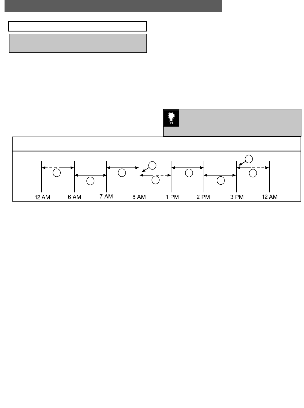
nearly any event to a numeric pager. Any time an
event is generated and routed to a numeric pager,
the control panel attempts to call the numeric pager
once for each message in the queue. To enable the
pager, program both the primary and backup phone
number to the numeric pager’s phone number in
any of the four route groups. Then select which
events are to be routed to the numeric pager within
the route group selected.
When events are sent to a numeric pager, up to four
fields can be displayed in the pager message. See
Figure 1.
Figure 1: Pager Display Fields
[
1234
-
001
-
011
-
008
]
1
2
3
4
1 - Account number (1234)
2 - Event policy (001)
3 - Event number (011, Fire Alarm Event)
4 - User number, point number, or relay number
(008)
The account number must contain four
numeric digits. No alpha characters (B to
F) are allowed when using the numeric
pager.
Programming the Pager Phone Number
To program the pager phone number, enter the
number used to reach the pager, followed by pauses.
Entering C creates a 3-second pause (example:
5552341CCC.)
Experiment with the number of pauses you add after
the page phone number. Each pause equals 3
seconds. Try calling the pager yourself first and
listening to the length of time it takes to get a beep
allowing you to enter touch-tone information. This
length is what you must program after the pager’s
phone number in Section 2.1 Phone. If you need a
longer pause, enter D after the number. Each D
equals to 7 seconds.
Using “#” characters in the phone number can affect
how the event is displayed on the pager:
• No “#” characters in phone number: Dashes
appear in the display [1234-001-011-008].
• One “#” character in phone number: Dashes
are replaced by zeros [1234000100110008].
• Two or more “#” characters in phone
number: Dashes appear in the display [1234-
001-011-008].
For example, if the phone number 2773074#CC
(seven-digit pager phone number followed by “#”
and two pauses) is programmed, the pager message
displays as follows: [1234000100110008] (dashes are
replaced by zeros).
If the “#” is not placed in the phone number, the
message displays as follows: [1234-001-011-008]
Also, a user may not want all four fields to be
displayed in the pager message. “*” characters in the
phone number allow the user to select the number of
fields to be displayed in the pager message. To limit
the number of fields shown in the pager message,
enter the appropriate number of “*” characters in the
phone number as shown below.
• Zero “*” characters in phone number: All
four fields are displayed.
• One “*” character in phone number: First
field only is displayed.
• Two “*” characters in phone number: First
two fields are displayed.
• Three “*” characters in phone number: First
three fields are displayed.
• Four or more “*” characters in phone
number: All four fields are displayed.

D9412G/D7412G | Program Entry Guide | 2.0 9000MAIN EN | 26
Bosch Security Systems | 1/04 | 47775E
For example, the phone number 2773074***CC
(7 digit pager phone number followed by three
asterisks and two pauses) produces the following
pager display: [1234-001-011] (three fields display at
the pager).
Table 20 shows the description of each event, its
priority, and event number.
Table 20: Event Descriptions, Priorities, and
Numbers
Event Description
Event
Priority
Event
Number
Fire Alarm 001 011
Fire Restoral (after Alarm, Supervision) 005 014
Fire Missing 005 013
Fire Trouble 005 012
Fire Supervision 005 124
Fire Restoral (after Tbl, Msg, Bypass) 005 015
Fire Cancel 004 027
Fire Supervision Missing 005 146
Fire Supervision Restore 005 123
Alarm Report 003 016
Burg Restore 006 018
Duress 002 004
Missing Alarm 006 019
User Code Tamper 008 055
Trouble Report 006 017
Missing Trouble 008 020
Non-Fire Supervision 006 078
Point Bus Fail 006 024
Point Bus Restoral 006 091
Non-Fire Cancel 004 045
Alarm Restore 006 026
Supervision Missing 008 147
Unverified Event 006 169
Point Bypass/Command Bypass 007 007
Forced Point 007 008
Point Opening 008 021
Point Closing 008 022
Was Force Armed 007 034
Fail To Open 008 040
Fail To Close 008 041
Extend Close Time 008 044
Opening Report 008 047
Forced Close 007 048
Closing Report 008 050
Table 20: continued
Event Description
Event
Priority
Event
Number
Forced Close Perim Instant 007 084
Forced Close Perim Delay 007 085
Perimeter Instant Armed 008 088
Perimeter Delay Armed 008 089
Send User Text n/a n/a
S: Alarm n/a n/a
S: Trouble n/a n/a
S: Supervision n/a n/a
Status Report 008 035
S: Open n/a n/a
S: Close n/a n/a
Test Report 008 051
S: Perimeter Instant n/a n/a
S: Perimeter Delay n/a n/a
S: Fire Supervision n/a n/a
S: Fire Alarm n/a n/a
S: Fire Trouble n/a n/a
S: Missing Fire (Trouble) n/a n/a
S: Missing Burglary ((Trouble) n/a n/a
S: Missing Burglary (Alarm) n/a n/a
S: Fire Supervision Missing n/a n/a
S: Burglary Supervision Missing n/a n/a
S: Door Left Open n/a n/a
SDI Device Failure* 004 070
SDI Device Restoral* 008 071
Watchdog Reset 004 077
Parameter Checksum Fail n/a n/a
Reboot 008 082
Phone Line Fail 004 068
Phone Line Restoral 008 069
AC Failure 004 072
AC Restoral 008 073
Battery Missing 004 074
Battery Low 004 075
Battery Restoral 008 076
Route Comm Fail 004 066
Route Comm Restore 008 067
Checksum Fail n/a n/a
Sensor Reset 007 031
Relay Set 007 032
Relay Reset 007 033
Sked Executed 007 057
Sked Changed 007 058
Fail to Execute 008 151
Event Log Threshold 008 052
Event Log Overflow 008 053
* SDI Device number is not reported when using pager format.

D9412G/D7412G | Program Entry Guide | 2.0 9000MAIN EN | 27
Bosch Security Systems | 1/04 | 47775E
Table 20: continued
Event Description
Event
Priority
Event
Number
Parameters Changed 008 054
RAM Access OK 008 064
RAM Access Fail 008 065
Remote Reset 008 079
Program Access OK n/a n/a
Program Access Fail n/a n/a
Service Start 008 029
Service End 008 030
Fire Walk Start 008 036
Fire Walk End 008 037
Walk Test Start 008 038
Walk Test End 008 039
Extra Point 008 023
Send Point Text n/a n/a
RF Low Battery 006 093
RF Battery Restore 006 094
Date Changed 008 059
Time Changed 008 060
Delete User 008 090
User Code Change 008 056
Area Watch 008 042
Card Assigned 008 110
Change Level 007 061
Access Granted 008 003
No Entry 008 115
Door Left Open 008 116
Cycle Door 008 112
Door Unlocked 008 113
Door Secure 008 114
Door Request 008 117
Door Locked 008 145
User Alarm COMMAND 7 002 005
User Alarm COMMAND 9 002 006
2.5 Power Supervision
AC Fail Time
Default: 15
Selection: 1 to 90 (Blank and 0 are invalid)
Program the amount of time that AC power must be
off before the control panel responds to the AC
failure. Beginning with version 6.20 and higher,
changes were made as to how AC Fail Events are
generated. See the following information to
determine the available options. The response to
restoral of AC power is delayed for the same amount
of time. The control panel always monitors AC.
When you program
AC Fail Time
, if the second
digit is:
• 1, 3, 5, 7, or 9 (such as 3, 5, 11, 13, 15, 21, and
so on): The
AC Fail Time
interval is in minutes.
• 2, 4, 6, 8, or 0 (such as 2, 4, 6, 10, 12, 20, 22,
and so on): The AC Fail Time interval is in
seconds.
For the following items to be true,
AC Fail/Res Rpt
must be programmed as Yes and
AC Tag Along
must be programmed as No.
When you program
AC Fail Time
, if the second
digit is:
• 1, 3, or 5 (such as 3, 5, 11, 13, 15, 21, and so
on): The AC Fail Time interval is in minutes
and an AC Fail Event is transmitted after the
loss of AC for this amount of time.
No additional AC Fail Events are transmitted
after 6 hours or 12 hours.
• 2, 4, or 6 (such as 2, 4, 6, 12, 14, 16, 22, 24, 26,
and so on): The AC Fail Time interval is in
seconds and an AC Fail Event is transmitted
after the loss of AC for this amount of time.
No additional AC Fail Events are transmitted
after 6 or 12 hours.
• 7 (such as 7, 17, 27, 37, and so on): The AC
Fail Time interval is in minutes and an AC Fail
Event is transmitted after the loss of AC for this
amount of time.
An additional AC Fail Event is transmitted after
6 hours if the AC Fail condition is still present.
• 8 (such as 8, 18, 28, 38, and so on): The AC
Fail Time interval is in seconds and an AC Fail
Event is transmitted after the loss of AC for this
amount of time.
An additional AC Fail Event is transmitted after
6 hours if the AC Fail condition is still present.

D9412G/D7412G | Program Entry Guide | 2.0 9000MAIN EN | 28
Bosch Security Systems | 1/04 | 47775E
• 9 (such as 9, 19, 29, 39, and so on): The AC
Fail Time interval is in minutes and an AC Fail
Event is transmitted after the loss of AC for this
amount of time.
An additional AC Fail Event is transmitted after
12 hours if the AC Fail condition is still present.
• 0 (such as 10, 20, 30, and so on): The AC Fail
Time interval is in seconds and an AC Fail
Event is transmitted after the loss of AC for this
amount of time.
An additional AC Fail Event is transmitted after
12 hours if the AC Fail condition is still present.
For the following items to be true,
AC Fail/Res Rpt
must be programmed as No and
AC Tag Along
must also be programmed as No.
When you program
AC Fail Time
, if the second
digit is:
• 1, 3, or 5 (such as 3, 5, 11, 13, 15, 21, and so
on): The AC Fail Time interval is in minutes.
No AC Fail or AC Restoral Events are
transmitted.
• 2, 4, or 6 (such as 2, 4, 6, 12, 14, 16, 22, 24, 26,
and so on): The AC Fail Time interval is in
seconds. No AC Fail or AC Restoral Events are
transmitted.
• 7 (such as 7, 17, 27, 37, and so on): The AC
Fail Time interval is in minutes. An AC Fail
Event is only transmitted after 6 hours if the AC
Fail condition is still present.
• 8 (such as 8, 18, 28, 38, and so on): The AC
Fail Time interval is in seconds. An AC Fail
Event is only transmitted after 6 hours if the AC
Fail condition is still present.
• 9 (such as 9, 19, 29, 39, and so on): The AC
Fail Time interval is in minutes. An AC Fail
Event is only transmitted after 12 hours if the
AC Fail condition is still present.
• 0 (such as 10, 20, 30, and so on): The AC Fail
Time interval is in seconds. An AC Fail Event is
only transmitted after 12 hours if the AC Fail
condition is still present.
Firmware versions 6.20 and higher: To
eliminate AC Reporting, AC Tag Along
and AC Fail/Res Rpt must be
programmed No and the second digit of
the AC Fail Time must be a 1, 2, 3, 4, 5, or
6.
Firmware versions 6.10 and lower: To
eliminate AC Reporting, AC Tag Along
and AC Fail/Res Rpt must be
programmed No.
Firmware versions 6.10 and lower: To
eliminate AC Reporting, AC Tag Along
and AC Fail/Res Rpt must be
programmed No.
AC Fail/Res Rpt
Default: No
Selection: Yes or No
Yes Send AC Fail and AC Restoral
Reports.
No Does not send AC Fail and AC
Restoral Reports.
AC Power Supervision Reports are sent to the
central station and local printer at the time
programmed for
AC Fail Time
.
0101
0101
0101
To comply with NFPA standards and UL
864 requirements for commercial fire
systems, program this item as No and
program AC Tag Along as Yes. AC
Restoral Reports are not transmitted.
AC Tag Along
Default: Yes
Selection: Yes or No
Yes Send AC messages as tag along events.
No Do not send AC messages as tag along
events.
Send AC Reports only if any other event occurs
while AC is off-normal.
If AC Tag Along is set to Yes and a
subsequent event is generated, the AC
Fail Event is transmitted first, prior to any
subsequent events transmitting.
0101
0101
0101
AC Tag Along is required for NFPA and
UL 864 commercial fire systems. Be sure
to program AC Fail/Res Rpt as No if AC
Tag Along is programmed Yes.

D9412G/D7412G | Program Entry Guide | 2.0 9000MAIN EN | 29
Bosch Security Systems | 1/04 | 47775E
AC/Battery Buzz
Default: No
Selection: Yes or No
Yes Initiates panel-wide trouble tone at all
command centers.
No Does not initiate panel-wide trouble
tone at command centers
Initiate a panel-wide trouble tone at command
centers when AC fails or battery is low or missing.
This program item does not prevent the SERVC AC
FAIL or SERVC BATT LOW displays.
0101
0101
0101
To comply with NFPA standards and UL
864 requirements for commercial fire
systems, program this item as Yes.
De-selecting individual command centers
for panel-wide trouble tones: Panel-wide
trouble tones for programming the CC
Trouble Tone in the command center
parameters to No can turn off individual
command centers [based on their CC# (1
to 8)].
Bat Fail/Res Rpt
Default: Yes
Selection: Yes or No
Battery Failure and Restoral Reports are sent
to the central station. They are routed to the
telephone number programmed for
Power/Phone Events.
Modem
Reports
Missing or
shorted
Discharged
below 12.1 VDC
BATTERY
MISSING
BATTERY LOW
Yes
BFSK
Reports
Missing, shorted
low battery
TROUBLE
ZONE 9
No Battery Failure and Restoral Reports are NOT
sent to the central station.
0101
0101
0101
To comply with NFPA standards and UL
864 requirements for commercial fire
systems, program this item as Yes.
2.6 Printer Parameters
Up to three D9131A Parallel Printer Interface
Modules can be connected to the D9412G’s (one
printer for the D7412G’s) SDI bus. Each printer is
identified by an address of 17, 18, or 19. Options are
available for Routing Reports and area assignments.
Printer Address
Default: 17
Selection: 17, 18, or 19 (only 17 is available for
the D7412G)
Enter the printer address you are programming.
P## Area Assign
Default: 1
Selection: 1 to 8
Assign an area to the printer programmed in
Printer
Address
.
P## Supervised
Default: No
Selection: Yes or No
Yes Only one printer can be installed for
this
P## SDI
address.
No More than one unsupervised printer
can be installed using this
P## SDI
address using the same address DIP
switch setting.
Supervise this SDI address and generate Trouble
SDI ## Reports and local trouble annunciation if a
problem occurs with this printer or the SDI bus.
Unsupervised printers sharing the same
address setting print the same text.
Trouble SDI ## Reports are always
reported as Area 1, Account 1 Events
regardless of where the SDI device is
assigned.

D9412G/D7412G | Program Entry Guide | 2.0 9000MAIN EN | 30
Bosch Security Systems | 1/04 | 47775E
When P## Supervised is set to Yes and
all Printer Event Groups (such as P##
Fire Events, P## Burglar Event, or P##
Usr Chng Evt) are set to No, the control
panel does not generate Trouble SDI ##
Reports for the printer if the D9131A
becomes disconnected.
P## Scope
Default: No Printer
Selection: No Printer, Area, Account, Panel
Wide, Custom
Panel
Wide
Printer prints all designated events that
occur panel-wide. A panel-wide printer
can cross account boundaries.
Account Printer prints all designated events that
occur within any area with the same
account number in which this printer is
assigned.
Area Printer prints all designated events that
occur in the area to which this printer
is assigned.
Custom See the following Programming Tip.
Printer prints all events occurring in
areas programmed Yes for this prompt
regardless of any boundary restrictions.
No Printer No printer installed at this address. If a
printer is connected, data does not
print.
Press the [SPACE ] bar to scroll through the
selections. Press [ENTER] when the correct selection
appears in the display.
0101
0101
0101 The following prompts are visible ONLY
when you program P## Scope to Custom.
P## A1 [through A8] in Scope
Default: No
Selection: Yes or No
Yes Include Area # Events in the scope of
this printer.
No Does not include Area # Events in the
scope of this printer.
Only available if
P## Scope
is programmed
Custom. This program item determines whether
events occurring in an area prints at this printer.
See the report tables in Section 2.3
Routing to identify the events that print.
Events programmed as No in routing still
print at the local printer. Individual events
within the report group cannot be
suppressed for events printed at the local
printer.
P## Fire Events
Default: See
Program Record Sheet
Selection: Yes or No
Yes All events in this group print at this
printer.
No No events in this group print at this
printer.
Use this prompt to determine whether these events
print at this printer.
P## Burglar Event
Default: See
Program Record Sheet
Selection: Yes or No
P## Access Event
Default: See
Program Record Sheet
Selection: Yes or No
P## User Event
Default: See
Program Record Sheet
Selection: Yes or No
P## Test Event
Default: See
Program Record Sheet
Selection: Yes or No
P## Diag Event
Default: See
Program Record Sheet
Selection: Yes or No

D9412G/D7412G | Program Entry Guide | 2.0 9000MAIN EN | 31
Bosch Security Systems | 1/04 | 47775E
P## Auto Functions Event
Default: See
Program Record Sheet
Selection: Yes or No
P## RAM Event
Default: See
Program Record Sheet
Selection: Yes or No
P## Relay Event
Default: See
Program Record Sheet
Selection: Yes or No
P## Point Event
Default: See
Program Record Sheet
Selection: Yes or No
P## Usr Chng Evt
Default: See
Program Record Sheet
Selection: Yes or No
2.7 RAM Parameters
Use these program items to enable Remote Account
Manager (RAM) functions in the control panel using
the on-board phone connection. Two other methods
of remote programming are available (external
modem or LAN/WAN connection) using RAM. See
Section 6.4 SDI RAM Parameters for further
information on these types of remote programming.
2.7.1 Uploading and Downloading Reports
If the control panel is programmed to send reports
in modem format, when RAM makes contact with
the control panel and the passcode is incorrect, the
control panel sends a RAM Access Fail Report to
the D6500/D6600. RAM Access Fail is also
generated when the call is not terminated with either
a Good-bye or Reset-bye command.
RAM ACCESS OK is sent according to phone
routing when a Good-bye command is entered from
RAM to terminate the call.
When a Reset-bye is used to terminate the call, a
Remote Reset Report is sent to the D6500/D6600,
and a RAM ACCESS OK is placed into the control
panel’s event log. Reports in the event log that were
not sent prior to the Reset-bye are never sent to the
D6500/D6600.
When RAM programming changes parameters, a
Parameters Changed Report is sent to the
D6500/D6600. If any programming changes are
made, perform a Reset-bye.
When RAM attempts to make contact with the
control panel, the RAM passcode and DataLock
code are verified. If the control panel passcode
matches and the DataLock code does not, the
control panel still generates a RAM Access OK
Event. However, the session ends immediately.
To disable remote programming, enter Blank in
both
Answer Armed
and
Answer Disarmed
prompts in this section.
2.7.2 Log Threshold Reports
If communication with RAM is not successful, or if
no phone number is programmed in
RAM Ph
, the
control panel generates Log Threshold and Bad Call
to Ram. This indicates the log is filling and the
control panel cannot download its events.
If there is no
RAM Ph
programmed, the control
panel generates the Log Threshold and Bad Call to
RAM Events immediately. Bad Call to RAM Events
are currently logged locally only. If there is a
RAM
Ph
programmed, the control panel makes multiple
attempts to reach RAM before sending the reports.
See the
RAM Ph
prompt in the following section for
an explanation of dialing characteristics.
2.7.3 RAM Callback Reports
When dialing the RAM phone number, the control
panel immediately makes two attempts to reach
RAM. If the control panel does not reach RAM on
the first two attempts, it waits 10 minutes then tries
six more times with a 10-minute interval between
each attempt. One hour after the last failed attempt,
the control panel again starts dialing the RAM
phone number. It immediately makes two more
attempts then waits 10 minutes and tries six more
times with 10-minute intervals between each attempt
before generating a Bad Call to RAM Report and
abandoning the effort.
Remote Program Dialing Exception: When a
RAM phone number is programmed, the user can
call RAM by entering [COMMAND][4][3] and
pressing the [NEXT] key until CALLRAM? is
displayed. Press [ENTER]. When performing this
function, only one attempt is made to contact RAM.

D9412G/D7412G | Program Entry Guide | 2.0 9000MAIN EN | 32
Bosch Security Systems | 1/04 | 47775E
RAM Passcode
Default: 999999
Selection: 0 to 9, A to F
(six characters required)
Enter six characters. Do not use a space in the
passcode.
The control panel verifies the Remote Account
Manager at the central station has valid access
before connecting using the RAM passcode.
Log % Full
Default: Blank
Selection: 1 to 99, or Blank
This parameter determines how full the memory log
should be before initiating a call to RAM at the
central station. This allows the central station to call
the control panel and copy the memory log before
messages are overwritten.
Blank disables the Log Threshold and Log Overflow
Events. These events are not entered in the log or
reported to the D6500/D6600 or the local printer.
The control panel continues to log events after the
Log Threshold Report is sent. When it reaches 100%
capacity (memory logger is full and previously
stored events are overwritten), the control panel
generates a local Log Overflow Event.
The control panel does not call RAM again until it
downloads the log and the Log % Full percentage is
again reached. These events are also sent to the
control panel’s event log and to the local printer(s) if
installed.
0101
0101
0101
The Log Overflow Event is not sent to the
central station unless Expanded Test Rpt
is programmed Yes.
RAM Call Back
Default: No
Selection: Yes or No
Yes When the control panel hears the
proper RAM passcode, it hangs up the
phone, seizes the phone line, then dials
the programmed RAM phone number
(see the
RAM Ph
prompt in this
section). This ensures that the control
panel only communicates with RAM
units connected to the programmed
phone number.
No The RAM session is initiated
immediately. No call back is required.
The control panel can engage in RAM
sessions when called from any phone
number and a proper RAM passcode
is identified.
This function allows the control panel, after it
verifies the RAM passcode, to provide an additional
level of security by hanging up and dialing the RAM
phone number at the central station before allowing
any upload or download.
0101
0101
0101
When using the RAM Call Back feature,
be sure to program the character “C” as
the last digit in the RAM phone number
when using DTMF Dialing.
RAM Line Monitor
Default: Yes
Selection: Yes or No
Yes Allows the control panel to
communicate with RAM after the
answering machine answers the phone.
No Program No if the control panel is not
sharing the phone line with an
answering machine.
This program item enables a control panel, which
shares a phone line with an answering machine, to
communicate with RAM at the central station even
though the answering machine answers the phone.
You must program
Answer Armed
and/or
Answer
Disarmed
. The control panel must be in the proper
armed state.

D9412G/D7412G | Program Entry Guide | 2.0 9000MAIN EN | 33
Bosch Security Systems | 1/04 | 47775E
0101
0101
0101
Program this item No if it causes false
seizures of the phone line or if you are not
using RAM (this indicates a device using
the same frequency tone is also using the
phone line to which the control panel is
connected).
If RAM Call Back is programmed Yes, the
control panel hangs up the phone after
the RAM tone and a proper RAM
passcode is identified. It then calls the
RAM phone number.
Answer Armed
Default: See
Program Record Sheet
Selection: 1 to 15, or Blank
Blank No answer.
1 to 15 The control panel answers the phone
after the specified number of rings
when all areas are master armed.
Set the telephone ring counter to answer when all
areas are master armed. If any area in the control
panel is perimeter armed or disarmed, the Answer
Disarmed ring counter is used.
The RAM considers perimeter armed as a
disarmed state.
Answer Disarmed
Default: See
Program Record Sheet
Selection: 1 to 15, or Blank
Blank No answer.
1 to 15 The control panel answers the phone
after the specified number of rings
when any area in the system is in a
perimeter armed or disarmed state.
Set telephone ring counter to answer when any area
is in a perimeter armed or disarmed state.
The RAM considers perimeter armed as a
disarmed state.
Ram Ph
Default: Blank
Selection: Up to 24 characters
Blank Control panel does not dial a phone
number for RAM.
This is the phone number the control panel dials to
contact RAM. The control panel dials the
programmed number on
Phone #5
(
RAM Ph #
)
when the following events occur:
• Log % Full threshold is achieved.
If Log % Full was programmed with a
value (1 to 99) and a RAM phone number
is programmed, the control panel dials the
RAM phone number when the log
threshold is reached. This function is not
available in RPS. Do not program Log %
Full and RAM phone number at the same
time.
• The control panel is contacted by RAM and
RAM Call Back is programmed Yes.
• COMMAND 43 is initiated and the user selects
Call RAM option.
Enter up to 24 characters to define dialing
characteristics.
See Phone 1 in Section 2.1 Phone.
Remote Program Dialing Exception:
When a RAM phone number is
programmed, the user can call RAM by
pressing [COMMAND][4][3] then [NEXT]
until CONTACT RAM? displays, then press
[ENTER]. At this point, the user can press
[ENTER] when RAM VIA PHONE? is
displayed. When performing this function,
only one attempt is made to contact RAM.

D9412G/D7412G | Program Entry Guide | 2.0 9000MAIN EN | 34
Bosch Security Systems | 1/04 | 47775E
2.8 Miscellaneous
Duress Type
Default: 1
Selection: 1 or 2
1 Add 1 to the last digit to generate an alarm. For
example, if the passcode is 6123, 6124 triggers a
duress alarm.
If the last digit of the passcode is 0, a duress
alarm is generated when the user enters 1 as the
last digit of the passcode.
If the last digit of the passcode is 9, a duress
alarm is generated when the user enters 0 as the
last digit of the passcode.
2Add 2 to the last digit to generate an alarm. For
example, if the passcode is 6123, 6125 triggers a
duress alarm.
If the last digit of the passcode is 8, a duress
alarm is generated when the user enters 0 as the
last digit of the passcode.
If the last digit of the passcode is 9, a duress
alarm is generated when the user enters 1 as the
last digit of the passcode.
This program item determines whether users add
one (+1) or two (+2) to the last digit of the passcode.
To activate a duress alarm, the user increases the
value of the last digit of their passcode when
entering it at the command center.
Duress is enabled/disabled by area in
Area Parameters.
The duress alarm is activated when a user
enters the duress combination followed by
the termination keys ([ESC] or [ENT]).
Cancel Report
Default: No
Selection: Yes or No
Yes Send Cancel and Fire Cancel Reports
according to routing.
No Do not send Cancel and Fire Cancel
Reports.
Use this program item to control whether or not
Cancel and Fire Cancel Reports are sent.
A Cancel and Fire Cancel Report is created when a
passcode is entered to silence an Alarm Bell or a
Fire Bell before the bell time expires.
2.9 Area Parameters
This programming module contains three
programming categories: Area Parameters, Bell
Parameters, and Open/Close Options.
2.9.1 Area Parameters
Area
Default: 1
Selection: 1 to 8
Enter the area number you are programming.
A# Area On
Default: Yes (Area 1 only)
Selection: Yes or No
Yes Area is enabled.
No Area is disabled.
Use this program item to enable or disable the area
specified.
0101
0101
0101
1. When programmed No, points
assigned to this area do not generate
events.
Command centers with Area scope
which are assigned to this area
display AREA # DISABLED.
When arming and disarming, this area
number is not displayed at control
centers with the scope to view this
area.
Status for this area is not reported
with Status Reports.
All user authority in this area is turned
off while the area is disabled.
2. Area 1 must be enabled: System
events such as power and phone
supervision do not report properly if
Area 1 is disabled.

D9412G/D7412G | Program Entry Guide | 2.0 9000MAIN EN | 35
Bosch Security Systems | 1/04 | 47775E
A# Acct Number
Default: 0000
Selection: For BFSK: 0000 to 0999,
0BBB to 0FFF
For Modem (four-digit account
numbers): 0000 to 9999,
BBBB to FFFF
For Modem (ten-digit account
numbers): 0000000000 to
9999999999, BBBBBBBBBB to
FFFFFFFFFF
Determines the account number reported for this
area. An account number must be assigned to each
active area.
Account numbers are used to group areas together.
Each area can have a different account number, or
several areas may share the same account number.
The control panel uses the account number as a
reference for arming and command center text
displays.
BFSK: Only the last three digits are transmitted.
Insert a 0 as the first digit of the account number.
Example: 0 2 3 4.
Modem IIIa2: Enter a four-digit or ten-digit number.
2.9.2 Programming Account Numbers in 9000
Series Control Panels, versions 6.20 and
Higher
The 9000MAIN version 1.12 handler and version
6.20 firmware and higher now can program a four-
digit or ten-digit account number for each area.
Programming Four-Digit Account Numbers
To properly program a four-digit account number
(such as 1234) using the D5200 Programmer, you
must enter leading 0s (zeroes) in Digits 1 to 6, and
then enter 1234 into Digits 7 to 10. When 0s are
entered for the first six digits (Digits 1 to 6), the 9000
Series Control Panel treats this as a four-digit
account number. See Table 21.
Table 21: Programming Four-Digit Account
Numbers
D5200 Programmer
A# Acct# Dgt 1&2 0 0
A# Acct# Dgt 3&4 0 0
A# Acct# Dgt 5&6 0 0
A# Acct# Dgt 7&8 1 2
A# Acct# Dgt 9&10 3 4
The D5200 account number entry shown in Table 21
appears in RPS as 1234.
Although the D5200 allows the character
“A” to be entered into the account, do
NOT use this character for the account
number.
Any account number digits containing “A”
for digits 1 to 6 that were uploaded to and
received by RPS are NOT displayed.
If an “A” was erroneously sent to the
control panel from the D5200 for any of
Digits 1 to 6, this can be corrected by:
• Entering six leading 0s from the
D5200 and sending them to the
control panel.
• Entering six leading 0s from RPS,
followed by the four-digit account
number, and sending them to the
control panel.
Programming Ten-Digit Account Numbers
To properly program a ten-digit account number
(such as 1122334455) using the D5200 Programmer,
you must enter a character for each of the ten digits.
See Table 22:
Table 22: Programming Ten Digit Account
Numbers
D5200 Programmer
A# Acct# Dgt 1&2 1 1
A# Acct# Dgt 3&4 2 2
A# Acct# Dgt 5&6 3 3
A# Acct# Dgt 7&8 4 4
A# Acct# Dgt 9&10 5 5
The D5200 account number entry shown in Table 22
appears in RPS as shown in Figure 2.

D9412G/D7412G | Program Entry Guide | 2.0 9000MAIN EN | 36
Bosch Security Systems | 1/04 | 47775E
Figure 2: Account Number Entry
22 33 44 5511
23 4 5 6 7
1
1 - RPS account number entry
2 - Corresponding D5200 account number digits
3 - Digits 1 and 2
4 - Digits 3 and 4
5 - Digits 5 and 6
6 - Digits 7 and 8
7 - Digits 9 and 10
Although the D5200 allows the character
“A” to be entered into the account, do
NOT use this character for the account
number.
Make sure your central station receivers
(D6500 MPU version 1.06 or D6600 CPU
version 01.01.04) and your automation
software are compatible with ten-digit
account numbers before programming a
ten-digit account number in a 9000 Series
control panel.
A# FA Bypass Max
Default: 1
Selection: 1 to 99
Specify the maximum number of combined
Controlled points that can be faulted or bypassed
when arming this area.
See the prompts
P## FA Retrnable
and
P## BA
Retrnable
in Section 4.1.1 Point Responses for
returning a point to the system when the point
returns to normal or when the area is disarmed.
Users can bypass more points than the
number entered here during the disarmed
state. It is only when the user attempts to
Bypass Arm an area (or areas) that this
restriction is enforced.
0101
0101
0101
Points need Bypassable programmed Yes
to be bypassed or force armed. Force
arming does not bypass 24-hour points.
A# Delay Res
Default: No
Selection: Yes or No
Yes Point Restoral Report is not sent until
the bell time expires or user
acknowledges alarm condition.
No Restoral Reports are sent when point
restores, regardless of bell time.
A# Exit Tone
Default: Yes
Selection: Yes or No
Sound an exit tone during exit delay at all command
centers assigned to this area.
De-selecting individual command
centers for exit tones: Exit tones for
programming the CC Exit Tone as No can
be turned off for individual command
centers (based on their CC# 1 through 8).
A# Exit Dly Time
Default: 60
Selection: Blank (0) to 600 ( in 5 second
increments)
Exit delay time for this area when Master Exit or
Perimeter Exit arming.
Points programmed for instant alarms
generate alarms immediately, even during
exit delay. To prevent instant alarms on
points, the user must cause a fault to leave
the building, program P### Type in the
Point Index as 3 (Interior Follower).

D9412G/D7412G | Program Entry Guide | 2.0 9000MAIN EN | 37
Bosch Security Systems | 1/04 | 47775E
A# Auto Watch
Default: No
Selection: Yes or No
Yes When the area is disarmed, Watch
Mode turns on automatically.
No When the area is disarmed, Watch
Mode must be turned on or off
manually.
0101
0101
0101
Controlled points must be programmed
as P## Watch Point to generate a watch
tone.
A# Verify Time
Default: 60
Selection: 10 to 60 (in 1-second increments)
Alarm verification is designed for use with smoke
detectors to reduce the number of false fire alarms.
When Verify Time is programmed, the control
panel can double check smoke detector point
activations before generating alarm signals.
DO NOT enable the Cross Point feature
in point indexes designated for Fire points.
Check with your authority having jurisdiction (AHJ)
to determine the maximum verification time
allowed.
Points are programmed individually to activate the
verification feature. See Section 4.1
Point Index. Any
resettable Fire point can activate alarm verification
for the area to which it is assigned. Use separate area
alarm-verification relays.
To enable alarm verification on a point, program
Point Index
, Fire Point, Alarm Verify, and
Resettable as Yes.
When an Alarm Verification point trips, the control
panel automatically removes power to all Resettable
points connected to the area’s Reset Sensors relay.
The sensor reset removes power to the sensors for
the amount of time programmed in Verify Time.
When power is reapplied, a 60-second confirmation
window begins. If the detector is still in alarm, or
trips again during the confirmation window, or if a
different Resettable Verification point in the area
trips, an alarm is generated.
Example: Verify Time is set for 20 seconds. The
alarm verification cycle starts when the detector
trips. No report is generated.
Immediately after the detector trips, the area’s sensor
reset relay interrupts power to points connected to it
for the time in Verify Time.
When power is restored to the points, the 60-second
confirmation window is established. If any detector,
reset during the verification time, trips again during
the confirmation window, an alarm is generated. If
no activity occurs during this period, no alarm is
generated and the verification window ends. If a
Verification point trips again after the window ends,
a new verification cycle begins. See Table 23 for an
example of verify time.
Table 23:Verify Time
Verification Point
Trip
Verify Time/Reset
Sensors
Power removed,
ignore activity
60 second
Confirmation
Generate alarm if
additional activity
received.
Restart Alarm
Verification Cycle if
an Alarm Verification
point trips.
Example: Total
Cycle time 80
seconds
☛■ 20 Seconds ■■■■■■■

D9412G/D7412G | Program Entry Guide | 2.0 9000MAIN EN | 38
Bosch Security Systems | 1/04 | 47775E
A# Duress Enable
Default: No
Selection: Yes or No
Yes Enable Duress alarm for this area.
No Disable Duress alarm for this area.
This entry determines if this area allows duress
alarms to be generated. See the
Duress Type
prompt
in Section 2.8 Miscellaneous for an
explanation of duress.
Setting this item to No for a particular area
and entering a valid duress passcode for
that area at the command center now
displays NO AUTHORITY.

D9412G/D7412G | Program Entry Guide | 2.0 9000MAIN EN | 39
Bosch Security Systems | 1/04 | 47775E
A# Area Type
Default: Regular
Selection: Regular, Master, Associate, or Shared
Regular Arms or disarms as an independent area.
Master Does not allow arming for this area unless all associate areas with the same A# account number are
master exit delay arming or master armed. CHK AREA displays if the associate areas are not armed.
Exception: RPS allows master areas to be armed without all associate areas being in the armed
state.
A master area can be disarmed regardless of the armed state of the other areas in the account.
Multiple master areas can be programmed in a single account.
0101
0101
0101
Programming Tip:
CC# Scope affects master arming
Area: A master area with a CC# Scope Area requires the associate areas
are independently armed, or master exit delay before the master area can arm.
Panel Wide/Account Wide: Upon arming the master area, all associate areas
within the CC# Scope of the master area begins Master Exit Delay Arm. The
shared areas begin.
Using the arming sked (S## Function 1) requires that you first use an arming
sked to arm the associate areas before using an arming sked to arm the master
area. In addition, arming master areas with RAM IV, Keyswitch, or Auto Close
parameters (see Open/Close Options) is allowed to occur before all associate
areas are armed.
Associate Allows arming and disarming regardless of the armed state of the other areas with the same A#
account number. This type of area is used with a master area and is associated by having the same
account number.
Command centers assigned to associate areas, when used in conjunction with
shared areas, should have the CC# Scope programmed to encompass the
shared area.
Shared Shared areas cannot be armed using a passcode, keyswitch, sub-control, sked, or by RAM. Doing so
produces a Watchdog Reset.
The scope of all associate areas must include the shared area(s) in order to view
faulted points.

D9412G/D7412G | Program Entry Guide | 2.0 9000MAIN EN | 40
Bosch Security Systems | 1/04 | 47775E
2.9.3 Shared-Area Characteristics
Arming a Shared Area
Requires all associate areas to be armed. As soon as
the last associate area is armed, the shared area
begins its arming sequence automatically. Passcode,
keyswitch, sub-controls, or RAM cannot arm shared
areas. To display faulted points at associated areas,
the shared and associate areas must have the same
account number.
Disarming a Shared Area
Shared areas automatically disarm when any
associate area in the control panel is disarmed.
Passcode, tokens/cards, keyswitch, sub-controls, or
RAM cannot disarm shared areas.
Shared Area Arming Sequence
When shared areas automatically begin to arm, the
arming is based on the
A# Exit Dly Time
programmed for the area number where the
command center was assigned.
Shared Area Not Ready
If a point is faulted in the shared area, CHK AREA
displays on the associate command center that is
arming the last associate area. Associate area
command centers can display faults from shared
areas as long as the shared areas fall within the scope
of the associate area.
Force Arming a Shared Area
When CHK AREA is displayed, pressing [ESC]
displays FORCE ARM at the associate command
center. Pressing [ENTER] force arms the shared area
if the user has authority to bypass points, the point is
bypassable, AND the number of faulted points does
not exceed the force arm max amount for the shared
area. Remember to include the shared area in the
associate area’s scope.
Viewing Shared Area Armed Status
View Area Status can be used from a command
center outside of the shared area to view the shared
area’s armed state.
Silencing Sounders in the Shared Area
Shared area alarms and troubles can be silenced
from any command center.
To silence sounders, the user needs an authority
level assigned to the shared area. If the user also has
the authority to arm/disarm the area, then ALREADY
ARMED or ALREADY DISARMED momentarily
displays.
Access Control Readers Assigned to the Shared
Area
The shared area momentarily disarms then begins
the exit delay sequence, allowing a user to walk to
an associate area and disarm. If the token/card
reader assigned to the shared area includes any
associate area in the
D## CC# Scope
(in the access
handler), both the associate area and shared area
disarms when the token/card is presented.
Closing Reports for Shared Areas
If Closing Reports for shared areas are required,
passcodes also need a valid authority level assigned
in the shared area.
2.9.4 Bell Parameters
The D9412G/D7412G have two main types of
annunciation: Fire Bell and Burg Bell. Both Fire and
Burg Bells share the same terminal (Terminal 6) on
the control panel as shipped from the factory.
In the event of a simultaneous Fire Bell and Burg
Bell occurrence, the Fire Bell takes precedence over
the Burg Bell regardless of which relay or terminal
output they share.
When the Fire and Burg Bells share the same output
and a Fire Bell occurs while the Burg Bell is ringing,
the Fire Bell pattern overrides the Burg Bell pattern.
At the end of the fire time, the burg pattern resumes.
When the Fire and Burg Bells share the same output
and a Burg Bell occurs while a Fire Bell is sounding,
the control panel waits until the Fire time expires
before starting the Burg Bell.
Either a single bell (panel-wide) or a number of bells
(area) can be used on the control panel. For
programming these applications, see Section 2.13.1
Area Relays.
When both Fire and Burg Bells occur simultaneously
and a user enters a valid passcode, a Fire Cancel
Report for the fire alarm and a Cancel Report for
the burg alarm reports to the central station if
Cancel Reports is programmed Yes.
Area
Default: 1
Selection: 1 to 8
Enter the area number you are programming.

D9412G/D7412G | Program Entry Guide | 2.0 9000MAIN EN | 41
Bosch Security Systems | 1/04 | 47775E
A# Fire Time
Default: 9
Selection: 1 minute to 90 minutes
Enter the number of minutes the bell rings for Fire
Alarm points. The relay activated for this time is
programmed in
A# Fire Bell
in Area Relays.
The bell output begins as soon as the fire alarm
occurs. It shuts off the bell when the programmed
number of minutes expires.
If programmed for 1 minute, the output may be
anywhere from 0 to 60 seconds of bell time.
Program Fire Time for 2 minutes or more to ensure
you have ample output time.
Check with your AHJ to determine the
appropriate bell time for your geographical
area.
A# Fire Pat
Default: Pulse
Selection: Steady, Pulse, CaStnd, TmCod3
Steady Steady Output
Pulse Pulse March Time
120 beats per minute, at an even
tempo
CaStnd California Standard
10 seconds audible + 5 seconds silent
+ 10 seconds audible + 5 seconds
silent. This sequence repeats until bell
time expires.
TmCod3 Temporal Code 3
0.5 seconds On, 0.5 seconds Off, 0.5
seconds On, 0.5 seconds Off, 0.5
seconds On, 1.5 seconds Off; pattern
repeats. This sequence repeats for a
minimum of 3 minutes and with a ±
10% tolerance.
Select the bell pattern this area uses to signal an
alarm on a Fire point.
Press the [Space] bar to scroll through the selections.
Press [Enter] when the correct selection appears in
the display.
When two Fire points sharing the same
relay go into alarm, the bell pattern of the
most recent fire event takes precedence.
A# Burg Time
Default: 6
Selection: 1 minute to 90 minutes (in 1 minute
increments)
Enter the number of minutes the bell rings for
Burglary Alarm points. The relay activated for this
time is programmed in
A# Alarm Bell
in Area
Relays.
The bell output begins as soon as the burglary alarm
occurs. It shuts off the bell when the programmed
number of minutes expires.
When the control panel’s internal clock begins a
new minute, it considers the first minute expired.
Program Burg Time for 2 minutes or more.
Check with your AHJ to determine the
appropriate bell time for your geographical
area.
A# Burg Pat
Default: Steady
Selection: Steady, Pulse, CaStnd, TmCod3
Select the bell pattern this area uses to signal an
alarm on a Non-fire point.
Press the [SPACE] bar to scroll through the
selections. Press [ENTER] when the correct selection
appears in the display.
A# Single Ring
Default: No
Selection: Yes or No
Yes One bell output per arming period.
After one alarm, alarms on any Non-
fire points in the same area cannot
restart the bell until the armed state
changes. An alarm on a different point
in same area restarts bell output.
No Restart bell output with each alarm
event.
Determines if an alarm from a Non-fire point can
restart the alarm bell time with each Alarm Event, or
only initiate alarm output once per arming period.
This does not silence the command center alarm bell
tone, or prevent any reports. This feature does not
affect Fire points. Fire points restart bell time with
each new alarm.

D9412G/D7412G | Program Entry Guide | 2.0 9000MAIN EN | 42
Bosch Security Systems | 1/04 | 47775E
If a 24-hour point alarms while the area is
disarmed, arming that area with a
keyswitch does not clear the A# Single
Ring flag.
Silencing the bell resets A# Single Ring.
A# Bell Test
Default: No
Selection: Yes or No
Yes Initiate Bell Test.
No Do not initiate Bell Test.
Provide alarm output from the relay programmed at
A# Alarm Bell
after the Closing Report was
confirmed or the exit delay time expired.
Bell Test After Confirmation
In areas that report opening and closing activity, the
Bell Test happens after the control panel sends the
Closing Report and receives the acknowledgment
from the central station receiver. For proper
operation of the Bell Test after closing confirmation,
the following rules apply:
• The control panel must report opening and
closings to the central station.
• Restricted openings and closings should not be
used, and Opening and Closing Windows
should not be used.
Area Armed Confirmation
In areas that do NOT report opening and closing
activity, the alarm bell relay output for this area is
activated for 2 seconds after exit time expires.
Multiple Bell Tests occur: When more than
one area is armed at the same time (such as
using the ARM ALL AREAS? function), the
bell rings for 2 seconds with a 2 second
pause between each bell activation if all
areas have the same exit delay time
programmed. Otherwise, the Bell Test
occurs as each area arms and it completes
its exit delay time.
When areas arm simultaneously and report
to the central station, the Bell Test occurs
as the central station receiver confirms each
area.
2.9.5 Open/Close Options
Programming determines if Opening, All Normal
Closing, and Force Arm/Bypass Closing Events are
reported to the remote central station. Without
remote reporting, all control panel and area arming
(Closing Events) and disarming (Opening Events)
default to local events.
Use this programming category to determine which
opening and closing supervision characteristics are
required.
There are three ways to generate reports from the
control panel. You can generate reports by account,
by area, or a combination of both.
To suppress reports:
• Use Opening/Closing Windows to suppress
reports for a specified period of time and then
automatically turn them on again.
• Use the Restricted O/C options. A Closing
Report is sent if the user is force arming, sending
duress, or bypass arming. An Opening Report is
sent if the user is disarming during an alarm
condition or unbypasses points when disarming.
If the system is normal, no Opening or Closing
Report is sent.
For the scheduled suppression of Opening
and Closing Reports, see Section 5.1.1
Opening and Closing) to define Opening
and Closing Windows.
Account Opening and Closing Reports
Opening and Closing Reports are sent by account
when the last area in a group of areas with the same
account number(s) is armed.
Area Opening and Closing Reports
Closing Reports are sent for each area as it is armed.
The account number is also sent for each area.
Customizing Account Opening and Closing
Reports
You can eliminate area Opening and Closing
Reports from selected areas in the account by
programming
A# Area O/C
No for those areas.

D9412G/D7412G | Program Entry Guide | 2.0 9000MAIN EN | 43
Bosch Security Systems | 1/04 | 47775E
Combination Account and Area Opening and
Closing Reports
To send both account openings and closings, and
individual area openings and closings for all areas in
the account, you must:
• Program
A# Acct O/C
Yes for all areas in the
account.
• Program
A# Area O/C
Yes for all areas in the
account.
Closing Reports: When areas in the account are
independently armed, each area generates an Area
Closing Report. When the last area is armed, it also
generates an Account Closing Report.
Opening Reports: When the first area in the
account is disarmed, it generates an Account
Opening Report along with an Area Opening
Report. When the remaining areas in the account
are disarmed, each area generates an Area Opening
Report.
Area Only Opening/Closing Supervision Features
Use these features to supervise opening and closing
activity by area. Auto Close, Fail To Open, and Fail
To Close all work independently of the
A# Acct
O/C
feature. To use these features, you must
program O/C Windows.
Area
Default: 1
Selection: 1 to 8
Enter the area number you are programming.
A# Acct O/C
Default: No
Selection: Yes or No
Yes Send Opening and Closing Reports by
account.
Use this selection if the control panel sends
reports to an automation system that cannot
interpret multiple Area Opening/Closing
Reports, or if
Modem Format
is programmed
No in the Phone category (BFSK format is in
use and Opening and Closing Reports are
enabled).
An Account Opening Report is generated
when the first area in an account is opened
(disarmed). After the Account Opening Report
is sent, disarming other areas in the account
does not generate another Account Opening
Report. An Account Closing Report is
generated only when the last area in an
account is closed (armed). Opening and
Closing Reports for accounts do not contain
any area information.
Opening and Closing Windows affect
Account Opening and Closing Reports: If
an account opening or closing is generated
while an Opening or Closing Window for this
area is in effect, and
Disable O/C
in Window
is programmed Yes, the report is not sent. All
areas sharing the same account number should
use the same Opening and Closing Window
times.
No Do not send Opening and Closing Reports by
account.
Determines if this area generates Account Opening
and Closing Reports. Program this item the same for
all areas in the account.

D9412G/D7412G | Program Entry Guide | 2.0 9000MAIN EN | 44
Bosch Security Systems | 1/04 | 47775E
A# Area O/C
Default: Yes
Selection: Yes or No
Yes Include the Area # and generate Opening and
Closing Reports for this area when it is armed.
No Do not include the Area # or generate
Opening and Closing Reports for this area.
Determines if the area number and the account
number are reported upon arming and disarming.
As long as
Account O/C
is No, the account number
reports when arming this area individually. If
Account O/C
is Yes, all areas with the same
account number must also be armed.
An Area Opening Report is generated when each
area is opened (disarmed). An Area Closing Report
is generated when each individual area is closed
(armed).
Do not program this item as Yes if the
control panel reports to an automation
system that cannot interpret multiple Area
Opening/Closing Reports.
A# Disable O/C in Window
Default: Yes
Selection: Yes or No
Yes Do not send Opening and Closing Reports to
the central station if they occur inside an
active window.
If an Opening or Closing Report occurs
outside a window, send it with an early or late
modifier. See Section 5.1.1 Opening and Closing.
The active window must be a Closing
Window for Closing Reports. It must be an
Opening Window for Opening Reports.
No Send Opening and Closing Reports to the
central station even when they occur inside a
programmed window. If an opening or closing
occurs outside of the appropriate window, it
reports but does NOT have an early or late
modifier.
If you want to monitor all opening and closing
activity, but you also want to use features
provided by Opening and Closing Windows,
program this item No, and program
appropriate O/C Windows.
Determines if opening and closing activity is
reported when it occurs inside an Opening or
Closing Window as programmed in O/C Windows.
Reports are always logged and printed on a local
printer, if installed.
A# Auto Close
Default: No
Selection: Yes or No
Yes The area automatically master arms at the end
of the Close Window.
When the area is armed automatically, a
Closing Report is sent if Area and/or Account
Reports are programmed to do so.
No Do not automatically arm the area at the end
of the Close Window.
With this program item, the control panel can
automatically master arm the area at the end of the
Closing Window regardless of the previous armed
state.
Regardless of A# Force Arm Max or P##
Bypassable, an unconditional force arm
occurs resulting in faulted points being left
out of the system until they return to
normal.
A# Fail to Open
Default: No
Selection: Yes or No
Yes Fail to Open Report occurs for this area if the
area was not disarmed when the Opening
Window stop time occurred.
No Fail to Open Report is not sent for this area.
Use to determine if a Fail to Open Report is sent for
this area. This can determine if a user failed to
disarm the area prior to the Opening Window
expiring. Normal Opening and Closing Reports do
not need to be programmed to use this feature.

D9412G/D7412G | Program Entry Guide | 2.0 9000MAIN EN | 45
Bosch Security Systems | 1/04 | 47775E
A# Fail to Close
Default: No
Selection: Yes or No
Yes Fail to Close Report occurs for this area if the
area was not armed when the Closing
Window stop time occurred.
Note:
An exit delay time must be programmed in Exit
Dly Time.
No Fail to Close Report is not sent for this area.
Note:
If Auto Close is programmed Yes, a Fail to
Close Report is sent because it occurs when the
Closing Window stop time occurred.
If Disable O/C in Window is Yes, the Fail
to Close Report is followed by Closing Late or
F(orce) Close Late.
Determines if a Fail to Close Report is sent for this
area. Use to determine if a user failed to arm the
area before the Closing Window expires. Normal
Opening and Closing Reports do not need to be
programmed to use this feature.
A# Restrictd O/C
Default: No
Selection: Yes or No
Yes Restrict Opening and Closing Reports for this
area.
A# Area O/C
must be programmed
Yes to generate Restricted Opening and
Closing Reports.
Note:
If a passcode is not required for arming or
disarming and this item is Yes, the area only
sends Restricted Opening and Closing Reports.
In this case, Restricted Reports are sent without
User ID.
Opening/Closing Window does not affect this
report. Windows do not prevent Restricted
Opening and Closing Reports from being
sent. Early or late designations are NOT
added to Opening/Closing Reports when they
are sent according to the rules for Restricted
Opening/Closing Reports.
No Do not Restrict Opening and Closing Reports
for this area.
Regardless of programming in Authority
Levels
L## Restricted O/C
, reports are not
restricted in this area when this item is
programmed No.
Note:
Was Force Armed and Forced Close Events can
still be sent to the central station if enabled in
Routing when force arming the system.
This item determines if this area can restrict
Opening and Closing Report activity.
A Restricted Opening Report refers to the control
panel sending an Area Opening Report only when
the area is disarmed after a non-fire alarm.
A Restricted Closing Report refers to the control
panel sending an Area Closing Report only when
the area was master armed with Controlled points
that were faulted during the arming sequence. The
sequence of reports generated by a restricted closing
is: Was Force Armed, Forced Point, Forced Close,
and Closing Report.

D9412G/D7412G | Program Entry Guide | 2.0 9000MAIN EN | 46
Bosch Security Systems | 1/04 | 47775E
A# Perimeter O/C
Default: No
Selection: Yes or No
Yes This area can send Perimeter Opening and
Closing Reports.
No This area cannot send Perimeter Opening and
Closing Reports.
This item determines if this area can send Perimeter
Instant and Perimeter Delay Closing Reports and
normal Opening Reports to the central station.
Opening/Closing Windows do not suppress this
event.
Modem format reporting is required. Some
central station automation systems cannot
process these reports.
2.10 Command Center
This programming module contains three
programming categories: Cmd Cntr Assignment,
Area Text, and Custom Function.
2.10.1 Cmd Cntr (Command Center) Assignment
This programming category assigns a command
center to an area and determines if the command
center is supervised. The command centers are
connected to the control panel using a two-wire
serial data interface bus (SDI bus). This bus can
support up to eight supervised command centers,
each with its own unique command center address
(CC) and corresponding DIP switch address settings.
Should the command centers not be supervised, you
can install multiple command centers with the same
DIP switch address setting for up to 32 unsupervised
command centers.
Cmd Center
Default: 1
Selection: 1 to 8
DIP Switch Setting
SDI
CC#
Address
Number 123456
1 1 ON ON ON ON -- ON
22 OFF ON ON ON -- ON
3 3 ON OFF ON ON -- ON
4 4 OFF OFF ON ON -- ON
5 5 ON ON OFF ON -- ON
6 6 OFF ON OFF ON -- ON
7 7 ON OFF OFF ON -- ON
8 8 OFF OFF OFF ON -- ON
Enter the command center (CC) number for the SDI address you are programming. This number corresponds to
the DIP switch address settings shown.

D9412G/D7412G | Program Entry Guide | 2.0 9000MAIN EN | 47
Bosch Security Systems | 1/04 | 47775E
CC# Supervised
Default: See
Program Record Sheet
Selection: Yes or No
Yes Only one command center can be installed for
this CC SDI address.
No More than one command center can be
installed using this CC SDI address with the
same address DIP switch setting.
Supervise this SDI address and generate Trouble
SDI Reports and local trouble annunciation if a
problem occurs with this command center or the
SDI bus.
Command centers sharing the same
address setting display the same text and
emit the same tones regardless of which
command center keys are pressed.
Trouble SDI # Reports are always
reported as Area 1, Account 1 Events
regardless of the area the SDI device is
assigned.
0101
0101
0101 When this prompt is Yes, you cannot have
duplicate DIP switch settings.
0101
0101
0101
When a D1260 Alpha V Command Center
is assigned to a command center address,
you must program CC# Supervised as
Yes.
CC# Area Assign
Default: 1
Selection: 1 to 8
Blank is not a valid entry.
Enter the area number where you are installing this
command center or command centers with this
address and the same DIP switch settings.
CC# Scope
Default: See
Program Record Sheet
Selection: Panel Wide, Custom, No Keypad,
Area, and Account
Panel
Wide
A panel-wide command center can
view information and perform Arming
and Disarming functions for all areas in
the control panel. A panel-wide
command center can cross account
boundaries. This is normally used with
a master area.
Account An Account command center can view
information, and perform Arming and
Disarming functions for all areas with
the same
A# Acct Number
, in Area
Parameters. This is normally used for
an associate area.
Area An Area command center is restricted
to viewing information and
Arming/Disarming functions for the
area to which it is assigned.
Custom A Custom command center has no
command center restrictions.
No
Keypad
No command center installed at this
address. CALL FOR SERVICE
displays, indicating the control panel is
not polling this address.
This program item is used to define the areas
affected when this command center is armed, the
areas this command center can view, and the areas
this command center can move to.
Press the [SPACE] bar to scroll through the
selections. Press [ENTER] when the correct selection
appears in the display.
In applications where command centers
include the scope of more than one area,
active alarms in remote areas must be
acknowledged prior to arming or disarming
the local area.
The following prompts are visible ONLY
when you program CC## Scope to
Custom. If the scope was previously
programmed to be other than No Keypad,
default settings based on the previous
scope appear. Prior to exiting a custom
program, check each area and ensure it is
properly enabled and disabled.

D9412G/D7412G | Program Entry Guide | 2.0 9000MAIN EN | 48
Bosch Security Systems | 1/04 | 47775E
CC# A1[through A8] in Scope
Default: See preceding important note
Selection: Yes or No
Yes Include this area in the scope of this
command center.
No Do not include this area in the scope of
this command center.
Determines whether any of the eight areas (Area 1 to
Area 8) and Doors (Door 1 to Door 8) are included
in the scope of this command center for viewing
status, arming or disarming, and controlling doors
from the command center.
CC# Entr Key Rly
Default: Blank
Selection: 1 to 128, A, B, C, and Blank
Blank The [ENTER] key is not used to cycle
a relay.
1 to 128,
A, B, C
Assign the relay number that activates
when [ENTER] is pressed at this
command center after the user enters a
valid passcode.
Enter Key Relay: Program the relay number that
momentarily activates for 10 seconds when a user
enters a valid passcode and presses the [ENTER]
key on the command center. Two events are
generated when this function is used: RELAY ###
SET with User ID, and RELAY ### RESET
without User ID.
When programmed to activate a relay, the
[ENTER] key cannot be used for any other
function.
Relays used for this function must not be
shared with any other point, sensor reset,
control panel, or bell functions. This can
cause erroneous relay operation.
1. Entering a valid code and pressing
[ENTER] silences a bell if one is
ringing.
2. Use this function for a low-level
access control strike on a door. This
does not shunt a point.
3. This action is logged as two events,
Relay Set and Relay Reset.
CC# Entr Cycl Dr
Default: No
Selection: Yes or No
Yes The [ENTER] key is used to cycle the
door programmed for CC Assign
Door.
No The [ENTER] key is not used to cycle
the door.
Enter Key Cycle Door: Program this prompt as
Yes to initiate the door cycle sequence (this includes
shunting the point assigned to the door) for the door
number programmed in
CC Assign Door
when a
user enters a valid passcode and presses [ENTER].
ACCESS GRANTED prints on the local printer and at
the central station receiver, if programmed.
The service passcode cannot be used for
the CC# Entr Cycl Dr application.
When programmed to activate a relay, the
[ENTER] key cannot be used for any other
function.
Relays used for this function must not be
shared with any other point, sensor reset,
control panel or bell functions. This can
cause erroneous relay operation.
0101
0101
0101
1. The door does not cycle if Entr Key
Rly is programmed.
2. 9210 NOT READY appears at this
command center when you press
[ENTER] if the D9210B is not
programmed with a D# Entry Area (in
the RADAXS handler) or if CC Assign
Door does not have a door number
assigned.

D9412G/D7412G | Program Entry Guide | 2.0 9000MAIN EN | 49
Bosch Security Systems | 1/04 | 47775E
CC# Assign Door
Default: Blank
Selection: 1 to 8, Blank
Blank No door controller is assigned for adding
tokens or the CLOSE DOOR # displays on
the command center.
1 to 8 Assign the door controller that enters the
Add User Mode when initiated. This door
activates the CLOSE DOOR # displays at
this command center if CC Close Door is
Yes.
Program the door number used by this command
center for adding tokens/cards and displaying CC
Close Door.
0101
0101
0101
1. IMPORTANT! 9210 NOT READY
appears at this command center when
you attempt to add a user if a door is
not programmed for this prompt and a
door is not assigned to the area using
the D# Entry Area in the RADAXS
handler. This indicates the control
panel cannot initiate the Add User
Mode until a door is assigned to this
command center.
2. A door does not need to be assigned
to a command center for the user to
control the door(s) using the Door
Control function. Any door that is
active can be controlled by a user who
has the door control authority enabled
at a command center with the doors
area, assigned in the access handler,
within its scope.
During the Add User Mode, token/cards,
door control requests, and RTE/REX does
not function. Put the Door Mode into an
UNLOCKED state before adding users if
there is heavy activity for this door.
CC# Trouble Tone
Default: Yes
Selection: Yes or No
Yes Panel-wide trouble tones sound and
visual displays show at this command
center.
No Panel-wide troubles do not sound.
Visual displays still show.
Determines whether this command center, or any
command center with the same address setting,
emits the panel-wide trouble tones (power, phone,
SDI bus, and Zonex bus).
Panel-wide trouble tones do not include
Point Troubles, Buzz on Fault, or Close
Door Now.
Assign two CCs to the same area so one
command center emits the tone and
another does not.
CC# Entry Tone
Default: Yes
Selection: Yes or No
Yes This command center sounds entry
tones.
No This command center does not sound
entry tones.
Determines whether this command center, or any
command center with the same address setting,
emits the Disarm Now entry delay tone. Any Delay
point within the area scope of this command center
initiates the entry sequence.
0101
0101
0101
This prompt allows you to manage the
tone by command center. Entry Tone can
also be turned off when programming your
P## Entry Tone off in Point Index.
Assign two CCs to the same area so one
command center emits the tone and
another does not.
CC# Exit Tone
Default: Yes
Selection: Yes or No
Yes This command center sounds entry
tones.
No This command center does not sound
entry tones.
Determine whether this command center or any
command center with the same address setting,
emits the Exit Now ### exit delay tone during the
delay arming of an area(s). Any command center
with a scope to arm this area can initiate the exit
tone sequence.

D9412G/D7412G | Program Entry Guide | 2.0 9000MAIN EN | 50
Bosch Security Systems | 1/04 | 47775E
0101
0101
0101
This prompt allows you to manage the
tone by command center. Exit Tone can
also be turned off when programming A#
Exit Tone in Area Parameters.
Assign two CCs to the same area so one
command center emits the tone and
another does not.
CC# Arm Now Warn
Default: No
Selection: Yes or No
Yes This command center activates a tone
and displays PLEASE CLOSE NOW.
No This command center does not activate
the tone or display PLEASE CLOSE
NOW.
Determines whether this command center sounds an
audible tone and displays the PLEASE CLOSE NOW
warning on the command center when a Closing
Window activates, indicating the area automatically
arms soon.
CC# Close Door
Default: No
Selection: Yes or No
Yes This command center sounds a tone
and displays CLOSE DOOR #.
No This command center does not sound
the tone or activate the display.
Determines whether this command center sounds an
audible tone and displays the CLOSE DOOR #
warning on the command center. This occurs when
the door is physically held open past the shunt time
and the extend time has a value greater than zero
(see the Access Program Entry Guide) for the door
assigned to this area in
CC# Assign Door
.
CC# EnhancCmdCtr
Default: No
Selection: Yes or No
Yes This command center is a D1260
Alpha V Command Center.
No This command center is not a D1260
Alpha V Command Center.
When a D1260 Alpha V Command Center is
installed at this command center address, this item
must be set to Yes. This instructs the control panel to
send additional information to the D1260 required
for proper operation.
0101
0101
0101
Remember to program CC# Supervised
to Yes if a D1260 Alpha V Command
Center is installed at this address. Failure
to follow this programming requirement
results in improper operation of the
D1260.
2.10.2 Area Text
Use this programming category to create custom
Idle Text displays for the command centers.
Each display can be programmed with up
to sixteen alphanumeric characters,
including: A to Z, 0 to 9, ?, &, @, -, *, +,
$, #, _, /.
Characters not listed are invalid and
cannot be used for text.
Area
Default: 1
Selection: 1 to 8
Enter the area number you are programming.
Area# Is On
Default: See
Program Record Sheet
Selection:
Enter the text for this area that displays when the
area is master armed or master instant armed and
other areas sharing the same account number are
not yet master armed. This display does not appear
when the area is perimeter armed.
Area # Not Ready
Default: See
Program Record Sheet
Selection: Sixteen alphanumeric characters
Enter the text for this area that displays when the
area is disarmed but points are faulted.
Area # Is Off
Default: See
Program Record Sheet
Selection: Sixteen alphanumeric characters
Enter the text for this area that displays when the
area is disarmed and no points are faulted.

D9412G/D7412G | Program Entry Guide | 2.0 9000MAIN EN | 51
Bosch Security Systems | 1/04 | 47775E
Area # Acct Is On
Default: See
Program Record Sheet
Selection: Sixteen alphanumeric characters
Enter the text that displays when all areas sharing
the same account number are master armed. The
ACCT IS ON text appears at all command centers
assigned to these areas, if more than one area has the
same account number. The ACCT IS ON text also
appears if only one area in the system is used. See
the prompts
CC# Area Assign
and
Area # Acct Is
On
in Section 2.10.1 Cmd Cntr (Command Center)
Assignment. When all areas in the account are master
armed, the Area # Is On text is replaced by the
ACCT IS ON text if the area is armed before all the
areas with the same account number.
0101
0101
0101
A blank entry disables the ACCT IS ON
display for this area, allowing an account
wide area to display the AREA # IS ON
text instead of the ACCT IS ON text.
Each area can have unique ACCT IS ON
text, or you can program the same text in
each area of the account so when all the
areas in the account are armed, they all
show the same text.
0101
0101
0101
Although it is not programmed in this area,
the new D1260 Alpha V Command Center
can display up to sixteen characters for an
Area Name on line 1 of its display. The
Area Text (Area # Is Off, Area # Not
Ready, Area # Is On, and Acct # Is On)
programmed in this module appears on line
2 of the D1260 Alpha V Command Center.
When programming custom text, it should
be logical to users viewing it on the
D1260. For example, the Area Name Text
can be programmed to display Front
Office and the Area # Is Off text
(programmed in this section) could be
programmed to display Ready To Arm.
The D1260 would then show on line 1
Front Office and on line 2, Ready To
Arm.
2.10.3 Custom Function
Custom functions are a way to simplify use of
complex keystroke sequences entered at the
command center. These items are similar to speed
dialing on a telephone. A custom function can
automatically initiate an end user request by pressing
[ENTER] once the custom function text is displayed
on the command center. You can have up to sixteen
custom functions and restrict the use of these by area
and authority level.
Each
Custom Function ###
item has sixteen
characters of programmable text (
CF### Text
).
When the Custom Function is assigned to the menu
M## Function
(see Section 2.12 Function List) the
user can press [PREV] or [NEXT] to scroll to
CF### Text
. The user accesses the menu by
pressing [MENU] on the command center.
The user needs the appropriate authority level
enabled for the
L## C Function
128 to 143
in
Section 2.11 User Interface, to use the custom function.
Consider the scope of the command center used to
access the Custom Function. Each Custom Function
is enabled in the function menu by
M# CC Address
1 [through 8
]. If the Custom Function is not
assigned to a specific command center address, it
does not appear in the menu.
Custom Function
Default: 128
Selection: 128 to 143
Enter the Custom Function number you want to
program. You can program up to sixteen Custom
Functions, which are numbered 128 to 143.
CF### Text
Default: See
Program Record Sheet
Selection: Sixteen alphanumeric characters.
See
Section 2.10.2 Area Text
for
valid character entries.
Determines the menu text displayed at the
command center for the custom function item. Use
this text to represent the functions performed by this
menu item.

D9412G/D7412G | Program Entry Guide | 2.0 9000MAIN EN | 52
Bosch Security Systems | 1/04 | 47775E
CF### Key Strokes
Default: See
Program Record Sheet
Selection: Up to 32 characters: 0 to 9, A, B, C,
D, and E
Selection Key Faceplate Label
0 to 9 0 to 9
A [COMMAND]
B [PREV] (previous) ↑
C [ESC] (escape) MENU
D[NEXT] ↓
E [ENT] (enter) YES
The keystrokes simulate any sequence of keystrokes
the user can perform at a command center. You can
program up to 32 keystrokes for each Custom
Function.
0101
0101
0101
D5200 Data Entry: Use the D5200 [↓]
key to move the cursor to the first data
entry line. When you want to enter more
than sixteen keystrokes, the first line of the
data entry line must be filled before you
move on to the second line. If you make
entries on the second line, and the first line
has less than sixteen characters, the
second line clears when you press
[ENTER].
0101
0101
0101
The scope of the command center where
the Function List is accessed can affect
the way the Custom Function operates.
Programming Custom Function Keystrokes
• First, find the command you want to execute in
the User Interface section of the Program Record
Sheet.
• Single digit commands must be programmed
with 9 as the second digit.
Table 24: CF### Custom Function Keystrokes
Command Keystroke
1 (Master arm area) A19
2 (Perimeter instant arm) A29
3 (Perimeter delay arm) A39
6 (Watch Mode) A69
7 (Special alert) A79
8 (Perimeter partial arm) A89
9 ( Special alert) A99
0 (Bypass a point) A09
• 128 to 143 Enable Custom Function 128
through 143, (Menu Function only): This
function determines if a passcode is required
when attempting to access a Custom Function
from the menu list. ENTER PASSCODE (or
Enter Passcode + Enter Key on the
D1260) displays when this function is passcode
protected.
0101
0101
0101
If a command within the Custom Function
is passcode protected, the command
center displays ENTER PASSCODE and
waits for the user to enter a valid
passcode before proceeding with the rest
of the Custom Function. If a passcode is
not entered within 10 seconds, the
Custom Function times out and the display
returns to idle text.
0101
0101
0101
Skeds cannot execute Custom Functions
that are passcode protected. D720 LED
command center does not support
Custom Functions that are passcode
protected.
• Some functions cannot be entered directly
because they are nested inside a higher-level
function. To automatically execute these
functions, you must add the appropriate
keystrokes.
• For example: In the Change Display
(COMMAND 49) function there are three sub-
functions: Bright Display, Dim Display, and
Date/Time Display.
- To turn up the display, enter:
[A][4][9][E]
- To dim the display, enter:
[A][4][9][D][E]
- To display time and date, enter:
[A][4][9][B][E]

D9412G/D7412G | Program Entry Guide | 2.0 9000MAIN EN | 53
Bosch Security Systems | 1/04 | 47775E
• Custom Functions can perform several tasks at
once. For example:
- To toggle relays 7, 8, and 9 in one Custom
Function enter:
[A] [5] [4] [7] [E] [E] [8] [E] [E] [9] [E] [E] [C]
- To add a temporary passcode, enter:
[A] [5] [6] [3] [0] [E] [E] [9] [8] [7] [E] [E] [D]
[E] [1] [E] [1] [E] [1] [E] [1] [E] [1] [E] [1] [E]
[1] [E] [1] [E] [C]
This adds user 30, passcode 987 with
authority level 1 in all areas.
- To delete the passcode, enter:
[A] [5] [3] [3] [0] [E] [E] [E] [C]
• To program multiple area Arming or Disarming
functions, use keystroke sequences including
COMMAND 50 (Move to Area) and
COMMAND 1.
0101
0101
0101
Custom function cannot be used to change
time (such as Daylight Savings Time). Use
Skeds S## Function Codes 13 and 14 to
adjust for Daylight Savings Time (see S##
Custom Function prompt in Section 5.2
Skeds.
2.11 User Interface
Define which functions can be used by each of the
fourteen user authority levels. Each user can be
assigned the same or different authority level by
area. The user has rights in the area where the
command center is assigned based on the authority
level assigned to the user’s passcode for that area.
When the passcode is entered at the command
center, the control panel checks the authority level.
The control panel executes the function only in
areas where the passcode has the authority to use the
function.
2.11.1 Commands
Similr to command initiation used in other Bosch
Security Systems products, the Commands method
provides continuity in the arming commands across
product lines and makes an easy transition for
dealers using other Bosch Security Systems products.
With commands, the end user presses
[COMMAND] and then the numeral of the
command to initiate. For example, [COMMAND][2]
arms the perimeter of the area. Some prompts can
only be accessed from a menu and is noted as such
by (Menu Function only). To access these functions,
press [MENU], enter the function number, and use
the [PREV] and [NEXT] keys to scroll through the
choices.
The D9412G/D7412G Program Record Sheet lists the
commands available with the system. Command
numbers are shown in the column labeled
Command. If a particular function does not have a
command number, it can only be accessed through
the Function List.
If you plan to use only commands to operate the
system, along with arming and disarming by
entering a passcode, then you do not need to
program Custom Function or Function List.
2.11.2 Command Center Selections
Programming choices in this section determine if
command center functions are disabled (blank),
enabled (E), or restricted (P) panel-wide.
Press the [SPACE ] bar to scroll through the
selections. Press [ENTER] when the correct selection
appears in the display.
Table 25: Command Center Programming
Choices
Selection Description
Blank Disable the function panel-wide.
Accessing the function using a
command or the Function List
displays NO AUTHORITY.
E Enable the function panel-wide.
The function can be executed
without entering a passcode.
PPasscode required. When the
passcode is entered at the
command center, the control panel
checks the user’s authority level.
See Section 2.11.3 Authority
Level Selections.
See Section 2.11.3 Authority Level
Selections for a detailed description of the
functions on the following pages. These
parameters only determine if the authority
level functions are passcode protected.

D9412G/D7412G | Program Entry Guide | 2.0 9000MAIN EN | 54
Bosch Security Systems | 1/04 | 47775E
Master Arm Delay
Default: P
Selection: Blank, E, or P
PPasscode: Required for all users with
Master Arm Delay enabled for their
authority level.
EEnable: A user does not need a
passcode to use [COMMAND][1].
Blank Disable Master Arm Delay cannot be
accessed in the function menu or
initiated with a command even if this
function is enabled for the user’s
authority level.
#2 Master Arm Delay [COMMAND][1]
Use this arming function to master arm disarmed
areas. If enabled, the following arming choices are
available to the user with this authority.
Mstr Arm Inst
Default: Blank
Selection: Blank, E, or P
#3 Master Arm Instant [COMMAND][1][1]
Use this arming function to master arm instant areas
that are disarmed. If enabled, the following arming
choices are available to the user with this authority.
Entry and exit delays are not provided with this
arming function. This causes a Perimeter and
Interior Delay point to act as an Instant point.
Perim Instant
Default: P
Selection: Blank, E, or P
#4 Perimeter Instant Arm [COMMAND][2]
Instant arms all perimeter points with a
P## Point
Response
that initiates an instant alarm (see
P## Pt
Response
in Section 4.1.1 Point Responses) in the area
where the command center is assigned. Entry and
exit delays are not provided with this arming
function. This function causes a Perimeter Delay
point to act as a Perimeter Instant point.
Perim Delay
Default: P
Selection: Blank, E, or P
#5 Perimeter Delay Arm [COMMAND][3]
Delay arms all Perimeter points in the area where
the command center is assigned. Entry and exit
delays are provided with this Arming function. This
function does not cause a Perimeter Instant point to
act as a Delay point.
Watch Mode
Default: E
Selection: Blank, E, or P
#6 Watch Mode [COMMAND][6]
This function lets you know when a perimeter and
Interior point programmed as
P## Watch Point
is
faulted when the point is disarmed. Interior points
do not emit a Watch Tone if the area is perimeter
armed. This function provides command center
audible/visual and optional relay activation (see
A #
Watch Mode
in Section 2.13.1 Area Relays).
Perim Partial
Default: P
Selection: Blank, E, or P
#7 Perimeter Partial Arm [COMMAND][8]
Arms normal Perimeter points only while other
faulted Perimeter points programmed as
P##
Bypassable
are ignored. Entry and exit delays are
provided with this Arming function.
Perim Partial ignores the A# FA Bypass
Max entry in Section 2.9 Area Parameters.
Local Only Reporting: No Closing Report
is sent to the central station, but a
Perimeter Delay Closing Event is
generated in the event log.

D9412G/D7412G | Program Entry Guide | 2.0 9000MAIN EN | 55
Bosch Security Systems | 1/04 | 47775E
View Area Stat
Default: P
Selection: Blank, E, or P
#8 View Area Status (MENU FUNCTION only)
Use this function to view the armed status of all
areas within the scope of the command center
assigned to this area. The armed states include A#
AREA # IS OFF (disarmed), A# AREA # IS ON
(master delay armed), ALL ON INSTANT (master
instant armed), and AREA # PERIM ON (perimeter
instant armed or perimeter delay armed). All area
types, master, associate, regular, and shared can be
viewed using this function.
View Memory
Default: E
Selection: Blank, E, or P
#9 View Event Memory [COMMAND][4][0]
Use this function to view prior alarm, trouble, and
supervisory activity occurring since the last time the
system armed. Event memory is not cleared until the
area is re-armed.
View Pt Status
Default: E
Selection: Blank, E, or P
#10 View Point Status (MENU FUNCTION only)
Use this function to view points assigned to the area
where the command center is assigned. This
function shows point text and the electrical condition
(normal, open, short, and missing) of each point in
the area.
Walk Test
Default: E
Selection: Blank, E, or P
#11 Walk Test [COMMAND][4][4]
Use this function to test Controlled points in areas
within the command center’s scope without sending
reports to the central station. 24-hour points cannot
be tested using this Walk Test Mode.
Fire Test
Default: P
Selection: Blank, E, or P
#12 Fire Test [COMMAND][5][8]
Use this function to test 24-hour points in areas
within the scope of the command center where the
function is entered. Controlled points,
P## Type 1
,
2, 3, cannot be tested using the Fire Walk Test
Mode.
Send Report
Default: P
Selection: Blank, E, or P
#13 Send Report [COMMAND][4][1] or
[COMMAND][4][2]
Use this function to test the communication link
between the control panel and the central station
receiver(s). It can send a Test Report or a Status
Report to the phone numbers programmed in
Routing. The Test Report includes additional
information if
Expand Test Rpt
is enabled in Section
2.1 Phone.
Access Control Functions
Door Control
Default: P
Selection: Blank, E, or P
#14 Door Control [COMMAND][4][6])
This top level display must be enabled for the user
to access the cycle door, unlock door, and secure
Door functions (see Section 2.11.3 Authority Level
Selections). Use this item when programming door
control in your function menu.

D9412G/D7412G | Program Entry Guide | 2.0 9000MAIN EN | 56
Bosch Security Systems | 1/04 | 47775E
Access Ctl Level
Default: P
Selection: Blank, E, or P
#37 Access Control Levels (MENU FUNCTION
only)
Shows the current on/off state of control levels 1
through 14, pertaining to Access Control Only,
(
L## Access Level
and
L## Disarm Level
). It
allows the user to toggle levels on and off and
prevent access control levels from being valid during
an extended period. This change only affects the
user’s token/cards, it does not affect command
center Door Control functions.
Chg Display
Default: E
Selection: Blank, E, or P
#15 Change Display [COMMAND][4][9]
Use this function to select either a bright or dim
display with loud or soft command center warning
tones. You can also choose the time/date display.
Chg Time/Date
Default: E
Selection: Blank, E, or P
#16 Change Time and Date [COMMAND][4][5]
Use this function to set the time and date in the
control panel.
Chg Passcode
Default: P
Selection: Blank, E, or P
#17 Change Passcodes [COMMAND][5][5]
Use this function to change your passcode. This is a
panel-wide function that can be executed from any
command center assigned to an area where the user
has authority.
Regardless of whether an E or a P is
entered when a COMMAND 55 is
performed, the command center prompts
for the user’s current passcode first.
Add User
Default: P
Selection: Blank, E, or P
#18 Add User [COMMAND][5][6]
Use this function to add/change passcodes,
add/change tokens/cards and Sub-users, and
add/change control panel authority levels (L##) by
area.
Del User
Default: P
Selection: Blank, E, or P
#19 Delete User [COMMAND][5][3]
Use this function to delete a user’s passcode and
tokens/cards. It does not delete user names.
This function deletes the passcode,
master user, and all sub-users associated
with the user number.
Extend Close
Default: P
Selection: Blank, E, or P
#20 Extend Close [COMMAND][5][1]
Use this function to change the expected closing
time for the area. The window cannot be adjusted
until the Close Early Begin time passes and the
Closing Window is active.
View Log
Default: E
Selection: Blank, E, or P
#21 View Log (MENU FUNCTION only)
Use this function to view all of the main events Door
Cycle and the main event modifiers By User in the
event log memory. User Name and Point Text are
NOT stored in the event log but appear when the
control panel matches them with both the user ID
### and the point ###.
Each main event takes up one line in the log. Each
modifier also takes up one line in the log.
The log in the control panel can store between 500
and 1000 events in the control panel log.

D9412G/D7412G | Program Entry Guide | 2.0 9000MAIN EN | 57
Bosch Security Systems | 1/04 | 47775E
Print Log
Default: P
Selection: Blank, E, or P
#22 Print Event Log (MENU FUNCTION only)
Use this function to print all the events stored in the
control panel starting at the start date and ending
with the last event in the log.
User Cmd 7
Default: P
Selection: Blank, E, or P
#23 User COMMAND 7 [COMMAND][7]
Use this function to activate an alarm programmed
in COMMAND 7 in the RADXPNTS Handler.
User Cmd 9
Default: P
Selection: Blank, E, or P
#24 User COMMAND 9 [COMMAND][9]
Use this function to activate an alarm programmed
in COMMAND 9 in the RADXPNTS Handler.
Bypass a Pt
Default: P
Selection: Blank, E, or P
#25 Bypass a Point [COMMAND][0]
Use this function to bypass individual points that are
P## Bypassable
. Points within the scope of the
command center can be bypassed where the
function is entered (see Section 2.10.1 Cmd Cntr
(Command Center) Assignment).
The control panel ignores alarms/troubles and does
not display point faults when a point is bypassed.
Unbypass a Pt
Default: P
Selection: Blank, E, or P
#26 Unbypass a Point [COMMAND][0][0]
Use this function to unbypass individual points that
are programmed either
P## FA Retrnable
or
P##
Bypass Returnable
. Points within the scope of the
command center can be unbypassed where the
function is entered (see Section 2.10.1 Cmd Cntr
(Command Center) Assignment). The control panel
responds to alarms/troubles and displays point faults
when a point is unbypassed.
Reset Sensors
Default: E
Selection: Blank, E, or P
#27 Reset Sensors [COMMAND][4][7]
Use this function to activate the Reset Sensors
function for Fire or Intrusion points programmed as
P## Resettable
in Section 4.1 Point Index. Points
within the scope of the command center where the
function is entered resets (see Section 2.10.1 Cmd Cntr
(Command Center) Assignment).
Change Relay
Default: P
Selection: Blank, E, or P
#28 Change Relays [COMMAND][5][4]
Use this function to manually set and reset Relays 1
through 128 (1 through 64 in a D7412G) installed in
the system.
Remote Program
Default: P
Selection: Blank, E, or P
#29 Remote Programming [COMMAND][4][3]
Use this function to initiate RAM sessions. When the
phone is ringing at the control panel, initiating this
function causes the control panel to seize the line.

D9412G/D7412G | Program Entry Guide | 2.0 9000MAIN EN | 58
Bosch Security Systems | 1/04 | 47775E
Move to Area
Default: P
Selection: Blank, E, or P
#30 Move to Area [COMMAND][5][0]
Use this function to temporarily switch the
command center’s assignment to a different area.
This can be used to perform any function that can
be performed by a command center assigned to the
area in programming.
Users are limited to performing functions enabled by
the authority level they have in the area to which the
command center is moved. After 15 seconds of no
activity at the keypad, the command center reverts
back to the originally programmed area.
Display Rev
Default: E
Selection: Blank, E, or P
#32 Display Software Revision
[COMMAND][5][9]
Use this function to show the control panel’s
software revision number in the command center
display.
Service Walk
Default: P
Selection: Blank, E, or P
#33 Service Walk Test (MENU FUNCTION only)
Use this function to Walk Test all 246 points in the
entire control panel regardless of the
P## Type
.
The Service Walk Test is available on the
D9412G using the Service Menu
[9][9][ENT]. The D7412G does NOT
include the Service Walk Test in the
Service Menu. The D7412G needs the
Service Walk Test function enabled in the
Function List to access the Service Walk
Test.
Default Text
Default: P
Selection: Blank, E, or P
#34 Default Text [COMMAND][5][7]
It may be difficult to determine the armed state of an
area using the programmed custom text. Use this
function to temporarily switch to the control panel
default text, shown on the Program Record Sheet.
Change Skeds
Default: P
Selection: Blank, E, or P
#35 Change Skeds [COMMAND][5][2]
Execute this panel-wide function from any command
center assigned to an area where the user has
authority. Use this function to change the
S## Time
from the command center to make adjustments to
Skeds.
Custom Functions
C Function 128 [through 143]
Default: E
Selection: Blank, E, or P
128 to 143 Enable Custom Functions 128 through
143 (MENU FUNCTION only)
Determines whether or not a passcode is required
when accessing a custom function from the menu
list. ENTER PASSCODE (or Enter Passcode +
Enter Key on the D1260) displays when this
function is passcode protected. If a command within
the Custom Function is passcode protected, the
command center displays ENTER PASSCODE (or
Enter Passcode + Enter Key on the D1260)
and waits for the user to enter a valid passcode
before proceeding with the rest of the Custom
Function. If a passcode is not entered within 10
seconds, the Custom Function times out and the
display returns to idle text.

D9412G/D7412G | Program Entry Guide | 2.0 9000MAIN EN | 59
Bosch Security Systems | 1/04 | 47775E
2.11.3 Authority Level Selections
Use Section 2.11.3 Authority Level Selections to
determine which Authority Level can access
command center functions that are Passcode
Protected. You do not need to select Enable items
in the Authority Level section if the command
center function is disabled or enabled. There are two
selections you can use for each individual function
for the authority level you are programming.
Press the [SPACE] bar to scroll through the
selections. Press [ENTER] when the correct selection
appears in the display.
Table 26: Authority Level Selections
Authority Level Description
Blank Disabled: This function is not
authorized for the user who is
assigned this authority level.
EEnabled: This function is authorized
for the user who is assigned this
authority level.
Authority Level
Default: 1
Selection: 1 to 14
Enter the number of the authority level you want to
program. Authority Level 15 (Service Passcode)
cannot be edited.
L## Disarm
Default: See
Program Record Sheet
Selection: Blank or E
#1 Disarm
Use the disarming function to disarm areas that are
master armed or perimeter armed. If enabled, the
following disarming choices are available to the user
with this authority.
DISARM ALL: Disarms all areas within the
CC#
Scope
of the command center being used by
accessing the Function Menu and the authority level
of the user performing the function.
DISARM AREA: Disarms only the displayed area.
0101
0101
0101
There are many options available for
arming and disarming. This depends on A#
Area Type and CC# Scope. Read the
definitions of area type in Section 2.9 Area
Parameters and CC# Scope in Section
2.10.1 Cmd Cntr (Command Center)
Assignment.
L## Master Arm Delay
Default: See
Program Record Sheet
Selection: Blank or E
#2 Master Arm Delay [COMMAND][1]
Master arms areas based on the
CC# Scope
of the
command center using an exit delay time.
When this item is accessed through the Function
List, Master Arm All allows the user to arm all areas
according to the authority level of the user and
within the
CC# Scope
of the command center using
an exit delay time.
Arm Area arms only the area displayed.
If COMMAND 1 is used, it arms only the area
where the command center is assigned.
.L## Mstr Arm Inst
Default: See
Program Record Sheet
Selection: Blank or E
#3 Master Arm Instant [COMMAND][1][1]
When this item is accessed through the Function
List, Master Arm Inst allows the user to arm all areas
according to the user’s authority level and within the
CC# Scope
of the command center being used
without an exit delay time by accessing the Function
Menu.
Arm Area arms only the area to which the
command center is assigned.
If COMMAND 11 is used, it arms only the area
where the command center is assigned.
Use COMMAND 11 carefully because all
Perimeter and Interior points become
Instant Armed.

D9412G/D7412G | Program Entry Guide | 2.0 9000MAIN EN | 60
Bosch Security Systems | 1/04 | 47775E
L## Perim Instant
Default: See
Program Record Sheet
Selection: Blank or E
#4 Perimeter Instant Arm [COMMAND][2]
Instant arm all Perimeter points, including Delayed
points, only in the area where the command center
is assigned.
L## Perim Delay
Default: See
Program Record Sheet
Selection: Blank or E
#5 Perimeter Delay Arm [COMMAND][3]
Delay arm all Perimeter Delay point responses only
in the area where the command center is assigned.
L## Watch Mode
Default: See
Program Record Sheet
Selection: Blank or E
#6 Watch Mode [COMMAND][6]
Initiate the Watch Mode in the area to which this
command center is assigned.
L## Perim Partial
Default: See
Program Record Sheet
Selection: Blank or E
#7 Perimeter Partial Arm [COMMAND][8]
Partially arms only the area where the command
center is assigned.
This function ignores the A# FA Bypass
Max entry in Area Parameters.
0101
0101
0101
Local Only Reporting: No Closing
Report is sent to the central station, but a
Perimeter Delay Closing Event is
generated in the event log.
L## View Area Stat
Default: See
Program Record Sheet
Selection: Blank or E
#8 View Area Status (MENU FUNCTION only)
View the current arm/disarm and not ready to arm
status of all areas within the scope of the command
center in this area. The user needs arming/disarming
authority.
L## View Memory
Default: See
Program Record Sheet
Selection: Blank or E
#9 View Event Memory [COMMAND][4][0]
View all memory events that occurred since the last
time the system was armed for all areas within the
scope of the command center in this area.
L## View Pt Status
Default: See
Program Record Sheet
Selection: Blank or E
#10 View Point Status (MENU FUNCTION only)
View the current status of all points in the area to
which this command center is assigned.
L## Walk Test
Default: See
Program Record Sheet
Selection: Blank or E
#11 Walk Test [COMMAND][4][4]
Initiate a Walk Test for all Interior/Perimeter
Controlled points in the area to which this command
center is assigned.
The following features are provided with the Walk
Test Mode:
• During this test, the battery powers the control
panel only. A Battery Test is initiated during the
full duration of the test to ensure the battery
capacity is capable of supporting the full load of
the control panel while AC is failed.
- This test includes an initial 2-second Bell
Test when starting the Walk Test.
- The test ends once all points are tested or
until the test times out after 20 minutes of
no activity.
• Local alarm annunciation and event printing
without reporting to the central station receiver.
• D1255 command center displays a sequential
count after each point is activated and restored
as well as the text for the point.
• The command center displays ALL PTS
TESTED and an All Points Tested Event is
reported to the central station receiver (if
programmed) when the last point is tested.
• If enabled in Routing, Walk Start and Walk End
are reported at the central station receiver for
the beginning and end of the test.

D9412G/D7412G | Program Entry Guide | 2.0 9000MAIN EN | 61
Bosch Security Systems | 1/04 | 47775E
To Walk Test a Door point connected to a
D9210B Access Interface Module, the
door must be opened without activating
the door sequence or allowing it to time
out past the extended shunt time.
L## Fire Test
Default: See
Program Record Sheet
Selection: Blank or E
#12 Fire Test [COMMAND][5][8]
Initiate a Fire Walk Test for all 24-hour points in the
area where this command center is assigned.
When a Fire Test is initiated, one person can test a
fire system without assistance. The following features
are provided with the Fire Test Mode:
• During this test, the battery powers the control
panel only. A Battery Test is initiated during the
full duration of the test to ensure the battery
capacity is capable of supporting the full load of
the control panel while AC is failed.
- This test includes a 2-second Bell Test (Fire
Bell relay) for each Fire point that is tested.
- The test ends once all points are tested or
until the test times out after 20 minutes of
no activity.
• Local alarm annunciation and event printing
without reporting to the central station receiver.
• Automatic smoke detector reset Sensors
Resetting for all Fire points programmed with
P## Resettable
as Yes.
• D1255 command center displays a sequential
count after each point is activated and restored,
as well as the text for the point.
• If enabled in Routing, Fire Walk Start and Fire
Walk End are reported at the central station
receiver for the beginning and end of the test.
A# Verify Time for Fire points
programmed with P## Alarm Verify as
Yes is ignored during the Fire Walk Test.
L## Send Report
Default: See
Program Record Sheet
Selection: Blank or E
#13 Send Report [COMMAND][4][1] or
[COMMAND][4][2]
Send a Test Report from any command center
assigned to an area where the user has authority.
Access Control Functions
The following functions enable the user to control
the doors using the command center. Users can have
authority to access the Door Control and can use
either all or part of the functions within.
All doors display when this function is
chosen. This function does not follow the
scope of the command center.
L## Door Control
Default: See
Program Record Sheet
Selection: Blank or E
#14 Door Control [COMMAND][4][6]
This item only allows programming access to the
following three sub-prompts. It does not affect the
user’s access to Cycle Door, Unlock Door, and
Secure Door.
Cycle Door, Unlock Door, and Secure
Door cannot be accessed through the
Function List. Door Control must be added
to the Function List to access the door
control functions, or COMMAND 46 may
be used.
The following prompts are sub-functions of Door
Control. They become visible in the D5200
Programmer when you Enable Door Control and
press [ENTER] on the D5200.
0101
0101
0101
Cycle Door must be enabled for all three
sub-functions to operate. If Cycle Door is
disabled, all three sub-functions do not
operate.
L## Cycle Door
Default: See
Program Record Sheet
Selection: Blank or E
Cycle Door (MENU FUNCTION only)
Press the command center number keys [1] through
[8] that correspond to the door number to cycle
doors. For example, pressing [2] and [ENTER]
cycles door number 2, which is indicated by C in the
display.
Cycle Door allows the user with this authority level
to access the CYCLE? 12345678 function.

D9412G/D7412G | Program Entry Guide | 2.0 9000MAIN EN | 62
Bosch Security Systems | 1/04 | 47775E
L## Unlock Door
Default: See
Program Record Sheet
Selection: Blank or E
Unlock Door (MENU FUNCTION only)
Press the command center number keys [1] through
[8] that correspond to the door number to
unlock/relock doors. For example, pressing [2] and
[ENTER] unlocks door number 2, which is indicated
by U in the display.
Unlock Door allows the user with this authority level
to access the UNLOCK? 12345678 function.
L## Secure Door
Default: See
Program Record Sheet
Selection: Blank or E
Secure Door (MENU FUNCTION only)
Press the command center number keys [1] through
[8] that correspond to the door number to
secure/unsecure doors. For example, pressing [2]
and [ENTER] secures door number 2, which is
indicated by an X in the display.
Secure Door allows the user with this authority level
to access the SECURE? 12345678 function.
Table 27: L## Secure Door-Door Mode
Definitions
Door State Definition
Lock Door Normal Door: When a door is in the
Lock Door state, one can initiate the
door sequence using Skeds, CYCLE
DOOR?, command center functions,
door requests, and valid token/card
requests.
Secure Door No Access Allowed: When a door is
in the Secure Door state, no access
is allowed through the door until it is
returned to the Lock Door state. This
includes Sked and command center
functions.
Unlock Door Free Access: When a door is in the
Unlocked Door state, the door is
already shunted and the strike does
not prevent the door from opening. In
this state, the user does not need to
activate a door request or present a
valid token/card.
Cycle Door Momentary Access: This is a
temporary Door Mode in which the
door initiates the door sequence as if
a valid token/card was read. This
state occurs using the command
center and RAM. A sked cannot
activate this state.
L## Access Ctl Lvl
Default: See
Program Record Sheet
Selection: Blank or E
#37 Access Control Levels (MENU FUNCTION
only)
Changing the Access Control Level in any
area affects all users and all doors
associated with that level for all areas.
Access Level Ctl allows the user with this authority
level to enable/disable access control levels for all
doors activated in the control panel regardless of the
area in which the doors are assigned.

D9412G/D7412G | Program Entry Guide | 2.0 9000MAIN EN | 63
Bosch Security Systems | 1/04 | 47775E
L## Chg Display
Default: See
Program Record Sheet
Selection: Blank or E
#15 Change Display [COMMAND][4][9]
Change the display (bright display, dim display, and
time display) in the area where this command center
is assigned.
L## Chg Time/Date
Default: See
Program Record Sheet
Selection: Blank or E
#16 Change Time and Date [COMMAND][4][5]
Change the date and time for the control panel in
this area.
L## Chg Passcode
Default: See
Program Record Sheet
Selection: Blank or E
#17 Change Passcodes [COMMAND][5][5]
Change a user passcode.
L## Add User
Default: See
Program Record Sheet
Selection: Blank or E
#18 Add User [COMMAND][5][6]
Add/change users, add/change authority levels,
add/change tokens/cards.
9210 NOT READY appears if a door
controller is not assigned (see CC#
Assign Door in Section 2.10.1 Cmd Cntr
(Command Center) Assignment) to the
command center used to add/change
tokens/cards.
L## Del User
Default: See
Program Record Sheet
Selection: Blank or E
#19 Delete User [COMMAND][5][3]
Delete users.
0101
0101
0101
Although an individual user (001 through
249) can be deleted separately, take
caution. User passcode, token/cards
cannot be deleted individually within a
group (for example, User 001 has three
additional sub-users that use the same
authority levels for that group). When
dealing with an individual user, change
that user’s token/passcode so other
users in the group do not need to be re-
added.
L## Extend Close
Default: See
Program Record Sheet
Selection: Blank or E
#20 Extend Close [COMMAND][5][1]
Change the closing time in the area where the
function is entered.
L## View Log
Default: See
Program Record Sheet
Selection: Blank or E
#21 View Log (MENU FUNCTION only)
View all panel-wide events in the control panel’s
memory log.
L## Print Log
Default: See
Program Record Sheet
Selection: Blank or E
#22 Print Event Log (MENU FUNCTION only)
Print all panel-wide events from the log to the
printer in the area where the user is executing this
function.
This item can also be accessed using the
Service Menu ([9][9][ENT]).
L## User Cmd 7
Default: See
Program Record Sheet
Selection: Blank or E
#23 User COMMAND 7 [COMMAND][7]
Can be used in Function Menu. Generate the alarm
programmed at COMMAND 7 in the RADXPNTS
Handler.

D9412G/D7412G | Program Entry Guide | 2.0 9000MAIN EN | 64
Bosch Security Systems | 1/04 | 47775E
L## User Cmd 9
Default: See
Program Record Sheet
Selection: Blank or E
#24 User COMMAND 9 [COMMAND][9]
Can be used in Function Menu. Generate the alarm
programmed at COMMAND 9 in the RADXPNTS
Handler.
L## Bypass a Pt
Default: See
Program Record Sheet
Selection: Blank or E
#25 Bypass a Point [COMMAND][0]
Bypass points with this authority level
L## Unbypass a Pt
Default: See
Program Record Sheet
Selection: Blank or E
#26 Unbypass a Point [COMMAND][0][0]
Unbypass points with this authority level.
L## Reset Sensors
Default: See
Program Record Sheet
Selection: Blank or E
#27 Reset Sensors [COMMAND][4][7]
Reset sensors with this authority level.
L## Change Relay
Default: See
Program Record Sheet
Selection: Blank or E
#28 Change Relays [COMMAND][5][4]
Set RELAY ON? and reset RELAY OFF? relays in
the control panel.
Do not use the Chg Relays? function to
toggle relays reserved for special
functions. Special function relays are Area
and Panel Wide Relay functions as well as
relays assigned to CC# Entr Key Rly?.
L## Remote Program
Default: See
Program Record Sheet
Selection: Blank or E
#29 Remote Programming [COMMAND][4][3]
Initiate a RAM session once the phone rings at the
control panel.
L## Move to Area
Default: See
Program Record Sheet
Selection: Blank or E
#30 Move to Area [COMMAND][5][0]
Temporarily switch to a different area and perform
command center functions related to the area to
which the command center is switched.
L## Display Rev
Default: See
Program Record Sheet
Selection: Blank or E
#32 Display Software Revision
[COMMAND][5][9]
Display the control panel software revision 9412
REV ##.##.
L## Service Walk
Default: See
Program Record Sheet
Selection: Blank or E
#33 Service Walk Test (MENU FUNCTION only)
Initiate a Service Walk Test for all 24-hour
Interior/Perimeter Controlled points in the control
panel.
Points are not included in this test if:
• Points are in an area that is already in a Walk
Test Mode.
• Points are assigned to an area that is not enabled
A# Area On
.
• Points are in an area that is Master or Perimeter
armed.
• When a Service Walk Test is initiated, one
person can test all the points in the control panel
without assistance. The following features are
provided with the Service Test Mode:
- Display tells you exactly how many points
can be tested.
- A Battery and Bell Test does not occur
during this Walk Test.
- The test ends once all points are tested or
until the test times out after 20 minutes of
inactivity.
- Local event printing without alarm
annunciation or reporting to the central
station receiver.

D9412G/D7412G | Program Entry Guide | 2.0 9000MAIN EN | 65
Bosch Security Systems | 1/04 | 47775E
- D1255 command center displays a
sequential count after each point is activated
and restored as well as the text for the point.
- The D1255 command center displays ALL
PNTS TESTED.
- If enabled in Routing, Service Start and
Service End are reported at the central
station receiver for the beginning and end of
the test.
Point 128 and Point 248 appear as missing. This is
normal. These points are used for supervising the
Zonex bus 1 (Point 128) and Zonex bus 2 (Point
248). If these points indicate a short, the Zonex bus
has a fault.
Extra points can be viewed using this function. Extra
points occur under two conditions: an extra point is
a point wired electrically to the Zonex bus with a
blank
P### Point Index
, or two Zonex devices
exist for the same Zonex address.
L## Default Text
Default: See
Program Record Sheet
Selection: Blank or E
#34 Default Text [COMMAND][5][7]
Temporarily display the armed state of the area
using control panel default text, A# AREA # IS ON,
A# NOT READY, A# AREA # IS OFF, and A#
ACCOUNT IS ON.
L## Change Skeds
Default: See
Program Record Sheet
Selection: Blank or E
#35 Change Skeds [COMMAND][5][2]
Change skeds that can be edited.
Skeds can be restricted from being edited
by programming S## Time Edit? to No.
Custom Functions
L## C Function 128 [through 143]
Default: See
Program Record Sheet
Selection: Blank or E
128 to 143 Enable Custom Function 128 through
143 (MENU FUNCTION only)
Execute the desired Custom Function.
Report Levels
L## Force Arm
Default: See
Program Record Sheet
Selection: Blank or E
Allows a user with this authority level to Force Arm.
L## Area O/C
Default: See
Program Record Sheet
Selection: Blank or E
Generate Opening and Closing Reports if the area
where this authority level is assigned sends Opening
and Closing Reports.
L## Restricted O/C
Default: See
Program Record Sheet
Selection: Blank or E
Initiate an Opening Report if a bell is ringing or a
Closing Report when force/bypass arming. The area
where this authority level is assigned must be
programmed for restricted openings and closings
(see the
A# Restrictd
O/C
prompt in Section 2.9.5
Open/Close Options)
.L## Perimeter O/C
Default: See
Program Record Sheet
Selection: Blank or E
Report Perimeter Opening and Closing Reports if
the area where this authority level is assigned sends
Perimeter Opening and Closing Reports.
L## Send Duress
Default: See
Program Record Sheet
Selection: Blank or E
Send a Duress Report if the area where this
authority level is assigned sends duress. (See the
A#
Duress Enable
prompt in Section 2.9 Area
Parameters).
L## Passcode Arm
Default: See
Program Record Sheet
Selection: Blank or E
Arm an area by entering a passcode and pressing
[ENTER].

D9412G/D7412G | Program Entry Guide | 2.0 9000MAIN EN | 66
Bosch Security Systems | 1/04 | 47775E
L## Passcode Disarm
Default: See
Program Record Sheet
Selection: Blank or E
Disarm an area by entering a passcode and pressing
[ENTER].
Access Control Levels
L## Security Level
Default: See
Program Record Sheet
Selection: M, P, D, or Blank
M Users have access rights for this area
when the area is in any armed state.
P Users have access rights for this area
when the area is Perimeter Armed or
disarmed but not while the area is
Master Armed.
D Users have access rights for this area
only while it is disarmed.
Blank Users do not have access rights to this
area.
Security Level [TOKEN FUNCTION]
When the user presents a token/card at the reader,
access is granted only when the user has the
authority to enter the area under certain armed
conditions.
L## Disarm Level
Default: See
Program Record Sheet
Selection: I, D, or Blank
I Users change the Master Armed state
and Perimeter Armed state to
Perimeter Instant. The armed state
does not change in other areas, and the
armed state does not change if the area
is already in the perimeter instant or
disarmed state. User needs access level
for Master Armed (M) state.
DUsers change the local area’s Master
Armed state and Perimeter Armed
state to the Disarm state. User needs
access level for Master Armed (M) or
Perimeter Armed (P) state. All areas
within the scope of the command
center assigned to the
D# CC# Scope
in the access handler, and areas to
which the user has disarm rights,
disarm as programmed.
Blank Users do not have disarm rights in this
area.
Burglar bells are silenced in the local area
when a user disarms with a token/card or
presents the token/card during an alarm.
The user must use a passcode to silence
a Fire Bell. Cancel Reports are sent after
a valid passcode or token/card silences
the bell.
0101
0101
0101
Opening and Closing Reports are sent to
the central station receiver if programmed.
For more information on programming this
prompt for a shared area, see Access
Control Readers Assigned to the Shared
Area in Section 2.9.3 Shared-Area
Characteristics.

D9412G/D7412G | Program Entry Guide | 2.0 9000MAIN EN | 67
Bosch Security Systems | 1/04 | 47775E
2.12 Function List
The Function List is accessed when the user presses
[MENU] (or the key corresponding to menu) on the
D1260) while the command center is displaying the
idle text. Up to 32 functions M### Function(s) can
be programmed.
Each CC # command center address can display a
combination of all/each of the 32 menu items. The
D1255 displays one menu item at a time. The D1260
displays up to two menu items at a time. Enabling
the function in the menu list does this by command
center address. The function name shown in the
Functions column on the record sheet appears in the
command center display in capital letters. For
example, WATCH MODE displays for
#6 Watch
Mode.
Menu Item
Default: See
Program Record Sheet
Selection: 1 to 32
Enter the menu item number you are programming.
The M## Function displays sequentially in the order
they are programmed. (M 1 Function is the first
function that appears in the menu and M 32
Function is the last function that appears when
scrolling through the menu).
0101
0101
0101
A failure to program Menu Item 1 causes
COMMAND DISABLED to appear in the
command center display.
M## Function
Default: See
Program Record Sheet
Selection: Blank, 1 to 30, 32 to 35, 37, and
128 to 143
Enter the function number indicated in the “#”
column of the Program Record Sheet and next to the
function in Section 2.11 User Interface.
0101
0101
0101
Function numbers 128 to 143 are custom
functions and display the text programmed
for CF ### Text.
There is no restriction on how many times
you may assign a specific function to the
menu. By doing so, you can assign the
same function at different command
centers so they appear differently in some
areas than in others.
M## CC Address 1 [through 8]
Default: See
Program Record Sheet
Selection: Yes or No
Yes This menu item appears at this
command center address.
No This menu item does not appear at this
command center address.
Programming this prompt determines at which CC
address setting this Menu Item appears.
2.13 Relay Parameters
Relays provide dry contact (normally open/closed)
outputs for LED annunciation and other applications
as well as wet (12 VDC on/off) voltage outputs for
basic alarm system functions (such as Bell Output or
Reset Sensors). The applications are endless, but
primarily, relays are used to enhance a system’s
capability to perform output functions.
• Panel-Wide Relays: These relays provide an
output related to a panel-wide indication. For
annunciation, these relays can indicate system
wide troubles for power, phone, and overall
control panel summary of alarms, troubles, and
supervisory conditions.
• Area Relays: These relays provide an output by
the area that the relay is assigned to. An area
can have its own bell and sensor reset
indications. Relays can also indicate the area
armed state and whether any off normal
conditions such as a force arm occurred.
• On Board Relays: There are three on-board 12
VDC voltage-outputs that provide power when
activated on the control panel. These outputs are
default programmed from the factory as Relays
A, B, and C. Typically, Relay A (Terminal 6) is
used for the bell, Relay B (Terminal 7) is used
for an alternate alarm output (such as another
bell), and Relay C (Terminal 8) is used for
Sensor Reset (Relays B and C require the
optional D136 Relays).
• Off-Board Relays: The D9412G can also
control 128 (64 for the D7412G) dry contact
form C relays when up to sixteen optional
D8129 OctoRelay Modules are installed. These
relays are used for Area Relay, Panel-Wide
Relay, and Individual Point Fault Relays.
• Relay Follows Point: Relays can also be used
to activate when a point programmed for
P##
RlyResp Type
(in Section 4.1 Point Index) is off
normal or in alarm condition.

D9412G/D7412G | Program Entry Guide | 2.0 9000MAIN EN | 68
Bosch Security Systems | 1/04 | 47775E
• Relay Reports: When relay activity is reported
to the receiver (see Section 2.3 Routing), on-board
relays are reported as follows: A = 253, B = 254,
C = 255. The others report as 001 to 128. The
Relay Report is RELAY SET RELAY # rrr
when the relay is turned on and RELAY RESET
RELAY # rrr when the relay is turned off. Relay
Reports are also printed on the local printer and
stored in the control panel memory log.
• Controlling Relays: As mentioned, relays can
be activated depending upon conditions that
exist with the control panel. In addition, relays
can be controlled by the user using the Chg
Relay? function, Relay On/Relay Off skeds, and
the Remote Account Manager.
Review the following programming tips, notes, and
applications before programming your relays.
DO NOT use the CHG RELAYS? function
to toggle relays reserved for special
functions. Special function relays are Area
and Panel Wide Relay functions as well as
relays assigned to CC Entr Key Rly and
P## RlyResp Type.
Relay C is always on. Assigning any other
relay (1 to 128, A or B) deactivates Relay C
so this output can be used for other
functions. When Relay C is programmed for
A# Rest Sensors, power is always supplied
from Terminal 8 of the control panel.
0101
0101
0101
Check relay status after reprogramming
or resetting the control panel. All relays
are turned off after the control panel
resets. The control panel checks certain
relay functions each minute and resumes
the correct state after the reset. Other
relays must be manually set to the correct
state using the Change Relay Function
(COMMAND 54).
These Relay functions resume the proper
state within 1 minute:
Alarm Bell Perimeter Fault
Summary Fire Summary Trouble
Area Armed Reset Sensors
Fire Bell AC Fail
Summary Alarm Phone Fail
Silent Alarm Summary SupBurg
Area Fault Battery Trouble
Summary Fire Tbl Communications Fail
Watch Mode Summary SupFire
These Relay functions must be manually
reset with Change Relay function
(COMMAND 54):
Fail To Close Force Armed
Duress Log % Full
2.13.1 Area Relays
Each area can be assigned a unique relay number
for each of the events listed in this section.
Area
Default: 1
Selection: 1 to 8
Enter the area number you are programming.
A# Alarm Bell
Default: A
Selection: Blank, 1 to 128 (1 to 64 for D7412G),
A, B, or C
This voltage output relay activates and provides
12 VDC output when a Non-fire point (
P## Fire
is
No) assigned to this area goes into alarm.
0101
0101
0101
Burg Time and Burg Pat must be
programmed in Bell Parameters. This relay
activates according to the bell pattern and
remains active until the bell time expires.
P## Silent Bell must be No for the bell to
ring upon alarm.

D9412G/D7412G | Program Entry Guide | 2.0 9000MAIN EN | 69
Bosch Security Systems | 1/04 | 47775E
A# Fire Bell
Default: A
Selection: Blank, 1 to 128 (1 to 64 for D7412G),
A, B, or C
This voltage output relay activates and provides
12 VDC output when a Fire point (
P## Fire
is Yes)
assigned to this area goes into alarm.
0101
0101
0101
Fire Time and Fire Pat must be
programmed in Bell Parameters. This relay
activates according to the bell pattern and
remains active until the bell time expires.
P## Silent Bell must be No in order for
the bell to ring upon alarm.
0101
0101
0101
Although Relay C is a valid entry for A#
Fire Bell, do not program Relay C for this
entry.
A# Reset Sensors
Default: C
Selection: Blank, 1 to 128 (1 to 64 for D7412G),
A, B, or C
Unlike the default relay for Alarm Bell and Fire Bell,
this voltage-output relay (Relay C) de-activates for 5
seconds when the Reset Sensors? function is
initiated from the command center or during a Fire
Walk Test.
The Reset Sensor time converts from the
5 second default time to the time
programmed in A# Verify Time (see
Section 2.9 Area Parameters) when a
point programmed for P## Alarm Verify
(Section 4.1 Point Index) goes into an
alarm condition.
0101
0101
0101
When sharing one relay to reset sensors in
two or more areas, you must program the
following. Failure to do so causes
TROUBLE PT ### for all point types
programmed as P## Resettable.
• CC # Scope must include all the areas
that are sharing the relay.
• L## Reset Sensors for the user
initiating the sensor reset must be
enabled for all the areas that are
sharing the relay.
• A# Verify Time must be the same
number of seconds for all the areas
that are sharing the relay.
A# Fail to Close
Default: Blank
Selection: Blank, 1 to 128 (1 to 64 for D7412G),
A, B, or C
Activates when the Closing Window expires for the
specified area. It remains activated until midnight, or
until another Closing Window starts, or the control
panel is reset, whichever occurs first.
See Programming Tip #5 in this section
for additional relay functions.
A# Force Armed
Default: Blank
Selection: Blank, 1 to 128 (1 to 64 for D7412G),
A, B, or C
Activates when this area is Force Armed. It remains
activated until the area is disarmed or the control
panel is reset.
When perimeter force arming, this relay
does not activate.
A# Watch Mode
Default: Blank
Selection: Blank, 1 to 128 (1 to 64 for D7412G),
A, B, or C
Activates when a Controlled point programmed for
P## Watch Point
is tripped in the specified area
while the area is in Watch Mode and the point is not
armed. It remains activated for 2 seconds after each
point is faulted.

D9412G/D7412G | Program Entry Guide | 2.0 9000MAIN EN | 70
Bosch Security Systems | 1/04 | 47775E
A# Area Armed
Default: Blank
Selection: Blank, 1 to 128 (1 to 64 for D7412G),
A, B, or C
Activates when the specified area becomes master
armed (exit delay must expire before the relay
activates). The relay remains activated until the area
is disarmed. It does not deactivate during the entry
delay time.
If multiple areas use the same relay, the relay
activates when all areas are armed. It deactivates
when the first area disarms.
Programming a 64 in Area 8’s Silent Alarm
relay causes the Area Armed relay to
energize at the beginning of the exit delay
time.
Keyswitch area armed status with LEDs.
Use a D8129 Module and connect an LED
to display the armed state.
Alternate communication trigger: This
output relay can be used to trigger the
input zone of a device being used as a
slave to report control panel arming status.
A# Area Fault
Default: Blank
Selection: Blank, 1 to 128 (1 to 64 for D7412G),
A, B, or C
The relay activates whenever a controlled (
P##
Type 1, 2, 3
only) Perimeter or Interior point is
faulted. The relay remains activated until all
Perimeter and Interior points in the area are normal.
Keyswitch area armed status with LEDs.
Use a D8129 Module and connect an LED
to light when this relay is activated
indicating that the area is not ready to arm.
A# Duress Relay
Default: Blank
Selection: Blank, 1 to 128 (1 to 64 for D7412G),
A, B, or C
The relay activates when a Duress alarm is
generated from a command center assigned to the
specified area.
0101
0101
0101
Burg Time needs a bell period
programmed and A# Duress Enable must
be Yes. This relay activates steadily
regardless of bell pattern and remains
active until the bell time expires.
A# Perim Fault
Default: Blank
Selection: Blank, 1 to 128 (1 to 64 for D7412G),
A, B, or C
The relay activates when a Controlled Perimeter
point (
P## Type 1
) assigned to the specified area is
faulted. This relay activates regardless of the areas
armed state. This relay provides a steady output until
all Perimeter points in the area return to normal.
This relay does not activate on interior
faults. To detect all area point faults,
program all points as Perimeter points in
the area where this relay is assigned.
A# Silent Alarm
Default: Blank
Selection: Blank, 1 to 128 (1 to 64 for D7412G),
A, B, or C
This relay activates when a point assigned to the
specified area and programmed for
P## Silent Bell
goes into alarm.
0101
0101
0101
Programming Tip #1: Burg Time needs a
bell period programmed. This relay
activates according to the bell pattern and
remains active until the bell time expires or
a valid passcode is entered.
0101
0101
0101
Programming Tip #2: Programming 64 in
Area 8’s Silent Alarm Relay causes the
Area Armed or Perimeter Armed Relay
(see Programming Tip #5) to energize at
the beginning of the exit delay time.
0101
0101
0101
Programming Tip #3: Programming a
non-zero value in Area 5’s Silent Alarm
Relay enables Ground Fault Detect on the
D9412G or D7412G Control Panels. See
the D9412G/D7412G Operation and
Installation Guide regarding Ground Fault
Detect.

D9412G/D7412G | Program Entry Guide | 2.0 9000MAIN EN | 71
Bosch Security Systems | 1/04 | 47775E
0101
0101
0101
Programming Tip #4:
Fire Trouble Resound was added to
firmware versions 6.20 and later. This
feature, when enabled, resounds the Fire
Trouble condition at 12:00 PM or 12:00
AM if the Fire Trouble condition still exists.
It does not, however, retransmit the Fire
Trouble condition at the specified time.
The Fire Trouble Event is only sent, if
programmed to do so, at the time it
occurs.
• To disable the Fire Trouble Resound
feature, program a 0 in Area 6’s Silent
Alarm Relay entry.
• To enable the Fire Trouble Resound
feature at 12:00 PM, program a 61 in
Area 6’s Silent Alarm Relay entry.
• To enable the Fire Trouble Resound
feature at 12:00 AM, program a 62 in
Area 6’s Silent Alarm Relay entry.
Note:
Programming a value other than 0, 61, or 62
enables the Fire Trouble Resound feature at
12:00 AM.
Beginning in Firmware version 6.30 and
higher, a Fire Trouble Resound prompt
was added to Section 6.7 Miscellaneous.
This prompt operates as described.
0101
0101
0101
Programming Tip #5:
Perimeter Armed Relay was added to
firmware versions 6.20 and later. This
feature, when enabled, turns the Fail to
Close Relay function into a Perimeter
Armed Relay function.
To switch the Fail to Close Relay into a
Perimeter Armed Relay function, program
a 63 in Area 7’s Silent Alarm Relay entry.
Then, program a relay number into the
appropriate area you wish to activate when
the area becomes Perimeter Armed
(COMMAND 2, COMMAND 3, or
COMMAND 8). See Programming Tip #2
for additional information.
2.13.2 Panel-Wide Relays
The following eleven relay options activate when
they occur anywhere in the control panel. They are
not restricted by area boundaries.
AC Failure
Default: Blank
Selection: Blank, 1 to 128 (1 to 64 for D7412G),
A, B, or C
Activates when the control panel responds to an AC
power failure as programmed in
AC Fail Time
in
Section 2.5 Power Supervision. This relay automatically
resets when AC power is restored.
Use this relay as an option to create
audible annunciation using the command
centers for all applications excluding
commercial fire systems.
Battery Trouble
Default: Blank
Selection: Blank, 1 to 128 (1 to 64 for D7412G),
A, B, or C
Activates when battery voltage falls below 85% of
capacity (12.1 VDC) for a fully charged (13.8 VDC)
battery, or when the battery is in a missing
condition. This relay automatically resets when
battery power is restored.
Use this relay as an option to create
audible annunciation using the command
centers for all applications excluding
commercial fire systems.
Phone Fail
Default: Blank
Selection: Blank, 1 to 128 (1 to 64 for D7412G),
A, B, or C
Activates when a telephone line failure occurs. A
time must be entered in Ph Supv Time (see Section
2.2 Phone Parameters) for this relay to activate. This
relay automatically resets upon restoral of the phone
line(s).

D9412G/D7412G | Program Entry Guide | 2.0 9000MAIN EN | 72
Bosch Security Systems | 1/04 | 47775E
Comm Fail
Default: Blank
Selection: Blank, 1 to 128 (1 to 64 for D7412G),
A, B, or C
This relay activates when a control panel is unable
to communicate a report after making ten attempts
to each routing destination. At the same time, COMM
FAIL RT ## displays at the command center. This
relay automatically resets when a report is sent
successfully.
Use this relay to report primary digital
report failure to an alternate
communication device.
Log % Full
Default: Blank
Selection: Blank, 1 to 128 (1 to 64 for D7412G),
A, B, or C
Enter the number of the relay that activates when
the log reaches the programmed percentage of its
capacity as programmed in RAM Parameters
program item Log % Full. This relay provides a
steady output until a Get Log and Set Pointer is
performed from the RPS.
Summary Fire
Default: Blank
Selection: Blank, 1 to 128 (1 to 64 for D7412G),
A, B, or C
Enter the number of the relay that activates when
any Fire point in the system (
P## Type 0
,
P## Fire
Yes) goes into alarm. This relay provides a steady
output until all Fire points in the system are returned
to normal.
Summary Alarm
Default: Blank
Selection: Blank, 1 to 128 (1 to 64 for D7412G),
A, B, or C
Enter the relay’s number that activates when a Non-
fire point goes into alarm. This relay provides a
steady output until the alarm is acknowledged by a
valid passcode then cleared from alarm memory
with an acknowledgment at the command center.
This relay does not activate for silent
alarms.
Summary Fire Tbl
Default: Blank
Selection: Blank, 1 to 128 (1 to 64 for D7412G),
A, B, or C
This relay activates when any Fire point in the
control panel is in trouble, or if a Fire Supervision
point is missing. This relay provides a steady output
until all Fire points restore to a normal condition.
Summary SupFire
Default: Blank
Selection: Blank, 1 to 128 (1 to 64 for D7412G),
A, B, or C
Activates when any Fire Supervisory point in the
control panel is in a supervisory condition (off
normal). This relay provides a steady output until all
Fire Supervisory points are restored to a normal
condition.
Summary Trouble
Default: Blank
Selection: Blank, 1 to 128 (1 to 64 for D7412G),
A, B, or C
Activates when any Non-fire point in the control
panel is in a trouble condition. This relay provides a
steady output until the user at the command center
acknowledges the trouble.
Summary SupBurg
Default: Blank
Selection: Blank, 1 to 128 (1 to 64 for D7412G),
A, B, or C
Activates when any Non-fire Supervisory point in
the control panel is in a supervisory condition, or if a
Supervisory Burg point is missing. This relay
provides a steady output until it is acknowledged at
the command center.

D9412G/D7412G | Program Entry Guide | 3.0 RADXUSR1/RADXUSR2 EN | 73
Bosch Security Systems | 1/04 | 47775E
3.0 RADXUSR1/RADXUSR2
3.1 Passcode/Token Worksheet
These programming items assign user groups 001 to
249 a passcode, area assignment by authority level,
and a User Group Window.
0101
0101
0101
Two handlers in the D5200 Programmer are
used to program the users. RADXUSR1
Handler programs users 000 to 124.
RADXUSR2 programs users 125 to 249
(D9412G only).
3.1.1 User Groups
For the D9412G, there are 249 groups (99 groups for
the D7412G) consisting of one user with a passcode
and token, (master) and three users with
tokens/cards but not a passcode (sub-user). All users
in the group share the same authority level as the
master user.
3.1.2 Passcodes
Only the master user is assigned a passcode. The
passcode can be three to six digits. Entering three
digits in
User ###
chooses the master user.
Programming the
U### Passcode
assigns a
passcode to the master user. Sub-users cannot use
the passcode. While the system allows tokens/cards
to be added to USER 0 (service passcode), the
tokens/cards do not function because the service
passcode uses Authority Level 15.
3.1.3 User Group Window
Use
U### User Group
to enable/disable the
U### Passcode
for up to eight different time
periods throughout the day. Assign the number (1 to
8) programmed in
U### User Group
to a
User
Windows #
. If the user is outside a window,
COMMAND DISABLED appears on the command
center after the user enters the passcode and presses
[ENTER].
This window does not affect tokens/cards, it
only affects the passcode of the master
user.
3.1.4 Authority Level by Area
A user group is assigned an authority level of 1
through 14 for each area using the
U### Area #
Auth
prompt. The authority level can be different
for each area. Not programming an authority level
for an area is indicated by the NOT AUTHORIZED
display on the command center.
When using the Add/Change User function
at the command center, the authority levels
and the changes made affect the master
user’s passcode and the entire group’s
token/cards.
When using the ACCESS CTL LVL function
at the command center, the whole group is
affected by whether the level is on or off for
access control functions only.
When using the DELETE USER? function,
the whole group is deleted. There is no
means to delete each user within the group
individually. It is recommended that you use
the ADD/CHG USER? function to change a
user token/card instead of deleting the
whole group.
3.1.5 User Name
Each user group can be assigned one
U### Name
.
This name is logged and reported to the central
station for all the users in the group. The user ID is
used to differentiate which user’s token/card was
executed.
Beginning with v6.30, when using a D1260
Command Center, User 249 text is used
for contact information text (such as
telephone numbers). If a D1260 is installed
on the system, do not use User 249 for
user ID information.
3.1.6 Tokens/Cards
The master user assigned the passcode can also be
assigned a token/card. This is done by programming
the
U### Mstr Site
and
U### Mstr C/D
.
Three more token/cards are assigned to the user
group for sub-users using the
U### SU# Site
and
U### SU# C/D
.
3.1.7 Reporting and Logging
Modem Format
must be Yes for the following
reports to the central station. Regardless of the
reporting format, they log and print at the local
printer as shown. Each sub-user is identified by the
master user’s three-digit number plus an extension of
0, 1, 2, or 3. These numbers are called Sub-user ID
Codes.
Figure 3 shows all the users for User Group 122 as
they would appear.

D9412G/D7412G | Program Entry Guide | 3.0 RADXUSR1/RADXUSR2 EN | 74
Bosch Security Systems | 1/04 | 47775E
Figure 3: User Group 122 Example
Master User:
ID 122.
♦CRD ID 122-0
♦Sub User -1: ID 122-1
CRD ID 122-1
♦Sub User -2: ID 122-2.
CRD ID 122-2
♦Sub User -3: ID 122-3.
CRD ID 122-3
2
1
1 - User passcode
2 - User token/card
0101
0101
0101
In reporting systems using modem format, all three digits of the User ID Code are transmitted to the
central station with appropriate reports. Central station automation computer systems may only accept
Zonex and COMEX style User Ids. See Point/User Flag in Section 2.1 Phone.
In BFSK, only one number is transmitted. This number represents a group of ten users as shown in Table 28.
Users 100 through 249 do not report in BFSK format.
Table 28: BSFK User Code Report
User Code
000 to 009
User Code
010 to 019
User Code
020 to 029
User Code
030 to 039
User Code
040 to 049
User Code
050 to 059
User Code
060 to 069
User Code
070 to 079
User Code
080 to 089
User Code
090 to 099
BFSK
Report
0
BFSK
Report
1
BFSK
Report
2
BFSK
Report
3
BFSK
Report
4
BFSK
Report
5
BFSK
Report
6
BFSK
Report
7
BFSK
Report
8
BFSK
Report
9
User ###
Default: 001
Selection: 000 or 001 to 249 (001 to 099 for the
D7412G)
Enter the User number you are programming.
0101
0101
0101
User 000 is the Service Authority Level
(Level 15). You cannot change the
programming for user 000.
Only the Service Authority Level (User
000) can delete User 000. When a user
other than User 000 tries to delete the
passcode for User 000, the command
center displays NOT IN USE.
User 000 cannot be added/changed at the
command center whether it exists or not.
U### Passcode
Default: See
Program Record Sheet
Selection: Three to six digits ( 0 to 9)
Enter three to six digits to enable a passcode for the
master user in this group.
0101
0101
0101
User I.D.000 is the Service Passcode. The
default Service Passcode is 123.
The programmer does not allow you to
enter any passcode number that could
conflict with a duress passcode. If Duress
Type is a 1, passcodes within a range of 1
for existing passcodes cannot be entered.
This rule applies even if duress is disabled.
For example, once a passcode of 654321
is entered, 654322, 654323, 654320,
and 654329 cannot be entered.

D9412G/D7412G | Program Entry Guide | 3.0 RADXUSR1/RADXUSR2 EN | 75
Bosch Security Systems | 1/04 | 47775E
A silence bell authority is built into all
authority levels, even if they are the default
and none of the available programmable
functions are enabled. A user passcode
can silence a Fire/Burg bell as long as any
authority level is assigned to the area
where the bell can be silenced.
U### User Group
Default: Blank
Selection: Blank, 1 to 8
Use this parameter to create a group of up to 249
users (99 for the D7412G) whose combinations can
be enabled/disabled using an automatic user
window. This is the number entered into the
W#
User Group
for any active
W# User Window
.
Multiple windows can be programmed for one user
group (up to eight) within one 24-hour period. For
example, if User Group 1 has a window running
from 8:00 AM (start time) to 4:00 PM (stop time),
the users for that group may use their passcodes only
between that time. Between 4:00 PM that day and
8:00 AM the next day, the users may not use their
passcodes.
0101
0101
0101 To enable this user’s passcode at all times,
leave U### User Group blank.
User Group Window times cannot be changed from
the command center. Once a window is assigned to
a user group, the users in that group rely on the
window to be active (within the start and stop times)
for their passcodes to function. The only way to
disable the window is by reprogramming the control
panel from the D5200 or RAM.
U### Area 1 [through Area 8] Auth
Default: See
Program Record Sheet
Selection: 1 to 14 or Blank
Assign an authority level to the user for this area.
Blank means the user has no authority in this area.
U### Name
Default: See
Program Record Sheet
Selection: Sixteen alphanumeric characters
Enter Alphabetic-characters A to Z in capital letters
Period (.), comma (,), percent (%), parentheses [()],
equal (=), greater/less than (<>), exclamation (!),
braces ({}), apostrophe (’), carat (^), grave accent (`),
tilde (~), semi-colon (;), and colon (:) are not
allowed.
Enter up to sixteen characters of text for this user
group.
Programming this group with a
departmental, team, or function name
identifies all the users in this group in a
function related manner, such as
ENGINEERING.
Card Data Format
The D9412G/D7412G and D9210B Controller
comply with the 26-BIT Wiegand card data format.
In essence, the format consists of 26 bits (3.2 bytes)
of data. The first bit is used for the even parity. The
next 8 bits (first byte) is used for the
U### Site
Code
. The next 16 bits (second and third byte) are
used for the
U### Card Data
. The last bit is used
for the odd parity.
As long as the reader and tokens/cards you are using
are 26-BIT Wiegand compatible, they function with
this system.
Use only the readers identified as being compatible
with the D9210B door control module. Information
on these readers can be found in the D9210B O/I
Manual.
For more information, see the Security Industry
Association (SIA) Access Control 26-BIT Wiegand
Reader Interface Standard.
U### Mstr Site
Default: Blank
Selection: 000 = (0) to 254 or Blank (255)
Master User ### Site Data
Enter the first three decimal numbers on the back of
the token/card. This is the first byte (bits 2 through
9) of data for a 26-bit Wiegand card. This is called
the site number. Tokens/cards with a site code of
255 are not compatible with the D9412G/D7412G
Control Panels.

D9412G/D7412G | Program Entry Guide | 3.0 RADXUSR1/RADXUSR2 EN | 76
Bosch Security Systems | 1/04 | 47775E
0101
0101
0101
Converting hexadecimal to decimal: If
your card label contains letters as well as
numbers, the number is hexadecimal.*
Convert the hexadecimal number to
decimal using your calculator. If you cannot
convert in this way, use the reader and the
Add/Chg User? Function to add the
tokens/cards.
Perform the following test to confirm you
can convert properly:
Use 319EB0 as the hexadecimal number.
On your calculator, press [HEX]. Enter all
the hexadecimal characters into the
calculator. Press [DEC] and your
hexadecimal characters convert to the
following eight digits: 03251888. The site
number is 032. Enter it in U### Mstr
Site. Your card data is 51888. Enter it into
U### Mstr C/D.
* A hexadecimal number can contain all
numerals. If the code does not work try
converting the number from
hexadecimal to decimal.
Always tag your tokens before adding
them to the system so you do not mix them
up. Use the CRD ID ###-# number to
index them.
U### Mstr C/D
Default: Blank
Selection: 00000 = (0) to 65534 or Blank (65535)
Master User ### Card Data
Enter the remaining five decimal numbers on the
back of the token/card. This is the second and third
byte (bits 10 through 25) of data for a 26-bit
Wiegand card. This is called the card data.
You must program
U### Mstr Site
before
programming this prompt.
U### SU1 through SU3 Site
Default: Blank
Selection: 000 = (0) to 254 or Blank (255)
Sub-users one through three Site Data.
U### SU1 through SU3 C/D
Default: Blank
Selection: 00000 = (0) to 655354 or Blank
(65535)
Sub-users one through three card data.

D9412G/D7412G | Program Entry Guide | 4.0 RADXPNTS EN | 77
Bosch Security Systems | 1/04 | 47775E
4.0 RADXPNTS
4.1 Point Index
Use this programming module to construct
personality types for points used in the system. The
Index numbers are used in Point Assignments. Each
unique point index number determines the control
panel’s responses to specific conditions occurring on
the Protective points.
The NEW RECORD program contains default
entries and descriptions that match RPS defaults for
point indexes. See the D9412G/D7412G Program
Record Sheet for defaults.
Point Index
Default: 1
Selection: 1 to 31
The number of the point personality you are
programming. You can define up to 31 individual
personalities.
P## Type
Default: See
Program Record Sheet
Selection: 0 to 9
P ##
Type
Description
024-hour: A 24-hour point is not turned on and off from a command center. 24-hour points are
armed all the time, and can be used for fire protection (see the
P ## Fire Point
prompt in Section
4.1.1 Point Responses), panic, medical, and police alerts.
24-hour points can be programmed as bypassable. Consider the application carefully before using
the bypassable option. Bypassable 24-hour points should be programmed to Buzz on Fault.
When a 24-hour point is bypassed, send the report as it occurs. If the area contains all 24-hour
points, the area is never armed or disarmed. A Deferred Bypass Report is not sent.
24-hour protection for fire doors, roof hatches, and so on. Instead of programming this type of
protection as a 24-hour point, consider using a Perimeter point type with a Point Response of 9 to E.
24-hour points do not show faults when an arming function is entered, but Perimeter points do.
When programming this type of protection, consider also using the Buzz on Fault and Local While
Disarmed options.
1Perimeter: Perimeter points are armed with all Arming functions. Points programmed as perimeter
can also be armed as a group (using Perimeter-Arming functions) separately from points
programmed as interior. This lets the user partially arm the system to establish Perimeter protection
while occupying the interior of the protected premises.
Perimeter points can be programmed to initiate entry delay time. If the point initiates entry delay, it
can also initiate an entry tone.
When a Perimeter point is programmed for entry delay, entry delay time is always provided. If the
area is in entry delay when a second Perimeter point trips, the control panel compares the remaining
entry delay time to the time programmed for the second Perimeter point. If the second Perimeter
point’s entry delay time is less than the remaining time, it shortens the entry delay time.
Perimeter points programmed for an instant point response, generate an alarm immediately when
tripped, even during entry or exit delay.

D9412G/D7412G | Program Entry Guide | 4.0 RADXPNTS EN | 78
Bosch Security Systems | 1/04 | 47775E
P ##
Type
Selection
Description
2Interior: Interior points are armed only by master arming the area. They are NOT armed when
using Perimeter Arming functions. These points are typically used to monitor interior detection
devices such as interior doors, motion detectors, photoelectric beams, and carpet mats.
Instant Interior Points: Interior points are usually programmed for an instant alarm (see Section
4.1.1 Point Responses). Points programmed for instant alarms generate alarms immediately, even
during entry or exit delay.
Delayed Interior Points: Interior points can be programmed for a delayed point response. A
delayed response means that if the point is tripped while the area is armed, it initiates entry delay. It
does not generate an alarm until entry delay expires.
When an Interior point is programmed for entry delay, entry delay time is always provided. If the
area is in entry delay when the Interior point trips, the control panel compares the remaining entry
delay time to the time programmed for the Interior point. If the Interior point’s entry delay time is
less than the remaining time, it shortens the entry delay time.
Delayed points can also initiate an entry tone at the command center (see the
P## Ent Tone Off
prompt in Section 4.1.1 Point Responses).
In some cases, you may need to create an Interior point that causes an instant alarm only if entry
delay protection is not tripped first. Use Interior Follower to create this type of protection.
3Interior Follower: Interior Follower points are armed only by master arming the area. They are
NOT armed when using Perimeter-Arming functions.
An Interior Follower point does not create an alarm if it trips while the area is in entry delay. An
Interior Follower does not change the amount of remaining entry delay time.
If no entry delay is in effect when the Interior Follower trips, it creates an instant alarm.
You must program a delayed Point Response (4, 5, 6, 7, or 8) for an Interior Follower point. The
control panel ignores the entry in
P## Entry Delay
for an Interior Follower point.
Note:
It may be necessary to increase the debounce count for Interior Follower points to prevent Interior Follower
points from going into alarm before the control panel recognizes that a Perimeter Delay point was faulted.
Program the Interior Follower’s debounce for one number higher than the debounce count on Perimeter delay

D9412G/D7412G | Program Entry Guide | 4.0 RADXPNTS EN | 79
Bosch Security Systems | 1/04 | 47775E
P ##
Type
Description
Keyswitch Maintained: Program Point Response as 1. Do not connect initiating devices to a
Keyswitch point.
Normal: The area is disarmed.
Short: When this point changes from normal to open, the area arms.
Open: A short is a trouble when the area is disarmed. A short is an alarm when the area is
armed. When this point changes from shorted to normal or open, it restores.
Program Point Response as 2, the point responds as follows:
Normal: When this point changes from open to normal, the area arms.
Open: The area is disarmed.
Short: A short is a trouble when the area is disarmed. A short is an alarm when the area is
armed. When this point changes from shorted to normal or open, it restores.
4*
Trouble and Restoral Reports are not sent if
Local While Disarmed
is Yes.
Alarm and Restoral Reports are not sent if
Local While Armed
is Yes.
Keyswitch Momentary: Used for area arming and disarming.
Point Response
must be
programmed 1. Do not connect initiating devices to a Keyswitch point.
N→S→N: When this point momentarily changes from normal to shorted to normal, it toggles
the armed state of the area.
Open: An open is a trouble while the point is disarmed. An open is an alarm while the
point is armed.
When this point changes from open to normal, it restores.
5*
Trouble and Restoral Reports are not sent if
Local Disarmed
is Yes.
Open/Close Point:
Used for point arming and disarming.
Point Response
must be programmed 1.
Local bells are silenced through the command center.
Normal: The point is armed and sends a Point Closing Report. A Point Closing Report is not
sent if Local Armed is Yes.
Open: An open is an alarm when the point is armed. An open is a trouble when the point
is disarmed. Alarm and Restoral Reports are not sent if
Local Disarmed
is Yes.
6*
Short: The point is disarmed and sends a Point Opening Report. A Point Opening Report
is not sent if
Local Armed
is Yes.
*
Keyswitch Points. Special rules apply to points used for Keyswitch functions.
These special point types do not respond
the same way to the point response entry as Point Types 1, 2, and 3. Responses for keyswitch point types are described in
Section 4.1.1 Point Responses.

D9412G/D7412G | Program Entry Guide | 4.0 RADXPNTS EN | 80
Bosch Security Systems | 1/04 | 47775E
P ##
Type
Selection
Description
D279 (O/C Non-Priority): The D279 provides point arming and disarming independent of the area
arm state. A non-priority D279 point arm state does not affect the area arm state.
Point Response
must be programmed 1. Local bells are silenced through the command center. For bell control at the
D279, use P## Type 8.
Cut the W1 jumper on the D279 to send Point Opening and Point Closing Reports. If the D279’s
W1 jumper is not cut, no Open or Close Report is sent, regardless of control panel programming.
Normal: The point is armed and sends a Point Closing Report. Point Closing Report is not
sent if
Local Armed
is Yes.
Open: The point is disarmed and sends a Point Opening Report. A Point Opening Report
is not sent if Local Armed is Yes.
7*
Short: A short is an alarm when the point is armed. A short is a trouble when the point is
disarmed. Alarm and Restoral Reports are not sent if
Local Disarmed
is Yes.
D279 (O/C Priority): The D279 provides point arming and disarming independent of the area arm
state. A priority D279 point must be armed before an area can be armed. Program
Point Response
as 2.
Cut the W1 jumper on the D279 to send area Opening and Closing Reports as programmed in Area
Parameters and to provide bell control. If the D279’s W1 jumper is NOT cut then no Area Open or
Area Close Report is sent, and alarm bells can only be silenced from a command center, no matter
how the control panel is programmed.
Normal: When this point changes from open to normal, the area arms.
Open: The area is disarmed. The alarm bell silences if an alarm occurred while the area
was armed.
8*
Short: A short is a trouble while the area is disarmed. A short is an alarm while the area is
armed. When this point changes from shorted to normal or open, it restores.
9* Easikey: This point is programmed for access. Program
Point Response
as 1. If the system is
Master Armed or Perimeter Armed (with or without delays), presenting a valid token to the Easikey
reader shorts the point and disarms its assigned area. Presenting a valid token in a Disarmed state
does not clear trouble or alarm memory or rearm the area.
*
Keyswitch Points. Special rules apply to points used for Keyswitch functions.
These special point types do not respond
the same way to the point response entry as Point Types 1, 2, and 3. Responses for keyswitch point types are described in
Section 4.1.1 Point Responses.

D9412G/D7412G | Program Entry Guide | 4.0 RADXPNTS EN | 81
Bosch Security Systems | 1/04 | 47775E
4.1.1 Point Responses
Applications for Point Responses 9, D,
and E:
Combine Point Responses 9, D, and E with
Perimeter point types to create more flexible
24-hour protection. Unlike 24-hour points, a
faulted Perimeter point with a Point
Response of D and E displays at the
command center when arming. Like a 24-
hour point, a point programmed this way can
generate alarms whether the area is armed
or disarmed.
Combining Point Response 9 with the Local
While Disarmed feature provides off-site
reporting when the area is armed, but only
local alarm annunciation when the area is
disarmed.
Combining Point Response 9 with the Local
While Armed feature provides off-site
reporting when the area is disarmed, but
only local alarm annunciation when the area
is armed.
Point Response E: Use this for Zonex/Asic
motion detectors. The control panel can
report troubles while Master Armed.
Point Response F: Does not sound at local
command centers but activates RlyResp
Type 1 and command center faults. To
annunciate the off-normal state at a
command center, program Disp as Dvc as
Yes and/or BuzzOn Fault as 1 or 2. This
point response does not generate alarms or
activate an alarm relay.
Point Response 8, 9, A, B, and C provide
supervisory (24-hour) reporting.
Characteristics of a Fire Point:
Reporting: When a group of events occur,
the control panel routes and prints out Fire
Reports first.
Visual Annunciation: Fire troubles continue
to scroll until the trouble is cleared. Once
acknowledged, FIRE TROUBLE scrolls to
let the end user know that a Fire point, or
group of Fire points, is still in trouble. Panel-
Wide Relays, Summary Fire, and
Summary Fire Tbl activate if a relay is
assigned when any Fire point goes into
alarm or is in trouble.
Audible Annunciation: A Fire point
activates the A# Fire Bell relay
programmed in Relay Parameters. The
amount of time and pattern of the relay
activation is programmed by area in Bell
Parameters, A# Fire Time, and A# Fire
Pat.
Supervisory: A Fire point can send a Fire
Supervisory Report and activate the
Summary Fire, Sup and Summary Fire
Tbl, Panel-Wide Relays with a P##
Response of 8-9-A-B-C.
Alarm Verification: A Fire point can delay
an alarm by the time programmed in A#
Verify Time in the Area Parameters.
Combined with A# Resettable, a Fire point
also resets the electrical circuit for the verify
time amount.
Reset Sensor: A fire device that requires
resetting can be manually reset using the
reset sensor relay for the area it is assigned
to.
Fire Walk: Use the Fire Walk function to
test Fire points in the system.
To provide an audible tone for a restored
Fire Supervisory point, use P## RlyResp
Type 1 and connect to a graphic
annunciator.

D9412G/D7412G | Program Entry Guide | 4.0 RADXPNTS EN | 82
Bosch Security Systems | 1/04 | 47775E
P## Pt Response
Default: See
Program Record Sheet
Selection: 0 to F
Controlled (Non-24-Hour Points)
Point Response 0123456789ABCDEF
Armed Open IIIIDDIIDIIIIIT
Armed Short IIIIIIDDDIIIIII
Disarmed Open TT TIITIT
Disarmed Short TT T ITI I
24-Hour Points
Point Response 0123456789ABCDEF
Open ITIT ITSTS S
Short I I T T I T T S S S
Key: I = Instant alarm
D = Delayed alarm
T = Trouble
S = Supervisory
Blank = Audible/visual response
Example of Controlled point:
Point Type = 1
Point Response = 8
Perimeter point with delayed alarm response when
armed (opened or shorted) and no response when
disarmed.
Example of 24-hour point:
Point Type = 0
Point Response = 8
24-hour point with supervisory response when open
and a trouble response when shorted.
0101
0101
0101
When programming the point response
for Inovonics Wireless Transmitters,
regardless of how the transmitter is
programmed, the D8125INV Wireless
Interface always sends the off-normal
state to the control panel as a short and a
tamper condition as an open. As a result,
typical point responses for the Inovonics
transmitters would include 0, 1, 6, 7, and
E for Controlled points, and 0 and 1 for
24-hour Burg points. When programming
a transmitter as a Fire point, a Point
Response of 1 is recommended.
Note:
Wireless transmitters are NOT UL Listed with
the D9412G/D7412G in fire or burglary
applications. At present, Inovonics Wireless
Transmitters, when used with the D8125INV
Wireless Interface on a 9000 Series Control
Panel, are not UL Listed for use with fire or
burglary applications.
With Supervisory Pt Response (S =
Supervisory), the BFSK format does not
transmit fire supervisory or Non-fire
Supervisory Events. Modem format must
be used with Supervisory Point
Responses.

D9412G/D7412G | Program Entry Guide | 4.0 RADXPNTS EN | 83
Bosch Security Systems | 1/04 | 47775E
P## Entry Delay
Default: See
Program Record Sheet
Selection: 5 seconds to 600 seconds
Use this option to enter the amount of entry delay
time that a user has after faulting a Controlled point
(
P## Type 1, 2, 3
) with a delayed response (D)
(
P## Pt Response
) of 4, 5, 6, 7, or 8. DISARM NOW
displays for the duration of the time programmed
when the point is faulted in the delay condition.
0101
0101
0101
Beginning with firmware revision 6.30
and higher, the D1255 alternates
between DISARM NOW and the point text
of the point that caused the area to go
into entry delay.
If this time expires before disarming, or if the point
is faulted to an instant response (I), an alarm occurs.
0101
0101
0101
Make entries in 5 second increments. The
programmer does not allow off-increment
entries.
If another Perimeter or Interior Follower
Delay point trips while the area is already
in entry delay, the control panel adjusts the
delay time to the Delay point with the least
amount of delay time.
Use P## Type 3 Interior Follower to
program points that do not go into instant
alarm the user must fault in order to get to
the command center and disarm during
the entry or exit delay period.
P## Ent Tone Off
Default: No
Selection: Yes or No
Yes Disable entry delay tone when this
point is faulted to the delay response.
No A tone sounds at command centers
when this point initiates entry delay.
This option enables/disables the entry delay warning
tone for this point.
Do not set points to No if they are actually
used to notify the user to disarm the
system. The possibility of false alarms
increases if the entry delay warning is not
used.
0101
0101
0101
Entry Tone can also be turned off when
programming your CC Entry Tone, in
Section 2.10 Command Center, which
allows you to manage the tone by
command center.
You may want to disable the entry tone in
high security applications where you do
not want to annunciate entry delay.
P## Silent Bell
Default: No
Selection: Yes or No
Yes Activate the Silent Alarm relay when
this point goes into alarm. Command
centers do not sound the alarm tone
for Non-fire points.
No Activate either the Fire Bell relay or
Alarm Bell relay and sound the alarm
tone at command centers when this
point goes into alarm. If this is a Fire
point, it activates the Fire Bell relay
programmed in Relay Parameters.
Otherwise, it activates the Alarm Bell
relay. The amount of time and pattern
of the relay activation is programmed
by area in Bell Parameters.
If you want this point to eventually ring the
bell because the message failed to reach
the central station receiver, program P##
Audible After 2 Failures as Yes.
P## Ring Til Rst
Default: No
Selection: Yes or No
Yes The relay programmed to provide fire
alarm output for this point cannot be
de-activated until the point restores to
normal.
No The relay programmed to provide fire
alarm output for this point can be de-
activated before the point restores to
normal.
Use this option to determine if the bell continues to
ring until the Fire Bell time expires. The point
returns to a normal condition when the user
acknowledges the alarm to silence the bell.

D9412G/D7412G | Program Entry Guide | 4.0 RADXPNTS EN | 84
Bosch Security Systems | 1/04 | 47775E
If the point restores and the fire alarm is
not silenced from the command center,
the fire alarm output continues until Fire
Bell time expires. If the point does not
restore, the fire alarm output continues
even after bell time expires.
\
Use this option for fire applications to meet
the requirement that audible alarms cannot
be silenced until the fault condition clears
or the Fire Bell time expires.
P## Audible After 2 Failures
Default: No
Selection: Yes or No
Yes A# Burg Alarm relay activates after two
failed attempts.
No P## Silent points do not cause the A#
Burg Alarm relay to activate even if the
report does not get to the central
station receiver.
Use this option for reporting Non-fire points
programmed as
P## Silent
to eventually cause the
alarm bell to ring if the control panel fails to report
the Alarm Event at the end of two failed attempts to
the remote central station receiver.
0101
0101
0101
When a point that is programmed for P##
Silent Bell is faulted, the timer for the A#
Burg Time starts, even though the bell is
not yet ringing. It can take up to 3 minutes
before the second attempt fails. Ensure A#
Burg Time is programmed to provide the
amount of bell time you need, minus the 3
minutes it can take before the bell actually
begins to ring.
P## Invisible Pt
Default: See
Program Record Sheet
Selection: Yes or No
Yes Command centers do not display
alarm activity from this point.
No Activity from this point is visible at the
command centers.
Use this option to determine whether the point
appears in the command center display upon an
Alarm condition. For LED command centers, the
LED does not illuminate upon an alarm condition.
Point text appears and annunciation is made for
Invisible points programmed for a trouble condition
in point response.
To prevent the command center alarm tone
and the A# Burg Alarm bell from sounding,
this point needs P## Silence Bell
programmed as Yes.
0101
0101
0101
ALARM SILENCED displays at the
command center if this Invisible point
causes a bell to ring upon an alarm and a
valid passcode is entered.

D9412G/D7412G | Program Entry Guide | 4.0 RADXPNTS EN | 85
Bosch Security Systems | 1/04 | 47775E
P## Buzz On Fault
Default: Blank
Selection: Blank, 1 to 3
Selection Operation for Controlled Points
(Point Types 1, 2, and 3)
Operation for 24-hour Points
(Point Type 0)
Blank The point only generates a buzz at the command
center if it goes into the trouble condition
indicated in the P## Point Response.
Same
1 The point generates a Buzz Until Restore at the
command center for any fault condition while the
point is disarmed. The buzz continues until the
point restores and the user acknowledges the
condition using a passcode or COMMAND 4.
The point must be normal before the user can
silence the buzz.
The point generates a Buzz Until Restore at the
command center for any fault condition regardless
of the armed state. The buzz continues until the
point restores and the user acknowledges the
condition using a passcode or COMMAND 4.
The point must be normal before the user can
silence the buzz.
2The point generates a buzz at the command
center for any fault condition when the point is
disarmed. The point does not need to be normal
before the user can silence the buzz.
The point generates a buzz at the command
center for any fault condition regardless of the armed
state. The point does not need to be normal
before the user can silence the buzz.
3The point generates a buzz at the command
center for any fault condition when the area is
disarmed. The user cannot silence this buzz, but
it silences automatically when the point is
restored. If the fault condition results in a trouble
response, the command center continues to buzz
even after the user acknowledges the condition if
the fault is still present.
The point generates a buzz at the command
center for any fault condition regardless of the
armed state. The user cannot silence this buzz,
but it silences automatically when the point is
restored. If the fault condition results in a trouble
response, the command center continues to buzz
even after the user acknowledges the condition if
the fault is still present.
The buzz does not automatically stop once
the point is restored when using Option 1 or
2. The user must acknowledge the buzz
prior to the buzz stopping. However, when
using Option 3, the buzz automatically stops
when the point restores to normal without
user intervention.
Points bypassed (by the user, Sked,
Swinger Bypass, or RAM) do not generate a
Buzz On Fault condition at the command
center.
P## Watch Point
Default: See
Program Record Sheet
Selection: Yes or No
Yes This point activates Watch Mode
responses if it is faulted while the
control panel is in Watch Mode.
No Do not activate Watch Mode responses
for this point.
Use this option to allow a Controlled point to
generate a watch tone as long as the area is disarmed
and not being faulted into a trouble or alarm
condition.

D9412G/D7412G | Program Entry Guide | 4.0 RADXPNTS EN | 86
Bosch Security Systems | 1/04 | 47775E
P## RlyResp Type
Default: See
Program Record Sheet
Selection: Blank, 1 to 2
Blank Point state does not affect the operation
of the corresponding relay.
1Relay Follow Point: The relay
corresponding with this point activates
when the point is faulted to any off
normal condition. The relay
automatically resets when the point is
returned to normal.
2Relay Latches: The relay
corresponding with this point latches
when the point goes into an alarm
condition. This relay provides a steady
output until the alarm is acknowledged
by a valid passcode then cleared from
alarm memory with an
acknowledgment at the command
center.
Use this option to cause a relay (1 to 127 for
D9412G; 1 to 64 for D7412G) to respond when a
corresponding point with the same number (1 to
127) is faulted. [This requires connecting D8129
OctoRelays to Zonex Bus 1 and/or Zonex Bus 2
(D9412G only). See address settings on the back of
the D9412G/D7412G Program Record Sheet (P/N:
47488)].
Point 128 is reserved for other use than an
actual point. Only the first 127 points can
have an associated relay. Relays are not
available for Points 129 to 247.
Do not use the Chg Relays? function to
toggle relays reserved for special
functions. Special function relays are Area
and Panel Wide Relay functions as well as
relays assigned to CC Entr Key Rly and
P## RlyResp Type.
P## Disp as Dvc
Default: No
Selection: Yes or No
Yes Display CHECK DEVICE when this
point is off normal.
No Do not display CHECK DEVICE when
this point is off normal.
Use this option to cause the command center to
display CHECK DEVICE once a point is off normal
or was acknowledged after going into alarm.
Use this function for devices with a dry
contact output which faults a point once
the device is in a trouble condition.
P## Local While Disarmed
Default: See
Program Record Sheet
Selection: Yes or No
Yes Suppress Alarm, Trouble and Restoral*
Reports from this point while the area
it is assigned to is disarmed.
No Report events occurring from this
point while the area is disarmed.
*Restoral Reports are still transmitted if the alarm,
trouble, or bypass (by Sked, RAM, or Swinger bypass)
condition occurred when the area disarmed, and the
point restored.
Use this option to allow a Controlled point (
P##
Type 1, 2, 3
), to report Alarms, Troubles, and
Restoral Reports only when the area is armed. This
prompt does not affect local annunciation.
Local While Disarmed suppresses all
reports from 24-hour points. Do not use
P## Type 0 for this prompt. Remember
that this only works for Disarmed points,
and a Type 0 is a 24-hour Always Armed
point. Instead, choose any type other than
0, and use a point response that reports
an alarm whether the point is armed or not.
For instance, P## Type 1 and P##
Response 9 reports an alarm on an open
or a short (I) whether the area is armed or
not.
Local While Disarmed affects Keyswitch
points. This prompt suppresses keyswitch
(troubles/restorals) and D279
(alarms/troubles/restorals). Do not use this
parameter for these applications.
P## Local While Armed
Default: No
Selection: Yes or No
Yes Suppress Alarm, Trouble and Restoral*
Reports from this point while the area
it is assigned to is armed.
No Report events occurring from this
point while the area is armed.

D9412G/D7412G | Program Entry Guide | 4.0 RADXPNTS EN | 87
Bosch Security Systems | 1/04 | 47775E
*Restoral Reports are still transmitted if the alarm,
trouble, or bypass (by Sked, RAM, or Swinger bypass)
condition occurred when the area disarmed, and the
point restored.
Allows a controlled point (P## Type 1, 2, 3), to
report Alarms, Troubles, and Restoral Reports only
when the area is disarmed. This prompt does not
affect local annunciation.
Local While Armed suppresses all reports
from 24-hour points. Do not use P## Type
0 for this prompt. This only works for
disarmed points. Type 0 is a 24-hour
always armed point. Choose any Type
other than 0, and use a point response
that reports an alarm whether the point is
armed or not. For instance, P## Type 1
and P## Response 9 reports an alarm on
a trouble or a short whether the area is
disarmed or not.
Local While Armed affects Keyswitch
Points. This prompt suppresses keyswitch
(alarms/troubles/restorals) and D279
(opening/closing/troubles/restorals). Do
not use this parameter for controlled
points that arm/disarm.
P## Disable Rst
Default: No
Selection: Yes or No
Yes Enable Restoral Reports form this
point.
No Disable Restoral Reports from this
point.
* Restoral Reports are still transmitted if the alarm,
trouble, or bypass (by sked, RAM, or Swinger bypass)
condition occurred when the area disarmed, and the
point restored.
Use this option to disable any Restoral Reports from
this point after it returns to normal from an alarm or
trouble condition.
P## FA Retrnable
Default: No
Selection: Yes or No
Yes This point automatically returns to the
system when it restores to normal.
No This point stays out of the system until
the area is disarmed.
Use this option to allow points that were force
armed out of the area to return back to the armed
state once they become normal again without having
to disarm the system.
Use on loading dock doors, which must be
left open until loading is completed. Once
the loading dock door is closed, the point
detects any subsequent opening and
reports an alarm.
P## BP Retrnable
Default: No
Selection: Yes or No
Yes This point automatically returns to the
system when the area is disarmed.
No This point stays out of the system
through arming and disarming cycles.
Use this option to return a point that was bypassed,
force armed, or swinger bypassed back into the
system once the area this point is assigned to is
disarmed.
Turn this item to No for Interlock points.
When the point cannot return to the
system through disarming, the point must
be manually unbypassed using the
Unbypass?, command center function,
Sked Functions 4 and 5 or remotely
unbypassed using RAM.
0101
0101
0101
For Force Armed points to remain
bypassed, ensure P## FA Retrnable is
No.

D9412G/D7412G | Program Entry Guide | 4.0 RADXPNTS EN | 88
Bosch Security Systems | 1/04 | 47775E
P## Bypassable
Default: No
Selection: Yes or No
Yes This point can be bypassed and force
armed.
No This point cannot be bypassed or force
armed from the command center or
RAM. However, it can be force armed
by automatic arming at the end of the
Closing Window (see the
A# Auto
Close
prompt in Section 2.9.5
Open/Close Options) or by a Sked
programmed to arm the area.
Use this option to allow this point to be bypassed
and/or force armed.
Bypassing a 24-hour point: When a 24-hour point
or 24-hour Supervisory point is bypassed, 24 HOUR
BYPASS continuously scrolls at the command
center. 24 HOUR BYPASS scrolls to indicate a 24-
hour Non-fire point,
P## Fire No
is bypassed. FIRE
BYPASS scrolls to indicate a 24-hour Fire point or a
Fire Supervisory point is bypassed.
Alternative to a 24-hour Point: For alarm
capability of a 24-hour point without the
continuous scrolling, use a Perimeter
point with a Point Response of 9 to E.
0101
0101
0101
A point can be bypassed at the command
center using the BYPASS? function,
which reports as a Command Bypass.
When bypassed by Sked Function 3, the
report is Sked Bypass. When bypassed by
RAM a RAM Bypass reports after RAM
disconnects. When swinger shunted, a
Swinger Shunt is reported. If the point is
not bypassable, it cannot be bypassed in
any of the above cases.
Programming Bypassable as Yes for
Cross points may cause missed Cross-
Point alarms. For example, if Points 1 and
2 were programmed as Cross points and
Point 1 was Bypassed or Force Armed,
Point 2 cannot generate an Alarm Cross
Point Event. Point 2 may, however,
generate an Unverified or Alarm Event
depending on how the point was tripped.
Be careful when using this feature with
Cross point applications.
P## Swinger Byps
Default: No
Selection: Yes or No
Yes Enable Swinger Bypass for this point.
No Disable Swinger Bypass for this point.
Use this option to allow the control panel to
automatically bypass a point that erroneously reports
four Alarm or Trouble Events within an hour of the
first event.
The control panel reports a Swinger Bypass P###
upon the fourth report. If the point has a partial
count (less than four events during an hour), the
count is reset to zero and three more events are
required upon the next report before the control
panel initiates the bypass.
0101
0101
0101
P## Bypassable does not need to be
programmed Yes for swinger bypass to
work.
A Swinger Shunted point returns to the
system if P## BP Returnable? is Yes. If
not, return the point to the system as
described in the application note for P##
BP Returnable.
P## Report Bypass at Occurrence
Default: No
Selection: Yes or No
Yes Send a Command Bypass Report at
the time the point is bypassed.
No Do not send a Command Bypass
Report at the time the point is
bypassed.
This option allows a point to generate a Command
Bypass Report as soon as a user bypasses the point
from the command center. This option should be
enabled for all Bypassable 24-hour points. You may
also elect to report a bypassed point at the time the
area is armed. See
P## Defer BP Report
.

D9412G/D7412G | Program Entry Guide | 4.0 RADXPNTS EN | 89
Bosch Security Systems | 1/04 | 47775E
P## Defer BP Report
Default: No
Selection: Yes or No
Yes Send a Point Bypass Report with the
Closing Report instead of a Command
Bypass Report when a user bypasses
the point.
No Do not defer Bypass Reports.
Use this option to prevent (
P## Type 0 to F
) points
that are bypassed by the user (COMMAND
BYPASS) from occurring until the area is armed.
Once the area is armed, the bypassed points and any
point being bypassed during the arming sequence
report as POINT BYPASS along with the Closing
Report.
0101
0101
0101
Bypass Reports do not occur when arming
the area if the Closing Report is
suppressed by O/C Windows or are not
reported.
Bypass Reports for 24-hour points do not
report If P## Report Bypass at
Occurrence and P## Defer Bypass
Report are both No.
To report the bypass at occurrence and
when the area is armed, program P##
Report Bypass at Occurrence and P##
Defer Bypass Report as Yes. A
Command Bypass Report is sent as soon
as it occurs and a Point Bypass Report is
sent with the Closing Report.
P## Cross Point
Default: No
Selection: Yes or No
Yes This point is a Cross point.
No This point is not a Cross point.
The Cross point function is available only
in Firmware revisions 6.30 and higher.
Do not use Cross points for Fire points.
The Cross point feature is available only on points
programmed as having an Instant point response.
Also, Controlled points (Point Types 1, 2 and 3) do
not follow the Cross point operation (described as
follows) during entry or exit delay.
The Cross point option is designed to reduce false
alarms. To achieve this, points can be programmed
so the control panel must see an alarm condition
within a programmed period of time (called Cross
Point Time) from at least two points within a Cross
Point Group before Cross Point Alarm Events are
generated. These points need the Cross point option
enabled in their corresponding point indexes to be
able to generate this event. See Section 6.8 Cross Point
Parameters for additional programming requirements
to program the Cross Point Timer.
Cross Point Groups were established in the D9412G
and D7412G to support the Cross Point function.
There are 31 Cross Point Groups in the D9412G
and ten in the D7412G. Each Cross Point Group
consists of eight points and is identified by the point
numbers in them (such as, Cross Points 1 to 8, Cross
Points 9 to 16, and so on).
The Cross point function only applies to
Alarm conditions. It does not apply to
Trouble or Supervisory conditions.

D9412G/D7412G | Program Entry Guide | 4.0 RADXPNTS EN | 90
Bosch Security Systems | 1/04 | 47775E
P## Fire Point
Default: No
Selection: Yes or No
Yes This point is a Fire point.
No This point is not a Fire point.
Use this option to make a 24-hour point a Fire point.
This option makes this point the highest priority
event in the control panel when an alarm occurs for
both reporting and displaying on the command
center.
Characteristics of a Fire Point
Reporting: When a group of events
occur, the control panel routes and prints
out Fire Reports first.
Visual Annunciation: FIRE TROUBLES
continues to scroll until the trouble is
cleared. Once acknowledged, a FIRE
TROUBLE scroll lets the end user know
that a Fire point, or group of Fire points, is
still in trouble. Panel Wide Relays,
Summary Fire, and Summary Fire Tbl
activates if a relay is assigned when any
Fire point goes into alarm or is in trouble.
Audible Annunciation: A Fire point
activates the A# Fire Bell relay
programmed in Relay Parameters. The
amount of time and pattern of the relay
activation is programmed by area in Bell
Parameters, A# Fire Time, and A# Fire
Pat.
Supervisory: A Fire point can send a Fire
Supervisory Report and activate the
Summary Fire Sup and Summary Fire
Tbl Panel Wide Relays with a P##
Response of 8-9-A-B-C.
Alarm Verification: A Fire point can delay
an alarm by the time programmed in A#
Verify Time in the Area parameters.
Reset Sensor: A fire device that requires
resetting can be manually reset using the
reset sensor relay for the area where it is
assigned.
Fire Walk: Fire points can be tested in the
system using the Fire Walk Test which
automatically resets each point for five
seconds when it is tripped and rings the
Fire Bell for two seconds.
You should dedicate a fire annunciation
device to all your Fire points if they are
assigned to a single area in a multiple area
system. Special red command centers and
annunciators with specific keys for fire
systems are designed for this type of
application (D1256 and D1257).
Do not use the Cross point function for
Fire points.

D9412G/D7412G | Program Entry Guide | 4.0 RADXPNTS EN | 91
Bosch Security Systems | 1/04 | 47775E
P## Alarm Verify
Default: See
Program Record Sheet
Selection: Yes or No
Yes Enable alarm verification on this point.
Alarm verification points must be
programmed as resettable.
No Disable alarm verification on this
point.
Use this option only with Fire points to designate
them for alarm verification.
When an Alarm Verification point goes into alarm,
the control panel removes power to all Resettable
points for the duration programmed in
A# Verify
Time
in Section 2.9 Area Parameters. If the point (or
another Resettable point in the area) is still in alarm,
or goes back into alarm within 60 seconds after the
initial verification time reset, an alarm is generated.
During a Fire Walk Test the reset time is 5
seconds. The time programmed in A#
Verify Time is ignored. Use the Cross
point function for Fire points.
P## Resettable
Default: See
Program Record Sheet
Selection: Yes or No
Yes This point is reset by the Reset Sensor?
function and during the alarm
verification sequence.
No This point is not resettable.
Use this option if this is a Powered point that
requires interruption of power to reset a latched
alarm condition. The Resettable point option is
typically used with smoke detectors and glass break
detectors.
When initiated (either through a Fire Walk Test or
the command center’s Reset Sensor? Function) or
when the RAM interrupts power to the device for 5
seconds, Sensor Reset is reported to the central
station receiver.
When a sensor reset is initiated, the
control panel does not accept alarms from
any points with P## Resettable
programmed as Yes. During the 5-second
reset time, alarms from these points are
ignored.
Do not mix fire and intrusion devices on
the same powered loop.
4.2 Point Assignments
These entries assign point indexes to Points 1 to 127,
129 to 247 for the D9412G and Points 1 to 75 for the
D7412G, and assigns the points to the areas. Also
included in this section are parameters used to set
the point’s debounce count, BFSK/Relay (for use
when transmitting in BFSK or assigning relays to
follow alarms for a group of points), and custom
command center and report text for each point.
Point Number
Default: 1
Selection: 1 to 127, 129 to 247
Enter the point number you are programming.
When transmitting in Modem IIIa2, the three-digit
point number is reported to the D6500/D6600.
When transmitting in BFSK, you must assign a zone
number in BFSK/Relay.
0101
0101
0101 Point numbers 128 and 248 are reserved
for Zonex bus 1 and 2 supervision.

D9412G/D7412G | Program Entry Guide | 4.0 RADXPNTS EN | 92
Bosch Security Systems | 1/04 | 47775E
P### Point Index
Default: See
Program Record Sheet
Selection: Blank (00) to 31
This entry selects one of the 31
P## Index
codes
that define the point’s characteristics and determines
how the control panel responds to various point
conditions.
Blank (00) disables the point.
Missing Point Reports occur if a point
address does not exist for a point assigned
a point index. Extra Point Events occur if
more than two devices have the same
address.
When a POPIT is missing, the control panel
generates the following responses based
on the point type:
• Fire points generate missing trouble
responses.
• Non-fire 24-hour points generate
missing alarm responses.
• Non-fire, non 24-hour points generate
missing alarm responses while armed,
and trouble responses while disarmed.
Exception: Non-fire, non-24-hour points
with a point response of 9 to D
generate a missing alarm response
while disarmed.
POPIT modules monitor their sensor loops
for three conditions: loop normal, loop
open, and loop shorted. They report these
three conditions to the control panel. The
control panel uses point programming to
interpret the sensor loop information
reported by the POPITs and to make the
appropriate system response.
P### Area Assign
Default: 1
Selection: 1 to 8
The areas are numbered 1 to 8. Select the area
number to which the point is assigned.
P### Debounce
Default: 2
Selection: 1 to 15
1 .300 seconds
2 .600 seconds
3 .900 seconds
4 1.2 seconds
5 1.5 seconds
6 1.8 seconds
7 2.1 seconds
8 2.4 seconds
9 2.7 seconds
10 3.0 seconds
11 3.3 seconds
12 3.6 seconds
13 3.9 seconds
14 4.2 seconds
15 4.5 seconds
The debounce count is the number of times the
control panel scans a point before initiating an
alarm. Scan cycles are 300 ms.
For appropriate settings consult the manufacturer’s
instructions for the device connected to this point.
0101
0101
0101
Bosch Security Systems recommends an
entry of two or higher. Interior Follower
points need a debounce of at least three.
Door points assigned to D9210B modules
need a debounce of at least four.

D9412G/D7412G | Program Entry Guide | 4.0 RADXPNTS EN | 93
Bosch Security Systems | 1/04 | 47775E
P### BFSK/Relay
Default: See
Program Record Sheet
Selection: 0 to 9
Use this option to:
2. Determine the point number reported in BFSK
when this point is tripped.
3. Activate a relay when the point goes into an
alarm condition, even if the control panel is
programmed for Modem reporting as shown in
Table 29.
BFSK/Relays do not activate for Fire
Supervisory or Non-Fire Supervisory
points.
Table 29: P### BFSK/Relay Codes/Relays
Trips Relay
BFSK Code
D8129 on Zonex
Bus 2 for
D9412G*
D8129 on Zonex
Bus 2 for
D7412G*
173 9
27410
375 11
47612
577 13
67814
779 15
88016
* Address setting = 1 (on), 2 (off), 3 (on), 4 (on)
Local annunciation on the command
centers and Local Printer reporting and
the View Log display the actual point
number (1 to 247), not the BFSK report
code
0101
0101
0101
Do not assign a BFSK/Relay to Invisible
points. To avoid triggering a BFSK/Relay,
program this prompt as 0.
On the D9412G, do not use relays 73
through 80 for Area or Panel-Wide Relay
functions when using BFSK relays. Doing
so prevents the BFSK relays from
triggering.
On the D7412G, do not use relays 9
through 16 for Area or Panel Wide Relay
functions when using BFSK relays. Doing
so prevents BFSK relays from triggering.
Two relays can activate when this point
goes into alarm if the P## Rly Resp Type
for this point is programmed.
Use these codes to activate relays on the
D8129 OctoRelay (or C8137 Transmitter
Interface). You can assign the same code
to several points providing a summary
zone alarm output. When the point goes
into alarm, the relay activates. When the
alarm is acknowledged and is no longer
scrolling in the command center display,
the relay resets.
P### Point Text
Default: See
Program Record Sheet
Selection: Up to sixteen alphanumeric
characters
Enter alphabetic characters (A to Z) in capital letters.
Enter up to sixteen characters of text to describe the
point. This point text is displayed at command
centers, if the point is programmed as visible, and
reported to the D6500/D6600 when transmitting in
Radionics Modem IIIa2 format (if it is a reporting
point).
Include the point number in custom point text. This
helps the user when viewing events, initiating
bypasses, and so on. It can also simplify
troubleshooting.
When a D1260 Command Center is
installed on the system, the point text for
Points 240 to 247 can be used for Area
Name Text for Areas 1 to 8, respectively.
See Table 30:
Table 30: Point Text for Points 240 to 247
Point Text Corresponding Area Name Text
Point 240 Area 1
Point 241 Area 2
Point 242 Area 3
Point 243 Area 4
Point 244 Area 5
Point 245 Area 6
Point 246 Area 7
Point 247 Area 8

D9412G/D7412G | Program Entry Guide | 4.0 RADXPNTS EN | 94
Bosch Security Systems | 1/04 | 47775E
4.3 COMMAND 7 and COMMAND 9
These entries assign point indexes, BFSK report
code, BFSK relay that trips, and the text for the
COMMAND 7 and COMMAND 9 command
center functions.
CMD7 Point Index
Default: 31
Selection: Blank (00) to 31
This entry selects one of the 31
P## Index
codes
that define how the control panel reacts when a
COMMAND 7 is initiated.
0101
0101
0101
The point index code used for COMMAND
7 must not be used for any other points on
the system.
If the point index for COMMAND 7 has
Fire points programmed Yes, this causes
access control doors to unlock if Fire
Unlock is also programmed Yes (see the
D9210B Program Entry Guide).
CMD7 BFSK/Relay
Default: 1
Selection: 0 to 9
Selects one of the digits shown for reporting in BFSK
or for activating relays 73 to 80 (on the D9412G) or
relays 9 to 16 (for the D7412G) when COMMAND
7 is initiated (see the
P### BFSK/Relay
prompt in
Section 4.2 Point Assignments).
COMMAND 7 does not activate the
Summary Fire Alarm relay.
CMD7 Point Text
Default: [COMMAND][7]
Selection: Up to sixteen alphanumeric
characters
Enter alphabetic characters A to Z in capital letters
Enter up to sixteen characters of text to describe the
point. This point text is displayed at command
centers (if the point is programmed as visible) and
reported to the D6500/D6600 when transmitting in
Radionics’ Modem IIIa2 format (if it is a reporting
point).
CMD9 Point Index
Default: 31
Selection: Blank (00) to 31
This entry selects one of the 31
P## Index
codes
that define how the control panel reacts when a
COMMAND 9 is initiated.
0101
0101
0101
The point index code used for COMMAND
9 must not be used for any other points on
the system.
If the point index for COMMAND 9 has
Fire points programmed as Yes, this
causes access control doors to unlock if
Fire Unlock is also programmed Yes (see
the D9210B Program Entry Guide).
CMD9 BFSK/Relay
Default: 1
Selection: 0 to 9
This entry selects one of the digits shown for
reporting in BFSK or for activating relays 73 to 80
(on the D9412G) or relays 9 to 16 (for the D7412G)
when a COMMAND 9 is initiated (see the
P###
BFSK/Relay
prompt in Section 4.2 Point Assignments).
COMMAND 9 does not activate the
Summary Fire Alarm relay.
CMD9 Point Text
Default: [COMMAND][9]
Selection: Up to sixteen alphanumeric
characters
Enter alphabetic characters (A to Z) in capital letters
Enter up to sixteen characters of text to describe the
point. This point text is displayed at command
centers (if the point is programmed as visible) and
reported to the D6500/D6600 when transmitting in
Radionics’ Modem IIIa2 format (if it is a reporting
point).

D9412G/D7412G | Program Entry Guide | 5.0 RADXSKED EN | 95
Bosch Security Systems | 1/04 | 47775E
5.0 RADXSKED
5.1 Windows
Use this programming module to define the
windows for Opening and Closing and User Access.
5.1.1 Opening and Closing
Use these windows to set a schedule for disarming
and arming. The disarming and arming schedules
provide several independent features:
• Suppress normal Opening and/or Closing
Reports when
A# Disable O/C in Windows
is
programmed Yes.
• Generate a Fail to Open Report if the area is not
disarmed on schedule when
A# Fail To Open
is programmed Yes.
• Provide a warning tone and a PLEASE CLOSE
NOW display at the command center when it is
time to arm the area.
• Generate a Fail to Close Report if the area is not
armed on schedule when
A# Fail To Close
is
programmed Yes.
• Automatically arm the area at the end of the
Closing Window when
A# Auto Close
is
programmed Yes.
Opening and closing schedules can be set up
independently. For example, if you only want to use
features provided by Closing Windows, leave times
blank in the Opening Windows prompts and
program Closing Window times.
A worksheet is provided at the end of this section for
your convenience. Following the worksheet are
examples of how to program Opening and Closing
Windows for particular applications (see Table 35
through Table 39.
About the Program Record Sheet: A column
labeled Sked # is found on the Program Record Sheet
provided with the control panel. These numbers
appear in D6500/D6600 reports and local printer
reports when the window Begin Time executes.
Window selections 1 through 8 correspond with odd
numbered Skeds 41 through 55 for Open Window
and correspond with even numbered Skeds 42
through 56 for Close Window. For example, when
the Opening Window for Window 1 executes, a
Sked 41 Executed Event is generated. See Table 31.
Table 31: Window Selections
Selection Sked # Window Sked # Windo
w
141 Open 42 Close
243Open44Close
345 Open 46 Close
447Open48Close
549 Open 50 Close
651Open52Close
753 Open 54 Close
855Open56Close
Window
Default: 1
Selection: 1 to 8
Enter the window number you want to program.
W# Sunday
Default: No
Selection: Yes or No
Yes Activate this window on Sundays.
No Do not activate this window on
Sundays.
This prompt, and the next six day of the week
prompts, select the days of the week the Opening
and/or Closing Windows are active.
Exceptions:
To prevent the windows from activating on certain
days of the year, program
Xept Holiday
Yes, and
enable at least one Holiday Index. When
Xept
Holiday
is Yes, the window executes on the days of
the week programmed unless the Holiday Index
designates the date as a holiday.
If Opening and/or Closing Windows are only
needed on certain days of the year, do not program
the windows to execute on any days of the week.
Instead, program
Xept Holiday
No and select a
Holiday Index with the days of the year you want
the window to be active.

D9412G/D7412G | Program Entry Guide | 5.0 RADXSKED EN | 96
Bosch Security Systems | 1/04 | 47775E
W# Monday
Default: No
Selection: Yes or No
W# Tuesday
Default: No
Selection: Yes or No
W# Wednesday
Default: No
Selection: Yes or No
W# Thursday
Default: No
Selection: Yes or No
W# Friday
Default: No
Selection: Yes or No
W# Saturday
Default: No
Selection: Yes or No
W# Open Early Begin
Default: 00:00
Selection: HH:MM (hours and minutes)
00:00 to 23:59
Open Early Begin: This program item is one of
three required to create an Opening Window. To
finish programming an Opening Window, Open
Window Start and Open Window Stop must be
programmed.
Use Open Early Begin to set the time the control
panel looks for an Opening Window. When
Opening and Closing Reports are enabled,
disarming the area between midnight and the Open
Early Begin time generates an Opening Report. In
addition:
• If Disable O/C in Window is Yes: Disarming
the area between the Open Early Begin and the
Open Window Start time generates an Early to
Open Event (if the Open Early Begin time is the
same as the Open Window Start time, the Early
to Open Event is not sent).
Disarming the area between the Open Window
Start and Open Window Stop time creates a
local event in the Panel log but does not send
the Opening Report to the central station.
Disarming the area after the Open Window Stop
and the next window’s Open Early Begin time
(or midnight, whichever comes sooner)
generates a Late to Open Event.
• If Disable O/C in Window is Yes: Disarming
the area generates an Opening Report without
the early or late modifier, regardless of when the
area is disarmed.
When you are programming multiple windows
to activate on a single day, program the
windows in chronological order. Be careful not
to program a window’s Open Early Begin time
for a time that is between any other window’s
Open Window Start and Open Window Stop
time.
0101
0101
0101 Do not program a window to cross the
midnight boundary.
Disabled windows have a blank begin time. If the
entry for this prompt is blank, but times are
programmed for Open Window Start and Open
Window Stop, the window is disabled.
To disable the window, both the hours and minutes
spaces must be Blank.
00:00 is midnight, 23:59 is 11:59 PM. Make entries
using a 24-hour clock (for example, 7:00 AM is
entered as 07:00, 2:45 PM is entered as 14:45).
Disable/Restart the control panel to activate today’s
window. If you are programming a window that
must activate on the same day you are programming
it, do a disable/restart after programming.
W# Open Window Start
Default: 00: 00
Selection: HH:MM (hours and minutes)
Enter the time you want the control panel to start
the Opening Window. The window goes into effect
at the beginning of the minute.
00:00 is midnight, 23:59 is 11:59 PM. Make entries
using a 24-hour clock (for example, 7:00 AM is
entered as 07:00, 2:45 PM is entered as 14:45).
This program item is one of three required to create
an Opening Window. To program an Opening
Window, Open Early Begin and Open Window
Stop must also be programmed. See the
W# Open
Early Begin
prompt in this section for report
feature explanations.

D9412G/D7412G | Program Entry Guide | 5.0 RADXSKED EN | 97
Bosch Security Systems | 1/04 | 47775E
W# Open Window Stop
Default: 00: 00
Selection: HH:MM (hours and minutes)
Enter the time you want the control panel to end the
Opening Window. The window stops at the end of
the minute.
00:00 is midnight, 23:59 is 11:59 PM Make entries
using a 24-hour clock (for example, 7:00 AM is
entered as 07:00, 2:45 PM is entered as 14:45).
This program item is one of three required to create
an Opening Window. To program an Opening
Window, Open Early Begin and Open Window
Start must also be programmed.
If the area is not disarmed by the time the Open
Window Stop time expires, the control panel
generates a Fail to Open Report if enabled in Fail
To Open.
Opening Reports generated between the Open
Window Start time and Open Window Stop time
can be suppressed by programming
Disable O/C in
Window
Yes. See the
Open Early Begin
prompt
for other report feature explanations.
Do not use a time of 23:59 as a window stop time
unless another window begins on the next day at
00:00.
0101
0101
0101 Fail to Open Reports are not sent for
windows that stop at 23:59.
Figure 4: Example Opening Window Timeline (using two Opening Windows on same day)
1
2
3
4
5
6
7
8
9
1 - Areas disarmed between midnight and 6 AM
generate Opening Reports.
2 - Areas disarmed between 6 AM and 7 AM
generate Early to Open Reports.
3 - If the area is disarmed between 7 AM and 8 AM
regular Opening Reports are generated. If Disable
O/C in Window is programmed Yes the Opening
Report is not transmitted to the central station.
4 - If the area is not disarmed by 8:01 AM, a Fail to
Open Event is generated if Fail to Open is
programmed Yes in Opening and Closing Options.
5 - If the user disarms the area between 8:01 AM and
12:59, PM a Late to Open Event is generated.
6 - Areas that are disarmed between 1 PM and 2 PM
generate Early to Open Reports.
7 - If the area is disarmed between 2 PM and 3 PM
regular Opening Reports are generated. If Disable
O/C in Window is programmed Yes, the Opening
Report is not transmitted to the central station.
8 - If the area is not disarmed by 3:01 PM, a Fail to
Open Event is generated if Fail to Open is
programmed Yes in Opening and Closing Options.
9 - If the user disarms the area between 3:01 PM and
11:59 PM, a Late to Open Event is generated.

D9412G/D7412G | Program Entry Guide | 5.0 RADXSKED EN | 98
Bosch Security Systems | 1/04 | 47775E
Table 32: Programming for Two Same Day Opening Windows (see Figure 4)
Open Close
W# Day of Week
Early
Begin Start Stop
Early
Begin Start Stop
eXcept
On
Holiday
Holiday
Index Area(s)
1S M T W T F S 06: 00 07 : 00 08: 00 Yes / No 1 2 3 4 1 2 3 4 5 6 7 8
2S M T W T F S 13 : 00 14 : 00 15 : 00 Yes / No 1 2 3 4 1 2 3 4 5 6 7 8
Do not program a single window to cross the midnight boundary. The window stop time must be later than the
window start time. To program a window that effectively crosses the midnight boundary, you must program two
windows.
For example, to program windows for an area that opens between 11:30 PM and 12:30 AM, five days a week, use
two windows as shown in Table 33.
Table 33: Programming to Link Two Days over Midnight
Open Close
W# Day of Week
Early
Begin Start Stop
Early
Begin Start Stop
eXcept
On
Holiday
Holiday
Index Area(s)
1S M T W T F S 22 : 00 23 : 30 23 : 59 Yes No 1 2 3 4 1 2 3 4 5 6 7 8
2S M T W T F S 00 : 00 00 : 00 00 : 30 Yes No 1 2 3 4 1 2 3 4 5 6 7 8
W# Close Early Begin
Default: 00: 00
Selection: HH:MM (hours and minutes)
00:00 to 23:59
Close Early Begin: This program item is one of
three required to create a Closing Window. To finish
programming a Closing Window, Close Window
Start and Close Window Stop must be programmed.
Use Close Early Begin to set the time that you want
the control panel to look for a Closing Window.
When Opening and Closing Reports are enabled,
arming the area between midnight and the Close
Early Begin time generates a Closing Report. In
addition:
• If Disable O/C in Window is Yes: Arming the
area between the Close Early Begin time and
the Close Window Start time generates a
Closing Early Event (if the Close Early Begin
time is the same as the Close Window Start
time, the Closing Early Event is not sent).
Arming the area between the Close Window
Start and Close Window Stop time creates a
local event in the Panel log but does not send
the Closing Report to the central station.
Arming the area after the Close Window Stop and
the next window’s Close Early Begin time (or
midnight, whichever comes sooner) generates a
Closing Late Event.
• If Disable O/C in Window is No: Disarming
the area generates a Closing Report without the
early or late modifier, regardless of when the
area is armed.
When you are programming multiple windows
to activate on a single day, program the
windows in chronological order. Be careful not
to program a window’s Close Early Begin time
for a time that is between any other window’s
Close Window Start and Close Window Stop
time.
Disabled windows have a blank begin time. If
the entry for this prompt is blank, but times are
programmed for Close Window Start and Close
Window Stop, the window is disabled.
To disable the window, both the hours and
minutes spaces must be blank.
00:00 is midnight, 23:59 is 11:59 PM. Make
entries using a 24-hour clock (for example, 7:00
AM is entered as 07:00, 2:45 PM is entered as
14:45).

D9412G/D7412G | Program Entry Guide | 5.0 RADXSKED EN | 99
Bosch Security Systems | 1/04 | 47775E
Disable/Restart the control panel to activate
today’s window. If you are programming a
window that needs to activate on the same day
that you are programming it, do a disable/restart
after programming.
W# Close Window Start
Default: 00: 00
Selection: HH:MM (hours and minutes)
Enter the time that you want the control panel to
start the Closing Window. The window goes into
effect at the beginning of the minute.
00:00 is midnight, 23:59 is 11:59 PM. Make entries
using a 24-hour clock (for example, 7:00 AM is
entered as 07:00, 2:45 PM is entered as 14:45).
This program item is one of three required to create
a Closing Window. To program a Closing Window,
Close Early Begin and Close Window Stop must
also be programmed.
If the area is not armed when the Close Window
Start time comes, a warning tone sounds and
PLEASE CLOSE NOW displays at the command
center. To temporarily silence the tone, press the
[ESC] key on the command center. The warning
tone restarts in 10 minutes if the area is not armed.
See the
W# Close Early Begin
prompt in this
section for report feature explanations.
W# Close Window Stop
Default: 00: 00
Selection: HH:MM (hours and minutes)
Enter the time that you want the control panel to
end the Closing Window. The window stops at the
end of the minute.
00:00 is midnight, 23:59 is 11:59 PM. Make entries
using a 24-hour clock (for example, 7:00 AM is
entered as 07:00, 2:45 PM is entered as 14:45).
This program item is one of three required to create
a Closing Window. To program a Closing Window,
Close Early Begin and Close Window Start must
also be programmed.
If the area is not armed by the time the Close
Window Stop time expires, the control panel
generates a Fail to Close Report if enabled in Fail To
Close.
Closing Reports generated between the Close
Window Start time and Close Window Stop time
can be suppressed by programming
Disable O/C in
Window
Yes. See the
W# Close Early Begin
prompt for other report feature explanations.
Do not use a time of 23:59 as a window stop time
unless the window continues on the next day at
00:00. Fail to Close Reports are not sent, and the
Auto Close feature does not work for windows that
stop at 23:59.
Do not program a single window to cross the
midnight boundary. The window stop time must be
later than the window start time. To program a
window that effectively crosses the midnight
boundary, you must program two windows.
For example, to program windows for an area that
closes between 11:30 PM and 12:30 AM, five days a
week, use two windows as shown in Table 34.
Table 34: W# Close Window Stop Programming Example
Open Close
W# Day of Week
Early
Begin Start Stop
Early
Begin Start Stop
eXcept
On
Holiday
Holiday
Index Area(s)
1S M T W T F S 22 : 00 23 : 30 23 : 59 Yes No 1 2 3 4 1 2 3 4 5 6 7 8
2S M T W T F S 00 : 00 00 : 00 00 : 30 Yes No 1 2 3 4 1 2 3 4 5 6 7 8

D9412G/D7412G | Program Entry Guide | 5.0 RADXSKED EN | 100
Bosch Security Systems | 1/04 | 47775E
W# Xept Holiday
Default: No
Selection: Yes or No
Yes Do not activate this window on
holidays.
To use this selection, the window must
be programmed to activate on at least
one day of the week and a Holiday
Index must be enabled.
No A holiday does not prevent this
window from activating.
You also use this selection if Opening
and/or Closing Windows are only
needed on certain days of the year. Do
not program the windows to execute
on any days of the week. Instead,
program
Xept Holiday
No, and select
at least one Holiday Index with the
days of the year you want the window
to be active.
Determine if the window is disabled on holidays, or
is active only on holidays.
To prevent the windows from activating on certain
days of the year, program
Xept Holiday
Yes, and
enable at least one Holiday Index. When
Xept
Holiday
is programmed Yes, the window executes
on the days of the week programmed unless the date
is designated as a Holiday by the Holiday Index(es)
selected.
Holiday Indexes for O/C Windows
You can enable up to four Holiday Indexes for use
with Opening/Closing Windows. Enable at least one
Holiday Index if
W# Xept Holiday
is programmed
Yes for this window, or if you want this window to
activate only on specific dates. Holidays are
programmed in Section 5.3 Holiday Indexes.
W# Holiday 1
Default: No
Selection: Yes or No
Yes Use Holiday Index 1 with this window.
No Do not use Holiday Index 1 with this
window.
W# Holiday 2
Default: No
Selection: Yes or No
W# Holiday 3
Default: No
Selection: Yes or No
W# Holiday 4
Default: No
Selection: Yes or No
W# Area 1 [through 8]
Default: No
Selection: Yes or No
Yes Activate the window in the area
number (#) specified.
No Disable the window in the area
number (#) specified.
Eight separate program items determine whether a
particular window activates in each of the eight areas
of the control panel.

D9412G/D7412G | Program Entry Guide | 5.0 RADXSKED EN | 101
Bosch Security Systems | 1/04 | 47775E
Table 35: Opening/Closing Windows Worksheet
Open Close
W# Day of Week
Early
Begin Start Stop
Early
Begin Start Stop
eXcept
On
Holiday
Holiday
Index Area(s)
1S M T W T F S _ _ : _ _ _ _ : _ _ _ _ : _ _ _ _ : _ _ _ _ : _ _ _ _ : _ _ Yes No 1 2 3 4 1 2 3 4 5 6 7 8
2 S M T W T F S _ _ : _ _ _ _ : _ _ _ _ : _ _ _ _ : _ _ _ _ : _ _ _ _ : _ _ Yes No 1 2 3 4 1 2 3 4 5 6 7 8
3S M T W T F S _ _ : _ _ _ _ : _ _ _ _ : _ _ _ _ : _ _ _ _ : _ _ _ _ : _ _ Yes No 1 2 3 4 1 2 3 4 5 6 7 8
4 S M T W T F S _ _ : _ _ _ _ : _ _ _ _ : _ _ _ _ : _ _ _ _ : _ _ _ _ : _ _ Yes No 1 2 3 4 1 2 3 4 5 6 7 8
5S M T W T F S _ _ : _ _ _ _ : _ _ _ _ : _ _ _ _ : _ _ _ _ : _ _ _ _ : _ _ Yes No 1 2 3 4 1 2 3 4 5 6 7 8
6 S M T W T F S _ _ : _ _ _ _ : _ _ _ _ : _ _ _ _ : _ _ _ _ : _ _ _ _ : _ _ Yes No 1 2 3 4 1 2 3 4 5 6 7 8
7S M T W T F S _ _ : _ _ _ _ : _ _ _ _ : _ _ _ _ : _ _ _ _ : _ _ _ _ : _ _ Yes No 1 2 3 4 1 2 3 4 5 6 7 8
8 S M T W T F S _ _ : _ _ _ _ : _ _ _ _ : _ _ _ _ : _ _ _ _ : _ _ _ _ : _ _ Yes No 1 2 3 4 1 2 3 4 5 6 7 8
Table 36: Opening/Closing Windows
Day of Week
The column below briefly describes how to
activate an Opening/Closing Window.
Use the guidelines shown in the other
columns to choose the appropriate entries.
eXcept
On
Holiday
Holiday
Index Areas
Program at least
one day Yes.
Day(s) of the week NO None Program at least
one area Yes.
Program at least
one day Yes.
Day(s) of the week, but not on holidays YES Select at least
one Index
Program at least
one area Yes.
Program at least
one day Yes.
Day(s) of the Week, plus holidays NO Select at least
one Index
Program at least
one area Yes.
All days must be
programmed No.
Only on holidays NO Select at least
one Index
Program at least
one area Yes.
Table 37: Normal Store Hours*
Open Close
W# Day of Week
Early
Begin Start Stop
Early
Begin Start Stop
eXcept
On
Holiday
Holiday
Index Area(s)
1S M T W T F S 04: 00 05 : 00 06: 00 20: 00 23 : 00 23: 59 Yes No 1 2 3 4 1 2 3 4 5 6 7 8
2S M T W T F S _ _ : _ _ _ _ : _ _ _ _ : _ _ 00: 00 00 : 00 01 : 00 Yes No 1 2 3 4 1 2 3 4 5 6 7 8
* Monday to Friday, Opening between 5 AM and 6 AM. Closing between 11 PM and 1 AM.

D9412G/D7412G | Program Entry Guide | 5.0 RADXSKED EN | 102
Bosch Security Systems | 1/04 | 47775E
Table 38: Delivery Schedule*
Open Close
W# Day of Week
Early
Begin Start Stop
Early
Begin Start Stop
eXcept
On
Holiday
Holiday
Index Area(s)
3S M T W T F S 02 : 30 02 : 45 03 : 00 03 : 05 03: 15 03: 30 Yes No 1 2 3 4 1 2 3 4 5 6 7 8
00 : 00 01 : 00 Yes No 1 2 3 4 1 2 3 4 5 6 7 8
Program at least
one day Yes.
Day(s) of the week, but not on holidays Yes Select at
least one
index
Program at least
one area Yes.
*Monday and Wednesday, In between 2:45 AM and 3:00 AM. Out between 3:15 AM and 3:30 AM.
Another alternative for delivery schedules is to automatically bypass specific points using skeds.
Table 39: Monthly Auditor’s Schedule*
Open Close
W# Day of Week
Early
Begin Start Stop
Early
Begin Start Stop
eXcept
On
Holiday
Holiday
Index Area(s)
4S M T W T F S 07 : 00 08 : 00 08 : 30 14 : 00 14: 30 17: 00 Yes No 1 2 3 4 1 2 3 4 5 6 7 8
All days must be
programmed No.
Only on holidays No Select at
least one
index
Program at least
one area Yes.
*Sunday, In between 8:00 AM and 8:30 AM. Out between 2:30 PM and 5:00 PM..
5.1.2 User Group Windows
In this section, you can create up to eight User
Group periods where the passcodes for the group
chosen is enabled. One user group can have
multiple windows assigned to it over a 24-hour
period. See the
U### User Group
prompt in
Section 3.1 Passcode/Token Worksheet to assign
individuals to a group.
When you assign a
U### User Group
to one of the
eight windows, all passcodes for the group are
enabled ONLY for the period between the Enable
Time and Disable Time for assigned
User Windows
#
.
If a user is not assigned to a
U### User Group
or
the number programmed for the user for
U###
User Group
is not assigned to a
User Windows #
,
the passcode for that user is enabled all the time.
0101
0101
0101
User Group Windows DO NOT affect the
users token/card access authority. To
enable/disable tokens, the Sked Function
Access Levels On/Off must be used.
User Windows #
Default: 1
Selection: 1 to 8
Enter the User Windows number you want to
program.
UW# User Group
Default: 1
Selection: Blank, 1 to 8
Enter the number programmed for the group of
users in the
U### User Group
prompt. This group
has its user passcodes enabled/disabled when this
window runs.
0101
0101
0101
A User Group can be assigned to more
than one window in a 24-hour period, but
the windows must not overlap or exceed
the midnight boundary.

D9412G/D7412G | Program Entry Guide | 5.0 RADXSKED EN | 103
Bosch Security Systems | 1/04 | 47775E
UW# Sunday
Default: No
Selection: Yes or No
This prompt, and the next six day of the week
prompts, select the days of the week that the User
Group Window is active.
0101
0101
0101
See the W# Sunday prompt in Section
5.1.1 Opening and Closing instructions
for more information about programming
this prompt.
UW# Monday
Default: No
Selection: Yes or No
UW# Tuesday
Default: No
Selection: Yes or No
UW# Wednesday
Default: No
Selection: Yes or No
UW# Thursday
Default: No
Selection: Yes or No
UW# Friday
Default: No
Selection: Yes or No
UW# Saturday
Default: No
Selection: Yes or No
UW# Group Enable
Default: 00:00
Selection: HH:MM (hours and minutes)
This prompt must be programmed if this
User Group Window is assigned to a user
group.
Enter the time of day that the window starts.
Beginning at this time, users assigned to this
window’s group can use their passcodes. The
window goes into effect at the beginning of the
minute. Make entries using a 24-hour clock (for
example, 7:00 AM is entered as 07:00, 2:45 PM is
entered as 14:45).
Disable/Restart the control panel to activate today’s
window. If you are programming a window that
needs to activate on the same day that you are
programming it, do a disable/restart after
programming.
UW# Group Disable
Default: 00:00
Selection: HH:MM (hours and minutes)
This prompt must be programmed if this
User Group Window is assigned to a user
group
Enter the time of day that the window ends. This
time marks the end of the period in which users
assigned to this window’s group can use their
passcodes. The window stops at the end of the
minute. Make entries using a 24-hour clock (for
example, 7:00 AM is entered as 07:00, 2:45 PM is
entered as 14:45).
To disable the window, both the hours and minutes
spaces must be blank.
Do not program a single window to cross the
midnight boundary. The window stop time must be
later than the window start time.

D9412G/D7412G | Program Entry Guide | 5.0 RADXSKED EN | 104
Bosch Security Systems | 1/04 | 47775E
Holiday Indexes for User Group Windows
You can enable up to four Holiday Indexes to use
with User Group Windows. Enable at least one
Holiday Index if
UW# Xept Holiday
is
programmed Yes for this user window, or if you
want this window to activate only on specific dates.
Holidays are programmed in Section 5.3 Holiday
Indexes of the program.
UW# Xept Holiday
Default: No
Selection: Yes or No
Determine if the window is disabled on holidays, or
is active only on holidays. Use the instructions
provided in the
W# Xept Holiday
prompt in
Section
5.1.1 Opening and Closing.
UW# Holiday 1
Default: No
Selection: Yes or No
UW# Holiday 2
Default: No
Selection: Yes or No
UW# Holiday 3
Default: No
Selection: Yes or No
UW# Holiday 4
Default: No
Selection: Yes or No
5.2 Skeds
Use the Skeds module to program the control panel
to automatically execute functions that are otherwise
initiated by the end user at the command center.
Each sked can be programmed to occur at a specific
time on a specific date or day of the week. Up to 40
Skeds can be programmed.
A sked can be edited from the command center if
S## Time Edit?
is Yes. The date and time can be
changed using the Change Sked? function.
Each sked number can be programmed with one of
24 functions for the
S## Function Code
. A function
is executed. In addition to the function, a choice
must be made as to what is affected by the function
(for example, when choosing a Disarm Sked, the
disarming is the function while the areas that are
being chosen to become disarmed are what is
affected).
The functions and their associated parameters are
listed in the Sked Function Code Table in the
Program Record Sheet, and they are explained in detail
following the
S## Function Code
prompt in this
section.
Each sked can be programmed with up to four
Holiday Indexes. The Holiday Indexes can be used
to execute the sked on the holidays in addition to
the date or day(s) of the week, or, they can be used
to prevent the sked from executing on the holidays
(see
S## Xept Holiday
prompt in this section
).
Sked Number
Default: 1
Selection: 1 to 40
Enter the number of the sked you are programming.
S## TimeEdit
Default: Yes
Selection: Yes or No
Yes The user can edit the time of this sked
from the command center and it
appears in the CHG SKED display.
No The user cannot edit the time of this
sked from the command center and it
does NOT appear in the CHG SKED
display.
Select whether the user can edit the time of this sked
from the command center.

D9412G/D7412G | Program Entry Guide | 5.0 RADXSKED EN | 105
Bosch Security Systems | 1/04 | 47775E
S## Function Code
Enter the function code you want this sked to execute. Sked Function 12 is reserved and is not a valid entry.
The programmer automatically displays the available parameter choices and range fields for this function (such as,
Yes/No is automatically displayed for the areas when choosing the Arm/Disarm function while a blank prompt
exists for the point number you want to bypass when choosing the Bypass Point function).
After you program the parameter choices associated with the Sked function, press [EXIT GROUP] to continue
programming the sked for date, day of week, time, and holiday.
Default: Blank
Selection: 1 to 11, 13 to 24, 28, 29
S## Area 1[through 8]
1Arm Area: This function simulates the
Master Arm Delay command center
function. Entries in the
S## Area #
prompts define the area(s) this sked
arms. The sked can arm multiple areas.
If any point is faulted when the sked
executes, it is force armed regardless of
FA/Bypass max.
Default: No
Selections: Yes or No
Enable the sked to arm the
areas indicated with Yes.
Yes
No
Arm Area #.
Do not arm Area
#.
S## Area 1[through 8]
2Disarm Area: This function emulates
the Disarm_ _ _ command center
function. Entries in the
S## Area #
prompts define the area(s) this sked
disarms. The sked can disarm multiple
areas.
Default: No
Selection: Yes or No
Enable the sked to disarm the
areas indicated with Yes.
Yes
No
Disarm Area #.
Do not disarm
Area #.
S## Point Number Blank (0) No point is to be
bypassed
3Bypass a Point: This function emulates
the Bypass Pt? command center
function. The entry in the
S## Point
Number
prompt defines the point this
sked bypasses. The point can be
bypassed only if
Bypassable
is
programmed Yes in the point index
assigned to the point. The bypass is
reported if Bypass Reports are enabled
in the point index assigned to the point.
The sked can bypass one point.
Default: Blank
Selections: Blank, 1 to 127,
129 to 247 for D9412G,
1 to 75 for D7412G
Enter the number of the point
the sked bypasses.
1 to 127,
129 to 247
Point to bypass
S## Point Number Blank (0) No point is to be
unbypassed.
4Unbypass a Point: This function
emulates the Unbypass Pt? command
center function. The entry in the
S##
Point Number
prompt defines the
point this sked unbypasses. The sked
can unbypass one point.
Default: Blank
Selections: Blank, 1 to 127,
129 to 247 for D9412G,
1 to 75 for D7412G
Enter the number of the point
the sked unbypasses.
1 to 127,
129 to 247
Point to unbypass.

D9412G/D7412G | Program Entry Guide | 5.0 RADXSKED EN | 106
Bosch Security Systems | 1/04 | 47775E
S## Area 1[through 8] Yes Unbypass all
points in Area #.
5Unbypass All Points: This function is
not available as a command center
function. The entry in the
S## Area #
prompt defines the area(s) where the
sked unbypasses all points. The sked
unbypasses all points in the area,
regardless of how they were bypassed.
This sked can unbypass all points in
multiple areas.
Default: No
Selection: Yes or No
Enable the sked to unbypass all
points the areas indicated with
Yes.
No Do not unbypass
all points in Area
#.
S## Relay Number Blank No relay is
activated.
6Relay On: This function emulates the
Chg Relay? command center function
to turn relays on. The entry in the
S##
Relay Number
prompt defines the
specific relay this sked activates. The
sked can activate one relay.
Default: Blank
Selections: Blank,
1 to 128 for D9412G,
1 to 64 for D7412G
Enter the number of the relay
the sked activates
1 to 128 Relay to activate.
S## Relay Number Blank No relay is turned
off.
7Relay Off: This function emulates the
Chg Relay? command center function
to turn relays off. The entry in the
S##
Relay Number
prompt defines the
relay this sked turns off. The sked can
turn off only relays that were set by a
sked. The sked can turn off one relay.
Default: Blank
Selections: Blank,
1 to 128 for D9412G,
1 to 64 for D7412G
Enter the number of the relay
that turns the sked off.
1 to 128 Relay to turn off.
8All Relays Off: This function is not available as a command center function. This sked function turns off all
relays that were turned on by a sked. This is a panel-wide function.
There are no other parameters that require input for this option.

D9412G/D7412G | Program Entry Guide | 5.0 RADXSKED EN | 107
Bosch Security Systems | 1/04 | 47775E
S## Defer Test Yes Defer the Test
Report.
Default: No
Selection: Yes or No
Enable sked to defer the Test
Report
No Send the Test
Report on
schedule.
S## Hourly Report Yes Send the Test
Report every hour.
9Test Report: This function emulates
the Send Report? command center
function. This function generates a Test
Report ONLY from Area 1 but contains
panel-wide status information. The
report is sent to the phone(s)
programmed for Test and Status
Reports in Section 2.3.8 Dialing Attempts.
If
Expand Test Prt
in Phone is
programmed Yes, the Test Report also
includes all off-normal states for events
listed in Diagnostic Reports and Test
Reports (see Section 2.3.8 Dialing
Attempts).
The Test Report can be deferred if any
other report was sent since the last Test
Report. To defer the Test Report,
program
S## Defer Test
.
The Test Report can be sent every hour
beginning at the time scheduled in
S##
Time
. To send a Test Report every
hour, program
S## Hourly Rpt
.
Default: No
Selection: Yes or No
Enable sked to send the Test
Report every hour.
No Send the Test
Report only as
scheduled.
S## Defer Status Yes Defer the Status
Report.
10 Status Report: This function generates
a Status Report for each area that is
enabled. The report is sent to the
phone(s) programmed for Test and
Status Reports in Routing.
The Status Report can be deferred if
any other report was sent since the last
Status Report. To defer the Status
Report, program
S## Defer Status
.
Default: No
Selection: Yes or No
Enable sked to defer the Status
Report.
No Send the Status
Report on
schedule.

D9412G/D7412G | Program Entry Guide | 5.0 RADXSKED EN | 108
Bosch Security Systems | 1/04 | 47775E
S## Cmd Center
Default: Blank (0)
Selections: Blank (0), 1 to 8
Blank (0) No command center
is specified for
Custom Function
activation.
Identify the specific keypad
(CC #) where the Custom
Function is entered. Only one
command center can be
assigned for this sked function.
1 to 8 Command center
address specified for
Custom Function
activation.
S## Custom Func
Default: Blank (0)
Blank (0) No Custom
Function is
activated.
11 Execute Custom Func: This function
emulates any of the custom functions
assigned to the command center that
can be executed by a user from the
command center. When a sked executes
a custom function, it is subject to the
scope of the selected command center.
Cmd Center
and
Custom Func
prompts appear after entering Function
Code 11. Both entries are required.
Selections: Blank (0),
128 to 143 for D9412G,
128 to 131 for D7412G
Enter the custom function this
sked executes.
128 to
143
Custom Function to
activate.
Avoid having multiple functions occur at the same time at the same address. Functions can clash and the
effect on the control panel is unpredictable.
0101
0101
0101 Review to make sure that the Custom Function being executed or any of the commands nested inside the
Custom Function are not passcode protected.
0101
0101
0101
Do not program multiple skeds to execute at the same command center during the same time of execution.
Do not program skeds to execute at times when a user is likely to be executing functions at the command
center. If it is necessary to do so, there are two ways to work around the situation:
1. Program CC at the beginning of the Custom Function Key Strokes entry. This aborts the user’s
function and allow the sked to execute.
2. Program the sked to execute at an address (Cmd Center) with no command center physically
attached to it. The CC # must be assigned to an area and have the appropriate scope programmed.
13 Adjust Time Forward One Hour: This sked function is used to make adjustments to the control panel’s
clock. A typical application is to program this to go into effect at 2:00 AM on the date that Daylight Savings
Time begins (during the springtime). No Time Change Report is sent or logged, but the new time appears in
the next report logged.
There are no other parameters that require input for this option.
14 Adjust Time Backward One Hour: This sked function is used to make adjustments to the control panel’s
clock. A typical application is to program this to go into effect at 2:00 AM on the date that Daylight Savings
Time ends (during the fall). This function can operate only once in a day, even if multiple Skeds with this
function are programmed. No Time Change Report is sent or logged, but the new time appears in the next
report logged.
There are no other parameters that require input for this option.

D9412G/D7412G | Program Entry Guide | 5.0 RADXSKED EN | 109
Bosch Security Systems | 1/04 | 47775E
S## Cmd Center 1[through 8]
Default: Blank
Yes Watch tone sounds
at this command
center.
15 Sound Watch Tone at
Command Center: This function
sounds the Watch Tone at the
command center address
programmed in Parameter 1. The
Watch Tone sounds at all
command centers with the address
programmed. Press [ESC] to
silence the tone.
Sound Watch Tone defines the
command center address where
the Watch Tone sounds. Enter the
specific address at the
S## Cmd
Center
prompt.
Selection: Yes or No
Enable the sked to beep the command
center programmed Yes.
No Watch tone does not
sound at this
command center.
S## Access Ctl Level #
Default: No
Yes Enable Access
Control Level #
16 Access Control Level On: This
function emulates the ACCESS
CMD LEVEL command that
determines whether a user’s
token/card level is ENABLED?,
allowing access granted rights.
This affects all doors that this user
is assigned to with this specific
authority level.
Selection: Yes or No
Activate a sked, which enables the
Access Level(s) 1 through 14 with Yes.
No Do not enable
Access Control
Level #.
The D9412G supports eight doors; the D7412G supports two doors.
0101
0101
0101
To regulate a user’s access for certain doors, assign the user a different authority level # with the same
authority functions enabled. For example, a user can be assigned Authority Level 1 for Door 1 and
Authority Level 2 for the remaining doors. You can enable/disable Authority Level 1 for Door 1 without
affecting his authority level for Doors 2 through 8).
S## Access Ctl Level#
Default: No
Yes Turn off access for
level #.
17 Access Control Level Off: This
function emulates the ACCESS
CMD LEVEL command that
determines whether a user’s
token/card level is disabled. This
function allows access to be turned
off for the levels programmed.
Selection: Yes or No
The first parameter enables the sked to
turn off access for levels 1 through 14.
No Do not turn off
access for level #.
S## Door 1 [through 8]
Default: No
Yes Unlock Door #.
18 Unlock Door: This function
emulates the UNLOCK?
12345678 command center
function for unlocking a door. Selection: Yes or No
Enable the sked to unlock the doors
programmed Yes.
No Do not unlock Door
#.

D9412G/D7412G | Program Entry Guide | 5.0 RADXSKED EN | 110
Bosch Security Systems | 1/04 | 47775E
S## Door 1 [through 8]
Default: No
Yes Secure Door #.
19 Secure Door: This function
emulates the SECURE? 12345678
command center function for
securing a door. Selection: Yes or No
Enable the sked to return the doors
programmed Yes to the secured state.
No Do not secure Door
#.
S## Door 1 [through 8]
Default: No
Yes Lock Door #.
20 Lock Door: This function returns
an Unlocked (Function 18) or
Secured (Function 19) door to a
normal locked door state. Selection: Yes or No
Enable the sked to lock the doors
programmed Yes and return them to
the normal Door Mode.
No Do not lock Door #.
S## Door 1 [through 8]
Default: No
Yes Enable the reporting
of Access Granted
Events for Door #.
21 Access Authority Events On:
The control panel can log Access
Granted Events when a valid
token, RTE, REX, or Unlock Door
Event is detected for a specific
door. These events can be directed
to print at a local printer or report
remotely through phone routing.
This sked enables Access Granted
Events to be reported for Door #.
Selection: Yes or No
This parameter enables the reporting
of Access Granted Events for Door #.
No Do not enable the
reporting of Access
Granted Events for
Door #.
S## Door 1 [through 8]
Default: No
Selection: Yes or No
Yes Disable the
reporting of Access
Granted Events for
Door #.
22 Access Authority Events Off:
The control panel can log Access
Granted Events when a valid
token, RTE, REX, or Unlock Door
Event is detected for a specific
door. These events can be directed
to print at a local printer or report
remotely through phone routing.
This sked disables Access Granted
Events to be reported for Door #.
This parameter disables the reporting
of Access Granted Events for Door #.
No Do not disable the
reporting of Access
Granted Events for
Door #.
S## Door 1 [through 8]
Default: No
Yes Enable the reporting
of No Entry Events
for Door #.
23 No Entry Events On: The control
panel can log No Entry Events
when an invalid token is detected
for a specific door. No Entry
Events include No Entry-Secured,
No Entry-Interlock, No Entry-
Unknown ID, and No Entry-Level.
These events can be directed to
print at a local printer or report
remotely through phone routing.
This sked enables No Entry Events
to be reported for Door #.
Selection: Yes or No
This parameter enables the reporting
of No Entry Events for Door #.
No Do not enable the
reporting of No
Entry Events for
Door #.

D9412G/D7412G | Program Entry Guide | 5.0 RADXSKED EN | 111
Bosch Security Systems | 1/04 | 47775E
S## Door 1 [through 8]
Default: No
Yes Enable the reporting
of No Entry Events
for Door #.
24 No Entry Events Off: The control
panel can log No Entry Events
when an invalid token is detected
for a specific door. No Entry
Events include No Entry-Secured,
No Entry-Interlock, No Entry-
Unknown ID, and No Entry-Level.
These events can be directed to
print at a local printer or report
remotely through phone routing.
This sked disables No Entry
Events to be reported for Door #.
Selection: Yes or No
This parameter disables the reporting
of No Entry Events for Door #.
No Do not enable the
reporting of No
Entry Events for
Door #.
Sked Functions 28 and 29 are available only in firmware versions 6.30 and higher. RPS version 3.5 and
RADXSKED handler version 1.02 and higher must be used to program these new skeds.
28 Expanded Off-Normal Test Report: To generate this event, one or more points must be in an off-normal
state at the time the sked executes. In addition, any system trouble that is active also generates an Expanded
Off-Normal Test Report. Expanded Off-Normal Test Reports include the Off Normal Test Report Event as
well as the supplementary event at the time the report is generated.
The Event Log only shows a Test Report Event.
If none of these conditions exist at the time the sked executes, only a Sked Executed Event is generated and
the Off-Normal Test Report is not sent.
To meet UL 864 daily Test Report requirements (when using two phone lines) you must still use Sked
Function Code 9, Test Report and program it to occur on a daily basis as per AHJ requirements.
29 Non-Expanded Off-Normal Test Report: Non-Expanded Off-Normal Test Report Events are only sent
when any point is in the off-normal state from any area, but only sends the Off Normal Test Report Event. In
addition to this, any system trouble that is active also generates a Non-Expanded Off-Normal Test Report.
The Event Log only shows a Test Report Event.
If none of these conditions exist at the time the sked executes, only a Sked Executed Event is generated and
the Non-Expanded Off-Normal Test Report is not sent.
To meet UL 864 daily Test Report requirements (when using two phone lines), you must still use Sked
Function Code 9, Test Report and program it to occur on a daily basis as per AHJ requirements.

D9412G/D7412G | Program Entry Guide | 5.0 RADXSKED EN | 112
Bosch Security Systems | 1/04 | 47775E
S## Time
Default: 00:00
Selection: HH:MM (hours and minutes)
Enter the time that the sked executes. Make entries
using a 24-hour clock (for example, 7:00 AM is
entered as 07:00, 2:45 PM is entered as 14:45).
Disabled skeds have a blank time. If you copy the
control panel and the entry for this prompt is blank,
but times were at one time programmed, the sked
may be disabled from the command center using the
Change Skeds function.
To program a time:
4. Press the two digits representing the hour.
5. The cursor advances past the colon (:) in the
display.
6. Press the two digits representing the minutes.
7. Press [ENTER].
S## Date
Default: _ _ / _ _
Selection: MM/DD (month and date)
Enter the date that the sked executes.
Disabled skeds have a blank date. If you copy the
control panel and the entry for this prompt is blank,
but dates were programmed before, the sked may be
disabled from the command center using the
Change Skeds function.
To program a date:
8. Press the two digits representing the hour.
9. The cursor advances past the colon (:) in the
display.
10. Press the two digits representing the minutes.
11. Press [ENTER].
S## Sunday
Default: No
Selection: Yes or No
Yes Activate this sked on Sundays.
No Do not activate this sked on Sundays.
This prompt and the next six prompts select the
days of the week that the sked is active.
Exceptions:
To prevent the sked from activating on certain days
of the year, program
Xept Holiday
Yes, and enable
at least one Holiday Index. When
Xept Holiday
is
programmed Yes, the window executes on the days
of the week programmed unless the date is
designated as a holiday by the Holiday Index
selected.
If a sked is only needed on certain days of the year,
do not program the sked to execute on any days of
the week. Instead, program
Xept Holiday
No, and
select a Holiday Index with the dates you want the
window to be active.
S## Monday
Default: No
Selection: Yes or No
S## Tuesday
Default: No
Selection: Yes or No
S## Wednesday
Default: No
Selection: Yes or No
S## Thursday
Default: No
Selection: Yes or No
S## Friday
Default: No
Selection: Yes or No
S## Saturday
Default: No
Selection: Yes or No

D9412G/D7412G | Program Entry Guide | 5.0 RADXSKED EN | 113
Bosch Security Systems | 1/04 | 47775E
S## Xept Holiday
Default: No
Selection: Yes or No
Yes Prevent this sked from operating on
the holidays identified in the specific
Holiday Index(es) used with this sked.
Specific Holiday Indexes are selected
in this programming section and
programmed in the next programming
module.
No This sked operates on holidays
programmed in the Holiday Index(es)
used with this sked.
If no days of the week are programmed, this sked
operates only on the holidays programmed in the
Holiday Index(es) used with this sked. This sked also
operates if the holiday falls on a day of the week that
is programmed.
S## Holiday 1
Default: No
Selection: Yes or No
Yes Use Holiday Index 1 with this sked.
No Do not use Holiday Index 1 with this
sked.
S## Holiday 2
Default: No
Selection: Yes or No
S## Holiday 3
Default: No
Selection: Yes or No
S## Holiday 4
Default: No
Selection: Yes or No
5.3 Holiday Indexes
This programming module has two sections:
Add/Change/Delete and View Holidays. Use the
Add/Change/Delete section to program the Holiday
Indexes. The View Holidays section is a view-only
section provided for your convenience. Use View
Holidays to review the dates programmed in the
Holiday Indexes.
5.3.1 Add/Change/Delete
Program the dates for each of the Holiday Indexes.
You can program up to four Holiday Indexes in the
control panel. Within each index, you can select up
to 365 dates to be designated as holidays.
The Holiday Indexes function independently of each
other. The same day can be programmed in all four
schedules. Holiday Indexes are used in
programming O/C Windows, User Access
Windows, and skeds.
Date
Default: _ _ / _ _
Selection: MM/DD (month and date)
This entry selects the month and day you are
designating as a holiday.
To program a date:
12. Press the two digits representing the month.
The cursor advances past the slash (/) in the
display.
13. Press the two digits representing the day of the
month.
14. Press [ENTER].
To delete a date:
1. At the
Date
prompt, enter the month and day
you want to delete and press [ENTER].
2. Advance to the holiday index number that you
want to delete the date from. Change the entry
to No. Press [ENTER].
If you want the date completely removed as a
Holiday, it must be programmed No for all of
the Holiday Index # entries.

D9412G/D7412G | Program Entry Guide | 5.0 RADXSKED EN | 114
Bosch Security Systems | 1/04 | 47775E
Holiday Index 1
Default: No
Selection: Yes or No
Yes Use this date in Holiday Index 1.
No Do not use this date in Holiday Index
1.
Holiday Index 2
Default: No
Selection: Yes or No
Holiday Index 3
Default: No
Selection: Yes or No
Holiday Index 4
Default: No
Selection: Yes or No
5.3.2 View Holidays
The View Holidays section is a view only section
provided for your convenience. Use View Holidays
to review the dates you programmed into each of
the Holiday Indexes.
You can view the first 100 dates programmed in
each of the indexes.
Index 1 Days
Default: Blank
Selection: Enter group or press [↓] key
Press [ENTER GROUP] to view the dates
programmed in
Holiday Index 1
.
Press [↓] key to advance to the next Holiday Index.
Index 2 Days
Default: Blank
Selection: Enter group or press [↓] key
Index 3 Days
Default: Blank
Selection: Enter group or press [↓] key
Index 4 Days
Default: Blank
Selection: Enter group or press [↓] key

D9412G/D7412G | Program Entry Guide | 6.0 RADXAUX1 EN | 115
Bosch Security Systems | 1/04 | 47775E
6.0 RADXAUX1
6.1 Introduction
The RADXAUX1 Handler is primarily used for
programming Enhanced Communication capabilities
for the 9000 Series Control Panels. As new features
(that require new programmable prompts) are
added, they will most likely be added to a new
revision of this handler.
“Enhanced communications” represents the ability
to provide new communication functions for the
control panels using the SDI bus including:
• Routing control panel events to a D9133TTL-x
module.
• Communicating with RPS using a D9133TTL-x
module.
• Communicating with a remote or local head-end
software package.
6.2 RPS and D5200 Handler
Requirements
In order to program the RADXAUX1 parameters
for the control panels, you must use RPS version 2.8
or higher and a handler called RADXAUX1. To
add the RADXAUX1 Handler to your D5200
Programmer, call the Bosch Security Systems
Handler Update System at (800) 657-4584.
This handler currently has six sections: SDI
Automation, SDI RAM Parameters, Enhanced
Communications, SDI RAM/Enhanced
Communication Configuration, Miscellaneous, and
Cross Point Parameters. The D5200 Handler
required for these options is found in the
RADXAUX1 Handler version 1.0 and is available
on the Handler Update System at Bosch Security
Systems.
6.3 SDI Automation
Define the characteristics of the D9133 Serial
Interface Module when used with Home or Business
Automation software. The D9133 Serial Interface
Module is a bi-directional SDI to RS-232 Interface
Module that allows the control panels to
send/receive information to/from an external
software program. This Automation protocol allows
external software programs to interact and perform
functions such as: arming and disarming areas,
changing user passcodes and names, and turning
relays on and off. The following items allow some
simple configuration options; however, to receive
the D9133 Automation protocol you must contact
Bosch Security Systems Technical Support at 888-
886-6189.
Enable SDI Auto
Default: No
Selection: Yes or No
Yes Enable Automation software.
No Disable Automation software.
Turning this item to Yes enables the automation
address (SDI Address 80).
Baud Rate
Default: 9600
Selection: 300, 1200, 2400, 4800, 9600, 14.4 K
This item determines the baud rate between the
D9133 and the external hardware connected to it.
Since the SDI bus communicates at 9600 baud,
Bosch Security Systems recommends that this
prompt also be kept at 9600 baud. Pressing the
[SPACE] bar on the D5200 toggles through the
available options.
Parity/Stop
Default: No/1
Selection: No/1, No/2, Odd/1, Even/1
No/1 No parity, 1 stop bit
No/2 No parity, 2 stop bits
Odd/1 Odd parity, 1 stop bit
Even/1 Even parity, 1 stop bit
This prompt addresses two items: Parity and the
number of stop bits. Pressing the [SPACE] bar on
the D5200 toggles through the available options.

D9412G/D7412G | Program Entry Guide | 6.0 RADXAUX1 EN | 116
Bosch Security Systems | 1/04 | 47775E
9133 Supervision
Default: No
Selection: Yes or No
Yes Supervise the D9133 Serial Interface
Module.
No Do not supervise the D9133 Serial
Interface Module.
This item determines whether the D9133 Serial
Interface Module is supervised or not. If the D9133
is supervised, disconnecting the D9133 from the
control panel creates a Trouble SDI 80 Event and
the command center annunciates a trouble tone (if
programmed) and display SERVC SDI 80.
Trouble SDI 80 Reports are always
reported using Area 1’s account number.
RTS Control
Default: On
Selection: On, AutoX, Off, AutoR
On Sets RTS to on (hardware control).
AutoX Automatically enables Xon/Xoff
(software control).
Off Sets RTS off (hardware control).
AutoR Sets this to Auto RTS.
This item determines how the Request To Send
Control parameters are defined for the D9133.
Pressing the [SPACE] bar on the D5200 toggles
through the available options.
DTR Control
Default: On
Selection: On, AutoD, Off
On Sets DTR to on (hardware control).
AutoD Sets this to Auto DTR.
Off Sets DTR off (hardware control).
This item determines how the Data Terminal Ready
Control parameters are defined for the D9133.
Pressing the [SPACE] bar on the D5200 toggles
through the available options.
Status Rate
Default: 0
Selection: 0 to 255
0 Status information is only sent when
requested.
1 to 255 Status information is sent at the
interval programmed.
If the Status Rate is set to a value under
10 and there are 1 to 6 SDI devices
connected to the system, the fastest the
control panel can send the status
information is approximately 1 second. If
there are more than six SDI devices
connected to the control panel, the fastest
the control panel can send the information
is approximately 1.5 seconds to 2
seconds.
This item determines how often the default status
information is sent to the D9133 Serial Interface
Module. The status information includes:
• The current point status (normal or off-normal),
• The control panel’s area status (Master Armed,
Master Instant Armed, Perimeter Delay Armed,
Perimeter Instant Armed, Disarmed, Area Entry
Delay, Perimeter Entry Delay, Area Exit Delay,
and Perimeter Exit Delay)
• The control panel status (AC Fail, Battery
Missing, AC Restore, Battery Low, and so on)
• Relay status (relay on or relay off)
Entries are in 100 millisecond increments. If a 5 is
entered, the status information is sent every 500
milliseconds (or 0.5 seconds). An entry of 10 equals
1 second.
6.4 SDI RAM Parameters
Configure RAM parameters when communicating
over a private Local Area or Wide Area Network
(LAN/WAN). To allow RPS to communicate with a
control panel over a LAN or WAN, a D9133TTL-E
SDI-Ethernet Bi-directional Network Interface
Module and RPS (version 2.8 or higher) is required.
The computer that RPS is installed on also needs a
network card. See your information systems’
administrator for network requirements.
This section allows you to:
• Define the RAM parameters necessary to
communicate by an external modem that can be
connected to a D9133DC Direct Connect
Programming Module.

D9412G/D7412G | Program Entry Guide | 6.0 RADXAUX1 EN | 117
Bosch Security Systems | 1/04 | 47775E
• Provide for local programming by a D9133
Serial Interface Module.
Although not listed in this section, RPS still checks
for the RAM Passcode (see Section 2.7 RAM
Parameters), Datalock Code, and the control panel
type to determine if this RAM session should
continue.
6.4.1 User Interface Modifications for
COMMAND 43
COMMAND 43 was modified to compensate for the
ability to communicate with RPS by a network path.
COMMAND 43’s structure is shown in Figure 5.
Figure 5: COMMAND 43 Flow Chart
1
2
9
10
11 3
910
6
11
11
4
7
58
1 - COMMAND 43
2 - Contact RAM?
3 - RAM via Phone?
4 - Seizes phone line and calls RPS
5 - Answer now?
6 - RAM by network?
7 - Begins RPS session over the network
8 - Seizes phone line and begins RPS session
9 - [PREV]
10 - [NEXT]
11 - [ENT]
Pressing the [ESC] key while CONTACT RAM?,
ANSWER NOW?, RAM VIA PHONE?, or RAM VIA
NETWORK? is displaying exits the user to Idle Text.
The RAM via Phone? prompt shown in
Figure 5, if selected, contacts RAM by the
control panel phone line and not the
external modem. Users cannot initiate a
RAM session by the external modem. If you
are using an external modem, RAM
sessions can only be initiated by
programming Answer Armed and Answer
Disarmed (to a value greater than 0) or
setting RAM Line Monitor to Yes in
Section 6.4 SDI RAM Parameters.
Enable SDI RAM
Default: Yes
Selection: Yes or No
Yes Enable RAM sessions over the SDI
bus.
No Do not enable RAM sessions over the
SDI bus.
This item determines if the control panel allows RPS
communications over the SDI bus. This item must
be set to Yes if you plan on using the external
modem configuration, a private LAN or WAN, or
local RPS programming.
If the reset pin is in the locked position,
local RPS programming is allowed even if
this prompt is set to No.

D9412G/D7412G | Program Entry Guide | 6.0 RADXAUX1 EN | 118
Bosch Security Systems | 1/04 | 47775E
When configuring this item to allow for
local programming, the D9133 needs
Jumper 8 shorted, power must be cycled
after changing the address, and a standard
serial modem cable is required.
Call Back Enabled
Default: No
Selection: Yes or No
Yes When the control panel hears the
proper RAM password (see
RAM
Passcode
in Section 2.7 RAM
Parameters), it ends the SDI RAM
session and then attempts to reconnect
to RAM using the RAM IP Address if
Enable Ext Modem
is set to No. If
Enable Ext Modem
is set to Yes, the
control panel attempts to re-establish
communication with RAM using the
RAM Dial String. This ensures that the
control panel only communicates with
valid RAM units.
No The SDI RAM session is initiated
immediately; no call back is required.
The control panel can engage in SDI
RAM sessions regardless of originating
location.
Using this function allows the control panel, after
verifying the RAM passcode, to provide an
additional level of security. Before allowing any
upload or download, it ends the SDI RAM session
and then reconnects with RAM using one of the
following:
• The RAM IP Address (
Enable Ext Modem
must be set to No)
• The RAM Dial String (
Enable Ext Modem
must be set to Yes)
In firmware version 6.30, do not enable
RAM Call Back when using an external
modem.
RAM IP Address 1
Default: 0
Selection: 0 to 255
0 to 255 Enter the first three digits of the IP
address. If the field is one or two digits
in length, leading zeros are not
required.
This prompt and the next three prompts determine
the IP address for RPS.
An IP address consists of four fields. Each field has a
range of 0 to 255. For example, an IP address is
expressed as 110.227.64.190. The D5200
programmer splits the IP Address into four
programmable fields. Be sure you contact your
network administrator to find out the IP address to
which the RPS computer is connected.
Figure 6: RAM IP Address Prompts
110.227.64.190
RAM IP Address 1
RAM IP Address 2
RAM IP Address 3
RAM IP Address 4
Set this item to 0 if Enable Ext Modem is
set to Yes.
RAM IP Address 2
Default: 0
Selection: 0 to 255
See
RAM IP Address 1
.
RAM IP Address 3
Default: 0
Selection: 0 to 255
See
RAM IP Address 1
.
RAM IP Address 4
Default: 0
Selection: 0 to 255
See
RAM IP Address 1
.
6.4.2 Using an External Modem
Through the use of a standard, off-the-shelf modem
(capable of communicating at 9600 baud) and a
D9133DC connected directly to the control panel,
RPS can now communicate with a 9000 Series
Control Panel (version 6.3 or higher) at speeds of up
to 9600 baud.

D9412G/D7412G | Program Entry Guide | 6.0 RADXAUX1 EN | 119
Bosch Security Systems | 1/04 | 47775E
Both the U.S.Robotics V.92 56 K Modem
(model # 5686, includes V.92 and V.90
56 K standard technology) and the Best
Data Smart One V.92/V.44 56 K External
Data/Fax Modem (model # 56SX-92) are
recommended for use as external modems
(connected to the control panel) based on
compatibility testing by Bosch Security
Systems. Other modules were either not
tested or found compatible.
The following seven prompts help configure the
requirements necessary to connect an external
modem to a D9412G/D7412G Control Panel using
a D9133DC. This configuration allows you to
communicate with RPS at 9600 baud because
communication is being routed through the SDI bus.
Use a separate phone line if an external
modem is being connected to the control
panel by a D9133DC Direct Connect
Programming Module. If it is not possible
to obtain a different phone line than the
control panel is using, make sure the
control panel is still wired in front of any
premises phone and the external modem
devices so that full line seizure is
maintained. Also, make sure the following
items are programmed in Section 2.7
RAM Parameters:
• Answer Armed = Blank or 0
• Answer Disarmed = Blank or 0
• RAM Line Monitor = No
• RAM Call Back = No
• RAM Phone number = Blank
When using an external modem, it must
be initialized using the following
HyperTerminal procedure on your
computer. The HyperTerminal procedures
can vary depending upon the operating
system used.
3. In Windows®, open the HyperTerminal
application within
Programs→Accessories→Communications.
4. Connect the modem to an available COM port.
5. Once connected, select the appropriate COM
port within HyperTerminal. See Figure 7.
For Best Data Smart One V.92:
Type [A][T][S][3][7][=][9][Enter]
For US Robotics:
Type [A][T][&][N][6][Enter].
This sets the baud rate of the modem to 9600. For
modems other than US Robotics or Best Data Smart
One V.92, consult your individual modem’s
instructions for the correct text string.
Type [A][T][E][0][Enter]. This eliminates echo,
making all user input from this point forward
invisible on screen.
Type [A][T][&][W][0][Enter] to write the
configuration to modem memory. The modem
profile is saved to a file upon disconnection or
power loss.
The external modem is connected to the D9133DC
Direct Connect Programming Module, which in
turn, is connected to the SDI bus using SDI Address
88 (see Figure 8). A standard serial cable is required
to connect the D9133DC to the external modem.
If you are going to use an external modem
for RPS communications, enhanced
communications, and RPS functions using
a D9133TTL-E are disabled.

D9412G/D7412G | Program Entry Guide | 6.0 RADXAUX1 EN | 120
Bosch Security Systems | 1/04 | 47775E
Figure 7: Com Port Selection within HyperTerminal
Figure 8: External Modem Connection
P3
P2
1248 SERRXTXRXTXBUS
SDI
PWR
SDI
A
SDI
B
SDI
COM
D9133DC
1
2
3
2
56
4
1 - RPS Remote Account Manager
2 - Modem
3 - PSTN
4 - D9412G/D7412G Control Panel
5 - Standard serial cable
6 - SDI bus

D9412G/D7412G | Program Entry Guide | 6.0 RADXAUX1 EN | 121
Bosch Security Systems | 1/04 | 47775E
In order to use an off-the-shelf external modem and a D9133DC serial module to connect to the control
panel using RAM, use the following settings:
1. RADXAUX1\ENHANCED COMM\Enhanced Comm\No
2. RADXAUX1\SDI RAM PARAMETERS\Enable SDI RAM\Yes
3. RADXAUX1\SDI RAM PARAMETERS\Callback Enabled\No
4. RADXAUX1\SDI RAM PARAMETERS\RAM IP Address 1-4\0
5. RADXAUX1\SDI RAM PARAMETERS\Enable Ext Modem\Yes
6. RADXAUX1\SDI RAM PARAMETERS\Answer Armed\1 to 15
7. RADXAUX1\SDI RAM PARAMETERS\Answer Disarmed\1 to 15
8. RADXAUX1\SDI RAM PARAMETERS\RAM Line Monitor\No
9. RADXAUX1\SDI RAM PARAMETERS\Seize Relay\No
10. RADXAUX1\SDI RAM PARAMETERS\Modem Init String\ATE0
11. RADXAUX1\SDI RAM PARAMETERS\RAM Dial String\ (blank)
12. RADXAUX1\SDIRAM/ENHANCED CONF\Baud Rate\9600
13. RADXAUX1\SDIRAM/ENHANCED CONF\Parity/Stop No\1
14. RADXAUX1\SDIRAM/ENHANCED CONF\RTS Control\ON
15. RADXAUX1\SDIRAM/ENHANCED CONF\DTR Control\ON
16. RADXAUX1\SDIRAM/ENHANCED CONF\9133 Supervision\No
17. 9000MAIN\PANEL WIDE PARAMETER\Enhanced Routing\RG1 Primary SDI\No
18. 9000MAIN\PANEL WIDE PARAMETER\Enhanced Routing\RG1 Backup SDI\No
19. 9000MAIN\PANEL WIDE PARAMETER\Enhanced Routing\RG2 Primary SDI\No
20. 9000MAIN\PANEL WIDE PARAMETER\Enhanced Routing\RG2 Backup SDI\No
21. 9000MAIN\PANEL WIDE PARAMETER\Enhanced Routing\RG3 Primary SDI\No
22. 9000MAIN\PANEL WIDE PARAMETER\Enhanced Routing\RG3 Backup SDI\No
23. 9000MAIN\PANEL WIDE PARAMETER\Enhanced Routing\RG4 Primary SDI\No
24. 9000MAIN\PANEL WIDE PARAMETER\Enhanced Routing\RG4 Backup SDI\No
25. The control panel reset pin can be up or down.
26. The modem at the control panel location must be set for 9600 baud and echo off. This information
must be written to the modem configuration area. Hyperterminal can be used to send the following
Hayes modem commands (see the Modem Manual for command syntax):
• ATS37=9 (set baud rate to 9600)
• ATE0 (eliminate echo)
• AT&W0 (write configuration to modem memory, not echoed)
27. Ensure the modem at RPS is set up for 9600 baud.
28. From the control panel communication window on RPS, connect by modem at 9600 baud.

D9412G/D7412G | Program Entry Guide | 6.0 RADXAUX1 EN | 122
Bosch Security Systems | 1/04 | 47775E
Enable Ext Modem
Default: No
Selection: Yes or No
Yes Enable SDI Address 88 for use with an
external modem.
No Disable SDI Address 88 for use with an
external modem.
Setting this item to Yes instructs the control panel
that SDI Address 88 is enabled for use with an
external modem. For further information on Local
RPS programming, see the RPS Operation Manual.
Setting this item to Yes disables
Enhanced Communication and SDI RAM
for use over a LAN or WAN.
Answer Armed
Default: 7
Selection: 0 to 15
0 No answer when all areas are Master
Armed.
0 to 15 The control panel answers the phone
after the specified number of rings
when all areas are Master Armed.
Determines the number of rings after which the
external modem automatically answers a call if all
areas are Master Armed.
Answer Disarmed
Default: 7
Selection: 0 to 15
0 No answer when any area is Perimeter
Armed or Disarmed.
0 to 15 The control panel answers the phone
after the specified number of rings
when any area is Perimeter Armed or
Disarmed.
Determines the number of rings after which the
external modem automatically answers a call if any
area is Perimeter Armed or Disarmed.
RAM Line Monitor
Default: No
Selection: Yes or No
This item is not yet implemented. Keep this item set
to No.
Seize Relay
Default: No
Selection: Yes or No
This item is not yet implemented. Keep this item set
to No.
Modem Init String
Default: ATE0
Selection: A to Z (capital letters only), 0 to 9,
[SPACE], ! “ # $ % & ‘ ( ) * + , - . / : ;
< = > ? @ [ \ ] ^ _
Determines which initialization string the control
panel sends to the external modem when the control
panel powers up.
0101
0101
0101
If special characters are required, this
item can only be programmed
successfully from RPS. The D5200
Programmer only allows the characters
shown in the Modem Init String
default/selections.
RAM Dial String
Default: ATDT
Selection: Not available
This item is not yet implemented.
6.5 Enhanced Communications
Enhanced communications is the ability to
communicate by some other means than the
standard digital dialer. In this section, programmable
parameters allow you to define up to four separate
enhanced communication paths to which events can
be routed. To route an event (such as an Alarm or
Trouble) to an enhanced communication path,
additional programming must also be completed in
Section 2.3 Routing and Section 2.4 Enhanced Routing.

D9412G/D7412G | Program Entry Guide | 6.0 RADXAUX1 EN | 123
Bosch Security Systems | 1/04 | 47775E
Enhanced Comm
Default: No
Selection: Yes or No
Yes Enable enhanced communications over
the SDI bus.
No Do not enable enhanced
communications over the SDI bus.
Determines if the control panel allows enhanced
communications over the SDI bus.
0101
0101
0101
Modem Format must be set to Yes when
using enhanced communications.
Enable Ext Modem must be set to No if
enhanced communications are to be
used.
Enhanced Comm must be set to No if an
external modem is to be used.
In order to completely disable Enhanced
Routing over an SDI path, RG#Primary
SDI, RG#Backup SDI, and Enhanced
Comm prompts must all be set to No.
6.5.1 Programming Path Numbers and IP
Addresses
There are up to four available paths to which events
can be routed. If an event (or group of events) is to
be routed to an SDI path, the number entered in
Primary Device determines which SDI path is used
(as long as
RG# Prim
,
Primary SDI
was set to Yes
in Routing).
If events are to be routed to an IP address (in a
private LAN/WAN application), determine which
path is used (Path 1 to Path 4), and enter the
appropriate IP Address for that path (see
Path # IP
Add1
to
Path # IP Add4
).
If events are to be routed to an SDI Path but not to
an IP Address, leave the
Path # IP Add#
set to 0.
Path # Poll Rate
,
Path # Ack Wait
, and
Path #
Retry Count
must still be programmed.
Path # IP Add1
Default: 0
Selection: 0 to 255
0 to 255 Enter the first three digits of the IP
address. If the first field is one or two
digits in length, leading zeros are not
required.
This prompt and the next three determine the IP
addresses for each of the four paths available when
using the D5200.
An IP address consists of four fields. Each field has a
range of 0 to 255. For example, an IP address is
expressed as 110.227.64.190. The D5200
programmer splits the IP address into four
programmable fields (see Figure 9). Be sure you
contact your network administrator to find out
exactly where to send IP Address Events.
Figure 9: Path # IP Add1 to Add4
110.227.64.190
Path # IP Add1
Path # IP Add2
Path # IP Add3
Path # IP Add4
Path # IP Add2
Default: 0
Selection: 0 to 255
See
Path 1 IP Add1
.
Path # IP Add3
Default: 0
Selection: 0 to 255
See
Path 1 IP Add1
.
Path # IP Add4
Default: 0
Selection: 0 to 255
See
Path 1 IP Add1
.
Path # Poll Rate
Default: 0
Selection: 0, 5 to 65535 seconds
0 Disables the heartbeat poll (not
recommended, see the first Important
Note that follows).
5 to 65535 Enables the poll rate for the amount of
time programmed here.

D9412G/D7412G | Program Entry Guide | 6.0 RADXAUX1 EN | 124
Bosch Security Systems | 1/04 | 47775E
This prompt and the next two prompts determine
how the SDI Path is supervised between the SDI
device and the central station(s). Do not confuse with
the supervision of the SDI device (the connection of
the SDI device to the 9000 series control panel).
Each SDI Path can be configured to transmit a
Heartbeat Event to the central station for supervision
purposes. This ensures the integrity of the
connection at all times.
When sending reports to a central station
receiver over a network path, this
programming prompt must be set to a non-
zero value. Failure to program a value into
this field could prevent a failed network
communications path from restoring back
to normal.
If the control panel is programmed to send
Heartbeat Events to the central station,
consider the frequency. If the poll rate to
the central station is less than 60 seconds,
the connection with RPS over a LAN or
WAN becomes increasingly difficult the
lower the poll rate is set.
The control panel readjusts the poll rate if it
is less than 300 seconds to a temporary
poll rate of 300 seconds when online with
RPS. The poll rate returns to the
programmed value after the RPS session is
over.
Each time the SDI Path sends this Heartbeat Event,
it expects an acknowledgement within the amount of
time programmed in
Path # Ack Wait
. If the
acknowledgement is not received, the control panel
checks to see if the
Path # Retry Count
entry is
greater than 0. If so, the control panel retries the
number of times programmed (in
Path # Retry
Count
) to send the Heartbeat Event before declaring
the Path as failed and generating a COMM FAIL
SDI ## (Path 1 = SDI 88, Path 2 = SDI 89, Path 3 =
SDI 90, Path 4 = SDI 91) Event. If Poll Rate is
programmed with a value and the central station
does not acknowledge the poll from the control
panel, command centers do not annunciate a trouble
condition. To transmit this event to the central
station, see the
Comm Fail
prompt in Section 2.13.2
Panel-Wide Relays.
Example of Heartbeat:
•
Path # Poll Rate
is set to 120 seconds
•
Path # Ack Wait
time is set to 10 seconds
•
Path # Retry Count
is set to 2
When the control panel first powers up, the first
Heartbeat Event for Path 1 is sent and is
acknowledged in 1 second. 120 seconds after the
first Heartbeat Event is sent, the second Heartbeat
Event for Path 1 is generated and sent to the central
station.
Example of Retry Count:
An acknowledgement of the heartbeat was not
received in 10 seconds. The Heartbeat Event re-
sends after the first 10 second ack wait period
expires. If this Heartbeat Event is not acknowledged,
the control panel declares this path as failed (and
generates the Comm Fail ## Event). It continues to
re-send the Heartbeat Event every 10 seconds until
it is acknowledged.
Figure 10: Poll Rate Timeline
10 20 30 40 50 60 70 80 90 100 110 120 130 140 150 160 170 180 190 200 210
2
3
1
8
4
5
6
7
9
1 - Control panel powered up
2 - Acknowledgement received
3 - Heartbeat Event sent
4 - Second Heartbeat Event sent
5 - No acknowledgement, Heartbeat re-sent, retry #1
6 - No acknowledgement, Heartbeat re-sent, retry #2
7 - Path declared as failed
8 - 10-second interval
9 - Additional Heartbeats sent every 10 seconds until
acknowledged

D9412G/D7412G | Program Entry Guide | 6.0 RADXAUX1 EN | 125
Bosch Security Systems | 1/04 | 47775E
Once the control panel receives acknowledgement
from the central station, the control panel returns to
the normal Poll Rate (which, in this example is 120
seconds).
If more than one SDI Path is used, the control panel
handles them on a successive basis. For example, if
acknowledgement from SDI Path 1 is not received
within 10 seconds (using the previous example), the
control panel moves to SDI Path 2 to send its
Heartbeat Event (and subsequently waits for the ack)
before returning to SDI Path 1 to re-send its
heartbeat.
Beginning with firmware revision 6.20, if
Heartbeats are enabled and primary is an
SDI (or IP address) and the primary path
fails due to a heartbeat failure, then all
events should immediately go to the
backup path.
Entries are made in 1-second increments.
0101
0101
0101
Even though RPS and the D5200 allow
entries of 1 to 4, the control panel
interprets these entries as an entry of 5.
0101
0101
0101
5 minutes = 300 seconds
1 hour = 3600 seconds
12 hours = 43,200 seconds
18 hours = 64,800 seconds
Path # Ack Wait
Default: 13
Selection: 0, 5 seconds to 65535 seconds
0The control panel does not look for
any acknowledgement from the central
station.
5 to 65535 The control panel waits this amount of
time to receive an acknowledgement
from the central station.
Determines how long the control panel waits for an
acknowledgement from the central station after a
Heartbeat Event (poll) or an actual event was
transmitted. This prompt is only applicable to SDI
transmitted events. Entries are made in 1-second
increments.
0101
0101
0101
Even though RPS and the D5200 allow
entries of 1 to 4, the control panel
interprets these entries as an entry of 5.
The value entered for Path # Ack Wait
Tone must not equal the time out entry
made in the RPS Account (see the RPS
Operation Manual, v2.9 or higher). Instead,
offset these values by 2 or 3. For example,
if your Path # Ack Wait time = 15,
program your Time Out value as 17 in the
RPS account.
Path # Retry Count
Default: 5
Selection: 0 to 255
0COMM FAIL RG# SDI ### Events
are not generated.
1 to 255 COMM FAIL RG# SDI ### Events
are generated after the number of
retries are reached for a given SDI
path.
Determines how many times the control panel
resends the Heartbeat Event before declaring a path
failure and generating a COMM FAIL RG# SDI
### (RG # = 1 to 4, SDI ### = 88 for Path 1, 89
for Path 2, 90 for Path 3, 91 for Path 4) Event.
6.6 SDI RAM/Enhanced
Communications Configuration
This section provides the necessary prompts needed
for configuring the D9133TTL-E SDI-Ethernet
Interface Module when using it for SDI RAM
and/or SDI enhanced communication applications.
Baud Rate
Default: 9600
Selection: 300, 1200, 2400, 4800, 9600, 14.4 K
This item determines the communication baud rate
for the D9133TTL-E. Because the SDI bus
communicates at 9600 baud, keep this prompt also
at 9600 baud. Pressing the [SPACE] bar on the
D5200 toggles through the available options.
Do not change this value to any other
setting than 9600 baud.

D9412G/D7412G | Program Entry Guide | 6.0 RADXAUX1 EN | 126
Bosch Security Systems | 1/04 | 47775E
Parity/Stop
Default: No/1
Selection: No/1, No/2, Odd/1, Even/1
No/1 No parity, 1 stop bit.
No/2 No parity, 2 stop bits.
Odd/1 Odd parity, 1 stop bit.
Even/1 Even parity, 1 stop bit.
This prompt addresses two items: Parity and the
number of stop bits for the D9133TTL-E. Pressing
the [SPACE] bar on the D5200 toggles through the
available options.
This item must be set to No/1 when using
the External Modem feature.
RTS Control
Default: On
Selection: On, AutoX, Off, AutoR
On Sets RTS to on (hardware control).
Auto X Automatically enables Xon/Xoff
(software control).
Off Sets RTS off (hardware control).
Auto R Sets this to Auto RTS.
Determines how the Request To Send Control
parameters are defined for the D9133TTL-E.
Pressing the [SPACE] bar on the D5200 toggles
through the available options.
This item must be set to On when using
the External Modem feature.
DTR Control
Default: On
Selection: On, AutoD, Off
On Sets DTR to on (hardware control).
AutoD Sets this to Auto DTR.
Off Sets DTR off (hardware control).
Determines how the Data Terminal Ready Control
parameters are defined for the D9133TTL-E.
Pressing the [SPACE] bar on the D5200 toggles
through the available options.
This item must be set to On when using
the External Modem feature.
9133 Supervision
Default: No
Selection: Yes or No
Yes Supervise the D9133TTL-E Network
Interface Module.
No Do not supervise the D9133TTL-E
Network Interface Module.
This item determines whether the D9133TTL-E is
supervised or not. If the D9133TTL-E is supervised,
disconnecting it from the control panel creates a
Trouble SDI 88 Event and the command
centerannunciates a trouble tone and displays
SERVC SDI 88.
Trouble SDI 88 Reports are always
reported using Area 1’s account number.
Base Port Number
Default: 7700
Selection: 0 to 65535
The base port number is the port number of the
CoBox, such as 7700. This is used in the future
revision and is not needed at this time.
6.6.1 Route Group Attempts
This section determines how many times a route
group tries the primary destination before
attempting the backup destination should the
primary destination fail. This entry applies to both
Phone numbers and IP addresses.

D9412G/D7412G | Program Entry Guide | 6.0 RADXAUX1 EN | 127
Bosch Security Systems | 1/04 | 47775E
RG# 1 Attempt
Default: No
Selection: Yes or No
Yes This route group attempts the primary
destination once and, if unsuccessful,
attempts the backup destination. The
control panel still makes a total of ten
attempts (five to the primary, five to
the backup) before generating a route
group Comm Fail Event.
No This route group attempts the primary
destination twice and, if unsuccessful,
attempts the backup destination. The
control panel still makes a total of ten
attempts (six to the primary, four to the
backup) before generating a route
group Comm Fail Event.
6.7 Miscellaneous
Fire Supv Res Type
Default: 0
Selection: 0, 1, 2
0 The control panel transmits a FIRE
TROUBLE RESTORE when a Fire
Supervision point restores to normal.
1 The control panel transmits a FIRE
ALARM RESTORE when a Fire
Supervision point restores to normal.
2The control panel transmits a FIRE
SUPERVISION RESTORE when a
Fire Supervision point restores to
normal.
Determines how the control panels transmits a Fire
Supervision Restoral Event.
0101
0101
0101
Beginning with version 6.20, the Fire Supv
Restore Event was added to Fire Events in
Routing. It is not necessary to set this item
to 2 any longer. If Fire Supervision Restore
Events are needed, simply enable them in
Routing.
Enable Protocol Type
Default: No
Selection: Yes or No
Not required at this time. Leave at default value.
Enable Anti Replay
Default: No
Selection: Yes or No
This feature is used primarily for two purposes:
Anti-Replay: A strategy designed against replay
attacks. This feature prevents substitution of a
control panel/network interface module (NIM)
solution for delivering events over a network.
A replay attack occurs when a hacker records a
message sent over the network by Device A and
replaces this message at a later time while
pretending to be Device A.
If this function is required, you must also
enable the Anti-Replay function in the
D6600 Receiver. See the D6600
Operation and Installation Manual
(P/N: 39964) for further details.
Account Identification: With version 6.0, the
D6600 Receiver identified NetCom accounts by the
IP address received in the message sent from the
control panel. With version 6.2, the D6600 Receiver
can identify the NetCom accounts by either the IP
address and/or the account number received in the
message sent from the control panel. The account
number transmitted in the message is always Area
1’s account number. Although up to ten digits can
be programmed for the account number, only eight
digits are sent in the message to the D6600 receiver.
Fire Trouble Resound
Default: 0
Selection: 0, 1, 2
0 Command centers do not re-sound the
fire trouble tone.
1Command centers re-sound the fire
trouble tone at 12:00 PM if any Fire
point that falls within the scope of a
command center is in an off-normal
condition.
2Command centers re-sound the fire
trouble tone at 12:00 AM if any Fire
point that falls within the scope of a
command center is in an off-normal
condition.

D9412G/D7412G | Program Entry Guide | 6.0 RADXAUX1 EN | 128
Bosch Security Systems | 1/04 | 47775E
This item determines if a fire trouble condition,
previously acknowledged and silenced at a
command center, automatically (locally) resounds
the fire trouble tone at 12:00 PM, 12:00 AM, or not
at all if the point is still in an off-normal state. Events
are not generated at the time resound occurs.
6.8 Cross Point Parameters
This section discusses the requirements necessary to
program Cross Point functions.
If a 9000 Series Control Panel is upgraded
to version 6.30, you MUST use
RADXAUX1 Handler version 1.05 or
higher. Failure to do so may cause
unexpected point response behavior (see
Section 6.2 RPS and D5200 Handler
Requirements.)
The Cross Point option is designed to reduce false
alarms. To achieve this, points can be programmed
such that the control panel needs to see an Alarm
condition within a programmed period of time
(called Cross Point Time) from at least two points
within a Cross Point Group (see Table 40) before
Cross Point Alarm Events are generated. These
points need the Cross Point option enabled in their
corresponding point indexes to be able to generate
this event.
Cross Point Groups were established in the D9412G
and D7412G to support the Cross Point functions.
There are 31 Cross Point Groups in the D9412G
and ten in the D7412G. Each Cross Point Group
consists of eight points and is identified by the point
numbers in them (for example, Cross Points 1 to 8,
Cross Points 9 to 16, and so on). The maximum
number of points that can be programmed to meet
the Cross Point criteria is two. Point numbers from
different Cross Point Groups do not affect each
other. See Table 40 for a complete listing of Cross
Points comprising each Cross Point Group.
Table 40: Cross Point Ranges Within Groups
Cross Point Group Point Range
1 1 to 8
29to16
317 to 24
425to32
533 to 40
641to48
749 to 56
857to64
965 to 72
10 73 to 80
11 81 to 88
12 89 to 96
13 97 to 104
14 105 to 112
15 113 to 120
16 121 to 127
17 129 to 136
18 137 to 144
19 145 to 152
20 153 to 160
21 161 to 168
22 169 to 176
23 177 to 184
24 185 to 192
25 193 to 200
26 201 to 208
27 209 to 216
28 217 to 224
29 225 to 232
30 233 to 240
31 241 to 247
When any Cross Point detects an alarm condition,
the control panel starts a timer as programmed in
the
Cross Point Time
prompt.
If a second Cross Point within the same Cross Point
Group detects an alarm condition, the control panel
creates a Cross Point Alarm Event for both points,
provided both points activate inside the Cross Point
Window.
If a single Cross Point detects an alarm and stays
faulted throughout the Cross Point Window, a
standard Alarm Report is generated for that point.

D9412G/D7412G | Program Entry Guide | 6.0 RADXAUX1 EN | 129
Bosch Security Systems | 1/04 | 47775E
Conversely, if a single Cross Point detects an alarm,
then restores, and no other conditions occur, an
Unverified Event is generated for that point. A
second alarm on the first point does not create an
Alarm Event but rather an Unverified Event.
Section 2.3 Routing determines whether these events
are transmitted to a central station. An Unverified
Event does not produce a corresponding Restoral
Event.
The Cross Point function applies only to alarm
conditions. It does not apply to supervisory or
trouble conditions. Points programmed with point
response D (Delayed) eventually go into an alarm
condition if the area is not disarmed in time.
Use the Cross Point function on Non-fire
points only.
Cross Point Time
Default: 20 seconds
Selection: 5 seconds to 255 seconds
Select the amount of time (in seconds) that points
within a Cross Point Group are in alarm before a
Cross Point event is generated.

D9412G/D7412G | Program Entry Guide | 6.0 RADXAUX1 EN | 130
Bosch Security Systems | 1/04 | 47775E
Notes

D9412G/D7412G | Program Entry Guide | 7.0 RADXAXS EN | 131
Bosch Security Systems | 1/04 | 47775E
7.0 RADXAXS
7.1 Door Profile
This programming category is used to:
• Assign an area, that also activates the D9210B
• Assign a point to the door
• Program the door state to change when the arm
state changes
• Allow for the Strike relay to activate upon a fire
alarm
Door #
Default: 20 seconds
Selection: 1 seconds to 8 seconds
Enter the number of the door you are about to
program.
The D9412G supports up to eight doors.
The D7412G supports two doors.
D# Entry Area #
Default: Blank
Selection: Blank, 1 to 8
1 to 8 The area assigned to the door
controller to which the reader allows
access.
Blank Door controller does not function.
Assign an area to the door controller. This entry
allows the D9210B to be polled, activating
communication to the control panel. This also is the
area a user exits when initiating a REX.
All SDI devices, regardless of area
assigned, report to Area 1, Account 1 by
default upon SDI failure. If a D9210B
becomes disconnected, an SDI Fail ##
and a Missing Point ### Event is created.
0101
0101
0101
9210 NOT READY appears at this
command center when you press the
[ENTER] key if the D9210B is not
programmed with a D# Entry Area.
D#CC#Scope
Default: Blank
Selection: Blank, 1 to 8
1 to 8 Determines disarming rights. The
user’s access level in conjunction with
the
CC # Scope
determines which
areas are disarmed.
Blank Only the area assigned to the
D#
Entry Area
disarms this door.
Enter the command center number (CC#) which
determines the scope of the user ID’s disarming
rights. Areas disarm on the basis of this command
center’s scope and the authority level of the user.
D# Door Point
Default: Blank
Selection: Blank, 1 to 127, 129 to 247
1 to 127,
129 to 247
The point number assigned to this
door. Points 128 and 248 are reserved
by the control panel for internal use.
Blank There is no point number assigned to
this door.
Enter the point number assigned to this door. This
point cannot be used for any other point
assignments.
Door points must be programmed as
Perimeter points. If a 24-hour point type is
required for the Door point, you may use a
Perimeter point type with a point response
of 9 to C. Also, the debounce count must
be set to 4 in Point Assignments.
0101
0101
0101
When assigning Points 1 to 8 (control
panel zones), the end-of-line (EOL)
resistors must be removed from the control
panel. In addition to this, do not enable any
POPIT points (or OctoPOPIT points)
sharing the same point number as the
Door point. Failure to do so results in extra
point trouble conditions upon reboot.

D9412G/D7412G | Program Entry Guide | 7.0 RADXAXS EN | 132
Bosch Security Systems | 1/04 | 47775E
D# Interlock Point
Default: Blank
Selection: Blank, 1 to 127, 129 to 247
1 to 127,
129 to 247
The point number assigned to the
Interlock point. Points 128 and 248 are
reserved by the control panel for
internal use.
Blank There is no point number assigned to
the Interlock point.
Enter the Interlock point number. This point, when
faulted, prevents the door controller from allowing
access upon a valid ID read or door request.
Do not assign this point to another Door point. You
may assign it to another controller. One Interlock
point prevents multiple controllers from activating.
Door points must be programmed as
Perimeter points. If a 24-hour point type is
required for the Door point, you can use a
Perimeter point type with a Point
Response of 9 to C. Also, the debounce
count must be set to 4 in Point
Assignments.
The Interlock point is considered in a
normal state if it is bypassed, swinger
bypassed, or forced armed. This results in
normal access even if the door is left open.
D# Auto Door?
Default: No
Selection: Yes or No
Yes When the area assigned in
D# Entry
Area #
is disarmed, the door is in the
unlocked state. When that area is
armed, the door returns to the locked
state.
No Door state is not affected by the armed
state of the area.
Use this program item to automatically unlock the
door (latched, shunt, and strike) when the entry area
is disarmed. The door re-locks upon Master or
Perimeter Arming the area.
The unlocked state cannot be overridden
manually.
Doors that are activated by Fire Unlock
must be returned to normal using the Door
Control function on the control center.
D# Fire Unlock?
Default: No
Selection: Yes or No
Yes Relay activates and shunt is applied for
the door contact automatically upon a
Fire Alarm.
No Door remains in its current mode upon
a Fire Alarm.
Use this program item to activate the relay for the
door strike and shunt the door zone automatically
upon a Fire Alarm. This feature overrides a Secure
Door state, Locked Door state, Auto Door, and an
Interlock Faulted point. The relay activates for all
doors with this prompt programmed Yes when a
Fire Alarm occurs in any area. Relays that are
activated by Fire Unlock can only be returned to
normal through the command center using the Door
Control function.
This unlocks the door regardless of the
armed state.
Each fire alarm that is generated causes a
Door Unlocked – Automatic Event.
D# Disarm on Open?
Default: Yes
Selection: Yes or No
Yes The area disarms only after the door
was opened for a user with a valid
disarm level.
No The area disarms whether or not the
door was opened as soon as a user with
a valid disarm level presents a valid
token/card.
Use this program item to determine whether the
door needs to be physically opened prior to
disarming the area upon a valid access request. The
user initiating the access request needs access levels
that allow disarming with ID.

D9412G/D7412G | Program Entry Guide | 7.0 RADXAXS EN | 133
Bosch Security Systems | 1/04 | 47775E
D# Card Type
Default: 0
Selection: 0 to 3
0 Card format is 26-bit Wiegand.
3 Do not use.
This item must be kept to a value of 0 (26 bit
Wiegand format).
7.2 Strike Profile
This programming category is used to create a
specific door profile for:
• Strike and shunt times.
• Extending strike and shunt times if a door is left
open.
• Resetting the strike when the door opens.
• Programming the Interlock point.
Door #
Default: 1
Selection: 1 to 8
Enter the door you are programming.
D# Strike Time
Default: 10 seconds
Selection: 1 second to 240 seconds
Blank Strike Time is not programmed for this
door.
1 to 240 The strike activates for the amount of
time programmed.
Enter the amount of time the relay output for the
strike activates to allow a user to open the door. The
strike activates upon a valid token, RTE, REX, and
the command center CYCLE DOOR? function.
D# Shunt Time
Default: 10 seconds
Selection: Blank, 1 second to 240 seconds
Blank Shunt Time is not programmed for this
door.
1 to 240 The shunt activates for the amount of
time programmed.
Enter the amount of time that the Door point is
shunted to allow a user to open the door without
causing the point to go into trouble, alarm, or a
faulted condition.
D# Buzz Time
Default: 2 seconds
Selection: Blank, 1 second to 240 seconds
Blank Buzz Time is not programmed for this
door.
1 to 240 The buzzer sounds for the amount of
time programmed.
Enter the amount of time the buzzer output activates
to notify the user that the strike was activated and
the door is ready to open. The buzzer stops as soon
as the door is opened.
A separate buzzer is required. Many
readers have an internal buzzer that is not
affected by Buzz Time.
D# Extend Time
Default: 10
Selection: Blank, 1 second to 30 seconds
Enter the amount of time that strike, buzz, and shunt
activation is prolonged if a door is left open and the
shunt time expires. At the end of the programmed
extend time, the buzzer continues to buzz until the
door is closed. In addition, if programmed, the point
assigned to the door indicates a trouble, alarm, or
fault at the command center.
0101
0101
0101
The CLOSE DOOR # display on
command center does not activate if no
time (blank) is programmed.
Regardless of how the Door point is
programmed, the system generates a
Trouble Door Left Open Event while the
system is disarmed, and an Alarm Door
Left Open Event if the system is armed
and the door is held open beyond Extend
Time. Door Closed - Restoral Events are
generated after the door is held open past
Extend Time and the door returns to
normal.

D9412G/D7412G | Program Entry Guide | 7.0 RADXAXS EN | 134
Bosch Security Systems | 1/04 | 47775E
D# Deact On Open?
Default: Yes
Selection: Yes or No
Yes Strike deactivates when the door is
opened after a valid Access Granted
request.
No Strike remains activated for the amount
of the programmed strike time whether
door is opened or closed.
Determines if the strike deactivates immediately
upon physically opening the door.
0101
0101
0101 In order for this function to work, a point
needs to be assigned to the door.
To Reduce False Alarms, maintain D#
Deact on Open? as the default (Yes). This
helps prevent the door from bouncing
open and causing a false alarm.
D# RTE Shunt Only?
Default: No
Selection: Yes or No
Yes Programmed shunt time activates so
door can be manually opened.
No RTE automatically activates the
programmed strike and shunt time.
Use this program item to disable the strike, but still
activate the programmed shunt time upon a Request
to Exit (REX) area.
Use this parameter when a user can open
a door manually without relying on a
token/card to activate the strike (such as
with a push bar).
When RTEShunt Only is Yes, RTE Events
are not logged, reported, or printed.
D# REXShunt Only?
Default: No
Selection: Yes or No
Yes Programmed shunt time activates so
the door can be manually opened.
No REX automatically activates the
programmed strike and shunt time.
Use this program item to disable the strike, but still
activate the programmed shunt time upon a REX an
area.
Use this parameter when a user can open
a door manually without relying on a
token/card to activate the strike (such as
with a push bar).
When REXShunt Only is Yes, REX
Events are not logged, reported, or
printed.
7.3 Event Profile
This programming category is used to determine if
events are created for:
• Access Granted and Access Denied
• Door Requests
• Door state changes due to manual (command
center) or automatic scheduled or armed state
changes (skeds/hold open on disarm, normal on
armed) operation.
Door #
Default: 1
Selection: 1 to 8
Enter the door you are about to program.
0101
0101
0101 RTE Events require Access Granted to be
programmed Yes.

D9412G/D7412G | Program Entry Guide | 7.0 RADXAXS EN | 135
Bosch Security Systems | 1/04 | 47775E
D# Access Granted?
Default: No
Selection: Yes or No
Yes Access Events from this door controller
are sent to the control panel for
processing.
No Access Events from this door controller
are not sent to the control panel for
processing.
This program item determines if Access Granted
and Door Request Events are sent to the control
panel for processing memory, printing, and remote
reporting.
0101
0101
0101
A successful Access Event can be
initiated by a(n):
• Valid user ID
• Valid door state changed at the
command center.
• Automatically scheduled or armed
state change that holds a door open
• RTE/exit (RTE/REX).
D# No Entry?
Default: No
Selection: Yes or No
Yes Access Denied Events from this door
controller are sent to the control panel
for processing.
No Access Denied Events from this door
controller are not sent to the control
panel for processing.
This program item determines if No Entry Events
are sent to the control panel for processing memory,
printing, and remote reporting.
0101
0101
0101
A No Entry Event can be caused by:
• Invalid or unknown user ID, interlock or
secured door, or incorrect authority
level
• RTE/REX for door in interlock or
secured door.
D# Enter Request?
Default: No
Selection: Yes or No
Yes A Door RTE Event from this door
controller is sent to the control panel
for processing.
No A Door RTE Event from this door
controller is not sent to the control
panel for processing.
This program item determines if RTE Events are
sent to the control panel for processing memory,
printing, and remote reporting.
0101
0101
0101 RTE Events require D# Access Granted
to be programmed Yes.
D# Exit Request?
Default: No
Selection: Yes or No
Yes A Door RTE Event from this door
controller is sent to the control panel
for processing.
No A Door RTE Event from this door
controller is not sent to the control
panel for processing.
This program item determines if REX Events are
sent to the control panel for processing memory,
printing, and remote reporting.
0101
0101
0101 REX Events require D# Access Granted
to be programmed Yes.

D9412G/D7412G | Program Entry Guide | Programming Prompts Directory EN | 136
Bosch Security Systems | 1/04 | 47775E
Programming Prompts
Directory
9000MAIN .............................................................11
Phone...............................................................11
Phone 1.....................................................11
Phone 2.....................................................11
Phone 3.....................................................11
Phone 4.....................................................11
Phone Parameters ........................................12
Modem Format........................................12
Point/User Flag........................................12
DTMF Dialing .........................................13
Phone Supv Time ....................................14
Alarm On Fail..........................................14
Buzz on Fail..............................................14
Two Phone Lines.....................................14
BFSK Duress Code..................................15
Expand Test Rpt......................................15
Ground Start ............................................15
Routing ...........................................................15
Dialing Attempts ............................................16
Route #.....................................................17
R# Primary Device .................................17
R# Backup Device ..................................17
View Events?............................................17
Fire Reports.......................................18
Burglar Reports.................................18
User Reports .....................................19
Test Reports......................................14
Diag Reports .....................................20
Relay Reports ...................................21
AutoFunc Reports ............................21
RAM Reports....................................22
Point Reports ....................................22
User Chng Reports...........................23
Access Reports..................................23
Enhanced Routing........................................23
Programming a Duplicate Report ..................16
RG# Primary SDI ...................................24
RG# Backup SDI ....................................24
RG# Primary Pager.................................25
Power Supervision .......................................27
AC Fail Time ...........................................27
AC Fail/Res Rpt ......................................28
AC Tag Along..........................................28
AC/Battery Buzz......................................29
Bat Fail/Res Rpt ......................................29
Printer Parameters .......................................29
Printer Address ........................................29
P### Area Assign...................................92
P## Supervised .......................................29
P## Scope................................................30
P## A1 [through A8] in Scope.......30
P## Fire Events.......................................30
P## Burglar Event ..................................30
P## Access Event....................................30
P## User Event.......................................30
P## Test Event........................................30
P## Diag Event.......................................30
P## Auto Functions Event.....................31
P## RAM Event .....................................31
P## Relay Event .....................................31
P## Point Event ......................................31
P## Usr Chng Evt ..................................31
RAM Parameters ..........................................31
RAM Callback Reports ...................................31
RAM Passcode.........................................32
Log % Full ................................................32
RAM Call Back........................................32
RAM Line Monitor .................................32
Answer Armed.........................................33
Answer Disarmed ....................................33
Ram Ph .....................................................33
Miscellaneous ..............................................127
Duress Type .............................................34
Cancel Report ..........................................34

D9412G/D7412G | Program Entry Guide | Programming Prompts Directory EN | 137
Bosch Security Systems | 1/04 | 47775E
Area Parameters...........................................34
Area Parameters .............................................34
Area...........................................................34
A# Area On .............................................34
Error! Reference source not found.Error!
Bookmark not defined.
A# FA Bypass Max.................................36
A# Delay Res...........................................36
A# Exit Tone ...........................................36
A# Exit Dly Time ...................................36
A# Auto Watch .......................................37
A# Verify Time.......................................37
A# Duress Enable ...................................38
A# Area Type..........................................39
Bell Parameters ..............................................40
Area...........................................................40
A# Fire Time ...........................................41
A# Fire Pat...............................................41
A# Burg Time..........................................41
A# Burg Pat .............................................41
A# Single Ring ........................................41
A# Bell Test .............................................42
Open/Close Options ........................................42
Area...........................................................43
A# Acct O/C ...........................................43
A# Area O/C...........................................44
A# Disable O/C in Window..................44
A# Auto Close.........................................44
A# Fail to Open ......................................44
A# Fail to Close.......................................45
A# Restrictd O/C....................................45
A# Perimeter O/C ..................................46
Command Center.........................................46
Cmd Cntr (Command Center) Assignment .....46
Cmd Center .............................................46
CC# Supervised ......................................47
CC# Area Assign ....................................47
CC# Scope...............................................47
CC# A1[through A8] in Scope.......48
CC# Entr Key Rly ..................................48
CC# Entr Cycl Dr...................................48
CC# Assign Door....................................49
CC# Trouble Tone .................................49
CC# Entry Tone......................................49
CC# Exit Tone ........................................49
CC# Arm Now Warn.............................50
CC# Close Door .....................................50
CC# EnhancCmdCtr..............................50
Area Text .......................................................50
Area...........................................................50
Area# Is On .............................................50
Area # Not Ready...................................50
Area # Is Off............................................50
Area # Acct Is On...................................51
Custom Function ............................................51
Custom Function .....................................51
CF### Text.............................................51
CF### Key Strokes................................52
User Interface................................................53
Command Center Selections............................53
Master Arm Delay...................................54
Mstr Arm Inst ..........................................54
Perim Instant............................................54
Perim Delay..............................................54
Watch Mode.............................................54
Perim Partial.............................................54
View Area Stat.........................................55
View Memory..........................................55
View Pt Status ..........................................55
Walk Test..................................................55
Fire Test....................................................55
Send Report .............................................55
Door Control............................................55
Access Ctl Level ......................................56
Chg Display..............................................56
Chg Time/Date........................................56
Chg Passcode ...........................................56
Add User ..................................................56
Del User....................................................56
Extend Close............................................56
View Log ..................................................56
Print Log...................................................57

D9412G/D7412G | Program Entry Guide | Programming Prompts Directory EN | 138
Bosch Security Systems | 1/04 | 47775E
User Cmd 7..............................................57
User Cmd 9..............................................57
Bypass a Pt ...............................................57
Unbypass a Pt ..........................................57
Reset Sensors ...........................................57
Change Relay...........................................57
Remote Program......................................57
Move to Area ...........................................58
Display Rev..............................................58
Service Walk ............................................58
Default Text .............................................58
Change Skeds...........................................58
C Function 128 [through 143]................58
Authority Level Selections ...............................59
Authority Level........................................59
L## Disarm .............................................59
L## Master Arm Delay..........................59
L## Mstr Arm Inst .................................59
L## Perim Instant...................................60
L## Perim Delay ....................................60
L## Watch Mode ...................................60
L## Perim Partial....................................60
L## View Area Stat................................60
L## View Memory.................................60
L## View Pt Status.................................60
L## Walk Test ........................................60
L## Fire Test...........................................61
L## Send Report ....................................61
L## Door Control...................................61
L## Cycle Door...............................61
L## Unlock Door ............................62
L## Secure Door..........................62
L## Access Ctl Lvl .................................62
L## Chg Display.....................................63
L## Chg Time/Date...............................63
L## Chg Passcode ..................................63
L## Add User .........................................63
L## Del User...........................................63
L## Extend Close...................................63
L## View Log .........................................63
L## Print Log..........................................63
L## User Cmd 7.....................................63
L## User Cmd 9.....................................64
L## Bypass a Pt.......................................64
L## Unbypass a Pt .................................64
L## Reset Sensors...................................64
L## Change Relay..................................64
L## Remote Program.............................64
L## Move to Area ..................................64
L## Display Rev.....................................64
L## Service Walk ...................................64
L## Default Text ....................................65
L## Change Skeds..................................65
L## C Function 128 [through 143].......65
L## Force Arm .......................................65
L## Area O/C.........................................65
L## Restricted O/C................................65
L## Perimeter O/C ................................65
L## Send Duress.....................................65
L## Passcode Arm..................................65
L## Passcode Disarm.............................66
L## Security Level..................................66
L## Disarm Level...................................66
Function List ..................................................67
Menu Item................................................67
M## Function..........................................67
M## CC Address 1 [through 8] ............67
Relay Parameters .........................................67
Area Relays ....................................................68
Area...........................................................68
A# Alarm Bell..........................................68
A# Fire Bell..............................................69
A# Reset Sensors.....................................69
A# Fail to Close.......................................69
A# Force Armed .....................................69
A# Watch Mode......................................69
A# Area Armed.......................................70
A# Area Fault ..........................................70
A# Duress Relay .....................................70
A# Perim Fault ........................................70
A# Silent Alarm.......................................70

D9412G/D7412G | Program Entry Guide | Programming Prompts Directory EN | 139
Bosch Security Systems | 1/04 | 47775E
Panel-Wide Relays .........................................71
AC Failure................................................71
Battery Trouble........................................71
Phone Fail.................................................71
Comm Fail................................................72
Log % Full ................................................72
Summary Fire ..........................................72
Summary Alarm ......................................72
Summary Fire Tbl ...................................72
Summary SupFire....................................72
Summary Trouble ...................................72
Summary SupBurg ..................................72
RADXUSR1/RADXUSR2..................................73
Passcode/Token Worksheet.......................73
Reporting and Logging....................................73
User ###..................................................74
U### Passcode .......................................74
U### User Group ..................................75
U### Area 1 [through Area 8] Auth....75
U### Name ............................................75
U### Mstr Site .......................................75
U### Mstr C/D......................................76
U### SU1 through SU3 Site ................76
U### SU1 through SU3 C/D...............76
RADXPNTS ..........................................................77
Point Index.....................................................77
Point Index...............................................77
P## Type .................................................77
Point Responses ..............................................81
P## Pt Response .....................................82
P## Entry Delay .....................................83
P## Ent Tone Off ...................................83
P## Silent Bell.........................................83
P## Ring Til Rst .....................................83
P## Audible After 2 Failures.................84
P## Invisible Pt.......................................84
P## Buzz On Fault .................................85
P## Watch Point.....................................85
P## RlyResp Type .................................86
P## Disp as Dvc .....................................86
P## Local While Disarmed ...................86
P## Local While Armed........................86
P## Disable Rst.......................................87
P## FA Retrnable...................................87
P## BP Retrnable ...................................87
P## Bypassable .......................................88
P## Swinger Byps...................................88
P## Report Bypass at Occurrence........88
P## Defer BP Report .............................89
P## Cross Point ......................................89
P## Fire Point .........................................90
P## Alarm Verify ...................................91
P## Resettable.........................................91
Point Assignments ........................................91
Point Number...........................................91
P### Point Index ...................................92
P### Area Assign...................................92
P### Debounce......................................92
P### BFSK/Relay..................................93
P### Point Text......................................93
COMMAND 7 and COMMAND 9 ...........94
CMD7 Point Index..................................94
CMD7 BFSK/Relay ................................94
CMD7 Point Text....................................94
CMD9 Point Index..................................94
CMD9 BFSK/Relay ................................94
CMD9 Point Text....................................94
RADXSKED..........................................................95
Windows.........................................................95
Opening and Closing ......................................95
Window ....................................................95
W# Sunday ..............................................95
W# Monday.............................................96
W# Tuesday.............................................96
W# Wednesday .......................................96
W# Thursday...........................................96
W# Friday ................................................96
W# Saturday ............................................96
W# Open Early Begin............................96
W# Open Window Start ........................96
W# Open Window Stop.........................97
W# Close Early Begin ............................98

D9412G/D7412G | Program Entry Guide | Programming Prompts Directory EN | 140
Bosch Security Systems | 1/04 | 47775E
W# Close Window Start ........................99
W# Close Window Stop.........................99
W# Xept Holiday..................................100
W# Holiday 1........................................100
W# Holiday 2........................................100
W# Holiday 3........................................100
W# Holiday 4........................................100
W# Area 1 [through 8] .........................100
User Group Windows...................................102
User Windows #....................................102
UW# User Group .................................102
UW# Sunday .........................................103
UW# Monday .......................................103
UW# Tuesday .......................................103
UW# Wednesday..................................103
UW# Thursday......................................103
UW# Friday...........................................103
UW# Saturday.......................................103
UW# Group Enable..............................103
UW# Group Disable.............................103
UW# Xept Holiday ..............................104
UW# Holiday 1.....................................104
UW# Holiday 2.....................................104
UW# Holiday 3.....................................104
UW# Holiday 4.....................................104
Skeds .............................................................104
Sked Number .........................................104
S## TimeEdit ........................................104
S## Function Code...............................105
S## Area 1[through 8] ..................105
S## Area 1[through 8] ..................105
S## Point Number.........................105
S## Point Number.........................105
S## Area 1[through 8] ..................106
S## Relay Number........................106
S## Relay Number........................106
S## Defer Test ...............................107
S## Hourly Report........................107
S## Defer Status ............................107
S## Cmd Center............................108
S## Custom Func ..........................108
S## Cmd Center 1[through 8] .....109
S## Access Ctl Level #.................109
S## Access Ctl Level#..................109
S## Door 1 [through 8].................109
S## Door 1 [through 8].................110
S## Door 1 [through 8].................110
S## Door 1 [through 8].................110
S## Door 1 [through 8].................111
S## Door 1 [through 8].................110
S## Door 1 [through 8].................111
S## Time ...............................................112
S## Date ................................................112
S## Sunday............................................112
S## Monday..........................................112
S## Tuesday..........................................112
S## Wednesday ....................................112
S## Thursday ........................................112
S## Friday .............................................112
S## Saturday .........................................112
S## Xept Holiday.................................113
S## Holiday 1 .......................................113
S## Holiday 2 .......................................113
S## Holiday 3 .......................................113
S## Holiday 4 .......................................113
Holiday Indexes..........................................113
Add/Change/Delete.......................................113
Date.........................................................113
Holiday Index 1.....................................114
Holiday Index 2.....................................114
Holiday Index 3.....................................114
Holiday Index 4.....................................114
View Holidays..............................................114
Index 1 Days..........................................114
Index 2 Days..........................................114
Index 3 Days..........................................114
Index 4 Days..........................................114

D9412G/D7412G | Program Entry Guide | Programming Prompts Directory EN | 141
Bosch Security Systems | 1/04 | 47775E
RADXAUX1........................................................115
SDI Automation..........................................115
Enable SDI Auto ...................................115
Baud Rate ...............................................115
Parity/Stop..............................................115
9133 Supervision ...................................116
RTS Control...........................................116
DTR Control..........................................116
Status Rate..............................................116
SDI RAM Parameters................................116
User Interface Modifications for COMMAND 43
.....................................................................117
Enable SDI RAM ..................................117
Call Back Enabled.................................118
RAM IP Address 1................................118
RAM IP Address 2................................118
RAM IP Address 3................................118
RAM IP Address 4................................118
Using an External Modem............................118
Enable Ext Modem ...............................122
Answer Armed.......................................122
Answer Disarmed ..................................122
RAM Line Monitor...............................122
Seize Relay .............................................122
Modem Init String.................................122
RAM Dial String....................................122
Enhanced Communications .....................122
Enhanced Comm...................................123
Programming Path Numbers and IP Addresses123
Path # IP Add1......................................123
Path # IP Add2......................................123
Path # IP Add3......................................123
Path # IP Add4......................................123
Path # Poll Rate.....................................123
Path # Ack Wait....................................125
Path # Retry Count...............................125
SDI RAM/Enhanced Communications
Configuration ..............................................125
Baud Rate ...............................................125
Parity/Stop..............................................126
RTS Control...........................................126
DTR Control..........................................126
9133 Supervision ...................................126
Base Port Number .................................126
Route Group Attempts ..................................126
RG# 1 Attempt......................................127
Miscellaneous ..............................................127
Fire Supv Res Type...............................127
Enable Protocol Type ...........................127
Enable Anti Replay ...............................127
Fire Trouble Resound ...........................127
Cross Point Parameters.............................128
Cross Point Time...................................129
RADXAXS...........................................................131
Door Profile .................................................131
Door # ....................................................131
D# Entry Area # ...................................131
D#CC#Scope ........................................131
D# Door Point.......................................131
D# Interlock Point ................................132
D# Auto Door?......................................132
D# Fire Unlock?....................................132
D# Disarm on Open? ...........................132
D# Card Type .......................................133
Strike Profile................................................133
Door # ....................................................133
D# Strike Time......................................133
D# Shunt Time......................................133
D# Buzz Time........................................133
D# Extend Time....................................133
D# Deact On Open?.............................134
D# RTE Shunt Only?...........................134
D# REXShunt Only?............................134
Event Profile................................................134
Door # ....................................................134
D# Access Granted? .............................135
D# No Entry? ........................................135
D# Enter Request?................................135
D# Exit Request? ..................................135

© 2003 Bosch Security Systems
47775E
Bosch Security Systems
130 Perinton Parkway
Fairport, NY 14450-9199
Customer Service: (800) 289-0096
Technical Support: (888) 886-6189