E7560_RS700 E7_RS8 E7560 RS700 E7 RS8
User Manual: E7560_RS700-E7_RS8
Open the PDF directly: View PDF
.
Page Count: 194 [warning: Documents this large are best viewed by clicking the View PDF Link!]
- About this guide
- Notices
- Safety information
- Chapter 1: Product introduction
- Chapter 2: Hardware setup
- Chapter 3: Installation options
- Chapter 4: Motherboard information
- Chapter 5: BIOS setup
- 5.1 Managing and updating your BIOS
- 5.2 BIOS setup program
- 5.3 Main menu
- 5.4 Advanced menu
- 5.4.1 CPU Configuration
- 5.4.2 CPU Power Management Configuration
- 5.4.3 Chipset Configuration
- 5.4.4 PCH SATA Configuration
- 5.4.5 PCH SCU SAS Configuration
- 5.4.6 PCI Subsystem Settings
- 5.4.7 Onboard LAN Configuration
- 5.4.8 USB Configuration
- 5.4.9 Trusted Computing
- 5.4.10 ACPI Settings
- 5.4.11 WHEA Configuration
- 5.4.12 APM
- 5.4.13 Serial Port Console Redirection
- 5.4.14 ME Subsystem
- 5.4.15 Legacy Devices Configuration
- 5.4.16 Runtime Error Logging
- 5.5 Server Mgmt menu
- 5.6 Event Logs menu
- 5.7 Boot menu
- 5.8 Monitor menu
- 5.9 Security menu
- 5.10 Tool menu
- 5.11 Exit menu
- Chapter 6: RAID configuration
- Chapter 7: Driver installation
- 7.1 RAID driver installation
- 7.2 Intel® Chipset Device Software installation
- 7.3 Intel@ Network Connections Software installation
- 7.4 VGA driver installation
- 7.5 Intel® C600 Series Chipset SAS RAID (SATA mode) Drivers
- 7.6 Microsoft .NET Framework 3.5 SP1
- 7.7 Intel® Rapid Storage Technology enterprise 3.0 installation
- 7.8 Intel® I350 Gigabit Adapters Driver installation
- 7.9 Management applications and utilities installation
- Appendix: Reference information

1U Rackmount Server
RS700-E7/RS8
User Guide

ii
Copyright © 2012 ASUSTeK COMPUTER INC. All Rights Reserved.
No part of this manual, including the products and software described in it, may be reproduced, transmitted,
transcribed, stored in a retrieval system, or translated into any language in any form or by any means,
except documentation kept by the purchaser for backup purposes, without the express written permission
of ASUSTeK COMPUTER INC. (“ASUS”).
ASUS provides this manual “as is” without warranty of any kind, either express or implied, including but not
limited to the implied warranties or conditions of merchantability or tness for a particular purpose. In no
event shall ASUS, its directors, ofcers, employees, or agents be liable for any indirect, special, incidental,
or consequential damages (including damages for loss of prots, loss of business, loss of use or data,
interruption of business and the like), even if ASUS has been advised of the possibility of such damages
arising from any defect or error in this manual or product.
Specications and information contained in this manual ae furnished for informational use only, and are
subject to change at any time without notice, and should not be construed as a commitment by ASUS.
ASUS assumes no responsibility or liability for any errors or inaccuracies that may appear in this manual,
including the products and software described in it.
Product warranty or service will not be extended if: (1) the product is repaired, modied or altered, unless
such repair, modication of alteration is authorized in writing by ASUS; or (2) the serial number of the
product is defaced or missing.
Products and corporate names appearing in this manual may or may not be registered trademarks or
copyrights of their respective companies, and are used only for identication or explanation and to the
owners’ benet, without intent to infringe.
E7560
Revised Edition V3
August 2012

iii
Contents
Notices ........................................................................................................ vii
Safety information .................................................................................... viii
About this guide .......................................................................................... x
Chapter 1: Product introduction
1.1 System package contents ........................................................... 1-2
1.2 Serial number label ...................................................................... 1-2
1.3 Systemspecications ................................................................. 1-3
1.4 Front panel features ..................................................................... 1-5
1.5 Rear panel features ...................................................................... 1-5
1.6 Internal features ........................................................................... 1-6
1.7 LED information ........................................................................... 1-7
1.7.1 Front panel LEDs ............................................................ 1-7
1.7.2 LAN (RJ-45) LEDs .......................................................... 1-7
1.7.3 HDD status LED .............................................................. 1-8
Chapter 2: Hardware setup
2.1 Chassis cover ............................................................................... 2-2
2.2 Central Processing Unit (CPU) ................................................... 2-3
2.2.1 Installing the CPU ........................................................... 2-3
2.2.2 Installing the CPU heatsink ............................................. 2-8
2.3 System memory ........................................................................... 2-9
2.3.1 Overview ......................................................................... 2-9
2.3.2 Memory Support List ....................................................... 2-9
2.3.3 Memory Congurations ..................................................2-11
2.3.4 Installing a DIMM on a single clip DIMM socket ........... 2-13
2.4 Hard disk drives ......................................................................... 2-14
2.5 Expansion slot ............................................................................ 2-16
2.5.1 Installing an expansion card to the riser card bracket ... 2-16
2.5.2 Conguring an expansion card ..................................... 2-19
2.6 Cable connections ..................................................................... 2-20
2.7 SATAII/SAS backplane cabling ................................................. 2-21
2.8 Removable/optional components ............................................. 2-22
2.8.1 System fans .................................................................. 2-22
2.8.2 Redundant power supply module ................................. 2-23
2.8.3 Slim type optical drive (optional) ................................... 2-24
2.8.4 Installing ASUS PIKE RAID card (REQUIRED) ............ 2-25

iv
Contents
Chapter 3: Installation options
3.1 Friction Rail Kit Installation Guide ............................................. 3-2
3.1.1 Setting up the friction rail kit on the rack ......................... 3-2
3.1.2 Mounting the server to the rack ...................................... 3-4
Chapter 4: Motherboard information
4.1 Motherboard layouts .................................................................... 4-2
4.2 Jumpers ........................................................................................ 4-4
4.3 Internal connectors ...................................................................... 4-8
4.4 Internal LEDs .............................................................................. 4-14
Chapter 5: BIOS setup
5.1 Managing and updating your BIOS ............................................ 5-2
5.1.1 ASUS CrashFree BIOS 3 utility ...................................... 5-2
5.1.2 ASUS EZ Flash 2 Utility .................................................. 5-3
5.1.3 BUPDATER utility............................................................ 5-4
5.2 BIOS setup program .................................................................... 5-6
5.2.1 BIOS menu screen .......................................................... 5-7
5.2.2 Menu bar ......................................................................... 5-7
5.2.3 Menu items ..................................................................... 5-8
5.2.4 Submenu items ............................................................... 5-8
5.2.5 Navigation keys ............................................................... 5-8
5.2.6 General help ................................................................... 5-8
5.2.7 Conguration elds ......................................................... 5-8
5.2.8 Pop-up window ............................................................... 5-8
5.2.9 Scroll bar ......................................................................... 5-8
5.3 Main menu .................................................................................... 5-9
5.3.1 System Date [Day xx/xx/xxxx] ......................................... 5-9
5.3.2 System Time [xx:xx:xx] ................................................... 5-9
5.4 Advanced menu ......................................................................... 5-10
5.4.1 CPU Conguration ........................................................ 5-10
5.4.2 CPU Power Management Conguration ....................... 5-12
5.4.3 Chipset Conguration ................................................... 5-14
5.4.4 PCH SATA Conguration .............................................. 5-22
5.4.5 PCH SCU SAS Conguration ....................................... 5-23
5.4.6 PCI Subsystem Settings ............................................... 5-23

v
Contents
5.4.7 Onboard LAN Conguration .......................................... 5-29
5.4.8 USB Conguration ........................................................ 5-30
5.4.9 Trusted Computing ........................................................ 5-32
5.4.10 ACPI Settings ................................................................ 5-33
5.4.11 WHEA Conguration ..................................................... 5-34
5.4.12 APM .............................................................................. 5-34
5.4.13 Serial Port Console Redirection .................................... 5-35
5.4.14 ME Subsystem .............................................................. 5-38
5.4.15 Legacy Devices Conguration ...................................... 5-38
5.4.16 Runtime Error Logging .................................................. 5-39
5.5 Server Mgmt menu ..................................................................... 5-40
5.5.1 System Event Log ......................................................... 5-41
5.5.2 BMC network conguration ........................................... 5-42
5.6 Event Logs menu ....................................................................... 5-43
5.6.1 Change Smbios Event Log Settings ............................. 5-43
5.7 Boot menu .................................................................................. 5-45
5.8 Monitor menu ............................................................................. 5-47
5.9 Security menu ............................................................................ 5-48
5.10 Tool menu ................................................................................... 5-49
5.11 Exit menu .................................................................................... 5-50
Chapter6: RAIDconguration
6.1 Setting up RAID ............................................................................ 6-2
6.1.1 RAID denitions .............................................................. 6-2
6.1.2 Installing hard disk drives ................................................ 6-2
6.1.3 RAID controller selection ................................................ 6-3
6.1.4 Setting the RAID item in BIOS ........................................ 6-3
6.2 LSISoftwareRAIDCongurationUtility .................................... 6-4
6.2.1 Creating a RAID set ........................................................ 6-5
6.2.2 Adding or viewing a RAID conguration ........................6-11
6.2.3 Initializing the virtual drives ........................................... 6-12
6.2.4 Rebuilding failed drives ................................................. 6-16
6.2.5 Checking the drives for data consistency ..................... 6-18
6.2.6 Deleting a RAID conguration ....................................... 6-21
6.2.7 Selecting the boot drive from a RAID set ...................... 6-22
6.2.8 Enabling WriteCache .................................................... 6-23

vi
Contents
6.3 Intel® Rapid Storage Technology enterprise SCU/SATA Option
ROM Utility .................................................................................. 6-24
6.3.1 Creating a RAID set ...................................................... 6-26
6.3.2 Creating a Recovery set ............................................... 6-27
6.3.3 Deleting a RAID set ...................................................... 6-29
6.3.4 Resetting disks to Non-RAID ........................................ 6-30
6.3.5 Exiting the Intel® Rapid Storage Technology utility ........ 6-31
6.3.6 Rebuilding the RAID ..................................................... 6-31
6.3.7 Setting the Boot array in the BIOS Setup Utility ............ 6-33
6.4 Intel® Rapid Storage Technology enterprise Utility
(Windows) ................................................................................... 6-34
6.4.1 Creating a RAID set ...................................................... 6-35
6.4.2 Change Volume Type .................................................... 6-37
6.4.3 Delete volume ............................................................... 6-38
6.4.4 Preferences ................................................................... 6-39
Chapter 7: Driver installation
7.1 RAID driver installation ............................................................... 7-2
7.1.1 Creating a RAID driver disk ............................................ 7-2
7.1.2 Installing the RAID controller driver ................................ 7-5
7.2 Intel® Chipset Device Software installation ............................. 7-14
7.3 Intel@ Network Connections Software installation.................. 7-16
7.4 VGA driver installation............................................................... 7-19
7.5 Intel® C600 Series Chipset SAS RAID (SATA mode) Drivers .. 7-22
7.6 Microsoft .NET Framework 3.5 SP1 .......................................... 7-23
7.7 Intel® Rapid Storage Technology enterprise 3.0 installation . 7-24
7.8 Intel® I350 Gigabit Adapters Driver installation ....................... 7-27
7.9 Management applications and utilities installation ................ 7-31
7.9.1 Running the support DVD ............................................. 7-31
7.9.2 Drivers menu ................................................................. 7-31
7.9.3 Utilities menu ................................................................ 7-32
7.9.4 Make disk menu ............................................................ 7-32
7.9.5 Contact information ....................................................... 7-32
Appendix: Reference information
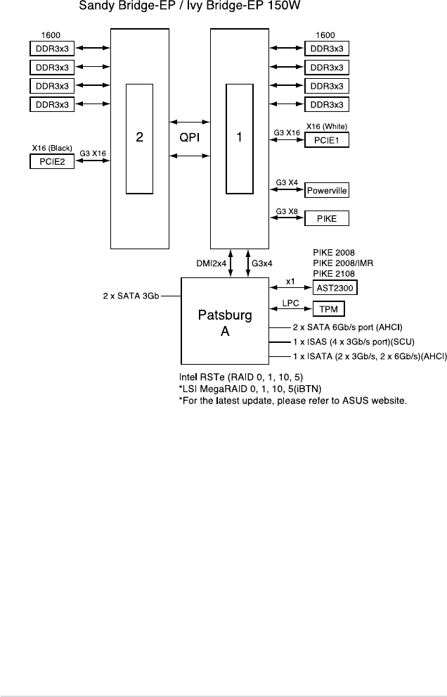
A.1 Z9PP-D24 block diagram .............................................................A-2

vii
Notices
Federal Communications Commission Statement
This device complies with Part 15 of the FCC Rules. Operation is subject to the
following two conditions:
• This device may not cause harmful interference, and
• This device must accept any interference received including interference that
may cause undesired operation.
This equipment has been tested and found to comply with the limits for a Class
A digital device, pursuant to Part 15 of the FCC Rules. These limits are designed
to provide reasonable protection against harmful interference in a residential
installation. This equipment generates, uses and can radiate radio frequency
energy and, if not installed and used in accordance with manufacturer’s instructions,
may cause harmful interference to radio communications. However, there is no
guarantee that interference will not occur in a particular installation. If this equipment
does cause harmful interference to radio or television reception, which can be
determined by turning the equipment off and on, the user is encouraged to try to
correct the interference by one or more of the following measures:
• Reorient or relocate the receiving antenna.
• Increase the separation between the equipment and receiver.
• Connect the equipment to an outlet on a circuit different from that to which the
receiver is connected.
• Consult the dealer or an experienced radio/TV technician for help.
Canadian Department of Communications Statement
This digital apparatus does not exceed the Class A limits for radio noise emissions
from digital apparatus set out in the Radio Interference Regulations of the
Canadian Department of Communications.
This Class A digital apparatus complies with Canadian ICES-003.
WARNING! The use of shielded cables for connection of the monitor to the
graphics card is required to assure compliance with FCC regulations. Changes
or modications to this unit not expressly approved by the party responsible for
compliance could void the user’s authority to operate this equipment.
REACH Information
Complying with the REACH (Registration, Evaluation, Authorization, and Restriction
of Chemicals) regulatory framework, we publish the chemical substances in our
products at ASUS REACH website at http://csr.asus.com/english/REACH.htm.

viii
Safety information
Electrical Safety
• Before installing or removing signal cables, ensure that the power cables for the
system unit and all attached devices are unplugged.
• To prevent electrical shock hazard, disconnect the power cable from the electrical
outlet before relocating the system.
• When adding or removing any additional devices to or from the system, ensure
that the power cables for the devices are unplugged before the signal cables
are connected. If possible, disconnect all power cables from the existing system
before you add a device.
• If the power supply is broken, do not try to x it by yourself. Contact a qualied
service technician or your dealer.
Operation Safety
• Any mechanical operation on this server must be conducted by certied or
experienced engineers.
• Before operating the server, carefully read all the manuals included with the server
package.
• Before using the server, ensure all cables are correctly connected and the power
cables are not damaged. If any damage is detected, contact your dealer as soon
as possible.
• To avoid short circuits, keep paper clips, screws, and staples away from
connectors, slots, sockets and circuitry.
• Avoid dust, humidity, and temperature extremes. Place the server on a stable
surface.
Lithium-Ion Battery Warning
CAUTION! Danger of explosion if battery is incorrectly replaced. Replace
only with the same or equivalent type recommended by the manufacturer.
Dispose of used batteries according to the manufacturer’s instructions.
CD-ROM Drive Safety Warning
CLASS 1 LASER PRODUCT
Heavy System
CAUTION! This server system is heavy. Ask for assistance when moving or
carrying the system.
This product is equipped with a three-wire power cable and plug for the user’s
safety. Use the power cable with a properly grounded electrical outlet to avoid
electrical shock.

ix
DO NOT throw the motherboard in municipal waste. This product has been designed to
enable proper reuse of parts and recycling. This symbol of the crossed out wheeled bin
indicates that the product (electrical and electronic equipment) should not be placed in
municipal waste. Check local regulations for disposal of electronic products.
DO NOT throw the mercury-containing button cell battery in municipal waste. This
symbol of the crossed out wheeled bin indicates that the battery should not be
placed in municipal waste.
Australia statement notice
From 1 January 2012 updated warranties apply to all ASUS products, consistent with
the Australian Consumer Law. For the latest product warranty details please visit
http://support.asus.com. Our goods come with guarantees that cannot be excluded
under the Australian Consumer Law. You are entitled to a replacement or refund for a
major failure and compensation for any other reasonably foreseeable loss or damage.
You are also entitled to have the goods repaired or replaced if the goods fail to be of
acceptable quality and the failure does not amount to a major failure.
If you require assistance please call ASUS Customer Service 1300 2787 88 or visit
us at http://support.asus.com

x
About this guide
Audience
This user guide is intended for system integrators, and experienced users with at
least basic knowledge of conguring a server.
Contents
This guide contains the following parts:
1. Chapter 1: Product introduction
This chapter describes the general features of the server, including sections
on front panel and rear panel specications.
2. Chapter 2: Hardware setup
This chapter lists the hardware setup procedures that you have to perform
when installing or removing system components.
3. Chapter 3: Installation options
This chapter describes how to install optional components into the barebone
server.
4. Chapter 4: Motherboard information
This chapter gives information about the motherboard that comes with the
server. This chapter includes the motherboard layout, jumper settings, and
connector locations.
5. Chapter 5: BIOS information
This chapter tells how to change system settings through the BIOS Setup
menus and describes the BIOS parameters.
6. Chapter6:RAIDconguration
This chapter tells how to change system settings through the BIOS Setup
menus. Detailed descriptions of the BIOS parameters are also provided.
7 Chapter 7: Driver installation
This chapter provides instructions for installing the necessary drivers for
different system components.

xi
References
Refer to the following sources for additional information, and for product and
software updates.
1. ASUS Server Web-based Management (ASWM) user guide
This manual tells how to set up and use the proprietary ASUS server
management utility.
2. ASUS websites
The ASUS websites worldwide provide updated information for all ASUS
hardware and software products. Refer to the ASUS contact information.
Conventions
To ensure that you perform certain tasks properly, take note of the following
symbols used throughout this manual.
Typography
Bold text Indicates a menu or an item to select.
Italics
Used to emphasize a word or a phrase.
<Key> Keys enclosed in the less-than and greater-than
sign means that you must press the enclosed key.
Example: <Enter> means that you must press
the Enter or Return key.
<Key1+Key2+Key3> If you must press two or more keys simultaneously,
the key names are linked with a plus sign (+).
Example: <Ctrl+Alt+D>
Command Means that you must type the command
exactly as shown, then supply the required
item or value enclosed in brackets.
Example: At the DOS prompt, type the
command line: format A:/S
DANGER/WARNING: Information to prevent injury to yourself when
trying to complete a task.
CAUTION: Information to prevent damage to the components when
trying to complete a task.
NOTE: Tips and additional information to help you complete a task.
IMPORTANT: Instructions that you MUST follow to complete a task.

xii

1-
This chapter describes the general
features of the chassis kit. It includes
sections on front panel and rear panel
specications.
Chapter 1
Product introduction

Chapter 1: Product introduction1-2
*ASUS System Web-based Management
If any of the above items is damaged or missing, contact your retailer.
1.1 System package contents
Check your system package for the following items.
Model Name RS700-E7/RS8
Chassis ASUS R12D 1U Rackmount Chassis
Motherboard ASUS Z9PP-D24 Server Board
Component 2 x800W Redundant Power Supply (varies by territories)
1 x SATA/SAS 2.5” HDD Backplane (BP8LX-R10A)
8 x hot-swap 2.5” HDD trays (varies by territories)
1 x Front I/O Board (LED board, FPB-R12A)
2 x Riser Card (RE16L-R12D, RE16R-R12D)
8 x System Fans (40 x 40 x 56mm)
Accessories 1 x RS700-E7/RS8 User’s Guide
1 x ASWM Enterprise User’s Guide
1 x RS700-E7/RS8 Support CD
1 x ASWM Enterprise Support CD
1 x Bag of Screws
2 x CPU Heatsink (varies by territories)
2 x AC Power Cable
1 x Friction Rail Kit
Optional Items Second 800W Redundant Power Supply Module
CPU Heatsink
Slim type DVD-RW
1.2 Serial number label
Before requesting support from the ASUS Technical Support team, you must
take note of the product’s serial number containing 14 characters such as
xxS0xxxxxxxxxx. See the gure below.
With the correct serial number of the product, ASUS Technical Support team
members can then offer a quicker and satisfying solution to your problems.
xxS0xxxxxxxxxx
RS700-E7/RS8

ASUS RS700-E7/RS8 1-3
1.3 Systemspecications
The ASUS RS700-E7/RS8 feature the ASUS Z9PP-D24 server board. The
server supports Intel® Socket-R LGA2011 Xeon® series processors with EM64T
technology, plus other latest technologies through the chipsets onboard.
(continued on the next page)
Model Name RS700-E7/RS8
Processor / System Bus
2 x Socket-R (LGA2011)
8/6/4 Core Intel® Xeon E5-2600 Series (Up to TDP=135W)
* Support up to TDP=150W under 25 ℃ environment
QPI 6.4 / 7.2 / 8.0 GT/s
Core Logic Intel® C602 chipset
ASUS Features
Smart Fan √
ASWM
Enterprise √
Memory
Total Slots 24 (4-channel per CPU, 12 DIMMs per CPU)
Capacity
Maximum up to 512GB (RDIMM)
Maximum up to 128GB (UDIMM)
Maximum up to 768GB (LRDIMM)
Memory Type
DDR3 800/1066/1333/1600 (RDIMM)
DDR3 1066/1333 ECC (UDIMM)
DDR3 1066/1333 (LRDIMM)
Memory Size
2GB, 4GB, 8GB, 16GB and 32GB (RDIMM)
2GB, 4GB and 8GB (UDIMM)
8GB, 16GB, 32GB (LRDIMM)
Expansion Slots
Total PCI/PCI-X/
PCI-E Slots 2+1
Slot Type 2 x PCI-E G3 x16 (x16 Link) ( Full-height/Half-lengh)
Additional Slot 1 x PIKE slot for storage enhancement
Storage
SATA Controller
Intel® C602 chipset:
<AHCI>
2x SATA 3Gb/s ports
1x ISATA1 port (2 x SATA 3 Gb/s+2 x SATA 6Gb/s)
Intel RSTe (For Windows only)
- Supports S/W RAID 0,1,10 & 5)
*Regarding LSI MegaRAID support, please refer to update on
website.
<SCU>
1x ISAS1 port (4 x SATA 3Gb/s)
Intel RSTe (For Windows only)
- Supports S/W RAID 0,1,10 & 5)
SAS Controller
Optional:
ASUS PIKE 2008 8-port SAS2 6G RAID card
ASUS PIKE 2008/IMR 8-port SAS2 6G RAID card
ASUS PIKE 2108 8-port SAS2 6G H/W RAID card

Chapter 1: Product introduction1-4
*Specicationsaresubjecttochangewithoutnotice.
Model Name RS700-E7/RS8
HDD Bays
I = internal
A or S will
be hot-
swappable
8 x Hot-swap 2.5” SATA/SAS HDD Bays*
* ASUS PIKE RAID card is required for the HDDs to be recognized
for system boootup.
Networking LAN 4 x Intel® I350-AM4 + 1 x Mgmt LAN
Graphic VGA Aspeed AST2300 + 16MB VRAM
Onboard I/O
5 x RJ-45 ports (1 for ASMB6-iKVM)
4 x USB 2.0 ports (Front x 2, Rear x 2)
1 x VGA port
1 x PS/2 keyboard port
1 x PS/2 mouse port
OS Support
Windows® Server 2008 R2
Windows® Server 2008 Enterprise 32 / 64-bit
Windows® Server 2003 R2 Enterprise 32 / 64-bit
RedHat® Enterprise Linux AS5.7, 6.1 32 / 64-bit
SuSE® Linux Enterprise Server 11.1 32 / 64-bit
(Subject to change without any notice)
Management
Solution
Out of Band
Remote
Hardware
On-Board ASMB6-iKVM for KVM-over-IP support
Software ASUS ASWM Enterprise®
Dimension (HH x WW x DD) 689.5mm x 444mm x 43.4mm (1U)
Net Weight Kg (CPU, DRAM &
HDD not inclu ded) 18 Kg
Power Supply 800W (Delta 80Plus Platinum level) 1+1 Redundant Power Supply
(Default with one Power Supply Module)
Power Rating Input:
800W: 100 - 127Vac / 9.9A, 200-240Vac / 4.79A, 47 - 63Hz, Class 1
Environment
Operation temperature: 10°C–35°C
Non operation temperature: -40°C–70°C
Non operation humidity: 20%–90% ( Non-condensing)

ASUS RS700-E7/RS8 1-5
1.4 Front panel features
The barebone server displays a simple yet stylish front panel with easily accessible
features. The power and reset buttons, LED indicators, slim type optical drive, and
two USB ports are located on the front panel.
Refer to section 1.7.1 Front panel LEDs for the LED descriptions.
HDD 1 HDD 3 HDD 5
Rack screw
Rack screw
USB ports
LAN2/4 LED
HDD Access LED
LAN1/3 LED
Message LED
Location switch
Reset button
Location LED
Power button
Power LED
Slim type ODD HDD 8
HDD 2 HDD 4 HDD 6 HDD 7
• The ports for the PS/2 keyboard, PS/2 mouse, serial port, USB, VGA, and
Gigabit LAN do not appear on the rear panel if motherboard is not present.
• *The port is for ASUS ASMB6-iKVM controller card only.
1.5 Rear panel features
The rear panel includes the expansion slots, system power socket, and rear fans.
The middle part includes the I/O shield with openings for the rear panel connectors
on the motherboard.
PS/2 keyboard port
USB ports
LAN port 1
VGA port
LAN port 2
Power cord
connector
PS/2 mouse port
Second
Redundant power
(Optional)
DMLAN port*
Expansion slot
LAN port 3
LAN port 4
Expansion slot
• Ensure to install an ASUS PIKE RAID card for the HDDs to be recognized
for system bootup.
• Refer to section 2.8.5 Installing ASUS PIKE RAID card for the
descriptions.

Chapter 1: Product introduction1-6
The barebone server does not include a oppy disk drive. Connect a USB oppy
disk drive to any of the USB ports on the front or rear panel if you need to use a
oppy disk.
*WARNING
HAZARDOUS MOVING PARTS
KEEP FINGERS AND OTHER BODY PARTS AWAY
1. Power supply and power
fan
2. PCI-E G3 x16 slot (x16
link) (FH/HL)
3. PIKE Slot
4. ASUS Z9PP-D24 Server
Board
5. System fans
6. SATA/SAS backplane
(hidden)
7. Hot-swap HDD tray 1–8
(SAS and SATA)
8. Front LED Board (FPB-
R12A)
9. Slim-type optical drive
1
4
5
6
7
A protection lm is pre-attached to the front cover before shipping. Please
remove the protection lm before turning on the system for proper heat
dissipation.
2
2
89
3
1.6 Internal features
The barebone server includes the basic components as shown.

ASUS RS700-E7/RS8 1-7
1.7 LED information
1.7.1 Front panel LEDs
LAN2/4 LED
HDD Access LED
LAN1/3 LED
Message LED
Location LED
Power LED
LED Icon Display status Description
Power LED ON System power ON
HDD Access LED OFF
Blinking
No activity
Read/write data into the HDD
Message LED OFF
Blinking
System is normal; no incoming event
ASWM indicates a HW monitor event
Location LED
OFF
ON
Normal status
Location switch is pressed
(Press the location switch again to turn off)
LAN LEDs
OFF
Blinking
ON
No LAN connection
LAN is transmitting or receiving data
LAN connection is present
1.7.2 LAN (RJ-45) LEDs
ACT/LINK LED SPEED LED
Status Description Status Description
OFF No link OFF 10 Mbps connection
GREEN Linked ORANGE 100 Mbps connection
BLINKING Data activity GREEN 1 Gbps connection
SPEED LED
ACT/LINK LED

Chapter 1: Product introduction1-8
1.7.3 HDD status LED
SATAII/SAS HDD LED Description
HDD Status
LED
Green Light ON Power ON
(Detection HDD Present)
RED Light ON* HDD has failed and should be swapped immediately
GREEN/RED
Blinking* RAID rebuilding
OFF HDD Not Found
HDD Activity
LED Green Blinking Read/write data from/into the SATAII/SAS HDD
HDD status LED
HDD Activity LED
*The LED status functions only when you install the PIKE RAID card.

2-
This chapter lists the hardware setup
procedures that you have to perform
when installing or removing system
components.
Chapter 2
Hardware setup

Chapter 2: Hardware setup2-2
2.1 Chassis cover
2. Firmly hold the cover and slide it
toward the rear panel for about half
an inch until it is disengaged from
the chassis.
3. Lift the cover from the chassis.
1. Loosen the two thumbscrews on the rear panel to release the rear cover from
the chassis.
Removing the rear cover
Thumbscrews
1/2 inch distance

2-3ASUS RS700-E7/RS8
2.2.1 Installing the CPU
To install a CPU:
1. Locate the CPU socket on the motherboard.
Before installing the CPU, ensure that the socket box is facing towards you and
the load lever is on your left.
®
Z9PP-D24
Z9PP-D24 CPU LGA2011 Socket
CPU2
CPU1
2.2 Central Processing Unit (CPU)
The motherboard comes with a surface mount LGA2011 socket designed for the
Intel® Xeon E5-2600 family processor.
• Upon purchase of the motherboard, ensure that the PnP cap is on
the socket and the socket contacts are not bent. Contact your retailer
immediately if the PnP cap is missing, or if you see any damage to the PnP
cap/socket contacts/motherboard components. ASUS will shoulder the cost
of repair only if the damage is shipment/transit-related.
• Keep the cap after installing the motherboard. ASUS will process Return
Merchandise Authorization (RMA) requests only if the motherboard comes
with the cap on the LGA2011 socket.
• The product warranty does not cover damage to the socket contacts
resulting from incorrect CPU installation/removal, or misplacement/loss/
incorrect removal of the PnP cap.

Chapter 2: Hardware setup2-4
2. Press the left load lever with your
thumb (A), then move it to the left
(B) until it is released from the
retention tab.
To prevent damage to the socket
pins, do not remove the PnP cap
unless you are installing a CPU.
B
A
E
D
C
4. Press the right load lever with your
thumb (C), then move it to the right
(D) until it is released from the
retention tab. Lift the load lever in
the direction of the arrow (E).
3. Slightly lift the load lever in the
direction of the arrow.
Load lever

2-5ASUS RS700-E7/RS8
I
H
7. Remove the PnP cap (H) from the CPU socket and close the load plate (I).
G
F
5. Push the left load lever (F) to lift the
load plate (G).
The CPU ts in only one correct orientation. DO NOT force the CPU into the
socket to prevent bending the connectors on the socket and damaging the CPU!
Triangle
mark
6. Position the CPU over the socket,
ensuring that the triangle mark is on
the top-right corner of the socket.

Chapter 2: Hardware setup2-6
K
J
8. Push down the right load lever (J),
ensuring that the edge of the load
plate is xed by the lever (K).
9. Insert the right load lever under the
retention tab.
M
L
10. Push down the left load lever (L),
and then insert the lever under the
retention tab (M).

2-7ASUS RS700-E7/RS8
The Thermal Interface Material is toxic and inedible. DO NOT eat it. If it
gets into your eyes or touches your skin, wash it off immediately, and seek
professional medical help.
Some heatsinks come with pre-
applied thermal paste. If so, skip
this step.
11. Apply some Thermal Interface
Material to the exposed area of
the CPU that the heatsink will be
in contact with, ensuring that it is
spread in an even thin layer.

Chapter 2: Hardware setup2-8
2. Twist each of the four screws with
a Philips (cross) screwdriver just
enough to attach the heatsink to
the motherboard. When the four
screws are attached, tighten them
one by one to completely secure
the heatsink.
2.2.2 Installing the CPU heatsink
To install the CPU heatsink:
1. Place the heatsink on top of the
installed CPU, ensuring that the four
fasteners match the holes on the
motherboard.
Tighten the four heatsink screws in a
diagonal sequence.
AB
BA

2-9ASUS RS700-E7/RS8
2.3 System memory
2.3.1 Overview
The motherboard comes with 12 (per CPU) Double Data Rate 3 (DDR3) Dual Inline
Memory Modules (DIMM) sockets.
A DDR3 module has the same physical dimensions as a DDR2 DIMM but is
notched differently to prevent installation on a DDR2 DIMM socket. DDR3 modules
are developed for better performance with less power consumption.
The gure illustrates the location of the DDR3 DIMM sockets:
®
Z9PP-D24
Z9PP-D24 240-pin DDR3 DIMM sockets
DIMM_C3
DIMM_C2
DIMM_C1
DIMM_D3
DIMM_D2
DIMM_D1
DIMM_E1
DIMM_E2
DIMM_E3
DIMM_F1
DIMM_F2
DIMM_F3
DIMM_H2
DIMM_H3
DIMM_H1
DIMM_G3
DIMM_G2
DIMM_G1
DIMM_A2
DIMM_A1
DIMM_A3
DIMM_B1
DIMM_B2
DIMM_B3
2.3.2 Memory Support List
Intel Xeon E5-2600 Series Processor UDIMM Memory Support List
Ranks
Per DIMM
and Data
Width
Memory Capacity Per DIMM
Speed (MT/s) and Voltage Validated by Slot
Per Channel (SPC) and DIMM Per Channel
(DPC)
3 Slots Per Channel
1DPC 2DPC
1.35V 1.5V 1.35V 1.5V
SRx8
Non-ECC 1GB 2GB 4GB N/A 1066,
1333, N/A 1066,
1333,
DRx8
Non-ECC 2GB 4GB 8GB N/A 1066,
1333, N/A 1066,
1333,
SRx16
Non-ECC 512MB 1GB 2GB N/A 1066,
1333, N/A 1066,
1333,
SRx8 ECC 1GB 2GB 4GB 1066 1066,
1333, 1066 1066,
1333,
DRx8 ECC 2GB 4GB 8GB 1066 1066,
1333, 1066 1066,
1333,

Chapter 2: Hardware setup2-10
Ranks
Per DIMM
and Data
Width
Memory Capacity Per DIMM
Speed (MT/s) and Voltage Validated by Slot Per Channel (SPC) and
DIMM Per Channel (DPC)
3 Slots Per Channel
1DPC 2DPC 3DPC
1.35V 1.5V 1.35V 1.5V 1.35V 1.5V
SRx8 1GB 2GB 4GB 1066,
1333
1066,
1333,
1600
1066,
1333
1066,
1333,
1600
N/A 800,
1066
DRx8 2GB 4GB 8GB 1066,
1333
1066,
1333,
1600
1066,
1333
1066,
1333,
1600
N/A 800,
1066
SRx4 2GB 4GB 8GB 1066,
1333
1066,
1333,
1600
1066,
1333
1066,
1333,
1600
N/A 800,
1066
DRx4 4GB 8GB 16GB 1066,
1333
1066,
1333,
1600
1066,
1333
1066,
1333,
1600
N/A 800,
1066
QRx4 8GB 16GB 32GB 800 1066 800 800 N/A N/A
QRx8 4GB 8GB 16GB 800 1066 800 800 N/A N/A
Intel Xeon E5-2600 Series Processor RDIMM Memory Support List
Ranks
Per DIMM
and Data
Width
Memory Capacity Per
DIMM
Speed (MT/s) and Voltage Validated by Slot
Per Channel (SPC) and DIMM Per Channel
(DPC)
3 Slots Per Channel
1DPC and 2DPC 3DPC
1.35V 1.5V 1.35V 1.5V
QRx4
(DDP)* 16GB 32GB 1066 1066,
1333 1066 1066
QRx8 (P)** 8GB 16GB 1066 1066,
1333 1066 1066
Intel Xeon E5-2600 Series Processor LRDIMM Memory Support List
* DDP-Dual Die Package DRAM stacking.
** P-Planer monolithic DRAM die.

2-11ASUS RS700-E7/RS8
2CPUConguration
DIMM_A3 DIMM_A2 DIMM_A1 DIMM_B3 DIMM_B2 DIMM_B1
1 DIMMs V
2 DIMMs V
4 DIMMs V V
8 DIMMs V V
12 DIMMs V V V V
16 DIMMs V V V V
20 DIMMs V V V V V V
24 DIMMs V V V V V V
2CPUConguration
DIMM_C3 DIMM_C2 DIMM_C1 DIMM_D3 DIMM_D2 DIMM_D1
1 DIMMs
2 DIMMs
4 DIMMs
8 DIMMs V V
12 DIMMs V V
16 DIMMs V V V V
20 DIMMs V V V V
24 DIMMs V V V V V V
2.3.3 MemoryCongurations
You may install 2GB, 4GB, 8GB, 16GB and 32GB* RDIMMs or 2GB, 4GB and
8GB* with ECC/Non-ECC UDIMMs or 8GB, 16GB and 32GB* LR-DIMMs into the
DIMM sockets using the memory congurations in this section.
1CPUConguration(mustonCPU1)
DIMM_A3 DIMM_A2 DIMM_A1 DIMM_B3 DIMM_B2 DIMM_B1
1 DIMMs V
2 DIMMs V V
4 DIMMs V V
8 DIMMs V V V V
12 DIMMs V V V V V V
1CPUConguration(mustonCPU1)
DIMM_C3 DIMM_C2 DIMM_C1 DIMM_D3 DIMM_D2 DIMM_D1
1 DIMMs
2 DIMMs
4 DIMMs V V
8 DIMMs V V V V
12 DIMMs V V V V V V

Chapter 2: Hardware setup2-12
• *For the latest update, please refer to ASUS Server AVL on the website.
• Start installing the DIMMs from slot A1 (light blue).
• Always install DIMMs with the same CAS latency. For optimum compatibility,
it is recommended that you obtain memory modules from the same vendor.
2CPUConguration
DIMM_E3 DIMM_E2 DIMM_E1 DIMM_F3 DIMM_F2 DIMM_F1
1 DIMMs
2 DIMMs V
4 DIMMs V V
8 DIMMs V V
12 DIMMs V V V V
16 DIMMs V V V V
20 DIMMs V V V V V V
24 DIMMs V V V V V V
2CPUConguration
DIMM_G3 DIMM_G2 DIMM_G1 DIMM_H3 DIMM_H2 DIMM_H1
1 DIMMs
2 DIMMs
4 DIMMs
8 DIMMs V V
12 DIMMs V V
16 DIMMs V V V V
20 DIMMs V V V V
24 DIMMs V V V V V V

2-13ASUS RS700-E7/RS8
2.3.4 Installing a DIMM on a single clip DIMM socket
3. Hold the DIMM by both of its ends,
then insert the DIMM vertically
into the socket. Apply force to both
ends of the DIMM simultaneously
until the retaining clip snaps back
into place, and the DIMM cannot
be pushed in any further to ensure
proper sitting of the DIMM. Locked Retaining Clip
3
1. Unlock a DIMM socket by pressing
the retaining clip outward.
2. Align a DIMM on the socket
such that the notch on the DIMM
matches the DIMM slot key on the
socket.
Unlocked retaining clip
DIMM notch
2
1
DIMM slot key
1. Press the retaining clip outward to
unlock the DIMM.
2. Remove the DIMM from the socket.
1
2
Removing a DIMM from a single clip DIMM socket
• To install two or more DIMMs, refer to the user guide bundled in the
motherboard package.
• Refer to the user guide for qualied vendor lists of the memory modules.
Support the DIMM lightly with your ngers when pressing the retaining clips.
The DIMM might get damaged when it ips out with extra force.
Always insert the DIMM into the socket VERTICALLY to prevent DIMM notch
damage.
A DIMM is keyed with a notch so that it ts in only one direction. DO NOT force
a DIMM into a socket in the wrong direction to avoid damaging the DIMM.

Chapter 2: Hardware setup2-14
2.4 Hard disk drives
The system supports eight hot-swap 2.5” SATAII/SAS hard disk drives. The hard
disk drive installed on the drive tray connects to the motherboard SATAII/SAS ports
via the SATAII/SAS backplane.
To install a hot-swap SATAII/SAS HDD:
1. Release a drive tray by pushing the
spring lock to the right, then pulling
the tray lever outward. The drive
tray ejects slightly after you pull out
the lever.
2. Firmly hold the tray lever and pull
the drive tray out of the bay.
spring lock
3. Remove the drive tray supporting
pillar shown in the right gure.
Supporting pillar

2-15ASUS RS700-E7/RS8
6. Push the tray lever until it clicks,
and secures the drive tray in place.
The drive tray is correctly placed
when its front edge aligns with the
bay edge.
5. Carefully insert the drive tray and push it all the way to the depth of the bay
until just a small fraction of the tray edge protrudes.
When installed, the SATAII/SAS connector on the drive connects to the SATAII/
SAS interface on the backplane.
4. Place a SATAII/SAS hard disk drive
on the tray, and then secure it with
four screws.
7. Repeat steps 1 to 6 if you wish to install a second SATAII/SAS drive.

Chapter 2: Hardware setup2-16
2.5 Expansion slot
2.5.1 Installing an expansion card to the riser card bracket
The barebone server comes with two riser card brackets. You need to remove the
bracket if you want to install PCI Express x8 or x16 expansion cards.
To install a PCI Express x8 or x16 card in PCIE1 slot:
2. Place the riser card bracket on a
at and stable surface, then remove
the screw from the slot bay.
1. Firmly hold the riser card bracket,
then pull it up to detach it from
the PCI Express x16 slot on the
motherboard.
3. Install a PCI Express x8 or x16
card to the bracket as shown, then
secure the card with a screw.
PCI Express x16 slot

2-17ASUS RS700-E7/RS8
To reinstall the riser card bracket in PCIE1 slot:
1. Align the riser card bracket with the
cards to the PCI Express x16 slot
on the motherboard.
2. Press the riser card bracket until
the golden connectors completely
t the slot and the bracket aligns
with the rear panel.
3. Connect the cable(s) to the card, if
applicable.
To install a PCI Express x8 or x16 card in PCIE2 slot:
2. Place the riser card bracket on a
at and stable surface, then remove
the screw from the slot bay.
1. Firmly hold the riser card bracket,
then pull it up to detach it from
the PCI Express x16 slot on the
motherboard.
PCI Express x16 slot

Chapter 2: Hardware setup2-18
3. Install a PCI Express x8 or x16
card to the bracket as shown, then
secure the card with a screw.
To reinstall the riser card bracket in PCIE2 slot:
1. Align the riser card bracket with the
cards to the PCI Express x16 slot
on the motherboard.
2. Press the riser card bracket until
the golden connectors completely
t the slot and the bracket aligns
with the rear panel.
3. Connect the cable(s) to the card, if
applicable.

2-19ASUS RS700-E7/RS8
2.5.2 Conguringanexpansioncard
After installing the expansion card, congure the it by adjusting the software
settings.
1. Turn on the system and change the necessary BIOS settings, if any. See
Chapter 5 for information on BIOS setup.
2. Assign an IRQ to the card. Refer to the following tables.
3. Install the software drivers for the expansion card.
Standard Interrupt assignments
* These IRQs are usually available for ISA or PCI devices.
IRQ Priority Standard function
0 1 System Timer
12Keyboard Controller
2- Programmable Interrupt
3* 11 Communications Port (COM2)
4* 12 Communications Port (COM1)
5* 13 --
614 Floppy Disk Controller
7* 15 --
8 3 System CMOS/Real Time Clock
9* 4ACPI Mode when used
10* 5 IRQ Holder for PCI Steering
11* 6 IRQ Holder for PCI Steering
12* 7PS/2 Compatible Mouse Port
13 8 Numeric Data Processor
14* 9 Primary IDE Channel
15* 10 Secondary IDE Channel

Chapter 2: Hardware setup2-20
2.6 Cable connections
Pre-connected system cables
1. 8-pin BPPWR1 power connector (from backplane to motherboard)
2. System fan connectors (from motherboard FAN1-8 to system fans)
3. Auxiliary panel connector (from motherboard to front I/O board)
4. Panel connector (from motherboard to front I/O board)
5. USB connector (from motherboard to front I/O board)
6. SATA5 connector (from motherboard to SATAII/SAS backplane board to
connect ODD)
7. PSAS1/2 connectors (from motherboard to SATAII/SAS backplane board,
when using PIKE RAID card)
• The bundled system cables are pre-connected before shipment. You do
not need to disconnect these cables unless you will remove pre-installed
components to install additional devices.
• Refer to Chapter 4 for detailed information on the connectors.
12
3
5
2
2
2
2
2
2
2
6
7
4

2-21ASUS RS700-E7/RS8
2.7 SATAII/SAS backplane cabling
Front side
The front side of the SATIIA/SAS backplane faces the front panel when installed.
This side includes eight SATAII/SAS connectors for the hot swap drive trays.
Connect the SATAII/SAS HDDs
Connects the data cables
connected to the motherboard
Back side
The back side of the SATAII/SAS backplane faces the rear panel when installed.
This side includes the power connectors and SATAII/SAS interfaces for the
motherboard Serial ATA connectors or the SAS card.
Connects a 8-pin
plug from power
supply
SGPIO_SELjumper:
pins 1-2 (Onboard)
pins 2-3 (Add-on card)

Chapter 2: Hardware setup2-22
2.8 Removable/optional components
You may need to remove previously installed system components when installing
or removing system devices. Or you may need to install the optional components
into the system. This section tells how to remove/install the following components:
1. System fans
2. Redundant power supply module
3. Slim type optical drive (optional)
4. ASUS PIKE RAID card (REQUIRED)
1. Ensure to install the ASUS PIKE RAID card for the HDDs to be recognized
for system bootup.
2. Ensure that the system is turned off before removing any components.
2.8.1 System fans
To uninstall the system fans:
1. Disconnect the system fan cable
from the fan connector on the
motherboard.
2. Lift the fan, then set aside.
3. Repeat steps 1 to 2 to uninstall the
other system fans.
To reinstall the system fans
1. Insert the fan to the fan cage. The
airow directional arrow on the
fan side should point towards the
system rear panel.
2. Connect the system fan cable to the
fan connector on the motherboard.

2-23ASUS RS700-E7/RS8
2.8.2 Redundant power supply module
To replace a failed redundant power supply module
1. Lift up the power supply module
lever.
2. Hold the power supply module
lever and press the PSU latch.
3. Firmly pull the power supply
module out of the system chassis.
4. Firmly push the new power supply
module into the chassis until the
latch locks to the server chassis.

Chapter 2: Hardware setup2-24
2. Press the latch leftward, and push
the slim optical drive toward the
front panel.
2.8.3 Slim type optical drive (optional)
To uninstall the slim optical drive:
1. Disconnect the SATA power and
cable, then locate the optical drive
eject latch at the rear side.

2-25ASUS RS700-E7/RS8
2.8.4 Installing ASUS PIKE RAID card (REQUIRED)
Follow the steps below to install the ASUS PIKE RAID card on your motherboard.
The ASUS PIKE RAID card is required for the HDDs to be recognized for sytem
bootup.
2. Locate the PIKE RAID card slots
(PIKE1, PIKE2) on the motherboard.
3. Remove the screw beside the
PIKE1 slot on the motherboard.
Keep it for reassembly.
1. Remove the four screws that secure
the outer heatsink on the front of
the PIKE RAID card and detach the
heatsink.
DO NOT remove the inner
heatsink from the PIKE RAID
card.
4. Align the golden ngers of the RAID
card with the PIKE1/PIKE2 RAID
card slots then carefully insert the
RAID card into the slots.
Ensure that the card is securely
seated in place.

Chapter 2: Hardware setup2-26
5. Secure the RAID card with the
screw that you removed earlier.
6. Ensure that the data cables are
connected to the PSAS1 and
PSAS2 connectors.
7. Ensure that the SGPIO_SEL1
jumper is set to pins 2-3. Refer to
2.7 SATAII/SAS backplane cabling
on page 2-19 for the jumper setting
details.
The heatsink on PIKE 2108 Series might interfere with the components on the
expansion card. Ensure that the height of the component is less than 5.8mm.

2-
This chapter describes how to install
the optional components and devices
into the barebone server.
Chapter 3
Installation options

Chapter 3: Installation options3-2
3.1 Friction Rail Kit Installation Guide
Your friction rail kit package contains:
• One pair of rack rails
• One pair of xing latches
• 4 latch screws, 4 rail screws and 4 rail washers
3.1.1 Setting up the friction rail kit on the rack
Rack railsFixing latchesFront end Rear end
Latch screws Rail screws
Rail Washers
1. Select a 1U space on the rack
where you want to install the
rack rail. A 1U space consists
of three square mounting holes
with two thin lips on the top and
the bottom, as shown in the right
gure.
2. Adjust the rack rail to t the depth
of the rack.
3. From inside the rack, place the rear
rail hook on the bottom thin lip of the
rear mounting hole, and then place the
front rail hook on the bottom thin lip of
the front mounting hole, as shown in
the right gure.

3-3ASUS RS700-E7/RS8
4. Secure the front and rear ends of the
rail with two rack screws and washers.
5. Repeat step 2 to 4 to attach the rack
rail on the other side of the rack.
Do not install the rail kit in the following situation:
DO NOT place the rail hook on a thick lip
of the mounting hole.
DO NOT install the rail to the outer side of
the server rack.
6. When mounting the server to the rack,
ensure to include the side knots on the
two sides of the server in the rack rail
holders, as shown in the right gure.

Chapter 3: Installation options3-4
3.1.2 Mounting the server to the rack
To mount the server to the rack
1. Place the server on the rack rails, and then push the server all the way to the
depth of the rack.
To uninstall the server from the rack
1. Loosen the rack screws that secured the server to the rack.
2. Pull the server from the rack.
2. Tighten the two rack screws to
secure the server in place.

3-
4-1
This chapter includes the motherboard
layout, and brief descriptions of the
jumpers and internal connectors.
Chapter 4
Motherboard info

4-2 Chapter 4: Motherboard information
4.1 Motherboard layouts

ASUS RS700-E7/RS8 4-3
Layout contents
Jumpers Page
1. Clear RTC RAM (CLRTC1) 4-4
2. VGA controller setting (3-pin VGA_SW1) 4-5
3. LAN controller setting (3-pin LAN_SW1, LAN_SW2) 4-5
4. RAID conguration utility selection (3-pin RAID_SEL1) 4-6
5. ME rmware force recovery setting (3-pin ME_RCVR1) 4-6
6. Baseboard Management Controller (BMC) Setting (3-pin
BMC_EN1) 4-7
Internal LEDs Page
1. Standby power LED 4-14
2. CPU warning LED (ERR_CPU1, ERR_CPU2) 4-14
3. DIMM warning LED (ERR_DIMMA1-3, ERR_DIMMB1-3,
ERR_DIMMC1-3, ERR_DIMMD1-4, ERR_DIMME1-3,
ERR_DIMMF1-3, ERR_DIMMG1-3, ERR_DIMMH1-3)
4-15
4. BMC LED (BMC_LED) 4-15
Internal connectors Page
1. Serial ATA connectors (7-pin SATA1–2 [blue]) 4-8
2. ISAS1 and ISATA1 connectors 4-8
3. PSAS 1 and 2 connectors 4-9
4. Hard disk activity LED connector (4-pin HDLED1) 4-9
5. USB connectors (10-1 pin USB34, USB56) 4-10
6. Serial port connectors (10-1 pin COM1) 4-10
7. System fan connectors (4-pin FAN1/2/3/4/5/6/7/8) 4-11
8. TPM connector (20-1 pin TPM) 4-11
9. System panel connector (20-pin PANEL1 [white]) 4-12
10. Auxiliary panel connector (20-2 pin AUX_PANEL1) 4-13

4-4 Chapter 4: Motherboard information
®
Z9PP-D24
Z9PP-D24 Clear RTC RAM
Normal
(Default)
Clear CMOS
CLRTC1
PIN1 PIN1
21 2 3
4.2 Jumpers
1. Clear RTC RAM (CLRTC1)
This jumper allows you to clear the Real Time Clock (RTC) RAM in CMOS.
You can clear the CMOS memory of date, time, and system setup parameters
by erasing the CMOS RTC RAM data. The onboard button cell battery
powers the RAM data in CMOS, which include system setup information such
as system passwords.
To erase the RTC RAM:
1. Turn OFF the computer and unplug the power cord.
2. Move the jumper cap from pins 1–2 (default) to pins 2–3. Keep the cap
on pins 2–3 for about 5–10 seconds, then move the cap back to pins 1–
2.
3. Plug the power cord and turn ON the computer.
4. Hold down the <Del> key during the boot process and enter BIOS setup
to re-enter data.
Except when clearing the RTC RAM, never remove the cap on CLRTC jumper
default position. Removing the cap will cause system boot failure!
If the steps above do not help, remove the onboard battery and move the
jumper again to clear the CMOS RTC RAM data. After the CMOS clearance,
reinstall the battery.

ASUS RS700-E7/RS8 4-5
2. VGA controller setting (3-pin VGA_SW1)
This jumper allows you to enable or disable the onboard VGA controller. Set
to pins 1–2 to activate the VGA feature.
®
Z9PP-D24
Z9PP-D24 VGA setting
2
1
PIN1 PIN1
2
3
Enable
(Default)
Disable
VGA_SW1
3. LAN controller setting (3-pin LAN_SW1)
These jumpers allow you to enable or disable the onboard Intel® I350-AM4
Gigabit LAN1/2/3/4 controller. Set to pins 1–2 to activate the Gigabit LAN
feature.
®
Z9PP-D24
Z9PP-D24 LAN setting
2
1
Enable
(Default)
23
Disable
LAN_SW1
PIN1 PIN1

4-6 Chapter 4: Motherboard information
4. RAIDcongurationutilityselection(3-pinRAID_SEL1)
This jumper allows you to select the RAID conguration utility to use when
you create disk arrays. Place the jumper caps over pins 1–2 if you want to
use the LSI MegaRAID software RAID Setup Utility (default); otherwise,
place the jumper caps to pins 2–3 to use the Intel® Rapid Storage Technology
Enterprise.
®
Z9PP-D24
Z9PP-D24 RAID setting
21 2 3
LSI RAID
(Default)
INTEL
RAID_SEL1
PIN1 PIN1
®
Z9PP-D24
Z9PP-D24 ME_RCVR
ME_RCVR1
5. MErmwareforcerecoverysetting(3-pinME_RCVR1)
This jumper allows you to quickly recover the Intel Management Engine (ME)
rmware when it becomes corrupted.

ASUS RS700-E7/RS8 4-7
6. Baseboard Management Controller (BMC) Setting (3-pin BMC_EN1)
This jumper allows you to enable (default) or disable on-board BMC.
®
Z9PP-D24
Z9PP-D24 BMC_EN
21 2 3
Enable
(Default)
Disable
BMC_EN1
PIN1 PIN1

4-8 Chapter 4: Motherboard information
4.3 Internal connectors
1. Serial ATA connectors (7-pin SATA1–2 [Blue])
These connectors, controlled by Intel® C602 chipset, are for the Serial ATA
signal cables for Serial ATA hard disk drives (SATA 5 connector for optical
drive use by default).
®
Z9PP-D24
Z9PP-D24 SATA connectors
SATA5
GND
RSATA_TXP1
RSATA_TXN1
GND
RSATA_RXP1
RSATA_RXN1
GND
SATA6
GN4
RSATA_1TXP2
RSATA_TXN2
GND
RSATA_RXP2
RSATA_RXN2
GND
2. PSAS 1 and 2 connectors
Supported by the ASUS® PIKE Card, these connectors are for the SAS signal
cables for SAS hard disk drives that allows up to 6Gb/s of data transfer rate.
After installing the PIKE RAID card and SAS hard disk drives, ensure that
the SAS signal cables are connected to the PASA ports to create a RAID
conguration.
The actual data transfer rate depends on the speed of SAS/SATA hard disks
installed.
®
Z9PP-D24
Z9PP-D24 PSAS connectors
PSAS1
PSAS2
1. Ensure to install the ASUS PIKE RAID card for the HDDs to be recognized
for system bootup.
2. Ensure that the signal cables are connected to the PSAS1 and PSAS2
connectors.
3. Ensure that the SGPIO_SEL1 jumper on the backplane is set to pins 2-3.
Refer to 2.7 SATAII/SAS backplane cabling on page 2-19 for the jumper
setting details.

ASUS RS700-E7/RS8 4-9
3. ISAS1 and ISATA1 connectors
The ISATA1 connector (AHCI) supports 2 SATA 3Gb/s ports + 2 SATA 6Gb/s
ports. Move the cable from default PSAS2 to ISATA1 to support HDD5 and
HDD6 (6Gb/s), and HDD7 and HDD8 (3Gb/s).
Ths ISAS1 connector (SCU) supports 4 SATA 3Gb/s ports. Move the cable
from default PSAS1 to ISAS1 to support HDD1, HDD2, HDD3, and
HDD4 (3Gb/s).
Ensure that the SGPIO_SEL1 jumper on the backplane is set to pins 2-3. Refer
to 2.7 SATAII/SAS backplane cabling on page 2-19 for the jumper setting
details.
The actual data transfer rate depends on the speed of SAS/SATA hard disks
installed.
®
Z9PP-D24
Z9PP-D24 ISAS connectors
PSAS1
ISAS1
ISATA1
PSAS2
4. Hard disk activity LED connector (4-pin HDLED1)
This connector is used to connect to a hard disk drive active LED connector
on the SCSI or RAID card.
®
Z9PP-D24
Z9PP-D24 Storage card actisvity LED connector
NC
ADD_IN_CARD-
ADD_IN_CARD-
NC
HDLED1

4-10 Chapter 4: Motherboard information
6. Serial port connector (10-1 pin COM1)
This connector is for a serial (COM) port. Connect the serial port module
cable to this connector, then install the module to a slot opening at the back
of the system chassis.
The serial port module is purchased separately.
®
Z9PP-D24
PIN 1
COM1
Z9PP-D24 Serial port connector
5. USB connectors (10-1 pin USB34, USB56, Type A USB10)
The USB34 and USB56 connectors are for USB 2.0 ports. Connect the
USB module cable to the connectors, and then install the module to a slot
opening at the back of the system chassis. The USB10 connector is for a
A-type internal USB 2.0 device. The USB connectors comply with USB 2.0
specication that supports up to 480 Mbps connection speed.
The USB port module is purchased separately.
®
Z9PP-D24
Z9PP-D24 USB 2.0 connectors
USB34
USB10
PIN 1
USB+5V
USB_P4-
USB_P4+
GND
NC
USB+5V
USB_P3-
USB_P3+
GND
USB56
PIN 1
USB+5V
USB_P6-
USB_P6+
GND
NC
USB+5V
USB_P5-
USB_P5+
GND

ASUS RS700-E7/RS8 4-11
7. System fan connectors (4-pin FAN1/2/3/4/5/6/7/8)
The fan connectors support cooling fans of 0.8A–1.0A (12 W max.) or a
total of 6.4 A–8.0 A (96 W max.) at +12V. Connect the fan cables to the fan
connectors on the motherboard, making sure that the black wire of each
cable matches the ground pin of the connector.
DO NOT forget to connect the fan cables to the fan connectors. Insufcient air
ow inside the system may damage the motherboard components. These are
not jumpers! DO NOT place jumper caps on the fan connectors!
®
Z9PP-D24
FAN1
Z9PP-D24 FAN connectors
A
H
G
F
A
FAN4
D
B C
FAN2 FAN3
PWM Control
FAN Speed
FAN Power
GND
PWM Control
FAN Speed
FAN Power
GND
PWM Control
FAN Speed
FAN Power
GND
FAN5
E
PWM Control
FAN Speed
FAN Power
GND
FAN6
F
PWM Control
FAN Speed
FAN Power
GND
FAN7
G
PWM Control
FAN Speed
FAN Power
GND
PWM Control
FAN Speed
FAN Power
GND
FAN8
H
GND
FAN Power
FAN Speed
PWM Control
B
C
D
E
8. TPM connector (20-1 pin TPM)
This connector supports a Trusted Platform Module (TPM) system, which can
securely store keys, digital certicates, passwords, and data. A TPM system
also helps enhance network security, protects digital identities, and ensures
platform integrity.
®
Z9PP-D24
Z9PP-D24 TPM connector
TPM1
PIN 1
PWRBNT#
LAD2
LAD1
GND
PCICLK
FRAME
PCIRST#
LAD3
LAD0
NC
+3VSB
GND
PWRDWN
+3V
GND
I2CSDAT_PCI
SERIRQ
CLKRUN
FP_RESET#

4-12 Chapter 4: Motherboard information
9. System panel connector (20-pin PANEL1 [white])
This connector supports several chassis-mounted functions.
1. System power LED (3-pin PLED)
This 3-pin connector is for the system power LED. Connect the chassis
power LED cable to this connector. The system power LED lights up
when you turn on the system power, and blinks when the system is in
sleep mode.
2. Message LED (2-pin MLED)
This 2-pin connector is for the message LED cable that connects to
the front message LED. The message LED is controlled by Hardware
monitor to indicate an abnormal event occurance.
3. System warning speaker (4-pin SPEAKER)
This 4-pin connector is for the chassis-mounted system warning speaker.
The speaker allows you to hear system beeps and warnings.
4. Hard disk drive activity LED (2-pin IDE_LED)
This 2-pin connector is for the HDD Activity LED. Connect the HDD
Activity LED cable to this connector. The IDE LED lights up or ashes
when data is read from or written to the HDD.
5. ATX power button/soft-off button (2-pin PWRSW)
This connector is for the system power button. Pressing the power
button turns the system on or puts the system in sleep or soft-off mode
depending on the BIOS settings. Pressing the power switch for more
than four seconds while the system is ON turns the system OFF.
6. Reset button (2-pin RESET)
This 2-pin connector is for the chassis-mounted reset button for system
reboot without turning off the system power.
®
Z9PP-D24
PANEL1
Z9PP-D24 System panel connector
PIN 1
PLED SPEAKER
PLED+
NC
PLED-
MLED+
MLED-
NC
+5V
Ground
Ground
Speaker
IDE_LED+
IDE_LED-
NMIBTN#
Ground
PWR
Ground
NC
Reset
Ground
IDE_LED PWRSW RESET

ASUS RS700-E7/RS8 4-13
10. Auxiliary panel connector (20-2 pin AUX_PANEL1)
This connector is for additional front panel features including front panel
SMB, locator LED and switch, chassis intrusion, and LAN LEDs.
1. Front panel SMB (6-1 pin FPSMB)
These leads connect the front panel SMBus cable.
2. LAN activity LED (2-pin LAN1_LED, LAN2_LED)
These leads are for Gigabit LAN activity LEDs on the front panel.
3. Chassis intrusion (4-1 pin CHASSIS)
These leads are for the intrusion detection feature for chassis with
intrusion sensor or microswitch. When you remove any chassis
component, the sensor triggers and sends a high-level signal to these
leads to record a chassis intrusion event. The default setting is short
CASEOPEN and GND pin by jumper cap to disable the function.
4. Locator LED (2-pin LOCATORLED1 and 2-pin LOCATORLED2)
These leads are for the locator LED1 and LED2 on the front panel.
Connect the Locator LED cables to these 2-pin connector. The LEDs will
light up when the Locator button is pressed.
5. Locator Button/Swich (2-pin LOCATORBTN)
These leads are for the locator button on the front panel. This button
queries the state of the system locator.

4-14 Chapter 4: Motherboard information
4.4 Internal LEDs
1. Standby Power LED
The motherboard comes with a standby power LED. The green LED lights up
to indicate that the system is ON, in sleep mode, or in soft-off mode. This is a
reminder that you should shut down the system and unplug the power cable
before removing or plugging in any motherboard component. The illustration
below shows the location of the onboard LED.
®
Z9PP-D24
Z9PP-D24 Onboard LED
SB_PWR
ON
Standy Power Powered Off
OFF
2. CPU warning LED (ERR_CPU1, ERR_CPU2)
The CPU warning LEDs light up to indicate that an impending failure of the
corresponding CPU.
®
Z9PP-D24
Z9PP-D24 ERR CPU LED

ASUS RS700-E7/RS8 4-15
3. DIMM warning LED (ERR_DIMMA1-3, ERR_DIMMB1-3, ERR_DIMMC1-3,
ERR_DIMMD1-4, ERR_DIMME1-3, ERR_DIMMF1-3, ERR_DIMMG1-3,
ERR_DIMMH1-3)
The DIMM warning LEDs light up to indicate that an impending failure of the
corresponding DIMM.
®
Z9PP-D24
Z9PP-D24 ERR DIMM LED
®
Z9PP-D24
Z9PP-D24 BMC LED
4. BMC LED (BMC_LED)
The BMC LED light up to indicate that enabled the on-board BMC.

4-16 Chapter 4: Motherboard information

3-
This chapter tells how to change
the system settings through the BIOS
Setup menus. Detailed descriptions of
the BIOS parameters are also provided.
Chapter 5
BIOS setup

5-2 Chapter 5: BIOS setup
5.1 Managing and updating your BIOS
The following utilities allow you to manage and update the motherboard Basic
Input/Output System (BIOS) setup:
1. ASUS CrashFree BIOS 3 (To recover the BIOS using a bootable USB ash
disk drive when the BIOS le fails or gets corrupted.)
2. ASUS EZ Flash 2 (Updates the BIOS using a USB ash disk.)
3. BUPDATER utility (Updates the BIOS in DOS mode using a bootable USB
ash disk drive.)
Refer to the corresponding sections for details on these utilities.
Save a copy of the original motherboard BIOS le to a bootable USB ash
disk drive in case you need to restore the BIOS in the future. Copy the original
motherboard BIOS using the BUPDATER utility.
5.1.1 ASUS CrashFree BIOS 3 utility
The ASUS CrashFree BIOS 3 is an auto recovery tool that allows you to restore
the BIOS le when it fails or gets corrupted during the updating process. You can
update a corrupted BIOS le using a USB ash drive that contains the updated
BIOS le.
Prepare a USB ash drive containing the updated motherboard BIOS before
using this utility.
RecoveringtheBIOSfromaUSBashdrive
To recover the BIOS from a USB ash drive:
1. Insert the USB ash drive with the original or updated BIOS le to one USB
port on the system.
2. The utility will automatically recover the BIOS. It resets the system when the
BIOS recovery nished.
DO NOT shut down or reset the system while recovering the BIOS! Doing so
would cause system boot failure!
The recovered BIOS may not be the latest BIOS version for this motherboard.
Visit the ASUS website at www.asus.com to download the latest BIOS le.

ASUS RS700-E7/RS8 5-3
3. Press <Tab> to switch to the Drive eld.
4. Press the Up/Down arrow keys to nd the USB ash disk that contains the
latest BIOS, and then press <Enter>.
5. Press <Tab> to switch to the Folder Info eld.
6. Press the Up/Down arrow keys to nd the BIOS le, and then press <Enter>
to perform the BIOS update process. Reboot the system when the update
process is done.
5.1.2 ASUS EZ Flash 2 Utility
The ASUS EZ Flash 2 Utility feature allows you to update the BIOS without having
to use a DOS-based utility.
Before you start using this utility, download the latest BIOS from the ASUS
website at www.asus.com.
To update the BIOS using EZ Flash 2 Utility
1. Insert the USB ash disk that contains the latest BIOS le to the USB port.
2. Enter the BIOS setup program. Go to the Tool menu to select ASUS EZ
Flash 2 Utility and press <Enter> to enable it.
Flash Info
MODEL: Z9PP-D24 VER: 0208 DATE: 10/18/2011
Exit
[Enter] Select or Load [Tab] Switch [Up/Down/PageUp/PageDown/Home/End] Move [Esc] Exit [F2] Backup
fs0:\
Drive Folder Info
fs0:\ 12/09/10 10:23p 4194304 Z9PE-D16.ROM
fs1:\
ASUSTek EZ Flash 2 Utility V01.04
File Infor
MODEL: VER: DATE:
Help Info

5-4 Chapter 5: BIOS setup
5.1.3 BUPDATER utility
The succeeding BIOS screens are for reference only. The actual BIOS screen
displays may not be the same as shown.
The BUPDATER utility allows you to update the BIOS le in DOS environment
using a bootable USB ash disk drive with the updated BIOS le.
UpdatingtheBIOSle
To update the BIOS le using the BUPDATER utility:
1. Visit the ASUS website at www.asus.com and download the latest BIOS le
for the motherboard. Save the BIOS le to a bootable USB ash disk drive.
2. Copy the BUPDATER utility (BUPDATER.exe) from the ASUS support
website at support.asus.com to the bootable USB ash disk drive you created
earlier.
3. Boot the system in DOS mode, then at the prompt, type:
BUPDATER /i[lename].ROM
where [lename] is the latest or the original BIOS le on the bootable USB
ash disk drive, then press <Enter>.
A:\>BUPDATER /i[le name].ROM
• This function can support devices such as a USB ash disk with FAT 32/16
format and single partition only.
• DO NOT shut down or reset the system while updating the BIOS to prevent
system boot failure!
Ensure to load the BIOS default settings to ensure system compatibility and
stability. Press <F5> and select Yes to load the BIOS default settings.

ASUS RS700-E7/RS8 5-5
4. The utility veries the le, then starts updating the BIOS le.
DO NOT shut down or reset the system while updating the BIOS to prevent
system boot failure!
ASUSTek BIOS Update for DOS V1.06 (09/08/04)
Current ROM Update ROM
Note
Writing BIOS:
FLASH TYPE: MXIC 25L1605A
PATH:
BOARD: Z9PP-D24
VER: 0203
DATE: 08/24/2011
BOARD: Z9PP-D24
VER: 0206
DATE: 09/30/2011
5. The utility returns to the DOS prompt after the BIOS update process is
completed. Reboot the system from the hard disk drive.
The BIOS update is nished! Please restart your system.
C:\>
WARNING! Do not turn off power during ash BIOS

5-6 Chapter 5: BIOS setup
5.2 BIOS setup program
This motherboard supports a programmable rmware chip that you can update
using the provided utility described in section 4.1 Managing and updating your
BIOS.
Use the BIOS Setup program when you are installing a motherboard, reconguring
your system, or prompted to “Run Setup.” This section explains how to congure
your system using this utility.
Even if you are not prompted to use the Setup program, you can change the
conguration of your computer in the future. For example, you can enable the
security password feature or change the power management settings. This
requires you to recongure your system using the BIOS Setup program so that the
computer can recognize these changes and record them in the CMOS RAM of the
rmware chip.
The rmware chip on the motherboard stores the Setup utility. When you start up
the computer, the system provides you with the opportunity to run this program.
Press <Del> during the Power-On Self-Test (POST) to enter the Setup utility;
otherwise, POST continues with its test routines.
If you wish to enter Setup after POST, restart the system by pressing
<Ctrl+Alt+Delete>, or by pressing the reset button on the system chassis. You can
also restart by turning the system off and then back on. Do this last option only if
the rst two failed.
The Setup program is designed to make it as easy to use as possible. Being a
menu-driven program, it lets you scroll through the various sub-menus and make
your selections from the available options using the navigation keys.
• The default BIOS settings for this motherboard apply for most conditions
to ensure optimum performance. If the system becomes unstable after
changing any BIOS settings, load the default settings to ensure system
compatibility and stability. Press <F5> and select Yes to load the BIOS
default settings.
• The BIOS setup screens shown in this section are for reference purposes
only, and may not exactly match what you see on your screen.
• Visit the ASUS website (www.asus.com) to download the latest BIOS le for
this motherboard.

ASUS RS700-E7/RS8 5-7
5.2.2 Menu bar
The menu bar on top of the screen has the following main items:
Main For changing the basic system conguration
Advanced For changing the advanced system settings
Server Mgmt For changing the Server Mgmt settings
Event Logs For changing the event log settings
Monitor For displaying the system temperature, power status, and
changing the fan settings
Security For changing the security settings
Boot For changing the system boot conguration
Tool For conguring options for special functions
Exit For selecting the exit options
To select an item on the menu bar, press the right or left arrow key on the keyboard
until the desired item is highlighted.
5.2.1 BIOS menu screen
Version 2.14.1219. Copyright (C) 2011 American Megatrends, Inc.
Aptio Setup Utility - Copyright (C) 2011 American Megatrends, Inc.
Main Advanced Server Mgmt Event Logs Boot Monitor Security Tool Exit
Set the Date, Use Tab to
switch between Data elements.
→←: Select Screen
↑↓: Select Item
Enter: Select Item
+/-: Change Opt.
F1: General Help
F2: Previous Values
F5: Optimized Defaults
F10: Save & Exit
ESC: Exit
BIOS Information
BIOS Vendor American Megatrends
Core Version 4.6.4.1
Compliancy UEFI 2.1; PI 0.9
BIOS Version 0208 x64
Build Date 10/19/2011
System Date [Wed 10/19/2011]
System Time [15:07:28]
Access Level Administrator
Memory Information
Total Memory 2048 MB (DDR3)
Processor
CPU Speed 2600 MHz
Count: 1
Onboard LAN1 MAC 00:E0:18:10:14:00
Onboard LAN2 MAC 00:E0:18:10:14:01
Onboard LAN3 MAC 00:E0:18:10:14:02
Onboard LAN4 MAC 00:E0:18:10:14:03
Navigation keys
General help
Menu bar CongurationeldsMenu items

5-8 Chapter 5: BIOS setup
5.2.3 Menu items
The highlighted item on the menu bar displays the specic items for that menu. For
example, selecting Main shows the Main menu items.
The other items (Event Logs, Advanced, Monitor, Boot, Tool, and Exit) on the menu
bar have their respective menu items.
5.2.4 Submenu items
A solid triangle before each item on any menu screen means that the item has a
submenu. To display the submenu, select the item and press <Enter>.
5.2.5 Navigation keys
At the bottom right corner of a menu screen are the navigation keys for the BIOS
setup program. Use the navigation keys to select items in the menu and change
the settings.
5.2.6 General help
At the top right corner of the menu screen is a brief description of the selected item.
5.2.7 Congurationelds
These elds show the values for the menu items. If an item is user-congurable,
you can change the value of the eld opposite the item. You cannot select an item
that is not user-congurable.
A congurable eld is enclosed in brackets, and is highlighted when selected. To
change the value of a eld, select it and press <Enter> to display a list of options.
5.2.8 Pop-up window
Select a menu item and press <Enter> to display a pop-up window with the
conguration options for that item.
5.2.9 Scroll bar
A scroll bar appears on the right side of a menu screen when there are items that
do not t on the screen. Press the Up/Down arrow keys or <Page Up> /<Page
Down> keys to display the other items on the screen.

ASUS RS700-E7/RS8 5-9
5.3 Main menu
When you enter the BIOS Setup program, the Main menu screen appears. The
Main menu provides you an overview of the basic system information, and allows
you to set the system date, time, language, and security settings.
5.3.1 System Date [Day xx/xx/xxxx]
Allows you to set the system date.
5.3.2 System Time [xx:xx:xx]
Allows you to set the system time.
Version 2.14.1219. Copyright (C) 2011 American Megatrends, Inc.
Aptio Setup Utility - Copyright (C) 2011 American Megatrends, Inc.
Main Advanced Server Mgmt Event Logs Boot Monitor Security Tool Exit
Set the Date, Use Tab to
switch between Data elements.
→←: Select Screen
↑↓: Select Item
Enter: Select Item
+/-: Change Opt.
F1: General Help
F2: Previous Values
F5: Optimized Defaults
F10: Save & Exit
ESC: Exit
BIOS Information
BIOS Vendor American Megatrends
Core Version 4.6.4.1
Compliancy UEFI 2.1; PI 0.9
BIOS Version 0208 x64
Build Date 10/19/2011
System Date [Wed 10/19/2011]
System Time [15:07:28]
Access Level Administrator
Memory Information
Total Memory 2048 MB (DDR3)
Processor
CPU Speed 2600 MHz
Count: 1
Onboard LAN1 MAC 00:E0:18:10:14:00
Onboard LAN2 MAC 00:E0:18:10:14:01
Onboard LAN3 MAC 00:E0:18:10:14:02
Onboard LAN4 MAC 00:E0:18:10:14:03

5-10 Chapter 5: BIOS setup
5.4 Advanced menu
The Advanced menu items allow you to change the settings for the CPU and other
system devices.
Take caution when changing the settings of the Advanced menu items. Incorrect
eld values can cause the system to malfunction.
Aptio Setup Utility - Copyright (C) 2011 American Megatrends, Inc.
Main Advanced Server Mgmt Event Logs Boot Monitor Security Tool Exit
CPU Conguration Parameters
CPU Conguration
CPU Power Management Conguration
Chipset Conguration
PCH SATA Conguration
PCH SCU SAS Conguration
PCI Subsystem Setting
Onboard LAN Conguration
USB Conguration
Trusted Computing
ACPI Settings
WHEA Conguration
APM
Serial Port Console Redirection
ME Subsystem
Legacy Devices Conguration
Runtime Error Logging
5.4.1 CPUConguration
Aptio Setup Utility - Copyright (C) 2011 American Megatrends, Inc.
Advanced
Enter to view socket soecic
CPU Information.
CPU Confguration
Socket 1 CPU Information
Socket 2 Not Present
CPU Speed 2600 MHz
64-bit Supported
Hyper Threading [Enabled]
Active Processor Core [All]
Limit CPUID Maximum [Disabled]
Execute Diable Bit [Enabled]
Server Class [Custom]
Hardware Prefetcher [Enabled]
Adjacent Cache Line Prefetch [Enabled]
DCU Streamer Prefetcher [Enabled]
Intel Virtualization Technologu [Enabled]
→←: Select Screen
↑↓: Select Item
Enter: Select Item
+/-: Change Opt.
F1: General Help
F2: Previous Values
F5: Optimized Defaults
F10: Save & Exit
ESC: Exit
Version 2.14.1219. Copyright (C) 2011 American Megatrends, Inc.
→←: Select Screen
↑↓: Select Item
Enter: Select Item
+/-: Change Opt.
F1: General Help
F2: Previous Values
F5: Optimized Defaults
F10: Save & Exit
ESC: Exit
Version 2.14.1219. Copyright (C) 2011 American Megatrends, Inc.

ASUS RS700-E7/RS8 5-11
Socket 1 CPU Information
Enter to view socket soecic CPU Information.
Enter to view socket soecic
CPU Information.
Socket 1 CPU Information
Genuine Intel(R) CPU @ 2.60GHz
CPU Signature 206d5
Microcode Patch 512
Max CPU Speed 2600 MHz
Min CPU Speed 1200 MHz
Processor Cores 8
Intel HT Technology Supported
Intel VT-X Technology Supported
L1 Data Cache 32kB x8
L1 Code Cache 32kB x8
L2 Cache 256kB x8
L3 Cache 20480 kB
→←: Select Screen
↑↓: Select Item
Enter: Select Item
+/-: Change Opt.
F1: General Help
F2: Previous Values
F5: Optimized Defaults
F10: Save & Exit
ESC: Exit
Version 2.14.1219. Copyright (C) 2011 American Megatrends, Inc.
Hyper Threading [Enabled]
Allows you to enable or disable the Intel Hyper-Threading Technology function.
When disabled, only one thread per activated core is enabled.
Conguration options: [Disabled] [Enabled]
Active Processor Cores [All]
Conguration options: [All] [1] [2] [3] [4] [5] [6] [7]
Limit CPUID Maximum [Disabled]
Number of cores to enable in each processor package.
Conguration options: [Disabled] [Enabled]
Execute Disable Bit [Enabled]
XP can prevent certain classes of malicious buffer overow attacks when combined
with a supporting OS (Windows Server 2003 SP1, Windows XP SP2, SuSE Linux
9.2, Redhat Enterprise 3 Update 3). Conguration options: [Disabled] [Enabled]
Server Class [Custom]
Use Intel recommended prefetch settings. Conguration options: [Enterprise] [High
Performance(HPC)] [Custom]
Hardware Prefetcher [Enabled]
This Item allows you to turn on/off the mid level cache(L2) streamer prefetcher.
Conguration options: [Disabled] [Enabled]
Aptio Setup Utility - Copyright (C) 2011 American Megatrends, Inc.
Advanced

5-12 Chapter 5: BIOS setup
AdjacentCacheLinePrefetch[Enabled]
This Item allows you to turn on/off prefetching of adjacent cache lines.
Conguration options: [Disabled] [Enabled]
DCU Streamer Prefetcher [Enabled]
This Item allows you to enabled/disabled L1 data prefetcher.
Conguration options: [Disabled] [Enabled]
Intel Virtualization Technology [Enabled]
When enabled this item, a VMM can utilize the additional hardware capabilities
provided by Vanderpool Technology.
Conguration options: [Disabled] [Enabled]
This item allows you to
enabled power management
features.
CPU Power Management Confguration
Power Technology [Custom]
EIST [Enabled]
Turbo Mode [Enabled]
P-STATE Coordination [HW_ALL]
CPU C3 Report [Disabled]
CPU C6 Report [Enabled]
CPU C7 Report [Disabled]
Package C State limit [C6]
Energy Performance [Balanced Performance]
Factory long duratiion power limit 115 Watts
Long duation power limit 0
Factory long duratiion maintained 1000 ms
Long duation power limit 0
Recommended short duration power1 1.25 * Long Duration
Short duation power limit 0
5.4.2 CPUPowerManagementConguration
→←: Select Screen
↑↓: Select Item
Enter: Select Item
+/-: Change Opt.
F1: General Help
F2: Previous Values
F5: Optimized Defaults
F10: Save & Exit
ESC: Exit
Aptio Setup Utility - Copyright (C) 2011 American Megatrends, Inc.
Advanced
Version 2.14.1219. Copyright (C) 2011 American Megatrends, Inc.
Power Technology [Custom]
This item allows you to enabled power management features.
Conguration options: [Disabled] [Energy Efcient] [Custom]
EIST [Enabled]
This item allows you to enabled/disabled Intel SpeedStep.
Conguration options: [Disabled] [Enabled]
Turbo Mode [Enabled]
Conguration options: [Disabled] [Enabled]
P-STATE Coordination [HW_ALL]
This item allows you to enabled/disabled Intel SpeedStep.
Conguration options: [HW_ALL] [SW_ALL] [SW_ANY]

ASUS RS700-E7/RS8 5-13
CPU C3 Report [Disabled]
This item allows you to enabled/disabled CPU C3(ACPI C2) report.
Conguration options: [Disabled] [Enabled]
CPU C6 Report [Enabled]
This item allows you to enabled/disabled CPU C6(ACPI C3) report.
Conguration options: [Disabled] [Enabled]
CPU C7 Report [Disabled]
This item allows you to enabled/disabled CPU C7(ACPI C3) report.
Conguration options: [Disabled] [Enabled]
Package C State limit [C6]
This item allows you to set package C State limit.
Conguration options: [C0] [C2] [C6] [C7] [No Limit]
Energy Performance [Balanced Performance]
Optimize between performance and power savings. Windows 2008 and later OSes
overrides this value according to this power plan.
Conguration options: [Performance] [Balanced Performance] [Energy Efcient]
Factory long duratiion power limit 115 Watts
Long duation power limit 0
Allows you to set long duration power limit in watts. Use the <+> and <-> keys to
adjust the value.
Factory long duratiion maintained 1000 ms
Long duation power limit 0
Allows you to set time window which the long duration power is maintained. Use
the <+> and <-> keys to adjust the value.
Recommended short duration power1 1.25 * Long Duraton
Short duation power limit 0
Allows you to set short duration power limit in watts. Use the <+> and <-> keys to
adjust the value.

5-14 Chapter 5: BIOS setup
QPI Conguration
Memory Conguration
CPU II0 Bridge Conguration
PCH Conguration
Intel(R) VT for Directed I/O Conguration
5.4.3 ChipsetConguration
QPIConguration
Current QPI Link Speed Slow
Current QPI Link Freq Unknown
Isoc [Enabled]
QPI Link Speed Mode [Fast]
QPI Link Frequency Select [Auto]
QPI Link0s [Disabled]
QPI Link0p [Disabled]
QPI Link1 [Enabled]
Isoc [Enabled]
Conguration options: [Disabled] [Enabled]
QPI Link Speed Mode [Fast]
This item allows you to select the QPI link speed as either the fast mode or slow
mode.
Conguration options: [Slow] [Fast]
QPI Link Frequency Select [Auto]
This item allows for selecting the QPI link frequency
Conguration options: [Auto] [6.4 GT/s] [7.2 GT/s (Fast Mode Only)] [8.0 GT/s
(Fast Mode Only)]
QPI Link0s [Disabled]
Conguration options: [Disabled] [Enabled]
QPI Link0p [Disabled]
Conguration options: [Disabled] [Enabled]
QPI Link1 [Enabled]
Conguration options: [Disabled] [Enabled]
Aptio Setup Utility - Copyright (C) 2011 American Megatrends, Inc.
Advanced
Aptio Setup Utility - Copyright (C) 2011 American Megatrends, Inc.
Advanced
QPI Conguration Page
Enable/Disable Isoc

ASUS RS700-E7/RS8 5-15
MemoryConguration
Support for compatibility
Revision ID(CRID)
Functionality mentioned in
Sandybridge bios spec.
Compatibility RID [Enabled]
Memory Conguration
Total Memory 2048 MB (DDR3)
Current Memory Mode Independent
Currently Memory Speed 1333 MHz
Mirroring Supported
Sparing Not Possible
Memory Mode [Independent]
DDR Speed [Auto]
Channel Interleaving [Auto]
Rank Interleaving [Auto]
Patrol Scrub [Disabled]
Demand Scrub [Enabled]
Data Scrambling [Enabled]
Device Tagging [Disabled]
Thermal Throtting [CLTT]
OLTT Peak BW % 50
Enable High Temp [Disabled]
Allow 2x Refresh [Enabled]
Altitude [300 M]
→←: Select Screen
↑↓: Select Item
Enter: Select Item
+/-: Change Opt.
F1: General Help
F2: Previous Values
F5: Optimized Defaults
F10: Save & Exit
ESC: Exit
Aptio Setup Utility - Copyright (C) 2011 American Megatrends, Inc.
Advanced
Version 2.14.1219. Copyright (C) 2011 American Megatrends, Inc.
Scroll down to display the following items:
Version 2.14.1219. Copyright (C) 2011 American Megatrends, Inc.
Memory HOT sensor support [Enabled]
DIMM Information
Compatibility RID [Enabled]
Support for compatibility revision ID (CRID) functionality mentioned in Sandybridge
BIOS spec. Conguration options: [Enabled] [Disabled]
Memory Mode [Independent]
Select the mode for memory initializaton.
Conguration options: [Independent] [Mirroring] [Lock Step] [Sparing]
DDR Speed [Auto]
Force DDR speed. Conguration options: [Auto] [Force DDR3 800] [Force DDR3
1066] [Force DDR3 1333] [Force DDR3 1600] [Force DDR3 1866]
Channel Interleaving [Auto]
Select different channel interleaving setting.
Conguration options: [Auto] [1 Way] [2 Way] [3 Way] [4 Way]
Rank Interleaving [Auto]
Select different rank interleaving setting.
Conguration options: [Auto] [1 Way] [2 Way] [4 Way] [8 Way]

5-16 Chapter 5: BIOS setup
Patrol Scrub [Disabled]
Allows to Enable/Disable Patrol Scrub.
Conguration options: [Disabled] [Enabled]
Demand Scrub [Enabled]
Allows to Enabled/Disabled demand scrubing feature.
Conguration options: [Enabled] [Disabled]
Data Scrambling [Enabled]
Allows to Enabled/Disabled data scrambling.
Conguration options: [Enabled] [Disabled]
Device Tagging [Disabled]
Allows to Enabled/Disabled device tagging.
Conguration options: [Enabled] [Disabled]
Thermal Throtting [CLTT]
Conguration options: [Disabled] [OLTT] [CLTT]
OLTT Peak BW % [50]
Use the <+> and <-> keys to adjust the value.The values range from 25 to 100.
Enable High Temp [Disabled]
Conguration options: [Disabled] [Enabled]
Allow 2x Refresh [Enabled]
Conguration options: [Disabled] [Enabled]
Altitude [300 M]
The system altitude above the sea level in meters.
Conguration options: [Auto] [300 M] [900 M] [1500 M] [3000 M]
Memory Hot sensor support [Enabled]
Conguration options: [Disabled] [Enabled]

ASUS RS700-E7/RS8 5-17
Enables/Disables Intel(R)
I/O Acceleration Technology
(I/OAT).
Intel(R) I/OAT [Disabled]
DCA Support [Enabled]
VGA Priority [Offboard]
TargetVGA VGA From CPU
0
Gen3 Equalization WA’s [Disabled]
IOH Resource Selection Type [Auto]
MMIOH Size [64G]
IOH 0 PCIe port Bifurcation Control
IOU1 - PCIe Port [x4x4]
Port 1A Link Speed [Gen2]
Port 1B Link Speed [Gen2]
IOU2 - PCIe Port [x16]
Port 2A Link Speed [Gen2]
IOU3 - PCIe Port [x8x8]
Port 3A Link Speed [Gen2]
Port 3C Link Speed [Gen2]
→←: Select Screen
↑↓: Select Item
Enter: Select Item
+/-: Change Opt.
F1: General Help
F2: Previous Values
F5: Optimized Defaults
F10: Save & Exit
ESC: Exit
Intel(R) I/OAT [Disabled]
Allows to Enabled/Disabled Intel I/O accelaration technology.
Conguration options: [Disabled] [Enabled]
DCA Support [Enabled]
Allows to Enabled/Disabled direct cache access support.
Conguration options: [Disabled] [Enabled]
TargetVGA
VGA Priority [offboard]
Allows to decide priority between onboard and 1st offboard video device found.
Conguration options: [Onboard] [Offboard]
CPUIIOBridgeConguration
Version 2.14.1219. Copyright (C) 2011 American Megatrends, Inc.
Aptio Setup Utility - Copyright (C) 2011 American Megatrends, Inc.
Advanced
DIMM Information
Aptio Setup Utility - Copyright (C) 2011 American Megatrends, Inc.
Advanced
CPU1 DIMM Information
Node 0 Ch0 Dimm A1 Present 1024 MB(DDR3)
Node 0 Ch0 Dimm A2 Not Present
Node 0 Ch0 Dimm A3 Not Present
Node 0 Ch1 Dimm B1 Not Present
Node 0 Ch1 Dimm B2 Not Present
Node 0 Ch0 Dimm B3 Not Present
Node 0 Ch2 Dimm C1 Not Present
Node 0 Ch2 Dimm C2 Not Present
Node 0 Ch0 Dimm C3 Not Present
Node 0 Ch3 Dimm D1 Not Present
Node 0 Ch0 Dimm D2 Not Present
Node 0 Ch3 Dimm D3 Not Present
CPU2 DIMM Information

5-18 Chapter 5: BIOS setup
Mmio Ratio Skt0 [6]
This item appears only when you set the IOH Resource Selection Type item
to [manual]. Use the <+> and <-> keys to adjust the value. The values range
from 1 to 8 with a one-second interval.
MMIOH Size [64G]
Select number of 1GB contiguous regions to be assigned for MMIOH space.
Conguration options: [1G] [2G] [4G] [8G] [16G] [32G] [64G] [128G]
IOH0 PCIe port Bifurcation Control
IOU1 - PCIe Port [x4x4]
Conguration options: [x4x4] [x8]
PORT 1A Link Speed [Gen2]
Select target link speed Gen1, Gen2 or Gen3.
Conguration options: [Gen1] [Gen2] [Gen3]
PORT 1B Link Speed [Gen2]
Select target link speed Gen1, Gen2 or Gen3.
Conguration options: [Gen1] [Gen2] [Gen3]
IOU2 - PCIe Port [x16]
Conguration options: [x4x4x4x4] [x4x4x8] [x8x4x4] [x8x8] [x16]
PORT 2A Link Speed [Gen2]
Select target link speed Gen1, Gen2 or Gen3.
Conguration options: [Gen1] [Gen2] [Gen3]
IOU3 - PCIe Port [x8x8]
Conguration options: [x4x4x4x4] [x4x4x8] [x8x4x4] [x8x8] [x16]
Gen3 Equalization WA’s [Disabled]
Support for Gen3 equalization workarounds mentioned in SMB_BSU Version 0.83.
Conguration options: [Enabled] [Disabled]
IOH Resource Selection Type [Auto]
Allows to select auto/manual. When auto option is selected PCI resource allocation
across multiple IOHs is optimized automatically based on the PCI device present.
With manual option user can force the PCI resource allocation across multiple
IOHs based on the ratio selected. Conguration options: [Auto] [Manual]
IO Ratio Skt0 [3]
This item appears only when you set the IOH Resource Selection Type item
to [manual]. Use the <+> and <-> keys to adjust the value. The values range
from 1 to 8 with a one-second interval.

ASUS RS700-E7/RS8 5-19
Support for PCH Compatibility
Revision ID(CRID)
functionality.
Name Patsburg
Stepping 05 (C0 Stepping)
SB Chipset Conguration
PCH Compatibility RID [Disabled]
SMBus Controller [Enabled]
SLP_S4 Assertion Stretch Enable [Enabled]
SLP_S4 Assertion Stretch Enable [4-5 Seconds]
Deep Sx [Disabled]
SCU devices [Enabled]
Onboard SAS Oprom [Enabled]
Onboard SATA RAID Oprom [Enabled]
High Precision Event Timer Conguration
High Precision Timer [Enabled]
Thermal Management [Disabled]
→←: Select Screen
↑↓: Select Item
Enter: Select Item
+/-: Change Opt.
F1: General Help
F2: Previous Values
F5: Optimized Defaults
F10: Save & Exit
ESC: Exit
PCHConguration
PCH Compatibility RID [Disabled]
Support for PCH compatibility.
Conguration options: [Disabled] [Enabled]
SMBus Controller [Enabled]
Allows to enabled/disabled SMBus controller.
Conguration options: [Disabled] [Enabled]
SLP_S4 Assertion Stretch Enable [Enabled]
Allows to enabled/disabled SLP_S4# assertion stretch.
Conguration options: [Disabled] [Enabled]
SLP_S4 Assertion Stretch Enable [4-5 Seconds]
Select a minimum assertion width of the SLP_S4# signal.
Conguration options: [1-2 Seconds] [2-3 Seconds] [3-4 Seconds] [4-5 Seconds]
Aptio Setup Utility - Copyright (C) 2011 American Megatrends, Inc.
Advanced
Version 2.14.1219. Copyright (C) 2011 American Megatrends, Inc.
PORT 3A Link Speed [Gen2]
Select target link speed Gen1, Gen2 or Gen3.
Conguration options: [Gen1] [Gen2] [Gen3]
PORT 3C Link Speed [Gen2]
Select target link speed Gen1, Gen2 or Gen3.
Conguration options: [Gen1] [Gen2] [Gen3]
IOH1 PCIe port Bifurcation Control
This item appears only when you installed CPU2 on the motherboard.

5-20 Chapter 5: BIOS setup
SCU devices [Enabled]
Allows to enabled/disabled Patsburg SCU devices.
Conguration options: [Enabled] [Disabled]
Onboard SAS Oprom [Enabled]
Allows to enabled/disabled onboard SAS option rom if Launch Storage Oprom is
enabled. Conguration options: [Disabled] [Enabled]
Onboard SATA RAID Oprom [Enabled]
Allows to enabled/disabled onboard SATA RAID option rom if Launch Storage
Oprom is enabled. Conguration options: [Disabled] [Enabled]
HighPrecisionEventTimerConguration
High Precision Timer [Enabled]
Allows to enabled/disabled High Precision Event Timer.
Conguration options: [Disabled] [Enabled]
Thermal Management [Disabled]
Allows to enable/disable thermal management. If enabled will initilaize the PCH
Thermal susbsystem davice, D31:F6. Conguration options: [Disabled] [Enabled]
The following item appears only when you set Thermal Management to
[Enabled].
ME SMBus Thermal Peporting [Disabled]
Allows to enable/disable thermal ME SMBus thermal reporting.
Conguration options: [Disabled] [Enabled]
The following item appears only when you set ME SMBus Thermal Peporting
to [Enabled].
PCH Temp Read [Enabled]
Allows to enabled/disabled PCH Temperature Read.
Conguration options: [Disabled] [Enabled]
Deep Sx [Disabled]
Conguration options: [Disabled] [Enabled in S5 (Battery)] [Enabled in S5] [Enabled
in S4 and S5 (Battery)] [Enabled in S4 and S5]
Mobile platforms support deep S4/S5 in DC only and desktop platforms support
deep S4/S5 in AC only.

ASUS RS700-E7/RS8 5-21
Enables or Disables BIOS ACPI
Auto Conguration.
Intel(R) VT-d [Disabled]
Intel(R) VT-d [Disabled]
Allows to enabled/disabled High Precision Event Timer.
Conguration options: [Enabled] [Disabled]
Intel(R)VTforDirectedI/OConguration
The following item appears only when you set Alert Enable Lock to [Enabled].
PCH Alert [Disabled]
Allows to enabled/disabled PCH Alert pin. Conguration options: [Disabled]
[Enabled]
DIMM Alert [Disabled]
Allows to enabled/disabled DIMM Alert pin.
Conguration options: [Disabled] [Enabled]
The following item appears only when you set Intel(R) VT-d to [Enabled].
Interrupt Remapping [Enabled]
Allows to enable/disable VT-d Engine Interrupt Remapping support.
Conguration options: [Disabled] [Enabled]
Coherency Support [Disabled]
Allows to enable/disable VT-d Engine Coherency support.
Conguration options: [Disabled] [Enabled]
ATS Support [Disabled]
Allows to enable/disable VT-d Engine address translation services (ATS)
support. Conguration options: [Disabled] [Enabled]
Pass-through DMA [Enabled]
Allows to enable/disable VT-d Engine pass through DMA support.
Conguration options: [Disabled] [Enabled]
Aptio Setup Utility - Copyright (C) 2011 American Megatrends, Inc.
Advanced
CPU Energy Read [Enabled]
Allows to enabled/disabled CPU Energy. Conguration options: [Disabled] [Enabled]
CPU Temp Read [Enabled]
Allows to enabled/disabled CPUTemperature Read.
Conguration options: [Disabled] [Enabled]
Alert Enable Lock [Disabled]
Allows to lock all alert enabled settings.Conguration options: [Disabled] [Enabled]

5-22 Chapter 5: BIOS setup
5.4.4 PCHSATAConguration
(1)IDE Mode. (2)AHCI Mode.
(3)RAID Mode.
SATA Port1 Not Present
SATA Port2 ASUS DWR ATAPI
SATA Port3 WDC WD800JD(80.0GB)
SATA Port4 Not Present
SATA Port5 Not Present
SATA Port6 Not Present
SATA Mode [IDE Mode]
Serial-ATA Controller 0 [Enhanced]
Serial-ATA Controller 1 [Enhanced]
S.M.A.R.T. Status Check [Enabled]
→←: Select Screen
↑↓: Select Item
Enter: Select Item
+/-: Change Opt.
F1: General Help
F2: Previous Values
F5: Optimized Defaults
F10: Save & Exit
ESC: Exit
SATA Mode [IDE Mode]
Allows you to set the SATA conguration.
Conguration options: [Disabled] [IDE Mode] [AHCI Mode] [RAID Mode]
• If you want to use the Serial ATA hard disk drives as Parallel ATA physical
storage devices, keep the default setting [IDE Mode].
• If you want the Serial ATA hard disk drives to use the Advanced Host
Controller Interface (AHCI), set this item to [AHCI Mode]. The AHCI allows
the onboard storage driver to enable advanced Serial ATA features that
increases storage performance on random workloads by allowing the drive
to internally optimize the order of commands.
• If you want to create RAID sets with LSI MegaRAID utility, or Intel® Rapid
Storage Technology Enterprise from the Serial ATA hard disk drives, set this
item to [RAID Mode].
Aptio Setup Utility - Copyright (C) 2011 American Megatrends, Inc.
Advanced
Version 2.14.1219. Copyright (C) 2011 American Megatrends, Inc.
Serial-ATA Controller 0 [Enhanced]
This item appears only when you set the SATA Mode item to [IDE Mode]. Set to
[Enhanced] to support two SATA 6.0 Gb/s and two SATA 3.0 Gb/s devices. Set to
[Compatible] when using Windows 98/NT/2000/MS-DOS. Up to four SATA devices
are supported under these operating systems.
Conguration options: [Disabled] [Enhanced] [Compatible]
Serial-ATA Controller 1 [Enhanced]
This item appears only when you set the SATA Mode item to [IDE Mode]. Set
to [Enhanced] to support two SATA 3.0 Gb/s devices. Conguration options:
[Disabled] [Enhanced]

ASUS RS700-E7/RS8 5-23
5.4.5 PCHSCUSASConguration
The PCH SCU SAS conguration items appears only when you installed the ASRK
Module (optional) on the motherboard.
5.4.6 PCI Subsystem Settings
In case of multiple Option
ROMs (Legacy and EFI
Compatible), species what
PCI option ROM to lanuch.
PCI Bus Driver Version V 2.05.00
PCI Option ROM Handling
PCI ROM Priority [EFI Compatible ROM]
PCI 64bit Resources Handling
Above 4G Decoding [Disabled]
PCI Common Setting
PCI Latency Timer [32 PCI Bus Clocks]
VGA Palette Snoop [Disabled]
PERR# Generation [Disabled]
SERR# Generation [Disabled]
PCI Express Settings
PCI Express Gen2 Settings
PCIE Slot Option Rom Conguration
→←: Select Screen
↑↓: Select Item
Enter: Select Item
+/-: Change Opt.
F1: General Help
F2: Previous Values
F5: Optimized Defaults
F10: Save & Exit
ESC: Exit
S.M.A.R.T. Status Check [Enabled]
S.M.A.R.T. (Self-Monitoring, Analysis and Reporting Technology) is a monitor
system. When read/write of your hard disk errors occur, this feature allows the hard
disk to report warning messages during the POST.
Conguration options: [Enabled] [Disabled]
Aptio Setup Utility - Copyright (C) 2011 American Megatrends, Inc.
Advanced
Version 2.14.1219. Copyright (C) 2011 American Megatrends, Inc.
PCI ROM Priority [EFI Compatible ROM]
In case of multiple option roms (Legacy and EFI Compatible), species what PCI
option rom to lanuch.Conguration options: [Legacy ROM] [EFI Compatible ROM]
Above 4G Decoding [Disabled]
Enables or disables 64bit capable devices to be decode in above 4G address (only
if system supports 64bit PCI decoding). Conguration options: [Disabled] [Enabled]
PCI Latency Timer [32 PCI Bus Clocks]
Value to be programmed into PCI latency timer register
Conguration options: [32 PCI Bus Clocks] [64 PCI Bus Clocks] [96 PCI Bus
Clocks] [128 PCI Bus Clocks] [160 PCI Bus Clocks] [192 PCI Bus Clocks] [224 PCI
Bus Clocks] [248 PCI Bus Clocks]

5-24 Chapter 5: BIOS setup
VGA Palette Snoop [Disabled]
Enables or disables VGA pallette registers snooping.
Conguration options: [Disabled] [Enabled]
PERR# Generation [Disabled]
Enables or disables PCI device to generate PERR#.
Conguration options: [Disabled] [Enabled]
SERR# Generation [Disabled]
Enables or disables PCI device to generate SERR#.
Conguration options: [Disabled] [Enabled]
PCI Express Settings
Enables or DisablesPCI
Express Device Relaxed
Ordering.
PCI Express Device Register Settings
Relaxed Ordering [Disabled]
Extended Tag [Disabled]
No Snoop [Enabled]
Maximum Payload [Auto]
Maximum Read Request [Auto]
PCI Express Link Register Settings
ASPM Support [Disabled]
WARNING: Enabling ASPM may cause some
PCI-E device to fail
Extended Synch [Disabled]
Link Training Retry 8
Link Training Timeout (US) 250
Unpopulated Links [Keep Link ON]
→←: Select Screen
↑↓: Select Item
Enter: Select Item
+/-: Change Opt.
F1: General Help
F2: Previous Values
F5: Optimized Defaults
F10: Save & Exit
ESC: Exit
Aptio Setup Utility - Copyright (C) 2011 American Megatrends, Inc.
Advanced
Version 2.14.1219. Copyright (C) 2011 American Megatrends, Inc.
Relaxed Ordering [Disabled]
Enables or disables PCI Express device relaxed ordering.
Conguration options: [Disabled] [Enabled]
Extended Tag [Disabled]
If Enable allows device is use 8-bit tag eld as a requester.
Conguration options: [Disabled] [Enabled]
No Snoop [Enabled]
Enables or disables PCI Express device No snoop option.
Conguration options: [Disabled] [Enabled]

ASUS RS700-E7/RS8 5-25
Maximum Payload [Auto]
Set Maximum Payload of PCI Express device or allow system BIOS to select the
value.
Conguration options: [Auto] [128 Bytes] [256 Bytes] [512 Bytes] [1024 Bytes]
[2048 Bytes] [4096 Bytes]
Maximum Read Request [Auto]
Set Maximum Read Request of PCI Express device or allow system BIOS to select
the value.
Conguration options: [Auto] [128 Bytes] [256 Bytes] [512 Bytes] [1024 Bytes]
[2048 Bytes] [4096 Bytes]
PCI Express Link Register Settings
ASPM Support [Disabled]
Allows to set the ASPM level. Conguration options: [Disabled] [Auot] [Force L0s]
[Force L0s] Force all links to L0s state.
[Auto] BIOS auto congure.
[Disabled] Disabled ASPM.
Extended Synch [Disabled]
If Enabled allows generation of Extended synchronization patterns.
Conguration options: [Disabled] [Enabled]
Link Training Retry [8]
Denes number od retry attempts software will take to ratrain the link if previous
training attempt was unsuccessful. Conguration options: [Disabled] [2] [3] [5] [8]
Link Training Timeout (uS) [250]
Use the <+> and <-> keys to adjust the value. The values range from 10 to 1000
uS with a 10 interval.
Unpopulated Links [Keep Link ON]
In order to save power, software will disable unpopulated PCI Express links, if this
option set to Disabled.
Conguration options: [Keep Link ON] [Disabled]

5-26 Chapter 5: BIOS setup
PCI Express GEN2 Device Register Settings
In device Functions that
support Completion Timeout
programmability, allows
system software to modify
the Completion Timout value.
‘Default’ 50us to 50ms.
If ‘Shorter’ is selected,
software will use shorter
timeout ranges supported
by hardware.If ‘Longer’ is
selected, software will use.
PCI Express GEN2 Device Register Settings
Completion Timeout [Default]
ARI Forwarding [Disabled]
Atomic0p Requester Enable [Disabled]
Atomic0p Egress Blocking [Disabled]
ID0 Request Enable [Disabled]
ID0 Completion Enable [Disabled]
LTR Mechanism Enable [Disabled]
End-End TLP Prex Blocking [Disabled]
PCI Express GEN2 Link Register
Target Link Speed [Auto]
Clock Power Management [Disabled]
Compliance SOS [Disabled]
Hardware Autonomous Width [Enabled]
Hardware Autonomous Speed [Enabled]
→←: Select Screen
↑↓: Select Item
Enter: Select Item
+/-: Change Opt.
F1: General Help
F2: Previous Values
F5: Optimized Defaults
F10: Save & Exit
ESC: Exit
Completion Timeout [Default]
In device Functions that support Completion Timeout programmability, allows
system software to modify the Completion Timout value. ‘Default’ 50us to 50ms.
If ‘Shorter’ is selected, software will use shorter timeout ranges supported by
hardware.If ‘Longer’ is selected, software will use.
Conguration options: [Default] [Shorter] [Longer] [Disabled]
ARI Forwarding [Disabled]
If supported by hardware and set to ‘Enabled’, the Downstream Port disables
its traditional Device Number eld being 0 enforcement when turning a Type 1
Conguration Request into a Type 0 Conguration Request, permitting access to
Extended Functions in ab ART Device immediately below the port.
Conguration options: [Disabled] [Enabled]
Atomic0p Requester Enable [Disabled]
If supported by hardware and set to ‘Enabled’, this function initistes Atomc0p
Requests only if Bus Master Enable bit is in the Command Register set.
Conguration options: [Disabled] [Enabled]
Atomic0p Egress Blocking [Disabled]
If supported by hardware and set to ‘Enabled’, outbound Atomic0p Requests via
Egress Ports will be blocked. Conguration options: [Disabled] [Enabled]
ID0 Request Enable [Disabled]
If supported by hardware and set to ‘Enabled’, this permits setting the number of
ID-Based Ordering (ID0) bit (Attribute [2]) requests to be initiated. Conguration
options: [Disabled] [Enabled]
Version 2.14.1219. Copyright (C) 2011 American Megatrends, Inc.
Aptio Setup Utility - Copyright (C) 2011 American Megatrends, Inc.
Advanced

ASUS RS700-E7/RS8 5-27
ID0 Completion Enable [Disabled]
If supported by hardware and set to ‘Enabled’, this permits setting the number of
ID-Based Ordering (ID0) bit (Attribute [2]) requests to be initiated.
Conguration options: [Disabled] [Enabled]
LTR Mechanism Enable [Disabled]
If supported by hardware and set to ‘Enabled’, this enables the Latency Tolerance
Reporting (LTR) Mechanism. Conguration options: [Disabled] [Enabled]
End-EndTLPPrexBlocking[Disabled]
If supported by hardware and set to ‘Enabled’, this function will bolck forwarding of
TLPs containing End-End TLP Prexes.
Conguration options: [Disabled] [Enabled]
PCI Express GEN2 Link Register
Target Link Speed [Auto]
Conguration options: [Auto] [Force to 2.5 GT/s] [Force to 5.0 GT/s]
Clock Power Management [Disabled]
Conguration options: [Disabled] [Enabled]
Compliance SOS [Disabled]
Conguration options: [Disabled] [Enabled]
Hardware Autonomous Width [Enabled]
Conguration options: [Enabled] [Disabled]
Hardware Autonomous Speed [Enabled]
Conguration options: [Enabled] [Disabled]

5-28 Chapter 5: BIOS setup
PCIESlotOptionRomConguration
Enables or disables
boot option for legacy
mass storage device with
option ROM.
Legacy 0pROM Support
Launch Storage 0pROM [Enabled]
PCIE1 Option Rom [Enabled]
PCIE2 Option Rom [Enabled]
PCIE3 Option Rom [Enabled]
PCIE4 Option Rom [Enabled]
PCIE5 Option Rom [Enabled]
→←: Select Screen
↑↓: Select Item
Enter: Select Item
+/-: Change Opt.
F1: General Help
F2: Previous Values
F5: Optimized Defaults
F10: Save & Exit
ESC: Exit
Launch Storage 0pROM [Enabled]
Enables or disables boot option for legacy mass storage device with option ROM.
Conguration options: [Disabled] [Enabled]
PCIE1 Option Rom [Enabled]
Conguration options: [Disabled] [Enabled]
PCIE2 Option Rom [Enabled]
Conguration options: [Disabled] [Enabled]
PCIE3 Option Rom [Enabled]
Conguration options: [Disabled] [Enabled]
PCIE4 Option Rom [Enabled]
Conguration options: [Disabled] [Enabled]
PCIE5 Option Rom [Enabled]
Conguration options: [Disabled] [Enabled]
Version 2.14.1219. Copyright (C) 2011 American Megatrends, Inc.
Aptio Setup Utility - Copyright (C) 2011 American Megatrends, Inc.
Advanced

ASUS RS700-E7/RS8 5-29
5.4.7 OnboardLANConguration
Intel LAN Enable/Disable.
Onboard LAN Conguration
Intel LAN Support [Enabled]
Intel LAN ROM Type [PXE]
Intel LAN1 Enable [Enabled]
LAN1 Option ROM Support [Enabled]
Intel LAN2 Enable [Enabled]
LAN2 Option ROM Support [Enabled]
Intel LAN3 Enable [Enabled]
LAN3 Option ROM Support [Enabled]
Intel LAN4 Enable [Enabled]
LAN4 Option ROM Support [Enabled]
→←: Select Screen
↑↓: Select Item
Enter: Select Item
+/-: Change Opt.
F1: General Help
F2: Previous Values
F5: Optimized Defaults
F10: Save & Exit
ESC: Exit
Intel LAN1 Enable [Enabled]
Enables or disables Intel LAN1 function. Conguration options: [Disabled]
[Enabled]
LAN1 Option ROM Support [Enabled]
Conguration options: [Disabled] [Enabled]
Intel LAN2 Enable [Enabled]
Enables or disables Intel LAN2 function. Conguration options: [Disabled]
[Enabled]
LAN2 Option ROM Support [Enabled]
Conguration options: [Disabled] [Enabled]
The following item appears only when you set Intel LAN Support to [Enabled].
Intel LAN Support [Enabled]
Enables or disables Intel LAN function. Conguration options: [Disabled] [Enabled]
Intel LAN ROM Type [PXE]
Conguration options: [PXE] [iSCSI]
Aptio Setup Utility - Copyright (C) 2011 American Megatrends, Inc.
Advanced
Version 2.14.1219. Copyright (C) 2011 American Megatrends, Inc.

5-30 Chapter 5: BIOS setup
Intel LAN3 Enable [Enabled]
Enables or disables Intel LAN1 function. Conguration options: [Disabled]
[Enabled]
LAN3 Option ROM Support [Enabled]
Conguration options: [Disabled] [Enabled]
Intel LAN4 Enable [Enabled]
Enables or disables Intel LAN1 function. Conguration options: [Disabled]
[Enabled]
LAN4 Option ROM Support [Enabled]
Conguration options: [Disabled] [Enabled]
5.4.8 USBConguration
Enabled Legacy USB support.
Auto option disables legacy
support if no USB devices
are connected. DISABLE
option will keep USB devices
available only for EFI
applications.
USB Conguration
USB Devices:
3Drivers, 1Keyboard, 1 Mouse, 3 Hubs
Legacy USB Support [Enabled]
EHCI Hand-off [Disabled]
Port 60/64 Emulation [Enabled]
USB Hardware Delays and Time-outs
USB transfer time-out [20 sec]
Device reset time-out [20 sec]
Device power-up delay [Auto]
Mass Storage Devices:
AMI Virtual CDROM0 1.00 [Auto]
AMI Virtual Floppy0 1.00 [Auto]
AMI Virtual HDISK0 1.00 [Auto]
USB Ports Conguration
→←: Select Screen
↑↓: Select Item
Enter: Select Item
+/-: Change Opt.
F1: General Help
F2: Previous Values
F5: Optimized Defaults
F10: Save & Exit
ESC: Exit
Legacy USB Support [Enabled]
Enables or disables Legacy USB device support.
Conguration options: [Enabled] [Disabled] [Auto]
EHCI Hand-off [Disabled]
This is a workaround for 0ses without EHCI ownership change should be clained
by EHCI driver. Conguration options: [Disabled] [Enabled]
Port 60/64 Emulation [Enabled]
Enables I/O port 60h/64h emulation support. This should be enabled fot the
complete USB keyboard legacy support for non-USB aware 0ses.
Conguration options: [Disabled] [Enabled]
Aptio Setup Utility - Copyright (C) 2011 American Megatrends, Inc.
Advanced
Version 2.14.1219. Copyright (C) 2011 American Megatrends, Inc.

ASUS RS700-E7/RS8 5-31
USB Hardware Delays and Time-outs
USB transfer time-out [20 sec]
The time-out value for control, bulk, and interrupt transfer.
Conguration options: [1 sec] [5 sec] [10 sec] [20 sec]
Device reset time-out [20 sec]
USB mass storage device start unit command time-out.
Conguration options: [10 sec] [20 sec] [30 sec] [40 sec]
Device power-up delay [Auto]
Maximum time the device will take before it property reports itself to the Host
Controller. ‘Auto’ uses default valus: for a Root port it is 100ms, for a Hub port the
delay is taken from Hub descriptor. Conguration options: [Auto] [Manual]
The following item appears only when you set Device power-up delay to
[Manual].
Mass Storage Devices:
AMI Virtual CDROM0 1.00 [Auto]
Mass storage device emulation type ‘Auto’ enumerates devices are emilated as
‘CDROM’, drivers with no media will be emulated according to a drive type.
Conguration options: [Auto] [Floppy] [Forced FDD] [Hard Disk] [CD-ROM]
AMI Virtual Floppy0 1.00 [Auto]
Mass storage device emulation type ‘Auto’ enumerates devices are emilated as
‘CDROM’, drivers with no media will be emulated according to a drive type.
Conguration options: [Auto] [Floppy] [Forced FDD] [Hard Disk] [CD-ROM]
AMI Virtual HDISK0 1.00 [Auto]
Mass storage device emulation type ‘Auto’ enumerates devices are emilated as
‘CDROM’, drivers with no media will be emulated according to a drive type.
Conguration options: [Auto] [Floppy] [Forced FDD] [Hard Disk] [CD-ROM]

5-32 Chapter 5: BIOS setup
5.4.9 Trusted Computing
Enables or Disables BIOS
support for security device.
O.S. will not show Security
Device. TCG EFI protocol and
INT1A interface will not be
available.
Conguration
TPM SUPPORT [Enabled]
Current Status Information
No Security Device Found
TPM Support [Enabled]
Allows you to enable or disable the TPM support.
Conguration options: [Disabled] [Enabled]
Aptio Setup Utility - Copyright (C) 2011 American Megatrends, Inc.
Advanced
Enable/Disable USB 2.0 (EHCI)
Support.
EHCI Controller 1 [Enabled]
EHCI Controller 2 [Enabled]
Rear USB #1 [Enabled]
Rear USB #2 [Enabled]
Onboard USB #3 [Enabled]
Onboard USB #4 [Enabled]
Onboard USB #5 [Enabled]
Onboard USB #6 [Enabled]
Onboard USB #10 [Enabled]
→←: Select Screen
↑↓: Select Item
Enter: Select Item
+/-: Change Opt.
F1: General Help
F2: Previous Values
F5: Optimized Defaults
F10: Save & Exit
ESC: Exit
USBPortsConguration
Aptio Setup Utility - Copyright (C) 2011 American Megatrends, Inc.
Advanced
Version 2.14.1219. Copyright (C) 2011 American Megatrends, Inc.
EHCI Controller 1/2 [Enabled]
Allows to enable or disable USB 2.0 (EHCI) Support. If we disable the EHCI
Controller in BIOS > South Bridge > USB conguration, the USB device will all
disable in OS.
Conguration options: [Disabled] [Enabled]
Rear USB #1 and #2 [Enabled]
Allows to enable or disable rear USB #1 and #2.
Conguration options: [Disabled] [Enabled]
Onboard USB #3/#4/#5/#6/#10 [Enabled]
Allows to enable or disable Onboard USB #3 / #4 / #5 / #6 / #10.
Conguration options: [Disabled] [Enabled]

ASUS RS700-E7/RS8 5-33
5.4.10 ACPI Settings
Enables or Disables BIOS ACPI
Auto Conguration.
ACPI Settings
Enable ACPI Auto Conguration [Disabled]
Enabled Hibernation [Enabled]
ACPI Sleep State [S1 (CPU Stop Clock)]
Lock Legacy Resources [Disabled]
EnableACPIAutoConguration[Disabled]
Allows you to enable or disable BIOS ACPI Auto Conguration.
Conguration options: [Disabled] [Enabled]
Aptio Setup Utility - Copyright (C) 2011 American Megatrends, Inc.
Advanced
Enable Hibernation [Enabled]
Enables or disables system ability to Hibernate (0S/S4 sleep state). This option
may be not effective with some OS.
Conguration options: [Disabled] [Enabled]
ACPI Sleep State [S1 (CPU Stop Clock)]
Allows you to set the ACPI Sleep State.
Conguration options: [Suspend Disabled] [S1 (CPU Stop Clock)] [S3 (Suspend to
RAM)]
Lock Legacy Resources [Disabled]
Allows to enable or disable Lock Legacy Resources.
Conguration options: [Disabled] [Enabled]
The following item appears only when you set Enabled ACPI Auto
Congurationto [Disabled].

5-34 Chapter 5: BIOS setup
5.4.11 WHEAConguration
Enable or disable Windows
Hardware Error Architecture.
WHEA Support [Enabled]
WHEA Support [Enabled]
Allows you to enable or disable the Windows Hardware Error Architecture support.
Conguration options: [Disabled] [Enabled]
5.4.12 APM
Restore AC Power Loss [Last State]
When set to [Power Off], the system goes into off state after an AC power loss.
When set to [Power On], the system will reboot after an AC power loss. When set
to [Last State], the system goes into either off or on state, whatever the system
state was before the AC power loss.
Conguration options: [Power Off] [Power On] [Last State]
Power On By PCIE [Disabled]
[Disabled] Disables the PCIE devices to generate a wake event.
[Enabled] Enables the PCIE devices to generate a wake event.
Power On By RTC [Disabled]
[Disabled] Disables RTC to generate a wake event.
[Enabled] When set to [Eanbled], the items RTC Alarm Date (Days) and
Hour/Minute/Second will become user-congurable with set
values.
Aptio Setup Utility - Copyright (C) 2011 American Megatrends, Inc.
Advanced
Specify what state to go to
when power is re-applied after
a power failure (G3 state).
Restrore AC Power Loss [Last State]
Power On By PCIE [Disabled]
Power On By RTC [Disabled]
Aptio Setup Utility - Copyright (C) 2011 American Megatrends, Inc.
Advanced

ASUS RS700-E7/RS8 5-35
5.4.13 Serial Port Console Redirection
COM1
Console Redirection [Disabled]
Console Redirection Settings
COM2
Console Redirection [Disabled]
Console Redirection Settings
Serial Port for Out-of-Band Management/
Windows Emergency Management Services (EMS)
Console Redirection [Disabled]
Console Redirection Settings
Console Redirection Settings
This item becomes congurable only when you enable the Console Redirection
item. The settings specify how the host computer and the remote computer (which
the user is using) will exchange data. Both computers should have the same or
compatible settings.
Terminal Type [VT-UTF8]
Allows you to set the terminal type.
[VT100] ASCII char set.
[VT100+] Extends VT100 to support color, function keys, et.
[VT-UTF8] Uses UTF8 encoding to map Unicode chars onto 1 or more bytes
[ANSI] Extended ASCII char set
Bits per second [57600]
Selects serial port transmission speed. The speed must be matched on the
other side. Long or noisy lines may require lower speeds.
Conguration options: [9600] [19200] [38400] [57600] [115200]
→←: Select Screen
↑↓: Select Item
Enter: Select Item
+/-: Change Opt.
F1: General Help
F2: Previous Values
F5: Optimized Defaults
F10: Save & Exit
ESC: Exit
Version 2.14.1219. Copyright (C) 2011 American Megatrends, Inc.
Consloe Redirection Enable
or Disable.
Aptio Setup Utility - Copyright (C) 2011 American Megatrends, Inc.
Advanced
The following item appears only when you set Consloe Redirection to
[Enabled].
COM1
Console Redirection [Disabled]
Enables or disables the console redirection feature.
Conguration options: [Disabled] [Enabled]

5-36 Chapter 5: BIOS setup
Data Bits [8]
Conguration options: [7] [8]
Parity [None]
A parity bit can be sent with the data bits to detect some transmission errors.
[Mark] and [Space] parity do not allow for error detection.
[Even] parity bit is 0 if the num of 1’s in the data bits is even
[Odd] parity bit is 0 if num of 1’s in the data bits is odd
[Mark] parity bit is always 1
[Space] parity bit is always 0
Stop Bits [1]
Stop bits indicate the end of a serial data packet. (A start bit indicates the
beginning.) The standard setting is 1 stop bit. Communication with slow
devices may require more than 1 stop bit. Conguration options: [1] [2]
Flow Control [None]
Flow control can prevent data loss from buffer overow. When sending data,
if the receiving buffers are full, a “stop” signal can be sent to stop the data
ow. Once the buffers are empty, a “start” signal can be sent to re-start the
ow. Hardware ow control uses two wires to send start/stop signals.
Conguration options: [None] [Hardware RTS/CTS]
Recorder Mode [Disabled]
With this mode enabled only text will be sent. This is to capture Terminal data.
Conguration options: [Disabled] [Enabled]
Recorder 100x31 [Disabled]
Allows to enable or disable extend terminal resolution.
Conguration options: [Disabled] [Enabled]
Legacy OS Redirction Resolution [80x24]
Congures the number of rows and columns supported on legacy OS.
Conguration options: [80x24] [80x25]
COM2
Console Redirection [Disabled]
Enables or disables the console redirection feature.
Conguration options: [Disabled] [Enabled]
Console Redirection Settings
Please refer to the description of the Console Redirection Settings item under
COM1 for details.

ASUS RS700-E7/RS8 5-37
Serial Port for Out-of-Band Management/
Windows Emergency Management Services (EMS)
Console Redirection [Disabled]
Enables or disables the console redirection feature.
Conguration options: [Disabled] [Enabled]
Console Redirection Settings
Out-of-Band Mgmt Port [COM1]
Microsoft Windows Emergency Management Services (EMS) allow for
remote management of a Windows Server OS through a serial port.
Conguration options: [COM1] [COM2]
Terminal Type [VT-UTF8]
Microsoft Windows Emergency Management Services (EMS) allow for
remote management of a Windows Server OS through a serial port.
Conguration options: [VT100] [VT100+] [VT-UTF8] [ANSI]
Bits per second [115200]
Microsoft Windows Emergency Management Services (EMS) allow for
remote management of a Windows Server OS through a serial port.
Conguration options: [9600] [19200] [57600] [115200]
Flow Control [None]
Microsoft Windows Emergency Management Services (EMS) allow for
remote management of a Windows Server OS through a serial port.
Conguration options: [None] [Hardware RTS/CTS] [Software Xon/Xoff]
The following item appears only when you set Consloe Redirection to
[Enabled].

5-38 Chapter 5: BIOS setup
5.4.14 ME Subsystem
Intel ME Subsystem Conguration
ME Subsystem [Enabled]
ME BIOS Interface Version 1.2
ME Version 2.1.5.43
ME FW Status Value : 0xf0345
ME FW State : SPS ME FW Active
ME FW Operation State: M0 without UMA
ME FW Error Code: No Error
ME Ext FW Status value: 0x3900e301
BIOS Booting Mode: Performance Optimized
Cores Disabled: 0
ME FW SKU Information: SiEn NM
ME Subsystem [Enabled]
Conguration options: [Disabled] [Enabled]
5.4.15 LegacyDevicesConguration
Serial Port 1 Conguration
Serial Port 2 Conguration
SerialPort1/2Conguration
Serial Port Conguration
Serial Port [Enabled]
Device Settings I0=3F8h; IRQ=4
Device Mode [Standard Serial Po...]
→←: Select Screen
↑↓: Select Item
Enter: Select Item
+/-: Change Opt.
F1: General Help
F2: Previous Values
F5: Optimized Defaults
F10: Save & Exit
ESC: Exit
Aptio Setup Utility - Copyright (C) 2011 American Megatrends, Inc.
Advanced
Aptio Setup Utility - Copyright (C) 2011 American Megatrends, Inc.
Advanced
Aptio Setup Utility - Copyright (C) 2011 American Megatrends, Inc.
Advanced
Version 2.14.1219. Copyright (C) 2011 American Megatrends, Inc.
ME Subsystem Help.
Set Parameters of serial
Port 1(COM1).
Enable or Disable Serial
Port(COM).

ASUS RS700-E7/RS8 5-39
5.4.16 Runtime Error Logging
Runtime Error Logging Support [Disabled]
Runtime Error Logging Support [Disabled]
This item allows you to enables or disables Runtime Error Logging Support.
Conguration options: [Disabled] [Enabled]
Serial Port [Enabled]
Allows to enables or disables the serial port.
Conguration options: [Disabled] [Enabled]
Device Mode [Standard Serial Port Mode]
Allows to change the serial port mode.
Conguration options: [Standard Serial Port Mode]
Aptio Setup Utility - Copyright (C) 2011 American Megatrends, Inc.
Advanced
The following item appears only when you set Runtime Error Logging Support
to [Enabled].
Memory Corr. Error Threshold [10]
Allows you to set the memory correctable error threshould value. Use the <+> and
<-> keys to adjust the value.
PCI Error Logging Support [Disabled]
Allows to enables or disables PCI Error Logging.
Conguration options: [Disabled] [Enabled].
Posion Support [Disabled]
Allows to enables or disables Posion Support.When posioning is enabled, CPU
dose not signal the uncorrectable error via MCERR but may signal CMCI is
enabled. Conguration options: [Disabled] [Enabled].

5-40 Chapter 5: BIOS setup
5.5 Server Mgmt menu
The Server Mgmt menu displays the server mgmt status, and allows you to change
the settings.
Aptio Setup Utility - Copyright (C) 2011 American Megatrends, Inc.
Main Advanced Server Mgmt Event Logs Boot Monitor Security Tool Exit
BMC Firmware: 1.03
BMC Detect Timout 120
FRB-2 Timer timeout [6 minutes]
FRB-2 Timer Policy [Reset]
O/S Watchdog Timer [Disabled]
O/S Wtd Timer Timeout [10 minutes]
O/S Wtd Timer Policy [Reset]
System Event Log
BMC network conguration →←: Select Screen
↑↓: Select Item
Enter: Select Item
+/-: Change Opt.
F1: General Help
F2: Previous Values
F5: Optimized Defaults
F10: Save & Exit
ESC: Exit
Version 2.14.1219. Copyright (C) 2011 American Megatrends, Inc.
BMC Detect Timout [120]
Allows you to set the number of seconds to wait for BMC. Use the <+> and <->
keys to adjust the value.
FRB-2 Timer timeout [6 minutes]
Enter value between 3 to 6 minutes for FRB Timer Expiratin value.
Conguration options: [3 minutes] [4 minutes] [5 minutes] [6 minutes]
FRB-2 Timer Policy [Reset]
Allows to congure how the system should respond if the FRB2 Timer exprise. Not
available if FRB2 Timer is disabled.
Conguration options: [Do Nothing] [Reset] [Power Down]
O/S Watchdog Timer [Disabled]
If enabled, starts a BIOS timer which can only be shut off by Intel Management
Software after the OS loads. Helps determine that the OS sucessfully loaded or
follows the O/S Boot Watchdog TImer Policy.
Conguration options: [Enabled] [Disabled]
O/S Wtd Timer Timeout [10 minutes]
Allows to congure the length of the O/S Boot Watchdog Timer. Not available if O/S
Boot Watchdog Timer is disabvled.
Conguration options: [5 minutes] [10 minutes] [15 minutes] [20 minutes]
Allows you to set the
number of seconds to wait
for BMC. Use the <+> and
<-> keys to adjust the
value.

ASUS RS700-E7/RS8 5-41
O/S Wtd Timer Policy [Reset]
Allows to congure how the system should respond if the OS Boot Watchdog
Timer expires. Not available if O/S Boot Watchdog Timer is disabled.
Conguration options: [Do Nothing] [Reset] [Power Down]
5.5.1 System Event Log
Aptio Setup Utility - Copyright (C) 2011 American Megatrends, Inc.
Server Mgmt
Change this to enable or
disable all features of
system Event Logging during
boot.
Enabling/Disabling Options
SEL Components [Disabled]
Erasing Settings
Erase SEL [No]
When SEL is Full [Do Nothing]
Custom EFI Logging Options
Log EFI Status Codes [Both]
Note: All values changed here do not take effect
until computer is restarted.
→←: Select Screen
↑↓: Select Item
Enter: Select Item
+/-: Change Opt.
F1: General Help
F2: Previous Values
F5: Optimized Defaults
F10: Save & Exit
ESC: Exit
Version 2.14.1219. Copyright (C) 2011 American Megatrends, Inc.
SEL Components [Disabled]
Change this to enable or disable all features of system Event Logging during boot.
Conguration options: [Disabled] [Enabled]
Erase SEL [No]
Allows to choose options for erasing SEL.
Conguration options: [No] [Yes, On next reset] [Yes, On every reset]
When SEL is Full [Do Nothing]
Allows to choose options for reactions to a full SEL.
Conguration options: [Do Nothing] [Erase Immediately]
Custom EFI Logging Options
Log EFI Status Codes [Both]
Disable the logging of EFI Status Codes or log only error code or only progress
code ot both. Conguration options: [Disabled] [Both] [Error Code] [Progress Code]
• When you set SEL Components to [Enabled], The following item let you
set.
• All values changed here do not take effect until computer is restarted.

5-42 Chapter 5: BIOS setup
5.5.2 BMCnetworkconguration
Aptio Setup Utility - Copyright (C) 2011 American Megatrends, Inc.
Server Mgmt
Select to congure LAN
channel parameters
statically or dynamically(by
BIOS or BMC). Unspecied
option will not modify any
BMC network parameters
during BIOS phase
BMC network conguration
DM_KAN1
DM_LAN1 IP Address in BMC: 192.168.001.001
DM_LAN1 Subnet Mask in BMC: 255.255.255.000
DM_LAN1 Gateway Address in BMC : 000.000.000.000
DM_LAN1 MAC Address in BMC: 00.CE.01.87.72.A0
DM_LAN1 Address Source in BMC: Static Mode
Conguration Address source [Previous State]
Lan1
Lan1 IP Address in BMC: 192.168.001.002
Lan1 Subnet Mask in BMC: 255.255.255.000
Lan1 Gateway Address in BMC: 000.000.000.000
Lan1 MAC Address in BMC: 00.CE.01.87.72.A0
Lan1 Address Source in BMC: Static Mode
Conguration Address source [Previous State]
→←: Select Screen
↑↓: Select Item
Enter: Select Item
+/-: Change Opt.
F1: General Help
F2: Previous Values
F5: Optimized Defaults
F10: Save & Exit
ESC: Exit
Version 2.14.1219. Copyright (C) 2011 American Megatrends, Inc.
CongurationAddresssource[PreviousState]
Select to congure LAN channel parameters statically or dynamically(by BIOS
or BMC). Unspecied option will not modify any BMC network parameters during
BIOS phase.
Conguration options: [Previous State] [Static Mode] [DHCP Mode]
The following items appears only when you set CongurationAddresssource
to [Static Mode].
Station IP address [0.0.0.0]
Allows to input Station IP address.
Subnet mask [0.0.0.0]
Allows to input Subnet mask.
Gateway IP address [0.0.0.0]
Allows to input Gateway IP address.

ASUS RS700-E7/RS8 5-43
5.6 Event Logs menu
The Event Logs allows you to change or view the event log settings.
Aptio Setup Utility - Copyright (C) 2011 American Megatrends, Inc.
Main Advanced Server Mgmt Event Logs Boot Monitor Security Tool Exit
Press <Enter> to change
the Smbios Event Log
conguration.
Change Smbios Event Log Settings
View Smbios Event Log
View System Event Log
→←: Select Screen
↑↓: Select Item
Enter: Select Item
+/-: Change Opt.
F1: General Help
F2: Previous Values
F5: Optimized Defaults
F10: Save & Exit
ESC: Exit
Version 2.14.1219. Copyright (C) 2011 American Megatrends, Inc.
5.6.1 Change Smbios Event Log Settings
Press <Enter> to change the Smbios Event Log conguration.
Aptio Setup Utility - Copyright (C) 2011 American Megatrends, Inc.
Event Logs
Change this to enable or
disable all features of
Smbios Event Logging during
boot.
Enabling/Disabling Options
Smbios Event Log [Enabled]
Erasing Settings
Erase Event Log [No]
When Log is Full [Do Nothing]
Smbios Event Log Standard Settings
Log System Boot Event [Disabled]
MECI 1
METW 60
Custom Option
Log OEM Codes [Enabled]
Convert OEM Codes [Disabled]
Note: All values changed here do not take effect
until computer is restarted.
→←: Select Screen
↑↓: Select Item
Enter: Select Item
+/-: Change Opt.
F1: General Help
F2: Previous Values
F5: Optimized Defaults
F10: Save & Exit
ESC: Exit
Version 2.14.1219. Copyright (C) 2011 American Megatrends, Inc.
Enabling/Disabling Options
Smbios Event Log [Enabled]
Change this to enable or disable all features of Smbios Event Logging during
boot.Conguration options: [Disabled] [Enabled]
Erasing Settings
Erase Event Log [No]
Choose options for erasing Smbios Event Log. Erasing is done prior to any
logging activation during reset.
Conguration options: [No] [Yes, Next reset] [Yes, Every reset]
All values changed here do not take effect until computer is restarted.

5-44 Chapter 5: BIOS setup
When Log is Full [Do Nothing]
Allows to choose options for reactions to a full Smbios Event Log.
Conguration options: [Do Nothing] [Erase Immediately]
Smbios Event Log Standard Settings
Log System Boot Event [Disabled]
Allows to choose options to enable/disable logging of System boot event.
Conguration options: [Enabled] [Disabled]
MECI [1]
Mutiple Event Count Increment (MECI). The number of occurrences of a
duplicate event that must pass before the multiplt-event counter associated
with the log entry is updated, specied as a numeric value in the range 1 to
255.
METW [60]
Mutiple Event Time Windows (METW). The number of minutes which must
pass between duplicate log entries which utilize a multiple-event counter. The
value ranges from 0 to 99 minutes.
Custom Option
Log OEM Codes [Enabled]
Enable or disable the logging of EFI Status Codes as OEM Codes (if not
already converted to legacy).
Conguration options: [Disabled] [Enabled]
Convert OEM Codes [Disabled]
Enable or disable the converting of EFI Status Codes to Standard Smbios
Types (Not all may be translated).
Conguration options: [Disabled] [Enabled]
View Smbios Event Log
Press <Enter> to view all smbios event logs.
View System Event Log
Press <Enter> to view all system event logs.

ASUS RS700-E7/RS8 5-45
5.7 Boot menu
The Boot menu items allow you to change the system boot options.
Setup Prompt Timeout [xx]
Use the <+> and <-> keys to adjust the number of seconds to wait for setup
activation key.
Bootup NumLock State [On]
Allows you to select the power-on state for the NumLock.
Conguration options: [Off] [On]
Full Screen Logo [Enabled]
Allows you to enable or disable the full screen logo display feature.
Conguration options: [Disabled] [Enabled]
Set this item to [Enabled] to use the ASUS MyLogo2™ feature.
CSM16 Module Version
GateA20 Active [Upon Request]
[Upon Request] GA20 can be disabled using BIOS services.
[Always] Do not allow disable GA20; this optionis useful when any RT code
is executed above 1MB.
Option ROM Messages [Force BIOS]
Allows you to set the display mode for Options ROM.
Conguration options: [Force BIOS] [Keep Current]
Interrupt 19 Capture [Enabled]
Allows Option ROMs to trap interrupt 19.
Conguration options: [Disabled] [Enabled]
Number of seconds to wait for
setup activation key.
65535(0xFFFF) means indenite
waiting.
Boot Conguration
Setup Prompt Timeout 1
Bootup NumLock State [On]
Full Screen Logo [Enabled]
CSM16 Module Version 07.67
GateA20 Active [Upon Request]
Option ROM Messages [Force BIOS]
Interrupt 19 Capture [Enabled]
Boot Device Seeking [Endless PXE]
UEFI Boot [Disabled]
Boot Option Priorities
Boot Option #1 [SATA P2: ASUS ...]
Boot Option #2 [SATA P3: WDC WD80...]
Boot Option #3 [AMI Virtual Floppy...]
Boot Option #4 [IBA GE Slot 0700 v...]
CD/DVD ROM Drive BBS Priorities
Hard Drive BBS Priorities
Floppy Drive BBS Priorities
Network Device BBS Priorities
Version 2.14.1219. Copyright (C) 2011 American Megatrends, Inc.
Aptio Setup Utility - Copyright (C) 2011 American Megatrends, Inc.
Main Advanced Server Mgmt Event Logs Boot Monitor Seciruty Tool Exit
→←: Select Screen
↑↓: Select Item
Enter: Select Item
+/-: Change Opt.
F1: General Help
F2: Previous Values
F5: Optimized Defaults
F10: Save & Exit
ESC: Exit

5-46 Chapter 5: BIOS setup
Boot Device Seeking [Endless PXE]
[Endless PXE] Continuous seek remote boot image until boot image found or user
abort (press Ctrl+Alt+Del).
[Normal] Seek remote boot image once then stop.
UEFI Boot [Disabled]
Enables or disables UEFI Boot.
Conguration options: [Disabled] [Enabled]
Boot Option Priorities
These items specify the boot device priority sequence from the available devices.
The number of device items that appears on the screen depends on the number of
devices installed in the system.
• To select the boot device during system startup, press <F8> when ASUS
Logo appears.
• To access Windows OS in Safe Mode, please press <F8> after POST.
Set the booting order of network devices.
Boot Option #1/#2/#3/#4 [SATA P2: ASUS ...]
Conguration options: [SATA P2: ASUS ...] [SATA P3: WDC WD80...]
[AMI Virtual Floppy...] [IBA GE Slot 0700 v...]
CD/DVD ROM Drive BBS Priorities
Hard Drive BBS Priorities
Floppy Drive BBS Priorities
Network Device BBS Priorities
These items appear only when you connect SATA ODD or hard drive to the
SATA ports and allow you to set the booting order of the SATA devices.

ASUS RS700-E7/RS8 5-47
5.8 Monitor menu
The Monitor menu displays the system temperature/power status, and allows you
to change the fan settings.
CPU1 Temperature 54.0ºC/129.2ºF
CPU2 Temperature N/A
TR1 Temperature 35.0ºC/95.0ºF
TR2 Temperature 40.0ºC/104.0ºF
CPU FAN1 Speed 5378 RPM
CPU FAN2 Speed N/A
FRNT FAN1 Speed N/A
FRNT FAN2 Speed N/A
FRNT FAN3 Speed N/A
FRNT FAN4 Speed N/A
REAR FAN1 Speed N/A
REAR FAN2 Speed N/A
+VTT_CPU +1.026 V
VCORE1 +0.996 V
VCORE2 +0.996 V
+VDDQ_AB_CPU1 +1.510 V
+VDDQ_CD_CPU1 +1.526 V
+VDDQ_EF_CPU2 N/A
+VDDQ_GH_CPU2 N/A
+5VSB +4.921 V
+12V +11.592 V
+3.3V +3.276 V
CPU 1/2; TR1 1/2 Temperature [xxxºC/xxxºF]
The onboard hardware monitor automatically detects and displays the CPU and
motherboard component temperatures. Select Ignore if you do not wish to display
the detected temperatures.
CPU FAN1/2 Speed; FRNT FAN1–4 Speed; REAR FAN1/2 Speed
[xxxx RPM] or [Ignore] / [N/A]
The onboard hardware monitor automatically detects and displays the speed of
CPU fans, front fans, and rear fan in rotations per minute (RPM). If the fan is not
connected to the motherboard, the eld shows N/A.
+VTT_CPU Voltage, VCORE1/2 Voltage, +VDDQ_AB_CPU1
Voltage, +VDDQ_CD_CPU1 Voltage, +VDDQ_EF_CPU2 Voltage,
+VDDQ_GH_CPU2 Voltage, +5VSB Voltage, +5V Voltage, +12V
Voltage, +3.3V Voltage, VBAT Voltage, +3.3VSB Voltage
The onboard hardware monitor automatically detects the voltage output through
the onboard voltage regulators.
Scroll down to display the following items:
Aptio Setup Utility - Copyright (C) 2011 American Megatrends, Inc.
Main Advanced Server Mgmt Event Logs Boot Monitor Security Tool Exit
Version 2.14.1219. Copyright (C) 2011 American Megatrends, Inc.
VBAT +3.168 V
+3.3VSB +3.234 V
FAN Speed Control [Generic Node]
→←: Select Screen
↑↓: Select Item
Enter: Select Item
+/-: Change Opt.
F1: General Help
F2: Previous Values
F5: Optimized Defaults
F10: Save & Exit
ESC: Exit
Version 2.14.1219. Copyright (C) 2011 American Megatrends, Inc.

5-48 Chapter 5: BIOS setup
FAN Speed Control [Generic Mode]
Allows you to congure the ASUS Smart Fan feature that smartly adjusts the fan
speeds for more efcient system operation.
Conguration options: [Generic Mode] [High Speed Mode] [Full Speed Mode]
5.9 Security menu
The Security menu items allow you to change the system security settings.
Set Setup Administrator
Password
Password Description
If ONLY the Administrator's password is set,
then this only limits access to Setup and is
only asked for when entering Setup
If ONLY the User's password is set, then this
is a power on password and must be entered to
boot or enter Setup. In Setup the User will
have Administrator rights
The password length must br in the following range:
Minimum length 3
Maximum length 20
Administrator Password
User Password
• If you have forgotten your BIOS password, erase the CMOS Real Time
Clock (RTC) RAM to clear the BIOS password. See section 2.6 Jumpers
for information on how to erase the RTC RAM.
• The Administrator or User Password items on top of the screen show
the default Not Installed. After you set a password, these items show
Installed.
Administrator Password
If you have set an administrator password, we recommend that you enter the
administrator password for accessing the system. Otherwise, you might be able to
see or change only selected elds in the BIOS setup program.
To set an administrator password:
1. Select the Administrator Password item and press <Enter>.
2. From the Create New Password box, key in a password, then press
<Enter>.
3. Conrm the password when prompted.
To change an administrator password:
1. Select the Administrator Password item and press <Enter>.
2. From the Enter Current Password box, key in the current password, then
press <Enter>.
3. From the Create New Password box, key in a new password, then press
<Enter>.
4. Conrm the password when prompted.
Aptio Setup Utility - Copyright (C) 2011 American Megatrends, Inc.
Main Advanced Server Mgmt Event Logs Boot Monitor Security Tool Exit

ASUS RS700-E7/RS8 5-49
User Password
If you have set a user password, you must enter the user password for accessing
the system. The User Password item on top of the screen shows the default Not
Installed. After you set a password, this item shows Installed.
To set a user password:
1. Select the User Password item and press <Enter>.
2. From the Create New Password box, key in a password, then press
<Enter>.
3. Conrm the password when prompted.
To change a user password:
1. Select the User Password item and press <Enter>.
2. From the Enter Current Password box, key in the current password, then
press <Enter>.
3. From the Create New Password box, key in a new password, then press
<Enter>.
4. Conrm the password when prompted.
To clear the user password, follow the same steps as in changing a user password,
but press <Enter> when prompted to create/conrm the password. After you clear
the password, the User Password item on top of the screen shows Not Installed.
To clear the administrator password, follow the same steps as in changing an
administrator password, but press <Enter> when prompted to create/conrm the
password. After you clear the password, the Administrator Password item on top
of the screen shows Not Installed.
5.10 Tool menu
The Tool menu items allow you to congure options for special functions. Select an
item then press <Enter> to display the submenu.
Be used to update BIOS
ASUS EZ Flash 2 Utility
ASUS EZ Flash 2 Utility
Allows you to run ASUS EZ Flash BIOS ROM Utility when you press <Enter>.
Check section 4.1.2 ASUS EZ Flash 2 Utility for details.
Aptio Setup Utility - Copyright (C) 2011 American Megatrends, Inc.
Main Advanced Server Mgmt Event Logs Boot Monitor Security Tool Exit

5-50 Chapter 5: BIOS setup
5.11 Exit menu
The Exit menu items allow you to save or discard your changes to the BIOS items.
Pressing <Esc> does not immediately exit this menu. Select one of the options
from this menu or <F10> from the legend bar to exit.
Discard Changes & Exit
This option allows you to exit the Setup program without saving your changes.
When you select this option or if you press <Esc>, a conrmation window appears.
Select Yes to discard changes and exit.
Save Changes & Reset
Once you are nished making your selections, choose this option from the Exit
menu to ensure the values you selected are saved. When you select this option or
if you press <F10>, a conrmation window appears. Select Yes to save changes
and exit.
Discard Changes & Reset
This option allows you to reset the Setup program without saving your changes.
When you select this option, a conrmation window appears. Select Yes to discard
changes and reset.
Restore Defaults
This option allows you to restore/load defaults values for all the setup options.
When you select this option, a conrmation window appears. Select Yes to load
optimized defaults.
Boot Override
These items displays the available devices. The device items that appears on the
screen depends on the number of devices installed in the system. Click an item to
start booting from the selected device.
Exit system setup without
saving any changes.
Version 2.14.1219. Copyright (C) 2011 American Megatrends, Inc.
Aptio Setup Utility - Copyright (C) 2011 American Megatrends, Inc.
Main Advanced Server Mgmt Event Logs Boot Monitor Security Tool Exit
→←: Select Screen
↑↓: Select Item
Enter: Select Item
+/-: Change Opt.
F1: General Help
F2: Previous Values
F5: Optimized Defaults
F10: Save & Exit
ESC: Exit
Discard Changes & Exit
Save Changes & Reset
Discard Changes & Reset
Restore Defaults
Boot Override
SATA P2: ASUS DRW-2014L1T
AMI Virtual CDROM 1.00
SATA P3: WDC WD800JD-00LSA0
AMI Virtual Floppy0 1.00
IBA GE Slot 0700 v1376
IBA GE Slot 0701 v1376
IBA GE Slot 0702 v1376
IBA GE Slot 0703 v1376

3-
This chapter provides instructions for
setting up, creating and conguring
RAID sets using the available utilities.
Chapter 6
RAIDconguration

6-2 Chapter 6: RAID conguration
6.1 Setting up RAID
The motherboard comes with the Intel® C602 chipset that supports the following
SATA RAID solutions:
• LSIMegaRAIDsoftwareRAIDCongurationUtility (default) with RAID 0,
RAID 1, and RAID 10 support (for both Linux and Windows OS).
• Intel® Rapid Storage Technology Enterprise SCU / SATA Option ROM
Utility with RAID 0, RAID 1, RAID 10, and RAID 5 support (for Windows OS
only).
6.1.1 RAIDdenitions
RAID 0
(Data striping)
optimizes two identical hard disk drives to read and write
data in parallel, interleaved stacks. Two hard disks perform the same work as a
single drive but at a sustained data transfer rate, double that of a single disk alone,
thus improving data access and storage. Use of two new identical hard disk drives
is required for this setup.
RAID 1
(Data mirroring)
copies and maintains an identical image of data from one
drive to a second drive. If one drive fails, the disk array management software
directs all applications to the surviving drive as it contains a complete copy of
the data in the other drive. This RAID conguration provides data protection and
increases fault tolerance to the entire system. Use two new drives or use an
existing drive and a new drive for this setup. The new drive must be of the same
size or larger than the existing drive.
RAID 10 is data striping and data mirroring combined without parity (redundancy
data) having to be calculated and written. With the RAID 10 conguration you get
all the benets of both RAID 0 and RAID 1 congurations. Use four new hard disk
drives or use an existing drive and three new drives for this setup.
RAID 5 stripes both data and parity information across three or more hard disk
drives. Among the advantages of RAID 5 conguration include better HDD
performance, fault tolerance, and higher storage capacity. The RAID 5 conguration
is best suited for transaction processing, relational database applications,
enterprise resource planning, and other business systems. Use a minimum of three
identical hard disk drives for this setup.
6.1.2 Installing hard disk drives
The motherboard supports SATA hard disk drives for RAID set conguration. For
optimal performance, install identical drives of the same model and capacity when
creating a disk array.

ASUS RS700-E7/RS8 6-3
6.1.3 RAID controller selection
You can choose either the LSI Software RAID Conguration Utility or the Intel
Matrix Storage Manager as the default utility to create RAID set(s). See 5. RAID
congurationutilityselection on page 4-6 for details.
6.1.4 Setting the RAID item in BIOS
You must enable the RAID function in the BIOS Setup before creating RAID set(s)
using SATA HDDs. To do this:
1. Enter the BIOS Setup during POST.
2. Go to the Advanced Menu > SATAConguration, then press <Enter>.
3. Set SATA Mode to [RAID Mode]
4. Press <F10> to save your changes and exit the BIOS Setup.
Refer to Chapter 5 for details on entering and navigating through the BIOS
Setup.

6-4 Chapter 6: RAID conguration
3. The utility main window appears. Use the arrow keys to select an option from
the Management Menu and then press <Enter>. Refer to the Management
Menu descriptions on the next page.
At the bottom of the screen is the legend box. The keys on the legend box
allow you to navigate through the setup menu options or execute commands.
The keys on the legend box vary according to the menu level.
6.2 LSISoftwareRAIDConguration
Utility
The LSI MegaRAID software RAID conguration utility allows you to create RAID 0,
RAID 1, or RAID 10 set(s) from SATA hard disk drives connected to the SATA
connectors supported by the motherboard southbridge chip.
To enter the LSI MegaRAID software RAID conguration utility:
1. Turn on the system after installing all the SATA hard disk drives.
2. During POST, the LSI MegaRAID software RAID conguration utility
automatically detects the installed SATA hard disk drives and displays any
existing RAID set(s). Press <Ctrl> + <M> to enter the utility.
• The LSI MegaRAID software RAID conguration utility automatically
congures to RAID 1 when the SATA to RAID Mode is enabled.
• The RAID setup screens shown in this section are for reference only and
may not exactly match the items on your screen due to the controller
version difference.
• When you create RAID sets with the LSI MegaRAID software RAID
conguration utility, the boot priority of the SATA optical drive has to be
manually adjusted. Otherwise, the system will not boot from the connected
SATA ODD.
LSI MegaRAID Software RAID BIOS Version A.08 09161344R
LSI SATA RAID Found at PCI Bus No: Dev No:1F
Device present at Port 0 ST3160812AS 152114MB
Device present at Port 1 ST3160812AS 152114MB
Device present at Port 2 ST3160812AS 152114MB
Device present at Port 3 ST3160812AS 152114MB
Press Ctrl-M or Enter to run LSI Software RAID Setup Utility.
LSI Software RAID Conguration Utility Ver C.05 Sep 17, 2010
BIOS Version A.10.09231523R
Use Cursor Keys to Navigate Between Items And Press Enter To Select An Option
Management Menu
Congure
Initialize
Objects
Rebuild
Check Consistency
Congure VD(s)

ASUS RS700-E7/RS8 6-5
6.2.1 Creating a RAID set
The LSI Software RAID Conguration Utility allows you to create a RAID 0, RAID
1, or RAID 10 set using two types of congurations: Easy and New.
In EasyConguration, the virtual drive parameters are set automatically.
In NewConguration, you manually set the virtual drive parameters.
UsingEasyConguration
To create a RAID set using the EasyConguration option
1. From the Management Menu, select Congure>EasyConguration, and
then press <Enter>.
Menu Description
Congure Allows you to create RAID 0, RAID 1 or RAID 10 set using the Easy
Conguration or the New Conguration command. This menu also
allows you to view, add, or clear RAID congurations or select the
boot drive
Initialize Allows you to initialize the virtual drives of a created RAID set
Objects Allows you to initialize virtual drives or change the virtual drive
parameters
Rebuild Allows you to rebuild failed drives
Check Consistency Allows you to check the data consistency of the virtual drives of a
created RAID set
Management Menu
Congure
Initialize
Objects
Rebuild
Check Consistency
Denes Physical Arrays. An Array Will Automatically Become A VD
Conguration Menu
Easy Conguration
New Conguration
View/Add Conguration
Clear Conguration
Select Boot Drive
LSI Software RAID Conguration Utility Ver C.05 Sep 17, 2010
BIOS Version A.10.09231523R
Use Cursor Keys to Navigate Between Items And Press Enter To Select An Option

6-6 Chapter 6: RAID conguration
3. Select all the drives required for the RAID set, and then press <F10> to
congure array setting.
4. Press <Space> to select the congurable array.
2. The ARRAY SELECTION MENU displays the available drives connected to
the SATA ports. Use the up/down arrow key to select the drives you want to
include in the RAID set, and then press <Space>. When selected, the drive
indicator changes from READY to ONLIN A[X]-[Y], where X is the array
number, and Y is the drive number.
• The information of the selected hard disk drive displays at the bottom of the
screen.
• You need at least two identical hard disk drives when creating a RAID 1 set.
• You need at least four identical hard disk drives when creating a RAID 10
set.
Management Menu
Congure
Initialize
Objects
Rebuild
Check Consistency
PORT #
DNLIN A00-00
DNLIN A00-01
0
1
Easy Conguration - ARRAY SELECTION MENU
Select Congurable Array(s)
A-0
SPAN-1
LSI Software RAID Conguration Utility Ver C.05 Sep 17, 2010
BIOS Version A.10.09231523R
Cursor Keys, SPACE-(De)Select F2-ChIdInfo F3-SlotInfo F10-Congure Esc-Quit
Management Menu
Congure
Initialize
Objects
Rebuild
Check Consistency
Port # 2 DISK 74.74GB HDS728080PLA380 05.01C05
Easy Conguration - ARRAY SELECTION MENU
PORT #
ONLIN A00-00
ONLIN A00-01
READY
READY
0
1
LSI Software RAID Conguration Utility Ver C.05 Sep 17, 2010
BIOS Version A.10.09231523R
SPACE-Sel,ENTER-EndArray,F10-Congure,F2-Drive Info,F3-Virtual Drives,F4-HSP
2
3

ASUS RS700-E7/RS8 6-7
5. Press <F10> again, the virtual drive information appears including a Virtual
Drive menu that allows you to change the virtual drive parameters.
6. Select RAID from the Virtual Drive sub-menu, and then press <Enter>.
7. Select the RAID level from the menu, and then press <Enter>.
Management Menu
Congure
Initialize
Objects
Rebuild
Check Consistency
PORT #
DNLIN A00-00
DNLIN A00-01
0
1
LSI Software RAID Conguration Utility Ver C.05 Sep 17, 2010
BIOS Version A.10.09231523R
Easy Conguration - ARRAY SELECTION MENU
Virtual Drive(s) Congured
LD RAID Size #Stripes StripSz Status
0 1 148.580GB 2 64 KB ONLINE
Virtual Drive 0
RAID = 1
Units= MB
Size = 152146MB
DWC = Off
RA = On
Accept
SPAN = NO
Choose RAID Level For This VD
Use Cursor Keys To Navigate Between Items And Press Enter To Select An Option
Management Menu
Congure
Initialize
Objects
Rebuild
Check Consistency
PORT #
DNLIN A00-00
DNLIN A00-01
0
1
LSI Software RAID Conguration Utility Ver C.05 Sep 17, 2010
BIOS Version A.10.09231523R
Easy Conguration - ARRAY SELECTION MENU
Virtual Drive(s) Congured
LD RAID Size #Stripes StripSz Status
0 1 148.580GB 2 64 KB ONLINE
Virtual Drive 0
RAID = 1
Units= MB
Size = 152146MB
DWC = Off
RA = On
Accept
SPAN = NO
Choose RAID Level For This VD
RAID Level
R A I D 0
RAID 1
Use Cursor Keys To Navigate Between Items And Press Enter To Select An Option

6-8 Chapter 6: RAID conguration
8. Select Units from the Virtual Drive sub-menu, and then press <Enter>.
9. Select the units for virtual drive size from the menu, and then press <Enter>.
Management Menu
Congure
Initialize
Objects
Rebuild
Check Consistency
PORT #
DNLIN A00-00
DNLIN A00-01
0
1
LSI Software RAID Conguration Utility Ver C.05 Sep 17, 2010
BIOS Version A.10.09231523R
Easy Conguration - ARRAY SELECTION MENU
Virtual Drive(s) Congured
LD RAID Size #Stripes StripSz Status
0 1 148.580GB 2 64 KB ONLINE
Virtual Drive 0
RAID = 1
Units= MB
Size = 152146MB
DWC = Off
RA = On
Accept
SPAN = NO
Select Units For VD Size
Use Cursor Keys To Navigate Between Items And Press Enter To Select An Option
Select Units For VD Size
MB
GB
TB
10. When creating a RAID 1 or a RAID 10 set, select DWC from the Virtual
Drive menu, and then press <Enter>.
When creating a RAID 0 set, proceed to step 12.
11. Select On to enable the Disk Write Cache setting, and then press <Enter>.
Enabling DWC can improve the performance, but with the risk of data loss.
Management Menu
Congure
Initialize
Objects
Rebuild
Check Consistency
PORT #
DNLIN A00-00
DNLIN A00-01
0
1
Easy Conguration - ARRAY SELECTION MENU
LSI Software RAID Conguration Utility Ver C.05 Sep 17, 2010
BIOS Version A.10.09231523R
Virtual Drive(s) Congured
LD RAID Size #Stripes StripSz Status
0 1 148.580GB 2 64 KB ONLINE
Virtual Drive 0
RAID = 1
Units= MB
Size = 152146MB
DWC = Off
RA = On
Accept
SPAN = NO
Disk Write Cache Setting Of VD
Change DWC
Off
On
Use Cursor Keys To Navigate Between Items And Press Enter To Select An Option

ASUS RS700-E7/RS8 6-9
12. When nished setting the selected virtual drive conguration, select Accept
from the menu, and then press <Enter>.
Management Menu
Congure
Initialize
Objects
Rebuild
Check Consistency
PORT #
LSI Software RAID Conguration Utility Ver C.05 Sep 17, 2010
BIOS Version A.10.09231523R
DNLIN A00-00
DNLIN A00-01
0
1
Easy Conguration - ARRAY SELECTION MENU
Virtual Drive(s) Congured
LD RAID Size #Stripes StripSz Status
0 1 148.580GB 2 64 KB ONLINE
Virtual Drive 0
RAID = 1
Units= MB
Size = 152146MB
DWC = Off
RA = On
Accept
SPAN = NO
Accept This VD Conguration And Go To Next VD
Cursor Keys, SPACE-(De)Select F2-ChIdInfo F3-SlotInfo F10-Congure Esc-Quit
13. Follow step 2 to 12 to congure additional virtual drives.
14. Press <Esc> to nish RAID conguration. When prompted to save
conguration, select Yes from the menu, and then press <Enter>.
Management Menu
Congure
Initialize
Objects
Rebuild
Check Consistency
Select Yes Or No
Conguration Menu
Easy Conguration
New Conguration
View/Add Conguration
Clear Conguration
Select Boot Drive
Virtual Drive(s) Congured
LD RAID Size #Stripes StripSz Status
0 1 148.580GB 2 64 KB ONLINE
Save Conguration?
Yes
No
LSI Software RAID Conguration Utility Ver C.05 Sep 17, 2010
BIOS Version A.10.09231523R
Use Cursor Keys to Navigate Between Items And Press Enter To Select An Option

6-10 Chapter 6: RAID conguration
UsingNewConguration
When a RAID set already exists, using the NewConguration command
erases the existing RAID conguration data. If you do not want to delete the
existing RAID set, use the View/AddConguration command to view or create
another RAID conguration.
To create a RAID set using the NewConguration option:
1. From the Management Menu, select Congure>NewConguration, and
then press <Enter>.
Management Menu
Congure
Initialize
Objects
Rebuild
Check Consistency
Clear Existing Conguration And Start A New Conguration
Conguration Menu
Easy Conguration
New Conguration
View/Add Conguration
Clear Conguration
Select Boot Drive
LSI Software RAID Conguration Utility Ver C.05 Sep 17, 2010
BIOS Version A.10.09231523R
Use Cursor Keys to Navigate Between Items And Press Enter To Select An Option
2. Follow step 2 to 9 of the previous section: UsingEasyConguration.
3. Select Size from the Virtual Drive menu, and then press <Enter>.
4. Key-in the desired virtual drive size, and then press <Enter>.
5. Follow step 10 to 14 of the previous section: UsingEasyConguration to
create the RAID set.
Management Menu
Congure
Initialize
Objects
Rebuild
Check Consistency
PORT #
LSI Software RAID Conguration Utility Ver C.05 Sep 17, 2010
BIOS Version A.10.09231523R
DNLIN A00-00
DNLIN A00-01
0
1
Easy Conguration - ARRAY SELECTION MENU
Virtual Drive(s) Congured
LD RAID Size #Stripes StripSz Status
0 1 148.580GB 2 64 KB ONLINE
Virtual Drive 0
RAID = 1
Units= MB
Size = 152146MB
DWC = Off
RA = On
Accept
SPAN = NO
Enter VD Size:
Enter VD Size: 152146_
Use Cursor Keys to Navigate Between Items And Press Enter To Select An Option

ASUS RS700-E7/RS8 6-11
6.2.2 AddingorviewingaRAIDconguration
You can add a new RAID conguration or view an existing conguration using the
View/AddConguration command.
AddinganewRAIDconguration
To add a new RAID conguration:
1. From the Management Menu, select Congure>View/AddConguration,
and then press <Enter>.
2. The ARRAY SELECTION MENU displays the available drives connected to
the SATA ports. Select the drive(s) you want to include in the RAID set, then
press <Space>. When selected, the drive indicator changes from READY to
ONLIN A[X]-[Y], where X is the array number, and Y is the drive number.
The information of the selected hard disk drive displays at the bottom of the
screen.
3. Follow step 3 to 12 of section 5.2.1 Creating a RAID set: Using Easy
Conguration to add a new RAID set.
Management Menu
Congure
Initialize
Objects
Rebuild
Check Consistency
View/Add to The Existing Conguration
Conguration Menu
Easy Conguration
New Conguration
View/Add Conguration
Clear Conguration
Select Boot Drive
LSI Software RAID Conguration Utility Ver C.05 Sep 17, 2010
BIOS Version A.10.09231523R
Use Cursor Keys To Navigate Between Items And Press Enter To Select An Option
Management Menu
Congure
Initialize
Objects
Rebuild
Check Consistency
Port # 2 DISK 77247MB HDS728080PLA380 PF20A60A
View/Add Conguration - ARRAY SELECTION MENU
PORT #
ONLIN A00-00
ONLIN A00-01
READY
READY
0
1
LSI Software RAID Conguration Utility Ver C.05 Sep 17, 2010
BIOS Version A.10.09231523R
SPACE-Sel,ENTER-EndArray,F10-Congure,F2-Drive Info,F3-Virtual Drives,F4-HSP
2
3

6-12 Chapter 6: RAID conguration
6.2.3 Initializing the virtual drives
After creating the RAID set(s), you must initialize the virtual drives. You may
initialize the virtual drives of a RAID set(s) using the Initialize or Objects command
on the Management Menu.
Using the Initialize command
To initialize the virtual drive using the Initialize command
1. From the Management Menu, select Initialize, and then press <Enter>.
2. The screen displays the available RAID set(s) and prompts you to select the
virtual drive to initialize. Use the arrow keys to select the virtual drive from the
Virtual Drive selection, and then press <Space>.
Management Menu
Congure
Initialize
Objects
Rebuild
Check Consistency
Initialize VD(s)
LSI Software RAID Conguration Utility Ver C.05 Sep 17, 2010
BIOS Version A.10.09231523R
Use Cursor Keys To Navigate Between Items And Press Enter To Select An Option
Management Menu
Congure
Initialize
Objects
Rebuild
Check Consistency
Select VD
Virtual Drive(s) Congured
LD RAID Size #Stripes StripSz Status
0 1 148.580GB 2 64 KB ONLINE
Virtual Drives
Virtual Drive 0
LSI Software RAID Conguration Utility Ver C.05 Sep 17, 2010
BIOS Version A.10.09231523R
SPACE-(De)Select, F10-Initialize

ASUS RS700-E7/RS8 6-13
3. Press <F10> to start initialization. When prompted, select Yes from the
Initialize? dialog box, and then press <Enter>.
Initializing a virtual drive erases all data on the drive.
4. A progress bar appears on screen. If desired, press <Esc> to abort
initialization. When initialization is completed, press <Esc>.
Management Menu
Congure
Initialize
Objects
Rebuild
Check Consistency
Virtual Drive(s) Congured
LD RAID Size #Stripes StripSz Status
0 1 148.580GB 2 64 KB ONLINE
Virtual Drives
Virtual Drive 0
Initialize?
Yes
No
Init Will Destroy Data On Selected VD(s)
LSI Software RAID Conguration Utility Ver C.05 Sep 17, 2010
BIOS Version A.10.09231523R
SPACE-(De)Select, F10-Initialize
Management Menu
Congure
Initialize
Objects
Rebuild
Check Consistency
Virtual Drive(s) Congured
LD RAID Size #Stripes StripSz Status
0 10 154494MB 4 64 KB ONLINE
Virtual Drives
Virtual Drive 0
Init Of VD Is In Process
VD 0 Initialization Complete. Press Esc..
¦ 100% Completed
LSI Software RAID Conguration Utility Ver C.05 Sep 17, 2010
BIOS Version A.10.09231523R
SPACE-(De)Select, F10-Initialize

6-14 Chapter 6: RAID conguration
UsingtheObjectscommand
To initialize the virtual drives using the Objects command
1. From the Management Menu, select Objects>VirtualDrive, and then
press <Enter>.
Management Menu
Congure
Initialize
Objects
Rebuild
Check Consistency
Change VD Parameters
Objects
Adapter
Virtual Drive
Physical Drive
LSI Software RAID Conguration Utility Ver C.05 Sep 17, 2010
BIOS Version A.10.09231523R
Use Cursor Keys To Navigate Between Items And Press Enter To Select An Option
2. Select the virtual drive to initialize from the Virtual Drives sub-menu, and
then press <Enter>.
Management Menu
Congure
Initialize
Objects
Rebuild
Check Consistency
Select VD
Objects
Adapter
Virtual Drive
Physical Drive
Vitual Drive(1)
Virtual Drive 0
LSI Software RAID Conguration Utility Ver C.05 Sep 17, 2010
BIOS Version A.10.09231523R
Press ENTER To Select A VD, <Del> To Delete A VD

ASUS RS700-E7/RS8 6-15
3. Select Initialize from the pop-up menu, and then press <Enter> to start
initialization.
Management Menu
Congure
Initialize
Objects
Rebuild
Check Consistency
Initilize VD
Objects
Adapter
Virtual Drive
Physical Drive
Vitual Drive(1)
Virtual Drive 0
Initialze
Check Consistency
View/Update Parameters
Vitual Drive(0)
LSI Software RAID Conguration Utility Ver C.05 Sep 17, 2010
BIOS Version A.10.09231523R
Use Cursor Keys To Navigate Between Items And Press Enter To Select An Option
4. When prompted, press the <Space> to select Yes from the Initialize? dialog
box, and then press <Enter>.
Management Menu
Congure
Initialize
Objects
Rebuild
Check Consistency
Init Will Destroy Data On Selected VD(s)
Objects
Adapter
Virtual Drive
Physical Drive
Vitual Drive(1)
Virtual Drive 0
Initialze
Check Consistency
View/Update Parameters
Vitual Drive(0)
Initialize?
Yes
No
LSI Software RAID Conguration Utility Ver C.05 Sep 17, 2010
BIOS Version A.10.09231523R
Use Cursor Keys To Navigate Between Items And Press Enter To Select An Option
5. A progress bar appears on screen. If desired, press <Esc> to abort
initialization. When initialization is completed, press <Esc>.

6-16 Chapter 6: RAID conguration
6.2.4 Rebuilding failed drives
You can manually rebuild failed hard disk drives using the Rebuild command in the
Management Menu.
To rebuild a failed hard disk drive
1. From the Management Menu, select Rebuild, and then press <Enter>.
2. The PHYSICAL DRIVES SELECTION MENU displays the available drives
connected to the SATA ports. Select the drive you want to rebuild, and then
press <Space>.
Management Menu
Congure
Initialize
Objects
Rebuild
Check Consistency
Rebuild PD(s)
LSI Software RAID Conguration Utility Ver C.05 Sep 17, 2010
BIOS Version A.10.09231523R
Use Cursor Keys To Navigate Between Items And Press Enter To Select An Option
Management Menu
Congure
Initialize
Objects
Rebuild
Check Consistency
Port # 1 DISK 77247MB HDS728080PLA380 PF20A60A
REBUILD - PHYSICAL DRIVES SELECTION MENU
PORT #
ONLIN A00-00
FAIL A00-01
0
1
LSI Software RAID Conguration Utility Ver C.05 Sep 17, 2010
BIOS Version A.10.09231523R
SPACE-(De)Select,F10-Start Rebuild,F2-Drive Information,F3-View Virtual Drives

ASUS RS700-E7/RS8 6-17
3. After selecting the drive to rebuild, press <F10>. When prompted, press <Y>
to rebuild the drive.
4. When rebuild is complete, press any key to continue.
Management Menu
Congure
Initialize
Objects
Rebuild
Check Consistency
Port # 1 DISK 77247MB HDS728080PLA380 PF20A60A
REBUILD - PHYSICAL DRIVES SELECTION MENU
PORT #
ONLIN A00-00
RBLD A00-01
0
1
Rebuilding Of Drive Will Take A Few Minutes. Start Rebuilding Drive (Y/N)?
LSI Software RAID Conguration Utility Ver C.05 Sep 17, 2010
BIOS Version A.10.09231523R
SPACE-(De)Select,F10-Start Rebuild,F2-Drive Information,F3-View Virtual Drives

6-18 Chapter 6: RAID conguration
6.2.5 Checking the drives for data consistency
You can check and verify the accuracy of data redundancy in the selected virtual
drive. The utility can automatically detect and/or detect and correct any differences
in data redundancy depending on the selected option in the Objects>Adapter
menu.
The Check Consistency command is available only for virtual drives included
in a RAID 1 or RAID 10 set.
Using the Check Consistency Command
To check data consistency using the Check Consistency command
1. From the Management Menu, select Check Consistency, and then press
<Enter>.
2. The screen displays the available RAID set(s) and prompts you to select
the virtual drive to check. Press <Space> to select the virtual drive from the
Virtual Drive sub-menu, and then press <F10>.
Management Menu
Congure
Initialize
Objects
Rebuild
Check Consistency
CC Of VD(s)
LSI Software RAID Conguration Utility Ver C.05 Sep 17, 2010
BIOS Version A.10.09231523R
Use Cursor Keys To Navigate Between Items And Press Enter To Select An Option
Management Menu
Congure
Initialize
Objects
Rebuild
Check Consistency
Select VD
Virtual Drive(s) Congured
LD RAID Size #Stripes StripSz Status
0 1 148.580GB 2 64 KB ONLINE
Virtual Drives
Virtual Drive 0
LSI Software RAID Conguration Utility Ver C.05 Sep 17, 2010
BIOS Version A.10.09231523R
SPACE-(De)Select, F10-Check Consistency

ASUS RS700-E7/RS8 6-19
3. When prompted, use the arrow keys to select Yes from the Consistency
Check? dialog box, and then press <Enter>.
A progress bar appears on screen.
4. While checking the disk consistency, press <Esc> to display the following
options.
• Stop - Stops the consistency check. The utility stores the
percentage of disk checked, and when you restart checking,
it continues from the last percentage completed rather than
from zero percent.
• Continue - Continues the consistency check.
• Abort - Aborts the consistency check. When you restart checking, it
continues from zero percent.
5. When checking is complete, press any key to continue.
Management Menu
Congure
Initialize
Objects
Rebuild
Check Consistency
Virtual Drive(s) Congured
LD RAID Size #Stripes StripSz Status
0 10 154494MB 4 64 KB ONLINE
Virtual Drives
Virtual Drive 0
Consistency Check?
Yes
No
Select VD
LSI Software RAID Conguration Utility Ver C.05 Sep 17, 2010
BIOS Version A.10.09231523R
SPACE-(De)Select, F10-Check Consistency
Management Menu
Congure
Initialize
Objects
Rebuild
Check Consistency
Virtual Drive(s) Congured
LD RAID Size #Stripes StripSz Status
0 10 154494MB 4 64 KB ONLINE
Virtual Drives
Virtual Drive 0
CC Under Process
VD 0 Consistency Check. Press Esc to Abort.
¦ 85 % Completed
The Data On The Drives Is Inconsistency. Repair Done!
LSI Software RAID Conguration Utility Ver C.05 Sep 17, 2010
BIOS Version A.10.09231523R
SPACE-(De)Select, F10-Check Consistency

6-20 Chapter 6: RAID conguration
UsingtheObjectscommand
To check data consistency using the Objects command
1. From the Management Menu, select Objects, and then select Virtual Drive
from the sub-menu.
2. Use the arrow keys to select the virtual drive you want to check, and then
press <Enter>.
3. Select Check Consistency from the pop-up menu, and then press <Enter>.
4. When prompted, use the arrow keys to select Yes from the dialog box to
check the drive.
5. When checking is complete, press any key to continue.

ASUS RS700-E7/RS8 6-21
6.2.6 DeletingaRAIDconguration
To delete a RAID conguration
1. From the Management Menu, select Congure > ClearConguration, and
then press <Enter>.
2. When prompted, use the arrow keys to select Yes from the Clear
Conguration? dialog box, and then press <Enter>.
The utility clears all the current array(s).
3. Press any key to continue.
Management Menu
Congure
Initialize
Objects
Rebuild
Check Consistency
Clear Existing Conguration
Conguration Menu
Easy Conguration
New Conguration
View/Add Conguration
Clear Conguration
Select Boot Drive
LSI Software RAID Conguration Utility Ver C.05 Sep 17, 2010
BIOS Version A.10.09231523R
Use Cursor Keys To Navigate Between Items And Press Enter To Select An Option
Management Menu
Congure
Initialize
Objects
Rebuild
Check Consistency
Clear Existing Conguration
Conguration Menu
Easy Conguration
New Conguration
View/Add Conguration
Clear Conguration
Select Boot Drive
Clear Conguration?
Yes
No
LSI Software RAID Conguration Utility Ver C.05 Sep 17, 2010
BIOS Version A.10.09231523R
Use Cursor Keys To Navigate Between Items And Press Enter To Select An Option

6-22 Chapter 6: RAID conguration
6.2.7 Selecting the boot drive from a RAID set
You must have created a new RAID conguration before you can select the
boot drive from a RAID set. See section 5.2.1 Creating a RAID set: Using New
Conguration for details.
To select the boot drive from a RAID set
1. From the Management Menu, select Congure > Select Boot Drive, and
then press <Enter>.
2. When prompted, use the arrow keys to select the bootable virtual drive from
the list, then press <Enter>.
3. The virtual drive is selected as boot drive. Press any key to continue.
Management Menu
Congure
Initialize
Objects
Rebuild
Check Consistency
Select A Boot VD
Conguration Menu
Easy Conguration
New Conguration
View/Add Conguration
Clear Conguration
Select Boot Drive
LSI Software RAID Conguration Utility Ver C.05 Sep 17, 2010
BIOS Version A.10.09231523R
Use Cursor Keys To Navigate Between Items And Press Enter To Select An Option
Management Menu
Congure
Initialize
Objects
Rebuild
Check Consistency
Select A Boot VD
Conguration Menu
Easy Configuration
New Configuration
View/Add Conguration
Clear Configuration
Select Boot Drive
Bootable VDs(1):Current Boot VD(0)
Boot Drive 0
LSI Software RAID Conguration Utility Ver C.05 Sep 17, 2010
BIOS Version A.10.09231523R
Use Cursor Keys To Navigate Between Items And Press Enter To Select An Option

ASUS RS700-E7/RS8 6-23
6.2.8 Enabling WriteCache
You may manually enable the RAID controller’s WriteCache option after creating a
RAID set to improve the data transmission performance.
When you enable WriteCache, you may lose data when a power interruption occurs
while transmitting or exchanging data among the drives.
The WriteCache function is recommended for RAID 1 and RAID 10 sets.
To enable WriteCache
1. From the Management Menu, select Objects > Adapter, select an existing
adapter, and then press <Enter> to display the adapter properties.
2. Select Disk WC, and then press <Enter> to turn on the option.
5. When nished, press any key to continue.
Management Menu
Congure
Initialize
Objects
Rebuild
Check Consistency
Disk Write Cache - Off(Write Through) or On(Write Back)
Objects
Adapter
Virtual Drive
Physical Drive
Adapter 0
Rebuild Rate = 30
Chk Const Rate = 30
FGI Rate = 30
BGI Rate = 30
Disk WC = Off
Read Ahead = On
Bios State = Enable
Cont On Error = Yes
Fast Init = Enable
Auto Rebuild = On
Auto Resume = Enable
Disk Coercion = 1GB
Factory Default
LSI Software RAID Conguration Utility Ver C.05 Sep 17, 2010
BIOS Version A.10.09231523R
Use Cursor Keys To Navigate Between Items And Press Enter To Select An Option
3. From the Management Menu, select Objects > Virtual Drive, select an
existing adapter and press <Enter>. Select View/Update Parameters and
press <Enter> to display the adapter properties.
4. Select Disk WC, and then press <Enter> to turn on the option.
Management Menu
Congure
Initialize
Objects
Rebuild
Check Consistency
Disk Write Cache Setting of VD
Objects
Adapter
Virtual Drive
Physical Drive
Virtual Drive
RAID = 0
Size = 148.580GB
Stripe Size = 64KB
#Stripes = 2
State = OPTIMAL
Spans = 1
Disk WC = On
Read Ahead = On
LSI Software RAID Conguration Utility Ver C.05 Sep 17, 2010
BIOS Version A.10.09231523R
Use Cursor Keys To Navigate Between Items And Press Enter To Select An Option

6-24 Chapter 6: RAID conguration
6.3 Intel® Rapid Storage Technology
enterprise SCU/SATA Option ROM
Utility
The Intel® Rapid Storage Technology enterprise SCU / SATA Option ROM utility
allows you to create RAID 0, RAID 1, RAID 10 (RAID 1+0), and RAID 5 set(s)
from Serial ATA hard disk drives that are connected to the Serial ATA connectors
supported by the Southbridge.
You can create RAID mode by use of onboard AHCI SATA ports. Also, when
installed optional ASRK module, you can use onboard scu SAS ports to create
RAID mode.
To use onboard SATA ports:
1. Install all the Serial ATA hard disk drives.
2. Turning on the system. During POST, press,Del. to enter BIOS. Go to
Advanced Menu > PCHSATAConguration > SATA Mode, then press
<Enter>.
3. Set SATA Mode to RAID Mode and save, then reboot system.
4. During POST, press <Ctrl+I> to display the utility main menu.
To use SCU SAS/SATA ports:
1. Install all the SAS hard disk drives.
2. Turning on the system. During POST, press <Del> to enter BIOS. Go to
Advanced Menu > PCHSCUSASConguration, then press <Enter>.
3. Conrm all the SAS hard disk drives you installed are correctly displayed,
then reboot system.
4. During POST, press <Ctrl+I> to display the utility main menu.
ASRK support table
SCU ports Protocol Enabled Intel RSTe SAS RAID 5
W/O ASRK 4 (ISAS 1) SATA (3Gb/s) SATA RAID 5
ASRK #1 4 (ISAS 1) SATA/SAS (3Gb/s) No
ASRK #2 4 (ISAS 1) SATA/SAS (3Gb/s) Yes

ASUS RS700-E7/RS8 6-25
The utility supports maximum four hard disk drives for RAID conguration.
The navigation keys at the bottom of the screen allow you to move through
the menus and select the menu options.
1. If you want to use SAS HDD for RAID create, be sure you’ve already
correctly installed the optional Intel ASRK module on the motherboard.
2. The RAID BIOS setup screThe RAID BIOS setup screens shown in this
section are for reference only and may not exactly match the items on your
screen.
Intel(R) Rapid Storage Technology enterprise - SATA Option ROM - 3.0.0.1104
Copyright(C) 2003-11 Intel Corporation. All Rights Reserved.
[ MAIN MENU ]
1. Create RAID Volume 3. Reset Disks to Non-RAID
2. Delete RAID Volume 4. Exit
[ DISK/VOLUME INFORMATION ]
RAID Volumes:
None dened.
Physical Disks:
ID Drive Model Serial # Size Type/Status(Vol ID)
0 ST3300656SS HWAS0000991753TR 279.3GB Non-RAID Disk
1 ST3300656SS 37VN00009846RAJ1 279.3GB Non-RAID Disk
2 ST3300656SS 397600009846UEDY 279.3GB Non-RAID Disk
3 ST3300656SS GWC50000991756G6 279.3GB Non-RAID Disk
[↑↓]-Select [ESC]-Exit [ENTER]-Select Menu
To enter the Intel® Rapid Storage Technology enterprise SCU Option ROM utility:
1. Install all the Serial ATA/SAS hard disk drives.
2. Turn on the system.
3. During POST, press <Ctrl+I> to display the utility main menu.

6-26 Chapter 6: RAID conguration
[ CREATE VOLUME MENU ]
[ HELP ]
Enter a unique volume name that has no special characters and is
16 characters or less.
[↑↓]Change [TAB]-Next [ESC]-Previous Menu [ENTER]-Select
Name: Volume0
RAID Level: RAID0(Stripe)
Disks: Select Disks
Strip Size: 128KB
Capacity: 0.0 GB
Create Volume
6.3.1 Creating a RAID set
To create a RAID set
1. From the utility main menu, select 1. Create RAID Volume and press
<Enter>. The following screen appears.
2. Enter a name for the RAID set and press <Enter>.
3. When the RAID Level item is selected, press the up/down arrow key to select
a RAID level to create, and then press <Enter>.
4. When the Disks item is selected, press <Enter> to select the hard disk drives
you want to include in the RAID set. The SELECT DISKS screen appears.
5. Use the up/down arrow key to select a drive, and then press <Space>
to select. A small triangle marks the selected drive. Press <Enter> after
completing your selection.
[ SELECT DISKS ]
Port Drive Model Serial # Size Status
0 ST3300656SS HWAS0000991753TR 279.3GB Non-RAID Disk
1 ST3300656SS 37VN00009846RAJ1 279.3GB Non-RAID Disk
2 ST3300656SS 397600009846UEDY 279.3GB Non-RAID Disk
3 ST3300656SS GWC50000991756G6 279.3GB Non-RAID Disk
Select 2 to 6 disks to use in creating the volume.
[↑↓]-Prev/Next [SPACE]-SelectDisk [ENTER]-Done
Intel(R) Rapid Storage Technology enterprise - SATA Option ROM - 3.0.0.1104
Copyright(C) 2003-11 Intel Corporation. All Rights Reserved.

ASUS RS700-E7/RS8 6-27
6. Use the up/down arrow keys to select the stripe size for the RAID array (for
RAID 0, 1 and 5 only), and then press <Enter>. The available stripe size
values range from 4 KB to 128 KB. The following are typical values:
RAID 0: 128KB
RAID 10: 64KB
RAID 5: 64KB
We recommend a lower stripe size for server systems, and a higher stripe size
for multimedia computer systems used mainly for audio and video editing.
7. When the Capacity item is selected, enter the RAID volume capacity that you
want and press <Enter>. The default value indicates the maximum allowed
capacity.
8. When the Create Volume item is selected, press <Enter>. The following
warning message appears.
WARNING: ALL DATA ON SELECTED DISKS WILL BE LOST.
Are you sure you want to create this volume? (Y/N):
9. Press <Y> to create the RAID volume and return to the main menu, or <N> to
go back to the CREATE VOLUME menu.
6.3.2 Creating a Recovery set
To create a recovery set:
1. From the utility main menu, select 1. Create RAID Volume and press
<Enter>. The following screen appears.
[ CREATE VOLUME MENU ]
[ HELP ]
Enter a unique volume name that has no special characters and is
16 characters or less.
[↑↓]Change [TAB]-Next [ESC]-Previous Menu [ENTER]-Select
Name: Volume0
RAID Level: RAID0(Stripe)
Disks: Select Disks
Strip Size: 128KB
Capacity: 0.0 GB
Sync: N/A
Create Volume
Intel(R) Rapid Storage Technology enterprise - SATA Option ROM - 3.0.0.1104
Copyright(C) 2003-11 Intel Corporation. All Rights Reserved.

6-28 Chapter 6: RAID conguration
5. Use the up/down arrow keys to select a drive, press <TAB> to select a Master
disk, and then press <SPACE> to select a Recovery disk. A small triangle
marks the selected drive. Press <Enter> after completing your selection.
6. When the Sync item is selected, use the up/down arrow keys to select a sync
option that you want and press <Enter>.
7. When the Create Volume item is selected, press <Enter>. The following
warning message appears.
WARNING: ALL DATA ON SELECTED DISKS WILL BE LOST.
Are you sure you want to create this volume? (Y/N):
8. Press <Y> to create the recovery set and return to the main menu, or <N> to
go back to the CREATE VOLUME menu.
If a recovery set is created, you cannot add more RAID sets even when you
have more non-RAID disks installed in your system.
2. Enter a name for the recovery set and press <Enter>.
3. When the RAID Level item is selected, press the up/down arrow keys to
select Recovery, and then press <Enter>.
4. When the Disks item is selected, press <Enter> to select the hard disk drives
you want to include in the recovery set. The SELECT DISKS screen appears.
[ SELECT DISKS ]
Port Drive Model Serial # Size Status
0 ST3300656SS HWAS0000991753TR 279.3GB Non-RAID Disk
1 ST3300656SS 37VN00009846RAJ1 279.3GB Non-RAID Disk
2 ST3300656SS 397600009846UEDY 279.3GB Non-RAID Disk
3 ST3300656SS GWC50000991756G6 279.3GB Non-RAID Disk
Select 1 Master and 1 Recovery disk to create volume.
[[↑↓]-Prev/Next [TAB]-(M)aster [SPACE]-(R)ecovery [ENTER]-Done

ASUS RS700-E7/RS8 6-29
6.3.3 Deleting a RAID set
Take caution when deleting a RAID set. You will lose all data on the hard disk
drives when you delete a RAID set.
To delete a RAID set:
1. From the utility main menu, select 2. Delete RAID Volume and press
<Enter>. The following screen appears.
2. Use the up/down arrow keys to select the RAID set you want to delete, and
then press <Del>. The following warning message appears.
3. Press <Y> to delete the RAID set and return to the utility main menu, or press
<N> to return to the DELETE VOLUME menu.
ALL DATA IN THE VOLUME WILL BE LOST!
(This does not apply to Recovery volumes)
Are you sure you want to delete volume “Volume0”? (Y/N):
[ DELETE VOLUME VERIFICATION ]
[ DELETE VOLUME MENU ]
[ HELP ]
Deleting a volume will reset the disks to non-RAID.
WARNING: ALL DISK DATA WILL BE DELETED.
(This does not apply to Recovery volumes)
[↑↓]-Select [ESC]-Previous Menu [DEL]-Delete Volume
Name Level Drives Capacity Status Bootable
Volume0 RAID0(Stripe) 2 298.0GB Normal Yes
Intel(R) Rapid Storage Technology enterprise - SATA Option ROM - 3.0.0.1104
Copyright(C) 2003-11 Intel Corporation. All Rights Reserved.

6-30 Chapter 6: RAID conguration
6.3.4 Resetting disks to Non-RAID
Take caution before you reset a RAID volume hard disk drive to non-RAID.
Resetting a RAID volume hard disk drive deletes all internal RAID structure on
the drive.
To reset a RAID set hard disk drive:
1. From the utility main menu, select 3. Reset Disks to Non-RAID and press
<Enter>. The following screen appears.
2. Use the up/down arrow keys to select the RAID set drive(s) you want to reset,
and then press <Space> to select.
3. Press <Enter> to reset the RAID set drive(s). A conrmation message
appears.
4. Press <Y> to reset the drive(s) or press <N> to return to the utility main
menu.
Resetting RAID disk will remove its RAID structures
and revert it to a non-RAID disk.
WARNING: Resetting a disk causes all data on the disk to be lost.
(This does not apply to Recovery volumes)
Port Drive Model Serial # Size Status
0 ST3300656SS HWAS0000991753TR 279.3GB Member Disk
1 ST3300656SS 37VN00009846RAJ1 279.3GB Member Disk
Select the disks that should be reset.
[↑↓]-Previous/Next [SPACE]-Selects [ENTER]-Selection Complete
[ RESET RAID DATA ]

ASUS RS700-E7/RS8 6-31
Select a destination disk with the same size as the original hard disk.
[ DEGRADED VOLUME DETECTED ]
[↑↓]-Previous/Next [ENTER]-Select [ESC]-Exit
"Degraded" volume and disk available for rebuilding detected. Selecting
a disk initiates a rebuild. Rebuild completes in the operating system.
Select the port of destination disk for rebuilding (ESC to exit):
Port Drive Model Serial # Size
X XXXXXXXXXXX XXXXXXXX XX.XGB
6.3.6 Rebuilding the RAID
This option is only for the RAID 1 set.
Rebuilding the RAID with other non-RAID disk
If any of the SATA hard disk drives included in the RAID 1 array failed, the system
displays the status of the RAID volume as “Degraded” during POST. You can
rebuild the RAID array with other installed non-RAID disks.
To rebuild the RAID with other non-RAID disk:
1. At the prompt, press <Ctrl> + <I> to enter the Intel Rapid Storage Technology
option ROM utility.
2. If there is a non-RAID SATA Hard Disk available, the utility will prompt to
rebuild the RAID. Press <Enter>, and then use up/down arrow keys to select
the destination disk or press <ESC> to exit.
6.3.5 Exiting the Intel® Rapid Storage Technology utility
To exit the utility:
1. From the utility main menu, select 4. Exit, and then press <Enter>. The
following warning message appears.
2. Press <Y> to exit or press <N> to return to the utility main menu.
Are you sure you want to exit? (Y/N):
[ CONFIRM EXIT ]

6-32 Chapter 6: RAID conguration
3. The utility immediately starts rebuilding after the disk is selected. The status
of the degraded RAID volume is changed to “Rebuild”.
[ MAIN MENU ]
[ DISK/VOLUME INFORMATION ]
RAID Volumes: * = Data is Encrypted
ID Name Level Strip Size Status Bootable
0 Volume0 RAID1(Mirror) N/A 149.0GB Rebuild Yes
Physical Devices:
Port Drive Model Serial # Size Type/Status(Vol ID)
1 ST3160812AS 9LS0F4HL 149.0GB Member Disk(0)
2 ST3160812AS 3LS0JYL8 149.0GB Member Disk(0)
Volumes with “Rebuild” status will be rebuilt within the operating system.
[↑↓]-Select [ESC]-Exit [ENTER]-Select Menu
4. Exit Intel Rapid Storage Technology and reboot the system.
5. Under Microsoft® Windows OS, select Start>Programs>IntelRapid
Storage>IntelRapidStorageConsole or click the Intel Rapid Storage
Technology tray icon to load the Intel Rapid Storage Manager utility.
6. From the View menu, select Advanced Mode to display the details of the
Intel Rapid Storage Console.
7. From the Volumes view option, select RAID volume to view the rebuilding
status. When nished, the status is changed to “Normal”.
Rebuilding the RAID with a new hard disk
If any of the SATA hard disk drives included in the RAID array failed, the system
displays the status of the RAID volume as “Degraded” during POST. You may
replace the disk drive and rebuild the RAID array.
To rebuild the RAID with a new hard disk:
1. Remove the failed SATA hard disk and install a new SATA hard disk of the
same specication into the same SATA Port.
Select a destination disk with the same size as the original hard disk.
2. Reboot the system and then follow the steps in section Rebuilding the RAID
with other non-RAID disk.
Intel(R) Rapid Storage Technology enterprise - SATA Option ROM - 3.0.0.1104
Copyright(C) 2003-11 Intel Corporation. All Rights Reserved.
1. Create RAID Volume 3. Reset Disks to Non-RAID
2. Delete RAID Volume 4. Exit

ASUS RS700-E7/RS8 6-33
6.3.7 Setting the Boot array in the BIOS Setup Utility
You can set the boot priority sequence in the BIOS for your RAID arrays when
creating multi-RAID using the Intel® Rapid Storage Technology.
To set the boot array in the BIOS:
Set at least one of the arrays bootable to boot from the hard disk.
1. Reboot the system and press <Del> to enter the BIOS setup utility during
POST.
2. Go to the Boot menu and select the boot option priority.
3. Use up/down arrow keys to select the boot priority and press <Enter>. See
section 5.7 Boot menu for details.
4. From the Exit menu, select Save Changes & Exit, then press <Enter>.
5. When the conrmation window appears, select Yes, then press <Enter>.

6-34 Chapter 6: RAID conguration
You can click Rescan to re-scan any attached hard disks.
6.4 Intel® Rapid Storage Technology
enterprise Utility (Windows)
The Intel® Rapid Storage Technology enterprise utility allows you to create RAID 0,
RAID 1, RAID 10 (RAID 1+0), and RAID 5 set(s) from Serial ATA hard disk drives
that are connected to the Serial ATA connectors supported by the Southbridge.
Before you using Intel® Rapid Storage Technology enterprise utility, you need to
change BIOS setting rst:
1. Enter the BIOS Setup during POST.
2. Go to the AdvancedMenu>ChipsetConguration>PCHConguration
>OnboardSASOprom, then press <Enter>.
3. Set Onboard SAS Oprom to [Enabled].
4. Press <F10> to save your changes and exit the BIOS Setup.
1. Turn on the system to windows desktop.
2. Click the Intel® Rapid Storage Technology enterprise icon to display the
main menu.
Your storage system is congured for data protection, increased performance and
optimal data storage capacity. You can further optimize your storage system by
creating additional volumes.
To enter the Intel® Rapid Storage Technology enterprise utility under Windows
operating system:
You need to manually install the Intel® Rapid Storage Technology enterprise
utility on a Windows® operating system. Please refer to the installation
instructions in Chapter 6.

ASUS RS700-E7/RS8 6-35
6.4.1 Creating a RAID set
To create a RAID set
1. From the utility main menu, select Create Volume and select volume type.
2. Then click Next.
3. Enter a name for the RAID set, then select the array disks.
4. Select Volume Size tab, you can drag the bar to decide the volume size.
5. Then click Next.
• If you hard disk with existing data and you don’t want to keep data from one
of the selected disks, choose NO in next column (If displayed).
• If you want to Enable volume write-back cache or Initialize volume, you
can click Advanced tab to slelect.

6-36 Chapter 6: RAID conguration
6. Conrm volume creation, than click Create Volume to continue.
This process could take a while depending on the number and size of the disks.
You can continue using other applications during this time.
7. When the Volume Creation Complete dialog box appears, click OK.
You still need to partition your new volume using Windows Disk Management
before adding any data.
8. In the Intel® Rapid Storage Technology enterprise, select a volume in
the Volumes column and modify the items in Volume Properties when
necessary.

ASUS RS700-E7/RS8 6-37
6.4.2 Change Volume Type
When you are nished to create a RAID set, you can view or change related items
in the Volume Properties eld.
According to the following steps to change the type in Volume Properties:
1. Click the SAS array items you want to change in Volumes eld.
2 From the Volume Properties eld, select Type:RAID 1 Change type.
We recommend a lower stripe size for server systems, and a higher stripe size
for multimedia computer systems used mainly for audio and video editing.
3. You can change the Name, Select the new volume type, and Select
additional disks to include in the new volume if needed.
4. Then select the Data stripe size for the RAID array (for RAID 0, 10 and 5
only), and then click OK. The available stripe size values range from 4 KB to
128 KB. The following are typical values:
RAID 0: 128KB
RAID 10: 64KB
RAID 5: 64KB

6-38 Chapter 6: RAID conguration
6.4.3 Delete volume
Take caution when deleting a volume. You will lose all data on the hard disk
drives.Back up data before continuing.
To delete a volume:
1. From the utility main menu, select the volume (exp. Volume_0000) in
Volumes eld you want to delete.
3. Click Yes to delete the volume and return to the utility main menu, or click No
to return to the main menu.
2. Then select Delete volume in Volume Properties eld. The following screen
appears.

ASUS RS700-E7/RS8 6-39
6.4.4 Preferences
System Preferences
Allow you set to show the notication area icon and show system information, warning, or
errors here.
E-Mail Preferences
Allow you set to sent e-mail of the following events:
Storage system information
Storage system warnings
Storage system errors

6-40 Chapter 6: RAID conguration

Chapter 7
Driver installation
This chapter provides instructions for
installing the necessary drivers for different
system components.

7-2 Chapter 7: Driver installation
7.1 RAID driver installation
After creating the RAID sets for your server system, you are now ready to install
an operating system to the independent hard disk drive or bootable array. This part
provides the instructions on how to install the RAID controller drivers during OS
installation.
7.1.1 Creating a RAID driver disk
The system does not include a oppy drive. You have to use a USB oppy drive
when creating a SATA RAID driver disk.
If you have created RAID sets with the LSI Software RAID conguration utility,
the boot priority of the SATA optical disk drive has to be manually adjusted.
Otherwise, the system will not boot from the connected SATA ODD.
A oppy disk with the RAID driver is required when installing Windows® XP / Server
2003 or Linux operating system on a hard disk drive that is included in a RAID set.
You can create a RAID driver disk in DOS (using the Makedisk application in the
support DVD).
To create a RAID driver disk in DOS environment:
1. Place the motherboard support DVD in the optical drive.
2. Restart the computer, and then enter the BIOS Setup.
3. Select the optical drive as the rst boot priority to boot from the support DVD.
Save your changes, and then exit the BIOS Setup.
4. Restart the computer. The Makedisk menu appears.
C600 INTEL RAID Driver
Windows 32 bit (AHCI / AHCI RAID)
Windows 64 bit (AHCI / AHCI RAID)
Windows 32 bit (SCU RAID)
Windows 64 bit (SCU RAID)
Back
Exit
5. Use the arrow keys to select the type of RAID driver disk you want to create
and press <Enter> to enter the sub-menu.
C60x INTEL RAID Driver
Create Driver Diskette Menu
C60x INTEL RAID Driver
Write DMI
FreeDOS command prompt

ASUS RS700-E7/RS8 7-3
6. Locate the RAID driver and place a blank, high-density oppy disk to the
oppy disk drive.
7. Press <Enter>.
8. Follow screen instructions to create the driver disk.
LSI 2008 SAS2 Driver
LSI 2008 SAS2 Driver
Windows XP 32 bit
Windows XP 64 bit
Windows Server 2003 32 bit
Windows Server 2003 64 bit
Windows Vista 32 bit
Windows Vista 64 bit
Windows Server 2008 32 bit
Windows Server 2008 64 bit
Windows 7 32 bit
Windows 7 64 bit
Windows Server 2008 R2 64 bit
RHEL 4 UP7 32 bit
RHEL 4 UP7 64 bit
RHEL 4 UP8 32 bit
RHEL 4 UP8 64 bit
Back
Exit

7-4 Chapter 7: Driver installation
To create a RAID driver disk in Windows® environment:
1. Start Windows®.
2. Place the motherboard support DVD into the optical drive.
3. Go to the Make disk menu, and then select the type of RAID driver disk you
want to create.
4. Insert a oppy disk into the USB oppy disk drive.
5. Follow succeeding screen instructions to complete the process.
Write-protect the oppy disk to avoid computer virus infection.
To create a RAID driver disk in Red Hat® Enterprise Linux server environment:
1. Insert a blank formatted high-density oppy disk to the USB oppy disk drive.
2. Type dd if=XXX.img of=/dev/fd0 to decompress the le into the oppy
disk from the following path in the support DVD:
For LSI MegaRAID Driver
\Drivers\C60x LSI RAID\Driver\makedisk\Linux
3. Eject the oppy disk.

ASUS RS700-E7/RS8 7-5
7.1.2 Installing the RAID controller driver
During Windows® Server 2008 OS installation
To install the RAID controller driver when installing Windows® Server 2008 OS:
1. Boot the computer using the Windows® Server 2008 OS installation disc.
Follow the screen instructions to start installing Windows Server 2008.
2. When prompted to choose a type of installation, click Custom (advanced).
3. Click Load Driver.

7-6 Chapter 7: Driver installation
4. A message appears, reminding you to insert the installation media containing
the driver of the RAID controller driver. If you have only one optical drive
installed in your system, eject the Windows OS installation disc and replace
with the motherboard Support DVD into the optical drive. Click Browse to
continue.
5. Locate the driver in the corresponding folder of the Support DVD, and then
click OK to continue.
6. Select the RAID controller driver you need from the list and click Next.
7. When the system nishes loading the RAID driver, replace the motherboard
Support DVD with the Windows Server installation disc. Select the drive to
install Windows and click Next.
8. Setup then proceeds with the OS installation. Follow screen instructions to
continue.

ASUS RS700-E7/RS8 7-7
3. Select Yes using the <Tab> key when asked if you have the driver disk, then
press <Enter>.
Main Menu
Do you have a driver disk?
Yes No
4. Insert the Red Hat® Enterprise RAID driver disk to the USB oppy disk drive,
select OK, then press <Enter>.
The drivers for the RAID card are installed to the system.
Insert Driver Disk
Insert your driver disk into /dev/fd0
and press “OK” to continue.
OK Back
Red Hat® Enterprise Linux OS 5.0
To install the RAID controller driver when installing Red Hat® Enterprise OS:
1. Boot the system from the Red Hat® OS installation CD.
2. At the boot:, type linux dd noprobe=ata1 noprobe=ata2..., then
press <Enter>.
The number of ata varies with the hard disk drive number you have when
building a RAID set. For example, if you want to build a RAID set with 6 hard
disk drives, type command line: linux dd noprobe=ata1 noprobe=ata2
noprobe=ata3 noprobe=ata4 noprobe=ata5 noprobe=ata6.
- To install or upgrade in graphical mode, press the <ENTER> key.
- To install or upgrade in text mode, type: linux text <ENTER>.
- Use the function keys listed below for more information.
[F1-Main] [F2-Options] [F3-General] [F4-Kernel] [F5-Rescue]
boot: linux dd noprobe=ata1 noprobe=ata2

7-8 Chapter 7: Driver installation
5. When asked if you will load additional RAID controller drivers, select No, then
press <Enter>.
More Driver Disks?
Do you wish to load any more
driver disks?
Yes No
6. Follow the onscreen instructions to nish the OS installation.
7. When the installation is completed, DO NOT click Reboot. Press <Ctrl>
+ <Alt> + <F2> to switch to the command-line interface from graphic user
interface.
8. Type the following commands when using a Legacy oppy.
mkdir /mnt/driver
mount /dev/fd0 /mnt/driver
cd /mnt/driver
sh replace_ahci.sh
reboot

ASUS RS700-E7/RS8 7-9
4. Select Yes using the <Tab> key when asked if you have the driver disk, then
press <Enter>.
Main Menu
Do you have a driver disk?
Yes No
Red Hat® Enterprise Linux OS 6.1
To install the LSI MegaRAID controller driver when installing Red Hat® Enterprise
OS:
1. Boot the system from the Red Hat® OS installation CD.
2. Press <Tab> to edit options.
3. At the boot:, type vnlinuz initrd=initrd.img xdriver=vesa
nomodeset dd , then press <Enter>.

7-10 Chapter 7: Driver installation
6. Insert the Red Hat® Enterprise RAID driver disk to the USB oppy disk drive,
select OK, then press <Enter>.
The drivers for the RAID card are installed to the system.
Insert Driver Disk
Insert your driver disk into /dev/sdb
and press “OK” to continue.
OK Back
7. When asked if you will load additional RAID controller drivers, select No, then
press <Enter>.
More Driver Disks?
Do you wish to load any more
driver disks?
Yes No
8. Follow the onscreen instructions to nish the OS installation.
5. You have multiple devices which could serve as source for a driver disk.
Choose one you like to use and select OK, then press <Enter>.
OK Cancel
Driver Disk Sou8rce
You have multiple devices which could
serve as source for a driver disk.
Which would you like to use?
sdc
sdd
sdb
sr0

ASUS RS700-E7/RS8 7-11
SUSE Linux 11.1 OS
To install the RAID controller driver when installing SUSE Linux Enterprise Server
OS:
1. Boot the system from the SUSE OS installation CD.
2. Use the arrow keys to select Installation from the Boot Options menu.
F1 Help F2 Language F3 Video Mode F4 Source F5 Kernel F6 Driver
English(US) 1024 X768 DVD Default No
Boot from Hard Disk
Installation
Repair Installed System
Rescue System
Check Installation Media
Firmware Test
Memory Test
Boot Options |
3. Press <F6>, then select Yes from the menu. Press <Enter>.
F1 Help F2 Language F3 Video Mode F4 Source F5 Kernel F6 Driver
English(US) 1024 X768 DVD Default No
Boot from Hard Disk
Installation
Repair Installed System
Rescue System
Check Installation Media
Firmware Test
Memory Test
Boot Options |
Yes
No
File
URL

7-12 Chapter 7: Driver installation
4. Insert the RAID driver disk to the oppy disk drive. Type the command
acpi=off apic=bigsmp brokenmodules=ahci in Boot Options eld, and
press <Enter>.
F1 Help F2 Language F3 Video Mode F4 Source F5 Kernel F6 Driver
English(US) 1024 X768 DVD Default Yes
Boot from Hard Disk
Installation
Repair Installed System
Rescue System
Check Installation Media
Firmware Test
Memory Test
Boot Options acpi=off apic=bigsmp brokenmodules=ahci
5. When below screen appears, select the USB oppy disk drive (sda) as the
driver update medium. Select OK, then press <Enter>.
Please choose the Driver Update medium.
OK Back
sda: USB Floppy
Other device

ASUS RS700-E7/RS8 7-13
7. Select Back and follow the onscreen instructions to nish the installation.
6. The drivers for the RAID controller are installed to the system as shown
below.
Please choose the Driver Update medium.
OK
sda: USB Floppy
sr0: CD-ROM, ASUS DRW-1612BLT
sdb: Disk, LSI MEGA RAID
sd3: Disk, LSI MEGA RAID Console
other device
Back

7-14 Chapter 7: Driver installation
7.2 Intel® Chipset Device Software
installation
This section provides the instructions on how to install the Intel® chipset device
software on the system.
You need to manually install the Intel® chipset device software on a Windows
operating system.
To install the Intel® chipset device software:
1. Restart the computer, and then log on with Administrator privileges.
2. Insert the motherboard/system support DVD to the optical drive. The support
DVD automatically displays the Drivers menu if Autorun is enabled in your
computer.
If Autorun is NOT enabled in your computer, browse the contents of the support
DVD to locate the le ASSETUP.EXE from the BIN folder. Double-click the
ASSETUP.EXE to run the support DVD.
3. Click the item Intel Chipset Device Software from the menu.
4. The Intel(R) Chipset Device Software window appears. Click Next to start
installation.

ASUS RS700-E7/RS8 7-15
5. Select Yes to accept the terms of the License Agreement and continue the
process.
6. Read the Readme File Information and press Next to continue the
installation.
7. Toggle Yes, I want to restart the computer now and click Finish to
complete the setup process.

7-16 Chapter 7: Driver installation
7.3 Intel@ Network Connections Software
installation
This section provides the instructions on how to install the Intel® Network
Connections Software on the system.
You need to manually install the Intel® Network Connections Software on a
Windows® operating system. To install the Intel® Network Connections Software:
1. Restart the computer, and then log on with Administrator privileges.
2. Insert the motherboard/system support DVD to the optical drive. The support
DVD automatically displays the Drivers menu if Autorun is enabled in your
computer.
• Windows® automatically detects the LAN controllers and displays a New
Hardware Found window. Click Cancel to close this window.
• If Autorun is NOT enabled in your computer, browse the contents of the
support DVD to locate the le ASSETUP.EXE from the BIN folder. Double-
click the ASSETUP.EXE to run the DVD.
3. Click the Intel® Network Connections Software to begin installation.
4. Click Install Drivers and Software option to begin installation.

ASUS RS700-E7/RS8 7-17
5. Click Next when the Intel(R) Network Connections–InstallShield Wizard
window appears.
6. Toggle I accept the terms in the license agreement and click Next to
continue.
7. Click the Intel(R) PROSet for Windows Device Manager box, and then click
Next to start the installation.

7-18 Chapter 7: Driver installation
8. Follow the screen instructions to complete installation.
9. When nished, press Finish to continue.

ASUS RS700-E7/RS8 7-19
7.4 VGA driver installation
This section provides the instructions on how to install the ASPEED Video
Graphics Adapter (VGA) driver.
You need to manually install the ASPEED VGA driver on a Windows® operating
system.
To install the ASPEED VGA driver:
1. Restart the computer, and then log on with Administrator privileges.
2. Insert the motherboard/system support DVD to the optical drive. The support
DVD automatically displays the Drivers menu if Autorun is enabled in your
computer.
If Autorun is NOT enabled in your computer, browse the contents of the support
DVD to locate the le ASSETUP.EXE from the BIN folder. Double-click the
ASSETUP.EXE to run the support DVD.
3. Click the ASPEED AST2300 Display Driver to begin installation.
4. When the ASPEED Graphics installation wizard appears, click Next to start
the installation.

7-20 Chapter 7: Driver installation
6. Enter the user information and click Next to continue.
7. Select a setup type and click Next to continue.
5. Toggle I accept the terms in the license agreement and click Next to
continue.

ASUS RS700-E7/RS8 7-21
8. Click Install to start driver installation.
9. When the installation completes, click Finish to restart your computer before
using the program.

7-22 Chapter 7: Driver installation
7.5 Intel® C600 Series Chipset SAS RAID
(SATA mode) Drivers
This section provides the instructions on how to install the Intel® C600 Series
Chipset SAS RAID (SATA mode) Drivers on the system.
You need to manually install the Intel® C600 Series Chipset SAS RAID (SATA
mode) Drivers on a Windows operating system.
To install the drivers:
1. Restart the computer, and then log on with Administrator privileges.
2. Insert the motherboard/system support DVD to the optical drive. The support
DVD automatically displays the Drivers menu if Autorun is enabled in your
computer.
If Autorun is NOT enabled in your computer, browse the contents of the support
DVD to locate the le ASSETUP.EXE from the BIN folder. Double-click the
ASSETUP.EXE to run the support DVD.
3. Click the item Intel® C600 Series Chipset SAS RAID (SATA mode) Drivers
from the menu, and then follow the onscreen instructions to complete the
installation.

ASUS RS700-E7/RS8 7-23
7.6 Microsoft .NET Framework 3.5 SP1
This section provides the instructions on how to install the Microsoft .NET
Framework 3.5 SP1 software on the system.
You need to manually install the Intel® Microsoft .NET Framework 3.5 SP1 software
on a Windows operating system.
To install the drivers:
1. Restart the computer, and then log on with Administrator privileges.
2. Insert the motherboard/system support DVD to the optical drive. The support
DVD automatically displays the Drivers menu if Autorun is enabled in your
computer.
If Autorun is NOT enabled in your computer, browse the contents of the support
DVD to locate the le ASSETUP.EXE from the BIN folder. Double-click the
ASSETUP.EXE to run the support DVD.
3. Click the item Microsoft .NET Framework 3.5 SP1 software from the menu,
and then follow the onscreen instructions to complete the installation.

7-24 Chapter 7: Driver installation
7.7 Intel® Rapid Storage Technology
enterprise 3.0 installation
This section provides the instructions on how to install the Intel® Rapid Storage
Technology enterprise 3.0 on the system.
You need to manually install the Intel® Rapid Storage Technology enterprise 3.0
utility on a Windows® operating system.
To install the Intel® Rapid Storage Technology enterprise 3.0 utility:
1. Restart the computer, and then log on with Administrator privileges.
2. Insert the motherboard/system support DVD to the optical drive. The support
DVD automatically displays the Drivers menu if Autorun is enabled in your
computer.
If Autorun is NOT enabled in your computer, browse the contents of the support
DVD to locate the le ASSETUP.EXE from the BIN folder. Double-click the
ASSETUP.EXE to run the support DVD.
3. Click the Intel® Rapid Storage Technology enterprise 3.0 to begin
installation.
4. When the Welcome to the Setup Program appears, click Next to start the
installation.

ASUS RS700-E7/RS8 7-25
5. Read the Warning message and click Next to continue.
6. Read the License Agreement and click Yes to continue.
7. Read the Readme File Information and click Next to continue.

7-26 Chapter 7: Driver installation
9. Select Yes, I want to restart my computer now and click Finish to restart
your computer before using the program.
8. After completing the installation, click Next to complete the setup process.

ASUS RS700-E7/RS8 7-27
7.8 Intel® I350 Gigabit Adapters Driver
installation
This section provides the instructions on how to install Intel® I350 Gigabit Adapters
Driver.
To install the Intel® I350 Gigabit Adapters Driver on a Windows® OS:
1. Restart the computer, and then log on with Administrator privileges.
2. Insert the motherboard/system support DVD to the optical drive. The DVD
automatically displays the Drivers menu if Autorun is enabled in your
computer.
If Autorun is NOT enabled in your computer, browse the contents of the support
DVD to locate the le AUTORUN.EXE and double-click the AUTORUN.EXE
and follow step 4 to run the installation.
3. Click Intel® I350 Gigabit Adapters Driver.

7-28 Chapter 7: Driver installation
5. Click I accept the terms in the license agreement and then click Next to
continue.
4. When the Intel® PRO Network Connections – InstallShield Wizard window
appears, click Next to start the installation.

ASUS RS700-E7/RS8 7-29
6. Select the programs you want to install and click Next to continue.
7. Click Install to start the installation.

7-30 Chapter 7: Driver installation
8. The programs you select are being installed.
9. Click Finish to nish the installation.

ASUS RS700-E7/RS8 7-31
7.9 Management applications and utilities
installation
The support DVD that came with the motherboard package contains the drivers,
management applications, and utilities that you can install to avail all motherboard
features.
The contents of the support DVD are subject to change at any time without
notice. Visit the ASUS website (www.asus.com) for updates.
7.9.1 Running the support DVD
Place the support DVD to the optical drive. The DVD automatically displays the
Drivers menu if Autorun is enabled in your computer.
If Autorun is NOT enabled in your computer, browse the contents of the support
DVD to locate the le ASSETUP.EXE from the BIN folder. Double-click the
ASSETUP.EXE to run the support DVD.
7.9.2 Drivers menu
The Drivers menu shows the available device drivers if the system detects installed
devices. Install the necessary drivers to activate the devices.
The screen display and driver options vary under different operating system
versions.

7-32 Chapter 7: Driver installation
7.9.3 Utilities menu
The Utilities menu displays the
software applications and utilities
that the motherboard supports.
Click an item to install.
7.9.4 Make disk menu
The Make disk menu contains
items to create the Intel RAID
driver disks.
7.9.5 Contact information
Click the Contact tab to display
the ASUS contact information.
You can also nd this information
on the inside front cover of this
user guide.

Appendix
Reference information
This appendix includes additional
information that you may refer to when
conguring the motherboard.

A-2 Appendix A: Reference information
A.1 Z9PP-D24 block diagram

ASUS RS700-E7/RS8 A-3

A-4 Appendix A: Reference information
ASUS contact information
ASUSTeK COMPUTER INC.
Address 15 Li-Te Road, Peitou, Taipei, Taiwan 11259
Telephone +886-2-2894-3447
Fax +886-2-2890-7798
E-mail info@asus.com.tw
Web site http://www.asus.com
ASUSTeK COMPUTER INC. (Taiwan)
Address 15 Li-Te Road, Peitou, Taipei, Taiwan 11259
Telephone +886-2-2894-3447
Fax +886-2-2890-7798
E-mail info@asus.com.tw
Web site http://tw.asus.com
Technical Support
Telephone +886-2-2894-3447 (0800-093-456)
Online Support http://support.asus.com/techserv/techserv.aspx
ASUSTeK COMPUTER INC. (China)
Address No.508, Chundong Road, Minhang District,
Shanghai, 201108 China
Telephone +86-21-5442-1616
Fax +86-21-5442-0099
Web site http://cn.asus.com
Technical Support
Telephone +86-20-2804-7506 (800-820-6655)
Online Support http://support.asus.com/techserv/techserv.aspx

ASUS RS700-E7/RS8 A-5
ASUS contact information
ASUS COMPUTER INTERNATIONAL (America)
Address 800 Corporate Way, Fremont, CA 94539, USA
Fax +1-510-608-4555
Web site http://usa.asus.com
Technical Support
Support fax +1-812-284-0883
General support +1-812-282-2787
Online support http://support.asus.com/techserv/techserv.aspx
ASUS COMPUTER GmbH (Germany and Austria)
Address Harkort Str. 21-23, 40880 Ratingen, Germany
Fax +49-2102-959911
Web site http://www.asus.de
Online contact http://www.asus.de/sales
Technical Support
Telephone +49-1805-010923
Support Fax +49-2102-959911
Online support http://support.asus.com/techserv/techserv.aspx
ASUS Czech Service s.r.o. (Europe)
Address Na Rovince 887, 720 00 Ostrava – Hrabová, Czech
Republic
Telephone +420-596766888
Web site http://www.asus.cz
Technical Support
Telephone +420-596-766-891
Fax +420-596-766-329
E-mail advance.rma.eu@asus.com
Online Support http://support.asus.com/techserv/techserv.aspx

A-6 Appendix A: Reference information
ASUS contact information
ASUS Holland BV (The Netherlands)
Address Marconistraat 2, 7825GD EMMEN, The Netherlands
Web site http://www.asus.com
Technical Support
Telephone +31-(0)591-5-70292
Fax +31-(0)591-666853
E-mail advance.rma.eu@asus.com
Online Support http://support.asus.com/techserv/techserv.aspx
ASUS Polska Sp. z o.o. (Poland)
Address Ul. Postępu 6, 02-676 Warszawa, Poland
Web site http://pl.asus.com
Technical Support
Telephone +48-225718033
Online Support http://support.asus.com/techserv/techserv.aspx
ASK-Service (Russia and CIS)
Address г.Москва, ул. Орджоникидзе, д.10, Россия
Telephone (495) 640-32-75
Web site http://ru.asus.com
Technical Support
Telephone 008-800-100-ASUS (008-800-100-2787)
Online Support http://vip.asus.com/eservice/techserv.aspx?SLanguage=ru