EP5717 EH12 2 Parts Manual
User Manual: EH12-2 Parts Manual
Open the PDF directly: View PDF
.
Page Count: 42


F@obin
America,
Inc.
940
lively
Blvd.
Wood
Dale,
I1
601 91
Phone:
630-350-8200
Fax:
630-350-821
2
e-mail: sales@robinarnerica.com w.robinamerica.com
0
Copyright
2000
Robin
America, Inc.

HOW
TO
USE
THIS
PARTS CATALOG
"
.
.
-"""-
..
.
"""-
EH122CIUOOUOXXXX
PROD. No.
(1
5%)
(%%:9>
In
order to identify product specification,a label
is
generally stuck on each
ROBIN
engine.
The SPEC.No. can be confirmed
by
the label.
The label indicates a 15-digit alphabetic-numeric string of
PRQD.No.
which consists
of
the
SPEC.No.(ll -digit) and the CODE
No.
(4-digit) as illustrated above.

This
part
catalog
contains repair
parts
employed in the
products shown
below.
-
2
e
2e5e
MARK
SPEC
No.
0
EH122YD4500
a3
EH122D46110
8
EH122D46100
0
EH122D46090
a@
EH122D46080
@
EH122D46070
8
EH122D46060
0
EH122D46051
@
EH122D46050
0
EH122D46040
@
EH122D46030
0
EH122D46020
0
EH122D46010

7~A.&!?fd-
(LABEL
to
be
stuck
on)
I
P
R
0
D
.
N
o
.%%{ai!!?
(MARKING
LOCATIONS
OF
PROD.No.1
The 15-digit
PROD.No.
label
is
stuck on the part where it
is
easily
found
such as
on
blower
housing,on cylinder baffle
,or
on
head cover.In some cases,it is stamped
on
the cylinder baffle.
PROD.No.S%@J
PROD.
NO.
SER.
NO.
(MARK
I
NG
EXAMPLE)
EY2000D25301664
2381630

*h9U9@4
?X
kkk,
g[s~al~~*~~~R~~aa"a~€*(,~P~~~I\~~T-~~L~djtJ~~~
*rJ&(;:k
3
TU,
iGER2llKfiCzTz.itda~gefiCdij
v
sTaTz'%B&3-Fs
t\,
Note that some
of
the parts shown in the illustrations in this part catalog may
be
somewhat
different from their actual shape and location, since the illustrations in this catalog
are
intended
to
provide ordering information.
L

0
SECTION NAME
...........
Parts are broadly classified according to their functions.
Refer to section indexes(contents)for respective section name.
@
FIG.No.
.........................
It
indicates illustration number.
FIG.No.
with the same figure in the third
of hundreds shows that it is in a group of the same section.
FIG.No.
illustrating the target part can be read in the right-end section of the list.
the list.Serch for
REF.No.
in the list in the corresponding
REF.No.
in the
illustration to determine the part number.
Section
@
shows a ‘SUB-ASSEMBLY PART’
of
section
@
which is
indicated by the number led by
I-’
such
as
‘-1
‘,‘-2’.
Use the
PART
No.
when marking an order.
@@
REF.No.
.....................
It
is
a number to compare the part illustrated with the part number in
@
PART NUMBER
............
It
is the number assigned for sales unit.
@
PART
NAME
.................
It
is designation of the part.
0
Q‘ty
...............................
Quantity of part being employed for each product.
@
REMARKS
....................
This gives
a
distinctive feature and/or a supplementary comment for the
type,the specification, and the part concerned.
@
INTERCHANGEABLE
...
It
shows part number(s) interchangeable for the part given in the section
@
CODE NO.
.....................
It indicates history of progress in which improved parts have been
PART NUMBER
0.
introduced in the product.The CODE
No.
helps to identify
PART
No.
being employed in the product concerned.
Thepa~tisemplayedinttk?praJds\rrithCODENo.of2101
andafterthisnumber.
I-
rhe part has been employed in the product irrespective of CODE
No.
partisemployedin~products~CODENo.af2100andbefore~number.

I
1
I I
n
Confirm PROD.NO.
n
Find out the illustration of the part in question
to identify its REF.No.
n
Read the PART No.corresponding
to
REF,No.
and PART NAME from the list.
N0TE:lf more than one of PART No. are
entered in the REF.No.section,refer to
REMARKS section to confirm the
specification.
If
a
4-digit-number is entered in the CODE
No.
section,the PART
No.
in
question
is
different in before and
after
this CODE No.
The CODE No. is to
be
illustrated as the last
4-diait
of
the PROD.No.
Refer to
“TERM
DEFINITION
&
COMPOSITION”
section
for
details.

WjL7
P
flY
bl@)
?!z
T
%
E!!(El
*
3)
a
Ell
(z
s)
-
SYMBOLS
DESCRIPTION
IN
JAPANESE
DE
SCR
I
PT
I
ON
AY
7
y
-k
=/
7’
’I
-
(%He>
ASSEMBLY
EX
EXPORT
E@!J
FRONT
F
R.
74%7
F
I
GURE
F
I
G.
%X
CP
J
=/7O’)
-
I-
(ZE)
COMPLETE
n
INCH
-f
SF
INCL.
“L
W
I
THOUT
w/o
-
*
-4$S
WITH
W/
7Y
b
(@A)
WATT
“w
*)Lb
(%E)
VOLTAGE
-V
7
;F”---f
x’
UNDER
S
I
ZE
u.
s.
1ZY
b
(Em
UNIT
UN
s25
(-m>
TH
I
CKNES
S
(in
mm)
T=
x4
Y3=
SWITCH
sw
E%
STANDARD
S
TD.
f%M
REAR
RR.
&@!J
R
I
GHT-HAND
S
IDE
R.
H.
(RH)
L7
7
L>/S:
(,Re)
REFERENCE
REF.
Bfi€E&L
POWERTAKEOFF
P.
T.
0.
(PTO)
YYF
~-m>
P
I
TCH(in
mm)
P=
+“+“~x‘
OVER
S
I
ZE
0.
s.
%%Nk%
(STD.
T7F6
b
5
(73)
OPT
I
ONAL
OPT.
%L
NONE
NO
(NON)
%km
MECHANICAL
MECHA
.ZEBU
LEFT-HAND
S
I
DE
L.
H.
(LH)
5?2
~-m>
LENGTH(in
mm)
L=
(@B)
LITER
-L
-e*o
INCLUDE

<REQU€ST
FUR
PURCHASING
ROBIN
GEMUINE
PARTS>
1
.
The genuine parts of Fuji Heavy Industry Ltd. have
been
manufactured in accordance
with design specifications meeting the requirements
of
ROBIN
products.
In order to maintain complete performance
of
ROBIN
products, the genuine parts have
been produced under strict quality inspection and quality control for the primary purpose
of after-sale service.
2
.
You
are requested to place an order to
our
Parts dealers or distributors where
a
good
stock
of
genuine parts are kept.The genuine parts have the marking as illustrated
below.

SECT
I
ON
NAME
-kg33
>
*-A
74
Y17
*>IT-
4-7
FIG.
No.
PAGE
1.
9
3
i~~-L"""""""""""""""""""
100
2
2.
gy;g,
yzb)
"""""""""""""""""
200
6
.
9
3;g
C1-f.
7
b
"""""-""""""""""-
205
7
3
4;y-g
~g\]L"
""""""""""""""
?
300
10
4
3jpj-
*q/-
b
~""""""""_""""""""
?
420
14
5.
g-g
;9'
ZL"4
;y
"""""""""""""
?
500
16
600
20
7.
xl/g
'1)
,y
9
?')X+
x
""""""""""""""-
700
24
9.
~~7~11)"""""""""""""""""""""
900
26
1
0.
~~~~~Bp~u"""""""""""""""""""
1000
28
skb
w
g$+f
)y-,y
9
1)
x
"""""-"""""""""-
uu
32
6
+yy*b-g
AY
..................................
PAGE
2
6
7
10
14
16
20
24
26
28
32

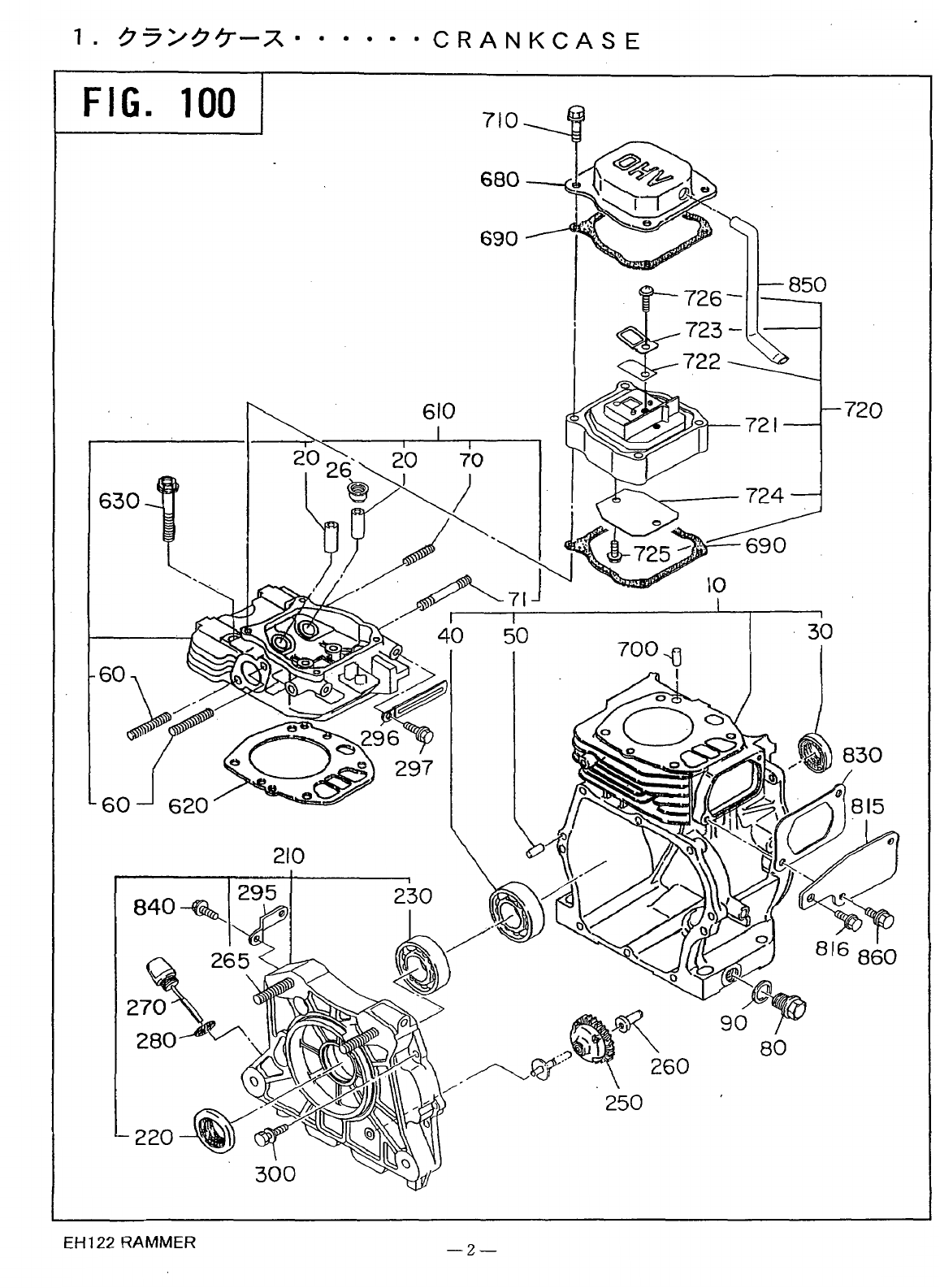
1.
/15>/1(5-x*
*CRANKCASE
I
FIG.
100
1
710a
680
690
630
-\
fH
122
RAMMER
-2-

1.
9f>99-"
=CRANKCASE
~
IEF.
NO.
PRICE
FROM-TO
P
A
R
T
N
A
M
E
le'
td
REMARKS
i
PART NUMBER
PART NUMBER
NO.
FIG.
4\SSiifIi
E@SI$%
9
E
8
%
lm8d
h%
Z.
E&%E%%
gb
E
Si
e
iI
i
i
INTERCHANGEABLE
UNIT
CODE
NO.
I
I I
197>99-x
CP
10
20
100
-
252-10301-1
1
\CRANKCASE CP
100
-
2
/OVER SIZE
237-14202-03
j*"/t-
+fx*
!
Ix%!A
9"IL
CP
!
261237-16008-01 [STEM SEAL CP
I
11
I
-
1
100
30 044-02501-50
I
i
100
-
125X38X7
i
l%-)L
A.PIJ>Y
11
40
100
DOWEL
PIN
i2 031-00600-20
50
100
-
BB-6205C3
1
060-02500-1
0
1
BALL BEARING
99I)L
e>
-
I
!
X9YF
I
I
60
IO1
0-50804-801 STUD
100
i-
STUD
I1
001-39066-00
71
1
100-
-
1
STUD 01 0-50601-31
70
I
100
-
2
XWF
X9YF
159
II
801040-1 1400-30lPLUG
~
21
-I
I
100
/fi*X+Yt-
90
210
100
-1
GASKET
1
21
021
-1
1400-20
100
060-025OW10 BALL BEARING
I
1
BB-6205C3
I-
230
100
-
125X41.24X7
044-02501-60/01L SEAL
1
220
100
@
I-
252-1 1107-01 IMAIN BEARING COVER
CP,
1
100
-
MAIN BEARING COVER
252-1 11 05-01
1
oo
l-
MAIN BEARING
COVER
CP;
1
1@@0@
252-1 1103-01
100
-
@)@@@@I
,MAIN BEARING COVER CP, 1
252-1 1101-21
250 227-45003-01 GOVERNOR GEAR CP
-i
100.
260
205-41 901-03 GOVERNOR
SLEEVE
I1
-
i
100
265 01 0-81 000-20 STUD
I
20@@@@@fiJ@
9->
dp')>g"
j-J/
c-
cp
1
CP
I
I$->
dTlJ>3*
;b/
2-
I$->
47lJ>3*
A/
C-
CP
I
pF4L
9-)L
1;f;")L
&TlJ>9*
X/<*
=F+
CP
fi*/
Tf
XI)
"I
i
X9YF
I
!X9YF
I
~
I
-
01 0-81 000-30ISTUD
21@@0@@
i
-
I
100
270
056-60002-50
I
CLAM:
296
100
-
252-1 7001-01
/SUPPORT(MAIN
BEARING.C.)I
1
295
100
-
11
280
I02
1
-31 600-20
~
GASKET
100
-
252-63601-01
I1
Ifj'iZCYb
i
!'f$-b,
%->~~IJ>~-AI<-
j
97>
I
1
It
1-
I
1
00
Circled numbers such
as
m.
.
.
in the
"REMARKS"
column in the table above show corresponding product nurnber.Confirm product number
according to the introduction section.Parts which are not specified
by
the circled numbers are used in
all
the products.
EHl22 RAMMER
-3-



FIG.
200
I
I70
320
EH122
RAMMER
-6-

2.
95>9,
exb>m
.
CRANK,
P
I
STON
FIG.
205
1
268-21902-01
268-2
1903-0
1
/l
EH122
RAMMER
-7-

2.
9529,
l3b2-
CRANK,
P
I
STON
REF.
NO.
PRICE
FROM-TO
Q'
tj
REMARKS PART NUMBER
P
A
R
T
N
A
M
E
PART NUMBER
NO.
FIG.
EB?I$%~JG5~~
I%
8
'fd
#i%
Z%8?%3$+
gP
E
f
~ ~~~~ ~ ~~
I
~ ~~~~
I
I
NTERCHANGEABLE
UNIT
CODE NO.
97>9-%77t-
CP
95>99+7t-
CP
35>9-i-r7t-
CP
I
,7W-?l-
13
I
I
10 200
-
@QW
1
CRANKSHAFT CP 268-21 901 -01
@a@@@@@
1
CRANKSHAFT CP
1268-21 903-01
i
205
-
CRANKSHAFT CP
268-21 902-01
-
I
205
401023-02501-10iSPACER Tz0.6
lX4-?l-
-I I
200
I
I
023-02501 -20
I
200
-
1
SPACER T=l
.O
023-02501 -30
1Jselect 1 piece
only
I
-
I
1
200
SPACER Tz0.8
I
7(4-Y-
f
-2
I-
50/002-18140-00/NUT
I
11
200
-
1
SPRING WASHER 003-201 40-00
60
I
200
-
X111
>3*
7
~-i+
3YF.57
+-
70 200 11
1-1
032-30300-1
01
WOODRUFF
KEY
80
200
I-
005-32042-01
n.79
fYk
mE%<
170 200
EXC.@@
1
LOCK NUT
01 7-31 200-1
0
1;f-974>9*
UyF.
AY
I
1
320
-
CONNECTING ROD
BOLT
I
2
236-23001-03
I
200
350
200
-
STD.
1
268-23401-03 PISTON
360
200
-
1 PISTON PIN
268-23301-03
268-23402-03 PISTON 1
O/S
0.25"
1-1
I
200
fxI->
f>
I
fxt->
IfXI-9
I
I
1268-23403-031 PISTON
-I
I
200
STD. 1
PISTON RING SET 252-23501-07
370
1
200
-
1
lO/S
0.50"
fXk>
IJM'
+YI-
fXt->
IJ2f
-tr~b
I
1252-23502-071PlSTON
RING
SET 1
I
O/S
0.25"
1-1
I
200
I
IfrCI-3
lJ>9*
+YI-
i
I
1252-23503-071PlSTON RING
SET
I
1
/O/S
0.50"
-I
I
200
13'1
Y?
I
380 CLIP
I
21
I
200
21 5-25004-03
I1
I
I
I
I
I
!
11
1
11
i
I
I
!
i
I
-t:zmsma~.
. .
12,
s%%.a"a%+2~L.Tlf\z?$-o
~~:4t~~Ll~a"a~~~~~L~<~~~lf\~
ooo.
. .
~~,)~~c~~\~.a"aI~~~~~~l~~rn~~~~~~~~
Circled numbers such
as
m.
.
.
in
the
"REMARKS"
column
in
the
table above show corresponding product number.Confirm product number
according to the introduction section.Parts which are not specified by
the
circled numbers are used in all the products.
EH122
RAMMER
-8-


37
35
-
50
EH122
RAMMER
-
10-

FIG.
300
I
500
252-33004-13
252-32712-10
5
IO
EH122
RAMMER
-11-

REF.
I
$$
E
3$
I
$$
a”a
$5
%
E@%iX$e
EBB%
d\%%a
FIG.
i
INTERCHANGEABLE CODE NO. UN IT
NO.
1
PART NUMBER
1
P A
R
T
N A M
E
PART NUMBER FROM-TO PRICE
NO.
10 253-31 701 -1
1
-
I
300
I
-1J>9*
tr“>
35 1227-36401 -03 RELEASE LEVER
I1
I
-
300
36 1005-1 9041
-00
SPRING PIN I1
-
300
37 003-1 5220-00 SNAP RING 1
-
300
Xt~l
lJ>9*
i
I
WY
l-
I I
1
50
j
239-33301
-1
3
1
TAPPET
300
601253-33601 -03 2
-
300
i
I
2’
-
1
IXYIJM-
I/?-+
I
.-
70
132-09KAO-4dSPRlNG RETAINER
I2
I-
3-
80
268-33401-03 1 300
90
268-33501 -03 EXHAUST VALVE
1
300
95 132-1 OKAO-31 4
-
300
210 268-35301 -03 PUSH ROD
I2
-
300
220 261 -36001 -A3 ROCKER ARM
2
300
230 269-35801-03 BOLT(PIV0T)
21
I
-
300
IW-Xb
/
Ob3
I
I
-
yy.>3
p.yt2
Uyh-
7-&
ig)LP,
f**yt-
I
1
IfYt-
II
-
240101 7-00600-901 NUT
I
21
-
1
300
Ifi4FYL-t-
i
1
260\269-36501-03/GUlDE PLATE
I
1i
I
’-
I
300
1777
CP
II
1
31
0
252-30401 -1 1
I
MUFFLER
CP
1
-I
1
300
115.fYb
CP
~
3301252-37001-11 (BRACKET
CP
1
11
1
-
I
300
lkix+Yt-,
77s
il
I
3401253-35201-03/GASKET(MUFFLER)
21
1-
300
I
IXd-9,
X%V-Xt-
!
341 1252-36501 -03JSPACER(EXHAUST)
j
11
-
I
300
I
IfYP
350 101 7-00800-30
1
NUT 2
-I
300
is)Lb
7’>F
7*y>.it,
AY
360 001-13081-60’BOLT AND
WASHER
AY
41
-
3
00
362 003-1 1080-00 WASHER
2
i-
300
‘7Y5-v
I
Circled numbers such as
m.
. .
in the
“REMARKS”
coiumn
in
the table above
show
corresponding product nurnber.Confirm product number
according
to
the introduction section.Parts which are
not
specified by the circled numbers are used in all the products.
(
to
be
continued)
EH122
RAMMER
-12-

IEF.
ESBeIJG5i$fi&FIG.
zi
E@%t%Be
3
8
%
B
G
S
+%
NO.
PART NUMBER
-@@@B@@@W
AIR CLEANER AY
I
1
252-32712-10
30C
-
llaoB
AIR CLEANER AY
i
252-3271 1-1
0
510
NO.
PR
ICE
FROM-TO
REMARKS
f
PART NUMBER
Q’
ty
P
A
R
T
N
A
M
E
-
30C
-2 226-32720-08 GASKET(AIR CLEANER) 1 EXC.@
30C INSULATOR 106-3291 2-03
540
30C
-
EXC.@
1
ELEMENT
SET
252-32601-07
520
30C
1@0W
LABEL(CH0KE)
I
073-20050-20
51
5
30C
-
EXC.@
ELEMENT
i
1
252-3261 1-08
,525
30C
-
555 227-35901-03 GASKET(INSULAT0R)
I
-
30C
556 001-14064-00 BOLT AND WASHER AY 1
1
30C
560 236-35903-03 GASKET 2(INSULATOR) 2 EXC.@
-
30C
570 017-60600-20 SELF LOCK NUT
2
EXC.@
-
30C
580 001-1 3081-80 BOLT AND WASHER AY
i
1 EXC.@
-
30C
590 002-38060-00 FLANGE NUT
2
-
30C
595 020-00800-80 WASHER
1
EXC.@
-
3uc
596 056-60001 -70 CLAMP
I,@@@
1-
30(
605 252-36502-03 PLATE(AIR CLEANER)
I-
30C
i
INTERCHANGEABLE UNIT
CODE NO.
x7
9’1-f
AY
17
9‘1-f
AY
>@%E<
IL%>b
5dh,
33-9
@%R<
@%E<
Il/%>b
SET
i
-
+>ILL+
1
fi*;;c’r*Yb,
4>9d/-9
@??I%<
I
:
EXC.m
-
*lLf-
7>F
7y-it.
AY
-
fiiz’TYf-
2,
4>>dJ-9
@%E<
kll.7
UY3
fYb
@a%<
*lLb
7>F
7W-V
AY
@?E%<
77>5
fYl-
7Y-i.r
YL-t-,
17
93)-f-
95>Y
@%E<
I
i
I1
I
i
I
I
1
I
’
Izz%zmmm.
.
.
It,
s%g!P“,sfS52i%rL\df,
li;i~4rz~.~:a”af~~~~!L~<~~~~\o
’
ooo.
.
.
~tr‘,)B~~~L\5~i~~~~~~~z~m~~rL\~~o
Circled numbers such as
m.
. .
in the
“REMARKS”
column in the table above show corresponding product nurnber.Confirm product number
according to the introduction section.Parts which are
not
specified
by
the circled numbers are used
in
all the
products.
EH122 RAMMER
-13-

4.
fj’/e+,
*el/-
’
-
.GOVERNOR,
OPERATE
FIG.
420
420
EH122
RAMMER
-
14
-

4.
B-JXY,
%<b-
9
9
9
.GOVERNOR,
OPERATE
EF.
NO.
PRICE
FROM-TO
Q'
tj
REMARKS PART NUMBER PART
NUMBER
I
P
A
R
T
N
A
M
E NO.
FIG.
IJ\E!!j2fi
E
B
f4
md
%
,
E@!%i!d#E
bb
a"a
tif
e
~
f$
a"a
4!5
INTERCHANGEABLE UNIT
CODE
NO.
jj'/if
I//<--
10
I
420
-
1
GOVERNOR LEVER
252-42303-03
20 420
I-
227-42201-03
30
420
-
li
ROD SPRING
254-42801-03
40
420
-
11
GOVERNOR ROD
254-42701-01
0
Y
F
X7lJ
>9*
3
11
Y3
~
50i003-13060-00lC~1P
I
420
l-
2
SlLt-
7>F
7~9+
AY
f
Y
t-
I
&*I
if
XylJ
>9'
601001-14063-00
1
420
1
i
I-
GOVERNOR SPRING
80'252-42503-23
420
-
1
NUT 018-60600-20
70
I
420
-I
1
BOLT
AND WASHER AY
200 252-43402-20 SPEED CONTROL AY 1
-
1
PROTECTOR(G0V)CP
252-42801-11
700
EXC.@
1-
I
1
420
f
LANGE BOLT
1
1
01 1-00600-30
420
1
420
EXC.@
l-
WIRE BRACKET
I
1
252-44202-1 3 390
-
i
1
420
LINK PIVOT CP
11
226-43101-01
280
1
420
-
EXC.@
1
SCREW
004-31 042-50
260
42
O
EXC@
I-
CONTROL
SPRING
1
1 205-46003-23
250
420
I-
NUT 2401002-1 7050-00
420
l-
1
SCREW, PANHEAD
2301004-31052-50
420
-
1
BOLT
01
1-60400-30 21
0
42
0
-
I
420
701
001-13081-60 BOLT AND WASHER AY
1
-
'
420
702
011-00600-30 FLANGE BOLT
1
-
i
420
Xl?-F
g>bU-JL
AY
*ltP
I
X911
1,
C>-y
F
fYi-
I
=l>bP-JL
X7frJ>Y
@@E<
X91
1
11>3
mYt-
CP
@?%E<
Yu=j=m--,
f-J"/<f
CP
@Si%<
I
75>5
SlLt-
j
@a%<
I
74v
I7i.fYl-
i
SlLb
7'>F
7~'i-t.
AY
7729
*)Lb
j
I
k;zg~mm~.
.
.
It,
3i2!Ig!a"at%gi?!&rL\$~o
~~~l=~~~I,t~~~~~~<~~~L\o
m.
. .
~~,~~~~~L\~I,l~~~~~~i~~H~~~~~~~o
Circled numbers such as
m.
.
.
in
the
"REMARKS"
column
in
the table above show corresponding product number.Confirm product number
according to the introduction section.Parts which are not specified by the circled numbers are used
in
all the products.
Eli1 22 RAMMER
-
15-

FIG.
500
1
35
45
90
I
245
/
210
220
,
/-
I
“I
I
-35
-5
-2
-3
-4
1
I
I
I
I
I
I
EH122
RAMMER
-16-

5.
g-g>g*,
Xp-f4=/g*-
-COOL
I
NG,
START
I
NG
IEF.
NO.
PRICE
FROM-TO
REMARKS PART NUMBER
Q'
ty
P
A
R
T
N
A
M
E
PART NUMBER
NO.
FIG.
e@Sf%4G5%@i
@@!dB
g.
z#&%hiSfe
3
n"a
%
#%
3
6
?#
i
I
NTERCHANGEABLE UN
IT
CODE
NO.
la7-
/\39>3*
CP
lu7-
/\35>9+
CP
3n7-
/\99>9+
CP
la7-
/\35>/3'CP
3u7-
/\95>9+*
CP
la7-
/\95>9'
CP
5&.11/,
bb-F
7-9
?&)I/,
bb-F
7-9
?&A/,
bL-F.
T-9
T&)L,
t-L-F'
7-9
10
lorn@
1
BLOWER HOUSING CP
252-51656-01
500
-
@@
1
BLOWER HOUSING CP 252-51 654-1
1
50C
-I
@@g@
1
BLOWER HOUSING CP 252-51652-3
1
-
1
500
252-51 657-1 1
252-51 658-01
500
-
l@
BLOWER HOUSING CP
18
BLOWER HOUSING CP
252-51 660-1
1
500
-
@x@
1
BLOWER HOUSING CP
-
500
20
161-91 720-03 LABEL(TRADE MARK) 1
I@
-
500
@@?
l-
1
LABEL(TRADE MARK)' 268-91 703-03
500
-
100
LABEL(TRADE MARK) 268-91 701 -03
500
268-91706-03 LABEL(TRADE MARK)
1
0-
-
500
23 268-95202-03
LABEL(EMISSI0N
CONTROL)
1
@@)@
500
-
-@@@
1
LABEL(ENG1NE NAME)
268-91802-03
35
500
-
268-91860-03 LABEL(ENGINE NAME)
I
I
500
i
40
1001-1 4065-50
BOLT AND WASHER AY
1
4
~
50C
45 01 1-00601-40 FLANGE BOLT
I
21
-
50C
90
1252-52702-1 3 HEAD COVER
I
11
I
-
50C
210/268-50201-00 RECOIL STARTER AY
!
1
I-
I
50a
-1 270-501 15-08 SPIRAL SPRING
~
I'
i-
50C
-2 269-501 20-081 REEL
1
1-
50C
-3 269-501 10-081 STARTER ROPE
l-
50C
-4
227-501 31 -081 FRICTION SPRING i1
-6
50C
i-
RATCHET
i
2,
270-501 25-08
-5
50C
1-
I
STARTER
KNOB
I1
261-50100-08
I
54IL.
XSy%>=l>t-U-)L
Y&)L,
x>?>
%"-&
5&)1/,
1>5>
;f.--s,
$l1/l-
7>F
7~9.j.r
AY
1
!
-
-
175s
iwt-
I
/\yF'
jJ/+
I
1)Zd)L
X9-9
AY
i
X/
245)1/
XYIJ>3**
~
I
I
'J
"IL
I
'X9-9
a--I
x9-9
/I
STIY
t-
i
I
11
I
I
i
-
1
1
5OC
i7119h>
X3'lJ>9*
I
!
x9-9
70-1)
I[
FFfrY
t-
3.4
F
jI
-1
1
227-50152-08 SET SCREW
11
-i
i
50C
-49
50C
RATCHET GUIDE
j
1!
!
-
I
270-50261
-08,
-35
STARTER PULLEY
I
11
i
i
50C
268-501 45-08
-
X(31J1
I/
I
1
kzzmzmam.
.
.
I&
~!!lg,o,~~~%L-cL\~To
~~~f=~~~~~~~~~~~T<~~~L\o
OOo. .
.
~r.)~sr;~~L\~r,o,~:fTCn~!aPaI=~H~:kL~L\dto
Circled numbers such
as
m.
. .
in
the
"REMARKS"
column
in
the table above
show
corresponding product number.Confirm product number
according to the introduction section.Parts which
are
not specified
by
the circled numbers are
used
in
all
the products.
EH122 RAMMER
-17-

5. 9–IJ>9”, xg–y~>g’~ .“COOLING, STARTING
REF. ?Jll Fn g+% BE%% ‘kll?q MS; Zmiwwe
:INTERCHANGEABLE
NO. PART NUMBER 1PART NAME /Q’t~ REMARKS ~PART NUMBER
~>~)b, ~b—~’q’-q
217 206-91701-03!LABEL(TRADE MARK) II 1~@@@
175>9*)Ll- il
22OIO11-OO6OO-1O FLANGE BOLT I4!
~~)~, OHv~—~ ~‘
245 073-20049-50 LABEL(OHVMARK) !llf@@
!,
I
1I1
!~
Ii!
II
il
1
I
I
I
I
I[I
I I I
1!
II
50(
I
I50(
I
[
Circled numbers such as-. in the “REMARKS” column in the table above show corresponding product number.Confirm product number
according to the introduction section. Parts which are not spec’fied by the circled numbers are used in all the products.
EH122 RAMMER —18—


6.
=Ft.7-L/-9
AY*
-CARBURETOR
AY
FIG.
600
I
210
-8
I
-I
I
-20
q
-22*
-64
-19
y.g)
-
I8
-
17
-12
/
CASE
EH122 RAMMER
-
20
-

IEF.
H
a"a
3$
NO.
PART NUMBER
1252-62551
-oa
I
i%
n"p
8
%J
@I
#$
Ef
E@!$fI3813$E
$i?B!S$F!4\%9@liFIG-
1
1
INTERCHANGEABLE CODE
NO.
UN
IT
P
A
R
T N
A
M
E
Q'
t
REMARKS PART NUMBER FROM-TO PRICE
NO.
+Y3b-9
AY
CARBURETOR AY
1
O@@Q~@@@@
-
60(
*+?b-9
AY
CARBURETOR AY
lo@
-
60(
XUYI-,L
/Ob?
-1 1252-62535-08 THROTTLE VALVE
1
-
60(
-3 236-62528-08 CHOKE VALVE
1
-
60(
-4 237-62451-08 SCREW 4
-
60(
-5 21 6-62303-08 PILOT JET
1
-
60(
-6 237~62435-08 PILOT SCREW
1
@@@@a@m@
-
60(
~
246-62436-08 PILOT SCREW
1
I-
60(
-7
230-62446-08 SPRING
1
-
60(
-8 252-62521-08 CHOKE SHAFT
1
-
60(
-1
0
246-62435-08 AD JUST SCREW
1:
l-
60(
-1
1
161-62530-08 THROTTLE SHAFT
11
l-
60(
-1
2 236-62451-08 BOLT
1
1-
60(
-1
4 161 -62352-08 NEEDLE
1
-I
60(
-1
5 21 4-6251 5-08 PIN
1
I-
60(
-1 6 236-62552-08 FLOAT CHAMBERBODY
1
-
'
60(
-1 7 236-62450-08 PACKING
1
-
60(
-1
8 236-62540-08 PACKING,CHAMBER
1
I-
60(
-1
9
236-62505-08 FLOAT
1
-
60(
-20
252-62440-08
MAIN
NOZZLE
j
1j
I-!
I
60(
-22 226-62403-08 MAIN JET
I
1
1m@3@a@@@@
j-
I
60(
252-62402-08 MAIN JET
I
1@@@
i-
i
60(
-26 161-62353-08 HOSE
~-
60(
73-9
IOL?
X911
1
re4uyI-
51yI-
/b4Uyl-
X9111
/fdUyf-
X9111
X3"J
>9*
%I-9
9j-fi7t-
'75~Xt-
X3111
XUYI-,L
-i+?.7l-
I
7KlLt-
=-F)L
If>
7JU-k*+>/f-
*F-
/
ey+>
/
ey+>,
<-
I
I
7a-f-
%->
1X)L
I
t
I%->
5xyb
%->
51yt-
4"
x9111
i
1
1
I
I1
I
I
-28!236-62350-081
SCREW
I
11
I
-I
1
60(
I
/
ey+>
;I
I#
I
-29/236-62541-081PACKlNG
I
11
I
i
-
1
60(
I
I
i
I
Circled numbers such as
m.
.
.
in the
"REMARKS"
column
in
the table above show corresponding product number.Confirm product number
according to the introduction section.Parts which are not specified by the circled numbers are used in all the products.
EH122 RAMMER
-
21
-



FIG.
700
I
EH122
RAMMER
-
24
-

!EF.
FIG.
IJ\?E@m
$%l!S%
@
E
/
E&%kiZ!$%
@I%!
3
a”a
$5
%
3
a”a
8
9
i
INTERCHANGEABLE UN
I
T
CODE
NO.
NO.
NO.
PRICE FROM-TO
REMARKS PART NUMBER
Q’
ty
P
A R
T
N
A
M
E
PART NUMBER
1754*4-1L
CP
10
2
BOLT
AND
WASHER
AY
001-14062-50
30
70(
1-
1
IGNITION
COIL
CP
252-79430-31
1
1
1
70(
I-
1
252-79331-01
FLYWHEEL
CP
-
70(
60
066-00003-71 ‘SWITCH
AY
1
CLAMP
056-60300-1 0
75
70(
-
2
TAPPING
SCREW
01
5-00400-90
70
1
70(
-
1
dyZyh>
XdJL
CP
$lLb
7>F
7~9.i-t.
AY
lXd~fF
AY
9*ytf“>Y
XPJ
1
95+Y
-
70(
EH122 RAMMER
-25
-

9.
79-t3VII-X"
-ACCESSORIES
EH122
RAMMER
-26-

REF.
NO.
PRICE
FROM-TO
Q'
tl
REMARKS
i
PART
NUMBER
P
A
R
T
N
A
M
E
PART
NUMBER
NO.
FIG.
WLIGS+MSP~~
SA^
EBSIGZS
3
z
a
E
?I$
e
i
INTERCHANGEABLE
UNIT
CODE NO.
79"'I
'2-)L
+Yf-
I
10
900
i-
1
ACCESSORY
TOOLS
KIT
227-90301-10
~~~ ~ ~
I,
I
i
I
I
I
I
I
EH122
RAMMER
-27
-

10.
$.@EiSgI&!ii!~*
*PARTS
TO
BE SHI
PPED
LOOSE
FIG.
1000
I
30
10
@
60
I
0
d
@--
-9
-1
-2
8"
064-20094-00
(0,
i
50
w
064-20038-01
-
18
-I
"24
064-20087-00
@
50
I
I
I I
"6-
-4
-
-1-
-2-
064-20014-01
EH
1
22
RAMM
ER
-
28
-

10.
%%#!%%$PI!%*
PARTS
TO
BE
SH
I
PPED
LOOSE
I
i
FIG.
1000
1
3
10
EH
1
22
RAMMER
-29-

IO.
S$&SZ~I~EI*
-PARTS
TO
BE
SHI
PPED
LOOSE
REF./
EP
E
e
1
E
$3
t%
FIG.
/J\Rliriib
B
S
c%rd
a
I
X&%i~~
!
i
INTERCHANGEABLE UNIT CODE
NO.
NO.
NO.
PRICE
I
FROM-TO
PART NUMBER
I
P
A
R
T
N
A
M
E
Q'
ti
REMARKS PART NUMBER
:I
"J9->
XY'J>9'
10
083-00000-1 OIRETURN SPRING
1
11
1,
1-
1000
-
226-751 01-03 20
1000
1000
-
OOI-I3081-8OIBOLT AND WASHER AY
'
2/0m@
30
i
*JLl-
7>F*
7.7537
AY
'
1
40
1000
-
11@
056-60001-70
17x-JllL
Xl-l/--f
AY
50
1000 FUEL
STRAINER AY
I-
064-20094-00
1000
FUEL
STRAINER AY
I
110
064-20087-00
1000
FUEL STRAINER AY
1
1
;@a@@
I-
1064-20038-01
1000
064-2001 4-01
I
FUEL STRAINER AY
!-
-1 064-2001 4-20 SCREEN 1
@@
-
@a@@
FILTER
i
1
064-20041
-1
0
1000
1064-20042-20'FILTER
1000
I
7x-IlL
Xbl/--fAY
~ ~
i
71-1jL
Xbl/--f
AY
i
I
7z-IlL
Xbl/--f
AY
X3lJ->
741L9-
I
74JL9-
/e->*>
I
I
cy+=
;h
sf
1
I
~
'
-I
I
1000
l@
-2
064-20014-30,PACKING
1000
-I
CUP
064-20014-10 -3
1000
-
PACKING
1064-20064-1
0
~
1000
-
1@~@@@@
I
,064-20078-1
0
1000
-
UY3
f
Yl-
I'
UY3
fYb
8
064-20042-60 LOCK NUT
UY3
fYk
1
LOCK NUT
0
lJ>9*
UY3
*lLl-
I
X3IJ
ZL
i
0
IJ>9*
~
/
ty+>
KYIJ
>5"
I
-4 064-20023-60
1
000
1000
1000
-
1@08@@
LOCK
NUT
!
-
-
-6
LOCK BOLT
064-20027-90
-8
O-RING
064-20003-30
-
-
1064-20047-90
I
SCREW
SCREEN
I
I
IOOC
064-20007-20
-1
8
1
ooa
SPRING
I-!
064-20032-30
-1
5
I
1000
PACKING
,243-66506-08
I
1000
-
1
i@O@@D
O-RING
064-20003-30
-9
1000
-
21@
X3'J
-3
I
k;i3#j~~m~.
.
.
12,
~~~&ES~?Z-S~L-CL\ZT~
il;1%41c~LJ~!n"n~~~~~%L-<~~~L'~
@@@.
.
.
td;~,#~X~~t'~al~~~~~~l~~H~~~t'~~o
Circled numbers
such
as
m.
. .
in the
"REMARKS"
column in the table above
show
corresponding product number.Confirm product number
accordine to the introduction section.Parts which are not soecified
bv
the
circled numbers are
used
in
all the products.
EHl22 RAMMER
-
30
-

10.
gJ&%sgrSa*
*PARTS
TO
BE
SH
I
PPED
LOOSE
IEF.
?!$
a"a
f
NO.
PART
NUMBER
056-1 1000-30
HOSE CLAMP
40
I
-1
I
71"rlk
509
+VYl
CP
1
71-1)L
599
+**Do
CP
1
7z-334
74A&-
4>?--3
77>5
XWF
II
I
I'
80 043-04401-20
FUEL TANK CAP CP
1-
-
I
043-04401-30
FUEL TANK CAP
CP
I
lO~@%iJ
I
-
90 064-1
31
00-1
0
FUEL FILTER
1
@O@@o@
-
100
-252-331 01
-01
INTAKE FLANGE
CP"
l@)
~~
1-
i
~~~~~~~ ~~~ ~~~~
1056-1 1000-301
HOSE CLAMP
I
-1
I
171"rlk
509
+*Yl
CP
I
I
I
801043-04401-20
FUEL TANK CAP CP
11-
~
-I
I
71-1)L
599
+**Do
CP
1
7z-334
74A&-
4>?--3
77>5
I
043-04401-30
FUEL TANK CAP
CP
I
lO~@%iJ
I
-
90 064-1
31
00-1
0
FUEL FILTER
1
@O@@o@
-
100
252-331 01
-01
INTAKE FLANGE
CP
l@)
i
-I
I
XWF
I'
1
10 01 0-50500-32
STUD
I
2@
120 236-35903-03
GASKET 2(1NSULATOR)
1
1
@
-
130
01 1-90600-20
BOLT(S0CKET HEAD)
i
2
@
1-
I
140 252-32901 -03
INSULATOR
I
2@
-
nCX?YI-
2,4>>1b-9
1
iKIl/l-,
Y*Yb
AYF-
~
4>5=Ll/-9
~
-
j
3201073-20047-101
LABEL(CAUTI0N)
I
I-/
I5A)L.
1-53>
II
1
073-20044-501LABEL(CAUTION)
1
m@@@
-i
7Jd)L,
&4,t
=l-53>
7dh.
~PJ')>
I
330 073-20045-20
LABEL(CAUTI0N)
1
@@@@@@I
-
3401073-20011-901
LABEL(GAS0LINE)
I
110
-
Circled numbers such
as
m.
. .
in the
"REMARKS"
column in the table above show corresponding product number.Confirm product number
according to the introduction section.Parts which are not specified by the circled numbers
are
used
in
all
the products.
EH
122
RAMMER
-31
-

SU6ARU
~bin America, Inc.
940 Lively Blvd.
l
Wood Dale, IL 60191
l
Phone: 630-350~8200
l
Fax: 630-350-8212
e-mail: sale.s@robinamerica.com
l
www.robinamerica.com
PRINTED IN THE USA I