Fridge Manual TH
User Manual:
Open the PDF directly: View PDF
.
Page Count: 13

USER MANUAL
WTB2300, WTB2500, WTB2800, WTB3400,
WTB3700, WBB3400, WBB3700
COMPACT TOP AND BOTTOM MOUNT
REFRIGERATORS

2CONTENTS
Important safety information .......................................................3
General warnings................................................................................ 4
Installation .............................................................................................5
Initial start up .......................................................................................5
Cleaning ..................................................................................................5
Top Freezer features ......................................................................... 6
Bottom Freezer features .................................................................7
Temperature control ........................................................................ 8
Refrigerator features ....................................................................... 9
Door alarm ........................................................................................... 9
LED lighting ......................................................................................... 9
Door storage bins ............................................................................. 9
Crisper bin ............................................................................................ 9
- Vegetables storage
- Fruits and small foods storage
Deodoriser ............................................................................................ 9
Food storage guide ..........................................................................10
Noises ...................................................................................................... 11
Troubleshooting ................................................................................ 12
Notes .......................................................................................................14
Warranty ................................................................................................15
Congratulations and thank you for choosing our
refrigerator. We are sure you will find your new appliance
a pleasure to use. Before you use the appliance, we
recommend that you read through the entire user manual,
which provides the description of the appliance and its
functions.
To avoid the risks that are always present when you use
an electrical appliance, it is important that the appliance
is installed correctly and that you read the safety
instructions carefully to avoid misuse and hazards.
We recommend that you keep this instruction booklet
for future reference and pass it on to any future owners.
After unpacking the appliance, please check that it is not
damaged. If in doubt, do not use the appliance but
contact your local customer care centre.
Conditions of use
This appliance is designed and intended to be used in
normal domestic applications only.
Please ensure you read the instruction manual fully
before you call for service, or a full service fee could
be applicable.
Record model and serial number here:
Model number:........................................................................................
Serial number: .........................................................................................
The symbols you will see in this booklet have these
meanings:
WARNING
WARNING
This symbol indicates information concerning your
personal safety.
WARNING
CAUTION
This symbol indicates information on how to avoid
damaging the appliance.
TIPS & INFORMATION
IMPORTANT
This symbol indicates tips and information about use
of the appliance.
ENVIRONMENTAL TIPS
ENVIRONMENT
This symbol indicates tips and information about
economical and ecological use of the appliance.
CONTENTSCONGRATULATIONS

3IMPORTANT SAFETY INSTRUCTIONS
Please read the user manual carefully and store in a
handy place for later reference. Pass the user manual
on to new owners of the refrigerator.
TIPS & INFORMATION
IMPORTANT
Important – check for any damages or marks
If you find the refrigerator is damaged or marked, you
must report it within 7 days if you wish to claim for
damage/marks under the manufacturers warranty. This
does not affect your statutory rights.
ENVIRONMENTAL TIPS
ENVIRONMENT
Information on disposal for users
• Most of the packing materials are recyclable.
Please dispose of those materials through your local
recycling depot or by placing them in appropriate
collection containers.
• If you wish to discard this product, please contact
your local authorities and ask for the correct method
of disposal.
WARNING
WARNING
• When you dispose of your old refrigerators and
freezers, remove any doors. Children can suffocate if
they get trapped inside.
• This appliance is not intended for use by persons
(including children) with reduced physical, sensory
or mental capabilities, or lack of experience and
knowledge, unless they have been given supervision
or instruction concerning use of the appliance by a
person responsible for their safety. Children should be
supervised to ensure that they do not play with the
appliance.
• Do not use a steam cleaner. If live components come
into contact with condensing steam, they may short-
circuit or cause an electric shock.
• Do not use mechanical devices or other means to
accelerate the defrosting process other than those
recommended by the manufacturer.
• This appliance contains insulation formed with
flammable blowing gases. Avoid safety hazards by
carefully disposing of this appliance.
• If pressurised aerosol containers bear the word
‘flammable’ and/or a small flame symbol, do not store
them inside any refrigerator or freezer. If you do so
you may cause an explosion.
R600a refrigerant warning
• This appliance contains flammable R600a refrigerant.
Avoid safety hazards by carefully installing, handling,
servicing and disposing of this appliance. If your
appliance contains R600a it will be indicated on the
rating plate inside the appliance.
• Ensure that the tubing of the refrigerant circuit is not
damaged during transportation and installation.
• In the event any damage accidentally occurs, keep
the appliance away from open fires and any devices
that produce sparks or arcs and luminaries during
normal or abnormal operation, and unplug the
appliance at the powerpoint. Call authorised service
for necessary action and advice.
• Leaking refrigerant may ignite vent area if leak
occurs.
• The room for installing appliance must be at least 1m3
per 8g of refrigerant. The amount and type of
refrigerant in the appliance can be found on the
rating plate inside the appliance.
• In Queensland the authorised service person MUST
hold a gas work authorisation for hydrocarbon
refrigerants to carry out servicing or repairs which
involve the removal of covers.
• Do not damage the refrigerant circuit.
• Do not use electrical appliances inside the food
storage compartments of the appliance, unless they
are of the type recommended by the manufacturer.
WARNING
WARNING
It is hazardous for anyone other than an authorised
service person to service this appliance. In Queensland
the authorised service person MUST hold a gas work
authorisation for hydrocarbon refrigerants to carry out
servicing or repairs which involve the removal of covers.
WARNING
WARNING
Stable Footing
When your refrigerator is in place, you need to stabilise
it. Lift the front of the refrigerator to take the weight off
each stability foot and make small quarter turns to each
foot until it is in firm contact with the floor. If you intend
to move the refrigerator, remember to wind up each foot
so that you can move it freely. Repeat the process of
the foot adjustment once you have settled on the new
location of the refrigerator.
Stabilising
foot wound
down
Side View
IMPORTANT SAFETY INSTRUCTIONS
4GENERAL WARNINGS
GENERAL WARNINGS
Read the following carefully to avoid damage or injury.
It is important to use your refrigerator safely. Check these
safety points before using your refrigerator.
• The appliance must be plugged into its own
dedicated 220-240V, 50Hz AC electrical outlet.
• The plug must be accessible when the refrigerator is
in position.
• It is essential the powerpoint is properly earthed to
ground. Consult a qualified electrician if you
are unsure.
• Don’t use extension cords or adapter plugs with
this refrigerator.
• If the supply cord is damaged, it must be replaced
by the manufacturer, its service agent or similarly
qualified persons in order to avoid a hazard.
• Unplug the appliance before cleaning and before
changing the light bulb (when fitted) to avoid
electric shock.
• Never unplug the refrigerator by pulling the electrical
cord as this may damage it. Grip the plug firmly and
pull straight out.
• Choose a location for your refrigerator that isn’t too
cold. The ambient room temperature should be above
10°C.
• Stand your refrigerator in a dry place – avoid areas of
high moisture or humidity.
• Don’t put the refrigerator in frosty or unprotected
areas like a garage or on the verandah.
• Don’t plug your refrigerator into a timer fitted to the
powerpoint.
• Do not put the refrigerator in direct sunlight, near
stoves, fires or heaters.
• Do not put the refrigerator on an uneven surface.
• Do not store flammable materials on or under the
appliance, e.g. aerosols.
• Do not store explosive substances such as aerosol
cans with a flammable propellant in this appliance.
• Never store fizzy drinks in the freezer compartment.
• Never try to repair the refrigerator yourself, only use a
qualified or authorised service person for repairs.
• Never use electric heaters or dryers to defrost the
freezer because you can receive an electric shock.
• When transporting and installing the refrigerator,
care should be taken to ensure that no parts of the
refrigerating circuit are damaged.
• Keep ventilation openings in the appliance enclosure
or in the built-in structure clear of obstruction.
• When installed correctly, your refrigerator should:
– Have adequate space at the back and sides for
air circulation (refer to page 5).
– Be vertically aligned to the surrounding cupboards.
– Have doors that will self-close from a partially
open position.
NOTE: You must read these warnings carefully
before installing or using the refrigerator. If you need
assistance, contact your Customer Care Department.
The manufacturer will not accept liability, should these
instructions or any other safety instructions incorporated
in this book be ignored.

5INSTALLATION
Clean the refrigerator thoroughly according to
instructions and wipe away any dust that has
accumulated during shipping.
Check that the floor is level. If it is not, adjust the
stabilising foot so that the refrigerator is level and stable.
We recommend that the refrigerator be turned on and
left to run for two to three hours before placing any food
inside it. This will allow you to check that it is operating
properly and there is adequate cool air in the freezer.
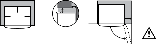
Installation clearances
• Allow a minimum of 30mm clearance on both sides
of the refrigerator.
• Allow a minimum of 50mm clearance at the back of
the refrigerator.
• Allow a minimum of 50mm (X) clearance above
the refrigerator.
• If you do not have above cupboard with a rear gap of
minimum 100mm (Y), recommended clearance at the
top of the refrigerator is 90mm (X).
• When positioned in a corner, the clearance must be
at least 300mm on the hinge side to allow the door
to open smoothly so that bins and shelves can be
removed easily. For easy removal of Crisper it is
recommended to remove bottle door bin first if
minimum clearance in the corner on hinge side is less
than 350mm.
X
350mm
50mm
Recommended
airspace
CABINET
DOOR
30mm
30mm
Y
NOTE: Refrigerator doors on all models are designed to sit
proud of cabinetry (not flush). In installations where both
sides and the rear of the refrigerator are not enclosed by
cabinetry e.g. the refrigerator is placed against a wall, the
clearance between the rear of the refrigerator and the wall
should not be greater than 75mm.
Initial start up
When in operation, the outside of the refrigerator will feel
warm, particularly at start up. This is normal.
Avoid placing food against air outlets as this will impede
air circulation.
A light frosting will occasionally occur on the cold interior
of the freezer if the door is opened frequently. This is
normal and the frost will disappear after a few days in
most climates.
INSTALLATION
Make sure that the freezer and fresh food doors are
fully closed after you have loaded or removed food
from these compartments. If the doors are left partly
opened, a heavy frost will coat the inside of the freezer.
If this occurs, remove the frost. Ensure that all doors are
properly closed to prevent frost from reappearing.
Your refrigerator uses energy efficient components that
may produce different noises from your old refrigerator.
Occasionally, a gurgling sound of refrigerant flowing or
sound of parts expanding or contracting can be heard.
These noises are quite normal.
Cleaning
Exterior
Clean the refrigerator with only lukewarm soapy water
and a soft cloth. Rinse with clean water and then wipe
the surface with a soft clean cloth to remove any soap
residue.
Interior
Clean the refrigerator interior regularly. Turn power off.
Wipe the interior with a soft cloth and lukewarm soapy
water. Thoroughly dry all surfaces and removable parts.
Avoid getting water on the refrigerator controls. If you
have taken out any removable parts, replace them and
switch on the power before re-stocking the refrigerator.
Wipe away thoroughly any food spills.
Keep door seals clean
Ensure that the door seals are always clean. Sticky food
and drinks can cause seals to adhere to the cabinet and
may cause the seal to tear when opening the door.
Wash seals with lukewarm soapy water. Rinse thoroughly
and dry.
WARNING
CAUTION
Never use hot water, solvents, commercial kitchen
cleaners, aerosol cleaners, metal polishers, caustic or
abrasive cleaners or scourers to clean the appliance
as they will damage it. Many commercially available
cleaning products and detergents contain solvents that
will damage your refrigerator. When cleaning, use only a
soft cloth and lukewarm soapy water.

6TOP FREEZER FEATURES
TOP FREEZER FEATURES
WTB2300, WTB2500, WTB2800, WTB3400, WTB3700
1 Freezer Door
2 Food Door
3 Twist Ice and Serve
4 Ice Storage Bin
5 Temperature Control (Freezer)
6 Freezer Shelf
7 Chiller Compartment
8 Light Switch
9 Multiflow
10 Refrigerator Light
11 Adjustable Glass Shelves
12 Temperature Control (Refrigerator)
13 Humidity Slide
14 Crisper
15 Adjustable Feet
16 Bottle Door Bins
17 Deodoriser
18 Door Bins
19 Egg Tray
20 Slide Rails
21 Freezer Door Bins
22 Gaskets
The details of the refrigerator feature:
1
2
3
4
5
6
7
8
9
10
11
12
13
14
22
21
20
19
18
16
15
17

8TEMPERATURE CONTROL
Temperature control
Set the temperature by using the slide temperature
controls, refer to the relevant instruction for Bottom
mount freezer or Top mount freezer models shown in this
section. When you first turn on the refrigerator, set both
the refrigerator and freezer temperature control to MID.
TIPS & INFORMATION
IMPORTANT
Changing settings
When you change the temperature settings, make small
adjustments and wait 24 hours before assessing whether
you need to make any further changes.
Bottom mount models
Bottom mount refrigerator temperature adjustment
1. Select the refrigerator control.
2. Slide the control to the
right to set Colder.
3. Slide the control to the
left to set Less Cold.
Bottom mount freezer temperature adjustment
1. Select the freezer control.
2. Slide the control to the
right to set Colder.
3. Slide the control to the
left to set Less Cold.
TEMPERATURE CONTROL
Top mount models
Top mount refrigerator temperature adjustment
1. Select the refrigerator control.
2. Slide the control to the
left to set Colder.
3. Slide the control to the
right to set Less Cold.
Top mount freezer temperature adjustment
1. Select the freezer control.
2. Slide the control to the
left to set Colder.
3. Slide the control to the
right to set Less Cold.
TIPS & INFORMATION
IMPORTANT
Setting the freezer temperature to the lowest is not
recommended for normal or very hot climate condition
as this will limit the cooling capacity to other sections
of the refrigerator. In a very cold climate, the freezer will
need to be set colder.

9FEATURES
This section tells you how to make the most of the many
useful features of the refrigerator and how to clean them.
You can adjust the refrigerator bins to meet different
storage needs.
Door storage bins
The refrigerator has door storage bins. You can adjust the
refrigerator bins to meet different storage needs. All the
door bins are completely removable for cleaning. If you
want to remove or adjust a bin, lift and tilt to remove. To
replace, tilt the top and push bin down until the support
lugs lock it in place.
Crisper bin
Storing vegetables
Use the crisper bin to store vegetables, fruits or small
items. You can adjust the humidity inside the bin by
sliding the humidity control.
Storing fruits and small items
You can store fruits in the crisper bin, but do remember
to lower the humidity via the humidity control. The
humidity can be adjusted by the sliding the lever on
the humidity control.
Humidity control
Deodoriser
Your refrigerator is fitted with a deodoriser to assist
with the removal of food odours inside your refrigerator.
Keeping the food covered and wrapping it in plastic will
also help to reduce the odours inside your refrigerator.
FEATURES
Door alarm
If the refrigerator door is left open longer than two
minutes, a buzzer will sound. Re-set the alarm by pressing
the light switch.
LED lighting
Your refrigerator is fitted with long life LED lighting. In the
unlikely event the LED lights should ever fail, then the LED
lights need to be serviced by a qualified technician. Refer
to page 15 for contact details.
Bottom Mount Deodoriser
Deodoriser
Top Mount Deodoriser
Deodoriser

10 FOOD STORAGE GUIDE
FOOD STORAGE GUIDE
TIPS & INFORMATION
IMPORTANT
Please note, use this information as a guide only, actual
storage times will vary depending on how you use your
refrigerator, climatic conditions and the freshness of
the food.
CATEGORY PRODUCT REFRIGERATOR FREEZER STORAGE TIPS
Meat Sausages and Mince 1-2 Days 2-3 Months Keep cold meat at the back of the
refrigerator where it is coldest.
Chops and Steak 3-4 Days 4-6 Months
Cold Meats 3-5 Days 4-6 Months Plastic can cause meat to sweat if
stored in refrigerator for more than
a day.
Cuts for roasting 3-5 Days 12 Months Cuts for roasting can take up to 48
hours to defrost properly. Transfer
frozen cuts to the refrigerator 2 days
before use.
Poultry Chicken 1-2 Days 2 Months If poultry takes on a smell or colour
you are unsure about it is best to
throw it out.
Roast Chicken 3-5 Days 12 Months
Eggs 6 Weeks Not Suitable Whole eggs are not suitable for
freezing, slightly beaten eggs may be
frozen for four months.
Seafood Whole fish and fillets 2-3 Days 2 Months Store in an airtight container or foil.
Lobster and crabs 1-2 Days 2 Months
Prawns 1-2 Days 2 Months Never freeze prawns in salty water as
this will dehydrate the flesh.
Dairy Milk Until Expiry Date Not Suitable If dairy takes on a smell or colour and
you are unsure about it, it is best to
throw it out.
Yoghurt 7- 10 Days Not Suitable
Hard Cheeses 2 Weeks – 2
Months
2 Months
(Grated)
Depending on the variety hard cheese
can last from 2 weeks to 2 months.
Soft Cheeses 1-2 Weeks Not Suitable
Butter 8 Weeks 12 Months
Fruit &
Vegetables
Every fruit and vegetable has a different
shelf life.
Some stay fresh for a couple of days e.g
beans, others can last for a couple of
months e.g. onions.
8-12 Months
When freezing
chop and
blanch in small
portions.
Keep vegetables in the crisper
and away from the air vents to
avoid freezing.
If you wash fruit and vegetables before
storing them make sure they are dry
or wrap in absorbent paper before
storing in the refrigerator as this can
make them susceptible to rotting.
Try to keep fruit and vegetables
separated as fruits that give off high
levels of ethylene (the ripening agent)
can prematurely ripen and spoil
surrounding vegetables

11NOISES
NOISES
BRRR!
HISSS!
CLICK!
BLUBB!
CRACK!
SSSRR
R!
OK
CLICK! CLICK!
SSSRRR! SSSRRR!
BRRR! BRRR!
HISSS! HISSS!
BLUBB! BLUBB! CRACK!CRACK!
Appliance noise
Your new refrigerator may make sounds that your old
one didn’t make. Because the sounds are new to you,
you might be concerned about them. Most of the new
sounds are normal. Hard surfaces, like the floor, walls and
cabinets, can make the sounds seem louder than they
actually are. The following describes the kinds of sounds
and what may be making them.”

12 TROUBLESHOOTING
Appliance does not operate at desired temperature
In a modern frost free refrigerator / freezer, cold air is circulated around the various compartments through air vents
using a high efficiency fan.
CONCERN WHAT TO DO
Refrigerator is too warm. Ensure food is allowed to cool before placing inside the refrigerator.
Ensure the appliance is set up as per instructions on page 11.
Ensure that contents are not obstructing the cooling vents.
Ensure the door is not held open or is being opened too frequently.
Freezer is too warm. Adjust temperature to a colder setting.
Ensure food is allowed to cool before placing inside the freezer.
Ensure the appliance is set up as per instructions on page 11.
Ensure that contents are not obstructing the cooling vents.
Ensure the door is not held open or is being opened too frequently.
Food is freezing in the
refrigerator.
Adjust temperature to a warmer setting.
Ensure that fruit and vegetables are stored in the crisper. Items with a high water
content should not be placed near the cooling vents.
Unable to change temperature
settings.
Refer to function guide in Controlling Your Refrigerator.
Ensure that user interface is in "awake" mode before trying to adjust temperature
settings.
Appliance noise
Your new refrigerator may make sounds that your old one didn’t make. Because the sounds are new to you, you might
be concerned about them. Most of the new sounds are normal. Hard surfaces, like the floor, walls and cabinets, can make
the sounds seem louder than they actually are. The following describes the kinds of sounds and what may be making
them.
CONCERN WHAT TO DO
Motor noise (compressor).
Nothing. This is normal as your new refrigerator uses a variable speed compressor
and fan that at start up and on warm days runs at a high speed to provide additional
cooling.
When less cooling is required the compressor and fan will run at a lower speed
Note that the compressor noise may seem louder at the start of the on cycle.
A clicking noise heard just before
the compressor starts.
Nothing. This is normal as your new refrigerator has an automatic switching
action of the temperature control, turning the compressor on and off.
Occcasional gurgling, similar to
water boiling.
Nothing. As each refrigeration cycle ends, you may hear a gurgling sound due to
the refrigerant flowing in your refrigerator system.
Airflow noise.
Nothing, this is normal as your new refrigerator uses high efficiency fans to
circulate air. Fan speed and noise may increase during periods of heavy usage or
hot weather.
Rattling and other noises.
Ensure that the cabinet is level and stable, refer to Installation Instructions on
page 11.
Check the surrounds of the appliance to ensure there is nothing touching or
placed on top of the appliance.
Ensure that contents of the appliance are not placed in such a way that they are
vibrating (such as bottles).
TROUBLESHOOTING

13TROUBLESHOOTING
Refrigerator operation
CONCERN WHAT TO DO
When your appliance is not
operating
Check that the power cord is plugged into the power outlet properly and that the
outlet is switched on.
Try running another appliance from the same power outlet. If no power is coming
out from the outlet, you may have a blown fuse or tripped your household power
supply circuit.
Try adjusting the temperature control to a slightly colder position.
It is normal for the freezer fan to NOT operate during the automatic defrost cycle or
for a short time after the refrigerator is turned on.
When there is refrigerator
noise
Your refrigerator uses energy efficient components that may produce different
noises from your old refrigerator.
Occasionally, a gurgling sound of the refrigerant flowing or the sound of parts
contracting or expanding may be heard.
These sounds are quite normal. If the refrigerator is rattling or making vibrating
noises, check that it is level and adjust levelling foot.
If there are odours inside the
refrigerator
The interior may need cleaning.
Some foods may produce strong odours and need to be tightly sealed.
If the temperature in the
refrigerator is too warm
Check that the refrigerator has enough clearance at the sides, back and top. Refer
to the installation instructions in this manual.
Refer to ‘Temperature Control’ section.
The door may have been opened for too long or too frequently.
Food containers or packaging may be holding the door.
If the temperature in the
refrigerator is too cold
Refer to ‘Temperature Control’ section
Increase the temperature to avoid high energy consumption.

14 NOTES
NOTES