Hydraulic Pump Motor Mounts
User Manual: HydraulicPumpMotorMounts
Open the PDF directly: View PDF
.
Page Count: 24

Lovejoy Hydraulics
Pump / Motor Mounts

3
www.lovejoyhydraulics.com
Lovejoy, Inc has made every effort to assure the accuracy of the information contained in this catalog. However, Lovejoy, Inc expressly disclaims any and all liability for the contents of this catalog including, but not limited to, errors,
inaccuracies, misstatements, omissions and any incidental or consequential damages which may occur as the result of relying on this information. Lovejoy reserves the right to change specifications and information without notice.
Pump / Motor Mounts
Table of Contents
Hydraulic Pump and Motor Mounts > Overview .............................................................................................................. 4
SAE and Metric Pump Mounts > Selection Data ............................................................................................................. 5
ANSI Shaft Codes > Dimensional Data ........................................................................................................................... 6
NEMA Frame Motors > Dimensional Data / Bolt Torque Table ........................................................................................ 7
Horizontal and Vertical Mount > Selection Process / Mount Type - Product Code Breakdown ....................................... 8
Installations 1 and 1A > Vertical Mounting Options ......................................................................................................... 9
Installations 2 and 3 > Vertical Mounting ....................................................................................................................... 10
Horizontal (Vertical option) 56C, 143TC / 145TC > 3.50 - 4.50 Inch / Item Selection ....................................................11
Horizontal (Vertical option) 56C, 143TC / 145TC > 5.00 - 5.25 Inch / Item Selection ................................................... 12
Horizontal (Vertical option) 182TC - 256TC > 4.75 - 5.25 Inch / Item Selection ............................................................ 13
Horizontal (Vertical option) 182TC - 256TC > 5.81- 6.81 Inch / Item Selection ............................................................. 14
Horizontal 182TC - 256TC > 5.25 - 6.00 Inch / Item Selection ...................................................................................... 15
Horizontal 182TC - 256TC > 6.81- 7.00 Inch / Item Selection ....................................................................................... 16
Horizontal 284TC - 405TSC > 6.87 - 8.75 Inch / Item Selection ................................................................................... 17
Vertical 56C, 143TC / 145TC > 3.50 - 4.50 Inch / Item Selection ................................................................................. 18
Vertical 56C, 143TC / 145TC > 5.00 - 5.25 Inch / Item Selection ................................................................................. 19
Vertical 182TC - 256TC > 5.00 - 5.81 Inch / Item Selection .......................................................................................... 20
Vertical 182TC - 256TC > 6.81 - 7.00 Inch / Item Selection .......................................................................................... 21
LH Coupling > Dimension / Performance Data ............................................................................................................. 22
Product Warranty ........................................................................................................................................................... 23
Page No.

4630-852-0500
Pump / Motor Mounts
Hydraulic Pump and Motor Mounts
Overview
Hydraulic Pump / Motor Mounts
For well over 100 years, Lovejoy has been the premier manufacturer of flexible drive couplings.
Lovejoy Hydraulics Pump / Motor Mounts help power unit designers and fabricators simplify
their Power Unit designs. The Pump/Motor Mount, commonly called the “Bell Housing”, allows
direct mounting of flange mount pumps to NEMA C-Face electric motors. This eliminates the
need for coupling guards, foot brackets, shims, risers, and motor mounting plates, and assures
accurate shaft alignment. The ease of assembly reduces your power unit fabrication costs.
Lovejoy precision machines each cast aluminum alloy pump/motor mounts to 0.003 inch
concentric from the motor pilot to the pump pilot, and the mounting faces parallel to each
other and perpendicular to the pilot Centerline within 0.002 inch. This assures accurate shaft
alignment, which prolongs bearing, seal and coupling life. This also helps to reduce noise and
vibration in the power unit.
Lovejoy Hydraulics offers a full selection of both vertical and horizontal mounting configuration
pump/motor mounts in both SAE and Metric pump flanges, and both NEMA and IEC electric
motor mounts. For IEC pump/motor mounts, contact Lovejoy Hydraulics Technical Engineering
with application requirements. Lovejoy Hydraulic pump/motor mounts are available from stock
and can be shipped immediately. In addition, Lovejoy Hydraulics is always willing to review your
special mounting requirements with custom mounts.
Lovejoy Hydraulics Cast Aluminum Pump / Motor Mounts are cast from a lightweight, high
strength aluminum alloy. For safety, a molded OSHA orange coupling access cover is included
with every NEMA mount.
Horizontal Pump / Motor Mounts
Lovejoy Hydraulics Horizontal pump/motor mounts are supplied with
a weep hole to drain any pump leakage. Fluid leakage from this hole
is a “tell-tale” detection of leaking seals or other areas of concern.
Horizontal mounts are available for mounting NEMA C-Face motors
in frame sizes 56C to 405TSC for most SAE and Metric 2 and 4 bolt
pump flanges. Certain horizontal mounts can be mounted vertically
as well by using Vertical Mounting - Installation 1 and a Vertical Mount
gasket.
Included Hardware
A Motor Mount kit and Pump Mount kit is included. Each includes all
the required bolts and washers to mount the pump and motor to the
pump/motor mount. Refer to the BHN Pump/Motor Mount Bolt Torque
Table, Chart 1, on page 7 for bolt torque recommendations.
Vertical Pump / Motor Mounts
Lovejoy Hydraulics Vertical pump/motor mounts are a cost-effective, space-saving solution that allows mounting the pump through the tank lid top
or from underneath. The pump and mount assembly is enclosed inside the tank, which is a safe, quiet, compact way of mounting the pump/motor
assembly. Vertical mounts are available in NEMA C-Face motor frame sizes from 56C to 256TC for most SAE and Metric 2 and 4 bolt pump
flanges. Two mounting options are available to give additional flexibility in Vertical Power Unit Design.
Included Hardware
A Motor Mount kit and Pump Mount kit is included. Each includes all the required bolts and washers to mount the pump and motor to the pump/
motor mount. The kit does NOT contain hardware required to mount the pump/motor mount to the tank lid top. Refer to the BHN Pump/Motor
Mount Bolt Torque Table, Chart 1, on page 7 for bolt torque recommendations.

5
www.lovejoyhydraulics.com
Pump / Motor Mounts
SAE and Metric Pump Mounts
Selection Data
Metric - 2 Bolt Mount Dimensions Chart 4
S K D N M
Pilot Bolt Bolt
Pump Mounting Diameter Circle Holes
Type mm mm mm mm mm
32 A2 32 56 6.6 816
40 A2 40 63 6.6 816
50 A2 50 80 9.0 820
63 A2 63 100 9.0 820
80 A2 80 109 11.0 820
100 A2 100 140 14.0 10 25
112 A2 112 160 14.0 10 25
125 A2 125 180 18.0 10 32
140 A2 140 200 18.0 10 32
160 A2 160 224 22.0 10 40
180 A2 180 250 22.0 10 40
200 A2 200 280 26.0 10 50
Metric - 4 Bolt Square Mount Dimensions Chart 5
S K D N M
Pilot Bolt Bolt
Pump Mounting Diameter Circle Holes
Type mm mm mm mm mm
63 B4 63 85 9 8 20
63 S4 63 80 9 8 20
80 B4 80 103 9 8 20
80 S4 80 100 9 8 20
100 B4 100 125 11 10 25
112 B4 112 140 11 10 25
125 B4 125 160 14 10 32
140 B4 140 180 14 10 32
160 B4 160 200 18 10 40
180 B4 180 224 18 10 40
200 B4 200 250 22 10 50
224 B4 224 280 22 10 50
250 B4 250 315 26 10 50
SAE - 2 Bolt Mount Dimensions Chart 2
A K M
Pump ANSI Pilot Bolt Bolt
Mounting Flange Diameter Circle Holes
Type Code in in in
SAE AA 50-2 2.000 3.250 0.406
SAE A 82-2 3.250 4.187 0.438
SAE B 101-2 4.000 5.750 0.562
SAE C 127-2 5.000 7.125 0.688
SAE D 152-2 6.000 9.000 0.812
SAE E 165-2 6.500 12.500 1.062
SAE F 177-2 7.000 13.781 1.062
SAE - 4 Bolt Mount Square Dimensions Chart 3
A S R
Pump ANSI Pilot Bolt Bolt
Mounting Flange Diameter Circle Holes
Type Code in in in
USA4F17 —1.781 2.838 0.375
SAE A —3.250 4.125 0.438
SAE B 101-4 4.000 5.000 0.562
SAE C 127-4 5.000 6.375 0.562
SAE D 152-4 6.000 9.000 0.812
SAE E 165-4 6.500 12.500 0.812
SAE F 177-4 7.000 13.781 1.062

6630-852-0500
Pump / Motor Mounts
ANSI Shaft Codes
Dimensional Data
ANSI shaft code assignments for fluid power pumps and motors.
Complete dimensions may be obtained from ANSI B93.6-1972.
Straight Shaft (no threads) Dimensions Chart 7
ANSI SAE Shaft Short Long Key
Shaft Shaft Diameter Shaft Shaft Width
Code Code Length Length
in in in in
13-1 AA 0.500 0.750 —0.125
16-1 A0.625 0.938 2.000 0.156
22-1 B0.875 1.312 2.500 0.250
25-1 BB 1.000 1.500 2.750 0.250
32-1 C1.250 1.875 3.000 0.312
38-1 CC 1.500 2.125 3.250 0.375
44-1 D, E 1.750 2.625 3.625 0.437
30° Involute Spline Dimensions Chart 8
ANSI SAE Shaft Shaft Spline
Shaft Shaft Diameter Length Specifications
Code Code
in in
13-4 AA 0.500 0.750 9T, 20/40 DP
16-4 A0.625 0.938 9T, 16/32 DP
22-4 B0.875 1.312 13T, 16/32 DP
25-4 BB 1.000 1.500 15T, 16/32 DP
32-4 C1.250 1.875 14T, 12/24 DP
38-4 CC 1.500 2.125 17T, 12/24 DP
44-4 D, E 1.750 2.625 13T, 8/16 DP
50-4 F2.000 3.125 15T, 8/16 DP
Straight Shaft (threaded) Dimensions Chart 9
ANSI Shaft Straight Thread Thread Key
Shaft Diameter Shaft Shaft Size Width
Code Length Length
in in in in in
13-2 0.500 0.750 0.532 3/8-24 0.125
16-2 0.625 0.938 0.719 1/2-20 0.156
22-2 0.875 1.312 0.906 5/8-18 0.250
25-2 1.000 1.500 1.062 3/4-16 0.250
32-2 1.250 1.875 1.219 1-12 0.312
38-2 1.500 2.125 1.375 1-1/8 -12 0.375
44-2 1.750 2.625 1.562 1-1/4 -12 0.437
Tapered Shaft (threaded) Dimensions Chart 10
ANSI Shaft Tappered Thread Thread Key
Shaft Diameter Shaft Shaft Size Width
Code Length Length
in in in in in
13-3 0.500 0.688 0.500 5/16-32 0.125
16-3 0.625 0.688 0.719 1/2-20 0.156
22-3 0.875 1.125 0.906 5/8-18 0.250
25-3 1.000 1.375 1.062 3/4-16 0.250
32-3 1.250 1.375 1.219 1-12 0.312
38-3 1.500 1.875 1.375 1-1/8 -12 0.375
44-3 1.750 2.125 1.562 1-1/4 -12 0.437
50-3 2.000 2.875 1.562 1-1/4 -12 0.500
Straight Shaft
(no threads)
30° Involute Spline
Straight Shaft
(threaded)
Tapered Shaft
(threaded)

7
www.lovejoyhydraulics.com
NEMA C-Face Motor Dimensions
Notes: n AH is shaft length.
n U is shaft diameter.
n S is keyway width.
n AK is pilot diameter.
n AJ is bolt circle.
n BF is tread type.
n HP is horse power at 1750 RPM.
Pump / Motor Mounts
NEMA Frame Motors
Dimensional Data / Bolt Torque Table
U-Frame Dimensions Chart 6
182UC 213UC 254UC 284UC 324USC 324UC 364USC 364UC 404USC 404UC 444USC 444UC
184UC 215UC 256UC 286UC 326USC 326UC 365USC 365UC 405USC 405UC 445USC 445UC
AH 2.125 2.750 3.500 4.625 3.000 5.375 3.500 6.125 4.000 6.875 4.000 8.375
U7/8 1-1/8 1-3/8 1-5/8 1-5/8 1-7/8 1-7/8 2-1/8 2-1/8 2-3/8 2-1/8 2-7/8
S3/16 1/4 5/16 3/8 3/8 1/2 1/2 1/2 1/2 5/8 1/2 3/4
AK 4.50 8.50 8.50 10.50 12.50 12.50 12.50 12.50 12.50 12.50 16.00 16.00
AJ 5.875 7.25 7.25 9.00 11.00 11.00 11.00 11.00 11.00 11.00 14.00 14.00
BF 3/8- 16 1/2 -13 1/2 -13 1/2 -13 5/8- 11 5/8 -11 5/8 -11 5/8 -11 5/8 -11 5/8- 11 5/8 -11 5/8- 11
HP 1 3 7.5 15 25 25 40 40 60 60 125 125
2 5 10 20 30 30 50 35 75 75 150 150
T-Frame Dimension
056C 143TC 182TC 213TC 254TC 284TSC 284TC 324TSC 324TC 364TSC 364TC 404TSC 404TC 444TSC 444TC
145TC 184TC 215TC 256TC 286TSC 286TC 326TSC 326TC 365TSC 365TC 405TSC 405TC 449TSC 449TC
AH 2.062 2.125 2.625 3.125 3.750 3.000 4.375 3.500 5.000 3.500 5.625 4.000 7.000 4.500 8.250
U5/8 7/8 1-1/8 1-3/8 1-5/8 1-5/8 1-7/8 1-7/8 2-1/8 1-7/8 2-3/8 2-1/8 2-7/8 2-3/8 3-3/8
S3/16 3/16 1/4 5/16 3/8 3/8 1/2 1/2 1/2 1/2 5/8 1/2 3/4 5/8 7/8
AK 4.50 4.50 8.50 8.50 8.50 10.50 10.50 12.50 12.50 12.50 12.50 12.50 12.50 16.00 16.00
AJ 5.875 5.875 7.250 7.250 7.250 9.000 9.000 11.000 11.000 11.000 11.000 11.000 11.000 14.000 14.000
BF 3/8 -16 3/8 -16 1/2 -13 1/2 -13 1/2 -13 1/2 -13 1/2- 13 5/8- 11 5/8- 11 5/8 -11 5/8 -11 5/8- 11 5/8- 11 5/8 -11 5/8- 11
HP 1/4 1 3 7.5 15 25 25 40 40 60 60 100 100 150 150
1/2 2 5 10 20 30 30 50 50 75 75 125 125 20 200
Chart 6, continued
BHN Pump/Motor Mount Bolt Torque Table Chart 1
Recommended Torque
Grade 5 Grade 8
Bolt Coarse Fine Coarse Fine
Size ft-lb ft-lb ft-lb ft-lb
1/4 6.3 7.3 910
5/16 13.0 14.0 18 20
3/8 23.0 26.0 33 37
7/16 37.0 41.0 52 58
1/2 57.0 64.0 80 90
9/16 82.0 91.0 115 129
5/8 112.0 128.0 159 180
3/4 200.0 223.0 282 315
7/8 322.0 355.0 454 501
1483.0 541.0 682 764

8630-852-0500
Horizontal Mount Selection Process
Pump / Motor Mounts
Horizontal and Vertical Mount
Selection Process / Mount Type - Product Code Breakdown
1. Review Charts 2 thru 5 (page 5) to determine pump mounting type required.
2. Measure the pump shaft length, dimension "AH", from the shaft end to the flange mounting face and ADD to the motor shaft length shown in Chart 6
(page 7) to determine a minimum pump/motor mount length - it is recommended to also add a minimum 1/16 (.0625) inch for shaft end clearance.
3. Locate the appropriate Horizontal Mount table (pages 11 thru 17) based on the motor frame size in the application and the length that corresponds to
the minimum length determined in Step 2.
4. Locate in this table the pump flange/mounting type as determined in Step 1. The right side of this table will have the corresponding Lovejoy Hydraulics
UPC number associated with the pump flange type selected.
5. Check for proper clearance between the mount inner surfaces and the coupling O.D. (dimensions ‘Z’ and ‘CL’ in the table). Dimensional data for
Lovejoy Hydraulic LH couplings are located in the LH Dimensional Data table on page 22. Lovejoy offers additional coupling styles that may provided
further advantages and can be reviewed with your Lovejoy Sales Representative or found on Lovejoy’s website at www.lovejoy-inc.com.
Vertical Mount Selection Process
1. Review Charts 2 thru 5 (page 5) to determine pump mounting type required.
2. Measure the pump shaft length, dimension "AH", from the shaft end to the flange mounting face and ADD to the motor shaft length shown in Chart 6
(page 7) to determine a minimum pump/motor mount length - it is recommended to also add a minimum 1/16 (.0625) inch for shaft end clearance.
3. Determine vertical mounting installation to be used: Installation 1 or 1A (page 9), Installation 2 or Installation 3 (page 10).
4. Locate the appropriate Vertical Mount table (Vertical Mount option pages 11 thru 14 and Vertical Mounts pages 18 thru 21) based on the motor frame size
in the application and the length that corresponds to the minimum length determined in Step 2.
5. Locate in this table the pump flange/mounting type as determined in Step 1. The right side of this table will have the corresponding Lovejoy Hydraulics UPC
number associated with the pump flange type selected.
6. Check for proper clearance between the mount inner surfaces and the coupling O.D. (dimensions ‘Z’ and ‘CL’ in the table). Dimensional data for Lovejoy
Hydraulic LH couplings are located in the LH Dimensional Data table on page 22. Other Lovejoy couplings may also be suitable and can be reviewed with
your Lovejoy Sales Representative or found on Lovejoy’s website at www.lovejoy-inc.com.
Mount Type - Product Code Breakdown
BHN-56 24-A HV L=4.25 (example)
BHN –_ _ _ _ _ – _ _ _ _ _ _ _ L=_ . _ _
Series Motor Size Pump Bolt Pump Mounting Face to Face
Mount Type Length
Bell Housing NEMA 56 (56C-145TC) 02 = 2 Bolt 4F17 (SAE) H = Horizontal 3.50
182 (182TC-256TC) 04 = 4 Bolt AA (SAE) V = Vertical 4.25
284 (284TC/TSC-286TC/TSC) 24 = 2 and 4 Bolt A (SAE) HV = Horz / Vert 4.50
324 (324SC-405TSC) B (SAE) 4.75
C (SAE) 5.00
80AB (Metric) 5.25
80S (Metric) 5.81
100AB (Metric) 6.00
125AB (Metric) 6.81
6.87
7.00
7.06
8.75

9
www.lovejoyhydraulics.com
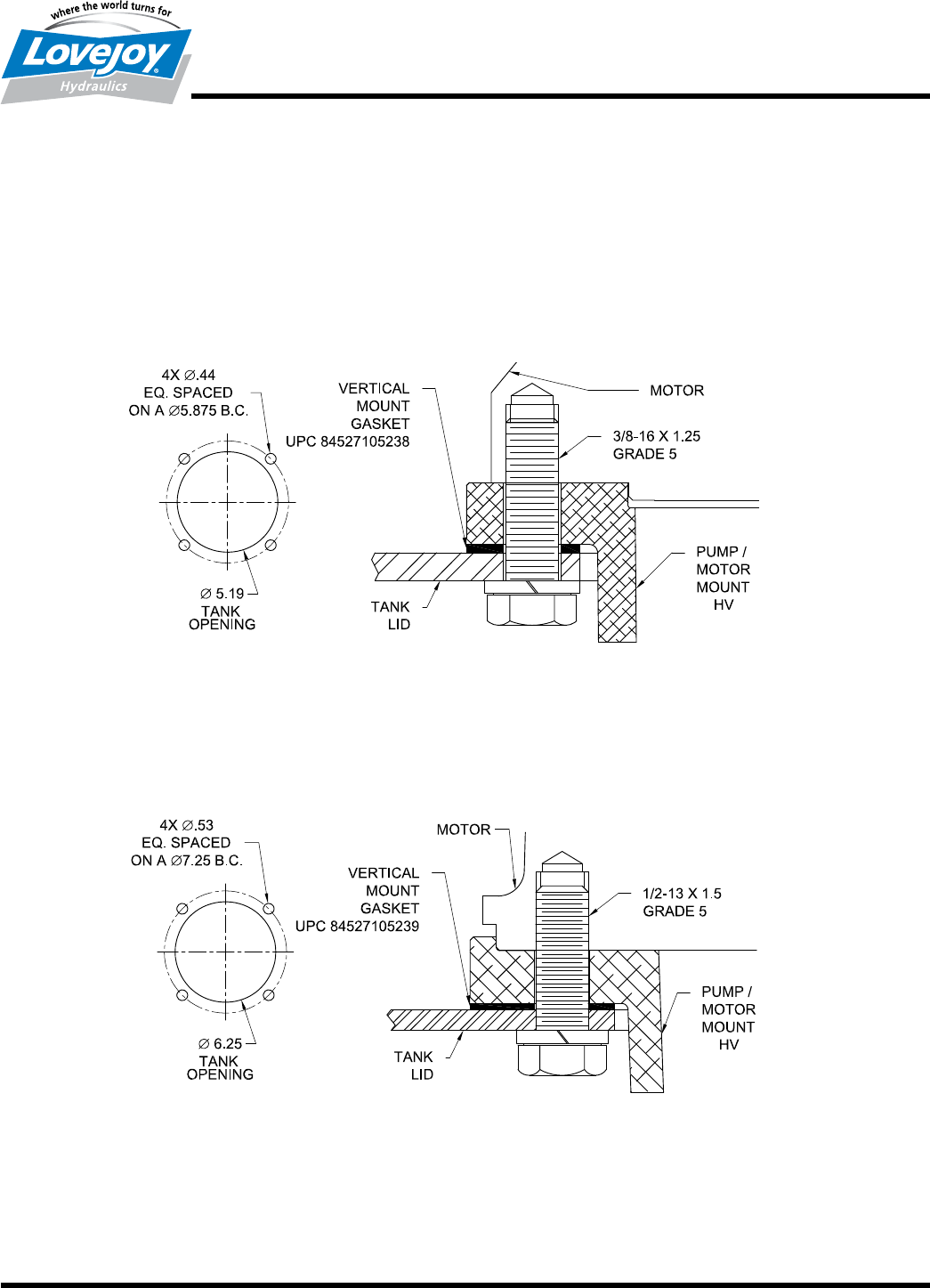
NEMA Frame Size 56C - 145TC and 182TC - 256TC Vertical Mounting Option
Installation 1 and 1A allows Horizontal Mounts having the Vertical Mounting Option to be used in a vertical application for pump sizes USA4F17, SAE AA, SAE
A, 80 A2/B4 and 80S4. The pump/motor mount is bolted to the top side of the tank lid. Vertical Mount gasket UPC number 84527105238 needs to be ordered
for frame sizes 56C - 145TC and UPC number 84527105239 needs to be ordered for frame sizes 182TC - 256TC.
A Motor Mount kit and Pump Mount kit is included. Each includes all the required bolts and washers to mount the pump and motor to the pump/motor mount.
Refer to the BHN Pump/Motor Mount Bolt Torque Table, Chart 1, on page 7 for bolt torque recommendations.
Pump / Motor Mounts
Installation 1 and 1A
Vertical Mounting Options
(order separately)
(order separately)
Installation 1 Frame size: 56C - 145TC Horizontal Mount (Vertical Mounting Option) (HV)
Installation 1A Frame size: 182C - 256TC Horizontal Mount (Vertical Mounting Option) (HV)

10 630-852-0500
Pump / Motor Mounts
Installations 2 and 3
Vertical Mounting
NEMA Frame Size 56C - 145TC Vertical Mounting
Installation 2 pertains only to Vertical Mounts for NEMA Frame sizes 56C - 145TC which only bolt to the underside of the tank lid. No Vertical Mount
gasket is required.
A Motor Mount kit and Pump Mount kit is included. Each includes all the required bolts and washers to mount the pump and motor to the pump/motor
mount. Refer to the BHN Pump/Motor Mount Bolt Torque Table, Chart 1, on page 7 for bolt torque recommendations.
NEMA Frame Size 182TC - 256TC Vertical Mounting
Installation 3 pertains only to Vertical Mounts for NEMA frame sizes 182TC - 256TC which only bolt to the top side of the tank lid. Vertical Mount gasket UPC
number 84527105240 is included with pump/motor mount.
A Motor Mount kit and Pump Mount kit is included. Each includes all the required bolts and washers to mount the pump and motor to the pump/motor
mount. The kit does NOT contain hardware required to mount the pump/motor mount to the tank lid top. Refer to the BHN Pump/Motor Mount Bolt Torque
Table, Chart 1, on page 7 for bolt torque recommendations.
(included)
Installation 2 Frame size: 56C - 145TC Vertical Mount (V2)
Installation 3 Frame size: 182C - 256TC Vertical Mount (V3)

11
www.lovejoyhydraulics.com
Notes: n For Vertical Mount option, order Vertical Mount gasket UPC number 84527105238.
n When referencing the Lovejoy Hydraulics UPC number in this table, include 8452710 as a prefix to the number shown.
Notes: n For Vertical Mount option, order Vertical Mount gasket UPC number 84527105238.
n When referencing the Lovejoy Hydraulics UPC number in this table, include 8452710 as a prefix to the number shown.
Notes: n For Vertical Mount option, order Vertical Mount gasket UPC number 84527105238.
n When referencing the Lovejoy Hydraulics UPC number in this table, include 8452710 as a prefix to the number shown.
3.50 Inch Face to Face
Frame Size: 56C, 143TC / 145TC
Horizontal Mounting (Vertical Mounting option - Installation 1, on page 9)
4.25 Inch Face to Face
Frame Size: 56C, 143TC / 145TC
Horizontal Mounting (Vertical Mounting option - Installation 1, on page 9)
4.50 Inch Face to Face
Frame Size: 56C, 143TC / 145TC
Horizontal Mounting (Vertical Mounting option - Installation 1, on page 9)
Pump Flange / End Data Mount Part Number
XAK XAJ2 XBF2 XAJ4 XBF4 ZCL XM
2 Bolt 4 Bolt Face UPC
Pump Flange Pilot Circle Type Circle Type to Face Number Mount Type
USA4F17 4 Bolt 1.782 – – 2.84 5/16 -18 4.20 2.81 3.50 5121 BHN-56 04-4F17 HV L=3.50
SAE AA 2 Bolt 2.001 3.25 3/8 -16 – – 4.20 2.81 3.50 5122 BHN-56 02-AA HV L=3.50
SAE A 2(4)Bolt 3.251 4.19 3/8- 16 4.12 3/8 -16 4.20 2.81 3.50 5123 BHN-56 24-A HV L=3.50
80 A2/B4 2(4)Bolt 80.01mm 109mm 3/8 -16 103mm 5/16 -18 4.20 2.81 3.50 5124 BHN-56 24-80AB HV L=3.50
80 S4 4 Bolt 80.01mm – – 100mm 5/16 -18 4.20 2.81 3.50 5125 BHN-56 04-80S HV L=3.50
Pump Flange / End Data Mount Part Number
XAK XAJ2 XBF2 XAJ4 XBF4 ZCL XM
2 Bolt 4 Bolt Face UPC
Pump Flange Pilot Circle Type Circle Type to Face Number Mount Type
USA4F17 4 Bolt 1.782 – – 2.84 5/16 -18 4.20 3.56 4.25 5126 BHN-56 04-4F17 HV L=4.25
SAE AA 2 Bolt 2.001 3.25 3/8 -16 – – 4.20 3.56 4.25 5127 BHN-56 02-AA HV L=4.25
SAE A 2(4)Bolt 3.251 4.19 3/8 -16 4.12 3/8 -16 4.20 3.56 4.25 5128 BHN-56 24-A HV L=4.25
80 A2/B4 2(4)Bolt 80.01mm 109mm 3/8 -16 103mm 5/16- 18 4.20 3.56 4.25 5129 BHN-56 24-80AB HV L=4.25
80 S4 4 Bolt 80.01mm – – 100mm 5/16- 18 4.20 3.56 4.25 5130 BHN-56 04-80S HV L=4.25
Pump / Motor Mounts
Horizontal (Vertical option) 56C, 143TC / 145TC
3.50 - 4.50 Inch / Item Selection
Motor End Data
AJ BF BD AK
Bolt Bolt Motor Motor
Circle Hole Flange OD Pilot
5.88 7/16 6.81 4.501
Pump Flange / End Data Mount Part Number
XAK XAJ2 XBF2 XAJ4 XBF4 ZCL XM
2 Bolt 4 Bolt Face UPC
Pump Flange Pilot Circle Type Circle Type to Face Number Mount Type
USA4F17 4 Bolt 1.782 – – 2.84 5/16- 18 4.20 3.81 4.50 5131 BHN-56 04-4F17 HV L=4.50
SAE AA 2 Bolt 2.001 3.25 3/8 -16 – – 4.20 3.81 4.50 5132 BHN-56 02-AA HV L=4.50
SAE A 2(4)Bolt 3.251 4.19 3/8 -16 4.12 3/8- 16 4.20 3.81 4.50 5133 BHN-56 24-A HV L=4.50
80 A2/B4 2(4)Bolt 80.01mm 109mm 3/8 -16 103mm 5/16 -18 4.20 3.81 4.50 5134 BHN-56 24-80AB HV L=4.50
80 S4 4 Bolt 80.01mm – – 100mm 5/16 -18 4.20 3.81 4.50 5135 BHN-56 04-80S HV L=4.50

12 630-852-0500
Notes: n For Vertical Mount option, order Vertical Mount gasket UPC number 84527105238.
n Vertical Mount option not available for SAE B or 100 A2/B4.
n When referencing the Lovejoy Hydraulics UPC number in this table, include 8452710 as a prefix to the number shown.
Notes: n For Vertical Mount option, order Vertical Mount gasket UPC number 84527105238.
n Vertical Mount option not available for SAE B or 100 A2/B4.
n When referencing the Lovejoy Hydraulics UPC number in this table, include 8452710 as a prefix to the number shown.
Pump / Motor Mounts
Horizontal (Vertical option) 56C, 143TC / 145TC
5.00 - 5.25 Inch / Item Selection
5.00 Inch Face to Face
Frame Size: 56C, 143TC / 145TC
Horizontal Mounting (Vertical Mounting option - Installation 1, on page 9)
5.25 Inch Face to Face
Frame Size: 56C, 143TC / 145TC
Horizontal Mounting (Vertical Mounting option - Installation 1, on page 9)
Motor End Data
AJ BF BD AK
Bolt Bolt Motor Motor
Circle Hole Flange OD Pilot
5.88 7/16 6.81 4.501
Pump Flange / End Data Mount Part Number
XAK XAJ2 XBF2 XAJ4 XBF4 ZCL XM
2 Bolt 4 Bolt Face UPC
Pump Flange Pilot Circle Type Circle Type to Face Number Mount Type
USA4F17 4 Bolt 1.782 – – 2.84 5/16 -18 4.20 4.31 5.00 5136 BHN-56 04-4F17 HV L=5.00
SAE AA 2 Bolt 2.001 3.25 3/8 -16 – – 4.20 4.31 5.00 5137 BHN-56 02-AA HV L=5.00
SAE A 2(4)Bolt 3.251 4.19 3/8- 16 4.12 3/8 -16 4.20 4.31 5.00 5138 BHN-56 24-A HV L=5.00
SAE B 2(4)Bolt 4.001 5.75 1/2- 13 5.00 1/2 -13 4.20 3.93 5.00 5139 BHN-56 24-B H L=5.00
80 A2/B4 2(4)Bolt 80.01mm 109mm 3/8- 16 103mm 5/16 -18 4.20 4.31 5.00 5140 BHN-56 24-80AB HV L=5.00
80 S4 4 Bolt 80.01mm – – 100mm 5/16 -18 4.20 4.31 5.00 5141 BHN-56 04-80S HV L=5.00
100 A2/B4 2(4)Bolt 101.01mm 140mm 1/2-13 125mm 3/8 -16 4.20 3.93 5.00 5242 BHN-56 24-100AB H L=5.00
Pump Flange / End Data Mount Part Number
XAK XAJ2 XBF2 XAJ4 XBF4 ZCL XM
2 Bolt 4 Bolt Face UPC
Pump Flange Pilot Circle Type Circle Type to Face Number Mount Type
USA4F17 4 Bolt 1.782 – – 2.84 5/16- 18 4.20 4.56 5.25 5142 BHN-56 04-4F17 HV L=5.25
SAE AA 2 Bolt 2.001 3.25 3/8 -16 – – 4.20 4.56 5.25 5143 BHN-56 02-AA HV L=5.25
SAE A 2(4)Bolt 3.251 4.19 3/8 -16 4.12 3/8 -16 4.20 4.56 5.25 5144 BHN-56 24-A HV L=5.25
SAE B 2(4)Bolt 4.001 5.75 1/2 -13 5.00 1/2 -13 4.20 4.18 5.25 5145 BHN-56 24-B H L=5.25
80 A2/B4 2(4)Bolt 80.01mm 109mm 3/8 -16 103mm 5/16- 18 4.20 4.56 5.25 5146 BHN-56 24-80AB HV L=5.25
80 S4 4 Bolt 80.01mm – – 100mm 5/16- 18 4.20 4.56 5.25 5147 BHN-56 04-80S HV L=5.25
100 A2/B4 2(4)Bolt 101.01mm 140mm 1/2-13 125mm 3/8 -16 4.20 4.18 5.25 5243 BHN-56 24-100AB H L=5.25
SAE B and 100 A2/B4
USA4F17, SAE AA, SAE A, 80 A2/B4, 80 S4

13
www.lovejoyhydraulics.com
Pump / Motor Mounts
Horizontal (Vertical option) 182TC - 256TC
4.75 - 5.25 Inch / Item Selection
Notes: n For Vertical Mount option, order Vertical Mount gasket UPC number 84527105239.
n When referencing the Lovejoy Hydraulics UPC number in this table, include 8452710 as a prefix to the number shown.
Notes: n For Vertical Mount option, order Vertical Mount gasket UPC number 84527105239.
n When referencing the Lovejoy Hydraulics UPC number in this table, include 8452710 as a prefix to the number shown.
Notes: n For Vertical Mount option, order Vertical Mount gasket UPC number 84527105239.
n When referencing the Lovejoy Hydraulics UPC number in this table, include 8452710 as a prefix to the number shown.
4.75 Inch Face to Face
Frame Size: 182TC - 256TC
Horizontal Mounting (Vertical Mounting option - Installation 1A, on page 9)
5.00 Inch Face to Face
Frame Size: 182TC - 256TC
Horizontal Mounting (Vertical Mounting option - Installation 1A, on page 9)
5.25 Inch Face to Face
Frame Size: 182TC - 256TC
Horizontal Mounting (Vertical Mounting option - Installation 1A, on page 9)
Motor End Data
AJ BF BD AK
Bolt Bolt Motor Motor
Circle Hole Flange OD Pilot
7.25 17/32 9.00 8.501
Pump Flange / End Data Mount Part Number
XAK XAJ2 XBF2 XAJ4 XBF4 ZCL XM
2 Bolt 4 Bolt Face UPC
Pump Flange Pilot Circle Type Circle Type to Face Number Mount Type
USA4F17 4 Bolt 1.782 – – 2.84 5/16 -18 4.40 4.00 4.75 5148 BHN-182 04-4F17 HV L=4.75
SAE AA 2 Bolt 2.001 3.25 3/8 -16 – – 4.40 4.00 4.75 5149 BHN-182 02-AA HV L=4.75
SAE A 2(4)Bolt 3.251 4.19 3/8 -16 4.12 3/8 -16 4.40 4.00 4.75 5150 BHN-182 24-A HV L=4.75
80 A2/B4 2(4)Bolt 80.01mm 109mm 3/8 -16 103mm 5/16- 18 4.40 4.00 4.75 5151 BHN-182 24-80AB HV L=4.75
80 S4 4 Bolt 80.01mm – – 100mm 5/16 -18 4.40 4.00 4.75 5152 BHN-182 04-80S HV L=4.75
Pump Flange / End Data Mount Part Number
XAK XAJ2 XBF2 XAJ4 XBF4 ZCL XM
2 Bolt 4 Bolt Face UPC
Pump Flange Pilot Circle Type Circle Type to Face Number Mount Type
USA4F17 4 Bolt 1.782 – – 2.84 5/16- 18 4.40 4.31 5.00 5101 BHN-182 04-4F17 HV L=5.00
SAE AA 2 Bolt 2.001 3.25 3/8 -16 – – 4.40 4.31 5.00 5102 BHN-182 02-AA HV L=5.00
SAE A 2(4)Bolt 3.251 4.19 3/8 -16 4.12 3/8 -16 4.40 4.31 5.00 5103 BHN-182 24-A HV L=5.00
80 A2/B4 2(4)Bolt 80.01mm 109mm 3/8 -16 103mm 5/16- 18 4.40 4.31 5.00 5104 BHN-182 24-80AB HV L=5.00
80 S4 4 Bolt 80.01mm – – 100mm 5/16 -18 4.40 4.31 5.00 5105 BHN-182 04-80S HV L=5.00
Pump Flange / End Data Mount Part Number
XAK XAJ2 XBF2 XAJ4 XBF4 ZCL XM
2 Bolt 4 Bolt Face UPC
Pump Flange Pilot Circle Type Circle Type to Face Number Mount Type
USA4F17 4 Bolt 1.782 – – 2.84 5/16 -18 4.40 4.31 5.25 5106 BHN-182 04-4F17 HV L=5.25
SAE AA 2 Bolt 2.001 3.25 3/8- 16 – – 4.40 4.31 5.25 5107 BHN-182 02-AA HV L=5.25
SAE A 2(4)Bolt 3.251 4.19 3/8 1-6 4.12 3/8 -16 4.40 4.31 5.25 5108 BHN-182 24-A HV L=5.25
80 A2/B4 2(4)Bolt 80.01mm 109mm 3/8 1-6 103mm 5/16 -18 4.40 4.31 5.25 5109 BHN-182 24-80AB HV L=5.25
80 S4 4 Bolt 80.01mm – – 100mm 5/16 -18 4.40 4.31 5.25 5110 BHN-182 04-80S HV L=5.25

14 630-852-0500
Pump / Motor Mounts
Horizontal (Vertical option) 182TC - 256TC
5.81- 6.81 Inch / Item Selection
Notes: n For Vertical Mount option, order Vertical Mount gasket UPC number 84527105239.
n When referencing the Lovejoy Hydraulics UPC number in this table, include 8452710 as a prefix to the number shown.
Notes: n For Vertical Mount option, order Vertical Mount gasket UPC number 84527105239.
n When referencing the Lovejoy Hydraulics UPC number in this table, include 8452710 as a prefix to the number shown.
5.81 Inch Face to Face
Frame Size: 182TC - 256TC
Horizontal Mounting (Vertical Mounting option - Installation 1A, on page 9)
6.81 Inch Face to Face
Frame Size: 182TC - 256TC
Horizontal Mounting (Vertical Mounting option - Installation 1A, on page 9)
Motor End Data
AJ BF BD AK
Bolt Bolt Motor Motor
Circle Hole Flange OD Pilot
7.25 17/32 9.00 8.501
Pump Flange / End Data Mount Part Number
XAK XAJ2 XBF2 XAJ4 XBF4 ZCL XM
2 Bolt 4 Bolt Face UPC
Pump Flange Pilot Circle Type Circle Type to Face Number Mount Type
USA4F17 4 Bolt 1.782 – – 2.84 5/16 -18 4.40 5.06 5.81 5111 BHN-182 04-4F17 HV L=5.81
SAE AA 2 Bolt 2.001 3.25 3/8 -16 – – 4.40 5.06 5.81 5112 BHN-182 02-AA HV L=5.81
SAE A 2(4)Bolt 3.251 4.19 3/8 -16 4.12 3/8 -16 4.40 5.06 5.81 5113 BHN-182 24-A HV L=5.81
80 A2/B4 2(4)Bolt 80.01mm 109mm 3/8 -16 103mm 5/16 -18 4.40 5.06 5.81 5114 BHN-182 24-80AB HV L=5.81
80 S4 4 Bolt 80.01mm – – 100mm 5/16- 18 4.40 5.06 5.81 5115 BHN-182 04-80S HV L=5.81
Pump Flange / End Data Mount Part Number
XAK XAJ2 XBF2 XAJ4 XBF4 ZCL XM
2 Bolt 4 Bolt Face UPC
Pump Flange Pilot Circle Type Circle Type to Face Number Mount Type
USA4F17 4 Bolt 1.782 – – 2.84 5/16 -18 4.40 6.06 6.81 5116 BHN-182 04-4F17 HV L=6.81
SAE AA 2 Bolt 2.001 3.25 3/8 -16 – – 4.40 6.06 6.81 5117 BHN-182 02-AA HV L=6.81
SAE A 2(4)Bolt 3.251 4.19 3/8 -16 4.12 3/8 -16 4.40 6.06 6.81 5118 BHN-182 24-A HV L=6.81
80 A2/B4 2(4)Bolt 80.01mm 109mm 3/8 -16 103mm 5/16 -18 4.40 6.06 6.81 5119 BHN-182 24-80AB HV L=6.81
80 S4 4 Bolt 80.01mm – – 100mm 5/16 -18 4.40 6.06 6.81 5120 BHN-182 04-80S HV L=6.81

15
www.lovejoyhydraulics.com
Pump / Motor Mounts
Horizontal 182TC - 256TC
5.25 - 6.00 Inch / Item Selection
Note: n When referencing the Lovejoy Hydraulics UPC number in this table, include 8452710 as a prefix to the number shown.
Note: n When referencing the Lovejoy Hydraulics UPC number in this table, include 8452710 as a prefix to the number shown.
Note: n When referencing the Lovejoy Hydraulics UPC number in this table, include 8452710 as a prefix to the number shown.
5.25 Inch Face to Face
Frame Size: 182TC - 256TC
Horizontal Mounting
5.81 Inch Face to Face
Frame Size: 182TC - 256TC
Horizontal Mounting
6.00 Inch Face to Face
Frame Size: 182TC - 256TC
Horizontal Mounting
Motor End Data
AJ BF BD AK
Bolt Bolt Motor Motor
Circle Hole Flange OD Pilot
7.25 17/32 9.00 8.501
Pump Flange / End Data Mount Part Number
XAK XAJ2 XBF2 XAJ4 XBF4 ZCL XM
2 Bolt 4 Bolt Face UPC
Pump Flange Pilot Circle Type Circle Type to Face Number Mount Type
SAE B 2(4)Bolt 4.001 5.75 1/2- 13 5.00 1/2- 13 5.00 4.50 5.25 5153 BHN-182 24-B H L=5.25
SAE C 2(4)Bolt 5.001 7.12 5/8 -11 6.38 1/2 -13 5.00 4.50 5.25 5154 BHN-182 24-C H L=5.25
100 A2/B4 2(4)Bolt 100.01mm 140mm 1/2 -13 125mm 3/8 -16 5.00 4.50 5.25 5155 BHN-182 24-100AB H L=5.25
125 A2/B4 2(4)Bolt 125.01mm 180mm 5/8 -11 160mm 1/2 -13 5.00 4.50 5.25 5156 BHN-182 24-125AB H L=5.25
Pump Flange / End Data Mount Part Number
XAK XAJ2 XBF2 XAJ4 XBF4 ZCL XM
2 Bolt 4 Bolt Face UPC
Pump Flange Pilot Circle Type Circle Type to Face Number Mount Type
SAE B 2(4)Bolt 4.001 5.75 1/2- 13 5.00 1/2- 13 5.00 5.06 5.81 5157 BHN-182 24-B H L=5.81
SAE C 2(4)Bolt 5.001 7.12 5/8-11 6.38 1/2- 13 5.00 5.06 5.81 5158 BHN-182 24-C H L=5.81
100 A2/B4 2(4)Bolt 100.01mm 140mm 1/2 -13 125mm 3/8- 16 5.00 5.06 5.81 5159 BHN-182 24-100AB H L=5.81
125 A2/B4 2(4)Bolt 125.01mm 180mm 5/8- 11 160mm 1/2 -13 5.00 5.06 5.81 5160 BHN-182 24-125AB H L=5.81
Pump Flange / End Data Mount Part Number
XAK XAJ2 XBF2 XAJ4 XBF4 ZCL XM
2 Bolt 4 Bolt Face UPC
Pump Flange Pilot Circle Type Circle Type to Face Number Mount Type
SAE B 2(4)Bolt 4.001 5.75 1/2 -13 5.00 1/2 -13 5.00 5.25 6.00 5161 BHN-182 24-B H L=6.00
SAE C 2(4)Bolt 5.001 7.12 5/8- 11 6.38 1/2- 13 5.00 5.25 6.00 5162 BHN-182 24-C H L=6.00
100 A2/B4 2(4)Bolt 100.01mm 140mm 1/2 -13 125mm 3/8- 16 5.00 5.25 6.00 5163 BHN-182 24-100AB H L=6.00
125 A2/B4 2(4)Bolt 125.01mm 180mm 5/8 -11 160mm 1/2- 13 5.00 5.25 6.00 5164 BHN-182 24-125AB H L=6.00

16 630-852-0500
Pump / Motor Mounts
Horizontal 182TC - 256TC
6.81- 7.00 Inch / Item Selection
Note: n When referencing the Lovejoy Hydraulics UPC number in this table, include 8452710 as a prefix to the number shown.
Note: n When referencing the Lovejoy Hydraulics UPC number in this table, include 8452710 as a prefix to the number shown.
6.81 Inch Face to Face
Frame Size: 182TC - 256TC
Horizontal Mounting
7.00 Inch Face to Face
Frame Size: 182TC - 256TC
Horizontal Mounting
Motor End Data
AJ BF BD AK
Bolt Bolt Motor Motor
Circle Hole Flange OD Pilot
7.25 17/32 9.00 8.501
Pump Flange / End Data Mount Part Number
XAK XAJ2 XBF2 XAJ4 XBF4 ZCL XM
2 Bolt 4 Bolt Face UPC
Pump Flange Pilot Circle Type Circle Type to Face Number Mount Type
SAE B 2(4)Bolt 4.001 5.75 1/2 -13 5.00 1/2 -13 5.00 6.06 6.81 5165 BHN-182 24-B H L=6.81
SAE C 2(4)Bolt 5.001 7.12 5/8 -11 6.38 1/2 -13 5.00 6.06 6.81 5166 BHN-182 24-C H L=6.81
100 A2/B4 2(4)Bolt 100.01mm 140mm 1/2 -13 125mm 3/8 -16 5.00 6.06 6.81 5167 BHN-182 24-100AB H L=6.81
125 A2/B4 2(4)Bolt 125.01mm 180mm 5/8 -11 160mm 1/2 -13 5.00 6.06 6.81 5168 BHN-182 24-125AB H L=6.81
Pump Flange / End Data Mount Part Number
XAK XAJ2 XBF2 XAJ4 XBF4 ZCL XM
2 Bolt 4 Bolt Face UPC
Pump Flange Pilot Circle Type Circle Type to Face Number Mount Type
SAE B 2(4)Bolt 4.001 5.75 1/2 -13 5.00 1/2 -13 5.00 6.25 7.00 5169 BHN-182 24-B H L=7.00
SAE C 2(4)Bolt 5.001 7.12 5/8- 11 6.38 1/2 -13 5.00 6.25 7.00 5170 BHN-182 24-C H L=7.00
100 A2/B4 2(4)Bolt 100.01mm 140mm 1/2- 13 125mm 3/8 -16 5.00 6.25 7.00 5171 BHN-182 24-100AB H L=7.00
125 A2/B4 2(4)Bolt 125.01mm 180mm 5/8- 11 160mm 1/2 -13 5.00 6.25 7.00 5172 BHN-182 24-125AB H L=7.00

17
www.lovejoyhydraulics.com
Pump / Motor Mounts
Horizontal 284TC - 405TSC
6.87 - 8.75 Inch / Item Selection
Notes: n Two piece bell housing - all hardware included.
n When referencing the Lovejoy Hydraulics UPC number in this table, include 8452710 as a prefix to the number shown.
Note: n When referencing the Lovejoy Hydraulics UPC number in this table, include 8452710 as a prefix to the number shown.
Note: n When referencing the Lovejoy Hydraulics UPC number in this table, include 8452710 as a prefix to the number shown.
Horizontal 284TC/TSC - 286TC/TSC
Horizontal 324TSC - 405TSC
6.87 Inch Face to Face
Frame Size: 284TC/TSC - 286TC/TSC
Horizontal Mounting
7.06 Inch Face to Face
Frame Size: 324TSC - 405TSC
Horizontal Mounting
8.75 Inch Face to Face
Frame Size: 324TSC - 405TSC
Horizontal Mounting
Motor End Data
AJ BF BD AK
Bolt Bolt Motor Motor
Circle Hole Flange OD Pilot
9.00 9/16 11.00 10.500
Pump Flange / End Data Mount Part Number
XAK XAJ2 XBF2 XAJ4 XBF4 ZCL XM
2 Bolt 4 Bolt Face UPC
Pump Flange Pilot Circle Type Circle Type to Face Number Mount Type
SAE B 2(4) Bolt 4.00 5.75 1/2-13 5.00 1/2-13 4.85 6.00 6.87 3286 BHN-284 24-B H L=6.87
SAE C 2 Bolt 5.00 7.12 5/8-11 – – 4.80 6.87 6.87 3287 BHN-284 02-C H L=6.87
Motor End Data
AJ BF BD AK
Bolt Bolt Motor Motor
Circle Hole Flange OD Pilot
11.00 21/32 13.00 12.500
Pump Flange / End Data Mount Part Number
XAK XAJ2 XBF2 XAJ4 XBF4 ZCL XM
2 Bolt 4 Bolt Face UPC
Pump Flange Pilot Circle Type Circle Type to Face Number Mount Type
SAE B 2(4)Bolt 4.00 5.75 1/2-13 5.00 1/2-13 5.50 5.80 7.06 3288 BHN-324 24-B H L=7.06
SAE C 2(4)Bolt 5.00 7.12 5/8-11 6.38 1/2-13 5.50 5.80 7.06 3289 BHN-324 24-C H L=7.06
Pump Flange / End Data Mount Part Number
XAK XAJ2 XBF2 XAJ4 XBF4 ZCL XM
2 Bolt 4 Bolt Face UPC
Pump Flange Pilot Circle Type Circle Type to Face Number Mount Type
SAE B 2(4)Bolt 4.00 5.75 1/2-13 5.00 1/2-13 5.50 7.85 8.75 3290 BHN-324 24-B H L=8.75
SAE C 2(4)Bolt 5.00 7.12 5/8-11 6.38 1/2-13 5.50 7.80 8.75 3291 BHN-324 24-C H L=8.75

18 630-852-0500
Pump / Motor Mounts
Vertical 56C, 143TC / 145TC
3.50 - 4.50 Inch / Item Selection
Note: n When referencing the Lovejoy Hydraulics UPC number in this table, include 8452710 as a prefix to the number shown.
Note: n When referencing the Lovejoy Hydraulics UPC number in this table, include 8452710 as a prefix to the number shown.
Note: n When referencing the Lovejoy Hydraulics UPC number in this table, include 8452710 as a prefix to the number shown.
3.50 Inch Face to Face
Frame Size: 56C, 143TC / 145TC
Vertical Mounting - Installation 2, on page 10
4.25 Inch Face to Face
Frame Size: 56C, 143TC / 145TC
Vertical Mounting - Installation 2, on page 10
4.50 Inch Face to Face
Frame Size: 56C, 143TC / 145TC
Vertical Mounting - Installation 2, on page 10
Motor End Data
AJ BF BD AK
Bolt Bolt Motor Motor
Circle Hole Flange OD Pilot
5.88 7/16 6.81 4.501
Pump Flange / End Data Mount Part Number
XAK XAJ2 XBF2 XAJ4 XBF4 ZCL XM
2 Bolt 4 Bolt Face UPC
Pump Flange Pilot Circle Type Circle Type to Face Number Mount Type
USA4F17 4 Bolt 1.782 – – 2.84 5/16 -18 4.20 2.81 3.50 5173 BHN-56 04-4F17 V2 L=3.50
SAE AA 2 Bolt 2.001 3.25 3/8 -16 – – 4.20 2.81 3.50 5174 BHN-56 02-AA V2 L=3.50
SAE A 2(4)Bolt 3.251 4.19 3/8 -16 4.12 3/8 -16 4.20 2.81 3.50 5175 BHN-56 24-A V2 L=3.50
80 A2/B4 2(4)Bolt 80.01mm 109mm 3/8 -16 103mm 5/16 -18 4.20 2.81 3.50 5176 BHN-56 24-80AB V2 L=3.50
80 S4 4 Bolt 80.01mm – – 100mm 5/16 -18 4.20 2.81 3.50 5177 BHN-56 04-80S V2 L=3.50
Pump Flange / End Data Mount Part Number
XAK XAJ2 XBF2 XAJ4 XBF4 ZCL XM
2 Bolt 4 Bolt Face UPC
Pump Flange Pilot Circle Type Circle Type to Face Number Mount Type
USA4F17 4 Bolt 1.782 – – 2.84 5/16 -18 4.20 3.56 4.25 5178 BHN-56 04-4F17 V2 L=4.25
SAE AA 2 Bolt 2.001 3.25 3/8 -16 – – 4.20 3.56 4.25 5179 BHN-56 02-AA V2 L=4.25
SAE A 2(4)Bolt 3.251 4.19 3/8 -16 4.12 3/8 -16 4.20 3.56 4.25 5180 BHN-56 24-A V2 L=4.25
80 A2/B4 2(4)Bolt 80.01mm 109mm 3/8 -16 103mm 5/16- 18 4.20 3.56 4.25 5181 BHN-56 24-80AB V2 L=4.25
80 S4 4 Bolt 80.01mm – – 100mm 5/16 -18 4.20 3.56 4.25 5182 BHN-56 04-80S V2 L=4.25
Pump Flange / End Data Mount Part Number
XAK XAJ2 XBF2 XAJ4 XBF4 ZCL XM
2 Bolt 4 Bolt Face UPC
Pump Flange Pilot Circle Type Circle Type to Face Number Mount Type
USA4F17 4 Bolt 1.782 – – 2.84 5/16 -18 4.20 3.81 4.50 5183 BHN-56 04-4F17 V2 L=4.50
SAE AA 2 Bolt 2.001 3.25 3/8 -16 – – 4.20 3.81 4.50 5184 BHN-56 02-AA V2 L=4.50
SAE A 2(4)Bolt 3.251 4.19 3/8- 16 4.12 3/8 -16 4.20 3.81 4.50 5185 BHN-56 24-A V2 L=4.50
80 A2/B4 2(4)Bolt 80.01mm 109mm 3/8- 16 103mm 5/16- 18 4.20 3.81 4.50 5186 BHN-56 24-80AB V2 L=4.50
80 S4 4 Bolt 80.01mm – – 100mm 5/16 -18 4.20 3.81 4.50 5187 BHN-56 04-80S V2 L=4.50

19
www.lovejoyhydraulics.com
Note: n When referencing the Lovejoy Hydraulics UPC number in this table, include 8452710 as a prefix to the number shown.
Note: n When referencing the Lovejoy Hydraulics UPC number in this table, include 8452710 as a prefix to the number shown.
Pump / Motor Mounts
Vertical 56C, 143TC / 145TC
5.00 - 5.25 Inch / Item Selection
5.00 Inch Face to Face
Frame Size: 56C, 143TC / 145TC
Vertical Mounting - Installation 2, on page 10
5.25 Inch Face to Face
Frame Size: 56C, 143TC / 145TC
Vertical Mounting - Installation 2, on page 10
Motor End Data
AJ BF BD AK
Bolt Bolt Motor Motor
Circle Hole Flange OD Pilot
5.88 7/16 6.81 4.501
Pump Flange / End Data Mount Part Number
XAK XAJ2 XBF2 XAJ4 XBF4 ZCL XM
2 Bolt 4 Bolt Face UPC
Pump Flange Pilot Circle Type Circle Type to Face Number Mount Type
USA4F17 4 Bolt 1.782 – – 2.84 5/16 -18 4.20 4.31 5.00 5188 BHN-56 04-4F17 V2 L=5.00
SAE AA 2 Bolt 2.001 3.25 3/8 -16 – – 4.20 4.31 5.00 5189 BHN-56 02-AA V2 L=5.00
SAE A 2(4)Bolt 3.251 4.19 3/8 -16 4.12 3/8 -16 4.20 4.31 5.00 5190 BHN-56 24-A V2 L=5.00
SAE B 2(4)Bolt 4.001 5.75 1/2 -13 5.00 1/2 -13 4.20 3.93 5.00 5191 BHN-56 24-B V2 L=5.00
80 A2/B4 2(4)Bolt 80.01mm 109mm 3/8 -16 103mm 5/16 -18 4.20 4.31 5.00 5192 BHN-56 24-80AB V2 L=5.00
80 S4 4 Bolt 80.01mm – – 100mm 5/16 -18 4.20 4.31 5.00 5193 BHN-56 04-80S V2 L=5.00
100 A2/B4 2(4)Bolt 101.01mm 140mm 1/2-13 125mm 3/8 -16 4.20 3.93 5.00 5194 BHN-56 24-100AB V2 L=5.00
Pump Flange / End Data Mount Part Number
XAK XAJ2 XBF2 XAJ4 XBF4 ZCL XM
2 Bolt 4 Bolt Face UPC
Pump Flange Pilot Circle Type Circle Type to Face Number Mount Type
USA4F17 4 Bolt 1.782 – – 2.84 5/16 -18 4.20 4.56 5.25 5195 BHN-56 04-4F17 V2 L=5.25
SAE AA 2 Bolt 2.001 3.25 3/8 -16 – – 4.20 4.56 5.25 5196 BHN-56 02-AA V2 L=5.25
SAE A 2(4)Bolt 3.251 4.19 3/8 -16 4.12 3/8- 16 4.20 4.56 5.25 5197 BHN-56 24-A V2 L=5.25
SAE B 2(4)Bolt 4.001 5.75 1/2- 13 5.00 1/2 -13 4.20 4.18 5.25 5198 BHN-56 24-B V2 L=5.25
80 A2/B4 2(4)Bolt 80.01mm 109mm 3/8- 16 103mm 5/16 -18 4.20 4.56 5.25 5199 BHN-56 24-80AB V2 L=5.25
80 S4 4 Bolt 80.01mm – – 100mm 5/16 -18 4.20 4.56 5.25 5200 BHN-56 04-80S V2 L=5.25
100 A2/B4 2(4)Bolt 101.01mm 140mm 1/2-13 125mm 3/8- 16 4.20 4.18 5.25 5201 BHN-56 24-100AB V2 L=5.25
SAE B and 100 A2/B4
USA4F17, SAE AA, SAE A, 80 A2/B4, 80 S4

20 630-852-0500
Note: n When referencing the Lovejoy Hydraulics UPC number in this table, include 8452710 as a prefix to the number shown.
Note: n When referencing the Lovejoy Hydraulics UPC number in this table, include 8452710 as a prefix to the number shown.
Note: n When referencing the Lovejoy Hydraulics UPC number in this table, include 8452710 as a prefix to the number shown.
Pump / Motor Mounts
Vertical 182TC - 256TC
5.00 - 5.81 Inch / Item Selection
5.00 Inch Face to Face
Frame Size: 182TC - 256TC Vertical Mounting - Installation 3, on page 10
5.25 Inch Face to Face
Frame Size: 182TC - 256TC Vertical Mounting - Installation 3, on page 10
5.81 Inch Face to Face
Frame Size: 182TC - 256TC Vertical Mounting - Installation 3, on page 10
Motor End Data
AJ BF BD AK XT T
Motor Motor Flange Flange
Bolt Bolt Motor Motor Bolt Bolt
Circle Hole Flange OD Pilot Circle Hole
7.25 17/32 11.50 8.501 10.25 17/32
Pump Flange / End Data Mount Part Number
XAK XAJ2 XBF2 XAJ4 XBF4 ZCL XM
2 Bolt 4 Bolt Face UPC
Pump Flange Pilot Circle Type Circle Type to Face Number Mount Type
USA4F17 4 Bolt 1.782 – – 2.84 5/16 -18 5.00 4.31 5.00 5202 BHN-182 04-4F17 V3 L=5.00
SAE AA 2 Bolt 2.001 3.25 3/8- 16 – – 5.00 4.31 5.00 5203 BHN-182 02-AA V3 L=5.00
SAE A 2(4)Bolt 3.251 4.19 3/8 -16 4.12 3/8 -16 5.00 4.31 5.00 5204 BHN-182 24-A V3 L=5.00
80 A2/B4 2(4)Bolt 80.01mm 109mm 3/8 -16 103mm 5/16 -18 5.00 4.31 5.00 5205 BHN-182 24-80AB V3 L=5.00
80 S4 4 Bolt 80.01mm – – 100mm 5/16 -18 5.00 4.31 5.00 5206 BHN-182 04-80S V3 L=5.00
Pump Flange / End Data Mount Part Number
XAK XAJ2 XBF2 XAJ4 XBF4 ZCL XM
2 Bolt 4 Bolt Face UPC
Pump Flange Pilot Circle Type Circle Type to Face Number Mount Type
USA4F17 4 Bolt 1.782 – – 2.84 5/16- 18 5.00 4.31 5.25 5207 BHN-182 04-4F17 V3 L=5.25
SAE AA 2 Bolt 2.001 3.25 3/8- 16 – – 5.00 4.31 5.25 5208 BHN-182 02-AA V3 L=5.25
SAE A 2(4)Bolt 3.251 4.19 3/8- 16 4.12 3/8 -16 5.00 4.31 5.25 5209 BHN-182 24-A V3 L=5.25
SAE B 2(4)Bolt 4.001 5.75 1/2 -13 5.00 1/2- 13 5.00 4.50 5.25 5210 BHN-182 24-B V3 L=5.25
SAE C 2(4)Bolt 5.001 7.12 5/8- 11 6.38 1/2 -13 5.00 4.50 5.25 5211 BHN-182 24-C V3 L=5.25
80 A2/B4 2(4)Bolt 80.01mm 109mm 3/8 -16 103mm 5/16 -18 5.00 4.31 5.25 5212 BHN-182 24-80AB V3 L=5.25
80 S4 4 Bolt 80.01mm – – 100mm 5/16 -18 5.00 4.31 5.25 5213 BHN-182 04-80S V3 L=5.25
100 A2/B4 2(4)Bolt 100.01mm 140mm 1/2 -13 125mm 3/8 -16 5.00 4.50 5.25 5214 BHN-182 24-100AB V3 L=5.25
125 A2/B4 2(4)Bolt 125.01mm 180mm 5/8- 11 160mm 1/2 -13 5.00 4.50 5.25 5215 BHN-182 24-125AB V3 L=5.25
Pump Flange / End Data Mount Part Number
XAK XAJ2 XBF2 XAJ4 XBF4 ZCL XM
2 Bolt 4 Bolt Face UPC
Pump Flange Pilot Circle Type Circle Type to Face Number Mount Type
USA4F17 4 Bolt 1.782 – – 2.84 5/16 -18 5.00 5.06 5.81 5216 BHN-182 04-4F17 V3 L=5.81
SAE AA 2 Bolt 2.001 3.25 3/8- 16 – – 5.00 5.06 5.81 5217 BHN-182 02-AA V3 L=5.81
SAE A 2(4)Bolt 3.251 4.19 3/8 -16 4.12 3/8 -16 5.00 5.06 5.81 5218 BHN-182 24-A V3 L=5.81
SAE B 2(4)Bolt 4.001 5.75 1/2 -13 5.00 1/2 -13 5.00 5.06 5.81 5219 BHN-182 24-B V3 L=5.81
SAE C 2(4)Bolt 5.001 7.12 5/8 -11 6.38 1/2 -13 5.00 5.06 5.81 5220 BHN-182 24-C V3 L=5.81
80 A2/B4 2(4)Bolt 80.01mm 109mm 3/8 -16 103mm 5/16- 18 5.00 5.06 5.81 5221 BHN-182 24-80AB V3 L=5.81
80 S4 4 Bolt 80.01mm – – 100mm 5/16- 18 5.00 5.06 5.81 5222 BHN-182 04-80S V3 L=5.81
100 A2/B4 2(4)Bolt 100.01mm 140mm 1/2 -13 125mm 3/8 -16 5.00 5.06 5.81 5223 BHN-182 24-100AB V3 L=5.81
125 A2/B4 2(4)Bolt 125.01mm 180mm 5/8 -11 160mm 1/2- 13 5.00 5.06 5.81 5224 BHN-182 24-125AB V3 L=5.81
SAE B, C and 100, 125 A2/B4
USA4F17, SAE AA, SAE A, 80 A2/B4, 80 S4

21
www.lovejoyhydraulics.com
Note: n When referencing the Lovejoy Hydraulics UPC number in this table, include 8452710 as a prefix to the number shown.
Note: n When referencing the Lovejoy Hydraulics UPC number in this table, include 8452710 as a prefix to the number shown.
Pump / Motor Mounts
Vertical 182TC - 256TC
6.81 - 7.00 Inch / Item Selection
6.81 Inch Face to Face
Frame Size: 182TC - 256TC
Vertical Mounting - Installation 3, on page 10
7.00 Inch Face to Face
Frame Size: 182TC - 256TC
Vertical Mounting - Installation 3, on page 10
Motor End Data
AJ BF BD AK XT T
Motor Motor Flange Flange
Bolt Bolt Motor Motor Bolt Bolt
Circle Hole Flange OD Pilot Circle Hole
7.25 17/32 11.50 8.501 10.25 17/32
Pump Flange / End Data Mount Part Number
XAK XAJ2 XBF2 XAJ4 XBF4 ZCL XM
2 Bolt 4 Bolt Face UPC
Pump Flange Pilot Circle Type Circle Type to Face Number Mount Type
USA4F17 4 Bolt 1.782 – – 2.84 5/16 -18 5.00 6.06 6.81 5225 BHN-182 04-4F17 V3 L=6.81
SAE AA 2 Bolt 2.001 3.25 3/8 -16 – – 5.00 6.06 6.81 5226 BHN-182 02-AA V3 L=6.81
SAE A 2(4)Bolt 3.251 4.19 3/8 -16 4.12 3/8- 16 5.00 6.06 6.81 5227 BHN-182 24-A V3 L=6.81
SAE B 2(4)Bolt 4.001 5.75 1/2 -13 5.00 1/2 -13 5.00 6.06 6.81 5228 BHN-182 24-B V3 L=6.81
SAE C 2(4)Bolt 5.001 7.12 5/8 -11 6.38 1/2 -13 5.00 6.06 6.81 5229 BHN-182 24-C V3 L=6.81
80 A2/B4 2(4)Bolt 80.01mm 109mm 3/8 -16 103mm 5/16- 18 5.00 6.06 6.81 5230 BHN-182 24-80AB V3 L=6.81
80 S4 4 Bolt 80.01mm – – 100mm 5/16 -18 5.00 6.06 6.81 5231 BHN-182 04-80S V3 L=6.81
100 A2/B4 2(4)Bolt 100.01mm 140mm 1/2 -13 125mm 3/8 -16 5.00 6.06 6.81 5232 BHN-182 24-100AB V3 L=6.81
125 A2/B4 2(4)Bolt 125.01mm 180mm 5/8- 11 160mm 1/2 -13 5.00 6.06 6.81 5233 BHN-182 24-125AB V3 L=6.81
Pump Flange / End Data Mount Part Number
XAK XAJ2 XBF2 XAJ4 XBF4 ZCL XM
2 Bolt 4 Bolt Face UPC
Pump Flange Pilot Circle Type Circle Type to Face Number Mount Type
SAE B 2(4)Bolt 4.001 5.75 1/2 -13 5.00 1/2 -13 5.00 6.25 7.00 5234 BHN-182 24-B V3 L=7.00
SAE C 2(4)Bolt 5.001 7.12 5/8- 11 6.38 1/2 -13 5.00 6.25 7.00 5235 BHN-182 24-C V3 L=7.00
100 A2/B4 2(4)Bolt 100.01mm 140mm 1/2- 13 125mm 3/8 -16 5.00 6.25 7.00 5236 BHN-182 24-100AB V3 L=7.00
125 A2/B4 2(4)Bolt 125.01mm 180mm 5/8 -11 160mm 1/2 -13 5.00 6.25 7.00 5237 BHN-182 24-125AB V3 L=7.00
SAE B, C and 100, 125 A2/B4
USA4F17, SAE AA, SAE A, 80 A2/B4, 80 S4

22 630-852-0500
Pump / Motor Mounts
LH Coupling
Dimension / Performance Data
LH Coupling Dimensional Data
OAL ID1 - ID2 OD HD GLTB SL T
Overall Min Max Outside Hub Length of Length Setscrew Setscrew Setscrew
Length Bore Bore Diameter Diameter OD Turn Down Gap Through Bore Location Torque Size
Size in in in in in in in in in in-lbs in
LH100 2.54 .315 1.125 2.56 1.89 0.60 0.79 0.875 0.31 32-36 1/4-20
LH200 3.10 .472 1.375 3.15 2.60 0.77 0.94 1.080 0.38 32-36 1/4-20
LH300 3.56 .472 1.625 3.74 2.95 0.88 1.02 1.270 0.44 150-165 5/16-18
LH400 4.24 .669 1.875 4.13 3.35 1.14 1.10 1.570 0.50 150-165 5/16-18
LH500 4.67 .748 2.375 5.31 4.53 1.09 1.18 1.745 0.50 150-165 5/16-18
LH600 5.98 1.063 2.625 6.30 5.31 1.58 1.38 2.300 0.75 260-290 3/8-16
LH700 6.99 1.260 2.875 7.87 6.30 1.87 1.57 2.710 0.88 260-290 3/8-16
LH800 7.99 1.575 3.875 8.86 7.87 2.18 1.77 3.110 1.00 260-290 3/8-16
LH900 10.15 2.441 4.750 10.04 9.06 3.05 2.17 3.990 1.50 540-600 1/2-13
Lovejoy offers additional coupling styles that may provided further advantages and can be reviewed with your Lovejoy Sales Representative or found on
Lovejoy’s website at www.lovejoy-inc.com.
Lovejoy Hydraulics LH coupling is designed specifically for hydraulic applications.
The shortened overall length allows for easy replacement and has 4 insert
durometers available. The LH design also offers more torque capacity when
compared to other similar hydraulic couplings.
Features:
• Industry Standard Overall Length
• 4 insert options - resistant to hydraulic fluid, oil, grease, dirt and moisture
• Superior torque capacity verses industry standard design
• Standard spline bores available per SAE specification
• Hubs available in cast or sintered iron
• Fail-safe - performs even if elastomer fails
• No metal to metal contact
LH Coupling Performance Data
80A Shore Insert 92A Shore Insert 95/98A Shore Insert 64D Shore Insert
(Blue) (Yellow) (Red) (Green)
Nomial Torque Rated HP @ Nomial Torque Rated HP @ Nomial Torque Rated HP @ Nomial Torque Rated HP @
Size in-lbs Nm
100
RPM
1200
RPM
1800
RPM in-lbs Nm
100
RPM
1200
RPM
1800
RPM in-lbs Nm
100
RPM
1200
RPM
1800
RPM in-lbs Nm
100
RPM
1200
RPM
1800
RPM
LH100 338 38 0.6 8.0 12.0 665 75 1.3 16.0 24.0 1,120 127 2.3 25.0 40.0 1,400 158 2.5 30.0 50.0
LH200 807 91 1.3 16.0 47.0 1,650 186 2.7 32.0 45.0 2,850 322 4.7 55.0 80.0 3,550 401 5.4 65.0 100.0
LH300 – – – – – 2,345 265 3.7 45.0 65.0 3,980 450 6.5 75.0 110.0 4,955 560 7.5 90.0 140.0
LH400 – – – – – 2,740 310 4.3 52.0 75.0 4,645 525 4.4 85.0 125.0 5,795 655 9.2 110.0 165.0
LH500 – – – – – 5,530 625 5.9 105.0 150.0 8,320 940 9.1 150.0 225.0 10,395 1 174 15.8 190.0 290.0
LH600 – – – – – 11,320 1 279 13.7 215.0 320.0 16,990 1 920 21.1 320.0 480.0 21,240 2 400 33.3 400.0 600.0
LH700 – – – – – 21,000 2 373 33.7 400.0 600.0 31,500 3 559 55.6 600.0 900.0 39,500 4 463 62.5 750.0 1125.0
LH800 – – – – – 29,200 3 299 46.3 550.0 825.0 43,805 4 949 69.5 800.0 1250.0 54,735 6 184 86.7 1040.0 1550.0
LH900 – – – – – 42,480 4 799 56.2 800.0 1210.0 63,720 7 199 84.2 1280.0 1820.0 79,650 8 999 126.3 1515.0 2275.0

23
www.lovejoyhydraulics.com
Product Warranty
Lovejoy, Inc. warrants all products it manufactures to be free from defects in material and workmanship at the time of
delivery to the purchaser. Defective products may be returned to Lovejoy after inspection by the purchaser and upon
receipt from Lovejoy of shipping instructions specific to the defective products authorized by Lovejoy to be returned.
Products returned in accordance with the foregoing procedure will be replaced or repaired, at the option of Lovejoy,
without charge and returned to the purchaser F.O.B. Downers Grove, Illinois or South Haven, Michigan, depending
upon origin of manufacture. In all cases, transportation costs and charges for returned products shall be paid by the
purchaser and Lovejoy hereby disclaims all responsibility for any and all such transportation costs and charges.
This warranty is subject to the following LIMITATIONS:
The purchaser’s exclusive remedy under this warranty is limited to the repair or replacement of defective
products supplied by Lovejoy, as set forth above. LOVEJOY IS NOT RESPONSIBLE FOR ANY SPECIAL,
INCIDENTAL OR CONSEQUENTIAL DAMAGES RESULTING FROM THE BREACH OF THIS OR ANY OTHER
EXPRESS OR IMPLIED WARRANTY WITH RESPECT TO THE PRODUCTS, WHETHER ARISING IN TORT OR
BY CONTRACT. LOVEJOY FURTHER DISCLAIMS ALL LIABILITY FROM PERSONAL INJURY RELATING
TO ITS PRODUCTS TO THE EXTENT PERMITTED BY LAW. BY ACCEPTANCE OF ANY OF LOVEJOY’S
PRODUCTS, THE PURCHASER ASSUMES ALL LIABILITY FOR THE CONSEQUENCES ARISING FROM THEIR
USE OR MISUSE.
This express warranty is the only warranty applicable to this transaction. IT EXCLUDES ALL OTHER EXPRESS
ORAL OR WRITTEN WARRANTIES AND ALL WARRANTIES IMPLIED BY LAW WITH RESPECT TO THE
PRODUCTS, INCLUDING ANY WARRANTIES OF MERCHANTABILITY OR FITNESS FOR A PARTICULAR
PURPOSE.
Every claim under this warranty shall be deemed waived by the purchaser unless made in writing within one (1) year
of the receipt of the products to which such claim relates. This warranty is void in the event that repairs are made
by anyone other than Lovejoy without prior authorization from Lovejoy. No person, firm or corporation is authorized
to assume for Lovejoy any other liability in connection with the sale of its products. No person, firm or corporation is
authorized to modify or waive the terms of this Warranty unless done in writing and signed by a duly authorized agent
of Lovejoy.
Note: Specifications are subject to change without notice, and without liability therefor.
Product Warranty

Couplings for HydraulicsAluminum Tanks /
Reservoirs and Accessories
Water-Oil Coolers Pump / Motor Mounts
Lovejoy® is a registered trademark of Lovejoy, Inc. All other trademarks, brands, and
names mentioned in this publication are property of their respective owners.
Lovejoy’s Hydraulic Products
www.lovejoyhydraulics.com
ISO 9001:2008 Certifi ed
Lovejoy, Inc.
World Headquarters
2655 Wisconsin Avenue
Downers Grove, IL 60515 U.S.A.
Phone: 630-852-0500
Fax: 630-852-2120
hydraulicsinfo@lovejoy-inc.com
R+L Hydraulics GmbH
Friedrichstrasse 6
D-58791 Werdohl
Germany
Phone +49 (0) 23 39 / 5 09-0
Fax +49 (0) 23 92 / 5 09-509
info@rl-hydraulics.com
www.rl-hydraulics.com
Lovejoy Canada
171 Superior Boulevard
Mississauga, Ontario
Canada L5T 2L6
Phone: 905-670-9421
Fax: 905-670-4594
lovejoycanada@lovejoy-inc.com
Other Lovejoy Affi liates:
Lovejoy Sintered Solutions LLC
Manufacturer of made-to-order powder metal components
www.lovejoy-LSS.com
3/12 Rev C UPC 84527100104