KM 500MAH E Parts List FH1 SSB( HD) Spm
User Manual: FH1-SSB(-HD)
Open the PDF directly: View PDF
.
Page Count: 25

PARTS LIST
MODULAR CRESCENT CUBER
89/336
73/23
HOSHIZAKI
NUMBER: 71210
ISSUED: July 5, 2002
KM-500MAH-E
REVISED: December 6, 2004
HA
2
CONTENTS
Auxiliary Codes .................................................................................................................... 3
Material Abbreviations..........................................................................................................4
A. Ice Cuber Assembly ......................................................................................................... 5
B. Refrigeration Circuit ......................................................................................................... 9
C. Water Circuit ................................................................................................................... 12
D. Control Box Assembly .................................................................................................... 14
E. Label Location ................................................................................................................ 17
F. Pump Motor Assembly .................................................................................................... 20
G. Control Assembly ........................................................................................................... 22
H. Accessories ................................................................................................................... 24

HA
3
Auxiliary Codes
KM-500MAH-E L-0 July 2001
M-0 January 2002
M-1 March 2002
M-2 October 2002
N-0 January 2003
N-1 April 2003
P-0 December 2003
P-1 June 2004
IMPORTANT
IEC standards require that the clamping means of earthing terminals be adequately
secured against accidental loosening and that accessible metal parts of the
icemaker which may become live in the event of an insulation fault be permanently
and reliably connected to an earthing terminal within the icemaker or to the
earthing contact of the icemaker inlet.
This is accomplished in this icemaker through the use of stainless steel toothed
washers, Hoshizaki Part # 7R22-0400.

HA
4
Material Abbreviations
Aluminum
AL = Aluminum
Copper
CU = Copper
Plastic
ABS = Acrylonitrile -butadiene - styrene
AC = Polyacetal
EVA = Ethylene vinyl acetate
PA = Polyamide = Nylon
PC = Polycarbonate
PE = Polyethylene
PES = Polyester
PETP = Polyethylene terephthalate = Tetlon
PP = Polypropylene
PS = Polystyrene
PTFE = Polytetrafluoroethylene = Teflon
PUR = Polyurethane
PVC = Polyvinyl chloride
Rubber
VN = Vinyl Nitrile
EPDM = EP rubber
NBR = Nitrile butadiene rubber
NR = Natural rubber
NP = Neoprene
SI.R = Silicone rubber
SY.R = Synthetic rubber
EPH = Epichlorohydrin
Steel
GS = Galvanized steel
SS = Stainless steel
PS = Plated steel
PAS = Primed steel
Auxiliary Code
K-0
Designates the year. "K" indicates the year 2000. Years progress or regress in alphabetical order.
"J" is 1999, "L" is 2001, "M" is 2002, and so on. The letters "I" and "O" were skipped.
Designates significant part changes within the same year. Base is 0 and this number advances for
each change.
Example: P-1
"P" indicates 2004.
"1" indicates the first significant part change for 2004.
Marks Located Under the Auxiliary Code
- = Part deleted.
x
= Part deleted and replaced by "o"
part.
o
= New part in place of "x" part.

HA
5
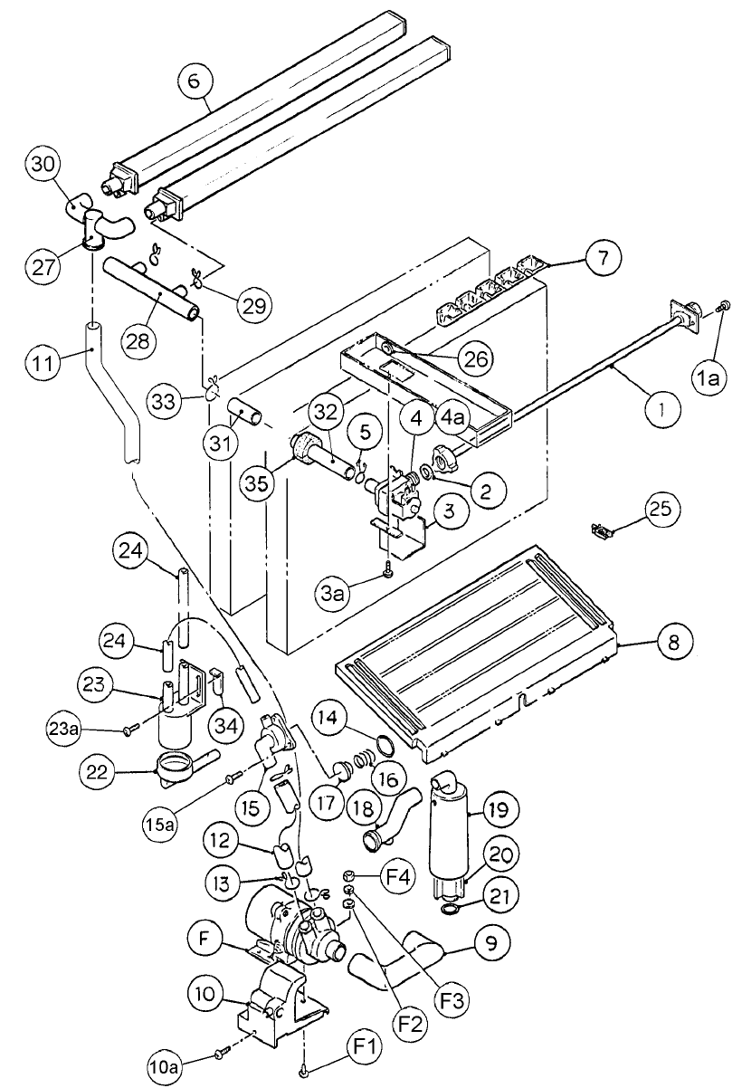
A. Ice Cuber Assembly
KM-500MAH-E
L-0, M-0, M-1

HA
6
A. Ice Cuber Assembly
KM-500MAH-E
M-2, N-0, N-1, P-0, P-1

HA
7
Index
No.
Description Part Number
L-0
M-0
M-1 M-2
N-0
N-1 P-0
P-1
B REFRIGERATION CIRCUIT - 1A0420A03 1 x1
- 1A0420A05 o1 1 1 1
C WATER CIRCUIT - 2A0971A02 11111
D CONTROL BOX ASSEMBLY - 2A2119A02 1 1 -
- 2A2539A01 1 1 1
D1 T2 SCREW / WASHER ASSY 4X8 7P3120408 44444
E LABEL LOCATION - 3A2072A01 1 1 -
- 3A2412A01 1 1 1
1 EVAP. CASE HS-1012 1A0579G03 11111
2 BASE - 2A2146G06 11111
2aFT SCREW 4X8, SS 7F32-040877777
3 FRAME ABS 3A0217G01 1 1 -
-3A2503G01 111
3aTRUSS HEAD SCREW 4X8, SS 7C32-040811111
3bTRUSS HEAD SCREW 4X12, SS 7C32-041222222
4 SQUARE WASHER BRASS 433537-02 11111
5 SCREW - GROUNDING BRASS 433304-02 11111
6 TOP FRAME GS 332443-01 11111
6a T2 SCREW / WASHER ASSY 4X8 7P3120408 44444
7 SIDE FRAME GS 332465G01 1111x1
3A2782-01 o1
7a T2 SCREW / WASHER ASSY 4X8 7P3120408 22222
8 BULB HOLDER PE 328919-01 1 1 1
9 SPACER PE 443545-01 2 1 1
10 THUMBSCREW SS, ABS 415949G09 2 2 -
11 BASE COVER SS 321525G01 11111
12 TOP INSULATION PP 215730G01 11111
13 FRONT INSULATION PP 215731G01 11111
14 SIDE PANEL (R) SS 2A2117G01 11111
14aT2 SCREW 4X8, SS 7P32-040811111
TOOTH WASHER M4, SS 7R22-040011111
15 CONTROL BOX COVER GS 332466-01 1 1 -
GS 3A2476-01 1 1 1
15a T2 SCREW / WASHER ASSY 4X8 7P3120408 11111
16 FRONT PANEL SS 2A2244G01 11111
16aTRUSS HEAD SCREW SS, 4X8 7C32-040811111
TOOTH WASHER M4, SS 7R22-040011111
17 LOUVER (A) ABS 1A0547-0122222
17a PUSH RETAINER - 4A2414-0166666
18 BARRIER GS 4A0362-0111111
18a T2 SCREW / WASHER ASSY 4X8 7P3120408 22222
19 TOP PANEL SS
(
3A1890A01
)
220465-01 11111
20 GASKET (A) (3A1890A01) 324859-03 11111
21 GASKET PVC
(
3A1890A01
)
427014-04 22222
22 INSULATION PE FOAM
(
3A1890A01
)
438012-01 11111
23 AIR FILTER (A) - 2A2062G01 22222
24 DEFLECTOR SS 4A1951-01 1 1 1
25 SHIELD - 3A1438-01 1 1 -
Title: A. Ice Cuber Assembly Model: KM-500MAH-E
Material or
Model
Number
Required Number

HA
8
Index
No.
Description Part Number
L-0
M-0
M-1 M-2
N-0
N-1 P-0
P-1
26 POWER SUPPLY CORD - 452359-02 11111
27 BUSHING CEE SR-6P30 450414-01 11111
28 TRANSFORMER PY12-19204 446202-01 11111
28a PAN HEAD SCREW W/
WASHER
(
LF
)
4x8 7C1230408 44444
29 TRANS COVER GS 446359-01 11111
29a T2 SCREW / WASHER ASSY 4x8 7P3120408 22222
30 BUSHING OCB-500 428394-02 11111
31 SIDE PANEL (R) – BASE SS 2A2147-0111111
32 BARRIER – INSULATION - 4A1167-0111111
32a T2 SCREW / WASHER ASSY 4X8 7P3120408 22222
33 GASKET L=554 4A0808L02 11111
34 BRACKET (M) - 3A1434-01 1 1 -
35 THUMBSCREW - 415949G04 2 2 -
- 415949G09 2 2 2
36 BIN SWITCH - 4A2430-01 1 1 -
37 CABLE TIE MOUNT - 437618-01 1 1 1
Title: A. Ice Cuber Assembly Model: KM-500MAH-E
Material or
Model
Number
Required Number

HA
9
B. Refrigeration Circuit
KM-500MAH-E
L-0, M-0, M-1, M-2, N-0, N-1, P-0, P-1

HA
10
Index
No.
Description Part Number
L-0
M-0
M-1 M-2
N-0
N-1
P-0
P-1
1 CONDENSER - 220491-01 11111
2 T2 SCREW / WASHER ASSY 4X8 7P3120408 22222
3 SHROUD GS 2A0606-01 11111
4 T2 SCREW / WASHER ASSY 4X8 7P3120408 22222
5 BARRIER GS 433693-04 11111
6 T2 SCREW / WASHER ASSY 4X8 7P3120408 22222
7 REAR PANEL GS 3A2086-01 11111
8 T2 SCREW / WASHER ASSY 4X8 7P3120408 33333
9 COMPRESSOR AKA9455ZXC 4A1925-01 11111
10 MOTOR PROTECTOR 8300MRAK30 4A1919-02 11111
11 BOLT 8x45 437889-01 44444
12 SPACER 027-0072-02 434404-01 44444
13 GROMMET 527-0039-04 434403-01 44444
14 FAN MOTOR BRACKET GS 327179-01 11111
15 HEX BOLT ASSEMBLY (LF) 5X12, SS 7B0230512 44444
U90B1, 7190-
1031
440911-01 1111-
5KPM84DFK14
8AS
4A3158-01 1
17 SELF-LOCKING NUT NO. 8-32 7N21I0832 44444
18 FAN BLADE AD10CW32 444898-01 11111
19 DRIER CW-0325-S 4A1413-01 1-
-4A2666-01 1111
20 ENDCAP -4A1413F01 22222
21 DRIER BRACKET GS 445847-01 1-
NYLON TIE -8911-0301 1111
22 T2 SCREW 4X8 7P31-0408 1-
23 EXPANSION VALVE AN 3/4 SW65 4A1870-01 11111
24 EVAPORATOR -106492G01 11111
25 T2 SCREW 4X16, SS 7P32-0416 44444
26 VALVE BODY 70 440352-01 11111
27 COIL - VALVE ABS-25-1-HD-2 440353-01 11111
28 BOLT 4x6 440353F01 11111
29 TRUSS HEAD SCREW 4X8 7C31-0408 22222
30 PRESSURE SWITCH ACB-1UB09 433441-07 11111
31 PRESSURE SWITCH
BRACKET
GS 434938-01 11111
32 T2 SCREW / WASHER ASSY 4X8 7P3120408 11111
33 - --
34 ACCESS VALVE TCJ-2F20NHDU-1 457729-01 22222
35 COPPER TUBE (A) - HIGH
SIDE
COPPER 2A1435G01 11111
36 COPPER TUBE (D) - HIGH
SIDE
COPPER 3A1238G01 11111
37 HEAT EXCHANGER -2A1478G02 11111
38 ELBOW COPPER 417395-03 11111
39 COPPER TUBE - HOT GAS COPPER 2A1488G01 11111
40 COPPER TUBE (J) COPPER 4A1815G01 11111
16 FAN MOTOR
Title: B. Refrigeration Circuit Model: KM-500MAH-E
Material or
Model
Number
Required Number

HA
11
Index
No.
Description Part Number
L-0
M-0
M-1 M-2
N-0
N-1
P-0
P-1
41 HOLDER / EXP. VALVE – 1/2 SS 3A0112-01 11111
42 CLAMP SS 443461-02 11111
43 EXPANSION VALVE COVER PE FOAM 4A1168-01 11111
44 THERMISTOR -429006-03 11111
45 HOLDER - THERMISTOR COPPER 427430-01 11111
46 CABLE TIE CV-200 (P LT-2M ) 7920-0010 11 11 11 11 11
47 INSULATION - THERMISTOR (A) PE FOAM 439368-01 11111
48 INSULATION - THERMISTOR (B) PE FOAM 439368-02 11111
49 RUBBER INSULATION (A) EPDM 3A1044-01 11111
50 RUBBER INSULATION (B) EPDM 3A1045-01 11111
51 INSULATION HOLDER SS 4A1550-01 11111
52 T2 SCREW 4X8, SS 7P32-0408 22222
53 INSULATION TUBE L=40 7762-1020 22222
54 INSULATION TUBE L=120 7762-1020 11111
55 INSULATION TUBE L=160 7762-2040 11111
56 WIRE SADDLE VWS4238-C 4A0338-02 10 10 10 10 10
57 COPPER TUBE ACCESS
VALVE
COPPER 3A1422G01 11111
Title: B. Refrigeration Circuit Model: KM-500MAH-E
Material or
Model
Number
Required Number

HA
12
C. Water Circuit
KM-500MAH-E
L-0, M-0, M-1, M-2, N-0, N-1, P-0, P-1

HA
13
Index
No.
Description Part Number
L-0
M-0
M-1 M-2
N-0
N-1
P-0
P-1
F PUMP MOTOR ASSEMBLY HS-0102 321444A04 1111
F1TRUSS HEAD SCREW 4X16, SS 7C32-04151111
F2FLAT WASHER M4, SS 7W22-04001111
F3 SPLIT LOCK WASHER M4, SS 7L22-0400 1111
F4HEX NUT M4, SS 7N12-04001111
1 WATER SUPPLY PIPE COPPER 4A0768G06 1111
1aT2 SCREW 4X8 7P31-04082222
2 RUBBER GASKET NR 413854-03 1111
3 WATER VALVE BRACKET GS 3A0736-011111
3aT2 SCREW 4X8 7P31-04081111
4 WATER VALVE V-19 4A1176-031111
4aTRUSS HEAD SCREW 4X8 7C32-04082222
5 HOSE CLAMP SS, 18MM 427443-05 1111
6 SPRAY TUBE PE 433520G01 2222
7 SPRAY GUIDE (A) PE 208586-01 6666
8 CUBE GUIDE ABS 212088-01 1111
9 SUCTION HOSE EPDM 433466-01 1111
10 PUMP MOTOR BRACKET PC 211408-01 1111
10aFLAT HEAD SCREW 4X12, SS 7F32-04121111
11 VINYL HOSE L=625 7716-2025 1111
12 VINYL HOSE L=110 7716-2025 1111
13 HOSE CLAMP SS, 25MM 427443-03 9999
14 "O" RING 1AG35 7611-G035 1111
15 VALVE HOUSING - DRAIN ABS 321001-01 1111
15aT2 SCREW 4X10, SS 7P32-04103333
16 SPRING SS 3A0875-011111
17 VALVE SHEET EPDM 433705-01 1111
18 DRAIN HOSE - 433468-01 1111
19 OVERFLOW CAP PE 321002-01 1111
20 OVERFLOW PIPE ABS 430722-03 1111
21 “O” RING EPDM 4A1234-011111
22 EPDM 3A1325-01 x1
-426799-01 o1 1 1 1
23 FLOAT SWITCH 163795 4A0886-011111
23aT2 SCREW 4X12, SS 7P32-04122222
24 SILICONE HOSE L=140 7730I38962222
25 WIRE SADDLE VWS4238-C 4A0338-024444
26 BUSHING OCB-750 428394-01 1111
27 DISTRIBUTOR EPDM 432820-01 1111
28 DISTRIBUTOR HOSE - 439374-01 1111
29 HOSE CLAMP SS, 13.5 MM 427443-07 2222
30 ELBOW - 433467-01 2222
31 JOINT PIPE ABS 439329-01 1111
32 CONNECTING PIPE DYNAFLEX 4A1142-02 1 1 x1
DYNAFLEX 4A1142-01 o1 1
33 HOSE CLAMP SS, 20 MM 427443-06 1111
34 FLOAT SWITCH STOP SS 446358-01 1111
35 INSULATION (E) PE FOAM 4A0392-011111
CONNECTOR – FLOAT
SWITCH
Title: C. Water Circuit Model: KM-500MAH-E
Material or
Model
Number
Required Number

HA
14
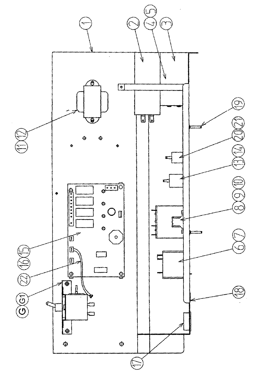
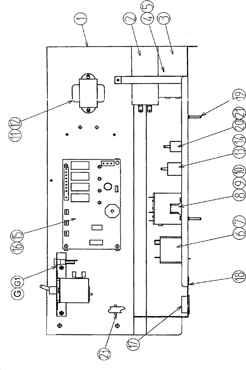
D. Control Box Assembly
KM-500MAH-E
L-0, M-0, M-1

HA
15
D. Control Box Assembly
KM-500MAH-E
M-2, N-0, N-1, P-0, P-1

HA
16
Index
No.
Description Part Number
L-0
M-0
M-1 M-2
N-0
N-1
P-0
P-1
G CONTROL ASSEMBLY -4A2513A02 1 1 -
-4A2911A02 1 1
G2 T2 SCREW 4X8 7P31-04082222
1 CONTROL BOX -2A1851-011111
2 CAPACITOR 15M FD 440V 4A1267-011111
3 CAPACITOR – STARTING 72-88 M FD, 330
VAC 3A1414-011111
4STRAP GS 4A2262-011111
5T2 SCREW 4X8 7P31-04081111
6STARTER GE3A RR3C T3A N
54A1107-061111
7T2 SCREW 4X8 7P31-04081111
8 MAGNETIC CONTACTOR VC-20 428393-01 1111
9 BRACKET -428393F01 1111
10 T2 SCREW 4X8 7P31-04082222
11 TRANSFORMER 26D285H 3A0172-011111
12 T2 SCREW 4X8 7P31-04082222
13 CAPACITOR 250 VA C, 5.5 M FD 4A2128-031111
14 T2 SCREW 4X10 7P31-04101111
15 CONTROLLER BOARD HOS-001A 2A1410-011111
16 BOARD SUPPORT CB LS37-M 4A0336-034444
17 BUSHING SB -1093-15 420470-03 1111
18 BUSHING OCB -500 428394-02 1111
19 WIRE SADDLE VWS4238-C 4A0338-02 2 2 x2
CLAMP -4A2338-01 o2 2
20 CAPACITOR 250 VA C, 2.5 M FD 4A2128-051111
21 T2 SCREW 4X10 7P31-04101111
22 RESISTOR WIRE HARNESS - 4A2200G01 1 1 -
23 FUSE - 4A0893-07 1 1
Title: D. Control Box Assembly Model: KM-500MAH-E
Material or
Model
Number
Required Number

HA
17
E. Label Location
KM-500MAH-E
L-0, M-0, M-1

HA
18
E. Label Location
KM-500MAH-E
M-2, N-0, N-1, P-0, P-1

HA
19
Index
No.
Description Part Number
L-0
M-0
M-1 M-2 N-0
N-1
P-0
P-1
1 EMBLEM PETP FILM 4A0560-011111
2 MODEL NUMBER LABEL PETP FILM 4A2356-47111-
3 LABEL – PENGUIN – HA (R) PETP FILM 4A0526-011111
4 MAINTENANCE LABEL PVC FILM 3A0725-011111
5 WIRING LABEL PVC FILM 3A2073-01 1 1 -
PVC FILM 3A2417-01 1 1
6 NAMEPLATE PES FILM 4A2570-01 2 2 -
2A2622-04 2 2
7 INSTRUCTION SHEET PAPER 2A2143-011111
8 MANUAL LABEL PVC FILM 4A2530-01 1 1 -
PVC FILM 446564-01 1 1
9 LABEL-CE PES FILM 450668-01 1111
10 WATER SUPPLY LABEL PVC FILM 4A1158-011111
11 LABEL – R404A PES FILM 4A0960-011111
12 CAUTION LABEL (F) PVC FILM 439146-01 1111
13 CAUTION LABEL (H) PVC FILM 439148-01 1111
14 LABEL – AIR FILTER PETP FILM 426177-01 1111
15 INSTRUCTION LABEL PVC FILM 444575-01 1111
16 LABEL – CONTROL BOARD PVC FILM 3A2220-011111
17 LABEL – GROUNDING (B) PES FILM 450452-01 1 1 -
PES FILM 450452-02 1 1
18 LABEL – FUSE - 4A2817-01 1 1
Title: E. Label Location Model: KM-500MAH-E
Material or
Model
Number
Required Number

HA
20
F. Pump Motor Assembly
KM-500MAH-E
L-0, M-0, M-1, M-2, N-0, N-1, P-0, P-1

HA
21
Index
No.
Description Part Number
L-0
M-0
M-1 M-2
N-0
N-1
P-0
P-1
1 PUMP MOTOR AP-TA4(H)
120V
2U0095-01 11111
2 RETAINER SS 418584-01 11111
3 MECHANICAL SEAL (B) H5-PS9, 5 415817-01 1111x1
MECHANICAL SEAL / R HKU90-J9001 465627-01 o1
4“O” RING 1AP18 7611-P01811111
5PLATE – PUMP SS 403013-01 11111
6 PUMP GASKET NR 403014-01 1111x1
EPDM 4A2974-01 o1
7 IMPELLER ABS 417082-01 11111
8 PIN SS 414102-01 1111x1
4A0648-01 o1
9 PUMP HOUSING ABS 211409-02 11111
9aPAN HEAD SCREW 4X20, SS 7C12-042044444
9bTOOTH WASHER SS, 4 MM 7R22-040022222
10 PLUG HOUSING 3191-03P 412832-06 11111
Title: F. Pump Motor Assembly Model: KM-500MAH-E
Material or
Model
Number
Required Number

HA
22
G. Control Assembly
KM-500MAH-E
L-0, M-0, M-1
G. CONTROL ASSEMBLY
KM-500MAH-E
M-2, N-0, N-1, P-0, P-1

HA
23
Index
No.
Description Part Number
L-0
M-0
M-1 M-2 N-0
N-1
P-0
P-1
1 CONTROL BOX (C) - 4A2517-01 1 1 -
-4A2816-01 1 1
2 TOGGLE SWITCH - 443119-01 1111
3 THERMOSTAT YTB-105B 4A2879-01 1 1
4 TRUSS HEAD SCREW 4X8 7C31-0408 2 2
TOOTH WASHER M4, Zinc 7R21-0400 2 2
5 FUSE HOLDER HTB921 4A0892-01 1 1
6 FUSE AGC-10 4A0893-07 1 1
7 TOGGLE SWITCH 2GM91-68 4A2436-011111
8 CONTROL LABEL - 4A2509-01 1 1 -
-4A2909-01 1 1
Title: G. Control Assembly Model: KM-500MAH-E
Material or
Model
Number
Required Number

HA
24
H. Accessories
KM-500MAH-E
L-0, M-0, M-1, M-2, N-0, N-1, P-0, P-1

HA
25
Index
No.
Description Part Number
L-0
M-0
M-1 M-2
N-0
N-1
P-0
P-1
1 INSTRUCTION MANUAL PAPER 91A1NG10A 1111
2 INSTALLATION MANUAL PAPER 91A1NG11A 1111
3 UNIVERSAL BRACE GS 4A0363-012222
3aHEX HEAD BOLT 5X12, SUS7B02-05124444
PACKAGING (available only
on models currently in
p
roduction
)
- 2A2145A04
1 PALLET - 2A2503-011111
2 TRAY - 2A2173-021111
3 CORNER POST - 3A0788-102222
4 CARTON - 2A2125-031111
5 CORNER POST - 3A0788-034444
6 SIDE PROTECTOR - 4A2304-021111
7 SIDE PROTECTOR - 4A2304-013333
8 WOOD BLOCK – A - 4A2794-013333
9 WOOD BLOCK – B - 4A2794-021111
Title: H. Accessories and Packaging Model: KM-500MAH-E
Material or
Model
Number
Required Number