MVWB450WQ0
User Manual: MVWB450WQ0
Open the PDF directly: View PDF 
.
Page Count: 9

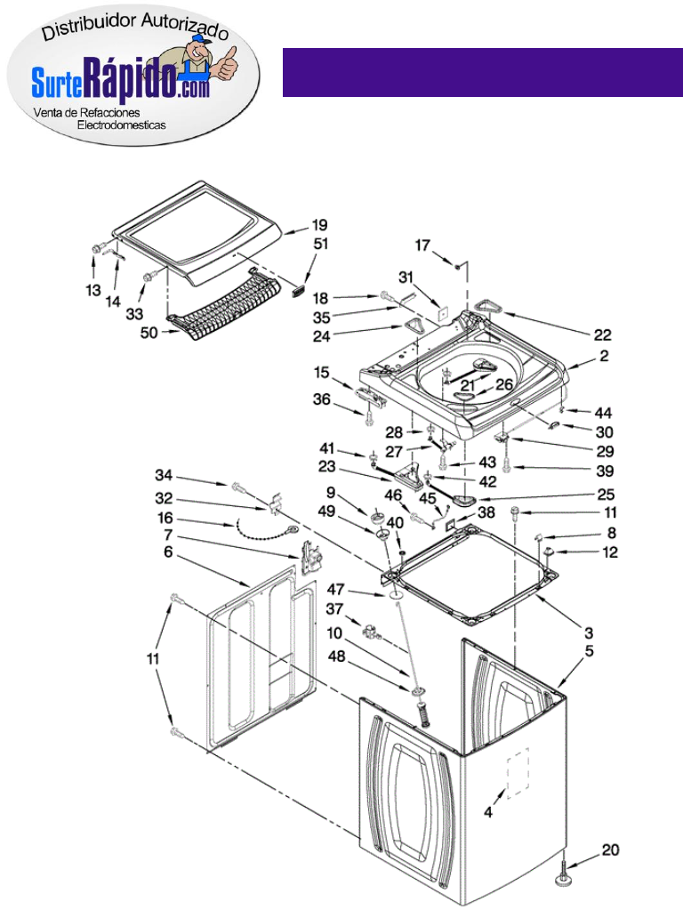
MVWB450WQ0  GABINETE 

2 
W10141678 
TOP 
3 
W10162604 
FRAME ASSEMBLY, CABINET TOP (INCLUDES 38) 
4 
W10177046 
SOUND ABSORBER, CABINET 
5 
8566097 
CABINET 
6 
8566090 
PANEL, REAR 
7 
W10160572 
RETAINER, DRAIN HOSE STORAGE 
8 
8563785 
LOCK, TOP- FRONT (2) 
9 
W10111536 
BALL, SUSPENSION (SET OF 4 - (INCLUDES ITEM 49) 
10 
W10256514 
DAMPER ASS. TUB SUSPENSION (INC  9, 47, 48 & 49) 
11 
1157158 
SCREW, 8-18 X 3/8 
12 
W10042120 
LOCATOR, TOP (2) 
13 
W10119828 
SCREW, LID HINGE MOUNTING (4) 
14 
8563964 
HINGE ARM, LID (2) 
15 
W10141679 
HINGE, SPRING ASSEMBLY (RIGHT) 
15 
W10141680 
HINGE, SPRING ASSEMBLY (LEFT) 
16 
W10155270 
CABLE TIE 
17 
W10119519 
BEARING, LID HINGE (2) 
18 
3390647 
SCREW,8-18 X 1/2 
19 
W10119497 
LID ASSEMBLY 
20 
W10240448 
FOOT ASSEMBLY, LEVELING (4) 
21 
W10172146 
DISPENSER, FABRIC SOFTENER 
22 
W10136371 
BEZEL, FABRIC SOFTENER DISPENSER 
23 
W10187307 
DISPENSER, STAIN REMOVER 
24 
8563876 
BEZEL, STAIN REMOVER DISPENSER 
25 
W10172154 
DISPENSER, DETERGENT 
26 
8563877 
BEZEL, DETERGENT DISPENSER 
27 
W10106990 
NOZZLE ASSEMBLY, FRESH WATER 
28 
371503 
CLAMP, HOSE 
29 
W10059230 
LOCK ASSEMBLY, LID 
30 
8572019 
BEZEL, LID LOCK 
31 
W10161707 
TOP FOAM SEAL 
32 
8564456 
HINGE, TOP (2) 
33 
8563892 
SCREW (2) 
MVWB450WQ0  GABINETE 

34 
343641 
SCREW, 10-16 X 1/2 (2) 
35 
8563941 
COVER, HARNESS 
36 
693995 
SCREW,8-18 X 3/8 
37 
8543784 
BRACKET, DRAIN HOSE 
38 
8578386 
SHIELD, WIRE HARNESS 
39 
8281136 
SCREW, 10-16 X 3/4 
40 
8576476 
SPACER, REAR (CABINET/TOP) 
41 
370451 
CLAMP, HOSE 
42 
371503 
CLAMP, HOSE 
43 
3400061 
SCREW, 10-16 X 9/16 
44 
90016 
CLIP, HARNESS (5) 
45 
8281736 
WIRE, GROUND JUMPER 
46 
3400076 
SCREW, 10-32 X 5/8 
47 
8577896 
WASHER, SUSPENSION UMBRELLA (4) 
48 
8564017 
CUP, SUSPENSION (4) 
49 
W10167599 
BUSHING, SUSPENSION (SET OF 4-INCLUDES ITEM 9) 
50 
W10119520 
LINER, LID 
51 
W10153170 
MEDALLION 

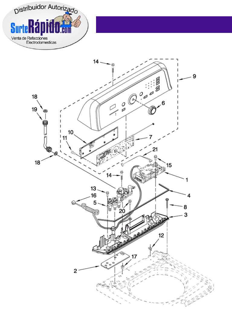
MVWB450WQ0  TABLERO 

1 
W10253697 
CONTROL UNIT ASSEMBLY, MACHINE & MOTOR 
2 
W10141695 
GASKET, VALVE TRAY 
3 
W10110213 
TRAY ASSEMBLY, CONSOLE (INCLUDES ITEMS 2 & 4) 
4 
W10141693 
GASKET, CONSOLE/TRAY 
5 
8577408 
VALVE, LOG ASS. (INCLUDES ITEM 21) ASSEMBLY 
6 
W10051126 
KNOB, CONTROL 
7 
W10260186 
USER INTERFACE 
8 
W10004990 
SCREW, 6-20 X 1.2 
9 
W10090757 
CONSOLE 
10 
W10051124 
COVER, REAR-USER INTERFACE 
11 
W10003770 
SCREW, 6-19 X 1/2 (3) 
12 
W10022060 
NUT, PUSH-IN (3) 
13 
W10052600 
SCREW, 8-18 X 3/4 
14 
8565324 
SCREW, 10-16 X 1.75 
15 
8281136 
SCREW, 8-18 X 3/4 
16 
3407203 
CORD ASSEMBLY, POWER 
17 
98460 
NUT, PUSH-IN (2) 
18 
W10242307 
WASHER, WATER INLET HOSE (1-1/16 X 5/8)(4) 
19 
8571378 
HOSE, WATER INLET (HOT WATER) 
19 
W10194208 
HOSE, WATER INLET (COLD WATER) 
20 
3351614 
SCREW, POWER CORD GROUND 
21 
3407187 
HARNESS, THERMISTOR 
MVWB450WQ0  TABLERO 

MVWB450WQ0  TINAS 

1 
W10149460 
CAP, IMPELLER 
2 
W10076270 
SCREW & WASHER ASSEMBLY 
3 
W10076260 
WASHER 
4 
W10242338 
TUB RING (INCLUDES ITEM 25) 
5 
8572540 
HOSE PRESSURE SWITCH 
6 
W10141017 
IMPELLER (WASHPLATE) 
7 
8533953 
SCREW, 8-16 X 1.000 (6) 
8 
W10118114 
HUB, BASKET-DRIVE (INCLUDES ITEM 9) 
9 
8545953 
HUB, BASKET-DRIVE (INCLUDES ITEM 8) 
10 
W10118182 
BASKET ASSEMBLY (INCLUDES ITEMS 7, 8, & 9) 
11 
W10128830 
TUB & DRIVE SHAFT ASSEMBLY 
12 
W10137697 
HARNESS, LOWER (INCLUDES ITEM 5) 
13 
W10005430 
CLAMP, PRESSURE HOSE RETAINER 
14 
8533957 
SCREW, 10-16 X 1/2 (2) 
15 
W10137698 
SHIELD, DRIVE MOTOR (INCLUDES ITEM 16) 
16 
8565172 
TUBE, BUFFER (SET OF 4) 
17 
8565170 
STATOR, MOTOR (INCLUDES ITEM 18) 
18 
8557836 
PLATE, STATOR (SET OF 2) 
19 
8534042 
SCREW, 1/4-20 X .968 (4) 
20 
W10137685 
RPS ASSEMBLY 
21 
8565177 
ROTOR, MAIN DRIVE MOTOR (INCLUDES ITEM 22) 
23 
8533928 
SCREW, 8-18 X 3/4 (2) 
24 
W10222008 
FILTER, DUAL PUMP HOOD 
25 
W10205824 
ABSORBER, IMPACT (4) 
MVWB450WQ0  TINAS 

MVWB450WQ0  BOMBA 

1 
W10155921 
PUMP ASSEMBLY, DRAIN 
2 
W10236686 
HOSE, DRAIN 
3 
8543774 
HOSE, RECIRC 
4 
W10049400 
PUMP ASSEMBLY, RECIRC 
5 
W10004910 
SCREW, 12-16 X 1-1/8 
6 
370449 
CLAMP, HOSE 
7 
8269146 
CLAMP, HOSE 
8 
8317496 
CLAMP, HOSE 
9 
8182771 
GROMMET, PUMP MOUNTING (2) 
10 
8534021 
CLAMP, RECIRC HOSE RETAINER 
11 
8533943 
SCREW, 10-16 X 3/4 
12 
8182768 
CLAMP, DRAIN PUMP HOSE 
13 
8576642 
RETAINER, DRAIN HOSE 
14 
3347868 
CABLE TIE 
15 
8182769 
HOSE, RECIRC PUMP 
16 
8182770 
CLAMP, RECIRC PUMP HOSE 
17 
8182767 
HOSE, DRAIN PUMP 
18 
8578572 
SHIELD, RECIRC PUMP 
MVWB450WQ0  BOMBA