Nikon Cool Pix S8200 Manual For Nikons Powerful Features Is Slime Travel Zoom Camera
User Manual: Nikon-CoolPix-S8200-Manual-for-Nikons-Powerful-Features-is-Slime-Travel-Zoom-Camera
Open the PDF directly: View PDF
.
Page Count: 228 [warning: Documents this large are best viewed by clicking the View PDF Link!]
- Introduction
- Parts of the Camera and Basic Operations
- The Basics of Shooting and Playback
- Shooting Features
- Auto Mode
- Scene Mode (Shooting Suited to Scenes)
- Continuous Shooting Mode (Burst Shooting)
- Special Effects Mode (Applying Effects When Shooting)
- Features That Can Be Set Using the Multi Selector
- Changing the Image Size (Image Mode)
- Features That Cannot Be Used Simultaneously
- Using Face Detection
- Using Skin Softening
- Focus Lock
- Playback Features
- Recording and Playing Back Movies
- General Camera Setup
- Reference Section
- Using Easy Panorama (Shooting and Playback)
- Using Panorama Assist
- Playing Back and Deleting Images Captured Continuously (Sequence)
- Editing Still Images
- Connecting the Camera to a TV (Viewing Images on a TV)
- Connecting the Camera to a Printer (Direct Print)
- The Shooting Menu (for Auto Mode, Continuous Shooting Mode)
- The Playback Menu
- The Movie Menu
- The Setup Menu
- File and Folder Names
- Optional Accessories
- Error Messages
- Technical Notes and Index

2011
No reproduction in any form of this manual, in whole or in part
(except for brief quotation in critical articles or reviews), may be
made without written authorization from NIKON CORPORATION.
CT1G01(11)
6MM10911-01
DIGITAL CAMERA
Reference Manual

Trademark Information
•Microsoft, Windows and Windows Vista are either registered trademarks or trademarks
of Microsoft Corporation in the United States and/or other countries.
•Macintosh, Mac OS, and QuickTime are trademarks of Apple Inc., registered in the U.S.
and other countries. The iFrame logo and the iFrame symbol are trademarks of Apple
Inc.
•Adobe and Acrobat are registered trademarks of Adobe Systems Inc.
•SDXC, SDHC and SD Logos are trademarks of SD-3C, LLC.
•PictBridge is a trademark.
•HDMI, logo and High-Definition Multimedia Interface are trademarks or
registered trademarks of HDMI Licensing LLC.
•All other trade names mentioned in this manual or the other documentation provided
with your Nikon product are trademarks or registered trademarks of their respective
holders.
AVC Patent Portfolio License
T
his product is licensed under the AVC Patent Portfolio License for the personal and non-
commercial use of a consumer to (i) encode video in compliance with the AVC standard
(“AVC video”) and/or (ii) decode AVC video that was encoded by a consumer engaged in
a personal and non-commercial activity and/or was obtained from a video provider
licensed to provide AVC video. No license is granted or shall be implied for any other use.
Additional information may be obtained from MPEG LA, L.L.C.
See
http://www.mpegla.com
.

ii
Introduction
Introduction
Read This First
Thank you for purchasing the Nikon COOLPIX S8200 digital camera. Before using
the camera, please read the information in “For Your Safety” (Avi) and familiarize
yourself with the information provided in this manual. After reading, please keep
this manual handy and refer to it to enhance your enjoyment of your new camera.
Confirming the Package Contents
In the event that any items are missing, please contact the store where you
purchased the camera.
* A plug adapter is included if the camera was purchased in a country or region that requires
a plug adapter. The shape of the plug adapter varies with the country or region of
purchase.
NOTE: A memory card is not included with the camera.
COOLPIX S8200
Digital Camera
Camera Strap Rechargeable Li-ion Battery
EN-EL12 (with terminal
cover)
Charging AC Adapter
EH-69P*
USB Cable UC-E6 Audio Video Cable EG-CP16
ViewNX 2 Installer CD Reference Manual CD
•Warranty

iii
Read This First
Introduction
About This Manual
If you want to start using the camera right away, see “The Basics of Shooting and
Playback” (A13).
To learn about the parts of the camera and basic operations, see “Parts of the
Camera and Basic Operations” (A1).
Other Information
•Symbols and Conventions
To make it easier to find the information you need, the following symbols and
conventions are used in this manual:
•
SD, SDHC, and SDXC memory cards are referred to as “memory cards” in this manual.
•The setting at the time of purchase is referred to as the “default setting.”
•The names of menu items displayed in the camera monitor, and the names of
buttons or messages displayed on a computer monitor appear in bold.
•In this manual, images are sometimes omitted from monitor display samples so
that monitor indicators can be more clearly shown.
•Illustrations and monitor content shown in this manual may differ from the
actual product.
Icon Description
BThis icon indicates cautions and information that should be read before
using the camera.
CThis icon marks notes, information that should be read before using the
camera.
A/E/FThese icons indicate other pages containing relevant information;
E: “Reference Section,” F: “Technical Notes and Index.”

iv
Read This First
Introduction
Information and Precautions
Life-Long Learning
As part of Nikon’s “Life-Long Learning” commitment to ongoing product support and education,
continually updated information is available online at the following sites:
•For users in the U.S.A.: http://www.nikonusa.com/
•For users in Europe and Africa: http://www.europe-nikon.com/support/
•For users in Asia, Oceania, and the Middle East: http://www.nikon-asia.com/
Visit these sites to keep up-to-date with the latest product information, tips, answers to frequently
asked questions (FAQs), and general advice on digital imaging and photography. Additional
information may be available from the Nikon representative in your area. Visit the site below for
contact information:
http://imaging.nikon.com/
Use Only Nikon Brand Electronic Accessories
Nikon COOLPIX cameras are designed to the highest standards and include complex electronic
circuitry. Only Nikon brand electronic accessories (including battery chargers, batteries, Charging AC
adapters, and AC adapters) certified by Nikon specifically for use with this Nikon digital camera are
engineered and proven to operate within the operational and safety requirements of this electronic
circuitry.
THE USE OF NON-NIKON ELECTRONIC ACCESSORIES COULD DAMAGE THE CAMERA AND MAY
VOID YOUR NIKON WARRANTY.
The use of third-party rechargeable Li-ion batteries not bearing the Nikon holographic seal could
interfere with normal operation of the camera or result in the batteries overheating, igniting,
rupturing, or leaking.
For more information about Nikon brand accessories, contact a local authorized Nikon dealer.
Before Taking Important Pictures
Before taking pictures on important occasions (such as at weddings or before taking the camera on
a trip), take a test shot to ensure that the camera is functioning normally. Nikon will not be held liable
for damages or lost profits that may result from product malfunction.
About the Manuals
•No part of the manuals included with this product may be reproduced, transmitted, transcribed,
stored in a retrieval system, or translated into any language in any form, by any means, without
Nikon’s prior written permission.
•Nikon reserves the right to change the specifications of the hardware and software described in
these manuals at any time and without prior notice.
•Nikon will not be held liable for any damages resulting from the use of this product.
•While every effort was made to ensure that the information in these manuals is accurate and
complete, we would appreciate it were you to bring any errors or omissions to the attention of the
Nikon representative in your area (address provided separately).
Holographic seal: Identifies this
device as an authentic Nikon product.

v
Read This First
Introduction
Notice Concerning Prohibition of Copying or Reproduction
Note that simply being in possession of material that was digitally copied or reproduced by means
of a scanner, digital camera or other device may be punishable by law.
•Items prohibited by law from being copied or reproduced
Do not copy or reproduce paper money, coins, securities, government bonds or local government
bonds, even if such copies or reproductions are stamped “Sample.” The copying or reproduction of
paper money, coins, or securities which are circulated in a foreign country is prohibited. Unless the
prior permission of the government was obtained, the copying or reproduction of unused postage
stamps or post cards issued by the government is prohibited.
The copying or reproduction of stamps issued by the government and of certified documents
stipulated by law is prohibited.
•Cautions on certain copies and reproductions
The government has issued cautions on copies or reproductions of securities issued by private
companies (shares, bills, checks, gift certificates, etc.), commuter passes, or coupon tickets, except
when a minimum of necessary copies are to be provided for business use by a company. Also, do
not copy or reproduce passports issued by the government, licenses issued by public agencies and
private groups, ID cards and tickets, such as passes and meal coupons.
•Comply with copyright notices
The copying or reproduction of copyrighted creative works such as books, music, paintings,
woodcut prints, maps, drawings, movies, and photographs is governed by national and international
copyright laws. Do not use this product for the purpose of making illegal copies or to infringe
copyright laws.
Disposing of Data Storage Devices
Please note that deleting images or formatting data storage devices such as memory cards or
built-in camera memory does not completely erase the original image data. Deleted files can
sometimes be recovered from discarded storage devices using commercially available software,
potentially resulting in the malicious use of personal image data. Ensuring the privacy of such data is
the user’s responsibility.
Before discarding a data storage device or transferring ownership to another person, erase all data
using commercial deletion software, or format the device and then completely refill it with images
containing no private information (for example, pictures of empty sky). Be sure to also replace any
pictures selected for the Select an image option in the Welcome screen setting (A94). Care
should be taken to avoid injury or damage to property when physically destroying data storage
devices.

vi
Introduction
For Your Safety
To prevent damage to your Nikon product or injury to yourself or to others, read
the following safety precautions in their entirety before using this equipment.
Keep these safety instructions where all those who use the product will read them.
WARNINGS
Turn off in the event of
malfunction
Should you notice smoke or an
unusual smell coming from the
camera or Charging AC Adapter,
unplug the Charging AC Adapter and
remove the battery immediately,
taking care to avoid burns. Continued
operation could result in injury. After
removing or disconnecting the power
source, take the equipment to a Nikon-
authorized service representative for
inspection.
Do not disassemble
Touching the internal parts of the
camera or Charging AC Adapter could
result in injury. Repairs should be
performed only by qualified
technicians. Should the camera or
Charging AC Adapter break open as
the result of a fall or other accident,
take the product to a Nikon-authorized
service representative for inspection,
after unplugging the product and/or
removing the battery.
Do not use the camera or
Charging AC Adapter in the
presence of flammable gas
Do not use electronic equipment in
the presence of flammable gas, as this
could result in explosion or fire.
Handle the camera strap with
care
Never place the strap around the neck
of an infant or child.
Keep out of reach of children
Particular care should be taken to
prevent infants from putting the
battery or other small parts into their
mouths.
Do not remain in contact with
the camera, battery charger,
or AC adapter for extended
periods while the devices are
on or in use
Parts of the devices become hot.
Leaving the devices in direct contact
with the skin for extended periods may
result in low-temperature burns.
This icon marks warnings, information that should be read before using this Nikon
product, to prevent possible injury.

vii
For Your Safety
Introduction
Observe caution when
handling the battery
The battery may leak, overheat, or
explode if improperly handled.
Observe the following precautions
when handling the battery for use in
this product:
•Before replacing the battery, turn
the product off. If you are using the
Charging AC Adapter/AC adapter,
be sure it is unplugged.
•Use only a Rechargeable Li-ion
Battery EN-EL12 (included). Charge
the battery by using a camera that
supports battery charging or by
using a Battery Charger MH-65
(available separately). To charge the
battery with the camera, use either
Charging AC Adapter EH-69P
(included) or the Charge by
computer function.
•When inserting the battery, do not
attempt to insert it upside down or
backwards.
•Do not short or disassemble the
battery or attempt to remove or
break the battery insulation or casing.
•Do not expose the battery to flame
or to excessive heat.
•
Do not immerse in or expose to water.
•Replace the terminal cover when
transporting the battery. Do not
transport or store with metal objects
such as necklaces or hairpins.
•The battery is prone to leakage when
fully discharged. To avoid damage to
the product, be sure to remove the
battery when no charge remains.
•Discontinue use immediately should
you notice any change in the battery,
such as discoloration or deformation.
•If liquid from the damaged battery
comes in contact with clothing or
skin, rinse immediately with plenty
of water.
Observe the following
precautions when handling
the Charging AC Adapter
•Keep dry. Failure to observe this
precaution could result in fire or
electric shock.
•Dust on or near the metal parts of
the plug should be removed with a
dry cloth. Continued use could
result in fire.
•Do not handle the plug or go near
the Charging AC Adapter during
lightning storms. Failure to observe
this precaution could result in
electric shock.
•Do not damage, modify, forcibly tug
or bend the USB cable, place it
under heavy objects, or expose it to
heat or flames. Should the insulation
be damaged and the wires become
exposed, take it to a Nikon-
authorized service representative for
inspection. Failure to observe these
precautions could result in fire or
electric shock.
•Do not handle the plug or Charging
AC Adapter with wet hands. Failure
to observe this precaution could
result in electric shock.
•Do not use with travel converters or
adapters designed to convert from
one voltage to another or with DC-
to-AC inverters. Failure to observe
this precaution could damage the
product or cause overheating or fire.

viii
For Your Safety
Introduction
Use appropriate cables
When connecting cables to the input
and output jacks, use only the cables
provided or sold by Nikon for the
purpose, to maintain compliance with
product regulations.
Handle moving parts with
care
Be careful that your fingers or other
objects are not pinched by the lens
cover or other moving parts.
CD-ROMs
The CD-ROMs included with this
device should not be played back on
audio CD equipment. Playing CD-
ROMs on an audio CD player could
cause hearing loss or damage the
equipment.
Observe caution when using
the flash
Using the flash close to your subject’s
eyes could cause temporary visual
impairment. Particular care should be
observed if photographing infants,
when the flash should be no less than
1 m (3 ft 4 in.) from the subject.
Do not operate the flash with
the flash window touching a
person or object
Failure to observe this precaution
could result in burns or fire.
Avoid contact with liquid
crystal
Should the monitor break, care should
be taken to avoid injury caused by
broken glass and to prevent liquid
crystal from the monitor touching the
skin or entering the eyes or mouth.
Turn the power off when
using inside an airplane or the
hospital
Turn the power off while inside the
airplane during take off or landing.
Follow the instructions of the hospital
when using while in a hospital. The
electromagnetic waves given out by
this camera may disrupt the electronic
systems of the airplane or the
instruments of the hospital.

ix
Introduction
Notices
Notices for Customers in the
U.S.A.
IMPORTANT SAFETY
INSTRUCTIONS - SAVE THESE
INSTRUCTIONS.
DANGER - TO REDUCE THE RISK
OF FIRE OR ELECTRIC SHOCK,
CAREFULLY FOLLOW THESE
INSTRUCTIONS
For connection to a supply not in the
U.S.A., use an attachment plug adapter
of the proper configuration for the
power outlet if needed.
The power supply unit is intended to
be correctly orientated in a vertical or
floor mount position.
Federal Communications
Commission (FCC) Radio
Frequency Interference
Statement
This equipment has been tested and
found to comply with the limits for a
Class B digital device, pursuant to Part
15 of the FCC rules. These limits are
designed to provide reasonable
protection against harmful
interference in a residential installation.
This equipment generates, uses, and
can radiate radio frequency energy
and, if not installed and used in
accordance with the instructions, may
cause harmful interference to radio
communications. However, there is no
guarantee that interference will not
occur in a particular installation. If this
equipment does cause harmful
interference to radio or television
reception, which can be determined
by turning the equipment off and on,
the user is encouraged to try to correct
the interference by one or more of the
following measures:
•Reorient or relocate the receiving
antenna.
•Increase the separation between the
equipment and receiver.
•Connect the equipment into an
outlet on a circuit different from that
to which the receiver is connected.
•Consult the dealer or an
experienced radio/television
technician for help.
CAUTIONS
Modifications
The FCC requires the user to be
notified that any changes or
modifications made to this device that
are not expressly approved by Nikon
Corporation may void the user’s
authority to operate the equipment.
Interface Cables
Use the interface cables sold or
provided by Nikon for your equipment.
Using other interface cables may
exceed the limits of Class B Part 15 of
the FCC rules.

x
Notices
Introduction
Notice for customers in the State of
California
WARNING
Handling the cord on this product will
expose you to lead, a chemical known
to the State of California to cause birth
defects or other reproductive harm.
Wash hands after handling.
Nikon Inc.,
1300 Walt Whitman Road
Melville, New York 11747-3064
USA
Tel: 631-547-4200
Notice for customers in Canada
CAUTION
This Class B digital apparatus complies
with Canadian ICES-003.
ATTENTION
Cet appareil numérique de la classe B
est conforme à la norme NMB-003 du
Canada.
Notices for customers in Europe
CAUTIONS
RISK OF EXPLOSION IF BATTERY IS
REPLACED BY AN INCORRECT
TYPE.
DISPOSE OF USED BATTERIES
ACCORDING TO THE
INSTRUCTIONS.
This symbol indicates that
this product is to be
collected separately.
The following apply only to
users in European countries:
•This product is designated for
separate collection at an
appropriate collection point. Do not
dispose of as household waste.
•For more information, contact the
retailer or the local authorities in
charge of waste management.
This symbol on the battery
indicates that the battery is
to be collected separately.
The following apply only to
users in European countries:
•All batteries, whether marked with
this symbol or not, are designated
for separate collection at an
appropriate collection point. Do not
dispose of as household waste.
•For more information, contact the
retailer or the local authorities in
charge of waste management.

xi
Introduction
Table of Contents
Introduction .......................................................................................................................................... ii
Read This First ........................................................................................................................................ ii
Confirming the Package Contents ............................................................................................................. ii
About This Manual............................................................................................................................................... iii
Information and Precautions........................................................................................................................ iv
For Your Safety...................................................................................................................................... vi
WARNINGS............................................................................................................................................................... vi
Notices ..................................................................................................................................................... ix
Parts of the Camera and Basic Operations................................................................................. 1
Parts of the Camera.............................................................................................................................. 2
The Camera Body ................................................................................................................................................. 2
Controls Used in Shooting Mode............................................................................................................... 4
Controls Used in Playback Mode................................................................................................................ 5
The Monitor.............................................................................................................................................................. 6
Basic Operations.................................................................................................................................... 9
Switching Between Shooting Mode and Playback Mode .......................................................... 9
Using the Rotary Multi Selector ................................................................................................................. 10
Using Menus (the d Button)................................................................................................................. 11
Attaching the Camera Strap........................................................................................................................ 12
The Basics of Shooting and Playback........................................................................................ 13
Preparation 1 Insert the Battery..................................................................................................... 14
Preparation 2 Charge the Battery ................................................................................................. 16
Preparation 3 Insert a Memory Card ............................................................................................ 18
Internal Memory and Memory Cards..................................................................................................... 19
Approved Memory Cards.............................................................................................................................. 19
Step 1 Turn the Camera On............................................................................................................. 20
Turning the Camera On and Off................................................................................................................ 21
Setting the Display Language, Date, and Time................................................................................ 22
Step 2 Select a Shooting Mode...................................................................................................... 24
Available Shooting Modes............................................................................................................................ 25
Step 3 Frame a Picture ...................................................................................................................... 26
Using the Zoom................................................................................................................................................... 27
Step 4 Focus and Shoot.................................................................................................................... 28
Step 5 Play Back Images ................................................................................................................... 30
Changing How Images Are Displayed .................................................................................................. 31
Step 6 Delete Unwanted Images................................................................................................... 32

xii
Table of Contents
Introduction
Shooting Features............................................................................................................................ 35
A(Auto) Mode ................................................................................................................................... 36
Changing A (Auto) Mode Settings ....................................................................................................... 36
Options Available in the Auto Shooting Menu................................................................................ 37
Scene Mode (Shooting Suited to Scenes).................................................................................. 39
Changing Scene Mode Settings................................................................................................................ 40
Characteristics of Each Scene...................................................................................................................... 40
Continuous Shooting Mode (Burst Shooting).......................................................................... 50
Changing Continuous Shooting Mode Settings ............................................................................ 51
Options Available in the Continuous Shooting Menu................................................................ 52
Special Effects Mode (Applying Effects When Shooting)..................................................... 53
Changing Special Effects Mode Settings............................................................................................. 54
Features That Can Be Set Using the Multi Selector................................................................. 55
Available Features .............................................................................................................................................. 55
Using the Flash (Flash Mode)...................................................................................................................... 56
Using the Self-timer .......................................................................................................................................... 59
Using the Smile Timer, Smile Timer Continuous ............................................................................ 61
Using Macro Mode ............................................................................................................................................ 64
Adjusting Brightness (Exposure Compensation), Vividness, and Hue
(Creative Slider).................................................................................................................................................... 65
Adjusting Brightness (Exposure Compensation)............................................................................ 68
Default Settings ................................................................................................................................................... 69
Changing the Image Size (Image Mode) .................................................................................... 71
Image Mode Settings (Image Size and Quality) .............................................................................. 71
Features That Cannot Be Used Simultaneously....................................................................... 73
Using Face Detection......................................................................................................................... 76
Using Skin Softening.......................................................................................................................... 77
Focus Lock ............................................................................................................................................. 78
Playback Features............................................................................................................................. 79
Features Available in Playback Mode (Playback Menu)........................................................ 80
Connecting the Camera to a TV, Computer, or Printer ......................................................... 81
Using ViewNX 2 ................................................................................................................................... 82
Installing ViewNX 2............................................................................................................................................ 82
Transferring Images to the Computer................................................................................................... 84
Viewing Images.................................................................................................................................................... 85
Retouching Photographs .............................................................................................................................. 86
Editing Movies...................................................................................................................................................... 86
Printing Images.................................................................................................................................................... 86
Recording and Playing Back Movies.......................................................................................... 87
Recording Movies ............................................................................................................................... 88
Changing Movie Recording Settings (the Movie Menu) ........................................................... 91
Playing Back Movies........................................................................................................................... 92

xiii
Table of Contents
Introduction
General Camera Setup.................................................................................................................... 93
The Setup Menu .................................................................................................................................. 94
Reference Section ....................................................................................................................... E1
Using Easy Panorama (Shooting and Playback) ................................................................. E2
Shooting With Easy Panorama............................................................................................................. E2
Playing Back Images With Easy Panorama (Scroll Playback).............................................. E4
Using Panorama Assist................................................................................................................. E5
Playing Back and Deleting Images Captured Continuously (Sequence)................... E7
Playing Back Sequences........................................................................................................................... E7
Deleting Images in a Sequence........................................................................................................... E9
Editing Still Images..................................................................................................................... E10
Editing Features.......................................................................................................................................... E10
kQuick Retouch: Enhancing Contrast and Saturation.................................................. E12
ID-Lighting: Enhancing Brightness and Contrast........................................................... E13
eSkin Softening: Softening Skin Tones................................................................................... E14
pFilter Effects: Applying Digital Filter Effects....................................................................... E16
gSmall Picture: Reducing the Size of an Image................................................................. E18
aCrop: Creating a Cropped Copy .............................................................................................. E19
Connecting the Camera to a TV (Viewing Images on a TV) ......................................... E21
Connecting the Camera to a Printer (Direct Print).......................................................... E23
Connecting the Camera to a Printer.............................................................................................. E24
Printing Individual Images ................................................................................................................... E26
Printing Multiple Images....................................................................................................................... E27
The Shooting Menu (for A (Auto) Mode, Continuous Shooting Mode)................ E30
White Balance (Adjusting Hue)......................................................................................................... E30
Metering.......................................................................................................................................................... E33
ISO Sensitivity............................................................................................................................................... E34
Continuous Shooting.............................................................................................................................. E35
AF Area Mode .............................................................................................................................................. E37
Autofocus Mode......................................................................................................................................... E42
The Playback Menu .................................................................................................................... E43
aPrint Order (Creating a DPOF Print Order)......................................................................... E43
bSlide Show............................................................................................................................................. E46
dProtect...................................................................................................................................................... E47
fRotate Image........................................................................................................................................ E49
EVoice Memo ......................................................................................................................................... E50
hCopy (Copy Between Internal Memory and Memory Card) .................................. E52
CSequence Display Options.......................................................................................................... E54
NChoose Key Picture.......................................................................................................................... E54

xiv
Table of Contents
Introduction
The Movie Menu.......................................................................................................................... E55
Movie Options............................................................................................................................................. E55
Autofocus Mode......................................................................................................................................... E59
The Setup Menu .......................................................................................................................... E60
Welcome Screen ........................................................................................................................................ E60
Time Zone and Date................................................................................................................................ E61
Monitor Settings......................................................................................................................................... E64
Print Date (Imprinting Date and Time)......................................................................................... E66
Vibration Reduction ................................................................................................................................. E67
Motion Detection...................................................................................................................................... E68
AF Assist........................................................................................................................................................... E69
Digital Zoom................................................................................................................................................. E70
Sound Settings............................................................................................................................................ E71
Auto Off ........................................................................................................................................................... E72
Format Memory/Format Card ........................................................................................................... E73
Language........................................................................................................................................................ E74
TV Settings ..................................................................................................................................................... E74
Charge by Computer............................................................................................................................... E75
Blink Warning............................................................................................................................................... E77
Filmstrip........................................................................................................................................................... E79
Reset All ........................................................................................................................................................... E80
Firmware Version....................................................................................................................................... E83
File and Folder Names............................................................................................................... E84
Optional Accessories ................................................................................................................. E85
Error Messages............................................................................................................................. E86
Technical Notes and Index......................................................................................................... F1
Caring for the Product................................................................................................................... F2
The Camera ....................................................................................................................................................... F2
The Battery......................................................................................................................................................... F4
Charging AC Adapter.................................................................................................................................. F5
Memory Cards ................................................................................................................................................. F5
Cleaning and Storage.................................................................................................................... F6
Cleaning .............................................................................................................................................................. F6
Storage................................................................................................................................................................. F6
Troubleshooting.............................................................................................................................. F7
Specifications ................................................................................................................................. F15
Supported Standards................................................................................................................................ F19
Index.................................................................................................................................................. F20

1
Parts of the Camera and Basic Operations
Parts of the Camera and
Basic Operations
This chapter describes the parts of the camera and also explains how to use basic
camera features.
Parts of the Camera ................................................2
The Camera Body ..........................................................................................2
Controls Used in Shooting Mode ............................................................4
Controls Used in Playback Mode .............................................................5
The Monitor .....................................................................................................6
Basic Operations.....................................................9
Switching Between Shooting Mode and Playback Mode ..............9
Using the Rotary Multi Selector............................................................. 10
Using Menus (the d Button) ............................................................. 11
Attaching the Camera Strap................................................................... 12
If you want to start using the camera right away, see “The Basics of
Shooting and Playback” (A13).

2
Parts of the Camera and Basic Operations
Parts of the Camera and Basic Operations
Parts of the Camera
The Camera Body
213 6745
10
9
8
Lens cover closed
Flash raised
1
Zoom control........................................4, 5, 27
f: wide................................................4, 27
g: tele...................................................4, 27
h: thumbnail playback..............5, 31
i: playback zoom.........................5, 31
j: help......................................................39
2Speaker........................................................80, 92
3Power switch/power-on lamp
..................................................................................20
4Shutter-release button....................4, 5, 28
5Self-timer lamp.............................................. 59
AF-assist illuminator ................................... 95
6Mode dial...........................................4, 5, 9, 24
7Microphone (stereo) ...........................80, 88
8Flash ..................................................................... 56
9Lens
10 Lens cover

3
Parts of the Camera
Parts of the Camera and Basic Operations
16 17 18
15
12 4 653
1271110981314
1Monitor ..........................................................6, 24
2
Rotary multi selector (multi selector)
...10
3k(apply selection) button...............5, 10
4c (playback) button..........4, 5, 9, 30, 80
5Charge lamp................................... 17, E76
Flash lamp.........................................................56
6b(emovie-record) button.....4, 5, 88
7Tripod socket............................................F17
8d button............4, 5, 11, 37, 80, 91, 94
9l(delete) button.......................4, 5, 32, 80
10 Cover latch................................................14, 18
11 Battery-chamber/
memory card slot cover....................14, 15
12 Eyelet for camera strap............................. 12
13 HDMI mini connector (Type C)............ 81
14 Connector cover....................................16, 81
15 USB/audio/video output connector
..........................................................................16, 81
16 Memory card slot......................................... 18
17 Battery chamber........................................... 14
18 Battery latch .................................................... 14

4
Parts of the Camera
Parts of the Camera and Basic Operations
Controls Used in Shooting Mode
Control Name Main Function A
Mode dial Switches to another shooting mode. 24
Zoom control
Zooms in and out; rotate to g (i) to zoom
in and make the subject larger, and rotate
to f (h) to zoom out and view a wider
area.
27
Rotary multi
selector See “Using the Rotary Multi Selector.” 10,
11
d button Displays and hides the menu.
11,
37,
91,
94
Shutter-
release button
When pressed halfway (i.e., if you stop
pressing when you feel resistance): Sets
focus and exposure.
When pressed all the way: Releases the
shutter.
28
Movie-record
button Starts and stops movie recording. 88
Playback
button Plays back images.
9,
30,
92
Delete button Deletes the last image that was saved. 32

5
Parts of the Camera
Parts of the Camera and Basic Operations
Controls Used in Playback Mode
Control Name Main Function A
Playback
button
•When the camera is off, press and hold
this button to turn the camera on and to
change to playback mode.
•Returns to shooting.
21,
30
9
Zoom control
•When rotated to g (i): Magnifies the
image.
•When rotated to f (h): Displays
thumbnails or the calendar.
•Adjusts the volume when playing back
voice memos and movies
31
31
80, 92,
E50
Rotary multi
selector See “Using the Rotary Multi Selector.” 10,
11
Apply
selection
button
•Displays the histogram and shooting
information.
•Switches from image thumbnail or
zoomed image display to full-frame
display.
•Plays back movies.
30
31
92
d button Displays and hides the menu.
11,
80,
94
Delete button Deletes images. 32
Mode dial
Returns to shooting.
–
Shutter-
release button –
Movie-record
button –

6
Parts of the Camera
Parts of the Camera and Basic Operations
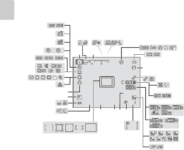
The Monitor
•The information that is displayed in the monitor during shooting and playback
changes depending on the camera’s settings and state of use. By default,
information is displayed when the camera is turned on and when you operate
the camera, and turns off after a few seconds (when Monitor settings (A94)
➝ Photo info is set to Auto info).
Shooting Mode
1600
1600
F 3.3
F3.3
+1.0
+1.0
1/250
1/250
39
38
37
36
35
34
33
30
29
28
27 26 25 24 23
22 21 20
18
17
16
15
14
13
12
11
10
9
8
7
6
54
3
1
32
31
19
2
9 9 9
999
29m 0s
29m 0s
10
10
10
10
2
2
9 9 9
999
9 9 9 9
9999

7
Parts of the Camera
Parts of the Camera and Basic Operations
1Shooting mode......................................24, 25
2Macro mode ....................................................64
3Zoom indicator......................................27, 64
4Focus indicator...............................................28
5AE/AF-L indicator....................................E5
6Flash mode.......................................................56
7Battery level indicator ................................20
8Vibration reduction icon ..........................94
9Motion detection icon...............................95
10 Noise reduction burst................................44
11 “Date not set” indicator.... 23, 94, E86
12 Travel destination icon..............................94
13 Print date............................................................94
14 Movie options (normal speed movies)
..................................................................................91
15 Movie options (HS movies).....................91
16 Image mode ....................................................71
17 Easy panorama...............................................49
18 Number of exposures remaining
(still images) .....................................................20
19 Internal memory indicator......................20
20 Movie length ...................................................88
21 Aperture value............................................... 28
22 Shutter speed................................................. 28
23 Focus area (auto, target finding AF)
..........................................................................28, 37
24 Focus area (manual or center)............. 37
25 Focus area (face detection,
pet detection) .................................37, 43, 61
26 Focus area (subject tracking)................ 37
27 Center-weighted metering area ........ 37
28 Hand-held/tripod..................................41, 45
29 ISO sensitivity.................................................. 37
30 Exposure compensation value.....67, 68
31 Vividness............................................................ 67
32 Hue........................................................................ 67
33 White balance................................................ 37
34 Continuous shooting mode ..........43, 50
35 Backlighting (HDR)...................................... 42
36 Self-timer........................................................... 59
37 Smile timer,
smile timer continuous............................ 61
38 Pet portrait auto release .......................... 43
39 Panorama.......................................................... 49

8
Parts of the Camera
Parts of the Camera and Basic Operations
Playback Mode
* A histogram is a graph showing the distribution of tones in the image. The horizontal axis
corresponds to pixel brightness, with dark tones to the left and bright tones to the right.
The vertical axis shows the number of pixels.
1 m 0s
1m 0s
999/ 999
999/ 999
1 m 0s
1m 0s
9999/9999
9999/9999
9999.JPG
9999.JPG
9 9 9 / 9 9 9
999/ 999
1 5 / 1 1 /2 0 1 1 1 2 : 0 0
15/11/2011 12:00
20
19
18
17
16 15
1 2 3
ba
21
14
13 12
11 10
9
8
7
6
5
4
+1.0
ISO 100
F3.31/250
0004.JPG
100NIKON
4/ 4
29
22
23
2
4
25
2
6
27
28
Full-frame display (A30) Shooting information (A30)
1Date of recording .........................................22
2Time of recording.........................................22
3Voice memo indicator..............80, E50
4Battery level indicator ................................20
5Protect icon......................................................80
6Print order icon..............................................80
7Image mode ....................................................71
8Movie options.................................................91
9Easy panorama...............................................49
10
(a) Current image number/
total number of images ....................30
(b) Movie length............................................92
11 Internal memory indicator......................30
12
Easy panorama playback guide
....................................................................49, E4
Sequence playback guide.........51, E7
Movie playback guide................................92
Voice memo playback guide
.................................................................80, E50
13 Voice memo recording guide
.................................................................80, E50
14 Volume indicator..................80, 92, E50
15 D-Lighting icon ............................................. 80
16 Quick retouch icon...................................... 80
17 Filter effects icon ..........................................80
18 Small picture icon........................................80
19 Skin softening icon......................................80
20 Sequence icon...............................................51
21 File number and type........................E84
22 Folder name............................................E84
23 File number and type........................E84
24 Aperture value ............................................... 28
25 Shutter speed.................................................28
26 Exposure compensation value
......................................................................... 65, 68
27 ISO sensitivity..................................................37
28 Current image number/
total number of images ........................... 30
29 Histogram*

9
Parts of the Camera and Basic Operations
Basic Operations
Switching Between Shooting Mode and Playback Mode
The camera has two modes of operation: Shooting mode, which is used for taking
pictures, and playback mode, which is used for viewing pictures.
To switch between playback mode and shooting mode, press the c (playback)
button.
•While using playback mode, you can also switch to shooting mode by pressing
the shutter-release button or the b (e movie-record) button.
•Rotate the mode dial and align an icon to the mark to select a shooting mode
(A24-25).
Shooting mode Playback mode
8 4 0
840
2 9 m 0 s
29m 0s
4/ 4
4/ 4
15/11/2011 15:30
15/11/2011 15:30
0004. JPG
0004. JPG

10
Basic Operations
Parts of the Camera and Basic Operations
Using the Rotary Multi Selector
Rotate the rotary multi selector, press the top (H), bottom (I), left (J), or right
(K) edges of its surface, and the k button.
•
The rotary multi selector is sometimes referred to as “the multi selector” in this manual.
In Shooting Mode
* Items can also be selected by pressing up or down.
In Playback Mode
When Displaying Menus
* Items can also be selected by rotating the rotary multi selector.
Auto
Displays the creative
slider (A65).
Displays o (exposure
compensation) (A68)
guide.
Displays n (self-timer)
(A59) menu.
Displays m (flash mode)
(A56) menu.
Displays p (macro mode) (A64) menu.
Rotates to select an item*.
Applies the current
selection.
Selects the previous
image, moves the
displayed area when
the image is
magnified (A31)1.
Selects the next
image, moves the
displayed area when
the image is
magnified (A31)1.
Displays the histogram
and shooting
information (A8),
plays back movies
(A92)2.
4/ 4
4/ 4
15/11/2011 15:30
15/11/2011 15:30
0 00 4 . J P G
0004. JPG
+1.0
ISO 100
F 3.31/250
0004.JPG
100NIKON
4/ 4
1Previous or subsequent images can also be selected by rotating the
rotary multi selector.
2When displaying image thumbnails or when the image is magnified, this
button switches the camera to full-frame display.
Applies the current
selection (next screen is
displayed).
Selects the item to the
left, returns to the
previous screen.
Selects the item above*.
Selects the item below*.
Selects the item to the
right, continues to the
next screen (current
selection is applied).
Image mode
White balance
Shooting menu
ISO sensitivity
AF area mode
Autofocus mode
Metering

11
Basic Operations
Parts of the Camera and Basic Operations
Using Menus (the d Button)
If you press the d button while the shooting screen or playback screen is
displayed, the menu for the current mode is displayed. Once the menu is
displayed, you can change various settings.
8 4 0
840
2 9 m 0 s
29m 0s
Image mode
White balance
Shooting menu
ISO sensitivity
AF area mode
Autofocus mode
Metering
4/ 4
4/ 4
15/11/2011 15:30
15/11/2011 15:30
0004. JPG
0004. JPG
Playback menu
Print order
Protect
Quick retouch
D-Lighting
Skin softening
Filter eects
Slide show
Shooting mode Playback mode
TabsTabs
ctab:
Displays the settings that can be
changed for the playback mode (A30).
ztab:
Displays the setup menu, where you can
change a number of general settings.
Atab:
Displays the settings that can be
changed for the current shooting mode
(A24). Depending on the current
shooting mode, the tab icon that is
displayed will be different.
Dtab:
Displays movie recording settings.
ztab:
Displays the setup menu, where you can
change a number of general settings.
CIf Tabs Are Not Displayed
If you press the d button and the screen that allows you to
change the image mode is displayed, press the rotary multi selector
J to display the tabs.
Image mode
4608×3456
4608×3456
4000×3000
3264×2448
2592×1944
2048×1536
1024×768

12
Basic Operations
Parts of the Camera and Basic Operations
Switching Between Tabs
Selecting Menu Items
CWhen the Menu Contains Two or More Pages
A guide indicating the page position is displayed.
Attaching the Camera Strap
Image mode
White balance
Shooting menu
ISO sensitivity
AF area mode
Autofocus mode
Metering
Image mode
White balance
Shooting menu
ISO sensitivity
AF area mode
Autofocus mode
Metering
Set up
Welcome screen
Time zone and date
Monitor settings
Print date
Motion detection
AF assist
Vibration reduction
Press the rotary multi
selector J to highlight
the tab.
Press the rotary multi
selector H or I to select
a tab, and press either
the k button or K.
The selected menu is
displayed.
Incandescent
In c an d es c e nt
Incandescent
Fluorescent
Flu o r es c e nt
Fluorescent
Cloudy
Clo u dy
Cloudy
White balance
Daylight
Day l ig h t
Daylight
Auto
Flash
Fla s h
Flash
Preset manual
Pres e t m anu a l
Preset manual
Image mode
White balance
Shooting menu
ISO sensitivity
AF area mode
Autofocus mode
Metering
Press the rotary multi selector
H
or
I
to select an item, and
then press
K
or the
k
button.
You can also select an item
by rotating the rotary multi
selector.
Press H or I to select an
item and then press the
k button.
When you are finished
changing settings,
press the d button
to exit the menu.
Set up
Welcome screen
Time zone and date
Monitor settings
Print date
Motion detection
AF assist
Vibration reduction

13
The Basics of Shooting and Playback
The Basics of Shooting and
Playback
Preparation
Preparation 1 Insert the Battery .....................................................................................14
Preparation 2 Charge the Battery ..................................................................................16
Preparation 3 Insert a Memory Card.............................................................................18
Shooting
Step 1 Turn the Camera On..............................................................................................20
Setting the Display Language, Date, and Time (First Use After Purchase)
....22
Step 2 Select a Shooting Mode.......................................................................................24
Step 3 Frame a Picture .......................................................................................................26
Step 4 Focus and Shoot.....................................................................................................28
Playback
Step 5 Play Back Images ....................................................................................................30
Step 6 Delete Unwanted Images ...................................................................................32

14
The Basics of Shooting and Playback
The Basics of Shooting and Playback
Preparation 1 Insert the Battery
1Open the battery-chamber/memory card slot
cover.
2Insert the included EN-EL12
battery (rechargeable Li-ion
battery).
•Use the battery to push the orange
battery latch up in the direction
indicated by the arrow (1), and fully
insert the battery (2).
•When the battery is inserted correctly,
the battery latch will lock the battery
in place.
BInserting the Battery Correctly
Inserting the battery upside down or backwards could damage the camera. Be sure
to check that the battery is in the correct orientation.
3Close the battery-chamber/memory card slot
cover.
•Charge the battery before the first use or when the
battery is running low (A16).
•While the battery-chamber/memory card slot cover is
open, the camera cannot be turned on. Additionally,
the battery inserted in the camera cannot be charged.
Battery latch

15
Preparation 1 Insert the Battery
The Basics of Shooting and Playback
Removing the Battery
Turn the camera off and be sure that the power-on
lamp and the monitor have turned off before opening
the battery-chamber/memory card slot cover.
To eject the battery, open the battery-chamber/
memory card slot cover and slide the orange battery
latch up in the direction indicated by the arrow (1).
The battery can then be removed by hand (2). Do not
pull it at an angle.
BHigh Temperature Caution
The camera, battery, and memory card may be hot immediately after using the camera. Observe
caution when removing the battery or memory card.
BNotes About the Battery
Be sure to read and follow the warnings for the battery on page vii and in “The Battery” (F4) before
use.

16
The Basics of Shooting and Playback
Preparation 2 Charge the Battery
1Prepare the included Charging AC Adapter EH-69P.
If a plug adapter* is included with your camera, attach the plug
adapter to the plug on the Charging AC Adapter. Push the plug
adapter firmly until it is securely held in place. Once the two are
connected, attempting to forcibly remove the plug adapter could
damage the product.
* The shape of the plug adapter varies according to the country or
region in which the camera was purchased.
The Charging AC Adapter comes with the plug adapter attached
in Argentina, Brazil, and Korea.
2Make sure the battery is inserted in the camera, and then connect the
camera to the Charging AC Adapter in order of 1 to 3.
•Keep the camera turned off.
•When connecting the cable, be sure that the plug is properly oriented. Do not use
force when connecting the cable to the camera. When disconnecting the cable, do
not pull the plug at an angle.
•Close the battery-chamber/memory card slot cover.
•The charge lamp slowly blinks green to indicate that the battery is charging.
•About four hours are required to charge a fully exhausted battery.
•When the battery has been completely charged, the charge lamp turns off.
•See “The Charge Lamp” (A17) for more information.
3Disconnect the Charging AC Adapter from the electrical outlet and
then disconnect the USB cable.
•When the camera is connected to an electrical outlet with the Charging AC Adapter,
the camera cannot be turned on.
USB cable (included)
Charge lamp Electrical outlet

17
Preparation 2 Charge the Battery
The Basics of Shooting and Playback
The Charge Lamp
Status Description
Blinks slowly (green) The battery is charging.
Off The battery is not charging. When charging is complete, the charge
lamp stops blinking green and turns off.
Flickers (green)
•The ambient temperature is not suited to charging. Charge the
battery indoors with an ambient temperature of 5 °C to 35 °C
(41 °F to 95 °F).
•The USB cable or Charging AC Adapter is not properly
connected, or there is a problem with the battery. Disconnect the
USB cable or unplug the Charging AC Adapter and correctly
connect it again, or change the battery.
BNotes About the Charging AC Adapter
Be sure to read and follow the warnings for the Charging AC Adapter EH-69P on page vii and in
“Charging AC Adapter” (F5) before use.
CCharging Using Computer or Battery Charger
•You can also charge the Rechargeable Li-ion Battery EN-EL12 by connecting the camera to a
computer (A81, E75).
•The EN-EL12 can be charged without using the camera by using the Battery Charger MH-65
(available separately; E85).
CNotes About an AC Power Source
•You can take pictures and play back images while using the AC Adapter EH-62F (available
separately; E85) to power the camera from an electrical outlet.
•Do not, under any circumstances, use another make or model of AC adapter other than EH-62F.
Failure to observe this precaution could result in overheating or damage to the camera.

18
The Basics of Shooting and Playback
Preparation 3 Insert a Memory Card
1Be sure that the power-on lamp and the
monitor are off and open the battery-
chamber/memory card slot cover.
•Be sure to turn off the camera before opening the
cover.
2Insert the memory card.
•Slide the memory card in until it clicks
into place.
BInserting the Memory Card
Inserting the memory card upside down or
backwards could damage the camera or
the memory card. Be sure to check that the
memory card is in the correct orientation.
3Close the battery-chamber/memory card slot
cover.
Memory card slot
BFormatting a Memory Card
•The first time you insert a memory card that has been used in another device into this camera, be
sure to format it with this camera.
•All data stored on a memory card is permanently deleted when the card is formatted. Be
sure to transfer important images to a computer and save them before formatting.
•To format a memory card, insert the card into the camera, press the d button, and select
Format card in the setup menu (A94).
BNotes About Memory Cards
See “Memory Cards” (F5) and the documentation included with your memory card for more
information.

19
Preparation 3 Insert a Memory Card
The Basics of Shooting and Playback
Removing the Memory Card
Turn the camera off and be sure that the power-on
lamp and the monitor have turned off before opening
the battery-chamber/memory card slot cover.
Gently push the memory card into the camera (1) to
partially eject the card, and then remove the card (2).
Do not pull it at an angle.
BHigh Temperature Caution
The camera, battery, and memory card may be hot immediately after using the camera. Observe
caution when removing the battery or memory card.
Internal Memory and Memory Cards
Camera data, including images and movies, can be saved in either the camera’s
internal memory (approximately 89 MB) or on a memory card. To use the camera’s
internal memory for shooting or playback, first remove the memory card.
Approved Memory Cards
The following Secure Digital (SD) memory cards have been tested and approved
for use in this camera.
•Memory cards with an SD Speed Class rating of 6 or faster are recommended for
recording movies. Movie recording may stop unexpectedly when memory
cards with a lower Speed Class rating are used.
1If the memory card will be used with a card reader or similar device, make sure that the
device supports 2 GB cards.
•Contact the manufacturer for details on the above cards. We cannot guarantee camera
performance when using memory cards made by other manufacturers.
SD memory
card SDHC memory card 2 SDXC memory
card3
SanDisk 2 GB14 GB, 8 GB, 16 GB, 32 GB 64 GB
TOSHIBA 2 GB14 GB, 8 GB, 16 GB, 32 GB 64 GB
Panasonic 2 GB14 GB, 8 GB, 12 GB, 16 GB, 32 GB 48 GB, 64 GB
Lexar – 4 GB, 8 GB, 16 GB, 32 GB –
2SDHC compliant.
If the memory card will be used with a card reader or similar device, make sure
that the device supports SDHC.
3SDXC compliant.
If the memory card will be used with a card reader or similar device, make sure
that the device supports SDXC.

20
The Basics of Shooting and Playback
Step 1 Turn the Camera On
1Press the power switch to turn on the camera.
•If you are turning the camera on for the first time,
see “Setting the Display Language, Date, and Time”
(A22).
•The lens extends and the monitor turns on.
2Check the battery level indicator and the number of exposures
remaining.
Battery Level Indicator
Number of Exposures Remaining
The number of pictures that can be taken is displayed.
•C is displayed when no memory card is inserted in the camera, and images will be
saved in the internal memory (approx. 89 MB).
•The number of exposures remaining depends on the amount of available memory in
the internal memory or memory card, and also varies depending on the image quality
and image size (determined by the image mode setting; A72).
•The number of remaining exposures shown in the illustrations in this manual are for
example purposes only.
Display Description
bThe battery is fully charged.
BThe battery is low. Prepare to charge or replace the battery.
N
Battery exhausted.
The camera cannot take pictures. Recharge or replace with a
fully charged battery.
8 4 0
840
2 9 m 0 s
29m 0s
Battery level indicator
Number of exposures remaining

21
Step 1 Turn the Camera On
The Basics of Shooting and Playback
Turning the Camera On and Off
•The power-on lamp will light in green briefly then turn off, and then the monitor
will turn on.
•To turn off the camera, press the power switch. When the camera turns off, the
power-on lamp and the display turn off.
•To turn on the camera and switch to playback mode, press and hold the c
(playback) button. The lens will not extend.
CPower Saving Function (Auto Off)
If no operations are performed for a while, the monitor will turn off, the camera will enter standby
mode, and the power-on lamp will blink. If no operations are performed for another three minutes,
the camera will turn off automatically.
You can turn the monitor back on while the camera is in standby mode by performing any of the
following:
➝Press the power switch, shutter-release button, c (playback) button, or b (e movie-record)
button.
➝Rotate the mode dial.
•The time that elapses before the camera enters standby mode can be changed using the Auto off
setting in the setup menu (A94).
•By default, the camera enters standby mode in about one minute when you are using shooting
mode or playback mode.
•If you are using the optional AC Adapter EH-62F, the camera enters standby mode after 30
minutes.
840
840
2 9m 0s
29m 0s
Blinks
No operations
performed
No operations
performed
3 min
Camera enters
standby mode.
Camera turns off.

22
Step 1 Turn the Camera On
The Basics of Shooting and Playback
Setting the Display Language, Date, and Time
When the camera is turned on for the first time after purchase, the language-selection
screen and the date and time setting screen for the camera clock are displayed.
1Press the multi selector H or I
to select the desired language
and press the k button.
2Press H or I to select Yes and press the k
button.
•To cancel without changing the setting, select No.
3Press J or K to select your
home time zone and press the
k button.
•See “Daylight Saving Time” (A23)
for information about daylight saving
time.
4Press H or I to select the date format and
press the k button or K.
5Press H, I, J, or K to set the date and time,
and press the k button.
•Select an item: Press K or J (changes between D, M,
Y, hour, and minute).
•Edit the highlighted item: Rotate the multi selector or
press H or I.
•Apply the setting: Select the minute setting and press
the k button or K.
•
When settings are finished, the lens extends and the camera switches to shooting mode.
Cancel
Language
Multi selector
Yes
No
Choose time zone and
set date and time?
Time zone and date
Cancel
Back
London
Casablanca
Date format
Year/Month/Day
Month/Day/Year
Day/Month/Year
Date and time
M
DY
2011
01
01
00
00
Edit

23
Step 1 Turn the Camera On
The Basics of Shooting and Playback
Daylight Saving Time
If daylight saving time is in effect, press the multi
selector H to enable the daylight saving time function
while setting the region in step 3. When the daylight
saving time function is enabled, W is displayed at the
top of the monitor.
Press I to disable the daylight saving time function.
Back
London
Casablanca
CChanging the Language Setting and the Date and Time Setting
•You can change these settings using the Language and Time zone and date settings in the
zsetup menu (A94).
•You can enable and disable daylight saving time by selecting Time zone and date and then
Time zone in the z setup menu. When enabled, the clock moves forward one hour; when
disabled, the clock moves back one hour. When the travel destination (x) is selected, the time
difference between the travel destination and the home time zone (w) is automatically calculated
and the date and time in the selected region are saved at the time of shooting.
•If you exit without setting the date and time, O will blink when the shooting screen is displayed.
Use the Time zone and date setting in the setup menu to set the date and time (A94).
CThe Clock Battery
•The camera’s clock is powered by a backup battery that is separate from the camera’s main
battery.
•The backup battery charges when the main battery is inserted into the camera or when the
camera is connected to an optional AC adapter, and can provide several days of backup power
after about ten hours of charging.
•If the camera’s backup battery becomes exhausted, the date and time setting screen is displayed
when the camera is turned on. Set the date and time again. See step 2 of “Setting the Display
Language, Date, and Time” (A22) for more information.
CImprinting the Shooting Date in Printed Images
•Set the date and time before shooting.
•You can permanently imprint the shooting date in images as they are captured by setting Print
date in the setup menu (A94).
•If you want the shooting date to be printed without using the Print date setting, print using the
ViewNX 2 software (A82).

24
The Basics of Shooting and Playback
Step 2 Select a Shooting Mode
Rotate the mode dial to select a shooting mode.
•A (auto) mode is used in this example. Rotate the mode dial to A.
•The camera switches to A (auto) mode and the A icon is displayed.
•See “Shooting Mode” (A6) in “The Monitor” for information about the
shooting mode screen.
Auto mode
8 4 0
840
2 9 m 0 s
29m 0s

25
Step 2 Select a Shooting Mode
The Basics of Shooting and Playback
Available Shooting Modes
A (Auto) mode (A36)
Used for general
shooting. Settings can be
adjusted in the shooting
menu (A37) to suit the
shooting conditions and
the type of shot you want
to capture.
Scene mode (A39)
Camera settings are optimized according to the scene that you select.
x (Scene auto selector) : The camera automatically selects the optimum scene
mode when you frame a picture, making it even easier to
take pictures using settings that suit the scene.
y: Select the desired scene from 15 different scene types,
and the camera’s settings are automatically optimized for
the selected scene.
•To select a scene, first rotate the mode dial to y
and press the d button. Select the desired scene by
pressing H or I, and then press the k button.
j (Night landscape) : Captures the atmosphere of night landscapes.
W (Backlighting) : The flash fires when there is backlight to prevent the
subject from being hidden in shadow, or use the HDR
function to shoot when there are very bright areas and
very dark areas in the same frame.
O (Pet portrait) : Use this mode when taking pictures of dogs or cats. When
the camera detects the face of a dog or cat, the camera
focuses on that face.
C Continuous shooting
mode (A50)
Change settings to
Continuous or BSS (best
shot selector).
u Special effects mode (A53)
Effects can be applied to images during shooting.
Six different effects are available.
CFeatures That Are Available in Shooting Mode
•The multi selector H (X), I (p), J (n), and K (o) can be used to set the corresponding
features.
See “Features That Can Be Set Using the Multi Selector” (A55) for more information.
•Press the d button to display the menu for the selected shooting mode. See “Shooting
Features” (A35) for information about the settings available in the menu for the current
shooting mode.

26
The Basics of Shooting and Playback
Step 3 Frame a Picture
1Hold the camera steady.
•Keep fingers, hair, the camera strap, and other objects
away from the lens, flash, AF assist-illuminator,
microphone, and speaker.
•When taking pictures in portrait (tall) orientation, turn
the camera so that the flash is above the lens.
2Frame the picture.
•Point the camera at the object (subject) you want to
take a picture of.
Flash
8 4 0
840
2 9 m 0 s
29m 0s
CWhen Using a Tripod
•We recommend using a tripod to stabilize the camera in the following situations:
- When shooting in dark surroundings with the flash mode (A57) set to W (off)
- When zooming in on the subject
•Set Vibration reduction to Off in the setup menu (A94) when using a tripod to stabilize the
camera during shooting.

27
Step 3 Frame a Picture
The Basics of Shooting and Playback
Using the Zoom
Use the zoom control to activate optical zoom.
•To zoom in on the subject, rotate the zoom control
to g (telephoto).
•To zoom out for a wider shot, rotate the zoom
control to f (wide-angle). When you turn the
camera on, the zoom moves to the maximum
wide-angle position.
•Rotating the zoom control all the way in either
direction will adjust the zoom quickly, while rotating
the control partially will adjust the zoom slowly
(except when recording movies).
•A zoom indicator is displayed at the top of the
monitor when the zoom control is rotated.
Digital Zoom
When the camera is zoomed in to the maximum optical zoom position, rotating
and holding the zoom control at g triggers digital zoom.
Digital zoom can magnify the subject up to about 2× beyond the maximum
magnification of the optical zoom.
•When you are using digital zoom, the camera focuses on the subject in the
center of the frame and the focus area is not displayed.
Zoom out Zoom in
Optical
zoom
Digital
zoom
Maximum optical zoom Digital zoom enabled
CDigital Zoom and Interpolation
Unlike optical zoom, digital zoom uses a digital imaging process known as interpolation to magnify
images, resulting in slight deterioration of picture quality according to the image mode (A71) and
digital zoom magnification.
Interpolation is applied at zoom positions beyond V when taking still pictures.
When zoom is increased beyond the V position, interpolation is initiated and the zoom indicator
turns yellow to indicate that interpolation is being applied.
T
he position of V moves to the right as image size decreases, allowing for confirmation of the zoom
positions at which shooting without interpolation is possible at the current image mode setting.
•Digital zoom can be disabled from the Digital zoom option in the setup menu (A94).
Small image size

28
The Basics of Shooting and Playback
Step 4 Focus and Shoot
1Press the shutter-release button
halfway, i.e., press the button slightly
until you feel resistance.
•When you press the shutter-release button
halfway, the camera sets the focus and
exposure (shutter speed and aperture
value). Focus and exposure remain locked
while the shutter-release button is pressed halfway.
•When the camera detects the main subject, it focuses
on that subject. When the subject is in focus, the focus
areas (up to 12 areas) glow green.
•The camera has nine focus areas, and if it does not
detect the main subject, it automatically selects the
focus areas containing the subject closest to the
camera. When the subject is in focus, the focus areas
that are in focus (up to nine areas) glow green.
•When you are using digital zoom, the camera focuses on the subject in the center of
the frame and the focus area is not displayed. When the camera has focused, the
focus indicator (A6) glows green.
•While the shutter-release button is pressed halfway, the focus area or focus indicator
may blink red. This indicates that the camera is unable to focus. Modify the
composition and press the shutter-release button halfway again.
•If the subject is dimly lit when you press the shutter-release button halfway, the AF-
assist illuminator (A95) may light and the flash (A2, 58) may pop-up.
2Press the shutter-release button all the way, i.e., press the
button the rest of the way down.
•The shutter is released and the image will be saved to the memory card
or internal memory.
•If you press the shutter-release button with too much force, the camera
may shake, causing images to be blurred. Press the button gently.
1/250
1/250
F 3.3
F3.3
Shutter speed Aperture
value
F 3.3
F 3.3
1/250
1/250
Shutter speed Aperture
value

29
Step 4 Focus and Shoot
The Basics of Shooting and Playback
BNotes About Saving Images
•While images are being saved, the number of exposures remaining (A20) will blink. Do not
open the battery-chamber/memory card slot cover while images are being saved. Removing
the battery or memory card in these circumstances could result in loss of data or in damage to the
camera or card.
•It may take some time for the image to be saved depending on the current settings or the
shooting conditions (F12).
BAutofocus
The camera may not focus as expected in the following situations. In some rare cases, the subject
may not be in focus despite the fact that the focus area or the focus indicator glows green:
•Subject is very dark
•Objects of sharply differing brightness are included in the scene (e.g. the sun is behind the subject
makes that subject appear very dark)
•No contrast between the subject and surroundings (e.g. a portrait subject, wearing a white shirt, is
standing in front of a white wall)
•Several objects are at different distances from the camera (e.g. the subject is inside a cage)
•Subjects with repeating patterns (window blinds, buildings with multiple rows of similarly shaped
windows, etc.)
•Subject is moving rapidly
In the situations noted above, try pressing the shutter-release button halfway to refocus several
times, or focus on another subject positioned at the same distance from the camera as the actual
desired subject, and use focus lock (A78).
CWhen the Subject Is Close to the Camera
If the camera cannot focus, try shooting with macro mode (A64) or the Close-up scene mode
(A47).
CFlash
•If the subject is dimly lit, the flash will pop up automatically when you
press the shutter-release button halfway when the flash mode is set to
U (auto; default setting). The flash will fire when you press the
shutter-release button all the way down. See “Using the Flash (Flash
Mode)” (A56) for more information.
•To lower the flash, turn the camera off. See “Raising and Lowering the
Flash” (A58) for more information.
CTo Make Sure You Do Not Miss a Shot
If you are concerned that you might miss a shot, press the shutter-release button all the way without
first pressing it halfway.

30
The Basics of Shooting and Playback
Step 5 Play Back Images
1Press the c (playback) button.
•When you switch from shooting mode to
playback mode, the last image saved will
be displayed full-frame.
2Use the multi selector to select an image to
display.
•To display previous images, press H or J.
•To display subsequent images, press I or K.
•You can also scroll through images by rotating the
multi selector.
•Remove the memory card from the camera to play back images saved in the camera’s
internal memory. C is displayed near the current image number/total number of
images display.
•To return to shooting mode, press the c button, shutter-release button, or
b(emovie-record) button.
c
(playback)
button
Display the previous image
Display the subsequent image
4/ 4
4/ 4
15/11/2011 15:30
15/11/2011 15:30
0004. JPG
0004. JPG
Current image number/
total number of images
CDisplaying Shooting Information
Press the k button in full-frame playback mode to display the
histogram and shooting information (A8). Press the k button
again to return to full-frame playback mode.
CViewing Images
•Images may be displayed briefly at low resolution while being read from the memory card or
internal memory.
•When images in which the face of a person (A76) or a pet (A43) was detected at the time of
shooting are displayed in full-frame playback mode, depending upon the orientation of the
detected face, the images may be automatically rotated for playback display (except when
viewing images captured in a series).
•You can change the orientation of an image using Rotate image in the playback menu (A80).
CMore Information
See “Features Available in Playback Mode (Playback Menu)” (A80) for more information.
+1.0
ISO 100
F 3.31/250
0004.JPG
100NIKON
4/ 4

31
Step 5 Play Back Images
The Basics of Shooting and Playback
Changing How Images Are Displayed
When using playback mode, you can change how images are
displayed by rotating the zoom control to f (h) and g (i).
Playback Zoom
•You can change the zoom ratio by rotating the zoom control to f (h) and g
(i). Images can be zoomed up to 10×.
•To view a different area of the image, press the multi selector H, I, J, or K.
•If you are viewing an image that was captured using face detection (A76) or
pet detection (A43), the camera zooms in on the face detected at the time of
shooting (except when viewing an image captured in a series). If the camera
detected multiple faces when the image was captured, press H, I, J, or K to
display a different face. To zoom in on an area of the image where there are no
faces, adjust the magnification rate and then press H, I, J, or K.
•You can crop the image and save the displayed area of the image as a separate
file by pressing the d button.
•Press the k button to return to full-frame playback mode.
Thumbnail Display, Calendar Display
•
You can view several images on one screen, making it easy to find the image you want.
•You can change the number of thumbnails displayed by rotating the zoom
control to f (h) and g (i).
•Rotate the multi selector or press H, I, J, or K to select an image and then
press the k button to display that image full-frame.
•When 72 thumbnails are displayed, rotate the zoom control to f (h) to
switch to calendar display.
•While using calendar display mode, rotate the multi selector, or press H, I, J,
or K to select a date and then press the k button to display the first image
captured on that day.
1/ 20
1/ 20
1 5 /1 1/ 20 11 1 5 : 3 0
15/11/2011 15:30
0001. JPG
0001. JPG
g (i)
f
(h)
Image is zoomed in.Image is displayed full-
frame.
Display area guide
1/ 20
1/ 20
1 5 /1 1/ 20 11 1 5 : 3 0
15/11/2011 15:30
0001. JPG
0001. JPG
1/ 20
3
Su M Tu W Th F Sa
8
7
6
5432
15
22
14
21
13
20
12
19
11
18
10
17
9
16
292827
26252423
30
1
2011 11
Image Thumbnail Display
(4, 9, 16, and 72 images per screen)
Full-frame Display Calendar Display
g (i)
f
(h)
g (i)
f
(h)

32
The Basics of Shooting and Playback
Step 6 Delete Unwanted Images
1Press the l button to delete the image
currently displayed in the monitor.
2Press the multi selector H or I to select the
desired deletion method and press the k
button.
•Current image: The image currently displayed is
deleted. If the key picture of a sequence (A51) is
selected, all images in the sequence are deleted.
•Erase selected images: Multiple images can be
selected and deleted. See “Operating the Erase Selected Images Screen” (A33) for
more information.
•All images: All images are deleted.
•To exit without deleting the image, press the d button.
3Press H or I to select Yes and press the k
button.
•Deleted images cannot be recovered.
•To cancel, press H or I to select No and press the k
button.
Current image
All images
Erase selected images
Delete
Yes
No
Erase 1 image?
BNotes About Deletion
•Deleted images cannot be recovered. Copy important images to a computer before deleting
them from the camera.
•Protected images (A80) cannot be deleted.
BDeleting Images Captured Using Continuous Shooting
•Each time images are captured continuously, they make up a group of images called a sequence,
and by default only the first image of a sequence (called the “key picture”) is displayed to represent
the sequence (E7).
•When you press the d button during key picture playback, all images in the key picture’s
sequence can be deleted (E9).
•If you want to delete individual images in a sequence, press the k button before pressing the l
button and display all images in the sequence individually.
CDeleting the Last Image Captured While in Shooting Mode
In shooting mode, press the l button to delete the last image that was saved.

33
Step 6 Delete Unwanted Images
The Basics of Shooting and Playback
Operating the Erase Selected Images Screen
1Press the multi selector J or K to select an
image to be deleted, and then press H to
display y.
•To undo the selection, press I to remove y.
•Rotate the zoom control (A2) to g(i) to switch back
to full-frame playback or f(h) to display
thumbnails.
2Add y to all desired images and then press the k button to confirm
the selection.
•A confirmation dialog is displayed. Follow the instructions displayed in the monitor.
ON/OFF
Back
Erase selected images

34

35
Shooting Features
Shooting Features
This chapter describes the camera’s shooting modes and the features that are
available when using each shooting mode.
You can select shooting modes and adjust settings according to the shooting
conditions and the kind of images you want capture.
840
840
2 9m 0s
29m 0s
8 4 0
840
2 9 m 0 s
29m 0s
8 4 0
840
2 9m 0s
29m 0s
Autofocus mode
AF area mode
ISO sensitivity
Metering
Continuous
White balance
Image mode
Continuous
840
840
2 9m 0s
29m 0s
Auto

36
Shooting Features
Shooting Features
A(Auto) Mode
Used for general shooting. Settings can be adjusted in the shooting menu (A37)
to suit the shooting conditions and the type of shot you want to capture.
•You can change how the camera selects the area of the frame to focus on by
pressing the d button, selecting the A tab, and then selecting AF area
mode (A37). The default setting is Target finding AF.
When the camera detects the main subject, it focuses on that subject. When the
camera does not detect the main subject, it automatically selects the focus
areas (up to nine) that contain the subject closest to the camera. When the
subject is in focus, the focus areas that are in focus (up to nine areas) glow
green.
Changing A (Auto) Mode Settings
•Features That Can Be Set Using the Multi Selector (A55): flash mode (A56),
self-timer (A59), smile timer (A61), macro mode (A64), creative slider
(obrightness (exposure compensation), G vividness, F hue) (A65)
•Features that can be set by pressing the d button: See “Options Available in
the Auto Shooting Menu” (A37).
8 4 0
840
2 9 m 0 s
29m 0s
CFeatures That Cannot Be Used Simultaneously
Some settings cannot be used with other functions (A73).

37
A(Auto) Mode
Shooting Features
Options Available in the Auto Shooting Menu
When using A (auto) mode, the following settings can be changed.
•The same items can be set when using continuous
shooting mode (A50). Other than the continuous
shooting type, items share the same settings with
continuous shooting mode, and the settings are
saved in the camera’s memory even if the camera is
turned off.
Select A (auto) mode M d button M A tab (A11)
Option Description A
Image mode
Allows you to select the combination of image size and
image quality used when saving images (A71).
This setting is also applied to other shooting modes.
71
White balance
Allows you to adjust the color tones of the image to match
what you see with your eye. Although Auto (default setting)
can be used in most shooting conditions, if the desired color
tones are not achieved, adjust white balance to suit the sky
conditions or light source.
•When white balance is set to settings other than Auto or
Flash, set the flash mode (A56) to off (W).
E30
Metering
Allows you to select the method that the camera uses to
measure the brightness of the subject. The camera adjusts
the exposure, which is a combination of shutter speed and
aperture value, based on the brightness measurement.
E33
ISO sensitivity
Higher ISO sensitivity allows darker subjects to be captured.
By increasing the shutter speed, this feature can also reduce
blurring caused by camera shake and subject movement
even when shooting in adequately lit conditions. When ISO
sensitivity is set to Auto (default setting), the camera sets the
ISO sensitivity automatically, and E is displayed while
shooting when ISO sensitivity increases.
E34
AF area mode
Allows you to determine how the camera selects the focus
area that is used for autofocus; the available settings are
Face priority, Auto, Manual, Center, and Target finding
AF (default setting). When using Target finding AF, if the
camera detects the main subject, it focuses on that subject.
E37
Image mode
White balance
Shooting menu
ISO sensitivity
AF area mode
Autofocus mode
Metering

38
A(Auto) Mode
Shooting Features
Autofocus mode
When Single AF (default setting) is selected, the camera
focuses only while the shutter-release button is pressed
halfway. When Full-time AF is selected, the camera focuses
even when the shutter-release button is not pressed halfway.
You may hear the sound of the camera focusing.
E42
Option Description A
CFeatures That Cannot Be Used Simultaneously
Some settings cannot be used with other functions (A73).

39
Shooting Features
Scene Mode (Shooting Suited to Scenes)
When one of the following scenes is selected in the scene menu or by rotating the
mode dial, camera settings are automatically optimized for the selected scene.
x (Scene auto selector)
(A40)
The camera automatically
selects the optimum scene
mode when you frame a
picture.
y
Press the d button to display the scene menu and select one of the following
shooting scenes.
bPortrait (default setting) (A44) cLandscape (A44)
dSports (A45) eNight portrait (A45)
fParty/indoor (A46) ZBeach (A46)
zSnow (A46) hSunset (A46)
iDusk/dawn (A46) kClose-up (A47)
uFood (A47) lMuseum (A48)
mFireworks show (A48) nBlack and white copy (A48)
pPanorama (A49)
Scene menu
Portrait
Landscape
Sports
Night portrait
Party/indoor
Beach
Snow
j Night landscape (A41)
W Backlighting (A42)
O Pet portrait (A43)
Rotate the mode dial to j,
W, or O and take pictures.
CTo View a Description (Help Display) of Each Scene
Select the desired scene from the scene menu and rotate the zoom control (A2) to g (j) to view
a description of that scene. To return to the original screen, rotate the zoom control to g (j) again.

40
Scene Mode (Shooting Suited to Scenes)
Shooting Features
Changing Scene Mode Settings
•Depending on the scene, the multi selector H (X), I (p), J (n), and K (o)
can be used to set the corresponding features. See “Features That Can Be Set
Using the Multi Selector” (A55) and “Default Settings” (A69) for more
information.
•Features that can be set by pressing the d button: Image mode, which is
the combination of image size and image quality (A71).
•When using j (night landscape), W (backlighting), or O (pet portrait), press
the d button to set the Image mode or any of the options available in the
current mode’s shooting menu.
Characteristics of Each Scene
x Scene auto selector
The camera automatically selects the optimum scene mode when you frame a picture.
e: Portrait, f: Landscape, h: Night portrait, g: Night landscape, i: Close-up,
j: Backlighting, d: Other scenes
•When the camera selects a scene mode, the shooting mode icon displayed in the
shooting screen changes to that for the scene mode currently enabled.
•The area of the frame that the camera focuses on (AF area) depends on the composition
of the picture. The camera detects and focuses on human faces.
•Depending upon shooting conditions, the camera may not select the desired scene
mode. Should this occur, switch to A (auto) mode (A24) or select the desired scene
mode manually.
•Digital zoom cannot be used.
CIf Night Landscape or Night Portrait Is Selected When Shooting with Scene
Auto Selector
•If the camera switches to g (night landscape) when using scene auto selector, the camera
shoots images continuously and combines and saves them as one image, just as when Hand-
held is selected when using j (night landscape; A41).
•If the camera switches to h (night portrait) when using scene auto selector, the flash mode is
fixed at red-eye reduction and the flash is used for capturing portraits (images are not captured
continuously) just as when Tripod is selected when using Night portrait (A45).

41
Scene Mode (Shooting Suited to Scenes)
Shooting Features
j Night landscape
Captures the atmosphere of night landscapes.
Press the d button to set Night landscape to Hand-held
or Tripod.
•Hand-held (default setting): Select this option to produce shots with reduced blurring
and noise even when the camera is hand-held.
- The Y icon is displayed in the shooting screen.
- When the shutter-release button is pressed all the way, the camera captures a series of
images which will be combined into a single image and saved.
- Once the shutter-release button is pressed all the way, hold the camera steady without
moving it until a still image is displayed. After taking a picture, do not turn the camera
off before the monitor switches to the shooting screen.
- The angle of view (i.e., the area visible in the frame) seen in the saved image will be
narrower than that seen in the monitor at the time of shooting.
•Tripod: Select this option when using a tripod or other means to stabilize the camera
during shooting.
- The Z icon is displayed in the shooting screen.
-Vibration reduction (A94) is automatically set to Off regardless of the setting in
the setup menu.
- One image is captured at a slow shutter speed when the shutter-release button is
pressed all the way.
•The focus area or focus indicator (A6) always glows green when the shutter-release
button is pressed halfway.

42
Scene Mode (Shooting Suited to Scenes)
Shooting Features
W Backlighting
Use when light is coming from behind the subject, throwing features or details into shadow.
Press the d button to set HDR (high dynamic range) compositing using the HDR setting
according to the shooting conditions and subject.
•When HDR is set to Off (default setting): The flash fires to
prevent the subject from being hidden in shadow.
- The camera focuses on the area in the center of the frame.
- One image is captured when the shutter-release button is
pressed all the way.
•When HDR is set to Level 1-Level 3: Use when taking
pictures with very bright and dark areas in the same frame.
Select Level 1 when there is less difference between bright
and dark areas, and Level 3 when there is more difference
between bright and dark areas.
- The P icon is displayed in the shooting screen.
- The camera focuses on the area in the center of the frame.
- When the shutter-release button is pressed all the way,
the camera shoots images continuously at high speed,
and saves the following two images.
- A non-HDR composite image
- An HDR composite image in which the loss of details in highlights or shadows is
minimized
- The second image saved is an HDR composite image. If there is only enough memory to
save one image, an image processed by D-Lighting (A80) at the time of shooting, in
which dark areas of the image are corrected, is the only image saved.
- Once the shutter-release button is pressed all the way, hold the camera steadily without
moving it until a still image is displayed. After taking a picture, do not turn the camera
off before the monitor switches to the shooting screen.
- The angle of view (i.e., the area visible in the frame) seen in the saved image will be
narrower than that seen in the monitor at the time of shooting.
- Depending on the shooting conditions, dark shadows may appear around bright
subjects and bright areas may appear around dark subjects. You can compensate by
lowering the level setting.

43
Scene Mode (Shooting Suited to Scenes)
Shooting Features
O Pet portrait
Use this mode when taking pictures of dogs or cats. When the
camera detects the face of a dog or cat, the camera focuses on
that face. Once the camera has focused, by default it
automatically releases the shutter (pet portrait auto release).
•Press the d button to set Pet portrait to Single or
Continuous.
-Single: Images are captured one at a time.
-Continuous (default setting): Three images are captured continuously when a face is
focused on (at a rate of about three fps when image mode is P 4608×3456). While
Continuous is selected, the F is displayed in the shooting screen.
•When the camera detects a face, a double border (focus
area) is displayed around the face, and the double border
glows green when the camera has focused.
The faces of up to five pets can be detected at the same
time. When the camera detects more than one face, the face
displayed largest in the monitor is framed by a double
border and the others by single borders.
•If no pet faces are detected, the shutter can be released by
pressing the shutter-release button.
- If no pet faces are detected, the camera focuses on the subject in the center of the
frame.
- When Continuous is selected, up to five images are captured continuously at a rate of
about three fps (when image mode is set to P 4608×3456) while the shutter-release
button is held all the way down. Shooting ends when the shutter-release button is
released.
•Press the multi selector J (n) to change auto release settings.
-Pet portrait auto release (default setting): The camera automatically releases the
shutter when it focuses on the detected face. While Pet portrait auto release is
selected, the d icon is displayed in the shooting screen.
-Off: The shutter is released only when the shutter-release button is pressed.
•Digital zoom cannot be used.
•Depending on the distance of the pet from the camera, the speed of the pet’s movement,
the direction the pet is facing, the ambient brightness of the pet’s face, etc., pet faces may
not be detected and other subjects may be displayed with a border.
•Pet portrait auto release is automatically set to Off in the following situations.
- When five series of images are captured using auto release
- When there is no remaining space in the internal memory or on the memory card
To continue using Pet portrait auto release to take more pictures, press the multi
selector J (n) and change the setting again.
8 4 0
840
2 9 m 0 s
29m 0s

44
Scene Mode (Shooting Suited to Scenes)
Shooting Features
y M b Portrait
Use this mode for portraits.
•When the camera detects a human face, it focuses on that
face (A76).
•The camera softens skin tones by applying the skin
softening function before saving images (A77).
•If no faces are detected, the camera focuses on the subject
at the center of the frame.
•Digital zoom cannot be used.
y M c Landscape
Use this mode for vivid landscapes and cityscapes.
From the screen displayed after the c Landscape scene
mode is selected, select Noise reduction burst or Single
shot.
•Noise reduction burst: Crisp landscapes are captured in
images with low noise.
- The x icon is displayed in the shooting screen.
- When the shutter-release button is pressed all the way, the camera shoots images
continuously at high speed, and combines and saves them as one image.
- Once the shutter-release button is pressed all the way, hold the camera steady without
moving it until a still image is displayed. After taking a picture, do not turn the camera
off before the monitor switches to the shooting screen.
- The angle of view (i.e., the area visible in the frame) seen in the saved image will be
narrower than that seen in the monitor at the time of shooting.
•Single shot (default setting): The camera saves an image with emphasized lines and
contrast.
- One image is captured when the shutter-release button is pressed all the way.
•The focus area or focus indicator (A6) always glows green when the shutter-release
button is pressed halfway.

45
Scene Mode (Shooting Suited to Scenes)
Shooting Features
y M dSports
Use this mode when shooting sporting events. The camera
captures a series of still images that allow you to clearly see
detailed movements in a moving subject.
•The camera focuses on the area in the center of the frame.
•Press and hold the shutter-release button all the way to
capture images continuously. Up to five images are
captured continuously at a rate of about six fps (when image mode is set to P).
•The camera focuses even when the shutter-release button is not pressed halfway. You
may hear the sound of the camera focusing.
•Focus, exposure, and hue are fixed at the values determined with the first image in each
series.
•The frame rate with continuous shooting may vary depending upon the current image
mode setting, the memory card used, or shooting condition.
y M e Night portrait
Use this mode for evening and night portraits that include
background scenery. The flash fires to light the portrait subject
while preserving background lighting to achieve a natural
balance between the main subject and background
ambience.
From the screen displayed after the e Night portrait scene
mode is selected, select Hand-held or Tripod.
•Hand-held:
- The Y icon is displayed in the shooting screen.
- When shooting against a dark background, press the shutter-release button all the way
to capture a series of images which will be combined into a single image and saved.
- Once the shutter-release button is pressed all the way, hold the camera steady without
moving it until a still image is displayed. After taking a picture, do not turn the camera
off before the monitor switches to the shooting screen.
- If the subject moves while the camera is shooting continuously, the image may be
distorted, overlapped, or blurred.
•Tripod (default setting): Select this option when using a tripod or other means to
stabilize the camera during shooting.
- The Z icon is displayed in the shooting screen.
-Vibration reduction (A94) is automatically set to Off regardless of the setting in
the setup menu.
- One image is captured at a slow shutter speed when the shutter-release button is
pressed all the way.
•The camera detects and focuses on a human face (A76).
•The camera softens skin tones by applying the skin softening function before saving
images (A77).
•If no faces are detected, the camera focuses on the subject in the center of the frame.
•Digital zoom cannot be used.

46
Scene Mode (Shooting Suited to Scenes)
Shooting Features
y M f Party/indoor
Suitable for taking pictures at parties. Captures the effects of
candlelight and other indoor background lighting.
•The camera focuses on the area in the center of the frame.
•To avoid the effects of camera shake, hold the camera
steady when shooting in dark surroundings. Set Vibration
reduction to Off in the setup menu (A94) when using a
tripod to stabilize the camera during shooting.
y M Z Beach
Captures the brightness of such subjects as beaches or sunlit
expanses of water.
•The camera focuses on the area in the center of the frame.
y M z Snow
Captures the brightness of sunlit snow.
•The camera focuses on the area in the center of the frame.
y M h Sunset
Preserves the deep hues seen in sunsets and sunrises.
•The focus area or focus indicator (A6) always glows green
when the shutter-release button is pressed halfway.
y M i Dusk/dawn
Preserves the colors seen in the weak natural light before
sunrise or after sunset.
•The focus area or focus indicator (A6) always glows green
when the shutter-release button is pressed halfway.
O
O
O: Use of a tripod is recommended when using scene modes indicated with O. Set Vibration
reduction to Off in the setup menu (A94) when using a tripod to stabilize the camera during
shooting.

47
Scene Mode (Shooting Suited to Scenes)
Shooting Features
y M k Close-up
Use this mode to photograph flowers, insects, and other small
objects at close range.
•Macro mode (A64) is enabled and the camera
automatically zooms to the closest position at which it can
focus.
•You can move the area of the frame that the area focuses
on (AF area). To move the AF area, press the k button, and then rotate the multi selector
or press H, I, J, or K.
To change settings for any of the following functions, first press the k button to cancel
focus-area selection, then change the settings as desired.
-Flash mode
- Self-timer
- Exposure compensation
•The camera focuses even when the shutter-release button is not pressed halfway. You
may hear the sound of the camera focusing.
y M u Food
Use this mode when taking pictures of food.
•Macro mode (A64) is enabled and the camera
automatically zooms to the closest position at which it can
focus.
•You can adjust hue by pressing the multi selector H and I.
The hue setting is saved in the camera’s memory even after
the camera is turned off.
•You can move the area of the frame that the area focuses on
(AF area). To move the AF area, press the k button, and
then rotate the multi selector or press H, I, J, or K.
To change settings for any of the following functions, first
press the k button to cancel focus-area selection, then
change the settings as desired.
-Hue
- Self-timer
- Exposure compensation
•The camera focuses even when the shutter-release button is not pressed halfway. You
may hear the sound of the camera focusing.
8 4 0
840
2 9 m 0 s
29m 0s

48
Scene Mode (Shooting Suited to Scenes)
Shooting Features
y M l Museum
Use indoors where flash photography is prohibited (for
example, in museums and art galleries) or in other settings in
which you do not want to use the flash.
•The camera focuses on the area in the center of the frame.
•The camera captures a series of up to ten images while the
shutter-release button is held all the way down, and the
sharpest image in the series is automatically selected and saved (best shot selector;
A52).
y M m Fireworks show
Slow shutter speeds are used to capture the light from
fireworks.
•Camera focuses at infinity.
•The focus area or focus indicator (A6) always glows green
when the shutter-release button is pressed halfway.
•Only the six optical zoom positions shown on the right can
be applied. When the zoom control is rotated, zoom will
not stop at any position other than the six indicated (digital
zoom is available).
y M n Black and white copy
Provides clear images of text or drawings on a whiteboard or
in print.
•The camera focuses on the area in the center of the frame.
•Use together with macro mode (A64) when shooting
subjects that are close to the camera.
O
O: Use of a tripod is recommended when using scene modes indicated with O. Set Vibration
reduction to Off in the setup menu (A94) when using a tripod to stabilize the camera during
shooting.

49
Scene Mode (Shooting Suited to Scenes)
Shooting Features
y M p Panorama
Use this mode to take panorama pictures.
From the screen displayed after the p Panorama scene mode is selected, select Easy
panorama or Panorama assist.
•Easy panorama (default setting): By simply moving the camera in the desired direction,
panoramas that can be played back using the camera can be taken.
- You can set the shooting range to Normal (180°) or Wide (360°).
- Press the shutter-release button all the way and release it, and then slowly move the
camera horizontally. Shooting ends automatically when the selected shooting range
has been captured.
- The camera focuses on the area in the center of the frame when shooting begins.
- The zoom position is fixed at the maximum wide-angle position.
- When viewing an image captured using easy panorama in full-frame playback mode,
press the k button to display the short edge of the image using the entire monitor
and automatically move (scroll) the displayed area.
See “Using Easy Panorama (Shooting and Playback)” (E2) for more information.
See “Playing Back Images With Easy Panorama (Scroll Playback)” (E4) for more
information.
•Panorama assist: Use this setting to capture a series of images that will be connected
using a computer to form a panorama image.
- Press the multi selector H, I, J or K to select the direction that you will move the
camera in when capturing images, and press the k button.
- After shooting the first image, confirm on the screen how the captured image will be
connected to the next image, and shoot the next image. Shoot as many images as
needed to complete the panorama. To finish shooting, press the k button.
- Transfer the images to your computer and use the included Panorama Maker 5 (A83,
E6) software to combine the images into a single panorama image.
See “Using Panorama Assist” (E5) for more information.
BNotes About Printing Panoramas
When printing panoramas, the entire image may not be able to be printed depending on the
printer’s settings. Additionally, printing may not be possible depending on the printer.
See the documentation provided with the printer or consult the digital photo lab for details.

50
Shooting Features
Continuous Shooting Mode (Burst Shooting)
Use this mode to capture the details of a moving subject by shooting a continuous
series of images.
1Press the d button and confirm or change
the settings in the continuous menu.
•See “Continuous Menu” (A52) for more information.
•Press the d button after changing the settings and
return to the shooting screen.
2Frame the subject and shoot.
•By default, when the camera detects the main subject,
it focuses on that subject. If the camera does not detect
the subject, the camera selects the focus areas (up to
nine areas) containing the subject closest to the
camera.
•Press the shutter-release button halfway to lock focus
and exposure.
•When Continuous, Pre-shooting cache, or BSS is selected in the continuous menu,
images are captured while the shutter-release button is held all the way down.
•When Continuous H: 120 fps, Continuous H: 60 fps, or Multi-shot 16 is selected
in the continuous menu, the number of images determined by the setting are
captured when the shutter-release button is pressed all the way. There is no need to
hold the shutter-release button down.
•The focus, exposure, and white balance settings are fixed at the values for the first
image in each series.
•After shooting, the camera returns to the shooting screen. If O is displayed, do not
turn the camera off.
8 4 0
840
2 9 m 0 s
29m 0s
Autofocus mode
AF area mode
ISO sensitivity
Metering
Continuous
White balance
Image mode
Continuous
8 4 0
840
2 9 m 0 s
29m 0s

51
Continuous Shooting Mode (Burst Shooting)
Shooting Features
BNotes About Continuous Shooting Mode
•It may take some time to save the images after shooting. The amount of time it takes to finish
saving the captured images depends on the number of images, image mode, the write speed of
the memory card, etc.
•When ISO sensitivity increases, noise may appear in captured images.
•The speed of continuous shooting may decrease depending on the image mode, type of memory
card used, and shooting conditions.
•When continuous is set to Pre-shooting cache, Continuous H: 120 fps, Continuous H: 60 fps,
or Multi-shot 16, banding or variance in brightness or hue may occur in images that were
captured under lighting that flickers at high speeds, such as fluorescent, mercury-vapor, or
sodium-vapor lighting.
CImages Captured in Continuous Shooting Mode
Each time you capture images when continuous is set to Continuous, Pre-shooting cache,
Continuous H: 120 fps, Continuous H: 60 fps, or smile timer continuous, the captured images
are saved as a “sequence” (E7).
Changing Continuous Shooting Mode Settings
•Features That Can Be Set Using the Multi Selector (A55): smile timer
continuous (A61), macro mode (A64), creative slider (o brightness
(exposure compensation), G vividness, F hue) (A65)
•Features that can be set by pressing the d button: See “Options Available in
the Continuous Shooting Menu” (A52).
CFeatures That Cannot Be Used Simultaneously
Some settings cannot be used with other functions (A73).

52
Continuous Shooting Mode (Burst Shooting)
Shooting Features
Options Available in the Continuous Shooting Menu
You can select the type of continuous shooting in the continuous shooting menu,
in addition to the options (A37) that are available when using A (auto) mode,
such as image mode and white balance.
•For items not related to continuous shooting, see “Options Available in the Auto
Shooting Menu” (A37).
•Other than the continuous shooting type, items
share the same settings with A (auto) mode, and
the settings are saved in the camera’s memory even
if the camera is turned off.
Enter shooting mode M d button M V tab (A11)
Option Description A
VContinuous
(default setting)
While the shutter-release button is held all the way
down, up to five pictures are taken at a rate of about 6
frames per second (fps) (when Image mode is set to P
4608×3456).
E35
qPre-shooting cache
Pre-shooting cache makes it easy to capture perfect
moments, by saving images from before the shutter-
release button was pressed all the way. Pre-shooting
cache shooting begins when the shutter-release button
is pressed halfway, and continues when the shutter-
release button is pressed all the way.
Shooting ends when the shutter-release button is released
or when the maximum number of frames has been shot.
E35
Cn Continuous H:
120 fps
Each time the shutter-release button is pressed all the way,
60 frames are captured at a speed of about 1/125 s or faster.
E35
Cj Continuous H:
60 fps
Each time the shutter-release button is pressed all the way,
60 frames are captured at a speed of about 1/60 s or faster.
E35
DBSS (best shot
selector)
The “best shot selector” is recommended when
shooting with the flash off or the camera zoomed in, or
in other situations in which inadvertent motion can
result in blurred images. The camera captures a series of
up to ten images while the shutter-release button is
held all the way down, and the sharpest image in the
series is automatically selected and saved.
E35
WMulti-shot 16
Each time the shutter-release
button is pressed, the camera
takes 16 shots at a rate of about
30 fps and arranges them in a
single image.
E36
Autofocus mode
AF area mode
ISO sensitivity
Metering
Continuous
White balance
Image mode
Continuous

53
Shooting Features
Special Effects Mode (Applying Effects When Shooting)
Effects can be applied to images during shooting.
The following six effects are available.
1Press the d button to display the special
effects menu, use the multi selector to select
Special effects, and then press the k button.
2Press H or I to select an effect and press the
k button.
•Press the d button after changing the settings and
return to the shooting screen.
Option Description
OSoft (default setting) Softens the image by adding a slight blur to the entire
image.
PNostalgic sepia Adds a sepia tone and reduces the contrast to simulate
the qualities of an old photograph.
FHigh-contrast monochrome Changes the image to black and white and gives it sharp
contrast.
GHigh key Gives the entire image a bright tone.
HLow key Gives the entire image a dark tone.
ISelective color Creates a black and white image in which only the
specified color remains.
8 4 0
840
2 9 m 0 s
29m 0s
Image mode
Special eects
Special eects
Soft
High key
High key
High key
Low key
Low k ey
Low key
Selective color
Selective color
Selective color
High-contrast monochrome
High-contrast monochrome
High-contrast monochrome
Nostalgic sepia
Nostalgic sepia
Nostalgic sepia
Special eects

54
Special Effects Mode (Applying Effects When Shooting)
Shooting Features
3Frame the subject and shoot.
•The camera focuses on the area in the center of the frame.
•When Selective color is selected in step 2, rotate the
multi selector or press H or I to select the desired
color from the slider.
To change settings for any of the following functions,
first press the k button to cancel color selection, then
change the settings as desired:
- Flash mode (A56)
- Self-timer (A59)
- Macro mode (A64)
- Exposure compensation (A68)
To return to the color selection screen, press the k
button again.
Changing Special Effects Mode Settings
•Features That Can Be Set Using the Multi Selector (A55): flash mode (A56),
self-timer (A59), macro mode (A64), exposure compensation (A68)
•Features that can be set by pressing the d button: Image mode, which is
the combination of image size and image quality (A71).
Save
Sav e
Save
Slider
Select color
Se l ec t c o l or
Select color
8 4 0
840
2 9 m 0 s
29m 0s

55
Shooting Features
Features That Can Be Set Using the Multi Selector
When shooting, the multi selector H (X), I (p), J (n), and K (o) can be used
to set the following features.
Available Features
The features that are available vary with the shooting mode, as shown below.
•See “Default Settings” (A69) for information about each mode’s default
settings.
* Varies by the scene. See “Default Settings” (A69) for more information.
Ax, y,
j, W, OVu
XFlash mode (A56) w
*
–w
n
Self-timer (A59) w–w
Smile timer (A61) w––
Pet portrait auto release (A43) – – –
Smile timer continuous (A61) – w–
pMacro mode (A64) www
o
Creative slider
(o brightness (exposure
compensation), Gvividness,
Fhue) (A65)
ww–
Exposure compensation (A68) – – w
X (flash mode)
p (macro mode)
o creative slider,
exposure compensation
n (self-timer), smile timer,
pet portrait auto release,
smile timer continuous

56
Features That Can Be Set Using the Multi Selector
Shooting Features
Using the Flash (Flash Mode)
You can set the flash mode to match the shooting conditions.
1Press the multi selector H(mflash mode).
2Use the multi selector to select the desired
mode and press the k button.
•See “Available Flash Modes” (A57).
•If a setting is not applied by pressing the k button
within a few seconds, the selection will be canceled.
•When U (auto) is applied, D is only displayed for
a few seconds, regardless of Monitor settings
(A94).
3Frame the subject and take a picture.
•See “Raising and Lowering the Flash”
(A58).
•The flash lamp indicates the status of the
flash when you press the shutter-release
button halfway.
- On: The flash will fire when you press the shutter-release button all the way down.
- Blinking: The flash is charging. The camera cannot take pictures.
- Off: The flash will not fire when a picture is taken.
•If the battery is low, the monitor will turn off in order to save power while the flash is
charging.
Auto
8 4 0
840
2 9 m 0 s
29m 0s
CEffective Range of the Flash
When ISO sensitivity is set to Auto, the flash has a range of 0.5 to 5.5 m (1 ft 8 in. to 18 ft) at the
maximum wide-angle zoom position and a range of 1.0 to 3.0 m (3 ft 4 in. to 9 ft 10 in.) at the
maximum telephoto zoom position.

57
Features That Can Be Set Using the Multi Selector
Shooting Features
Available Flash Modes
UAuto
Flash fires automatically when lighting is dim.
VAuto with red-eye reduction
Reduce “red-eye” in portraits caused by the flash.
WOff
Flash will not fire even when lighting is dim.
•We recommend using a tripod to stabilize the camera when shooting in dark
surroundings.
XFill flash
Flash fires whenever a picture is taken. Use to “fill-in” (illuminate) shadows and
backlit subjects.
YSlow sync
Auto flash mode is combined with slow shutter speed.
Suited to evening and night portraits that include background scenery.
Flash illuminates main subject; slow shutter speeds are used to capture
background at night or under dim lighting.
CThe Flash Mode Setting
•The setting varies with the shooting mode. See “Available Features” (A55) and “Default Settings”
(A69) for more information.
•Some settings cannot be used with other functions (A73).
•The flash mode setting applied in A (auto) mode is saved in the camera’s memory even after the
camera is turned off.
CRed-eye Reduction
T
his camera uses advanced red-eye reduction (In-Camera Red-Eye Fix). If the camera detects red
eye while saving an image, the affected area will be processed to reduce red-eye before the image is
saved.
Note the followings when shooting.
•More time than usual is required to save images.
•Red-eye reduction may not produce the desired results in some situations.
•In extremely rare instances, areas not subject to red-eye may be affected by red-eye reduction
processing; in these cases, select another flash mode and try again.

58
Features That Can Be Set Using the Multi Selector
Shooting Features
Raising and Lowering the Flash
The camera automatically raises and lowers the flash.
•Do not pull the flash up or push down on it.
Raising the Flash
When you press the shutter-release button halfway, the flash will pop up if the
conditions required for flash shooting are met.
•When the flash fires automatically (U auto
flash, V auto with red-eye reduction, or Y
slow sync): If the subject is dimly lit during
shooting, the flash automatically pops up when
you press the shutter-release button halfway.
The camera determines whether or not to pop
up the flash based on the brightness of the
subject and the settings used during shooting.
•W (off): When the flash is lowered, the flash does not pop up even if the shutter-
release button is pressed halfway.
•X (fill flash): The flash automatically pops up when you press the shutter-release
button halfway.
Lowering the Flash
To lower the flash, turn the camera off.
•Be careful not to pinch fingers or other objects.
•The flash cannot be lowered by pushing it down.

59
Features That Can Be Set Using the Multi Selector
Shooting Features
Using the Self-timer
The camera is equipped with a self-timer that releases the shutter ten or two
seconds after you press the shutter-release button. The self-timer is useful when
you want to be in the picture you are taking, and when you want to avoid the
effects of camera shake that occur when you press the shutter-release button.
When using the self-timer, use of a tripod is recommended. Set Vibration
reduction to Off in the setup menu (A94) when using a tripod to stabilize the
camera during shooting.
1Press the multi selector J(nself-timer).
2Use the multi selector to select 10s or 2s and
press the k button.
•10s (ten seconds): Use on important occasions, such as
weddings.
•2s (two seconds): Use to prevent camera shake.
•When a is selected, the camera uses face detection to
detect a human face, and then automatically releases
the shutter when a smile is detected (A61).
•When the shooting mode is set to Pet portrait scene mode, Y (pet portrait auto
release) is displayed; when set to continuous shooting mode, a (smile timer
continuous) is displayed (A43, 61). The self-timer settings 10s and 2s cannot be
used.
•The mode selected for self-timer is displayed.
•If a setting is not applied by pressing the k button within a few seconds, the
selection will be canceled.
3Frame the picture and press the
shutter-release button halfway.
•Focus and exposure will be set.
Self-timer
F 3.3
F 3.3
1/250
1/250

60
Features That Can Be Set Using the Multi Selector
Shooting Features
4Press the shutter-release button the
rest of the way down.
•The self-timer starts, and the number of
seconds remaining before the shutter is
released is displayed in the monitor. The self-
timer lamp blinks while the timer is counting
down. About one second before the shutter
is released, the lamp stops blinking and glows
steadily.
•When the shutter is released, the self-timer
will be set to OFF.
•To stop the timer before a picture is taken,
press the shutter-release button again.
F 3.3
F 3.3
1/250
1/250

61
Features That Can Be Set Using the Multi Selector
Shooting Features
Using the Smile Timer, Smile Timer Continuous
When the camera detects a person’s smile, it automatically releases the shutter;
you do not need to press the shutter-release button.
•Smile timer: Images are captured one at a time. This feature can be used when
shooting mode (A24) is set to A (auto) mode or the Portrait or Night
portrait scene mode (A39).
•Smile timer continuous: A continuous series of images is captured. This feature
can be used when shooting mode (A24) is set to continuous shooting mode
(A50).
1Press the multi selector J(nself-timer).
•To adjust settings for creative slider, exposure
compensation, or items in the shooting menu, adjust
the settings before pressing n.
2Use the multi selector to select a(smile timer
or smile timer continuous) and press the k
button.
•If a setting is not applied by pressing the k button
within a few seconds, the selection will be canceled.
Smile timer
Smile timer continuous
Smile timer
Smile timer continuous

62
Features That Can Be Set Using the Multi Selector
Shooting Features
3Frame the picture and wait for the subject to
smile.
•When the camera detects a human face, a double
border (focus area) is displayed around that face. When
the camera has focused on that face, the double
border will turn green for a moment and focus is
locked.
•Up to three faces can be detected. When the camera detects more than one face, the
double border (focus area) is displayed around the face closest to the center of the
frame, and single borders around the others.
•When using smile timer:
- If the camera detects that the face framed by the double border is smiling, the
shutter is automatically released.
- After the camera releases the shutter, it will continue to detect faces and smiles, and
will release the shutter again if it detects a smiling face.
- To end automatic shooting by smile detection, set the smile timer to OFF.
•When using smile timer continuous:
- The F icon is displayed in the shooting screen.
- If the camera detects that the face framed by the double border is smiling, the
shutter is automatically released and up to five images are captured at a rate of
about 3 fps.
- The camera will continue to detect faces and smiles until continuous shooting
ends, and will capture images continuously again if it detects a smiling face. To
finish, set the smile continuous timer to OFF.
8 4 0
840
2 9 m 0 s
29m 0s

63
Features That Can Be Set Using the Multi Selector
Shooting Features
BNotes About the Smile Timer, Smile Timer Continuous
•Digital zoom cannot be used.
•Under some shooting conditions, the camera may be unable to detect faces or detect smiles.
•See “Notes About Face Detection” (A76) for more information.
•This function cannot be used simultaneously with certain functions. See “Features That Cannot Be
Used Simultaneously” (A73) for more information.
CAuto Power Off When Using Smile Timer, Smile Timer Continuous
The auto off function (A95) is activated and the camera turns off when either of the situations
indicated below persists and no other operations are performed.
•The camera does not detect any faces.
•The camera detected a face, but cannot detect a smile.
CWhen the Self-timer Lamp Blinks
The self-timer lamp blinks slowly when the camera detects a face, and blinks quickly immediately
after the shutter is released.
CReleasing the Shutter Manually
Pictures can also be taken by pressing the shutter-release button. The camera focuses on the subject
in the center of the frame when faces are not detected.
CMore Information
See “Autofocus” (A29) for more information.

64
Features That Can Be Set Using the Multi Selector
Shooting Features
Using Macro Mode
When using macro mode, the camera can focus on objects as close as 1 cm
(0.4 in.) from the front of the lens.
This feature is useful when taking close-up pictures of flowers and other small subjects.
1Press the multi selector I(pmacro mode).
2Use the multi selector to select ON and press
the k button.
•The macro mode icon (F) is displayed.
•If a setting is not applied by pressing the k button
within a few seconds, the selection will be canceled.
3Rotate the zoom control to the zoom position
at which F and the zoom indicator glow green.
•How close you can be to the subject when shooting
depends on the zoom ratio.
When the zoom is set to a position where F and the
zoom indicator glow green, the camera can focus on subjects as close as 10 cm (4 in.)
from the lens.
When the zoom ratio is wider than G, the camera can focus on subjects as close as
1 cm (0.4 in.) from the lens.
Macro mode
BNotes About Using the Flash
T
he flash may be unable to light entire subject at distances of less than 50 cm (1 ft 8 in.) from the camera.
CAutofocus
When using macro mode in A (auto) mode or continuous shooting mode, you can focus without
pressing the shutter-release button halfway by setting Autofocus mode (A38) in the shooting
menu (A37) to Full-time AF.
When using other shooting modes, Full-time AF is turned on automatically when macro mode is
turned on (except when using O (pet portrait)).
You may hear the sound of the camera focusing.
CThe Macro Mode Setting
•Macro mode cannot be used when using certain shooting modes. See “Default Settings” (A69)
for more information.
•A(auto) mode and continuous shooting mode share the same macro mode setting. When using
A(auto) mode or continuous shooting mode, the macro mode setting is saved in the camera’s
memory even if the camera is turned off.

65
Features That Can Be Set Using the Multi Selector
Shooting Features
Adjusting Brightness (Exposure Compensation), Vividness,
and Hue (Creative Slider)
When the shooting mode (A24) is set to A (auto) mode (A36) or continuous
shooting mode (A50), use the creative slider to adjust brightness (exposure
compensation), vividness, and hue for taking pictures.
Operating the Creative Slider
1Press the multi selector K(o).
2Press the multi selector J or K to select o,
G, or F.
3Adjust the brightness, vividness, or hue.
•Use the multi selector as explained below.
-HI: The slider moves. The effect can be adjusted
while confirming the results in the monitor. The
effect can also be adjusted by rotating the multi
selector.
-J K: Switches between brightness (exposure
compensation), vividness, and hue.
•For more information on each item, see the following:
- “Adjusting Brightness (Exposure Compensation)” (A67)
- “Adjusting Vividness (Saturation Adjustment)” (A67)
- “Adjusting Hue (White Balance Adjustment)” (A67)
•To turn off the effects of the creative slider, press J or K to select P, and press the
k button.
Brightness (Exp. +/-)
0.0
0.0
0.0
Brightness (Exp. +/-)
+0.3
+0.3
+0.3
Slider

66
Features That Can Be Set Using the Multi Selector
Shooting Features
4When adjustment is complete, press J or K
to select y and press the k button.
•If the k button (except when P is selected) or the
shutter-release button is pressed in step 3, the selected
amount of effect is applied. When the effect is applied,
the camera returns to the shooting screen.
•If brightness is adjusted, H and the compensation
value are displayed.
•If vividness is adjusted, a is displayed.
•If hue is adjusted, b is displayed.
5Press the shutter-release button to take a picture.
End
+0.3
+0.3
8 4 0
840
2 9 m 0 s
29m 0s
CCreative Slider Settings
A(auto) mode and continuous shooting mode share the same settings for brightness (exposure
compensation), vividness, and hue; these settings are saved in the camera’s memory even when the
camera is turned off.

67
Features That Can Be Set Using the Multi Selector
Shooting Features
Adjusting Brightness (Exposure Compensation)
Adjust the overall brightness of the image.
•To make the subject brighter, move the slider
toward “+.”
•To make the subject darker, move the slider toward
“–.”
CUsing the Histogram
A histogram is a graph showing the distribution of tones in the image. Use as a guide when using
exposure compensation and shooting without the flash.
•The horizontal axis corresponds to pixel brightness, with dark tones to the left and bright tones to
the right. The vertical axis shows the number of pixels.
•Increasing exposure compensation shifts tone distribution to the right, and decreasing it shifts
tone distribution to the left.
Adjusting Vividness (Saturation Adjustment)
Adjust the overall vividness of the image.
•Vividness increases as the slider is moved up.
Vividness decreases as the slider is moved down.
Adjusting Hue (White Balance Adjustment)
Adjust the overall hue of the image.
•The overall image becomes more reddish as the
slider is moved up. The overall image becomes more
bluish as the slider is moved down.
Brightness (Exp. +/-)
0.0
0.0
0.0
Exposure
compensation
value
Histogram
Slider
Vividness
Slider
Hue
Slider
BNotes About White Balance Adjustment
When hue is adjusted using the creative slider, White balance in the shooting menu (A37)
cannot be set. To set White balance, select P in the creative slider setting screen to reset the
brightness, vividness, and hue.

68
Features That Can Be Set Using the Multi Selector
Shooting Features
Adjusting Brightness (Exposure Compensation)
When the shooting mode (A24) is set to scene mode (A39) or special effects
mode (A53), you can adjust the brightness (exposure compensation).
1Press the multi selector K(oexposure
compensation).
2Use the multi selector to select a
compensation value.
•To make the subject brighter, apply positive (+)
exposure compensation.
•To make the subject darker, apply negative (–)
exposure compensation.
3Press the k button to apply the
compensation value.
•If you do not press the k button within a few seconds,
the setting will be applied and the menu will disappear.
•When an exposure compensation value other than 0.0
is applied, the value is displayed with the H indicator in
the monitor.
4Press the shutter-release button to shoot.
•To reset exposure compensation, repeat from step 1 and set the value to 0.0.
+0.3
Exposure compensation
+0.3
+0.3
Histogram
Exposure compensation
value
8 4 0
840
2 9 m 0 s
29m 0s
CNotes About Exposure Compensation Value
When using the Fireworks show (A48) scene mode, exposure compensation is not available.
CHistogram
See “Using the Histogram” (A67) for more information.

69
Features That Can Be Set Using the Multi Selector
Shooting Features
Default Settings
Default settings for each shooting mode are described below.
•Information about scene mode can be found on the next page.
1You can turn the self-timer and smile timer (A61) on and off.
2The setting cannot be changed.
3Self-timer cannot be used. You can turn the smile timer continuous (A61) on and off.
•Settings applied in A (auto) mode and continuous shooting mode are saved in
the camera’s memory even after the camera is turned off, except for the self-
timer setting.
Flash
(A56)
Self-timer
(A59)
Macro
(A64)
Creative
slider
(A65)
Exposure
compensation
(A68)
A (auto) UOff1Off Off –
V (continuous) W2Off3Off Off –
u
(special effects) WOff Off – 0.0

70
Features That Can Be Set Using the Multi Selector
Shooting Features
Default settings for scene mode are described below.
1U (auto) or W (off) can be selected. When U (auto) is selected, the camera
automatically selects the flash mode appropriate for the scene it has selected.
2The setting cannot be changed.
3Flash is fixed at X (fill flash) when HDR is set to Off, and is fixed at W (off) when HDR is set
to other than Off.
4Self-timer cannot be used. You can turn the pet portrait auto release (A43) on and off.
5You can turn the self-timer and smile timer (A61) on and off.
6The flash fires using red-eye reduction.
7Slow sync with red-eye reduction flash mode may be used. The default setting can be
modified.
8Can be changed when using Panorama assist.
9Self-timer can be used when using Panorama assist.
Flash
(A56)
Self-timer
(A59)
Macro
(A64)
Exposure
compensation
(A65)
x (A40) U1Off Off20.0
j (A41) W2Off Off20.0
W (A42) X3Off Off20.0
O (A43) W2Y4Off 0.0
b (A44) VOff5Off20.0
c (A44) W2Off Off20.0
d (A45) W2Off2Off20.0
e (A45) V6Off5Off20.0
f (A46) V7Off Off20.0
Z (A46) UOff Off 0.0
z (A46) UOff Off 0.0
h (A46) W2Off Off20.0
i (A46) W2Off Off20.0
k (A47) WOff On20.0
u (A47) W2Off On20.0
l (A48) W2Off Off 0.0
m (A48) W2Off2Off20.02
n (A48) WOff Off 0.0
p (A49) W8Off9Off80.0
CFeatures That Cannot Be Used Simultaneously
Some settings cannot be used with other functions (A73).

71
Shooting Features
Changing the Image Size (Image Mode)
You can use the Image mode setting in the shooting menu to select the
combination of image size and compression ratio that is used when saving images.
Select the image mode best suited to the manner in which images will be used
and the capacity of the internal memory or memory card. The higher the image
mode setting, the larger the size at which it can be printed, but the number of
images that can be saved is reduced.
Image Mode Settings (Image Size and Quality)
* The total number of pixels captured, and the number of pixels captured horizontally and
vertically.
Example: P 4608×3456 = approx. 16 megapixels, 4608 × 3456 pixels
The icon for the current setting is displayed in the monitor in shooting and
playback modes (A6, 8).
Enter shooting mode M d button M Shooting menu M Image mode
Option* Description
Q 4608×3456PImages will be higher quality than P. The compression ratio is
approximately 1:4.
P 4608×3456
(default setting)
Best choice in most situations. The compression ratio is
approximately 1:8.
I 4000×3000
R 3264×2448
L 2592×1944
M 2048×1536 Smaller size than P, I, R, or L allows more images to be saved.
The compression ratio is approximately 1:8.
N 1024×768 Suited to display on a computer monitor. The compression ratio is
approximately 1:8.
O 640×480 Suited to display on a TV with an aspect ratio of 4:3, or distribution
by e-mail. The compression ratio is approximately 1:8.
l 4608×2592 Images with an aspect ratio of 16:9 are saved. The compression
ratio is approximately 1:8.
CNotes About Image Mode
•The setting is also applied to other shooting modes.
•Some settings cannot be used with other functions (A73).

72
Changing the Image Size (Image Mode)
Shooting Features
CNumber of Exposures Remaining
The following table lists the approximate number of images that can be saved in the internal
memory and on a 4 GB memory card. Note that due to JPEG compression, the number of images
that can be saved varies greatly depending on the composition of the image. In addition, this
number may vary depending on the make of memory card, even when the memory cards have the
same specified capacity.
1If the number of exposures remaining is 10,000 or more, the number of exposures
remaining display shows “9999”.
2Print size at an output resolution of 300 dpi. Print sizes are calculated by dividing the
number of pixels by printer resolution (dpi) and multiplying by 2.54 cm (1 in.). However, at
the same image size, images printed at higher resolutions will print smaller than the size
indicated, and those printed at lower resolutions will print larger than the size indicated.
Image mode Internal memory
(approx. 89 MB)
Memory card1
(4 GB) Print size2 (cm/in.)
Q 4608×3456P11 470 39 × 29/15 × 11
P 4608×3456 19 840 39 × 29/15 × 11
I 4000×3000 26 1110 34 × 25/13 × 10
R 3264×2448 39 1650 28 × 21/11 × 8
L 2592×1944 61 2560 22 × 16/8.5 × 6.5
M 2048×1536 96 4020 17 × 13/7 × 5
N 1024×768 299 12000 9 × 7/3.5 × 2.5
O 640×480 813 30100 5 × 4/2 × 1.5
l 4608×2592 26 1120 39 × 22/15 × 8.6

73
Shooting Features
Features That Cannot Be Used Simultaneously
Some shooting settings cannot be used with other functions.
Restricted
function Setting Description
Self-timer AF area mode (A37) When AF area mode is set to Subject
tracking, self-timer cannot be used.
Continuous Smile timer continuous
(A61)
Smile timer continuous is used for shooting
regardless of the Continuous setting.
Macro mode AF area mode (A37) When AF area mode is set to Subject
tracking, macro mode cannot be used.
Image mode Continuous (A50)
When using Pre-shooting cache, image
mode is fixed at M.
When using Continuous H: 120 fps,
image mode is fixed at O. When using
Continuous H: 60 fps, image mode is
fixed at M (image size: 1280×960 pixels).
When using Multi-shot 16, image mode is
fixed at L(image size: 2560×1920 pixels).
White balance Hue (using the creative
slider) (A65)
When hue is adjusted using the creative
slider, White balance in the shooting
menu cannot be set. To set White balance,
select P in the creative slider setting
screen to reset the brightness, vividness,
and hue.
ISO sensitivity Continuous (A50)
When shooting with Pre-shooting cache,
Continuous H: 120 fps, Continuous H:
60 fps, or Multi-shot 16, the ISO
sensitivity setting is automatically set
according to the brightness.

74
Features That Cannot Be Used Simultaneously
Shooting Features
AF area mode
Self-timer (A59)
When using Target finding AF, if you use
the self-timer, the camera functions as
when AF area mode is set to Auto.
Smile timer, smile timer
continuous (A61)
Face detection is used regardless of the AF
area mode setting.
Creative slider (A65)
When using Target finding AF, if vividness
or hue is adjusted using the creative slider,
the camera functions as when AF area
mode is set to Auto.
White balance (A37)
When using Target finding AF, if White
balance is set to any setting other than
Auto, the camera functions as when AF
area mode is set to Auto.
Autofocus mode
Smile timer, smile timer
continuous (A61)
When using smile timer or smile timer
continuous, Autofocus mode is fixed at
Single AF.
AF area mode (A37)
When AF area mode is set to Face
priority, AF area mode is fixed at Single
AF.
Print date Continuous (A50)
When shooting with Pre-shooting cache,
Continuous H: 120 fps, or Continuous H:
60 fps, the shooting date is not imprinted.
Vibration reduction
Night landscape (A41) When Vibration reduction is set to
Tripod, it changes to Off.
Night portrait (A45) When Vibration reduction is set to
Tripod, it changes to Off.
Motion detection
ISO sensitivity (A37) When ISO sensitivity is fixed, Motion
detection is disabled.
AF area mode (A37) When AF area mode is set to Subject
tracking, Motion detection is disabled.
Digital zoom
Smile timer, smile timer
continuous (A61) Digital zoom cannot be used.
AF area mode (A37) When AF area mode is set to Subject
tracking, digital zoom cannot be used.
Continuous (A50) When using Multi-shot 16, digital zoom
cannot be used.
Restricted
function Setting Description

75
Features That Cannot Be Used Simultaneously
Shooting Features
Blink warning
Smile timer, smile timer
continuous (A61) Blink warning does not function.
Night portrait (A45) When Hand-held is selected, blink warning
is disabled.
Restricted
function Setting Description
BNotes About Digital Zoom
•Depending on the shooting mode or the current settings, digital zoom may not be available
(E70).
•When digital zoom is in effect, the camera focuses in the center of the frame. Additionally,
metering automatically switches to center-weighted metering.

76
Shooting Features
Using Face Detection
When the following shooting modes or settings are
selected, the camera uses face detection to
automatically focus on human faces. If the camera
detects more than one face, a double border is
displayed around the face that the camera will focus on,
and single borders are displayed around the other faces.
•
When using
Face priority
, if you press the shutter-release button halfway while
no faces are detected or while framing a shot with no faces in it, the camera selects
the focus area (up to nine areas) containing the subject closest to the camera.
•When using scene auto selector, the focus area changes depending on which
scene the camera selects.
•If no faces are detected when the shutter-release button is pressed halfway
when using Portrait or Night portrait, the camera will focus on the subject in
the center of the frame.
Shooting mode Number of faces that
can be detected
Focus area
(double border)
When AF area mode (A37) in A
(auto) mode or continuous shooting
mode is set to Face priority Up to 12 The face closest to the
camera
Scene auto selector, Portrait, or Night
portrait scene mode (A39) is selected
Smile timer, smile timer continuous
(A61) Up to 3 The face closest to the
center of the frame
8 4 0
840
2 9 m 0 s
29m 0s
BNotes About Face Detection
•
The camera’s ability to detect faces depends on a variety of factors, including the direction in which the
faces are looking. Additionally, the camera may be unable to detect faces in the following situations:
- When faces are partially hidden by sunglasses or otherwise obstructed
- When faces take up too much or too little of the frame
•When the frame includes more than one face, the faces detected by the camera and the face on
which the camera focuses depend upon a variety of factors, including the direction in which the
faces are looking.
•In some rare cases, such as those described in “Autofocus” (A29), the subject may not be in
focus even though the double border turns green. Should this occur, change AF area mode to
Manual or Center in A (auto) mode, and try focus lock shooting (A78) by focusing on another
subject that is the same distance from the camera.
BViewing Images That Were Captured Using Face Detection
•During playback, the camera automatically rotates images according to the orientation of the faces
that were detected at the time of shooting, except when viewing an image captured in a series.
•When zooming in on an image displayed full-frame by rotating the zoom control to g (i), the
image will be enlarged so that the face that was detected at the time of shooting is displayed in
the center of the monitor (A31), except when viewing an image captured in a series.

77
Shooting Features
Using Skin Softening
When the shutter is released when using one of the following shooting modes,
the camera detects one or more human faces (up to three), and processes the
image to soften facial skin tones before saving the image.
•Scene auto selector (A40), Portrait (A44), or Night portrait (A45)
scene mode is selected.
Skin softening can also be applied to saved images (A80).
BNotes About Skin Softening
•It may take more time than usual to save images after shooting.
•Under some shooting conditions, the desired skin softening results may not be achieved, and skin
softening may be applied to areas of the image where there are no faces. If the desired results are
not produced, switch to another shooting mode and then try shooting again.

78
Shooting Features
Focus Lock
You can use focus lock to focus on off-center subjects when center is selected for
AF area mode.
The following procedure describes how to use focus lock when using A (auto)
mode with AF area mode (A37) set to Center.
1Position the subject in the center of the frame.
2Press the shutter-release button
halfway.
•Confirm that the focus area glows green.
•Focus and exposure are locked.
3Continue holding down the shutter-release
button halfway and recompose the picture.
•Be sure to maintain the same distance between the
camera and the subject.
4Press the shutter-release button the rest of
the way down to take the picture.
8 4 0
840
2 9 m 0 s
29m 0s
F 3.3
F 3.3
1/250
1/250
F 3.3
F 3.3
1/250
1/250

79
Playback Features
Playback Features
This chapter describes the features that are available when playing back images.
4 / 4
4/ 4
1 5/1 1/ 2 01 1 1 5: 30
15/11/2011 15:30
0 004 . J PG
0004. JPG
Playback menu
Print order
Protect
Quick retouch
D-Lighting
Skin softening
Filter eects
Slide show

80
Playback Features
Playback Features
Features Available in Playback Mode (Playback Menu)
When viewing images in full-frame playback mode or thumbnail playback mode,
you can select one of the following functions by pressing the d button (A11)
to display the menu and then selecting the c tab.
* Images are edited and saved as separate files. Certain restrictions apply (E10, E11). For
example, images captured at an Image mode (A71) setting of l 4608×2592 cannot
be edited, and the same editing feature cannot be applied multiple times.
Option Description A
kQuick retouch* Allows you to create retouched copies in which
contrast and saturation have been enhanced. E12
ID-Lighting* Allows you to create copies with enhanced brightness
and contrast, brightening dark portions of an image. E13
eSkin softening* When this feature is enabled, the camera detects faces in
images and creates a copy with softer facial skin tones. E14
pFilter effects*
Digital filter effects can be used to apply a variety of
effects to images. Effect types include Cross screen,
Fisheye, Miniature effect, and Painting.
E16
aPrint order
When using a printer to print images saved on the
memory card, you can use the Print order function to
select which images are printed, and how many copies
of each image are printed.
E43
bSlide show Allows you to view images saved in the internal memory
or on a memory card in an automatic slide show. E46
dProtect Protects selected images from accidental deletion. E47
fRotate image Specifies the orientation in which saved images are
displayed during playback. E49
gSmall picture*
Creates a small copy of the current image. This feature
is useful for creating copies for display on Web pages
or for e-mail attachments.
E18
EVoice memo
Allows you to use the camera’s microphone to record
voice memos and attach them to images. You can also
play back and delete voice memos.
E50
hCopy Allows you to copy images between the internal
memory and a memory card. E52
CSequence display
options
Allows you to display a sequence of images shot
continuously as individual images, or display only the
key picture of a sequence.
E54
NChoose key picture
Allows you to change the key picture that is displayed to
represent a series of images shot continuously. See
“Playing Back and Deleting Images Captured Continuously
(Sequence)” (
E
7) for information about sequences.
E54

81
Playback Features
Connecting the Camera to a TV, Computer, or Printer
You can enhance your enjoyment of images and movies by connecting the
camera to a TV, computer, or printer.
•Before connecting the camera to an external device, make sure the remaining
battery level is sufficient and turn the camera off. For information about the
connection methods and subsequent operations, refer to the documentation
included with the device in addition to this document.
Viewing images on a TV E21
You can view the camera’s images and movies on a TV.
Connection method: Connect the video and audio plugs of the included
Audio Video Cable EG-CP16 to the TV’s input jacks. Alternatively,
connect a commercially available HDMI cable (Type C) to the TV’s HDMI
input jack.
Viewing and organizing images on a computer A82
If you transfer images to a computer, you can perform simple
retouching and manage image data in addition to playing back images
and movies.
Connection method: Connect the camera to the computer’s USB input
jack with the included USB Cable UC-E6.
•Before connecting to a computer, install ViewNX 2 on the computer
using the included ViewNX 2 Installer CD-ROM. For information about
using the ViewNX 2 Installer CD-ROM and transferring images to a
computer, see page 82.
•If any USB devices that draw the power from the computer are
connected, disconnect them from the computer before you connect
the camera to it.
•Connecting the camera and other USB-powered devices to the same
computer simultaneously may cause a camera malfunction or
excessive power supply from the computer, which could damage the
camera or memory card.
Printing images without using a computer E24
If you connect the camera to a PictBridge-compatible printer, you can
print images without using a computer.
Connection method: Connect the camera directly to the printer’s USB
input jack with the included USB Cable UC-E6.
Insert the plug straight.
USB/audio/video output connector
HDMI mini connector (Type C)
How to open the connector
cover.

82
Playback Features
Using ViewNX 2
ViewNX 2 is an all-in-one software package which enables you to transfer, view,
edit and share images.
Install ViewNX 2 using the ViewNX 2 Installer CD-ROM.
Installing ViewNX 2
•An Internet connection is required.
Compatible Operating Systems
Windows
•Windows 7 Home Basic/Home Premium/Professional/Enterprise/Ultimate
•Windows Vista Home Basic/Home Premium/Business/Enterprise/Ultimate
(Service Pack 2)
•Windows XP Home Edition/Professional (Service Pack 3)
Mac OS
•Mac OS X (version 10.5.8, 10.6.7)
Refer to the Nikon website for the latest information on operating system
compatibility.
1Start the computer and insert the ViewNX 2 Installer CD-ROM into the
CD-ROM drive.
•Mac OS: When the ViewNX 2 window is displayed, double-click the Welcome icon.
Your Imaging Toolbox ViewNX 2™

83
Using ViewNX 2
Playback Features
2Select a language in the language selection dialog to open the
installation window.
•If the desired language is not available, click Region Selection to choose a different
region and then choose the desired language (the Region Selection button is not
available in the European release).
•Click Next to display the installation window.
3Start the installer.
•We recommend clicking Installation Guide in the installation window to check the
installation help information and system requirements before installing ViewNX 2.
•Click Typical Installation (Recommended) in the installation window.
4Download the software.
•When the Software Download screen is displayed, click I agree - Begin download.
•Follow the on-screen instructions to install the software.
5Exit the installer when the installation completion screen is displayed.
•Windows: Click Yes.
•Mac OS: Click OK.
The following software is installed:
•ViewNX 2 (consisting of the three modules below)
- Nikon Transfer 2: For transferring images to the computer
- ViewNX 2: For viewing, editing, and printing transferred images
- Nikon Movie Editor: For basic editing of transferred movies
•Panorama Maker 5 (for creating a single panorama photo using a series of images shot
in panorama assist scene mode)
•QuickTime (Windows only)
6Remove the ViewNX 2 Installer CD-ROM from the CD-ROM drive.

84
Using ViewNX 2
Playback Features
Transferring Images to the Computer
1Choose how images will be copied to the computer.
Choose one of the following methods:
•Direct USB connection: Turn the camera off and ensure that the memory card is
inserted in the camera. Connect the camera to the computer using the supplied USB
Cable UC-E6. The camera automatically turns on.
•SD card slot: If your computer is equipped with an SD card slot, the card can be
inserted directly in the slot.
•SD card reader: Connect a card reader (available separately from third-party
suppliers) to the computer and insert the memory card.
If a message is displayed prompting you to choose a program, select Nikon Transfer 2.
•When using Windows 7
If the dialog shown at right is displayed,
follow the steps below to select Nikon
Transfer 2.
1 Under Import pictures and videos,
click Change program. A program
selection dialog will be displayed; select
Import File using Nikon Transfer 2
and click OK.
2Double-click Import File.
If the memory card contains a large number of images, it may take a while for Nikon
Transfer 2 to start. Wait until Nikon Transfer 2 starts.
BConnecting the USB Cable
T
he connection may not be recognized if the camera is connected to the computer via a USB hub.

85
Using ViewNX 2
Playback Features
2Transfer images to the computer.
•Confirm that the name of the connected camera or removable disk is displayed in the
“Source” panel in the Nikon Transfer 2 “Options” area (1).
•Click Start Transfer (2).
•At default settings, all the images on the memory card will be copied to the
computer.
3Terminate the connection.
•If the camera is connected to the computer, turn the camera off and disconnect the
USB cable.
•If a card reader or card slot is used, choose the appropriate option in the computer
operating system to eject the removable disk corresponding to the memory card and
then remove the card from the card reader or card slot.
Viewing Images
Start ViewNX 2.
•Images are displayed in ViewNX 2 when transfer
is complete.
•Consult online help for more information on
using ViewNX 2.
1
2
CStarting ViewNX 2 Manually
•Windows: Double-click the ViewNX 2 shortcut icon on the desktop.
•Mac OS: Click the ViewNX 2 icon in the Dock.

86
Using ViewNX 2
Playback Features
Retouching Photographs
Click Edit in the ViewNX 2 toolbar.
Image editing functions include tone compensation, sharpness adjustment, and
trimming (cropping).
Editing Movies
Click Movie Editor in the ViewNX 2 toolbar.
Movie editing functions include the ability to delete unwanted scenes.
Printing Images
Click Print in the ViewNX 2 toolbar.
A dialog is displayed and images can be printed using a printer connected to the
computer.

87
Recording and Playing Back Movies
Recording and Playing Back
Movies
You can record movies by simply pressing the b (e movie-record) button.
In playback mode, press the k button to play a movie.
840
840
2 9m 0s
29m 0s
1 2 m 3 0 s
12m30s
4 s
4s
1 0 s
10s
0 0 1 0 . M O V
0010.MOV
1 5/1 1/ 2 01 1 1 5 :3 0
15/11/2011 15:30

88
Recording and Playing Back Movies
Recording and Playing Back Movies
Recording Movies
You can record movies by simply pressing the b (e movie-record) button.
Color tones, white balance, and other settings are the same when recording
movies as they are when taking pictures.
1Display the shooting screen.
•The icon for the selected movie option is displayed.
The default setting is dHD 1080pP
(1920×1080) (A91).
* The maximum movie length shown in the illustrations
in this manual is for example purposes only.
2Press the b(emovie-record) button
to start movie recording.
•The camera focuses in the center of the
frame. Focus areas are not displayed during
recording.
•When recording movies using d or a movie options
setting with a 16:9 aspect ratio, the shooting screen
changes to a 16:9 aspect ratio (the area indicated at
right is recorded).
•If Photo info in Monitor settings (A94) in the
setup menu is set to Movie frame+auto info, the
area that will be visible in the movie can be confirmed
before movie recording starts.
•The approximate remaining movie length is displayed. C is displayed while saving to
the internal memory.
•Recording stops automatically when the maximum movie length has been recorded.
3Press the b(emovie-record) button again to end recording.
8 4 0
840
2 9 m 0 s
29m 0s
Maximum movie length*
Movie option
1 2 m 3 0 s
12m30s
BNotes About Saving Movies
After a movie has been recorded, it is not fully saved to the internal memory or memory card until
the shooting screen is displayed. Do not open the battery-chamber/memory card slot cover
before movies have been fully saved. Removing the memory card or the battery while a movie is
being saved may result in loss of the movie data or damage to the camera or to the memory card.

89
Recording Movies
Recording and Playing Back Movies
BNotes About Movie Recording
•Memory cards with an SD Speed Class rating of 6 or faster are recommended when recording
movies (A19). When using a memory card with a lower Speed Class rating, movie recording may
stop unexpectedly.
•There may be some degradation in image quality when digital zoom is used. If the digital zoom is
not being used when movie recording begins, rotating and holding the zoom control at g zooms
the image using optical zoom and the zoom stops at the maximum optical zoom ratio. After
letting go of the zoom control, rotate the zoom control to g again to magnify the image using the
digital zoom.
•When recording ends, digital zoom turns off.
•The sounds of zoom control operation, zoom, autofocus lens drive movement, vibration
reduction, and aperture operation when brightness changes may be recorded.
•The following phenomena may be seen in the monitor while recording movies. These
phenomena are saved in the recorded movies.
- Banding may occur in images under fluorescent, mercury-vapor, or sodium-vapor lighting
- Subjects that move quickly from one side of the frame to the other, such as a moving train or car,
may appear skewed
- The entire movie image may be skewed when the camera is panned.
- Lighting or other bright areas may leave residual images when the camera is moved
BCamera Temperature
•The camera may become warm when shooting movies for an extended period of time or when
the camera is used in a hot area.
•If the inside of the camera becomes extremely hot when
recording movies, the camera will automatically stop recording
after 30 seconds.
The amount of time remaining until the camera stops recording
(B30 s) is displayed.
Five seconds after the camera stops recording, it turns itself off.
Leave the camera off until the inside of the camera has cooled.
BNotes About Autofocus
Autofocus may not perform as expected, as explained in “Autofocus” (A29). Try the following
methods when recording movies of these kinds of subjects.
1. Before shooting, set Autofocus mode to A Single AF (default setting) in the movie menu.
2. Aim the camera so that another subject positioned the same distance from the camera as the
desired subject is in the center of the monitor, press the b (e movie-record) button, and then
aim at the desired subject after recording starts.
1 2 m 3 0 s
12m30s

90
Recording Movies
Recording and Playing Back Movies
CMovie Options and Maximum Movie Length
All figures are approximate. The maximum movie length may vary depending on the make of the
memory card, even among memory cards of the same capacity.
1The maximum movie length for a single movie is 25 seconds.
2Each movie is limited to a file size of 4 GB and a movie length of 29 minutes, even when there is
sufficient free space on the memory card for longer recording. The maximum movie length that
can be recorded for a single movie is displayed during recording.
CFunctions Available with Movie Recording
•The creative slider, white balance (when using A(auto) mode, continuous shooting mode), or
exposure compensation settings are also applied when recording movies. The tone that results
from using special effects mode (A53) or scene mode (A40) is also applied to movies. When
macro mode is enabled, movies of subjects closer to the camera can be recorded. Confirm
settings before starting movie recording.
•Set the self-timer (A59) and press the b (e movie-record) button to start recording a movie
after ten or two seconds.
•The flash will not fire.
•Press the d button to select the D (movie) tab and adjust movie menu settings before starting
movie recording (A91).
Movie options (A91) Internal memory (approx. 89 MB) Memory card (4 GB)2
d HD 1080pP
(1920×1080) (default setting) 37 s125 min
e HD 1080p (1920×1080) 57 s 40 min
f HD 720p (1280×720) 1 min 25 s 60 min
p iFrame 540 (960×540) 33 s125 min
g VGA (640×480) 4 min 11 s 3 h

91
Recording Movies
Recording and Playing Back Movies
Changing Movie Recording Settings (the Movie Menu)
The following settings can be changed.
Enter shooting mode M d button M D tab (A11)
Option Description A
Movie options
Select the desired movie option to record. The camera
can record normal speed movies and high speed (HS)
movies, which can be played back in slow motion or fast
motion.
E55
Autofocus mode
Select the autofocus method used when recording
normal speed movies. When A Single AF (default
setting) is selected, focus is locked when movie
recording begins. When B Full-time AF is selected,
the camera focuses continuously while recording.
When B Full-time AF is selected, the sound of the
camera focusing may be heard in recorded movies. If you
want to prevent the sound of the camera focusing from
being recorded, select A Single AF.
E59
Movie options
Autofocus mode
Movie

92
Recording and Playing Back Movies
Playing Back Movies
Press the c button to enter playback
mode.
Movies are indicated by the movie
options icon (A91).
Press the k button to play back movies.
Functions Available During Playback
Rotate the multi selector to advance or rewind the
movie.
Playback controls are displayed at the top of the
monitor.
Press the multi selector J or K to select a control. The
operations described below are available.
* The movie can also be advanced or rewound by rotating the multi selector.
Adjusting volume
Rotate the zoom control to g or f (A2) during playback.
Deleting movies
To delete a movie, select the desired movie in full-frame playback mode (A30)
or thumbnail playback mode (A31) and press the l button (A32).
BNotes About Playing Back Movies
•
The COOLPIX S8200 is not able to playback movies recorded with another make or model of digital camera.
•The histogram and shooting information are not displayed for movies (A8).
Function Icon Description
Rewind AHold down the k button to rewind the movie.
Advance BHold down the k button to advance the movie.
Pause E
Press the k button to pause playback. The following operations can be
performed while playback is paused using the controls displayed at the
top in the monitor.
CPress the k button to rewind the movie. Hold down the k
button for continuous rewinding.*
DPress the k button to advance the movie. Hold down the k
button for continuous advancing.*
FPress the k button to resume playback.
End GPress the k button to return to full-frame playback mode.
1 0 s
10s
0 0 1 0 . M O V
0010.MOV
15/11/2011 15:30
15/11/2011 15:30
Movie options
4 s
4s
Paused
Volume
indicator
During
playback

93
General Camera Setup
General Camera Setup
This chapter describes the various settings that can be adjusted in the z setup
menu.
•See “Using Menus (the d Button)” (A11) for information about using the
camera’s menus.
•For further details about each setting, refer to “The Setup Menu” in the
Reference Section (E60).
Set up
Welcome screen
Time zone and date
Monitor settings
Print date
Motion detection
AF assist
Vibration reduction
8 4 0
840
2 9m 0s
29m 0s

94
General Camera Setup
General Camera Setup
The Setup Menu
From the menu screen, select the z tab to display the
setup menu, and then you can change the following
settings.
Press the d button M z (setup) tab (A11)
Option Description A
Welcome screen
Allows you to select the image displayed as the welcome
screen when the camera is turned on. Select COOLPIX
to display the COOLPIX logo. Select Select an image to
use a picture taken with the camera as the welcome
screen. The welcome screen is not displayed by default.
E60
Time zone and date
Allows you to set settings related to the camera’s date
and time. The Time zone setting allows you to specify
the time zone where the camera is mainly used and
whether or not daylight saving time is in effect. When the
travel destination (x) is selected, the camera
automatically calculates the time difference between the
travel destination and the home time zone (w), and
saves images using the date and time of the travel
destination.
E61
Monitor settings
Allows you to adjust settings related to the monitor.
•Photo info allows you to select the kind of
information that is displayed during shooting mode
and playback mode. If you select Framing grid+auto
info, a grid is displayed when shooting to help you
frame the shot.
•Brightness allows you to adjust the brightness of the
monitor.
E64
Print date
Allows you to imprint the shooting date and time on
images at the time of shooting. The default setting is Off.
•The shooting date and time are not imprinted on
images captured using Panorama or on movies.
E66
Vibration reduction
Allows you to reduce blurring caused by camera shake
when shooting. The default setting is On.
•When using a tripod to stabilize the camera during
shooting, set this feature to Off to prevent this feature
from malfunctioning.
E
67
Set up
Welcome screen
Time zone and date
Monitor settings
Print date
Motion detection
AF assist
Vibration reduction

95
The Setup Menu
General Camera Setup
Motion detection
When set to Auto (default setting), if the camera detects
camera shake or subject movement at the time of
shooting, it automatically increases ISO sensitivity and
shutter speed to reduce blurring. The r indicator glows
green when the camera detects camera shake and
increases shutter speed.
•When using certain shooting modes or settings,
motion is not detected. In these case the r indicator
is not displayed.
E
68
AF assist
When set to Auto (default setting), the AF-assist
illuminator (A2) lights when shooting in dark
surroundings to help the camera focus.
•The AF-assist illuminator has a range of about 2.2 m
(7 ft 3 in.) at the maximum wide-angle position and
about 1.4 m (4 ft 7 in.) at the maximum telephoto
position.
•Even if Auto is selected, the AF-assist illuminator may
not light depending on the position of the focus area
or the scene mode that is selected.
E69
Digital zoom
When set to On (default setting), the digital zoom feature
can be used by rotating the zoom control to g (i) to
zoom in beyond the maximum optical zoom position
(A27).
E70
Sound settings
Allows you to turn various camera operation sounds on
and off.
•Camera operation sounds are not heard when using
certain modes, such as O (pet portrait).
E71
Auto off
Allows you to set the amount of time that passes before
the monitor turns off to save power. The default setting is
1 min.
E72
Format memory/
Format card
Allows you to format the internal memory (only when a
memory card is not inserted) or the memory card (when
a memory card is inserted).
•All data stored in the internal memory or on the
memory card is deleted during formatting and
cannot be restored. Be sure to save important
images by transferring them to a computer before
formatting.
E73
Language Allows you to change the camera’s display language. E74
TV settings
Set these settings to match your TV.
You can select the video output mode (NTSC or PAL)
and adjust HDMI output settings.
E74
Option Description A

96
The Setup Menu
General Camera Setup
Charge by computer
When set to Auto (default setting), you can charge the
camera’s battery by connecting the camera to a
computer (provided that the computer is able to supply
power).
•When charging by computer, it takes more time to
charge the battery than when using the Charging AC
Adapter EH-69P. Additionally, when charging by
computer and transferring images to the computer, it
takes more time to charge the battery.
E75
Blink warning
Except when using continuous shooting mode or smile
timer, the camera will display the message Did
someone blink? immediately after taking a picture
using face detection (A76) if the camera detects a
subject with closed eyes, allowing you to check the
image. The default setting is Off.
E77
Filmstrip
When On is selected, thumbnails of previous and
subsequent images are displayed in the bottom of the
monitor when you rotate the multi selector quickly while
viewing an image in full-frame playback mode (A30).
The default setting is Off.
E79
Reset all
Allows you to reset the camera’s settings to their default
values.
•Certain settings such as Time zone and date and
Language are not reset.
E80
Firmware version View the current camera firmware version. E83
Option Description A

E1
Reference Section
E Reference Section
The Reference Section provides detailed information and hints about using the
camera.
Shooting
Using Easy Panorama (Shooting and Playback).............................................. E2
Using Panorama Assist ............................................................................................. E5
Playback
Playing Back and Deleting Images Captured Continuously (Sequence)
...... E7
Editing Still Images ..................................................................................................E10
Connecting the Camera to a TV (Viewing Images on a TV).......................E21
Connecting the Camera to a Printer (Direct Print) .......................................E23
Menus
The Shooting Menu (for
A
(Auto) Mode, Continuous Shooting Mode)
....E30
The Playback Menu..................................................................................................E43
The Movie Menu .......................................................................................................E55
The Setup Menu........................................................................................................E60
Additional Information
File and Folder Names ............................................................................................E84
Optional Accessories...............................................................................................E85
Error Messages ..........................................................................................................E86

E2
Reference Section
Reference Section
Using Easy Panorama (Shooting and Playback)
Shooting With Easy Panorama
1Rotate the mode dial to
y, press the d
button and select
pPanorama (A39).
2Select VEasy panorama and press the
k button.
3Select W Normal (180°) or X Wide
(360°) as the shooting range and press the k
button.
•When the camera is readied in the horizontal position,
the image size (width × height) is as follows.
-W Normal (180°):
3200 × 560 when moved horizontally
1024 × 3200 when moved vertically
-X Wide (360°):
6400 × 560 when moved horizontally
1024 × 6400 when moved vertically
- When the camera is readied in the vertical position, the direction and the width and
height are switched.
4Frame the first edge of the panorama
scene, and then press the shutter-
release button halfway to focus.
•The zoom position is fixed at the maximum
wide-angle position.
•A grid is displayed in the monitor.
•The camera focuses on the subject in the
center of the frame.
•Exposure compensation (A65) can be set.
•If the focus and exposure are not correct, try using focus lock (A78).
Scene menu
Panorama
Image mode
Easy panorama
Panorama assist
Panorama
Normal (180°)
Wide (360°)
Easy panorama
8 4 0
840
2 9 m 0 s
29m 0s

E3
Using Easy Panorama (Shooting and Playback)
Reference Section
5Press the shutter-release button all
the way, and then remove your finger
from the shutter-release button.
•I is displayed to indicate the direction of
camera movement.
6Move the camera slowly and straight in one of
the four directions, and begin shooting.
•When the camera detects which direction it is moving
in, shooting begins.
•A guide indicating the current shooting position is
displayed.
•When the shooting position guide reaches the edge,
shooting ends.
Example of camera movement
•The operator, without shifting position, moves the camera horizontally or
vertically in an arc from one edge of the guide to the other.
•Shooting ends if the edge of the guide is not reached within about 15 seconds
(when using W Normal (180°)) or within about 30 seconds (when using
X Wide (360°)).
Shooting position guide
BNotes About Easy Panorama Shooting
•The range of the image seen in the saved image will be narrower than that seen in the monitor at
the time of shooting.
•If the camera is moved too quickly, if the camera is shaken too much, or if the subject has little
variance in appearance (such as a wall or in darkness), an error will occur.
•If shooting is stopped before the camera reaches the half-way point in the panorama range, a
panorama image is not saved.
•If more than half of the panorama range is captured but shooting ends before reaching the edge
of the range, the range not captured is recorded and displayed in gray.

E4
Using Easy Panorama (Shooting and Playback)
Reference Section
Playing Back Images With Easy Panorama (Scroll Playback)
Switch to playback mode (A30), display an image
captured using easy panorama in full-frame playback
mode, and then press the k button to display the
short edge of the image using the entire monitor and
automatically move (scroll) the displayed area.
•The image scrolls in the direction that the camera
was moved at the time of shooting.
•Rotate the multi selector to advance or rewind.
Playback controls are displayed at the top of the
monitor during playback. Press the multi selector J or
K to select a control, and then press the k button to
use the following operations.
* Scrolling can also be performed by rotating the multi selector.
Function Icon Description
Rewind AHold down the k button to scroll backward quickly.
Advance BHold down the k button to scroll forward quickly.
Pause E
The following operations can be performed while playback is
paused using the controls displayed at the top in the monitor
CHold down the k button to rewind.*
DHold down the k button to scroll.*
FResume automatic scrolling.
End GSwitch to full-frame playback mode.
15/11/2011 15:30
15/11/2011 15:30
0 0 0 4 . J P G
0004.JPG
4/ 4
4/ 4
BNotes About Images Captured With Easy Panorama
T
he histogram and shooting information are not displayed for images captured with easy panorama
(A8).
BNotes About Easy Panorama Scroll Playback
T
he camera may not be able to scroll the playback of, or zoom in on, easy panorama images
captured with another make or model of digital camera.

E5
Reference Section
Using Panorama Assist
Use a tripod for the best results. Set Vibration reduction (E67) to Off in the
setup menu when using a tripod to stabilize the camera.
1Rotate the mode dial to
y, press the d
button and select
pPanorama (A39).
2Select UPanorama assist and press the
k button.
•Panorama direction icons are displayed to show the
direction in which images will be joined.
3Use the multi selector to select the direction
and press the k button.
•Select the direction in which images will be joined in
the completed panorama; right (I), left (J), up (K), or
down (L).
•The yellow panorama direction icon (II) is displayed
for the current direction and the direction is fixed when
the k button is pressed. The icon changes to the white fixed direction I icon.
•If necessary, apply flash mode (A56), self-timer (A59), macro mode (A64), and
exposure compensation (A65) settings with this step.
•Press the k button again to select a different direction.
4Frame the first portion of the
panorama scene and take the first
picture.
•The camera focuses on the subject in the
center of the frame.
•One third of the image will be displayed as
translucent.
Scene menu
Panorama
Image mode
Easy panorama
Panorama assist
Panorama
8 4 0
840
2 9 m 0 s
29m 0s
F 3.3
F 3.3
1/250
1/250

E6
Using Panorama Assist
Reference Section
5Take the next picture.
•Frame the next image so that one third of the
frame overlaps the first image, and press the
shutter-release button.
•Repeat this process until the necessary
number of images has been taken to
complete the scene.
6Press the k button when shooting is
complete.
•The camera returns to step 3.
8 3 9
839
2 9 m 0 s
29m 0s
End
En d
End
8 3 7
837
2 9 m 0 s
29m 0s
End
En d
End
BNotes About Panorama Assist
•Set flash mode, self-timer, macro mode and exposure compensation before taking the first picture.
They cannot be changed after the first picture is taken. Images cannot be deleted, nor can zoom or
Image mode setting (A71) be adjusted after the first picture is taken.
•Shooting ends if the auto off function (E72) is activated. If the camera enters standby mode
during shooting, set Auto off to a longer setting.
CR Indicator
In panorama assist mode, exposure, white balance, and focus for all
images in a panorama are fixed at the values for the first image in
each series.
When the first picture is taken, R is displayed to indicate
that exposure, white balance, and focus are locked.
CCombining Images to Make a Panorama
T
ransfer images to a computer (A84) and use Panorama Maker 5 to join them in a single
panorama.
Install Panorama Maker 5 from the included ViewNX 2 Installer CD-ROM.
•After installing Panorama Maker 5, start the software as explained below.
Windows: Select the Start menu > All Programs > ArcSoft Panorama Maker 5 > Panorama
Maker 5
Mac OS X: Open the Applications folder > double-click Panorama Maker 5
•For information about using Panorama Maker 5, refer to the on-screen instructions and help
information contained in Panorama Maker 5.
CMore Information
See “File and Folder Names” (E84) for more information.
8 3 9
839
2 9 m 0 s
29m 0s
End
En d
End

E7
Reference Section
Playing Back and Deleting Images Captured Continuously (Sequence)
Each series of images captured using the following settings is saved in a sequence.
Playing Back Sequences
In full-frame playback mode or thumbnail playback
mode (A31), the first image of a sequence is used as
the “key picture,” i.e., it is displayed to represent the
images in the sequence.
While the key picture of a sequence is displayed in full-
frame playback mode, press the k button to display
each image in the sequence individually. To return to key
picture only display, press the multi selector H.
The following operations are available when each image in a sequence is
displayed individually.
•Select an image: Rotate the multi selector or press J or K.
•Zoom in: Rotate the zoom control to g(i) (A31).
•Display the histogram and shooting information: Press the k button.
•Continuous shooting mode (A50) •Scene mode (A40)
- Continuous - Sports
- Pre-shooting cache - Pet portrait mode (when Continuous
is selected)
- Continuous H: 120 fps
- Continuous H: 60 fps
- Smile timer continuous
4/ 4
4/ 4
15/11/2011 15:30
15/11/2011 15:30
0004. JPG
0004. JPG
Sequence display
1/ 5
1/ 5
15/11/2011 15:30
15/11/2011 15:30
0 0 0 4 . J P G
0004.JPG
Back
Bac k
Back
BNotes About Sequence
T
he camera cannot display images that were captured continuously as a sequence if the images
were captured with another make or model of digital camera.
BNotes About Images Captured in a Sequence
T
he histogram and shooting information are not displayed when only a sequence’s key picture is
displayed (A8).

E8
Playing Back and Deleting Images Captured Continuously (Sequence)
Reference Section
CHow Sequences Are Displayed on the Playback Screen
When using thumbnail playback mode, images are displayed as shown below.
When Sequence display options (E54) in the playback menu is set to Individual pictures, if
you select images in a sequence when using full-frame playback mode or thumbnail playback
mode, the F icon is displayed.
CSequence Display Options
Select Sequence display options (E54) in the playback menu to set all sequences to be
displayed using their key pictures only or to display them as individual images.
CChanging Key Picture of a Sequence
A sequence’s key picture can be changed using Choose key picture (E54) in the playback menu.
CFunctions Available When Playing Back Sequences
The following menu operations are available by pressing the d button when playing back images
captured in a sequence:
1Press the d button after displaying individual images. Settings can be applied to
individual images.
2If you press the d button while playing back only the key picture of a sequence, the
same settings can be applied to all images in that sequence. Press the d button after
displaying individual images to apply settings to individual images.
•Quick retouch1 (E12) •D-Lighting1 (E13)
•Skin softening1 (E14) •Filter effects1 (E16)
•Print order2 (E43) •Slide show (E46)
•Protect2 (E47) •Rotate image1 (E49)
•Small picture1 (E18) •Voice memo1 (E50)
•Copy2 (E52) •Sequence display options (E54)
•Choose key picture (E54)
9/ 20 1/ 79
4/9/16-image thumbnails 72-image thumbnails

E9
Playing Back and Deleting Images Captured Continuously (Sequence)
Reference Section
Deleting Images in a Sequence
If
Sequence display options
(
E
54) in the playback menu is set to
Key picture
only
, press the
l
button to select a deletion method and delete the following images.
•If only the key picture is displayed to represent all images:
-Current image: When a sequence is selected, all images in that sequence are
deleted.
-Erase selected images: When the key picture is selected in the deletion
image selection screen (A33), all images in the
sequence are deleted.
-All images:
All images are deleted, including the currently displayed sequence.
•If the key picture is selected and the k button is pressed to display each
individual image in the sequence before pressing the l button:
Deletion methods change as follows.
-Erase current picture: The image currently displayed is deleted.
-Erase selected images: When multiple images in the same sequence are
selected in the deletion image selection screen
(A33), the selected images are deleted.
-Erase entire sequence: All images in the sequence, including the image
currently displayed, are deleted.

E10
Reference Section
Editing Still Images
Editing Features
Use the COOLPIX S8200 to edit images in-camera and save them as separate files
(E84). The editing functions described below are available.
Editing function Description
Quick retouch (E12) Easily create retouched copies in which contrast and saturation
have been enhanced.
D-Lighting (E13) Create a copy of the current image with enhanced brightness
and contrast, brightening dark portions of the image.
Skin softening (E14) Make facial skin tones softer.
Filter effects (E16)
Digital filter effects can be used to apply a variety of effects to
images. Effect types include Cross screen, Fisheye, Miniature
effect, and Painting.
Small picture (E18) Create a small copy of images suitable for use as e-mail
attachments.
Crop (E19) Crop a portion of the image. Use to zoom in on a subject or
arrange a composition.
BNotes About Image Editing
•Images captured at an Image mode setting of l4608×2592 (A71) cannot be edited.
•Images captured using easy panorama (A49, E2) cannot be edited.
•The editing functions of the COOLPIX S8200 cannot be used for images captured with another
make or model of digital cameras.
•If no face is detected in an image, a copy cannot be created using the skin softening function
(E14).
•Edited copies created with the COOLPIX S8200 may not be displayed properly on another make or
model of digital camera. It may also be impossible to transfer them to a computer using another
make or model of digital camera.
•Editing functions are not available when there is not enough free space in the internal memory or
on the memory card.
•For sequences for which only a key picture is displayed (E7), perform one of the following
operations before editing.
-Press k button to display individual images, and then select an image in the sequence
-Set Sequence display options (E54) to Individual pictures so that each image is displayed
individually, and then select an image

E11
Editing Still Images
Reference Section
CRestrictions on Image Editing
When an edited copy is further modified with another editing function, check the following
restrictions.
•Copies created with editing functions cannot be further edited with the same function used to
create them.
•When combining the small picture or crop function and another editing function, use the small
picture and crop functions after other editing functions have been applied.
•Skin softening can also be applied to images captured with the skin softening function (A77).
COriginal and Edited Images
•Copies created with editing functions are not deleted if the original images are deleted. The
original images are not deleted if copies created with editing functions are deleted.
•Edited copies are saved with the same shooting date and time as the original.
•Print order (E43) and protect settings (E47) do not remain effective in edited copies.
Editing function used Editing functions that can be added
Quick retouch
D-Lighting
The skin softening, filter effects, small picture, or crop function can
be added.
The quick retouch and D-Lighting functions cannot be used
together.
Skin softening
Filter effects
The quick retouch, D-Lighting, small picture, or crop function can be
added.
Additionally, the skin softening and filter effects functions can be
used together.
Small picture
Crop Another editing function cannot be added.

E12
Editing Still Images
Reference Section
k Quick Retouch: Enhancing Contrast and Saturation
Quick retouch can be used to easily create retouched copies in which contrast and
saturation have been enhanced. Copies created with the quick retouch function
are saved as separate files.
1Select an image in full-frame playback mode
(A30) or thumbnail playback mode (A31)
and press the d button.
2Use the multi selector to select kQuick
retouch and press the k button.
•The original version is displayed on the left and the
edited version is displayed on the right.
3Press the multi selector H or I to select the
degree of enhancement performed and press
the k button.
•A new, edited copy is created.
•To exit without saving the copy, press the multi
selector J.
•Copies created with the quick retouch function are
indicated by the s icon displayed during playback.
Playback menu
Print order
Protect
Quick retouch
D-Lighting
Skin softening
Filter eects
Slide show
Quick retouch
Normal
Amount
4/ 4
4/ 4
15/11/2011 15:30
15/11/2011 15:30
0004. JPG
0004. JPG
CMore Information
See “File and Folder Names” (E84) for more information.

E13
Editing Still Images
Reference Section
I D-Lighting: Enhancing Brightness and Contrast
D-Lighting can be used to create copies with enhanced brightness and contrast,
brightening dark portions of an image. Enhanced copies are saved as separate
files.
1Select an image in full-frame playback mode
(A30) or thumbnail playback mode (A31)
and press the d button.
2Use the multi selector to select ID-Lighting
and press the k button.
•The original version is displayed on the left and the
edited version is displayed on the right.
3Select OK and press the k button.
•A new, edited copy is created.
•To exit without saving the copy, select Cancel and
press the k button.
•Copies created with the D-Lighting function are
indicated by the c icon displayed during playback.
Playback menu
Print order
Protect
Quick retouch
D-Lighting
Skin softening
Filter eects
Slide show
D-Lighting
OK
Cancel
4/ 4
4/ 4
15/11/2011 15:30
15/11/2011 15:30
0004. JPG
0004. JPG
CMore Information
See “File and Folder Names” (E84) for more information.

E14
Editing Still Images
Reference Section
e Skin Softening: Softening Skin Tones
The camera detects faces in images and creates a copy with softer facial skin tones.
Copies created using the skin softening function are saved as separate files.
1Select an image in full-frame playback mode
(A30) or thumbnail playback mode (A31)
and press the d button.
2Use the multi selector to select eSkin
softening and press the k button.
•The screen for selecting the degree of softening is
displayed.
•If no faces are detected in the image, an alert is
displayed and the camera returns to the playback
menu.
3Press the multi selector H or I to select the
degree of softening and press the k button.
•The confirmation dialog is displayed with the face to
which skin softening was applied enlarged in the
center of the monitor.
•To exit without saving the copy, press the multi
selector J.
4Check the preview of the copy.
•Skin tones in up to 12 faces, in the order of that closest
to the center of the frame, are softened.
•If more than one face was softened, press the multi
selector J or K to display a different face.
•Press the d button to adjust the degree of
softening. The monitor display returns to that shown in
step 3.
•When the k button is pressed, a new, edited copy is
created.
•Copies created with the skin softening function are
indicated by the E icon displayed during playback.
Playback menu
Print order
Protect
Quick retouch
D-Lighting
Skin softening
Filter eects
Slide show
Skin softening
Normal
Amount
Preview
Save
Sav e
SaveBack
Bac k
Back
4/ 4
4/ 4
15/11/2011 15:30
15/11/2011 15:30
0004. JPG
0004. JPG

E15
Editing Still Images
Reference Section
BNotes About Skin Softening
Depending upon the direction in which faces are looking, or the brightness of faces, the camera may
be unable to accurately recognize faces, or the skin softening function may not perform as expected.
CMore Information
See “File and Folder Names” (E84) for more information.

E16
Editing Still Images
Reference Section
p Filter Effects: Applying Digital Filter Effects
Digital filter effects can be used to apply a variety of effects to images. The
following effects are available. Copies created with the filter effects function are
saved as separate files.
1Select an image in full-frame playback mode
(A30) or thumbnail playback mode (A31)
and press the d button.
2Use the multi selector to select p Filter
effects and press the k button.
3Press the multi selector H or I to select an
effect, and press the k button.
Type Description
Cross screen
Produce star-like rays of light that radiate outward from bright
objects such as sunlight reflections or street lights. This effect is
suitable for night scenes.
Fisheye Make an image look as if it were captured with a fisheye lens.
This effect is well-suited for images captured in macro mode.
Miniature effect
Make an image look like a miniature scene captured in macro
mode. This effect is well-suited for images captured from a high
vantage point with the main subject in the center of the image.
Painting Gives images a hand-painted appearance.
Playback menu
Print order
Protect
Quick retouch
D-Lighting
Skin softening
Filter eects
Slide show
Painting
Cross screen
Fisheye
Miniature eect
Filter eects

E17
Editing Still Images
Reference Section
4Confirm the effect, and press the k button.
•A new, edited copy is created.
•To exit without saving the copy, press the multi
selector J.
•Copies created using the filter effects function are
indicated by the c icon displayed during playback.
Back
Bac k
Back
Preview
Save
Sav e
Save
4/ 4
4/ 4
15/11/2011 15:30
15/11/2011 15:30
0004. JPG
0004. JPG
CMore Information
See “File and Folder Names” (E84) for more information.

E18
Editing Still Images
Reference Section
g Small Picture: Reducing the Size of an Image
Create a small copy of the current image. This feature is useful for creating copies
for display on Web pages or for e-mail attachments. The 640×480, 320×240, and
160×120 sizes are available. Small copies are saved as separate files with a
compression ratio of about 1:16.
1Select an image in full-frame playback mode
(A30) or thumbnail playback mode (A31)
and press the d button.
2Use the multi selector to select g Small
picture and press the k button.
3Select the desired copy size and press the k
button.
4Select Yes and press the k button.
•A new, small copy is created.
•To exit without saving the copy, select No and press
the k button.
•The copy is displayed with a black frame.
Playback menu
Rotate image
Small picture
Voice memo
Copy
Sequence display options
Choose key picture
320 × 240
160 × 120
640 × 480
Small picture
Yes
No
Create small picture file?
CMore Information
See “File and Folder Names” (E84) for more information.

E19
Editing Still Images
Reference Section
a Crop: Creating a Cropped Copy
Create a copy containing only the portion visible in the monitor when u is
displayed with playback zoom (A31) enabled. Cropped copies are saved as
separate files.
1Rotate the zoom control to g (i) in full-frame
playback mode (A30) to zoom in on the
image.
•To crop an image displayed in “tall” (portrait)
orientation, zoom in on the image until the black bars
displayed on the both sides of the monitor disappear.
The cropped image will be displayed in landscape orientation. To crop the image in its
current “tall” (portrait) orientation, first use the Rotate image option (E49) to rotate
the image so that it is displayed in landscape orientation. Next, enlarge the image for
cropping, crop the image, and then rotate the cropped image back to “tall” (portrait)
orientation.
2Refine copy composition.
•Rotate the zoom control to g(i) or f(h) to adjust
the zoom ratio.
•Press the multi selector H, I, J, or K to scroll the
image so that only the portion to be copied is visible in
the monitor.
3Press the d button.
4Use the multi selector to select Yes and press
the k button.
•A cropped copy is created.
•To exit without saving the copy, select No and press
the k button. Yes
No
Save this image as
displayed?

E20
Editing Still Images
Reference Section
CImage Size
As the area to be saved is reduced, the image size (pixels) of the cropped copy is also reduced.
When the image size of the cropped copy is 320 × 240 or 160 × 120, a black frame is displayed
around the image, and the small picture icon A is displayed in the left of the monitor in playback
mode.
CMore Information
See “File and Folder Names” (E84) for more information.

E21
Reference Section
Connecting the Camera to a TV (Viewing Images on a TV)
Connect the camera to a TV to play images or movies back on the TV. If your TV is
equipped with an HDMI jack, a commercially available HDMI cable can be used to
connect the camera to the TV.
1Turn off the camera.
2Connect the camera to the TV.
When using the included audio/video cable
Connect the yellow plug to the video-in jack and the white and red plugs to the audio-in
jacks on the TV.
When using a commercially available HDMI cable
Connect the plug to the HDMI jack on the TV.
White
Yellow
Red
HDMI mini connector (Type C) to HDMI jack

E22
Connecting the Camera to a TV (Viewing Images on a TV)
Reference Section
3Set the TV’s input to external video input.
•See the documentation provided with your TV for details.
4Press and hold the camera's c button and
turn on the camera.
•The camera enters playback mode and images are
displayed on the TV.
•While connected to the TV, the camera monitor will
remain off.
BNotes About Connecting the HDMI Cable
•HDMI cable is not included. Use a commercially available HDMI cable to connect the camera to a
TV. The output terminal on this camera is an HDMI mini connector (type C). When purchasing an
HDMI cable, be sure that the device end of the cable is an HDMI mini connector.
•We recommend shooting still images at an Image mode (A71) setting of M 2048×1536 or
higher, and movies at a Movie options (E55) setting of f HD 720p (1280×720) or higher.
BNotes About Connecting the Cable
•When connecting the cable, be sure that the camera plug is properly oriented. Do not use force
when connecting the cable to the camera. When disconnecting the cable, do not pull the plug at
an angle.
•Do not connect cables to the HDMI mini connector (Type C) and to the USB/audio/video output
connector simultaneously.
BIf the Images Are Not Displayed on the TV
Be sure that the camera’s video mode setting of TV settings (E74) in the setup menu conforms to
the standard used by your TV.
CUsing a TV Remote Control (HDMI Device Control)
T
he remote control of an HDMI-CEC-compatible TV can be used to control playback.
It can be used instead of the camera’s multi selector and zoom control to select images, start and
pause movie playback, scroll playback of images captured using easy panorama, and switch
between full-screen playback mode and 4-image thumbnail display.
•Set the HDMI device control setting (E74) of TV settings to On (default setting) and then
connect the camera and TV using an HDMI cable.
•Aim the remote control at the TV when operating it.
•Refer to the TV’s operating instructions for information about the TV’s HDMI-CEC compatibility.

E23
Reference Section
Connecting the Camera to a Printer (Direct Print)
Users of PictBridge-compatible (F19) printers can connect the camera directly to
the printer and print images without using a computer.
Follow the procedures below to print images.
Take pictures
Select images for printing and
number of copies using
Print order option (E43)
Connect to the printer (E24)
Print images one at a
time (E26) Print multiple images (E27)
When printing is complete, turn the camera off and disconnect the USB cable
BNotes About Power Source
•When connecting the camera to a printer, use a fully charged battery to prevent the camera from
turning off unexpectedly.
•If the AC Adapter EH-62F (available separately) is used, COOLPIX S8200 can be powered from an
electrical outlet. Do not use any other make or model of AC adapter as it may cause the camera to
heat up or malfunction.
CPrinting Images
In addition to printing images transferred to a computer from your personal printer and printing
over a direct camera-to-printer connection, the following options are also available for printing
images saved on the memory card:
•Inserting a memory card into a DPOF-compatible printer’s card slot
•Taking a memory card to a digital photo lab
For printing using these methods, specify the images and the number of prints each to the memory
card using the Print order option in the playback menu (E43).

E24
Connecting the Camera to a Printer (Direct Print)
Reference Section
Connecting the Camera to a Printer
1Turn off the camera.
2Turn on the printer.
•Check printer settings.
3Connect the camera to the printer using the included USB cable.
•Be sure that plugs are properly oriented. Do not attempt to insert plugs at an angle,
and do not use force when connecting or disconnecting the USB cable.

E25
Connecting the Camera to a Printer (Direct Print)
Reference Section
4The camera is automatically turned on.
•When properly connected, the PictBridge startup
screen (1) will be displayed in the camera monitor,
followed by the Print selection screen (2).
Print selection
32
NO. 32
15/11
2011
12
BIf the PictBridge Startup Screen Is Not Displayed
T
urn the camera off and disconnect the USB cable. Set the Charge by computer option (E75) in
the camera’s setup menu to Off and reconnect the cable.

E26
Connecting the Camera to a Printer (Direct Print)
Reference Section
Printing Individual Images
After properly connecting the camera to the printer (E24), follow the
procedures described below to print an image.
1Use the multi selector to select the desired
image and press the k button.
•Rotate the zoom control to f(h) to display 12
thumbnails, and g(i) to switch back to full-frame
playback.
2Select Copies and press the k button.
3Select the desired number of copies (up to
nine) and press the k button.
4Select Paper size and press the k button.
5Select the desired paper size and press the k
button.
•To specify paper size using settings on the printer,
select Default in the paper size option.
Print selection
32
NO. 32
15/11
2011
Start print
prints
000
PictBridge
Copies
Paper size
Copies
4
Start print
prints
004
PictBridge
Copies
Paper size
Paper size
Default
Postcard
100×150 mm
4×6 in.
8×10 in.
5×7 in.
3.5×5 in.

E27
Connecting the Camera to a Printer (Direct Print)
Reference Section
6Select Start print and press the k button.
7Printing begins.
•Monitor display returns to the screen shown in step 1
when printing is complete.
•To cancel printing before all copies have been printed,
press the k button.
Printing Multiple Images
After properly connecting the camera to the printer (E24), follow the
procedures described below to print multiple images.
1When the Print selection screen is displayed,
press the d button.
•The Print menu screen is displayed.
2Use the multi selector to select Paper size
and press the k button.
•To exit the print menu, press the d button.
3Select the desired paper size and press the k
button.
•To specify paper size using settings on the printer,
select Default in the paper size option.
Start print
prints
004
PictBridge
Copies
Paper size
Printing
002 / 004
Cancel
Current number of copies/
total number of copies
Print menu
Print selection
Paper size
DPOF printing
Print all images
Paper size
Default
Postcard
100×150 mm
4×6 in.
8×10 in.
5×7 in.
3.5×5 in.

E28
Connecting the Camera to a Printer (Direct Print)
Reference Section
4Select Print selection, Print all images, or
DPOF printing and press the k button.
Print selection
Select images (up to 99) and the number of
copies (up to nine) of each.
•Rotate the multi selector, or press J or K to
select images, and press H or I to specify the
number of copies to be printed.
•Images selected for printing are indicated by
the check mark (y) and the numeral
indicating the number of copies to be printed.
If no copies have been specified for images,
the selection is canceled.
•Rotate the zoom control to g (i) to switch back to full-frame playback or f
(h) to display 12 thumbnails.
•Press the k button when setting is complete.
•When the screen shown on the right is
displayed, select Start print and press the k
button to start printing.
Select Cancel and press the k button to
return to the print menu.
Print all images
One copy each of all images saved in the internal
memory, or on the memory card, is printed.
•When the screen shown on the right is
displayed, select Start print and press the k
button to start print. Select Cancel and press
the k button to return to the print menu.
Print menu
Print selection
Paper size
DPOF printing
Print all images
Back
Print selection
1
1
1
1
3
3
10
Print selection
Start print
Cancel
prints
010
Print all images
Start print
prints
Cancel
018

E29
Connecting the Camera to a Printer (Direct Print)
Reference Section
5Printing begins.
•Monitor display returns to the screen shown in step 2
when printing is complete.
•To cancel printing before all copies have been printed,
press the k button.
DPOF printing
Print images for which a print order was created
using the Print order option (E43).
•When the screen shown on the right is
displayed, select Start print and press the k
button to start printing. Select Cancel and
press the k button to return to the print
menu.
•To view the current print order, select View
images and press the k button. To print
images, press the k button again.
Start print
prints
Cancel
010
DPOF printing
View images
Back
View images
10
Printing
002 / 010
Cancel
Current number of copies/
total number of copies
CPaper Size
T
he camera supports the following paper sizes: Default (the default paper size for the printer
connected to the camera), 3.5×5 in., 5×7 in., 100×150 mm, 4×6 in., 8×10 in., Letter, A3, and A4.
Only sizes supported by the printer will be displayed.

E30
Reference Section
The Shooting Menu (for
A
(Auto) Mode, Continuous Shooting Mode)
•See “Changing the Image Size (Image Mode)” (A71) for information about
Image mode.
•Other than the Continuous (E35), items share the same settings with A
(auto) mode and continuous shooting mode, and the settings are saved in the
camera’s memory even if the camera is turned off.
•Continuous can be selected only when using continuous shooting mode.
White Balance (Adjusting Hue)
The color of light reflected from an object varies with the color of the light source.
The human brain is able to adapt to changes in the color of the light source, with
the result that white objects appear white whether seen in the shade, direct
sunlight, or under incandescent lighting. Digital cameras can mimic this
adjustment by processing images according to the color of the light source. This is
known as “white balance.” For natural colors, select a white balance setting that
matches the light source before shooting.
Although the default setting, Auto, can be used under most types of lighting, the
white balance setting suited to a particular light source can be specified manually
to achieve more accurate results.
The current white balance setting is indicated by an icon when shooting (A6).
No icon is displayed when Auto is selected.
Enter A (auto) mode or continuous shooting mode M d button M A or C tab M
White balance
Option Description
aAuto
(default setting)
White balance is automatically adjusted to suit lighting conditions.
Best choice in most situations.
bPreset manual Useful when shooting under unusual lighting. See “Using Preset
Manual” for more information (E32).
cDaylight White balance adjusted for direct sunlight.
dIncandescent Use under incandescent lighting.
eFluorescent Use under fluorescent lighting.
fCloudy Use when taking pictures under overcast skies.
gFlash Use with the flash.

E31
The Shooting Menu (for A (Auto) Mode, Continuous Shooting Mode)
Reference Section
BNotes About White Balance
•When hue is adjusted using the creative slider (A67), this feature cannot be set.
•Some settings cannot be used with other functions (A73).
•At white-balance settings other than Auto or Flash, turn the flash off (W) (A56).

E32
The Shooting Menu (for A (Auto) Mode, Continuous Shooting Mode)
Reference Section
Using Preset Manual
Preset manual is used with mixed lighting or to compensate for light sources with a
strong color cast when the desired effect has not been achieved with white balance
settings like Auto and Incandescent (for example, to make images shot under a
lamp with a red shade look as though they had been shot under white light).
Use the procedure below to measure the white balance value under the lighting
used during shooting.
1Place a white or gray reference object under the lighting that will be
used during shooting.
2Display the shooting menu (A11, 37), use
the multi selector to select bPreset manual
in the White balance menu, and press the k
button.
•The camera zooms in to the position for measuring
white balance.
3Select Measure.
•To apply the most recently measured white balance
value, select Cancel and press the k button. The
white balance setting will not be measured again and
the most recently measured value will be set.
4Frame the reference object in the measuring
window.
5Press the k button to measure a value for preset manual.
•The shutter is released and the new white-balance value is set. No image is saved.
Preset manual
Incandescent
In c an d esc e nt
Incandescent
Fluorescent
Flu o r es c e nt
Fluorescent
Cloudy
Cloudy
Cloudy
Daylight
Day l ig h t
Daylight
Auto
Auto
Flash
Flash
Flash
White balance
Preset manual
Cancel
Measure
Preset manual
Cancel
Measure
Measuring window
BNotes About Preset Manual
A value for flash lighting cannot be measured with Preset manual. When shooting using the flash,
set White balance to Auto or Flash.

E33
The Shooting Menu (for A (Auto) Mode, Continuous Shooting Mode)
Reference Section
Metering
The process of measuring the brightness of the subject to determine exposure is
known as metering.
Select how the camera meters exposure.
Enter A (auto) mode or continuous shooting mode M d button M A or C tab M
Metering
Option Description
GMatrix
(default setting)
Uses a wide area of the screen for metering. This metering mode
provides the appropriate exposure for a variety of shooting
conditions. Recommended in most situations.
qCenter-weighted
The camera meters the entire frame but assigns greatest weight
to the subject in the center of the frame. Classic meter for
portraits; preserves background details while letting lighting
conditions in the center of the frame determine exposure. Can
be used with focus lock (A78) to meter off-center subjects.
BNotes About Metering
While digital zoom is in effect, metering is set to center-weighted metering. The active metering
area is not displayed.
CMetering Area
T
he active metering area is displayed in the monitor when Center-weighted is selected for
Metering.
8 4 0
840
2 9 m 0 s
29m 0s
Active metering area

E34
The Shooting Menu (for A (Auto) Mode, Continuous Shooting Mode)
Reference Section
ISO Sensitivity
When ISO sensitivity is increased, less light is needed when taking pictures.
Higher ISO sensitivity allows darker subjects to be captured. Additionally, even
with subjects of similar brightness, pictures can be taken at faster shutter speeds,
and blurring caused by camera shake and subject movement can be reduced.
•Although higher ISO sensitivity is effective when shooting darker subjects, when
shooting without the flash, when shooting with the camera zoomed in, etc.,
images may contain noise.
The current ISO sensitivity setting is indicated by an icon when shooting (A6).
•When Auto is selected, the E icon is not displayed at ISO 100, but is displayed
if the ISO sensitivity automatically increases to more than 100.
•When Fixed range auto is selected, U and the maximum value for ISO
sensitivity are displayed.
Enter A (auto) mode or continuous shooting mode M d button M A or C tab M
ISO sensitivity
Option Description
Auto
(default setting)
Sensitivity is ISO 100 when there is sufficient lighting; the camera
compensates by raising sensitivity to a maximum of ISO 1600 when
lighting is dim.
Fixed range auto
Select the range in which the camera automatically adjusts ISO
sensitivity; ISO 100-400 and ISO 100-800 are available. The camera
will not increase sensitivity beyond the maximum value in the
selected range. Set the maximum value for ISO sensitivity for
effective control over the amount of grain that appears in images.
100, 200, 400, 800,
1600, 3200 ISO sensitivity is locked at the specified value.
BNotes About ISO Sensitivity
•Some settings cannot be used with other functions (A73).
•When ISO sensitivity is fixed, Motion detection (E68) is disabled.

E35
The Shooting Menu (for A (Auto) Mode, Continuous Shooting Mode)
Reference Section
Continuous Shooting
Select the desired continuous shooting option (only when using continuous
shooting mode).
Enter shooting mode M d button M C tab M Continuous
Option Description
VContinuous
(default setting)
While the shutter-release button is held all the way down,
images are captured continuously at a rate of about 6 fps
(when image mode is set to P 4608×3456). Shooting ends
when the shutter-release button is released, or 5 images
have been captured.
qPre-shooting cache
Pre-shooting cache makes it easy to capture perfect
moments, by saving images from before the shutter-release
button was pressed all the way. Pre-shooting cache shooting
begins when the shutter-release button is pressed halfway,
and shooting continues when the shutter-release button is
pressed all the way (E36).
•Frame rate: up to 15 fps
•Number of frames:
Up to 20 frames (including up to 5 frames captured in the
pre-shooting cache)
Shooting ends when the shutter-release button is released
or when the maximum number of frames has been shot.
Image mode is fixed at M.
nContinuous H: 120 fps
Each time the shutter-release button is pressed all the way,
60 frames are captured at a speed of about 1/125 s or faster.
Image mode is fixed at O.
jContinuous H: 60 fps
Each time the shutter-release button is pressed all the way,
60 frames are captured at a speed of about 1/60 s or faster.
Image mode is fixed at M (image size: 1280 × 960 pixels).
jBSS (best shot selector)
The “best shot selector” is recommended when shooting
with the flash off or the camera zoomed in, or in other
situations in which inadvertent motion can result in blurred
images. The camera captures a series of up to 10 images
while the shutter-release button is held all the way down,
and the sharpest image in the series is automatically selected
and saved.
•Best suited to shooting subjects that are not moving.
When shooting moving subjects or when the composition
of the picture changes while shooting, the desired results
may not be achieved.

E36
The Shooting Menu (for A (Auto) Mode, Continuous Shooting Mode)
Reference Section
The current continuous shooting setting is indicated by an icon when shooting
(A6).
WMulti-shot 16
Each time the shutter-release button is
pressed, the camera takes 16 shots at a
rate of about 30 fps and arranges them
in a single image.
•Image mode is fixed at L(image
size: 2560 × 1920 pixels).
•Digital zoom cannot be used.
Option Description
CPre-shooting Cache
When Pre-shooting cache is selected, shooting begins when the shutter-release button is pressed
halfway for 0.5 seconds or longer, and images captured before the shutter-release button is pressed
all the way are saved along with images captured after the shutter-release button is pressed all the
way. Up to 5 images can be saved in the pre-shooting cache.
T
he current pre-shooting cache setting is indicated by an icon when shooting (A6). No icon is
displayed when the pre-shooting cache is not set. The pre-shooting cache icon lights in green while
the shutter-release button is pressed halfway.
•If the number of exposures remaining is less than 6, shooting with the pre-shooting cache is not
possible. Before shooting, check that there are 6 or more exposures remaining.
Images saved
by pressing
halfway
Images saved
by pressing
all the way
Press down halfway Press down fully

E37
The Shooting Menu (for A (Auto) Mode, Continuous Shooting Mode)
Reference Section
AF Area Mode
Use this option to determine how the camera selects the focus area for autofocus.
Enter A (auto) mode or continuous shooting mode M d button M A or C tab M
AF area mode
Option Description
aFace priority
When the camera detects a human
face, it focuses on that face. See
“Using Face Detection” (A76) for
more information. If more than one
face is detected, the camera focuses
on the face closest to the camera.
When taking pictures of subjects
other than people, or framing a
subject with which no face is
detected, the AF area mode setting
switches to Auto, and the camera will automatically select the
focus area (up to nine areas) containing the subject closest to the
camera.
wAuto
The camera has nine focus areas, and
automatically selects the focus areas
containing the subject closest to the
camera. Press the shutter-release
button halfway to activate the focus
area. When the shutter-release
button is pressed halfway, the focus
areas that are in focus (up to nine
areas) selected by the camera will be
displayed in the monitor.
8 4 0
840
2 9 m 0 s
29m 0s
Focus area
8 4 0
840
2 9 m 0 s
29m 0s
Focus areas

E38
The Shooting Menu (for A (Auto) Mode, Continuous Shooting Mode)
Reference Section
xManual
Select one of 99 focus areas in the
monitor. This option is suited to
situations in which the intended
subject is relatively still and not
positioned in the center of the
frame.
Rotate the multi selector or press H,
I, J, or K to move the focus area
to where the subject is, and take a
picture.
•To change settings for any of the
following functions, first press the
k button to cancel focus-area selection, then change the
settings as desired.
- Flash mode, macro mode, self-timer
- Brightness (exposure compensation), vividness, hue
To return to the focus area selection screen, press the k button
again.
yCenter
The camera focuses on the subject
in the center of the frame.
The focus area is always displayed in
the center of the screen.
sSubject tracking
By registering a subject, the focus
area will automatically move to track
and focus on the subject. See “Using
Subject Tracking” for more
information (E40).
Option Description
Selectable focus area
Focus area
8 4 0
840
2 9 m 0 s
29m 0s
Focus area
Start
S t ar t
Start

E39
The Shooting Menu (for A (Auto) Mode, Continuous Shooting Mode)
Reference Section
MTarget finding AF
(default setting)
When the camera detects the main
subject, it focuses on that subject.
Press the shutter-release button
halfway to activate the focus area.
When the shutter-release button is
pressed halfway, focus areas that suit
the size of the subject are displayed
in the monitor (up to 12 areas).
When the main subject cannot be
detected, the AF area mode setting
switches to Auto, and the camera selects the focus areas (up to
nine areas) containing the subject closest to the camera.
Option Description
1/250
1/250
F 3.3
F3.3
AF area
BNotes About AF Area Mode
•When digital zoom is in effect, focus will be on the center of the screen regardless of the AF area
mode setting.
•Some settings cannot be used with other functions (A73).
•Autofocus may not perform as expected. See “Autofocus” (A29) for more information.
•If the camera does not focus on the desired subject when using a feature that selects and focuses
on the subject, such as target finding, set AF area mode to Manual or Center and align the
focus area with the desired subject. You may also try using focus lock (A78).
BNotes About Target Finding AF
•Depending on shooting conditions, the subject that the camera determines to be the main
subject may vary.
•The camera cannot detect the main subject in the following situations:
The focus area will be the same as when AF area mode is set to Auto.
- When vividness or hue is adjusted using the creative slider
-White balance is set to any setting other than Auto
•The camera may not detect the main subject appropriately in the following situations:
- When the image shown in the monitor is very dark or bright
- When the main subject lacks clearly defined colors
- When the shot is framed such that the main subject is on the edge of the monitor
- When the main subject is composed of a repeating pattern

E40
The Shooting Menu (for A (Auto) Mode, Continuous Shooting Mode)
Reference Section
Using Subject Tracking
Use this mode to take pictures of moving subjects. When you register a subject,
subject tracking begins and the focus area automatically follows the subject.
1Press the d button in A (auto) mode or
continuous shooting mode.
•The shooting menu or continuous shooting menu is
displayed.
2Use the multi selector to select Subject
tracking in the AF area mode option and
press the k button.
•See “AF Area Mode” (E37) for more information.
•Press the d button after changing the settings and
return to the shooting screen.
3Register a subject.
•Align the white border in the center of the monitor
with the subject that you want to register and press the
k button.
- The subject is registered.
- When the camera is unable to focus on the subject,
the border will glow red. Change the composition
and try registering the subject again.
•When the subject is registered, a yellow double border
(focus area) is displayed around that subject.
•To cancel subject registration, press the k button.
•If the camera cannot track the registered subject
anymore, the focus area will disappear and the
registration will be canceled. Register the subject
again.
Image mode
White balance
Shooting menu
ISO sensitivity
AF area mode
Autofocus mode
Metering
Start
S t ar t
Start
End
End
End

E41
The Shooting Menu (for A (Auto) Mode, Continuous Shooting Mode)
Reference Section
4Press the shutter-release button the rest of
the way down to take a picture.
•The camera focuses on the focus area when the
shutter-release button is pressed halfway. The focus
area will glow green and focus will be locked.
•If the shutter-release button is pressed halfway while
the focus area is not displayed, the camera focuses on
the subject in the center of the frame.
F 3.3
F 3.3
1/250
1/250
BNotes About Subject Tracking
•Digital zoom cannot be used.
•Adjust zoom position, flash mode, creative slider, and menu settings prior to registering the
subject. If any camera setting is changed after the subject has been registered, subject registration
will be canceled.
•The camera may not be able to register or track the subject, or a different subject may be tracked,
depending on shooting conditions such as if the subject is moving fast, if there is camera shake,
and if there are similar looking subjects in the frame. The camera’s ability to accurately track the
registered subject is also dependent upon the size and brightness of the subject.
•When using autofocus and shooting subjects that are difficult to focus on (A29), the subject
may not be in focus even though the focus area glows green. If the subject is not in focus, change
AF area mode (E37) to Manual or Center in A(auto) mode, and try focus lock shooting
(A78) by focusing on another subject that is the same distance from the camera.
•Some settings cannot be used with other functions (A73).

E42
The Shooting Menu (for A (Auto) Mode, Continuous Shooting Mode)
Reference Section
Autofocus Mode
Select how the camera focuses.
Enter A (auto) mode or continuous shooting mode M d button M A or C tab M
Autofocus mode
Option Description
ASingle AF
(default setting)
The camera focuses when the shutter-release button is pressed
halfway.
BFull-time AF
The camera focuses continuously until the shutter-release button is
pressed down halfway. Use with moving subjects. The sound of lens
drive movement will be heard while the camera focuses.
BNotes About Autofocus Mode
Some settings cannot be used with other functions (A73).
CAutofocus Mode for Movie Recording
Autofocus mode for movie recording can be set with Autofocus mode (E59) in the movie menu.

E43
Reference Section
The Playback Menu
•For information about the following image editing features, see “Editing Still
Images” (E10):
a Print Order (Creating a DPOF Print Order)
When printing images saved on the memory card using any of the following
methods, the Print order option in the playback menu is used to create digital
“print orders” for printing on DPOF-compatible devices.
•Inserting the memory card into a DPOF-compatible (F19) printer’s card slot.
•Taking the memory card to a digital photo lab.
•Connecting the camera to a PictBridge-compatible (F19) printer (E23). A
print order can also be created for images saved in the internal memory if the
memory card is removed from the camera.
1Select Select images and press the k
button.
2Select images (up to 99) and the number of
copies (up to nine) of each.
•Rotate the multi selector, or press J or K to select
images, and press H or I to specify the number of
copies to be printed.
•
Images selected for printing are indicated by the check
mark icon and the numeral indicating the number of
copies to be printed. If no copies have been specified for images, the selection is canceled.
•Rotate the zoom control to g(i) to switch to full-frame playback. Rotate the zoom
control to f(h) to switch back to 12-thumbnail display.
•Press the k button when setting is complete.
- Quick retouch - D-Lighting
- Skin softening - Filter effects
- Small picture
Press the c button (playback mode) M d button M c tab M a Print order
Select images
Delete print order
Print order
Back
Print selection
1
1
1
1
3
3

E44
The Playback Menu
Reference Section
3Select whether or not to print shooting date
and shooting information.
•Select Date and press the k button to print the
shooting date on all images.
•Select Info and press the k button to print shooting
information (shutter speed and aperture value) on all
images.
•Select Done and press the k button to apply the settings.
Images selected for printing are indicated by the w
icon during playback.
Print order
Info
Done
Date
4/ 4
4/ 4
15/11/2011 15:30
15/11/2011 15:30
0004. JPG
0004. JPG
BNotes About Printing Shooting Date and Shooting Information
When the Date and Info settings are enabled in the print order option, shooting date and shooting
information are printed on images when a DPOF-compatible (F19) printer that supports printing
of shooting date and shooting information is used.
•Shooting information cannot be printed when the camera is connected directly to a printer, via
the included USB cable, for DPOF printing (E29).
•Note that Date and Info settings are reset each time the Print order option is displayed.
•The date printed is that saved when the image was captured.
Changing the camera’s date using the Date and time or Time
zone in the Time zone and date option in the setup menu after
an image has been captured has no effect on the date printed on
the image.
CCanceling Existing Print Order
Select Delete print order in step 1 of “a Print Order (Creating a DPOF Print Order)” (E43) and
press the k button to remove print marking from all images and cancel the print order.
15.11.2011
15.11.2011

E45
The Playback Menu
Reference Section
CPrint Date
When shooting date and time are imprinted on images using the Print date option (E66) in the
setup menu, images are saved with shooting date and time imprinted on the image when they are
captured. Images with the date imprinted on them can be printed from printers that do not support
printing of the date on images.
If the Print date option is used to imprint the shooting date on images, the Date selection option
of the Print order function has no effect.

E46
The Playback Menu
Reference Section
b Slide Show
Play back images, saved in the internal memory or on a memory card, one by one
in an automated “slide show.”
1Use the multi selector to select Start and
press the k button.
•To change the interval between images, select Frame
intvl, select the desired interval time, and press the k
button before selecting Start.
•To repeat the slide show automatically, select Loop
and press the k button before selecting Start. The
check mark (w) will be added to the loop option when enabled.
2The slide show begins.
•While the slide show is in progress, press the multi
selector K to display the next image or J to display
the previous image. Hold down either button to fast
forward or rewind.
•To end or pause the slide show, press the k button.
3End the slide show or restart it.
•The screen shown on the right is displayed when the
slide show has ended or is paused. Select G and
press the k button to return to the screen displayed in
step 1. Select F to play the slide show again.
Press the c button (playback mode) M d button M c tab M b Slide show
Slide show
Frame intvl
Start
Loop
Pause
3s
BNotes About Slide Show
•Only the first frame of movies included in a slide show is displayed.
•For sequences (E7) whose sequence display options are set to Key picture only, only the key
picture is displayed.
•Images captured using easy panorama (A49, E2) are displayed full-frame when played in a
slide show. They do not scroll.
•The maximum playback time is up to 30 minutes even if Loop is enabled (E72).

E47
The Playback Menu
Reference Section
d Protect
Protect selected images from accidental deletion.
Select images to protect or cancel protection for previously protected images
from the image selection screen.
See “The Image Selection Screen” (E48) for more information.
Note that formatting the camera’s internal memory or the memory card will
permanently delete protected images (E73).
Protected images are indicated by the s icon during playback (A8).
Press the c button (playback mode) M d button M c tab M d Protect

E48
The Playback Menu
Reference Section
The Image Selection Screen
When using one of the following features, a screen like
that shown on the right is displayed when selecting
images.
•Print order > Select images (E43)
•Protect (E47)
•Rotate image (E49)
•Copy > Selected images (E52)
•Choose key picture (E54)
•Welcome screen > Select an image (E60)
•Delete image > Erase selected images (A32)
Follow the procedures described below to select the images.
1Rotate the multi selector, or press J or K to
select the desired image.
•Rotate the zoom control (A2) to g(i) to switch to
full-frame playback or f(h) to switch back to 12-
thumbnail display.
•Only one image can be selected for Rotate image,
Choose key picture, and Welcome screen. Proceed
to step 3.
2Press H or I to select or deselect (or to
specify the number of copies).
•When an image is selected, a check mark (y) is
displayed with the image. Repeat steps 1 and 2 to
select additional images.
3Press the k button to apply image selection.
•When Selected images is selected, a confirmation dialog is displayed. Follow the
instructions displayed in the monitor.
ON/OFF
Back
Protect
ON/OFF
Back
Protect
ON/OFF
Back
Protect

E49
The Playback Menu
Reference Section
f Rotate Image
Specify the orientation in which saved images are displayed during playback. Still
images can be rotated 90 degrees clockwise or 90 degrees counterclockwise.
Images that were saved in portrait (“tall”) orientation can be rotated up to 180
degrees in either direction.
Select an image from the image selection screen (E48). When the Rotate image
screen is displayed, rotate the multi selector or press J or K to rotate the image
90 degrees.
Press the k button to finalize display orientation, and save orientation
information with the image.
Press the c button (playback mode) M d button M c tab M f Rotate image
Back
Rotate image
Rotate Back
Rotate image
Rotate
Back
Rotate image
Rotate
Rotate 90 degrees
counterclockwise
Rotate 90 degrees
clockwise
BNotes About Image Rotation
•The camera cannot rotate images captured with another make or model of digital camera.
•While only the key picture of a sequence is displayed, images cannot be rotated. Apply the setting
after displaying individual images (E7, E54).

E50
The Playback Menu
Reference Section
E Voice Memo
Use the camera’s microphone to record voice memos for images.
•For an image that has no voice memo, the voice memo recording screen is
displayed; for an image that has a voice memo (i.e., an image indicated by p in
full-frame playback mode), the voice memo playback screen is displayed.
Recording Voice Memos
•Press and hold the k button to record a voice
memo (up to 20 seconds).
•Do not touch the microphone during recording.
•During recording, o and p blink in the monitor.
•When recording ends, the voice memo playback
screen is displayed. See “Playing Voice Memos” for
more information.
•Press the multi selector J before or after recording a
voice memo to return to the playback menu. Press
the d button to exit the playback menu.
Playing Voice Memos
•Press the k button to play the voice memo.
•Press the k button again to stop playback.
•Rotate the zoom control to g or f during playback
to adjust playback volume.
•Press the multi selector J before or after playing a
voice memo to return to the playback menu. Press
the d button to exit the playback menu.
Press the c button (playback mode) M select an image M d button M c tab M
EVoice memo
Back
Bac k
Back
2 0 s
20s
1 7 s
17s
Back
Bac k
Back
2 0 s
20s

E51
The Playback Menu
Reference Section
Deleting Voice Memos
Press the l button while the screen described in
“Playing Voice Memos” is displayed.
When the confirmation dialog is displayed, select Yes
and press the k button. Only the voice memo will be
deleted. Yes
No
File will be deleted. OK?
BNotes About Voice Memos
•When an image with a voice memo attached is deleted, both the image and its voice memo are
deleted.
•You cannot delete voice memos attached to protected images (E47).
•Voice memos cannot be recorded for an image that already has a voice memo attached to it. The
current voice memo must be deleted before a new voice memo can be recorded.
•Voice memos cannot be attached to pictures recorded with easy panorama.
•This camera cannot record voice memos for images captured with another make or model of
digital camera.
CMore Information
See “File and Folder Names” (E84) for more information.

E52
The Playback Menu
Reference Section
h Copy (Copy Between Internal Memory and Memory Card)
Copy images between the internal memory and a memory card.
1Use the multi selector to select a copy
destination and press the k button.
•q: Copy images from internal memory to
memory card.
•r: Copy images from memory card to internal
memory.
2Select a copy option and press the k button.
•Selected images: Copy images selected from the
image selection screen (E48). If a sequence for which
only a key picture is displayed is selected (E7), all
images in the displayed sequence are copied.
•All images: Copy all images. If an image in a sequence
is selected, this option is not displayed.
•Current sequence: This option is available only if an image that is in a sequence
group was selected before the playback menu was displayed. All images in the
current sequence are copied.
Press the c button (playback mode) M d button M c tab M h Copy
Copy
Selected images
All images
Camera to card

E53
The Playback Menu
Reference Section
BNotes About Copying Images
•JPEG-, MOV-, and WAV-format files can be copied. Files saved in any other format cannot be
copied.
•If voice memo (E50) are attached to images selected for copying, voice memos are copied with
the images.
•Operation is not guaranteed with images captured with another make of camera or that have
been modified on a computer.
•When copying images for which Print order (E43) options are enabled, the print order settings
are not copied. However, when copying images for which Protect (E47) is enabled, the protect
setting is copied.
•If you copy images that are in a sequence, the copied images are not part of a sequence.
•If Sequence display options (E54) is set to Key picture only and an image in the sequence is
selected and the k button is pressed to display individual images (E7), only r(memory
card to internal memory) image copy is available.
CIf “Memory contains no images.” Is Displayed
If there are no images saved on a memory card inserted in the camera when playback mode is
applied, the message Memory contains no images. will be displayed. Press the d button to
display the copy options screen, and copy the images saved in the camera’s internal memory to the
memory card.
CMore Information
See “File and Folder Names” (E84) for more information.

E54
The Playback Menu
Reference Section
CSequence Display Options
Select the method used to display a series of images shot continuously (sequence;
E7) when viewing them in full-frame playback mode (A30) and in thumbnail
playback mode (A31).
Settings are applied to all sequences, and the setting is saved in the camera’s
memory even if the camera is turned off.
NChoose Key Picture
When Sequence display options is set to Key picture only, the key picture
displayed in full-frame playback mode (A30) and thumbnail playback mode
(A31) can be set for each sequence of images.
•When changing this setting, before pressing d, first select the desired
sequence using full-frame playback mode or thumbnail playback mode.
•When the key picture selection screen is displayed, select an image. See “The
Image Selection Screen” (E48) for more information.
Press the c button (playback mode) M d button M c tab M
C Sequence display options
Option Description
Individual pictures Set all images in all sequences to be displayed individually.
Key picture only
(default setting) Set all sequences to be displayed using their key pictures only.
Press the c button (playback mode) M d button M c tab M N Choose key picture

E55
Reference Section
The Movie Menu
Movie Options
Select the desired movie option to record.
In addition to normal speed movies, the camera can also record high speed (HS)
movies (E57), which can be played back in slow motion or fast motion.
Larger image sizes and faster movie bitrates mean higher image quality and larger
movie file sizes.
Normal Speed Movies
Enter shooting mode M d button M D tab M Movie options
Option Description
d HD 1080pP
(1920×1080)
(default setting)
Movies with an aspect ratio of 16:9 are recorded. This option is
suited to playback on a wide screen TV.
•Movie bitrate: 18.8 Mbps
•Frame rate: About 30 frames per second
e HD 1080p
(1920×1080)
Movies with an aspect ratio of 16:9 are recorded. This option is
suited to playback on a wide screen TV.
•Movie bitrate: 12.6 Mbps
•Frame rate: About 30 frames per second
f HD 720p
(1280×720)
Movies with an aspect ratio of 16:9 are recorded.
•Movie bitrate: 8.4 Mbps
•Frame rate: About 30 frames per second
p iFrame 540
(960×540)
Movies with an aspect ratio of 16:9 are recorded. A format
supported by Apple Inc.
•Movie bitrate: 20.8 Mbps
•Frame rate: About 30 frames per second
When recording movies to the internal memory, recording may
stop unexpectedly in some shooting conditions. When recording
movies of important events, recording to a memory card (Speed
Class 6 or higher) is recommended.
g VGA (640×480)
Movies with an aspect ratio of 4:3 are recorded.
•Movie bitrate: 2.9 Mbps
•Frame rate: About 30 frames per second

E56
The Movie Menu
Reference Section
HS Movie
•The movie bitrate is the volume of movie data recorded per second. Variable
bitrate (VBR) encoding is used to automatically adjust the bitrate depending on
the subject being recorded. When recording movies of subjects with large
amounts of motion, the file size increases.
•See “Movie Options and Maximum Movie Length” (A90) for information
about recording time.
Option Description
h HS 120 fps
(640×480)
1/4-speed slow motion movies with a 4:3 aspect ratio are recorded.
•Max. recording time: 7 minutes and 15 seconds (playback time:
29 minutes)
•Movie bitrate: 2.8 Mbps
•Frame rate: About 120 frames per second
•When the shooting mode is set to special effects (A53), the
Soft effect is not applied to movies. Only the hue of the
Nostalgic sepia effect is applied.
i HS 60 fps
(1280×720)
1/2-speed slow motion movies with a 16:9 aspect ratio are
recorded.
•Max. recording time: 14 minutes and 30 seconds (playback time:
29 minutes)
•Movie bitrate: 8.3 Mbps
•Frame rate: About 60 frames per second
j HS 15 fps
(1920×1080)
2× speed fast motion movies with a 16:9 aspect ratio are recorded.
•Max. recording time: 29 minutes (playback time: 14 minutes and
30 seconds)
•Movie bitrate: 18.6 Mbps
•Frame rate: About 15 frames per second
CMore Information
See “File and Folder Names” (E84) for more information.

E57
The Movie Menu
Reference Section
Recording Movies in Slow Motion and Fast Motion (HS Movie)
HS (high speed) movies can be recorded. Movies can be played back in slow
motion at 1/4 or 1/2 of normal playback speed, or played back in fast motion at a
speed two times faster than normal speed.
•See “HS Movie” (E58) for more information.
1Display the movie menu (E55), use the
multi selector to select Movie options, and
then press the k button.
2Confirm or change HS movie settings, and
then press the k button.
•See “Movie Options” (E55) for more information.
•Press the d button after changing the settings and
return to the shooting screen.
3Press the b(emovie-record) button to start
recording.
•Movie recording begins after the monitor briefly turns
off.
•The camera focuses in the center of the frame. Focus
areas are not displayed during recording.
•The maximum movie length display indicates the
maximum HS movie length.
4Press the b(emovie-record) button to end recording.
Movie options
Autofocus mode
Movie
Movie options
HD 1080p
HD 1080p (1920×1080)
HD 720p (1280×720)
HS 60 fps (1280×720)
VGA (640×480)
HS 120 fps (640×480)
(1920×1080)
iFrame 540 (960×540)
7m15s
7m15s
HS movie options

E58
The Movie Menu
Reference Section
BNotes About HS Movie
•Sound is not recorded.
•When recording HS movies, zoom position, focus, exposure, and white balance are locked when
the b (e movie-record) button is pressed to start recording.
CHS Movie
Recorded movies are played back at about 30 frames per second.
When Movie options (E55) is set to HS 120 fps (640×480) or HS 60 fps (1280×720), you can
record movies that can be played back in slow motion. When set to HS 15 fps (1920×1080),
movies that can be played back in fast motion at a speed two times faster than normal speed can be
recorded.
When HS 120 fps (640×480) is selected:
Movies are captured for up to 7 minutes and 15 seconds at high speed, and are played back in slow
motion at a speed four times slower than normal speed.
When HS 15 fps (1920×1080) is selected:
A movie of up to 29 minutes in length is recorded when shooting for the purpose of high-speed
playback. Movies are played back two times faster than normal speed.
Recording 10 s
Slow motion playback
(no sound)
Playback 40 s
Recording 2 min
Fast motion playback
(no sound)
Playback 1 min

E59
The Movie Menu
Reference Section
Autofocus Mode
Select the autofocus method used when recording normal speed movies.
Enter shooting mode M d button M D tab M Autofocus mode
Option Description
A Single AF
(default setting)
Focus is locked when the b(emovie-record) button is
pressed to start recording.
Select this option when the distance between the camera and
the subject will remain fairly consistent.
B Full-time AF
Camera focuses continuously.
Select this option when the distance between the camera and
subject will change significantly during recording. The sound of
the camera focusing may be heard in the recorded movie.
Use of Single AF is recommended to prevent the sound of the
camera focusing from interfering with recording.

E60
Reference Section
The Setup Menu
Welcome Screen
Select whether or not a welcome screen is displayed when the camera is turned
on.
d button M z tab M Welcome screen
Option Description
None (default setting) The camera enters shooting or playback mode without
displaying the welcome screen.
COOLPIX The camera displays a welcome screen and enters shooting or
playback mode.
Select an image
Displays an image selected for the welcome screen. When the
image selection screen is displayed, select an image (E48) and
press the k button.
•As the selected image is saved by the camera, it will be
displayed when the camera is turned on even if the original
image is deleted.
•Images captured at an Image mode (A71) setting of
l4608×2592, images captured with easy panorama, and
copies created at a size of 320 × 240 or smaller using the small
picture (E18) or crop (E19) function cannot be selected.

E61
The Setup Menu
Reference Section
Time Zone and Date
Set the camera clock.
Selecting the Travel Destination Time Zone
1Use the multi selector to select Time zone
and press the k button.
•The Time zone screen is displayed.
2Select xTravel destination and press the
k button.
•The date and time displayed in the monitor changes
according to the region currently selected.
d button M z tab M Time zone and date
Option Description
Date and time
Set camera clock to current date and
time.
Use the multi selector to set the date and
time in the date screen.
•Select an item: Press K or J to change
between D, M, Y, hour, and minute.
•Edit the highlighted item: Rotate the
multi selector or press H or I.
•Apply the setting: Select the minute
setting and press the k button.
Date format The available date formats are Year/Month/Day, Month/Day/Year,
and Day/Month/Year.
Time zone
w Home time zone can be specified and daylight saving time can be
enabled or disabled. When the travel destination (x) is selected, local
time (E63) is automatically calculated and images are saved with the
shooting date and time of the selected region. This can be useful when
travelling.
Date and time
DMY
2011
01
01
00
00
Edit
London, Casablanca
Time zone and date
15/11/2011 15:30
Time zone
Date and time
Date format
Time zone
15/11/2011 15:30
Home time zone
Travel destination
London, Casablanca

E62
The Setup Menu
Reference Section
3Press K.
•The travel destination screen is displayed.
4Press J or K to select the travel destination
time zone.
•If daylight saving time is in effect, press H to enable
daylight saving time function. W is displayed at the top
of the monitor and the camera clock is advanced one
hour. Press I to disable the daylight saving time
function.
•Press the k button to apply the travel destination time
zone.
•While the travel destination time zone is selected, the
Z icon will be displayed in the monitor when the
camera is in shooting mode.
Time zone
15/11/2011 15:30
Home time zone
Travel destination
London, Casablanca
Back
–04:00
EDT:
New York
Toro nto
Lima
11:30
Time zone
15/11/2011 11:30
Home time zone
Travel destination
EDT:New York
Toronto, Lima
Cw Home Time Zone
•To switch to the home time zone, select wHome time zone in step 2 and press the k button.
•To change the home time zone, select wHome time zone in step 2, and complete steps 3 and 4.
CDaylight Saving Time
When daylight saving time starts or ends, turn the daylight saving time function on or off from the
time zone selection screen displayed in step 4.
CImprinting Date on Images
Enable print date from the Print date option (E66) in the setup menu after the date and time
have been set. When the Print date option is enabled, images will be saved with shooting date
imprinted on them.

E63
The Setup Menu
Reference Section
CTime Zones
The camera supports the time zones listed below.
For time zones not listed below, set the camera clock to local time from the Date and time option.
UTC +/– Location UTC +/– Location
–11 Midway, Samoa +1 Madrid, Paris, Berlin
–10 Hawaii, Tahiti +2 Athens, Helsinki, Ankara
–9 Alaska, Anchorage +3 Moscow, Nairobi, Riyadh,
Kuwait, Manama
–8 PST (PDT): Los Angeles, Seattle,
Vancouver +4 Abu Dhabi, Dubai
–7 MST (MDT): Denver, Phoenix +5 Islamabad, Karachi
–6 CST (CDT): Chicago, Houston,
Mexico City +5.5 New Delhi
–5 EST (EDT): New York, Toronto,
Lima +6 Colombo, Dhaka
–4.5 Caracas +7 Bangkok, Jakarta
–4 Manaus +8 Beijing, Hong Kong, Singapore
–3 Buenos Aires, Sao Paulo +9 Tokyo, Seoul
–2 Fernando de Noronha +10 Sydney, Guam
–1 Azores +11 New Caledonia
±0 London, Casablanca +12 Auckland, Fiji

E64
The Setup Menu
Reference Section
Monitor Settings
Set the options below.
d button M z tab M Monitor settings
Option Description
Photo info Select information displayed in the monitor during shooting and
playback. See “Photo Info” (E65) for more information.
Brightness Select from five settings for monitor brightness. The default
setting is 3.

E65
The Setup Menu
Reference Section
Photo Info
Select whether or not the photo information is displayed in the monitor.
See “The Monitor” (A6) for information about indicators displayed in the monitor.
Shooting mode Playback mode
Show info
Auto info
(default setting)
The same information as in Show info is displayed. If no operations are
performed after a few seconds, the display will be the same as Hide info.
The information is displayed again when an operation is performed.
Hide info
Framing
grid+auto info In addition to information shown
with Auto info above, a framing
grid is displayed to help frame
pictures. It is not displayed when
recording movies.
The same information as in Auto
info is displayed.
Movie
frame+auto info In addition to information shown
with Auto info above, a frame is
displayed before recording begins
that represents the area that will
be captured when recording
movies. It is not displayed when
recording movies.
The same information as in Auto
info is displayed.
840
840
2 9m 0 s
29m 0s
4/ 4
4/ 4
15/11/2011 15:30
15/11/2011 15:30
0004. JPG
0004. JPG
840
840
29m 0s
29m 0s
4/ 4
4/ 4
15/11/2011 15:30
15/11/2011 15:30
0004. JPG
0004. JPG
840
840
2 9m 0 s
29m 0s

E66
The Setup Menu
Reference Section
Print Date (Imprinting Date and Time)
The shooting date and time can be imprinted on the
images during shooting, allowing the information to
be printed even from printers that do not support date
printing (E44).
The current print date setting is indicated by an icon when shooting (A6). No
icon is displayed when Off is selected.
d button M z tab M Print date
Option Description
fDate Date is imprinted on images.
SDate and time Date and time are imprinted on images.
kOff
(default setting) Date and time are not imprinted on images.
15.11.2011
15.11.2011
BNotes About Print Date
•Imprinted dates form a permanent part of image data and cannot be deleted. The date and time
cannot be imprinted on images after they have been captured.
•The date cannot be imprinted in the following situations:
- When using Panorama scene mode
- When using continuous shooting mode (Pre-shooting cache, Continuous H: 120 fps, or
Continuous H: 60 fps)
- When shooting movies
•Dates imprinted at an Image mode setting (A71) of O640×480 may be difficult to read.
Select an Image mode setting of N1024×768 or higher when using print date.
•The date is saved using the format selected in the setup menu’s Time zone and date option
(A22, E61).
CPrint Date and Print Order
When printing from DPOF-compatible printers that support the printing of shooting date and
shooting information, the date and information can be printed without imprinting this information
on them using settings in the Print order option (E43).

E67
The Setup Menu
Reference Section
Vibration Reduction
Reduce the effects of camera shake while shooting. Vibration reduction reduces
blur, caused by slight hand movement known as camera shake, which commonly
occurs when shooting with zoom applied or at slow shutter speeds. The effects of
camera shake are reduced when recording movies, in addition to when taking still
pictures.
Set Vibration reduction to Off when shooting still images while using a tripod
to stabilize the camera.
The current vibration reduction setting is indicated by an icon when shooting
(A6). No icon is displayed when Off is selected.
d button M z tab M Vibration reduction
Option Description
gOn (default setting)
Vibration reduction is enabled.
Camera automatically detects the panning direction and only
corrects for vibration due to camera shake. When the camera is
panned, for example, vibration reduction reduces only vertical
shake. If the camera is tilted, vibration reduction affects only
horizontal shake.
kOff Vibration reduction is not enabled.
BNotes About Vibration Reduction
•After turning on the camera or after switching from playback mode to shooting mode, wait for the
shooting mode screen to be displayed completely before taking pictures.
•Due to characteristics of the vibration reduction function, images displayed in the camera’s
monitor immediately after shooting may be displayed blurry.
•Vibration reduction may be unable to completely eliminate the effects of camera shake in some
situations.
•When the Night landscape or Night portrait scene modes are set to Tripod, vibration
reduction is turned Off.

E68
The Setup Menu
Reference Section
Motion Detection
Enable motion detection to reduce the effects of subject movement and camera
shake when shooting still images.
The current motion detection setting is indicated by an icon when shooting
(A6). When the camera detects camera shake or subject movement, it increases
shutter speed and the motion detection icon turns green. No icon is displayed
when Off is selected.
d button M z tab M Motion detection
Option Description
UAuto
(default setting)
When the camera detects subject movement or camera shake,
the ISO sensitivity and shutter speed are automatically increased
to reduce blurring.
However, motion detection does not function in the following
situations.
•When the flash mode is set to fill-flash
•In A(auto) mode, when ISO sensitivity (E34) is fixed
•In the following scene modes:
-j (night landscape) (A41)
-W (backlighting) (A42)
-O (pet portrait) (A43)
-Landscape (A44), Sports (A45), Night portrait
(A45), Fireworks show (A48), Panorama (when Easy
panorama is selected) (A49)
•AF area mode is set to Subject tracking (E40)
•In continuous shooting mode (A50)
kOff Motion detection is not enabled.
BNotes About Motion Detection
•Motion detection may be unable to completely eliminate the effects of subject movement and
camera shake in some situations.
•Motion detection may not function if the subject exhibits significant movement or is too dark.
•The images captured using motion detection may be somewhat “grainy” in appearance.

E69
The Setup Menu
Reference Section
AF Assist
Enable or disable AF-assist illuminator, which assists autofocus operation when the
subject is dimly lit.
d button M z tab M AF assist
Option Description
Auto (default setting)
AF-assist illuminator will be used to assist the focus operation
when the subject is dimly lit. The illuminator has a range of
about 2.2 m (7 ft 3 in.) at the maximum wide-angle position and
about 1.4 m (4 ft 7 in.) at the maximum telephoto position.
Note that for some focus areas and for some scene modes, such
as Museum (A48) and Pet portrait (A43), the AF-assist
illuminator may not light even when Auto is selected.
Off AF-assist illuminator does not light. The camera may be unable
to focus under dim lighting.

E70
The Setup Menu
Reference Section
Digital Zoom
Enable or disable digital zoom.
d button M z tab M Digital zoom
Option Description
On (default setting)
When the camera is zoomed in to the maximum optical zoom
position, rotating the zoom control to g(i) triggers digital
zoom (A27).
Off Digital zoom will not be activated.
BNotes About Digital Zoom
•When digital zoom is in effect, the camera focuses in the center of the frame.
•Digital zoom cannot be used in the following situations.
- When using smile timer
- When using the scene auto selector, O (pet portrait), Portrait, Night portrait, Panorama
(when Easy panorama is selected) scene modes
- When AF area mode is set to Subject tracking
- When continuous shooting mode is set to Multi-shot 16 or smile timer continuous
•While digital zoom is in effect, metering is automatically set to center-weighted metering.

E71
The Setup Menu
Reference Section
Sound Settings
Adjust the following sound settings.
d button M z tab M Sound settings
Option Description
Button sound
Select On (default setting) or Off. When On is selected, a beep
will sound once when operations are completed successfully,
twice when the camera acquires focus on the subject, and three
times when an error is detected. Start-up sound will also play
when the camera is turned on.
Shutter sound
Select On (default setting) or Off.
The shutter sound is not heard, even if On is selected, when
using continuous shooting mode (A50), or when recording
movies.
BNotes About Sound Settings
Button sounds and the shutter sound are not heard when using O (pet portrait).

E72
The Setup Menu
Reference Section
Auto Off
If no operations are performed for a specified amount of time, the monitor turns
off and the camera enters standby mode (A21).
Select the time allowed to elapse before the camera enters standby mode from
30 s
,
1 min
(default setting),
5 min
, and
30 min
.
d button M z tab M Auto off
CWhen the Monitor Has Turned Off to Save Power
•When the camera is in standby mode, the power-on lamp blinks.
•If no operations are performed for about three minutes, the camera will turn off automatically.
•When the power-on lamp is blinking, the following operations will turn the monitor back on.
- Pressing the power switch, shutter-release button, c button, or b(emovie-record) button
- Rotating the mode dial
CAuto Off
T
he time allowed to elapse before the camera enters standby mode is fixed in the following
situations:
•While menus are displayed: 3 minutes (when auto off is set to 30 s or 1 min)
•During slide show playback: Up to 30 minutes
•When the AC Adapter EH-62F is connected: 30 minutes

E73
The Setup Menu
Reference Section
Format Memory/Format Card
Use this option to format the internal memory or a memory card.
Formatting the internal memory or memory cards permanently deletes all
data. Data that has been deleted cannot be restored. Be sure to transfer
important images to a computer before formatting.
Formatting the Internal Memory
To format the internal memory, remove the memory
card from the camera.
The Format memory option is displayed in the setup
menu.
Formatting Memory Cards
When a memory card is inserted in the camera, the
Format card option is displayed in the setup menu.
d button M z tab M Format memory/Format card
No
Format memory
All images will
be deleted! OK?
Format
No
Format card
All images will
be deleted! OK?
Format
BNotes About Formatting Internal Memory and Memory Cards
•Do not turn the camera off or open the battery-chamber/memory card slot cover during
formatting.
•The first time you insert a memory card that has been used in another device into this camera, be
sure to format it with this camera.

E74
The Setup Menu
Reference Section
Language
Select one of 29 languages for display of camera menus and messages.
TV Settings
Adjust settings for connection to a TV.
CHDMI and HDMI-CEC
HDMI (High-Definition Multimedia Interface) is a multimedia interface. HDMI-CEC (HDMI-Consumer
Electronics Control) allows compatible devices to inter-operate.
d button M z tab M Language
Czech Russian
Danish Romanian
German Finnish
(default setting) Swedish
Spanish Vietnamese
Greek Turkish
French Ukrainian
Indonesian Arabic
Italian Simplified Chinese
Hungarian Traditional Chinese
Dutch Japanese
Norwegian Korean
Polish Thai
Brazilian Portuguese Hindi
European Portuguese
d button M z tab M TV settings
Option Description
Video mode Select from NTSC and PAL.
HDMI
Select a resolution for HDMI output from Auto (default setting),
480p, 720p, or 1080i. When Auto is selected, the option best
suited to the TV to which the camera is connected is automatically
selected from 480p, 720p, or 1080i.
HDMI device control
Select whether or not the camera can receive signals from a TV that
supports the HDMI-CEC standard when it is connected to the TV via
HDMI. When On (default setting) is selected, the TV’s remote control
can be used to control the camera during playback. See “Using a TV
Remote Control (HDMI Device Control)” (E22) for more information.

E75
The Setup Menu
Reference Section
Charge by Computer
Select whether or not the battery inserted into the camera is charged when the
camera is connected to a computer via the USB cable (A81).
d button M z tab M Charge by computer
Option Description
Auto (default setting)
When the camera is connected to a computer that is running,
the battery inserted into the camera is automatically charged
using power supplied by the computer.
Off The battery inserted into the camera is not charged when the
camera is connected to a computer.
BNotes About Connecting the Camera to a Printer
•The battery cannot be charged with connection to a printer, even if the printer complies with the
PictBridge standard.
•When Auto is selected for Charge by computer, it may be impossible to print images with direct
connection of the camera to some printers. If the PictBridge startup screen is not displayed in the
monitor after the camera is connected to a printer and turned on, turn the camera off and
disconnect the USB cable. Set Charge by computer to Off and reconnect the camera to the
printer.
BNotes About Charging with Connection to a Computer
•The battery cannot be charged, nor can data be transferred, when the camera is connected to a
computer before the camera’s display language and date and time have been set (A22). If the
camera’s clock battery (A23) has been exhausted, the date and time must be reset before the
battery can be charged or images can be transferred with connection to a computer. In this case,
use the Charging AC Adapter EH-69P (A16) to charge the battery and then set the camera’s date
and time.
•If the camera is turned off, charging will also stop.
•If the computer enters sleep mode while charging, charging will stop and the camera may be
turned off.
•When disconnecting the camera from the computer, turn the camera off and then disconnect the
USB cable.
•It may take longer to charge the battery with connection to a computer than with charging using
the Charging AC Adapter EH-69P. Charging time increases when images are transferred while the
battery is charging.
•When the camera is connected to a computer, an application installed on the computer, such as
Nikon Transfer 2, may start. If the camera was connected to the computer for the sole purpose of
charging the battery, exit the application.
•The camera turns off automatically if there is no communication with the computer for 30 minutes
after the battery has finished charging.
•Depending upon computer specifications, settings, and power supply and allocation, it may be
impossible to charge the battery using a computer connection while it is inserted into the camera.

E76
The Setup Menu
Reference Section
CThe Charge Lamp
The following chart explains charge lamp status when the camera is connected to a computer.
Charge lamp Description
Blinks slowly
(green) Battery charging.
Off Battery not charging. If the charge lamp changes from slow blinking (green) to
off while the power-on lamp is lit, charging is complete.
Flickers (green)
•The ambient temperature is not suited to charging. Charge the battery
indoors with an ambient temperature of 5 °C to 35 °C (41 °F to 95 °F).
•The USB cable is not connected correctly, or the battery is faulty. Make sure
the USB cable is connected correctly and replace the battery if necessary.
•The computer is in sleep mode and is not supplying power. Wake up the
computer.
•The battery cannot be charged because the computer cannot supply power
to the camera, due to the computer’s settings or its specifications.

E77
The Setup Menu
Reference Section
Blink Warning
Specify whether or not the camera detects human subjects that have blinked
using face detection (A76) when shooting in the following modes.
•A(auto) mode (when Face priority (E37) is selected for AF area mode
option)
•In the following scene modes:
- Scene auto selector (A40)
-Portrait (A44)
-Night portrait (when Tripod is selected) (A45)
d button M z tab M Blink warning
Option Description
On
When the camera detects that one or more human subjects may
have blinked in an image captured using face detection, the Did
someone blink? screen is displayed in the monitor.
The face of the human subject that may have closed his/her eyes
is framed by a yellow border. Should this occur, check the image
and determine whether or not another image should be
captured.
See “The Blink Warning Screen” (E78) for more information.
Off (default setting) Blink warning is not enabled.
BNotes About Blink Warning
Blink warning does not function when using continuous shooting mode or smile timer (A61).

E78
The Setup Menu
Reference Section
The Blink Warning Screen
When the Did someone blink? screen shown on the
right is displayed in the monitor, the operations
described below are available.
If no operations are performed within a few seconds,
the camera automatically returns to shooting mode.
Function Control Description
Enlarge the detected
face that blinked g (i) Rotate the zoom control to g(i).
Switch to full-frame
playback mode f (h) Rotate the zoom control to f(h).
Select the face to be
displayed
If the camera detects that more than one human
subject blinked, press J or K to switch the
display to another face.
Delete the image lPress the l button.
Switch to shooting
mode
k
Press the k button or shutter-release button.
Did someone blink?
End
End
End

E79
The Setup Menu
Reference Section
Filmstrip
Allows you to select whether or not filmstrips are displayed when you rotate the
multi selector quickly in full-frame playback mode (A30).
d button M z tab M Filmstrip
Option Description
On
Image thumbnails are displayed
in the bottom of the monitor
when you rotate the multi
selector quickly while viewing an
image in full-frame playback
mode.
You can view thumbnails of
previous and subsequent images,
and select an image.
While the filmstrip is displayed, you can hide it by pressing the
k button.
Off (default setting) Disables the filmstrip.
10/ 10
10/ 10
BNotes About Filmstrip Display
In order to display the filmstrip, at least ten images must be saved in the camera’s internal memory
or on the memory card.

E80
The Setup Menu
Reference Section
Reset All
When Reset is selected, the camera’s settings will be restored to their default
values.
Basic Shooting Functions
Shooting Menu
Scene Mode
Night landscape Menu
d button M z tab M Reset all
Option Default value
Flash mode (A56) Auto
Self-timer (A59) Off
Macro mode (A64) Off
Creative slider adjustment (A65) Off
Exposure compensation (A67, 68) 0.0
Option Default value
Image mode (A71) P 4608×3456
White balance (E30) Auto
Metering (E33) Matrix
ISO sensitivity (E34) Auto
AF area mode (E37) Target finding AF
Autofocus mode (E42) Single AF
Option Default value
Scene menu (A39) Portrait
Night portrait (A45) Tripod
Hue adjustment in Food mode (A47) Center
Panorama (A49) Easy panorama (Normal (180°))
Option Default value
Night landscape (A41) Hand-held

E81
The Setup Menu
Reference Section
Backlighting Menu
Pet portrait Menu
Continuous Shooting Menu
Special Effects Menu
Movie Menu
Setup Menu
Option Default value
HDR (A42) Off
Option Default value
Pet portrait (A43) Continuous
Option Default value
Continuous (A52) Continuous
Option Default value
Special effects (A53) Soft
Option Default value
Movie options (E55) HD 1080pP (1920×1080)
Autofocus mode (E59) Single AF
Option Default value
Welcome screen (E60) None
Photo info (E64) Auto info
Brightness (E64) 3
Print date (E66) Off
Vibration reduction (E67) On
Motion detection (E68) Auto
AF assist (E69) Auto
Digital zoom (E70) On
Button sound (E71) On
Shutter sound (E71) On
Auto off (E72) 1 min

E82
The Setup Menu
Reference Section
Others
•Selecting Reset all also clears the current file number (E84) from memory.
Numbering will continue from the lowest number available. To reset file
numbering to “0001”, delete all images saved in the internal memory or on the
memory card (A32) before selecting Reset all.
•The following menu settings will remain unaffected when menus are reset with
Reset all.
Shooting menu:
Preset manual data (E32) acquired for White balance
Playback menu:
Sequence display options (E54), Choose key picture (E54)
Setup menu:
Time zone and date (E61), Language (E74), Video mode under TV
settings (E74)
HDMI (E74) Auto
HDMI device control (E74) On
Charge by computer (E75) Auto
Blink warning (E77) Off
Filmstrip (E79) Off
Option Default value
Paper size (E26, E27) Default
Frame interval for Slide show (E46) 3 s
Option Default value

E83
The Setup Menu
Reference Section
Firmware Version
View the current camera firmware version.
d button M z tab M Firmware version
Back
COOLPIX S8200 Ver.x.x

E84
Reference Section
File and Folder Names
Images, movies, or voice memos are assigned file names as follows.
•Files are saved in folders named with a folder number followed by an identifier:
“P_” plus a three-digit sequential number for images captured in Panorama
assist scene mode (e.g. “101P_001”; E5) and “NIKON” for all other images (e.g.
“100NIKON”). When the number of files within a folder reaches 9999, a new
folder will be created. File numbers will be assigned automatically starting with
“0001”.
•Voice memo file names have the same identifier and file number as the image
to which the voice memo is attached.
•Files copied using Copy > Selected images are copied to the current folder,
where they are assigned new file numbers in ascending order starting from the
largest file number in memory. Copy > All images copies all folders from the
source medium; file names do not change but new folder numbers are
assigned in ascending order, starting from the largest folder number on the
destination medium (E52).
•A single folder can hold up to 200 files; if the current folder already contains 200
files, a new folder, named by adding one to the current folder name, will be
created the next time an image is captured. If the current folder is numbered
999 and contains 200 files, or an image is numbered 9999, no further images
can be captured until the internal memory or memory card is formatted
(E73), or a new memory card is inserted.
DSCN0001.JPG
Identifier (not shown on camera monitor)
Original still images (voice
memo attachment included)
and movies
DSCN
Small copies (voice memo
attachment included) SSCN
Cropped copies (voice memo
attachment included) RSCN
Images created by an image
editing function other than
crop and small picture (voice
memo attachment included)
FSCN
Extension (indicates file format)
Still images .JPG
Movies .MOV
Voice memos .WAV
File number (assigned automatically in
ascending order, starting with “0001”)

E85
Reference Section
Optional Accessories
1Included with the camera at the time of purchase (Aii).
2When using in other countries, use a plug adapter (commercially available) as necessary.
For more information about plug adapters, consult your travel agency.
Rechargeable battery Rechargeable Li-ion Battery EN-EL121
Charging AC adapter Charging AC Adapter EH-69P1, 2
Battery charger Battery Charger MH-65
AC adapter
AC Adapter EH-62F (connect as shown)
Be sure that the power connector cord has been properly
aligned in the power connector and battery chamber grooves
before closing the battery-chamber/memory card slot cover. If
part of the cord runs out of the grooves, the cover or cord may
be damaged when the cover is closed.
USB cable USB Cable UC-E61
Audio/video cable Audio Video Cable EG-CP161

E86
Reference Section
Error Messages
Display Problem Solution A
O (blinks) Clock not set. Set date and time. E61
N
Battery exhausted. Battery exhausted. Charge or replace the battery. 14, 16
P
Battery temperature
high
Battery temperature is
high.
Turn off camera, and allow
battery to cool down before
resuming use. After five
seconds, this message will
disappear, the monitor will
turn off, and the power-on
lamp will blink rapidly. After
the lamp blinks for three
minutes, the camera will turn
off automatically. Pressing the
power switch also turns off
the camera.
21
P
The camera will turn
off to prevent
overheating.
Memory card or inside
of camera has become
hot.
The camera turns off
automatically. Leave the
camera off until the memory
card or the inside of the
camera has cooled and then
turn it on again.
–
Q (● blinks red) Camera cannot focus. •Refocus.
•Use focus lock.
28, 29
78
P
Please wait for the
camera to finish
recording.
Camera cannot perform
other operations until
saving is complete.
Wait until message clears
from display automatically
when saving is complete.
–
u
Memory card is write
protected.
Write-protect switch is
in “lock” position.
Slide write-protect switch to
“write” position. –
P
This card cannot be
used. Error accessing memory
card.
•Use approved card.
•Check that terminals are
clean.
•Confirm that memory card
is correctly inserted.
19
18
18
P
This card cannot be
read.

Error Messages
Reference Section
E87
P
Card is not formatted.
Format card?
Yes
No
Memory card has not
been formatted for use
in COOLPIX S8200.
Formatting deletes all data saved
on the memory card. Be sure to
select
No
and make copies of
any images which need to be
kept before formatting the
memory card. Select
Yes
and
press the
k
button to format
the memory card.
F5
u
Out of memory. Memory card is full.
•Select smaller image size.
•Delete images.
•Insert new memory card.
•Remove memory card and
use internal memory.
71
32, 92
18
19
P
Image cannot be
saved.
Error occurred while
saving image.
Format internal memory or
memory card. E73
Camera has run out of
file numbers.
Insert a new memory card or
format internal memory or
memory card.
18,
E73
Image cannot be used
for welcome screen.
The following images cannot be
registered as welcome screen.
•Images captured at an
Image mode setting of
l4608×2592
•Images captured with easy
panorama
•Images created using the
small picture or crop
functions that are 320 × 240
or smaller in size
E60
Insufficient space to
save a copy.
Delete images from
destination. 32
P
Sound file cannot be
saved.
A voice memo cannot
be attached to this file.
•Voice memos cannot be
attached to movies.
•Select an image captured
with COOLPIX S8200.
92
E51
N
Image cannot be
modified.
Cannot edit selected
image.
•Select images that support
editing function.
•Movies cannot be edited.
E11
–
u
Cannot record movie.
Time out error while
saving movie on the
memory card.
Select memory card with
faster write speed. 18
Display Problem Solution A

E88
Error Messages
Reference Section
N
Memory contains no
images.
No images in the
internal memory or
memory card.
•Remove the memory card
from the camera to play
back images saved in the
camera’s internal memory.
•To copy image from
internal memory to
memory card, press the
d button. The copy
screen will be displayed
and images in the internal
memory can be copied to
memory card.
18
E52
N
File contains no image
data. File not created with the
COOLPIX S8200.
File cannot be viewed on this
camera. View file using a
computer or the devices used
to create or edit this file.
–
P
This file cannot be
played back.
N
All images are hidden.
No images available for
a slide show. –E46
N
This image cannot be
deleted.
Image is protected. Disable protection. E47
N
Travel destination is in
the current time zone.
Destination in same
time zone as home. –E63
P
Mode dial is not in the
proper position.
The mode dial is not set
to the correct position.
Rotate the mode dial to select
the desired mode. 24
u
Flash is not fully raised.
Flash is being held
down by fingers and
other objects.
Do not hold down the flash. 26
Display Problem Solution A

Error Messages
Reference Section
E89
u
Unable to create
panorama.
Could not shoot using
easy panorama.
Shooting with easy panorama
may not be possible in the
following situations.
•When shooting does not
end after a certain amount
of time
•When the camera is moved
too fast
•When the camera is not
moved in a straight line in
the panorama direction
E2
u
Unable to create
panorama. Pan the
camera in one
direction only.
u
Unable to create
panorama. Pan the
camera more slowly.
Lens error
QLens error.
Turn camera off and then on
again. If error persists, contact
retailer or Nikon-authorized
service representative.
20
P
Communications error
Error occurred during
communication with
printer.
Turn camera off and
reconnect USB cable. E24
System error
Q
Error has occurred in
camera’s internal
circuitry.
Turn camera off, remove and
reinsert battery, and turn
camera on. If error persists,
contact retailer or Nikon-
authorized service
representative.
14, 21
PR
Printer error: check
printer status.
Printer error.
Check printer. After solving
the problem, select Resume
and press the k button to
resume printing.*
–
PR
Printer error: check
paper
Specified size of paper is
not loaded in printer.
Load the specified size of
paper, select Resume, and
press the k button to
resume printing.*
–
PR
Printer error: paper
jam
Paper has jammed in
printer.
Remove the jammed paper,
select Resume, and press the
k button to resume
printing.*
–
PR
Printer error: out of
paper
No paper is loaded in
printer.
Load the specified size of
paper, select Resume, and
press the k button to
resume printing.*
–
Display Problem Solution A

E90
Error Messages
Reference Section
* See the documentation provided with your printer for further guidance and information.
PR
Printer error: check ink Ink error.
Check ink, select Resume,
and press the k button to
resume printing.*
–
PR
Printer error: out of ink
Running out of ink or ink
cartridge is empty.
Replace ink cartridge, select
Resume, and press the k
button to resume printing.*
–
PR
Printer error: file
corrupt
An error caused by the
image file has occurred.
Select Cancel and press the
k button to cancel printing. –
Display Problem Solution A

Technical Notes and Index
F1
Technical Notes and Index
Caring for the Product...............................................F2
The Camera.............................................................................................................F2
The Battery..............................................................................................................F4
Charging AC Adapter..........................................................................................F5
Memory Cards .......................................................................................................F5
Cleaning and Storage................................................F6
Cleaning...................................................................................................................F6
Storage.....................................................................................................................F6
Troubleshooting........................................................F7
Specifications...........................................................F15
Supported Standards....................................................................................... F19
Index .........................................................................F20

Technical Notes and Index
F2
Technical Notes and Index
Caring for the Product
The Camera
To ensure continued enjoyment of this Nikon product, observe the following
precautions when using or storing the device.
BDo Not Drop
The product may malfunction if subjected to strong shock or vibration.
BHandle the Lens and All Moving Parts with Care
Do not apply force to the lens, lens cover, monitor, memory card slot, or battery chamber. These
parts are easily damaged. Applying force to the lens cover could result in camera malfunction or
damage to the lens. Should the monitor break, care should be taken to avoid injury caused by
broken glass and to prevent the liquid crystal from the display touching the skin or entering the eyes
or mouth.
BKeep Dry
The device will be damaged if immersed in water or subjected to high humidity.
BAvoid Sudden Changes in Temperature
Sudden changes in temperature, such as when entering or leaving a heated building on a cold day,
can cause condensation to form inside the device. To prevent condensation, place the device in a
carrying case or a plastic bag before exposing it to sudden changes in temperature.
BKeep away from Strong Magnetic Fields
Do not use or store this device in the vicinity of equipment that generates strong electromagnetic
radiation or magnetic fields. Strong static charge or the magnetic fields produced by equipment
such as radio transmitters could interfere with the monitor, damage data saved on the memory card,
or affect the product’s internal circuitry.
BDo Not Point the Lens at Strong Light Sources for Extended Periods
Avoid pointing the lens at the sun or other strong light sources for extended periods when using or
storing the camera. Intense light may cause deterioration of the image sensor, producing a white
blur effect in photographs.
BTurn the Product off Before Removing or Disconnecting the Power Source
Do not remove the battery while the product is on, or while images are being saved or deleted.
Forcibly cutting power in these circumstances could result in loss of data or in damage to product
memory or internal circuitry.

Caring for the Product
Technical Notes and Index
F3
BNotes About the Monitor
•The monitor may contain a few pixels that are always lit or that do not light. This is a characteristic
common to all TFT LCD displays, and does not indicate a malfunction. Images saved using the
product will not be affected.
•Images in the monitor may be difficult to see under bright lighting.
•The monitor is lit by an LED backlight. Should the monitor begin to dim or flicker, contact your
Nikon-authorized service representative.

F4
Caring for the Product
Technical Notes and Index
The Battery
•Check the battery level before using the camera and replace or charge the battery if necessary. Do
not continue charging once the battery is fully charged as this will result in reduced battery
performance. Whenever possible, carry a fully charged spare battery when taking pictures on
important occasions.
•Do not use the battery at ambient temperatures below 0 °C (32 °F) or above 40 °C (104 °F).
•Charge the battery indoors with an ambient temperature of 5 °C to 35 °C (41 °F to 95 °F) before
use.
•When charging the camera using the Charging AC adapter EH-69P or a computer, the charge
capacity may decrease at ambient temperatures 45 °C to 60 °C (113 °F to 140 °F).
•The battery is not charged at ambient temperatures below 0 °C (32 °F) or above 60 °C (140 °F).
•Note that the battery may become hot during use; wait for the battery to cool before charging.
Failure to observe these precautions could damage the battery, impair its performance, or prevent
it from charging normally.
•On cold days, the capacity of batteries tends to decrease. If an exhausted battery is used at a low
temperature, the camera not turn on. Be sure that the battery is fully charged before heading
outside to take pictures in cold weather. Keep spare batteries in a warm place and exchange as
necessary. Once warmed, a cold battery may recover some of its charge.
•Dirt on the battery terminals can prevent the camera from functioning. Should the battery
terminals become dirty, wipe them off with a clean, dry cloth before use.
•If the battery will not be used for some time, insert it in the camera and run it flat before removing
it for storage. The battery should be stored in a cool location with an ambient temperature of 15 to
25 °C (59 to 77 °F). Do not store the battery in hot or extremely cold locations.
•Always remove the battery from the camera or optional battery charger when it is not being used.
When inserted, minute amounts of current are drawn from the battery even when not in use. This
may result in excessive draining of the battery and complete loss of function. Turning the camera
on or off while the battery is exhausted can result in reduced battery life.
•Recharge the battery at least once every six months and completely exhaust it before returning it
to storage.
•After removing the battery from the camera or optional battery charger, replace the included
terminal cover and store it in a cool place.
•A marked drop in the time a fully-charged battery retains its charge, when used at room
temperature, indicates that the battery needs to be replaced. Purchase a new EN-EL12 battery.
•Replace the battery when it no longer holds a charge. Used batteries are a valuable resource.
Please recycle used batteries in accordance with local regulations.

Caring for the Product
Technical Notes and Index
F5
Charging AC Adapter
•The Charging AC Adapter EH-69P is for use only with compatible devices. Do not use with another
make or model of device.
•The EH-69P is compatible with AC 100-240 V, 50/60 Hz electrical outlets. When using in other
countries, use a plug adapter (commercially available) as necessary. For more information about
plug adapters, consult your travel agency.
•Do not, under any circumstances, use another make or model of AC adapter other than Charging
AC Adapter EH-69P or USB-AC adapter. Failure to observe this precaution could result in
overheating or in damage to the camera.
Memory Cards
•Use only Secure Digital memory cards. See “Approved Memory Cards” (A19) for recommended
memory cards.
•Observe the precautions noted in the documentation included with your memory card.
•Do not affix labels or stickers to the memory card.
•Do not format the memory card using a computer.
•Before using a memory card with this camera, we recommend using this camera to format the
memory card, especially if the memory card was used previously in another device.
•Note that formatting a memory card permanently deletes all images and other data on the
memory card. If there is data saved on the memory card that you wish to keep, copy that data to
a computer before formatting.
•If the message Card is not formatted. Format card? is displayed when the camera is turned on,
the memory card must be formatted. If there is data on the memory card that you do not want to
delete, select No and press the k button. Copy that data to a computer before formatting. To
format the memory card, select Yes.
•Observe the following precautions while formatting the memory card, saving and deleting
images, and copying images to a computer, otherwise data or the memory card itself may be
damaged.
- Do not open the battery-chamber/memory card slot cover or remove the memory card or
battery.
- Do not turn off the camera
- Do not disconnect the AC adapter

Technical Notes and Index
F6
Cleaning and Storage
Cleaning
Do not use alcohol, thinner, or other volatile chemicals.
Storage
Turn the camera off when not in use. Be sure that the power-on lamp is off before
putting the camera away. Remove the battery if the camera will not be used for an
extended period. Do not store the camera with naphtha or camphor moth balls, or
in any of the following locations:
•Next to equipment that produces strong electromagnetic fields, such as
televisions or radios
•Exposed to temperatures below –10 °C (14 °F) or above 50 °C (122 °F)
•Places that are poorly ventilated or subject to humidity of over 60%
To prevent mold or mildew, take the camera out of storage at least once a month.
Turn the camera on and release the shutter a few times before putting the camera
away again.
Lens
Avoid touching glass parts with your fingers. Remove dust or lint with a blower
(typically a small device with a rubber bulb attached to one end that is
pumped to produce a stream of air out the other end). To remove fingerprints
or other stains that cannot be removed with a blower, wipe the lens with a soft
cloth, using a spiral motion that starts at the center of them and working
toward the edges. If this fails, clean the lens using a cloth lightly dampened
with commercial lens cleaner.
Monitor Remove dust or lint with a blower. To remove fingerprints and other stains,
clean the monitor with a soft, dry cloth, being careful not to apply pressure.
Body
Use a blower to remove dust, dirt, or sand, then wipe gently with a soft, dry
cloth. After using the camera at the beach or other sandy or dusty
environment, wipe off any sand, dust, or salt with a dry cloth lightly dampened
with fresh water and dry thoroughly. Note that foreign matter inside the
camera could cause damage not covered by the warranty.

Technical Notes and Index
F7
Troubleshooting
If the camera fails to function as expected, check the list of common problems
below before consulting your retailer or Nikon-authorized service representative.
Power, Display, Settings Issues
Problem Cause/Solution A
The battery inserted in the
camera cannot be
charged.
•Confirm all connections.
•Off is selected for Charge by computer in the
setup menu.
•When charging by connecting the camera to a
computer, battery charging stops when the
camera is turned off.
•When charging by connecting the camera to a
computer, battery charging stops when the
computer is suspended (sleeping), and the
camera may turn off.
•Depending upon computer specifications,
settings, and status, charging the battery
inserted in the camera may not be possible via
computer connection.
16
96, E75
96
96
–
Camera cannot be turned
on.
•Battery is exhausted.
•The camera cannot be turned on while
connected to an electrical outlet via the
Charging AC Adapter.
20
16
Camera turns off without
warning.
•Battery is exhausted.
•Camera has turned off automatically to save
power.
•The camera and battery may not perform
properly if they are cold.
•The camera turns off if the Charging AC Adapter
is connected while the camera is on.
•The camera turns off if the USB cable
connecting it to a computer or printer is
disconnected. Reconnect the USB cable.
•Inside of the camera has become hot. Leave the
camera off until the inside of the camera has
cooled, and then try turning it on again.
20
95
F4
16
81, 84,
E24
–

F8
Troubleshooting
Technical Notes and Index
Monitor is blank.
•Camera is off.
•Standby mode for saving power: press the
power switch, shutter-release button, c
button, or b (e movie-record) button, or
rotate the mode dial.
•When flash lamp blinks, wait until flash has
charged.
•Camera and computer are connected via USB
cable.
•Camera and TV are connected via A/V cable or
HDMI cable.
21
2, 21
56
81, 84
81, E21
Monitor is hard to read. •Adjust monitor brightness.
•Monitor is dirty. Clean monitor.
94, E64
F6
Date and time of
recording are not correct.
•If camera clock has not been set, “Date not set”
indicator blinks during shooting and movie
recording. Images and movies saved before
clock is set are dated “00/00/0000 00:00” or “01/
01/2011 00:00” respectively. Set the correct time
and date from the Time zone and date option
in the setup menu.
•Check camera clock regularly against more
accurate timepieces and reset as required.
22, 94,
E61
No indicators displayed in
monitor.
Hide info is selected for Photo info.
Select Show info.94, E64
Print date not available. Camera clock has not been set. 22, 94,
E61
Date not imprinted on
images even when Print
date is enabled.
•The current shooting mode is one that does not
support Print date.
•The date cannot be imprinted on movies.
94, E66
–
Screen for setting time
zone and date is displayed
when camera is turned on. Clock battery is exhausted; all settings were
restored to their default values. 22, 23
Camera settings reset.
Monitor turns off, and the
power-on lamp blinks
rapidly.
Battery temperature is high. Turn off camera and
allow battery to cool down before resuming use.
After the lamp blinks for three minutes, the
camera will turn off automatically. Pressing the
power switch also turns off the camera.
21
Problem Cause/Solution A

Troubleshooting
Technical Notes and Index
F9
Characteristics of Digital Cameras
In extremely rare instances, unusual characters may appear in the monitor and the
camera may stop functioning. In most cases, this phenomenon is caused by a
strong external static charge. Turn the camera off, remove and replace the battery,
then turn the camera on again. In the event of continued malfunction, contact
your retailer or Nikon-authorized service representative. Note that disconnecting
the power source as described above may result in the loss of any data not saved
to internal memory or the memory card at the time the problem occurred. Data
already saved will not be affected.
Camera becomes hot.
The camera may become hot when shooting
movies for an extended period of time or when
the camera is used in a hot area; this is not a
malfunction.
–
Problem Cause/Solution A

F10
Troubleshooting
Technical Notes and Index
Shooting Issues
Problem Cause/Solution A
Cannot switch to shooting
mode. Disconnect HDMI cable or USB cable.
81, 84,
E21,
E24
No image captured when
the shutter-release button
is pressed.
•When camera is in playback mode, press the c
button or shutter-release button.
•When menus are displayed, press the d
button.
•Battery is exhausted.
•When flash lamp blinks, flash is charging.
9, 30
11
20
56
Camera cannot focus.
•Subject is too close. Try shooting using macro
mode, or the Scene auto selector or Close-up
scene modes.
•The intended subject is one with which
autofocus does not perform well.
•Set AF assist in the setup menu to Auto.
•Turn camera off and then on again.
40, 47, 64
29
95, E69
21
Colored stripes appear in
monitor when shooting.
Colored stripes may appear when shooting
subjects with repeating patterns (such as window
blinds); this is not a malfunction.
The colored stripes will not appear in captured
images or recorded movies.
However, when using Continuous H: 120 fps or
HS 120 fps (640×480), the colored stripes may
be seen in the captured images and recorded
movies.
–
Images are blurred.
•Use flash.
•Increase ISO sensitivity.
•Enable vibration reduction or motion detection.
•Use D (best shot selector).
•Use tripod and self-timer.
56
37
94, 95
48, 52,
E35
59
Bright specks appear in
images captured with
flash.
Flash is reflecting off particles in air. Set the flash
mode setting to W(off). 57

Troubleshooting
Technical Notes and Index
F11
Flash does not fire.
•The flash mode is set to W(off).
•Scene mode with which the flash does not fire
is selected.
•Flash is not fully raised. Do not hold down the
flash.
•Another function that restricts flash is enabled.
56
70
26
73
Digital zoom cannot be
used.
•Digital zoom is set to Off in the setup menu.
•Digital zoom cannot be used in the following
situations:
- When using smile timer
- When using the scene auto selector, O (pet
portrait), Portrait, Night portrait, or
Panorama (when Easy panorama is
selected) scene modes
- When AF area mode is set to Subject
tracking
- When continuous shooting mode is set to
Multi-shot 16 or continuous smile timer
95, E70
61
40, 43, 44,
45, 49
37
52
Image mode not
available.
Another function that restricts the Image mode
option is enabled. 73
No sound when shutter is
released.
Off is selected for Sound settings > Shutter
sound in the setup menu. No sound is heard with
some shooting modes and settings, even when
On is selected.
95, E71
AF-assist illuminator does
not light.
Off is selected for the AF assist option in the
setup menu. AF-assist illuminator may not light
depending on the position of the focus area or the
current scene mode, even when Auto is selected.
95, E69
Images appear smeared. Lens is dirty. Clean lens. F6
Colors are unnatural. White balance or hue is not adjusted properly. 37, 47, 65,
E30
Randomly spaced bright
pixels (“noise”) appear in
image.
Shutter speed is too slow or ISO sensitivity is high
as the subject is dark. Noise can be reduced by:
•Using flash.
•Specifying a lower ISO sensitivity setting.
56
37, E34
Problem Cause/Solution A

F12
Troubleshooting
Technical Notes and Index
Images are too dark
(underexposed).
•The flash mode is set to W(off).
•Flash window is blocked.
•Subject is beyond flash range.
•Adjust exposure compensation.
•Increase ISO sensitivity.
•Subject is backlit. Select W(backlighting) or set
the flash mode to X(fill flash).
56
26
56
67, 68
37, E34
42, 56
Images are too bright
(overexposed). Adjust exposure compensation. 67, 68
Unexpected results when
flash set to V(auto with
red-eye reduction).
When using V(auto with red-eye reduction) or
the Night portrait to take pictures using the
flash, In-Camera Red Eye Fix may be applied to
areas not affected by red-eye in rare cases. Use any
shooting mode other than Night portrait,
change the flash mode to any setting other than
V(auto with red-eye reduction), and then try
taking a picture again.
45, 56
Saving images takes time.
It may take more time to save images in the
following situations.
•When the noise reduction function has been
activated automatically, such as when shooting
in a dark environment
•When the flash mode is set to V(auto with
red-eye reduction).
•When taking pictures in the following scene
modes.
-j (night landscape)
-W(backlighting) (when HDR is set to any
setting other than Off)
-Portrait, Landscape (when Noise
reduction burst is selected), Night portrait
•When using continuous shooting mode.
–
57
41
42
44, 45
50
A ring-shaped belt or
rainbow-colored stripe
appears in the monitor or
images.
When shooting with backlighting or when a very
strong light source (such as sunlight) is in the
frame, a ring-shaped belt or rainbow-colored
stripe (ghosting) may occur. Change the position
of the light source, or frame the picture so that the
light source does not enter the frame and try
again.
–
Problem Cause/Solution A

Troubleshooting
Technical Notes and Index
F13
Playback Issues
Problem Cause/Solution A
File cannot be played
back.
•File or folder was overwritten or renamed by
computer or other make of camera.
•The COOLPIX S8200 is not able to play back
movies recorded with another make or model
of digital camera.
–
92
Cannot zoom in on image.
•Playback zoom cannot be used with movies,
small pictures, or images that have been
cropped to a size of 320 × 240 or smaller.
•The COOLPIX S8200 may not be able to zoom in
on images captured with another make or
model of digital camera.
–
Cannot record voice
memos.
•Voice memos cannot be attached to movies.
•Voice memos can only be attached to images
captured with the COOLPIX S8200. Voice
memos attached to images using another
camera cannot be played back on this camera.
–
80, E50
Cannot use quick retouch,
D-Lighting, skin softening,
filter effects, small picture,
or crop.
•These options cannot be used with movies.
•Images captured at an Image mode setting of
l 4608×2592 cannot be edited, and the same
editing feature cannot be applied multiple
times.
•The camera cannot edit images captured with
another make or model of digital camera.
–
80, E10
E11
80, E10
E11
Images not displayed on
TV.
•Video mode or HDMI is not correctly set in the
TV settings setup menu.
•Memory card contains no images. Replace the
memory card. Remove the memory card to play
back images from the internal memory.
95, E74
18
Nikon Transfer 2 does not
start when camera is
connected.
•Camera is off.
•Battery is exhausted.
•USB cable is not correctly connected.
•Camera is not recognized by the computer.
•Confirm system requirements.
•Computer is not set to start Nikon Transfer 2
automatically.
For more information about Nikon Transfer 2, refer
to help information contained in ViewNX 2.
21
20
81, 84
–
82
84

F14
Troubleshooting
Technical Notes and Index
The PictBridge startup
screen is not displayed
when the camera is
connected to a printer.
With some PictBridge-compatible printers, the
PictBridge startup screen may not be displayed
and it may be impossible to print images when
Auto is selected for the Charge by computer
option in the setup menu. Set the Charge by
computer option to Off and reconnect the
camera to the printer.
96, E75
Images to be printed are
not displayed.
•Memory card contains no images. Replace the
memory card.
•Remove the memory card to print images from
the internal memory.
18
Cannot select paper size
with camera.
Paper size cannot be selected from the camera in
the following situations, even when printing from
a PictBridge-compatible printer. Use the printer to
select paper size.
•The printer does not support the paper sizes
specified by the camera.
•The printer automatically selects the paper size.
81, E26,
E27
–
Problem Cause/Solution A

Technical Notes and Index
F15
Specifications
Nikon COOLPIX S8200 Digital Camera
Type Compact digital camera
Effective pixels 16.1 million
Image sensor 1/2.3-in. type CMOS; approx. 16.79 million total pixels
Lens 14× optical zoom, NIKKOR lens
Focal length 4.5-63.0mm (angle of view equivalent to that of 25-350 mm
lens in 35mm [135] format)
f/-number f/3.3-5.9
Construction 11 elements in 10 groups (2 ED lens elements)
Digital zoom Up to 2× (angle of view equivalent to that of approx. 700 mm
lens in 35mm [135] format)
Vibration reduction Lens shift
Autofocus (AF) Contrast-detect AF
Focus range (from the
center of the front of
the lens)
•[W]: Approx. 50 cm (1 ft 8 in.) to
∞
,
[T]: Approx. 1.0 m (3 ft 4 in.) to
∞
•Macro mode: Approx. 1 cm (0.4 in.) to ∞ (wider than G)
Focus-area selection Face priority, auto (9-area automatic selection), manual with
99 focus areas, center, subject tracking, Target finding AF
Monitor 7.5 cm (3-in.), approx. 921k-dot, wide viewing angle TFT LCD
with anti-reflection coating and 5-level brightness adjustment
Frame coverage
(shooting mode) Approx. 100% horizontal and 100% vertical
Frame coverage
(playback mode) Approx. 100% horizontal and 100% vertical
Storage
Media Internal memory (approx. 89 MB), SD/SDHC/SDXC memory
card
File system DCF, Exif 2.3, and DPOF compliant
File formats
Still pictures: JPEG
Sound files (Voice Memo): WAV
Movies: MOV (Video: H.264/MPEG-4 AVC, Audio: AAC stereo)

F16
Specifications
Technical Notes and Index
Image size
(pixels)
•16M (High) [4608 × 3456P]
•16M [4608 × 3456]
•12M [4000 × 3000]
•8M [3264 × 2448]
•5M [2592 × 1944]
•3M [2048 × 1536]
•PC [1024 × 768]
•VGA [640 × 480]
•16:9 [4608 × 2592]
ISO sensitivity
(Standard output
sensitivity)
•ISO 100, 200, 400, 800, 1600, 3200
•Auto (auto gain from ISO 100 to 1600)
•Fixed range auto (ISO 100 to 400, ISO 100 to 800)
Exposure
Metering 224-segment matrix, center-weighted
Exposure control Programmed auto exposure with motion detection and
exposure compensation (–2.0 to +2.0 EV in steps of 1/3 EV)
Shutter Mechanical and CMOS electronic shutter
Speed
•1/1600 to 1 s (when ISO sensitivity is set to Auto, Fixed
range auto, 1600)
•1/1600 to 4 s (when ISO sensitivity is set to 100, 200, 400)
•1/1600 to 2 s (when ISO sensitivity is set to 800)
•1/1600 to 1/2 s (when ISO sensitivity is set to 3200)
•1/4000 to 1/125 s (Continuous H: 120 fps)
•1/4000 to 1/60 s (Continuous H: 60 fps)
•4 s (Fireworks show scene mode)
Aperture Electronically-controlled ND filter (–2 AV) selection
Range 2 steps (f/3.3 and f/6.6 [W])
Self-timer Can be selected from 10 s and 2 s
Built-in flash
Range (approx.)
(ISO sensitivity: Auto)
[W]: Approx. 0.5 to 5.5 m (1 ft 8 in. to 18 ft)
[T]: Approx. 1.0 to 3.0 m (3 ft 4 in. to 9 ft 10 in.)
Flash control TTL auto flash with monitor preflashes
Interface Hi-Speed USB
Data transfer protocol MTP, PTP
Video output Can be selected from NTSC and PAL
HDMI output Can be selected from Auto, 480p, 720p, and 1080i
I/O terminal Audio/video (A/V) output; digital I/O (USB), HDMI mini
connector (Type C) (HDMI output)

Specifications
Technical Notes and Index
F17
•Unless otherwise stated, all figures are for a camera with a fully-charged
Rechargeable Li-ion Battery EN-EL12 operated at an ambient temperature of
25°C (77°F).
* Based on Camera and Imaging Products Association (CIPA) standards for measuring the life
of camera batteries. Measured at 23 (±2)°C (73 (±4)°F); zoom adjusted with each shot, flash
fired with every other shot, image mode set to P 4608×3456. Battery life may vary
depending on shooting interval and length of time menus and images are displayed.
Supported languages
Arabic, Chinese (Simplified and Traditional), Czech, Danish,
Dutch, English, Finnish, French, German, Greek, Hindi,
Hungarian, Indonesian, Italian, Japanese, Korean, Norwegian,
Polish, Portuguese (European and Brazilian), Romanian,
Russian, Spanish, Swedish, Thai, Turkish, Ukrainian, Vietnamese
Power sources One Rechargeable Li-ion Battery EN-EL12 (included)
AC Adapter EH-62F (available separately)
Charging time Approx. 4 hours (when using Charging AC Adapter EH-69P and
when no charge remains)
Battery life
(EN-EL12)
Still pictures*: Approx. 250 shots
Movies: Approx. 1 h 10 min (HD 1080pP)
The maximum file size for a single movie is 4 GB and the
maximum movie length for a single movie is 29 minutes, even
when there is sufficient free space on the memory card for
longer recording.
Tripod socket 1/4 (ISO 1222)
Dimensions (W × H × D) Approx. 103.7 × 59.3 × 32.7 mm (4.1 × 2.4 × 1.3 in.) (excluding
projections)
Weight Approx. 213 g (7.6 oz) (including battery and SD memory card)
Operating environment
Temperature 0°C to 40°C (32°F to 104°F)
Humidity Less than 85% (no condensation)

F18
Specifications
Technical Notes and Index
Rechargeable Li-ion Battery EN-EL12
Charging AC Adapter EH-69P
Type Rechargeable lithium-ion battery
Rated capacity DC 3.7 V, 1050 mAh
Operating temperature 0°C to 40°C (32°F to 104°F)
Dimensions (W × H × D) Approx. 32 × 43.8 × 7.9 mm (1.3 × 1.7 × 0.3 in.)
Weight Approx. 22.5 g (0.8 oz) (excluding terminal cover)
Rated input AC 100-240 V, 50/60 Hz, 0.068-0.042 A
Rated capacity 6.8-10.1 VA
Rated output DC 5.0 V, 550 mA
Operating temperature 0°C to 40°C (32°F to 104°F)
Dimensions (W × H × D)
Approx. 55 × 22 × 54 mm (2.2 × 0.9 × 2.2 in.) (excluding plug
adapter)
For Argentina: Approx. 55 × 59 × 63 mm (2.2 × 2.4 × 2.5 in.)
For Brazil and Korea: Approx. 55 × 59 × 66.5 mm (2.2 × 2.4 × 2.6
in.)
Weight Approx. 55 g (2.0 oz) (excluding plug adapter)
For Argentina, Brazil, and Korea: Approx. 80 g (2.9 oz)
BSpecifications
Nikon will not be held liable for any errors this manual may contain. The appearance of this product
and its specifications are subject to change without notice.

Specifications
Technical Notes and Index
F19
Supported Standards
•DCF: Design Rule for Camera File System is a standard widely used in the digital
camera industry to ensure compatibility among different makes of camera.
•DPOF: Digital Print Order Format is an industry-wide standard that allows
images to be printed from print orders saved on memory cards.
•Exif version 2.3: Exchangeable image file format (Exif) version 2.3 for digital still
cameras is a standard that allows information saved with photographs to be
used for optimal color reproduction when images are output from Exif-
compliant printers.
•PictBridge: A standard developed cooperatively by the digital camera and
printer industries, allowing photographs to be output directly to a printer
without connecting the camera to a computer.

Technical Notes and Index
F20
Index
Symbols
R E6
g (tele) 27
f (wide) 27
b (e movie-record) button 4, 5
d button 4, 5, 11, 37, 91, 94
k Apply selection button 5, 10
A Auto mode 24, 36
W Backlighting 42
C Continuous shooting mode 50, 52
l Delete button 4, 5, 32, E51
o Exposure compensation 68
X Flash mode 56
j Help 39
h Image thumbnail display 31
p Macro mode 64
j Night landscape 41
O Pet portrait 43
c Playback button 4, 5, 9, 30
c Playback menu 80, E43
i Playback zoom 31
C Scene 39
x Scene auto selector 40
n Self timer 59
z Setup menu 94
u Special Effects Mode 53
A
AC adapter 17, E85
AF area mode 37, E37
AF assist 95, E69
Aperture value 28
Audio/video cable 81, E21, E85
Audio/video-in jack 81, E21
Auto 57
Auto mode 24, 36
Auto off 21, 95, E72
Autofocus 38, 64, 91, E42, E59
Autofocus mode 38, 91, E42, E59
B
Backlighting W 42
Battery 14, 16
Battery chamber 3
Battery charger 17, E85
Battery latch 3
Battery level 20
Battery-chamber/memory card slot cover
14, 18
Beach Z 46
Best shot selector 48, 52, E35
Black and white copy n 48
Blink warning 96, E77
Brightness 94, E64
BSS 48, 52, E35
Button sound E71
C
Calendar display 31
Center-weighted E33
Charge by computer 96, E75
Charge lamp 3, 17, E76
Charger 16, E85
Charging AC Adapter 16, E85
Choose key picture 80, E54
Close-up k 47
Compression ratio 71
Computer 81, 84
Connector cover 3
Continuous menu 52
Continuous shooting 52, E35
Continuous shooting mode 50
Copy 80, E52
Creative Slider 65
Crop 31, E19
D
Date and time 22, 94, E61
Date format 22, E61
Daylight saving time 23, 94, E62
Delete 32, E9, E51

Index
Technical Notes and Index
F21
Digital zoom 27, 95, E70
Direct print 81, E23
D-Lighting 80, E13
DPOF F19
DPOF print E29
DSCN E84
Dusk/dawn i 46
E
Easy panorama 49, E2
Easy panorama playback E4
EH-69P 16, E85
EN-EL12 14, 16, E85
Exposure compensation 65, 68
Extension E84
Eyelet for camera strap 3
F
Face detection 76
Face priority 37, E37
File name E84
Fill flash 57
Filmstrip 96, E79
Filter effects 80, E16
Fireworks show m 48
Firmware version 96, E83
Fixed range auto E34
Flash E30
Flash lamp 56
Flash mode 56, 57
Flash off 57
Focus 28, 37, E37
Focus indicator 7
Focus lock 78
Folder name E84
Food u 47
Format internal memory 95, E73
Format memory 95, E73
Format memory card 18, 95, E73
Formatting 18, 95, E73
FSCN E84
Full-frame display 30
Full-time AF 38, 91, E42, E59
H
HDMI E74
HDMI cable 81, E21
HDMI device control E74
HDMI mini connector 3
Help 39
High-speed continuous 52, E35
Histogram 8, 67
HS movie 91, E57
Hue 65
I
Identifier E84
Image mode 71
Imprinting Date and Time 23, E66
Internal memory 19
ISO sensitivity 37, E34
J
JPG E84
L
Landscape c 44
Language 95, E74
Lens 2, F15
Lens cover 2
M
Macro mode 64
Matrix E33
Maximum movie length 90
Memory capacity 20
Memory card 18
Memory card slot 18
Metering 37, E33
Microphone 2
Mode dial 4, 5
Monitor 6, F6
Monitor settings 94, E64
Motion detection 95, E68
MOV E84
Movie menu 91
Movie options 91, E55
Movie playback 92

Index
Technical Notes and Index
F22
Movie recording 88
Multi selector 4, 5, 10
Multi-shot 16 52, E36
Museum l 48
N
Night landscape j 41
Night portrait e 45
Nikon Transfer 2 82, 83, 85
Number of exposures remaining 20, 72
O
Optical zoom 27
Optional accessories E85
P
Panorama assist 49, E5
Panorama Maker 5 49, 83, E6
Panorama p 49
Paper size E26, E27
Party/indoor f 46
Pet portrait auto release 43
Pet portrait O 43
Photo info 94, E64
PictBridge 81, E23, F19
Playback 30, 92, E50
Playback menu 80, E43
Playback mode 9
Playback zoom 31
Portrait b 44
Power 20, 21
Power switch 20, 21
Power-on lamp 20, 21
Preset manual E32
Pre-shooting cache 52, E35
Pressing halfway 4
Print E26, E27, E43
Print date 23, 94, E66
Print order 80, E43
Print order date option 23, E44
Printer 81, E23
Protect 80, E47
Q
Quick retouch 80, E12
R
Rechargeable battery E85
Rechargeable Li-ion battery 14, 16
Recording slow motion movies E57
Red-eye reduction 57
Reset all 96, E80
Rotary multi selector 4, 5, 10
Rotate image 80, E49
RSCN E84
S
Scene auto selector x 40
Scene mode 39, 40
Self-timer 59
Self-timer lamp 60
Sequence display options 80, E54
Setup menu 94
Shooting 26, 28, 50
Shooting info 10
Shooting menu 36, E30
Shooting mode 9, 24
Shutter sound E71
Shutter speed 28
Shutter-release button 4, 5, 28
Single AF 38, 91, E42, E59
Skin softening 80, E14
Slide show 80, E46
Slow sync 57
Small picture 80, E18
Smile timer 61
Smile timer continuous 61
Snow z 46
Sound settings 95, E71
Speaker 2
Special effect menu 53
Special Effects Mode 53
Sports d 45
SSCN E84
Strap 12
Subject tracking 37, E38, E40

Index
Technical Notes and Index
F23
Sunset h 46
T
Target finding AF 37, E39
Thumbnail display 31
Time difference 94, E63
Time zone 94, E61, E63
Time zone and date 22, 94, E61
Tripod socket 3, F17
TV 81, E21
TV settings 95, E74
U
USB cable 81, 84, E24, E85
USB/audio/video output connector 81,
84, E23
V
Vibration reduction 94, E67
Video mode E74
ViewNX 2 82, 83
Voice memo 80, E50
Volume 92, E50
W
WAV E84
Welcome screen 94, E60
White balance 37, E30
Z
Zoom control 4, 5, 27
Zoom in 27
Zoom out 27

F24

2011
No reproduction in any form of this manual, in whole or in part
(except for brief quotation in critical articles or reviews), may be
made without written authorization from NIKON CORPORATION.
CT1G02(11)
6MM10911-02
DIGITAL CAMERA
Reference Manual
