MANUAL !! POULAN PRO CHAIN SAW SERVICE REPAIR 1900 1950 2050 2055 2075 2150 2175 2375 WILD THING 2250 2450 2550 220 221 221L
Preview ! POULAN-POULAN-PRO-CHAIN-SAW-SERVICE-REPAIR-MANUAL-1900-1950-2050-2055-2075-2150-2175-2375-WILD-THING-2250-2450-2550-220-221-221L Poulan Lawn Mower Manuals - Lawn Mower Manuals – The Best Lawn Mower Manuals Collection
User Manual: !! Poulan Lawn Mower Manuals - Lawn Mower Manuals – The Best Lawn Mower Manuals Collection
Open the PDF directly: View PDF
.
Page Count: 31

SERVICE MANUAL FOR POULAN – POULAN/PRO
33cc 34cc 36cc 40cc and 42cc
1900-1900LE-1950-1950LE-2050-2050LE-2055LE-2075
2075LE-2150-2150LE-2175-2175LE-2150-2150LE-2375
2375LE WILD THING-2250-2450-2550 POULAN PRO
220-221-221LE-260-260LE
www.mymowerparts.com
For Discount Poulan Poulan Pro Parts Call 606-678-9623 or 606-561-4983

SCREW TORQUE SPECIFICATIONS - AV
ONLY
PART NO.
LOCATION (QTY.)
SIZE
TORQUE IN-LB
STARTER GROUP
530-015892
FAN HOUSING
M5.28 X 1.81
20-30 IN-LB
530-015920
STARTER PULLEY
M5.25 X 1.81
25-35 IN-LBS
530-016080
ROPE SCREW
M3.63 X 1.34
5-10 IN-LB
IGNITION GROUP
530-016134
FLYWHEEL NUT
M8 X 1
12-14 FT-LB
530-015814
MODULE
M5.28 X 1.81
25-35 IN-LB
952-030150
SPARK PLUG
M14 X 1.25
15-25 FT-LB
CYLINDER GROUP
530-016132
CHASSIS/CYLINDER
M6 X 1.0
110-140 IN-LB
530-016132
MUFFLER
M6 X 1.0
90-100 IN-LB
530-015875
ISO SPRING/CYLINDER
M4.85 X 1
40-50 IN-LB
530-016338
MUFFLER (LE)
M6X1.0
90-100 IN-LB
530-016359
BRASS NUT COVER (LE)
10 - 24
25-35 IN-LB
CARBURETOR & AIR BOX GROUP
530-015810
CARB. ADAPTER
10 - 24
40-50 IN-LB
530-016101
AIR FILTER NUT
M5 X .08
25-35 IN-LB
530-015780
AIR PURGE
6 - 19
10-15 IN-LB
CHASSIS, FUEL TANK & HANDLE GROUP
530-016153
CYLINDER SHIELD
M4.8 X 1.6
20-30 IN-LB
530-015906
FRONT SPRING/CHASSIS
M5.28 X 1.81
25-35 IN-LB
530-016018
FRONT SPRING/BAR
10 - 24
40-50 IN-LB
530-016015
SPRING ASSY/CHASSIS
M5.25 X 1.81
30-40 IN-LB
530-015814
FRONT/REAR HANDLE
M5.28 X 1.81
20-30 IN-LB
530-015814
REAR BOTTOM SPRING/HANDLE
M5.28X1.81
25-35 IN-LB
530-016179
REAR TOP SPRING/HANDLE
10X14X1.06
20-30 IN-LB
530-015886
REAR SPRING HANDLE/COVER
M5.28 X 1.81
30-40 IN-LB
530-015906
REAR HANDLE COVER
M5.28 X 1.81
30-40 IN-LB
530-015906
REAR SPRING CHASSIS
M5.28-1.81
30-40 IN-LB
530-015814
CHAIN CATCHER
M5.28 X 1.81
30-40 IN-LB
CLUTCH GROUP
530-014949
CLUTCH
ASSEMBLY
M6 X 1.0 L.H.
10-15 FT-LB
530-015917
BAR MOUNTING NUT
M8 X 1.25
10-20 FT-LB
OILER GROUP
530-016064
OIL PUMP
M3.63 X 1.34
5-10 IN-LB
www.mymowerparts.com
For Discount Poulan Poulan Pro Parts Call 606-678-9623 or 606-561-4983

NON AV TORQUE SPEC.
PART NO.
LOCATION
SIZE
TORQUE
IN-LBS
NON AV TORQUE SPEC.
STARTER GROUP
530-015892
FAN HOUSING
M5.28 X 1.81
20-30 IN-LB
530-015920
STARTER PULLEY
M5.28 X 1.81
25-35 IN-LB
530-016080
ROPE SCREW
M3.63 X 1.34
5-10 IN-LB
IGNITION GROUP
530-016134
FLYWHEEL NUT
M8 X 1
12-14 FT-LB
530-015775
SWITCH SPRING
8-16
25-35 IN-LB
530-015814
MODULE
M5.28 X 1.81
25-35 IN-LB
530-030153
SPARK PLUG
M14 X 1.25
15-25 FT-LB
CYLINDER GROUP
530-016132
CHASSIS/CYLINDER
M6 X 1.0
110-140 IN-LB
530-016132
MUFFLER
M6 X 1.0
90-100 IN-LB
530-016338
MUFFLER (LE)
M6 X 1.0
90-100 IN-LB
530-016359
BRASS NUT COVER (LE)
10-24
25-35 IN-LB
CARB.& AIR BOX
530-015810
CARB. ADAPTER
10-24
40-50 IN-LB
530-016101
AIR FILTER NUT
M5 X .08
25-35 IN-LB
530-015780
AIR PURGE
6-19
10-15 IN-LB
CHASSIS,TANK & HANDLE
530-016153
CYLINDER SHIELD
M4.8 X 1.6
20-30 IN-LB
530-015814
(TOP) H-BAR/CHASSIS
M5.26 X 1.81
22-32 IN-LB
530-015940
(BOTTOM) H-BAR/CHASSIS
10-14
22-32 IN-LB
530-015814
CHAIN CATCHER
M5.28 X 1.81
30-40 IN-LB
CLUTCH GROUP
530-014949
CLUTCH ASSEMBLY
M6 X 1.0 L.H.
10-15 FT-LB
530-015917
BAR MOUNTING NUT
10-15 FT-LB
OILER GROUP
530-016064
OIL PUMP (2)
M3.63 X 1.34
5-10 IN-LB
NOTE: ALL TORQUES WILL BE IN IN-LBS UNLESS SPECIFYED IN
(FT-LB)
www.mymowerparts.com
For Discount Poulan Poulan Pro Parts Call 606-678-9623 or 606-561-4983
SUMMARY OF PERFORMANCE SPECIFICATION
COMPRESSION (COLD) BARE CHROME
36cc/40cc BARE/CHROME 130-150 145-165
42cc LE AV/NON AV 125-145 125-145
CRANKSHAFT ENDPLAY 0.00-0.85 MM
IGNITION TIMING 27-32 BTDC
COIL AIR GAP .020/.038
LEAK CHECK CRANK CASE TO 5 PSI. DROP .05 PSI IN 1.5 SECONDS
SPARK PLUG GAP .025
www.mymowerparts.com
For Discount Poulan Poulan Pro Parts Call 606-678-9623 or 606-561-4983

1. CRANKSHAFT, PISTON, AND ROD ASSEMBLY
A. CARE MUST BE TAKEN TO PROTECT SURFACE OF PISTON FROM NICKS AND
SCRAPES.
B. PISTON PIN ASSEMBLY FIXTURE MUST BE KEPT CLEAN TO AVOID DAMAGE TO
THE PISTON.
C. PISTON PINS MUST BE CLEAN AND FREE OF NICKS AND SCRATCHES. (DO NOT
THROW OR SUBJECT TO SEVERE JOLTS DURING HANDLING.)
D. CONNECTING ROD SHOULD REVOLVE FREELY AROUND CRANK PIN.
E. PLACE A DROP OF POULAN 2-CYCLE ENGINE OIL ON CRANK PIN BEARING AND
ON PISTON PIN BEARING AS SHOWN.
IMPORTANT NOTE: USE SEAL PROTECTOR WHEN INSTALLING BEARING AND
SEAL ASSEMBLY ONTO SHAFT.
F. INSTALL BEARING AND SEAL ASSEMBLY ONTO CRANKSHAFT.
NOTE: BEFORE INSTALLING SEALS, APPLY POULAN 2 -CYCLE ENGINE OIL AS
SHOWN IN FIGURE B.
G. INSTALL OILER WORM GEAR ONTO CRANKSHAFT WITH ASSEMBLY TOOL UNTIL
COIL FALLS IN GROOVE. MAINTAIN COIL PITCH 2.59 - 2.92MM. (FIGURE C)
NOTE; WORM GEAR INSTALLATION IS CRITICAL. USE
TOOL PN 530031166 FOR CORRECT PITCH SPACING.
(FIGURE C)
www.mymowerparts.com
For Discount Poulan Poulan Pro Parts Call 606-678-9623 or 606-561-4983

2. CRANKSHAFT, PISTON, AND ROD ASSEMBLY - CONTINUED
I. INSTALL PISTON PIN INTO PISTON BOSS, THROUGH PIN BEARING AND ROD,
AND INTO OPPOSITE PISTON BOSS. (FIGURE D)
J. INSTALL PISTON PIN RETAINERS (DYED RED). RETAINERS MUST BE SEATED
COMPLETELY IN GROOVE AND NOT BENT .
K. INSTALL PISTON RING IN PISTON RING GROOVE USING ASSEMBLY TOOL .
ENSURE RING IS ORIENTED PROPERLY RELATIVE TO RING PEG (SEE FIG."D").
DO NOT OVER STRESS RING. (CAREFULLY INSTALL RING BY HAND IF TOOL IS
NOT AVAILABLE.)
IMPORTANT NOTE: BE CAREFUL WHEN INSTALLING PISTON AND ROD
ASSEMBLY INTO CYLINDER TO PREVENT BREAKING THE PISTON RING.
INSTALLATION ON PAGE 11.
FIGURE D
www.mymowerparts.com
For Discount Poulan Poulan Pro Parts Call 606-678-9623 or 606-561-4983

3. CYLINDER ASSEMBLY
A. ASSEMBLE CARB SEAL (#3 IN FIGURE E) ON CARB ADAPTOR (#1 IN FIGURE E)
MAKING SURE TO ALIGN THE ALIGNMENT TAB ON CARB ADAPTOR AND
ALIGNMENT HOLE ON CARB SEAL. ENSURE CARB SEAL IS FULLY SEATED ON
CARB ADAPTOR.
B. POSITION (2) CARB MOUNTING SCREWS (#1A IN FIGURE E) INTO THE CARB
ADAPTOR. #1 IN FIGURE E.
C. PLACE CARB GASKET ( #1B IN FIGURE E) OVER LOCATOR PINS ON CARB
ADAPTOR.
D. INSTALL CARB ADAPTOR ASSEMBLY ONTO CYLINDER. SECURE WITH TWO (2)
SCREWS (#2 IN FIGURE E). TORQUE TO SPECIFICATION.
E. CSI-AV ONLY: INSTALL TOP REAR ISOLATOR SPRING ASSEMBLY ONTO
CYLINDER. SECURE WITH ONE (1) SCREW, TORQUE TO SPECIFICATION.
FIGURE E
www.mymowerparts.com
For Discount Poulan Poulan Pro Parts Call 606-678-9623 or 606-561-4983

4. CYLINDER ASSEMBLY - CONTINUED
SPARK PLUG
CYLINDER
CRANKSHAFT &
PISTON ASSY.
ALIGNMENT
PLATE
CRANKCASE CAP
TINNERMAN NUT
GROUND STRAP
HEAT SHIELD
“U” CLIP
FIGURE F FIGURE G
F. OIL RING AND INSTALL CRANKSHAFT, PISTON, AND ROD ASSEMBLY IN
CYLINDER (FIGURE F).
G. APPLY SMALL CONSISTENT BEAD OF SEALANT. BEAD MUST NOT BE "PUDDLED" OR
ANY SKIPS. NO PART OF SEALING BEAD IS ALLOWED IN BEARING POCKETS.
DO NOT LET SEALANT DRY OVER 5 MINUTES. (PRIOR TO ASSY.
H. POSITION GROUND STRAP TO CHASSIS (FIGURE F).
I. INSTALL THREE (3) TINNERMAN NUTS INTO CHASSIS POCKETS.
J. INSTALL HEATSHIELD AS SHOWN. "U" CLIP IS USED TO SECURE HEAT SHIELD
IN POSITION (LOW EMISSION ENGINES ONLY) (FIGURE F)..
K. PLACE CRANKSHAFT ALIGNMENT PLATE INTO LOCATING HOLES ON CHASSIS.
PLACE CHASSIS ON CYLINDER, ALIGNING CRANKSHAFT WITH PLATE.
L. SECURE CYL. TO CHASSIS. TORQUE TO 100 IN/LB MIN.
www.mymowerparts.com
For Discount Poulan Poulan Pro Parts Call 606-678-9623 or 606-561-4983

FIGURE H 1
ITEM DESCRIPTION QUANTITY
1 BODY, OIL PUMP 1
2 ASS'Y , GEAR & PLUNGER 1
3 BUSHING, OIL PUMP 1
4 PIN, CAM 1
5 RIVET 1
6 BARREL, OIL PUMP 1
www.mymowerparts.com
For Discount Poulan Poulan Pro Parts Call 606-678-9623 or 606-561-4983

7. OILER ASSEMBLY
FIGURE (G)
ITEM DESCRIPTION QUANTITY
1A OILER PICK-UP 1
1B OILER FILTER (SPRING) 1
1C OIL FILTER PLUG 1
2 ELBOW FITTING 1
3 OIL PUMP ASSEMBLY 1
4 SEAL BLOCK 1
5 OILER SCREW 1
6 BAR PLATE 1
www.mymowerparts.com
For Discount Poulan Poulan Pro Parts Call 606-678-9623 or 606-561-4983

8. OILER ASSEMBLY - CONTINUED
A. ASSEMBLE PLUG INTO PICKUP FILTER.
B. ASSEMBLE FILTER ONTO PICKUP.
C. CAREFULLY POSITION OILER PICKUP INTO CHASSIS.
IMPORTANT NOTE: FAILURE TO INSTALL CORRECTLY WILL RESULT IN A
NON-FUNCTIONING OILER. SEE FIGURE (G) FOR CORRECT POSITIONING
OF PICKUP.
D. INSTALL SEAL BLOCK ONTO PUMP BARREL.
NOTE: HOLE IN TOP OF BLOCK WILL ALIGN WITH HOLE IN BARREL.
E. PLACE ELBOW FITTING ON END OF SEAL BLOCK.
F. INSTALL OIL PUMP ASSEMBLY WITH SEAL BLOCK AND ELBOW ONTO CHASSIS.
G. CONNECT ELBOW FITTING TO PICKUP.
H. USING TWO (2) SCREWS, TORQUE OIL PUMP ASSEMBLY TO SPECIFICATION. TORQUE TOP SCREW FIRST.
I. INSTALL BAR PLATE.
www.mymowerparts.com
For Discount Poulan Poulan Pro Parts Call 606-678-9623 or 606-561-4983

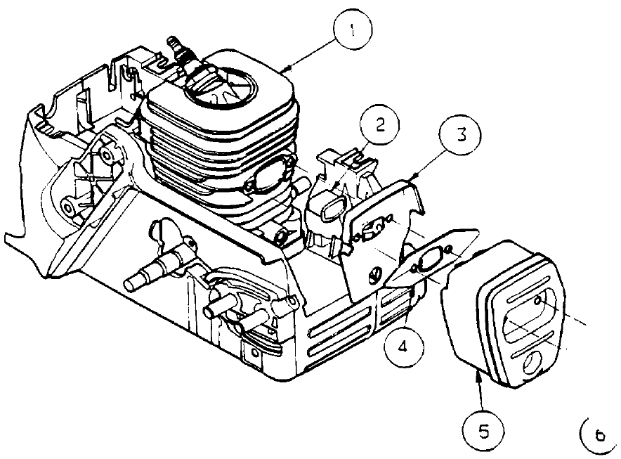
9. MUFFLER ASSEMBLY
ITEM DESCRIPTION QUANTITY
1 CYLINDER 1
2 HEAT INSULATOR 1
3 BACKPLATE 1
4 MUFFLER GASKET 1
5 MUFFLER ASSEMBLY 1
6 MUFFLER BOLT 2
7 BACKPLATE(LE) 1
8 DEFLECTOR(LE) 1
9 MUFFLER ASSY.(LE) 1
10 COVER-BOLT (LE) 1
11 NUT-BRASS(LE) 1
12 MUFFLER BOLT(LE) 2
www.mymowerparts.com
For Discount Poulan Poulan Pro Parts Call 606-678-9623 or 606-561-4983

10. MUFFLER ASSEMBLY
A. INSTALL HEAT INSULATOR INTO CYLINDER.
NOTE: ITEMS #3, #4, #5, AND #6 MAY BE RECEIVED ASSEMBLED. IF SO, TORQUE TO SPECIFICATION.
B. INSTALL MUFFLER PLATE.
NOTE: THE SIDE OF PLATE STAMPED MUFFLER SIDE SHOULD BE PLACED TOWARD THE MUFFLER BODY, AND AWAY
FROM THE CYLINDER.
C. PLACE MUFFLER GASKET BETWEEN PLATE AND MUFFLER BODY.
D. INSTALL THE TWO (2) MOUNTING SCREWS. TORQUE TO SPECIFICATION.
IMPORTANT NOTE: MUFFLER HALVES MUST BE SEATED PROPERLY TO PREVENT LEAKS.
9. FLYWHEEL ASSEMBLY
D. INSTALL FLYWHEEL, USING CARE TO ALIGN "CAST IN KEY" ON FLYWHEEL
WITH THE KEYWAY ON CRANKSHAFT. THE CAST RECESS ON THE FLYWHEEL
INDICATES THE POSITION OF THE "CAST IN KEY" (FIGURE H)
FIGURE H
E. INSTALL FLAT WASHER, AND NUT. TORQUE TO SPECIFICATION (FIGURE L).
NOTE: IMPORTANT TO CLEAN CRANKSHAFT TAPER WITH A ALCOHOL DAMPENED CLOTH TO REMOVE GREASE.
FAILURE TO DO THIS COULD CAUSE THE FLYWHEEL KEY TO SHEAR.
www.mymowerparts.com
For Discount Poulan Poulan Pro Parts Call 606-678-9623 or 606-561-4983

11. IGNITION ASSEMBLY - NON -AV AND AV
A. PRESS FLAG TERMINAL ONTO THE SPADE TERMINAL ON MODULE.
B. POSITION UPPER MODULE SCREW THROUGH RING TERMINAL ON BLACK WIRE.
POS ITION TERMINAL AGAINST EPOXY.
C. INSTALL IGNITION MODULE WITH TWO (2) SCREWS. SET AIR GAP TO
SPECIFICATION (.2MM - .38MM. TORQUE SCREWS TO SPECIFICATION
.
D. ROUTE WIRES AS SHOWN.
IMPORTANT NOTE: DO NOT POSITION WIRE WHERE CYLINDER SHIELD
SCREW WILL BE.
E. ROUTE WIRES BETWEEN CYLINDER FINS. POSITION SPARK PLUG WIRE BY
FINS, AND INSTALL CLIP (FIGURE I). POSITION SPARK PLUG BOOT TOWARD
FLYWHEEL AT 7 -8 O'CLOCK TOWARD FAN HOUSING.
F. ROUTE WIRES BETWEEN CARBURETOR ADAPTOR AND CHASSIS INT O AIR BOX.
KILL SWITCH WIRE SHOULD BE
ASSEMBLED BEHIND IGNITION WIRE.
www.mymowerparts.com
For Discount Poulan Poulan Pro Parts Call 606-678-9623 or 606-561-4983

12. IGNITION ASSEMBLY - NON -AV ONLY - CONTINUED
FIGURE I
G. PLACE SCREW THROUGH RING TERMINAL ON BLACK WIRE, THEN THROUGH SWITCH SPRING. TORQUE TO
SPECIFICATION.
NOTE: RING TERMINAL MUST BE POSITIONED AGAINST BOSS DURING INSTALLATION
(FIGURE J).
H. INSTALL PLUG TERMINAL INTO KILL SWITCH.
NOTE: THIS MAY BE DONE IN ADVANCE (FIGUREJ).
I. MOVING THE SPRING BACK, SNAP THE KILL SWITCH INTO POSITION.
FIGURE J
www.mymowerparts.com
For Discount Poulan Poulan Pro Parts Call 606-678-9623 or 606-561-4983

13. IGNITION ASSEMBLY - AV ONLY - CONTINUED
FIGURE K
J. PRESS TWO (2) WIRE TERMINALS ONTO TWO (2) SPADE TERMINALS ON BACK
OF THE IGNITION SWITCH.
NOTE: WIRES MAY BE PRE -ASSEMBLED ONTO SWITCH.
K. SNAP IGNITION SWITCH INTO OPENING IN REAR OF THE LEFT CHASSIS
(FIGURE K).
IMPORTANT NOTE: ORIENT SWITCH WHERE THE “I” IS CLOSEST TO THE FAN
HOUSING SIDE OF CHASSIS. ALSO, TERMINALS ARE CLOSEST TO THE FAN
HOUSING SIDE.
www.mymowerparts.com
For Discount Poulan Poulan Pro Parts Call 606-678-9623 or 606-561-4983

14. FUEL LINE AND PURGE BULB ROUTINGS
IMPORTANT NOTE: MAXIMUM GAP BETWEEN END OF LINE, AND FITTING BASE TO BE 1.3MM
(FIGURE L).
A. CONNECT RETURN
LINE (LARGER OF TWO LINES) FROM RIGHT HALF OF CHASSIS TO LARGE NIPPLE ON PURGE BULB.
B. CONNECT PURGE LINE TO SMALL NIPPLE ON BULB. LAY INTO POSITION.
C. NON-AV ONLY CONNECT PURGE LINE TO BRASS FITTING ON CARBURETOR.
NON-AV ONLY CONNECT FUEL LINE FROM LEFT HALF OF CHASSIS TO BLACK PLASTIC FITTING ON CARBURETOR.
D. AV ONLY CONNECT PURGE LINE TO BRASS FITTING ON ADJUSTMENT (LEFT) SIDE OF CARBURETOR.
AV ONLY CONNECT FUEL LINE FROM LEFT HALF OF CHASSIS TO BRASS FITTING ON CHOKE LEVER (RIGHT) SIDE
OF
CARBURETOR.
E. POSITION ALL LINES UNDER TAB ON CARB ADAPTOR (IF AVAILABLE).
F. WHEN CHANGING PURGE BULB , CUT 1/16 FROM END OF FUEL LINE, RE INSTALL LINE.
THIS WILL INSURE TIGHT FIT OF LINE ON TO THE BARB OF CARB.
FIGURE L
www.mymowerparts.com
For Discount Poulan Poulan Pro Parts Call 606-678-9623 or 606-561-4983

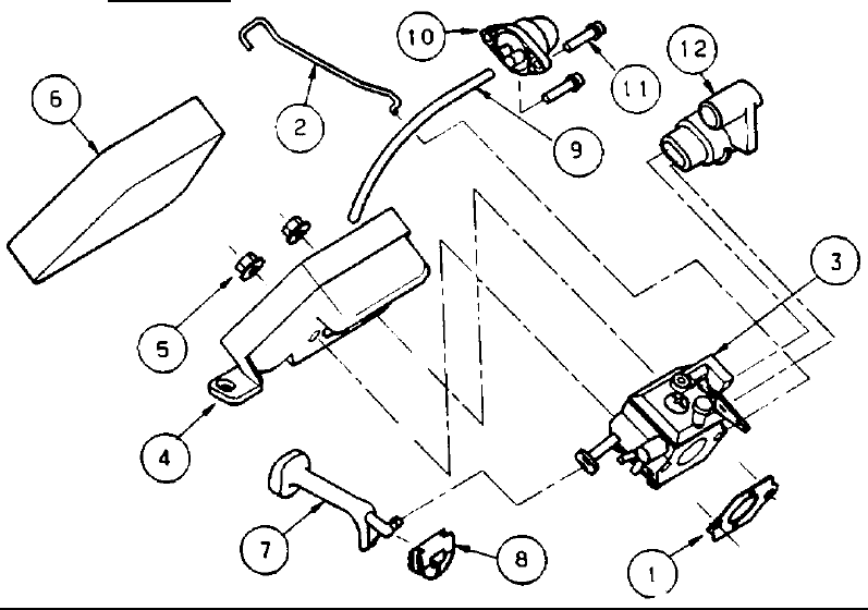
15. AIR BOX ASSEMBLY - NON -AV ONLY
ITEM DESCRIPTION
1 CARBURETOR GASKET
2 THROTTLE WIRE
3 CARBURETOR (WT -324)
4 AIR BOX
5 NUTS
6 AIR FILTER (FOAM)
7 CHOKE LEVER
8 CHOKE GROMMET
9 PURGE LINE
10 PURGE BULB
11 SCREWS -PURGE
12 CARBURETOR GROMMET
www.mymowerparts.com
For Discount Poulan Poulan Pro Parts Call 606-678-9623 or 606-561-4983

16. AIR BOX ASSEMBLY - NON -AV ONLY - CONTINUED
A. FIT CARBURETOR GASKET OVER SCREWS THROUGH CARBURETOR ADAPTOR.
B. INSTALL THROTTLE WIRE INTO CARBURETOR THROTTLE PLATE, THEN TO TRIGGER
(FIGURE M).
C. DEPRESS TRIGGER TO POSITION CARBURETOR OVER STUDS.
D. INSTALL CHOKE ROD GROMMET TO CHOKE ROD.
E. ATTACH CHOKE ROD TO CARBURETOR (FIGURE M), THEN LAY GROMMET THROUGH OPENING IN CHASSIS.
F. TORQUE PURGE BULB TO SPECIFICATION.
G. INSTALL CARBURETOR GROMMET.
FIGURE M
H. POSITION AIRBOX. START NUTS BY HAND. TORQUE TO SPECIFICATION.
I. OIL AIR FILTER USING 2 CYCLE OIL. INSTALL AIR FILTER.
IMPORTANT NOTE: ALL EXCESS OIL MUST BE SQUEEZED FROM THE FILTER
PRIOR TO INSTALLATION INTO THE AIR BOX.
IMPORTANT NOTE: VERIFY THROTTLE LOCK, AND TRIGGER FUNCTION. IT MUST WORK
FREELY, AND NOT STICK WHEN RELEASED.
www.mymowerparts.com
For Discount Poulan Poulan Pro Parts Call 606-678-9623 or 606-561-4983

17. AIR BOX ASSEMBLY - AV ONLY -
ITEM DESCRIPTION
1 CARBURETOR GASKET
2 THROTTLE CABLE
3 CARBURETOR
4 AIR BOX
5 NUTS
6 AIR FILTER (FOAM)
7 CHOKE GROMMET
8 CHOKE LEVER
9 PURGE LINE
10 PURGE BULB
11 SCREWS -PURGE
12 CARBURETOR GROMMET
13 THROTTLE CABLE GROMMET
www.mymowerparts.com
For Discount Poulan Poulan Pro Parts Call 606-678-9623 or 606-561-4983

18. AIR BOX ASSEMBLY - AV ONLY - CONTINUED
FIGURE N FIGURE O FIGURE P
A. INSTALL CARBURETOR GASKET OVER SCREWS THROUGH CARBURETOR
ADAPTOR.
B. INSTALL CHOKE ROD GROMMET, AND ATTACH CHOKE ROD TO CARBURETOR
(FIGURE N). (CHOKE GROMMET CAN ONLY BE INSTALLED ONE WAY.)
C. INSTALL CARBURETOR OVER SCREWS, POSITIONING CHOKE ROD GROMMET
IN SLOT IN RIGHT CHASSIS.
D. INSTALL CARBURETOR GROMMET.
E. INSTALL THROTTLE CABLE ON AIR BOX BY PUSHING CONDUIT END INTO
POCKET ON BOTTOM OF THE AIR BOX LOOPING BEHIND AIR BOX.(FIGURE O)
F. INSTALL “Z” FITTING OF THROTTLE CABLE IN LOWER HOLE OF CARBURETOR
THROTTLE LEVER (FIGURE P).
G. POSITION AIR BOX OVER SCREWS, START NUTS BY HAND. TORQUE TO
SPECIFICATION.
NOTE: ENSURE THAT THROTTLE CABLE LOOP IS ROUTED UNDER THE
CARBURETOR, AND OVER THE SWITCH WIRES, AND NOT CLAMPED BEHIND
THE CARBURETOR.
H. INSTALL FOAM AIR FILTER.
I. INSTALL THROTTLE CABLE GROMMET ONTO THROTTLE CABLE, AND PLACE
GROMMET INTO SLOT IN REAR OF CHASSIS ASSEMBLY.
J. TORQUE PURGE BULB TO SPECIFICATION.
www.mymowerparts.com
For Discount Poulan Poulan Pro Parts Call 606-678-9623 or 606-561-4983

19. FAN HOUSING ASSEMBLY AV ONLY . BAFFLE IS NOT USED ON MOST UNIT
ITEM DESCRIPTION
1 FAN HOUSING
2 RECOIL SPRING
3 STARTER PULLEY
4 SCREW - PULLEY
5 ROPE & HANDLE ASSEMBLY
6 SCREW - ROPE ANCHOR
7 FAN HOUSING SCREWS
8 BAFFLE
www.mymowerparts.com
For Discount Poulan Poulan Pro Parts Call 606-678-9623 or 606-561-4983

20. FAN HOUSING ASSEMBLY AV & NON AV
NO. DESCRIPTION QUANTITY
1 FAN HOUSING 1
2 RECOIL SPRING 1
3 STARTER PULLEY 1
4 SCREW-PULLEY 1
5 ROPE & HANDLE ASS'Y 1
6 SCREW-ROPE ANCHOR 1
7 SCREW-FAN HOUSING 4
www.mymowerparts.com
For Discount Poulan Poulan Pro Parts Call 606-678-9623 or 606-561-4983

21. RECOIL SPRING ASSEMBLY
A. PLACE RECOIL SPRING INTO FAN HOUSING, MAKING SURE THE HOOK IS
POSITIONED AS SHOWN (FIGURE Q).
FIGURE Q
B. WIND UP PULLEY UNTIL IT STOPS, THEN UNWIND 1 TO 2 TURNS, AND ALIGN
ROPE HOLE WITH FAN HOUSING EYELET.
C. FEED ROPE THROUGH FAN HOUSING STARTER ROPE EYELET AND INTO
PULLEY HOLE. LOOP ROPE COUNTERCLOCKWISE AROUND RATCHET AND
TUCK LOOSE END BACK UNDER ROPE. POSITION END OF ROPE BETWEEN
SCREW BOSS AND OUTER RETAINING RING.
IMPORTANT NOTE: END OF ROPE SHOULD BE FLUSH TO 6.4MM PAST END
OF RETAINING RIB (FIGURE R).
D. ROPE MUST BE POSITIONED AGAINST PULLEY TOP FLANGE.
FIGURE R
www.mymowerparts.com
For Discount Poulan Poulan Pro Parts Call 606-678-9623 or 606-561-4983

22. RECOIL SPRING ASSEMBLY - CONTINUED
E. WITH ROPE FULLY EXTENDED, PULLEY SHOULD BE ABLE TO TURN AT LEAST
ONE (1) TURN, BUT NO MORE THAN TWO (2) TURNS, CLOCKWISE BEFORE
SPRING BOTTOMS OUT.
F. ROPE RETURN SHOULD BE RAPID, AND WITHOUT DRAG. THE HANDLE MUST
SIT IN IT'S CORRECT POSITION WITHOUT SAG.
G. ALIGN FAN HOUSING WITH CHASSIS, PULLING STARTER ROPE TO ALIGN
PULLEY WITH STARTER DOGS. SECURE WITH FOUR (4) SCREWS. TORQUE
TO SPECIFICATION.
IMPORTANT NOTE: BE SURE NOT TO PINCH SPARK PLUG WIRE.
15. CYLINDER SHIELD ASSEMBLY
A. TAKING CARE TO PROPERLY ALIGN CYLINDER SHIELD, ASSEMBLE CYLINDER
SHIELD TO CHASSIS USING THREE (3) SCREWS. TORQUE TO SPECIFICATION.
(FIGURE AB)
B. ON LOW EMISSION ENGINES ONLY.
SECURE 3M REFLECTIVE TAPE ON INSIDE OF CYLINDER SHIELD AS SHOWN: ENSURE
REFLECTIVE TAPE HAS BEEN FULLY PRESSED INTO POSITION ON ENTIRE SURFACE
AREA WHERE THE 3M REFLECTIVE TAPE IS SECURED, MUST BE CLEAN.
www.mymowerparts.com
For Discount Poulan Poulan Pro Parts Call 606-678-9623 or 606-561-4983

23. FRONT AND REAR HA NDLE ASSEMBLY-AV ONLY
NOTE: POWERHEAD PICTURE MAY VARY DEPENDING ON MODEL.
www.mymowerparts.com
For Discount Poulan Poulan Pro Parts Call 606-678-9623 or 606-561-4983

24. FRONT AND REAR HANDLE ASSEMBLY - AV ONLY-CONTINUED
ITEM DESCRIPTION QTY C0MMENTS
1 FRONT HANDLE 1
2 FRONT SPRING ASSEMBLY 1
3 REAR SPRING 1
4 SCREW-REAR SPRING 1 M5.28-1.8 X 16 MM PLASTITE
5 REAR HANDLE 1
6 REAR BOTTOM SPRING 1
7 SCREW-REAR BOTTOM SPRING 1 #10-14 X 19 MM PLASTITE
8 SCREW-FRONT/REAR HANDLE 2 #10-14 X 14 MM PLASTITE
9 THROTTLE TRIGGER 1
10 THROTTLE LOCKOUT 1
11 REAR HANDLE COVER 1
12 SCREW-COVER/SPRING/REAR HANDLE 1
13 SCREW-COVER/REAR HANDLE 2 M5.28 X 16 MM PLASTITE
14 SCREW-REAR TOP SPRING 1 #10-14 X 27 MM PLASTITE
A. POSITION FRONT HANDLE ON SAW AND INSTALL AV SPRING ASSEMBLY TO
FRONT HANDLE, AND BOTTOM OF CHASSIS WITH TWO (2) SCREWS. TORQUE
TO SPECIFICATION.
NOTE: MACHINE SCREW GOES INTO HANDLE.
B. ATTACH LOWER, AND UPPER ISOLATOR SPRING TO HANDLE ASSEMBLY WITH
SCREWS (#7& #14).
C. INSTALL REAR AV SPRING (#5) IN CHASSIS POCKET WITH SCREW (#4).
TORQUE TO SPECIFICATION.
D. INSTALL AV SPRING (#6)
NOTE: 1/8" HEX DRIVER REQUIRED.
E. ASSEMBLE FRONT AND REAR HANDLES TOGETHER USING TWO (2) SCREWS
(#8). TORQUE TO SPECIFICATION.
F. PRESS THROTTLE CABLE ANCHOR INTO POCKET IN REAR HANDLE.
G. DROP BARREL END OF CABLE INTO POCKET IN REAR HANDLE.
H. SLIDE TRIGGER OVER SCREW BOSS WHILE ENSURING THAT THE THROTTLE
CABLE LAYS ON TOP OF THE SEMI-CIRCULAR BOSS ON THE UPPER REAR
PORTION OF THE TRIGGER.
I. INSERT THROTTLE LOCKOUT CATCH THROUGH SLOT IN TRIGGER WHILE
COMPRESSING THE THIN SPRING ARM TO ENSURE THAT THE SPRING FINGER RIDES
ON TOP OF THE RIB IN THE TRIGGER. DROP PIN BOSS AT THE REAR OF THE
LOCKOUT INTO THE POCKET IN THE REAR HANDLE.
J. ASSEMBLE REAR HANDLE COVER TO REAR HANDLE (FIGURE AD). ALIGN THROTTLE
LOCKOUT BOSS, AND SCREW BOSSES WITH POCKETS IN REAR HANDLE COVER.
SCREW TOGETHER WITH THREE (3) SCREWS.
www.mymowerparts.com
For Discount Poulan Poulan Pro Parts Call 606-678-9623 or 606-561-4983

NOTE: ENSURE REAR AV SPRING (#3) IS POSITIONED SO THAT THE BOTTOM REAR HANDLE COVER SCREW (#12) GOES
THROUGH THE SPRING HOOK, AND ASSEMBLES TO THE REAR HANDLE , AND REAR HANDLE COVER.
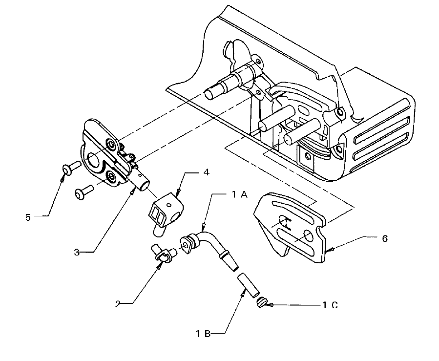
20. FRONT AND REAR HANDLE ASSEMBLY - NON -AV ONLY - CONTINUED
3
A. POSITION HANDLE BAR, (#4) ON SAW (#1) USING SCREWS
(2-#2 AND 2-#3). TORQUE TO SPECIFICATION.
www.mymowerparts.com
For Discount Poulan Poulan Pro Parts Call 606-678-9623 or 606-561-4983

25. CLUTCH ASSEMBLY AND CHAIN CATCHER
A. INSTALL THRUST WASHER (#1) ONTO CRANKSHAFT.
B. INSTALL CLUTCH DRUM ASSEMBLY (#2) ONTO CRANKSHAFT.
C. PLACE CLUTCH WASHER (#3) INSIDE CLUTCH DRUM, AND THREAD CLUTCH
ASSEMBLY (#4) ONTO CRANKSHAFT. TORQUE TO SPECIFICATION.
NOTE: CLUTCH IS LEFT HAND THREAD.
D. INSTALL CHAIN CATCHER (#5) WITH SCREW (#6) IN CHASSIS POCKET.
TORQUE TO SPECIFICATION.
E. INSTALL BAR ADJUSTMENT PIN, SCREW, AND RETAINER INTO CLUTCH COVER
(FIGURE S). ADJUST PIN MUST BE POSITIONED ABOVE THE CENTER LINE OF
THE SCREW.
(NOTE: DOES NOT APPLY ON UNITS WITH INTEGRAL BAR ADJUST SYSTEM OR
TOOLESS ADJUST)
IMPORTANT NOTE: RETAINER MUST BE ORIENTED AS SHOWN IN FIGURE AI.
F. BAR CLAMP, BAR CLAMP NUTS, AND TORQUE TO
SPECIFICATION.
www.mymowerparts.com
For Discount Poulan Poulan Pro Parts Call 606-678-9623 or 606-561-4983

26. INSTALL BAR ADJUSTMENT PIN, SCREW, AND RETAINER INTO CLUTCH COVER. ADJUST PIN MUST BE POSITIONED
ABOVE THE CENTER LINE OF THE SCREW.
IMPORTANT NOTE: RETAINER MUST BE ORIENTED AS SHOWN IN FIGURE.
(FIGURE S )
www.mymowerparts.com
For Discount Poulan Poulan Pro Parts Call 606-678-9623 or 606-561-4983
www.mymowerparts.com
For Discount Poulan Poulan Pro Parts Call 606-678-9623 or 606-561-4983