POWER SHOT G5
User Manual:
Open the PDF directly: View PDF
.
Page Count: 25

CHAPTER 4. PARTS CATALOG
CONTENTS
PowerShot G5
CASING PARTS SECTION --------------------------------------------------------------------------------------------------- Pg1
INTERNAL PARTS SECTION-1 --------------------------------------------------------------------------------------------- Pg2
INTERNAL PARTS SECTION-2 --------------------------------------------------------------------------------------------- Pg3
TOP COVER SECTION -------------------------------------------------------------------------------------------------------- Pg4
EVF UNIT SECTION ----------------------------------------------------------------------------------------------------------- Pg5
BATTERY BOX UNIT SECTION -------------------------------------------------------------------------------------------- Pg6
Fuse------------------------------------------------------------------------------------------------------------------------------------- Pg7
Accessories-1 ------------------------------------------------------------------------------------------------------------------------- Pg8
Accessories-2 ------------------------------------------------------------------------------------------------------------------------- Pg9
Accessories-3 ------------------------------------------------------------------------------------------------------------------------ Pg10
Service Tools-1 ---------------------------------------------------------------------------------------------------------------------- Pg11
Service Tools-2 ---------------------------------------------------------------------------------------------------------------------- Pg12
Category of CLASS
A: Frequency of use: High
B: Frequency of use: Middle
C: Frequency of use: Low
D: Safety-related critical parts
E: Consumable parts
F: Standard screws and washers
S: Supply of the parts is limited
Y: Service Tools

PowerShot G5
CASING PARTS SECTION
Pg1
1
16
16
15
16
17
3
4
20
21
7
22
8
23
24
11
910
6
5
18
2
19
a
a
25
25
12
13
14
b
b
See Pg4
See Pg2

SYMBOL PARTS NO. CLASS QTY DESCRIPTION REMARKS
PowerShot G5
PARTS LIST Pg1
1 CM1-1618-000 B 1 FRONT CAP UNIT
2 CM1-1607-000 B 1 FRONT COVER UNIT
3 CM1-1617-000 B 1 BATTERY LID UNIT
4 CD1-3264-000 B 1 HOLDER, DATE BATTERY
5 CD1-4778-000 C 1 HOLDER, BATTERY SHAFT
6 CD1-4782-000 C 1 SPRING, CF CLIPPING 2
7 CD1-5010-000 B 1 COVER, CF
8 CD1-4837-000 B 1 BASE, STRAP RIGHT
9 CM1-1604-000 B 1 REAR COVER UNIT
10 CD1-5004-000 B 2 BUSH, LCD
11 CS8-5211-000 C 1 SPRING, SELECTOR
12 CD1-4995-000 B 1 COVER, SIDE
13 CS8-3256-000 C 1 SHAFT, JACK COVER
14 CD1-5007-000 B 1 COVER, JACK
15 CY1-6290-000 B 1 PLATE, BODY NUMBER (J) (FOR JAPAN) #13111xxxxx
CY1-6291-000 B 1 PLATE, BODY NUMBER (N)
(FOR EUROPE, ASIA) #13311xxxxx
CY1-6292-000 B 1 PLATE, BODY NUMBER (E)
(FOR USA, CANADA) #13211xxxxx
CY1-6296-000 B 1 PLATE, BODY NUMBER(C) (FOR CHINA) #13651 xxxxx)
16 CD1-5030-000 C 5 SCREW
17 CD1-5028-000 C 1 SCREW
18 CD1-5032-000 C 1 SCREW
19 CD1-5033-000 C 1 SCREW
20 XA4-9170-359 F 1 SCREW
21 XA4-5170-307 F 1 SCREW
22 XA4-9170-407 F 2 SCREW
23 XA1-7170-357 F 1 SCREW
24 XA1-7170-307 F 2 SCREW
25 CD1-5031-000 C 2 SCREW

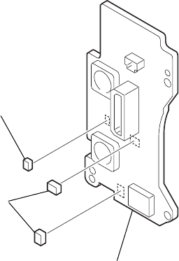
PowerShot G5
Pg2 INTERNAL PARTS SECTION-1
8
8
71
23
4
9
7
10
8
11
5
6
N.S
See Pg3
See Pg5

SYMBOL PARTS NO. CLASS QTY DESCRIPTION REMARKS
PowerShot G5
PARTS LIST Pg2
1 CM1-1615-000 C 1 MAIN BARREL UNIT
2 CD1-3213-000 C 1 HOLDER, MICROPHONE
3 CM1-1564-010 C 1 MICROPHONE UNIT
4 CD1-4850-000 C 1 FRAME, SIDE COVER
5 CM1-1619-000 C 1 PCB ASS’Y, MAIN
6 CD1-4911-000 C 1 SHEET, MAIN
7 XA4-9170-359 F 2 SCREW
8 XA1-7170-307 F 3 SCREW
9 CD1-3108-000 C 1 SCREW
10 CD1-3798-000 C 2 SCREW
11 CD1-4987-000 C 2 SCREW

PowerShot G5
Pg3 INTERNAL PARTS SECTION-2
15
16
17
25 24
24
18
21 a
ad
c
c
b
b
21
21
19
20
6
21 23
10
9
24
24
24
25
14
21
23
8
21
21
7
21
22
5
22 11
12
13
See Pg6
d
21
1
4
2
3

SYMBOL PARTS NO. CLASS QTY DESCRIPTION REMARKS
PowerShot G5
PARTS LIST Pg3
1 CM1-1463-000 B 1 FINDER UNIT
2 CM1-1602-000 B 1 OPTICAL UNIT
3 CD1-3869-000 C 1 HOLDER, LED
4 CS8-5209-000 C 1 SPRING, CCD
5 CK1-0670-000 C 1 FPC, MAIN/FLASH
6 CM1-1632-000 C 1 PCB ASS’Y, DC/DC CONVERTER
7 CD1-4433-000 C 1 PLATE, ZOOM GND
8 CD1-4838-000 C 1 FRAME, SUB
9 CD1-4844-010 C 1 BASE, TRIPOD
10 CD1-4748-000 C 1 FRAME, MAIN
11 CM1-1473-010 C 1 FLASH/JACK UNIT
12 CM1-1631-000 C 1 SPEAKER UNIT
13 CD1-4848-000 C 1 BUSH, SPEAKER
14 CM1-1641-000 C 1 CF UNIT
15 CD1-4765-000 C 1 FRAME, REAR
16 CM1-1638-000 C 1 PCB ASS’Y, BUTTON
17 CD1-4762-000 C 1 BASE, SEL. BUTTON
18 CD1-4812-000 C 1 HOLDER, EF SENSOR
19 CM1-1614-000 C 1 BAT BOX UNIT
20 CM1-1642-000 B 1 FRONT LENS UNIT
21 XA4-9170-359 F 12 SCREW
22 CB1-1998-000 C 6 SCREW
23 CD1-3798-000 C 2 SCREW
24 XA1-7170-307 F 6 SCREW
25 XA1-7170-147 F 4 SCREW

PowerShot G5
Pg4 TOP COVER SECTION
23
24
22
1
3
7
15
4
5
6
8
24
20
16
18
19
14
21
17
9
10
11
12
13
2

SYMBOL PARTS NO. CLASS QTY DESCRIPTION REMARKS
PowerShot G5
PARTS LIST Pg4
1 CD1-4836-000 B 1 BASE, STRAP LEFT
2 CM1-1608-000 C 1 B/W LCD UNIT
3 CD1-5019-000 B 1 DIAL, MODE
4 XG8-1500-591 C 1 BALL, MODE DIAL
5 CS8-5292-000 C 1 SPRING, MODE DIAL
6 CM1-1610-000 B 1 TOP COVER UNIT
7 CD1-5018-000 B 1 CAP, MODE DIAL
8 CL1-1106-000 C 1 MODE DIAL BASE UNIT
9 CD1-5027-000 B 1 BUTTON, TOP3
10 CD1-5024-000 B 1 BUTTON, TOP1
11 CD1-5025-000 B 1 BUTTON, TOP2
12 CD1-4826-000 B 1 WINDOW, B/W LCD
13 CD1-4824-000 C 1 SEAL, DUST COVER
14 CA1-9328-000 C 1 SPRING, ACCESSORY SHOE
15 CM1-1611-000 B 1 ZOOM LEVER UNIT
16 CD1-4846-000 C 1 BRUSH, ZOOM
17 CS8-5293-000 C 1 SPRING, ZOOM
18 CB1-6258-000 B 1 ACCESSORY CONTACT UNIT
19 CA1-6504-000 C 1 SHOE, ACCESSORY
20 CD1-3108-000 C 2 SCREW
21 XA1-3170-407 F 4 SCREW
22 XA1-7170-167 F 2 SCREW
23 XA4-5170-409 F 2 SCREW
24 XA4-9170-359 F 2 SCREW

PowerShot G5
Pg5 EVF UNIT SECTION
1
10
2
5
3
7
12
11
12
4
6
8
13
9
a
b
a
d
c
b
d
c

SYMBOL PARTS NO. CLASS QTY DESCRIPTION REMARKS
PowerShot G5
PARTS LIST Pg5
1 CD1-5001-000 B 1 COVER, LCD FRAME
2 WG2-5219-000 C 1 PANEL, LCD
WG2-5219-001 C 1 PANEL, LCD(SELECTION)
3 CM1-1572-000 C 1 BACK LIGHT UNIT
4 CD1-4751-000 C 1 PLATE, NUT
5 CM1-1490-010 C 1 PCB ASS’Y, LCD
6 CD1-4752-000 C 1 SHEET, LCD
7 CD1-5002-000 B 1 COVER, LCD TOP
8 CM1-1621-000 C 1 HINGE UNIT
9 CD1-5003-000 B 1 COVER, HINGE
10 XA1-7170-307 F 1 SCREW
11 XA4-9170-359 F 2 SCREW
12 CD1-5028-000 C 4 SCREW
13 CD1-4983-000 C 2 SCREW

PowerShot G5
Pg6 BATTERY BOX UNIT SECTION
8
4
8
2
3
7
1
58
8
8
6

SYMBOL PARTS NO. CLASS QTY DESCRIPTION REMARKS
PowerShot G5
PARTS LIST Pg6
1 CD1-4781-000 C 1 SPRING, CF CLIPPING 1
2 CD1-4795-000 C 1 COVER, LEAF SW
3 CL1-1107-000 C 1 LEAF SW UNIT
4 CD1-4796-000 C 1 HOLDER, R/C
5 CD1-4299-000 C 1 HOLDER, SLT
6 CM1-1639-000 C 1 HV MODULE UNIT
7 XA4-5170-307 F 1 SCREW
8 XA4-9170-359 F 5 SCREW

PowerShot G5
Pg7 Fuse
2
1
DC/DC CONVERTER PCB ASS’Y

SYMBOL PARTS NO. CLASS QTY DESCRIPTION REMARKS
PowerShot G5
PARTS LIST Pg7
1 CY4-6073-000 D 2 FUSE, DAITO KMC20 F11, F12
2 CY4-6074-000 D 1 FUSE, MATSU. DENKI UNHS206 F13

PowerShot G5
N.Sl : N.S Stand for No Stock (Product available)
Accessories-1
Pg8
FC-32M
Canon Digital Camera
Solution Disk,
ArcSoft camera Suite Disk
N.S
3
CF Card FC-32M
N.S
CF CASE
5
N.S
N.S
N.S
4
Neck Strap
NS-DC2
USB Interface Cable
IFC-300PCU
1N.S
Wireless Controller WL-DC100
Lens Cap AV Cable AVC-DC100
2

SYMBOL PARTS NO. CLASS QTY DESCRIPTION REMARKS
PowerShot G5
PARTS LIST Pg8
1 C84-1157-000 B 1 STRAP, NECK
2 C84-1156-000 B 1 LENS CAP UNIT
3 C84-1168-000 S 1 CD-ROM, SOLUTION VER.13.0 (J/E) FOR JAPAN
C84-1169-000 S 1 CD-ROM, SOLUTION VER.13.0 (E/F/S) FOR USA, CANADA
C84-1170-000 S 1 CD-ROM, SOLUTION VER.13.0 (J/E/C) FOR ASIA, AUSTRALIA
4 CY1-6074-000 B 1 HOLDER, BATTERY
5 FC2-9610-000 B 1 CASE, CF

PowerShot G5
Accessories-2
Pg9
Battery Pack BP-511
Charger Adapter/Car Battery Cable Kit
CR-560
Compact Power Adapter CA-560
3
1
2
PLUG TYPE
N
J
E
B
A
5
6
CB-560
DC CABLE
N.S
N.S
N.S
4
Wide Converter WC-DC58N
Tele Converter TC-DC58N
N.S
N.S
7
8
9
8
N.Sl : N.S Stand for No Stock (Product available)

SYMBOL PARTS NO. CLASS QTY DESCRIPTION REMARKS
PowerShot G5
PARTS LIST Pg9
1 D89-0900-000 C 1 CORE, FERRITE
2 DY4-4763-000 C 1 CORD, DC
3 D82-0641-000 C 1 CABLE, AC (J) FOR JAPAN
D82-0642-000 C 1 CABLE, AC (N) FOR USA, CANADA
D82-0643-000 C 1 CABLE, AC (E) FOR EUROPE, ASIA
D82-0644-000 C 1 CABLE, AC (B) FOR ASIA
D82-0645-000 C 1 CABLE, AC (A) FOR AUSTRALIA
4 DY1-8242-000 C 1 COVER, TERMINAL BP-511/BP522
5 DY1-8244-000 C 1 DC CABLE
6 DY1-8243-000 C 1 CAR BATTERY CABLE CB-560
7 CD1-4929-000 B 1 CAP, FRONT
8 CD1-4931-000 B 1 CAP, REAR
9 CD1-4933-000 B 1 CAP, FRONT

PowerShot G5
Accessories-3
Pg10
Camera User Guide
Software Starter Guide
System Map
1
2
Quick Start Guide
4
3

SYMBOL PARTS NO. CLASS QTY DESCRIPTION REMARKS
PowerShot G5
PARTS LIST Pg10
1 CDI-E075-000 S 1 I.BOOK (E) PS G5 FOR USA, CANADA,
ASIA, AUSTRALIA
CDI-F064-000 S 1 I.BOOK (F) PS G5 FOR CANADA
CDI-J066-000 S 1 I.BOOK (J) PS G5 FOR JAPAN
CDI-S065-000 S 1 I.BOOK (S) PS G5 FOR USA
2 CDI-E089-000 S 1 SOFTWARE GUIDE (E) VER.13.0 FOR USA, CANADA,
ASIA, AUSTRALIA
CDI-F078-000 S 1 SOFTWARE GUIDE (F) VER.13.0 FOR CANADA
CDI-J080-000 S 1 SOFTWARE GUIDE (J) VER.13.0 FOR JAPAN
CDI-S078-000 S 1 SOFTWARE GUIDE (S) VER.13.0 FOR USA
3 CDI-E076-000 S 1 SYSTEM MAP (E) PS G5 FOR USA, CANADA,
ASIA, AUSTRALIA
CDI-F066-000 S 1 SYSTEM MAP (F) PS G5 FOR CANADA
CDI-J067-000 S 1 SYSTEM MAP (J) PS G5 FOR JAPAN
CDI-S066-000 S 1 SYSTEM MAP (S) PS G5 FOR USA
4 CDI-E077-000 S 1 QUICK START GUIDE (E) FOR USA, CANADA,
ASIA, AUSTRALIA
CDI-F066-000 S 1 QUICK START GUIDE (F) FOR CANADA
CDI-J068-000 S 1 QUICK START GUIDE (J) FOR JAPAN
CDI-S067-000 S 1 QUICK START GUIDE (S) FOR USA

PowerShot G5
Pg11 Service Tools-1
Adhesive Tape SONY T4000
Adhesive Tape 3M NO.56
3
4
LOGENEST RAMBDA A-74
2
DIA BOND NO.1663G BLACK
1
Three Bond 1401C
5

SYMBOL PARTS NO. CLASS QTY DESCRIPTION REMARKS
PowerShot G5
PARTS LIST Pg11
1 CY9-8129-000 Y 1 BOND, DIA BOND NO.1663G BLACK 200ml
2 CY9-8102-000 Y 1 LUBE, LOGENEST RAMBDA A-74 80g
3 CY4-6012-000 Y 1 ADHESIVE TAPE, SONY T4000 6mm x 50m Roll
4 CY4-6018-000 Y 1 ADHESIVE TAPE, 3M NO.56
5 CY9-8011-000 Y 1 BOND, THREE BOND 1401C 200g

PowerShot G5
Service Tools-2
W-10 Filter
18% Gray Chart
C-12 Filter
FL-W Filter
4
1
Service Manual CD-ROM
5
6
7
ND-4 Filter
ND-2 Filter
ND-8 Filter
8
9
10
Color Viewer (5600° K)
Standard Color Bar Chart
3
2
Pg12

SYMBOL PARTS NO. CLASS QTY DESCRIPTION REMARKS
PowerShot G5
PARTS LIST Pg12
1 CY8-4386-031 Y 1 CD-ROM, SERVICE MANUAL(J/E)
2 DY9-2039-100 Y 1 COLOR VIEWER 5600K
3 DY9-2002-000 Y 1 COLOR BAR CHART
4 CY4-6016-000 Y 1 CHART, 18% GRAY
5 DY9-2029-000 Y 1 FILTER, C-12
6 CY9-1543-000 Y 1 FILTER, W-10
7 CY9-1550-000 Y 1 FILTER, FL-W
8 CY9-1552-000 Y 1 FILTER, ND-2
9 CY9-1553-000 Y 1 FILTER, ND-4
10 CY9-1554-000 Y 1 FILTER, ND-8