PDF Panasonic KX TD1232 Users Guide
User Manual: PDF T E X T F I L E S
Open the PDF directly: View PDF
.
Page Count: 250 [warning: Documents this large are best viewed by clicking the View PDF Link!]
- Important Information
- Attention
- Table of Contents
- Section1
- Section2
- Operation
- 2.1Before Operating the Telephones
- 2.2Making Calls
- 2.2.1Basic Calling
- 2.2.2Easy Dialling
- 2.2.3Redial
- 2.2.4When the Dialled Line is Busy or There is No Answer
- 2.2.5Calling without Restrictions
- 2.2.6Accessing the ISDN Network Service (ISDN Network Service Access)
- 2.2.7Alternating the Calling Method (Alternate Calling — Ring / Voice)
- 2.2.8To Access Another Party Directly from Outside (Direct Inward System Access [DISA])
- 2.3Receiving Calls
- 2.4During a Conversation
- 2.5Before Leaving Your Desk
- 2.6Making / Answering an Announcement
- 2.7Setting the Telephone According to Your Needs
- 2.7.1Setting the Alarm (Timed Reminder)
- 2.7.2Refusing Incoming Calls (Do Not Disturb [DND])
- 2.7.3Receiving a Call Waiting (Call Waiting / Off-Hook Call Announcement [OHCA] / Whisper OHCA)
- 2.7.4Displaying Your Number on the Called Party and Calling Party's Telephone (Calling / Connect...
- 2.7.5Denying Other People the Possibility of Picking up Your Calls (Call Pickup Deny)
- 2.7.6Denying Other People the Possibility of Joining Your Conversation (Executive Busy Override ...
- 2.7.7Turning on the Background Music
- 2.7.8Protecting Your Line against Indication Tones (Data Line Security)
- 2.7.9Checking the Day / Night Service Status
- 2.7.10Setting the Parallel Connected Telephone Ringer (Parallelled Telephone)
- 2.7.11Clearing the Feature Settings at Your Extension (Station Programme Clear)
- 2.8Using User-supplied Equipment
- 2.9Using the Display Proprietary Telephone
- 2.9.1Calling Using the Call Log (Incoming Call Log) [KX- T7433, KX-T7436, KX-T7230, KX-T7235 only]
- 2.9.2Recording a Call Log [KX-T7433, KX-T7436, KX-T7230, KX-T7235 only]
- 2.9.3Denying Other People the Possibility of Seeing Your Call Log (Incoming Call Log Lock) [KX-T...
- 2.9.4Using the KX-T7433, KX-T7436 or KX-T7235
- Display
- (KX-T7436/KX-T7235)
- Display
- (KX-T7433)
- Feature Description
- Section3
- Operator Operation
- 3.1Extension Control
- 3.2System Control
- Section4
- Customising Your Phone & System
- 4.1Customising Your Phone (Station Programming)
- 4.2Customising Your System (System Programming)
- Section5
- DECT Portable Station
- 5.1Safety Instructions
- 5.2Before Operating the DECT Portable Station
- 5.3Operation
- 5.3.1Making Calls
- 5.3.2Receiving Calls
- 5.3.3Redial
- 5.3.4Holding a Call
- 5.3.5Transferring a Call
- 5.3.6Using the Call Directories
- 5.3.7Using Your PS in Parallel with the Wired Telephone (Super EXtra Device Ports [SXDP])
- 5.3.8Locking the Keypads
- 5.3.9Selecting the Feature Button on the Display
- 5.3.10Other Operations
- 5.4Customising Your PS
- Section6
- ÿþ S e c t i o n 7

KX-TD816
Model No.
KX-TD1232
Digital Super Hybrid System
User Manual
D1232
DIGITAL SUPER HYBRID SYSTEM
Panasonic
Panasonic
D816
DIGITAL SUPER HYBRID SYSTEM
Please read this manual before using the Digital Super Hybrid System.
This manual is for KX-TD816 software version P341I, P342I or later and for
KX-TD1232 software version P241I, P242I or later.

2
Thank you for purchasing the Panasonic Digital Super Hybrid System.
Note
In this manual, the suffix of each model number is omitted.
1.3.1 Connection Example 1.4.1 Adding Another Telephone in Parallel
Page 27 Consult your dealer
DECT Portable Station 2.8.3 If a Voice Processing System is Connected
Telephones
This system can connect digital and analogue
Panasonic proprietary telephones. Single line
devices such as a single line
telephone, facsimile, cordless
telephone, voice processing
system, etc. can also be
connected.
D1232
More Extensions
This system can double the extension capacity
by connecting a proprietary telephone and a
single line telephone. The proprietary
telephone can share the extension with
another single line telephone.
Furthermore, you can connect
a Panasonic digital proprietary
telephone and a single line
telephone to one jack and use
them as individual extensions.
D1232
This system chooses the most cost-effective
carrier based on the outside number dialled
and the time called.
Saves on telephone charges
(Automatic Route Selection)
A
B
C
D1232
This system can record or print out call
information: date, time, extension no., dialled
no., duration, etc.
Date
06/24/99
06/24/99
Time
10:03AM
11:07AM
Ext
123
223
• • • • • • •
• • • • • • •
• • • • • • •
Call Record
(Station Message Detail Recording)
This system optionally supports the DECT
system. A DECT Portable Station (PS) can be
used in the system with other wired telephone.
DECT System
D1232
You can forward your call to a voice
processing system and let callers leave their
messages in your mailbox when you are
unable to receive calls.
Voice Mail Integration
Message Message
Message Message
Message Message
D1232

Important Information 3
Important Information
WARNING
• THIS UNIT MAY ONLY BE INSTALLED AND SERVICED BY QUALIFIED SERVICE
PERSONNEL.
• WHEN A FAILURE OCCURS WHICH RESULTS IN THE INTERNAL PARTS BECOMING
ACCESSIBLE, DISCONNECT THE POWER SUPPLY CORD IMMEDIATELY AND RETURN THIS
UNIT TO YOUR DEALER.
• DISCONNECT THE TELECOM CONNECTION BEFORE DISCONNECTING THE POWER
CONNECTION PRIOR TO RELOCATING THE EQUIPMENT, AND RECONNECT THE POWER
FIRST.
• THIS UNIT IS EQUIPPED WITH AN EARTHING CONTACT PLUG. FOR SAFETY REASONS
THIS PLUG MUST ONLY BE CONNECTED TO AN EARTHING CONTACT SOCKET WHICH
HAS BEEN INSTALLED ACCORDING TO REGULATIONS.
• THE POWER SUPPLY CORD IS USED AS THE MAIN DISCONNECT DEVICE. ENSURE THAT
THE SOCKET-OUTLET IS LOCATED/INSTALLED NEAR THE EQUIPMENT AND IS EASILY
ACCESSIBLE.
• TO PREVENT FIRE OR SHOCK HAZARD, DO NOT EXPOSE THIS UNIT TO RAIN OR
MOISTURE.
• STATIC SENSITIVE DEVICES ARE USED. TO PROTECT PRINTED CIRCUIT BOARDS FROM
STATIC ELECTRICITY, DO NOT TOUCH CONNECTORS INDICATED TO THE RIGHT. TO
DISCHARGE BODY STATIC, TOUCH GROUND OR WEAR A GROUNDING STRAP.
The following icons are used frequently in this manual.
REMOTE
SYSTEM INTER
CONNECTION
DISA
DOORPHONE
Warning: Static sensitive connectors
KX-TD1232 KX-TD816
ConditionsHints
!!
!!

4Important Information
Safety Instructions
When using your telephone equipment, basic safety precautions should always be followed to reduce
the risk of fire, electric shock and injury to persons, including the following:
1. Do not use this product near water, for example, near a bath tub, wash bowl, kitchen sink or
laundry tub, in a wet basement or near a swimming pool.
2. Avoid using a telephone (other than a cordless type) during an electric storm. There may be a
remote risk of electric shock from lightning.
3. Do not use the telephone to report a gas leak in the vicinity of the leak.
4. Use only the power cord and batteries indicated in this manual. Do not dispose of batteries in a
fire. They may explode. Check with local codes for possible special disposal instructions.
SAVE THESE INSTRUCTIONS

Attention 5
Attention
• Keep the unit away from heating appliances and electrical noise generating devices such as
fluorescent lamps, motors and televisions. These noise sources can interfere with the
performance of the unit.
• This unit should be kept free of dust, moisture, high temperature (more than 40°C) and vibration,
and should not be exposed to direct sunlight.
• Never attempt to insert wires, pins, etc., into the vents or holes of this unit.
• If there is any trouble, disconnect the unit from the telephone line. Plug the telephone directly into
the telephone line. If the telephone operates properly, do not reconnect the unit to the line until the
problem has been repaired by an authorised Panasonic Factory Service Centre. If the telephone
does not operate properly, chances are that the problem is in the telephone system, and not in the
unit.
• Do not use benzine, thinner, or any abrasive powder to clean the cabinet. Wipe it with a soft cloth.
The serial number of this product may be found on the label affixed to the unit. You
should note the model number and the serial number of this unit in the space provided
and retain this manual as a permanent record of your purchase, to aid in identification in
the event of theft.
MODEL NO.:
SERIAL NO.:
DATE OF PURCHACE
NAME OF DEALER
DEALER'S ADDRESS
For your future reference
Serial No.
DEALER'S TELEPHONE NO.
(Found on the bottom of the unit)

6Table of Contents
Table of Contents
1Overview
1.1 Capacity ................................................................................................................... 10
1.1.1 Capacity ............................................................................................................................... 10
1.2 Names and Locations............................................................................................. 11
1.2.1 Names and Locations .......................................................................................................... 11
1.3 Connection Example............................................................................................... 13
1.3.1 Connection Example ............................................................................................................ 13
1.4 Adding Another Telephone in Parallel ..................................................................14
1.4.1 Adding Another Telephone in Parallel .................................................................................. 14
2Operation
2.1 Before Operating the Telephones..........................................................................18
2.1.1 Before Operating the Telephones......................................................................................... 18
2.2 Making Calls ............................................................................................................ 25
2.2.1 Basic Calling ........................................................................................................................ 25
2.2.2 Easy Dialling ........................................................................................................................ 28
2.2.3 Redial ................................................................................................................................... 33
2.2.4 When the Dialled Line is Busy or There is No Answer......................................................... 35
2.2.5 Calling without Restrictions .................................................................................................. 40
2.2.6 Accessing the ISDN Network Service (ISDN Network Service Access) .............................. 42
2.2.7 Alternating the Calling Method (Alternate Calling — Ring / Voice) ...................................... 43
2.2.8 To Access Another Party Directly from Outside (Direct Inward System Access [DISA])...... 44
2.3 Receiving Calls........................................................................................................ 46
2.3.1 Answering Calls.................................................................................................................... 46
2.3.2 Answering Hands-free (Hands-free Answerback) ................................................................ 48
2.3.3 Answering a Call Ringing at Another Telephone (Call Pickup)............................................. 49
2.3.4 Answering a Call via an External Speaker (Trunk Answer From Any Station [TAFAS])........ 51
2.3.5 Identifying Malicious Callers (Malicious Call Identification [MCID])...................................... 52
2.4 During a Conversation............................................................................................53
2.4.1 Holding a Call....................................................................................................................... 53
2.4.2 Talking to Two Parties Alternately (Call Splitting) ................................................................. 59
2.4.3 Transferring a Call ................................................................................................................ 60
2.4.4 Answering a Call Waiting...................................................................................................... 62
2.4.5 Three-party Conversation .................................................................................................... 64
2.4.6 Mute ..................................................................................................................................... 67
2.4.7 Letting Other People Listen to the Conversation (Off-Hook Monitor) [KX-T7433, KX-T7436
only].................................................................................................................................... 68
2.5 Before Leaving Your Desk...................................................................................... 69
2.5.1 Forwarding Your Calls (Call Forwarding) .............................................................................. 69
2.5.2 Showing an Absent Message on the Caller's Telephone Display (Absent Message Capability)
74
2.5.3 Preventing Other People from Using Your Telephone (Electronic Station Lockout).............. 77

Table of Contents 7
2.5.4 Leaving a Call Distribution Group (Log-In / Log-Out)........................................................... 78
2.6 Making / Answering an Announcement.................................................................80
2.6.1 Paging .................................................................................................................................. 80
2.6.2 Paging a Person and Transferring a Call.............................................................................. 83
2.6.3 Answering a Paged Announcement..................................................................................... 86
2.7 Setting the Telephone According to Your Needs..................................................88
2.7.1 Setting the Alarm (Timed Reminder) ................................................................................... 88
2.7.2 Refusing Incoming Calls (Do Not Disturb [DND])................................................................. 90
2.7.3 Receiving a Call Waiting (Call Waiting / Off-Hook Call Announcement [OHCA] / Whisper
OHCA)................................................................................................................................ 91
2.7.4 Displaying Your Number on the Called Party and Calling Party's Telephone (Calling /
Connected Line Identification Presentation [CLIP / COLP])............................................... 92
2.7.5 Denying Other People the Possibility of Picking up Your Calls (Call Pickup Deny) .............. 93
2.7.6 Denying Other People the Possibility of Joining Your Conversation (Executive Busy Override
Deny).................................................................................................................................. 94
2.7.7 Turning on the Background Music........................................................................................ 95
2.7.8 Protecting Your Line against Indication Tones (Data Line Security)..................................... 96
2.7.9 Checking the Day / Night Service Status ............................................................................. 97
2.7.10 Setting the Parallel Connected Telephone Ringer (Parallelled Telephone) ........................ 98
2.7.11 Clearing the Feature Settings at Your Extension (Station Programme Clear).................... 99
2.8 Using User-supplied Equipment ..........................................................................100
2.8.1 If a Doorphone / Door Opener is Connected ..................................................................... 100
2.8.2 If a Host PBX is Connected................................................................................................ 102
2.8.3 If a Voice Processing System is Connected....................................................................... 103
2.9 Using the Display Proprietary Telephone............................................................110
2.9.1 Calling Using the Call Log (Incoming Call Log) [KX-T7433, KX-T7436, KX-T7230, KX-T7235
only].................................................................................................................................. 110
2.9.2 Recording a Call Log [KX-T7433, KX-T7436, KX-T7230, KX-T7235 only] ........................ 112
2.9.3 Denying Other People the Possibility of Seeing Your Call Log (Incoming Call Log Lock) [KX-
T7433, KX-T7436, KX-T7230, KX-T7235 only] ................................................................ 113
2.9.4 Using the KX-T7433, KX-T7436 or KX-T7235 ................................................................... 114
3 Operator Operation
3.1 Extension Control..................................................................................................126
3.1.1 Changing the Settings........................................................................................................ 126
3.2 System Control ......................................................................................................127
3.2.1 Day / Night Service ............................................................................................................ 127
3.2.2 Turning on the External Background Music........................................................................ 129
3.2.3 Recording Outgoing Messages.......................................................................................... 130
3.2.4 Using the ANSWER / RELEASE Button [KX-T7441 only] ................................................. 133
3.2.5 Hotel Use Features [KX-T7436, KX-T7235 only] ............................................................... 134
4 Customising Your Phone & System
4.1 Customising Your Phone (Station Programming) ..............................................142
4.1.1 Customising Your Phone (Station Programming)............................................................... 142
4.1.2 Initial Settings..................................................................................................................... 143
4.1.3 Customising the Buttons .................................................................................................... 145

8Table of Contents
4.1.4 Charge Fee Management [Pre-assigned extension only] .................................................. 148
4.2 Customising Your System (System Programming) ........................................... 149
4.2.1 Programming Information................................................................................................... 149
4.2.2 Date and Time Set (000)....................................................................................................156
4.2.3 System Speed Dialling Number Set (001) ......................................................................... 157
4.2.4 System Speed Dialling Name Set (002)............................................................................. 158
4.2.5 Extension Number Set (003).............................................................................................. 165
4.2.6 Extension Name Set (004) ................................................................................................. 166
5 DECT Portable Station
5.1 Safety Instructions................................................................................................ 170
5.1.1 Safety Instructions.............................................................................................................. 170
5.2 Before Operating the DECT Portable Station .....................................................172
5.2.1 Before Operating the DECT Portable Station..................................................................... 172
5.3 Operation ............................................................................................................... 179
5.3.1 Making Calls....................................................................................................................... 179
5.3.2 Receiving Calls .................................................................................................................. 182
5.3.3 Redial ................................................................................................................................. 183
5.3.4 Holding a Call..................................................................................................................... 184
5.3.5 Transferring a Call .............................................................................................................. 186
5.3.6 Using the Call Directories................................................................................................... 187
5.3.7 Using Your PS in Parallel with the Wired Telephone (Super EXtra Device Ports [SXDP]) . 194
5.3.8 Locking the Keypads .......................................................................................................... 195
5.3.9 Selecting the Feature Button on the Display ...................................................................... 196
5.3.10 Other Operations.............................................................................................................. 197
5.4 Customising Your PS............................................................................................ 203
5.4.1 Programming Information................................................................................................... 203
5.4.2 PS Programming................................................................................................................ 204
5.4.3 PBX Programming.............................................................................................................. 210
6 Appendix
6.1 Troubleshooting .................................................................................................... 216
6.1.1 Troubleshooting .................................................................................................................. 216
6.2 Feature Number List ............................................................................................. 222
6.2.1 Feature Number List........................................................................................................... 222
6.3 Directory ................................................................................................................ 225
6.3.1 Directory............................................................................................................................. 225
6.4 What is This Tone?................................................................................................233
6.4.1 What is This Tone?............................................................................................................. 233
6.5 Specifications........................................................................................................ 237
6.5.1 Specifications ..................................................................................................................... 237
7Index
.....................................................................................................................239

Overview 9
Section 1
Overview
This section briefly outlines your system.

1.1 Capacity
10 Overview
1.1 Capacity
1.1.1 Capacity
You can connect the following number of extensions and outside lines to your system.
Basic
System With optional
units System
Connection
KX-TD816
Outside line
Wired extension
Wireless extension*
4
8
—
8
16
16
—
—
—
KX-TD1232
Outside line
Wired extension
Wireless extension*
8
16
—
42
32
64
42
64
64
• Actual capacity will depend on the number or/and type of units connected to the system.
For details, consult your dealer.
• * This is the maximum number of DECT portable stations that you can register.
D1232
DIGITAL SUPER HYBRID SYSTEM
Panasonic
Panasonic
D816
DIGITAL SUPER HYBRID SYSTEM

1.2 Names and Locations
Overview 11
1.2 Names and Locations
1.2.1 Names and Locations
KX-TD816
KX-TD1232
D816
DIGITAL SUPER HYBRID SYSTEM
Panasonic
External Music Jack
Paging Jack
System Clear Switch
Reset Button
Serial Interface (RS-232C) Connector
Ground Terminal
Battery Adaptor Connector
AC Inlet
Power Switch
Power Light
Inside view
D1232
DIGITAL SUPER HYBRID SYSTEM
Panasonic
Serial Interface
(RS-232C)
Connector
Ground Terminal
Battery Adaptor
Connector
AC Inlet
Power Switch
Power Light
External Music Jack 2
Paging Jack 2
Paging Jack 1
External Music Jack 1
Outside Line Jacks
Extension Amphenol
Connector
System Clear Switch
Reset Button
REMOTE
SYSTEM INTER
CONNECTION
DISA
DOORPHONE

1.2 Names and Locations
12 Overview
To open the front cover
1. Loosen the two screws on the right side of the main unit.
The two screws are attached to the front cover with springs so that they will not be lost.
2. Open the front cover in the direction of arrow .
To close the front cover
1. Reverse the steps above.
A
Screw
Screw
D1232
DIGITAL SUPER HYBRID SYSTEM
Panasonic

1.3 Connection Example
Overview 13
1.3 Connection Example
1.3.1 Connection Example
This diagram shows you a connection example including optional equipment.
: needs Optional Cards or Adaptor.
Panasonic
D1232
DEGITAL SUPER HYBRID SYSTEM
Pana soni c
Printer or Personal Computer
Battery Adaptor Car Battery
Doorphone Door Opener
External Music Source
External SpeakerAmplifier
Data Terminal
Cordless Phone
Telephone Answering
Machine with Facsimile
Voice Processing System
To AC Outlet
To Outside Lines (with Lightning Protectors)
To Extensions
KX-T7436
KX-T7440
KX-T7450
DECT
Cell Station (CS)
DECT Portable Station
Single Line
Telephone
KX-T7433

1.4 Adding Another Telephone in Parallel
14 Overview
1.4 Adding Another Telephone in Parallel
1.4.1 Adding Another Telephone in Parallel
A Panasonic proprietary telephone and a single line telephone, including a facsimile, cordless
telephone, etc., can be connected to one extension jack in parallel. There are two types of parallel
connections.
•Parallelled Telephone Connection
Any proprietary telephone and a single line telephone
These telephones share the same extension number. Follow Method 1 or 2.
To ring the single line telephone, set to ring (on) if necessary. (2.7.10 Setting the Parallel
Connected Telephone Ringer (Parallelled Telephone))
•EXtra Device Port (XDP)
Digital proprietary telephone and a single line telephone
Each telephone has a different extension number and can work individually. For more information,
contact your dealer. Follow Method 2 or 3.
Method 1
Modular T-Adaptor
(Panasonic KX-J66 or USOC RJA2X)
2-conductor wiring cord
Connect pins
“
T
”
and
“
R.
”
Proprietary Telephone Single Line Telephone
4-conductor wiring cord
For a digital proprietary telephone:
Connect pins
“
D1
”
and
“
D2
”
only.
(
“
T
”
and
“
R
”
are not required.)
For an analogue proprietary telephone:
Connect pins
“
T,
”
“
R,
”
“
D1
”
and
“
D2.
”
D1232
DIGITAL SUPER HYBRID SYSTEM
Panasonic

1.4 Adding Another Telephone in Parallel
Overview 15
Method 2
Method 3
<Back of the KX-T7400 Series DPTs>
To single line
telephone
To system
2-conductor wiring cord
Connect pins
“
T
”
and
“
R.
”
Digital Proprietary
Telephone
Single Line Telephone
<Back of the KX-T7200 Series DPTs>
To system To single line telephone
TO TEL
TO EMSS
LCD ADJ
PUSH
4-conductor wiring cord
Connect pins
“
T,
”
“
R,
”
“
D1
”
and
“
D2.
”
D1232
DIGITAL SUPER HYBRID SYSTEM
Panasonic
Digital Proprietary Telephone Single Line Telephone
4-conductor wiring cord
Connect pins “D1” and “D2.” 2-conductor wiring cord
Connect pins “T” and “R.”
D1232
DIGITAL SUPER HYBRID SYSTEM
Panasonic

1.4 Adding Another Telephone in Parallel
16 Overview

Operation 17
Section 2
Operation
This chapter shows you how to operate each feature
step by step. Read this chapter to become familiar with
the many useful features of this system.

2.1 Before Operating the Telephones
18 Operation
2.1 Before Operating the Telephones
2.1.1 Before Operating the Telephones
What kind of telephone can be used?
You can use a single line telephone (SLT), such as a rotary pulse telephone or a Panasonic
proprietary telephone (PT) such as the KX-T7436. Operate the feature depending on the telephone
you are using. If you are using a Panasonic proprietary telephone with a special function button such
as and/or has a display (D – PT), you can follow the operation with the button or display
messages for easy programming.
If you use a large display telephone (e.g. KX-T7436), you can follow the displayed messages to
operate the features.
If your telephone does not have function buttons and/or a display, you may operate the unit by
entering a feature number instead. Follow the available operation with your telephone.
If you use a Console, you can use the buttons on the Console as the buttons on the connected
proprietary telephone.
Feature Numbers
To operate certain features, you need to enter specified feature numbers (and an additional
parameter, if required).
There are two types of feature numbers as follows:
• Flexible feature number
• Fixed feature number
Fixed feature numbers cannot be changed. However, you can change the flexible numbers to other
numbers for easier use. If you want to change the numbers, consult your dealer. In this manual, the
default numbers (factory installed) are used for operations.
A flexible number is shown as (half-shaded key). Use the new programmed number if you have
changed the feature number. Write the new number in the "Feature Number List" (Appendix).
Tones
You will hear various tones, during or after an operation, for confirmation. Refer to "6.4.1 What is
This Tone?" (Appendix).
• If you use a Panasonic proprietary
telephone which does not have
function buttons, you may change one
of the unused flexible buttons to a
function button. Refer to
4.1.3 Customising the Buttons.
If you use a single line telephone which does not have the " " or "#" keys;
it is not possible to access features that have " " or "#" in their feature numbers.

2.1 Before Operating the Telephones
Operation 19
Display
In this manual, you will see "the display ... ." This refers to the display of a Panasonic proprietary
telephone. If your telephone is not a Panasonic proprietary telephone with a display, the message will
not be displayed.
If you use a Panasonic display proprietary telephone, the display helps you confirm the settings. For
example, when you set the Do Not Disturb feature, the display shows "Do Not Disturb." Some
proprietary telephones also give you easy access to operations. A message is displayed depending
on the operation. By pressing the corresponding button on the side or bottom of the display, or rotating
a jog dial, you can access the desired feature. For example, if turning background music on becomes
available, "BGM" will be shown on the display. Follow the instructions in each operation.
Using a Jog Dial
The Jog Dial can be used for the display contrast and the volume control or you can search for desired
items on the display. Rotate the Jog Dial in the either direction as desired. The contrast or the volume
level and the items will change as follows:
Furthermore, depending on the display proprietary
telephone, you can operate features or make calls using
the display message. Refer to 2.9 Using the Display
Proprietary Telephone.
RING BGM
CONT
Jan 01 03:00PM Jan 01 03:00PM
Extension STA SpeedExtension STA Speed
Features SYS SpeedFeatures SYS Speed
Call Log Call Log
Left
(counter-clockwise)
Level decreases
To the previous item
Right
(clockwise)
Level increases
To the next item

2.1 Before Operating the Telephones
20 Operation
Your Extension Number
If you use a Panasonic display proprietary telephone, you can check your own extension number on
the display. Refer to 4.2.1 Programming Information (Customising Your Phone & System).
Examples
The displays and the illustrations shown as examples are from a telephone connected to the KX-
TD1232.
Restrictions
Some features may be restricted at your extension under system programming. Consult your
manager or dealer.

2.1 Before Operating the Telephones
Operation 21
Icon Descriptions
The following icons show you the feature availability, notes and action to operate the features.
While operating the unit, you can easily refer to the Icons noted on the inside back cover of this
manual.
This feature cannot be operated
with a single line telephone. Seize an external line (One of the
following).
• Press the CO button.
• Dial automatic line access
number 9.
• Dial outside line number 81 to
88.
Related Programming Title
See "Programming," if necessary.
Off-hook (One of the following).
• Lift the handset.
• Press the SP-PHONE button.
• Press the MONITOR button. (To
start talking, lift the handset.)
Press the Call button on the
Doorphone.
On-hook (One of the following).
• Hang up.
• Press the SP-PHONE button.
• Press the MONITOR button.
Press the hookswitch lightly.
Press the corresponding function
button on the proprietary
telephone. (Refer to Page 22.)
Wait for an answer.
Enter the required number.
<Example>
Enter the account code.
Talk.
Dial an extension number. You will hear a confirmation, dial,
ring or ringback tone.
C. Tone: confirmation tone
D. Tone: dial tone
R. Tone: ring tone
R. B. Tone: ringback tone
Dial the telephone number. One short beep
OR
1
8
8
8
9
to
OR
(CO)
desired no.
account code
extension no.
phone no.

2.1 Before Operating the Telephones
22 Operation
When You Use a Panasonic Proprietary Telephone
If you use a Panasonic proprietary telephone and the Console, they may have some of the useful
function buttons listed below. These buttons make operations simple. The illustrations may differ from
the buttons on your telephone.
ANSWER: Used to answer an
incoming call. Function:
Located beside the display.
Used to perform the displayed function
or operation.
AUTO ANSWER / MUTE: Used to
receive an incoming intercom call in
the hands-free mode or mute the
microphone during a conversation.
HOLD: Used to place a call on hold.
AUTO DIAL / STORE: Used for System
Speed Dialling or storing programme
changes.
INTERCOM: Used to make or receive
an intercom call.
Call Forwarding / Do Not Disturb:
Used to perform Call Forwarding or Do
Not Disturb or change the display of an
outside call information.
Jog Dial: Used to adjust the volume
and the display contrast or select
desired items for each function.
CO: Used to make or receive an
outside call. A Loop-CO button
supports all lines. Pressing this button
seizes an idle line automatically.
(Button assignment is required.)
Also used as the desired function
buttons. (Button assignment is
required.)
(Only the CO "number" (e.g. 1, 2) may
be shown on some telephones.)
MESSAGE: Used to leave a message
waiting indication or call back the party
who left the message waiting
indication.
MONITOR: Used for hands-free
dialling. You can monitor the party's
voice hands-free.
Conference: Used to establish a three-
party conversation. PAUSE: Used to insert a pause during
dialling. Used as the PROGRAM
button if it is not equipped.
DSS: Used to access the extension.
(Only the "S" may be shown on some
telephones.)
PROGRAM: Used to enter and exit the
Station Programming mode.
FLASH: Used to disconnect the current
call and make another call without
hanging up.
Programmable Feature:
Located on
the upper part of the CO button or on
the Console.
Assigns the desired
button and used to access the stored
function. Mostly used as a one-touch
dialling button.
(Only the "F and number" may be
shown on some telephones.)
ANSWER
AUTO ANSWER
MUTE
HOLD
AUTO DIAL
STORE
INTERCOM
FWD/DND
(CO)
MESSAGE
MONITOR
CONF PAUSE
(DSS)
PROGRAM
FLASH
(PF)

2.1 Before Operating the Telephones
Operation 23
REDIAL: Used to redial. SP-PHONE: Used for the hands-free
operation.
RELEASE: Used to disconnect the
line. TRANSFER: Used to transfer a call to
another party.
SAVE: Used to store a dialled phone
number and redial. VOICE CALL / MUTE: Used to monitor
an intercom call automatically, but it
cannot be used for hands-free
conversations. It also mutes the
handset microphone during a
conversation.
SHIFT: Used to access the second
level of Soft Button functions. VOLUME Control: Used to adjust the
ringer and speaker volume and the
display contrast.
Soft: Used to perform a function or
operation appearing on the bottom line
of the display.
If the term is in parentheses like (Account) in this
section, it means a flexible button has been made
into an "Account" button.
REDIAL SP-PHONE
RELEASE
TRANSFER
SAVE
VOICE CALL
MUTE
SHIFT
VOLUME

2.1 Before Operating the Telephones
24 Operation
How to Follow the Steps
A sample operation is shown below.
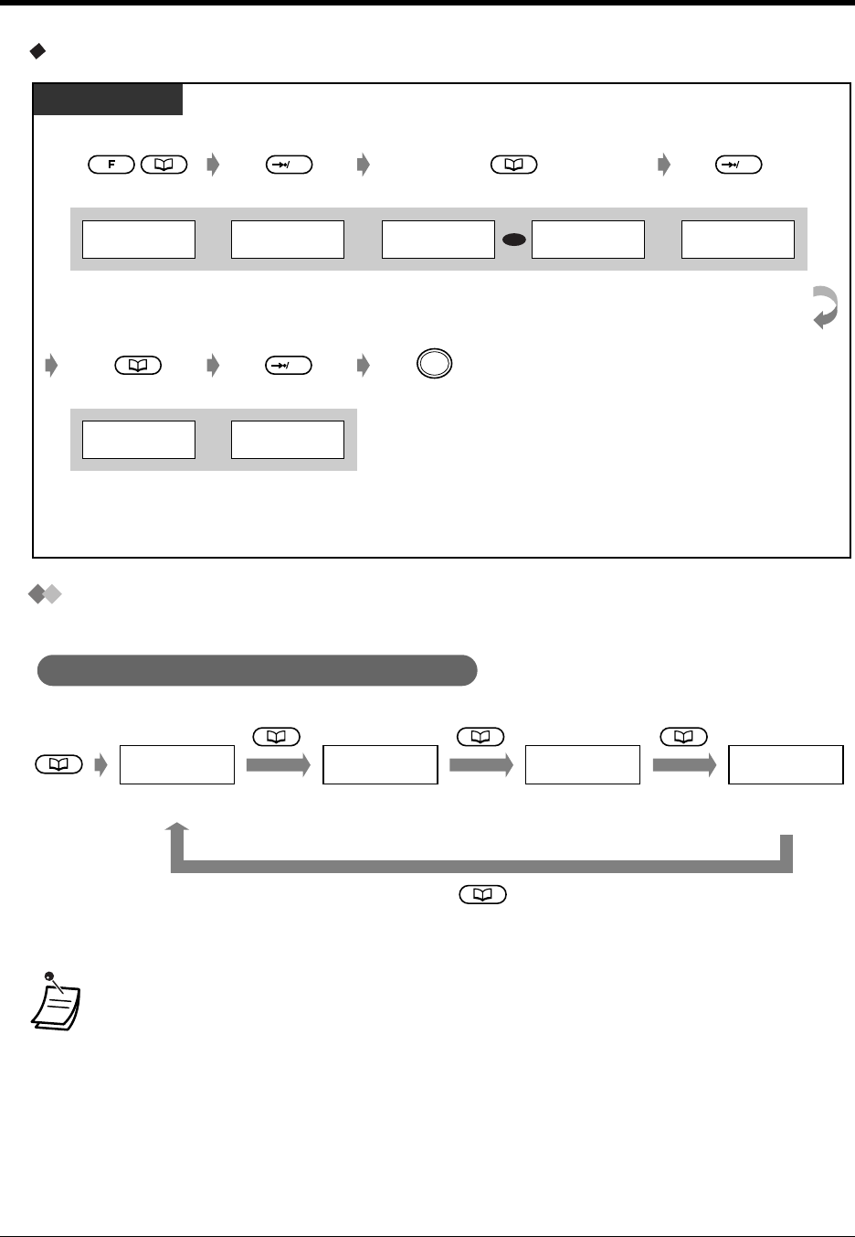
Using an account code (Account Code Entry)
An Account Code gives information about outside calls for accounting and billing purposes.
You may not be able to make an outside call without an account code entry.
The mode is assigned to each user. Ask your manager for your mode.
Feature title
Programming References: The related or required programming is noted.
To programme, see “Customising Your Phone & System.”
Operation steps
The description of the
icons are explained
on page 21 and the
inside back cover of
this manual.
•
A Panasonic proprietary telephone user can enter
an account code during a conversation and when
hearing a reorder tone after the other party hangs up.
•
If you enter the wrong code, press the “ ” key
while entering the account code and then re-enter
the code.
•
To cancel the entry, press the Account button or
the hookswitch while entering the code.
•
For your convenience, you can store the code with
the phone number in memory (e.g. Speed dialling).
•
If you hear a reorder tone, the entered account
code is wrong. Enter the correct code.
Customising Your Phone
•
4.1.3
Customising the Buttons
Create or re-arrange an Account button.
You may give a specified account code to extension
users and check their telephone usage. You can
specify an account code to each client and check the
call duration.
2.2.5 Calling without a Restriction
Conditions Hints
Sub feature title
Description
Press # or dial 99.
Off-hook.
phone no.
Enter phone number.
account code
Enter account code
(max. 10 digits).
Press “ACCNT”,
Account or dial 49.
OR
OR
Press CO or enter
line access number
(9 or 81-88).
OR
94
99
OR
line access
no.
PT / SLT
C.Tone
ACCNT
(CO)
(Account)

2.2 Making Calls
Operation 25
2.2 Making Calls
2.2.1 Basic Calling
Calling another extension
To another extension (Intercom Call)
<Example>
When you call Mr. Thomas....
Mr. Thomas's extension number is 123.
• The DSS button light shows the current status as follows:
Off: The extension is idle.
Red on: You or another extension is using the line.
•Do you have an extension directory?
Complete the directory in 6.3.1 Directory and make a copy for your reference.
•For quick operation
If you are an operator or dial some extensions frequently, the DSS button is useful.
Customising Your Phone
• 4.1.3 Customising the Buttons
Create or re-arrange a DSS button.
Customising Your System
• 4.2.5 Extension Number Set (003)
• 4.2.6 Extension Name Set (004)
PT and SLT
PT / SLT
Off-hook. Talk.
OR
Enter extension
number or press DSS.
(DSS)
extension no.
PT / SLT
Off-hook. Talk.
2 31
Dial 123.

2.2 Making Calls
26 Operation
To an operator (Operator Call)
Calling an external party
You have to seize an outside line before dialling an outside phone number because external calls are
made via your system.
Select one of the following methods:
• Press an idle button.
• Dial automatic line access number .
An idle line is selected automatically.
• Dial outside line number to .
A specific line is selected.
• The CO button light shows the current status as follows:
Off: The line is idle.
Green on: You are using the line.
Red on: The line is in use.
• CO1 to CO8 correspond to outside line numbers 81 to 88 respectively.
PT / SLT
Off-hook. Dial 0.
0
9
8 1 8
8
PT / SLT
Off-hook. Talk.Enter phone number.
Seize an external line
(CO, 9 or 81-88).
OR
phone no.
1
8
8
8
9
to
OR
(CO)

2.2 Making Calls
Operation 27
•Hands-free operation
You can have a conversation in the hands-free mode using the SP-PHONE button. You can
then perform other tasks at the same time.
Helpful hints for hands-free operation
Use your telephone in a quiet room for best performance.
If the other party has difficulty hearing you, decrease the volume.
If you and the other party talk at the same time, parts of your conversation will be lost. To
avoid this, talk alternately.
•Emergency call
You can dial pre-programmed emergency numbers without any restrictions.
In this case, you can make an emergency call without seizing an outside line.
•To select the less expensive line automatically, dial "9" or press the Loop-CO button to
seize a line.(Automatic Route Selection)
•Call information
The following information can be referred to by repeatedly pressing the FWD/DND button
as follows:
< Example >
Customising Your Phone
• 4.1.2 Initial Settings–Preferred Line Assignment — Outgoing
Select the seized line when going off-hook.
• 4.1.4 Charge Fee Management [Pre-assigned extension only]
CO01: 1
Extension STA Speed
Features SYS Speed
Call Log
CO01: 0.23KC
Extension STA Speed
Features SYS Speed
Call Log
CO 02 0:02'28
< Meter > < Call charge > < Call duration >
Extension STA Speed
Features SYS Speed
Call Log

2.2 Making Calls
28 Operation
2.2.2 Easy Dialling
This is convenient for frequently dialled phone numbers.
With one touch button (One-Touch Dialling)
Using numbers stored at your extension (Station Speed Dialling)
You can store up to ten numbers at your extension for your personal use.
To store a phone number
— With one touch button
— Using numbers stored at your extension
— Using numbers stored in the system
— To a pre-set party by going off-hook
— Using a pre-assigned number
— To a Phantom extension
Customising Your Phone
• 4.1.2 Initial Settings—Full One-Touch Dialling Assignment
Allow or cancel the one-touch operation while on-hook. (Default: Allow)
• 4.1.3 Customising the Buttons
Create or re-arrange the One-Touch Dialling button and store the desired number, phone
number, feature number, etc.
• " " and PAUSE can also be stored as digits.
Press One-Touch
Dialling.
Off-hook.
PT
(One-Touch
Dialling)
Off-hook. Dial 30. Enter station speed
dial number (0-9). Dial #.
desired no.
station speed
dial no.
Enter the desired
number (max. 16 digits).
Enter a line access number (9 or 81 to 88) as
the first digit before an external party number.
PT / SLT
On-hook.
C.Tone
03

2.2 Making Calls
Operation 29
To dial
Using numbers stored in the system (System Speed Dialling)
Up to 500 parties can be stored in the system. Refer to the directory in 6.3.1 Directory.
• More than one speed dial number can be used for long telephone numbers, if the number
is divided when stored.
<Dialling Example>
If the number is divided and stored in system speed dial numbers 001 and 002:
Customising Your System
• 4.2.3 System Speed Dialling Number Set (001)
• 4.2.4 System Speed Dialling Name Set (002)
PT / SLT
Dial 3 .Enter station speed
dial number (0-9).
station speed
dial no.
Off-hook.
3
PT / SLT
Off-hook. Press AUTO DIAL
or dial . Enter system speed dial
number (000 - 499).
OR
system speed
dial no.
AUTO DIAL
STORE
0 0 1 0 0 2
AUTO DIAL
STORE
AUTO DIAL
STORE

2.2 Making Calls
30 Operation
To a pre-set party by going off-hook (Pickup Dialling)
You can make an outside call simply by going off-hook if you pre-assigned.
To store a phone number
To set / cancel
To dial
•To call another party, dial the desired party's phone number before the pre-set line is
connected.
(Default: 1 second)
• " " can also be stored as a digit.
• This feature is not available for an ISDN telephone user.
PT / SLT
Dial #.On-hook.
Off-hook.
4 2
7
Dial
742
.Enter the desired
party’s number
(max. 16 digits).
desired
party’s no.
Enter a line access number (9 or 81 to 88) as
the first digit before an external party number.
C.Tone
PT / SLT
Off-hook. Dial 74. On-hook.
Dial 1 to set
or 0 to cancel.
Set
Cancel
1
0
OR
C.Tone
47
Off-hook.
PT / SLT

2.2 Making Calls
Operation 31
Using a pre-assigned number (Quick Dialling)
You can make a call simply by pressing the number pre-assigned as quick dialling.
Up to 80 parties can be stored in the system. Consult your manager or dealer for details and refer to
the directory on Page 232.
To a Phantom extension
To call a phantom extension
To transfer to a phantom extension
You can call extensions associated with a
Phantom extension. The call arrives at all
extensions who have the corresponding
Phantom extension button.
Off-hook. Enter quick dial
number (1-4 digits).
PT and SLT
quick dial no.
PT / SLT
123 123
123
123
Press Phantom or enter
phantom extension number.
OR
PT
(Phantom)
phantom
extension no.
Press Phantom or press TRANSFER and enter
phantom extension number.
OR
phantom
extension no.
PT
(Phantom)
TRANSFER
During a conversation

2.2 Making Calls
32 Operation
To answer
• The Phantom extension button light shows the current status as follows:
Off: Idle
Red on: You are calling a phantom extension.
Flashing green: Incoming call
• To set ringing or not, refer to 4.1.1 Customising Your Phone (Station Programming).
Customising Your Phone
• 4.1.3 Customising the Buttons
Create or re-arrange a Phantom extension button.
PT
Off-hook or
press Phantom.
OR
(Phantom)

2.2 Making Calls
Operation 33
2.2.3 Redial
This is convenient when calling the same external party again.
— Redialling the last number you dialled
— Saving the number and redialling
Redialling the last number you dialled (Last Number Redial)
• Up to twenty-four digits can be stored and redialled. The line access number is not counted
as a digit.
•To redial automatically, go off-hook with the SP-PHONE button and then the REDIAL
button, or press the REDIAL button directly. It will keep trying the busy number until the
called party answers within a specified time (Automatic Redial). You can perform other tasks
during dialling. To cancel, press the FLASH button or perform another operation.
Customising Your Phone
• 4.1.2 Initial Settings—Full One-Touch Dialling Assignment
Allow or cancel the one-touch operation while on-hook. (Default: Allow)
PT / SLT
Off-hook. Press REDIAL or dial #.
OR
REDIAL

2.2 Making Calls
34 Operation
Saving the number and redialling (Saved Number Redial)
To save
To dial
The saved number is programmed until another number is stored.
Customising Your Phone
• 4.1.3 Customising the Buttons
Create or re-arrange a SAVE button.
PT
PT
Press STORE. Press SAVE.
During a conversation or while hearing a busy tone
AUTO DIAL SAVE
STORE
PT
Off-hook. Press SAVE.
SAVE

2.2 Making Calls
Operation 35
2.2.4 When the Dialled Line is Busy or There is No Answer
Reserving a busy line (Automatic Callback Busy)
You can set the telephone to receive call-back ringing when a dialled line becomes idle.
When you answer the call-back ringing:
For an outside call: The line is seized.
For an intercom call: The called extension starts ringing automatically.
To answer a call-back ringing and call
— Reserving a busy line
— Sending a call waiting tone — Leaving a message waiting indication
— Joining an existing call
• If you do not answer after four call-back rings, this feature will be cancelled.
• If you go off-hook before call-back ringing starts, this feature is cancelled.
• This feature is not available for an ISDN telephone user.
PT / SLT
Press “C.BCK” or dial 6.On-hook.
OR
6
While hearing a busy tone
C.Tone
C.BCK
Off-hook. Enter phone number.Off-hook.
phone no.
PT / SLT
Outside call Intercom call

2.2 Making Calls
36 Operation
Sending a call waiting tone (Busy Station Signalling [BSS])
The party will know your call is waiting.
Leaving a message waiting indication (Message Waiting)
To leave a message waiting indication
•If "BSS" is not displayed or you hear a reorder tone, this feature is not set at the other
party's phone. This feature is only available if the called extension has set the "Call Waiting"
feature.
•Depending on the other party's telephone, the "Off-Hook Call Announcement (OHCA)"
and the "Whisper OHCA" functions can be applied. You can talk to the other party through
the speaker and the microphone (OHCA) or you only send a call announcement through
the handset (Whisper OHCA), while they are having another conversation using the
handset. Only KX-T7400 series telephone users can send Whisper OHCA.
• This feature is not available for an ISDN telephone user.
The called extension receives a message waiting
indication (MESSAGE button light turns on and / or
indication tone* is emitted when going off-hook) to call
you back.
PT / SLT
Press “BSS” or dial 1.
OR
1
While hearing a busy tone
BSS
PT / SLT
Press MESSAGE
or dial 4.On-hook.
When the called extension is busy or does not answer
C.Tone
OR
MESSAGE
4

2.2 Making Calls
Operation 37
To leave / cancel a message waiting indication
PT and SLT
PT / SLT
Off-hook. Dial 70. Dial 1 to leave or
0 to cancel.
Leave
Cancel
1
0
On-hook.
extension no.
Enter extension
number.
extension no.
OR
C.Tone
07
Rotate Jog Dial until
“MSG Off” or “MSG On”
is at the arrow.
Press SHIFT until
“FEAT” is displayed.
Press
“
FEAT.
”
T7433
extension no.
extension no.
Enter
extension number.
FEAT
SHIFT
On-hook.
C.Tone
MSG Off ext
MSG On ext
MENU
Press “SEL.”
“MSG On”: Leave
“MSG Off”: Cancel
→
SEL
T7436 / T7235
Rotate Jog Dial or
press “NEXT” until the
following is displayed.
Press “Message On” to leave
or “Message Off” to cancel.
Cancel
Features
Leave
Message Off (→ext)
Message On (→ext)
NEXT
OR
C.Tone
On-hook.
extension no.
extension no.
Enter
extension number.
Press “Features.”

2.2 Making Calls
38 Operation
To check and select the party
To call back
To clear all message waiting indications
• The extension number and name are shown in the received order.
• This feature is also available for the users of a single line telephone with a message waiting
lamp.
• Single line telephone users without a message waiting lamp may hear a special ring tone
as notification while on-hook, if required.
• This feature is not available for an ISDN telephone user.
• * Indication tone
Customising Your Phone
• 4.1.3 Customising the Buttons
Create or re-arrange a MESSAGE button.
While on-hook
D – PT
Press MESSAGE
until the desired extension appears.
MESSAGE
1 s
Off-hook.
OR
Press MESSAGE or dial 702.
0 27
PT / SLT
MESSAGE
Talk.
PT / SLT
Off-hook.
0 07
Dial 700.Enter your
extension number.
your extension
no.
On-hook.
C.Tone

2.2 Making Calls
Operation 39
Joining an existing call (Executive Busy Override)
You can call the party who is talking with another on the telephone or add a third party to your existing
conversation.
To join
To disconnect one party and talk with another when one of these parties is an outside
call
• You can also deny others the possibility of joining your conversation (Default: Allow). Refer
to 2.7 Setting the Telephone According to Your Needs.
Off-hook. Press
corresponding CO.Press “ OVER” or dial 2.
OR
2
Outside call
Intercom call
PT PT / SLT
Talk.
C.Tone
Talk.
C.Tone
Over
(CO)
PT
PT
INTERCOM
Press other party's
CO or INTERCOM.
OR
(CO)
Talk.
C.Tone

2.2 Making Calls
40 Operation
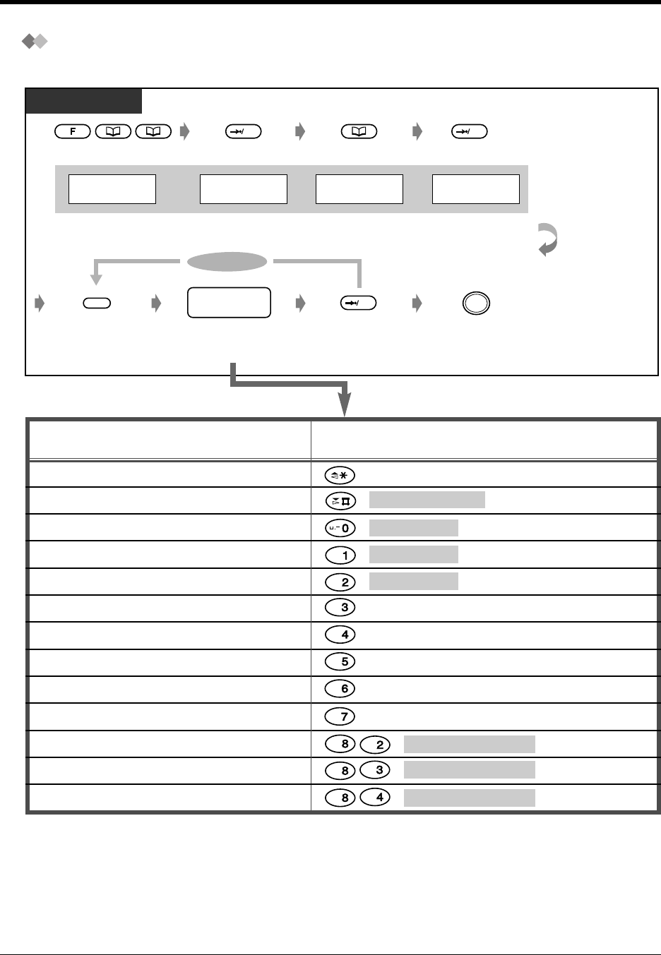
2.2.5 Calling without Restrictions
Using an account code (Account Code Entry)
An Account Code gives information about outside calls for accounting and billing purposes. You may
not be able to make an outside call without an account code entry. A mode is assigned to each user.
Ask your manager for your mode.
— Using an account code — Changing the dialling mode
— To an extension refusing the call
•A Panasonic proprietary telephone user can enter an account code during a
conversation and when hearing a reorder tone after the other party hangs up.
•If you enter the wrong code, press the " " key while entering the account code and then
re-enter the code.
•To cancel the entry, press the Account button or the hookswitch while entering the code.
•For your convenience, you can store the code with the phone number in memory (e.g.
Speed dialling).
•If you hear a reorder tone, the entered account code is wrong. Enter the correct code.
• You may give a specified account code to extension users and check their telephone usage.
You can specify an account code to each client and check the call duration.
Customising Your Phone
• 4.1.3 Customising the Buttons
Create or re-arrange an Account button.
PT / SLT
Press # or dial 99.
Off-hook.
phone no.
Enter phone number.
account code
Enter account code
(max. 10 digits).
Press "ACCNT,"
Account or dial 49.
OR
OR
Press CO or enter
line access number
(9 or 81-88).
OR
94
99
OR
line access
no.
C.Tone
ACCNT
(CO)
(Account)

2.2 Making Calls
Operation 41
To an extension refusing the call (DND Override)
Changing the dialling mode (Pulse to Tone Conversion)
To access services such as computer telephone services, Voice Mail, etc., that require a tone, you
can temporarily change the dialling mode from Pulse to Tone.
• This feature is not available for an ISDN telephone user.
Press “Over” or dial 1.
OR
1
While hearing the DND tone
PT / SLT
Over
PT / SLT
Enter desired number.
desired no.
Dial #.
After the line is connected

2.2 Making Calls
42 Operation
2.2.6 Accessing the ISDN Network Service (ISDN Network
Service Access)
To access
You can access a service which is provided from the ISDN network.
• Availability of this feature depends on the ISDN service of your telephone company.
The system is in accordance with ETS specifications below.
ETS 300 122 Generic keypad protocol for the support of supplementary services
ETS: European Telecommunication Standard
Customising Your Phone
• 4.1.3 Customising the Buttons
Create or re-arrange an ISDN Service button.
Off-hook.
On-hook.
PT
C.Tone
specified
service no.
Press ISDN Service.
Or press FWD/DND and enter specified service
number and press FWD/DND.
OR
line access
no.
Press CO or enter
line access number
(9 or 81-88).
OR
(CO) (CO)
(FWD/DND) (FWD/DND)

2.2 Making Calls
Operation 43
2.2.7 Alternating the Calling Method (Alternate Calling —
Ring / Voice)
For voice-calling
For ring-calling
The calling method, either ring or voice, is set by the
called extension when an intercom call is received.
However, you can change the method temporarily.
Ring-Calling (Default): You can call the other party
with a ring tone.
Voice-Calling: You can talk to the other party
immediately after a confirmation
tone.
• If the called party uses a single line telephone, only Ring-Calling is available.
• You can switch the desired calling method only once during a call.
Customising Your Phone
• 4.1.2 Initial Settings—Intercom Alert Assignment
Which way do you prefer to receive an intercom call?
Ring
Ring Hello
OR
OR
After dialling
Press “Voice” or .
PT / SLT
Talk.
C.Tone
Voice
OR
After dialling
Press “Tone” or .
PT / SLT
Tone

2.2 Making Calls
44 Operation
2.2.8 To Access Another Party Directly from Outside (Direct
Inward System Access [DISA])
To call an extension
External callers can call extensions in the system.
An outgoing message greets the caller and gives
information about how to access an extension. You
do not need the operator's assistance.
You may not be able to access the features without
a DISA user code depending on the security mode.
Ask your manager for the mode assigned to your
system.
D1232
DIGITAL SUPER HYBRID SYSTEM
Panasonic
Enter DISA
phone number.Enter desired
number.
DISA
phone no. desired no.
Any Telephone
R.B.Tone and
DISA outgoing
message

2.2 Making Calls
Operation 45
To call an external party
To re-try
•If a call between two external parties is established, both parties will hear an alert tone
fifteen seconds before the time limit (Default: 10 min.) runs out. To extend the call duration
time, dial any key except " " while hearing an alert tone.
•If Built-in Automated Attendant service is set, you can access the desired extension
simply by pressing one digit number (0-9) according to the outgoing message.
• If the wrong DISA user code is entered three times, the call will be disconnected.
In Non Security Mode
Enter line
access
number
(9 or 81-88).
line access
no. DISA user
code
Enter DISA
phone number.
DISA
phone no. phone no.
In Trunk Security Mode
Enter phone
number of the
external party.
Enter pre-assigned
DISA user code
(4-10 digits).
Any Telephone
R.B.Tone and
DISA outgoing
message
One short
beep D.Tone from
Central Office
Enter line
access number
(9 or 81-88).
line access
no.
Enter DISA
phone number.
DISA
phone no. phone no.
Enter phone
number of the
external party.
R.B.Tone and
DISA outgoing
message
D.Tone from
Central Office
Enter desired number.
To dial a different number during a conversation with an outside party or
while hearing the ringback, reorder, or busy tone
Dial .
desired no.
Enter a line access number (9 or 81 to 88) as
the first digit when calling an external party.
PT / SLT
D.Tone

2.3 Receiving Calls
46 Operation
2.3 Receiving Calls
2.3.1 Answering Calls
*When going off-hook using the MONITOR button, you have to lift the handset to talk to the
other party.
•Hands-free operation
You can have a conversation in the hands-free mode with the SP-PHONE button. You can
perform other tasks at the same time.
Helpful hints for the hands-free operation
Use your telephone in a quiet room for best performance.
If the other party has difficulty hearing you, decrease the volume.
If you and the other party talk at the same time, parts of your conversation will be lost. To
avoid this, talk alternately.
•If the CLIP feature is available, you may confirm the caller's phone number and name
before answering an outside call. It is available for PT users only.
Pressing the SHIFT button or " " displays the caller's number and name, the outside line
number and name or the called party's number and name as follows:
<Example>
The caller's information from your telephone company will only be sent to the pre-assigned
extension.
Talk.
Off-hook.
Select one of the following methods:
· Lift the handset to receive the preferred line.
(Default: Ringing line is selected.)
· Press the SP-PHONE or MONITOR* button.
· Press the flashing red CO or green INTERCOM button directly.
PT / SLT
0111111111
John Thomas
Extension STA Speed
Features SYS Speed
Call Log
CO01:Panasonic
Extension STA Speed
Features SYS Speed
Call Log
0987654321
David White
Extension STA Speed
Features SYS Speed
Call Log
SHIFT SHIFT SHIFT

2.3 Receiving Calls
Operation 47
Customising Your Phone
• 4.1.2 Initial Settings—
Preferred Line Assignment - Incoming
Select the seized line when going off hook.
Intercom Alert Assignment
Select the Calling method, either ring or the other party's voice.
• 4.1.3 Customising the Buttons
Re-arrange the CO button and change the ringing tone for each CO button.

2.3 Receiving Calls
48 Operation
2.3.2 Answering Hands-free (Hands-free Answerback)
To set / cancel
You can answer an intercom call without going off-hook as soon as the line is
connected. You will hear the caller talking without the phone ringing.
• The AUTO ANSWER button light shows the current status as follows:
On: Set.
Off: Not set.
Press AUTO
ANSWER.
While on-hook
PT
AUTO ANSWER
MUTE

2.3 Receiving Calls
Operation 49
2.3.3 Answering a Call Ringing at Another Telephone (Call
Pickup)
You can answer an incoming call that is ringing at another extension from your phone without leaving
your desk.
The following types are available:
Outside (CO) Call Pickup: Picks up an outside call.
Group Call Pickup: Picks up a call within your extension group.
Directed Call Pickup: Picks up a specified extension's call.
PT / SLT
Off-hook.
Enter extension
number.
Outside call
Group
4
Directed
Dial 4 for an outside call
or 40 for group.
Dial 41 for directed call.
extension no.
OR
C.Tone
C.Tone
Talk.
04
14
T7433
Press SHIFT
until “FEAT”
is displayed.
Press
“
FEAT.
”Rotate Jog Dial until
“C.Pickup GRP” is
at the arrow.
FEAT
SHIFT
C.Pickup GRP
Call Park 0-9
MENU
Press “SEL.”
→
SEL
Talk.
C.Tone
Group Call Pickup only
T7436 / T7235
Rotate Jog Dial or
press “NEXT” until the
following is displayed.
Features
NEXT
OR
Press “Features.”
C.Pickup Group
Press “C.Pickup Group.” Talk.
C.Tone
Group Call Pickup only

2.3 Receiving Calls
50 Operation
•If you receive a call waiting tone, you can ask a third party to pick up your second call
with Directed Call Pickup.
• "Group Call Pickup" is not available for an ISDN telephone user.
• You can also deny other people the possibility of picking up your calls. Refer to 2.7 Setting
the Telephone According to Your Needs.

2.3 Receiving Calls
Operation 51
2.3.4 Answering a Call via an External Speaker (Trunk
Answer From Any Station [TAFAS])
You can answer an incoming outside call paged through an external speaker from any extension.
• You can also receive a paged announcement via a speaker with this operation.
Off-hook. Dial 42. Enter speaker
number (1-4).
speaker no.
PT / SLT
Talk.
C.Tone
24
While hearing a tone through an external speaker
Press SHIFT until
“FEAT” is displayed.
Press “FEAT.
”
T7433
Rotate Jog Dial
until “Page-E ANS”
is at the arrow.
C.Tone
Enter speaker
number (1-4).
speaker no.
Talk.
SHIFT
FEAT
Page-E ANS 1-4
Page-GRP ANS
MENU
Press “SEL.”
→
SEL
While hearing a tone through an external speaker
T7436 / T7235
Rotate Jog Dial or
press “PREV” until the
following is displayed.
Features
PREV
OR
speaker no.
Enter speaker
number (1-4).
Press “Features.” Press “Page-Ext Answer.”
C.Tone
Talk.
Page-Ext Answer (→1-4)
While hearing a tone through an external speaker

2.3 Receiving Calls
52 Operation
2.3.5 Identifying Malicious Callers (Malicious Call
Identification [MCID])
You can ask your telephone company to trace a malicious caller during a conversation or after the
caller hangs up.
You will receive information on the malicious call late on.
To request MCID
• Availability of this feature depends on the ISDN service of your telephone company.
The system is in accordance with ETS specifications below.
ETS 300 130 Malicious Call Identification (MCID) supplementary service
ETS: European Telecommunication Standard
• The MCID service is only available for calls using an ISDN line. Not available during a three-
party conference call.
• After dialling 737, if you hear a reorder tone or do not hear any tone, press the TRANSFER
button or the hookswitch lightly and you can try requesting this service again. If the caller
hangs up, you must try again within ten seconds.
Talk or on-hook.
During a conversation or within 10 seconds after the caller hangs up
Press TRANSFER.
PT
C.Tone
TRANSFER
OR
37
Dial 737.
7
During a conversation or within 10 seconds after the caller hangs up
Press hookswitch.
SLT
C.Tone
Talk or on-hook.
OR
37
Dial 737.
7

2.4 During a Conversation
Operation 53
2.4 During a Conversation
2.4.1 Holding a Call
— Holding
— Denying other people the possibility of retrieving your held calls
— Holding in a system parking zone
Holding (regular)
•If a call is not retrieved within a specified time, you will hear an alarm as a reminder.
•If a call is not retrieved within thirty minutes, it is automatically disconnected.
Press HOLD.On-hook.
During a conversation
PT
C.Tone
During a conversation
On-hook.Dial 50.Press
hookswitch.
C.Tone
SLT
HOLD
05

2.4 During a Conversation
54 Operation
To retrieve a call
• The CO or INTERCOM button light shows the current status as follows:
Flashing green: Your held call
Flashing red: Another extension's held call
• A single line telephone user can hold either an intercom call or an outside call at one time.
• A proprietary telephone user can hold an intercom call and multiple outside calls.
•To hold multiple intercom calls, use the "Call Park" feature.
• This feature is not available for an ISDN telephone user.
Off-hook. Press CO/INTERCOM
or dial 50.
OR
OR
Off-hook. Dial 51.Enter holding
extension number.
holding ext no.
Off-hook. Press CO or dial 53 and
held line number (01-54).
held line no.
OR
At the holding extension
For an outside call from another extension
For an intercom call from another extension
PT / SLT
Talk.
Talk.
C.Tone
Talk.
C.Tone
INTERCOM
(CO)
(CO)
05
35
15

2.4 During a Conversation
Operation 55
Denying other people the possibility of retrieving your held calls (Exclusive
Call Hold)
To retrieve a call
Only the held extension can retrieve the call.
• A proprietary telephone user can hold an intercom call and multiple outside calls.
Press HOLD.On-hook.
Press HOLD.
During a conversation
PT
C.Tone
HOLDHOLD
Off-hook. Press CO or
INTERCOM.
PT
INTERCOM
OR
(CO)
Talk.

2.4 During a Conversation
56 Operation
Holding in a system parking zone (Call Park)
You can park a call and perform other operations. The parked call can be retrieved by any extension.
Up to ten calls can be parked.
To set
Dial 52. Enter parking
zone number (0-9).
parking zone no.
During a conversation
Press TRANSFER.
PT
TRANSFER
On-hook.
C.Tone
25
Dial 52. Enter parking
zone number (0-9).
parking zone no.
During a conversation
Press hookswitch.
OR
SLT
On-hook.
C.Tone
25
Rotate Jog Dial until
“Call Park” is at the arrow.
Press SHIFT until
“FEAT” is displayed.
Press
“
FEAT.
”
Press
TRANSFER
.
T7433
extension no.
Enter parking
zone number (0-9).
FEAT
On-hook.
C.Tone
Call Park 0-9
Ext-BGM On/Off
MENU
Press “SEL.”
SEL
SHIFT
During a conversation
TRANSFER
parking zone no.

2.4 During a Conversation
Operation 57
To set (contd.)
To retrieve
During a conversation
T7436 / T7235
Rotate Jog Dial or
press “NEXT” until the
following is displayed.
Features
NEXT
OR
C.Tone
Press “Features.”
Call Park (→O-9)
Press “Call Park.” Enter parking
zone number (0-9).
parking zone no.
On-hook.
Off-hook. Dial 52. Enter stored parking
zone number (0-9).
stored parking
zone no.
PT / SLT
Talk.
C.Tone
25
Rotate Jog Dial until
“Call Park” is at the arrow.
Press SHIFT until
“FEAT” is displayed.
Press
“
FEAT.
”
T7433
FEAT
SHIFT
Talk.
C.Tone
Call Park 0-9
Ext-BGM On/Off
MENU
Press “SEL.”
→
SEL
Enter stored parking
zone number (0-9).
stored parking
zone no.
T7436 / T7235
Rotate Jog Dial or
press “NEXT” until the
following is displayed.
Features
NEXT
OR
C.Tone
Press “Features.” Talk.
Call Park (→O-9)
Press “Call Park.” Enter stored parking
zone number (0-9).
stored parking
zone no.

2.4 During a Conversation
58 Operation
• Holding in a system parking zone is not available for an ISDN telephone user.
•If you hear a busy tone when parking a call and entering the zone number, the zone is
in use. Enter another number.
•If you hear a reorder tone when retrieving a parked call, there is no held call. Confirm
the stored parking zone number.

2.4 During a Conversation
Operation 59
2.4.2 Talking to Two Parties Alternately (Call Splitting)
When talking to one party while the other party is on hold, you can swap the calls back and forth
(alternately).
To alternate the call between the parties while having a call on hold temporarily
To alternate the call between the parties while having a call on exclusive hold
PT SLT
During a conversation with a held call
Press TRANSFER.
TRANSFER
During a conversation with a held call
SLT
Press hookswitch.
PT
Press HOLD.
Press HOLD.
Press CO or INTERCOM.
When either party is an outside party
During a conversation with a held call When both parties are extension parties
During a conversation with a held call
Repeat to
alternate
HOLD
INTERCOM
OR
(CO)
HOLD

2.4 During a Conversation
60 Operation
2.4.3 Transferring a Call
Transferring to an extension
Transferring to an external party
Some extensions may be restricted from performing this function.
— Transferring to an extension — Transferring to an external party
Enter extension
number or press DSS.On-hook.
Talk.
extension no.
OR
During a conversation
The destination is confirmed before
sending. This can be disregarded.
Press TRANSFER.
PT
C.Tone
TRANSFER
(DSS)
Enter extension
number.On-hook.
Talk.
extension no.
During a conversation
The destination is confirmed before
sending. This can be disregarded.
Press hookswitch.
SLT
C.Tone
Press CO or enter
line access number
(9 or 81-88).
On-hook.
Enter phone number. Talk.
phone no.
During a conversation
OR
line access
no.
PT
Press TRANSFER.
C.Tone
TRANSFER
(CO)

2.4 During a Conversation
Operation 61
•If a call between two external parties is established, both parties will hear an alert tone
fifteen seconds before the time limit (Default: 10 min.) runs out. The original extension will
hear an alarm fifty seconds before the time runs out.
•To return to the held call before the destination answers, press the TRANSFER button,
corresponding CO, INTERCOM button, or the hookswitch.
•To return to the conversation after completing the transfer to an external party, press
the corresponding CO button.
•If you hear an alert tone, the destination extension did not answer the call. Answer the call.
• This feature is not available for an ISDN telephone user.
•If you transfer a call with the DSS button, you do not have to press the TRANSFER
button (One-Touch Transfer).
Customising Your Phone
• 4.1.3 Customising the Buttons
Create or re-arrange a DSS button.
Enter line access
number (9 or 81-88). On-hook.
Enter phone number.Talk.
phone no.
During a conversation
line access
no.
SLT
Press hookswitch.
C.Tone

2.4 During a Conversation
62 Operation
2.4.4 Answering a Call Waiting
— Answering a call waiting in the system
— Answering a call waiting from the central office
Answering a call waiting in the system
During a conversation, a call waiting tone or voice announcement through the speaker or the handset
occurs when an outside call is received or another extension is letting you know another call is
waiting. To activate this feature, set to "On." (Default: No tone) You can answer the second call by
disconnecting the current call or placing it on hold.
To talk to the new party
•Depending on the other party's telephone, the "Off-Hook Call Announcement (OHCA)"
and the "Whisper OHCA" functions can be applied. You can talk to the other party through
the speaker and the microphone (OHCA) or you only receive a call announcement through
the handset (Whisper OHCA), while they are having another conversation using the
handset.
• The calling extension's name or number is displayed for five seconds in ten second intervals
before answering a call.
• This feature is not available for an ISDN telephone user.
Press HOLD.
While hearing a tone
Disregard this step if both
parties are extensions.
Disregard this step if you
terminate the current call.
Disregard this step if you
terminate the current call.
PT
While hearing a tone
SLT
On-hook. Off-hook.
HOLD
Press CO or INTERCOM.
05
Press hookswitch and dial 50.
INTERCOM
OR
(CO)

2.4 During a Conversation
Operation 63
Answering a call waiting from the central office
This is an optional telephone company service. For more information, consult your telephone
company.
Customising Your Phone
• 4.1.2 Initial Settings—Call Waiting Tone Type Selection
Determine the tone depending on the second party, either an outside call or an
extension.
•To return to the original party, repeat the operation.
Default
Special Tones
Outside
Extension
15 s
5 s
While hearing a tone
PT
EFA
While hearing a tone
6
Press hookswitch.
SLT
Dial 6.
Press “EFA.”

2.4 During a Conversation
64 Operation
2.4.5 Three-party Conversation
— Adding a third party during a conversation
— Leaving a conference
— Letting a third party join your call
Adding a third party during a conversation (Conference)
To talk to one party by disconnecting the other when one of these parties is an
outside call
Press CONF.Press CONF.
Enter desired
party’s number.
desired
party’s no.
Press a CO button or enter a line access number
(9 or 81-88) before an external phone number.
PT
CONF CONF
Talk.
C.Tone
Press
hookswitch.Press
hookswitch.
3
Enter desired
party’s number.
desired
party’s no.
Enter a line access number (9 or 81-88)
before an external phone number.
SLT
Talk.
C.Tone
Dial 3.
Press CO or
INTERCOM.
PT
Talk.
C.Tone
INTERCOM
OR
(CO)

2.4 During a Conversation
Operation 65
Leaving a conference
The other two parties can continue their conversation.
To return
•Time limit
Both parties will hear an alert tone fifteen seconds before the time limit (Default: 10 min.)
runs out. The original extension will hear an alert tone fifty seconds before the time runs
out. The call is disconnected when the time runs out unless the original extension returns
to the conference.
• This feature is not available for an ISDN telephone user.
Customising Your Phone
• 4.1.3 Customising the Buttons
Create or re-arrange a Conference button.
PT / SLT PT
On-hook.
When you are talking with two extensions or
one extension party and one external party
Press CONF.
When you are talking with two external parties
(Unattended Conference)
Some extensions may be restricted
from performing this function.
CONF
While hearing alert ringing
Off-hook or press CO.
PT
Press CO.
While the others are talking
(CO)
OR
(CO)

2.4 During a Conversation
66 Operation
Letting a third party join your call (Privacy Release)
To leave
To talk to one party by disconnecting the other
You can let a third party join your current outside call.
• This feature overrides "Data Line Security" and "Executive Busy Override Deny."
Press lighted CO.
Ask the third party to perform the step below.
Press flashing green
CO within 5 seconds.
During a conversation
A three-party conversation
is now established.
PT
Talk.
C.Tone
(CO)
(CO)
PT
On-hook.
Press CO or
INTERCOM.
PT
INTERCOM
OR
(CO)

2.4 During a Conversation
Operation 67
2.4.6 Mute
To set / cancel
You can disable the microphone or the handset to consult privately with others
in the room while listening to the other party on the phone through the speaker
or the handset.
There are two types of mute as follows:
Handset Mute:
During a conversation using the handset. This function is available for the KX-
T7400 series telephone users only.
Microphone Mute:
During a conversation using the microphone.
• The AUTO ANSWER/MUTE or VOICE CALL/MUTE button light shows the current status
as follows:
Flashing red: Mute
Off: Normal
Press MUTE.
PT
AUTO ANSWER
MUTE
VOICE CALL
MUTE
OR

2.4 During a Conversation
68 Operation
2.4.7 Letting Other People Listen to the Conversation (Off-
Hook Monitor) [KX-T7433, KX-T7436 only]
You can let other people in the room listen to the conversation through the speaker while continuing
the conversation using the handset.
To set / cancel
• This feature is only available during a conversation using the handset.
• The SP-PHONE button light shows the current status as follows:
On: The voice is heard through the speaker.
Off: The voice is heard through the handset.
Press SP-PHONE.
T7433 / T7436
SP-PHONE

2.5 Before Leaving Your Desk
Operation 69
2.5 Before Leaving Your Desk
2.5.1 Forwarding Your Calls (Call Forwarding)
You can have your incoming calls forwarded to a
specific destination. According to intercom or outside
incoming calls, you can set the different destination
each.
All Calls:
All calls are forwarded to another extension.
Busy:
All calls are forwarded to another internal
destination when your extension is busy.
No Answer:
All calls are forwarded to another internal
destination when you do not answer the call.
Busy/No Answer (BSY/NA):
All calls are forwarded to another internal
destination when you do not answer or when your
extension is busy.
To Outside Line (CO Line):
All calls are forwarded to an external party. Some
extensions may be restricted.
Follow Me (From):
If you forget to set "All Calls" to be forwarded before
you leave your desk, you can set the same
functions from the destination extension.
• You can set your mailbox or mobile telephone as the forwarding destination.
D1232
DIGITAL SUPER HYBRID SYSTEM
Panasonic

2.5 Before Leaving Your Desk
70 Operation
To set
Off-hook. Press FWD/DND
or dial 710.Enter required
number.
1 0
7
OR
Dial 6 to select
“To Outside Line.”
Dial #.
Enter extension
number.
extension no.
To
Outside line
6
2
3
4
5
7
All Calls
Busy
No Answer
Busy/No Answer
Follow Me
For “Follow Me,” dial
your extension number.
phone no.
Enter phone
number.
(Max. 16 digits)
Enter line access
number (9 or 81-88).
line access
no.
On-hook.
C.Tone
On-hook.
C.Tone
FWD/DND
PT / SLT
0
1
2
All
Intercom
Outside
OR
OR
Dial 0 to 2 as you
desire. For “Follow
me,” skip this.
0
1
2
All
Intercom
Outside
OR
OR
Dial 0 to 2 as you desire.

2.5 Before Leaving Your Desk
Operation 71
To set (contd.)
To cancel
Off-hook.
extension no.
Enter extension
number.
extension no.
MENU PREV NEXT
MENU PREV NEXT
NEXT
OR
FWD/DND Cancel
Do Not Disturb
FWD-All Calls
FWD-Busy
FWD-No Answer
0-2+ext
0-2+ext
0-2+ext
FWD-BSY/NA
FWD-CO Line
FWD-From
FWD-
From Cancel
0-2+ext
0-2+dial
ext
ext
Press
FWD/DND.
On-hook.
On-hook.
FWD-CO Line 0-2+dial
phone no.
Enter phone
number.Dial #.
(Max. 16 digits)
Press desired button.
Enter line access
number (9 or 81-88).
line access
no.
For “FWD-From” (Follow Me),
dial your extension number
T7436 / T7235
C.Tone
C.Tone
FWD/DND
0
1
2
All
Intercom
Outside
OR
OR
Dial 0 to 2 as you
desire. For “FWD-
From,” skip this.
0
1
2
All
Intercom
Outside
OR
OR
Dial 0 to 2 as you desire.
Off-hook. Press FWD/DND
or dial 710.On-hook.
From destination
1 07
OR
Dial 0.
0
Dial 8.
8
Enter your
extension number.
your
extension no.
PT / SLT
C.Tone
C.Tone
FWD/DND

2.5 Before Leaving Your Desk
72 Operation
To cancel (contd.)
• A call can only be forwarded to one target telephone. For
example, extension A's call is forwarded to extension B.
Extension B's call is forwarded to extension C. A call to
extension A is forwarded to extension B, but the call would not
be forwarded directly to extension C from A.
• The extension which is set as the destination can call the
original extension. (Boss-Secretary function)
Off-hook. Press
FWD/DND.
FWD/DND Cancel
FWD-From Cancel ext
On-hook.
From destination
Press “FWD-From Cancel.”
Press “FWD/DND Cancel.”
Enter your
extension number.
your
extension no.
T7436 / T7235
C.Tone
C.Tone
FWD/DND
A
one step
one step
BC

2.5 Before Leaving Your Desk
Operation 73
• You cannot set the "Do Not Disturb (DND)" and "Call Forwarding (FWD)" features at one
time. Pressing the FWD/DND button while on-hook shows the destination depending on the
setting as follows:
F. : Call Forwarding
E : from Extension (intercom)
C : from CO Line (outside)
(ALL)/(BSY)/(NA)/(B/NA)/(CO) : displays depending on the setting
Extxxx/1234567& : destination
• The call transferred to your extension will also be forwarded to the appropriate destination
depending on the type of call, intercom or outside.
• The FWD/DND button light shows the current status as follows:
Off: Both features are not set.
Red on: DND mode
Flashing red: FWD mode
• This feature is not available for an ISDN telephone user.
Customising Your Phone
• 4.1.3 Customising the Buttons
Create or re-arrange a FWD/DND button.
<Example>
F.E(All) Ext101 F.C(All) Ext221

2.5 Before Leaving Your Desk
74 Operation
2.5.2 Showing an Absent Message on the Caller's Telephone
Display (Absent Message Capability)
You can show the reason for your absence, if the calling extension uses a Panasonic proprietary
telephone with a display. This way the caller will know when you will be available. You can choose one
of nine messages.
To set
• Enter the desired value in the "%" space.
You must make your message in all of the "%"s using 0 to 9, #, or .
• The message can be changed. Consult your dealer.
9
Default Message Message no.
Will Return Soon
1
2
3
4
5
6
7
8
Gone Home
At Ext %%% (Extension number)
Back at %%:%% (Hour:Minute)
Out until %%/%% (Month/Day)
In a Meeting
Off-hook. Dial 750.
7 5 0
On-hook.
2
3
4
5
6
Gone Home
At Ext %%% +
Back at %%:%% +
Out until %%/%% +
1
Will Return Soon
9
7
8
In a Meeting
Extension no.
Hour : Minute
Month / Day
Enter required number.
PT / SLT
C.Tone

2.5 Before Leaving Your Desk
Operation 75
To set (contd.)
To cancel
Rotate Jog Dial until
“ABST MSG On” is
at the arrow.
Press
“
FEAT
.”
T7433
FEAT
Press SHIFT until
“FEAT” is displayed.
SHIFT
On-hook.
2
3
4
5
6
Gone Home
At Ext %%% +
Back at %%:%% +
Out until %%/%% +
1
Will Return Soon
9
7
8
In a Meeting
Extension no.
Hour : Minute
Month / Day
Enter required number.
C.Tone
ABST MSG On 1-9
C.Pickup GRP
MENU
Press “SEL.”
→
SEL
T7436 / T7235
Rotate Jog Dial or
press “NEXT” until the
following is displayed.
Features
NEXT
OR
C.Tone
On-hook.
Press “Features.”
2
3
4
5
6
Gone Home
At Ext %%% +
Back at %%:%% +
Out until %%/%% +
1
Will Return Soon
9
7
8
In a Meeting
Extension no.
Hour : Minute
Month / Day
Enter required number.
Absent MSG On (→1-9)
Press “Absent MSG On.”
Off-hook. Dial 7500.
7 5 0 0
On-hook.
PT / SLT
C.Tone

2.5 Before Leaving Your Desk
76 Operation
To cancel (contd.)
•To confirm the message, go off-hook.
It will be displayed.
Rotate Jog Dial until
“ABST MSG Off” is
at the arrow.
Press
“
FEAT.
”
T7433
FEAT
On-hook.
C.Tone
Press SHIFT until
“FEAT” is displayed.
SHIFT
ABST MSG Off
ABST MSG On 1-9
MENU
Press “SEL.”
→
SEL
T7436 / T7235
Rotate Jog Dial or
press “NEXT” until the
following is displayed.
Features
NEXT
OR
C.Tone
On-hook.
Press “Features.”
Absent MSG Off
Press “Absent MSG Off.”

2.5 Before Leaving Your Desk
Operation 77
2.5.3 Preventing Other People from Using Your Telephone
(Electronic Station Lockout)
To lock / unlock
•If you forget the code or cannot unlock your phone, consult an operator. They can
unlock your extension (Remote Station Lock Control).
Off-hook. On-hook.
Dial 77.
PT / SLT
C.Tone
7
7
Enter code (3 digits) twice or once.
desired code
stored code
same code
OR
Lock
Unlock

2.5 Before Leaving Your Desk
78 Operation
2.5.4 Leaving a Call Distribution Group (Log-In / Log-Out)
You can set your status in a receiving group. Set Log-
Out when you leave the office so that incoming calls
will temporarily skip your extension in the receiving
order. When you return, set Log-In so that calls will
reach your extension. (Default: Log-In)
log in log out
Off-hook. On-hook.
Dial 0 to log-out
or 1 to log-in.
Log-Out
Log-In
0
1
Dial 45.
OR
PT / SLT
C.Tone
54
Rotate Jog Dial until
“Login/out” is at the arrow.
Press
“
FEAT.
”
T7433
FEAT
On-hook.
C.Tone
Press SHIFT until
“FEAT” is displayed.
SHIFT
Dial 0 to log-out
or 1 to log-in.
Log-Out
Log-In
0
1
OR
Login/out 1/0
MSG Off ext
MENU
Press “SEL.”
→
SEL

2.5 Before Leaving Your Desk
Operation 79
• The Log-In / Log-Out button alternates the setting between Log-In and Log-Out modes. The
button light shows the current status as follows:
Off: Log-In mode
Red on: Log-Out mode
Flashing red: a call waiting for UCD (a receiving group)
• There should be at least one extension in the receiving group that is in the Log-In mode.
• This feature is not available for an ISDN telephone user.
Customising Your Phone
4.1.3 Customising the Buttons
Create or re-arrange a Log-In / Log-Out button.
T7436 / T7235
Rotate Jog Dial or
press “NEXT” until the
following is displayed.
Features
NEXT
OR
Press “Features.” On-hook.On-hook.
Dial 0 to log-out
or 1 to log-in.
Log-Out
Log-In
0
1
OR
C.Tone
Press “Login/Logout.”
Login/Logout (
→
1/0)

2.6 Making / Answering an Announcement
80 Operation
2.6 Making / Answering an Announcement
2.6.1 Paging
All
External
You can make a voice announcement to
several people at the same time. Your
message is sent over the proprietary
telephone speakers and/or external
speakers. The paged person can answer
your paging from any telephone. There are
three types as shown below:
All:
Paging through both the telephone
speakers and external speakers.
External:
Paging through the external speakers.
Group:
Paging to a particular extension group or
all groups (all extensions) through the
telephone speakers.
Off-hook. Talk.Announce.
PT / SLT
C.Tone
OR
23
Dial 32 or 33 .
33
Off-hook. Talk.Announce.
Dial 32.
3 2
PT / SLT
C.Tone
Enter specific speaker number
(1-4) or 0 for all.
speaker no.
OR
Specific
All
0

2.6 Making / Answering an Announcement
Operation 81
External (contd.)
Group
Rotate Jog Dial
until “Page Extrn”
is at the arrow.
Press
“
FEAT.
”
T7433
FEAT
Press SHIFT until
“FEAT” is displayed.
SHIFT
Talk.Announce.
C.Tone
Page Extrn 0-4
Page GRP 0-8
MENU
Press “SEL.”
→
SEL
Enter specific speaker number
(1-4) or 0 for all.
speaker no.
OR
Specific
All
0
T7436 / T7235
Rotate Jog Dial or
press “PREV” until the
following is displayed.
Features
PREV
OR
Press “Features.”
Talk.Announce.
C.Tone
Paging External (→0-4)
Press “Paging External.” Enter specific speaker number
(1-4) or 0 for all.
speaker no.
OR
Specific
All
0
Off-hook. Talk.
Announce.
Dial 33.
3 3
PT / SLT
C.Tone
Enter specific group number
(1-8) or 0 for all.
group no.
OR
Specific
All
0

2.6 Making / Answering an Announcement
82 Operation
Group (contd.)
• A ringing, busy, Do Not Disturb extension, or a single line telephone cannot receive a paged
announcement.
Rotate Jog Dial
until “Page GRP”
is at the arrow.
Press
“
FEAT.
”
T7433
FEAT
Press SHIFT until
“FEAT” is displayed.
Talk.Announce.Announce.
C.Tone
Page GRP 0-8
Parallel 1/0
MENU
Press “SEL.”
→
SEL
SHIFT
Enter specific group number
(1-8) or 0 for all.
group no.
OR
Specific
All
0
T7436 / T7235
Rotate Jog Dial or
press “PREV” until the
following is displayed.
Features
PREV
OR
Press “Features.”
Talk.
Announce.
C.Tone
Press “Paging Group.”
Paging Group (→0-8)
Enter specific group number
(1-8) or 0 for all.
group no.
OR
Specific
All
0

2.6 Making / Answering an Announcement
Operation 83
2.6.2 Paging a Person and Transferring a Call
Through a speaker and telephones
Announce.
Talk. On-hook.
During a conversation
Wait for an answer.
Press TRANSFER.
PT
C.Tone
C.Tone
TRANSFER
OR
23
Dial 32 or 33 .
33
Announce.
Talk. On-hook.
During a conversation
Wait for an answer.
Press hookswitch.
SLT
C.Tone
C.Tone
OR
23
Dial 32 or 33 .
33

2.6 Making / Answering an Announcement
84 Operation
Through a speaker
Announce.
Wait for an answer. Talk. On-hook.
During a conversation
Dial 32.
3 2
Press TRANSFER.
PT
C.Tone
C.Tone
TRANSFER
Enter specific speaker number
(1-4) or 0 for all.
speaker no.
OR
Specific
All
0
Announce.
Wait for an answer. Talk. On-hook.
During a conversation
Dial 32.
3 2
Press hookswitch.
SLT
C.Tone
C.Tone
Enter specific speaker number
(1-4) or 0 for all.
speaker no.
OR
Specific
All
0

2.6 Making / Answering an Announcement
Operation 85
Through the telephones of a particular extension group
Announce.
Wait for an answer. Talk. On-hook.
During a conversation
Dial 33.
3 3
Press TRANSFER.
PT
C.Tone
C.Tone
TRANSFER
Enter specific group number
(1-8) or 0 for all.
group no.
OR
Specific
All
0
Announce.
Wait for an answer. Talk. On-hook.
During a conversation
Dial 33.
3 3
Press hookswitch.
SLT
C.Tone
C.Tone
Enter specific group number
(1-8) or 0 for all.
group no.
OR
Specific
All
0

2.6 Making / Answering an Announcement
86 Operation
2.6.3 Answering a Paged Announcement
Through a speaker
Through the telephones
Talk.
Off-hook. Dial 42.
24
Enter speaker
number (1-4).
speaker no.
PT / SLT
C.Tone
Rotate Jog Dial until
“Page-E ANS” is
at the arrow.
Press
“
FEAT.
”
T7433
FEAT
Press SHIFT until
“FEAT” is displayed.
SHIFT
Talk.
Enter speaker
number (1-4).
speaker no.
C.Tone
Page-E ANS 1-4
Page-GRP ANS
MENU
Press “SEL.”
→
SEL
T7436 / T7235
Rotate Jog Dial or
press “PREV”until the
following is displayed.
Features
PREV
OR
Features
Press “Features.” Press “Page-Ext Answer.”
Answer Ext-Page (→1-4)Page-Ext Answer (→1-4)
Talk.
Enter speaker
number (1-4).
speaker no.
C.Tone
Talk.
Off-hook. Dial 43.
34
PT / SLT
C.Tone

2.6 Making / Answering an Announcement
Operation 87
Through the telephones (contd.)
• This feature is not available for an ISDN telephone user.
Rotate Jog Dial until
“Page-GRP ANS” is
at the arrow.
Press
“
FEAT.
”
T7433
FEAT
Press SHIFT until
“FEAT” is displayed.
SHIFT
Talk.
C.Tone
Page-GRP ANS
Page Extrn 0-4
MENU
Press “SEL.”
→
SEL
Off-hook.
T7436 / T7235
Rotate Jog Dial or
press “PREV” until the
following is displayed.
Features
PREV
OR
Press “Features.” Press “Page-GRP Answer.”
Page-GRP Answer
Talk.
C.Tone

2.7 Setting the Telephone According to Your Needs
88 Operation
2.7 Setting the Telephone According to Your
Needs
2.7.1 Setting the Alarm (Timed Reminder)
You can receive a ringback alarm at your telephone to remind you of a meeting, appointment or as a
wake-up call. The setting can be for either one time or daily (every day until cancelled) at a pre-set
time.
To set
To cancel
To view the setting
On-hook.
Dial 0 for one time
or 1 for daily.
One Time
Daily
0
1
Dial 0 for AM
or 1 for PM.
AM
PM
0
1
Enter hour (01-12)
and minute (00-59).
hour / minute
6 1
7
Dial 761.
Off-hook.
OR OR
PT / SLT
C.Tone
Off-hook. On-hook.
6 07
Dial 760.
PT / SLT
C.Tone
Off-hook. On-hook.
6 27
Dial 762.
D – PT

2.7 Setting the Telephone According to Your Needs
Operation 89
To stop or answer the ringback
• The alarm tone keeps ringing for thirty seconds.
•If you receive an incoming call during ringback, ringing starts after the ringback stops.
•If you are having a conversation during the pre-set time, the ringback will start after your
conversation.
• This feature is not available for an ISDN telephone user.
• If you go off-hook to answer, you can hear the alarm tone or the recorded message which
the operator pre-assigned.
When the daily alarm is set, the display shows "*" in the corner.
Press any key or
off-hook and on-hook.
any key
OR
PT / SLT
Alarm 10:10AM*

2.7 Setting the Telephone According to Your Needs
90 Operation
2.7.2 Refusing Incoming Calls (Do Not Disturb [DND])
You may set this feature during a meeting or when you are busy.
To set / cancel
• A flashing CO button tells you an outside call is received. You can answer the call by
pressing the CO button.
• You cannot set the "Do Not Disturb" and "Call Forwarding" features at one time.
• Specified extensions can override this setting and call DND extensions (Do Not Disturb
Override).
• The FWD/DND button light shows the current status as follows:
Off: Both features are not set.
Red on: DND mode
Flashing red: FWD mode
• This feature also works for an incoming call from a doorphone.
• This feature is not available for an ISDN telephone user.
Customising Your Phone
• 4.1.3 Customising the Buttons
Create or re-arrange a FWD/DND button.
Off-hook. Press FWD/DND
or dial 710.
1 07
OR
On-hook.
Dial 1 to set
or 0 to cancel.
Set
Cancel
1
0
OR
PT / SLT
C.Tone
FWD/DND
Off-hook. Press FWD/DND.On-hook.
Press “FWD/DND Cancel” to
cancel or “Do Not Disturb” to set.
T7436 / T7235
C.Tone
FWD/DND
Set
Cancel
FWD/DND Cancel
Do Not Disturb

2.7 Setting the Telephone According to Your Needs
Operation 91
2.7.3 Receiving a Call Waiting (Call Waiting / Off-Hook Call
Announcement [OHCA] / Whisper OHCA)
During a conversation, you can be informed a call waiting with a tone or voice announcement through
your speaker or handset. (Default: No tone)
Call waiting tone:
a waiting tone through the handset. You can change the tone, refer to 4.1 Customising Your
Phone (Station Programming).
OHCA:
a voice announcement through the speaker without pre-information (KX-T7436 and KX-T7235
telephone users only)
Whisper OHCA:
a voice announcement through the handset without pre-information (KX-T7400 series telephone
users only)
To set / cancel
• Only KX-T7400 series telephone users can send or receive Whisper OHCA.
• This feature is not available for an ISDN telephone user.
Off-hook.
Dial 0 to 3 as you desire.
On-hook.
3 1
7
Dial 731.
No tone
Tone
OHCA
Whisper OHCA
0
1
OR
2
OR
3
OR
PT / SLT
C.Tone

2.7 Setting the Telephone According to Your Needs
92 Operation
2.7.4 Displaying Your Number on the Called Party and Calling
Party's Telephone (Calling / Connected Line
Identification Presentation [CLIP / COLP])
CLIP :
When making an outside call, you can let the other party show your pre-assigned identification
number.
COLP :
When receiving an outside call, you can let the party calling you show your pre-assigned identification
number.
You can select to show an identification number assigned for an outside line or your extension.
To show an identification number assigned for an outside line or your extension
• The system is in accordance with ETS specifications below.
ETS 300 092 Calling Line Identification Presentation (CLIP) supplementary service
ETS 300 093 Calling Line Identification Restriction (CLIR) supplementary service
ETS 300 097 Connected Line Identification Presentation (COLP) supplementary service
ETS 300 098 Connected Line Identification Restriction (COLR) supplementary service
ETS: European Telecommunication Standard
• The entered identification number must match the conditions of your telephone company.
Otherwise it might be ignored or replaced by another value.
Off-hook. On-hook.
Dial 1 for outside line
or 2 for extension.
Outside line
Extension
Dial 711.
PT / SLT
C.Tone
OR
1 1
7
1
2

2.7 Setting the Telephone According to Your Needs
Operation 93
2.7.5 Denying Other People the Possibility of Picking up Your
Calls (Call Pickup Deny)
Off-hook. On-hook.
2 07
Dial 720. Dial 1 to deny
or 0 to allow.
Deny
Allow
1
0
OR
PT / SLT
C.Tone

2.7 Setting the Telephone According to Your Needs
94 Operation
2.7.6 Denying Other People the Possibility of Joining Your
Conversation (Executive Busy Override Deny)
• This feature is not available for an ISDN telephone user.
Off-hook. On-hook.
3 37
Dial 733. Dial 1 to deny
or 0 to allow.
Deny
Allow
1
0
OR
PT / SLT
C.Tone

2.7 Setting the Telephone According to Your Needs
Operation 95
2.7.7 Turning on the Background Music
To set / cancel
You can listen to background music through your telephone speaker while on-
hook. An external music source, such as a radio, must be connected.
• You can select the mode by pressing "BGM" or dialling 1 repeatedly as follows:
Press “BGM” or dial 1.
OR
1
While on-hook
PT
BGM
Music 1 → Music 2 → BGM Off

2.7 Setting the Telephone According to Your Needs
96 Operation
2.7.8 Protecting Your Line against Indication Tones (Data
Line Security)
To set / cancel
You can protect the line against indication tones, such as call
waiting tone or interruptions (Executive Busy Override). Set
this feature if your extension is connected to a data
communication device, such as a computer or facsimile, to
secure data transmission.
• This feature is not available for an ISDN telephone user.
D1232
DIGITAL SUPER HYBRID SYSTEM
Panasonic
Off-hook. On-hook.
3 07
Dial 730. Dial 1 to set
or 0 to cancel.
Set
Cancel
1
0
OR
PT / SLT
C.Tone

2.7 Setting the Telephone According to Your Needs
Operation 97
2.7.9 Checking the Day / Night Service Status
You can manage your system under different conditions for
either day time (business hours) or night time (after business
hours).
• Any extension user can check the status. In this case, only extension users except the
operators can check it by pressing the Night button.
• The Night button light shows the current status as follows:
Off: Day mode
Red: Night mode
Customising Your Phone
• 4.1.3 Customising the Buttons
Create or re-arrange a Night button.
Dial # or press Night.
While on-hook
D – PT
OR
(Night)

2.7 Setting the Telephone According to Your Needs
98 Operation
2.7.10 Setting the Parallel Connected Telephone Ringer
(Parallelled Telephone)
A proprietary telephone user can choose whether the single line telephone
connected in parallel will ring or not, when an incoming call is received.
(Default: No ring)
•Even if "No ring" is selected, the call can be answered with the single line telephone by
lifting the handset.
• If you go off-hook while your parallelled telephone is in use, the call will switch over to your
telephone, and vice versa.
• This feature is not available for an ISDN telephone user.
Off-hook. Dial 39.
3 9
On-hook.
PT
C.Tone
Dial 1 to ring
or 0 to no ring.
Ring
No ring
1
0
OR
Rotate Jog Dial until
“Parallel” is at the arrow.
Press SHIFT until
“FEAT” is displayed.
Press
“
FEAT.
”
T7433
FEAT
SHIFT
Parallel 1/0
ABST MSG Off
MENU
Press “SEL.”
→
SEL
On-hook.
Dial 1 to ring
or 0 to no ring.
Ring
No ring
1
0
OR
C.Tone
T7436 / T7235
Rotate Jog Dial or
press “PREV” until the
following is displayed.
Features
PREV
OR
Press “Features.” On-hook.
Dial 1 to ring
or 0 to no ring.
Ring
No ring
1
0
OR
C.Tone C.Tone
Press “Parallel On/Off.”
Parallel On/Off (
→
1/0)

2.7 Setting the Telephone According to Your Needs
Operation 99
2.7.11 Clearing the Feature Settings at Your Extension
(Station Programme Clear)
You can clear the following features which have been set on your phone. If you change desks, and
notice settings which a previous owner left on the line, you can clear these features.
• Calling to a Pre-set Party by Going Off-Hook (Pickup Dialling): The stored number will be
cleared.
• Leaving a Message Waiting Indication (Message Waiting): All messages will be removed.
• Forwarding Your Calls (Call Forwarding)
• Showing an Absent Message on the Caller's Telephone Display (Absent Message Capability)
• Leaving a Call Distribution Group (Log-In/Log-out)
• Calling Using the Call Log (Incoming Call Log)
• Setting the Alarm (Timed Reminder)
• Refusing Incoming Calls (Do Not Disturb [DND])
• Receiving a Call Waiting (Call Waiting / Off-Hook Call Announcement [OHCA] / Whisper
OHCA)
• Denying Other People the Possibility of Picking up Your Calls (Call Pickup Deny)
• Denying Other People the Possibility of Joining Your Conversation (Executive Busy Override
Deny)
• Turning on the Background Music
• Protecting Your Line against Indication Tones (Data Line Security)
• Setting the Parallel Connected Telephone Ringer (Parallelled Telephone): The single line
telephone will not ring.
Off-hook. On-hook.
9 07
Dial 790.
PT / SLT
C.Tone

2.8 Using User-supplied Equipment
100 Operation
2.8 Using User-supplied Equipment
2.8.1 If a Doorphone / Door Opener is Connected
Doorphone call
To call from the doorphone
To call the doorphone
— Doorphone call — Opening the door
Press doorphone
button.
Doorphone
Talk.
C.Tone
Off-hook. Dial 31.
3 1
Enter doorphone
number (1-4).
doorphone no.
PT / SLT

2.8 Using User-supplied Equipment
Operation 101
Opening the door
Some extensions may be restricted from performing this function.
From a specified extension
From any extension while talking to the doorphone
• The door will be left open for five (three) seconds. (Default: 5 seconds)
• You can change the time to keep the door open. Please consult your manager and dealer.
•To keep the door open for another five (three) seconds, dial 5 again using a Panasonic
proprietary telephone.
•If no one answers the doorphone call within 30 seconds, the call is cancelled.
Off-hook. On-hook.Dial 55.
5 5
Enter door opener
number (1-4).
door opener
no.
PT / SLT
C.Tone
55
PT SLT
On-hook.
C.Tone
On-hook.Dial 5. Dial 5.Press
hookswitch.
C.Tone

2.8 Using User-supplied Equipment
102 Operation
2.8.2 If a Host PBX is Connected
Accessing external services (External Feature Access)
You can access special features (e.g. Call
Waiting) offered by a host PBX or Central
Office. This feature is only effective with an
outside call.
D1232
DIGITAL SUPER HYBRID SYSTEM
Panasonic
PT SLT
Enter desired number.
desired no.
Enter desired number.
Press
hookswitch.Dial 6.
desired no.
6
OR
6
TRANSFER
EFA
Press “EFA” or
TRANSFER and dial 6.
While hearing a tone While hearing a tone

2.8 Using User-supplied Equipment
Operation 103
2.8.3 If a Voice Processing System is Connected
If your system is connected to a Panasonic Voice Processing System (e.g. KX-TVP200) which can
be used with a digital proprietary telephone, the following functions are available:
Voice mail integration
If you cannot answer calls, you can forward them to your mailbox by selecting type of incoming call
(all/intercom/outside). If your telephone has a MESSAGE button, the button light turns on and lets you
know you have messages. Even if a MESSAGE button is not provided, you will hear an indication
tone* when going off-hook.
You can also transfer received outside calls to a certain mailbox so that callers can leave messages.
If you create a Voice Mail Transfer button on your phone, the transfer is done easily without confirming
the voice mail extension number (Voice Mail Transfer).
To forward your calls to a mailbox
— Voice mail integration
— Screening calls — Recording a conversation
1 0
7
OR
Enter voice mail
extension number.
Off-hook. Press FWD/DND
or dial 710.Enter
required number.
On-hook.
2
3
4
5
All Calls
Busy
No Answer
Busy/No Answer
voice mail
extension no.
PT / SLT
C.Tone
FWD/DND
0
1
2
All
Intercom
Outside
OR
OR
Dial 0 to 2 as you desire.
Off-hook.
Press desired button.
Enter voice mail
extension number.
Press
FWD/DND.On-hook.
MENU PREV NEXT
MENU PREV NEXT
NEXT
OR
FWD/DND Cancel
Do Not Disturb
FWD-All Calls
FWD-Busy
FWD-No Answer
0-2+ext
0-2+ext
0-2+ext
FWD-BSY/NA
FWD-CO Line
FWD-From
FWD-
From Cancel
0-2+ext
0-2+dial
ext
ext
voice mail
extension no.
T7436 / T7235
C.Tone
FWD/DND
0
1
2
All
Intercom
Outside
OR
OR
Dial 0 to 2
as you desire.

2.8 Using User-supplied Equipment
104 Operation
Transferring calls
To listen to a stored message
Screening calls (Live Call Screening [LCS])
*Indication tone
Customising Your Phone
• 4.1.3 Customising the Buttons
Create or re-arrange a MESSAGE button and Voice Mail (VM) Transfer button.
While a caller is leaving a message in your mailbox, you can monitor the call. If
desired, you can answer the call while monitoring. There are two methods
available (Default: Hands-free mode). In both modes, if you are currently having
a conversation, you will hear a call waiting tone.
Hands-free mode:
You can monitor the message automatically through the telephone speaker
at the same time.
Private mode:
You will hear an alert tone while the caller is leaving a message.
Enter extension
number or press DSS.
Press VM Transfer.
PT
extension no.
OR
(DSS)
(VM Transfer)
Press MESSAGE or
voice mail extension number.
OR
Off-hook.
voice mail
extension no.
PT / SLT
MESSAGE
1 s

2.8 Using User-supplied Equipment
Operation 105
Before operating
• Create a Live Call Screening (LCS) button (Personal Programming).
• Select the mode, either Hands-free or Private (Personal Programming).
• Set the Password.
• Set the Live Call Screening feature.
To set / cancel the password
Off-hook. On-hook.
Enter password (3 digits) twice or once.
9 97
Dial 799.
desired
password same
password
stored
password
PT
C.Tone
OR
Set
Cancel
Rotate Jog Dial until
“LCS #” is at the arrow.
Press SHIFT until
“FEAT” is displayed.
Press
“
FEAT
.”
T7433
FEAT
LCS # abcabc
Login/out 1/0
MENU
Press “SEL.”
SEL
On-hook.
C.Tone
SHIFT
desired
password
stored
password
same
password
Enter password (3 digits) twice or once.
Set
Cancel
OR
T7436 / T7235
Rotate Jog Dial or
press “NEXT” until the
following is displayed.
Features
NEXT
OR
Press “Features.”
On-hook.
C.Tone
LCS Password (→abcabc)
Press “LCS Password.”
Enter password (3 digits) twice or once.
desired
password same
password
stored
password
OR
Set
Cancel

2.8 Using User-supplied Equipment
106 Operation
To set Live Call Screening
To cancel Live Call Screening
Press Live Call
Screening.Enter password.
password
PT
(Live Call
Screening)
Press Live Call
Screening.
PT
(Live Call
Screening)

2.8 Using User-supplied Equipment
Operation 107
Operation Flowchart
The operations in the shaded areas can be hands-free operations.
• The Live Call Screening (LCS) button light shows the feature status as follows:
Red on: LCS is on.
Off: LCS is off.
Flashing green rapidly: Alert ringing in the Private mode*2
Flashing green slowly: Live Call Screening is in use.*2
*2 The DSS button light is red while Live Call Screening is in use.
• The operator can clear a password at any extension.
Hands-free Mode Private Mode
During a conversation
Stop monitoring Answering the call
(Call Waiting Tone) (Alert Tone)
Monitoring Monitoring
No operation
Stopping the alert tone
Stop
monitoring Answering
*1
*1
On-hook.
To hold the current call, press the HOLD button.
(LCS Cancel)
(LCS Cancel)
Off-hook.
On-hook.
OR
OR
OR
OR
Off-hook.
Press FLASH
or
LCS Cancel
.
OR
Press FLASH
or
LCS Cancel
.
OR
Press FLASH
or
LCS Cancel
.
Press
Live Call
Screening
or
SP-PHONE.
Press
SP-PHONE,
MONITOR or
Live Call
Screening.
Off-hook. Press
Live Call
Screening.
OR
Press
Live Call
Screening
or
SP-PHONE.
PT
FLASH
FLASH
FLASH
(Live Call
Screening)
(Live Call
Screening) (Live Call
Screening)
(Live Call
Screening)
SP-PHONE
SP-PHONE
SP-PHONE
(LCS Cancel)
MONITOR

2.8 Using User-supplied Equipment
108 Operation
Recording a conversation (Two-Way Recording)
To record into your mailbox
To record into another mailbox
Customising Your Phone
• 4.1.2 Initial Settings—Live Call Screening Mode Set
Select the mode, either monitoring the message automatically or receiving alert ringing,
when the caller leaves a message.
• 4.1.3 Customising the Buttons
Create or re-arrange a Live Call Screening button and a Live Call Screening Cancel
button.
You can record a conversation into a mailbox while talking on the phone.
• The Two-Way Record button light shows the current status as follows:
On: Recording the conversation.
Off: Not recording.
• When you record Two-Way telephone conversations, you should inform the other party that
the conversation is being recorded.
Press Two-Way
Record.
During a conversation
To stop recording,
press this button again.
PT
(Two-Way
Record)
Press Two-Way
Transfer.
During a conversation
Enter extension
number or press DSS.
extension no.
OR
To stop recording,
press this button again.
PT
(DSS)
(Two-Way
Transfer)

2.9 Using the Display Proprietary Telephone
110 Operation
2.9 Using the Display Proprietary Telephone
2.9.1 Calling Using the Call Log (Incoming Call Log) [KX-
T7433, KX-T7436, KX-T7230, KX-T7235 only]
If you do not answer an outside call, the caller's information is recorded automatically in the call log.
When the SHIFT button light turns on, there is a call in the call log. You can also store a call log during
a conversation. (See "2.9.2 Recording a Call Log [KX-T7433, KX-T7436, KX-T7230, KX-T7235
only].") Up to 15 calls can be logged per extension. You can select how the 16th call is treated; either
a new call can be disregarded or a new call overwrites the oldest call. (Default: Overwrite)
You can modify and call back the logged numbers.
To confirm
To clear the log
• With the KX-T7433 and the KX-T7230, press the INFO button to scroll through information.
• To modify the phone no, press the " " key to erase and then enter the number. The number
is modified from the first digit. The new number is programmed.
• To return to the initial display, press MENU button or go off-hook and on-hook.
D PT
While on-hook
CO02:Panasonic
012345678
Nina Thomas
22 09:00PM
SEQ01 2Call
MENU CLR NEXT
Outside line no. & name
<Information sample>
Phone no.
Caller’s name
Receipt date & time
Sequence no. & calling time (max. 15)
OR
Press “OLD” or “NEW.” OLD:Information you have already confirmed.
NEW:Information you have not yet confirmed.
OLD
NEW
Press “CLR.”
D – PT
CLR

2.9 Using the Display Proprietary Telephone
Operation 111
To call back
How to treat the 16th call
Off-hook. Press “CALL.”
When the desired number is displayed
D – PT
CALL
Off-hook. On-hook.
Dial 1 to overwrite
or 0 to disregard.
Overwrite
Disregard
1
0
Dial 56.
5 6 OR
D PT
C.Tone

2.9 Using the Display Proprietary Telephone
112 Operation
2.9.2 Recording a Call Log [KX-T7433, KX-T7436, KX-T7230,
KX-T7235 only]
You can record the caller's information in the call log to call them back. If you do not answer the call,
the log is recorded automatically. You can see the call duration during the conversation.
To record a call log
Press “LOG.”
D – PT
During a conversation
LOG

2.9 Using the Display Proprietary Telephone
Operation 113
2.9.3 Denying Other People the Possibility of Seeing Your
Call Log (Incoming Call Log Lock) [KX-T7433, KX-
T7436, KX-T7230, KX-T7235 only]
To lock / unlock
•If you forget the code, consult your operator. They can unlock the call log display of any
extension (Incoming Call Log Lock Control).
Enter code (3 digits) twice or once.
desired code
stored code
same code
OR
Lock
Unlock
Off-hook. Dial 57.
75
D PT
C.Tone
On-hook.

2.9 Using the Display Proprietary Telephone
114 Operation
2.9.4 Using the KX-T7433, KX-T7436 or KX-T7235
Using the KX-T7433
A KX-T7433 Panasonic proprietary telephone with a 3-line display allows you to make calls and
operate the features using the display message. You do not have to memorise the phone numbers or
feature numbers.
Operation
1. Press the SHIFT button repeatedly to show the third display.
2. Press the desired button, if required.
3. Rotate the Jog Dial until the desired message is at the arrow.
(Refer to "Display feature list" in 2.9.4 Using the KX-T7433, KX-T7436 or KX-T7235 for the
feature messages.)
4. Press the CALL button or go off-hook to call the party or the SEL button to select the desired
feature.
5. Enter parameters if required.
— Using the KX-T7433 — Storing the names and numbers for station speed dialling
— Using the KX-T7436 — Display feature list
— Using the KX-T7235

2.9 Using the Display Proprietary Telephone
Operation 115
Using the KX-T7436
A KX-T7436 Panasonic proprietary telephone with a 6-line display allows you to make calls and
operate the features using the display message. You do not have to memorise the phone numbers or
feature numbers.
* The names and phone numbers should be stored beforehand. Refer to "Storing the names and
numbers for station speed dialling" in 2.9.4 Using the KX-T7433, KX-T7436 or KX-T7235.
Bob Jones
Carol
MENU CALL
→
Ann Parker
Alice
MENU CALL
→
NEW1
OLD1
RING BGMCONT
Jan 01 03:00PM
EXT FEATSTA
ABST MSG On 1-9
C.Pickup GRP
MENU SEL
→
If a parameter is required,
the feature name and
parameter will flash.
parameter
Calling using names
and numbers stored
at your extension
(Station Speed
Dialling)*
Calling an intercom
call using the
directory
(Extension Dialling)
Operating the
various features
(System Feature
Access)
Calling using
names stored in
the system
(System Speed
Dialling)
SHIFT
SHIFT
< Initial Display >
< Second Display >
SHIFT
< Third Display >
OROR

2.9 Using the Display Proprietary Telephone
116 Operation
Operation using the function buttons
1. Press the desired function button on the initial display.
2. Rotate the Jog Dial until the desired message is at the arrow.
(Refer to "Display feature list" in 2.9.4 Using the KX-T7433, KX-T7436 or KX-T7235 for the
feature messages.)
3. Press the CALL button, the function button or go off-hook to call the party.
Or press the SEL button to select the desired feature at the arrow or press the function button next
to the desired feature.
4. Enter parameters if required.

2.9 Using the Display Proprietary Telephone
Operation 117
Operation using the soft buttons
1. Press the SHIFT button repeatedly to show the third display.
2. Press the desired button, if required.
* The names and phone numbers should be stored beforehand. Refer to "Storing the names and
numbers for station speed dialling" in 2.9.4 Using the KX-T7433, KX-T7436 or KX-T7235.
<Example>
To select 111
1234567890
111
0987654321
000111222333
100200300400500
@
MENU CLR
Calling using names
and numbers stored
at your extension
(Station Speed
Dialling)*
Redialling using
one of the last five
outside call
numbers
(Outgoing Call Log)
Calling an intercom
call using the
directory
(Extension Dialling)
Operating the various
features
(System Feature Access)
Calling using names
stored in the system
(System Speed Dialling)
If a parameter is required,
the parameter will flash.
SHIFT
RING BGM
CONT
Jan 01 03:00PM
Extension STA Speed
Features SYS Speed
Call Log
NEXT
MENU
Ronald
Zaydel
Adam
Alice
Ann Parker
MENU CALL
→
NEXT
MENU
Ann Parker
Beth
Bob Jones
Carol
Chris
MENU CALL
→
NEXT
MENU
Absent MSG Off
Absent MSG On (→1-9)
C.Pickup Group
Call Park (→0-9)
Extrn BGM On/Off
MENU SEL
→
parameter
< Initial Display >
OR
OR

2.9 Using the Display Proprietary Telephone
118 Operation
3. Rotate the Jog Dial until the desired message is at the arrow.
(Refer to "Display feature list" in 2.9.4 Using the KX-T7433, KX-T7436 or KX-T7235 for the
feature messages.)
4. Press the CALL button or go off-hook to call the party or the SEL button to select the desired
feature.
5. Enter parameters if required.
If a parameter is required,
the parameter will flash.
RING BGM
CONT
Jan 01 03:00PM
Extension STA Speed
Features SYS Speed
Call Log
NEXT
MENU
Ronald
Zaydel
Adam
Alice
Ann Parker
MENU CALL
→
NEXT
MENU
Ann Parker
Beth
Bob Jones
Carol
Chris
MENU CALL
→
NEXT
MENU
Absent MSG Off
Absent MSG On (→1-9)
C.Pickup Group
Call Park (→0-9)
Extrn BGM On/Off
MENU SEL
→
parameter
NEW1
OLD1
EXT FEAT
STA
Calling using names
and numbers stored
at your extension
(Station Speed
Dialling)*
Calling an intercom
call using the
directory
(Extension Dialling)
Operating the
various features
(System Feature
Access)
Calling using
names stored in
the system
(System Speed
Dialling)
SHIFT
< Initial Display >
SHIFT
< Second Display >
SHIFT
< Third Display >
OROR

2.9 Using the Display Proprietary Telephone
Operation 119
Using the KX-T7235
A KX-T7235 Panasonic proprietary telephone with a 6-line display allows you to make calls and
operate the features using the display message. You do not have to memorise the phone numbers or
feature numbers.
Operation
1. Press the desired function button on the initial display.
2. Press the desired function button, NEXT button or VOLUME (UP /DOWN ) Control button until
the desired message is displayed.
(Refer to "Display feature list" in 2.9.4 Using the KX-T7433, KX-T7436 or KX-T7235 for the
feature messages.)
3. Press the function button next to the desired party or the feature.
4. Enter parameters if required.
* The names and phone numbers should be stored beforehand. Refer to "Storing the names and
numbers for station speed dialling" in 2.9.4 Using the KX-T7433, KX-T7436 or KX-T7235.

2.9 Using the Display Proprietary Telephone
120 Operation
* The names and phone numbers should be stored beforehand. Refer to "Storing the names and
numbers for station speed dialling" in 2.9.4 Using the KX-T7433, KX-T7436 or KX-T7235.
RING BGM
CONT
Jan 01 03:00PM
Extension STA Speed
Features SYS Speed
Call Log
Adam Bob
Alice Carol
Ann Parker Casey
Ben Johns Ched Ely
Beth Chris
MENU NEXTPREV
AB KL
C MN
DE OPQR
FG S
HIJ T-Z
MENU
LCS Password (→abcabc)
Login/Logout (→1/0)
Message Off (→ext)
Message On (→ext)
Night On/Off (→1/0)
MENU NEXT
Absent MSG Off
Absent MSG On (→1-9)
C.Pickup Group
Call Park (→0-9)
Extrn BGM On/Off
MENU NEXT
parameter
If a parameter is required,
the parameter will flash.
<Example>
To select Beth
Adam Bob
Alice Carol
Ann Parker Casey
Ben Johns Ched Ely
Beth Chris
MENU NEXTPREV
AB KL
C MN
DE OPQR
FG S
HIJ T-Z
MENU
<Example>
To select Beth
<Example>
To select 111
Ann Parker KME
Beth Panasonic
Bob Jones Police
Carol Ronald
Chris Home
MENU NEXT
9-123-4567 9-987-6543
91111111 9-5555555
933333333 9-999
977777777 9-4444444
10 9-1000000
MENU NEXT
<Example>
To select Panasonic
1234567890
111
0987654321
000111222333
100200300400500
MENU CLR
Calling using names
and numbers stored
at your extension
(Station Speed
Dialling)*
Redialling using
one of the last five
outside call
numbers
(Outgoing Call Log)
Calling an intercom
call using the
directory
(Extension Dialling)
Operating the various
features
(System Feature Access)
Calling using names
stored in the system
(System Speed Dialling)
< Initial Display >
VOLUME
OR
Press NEXT, PREV or
/ button until Beth
appears.
Press NEXT, PREV or
/ button until Beth
appears.

2.9 Using the Display Proprietary Telephone
Operation 121
Storing the names and numbers for station speed dialling
99
To continue
Press
PROGRAM.Dial 99 .Press STORE.Press PROGRAM.
To exit
AUTO DIAL
STORE
PROGRAM
PROGRAM
T7433
Enter station speed
dial number (0-9).
station speed
dial no.
To programme
For the desired no. *1
For the name *2
Enter desired number
(max. 16 digits).
Enter name
(max. 10 characters).
Press “NEXT.”
desired no.
name
NEXT
To enter the programme mode
input

2.9 Using the Display Proprietary Telephone
122 Operation
Display feature list
You can access the following features. These displays can be shown by rotating the Jog Dial or
pressing the NEXT or PREV button after selecting "Features." For their operation, see the
respective operating instructions in the list below.
*1
*2
" ," "#," FLASH, PAUSE, SECRET (INTERCOM) and — (CONF) can also be stored.
To enter characters, refer to "Character Entry" in 2.9.4 Using the KX-T7433, KX-T7436
or KX-T7235.
Display
(KX-T7436/KX-T7235) Display
(KX-T7433) Feature Description
Absent MSG Off ABST MSG Off Cancel the absent message. Refer to
2.5.2 Showing an Absent Message
on the Caller's Telephone Display
(Absent Message Capability).
Absent MSG On ( 1-9) ABST MSG On 1-9 Set an absent message. Refer to
2.5.2 Showing an Absent Message
on the Caller's Telephone Display
(Absent Message Capability).
C.Pickup Group C.Pickup GRP Pick up a call within your extension
group. Refer to 2.3.3 Answering a
Call Ringing at Another Telephone
(Call Pickup).
99
For the desired no. *1
For the name *2
To continue
input
Enter desired number
(max. 16 digits).
Enter name
(max. 10 characters).
Press
PROGRAM.Dial 99.Press function.
Press “NEXT.”
Press STORE. Press PROGRAM.
To exit
To programme
To enter the programme mode
desired no.
name
AUTO DIAL
STORE
(function)
PROGRAMPROGRAM
NEXT
T7436 / T7235

2.9 Using the Display Proprietary Telephone
Operation 123
Call Park ( 0-9) Call Park 0-9 Place a call on hold in a system
parking area. Refer to
2.4.1 Holding a Call.
Extrn BGM On/Off Ext-BGM On/Off Turn on/off the background music.*
Refer to 3.2.2 Turning on the
External Background Music.
LCS Password ( abcabc) LCS # abcabc Assign the password for the Live Call
Screening feature. Refer to 2.8.3 If
a Voice Processing System is
Connected.
Login/Logout ( 1/0) Login/out 1/0 Join or leave the call receiving group.
Refer to 2.5.4 Leaving a Call
Distribution Group (Log-In / Log-
Out).
Message Off ( ext) MSG Off ext Cancel a notification. Refer to
2.2.4 When the Dialled Line is Busy
or There is No Answer.
Message On ( ext) MSG On ext Leave a notification so that the called
party may call you back. Refer to
2.2.4 When the Dialled Line is Busy
or There is No Answer.
Night On/Off ( 1/0) Night Mode 1/0 Change the night service mode;
night (On) or day (Off).* Refer to
3.2.1 Day / Night Service.
OGM Playback ( 1-4) OGM Play 1-4 Playback the outgoing message.*
Refer to 3.2.3 Recording Outgoing
Messages.
OGM Recording ( 1-4) OGM Record 1-4 Record an outgoing message.* Refer
to 3.2.3 Recording Outgoing
Messages.
Page-Ext Answer ( 1-4) Page-E ANS 1-4 Answer the paged announcement
through a speaker. Refer to
2.3.4 Answering a Call via an
External Speaker (Trunk Answer
From Any Station [TAFAS]) and
2.6.3 Answering a Paged
Announcement.
Page-GRP Answer Page-GRP ANS Answer the paged announcement
through a telephone in the same
extension group. Refer to
2.6.3 Answering a Paged
Announcement.
Paging External ( 0-4) Page Extrn 0-4 Page through the speaker. Refer to
2.6.1 Paging.
Display
(KX-T7436/KX-T7235) Display
(KX-T7433) Feature Description

2.9 Using the Display Proprietary Telephone
124 Operation
Call Forwarding/Do Not Disturb feature:
You can also access the Call Forwarding and Do Not Disturb features. Go off-hook and press the
FWD/DND button. You will see the following displays. For their operation, see the respective operating
instructions. The KX-T7436 and the KX-T7235 users only use this display operation.
Paging Group ( 0-8) Page GRP 0-8 Page to all or a particular extension
group.
Refer to 2.6.1 Paging.
Parallel On/Off ( 1/0) Parallel 1/0 Set whether a single line telephone
connected in parallel will ring (On) or
not (Off) when receiving a call. Refer
to 2.7.10 Setting the Parallel
Connected Telephone Ringer
(Parallelled Telephone).
* The message is useful for the operators only.
Display
(KX-T7436/KX-T7235) Display
(KX-T7433) Feature Description
MENU PREV NEXT
FWD/DND Cancel
Do Not Disturb
FWD-All Calls 0-2+ext
FWD-Busy 0-2+ext
FWD-No Answer 0-2+ext
MENU PREV NEXT
FWD-BSY/NA 0-2+ext
FWD-CO Line 0-2+dial
FWD-From ext
FWD-From Cancel ext

Operator Operation 125
Section 3
Operator Operation
This chapter shows the operators how to control the
extensions or the system. Your system supports up to
two operators. Your system supports up to two
operators.

3.1 Extension Control
126 Operator Operation
3.1 Extension Control
3.1.1 Changing the Settings
* To assign all extensions, press the " " key.
Programming Input
Unlocking or locking any
extension (Remote Station
Lock Control) X=1 : Unlock
2 : Lock outside calls
3 : Lock intercom calls except operator call
extension no.*
extension no.*
extension no.*
Item
Unlocking the call log
(Incoming Call Log Lock
Control)
Clearing the Live Call
Screening Password (Live
Call Screening Password
Control)
99
OR
Press PROGRAM
or PAUSE.Press PROGRAM
or PAUSE.
Press STORE.Dial 99. Enter programming
input.
To continue
To exit
To programme
To enter the programme mode
programming
input
PAUSE
PROGRAM
OR
PAUSE
PROGRAM
AUTO DIAL
STORE
1 X0
30
7

3.2 System Control
Operator Operation 127
3.2 System Control
3.2.1 Day / Night Service
You can change the Day/Night mode at any time.
Press Night.
PT
(Night)
Off-hook. Dial 1 to night or 0 to day.
to Night
to Day
1
0
Dial 78.
7 8
On-hook.
OR
PT / SLT
C.Tone
Rotate Jog Dial until
“Night Mode” is at the arrow.
Press SHIFT until
“FEAT” is displayed.
Press
“
FEAT.
”
T7433
FEAT
SHIFT
Night Mode 1/0
OGM Play 1-4
MENU
Press “SEL.”
→
SEL
Dial 1 to night or 0 to day.
to Night
to Day
1
0
On-hook.
OR
C.Tone

3.2 System Control
128 Operator Operation
• The Night button alternates the setting between Day and Night modes.
•To confirm the current mode, press the "#" key while on-hook.
• The Night button light shows the current status as follows:
Off: Day mode
Red: Night mode
Customising Your Phone
• 4.1.3 Customising the Buttons
Create or re-arrange a Night button.
T7436 / T7235
Rotate Jog Dial or
press “NEXT” until the
following is displayed.
Features
NEXT
OR
C.Tone
On-hook.
Press “Features.” Press “Night On/Off.” Dial 1 to night or 0 to day.
to Night
to Day
1
0
OR
Night On/Off (→1/0)

3.2 System Control
Operator Operation 129
3.2.2 Turning on the External Background Music
You can broadcast background music in the office through external speakers.
To start / stop background music
Off-hook. Dial 35.
3 5
On-hook.
PT / SLT
C.Tone
Rotate Jog Dial until
“Ext-BGM On/Off”
is at the arrow.
Press SHIFT until
“FEAT” is displayed.
Press “FEAT.”
T7433
FEAT
SHIFT
On-hook.
C.Tone
Ext-BGM On/Off
LCS # abcabc
MENU
Press “SEL.”
→
SEL
T7436 / T7235
Rotate Jog Dial or
press “NEXT” until the
following is displayed.
Features
NEXT
OR
C.Tone
On-hook.
Press “Features.”
Extrn BGM On/Off
Press “Extrn BGM On/Off.”

3.2 System Control
130 Operator Operation
3.2.3 Recording Outgoing Messages
DISA messages (OGM 1 and 2): Used for the greeting message or guidance when an external party
calls your company to access an extension or external party without any operator assistance. (Refer
to 2.2.8 To Access Another Party Directly from Outside (Direct Inward System Access [DISA]).)
Timed Reminder message (OGM 3): Often used as wake-up call which is played when answering
the Timed Reminder alarm.
UCD (receiving group) messages (OGM1-4): Used for the greeting message or guidance when an
external party calls your company to access an extension without any operator assistance. Up to four
different UCD messages can be recorded.
You can also play back the recorded message for confirmation.
To record
On-hook.
Record
message.
Off-hook.
6 13
Dial 361. Enter OGM
nubmer (1-4).
OGM no.
The message
is played back.
PT / SLT
C.Tone
C.Tone C.Tone
Press STORE.
AUTO DIAL
STORE
Rotate Jog Dial until
“OGM Record” is
at the arrow.
Press SHIFT until
“FEAT” is displayed.
Press “FEAT.”
T7433
FEAT
SHIFT
OGM Record 1-4
Page-E ANS 1-4
MENU
Press “SEL.”
→
SEL
On-hook.
Record
message.
Enter OGM
nubmer (1-4).
OGM no.
The message
is played back.
C.Tone C.Tone C.Tone
Press STORE.
AUTO DIAL
STORE

3.2 System Control
Operator Operation 131
To record (contd.)
To play back
T7436 / T7235
Rotate Jog Dial or
press “PREV” until the
following is displayed.
Features
PREV
OR
Press “Features.”
On-hook.
Record
message.
Enter OGM
nubmer (1-4).
OGM no.
The message
is played back.
C.Tone C.Tone C.Tone
Press “OGM Recording.”
OGM Recording (→1-4)
Press STORE.
AUTO DIAL
STORE
The message
is played back.
Off-hook. On-hook.
6 23
Dial 362.Enter OGM
number (1-4).
OGM no.
PT / SLT
C.Tone C.Tone
Rotate Jog Dial until
“OGM Play” is at the arrow.
Press SHIFT until
“FEAT” is displayed.
Press “FEAT.”
T7433
FEAT
SHIFT
OGM Play 1-4
OGM Record 1-4
MENU
Press “SEL.”
→
SEL
The message
is played back.
On-hook.
Enter OGM
number (1-4).
OGM no.
C.Tone C.Tone

3.2 System Control
132 Operator Operation
To play back (contd.)
•To stop recording or playing back, press the AUTO DIAL / STORE button.
•Message recording limit
The total length must be under sixty four seconds or less. (Default: 32 seconds for OGM 1
and 3 and 0 second for OGM 2 and 4)
• The optional unit or card is necessary to utilise this feature.
T7436 / T7235
Rotate Jog Dial or
press “PREV” until the
following is displayed.
Features
PREV
OR
Press “Features.” Press “OGM Playback.”
The message
is played back.
On-hook.
Enter OGM
number (1-4).
OGM no.
C.Tone C.Tone
OGM Playback (→1-4)

3.2 System Control
Operator Operation 133
3.2.4 Using the ANSWER / RELEASE Button [KX-T7441 only]
The ANSWER and RELEASE buttons on the Console are convenient for operators using headsets.
With the ANSWER button, you can answer all incoming calls to the paired telephone.
With the RELEASE button, you can disconnect the line during or after a conversation, or complete
transferring a call.
To answer
To transfer a call
To transfer an outside call to an extension with one-touch
Press ANSWER.Talk.
PT & T7441
ANSWER
Press TRANSFER. Press RELEASE.
PT & T7441
During a conversation with the headset or hands-free mode
Enter desired
number or press DSS.
desired no.
OR
(DSS)
The party
answers.
TRANSFER
RELEASE
Press DSS. Press RELEASE.
PT & T7441
During a conversation with the headset or hands-free mode
The party
answers.
RELEASE
The other party is placed on hold and the
destination extension is called immediately.
(DSS)

3.2 System Control
134 Operator Operation
3.2.5 Hotel Use Features [KX-T7436, KX-T7235 only]
— Check-in / check-out
— Setting the alarm for other extensions
Check-in / check-out
The check-in mode activates the primary service mode and automatically clears the charge counter.
The check-out mode activates the secondary service mode and prints out the charge counter, minibar
and other expenses.
Changing the room status can be done by the operator and also by the telephone in a guest room.
To check-in
To check-out when the printer is connected
OR
T7436 / T7235
Check in
Press “END.”
END
Enter extension
number or press DSS.
Enter extension
number or press DSS.
extension no.
Press “Check in.”Press “Hotel.” Press “YES” or “NO.”
YES
NO
OR
Hotel
(DSS)
Press
“
END.
”
END
Hotel
Press “Hotel.”
Check out
Press “Check out.”
T7436 / T7235
Press “END.”
END
Enter extension
number or press DSS.
extension no.
OR
Press “YES” or
“NO.”
YES
NO
OR
(DSS)
Minibar
Others
Press “Minibar.”
Press “Others.” Enter Other charges.
other
charges
Press
“
PRINT.
”
PRINT
Minibar
charge
Enter the charge.

3.2 System Control
Operator Operation 135
To check-out when the printer is disconnected while confirming the display
To change the room status from the operator after check-out
Press
“
END.
”
END
Hotel
Press “Hotel.”
Check out
Press “Check out.”
T7436 / T7235
Press
“
END.
”
END
Enter extension
number or press DSS.
extension no.
OR
Press “YES” or
“NO.”
YES
NO
OR
other
charges
Telephone
Minibar
Others
Press “Telephone.”
Press “Minibar.”
Press “Others.” Enter other charges.
(DSS)
Minibar
charge
Telephone
charge
Enter the charge
.
Enter the charge
.
Press
“
END.
”
END
Hotel
Press “Hotel.”
Room status
Press “Room status.”
T7436 / T7235
Press
“
END.
”
END
Enter extension
number or press DSS.
extension no.
OR
Press “RDY” for READY
or “NRDY” for NOT READY.
RDY
NRDY
OR
(DSS)

3.2 System Control
136 Operator Operation
To change the room status at a telephone in a guest room cleaned up after check-out
• It is possible to charge the minibar or other expenses or to change the expenses. In this
case, enter the revised charge after pressing the appropriate button.
• There are two types of check-out mode, ready or not ready (cleaned up or not).
• The check-out operation by the operator automatically changes the room status from check-
in to check-out (not ready) mode.
• The system can store check-out information for 1000 calls. If over 900 calls are stored, the
information of the room which made the most calls is automatically printed out. To
distinguish this from formal check-out sheet, "**" is printed after the room number.
Ex. [Room : 201 **]
On this room's formal check-out sheet, "Call amount" will show the number of calls which
have been printed out beforehand.
Ex. [01/01/99 12:05 AM 201 Call amount : 25]
You can confirm on the telephone display as follows:
< Example >
• When you print out the information, the printer must be connected and its Flow Control must
be assigned to "XON/XOFF."
• The DSS button light shows the current status as follows:
Red on: Check-in
Off : Check-out (ready)
Flashing red: Check-out (not ready)
Off-hook. On-hook.
637
Dial 736.
PT / SLT
C.Tone
END PREV PRINT
Check out Room: 201
Minibar 25.00
Others 12.50
END PREV PRINT
Check out Room: 201
Telephone 100.00
Minibar 25.00
Others 12.50
When the printer is connected: When the printer is not connected:

3.2 System Control
Operator Operation 137
Data similar to below is printed out.
There are other useful Hotel Features as follows:
• After check-in, a guest can make an outside call.
After check-out, a guest cannot make an outside call.
• When check-out, "Total" includes the telephone margin.
To enter the margin, consult your manager or dealer.
• To inform the message has been left, the Message button light turns on or ringing starts at
a single line telephone in a guest room.
If a Voice Processing System is connected, a guest can hear the message which is stored
in a mailbox.
• A guest can access the extension simply by pressing one digit number.(e.g. room service)
• An operator can deny making an intercom call from a guest room to prevent a prank call.
Check in : Jan.30.99 17:30
**************************************
* Check Out Sheet *
**************************************
Check out : Jan.31.99 00:15
Room : 201
Telephone
01/30/99 06:00PM 201 01 4812134
01/30/99 06:30PM 201 01 4775678
01/30/99 07:21PM 201 01 4905100
00:00'52
00:00'30
00:00'44
46.23 KC
23.00 KC
30.77 KC
Minibar
Others
100.00
25.00
12.50
137.50KC
Total

3.2 System Control
138 Operator Operation
Setting the alarm for other extensions (Wake-up Call)
The operator can remotely set / cancel the alarm for a desired extension. If the Alert button on
Operator 1's extension turns red, it indicates that a guest has not responded to the wake-up call.
To set
To cancel
To view the setting
On-hook.
Off-hook.
17
Dial 7 1.
Dial 0 for one time
or 1 for daily.
One Time
Daily
0
1
Dial 0 for AM
or 1 for PM.
AM
PM
Enter hour (01-12)
and minute (00-59).
hour / minute
Enter extension
number or press DSS.
OR
0
1
OR
T7436 / T7235
C.Tone
extension no.
OR
(DSS)
Off-hook. On-hook.
07
Dial 7 0.Enter extension
number or press DSS.
T7436 / T7235
C.Tone
extension no.
OR
(DSS)
Off-hook. On-hook.Enter extension
number or press DSS.
27
Dial 7 2.
extension no.
OR
T7436 / T7235
(DSS)

3.2 System Control
Operator Operation 139
To confirm the room number unanswered timed reminder alert
To call back the unanswered room
• A voice message can be recorded by the operator if required. (Refer to 3.2.3 Recording
Outgoing Messages.)
• The alarm rings three times (30 seconds each) in a sixty seconds interval (Default).
• An Alert button can be assigned on the operator 1's telephone only.
• The detailed timed reminder information is recorded and printed out automatically by SMDR
when the timed reminder starts and is not answered.
•If the daily alarm is set, the display shows "*" in the corner.
Customising Your Phone
• 4.1.3 Customising the Buttons
Create or re-arrange an Alert button.
T7436 / T7235
Press Alert.
Press “CLR”
to
clear.
CLR
Press “MENU”
to
exit.
MENU
Press
Alert to
go to
the next unanswered extension.
(Alert)
Unanswered
extension number
is displayed.
(Alert)
Press Alert.
Off-hook.
T7436 / T7235
(Alert)
Alarm 10:10AM*

3.2 System Control
140 Operator Operation

Customising Your Phone & System 141
Section 4
Customising Your Phone
& System
This chapter shows you how to customise your
individual telephone or system according to your needs.
Find the desired setting and program as necessary.

4.1 Customising
142 Customising Your Phone & System
4.1 Customising Your Phone (Station
Programming)
4.1.1 Customising Your Phone (Station Programming)
If you use a Panasonic proprietary telephone (e.g. KX-T7436), you can customise your telephone
functions. For example, you can change the initial settings or button functions according to your
needs.
• If you change your desks and the extension line, clear all settings first. The old settings will
remain in the previous extension user's memory.

4.1 Customising
Customising Your Phone & System 143
4.1.2 Initial Settings
The original settings are shown in bold letters in the shaded boxes. Find and mark your desired
selections for programming.
• If nothing is entered within one minute in the programming mode, the mode returns to the
normal status.
• To exit the mode at any time, lift the handset.
Pressing the One-Touch
Dialling button.
Which line do you prefer to
seize when you go off-hook
to make calls?
(Preferred Line Assignment
– Outgoing)
Item Selection Programming Input
No line
An idle outside line
A pre-assigned outside line
No line
Which line do you prefer to
seize when you go off-hook
to receive calls?
(Preferred Line Assignment
– Incoming) A pre-assigned outside line
A ringing line
The Intercom line
Which way do you prefer to
dial the One-Touch Dialling
feature?
(Full One-Touch Dialling
Assignment)
Going Off-hook and then pressing
the One-Touch Dialling button.
(01–54)
Outside line no.
(01–54)
Outside line no.
99
OR
Press PROGRAM
or PAUSE.Press PROGRAM
or PAUSE.
Press STORE.Dial 99. Follow programming
input.
To continue
To exit
To programme
To enter the programme mode
programming
input
PAUSE
PROGRAM
OR
PAUSE
PROGRAM
AUTO DIAL
STORE
INTERCOM
1 1
1 2
1 3
1
2 1
2 2
2 3
3 1
3 2

4.1 Customising
144 Customising Your Phone & System
To confirm the current setting
To clear all settings
Item Selection Programming Input
Ringing
Which way do you prefer to
receive an intercom call?
(Intercom Alert Assignment) Directly – the party’s voice is
heard without ringing.
No. Use the same tone.
Do you prefer to distinguish the
Call Waiting tone from an outside
line and an intercom call?
(Call Waiting Tone Type Selection)
Yes. Use a different tone.
Handset
Which equipment will you
use as a receiver?
(Handset/Headset Selection) Headset
You can monitor the message
through the telephone speaker.
(Hands-free mode)
Which voice mail service do
you prefer when a caller is
recording a message in your
mailbox?
(Live Call Screening Mode Set)
Only an alert tone is heard.
(Private mode)
14
24
15
25
19
29
1 1
1 2
Press PROGRAM
or PAUSE.Press PROGRAM
or PAUSE.
Press HOLD.
99
Dial 99. Enter programming input,
except for suffix number.
programming input,
except for suffix no.
To continue
OR
PAUSE
PROGRAM
OR
PAUSE
PROGRAM
HOLD
Press PROGRAM
or PAUSE.Press PROGRAM
or PAUSE.
Press STORE.
99
Dial 99#.
OR
PAUSE
PROGRAM
OR
PAUSE
PROGRAM
AUTO DIAL
STORE

4.1 Customising
Customising Your Phone & System 145
4.1.3 Customising the Buttons
You can change the flexible CO buttons, DSS buttons and programmable function (PF) buttons to the
following function buttons. For example, if your telephone has more CO buttons than available outside
lines, you may change an unused CO button to a one-touch dialling button.
Live Call Screening*2
Button
Programmable Button
Programming Input
CO
Loop-CO
#
Group-CO
1
Direct Station Selection (DSS)
2
One-Touch Dialling
3
MESSAGE
4
FWD/DND (Forward/Do Not Disturb)
5
SAVE
6
Account
7
CONF (Conference)
80
Log-In/Log-Out
88
Phantom Extension
DSS PF
(max. 16 digits)
(1–8)
0
Single-CO (01–54)
8
Voice Mail Transfer*2
83
Two-Way Record*2
84
Two-Way Transfer*2
85
2
8
8
6
7
Live Call Screening Cancel*2
Alert
Outside line group no.
Outside line no.
Extension no.
Desired no.*1
Voice mail extension no.
Receiving group no.
Voice mail extension no.
Voice mail extension no.
Phantom extension no.
89
ISDN Service
8
Night
*3
Press PROGRAM
or PAUSE.Press PROGRAM
or PAUSE.
Press STORE.Dial 99. Press CO,
DSS or PF.Follow
programming
input.
programming
input
To exit
To programme
To enter the programme mode
To continue
99
OR
PAUSE
PROGRAM
OR
PAUSE
PROGRAM
AUTO DIAL
STORE
(CO, DSS, PF)

4.1 Customising
146 Customising Your Phone & System
To distinguish the ringing tones for each CO button (Digital proprietary
telephone only)
To set a phantom extension ringing or not (Digital proprietary telephone
only)
•*
1
" ," "#," FLASH, PAUSE, SECRET (INTERCOM) and — (CONF) can also be stored.
KX-T7220 and KX-T7250 telephone users can use the PROGRAM button instead of the
PAUSE button.
If you do not want to display the stored number, press the SECRET (INTERCOM) button
before and after the numbers you wish to conceal.
If you store an external party's number, you should first store a line access number (9, 81
to 88).
If you need to enter an account code, you can enter the specified account code before the
line access number.
<Example>
•*
2
This button is used for the voice mail integration feature.
•*
3
Availability of this button depends on the ISDN service of your telephone company.
Refer to 2.2.6 Accessing the ISDN Network Service (ISDN Network Service Access).
•To exit the mode at any time, lift the handset.
Account code feature no.
49
Account code
1234
Account code delimiter
#
Automatic line
access number
9
Phone number
SECRET
[ 123 4567 ]
Press
PROGRAM.Press
PROGRAM.
99
Dial 99. Press CO. Press CO. Press STORE.Enter tone type
number (1-8).
tone type no.
To continue
PROGRAM PROGRAM
R.Tone
AUTO DIAL
STORE
(CO)(CO)
Press
PROGRAM.Press
PROGRAM.
Press STORE.
PROGRAM PROGRAM
AUTO DIAL
STORE
(Phantom)(Phantom)
Dial 2 for on
or 1 for off.
On
Off
2
1
OR
Press
Phantom.Press
Phantom.
99
Dial 99.

4.1 Customising
Customising Your Phone & System 147
To clear the button data
Press PROGRAM
or PAUSE.Press PROGRAM
or PAUSE.
Press STORE.
9
9
Dial 99.
2
Dial 2.Press CO,
DSS or PF.
To continue
OR
PAUSE
PROGRAM
OR
PAUSE
PROGRAM
AUTO DIAL
STORE
(CO, DSS, PF)

4.1 Customising
148 Customising Your Phone & System
4.1.4 Charge Fee Management [Pre-assigned extension only]
• If you return to the initial display after programming input, press the HOLD button instead
of the REDIAL button.
Item Programming Input
Viewing each extension charge. SEL
SEL
Extension no.
Clearing each extension charge. CLR
Extension no.
Viewing each outside line charge. SEL
Outside line no.
Viewing the total charge. SEL
Viewing each account code charge.
SEL SEL
SEL SEL
Account table no.
Clearing each account code charge.
Clearing all outside line and account
code charges.
Clearing all extension charges.
CLR
Printing the total telephone charge
(each outside line and account code
charge), all extension charges or
each extension charge by SMDR. Extension no.
Assigning an account code. CLR
Account table no.
(01–54)
(001–128)
(001–128)
New account code
(max.10 digits)
CLR
Account table no. (001–128)
Displays the last
clearing date and time.
[]
NEXT CLR
Displays the last
clearing date and time.
total telephone charge
all extension charges
each extension charge
[]
New rate (1-8 digits)
Assigning a new rate.
Dial 8.Follow
programming
input.
programming
input
To exit
To programme
To enter the programme mode
To continue
Enter ID code
(4 digits).
ID code
Press
REDIAL.
Dial 99.
99 8
Press
PROGRAM
or PAUSE.
OR
PAUSE
PROGRAM
Press
PROGRAM
or PAUSE.
OR
PAUSE
PROGRAM
REDIAL
1
1
2
3
4
4
5
6
6
7 1
7 2
7 3
8
AUTO DIAL
STORE
AUTO DIAL
STORE
AUTO DIAL
STORE
AUTO DIAL
STORE
AUTO DIAL
STORE
AUTO DIAL
STORE

4.2 Customising
Customising Your Phone & System 149
4.2 Customising Your System (System
Programming)
4.2.1 Programming Information
You can customise your system according to your application. You can control telephone conditions
for each extension, extension group, Class of Service, etc. For example, you can restrict some
extensions from calling external parties. Furthermore, the programmed data, such as system speed
dialling, can be used by all extensions.
Your system already has default settings (factory installed). Most of the programming is done by your
dealer. Consult your dealer about system applications and re-programming according to your needs.
Only frequently changed programming items (User Programming) are shown in this manual. If you
would like to change the following features, extensions which meet certain conditions can re-
programme them at any time.
The available programming is shown below. (Programme number)
• The date and time (000)
• System speed dialling numbers and names (001/002)
• Extension number and name (003/004)
Required Telephone
A Panasonic Proprietary Telephone with display (e.g. KX-T7433, KX-T7436)
User Password
To enter the programming mode, a user password (4-7digits) is required. It should be programmed
through system programming beforehand. Check your password (Default:1234).
Conditions
Only one extension, which is on-hook and holding no calls, is available at one time. If another
extension is programming, "Another Use" is displayed.
List
Before programming, decide your selections and write them down in the list for each programming
item. These are useful for easy programming and future reference. Your dealer also has programming
tables which contain all of the assignments. You may ask for photo copies of these tables to be aware
of the features /conditions available.
Overlay / Button Function
The overlay is a paper sheet which is included with the telephone.
In the programming mode, the button functions are different. The overlay shows the functions in the
programming mode. Place the overlay on the telephone properly.
If your telephone display shows the necessary functions, the overlay may be not required.

4.2 Customising
150 Customising Your Phone & System
Display
The display gives you useful messages about programming. The multiple-line display also shows the
available functions. Follow the message at each step. This is a display sample in the initial
programming mode.
The message line guides you through programming and lets you confirm your selection. For example,
when "Jack No? " is displayed, enter the jack number. The display shows up to 16 characters at
a time. To scroll the display, press or . The function line shows you the function of the Soft button
located below it. When the SHIFT button light beside the display is on, subtitles are available.
Press the SHIFT button to confirm the available functions.
Jack Number / Extension Number
Certain programming is assigned to each jack number. The jack number is where your telephone
connects to the system. If two telephones share one jack and have their own extension number (eXtra
Device Port [XDP]), the jack number is determined as Jack XX-1 for a proprietary telephone and Jack
XX-2 for a single line telephone. The display may show XX-2, even if an extension has not set XDP.
If you do not know the jack number or extension number, check it as shown on the next page.
KX-T7436 with the overla
y
5
8
0
2
2ABC
5JKL
8TUV
0., :;
3DEF
6MNO
9WXY
#$%&@( )
6
9
3
,
SECRET
PROGRAM
PAUSE CLEAR
1
4
7
1QZ!?
4GHI
7PRS
/+–=< >
ENDPREV NEXT
SELECTFLASH
STORE
Message Line
Function Line
Multiple line type
(The last two lines)
Soft buttons
One line type
USR-PGM NO?→USR-PGM NO?→
CLR NEXT
SHIFT

4.2 Customising
Customising Your Phone & System 151
Confirmation
To confirm your entry after storing data;
• The STORE button light: Lights red.
• Confirmation Tone:
— One beep: Your entry is accepted.
— Three beeps: Your entry is rejected.
Icon Descriptions
Icons are given to guide you through programming. The following is an example of how the icons may
be used:
Enter the programme number. (xxx= the specified number)
Press the corresponding button on the telephone or the Soft button which
corresponds to the display.
<Example>
: "NEXT" is displayed.
In this case, both of the following methods are available:
• Press the NEXT ( ) button.
• Press the Soft button which corresponds to "NEXT" shown on the display.
()
The display messages "SEL+, SEL- and SEL" mean "SELECT."
"CLR" means "CLEAR."
Press the button until the desired entry appears.
Enter your selection.
<Example>
: "Jack no." is displayed. Enter the jack number.
Press PROGRAM
or PAUSE.Press PROGRAM
or PAUSE.
After confirmingIf you do not know the jack number
9 69
Dial 996.
OR
PAUSE
PROGRAM
OR
PAUSE
PROGRAM
END
Press END.
XXX
NEXT

4.2 Customising
152 Customising Your Phone & System
Procedure
The basic steps are shown below.
1.
Entering the programming mode
2.
Programming
•To delete or change an entry, press CLEAR (TRANSFER).
•To confirm your entry after storing data:
— The STORE button light: Lights red.
— Confirmation Tone:
One beep: Your entry is accepted.
Three beeps: Your entry is rejected.
•To exit the programming mode at any time, lift the handset.
Dial . Enter user password.
Press PROGRAM
or PAUSE.
user password
OR
PAUSE
PROGRAM
END
NEXT STORE
SELECT
PREV
your entry
programme no.
Enter programme
number (3 digits). Press NEXT. Enter your entry Press STORE. Press END.
Press SKP+. Press SKP-.
NEXT
SKP+SKP–
Press SELECT.
Press NEXT. Press PREV.
OR
OR
To continue programming
To continue entering selections
To end
To go to the next/previous programme or entry.
To enter the desired programme or entry.

4.2 Customising
Customising Your Phone & System 153
3.
Exiting the mode
Character Entry
Entering characters
• Press the desired character key.
• Press the matching Soft button, press the SELECT (AUTO ANSWER) button or rotate the Jog Dial
as needed.
• Repeat the appropriate steps for the remaining characters.
When storing a name or message, enter the characters as follows. The
tables on the next page show you the characters available for each key.
You can enter letters by pressing the alphanumeric keys on your
telephone.
Example: Key 2 can enter A, a, B, b, C or c.
•To erase the last letter, press the (CONF) button.
•To erase all letters, press the CLEAR (TRANSFER) button.
•To alternate between capital and lower case letters, press the SHIFT button. Once this
button is pressed, the mode remains until the SHIFT button is pressed again.
Press PROGRAM
or PAUSE.
OR
PAUSE
PROGRAM
ABC
A,a
B,b
C,c
2

4.2 Customising
154 Customising Your Phone & System
Combination Table 1
Combination Table 2
1 1 Q q R r S s T t ···
2 2 A a B b C c D d ···
3 3 D d E e F f G g ···
4 4 G g H h I i J j ···
5 5 J j K k L l M m ···
6 6 M m N n O o P p ···
7 7 P p Q q R r S s ···
8 8 T t U u V v W w ···
9 9 W w X x Y y Z z (space) ···
0 0 (space) ! ? . , ’ : ; ···
* / + – = < > # $ ···
# # $ % & @ ( ) A a B b ···
keys
Jog Dial
Display sequence by rotating the Jog Dial
01234567 8
11QqZz!?
2 2AaBbCc
3 3DdEeF f
44GgHhIi
55JjKkLl
6 6MmNnOo
7 7PpQqRrS s
88TtUuVv
9 9WwXxYyZ z
0 0 (space) . , ’ : ;
*/ +–=<>
##$%&@()
SHIFT & Soft button
keys
S1
SHIFT+S1
S2
SHIFT+S2
S3
SHIFT+S3 SHIFT+
SHIFT+S1
SHIFT+
SHIFT+S2
SELECT button
pressing
times

4.2 Customising
Customising Your Phone & System 155
<Example> To enter "Ann,"
An n
– Using a soft button.
–
Using the SELECT button.
266
2
CBA onm onm
6
SHIFT
6
6
– Using the Jog Dial
26
until “A” is
displayed. until “n” is displayed. until “n” is displayed.
SELECT SELECT SELECT SELECT SELECT SELECT SELECT SELECT SELECT

4.2 Customising
156 Customising Your Phone & System
4.2.2 Date and Time Set (000)
After setting the current date and time, the proprietary telephone displays the current date and time
while on-hook.
Default : '95 Jan. 1 SUN 0:00 AM
•After changing the desired entries, you can press the STORE button. You do not have to
perform the rest of the steps.
• The clock starts immediately after the STORE button is pressed.
• You cannot leave an entry empty.
• The clock is automatically adjusted in case of ISDN.
0 00
Dial 000. Press NEXT.
NEXT
Enter year
(00-99).
year
Press . Press .Select month
(Jan.-Dec.).
SELECT
Enter day
(1-31).
day
Select
AM or PM.Press STORE.
STORE
Press END.
END
Select day
of the week
(SUN-SAT).
SELECT
Press NEXT.
NEXT
Enter hour
(1-12).
hour
Enter minute
(00-59).
minute
Press .Press .
Press .
To end
Press STORE.
STORE
SELECT

4.2 Customising
Customising Your Phone & System 157
4.2.3 System Speed Dialling Number Set (001)
You can store the phone numbers of up to 500 frequently dialled numbers.
Default : No entry
<Example>
• The System Speed Dialling numbers are used for the call identification. For a proper operation,
a hyphen must be inserted after the line access number. Additionally, the area code must be
stored always (even for local numbers in the same area).
• The programming list is to refer to "Programming List for 001/002" in 4.2.4 System Speed
Dialling Name Set (002). The directory is to refer to "System Speed Dialling" in
6.3.1 Directory.
• If the desired number is more than 24 digits, divide the number and store it into two or more
speed dial numbers.
• " ," "#," FLASH, PAUSE, SECRET (INTERCOM) and — (CONF) can also be stored.
If you do not want to display the stored number, press the SECRET (INTERCOM) button
before and after the numbers you wish to conceal.
If you store an external party's number, you should first store a line access number (9, 81
to 88).
If you need to enter an account code, you can enter the specified account code before the
line access number.
0 10
Press NEXT.Dial 001.
NEXT
Press STORE.Enter speed dial
number (000-499). Enter phone number
(max. 24 digits).
STORE
Press END.
END
speed dial no. phone no.
SELECT
PREVNEXT
Press SELECT.
Press NEXT. Press PREV.
OR
To continue
To end
Account code feature no.
49
Account code
1234
Account code delimiter
#
Automatic line access number
9
Phone number
SECRET
[ 1 201 123 4567 ]

4.2 Customising
158 Customising Your Phone & System
4.2.4 System Speed Dialling Name Set (002)
You can store the corresponding name of the speed dialling number. These names are displayed
when making call with the display operation. (See "How to Use the Display" (Operation).) To enter
characters, refer to "Character Entry" in 4.2.1 Programming Information.
Default : No entry
• The programming list is to refer to "Programming List for 001/002" in 4.2.4 System Speed
Dialling Name Set (002). The directory is to refer to "System Speed Dialling" in
6.3.1 Directory.
0 20
Press NEXT.Dial 002.
NEXT
Press STORE.Enter speed dial
number (000-499). Enter name
(max. 10 characters).
STORE
Press END.
END
speed dial no. name
SELECT
PREVNEXT
Press SELECT.
Press NEXT. Press PREV.
OR
To continue
To end

4.2 Customising
Customising Your Phone & System 159
Programming List for 001/002
Speed
dial no.
000
001
002
003
004
005
006
007
008
009
010
011
012
013
014
015
016
017
018
019
020
021
022
023
024
025
026
027
028
029
030
031
032
033
034
035
036
037
038
039
040
041
042
043
044
045
Name Phone no.
Speed
dial no.
Name Phone no.
046
047
048
049
050
051
052
053
054
055
056
057
058
059
060
061
062
063
064
065
066
067
068
069
070
071
072
073
074
075
076
077
078
079
080
081
082
083
084
085
086
087
088
089
090
091

4.2 Customising
160 Customising Your Phone & System
Speed
dial no.
092
093
094
095
096
097
098
099
100
101
102
103
104
105
106
107
108
109
110
111
112
113
114
115
116
117
118
119
120
121
122
123
124
125
126
127
128
129
130
131
132
133
134
135
136
137
Name Phone no.
Speed
dial no.
Name Phone no.
138
139
140
141
142
143
144
145
146
147
148
149
150
151
152
153
154
155
156
157
158
159
160
161
162
163
164
165
166
167
168
169
170
171
172
173
174
175
176
177
178
179
180
181
182
183

4.2 Customising
Customising Your Phone & System 161
Speed
dial no.
184
185
186
187
188
189
190
191
192
193
194
195
196
197
198
199
200
201
202
203
204
205
206
207
208
209
210
211
212
213
214
215
216
217
218
219
220
221
222
223
224
225
226
227
228
229
Name Phone no.
Speed
dial no.
Name Phone no.
230
231
232
233
234
235
236
237
238
239
240
241
242
243
244
245
246
247
248
249
250
251
252
253
254
255
256
257
258
259
260
261
262
263
264
265
266
267
268
269
270
271
272
273
274
275

4.2 Customising
162 Customising Your Phone & System
Speed
dial no.
276
277
278
279
280
281
282
283
284
285
286
287
288
289
290
291
292
293
294
295
296
297
298
299
300
301
302
303
304
305
306
307
308
309
310
311
312
313
314
315
316
317
318
319
320
321
Name Phone no.
Speed
dial no.
Name Phone no.
322
323
324
325
326
327
328
329
330
331
332
333
334
335
336
337
338
339
340
341
342
343
344
345
346
347
348
349
350
351
352
353
354
355
356
357
358
359
360
361
362
363
364
365
366
367

4.2 Customising
Customising Your Phone & System 163
Speed
dial no.
368
369
370
371
372
373
374
375
376
377
378
379
380
381
382
383
384
385
386
387
388
389
390
391
392
393
394
395
396
397
398
399
400
401
402
403
404
405
406
407
408
409
410
411
412
413
Name Phone no.
Speed
dial no.
Name Phone no.
414
415
416
417
418
419
420
421
422
423
424
425
426
427
428
429
430
431
432
433
434
435
436
437
438
439
440
441
442
443
444
445
446
447
448
449
450
451
452
453
454
455
456
457
458
459

4.2 Customising
164 Customising Your Phone & System
Speed
dial no.
460
461
462
463
464
465
466
467
468
469
470
471
472
473
474
475
476
477
478
479
480
481
482
483
484
485
486
487
488
489
490
491
492
493
494
495
496
497
498
499
Name Phone no.

4.2 Customising
Customising Your Phone & System 165
4.2.5 Extension Number Set (003)
You can assign an extension number to each jack.
Default : Jack no. = Extension no.
KX-TD816 — 01-1 to 16-1= 101 to 116
01-2 to 16-2= 201 to 216
KX-TD1232 — 01-1 to 64-1= 101 to 164
01-2 to 64-2= 201 to 264
• The leading number(s) should be the same as the assigned number(s) for Flexible
Numbering. Consult your dealer.
• A double entry is invalid.
0 30
Press NEXT.Dial 003.
NEXT
Press STORE.Enter jack
number.
STORE
Press END.
END
jack no.
Enter extension
number (2-4 digits).
extension no.
SELECT
PREVNEXT
Press SELECT.
Press NEXT. Press PREV.
OR
To continue
To select the jack number
XX-2, press NEXT.
To end

4.2 Customising
166 Customising Your Phone & System
4.2.6 Extension Name Set (004)
You can store the name of an extension user. This is useful if you want to know who is calling, or who
you are calling when making an intercom call using the directory.
To enter characters, refer to "Character Entry" in 4.2.1 Programming Information.
Default : No entry
0 40
Press NEXT.Dial 004.
NEXT
Press STORE.Enter name
(max. 10 characters).
STORE
Press END.
END
name
SELECT
PREVNEXT
Press SELECT.
Press NEXT. Press PREV.
OR
To continue
Enter jack
number.
jack no.
To end
To select the jack number
XX-2, press NEXT.

4.2 Customising
Customising Your Phone & System 167
Programming List for 003/004
Jack
no.
01-1
02-1
03-1
04-1
05-1
06-1
07-1
08-1
09-1
10-1
11-1
12-1
13-1
14-1
15-1
16-1
17-1
18-1
19-1
20-1
21-1
22-1
23-1
24-1
25-1
26-1
27-1
28-1
29-1
30-1
31-1
32-1
01-2
02-2
03-2
04-2
05-2
06-2
07-2
08-2
09-2
10-2
11-2
12-2
13-2
14-2
15-2
16-2
17-2
18-2
19-2
20-2
21-2
22-2
23-2
24-2
25-2
26-2
27-2
28-2
29-2
30-2
31-2
32-2
Extension no. Name Jack
no. Extension no. Name

4.2 Customising
168 Customising Your Phone & System
• The directory is on 6.3.1 Directory.
Jack
no.
33-1
34-1
35-1
36-1
37-1
38-1
39-1
40-1
41-1
42-1
43-1
44-1
45-1
46-1
47-1
48-1
49-1
50-1
51-1
52-1
53-1
54-1
55-1
56-1
57-1
58-1
59-1
60-1
61-1
62-1
63-1
64-1
33-2
34-2
35-2
36-2
37-2
38-2
39-2
40-2
41-2
42-2
43-2
44-2
45-2
46-2
47-2
48-2
49-2
50-2
51-2
52-2
53-2
54-2
55-2
56-2
57-2
58-2
59-2
60-2
61-2
62-2
63-2
64-2
Extension no. Name Jack
no. Extension no. Name

DECT Portable Station 169
Section 5
DECT Portable Station
This chapter shows you how to operate each DECT
Portable Station feature step by step. Read this chapter
to become familiar with the many useful features of this
DECT system. The KX-TD816 and KX-TD1232 systems
optionally support the DECT system.

5.1 Safety Instructions
170 DECT Portable Station
5.1 Safety Instructions
5.1.1 Safety Instructions
Take special care to follow the safety suggestions listed below to use the Panasonic DECT Portable
Station (PS).
Safety
1. The charger should be connected to a power supply only of the type described in the operating
instructions or as marked on the charger.
2. When the PS is not being used, turn the power off. When left unused for a long period of time, the
charger should be unplugged from the household AC outlet.
Installation
Environment
1. Do not use this PS and the charger near water – for example, near a bath tub, washbowl, sink, etc.
Damp basements should also be avoided.
2. The PS and the charger should be kept away from heat sources such as radiators, kitchen ranges,
etc. They also should not be placed in rooms where the temperature is less than 5°C or greater
than 40°C.
Placement
1. Do not place heavy objects on top of the PS and charger.
2. Care should be taken so that objects do not fall onto and liquids are not spilled into the PS and
charger. Do not subject the PS and charger to excessive smoke, dust, mechanical vibration, or
shock.
3. Place the charger on a flat surface.
Battery
To reduce the risk of fire or injury to persons, read and follow these instructions.
1. Use only the battery specified.
2. Do not dispose of the battery in a fire. It may explode. Check with local waste management codes
for special disposal instructions.
3. Do not open or mutilate the battery. Released electrolyte is corrosive and may cause burns or
injury to the eyes or skin. The electrolyte may be toxic if swallowed.
4. Exercise care in handling the battery in order not to short the battery with conductive materials
such as rings, bracelets, and keys. The battery and/or conductor may overheat and cause burns.
5. Do not recharge batteries, which are provided or specified as replacement parts for use with other
products. The battery may leak corrosive electrolyte or explode.
6. Do not attempt to rejuvenate the battery provided with or identified for use with this product by
heating. Sudden release of battery electrolyte may occur causing burns or irritation to eyes or skin.
7. Remove the battery from this product if the product will not be used for a long period of time
(several months or more). During this time the battery could leak in the product.
8. Discard the "dead" battery as soon as possible. A "dead" battery may leak in the product.

5.1 Safety Instructions
DECT Portable Station 171
9. Do not store this product, or the battery provided with or identified for use with this product, in high
temperature areas. Batteries that are stored in a freezer or refrigerator for the purpose of
extending shelf life should be protected from condensation during storage and defrosting.
Batteries should be stabilised at room temperature prior to use after cold storage.
For Best Performance
Operating Range
1. The range of operation depends on the topography of your office, weather or usage conditions,
because signals are transmitted between the Cell Station (CS) and the PS by radio waves.
2. Normally, you will get greater range outdoors than indoors. If there are obstacles such as walls,
noise may interfere with your telephone calls. In particular, high metal shelves or reinforced
concrete walls will shorten your operating range.
3. A PS may not work if used in places that are too far from the CS depending on the structure of the
building.
Noise
Occasional noise or interference may occur due to other sources of electromagnetic radiation, such
as refrigerators, microwave ovens, faxes, TVs, radios, or personal computers.
If noise affects your telephone calls, keep the PS away from other electrical appliances.
WARNING
TO PREVENT FIRE OR SHOCK HAZARD, DO NOT EXPOSE THIS PRODUCT TO RAIN OR ANY
TYPE OF MOISTURE.

5.2 Before Operating the DECT Portable Station
172 DECT Portable Station
5.2 Before Operating the DECT Portable Station
5.2.1 Before Operating the DECT Portable Station
What is the DECT Portable Station?
You can use a Panasonic DECT Portable Station (PS), KX-TD7500, by connecting an optional
wireless system to your PBX, KX-TD816 or KX-TD1232. It can be used in the system with other
telephones.
Registration
You must register your PS in the system and determine its extension number before initial use.
For PS registration, consult your dealer.
Display
The display has two lines with 16 characters per line, and related symbols to show information for
your phone activities.
Furthermore, your PS can show the guidance messages which show the selectable buttons and help
you operate your PS without the operating instructions. Refer to 5.4.2 PS Programming.
Capacity
You can use the following number of PS in each system.
KX-TD816 16
KX-TD1232 64
Up to four calls can be made at the same time in the range.

5.2 Before Operating the DECT Portable Station
DECT Portable Station 173
Battery Charge
You need to charge the battery before initial use and when the battery strength becomes low. When
" " flashes or beep tones sound every five seconds during a conversation or "BATTERY EMPTY"
is displayed, recharge the battery or replace with a fully charged optional spare battery. If not, the call
will be automatically disconnected in three minutes.
Standard Battery Life
If your Panasonic battery is fully charged [provided 25°C]:
While in use (Talk mode) Up to about 10 hours
While not in use (Stand-by mode) Up to about 100 hours
Shows the strength of the receiving
radio signal from the Cell Station (CS).
Strong
Weak
[Display: NO SERVICE]
Out of range.
Move closer to the CS.
Shows the strength of the battery.
Fully charged.
Low
Medium
The battery needs to
be charged. The call
will be disconnected
within 3 minute after
a beep tone sounds.
(Flashing)
(Flashing)
(Radio Signal Strength) (Battery Strength)
(Off-hook status)
(Function mode) (Directory or Programming mode)
(Message Waiting indicator)
Someone is waiting for your call.

5.2 Before Operating the DECT Portable Station
174 DECT Portable Station
To charge the battery
a) Connect the charger to a power outlet using the AC adaptor.
b) Slide the battery-attached portable station or the battery in the charger.
• Charge the battery for about 1.5 hours.
• When charging is completed, the charge indicator will change from orange to green.
To install a battery
Hook the bottom of the battery on the PS,
and place the battery until it clicks.
To replace a battery
Set the power switch to OFF first to prevent
memory loss, and then remove the battery
while pressing the tab.
• The battery is used while the PS's power is ON.
• Battery life may vary depending on usage conditions and ambient temperature.
• Please use only a Panasonic battery.
• Do not let the charged battery's electrodes touch metallic objects. The terminal may short
and overheat, causing burns.
• Clean the charge contacts on both the PS and the charger with a soft cloth once a month,
or the battery may not charge properly.
• The PS can receive calls even while charging.
• You need not worry about overcharging.
• The AC adaptor is used as the main disconnect device. Ensure that the socket-outlet is
located near the equipment for easily access.
Charge indicator
Cord holder
AC adaptor To power outlet
(230 VAC, 50 Hz)
Charger

5.2 Before Operating the DECT Portable Station
DECT Portable Station 175
Feature Numbers
To operate certain features, you need to enter specified feature numbers (and an additional
parameter, if required).
There are two types of feature numbers as follows:
• Flexible feature number
• Fixed feature number
Fixed feature numbers cannot be changed. However, you can change the flexible numbers to other
numbers for easier use. If you want to change the numbers, consult your dealer. In this manual, the
default numbers (factory installed) are used for operations.
A flexible number is shown as (half-shaded key). Use the new programmed number if you have
changed the feature number. Write the new number in Section 6.2.1 Feature Number List
(Appendix).
Your Extension Number / DECT System Number
You can check your own extension number or/and the connected DECT System number on the
display if set to be shown by PS Programming. Refer to 5.4.2 PS Programming – Standby Display
Selection.
Tones
You will hear various tones, during or after an operation, for confirmation. Refer to 6.4.1 What is This
Tone? (Appendix).
Examples
The displays and the illustrations shown as examples are from a PS connected to the KX-TD1232.
Restrictions
Some features may be restricted at your PS under system programming. Consult your manager or
dealer.
Icon Descriptions
There are some icons which show you the feature availability, notes and action to operate the
features. For details, refer to 2.1.1 Before Operating the Telephones – Icon Descriptions
(Operation).
While operating the PS, you can easily refer to the Icons noted on the inside back cover of this
manual.

5.2 Before Operating the DECT Portable Station
176 DECT Portable Station
Button Descriptions
Your PS has the useful function buttons listed below. These buttons make operations simple.
INTERCOM Button: Used to make or
receive intercom calls. Flexible CO Buttons (F1 through F3):
Used to make or receive an outside call.
A Loop-CO button is already assigned
to F1 button. Pressing this button
seizes an idle line automatically.
F2 and F3 button can be used as the
desired function buttons. (Button
assignment is required.)
If the term is in parentheses like (
Save
),
it means this button has been made into
an "Save" button.
TALK Button: Used to make, receive or
end calls.
CANCEL Button: Used to end calls, or
exit the directory or Function mode.
CLEAR / TRANSFER Button: Used to
clear incorrect digits while entering
numbers or transfer a call to another
extension.
BOOK Button: Used to enter into the
directory mode or select a menu in the
Function mode.
HOLD Button: Used to place a call on
hold. FLASH Button: Used to disconnect a
current call and make another call.
FUNCTION Button: Used to enter into
the Function mode or access features
by pressing additional keys.
Power Switch: Used to switch the power
ON () or OFF ().
AUTO / OK Button: Used for System
Speed Dialling and storing programme
changes.
Volume Control Button: Used to select
the ringer volume (seven levels, off and
vibration mode) during on-hook or
ringing status, or receiver volume (three
levels) during a conversation. The
volume levels are indicated by the
number of asterisks on the display.
REDIAL Button: Used to redial the last
number dialled.
INT' F1-F3
C
CLR
OK

5.2 Before Operating the DECT Portable Station
DECT Portable Station 177
Combination Buttons*
Some special features can be used by combining two buttons.
PAUSE Button ( ):
Used to insert a pause in numbers. CONF (Conference) Button ( ):
Used to establish a three party
conversation.
FWD/DND Button ( ):
Used to set the Call Forwarding or
Do Not Disturb (DND) features.
TONE Button: Used to change the
dialling mode temporarily to tone.
MESSAGE Button ( ):
Used to leave a message waiting
indication or call back the party who
left the message waiting indication.
* These buttons can also be activated using the display. Refer to 5.3.9 Selecting the Feature
Button on the Display.
GHI
ABC
JKL
DEF

5.2 Before Operating the DECT Portable Station
178 DECT Portable Station
How to Follow the Steps
A sample operation is shown below.
You can store, edit or delete the PS Dialling Directory or PBX Station Speed Dialling Directory
items on your PS.
Feature title
Programming References: The related or required programming is noted.
To programme, see “Customising Your PS” in this section.
Operation steps
The display examples
may be shown on the
shaded part to help
you operate.
The description of the
icons are explained
on page 176 and the
inside back cover of
this manual.
•
To store a phone number only, skip the step for
entering name.
• * To enter characters, see page 192.
• * The line access number is not required.
Customising Your PS
•
5.4.2 PS Programming – To change the initial settings
Directory Lock Control
Lock or unlock the Call Directories.
You can lock the Call Directories to prevent other
people from seeing your directory display.
Conditions Hints
Sub feature title
Description
Press FUNCTION
and BOOK.Press OK. Enter name*
(max. 16 characters).
OK
Press OK.
OK
Press OK.
OK
OK
PS
MODIFY BOOK PS-NEW-ENTRY ENTER NAME
=1/99 REMAINS Panasonic Panasonic
ENTER PHONE-NO.
name
Enter phone number*
(max. 32 digits). Press OK. Press CANCEL.
Panasonic
0123456789 STORED
phone no.
C
1
<Example>
2
1
2
Storing the names and numbers
5.3.6 Using the Call Directories

5.3 Operation
DECT Portable Station 179
5.3 Operation
5.3.1 Making Calls
Calling another extension
To another extension (Intercom Call)
<Example>
When you call Mr. Thomas....
Mr. Thomas's extension number is 123.
• You can also finish the conversation by placing the PS on the charger or pressing TALK
button.
• If " " flashes, move towards the Cell Station until the sign stops flashing and try again.
•Do you have an extension directory?
Complete the directory in 6.3.1 Directory and make a copy for your reference.
•Confirming the dialled number before connecting
You can go off-hook after confirming the number you dialled. If you misdial, press the
CLEAR button to clear each number from the right.
•Handover
Even if you move during a conversation, the linking Cell Station (CS) will automatically
switch without disconnecting the call.
Handover is available only during a conversation (except a conference call). It is not
available when a switched CS is busy or there is no CS in the new range.
PT and SLT
PS
Talk.Enter extension
number.
extension no.
OR
Press TALK or
INTERCOM.Press CANCEL.
INT'
C
PT and SLT
PS
Talk.Dial 123.
Press TALK.Press CANCEL.
C
ABC DEF

5.3 Operation
180 DECT Portable Station
Calling an external party
You have to seize an outside line before dialling an outside phone number because external calls are
made via your system.
Select one of the following methods:
• Press an idle button.
• Dial automatic line access number .
An idle line is selected automatically.
• Dial outside line number to .
A specific line is selected.
Using a Flexible CO button
Using automatic line access number / outside line number
• You can also finish the conversation by placing the PS on the charger or pressing TALK
button.
• If " " flashes, move towards the Cell Station until the sign stops flashing and try again.
F1-F3
(CO)
WXYZ
TUV TUV TUV
PT and SLT
PS
Talk.Enter phone number.
Press CO.Press CANCEL.
C
phone no.phone no.
F1-F3
(CO)
PS
Talk.Enter phone number.Press CANCEL.
C
Seize an external line
(9 or 81-88).
phone no.
to
OR
TUV
PS
Talk.Enter phone number.
phone no.
to
OR
TUV
Press TALK.
TUV
TUV
WXYZ

5.3 Operation
DECT Portable Station 181
•Emergency call
You can dial pre-programmed emergency numbers without any restrictions.
In this case, you can make an emergency call without seizing an outside line.
•To select the less expensive line automatically, dial "9" or press the Loop-CO button to
seize a line. (Automatic Route Selection) F1 button is already assigned as the Loop-CO
button.
•Confirming the dialled number before connecting
You can go off-hook after confirming the number you dialled. If you misdial, press the
CLEAR button to clear each number from the right.
•Call information
The following information can be referred to by repeatedly pressing the FWD/DND button
as follows:
< Example >
Customising Your PS
• 5.4.3 PBX Programming– Customising the Buttons
Create or re-arrange the Loop-CO button, Group-CO button and Single-CO button.
CO01: 0.23KC CO 02 0:02'28CO01: 1
< Meter > < Call charge > < Call duration >

5.3 Operation
182 DECT Portable Station
5.3.2 Receiving Calls
When you receive a call, the DECT portable station (PS) rings or vibrates, and the outside line
number or extension number of the receiving call will appear on the display.
• You can hang up also by pressing the TALK button or placing the PS on the charger.
•To select the vibration mode
Press the Volume Control button until "VIBRATION CALL" is displayed. This button also
changes the ringer volume which is indicated by the number of asterisks on the display.
•If the PS is on the charger, just lift up the PS (Quick Answering).
•If a headset is connected to the PS,
you can select to answer a call without lifting your PS (Automatic Answer Mode).
Customising Your PS
• 5.4.2 PS Programming – To change the initial settings
Quick Answering Mode Set
Select to answer calls by just lifting the ringing PS off the charger.
Automatic Answer Mode Set
Select the answering mode when using the headset.
PS
Talk.
OR
Press TALK or
flashing CO.Press CANCEL.
C
F1-F3
(CO)

5.3 Operation
DECT Portable Station 183
5.3.3 Redial
This is convenient when calling the same external party again.
— Redialling the last number you dialled
— Redialling one of the last five outside phone numbers you dialled
Redialling the last number you dialled (Last Number Redial)
Redialling one of the last five outside phone numbers you dialled (Outgoing
Call Log)
To clear all of the numbers in the call log
• To search the desired log number, press the Next or Previous button after pressing the
REDIAL button.
PS
Dial #.
Press TALK.
PS
Press REDIAL until the
desired number appears.
OR
Press TALK or CO.
F1-F3
(CO)
PS
Press REDIAL. Press CLEAR.
CLR

5.3 Operation
184 DECT Portable Station
5.3.4 Holding a Call
— Holding
— Denying other people the possibility of retrieving your held calls
Holding (regular)
To retrieve a call
•If a call is not retrieved within a specified time, you will hear an alarm as a reminder.
•If a call is not retrieved within thirty minutes, it is automatically disconnected.
Press HOLD.
During a conversation
PS
Press flashing
CO or INTERCOM.
Dial 51.Enter holding
extension number.
●
At the holding extension
●
For an outside call from another extension
●
For an intercom call from another extension
PS
Talk.
Talk.
C.Tone
OR
INT'
Talk.
C.Tone
JKL
JKL DEF
holding
extension no.
held line no.
F1-F3
(CO)
Press flashing CO or dial 53 and
held line number (01-54).
OR
F1-F3
(CO)

5.3 Operation
DECT Portable Station 185
Denying other people the possibility of retrieving your held calls (Exclusive
Call Hold)
Only the held extension can retrieve the call.
To retrieve a call
• The CO or INTERCOM button light shows the current status as follows:
Flashing green: Your held call
Flashing red: Another extension's held call
• You can hold either an intercom call or an outside call at one time.
•To hold multiple calls, use the "Call Park" feature.
• The CO or INTERCOM button light shows the current status as follows:
Flashing green: Your held call
Flashing red: Another extension's held call
• You can hold either an intercom call or an outside call at one time.
Press HOLD.
During a conversation
PS
Press HOLD again.
PS
Press flashing
CO or INTERCOM.Talk.
F1-F3
OR
INT'
(CO)

5.3 Operation
186 DECT Portable Station
5.3.5 Transferring a Call
Transferring to an extension
Transferring to an external party
Some extensions may be restricted from performing this function.
— Transferring to an extension — Transferring to an external party
•To return to the held call before the destination answers, press the TRANSFER button
or corresponding CO or the INTERCOM button.
•To return to the conversation after completing the transfer to an external party, press
the corresponding CO button.
•If you hear an alert tone, the destination extension did not answer the call. Answer the call.
Enter extension
number.Press CANCEL.
Announce.
extension no.
During a conversation
The destination is confirmed before
sending. This can be disregarded.
PS
Press
TRANSFER.
C.Tone
CLR C
Press CO or enter
line access number
(9 or 81-88).
Press CANCEL.
Enter phone number.Press
TRANSFER.Announce.
phone no.
During a conversation
OR
line access
no.
PS
C.Tone
CLR C
F1-F3
(CO)

5.3 Operation
DECT Portable Station 187
5.3.6 Using the Call Directories
You can store names and/or phone numbers in the directories.
A stored number is dialled out by selecting a name or phone number in a directory.
There are four types of directory features, including one PS directory and three PBX directories.
PS Dialling Directory:
You can store up to 100 private names and phone numbers of outside parties. All directory items are
stored in alphabetical order.
PBX System Speed Dialling Directory:
You can make a call via the system by selecting system-assigned names and phone numbers (500
max.).
PBX Extension Dialling Directory:
You can make a call via the system by selecting system-assigned extension names.
PBX Station Speed Dialling Directory:
You can make a call via the system by selecting privately assigned names and phone numbers (10
max.).
Storing the names and numbers
You can store, edit or delete the PS Dialling Directory or PBX Station Speed Dialling Directory items
on your PS. There are five displays for directory entry/edition/deletion as shown below.
— Storing the names and numbers
— Making calls using the Call Directories — Entering characters
• It is not possible to edit items in the PBX System Speed Dialling or PBX Extension
Dialling Directories.
• * Only displayed when registered to a Panasonic Digital Super Hybrid System. It is not
displayed when out of range.
OK
MODIFY BOOK
PS-NEW-ENTRY PS-EDIT
PBX-STA-DELETE
PBX-STA-EDIT
PS-DELETE
Storing the PS Dialling
Directory items Editing the PS Dialling
Directory items
Deleting the PS Dialling
Directory items
Deleting the
PBX Station Speed
Dialling Directory items*
Storing / Editing the
PBX Station Speed
Dialling Directory items*
Display sequence in “MODIFY BOOK” display

5.3 Operation
188 DECT Portable Station
To store a PS Dialling Directory item
•To store a phone number first and then a name:
•To store a phone number only, skip the step for entering name.
•*
1
To enter characters, see page 192.
•*
2
The line access number is not required.
Press FUNCTION
and BOOK.Press OK. Enter name*
(max. 16 characters).
OK
Press OK.
OK
Press OK.
OK
OK
PS
MODIFY BOOK PS-NEW-ENTRY ENTER NAME
=1/99 REMAINS Panasonic Panasonic
ENTER PHONE-NO.
name
Enter phone number*
(max. 32 digits). Press OK. Press CANCEL.
Panasonic
0123456789 STORED
phone no.
C
1
<Example>
2
OKOK OKOK
name
phone no.

5.3 Operation
DECT Portable Station 189
To edit a PS Dialling Directory item
•*
1
To enter characters, see page 192.
•*
2
To change the number, press the CLEAR button to clear a digit from the left, and
enter the number again.
To move the cursor on the number, use # (to the left) or (to the right) button.
Press FUNCTION
and BOOK.Press BOOK.
OK
Press BOOK until
the desired item is
displayed.
Press OK. Press OK.
OK
OKOK OK
PS
MODIFY BOOK PS-NEW-ENTRY PS-EDIT Ann Parker
0111111111 Panasonic
0123456789
Edit name*
(max. 16 characters). Edit phone number
(max. 32 digits).
2
1
Press OK. Press OK.Press OK.
Panasonic
0123456789 Panasonic-NT
0123456789 Panasonic-NT
0123456789 Panasonic-NT
0123456799 STORED
name phone no.
Press CANCEL.
.
C
<Example>

5.3 Operation
190 DECT Portable Station
To store / edit a PBX Station Speed Dialling Directory item
•*
1
To enter characters, see page 192.
•*
2
To change the number, press the CLEAR button to clear a digit from the left, and
enter the number again.
To move the cursor on the number, press the # (to the left) or (to the right) button.
Press FUNCTION
and BOOK.
Press BOOK until blank
(for new entry) or the
desired item (for edition)
is displayed.
Press OK. Press BOOK until the
message above appears. Press OK.
OK OK
OKOK OK
PS
MODIFY BOOK PS-NEW-ENTRY PBX-STA-EDIT Ann Parker
0111111111 Ann Parker
0111111111
Enter or edit name*
(max. 10 characters). Enter or edit
phone number*
(max. 16 digits).
2
1Press OK. Press OK.Press OK.
Panasonic
0123456789 Panasonic-NT
0123456789 Panasonic-NT
0123456789 Panasonic-NT
0123456799 STORED
name phone no.
Press CANCEL.
C
<Example>
Enter a line access number (9 or 81-88)
before an external phone number.

5.3 Operation
DECT Portable Station 191
To delete a PS Dialling / PBX Station Speed Dialling Directory item
Making calls using the Call Directories
There are four displays for directory dialling as shown below.
• These displays will not appear when registered to a non-Panasonic Digital Super Hybrid
System or when out of range. In this case, the directory item appears after pressing the
BOOK button.
•You can transfer a call to a number stored in the directory. In this case, press the
TRANSFER button during a conversation and then dial by selecting the directory item.
Press FUNCTION
and BOOK.
OK
Press BOOK until the
message above apears.
Press OK. Press OK.
OK
OK
PS
MODIFY BOOK PS-NEW-ENTRY PS-DELETE PBX-STA-DELETE Ann Parker
0111111111
Press CANCEL.Press OK.Press BOOK until
the desired item is
displayed.
Panasonic
0123456789 DELETED
C
OR
<Example>
PS-DIALING PBX-SYS-DIALING PBX-EXT-DIALING
PS Dialling Directory PBX System Speed
Dialling Directory PBX Extension
Dialling Directory
PBX-STA-DIALING
PBX Station Speed
Dialling Directory
Display sequence for Call Directory dialling

5.3 Operation
192 DECT Portable Station
Entering characters
•*
To enter characters, see page 192.
• You can lock the Call Directories to prevent other people from seeing the directory display.
When locked, "DIRECTORY LOCK" will be displayed after pressing the BOOK button.
Customising Your PS
• 5.4.2 PS Programming – To change the initial settings
Directory Lock Control
Lock or unlock the Call Directories.
When storing a name or message, enter the characters as follows.
The table below shows you the characters available for each key.
You can enter letters by pressing the alphanumeric keys on your
telephone.
Example: Key 2 can enter A, a, B, b, C or c.
•To erase the each letter from the right, press the CLEAR button.
•To move the cursor, press the # (to the left) or (to the right) button.
Press BOOK until
the desired directory
display appears.
Enter first letter of
desired name*Press OK.
OK
Press OK.
<If required>
OK
PS
PS-DIALING Ann Parker
0111111111 P Panasonic
0123456789 Panasonic
0123456789
first letter of
desired name
Next
Previous
OR
Press # or
until desired item
appears.
Press TALK.
<Example>
OK=SEARCH
ABC
A, a
B, b
C, c

5.3 Operation
DECT Portable Station 193
Combination Table
<Example> To enter "Ann,"
1 Ä ä Ö ö Ü ü 1
2 A a B b C c 2
3 D d E e F f 3
4 G g H h I i 4
5 J j K k L l 5
6 M m N n O o 6
7 P p Q q R r S s 7
8 T t U u V v 8
9 W w X x Y y Z z 9
0 (space) . : / – ( ) 0
Moves the cursor to the left
# Moves the cursor to the right
Keys Display sequence by pressing the key
An n
ABC MNO MNO MNO MNO MNO MNO MNO MNO

5.3 Operation
194 DECT Portable Station
5.3.7 Using Your PS in Parallel with the Wired Telephone
(Super EXtra Device Ports [SXDP])
Your PS can be used in parallel with a proprietary wired (PT) or single line telephone (SLT).
When in the SXDP mode, incoming calls to a wired telephone also reach the paired PS, while
incoming calls to a PS only reach the PS. If one telephone is busy, you can make a call from the other
telephone.
To set
To cancel
• The Outgoing Call Log memory can be used by both the PS and paired telephone.
• Some wired telephones are restricted to perform this feature.
PS
Enter extension number
of the paired telephone. Press CANCEL.
C
phone no.
PS
extension no.
Press TALK. Dial 481.
C.Tone
GHI TUV
PS
Press CANCEL.
C
PS
C
Press TALK. Dial 480.
C.Tone
GHI TUV

5.3 Operation
DECT Portable Station 195
5.3.8 Locking the Keypads
Incoming calls can be answered, but outgoing calls cannot be dialled.
To lock / unlock
PS
Press FUNCTION
for 2 seconds.
KEYPAD LOCKED
PRESS F FOR 2SEC
<When locked>
While on-hook

5.3 Operation
196 DECT Portable Station
5.3.9 Selecting the Feature Button on the Display
The following buttons can be activated using display operations.
PAUSE Button
FWD/DND Button
MESSAGE Button
CONF (Conference) Button
TONE Button
<Example>
To cancel the Do Not Disturb feature
• These buttons can also be activated using a combination of buttons. For descriptions and
button combinations, refer to 5.2.1 Before Operating the DECT Portable Station – Button
Descriptions.
OK
KEY
PAUSE (KEY1) FWD/DND (KEY2) MESSAGE (KEY3)
CONF (KEY4)
PAUSE Button FWD/DND Button
TONE (KEY5)
TONE Button CONF (Conference)
Button
MESSAGE Button
Display sequence in “KEY” display
OK
PS
Press CANCEL.
C
PS
Press
FUNCTION.Press OK.
OK
Press OK.Press BOOK until
“FWD/DND” is
displayed.
Dial 0.
Press
TALK.

5.3 Operation
DECT Portable Station 197
5.3.10 Other Operations
Most of the wired telephone features are also supported by a system with a DECT portable station
(PS). For feature descriptions and details, refer to the respective features in Operation (Section 2).
Desired Function Operation
Basic Calling
To an operator
(Operator Call)
Redial
Saving the number and redialling
(Saved Number Redial) OK
To store
During a conversation or while hearing a busy tone
To dial
F1-F3
(Save)
F1-F3
(Save)
Using numbers stored at your
extension
(Station Speed Dialling)
Using numbers stored in the
system
(System Speed Dialling)
To store a phone number
phone no.
To dial
C
station speed
dial no.
station speed
dial no.
system speed
dial no.
OK
Easy Dialling
With one touch button
(One-Touch Dialling)
F1-F3
(One-Touch
Dailling)
Using a single digit number
(Quick Dialling)
quick dial no.
To a pre-set party by going off-
hook
(Pickup Dialling)
To store a phone number
C
To set / cancel
C
To dial
Set
Cancel
GHI
PQRS
GHI
PQRS
ABC
phone no.
Making Calls
When the Dialled Line is Busy or
There is No Answer
Reserving a busy line
(Automatic Callback Busy)
To set
C
While hearing a busy tone
To answer a call-back ringing and call (outside call)
To answer a call-back ringing and call (intercom call)
phone no.
MNO
DEF
DEF

5.3 Operation
198 DECT Portable Station
Desired Function Operation
Alternating the Calling Method
(Alternate Calling – Ring / Voice)
Voice to ring calling or ring to voice calling
To an extension refusing the call
(DND Override)
While hearing the DND tone
After the line is connected
Calling without Restrictions
Using an account code
(Account Code Entry)
account code
line access no.
GHI
WXYZ
phone no.
F1-F3
(CO)
OR
Answering a Call Ringing at
Another Telephone
(Call Pickup)
Group
Directed
extension no.
Outside call
GHI
GHI
GHI
speaker no.
desired no.
GHI
Answering a call via an External
Speaker(Trunk Answer From Any
Station [TAFAS])
Making Calls
Receiving Calls
Joining an existing intercom call
(Executive Busy Override)
While hearing a busy tone
When the Dialled Line is Busy or
There is No Answer
Sending a call waiting tone
(Busy Station Signalling [BSS])
While hearing a busy tone
Leaving a message waiting
indication
(Message Waiting)
To leave / cancel a message waiting indication
To call back
extension no.
To clear all message waiting indications
your
extension no.
To leave a message waiting indication when the called extension is busy
or does not answer
C
OR
Leave
Cancel
OR
ABC
DEF
GHI
DEF
Changing the dialling mode
(Pulse to Tone Conversion)
OR
JKL
PQRS
PQRS
PQRS
C
C
Identifying Malicious Callers
(Malicious Call Identification
[MCID])
During a conversation or within 10 seconds after the caller hangs up
CLR
PQRS
OR
Talk.
C
DEF
PQRS
ABC
ABC

5.3 Operation
DECT Portable Station 199
Desired Function Operation
Leaving a conference
Letting a third party join your call
(Privacy Release)
When you are talking with two external parties (Unattended Conference)
When you are talking with two extension or one extension party and one external party
GHI
C
C
Three-party Conversation
Adding a third party during a
conversation
(Conference)
desired party’s no.
GHI GHI
During a Conversation
Holding a Call
Holding in a system parking zone
(Call Park)
Talking to Two Parties Alternately
(Call Splitting)
To set
parking zone no.
C
CLR
To retrieving
ABC
JKL
ABC
JKL
stored parking
zone no.
When either party is an outside party
When talking to one party while the other party is on hold
When both parties are extension parties
Transferring a Call
extension no.
To an extension
To an external party
Announce.
phone no.
C
CLR
line access no.
F1-F3
(CO)
OR
Answering a Call Waiting To talk to the new caller by terminating the current call
While hearing a Call Waiting tone
To talk to the new caller by holding the current call
While hearing a Call Waiting tone
To join a third party to your current outside call
To leave
To talk to one party by disconnecting the other
During a conversation
OR
INT'
F1-F3
(CO)
OR
INT'
F1-F3
(CO)
F1-F3
(CO)
F1-F3
(CO)
OR
INT'
F1-F3
(CO)
OR
INT'
F1-F3
(CO)
(at another extension)

5.3 Operation
200 DECT Portable Station
Desired Function Operation
Showing an Absent Message on
the Caller’s Telephone Display
(Absent Message Capability)
message no. parameter (if required)
C
To cancel
To set
PQRS
JKL
PQRS
JKL
C
Preventing Other People from
Using Your Telephone
(Electronic Station Lockout)
desired code same code
stored code
Lock
Unlock
C
PQRS PQRS
Before Leaving Your Desk
Forwarding your Calls
(Call Forwarding)
Busy
To Outside Line
No answer
Busy / No answer
extension no.
All Calls
extension no.
extension no.
extension no.
Follow Me
your extension no.
phone no.line access no.
C
C
OR
PQRS
ABC
ABC
DEF
GHI
JKL
MNO
PQRS
To set
OR
PQRS
ABC
To cancel
At the destination extension
your extension no.
At the original extension
TUV
ABC
All
Intercom
Outside
ABC
All
Intercom
Outside
ABC
All
Intercom
Outside
ABC
All
Intercom
Outside
ABC
All
Intercom
Outside

5.3 Operation
DECT Portable Station 201
Desired Function Operation
Paging a Person and Transferring
a Call CLR
CLR
CLR
Through a speker and telephones
Through a speaker
Through the telephones of a particular extension group
DEF
DEF
speaker no.
Specific
All
All
group no.
Specific
DEF
DEF
OR
Announce.
Announce.
Announce.
Answering a Paged
Announcement
speaker no.
Page through a speaker
Page through a wired telephone
DEF
GHI
GHI
Receiving a Call Waiting
(Call Waiting)
To set / cancel
C
DEF
PQRS
Cancel
Set
Refusing Incoming Calls
Refusing all calls
(Do Not Disturb [DND]) C
OR
PQRS
ABC
Making / Answering an Announcement
Paging All
External
Group
DEF
DEF
DEF
DEF
DEF
DEF
Announce.
speaker no.
Specific
All
All
group no.
Specific
Announce.
OR
Announce.
Setting the Telephone According to Your Needs
Setting the Alarm
(Timed Reminder) To set
To cancel
C
hour minute
AM
PM
To view the setting
MNO
PQRS
MNO
PQRS
ABC
MNO
PQRS
To stop or answer the ringback
C
C
any key
One time
Daily
ABC
DEF ABC
ABC
DEF ABC
ABC
Set
Cancel
Denying Other People the
Possibility of Picking up Your
Calls
(Call Pickup Deny)
C
Deny
Allow
ABC
PQRS
Displaying Your Number on the
Called Party and Calling Party’s
Telephone
(Calling / Connected Line
Identification Presentation [CLIP /
COLP])
To show an identification number
C
no. assigned for an outside line
no. assigned for your extension
ABC
PQRS

5.3 Operation
202 DECT Portable Station
Opening the door
door opener no.
C
From a specified extension
From any extension while talking to the doorphone
C
JKL JKL
JKL
If a Host PBX is Connected
Accessing external services
(External Feature Access)
desired no.
Recording a conversation
(Two-Way Recording) To record into your mailbox / To stop recording
To record into another mailbox
To stop recording into another mailbox
extension no.
(Two-Way
Record)
F1-F3
F1-F3
(Two-Way
Tr ansfer)
F1-F3
(Two-Way
Tr ansfer)
If a Voice Processing System is
Connected
Voice mail integration To forwarding your calls to a mailbox
Call Forwarding no.
extension no.
C
Transferring calls
VM extension no.
OR
PQRS
ABC
VM extension no.
To listen to a stored message
OR
DEF
F1-F3
(VM
Tr ansfer)
ABC
All
Intercom
Outside
Desired Function Operation
Denying Other People the
Possibility of Joining Your
Conversation
(Executive Busy Override Deny)
Protecting Your Line against
Indication Tones
(Data Line Security)
C
Deny
Allow
PQRS
DEFDEF
C
Set
Cancel
PQRS
DEF
DEF
Clearing the Feature
Settings at Your Extension
(Station Programme Clear)
PQRS WXYZ
C
Setting the Telephone According to Your Needs
Using User-supplied Equipment
If a Doorphone / Door Opener is
Connected
To call the doorphone
doorphone no.
CLR
MNO

5.4 Customising Your PS
DECT Portable Station 203
5.4 Customising Your PS
5.4.1 Programming Information
You can customise your telephone functions with your DECT portable station (PS).
PS Programming:
You can change the initial settings according to your needs.
PBX Programming:
You can enter into the proprietary wired telephone (PT) programming mode (Station Programming)
and programme several items for your PS.
There are three displays for programming as shown below.
* This display is used for PS registration and not displayed if the DECT System Lock is set.
For details, consult your dealer.
OK
PROGRAMMING
PS-PROGRAM PBX-PROGRAM REGISTRATION
PS Programming PBX Programming Registration*
Display sequence in “PROGRAMMING” display

5.4 Customising Your PS
204 DECT Portable Station
5.4.2 PS Programming
You may be required to enter a PS Programming password or a DECT System Lock password
when entering the PS Programming mode.
Depending on the password, the number of possible programming items changes for PS security
reasons. There are three password levels.
Level 0: A password is not required.
Level 1: A PS Programming password is required.
Level 2: A System Lock password is required.
After selecting the PS programming display, "ENTER PASSWORD" may be displayed.
If not displayed, no password is required.
The combinations of the passwords are as shown below.
If DECT System Lock password is:
If PS Programming password is:
System Lock password
PS Programming password
Level 0 – 2
are possible.
Level 0 – 2
are possible.
Not required.Not required.
Level 0 – 1
are possible.
Not required.
Level 0 – 2
are possible.
Not required.
ENABLE
ENABLE
ENABLE
DISABLE
DISABLE
ENABLE
DISABLE
DISABLE
No password
or
If incorrect password
Level 0 is
possible.
Level 0 – 1
are possible.
Level 0 is
possible.
Level 0 – 2
are possible.

5.4 Customising Your PS
DECT Portable Station 205
To set the PS Programming / DECT System Lock password
To cancel the PS Programming / DECT System Lock password
Press FUNCTION
and then BOOK twice.
OK
Press OK.
OKOK
PS
PROGRAMMING PS PASSWORD
= DISABLE DECT-SYS LOCK
= DISABLE
PS-PROGRAM
OK
Press OK.
BACKLIGHT
= ON
Press OK.Press BOOK to
select “ENABLE.”
PS PASSWORD
= ENABLE ENTER PASSWORD
=
Enter password
(4 digits).
ENTER PASSWORD
= ****
C
OR
Next
Previous
OR
Press # or until the
display above appears.
password
OKOK
Press OK.
REENTER PASSWORD
=
Enter same
password again.
REENTER PASSWORD
= ****
password
Press OK. Press CANCEL.
Press FUNCTION
and then BOOK twice.
OK
Press OK.
OKOK
PS
PROGRAMMING PS-PROGRAM
OK
Press OK.
ENTER PASSWORD
=
OK
Press OK.
BACKLIGHT
= ON
ENTER PASSWORD
= ****
Enter password
(4 digits).
C
password
Press BOOK to
select “DISABLE.”
DECT-SYS LOCK
= DISABLE
Press OK. Press CANCEL.
PS PASSWORD
= ENABLE DECT-SYS LOCK
= ENABLE
OR
Next
Previous
OR
Press # or until the
display above appears.

5.4 Customising Your PS
206 DECT Portable Station
To change the initial settings
Press FUNCTION
and then BOOK twice.
OK
Press OK.
OKOK
PS
PROGRAMMING PS-PROGRAM
OK
Press OK.
ENTER PASSWORD
=
OK
Press OK.
BACKLIGHT
= ON
ENTER PASSWORD
= ****
Enter password
(4 digits).
C
password
Press BOOK until
the desired selection
is displayed.
RING PATTERN
= 6
Press OK. Press CANCEL.
RING PATTERN
= 1 RING PATTERN
= 6
Next
Previous
OR
Press # or until
the desired item is
displayed.
<If required>
<Example>
To continue
Not use the vibration and
ring mode (OFF)
Do you prefer the keypad
backlight?
(Keypad Backlight Mode Set)
0
0
0
0
Do you prefer to hear the
key tone (except during
PBX Programming mode)?
(Key Tone Set)
Item Selection LevelDisplay
No (OFF)
Yes (ON)
No (OFF)
Ringer pattern no.
Which ringer pattern do you
prefer in 6 patterns?
(Ringer Pattern Selection)
Ring and vibrate at the same time
(RING & VIB)
Ringer pattern 1
Yes (ON)
How do you receive a
call?*1
(Vibration and Ring Type
Selection)
Vibrate for 9 seconds then ring
(VIB→RING)
BACKLIGHT
= ON
KEY TONE
= ON
RING PATTERN
= 1
VIBRATION & RING
= OFF

5.4 Customising Your PS
DECT Portable Station 207
Do you prefer to change
the display language?
(Display Language
Selection)
0
1
Do you lock / unlock the
Call Directories?
(Directory Lock Control)
Item Selection LevelDisplay
English
Lock (ON)
Unlock (OFF)
German
French
Italian
Spanish
Dutch
Auto (English)*2
LANGUAGE
= AUTO
DIRECTORY LOCK
= OFF
0
Do you prefer to answer an
incoming call by just lifting your
ringing PS off the Charger?
(Quick Answering Mode Set)
No (OFF)
Yes (ON)
QUICK ANSWER
= ON
0
Do you prefer to
answer a call without
lifting your PS using
the headset?
(Automatic Answer
Mode Set)
No (OFF)
Answer all calls. (INT/CO)
Answer only intercom calls.
(INT ONLY)
AUTO ANSWER
= OFF
0
Select the number of rings before
answering a call automatically
when using the headset.
*3
(Automatic Answer Delay Selection)
ringers
1 ring
AUTO ANS DELAY
= 1RING
2
Do you prefer to change
the DECT system (1
through 4)?*4
(DECT System Selection)
DECT System no.
AUTO (All connected terminals)
Your registered DECT system
no.
ACCESS DECT-SYS
= DECT-SYS1
0
Which standby display do
you prefer?*5
(Standby Display Selection)
Extension no. (EXT)
DECT system no.
(DECT-SYS-NO.)
DECT system and extension no.
(DECT-SYS-NO.&EXT)
None of these (OFF)
STANDBY DISPLAY
= OFF

5.4 Customising Your PS
208 DECT Portable Station
Which display do you prefer
in the Standby mode?*5
(Date / Time Display
Selection)
0
1
0
The following settings will be returned to their default settings
– Call log numbers*6
– Ringer volume
– Receiver volume
– PS Programming items
(except: Selecting the DECT System; Cancelling the PS
Registration; Setting the PS Programming Password;
Setting the DECT System Lock)
Press the OK button after the display on the left appears.
(Memory Clear)
Item Selection LevelDisplay
Date (DATE)
Date and time (TIME)
Yes (ON)
Do you prefer the Guidance
menu to help you operate
your PS?*7
(Guidance Menu Set) No (OFF)
DATE/TIME DISPLY
= TIME
MEMORY CLEAR
2
After cancelling the PS registration in System Programming,
cancel again by pressing the OK button after the display on the
left appears. For details, consult your dealer.
(PS Registration Cancellation)
CANCEL DECT-SYS
= DECT-SYS1
GUIDANCE
= OFF
1
Yes (ENABLE)
Do you prefer to use the PS
Programming password?
(PS Programming
Password Set) No (DISABLE)
PS PASSWORD
= DISABLE
2
Yes (ENABLE)
Do you prefer to use the DECT
System Lock password?
(DECT System Lock Password
Set)
No (DISABLE)
DECT-SYS LOCK
= DISABLE

5.4 Customising Your PS
DECT Portable Station 209
*1 If you set the ringer volume off or vibration mode using the Volume Control button, the
PS doesn't ring regardless of this setting.
*2 If you are connected to a Panasonic Digital Super Hybrid System while the default setting
is still "AUTO," the display language will depend on the setting of the system.
*3 The display of this item is only displayed when "Automatic Answer Mode Set" is set to
"INT/CO" or "INT ONLY."
*4 The display of this item is only displayed when more than two fixed terminals are connected.
*5 The display of this item is only displayed when your PS is registered to a Panasonic
Digital Super Hybrid System and " " is displayed.
*6 Call log numbers are cleared only when your PS is registered to a system other than
a Panasonic Digital Super Hybrid System.
*7 For the Guidance menu, some keys work differently from the normal use.
BOOK( )=NEXT OK( )=OK #( )=NEXT
*( )=PREV HOLD( )=BACK C( )=EXIT
C
OK

5.4 Customising Your PS
210 DECT Portable Station
5.4.3 PBX Programming
You can enter into the proprietary wired telephone (PT) programming mode and programme several
items for your PS.
The available programmes are listed below.
Initial Settings
Customising the Buttons
Charge Fee Management
Initial Settings
Press FUNCTION
and then BOOK twice.
OK
Press OK.
PS
PROGRAMMING PT-PGM ModePS-PROGRAM
Press BOOK.
OK
Press OK.
PBX-PROGRAM
Follow programming
input.Press CANCEL.
C
programming
input
Which line do you prefer to
seize when you go off-hook
to make calls?
(Preferred Line Assignment
– Outgoing)
Item Selection Programming Input
ABC
OK
OK
OK
DEF
No line
An idle outside line
A pre-assigned outside line
OK
MNO
To clear the setting of the “Preferred Line Assignment –
Outgoing”
To check your extension number
The Intercom line
INT'
OK
(01–54)
Outside line no.

5.4 Customising Your PS
DECT Portable Station 211
Customising the Buttons
You can change the flexible CO buttons to the following function buttons.
Press FUNCTION
and then BOOK twice.
OK
OK
Press OK.
PS
PROGRAMMING PT-PGM ModePS-PROGRAM
Press BOOK.
OK
Press OK.
PBX-PROGRAM
Follow programming
input.Press OK. Press CANCEL.
C
Press CO.
programming
input
F1-F3
To continue
Button Programming Input
Loop-CO
Group-CO
Direct Station Selection (DSS)
ABC
One-Touch Dialling
DEF
Message
GHI
FWD/DND (Forward/Do Not Disturb)
JKL
Save
MNO
Account
PQRS
Conference
(max. 16 digits)
(1–8)
Single-CO (01–54)
TUV
Two-Way Record*2
TUV
Two-Way Transfer *2
TUV
ABC
DEF
GHI
Voice Mail Transfer*2
Outside line group no.
Outside line no.
Extension no.
Desired no.*1
Voice mail extension no.
Voice mail extension no.
Voice mail extension no.

5.4 Customising Your PS
212 DECT Portable Station
•*1 " ," "#," FLASH, PAUSE, SECRET (Intercom) and — (Conference) can also be stored.
– If you do not want to display the stored number, press the SECRET (Intercom) button
before and after the numbers you wish to conceal.
– If you store an external party's number, you should first store a line access number
(9, 81 to 88).
– If you need to enter an account code, you can enter the specified account code before
the line access number.
•*
2
These buttons are used for the voice mail integration feature.
•To exit the mode at any time, press the CANCEL button.
<Example>
Account code feature no.
49
Account code
1234
Account code delimiter
#
Automatic line
access number
9
Phone number
SECRET
[ 123 4567 ]

5.4 Customising Your PS
DECT Portable Station 213
Charge Fee Management
[pre-assigned extension only]
Press FUNCTION
and then BOOK twice.
OK
Press OK.
PS
PROGRAMMING PT-PGM ModePS-PROGRAM
Press BOOK.
OK
Press OK.
PBX-PROGRAM
Follow programming
input.Press
REDIAL.Press CANCEL.
C
Dial 8. Enter ID code
(4 digits).
programming
input
To continue
ID code
Item Programming Input
Viewing each extension charge. Extension no.
Clearing each extension charge. CLR OK
Extension no.
Viewing each outside line charge.
ABC
Outside line no.
Viewing the total charge.
DEF
Viewing each account code charge.
GHI
Account table no.
Clearing
Assigning a new rate.
each account code charge.
JKL
Clearing all outside line and account code
charges.
Clearing all extension charges.
MNO
CLR
Printing the total telephone charge (each
outside
all extension charges or each extension
charge by SMDR.
line and account code charge),
PQRS
PQRS
PQRS
ABC
DEF
Extension no.
Assigning an account code.
TUV
CLR OK
Account table no.
(01–54)
(001–128)
(001–128)
New account code
(max.10 digits)
CLR OK
OK
OK
New rate (1-8 digits)
GHI
Account table no. (001–128)
Displays the last
clearing date and time.
[]
MNO
CLR OK
Displays the last
clearing date and time.
total telephone charge
all extension charges
each extension charge
[]
TUV

5.4 Customising Your PS
214 DECT Portable Station

Appendix 215
Section 6
Appendix
This chapter provides the Troubleshooting, Feature
Number List, Directory, Tone List, Specifications and the
Quick Reference Card for a Single Line Telephone.
Check the Troubleshooting before consulting your
dealer.

6.1 Troubleshooting
216 Appendix
6.1 Troubleshooting
6.1.1 Troubleshooting
Troubleshooting for wired telephones
Problem Remedy
The telephone does not work
properly. Consult your dealer.
I cannot use the telephone. •The telephone is locked.
Unlock your telephone. ( 2.5.3 Preventing Other
People from Using Your Telephone (Electronic Station
Lockout), 3.1.1 Changing the Settings)
•Your telephone is connected to an eXtra Device Port.
System programming is required. Consult your dealer.
Some features do not work. •System management may restrict certain features.
Consult your manager.
•The feature numbers have changed.
Confirm the revised number and try again.
Even though following the manual
instructions, none of the operations
work when using a proprietary
telephone.
•The Intercom line was not seized. The seized line,
when going off-hook, was changed by personal setting.
( 4.1.2 Initial Settings)
In the manual, going off-hook means an Intercom line
is seized.
If the setting has been changed, press the INTERCOM
button after going off-hook and follow the instructions.
The parallelled single line telephones
do not ring. •This is the default setting.
Change the setting to ring. ( 2.7.10 Setting the
Parallel Connected Telephone Ringer (Parallelled
Telephone))
The telephone does not work using
the personal settings or with other
settings. (One-touch dialling,
forwarding destination, etc.)
•The extension line has been changed. The previous
telephone's settings have not be cleared.
Clear the settings and then programme your desired
settings again. ( 2.7.11 Clearing the Feature Settings
at Your Extension (Station Programme Clear),
4.1.2 Initial Settings, 4.1.3 Customising the Buttons)
My proprietary telephone does not
have a function button. •Some models do not have the function button.
Change a flexible button to the desired button. (
4.1.3 Customising the Buttons)
Enter the specified feature number instead of the
function button. ( 2.1.1 Before Operating the
Telephones)

6.1 Troubleshooting
Appendix 217
A reorder tone is audible or
"Restricted" is displayed. •The telephone is locked.
Unlock your telephone. ( 2.5.3 Preventing Other
People from Using Your Telephone (Electronic Station
Lockout), 3.1.1 Changing the Settings)
•Toll restriction is activated.
Consult your manager or dealer.
•An account code is required. ( 2.2.5 Calling
without Restrictions, 4.1.4 Charge Fee Management
[Pre-assigned extension only])
I cannot make an outside call using
the One-Touch Dialling button or
speed dialling.
•A line access number was not stored.
A line access number is required for outside calls. (
2.2.1 Basic Calling, Refer to "Storing the names and
numbers for station speed dialling" in 2.9.4 Using the
KX-T7433, KX-T7436 or KX-T7235, 4.1.3 Customising
the Buttons)
I cannot remember the feature
numbers. Ask your dealer to change the feature numbers for
easier use.
While talking to an outside party, the
line is disconnected. •The time limit has run out. ( 2.4.3 Transferring a
Call 2.4.5 Three-party Conversation)
Consult your dealer to extend the time, if necessary.
Redialling does not function. •The stored number was more than 24 digits or an
extension number. ( 2.2.3 Redial)
I cannot access computer services,
banking-by-phone, etc. • A tone signal is required. ( 2.2.5 Calling without
Restrictions)
The personal computer and facsimile
communication failed. •An indication tone may have interrupted
communication.( 2.7.8 Protecting Your Line against
Indication Tones (Data Line Security))
I do not want to show my
identification number to the calling or
called party's telephone.
Consult your manager or dealer.
I want to show my identification
number to the calling or called party's
telephone.
• ( 2.7.4 Displaying Your Number on the Called Party
and Calling Party's Telephone (Calling / Connected Line
Identification Presentation [CLIP / COLP]))
I cannot send a call waiting tone to the
dialled extension. •The other party has not set the Call Waiting feature.
( 2.2.4 When the Dialled Line is Busy or There is No
Answer, 2.4.4 Answering a Call Waiting,
2.7.3 Receiving a Call Waiting (Call Waiting / Off-Hook
Call Announcement [OHCA] / Whisper OHCA))
•The other party has set Data Line Security.
( 2.7.8 Protecting Your Line against Indication Tones
(Data Line Security))
I forgot the lock code / Live Call
Screening Password. Ask the Operator to assist you.
( 3.1.1 Changing the Settings)
Problem Remedy

6.1 Troubleshooting
218 Appendix
The background music started
suddenly. Turn off the music.
( 2.7.7 Turning on the Background Music,
3.2.2 Turning on the External Background Music)
I do not want to display a number
which is stored in memory. Conceal the number.
( Refer to "Storing the names and numbers for station
speed dialling" in 2.9.4 Using the KX-T7433, KX-T7436
or KX-T7235,4.1.3 Customising the Buttons)
The display does not show the
message described in the manual. •The telephone is not a Panasonic proprietary
telephone.
This manual shows messages which appear only on
Panasonic proprietary telephones (e.g. KX-T7436).(
2.1.1 Before Operating the Telephones)
I want to confirm my extension
number and jack number. ( 4.2.1 Programming Information)
The date and time are not correct. •Set the date and time by system programming. (
4.2.2 Date and Time Set (000))
The display is not shown well. •The lithium battery for memory back-up needs to be
replaced.
Consult your dealer.
I want to distinguish the tones. ( 4.1.2 Initial Settings,
4.1.3 Customising the Buttons)
I hear a warning tone from the
telephone. •The handset was off-hook in an idle status for an
extended period of time.
Replace the handset.
The MESSAGE button light lit. •Another extension left you a message waiting
indication during you were on the phone or left your
desk.
Problem Remedy

6.1 Troubleshooting
Appendix 219
A Power Failure occurred. When a power failure occurs...
The system and Panasonic proprietary telephones stop
all functions. Specific extensions are automatically
connected straight to specific CO (outside) lines. This
provides CO line conversations between the following
extension and CO lines:
KX-TD816
CO01 - Jack number 01
CO02 - Jack number 02
CO05 - Jack number 09 (not available for an ISDN line)
CO06 - Jack number 10 (not available for an ISDN line)
KX-TD1232
CO01 - Jack number 01
CO02 - Jack number 02
CO03 - Jack number 09
CO04 - Jack number 10
CO09 - Jack number 17 (not available for an ISDN line)
CO10 - Jack number 18 (not available for an ISDN line)
All intercom calls and features do not function.
When turning the power back on...
Your system restarts with the stored data automatically.
Memory is protected by a pre-installed lithium battery.
There is no memory loss except for Automatic Callback
Busy (Reserving a busy line) and Held calls.
Problem Remedy

6.1 Troubleshooting
220 Appendix
Troubleshooting for DECT Portable Station
Problem Remedy
The PS does not work. •The battery is empty.
Charge the batteries fully. ( 5.2.1 Before Operating
the DECT Portable Station Battery Charge)
•The PS has been cancelled or the PS has not been
registered.
Consult your dealer.
The PS does not operate. •The power switch is OFF.
Turn it ON. ( 5.2.1 Before Operating the DECT
Portable Station Button Descriptions)
The PS does not ring. •Ringer volume is set to OFF or VIBRATION.
Set to ring by pressing the Volume Control button. (
5.2.1 Before Operating the DECT Portable Station
Button Descriptions)
•The PS is out of range or the Cell Station (CS) is busy.
Move closer to the CS or try again later.
•The radio channel is busy or a radio communication
error occurred.
Try again later.
You cannot dial. •The number which you dialled is restricted by the
system.
Consult your dealer.
•The key lock mode is set.
To cancel the mode, press the Function for about 2
seconds. ( 5.3.8 Locking the Keypads)
•The radio channel is busy or a radio communication
error occurred.
Try again later.
Static, sound cuts in/out, fades.
Interference from other electrical
units.
Set the PS and CS away from other electrical
appliances.
Move closer to the CS.
"CS Busy" is displayed. •The radio channel is busy.
Try again later.
"FAULT" is displayed. Consult your dealer.

6.1 Troubleshooting
Appendix 221
"PS NO CONNECTED" is displayed. •The power switch is set to OFF.
Turn it ON. ( 5.2.1 Before Operating the DECT
Portable Station Button Descriptions)
•The PS is out of range.
Move closer to the CS.
•The radio channel is busy or a radio communication
error occurred.
Try again later.
"REGISTER UNIT" is displayed. •The PS is not registered in the system.
Consult your dealer.
"NO SERVICE" is displayed. •The PS is out of range.
Move closer to the CS.
You cannot store a phone number and
name in the directory. •Your entry exceeds the maximum digits or
characters.
•Do not pause for over 30 seconds while
programming.
The alarm sounds after pressing the
Redial button. •A number is not saved in the Call Log.
" " flashes or beeps tones sound
every 5 seconds during a
conversation.
•The battery is low.
Charge the batteries fully. ( 5.2.1 Before Operating
the DECT Portable Station Battery Charge)
You charged the batteries fully, but
" " flashes.
Clean the charge contacts and charge again.
It is time to change the batteries. Please purchase new
batteries.
The PS stops working during
operation. Turn the power switch OFF and ON. Then try again.
( 5.2.1 Before Operating the DECT Portable Station
Button Descriptions)
Re-insert the battery and try again. ( 5.2.1 Before
Operating the DECT Portable Station Battery Charge)
Handover does not work. •You moved to a busy CS or are out of range.
•You moved while not having a conversation (e.g.,
while hearing a busy tone).
•The radio channel is busy or a radio communication
error occurred.
The display does not show a strong
radio signal " " even though you
are near the CS.
•Normally, the PS user can make a call even with a
" " status. In this case, the current linked CS is still
connected even though another CS is closer.
The alarm sounds during a
conversation while receiving a weak
radio signal " ."
•The radio signal is weak.
Move closer to the CS.
Problem Remedy

6.2 Feature Number List
222 Appendix
6.2 Feature Number List
6.2.1 Feature Number List
Numbers listed below are the default settings. There are flexible feature numbers and fixed feature
numbers. If you change the flexible feature numbers, fill in your assigned numbers in the list for future
reference.
Feature Default Assigned no. Additional digits
Calling the operator 0
Automatic line access number / ARS 9
Outside line number 8 1-8
Calling a pre-set party by going off-hook /
cancelling / storing 74 1 / 0 /
2+phone no.+#
Calling using the number stored at your extension
Storing the numbers 3
30
0-9
[0-9]+phone no.+#
Calling using the number stored in the system 000-499
Redialling the last phone number you dialled #
Reserving a busy line 6 Fixed
Sending a call waiting tone 1 Fixed
Leaving a message waiting indication / cancelling
/calling back / clearing a received indication 70 1+ext. no. / 0+ext. no. /
2 / 0+your ext.no.
Joining an existing call 2 Fixed
16th incoming call log is stored / disregarded 56 1 / 0
Picking up a call for someone else
– outside call
– group
– direct
4
40
41 ext. no.
Holding or retrieving a call 50
Retrieving from another extension
– outside call
– intercom call 53
51 01-54
ext. no.
Holding in a system parking zone or retrieving 52 0-9
Paging or transferring and paging
– all devices / all extensions /group
– external speaker 33
32 / 0 / 1-8
1-4
Answering a paged announcement or an
incoming call through the speaker 42 1-4
Answering the paged announcement through
telephones 43

6.2 Feature Number List
Appendix 223
Receiving or refusing a call waiting tone or voice
no tone / tone / OHCA / whisper OHCA 731 0 / 1 / 2 / 3
Identifying malicious callers 737
Accessing external services 6
Forwarding your call
– All calls / Busy / No answer /
Busy, No answer
– to an external party
– cancelling
– Follow Me / cancelling
710 [2 / 3 / 4 / 5]+[0-2]+ ext.
no.
6+[0-2]+line access
no.+phone no.+#
0
[7 / 8]+your ext. no.
Refusing all calls (DND) / cancelling 710 1 / 0
Showing a message to the caller / cancelling 750 [1-9]+(parameter) / 0
Joining the call receiving group / leaving 45 1 / 0
Conference 3 Fixed
Calling with account codes 49 code+[# or 99]
Temporary tone dialling #Fixed
Dialling a DND extension 1 Fixed
Setting the alarm /
cancelling / viewing
76 1+time+
[0 (AM) / 1 (PM)]+
[0 (once) / 1 (daily)] /
0 / 2
Displaying your number on the called / calling
party's telephone
– showing a number assigned for an outside
line / your extension 711 1 / 2
Denying other people the possibility of
– seeing your call logs / Allowing
– using your telephone / Allowing
– picking up your calls / Allowing
– joining your conversation / Allowing
57
77
720
733
3 digits code twice /
stored code
3 digits code twice /
stored code
1 / 0
1 / 0
Turning on / off the background music 1 Fixed
Refusing / receiving the indication tones 730 1 / 0
Day / Night service confirmation # Fixed
Switching the display - month, day, time / month,
day, year, day of the week Fixed
Parallelled telephones ring / do not ring 39 1 / 0
Switching the calling method (Ring / Voice) Fixed
Feature Default Assigned no. Additional digits

6.2 Feature Number List
224 Appendix
Cancelling the feature settings 790
Calling the doorphone 31 1-4
Opening the door from a specified phone
from any extension while talking 55
5Fixed 1-4
* Setting the Live Call Screening password /
cancelling 799 3 digits code twice /
stored code
* Hotel use features
– Setting the alarm for other extensions /
cancelling / viewing
– Changing the room status
7
736
1+ext. no.+time+
[0 (AM) / 1(PM)]+
[0 (once) / 1 (daily)]
0+ext. no. / 2+ext. no.
* Turning on / off the background music 35
* Switching the Day / Night service
– to day / to night 78 0 / 1
* Recording an outgoing message / playing back 36 [1 / 2]+OGM no.
* : Operator only.
Feature Default Assigned no. Additional digits

6.3 Directory
Appendix 225
6.3 Directory
6.3.1 Directory

6.3 Directory
226 Appendix
Extension
❏Extension
Jack
no.
01-1
02-1
03-1
04-1
05-1
06-1
07-1
08-1
09-1
10-1
11-1
12-1
13-1
14-1
15-1
16-1
17-1
18-1
19-1
20-1
21-1
22-1
23-1
24-1
25-1
26-1
27-1
28-1
29-1
30-1
31-1
32-1
01-2
02-2
03-2
04-2
05-2
06-2
07-2
08-2
09-2
10-2
11-2
12-2
13-2
14-2
15-2
16-2
17-2
18-2
19-2
20-2
21-2
22-2
23-2
24-2
25-2
26-2
27-2
28-2
29-2
30-2
31-2
32-2
Extension no. Name Jack
no. Extension no. Name

6.3 Directory
Appendix 227
Phone no.
Jack
no.
33-1
34-1
35-1
36-1
37-1
38-1
39-1
40-1
41-1
42-1
43-1
44-1
45-1
46-1
47-1
48-1
49-1
50-1
51-1
52-1
53-1
54-1
55-1
56-1
57-1
58-1
59-1
60-1
61-1
62-1
63-1
64-1
33-2
34-2
35-2
36-2
37-2
38-2
39-2
40-2
41-2
42-2
43-2
44-2
45-2
46-2
47-2
48-2
49-2
50-2
51-2
52-2
53-2
54-2
55-2
56-2
57-2
58-2
59-2
60-2
61-2
62-2
63-2
64-2
Extension no. Name Jack
no. Extension no. Name

6.3 Directory
228 Appendix
System Speed Dialling
NameNo.NameNo.No. Name
000
001
002
003
004
005
006
007
008
009
010
011
012
013
014
015
016
017
018
019
020
021
022
023
024
025
026
027
028
029
030
031
032
033
034
035
036
037
038
039
040
041
042
043
044
045
046
047
048
049
050
051
052
053
054
055
056
057
058
059
060
061
062
063
064
065
066
067
068
069
070
071
072
073
074
075
076
077
078
079
080
081
082
083
084
085
086
087
088
089
090
091
092
093
094
095
096
097
098
099
100
101
102
103
104
105
106
107
108
109
110
111
112
113
114
115
116
117
118
119
120
121
122
123
124
125
126
127
128
129
130
131
132
133
134
135
136
137
138
139
140

6.3 Directory
Appendix 229
No. Name
188
189
190
191
192
193
194
195
196
197
198
199
200
201
202
203
204
205
206
207
208
209
210
211
212
213
214
215
216
217
218
219
220
221
222
223
224
225
226
227
228
229
230
231
232
233
234
141
142
143
144
145
146
147
148
149
150
151
152
153
154
155
156
157
158
159
160
161
162
163
164
165
166
167
168
169
170
171
172
173
174
175
176
177
178
179
180
181
182
183
184
185
186
187
235
236
237
238
239
240
241
242
243
244
245
246
247
248
249
250
251
252
253
254
255
256
257
258
259
260
261
262
263
264
265
266
267
268
269
270
271
272
273
274
275
276
277
278
279
280
281
No. Name No. Name

6.3 Directory
230 Appendix
No. Name
329
330
331
332
333
334
335
336
337
338
339
340
341
342
343
344
345
346
347
348
349
350
351
352
353
354
355
356
357
358
359
360
361
362
363
364
365
366
367
368
369
370
371
372
373
374
375
282
283
284
285
286
287
288
289
290
291
292
293
294
295
296
297
298
299
300
301
302
303
304
305
306
307
308
309
310
311
312
313
314
315
316
317
318
319
320
321
322
323
324
325
326
327
328
376
377
378
379
380
381
382
383
384
385
386
387
388
389
390
391
392
393
394
395
396
397
398
399
400
401
402
403
404
405
406
407
408
409
410
411
412
413
414
415
416
417
418
419
420
421
422
NameNo. No. Name

6.3 Directory
Appendix 231
Station Speed Dialling
No. Name
449
450
451
452
453
454
455
456
457
458
459
460
461
462
463
464
465
466
467
468
469
470
471
472
473
474
423
424
425
426
427
428
429
430
431
432
433
434
435
436
437
438
439
440
441
442
443
444
445
446
447
448
475
476
477
478
479
480
481
482
483
484
485
486
487
488
489
490
491
492
493
494
495
496
497
498
499
NameNo. No. Name
Name No. No.
05
16
27
38
49
Name

6.3 Directory
232 Appendix
Quick Dialling
Name Quick dial no. Name Quick dial no.

6.4 What is This Tone?
Appendix 233
6.4 What is This Tone?
6.4.1 What is This Tone?
While on-hook
When going off-hook
Ring Tones
Tone 1
• Incoming call from an
external party
• An outside call is held for
more than a specified time
(default: 60 seconds).
Tone 2
• Incoming call from an
extension
• An intercom call is held for
more than a specified time
(default: 60 seconds).
Tone 3
• Incoming call from a
doorphone
• The pre-set alarm time has
arrived.
Tone 4
• A reserved outside line or
extension became idle.
• A caller is leaving a
message in your mailbox
(Live Call Screening-
Private mode).
Dial Tones
Tone 1
Normal
Tone 2
At least one feature has been
changed from the default
setting at your extension.
1 s
1 s

6.4 What is This Tone?
234 Appendix
When you make calls
While off-hooking
Tone 3
• The alarm is being
answered.
• Enter an account code to
turn off the tone.
Tone 4
Message waiting indication
was received.
Busy Tone
Reorder Tone
• The outside line you tried
to seize is not assigned or
denied.
• The wrong account code
was entered.
Ringback Tone 1
Normal ringback tone
Ringback Tone 2
Special ringback tone for DISA
call
Do Not Disturb Tone
The dialled extension is
refusing incoming calls.
Indication Tones
Tone 1
Call waiting tone (default)
Tone 2
Call waiting tone from outside
1 s
15 s
5 s

6.4 What is This Tone?
Appendix 235
When talking to an external party
When setting the features or programming
Tone 3
Call waiting tone from another
extension
Tone 4
A call is held for more than a
specified time (default: 60
seconds)
Warning Tone
This tone is sent 15, 10 and 5
seconds before the time limit.
Confirmation Tones
Tone 1
• Set/cancel to deny other
people the possibility of
using your phone.
• The new setting differs from
the previous setting by
personal programming.
• Completing the system
programming.
Tone 2
• The feature setting was
completed successfully.
• Before paging through an
external speaker
• The new setting is same as
the previous setting by
personal programming.
Tone 3
Before performing the following
features:
• Retrieving a held call
• Picking up another call
• Paging/Answering a
paged announcement
• Answering the call
through a speaker
15 s
1 s
1 s

6.4 What is This Tone?
236 Appendix
Tone 4
Establishing or leaving a three-
party conversation

6.5 Specifications
Appendix 237
6.5 Specifications
6.5.1 Specifications
General Description
Item Description
System Capacity Basic Expansion System Connection
KX-TD816
Outside lines
Wired extension lines
Wireless extension lines
(Extension lines with XDP
KX-TD1232
Outside lines
Wired extension lines
Wireless extension lines
(Extension lines with XDP
4
8
—
16
8
16
—
32
8
16
16
32
42
32
64
64
—
—
—
—)
42
64
64
128)
Power Supplies Primary
Secondary
Power Failure
KX-TD816: 220-230 VAC, 50 Hz
KX-TD1232: 220-240 VAC, 50 / 60 Hz
Station Supply Volt : 30V
Circuit Volt: 5V, 15V
• Memory backup duration : seven years with a
factory-provided lithium battery
• 4 outside lines max. for KX-TD816 and 6 outside
lines max. for KX-TD1232 automatically assigned
to stations (Power Failure Transfer)
• System operation for about three hours using
recommended batteries (consisting of two 12
VDC car batteries)
Dialling Outward/Internal
Mode Conversion Dial Pulse (DP) 10 pps, 20 pps, Tone (DTMF) Dialling
DP-DTMF, DTMF-DP
SMDR
(Station Message
Detail Recording)
Interface
Output Equipment
Detail Recording
Serial Interface (RS-232C)
Printer
Date, Time, Extension Number, Outside Line
Number, Dialled Number, Ring Duration, Call
Duration, Account Code, Charge Fee, Timed
Reminder, CLIP

6.5 Specifications
238 Appendix
Characteristics
Item Description
Maximum Number of Station
Instruments per Line 1 or 2 by Parallel or eXtra Device Port Connection
Ring Voltage 70 Vrms at 25 Hz depending on the ringing load
Environmental Requirements 0 - 40 °C, 10 - 90% relative humidity

6.5 Specifications
Appendix 239

Index
240
Section 7
Index

Index
241
Symbols
#=NEXT 209
*=PREV 209
A
Absent Message 74, 200
ABST MSG Off / Absent MSG Off 76
ABST MSG On 1-9 / Absent MSG On (1-9)
75
ACCESS DECT-SYS 207
ACCNT 40
Account 40, 145, 148, 198, 211, 213, 234
Adding Telephone 14
Alarm 88, 201, 233, 234
Alert 139, 145
Alternate Calling - Ring / Voice 43, 198
ANSWER 22, 133
AUTO 176
AUTO ANS DELAY 207
AUTO ANSWER 22, 207
AUTO DIAL 22
Automatic-Answer Delay Selection 207
Automatic-Answer Mode Set 182, 207
Automatic-Callback Busy 35, 197
Automatic-Log 110
Automatic-Redial 33
Automatic-Route Selection 2, 27, 181
B
Back at %%:%% (Hour:Minute) 74
Background Music (BGM) 95, 129
BACKLIGHT 206
Battery 173
BGM 95
BOOK 176
BOOK=NEXT 209
Boss-Secretary 72
BSS (Busy Station Signalling) / BSS 36, 198
Busy 33, 35, 36, 69, 197, 198, 200
Busy Station Signalling (BSS) 36, 198
Busy tone 234
Button 22, 145, 146, 176, 196, 211
C
C.BCK 35
C.Pickup GRP / C.Pickup Group 49
C=EXIT 209
CALL 111
Call Forwarding 22, 69, 103, 124, 200, 202
Call Log 110, 116, 120
Call Park 56, 199
Call Park 0-9 / Call Park (0-9) 56, 57
Call Pickup 49, 198
Call Pickup Deny 93, 201
Call Splitting 59, 199
Call Waiting 36, 62, 91, 199, 201
Call Waiting-Tone 50, 62, 63, 104, 144,
234
Call-Directories 187
Call-Duration 40, 112
Call-Information 27, 46, 110, 112, 181
Calling back 111
Calling Line Identification Presentation
(CLIP) 46, 92, 201
Calling Line Identification Restriction (CLIR)
92
Calling method 43, 198
Call-Record 2, 112
CANCEL 176
CANCEL DECT-SYS 208
Capacity 10, 237
Cell Station 173, 179, 180
Character 153, 192
Charge Fee Management 148, 213
Charger 173
Check in / Check out 134, 135
Check-in / check-out 134
Clearing-(Flexible) button data 147
Clearing-Programmes 99, 202
CLR 110, 139, 148, 151
CLR (CLEAR) 176
CO 21, 22, 145, 211
CONF 145, 177, 196
CONF (KEY4) 196
Conference 22, 64, 145, 199, 211
Confirmation 18, 151, 235
Connected Line Identification Presentation
(COLP) 92, 201
Connected Line Identification Restriction
(COLR) 92
Connection 14
Customise 142, 149, 203
D
Data / Time Display Selection 208
Data Line Security 96, 202
Date 110, 156
DATE / TIME DISPLY 208
Day / Night 97, 127
DECT System-Lock Password Set 208
DECT System-Number 175
DECT System-Selection 207
DECT-SYS LOCK 208
Denying 93
Denying-Joining your conversation 94, 202
Denying-Picking up Your Calls 93, 201
Denying-Retrieving your held calls 55, 185
Denying-Ringing (DND) 90, 201
Denying-Using your telephone 77, 200
Dial Tone 233
Direct Inward System Access (DISA) 44
DIRECTORY LOCK 192, 207

Index
242
Directory Lock Control 192, 207
Display 18, 19, 110, 114, 150, 172
Display feature list 122
Display Language Selection 207
Do Not Disturb (DND) 22, 41, 90, 124, 201,
234
Do Not Disturb Override 41, 198
Door Open 101
Door Opener 100, 202
Doorphone 13, 100, 202, 233
DSS 22, 25, 145, 211
E
Easy Dialling 28, 197
EFA 63, 102
Electronic Station Lockout 77, 200
Emergency call 27, 181
END 134, 135
ENTER PASSWORD 204, 205, 206
Exclusive Call Hold 55, 185
Executive Busy Override 39, 198
Executive Busy Override Deny 94, 202
EXT 115, 118
Ext-BGM On/Off / Extrn BGM On/Off 129
Extension 116, 118, 120
Extension-Customise 142
Extension-Dialling 25, 115, 116, 118, 120,
180
Extension-Directory 226
Extension-Group 49, 81, 82, 198
Extension-Lock 77, 126, 200
Extension-Name 166
Extension-Number 21, 150, 165, 175
External Feature Access 102, 202
External Party 26, 60, 69, 180, 199
eXtra Device Port (XDP) 14
F
Facsimile (FAX) 13
FEAT 115, 118
Feature Number 18, 175, 222
Features 116, 120
FLASH 22, 176
Flexible CO 145, 176
Follow Me 69, 200
Forwarding Calls 69, 103, 200, 202
Full One-Touch Dialling 143
Function 22, 176
FWD/DND 124, 145, 177, 196, 211
FWD/DND (KEY2) 196
FWD/DND Cancel 72, 90
FWD-All Calls 0-2+ext 71, 103
FWD-BSY/NA 0-2+ext 71, 103
FWD-Busy 0-2+ext 71, 103
FWD-CO Line 0-2+dial 71
FWD-From Cancel ext 72
FWD-From ext 71
FWD-No Answer 0-2+ext 71, 103
G
Gone Home 74
Group Call Pickup 49, 198
Group-CO 145, 211
GUIDANCE 208
Guidance Menu Set 208
H
Handover 179
Handset 144
Handset Mute 67
Hands-free Answerback 48
Hands-free mode 104, 144
Hands-free operation 27, 46
Headset 144
Hold (HOLD) 22, 53, 176, 184
HOLD=BACK 209
Host PBX 102, 202
Hotel 134, 135
Hotel Use Features 134
I
Icon 3, 21, 151, 175
Identification number 92, 201
In a Meeting 74
Incoming Call Log 110, 113, 126
Indication Tone 38, 104, 234
Initial Display 110, 115, 116, 118, 120
Initial Settings 143, 210
INTERCOM 22, 176
Intercom Alert 144
Intercom Call 25, 115, 116, 118, 120, 144,
179, 233
ISDN Network Service Access 42, 145
J
Jack number 150
Jog Dial 19, 22
Joining - An existing call 39
Joining - Receiving group 78
K
KEY 196
KEY TONE 206
Keypad Backlight Mode Set 206
KEYPAD LOCKED 195
L
LANGUAGE 207
Last Number Redial 33, 183
LCS# abcabc / LCS Password (abcabc) 105

Index
243
Leaving-Conference 65, 199
Leaving-Message waiting indication 36
Leaving-Receiving group 78
Letting a third party join your call 66, 199
Line-Access number 21, 26, 180
Line-Name 46, 110
Line-Outside line 26, 180
Live Call Screening (LCS) 104, 126, 144,
145, 233
Location 11
Lock 77, 113, 126, 195, 200
Log 112
Log-In/Log-Out 78, 145
Login/out 1/0 / Login/Logout (1/0) 79
Login/out 1/0 / Login/out (1/0) 78
Loop-CO 22, 27, 145, 181, 211
M
Mailbox 103, 202
Making Calls 25, 114, 115, 119, 143, 179,
191
Making Calls-Account Codes 40, 198
Making Calls-Call log 110, 119
Making Calls-Doorphone 100, 202
Making Calls-Easy Dialling 28, 197
Making Calls-From the Outside 44
Making Calls-Phantom 31
Malicious Call Identification (MCID) 52, 198
MEMORY CLEAR 208
Memory Clear 208
MENU 139
MESSAGE 22, 145, 177, 196, 211
Message 36, 74, 104, 130, 198, 200, 211
MESSAGE (KEY3) 196
Message Waiting 36, 198
Microphone 67
Microphone Mute 67
Minibar 134, 135
MODIFY BOOK 187
MONITOR 22
Monitoring 104
MSG Off ext / Message Off (ext) 37
MSG On ext / Message On (ext) 37
Mute (MUTE) 22, 23, 67
N
Name 11
Name-Character Entering 153, 192
Name-Extension 166
Name-Outside line 110
Name-Station Speed Dialling 121
Name-System Speed Dialling 158
NEW 110
Night 145
Night Mode 1/0 / Night On/Off (1/0) 127, 128
NO 134, 135
No Answer 69, 103, 200
NRDY 135
O
Off-Hook Call Announcement (OHCA) 36,
62, 91
Off-Hook Monitor 68
OGM Play 1-4 / OGM Playback (1-4) 131,
132
OGM Record 1-4 / OGM Recording (1-4)
130, 131
OK 176
OK=OK 209
OLD 110
One-Touch Dialling 28, 143, 145, 197, 211
One-Touch Transfer 61
Opening the door 101, 202
Operator 26, 197
Others 134, 135
Out until %%/%% (Month/Day) 74
Outgoing Call Log 116, 120, 183
Outgoing Message (OGM) 130, 139
Outgoing message(OGM) 44
Outside 26, 44, 49, 62, 69, 180, 198, 200
Outside (CO) Call Pickup 49, 198
Over 39, 41
Overlay 149
P
Page E-ANS 1-4 / Page-Ext Answer (1-4)
51, 86
Page Extrn 0-4 / Paging External (0-4) 81
Page GRP 0-8 / Paging Group (0-8) 82
Page-GRP ANS / Page-GRP Answer 87
Paging 80, 201, 235
Parallel 1/0 / Parallel On/Off (1/0) 98
Parallelled telephone 14, 98
Password 105, 126, 149
PAUSE 22, 177, 196
PAUSE (KEY1) 196
PBX Extension Dialling 187
PBX Extension Dialling Directory 187, 191
PBX Programming 210
PBX Station Speed Dialling Directory 187,
191
PBX System Speed Dialling Directory 187,
191
PBX-EXT-DIALING 191
PBX-PROGRAM 203
PBX-STA-DELETE 187
PBX-STA-DIALING 191
PBX-STA-EDIT 187
PBX-SYS-DIALING 191
Personal Computer 13
PF 145
Phantom 31, 145, 146

Index
244
Picking up 49, 235
Picking up Your Calls 93
Pickup Dialling 30, 197
Power Failure 219, 237
Power Switch 176
Preferred Line 143, 210
Preferred Line Assignment 143
PRINT 134
Print out 2, 134
Privacy Release 66, 199
Private mode 104, 107, 144, 233
PROG 138
PROGRAM 22
PROGRAMMING 203
Programming 142, 203
Proprietary Telephone 14, 18, 142
PS Dialling Directory 187, 191
PS PASSWORD 208
PS Programming 204
PS Programming Password Set 208
PS Registration Cancellation 208
PS-DELETE 187
PS-DIALING 191
PS-EDIT 187
PS-NEW-ENTRY 187
PS-PASSWORD 205
PS-PROGRAM 203
Pulse to Tone 41, 198
Q
QUICK ANSWER 207
Quick Answering Mode Set 182, 207
Quick Dialling 31, 197
Quick Dialling-Directory 232
R
Radio Signal Strength 173
RDY 135
Received group 78, 145
Receiving calls 46, 182
Receiving calls-Call waiting 62, 91, 201
Receiving calls-Hands-free 46, 48
Receiving calls-Mailbox 103, 104, 202
Receiving calls-Paging 80, 201
Recording-Call log 2, 112
Recording-Conversation 108, 202
Recording-Outgoing message 130
Redial (REDIAL) 23, 33, 116, 120, 176,
183
REGISTRATION 203
Registration 172
RELEASE 23, 133
Remote Station Lock Control 126
Reorder Tone 234
Reset button 11
Restriction 20, 40, 198
Ring 43, 144, 146, 198, 233
RING PATTERN 206
Ringback Tone 234
Ringer Pattern Selection 206
Room status 135
S
Save (SAVE) 23, 145, 211
Saved Number Redial 34, 197
SECRET 146, 157, 212
SEL 148
SHIFT 23
Single line telephone 13, 14, 18, 98
Single-CO 145, 211
Soft 23
Speaker 51, 80, 198, 201
SP-PHONE 23
STA 115, 118
STA Speed 116, 118, 120
STANDBY DISPLAY 207
Standby Display Selection 207
Station Message Detail Recording (SMDR)
2, 148, 213, 237
Station Programme Clear 99, 202
Station speed dialling 28, 115, 116, 118,
120, 121, 197
Station speed dialling-Directory 231
STORE 22
Super EXtra Device Ports (SXDP) 194
SYS Speed 116, 118, 120
System Feature Access 115, 116, 118, 120
System speed dialling 29, 115, 116, 118,
120, 157, 158, 197
System speed dialling-Directory 228
T
TALK 176
Telephone 2, 13, 18, 22, 135
Three-party Conversation 64, 199, 236
Time 110, 156
Time Limit 45, 61, 235
Timed Reminder 88, 201
TONE 177, 196
Tone 43
TONE (KEY5) 196
TRANSFER 23, 176
Transferring 60, 83, 104, 186, 199, 201,
202
Troubleshooting 216
Trunk Answer From Any Station (TAFAS)
51, 198
Two-Way Recording 108, 145, 202, 211
Two-Way Transfer 109, 145, 202, 211
U
Unattended Conference 65, 199

Index
245
Unlock 77, 113, 126, 200
V
VIBRATION & RING 206
Vibration and Ring Type Selection 206
Voice 43
VOICE CALL 23
Voice mail 2, 103, 144, 145, 202, 211
Voice processing system 2, 13, 103, 202
Voice-Calling 43, 198
VOLUME Control 23, 119
Volume Control 176
W
Wake up / Wake-Up call 138
Warning Tone 235
Whisper OHCA 36, 62, 91
Will Return Soon 74
Y
YES 134, 135

Index
246

✄
✄
✄
✄
✄
✄
Please cut out these cards and distribute to the single line telephone users.
✄
✄
✄
✄
✄
✄
Quick Reference Card
+Ext. no.
• Holding: ++
50
• Retrieving: +5 0
5 0
• Transferring: Dial no.+
• Answering Call Waiting: +++
To Pick Up Someone’s Call
• Outside Call:
• Specified Extension: 41
• Extension Group: 40
4
During a Conversation
To Make Calls
Quick Reference Card
• Intercom: Ext. no.
+Ext. no.
+Phone no.
• Operator:
0
• External Party: ()
9
or 81-88
+No. 0-9
+No. 1-4
• Station Speed Dialling: 3
+No. 000-499
•
System Speed Dialling
:
• Doorphone: 31
• Holding: ++
50
• Retrieving: +5 0
5 0
• Transferring: Dial no.+
• Answering Call Waiting: +++
To Pick Up Someone’s Call
• Outside Call:
• Specified Extension: 41
• Extension Group: 40
4
When a Line is Busy
During a Conversation
• Reserving a busy line: 6
• Sending a call waiting tone:
• Redialling the last dialled number:
1
Quick Reference Card
+Ext. no.
• Holding: ++
50
• Retrieving: +5 0
5 0
• Transferring: Dial no.+
• Answering Call Waiting: +++
To Pick Up Someone’s Call
• Outside Call:
• Specified Extension: 41
• Extension Group: 40
4
During a Conversation
Quick Reference Card
+Ext. no.
• Holding: ++
50
• Retrieving: +5 0
5 0
• Transferring: Dial no.+
• Answering Call Waiting: +++
To Pick Up Someone’s Call
• Outside Call:
• Specified Extension: 41
• Extension Group: 40
4
During a Conversation
To Make Calls
• Intercom: Ext. no.
+Phone no.
• Operator:
0
• External Party: ()
9
or 81-88
+No. 0-9
+No. 1-4
• Station Speed Dialling: 3
+No. 000-499
•
System Speed Dialling
:
• Doorphone: 31
When a Line is Busy
• Reserving a busy line: 6
• Sending a call waiting tone:
• Redialling the last dialled number:
1
To Make Calls
• Intercom: Ext. no.
+Phone no.
• Operator:
0
• External Party: ()
9
or 81-88
+No. 0-9
+No. 1-4
• Station Speed Dialling: 3
+No. 000-499
•
System Speed Dialling
:
• Doorphone: 31
When a Line is Busy
• Reserving a busy line: 6
• Sending a call waiting tone:
• Redialling the last dialled number:
1
To Make Calls
• Intercom: Ext. no.
+Phone no.
• Operator:
0
• External Party: ()
9
or 81-88
+No. 0-9
+No. 1-4
• Station Speed Dialling: 3
+No. 000-499
•
System Speed Dialling
:
• Doorphone: 31
When a Line is Busy
• Reserving a busy line: 6
• Sending a call waiting tone:
• Redialling the last dialled number:
1

Stored code
No. 0-9 Line no. 9 or 81-88 Phone no.
Locking / Unlocking Your Phone
• Lock: +
++ ++
+
+
77
3-digit desired code same code
• Unlock: 77
Settings
• Storing the number for Station Speed Dialling:
3 0
• Call Waiting:
— Set: 7 3 1 1
— Cancel: 7 3 1 0
Frequently Used Features at Your Extension Frequently Used Features at Your Extension
Frequently Used Features at Your Extension Frequently Used Features at Your Extension
Stored code
No. 0-9 Line no. 9 or 81-88 Phone no.
Locking / Unlocking Your Phone
• Lock: +
++ ++
+
+
77
3-digit desired code same code
• Unlock: 77
Settings
• Storing the number for Station Speed Dialling:
3 0
• Call Waiting:
— Set: 7 3 1 1
— Cancel: 7 3 1 0
Stored code
No. 0-9 Line no. 9 or 81-88 Phone no.
Locking / Unlocking Your Phone
• Lock: +
++ ++
+
+
77
3-digit desired code same code
• Unlock: 77
Settings
• Storing the number for Station Speed Dialling:
3 0
• Call Waiting:
— Set: 7 3 1 1
— Cancel: 7 3 1 0
Stored code
No. 0-9 Line no. 9 or 81-88 Phone no.
Locking / Unlocking Your Phone
• Lock: +
++ ++
+
+
77
3-digit desired code same code
• Unlock: 77
Settings
• Storing the number for Station Speed Dialling:
3 0
• Call Waiting:
— Set: 7 3 1 1
— Cancel: 7 3 1 0

Icons
Names and Locations of the KX-T7436
Not available for a single
line telephone.
Related Programming Title
or Programming steps.
Off-hook.
Wait for an answer.
Talk.
You will hear a confirmation,
dial, ring or ringback tone.
C. Tone: confirmation tone
D. Tone: dial tone
R. Tone: ring tone
R. B. Tone: ringback tone
One short beep
Conditions
Hints
On-hook.
Press the Call button on
the Doorphone.
Press the hookswitch lightly.
!!
!!
AUTO DIAL / STORE
AUTO ANSWER / MUTE
FLASH
Jog Dial
REDIAL
HOLD
SP-PHONE Microphone
Function
PROGRAM
FWD/DND
CONF
INTERCOM
MESSAGE
PAUSE
TRANSFER
Soft
Function
SHIFT
Display

Kyushu Matsushita Electric Co., Ltd.
1-62, 4-chome, Minoshima, Hakata-ku, Fukuoka 812-8531, Japan
Printed in Japan PSQX2003YA
This PBX except KX-TD816PD fulfills the requirements of following European regulations:
For above mentioned standards the unit is signed with the CE-mark.
Copyright:
This manual is copyrighted by Kyushu Matsushita Electric Co., Ltd. (KME).
Under the applicable copyright laws, this manual may not be reproduced in any form,
in whole or part, without the prior written consent of KME.
Kyushu Matsushita Electric Co., Ltd. 2000
73/23/EEC Low Voltage Directive
89/336/EEC Electromagnetic compatibility (Basic EMC Publication)
92/31/EEC Electromagnetic compatibility (Supplement)
93/68/EEC CE mark
KA0100HK1030
Warning:
This is a Class A product. In a domestic environment this product may cause
radio interference in which case the user may be required to take adequate
measures.
