9100.21(130A) 30A Raypak Parts
User Manual: 30A
Open the PDF directly: View PDF
.
Page Count: 8

POOL
MODELS: 5350 THRU 8350 HEAT PUMP
CATALOG NO. RP9100.75
Effective: 01-26-12
Replaces: 11-03-11
MODEL SIZE: 5350, 6350 & 8350
MODEL TYPE: HEAT PUMP POOL HEATER
DATES OF MANUFACTURE: 11-1-09 THRU CURRENT
1-1-12 THRU CURRENT - WEATHERKING PRODUCT
RAYPAK ILLUSTRATED PARTS LIST
THE PARTS LISTED ARE FOR STANDARD EQUIPMENT FOR THIS MODEL TYPE. RAYPAK RESERVES
THE RIGHT TO SUBSTITUTE, DELETE OR CHANGE ANY PART WITHOUT NOTIFICATION. THE
ADDITION OF OPTIONS MAY ALSO CHANGE SOME OF THE PARTS. ORDER REPLACEMENT PARTS
FROM ACTUAL HEATER COMPONENTS.
FOR DETAILED INSTRUCTIONS, SEE "HOW TO USE YOUR ILLUSTRATED PARTS LIST",
CATALOG NO. 9001.10
Raypak, Inc., 2151 Eastman Avenue, Oxnard, CA 93030
(805) 278-5300 Fax (800) 872-9725
Litho In U.S.A.

1-H
3-H
2-S
1-S
3-S
4-S
4-C
1-C
4-H
2-C
3-C
2-H
5-S
2-F
1-F
5-C
6-H
3-S
3-S
10-H
5-C
5-H
7-H
8-H
9-H

RAYPAK PERFECTEMP WEATHERKING
CALLOUT DESCRIPTION R5350 R6350 R8350 P5350 P6350 P8350 W6350
CONTROLS
1-C
TX Valve
Heat H000076 H000173 H000077 H000076 H000173 H000077 H000173
Heat/Cool H000076 H000173 H000076 H000173
Power Defrost H000173 H000173
2-C Low Pressure Switch H000078 H000078 H000078 H000078 H000078 H000078 H000078
3-C High Pressure Switch H000079 H000079 H000079 H000079 H000079 H000079 H000079
4-C
Control Cover Digital (Shown)
Green
H000052 H000052 H000052
Chicory
H000099 H000099 H000099
Warm Dark Gray
H000222 H000222 H000222 H000222 H000222 H000222 H000290
Stainless Steel
H000224 H000224 H000224
Control Cover Analog
Green
H000054 H000054 H000054
Chicory
H000100 H000100 H000100
Warm Dark Gray
H000225 H000225 H000225 H000225 H000225 H000225
5-C
Temperature Sensor H000002 H000002 H000002 H000002 H000002 H000002 H000002
HEAT TRANSFER
1-H Evaporator Coil
Heat
H000016 H000018 H000020 H000016 H000018 H000020 H000018
Heat/Cool
H000038 H000046 H000038 H000046
2-H Heat Exchanger
Heat
H000022 H000022 H000024 H000022 H000022 H000024 H000022
Heat/Cool
H000048 H000050 H000048 H000050
3-H Bypass Assembly H000042 H000042 H000042 H000042 H000042 H000042 H000042
10-H PVC Union H000247 H000247 H000247 H000247 H000247 H000247 H000247
4-H
Liquid Line Drier
Heat H000011 H000011 H000011 H000011 H000011 H000011 H000011
Heat/Cool (Bi-Flow) H000004 H000004 H000004 H000004
5-H
Check Valve H000006 H000006
6-H Compressor
1 PH H000010 H000012 H000014 H000010 H000012 H000014 H000012
3 PH H000171 H000110 H000171 H000110
3 PH 460V H000109 H000109
11-H Compressor Power Plug (Not Shown) H000271 H000271 H000271 H000271 H000271 H000271 H000271
12-H Compressor Wire Harness (Not Shown) H000272 H000272 H000272 H000272 H000272 H000272 H000272
7-H Solenoid Coil
Power Defrost H000107 H000107
8-H Solenoid Valve
Power Defrost H000108 H000108
9-H Reversing Valve
Heat/Cool H000136 H000136 H000136 H000136
FAN
1-F Fan Motor 1 PH / 3 PH 230V H000084 H000084 H000084 H000084 H000084 H000084 H000084
Fan Motor 3 PH 460V H000115 H000115
2-F Fan Blade 1 PH / 3 PH 230V H000044 H000044 H000044 H000044 H000044 H000044 H000044
Fan Blade 3 PH 460V H000116 H000116
* NOTE: R-410 A components not compatible with R22 units.


RAYPAK PERFECTEMP WEATHERKING
CALLOUT DESCRIPTION R5350 R6350 R8350 P5350 P6350 P8350 W6350
CONTROL BOX
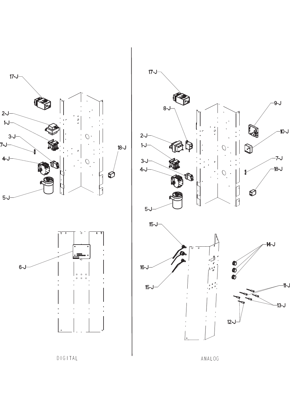
1-J Fan Relay H000017 H000017 H000017 H000017 H000017 H000017 H000017
2-J
Transformer
Digital H000021 H000021 H000021 H000021 H000021 H000021 H000021
Digital 3 PH H000021 H000021 H000021 H000021
Analog H000023 H000023 H000023 H000023 H000023 H000023
Analog 3 PH H000023 H000023
Analog 3 PH 460V H000112 H000112
3-J Water Pressure Switch H000025 H000025 H000025 H000025 H000025 H000025 H000025
4-J Contactor
1 PH H000043 H000043 H000043 H000043 H000043 H000043 H000043
3 PH H000114 H000114 H000114 H000114
5-J Capacitor
1 PH H000080 H000080 H000081 H000080 H000080 H000081 H000080
3 PH H000117 H000117 H000117 H000117
3 PH 460V H000113 H000113
6-J Control Board H000029 H000029 H000029 H000029 H000029 H000029 H000029
7-J Fuse H000001 H000001 H000001 H000001 H000001 H000001 H000001
8-J Defrost Control Switch H000065 H000065 H000065 H000065 H000065 H000065
9-J Control Board H000035 H000035 H000035 H000035 H000035 H000035
10-J Delay on Break Timer H000019 H000019 H000019 H000019 H000019 H000019
11-J Green LED H000037 H000037 H000037 H000037 H000037 H000037
12-J Amber LED H000039 H000039 H000039 H000039 H000039 H000039
13-J Red LED H000041 H000041 H000041 H000041 H000041 H000041
14-J Knob H000008 H000008 H000008 H000008 H000008 H000008
15-J Potentiometer H000061 H000061 H000061 H000061 H000061 H000061
16-J Rotary Switch H000057 H000057 H000057 H000057 H000057 H000057
17-J 3 PH Monitor H000111 H000111 H000111 H000111
18-J Controller Relay H000003 H000003 H000003 H000003 H000003

RAYPAK PERFECTEMP WEATHERKING
CALLOUT DESCRIPTION R5350 R6350 R8350 P5350 P6350 P8350 W6350
MISCELLANEOUS
1-M Touch-up Paint
Green 750125 750125 750125
Chicory 750250 750250 750250
Warm Dark Gray 750258 750258 750258 750258 750258 750258 750258
SHEETMETAL
1-S Electrical Input Panel
Green
H000026 H000028 H000028
Chicory H000056 H000058 H000058
Warm Dark Gray
H000201 H000202 H000202 H000201 H000202 H000202 H000202
Stainless Steel
H000203 H000204 H000204
2-S Access Panel
Green H000030 H000030 H000030
Chicory H000060 H000060 H000060
Warm Dark Gray
H000205 H000205 H000205 H000205 H000205 H000205 H000205
Stainless Steel
H000206 H000206 H000206
3-S Corner Jacket Panel
Green
H000032 H000034 H000034
Chicory H000062 H000064 H000064
Warm Dark Gray
H000231 H000232 H000232 H000231 H000232 H000232 H000232
Stainless Steel
H000216 H000217 H000217
4-S Jacket Top
Green H000036 H000036 H000036
Chicory H000066 H000066 H000066
Warm Dark Gray
H000211 H000211 H000211 H000211 H000211 H000211 H000211
Stainless Steel
H000209 H000209 H000209
5-S Grille Fan Guard H000040 H000040 H000040 H000101 H000101 H000101 H000101
www.raypak.com
Technical Support: (800) 260-2758 M-F 8:30am - 4:30pm EST