7007915_Invitations.qxp Rheem Ruud Water Heater Parts Guide
User Manual: Rheem-Ruud-water-heater-parts-guide
Open the PDF directly: View PDF
.
Page Count: 134 [warning: Documents this large are best viewed by clicking the View PDF Link!]

National Parts service center
from Rheem
RHEEM WATER HEATER PARTS GUIDE
Parts & Accessories
2011
for water heating systems
Preferred Parts
The premium line approved for replacement in
•Rheem®and Ruud®residential water heaters
•Rheem®-Ruud®commercial water heaters
•Richmond®residential water heaters
•PerfectFit™commercial water heaters
•GE and Hotpoint residential water heaters
Universal Parts
•The value line for all your replacement parts
•Fits most brands of water heaters
Tools & Accessories
•Supplies that help with any job
Listings, Diagrams,
Reference Guide, Displays
and more!
http://waterheatertimer.org/How-to-troubleshoot-gas-water-heater.html
http://waterheatertimer.org/How-to-troubleshoot-gas-water-heater.html

Rheem Advantages
It is the goal of Rheem Parts to set the standard for the plumbing industry we serve, and to
be the organization against which others are measured. We are market driven, and will
continue to explore products and services that offer our customers a competitive advantage
in the marketplace.
Technology
Rheem has significant research and development capability which allows us
to offer the latest technology and product reliability to our customers.
Patented Products
Rheem has a number of patented products that allow us to offer
the highest quality replacement parts.
Customer Service
Rheem has an industry leading customer service team that can provide fast
and convenient answers to our customer’s questions.
Brand Equity
The Rheem and Ruud names are synonymous with quality and customer service
and allows Rheem Parts and our partners to capitalize on this brand recognition
with professional plumbers.
Business Partner
Rheem is a proven business partner to our customers.
Sales Professionals
Rheem Water Heating has an exceptional network of sales professionals
to help our customers sell replacement parts.
Merchandising Opportunities
Rheem Parts has taken the opportunity to complement our factory authorized
Preferred Parts with Universal Parts and differentiate these by branding
each with unique packaging and selling messages.
National Parts service center
from Rheem

To place your order call 1-800-621-5622; fax 1-800-535-9538
1
General Terms and Conditions Table of Contents
FREIGHT ALLOWANCE
F.O.B. Plant, Randleman, North Carolina. Full freight allowed
on ground shipping, within Continental United States on Preferred
Parts orders of $250.00 or more.
TAXES
Prices are subject to the addition of any tax imposed by any
present or future Federal, State, County or Municipal law on the
sale of such material, unless we have a tax exemption certificate
on file.
ACCEPTANCE OF ORDERS
All orders are subject to final approval on the terms and conditions
contained in our standard customer acknowledgment form.
VOLUME DISCOUNT
A 5% discount will be applied to all orders totalling $1000.00 or
more.
Note: Excludes Thermal Expansion Tanks and Protection Plus Kits.
Preferred Parts for Residential Water Heaters
Elements ..........................................................................................2-3
Preferred Parts Plumber’s Pack ..........................................................4
Thermostats ........................................................................................4
Replacement Parts.........................................................................5-22
Preferred Parts for Commercial Water Heaters
Replacement Parts.......................................................................23-32
Universal Parts for Residential Water Heaters
Elements............................................................................................33
Universal Plumber’s Pack .................................................................34
Replacement Parts.......................................................................35-36
Parts Diagrams with Parts Lists
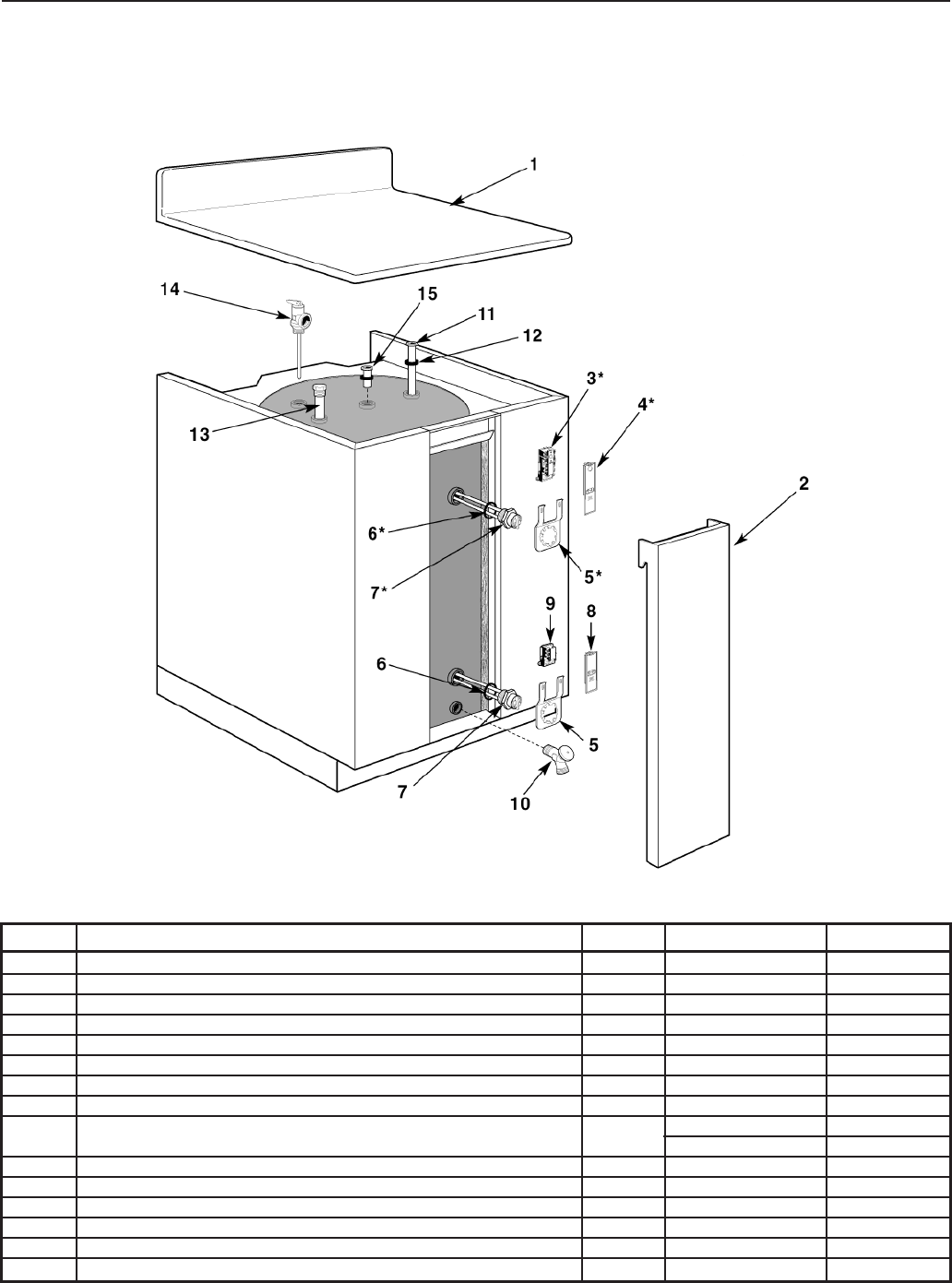
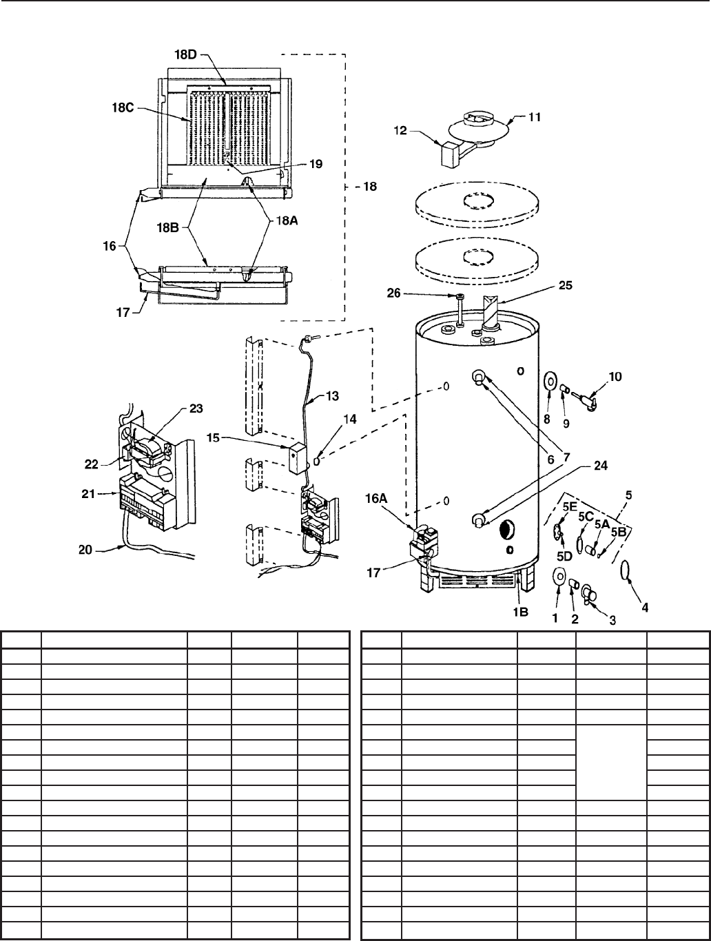
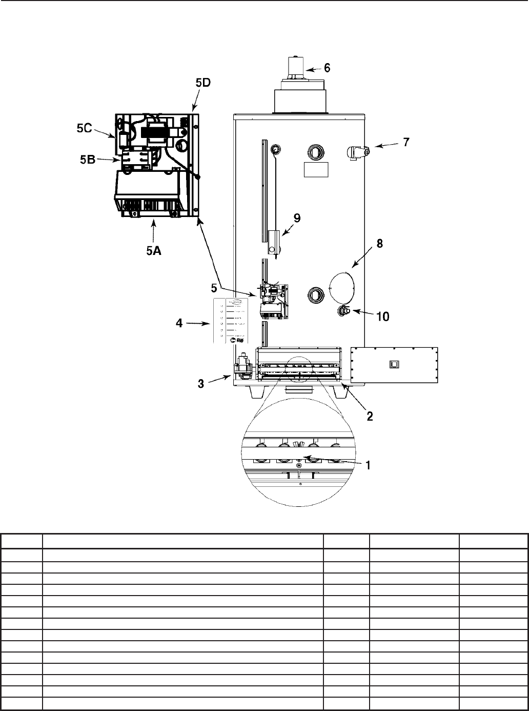
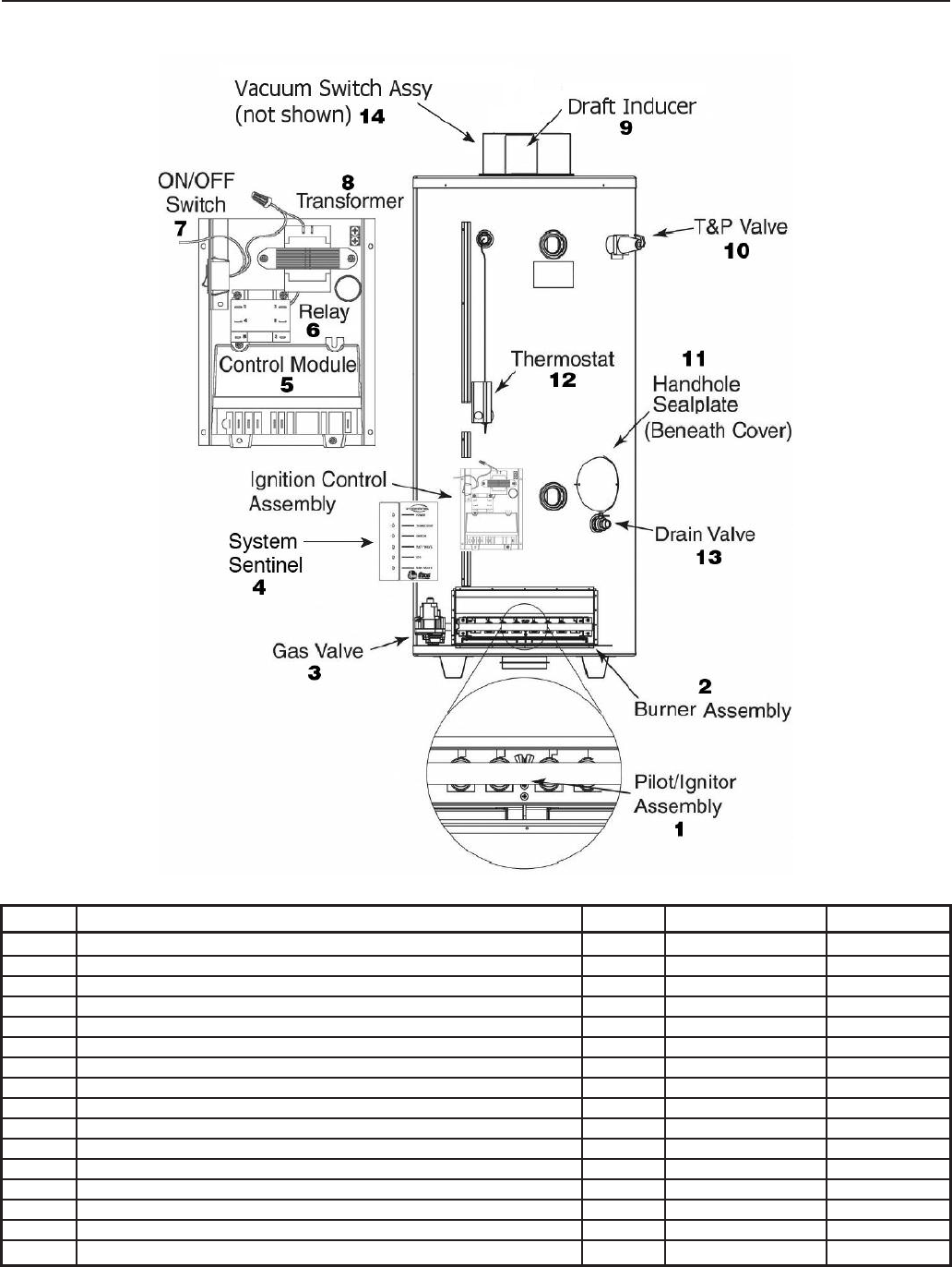
Residential Water Heaters ...........................................................37-68
Commercial Water Heaters..........................................................69-79
Display and Planograms ...................................................................80-83
Supplies & Hardware ......................................................................84-109
Tools & Instruments ....................................................110-130
A comprehensive catalog of approved replacement parts for Rheem®and Ruud®, Richmond®, PerfectFit™, and all GE and Hotpoint water heaters.
The Water Heater
PARTS
Guide 2011
Note: Please contact the Rheem National Customer Service Center at 1-800-621-5622 for items not listed in this guide.
Rheem National Customer Service
Division Office..................................................334-260-1500
Parts, Customer Service, Warranty ......................1-800-621-5622
Fax .......................................................1-800-535-9538
Email .................................................parts@rheem.com
Technical Service............................................1-800-HEATER3
(1-800-432-8373)
Email .............................................techserv@rheem.com
Website......................................................www.rheem.com
MATERIAL RETURNS - WATER HEATER PARTS
Material purchased from Rheem Parts Department may be returned
for credit within 90 days of the date of invoice, subject to a 25%
re-stocking charge. Total dollar amount returned must exceed
$25.00.
The following parts are not eligible for return:
• Items with net price less that $10.00.
• Items with date codes prior to year 2008.
• Chemicals.
• LP Conversion Kits.
• “AE”, “AM” or “AS” prefix part numbers.
• Opened cartons of items requiring Case Qty purchase.
• Special Order Items (Non-stock items.)
The only exception to this policy may be for extenuating circum-
stances. The Manager, Water Heater Parts, will make final determi-
nation for issuing a Return Goods Authorization (RGA).
All returns must have prior written approval from Rheem Parts
Department.
Request for the issue of an RGA must be submitted to Rheem
Customer Service. Fax request for RGA to 800-535-9538.
Information required is the original purchase order or credit card
order number that the parts were ordered on, Rheem sales order
number, Rheem invoice number along with the part number and
quantity to be returned. (We recommend faxing a copy of the
invoice with the part(s) identified to expedite the process. All
required information will be on the invoice.)
All materials must be “new & unused” and in the original pack-
aging (material received unpackaged or used will be returned to
sender Freight Collect, with no credit issued).
All approved returns must be shipped (FOB destination, prepaid
and allowed).
All approved returns must be shipped within 30 days approval.
Items returned without prior approval will be scrapped, no credit
issued.

RESIDENTIAL
The premium line of approved replacement parts.
To place your order call 1-800-621-5622; fax 1-800-535-9538
2
Resistored Stainless Steel Heating Elements
Preferred Parts resistored stainless steel elements feature a low watt density design with an
outer sheath of Incology®800 to resist failure from “dry firing”. Built in resistor helps prolong
anode life for greater tank protection and longer working life.
SCREW-IN ELEMENTS
• 480V/2000W, 9-1/2", LWD
SP10870GL (Single)
• 480V/3000W, 12-5/8", LWD
SP10870JL (Single)
• 480V/4000W, 16-1/4", LWD
SP10870LL (Single)
• 480V/4500W, 17-1/2", LWD
SP10870ML (Single)
• 480V/5000W, 19-1/8", LWD
SP10870NL (Single)
• 480V/6000W, 19-1/8", LWD
SP10870QL (Single)
• 277V/2000W, 19-1/2", LWD
SP10871GL (Single)
• 277V/3000W, 12-3/8", LWD
SP10871JL (Single)
• 277V/4000W, 16-1/4", LWD
SP10871LL (Single)
• 277V/4500W, LWD
SP10871ML (Single)
• 277V/5000W, 19-1/8", LWD
SP10871NL (Single)
• 277V/6000W, 19-1/8", LWD
SP10871QL (Single)
• 240V/2000W, 9-1/2", LWD
SP10869GL (Single)
• 240V/2500W, 9-15/16", LWD
SP10869HL (Single)
• 240V/3000W, 12-3/8", LWD
SP10869JL (Single)
• 240V/3500W, 13-1/2", LWD
SP10869KL (Single)
• 240V/4000W, 16-1/4", LWD
SP10869LL (Single)
• 240V/4500W, 15-1/2", LWD
SP10869ML (Single)
• 240V/4500W, 13-1/2", MWD
SP10869MM (Single)
• 240V/5000W, 19-1/8", LWD
SP10869NL (Single)
• 240V/5500W, 13-1/2", HWD
SP10869PH (Single)
• 240V/6000W, 19-1/8", LWD
SP10869QL (Single)
• 208V/2000W, 9-1/2", LWD
SP10867GL (Single)
• 208V/3000W, 12-5/8", LWD
SP10867JL (Single)
• 208V/4000W, 16-1/4", LWD
SP10867LL (Single)
• 208V/4500W, 17-1/2", LWD
SP10867ML (Single)
• 208V/5000W, 19-1/8", LWD
SP10867NL (Single)
• 208V/6000W, 19-1/8", LWD
SP10867QL (Single)
• 120V/1440W, 7-11/16", HWD
SP10868LH (Single)
• 120V/1700W, 13-1/2", LWD
SP10868KL(Single)
• 120V/2000W, 9-1/2", LWD
SP10868GL (Single)
HWD = High Watt Density
MWD = Medium Watt Density
LWD = Low Watt Density

RESIDENTIAL
The premium line of approved replacement parts.
To place your order call 1-800-621-5622; fax 1-800-535-9538
3
Resistored Copper Heating Elements
Preferred Parts energy efficient resistor copper heating elements help fight lime
build up and the resistor feature helps prolong the tank life of the water heater.
SCREW-IN ELEMENTS
• 240V/1500W, 10-5/8", LWD
SP10552FL (Single)
• 240V/2000W, 7-11/16", HWD
SP10552GH (Single)
• 240V/2000W, 13-5/8", LWD
SP10552GL (Single)
• 240V/2500W, 9-7/16", HWD
SP10552HH (Single)
• 240V/3000W, 10-5/8", HWD
SP10552JH (Single)
• 240V/3000W, 11-11/16", LWD
SP10552JL (Single)
• 240V/3500W, 13-3/8", LWD
SP10552KL (Single)
• 240V/4000W, 13-3/8", LWD
SP10552LL (Single)
• 240V/4500W, 13-5/8", HWD
SP10552MH (Single)
• 240V/4500W, 13-3/4", LWD
SP10552ML (Single)
• 240V/5000W, 13-3/4", LWD
SP10552NL (Single)
• 240V/5500W, 13-1/2", HWD
SP10552PH (Single)
• 240V/5500W
SP10552PL (Single)
• 240V/6000W, 11-3/4", HWD
SP10552QH (Single)
• 240V/6000W
SP10552QL (Single)
• 208V/2000W, 7-11/16", HWD
SP10872GH (Single)
• 208V/2000W, 13-5/8", LWD
SP10872GL (Single)
• 208V/2500W, 9-7/16", HWD
SP10872HH (Single)
• 208V/3000W
SP10872JH (Single)
• 208V/3000W, 11-11/16", LWD
SP10872JL (Single)
• 208V/4000W, 13-3/8", LWD
SP10872LL (Single)
• 208V/4500W
SP10872MH (Single)
• 208V/4500W, 13-3/4", LWD
SP10872ML (Single)
• 208V/5000W, 13-3/4", LWD
SP10872NL (Single)
• 208V/5500W, 13-7/16", LWD
SP10872PL (Single)
• 208V/6000W, 11-3/4", HWD
SP10872QH (Single)
• 208V/6000W, 15-1-16", LWD
SP10872QL (Single)
• 120V/1500W, 7-11/16", HWD
SP10874FH (Single)
• 120V/1700W, 11-1/2", LWD
SP10874KL (Single)
• 120V/2000W, 7-11/16", HWD
SP10874GH (Single)
• 120V/2500W, 9-7/16", HWD
SP10874HH (Single)
• 120V/3000W, 10-5/8", HWD
SP10874JH (Single)
OPEN COIL ELEMENTS
• 120V/1500W
AP13169
• 120V/2000W
AP13170
• 240V/1500W
AP13171
• 240V/2000W
AP13172
ADAPTERS
• Adapt-O-Flange Kit
SP6830 (Single)
HWD = High Watt Density
MWD = Medium Watt Density
LWD = Low Watt Density

RESIDENTIAL
The premium line of approved replacement parts.
To place your order call 1-800-621-5622; fax 1-800-535-9538
4
Preferred Parts Plumber’s Pack
The plumber’s pack is an all-inclusive “tune-up” kit for electric water
heaters featuring the most popular replacement parts on the market.
Plumber’s Pack Kit - includes two resistored 4500 watt screw-in copper heating elements, two heating
element gaskets, and upper & lower thermostats (all of which are factory preferred replacement quality)
SP20060 (single)
Gas Thermostats
• Robertshaw LP Gas Thermostat
-
(57-160 degrees) control
valve with left hand main burner outlet threads with 1 1/4"
shank - single use high limit (200 degrees) - 1/2" inlet & outlet
SP12258B (single) 1.25” Shank
SP12258N (single) 2.375” Shank
• Robertshaw Convertible Natural and LP Gas Thermostat
-
(
150 degree max) for Manufactured Housing with 1 1/4"
shank - single use high limit (195 degree)
SP9051B (single) 1.25” Shank
SP9051D (single) 2.25” Shank
• Natural Gas Thermostat - (57-160 degrees)
control valve with 1 1/4" shank - single use high limit
(200 degrees) - 1/2" inlet & outlet
SP20164
• WR Natural Gas Thermostat - (57-160 degrees)
control valve with 2 7/8" shank - single use high limit
(200 degrees) - 1/2" inlet & outlet
SP20264 (single)
Electric Thermostats*
• Therm-O-Disc Upper Thermostat (max 150 degree) & High
Limit (170 degree) - Two element non-simultaneous 208,
240, 277, 480 volt
SP11698 (single)
• Therm-O-Disc Upper Thermostat (max 150 degree) & High
Limit (170 degree) - Two element simultaneous 208, 240,
277, 480 volt
SP11699 (single)
• Therm-O-Disc Upper Thermostat (max 150 degree) & High Limit
(170 degree) - Single element 120 volt
SP11700 (single)
• Therm-O-Disc Lower Thermostat (max 150 degrees)
simultaneous and non-simultaneous 208,240,277,480 volt
SP11695 (single)
Electric Thermostat Covers
• Upper Thermostat Cover
AP8313-9 (single)
• Lower Thermostat Cover
AP8314-9 (single)
Plumber’s Pack
Gas Thermostats:
• Designed to sense the water
temperature inside the tank, and
control on/off function of the main
burner assembly
Electric Thermostats:
• Temperature range of 100° F
to 150° F
• Models are available for upper and
lower heating elements on double
element 240V and single element
120V water heaters
*
Electric thermostats may be
ordered in bulk. Box consists of
50 thermostats of the same part
number. Bulk pricing is less
than the single price. Please call
for pricing.
Preferred Parts™Electric
Thermostat Covers
Manufactured
Housing Only
LP Conversion Kits
• AS38849-1 30-40 Gal DV
• AS38903-1 50 Gal DV
• AS40716-2 30-40 Gal Tall
WR Controls
• AP15162-C
30, 40,
50 Gal DV
• AP15162A 30-40 Gal Tall
High Wind Cap
• SP13068

RESIDENTIAL
The premium line of approved replacement parts.
To place your order call 1-800-621-5622; fax 1-800-535-9538
5
Thermocouple
This bi-metal device
detects pilot flame heat
and carries millivolt
current to the magnet
assembly in the gas
control valve which
sends gas to the
burner assembly to
ignite the burner.
Pilot Burner
Designed to light the
main burner when the
thermostat senses the
demand for more heat.
T & P Relief
Valve:
Safety device that
allows water to
escape from the
tank in the unlikely
event that the
temperature or
pressure becomes
excessive. Designed
to operate at
approx. 150 PSI
and 210º F.
Drain Valve:
Used to drain hot
water from the tank
when performing
periodic cleaning or
replacing a part.
Thermocouples
• 15” Thermocouple
SP6379E (single)
• 17” Thermocouple
SP6379K (single)
• 21” Thermocouple
SP6379C (single)
• 24” Thermocouple
SP6379R (single)
• 30” Thermocouple
SP6379H (single)
Pilot Burner Assemblies
• Natural Gas Pilot Burner Assembly - .0115 orifice
SP8980B (single)
• LP Gas Pilot Burner Assembly - .008 orifice - colored red for
easy LP identification
SP8980C (single)
Temperature & Pressure Relief Valves
• Watts 100XL-4; 3/4" inlet x 3/4" discharge - M150# (150 PSI
pressure / 210 degree temperature) up to 100,000 BTU
SP12574 (single)
• Watts 100XL; 3/4" inlet x 3/4" discharge (150 PSI pressure /
210 degree temperature) - long shank up to 100,000 BTU
SP8346 (single)
• T&P Extender; 3/4" x 2-1/2" Poly Liner
SP11620 (single)
Drain Valves
• Brass Drain Valve; 3/4" x 2 1/4" shank
SP6070G (single)
• Brass Drain Valve; 3/4" x 3" shank - Commercial Light Duty
SP12112S (single)
• Standard Melet; 3/4" NPT x 2 1/4" shank
SP12039 (single)
• Brass Drain Valve; 3/4" x 2 1/4" shank – Residential
SP12112G (single)
Gas Connectors
• 12” Stainless Steel Gas Connector MIP X MIP
SP13140A
• 18” Stainless Steel Gas Connector MIP X MIP
SP13140B
• 24” Stainless Steel Gas Connector MIP X MIP
SP13140C
• 48” Pro Coat Gas Connector
AP13318D

RESIDENTIAL
The premium line of approved replacement parts.
To place your order call 1-800-621-5622; fax 1-800-535-9538
6
Flexible Link
Anode Rod:
Metallic rod installed
inside the tank to
protect against
corrosion. The
“R-Tech”®anode rod
is made of magnesium
and is designed to
offer the longest
lasting tank protection.
Dip Tube
Non-metallic. Runs from
the cold water inlet to
deliver cold water to the
bottom of the tank as
hot water is drawn out.
Basic Installation Kit
Anode Rods
• R Tech Resistor Magnesium Anode Rod 44" long x .700 dia
SP11309C (single)
• Galvo Magnesium 44" long x .840 dia
SP11345C (single)
• Magnesium Anode Rod 44" long x .840 dia
SP11524C (single)
• Magnesium Anode Rod 58" long x .840 dia
SP11524Z (single)
• R Tech Resistor Magnesium Anode Rod 44" long x .900 dia
SP11526C (single)
• R Tech Resistor Magnesium flexible link Anode Rod
52" long - 12" sections
SP8371B (single)
• Aluminum Anode Rod 42" long x .625 dia
AP12938 (single)
Dip Tubes*
• Dip Tube with anti-siphon hole - 3/4” x 54” long - clear
(North Carolina code) with gasket
SP11251R (single)
• Dip Tube with anti-siphon hole - 1” x 26” long with gasket
SP11269C (single)
• Dip Tube with anti-siphon hole - 3/4” x 54” long with gasket
SP11248R (single)
* Due to the unique application of the EverKleen Dip Tube, please
call for part number and pricing. Have the model number and
serial number of the water heater on hand.
Installation Kits
• Basic Installation Kit
SP20009
• Gas Installation Kit
SP20010
• Electric Installation Kit
SP20011

RESIDENTIAL
The premium line of approved replacement parts.
To place your order call 1-800-621-5622; fax 1-800-535-9538
7
• Thermostats
SP20296 (NG - All except 43V50-50E2 & ULN)
SP202967 (NG - 43V50-50E2 Only)
SP20298 (NG - ULN Only)
SP20302 (LP - All Models)
• Thermal Well
AP14696B (All models except ULN)
AP15324 (ULN Only)
• Flue Damper
SP20294 (3 Inch - 43V50-50E2 Only)
SP20295 (4 Inch - 43V50-50E2 Only)
• Damper Housing
AS42968H (3 Inch)
AS42969H (4 Inch)
• Pilot Assembly
AP14698G (NG - All Models)
AP14700D (LP - All Models)
• Draft Hood
AS41646-H (3 and 4 Inch Models)
• Pilot Igniter Assembly
AP16006A (40 Gallon ULN Only)
AP16006B (50 Gallon ULN Only)
• Heat Traps
SP20003 (All Models)
• Transformer Assembly
SP20293 (All Models)
• Wiring Harness
AP15849 (All Models)
• T&P Valves
SP12575B (All Models)
• Drain Valve
SP12112G (All Models)
• Inner Door Gasket
SP20063 (All Models)
• FV Sensor
AP13447-3 (All Models)
• Anode Rod
SP11309C (All Models)
Energy Star II Powered Damper
PARTS DIAGRAM
ON PAGE 37

RESIDENTIAL
The premium line of approved replacement parts.
To place your order call 1-800-621-5622; fax 1-800-535-9538
8
• Blower Assembly
AP15109 (40/50 Gallon Tall)
AP15534 (40/50 Gallon Short)
• Blower Gasket Kit
SP20289 (40/50 Gallon Tall)
SP20122 (40/50 Gallon Short)
• Pressure Switch Hose
SP20288 (40/50 Gallon Tall)
SP20120 (40/50 Gallon Short)
• Over Temperature Blower Switch
SP20287 (40/50 Gallon Tall)
SP20119 (40/50 Gallon Short)
• Rubber Blower Coupler
SP20290 (40/50 Gallon Tall)
SP12638 (40/50 Gallon Short)
• Anode Rod
SP11309C (All Models)
• Heat Traps
SP20003 (All Models)
•DIP Tube with Gasket
SP11625R (All Models)
• Pressure Switch
SP20292 (40/50 Gallon Tall)
SP20291 (40/50 Gallon Short)
• T&P Valves
AP14835G (All Models)
• Drain Valve
SP12112G (All Models)
• Electronic Gas Control
AP14671 (NG - All Models)
AP14672 (LP - All Models)
• Gas Control Shank
AP14696A (All Models)
• Spark Igniter Assembly
AP14698D (NG - All Models)
AP14700D (LP - All Models)
• Inner Door Gasket
SP20063 (All Models)
• FV Sensor
AP13447-3 (All Models)
• Electronic Display
AP14697A (43VP40 / 50-E)
POWERVENT ENERGY STAR II (43 PV)
PARTS DIAGRAM
ON PAGE 41

RESIDENTIAL
The premium line of approved replacement parts.
To place your order call 1-800-621-5622; fax 1-800-535-9538
9
• T&P Relief Valve
SP12577G
• Hot Outlet J-Tube
SP8878N
• ECO & Upper Tank Sensor
SP15100
• Heating Element SS 2.5 KW Upper & Lower
SP10869HL
• Lower Tank Sensor
SP15228
• Brass Drain Valve
SP12112S
• Water Pump
38-103141-01
• Fan
70-103140-01
• Fan Filter
54-103049-01
• Circuit Board
47-103171-01
• Transformer
46-101905-02
• Capacitor
43-25136-10
• Relay
42-101208-03
• Membrane Switch
Rheem – 47-103216-01
Ruud – 47-103216-02
Richmond – 47-103216-03
EcoSense – 47-103216-04
• Ambient Thermistor
47-103122-01
• Evaporator Thermistor
47-103122-02
• Discharge Thermistor
47-103122-03
• Suction Thermistor
47-103122-04
• Water Out Thermistor
47-103122-05
Heat Pump Water Heater
PARTS DIAGRAM
ON PAGE 39

RESIDENTIAL
The premium line of approved replacement parts.
To place your order call 1-800-621-5622; fax 1-800-535-9538
10
Robertshaw Parts
• Gas Valve – Natural Gas
SP20166B
• Gas Valve – Natural Gas
SP20166A
• Gas Valve – Natural Gas
SP20264
• Gas Valve – Natural Gas
SP8555W
• Gas Valve – Natural Gas
SP20166C
• Gas Valve – LP
SP13160E
• Gas Valve – LP
SP13160A
• Gas Valve – LP
SP13160D
• Pilot Assembly – Natural Gas
SP20065
• Pilot Assembly – Natural Gas
SP20069
• Pilot Assembly – LP
SP20070
• Pilot Assembly – Natural Gas
SP20071
• Pilot Assembly – LP
SP20072
• Pilot Assembly – Natural Gas
SP20075
• Pilot Assembly – LP
SP20076
• Thermocouple Kit
SP20064
• Piezo Ignitor
AP11941
• Piezo & Pilot Assembly Kit
SP20055
White-Rodgers Parts
• Gas Valve – Natural Gas
SP14270G
• Gas Valve – Natural Gas
SP14270H
• Gas Valve – Natural Gas
SP14270K
• Gas Valve – Natural Gas
SP14270M
• Gas Valve – Natural Gas
SP14339B
• Gas Valve – LP
SP14269A
• Gas Valve – LP
SP14269D
• Gas Valve – LP
SP14269E
• Gas Valve – LP
SP14340C
• Pilot Assembly Kit – Natural Gas
SP20127
• Pilot Assembly Kit – LP
SP20128
• Thermocouple Kit
SP20129
• Piezo Ignitor
AP14316-1 Piezo Only
• Piezo Bracket
AP14315
• Piezo Ignitor - With Bracket
SP14410
Common Service Parts
• Heat Traps
SP20003
• Brass Drain Valve
SP12112S
• Relief Valve
SP12575B
• Gasket Kit
SP20063
• Site Glass
AP12617-2
FVIR (Flammable Vapor Ignition Resistant) Parts
PARTS DIAGRAM
ON PAGE 45

RESIDENTIAL
The premium line of approved replacement parts.
To place your order call 1-800-621-5622; fax 1-800-535-9538
11
FVIR Standing Pilot Parts: 30, 40 and 50 Gallon Standing
Pilot Models (Excluding Direct Vent and PowerVent models)
Cross Reference – Models with Robertshaw Controls & WR Conversions
Service Parts – Robertshaw Controls
Gas Valve Gas Valve Pilot Assy Pilot Assy Thermo-
Rheem Model Ruud Model (NG) (LP) Kit (NG) Kit (LP) couple Kit Gasket Kit
PROFESSIONAL SERIES WITH THE GUARDIAN SYSTEM - 30, 40 and 50 Gallon Capacities
22V40 PROF P2-40 PROF SP20166B* N/A N/A
42V40 PROF PH2-40 PROF SP20166A SP13160E SP20076
RHG PRO40-40F RUG PRO40-40F SP20166C* SP13160D SP20076
22V50 PROF P2-50 PROF SP20166B* N/A N/A
42V50-40 PROF PH2-50-40 PROF SP20166A SP13160E SP20076
RHG PRO50-40F RUG PRO50-40F SP20166C* SP13160D SP20076
RHG PRO50-50F RUG PRO50-50F SP8555W N/A N/A
42V40SPROF PH2-40SPROF SP20166B* SP13160E SP20076
42V50SPROF PH2-50SPROF SP20166B* AP13160A SP20076
FURY SERIES WITH THE GUARDIAN SYSTEM - 30, 40 and 50 Gallon Capacities
42VR40-40F PH2R40-40F SP20166C* SP13160D SP20076 SP20064
42VR50-40F PH2R50-40F SP20166C* SP13160D SP20076 SP20064
22V30F P2-30F SP20166B* SP13160A SP20076 SP20069
22V40-36F1 P40-36F1 SP20166B* N/A N/A
22V40F1 P2-40F1 SP20166B* N/A N/A
42V40F PH2-40F SP20166A SP13160E SP20076
22V50F1 P2-50F1 SP20166B* N/A N/A
42V50-40F PH2-50-40F SP20166A SP13160E SP20076
42V50-50F PH2-50-50F SP8555W N/A N/A
22V30S-30F P2-30S-30F SP20166A N/A N/A
22V40SF P2-40SF SP20166B* SP13160A SP20076
42V40SF PH2-40SF SP20166B* SP13160A SP20076
42V50SF PH50SF SP20166B* SP13160A SP20076
SP20075
SP20064
SP20063
SP20063
SP20064
SP20075
*WR Conversions

RESIDENTIAL
The premium line of approved replacement parts.
To place your order call 1-800-621-5622; fax 1-800-535-9538
12
FVIR Standing Pilot Parts: 30, 40, 50, 60 and 75 Gallon Standing
Pilot Models (Excluding Direct Vent and PowerVent models)
Cross Reference – Models with White-Rodgers Controls
Service Parts – White-Rodgers Controls (Sept. 2007)
Gas Valve Gas Valve Pilot Assy Pilot Assy Thermo-
Rheem Model Ruud Model (NG) (LP) Kit (NG) Kit (LP) couple Kit Gasket Kit
PROFESSIONAL SERIES WITH THE GUARDIAN SYSTEM - 30, 40, 50 and 60 Gallon Capacities
22V40 PROF P2-40 PROF SP14270G N/A N/A
42V40 PROF PH2-40 PROF SP14270F SP14269E SP20128
RHG PRO40-40F RUG PRO40-40F SP14270H SP14269D SP20128
22V50 PROF P2-50 PROF SP14270G N/A N/A
42V50-40 PROF PH2-50-40 PROF SP14270F SP14269E SP20128
RHG PRO50-40F RUG PRO50-40F SP14270H SP14269D SP20128
RHG PRO50-50F RUG PRO50-50F SP14270K N/A N/A
42V40SPROF PH2-40SPROF SP14270G SP14269A SP20128
42V50SPROF PH2-50SPROF SP14270G SP14269A SP20128
RHGPRO60F RUGPRO60F SP14270M SP14269A SP20128
FURY SERIES WITH THE GUARDIAN SYSTEM - 30, 40, 50 and 60 Gallon Capacities
42VR40-40F PH2R40-40F SP14270H SP14269D SP20128
42VR50-40F PH2R50-40F SP14270H SP14269D SP20128
22V30F P2-30F SP14270G SP14269A SP20128
22V40-36F1 P40-36F1 SP14270G N/A N/A
22V40F1 P2-40F1 SP14270G N/A N/A
42V40F PH2-40F SP14270F SP14269E SP20128
22V50F1 P2-50F1 SP14270G N/A N/A
42V50-40F PH2-50-40F SP14270F SP14269E SP20128
42V50-50F PH2-50-50F SP14270K N/A N/A
22V30S-30F P2-30S-30F SP14270F N/A N/A
22V40SF P2-40SF SP14270G SP14269A SP20128
42V40SF PH2-40SF SP14270G SP14269A SP20128
42V50SF PH50SF SP14270G SP14269A SP20128
42V60F PH2-60F SP14270M SP14269A SP20128
PROFESSIONAL AND FURY SERIES WITH THE GUARDIAN SYSTEM - 75 Gallon Capacity
RHGPRO75F RUGPRO75F SP14339B SP14340C SP20127 SP20128 SP20129 SP20063
42V75F PH2-75F SP14339B SP14340C SP20127 SP20128 SP20129 SP20063
SP20127
SP20129
SP20063
SP20063
SP20129
SP20127

RESIDENTIAL
The premium line of approved replacement parts.
To place your order call 1-800-621-5622; fax 1-800-535-9538
13
• Blower Assembly with Pressure Switch
SP13416 (40 & 50 Gal. Tall)
SP13605 (40 & 50 Gal. Short)
• Pressure Switch
SP13910
• Coupling
SP12638
• Anode Rod
SP11309C (40 & 50 Gal. Tall)
SP11309Y (40 & 50 Gal. Short)
• Heat Trap Nipple
SP20003
• Dip Tube
SP11625G (40 Gal. Tall)
SP11625R (50 Gal. Tall)
SP11625S (40 & 50 Gal. Short)
• T&P Valve
SP8346
• Drain Valve
SP12112G
• Electronic Gas Control
AP14671 (Nat)
AP14672 (LP)
• Thermostat Shank (1.926)
AP14696A
• Thermostat Shank (2.870)
AP14696B
• Spark Igniter Assembly
SP14698D (Nat)
SP14700D (LP)
• Inner Door Gasket Kit
SP20063
• Flammable Vapor Sensor
AP13447-3
• PCB Enclosure (Display Power Supply)
AP14875
Power Vent with Electronic Controls
PARTS DIAGRAM
ON PAGE 51

RESIDENTIAL
The premium line of approved replacement parts.
To place your order call 1-800-621-5622; fax 1-800-535-9538
14
Natural Gas Control Valve
Ignition Control
Blower Motor Assembly
Pilot Burner
and Ignitor
Sensor:
PowerVent Replacement Parts
• Honeywell 24V Natural Gas Control Valve,
PowerVent Series, 1/2” inlet x 3/8” outlet - 40/50/75
gallon Residential and Commercial models
SP11652B (single)
• Honeywell 24V LP Gas Control Valve, PowerVent
Series, 1/2” inlet x 3/8” outlet - 40/50/75 gallon
Residential and Commercial models
SP11652C (single)
• Ignition Control (Models Thru 12/1995)
SP10758
•
Honeywell Ignition Control - S8600M - Continuous
Retry - 24V - used with electronic ignition system
SP10763C
(single)
•
Honeywell Ignition Cable - 25 inch - 1/4”
disconnect with rubber boot on pilot end
SP8828G
(single)
•
Therm-O-Disc Residential Thermostat (max 140
degrees) and high limit (180 degrees) 40, 50 & 75
gallon residential
SP12390 (single)
• Therm-O-Disc Residential Thermostat (max 160
degrees) and high limit (190 degrees)75 gallon
commercial only
SP12391 (single)
•
Honeywell Pilot Burner and Ignitor Sensor -
Electronic Ignition - Natural Gas - 40-50 gallon
SP12049B (single)
•
Honeywell Pilot Burner and Ignitor Sensor -
Electronic Ignition - LP Gas - 40-50 gallon
SP12049C
(single)
•
Honeywell Pilot Burner and Ignitor Sensor -
Electronic Ignition - Natural Gas - 75 gallon
SP12049D
(single)
•
Honeywell Pilot Burner and Ignitor Sensor -
Electronic Ignition - LP Gas - 75 gallon
SP12049E
(single)
•
Hot Surface Ignitor - 115V, 1800 degree F, with 19”
female quick connect leads - Natural or LP
SP10972
(single)
• Pressure
Switch
SP11875
(single)
• Pressure
Switch (Prior to June, 1991)
SP10887K
(single)
•
Transformer, 120VAC to 24VAC
SP11787
(single)
•
Blower Motor Assembly 40, 50 gallon standard
AP10983-4
(single)
•
Blower Motor Assembly 40, 50 gallon - High
Altitude only
AP10984-3
(single)
•
Blower Motor Assembly 75 gallon residential or
commercial
SP11608
(single)
PARTS DIAGRAM
ON PAGES 49

RESIDENTIAL
The premium line of approved replacement parts.
To place your order call 1-800-621-5622; fax 1-800-535-9538
15
Blower Assembly
Wiper Control and Gas
Valve Assembly
PowerVent 2 Replacement Parts
• Blower Assembly - Integrated vent hood, includes
installed vacuum switch (SP12766), power cord,
and vent coupling (SP12638). This fits the
PowerVent 2 product only.
SP12562
(single)(40/50 gallon only)
• Anode Rod
SP11309C
(single)
•
Flue Baffle with hanger (has extra restrictors)
AM39341
(single)
•
Temperature & Pressure Relief Valve
SP8346
(single)
•
Dip Tube
AP11251Q-2
(single)
•
Dip Tube Gasket
AP6948-3
(single)
•
Drain Valve
SP12112S
(single)
•
Drain Valve Shroud
AP9167
(single)
•
Inner Door
AM29501
(single)
•
Outer Door
AM29254-4C
(single)
•
Protective Cover (cover for wiper control)
AP12558
(single)
•
Burner Assembly (40 Gal Natural Gas - Low NOx)
AM39503RY
(single)
•
Burner Assembly (40 Gal LP Gas)
AM39504RM
(single)
•
Burner Assembly (50 Gal Natural Gas - Low NOx)
AM39503SY
(single)
•
Burner Assembly (50 Gal LP Gas)
AM39504SM
(single)
•
Heat Trap Kit
SP20003
(single)
•
Terminal Vent Assembly - 2” Termination
AM39508
(single)
• 2-inch
45 Degree PVC
AP12646
(single)
• 3-inch
Screen
AS37079
•
Vacuum Tube
AP12768
(single)
• Vent Coupling, 2” rubber coupling with clamps.
Connects blower to 2” PVC pipe.
This fits the
PowerVent 2 product only.
SP12638
(single)
• Spark Ignitor and Pilot Assembly - Natural Gas.
This fits the PowerVent 2 product only.
SP12560B
(single)
• Spark Ignitor and Pilot Assembly - LP Gas.
This fits the PowerVent 2 product only.
SP12560C
(single) (40/50)
SP12049E (75)
• Wiper Control and Gas Valve Assembly - Natural
Gas, includes wire cover.
This fits the PowerVent 2
product only.
SP20161A
(single)
• Wiper Control and Gas Valve Assembly - LP Gas,
includes wire cover.
This fits the PowerVent 2
product only.
SP20162A
(single)
• Pressure Switch.
This fits the PowerVent 2 product
only.
SP12766
(single) (40/50)
• On/Off Switch
AP12767
(single)
• Blower Motor
(VR units only)
AP13194 (single) (For 41VRP50-55 only)
• Blower Motor
(22VRP75)
AP13211-1
(single)
• Pressure Switch (22VRP75)
SP20130
PARTS DIAGRAM
ON PAGE 52

RESIDENTIAL
The premium line of approved replacement parts.
To place your order call 1-800-621-5622; fax 1-800-535-9538
16
PowerVent with the Guardian System™
Replacement Parts
Parts Specific to Models Manufactured with
Robertshaw gas control valves between
July 2006 and October 2007
•
Pilot Assembly – Natural Gas Models
SP13418
SP13420
SP13422
SP13424
•
Pilot Assembly – LP Gas Models
SP13419
SP13421
SP13423
SP13425
•
FV Wiper Control and Gas Valve Assembly –
Natural Gas Models+
SP20170A (40F)
SP20170B (50F)
SP20170C (40SF)
SP20170D (50SF)
•
FV Wiper Control and Gas Valve Assembly –
LP Gas Models
SP20171A (PVP40F)
SP20171B (PVP50F)
SP20171C (PVP40SF)
SP20171D (PVP50SF)
•
Control – FV Wiper Electronics
SP20123B
•
FV Sensor Kit
SP13447B
•
FV Sensor Kit w/ Cap Plug
SP20172
Parts Specific to Models Manufactured
with White-Rodgers gas control valves
October 2007 to Present
•
Intelli-Vent Gas Valve – Natural Gas
SP13845A
SP13845B
•
Intelli-Vent Gas Valve – LP Gas
SP13846A
SP13846B
•
Hot Surface Ignitor – All White-Rodgers Models
SP14218A (40/50)
SP14218B (75)
Common Service Parts
•
Blower Assembly – High Performance
SP13416 (40/50)
•
Blower Assembly
SP13605 (40/50 Short)
•
Blower Assembly
SP14140 (60)
•
Blower Assembly
AP14378 (75)
•
Anode Rod
SP11309C (40/50 only)
•
Temperature & Pressure Relief Valve
SP8346 (40/50 only)
•
Temperature & Pressure Relief Valve
SP12574 (40/50 Short)
•
Drain Valve
SP12112G (40/50 only)
•
Heat Trap Kit
SP20003 (40/50 only)
•
Inner Door Gasket Kit
SP20063
•
Vacuum Switch – For use with 40 and 50 Gallon
Tall Models
SP20116
•
Vacuum Switch – For use with 40 and 50 Gallon
Short Models and 75 Gallon Models
SP20117
•
Vacuum Switch – For use with 60 Gallon Models
SP20116A
PARTS DIAGRAM
ON PAGE 56 Hot Surface Ignitor
Intelli-Vent Gas Valve
FV Sensor
+ Converts Robertshaw to White Rogers.
Kit contains the Gas Control, Burner Assembly,
Wiring Harness, Adapters, etc.

RESIDENTIAL
The premium line of approved replacement parts.
To place your order call 1-800-621-5622; fax 1-800-535-9538
17
• Blower Motor Coupler
SP20252
• Blower Assembly Gasket
SP20256
• Blower Motor Seal
AP15000
• Heat Trap Nipple
AP12992D
• Anode Rod
AP11309C
• Dip Tube
AP11625H (PDV40)
AP11625T (PDV40P)
AP11625U (PDV50)
AP11625V (PDV50P, PDV50-65, PDV50P-65)
• Dip Tube Gasket
AP6948
• T&P Valve
SP12575B
• Drain Valve
SP12112S
• White Rodger’s Intelli-vent Combination
Gas Control (NG)
SP14904A
• White Rodger’s Intelli-vent Combination
Gas Control (LP)
SP14905A
• Hot Surface Igniter
SP14218A (PDV40, PDV40P)
SP14218B (PDV50, PDV50P, PDV50-65, PDV50P-65)
• Burner Access Door Gasket
SP20063
• Flammable Vapor Sensor
SP20172
Power Direct Vent
PARTS DIAGRAM
ON PAGE 58
Power Direct Vent (PDV and GPDV) Blower
Assemblies and High Attitude Kits
Part Number
(H)
AP14640A-2 Blower Assembly 40 Gal No. -0.86± .05 NC -1.10± .07
AP14640A-2 Blower Assembly 50 Gal No. -0.86± .05 NC -1.10± .07
AP14640B-2 Blower Assembly 50 Gal LP Only No. -1.00± .05 NC -1.10± .07
AP14771A-4 Blower Assembly 50-65 No. -1.13± .07 NC -1.10± .07
AP14640C Blower Assembly 65 No. -0.86± .05 NC -1.05± .07
AP14771B Blower Assembly 75 No. -1.00± .05 NC -1.00± .06
SP20268 High Altitude Kit PDV 65 No. -0.86± .05 No change required
SP20277 High Altitude Kit PDV 75 No. -1.00± .05 No change required
Part Name Exhaust Switch Setting
(V)
Inlet Switch Setting

RESIDENTIAL
The premium line of approved replacement parts.
To place your order call 1-800-621-5622; fax 1-800-535-9538
18
PowerVent with the Guardian System
™
Parts Cross Reference Chart
Pilot Assy. Pilot Assy.
Gas Valve – Gas Valve – Replacement Replacement Blower
Rheem Model Ruud Model Natural Gas LP Gas Kit (NG) Kit (LP) Assembly Gasket Kit Relief Valve
RHEEM AND RUUD MODELS WITH ROBERTSHAW GAS CONTROL VALVES
42VP40F PVP40F SP20170A SP20171A SP13418 SP13419 SP13416 SP20063 SP8346
42VP50F PVP50F SP20170B SP20171B SP13422 SP13423 SP13416 SP20063 SP8346
42VP40SF PVP40SF SP20170C SP20171C SP13420 SP13421 SP13605 SP20063 SP12574
42VP50SF PVP50SF SP20170D SP20171D SP13424 SP13425 SP13605 SP20063 SP12574
Gas Valve – Gas Valve – Blower
Rheem Model Ruud Model Natural Gas LP Gas Hot Surface Ignitor Kit Assembly Gasket Kit Relief Valve
RHEEM AND RUUD MODELS WITH WHITE-RODGERS GAS CONTROL VALVES
42VP40FW PVP40FW SP13845A SP13846A SP14218A SP13416 SP20063 SP8346
42VP50FW PVP50FW SP13845A SP13846A SP14218A SP13416 SP20063 SP8346
42VP40SFW PVP40SFW SP13845B SP13846B SP14218A SP13605 SP20063 SP12574
42VP50SFW PVP50SFW SP13845B SP13846B SP14218A SP13605 SP20063 SP12574
42VP60FW PVP60FW SP13845B SP13846B SP14218A SP14140 SP20063 SP12574
42VP75FW PVP75FW SP13845A SP13846A SP14218B AP14378 SP20063 SP12575

RESIDENTIAL
The premium line of approved replacement parts.
To place your order call 1-800-621-5622; fax 1-800-535-9538
19
Direct Vent with the Guardian System™
Replacement Parts
•
White-Rodgers Gas Valve – NG
SP14270K
•
White-Rodgers Gas Valve – LP
SP14269E
•
White-Rodgers Pilot Assembly Kit – NG
SP20159
•
White-Rodgers Pilot Assembly Kit – LP
SP20160
•
White-Rodgers Thermocouple Kit
SP20129
• Gasket Kit
SP20063
• Brass
Drain Valve
SP12112G
• Relief Valve
SP8346
•
4’ Horizontal Vent Extension Kit
SP20131
•
4’ Vertical Vent Extension Kit
SP20132
•
Standard Vent Kit
AS41461
•
Piezo Ignitor
AP14316
Direct Vent with the Guardian System™Parts Cross Reference Chart
Pilot Assy. Pilot Assy. Thermocouple
Gas Valve – Gas Valve – Replacement Replacement Replacement Gasket Relief
Rheem Model Ruud Model NG LP Kit – NG Kit – LP Kit Kit Valve
RHEEM FURY SERIES / RUUD PACEMAKER SERIES
22DV40F PH2DV40F SP14270K SP14269E SP20159 SP20160 SP20129 SP20063 SP8346
22DV50F PH2DV50F SP14270K SP14269E SP20159 SP20160 SP20129 SP20063 SP8346
PARTS DIAGRAM
ON PAGE 57

RESIDENTIAL
The premium line of approved replacement parts.
To place your order call 1-800-621-5622; fax 1-800-535-9538
20
Ultra Low NOx with the Guardian System™Replacement Parts
•
Combustion Chamber Maintenance
Gasket Kit
SP20135
•
Combustion Chamber Maintenance
Gasket Kit
SP20136
•
Combustion Chamber Maintenance
Gasket Kit
SP20137
•
Pilot Assembly Replacement Kit
SP20138
•
Pilot Assembly Replacement Kit
SP20139
•
Pilot Assembly Replacement Kit
SP20140
•
Pilot Assembly Replacement Kit
SP20141
•
Pilot Assembly Replacement Kit
SP20142
•
Burner Assembly Replacement Kit
SP20148
•
Burner Assembly Replacement Kit
SP20149
•
Burner Assembly Replacement Kit
SP20150
•
Burner Assembly Replacement Kit
SP20151
•
Burner Assembly Replacement Kit
SP20152
•
Inner Door Assembly Replacement Kit
SP20153
•
Inner Door Assembly Replacement Kit
SP20154
•
Inner Door Assembly Replacement Kit
SP20155
•
Inner Door Assembly Replacement Kit
SP20156
•
Inner Door Assembly Replacement Kit
SP20157
•
Inner Door Assembly Replacement Kit
SP20158
•
Gas Valve – NG
SP14270M
•
Gas Valve – NG
SP14270L
•
Relief Valve
SP12574
•
Relief Valve
SP12575B
•
Relief Valve
SP12575C
•
Heat Trap – Flapper Type
AP12992C
•
Drain Valve
SP12112E
•
Drain Valve
SP12112S
•
Piezo Ignitor
AP14316
Ultra Low NOx with the Guardian System
™
Parts Cross Reference Chart
Combustion Pilot Assy. Burner Assy. Inner
Chamber Replacement Replacement Door Relief Drain
Rheem Model Ruud Model Gas Valve Gasket Kit Kit Kit Assy. Kit Valve Valve
RHEEM FURY SERIES / RUUD PACEMAKER SERIES
22V30FN P2-30FN SP14270M SP20135 SP20138 SP20148 SP20153 SP12574C SP12112E
22V40FN P2-40FN SP14270M SP20136 SP20139 SP20149 SP20154 SP12574C SP12112E
22V40SFN P2-40SFN SP14270M SP20137 SP20141 SP20151 SP20156 SP12574C SP12112E
22VR40FN P2R40-FN SP14270L SP20136 SP20140 SP20150 SP20157 SP12575C SP12112S
22V50FN P2-50FN SP14270M SP20137 SP20141 SP20151 SP20155 SP12574C SP12112E
22VR50FN P2R-50FN SP14270L SP20137 SP20142 SP20152 SP20158 SP12575C SP12112S
RHEEM AND RUUD PROFESSIONAL SERIES
22V30 PROFN P2-30 PROFN SP14270M SP20135 SP20138 SP20148 SP20153 SP12574C SP12112E
22V40 PROFN P2-40 PROFN SP14270M SP20136 SP20139 SP20149 SP20154 SP12574C SP12112E
22V40S PROFN P2-40S PROFN SP14270M SP20137 SP20141 SP20151 SP20156 SP12574C SP12112E
RHG PRO40FN RUG PRO40FN SP14270L SP20136 SP20140 SP20150 SP20157 SP12575C SP12112S
22V50 PROFN P2-50 PROFN SP14270M SP20137 SP20141 SP20151 SP20155 SP12574C SP12112E
RHG PRO50FN RUG PRO50FN SP14270L SP20137 SP20142 SP20152 SP20158 SP12575C SP12112S
RHEEM IMPERIAL SERIES / RUUD MASTER SERIES
22X30FN M2-30FN SP14270M SP20135 SP20138 SP20148 SP20153 SP12574C SP12112E
22X40FN M2-40FN SP14270M SP20136 SP20139 SP20149 SP20154 SP12574C SP12112E
22X40SFN M2-40SFN SP14270M SP20137 SP20141 SP20151 SP20156 SP12574C SP12112E
22XR40FN M2R-40FN SP14270L SP20136 SP20140 SP20150 SP20157 SP12575C SP12112S
22X50FN M2-50FN SP14270M SP20137 SP21041 SP20151 SP20155 SP12574C SP12112E
22XR50FN M2R-50FN SP14270L SP20137 SP21042 SP20152 SP20158 SP12575C SP12112S

•Upper Element (4500W)
SP610160 (single)
•Upper Element (4500W) MR30 - MR105
SP213790 (single)
•Lower element (4500W), MR30,
MR40 gallon
SP213660
•Heating Element (5500W)
SP10698PH (single)
•Heating Element (4500W/240V)
SP10698MH (single)
•Heating Element (5500W/240V)
SP10698RL (single)
REPLACEMENT PARTS
•Knock Out Bracket
SP213070 (single)
•Lower Access Panel Cover
SP213090 (single)
•Use and Care Manual
SP213270 (single)
•Access Panel Cover Insulation
SP213340 (single)
•Thermostat Insulation
SP213350 (single)
•Use and Care Manual Supplement
SP213360 (single)
•120V Temperature Control Thermostat
SP213590 (single)
•240V Temperature Control Thermostat
SP213600 (single)
•Use and Care Manual
SP213620 (single)
•Use and Care Manual Supplement
SP213630 (single)
•Vacuum Relief Valve
SP623335 (single)
•Dip Tube (MR85, MR105 gallon models)
SP230018 (single)
•Dip Tube (MSR50 gallon short model)
SP230019 (single)
•Dip Tube (MR15, MR20 gallon models)
SP230021 (single)
•Dip Tube (MR30 gallon model)
SP230023 (single)
•Dip Tube (MR75 gallon model)
SP230024 (single)
•Dip Tube (MR40, MR50 gallon models)
SP230025 (single)
•Seal Ring (MR30, MR40, MR50, MSR50,
MR75, MR80 gallon models)
SP230090 (single)
•Seal Ring Hot Side
(MR105 gallon model only)
SP230110 (single)
•Pipe Wrap Energy Kit
SP231520 (single)
•Lock Washer
SP231710 (single)
RESIDENTIAL
The premium line of approved replacement parts.
To place your order call 1-800-621-5622; fax 1-800-535-9538
21
Marathon Replacement Parts
HEATING ELEMENTS
•Lower Element (3800W), MR30, MR40
gallon models
SP210197
•Lower Element (3000W), MR30, MR40,
MR50, MSR50, MR75, MR85, and MR105
gallon models
SP210201
•Lower Element (3800W), MSR50, MR75,
MR85, MR105 gallon models
SP210198
•Lower Element (4500W), MSR50, MR75,
MR85, MR105 gallon models
SP213670
•Heating Element (3000W/240V)
SP213480 (single)
•Heating Element (2000W/120V)
SP213540 (single)
•Upper Element (3800W)
SP610130 (single)
•Upper Element (3800W) MR30 - MR105
SP213820 (single)
•Upper Element (5500W)
SP610140 (single)
•Upper Element (3000W)
SP610150 (single)
•Cap Screw
SP240420 (single)
•Grommet Hot Side
(MR105 gallon model only)
SP240480 (single)
•Grommet Hot Side (MR30, MR40, MR50,
MSR50, MR75, MR85 gallon models)
SP240490 (single)
•Lower Protector
SP310010 (single)
•Lower Thermostat
SP310020 (single)
•Lower Thermostat (30 Gallon and Larger)
SP210239 (single)
•Upper Thermostat (30 Gallon and Larger)
SP210245 (single)
•Upper Thermostat (High Temp)
SP210246 (single)
•Upper Protector
SP310040 (single)
•Element Gasket
SP310060 (single)
•Upper Temperature Control Thermostat
SP310230 (single)
•Screw #10-32 x 3/8
SP310240 (single)
•Drain Valve
SP310270 (single)
•Screw #10-16 x 5/8
SP330020 (single)
•Reducer Bushing 1” x 3/4” (MR105)
SP330030 (single)
•T & P Valve
SP330040 (single)
•Drain Valve
SP330090 (single)
•Screw #8
SP330180 (single)
•Reducer 1” x 3/4” Cold Side
SP330200 (single)
•Tee 3/4” x 3/4” x 3/4”
SP330210 (single)
•Nipple 3/4” x 3”
SP330230 (single)
•Junction Box Cover
SP410910 (single)
•Upper Access Panel
SP411800 (single)
•Lower Access Panel
SP411810 (single)
•Access Panel
SP412050 (single)
•Element Wrench
SP610070 (single)

RESIDENTIAL
The premium line of approved replacement parts.
To place your order call 1-800-621-5622; fax 1-800-535-9538
22
Accessories
• Mobile Home Straps
SP20048
• Earthquake Straps
SP13345 (single)
• Heat Traps
SP20003 (single)
• Water Heater Stand, 21” X 21” X 16”
SP13044
•
ProtectionPlus 4-Yr. Limited Warranty Extension Kits* -
Pkg. of 6 (no single kit orders)
SP20079
•
Wall Mount Kit
AS 36111
* For use on: Professional, Fury, Pacemaker, Heavy Duty, PowerVent and Direct Vent models.
Not for use on: Warrior, Warrior DV, Marathon, Point-of-Use or Table Top models.
Expansion Tanks
Thermal Expansion Tanks
Save Energy and Money
Expanded (heated) water is absorbed by a
Thermal Expansion Tank which means...
• Water heater and fixtures are protected
• Eliminates BTU and water waste, saving money and energy
• No dangerous pressure build up in the system
• Relief valves will not be triggered
• Potential safety hazard reduced
• RRT Therm-X-Guard Expansion Tank 2.5 Gal
RRT-5 (Single)
• RRT Therm-X-Guard Expansion Tank 5 Gal
RRT-12 (Single)
• RRT Therm-X-Guard Expansion Tank 10 Gal
RRT-25 (Single)
ProtectionPlus
Kit

To place your order call 1-800-621-5622; fax 1-800-535-9538
23
COMMERCIAL
The premium line of approved replacement parts.
Immersion Thermostat
3-Pole Fuse Block
Fuses
ELECTRIC THERMOSTATS
• Therm-O-Disc Upper Thermostat (max 150
degree) & High Limit (170 degree) - 50 Gallon
Surface Mount
SP11234 (single)
• Therm-O-Disc Upper Thermostat (max 170
degree) & High Limit (190 degree) - 85 & 120
Gallon Surface Mount
SP11231 (single)
• Immersion Thermostat - White-Rogers
(110 - 190 degrees) 60” capillary tube
SP11805 (single)
• Immersion High Limit - White-Rogers
(200 degrees) manual reset - 60” capillary tube
SP11806 (single)
• Immersion Thermostat (80 - 190 degrees) - 24”
capillary tube
SP8260 (single)
• Immersion High Limit - (205 degrees) manual
reset - 15” capillary tube
SP5411 (single)
• Therm-O-Disc Upper Thermostat
(110-170 degree) & High Limit (190 degree),
non-simultaneous ELD models only
SP8293 (single)
• Therm-O-Disc Lower Thermostat (110-170
degree), non-simultaneous ELD models only
SP8295 (single)
• Hand Hole Gasket Kit
SP22079 (single)
• Hand Hole Gasket ONLY
SP5886
CONTACTORS AND TRANSFORMERS
• Contactor - 3 pole; 120V; 35 amp; I-F-G Class G
SP12841 (single)
• Transformer with Jumper
SP10006 (single)
• Copper Conductor
AM25285 (single)
FUSES AND FUSE BLOCKS
• Fuse Block - 3 pole; holds 1 5/8 L x 13/32 dia
fuses Class G - 30 amp
SP8311E (single)
• Fuse Block - Class G - 35 amp Fuse
SP11112 (single)
• Fuse - 30 amp 1 5/8 L x 13/32 dia Class G
SP8264M (single)
• Fuse - 35 amp Class G
SP8264K (single)
• Junction Box
AM35196
TEMPERATURE AND PRESSURE RELIEF VALVES
• Watts 100XL-4; 3/4”inlet x 3/4” discharge -
M150# (150 PSI pressure/ 210 degree
temperature) 6-27 KW (100,000BTU)
SP12574 (single)
• Watts 40XL-5; 3/4” inlet x 3/4” discharge -
M150# (150 PSI pressure/ 210 degree
temperature) 30-54 KW (200,000 BTU)
SP9013D (single)
• Watts L100XL-3; 3/4” inlet x 3/4” discharge -
M150# (150 PSI pressure/ 210 degree
temperature) 81 KW
AP13849 (single)
RESISTORED STAINLESS STEEL
HEATING ELEMENTS – POWERPACK
• 480V/4000W (PowerPack)
AP12879LL
• 480V/4500W (PowerPack)
AP12879ML
• 480V/5000W (PowerPack)
AP12879NH
• 480V/6000W (PowerPack)
AP12879QH
• 277V/4000W (PowerPack)
AP12880LL
• 277V/4500W (PowerPack)
AP12880ML
• 277V/5000W (PowerPack)
AP12880NH
• 277V/6000W (PowerPack)
AP12880QH
• 240V/4000W (PowerPack)
AP12878LL
• 240V/5000W (PowerPack)
AP12878NH
• 240V/6000W (PowerPack)
AP12878QH
• 208V/4000W (PowerPack)
AP12877LL
• 208V/4500W (PowerPack)
AP12877ML
• 208V/5000W (PowerPack)
AP12877NH
• 208V/6000W (PowerPack)
AP12877QH
• Gasket – Element
SP6708
Commercial Electric Water Heaters

To place your order call 1-800-621-5622; fax 1-800-535-9538
24
COMMERCIAL
The premium line of approved replacement parts.
Honeywell Ignition Control
Pilot Burner and
Ignitor Sensor
Watts Temperature
& Pressure Relief
Valve
Immersion
Thermostat & High Limit
GAS VALVES
• Honeywell 1/2 Inlet x 3/4 Outlet Gas Valve -
Natural Gas - 24V
SP10963B
(single)
• Honeywell 1/2 Inlet x 3/4 Outlet Gas Valve -
LP Gas - 24V
SP10963C (single)
• Honeywell 3/4 Inlet x 3/4 Outlet Gas Valve -
Natural Gas - 24V
SP10963D (single)
• Honeywell 3/4 Inlet x 3/4 Outlet Gas Valve -
LP Gas- 24V
SP10963E (single)
• Robertshaw High Capacity Natural Gas Valve
1” Inlet x 1” Outlet Slow Opening Valve
SP8099N (single)
• Robertshaw High Capacity LP Gas Valve
1” Inlet x 1” Outlet - Slow Opening Valve
SP8099P (single)
IGNITION CONTROL MODULE & CABLE
• Honeywell Ignition Control S8600M -
Continuous Retry - 24V - used with electronic
ignition system
SP10763C (single)
• Honeywell Ignition Cable - 25 inch - 1/4”
disconnect with rubber boot on pilot end
SP8828G (single)
PILOT SENSOR
• Honeywell Pilot Burner and Ignitor Sensor -
Natural Gas - Electronic Ignition
SP10764B (single)
• Honeywell Pilot Burner and Ignitor Sensor -
LP Gas - Electronic Ignition
SP10764C (single)
TRANSFORMER
• Bassler - 120 VAC to 24 VAC
SP10550B (single)
LEG EXTENSIONS REQUIRED FOR N.S.F.
APPROVAL
• Leg Extension Kit for N.S.F. Approval for
Models: G50-98, G75-125, G82-156, G76-180,
G37-200, G76-200, G91-200, G100-200(A),
G72-250(A), G100-250(A), GD100-250(A),
G100-270(A), GD100-270(A), G72-300(A),
G65-360(A), G85-300(A), G100-310(A),
GD100-310(A), GD100-360(A), G65-400(A),
G85-400(A), G100-400(A)
AM35450 (single)
THERMOSTATS AND HIGH LIMITS
• Honeywell Immersion Thermostat - (100-180
degrees) & High Limit - single immersion well -
1 13/16” shank x 3/4” NPT
SP11799 (single)
• Honeywell Immersion Thermostat - (100-180
degrees) & High Limit (200 degrees) - dual
immersion well with 39 1/4” capillary - 1 13/16”
shank x 3/4” NPT
SP11798B (single)
• White-Rogers Manual Re-Set Immersion
Thermostat (100-180 degrees) & High Limit
dual immersion well with 46” capillary -
3/4” NPT
SP12015 (single)
DAMPER ASSEMBLY
• Due to the unique application of damper
assemblies, please call for part numbers and
pricing. Have the model number and serial
number of the water heater on hand.
TEMPERATURE AND PRESSURE RELIEF VALVES
• Watts 100XL-4; 3/4”inlet x 3/4” discharge -
M150# (150 PSI pressure/ 210 degree
temperature) up to 100,000 BTU
SP9013E (single)
• Watts 40XL-5; 3/4” inlet x 3/4” discharge -
M150# (150 PSI pressure/ 210 degree
temperature) up to 200,000 BTU
SP9013D (single)
• Watts L40XL-6; 1” inlet x 1” discharge (150 PSI
pressure/ 210 degree temperature) up to
500,000 BTU
SP9012B (single)
DIAGNOSTIC SYSTEM
• System Sentinel
AM38875 (single)
OTHER PARTS
• Ignitor Bracket
AE34933-1
• Wiring Harness
AP11327-5
Commercial Heavy Duty Gas Water Heaters

To place your order call 1-800-621-5622; fax 1-800-535-9538
25
COMMERCIAL
The premium line of approved replacement parts.
• Direct Spark Igniter
SP20258
• Flame Sensor Rod Kit
SP20259
• Temperature Sensor – Water & ECO
AP14074-3
• Flue Sensor – Exhaust Temp
AP14280-1
• Control Board – Argus
AP14023-1
• Display Board Kit – Argus
SP20260
• Condensate Trap
AP14685-2
• Drain Valve
AP12231B-1
• T&P Valve
SP9013D (130 to 199k)
SP9012B (250 to 400k)
• On/Off Switch
AP12767
• Hand Hole Gasket
SP5886
• UL Sanitation Kit
AS42690C (130/160/199k)
AS42690B (250/300/350k)
• Concentric Vent Kit
Call for Application
• Display Jumper Harness
AP14758
• Diffuser Nipple
AP14859
• 45° Elbow (ULC636 Canada Only)
AP14889
• Pressure Switch Assembly
Call For Application
• GHE Burner Assembly Kit (NG)
Call For Application
• GHE Burner Assembly Kit (LP)
Call For Application
• GHE Main Control Harness
AP14092-2
• GHE Blower Control Harness
AP14157-3
• GHE Main Power Harness
AP14158-6
• GHE Gas Valve Harness
AP14159-4
• GHE Igniter Cable Harness
AP15294-4
• Ground Wire Harness
AP15261
SpiderfireTM Ultra High Efficiency Commercial Gas
PARTS DIAGRAM
ON PAGE 69

To place your order call 1-800-621-5622; fax 1-800-535-9538
26
COMMERCIAL
The premium line of approved replacement parts.
Model Gas Valve Gas Valve Ignition Control Pilot Sensor Pilot Sensor Thermostat T&P Valve
Number (NG) (LP) Module (NG) (LP)
G50-98 SP10963B SP10963C SP11799
G75-125
G82-156
G37-200
G76-180
G76-200
G91-200
G100-200
G72-250
G100-250
G100-270
G72-300
G85-300
G100-310
G65-360
G65-400
G85-400
G100-400 SP8099N SP8099P
GD100-250
GD100-270
GD100-310
GD100-360
• Inducer Assembly
SP13800 – Fits models GD100-250(A) and
GD270(A), NG and LP
• Inducer Assembly
SP13801 – Fits model GD100-310(A),
NG only
• Inducer Assembly
SP13802 – Fits models GD100-310(A), LP only
and GD100-360(A), NG and LP
• Pressure Switch
SP13989
Commercial Induced Draft Gas Water Heaters
Unique Replacement Parts
Nine basic commercial gas parts fix all 23 Universal and
Induced Draft Water Heaters
SP10963D
SP10963E
SP10763C
SP10764B
SP10764C
SP11798B
SP9013DSP9012B
SP10963D
SP10963E
PARTS DIAGRAM
ON PAGE 71
SP12015

To place your order call 1-800-621-5622; fax 1-800-535-9538
27
COMMERCIAL
The premium line of approved replacement parts.
Commercial Low NOx Water Heaters
PARTS DIAGRAM
ON PAGE 74
• GN75-125 AM39731 (single)
• GN76-200 AM39741 (single)
• GN82-156 AM39760 (single)
• GN91-200 AM39189 (single)
• GN100-200 AM39732 (single)
• GN100-250 AM39737 (single)
• GN100-270 AM39738 (single)
• GN100-400 AM40016 (single)
BURNER/MANIFOLD ASSEMBLIES
(Without gas valve and blower assembly)
• GN37-200 AM39188 (single)
• GN65-360 AM39767 (single)
• GN72-250 AM40020 (single)
• GN75-125 AM39245-3 (single)
• GN76-200 AM39188 (single)
• GN82-156 AM39759 (single)
• GN91-200 AM39342 (single)
• GN100-200 AM39718-3 (single)
• GN100-250 AM39764 (single)
• GN100-270 AM39246 (single)
• GN100-400 AM39526 (single)
BLOWER ASSEMBLIES
• GN37-200 AM39729 (single)
• GN65-360 AM39766 (single)
• GN72-250 AM39734 (single)
• GN75-125 AM39728 (single)
• GN76-200 AM39740 (single)
• GN82-156 AM39761 (single)
• GN91-200 AM39739 (single)
• GN100-200 AM39729 (single)
• GN100-250 AM39729 (single)
• GN100-270 AM39753 (single)
• GN100-400 AM39733 (single)
IGNITORS WITH BURNER BRACKET
• GN37-200, GN75-125, GN76-200,
GN82-156, GN91-200, GN100-200,
GN65-360, GN72-250,GN100-250,
GN100-270, GN100-400
AM39758 (single)
BLOWER ASSEMBLY
• GN75-125
SP20165A
SP20165B
PRESSURE SWIRT
• GN75-125 AP14551A
• GN37-200 AP14551C
• GN72-250 AP14551D
• GN91-200 AP14551E
• GN65-360 AP14551F
• GN100-400 AP14551G
• GN76-200 AP14551H
HONEYWELL GAS VALVES
• GN37-200, GN65-360, GN72-250,
GN75-125, GN76-200, GN82-156,
GN91-200, GN100-200, GN100-250,
GN100-270
SP12541B (single)
• GN100-400 SP12543 (single)
BURNER ASSEMBLIES
(Includes gas valve and blower assembly)
• GN37-200 AM39755 (single)
• GN65-360 AM39768 (single)
• GN72-250 AM40021 (single)
• GN37-200, GN100-200
SP20165C
• GN72-250, GN76-200, GN100-250
SP20165D
• GN91-200, GN100-270
SP20165E
• GN65-360
SP20165F
• GN100-400
SP20165G
• GN76-200H, GN91-200H, GN100-200H
SP20165H
DAMPER ASSEMBLY
• Due to the unique application of damper
assemblies, please call for part numbers
and pricing. Have the model number and
serial number of the water heater on
hand.
• White-Rogers Relay
SP12732 (single)
• Baffle Assembly
AM39581 (single)
• Pilot Assembly
SP20058 (single)
• SMC South Blower Cage
AP12712 (single)
• QNI Wiring Harness
AP12594B-3 (single)
• Honeywell Ignition Cable
AP12761 (single)
• Gasket Blower Inlet
AP12468
• Blower Centrifugal
AP12526-3
• Gasket Bower Outlet
AP12592-1
• Cap-Rubber Hose-Barb
AP14636
• Instruction Sheet
AP14637
• Screw 8x3/8 SM Self Drill
AP5925ES-3

To place your order call 1-800-621-5622; fax 1-800-535-9538
28
COMMERCIAL
The premium line of approved replacement parts.
• Robertshaw Natural Gas Thermostat
(180 degrees) control valve with 2 3/8” shank -
single use high limit (200 degrees) - 75,000 BTU
- 1/2” inlet & outlet
SP12234B (single)
• Robertshaw Natural Gas Thermostat (180
degrees) control valve with 1 5/8” shank - single
use high limit (200 degrees) - 75,000 BTU - 1/2”
inlet & outlet
SP12234C (single)
• Robertshaw Natural Gas Thermostat (180
degrees) control valve with 2 7/8” shank - single
use high limit (200 degrees) - 75,000 BTU - 1/2”
inlet & outlet
SP12234E (single)
• Natural Gas Pilot Burner Assembly -
.0115 orifice
SP8384B (single)
• LP Pilot Burner Assembly .008 orifice (colored
red for easy identification)
SP8384D (single)
• 24” Thermocouple
SP6379R (single)
Commercial Gas – Light Duty, Standing Pilot
•Terminal Block 175 AMP
SP13407 (single)
•Transformer 50 VA
SP13408 (single)
•Vacuum Relief Valve
SP221790 (single)
•Switch
SP13411 (single)
• T&P Relief Valve
SP330040
•Thermostat
SP13410
ELEMENTS
• 3100W / 208V
SP13409AL (single)
• 4500W / 6000W 208V / 240V
SP13409BL (single)
• 6000W / 208V
SP13409CL (single)
• 3100W / 240V
SP13409DL (single)
• 4500W / 6000W 240V / 277V
SP13409EL (single)
• 3100W / 277V
SP13409FL (single)
• 4500W / 277V
SP13409GL (single)
• 3100W / 480V
SP13409HL (single)
• 4500W / 480V
SP13409JL (single)
• 6000W / 480V
SP13409KL (single)
Commercial Eclipse Water Heaters

To place your order call 1-800-621-5622; fax 1-800-535-9538
29
COMMERCIAL
The premium line of approved replacement parts.
110 Volt Ignitor Kit
• Interconnecting Ribbon Cable to PC Board
SP12139 (single)
• Pressure Switch
SP12140 (single)
• Transformer with Ignition Cable
SP12141 (single)
• ECO/Temperature Probe
SP12142 (single)
• Ignitor
SP12143 (single)
• 110V Ignitor Kit
SP12143K (single)
• Flame Rectification Probe
SP12144 (single)
• Gas Valve
SP12145 (single)
• Low Voltage Cable
SP12146 (single)
• Line Cable
SP12147 (single)
• Over Temperature Switch (Exhaust Outlet)
SP12149 (single)
• Glass Sight Window
SP12150 (single)
• Neutralizer Condensate
SP12151 (single)
• Gasket Burner Mounting Flange
SP12152 (single)
• Gasket Blower Outlet Flange
SP12153 (single)
• Gasket Air Inlet
SP12154 (single)
• Gasket Sight Window
SP12156 (single)
• Main Control PC Board, 160 deg., 130,000 BTU
SP12136 (single)
• Main Control PC Board, 160 deg., 160,000 BTU
SP12137 (single)
• Display PC Board
SP12138 (single)
• Main Control PC Board, 160 deg., 199,000 BTU
SP12186 (single)
• Booster Kit
ASBK-1200
• Exhaust Elbow
7000P-604
• Main Control PC Board, 160 deg., 100,000 BTU
SP12416 (single)
• Main Control PC Board, 180 deg., 160,000 BTU
SP12418 (single)
• Main Control PC Board, 180 deg., 199,000 BTU
SP12419 (single)
• Gasket Ignitor Collar
AP12654
• Burner – 100-130K BTU
SP14114
• Burner – 160-199K BTU
SP14115
• Low Water Cutoff
SP20124
• Combustion Blower
SP12189 (Single)
ORIFICE KITS
• 130,000 BTU, LP
SP12389B
• 160,000 BTU, LP
SP12389C
• 199,000 BTU, LP
SP12389D
• 130,000 BTU, NG
SP12190B
• 160,000 BTU, NG
SP12190C
• 199,000 BTU, NG
SP12190D
ADVANTAGEPLUS ACCESSORIES
• Concentric Vent Termination Kit 3”
Call for Application
• Aluminum Outsize Termination Vent Kit
SP12162 (single)
• Mesh Screen 3-1/2” Size Stainless for 3” Pipe
SP12163 (single)
• Model 450 CO Meter
AP12516 (single)
• Condensate Hose
7000486
AdvantagePlus Commercial Water Heaters
Before 6/1/2009

To place your order call 1-800-621-5622; fax 1-800-535-9538
30
COMMERCIAL
The premium line of approved replacement parts.
• Gasket – Burner Mounting Flange
SP15138
• Igniter w/ Gasket & Mounting Screws (NG)
SP15128
• Igniter w/ Gasket & Mounting Screws (LP)
SP15134
• Flame Sensor w/ Gasket & Mounting Screw
SP15129
• Gasket – Burner Blower
SP15239
• Burner w/ Gasket
SP15126 (130k btu or less)
SP15127 (>130k btu)
• Gasket – Burner Mounting Plate
SP15139
• Gasket – Sight Glass
SP15152
• Sight Glass w/ Gasket
SP15136
• Combustion Blower w/ Gasket
SP15130
• Air Intake Adapter – Blower Side
SP15158
• Air Intake Adapter – Valve Side
SP15157
• Swirl Plate
SP15155 (130k btu or less)
SP15156 (>130k btu)
• Condensate Neutralizer
SP12151
• Mesh Screen for 3-Inch Pipe
SP12163
• Gas Valve Assembly
SP15131 (130k btu or less)
SP15132 (>130k btu)
• Pressure Switch
SP12140
• Over Temperature Switch – Outlet
SP12149
• Tube – Air Inlet
SP15137
• Main Control Board – 160°F
SP15133A (130k)
SP15133B (160k)
SP15133C (199k)
SP15133D (100k)
• Main Control Board – 180°F
SP15133A (160E)
SP15133B (199F)
• Control Board Display
SP15153
• ECO/Temperature Probe
SP12142
• Low Water Cutoff
SP15140
• Low Voltage 24V Cable
SP15183
• Line Cable – 120V
SP15184
• Aluminum Vent Kit
SP12162 (Outsize Aluminum)
• PVC Vent Kit
Call for Application
• Model 450 CO Meter
AP12516
AdvantagePlus Commercial Gas
After 6/1/2009
PARTS DIAGRAM
ON PAGE 70

To place your order call 1-800-621-5622; fax 1-800-535-9538
31
XTREME Commercial Water Heaters
• Thermostat and High Limit
AP12015-1 (single)
• Pressure Switch (GX90-500, GX90-550,
GX90-600, GX90-680)
SP14197B (single)
SP14197C (GX90-640, GX90-715)
• Gas Valve
SP12866P (single, LP)
SP12866N (single, NG)
• Pilot / Ignitor Assembly
SP12305 (single, LP)
SP12237 (single, NG)
• Relief Valve (GX90-715, GX90-680)
AP12323-1 (single)
• Relief Valve (GX90-640, GX90-600, GX90-550)
AP12035 (single)
• Relief Valve (GX90-500)
SP9012B (single)
• Full Flow Drain Valve
SP12231B (single)
• Damper Assembly
AP13156
• Blower Motor
SP12525 (single)
• Gasket Plenum
AP12382-1 (single)
• Gasket Set/Fan
AP12383 (single)
VentMaster Commercial Water Heaters
• Anode Rod - 42” long x .840 dia
SP11345S
• Thermostat and High Limit
SP11789B
• Blower (GP100-150, GP100-200)
AP13192
• Blower (GP100-250)
AP13186-1 (4” Outlet)
• Relief Valve (GP100-200, GP100-150)
SP9013D
• Pilot Ignitor Assembly
SP13185
• Gas Valve
SP13714
• System Sentinel Panel
AM38875
• Control Module
AS40782-1
• Relay
SP12732
• On/Off Switch
SP8825
• Transformer
SP10550B
• Full Flow Drain Valve
SP12231B
• Ignition Control
SP10763C
PARTS DIAGRAM
ON PAGE 75
PARTS DIAGRAM
ON PAGE 72
COMMERCIAL
The premium line of approved replacement parts.

To place your order call 1-800-621-5622; fax 1-800-535-9538
32
Light Duty Brass Drain Valve:
R-Tech Resistor
Magnesium Flexible
Link Anode Rod:
DRAIN VALVES
• Brass Drain Valve - 3/4” x 2 1/4” shank
SP6070G (single)
• Brass Drain Valve - 3/4” x 3” shank -
Commercial Light Duty
SP12112S (single)
• Standard Melet - 3/4” NPT x 2 1/4” shank
SP12039 (single)
• Brass Drain Valve - 3/4” x 2 1/4” shank
SP12112G (single)
• Brass Full Flow Drain Valve 3.1” (gas)
SP12231B (single)
• Brass Full Flow Drain Valve 3.1” (electric)
AP12231C-1 (single)
ANODE RODS
• R Tech Resistor Magnesium Anode Rod -
44” long x .700 dia
SP11309C (single)
• Galvo Magnesium - 44” long x .840 dia
SP11345C (single)
• Magnesium Anode Rod - 44” long x .840 dia
SP11524C (single)
• Magnesium Anode Rod - 58” long x .840 dia
SP11524Z (single)
• R Tech Resistor Magnesium Anode Rod -
44” long x .900 dia
SP11526C (single)
• R Tech Resistor Magnesium Flexible Link
Anode Rod - 52” long - 12” sections
SP8371B (single)
DIP TUBES
• Dip Tube with anti-siphon hole - 3/4” x 54” long
- clear (North Carolina code) with gasket
SP11251R (single)
• Dip Tube with anti-siphon hole - 1” x 26” long
with gasket
SP11269C (single)
• Dip Tube with anti-siphon hole - 3/4” x 54” long
with gasket
SP11248R (single)
GASKETS
• Hand Hole Gasket
SP5886 (single)
Common Replacement Parts
COMMERCIAL
The premium line of approved replacement parts.

To place your order call 1-800-621-5622; fax 1-800-535-9538
33
Non-Resistored Heating Elements
COPPER SCREW-IN ELEMENTS
• 120V/1500W, 7-5/8”, HWD
UV12890 (Single)
• 120V/2000W, 7-5/8”, HWD
UV12892 (Single)
• 240V/1500W, 7-5/8”, HWD
UV12891 (Single)
• 240V/2000W, 7-5/8”, HWD
UV12893 (Single)
• 240V/2500W, 9-3/8”, HWD
UV12894 (Single)
• 240V/3000W, 10-9/16”, HWD
UV12895 (Single)
• 240V/3500W, 12-9/16”, HWD
UV12896 (Single)
• 240V/3800W, 13-7/16”, HWD
UV12897 (Single)
• 240V/4000W, 13-9/16”, HWD
UV12898 (Single)
• 240V/4500W, 13-9/16”, HWD
UV12899 (Single)
• 240V/4500W, 10”, MWD
UV13049 (Single)
• 240V/5500W, 10-1/8”, LWD
UV12900 (Single)
• 240V/4500W, 11-3/4”, LWD
UV12901 (Single)
COPPER 1-3/8” SCREW-IN ELEMENTS
• 240V/4500W, 11-9/16”, LWD
UV12902 (Single)
COPPER FLANGE ELEMENTS
• 120V/1500W, 7-5/8”, HWD
UV12944 (Single)
• 240V/1500W, 7-5/8”, HWD
UV12908 (Single)
• 240V/2500W, 10”, HWD
UV13047D (Single)
• 240V/3500W, 12-9/16”, HWD
UV12909 (Single)
• 240V/4500W, 13-9/16”, HWD
UV12910 (Single)
• 240V/3000W, 10”, HWD
UV13047A (Single)
• 240V/5500W, 12”, HWD
UV13047B (Single)
• 240V/4500W, 9”, MWD
UV13047C (Single)
COPPER FLAT FLANGE ELEMENTS
• 240V/4500W, 13-9/16”, HWD
UV12907 (Single)
• 240V/4500W, 14”, LWD
UV13051 (Single)
SLIP-IN ELEMENTS
• 240V/3000W, HWD
UV13066A (Single)
•240V/3500W, HWD
UV13066B (Single)
• 240V/4500W, HWD
UV13066C (Single)
STAINLESS STEEL SCREW-IN ELEMENTS
• 240V/3500W, 13-7/8”, LWD
UV12903 (Single)
• 240V/4500W, 13-1/2”, LWD
UV12904 (Single)
• 240V/5500W, 13-1/2”, LWD
UV12905 (Single)
• 120V/1500W, 12”, HWD
UV13050B (Single)
• 240V/2500W, 11”, HWD
UV13050A (Single)
STAINLESS STEEL FLANGE ELEMENT
• 240V/2500W, 11”, LWD
UV12911 (Single)
• 240V/4500W, 14”, HWD
UV13048 (Single)
HWD = High Watt Density
MWD = Medium Watt Density
LWD = Low Watt Density
Note: Elements listed not
recommended with Rheem, Ruud,
and GE products. Use of this
component may lead to premature
failure of the product and voiding
of manufacturers warranties.
Universal ™Parts
RESIDENTIAL
The value line for all your replacement parts needs.

To place your order call 1-800-621-5622; fax 1-800-535-9538
34
Universal Gasket Kit
Heavy duty
element wrench
Element Accessories
• Gasket Kit - (1) screw-in gasket, (1) flange,
(1) 4-hole gasket, (4) 1/4” - 20 x 3/4” hex slot
UV12914
(Single)
• Universal Adapter Kit - (1) flat gasket, (1) round
gasket, (1) element adapter
UV6830
(Single)
• 4” Heavy Duty Element Wrench
UV38628
(Single)
Plumber’s Pack Kit - includes two non-resistored 4500 watt screw-in
heating elements, two heating element gaskets, and
upper & lower thermostats
UV20018 (single)
Universal Parts Plumber’s Pack
The plumber’s pack is an all-inclusive “tune-up” kit for electric water
heaters featuring the most popular replacement parts on the market.
• Two non-resistored heating elements and gaskets
• Upper and lower thermostats
• Economy package that includes all the major components for a
complete “tune-up” for the water heater
Universal ™Parts
RESIDENTIAL
The value line for all your replacement parts needs.

To place your order call 1-800-621-5622; fax 1-800-535-9538
35
Thermocouple Kit
Thermostat Bracket
Electric Thermostats*
• APCOM Upper Thermostat
(max 150 degrees) & High Limit (170 degree)
- Two element non-simultaneous 208, 240,
277, 480 volt
UV13359 (single)
• Therm-O-Disc Upper Thermostat
(max 150 degrees) & High Limit (170 degree)
- Two element simultaneous 208, 240,
277, 480 volt
UV11699 (single)
• Therm-O-Disc Upper Thermostat
(max 150 degrees) & High Limit (170 degree)
- Single element 120 volt
UV11700 (single)
• APCOM Lower Thermostat
(max 150 degrees)simultaneous and
non-simultaneous 208, 240, 277, 480 volt
UV13360 (single)
• Therm-O-Disc Lower Thermostat
(max 150 degrees) & High Limit (170 degree)
- Two element non-simultaneous 208, 240,
277, 480 volt
UV11695 (single)
• Therm-O-Disc Upper Thermostat
(max 150 degrees)simultaneous and
non-simultaneous 208, 240, 277, 480 volt
UV11698 (single)
Gas Replacement Parts
• 18” Thermocouple Kit
UV6379L
(Single)
• 24” Thermocouple Kit
UV6379R
(Single)
• 30” Thermocouple Kit
UV6379H
(Single)
• 36” Thermocouple Kit
UV6379S
(Single)
Common Replacement
Parts
• Flared Dip Tube
SP11248R
• Threaded Dip Tube
AP12933
• Screw-In Thermostat Bracket
AS23557-6
• Heat Traps (flapper type)
UV12992
(Single: 2/pkg.)
• Watts 100XL-4; 3/4" inlet x 3/4" discharge -
M150# (150 PSI pressure / 210 degree
temperature) up to 100,000 BTU
SP12574 (single)
• Watts 100XL; 3/4" inlet x 3/4" discharge
(150 PSI pressure / 210 degree temperature) -
long shank up to 100,000 BTU
SP8346 (single)
• Drain Valve; Standard Melet
3/4" NPT x 2 1/4" shank
UV12039 (single)
*
Electric thermostats may be ordered in bulk. Box consists of 50 thermostats of the
same part number. Bulk pricing is less than the single price. Please call for pricing.
Universal ™Parts
RESIDENTIAL
The value line for all your replacement parts needs.

To place your order call 1-800-621-5622; fax 1-800-535-9538
36
* Gas connector kits contain (2) 3/4” nipples, (2) 3/4” x 12”, 15”, 18” flex water connectors, (1) teflon tape, (2) 3/4” comp. fittings, (1) 18” flex. gas connector.
Electric connector kits contain (2) 3/4” x 2” nipples, (2) 3/4” x 12”, 15”, 18” flex water connectors, (1) teflon tape, (2) 3/4” MPT comp. fittings.
Water connector kits contain (2) 3/4” x 2” nipples, (2) 3/4” x 12”, 15”, 18” flex water connectors, (1) teflon tape.
Drain Pan with Fittings:
• Available in plastic or
aluminum in a variety of sizes.
Accessories
WATER CONNECTORS
• 12” Flexible Copper Water Connector 3/4”
UV10351 (Single: 2/Pkg.)
• 15” Flexible Copper Water Connector 3/4”
UV10505 (Single: 2/Pkg.)
• 18” Flexible Copper Water Connector 3/4”
UV10506 (Single: 2/Pkg.)
• 24” Flexible Copper Water Connector 3/4”
AP13006
• 18” Flexible Copper Water Connector
3/4” FIP x 3/4” Sweat
AP13012
• 24” Flexible Copper Water Connector
3/4” FIP x 3/4” Sweat
AP13015
• Stainless Steel 3/4” Water Connector 12”
UV12927 (Single: 2/Pkg.)
• Stainless Steel 3/4” Water Connector 15”
UV12928 (Single: 2/Pkg.)
• Stainless Steel 3/4” Water Connector 18”
UV12929 (Single: 2/Pkg.)
GAS CONNECTORS
• 12” Stainless Steel Gas Connector
1/2” FIP x 1/2” MIP
SP10349
• 18” Stainless Steel Gas Connector
1/2” FIP x 1/2” MIP
SP10350
• 24” Stainless Steel Gas Connector
1/2” FIP x 1/2” MIP
AP13014
• 48” Stainless Steel Gas Connector
1/2” FIP x 1/2” MIP
AP13013
INSTALLATION KITS
• 15” Water Connector Kit 3/4”*
UV20010 (Single: 2/Pkg.)
• 15” Gas Connector Kit 3/4”*
UV20016 (Single: 2/Pkg.)
• 15” Electric Connector Kit 3/4”*
UV20013 (Single: 2/Pkg.)
• 18” Water Connector Kit 3/4”*
UV20011 (Single: 2/Pkg.)
• 18” Gas Connector Kit 3/4”*
UV20017 (Single: 2/Pkg.)
• 18” Electric Connector Kit 3/4”*
UV20014 (Single: 2/Pkg.)
• 12” Water Connector Kit 3/4”*
UV20009 (Single: 2/Pkg.)
• 12” Gas Connector Kit 3/4”*
UV20015 (Single: 2/Pkg.)
• 12” Electric Connector Kit 3/4”*
UV20012 (Single: 2/Pkg.)
FITTINGS
• 3/4” Compression Fitting x 3/4” MPT
UV10374 (Single: 2/Pkg.)
• 1/2” Compression Fitting x 3/4” MPT
UV10354 (Single: 2/Pkg.)
• Nipples 3/4” x 2-1/4” PP Lined
UV8397G (Single: 2/Pkg.)
• Nipples 3/4” x 3” PP Lined
AP8397N-8
• Dielectric Union
AP13045 (Single)
OTHER ACCESSORIES
• Center Top Run-Off Tube
SP11956B (Bulk: 12)
• 20” Plastic Drain Pan with Fittings (Electric)
SP12934 (Bulk: 20)
• 22” Plastic Drain Pan with Fittings (Electric)
SP12937 (Bulk: 20)
• 24” Plastic Drain Pan with Fittings (Electric)
SP12935 (Bulk: 20)
• 26” Plastic Drain Pan with Fittings (Electric)
SP12936 (Bulk: 10)
• 30” Plastic Drain Pan with Fittings
SP13319 (Bulk: 5)
• 20” Aluminum Drain Pan with Fittings
SP12939 (Bulk: 10)
• 22” Aluminum Drain Pan with Fittings
SP12941 (Bulk: 10)
• 24” Aluminum Drain Pan with Fittings
SP12942 (Bulk: 10)
• 26” Aluminum Drain Pan with Fittings
SP12940 (Bulk: 10)
• 30” Aluminum Drain Pan with Fittings
SP13325 (Bulk: 5)
• Gas Control Extender
SP11620
Universal ™Parts
RESIDENTIAL
The value line for all your replacement parts needs.

To place your order call 1-800-621-5622; fax 1-800-535-9538
37
To place your order call 1-800-621-5622; fax 1-800-535-9538
37
Ref. No. Part Description Part Number Qty.
1. Honeywell Thermostat (Gas Valve) SP20296 1
Natural (all except 43V05-50E2 & ULN)
Honeywell Thermostat (Gas Valve) SP20297 1
Natural (43V50-50E2-50 only)
Honyewell Thermostat (Gas Valve) SP20298 1
Natural (ULN only)
Honeywell Thermostat (Gas Valve) LP SP20302 1
(all models)
Residential Gas (Energy Star II) Replacement Parts
For ESII Fury Dampered products and Ultra Low NOx
Manufactured after 1 Feburary 2011

To place your order call 1-800-621-5622; fax 1-800-535-9538
38
Residential Gas (Energy Star II) Replacement Parts
For ESII Fury Dampered products and Ultra Low NOx
Manufactured after 1 Feburary 2011
Ref. No. Part Description Part Number Qty.
2. Gas Valve Thermal Well (all models except ULN) AP14696B 1
Gas Valve Thermal Well (ULN only) AP15324 1
3.* Flue Damper (Assembly 3 inch (w/ gasket & screws) SP20294 1
(all except 43V50-50E2 only)
Flue Damper Assembly 4 inch (w/ gasket & screws) SP20295 1
43V50-50E2 only)
4. Damper Housing Only (3 inch) AM42968H 1
5. Damper Housing Only (4 inch) AM42969H 1
Pilot / Igniter Assembly Kit - natural (all models) AP14698G 1
Pilot / Ignitor Assembly Kit - LP (all models) AP14700D 1
Pilot / Ignitor Assembly Kit - (40 gallon ULN Only) AP16006A 1
Pilot / Ignitor Assembly Kit - (50 gallon ULN Only) AP16006B 1
6. Transformer Assembly w/strain relief SP20293 1
7. Wiring Harness-24V (not shown) AP15849 1
8. Inner Burner Door Gasket Kit SP20063 1
9. T&P Relief Valve SP12575B 1
10. Drain Valve SP12112G 1
11. Anode Rod SP11309C 1
12. Draft Hood 3” to 4” AM41646 1
13. Heat Trap Nipples - flapper type SP20003 2
14. Flammable Vapor Sensor w/harness AP13447-3 1
15. Dip Tube Call for Application 1
16. Flue Baffle Call for Application 1
17. Burner Assembly Call for Application 1
*= Flue Damper Assembly does not come with the draft diverter or the metal housing. It does come with screws
and gaskets.

To place your order call 1-800-621-5622; fax 1-800-535-9538
39
Residential Replacement Parts List
HEAT PUMP WATER HEATER
Ref. No. Part Description Part Number Qty. Req.
1. T&P Relief Valve SP12577G 1
2. Hot Outlet J-Tube SP8878N 1
3. ECO & Upper Tank Sensor SP15100 1
4. Heating Element SS 2.5 KW (upper & lower) SP10869HL 2
5. Lower Tank Sensor SP15228 1
6. Brass Drain Valve SP12112S 1
7. Water Pump 38-103141-04 1
8. Fan 70-103140-01 1
9. Fan Filter 54-103049-01 1
10. Circuit Board 47-103171-01 1
11. Transformer 46-101905-02 1
12. Capacitor 43-25136-10 1
13. Relay 42-101208-03 3
Ref. No. Part Description Part Number Qty. Req.
14. Membrane Switch (user control) -- --
Membrane Switch (user control) - Rheem 47-103216-01 1
Membrane Switch (user control) - Ruud 47-103216-02 1
Membrane Switch (user control) - Richmond 47-103216-03 1
Membrane Switch (user control) - EcoSense 47-103216-04 1
15. Ambient Thermistor (not shown) 47-103122-01 1
16. Evaporator Thermistor (not shown) 47-103122-02 1
17. Discharge Thermistor (not shown) 47-103122-03 1
18. Suction Thermistor (not shown) 47-103122-04 1
19. Water Out Thermistor (not shown) 47-103122-05 1

To place your order call 1-800-621-5622; fax 1-800-535-9538
40
Residential Replacement Parts List
All standing pilot models except direct vent and PowerVent
NATURAL OR LP GAS (NON-FVIR)
Ref. No. Part Description Qty. Req. Part Number
1. Thermostat 1 (NAT) SP20164
(LP) SP12258B
2. Pilot Supply Tube 1 N/A
3. Thermocouple 1 SP6379K
4. Burner Supply Tube (30 Gal NAT) AM35050CNN
(30 Gal LP) AM36336IJ
5. Burner Orifice (40 Gal NAT) AM35050DT
(40 Gal LP) AM36336DZZ
6. Burner (50 Gal NAT) AM35050EFF
(50 Gal LP) AM36336EZZ
7. Pilot Burner 1 SP8980B (NG)
7A. Pilot Burner SP8980C (LP)
8. Drain Valve Shroud 1 AP9167
9. Drain Valve 1 SP12039
SP12112E (brass)
10. Jacket Door 1 AM29254-4C
11. Inner Door 1 AM29501
12. Flue Baffle 1 (30 Gal) AM25812-1
(40 Gal) AM25812-1
(50 Gal) AM25816
12A. Flue Baffle Hanger 1 AM20622C
13. Anode Rod 1 (5 Year) SP11309C
(10 Year) SP11526C
14. Draft Hood 1 AM36352H
15. Dip Tube 1 SP11248Q
16. Dip Tube Gasket 1 AP6948-1
17. T&P Relief Valve 1 SP12574
40 and 50 Gal VR Models
1. Thermostat 1 (NAT) SP20264
(LP) SP12258P
9. Drain Valve 1 SP12112S
12. Flue Baffle 1 AM38876
14. Draft Hood 1 AM36333H
1
Burner
Assembly
Units manufactured prior to July, 2003

To place your order call 1-800-621-5622; fax 1-800-535-9538
41
Ref. No. Part Description Qty. 40 Gal Tall 40 Gal Short 50 Gal Tall 50 Gal Short
1. Blower Assembly w/pressure switch; 1 AP15109 AP15534 AP15109 AP15534
w/ gasket; w/ screws
PowerVent (FVIR compliant) for Energy Star II
Effective September 2010
40/50 gallon models (43PV); Natural or LP

To place your order call 1-800-621-5622; fax 1-800-535-9538
42
Ref. No. Part Description Qty. 40 Gal Tall 40 Gal Short 50 Gal Tall 50 Gal Short
1a. Blower Gasket Kit (not Shown) 1 SP20289 SP20122 SP20289 SP20122
1b. Hose - Pressure Switch (not Shown) 1 SP20288 SP20120 SP20288 SP20120
1c. Blower Over-temperature Switch - 180 1 SP20287 SP20119 SP20287 SP20119
(not shown)
1d. Blower Rubber Coupling; 1 SP20290 SP12638 SP20290 SP12638
tall = 3x2; short = 2x2
1e. Pressure Switch 1 SP20292 SP20291 SP20292 SP20291
2. Anode Rod - cut to length 1 SP11309C SP11309C SP11309C SP11309C
3. Heat Trap Nipples - flapper 2 SP20003 SP20003 SP20003 SP20003
4. Dip Tube with Gasket 1 AP11625R AP11625R AP11625R AP11625R
5. T&P Relief Valve 1 AP14835G AP14835G AP14835G AP14835G
6. Drain Valve 1 SP12112G SP12112G SP12112G SP12112G
7. Electronic Gas Control ------ ------------ ------------ ------------ ------------
Honeywell Natural 1 AP14671 AP14671 AP14671 AP14671
Honeywell LP (propane) 1 AP14672 AP14672 AP14672 AP14672
8. Gas Control Shank 1 AP14696B AP14696B AP14696B AP14696B
9. Spark Ignitor Assembly Kit 1 AP14698D AP14698D AP14698D AP14698D
(ignitor, gasket, etc.) NAT
10. Spark ignitor Assembly Kit 1 AP14700D AP14700D AP14700D AP14700D
(ignitor, gasket, etc) LP
11. Inner Door Gasket Kit 1 SP20063 SP20063 SP20063 SP20063
(gasket, screws)
12. Flammable Vapor Sensor 1 AP13447-3 AP13447-3 AP13447-3 AP13447-3
w/ harness
13. Burner Assemble 1
14. Flue Baffle with hanger 1
PowerVent (FVIR compliant) for Energy Star II
Effective September 2010
40/50 gallon models (43VP); Natural or LP
Call for Application
Call for Application
15. Electronic Display 1
For the PowerVent with Electronic Display only (43VP40/50-E)
Call for Application

To place your order call 1-800-621-5622; fax 1-800-535-9538
43
Residential Replacement Parts List
60-50 GALLON NATURAL OR LP GAS (NON-FVIR)
Ref.
No. Part Description Qty. Req. Part Number
1. Thermostat 1 (NAT) SP20085K
2. Pilot Supply Tube 1 N/A
3. Thermocouple 1 SP6379K
4. Burner Supply Tube N/A
5. Burner Orifice N/A
6. Burner Assembly NAT (#30 orifice) SP20084A
6A. Assembly Low NOx (#30 orifice) SP20084D
6B. Burner Assembly LP (#46 orifice) SP20084E
6C. Assy LP High Altitude (#47 orifice) SP20084F
7. Pilot Burner N/A
8. Drain Valve Shroud 1 AP9167
9. Drain Valve 1 SP12112G
10. Jacket Door 1 SP20084K
11. Inner Door 1 SP20084H
12. Flue Baffle 1 SP20084G
13. Anode Rod 1 AP11526S
14. Draft Hood 1 SP20084J
15. Dip Tube (30” Polysulfone) 1 AP11251G
15. Dip Tube (36” Polysulfone) 1 AP11625Q
16. Dip Tube Gasket 1 AP6948-3
17. T&P Relief Valve 1 SP12574
1
Burner
Assembly
• Adapter Kit
-
(1) flat gasket, (1) round gasket, (1) element adapter
SP6830 (single)

To place your order call 1-800-621-5622; fax 1-800-535-9538
44
Residential Replacement Parts List
50-6, 75 & 100 GALLON MODELS: NATURAL OR LP GAS
(NON-FVIR)
Part Number
Ref. No. Part Description Qty. Req. 50-6 75VR 100 Gal
1. Thermostat 1 (NAT) SP10022P (NAT) SP12491D (NAT) SP10022F
(LP) SP12258P (LP) SP12258N (LP) SP12258F
2. Pilot Supply Tube 1 N/A N/A N/A
3. Thermocouple 1 SP6379K SP6379C SP6379K
4. Burner Supply Tube (NAT) AM29602STT AM39178BC (NAT) AM29602FRR
5. Burner Orifice (LP) AM36419SN (LP) AM36419RKK (LP) AM36419FKK
6. Burner
7. Pilot Burner 1 (NAT) SP8384B (NAT) SP8980B (NAT) SP8384B
1(LP) SP8384D (LP) SP8384D (LP) SP8384D
8. Drain Valve Shroud 1 AP9167 AP9167 AP9167
9. Drain Valve 1 SP12112S SP12112S SP12112E
10. Jacket Door 1 AM21658C AM21658C AM21658C
11. Inner Door 1 AM27902-2 AM27902-2 AM27902-2
12. Flue Baffle 1 AM26055 AM26053 AM26054
12A. Flue Baffle Hanger 1 N/A N/A N/A
13. Flue Baffle Collar 1 AM25187 AM25187 AM25187
14. Anode Rod 1 SP11309C AP11525C AP11525BD
15. Draft Hood 1 AM25206 AM25206 AM25206
16. Dip Tube 1 SP11269C AP11273G SP11269C
17. Dip Tube Gasket 1 AP9060-1 AP9060-1 AP9060-1
18. T&P Relief Valve 1 AP12575B-1 SP12575B AP12576B-1
1
Burner
Assembly

To place your order call 1-800-621-5622; fax 1-800-535-9538
45
Residential Replacement Parts List
30, 40 AND 50 GALLON FVIR MODELS
(Flammable Vapor Ignition Resistant System)
NATURAL OR LP GAS
To place orders call
1-800-621-5622
All parts orders should include:
1. The model and serial number of the water
heater from the rating plate.
2. Specify type of gas (natural or LP) as
marked on the rating plate.
3. Part description (as noted below) and
number of parts desired.
Ref. Qty.
No. Part Description Req.
1. Draft Hood 1
2. Heat Traps 1
3. Lined Nipples 1
4. Anode Rod 1
5. Flue Baffle & Hanger 1
6. Dip Tube 1
7. Dip Tube Gasket 1
8. T&P Relief Valve 1
9. Drain Valve 1
10. Gas Control (thermostat) 1
11. Piezo Ignition Ignitor 1
12. Mounting Bracket 1
13. Jacket Door 1
14. Burner Orifice
15. Burner Supply Tube
16. Burner Access Door
17. Sight Glass
18. Burner Access Door Grommet
19. Burner Access Door Gasket
20. Burner
21.
Pilot Burner and Piezo Electrode
22. Thermocouple
23. Pilot Supply Tube
24. Piezo Ignitor Wire
Burner Assembly
Burner Assembly Kit provides extra
speed clips and tamper resistant screws.
Burner Assembly Kit
Part Number
Ref. No. Part Description Qty. Req. 30 gallon models 40 gallon models 50 gallon models
1. Draft Hood 1 AM36352-H AM36352-H AM36352-H
2. Heat Traps 1 SP20003 N/A N/A
3. Lined Nipples 1 N/A SP11623B (VR models only) SP11623B (VR models only)
4. Anode Rod 1 SP11309C SP11309C SP11309C
5. Flue Baffle & Hanger 1 Call for Application Call for Application Call for Application
6. Dip Tube 1 AP11625G-1 AP11625F-1 AP11625P
7. Dip Tube Gasket 1 AP6948-3 AP6948-3 AP6948-3
8. T&P Relief Valve 1 SP12574 SP12574 SP12574
9. Drain Valve 1 SP12112E SP12112E SP12159B
10.
Gas Control (thermostat) 1
SP20164 SP12258B (LP) SP12258B (LP)
11. Piezo Ignition Ignitor 1 AP11941 AP11941 AP11941
12. Mounting Bracket 1 AP12384 AP12384 AP12384
13. Jacket Door 1 AS39789-2C AS39789-2C AS39789-2C
Burner Kit 1 Call for Application Call for Application Call for Application
Gasket Kit 1 SP20063 SP20063 SP20063
Thermocouple Kit 1 SP20064 SP20064 SP20064
Units manufactured between July, 2003 – December, 2003
1

To place your order call 1-800-621-5622; fax 1-800-535-9538
46
Residential Replacement Parts List
30, 40 AND 50 GALLON FVIR MODELS
(Flammable Vapor Ignition Resistant System)
NATURAL OR LP GAS
Part Number
Ref. No. Part Description Qty. Req. 30 gallon models 40 gallon models 50 gallon models
1. Draft Hood 1 AM36352-H AM36352-H AM36352-H
4. Anode Rod 1 SP11309C (6-YR) SP11309C(6-YR) SP11309C(6-YR)
SP11526C (12-YR) SP11526C (12-YR SP11526C (12-YR
5. Flue Baffle & Hanger 1 Call for Application Call for Application Call for Application
6. Dip Tube 1 Call for Application Call for Application Call for Application
7. Dip Tube Gasket 1 AP6948-3 AP6948-3 AP6948-3
8. T&P Relief Valve 1 AP12575B-1 AP12575B-1 AP12575B-1
9. Drain Valve 1 SP12112S SP12112S SP12112S
10.
Gas Control (thermostat) 1
SP20166C SP20166C SP20166C
SP13160D (LP) SP13160D (LP) SP13160D (LP)
13. Jacket Door 1 AS39789-2C AS39789-2C AS39789-2C
Drain Valve Shroud 1 AP9167 AP9167 AP9167
Burner Kit 1 Call for Application Call for Application Call for Application
Pilot Assembly Kit 1 SP20075 (NAT) SP20075 (NAT) SP20075 (NAT)
SP20076 (LP) SP20076 (LP) SP20076 (LP)
Thermocouple Kit 1 SP20064 SP20064 SP20064
For NAECA V-PLUS units manufactured between January, 2004 and September 2007
Part Number
Ref. No. Part Description Qty. Req. 30 gallon models 40 gallon models 50 gallon models
1. Draft Hood 1 AM36333-H AM36352-H AM36352-H
4. Anode Rod 1 SP11309C SP11309C SP11309C
5. Flue Baffle & Hanger 1 Call for Application Call for Application Call for Application
6. Dip Tube 1 Call for Application Call for Application Call for Application
7. Dip Tube Gasket 1 AP6948-3 AP6948-3 AP6948-3
8. T&P Relief Valve 1 SP8346 SP8346 SP8346
9. Drain Valve 1 SP12112G SP12112G SP12112G
10.
Gas Control (thermostat) 1
SP8555R (NAT) SP8555R (NAT) SP8555R (NAT)
SP13160E (LP) SP13160E (LP) SP13160E (LP)
13. Jacket Door 1 AS39789-2C AS39789-2C AS39789-2C
Drain Valve Shroud 1 AP9167 AP9167 AP9167
Burner Kit 1 Call for Application Call for Application Call for Application
Pilot Assembly Kit 1 SP20075 (NAT) SP20075 (NAT) SP20075 (NAT)
SP20076 (LP) SP20076 (LP) SP20076 (LP)
Thermocouple Kit 1 SP20064 SP20064 SP20064
For NAECA Non-VR units manufactured between January, 2004 and September 2007

To place your order call 1-800-621-5622; fax 1-800-535-9538
47
Residential Replacement Parts List
30, 40, 50, 60 AND 75 GALLON ATMOSPHERIC FVIR
MODELS NATURAL AND LP GAS FOR USE IN MODELS
MANUFACTURED WITH WHITE-RODGERS CONTROLS
AFTER SEPTEMBER 2007
Ref. Qty.
No. Part Description Req.
1. Draft Hood 1
2. Heat Traps 2
3. Lined Nipples 2
4. Anode Rod 1
5. Flue Baffle and Hanger 1
6 Dip Tube 1
7. Dip Tube Gasket 1
8. T&P Relief Valve 1
9. Drain Valve 1
10. Gas Control Valve (thermostat) 1
11. Burner Access Door Gasket 1
12. Burner Assembly Kit 1
13. Jacket Door 1
Burner Assembly Kit provides extra speed clips and
tamper resistant screws.
12. Burner Assembly Kit
1
2
3
5
6
7
8
2
3
4
11
13
9
10

To place your order call 1-800-621-5622; fax 1-800-535-9538
48
Residential Replacement Parts List
30, 40, 50, 60 AND 75 GALLON ATMOSPHERIC FVIR MODELS
Cross Reference – Models with White-Rodgers Controls
Service Parts – White-Rodgers Controls (Sept. 2007)
Gas Valve – Gas Valve – Pilot Assy Pilot Assy Thermo-
Rheem Model Ruud Model NG LP Kit – NG Kit – LP couple Kit Gasket Kit Piezo
PROFESSIONAL SERIES WITH THE GUARDIAN SYSTEM - 30, 40, 50 and 60 Gallon Capacities
22V40 PROF P2-40 PROF SP14270G N/A N/A
42V40 PROF PH2-40 PROF SP14270G SP14269A SP20128
RHG PRO40-40F RUG PRO40-40F SP14270H SP14269D SP20128
22V50 PROF P2-50 PROF SP14270G N/A N/A
42V50-40 PROF PH2-50-40 PROF SP14270F SP14269E SP20128
RHG PRO50-40F RUG PRO50-40F SP14270H SP14269D SP20128
RHG PRO50-50F RUG PRO50-50F SP14270K N/A N/A
42V40SPROF PH2-40SPROF SP14270G SP14269E SP20128
42V50SPROF PH2-50SPROF SP14270F SP14269A SP20128
42V50-65F PH2-50-60F SP1433913 SP14340C SP20127 SP20128 SP20129 SP20063 AP14316
RHGPRO60F RUGPRO60F SP14270M SP14269A SP20128
FURY SERIES WITH THE GUARDIAN SYSTEM - 30, 40, 50 and 60 Gallon Capacities
42VR40-40F PH2R40-40F SP14270H SP14269D SP20128
42VR50-40F PH2R50-40F SP14270H SP14269D SP20128
22V30F P2-30F SP14270G SP14269A SP20128
22V40-36F1 P40-36F1 SP14270G N/A N/A
22V40F1 P2-40F1 SP14270G N/A N/A
42V40F PH2-40F SP14270F SP14269E SP20128
22V50F1 P2-50F1 SP14270G N/A N/A
42V50-40F PH2-50-40F SP14270F SP14269E SP20128
42V50-50F PH2-50-50F SP14270K N/A N/A
22V30S-30F P2-30S-30F SP14270F N/A N/A
22V40SF P2-40SF SP14270G SP14269A SP20128
42V40SF PH2-40SF SP14270G SP14269A SP20128
42V50SF PH50SF SP14270G SP14269A SP20128
42V60F PH2-60F SP14270M SP14269A SP20128
PROFESSIONAL AND FURY SERIES WITH THE GUARDIAN SYSTEM - 75 Gallon Capacity
RHGPRO75F RUGPRO75F SP14339 SP14340 SP20127 SP20128 SP20129 SP20063 AP14316
42V75F PH2-75F SP14339 SP14340 SP20127 SP20128 SP20129 SP20063 AP14316
SP20127
SP20129
SP20063SP20063
AP14316 AP14316
SP20129
SP20127
Note: This cross reference covers parts specific to models using White-Rodgers Controls only. Common service parts such as draft hoods, anode rods, flue baffles, dip tubes,
T & P relief valves, jacket doors, drain valves and burner kits remain unchanged, and can be referenced on Page 48.

To place your order call 1-800-621-5622; fax 1-800-535-9538
49
Residential Replacement Parts List
Ref. No. Part Description Qty. Req. Part Number
18. Vent Fan Assembly 1 (40/50 Gal) AP10983-4
(75 Gal) AP11608-1
19. Anode 1 (40/50 Gal) SP11309C
(75 Gal) 11526C
20. Flue Baffle Assembly 1 (40/50 Gal) AM20622C
(75 Gal) AM38168
21 Flue Baffle Hanger 1 (All models) AM20622C
22. T & P Relief Valve 1 (All models) SP6571B
23. Heat Trap Dip Tube 1 (40/50 Gal) AP10768C-4
Dip Tube 1 (75 Gal) SP11269C
24. Dip Tube Gasket 1 (40/50 Gal) AP6948-3
(75 Gal) AP9060-1
25. Hot Outlet Heat Trap 1 (40/50 Gal) AP8910-1
26. Drain Valve 1 (40/50 Gal) SP12039
(75 Gal) SP12112G
27. Drain Valve Shroud 1 (All models) AP2480-3
28. Enclosure Box Gasket 1 N/A
29. Inner door 1 (All models) AM29501
30. Captive Screw w/ Retainer 1 (All models) AP8162B-1
Spark Ignition
POWER VENTED MODELS: NATURAL OR LP GAS

To place your order call 1-800-621-5622; fax 1-800-535-9538
50
Residential Replacement Parts List
Ref. No. Part Description Qty. Req. Part Number
1. Gas Control Valve 1 (NAT) SP11652B
(LP) SP11652C
2. Assembly, Control Enclosure 1 N/A
3. Transformer 1 SP11787
4 On/Off Switch 1 SP10778
5. Assembly, Power Cord 1 AM36917
6. Thermostat Bracket 1 AM37830
7. Composite Edge Grommet 1 AP10780-1
8. Ignition Control 1 SP10763C
9. Vinyl Vacuum Tubing 1 AP10723-2
10. Vacuum Switch 1 SP11875
11. Thermostat 1 SP12390
12. Burner 1 (40 Gal NAT) AM38380C
(40 Gal LP) AM38379C
(50 Gal NAT) AM38380B
(50 Gal LP) AM38379B
(75 Gal NAT) AM38140
(75 Gal LP) AM38142
13. Burner Supply Tube 1 N/A
14. Inverted Flare Nut 1 AP10691-2
15. Pilot Supply Tube 1 N/A
16. Ignitor Cable 1 SP8828D
17. Pilot / Electrode Assembly 1 (before September 1998: NAT) SP10764B
(before September 1998: LP) SP10764C
(after September 1998: 40/50 Gal NAT) SP12049B
(after September 1998: 40/50 Gal LP) SP12049C
(after September 1998: 75 Gal NAT) SP12049D
(after September 1998: 75 Gal LP) SP12049E
Spark Ignition
POWER VENTED MODELS: NATURAL OR LP GAS

To place your order call 1-800-621-5622; fax 1-800-535-9538
51
Residential Replacement Parts List
POWER VENT WITH ELECTRONIC CONTROL
(FVIR COMPLIANT)
Ref. No. Part Description Part Number Qty. Req.
1. Blower Assembly w/ Press Switch 40 & 50 Gal. Tall AP13416 1
Blower Assembly w/ Press Switch 40 & 50 Gal. Short AP13605 1
Pressure Switch AP13910 1
1a. Coupling SP12638 1
2 Anode Rod -- --
40 & 50 Gallon Tall SP11309C 1
40 & 50 Gallon Short SP11309Y 1
3. Heat Trap Nipples SP20003 2
4. Flue Baffle with Hanger Call for App 1
5. Dip Tube with Gasket -- --
40 Gallon Tall AP11625G 1
50 Gallon Tall AP11625R 1
40 & 50 Gallon Short AP11625S 1
6. T&P Relief Valve SP8346 1
7. Drain Valve SP12112G 1
Ref. No. Part Description Part Number Qty. Req.
8. Electronic Gas Control -- --
Honeywell Natural AP14671 1
Honeywell LP AP14672 1
9. Burner Assembly -- --
40 & 50 Gallon Natural Call for App 1
40 & 50 Gallon LP Call for App 1
10. Spark Igniter Assy Kit -- --
Spark Igniter Assy Kit 17” Natural SP14698D 1
Spark Igniter Assy Kit 17” LP SP14700D 1
11 Inner Door Gasket Kit SP20063 1
12. Thermostat Shank 1.926 AP14696A
Thermostat Shank 2.870 AP14696B
13. Display, Electronic Control AP14697 1
14. Flammable Vapor Sensor AP13447-3 1
-- PCB Enclosure (power supply for display) AP14875 1

To place your order call 1-800-621-5622; fax 1-800-535-9538
52
Residential Replacement Parts List
POWER VENTED - 2 IN. VENT: 40 AND 50 GALLON MODELS
NATURAL OR LP GAS
Ref. No. Part Description Qty. Req. Part Number
1. Blower Assembly 1 SP12562
2. Anode Rod 1 SP11309C
3. Flue Baffle Assembly 1 AM39341
4. Flue Baffle Hanger 1 N/A
5. T & P Relief Valve 1 SP8346
6. Dip Tube 1 SP11251R
7. Dip Tube Gasket 1 AP6948-1
8. Drain Valve 1 SP12112S
9. Drain Valve Shroud 1 AP9167
10. Inner Door 1 AM29501
11. Outer Door 1 AM29254-4C
12. Protective Cover 1 AP12558
13. Thermostat 1 (NAT) SP20161A
(LP) SP20162A
14. Spark Ignitor Assembly 1 (NAT) SP12560B
(LP) SP12560C
15. Main Burner Assembly 1 (40 Gal NAT Low NOx) AM39503RY
(40 Gal LP) AM39504RM
(50 Gal NAT Low NOx) AM39503SY
(50 Gal LP) AM39504SM
16. Heat Trap Hot 1 SP20003 Kit
17. Heat Trap Cold 1 SP20003 Kit
18. Burner Supply Tube 1 N/A
19. Pressure Switch 1 SP12766
20. Rubber Coupling 1 SP12658
21. On/Off Switch 1 AP12767

To place your order call 1-800-621-5622; fax 1-800-535-9538
53
Residential Replacement Parts List
75 GALLON POWERVENT
NATURAL OR LP GAS
Ref. No. Part Description Qty. Req. Part Number
1. Blower Assembly 1 AP13211
2. Anode Rod 1 AP11525C
3. Heat Trap Nipple (Hot) 1 AP13163-1
3. Heat Trap Nipple (Cold) 1 AP13164-1
5. Dip Tube with Gasket 1 AP13226A
6. T & P Relief Valve 1 SP12575B
7. Flue Baffle with Hanger 1 (NAT) AM40182
(LP) AM40427
8. Drain Valve 1 SP12112S
9. Gas Control (Thermostat) 1 (NAT) SP20161A
(LP) SP20162A
10. Burner Assembly 1 (NAT) AM40195BA
(LP) AM40448
11. Pilot Ignitor Assembly 1 (NAT) SP12560B
(LP) SP12049E
12. Jacket Door 1 AM21658-2C
13. Inner Door 1 AM27902-2

To place your order call 1-800-621-5622; fax 1-800-535-9538
54
Residential Replacement Parts List
POWERVENT (FVIR COMPLIANT)
MANUFACTURED BETWEEN JULY 2006 AND OCTOBER 2007
40 AND 50 GALLON MODELS: NATURAL OR LP GAS
WITH INVENSYS (ROBERTSHAW) CONTROLS

To place your order call 1-800-621-5622; fax 1-800-535-9538
55
Residential Replacement Parts List
POWERVENT (FVIR COMPLIANT)
MANUFACTURED BETWEEN JULY 2006 AND OCTOBER 2007
40 AND 50 GALLON MODELS: NATURAL OR LP GAS
WITH INVENSYS (ROBERTSHAW) CONTROLS
Ref. No. Part Number Description. Model(s)
1 SP13416 Blower - High Performance 42VP40F, 42VP50F, 42VP40PF, 42VP50PF
1 SP13605 Blower - Low Noise 42VP40SF, 42VP50SF, 42VP40SPF, 42VP50SPF
3 SP20116 Vacuum Switch - HP Blower Assy 42VP40F, 42VP40PF, 42VP50F, 42VP50PF
3 SP20117 Vacuum Switch - Low Noise Blower Assy 42VP40SF, 42VP40SPF 42VP50SF, 42VP50SPF
4 SP11903C Anode Rod All
5 SP20003 Heat Trap Nipples All
7 SP11625R Dip Tube - 34.5" Helix 42VP50F, 42VP50PF
7 SP11625G Dip Tube - 32" Helix 42VP40F, 42VP40PF
7 SP11625S Dip Tube - 30" Helix 42VP40SF, 42VP40SPF, 42VP50SF, 42VP50SPF
9 SP12112G Drain Valve All
10 SP20170A FV Wiper Control - NG (2.375" Shank,160°F) 42VP40F
10 ST20170B FV Wiper Control - NG (2.375” Shank, 160°F) 42VP50F
10 SP13458D* FV Wiper Control - NG (1.5" Shank, 160°F) 42VP40SF, 42VP50SF
10 SP20171A FV Wiper Control (2.375" Shank, 160°F) 42VP40PF
10 SP20171B FV Wiper Control (2.375” Shank, 160°F) 42VP50PF
10 SP20171C FV Wiper Control (1.5” Shank, 160°F) 42VP40SPF
10 SP20171D FV Wiper Control (1.5” Shank, 160°F) 42VP50SPF
12 SP13418 Pilot Assy - NG 42VP40F
12 SP13419 Pilot Assy - LP 42VP40PF
12 SP13420 Pilot Assy - NG 42VP40SF
12 SP13421 Pilot Assy - LP 42VP40SPF
12 SP13422 Pilot Assy - NG 42VP50F
12 SP13423 Pilot Assy - LP 42VP50PF
12 SP13424 Pilot Assy - NG 42VP50SF
12 SP13425 Pilot Assy - LP 42VP50SPF
13 SP20063 Inner Door Gasket Kit All
10A SP20123B Control - FV Wiper Electronics All
1b SP20120 Hose - Pressure Switch All
Not Shown SP20122 Blower - Gasket All
Not Shown SP13447B FV Sensor/FV Wiper Replacement Kit All
SP13458D will switch to SP20170C and SP20170D when supplies of SP13458D run out.

To place your order call 1-800-621-5622; fax 1-800-535-9538
56
Residential Replacement Parts List
POWERVENT (FVIR COMPLIANT)
MANUFACTURED AFTER OCTOBER 2007
40, 50, 60 AND 75 GALLON MODELS: NATURAL OR LP GAS
WITH WHITE-RODGERS INTELLI-VENT CONTROLS
Gas Valve – Gas Valve – Blower
Rheem Model Ruud Model Natural Gas LP Gas Hot Surface Ignitor Kit Assembly Gasket Kit Relief Valve
RHEEM AND RUUD MODELS WITH WHITE-RODGERS GAS CONTROL VALVES
42VP40FW PVP40FW SP13845A SP13846A SP14218B SP13416 SP20063 SP8346
42VP50FW PVP50FW SP13845A SP13846A SP14218B SP13416 SP20063 SP8346
42VP40SFW PVP40SFW SP13845B SP13846B SP14218B SP13605 SP20063 SP12574
42VP50SFW PVP50SFW SP13845B SP13846B SP14218B SP13605 SP20063 SP12574
42VP60FW PVP60FW SP13845B SP13846B SP14218B SP14140 SP20063 SP12574
42VP75FW PVP75FW SP13845A SP13846A SP14218B AP14378 SP20063 SP12575

To place your order call 1-800-621-5622; fax 1-800-535-9538
57
Residential Replacement Parts List
DIRECT VENT (FVIR) MODELS: NATURAL AND LP GAS
MANUFACTURED AFTER OCTOBER 2007
Direct Vent with the Guardian System™Parts Cross Reference Chart
Pilot Assy. Pilot Assy. Thermocouple
Gas Valve – Gas Valve – Replacement Replacement Replacement Gasket Relief
Rheem Model Ruud Model NG LP Kit – NG Kit – LP Kit Kit Valve
RHEEM FURY SERIES / RUUD PACEMAKER SERIES
22DV40F PH2DV40F SP14270K SP14269E SP20159 SP20160 SP20129 SP20063 SP12576C
22DV50F PH2DV50F SP14270K SP14269E SP20159 SP20160 SP20129 SP20063 SP12576C

To place your order call 1-800-621-5622; fax 1-800-535-9538
58
Residential Replacement Parts List
POWER DIRECT VENT WITH WHITE RODGERS CONTROL
40 & 50 GALLON MODELS – NATURAL OR LP
Ref. No. Part Description Qty. Req. Part Number Rheem Model(s)
1. Blower Assembly Kit 1 SP20250A PDV40, PDV40P
Blower Assembly Kit 1 SP20250B PDV50, PDF50P
Blower Assembly Kit 1 SP20251A PDV50-65, PDV50P-65
2. Rubber Coupling Blower Motor to Exhaust Vent 1 SP20252 PDV40, PDV40P, PDV50, PDV50P, PDV50-65, PDV50P-65
3. Blower Assembly Gasket (to top pan of heater) 1 SP20256 PDV40, PDV40P, PDV50, PDV50P, PDV50-65, PDV50P-65
4. Blower Motor Seal to Inlet Vent 1 AP15000 PDV40, PDV40P, PDV50, PDV50P, PDV50-65, PDV50P-65
8. Heat Trap Nipple 2 AP12992D PDV40, PDV40P, PDV50, PDV50P, PDV50-65, PDV50P-65
9. Anode Rod 1 AP11309C PDV40, PDV40P, PDV50, PDV50P, PDV50-65, PDV50P-65
10. Dip Tube – 38.5” Helix 1 AP11625H PDV40
Dip Tube – 41” Helix 1 AP11625T PDV40P
Dip Tube – 40” Helix 1 AP11625U PDV50
Dip Tube – 37” Helix 1 AP11625V PDV50P, PDV50-65, PDV50P-65
11. Dip Tube Gasket 1 AP6948 PDV40, PDV40P, PDV50, PDV50P, PDV50-65, PDV50P-65
12. Temperature & Pressure Relief Valve 1 SP12575B PDV40, PDV40P, PDV50, PDV50P, PDV50-65, PDV50P-65
14. Drain Valve 1 SP12112S PDV40, PDV40P, PDV50, PDV50P, PDV50-65, PDV50P-65
16. White-Rodger’s, Intelli-vent Combination Gas Control LP 1 SP14904A PDV40, PDV50, PDV50-65
16. White-Rodger’s, Intelli-vent Combination Gas Control LP 1 SP14905A PDV40P. PDV50P, PDV50P-65
17. Burner Assembly (Nat or LP) 1 Call for App PDV40, PDV40P, PDV50, PDV50P, PDV50-65, PDV50P-65
18. Hot Surface Igniter 1 SP14218A PDV40, PDV40P
18. Hot Surface Igniter 1 SP14218B PDV50, PDV50P, PDV50-65, PDV50P-65
19. Burner Access Door Gasket Kit 1 SP20063 PDV40, PDV40P, PDV50, PDV50P, PDV50-65, PDV50P-65
20/21 Flammable Vapor Sensor 1 SP20172 PDV40, PDV40P, PDV50, PDV50P, PDV50-65, PDV50P-65

To place your order call 1-800-621-5622; fax 1-800-535-9538
59
Residential Replacement Parts List
ULTRA LOW NOx ES II PowerVent
November 2010
Ref.
No.
1. Blower Assembly - 40 Gal AP15342 1
Blower Assembly - 50 Gal AP15210 1
2. Pressure Switch - 40 Gal AP15981 1
Pressure Switch - 50 Gal AP15980 1
3. Rubber Coupling 3 inch SP20252 1
4. Baffle Assembly AS42697 1
5. Heat Trap Nipples AP12992C 2
6. Anode Road SP11309C 1
7. Dip Tube AP11625H 1
8. Dip Tube Gasket AP14457 1
9. T&P Relief Valve SP12575C 1
10. Gas Control (Honeywell Electronic) Natural AP15211 1
11. Gas Control Shank (Thermistor and ECO) AP15324 1
12. Drain Valve SP12112S 1
13. Flammable Vapor Sensor Kit w/wiring harness SP13447-3 1
14. Jacket Door AP15321 1
Part Description Part No. Qty. Ref.
No.
15. Burner Assembly w/gasket Kit -
40 Gal SP20283
50 Gal SP20284
16. Pilot Igniter w/gaskets Kit -
40 Gal SP20281 1
50 Gal SP20282 1
17. Burner Gasket Kit (all gaskets) 40 gallon SP20136 1
Burner Gasket Kit (all gaskets) 50 gallon SP20137 1
Transition Pan Gasket (1)
Burner Access Door Gasket (1)
Inner Door Gasket (1)
Inner Door Torx 20 Screws (4)
Lower Air Box Mounting Screws (Phillips) (2)
Burner Hex Nuts 5/16” (4)
Restrictor, minimum vent 2 inch AP15532C 1
Restrictor, minimum vent 3 inch P15532D 1
Part Description Part No. Qty.
Not
Shown
Not
Shown

To place your order call 1-800-621-5622; fax 1-800-535-9538
60
Residential Replacement Parts List
30 & 40 GALLON MODELS FOR
MANUFACTURED HOUSING, WITH CONVERTIBLE
GAS CONTROL FOR NATURAL OR LP GAS
Ref. No. Part Description Qty. Req. Part No.
1. Thermostat 1 SP9051B
2. Pilot Supply Tube 1 N/A
3. Thermocouple 1 SP6379E
4. Burner Supply Tube
5. Burner Orifice
6. Burner
7. Pilot Burner NG 1 SP8980B
8. Drain Valve Shroud 1 AP9167
9. Drain Valve 1 AP12039
10. Jacket Door 1 AM29254-4C
11. Inner Door 1 AM29501
12. Flue Baffle 1
12A. Flue Baffle Hanger 1 AM20622C
13. Anode Rod 1 SP11309C
14. Draft Hood 1 AM36352H
15. T&P Relief Valve 1 SP12574
1 NG
Burner
Assembly
(30 Gal) AM35050CT
(40 Gal) AM35050DT
(30 Gal) AM25812
(40 Gal) AM29068

To place your order call 1-800-621-5622; fax 1-800-535-9538
61
Residential Replacement Parts List
30, 40 & 50 GALLON DIRECT VENT MODELS
FOR MANUFACTURED HOUSING, WITH CONVERTIBLE
GAS CONTROL FOR NATURAL OR LP GAS
Ref. No. Part Description Qty. Req. Part Number
1. Thermostat 1 SP9051B
2. Pilot Supply Tube 1 N/A
3. Thermocouple 1 SP6379R
4. Burner Supply Tube
(30 Gal) AM28804BHH
5. Burner Orifice
(40 Gal) AM38804CHH
6. Burner
(50 Gal) AM38804DNN
7. Pilot Burner NG 1 SP8384E
8. Drain Valve Shroud 1 AP9167
9. Drain Valve 1 SP12039
10. Jacket Door 1 AM35622
11. Inner Door 1 AM38692
12. Flue Baffle 1 AM29201
12A. Flue Baffle Hanger 1 AM20622C
13. Anode Rod 1 SP11309C
14. Roof Jack Assembly 1 As Required
15. Air Inlet Assembly 1 AP12019B
16. T&P Relief Valve 1 SP12574
17. Shroud, Relief Valve 1 AP9167
1 NG
Burner
Assembly

To place your order call 1-800-621-5622; fax 1-800-535-9538
62
Residential Replacement Parts List
DIRECT VENT (NON-FVIR) MODELS: NATURAL GAS ONLY
Ref. No. Part Description Qty. Req. 21DV Model Part Number 22DV Model Part Number
1. Thermostat 1 SP20164 SP20264
2. Pilot Supply Tube 1 N/A N/A
3. Thermocouple 1 SP6379R SP6379R
4. Burner Supply Tube
5. Burner Orifice AM35651DY AM40497EY
6. Burner
7. Pilot Burner 1
SP8980B SP12380B
8. Drain Valve Shroud 1 AP9167 AP9167
9. Drain Valve 1 SP12039 AP12159C-1
10. Jacket Door 1 AM35622 AM35622
11. Inner Door 1 AM38692 AM40615
12. Flue Baffle AE35629D-2 AE35629D-2
12A. Flue Baffle Hanger
13. Anode Rod 1 SP11309C SP11309C
14. Dip Tube 1 SP11248R AP11251H-2
15. Dip Tube Gasket 1 AP6948-1 AP6948-1
16. Upper Air Inlet Box 1 AM35613-H AM40290-H
17. Air Tube Elbow 1 AP10197-1 AP10197-1
18. Sliding Air Tube 1 AP11126B-1 AP11126B-1
19. Main Air Tube 1 AP11126C-1 AP11126C-1
20. Vent Terminal Cap 1 AP11498 AP11498
21. T&P Relief Valve 1 SP12574 SP8346
1
Burner
Assembly
1
Assembly

To place your order call 1-800-621-5622; fax 1-800-535-9538
63
Residential Replacement Parts List
21/2GALLON MODELS
120 OR 240 VOLT OPERATION
Ref. No. Part Description Qty. Req. Part Number
1. Heating Element 1 (120V) SP10868LH 1440W
(240V) SP10869FH 1500W
2. Heating Element Gasket 1 AP6708-9
3. Thermostat Bracket 1 AM23557
4. Thermostat 1 (120V) SP11700
(240V) SP11699
5. Thermostat Protective Cover 1 AP8413-9
6. Cavity Insulation 1 AP9184-7
7. Jacket Access Panel 1 AM38409-1C
8. Drain Valve 1 (PVC) SP12039
(Brass) SP12112G
9. Drain Valve Shroud 1 AP2480-3
10. Electrical Cord Set (120 VAC models ONLY) 1 AP10883-2

To place your order call 1-800-621-5622; fax 1-800-535-9538
64
Residential Replacement Parts List
6 – 20 GALLON MODELS
120 OR 240 VOLT OPERATION
Ref. No. Part Description Qty. Req. Part Number
1. Heating Element 1 (120V) SP10874GH 2000W
(240V) SP10552GH 2000W
2. Heating Element Gasket 1 AP6708-9
3. Thermostat Bracket 1 AM23557
4. Thermostat 1 (120V) SP11700
(240V) SP11699
5. Thermostat Protective Cover 1 AP8313-9
6. Cavity Insulation 1 AP9184-7
7. Jacket Access Panel 1 AM38409-1C
8. Nipple, Hot Outlet 1 AP11623F
9. Nipple, Cold Inlet 1 AP11623F
10. Shroud As Required AP2480-3
11. Anode Rod 1 SP11309P 6 GAL
SP11309L 10-20 GAL
12. Snap Bushing 1 AP7733-2

To place your order call 1-800-621-5622; fax 1-800-535-9538
65
Residential Replacement Parts List
30 GALLON MODELS
120 OR 240 VOLT OPERATION
Ref. No. Part Description Qty. Req. Part Number
1. Heating Element As Required (120V) SP10874GH
(240V) SP10552GH
2. Heating Element Gasket As Required AP6708-9
3. Thermostat Bracket As Required AM23557
4. Thermostat, Upper (on double element models only) 1 SP11698
5. Thermostat, Lower 1 (120V) SP11700
(240V) SP11695
6. Thermostat (single element models only) 1 (120V) SP11700
(240V) SP11699
7. Thermostat Protective Cover As Required AP8313-9 (Double element upper and Single element lower)
AP8314-9 (Double element lower)
8. Cavity Insulation As Required AP9184-7
9. Jacket Access Panel As Required AM38409-1C
10. J-Tube, Hot Outlet 1 AP8877E-12
11. Nipple, Cold Inlet 1 AP11623F
12. Shroud As Required AP2480-3
13. Anode Rod 1 (5 Year) SP11309C
(10 Year) SP11526C
14. Snap Bushing 1 AP7733-2

To place your order call 1-800-621-5622; fax 1-800-535-9538
66
Residential Replacement Parts List
20 – 120 GALLON MODELS: SINGLE AND DOUBLE ELEMENT
Ref. No. Part Description Qty. Req. Part Number
1. Dip Tube Gasket – 3/4” 1 AP6948-3
2. Dip Tube – 3/4” 1 SP11248R
3. Anode Rod 1 (5 Year, 44”) SP11309C
(10 Year, 44”) SP11526C
(10 Year, 58”) SP11526Z NLAP
4. Plate Cover 1 AM29892 AS29892-2
5. Junction Box Cover 1 AM29893 AS29893-2
6. Upper Thermostat (on double element models only) 1 SP11698
7. Thermostat Protective Cover (on double element models only) 1 AP8313-9
8. Cavity Insulation 2 AP9184-7
9. Jacket Access Panel (Rheem Blue) As Required AM38409-1C
10. Heating Element Gasket As Required AP6708-9
11. Heating Element As Required (240V) SP10552MH
(120V) SP10874GH
12. Thermostat Bracket As Required AS23557-6
13. Lower Thermostat 1 (DE) SP11695
(SE-240V) SP11699
(SE120V) SP11700
14. Lower Thermostat Protective Cover 1 AP8314-9
15. Drain Valve 1 (PVC) SP12039
AP12112G
16. Drain Valve Shroud 1 AP2480-3
17. Relief Valve 1 (Top) SP12574
(Side) SP8346
18. Hot Outlet Heat Trap or Dip Cup Insert (HT Kit) 1 SP20003 or AP12992

To place your order call 1-800-621-5622; fax 1-800-535-9538
67
Residential Replacement Parts List
20 – 52 GALLON MODELS: SINGLE AND DOUBLE ELEMENT
Ref. No. Part Description Qty. Req. Part Number
1. Dip Tube Gasket (on top connect models only) 1 AP6948-3
2. Dip Tube (on top connect models only) 1 SP11248R
3. Anode Rod 1 SP11309C
4. Plate Cover (hole) 1 AM29892 AS29892-2
5. Junction Box Cover (no hole) 1 AM29893 AS29893-2
6. Upper Thermostat (on double element models only) 1 SP11698
7. Upper Thermostat Protective Cover (on double element models only) 1 AP8313-9
8. Cavity Insulation 2 AP9184-7
9. Jacket Access Panel As Required AM38409-1C
10. Heating Element Gasket As Required AP6708-9
11. Heating Element As Required (240V) SP10552MH
(120V) SP10874GH
12. Thermostat Bracket As Required AS23557-6
13. Lower Thermostat 1 (DE) SP11695
(SE-240V) SP11699
(SE120V) SP11700
14. Lower Thermostat Protective Cover 1 AP8314-9
15. Drain Valve 1 SP12039
16. Drain Valve Shroud As Required AP2480-3
17. Cold Inlet Nipple (on side connect models only) 1 AP8397N-8
18. Hot Outlet Tube (on side connect models only) 1 (71V20S) AP8877K-12
(71V30D) AP8877K-12
(71V40D) AP8877J-12
(71V50D) AP8877J-12
19. Relief Valve 1 (Top) SP12574
(Side) SP8346
20. Hot Outlet Heat Trap or Dip Cup Insert 1 AP12992 or SP20003
* These parts are supplied only on double element models.

To place your order call 1-800-621-5622; fax 1-800-535-9538
68
Residential Replacement Parts List
40 GALLON TABLE TOP MODELS
SINGLE AND DOUBLE ELEMENT
Ref. No. Part Description Qty. Req. Part Number
1. Splash Top 1 AP14549
2. Front Center Panel 1 AM28677-A
3. Upper Thermostat (on double element models only) 1 SP11698
4. Upper Thermostat Protective Cover (on double element models only) 1 AP8313-9
5. Thermostat Bracket As Required AM23557
6. Heating Element Gasket As Required AP6708-9
7. Heating Element As Required SP10552MH
8. Lower Thermostat Protective Cover 1 AP8314-9
9. Lower Thermostat 1 (DE) SP11695
(SE) SP11699
10. Drain Valve 1 SP12112L
11. Dip Tube 1 SP11248P
12. Dip Tube Gasket 2 AP6948-3
13. Anode 1 AP11525V
14. Relief Valve 1 SP12574
15. Hot Outlet Heat Trap or Dip Cup Insert (Kit) 1 SP20003

To place your order call 1-800-621-5622; fax 1-800-535-9538
69
Commercial Replacement Parts List
ULTRA HIGH EFFICIENCY COMMERCIAL GAS
Ref. No. Part Description Part Number
1. Ignited – Direct Spark Kit SP20258
2. Flame Sensor Rod Kit SP20259
3. Temperature Sensor – Water & ECO AP14074
4. Flue Sensor – Exhaust Temperature AP14280
5. Control Board – Argus AP14023
6. Display Board Kit – Argus AP20260
7. Condensate Trap AP14685
8. Drain Valve 3/4 Inch NPT AP12231B-1
9. Temperature and Pressure Relief Valve – 130 to 199K AP9013D
Temperature and Pressure Relief Valve – 250 to 400K AP9012B
10. ON/OFF Switch AP12767
11. Hand Hole Cleanout Gasket SP5886
12. Pressure Switch Assy w/Tubing and Mounting Bracket --
Pressure Switch Assembly GHE 130 – Green AP15465B
Pressure Switch Assembly GHE 160 – Yellow AP15465C
Pressure Switch Assembly GHE 200 – Blue AP15465D
Pressure Switch Assembly GHE 250 – Orange AP15465E
Pressure Switch Assembly GHE 300 – Red AP15465F
Pressure Switch Assembly GHE 350 – Brown AP15465G
13. GHE Burner Assy Kit *See below for kit contents --
*GHE Burner Assy Kit 130-160K LP SP20257A
*GHE Burner Assy Kit 130-160K Natural SP20257B
*GHE Burner Assy Kit 200K LP SP20257C
*GHE Burner Assy Kit 200K Natural SP20257D
*GHE Burner Assy Kit 250K LP SP20257E
*GHE Burner Assy Kit 250K Natural SP20257F
*GHE Burner Assy Kit 300-350K LP SP20257G
*GHE Burner Assy Kit 300-350K Natural SP20257H
14. Harness – Display Jumper AP14758
15. Harness – GHE Main Control AP14092
16. Harness – GHE Blower Control AP14157
17. Harness – GHE Main Power AP14158
18. Harness – GHE Gas Value AP14159
19. Harness – GHE Igniter Cable w/1k Ohm Resistor AP15294
20. Harness – Ground Wire AP15261
-- UL Sanitation Kit for NSF Compliance AS42690
-- Concentric Vent Kit ***
*Complete burner assemblies consist of the following components:
• Blower
• Ignitor
• Flame Probe
• Burner with Mesh
• Sight Glass
• Gas Valve
• Gaskets & O-Rings
• Wiring Harness’
• Screws
*** Call for Application
Call For Application
Call For Application

To place your order call 1-800-621-5622; fax 1-800-535-9538
70
Commercial Replacement Parts List
ADVANTAGE PLUS
Ref. No. Part Description Part Number
1. Gasket – Burner Mounting Flange SP15138
2. Igniter w/ Gasket and Mounting Screw – Natural SP15128
Igniter w/ Gasket and Mounting Screw – Propane SP15134
3. Flame Sensor w/ Gasket and Mounting Screw SP15129
4. Gasket – Burner / Blower SP15239
5. Burner w/ Gasket – 130k btu or less SP15126
Burner w/ Gasket – Greater than 130k btu SP15127
6. Gasket – Burner / Mounting Plate SP15139
7. Gasket, Sight Glass SP15152
8. Sight Glass with Gaskets SP15136
9. Combustion Blower w/ Gasket SP15130
10. Air Intke Adapter – Blower Side SP15158
11. Swirl Plate – 130k btu or less SP15155
Swirl Plate – Greater than 130k btu SP15156
12. Air Intake Adapter – Valve Side SP15157
13. Gas Valve Assembly – 130k btu or less SP15131
Gas Valve Assembly – Greater than 130k btu SP15132
14. Pressure Switch SP12140
15. Over Temp. Switch – Outlet SP12149
16. Tube – Air Inlet SP15137
Ref. No. Part Description Part Number
17. 926 Main Control Board – 160˚F. 130k SP15133A
926 Main Control Board – 160˚F. 160k SP15133B
926 Main Control Board – 160˚F. 199k SP15133C
926 Main Control Board – 160˚F. 100k SP15133D
926 Main Control Board – 180˚F. 160k SP15133E
926 Main Control Board – 180˚F. 199k SP15133F
18. Control Board Display SP15153
19. ECO / Temperature Probe SP12142
20. Low Water Cut-off SP15140
Parts not Shown
NS Low Voltage 24V Cable SP15183
NS Line Cable 120V SP15184
NS Gas Converstion Kit – Propane to Nat. Kit SP15159
NS Gas Conversion Kit – Nat. to Propane SP15160
NS Use and Care Manual AP15135
NS Concentric Vent Kit – 3 Inch SP20245
NS Aluminum Outside Vent Kit SP12162
NS Neutralizer, Condensate SP12151
NS Mesh Screen for 3” Pipe SP12163
NS Model 450 CO Meter (used for installation setup) AP12516

Commercial Replacement Parts List
UNIVERSAL SPARK IGNITION: NATURAL OR LP GAS
Ref. No. Part Description Qty. Req. Part Number
1. Drain Valve Bushing 1 AP7733-2
2. Drain Valve Nipple 1
3. Drain Valve 1 AP12231B-1
4. Jacket Handhole Cover 1 AM3459-H
5. Tank Handhole Assembly 1 SP22079
5A. Yoke 1 AS24346-1
5B. Nut 1 AP2247-1
5C. Gasket 1 AP5886-1
5D. Stud 1 AP5983-2
5E. Seal Plate 1 AS22078-2
6. Outlet Nipple Assembly 1 call for size
7. Inlet/Outlet Bushing 2 AP12421
8. Relief Valve Bushing 1 AP9078
9. Relief Valve Nipple 1
10. Relief Valve 1 SP9013D
11. Auto-Vent Damper Assembly 1 ***
12. Damper Motor 1 AP11617-1
13. Damper Drive Wiring 1 AP11314C-3
14. T’stat/T’well Bushing 1 AP9078-1
Ref. No. Part Description Qty. Req. Part Number
15. Thermostat Hi-Limit 1 SP11798B
16. Gas Manifold Assembly 1
16A. Gas Valve (NAT) 1 SP10963D
16A. Gas Valve (LP) 1 SP10963E
17. Pilot Tube (straight) 1 AP7033L-14
18. Gas Manifold Assembly 1
18A Burner Orifice 1
18B. Burner Bracket (front) 1
18C. Burner 1
18D Burner Bracket (rear) 1
19. Pilot (NAT) 1 SP10764B
19. Pilot (LP) 1 SP10764C
20. Ignition Cable 1 SP8828D
21. Ignition Control 1 SP10763C
22. On/Off Switch 1 AP8825
23. Transformer 1 SP10550B
24. Inlet Nipple 1 call for size
25. Flue Baffle & Hanger 1 ***
26. Anode As Required AP11524C
Sold as burner
tray assembly
Call for
application
***Call for application ***Call for application
-To place your order call 1-800-621-5622; fax 1-800-535-9538
71

Commercial Replacement Parts List
VENTMASTER COMMERCIAL GAS MODEL
Ref. No. Part Description Qty. Req. Part Number
1. Pilot Ignitor Assembly 1 SP13185
2. Burner Assembly 1 Call for Quote
3. Gas Valve 1 SP13714
4. System Sentinel Panel 1 AM38875
5. Ignition Control Assembly 1 AM40782
5A. Control Module 1 SP10763C
5B. Relay 1 SP12732
5C. On/Off Switch 1 AP8825
5D. Transformer 1 SP10550B
6. Blower Assembly 1 AP13192
7. Temperature & Pressure Relief Valve 1 SP9013D
8. Hand Hole Cover Gasket 1 AP5886-1
9. Thermostat 1 SP11798
10. Drain Valve 1 AP12231B-1
To place your order call 1-800-621-5622; fax 1-800-535-9538
72

Commercial Replacement Parts List
INDUCED DRAFT
Ref. No. Part Description Qty. Req. Part Number
1 Pilot Ignitor Assembly 1 AP13185
2 Burner Assy; 250, 270, 310, 360 kBTU 1 Call for Quote
3 Gas Valve 1 SP10963D (NG)
4 System Sentinel Panel 1 AM38875
5 Control Module 1 SP10763C
6 Relay 1 SP12732
7 ON/OFF Switch 1 AP8825
8 Transformer 1 SP10550B
9 Draft Inducer 250 kBTU - Natural or LP; and 270 kBTU - Natural or LP 1 AP1300-2
Draft Inducer 310 kBTU; Natural AP13801-2
Draft Inducer 310 kBTU – LP; and 360 kBTU; Natural or LP AP13802-2
10 Temperature & Pressure Relief Valve 1 AP12323-1
11 Hand Hole Cover Gasket 1 AP5886-1
12 Thermostat 1 SP11798B (NG)
13 Drain Valve 1 AP12231B-1
14 Vacuum Switch Assy 1 SP13989
To place your order call 1-800-621-5622; fax 1-800-535-9538
73

Commercial Replacement Parts List
LOW NOX COMMERCIAL GAS MODEL
Ref. No. Part Description Qty. Req. Part Number
1. Vent Damper Assembly 1 Call for quote
Damper Drive Motor - SP11617 (NG)
2. Temperature & Pressure Relief Valve 1 BTU Dependent
3. Thermostat Hi-Limit 1 SP11798B
4. System Sentinel Panel 1 AM38875
5. Ignition Control 1 SP10763C
6. Relay 1 SP12732
7. Transformer 1 SP10550B
8. On/Off Switch 1 AP8825
9. Pressure Switch 1 BTU Dependent
10. Gas Valve (NAT) 1 SP12541B
Gas Valve (NAT 400,000 BTU Only) - SP12543
11. Blower Motor 1 BTU Dependent
12. Blower Motor Protection Cage 1 AP12712
13. Pilot Ignitor (NAT 200K and below) 1 AS39758
Pilot Ignitor (NAT above 200K) - AM40023
14. Drain Valve 1 AP12231B-1
15. Hand Hole Gasket 1 AP5886-1
1
2
3
4
5
6
7
8
9
10
11
12
13
14
15
To place your order call 1-800-621-5622; fax 1-800-535-9538
74

Commercial Replacement Parts List
XTREME COMMERCIAL GAS MODEL
To place your order call 1-800-621-5622; fax 1-800-535-9538
75
Ref. No. Part Description Qty. Req. Part Number
1. Vent Damper Assembly 1 AP13156
2. Temperature & Pressure Relief Valve 1 BTU Dependent
3. Thermostat Hi-Limit 1 AP12015-1
4. System Sentinel Panel 1 AM38875
5. Ignition Control 1 SP10763C
6. Relay 1 SP12732
7. Transformer 1 SP10550B
8. On/Off Switch 1 AP8825
9. Pressure Switch 1 SP12576C
10. Gas Valve (NAT) 1 SP12866N
Gas Valve (LP) 1 SP12866P
11. Blower Motor 1 SP12525
- Blower Motor Protection Cage 1 AP13017
12. Pilot Ignitor (NAT) 1 SP12237
Pilot Ignitor (LP) 1 SP12305
13. Drain Valve 1 AP12231B-1
14. Hand Hole Gasket 1 AP5886-1
15. Burner Assembly 1 Call for quote
1
2
3
4
5
6
7
8
9
10
11
12
13
14
15

Commercial Replacement Parts List
208, 240,277 OR 480 VOLT OPERATION –
50, 85, 120 GALLON MODELS: IMMERSION THERMOSTAT
Ref. No. Part Description Qty. Req. Part Number
1. Drain Valve Shroud 1 AP7733-2
2. Drain Valve 1 AP12231C-1
3. Inlet Nipple Shroud 1 AP12421
4. Inlet Nipple 1 AP11179B
5. Jacket Handhole Cover 1 AM3459-H
6. Outlet Nipple 1 AP11179C
7. Outlet Nipple Shroud 1 AP12421
8. Anode 1 SP11524C
9. T&P Valve Shroud 1 AP7733-2
10. Captive Screw with Retainer 1 AP8162B-1
AP8162-1
11. Door 1
12. Element As Required
13. Thermostat Retainer 1
14. Element Gasket As Required AP6708-9
15. Copper Connectors 3 AM25285
16. Transformer Fuse 1 SP8264R
17. Transformer Fuse Block 1 SP8889
18. Fuse (goes with SP8311E) 3 SP8264M
Fuse (goes with SP11112) 3 SP8264K
To place your order call 1-800-621-5622; fax 1-800-535-9538
76
Ref. No. Part Description Qty. Req. Part Number
19. Fuse Block 1 SP8311E
Fuse Block (36, 45 & 54 KW) 1 SP11112
20. Terminal Block 1 SP10260
21. Control Encl Frame 1
22. Controls Mount Panel 1
23. Seal Strip 1
24. Outlet Nipple 1 AP11179C
25. Handhole Assembly 1 SP22079
25A. Seal Plate 1 AS22078-2
25B. Stud 1 AP5983-2
25C. Handhole Gasket 1 AP5886-1
25D. Yoke 1 AS24346-1
25E. Nut 1 AP2247-1
26. Transformer 1 SP10006
27. Contactor 1 SP12841
28. Limit 1
29. Thermostat Bracket 1
30. Thermostat 1 SP11805
31. Relief Valve N/S 1 SP9013E

Commercial Replacement Parts List
208, 240, 277 OR 480 VOLT OPERATION –
50, 85, AND 120 GALLON MODELS:
SURFACE MOUNTED THERMOSTAT
Ref. No. Part Description Qty. Req. Part Number
1. Drain Valve Shroud 1 AP7733-2
2. Drain Valve 1 AP12231C-1
3. Inlet Nipple Shroud 1 AP12421
4. Inlet Nipple 1 AP11179B
5. Jacket Handhole Cover 1 AM3459-H
6. Outlet Nipple 1 AP11179C
7. Outlet Nipple Shroud 1 AP12421
8. Anode Assembly 1 SP11524C
9. T&P Valve Shroud 1 AP7733-2
10. Captive Screw with Retainer 1 AP8162B-1
AP8162-1
11. Door 1
12. Element As Required
13. Thermostat Retainer 1 AM23557
14. Element Gasket As Required AP6708-9
15. Insulation - Controls 1
16. Insulation - Controls 1
To place your order call 1-800-621-5622; fax 1-800-535-9538
77
Ref. No. Part Description Qty. Req. Part Number
17. Thermostat 1 AP11231-2
18. Fuse (goes with SP8311E) 3 SP8264M
Fuse (goes with SP11112) 3 SP8264K
19. Fuse Block 1 SP8311E
Fuse Block (36, 45 & 54 KW) 1 SP11112
20. Terminal Block 1 SP10260
21. Control Encl Frame 1
22. Controls Mount Panel 1
23. Seal Strip 1
24. Relief Valve 1 SP9013E
25. Handhole Assembly 1 SP22079
25A. Seal Plate 1 AS22078-2
25B. Stud 1 AP5983-2
25C. Handhole Gasket 1 AP5886-1
25D. Yoke 1 AS24346-1
25E. Nut 1 AP2247-1

Commercial Replacement Parts List
ELECTRIC LIGHT DUTY (ELD) SERIES
To place your order call 1-800-621-5622; fax 1-800-535-9538
78
Ref. No. Part Description Qty. Req. Part Number
1. Gasket 1 AP6948-3
2. Diptube 1 SP11251R
3. Anode 1 SP11526C
4. Field Connect Plate 1 AS29892-2
5. Junction Box Cover 1 AS29893-2
6. Thermostat, Upper 1 SP8293
7. Thermostat Cover - Upper 1 AP8313-9
8. Cavity Opening Insulation 1 AP9184-7
9. Front Panel 2 AM38409-1C
10. Gasket, Heating Element 1 AP6708-9
11. Heating Element 2 SP10552ML
12. Thermostat Bracket 1 AS23557-6
13. Thermostat, Lower 1 SP8295
14. Thermostat Cover - Lower 1 AP8314-9
15. Drain Valve 1 SP12112S
16. Drain Valve Shroud 1 AP9167
17. T & P Valve 1
18. Hot Outlet Heat Trap 1 SP20003 (kit)

Commercial Replacement Parts List
208, 240,277 OR 480 VOLT OPERATION:
10 GALLON BOOSTER MODELS
Ref. No. Part Description Qty. Req. Part Number
1. Transformer 1 SP10006
2. Cleanout Assembly 1
2A. Bolt 1
2B. Gasket 1
2C. Cover 1
2D. Tank Holddown Bracket 1
2E. Lock Washer 1
2F. Nut 1
3. Anode Assembly 1 SP11524C
4. Element 1
5. Element Insulation 1
6. Side Panel 1
7. Side & Back Panel 1
8. Inlet-Outlet Insulation 1
9. Shroud 2 AP9167
10. Shroud 2 AP6334-1
11. Nipple 3/4 inch NPT 1 AP508C-8
12. Drain Valve 1 SP6070G
13. Top Pan
14. Nipple 1-1/4 inch NPT 2 AP12012B
15. Assembly - bottom tank
supports & enclosure 1
16. Washer 1
To place your order call 1-800-621-5622; fax 1-800-535-9538
79
Ref. No. Part Description Qty. Req. Part Number
17. Cap Screw 1
18. Support Bracket 1
19. Upper Control Panel 1
20. Thermostat 1 SP8260
21. Limit 1 SP5411
22. Thermostat Dial 1 AP8339
23. Captive Screw 1 AP8162B-1
AP8162-1
24. Front Door 1
25. Contactors 1 SP12841
26. Copper Connector 1 AM25285
27. Element Fuse 1 SP8264M
SP8264K
28. Element Fuse Block 1 SP8311E
SP11112
29. Terminal Block 1 SP10127
30. Control Mounting Panel 1
31. Snap Bushing 1 AP5316B-4
32. Snap Bushing 1 AP5316C-4
33. Leg 4 AP7803
34. Rubber Channel 1 AP7475D-5
35. Relief Valve (not shown) 1 AP9013E-3

4’ x 4’ PARTS DISPLAY FOR
GAS AND ELECTRIC MARKET
AP13266 Display unit (Empty)
Preferred Gas and Electric Parts
SP13266 (with parts shown below)
SP6571B Relief Valve ..................................................3 each
SP12039 Melet Drain Valve .........................................3 each
SP20009 Basic Install Kit 12" ......................................3 each
SP20011 Installation Kit Electric .................................3 each
SP11695 Lower Electric T'stat ....................................3 each
SP11698 Upper Electric T'stat .....................................3 each
SP10552ML 4500W 240V LWD Resistor .........................3 each
SP11699 Single Element Thermostat ...........................3 each
SP10552KH 3500W 240V High Watt ................................3 each
SP35871AB Element wrench ............................................3 each
SP10374 Compression Fitting3/4.................................3 each
SP10354 Compression Fitting 1/2................................3 each
SP20003 Heat Trap Nipple Kit .....................................3 each
SP10552PL 5500W 240V Low Watt.................................3 each
SP10972 Hot surface Ignitor ........................................3 each
SP6379R Thermocouple 24" .........................................3 each
SP6379K Thermocouple 17" .........................................3 each
SP8397G Plastic Lined Nipple 2 1/4" ............................3 each
SP8346 Relief Valve Long Shank ...............................3 each
SP8980B Gas Pilot (Natural) ........................................3 each
SP8980C Gas Pilot (LP)................................................3 each
SP8555B Gas Thermostat-Natural ................................3 each
SP12258B Gas Thermostat-LP .......................................3 each
SP10552MH 4500W 240V HWD Resistor .........................3 each
SP10869MM 4500W 240V SS Resistor ............................3 each
SP20010 Installation Kit-Gas .......................................3 each
SP20060 Plumbers Pack .............................................3 each
SP6830 Adapt-o-Flange .............................................3 each
Universal Gas and Electric Parts
UV13266 (with parts shown below)
UV12899 4500W 240V HWD Non-resistor...................3 each
UV12901 4500W 240V LWD Non-resistor....................3 each
UV12904 4500W 240V SS Non-Resistor .....................3 each
UV20016 Installation Kit-Gas........................................3 each
UV20010 Basic Installation Kit 15"................................3 each
UV13359 Upper Electric T'stat .....................................3 each
UV13360 Lower Electric T'stat ....................................3 each
UV20015 Installation Kit 12" Gas .................................3 each
UV12039 Melet Drain Valve .........................................3 each
UV12927 Stainless Steel Water Conn 12" ....................3 each
UV6830 Adapt-o-Flange .............................................3 each
UV6379L Thermocouple Kit 18"....................................3 each
UV6379H Thermocouple Kit30".....................................3 each
UV6379R Thermocouple Kit 24"....................................3 each
UV6379S Thermocouple Kit36".....................................3 each
UV10351 Copper Flex Water Conn 12" .........................3 each
UV20014 Installation Kit 18" Electric ............................3 each
UV6571B Relief Valve ..................................................3 each
UV12992 Heat Trap Nipple Kit .....................................3 each
UV20018 Plumbers Pack ..............................................3 each
UV38628 Element Wrench ...........................................3 each
UV12914 Gasket Kit .....................................................3 each
UV10374 3/4" Compression Fitting ..............................3 each
UV10354 1/2" Compression Fitting ..............................3 each
80

The premium line of approved
replacement parts.
The value line for all your
replacement parts needs.
To place your order call 1-800-621-5622; fax 1-800-535-9538
81
4’ x 4’ PLANOGRAM FOR
GAS PREDOMINANT MARKET

4’ x 4’ PLANOGRAM FOR
ELECTRIC PREDOMINANT MARKET
The premium line of approved
replacement parts.
The value line for all your
replacement parts needs.
To place your order call 1-800-621-5622; fax 1-800-535-9538
82

The premium line of approved
replacement parts.
The value line for all your
replacement parts needs.
4’ x 4’ PLANOGRAM FOR
GAS & ELECTRIC MARKET
To place your order call 1-800-621-5622; fax 1-800-535-9538
83

To place your order call 1-800-621-5622; fax 1-800-535-9538
84
SUPPLIES & HARDWARE
PRODUCT FEATURES
• Moisture & vapor resistance requiring no additional vapor barriers.
• Stable thermal conducitivity (k.value) during its long service life,
due to its dense surface skins and closed cell characteristics.
• Flexibility which makes installation work easy and neat.
• Outstanding ultraviolet and weather resistance.
• Aerocel products are processed without CFC chemical
that is harmful to the earth ozone layer.
AEROCEL
®
Insulated Tubing
SELF-SEAL WITH PROTAPE
Nominal 3/8” Wall
AC1238SSPT 1/2” x 3/8” x 6’ 1/2” 1/4” 510 85
AC5838SSPT 5/8” x 3/8” x 6’ 5/8” 3/8” 426 71
AC3438SSPT 3/4” x 3/8” x 6’ 3/4” - 378 63
AC7838SSPT 7/8” x 3/8” x 6’ 7/8” 1/2” 336 56
AC11838SSPT 1-1/8” x 3/8” x 6’ 1-1/8” - 216 36
AC13838SSPT 1-3/8” x 3/8” x 6’ 1-3/8” 1” 180 30
AC15838SSPT 1-5/8” x 3/8” x 6’ 1-5/8” 1-1/4” 150 25
AC21838SSPT 2-1/8” x 3/8” x 6’ -- 96 16
AC25838SSPT 2-5/8” x 3/8” x 6’ -- 84 14
AC31838SSPT 3-1/8” x 3/8” x 6’ -- 60 10
Nominal 1/2” Wall
AC3812SSPT 3/8” x 1/2” x 6’ 3/8” - 456 76
AC1212SSPT 1/2” x 1/2” x 6’ 1/2” 1/4” 372 62
AC5812SSPT 5/8” x 1/2” x 6’ 5/8” 3/8” 288 48
AC3412SSPT 3/4” x 1/2” x 6’ 3/4” - 276 46
AC7812SSPT 7/8” x 1/2” x 6’ 7/8” 1/2” 234 39
AC11812SSPT 1-1/8” x 1/2” x 6’ 1-1/8” - 156 26
AC13812SSPT 1-3/8” x 1/2’ x 6’ 1-3/8” 1” 144 24
AC15812SSPT 1-5/8” x 1/2’ x 6’ 1-5/8” 1-1/4” 114 19
Nominal 3/4” Wall
AC3834SSPT 3/8” x 3/4” x 6’ 3/8” - 294 49
AC1234SSPT 1/2” x 3/4” x 6’ 1/2” 1/4” 216 36
AC5834SSPT 5/8” x 3/4” x 6’ 5/8” 3/8” 180 30
AC3434SSPT 3/4” x 3/4” x 6’ 3/4” - 144 24
AC7834SSPT 7/8” x 3/4” x 6’ 7/8” 1/2” 144 24
AC11834SSPT 1-1/8” x 3/4” x 6’ 1-1/8” - 108 18
AC13834SSPT 1-3/8” x 3/4” x 6’ 1-3/8” 1” 84 14
AC15834SSPT 1-5/8” x 3/4” x 6’ 1-5/8” 1-1/4” 72 12
Nominal 1” Wall
AC5810SSPT 5/8” x 1” x 6’ 5/8” 3/8” 108 18
AC3410SSPT 3/4” x 1” x 6’ 3/4” - 108 18
AC7810SSPT 7/8” x 1” x 6’ 7/8” 1/2” 96 16
AC11810SSPT 1-1/8” x 1” x 6’ 1-1/8” - 72 12
AC13810SSPT 1-3/8” x 1” x 6’ 1-3/8” 1” 72 12
AC15810SSPT 1-5/8” x 1” x 6’ 1-5/8” 1-1/4” 54 9
AC23810SSPT 2-3/8” x 1” x 6’ 2-3/8” 2” 36 6
AC31210SSPT 3-1/2” X 1” X 6’ 3-1/2” 3” 30 5
Size ID IPS Iron Feet 6’ Piece
Part ID X Wall Copper W x D x H Qty/ Qty. /
Number X Length Range (Inches) Carton Carton ✜
✜
All prices based on quantity of one. Must order in multiples of 6’ piece quantity shown. Partial case quantities cannot be returned.

To place your order call 1-800-621-5622; fax 1-800-535-9538
85
SUPPLIES & HARDWARE
Part Vendor Case
Number Number
Description
Qty
86-D12912025 Work Light - 25’ (ProGlo Yellow 12/3 SJTW) 6
86-D15511003 GFCI-3’ (ProGlo Green 12/3 SJTW, Triple Tap) 24
86-D17223050 Ext. Cord - 50’ (ProGlo Lighted Yellow Triple Tap, 12/3 SJTW) 6
86-D17223100 Ext. Cord - 100’ (ProGlo Lighted Yellow Triple Tap, 12/3 SJTW) 4
86-D17442025 Ext. Cord - 25’ (ProGlo Lighted Orange, 12/3 SJTW) 12
86-D17442050 Ext. Cord - 50’ (ProGlo Lighted Orange, 12/3 SJTW) 6
86-D17442100 Ext. Cord - 100’ (ProGlo Lighted Orange, 12/3 SJTW) 4
86-D17443025 Ext. Cord - 25’ (ProGlo Lighted Yellow, 12/3 SJTW) 12
86-D17443050 Ext. Cord - 50’ (ProGlo Lighted Yellow, 12/3 SJTW) 6
86-D17443100 Ext. Cord - 100’ (ProGlo Lighted Yellow, 12/3 SJTW) 4
86-D17444025 Ext. Cord - 25’ (ProGlo Lighted Green, 12/3 SJTW) 12
86-D17444050 Ext. Cord - 50’ (ProGlo Lighted Green, 12/3 SJTW) 6
86-D17444100 Ext. Cord - 100’ (ProGlo Lighted Green, 12/3 SJTW) 4
86-D17445025 Ext. Cord - 25’ (ProGlo Lighted Pink, 12/3 SJTW) 12
86-D17445050 Ext. Cord - 50’ (ProGlo Lighted Pink, 12/3 SJTW) 6
86-D17445100 Ext. Cord - 100’ (ProGlo Lighted Pink, 12/3 SJTW) 4
86-D17446025 Ext. Cord - 25’ (ProGlo Lighted Blue, 12/3 SJTW) 12
86-D17446050 Ext. Cord - 50’ (ProGlo Lighted Blue, 12/3 SJTW) 6
86-D17446100 Ext. Cord - 100’ (ProGlo Lighted Blue, 12/3 SJTW) 4
86-D17447025 Ext. Cord - 25’ (ProGlo Lighted Red, 12/3 SJTW) 12
86-D17447050 Ext. Cord - 50’ (ProGlo Lighted Red, 12/3 SJTW) 6
86-D17447100 Ext. Cord - 100’ (ProGlo Lighted Red, 12/3 SJTW) 4
86-D17448025 Ext. Cord - 25’ (ProGlo Lighted Black, 12/3 SJTW) 12
86-D17448050 Ext. Cord - 50’ (ProGlo Lighted Black, 12/3 SJTW) 6
86-D17448100 Ext. Cord - 100’ (ProGlo Lighted Black, 12/3 SJTW) 4
86-D17449025 Ext. Cord - 25’ (ProGlo Lighted Purple, 12/3 SJTW) 12
86-D17449050 Ext. Cord - 50’ (ProGlo Lighted Purple, 12/3 SJTW) 6
86-D17449100 Ext. Cord - 100’ (ProGlo Lighted Purple, 12/3 SJTW) 4
Part Case
Number Description Qty
Pro-Glo Extension Cords
Special Features
❉
Designed for construction / industrial use.
❉
Highly visible Cenflex PVC jacket provides -
• extreme durability;
• chemical, moisture and ozone resistance; and
• flexibility at below freezing temperatures.
❉
Molded on non-slip plugs and connectors resist
breaking or pulling off cord.
❉
Tri-Tap / Quad-Tap Extension Cords are equipped
with additional outlets for job site power.
❉
Lighted End Extension Cords feature a neon power
light to confirm the power is on.
No Corner is Cut!
Cords and cables are
made with industrial
grade brass blades,
contacts and ground
pins, assuring a qual-
ity product.
UV Sunlight Resistant
Special UV inhibitors
give great flexibility.
The cords can be
used in a wide range
of climatic conditions
without cracking or
aging in direct sunlight.
Water Resistant
Rating
Moisture resistant
insulation guarantees
water will not penetrate
the copper conductors
that can lead to
corrosion and shorts.
UL / cUL Listed
Use in the USA
and Canada.
OSHA Compliant.

To place your order call 1-800-621-5622; fax 1-800-535-9538
86
Part Vendor Case
Number Number
Description
Qty ✜
Polar/Solar Trouble Lights 16/3 UL/CSA, SJEOW Side Outlet &
Switch Metal Cage, PVC Coated (Yellow).
86-05857-00 05857-00-02 Trouble Light - 25 Ft. 6
86-05858-00 05858-00-02 Trouble Light - 50 Ft. 6
12 AWG Polar/Solar+ Lighted Extension Cord w/3-Way Power Block UL, SEOW, SJEOW, OSHA (Yellow).
86-03487-00 03487-00-02 Lighted Extension Cord - 25 Ft. 12
86-03488-00 03488-00-02 Lighted Extension Cord - 50 Ft. 6
86-03489-00 03489-00-02 Lighted Extension Cord - 100 Ft. 4
Baron Trouble Lights & Extension Cords
SUPPLIES & HARDWARE
✜All prices based on quantity of one. Must order in multiples of case quantity shown. Orders received for quantities other
than those shown will be rounded up. Partial case quantities cannot be returned.
86-05857-00

To place your order call 1-800-621-5622; fax 1-800-535-9538
87
86-136 Fire/Smoke and Draft Sealant:
❉
Completely non-toxic and contains no asbestos or PCBs.
❉Applied with a conventional caulking gun.
❉Easily applied sealant with water clean-up capability.
❉An accredited fire block/smoke seal caulk.
❉Single component system, no mixing necessary and
no additions required.
❉Meets residential construction code approvals.
❉Red color.
86-139 Fire Mortar:
❉Can withstand extremely high heat.
❉Applied with standard caulking gun.
❉Dries rock hard when cured and fired.
❉Safe to use and handle.
❉No harmful odors.
❉Water clean-up (prior to curing).
❉VOC compliant.
❉Contains NO asbestos fillers of any kind.
❉Black color.
86-340G Fast Cure Polyurethane Adhesive/Sealant:
❉
High Modulus, non-slump, fast cure, tack free in 60-90 min.
❉Cures to a tough, polyurethane elastomer.
❉Excellent adhesion to woods, masonry, metals,
fiberglass and most other construction materials.
❉Paintable.
❉Ideal for environments where silicone is not allowed.
❉Suitable for marine applications.
❉Grey color.
86-341 Polyurethane Adhesive/Sealant:
❉
Primerless adhesion to most building materials.
❉Non-sag formulation.
❉Excellent weatherability.
❉Paintable.
❉Cures to a tough, flexible rubber.
❉Tools easily.
86-360W Acrylic Latex Painter’s Caulk:
❉25 Year durability.
❉Interior and exterior uses.
❉Paintable, flexible bond.
❉Resistant to water.
❉White color.
86-362W Acrylic Tub ‘n’Tile Caulk:
❉Paintable.
❉Seals around ceramic tiles, showers, tubs, sinks and
plumbing fixtures.
❉Resists mildew/rust inhibitor.
❉Bonds, seals and waterproofs.
❉White color.
86-367 Elastomeric Adhesive/Sealant.
Compatability with a variety of materials makes it the
ideal sealant for use with:
❉Woods, including oil woods.
❉All metals
❉Glass.
❉Brick, cement and masonry.
❉Asphalt, and asphalt like materials.
❉Vinyl building products.
❉Roofing products.
86-370 HVAC/R Silicone Sealant:
❉
One-part RTV actetoxy sealant formulated for general
heating, ventilation, air conditioning & refrigeration sealing.
❉Adheres to clean ductwork, metals & many types of wood.
❉Meets FDA and USDA requirements for use in federally
inspected meat and poultry plants.
❉Seals wall penetrations.
❉Meets NSF Standard 51.
❉86-370A is aluminum color; 86-370C is clear color;
86-370W is white color.
SUPPLIES & HARDWARE
PROTECH™ and BossW Caulking, Sealants, Adhesives & Lubricants

To place your order call 1-800-621-5622; fax 1-800-535-9538
88
Part Case
Number
Description Logo Color
Qty ✜
86-136 Fire/Smoke & Draft Sealant Boss Red 12
86-139 Fire Mortar Boss Black 12
86-340G Fast Cure Polyurethane Adhesive/Sealant Boss Grey 12
86-341 Polyurethane Adhesive/Sealant Boss White, Gray, Black, Limestone, Bronze 12
86-360W Acrylic Latex Painters Caulk Boss White 12
86-362W Acrylic Tub ‘n’ Tile Caulk Boss White 12
86-367 Elastomeric Adhesive Sealant Boss White, Clear 12
86-370A HVAC/R Silicone Sealant Protech Aluminum 12
86-370C HVAC/R Silicone Sealant Protech Clear 12
86-370W HVAC/R Silicone Sealant Protech White 12
86-376R High Temp Silicone Sealant Protech Red 12
86-333 Expanding Foam Sealant (12 Oz. Can) Boss — 12
86-814 Intumescent Latex Firestop Sealant Boss Red 12
86-815 Firestop Insert for Electrical Outlet Boxes Boss Black 50
(Sizes: 4 x 4 x 1/8, 4 x4 x 1/4, 4 x 2x 1/8, 4 x 2 x1/4)
86-816R Intumescent Firestop Sealant Boss Red 12
PROTECH™ and Boss Caulking, Sealants, Adhesives & Lubricants
86-376R High Temp Red Silicone Sealant:
❉Sealing and encapsulating heating elements in appliances,
stove & furnace vent pipes.
❉Moving oven belts.
❉Industrial ovens.
❉Bag filters on smoke stacks.
❉Other critical bonding, sealing, potting, encapsulating &
protective coating where parts must perform at high temps
86-333 Expanding Foam Sealant:
❉Easy-to-use, multi-purpose urethane foam.
❉Expands to three times its original volume.
❉Adheres to all building materials except Teflon, silicone &
polyethelene.
❉Seals by expanding into gaps, cracks and crevices.
❉Uses include insulating, sealing and filing gaps around
pipes, plumbing fixtures, ductwork and foundations.
❉UL Classified.
86-814 Intumescent Latex Firestop Sealant:
❉Interior/Exterior use on virtually any surface.
❉Remains flexible.
❉VOC compliant.
❉Excellent freeze/thaw properties.
❉Safe to use and handle.
❉Water clean-up.
❉24 month shelf life.
❉Applied with a conventional caulking gun.
❉Red color.
86-815 Firestop Insert for Electrical Outlet Boxes:
❉Cost effective - fast and easy to install.
❉Peel and stick to inside of metal electrical outlet box.
❉Safe to use, completely non-toxic.
❉Two standard sizes available - no trimming required.
❉Intumescent - expands whenexposed to heat and fire.
❉Meets all acoustical requirements.
86-816R Intumescent Firestop Sealant:
❉Mildew resistant. ❉Water based and paintable.
❉Remains flexible. ❉2 year shelf life.
❉VOC compliant.
❉Excellent freeze/thaw properties.
❉Safe to use and handle.
❉Bonds quickly with excellent adhesion.
See our Caulking Guns in Tools and Instruments Section.
SUPPLIES & HARDWARE
✜All prices based on quantity of one. Must order in multiples of case quantity shown. Orders received for quantities other
than those shown will be rounded up. Partial case quantities cannot be returned.

To place your order call 1-800-621-5622; fax 1-800-535-9538
89
SUPPLIES & HARDWARE
Touch’n Seal®
Touch’n Seal®No Warp Foam 4004521212 (12 oz.) 4004521224 (24 oz.)
Touch ‘n Seal offers a low-pressure, polyurethane foam as a disposable, straw-dispensed
aerosol. No-warp fills and seals space between finished jambs, sills, headers and rough
openings while exerting up to 90% less curing pressure than conventional foam, providing
airtight insulation without warping. (Available in 12 or 24 oz)
❉Low-pressure formula exerts up to 90% less curing pressure
❉Stops air infiltration permanently - outperforms fiberglass
❉Creates moisture vapor barrier
❉Bright while foam
❉Cures fast
❉No gun applicator needed
❉ASTM E-84: Flame Spread 5, Smoke Developed 25
❉Contains fire retardant
Touch’n Seal®Gun Foam II 4004528712 (24 oz.)
Gun Foam is a one-component, polyurethan foam sealant used to seal cracks and holes,
providing airtight insulation that blocks drafts, moisuture and insects. It’s applied with a
gun applicator and can be used under the plate line, at the juncture of the plate line and
the slab or foundation, and any penetration through the top or the bottom plate line into a
conditioned area. It fills cracks in the exterior sheeting (due to poor application or pene-
trations made for utility services), at the corner and tee-joints in framing, and any other
place where air might penetrate the exterior envelope.
❉Seal gaps and cracks, providing over 75% closed cell content
❉Stops air infiltration permanently
❉Outperforms fiberglass
❉High yield (3000 plus linear feet of 1/4” diameter bead)
❉Fast cure
❉UL Classified: Flame Spread 15, Smoke Developed 25
❉Contains fire retardant
❉Meets Building Codes: CABO (Council of American Building Officials)
BOCA (Building Officials and Code Administrators, International)
CCMC (Canadian Construction Material Centre (formerly CHMC)
ICBO (International Conference of Building Officials)
SBCCI (Southern Building Code Congress International)
Technical Information
Density: (ASTM D-1622) 1.3-1/8 lbs./cu. ft. Max. Service Temp. (Cured): 2407F (1167C)
Comprehensive Strength: (ASTM D-1621) 11 psi Tensile Strength: (ASTM D-1623) 26 psi
Percent Elongation at Break: 12% Shear Strength: (ASTM C-273) 18 psi
Thermal Resistance: (ASTM C-518) Shear Strain: (ASTM C-273) 38 psi
R-Value: 4.5 /inch thick Size (Volume): 24 oz. can (1.25 cu. ft.)
Solvent Free Shelf Life: 18 months

To place your order call 1-800-621-5622; fax 1-800-535-9538
90
SUPPLIES & HARDWARE
Touch’n Seal®Poly-Clean 4004712022 (12 oz.)
Poly-Clean is made to remove wet polyurethane foam from hands, tools and gun applica-
tors. It can be attached directly to the gun basket to flush foam from the barrell. Any ex-
cess foam should be cleaned immeidately (while wet), as dried foam is extremely difficult to
remove and may have to wear off.
Touch’n Seal®Sharpshooter Gun Foam Applicators
Sharpshooter gun applicators have been manufactured and tested to work with Touch’n
Seal gun foam sealants. Whether it’s a pro gun or a disposable model, gun applicators
allow for more precise control of bead size as well as an easier dispensing method for ex-
tended use.
Sharpshooter-D Gun 4004510604
❉Economical, disposable gun applicator
❉Lightweight plastic with metal internal parts
Sharpshooter-D Gun 4004510608
❉Professional model for extended use
❉Long-lasting metal barrell
Touch’n Seal®
4004510604
Part Case
Number Description Qty. ✜
4004521212 No-Warp Foam, 12 oz. 12
4004521224 No-Warp Foam, 24 oz. 12
4004528712 Gun Foam II, 24 oz. 12
4004712022 Poly Clean, 12 oz. 12
4004510604 Sharpshooter-D Foam Applicator 6
4004510608 Sharpshooter-X Foam Applicator 1
✜All prices based on quantity of one. Must order in multiples of case quantity shown. Orders received for quantities other
than those shown will be rounded up. Partial case quantities cannot be returned.

To place your order call 1-800-621-5622; fax 1-800-535-9538
91
670008 31012 4 oz. Clear 24
670007 31013 8 oz. Clear 24
670006 31014 16 oz. Clear 24
670005 31015 32 oz. Clear 12
670004 31016 Gallon Clear 6
670003 30818 4 oz. Clear 24
670002 30821 8 oz. Clear 24
670001 30834 16 oz. Clear 24
670000 30847 32 oz. Clear 12
SUPPLIES & HARDWARE
Oatey Adhesives
Multi-Purpose Regular Clear Cement
FOR ABS, PVC & CPVC Pipe and Fittings
PVC Regular Clear Cement – Fast Set
FOR PVC Pipe and Fittings
✜All prices based on quantity of one. Must order in multiples of case quantity shown. Orders received for
quantities other than those shown will be rounded up. Partial case quantities cannot be returned.
Regular-bodied clear cement for use on ABS, PVC and CPVC up to 4”
in diameter. Recommended for pipes and fittings Sch. 40 and Sch. 80,
potable water, pressure pipe, gas, conduit and DWV. Apply at tem-
peratures 40° to 100°F. Meets ASTM D-2564, D-2235, F-493.
Regular-bodied clear cement for use on PVC pipe and fittings up to 4”
for DWV Sch. 40 and up to 2” for Sch. 80. Recommended for ALL
grades and types of PVC pipes and fittings, potable water, pressure
pipe, gas, conduit and DWV. . Sets up quickly. Apply at temperatures
40° to 100°F. Meets ASTM D-2564.
Part Oatey Case
Number Part No. Description Qty. ✜
Part Oatey Case
Number Part No. Description Qty. ✜

To place your order call 1-800-621-5622; fax 1-800-535-9538
92
670010 31132 16 oz. Clear 24
670009 31129 32 oz. Clear 12
670016 30891 8 oz. “Hot” Blue 24
670015 30893 16 oz. “Hot” Blue 24
670014 30894 32 oz. “Hot” Blue 12
PVC Medium “Hot” Blue Cement
FOR PVC Pipe and Fittings
✜All prices based on quantity of one. Must order in multiples of case quantity shown. Orders received for
quantities other than those shown will be rounded up. Partial case quantities cannot be returned.
Medium-bodied blue colored cement for PVC pipe and fittings up to
6” for Sch. 40 and Sch. 80. Blue color fades to clear in direct sun-
light. No primer needed on non-pressure DWV, where local codes
permit. Recommended for ALL grades and types of PVC pipe and
fittings, potable water, pressure pipe, gas, conduit and DWV. Very
fast-setting, formulated for wet conditions and/or quick pressurization
and fast installation. Apply at temperatures 40° to 100°F. Meets
ASTM D-2564.
Part Oatey Case
Number Part No. Description Qty. ✜
PVC All Weather Cement
FOR PVC Pipe and Fittings
Medium-bodied clear cement for PVC pipe and fittings up to 6” for
DWV Sch. 40 and Sch. 80. No primer needed on non-pressure DWV,
where local codes permit. Recommended for ALL grades and
types of PVC pipe and fittings, potable water, pressure pipe, gas,
conduit and DWV. Formulated for fast initial set-up at temperatures
down to -5° to 100°F. Meets ASTM D-2564.
Part Oatey Case
Number Part No. Description Qty. ✜
Oatey Adhesives (cont’d))
SUPPLIES & HARDWARE

To place your order call 1-800-621-5622; fax 1-800-535-9538
93
SUPPLIES & HARDWARE
✜All prices based on quantity of one. Must order in multiples of case quantity shown. Orders received for
quantities other than those shown will be rounded up. Partial case quantities cannot be returned.
670012 31128 4 oz. Orange 24
670011 31129 8 oz. Orange 24
CPVC Medium Orange Cement
FOR CPVC Pipe and Fittings
Medium-bodied orange colored cement for CPVC pipe and fittings up to
6”. For C.T.S. (copper tube size) and Sch. 80, potable water, and pres-
sure pipe. Apply at temperatures 40° to 100°F. Meets ASTM F-493.
Part Oatey Case
Number Part No. Description Qty. ✜
670024 30850 4 oz. Clear 24
670025 30863 8 oz. Clear 24
670026 30876 16 oz. Clear 24
670027 31008 32 oz. Clear 12
670028 31011 Gallon 6
PVC Heavy Duty Clear Cement
FOR PVC Pipe and Fittings
Heavy-bodied clear cement for ALL grades and types of PVC pipe and
fittings up to 12”. For Sch. 40 and 80, potable water, pressure pipe, gas
conduit and DWV. Recommended application temperature 40° to 100°F.
Thick formula fills gaps in large diameter pipe and loose fitting joints.
Meets ASTM D-2564.
Part Oatey Case
Number Part No. Description Qty. ✜
Oatey Adhesives (cont’d)

To place your order call 1-800-621-5622; fax 1-800-535-9538
94
523003 30782 8 oz. Clear 24
523002 30795 16 oz. Clear 24
523001 30805 32 oz. Clear 12
523000 30766 Gallon Clear 6
523008 30755 4 oz. Purple 24
523007 30756 8 oz. Purpler 24
523006 30757 16 oz. Purple 24
523005 30758 32 oz. Purple 12
523004 30759 Gallon Purple 6
SUPPLIES & HARDWARE
Purple Primer
FOR PVC & CPVC Pipe and Fittings
Clear All Purpose Cleaner
FOR ABS, PVC & CPVC Pipe and Fittings
Purple-tinted aggressive primer for use on PVC and CPVC pipe and
fittings where plumbing code calls for verification that a primer has
been used. Exceeds environmental requirements and meets various
California district rules. Removes surface dirt, grease and grime as
well as softens the pipe surface to allow a fast, secure solent weld.
Meets ASTM F-656.
Clear cleaner for use on ABS, PVC and CPVC pipe and fittings, all
schedules and all diameters. Flows freely and evaporates quickly.
Removes surface dirt, grease and grime. Exceeds environmental re-
quirements and meets California PVC requirements.
Part Oatey Case
Number Part No. Description Qty. ✜
Part Oatey Case
Number Part No. Description Qty. ✜
✜All prices based on quantity of one. Must order in multiples of case quantity shown. Orders received for
quantities other than those shown will be rounded up. Partial case quantities cannot be returned.
Oatey Adhesives (cont’d)

To place your order call 1-800-621-5622; fax 1-800-535-9538
95
✜All prices based on quantity of one. Must order in multiples of case quantity shown. Orders received for
quantities other than those shown will be rounded up. Partial case quantities cannot be returned.
Oatey Pipe Joint Compounds
31229 31229 Pipe Dope with Teflon,1 fl. oz. 12
31230 31230 Pipe Dope with Teflon w/ brush, 4 fl. oz. 12
31231 31231 Pipe Dope with Teflon w/ brush, 8 fl. oz. 12
31232 31232 Pipe Dope with Teflon w/ brush, 16 fl. oz. 24
31233 31233 Pipe Dope with Teflon w/ brush, 32 fl. oz. 12
Part Oatey Case
Number Part No. Description Qty. ✜
GREAT WHITE®Pipe Joint Compound with Teflon
• Lubricates and seals all threaded joints.
• White, non-hardening, non-separating, non-toxic paste.
• Withstands up to 3,000 PSI on gases from -50°F to +400°F, and 10,000 PSI
on liquids from -50°F to +500°F.
• For use with water, steam, caustics or dilute acid lines of PVC, CPVC, ABS,
cycolac, polypropylene, iron, steel or copper.
TEFLON®IS A REGISTERED TRADEMARK OF DUPONT FLUOROCARBON RESINS.
31265 31265 Great Blue Pipe Joint Compound, 1 fl. oz. 12
31261 31261 Great Blue Pipe Joint Compound, 4 fl. oz. 12
31262 31262 Great Blue Pipe Joint Compound, 8 fl. oz. 12
31263 31263 Great Blue Pipe Joint Compound, 16 fl. oz. 24
31264 31264 Great Blue Pipe Joint Compound, 32 fl. oz. 12
Part Oatey Case
Number Part No. Description Qty. ✜
GREAT BLUE®Pipe Joint Compound with Teflon
•All the benefits of a Teflon based thread sealant •Lubricates and seals thread on water, natural
without the mess. gas, steam, airlines, caustics and dilute acids.
•Flexible blue, non-hardening, non-separating,
non-toxic paste, no odor, easy clean-up.
•Withstands up to 3,000 PSI on gases from
-50°F to +400°F, and 10,000 PSI on liquids
from -50°F to +500°F.
•Use on PVC, CPVC, ABS, polythylene,
polypropylene, iron, steel, copper or brass
threads up to and including 2".
SUPPLIES & HARDWARE

To place your order call 1-800-621-5622; fax 1-800-535-9538
96
Total Tensile Adhesion
Part Thickness Strength To Steel Case
Number Description Color mils (mm) lbs/in(kg/cm) ozs/in (g/cm) Qty. ✜
86-N322
❉
2” x 50 yd Dead Soft Aluminum Foil Backed Tape Foil 7.4 (0.19) 23 (4.09) 126 (1411) 24
86-N322-3
❉
3” x 50 yd Dead Soft Aluminum Foil Backed Tape Foil 7.4 (0.19) 23 (4.09) 126 (1411) 16
86-N324-P
+
2.5” x 60 yd Printed Aluminum Foil Tape w/Kraft Liner Foil 8.1 (0.21) 25 (4.45) 60 (672) 16
86-N345
❉
2” x 60 yd Professional Grade, Water Proof Duct Tape Silver 12.0 (0.30) 29 (5.16) 54 (605) 24
86-N345-P ❉2” x 60 yd Prof. Grade, Water Proof Printed Duct Tape Silver 12.0 (0.30) 29 (5.16) 54 (605) 24
86-N357
❉
2” x 60 yd Premium, Tensile Strength Duct Tape Silver 13.0 (0.33) 45 (8.01) 55 (616) 24
86-N357-B
❉
2” x 60 yd Premium, Tensile Strength Duct Tape Black 14.0 (0/36) 45 (8.01) 55 (616) 24
86-N357-SA Spray Adhesive, 24 oz. Can
—
N/A N/A N/A 12
86-N396
❉
2” x 60 yd General Purpose Duct Tape Silver 10.0 (0.25) 21 (3.74) 49 (549) 24
86-N398
❉
2” x 60 yd Industrial Grade Duct Tape Silver 11.0 (0.28) 26 (4.63) 49 (549) 24
86-N398-B
❉
2” x 60 yd Industrial Grade Duct Tape Black 11.0 (0.28) 26 (4.63) 49 (549) 24
86-N398-P
❉
2” x 60 yd Industrial Grade Printed Duct Tape Silver 11.0 (0.28) 26 (4.63) 49 (549) 24
86-N556
■
2” x 120 yd Clear Tape Clear N/A N/A N/A 36
86-N557❉
2” x 60 yd Premium Flex Duct Tape Silver 14.0 (0.36) 45 (8.01) 50 (560) 24
777ID
■
3/4” x 66 ft. Electrical Tape
Black —— —
10
86-NFSK
❉
3” x 50 yd Foil Scrim Kraft Tape Foil 10.5 (0.27) 50 (8.90) 100 (1120) 16
86-826Y 2” x 100’ Gas Pipe Tape Yellow
—— —12
❉
Meets UL 723
Meets UL 181B-FX
■
Meets UL 181A-P
+UL Approved
Total Tensile Adhesion
Part Thickness Strength To Steel Case
Number Description Color mils (mm) lbs/in(kg/cm) ozs/in (g/cm) Qty. ✜
86-P223
❉
2” x 60 yd High Tensile Strength Duct Tape Silver 10.0 (0.25) 22 (3.92) 50 (560) 24
86-P223-P
❉
2” x 60 yd High Tensile Strength Duct Tape Silver 10.0 (0.25) 22 (3.92) 50 (560) 24
86-P227
❉
2” x 60 yd Contractor Grade Duct Tape Silver 11.0 (0.28) 24 (4.27) 70 (784) 24
86-P236-P
❉
2” x 60 yd Heavy Duty Printed Duct Tape Silver 12.0 (0.30) 28 (4.98) 36 (403) 24
86-P243
❉
2” x 60 yd High Performance Duct Tape Silver 10.0 (0.25) 22 (3.92) 50 (560) 24
86-P243-B
❉
2” x 60 yd High Performance Duct Tape Black 10.0 (0.25) 22 (3.92) 50 (560) 24
86-P251
❉
2” X 60 yd Professional Grade Metallized Duct Tape Metallic 11.0 (0.28) 25 (4.45) 30 (336) 24
86-P337
❉
2” x 50 yd Dead Soft Aluminum Foil Backed Tape Alum 3.6 (0.09) 20 (3.56) 60 (672) 24
86-P337-3
❉
3” x 50 yd Dead Soft Aluminum Foil Backed Tape Alum 3.6 (0.09) 20 (3.56) 60 (672) 16
86-P338
❉
3” x 50 yd Foil/Scrim/Kraft, Tear-resistant Tape Alum N/A 35 (6.23) 50 (616) 16
86-P339-P
+
2.5” x 60 yd Foil Tape Alum
—— —
16
86-P348
❉
3” x 50 yd Fiberglass Backed Jacket Sealing Tape White N/A 45 (8.01) 50 (560) 16
86-P360-35 3” x 100 yd Sealing Tape Silver 35 (0.87) 20 (0.36) – 16
86-P360-17
❉
2” x 100 yd Foil Tape Silver
—— —
24
86-P44 Spray Adhesive, 17 oz. Can
—
N/A N/A N/A 12
86-P557-P
❉
2” x 60 yd Premium Printed Flex Duct Tape Silver 14.0 (0.36) 45 (8.01) 50 (560) 24
86-P747 2” x 55 yd Package Tape
—
N/A N/A N/A 36
86-P821
■
3/4” x 60 ft. Electrical Tape Black 7.8 (0.20) 1800 (320.40) 30 (336) 96
86-826-Y 2” x 100 ft. Gas Pipe Tape Yellow -- -24
POLYKEN& NASHUATapes & Supplies
POLYKEN
NASHUA
SUPPLIES & HARDWARE
✜All prices based on quantity of one. Must order in multiples of case quantity shown. Orders received for quantities other
than those shown will be rounded up. Partial case quantities cannot be returned.
86-P339-P
86-P44
86-N357

To place your order call 1-800-621-5622; fax 1-800-535-9538
97
SUPPLIES & HARDWARE
Teflon Thread Seal Tape
Use with chemicals, solvents & oxygen. Withstands up to 2000 psi of pressure.
Case
Part Number Description Qty. ✜
686027 1/2” x 260” Roll 12
686028 1/2” x 520” Roll 12
686027

To place your order call 1-800-621-5622; fax 1-800-535-9538
98
Duct Hanger Strap
Hanger Iron
Galvanized vent strapping, hanger iron, plumber’s tape, pipe hanger
tape & many other uses. 1/4” centers for bolts or nails.
Case
Part Number Description Qty. ✜
86-25172-03 3/4” x 100’ Roll (Boxed) 20
86-P50 Black Plastic 24
640010 Black Plastic 1-3/4” x 100 Ft. 24
640020 Silver Plastic 1-3/4” x 100 Yds. 24
640021 Silver Plastic 3” x 100 Yds. 8
640022 Black Plastic 3” x 100 Yds. 8
Case
Part Number Description Qty. ✜
86-25172-04 Galvanized–28 Ga. – 10’ Rolls 50
640016 Galvanized–28 Ga. – 100’ Rolls 6
SUPPLIES & HARDWARE
✜All prices based on quantity of one. Must order in multiples of case quantity shown. Orders received for quantities other
than those shown will be rounded up. Partial case quantities cannot be returned.
86-25172-03
640016
Hanging Wire
18 Gauge galvanized or soft black annealed on reel.
Case
Part Number Description Qty. ✜
86-25172-01 2# Roll (330’) 18 Gauge Galvanized 16
86-25172-02 2# Roll (330’) 18 Gauge Black 16
640017 5# Roll (830’) 18 Gauge Galvanized 16
86-25172-02

To place your order call 1-800-621-5622; fax 1-800-535-9538
99
✜All prices based on quantity of one. Must order in multiples of case/package quantity shown. Orders received for quantities
other than those shown will be rounded up. Partial case/package quantities cannot be returned.
SUPPLIES & HARDWARE
Micro-Gear All Purpose Hose Clamps
Band and housing 300 stainless steel. Slotted 1/4”
hex-head screw Zinc plated carbon steel. Up to 1000 psi with
only 10 lbs, screw torque.
Case
Part Number Description Qty. ✜
86-25172-05 Size 12, Fits Hose 5/8” - 3/4” 10
86-25172-06 Size 16, Fits Hose 3/4” - 1” 10
86-25172-07 Size 20, Fits Hose11/16” - 1 1/2” 10
86-25172-05
640011
Heavy Duty Cable Ties/Duct Strap
6.6 nylon, accommodates 7” to 15” ducts – 175 lb Tensile.
Package
Part Number Description Qty. ✜
640007 24” – Fits up to 6” Duct 50
640008 36” – Fits up to 10” Duct 50
86-14195-50PK 36” – Fits up to 10” Duct 1
640009 48” – Fits up to 14” Duct 50
86-14197-50PK 45-1/2” – Fits up to 14” Duct 1
Duct Strap
Galvanized duct strap in convenient cardboard dispenser.
Solid strapping, easy to drill or nail.
Casw
Part Number Description Qty. ✜
640011 26 Ga. Metal – 1” x 100 Ft. 1
640012 30 Ga. Metal – 1” x 100 Ft. 1
640013 30 Ga. Metal – 1-1/2” x 100 Ft. 1
640014 26 Ga. Metal – 1-1/2” x 100 Ft. 1
640015 22 Ga. Metal – 1” x 100 Ft. 1
640007

To place your order call 1-800-621-5622; fax 1-800-535-9538
100
583006
583005 1-1/2" - 3" / Brown 12944 (ARFCO) 12
583006 1-1/2" - 3" / Black 12943 (ARFCO) 12
583010 3" - 4" / Black 12954 (ARFCO) 12
583011 3" - 4" / Gray 12953 (ARFCO) 12
583012 3" - 4" / Terracotta 12952 (ARFCO) 12
Part Size/ Cross Case
Number Description Reference Qty. ✜
SUPPLIES & HARDWARE
ROOF FLASHINGS
583001 1-1/4" - 1-1/2" 12101 (ARFCO), 12920 (OATEY) 12
583002 2" 12102 (ARFCO), 12933 (OATEY) 12
583003 3" 12103 (ARFCO), 12946 (OATEY) 12
583004 4" 12104 (ARFCO), 12959 (OATEY) 12
Part Size/ Cross Case
Number Description Reference Qty. ✜
ALUMINUM BASE NO CALK®ROOF FLASHINGS
•Slides over pipe - for pitch to 40 degrees. •Approved for Type B installations.
•Rustproof .032 stamped aluminum standard base. •Not for hot-mopped or built-up roofs.
•Non-fading sealing collar. •Soft aluminum base (18" x 18") allows
•18" x 18" bases for code required areas. for easy molding to tile roofing.
•Rated 180°F continuous heat. •Do not use petroleum based products
on collars.
NO CALK®ALL-FLASH®COLOR-FLASH®ROOF FLASHINGS
•Handles 1-1/2" to 3" and 3" to 4" pipe sizes. •Available in black, gray, brown or
•Available in aluminum or galvanized. terracotta.
•Matches the color of your roof. •Do not use petroleum based products
on collars.
✜All prices based on quantity of one. Must order in multiples of case quantity shown. Orders received
for quantities other than those shown will be rounded up. Partial case quantities cannot be returned.
583001

To place your order call 1-800-621-5622; fax 1-800-535-9538
101
583024 3" - 4" 14188 (ARFCO) 6
SUPPLIES & HARDWARE
ROOF FLASHINGS
583013 1/8" - 3/4" 16250 (ARFCO), 14049 (OATEY) 12
583014 1/4" - 2" 16251 (ARFCO), 14050 (OATEY) 6
583015 1-1/4" - 3" 16252 (ARFCO), 14051 (OATEY) 6
583016 1/4" - 4" 16253 (ARFCO), 14052 (OATEY) 6
583017 3" - 6" 16254 (ARFCO), 14053 (OATEY) 6
583018 4" - 7" 16255 (ARFCO), 14054 (OATEY) 6
583019 5" - 9" 16256 (ARFCO), 14055 (OATEY) 6
583020 6" - 11" 16257 (ARFCO), 14056 (OATEY) 6
583021 7" - 13" 16258 (ARFCO), 14057 (OATEY) 6
583025 10" - 18" 16259 (ARFCO), 14058 (OATEY) 6
Part Cross Case
Number Size Reference Qty. ✜
Part Cross Case
Number Size Reference Qty. ✜
MASTER FLASH®ROOF FLASHINGS
• Slides over pipe - for pitch to 450 degrees. • Molds to metal, plastic, etc.
• Use silicone sealant between base and surface, • Non-fading EPDM collar.
and secure with sheet metal screws. • Rated 212°F continuous heat.
• Multi-size pipe sealing range. • Approved for Type B installations.
✜All prices based on quantity of one. Must order in multiples of case quantity shown. Orders received
for quantities other than those shown will be rounded up. Partial case quantities cannot be returned.
583018
Multi-Size High-Rise Self-Seal Thermoplastic Flashing

To place your order call 1-800-621-5622; fax 1-800-535-9538
102
SUPPLIES & HARDWARE
QC Flags
Wire Nut - Plastic
QC Connector
Double Male/Single Female
QC Flag/Ring
Butt Connector
QC-Piggyback - Insul
Terminal Ring-Insul
Terminal Ring-Uninsul
Alligator Clip
Spade/QC Adapter
Ties - 6” to 45 1/2”
Spade/Ring Adapter
QC Straight
Terminal Spade
Test Leads - 36”
Wire Nut - Clear Pigtail
Individual part numbers & order quantities on next 2 pages!
Professional HVAC Installer/Repair Kits
86-6966F-1PK 86-6967F-1PK

To place your order call 1-800-621-5622; fax 1-800-535-9538
103
SUPPLIES & HARDWARE
✜These parts are sold in package quantities: Example 1 - Order (1) 455012, receive 1 package of 100 Butt Connectors. Exam-
ple 2 - Order (1) 455013, receive 1 package of 25 Butt Connectors.
Part Included in Package
Number Spinner Display Description Qty. ✜
455010 2 pkgs. Non-Insulated Ring, 8 AWG,. 1/4” 25
455011 2 pkgs. QC - Flag/Ring, 16-14 AWG, #10 Stud - SS 50
455012 2 pkgs. Butt Connectors, Uninsulated, 16-14 AWG - SS 100
455013 2 pkgs. Butt Connectors, Uninsulated, 16-14 AWG - SS 25
455014 2 pkgs. QC Flags, 12-14 AWG - SS 50
455015 2 pkgs. QC - Compressor Terminal, Slip-on Lug, Female Notched Grip, 16-14 AWG, 1/4” - SS 50
455016 2 pkgs. QC Adapters, Double Male/Single Female, .296 Chair - Gold 50
455017 2 pkgs. QC Adapters, Double Male/Single Female, .296 - Gold 50
455018 2 pkgs. Spade/Ring Adapter, Male Straight, #10, .250 Tab - SS 50
455019 2 pkgs. Spade (2) QC Adapters, Double Male, Single Female, .296 Flat - Gold 50
455020 2 pkgs. Wire Nuts, Pigtail Wire Connector, Clear, 22-14 AWG - Clear 50
455021 2 pkgs. 12-10 AWG Closed-End Connector, Nylon - Clear 25
455022 2 pkgs. Terminal Rings - Insulated, 22-18 AWG, #10 Stud - Red 100
455023 2 pkgs. Terminal Rings - Insulated, 22-18 AWG, #10 Stud - Red 50
455024 2 pkgs. Terminal Rings - Insulated, 16-14 AWG, #6 Stud - Blue 100
455025 2 pkgs. Terminal Rings - Insulated, 16-14 AWG, #6 Stud - Blue 50
455026 2 pkgs. Terminal Rings - Insulated, 16-14 AWG, #10 Stud - Blue 100
455027 2 pkgs. Terminal Rings - Insulated, 16-14 AWG, #10 Stud - Blue 50
455028 2 pkgs. Strip-Tie, Hook & Loop Fastener w/Buckle, 12” - Black 6
455029 2 pkgs. Strip-Tie, Hook & Loop Fastener w/Buckle, 12” - Safety Yellow 6
455030 2 pkgs. Terminal Rings - Insulated, 12-10 AWG, #10 Stud - Safety Yellow 100
455031 2 pkgs. Terminal Rings - Insulated, 12-10 AWG, #10 Stud - Safety Yellow 50
455032 2 pkgs. 12-10 5/16” Vinyl Insulated Ring - Safety Yellow 50
455033 2 pkgs. Terminal Rings - Insulated, 8-10 AWG, 1/4” Stud - Red 50
455034 2 pkgs. Flared Insulated Spade, 16-14 AWG, #8 Stud - Blue 15
455035 2 pkgs. Vinyl Insulated Spade, 16-14 AWG, #10 Stud - Blue 100
455036 2 pkgs. Vinyl Insulated Spade, 12-10 AWG, #8 Stud - Blue 25
455037 2 pkgs. Vinyl Insulated Spade, 12-10 AWG, #10 Stud - Blue 25
455038 2 pkgs. Butt Connectors, Insulated, 22-18 AWG - Red 100
455039 2 pkgs. Butt Connectors, Insulated, 16-14 AWG - Blue 100
455040 2 pkgs. Butt Connectors, Insulated, 16-14 AWG - Blue 50
455041 2 pkgs. Butt Connectors, Insulated, 12-10 AWG - Safety Yellow 100
455042 2 pkgs. Butt Connectors, Insulated, 12-10 AWG - Safety Yellow 50
455043 2 pkgs. Disconnects, Insulated Female, 22-18 AWG, 1/4” Tab - Red 50
455044 2 pkgs. Disconnects, Insulated Female, 16-14 AWG, .187” Tab - Blue 50
455045 2 pkgs. Disconnects, Insulated Female, 1/4” Tab, #16-14 - Blue 100
455046 2 pkgs. Disconnects, Insulated Female, 1/4” Tab, #16-14 - Blue 50
455047 2 pkgs. Disconnects, Insulated Male, 1/4” Tab, #16-14 - Blue 100
455048 2 pkgs. Disconnects, Insulated Male, 1/4” Tab, #16-14 - Blue 50
455049 2 pkgs. Disconnects, Insulated Female, 1/4” Tab, #12-10 - Safety Yellow 100
455050 2 pkgs. Disconnects, Insulated Female, 1/4” Tab, #12-10 - Safety Yellow 50
455051 2 pkgs. Disconnects, Vinyl Insulated Male, 12-10 AWG - Safety Yellow 100
455052 2 pkgs. Piggy Back, Insulated, 12-14 AWG - Blue 50
455053 2 pkgs. Spade, Male, Vinyl Insulated, 16-14 AWG - Light Blue 100
455054 2 pkgs. Spade, Female, Vinyl Insulated, 16-14 AWG - Natural 25
455055 2 pkgs. Alligator Clips, Black 1” 6
455056 2 pkgs. Alligator Clips, Red 1” 6
455057 2 pkgs. Deluxe Test Leads, 18 AWG, Heavy-Duty - Red/Black 1
455058 2 pkgs. Compressor Lead Set - 12 Gauge Red, Black & White Leads w/.250 Flag Female 1
455059 2 pkgs. Compressor Lead Set - 12 Gauge Red, Black & White Leads w/.#10 Ring Terminal 1
455060 2 pkgs. Stainless Steel Wire Tie, 7.5”, 250 lb. Tensile Strength 50
455061 2 pkgs. Stainless Steel Wire Tie, 14.5”, 250 lb. Tensile Strength 50
455062 2 pkgs. H.S. Tubing Asst. 1/16”, 3/32” 1/8” 12
455063 2 pkgs. Nylon Wire Tie, 4” Natural, 100 PK. 100
455064 2 pkgs. Nylon Wire Tie, 4” UV Black, 100 PK. 100
455065 2 pkgs. Nylon Wire Tie, 5.5” Natural, 100 PK. 100
455066 2 pkgs. Nylon Wire Tie, 5.5” UV Black, 100 PK. 100
455067 2 pkgs. Nylon Wire Tie, 7.5” Natural, 100 PK. 100
455068 2 pkgs. Nylon Wire Tie, 7.5” UV Black, 100 PK 100

To place your order call 1-800-621-5622; fax 1-800-535-9538
104
SUPPLIES & HARDWARE
✜These parts are sold in package quantities: Example 1 - Order (1) 455012, receive 1 package of 100 Butt Connectors.
Example 2 - Order (1) 455013, receive 1 package of 50 Butt Connectors.
Part Included in Package
Number Spinner Display Description Qty. ✜
455069 2 pkgs. Nylon Wire Tie, 11.5” Natural, 100 PK. 100
455070 2 pkgs. Nylon Wire Tie, 11.5” UV Black, 100 PK 100
455071 2 pkgs. Nylon Wire Tie, 14.5” Natural, 100 PK. 100
455072 2 pkgs. Nylon Wire Tie, 14.5” UV Black, 100 PK 100
455073 2 pkgs. Nylon Wire Tie, Screw Mount-Head, 7.5” - UV Black, 100 PK. 100
455074 2 pkgs. Flared Insulated Spade, 16-14 AWG, #8 Stud - Blue 50
455075 2 pkgs. Wire Nut, Plastic, 22-14 AWG - Blue 50
455076 2 pkgs. Butt Connectors, Insulated, 22-18 AWG - Red 15
455077 2 pkgs. Wire Nut, Plastic, 22-14 AWG - Orange 50
455078 2 pkgs. Butt Connectors, Insulated, 16-14 AWG - Blue 15
455079 2 pkgs. Wire Nut, Plastic, 18-12 AWG - Safety Yellow 50
455080 2 pkgs. Terminal Ring, Uninsulated High Heat, 12-14 AWG, #10 Stud - SS 50
455081 2 pkgs. Motor Hook-Up Wire, Black, 10 AWG, 8 FT 8
455082 2 pkgs. Motor Hook-Up Wire, Red, 10 AWG, 8 FT 8
455083 2 pkgs. Motor Hook-Up Wire, Black, 12 AWG, 12 FT 12
455084 2 pkgs. Motor Hook-Up Wire, Red, 12 AWG, 12 FT 12
455085 2 pkgs. Motor Hook-Up Wire, Black, 14 AWG, 15 FT 15
455086 2 pkgs. Motor Hook-Up Wire, Red, 14 AWG, 15 FT 15
455087 2 pkgs. Motor Hook-Up Wire, Black, 16 AWG, 16 FT 16
455088 2 pkgs. Motor Hook-Up Wire, Red, 16 AWG, 16 FT 16
455089 2 pkgs. Compressor Terminal, 12, 12-10 AWG, .250 x .032 Female - SS 25
455090 2 pkgs. Butt Connectors, Insulated, 12-10 AWG - Safety Yellow 15
455091 2 pkgs. Disconnects, Insulated Female, 16-14 AWG, .187“ Tab - Blue 15
455092 2 pkgs. Disconnects, Insulated Female, 1/4” Tab, #16-14 - Blue 15
455093 2 pkgs. Disconnects, Insulated Female, 1/4” Tab, #12-10 - Safety Yellow 15
455094 2 pkgs. Wire Nut, Plastic, 22-14 AWG - Blue 9
455095 2 pkgs. Wire Nut, Plastic, 22-14 AWG - Orange 9
455096 2 pkgs. Wire Nut, Plastic, 18-12 AWG - Safety Yellow 15
455097 - Wire Nut, Plastic, 18-10 AWG - Red 100
640001 — Wire Ties - Nylon Natural/7” (100/Package) 100
640002 — Wire Ties - Nylon Natural/11” (100/Package) 100
640003 — Wire Ties - Nylon Natural/15” (100/Package) 100
640004 — Wire Ties - Nylon Black/7” (100/Package) 100
640005 — Wire Ties - Nylon Black/11” (100/Package) 100
640006 — Wire Ties - Nylon Black/15” (100/Package) 100
86-6966F-1PK — Professional HVAC Installer Repair Kit 1
86-6967F-1PK — Professional HVAC Installer Repair Kit 1
86-6980-1PK — 6 Panel Product Spinner Display (fully stocked) 1
87-5008F 2 pkgs. Stripper-EZ Multi Purpose, Self-Adjusting 1
87-5020F 2 pkgs. Stripper-EZ Multi Purpose, Self-Adjusting 1
86-6980-1PK – 6 Panel Product
Spinner (fully stocked)

To place your order call 1-800-621-5622; fax 1-800-535-9538
105
SUPPLIES & HARDWARE
Case
Part Number
Description
Qty ✜
85-10108 8 oz Can 12
85-110078 11 oz Can 12
85-10308 11 oz Can (PrePack Cardboard Display) 48
85-10116 16 oz Can 12
With literally thousands of uses, WD-40 is the #1
multi-purpose problem solver. It cleans, protects,
penetrates, lubricates & displaces moisture like no
other product on earth.
❉Displaces moisture.
❉Penetrates, loosens & frees stuck, frozen or rusted parts.
❉Lubricates & protects metal.
❉Removes grease, grime, tar, gum, crayon, water deposits
and much more.
❉
Lubricates squeaks in hard-to-reach mechanisms.
WD-40

To place your order call 1-800-621-5622; fax 1-800-535-9538
106
Disposable Hand Towels / Sunscreen / Insect Repellant
SCRUBS®Hand Cleaner Towels
Premoistened, heavy duty hand cleaner towels that go where you go!
SCRUBS easily remove soil from your hands and leaves them clean and condi-
tioned anywhere you are working. Powerful, yet safe, patented citrus-based
hand cleaner towels for proven performance.
• Portable and convenient, one step cleaning process.
• Conditions and softens hands.
• Will not transfer soils back onto hands.
• Works fast to loosen, dissolve and absorb dirt and grease.
• Packaged in durable bucket that is light and portable.
Quickly Removes Other Uses
*Dirt *Tar *Tools, Equipment
*Oils *Urethanes *Composites
*Adhesives *Epoxies *Metals, Vinyls, Plastics
*Lubricants *Inks & Dyes *Work Surfaces
*Paints *Sealants *Painted Surfaces
*Grease *Caulks
SOLAR GUARD®Sunscreen Towels
A unique liquid SPF 30, water / sweat resistant sunscreen formula com-
bined with a large, lint free towel that delivers full UVA/UVB sun protection.
Greaseless, stain-free application for professionals that work outdoors.
Use on face, neck, ears and arms.
INSECT SHIELD®Insect Repellant Towel
A waterproof / greaseless EPA approved insect repellant formula, combined
with a large, lint-free towel. The 30% *DEET based
application safely offers the most effective, long lasting protection against
disease causing insects.
*The Centers for Disease control recommends using a Deet-based repellant.
See Items on Next Page
SUPPLIES & HARDWARE
91401
91201
42210
4366-87

To place your order call 1-800-621-5622; fax 1-800-535-9538
107
Disposable Hand Towels / Sunscreen / Insect Repellant (cont’d.)
4366-87 SCRUBS-In-A-Bucket (72 Count) Bucket 6
42230 SCRUBS-In-A-Bucket (30 Count) Bucket 6
91201 Solar Guard Single Packs (100 Count - Gravity Dispenser) Dispenser 1
91401 Insect Shield Single Packs (100 Count - Gravity Dispenser) Dispenser 1
42212 SCRUBS Single Packs Clip Strips (4 Strips, 12 Packs/Ea.) Box 1
42210 SCRUBS-In-A-Pack (10 Count Packs, 24 Packs/Case) Box 6
42296 Tray Display (holds 6 Buckets) (SCRUBS not included) Each 1
42293 Attachable Bucket Bracket for Shop or Vehicle Each 1
Part Case
Number Description Unit Qty. ✜
✜All prices based on quantity of one. Must order in multiples of pallet quantity shown. Orders received
for quantities other than those shown will be rounded up. Partial pallet quantities cannot be returned.
SUPPLIES & HARDWARE

To place your order call 1-800-621-5622; fax 1-800-535-9538
108
SUPPLIES & HARDWARE
ShuBee Shoe Covers
Made for the Service Industry
❉Bigger – Fits up to size 16 - guaranteed.
❉Better – More durable, made for the service industry.
❉Colors – Available safety yellow, bright blue, red and dark blue.
❉Safer – Non-Skid, slip resistant bottoms.
❉Cleaner – Fresh citrus scent.
Mud Proof •Snow and Ice Proof •Water Proof
Shoe Covers
These show covers are made from a slip-resistant, textured plastic material
that is ideal for adverse weather conditions. The unique plastic is so durable
you can get many uses out of them before discarding.
ShuBee Disposable Coveralls
❉Save money – eliminate torn or dirty uniforms.
❉Made from a "Stay Cool", breathable material.
❉Durable material made to last.
❉5 convenient pockets -
2 back and 2 front pockets, 1 pocket on shirt top.
❉Comfortable elastic waist / wrist bands with boot cut legs.
❉Styled with or without a hood.
❉Versatile Fit - large (under 6 feet) or extra large (over 6 feet).
❉Available in dark blue or white for a professional appearance.
See Items on Next Page
ShuBee offers simple, distinct products that provide protection to both you and your customers during service calls.
Your service department will appreciate the convenience of using ShuBee tough shoe covers, disposable cover-
alls, dust masks, gloves, floor mats and carpet films, while your clients appreciate the clean service areas and the
protection you give them from mud, rain, snow and ice. Give your customers the best impression by using the
ShuBee solution!

To place your order call 1-800-621-5622; fax 1-800-535-9538
109
849101 SB-SP-DB Shoe Covers - Dk. Blue - 10 Pair 15
849102 SB-SP-RD Shoe Covers - Red - 10 Pair 15
849103 SB-SP-OR Shoe Covers - Orange - 10 Pair 15
849104 SB-SP-YL Shoe Covers - Yellow - 10 Pair 15
849105 SB-SP-LB Shoe Covers - Lt. Blue - 10 Pair 15
849106 SB-SP-WH Shoe Covers - White- 10 Pair 15
849107 SB-SP-GR Shoe Covers - Dk. Green - 10 Pair 15
849108 SB-SP-WP-LB Shoe Covers - Lt. Blue/Waterproof - 10 Pair 15
849110 SB-SP-WP-DB Shoe Covers - Dk. Blue/Waterproof - 10 Pair 15
849111 SB-SC-DB Shoe Covers - Dk. Blue - 50 Pair 3
849113 SB-SC-OR Shoe Covers - Orange - 50 Pair 3
849114 SB-SC-YL Shoe Covers - Yellow - 50 Pair 3
849115 SB-SC-LB Shoe Covers - Lt. Blue - 50 Pair 3
849118 SB-SC-WP-LB Shoe Covers - Lt. Blue/Waterproof - 50 Pair 15
849120 SB-SC-WP-DB Shoe Covers - Dk. Blue/Waterproof - 50 Pair 15
849121 SB-CA-DB-L Coveralls - Dk. Blue - L 25
849122 SB-CA-DB-XL Coveralls - Dk. Blue - XL 25
849125 SB-TCH-XL Coverall - White - XL - Tyvek Hooded 25
849129 SB-LG-PF-L Gloves - Powderfree Latex - L 10
849130 SB-LG-PF-XL Gloves - Powderfree Latex - XL 10
849133 SB-LG-LP-XL Gloves - Powdered Latex - XL 10
849134 SB-NG-PF-M Gloves - Powderfree Nitrile - M 10
849135 SB-NG-PF-L Gloves - Powderfree Nitrile - L 1
849136 SB-NG-PF-XL Gloves - Powderfree Nitrile - XL 1
849142 SB-HS Citrus Scent Blast Hand Soap - 16 oz. 18
849143 SB-RCT-24 Red Carpet - 24 inches x 200 feet 1
849145 SB-CPF-24 Clear Carpet Film - 24 inches 1
849152 BS-DF Dust Mask - Dust Filter, Box of 50 1
SUPPLIES & HARDWARE
Part Vendor Cross Case
Number Reference Description Qty. ✜
✜All prices based on quantity of one. Must order in multiples of case quantity shown. Orders received for quantities other
than those shown will be rounded up. Partial case quantities cannot be returned.
ShuBee Products

To place your order call 1-800-621-5622; fax 1-800-535-9538
110
Tools & Instruments
Soldering Tools
J. W. Harris Soldering and Brazing Products
BRIDGIT®
Lead-free solder for plumbing applications, with exceptional strength and capping ability.
1/8” dia., 1 pound spool. 86-25254-03
Solidus 460°F.
Liquidus 630°F.
STAY-BRITE® 8
Low temperature solder with 6% silver for all metals except aluminum. Used in AC/R
joints with a plastic range useful in bridging wider gaps.
1/8” dia., 1 pound spool. 86-25254-01
Solidus 430°F.
Liquidus 535°F.
STAY-BRITE
Low temperature solder with 4% silver for all metals except aluminum.
Used in AC/R joints, NSF accepted.
1/8” dia., 1 pound spool. 86-25254-02
Solidus 430°F.
Liquidus 535°F.
87-SP23L 87-8200
86-25254-01
86-25254-03
Case
Part Number
Description Volts Watts Hz Qty
87-SP23L Weller Solder Iron, 25W 120 25 60/60 6
87-SP40L Weller Solder Iron, 40W 120 40 50/60 6
87-8200 Weller Universal Soldering Gun 120 140/100 50/60 3
87-D550 Weller Professional Soldering Gun 120 260/220 50/60 3

To place your order call 1-800-621-5622; fax 1-800-535-9538
111
Tools & Instruments
SAFETY-SILV®45
Excellent, cadmium-free general purpose brazing alloy with good ductility and flow.
1/16” dia., 1 troy oz. package includes 1.75 07 flux. (76012) 86-25254-08
Solidus 1195°F.
Liquidus 1265°F.
STAY-SILV®15%
For many years, the industry standard for air conditioning and refrigeration applications. .050 x 1/8”
dia., 28 stick tube, approximately 1 pound. (61035) 86-25254-06
Solidus 1190°F.
Liquidus 1480°F.
STAY-SILV®--0
Low-cost alloy for many copper-to-copper applications where good fit-up can be maintained and
brazing temperature is not critical. 86-25254-12
STAY-SILV®5 AND STAY-SILV 6
Medium-range allows; Stay Silv 5 is useful primarily where fit-up cannot be tightly controlled.
Stay Silv 6 is slightly more fluid and can be used where closer tolerances are available.
Stay Silv 5 86-25254-13
Stay-Silv 6 86-25254-14
✜All prices based on quantity of one. Must order in multiples of case/package quantity shown. Orders received for quantities
other than those shown will be rounded up. Partial case quantities cannot be returned.
DYNAFLOW®
Reliable, economical substitute for 15%; excellent strength and ductility. Good for poorly
fitted or tight connections.
.050 x 1/8” dia., 28 stick tube, approximately 1 pound. 86-25254-05
Solidus 1190°F.
Liquidus 1465°F.
86-25254-06
86-25254-08
STAY-CLEAN®PASTE FLUX
Excellent soldering flux, in paste form, for joining copper to copper & copper to brass.
4 oz. jar, 24/case. ✜(40027) 86-25254-04
86-25254-04
86-25254-12
86-25254-13
86-25254-14
J. W. Harris Soldering and Brazing Products (cont’d.)
86-25254-05

To place your order call 1-800-621-5622; fax 1-800-535-9538
112
Tools & Instruments
ALSOLDER®500 KIT
Joins all solderable aluminum alloys to each other and to dissimilar metals. Forms
tough excellent corrosion-resistant joints on the tough-to-solder aluminum alloys.
Contains 1 oz. of 1/16” dia. Alsolder 500 aluminum solder wire and 1 oz. Stay-Clean
aluminum flux, plus instructions. 86-25254-10
86-25254-10
BLOCKADE™ SILICON BRAZING ALLOY
First in a new family of silicon brazing alloys – phosphorus/copper brazing alloys al-
loyed with silicon. Engineered to join copper, brass and bronze. Faster brazing –
228° F lower temperature than phos/copper. Ability to easily form a large cap or
shoulder at the braze connection. Silver-gray cap = a highly visible fillet which pro-
vides instant, visual confirmation of a leak-free seal. Improved ductility over BCuP-2
(phos/copper 0)brazing alloys. Eliminates need for silver to join copper to brass and
brass to brass. 572001 572001
STAY-SILV®WHITE FLUX
For use with silver brazing alloys on all metals other than aluminum, magnesium, titanium
7 oz. brush cap, 24/case. ✜(40022) 86-25254-09
86-25254-09
J. W. Harris Soldering and Brazing Products (cont’d.)

To place your order call 1-800-621-5622; fax 1-800-535-9538
113
Tools & Instruments
Klein Cushion-Grip Screwdrivers
❉
Designed for extra-long, dependable service & comfort.
❉
Comfortable Cushion-Grip is locked around a solid plastic
handle.Grip extends up to handle end.
❉
Shank has integral flanges to provide a solid,torque-proof
anchor deep in the plastic handle.
❉
Heavy-duty screwdrivers have special bolster construction
to reinforce against hard use.
❉
Fully chrome-plated blade with black tip.
Klein 7-Piece Screwdriver Set
❉
5 Cushion Grip Screwdrivers.
❉
1 Cushion Grip Rotary Screwdriver.
❉
1 Plastic Handle Slotted Screw-Holding Screwdriver.
Part Overall Case
Number
Description Length Qty
87-85077 Screwdriver Set, Cushion & Regular Grip, 7 Piece 8” to 11” 1
Shank Tip Width Overall Case
Part Number
Description X Shank Length Length Qty
87-600-4 Heavy Duty Square-Shank, Keystone-Tip 1/4 x 4 8 11/32 6
87-600-6 Heavy Duty Square-Shank, Keystone-Tip 5/16 x 6 10 15/16 6
87-601-3 Round-Shank, Cabinet-Tip 3/16 x 3 6 3/4 6
87-601-4 Round-Shank, Cabinet-Tip 3/16 x 4 7 3/4 6
87-601-6 Round-Shank, Cabinet-Tip 3.16 x 6 9 3/4 6
87-601-8 Round-Shank, Cabinet-Tip 3/16 x 8 11 3/4 6
87-602-4 Heavy Duty, Round-Shank, Keystone-Tip 1/4 x 4 8 11/32 6
87-602-6 Heavy Duty, Round-Shank, Keystone-Tip 5/16 x 6 10 15/16 6
87-602-8 Heavy Duty, Round-Shank, Keystone-Tip 3/8 x 8 13 7/16 6
87-603-1 Round-Shank, Special Profilated Phillips-Tip 1-1/2 3 7/16 6
87-603-3 Round-Shank, Special Profilated Phillips-Tip 3 6 3/4 6
87-603-4 Round-Shank, Special Profilated Phillips-Tip 4 8 5/16 6
87-603-6 Round-Shank, Special Profilated Phillips-Tip 6 11 6
87-603-7 Round-Shank, Special Profilated Phillips-Tip 7 11 15/16 6
87-605-4 Round-Shank, Cabinet-Tip 1/4 x 4 8 11/32 6
87-605-6 Round-Shank, Cabinet-Tip 1/4 x 6 10 11/32 6
87-605-8 Round-Shank, Cabinet-Tip 1/4 x 8 12 11/32 6
87-600-4
87-603-4
87-85077
Klein 7-Piece Cushion-Grip Screwdriver Set
❉
3 Cabinet-Tip Screwdrivers.
❉
2 Phillips-Tip Screwdrivers.
❉
2 Keystone-Tip Screwdrivers.
❉
Heat-Treated, Tempered-Steel Blades with Vinyl Pouch.
Part Overall Case
Number
Description Length Qty
87-85076 Screwdriver Set, Cushion-Grip, 7 Piece 8” to 11” 1
87-85076

To place your order call 1-800-621-5622; fax 1-800-535-9538
114
Tools & Instruments
CPS 6-in-1 Auto-Loading Screwdriver
❉
6 replaceable industrial grade 1/4” hex bits, standard 1/4” hex drive.
❉
Includes standard valve core tool bit.
❉
Magnetic head holds fasteners in place.
❉
Ergonomic high impact housing design.
Part Case
Number
Description Qty
87-TLSD1 6-in-1 Auto Loading Screwdriver 1
87-TLSD1
Klein 7-Piece Nut Driver Set
❉
3” Shaft, Plastic-Handle Nut Drivers
❉
Hollow Shanked with Vinyl Storage Pouch
❉
3/16” - 1/2”, Chrome Plated
Part Hex Case
Number Description Size Qty
87-K7 Nut Driver Set 3/16” - 1/2” 1
Klein Cushion-Grip Nut Drivers
Features:
❉
Designed for extra-long, dependable service & comfort.
❉
Color-coded cap identifies hex size.
❉
Comfortable Cushion-Grip is locked around a solid plastic
handle.Grip extends up to handle end.
❉
Shank has integral flanges to provide a solid,torque-proof
anchor deep in the plastic handle.
❉
Full length hollow shaft fits over long screws.
87-631S
87-646
Hex Shank Case
Part Number
Description Size Length Qty
87-646-1/4 Cushion-Grip Nut Driver 1/4" 6" 6
87-646-5/16 Cushion-Grip Nut Driver 5/16" 6" 6
87-646-3/8 Cushion-Grip Nut Driver 3/8" 6" 6
87-646-1/2 Cushion-Grip Nut Driver 1/2" 6" 6
87-647L Cushion-Grip Nut Drivers - 7 Piece Set
3/16, 1/4, 5/16, 11/32, 3/8, 7/16, 1/2
6" 1
87-631S Cushion-Grip Nut Drivers - 7 Piece Set
3/16, 1/4, 5/16, 11/32, 3/8, 7/16, 1/2
3” 1

To place your order call 1-800-621-5622; fax 1-800-535-9538
115
Klein Stubby 1 1/4” Shaft Nut Drivers
Klein 3” & 6” Shaft Nut Drivers
❉
Chrome-Plated, Hollow Shank, Amber-Colored Plastic Handle Nut Drivers
Hex Shank Case
Part Number
Description Size Length Qty
87-S8M-1/4 Klein Nut Driver, Magnetic, Hollow Shaft 1/4" 3” 6
87-S10M-5/16 Klein Nut Driver, Magnetic, Hollow Shaft 5/16" 3” 6
87-S86M-1/4 Klein Nut Driver, Magnetic, Hollow Shaft 1/4" 6” 6
87-S106M-5/16 Klein Nut Driver, Magnetic, Hollow Shaft 5/16" 6” 6
Hex Shank Case
Part Number
Description Size Length Qty
87-SS8-1/4 Hollow Shaft Nut Driver 1/4” 3-3/4” 6
87-SS10-5/16 Hollow Shaft Nut Driver 5/16” 3-3/4” 6
87-SS12-3/8 Hollow Shaft Nut Driver 3/8” 3-3/4” 6
Hex Shank Case
Part Number
Description Size Length Qty
87-S8-1/4 Hollow Shaft Nut Driver 1/4” 3” 6
87-S10-5/16 Hollow Shaft Nut Driver 5/16” 3” 6
87-S11-11/32 Hollow Shaft Nut Driver 11/32” 3” 6
87-S12-3/8 Hollow Shaft Nut Driver 3/8” 3” 6
87-S14-7/16 Hollow Shaft Nut Driver 7/16” 3” 6
87-S86-1/4 Hollow Shaft Nut Driver 1/4” 6” 6
87-S106-5/16 Hollow Shaft Nut Driver 5/16” 6” 6
87-S116-11/32 Hollow Shaft Nut Driver 11/32” 6” 6
87-S126-3/8 Hollow Shaft Nut Driver 3/8” 6” 6
87-SS10
Tools & Instruments
Klein Magnetic Nut Drivers
87-S10M
87-S10
87-S116

To place your order call 1-800-621-5622; fax 1-800-535-9538
116
Tools & Instruments
87-70581
Wrenches
87-TLSWL 87-TLSWS 87-TLSWO
87-AC16CV
87-8-301
87-SL12/87-SL20
87-68310
Case
Part Number
Description Length Qty
87-AC16CV Crescent Adj Wrench, Chrome Finish w/Cushion Grip Handle 6" 6
87-AC18CV Crescent Adj Wrench, Chrome Finish w/Cushion Grip Handle 8" 6
87-12-301 Midwest Adj Box End Wrench, Plastic Dip Handle 12" 6
87-10-301 Midwest Adj Box End Wrench, Plastic Dip Handle 10" 6
87-8-301 Midwest Adj Box End Wrench, Plastic Dip Handle 8" 6
87-D507-6 Midwest Adj Box End Wrench, Extra Capacity, Plastic Dip Handle 6" 6
87-D507-8 Midwest Adj Box End Wrench, Extra Capacity, Plastic Dip Handle 8" 6
87-D507-10 Midwest Adj Box End Wrench, Extra Capacity, Plastic Dip Handle 10" 6
87-D507-12 Midwest Adj Box End Wrench, Extra Capacity, Plastic Dip Handle 12" 6
87-68310 Klein 5 1/2" Refrigeration Rachet Wrench, Fully Reversible 3/16",5/16" 6
10550
Jiffy 3/16” HVACR Hex Bit for Service Valves
4” 1
10551
Jiffy 5/16” HVACR Hex Bit for Service Valves
4” 1
87-70570 Klein Hex Key Set, Folding, 5” Grip-It 8 keys 6
87-70574 Klein Hex Key Set, Folding, 9” Grip-It 8 keys 6
87-70575 Klein Hex Key Set, Folding, 9” Grip-It 8 keys 6
87-70579 Klein Hex Key Set, Folding, 5-1/4” 3/16”, 7/32”, 1/4”, 5/16, 3/8”6
87-70581 Klein Hex Key Set, Folding 8 keys 6
87-70591 Klein Hex Key Set, Folding 9 keys 6
87-89954 Klein T-Handle Hex Key Set, 6” Keys 8 keys 6
87-LLK12 Klein Hex Key Set - 7 Piece, “L” Style, Long Arm (5/64” - 1/4”) 7 keys 1
87-SL12 Klein Hex Short Arm Key (Sold only in Case Quantity) 3/16" 25
87-SL20 Klein Hex Short Arm Key (Sold only in Case Quantity) 5/16” 25
87-TLSWL CPS Service Wrench
3/16”, 1/4”, 9/16”, 1/2”
1
87-TLSWO CPS Offset Wrench
3/16”, 1/4”, 3/8”, 5/16”
1
87-TLSWS CPS Service Wrench
3/16”, 1/4”, 3/8”, 5/16”
1
NOTE: CPS Merchandise (for warranty credit) should be returned directly to CPS using the CPS Warranty
Return Form that can be downloaded from rheemote.net in the PROSTOCK Literature Tab.
Extra Long Hex for difficult to
access service Valves

To place your order call 1-800-621-5622; fax 1-800-535-9538
117
87-TLPP
87-D203-6
87-TLPO
87-D2000-48
87-R210CV
87-D203-8N
Pliers
Case
Part Number
Description Length Qty
87-TLPO CPS Pinch-Off Pliers 1
87-TLPP CPS Piercing Pliers 1
87-6546CV Crescent Long Nose Chain Plier w/Side Cutter 6 5/8” 6
87-D502-6 Klein Tongue & Groove Pump Pliers 6-1/2” 6
87-D502-10 Klein Tongue & Groove Pump Pliers 10” 6
87-D502-12 Klein Tongue & Groove Pump Pliers 12” 6
87-D203-6 Klein Long Nose Side-Cutting Pliers 6-5/8" 6
87-D203-7 Klein Long-Nose Side-Cutting Pliers 7-1/8" 6
87-D203-8N Klein Heavy Duty Long Nose w/Side Cutters & Skinning Hole 8-5/16” 6
87-D213-8NE Klein Side-Cutting, High Leverage Pliers 8-1/2" 6
87-D213-9NE Klein Side-Cutting, High Leverage Pliers 9-1/4” 6
87-D228-7 Klein Diagonal-Cutting, High Leverage Pliers 7” 6
87-D248-8 Klein Diagonal-Cutting, High Leverage Pliers 8” 6
87-D2000-9NE Klein Side-Cutting 2000 Series, High Leverage Pliers 9-1/4" 6
87-D2000-48
Klein Diagonal-Cutting 2000 Series, High Leverage Pliers with Angled Head
8" 6
NOTE: CPS Merchandise (for warranty credit) should be returned directly to CPS using the CPS Warranty
Return Form that can be downloaded from rheemote.net in the PROSTOCK Literature Tab.
Tools & Instruments

To place your order call 1-800-621-5622; fax 1-800-535-9538
118
87-1010
87-11045
Strippers and Cutters
87-P6100
87-P6300
87-5008F
87-5020F
Case
Part Number
Description Length Qty
87-1001 Klein All-Purpose Electricians Tool 6” 6
8-18 AWG Solid, 10-22 AWG Stranded
87-1005 Klein Crimping Tool, 10-22 AWG 6” 6
87-1006 Klein Crimping Tool, 10-22 AWG 9-3/4” 6
87-1010 Klein Multi-Purpose Wire Cutter/Crimper 8 1/4” 6
87-1011 Klein Multi-Purpose Wire Stripper/Cutter 6” 6
87-11045 Klein 10-18 Wire Stripper/Cutter 6” 12
87-11049 Klein 8-10 Wire Stripper/Cutter (Narrow Nose, Comfort Handle) 6” 6
87-5008F J T & T EZ Stripper; Multi-Function, Self-Adjusting 9” 1
87-5020F J T & T EZ Stripper; Multi-Function, Self-Adjusting 1
87-5427CV Crescent Side Cutter (Designed for heavy-duty wire cutting) 7" 6
87-P6300 Midwest Hard Wire Rope Cutter -3
Tools & Instruments

To place your order call 1-800-621-5622; fax 1-800-535-9538
119
87-M1200
87-P6510S
87-P6716S
Snips
87-P77D 87-P77S
Cutting Nominal Case
Part Number
Description Capacity Length Qty
87-M1200 Midwest Replaceable Blade Snips 22ga. CR/26ga. SS 13” 6
87-M1200R Midwest Blade Kit 12" 22ga. CR/26ga. SS -6
87-P6510L Midwest Aviation Snips, Offset Left 18ga. CR/22ga. SS 9 3/4” 6
87-P6510R Midwest Aviation Snips, Offset Right 18ga. CR/22ga. SS 9 3/4” 6
87-P6510S Midwest Aviation Snips, Offset Straight 18ga. CR/22ga. SS 9 3/4” 6
87-P6716L Midwest Aviation Snips, Left Cut Pattern -6
87-P6716R Midwest Aviation Snips, Right Cut Pattern -6
87-P6716S Midwest Aviation Snips, Straight Cut Pattern -6
87-P6716A Midwest Aviation Snips, Long Cut - Straight 20ga. CR/24ga. SS 11 1/2” 6
87-P6716B Midwest Aviation Snips, Bulldog 16 ga. CR/18ga. SS 9” 6
87-SSP6716L Midwest Aviation Snips, Hvy Duty Left 22ga. SS 9 3/4” 6
87-SSP6716R Midwest Aviaiton Snips, Hvy Duty Right 22ga. SS 9 3/4” 6
87-P77S Midwest Tinner Snips, Straight 7" 24ga. CR/28ga. SS 7” 6
87-P107S Midwest Tinner Snips, Straight 10" 22ga. CR/26ga. SS 10” 6
87-P127S Midwest Tinner Snips, Straight 12" 20ga. CR/22ga. SS 12” 6
87-P77D Midwest Tinner Snips, Duckbill/Circular 7" 26ga. CR/28ga. SS 7” 6
87-P107D Midwest Tinner Snips, Duckbill/Circular 10" 24ga. CR/26ga. SS 10” 6
87-P127D Midwest Tinner Snips, Duckbill/Circular 12" 22ga. CR/24ga. SS 12” 6
87-P147C Midwest Tinner Snips, Combination 14" 18ga. CR/22ga. SS 14” 1
87-P167B Midwest Tinner Snips, Bulldog 16" - -1
87-P657N Midwest Light Metal Shear (Needle Nose Snip) 24ga. CR/28ga. SS 6 1/2” 5
87-P6900-L Midwest Aviation Snips, Left Cut Pattern, Right Angle Blades 24ga. CR/28ga. SS -
87-P6900-R Midwest Aviation Snips, Right Cut Pattern, Right Angle Blades 24ga. CR/28ga. SS -6
87-P657N
87-SSP6716R
87-P147C
Tools & Instruments

To place your order call 1-800-621-5622; fax 1-800-535-9538
120
Tools & Instruments
Sheet Metal Tools
87-FCTMS6
87-FCTMN1
87-FCTMF1
87-FCTMD1
87-FCTMX1
87-FCTML1
87-FCTMT1
87-FCTMC587-FCTMP1
Cutting Nominal Case
Part Number
Description Capacity Length Qty
87-FCTMS1 Midwest Sheet Metal, Straight Hand Seamer 3" 22 CR/24 SS 8 1/4” 2
87-FCTMS2 Midwest Sheet Metal, Offset Hand Seamer 22 CR/24 SS 7 3/4” 2
87-FCTMS6 Midwest Sheet Metal, Straight Hand Seamer 6" 22 CR/24 SS 8 1/4” 1
87-FCTMN1 Midwest Sheet Metal, Hand Notcher 24 CR/ 28 SS 8” 3
87-FCTMC5
Midwest Sheet Metal, Crimper 5 Blade (Long)
- 10” 3
87-FCTMC5S
Midwest Sheet Metal, Crimper 5 Blade (Short)
- 9 1/4” 3
87-FCTMF1 Midwest Flat Folding Tool 12" 24 CR/28 SS 12” 6
87-FCTMF2 Midwest Flat Folding Tool 18" 24 CR/28 SS 18” 4
87-FCTMD1 Midwest Offset Duct Stretcher - 15 3/4” 6
87-FCTMX1 Midwest Duct Slicer - 13” 4
87-FCTML1 Midwest Snap Lock Punch 24 CR 8” 3
87-FCTMP1 Midwest Pipe Duct Cutter (Double Cut) - 10 1/2” 6
87-FCTMT1 Midwest Plastic Tie Tensioning Tool - 8” 3

To place your order call 1-800-621-5622; fax 1-800-535-9538
121
Tools & Instruments
Pro-SetTube Cutters
❉
For Hard or Soft Tubing.
“Copper, Aluminum Brass, Stainless Steel”
❉
Smooth operation provides consistent clean cuts.
❉
High impact metal & precision machining combine to
offer a quality tool built to last a lifetime.
Mastercool
Tube Cutters
❉
Lightweight yet durable.
❉
For Hard or Soft Tubing.
“Copper, Aluminum Brass, Stainless Steel”
❉
All cutters feature rollers with flare cut-off grooves
to salvage as much old tubing material as possible.
87-TC312
87-TC274
87-TC127
87-TC174
Part Number
Description Capacity
87-TC127 Pro-Set Mini Tube Cutter - Features an over- 1/8” to 5/8” OD
sized turning wheel for a sure comfortable grip.
87-TC174 Pro-Set Tube Cutter. 3/8” to 1-1/8” OD
87-TC274 Pro-Set Premium Tube Cutter - Features a 1/8” to 1-1/8” OD
retractable reamer to remove inside burrs
cleanly and a spare cutting wheel.
87-TC312 Pro-Set Premium Large Tube Cutter - Features 1/4” to 1-5/8” OD
a retractable reamer to remove inside burrs
cleanly and a spare cutting wheel.
70027 Mastercool Mini Tube Cutter 1/8” to 5/8”
70029 Mastercool Midi Tube Cutter 3/8” to 1-1/8”
70033 Mastercool Heavy Duty Tubing Cutter 1/8” to 1-1/8”
70035 Mastercool Heavy Duty Tubing Cutter 1/4” to 1-5/8”
70037 Mastercool Slide Tubing Cutter 1/4” to 2-5/8”
70038 Mastercool Slide Tubing Cutter 1/4” to 3-1/8”
70090
Mastercool Tubing Cutter Kit
3 Piece Set
70090-A
Mastercool Tubing Cutter Kit
4 Piece Set
70028
Mastercool Replacement Cutting Wheels for 70027 (10 Pieces)
70034 Mastercool Replacement Cutting Wheels for 70029,
70033, 70035 and 70037 (10 Pieces)
70138
Mastercool Replacement Cutting Wheel for 70038 (1 Piece)
70029 70035 70037
70027
NOTE: CPS Merchandise (for warranty credit) should be returned directly to CPS using the CPS Warranty
Return Form that can be downloaded from rheemote.net in the PROSTOCK Literature Tab.

To place your order call 1-800-621-5622; fax 1-800-535-9538
122
Saws and Blades
87-80710
87-80952
87-81128
87-70012
87-62825
Tools & Instruments
Nominal Case
Part Number
Description Length Width Gauge Qty
87-62819 Nicholson Bi-Met Hacksaw Blade 14 T 12” 1/2” 0.25” 10
87-62826 Nicholson Bi-Met Hacksaw Blade 18T 12” 1/2” 0.25” 2/Card
87-62832 Nicholson Bi-Met Hacksaw Blade 24T 12” 1/2” 0.25” 2/Card
87-62839 Nicholson Bi-Met Hacksaw Blade 32TPI 12” 1/2” 0.25” 2/Card
87-701S Klein Industrial Hacksaw 12” --6/Case
87-72319 Nicholson Portabands 10 Raker (Sold only in Case Qty) 3
87-80965 Nicholson 12P Premium Hacksaw Frame 1
87-81124 Nicholson Recip Blade 24TPI (Multi-purpose) 6” 3/4” 0.035” 1/Card
87-81128 Nicholson Recip Blade 14TPI (For Metal under 1/8” thick) 9” 3/4” 0.050” 1/Card
87-81120, 87-81122, 87-81124, 87-81132

To place your order call 1-800-621-5622; fax 1-800-535-9538
123
Tools & Instruments
Hole Saw Blades
87-81432
87-81260
Case
Part Number Description Diameter Qty
87-81167 Nicholson Hole Saw 7/8" 1
87-81173 Nicholson Hole Saw 1" 1
87-81179 Nicholson Hole Saw 1 1/8" 1
87-81188 Nicholson Hole Saw 1 1/4" 1
87-81197 Nicholson Hole Saw 1 3/8" 1
87-81206 Nicholson Hole Saw 1 1/2" 1
87-81227 Nicholson Hole Saw 2" 1
87-81233 Nicholson Hole Saw 2 1/8" 1
87-81260 Nicholson Hole Saw 3" 1
87-81272 Nicholson Hole Saw 3 1/2" 1
87-81275 Nicholson Hole Saw 3 5/8" 1

To place your order call 1-800-621-5622; fax 1-800-535-9538
124
Caulking Guns
Part Case
Number Description Qty
87-M0017 Caulking Gun; 1/10 Gal., Hex Rod Parallel Frame 12
87-M0016 Caulking Gun; 1/10 Gal., Super Ratched Rod 12
87-250 Caulking Gun; 1/10 Gal., Super Smooth Rod 6
87-M0017 Caulking Gun
1/10 Gal., Hex Rod Parallel Frame
❉
E-Z Thrust
❉
EZ Load Front Cap
❉
Cartridge Retainer Spring
❉
Ladder Hook
❉
Produces short radius bends up to 180°
87-M0016 Caulking Gun
1/10 Gal., Super Ratchet Rod
❉
Seal Puncture Tool
❉
Built-In Spout Cutter
❉
Ladder Hook
❉
No Pinch Finger Guard
87-250 Caulking Gun
1/10 Gal., Super Smooth Rod
❉
Revolving Barrel
❉
Zinc Alloy Handle
❉
Ladder Hook
❉
Thumb Release
❉
Thrust Ratio 18:1
87-M0017
87-M0016
87-250
Tools & Instruments

To place your order call 1-800-621-5622; fax 1-800-535-9538
125
Tools & Instruments
Gallo Gun & Swoosh CO2 Cartridges
Part Case
Number Description Qty
GG-1 Gallo Gun Drain Cleaner 1
GGC-12 SWOOSH CO2 Cartridges (Standard pack of 12) 1
The Gallo Gun clears condensate drains with Swoosh. It is a
lightweight (3 oz.) portable tool designed to blow out drain lines
instantly. Simply insert a SWOOSH CO2 cartridge into the Gallo
Gun and with a press of the trigger, 800 PSI of oil free food grade
air clears the line. Each unit comes equipped with a tapered fitting
to work on 3/8” thru 3/4” drain openings. Flexible hose assembly
enables you to maneuver through cabinets, coils and hard to reach
drains. Cartridges are safe for the environment and recyclable.
No need to carry air or nitrogen tanks. Saves time on service calls
and reduces labor costs.
GG-1 & GGC-12

To place your order call 1-800-621-5622; fax 1-800-535-9538
126
Tape Measures
Case
Part Number
Description Color Qty
87-2212 Lufkin 1/2” x 12' Tape Measure - Chrome Chrome 6
87-2212DX Lufkin 1/2” x 12' Tape Measure - Chrome (Eng) Chrome 6
87-2316 Lufkin 3/4” x 16' Tape Measure - Chrome Chrome 6
87-HV1012 Lufkin 1/2” x 12' Tape Measure (HiVisibility) Orange 6
87-HV1312 Lufkin 3/4” x 12' Tape Measure (HiVisibility) Orange 6
87-HV1316 Lufkin 3/4” x 16' Tape Measure (HiVisibility) Orange 6
87-QR1312 Lufkin 3/4” x 12' Tape Measure (QuickRead) Blue 6
87-QR1316 Lufkin 3/4” x 16' Tape Measure (QuickRead) Blue 6
87-928-16HV Klein Power Return Tape Measure 3/4” x 16’ (HiVisibility) Orange 6
87-928-25HV Klein Power Return Tape Measure 1” x 25’ (HiVisibility) Orange 6
Tools & Instruments

To place your order call 1-800-621-5622; fax 1-800-535-9538
127
Tools & Instruments
CPS
87-AC600 Meter
The 87-AC600 incorporates a rugged analog display to measure AC current, AC voltage
and ohms. A continuity alarm and an optional temperature probe add to the 87-AC600’s
impressive design making it an ideal unit for the electrical & HVAC/R technician.
The 87-AC600 allows the user to measure current flow, in appliances & power lines by
simply clamping the transformer jaws around the conductor. A meter lock function is provided
to lock the analog display’s pointer when taking measurements in areas of low visibility or
limited access. The optional temperature probe can take measurements of gas liquid and
solid materials. The 87-AC600 includes a spare fuse 0.5A/250V, test leads, carry case,
“AA” battery, and slip proof wrist strap.
APPLICATIONS
❉Measure motor start-up current.
❉Measure current to determine circuit overload, control circuit current and circuit
operating current.
❉Measure line temperatures on refrigeration and air conditioning units.
❉Measure continuity to determine good or bad fuses, open or shorted conductors,
operation of switches and circuit paths.
❉Measure AC lines and voltages.
RANGES:
Best
Function Range Accuracy
VAC 0 - 600V +/- 3% of full scale
ACA 0 - 600A +/- 3% of full scale
Temp -26° to 392°F/-50° to 200° C +/- 3% of full scale
87-AC600
NOTE: CPS Merchandise (for warranty credit) should be returned directly to CPS using the CPS Warranty
Return Form that can be downloaded from rheemote.net in the PROSTOCK Literature Tab.

To place your order call 1-800-621-5622; fax 1-800-535-9538
128
ACCESSORIES FOR: 87-AC400, 87-AC600 & 87-AC610
Part Number Description
87-ACXB4 Batteries (1.55V) for 87-AC400 (2 pk)
87-ACXC4 Carrying Case for 87-AC400
87-ACXC6 Carrying Case for 87-AC600/87-AC610
87-ACXF60 Fuse for 87-AC600
87-ACXOP Ohms Probe 87-AC600
87-ACXP Probe Set for 87-AC610/87-AC400
87-ACXTP Temperature Probe 87-AC600
Tools & Instruments
CPS
87-AC400 Meter
The 87-AC400 is a pocket sized clamp-on meter with full size features. A convenient autoranging
feature automatically selects the correct operating range when the user selects either the ACA or
ACV measurement function. The 3-1/2 digit, 1999 count LCD display incorporates low battery and.
function select indicators. Data Hold Feature stores the present measurement value on the display.
An ACV continuity function is also included in the 87-AC400’s compact design enabling the techni-
cian to check wiring, fuses, conductors, switches, etc. The 87-AC400 is protected to a maximum
range of 800 Vrms/500 Arms.
87-AC400 includes test leads, batteries, carry case, and a drop proof wrist strap.
Best
Function Range Accuracy
VAC 200v - 500V +/- (1.2% rdg + 5 dgts) 40Hz to 500 Hz
ACA 200 - 400A +/- (1.5% rdg + 5 dgts) 50/600 Hz
Continuity Below 600 W
RANGES: 87-AC400
NOTE: CPS Merchandise (for warranty credit) should be returned directly to CPS using the CPS Warranty
Return Form that can be downloaded from rheemote.net in the PROSTOCK Literature Tab.
CPS87-DM350 Meter
The 87-DM350 incorporates a feature rich design that enables the unit to expand beyond tradi-
tional electrical & HVAC/R service technician’s need, effectively covering all analytical service
measurements.
Autoranging
A convenient autoranging feature automatically selects correct range when the RANGE key is
depressed and the rotary switch is placed on the desired measurement function
(Voltage, Ohms, current, frequency & capacitance).
Rugged Design
The 87-DM350’s has a rugged waterproof outer case, and advanced 600V high energy fuse, which
protects the unit against current surge. A voltage overload system protects to 1100VDC/800VAC.
The unit bears a CE approval and complies with EN-61010-1 1000V CAT111 POLLUTION standards
.
Display
The 3.75in/85mm LCD incorporates a 42-segment bar graph display for indication of peaks and
nulls. A back light display allows easy viewing in dark areas.
The display incorporates a 4000
count LCD & a battery saving function that automatically turns off the back light after a period of time
.
Min/Max Memory
Automatically detects & stores the max/min readings during line voltage monitoring.
Relative Reference Mode
Stores a value for comparison against future values.
Data Hold
Stores present reading on the display when the data hold key is depressed.
APPLICATIONS
❉
Measure voltage to determine voltage source, voltage drop and
voltage imbalance
❉
Measure resistance to determine resistance of a load or a conductor,
value of a resistor and test operation of a variable resistor.
❉Measurement of frequency for trouble shooting power sources,
communication equipment and computers.
❉Verify line frequency.
❉Measure capacitance for checking motor run and start capacitors.
87-DM350
ACCESSORIES FOR 87-DM350
Part Number Description
87-DMXL 87-DM350 Test Leads
87-DMXF05 87-DM350 0.5 Amp Fuse
87-DMXF2 87-DM350 20 Amp Fuse

To place your order call 1-800-621-5622; fax 1-800-535-9538
129
87-TMAP
Pocket Thermometers
Part
Number Range Description
87-TMAP 0 to 220°F CPS Analog Pocket Thermometer
87-TMDP -58 to 302°F CPS Digital Pocket Thermometer
52223-A -58 to 302°F Mastercool Digital Pocket Thermometer
87-TMDP
NOTE: CPS Merchandise (for warranty credit) should be returned directly to CPS using the CPS Warranty
Return Form that can be downloaded from rheemote.net in the PROSTOCK Literature Tab.
52223-A
*Distance to Spot Size
The TMINI infrared thermometer provides instant temperature measurement over a wide
range of applications. The unit offers simple one-handed operation, laser point sighting, a
backlit display, °C/°F select ability and an automatic power off feature. Use the TMINI to
quickly measure temperatures of registers, ductwork, furnaces, evaporator, condensers,
compressors, relays, manifolds radiators, exhaust systems, thermostats, bearings and more.
Leatherette carrying case and 9V alkaline batter are included.
Tools & Instruments
CPS
Infrared Thermometers
Part Number Description
87-TMINI12 Infrared Thermometer

To place your order call 1-800-621-5622; fax 1-800-535-9538
130
Tools & Instruments
875025
Specifications
Probe type: Semiconductor probe
Meas. Range: 0 to +10,000 ppm CH4
Dimensions: 7.5" x 2.2" x 1.7"
Weight: 11 oz.
Battery Type: 9 V
Life: 10 hr.
1st alarm limit: from 200 ppm CH4
2nd alarm limit: 10,000 ppm CH4
875025 Combustible Gas Leak Detector
Testo # 0632-0316 – 316
The practical and rugged Testo 316-1 gas leak detector quickly detects
even the smallest gas leaks.
Features & Benefits
•Flexible measurement probe for hard to reach locations
•Visual and audible alarms signal in proportion to increasing gas
concentration
•TopSafe protective case protects from dirt and impact (optional)
•Rugged, yet lightweight for professional use
•Flexible 10" probe for hard to reach areas
•Battery included
•2 year product warranty

Rheem National Customer Service
Division Office...............................................................334-260-1500
Parts, Customer Service, Warranty ...................................1-800-621-5622
Fax.....................................................................1-800-535-9538
Email...............................................................parts@rheem.com
Technical Service.........................................................1-800-HEATER3
(1-800-432-8373)
Email...........................................................techserv@rheem.com
Website...................................................................www.rheem.com
In keeping with its policy of continuous progress
and product improvement, Rheem reserves the
right to make changes without notice.
National Parts service center
from Rheem
Rheem Sales Company
4744 Island Ford Road
Randleman, NC 27317
www.rheem.com
02/09 PP-101 Rev. 8