.. ST 1600 Robinhood ST1600 Parts Services
User Manual: ST-1600
Open the PDF directly: View PDF
.
Page Count: 6

ST1600 -SERIES
APPROVED Page 1 of 6
SUPERTUB 1600
SERVICE MANUAL

ST1600 -SERIES
APPROVED Page 2 of 6
COMMON CABINET PARTS
ITEM DESCRIPTION P/N
1 DOOR ASSEMBLY 750183
2 WIRE DOOR RACK 750447
3 HANDLE DOOR 750016
4 LATCH DOOR 750017
5 PIN (HINGE) 750085
6 WASHER HINGE 750084
7 SCREW No 6 X 3\8 999053
8 AVDEL EUROSET M8-0941802822 999101
9 M8 X 25 HEX. SET SCREW ZP 999100
10 TUB POLISHED 75009PL

ST1600 -SERIES
APPROVED Page 3 of 6
CONSOLE SECTION

ST1600 -SERIES
APPROVED Page 4 of 6
SUPERTUB 1600
Console Section Cont.
REF DESCRIPTION P/N
1TRIM CONSOLE WHITE 750332
2KNOB TAP WHITE 750370
3INDICATOR (BLUE) 750372
4INDICATOR (RED) 750371
5SCREW BRASS M5 X 10 750044
6SPRAY UNIT ASSY 750345
7FLEXIBLE HOSE ASSY 750356
8MOUNTING CONSOLE 750385
9CONSOLE SMART DRIVE 750373
10 LABEL SMART DRIVE WHITE 750384
11 SIDE FORM ‘L’ WHITE 750328
12 SIDE FORM ‘R’ WHITE 750329
13 UPPER SIDE FORM ‘L’ WHITE 750330
14 UPPER SIDE FORM ‘R’ WHITE 750331
15 BRACKET CONSOLE ‘L’ 750337
16 BRACKET CONSOLE ‘R’ 750333
17 TRIM WHITE TUB 750334
18 CONSOLE ASSY. SPRAY HEAD 750406
MOUNTING & LABEL
19 SIDE FORM ASSY. R.H 750407
20 SIDE FORM ASSY. L.H 750408
21 SHELF – CONSOLE 750397

ST1600 -SERIES
APPROVED Page 5 of 6
PLUMBING SECTION
PLUMBING SECTION SHEET ‘R’
REF DESCRIPTION P/N
1BODY & PIPE ASSEMBLY LEFT 750489
2BODY & PIPE ASSEMBLY RIGHT 750490
3Y’ CONNECTOR 750383
4TAP HEADWORKS (NON RISING-NZ) 750312
5TAP HEADWORK ASSY 750291
6PIN (HINGE) 750085
7S/S CLAMP WASHER 750448
8O’RING (HEADWORKS) 750070
9TREADED SLEEVE (Non Rising) 750287
10 JUMPER VALUE ASSEMBLY 750497

ST1600 -SERIES
APPROVED Page 6 of 6
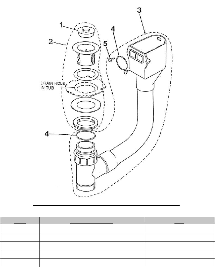
REF DESCRIPTION P/N
1 PLUG 41mm 750077
2 WASTE ASSY 40mm 750159
3 OVERFLOW ASSY 40mm 750493
4 ‘O’ RING 40mm 750081
5 SCREW 8x3\8 PAN POZI ST/ST 999074
WASTE KIT (SPARE PART) 750216
OVERFLOW KIT (SPARE PART) 750301