SWD CSA A23.3 04
User Manual: SWD-CSA-A23.3-04
Open the PDF directly: View PDF
.
Page Count: 82
- Title
- Copyright
- Disclaimer
- Contents
- Chapter 01 Introduction
- Chapter 02 Pier Design
- Chapter 03 Spandrel Design
- Appendix A
- Appendix B
- Appendix C
- Appendix D
- Bibliography
- SWD-CSA-A23.3-04_1.pdf
- Title
- Copyright
- Disclaimer
- Contents
- Chapter 1 Introduction
- Chapter 2 Pier Design
- Chapter 3 Spandrel Design
- Appendices
- Bibliography

Shear Wall Design Manual
CSA A23.3-04

Shear Wall
Design Manual
CSA A23.3-04
For ETABS® 2016
ISO ETA12285M42 Rev. 0
Proudly developed in the United States of America December 2015

Copyright
Copyright Computers & Structures, Inc., 1978-2015
All rights reserved.
The CSI Logo®, SAP2000®, ETABS®, and SAFE® are registered trademarks of
Computers & Structures, Inc. Watch & LearnTM is a trademark of Computers &
Structures, Inc.
The computer programs SAP2000® and ETABS® and all associated documentation are
proprietary and copyrighted products. Worldwide rights of ownership rest with
Computers & Structures, Inc. Unlicensed use of these programs or reproduction of
documentation in any form, without prior written authorization from Computers &
Structures, Inc., is explicitly prohibited.
No part of this publication may be reproduced or distributed in any form or by any
means, or stored in a database or retrieval system, without the prior explicit written
permission of the publisher.
Further information and copies of this documentation may be obtained from:
Computers & Structures, Inc.
http://www.csiamerica.com/
info@csiamerica.com (for general information)
support@csiamerica.com (for technical support)
DISCLAIMER
CONSIDERABLE TIME, EFFORT AND EXPENSE HAVE GONE INTO THE
DEVELOPMENT AND DOCUMENTATION OF THIS SOFTWARE. HOWEVER,
THE USER ACCEPTS AND UNDERSTANDS THAT NO WARRANTY IS
EXPRESSED OR IMPLIED BY THE DEVELOPERS OR THE DISTRIBUTORS ON
THE ACCURACY OR THE RELIABILITY OF THIS PRODUCT.
THIS PRODUCT IS A PRACTICAL AND POWERFUL TOOL FOR STRUCTURAL
DESIGN. HOWEVER, THE USER MUST EXPLICITLY UNDERSTAND THE BASIC
ASSUMPTIONS OF THE SOFTWARE MODELING, ANALYSIS, AND DESIGN
ALGORITHMS AND COMPENSATE FOR THE ASPECTS THAT ARE NOT
ADDRESSED.
THE INFORMATION PRODUCED BY THE SOFTWARE MUST BE CHECKED BY
A QUALIFIED AND EXPERIENCED ENGINEER. THE ENGINEER MUST
INDEPENDENTLY VERIFY THE RESULTS AND TAKE PROFESSIONAL
RESPONSIBILITY FOR THE INFORMATION THAT IS USED.
3

Contents
Chapter 1 Introduction
1.1 Notation 1-2
1.2 Design Station Locations 1-8
1.3 Default Design Load Combinations 1-9
1.3.1 Dead Load Component 1-10
1.3.2 Live Load Component 1-10
1.3.3 Wind Load Component 1-10
1.3.4 Earthquake Load Component 1-10
1.3.5 Combinations that Include a Response
Spectrum 1-11
1.3.6 Combinations that Include Time History
Results 1-12
1.3.7 Combinations that Include Static
Nonlinear Results 1-13
1.4 Shear Wall Design Preferences 1-13
1.5 Shear Wall Design Overwrites 1-14
1.6 Choice of Units 1-14
Chapter 2 Pier Design
2.1 Wall Pier Flexural Design 2-2
2.1.1 Designing a Simplified Pier Section 2-2
i

Shear Wall Design CSA A23.3-04
2.1.2 Checking a General or Uniform Reinforcing Pier
Section 2-8
2.1.3 Wall Pier Demand/Capacity Ratio 2-16
2.1.4 Designing a General Reinforcing or
Uniform Reinforcing Pier Section 2-17
2.2 Wall Pier Shear Design 2-19
2.2.1 Determine the Concrete Shear Capacity 2-20
2.2.2 Determine the Require Shear Reinforcing 2-24
2.3 Wall Pier Boundary Elements 2-26
2.3.1 Details of Check for Boundary Element
Requirements 2-26
Chapter 3 Spandrel Design
3.1 Spandrel Flexural Design 3-1
3.1.1 Determine the Factored Moments 3-2
3.1.2 Determine the Required Flexural
Reinforcing 3-2
3.2 Spandrel Shear Design 3-11
3.2.1 Determine Factored Forces 3-12
3.2.2 Determine the Concrete Shear
Capacity 3-13
3.2.3 Determine the Required Shear
Reinforcing 3-16
Appendix A Supported Design Codes
Appendix B Shear Wall Design Preferences
Appendix C Design Procedure Overwrites
Appendix D Analysis Sections and Design Sections
Bibliography
ii

Chapter 1
Introduction
This manual describes the details of the shear wall design and stress check
algorithms used by the program when the user selects the CSA-A23.3-04 design
code. The various notations used in this manual are described in Section 1.1.
The design is based on loading combinations specified by the user (Section
1.2). To facilitate the design process, the program provides a set of default load
combinations that should satisfy requirements for the design of most building
type structures.
The program performs the following design, check, or analysis procedures in
accordance with CSA-A23.3-04 requirements:
Design and check of concrete wall piers for flexural and axial loads (Chapter
2)
Design of concrete wall piers for shear (Chapter 2)
Consideration of the boundary element requirements for concrete wall piers
using an approach based on the requirements of CSA Section 21.6.7, 21.6.8
and 21.7.3.2 (Chapter 2)
Design of concrete shear wall spandrels for flexure (Chapter 3)
Design of concrete wall spandrels for shear (Chapter 3)
1-1

Shear Wall Design Manual CSA-A23.3-04
The program provides detailed output data for Simplified pier section design,
Uniform pier section design/check Section Designer pier section design/Check,
(Chapter 4).
1.1. Notation
Following is the notation used in this manual.
A
cv
Net area of a wall pier bounded by the length of the wall pier,
Lp, and the web thickness, tp, mm2
A
g
Gross area of a wall pier, mm2
A
h-min
Minimum required area of distributed horizontal reinforcing
steel required for shear in a wall spandrel, mm2 / mm
A
s
Area of reinforcing steel, mm2
A
sc
Area of reinforcing steel required for compression in a pier
edge member, or the required area of tension steel required to
balance the compression steel force in a wall spandrel, mm2
A
sc-max
Maximum area of compression reinforcing steel in a wall pier
edge member, mm2
A
sf
The required area of tension reinforcing steel for balancing the
concrete compression force in the extruding portion of the con-
crete flange of a T-beam, mm2
A
st
Area of reinforcing steel required for tension in a pier edge
member, mm2
A
st-max
Maximum area of tension reinforcing steel in a wall pier edge
member, mm2
A
v
Area of reinforcing steel required for shear, mm2 / mm
A
vd
Area of diagonal shear reinforcement in a coupling beam, mm2
1-2 Notation

Chapter 1 Introduction
A
v-min
Minimum required area of distributed vertical reinforcing steel
required for shear in a wall spandrel, mm2 / mm
A
sw
The required area of tension reinforcing steel for balancing the
concrete compression force in a rectangular concrete beam, or
for ba
lancing the concrete compression force in the concrete
web of a T-beam, mm2
A'
s
Area of compression reinforcing steel in a spandrel, mm2
B
1
, B
2
...
Length of a concrete edge member in a wall with uniform
thickness, mm
Cc
Concrete compression force in a wall pier or spandrel, N
Cf
Concrete compression force in the extruding portion of a T-
beam flange, N
Cs
Compression force in wall pier or spandrel reinforcing steel, N
C
w
Concrete compression force in the web of a T-beam, N
D/C
Demand/capacity ratio as measured on an interaction curve for
a wall pier, unitless
DB1
Length of a user defined wall pier edge member, mm. This can
be different on the left and right sides of the pier, and it also
can be different at the top and the bottom of the pier.
DB2
Width of a user defined wall pier edge member, mm. This can
be different on the left and right sides of the pier, and it also
can be different at the top and the bottom of the pier.
Es
Modulus of elasticity of reinforcing steel, N-mm
2
, assumed as
200,000 MPa
IP-max
The maximum ratio of reinforcing considered in the design of a
pier with a Section Designer section, unitless
IP-min
The minimum ratio of reinforcing considered in the design of a
pier with a Section Designer section, unitless
Notation 1-3

Shear Wall Design Manual CSA-A23.3-04
L
BZ
Horizontal length of the boundary zone at each end of a wall
pier, mm
L
p
Horizontal length of wall pier, mm. This can be different at the
top and the bottom of the pier
Ls
Horizontal length of a wall spandrel, mm
LL
Live load
Mr
Nominal bending resistance, N-mm
Mf
Factored bending moment at a design section, N-mm
Mfc
In a wall spandrel with compression reinforcing, the factored
bending moment at a design section resisted by the couple
between the concrete in compression and the tension steel, N-
mm
Mff
In a wall spandrel with a T-beam section and compression
reinforcing, the factored bending moment at a design section
resisted by the couple between the concrete in compression in
the extruding portion of the flange and the tension steel, N-mm
Mfs
In a wall spandrel with compression reinforcing, the factored
bending moment at a design section resisted by the couple
between the compression steel and the tension steel, N-mm
M
fw
In a wall spandrel with a T-beam section and compression
reinforcing, the factored bending moment at a design section
resisted by the couple between the concrete in compression in
the web and the tension steel, N-mm
OC
On a wall pier interaction curve the "distance" from the origin
to the capacity associated with the point considered
OL
On a wall pier interaction curve the "distance" from the origin
to the point considered
Pb
The axial force in a wall pier at a balanced strain condition, N
1-4 Notation

Chapter 1 Introduction
P
left
Equivalent axial force in the left edge member of a wall pier
used for design, N. This may be different at the top and the
bottom of the wall pier.
Pmax
Limit on the maximum compressive design strength specified
by CSA-A23.3-04, N
P
max Factor
Factor used to reduce the allowable maximum compressive
design strength, unitless. CSA-A23.3-04 specifies this factor to
be 0.80. This factor can be revised in the preferences.
Pr
Factored axial resistance of a design section, N
Po
Axial load strength of a wall pier, N
Poc
The maximum compression force a wall pier can carry with
strength reduction factors set equal to one, N
Pot
The maximum tension force a wall pier can carry with strength
reduction factors set equal to one, N
P
right
Equivalent axial force in the right edge member of a wall pier
used for design, N. This may be different at the top and the bot-
tom of the wall pier.
Pf
Factored axial force at a design section, N
PC
max
Maximum ratio of compression steel in an edge member of a
wall pier, unitless
PT
max
Maximum ratio of tension steel in an edge member of a wall
pier, unitless
Ro
Overstrength related force modification factor used to compute
inelastic rotational demand
R
d
Ductility related force modifications factor used to compute
inelastic rotational demand
RLL
Reduced live load
Notation 1-5

Shear Wall Design Manual CSA-A23.3-04
T
s
Tension force in wall pier reinforcing steel, N
V
c
The portion of the shear force carried by the concrete, N
Vr
Nominal shear resistance, N
V
s
The portion of the shear force in a spandrel carried by the shear
reinforcing steel, N
V
f
Factored shear force at a design section, N
WL
Wind load
a
Depth of the wall pier or spandrel compression block, mm
a
b
Depth of the compression block in a wall spandrel for balanced
strain conditions, mm.
a1
Depth of the compression block in the web of a T-beam, mm
bs
Width of the compression flange in a T-beam, mm. This can be
different on the left and right ends of the T-beam.
c
Distance from the extreme compression fiber of the wall pier or
spandrel to the neutral axis, mm
d
r-bot
Distance from the bottom of the spandrel beam to the centroid
of the bottom reinforcing steel, mm. This can be different on
the left and right ends of the beam.
dr-top
Distance from the top of the spandrel beam to the centroid of
the top reinforcing steel, mm
. This can be different on the left
and right ends of the beam.
ds
Depth of the compression flange in a T-beam, mm. This can be
different on the left and right ends of the T-beam.
dspandrel
Depth of the spandrel beam minus the cover to the centroid of
the reinforcing, mm
f
y
Yield strength of the steel reinforcing, MPa. This value is used
for flexural and axial design calculations.
1-6 Notation

Chapter 1 Introduction
f
ys
Yield strength of the steel reinforcing, MPa. This value is used
for shear design calculations.
f '
c
Concrete compressive strength, MPa. This value is used for
flexural and axial design calculations.
f
'
cs
Concrete compressive strength, MPa. This value is used for
shear design calculations.
f '
s
Stress in compression steel of a wall spandrel, MPa.
hs
Height of a wall spandrel, mm. This can be different on the left
and right ends of the spandrel.
p
max
Maximum ratio of reinforcing steel in a wall pier with a Section
Designer section that is designed (not checked), unitless.
pmin
Minimum ratio of reinforcing steel in a wall pier with a Section
Designer section that is designed (not checked), unitless.
t
p
Thickness of a wall pier, mm. This can be different at the top
and bottom of the pier.
t
s
Thickness of a wall spandrel, mm. This can be different on the
left and right ends of the spandrel.
ΣDL
The sum of all dead load cases
Σ
LL
The sum of all live load cases
Σ
RLL
The sum of all reduced live load cases
α
The angle between the diagonal reinforcing and the longitudi-
nal axis of a coupling beam
α
1
Factor for obtaining average compressive stress in a concrete
block.
β1
Factor indicating the ability of diagonally cracked concrete to
transmit tension.
Notation 1-7

Shear Wall Design Manual CSA-A23.3-04
ε
Reinforcing steel strain, unitless
ε
c
Limiting strain in compression, unitless. It is taken as 0.0035
εs
Reinforcing steel strain in a wall pier, unitless
ε'
s
Compression steel strain in a wall spandrel, unitless
θ
Angle of inclination of diagonal compressive stresses with the
longitudinal axis of beam or column
φ
Strength reduction factor, unitless
φ
c
Strength reduction factor for concrete, 0.65 (CSA 8.4.2)
φ
s
Strength reduction factor for steel, 0.85 (CSA 8.4.3)
λ
Modification factor reflecting the reduced mechanical
properties of light-weight concrete, all relative to normal
weight concrete of the same compressive strength. It is equal to
1 for normal weight concrete.
σ
s
Reinforcing steel stress in a wall pier, MPa
1.2. Design Station Locations
The program designs wall piers at stations located at the top and bottom of the
pier only. To design at the mid-height of a pier, break the pier into two separate
"half-height" piers.
The program designs wall spandrels at stations located at the left and right ends
of the spandrel only. To design at the mid-length of a spandrel, break the span-
drel into two separate "half-length" piers. Note that if a spandrel is broken into
pieces, the program will calculate the seismic diagonal shear reinforcing sepa-
rately for each piece. The angle used to calculate the seismic diagonal shear re-
inforcing for each piece is based on the length of the piece, not the length of the
entire spandrel. This can cause the required area of diagonal reinforcing to be
significantly underestimated. Thus, if you break a spandrel into pieces, calcu-
late the seismic diagonal shear reinforcing separately by hand.
1-8 Design Station Locations

Chapter 1 Introduction
1.3. Default Design Load Combinations
The design load combinations automatically created by the program for con-
crete shear wall design are given by Case 1 to Case 5 (CSA 8.3.2, Table C-1).
These cases are further categorizes as into subcase (a) to (d) to identify differ-
ent directions of Wind and Earthquake load.
1.4ΣDL Case 1
1.25ΣDL + 1.5(ΣLL + ΣRLL) Case 2
1.25ΣDL + 0.5(ΣLL + ΣRLL) + 0.4WL Case 2(a)
1.25ΣDL + 0.5(ΣLL + ΣRLL) – 0.4WL Case 2(b)
1.25ΣDL + 1.4WL Case 4(a)
1.25ΣDL – 1.4WL Case 4(b)
0.9ΣDL + 1.4WL Case 4(c)
0.9ΣDL – 1.4WL Case 4(d)
1.0ΣDL + 0.5(ΣLL + ΣRLL) + 1.0E Case 5(a)
1.0ΣDL + 0.5(ΣLL + ΣRLL) – 1.0E Case 5(b)
1.0ΣDL + 1.0E Case 5(c)
1.0ΣDL – 1.0E Case 5(d)
In the preceding Equations,
ΣDL = The sum of all dead load (DL) load cases defined for the model.
ΣLL = The sum of all live load (LL) load cases defined for the model.
Note that this includes roof live loads as well as floor live loads.
Default Design Load Combinations 1-9

Shear Wall Design Manual CSA-A23.3-04
ΣRLL = The sum of all reducible live load (RLL) load cases defined for the
model.
WL = Any single wind load (WL) load case defined for the model.
E = Any single earthquake load (E) load case defined for the model.
1.3.1.
6B
Dead Load Component
The dead load component of the default design load combinations consists of
the sum of all dead loads multiplied by the specified factor. Individual dead
load cases are not considered separately in the default design load combina-
tions.
See the description of the earthquake load component later in this chapter for
additional information.
1.3.2.
7B
Live Load Component
The live load component of the default design load combinations consists of
the sum of all live loads, both reducible and unreducible, multiplied by the
specified factor. Individual live load cases are not considered separately in the
default design load combinations.
1.3.3.
8B
Wind Load Component
The wind load component of the default design load combinations consists of
the contribution from a single wind load case. Thus, if multiple wind load cases
are defined in the program model, each of CSA Case 2 and 4 will contribute
multiple design load combinations, one for each wind load case that is defined.
1.3.4.
9B
Earthquake Load Component
The earthquake load component of the default design load combinations con-
sists of the contribution from a single earthquake load case. Thus, if multiple
earthquake load cases are defined in the program model, each of CSA Case 5
will contribute multiple design load combinations, one for each earthquake
load case that is defined.
1-10 Default Design Load Combinations

Chapter 1 Introduction
The earthquake load cases considered when creating the default design load
combinations include all static load cases that are defined as earthquake loads
and all response spectrum cases. Default design load combinations are not cre-
ated for time history cases or for static nonlinear cases.
1.3.5.
10B
Combinations that Include a Response Spectrum
In the program all response spectrum cases are assumed to be earthquake load
cases. Default design load combinations are created that include the response
spectrum cases.
The output from a response spectrum is all positive. Any program shear wall
design load combination that includes a response spectrum load case is checked
for all possible combinations of signs on the response spectrum values. Thus,
when checking shear in a wall pier or a wall spandrel, the response spectrum
contribution of shear to the design load combination is considered once as a
positive shear and then a second time as a negative shear. Similarly, when
checking moment in a wall spandrel, the response spectrum contribution of
moment to the design load combination is considered once as a positive mo-
ment and then a second time as a negative moment. When checking the flexur-
al behavior of a two-dimensional wall pier or spandrel, four possible combina-
tions are considered for the contribution of response spectrum load to the de-
sign load combination. They are:
+P and +M
+P and −M
−P and +M
−P and −M
where P is the axial load in the pier and M is the moment in the pier. Similarly,
eight possible combinations of P, M2 and M3 are considered for three-
dimensional wall piers.
Note that based on the above, CSA Case 5(b) with negative sign for earthquake
is redundant for a load combination with a response spectrum; similarly, CSA
Case 5(d) with negative sign for earthquake is redundant for a load combina-
tion with a response spectrum. For this reason, the program creates default de-
Default Design Load Combinations 1-11

Shear Wall Design Manual CSA-A23.3-04
sign load combinations based only on CSA Cases with positive sign for earth-
quake for response spectra. Default design load combinations using CSA Case
5(b) and Case 5(d) with negative sign for earthquake are not created for re-
sponse spectra.
1.3.6.
11B
Combinations that Include Time History Results
The default shear wall design load combinations do not include any time histo-
ry results. To include time history forces in a design load combination, define
the load combination yourself.
When a design load combination includes time history results, the design can
be for the envelope of those results or for each step of the time history. The
type of time history design can be specified in the shear wall design prefer-
ences.
When envelopes are used, the design is for the maximum of each response
quantity (axial load, moment, and the like) as if they occurred simultaneously.
Typically, this is not the realistic case, and in some instances, it may be uncon-
servative. Designing for each step of a time history gives the correct corre-
spondence between different response quantities, but designing for each step
can be very time consuming.
When the program gets the envelope results for a time history, it gets a maxi-
mum and a minimum value for each response quantity. Thus, for wall piers it
gets maximum and minimum values of axial load, shear and moment; and for
wall spandrels, it gets maximum and minimum values of shear and moment.
For a design load combination in the program shear wall design module, any
load combination that includes a time history load case in it is checked for all
possible combinations of maximum and minimum time history design values.
Thus, when checking shear in a wall pier or a wall spandrel, the time history
contribution of shear to the design load combination is considered once as a
maximum shear and then a second time as a minimum shear. Similarly, when
checking moment in a wall spandrel, the time history contribution of moment
to the design load combination is considered once as a maximum moment and
then a second time as a minimum moment. When checking the flexural behav-
ior of a wall pier, four possible combinations are considered for the contribu-
tion of time history load to the design load combination. They are:
1-12 Default Design Load Combinations

Chapter 1 Introduction
Pmax and Mmax
Pmax and Mmin
Pmin and Mmax
Pmin and Mmin
where P is the axial load in the pier and M is the moment in the pier.
If a single design load combination has more than one time history case in it,
that design load combination is designed for the envelopes of the time histo-
ries, regardless of what is specified for the Time History Design item in the
preferences.
1.3.7.
12B
Combinations That Include Static Nonlinear Results
The default shear wall design load combinations do not include any static non-
linear results. To include static nonlinear results in a design load combination,
define the load combination yourself.
If a design load combination includes a single static nonlinear case and nothing
else, the design is performed for each step of the static nonlinear analysis. Oth-
erwise, the design is performed for the last step of the static nonlinear analysis
only.
1.4. Shear Wall Design Preferences
The shear wall design preferences are basic properties that apply to all wall pier
and spandrel elements. Appendix B identifies shear wall design preferences for
CSA-A23.3-04. Default values are provided for all shear wall design prefer-
ence items. Thus, it is not required that preferences be specified. However, at
least review the default values for the preference items to make sure they are
acceptable.
Shear Wall Design Preferences 1-13

Shear Wall Design Manual CSA-A23.3-04
1.5. Shear Wall Design Overwrites
The shear wall design overwrites are basic assignments that apply only to those
piers or spandrels to which they are assigned. The overwrites for piers and
spandrels are separate. Appendix C identifies the shear wall overwrites for
CSA-A23.3-04. Note that the available overwrites change depending on the
pier section type (Uniform Reinforcing, General Reinforcing, or Simplified C
and T).
Default values are provided for all pier and spandrel overwrite items. Thus, it is
not necessary to specify or change any of the overwrites. However, at least re-
view the default values for the overwrite items to make sure they are accepta-
ble. When changes are made to overwrite items, the program applies the
changes only to the elements to which they are specifically assigned; that is, to
the elements that are selected when the overwrites are changed.
1.6. Choice of Units
For shear wall design in this program, any set of consistent units can be used
for input. Also, the system of units being used can be changed at any time.
Typically, design codes are based on one specific set of units.
The CSA-A23.3-04 code is based on newton-millimeter-second units. For sim-
plicity, all equations and descriptions presented in this manual correspond to
newton-millimeter-Second units unless otherwise noted.
The shear wall design preferences allow the user to specify special units for
concentrated and distributed areas of reinforcing. These units are then used for
reinforcing in the model, regardless of the current model units displayed in the
drop-down list on the status bar (or within a specific form). The special units
specified for concentrated and distributed areas of reinforcing can only be
changed in the shear wall design preferences.
The choices available in the shear wall design preferences for the units associ-
ated with an area of concentrated reinforcing are in2, cm2, mm2, and current
units. The choices available for the units associated with an area per unit length
of distributed reinforcing are in2/ft, cm2/m. mm2/m, and current units.
1-14 Shear Wall Design Overwrites

Chapter 1 Introduction
The current units option uses whatever units are currently displayed in the
drop-down list on the status bar (or within a specific form). If the current length
units are m, this option means concentrated areas of reinforcing are in m2 and
distributed areas of reinforcing are in m2/m. Note that when using the "current"
option, areas of distributed reinforcing are specified in Length2/Length units,
where Length is the currently active length unit. For example, if you are work-
ing in kN and m units, the area of distributed reinforcing is specified in m2/m.
If you are in kN and mm, the area of distributed reinforcing is specified in
mm2/mm.
Choice of Units 1-15

Chapter 2
Pier Design
This chapter describes how the program designs and checks concrete wall piers
for flexural and axial loads using CSA-A23.3-04, which was reaffirmed in
2010. First we describe how the program designs piers that are specified by a
Simplified Section. Next we describe how the program checks piers that are
specified by a Uniform Pier Reinforcing Section or General Section (i.e., De-
signer Section). Then we describe how the program designs piers that are spec-
ified by a Uniform Pier Reinforcing Section or General (Section Designer)
Section.
This chapter also describes how the program designs each leg of concrete wall
piers for shear using CSA-A23.3-04. Note that in this program it is not possible
to specify shear reinforcing and then have the program check it. The program
only designs the pier for shear and reports how much shear reinforcing is re-
quired. The shear design is performed at stations at the top and bottom of the
pier.
This chapter also describes the design of boundary zone elements for each pier
in accordance with CSA Section 21.6.7, 21.6.8 and 21.7.3.2 when a seismic
load case is present in wall design load combinations.
2-1

Shear Wall Design Manual CSA-A23.3-04
2.1 Wall Pier Flexural Design
For both designing and checking piers, it is important to understand the local
axis definition for the pier. Access the local axes assignments using the Assign
menu.
2.1.1 Designing a Simplified Pier Section
This section describes how the program designs a pier that is assigned a simpli-
fied section. The geometry associated with the simplified section is illustrated
in Figure 2-1. The pier geometry is defined by a length, thickness and size of
the edge members at each end of the pier (if any).
Figure 2-1: Typical Wall Pier Dimensions Used for Simplified Design
A simplified C and T pier section is always planar (not three-dimensional). The
dimensions shown in the figure include the following:
2-2 Wall Pier Flexural Design

Chapter 2 Pier Design
The length of the wall pier is designated Lp. This is the horizontal length of
the wall pier in plan.
The thickness of the wall pier is designated tp. The thickness specified for
left and right edge members (DB2left and DB2right) may be different from
this wall thickness.
DB1 represents the horizontal length of the pier edge member. DB1 can be
different at the left and right sides of the pier.
DB2 represents the horizontal width (or thickness) of the pier edge mem-
ber. DB2 can be different at the left and right sides of the pier.
The dimensions illustrated are specified in the shear wall overwrites (Appendix
C) and can be specified differently at the top and bottom of the wall pier.
If no specific edge member dimensions have been specified by the user, the
program assumes that the edge member is the same width as the wall, and the
program determines the required length of the edge member. In all cases,
whether the edge member size is user specified or program determined, the
program reports the required area of reinforcing steel at the center of the edge
member. This section describes how the program determined length of the
edge member is determined and how the program calculates the required rein-
forcing at the center of the edge member.
Three design conditions are possible for a simplified wall pier. These condi-
tions, illustrated in Figure 2-2, are as follows:
The wall pier has program determined (variable length and fixed width) edge
members on each end.
The wall pier has user defined (fixed length and width) edge members on
each end.
The wall pier has a program determined (variable length and fixed width)
edge member on one end and a user defined (fixed length and width) edge
member on the other end.
Wall Pier Flexural Design 2-3

Shear Wall Design Manual CSA-A23.3-04
Design Condition 2
Wall pier with user-defined edge
members
Design Condition 1
Wall pier with uniform thickness and
ETABS-determined (variable length)
edge members
Design Condition 3
Wall pier with a user-defined edge
member on one end and an ETABS-
determined (variable length) edge
member on the other end
Note:
In all three conditions, the only
reinforcing designed by ETABS is that
required at the center of the edge
members
Figure 2-2: Design Conditions for Simplified Wall Piers
2.1.1.1 Design Condition 1
Design condition 1 applies to a wall pier with uniform design thickness and
program determined edge member length. For this design condition, the design
algorithm focuses on determining the required size (length) of the edge
members, while limiting the compression and tension reinforcing located at the
center of the edge members to user specified maximum ratios. The maximum
ratios are specified in the shear wall design preferences and the pier design
overwrites as Edge Design PC-Max and Edge Design PT-Max.
Consider the wall pier shown in Figure 2-3. For a given design section, say the
top of the wall pier, the wall pier for a given design load combination is de-
signed for a factored axial force Pf-top and a factored moment Mf-top.
The program initiates the design procedure by assuming an edge member at the
left end of the wall of thickness tp and width B1-left, and an edge member at the
right end of the wall of thickness tp and width B1-right. Initially B1-left = B1-right =
tp.
The moment and axial force are converted to an equivalent force set Pleft-top and
Pright-top using the relationships shown in the following equations. (Similar
equations apply at the bottom of the pier.)
2-4 Wall Pier Flexural Design

Chapter 2 Pier Design
B1-right
tp
tp
B2-right
B3-right
0.5Lp
0.5tp
tp
0.5tp
B1-left
B2-left
B3-left
C
L
Lp
Wall Pier Plan
Pu-top
Mu-top
Pu-bot
Mu-bot
Pright-bot
Pleft-bot
Pright-top
PLeft-top
Left edge member
Right edge member
Wall Pier Elevation
Top of
pier
Bottom
of pier
Figure 2-3: Wall Pier for Design Condition 1
Wall Pier Flexural Design 2-5

Shear Wall Design Manual CSA-A23.3-04
( )
-top -top
left-top 1-lef 1-right
20.5 0.5
ff
pt
PM
PLB B
= + −−
( )
-top -top
right-top 1-lef 1-right
20.5 0.5
ff
pt
PM
PLB B
= − −−
For any given loading combination, the net values for Pleft-top and Pright-top could
be tension or compression.
Note that for dynamic loads, Pleft-top and Pright-top are obtained at the modal level
and the modal combinations are made, before combining with other loads. Also
for design loading combinations involving SRSS, the Pleft-top and Pright-top forces
are obtained first for each load case before the combinations are made.
If any value of Pleft-top or Pright-top is tension, the area of steel required for ten-
sion, Ast, is calculated as:
φ
=
st sy
P
Af
. (CSA 8.5.3.2(b))
If any value of Pleft-top or Pright-top is compression, for section adequacy, the area
of steel required for compression, Asc, must satisfy the following relationship.
( )
maxFactor 1
() [ ( ) ]
c c g sc s y sc
Abs P P f A A f A
′
= αφ − +φ
(CSA 10.10.4(b))
where P is either Pleft-top or Pright-top, Ag = tpB1 and the Pmax Factor is defined in the
shear wall design preferences (the default is 0.80). In general, we recommend
the default value. From the preceding equation,
( )
1
max Factor
1
() cc g
c
sc sy cc
Abs P fA
P
Aff
′
−αφ
φ
=′
φ −αφ
.
If Asc calculates as negative, no compression reinforcing is needed.
The maximum tensile reinforcing to be packed within the tp times B1 concrete
edge member is limited by:
st p
A PT t B=
-max max 1
2-6 Wall Pier Flexural Design

Chapter 2 Pier Design
Similarly, the compression reinforcing is limited by:
sc p
A PC t B=
-max max 1
If Ast is less than or equal to Ast-max and Asc is less than or equal to Asc-max, the
program will proceed to check the next loading combination; otherwise the
program will increment the appropriate B1 dimension (left, right or both, de-
pending on which edge member is inadequate) by one-half of the wall thick-
ness to B2 (i.e., 1.5tp) and calculate new values for Pleft-top and Pright-top resulting
in new values of Ast and Asc. This iterative procedure continues until Ast and Asc
are within the allowed steel ratios for all design load combinations.
If the value of the width of the edge member B increments to where it reaches a
value larger than or equal to Lp /2, the iteration is terminated and a failure con-
dition is reported.
This design algorithm is an approximate but convenient algorithm. Wall piers
that are declared overstressed using this algorithm could be found to be ade-
quate if the reinforcing steel is user specified and the wall pier is accurately
evaluated using interaction diagrams.
2.1.1.2 Design Condition 2
Design condition 2 applies to a wall pier with user specified edge members at
each end of the pier. The size of the edge members is assumed to be fixed; that
is, the program does not modify them. For this design condition, the design al-
gorithm determines the area of steel required in the center edge members and
checks if that area gives reinforcing ratios less than the user specified maxi-
mum ratios. The design algorithm used is the same as described for condition
1; however, no iteration is required.
2.1.1.3 Design Condition 3
Design condition 3 applies to a wall pier with a user specified (fixed dimen-
sion) edge member at one end of the pier and a variable length (program de-
termined) edge member at the other end. The width of the variable length edge
member is equal to the width of the wall.
Wall Pier Flexural Design 2-7

Shear Wall Design Manual CSA-A23.3-04
The design is similar to that which has previously been described for design
conditions 1 and 2. The size of the user specified edge member is not changed.
Iteration occurs only on the size of the variable length edge member.
2.1.2 Checking a General or Uniform Reinforcing Pier Section
When a General Reinforcing or Uniform Reinforcing pier section is specified
to be checked, the program creates an interaction surface for that pier and uses
that interaction surface to determine the critical flexural demand/capacity ratio
for the pier. This section describes how the program generates the interaction
surface for the pier and how it determines the demand/capacity ratio for a given
design load combination.
Note: In this program, the interaction surface is defined by a series of PMM
interaction curves that are equally spaced around a 360-degree circle.
2.1.2.1 Interaction Surface
In this program, a three-dimensional interaction surface is defined with refer-
ence to the P, M2 and M3 axes. The surface is developed using a series of in-
teraction curves that are created by rotating the direction of the pier neutral axis
in equally spaced increments around a 360-degree circle. For example, if 24
PMM curves are specified (the default), there is one curve every 15 degrees
(360°/24 curves = 15°). Figure 2-4 illustrates the assumed orientation of the
pier neutral axis and the associated sides of the neutral axis where the section is
in tension (designated T in the figure) or compression (designated C in the fig-
ure) for various angles.
Note that the orientation of the neutral axis is the same for an angle of θ and
θ+180°. Only the side of the neutral axis where the section is in tension or
compression changes. We recommend 24 interaction curves (or more) to define
a three-dimensional interaction surface.
Each PMM interaction curve that makes up the interaction surface is numeri-
cally described by a series of discrete points connected by straight lines. The
coordinates of these points are determined by rotating a plane of linear strain
about the neutral axis on the section of the pier. Details of this process are de-
scribed later in the section entitled Details of the Strain Compatibility Analysis.
2-8 Wall Pier Flexural Design

Chapter 2 Pier Design
a) Angle is 0 degrees 45°
Interaction curve is
for a neutral axis
parallel to this axis
3
2
Pier section
b) Angle is 45 degrees
Interaction curve is
for a neutral axis
parallel to this axis
3
2
Pier section
a) Angle is 180 degrees
225°
Interaction curve is
for a neutral axis
parallel to this axis
3
2
Pier section
b) Angle is 225 degrees
Interaction curve is
for a neutral axis
parallel to this axis
3
2
Pier section
T C
T C
C T
C T
Figure 2-4: Orientation of the Pier Neutral Axis for Various Angles
By default, 11 points are used to define a PMM interaction curve. This number
can be changed in the preferences; any odd number of points greater than or
equal to 11 can be specified, to be used in creating the interaction curve. If an
even number is specified for this item in the preferences, the program will in-
crement up to the next higher odd number.
Note that when creating an interaction surface for a two-dimensional wall pier,
the program considers only two interaction curvesthe 0° curve and the 180°
curveregardless of the number of curves specified in the preferences. Fur-
thermore, only moments about the M3 axis are considered for two-dimensional
walls.
2.1.2.2 Formulation of the Interaction Surface
The formulation of the interaction surface in this program is based consistently
on the basic principles of ultimate strength design given in Sections 10.1 and
10.10 of CSA-A23.3-04. The program uses the requirements of force equilibri-
um and strain compatibility to determine the nominal axial load and moment
Wall Pier Flexural Design 2-9

Shear Wall Design Manual CSA-A23.3-04
resistance (Pr, M2r, M3r) of the wall pier. This nominal strength is then multi-
plied by the appropriate strength reduction factor φc and φs to obtain the design
resistance of the pier. For the pier to be deemed adequate, the required strength
(Pf, M2f, M3f) must be less than or equal to the design strength.
(Pf, M2f, M3f) ≤ (Pr, M2r, M3r)
The effects of the strength reduction factors, φc and φs, are included in the gen-
eration of the interaction curve.
φc = Strength reduction factor for concrete. The default value is 0.65 (CSA
8.4.2).
φs = Strength reduction factor for reinforcing steel. The default value is
0.85 (CSA 8.4.3).
The theoretical maximum compressive force that the wall pier can carry is des-
ignated Pr,max and is given by the following equation:
Pr,max = 0.8[
α
1φcf 'c (Ag
−
As) + φyfyAs] (CSA 10.10.4)
The theoretical maximum tension force that the wall pier can carry is designat-
ed Pt,max and is given by the following equation:
Pt,max = φsfyAs (CSA 10.10.4)
If the wall pier geometry and reinforcing are symmetrical in plan, the moments
associated with both Pr,max and Pt,max are zero. Otherwise, there will be a mo-
ment associated with both Pr,max and Pt,max.
In addition to Pr,max and Pt,max, the axial load at the balanced strain condition,
i.e., Pb, is also determined. In this condition, the tension reinforcing reaches the
strain corresponding to its specified factored yield strength, φsfy, just as the
concrete reaches its assumed ultimate strain of 0.0035 (CSA 10.1.4).
Note that Pr,max is reduced not only by the strength reduction factors but also by
an additional factor of 0.80. In the preferences, this factor is called the Pmax Fac-
tor, and its value can be changed as necessary. In all CSA-A23.3.04 code de-
signs, it is prudent to consider this factor to be 0.80, as required by the code.
2-10 Wall Pier Flexural Design

Chapter 2 Pier Design
Note: The number of points to be used in creating interaction diagrams can be
specified in the shear wall preferences and overwrites.
As previously mentioned, by default, 11 points are used to define a single in-
teraction curve. When creating a single interaction curve, the program includes
the points at Pb, Pr,max and Pt,max on the interaction curve. Half of the remaining
number of specified points on the interaction curve occur between Pb and Pr,max
at approximately equal spacing along the Pr axis. The other half of the remain-
ing number of specified points on the interaction curve occur between Pb and
Pt,max at approximately equal spacing along the Pr axis.
Figure 2-5 shows a plan view of an example two-dimensional wall pier. Notice
that the concrete is symmetrical but the reinforcing is not symmetrical in this
example. Figure 2-6 shows several interaction surfaces for the wall pier illus-
trated in Figure 2-5.
f c= 35 MPa
fyd = 400 MPa
300 mm
5000 mm
100 mm
T25@400 mm,
each face, except
as noted
100 mm
12 spaces at 400 mm = 4800 mm
2-T32
2-T32
2-T25
Figure 2-5: Example Two-Dimensional Wall Pier With Unsymmetrical Reinforcing
Note the following about Figure 2-6:
Because the pier is two-dimensional, the interaction surface consists of two
interaction curves. One curve is at 0° and the other is at 180°. Only M3
moments are considered because this is a two-dimensional example.
In this program, compression is negative and tension is positive.
The 0° and 180° interaction curves are not symmetric because the wall pier
reinforcing is not symmetric.
Wall Pier Flexural Design 2-11

Shear Wall Design Manual CSA-A23.3-04
The smaller interaction surface (drawn with a heavier line) has both the
strength reduction factors and the Pmax Factor, as specified by CSA-A23.3-04.
The dashed line shows the effect of setting the Pmax Factor to 1.0.
The larger interaction surface has both the strength reduction factor and the
Pmax Factor set to 1.0.
The interaction surfaces shown are created using the default value of 11
points for each interaction curve.
N
r
M
3r
Pmax Factor = 1.0 Pmax Factor = 1.0
Pmax Factor = 0.80
Poc
Pot
Pbfor 180°curve
Pbfor 180°curve
Pbfor
0 °curve
Pbfor 0 °curve
0º curves
180º curves
−7000
−6000
−5000
−4000
−3000
−2000
−1000
0
1000
−12000−10000 −8000 −6000 −4000 −2000 02000 4000 6000 8000 10000 12000
Figure 2-6 : Interaction Curves for Example Wall Pier Shown in Figure 2-5
Figure 2-7 shows the 0° interaction curves for the wall pier illustrated in Figure
2-5. Additional interaction curves are also added to Figure 2-7.
The smaller, heavier curve in Figure 2-7 has the strength reduction factor and
the Pmax Factor as specified in CSA-A23.3-04. The other three curves, which are
plotted with φ factors as 1.0, all have Pmax Factors of 1.0. The purpose of showing
these interaction curves is to explain how the program creates the interaction
2-12 Wall Pier Flexural Design

Chapter 2 Pier Design
curve. Recall that the strength reduction factors 0.65 and 0.85 are actually φc
and φs, and that their values can be revised in the overwrites as required.
−7000
−6000
−5000
−4000
−3000
−2000
−1000
−2000
1000
20000
04000 6000 8000 10000 12000
1.0φ=
0.65 and 0.85per CSA-A23.3-04
cs
φ= φ=
P
max Factor
= 0.80 per CSA-A23.3-04
P
r
M
3 r
0.65φ=
Figure 2-7: Interaction Curves for Example Wall Pier Shown in Figure 2-5
2.1.2.3 Details of the Strain Compatibility Analysis
As previously mentioned, the program uses the requirements of force equilibrium
and strain compatibility to determine the nominal axial load and moment strength
(Pr, M2r, M3r) of the wall pier. The coordinates of these points are determined by
rotating a plane of linear strain on the section of the wall pier.
Figure 2-8 illustrates varying planes of linear strain such as those that the pro-
gram considers on a wall pier section for a neutral axis orientation angle of 0
degrees.
In these planes, the maximum concrete strain is always taken as −0.0035 and
the maximum steel strain is varied from −0.0035 to plus infinity. (Recall that in
this program compression is negative and tension is positive.) When the steel
strain is −0.0035, the maximum compressive force in the wall pier, Poc, is ob-
Wall Pier Flexural Design 2-13

Shear Wall Design Manual CSA-A23.3-04
tained from the strain compatibility analysis. When the steel strain is plus infin-
ity, the maximum tensile force in the wall pier, Pot, is obtained. When the max-
imum steel strain is equal to the yield strain for the reinforcing, Pb is obtained.
Varying
neutral axis
locations
Varying Linear Strain Diagram
Plan View of Wall Pier
-0.0035
0.000
+
ε
-
ε
Figure 2-8: Varying Planes of Linear Strain
Figure 2-9 illustrates the concrete wall pier stress-strain relationship that is ob-
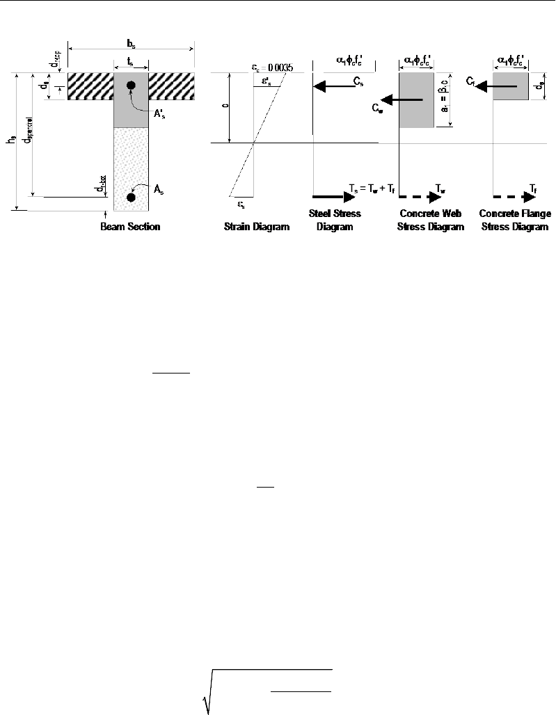
tained from a strain compatibility analysis of a typical plane of linear strain φs
shown in Figure 2-10. In Figure 2-9 the compressive stress in the concrete, Cc,
is calculated (CSA 10.1.7).
Cc = (
α
1
φ
c f 'c)β1ctp (CSA 10.1.7)
In Figure 2-8, the value for maximum strain in the reinforcing steel is assumed.
Then the strain in all other reinforcing steel is determined based on the as-
sumed plane of linear strain. Next the stress in the reinforcing steel is calculat-
ed as follows, where εs is the strain, Es is the modulus of elasticity, σs is the
stress, and fy is the yield stress of the reinforcing steel.
σs = εsEs ≤ φs fy (CSA 8.5.3.2)
2-14 Wall Pier Flexural Design

Chapter 2 Pier Design
Plan View of Wall Pier
Linear Strain Diagram
c
ε
= 0.003
ε
s
1
ε
s
2
ε
s
3
ε
s
4
ε
s
5
ε
s
6
ε
s
7
ε
s
8
ε
s
9
ε
s
10
ε
s
11
ε
s
12
ε
s
13
Cc
Stress Diagram
Cs
1
Ts
5Cs
2
Cs
3
Cs
4
Ts
6
Ts
7
Ts
8
Ts
9
Ts
10
Ts
11
Ts
12
Ts
13
tp
1cc
f′
αφ
1
ac= β
Figure 2-9: Wall Pier Stress-Strain Relationship
The force in the reinforcing steel (Ts for tension or Cs for compression) is cal-
culated by:
Ts or Cs =
σ
sAs
For the given distribution of strain, the value of Pr is calculated by.
Pr = φ(ΣTs − Cc − ΣCs) ≤ Pmax
Pr ≤ Po,max (if compression)
Pr ≤ Pot,max (if tension)
Wall Pier Flexural Design 2-15

Shear Wall Design Manual CSA-A23.3-04
In the preceding equation, the tensile force Ts and the compressive forces Cc
and Cs are all positive. If Pr is positive, it is tension, and if it is negative, it is
compression. The terms Poc,max and Pot,max are calculated according to CSA Sec-
tion 10.10.4. The appropriate expression of these two terms was provided pre-
viously.
The value of M2 is calculated by summing the moments resulting from all of
the forces about the pier local 2-axis. Similarly, the value of M3 is calculated by
summing the moments resulting from all of the forces about the pier local 3-
axis. The forces whose moments are summed to determine M2r and M3r are Cc,
all of the Ts forces and all of the Cs forces.
The Pr, M2r and M3r values calculated as described previously make up one
point on the wall pier interaction diagram. Additional points on the diagram are
obtained by making different assumptions for the maximum steel stress; that is,
considering a different plane of linear strain, and repeating the process.
When one interaction curve is complete, the next orientation of the neutral axis
is assumed and the points for the associated new interaction curve are calculat-
ed. This process continues until the points for all of the specified curves have
been calculated.
2.1.3 Wall Pier Demand/Capacity Ratio
Refer to Figure 2-10, which shows a typical two-dimensional wall pier interac-
tion diagram. The forces obtained from a given design load combination are Pu
and M3u. The point L, defined by (Pf, M3f), is placed on the interaction dia-
gram, as shown in the figure. If the point lies within the interaction curve, the
wall pier capacity is adequate. If the point lies outside of the interaction curve,
the wall pier is overstressed.
As a measure of the stress condition in the wall pier, the program calculates a
stress ratio. The ratio is achieved by plotting the point L and determining the
location of point C. The point C is defined as the point where the line OL (ex-
tended outward if needed) intersects the interaction curve. The de-
mand/capacity ratio, D/C, is given by D/C = OL / OC where OL is the "dis-
tance" from point O (the origin) to point L and OC is the "distance" from point
O to point C. Note the following about the demand/capacity ratio:
2-16 Wall Pier Flexural Design

Chapter 2 Pier Design
If OL = OC (or D/C = 1), the point (Pf, M3f) lies on the interaction curve
and the wall pier is stressed to capacity.
If OL < OC (or D/C < 1), the point (Pf, M3f) lies within the interaction
curve and the wall pier capacity is adequate.
If OL > OC (or D/C > 1), the point (Pf, M3f) lies outside of the interaction
curve and the wall pier is overstressed.
The wall pier demand/capacity ratio is a factor that gives an indication of the
stress condition of the wall with respect to the capacity of the wall.
The demand/capacity ratio for a three-dimensional wall pier is determined in a
similar manner to that described here for two-dimensional piers.
Figure 2-10: Two-Dimensional Wall Pier Demand/Capacity Ratio
2.1.4 Designing a General Reinforcing or Uniform Reinforcing Pier
Section
When a General Reinforcing pier section is specified to be designed, the pro-
gram creates a series of interaction surfaces for the pier based on the following
items:
The size of the pier as specified in Section Designer.
Pr
M3r
O
L
C
M3f
Pf
Axial
Compression
Axial
Tension
Wall Pier Flexural Design 2-17

Shear Wall Design Manual CSA-A23.3-04
The location of the reinforcing specified in Section Designer.
The size of each reinforcing bar specified in Section Designer relative to the
size of the other bars.
The interaction surfaces are developed for eight different ratios of reinforcing-
steel-area-to-pier-area. The pier area is held constant and the rebar area is mod-
ified to obtain these different ratios; however, the relative size (area) of each
rebar compared to the other bars is always kept constant.
The smallest of the eight reinforcing ratios used is that specified in the shear
wall design preferences as Section Design IP-Min. Similarly, the largest of the
eight reinforcing ratios used is that specified in the shear wall design prefer-
ences as Section Design IP-Max.
The eight reinforcing ratios used are the maximum and the minimum ratios
plus six more ratios. The spacing between the reinforcing ratios is calculated as
an increasing arithmetic series in which the space between the first two ratios is
equal to one-third of the space between the last two ratios. Table 2-1 illustrates
the spacing, both in general terms and for a specific example, when the mini-
mum reinforcing ratio, IPmin, is 0.0025 and the maximum, IPmax, is 0.02.
Table 2-1 The Eight Reinforcing Ratios Used by the Program
Curve
Ratio
Example
1
IPmin
0.0025
2
IPmax IPmin
IPmin + 14
−
0.0038
3
7 IPmax IPmin
IPmin + 3 14
−
0.0054
4
IPmax IPmin
IPmin + 4 14
−
0.0075
5
IPmax IPmin
IPmin + 6 14
−
0.0100
6
25 IPmax IPmin
IPmin + 3 14
−
0.0129
7
IPmax IPmin
IPmin + 11 14
−
0.0163
8
IPmax
0.0200
2-18 Wall Pier Flexural Design

Chapter 2 Pier Design
After the eight reinforcing ratios have been determined, the program develops
interaction surfaces for all eight of the ratios using the process described earlier
in the section entitled Checking a General or Uniform Reinforcing Pier Sec-
tion.
Next, for a given design load combination, the program generates a de-
mand/capacity ratio associated with each of the eight interaction surfaces. The
program then uses linear interpolation between the eight interaction surfaces to
determine the reinforcing ratio that gives a demand/capacity ratio of 1 (actually
the program uses 0.99 instead of 1). This process is repeated for all design load
combinations and the largest required reinforcing ratio is reported.
Design of a Uniform Reinforcing pier section is similar to that described herein
for the General Reinforcing section.
2.2 Wall Pier Shear Design
The wall pier shear reinforcing is designed for each of the design load combi-
nations. The following steps are involved in designing the shear reinforcing for
a particular wall pier section for a particular design loading combination.
Determine the factored forces Pf, Mf and Vf that are acting on the wall pier
section. Note that Pf and Mf are required for the calculation of Vc.
In addition to designing for factored shear force, each leg of the shear wall is
designed for enhanced factored seismic loading. In the enhanced factored
forces, the seismic load factors are multiplied by force modification factors
(CSA 21.6.9.1, 21.7.3.4.1) provided in Shear Wall Design Preferences. The
force modification factor (CSA 21.6.9.1, 21.7.3.4.1) refers to shear cor-
responding to the development of the probable moment capacity of the wall
system at its plastic hinge location. This is a user specified factor in the
program and a default value of 2.0 is used.
The program does not amplify the shear resulting from design load combina-
tions that include earthquake, with load effects calculated using Rd and Ro
((21.6.9.1(b), 21.7.3.4.1(b)) as this condition does not govern for shear de-
sign. The program also ignores the magnification of the shear due to inelastic
effects of higher modes.
Wall Pier Shear Design 2-19

Shear Wall Design Manual CSA-A23.3-04
The ductility related force modifications factor, Rd and overstrength related
force modification factor, Ro are used to compute inelastic rotational demand
(CSA 21.6.7.2, 21.6.8.2 and 21.7.3.2). The inelastic rotational demand is
used for computing the β factor.
The ductility related force modifications factor, Rd and overstrength related
force modification factor, Ro reflect the capacity of a structure to dissipate
energy through inelastic behavior. As given in the National Building Code of
Canada, the value of Rd and Ro are taken as follows (CSA 21.6, NBCC
4.1.8.9, Table 4.1.8.9)
for Ordinary wall
R
d
= 1.0 and R
o
= 1.0
for Ductile Flexural wall (h
w
/l
p
> 2.0)
R
d
= 3.5 or 4.0
for Ductile Shear wall
R
d
= 3.5 and R
o
= 1.6
for Ductile Coupled wall
R
d
= 4.0 and R
o
= 1.7
for Ductile Partially Coupled wall
R
d
= 3.5 and R
o
= 1.7
for Moderately Ductile Shear wall (h
w
/l
p
> 2.0)
R
d
= 2.0 and R
o
= 1.4
Determine the shear force, Vc, that can be carried by the concrete.
Determine the required shear reinforcing to carry the balance of the shear force.
Step 1 needs no further explanation. The following two sections describe in de-
tail the algorithms associated with the Steps 2 and 3.
2.2.1 Determine the Concrete Shear Capacity
For designing ordinary shear wall or any other type of wall for nonseismic
load,
c
V
is calculated as follows:
,
c c cw
V f bd
′
= φ λβ
(CSA 11.3.4)
c
φ
is the resistance factor for concrete. By default, it is taken as 0.65
(CSA8.4.2). For concrete produced in a pre-qualified manufacturing plants,
its value can be taken as 0.70 (CSA 16.1.3). This value can be overwritten
in the Preferences.
2-20 Wall Pier Shear Design

Chapter 2 Pier Design
λ
is the strength reduction factor to account for low density concrete (CSA
2.2). For normal density concrete, its value is 1 (CSA 8.6.5), which is the
program default value. For concrete using lower density aggregate, the user
can change the value of
λ
in the material properties. The recommended
values for
λ
is as follows (CSA 8.6.5).
1.00, for normal density concrete,
0.85, for semi-low-density concrete
in which all of the fine aggregate is natural sand,
0.75, for semi-low-density concrete
in which none of the fine aggregate is natural
λ=
sand.
β
is the factor for accounting for the shear resistance of cracked concrete
(CSA 2.2). Its value is normally between 0.1 and 0.4. It is determine in ac-
cordance with section 11.3.6.4 of the Code, which is described in the sec-
tions that follow.
p
t
is the thickness of wall pier resisting the shear perpendicular to the shear
force direction.
v
d
is the effective shear depth. It is conservatively taken to be 0.8Lp.
dv = 0.8 Lp (CSA 11.0)
The value of the β factor is determined using the General method (CSA
11.3.6.4).
( ) ( )
0.40 1300
1 1500 1000
x ze
S
β= •
+ε +
(CSA 11.3.6.4)
In the preceding expression, the equivalent crack spacing parameter,
ze
S
, is
taken as equal to 300 mm if minimum transverse reinforcement is provided
(CSA 11.3.6.4).
300, if minimum transverse reinforcement is provided,
35 0.85 , otherwise.
15
ze zz
g
SSS
a
=≥
+
Wall Pier Shear Design 2-21

Shear Wall Design Manual CSA-A23.3-04
The longitudinal strain, εx, at mid-depth of the cross-section is computed
from the following equation:
( )
0.5
2
ε
++
=fv f f
xss
MdV N
EA
(CSA 11.3.6.4)
In evaluating the
,
x
ε
the following conditions apply:
f
V
and
f
M
are taken as positive quantities (CSA 11.3.6.4a)
s
A
is taken as the total area of longitudinal reinforcement in the pier sec-
tion. For the pier section check option, the program uses the sum of
user defined reinforcement in the section. For the column section de-
sign option, the longitudinal reinforcement area is taken as the enve-
lope of reinforcement required for all design load combinations. Ac-
tual provided reinforcement might be slightly higher than this quanti-
ty. The reinforcement should be developed to achieve full strength
(CSA 11.3.6.3 b).
If the value of
x
ε
calculated from the preceding equation is negative, it is
recalculated as follows:
( )
ε
++
= ≥−
+
0.5 0.0002
2
fff
v
xs s c ct
MVN
d
EA EA
(CSA 11.3.6.4 d)
For sections closer than
v
d
from the face of the support,
x
ε
is calculated
based on
, ,and
ff f
MV N
at a section at a distance
v
d
from the face of the
support (CSA 11.3.6.4 d).
If the axial tension is large enough to crack the flexural compression face
of the section, the value of
x
ε
is increased by a factor of 2 (CSA 11.3.6.4
e). The program uses a linear elastic stress distribution to check this condi-
tion.
An upper limit on
x
ε
is imposed as follows:
0.003
x
e≤
(CSA 11.3.6.4 f)
2-22 Wall Pier Shear Design

Chapter 2 Pier Design
x
ε
is positive for tensile action.
f
N
is positive for tensile action.
In the preceding equation, dv, the distance between the resultants of the tensile
and compressive forces, is conservatively taken to be 0.8 Lp.
dv = 0.8 Lp (CSA 11.0)
The term λ that is used as a multiplier on all
c
f′
terms in this chapter is a shear
strength reduction factor that applies to light-weight concrete (CSA 11.0, CSA
8.6.5). It is equal to 1 for normal weight concrete. This factor is specified in the
concrete material properties.
For designing Ductile Flexural walls, Ductile Coupled walls, and Ductile
Partially Coupled walls subjected to seismic loads, the following additional
clauses are checked by program:
(i) When the inelastic rotational demand on the wall, θid ≤ 0.005
c
0.15
f cp v
V ftd
′
≤φ
(CSA 21.6.9.6 (a))
0.18β=
(CSA 21.6.9.6 (b))
(ii) When the inelastic rotational demand on the wall, θid ≥ 0.015
c
0.10
f cp v
V ftd
′
≤φ
(CSA 21.6.9.6 (a))
0β=
(CSA 21.6.9.6 (b))
(iii) A linear interpolation is used for determining the
f
V
and
β
when the
inelastic rotational demand, θid, on the wall is between 0.005 to 0.015.
(iv) The value of θ is taken as 45 degree.
With those modification, the shear design calculation proceeds in the same way
as that for Ordinary shear walls.
For designing shear walls with Moderately Ductile Shear walls subjected to
seismic loads, Vc is computed based on the assumption that
Wall Pier Shear Design 2-23

Shear Wall Design Manual CSA-A23.3-04
β = 0.1 and θ = 45 degrees (CSA 21.73.4.2)
Otherwise the procedure for computing Vc is the same as that for Ordinary
moment resisting frames (CSA 11.4).
2.2.2 Determine the Required Shear Reinforcing
Given Vf and vc, the following procedure provides the required shear reinforc-
ing in area per unit length.
The average shear stress is computed for a rectangular section as:
v =
vp
f
dt
V
In the preceding equation, dv, the distance between the resultants of the ten-
sile and compressive forces, is conservatively taken to be 0.8 Lp.
dv = 0.8 Lp (CSA 11.0)
The average shear stress, Vf, is limited to a maximum limit, Vr,max, given by
Vr,max = 0.25 φc
c
f′
(CSA 11.3.3)
The shear reinforcement per unit spacing is computed as follows:
If
,
fc
VV≤
0
=
v
A
s
(CSA 11.3.5.1)
else if
,maxcfr
VVV<≤
( )
tan−θ
=φ
fc
v
syv
VV
A
s fd
(CSA 11.3.3, 11.3.5.1)
else if
,maxfr
VV>
a failure condition is declared. (CSA 11.3.3)
2-24 Wall Pier Shear Design

Chapter 2 Pier Design
Where the minimum shear reinforcement is required by section CSA 11.2.8.1,
or by calculations, the minimum area of shear reinforcement per unit spacing is
taken as:
c
vw
y
f
Ab
sf
′
≥
(CSA 11.2.8.2)
In the preceding, the term θ is used. Here θ is the angle of inclination of diago-
nal compressive stresses to the longitudinal axis of the member. The θ value is
normally between 22 to 44 degrees. It is determined in accordance with Section
11.3.6 of the Code.
Similar to the β factor, which was described previously, the value of θ is pref-
erably determined using the Simplified method (CSA 11.3.6.3), whenever ap-
plicable. The program uses the General method when the conditions for the
Simplified methods are not satisfied (CSA 11.3.6.4). For designing concrete
column sections for shear forces, the special value of θ does not apply (CSA
11.3.6.2).
If the axial force is compressive, the specified yield strength of the longitudinal
reinforcing fy does not exceed 400 MPa, and the specified concrete strength
c
f′
does not exceed 60 MPa, θ is taken to be 35 degrees (CSA 11.3.6.3).
o
35θ=
for
0 or 400MPa or 60MPa.
fy c
Pf f
′
≤≤ ≤
(CSA11.3.6.4)
If the axial force is tensile, the specified yield strength of the longitudinal rein-
forcing fy > 400 MPa, and the specified concrete strength
c
f′
> 60 MPa, θ is
determined using the General method as follows (CSA 11.3.6.4).
29 7000 x
θ= + ε
for
0
f
P<
or
y
f>
400 MPa or
c
f′>
60 MPa (CSA11.3.6.4)
where
x
ε
is the longitudinal strain at the mid-depth of the cross-section for the
factored load. The calculation procedure has been described in the preceding
sections.
Wall Pier Shear Design 2-25

Shear Wall Design Manual CSA-A23.3-04
The maximum of all the calculated Av /s values, obtained from each load com-
bination, is reported for each leg of the wall along with the controlling shear
force and associated load combination number. The output units for the dis-
tributed shear reinforcing can be set in the shear wall design preferences.
2.3 Wall Pier Boundary Elements
This section describes how the program considers the boundary element re-
quirements for each leg of concrete wall piers using CSA-A23.3-04 when the
Ductile Flexural wall, Ductile Coupled wall, Ductile Partially Coupled wall or
Moderately Ductile Shear wall option is chosen. The program uses an approach
based on the requirements of Section 21.6.7, 21.6.8 and 21.7.3.2 of CSA-
A23.3-04. The program does not compute boundary zone requirement when
inelastic rotational demand exceeds the inelastic rotational capacity of the wall.
Note that the boundary element requirements are considered separately for
each design load combination that includes seismic load.
2.3.1 Details of Check for Boundary Element Requirements
The following information is available for the boundary element check:
The design forces Pf, Vf, and Mf for the pier section.
The height of the entire wall, hw, length of the wall pier, Lp, the gross area of
the pier, Ag, and the net area of the pier, Acv. The net area of the pier is the ar-
ea bounded by the web thickness, tp, and the length of the pier. (Refer to Fig-
ure 2-3 earlier in this chapter for an illustration of the dimensions Lp and tp.)
The program also computes the design displacement ∆f by multiplying the
displacement from a load combination with the Rd Ro factor provided in the
shear wall design preferences (Appendix C).
The area of reinforcement in the pier, As. This area of steel is calculated by
the program or it is provided by the user.
The material properties of the pier,
c
f′
and fy.
The symmetry of the wall pier (i.e., is the left side of the pier the same as the
right side of the pier). Only the geometry of the pier is considered, not the re-
2-26 Wall Pier Boundary Elements

Chapter 2 Pier Design
inforcing, when determining if the pier is symmetrical. Figure 2-11 shows
some examples of symmetrical and unsymmetrical wall piers. Note that a
pier defined using Section Designer is assumed to be unsymmetrical, unless
it is made up of a single rectangular shape.
Figure 2-11 Example Plan Views of Symmetrical and Unsymmetrical Wall Piers
Using this information, the program calculates the inelastic rotation demand,
θid, as follows:
(i) for Ductile Flexural wall (CSA 21.6.7.2)
( )
0.004
2
∆ −∆ γ
θ= ≥
−
f do fw
id w
w
RR
l
h
(ii) for Ductile Coupled and partially Coupled wall (CSA 21.6.8.2)
0.004
∆
θ= ≥
fdo
id
w
RR
h
(iii) for Moderately Ductile Flexural wall (CSA 21.7.3.2)
( )
0.003
2
∆ −∆ γ
θ= ≥
−
f do fw
id w
w
RR
l
h
where,
∆fdo
RR
= the design displacement
Wall Pier Boundary Elements 2-27

Shear Wall Design Manual CSA-A23.3-04
∆γ
fw
= the elastic portion of displacement.
γ
w
is taken as 1.3.
w
l
= length of the wall
The inelastic rotational capacity of the wall, θic, for Ductile Flexural wall, Duc-
tile Coupled and Ductile Partially coupled and Moderately Ductile shear wall
(CSA 21.6.7.3, 21.6.8.3, 21.7.3.2) is computed as follows:
0.002 0.025
2
ε
θ= − ≤
cu w
ic
l
c
(CSA 21.6.7.3)
where,
ε
cu
is taken as 0.0035.
The depth of neutral axis, c, is determine using CSA Eqn. 21-12.
11
s n ns
c cp
PPP
cft
++
=′
αβφ
(CSA 21.6.7.3)
If boundary elements are required, the program calculates the minimum
required length of the boundary zone at each end of the wall, LBZ, in
accordance with the requirements of Section 21.6.6.4 in CSA-A23.3-04. The
code requires that LBZ shall not be less than 0.0015lw (CSA 21.6.6.4). Figure 2-
12 illustrates the boundary zone length LBZ.
LBZ LBZ
Lp
Figure 2-12: Illustration of Boundary Zone Length, LBZ
2-28 Wall Pier Boundary Elements

Chapter 3
Spandrel Design
This chapter describes how the program designs concrete shear wall spandrels
for flexure and shear when CSA-A23.3-04 is the selected design code. The
program allows consideration of rectangular sections and T-beam sections for
shear wall spandrels. Note that the program designs spandrels at stations
located at the ends of the spandrel. No design is performed at the center (mid-
length) of the spandrel. The program does not allow shear reinforcing to be
specified and then checked. The program only designs the spandrel for shear
and reports how much shear reinforcing is required.
3.1 Spandrel Flexural Design
In this program, wall spandrels are designed for major direction flexure and
shear only. Effects caused by any axial forces, minor direction bending, torsion
or minor direction shear that may exist in the spandrels must be investigated by
the user independent of the program. Spandrel flexural reinforcing is designed
for each of the design load combinations. The required area of reinforcing for
flexure is calculated and reported only at the ends of the spandrel beam.
The following steps are involved in designing the flexural reinforcing for a par-
ticular wall spandrel section for a particular design loading combination at a
particular station.
3-1

Shear Wall Design Manual CSA-A23.3-04
Determine the maximum factored moment Mf.
Determine the required flexural reinforcing.
These steps are described in the following sections.
3.1.1 Determine the Maximum Factored Moments
In the design of flexural reinforcing for spandrels, the factored moments for
each design load combination at a particular beam station are first obtained.
The beam section is then designed for the maximum positive and the maximum
negative factored moments obtained from all of the design load combinations.
3.1.2 Determine the Required Flexural Reinforcing
In this program, negative beam moments produce top steel. In such cases, the
beam is always designed as a rectangular section.
In this program, positive beam moments produce bottom steel. In such cases,
the beam may be designed as a rectangular section, or as a T-beam section. In-
dicate that a spandrel is to be designed as a T-beam by specifying the appropri-
ate slab width and depth dimensions in the spandrel design overwrites (Appen-
dix C).
It is assumed that the compression carried by the concrete is less than that
which can be carried at the balanced condition (CSA 10.1.4). When the applied
moment exceeds the moment capacity at the balanced condition, the program
calculates an area of compression reinforcement assuming that the additional
moment is carried by compression reinforcing and additional tension reinforc-
ing.
In designing the spandrel flexural reinforcement, the limit of fc' is taken to be
80 MPa for Ordinary, Ductile Coupled, and Ductile Partially Coupled spandrel
walls.
fc' ≤ 80 MPa (Ordinary) (CSA 8.6.1.1)
fc' ≤ 80 MPa (Ductile Coupled, and Ductile Partially
Coupled spandrel walls.) (CSA 21.2.6.2)
3-2 Spandrel Flexural Design

Chapter 3 Spandrel Design
The limit of fy is taken to be 500 MPa for Ordinary spandrels and 400 MPa for
Ductile Coupled and Ductile Partially Coupled spandrel walls.
fy ≤ 500 MPa (Ordinary) (CSA 8.5.1)
fy ≤ 400 MPa (Ductile Coupled, and Ductile Partially
Coupled spandrel walls.) (CSA 21.2.7.1)
Figure 3-1 Rectangular Spandrel Beam Design, Positive Moment
The procedure used by the program for both rectangular and T-beam sections
is given in the subsections that follow.
3.1.2.1 Rectangular Beam Flexural Reinforcing
Refer to Figure 3-1. For a rectangular beam, the factored moment, Mu, is resist-
ed by a couple between the concrete in compression and the tension in rein-
forcing steel. This is expressed as follows:
spandrel
2
fc
a
M Cd
= −
Spandrel Flexural Design 3-3

Shear Wall Design Manual CSA-A23.3-04
where
1
αφ
′
=
c cc s
C f at
and dspandrel is equal to hs − dr-bot for positive bending
and hs − dr-top for negative bending.
In designing for a factored negative or positive moment, Mu (i.e., designing top
or bottom steel), the depth of the compression block is given by a:
2
spandrel spandrel
1
2
f
cc s
M
ad d ft
=−−
′
αφ
(CSA 10.1)
where the value of φc is 0.65 (CSA 8.4.2) in these equations. Also α1 is calcu-
lated as follows:
α1 = 0.85 − 0.0015fc' ≥ 0.67. (CSA 10.1.7)
The program uses the previous equation to determine the depth of the compres-
sion block, a.
The depth of the compression block, a, is compared with β1 (CSA 10.1.7),
where,
β1 = 0.97 − 0.0025fc' ≥ 0.67. (CSA 10.1.7)
cb, the distance from the extreme compression fiber to the neutral axis for bal-
anced strain conditions, is given by the following equation:
spandrel
700
700
=+
b
y
cd
f
(CSA 10.5.2)
Note: If the required tension reinforcing exceeds the balanced reinforcing, the
program provides compression steel to help resist the applied moment.
3.1.2.1.1 Tension Reinforcing Only Required
If a ≤ β1cb (CSA 10.5.2), the area of tensile steel reinforcement is
then given by
spandrel 2
f
s
sy
M
Aa
fd
=
φ−
3-4 Spandrel Flexural Design

Chapter 3 Spandrel Design
The steel is placed at the bottom for positive moment and at the top for nega-
tive moment.
Note: The program reports the ratio of top and bottom steel required in the web
area. When compression steel is required, those ratios may be large because
there is no limit on them. However, the program reports an overstress when the
ratio exceeds 4%.
3.1.2.1.2 Tension and Compression Reinforcing Required
If a > β1cb (CSA 10.5.2), compression reinforcement is required and is
calculated as follows.
The compressive force developed in concrete alone is given by
The depth of the concrete compression block, a, is set equal to ab = β1cb. The
compressive force developed in the concrete alone is given by:
1.
c c csb
C f ta
′
=αφ
(CSA 10.17)
The moment resisted by the couple between the concrete in compression and
the tension steel, Mfc, is given by:
spandrel .
2
b
fc c a
M Cd
= −
Therefore, the additional moment to be resisted by the couple between the
compression steel and the additional tension steel, Mfs, is given by:
.
fs f fc
M MM= −
The force carried by the compression steel, Cs, is given by:
spandrel
.
fs
sr
M
Cdd
=−
Referring to Figure 3-1, the strain in the compression steel,
ε
's, is given by:
( )
0.0035 .
r
s
cd
c
−
′
ε=
(CSA 8.5.3.2, CSA 10.1.3)
Spandrel Flexural Design 3-5

Shear Wall Design Manual CSA-A23.3-04
The stress in the compression steel, f 's, is given by
( )
0.0035
sr
s ss y
Ecd
fE f
c
ε
−
′′
= = ≤
(CSA 8.5.3.2, CSA 10.1.3)
The term dr in the preceding equations is equal to dr-top for positive bending
and equal to dr-bot for negative bending. The term c is equal to
b
c
(CSA 10.1.7).
The total required area of compression steel, A's, is calculated using the follow-
ing equation.
()
1
s
s
ss c c
C
Aff
′=′′
φ −φα
The required area of tension steel for balancing the compression in the concrete
web, Asw, is:
max
spandrel
.
2
fc
sw
sy
M
Aa
fd
=
φ−
The required area of tension steel for balancing the compression steel, Asc, is:
( )
spandrel
.
fs
sc sy r
M
Afd d
=φ−
In the preceding Equations, dspandrel is equal to hs − dr-bot for positive bending
and hs − dr-top for negative bending. dr is equal to dr-top for positive bending and
dr-bot for negative bending.
The total tension reinforcement As is given by:
.
s sw sc
AA A= +
The total tension reinforcement As is to be placed at the bottom of the beam and
total compression reinforcement As' at the top for positive bending and vice
versa for negative bending.
3-6 Spandrel Flexural Design

Chapter 3 Spandrel Design
3.1.2.2 T-Beam Flexural Reinforcing
T-beam action is considered effective for positive moment only. When design-
ing T-beams for negative moment (i.e., designing top steel), the calculation of
required steel is as described in the previous section for rectangular sections.
No T-beam data is used in this design. The width of the beam is taken equal to
the width of the web, ts.
For positive moment, the depth of the compression block, a, and the method
for calculating the required reinforcing steel relates the compression block
depth, a, is previously described in Section 3.1.2, to the depth of the T-beam
flange, ds. See Figure 3-2.
If a ≤ ds, the subsequent calculations for the reinforcing steel are exactly
the same as previously defined for rectangular section design. However, in
that case, the width of the compression block is taken to be equal to the
width of the compression flange, bs. Compression reinforcement is provid-
ed when the dimension "a" exceeds β1cb, where β1 and cb are given by pre-
vious equations for rectangular beam.
If a > ds, the subsequent calculations for the required area of reinforcing
steel are performed in two parts. First, the tension steel required to balance
the compressive force in the flange is determined, and second, the tension
steel required to balance the compressive force in the web is determined. If
necessary, compression steel is added to help resist the design moment.
The remainder of this section describes in detail the design process used by the
program for T-beam spandrels when a > ds.
Refer to Figure 3-2. The protruding portion of the flange is shown cross-
hatched. The compression force in the protruding portion of the flange, Cf, is
given by:
()
1
α
′
= −
f cs ss
C f b td
Note: T-beam action is considered for positive moment only.
Spandrel Flexural Design 3-7

Shear Wall Design Manual CSA-A23.3-04
Figure 3-2: Design of a Wall Spandrel with a T-Beam Section, Positive Moment
The required area of tension steel for balancing the compression force in the
concrete flange, Asf, is:
.
cf
sf sy
C
Af
φ
=φ
The portion of the total moment, Mu, that is resisted by the flange, Mff, is given
by:
spandrel
2
s
ff c f
d
M Cd
=φ−
Therefore, the balance of the moment to be carried by the web, Mfw, is given
by:
.
fw f ff
M MM= −
The web is a rectangular section of width ts and depth hs for which the design
depth of the compression block, a1, is recalculated as:
2
1 spandrel spandrel '
1
2fw
ccs
M
ad d ft
=−−
αφ
(CSA 10.1)
3-8 Spandrel Flexural Design

Chapter 3 Spandrel Design
3.1.2.2.1 Tension Reinforcing Only Required
If a1 ≤ β1cb (CSA 10.5.2), no compression reinforcing is required and the pro-
gram calculates the area of tension steel for balancing the compression force in
the concrete web, Asw, using the following equation.
1
spandrel
2
fw
sw
sy
M
Aa
fd
=
φ−
The total tension reinforcement As is given by:
.
s sf sw
AA A= +
The total tension reinforcement, As, is to be placed at the bottom of the beam
for positive bending.
3.1.2.2.2 Tension and Compression Reinforcing Required
If a1 > β1cb (CSA 10.5.2), compression reinforcing is required. In that case, the
required reinforcing is computed as follows.
The depth of the concrete compression block, a, is set equal to ab = β1cb. The
compressive force developed in the web concrete alone is given by
1w cc s
C f at
′
=αφ
The moment resisted by the couple between the concrete web in compression
and the tension steel, Mfc, is given by
spandrel 2
= −
b
fc w a
M Cd
Therefore, the additional moment to be resisted by the couple between the
compression steel and the tension steel, Mfs, is given by:
= −
fs fw fc
MMM
Referring to Figure 3-2, the force carried by the compression steel, Cs, is given
by:
Spandrel Flexural Design 3-9

Shear Wall Design Manual CSA-A23.3-04
spandrel -
.
fs
sr top
M
Cdd
=−
(CSA 10.1.7)
The strain in the compression steel,
ε
s', is given by:
( )
-
0.0035 .
r top
s
cd
c
ε
−
′=
(CSA 8.5.3.2, CSA 10.1.3)
The stress in the compression steel, fs', is given by:
( )
-top
0.0035 .
sr
s ss y
Ecd
fE f
c
ε
−
′′
= = ≤
(CSA 8.5.3.2, CSA 10.1.3)
The term c is equal to
1
.
b
aβ
The required area of compression steel, As', is calculated using
1
.
s
sss c c
C
Aff
′=′′
φ −φ α
The required area of tension steel for balancing the compression in the concrete
web, Asw, is:
spandrel 2
fc
sw
sy
M
Aa
fd
=
φ−
The required area of tension steel for balancing the compression steel, Asc, is:
( )
spandrel
-top
fs
sc
sy
M
Afd d
r
=
φ−
4
The total tension reinforcement As is given by:
.
s sf sw sc
AA A A=++
The total tension reinforcement, As is to be placed at the bottom of the beam,
and total compression reinforcement, As' at the top of the beam.
3-10 Spandrel Flexural Design

Chapter 3 Spandrel Design
3.1.2.2.3 Minimum and Maximum Tensile Reinforcement
The minimum flexural tensile steel required for spandrel section is given by the
minimum of two limits:
As ≥
0.2 c
y
f
f
′
bwh, or (CSA 10.5.1.2)
As ≥
3
4
As(required) (CSA 10.5.1.3)
An upper limit of 0.04 times the gross web area on both the tension reinforce-
ment and the compression reinforcement is arbitrarily imposed as follows:
As ≤ 0.04 tsdspandrel
As' ≤ 0.04 tsdspandrel
For Ductile Flexural walls, Ductile Coupled walls, and Ductile Partially Cou-
pled walls, when designing for seismic load combinations, the following addi-
tional conditions are satisfied:
The minimum longitudinal reinforcement shall be provided at both the top
and the bottom. Any of the top and bottom reinforcement shall not be less
than As(min).
As(min) ≥
y
f
4.1
tsdspandrel (CSA 21.3.2.1)
The beam flexural steel is limited to a maximum given by:
As ≤ 0.025 tsdspandrel (CSA 21.3.2.1)
3.2 Spandrel Shear Design
The program allows consideration of rectangular sections and T-beam sections
for wall spandrels. The shear design for both of these types of spandrel sections
is identical.
Spandrel Shear Design 3-11

Shear Wall Design Manual CSA-A23.3-04
The wall spandrel shear reinforcing is designed for each of the design load
combinations. The required area of reinforcing for vertical shear is calculated
only at the ends of the spandrel beam.
In this program, wall spandrels are designed for major direction flexure and
shear forces only. Effects caused by any axial forces, minor direction bending,
torsion or minor direction shear that may exist in the spandrels must be investi-
gated by the user independent of the program.
The following steps are involved in designing the shear reinforcing for a par-
ticular wall spandrel section for a particular design loading combination at a
particular station.
Determine the factored shear force Vf.
Determine the shear force, Vc, that can be carried by the concrete.
Determine the required shear reinforcing to carry the balance of the shear
force.
Note: In the overwrites, Vc can be specified to be ignored (set to zero) for spandrel
shear calculations.
Step 1 needs no further explanation. The following two sections describe in de-
tail the algorithms associated with Steps 2 and 3.
3.2.1.1 Determine Factored Forces
The factored forces Pf, Mf, and Vf that are acting on the spandrel section are de-
termined from the basic forces for each load case and the load combination fac-
tors. Then the spandrel is designed for the factored forces.
In addition to designing for the factored shear force, the spandrel section is de-
signed for enhanced factored forces if the design load combination involves
any seismic loading. In the enhanced factored forces, the seismic load factors
are multiplied by a force modification factor. The force modification factor is a
user defined parameter which needs to be specified in Shear Wall Design Pref-
erences for CSA A23.3-04 code. This modification factor reflects the capabil-
ity of a structure to dissipate energy through inelastic behaviors. As given in
the National Building Code of Canada.
3-12 Spandrel Shear Design

Chapter 3 Spandrel Design
3.2.2 Determine the Concrete Shear Capacity
Given the design force set
f
M
and
,
f
V
the shear capacity provided by the con-
crete alone,
,
c
V
is calculated as follows:
,
′
= φ λβ
c c csv
V f td
(CSA 11.3.4)
φc
is the resistance factor for concrete. By default it is taken as 0.65
(CSA8.4.2). For concrete produced in a pre-qualified manufacturing plants,
its value can be taken as 0.70 (CSA 16.1.3). This value can be overwritten
in the Preferences.
λ
is the strength reduction factor to account for low density concrete (CSA
2.2). For normal density concrete, its value is 1 (CSA 8.6.5), which is taken
by the program as the default value. For concrete using lower density ag-
gregate, the user can change the value of
λ
in the material property data.
The recommended value for
λ
is as follows (CSA 8.6.5).
1.00, for normal density concrete,
0.85, for semi-low-density concrete
in which all of the fine aggregate is natural sand,
0.75, for semi-low-density concrete
in which none of the fine aggregate is natural
λ=
sand.
β
is the factor for accounting for the shear resistance of cracked concrete
(CSA 2.2). Its value is normally between 0.1 and 0.4. It is determine ac-
cording to the section 11.3.6 of the Code, which is described in the sec-
tions that follow.
w
b
is the effective web width. For rectangular beam, it is the width of the
beam. For T-beam, it is the width of the web of the beam.
v
d
is the effective shear depth. It is taken as the greater of 0.9d or 0.72h,
{ }
max 0.9 ,0.72=
v
d dh
(CSA 2.2)
Spandrel Shear Design 3-13

Shear Wall Design Manual CSA-A23.3-04
where d is the distance from the extreme compression fiber to the centroid of
tension reinforcement, and h is the overall depth of the cross-section in the di-
rection of shear force.
The value of the β factor is preferably taken as the Special value (CSA
11.3.6.2) or it is determined using the Simplified method (CSA 11.3.6.3), if
applicable. When the conditions of the Special value or Simplified method do
not apply, the General method is used to determine the β factor (CSA
11.3.6.4).
If the overall spandrel depth, h, is less than 250 mm or if the spandrel depth of
a
T-beam before the slab is not greater than one-half of the width of web or 350
mm, β is taken as 0.21 (CSA 11.3.6.2)
When the specified yield strength of the longitudinal reinforcing fy does not ex-
ceed 400 MPa, and the specified concrete strength
c
f′
does not exceed 60 MPa,
β is determined in accordance with the Simplified method, as follows (CSA
11.6.3.3):
When the section contains at least the minimum transverse reinforcement, β
is taken as 0.18 (CSA 11.6.3.3a).
β = 0.18 (CSA 11.6.3.a)
When the section contains no transverse reinforcement, β is determined
based on the specified maximum nominal size of coarse aggregate,
g
a
.
For maximum size of coarse aggregate not less than 20 mm, β is taken as:
230
1000
v
d
β= +
(CSA 11.3.6.3 b)
where is the effective shear depth expressed in millimeter, which is described
in preceding sections.
For maximum size of coarse aggregate less than 20 mm, β is taken as:
230
1000 ze
s
β= +
(CSA 11.3.6.3 c)
3-14 Spandrel Shear Design

Chapter 3 Spandrel Design
where,
35 0.85
15
ze z z
g
s ss
a
= ≥
+
(CSA 11.3.6.3.c)
In the preceding expression, the crack spacing parameter,
,
ze
s
shall be taken
as the minimum of
v
d
and the maximum distance between layers of distribut-
ed longitudinal reinforcement. However,
ze
s
is conservatively taken as equal
to
.
v
d
In summary, for Simplified cases, β can be expressed as follows:
0.18, if minimum transverse reinforcement is provided,
230 , if no transverse reinforcement provided, and 20mm,
1000
230 , if no transverse reinforcement provided, and 20mm.
1000
g
v
g
ze
a
d
a
S
β= ≥
+
<
+
When the specified yield strength of the longitudinal reinforcing fy > 400
MPa, or the specified concrete strength
c
f′
> 60 MPa, β is determined in ac-
cordance with the General method as follows (CSA 11.3.6.1, 11.3.6.4):
( ) ( )
0.40 1300
1 1500 1000
x ze
s
β= •
+ε +
(CSA 11.3.6.4)
In the preceding expression, the equivalent crack spacing parameter,
,
ze
s
is
taken as equal to 300 mm if minimum transverse reinforcement is provided
(CSA 11.3.6.4). Otherwise it is determine as stated in the Simplified method.
300 if minimum transverse reinforcement is provided,
35 0.85 otherwise.
15
ze zz
g
sss
a
=≥
+
The longitudinal strain,
,
x
ε
at mid-depth of the cross-section is computed
from the following equation:
Spandrel Shear Design 3-15

Shear Wall Design Manual CSA-A23.3-04
( )
fv f
xss
MdV
EA
+
ε=
(CSA 11.3.6.4)
In evaluating the
,
x
ε
the following conditions apply:
f
V
and
f
M
are taken as positive quantities (CSA 11.3.6.4a)
s
A
is taken as the total area of longitudinal reinforcement in the spandrel sec-
tion. It is taken as the envelope of reinforcement required for all design load
combinations. Actual provided reinforcement might be slightly higher than
this quantity. The rebar should be developed to achieve full strength (CSA
11.3.6.3 b).
For sections closer than
v
d
from the face of the support,
x
ε
is calculated
based on
f
M
and
f
V
at a section at a distance
v
d
from the face of the support
(CSA 11.3.6.4 d).
An upper limit on
x
ε
is imposed as follows:
0.003≤
x
e
(CSA 11.3.6.4f)
x
ε
is positive for tensile action.
In both the Simplified and General methods, the shear strength of the section
due to concrete,
,
c
V
depends on whether the minimum transverse reinforce-
ment is provided. To check this condition, the program performs the design
in two passes. In the first pass, it is assumes that no transverse shear rein-
forcement is needed. When the program determines that shear reinforcement
is need, the program performs the second pass with the assumption that at
least minimum shear reinforcement is provided.
3.2.3 Determine Required Shear Reinforcement
The minimum possible factored shear resistance,
,maxr
V
is computed as follows:
,max 0.25 .
′
= φ
r cc w
V fbd
(CSA 11.3.3)
The shear reinforcement per unit spacing,
,
v
As
is computed as follows:
3-16 Spandrel Shear Design

Chapter 3 Spandrel Design
If
≤
fc
VV
0=
v
A
s
(CSA 11.3.5.1)
else if
,maxcfr
VVV<≤
( )
tan−θ
=φ
fc
v
syv
VV
A
s fd
(CSA 11.3.3, 11.3.5.1)
else if
,maxfr
VV>
a failure condition is declared. (CSA 11.3.3)
A minimum area of shear reinforcement is provided in the following regions
(CSA 11.2.8.1):
(a) in regions of flexural members where the factored shear force
f
V
exceeds
,
c
V
(b) in regions of beams and columns with an overall depth greater than 750
mm, and
(c) in regions of beams and columns where the factored torsion
f
T
exceeds
0.25.
Where the minimum shear reinforcement is required by section CSA 11.2.8.1,
or by calculations, the minimum area of shear reinforcement per unit spacing is
taken as
.
cr
T
0.06 c
vs
y
f
At
sf
′
≥
(CSA 11.2.8.2)
In the preceding, the term
θ
is used. Here
θ
is the angle of inclination of diag-
onal compressive stresses to the longitudinal axis of the member. The
θ
value
is normally between 22 to 44 degree. It is determined according to section
11.3.6 in the Code.
Spandrel Shear Design 3-17

Shear Wall Design Manual CSA-A23.3-04
Similar to the
β
factor, which was described previously, the value of
θ
is pref-
erably taken as the Special value (CSA 11.3.6.2) or it is determined using the
Simplified method (CSA 11.3.6.3), whenever applicable. The program uses the
General method when conditions for the Simplified method are not satisfied
(CSA 11.3.6.4).
If the overall beam depth, h, is less than 250 mm or if the depth of the
T-beam below the slab is not greater than one-half of the width of web or 350
mm,
θ
is taken as 42 degree (CSA 11.3.6.2).
If the specified yield strength of the longitudinal reinforcing fy does not ex-
ceed 400 MPa, and the specified concrete strength
c
f′
does not exceed 60
MPa,
θ
is taken to be 35 degree (CSA 11.3.6.3).
o
35θ=
for
0≤
f
P
or
400≤
y
f
MPa or 60 MPa (CSA11.3.6.4)
If the axial force is tensile, the specified yield strength of the longitudinal re-
inforcing fy > 400 MPa, and the specified concrete strength
c
f′
> 60 MPa,
θ
is determined using the General method as follows (CSA 11.3.6.4),
29 7000 x
θ= + ε
for
0<
f
P
or
>
y
f
400 MPa or 60 MPa (CSA11.3.6.4)
where
x
ε
is the longitudinal strain at the mid-depth of the cross-section for
the factored load. The calculation procedure has been described in preceding
sections.
In addition, the minimum vertical shear reinforcing is checked with its mini-
mum permitted ratio of 0.0020 for Ordinary spandrels (CSA 14.3.3, CSA
14.2.2), 0.0025 for Ductile spandrels (CSA 21.5.5.1), and 0.0025 for Moder-
ately Ductile spandrels (CSA 21.9.3.3.1).
The limit of fc' is taken to be 80 MPa for all spandrels:
fc' ≤ 80 MPa (Ordinary) (CSA 8.6.1.1)
fc' ≤ 80 MPa (Ductile and partially Ductile) (CSA 21.2.6.1)
The limit of fy is taken to be 500 MPa for all spandrels.
fy ≤ 500 MPa (Ordinary) (CSA 8.5.1)
3-18 Spandrel Shear Design

Chapter 3 Spandrel Design
fy ≤ 400 MPa (Ductile and Partially Ductile) (CSA 21.2.7.1)
The maximum of all the calculated Av /s values, obtained from each load
combination, is reported for the major direction of the spandrel along with
the controlling shear force and associated load combination number. You can
set the output units for the distributed shear reinforcing in the shear wall de-
sign preferences.
Spandrel Shear Design 3-19

Appendix A
Supported Design Codes
Only one design code may be used in any one design run. That is, it is not
possible to design some beams for one code and others for a different code in
the same design run. However, it is possible to perform different design runs
using different design codes without rerunning the analysis.
The program supports the following shear wall design codes:
ACI 318-99
ACI 318-02
ACI 318-05/IBC 2006
ACI 318-05/IBC 2006
BS 8110-89
BS 8110-97
CSA A23-3-94
Indian IS 456-2000
UBC97
A-1

Appendix B
Shear Wall Design Preferences
The preference options are described in Table B1. An explanation of how to
change a preference is provided at the end of this appendix.
Table B1 Shear Wall Preferences
Item
Possible
Values
Default
Value
Description
Design Code
Any code in
the program
UBC 97
Design code used for design of
concrete shear wall elements (wall
piers and spandrels)
Rebar units
in2, cm2, mm2,
current
in2 or mm2
Units used for concentrated areas of
reinforcing steel..
Rebar/Length
Units
in2/ft, cm2/m,
mm2/m,
current
in2/ft or mm2/m
Units used for distributed areas of
reinforcing steel.
Phi (Tension
Controlled)
> 0
0.9
The strength reduction factor for
bending in a wall pier or spandrel in
tension controlled section
Phi
(Compression
Controlled)
> 0
0.65
The strength reduction factor for axial
compression in a wall pier
Phi (Shear
and/or Torsion)
> 0
0.75
The strength reduction factor for shear
in a wall pier or spandrel for a
nonseismic condition
Phi (Shear
Seismic)
> 0
0.6
The strength reduction factor for shear
in a wall pier or spandrel for a seismic
condition
B-1

Appendix B Preferences
Table B1 Shear Wall Preferences
Item
Possible
Values
Default
Value
Description
Pmax Factor
> 0
0.8
A factor used to reduce the allowable
maximum compressive design strength.
Number of
Curves
≥ 4
24
Number of equally spaced interaction
curves used to create a full 360-degree
interaction surface (this item should be
a multiple of four). We recommend that
you use 24 for this item.
Number of
Points
≥ 11
11
Number of points used for defining a
single curve in a wall pier interaction
surface (this item should be odd)..
Edge Design
PT-max
> 0
0.06
Maximum ratio of tension reinforcing
allowed in edge members, PTmax..
Edge Design
PC-max
> 0
0.04
Maximum ratio of compression
reinforcing allowed in edge members,
PCmax.
Section Design
IP-Max
≥ Section
Design IP-Min
0.02
The maximum ratio of reinforcing
considered in the design of a pier with a
Section Designer section.
Section Design
IP-Min
> 0
0.0025
The minimum ratio of reinforcing
considered in the design of a pier with a
Section Designer section.
Utilization
Factor Limit
> 0
0.95
Stress ratios that are less than or equal
to this value are considered acceptable.
The preference options are displayed in a two-column spreadsheet. The left
column of the spreadsheet displays the preference item name. The right
column of the spreadsheet displays the preference item value. To change a
preference item, left click a preference item in either the left or right column
of the spreadsheet. This activates a drop-down box or highlights the current
preference value. If the drop-down box appears, select a new value. If the
cell is highlighted, type in the desired value. The preference value will
update accordingly.
B-2

Appendix C
Design Procedure Overwrites
Table C-1 identifies shear wall overwrites for piers and Table C-2 identifies
overwrites for spandrels applicable to ACI 318-05/IBC 2006. An
explanation of how to change the overwrites is provided at the end of this
appendix.
Table C-1: Pier Design Overwrites
Pier Overwrite
Item
Possible
Values
Default
Value
Pier Overwrite Description
Design this
Pier
Yes or No
Yes
Toggle for design of the pier when you
click the Design menu > Shear Wall
Design > Start Design/Check of
Structure command.
LL Reduction
Factor
Program
calculated,
> 0
Program
calculated
A reducible live load is multiplied by this
factor to obtain the reduced live load.
Entering 0 for this item means that it is
program calculated. See the subsection
entitled "LL Reduction Factor" for more
information.
C-1

Shear Wall Design Manual ACI 318-05/IBC 2006
Table C-1: Pier Design Overwrites
Pier Overwrite
Item
Possible
Values
Default
Value
Pier Overwrite Description
Design is
Seismic
Yes or No
Yes
Toggle for design as seismic or
nonseismic. Additional design checks
are performed for seismic elements
compared to nonseismic elements.
Also, in some cases, the strength
reduction factors are different.
Pier Section
Type
Uniform
Reinforcing,
General
Reinforcing,
Simplified
T and C
Uniform
Reinforcing
This item indicates the type of pier. The
General Reinforcing option is not
available unless General pier sections
have previously been defined in
Section Designer.
Overwrites Applicable to Uniform Reinforcing Pier Sections
Edge Bar
Name
Any defined
bar size
Varies
The size of the uniformly spaced edge
bars.
Edge Bar
Spacing
>0
12"
The spacing of the uniformly spaced
edge bars.
End/Corner
Bar Name
Any defined
bar size
Varies
The size of end and corner bars.
Clear Cover
>0
1.5"
The clear cover for the edge, end and
corners bars.
Material
Any defined
concrete
material
property
Varies
The material property associated with
the pier.
Check/Design
Reinforcing
Check or
Design
Design
This item indicate whether the pier
section is to be designed or checked.
Overwrites Applicable to General Reinforcing Pier Sections
Section Bottom
Any general
pier section
defined in
Section
Designer
The first pier in
the list of
Section
Designer piers
Name of a pier section, defined in
Section Designer that is assigned to the
bottom of the pier.
Section Top
Any general
pier section
defined in
Section
Designer
The first pier in
the list of
Section
Designer piers
Name of a pier section, defined in
Section Designer, that is assigned to
the top of the pier.
Check/Design
Reinforcing
Check or
Design
Design
This item indicates whether the pier
section is to be designed or checked.
C-2

Appendix C Overwrites
Table C-1: Pier Design Overwrites
Pier Overwrite
Item
Possible
Values
Default
Value
Pier Overwrite Description
Overwrites Applicable to Simplified T and C Pier Sections
ThickBot
Program
calculated,
or > 0
Program
calculated
Wall pier thickness at bottom of pier, t
p
.
Inputting 0 means the item is to be
program calculated.
LengthBot
Program
calculated,
or > 0
Program
calculated
Wall pier length at bottom of pier, L
p
.
Inputting 0 means the item is to be
program calculated.
DB1LeftBot
≥ 0
0
Length of the bottom of a user-defined
edge member on the left side of a wall
pier, DB1left.
DB2LeftBot
≥ 0
0
Width of the bottom of a user-defined
edge member on the left side of a wall
pier, DB2left. See Figure 1 in Shear Wall
Design Technical Note 6 Wall Pier
Design Section. See the subsection
entitled "User-Defined Edge Members"
for more information.
DB1RightBot
≥ 0
Same as
DB1-left-bot
Length of the bottom of a user-defined
edge member on the right side of a wall
pier, DB1right.
DB2RightBot
≥ 0
Same as
DB2-left-bot
Width of the bottom of a user-defined
edge member on the right side of a wall
pier, DB2right.
ThickTop
Program
calculated,
or > 0
Program
calculated
Wall pier thickness at top of pier,
tp. Inputting 0 means the item is to be
program calculated.
LengthTop
Program
calculated,
or > 0
Program
calculated
Wall pier length at top of pier, L
p
.
Inputting 0 means the item is to be
program calculated.
DB1LeftTop
≥ 0
0
Length of the top of a user-defined
edge member on the left side of a wall
pier, DB1left.
DB2LeftTop
≥ 0
0
Width of the top of a user-defined edge
member on the left side of a wall pier,
DB2left.
DB1RightTop
≥ 0
Same as
DB1-left-bot
Length of the top of a user-defined
edge member on the right side of a wall
pier, DB1right.
DB2RightTop
≥ 0
Same as
DB2-left-bot
Width of the top of a user-defined edge
member on the right side of a wall pier,
DB2right.
C-3

Shear Wall Design Manual ACI 318-05/IBC 2006
Table C-1: Pier Design Overwrites
Pier Overwrite
Item
Possible
Values
Default
Value
Pier Overwrite Description
Material
Any defined
concrete
material
property
See "Material
Properties" in
Shear Wall
Design
Tech
nical Note
6 Wall Pier
Design Section
Material property associated with the
pier.
Edge Design
PC-max
> 0
Specified in
Preferences
Maximum ratio of compression
reinforcing allowed in edge members,
PCmax.
Edge Design
PT-max
> 0
Specified in
Preferences
Maximum ratio of tension reinforcing
allowed in edge members, PTmax.
C.1 LL Reduction Factor
If the LL Reduction Factor is program calculated, it is based on the live load
reduction method chosen in the live load reduction preferences. If you
specify your own LL Reduction Factor, the program ignores any reduction
method specified in the live load reduction preferences and simply calculates
the reduced live load for a pier or spandrel by multiplying the specified LL
Reduction Factor times the reducible live load.
Note that the Define menu can be used to specify that a load case is a
reducible live load.
Important Note: The LL reduction factor is not applied to any load
combination that is included in a design load combination. For example,
assume you have two static load cases labeled DL and RLL. DL is a dead
load and RLL is a reducible live load. Now assume that you create a design
load combination named DESCOMB1 that includes DL and RLL. Then for
design load combination DESCOMB1, the RLL load is multiplied by the LL
reduction factor. Next assume that you create a load combination called
COMB2 that includes RLL. Now assume that you create a design load
combination called DESCOMB3 that included DL and COMB2. For design
load combination DESCOMB3, the RLL load that is part of COMB2 is not
multiplied by the LL reduction factor.
C-4

Appendix C Overwrites
C.2 User-Defined Edge Members
When defining a user-defined edge member, you must specify both a
nonzero value for DB1 and a nonzero value for DB2. If either DB1 or DB2 is
specified as zero, the edge member width is taken as the same as the pier
thickness and the edge member length is determined by the program.
Table C-2 Spandrel Design Overwrites
Spandrel
Overwrite Item
Possible
Values
Default
Value
Spandrel Overwrite Description
Design this
Spandrel
Yes or No
Yes
Toggle for design of the spandrel when
you click the Design menu > Shear
Wall Design > Start Design/Check of
Structure command.
LL Reduction
Factor
Program
calculated,
> 0
Program
calculated
A reducible live load is multiplied by this
factor to obtain the reduced live load.
Entering 0 for this item means that it is
program calculated. See the subsection
entitled "LL Reduction Factor" for more
information.
Design is
Seismic
Yes or No
Yes
Toggle for design as seismic or
nonseismic. Additional design checks
are performed for seismic elements
compared to nonseismic elements.
Also, in some cases the strength
reduction factors are different.
Length
Program
calculated,
or > 0
Program
calculated
Wall spandrel length, L
s
. Inputting 0
means the item is to be program
calculated.
ThickLeft
Program
calculated,
or > 0
Program
calculated
Wall spandrel thickness at left side of
spandrel, ts. Inputting 0 means the item
is to be program calculated.
DepthLeft
Program
calculated,
or > 0
Program
calculated
Wall spandrel depth at left side of
spandrel, hs. Inputting 0 means the item
is to be program calculated.
CoverBotLeft
Program
calculated,
or > 0
Program
calculated
Distance from bottom of spandrel to
centroid of bottom reinforcing, dr-bot left
on left side of beam. Inputting 0 means
the item is to be program calculated as
0.1hs.
C-5

Shear Wall Design Manual ACI 318-05/IBC 2006
Table C-2 Spandrel Design Overwrites
Spandrel
Overwrite Item
Possible
Values
Default
Value
Spandrel Overwrite Description
CoverTopLeft
Program
calculated,
or > 0
Program
calculated
Distance from top of spandrel to
centroid of top reinforcing, dr-top left on
left side of beam. Inputting 0 means the
item is to be program calculated as
0.1hs.
SlabWidthLeft
≥ 0
0
Slab width for T-beam at left end of
spandrel, bs.
SlabDepthLeft
≥ 0
0
Slab depth for T-beam at left end of
spandrel, ds.
ThickRight
Program
calculated,
or > 0
Program
calculated
Wall spandrel thickness at right side of
spandrel, ts. Inputting 0 means the item
is to be program calculated.
DepthRight
Program
calculated,
or > 0
Program
calculated
Wall spandrel depth at right side of
spandrel, hs. Inputting 0 means the item
is to be program calculated.
CoverBotRight
Program
calculated,
or > 0
Program
calculated
Distance from bottom of spandrel to
centroid of bottom reinforcing, dr-bot right
on right side of beam. Inputting 0
means the item is to be
program calculated as 0.1hs.
Cover-
TopRight
Program
calculated,
or > 0
Program
calculated
Distance from top of spandrel to
centroid of top reinforcing, dr-top right on
right side of beam. Inputting 0 means
the item is to be program calculated as
0.1hs.
SlabWidthRight
≥ 0
0
Slab width for T-beam at right end of
spandrel, bs.
SlabDepthRight
≥ 0
0
Slab depth for T-beam at right end of
spandrel, ds.
Material
Any defined
concrete
material
property
See "Default
Design
Material
Property" in
Shear Wall
Design
Tech
nical Note
7 Wall
Spandrel
Design
Sections
Material property associated with the
spandrel.
C-6

Appendix C Overwrites
Table C-2 Spandrel Design Overwrites
Spandrel
Overwrite Item
Possible
Values
Default
Value
Spandrel Overwrite Description
Consider Vc
Yes or No
Yes
Toggle switch to consider V
c
(concrete
shear capacity) when computing the
shear capacity of the spandrel.
C-7

Appendix D
Analysis Sections and Design Sections
It is important to understand the difference between analysis sections and
design sections when performing shear wall design. Analysis sections are
simply the objects defined in your model that make up the pier or
spandrel section. The analysis section for wall piers is the assemblage of
wall and column sections that make up the pier. Similarly, the analysis
section for spandrels is the assemblage of wall and beam sections that
make up the spandrel. The analysis is based on these section properties,
and thus, the design forces are based on these analysis section properties.
The design section is completely separate from the analysis section. Two
types of pier design sections are available. They are:
Uniform Reinforcing Section: For flexural designs and/or checks,
the program automatically (and internally) creates a Section
Designer pier section of the same shape as the analysis section pier.
Uniform reinforcing is placed in this pier. The reinforcing can be
modified in the pier overwrites. The Uniform Reinforcing Section
pier may be planar or it may be three-dimensional.
For shear design and boundary zone checks, the program
automatically (and internally) breaks the analysis section pier up into
planar legs and then performs the design on each leg separately and
D-1

Appendix D Overwrites
reports the results separately for each leg. Note that the planar legs
are derived from the area objects defined in the model, not from the
pier section defined in Section Designer. The pier section defined in
Section Designer is only used for the flexural design/check.
General Reinforcing Section: For flexural designs and/or checks,
the pier geometry and the reinforcing is defined by the user in the
Section Designer utility. The pier defined in Section Designer may
be planar or it may be three-dimensional.
For shear design and boundary zone checks, the program
automatically (and internally) breaks the analysis section pier up into
planar legs and then performs the design on each leg separately and
reports the results separately for each leg. Note that the planar legs
are derived from the area objects defined in the model, not from the
pier section defined in Section Designer. The pier section defined in
Section Designer is only used for the flexural design/check.
Simplified Pier Section: This pier section is defined in the pier
design overwrites. The simplified section is defined by a length and a
thickness. The length is in the pier 2-axis direction and the thickness
is in the pier 3-axis direction.
In addition, you can, if desired, specify thickened edge members at
one or both ends of the simplified pier section. You cannot specify
reinforcing in a simplified section. Thus, the simplified section can
only be used for design, not for checking user-specified sections.
Simplified sections are always planar.
Only one type of spandrel design section is available. It is defined in
the spandrel design overwrites. A typical spandrel is defined by a
depth, thickness and length. The depth is in the spandrel 2-axis
direction; the thickness is in the spandrel 3-axis direction; and the
length is in the spandrel 1-axis direction. Spandrel sections are
always planar.
In addition, you can, if desired, specify a slab thickness and depth,
making the spandrel design section into a T-beam. You cannot
specify reinforcing in a spandrel section. Thus, you can only design
spandrel sections, not check them.
D-2

Shear Wall Design Manual ACI 318-05/IBC 2006
The pier and spandrel design sections are designed for the forces
obtained from the program's analysis, which is based on the analysis
sections. In other words, the design sections are designed based on
the forces obtained for the analysis sections.
D-3

Bibliography
ACI, 2005. Building Code Requirements for Structural Concrete (ACI 318-058)
and Commentary (ACI 318R-05), American Concrete Institute, P.O. Box
9094, Farmington Hills, Michigan.
CSI, 2012. CSI Analysis Reference Manual, Computers and Structures, Inc.,
Berkeley, California.
ICC, 2009. International Building Code, International Code Council, Inc., 4051
West Flossmoor Road, Country Club Hills, Illinois 60478.
PCA, 20058. Notes on ACI 318-05, Building Code Requirements for Reinforced
Concrete, with Design Applications, Portland Cement Association, Skokie,
Illinois.
White, D. W. and J. F. Hajjar, 1991. “Application of Second-Order Elastic
Analysis in LRFD: Research to Practice,” Engineering Journal, American
Institute of Steel Construction, Inc., Vol. 28, No. 4.
Bibliography - i