Safety Annex Users Guide V4
User Manual:
Open the PDF directly: View PDF
.
Page Count: 44

Safety Annex Users Guide
Version 0.4
Danielle Stewart, University of Minnesota
Janet (Jing) Liu, Rockwell Collins
Darren Cofer, Rockwell Collins
Mike Whalen, University of Minnesota
Version History
Version
Date
Author
Information
0.1
9/1/2017
Danielle Stewart
Initial version of the Safety Annex Users
Guide.
0.2
3/22/2018
Danielle Stewart
Updates to tool and grammar
0.3
4/2/2018
Danielle Stewart
Updates to installation instructions
0.4
9/21/2018
Danielle Stewart
Compositional generation of artifacts,
SOTERIA installation instructions, OSATE
development environment installation
instructions.
1 Table of Contents
1 Table of Contents .......................................................................................................................... 3
2 Table of Figures ............................................................................................................................. 5
3 Introduction .................................................................................................................................. 6
4 Brief Overview of AADL, AGREE, and the Safety Annex .............................................................. 7
4.1 Using the Safety Annex AADL Plugin ................................................................................. 11
5 Safety Annex Language............................................................................................................... 18
5.1 Syntax Overview ................................................................................................................. 18
5.2 Lexical Elements and Types ............................................................................................... 19
5.3 Subclauses........................................................................................................................... 20
5.4 Spec Statement .................................................................................................................. 21
5.4.1 Fault Statement ............................................................................................................ 22
5.4.1.1 Input Statement .................................................................................................... 22
5.4.1.2 Output Statement ................................................................................................. 23
5.4.1.3 Duration Statement .............................................................................................. 23
5.4.1.4 Trigger Statement ................................................................................................. 24
5.4.1.5 Probability Statement........................................................................................... 24
5.4.1.6 Propagation Statement ........................................................................................ 24
5.4.1.7 Safety Equation Statements ................................................................................. 25
5.4.1.7.1 Eq Statements .................................................................................................. 25
5.4.1.7.2 Set Statements ................................................................................................. 25
5.4.1.7.3 Range Statements ............................................................................................ 25
5.4.1.7.4 Interval Statements .......................................................................................... 26
5.4.2 Analysis Statement ....................................................................................................... 27
5.4.2.1 Max N Faults Analysis ........................................................................................... 27
5.4.2.2 Probabilistic Analysis ............................................................................................ 27
5.4.3 Hardware Fault Statement .......................................................................................... 27
5.4.3.1 Duration ................................................................................................................ 28
5.4.3.2 Probability ............................................................................................................. 28
5.4.3.3 Propagation Type .................................................................................................. 28
6 Generate Fault Trees and Failure Flow Diagrams ..................................................................... 29
6.1.1 Background ................................................................................................................... 29
6.1.1.1 Inductive Validity Cores ........................................................................................ 29
6.1.1.2 SOTERIA ................................................................................................................. 29
6.1.1.3 Overview of Analysis............................................................................................. 30
6.1.2 Perform Analysis........................................................................................................... 31
6.1.3 Example ........................................................................................................................ 31
7 The Tool Suite (Safety Annex, AGREE, AADL) ............................................................................ 34
7.1 Tool Suite Overview............................................................................................................ 35
7.2 Installation .......................................................................................................................... 36
7.2.1 Install OSATE ................................................................................................................. 36
7.2.2 Install SMT Solver ......................................................................................................... 38
7.2.3 Install JKind Model Checker ......................................................................................... 40
7.2.4 Set AGREE Analysis Preferences .................................................................................. 41
7.2.5 Install Safety Annex ...................................................................................................... 42
7.3 Development Environment Installation ............................................................................ 43
7.3.1 Install OSATE Development Environment ................................................................... 43
7.3.2 Install XText .................................................................................................................. 43
7.3.3 Download Safety Annex Source Code ......................................................................... 43
7.3.4 Github Branches ........................................................................................................... 44
7.3.5 Run OSATE .................................................................................................................... 44
7.4 SOTERIA Toolset Installation .............................................................................................. 44
2 Table of Figures
Figure 1: Toy Example for Safety Annex and AGREE ........................................................................... 8
Figure 2: AADL Code for Toy Example with AGREE and Safety Annexes ......................................... 10
Figure 3: Fault Hypothesis Example ................................................................................................... 11
Figure 4: Import Menu Option ........................................................................................................... 11
Figure 5: Importing Toy Example Project ........................................................................................... 12
Figure 6: Workspace After Importing Toy Example .......................................................................... 13
Figure 7: AGREE and Safety Analysis Dropdown Menu .................................................................... 14
Figure 8:AGREE Verification Results ................................................................................................... 14
Figure 9: Counterexample from Safety Analysis ............................................................................... 16
Figure 10: Generated Excel File for Counterexample ....................................................................... 17
Figure 11: Medical Device Example ................................................................................................... 20
Figure 12: Safety Annex Grammar ..................................................................................................... 21
Figure 13: Fault Node Definition ........................................................................................................ 22
Figure 14: Propagation Statement Example ...................................................................................... 24
Figure 15: Max One Fault Example .................................................................................................... 27
Figure 16: Probability Threshold Example ......................................................................................... 27
Figure 17: Hardware Fault Statement ................................................................................................ 28
Figure 18: Test Example Architecture Description ............................................................................ 32
Figure 19: SOTERIA Menu Item .......................................................................................................... 32
Figure 20: Text Example Physical Model............................................................................................ 33
Figure 21: Test Example Functional Model ....................................................................................... 33
Figure 22: Test Example Fault Propagation Model ........................................................................... 34
Figure 23: Test Example Fault Tree .................................................................................................... 34
Figure 24: Test Example Optimized Fault Tree .................................................................................. 34
Figure 25: Overview of Safety Annex/AGREE/OSATE Tool Suite ...................................................... 36
Figure 26: OSATE Loading Screen ...................................................................................................... 37
Figure 27: Windows 10 System Control Panel................................................................................... 38
Figure 28: System Properties Dialog Box ........................................................................................... 39
Figure 29: Environment Variables Dialog Box ................................................................................... 39
Figure 30: System Variable Text Edit Box .......................................................................................... 40
Figure 31: AGREE Analysis Preferences ............................................................................................. 41
Figure 32: Safety Analysis Menu Item ................................................................................................ 42
3 Introduction
System safety analysis techniques are well-established and are a required activity in the
development of safety-critical systems. Model-based systems engineering (MBSE) methods and
tools based on formal methods now permit system-level requirements to be specified and
analyzed early in the development process. While model-based development methods are
widely used in the aerospace industry, they are only recently being applied to system safety
analysis.
The Safety Annex for the Architecture Analysis and Design Language (AADL) provides the
ability to reason about faults and faulty component behaviors in AADL models. In the Safety
Annex approach, we use formal assume-guarantee contracts to define the nominal behavior of
system components. The nominal model is then verified using the Assume Guarantee Reasoning
Environment (AGREE). The Safety Annex provides a way to weave faults into the nominal system
model and analyze the behavior of the system in the presence of faults. The Safety Annex also
provides a library of common fault node definitions that is customizable to the needs of system
and safety engineers.
The Safety Annex supports model checking and quantitative reasoning by attaching
behavioral faults to components and then using the normal behavioral propagation and proof
mechanisms built into the AGREE AADL annex. This allows users to reason about the evolution of
faults over time, and produce counterexamples demonstrating how component faults lead to
system failures. It can serve as the shared model to capture system design and safety-relevant
information, and produce both qualitative and quantitative description of the causal relationship
between faults/failures and system safety requirements.
This Users Guide is organized as follows. Section 2 provides a brief overview of AADL,
AGREE, and the Safety Annex. Section 3 gives examples and explanations of the grammar and
language of the safety annex. Section 4 provides a detailed approach for the tool suite and
downloads.
4 Brief Overview of AADL, AGREE, and the Safety Annex
The safety annex is meant to be used in the context of an AADL model that has been annotated
with AGREE. AGREE models the components and their connections as they are described in
AADL and the safety annex provides fault definitions to these components and connections. This
section provides a very brief introduction to AADL, AGREE, and the safety annex through the use
of a very simple model.
Suppose we have a simple architecture with three subcomponents A, B, and C, as shown in
Figure 1.

Figure 1: Toy Example for Safety Annex and AGREE
We want to show using AGREE that the system level property (Output < 50) holds, given the
guarantees provided by the components and the system assumption (Input < 10). We also want
to be able to model faults on each of these components. Some possible faults are shown in the
diagram of Figure 1.
In order to represent this model in AADL, we construct an AADL package. Packages are the
structuring mechanism in AADL; they define a namespace where we can place definitions. We
define the subcomponents first, then the system component. The complete AADL is shown in
Figure 2 below.
package Integer_Toy
public
with Base_Types;
with faults;
system A
features
Input: in data port Base_Types::Integer;
Output: out data port Base_Types::Integer;
annex agree {**
assume "A input range" : Input < 20;
guarantee "A output range" : Output < 2*Input;
**};
annex safety {**
fault stuck_at_fault_A "Component A output stuck" : faults.fail_to {
inputs: val_in <- Output, alt_val <- prev(Output, 0);
outputs: Output <- val_out;
probability: 5.0E-5 ;
duration: permanent;
}
**};
end A ;
system B
features
Input: in data port Base_Types::Integer;
Output: out data port Base_Types::Integer;
annex agree {**
assume "B input range" : Input < 20;
guarantee "B output range" : Output < Input + 15;
**};
annex safety {**
fault stuck_at_fault_B "Component B output stuck nondeterministic" :
faults.fail_to {
eq nondet_val : int;
inputs: val_in <- Output, alt_val <- nondet_val;
outputs: Output <- val_out;
probability: 5.0E-9 ;
duration: permanent;
}
**};
end B ;
system C
features
Input1: in data port Base_Types::Integer;
Input2: in data port Base_Types::Integer;
Output: out data port Base_Types::Integer;
annex agree {**
eq mode : int;
guarantee "mode always is increasing" : mode >= 0 -> mode > pre(mode);
guarantee "C output range" : Output = if mode = 3 then (Input1 + Input2) else 0;
**};
end C ;
system top_level
features
Input: in data port Base_Types::Integer;
Output: out data port Base_Types::Integer;
annex agree {**
eq mode : int;
assume "System input range " : Input < 10;
guarantee "mode is always positive" : mode >= 0;
guarantee "System output range" : Output < 50;
**};
end top_level;
system implementation top_level.Impl

subcomponents
A_sub : system A ;
B_sub : system B ;
C_sub : system C ;
connections
IN_TO_A : port Input -> A_sub.Input
{Communication_Properties::Timing => immediate;};
A_TO_B : port A_sub.Output -> B_sub.Input
{Communication_Properties::Timing => immediate;};
A_TO_C : port A_sub.Output -> C_sub.Input1
{Communication_Properties::Timing => immediate;};
B_TO_C : port B_sub.Output -> C_sub.Input2
{Communication_Properties::Timing => immediate;};
C_TO_Output : port C_sub.Output -> Output
{Communication_Properties::Timing => immediate;};
annex agree{**
assign mode = C_sub.mode;
**};
annex safety{**
analyze : probability 1.0E-7
--analyze : max 1 fault
**};
end top_level.Impl;
Figure 2: AADL Code for Toy Example with AGREE and Safety Annexes
In Figure 2, systems define hierarchical "units" of the model. They communicate over ports,
which are typed. Systems do not contain any internal structure, only the interfaces for the
system.
A system implementation describes an implementation of the system including its internal
structure. For this example, the only system whose internal structure is known is the "top level"
system, which contains subcomponents A, B, and C. We instantiate these subcomponents (using
A_sub, B_sub, and C_sub) and then describe how they are connected together. In the
connections section, we must describe whether each connection is immediate or delayed.
Intuitively, if a connection is immediate, then an output from the source component is
immediately available to the input of the destination component (i.e., in the same frame). If they
are delayed, then there is a one-cycle delay before the output is available to the destination
component (delayed frame).
Note: Top level analysis can be performed only within a system implementation.
After the AGREE annexes are added to each of the components in the model and verification is
complete, the safety annexes can be added to each of the components.
Important Note: At this time, fault hypotheses (see Figure 3) must be added to each layer of a
system in order for analysis to proceed correctly. Also, at most one of the analysis statements
must be present. In the example shown in Figure 3, the maximum n faults analysis statement is
commented out. In this case, the probabilistic analysis will be run.

Figure 3: Fault Hypothesis Example
4.1 Using the Safety Annex AADL Plugin
The example project used in the rest of this section can be retrieved from the following link:
https://github.com/loonwerks/AMASE/tree/develop/examples. Assuming the necessary tools are
installed (see section 7), the model can be imported by choosing File > Import:
Figure 4: Import Menu Option
Then choosing "Existing Project into Workspace."

Figure 6: Workspace After Importing Toy Example
Open the Integer_Toy.aadl model by double-clicking on the file in the AADL Navigator pane. To
invoke the safety analysis, we select the Top_Level.Impl system implementation in the outline
pane on the right. We then select “Safety Analysis” in the menu and then run AGREE. We can
choose “AGREE > Verify Single Layer” from the AGREE menu as shown in Figure 7.
If “Safety Analysis” was checked by the user, this will run the analysis and will change the AGREE
contracts accordingly.
When a property fails in AGREE, there is an associated counterexample that demonstrates the
failure. To see the counterexample, right-click the failing property (in this case: "System output
range") and choose "View Counterexample in Console" to see the values assigned to each of the
variables referenced in the model. Figure 9 shows the counterexample that is generated by this
failure in the console window given one permanent fault in the system.
It is worth noting in the counterexample of Figure 9 that the faults assigned to components A
and B are listed as “Component A output stuck” and “Component B output stuck
nondeterministic.” These are the strings assigned to the fault definitions from Figure 2.
It is also possible that each fault has a probability of occurrence. In the Toy Example safety
annexes, an arbitrary probability is assigned to each fault for the illustrative purposes. A top level
probabilistic threshold is assigned. Assuming independence of faults, safety analysis proceeds by
determining if there are sets of faults that will cause the system to fail given this threshold.
Figure 7 shows the analysis of the Toy Example given a top level probability threshold of 1.0E-7.
The reason this passes the threshold is due to the fact that the most problematic of the faults is
with component B (nondeterministic failure) and the probability of component B fault is 1.0E-9.
This is beyond the threshold assigned at the lower level.

Figure 9: Counterexample from Safety Analysis
For working with complex counterexamples, it is often necessary to have a richer interface. It is
also possible to export the counterexample to Excel by right-clicking the failing property and
choosing "View Counterexample in Excel". Note: In order to use this capability, you must have
Excel installed on your computer. Also, you must associate .xls files in Eclipse with Excel. To
do so, the following steps can be taken:
1. Choose the "Preferences" menu item from the Window menu, then
2. On the left side of the dialog box, choose General > Editors > File Associations, then
3. Click the "Add…" button next to "File Types" and then
4. Type "*.xls" into the text box.
The .xls file type should now be selected.
5. Now choose the "Add…" button next to "Associated Editors"
6. Choose the "External Programs" radio button
7. Select "Microsoft Excel Worksheet" and click OK.
The generated Excel file for the example is shown in Figure 10.

Figure 10: Generated Excel File for Counterexample
5 Safety Annex Language
In this chapter we present the syntax and semantics of the input language of the Safety Annex.
We refer readers to the AGREE Users Guide for a thorough description of lexical elements, types,
and other syntactical details.
5.1 Syntax Overview
Before describing the details of the language, we provide some general notes about the syntax.
productions enclosed in parentheses (‘()’) indicate a set of choices in which a vertical bar (‘|’) is
used to separate alternatives in the syntax rules. Any characters in single quotes describe
concrete syntax (e.g. ‘←’, ‘;’, ‘:’). Examples of grammar fragments are also written in the Courier
font. Sometimes one of the following characters is used at the beginning of a rule as a shorthand
for choosing among several alternatives:
1) The * character indicates repetition: zero or more occurrences and the + character indicates
required repetition: one or more occurrences.
2) A ? character indicates that the preceding token is optional.
The Safety Annex is built on top of the AADL 2.0 architecture description language as well as the
AGREE language. The Safety Annex formulas are found in an AADL annex which extends the
grammar of both AADL and AGREE. Generally, the annex follows the conventions of AADL in
terms of lexical elements and types with some small deviations (which are noted in the AGREE
Users Guide). The Safety Annex operates over a relatively small fragment of both AADL syntax
and AGREE syntax. We will not build up the language starting from the smallest fragments, but
instead refer the user to the AGREE Users Manual.
AADL describes the interface of a component in a component type. A component type contains a
list of features that are inputs and outputs of a component and possibly a list of AADL properties.
A component implementation is used to describe a specific instance of a component type. A
component implementation contains a list of subcomponents and a list of connections that occur
between its subcomponents and features.
The syntax for a component’s contract exists in an AGREE annex placed inside of the component
type. AGREE syntax can also be placed inside of annexes in a component implementation or an
AADL package. Syntax placed in an annex in an AADL package can be used to create libraries that
can be referenced by other components.
The syntax for a component’s faults exists in a Safety annex placed inside of the component type
as well. Safety syntax can also be placed inside of annexes in a component implementation. This
annex links directly to the AGREE annex also associated with the component in question.
5.2 Lexical Elements and Types
For a more thorough description of lexical elements and types, we refer to the AGREE User
Guide. Here is a brief description of commonly used lexical elements.
Comments always start with two adjacent hyphens and span to the end of the line. Here is an
example:
-- Here is a comment.
-- a long comment may be split onto
-- two or more consecutive lines
An identifier is defined as a letter followed by zero or more letters, digits, or single
underscores:
ID ::= identifier_letter ( ('_')? letter_or_digit)*
letter_or_digit ::= identifier_letter | digit
identifier_letter ::= ('A'..'Z' | 'a'..'z')
digit ::= (0..9)
Some example identifiers are: count, X, Get_Name, Page_Count. Note: Identifiers are
case insensitive. Thus Hello, HeLlo, and HELLO all refer to the same entity in AADL.
Boolean and numeric literal values are defined as follows:
Literal :: = Boolean_literal | Integer_literal | Real_literal
Integer_literal ::= decimal_integer_literal
Real_literal ::= decimal_real_literal
decimal_integer_literal ::= ('–')? numeral
decimal_real_literal ::= ('–')? numeral '.' numeral
numeral ::= digit*
Boolean_literal are: true, false.
Examples of Integer_literals are: 1, 31, -1053
Examples of Real_literals are: 3.1415, 0.005, 7.01
String elements are defined with the following syntax:
STRING ::= "(string_element)*"
string_element ::= "" | non_quotation_mark_graphic_character
Primitive data types (bool, int, real) have been built into the AGREE language and are hence part
of the Safety annex language. For more information on types, see the AGREE Users Guide.

Safety annex requires reasoning about AADL Data Implementations. Consider the following
example from a model of a medical device:
data Alarm_Outputs
end Alarm_Outputs;
data implementation Alarm_Outputs.Impl
subcomponents
Is_Audio_Disabled : data Base_Types::Boolean;
Notification_Message : data Base_Types::Integer ;
Log_Message_ID : data Base_Types::Integer ;
end Alarm_Outputs.Impl;
Figure 11: Medical Device Example
One can reference the fields of a variable type Alarm_Outputs.Impl by placing a dot after the
variable:
Alarm.Is_Audio_Disabled, Alarm.Notification_Message, or Alarm.Log_Message_ID.
5.3 Subclauses
Safety annex subclauses can be embedded in system, process, and thread components. Safety
subclauses are of the form:
annex safety {**
-- safety spec statements here...
**};
From within the subclause, it is possible to refer to the features and properties of the enclosing
component as well as the inputs and outputs of subcomponents (if the subclause is a component
implementation). A simplified description of the top-level grammar for Safety annex is shown in
SpecStatement: 'fault' ID (STRING)? ':' faultDefName '{' (FaultSubcomponent)* '}'
| 'analyze' ':' AnalysisBehavior
| ‘hw_fault ':' ID (STRING)? ':' '{' (HWFaultSubcomponent)* '}'
| 'propagate_from' ':' '{' (SourceFaultList) '@' (SourceCompPath) '}'
‘to’ '{' (DestFaultList) '@' (DestCompPath) '}'
AnalysisBehavior: 'max' Int_Literal 'fault'
| 'probability' Real_Literal
FaultSubcomponent: 'inputs' ':' NamedID '<-' Expr (','NamedID '<-' Expr)* ';'
| 'outputs' ':' NestedDotID '<-' NamedID (','NestedDotID '<-' NamedID)* ';'
| 'duration' ':' TemporalConstraint (Interval)? ';'
| 'probability' ':' Real_Literal ';'

| 'enabled' ':' TriggerCondition ';'
| 'propagate_type' ':' PropagationTypeConstraint ';'
| SafetyEqStatement
HWFaultSubcomponent: 'duration' ':' TemporalConstraint (Interval)? ';'
| 'probability' ':' Real_Literal ';'
| 'propagate_type' ':' PropagationTypeConstraint ';'
PropagationTypeConstraint: 'asymmetric'
| 'symmetric'
TemporalConstraint: 'permanent'
| 'transient'
TriggerCondition: 'must' '{' Expr ("," Expr)* '}'
| 'enabler' '{' Expr ("," Expr)* '}'
SafetyEqStatement: 'eq' (Arg (',' Arg)*) ('=' Expr)? ';'
| 'interval' ID '=' Interval ';'
| 'set' ID '=' '{'INTEGER_LIT (',' INTEGER_LIT)* '}' ';'
Interval: '[' Expr ',' Expr ']')
| '(' Expr ',' Expr']')
| '[' Expr ',' Expr ')')
| '(' Expr ',' Expr ')')
Figure 12: Safety Annex Grammar
A Safety subclause consists of a spec statement which consists of a sequence of statements.
These different kinds of statements and their uses are described in section 3.4.
Safety subclauses can occur either within an AADL component or component implementation.
5.4 Spec Statement
The Safety annex subclause can contain one or more spec statements. The following shows the
syntax of a spec statement:
SpecStatement: 'fault' ID (STRING)? ':' faultDefName '{' (FaultSubcomponent)* '}'
| 'analyze' ':' AnalysisBehavior
| ‘hw_fault ':' ID (STRING)? ':' '{' (HWFaultSubcomponent)* '}'
| 'propagate_from' ':' '{' (SourceFaultList) '@' (SourceCompPath) '}'
‘to’ '{' (DestFaultList) '@' (DestCompPath) '}'
Each spec statement corresponds with one fault definition that will wrap a single component. In
the case of multiple fault types on a component with multiple outputs, the subclause will contain
more than one spec statement; one for each of the fault definitions.

The ID is used as an internal identification to the fault described in the spec statement. The
STRING is a description of the fault and will be shown to the user during verification. The fault
definition name (a NestedDotID) corresponds with a fault contained in a library of faults. Each of
the faults is an AGREE node definition that is placed within an AADL package and included in the
component implementation file. These faults can then be referenced by the Safety annex. In the
case when the user wishes to design custom faults, refer to the AGREE User Guide description of
nodes (3.6.6 Node Definitions).
An example of a fault node is provided:
Figure 13: Fault Node Definition
The input and output statements (section 3.5.1, 3.5.2) will refer directly to the inputs and return
values of the fault node. Every fault node definition contains an input parameter called trigger*.
All other input parameters are linked in the Inputs statement (section 3.5.1) and the return
values are linked with AADL component in the Outputs statement (section 3.5.2).
The fault spec statement will contain zero or more Fault Subcomponent statements. In the case
of zero, no faults wrap the AADL component and hence no fault analysis is performed.
*In future work, this trigger will be linked to the trigger statement shown in the grammar above.
5.4.1 Fault Statement
The Safety annex spec statement can contain multiple Fault Subcomponent statements. The
following is a simplified version of the syntax of a Fault Subcomponent statement:
FaultSubcomponent: 'inputs' ':' NamedID '<-' Expr (','NamedID '<-' Expr)* ';'
| 'outputs' ':' NestedDotID '<-' NamedID (','NestedDotID '<-' NamedID)* ';'
| 'duration' ':' TemporalConstraint (Interval)? ';'
| 'probability' ':' Real_Literal ';'
| 'enabled' ':' TriggerCondition ';'
| 'propagate_type' ':' PropagationTypeConstraint ';'
| SafetyEqStatement
5.4.1.1 Input Statement
Input statements are where the parameters of the fault node definition are linked to expressions
which assign the node parameters a value. Each fault node has a trigger parameter. This is the
only input parameter that is not accounted for in the input statement.
As an example, we look at the fail_to fault node definition from Figure 13 and provide an
example of the input statement associated with this node.
The inputs that must be explicitly stated are: val_in and alt_val. The left side of the input
statement must use these identifiers. The right side of the input statement consists of AGREE or
AADL expressions (see AGREE Users Guide, section 3.7). Examples of this include boolean or
arithmetic expressions as well as AADL Data Implementation variables. The following is an
example of an input statement using the fail_to node and the Toy Example from Figure 2:
inputs: val_in <- Output, alt_val <- prev(Output, 0);
This input statement will ensure that the value associated with Output is passed in as the val_in
parameter and likewise the value associated with prev(Output, 0) is the failure value if the fault
is triggered (alt_val).
Record types in AADL are supported and their fields can be used in input and output statements.
Note: The trigger value is not specified within the input statement. See section 3.5.4 on Trigger
Statements.
5.4.1.2 Output Statement
Output statements will specify which component output will be affected by the fault node
output. Since nodes may have more than one output, each must be linked to a component.
Using the same example in 3.5.1 ( fail_to node and the Toy Example from Figure 2 we describe
the associated output statement:
outputs: Output <- val_out;
In the case of a fault node definition having more than one return value, the output statement
would be organized into a list much like the example for input statements in section 3.5.1.
Record types in AADL are supported and their fields can be used in input and output statements.
5.4.1.3 Duration Statement
A duration statement specifies whether the fault will be transient* or permanent. A permanent
fault will remain indefinitely and has no such interval in the statement.
An example of a permanent fault is as follows:
duration: permanent;
*Transient faults are currently not supported in the safety annex. This will be implemented in
future work. The only possible faults at this time are permanent.

5.4.1.4 Trigger Statement
The safety annex currently does not support trigger statements. This will be implemented in
future work. The following is a description of what trigger statements will look like once
implemented.
There are two types of triggers that can occur within a model. We call these must triggers and
enabler triggers. The must triggers are of the form: if the trigger has occurred, then the fault
must have been activated. The enabler triggers are of the form: if the trigger has occurred, then
the fault may have been activated. In either of these cases, the triggers are specified using a list
or a series of disjunctions. The trigger may have a probability associated with it. This probabilistic
value is an optional piece of the statement. The following is a simplified grammar of the trigger
statement syntax:
TriggerCondition: 'must' '{' Expr ("," Expr)* '}'
| 'enabler' '{' Expr ("," Expr)* '}'
5.4.1.5 Probability Statement
Currently the annex supports top level probabilistic analysis through the use of analysis
statements. An analysis statement is given at the top level of the system implementation under
analysis. It will specify the type of analysis to perform. Only one type is permitted to be specified
for a single analysis run. There are two kinds of analysis that can be requested by the user.
Maximum number of faults present in the system or a probabilistic analysis. These are described
in Section 5.4.2.
5.4.1.6 Propagation Statement
Users can specify fault dependencies outside of fault statements, typically in the system
implementation where the system configuration that causes the dependencies becomes clear
(e.g., binding between SW and HW components, co-location of HW components). This is because
fault propagations are typically tied to the way components are connected or bound together;
this information may not be available when faults are being specified for individual components.
Having fault propagations specified outside of a component’s fault statements also makes it
easier to reuse the component in different systems. An example of a fault dependency
specification is shown in Figure 14, showing that the valve_failed fault at the shutoff
subcomponent triggers the pressure_fail_blue fault at the selector subcomponent.
Figure 14: Propagation Statement Example
5.4.1.7 Safety Equation Statements
To allow flexibility in assigning failure values, various kinds of equation statements are defined
for the Safety Annex. This extends the AGREE equation statement by adding three new kinds of
equations.
5.4.1.7.1 Eq Statements
A Safety Equation Statement is identical to an AGREE Equation Statement. Equation statements
can be used to create local variable declarations within the body of an AGREE subclause or
within a Safety annex fault statement. An example of an equation statement is:
eq mode : int = 9;
In this example, we create an integer variable with the value of 9. Variables defined with
equation statements can be thought of as ''intermediate'' variables or variables that are not
meant to be visible in the architectural model (unlike component outputs or inputs). Equation
statements can define variables explicitly by setting the equation equal to an expression
immediately after it is defined. Equation statements can also define variables implicitly by not
setting them equal to anything. This would capture complete nondeterminism for fault values.
An example of this is:
eq mode : int;
To use a nondeterministic value within a fault statement, the equation statement would be
defined as above and then used in the input statement to link with the fault node.
Equation statements can define more than one variable at once by writing them in a comma
delimited list. One might do this to constrain a list of variables to the results of a node statement
that has multiple return values or to more cleanly list a set of implicitly defined variables.
5.4.1.7.2 Set Statements
Set equation statements are currently not supported in the safety annex. They will be
implemented in future work.
Set equation statements can be used to specify a set of discrete values of nondeterminism.
set set_values = {0,3,5} ;
The variable set_values will hold the value 0, 3, or 5.
5.4.1.7.3 Range Statements
Range equation statements are currently not supported in the safety annex. They will be
implemented in future work.
A range equation statement is used to specify a discrete range of integer values. This is the same
idea as a set, but is used when the size of the set gets to be unwieldy.
range range_values = {0,50} ;
The variable range_values will hold some integer value from 0 to 50 inclusive.
5.4.1.7.4 Interval Statements
Interval equation statements are currently not supported in the safety annex. They will be
implemented in future work.
Interval equation statements can be used to specify a real interval of nondeterminism for some
variable. These intervals can be any combination of open, closed, or neither. The following is an
example of a range including -1.2 up to (but not including) 30.0.
interval input_values = [-1.2, 30.0);

5.4.2 Analysis Statement
An analysis statement is given at the top level of the system implementation under analysis. It
will specify the type of analysis to perform. Only one type is permitted to be specified for a single
analysis run. There are two kinds of analysis that can be requested by the user. Maximum
number of faults present in the system or a probabilistic analysis. These are described below.
Important Note: At this time, fault hypotheses (see Figure 3) must be added to each layer of a
system in order for analysis to proceed correctly. Also, at most one of the analysis statements
must be present. In the example shown in Figure 3, the maximum n faults analysis statement is
commented out. In this case, the probabilistic analysis will be run.
5.4.2.1 Max N Faults Analysis
As shown in Figure 15, the user can specify the maximum number of active faults in a system. In
this way, it can be determined if the system is resilient to a certain number of faults.
Figure 15: Max One Fault Example
5.4.2.2 Probabilistic Analysis
In order for the probabilistic analysis to run, probabilities must be assigned to each fault
definition as shown in the Toy Example of Figure 2. The syntax of probabilistic analysis is shown
in Figure 16 with a top level threshold of 1.0E-7. For probabilistic fault hypotheses, we are
currently developing a sound approach for composition with respect to the top-level fault
probability, but our current tool requires monolithic analysis. Due to this fact, when probabilistic
analysis is run, the user should select “Monolithic Analysis” from the AGREE dropdown menu.
Any compositional (“Verify Single Layer” or “Verify All Layers”) results with probabilistic analysis
is not to be trusted.
Figure 16: Probability Threshold Example
5.4.3 Hardware Fault Statement
Failures in hardware (HW) components can trigger behavioral faults in the software (SW) or
system (SYS) components that depend on them. For example, a CPU failure may trigger faulty
behavior in threads bound to that CPU. In addition, a failure in one HW component may trigger

failures in other HW components located nearby, such as cascading failure caused by a fire or
water damage.
Faults propagate in AGREE as part of a system’s nominal behavior. This means that any
propagation in the HW portion of an AADL model would have to be artificially modeled using
data ports and AGREE behaviors in SW. This is less than ideal as there may not be concrete
behaviors associated with HW components. In other words, faulty behaviors mainly manifest
themselves on the SW/SYS components that depend on the hardware components.
To better model faults at the system level dependent on HW failures, we have introduced a new
fault model element for HW components. In comparison to the basic fault statement, users are
not specifying behavioral effects for the HW failures, nor data ports to apply the failure. An
example of a model component fault declaration is shown in Figure 17. This example is taken
from the Wheel Brake System model found in
https://github.com/loonwerks/AMASE/tree/develop/examples.
The example shows the failure of a hardware valve component.
Figure 17: Hardware Fault Statement
In addition, users can specify fault dependencies outside of fault statements using propagation
statements. For more information on propagation type statements, see section 5.4.1.6.
5.4.3.1 Duration
The duration of a hardware fault is specified within the hardware fault statement. Currently, the
safety annex only supports permanent fault durations. Part of the future work includes transient
fault durations.
5.4.3.2 Probability
A probability of the fault occurrence is specified using a probability statement. This is shown in
Figure 17. For more information on probabilistic analysis, see section 5.4.2.2.
5.4.3.3 Propagation Type
Propagation types are not yet implemented in the Safety Annex. In future work, this capability
will be available.
Faults can be propagated either symmetrically or asymmetrically. In the case of asymmetric fault
propagation, we have what are also called Byzantine faults. For example, a hardware component
supplies signals to n different software components in a fan out manner. If a fault occurs in the
hardware component, it can propagate to all software components symmetrically or it can
propagate asymmetrically to only a subset of those components. This propagation can be
specified within a hardware fault statement using the following syntax.
propagate_type : symmetric;
propagate_type : asymmetric;
6 Generate Fault Trees and Failure Flow Diagrams
6.1.1 Background
6.1.1.1 Inductive Validity Cores
Given a complex model, it is often useful to extract traceability information related to the proof,
in other words, which portions of the model were necessary to construct the proof. An algorithm
was introduced by Ghassabani, et. al. to provide Inductive Validity Cores (IVCs) as a way to
determine which model elements are necessary for the inductive proofs of the safety properties
for sequential systems. Given a safety property of the system, a model checker can be invoked in
order to construct a proof of the property. The IVC generation algorithm can extract traceability
information from that proof process and return a minimal set of the model elements required in
order to prove the property. A short time later, this algorithm was refined in order to produce all
such minimal sets of IVC elements.
This algorithm is of interest to us for the following reason. By letting the safety property of
interest be our top level event, we can utilize the algorithm to find the set of minimal IVCs which
will tell us the minimal model elements (including faults) necessary to prove that this top level
event occurs. The faults are assigned false and thus when an IVC contains a fault, it is necessary
for this fault to be inactive in order for the top level property to be proved. The results of this
analysis is a compositionally derived proof tree containing the inactive faults present in the
system. This proof tree is then negated in order to be able to see the active faults, violation of
component contracts, and the top level event as the root of the tree. This is done using the
SOTERIA tool.
6.1.1.2 SOTERIA
The Safe and Optimal Techniques Enabling Recovery, Integrity, and Assurance (SOTERIA) tool is
used to perform safety analysis of Integrated Modular Avionics (IMA) systems. In the SOTERIA
project, a compositional modeling language was developed and this language is used as input in
order to automatically synthesize the qualitative and quantitative safety analyses. The tool is
compositional in that it requires safety aspects at each component level which enables the
generation of compositional fault trees.
6.1.1.3 Overview of Analysis
For probabilistic fault hypothesis, the Safety Annex tool previously required monolithic analysis.
In monolithic analysis, the entire model is flattened and analyzed at once, whereas in
compositional analysis, each architectural layer is analyzed hierarchically. The compositional
approach allows the analysis to scale to much larger systems.
Below is an outline of the approach for composition with respect to the top-level fault
probability.
1. At each architectural level of a hierarchical model in AADL, where the requirements at each
level are specified as AGREE contracts, and the faults at the leaf architectural model are
specified in the Safety Annex, we employ the online enumeration of Minimal Inductive
Validity Cores (MIVCs) to iteratively find all the sets of “good” elements leading to a proof of
each parent level property.
For the leaf-level components, each set of IVC elements corresponds to “no failure”
conditions.
For the non-leaf-level components, each set of IVC elements corresponds to child level
properties.
2. The results are obtained in a system model in a form understandable by SOTERIA. SOTERIA
then uses this model to synthesize a proof tree with probabilities.
The SOTERIA tool is able to synthesize a fault tree from a system model composed of
connections of instances of components where each component is represented as a decision
table, or a list of monotonic Boolean formulas (made of AND, OR gates only), describing the
relationship between output signals and input signals and basic fault events of each
component.
The results from the MIVCs can be nicely mapped to the SOTERIA model:
For the leaf-level components, each set of IVC elements and the property they are
providing a proof for can be modeled as an individual SOTERIA component (i.e., a
decision table). The IVC elements map to basic fault events of the component (they are
the negation of the actual fault events from the original system, and their probability can
be obtained from the complement of the original fault probability), and the property
maps to the output.
For the non-leaf-level components, each set of IVC elements and the property they are
providing a proof for can be modeled as an individual SOTERIA component, where the
IVC elements map to the inputs, and the property maps to the output.
All SOTERIA components modeled above can be connected into a SOTERIA system model
by feeding the output signal from a component to the input signal of another component
if they both represent the same property from the original system.
SOTERIA synthesizes a fault tree with probability from the proof tree of the original system; it can
be then transformed to a real fault tree for the original system since fault trees and proof trees
are complementary.

6.1.2 Perform Analysis
First, users click a menu item for generating a SOTERIA model for compositional safety analysis.
This generates a single SOTERIA model file. Second, users run the generated SOTERIA model in
the SOTERIA environment and generate the results and artifacts from the function calls in the
previous step.
6.1.3 Example
A simple example was created in order to illustrate the analysis described in this section. The
example files can be found in the AMASE repository:
https://github.com/loonwerks/AMASE/tree/develop/examples/Test_Example
We assume in this description that the user has installed all required tools as described in Section
7.
In this Test Example, there are two components being verified: C0123, and C123. C123 is the
lowest layer of compositional verification in AGREE. The MIVCs elements for C0123 includes the
verified contracts from C123, and the independent fault activation literals from C0. The MIVCs
elements for C123 includes the independent fault activation literals from C1, C2, C3. The
architecture is shown in Figure 18.

Figure 18: Test Example Architecture Description
When the Test Example model is in the OSATE environment, the SOTERIA model is automatically
generated when the user clicks on the AGREE menu item labeled: Generate SOTERIA model
during AGREE Verification as shown in Figure 19. The user then saves this OCaml file (.ml
extension) and uses the SOTERIA environment to generate the desired artifacts. For details on
how to run the SOTERIA model file, see Section 7.4
Figure 19: SOTERIA Menu Item
The visualization of the physical model is shown in Figure 20.

Figure 22: Test Example Fault Propagation Model
The fault tree is shown in Figure 23.
Figure 23: Test Example Fault Tree
The optimized fault tree is shown in Figure 24.
Figure 24: Test Example Optimized Fault Tree
7 The Tool Suite (Safety Annex, AGREE, AADL)
In this chapter we present an overview of the Safety Annex/AGREE/OSATE tool suite, followed by
installation instructions for the tool suite, and a description of the main features of the tool suite.
Note: At the time of writing this document, the most recent version of OSATE 2.3.2 does not
support the Safety Annex. Until this is resolved, to use the Safety Annex with OSATE please
proceed through the steps outlined in sections 7.2.2 - 7.2.5 to install the OSATE Development
Environment.
7.1 Tool Suite Overview
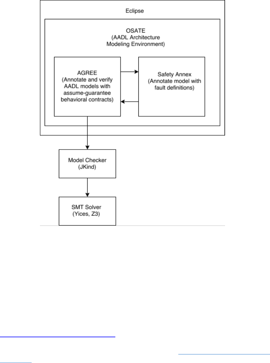
Figure 7 shows an overview of the AGREE/OSATE tool suite. As presented in the figure, OSATE is
installed as an Eclipse plugin that serves as the IDE for creating AADL models. Both AGREE and
the safety annex will run as a plugins inside OSATE that provides both a language (AADL annex to
annotate the models with assume-guarantee behavioral contracts in the case of AGREE and an
AADL annex to annotate the model with faults in the case of the safety annex) and a tool (for
compositional verification of the contracts reside in AADL models). AGREE translates an AADL
model and its contract annotations into Lustre and then queries the JKind model checker to
perform the verification. JKind invokes a backend Satisfiability Modulo Theories (SMT) solver
(e.g., Yices or Z3) to validate if the guarantees are valid in the compositional setting. The safety
annex uses an extension point in AGREE to access the AGREE program and insert the faults into
the AGREE contracts. Then that program is translated into Lustre and the JKind model checker is
queried to perform the verification/safety analysis.

Figure 25: Overview of Safety Annex/AGREE/OSATE Tool Suite
7.2 Installation
Installing the Safety Annex/AGREE/OSATE Tool Suite consists of 5 main steps, described in each
of the following sections.
7.2.1 Install OSATE
Binary releases of the OSATE tool suite for different platforms are available at:
http://www.aadl.info/aadl/osate/stable/. Choose the most recent version of OSATE that is
appropriate for your platform. For example, at the time of writing this document, the most
current release of OSATE is 2.3.2, available for download from http://osate.org/download-and-
install.html.

After following the OSATE download instructions found on the OSATE download site (above) The
splash screen shown in Figure 26 should appear, and OSATE should begin loading.
Figure 26: OSATE Loading Screen
If OSATE loads successfully, continue to the next step in the installation process. If not, and you
are running Windows, the most likely culprit involves mismatches between the 32-bit and 64-bit
version of OSATE and the bit-level of the Windows OS. Please check to see whether the version
of OSATE matches the bit-level of your version of Windows OS. If running Windows 10, this
information can be found in the System Control Panel as shown below in Figure 27. Note that
this information is also required for downloading the correct version of the SMT Solver in the
next installation step.

Figure 27: Windows 10 System Control Panel
7.2.2 Install SMT Solver
Either one of the following SMT solvers can be used as the underlying symbolic solver invoked by
the JKind model checker: Yices from SRI, or Z3 from Microsoft, Inc.
To download Yices, navigate to the Yices install page at: http://yices.csl.sri.com/ and download
the version of Yices appropriate for your platform.
To download Z3, navigate to the z3 install page at: https://github.com/Z3Prover/z3/releases and
download the version of Z3 appropriate for your platform.
Either tool must be unzipped and placed in a directory somewhere in the file system. Then this
directory must be added to the system path. For directions on how to add directories to your
path, please see http://stackoverflow.com/questions/14637979/how-to-permanently-set-path-
on-linux for Linux, and see http://architectryan.com/2012/10/02/add-to-the-path-on-mac-os-x-
mountain-lion/#.VszAv_krJph for Mac OS. In Linux, you must add the path to your config file,
usually .bashrc.
To add directories to your system path in Windows, first navigate to the System Control Panel
and choose the "Advanced system settings" button on the left side of the panel. The system
properties dialog will appear. Choose the "Advanced" tab in the dialog as shown in Figure 28
then click "Environment variables".

In order to make the application available to all user accounts choose the PATH environment
variable in the "System variables" section and click "Edit…". This will bring up a text edit box, as
seen in Figure 12. If the existing path string in the text edit box does not end with a semicolon
(‘;’), add a semicolon first, then append the path to the SMT solver’s "bin" directory, and click
"OK" on the dialogs. The bin directory for the Yices tool is underneath the main Yices directory,
e.g., C:\Apps\ yices-2.4.2-x86_64-pc-mingw32-static-gmp\yices-2.4.2\bin. The bin directory for
the Z3 tool is underneath the main z3 directory, e.g., C:\Apps\z3-4.4.1-x64-win\z3-4.4.1-x64-
win\bin.
Figure 30: System Variable Text Edit Box
To test whether Yices has been correctly installed on either Windows or Linux, open up a
command prompt window and type: yices --version. A version number for Yices matching the
installed version should be displayed.
To test whether z3 has been correctly installed on either Windows or Linux, open up a command
prompt window and type: z3 -version. A version number for Z3 matching the installed version
should be displayed.
7.2.3 Install JKind Model Checker
Download the latest release of jKind at: https://github.com/agacek/jkind/releases and unzip it
into a location in the file system. Place the directory containing jkind.jar on your path using the
same technique that was described for installing yices.
To test whether JKind has been successfully installed, open a new command window and type
"jkind". You should see something like the following:
usage: jkind [options] <input>
-excel generate results in Excel format
-help print this message
-induct_cex generate inductive counterexamples
-interval generalize counterexamples using interval analysis
-n <arg> maximum depth for bmc and k-induction (default:
200)

-no_bmc disable bounded model checking
-no_inv_gen disable invariant generation
-no_k_induction disable k-induction
-pdr_max <arg> maximum number of PDR parallel instances (0 to
disable PDR)
-read_advice <arg> read advice from specified file
-scratch produce files for debugging purposes
-smooth smooth counterexamples (minimal changes in input
values)
-solver <arg> SMT solver (default: yices, alternatives: cvc4, z3,
yices2, mathsat, smtinterpol)
-support find a set of support and reduce invariants used
-timeout <arg> maximum runtime in seconds (default: 100)
-version display version information
-write_advice <arg> write advice to specified file
-xml generate results in XML format
-xml_to_stdout generate results in XML format on standard out
C:\apps >
7.2.4 Set AGREE Analysis Preferences
Use the SMT solver of your choice (Yices or Z3) and set the AGREE Analysis preferences as shown
in Figure 31.
Window -> Preferences -> AGREE -> Analysis
Figure 31: AGREE Analysis Preferences

7.2.5 Install Safety Annex
Assuming Osate 2.3.2 has been successfully installed, select:
Help -> Install New Software
The following is the link for the Safety Annex update site:
https://raw.githubusercontent.com/loonwerks/AMASE-Update-Site/master/site.xml
To test whether the safety annex has been correctly installed, a Safety Annex menu should
appear in OSATE as shown in Figure 32.
Figure 32: Safety Analysis Menu Item
At this point, you are ready to import the Toy Example project (see Section 4.1) and begin your
own safety analysis.

7.3 Development Environment Installation
An alternate installation guide is provided here. In these installation directions, the OSATE
Development Environment is installed and the Safety Annex is compiled from source code and
not through the update site.
7.3.1 Install OSATE Development Environment
Follow the directions for installing the OSATE Development Environment provided on the
following website:
http://osate.org/setup-development.html
In Step 3: Select the Eclipse Platform of the directions provided in the OSATE website, select the
Development Environment called Oxygen.
In Step 5: Set Required Variables of the directions provided in the OSATE website, make sure that
in all Github repositories the read-only option is selected.
Notes and Possible Issues:
- Step 5 looks slightly different since the last OSATE update. There are fewer Github
repositories in this list.
- In many installations, OSATE will display a message stating that it cannot perform the
required operation. It will then attempt to make the correct installation. This takes time,
but it does perform the desired operation.
7.3.2 Install XText
Assuming Osate 2.3.2 has been successfully installed, select:
Help -> Install New Software
The following is the link for the XText update site:
http://download.eclipse.org/modeling/tmf/xtext/updates/composite/releases/
Select XText and XTend for installation.
7.3.3 Download Safety Annex Source Code
The Safety Annex source code should be cloned in a local directory using the Github repository:
https://github.com/loonwerks/AMASE/
If this repository is on the target machine, the Safety Annex can be imported into the OSATE
development environment folder titled: Other Projects. This repository includes a number of
directories and the one containing the Safety Annex source code is titled: safety_annex/plugins.

7.3.4 Github Branches
The smaccm branch is part of the OSATE installation and the default branch is master. This needs
to be changed to develop_fault_analysis.
The AMASE branch should be changed to develop.
After the development environment is set up and all repositories are imported, right click on the
project folder and select Team.
Team -> Switch To -> New Branch
Then type into the textbox the branch as required.
7.3.5 Run OSATE
At this point, everything should be in place to run the OSATE environment. Select the drop down
menu next to the green “play” button on the menu. In the drop down menu that appears, select
OSATE. This compiles the source code and the OSATE environment should appear after loading.
To test whether the safety annex has been correctly installed, a Safety Annex menu should
appear in OSATE as shown in Figure 32. At this point, you are ready to import the Toy Example
project (see Section 4.1) and begin your own safety analysis.
7.4 SOTERIA Toolset Installation
The SOTERIA toolset can be found in the following repository:
https://github.com/kityansiu/SOTERIA/
The installation instructions and commands required to run SOTERIA are detailed in this
repository in the following location:
SOTERIA/installation_instructions.txt
In order to perform any of the described analyses from Section 6, these installation instructions
must be followed and the SOTERIA tool must be invoked.
Note: At this time (21.9.2018), the SOTERIA toolkit has been removed from GitHub due to legal
issues. Please contact dkstewar@umn.edu with questions regarding the installation of SOTERIA
for the Safety Annex.



