CVT2030 Service Manual CVT3030 K 0
User Manual: CVT2030
Open the PDF directly: View PDF
.
Page Count: 17

Page 1 of 17
CVT2030
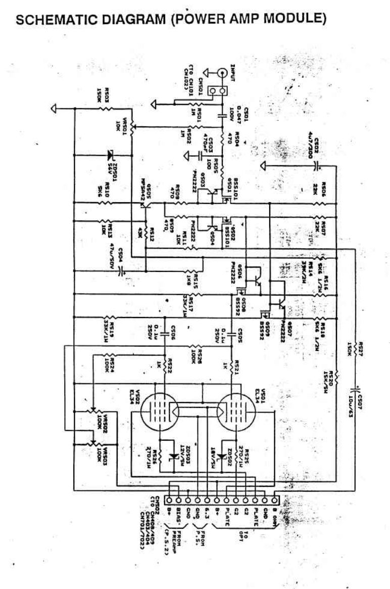
CVT2030 is Power Amplifier Section of CVT3030

Page 2 of 17
CVT2030 is Power Amplifier Section of CVT3030

Page 3 of 17
CVT3030
CVT2030

Page 4 of 17
CVT3030
CVT2030

Page 5 of 17
CVT3030

Page 6 of 17
CVT2030

Page 7 of 17
There is no pre-amp section for CVT2030

Page 8 of 17
There is no pre-amp section for CVT2030

Page 9 of 17

Page 10 of 17

Page 11 of 17
Schematic Diagram (Preamp Module) – CVT3030

Page 12 of 17
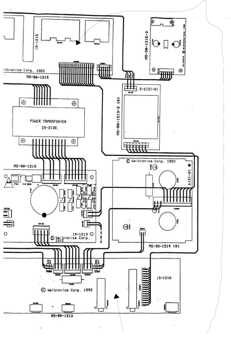
- CVT3030, CVT2030

Page 13 of 17
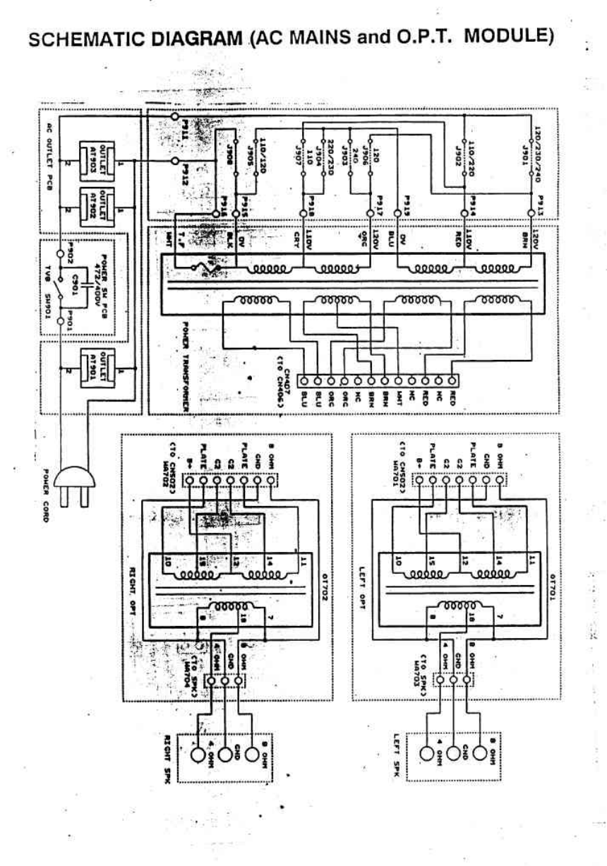
Schematic Diagram (Power Supply Module) – CVT3030, CVT2030

Page 14 of 17
– CVT3030, CVT2030

Page 15 of 17
Schematic Diagram (PHONO Module) – CVT3030

Page 16 of 17
Spare Parts/ Module List – CVT3030, CVT2030

Page 17 of 17