TM 00101 AFC User Manual Telecom
TM_00101_AFC%20User%20Manual_Telecom
User Manual:
Open the PDF directly: View PDF .
Page Count: 421 [warning: Documents this large are best viewed by clicking the View PDF Link!]
- 1. Introduction
- 2. Mapping
- 2.1 Transaction and Service Types
- 2.2 Valid Transaction/Service Pairings
- 2.3 Transaction Mapping Guidelines
- 2.3.1 Long Distance Transaction and Service Types
- 2.3.2 Wireless Transaction and Service Types
- 2.3.3 Enhanced Service Transaction and Service Types
- 2.3.4 Internet Transaction and Service Types
- 2.3.5 Local Service Transaction and Service Types
- 2.3.6 Sales Transaction and Service Types
- 2.3.7 Shipping Transaction and Service Types
- 2.3.8 Natural Gas Transaction and Service Types
- 2.3.9 Telephony Transaction and Service Types
- 2.3.10 Cable Television Transaction and Service Types
- 2.3.11 Satellite Television Transaction and Service Types
- 2.3.12 Voice over Internet Protocol (VoIP) Transaction and Service Types
- 2.3.13 Payphone Transaction and Service Types
- 2.3.14 Software Transaction and Service Types
- 2.3.15 Timesharing Transaction and Service Types
- 2.3.16 Satellite Phone Transaction and Service Types
- 2.3.17 VPN Transaction and Service Types
- 2.4 Tax Categories
- 3. Transactions
- 3.1 Customer Information
- 3.2 Incorp
- 3.3 Company Information
- 3.4 Transaction Data
- 3.5 Taxing Jurisdiction Identification Information
- 3.6 Jurisdiction Identification Details
- 4. AFC Calculations
- 4.1 Meeting the Requirements of Specific Tax Issues
- 4.1.1 Tax Type Exemptions
- 4.1.2 Tax Adjustments
- 4.1.3 Tax Overrides
- 4.1.4 Tax Rate Brackets
- 4.1.5 Surcharges
- 4.1.6 Prorated Taxes
- 4.1.7 Discount Adjustment
- 4.1.8 Tier at Transactions
- 4.1.9 Tax on Tax Until no Effect
- 4.1.10 Historical Tax Rates
- 4.1.11 Taxed Taxes
- 4.2 Tax Logging
- 4.3 Returned Taxes
- 4.1 Meeting the Requirements of Specific Tax Issues
- 5. Utilities
- 5.1 Utility Selection
- 5.2 Specifying a Log File at Run Time
- 5.3 Log.sum File
- 5.4 General Tips When Using Utilities
- 5.5 AFC Utilities
- 5.5.1 asciilog.exe
- 5.5.2 batchsplit.exe
- 5.5.3 commerge.exe
- 5.5.4 comptnum.exe
- 5.5.5 comrpt.exe
- 5.5.6 csf20.exe
- 5.5.7 customsort.exe
- 5.5.8 ezcomprep.exe
- 5.5.9 ezlog_ns.exe
- 5.5.10 ezlogcust.exe
- 5.5.11 ezlogcustios.exe
- 5.5.12 ezlogcustpts.exe
- 5.5.13 ezlogcustptslnl.exe
- 5.5.14 EZTax_20.exe
- 5.5.15 EZTaxappend.exe
- 5.5.16 EZTaxappendf.exe
- 5.5.17 log no tax transactions
- 5.5.18 srtcdf20.exe
- 5.5.19 srtcdf20p.exe
- 5.5.20 srtcomcust20.exe
- 5.5.21 srtcomma20.exe
- 5.5.22 srtcomma20l.exe
- 5.5.23 srtcomma20ld.exe
- 5.5.24 srtcommadetail.exe
- 5.5.25 srtrev20l.exe
- 5.5.26 upsize_log.exe
- 6. BATCH FILE PROCESSING
- 6.1 Batch Processing Description
- 6.2 AFC CDS Input File Specifications
- 6.3 Federal or State Exclusion
- 6.4 Accumulating the Log
- 6.5 EZTax_20 Utility Specification
- 6.6 Deprecated CDF20 File Structure
- 7. The C/C++ API
- 7.1 Language Interfaces for AFC
- 7.2 Configuration
- 7.3 General Overview of AFC API Integration
- 7.4 Detailed Discussion of AFC API Integration
- 7.5 Preparing the AFC Application Programmer Interface (API) Interface
- 7.6 AFC API Function Calls
- 7.7 Sample Coding
- 7.8 API Listings
- 7.8.1 EZTaxAdjDebitJEx
- 7.8.2 EZTaxAdjDebitNEx
- 7.8.3 EZTaxAdjDebitPEx
- 7.8.4 EZTaxAdjDebitTaxInclusiveJCode (EZTaxAdjDebitRevJCode deprecated)
- 7.8.5 EZTaxAdjDebitTaxInclusiveNPAN (EZTaxAdjDebitRevNPAN deprecated)
- 7.8.6 EZTaxAdjDebitTaxInclusivePCode (EZTaxAdjDebitRevPCode deprecated)
- 7.8.7 EZTaxAdjDebitTaxInclusiveZip (EZTaxAdjDebitRevZip deprecated)
- 7.8.8 EZTaxAdjDebitZEx
- 7.8.9 EZTaxAdjJCodeEx
- 7.8.10 EZTaxAdjNPANEx
- 7.8.11 EZTaxAdjPCodeEx
- 7.8.12 EZTaxAdjProRateJCode (EZTaxAdjProRateJCodeEx deprecated)
- 7.8.13 EZTaxAdjProRateNPAN (EZTaxAdjProRateNPANEx deprecated)
- 7.8.14 EZTaxAdjProRatePCode (EZTaxAdjProRatePCodeEx deprecated)
- 7.8.15 EZTaxAdjProRateThisJCode (EZTaxAdjProRateThisJCodeEx deprecated)
- 7.8.16 EZTaxAdjProRateThisPCode (EZTaxAdjProRateThisPCodeEx deprecated)
- 7.8.17 EZTaxAdjProRateZip (EZTaxAdjProRateZipEx deprecated)
- 7.8.18 EZTaxAdjTaxInclusiveJCode (EZTaxAdjRevJCode deprecated)
- 7.8.19 EZTaxAdjTaxInclusiveNPAN (EZTaxAdjRevNPAN deprecated)
- 7.8.20 EZTaxAdjTaxInclusivePCode (EZTaxAdjRevPCode deprecated)
- 7.8.21 EZTaxAdjTaxInclusiveZip (EZTaxAdjRevZip deprecated)
- 7.8.22 EZTaxAdjTPPEx
- 7.8.23 EZTaxAdjZipEx
- 7.8.24 EZTaxCalcJurisdiction
- 7.8.25 EZTaxClearExclusion
- 7.8.26 EZTaxClearTSR
- 7.8.27 EZTaxClose
- 7.8.28 EZTaxCountryToPCode
- 7.8.29 EZTaxDbVersion
- 7.8.30 EZTaxDebitJEx
- 7.8.31 EZTaxDebitNEx
- 7.8.32 EZTaxDebitPEx
- 7.8.33 EZTaxDebitTaxInclusiveJCode (EZTaxDebitRevJCode deprecated)
- 7.8.34 EZTaxDebitTaxInclusiveNPAN (EZTaxDebitRevNPAN deprecated)
- 7.8.35 EZTaxDebitTaxInclusivePCode (EZTaxDebitRevPCode deprecated)
- 7.8.36 EZTaxDebitTaxInclusiveZip (EZTaxDebitRevZip deprecated)
- 7.8.37 EZTaxDllVersion
- 7.8.38 EZTaxExit
- 7.8.39 EZTaxExitSessionEx
- 7.8.40 EZTaxFlushToLogEx
- 7.8.41 EZTaxFreeRates
- 7.8.42 EZTaxFtoPCodeEx
- 7.8.43 EZTaxGetAddressEx
- 7.8.44 EZTaxGetCustomLog
- 7.8.45 EZTaxGetCountryID
- 7.8.46 EZTaxGetCustomLogCount
- 7.8.47 EZTaxGetHandle
- 7.8.48 EZTaxGetJurisdiction
- 7.8.49 EZTaxGetLogName
- 7.8.50 EZTaxGetLogV914
- 7.8.51 EZTaxGetLogV914Count
- 7.8.52 EZTaxGetRates
- 7.8.53 EZTaxGetSession
- 7.8.54 EZTaxGetStateID
- 7.8.55 EZTaxGetTaxCatV98
- 7.8.56 EZTaxGetTaxDescription
- 7.8.57 EZTaxGetTSR
- 7.8.58 EZTaxGroupResults
- 7.8.59 EZTaxInitDirEx
- 7.8.60 EZTaxInitEx
- 7.8.61 EZTaxInitExMT
- 7.8.62 EZTaxInitV914
- 7.8.63 EZTaxInitV98
- 7.8.64 EZTaxJCodeEx
- 7.8.65 EZTaxJtoPCodeEx
- 7.8.66 EZTaxJTTypeEx (EZTaxJTType deprecated)
- 7.8.67 EZTaxJurisdiction
- 7.8.68 EZTaxMaxTaxCount
- 7.8.69 EZTaxNextAddressEx
- 7.8.70 EZTaxNextCustomerEx
- 7.8.71 EZTaxNPANEx
- 7.8.72 EZTaxNtoJCodeEx
- 7.8.73 EZTaxNTTypeEx
- 7.8.74 EZTaxOldOvrJCode
- 7.8.75 EZTaxOvrJCodeEx
- 7.8.76 EZTaxOvrNPANEx
- 7.8.77 EZTaxOvrPCodeEx
- 7.8.78 EZTaxOvrZipEx
- 7.8.79 EZTaxPCodeEx
- 7.8.80 EZTaxPrivateLine
- 7.8.81 EZTaxPrivateLineAdj
- 7.8.82 EZTaxProRateJCodeEx
- 7.8.83 EZTaxProRateNPANEx
- 7.8.84 EZTaxProRatePCodeEx
- 7.8.85 EZTaxProRateThisJCodeEx
- 7.8.86 EZTaxProRateThisPCodeEx
- 7.8.87 EZTaxProRateZipEx
- 7.8.88 EZTaxPtoFipsEx
- 7.8.89 EZTaxPtoJCodeEx
- 7.8.90 EZTaxPTTypeEx
- 7.8.91 EZTaxRestoreEx
- 7.8.92 EZTaxTaxInclusiveJCode (EZTaxRevJCode deprecated)
- 7.8.93 EZTaxTaxInclusiveNPAN (EZTaxRevNPAN deprecated)
- 7.8.94 EZTaxTaxInclusivePCode (EZTaxRevPCode deprecated)
- 7.8.95 EZTaxTaxInclusiveZip (EZTaxRevZip deprecated)
- 7.8.96 EZTaxSessionDbVersion
- 7.8.97 EZTaxSetInvoiceModeEx
- 7.8.98 EZTaxSetInvoiceModeV98
- 7.8.99 EZTaxSetNexus
- 7.8.100 EZTaxSetStateExclusion
- 7.8.101 EZTaxSetStateNexus
- 7.8.102 EZTaxSetWorkingDir
- 7.8.103 EZTaxThisJCodeEx
- 7.8.104 EZTaxThisPCodeEx
- 7.8.105 EZTaxTPPEx
- 7.8.106 EZTaxWriteToLogEx
- 7.8.107 EZTaxWriteToLogV914
- 7.8.108 EZTaxZipEx
- 7.8.109 EZTaxZtoJCodeEx
- 7.8.110 EZTaxZtoPCodeEx
- 7.8.111 EZTaxClearSafeHarborOverride
- 7.8.112 EZTaxSetSafeHarborTAMOverride
- 8. Appendices A - G

AvaTax for Communications
Telecom User Manual
Release: 9.19.1807.1
Document: TM_00101_0055
Date: 06/25/2018

All trade names referenced herein are either trademarks or registered trademarks of their respective companies.
© Avalara, Inc. 2018. CONFIDENTIAL
Avalara for Communications - Contact Information
Address
Avalara, Inc.
512 South Mangum Street, Suite 100
Durham, North Carolina, 27701
Toll Free
800-525-8175
Corporate Web Site
http://communications.avalara.com/
Comms Platform Site
https://communications.avalara.net
Email
communicationsupport@avalara.com

All trade names referenced herein are either trademarks or registered trademarks of their respective companies.
© Avalara, Inc. 2018. CONFIDENTIAL
Document Revision History
The Revision History log lists the date and description of the most recent revisions or versions of the
document.
Date
Version
Description
03/25/2016
0028
Avalara branding updates to reflect the transition to the new company and
product names have been incorporated into this document. Please see
Appendix H – Avalara Product Names
for specific changes in product
references and descriptions.
04/25/2016
0029
Updated with table of Tax Categories in Section 2.4; new tax type 457 in
Section 4.3.5 Tax Types
. Additional release number and version updates
throughout Section 8.
05/25/2016
0030
New tax type 458 in Section 4.3.5 Tax Types; updated support site screenshots
in
Section 8.4.1 Download the Monthly update.
Reformatted
Section 7.8 API
Listing
table. Additional release number and version updates throughout
Section 8.
06/24/2016
0031
Added new tax types 459 – 462 in Section 4.3.5 Tax Types; 9 new
transaction/service pairs in
Section 2.1 Transaction and Service Types
;
Updates in
Section 5.5.7 Customsort.exe
to command line and arguments;
Release number, version and header file updates throughout Section 8.
07/25/2016
0032
Added new tax type 463 in Section 4.3.5 Tax Types; Release number, version
and header file updates throughout Section 8.
08/25/2016
0033
Release number and version updates on cover and in Section 8.2
09/23/2016
0034
Added new tax types, 464 – 468 in Section 4.3.5 Tax Types. Added new
transaction/service pair 14/15 in
Section 2.2
. Added new country, Senegal, in
Section 2.3.9
. Release number, version and header file updates on the cover
and throughout Section 8.
10/25/2016
0035
Updated descriptions in Section 3.1.4.1 Federal Exempt and Section 3.2
Incorp
. Release number, version and header file updates on the cover and
throughout Section 8.
11/23/2016
0036
Added new tax type 469 in Section 4.3.5 Tax Types. All references to ‘reverse’
tax calculations in the AFC engine have been updated and renamed to reflect
the current naming convention which is ‘tax inclusive’ calculations. As a
result, 16 APIs in
Section 7.8.1 API Listings
have been updated and renamed.
Added safe harbor APIs in
Section 7.8.107 EZTaxClearSafeHarborOverride
and
Section 7.8.108
EZtaxSetSafeHarborTAMOverride.
Release number, version
and header file updates on the cover and throughout Section 8.
12/22/2016
0037
Added new tax types 470 and 473-475 in Section 4.3.5 Tax Types. Updates in
Section 3.6.2 Determining the Taxing Jurisdiction for Cellular
and
Section 3.6.3
Determining the Taxing Jurisdiction for VoIP
.
Added new
Section 3.6.4
Determining the Taxing Jurisdiction within Canada.
Release number, version
and header file updates on the cover and throughout Section 8.
01/27/2017
0038
Release number, version and header file updates on the cover and
throughout Section 8. Also updated copyright year.
02/24/2017
0039
Removed references to the Locations field throughout document as well as
transaction/service pairs 7/23 and 7/88 in
Section 2.2
Valid
Transaction/Service Pairings.
Release number, version and header file
updates on the cover and throughout Section 8.
03/24/2017
0040
Updated table under Section 7.8 API Listings, updated Section 7.8.78
EZTaxPrivateLine and added Section 7.8.79 EZTAXPrivateLineAdj. Release

All trade names referenced herein are either trademarks or registered trademarks of their respective companies.
© Avalara, Inc. 2018. CONFIDENTIAL
Date
Version
Description
number, version and header file updates on the cover and throughout Section
8.
04/25/2017
0041
Added new transaction/service pair 10/655 in Section 2.2 Valid
Transaction/Service Pairings
. Added new tax type 469 in
Section 4.3.5 Tax
Types.
Updates to
Section 4.7 Exclusions
,
Section 6.3 Federal
or State
Exclusion
and
Section 7.8.97 EZtaxSetStateExclusions
. Release number,
version and header file updates on the cover and throughout Section 8.
05/25/2017
0042
Release number, version and header file updates on the cover and
throughout Section 8.
06/27/2017
0043
Added Section 3.5.7 Support for India. Added 12 new tax types, 66 and 477 –
487 in
Section 4.3.5 Tax Types.
All references to ‘Customer Mode’ in the AFC
engine have been updated and renamed to reflect the current naming
convention which is ‘Invoice Mode.’ As a result, 2 APIs in
Section 7.8 API
Listings
have been updated and renamed. Added two new APIs,
Section
7.8.65 EZTaxJTTypeEx
and
Section 7.8.89 EZTaxPTTypeEx
. Release number,
version and header file updates on the cover and throughout Section 8.
07/27/2017
0044
Added note related to timestamp/invoice date passed in Section 6.2.4.1
Invoice Date
. Removed deprecated API,
EZTaxJTType
and added 6 new
prorated adjustment APIs in
Section 7.8 API Listings
. Release number, version
and header file updates on the cover and throughout Section 8.
08/25/2017
0045
Updated tax type 482 (name only). Release number, version and header file
updates on the cover and throughout Section 8.
09/25/2017 0046 Updated name and description for tax type 220, added 2 new tax types 488
and 489 in
Section 4.3.5 Tax Types.
Added new APIS,
EZTaxGetCountry
ID and
EZTaxGetStateID
in
Section 7.8 API Listings
.
Release number, version and
header file updates on the cover and throughout Section 8.
10/25/2017
0047
Added new tax type 490 in Section 4.3.5 Tax Types. Updated references to
support site web site address in
Section 8.4 Monthly Update Procedures.
Updated Avalara contact information (address and support site). Removed
Appendix H – Avalara Product Names
. Release number, version and header
file updates on the cover and throughout Section 8.
11/22/2017
0048
Added new tax type 491 and 492 in Section 4.3.5 Tax Types. Release number,
version and header file updates on the cover and throughout Section 8.
12/21/2017
0049
Added 6 new countries to the table in Section 2.3.9 Telephony Transaction
and Service Types
. Release number, version and header file updates on the
cover and throughout Section 8.
01/25/2018
0050
Added new Section 2.2.1 Additional Transaction/Service Pairings Supported in
Telecom
. Release number, version and header file updates on the cover and
throughout Section 8.
02/23/2018 0051 Updated the definition for surcharge in the table of
Section 4.3.2 Returned
Tax Information
. Release number, version and header file updates on the
cover and throughout Section 8.
3/27/2018
0052
Updated description for transaction/service pair 24/59 and added new
transaction/service pair 25/660 in
Section 2.2
Valid Transaction/Service
Pairings
. Added new transaction/service pair 24/491 in
Section 2.2.1
Additional Transaction/Service Pairings Supported in Telecom
. Added new tax
type 493 in
Section 4.3.5 Tax Types.
Release number, version and header file
updates on the cover and throughout Section 8.
4/25/2018
0053
Added new tax types (494 through 517) in Section 4.3.5 Tax Types. Release
number, version and header file updates on the cover and throughout
Section
8.

All trade names referenced herein are either trademarks or registered trademarks of their respective companies.
© Avalara, Inc. 2018. CONFIDENTIAL
Date
Version
Description
5/25/2018
0054
Updated description in section 2.2.1 Additional Transaction/Service Pairs to
indicate U.S. use only. Updates to transaction specifications throughout
Section 3.
Release number, version and header file updates on the cover and
in Section 8.
6/25/2018
0055
New tax types (518 through 520) in section 4.3.5 Tax Types. Release number,
version and header file updates on the cover and throughout Section 8.

AFC Telecom User Manual| i
Copyright 2018 Avalara, Inc.
Table of Contents
Introduction ....................................................................................................................................... 1
Installation .................................................................................................................................. 1
Getting Started ............................................................................................................................ 1
The AFC Manual .......................................................................................................................... 1
Mapping ................................................................................................................................ 1
Transactions .......................................................................................................................... 2
VPN Transaction and Service Types ....................................................................................... 2
Tax Calculations ..................................................................................................................... 2
Utilities .................................................................................................................................. 2
The Advantage of Using Functions ........................................................................................ 2
General Product Information ................................................................................................ 4
Mapping............................................................................................................................................. 6
Transaction and Service Types .................................................................................................... 6
Valid Transaction/Service Pairings .............................................................................................. 6
Additional Transaction/Service Pairings Supported in Telecom .......................................... 29
File transervdescsau.txt ....................................................................................................... 35
Transaction Mapping Guidelines ............................................................................................... 36
Long Distance Transaction and Service Types ..................................................................... 36
Wireless Transaction and Service Types .............................................................................. 37
Enhanced Service Transaction and Service Types ............................................................... 38
Internet Transaction and Service Types .............................................................................. 38
Local Service Transaction and Service Types ....................................................................... 39
Sales Transaction and Service Types ................................................................................... 42
Shipping Transaction and Service Types .............................................................................. 43
Natural Gas Transaction and Service Types ......................................................................... 43
Telephony Transaction and Service Types ........................................................................... 43
Cable Television Transaction and Service Types .................................................................. 46
Satellite Television Transaction and Service Types .............................................................. 46
Voice over Internet Protocol (VoIP) Transaction and Service Types .................................... 47

AFC Telecom User Manual| ii
Copyright 2018 Avalara, Inc.
Payphone Transaction and Service Types ............................................................................ 50
Software Transaction and Service Types ............................................................................. 51
Timesharing Transaction and Service Types ........................................................................ 51
Satellite Phone Transaction and Service Types.................................................................... 51
VPN Transaction and Service Types ..................................................................................... 51
Tax Categories ........................................................................................................................... 52
Transactions ..................................................................................................................................... 52
Customer Information ............................................................................................................... 53
Business Class Indicator ....................................................................................................... 54
Customer Number (Primary Output Key) ............................................................................ 55
Customer Type .................................................................................................................... 55
Exemption Levels ................................................................................................................. 55
Incorp ........................................................................................................................................ 55
Invoice Number ................................................................................................................... 56
JCode Exemption Levels ...................................................................................................... 56
Lifeline Flag .......................................................................................................................... 57
Service Class Indicator ......................................................................................................... 57
Service Level Number .......................................................................................................... 57
Tax Type Exemptions ........................................................................................................... 57
Optional Fields ..................................................................................................................... 58
Company Information ............................................................................................................... 60
Company Identifier .............................................................................................................. 60
Facilities Based Flag ............................................................................................................. 60
Franchise Flag ...................................................................................................................... 60
Regulated / Unregulated Flag .............................................................................................. 60
Transaction Data ....................................................................................................................... 61
Charge ................................................................................................................................. 61
Date ..................................................................................................................................... 61
Lines .................................................................................................................................... 62
Minutes ............................................................................................................................... 62
Sale Type ............................................................................................................................. 62

AFC Telecom User Manual| iii
Copyright 2018 Avalara, Inc.
Service Type ........................................................................................................................ 62
Transaction Type ................................................................................................................. 62
Taxing Jurisdiction Identification Information ........................................................................... 63
The JCode Jurisdiction Identification ................................................................................... 63
NPANXX ............................................................................................................................... 66
Zip Codes ............................................................................................................................. 66
Zip Plus 4 ............................................................................................................................. 67
Canadian Postal Codes ........................................................................................................ 67
FIPS Codes ........................................................................................................................... 67
Support for India ................................................................................................................. 69
Jurisdiction Identification Details .............................................................................................. 70
Determining the Taxing Jurisdiction for Wireline ................................................................ 70
Determining the Taxing Jurisdiction for Cellular .................................................................. 74
Determining the Taxing Jurisdiction for VoIP ...................................................................... 74
Determining the Taxing Jurisdiction within Canada ............................................................ 74
AFC Calculations ............................................................................................................................... 75
Meeting the Requirements of Specific Tax Issues ..................................................................... 75
Tax Type Exemptions ........................................................................................................... 76
Tax Adjustments .................................................................................................................. 77
Tax Overrides ....................................................................................................................... 78
Tax Rate Brackets ................................................................................................................ 84
Surcharges ........................................................................................................................... 85
Prorated Taxes ..................................................................................................................... 85
Discount Adjustment ........................................................................................................... 85
Tier at Transactions ............................................................................................................. 88
Tax on Tax Until no Effect .................................................................................................... 89
Historical Tax Rates ............................................................................................................. 89
Taxed Taxes ......................................................................................................................... 89
Tax Logging ............................................................................................................................... 90
Returned Taxes ......................................................................................................................... 90
Taxes Table .......................................................................................................................... 91

AFC Telecom User Manual| iv
Copyright 2018 Avalara, Inc.
Returned Tax Information ................................................................................................... 91
Returned Tax Information Using Invoice Mode ................................................................... 91
Tax Grouping ....................................................................................................................... 93
Tax Types ............................................................................................................................. 95
Nexus ................................................................................................................................. 116
Exclusions .......................................................................................................................... 116
Utilities........................................................................................................................................... 118
Utility Selection ....................................................................................................................... 119
Reporting Utilities .............................................................................................................. 119
File Management Utilities ................................................................................................. 120
Specifying a Log File at Run Time ............................................................................................ 120
Log.sum File ............................................................................................................................ 121
General Tips When Using Utilities ........................................................................................... 121
AFC Utilities ............................................................................................................................. 122
asciilog.exe ........................................................................................................................ 124
batchsplit.exe .................................................................................................................... 125
commerge.exe ................................................................................................................... 126
comptnum.exe .................................................................................................................. 127
comrpt.exe ........................................................................................................................ 129
csf20.exe ........................................................................................................................... 130
customsort.exe .................................................................................................................. 131
ezcomprep.exe .................................................................................................................. 132
ezlog_ns.exe ...................................................................................................................... 134
ezlogcust.exe ..................................................................................................................... 136
ezlogcustios.exe ................................................................................................................ 138
ezlogcustpts.exe ................................................................................................................ 140
ezlogcustptslnl.exe ............................................................................................................ 142
EZTax_20.exe ..................................................................................................................... 144
EZTaxappend.exe ............................................................................................................... 144
EZTaxappendf.exe ............................................................................................................. 145
log no tax transactions ...................................................................................................... 146

AFC Telecom User Manual| v
Copyright 2018 Avalara, Inc.
srtcdf20.exe ....................................................................................................................... 149
srtcdf20p.exe ..................................................................................................................... 151
srtcomcust20.exe .............................................................................................................. 153
srtcomma20.exe ................................................................................................................ 154
srtcomma20l.exe ............................................................................................................... 157
srtcomma20ld.exe ............................................................................................................. 160
srtcommadetail.exe ........................................................................................................... 163
srtrev20l.exe ...................................................................................................................... 165
upsize_log.exe ................................................................................................................... 170
BATCH FILE PROCESSING ................................................................................................................ 171
Batch Processing Description .................................................................................................. 171
AFC CDS Input File Specifications ............................................................................................ 173
Taxing Jurisdiction Identification Information ................................................................... 174
Customer Information ....................................................................................................... 176
Company Information ....................................................................................................... 179
Transaction Information .................................................................................................... 180
Federal or State Exclusion ....................................................................................................... 182
Accumulating the Log .............................................................................................................. 182
EZTax_20 Utility Specification ................................................................................................. 183
Deprecated CDF20 File Structure ............................................................................................ 185
The C/C++ API ................................................................................................................................ 187
Language Interfaces for AFC ................................................................................................... 187
Configuration .......................................................................................................................... 188
Filelocs.txt File ................................................................................................................... 188
Filelocs.sta File ................................................................................................................... 189
General Overview of AFC API Integration ............................................................................... 190
Detailed Discussion of AFC API Integration ............................................................................. 191
Tax Adjustments ................................................................................................................ 191
Obtaining Jurisdiction and Address Information From JCodes and PCodes ...................... 191
Obtaining Jurisdiction and Address Information From JCodes and PCodes ...................... 191
Obtaining Tax Information From Transactions .................................................................. 192

AFC Telecom User Manual| vi
Copyright 2018 Avalara, Inc.
Preparing the AFC Application Programmer Interface (API) Interface .................................... 194
AFC API Function Calls ............................................................................................................. 194
Retrieving Taxes ................................................................................................................ 195
Multi-Threading ................................................................................................................. 197
Multiple Sessions ............................................................................................................... 198
Session Management ........................................................................................................ 199
Session Pooling .................................................................................................................. 200
Sample Coding ........................................................................................................................ 201
Using EZTaxGetRates to Build an Override ........................................................................ 201
API Listings .............................................................................................................................. 202
EZTaxAdjDebitJEx............................................................................................................... 210
EZTaxAdjDebitNEx ............................................................................................................. 211
EZTaxAdjDebitPEx .............................................................................................................. 212
EZTaxAdjDebitTaxInclusiveJCode (EZTaxAdjDebitRevJCode deprecated).......................... 213
EZTaxAdjDebitTaxInclusiveNPAN (EZTaxAdjDebitRevNPAN deprecated) .......................... 214
EZTaxAdjDebitTaxInclusivePCode (EZTaxAdjDebitRevPCode deprecated) ........................ 215
EZTaxAdjDebitTaxInclusiveZip (EZTaxAdjDebitRevZip deprecated) ................................... 216
EZTaxAdjDebitZEx .............................................................................................................. 218
EZTaxAdjJCodeEx ............................................................................................................... 219
EZTaxAdjNPANEx ............................................................................................................... 220
EZTaxAdjPCodeEx .............................................................................................................. 221
EZTaxAdjProRateJCode (EZTaxAdjProRateJCodeEx deprecated) ....................................... 222
EZTaxAdjProRateNPAN (EZTaxAdjProRateNPANEx deprecated) ....................................... 223
EZTaxAdjProRatePCode (EZTaxAdjProRatePCodeEx deprecated) ..................................... 224
EZTaxAdjProRateThisJCode (EZTaxAdjProRateThisJCodeEx deprecated) .......................... 225
EZTaxAdjProRateThisPCode (EZTaxAdjProRateThisPCodeEx deprecated)........................ 227
EZTaxAdjProRateZip (EZTaxAdjProRateZipEx deprecated) ................................................ 229
EZTaxAdjTaxInclusiveJCode (EZTaxAdjRevJCode deprecated) ........................................... 230
EZTaxAdjTaxInclusiveNPAN (EZTaxAdjRevNPAN deprecated) ........................................... 231
EZTaxAdjTaxInclusivePCode (EZTaxAdjRevPCode deprecated) ......................................... 232
EZTaxAdjTaxInclusiveZip (EZTaxAdjRevZip deprecated) .................................................... 233

AFC Telecom User Manual| vii
Copyright 2018 Avalara, Inc.
EZTaxAdjTPPEx .................................................................................................................. 235
EZTaxAdjZipEx .................................................................................................................... 237
EZTaxCalcJurisdiction ......................................................................................................... 238
EZTaxClearExclusion .......................................................................................................... 239
EZTaxClearTSR ................................................................................................................... 240
EZTaxClose ......................................................................................................................... 241
EZTaxCountryToPCode ...................................................................................................... 242
EZTaxDbVersion ................................................................................................................. 243
EZTaxDebitJEx .................................................................................................................... 244
EZTaxDebitNEx .................................................................................................................. 245
EZTaxDebitPEx ................................................................................................................... 246
EZTaxDebitTaxInclusiveJCode (EZTaxDebitRevJCode deprecated) .................................... 247
EZTaxDebitTaxInclusiveNPAN (EZTaxDebitRevNPAN deprecated) .................................... 249
EZTaxDebitTaxInclusivePCode (EZTaxDebitRevPCode deprecated) .................................. 250
EZTaxDebitTaxInclusiveZip (EZTaxDebitRevZip deprecated) ............................................. 251
EZTaxDllVersion ................................................................................................................. 253
EZTaxExit ........................................................................................................................... 254
EZTaxExitSessionEx ............................................................................................................ 255
EZTaxFlushToLogEx ............................................................................................................ 256
EZTaxFreeRates ................................................................................................................. 257
EZTaxFtoPCodeEx .............................................................................................................. 258
EZTaxGetAddressEx ........................................................................................................... 259
EZTaxGetCustomLog .......................................................................................................... 260
EZTaxGetCountryID ........................................................................................................... 261
EZTaxGetCustomLogCount ................................................................................................ 262
EZTaxGetHandle ................................................................................................................ 263
EZTaxGetJurisdiction ......................................................................................................... 264
EZTaxGetLogName ............................................................................................................ 265
EZTaxGetLogV914 .............................................................................................................. 266
EZTaxGetLogV914Count .................................................................................................... 267
EZTaxGetRates ................................................................................................................... 268

AFC Telecom User Manual| viii
Copyright 2018 Avalara, Inc.
EZTaxGetSession ................................................................................................................ 269
EZTaxGetStateID ................................................................................................................ 270
EZTaxGetTaxCatV98 .......................................................................................................... 271
EZTaxGetTaxDescription .................................................................................................... 272
EZTaxGetTSR ...................................................................................................................... 273
EZTaxGroupResults ............................................................................................................ 274
EZTaxInitDirEx .................................................................................................................... 275
EZTaxInitEx ........................................................................................................................ 276
EZTaxInitExMT ................................................................................................................... 277
EZTaxInitV914 .................................................................................................................... 278
EZTaxInitV98 ...................................................................................................................... 279
EZTaxJCodeEx .................................................................................................................... 280
EZTaxJtoPCodeEx ............................................................................................................... 281
EZTaxJTTypeEx (EZTaxJTType deprecated) ........................................................................ 282
EZTaxJurisdiction ............................................................................................................... 283
EZTaxMaxTaxCount ........................................................................................................... 284
EZTaxNextAddressEx ......................................................................................................... 285
EZTaxNextCustomerEx....................................................................................................... 286
EZTaxNPANEx .................................................................................................................... 287
EZTaxNtoJCodeEx .............................................................................................................. 288
EZTaxNTTypeEx ................................................................................................................. 289
EZTaxOldOvrJCode ............................................................................................................ 290
EZTaxOvrJCodeEx .............................................................................................................. 291
EZTaxOvrNPANEx ............................................................................................................... 292
EZTaxOvrPCodeEx .............................................................................................................. 293
EZTaxOvrZipEx ................................................................................................................... 294
EZTaxPCodeEx ................................................................................................................... 295
EZTaxPrivateLine ............................................................................................................... 296
EZTaxPrivateLineAdj .......................................................................................................... 297
EZTaxProRateJCodeEx ....................................................................................................... 298
EZTaxProRateNPANEx........................................................................................................ 299

AFC Telecom User Manual| ix
Copyright 2018 Avalara, Inc.
EZTaxProRatePCodeEx ....................................................................................................... 300
EZTaxProRateThisJCodeEx ................................................................................................. 301
EZTaxProRateThisPCodeEx ................................................................................................ 302
EZTaxProRateZipEx ............................................................................................................ 303
EZTaxPtoFipsEx .................................................................................................................. 304
EZTaxPtoJCodeEx ............................................................................................................... 305
EZTaxPTTypeEx .................................................................................................................. 306
EZTaxRestoreEx ................................................................................................................. 307
EZTaxTaxInclusiveJCode (EZTaxRevJCode deprecated) ..................................................... 308
EZTaxTaxInclusiveNPAN (EZTaxRevNPAN deprecated) ...................................................... 309
EZTaxTaxInclusivePCode (EZTaxRevPCode deprecated) .................................................... 310
EZTaxTaxInclusiveZip (EZTaxRevZip deprecated) ............................................................... 311
EZTaxSessionDbVersion ..................................................................................................... 313
EZTaxSetInvoiceModeEx .................................................................................................... 314
EZTaxSetInvoiceModeV98 ................................................................................................. 315
EZTaxSetNexus .................................................................................................................. 316
EZTaxSetStateExclusion ................................................................................................. 317
EZTaxSetStateNexus ...................................................................................................... 318
EZTaxSetWorkingDir ...................................................................................................... 319
EZTaxThisJCodeEx .......................................................................................................... 320
EZTaxThisPCodeEx ......................................................................................................... 321
EZTaxTPPEx .................................................................................................................... 322
EZTaxWriteToLogEx ....................................................................................................... 323
EZTaxWriteToLogV914 .................................................................................................. 324
EZTaxZipEx ..................................................................................................................... 325
EZTaxZtoJCodeEx ........................................................................................................... 326
EZTaxZtoPCodeEx .......................................................................................................... 327
EZTaxClearSafeHarborOverride ..................................................................................... 328
EZTaxSetSafeHarborTAMOverride................................................................................. 329
Appendices A - G ............................................................................................................................ 330
Appendix A EZTaxStruct.h ....................................................................................................... 331

AFC Telecom User Manual| x
Copyright 2018 Avalara, Inc.
Appendix B EZTaxDefine.h ...................................................................................................... 345
Appendix C EZTaxProto.h ........................................................................................................ 395
Appendix G Monthly Update Procedure ................................................................................. 400
Download the Monthly Update ......................................................................................... 400
Important Files in Update .................................................................................................. 403
Monthly Maintenance ....................................................................................................... 403
Help Guide .............................................................................................................................. 405
Troubleshooting ................................................................................................................ 405
FAQ’s ................................................................................................................................. 406

AFC Telecom User Manual | 1 of 401
Copyright 2018 Avalara, Inc.
Introduction
Installation
Refer to the AvaTax for Communications (AFC) Installation Manual for complete instructions regarding the
installation of AFC on your specific platform.
Getting Started
There are several AFC integration methods available, each allowing for its use based on the client’s needs.
• AFC SaaS Standard: This method is provided for lower transaction-count customers, allowing for
the use of AFC to obtain tax calculations without having to maintain the program on their
systems.
• On-Site Options:
AFC's API interface: provides the user complete control over access to tax calculations
and the data returned, along with the flexibility supported by the report utilities.
• AFC SaaS Pro: AFC SaaS Pro is an XML web service used to calculate taxes. Applications send a
single transaction to the AFC SaaS web service over the Internet. The taxes are calculated and
immediately returned to the client application. Users have the capability of sending and receiving
transactions 24 hours a day, 7 days a week. This service is ideal for adding the ability to tax
purchases made from online stores and AFC SaaS Pro customers are provided with reports for tax
compliance filing.
The AFC Manual
The AFC Manual has been configured to provide an easy and logical progression for learning AFC and its
features, as well as a quick reference (fully linked on the electronic version of the manual). From the
initial step of mapping to the final creation of reports based on the processed information, the conceptual
simplicity of AFC is fully explained.
Mapping
Prior to performing tax calculations, client transactions and services must be matched, or “mapped,” to
the Valid Transaction and Service Pairings defined in AFC. Refer to Section 2 Mapping for the full
explanation of how this is accomplished.

AFC Telecom User Manual | 2 of 401
Copyright 2018 Avalara, Inc.
Transactions
Once the transactions and services have been mapped, transaction records can be passed to AFC.
Section 3 Transactions explains what AFC expects for each part (or field) contained in a transaction record
and provides the definitions and reasons for selecting one of the valid options to use.
VPN Transaction and Service Types
Refer to Table 2-14 for a list of combined transaction and service types that are used with VPN
transaction types.
Tax Calculations
The AFC Engine accepts the transaction record(s) and performs the tax calculations based upon the
information within the record.
Utilities
Once the taxation has been performed, Utilities can be used to provide the tax information in selected
formats that meet specific requirements and perform file management functions. The many options
available are detailed in the Utilities section of this document
The Advantage of Using Functions
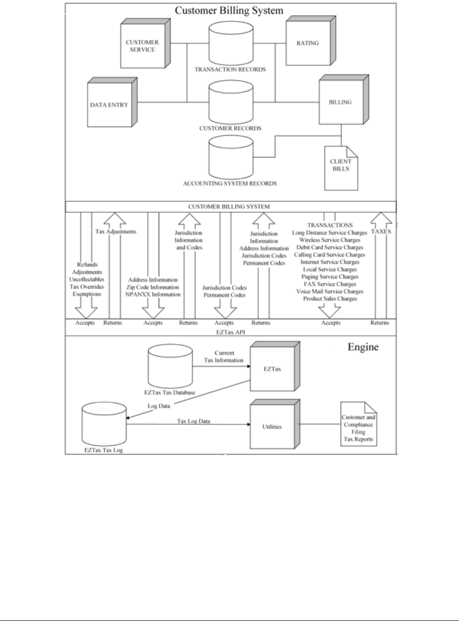
Section 7 provides specific details of the expanded capabilities provided to users that integrate AFC to the
billing system using functions. Refer to the figure shown below. The billing system passes information to
AFC, as calls are being rated for billing. AFC calculates all required taxes and returns the tax information
to the billing system per transaction. In addition, AFC stores all tax data generated in its databases and
provides reports that facilitate tax filing and provide insight to the rating, billing and taxing processes.

AFC Telecom User Manual | 3 of 401
Copyright 2018 Avalara, Inc.
Figure 1-1 AFC Operation Diagram
Adjustment information is returned to the billing system and is utilized to update tax data for report
generation and compliance filing. AFC also provides facilities that allow users to insert tax overrides and
exempt a transaction from taxes at federal, state, county and local authority levels. AFC also provides the
capability to limit exemptions to a specific jurisdiction and to exempt specific taxes.
Using the AFC API is the most efficient method available for interfacing with the AFC system. Due to the
superior performance of AFC, there is very little performance difference between a system running
without taxation and one running with taxation generation by AFC.

AFC Telecom User Manual | 4 of 401
Copyright 2018 Avalara, Inc.
General Product Information
Telecom Types
Business Classifications – Allows for specification of business as CLEC or ILEC.
Service Classifications – Allows for specification of business as Primary Long Distance or Local
Primary.
Franchise – Allows for the indication that company provides services sold pursuant to a franchise
agreement between the carrier and jurisdiction.
Facilities – Allows for specification of the carrier delivering the service as facilities based.
Customer Attributes
Company Identifier – Allows the AFC user to indicate a specific company that may be included in
their customer record and outputted to the tax log to identify company tax log records.
Lifeline – Allows for a customer to be designated as a Lifeline participant.
Enhanced Flexibility for Users
User reporting and organizational activities have been enhanced with the addition of user defined fields.
This empowers the user to include additional user specific information within transaction records,
thereby enhancing reports and data files once processed by the AFC Engine. Note that the Batch
Processing utility takes full advantage of the additional transaction fields.
Enhanced Capabilities for Processing Specialized Taxes
AFC maintains tax rate histories and applies them according to the transaction date. This allows for tax
calculations to process transactions that require dated tax information.
Billable Flag – Allows for the identification of a compliance only tax or fee that is used for filing
and not passed on to the user. It is noted as a non-billable item in the tax log.
Compliance Flag – Allows for the identification of a tax or fee that is a tax compliant item and that
the tax or fee should be sent to the log. The reporting utilities can identify and generate
compliance and billing reports. All existing taxes currently in AFC are compliance taxes or fees. A
charge with the compliance set to false in logic is billable but the charge would not be place into
the log for compliance or reported in compliance reports. This flag provides EZdata users with
the ability to pass non-tax charges to the customer through AFC.

AFC Telecom User Manual | 5 of 401
Copyright 2018 Avalara, Inc.
Rate at Final - Allows for a specialized application of tax brackets. Each bracket specifies the tax
rate for the “Total Tax” range that it spans. The culmination of all of the brackets results in a tax
rate “look-up” table for total transaction amounts.
Tier At Transaction - This logic flag indicates that tax will be calculated using graduated tax
brackets on a transaction basis instead of a customer invoice basis.
Tax On Tax Until No Effect - Configuration settings in EZTax.cfg determine one of two methods to
calculate Tax on Tax. If the configuration setting is left unchanged, AFC will perform a single
iteration of the tax on tax calculation.
Additional Functions to Support New Capabilities
An expanded library of functions has been created, the greatest impact of which falls on the Adjustment
and Pro-Rated activities.
Adjustment Functions – Additional functions are available to allow for adjustments of debit and
pro-rated transactions.
Pro-Rated Allowable Functions – Allow for a pro-rated percentage to be used to calculate the
taxable amount on rate tax and calculate the percentage of the line and fixed amounts. AFC
identifies taxes that are not allowed to be assessed on a percentage basis internally, and the
entire tax amount is calculated.
The Get Rates function has been added to retrieve all possible taxes when given a location by
PCode. The structure of the returned tax information is compatible with the new override
structure, so that specific changes can be applied to the existing tax data to create override
entries.
New Version Tracking
A version number has been embedded into the AFC database to ensure database compatibility between
the AFC software and the AFC database. The AFC Engine compares version numbers on session
initialization. If incompatible version numbers are detected, a message is written to the status file and
AFC system will not return a valid session handle.
Additional Tax Types
AFC now supports over 450 Tax Types to allow for highly specific tax type designation.
Increased Accuracy
The Tax Amount and Time calculations have been modified to increase accuracy and further reduce
rounding errors.

AFC Telecom User Manual | 6 of 401
Copyright 2018 Avalara, Inc.
Mapping
The AFC software provides an extensive selection of Transaction and Service Types to meet your taxation
requirements with a single taxation package. The correct matching, or “mapping,” of your company
products and services to the Valid Transaction and Service Pairings defined in AFC is an essential process
that must be completed accurately for taxation to be calculated and applied properly to all transactions.
If an incorrect pairing is passed to the AFC engine then no tax is usually returned.
Avalara support is available to assist should any questions arise in determining the correct Transaction
and Service pair to use.
Transaction and Service Types
AFC stipulates a unique pair of numbers for each Transaction and Service Type. The first number defines
the Transaction Type and the second number defines the Service Type. Transaction Types and Service
Types are combined (or “paired”) to uniquely describe a Valid Transaction / Service Pair for a transaction.
Valid Transaction/Service Pairings
Table 2-1 provides a complete listing of identifiers used to define valid Transaction / Service Pairings.
Table 2-1 Valid Transaction / Service Pairs
IDENTIFIER
NAME
DESCRIPTION
Trans Type
Svc Type
0 0 No Tax/No Tax
Usage of this mapping combination will ensure that no
federal, state or local taxes are returned.
1 1 Interstate/Toll
Interstate toll calls, MRC (monthly recurring charges),
and other related service
-type charges and features.
(Call originates and terminates in different states.)
1 2 Interstate/Toll-Free
Interstate and international toll-free calls, MRCs, and
other related service type charges and features. (Same
as Interstate Toll call above, however the owner of the
toll
-free number pays all the applicable long distance
charges.)
1 3 Interstate/WATS
Interstate and international WATS service charge, MRC,
and other related service type charges and features.
(Same as Interstate Toll call above, but often sold as a
set
-pricing scheme for a designated long distance calling
area.)
1 4 Interstate/Private Line
Interstate or international private line service charge,
MRC, and other related service type charges and
features. (Charges are for a service in which the service
originates at the customer's premises and connects only
to a designated termination location
. No switching or
access to other third party lines. The private line will
cross over a state or country border.)

AFC Telecom User Manual | 7 of 401
Copyright 2018 Avalara, Inc.
Table 2-1 Valid Transaction / Service Pairs
IDENTIFIER
NAME
DESCRIPTION
Trans Type
Svc Type
1 12
Interstate/International
Toll
International calls that originate in the US, terminate
outside the US, and are billed to a US address.
1 14 Interstate/Late Charge
Late charge imposed on customers of interstate or
international LD services.
1 16 Interstate/900
Interstate or international 900 service charge, MRC and
other related service type charges and features. (Same
as Interstate Toll call above, but the caller of the 900
number pays for the applicable long distance charges.)
1 27 Interstate/Data
Interstate
or international data service charge, MRC, and
other related service type charges and features. (This
combination is appropriate for transmissions that carry
data exclusively. Use Private Line if any component is
voice. This is a recommended mapping fo
r data
transmissions carried over DSL, ATM, T
-1, frame relay
lines and other non
-voice services. This is not for
Internet Access provided over DSL lines.)
1 54
Interstate/Directory
Assistance
Charges for Directory Assistance calls that cross state
boundaries.
1 562 Interstate/Local Loop
Local loop charge that is not part of a local exchange
service and is sold in conjunction with an interstate
private line.
1 635
Interstate/ Toll Free
Number
Monthly recurring charge for access to a toll free
number. This represents the interstate portion.
2 1 Intrastate/Toll
Intrastate toll call, MRCs, and other related service types
charges and features. (Call originates and terminates
within the same state.)
2 2 Intrastate/Toll-Free
Intrastate toll-free calls, MRC, and other related service
type charges and features. (Same as Intrastate Toll call
above, however the owner of the toll
-free number pays
all the applicable long distance charges.)
2 3 Intrastate/WATS
Intrastate WATS service charge, MRC, and other related
service type charges and features. (Same as Intrastate
Toll call above, but often sold as a set
-pricing scheme for
a designated long distance calling area.)
2 4 Intrastate/Private Line
Intrastate private line service charge, MRC, and other
related service type charges and features. (Charges are
for a service in which the service originates at the
customer's premises and connects only to a designated
termination location. No switching or access to other
third party lines
. The private line will be entirely within a
state and not cross a state border.)
2 5 Intrastate/Local Exchange
The basic flat rate for intrastate local exchange service.
This transaction/service types will include any applicable
long distance
access line charges, or other local service-
related fees and charges. (Does not include local feature
charges.)
2 14 Intrastate/Late Charge
Late charge imposed on customers of intrastate LD
services.

AFC Telecom User Manual | 8 of 401
Copyright 2018 Avalara, Inc.
Table 2-1 Valid Transaction / Service Pairs
IDENTIFIER
NAME
DESCRIPTION
Trans Type
Svc Type
2 16 Intrastate/900
Intrastate 900 service charge, MRC and other related
service type charges and features. (Same as Intrastate
Toll call above, but the caller of the 900 number pays for
the applicable long distance charges.)
2 27 Intrastate/Data
Intrastate data service charge, MRC, and other related
service type charges and features. (This combination is
appropriate for transmissions that carry data exclusively.
Use Private Line if any component is voice. This is a
recommended mapping for data transmissions carried
over DSL, ATM, T
-1, frame relay lines and other non-
voice
services. This is not for Internet Access provided over
DSL lines.)
2 54
Intrastate/Directory
Assistance
Charges for Directory Assistance calls that are contained
wholly in one state.
2 630 Intrastate/Private Line
(10% Rule)
Intrastate private line service charge, MRC, and other
related service type charges and features. (Charges are
for a service in which the service originates at the
customer's premises and connects only to a designated
termination location. The private li
ne will be entirely
within a state and not cross a state border.) Traffic on
this type of line is considered mixed use and interstate
traffic exceeds 10 percent; thus the revenues are treated
as interstate for Universal Service contribution purposes.
2 631 Intrastate/Data
(10% Rule)
Intrastate data service charge, MRC, and other related
service type charges and features. (This combination is
appropriate for transmissions that carry data exclusively.
Use Private Line if any component is voice. This is
a
recommended mapping for data transmissions carried
over DSL, ATM, T
-1, frame relay lines and other non-
voice
services. This is not for Internet Access provided over
DSL lines.) Traffic on this type of line is considered mixed
use and interstate traffic
exceeds 10 percent; thus the
revenues are treated as interstate for Universal Service
contribution purposes.
2 635
Intrastate/Toll Free
Number
Monthly recurring charge for access to a toll free
number. This represents the intrastate portion.
3 6
Other/Access Charge
Access for a service that is not already defined as a
transaction/service type. Catch
-all local access charge
category.
Other/Local Loop
Local loop charge that is not part of a local exchange
service and does not fall within any other
transaction/service type category. (Local exchange
providers who are billing local loop charges for local
exchange services should map this charge under
transaction/service type 7-5 [Local Local Exchange].)
3
9
Other/Directory Ads
Directory advertisement charges.
3 14 Other/Late Charge
Category for late charges that were originally taxed using
one of the “Other” (3) transaction categories.

AFC Telecom User Manual | 9 of 401
Copyright 2018 Avalara, Inc.
Table 2-1 Valid Transaction / Service Pairs
IDENTIFIER
NAME
DESCRIPTION
Trans Type
Svc Type
3 34 Other/Conference Bridge
Charges for connecting conference participants utilizing a
conferencing bridge. This transaction should be used
when transactions are interstate or cannot be separated
from intrastate services.
3
37
Other/Equipment Rental
Charges for Rental of Equipment.
3 38 Other/Wire Maintenance
Plan
Monthly recurring charges for inside wiring maintenance
between customer phone and the local carrier's demarc
box.
3 46 Other/PICC
This combination should be used for the charge assessed
by either a LEC
or LD company for maintaining record of
an end user’s choice of LD carrier.
3 47 Other/No Pick PICC
This combination should be used for the charge assessed
by a LEC for maintaining record that end users choose
not to declare an LD carrier. This combination will only
return the necessary State Taxes. It is important to
distinguish this transaction from
3/46 because No Pick
PICC’s are not subject to FUSF.
3 57 Other/Data Processing
Charge for the manipulation of user’s data. This is not to
be confused with the transmission of data.
3 96 Other/No Pick PICC Bundle
This combination should be used for the charge assessed
by a LEC for maintaining record that end users choose
not to declare an LD carrier. This combination will only
return the necessary State Taxes. It is important to
distinguish this transaction from
3/97 because No Pick
PICC’s are not subject to FUSF. This service type should
be used when passing bundled local service as defined in
IRS Notice 2006-50, as it will not return FET.
3 97 Other/PICC Bundle
This combination should be used for the charge assessed
by either a LEC or LD company for maintaining record of
an end users choice of LD carrier. It will return the
proper Federal taxes, such as USF, in addition to
necessary State Taxes, such as Sales Ta
x. This service
type should be used when passing bundled local service
as defined in IRS Notice 2006-50, as it will not return FET
3
570
Other/Directory Listing
Directory listing charges.
3 575 Other/Conference Bridge-
Intrastate
Charges for connecting intrastate conference participants
utilizing a conferencing bridge. This transaction should
be used when intrastate services do not include dial in or
dial out services.
3 576 Other/Conference Bridge-
Intrastate w Dial In
Per
-minute and per-participant charges for dial-
in service
provided in conjunction with connecting conference
participants utilizing a conferencing bridge when all
participants are located within one state.
3 589
Other/Conference Bridge-
Interstate
Charges for connecting interstate conference participants
utilizing a conferencing bridge.
3 593
Other/Info Svcs-Private
Physical Trans
A service providing information to private customers by
physical means such as paper.
3 594
Other/Info Svcs-Private
Electronic Trans
A service providing information to private customers by
electronic means.

AFC Telecom User Manual | 10 of 401
Copyright 2018 Avalara, Inc.
Table 2-1 Valid Transaction / Service Pairs
IDENTIFIER
NAME
DESCRIPTION
Trans Type
Svc Type
3 597 Other/Info Svcs-Public-
Electronic Trans
A service providing the passive receipt of information
other than financial account or securities trading data to
the public by electronic means.
3 598 Other/Info Svcs-Public
Physical Trans
A service providing information to the public by physical
means such as paper.
3 599
Other/E-mail Hosting
Service
A service providing e
-mail hosting to customers.
3
600
Other/Real Property Rental
Rental of Real Property Space
3 602
Other/Services-
Professional
A service rendered for a fee in one of the learned
professions.
3 603 Other/Online services
Access to a computer through a remote terminal that
allows retrieval of stored data created by the service
provider.
3 608 Other/Conference Bridge
Interstate w Dial-In
Per-minute and per-participant charges for dial-in service
provided in conjunction with connecting conference
participants utilizing a conferencing bridge when all
participants are located in different states.
3 614
Other/Telecom Equipment
Rental
Charge for renting telecommunications equipment.
3 632 Other/Service Contracts
An optional contract to cover repairs including parts and
labor. This type of service contract is sold at the same
time the product being covered by the service contract is
sold.
3 638
Other/Security Monitoring
Services
A fee paid for the service of monitoring the security of
real or tangible personal property.
3 639
Other/Streaming Internet
Video
The purchase of video via the internet. The purchaser
does not retain possession of the video.
3 644 Other/Info Svcs-Pub Elec
Trans (Fin & Securities)
A service providing the passive receipt of financial
account or securities trading data on to the public by
electronic means.
4 7 Non-Recurring/Service
One-time charge for the actual provisioning of manual
service to a phone system or account. All manual repair
services should fall into this category. (This designation
should not be used for administrative fees or service
change fees.)
4 8 Non-Recurring/Install
One
-time charge for the installation, administration,
modification, or termination of a telecommunication
service account or service. (Use for install
fee, change
order fees, add
-service fees, and termination
account/service fees. Not for repair/service fees.)
4 11 Non-Recurring/Activation
One-time charge for the activation of a local exchange
service account. (Local only.)
4 14
Non
-Recurring/Late Charge
Category for late charges that were originally taxed using
one of the “Non-Recurring” (4) transaction categories.

AFC Telecom User Manual | 11 of 401
Copyright 2018 Avalara, Inc.
Table 2-1 Valid Transaction / Service Pairs
IDENTIFIER
NAME
DESCRIPTION
Trans Type
Svc Type
5 6 Internet/Access Charge
Charges for internet access services, MRC, and other
related service type charges and features. (Both
per-
minute and flat fee amounts for internet access services
will be mapped to this transaction/service type.)
5 7 Internet/Service
One-time charge for manual, physical service to an
internet system or account, such as a truck roll to the
customer premise
. All manual repair services should fall
into this category.
This designation should not be used
for administrative fees or service change fees.
5 8 Internet/Install
One-time charge for the installation, administration,
modification, or termination of an internet service
account or service.
This should be used for install fee,
change order fees, add
-service fees, and termination
account/service fees, but not for repair/service fees.)
5 10 Internet/Usage
Used for internet access sales that are not a monthly
recurring charge, but are sold to customers on a per
usage basis.
5 11 Internet/Activation
One-time charge for the activation of an internet service
account.
It is mutually exclusive of the other internet
charges.
5 29 Internet/Web Hosting
Charges for internet web hosting, MRC, and other related
service type charges and features.
5 58 Internet/Access Line
A telecommunications line purchased, used, or sold by a
provider of Internet access to provide Internet access as
long as the charges are distinguishable from other uses.
6 6 Paging/Access Charge
Basic monthly flat-rate charges for paging services.
(Mutually exclusive of the other paging charges.)
6 10 Paging/Usage
Paging charges for usage. Charges are in addition to any
services covered in the monthly access charge. (Mutually
exclusive of the other paging charges.)
6 11 Paging/Activation
One-time charges for activating a paging account.
(Mutually exclusive of the other paging charges.)
6 13 Paging/Equipment Repair
Charges for paging equipment repair and service.
(Mutually exclusive of the other paging charges.)
7 4 Local/Private Line
Local private line service charge, MRC, and other related
service type charges and features. (Charges are for a
service in which the service originates at the customer's
premises and connects only to a designated termination
location. No switching or acce
ss to other third party
lines. The private line will originate and terminate
entirely within a single city. If the private line is charged
on a basis of time and distance per call or used to make
tolls calls outside of the local calling areas for a set
p
eriodic/flat fee charge, then the private line should be
mapped as a toll, toll free, or WATS type of service.)

AFC Telecom User Manual | 12 of 401
Copyright 2018 Avalara, Inc.
Table 2-1 Valid Transaction / Service Pairs
IDENTIFIER
NAME
DESCRIPTION
Trans Type
Svc Type
7 5 Local/Local Exchange
Services
Charges for monthly recurring charge, usage, local loop,
local flat rates and other similar charges for local telecom
service. This will also include dial tone and any applicable
long distance access line charges, or other local service
-
related fees and c
harges. (Does not include local feature
charges. See below)
7 14 Local/Late Charge
Category for late charges that were originally taxed using
one of the Local (7) transaction categories.
7
20
Local/FCC Subscriber Line
Fee
Charge for recovering the cost of connecting the
customer premise to the local phone network, often
referred to as the Federal Subscriber Line Charge (SLC) or
the End User Common Line (EUCL) Charge. The FCC has
established per
-line caps for primary and secondary line
charges. Thi
s charge is not a tax or a governmental
assessment, but an authorized charge for the recovery of
cost for providing local exchange service.
Local/Number Portability
Recovery
Fixed, monthly charge through which local telephone
companies may recover some
of the costs associated
with providing local number portability service. This is
not the LNP Administrative Fee.
7 21 Local/Lines
Designates the number of lines a local service customer is
using. (Taxable amount is irrelevant for this
transaction/service type. Tax is calculated based on the
number of lines designated in the lines field.)
7 24 Local/PBX/Trunk
Designates the number of PBX trunks a local service
customer is using. (Taxable amount is irrelevant for this
transaction/service type. Tax is calculated based on the
number of lines designated in the lines field. Used in
conjunction with 7/41 and 7/566.)
7 27 Local/Data
Local data service charge, MRC, and other related service
type charges and features. (This combination is
appropriate for transmissions that carry data exclusively.
Use Private Line if any component is voice. This is a
recommended mappi
ng for data transmissions carried
over DSL, ATM, T
-1, frame relay lines and other non-
voice
services. This is not for Internet Access provided over DSL
lines.)
7 30 Local/Local Feature
Charges
Charges and fee for additional feature charges of local
exchange services. (Includes services such as call waiting,
caller ID, call blocking, call forwarding, etc.)
7 40 Local/Centrex / DID
Extension
Designates the number of Centrex / Direct Inward Dialing
extensions a local service customer is using. (Taxab
le
amount is irrelevant for this transaction/service type. Tax
is calculated based on the number of extensions
designated in the lines field. Used in conjunction with
7/42 and 7/587.)

AFC Telecom User Manual | 13 of 401
Copyright 2018 Avalara, Inc.
Table 2-1 Valid Transaction / Service Pairs
IDENTIFIER
NAME
DESCRIPTION
Trans Type
Svc Type
7 41 Local/PBX Extension
Designates the number of PBX extensions a local service
customer is using. (Taxable amount is irrelevant for this
transaction/service type. Tax is calculated based on the
number of extensions designated in the lines field. Used
in conjunction with 7/24 and 7/566.)
7 42 Local/Centrex Trunk
Designates the number of Centrex trunks a local service
customer is using. (Taxable amount is irrelevant for this
transaction/service type. Tax is calculated based on the
number of trunks designated in the lines field. Used in
conjunction with 7/40 and 7/587.)
7 43 Local/Invoice
Mapping category for transactions on a per invoice basis.
(Tax is based per invoice per account per billing cycle.
Taxable amount or numbers of lines are irrelevant for this
transaction/service type.)
7 45 Local/High Capacity Trunk
Designates the number of High Capacity Trunks a
customer is using. High Capacity Trunks are usually
defined as T1 or greater. (Taxable amount is irrelevant
for this transaction/service type. Tax is calculated based
on the number of High Capacity trunks
designated in the
lines field. Used in conjuction with 7/580 and 7/582.)
7 84 Local/Late Charge Bundle
Category for late charges that were originally taxed using
one of the “Local” (
7) transaction categories associated
with bundled transactions. This
service type should be
used when passing bundled local service as defined in IRS
Notice 2006-50, as it will not return FET.
7 85 Local/Local Exchange
Bundle
Charges for monthly recurring charge, usage, local loop,
local flat rates and other similar charges for local telecom
service. This will also include dial tone and any applicable
long distance access line charges, or other local service
-
related fees and charges. (Does not include local feature
charges. See below). This service type should be used
wh
en passing bundled local service as defined in IRS
Notice 2006-50, as it will not return FET.
7 86 Local/FCC Subscriber Line
Fee Bundle
Charge for recovering the cost of connecting the
customer premise to the local phone network, often
referred to as the Federal Subscriber Line Charge (SLC) or
the End User Common Line (EUCL) Charge. The FCC has
established per
-line caps for primary and secondary line
charges. This charge is not a tax or a governmental
assessment, but an authorized charge for the recovery of
cost for providing local exchange service. This service
type should be used when passing bundled local service
as defined in IRS Notice 2006
-50, as it will not return
Federal Excise Tax (FET).

AFC Telecom User Manual | 14 of 401
Copyright 2018 Avalara, Inc.
Table 2-1 Valid Transaction / Service Pairs
IDENTIFIER
NAME
DESCRIPTION
Trans Type
Svc Type
Local/Number Portability
Recovery Bundle
Fixed, monthly charge through which local telephone
companies may recover some of the costs associated
with providing local number portability service. This is
not the LNP Administrative Fee. This service type should
be used when passing bundled local service as
defined in
IRS Notice 2006-50, as it will not return FET.
7 87 Local/Lines Bundle
Designates the number of lines a local service customer is
using. (Taxable amount is irrelevant for this
transaction/service type. Tax is calculated based on the
number
of lines designated in the lines field.). This
service type should be used when passing bundled local
service as defined in IRS Notice 2006
-50, as it will not
return FET.
7 89 Local/PBX Trunk Bundle
Designates the number of PBX trunks a local service
customer is using. (Taxable amount is irrelevant for this
transaction/service type. Tax is calculated based on the
number of lines designated in the lines field. Used in
conjunction with
7/92 and 7/567.) This service type
should be used when passing bundled local service as
defined in IRS Notice 2006-50, as it will not return FET.
7 90 Local/
Local Feature Charge
Bundle
Charges and fee for additional feature charges of local
exchange services. (Includes services such as call waiting,
caller ID, call blocking, call forwarding, etc.) This service
type should be used when passing bundled local service
as defined in IRS Notice 2006-50, as it will not return FET.
7 91 Local/Centrex Extension
Bundle
Designates the number of Centrex / Direct Inward Dialing
extensions a local service customer is using. (Taxable
amount is irrelevant for this transaction/service type. Tax
is calculated based on the number of extensions
designated in the lines field. Used in
conjunction with
7
/93 and 7/588.) This service type should be used when
passing bundled local service as defined in IRS Notice
2006-50, as it will not return FET.
7 92 Local/PBX Extension
Bundle
Designates the number of PBX extensions a local service
customer is using. (Taxable amount is irrelevant for this
transaction/service type. Tax is calculated based on the
number of extensions designated in the lines field. Used
in conjunction with
7/89 and 7/567.) This service type
should be used when passing bundled local service as
defined in IRS Notice 2006-50, as it will not return FET.
7 93 Local/Centrex Trunk
Bundle
Designates the number of Centrex trunks a local service
customer is using. (Taxa
ble amount is irrelevant for this
transaction/service type. Tax is calculated based on the
number of trunks designated in the lines field. Used in
conjunction with
7/91 and 7/588.) This service type
should be used when passing bundled local service as
defined in IRS Notice 2006-50, as it will not return FET.

AFC Telecom User Manual | 15 of 401
Copyright 2018 Avalara, Inc.
Table 2-1 Valid Transaction / Service Pairs
IDENTIFIER
NAME
DESCRIPTION
Trans Type
Svc Type
7 94 Local/Invoice Bundle
Mapping category for transactions on a per invoice basis.
(Tax is based per invoice per account per billing cycle.
Taxable amount or numbers of lines are irrelevant for this
transaction/service type.) This service type should be
used when passing bundled local service as defined in IRS
Notice 2006-50, as it will not return FET.
7 95 Local/High Capacity Trunk
Bundle
Designates the number of High Capacity Trunks a
customer is using. High Capacity Trunks are usually
defined as T1 or greater. (Taxable amount is irrelevant
for this transaction/service type. Tax is calculated based
on the number of High Capacity trunks
designated in the
lines field. Used in conjuction with 7/581 and 7/583.)
7 566 Local/PBX Outbound
Channel
Designates the number of voice grade communications
channels leaving a subscriber's premises through a PBX
connecting the subscriber's premises to the public
switched network.
(Taxable amount is irrelevant for this transaction/service
type. Tax is calculated based on the number of
extensions designated in the lines field. Used in
conjunction with 7/24 and 7/41.)
7 567 Local/PBX Outbound
Channel Bundle
Designates the number of voice grade communications
channels leaving a subscriber's premises through a PBX
connecting the subscriber's premises to the public
switched network.
(Taxable amount is irrelevant for this
transaction/service type. Tax is calculated based on the
number of extensions designated in the lines field.
Used in conjunction with 7/89 and 7/92.) This service
type should be used when passing bundled local service
as defined in IRS Notice 2006-50, as it will not return
FET.
7 580 Local/High Capacity
Extension
Designates the number of extensions a local customer is
using on a High Capacity Trunk. High Capacity Trunks are
usually defined as T1 or greater. (Taxable amount is
irrelevant for this transaction/service type. Tax is
calculat
ed based on the number of High Capacity
Extensions designated in the lines field. Used in
Conjunction with 7/45 and 7/582.)
7 581 Local/High Capacity
Extension Bundle
Designates the number of extensions a local service
customer is using on a High Capacity Trunk. (Taxable
amount is irrelevant for this transaction/service type. Tax
is calculated based on the number of extensions
designated in the lines field. Used in c
onjunction with
7
/95 and 7/583.) This service type should be used when
passing bundled local service as defined in IRS Notice
2006-50, as it will not return FET.

AFC Telecom User Manual | 16 of 401
Copyright 2018 Avalara, Inc.
Table 2-1 Valid Transaction / Service Pairs
IDENTIFIER
NAME
DESCRIPTION
Trans Type
Svc Type
7 582 Local/High Capacity
Outbound Channel
Designates the number of outbound channels a local
service customer is using on a High Capacity Trunk.
(Taxable amount is irrelevant for this transaction/service
type. Tax is calculated based on the number of outbound
channels designated in the lines fie
ld. Used in
conjunction with 7/45 and 7/580.)
7 583 Local/High Capacity
Outbound Channel Bundle
Designates the number of outbound channels a local
service customer is using on a High Capacity Trunk.
(Taxable amount is irrelevant for this transaction/s
ervice
type. Tax is calculated based on the number of
extensions designated in the lines field. Used in
conjunction with
7/95 and 7/581.) This service type
should be used when passing bundled local service as
defined in IRS Notice 2006-50, as it will not return FET.
7 587 Local/Centrex Outbound
Channel
Designates the number of outbound channels a local
service customer is using on a Centrex Trunk. (Taxable
amount is irrelevant for this transaction/service type. Tax
is calculated based on the number of outbound channels
designated in the lines field. U
sed in conjunction with
7/40 and 7/42)
7 588 Local/Centrex Outbound
Channel Bundle
Designates the number of outbound channels a local
service customer is using on a Centrex Trunk. (Taxable
amount is irrelevant for this transaction/service type. Tax
is
calculated based on the number of extensions
designated in the lines field. Used in conjunction with
7
/91 and 7/93) This service type should be used when
passing bundled local service as defined in IRS Notice
2006-50, as it will not return FET.
7 612 Local/FCC Subscriber Line
Fee Multi Line
Charge for recovering the cost of connecting a multi-line
customer premise to the local phone network, often
referred to as the Federal Subscriber Line Charge (SLC) or
the End User Common Line (EUCL) Charge.
The FCC has
established per
-line caps for primary and secondary line
charges. This charge is not a tax or a governmental
assessment, but an authorized charge for the recovery of
cost for providing local exchange for multi-line service.
7 613 Local/FCC Subscriber Line
Fee Multi Line Bundle
Charge for recovering the cost of connecting a multi-line
customer premise to the local phone network, often
referred to as the Federal Subscriber Line Charge (SLC) or
the End User Common Line (EUCL) Charg
e. The FCC has
established per
-line caps for primary and secondary line
charges. This charge is not a tax or a governmental
assessment, but an authorized charge for the recovery of
cost for providing local exchange multi
-line service. This
service type
should be used when passing bundled local
service as defined in IRS Notice 2006
-50, as it will not
return Federal Excise Tax (FET).

AFC Telecom User Manual | 17 of 401
Copyright 2018 Avalara, Inc.
Table 2-1 Valid Transaction / Service Pairs
IDENTIFIER
NAME
DESCRIPTION
Trans Type
Svc Type
7 623 Local/Centrex Invoice
Mapping category for transactions on a per invoice basis.
(Tax is based on per invoice per account per billing cycle.
Taxable amount or numbers of lines are irrelevant for this
transaction/service type.)
7 625 Local/Customer Premise
Equip Rental
Rental of equipment located at a subscriber's premises
that enable customers to access local
communications
services as defined by the IRS as it will return FET.
7 641 Local/FCC Subscriber Line
Charge Centrex
Charge for recovering the cost of connecting the Centrex
customer premise to the local phone network, often
referred to as the Federal Subscriber Line Charge (SLC) or
the End User Common Line (EUCL) Charge. The FCC has
established per
-line caps for primary and secondary line
charges. This charge is not a tax or a governmental
assessment, but an authorized charge for the recovery of
cost for
providing local exchange service. This
transaction is intended only for taxation of the Subscriber
Line Fee (not the actual fees for Centrex services or the
line counts on Centrex systems).
7 642 Local/FCC Subscriber Line
Charge Centrex Bundle
Charge for recovering the cost of connecting the Centrex
customer premise to the local phone network, often
referred to as the Federal Subscriber Line Charge (SLC) or
the End User Common Line (EUCL) Charge. The FCC has
established per
-line caps for primary and secondary line
charges. This charge is not a tax or a governmental
assessment, but an authorized charge for the recovery of
cost for providing local exchange service. This
transaction is intended only for taxation of the Subscriber
Line Fee (not the actua
l fees for Centrex services or the
line counts on Centrex systems). This service type should
be used when passing bundled local service as defined in
IRS Notice 2006
-50, as it will not return Federal Excise
Tax (FET).
8 10 Fax/Usage
Charges for fax services, MRCs, or other related service-
type fee and charges.
9
6
Voice Mail/Access Charge
Basic monthly flat-rate charges for voice mail services.
9 10 Voice Mail/Usage
Voice mail charges for usage. Charges are in addition to
any services provided in the monthly access charge.
9
11
Voice Mail/Activation
One-time charge for activating a voice mail account.
9 14 Voice Mail/Late Charge
Category for late charges that were originally taxed using
one of the Voice Mail (9) transaction categories..
10
15
Sales/Product
General sales tax rates.
10
31
Sales/Use
General use tax rates.
10 32 Sales/Debit
Calculation of sales tax on a debit charge (prepaid
charge) that is determined by state law to be a point of
sale transaction.
10 63
Sales/Restocking Fee –
Rental
Fee charged to reimburse the cost of restocking a rented
item. The returned item cannot be modified in any form.

AFC Telecom User Manual | 18 of 401
Copyright 2018 Avalara, Inc.
Table 2-1 Valid Transaction / Service Pairs
IDENTIFIER
NAME
DESCRIPTION
Trans Type
Svc Type
10 64 Sales/Restocking Fee –
Purchase
Fee charged to reimburse the cost of restocking a
purchased item. The returned item cannot be modified
in any form.
10 65 Sales/Partial Credit
A credit that is less than the full amount of the original
purchase. The reason for the credit reduction must me
due to a restocking or handling type fee.
10 103 Sales/Sales Tax and FUSF
This transaction/service pair returns Sales Tax and FUSF.
Avalara
does not recommend using this combination for
any type of telecom service. However, if you feel you
provide a service that is only subject to Sales Tax and
FUSF, then you can use this transaction/service
combination.
10 565 Sales/Debit-Wireless
The Point-of-Sale (POS) purchase of prepaid, pay-as-you-
go wireless services sold by the phone carrier or a party
controlled by the phone carrier.
10 568
Sales/Central Office
Equipment-Sales
Sale of tangible property to a telecommunications
provider for the provision of phone service.
10 569
Sales/Central Office
Equipment-Use
Use of tangible property to a telecommunications
provider for the provision of phone service.
10 643 Sales/Debit-Wireless
(Indirect Non-Carrier Sale)
The Point-of-Sale (POS) purchase of prepaid, pay-as-you-
go wireless services sold by a party other than the phone
carrier or a party controlled by the phone carrier.
10 655 Sales/Locked Cell Phone
Purchase of cell phone equipment restricted to a
particular cell phone network by a locking code.
11 17 Shipping/FOB Origin
Shipping charge for FOB origin transactions. (Shipping
charges only.)
11 18 Shipping/FOB Destination
Shipping charge for FOB destination transactions.
(Shipping charges only.)
12 6 Natural Gas/Access Charge
Basic flat-rate charges for natural gas services. (Non-
telecom. Natural gas only.)
12 19 Natural Gas/Consumption
Natural gas charges for consumption of natural gas.
(Non-telecom. Natural gas only.)
13 6 Cellular/Access Charge
Basic monthly flat-rate charge for cellular/wireless
service.
13 10 Cellular/Usage
Cellular/wireless per-minute and/or per-use charges.
Charges are in addition to any monthly access or roaming
charges billed to customer.
13 11 Cellular/Activation
One-time charge for activating a cellular/wireless
account.
13 14 Cellular/Late Charge
Category for late charges that were originally taxed using
one of the Cellular (13) transaction categories.
13 30 Cellular/Feature Charge
Charges and fees for additional feature charges of
Cellular
services. (Includes services such as call waiting,
caller ID, call blocking, call forwarding, etc.)
13 33 Cellular/Roaming Charge
Per-use, per-minute charges for cellular use outside of
the designated service area of the providing carrier.

AFC Telecom User Manual | 19 of 401
Copyright 2018 Avalara, Inc.
Table 2-1 Valid Transaction / Service Pairs
IDENTIFIER
NAME
DESCRIPTION
Trans Type
Svc Type
13 43 Cellular/Invoice
Mapping category for transactions on a per invoice basis.
(Tax is based per invoice per account per billing cycle.
Taxable amount or numbers of lines are irrelevant for this
transaction/service type.)
13 49 Cellular/Interstate Usage
For use when carrier is passing actual traffic and not
using safe harbor percentages. Cellular/wireless per
-
minute and/or per
-use interstate charges. Charges are in
addition to any interstate monthly access or interstate
roaming charges billed to customer.
13
50 Cellular/Intrastate Usage
For use when carrier is passing actual traffic and not
using safe harbor percentages. Cellular/wireless per
-
minute and/or per
-use intrastate charges. Charges are in
addition to any intrastate monthly access or intrastate
roaming charges billed to customer.
13 51 Cellular/International
Usage
Portion of MRC, or per-minute charges, attributable to
calls that originate inside the United States and terminate
outside the United States.
13 98 Cellular/Access Number
For use when carrier is passing actual traffic and not
using safe harbor percentages or for passing transactions
for multiple line accounts. Designates the number of
access numbers assigned to an account.
13 99 Cellular/Interstate Access
Charge
For use when carrier is passing actual traffic and not
using safe harbor percentages. Designates the portion of
the basic monthly access charge that is interstate.
13 100 Cellular/Intrastate Access
Charge
For use when carrier is passing actual traffic and not
using safe harbor percentages. Designates the portion of
the basic monthly access charge that is intrastate.
13 101
Cellular/Interstate Roaming
For use when carrier is passing actual traffic and not
using safe harbor percentages. Per
-use, per-minute
charges for i
nterstate cellular use outside of the
designated service area of the providing carrier.
13 102
Cellular/Intrastate Roaming
For use when carrier is passing actual traffic and not
using safe harbor percentages. Per
-use, per-minute
charges for intrastate c
ellular use outside of the
designated service area of the providing carrier.
13
572 Cellular/Digital Download
The purchase of goods such as ringtones downloaded to
a cell phone.
13 577
Cellular/Enhanced Features
Charges and fees for additional feature charges of
wireless services which are separate from voice
transmission related features as defined by the FCC.
(Includes services such as voicemail, interactive voice
response, audiotext information services, and protocol
processing.)
13 591
Cellular/Access Charge-No
Contract
Basic monthly flat rate charge for cellular/wireless service
that is sold without a contract.

AFC Telecom User Manual | 20 of 401
Copyright 2018 Avalara, Inc.
Table 2-1 Valid Transaction / Service Pairs
IDENTIFIER
NAME
DESCRIPTION
Trans Type
Svc Type
13 592
Cellular/
Access Number-
No
Contract
For use when carrier is passing actual traffic and not
using safe harbor percentages. Design
ates the number
of access numbers assigned to a wireless account that is
sold without a contract.
13 610
Cellular/Access
Early Termination Fees
A fee charged for early termination of Cellular service.
13 622 Cellular/Text Message
A fee charged to cellular customers for Text Messaging
services
14 15 International/Product
Supply of goods for consideration within countries other
than Canada, USA, and US territories.
14 25 International/USA Inbound
International calls inbound to the USA that are
billed to
an international address. Outbound international calls
should be mapped as Interstate/International Toll calls
[1/12]. (Call must be billed to a non-USA address.)
14 658 International/Product -
India Interstate Supply
Supply of goods for consideration within India in which
the location of the supplier and the place of supply occur
in different states or territories.
14 659 International/Product -
India Intrastate Supply
Supply of goods for consideration within India in which
the location
of the supplier and the place of supply occur
in the same state or territory.
15 7 Telephony/Service
All telephone service in countries other than the USA,
Canada, Puerto Rico and the Virgin Islands.
15 624
Telephony
/
Wireless Service
All wireless telephone service in countries other than the
USA, Canada, Puerto Rico and the Virgin Islands.
15 627 Telephony/Internet Access
All Internet Access in countries other than Canada, USA
and US territories.
15 629
Telephony/Messaging
Services
All Messaging Services in countries other than Canada,
USA and US territories.
15 656 Telephony/Service - India
Interstate Supply
Telephone service in India in which the location of the
supplier and the place of supply occur in different states
or territories.
15 657 Telephony/Service - India
Intrastate Supply
Telephone service in India in which the location of the
supplier and the place of supply occur in the same state
or territory.
16 6
Cable Television/Access
Charge (Alias Basic Service)
Basic monthly flat
-rate
charge for cable television service.
16 8 Cable Televsion/Install
One-time charge for the installation of any cable
television service.
16 13
Cable Televsion/Equipment
Repair
Charges for cable equipment repair and service.
16 14
Cable Televsion/Late
Charge
Category for late charges that were originally taxed using
one of the Cable (16) transaction categories.
16 35 Cable Televsion/Premium
Service
Premium monthly flat
-rate charge for cable television
premium channel(s) service.
16 36 Cable Televsion/Pay Per
View Service
Pay per view monthly charges for cable television pay per
view service.
16 37
Cable Televsion/Equipment
Rental
Equipment (box/switch) monthly charges for cable
television.

AFC Telecom User Manual | 21 of 401
Copyright 2018 Avalara, Inc.
Table 2-1 Valid Transaction / Service Pairs
IDENTIFIER
NAME
DESCRIPTION
Trans Type
Svc Type
16 39 Cable Televsion/TV Guide
Charge for TV Guide Sourcing publication for cable
television services.
16 584
Cable Televsion/Digital
Channel Tier
Charge for cable television digital tier service.
16 610
Cable Television
Early Termination Fees
A fee charged for early termination of Cable Television
Service.
16 615
Cable
Television/Equipment Sales
Sales of cable television equipment.
16 654
Cable Television/
Equipment Rental Basic
Equipment (box/switch) monthly charges for cable
television that provide basic service only.
18 6
Satellite Televsion/Access
Charge (Alias Basic Service)
Basic monthly flat-rate charge for satellite television
service.
18 8 Satellite Televsion/Install
One-time charge for the installation of any satellite
television service.
18 13
Satellite
Televsion/Equipment
Repair
Charges for
satellite equipment repair and service.
18 14
Satellite Televsion/Late
Charge
Category for late charges that were originally taxed using
one of the Satellite (18) transaction categories.
18 35
Satellite
Televsion/Premium Service
Premium monthly flat rate charge for satellite television
premium channel(s) service.
18 36
Satellite Televsion/Pay Per
View Service
Pay per view monthly charges for satellite television pay
per view service.
18 37
Satellite
Televsion/Equipment
Rental
Equipment (box/switch) mont
hly charges for satellite
television.
18 39
Satellite Televsion/TV
Guide
Charge for TV Guide Sourcing publication for satellite
television service.
19
6
VoIP/Access Charge
Basic monthly flat rate for VoIP service.
19
8
VoIP/Install
Charge for installation of VoIP services.
19 11 VoIP/Activation
One-time charges for activating a VoIP account.
(Mutually exclusive of the other VoIP charges.)
19 13 VoIP/Equipment Repair
Charge for repair of equipment necessary to make VoIP
calls.
19 14 VoIP/Late Charge
Category for late charges that were originally taxed using
one of the VoIP (19) transaction categories.
19 21 VoIP/Lines
Designates the quantity of numbers a VoIP customer is
using. (Taxable amount is irrelevant for this
transaction/service
type. Tax is calculated based on the
number of lines designated in the lines field.) This service
type will return E911 at the landline rate regardless of
whether it is paired with the VoIP or VoIPA transaction
type.
19 30 VoIP/Feature Charge
Charges and fees for additional feature charges of VoIP
services. (Includes services such as call waiting, caller ID,
call blocking, call forwarding, etc.)
19 37 VoIP/Equipment Rental
Charge for renting equipment necessary to make VoIP
phone calls.

AFC Telecom User Manual | 22 of 401
Copyright 2018 Avalara, Inc.
Table 2-1 Valid Transaction / Service Pairs
IDENTIFIER
NAME
DESCRIPTION
Trans Type
Svc Type
19 41 VoIP/PBX Extension
Designates the number of VoIP PBX extensions a VoIP
service customer is using. Taxable amount is irrelevant
for this transaction/service type. Tax is calculated based
on the number of extensions designated in the lines field.
Used in conjunction with 19/566 and 19/578.
19 43 VoIP/Invoice
Mapping category for transactions on a per invoice basis.
(Tax is based per invoice per account per billing cycle.
Taxable amount or numbers of lines are irrelevant for this
transaction/service type.)
19 48 VoIP/Wireless Access
Charge
This will tax similar to Cellular/Access Charge. Federal
and State USF are applied, but at the wireless safe harbor
rate.
19 49 VoIP/Interstate Usage
Portion of MRC, or per-minute charges, attributable to
calls that cross
state lines but do not leave the United
States.
19 50 VoIP/Intrastate Usage
Portion of MRC, or per-minute charges, attributable to
calls that do not cross state lines.
19 51 VoIP/International Usage
Portion of MRC, or per-minute charges, attributable to
calls that originate inside the United States and terminate
outside the United States.
19 52 VoIP/Wireless Lines
Designates the quantity of numbers a VoIP customer is
using. (Taxable amount and number of lines are
irrelevant for this service type. Tax is calculated based on
the number of transactions passed. For two lines you
would pass two transactions.) This service type will return
E911 at the wireless rate regardless of whether it is
paired with the VoIP or VoIPA transaction type.
19 53 VoIP/LNP
Fixed, monthly charge associated with transferring an
existing phone number to a VoIP service provider.
19 566 VoIP/PBX Outbound
Channel
Designates the number of voice grade communications
channels leaving a subscriber's premises through a VoIP
PBX connect
ing the subscriber's premises to the public
switched network. Taxable amount is irrelevant for this
transaction/service type. Tax is calculated based on the
number of outbound channels designated in the lines
field. Used in Conjunction with 19/41 and 19/578.
19 577 VoIP/Enhanced Features
Charges and fees for additional feature charges of VoIP
services which are separate from voice transmission
related features as defined by the FCC. (Includes services
such as voicemail, interactive voice response,
audiotext
information services, and protocol processing.)
19 578 VoIP/PBX
Designates the number of PBX trunks a VoIP customer is
using. (Taxable amount is irrelevant for this
transaction/service type. Tax is calculated based on the
number of trunks desi
gnated in the lines field. Used in
conjunction with 19/41 and 19/566.)

AFC Telecom User Manual | 23 of 401
Copyright 2018 Avalara, Inc.
Table 2-1 Valid Transaction / Service Pairs
IDENTIFIER
NAME
DESCRIPTION
Trans Type
Svc Type
19 579 VoIP/PBX High Capacity
Designates the number of High Capacity Trunks a
customer is using. Taxable amount is irrelevant for this
transaction/service type. Tax is calculated ba
sed on the
number of High Capacity Trunks designated in the lines
field. Used in conjunction with 19/580 and 19/582.
19 580 VoIP/High Capacity
Extension
Designates the number of VoIP extensions a VoIP service
customer is using on a High Capacity Trunk.
(Taxable
amount is irrelevant for this transaction/service type. Tax
is calculated based on the number of extensions
designated in the lines field.)Designates the number of
VoIP extensions a VoIP service customer is using on a
High Capacity Trunk. Taxable
amount is irrelevant for this
transaction/service type. Tax is calculated based on the
number of extensions designated in the lines field. Used
in conjunction with 19/579 and 19/582.
19 582 VoIP/High Capacity
Outbound Channel
Designates the number of v
oice grade communications
channels leaving a subscriber's premises through a VoIP
High Capacity Trunk connecting the subscriber's premises
to the public switched network. Taxable amount is
irrelevant for this transaction/service type. Tax is
calculated b
ased on the number of outbound channels
designated in the lines field. Used in conjunction with
19/579 and 19/580.
19 596
VoIP/Access-Local Only
Service
Basic monthly flat rate charge for Local Only Service VoIP.
19 635 VoIP/Toll Free Number
Monthly recurring charge for access to a VoIP toll free
number.
20
6
VoIPA/Access Charge
Basic monthly flat rate for VoIP service.
20
8
VoIPA/Install
Charge for installation of VoIP services.
20 11 VoIPA/Activation
One-time charges for activating a VoIP account.
(Mutually exclusive of the other VoIP charges.)
20 13 VoIPA/Equipment Repair
Charge for repair of equipment necessary to make VoIP
calls.
20 14 VoIPA/Late Charge
Category for late charges that were originally taxed using
one of the VoIPA (20) transaction categories.
20 21 VoIPA/Lines
Designates the quantity of numbers a VoIP customer is
using. (Taxable amount is irrelevant for this
transaction/service type. Tax is calculated based on the
number of lines designated in the lines field.) This service
type will return E911 at the landline rate regardless of
whether it is paired with the VoIP or VoIPA transaction
type.
20 30 VoIPA/Feature Charge
Charges and fees for additional feature charges of VoIP
services. (Includes services such as ca
ll waiting, caller ID,
call blocking, call forwarding, etc.)
20 37 VoIPA/Equipment Rental
Charge for renting equipment necessary to make VoIP
phone calls.

AFC Telecom User Manual | 24 of 401
Copyright 2018 Avalara, Inc.
Table 2-1 Valid Transaction / Service Pairs
IDENTIFIER
NAME
DESCRIPTION
Trans Type
Svc Type
20 41 VoIPA/PBX Extension
Designates the number of VoIP PBX extensions a VoIP
service customer is
using. Taxable amount is irrelevant
for this transaction/service type. Tax is calculated based
on the number of extensions designated in the lines field.
Used in conjunction with 20/566 and 20/578.
20 43 VoIPA/Invoice
Mapping category for transactions on a per invoice basis.
(Tax is based per invoice per account per billing cycle.
Taxable amount or numbers of lines are irrelevant for this
transaction/service type.)
20 48 VoIPA/Wireless Access
Charge
This will tax similar to Cellular/Access Charge. Federal
and State USF are applied, but at the wireless safe harbor
rate.
20 49 VoIPA/Interstate Usage
Portion of MRC, or per-minute charges, attributable to
calls that cross state lines but do not leave the United
States.
20 50 VoIPA/Intrastate Usage
Portion of MRC, or per-minute charges, attributable to
calls that do not cross state lines.
20 51 VoIPA/International Usage
Portion of MRC, or per-minute charges, attributable to
calls that originate inside the United States and terminate
outside the United States.
20 52 VoIPA/Wireless Lines
Designates the quantity of numbers a VoIP customer is
using. (Taxable amount and number of lines are
irrelevant for this service type. Tax is calculated based on
the number of transactions
passed. For two lines you
would pass two transactions.) This service type will return
E911 at the wireless rate regardless of whether it is
paired with the VoIP or VoIPA transaction type.
20 53 VoIPA/LNP
Fixed, monthly charge associated with transferring an
existing phone number to a VoIP service provider.
20 566 VoIPA/PBX Outbound
Channel
Designates the number of voice grade communications
channels leaving a subscriber's premises through a VoIP
PBX connecting the subscribers premises to the public
switched network. Taxable amount is irrelevant for this
transaction/service type. Tax is calculated based on the
number of outbound channels designated in the lines
field. Used in conjunction with 20/41 and 20/578.
20 577 VoIPA/Enhanced Features
Charges and fees for additional feature charges of VoIP
services which are separate from basic transmission
services. (Includes services such as voicemail, interactive
voice response, audiotext information services, and
protocol processing.)
20 578 VoIPA/PBX
Designates the number of PBX trunks a VoIP customer is
using. (Taxable amount is irrelevant for this
transaction/service type. Tax is calculated based on the
number of trunks designated in the lines field. Used in
conjunction with 20/41 and 20/566.)

AFC Telecom User Manual | 25 of 401
Copyright 2018 Avalara, Inc.
Table 2-1 Valid Transaction / Service Pairs
IDENTIFIER
NAME
DESCRIPTION
Trans Type
Svc Type
20 579 VoIPA/PBX High Capacity
Designates the number of High Capacity Trunks a
customer is using. Taxable amount is irrelevant for this
transaction/service type. Tax is calculated based on the
number of High Capacity Trunks designated in the lines
field. Used in conjunction with 20/580 and 20/582.
20 580 VoIPA/High Capacity
Extension
Designates the number of VoIP extensions a VoIP service
customer is using on a High Capacity Trunk. Taxable
amount is irrelevant for this transaction/service type. Tax
is ca
lculated based on the number of extensions
designated in the lines field. Used in conjunction with
20/579 and 20/582.
20 582 VoIPA/High Capacity
Outbound Channel
Designates the number of voice grade communications
channels leaving a subscriber's premises
through a VoIP
High Capacity Trunk connecting the subscriber's premises
to the public switched network. Taxable amount is
irrelevant for this transaction/service type. Tax is
calculated based on the number of High Capacity
Outbound Channels designated in the lines field. Used in
conjunction with 20/579 and 20/580.
20 596
VoIPA/Access-Local Only
Service
Basic monthly flat rate charge for Local Only Service VoIP.
20 635 VoIPA/Toll Free Number
Monthly recurring charge for access to a VoIP toll free
number.
21 21 Payphone/Lines
Line charges for provisioning of service to a coin
operated phone. (Taxable amount is irrelevant for this
transaction/service type. Tax is calculated based on the
number of lines designated in the lines field.)
21 49 Payphone/Interstate Usage
Charges for calls that cross state boundaries from a coin
operated phone.
21 50 Payphone/Intrastate Usage
Charges for calls that do not cross state boundaries from
a coin operated phone.
21
55
Payphone/Local Usage
Charges for local calls from a coin operated phone.
21 56 Payphone/Provisioning
MRC related charges for the provisioning of service to a
coin-operated phone.
24 59 Software/Licensed
Software
An agreement for the use of software for a specified
period. Transferrable to the customer by physical means,
which the customer retains.
24 60
Software/Software
Maintenance Agreement
A contract that covers the contract holder for the
expense of maintaining and updating software.
24 61
Software/Report on CD or
Paper Form
Report generated and provided to end user delivered on
CD or paper.
24 595 Software/Downloaded
Licensed Software
An agreement for the use of software for a specified
period.
Transferable to the computer by electronic
means.
24 636 Software/Remotely
Accessed Software
A service that provides access and usage of software that
remains in the possession of the seller and is remotely
accessed by a customer. If data is manipulated
by the
software, it is user created data.

AFC Telecom User Manual | 26 of 401
Copyright 2018 Avalara, Inc.
Table 2-1 Valid Transaction / Service Pairs
IDENTIFIER
NAME
DESCRIPTION
Trans Type
Svc Type
25 62
Timesharing/Information
Retrieval
Access to a computer through a remote terminal that
allows retrieval of stored data created by the user.
25 646 Timesharing/Information
Retrieval (Provider Data)
Access to a computer through a remote terminal that
allows retrieval of stored data created by the service
provider.
25 660 Timesharing/No Retrieval-
Disaster Recovery
Access to a computer through a remote terminal for the
purposes of data storage. Retrieval only
for disaster
recovery.
58 563 Dark Fiber Lease/Facilities
Lease of Dark Fiber installed on property owned by the
lessor.
58 564 Dark Fiber Lease/Non-
Facilities
Lease of Dark Fiber installed on property not owned by
the lessor.
58 604
Dark Fiber Lease
Facilities/Local Svc
Lease of Dark Fiber installed on property owned by the
lessor used for local telecommunications service
58 605
Dark Fiber Lease/Non-
Facilities-Local Svc
Lease of Dark Fiber installed on property not owned by
the lessor used for local telecommunications service
59 6
VoIP Nomadic/Access
Charge
Basic monthly flat rate for VoIP service.
59
8
VoIP Nomadic/Install
Charge for installation of VoIP services.
59 11 VoIP Nomadic/Activation
One-time charges for activating a VoIP account.
(Mutually exclusive of the other VoIP charges.)
59 13
VoIP Nomadic/Equipment
Repair
Charge for repair of equipment necessary to make VoIP
calls.
59 14 VoIP Nomadic/Late Charge
Category for late charges that were originally taxed using
one of the VoIP Nomadic transaction categories.
59 21 VoIP Nomadic/Lines
Designates the quantity of numbers a VoIP customer is
using. (Taxable amount is irrelevant for this
transaction/service type. Tax is calculated based on the
number of lines designated in the lines field.)
59 30 VoIP Nomadic/Feature
Charge
Charges and fees for additional feature charges of VoIP
services. (Includes services such as call waiting, caller ID,
call blocking, call forwarding, etc.)
59 37
VoIP Nomadic/Equipment
Rental
Charge for renting equipment necessary to make VoIP
phone calls.
59 41 VoIP Nomadic/PBX
Extension
Designates the number of VoIP PBX extensions a local
service customer is using. Taxable amount is irrelevant
for this transaction/service type. Tax is calculated based
on the number of extensions designated in the lines field.
Used in conjunction with 59/566 and 59/578.
59 43 VoIP Nomadic/Invoice
Mapping category for transactions on a per invoice basis.
(Tax is based per invoice per account per billing cycle.
Taxable amount or numbers of lines are irrelevant for this
transaction/service type.)
59 49 VoIP Nomadic/Interstate
Usage
Portion of MRC, or per-minute charges, attributable to
calls that cross state lines but do not leave the United
States.
59 50
VoIP Nomadic/Intrastate
Usage
Portion of MRC, or per-minute charges, attributable to
calls that do not cross state lines.

AFC Telecom User Manual | 27 of 401
Copyright 2018 Avalara, Inc.
Table 2-1 Valid Transaction / Service Pairs
IDENTIFIER
NAME
DESCRIPTION
Trans Type
Svc Type
59 51
VoIP
Nomadic/International
Usage
Portion of MRC, or per-minute charges, attributable to
calls that originate inside the United States and terminate
outside the United States.
59 53 VoIP Nomadic/LNP
Fixed, monthly charge associated with transferring an
existing phone number to a VoIP service provider.
59 566 VoIP Nomadic/PBX
Outbound Channel
Designates the number of voice grade communications
channels leaving a subscriber's premises throu
gh a VoIP
PBX connecting the subscriber's premises to the public
switched network. Taxable amount is irrelevant for this
transaction/service type. Tax is calculated based on the
number of outbound channels designated in the lines
field. Used in conjunction with 59/41 and 59/578.
59 577 VoIP Nomadic/Enhanced
Features
Charges and fees for additional feature charges of VoIP
services which are separate from basic transmission
services. (Includes services such as voicemail, interactive
voice response,
audiotext information services, and
protocol processing.)
59 578 VoIP Nomadic/PBX
Designates the number of PBX trunks a VoIP customer is
using. (Taxable amount is irrelevant for this
transaction/service type. Tax is calculated based on the
number of tru
nks designated in the lines field. Used in
conjunction with 59/41 and 59/566.)
59 579 VoIP Nomadic/PBX High
Capacity
Designates the number of High Capacity Trunks a
customer is using. Taxable amount is irrelevant for this
transaction/service type. Tax
is calculated based on the
number of High Capacity Trunks designated in the lines
field. Used in conjunction with 59/580 and 59/582.
59 580 VoIP Nomadic/High
Capacity Extension
Designates the number of VoIP extensions a VoIP service
customer is using on
a High Capacity Trunk. Taxable
amount is irrelevant for this transaction/service type. Tax
is calculated based on the number of extensions
designated in the lines field. Used in conjunction with
59/579 and 59/582.
59 582
VoIP Nomadic/High
Capacity Outbound
Channel
Designates the number of voice grade communications
channels leaving a subscriber's premises through a VoIP
High Capacity Trunk connecting the subscriber's premises
to the public switched network. Taxable amount is
irrelevant for this tra
nsaction/service type. Tax is
calculated based on the number of outbound channels
designated in the lines field. Used in conjunction with
59/579 and 59/580.
59 635
VoIP Nomadic/Toll Free
Number
Monthly recurring charge for access to a VoIP Nomadic
toll free number.
60 10 Satellite Phone/Usage
Satellite per minute and/or per use charges. Avalara has
added this combination for development and testing
purposes.
Avalara plans that the combination will be
available for use in tax production approximately the first
of the year.
61
585
VPN/Interstate MPLS
Charge for Interstate Virtual Private Network using MPLS.

AFC Telecom User Manual | 28 of 401
Copyright 2018 Avalara, Inc.
Table 2-1 Valid Transaction / Service Pairs
IDENTIFIER
NAME
DESCRIPTION
Trans Type
Svc Type
61
586
VPN/Intrastate MPLS
Charge for Intrastate Virtual Private Network using MPLS.
61 650 VPN/MPLS Intrastate
Activation
One-time charge for the activation of an intrastate virtual
private network (VPN) using multiprotocol label switching
(MPLS). It is mutually exclusive of the other VPN charges.
61 651 VPN/MPLS Install
One-time charge for the installation, administration,
modification, or termination of a virtual private network
(VPN) using multiprotocol label switching (MPLS). This
should be used for install fee, change order fees, add
-
service fees, and ter
mination account/service fees, but
not for repair/service fees.
61 652 VPN/MPLS Service
One-time charge for manual, physical service to a virtual
private network (VPN) using multiprotocol label switching
(MPLS), such as a truck roll to the customer premis
e. All
manual repair services should fall into this category.
This
designation should not be used for administrative fees or
service change fees.
61 653 VPN/MPLS Interstate
Activation
One-time charge for the activation of an interstate virtual
private network (VPN) using multiprotocol label switching
(MPLS). It is mutually exclusive of the other VPN charges.
64 648 Conferencing/Intrastate
with FCC Jurisdiction
Per-minute and per-participant charges for dial-in service
provided in conjunction with conn
ecting conference
participants utilizing a conferencing bridge when all
participants are located within one state. Intended to be
used to return Federal charges with the State charges.
64 649 Conferencing/Interstate
without FCC Jurisdiction
Per-minute and per-participant charges for dial in service
provided in conjunction with connecting conference
participants utilizing a conferencing bridge when all
participants are located in different states. Intended to
be used to return State charges for conferen
cing without
Federal charges.
65 6
Non-Interconnected
VoIP/Access Charge
Basic monthly flat rate for non-interconnected VoIP
service.
65 11 Non-Interconnected
VoIP/Activation
One-time charges for activating a non-interconnected
VoIP account. (Mutually
exclusive of the other VoIP
charges.)
65 14 Non-Interconnected
VoIP/Late Charge
Category for late charges that were originally taxed using
one of the “Non
-Interconnected VoIP” transaction
categories.
65 30 Non-Interconnected
VoIP/Feature Charge
Charges and fees for additional feature charges of non-
interconnected VoIP services. (Includes services such as
call waiting, caller ID, call blocking, call forwarding, etc.)
65 43 Non-Interconnected
VoIP/Invoice
Mapping category for non-interconnected VoIP
trans
actions on a per invoice basis. (Tax is based per
invoice per account per billing cycle. Taxable amount or
numbers of lines are irrelevant for this
transaction/service type.)
65 49 Non-Interconnected
VoIP/Interstate Usage
Portion of MRC, or per-minute charges, attributable to
non
-interconnected VoIP calls that cross state lines but
do not leave the United States.

AFC Telecom User Manual | 29 of 401
Copyright 2018 Avalara, Inc.
Table 2-1 Valid Transaction / Service Pairs
IDENTIFIER
NAME
DESCRIPTION
Trans Type
Svc Type
65 50 Non-Interconnected
VoIP/Intrastate Usage
Portion of MRC, or per-minute charges, attributable to
non
-interconnected VoIP calls that do not cross state
lines.
65 51 Non-Interconnected
VoIP/International Usage
Portion of MRC, or per
-minute charges, attributable to
non
-interconnected VoIP calls that originate inside the
United States and terminate outside the United States.
65 577 Non-Interconnected
VoIP/Enhanced Features
Charges and fees for additional feature charges of non-
interconnected VoIP services which are separate from
basic transmission services. (Includes services such as
voicemail, interactive voice response, audio text
information services, and protocol processing.)
Additional Transaction/Service Pairings Supported in Telecom
Note: These Transaction/Service pairings are available for use in the U.S only.
Table 2-2 Transaction and Service Types
IDENTIFIER
NAME
DESCRIPTION
Trans Type
Svc Type
24 491 Software/Canned Software
Software written for multiple users.
Transferable to the computer by
physical means, which the customer
retains.
24 492 Software/Modified Charges
Charges to modify canned software for
a specific user.
24 493 Software/Modified Software
Software modified for a specific
purpose for a specific user.
Transferable to the computer by
physical means which the customer
retains
24 494 Software/Custom Software
Software written for a specific purpose
for a specific user. Transferable to the
computer by physical means which the
customer retains
24 495 Software/Canned Software-Load and
Leave
Software written for multiple users.
Transferable to the computer by
physical means which the software
provider retains after installation.
24 496 Software/Custom Software-Load and
Leave
Software written for a specific purpose
for a specific user. Transferable to the
computer by physical means which the
software provider retains after
installation.

AFC Telecom User Manual | 30 of 401
Copyright 2018 Avalara, Inc.
Table 2-2 Transaction and Service Types
IDENTIFIER
NAME
DESCRIPTION
Trans Type
Svc Type
24 497 Software/Licensed Software-Load and
Leave
An agreement for the use of software
for a specified period. Transferable to
the computer by physical means which
the software provider retains after
installation.
24 498 Software/Modified Software-Load and
Leave
Software modified for a specific
purpose for a specific user.
Transferable to the computer by
physical means which the software
provider retains after installation.
24 499 Software/Downloaded Custom
Software
Software written for a specific purpose
for a specific user. Transferable to the
computer by electronic means.
24 500 Software/Downloaded Canned
Software
Software written for multiple users.
Transferable to the computer by
electronic means.
24 502 Software/Modified Software-Download
Software modified for a specific
purpose for a specific user.
Transferable to the computer by
electronic means.
24 503 Software/Software Set Up-Optional-
Canned
Charges for the set up and installation
of software into the purchaser’s
equipment. Covering pre-written
software transferred by physical means
that is retained by the user. The user
has the option of installing the software
themselves.
24 504 Software/Software Set Up-Optional-
Custom
Charges for the set up and installation
of software into the purchaser’s
equipment. This covers custom
software no matter the means
transferred. The user has the option of
installing the software themselves.
24 505 Software/Software Set Up-Optional-
Downloaded
Charges for the set up and installation
of software into the purchaser’s
equipment. Covering pre-written
software transferred by electronic
means. The user has the option of
installing the software themselves.
24 506 Software/Software Set Up-Optional-
Load and Leave
Charges for the set up and installation
of software into the purchaser’s
equipment. Covering pre-written
software transferred by physical means
that is retained by the seller. The user
has the option of installing the software
themselves.

AFC Telecom User Manual | 31 of 401
Copyright 2018 Avalara, Inc.
Table 2-2 Transaction and Service Types
IDENTIFIER
NAME
DESCRIPTION
Trans Type
Svc Type
24 507 Software/Software Set Up-Optional-
Modified
Charges for the set up and installation
of software into the purchaser’s
equipment. Covering modified software
transferred by physical means that is
retained by the user. The user has the
option of installing the software
themselves.
24 508 Software/Software Set Up-Mandatory-
Canned
Charges for the set up and installation
of software into the purchaser’s
equipment. Covering pre-written
software transferred by physical means
that is retained by the user. The user
does not have the option of installing
the software themselves.
24 509 Software/Software Set Up-Mandatory-
Custom
Charges for the set up and installation
of software into the purchaser’s
equipment. This covers custom
software no matter the means
transferred. The user does not have the
option of installing the software
themselves.
24 510 Software/Software Set Up-Mandatory-
Downloaded
Charges for the set up and installation
of software into the purchaser’s
equipment. Covering pre-written
software transferred by electronic
means. The user does not have the
option of installing the software
themselves.
24 511 Software/Software Set Up-Mandatory-
Load and Leave
Charges for the set up and installation
of software into the purchaser’s
equipment. Covering pre-written
software transferred by physical means
that is retained by the seller. The user
does not have the option of installing
the software themselves.
24 512 Software/Software Set Up-Mandatory-
Modified
Charges for the set up and installation
of software into the purchaser’s
equipment. Covering modified software
transferred by physical means that is
retained by the user. The user does not
have the option of installing the
software themselves.
24 513 Software/Computer Consulting-
Optional-Canned
Charges often considered design and
planning for software but not to include
actual training.
24 514 Software/Computer Consulting-
Mandatory-Canned
Charges often considered design and
planning for software but not to include
actual training.

AFC Telecom User Manual | 32 of 401
Copyright 2018 Avalara, Inc.
Table 2-2 Transaction and Service Types
IDENTIFIER
NAME
DESCRIPTION
Trans Type
Svc Type
24 515 Software/Computer Consulting-
Optional-Custom
Charges often considered design and
planning for software but not to include
actual training.
24 516 Software/Computer Consulting-
Mandatory-Custom
Charges often considered design and
planning for software but not to include
actual training.
24 517 Software/Computer Consulting-
Optional-Downloaded
Charges often considered design and
planning for software but not to include
actual training.
24 518 Software/Computer Consulting-
Mandatory-Downloaded
Charges often considered design and
planning for software but not to include
actual training
24 519 Software/Computer Consulting-
Optional-Load and Leave
Charges often considered design and
planning for software but not to include
actual training.
24 520 Software/Computer Consulting-
Mandatory-Load and Leave
Charges often considered design and
planning for software but not to include
actual training.
24 521 Software/Computer Consulting-
Optional-Modified
Charges often considered design and
planning for software but not to include
actual training.
24 522 Software/Computer Consulting-
Mandatory-Modified
Charges often considered design and
planning for software but not to include
actual training.
24 523 Software/Computer Training-Optional-
Canned
Charges for training the purchaser on
the use of new software. The training is
for canned software and the customer
has a choice on whether to take the
course.
24 524 Software/Computer Training-
Mandatory-Canned
Charges for training the purchaser on
the use of new software. The training is
for canned software and the customer
does not have a choice on whether to
take the course.
24 525 Software/Computer Training-Optional-
Custom
Charges for training the purchaser on
the use of new software. The training is
for custom software and the customer
has a choice on whether to take the
course.
24 526 Software/Computer Training-
Mandatory-Custom
Charges for training the purchaser on
the use of new software. The training is
for custom software and the customer
does not have a choice on whether to
take the course.

AFC Telecom User Manual | 33 of 401
Copyright 2018 Avalara, Inc.
Table 2-2 Transaction and Service Types
IDENTIFIER
NAME
DESCRIPTION
Trans Type
Svc Type
24 527 Software/Computer Training-Optional-
Downloaded
Charges for training the purchaser on
the use of new software. The training is
for pre-written software transferred
electronically and the customer has a
choice on whether to take the course.
24 528 Software/Computer Training-
Mandatory-Downloaded
Charges for training the purchaser on
the use of new software. The training is
for pre-written software transferred
electronically and the customer does
not have a choice on whether to take
the course.
24 529 Software/Computer Training-Optional-
Load and Leave
Charges for training the purchaser on
the use of new software. The training is
for pre-written software transferred by
a medium kept by the purchaser and
the customer has a choice on whether
to take the course.
24 530 Software/Computer Training-
Mandatory-Load and Leave
Charges for training the purchaser on
the use of new software. The training is
for pre-written software transferred by
a medium kept by the purchaser and
the customer does not have a choice
on whether to take the course.
24 531 Software/Computer Training-Optional-
Modified
Charges for training the purchaser on
the use of new software. The training is
for modified software and the
customer has a choice on whether to
take the course.
24 532 Software/Computer Training-
Mandatory-Modified
Charges for training the purchaser on
the use of new software. The training is
for modified software and the
customer does not have a choice on
whether to take the course.
25 533 Timesharing/Timesharing - Off-Site Use
of CPU - General Rule
Access to computer through a remote
terminal that allows computations.
25 534 Timesharing/CPU Located out of State
Access to computer through a remote
terminal that allows computations.
29 128
Books-Educational/College & Trade
School
Books used specifically for students of
college and trade school.
32 106 Electronic Equipment & Computer
Hardware/General Rule
Covers any electronic equipment or
computer hardware not otherwise
mentioned.
32 174
Electronic Equipment & Computer
Hardware/Monitors Less Than 4 Inches
Monitors or Device and Monitors with a
viewing screen of less than 4 inches.
32 175
Electronic Equipment & Computer
Hardware/Monitors Between 5-14
inches
Monitors or Device and Monitors with a
viewing screen of between 5-14 inches.

AFC Telecom User Manual | 34 of 401
Copyright 2018 Avalara, Inc.
Table 2-2 Transaction and Service Types
IDENTIFIER
NAME
DESCRIPTION
Trans Type
Svc Type
32 176
Electronic Equipment & Computer
Hardware/Monitors Between Than 15-
34 Inches
Monitors or Device and Monitors with a
viewing screen of between 15-34
inches.
32 177
Electronic Equipment & Computer
Hardware/Monitors Greater Than 35
Inches
Monitors or Device and Monitors with a
viewing screen of greater than 35
inches.
34 106 General Merchandise/General Rule
Any tangible personal property not
otherwise considered in any other
transaction type/service type.
34 230 General Merchandise/Coupon Books
Books that have coupons enclosed to
use as discounts at various
establishments.
34 232
General Merchandise/Non-Lead Based
Batteries
Batteries
34 574 General Merchandise/Fixture
Tangible personal property that is
installed in real property and qualifies
as a fixture of the real property.
36 247 Magazines/Subscription-Annually-
Delivered by US Mail
A publication with a soft cover and
indexed articles published once a year
delivered by Second Class Mail or
below.
36 250 Magazines/Subscription-Quarterly-
Delivered by US Mail
A publication with a soft cover and
indexed articles published every three
months delivered by Second Class Mail
or below.
36 361 Magazines/Digital Product – Retail
A magazine publication transveyed
electronically and sold online on a per
copy basis.
36 362 Magazines/Digital Product –
Subscription
A magazine publication transveyed
electronically and sold online as part of
a subscription to the magazine.
42 361 Newspaper/Digital Product - Retail
A newsprint publication transveyed
electronically and sold online on a per
copy basis.
42 362 Newspaper/Digital Product -
Subscription
A newsprint publication transveyed
electronically and sold online as part of
a subscription to the newspaper.
44 387
Rentals & Leasing/Movie Rentals--
Private Use--Digital Download
Movies rented for private viewing
transveyed by electronic means
47 414 Services Printing/Printing Services
Charges for printing or imprinting items
unto tangible personal property
provided directly or indirectly by the
customer.
47 415 Services Printing/Copying Services
Charges for duplicating customer
provided materials to another
document.

AFC Telecom User Manual | 35 of 401
Copyright 2018 Avalara, Inc.
Table 2-2 Transaction and Service Types
IDENTIFIER
NAME
DESCRIPTION
Trans Type
Svc Type
48 416 Services Professional/Credit Card
Processing Fee-Part of Sale
A fee charged by the vendor to recover
credit card processing cost. The fee is
charged as part of the sale.
48 417 Services Professional/Credit Card
Processing Fee-Separate Sale
A fee charged by the vendor to recover
credit card processing cost. The fee is
charged as a separate sale.
48 420 Services Professional/Protection &
Security Services
A fee paid for the service of protecting
or securing real or tangible personal
property.
48 434 Services Professional/Advertising
Fees paid for the services used
generally to advertise a company's
message in printed form
48 439 Services Professional/Background
Music Services
Services that provide music for a fee to
various businesses to create further
ambiance.
48 447 Services Professional/Telephone
Answering Service
Fee charged to answer phones and take
messages on behalf of an individual or
business.
48 557 Services Professional/Service-
Information Systems Services
Charge for the manipulation of user’s
data. This is not to be confused with
the transmission of data.
50 473
Services Repair/Repair Parts - General
Rule
Parts used to regain the function of or
extend the operational life of an item.
57 560 Digital Goods/Download from Internet
The purchase of goods such as music,
books, or phone ringtones downloaded
from the internet.
57 561 Digital Goods/Download to Phone
The purchase of goods such as
ringtones downloaded to a cell phone.
57 609 Digital Goods/Streaming Video
The purchase of video via the internet.
The purchaser does not retain
possession of the video.
File transervdescsau.txt
A file named transervdescsau.txt is present in the database directory in each month’s update. This file
contains all of the valid transaction type/service type pairs, with the description of those types and of the
pairing. It is a fixed format file, though there are spaces and commas between some of the fields for
readability. It is described in the table below.
transervdesc.txt File Format Key
Description
Columns
Alternate Flag
1-1
Market Number
3-4
Market Name
6-35

AFC Telecom User Manual | 36 of 401
Copyright 2018 Avalara, Inc.
transervdesc.txt File Format Key
Description
Columns
Transaction Type Number
38-39
Transaction Type Description
41-90
Service Type Number
93-95
Service Type Description
97-146
Long Description
148-end of line
Transaction Mapping Guidelines
Long Distance Transaction and Service Types
The long distance transaction and service types provide the ability to tax 1+, 0+, 800, 900, WATS and
private lines for both interstate and intrastate calls. The capability to tax access charges, late charges,
services, installations and International USA Inbound transactions is also provided.
Refer to Table 2-3 for a list of combined transaction and service types that are used for taxing long
distance transactions.
Table 2-3 Long Distance Transaction and Service Types
Transaction Types
Service Types
1 – Interstate
1 – Toll
2 – Toll-Free
3 – WATS
4 – Private Line
12 – International Toll
14 – Late Charge
16 – 900
27 – Data
54 – Directory Assistance
562 – Local Loop
635 – Toll Free Number
2 – Intrastate
1 – Toll
2 – Toll-Free
3 – WATS
4 – Private Line
5 – Local Exchange
14 – Late Charge
16 – 900
27 – Data
54 – Directory Assistance
630 – Private Line (10% Rule)
631 – Data (10% Rule)
635 – Toll Free Number
3 – Other
6 – Access Charge
6 – Local Loop
9 – Directory Ads

AFC Telecom User Manual | 37 of 401
Copyright 2018 Avalara, Inc.
Table 2-3 Long Distance Transaction and Service Types
Transaction Types
Service Types
14 – Late Charge
34 – Conference Bridge
37 – Equipment Rental
38 – Wire Maintenance
46 – PICC
47 – No Pick PICC
57 – Data Processing
96 – No Pick PICC Bundle
97 – PICC Bundle
570 – Directory Listing
575 – Conference Bridge- Intrastate
576 – Conference Bridge-Intrastate w
Dial-in
589 – Conference Bridge-Interstate
593 – Info Svcs-Private Physical Trans
594 – Info Svcs-Private Electronic
Trans
597 – Info Svcs-Public-Electronic
Trans
598 – Info Svcs-Public Physical Trans
599 – E-mail hosting service
600 – Real Property Rental
602 – Services-Professional
603 – Online Services
608 – Conference Bridge Interstate w
Dial-In
614 – Telecom Equipment Rental
632 – Service Contracts
638 – Security Monitoring Services
639 – Streaming Internet Video
644 – Info Svcs-Pub Elec Trans (Fin &
Securities)
4 – Non-recurring
7 – Service
8 – Install
8 – Local Install
11 – Local Activation
14 – Late Charge
14 – International
25 – USA Inbound
Wireless Transaction and Service Types
Refer to Table 2-4 for a list of combined transaction and service types that are provided for taxing cellular
and PCS long distance transactions.
Table 2-4 Wireless Transaction and Service Types
Transaction Types
Service Types
13 – Cellular
6 – Access Charge
10 – Usage
11 – Activation

AFC Telecom User Manual | 38 of 401
Copyright 2018 Avalara, Inc.
Table 2-4 Wireless Transaction and Service Types
Transaction Types
Service Types
14 – Late Charge
30 – Feature Charge
33 – Roaming Charge
49 – Interstate Usage
50 – Intrastate Usage
98 – Access number
99 – Interstate Access Charge
100 – Intrastate Access Charge
101 – Interstate Roaming
102 – Intrastate Roaming
572 – Digital Download
577 – Enhanced Features
591 – Access Charge-No Contract
592 – Access Number-No Contract
610 – Early Termination Fees
622 – Text Message
Enhanced Service Transaction and Service Types
These transaction and service types allow the taxing of internet, paging, FAX, and voice mail
services. Refer to Table 2-5 for a list of combined transaction and service types that are typically
used for taxing enhanced service transactions.
Table 2-5 Enhanced Service Transaction and Service Types
Transaction Types
Service Types
6 – Paging
6 – Access Charge
10 – Usage
11 – Activation
13 – Equipment Repair
8 – Fax
10 – Usage
9 – Voice mail
6 – Access Charge
10 – Usage
11 – Activation
14 – Late Charge
Internet Transaction and Service Types
The federal government and most states do not tax Internet usage. AFC will determine this based upon
the jurisdiction information provided. If taxable, AFC applies the appropriate taxes for the given
jurisdiction.
Refer to Table 2-6 for a list of combined transaction and service types that are used for taxing Internet
usage.
Table 2-6 Internet Transaction and Service Types
Transaction Types
Service Types
5 – Internet
6 – Access Charge

AFC Telecom User Manual | 39 of 401
Copyright 2018 Avalara, Inc.
29 – Web Hosting
58 – Access Line
Local Service Transaction and Service Types
Local Service mapping demands special attention because more than one Transaction/Service Type is
required to generate all of the necessary rated and per line taxes. Refer to Table 2-7 for a list of
combined transaction and service types that are associated with local service.
Table 2-7 Local Service Transaction and Service Types
Transaction Types
Service Types
7 – Local
4 – Private Line
5 – Local Exchange
14 – Late Charge
20 – FCC Subscriber Line Fee
20 – Number Portability Recovery
21 – Lines
24 – PBX/Trunk
27 – Data
30 – Local Feature Charge
40 – Centrex / DID Extension
41 – PBX Extension
42 – Local Trunk(Alias as Local Centrex)
43 – Invoice
45 – High Capacity Trunk
84 – Late Charge Bundle
85 – Local Exchange Bundle
86 – FCC Subscriber Line Fee Bundle
86 – Number Portability Recovery Bundle
87 – Lines Bundle
89 – PBX Trunk Bundle
90 – Local Feature Charge Bundle
91 – Centrex Extension Bundle
92 – PBX Extension Bundle
93 – Centrex Trunk Bundle
94 – Invoice Bundle
95 – High Capacity Trunk Bundle
566 – PBX Outbound Channel
567 – PBX Outbound Channel Bundle
580 – High Capacity Extension
581 – High Capacity Extension Bundle
582 – High Capacity Outbound Channel
583 – High Capacity Outbound Channel Bundle
587 – Centrex Outbound Channel
588 – Centrex Outbound Channel Bundle
612 – FCC Subscriber Line Fee Multi Line
613 – FCC Subscriber Line Fee Multi Line
Bundle
623 – Centrex Invoice
625 – Customer Premise Equip Rental
641 – FCC Subscriber Line Charge Centrex

AFC Telecom User Manual | 40 of 401
Copyright 2018 Avalara, Inc.
Table 2-7 Local Service Transaction and Service Types
Transaction Types
Service Types
642 – FCC Subscriber Line Charge Centrex
Bundle
The following transaction/service combinations should be passed to AFC in order to capture all local
taxes.
Required Transactions to Return Rated Charges
Taxation of Local Exchange starts with passing five required transactions.
1. Local / Local Exchange (7/5) – Charges for the monthly recurring charge, usage, local loop, local
flat rates, and other similar charges for local telecom service. (Due to unique Federal Taxation
the FCC Subscriber Line Fee and Local Number Portability must be distinguished.)
2. Local / FCC Subscriber Fee (7/20) – Charge for assessing the carrier's subscriber line charge to a
local service customer.
3. Local / LNP (7/20) – Fixed monthly charge through which local telephone companies may recover
some of the costs associated with providing local number portability service. (Both the 7/05 and
7/20 are sent in with the corresponding charge. The lines fields must be set to zero.)
4. Local / Invoice (7/43) – This combination returns taxes assessed on a per-invoice basis. The
charge and lines fields are irrelevant and must be set to zero. Pass one transaction for each
invoice.
5. Local / Data (7/27) - Local data service charge, MRC, and other related service type charges and
features. (This combination is appropriate for transmissions that carry data exclusively. Use
Private Line if any component is voice. This is a recommended mapping for data transmissions
carried over DSL, ATM, T-1, frame relay lines and other non-voice services. This is not for Internet
Access provided over DSL lines.)
Required Transactions to Return Per-Line Charges
Not all of the necessary telecom taxes are returned using transaction/service combinations that return
rated charges. There exist per-line taxes, such as E911, that are returned using line transactions. It is
necessary to select one of the basic categories depending on the customer. These line transactions fall
into one of the following the three categories.
1. Local / Lines (7/21) – Designates the number of lines a local service customer is using.
This can be for either a residential or business customer who has a simple wire line
connection into the premises.

AFC Telecom User Manual | 41 of 401
Copyright 2018 Avalara, Inc.
2. Local / High Capacity Trunk (7/45) – Designates the number of High Capacity Trunks a
customer is using. High Capacity Trunks are usually defined as T1 or greater. (The taxable
amount for the 7/21 and 7/45 transactions are irrelevant and must be populated with a
zero dollar amount. Only the lines data should be populated with the total number of
lines or high capacity trunks to be taxed.)
3. Business Customers with PBX or Centrex
In some cases, a business customer may have a PBX or Centrex instead of one or two
lines. This situation requires two transactions to be passed into the system in order to
return the proper per line taxes.
Some jurisdictions assess per-line taxes, such as E911, on the number of PBX or Centrex
trunks used. Others assess per-line taxes on the number of PBX or Centrex DID
Extensions. These taxes are usually assessed at a reduced rate. Still others assess taxes
on both. (For example, they may assess the TRS on the trunk, but want an E911 for each
extension.)
a. Business Customers with PBX require these two transactions to handle taxation:
Local / PBX Trunk (7/24) – Designates the number of PBX trunks a local service
customer is using. The lines field of the 7/24 transactions should be populated with
the number of PBX trunks to be taxed.
Local / PBX Extensions (7/41) – Designates the number of PBX extensions a local
service customer is using. The lines field of the 7/41 transactions should be
populated with the number of PBX extensions to be taxed. (The taxable amount for
the 7/24 and 7/41 transactions are irrelevant and must be populated with a zero
dollar amount.)
b. Business Customers with Centrex require these two transactions to handle taxation:
Local / Centrex Trunk (7/42) – Designates the number of Centrex trunks a local
service customer is using. The lines field of the 07/42 transactions should be
populated with the number of Centrex trunks to be taxed.
Local / Centrex DID Extensions (7/40) – Designates the number of Centrex extensions
a local service customer is using. The lines field of the 7/40 transactions should be
populated with the number of Centrex extensions to be taxed. (The taxable amount
for the 7/42 and 7/40 transactions are irrelevant and must be populated with a zero
dollar amount.)

AFC Telecom User Manual | 42 of 401
Copyright 2018 Avalara, Inc.
Sales Transaction and Service Types
The transaction type “Sales” and the service type “Product” is provided for the taxing the sale of finished
goods. All of the sales tax rates for the various states, counties and localities in the United States are
provided.
The transaction type “Sales” and the service type “Use” is provided for taxing the use of products. All of
the sales tax rates for the various states, counties and localities in the United States are provided.
NOTE:
At this time, AFC does not handle sales tax exceptions. If a transaction is
supplied to AFC using this transaction and service type, sales taxes will be
applied based upon the jurisdiction. If sales taxes do not apply to the
specified transaction, it is the user’s responsibility to determine this and
not pass the transaction to AFC.
Refer to Table 2-8 or a list of combined transaction and service types that are associated with Sales.
Table 2-8 Sales Transaction and Service Types
Transaction Types
Service Types
10 – Sales
15 – Product
31 – Use
32 – Debit
63 – Restocking Fee – Rental
64 – Restocking Fee – Purchase
65 – Partial Credit
103 – Sales Tax and FUSF
565 – Debit-Wireless
568 – Central Office Equipment –
Sales
569 – Central Office Equipment – Use
643 – Debit-Wireless (Indirect Non-
Carrier Sale)
Debit Transactions
Debit transactions involve two transaction types; one at the time of sale as prepayment for the service,
the other at the times of use following the purchase.
The time of sale payment should be processed using the Sales/Debit (10/32) transaction. The
transactions that follow the sale as the time on the card is expended will be either the Interstate Call (1/1)
transaction or the Intrastate Call (2/1) transaction.
When using API’s, the initial Sales/Debit transaction of the prepaid calling card would be processed
through the normal API calls such as EZTaxPCodeEx. The Toll call transactions would be processed
through the Debit API calls.

AFC Telecom User Manual | 43 of 401
Copyright 2018 Avalara, Inc.
Shipping Transaction and Service Types
Shipping Taxes are provided for the United States, its counties and localities. Refer to for a list Table 2-9
of combined transaction and service types that are associated with shipping taxes.
Table 2-9 Shipping Transaction and Service Types
Transaction Types
Service Types
11 – Shipping
17 – FOB Origin
18 – FOB Destination
Natural Gas Transaction and Service Types
Refer to Table 2-10 for a list of combined transaction and service types that are associated with Natural
Gas taxes.
Table 2-10 Natural Gas Transaction and Service Types
Transaction Types
Service Types
12 – Natural gas
6 – Access Charge
19 – Consumption
Telephony Transaction and Service Types
Refer to the table below for combined transaction and service types that are associated with Telephony
Services.
Telephony Transaction and Service Types
Transaction Types
Service Types
15 – Telephony
7 – Service
624 – Wireless Service
627 – Internet Access
629 – Messaging Services
Refer to the table below for a list of countries which should use the Telephony/Service T/S pair.
Countries Using Telephony/Service
Country
ISO Code
ANTIGUA
ATG
ARGENTINA
ARG
AUSTRALIA
AUS
AUSTRIA
AUT
AZERBAIJAN
AZE
BAHAMAS
BHS
BAHRAIN
BHR

AFC Telecom User Manual | 44 of 401
Copyright 2018 Avalara, Inc.
Countries Using Telephony/Service
Country
ISO Code
BARBADOS
BRB
BELGIUM
BEL
BELIZE
BLZ
BERMUDA
BMU
BOLIVIA
BOL
BOSNIA AND HERZEGOVINA
BIH
BRAZIL
BRA
BULGARIA
BGR
CAMBODIA
KHM
CANADA
CAN
CHILE
CHL
CHINA
CHN
COLOMBIA
COL
COSTA RICA
CRI
CROATIA
HRV
CYPRUS
CYP
CZECH REPUBLIC
CZE
DENMARK
DNK
DOMINICA
DMA
DOMINICAN REPUBLIC
DOM
ECUADOR
ECU
EGYPT
EGY
EL SALVADOR
SLV
ESTONIA
EST
FIJI
FJI
FINLAND
FIN
FRANCE
FRA
GERMANY
DEU
GHANA
GHA
GREECE
GRC
GRENADA
GRD
GUATEMALA
GTM
GUYANA
GUY
HONDURAS
HND
HUNGARY
HUN
ICELAND
ISL
INDIA
IND
INDONESIA
IDN
IRELAND
IRL
ISRAEL
ISR
ITALY
ITA
JAMAICA
JAM
JAPAN
JPN
KENYA
KEN
KUWAIT
KWT
LATVIA
LVA

AFC Telecom User Manual | 45 of 401
Copyright 2018 Avalara, Inc.
Countries Using Telephony/Service
Country
ISO Code
LITHUANIA
LTU
LUXEMBOURG
LUX
MALAYSIA
MYS
MAURITIUS
MUS
MEXICO
MEX
MOROCCO
MAR
NAMIBIA
NAM
NETHERLANDS
NLD
NEW ZEALAND
NZL
NICARAGUA
NIC
NIGERIA
NGA
NORWAY
NOR
OMAN
OMN
PANAMA
PAN
PAPUA NEW GUINEA
PNG
PERU
PER
PHILIPPINES
PHL
POLAND
POL
PORTUGAL
PRT
QATAR
QAT
REPUBLIC OF MALTA
MLT
REUNION ISLAND
REU
ROMANIA
ROM
RUSSIA
RUS
SAUDI ARABIA
SAU
SERBIA
SRB
SENEGAL
SEN
SINGAPORE
SGP
SLOVAK REPUBLIC
SVK
SLOVENIA
SVN
SOUTH AFRICA
ZAF
SOUTH KOREA
KOR
SPAIN
ESP
ST KITTS AND NEVIS
KNA
ST VINCENT
VCT
SWEDEN
SWE
SWITZERLAND
CHE
TAIWAN
TWN
TANZANIA
TZA
THAILAND
THA
TRINIDAD AND TOBAGO
TTO
TURKEY
TUR
UGANDA
UGA
UKRAINE
UKR
UNITED ARAB EMIRATES
ARE
UNITED KINGDOM
GBR

AFC Telecom User Manual | 46 of 401
Copyright 2018 Avalara, Inc.
Countries Using Telephony/Service
Country
ISO Code
UNITED STATES OFAMERICA
USA
URUGUAY
URY
VENEZUELA
VEN
VIETNAM
VNM
ZAMBIA
ZMB
Cable Television Transaction and Service Types
Refer to Table 2-11 for a list of combined transaction and service types that are associated with Cable
Television.
Table 2-11 Cable Television Transaction and Service Types
Transaction Types
Service Types
16 – Cable Television
6 – Access Charge
8 – Install
13 – Equipment Repair
14 – Late Charge
35 – Premium Service
36 – Pay Per View Service
37 – Equipment Rental
39 – TV Guide
584 – Digital Channel Tier
610 – Early Termination Fees
615 - Equipment Sales
Satellite Television Transaction and Service Types
Refer to Table 2-12 for a list of combined transaction and service types that are associated with Satellite
Television.
Table 2-12 Satellite Television Transaction and Service Types
Transaction Types
Service Types
18 – Satellite Television
6 – Access Charge
8 – Install
13 – Equipment Repair
14 – Late Charge
35 – Premium Service
36 – Pay Per View Service
37 – Equipment Rental
39 – TV Guide

AFC Telecom User Manual | 47 of 401
Copyright 2018 Avalara, Inc.
Voice over Internet Protocol (VoIP) Transaction and Service Types
Nomadic VoIP service (such as soft phone service) should be handled using the Nomadic VoIP transaction
type. Fixed location VoIP service (such as a business PBX system) faces different taxation decisions from
State, County and Local jurisdictions.
Some jurisdictions have indicated that their taxes apply to VoIP, some have stated that they are not taxing
VoIP and don’t plan to in the near future and others are taking a wait and see stance.
Because of these jurisdiction inconsistencies, providers are forced to take different attitudes toward
taxation. Some are taxing VoIP as they would normal POTS lines while others are taking the position that
VoIP is not taxable as a telecom service. Avalara’s versatile taxation engine is designed to support both of
these approaches with the transaction types VoIP and VoIPA.
Refer to Table 2-6 and Figure 2-1. The VoIP transaction type returns telecom taxes in a jurisdiction that
has stated that their taxes apply to VoIP and jurisdictions that are undecided. The VoIPA transaction type
will only return telecom taxes in jurisdictions that have definitively stated their taxes apply to VoIP. These
two approaches will converge as jurisdictions define how they want VoIP taxed.
Table 2-13 VoIP Transaction Returns
VoIP
VoIPA
Jurisdictions who tax VoIP
Tax
Tax
Undecided Jurisdictions
Tax
Don’t Tax
Jurisdictions who don’t tax VoIP
Don’t Tax
Don’t Tax
Figure 2-1 VoIP Tax

AFC Telecom User Manual | 48 of 401
Copyright 2018 Avalara, Inc.
E911 and other Per-Line Taxes
Since VoIP users can connect via a landline or wireless connection and some jurisdictions have different
rates for each of these, both rates are incorporated into the AFC system.
Use the “Lines” service type to receive the landline rate and the “Wireless Lines” service type to receive
the wireless rate. Application of any per-line taxes, such as State TRS or State USF, is dependent on
whether the VoIP or VoIPA is used.
The resulting four choices are:
a. VoIP / Lines (19/21) – Returns landline E911 and per-line telecom taxes in jurisdictions
that tax VoIP, and jurisdictions that are taking a wait and see approach. This combination
will return only E911 at the landline rate in jurisdictions that have stated they are not
taxing VoIP.
b. VoIP / Wireless Lines (19/52) – Will return wireless E911 and per-line telecom taxes in
jurisdictions that tax VoIP, and jurisdictions that are taking a wait and see approach. This
combination will only return E911 at the wireless rate in jurisdictions that have stated
they are not taxing VoIP.
c. VoIPA / Lines (20/21) – Will return only landline E911 in jurisdictions that have stated
they don’t tax VoIP, and in jurisdictions that are undecided. Will return telecom taxes
and landline E911 in jurisdictions that tax VoIP.
d. VoIPA / Wireless Lines (20/52) – Will return only wireless E911 in jurisdictions that have
stated they don’t tax VoIP, and in jurisdictions that are undecided. Will return telecom
taxes and wireless E911 in jurisdictions that tax VoIP.
NOTE:
The per-line taxes are returned as a “fixed” amount when using the
Wireless Lines service type. When passing the Wireless Lines service type
you do not need to enter the taxable amount or number of lines. You
only need to pass one transaction for each line that needs to be taxed.
VoIP Transaction and Service Types
Refer to Table 2-14 for a list of combined transaction and service types that are used with VoIP
transaction types.
Table 2-14 VoIP Transaction and Service Types
Transaction Types
Service Types
19 – VoIP
6 – Access Charge

AFC Telecom User Manual | 49 of 401
Copyright 2018 Avalara, Inc.
Table 2-14 VoIP Transaction and Service Types
Transaction Types
Service Types
8 – Install
11 – Activation
13 – Equipment Repair
14 – Late Charge
21 – Lines
30 – Feature Charge
37 – Equipment Rental
41 – PBX Extension
43 – Invoice
48 – Wireless Access Charge
49 – Interstate Usage
50 – Intrastate Usage
51 – International Usage
52 – Wireless Lines
53 – LNP
566 – PBX Outbound Channel
577 – Enhanced Features
578 – PBX
579 – PBX High Capacity
580 – High Capacity Extension
582 – High Capacity Outbound
596 – Access-Local Only Service
635 – Toll Free Number
VoIPA Transaction and Service Types
Refer to Table 2-15 for a list of combined transaction and service types that are used with VoIPA
transaction types.
Table 2-15 VoIPA Transaction and Service Types
Transaction Types
Service Types
20 – VoIPA
6 – Access Charge
8 – Install
11 – Activation
13 – Equipment Repair
14 – Late Charge
21 – Lines
30 – Feature Charge
37 – Equipment Rental
41 – PBX Extension
43 – Invoice
48 – Wireless Access Charge
49 – Interstate Usage
50 – Intrastate Usage
51 – International Usage
52 – Wireless Lines
53 – LNP
566 – PBX Outbound Channel

AFC Telecom User Manual | 50 of 401
Copyright 2018 Avalara, Inc.
577 – Enhanced Features
578 – PBX
579 – PBX High Capacity
580 – High Capacity Extension
582 – High Capacity Outbound
Channel
596 – Access-Local Only Service
635 – Toll Free Number
Nomadic VoIP Transaction and Service Types
Refer to Table 2-16 for a list of combined transaction and service types that are used with Nomadic VoIP
transaction types.
Table 2-16 Nomadic VoIP Transaction and Service Types
Transaction Types
Service Types
59 – VoIP Nomadic
6 – Access Charge
8 – Install
11 – Activation
13 – Equipment Repair
14 – Late Charge
21 – Lines
30 – Feature Charge
37 – Equipment Rental
41 – PBX Extension
43 – Invoice
49 – Interstate Usage
50 – Intrastate Usage
51 – International Usage
53 – LNP
566 – PBX Outbound
577 – Enhanced Features
578 – PBX
579 – PBX High Capacity
580 – High Capacity
582 – High Capacity Outbound
635 – Toll Free Number
Payphone Transaction and Service Types
Refer to Table 2-17 for a list of combined transaction and service types that are used with Payphone
transaction types.
Table 2-17 Payphone Transaction and Service Types
Transaction Types
Service Types
21 – Payphone
21 – Lines
49 – Interstate Usage

AFC Telecom User Manual | 51 of 401
Copyright 2018 Avalara, Inc.
50 – Intrastate Usage
55 – Local Usage
56 – Provisioning
Software Transaction and Service Types
Refer to Table 2-18 for a list of combined transaction and service types that are used with Software
transaction types.
Table 2-18 Software Transaction and Service Types
Transaction Types
Service Types
24 – Software
59 – Licensed Software
60 – Software Maintenance
61 – Report on CD or Paper Form
595 – Downloaded licensed software
Timesharing Transaction and Service Types
Refer to Table 2-19 for a list of combined transaction and service types that are used with Timesharing
transaction types.
Table 2-19 Timesharing Transaction and Service Types
Transaction Types
Service Types
25 – Timesharing
62 – Information Retrieval
Satellite Phone Transaction and Service Types
Refer to Table 2-20 for a list of combined transaction and service types that are used with Satellite Phone
transaction types.
Table 2-20 Satellite Phone Transaction and Service Types
Transaction Types
Service Types
60 – Satellite Phone
10 – Usage
VPN Transaction and Service Types
Refer to Table 2-21 for a list of combined transaction and service types that are used with VPN
transaction types.

AFC Telecom User Manual | 52 of 401
Copyright 2018 Avalara, Inc.
Table 2-21 VPN Transaction and Service Types
Transaction Types
Service Types
61 – VPN
585 – Interstate MPLS
586 – Intrastate MPLS
650 – MPLS Instrastate Activation
651 – MPLS Install
652 – MPLS Service
653 – MPLS Interstate Activation
Tax Categories
Please reference the table below for a current list of Tax Categories.
Tax Categories
Category ID
Name
0
No Category Description
1
Sales and Use Taxes
2
Business Taxes
3
Gross Receipts Taxes
4
Excise Taxes
5
Connectivity Charges
6
Regulatory Charges
7
E-911 Charges
8
Utility User Taxes
9
Right of Way Fees
10
Communications Services Tax
11
Cable Regulatory Fees
12
Reserved
13
Value Added Taxes
Transactions
AFC accepts transaction records from the user and returns calculated taxes. For AFC to return the correct
taxation the information in the transaction records must be correct and in the format that AFC requires.
Each Transaction contains the following information:
1. Customer Transaction Information

AFC Telecom User Manual | 53 of 401
Copyright 2018 Avalara, Inc.
a. Customer Information
b. Company Information
c. Transaction Data
2. Taxing Jurisdiction Information
The Customer Transaction Information has been divided into three sections as suggested above for the
purpose of this discussion (see the table below).
Table 3-1 Customer Transaction Information
Customer Information
Company Information
Transaction Data
Business Class
Company Identifier
Charge
County Exempt
Facilities Based
Lines
County Exemption JCode
Franchise
Minutes
Customer Number
(Primary Output Key)
Regulated/Unregulated Sale/Resale
Customer Type
Service Type
Federal Exempt
Transaction Bill Date
Federal Exemption JCode
Transaction Type
Incorp
Invoice Number
Lifeline
Local Exempt
Locality Exemption JCode
Service Class
Service Level
Tax Type Exemptions
State Exempt
State Exemption JCode
Tax Exempt
Options
Customer Information
Refer to the table below. The following customer information is contained in fields found in the
transaction record.
Table 3-2 Customer Information
Description
Valid Entry
Business Class
CLEC = 1, ILEC = 0
Customer Number
(Primary Output Key)
Customer number, user defined
Customer Type
0=residential, 1=business customer
2=Senior Citizen, 3=Industrial
Federal Exempt
If TRUE, transaction exempt from Federal Tax
State Exempt
If TRUE, transaction exempt from State Tax
County Exempt
If TRUE, transaction exempt from County Tax
Locality Exempt
If TRUE, transaction exempt from local tax
Incorp
TRUE indicates within incorporated area

AFC Telecom User Manual | 54 of 401
Copyright 2018 Avalara, Inc.
Table 3-2 Customer Information
Description
Valid Entry
Invoice Number
Invoice number (user defined)
Federal Exemption JCode
Jurisdiction for Federal exemption
State Exemption JCode
Jurisdiction for state exemption
County Exemption JCode
Jurisdiction for County exemption
Locality Exemption
JCode
Jurisdiction for local exemption
Lifeline
Lifeline = TRUE, Non-lifeline = FALSE
Service Class
Primary Long Distance = 1, Local Service = 0, (Default Long Distance)
Service Level Number
Service level number (user defined)
Tax Type Exemptions
0 indicates no of special exempts, other value indicates number of special exempts
Tax Exempt
Pointer to tax exempt structure that contains the number of specific tax
exemptions specified in tax type exemptions
Exempt Type *s_exempt
Reason for exemption
Optional Fields:
Optional
User defined value for reporting
Optional Alpha
Optional alpha field
Optional 4
Optional Numeric field
Optional 5
Optional Numeric field
Optional 6
Optional Numeric field
Optional 7
Optional Numeric field
Optional 8
Optional Numeric field
Optional 9
Optional Numeric field
Optional 10
Optional Numeric field
Business Class Indicator
The Business Class Indicator field is used to specify if the business making the transaction is an Incumbent
Local Exchange Company (ILEC) or a Competitive Local Exchange Company (CLEC). This designation
applies to the Customer.
• An ILEC company is engaged in selling services over company owned lines and equipment,
• A CLEC company is engaged in selling services competing with an incumbent provider.
This setting can also be considered as, “You are ILEC” or, “You are not ILEC.” If neither class applies, use
the default value CLEC.
The business class only impacts Telecom transactions in certain jurisdictions, such as Oregon.
Business Class
ID
Value
Description
0
ILEC
Customer is an ILEC company.
1
CLEC (Default)
Customer is not an ILEC company.

AFC Telecom User Manual | 55 of 401
Copyright 2018 Avalara, Inc.
Customer Number (Primary Output Key)
The Customer Number is a 20-character null terminated string field stored in the tax log and used as the
Primary Output Key for all of the AFC billing reports.
Customer Type
This field is used to specify the type of customer involved in the transaction. The customer type is
selected from one of the following four Customer Types.
Customer Type
ID
Value
Description
0
Residential
When transactions are made by a customer for home use.
1
Business
When transactions are made at a place of business
2
Senior Citizen
When transactions are made by a customer who meets the jurisdiction requirements to
be considered a senior citizen and qualify for senior citizen tax breaks.
3
Industrial
When transactions are made at an industrial business.
Exemption Levels
The exemption level is the jurisdictional level of the taxing authority that defines the tax. It is used to
exempt taxes at specific federal, state, county and/or local taxes.
Federal Exempt
The Federal Exempt field is used to specify a Federal level tax exemption.
Note: Most Federal taxes are only exempted when selling to a reseller who is registered, reporting, and
remitting to the regulating agency. For this reason, a wholesale exemption or a tax type exemption must
be used to exempt taxes at the Federal level.
State Exempt
The State Exempt field is used to specify a State level tax exemption.
County Exempt
The County Exempt field is used to specify a County level tax exemption.
Local Exempt
The Local Exempt field is used to specify a Local level tax exemption.
Incorp
The Incorp field is used to specify whether the customer involved in this transaction is inside or outside of
the Local level designated as their location. The tax may or may not be affected by this designator

AFC Telecom User Manual | 56 of 401
Copyright 2018 Avalara, Inc.
depending upon whether or not the local level has taxes which would apply to the transaction/service
type pair.
Invoice Number
The Invoice Number is an optional field used to aid users in uniquely identifying a billing record for a
specific customer within their system.
JCode Exemption Levels
The exemption JCode is the JCode associated with the jurisdictional level of the taxing authority that
defines the tax. It is used to exempt all federal, state, county and / or local taxes. If the exemption JCode
fields are not specified then all taxes are exempt at that level.
To pass an individual tax exemption using the JCode Exemption, use the Tax Exempt structure to specify
the tax type, tax level and the JCode for the jurisdiction. Refer to Section 4.1.1.2.
NOTE:
JCodes are an internal intermediate Jurisdiction Code that can change
monthly. The JCode can be obtained from a PCode or an address using
like functions.
Federal Exemption JCode
The Federal Exemption JCode field identifies the JCode of the jurisdiction (i.e. country) for a federal
exemption.
State Exemption JCode
The State Exemption JCode field identifies the JCode of the jurisdiction for a state exemption.
County Exemption JCode
The County Exemption JCode field identifies the JCode of the jurisdiction for a county exemption.
Locality Exemption JCode
The Locality Exemption JCode field identifies the JCode of the jurisdiction for a locality exemption.

AFC Telecom User Manual | 57 of 401
Copyright 2018 Avalara, Inc.
Lifeline Flag
The Lifeline Flag is used to indicate if a customer is a Lifeline participant.
Service Class Indicator
The Service Class Indicator is provided to delineate the Primary activity of an organization as either Long
Distance or Local Service.
• Primary Long Distance providers are carriers vending their services with over 50% of the gross
business activities in Long Distance revenue.
• Primary Local Service providers are carriers vending their services with over 50% of the gross
business activities in Local Service revenue.
NOTE:
This has no effect on non-Telecom Transactions
Service Level Number
The Service Level Number is an optional field, commonly populated with the transaction type and service
type. This information is stored in the tax log. Some AFC reporting utilities use this field when sorting
information and/or creating reports.
Tax Type Exemptions
Two fields are provided for entering the quantity of tax type exemptions and the pointers to the tax
exemption structures.
Tax Type Exemptions Field
The Tax Type Exemption indicator specifies the number of tax type exemptions that are included. These
are tax type and transaction specific exemptions.
Tax Type Exemption Pointer
Tax type exemption(s) are specified with a pointer to one or more tax exempt structures. The user should
supply a pointer to the first Tax Type Exemption and all exemptions must be contained in a contiguous
block of memory.

AFC Telecom User Manual | 58 of 401
Copyright 2018 Avalara, Inc.
Optional Fields
Optional Fields are provided to allow clients to enhance reporting and billing utilities with information
beyond the scope of that which is generated to support AFC activities.
The Primary Output Key (POK) is a 20-character text field that is not manipulated during processing and
stored as part of the log file record.
It can be used as part of the sorting key (see Figure 3-1) when using some utilities, allowing for the
combining of records based upon this and other fields. It is useful when it is desired to have like taxes
from different transactions combined, to have taxes from each transaction detailed individually in a
report or to have each transaction detailed at the customer level.
Figure 3-1 Primary Output Key
Uniquekey.csf
Combined taxes
If you would want like taxes combined at the customer level, then you specify a
like Primary Output Key for the records you want combined.

AFC Telecom User Manual | 59 of 401
Copyright 2018 Avalara, Inc.
Samekey.csf

AFC Telecom User Manual | 60 of 401
Copyright 2018 Avalara, Inc.
Company Information
Refer to Table 3-3. The following company information is contained in fields found in the transaction
record.
Table 3-3 Company Information
Description
Valid Entry
Company Identifier
Company Identifier, optional
Facilities Based
Facilities Based (default) = TRUE, Non-Facilities Based = FALSE.
Franchise
Franchise (default) = TRUE, Non-Franchise = FALSE.
Regulated/Unregulated
TRUE = Regulated (default) = TRUE, Unregulated = FALSE.
Company Identifier
The Company Identifier field is an optional field made available for alpha information, such as the name
of a subsidiary company. This information is passed thru to the tax log so that reporting utilities can sort
or summarize by this field.
Facilities Based Flag
The Facilities Based flag specifies whether the transaction is sold over tangible facilities controlled by the
seller. If the seller delivering the service owns or controls the facilities used to provide the service, then
the seller is facilities based. If the seller does not own or control the facilities, the seller is non-facilities
based. In some jurisdictions, tax outcomes will vary depending on whether the service is delivered over
infrastructure controlled by the seller.
Franchise Flag
The Franchise flag indicates that the company provides services sold pursuant to a franchise agreement
between the carrier and jurisdiction.
Regulated / Unregulated Flag
The Regulated / Unregulated flag is used to specify if the Telecommunications company and its services
are regulated by the regulatory commission in the state of the service.

AFC Telecom User Manual | 61 of 401
Copyright 2018 Avalara, Inc.
Transaction Data
Refer to Table 3-4. The following transaction information is contained in fields found in the transaction
record.
Table 3-4 Transaction Data Information
Description
Valid Entry
Charge
amount charged to customer for transaction
Date
Transaction bill date. This field is provided to allow rating and taxing to occur on a date
other than the billing date.
Lines
number of lines (use with transaction type LOCAL and service type LINES)
Minutes
Minutes of call, defaults to zero when not appropriate (
NOTE:
some taxes are per
minute.)
Sale/Resale
TRUE = Sale, FALSE = Resale
Service Type
Refer to Table 2-1 for valid Transaction / Service Type entries
Transaction Type
Refer to Table 2-1 for valid Transaction / Service Type entries
Charge
The Charge field specifies the amount of the transaction to be taxed. This amount will be passed through
AFC to rate the tax based on the specified transaction/service pair.
Date
The Date field is normally populated with the bill date. Generally accepted accounting principles dictate
that liabilities should be recorded when revenues are recorded. In most cases, neither of these is
recorded (or even known) until billing occurs.
However, companies with a high call volume that record revenue daily as it occurs should record the tax
on the same basis (i.e. the call date should be used).
AFC compares this date to the effective date of each tax that applies to the transaction. Historical rates
and effective dates are maintained and updated within the AFC Engine and AFC will return the correct tax
information based upon the transaction date. The monthly updates assure that the rates and effective
dates are current.
WARNING:
All transaction data Date fields must be formatted as CCYYMMDD.
Failure to do so will cause incorrect results when the transaction is
processed.

AFC Telecom User Manual | 62 of 401
Copyright 2018 Avalara, Inc.
Lines
When local service is provided, a transaction should be generated with the Lines field populated with the
number of lines the customer subscribes to. AFC uses this information for generation of per line taxes
usually associated with local E911 charges and local telecommunications relay service taxes and other
assorted taxes.
Minutes
The Minutes Field specifies the length of phone call in minutes, with one tenth of a minute precision
capability. AFC uses this field for generation of taxes that are specified as per minute flat fees in some
taxing jurisdictions and stores the value in the AFC log
database.
Sale Type
The Sale Type specifies the whether the transaction is a retail transaction or a wholesale transaction.
• Resale should be used for wholesale transactions. Telecommunication companies are taxed on
transactions made by their clients, which in some cases can be passed on or “resold” to their
customers in part or in total. Resale is used to indicate whether the product or service
transaction is final or if it is to be resold.
• The type Sale should be used for retail transactions.
To have exempt taxes available for reporting, exemption type 3 (Sales For Resale) should be used in
combination with Resale.
Sale Type
ID
Value
Description
0
Resale
Only Resale/Wholesale taxes apply
1
Sale (Default)
Standard taxes apply
Service Type
Refer to Transaction and Service Types for details of this field.
Transaction Type
Refer to Transaction and Service Types for details of this field.

AFC Telecom User Manual | 63 of 401
Copyright 2018 Avalara, Inc.
Taxing Jurisdiction Identification Information
The tax jurisdiction that can claim nexus for the transaction must be obtained in order for the proper
taxes to be applied. Assigning the correct jurisdiction to the transaction is crucial in obtaining and
returning the correct tax to the billing system.
Jurisdiction information can be supplied to the AFC Engine in several ways. It can be supplied using a
Jurisdiction Code (JCode), Permanent (location) Code (PCode), NPANXXs, Zip Code with city, and state
information or FIPS Codes.
The JCode Jurisdiction Identification
Avalara has assigned each jurisdiction with a proprietary “JCode” (Jurisdiction Code) that identifies its
specific territorial boundaries. A jurisdiction fairly claiming nexus on a transaction within this boundary
will apply taxes accordingly. The AFC Engine uses this “jurisdiction bound” JCode to associate the
jurisdiction specific taxes to the transaction as it is processed.
However, any alterations in the jurisdictional boundaries, such as an expansion of a city limit, will be
reflected in the JCode of locations that are situated within the expanded jurisdiction area.
The Avalara tax research staff monitors jurisdiction taxation activity to maintain current and accurate
taxation information. The results of this research is applied to the Monthly updates which are provided
to ensure the most accurate taxation is applied to the records processed by the AFC Engine. The JCodes
will be changed at this time. It is the user’s responsibility to re-populate their database tables with the
new JCodes every time an AFC update is provided. If this task is not performed, the AFC Engine will
return incorrect tax calculations for jurisdictions that have been updated.
However, when a transaction is submitted with the stable and location sensitive PCode, the AFC Engine
can use internal functions to obtain the correct jurisdiction. Since the AFC Engine is updated with the re-
mapped jurisdiction information monthly, tax calculations are always performed with the most current
jurisdiction taxation information that applies to the address defined by the PCode.

AFC Telecom User Manual | 64 of 401
Copyright 2018 Avalara, Inc.
Figure 3-2 JCode and PCode Changes During Annexation
MY HOUSE
PCODE = 7
JCODE = 1000
MOM'S HOUSE
PCODE = 8
JCODE = 2000
MY TOWN CITY LIMIT
MY HOUSE
PCODE = 8
JCODE = 2000
MOM'S HOUSE
PCODE = 8
JCODE = 2000
MY TOWN CITY LIMIT
JCode and PCode Prior to Annexation JCode and PCode After Annexation
All that is required to make use of this recommended option is to cross reference or “map” the customer
locations with its correct PCode (see Section 3.4.1.1) time invested in incorporating PCodes into your
database records will be quickly offset by the reduced processing time and the increased accuracy and
reliability of your tax reporting will be evident.
Mapping Customer Locations to PCodes
Avalara markets Avalara Geo for Communications to assist in mapping customer locations to PCodes
when populating the client customer database. It quickly obtains the current PCode for a specific
geographical location.
When performing this task without the aid of EZgeo®, refer to the all_adr.txt file to look up the PCode that
should be used to populate the client database with customer information. This comma delimited ASCII
file is supplied for use during AFC setup and when adding new customers to the client database. The file
is replaced with a current version when monthly updates are performed (refer to Section 8.6).
all_adr.txt is a comma-delimited text file that contains a cross reference of PCodes to taxing jurisdictions.
The format is PCode, Primary / Alternate Location, Country, State, County, Locality, Beginning ZIP Code,
Ending ZIP Code. These fields are self-explanatory with the exception of the Primary / Alternate Location
(refer to 3.4.1.1).
Primary/Alternate Location
The Primary / Alternate location flag is set to '0' to indicate that the location associated with the PCode is
a "Primary" location or '1' to indicate that it is an "Alternate" location.
Secondary locations are original city names that remain in use even though the areas within them have
since been divided and given different names.
For example, the city of Overland Park, KS is a primary location. The first post office to serve the area was
established at the Shawnee Methodist Mission in the early nineteenth century, the extents of which

AFC Telecom User Manual | 65 of 401
Copyright 2018 Avalara, Inc.
encompassed the then non-existent city of Overland Park as well as nearly a dozen other cities (primary
locations) which appeared over time. The post office still recognizes the Shawnee Methodist Mission
area as Shawnee Mission, KS, and continues to deliver to a primary location when the “Alternate
Location” address is provided.
Data Entry Modification Procedure
Use the following procedure to acquire the correct information to enter.
1. Have the customer data entry software first request the NPANXX of the customer from the data
entry associate.
2. Have the customer data entry software request the zip code of the customer from the data entry
associate.
3. Query the NPANXX7 file and the "all_adr" file/database to obtain the associated PCodes.
4. If matching PCodes are found, populate the customer data record with the associated address
from the "all_adr" file and request verification from the customer data entry associate.
5. If the PCodes do not match or if the customer data entry associate rejects the automated
selection, display all addresses associated with both PCodes and the zip code entered.
6. Allow the customer data entry associate to select the appropriate address from the list.
7. In the unlikely event that the customer address is not displayed, allow the customer data entry
person to enter the address supplied by the customer. Store the address with a "special key" as
instructed by Avalara Return the address and key to Avalara via E-mail. Avalara will research the
missing address and include it in the next monthly update. Avalara will also provide you with a
cross reference of the "special key" and the correct "PCode" to allow the customer record to be
properly installed.
NOTE:
Avalara subscribes to the United States Postal Database which should
preclude this event. Nonetheless, it does occur on occasion and this
process has been established for that reason.
Use the PCode from the customer record for the service address when interfacing with AFC.
Resources such as the USPS or the U.S. Census Department web sites can also be helpful in pinpointing a
customer location.
AFC functions can also be used to obtain PCodes (see Section 7.8 API Listings). For detailed information
about determining the tax jurisdiction which can claim nexus on a transaction, refer to Section 3.5.

AFC Telecom User Manual | 66 of 401
Copyright 2018 Avalara, Inc.
NPANXX
NPANXX input is nearly as accurate as the JCode method and performance differences are virtually
undetectable. Using this method, the jurisdiction is determined by the three elements of a transaction;
the origination, termination and bill-to.
However, there are potential problems associated with using the NPANXX.
1. The first six digits of a toll free 800 or 888 number do not constitute an NPANXX. Rather, these
numbers are associated with a “ring to” number which is the number that is actually reached
when the 800/888 number is dialed. The NPANXX of the “ring to” number should be used as the
NPANXX for the 800 number. This replacement must be made before the information is passed
to the AFC system.
2. Switches are capable of producing CDRs with account codes in place of a “Bill To” number, which
is not related to an actual NPANXX. The user is required to convert this number to the actual
NPANXX using data from the billing system before interfacing with AFC.
NPANXXs exist for the U.S., Barbados, Canada, Guam, Mexico, Northern Mariana Islands, Puerto Rico,
Trinidad & Tobago and the US Virgin Islands. These countries are on the North American dialing plan.
Use of NPANXX for determination of a taxing jurisdiction is not sufficient for local service. There are too
many foreign exchanges that will incorrectly map customers to the wrong local tax jurisdiction resulting in
the wrong local taxes to be applied and unwanted calls to your customer service department.
Zip Codes
This method of providing jurisdiction information is the least efficient method provided. When using the
ZIP Code and address information, AFC cannot determine the jurisdiction for a telecommunication
transaction since information regarding the origination and termination numbers is not provided. A
record submitted using this method will compromise the accuracy of correct jurisdiction identification,
the degree of which would depend upon the amount of data provided for the address and the user’s
ability to select the correct taxing jurisdiction zip code and address. AFC databases necessarily contain
numerous duplicate zip codes that cross taxing jurisdiction and locality boundaries. Providing a complete
address with zip code will provide the best possible match. If the address information is not provided,
AFC will return taxes based upon the first match of the input record information.
If the jurisdiction is positively identified by the billing system it would be appropriate to use the zip code
for transactions. For instance, this would apply if the transaction is the sale of a product at a business
that has just one location or in the case of internet usage from a residence.

AFC Telecom User Manual | 67 of 401
Copyright 2018 Avalara, Inc.
AFC currently has Zip Code information for U.S. and Canadian jurisdictions. Use the Zip Code Plus 4
Interface to use the 6 character Canadian postal codes.
Zip Plus 4
Just as with the Zip Code method (see Section 3.4.3), AFC cannot determine the jurisdiction for a
telecommunication transaction since information regarding the origination and termination numbers is
not provided. However, it is useful (and more accurate than the 5-digit zip code) because this 9-digit zip
code uniquely identifies a location, which can then be used to determine the tax jurisdiction. There is no
need to supply the additional city and county information and information in these fields are ignored.
NOTE:
Supplying ZIP Code Plus 4 information where the plus 4 is all zeros will
function like the ZIP Code Interface since the United States Postal Service
has no valid plus 4 code assigned with all zeros. The default will retrieve
the first jurisdiction with the supplied 5-digit zip code.
Canadian Postal Codes
Canadian postal codes need to be specified using the ZIP Plus 4 to retrieve a tax jurisdiction code. Place
the first three characters go in the zip code field and the last three characters go in the plus 4 field. In
addition, the country ISO field must be set to the Canadian ISO Code.
FIPS Codes
AFC has functions allowing the use of FIPS codes to retrieve tax jurisdiction codes. The US Census Bureau
provides the following description of the FIPS Codes and associated reference tables.
“The Federal Information Processing Standards codes (FIPS codes) are a standardized set of numeric or
alphabetic codes issued by the National Institute of Standards and Technology (NIST) to ensure uniform
identification of geographic entities through all federal government agencies. The entities covered
include: states and statistically equivalent entities, counties and statistically equivalent entities, named
populated and related location entities (such as, places and county subdivisions), and American Indian
and Alaska Native areas”.
A FIPS Code is a 10-digit numeric code with the following format:
Table 3-5 FIPS CODE FORMAT
SSCCCPPPPP
SS
FIPS State Code
CCC
FIPS County Code

AFC Telecom User Manual | 68 of 401
Copyright 2018 Avalara, Inc.
Table 3-5 FIPS CODE FORMAT
PPPPP
FIPS Place Code
Figure 3-3 FIPS State Codes for the States and the District of Columbia
Name
FIPS State
Numeric Code
FIPS State
Alpha Code
Name
FIPS State
Numeric Code
FIPS State
Alpha Code
Alabama
1
AL
Montana
30
MT
Alaska
2
AK
Nebraska
31
NE
Arizona
4
AZ
Nevada
32
NV
Arkansas
5
AR
New Hampshire
33
NH
California
6
CA
New Jersey
34
NJ
Colorado
8
CO
New Mexico
35
NM
Connecticut
9
CT
New York
36
NY
Delaware
10
DE
North Carolina
37
NC
District of Columbia
11
DC
North Dakota
38
ND
Florida
12
FL
Ohio
39
OH
Georgia
13
GA
Oklahoma
40
OK
Hawaii
15
HI
Oregon
41
OR
Idaho
16
ID
Pennsylvania
42
PA
Illinois
17
IL
Rhode Island
44
RI
Indiana
18
IN
South Carolina
45
SC
Iowa
19
IA
South Dakota
46
SD
Kansas
20
KS
Tennessee
47
TN
Kentucky
21
KY
Texas
48
TX
Louisiana
22
LA
Utah
49
UT
Maine
23
ME
Vermont
50
VT
Maryland
24
MD
Virginia
51
VA
Massachusetts
25
MA
Washington
53
WA
Michigan
26
MI
West Virginia
54
WV
Minnesota
27
MN
Wisconsin
55
WI
Mississippi
28
MS
Wyoming
56
WY
Missouri
29
MO
Figure 3-4 FIPS State Codes for the Outlying Areas of the United States,
the Freely Associated States and Trust Territory
Area Name
FIPS State Numeric
Code
FIPS State Alpha
Code
Status
American Samoa 60 AS 1
Federated States of Micronesia 64 FM 3
Guam 66 GU 1
Marshall Islands 68 MH 3
Northern Mariana Islands 69 MP 1
Palau 70 PW 4
Puerto Rico 72 PR 1
Virgin Islands of the U.S. 78 VI 1

AFC Telecom User Manual | 69 of 401
Copyright 2018 Avalara, Inc.
Support for India
Processing tax calculations in the the country of India includes support for all the states. Please reference
the table below for the appropriate IDs, abbreviations and PCodes for each state.
States in India
Ctry Code
ISO
State Id
Abbv
State
PCODE
356
IND
1
AP
Andhra Pradesh
5148401
356
IND
2
AR
Arunachal Pradesh
5148402
356
IND
3
AS
Assam
5148403
356
IND
4
BR
Bihar
5148404
356
IND
5
CT
Chhattisgarh
5148405
356
IND
6
GA
Goa
5148406
356
IND
7
GJ
Gujarat
5148407
356
IND
8
HR
Haryana
5148408
356
IND
9
HP
Himachal Pradesh
5148409
356
IND
10
JK
Jammu and Kashmir
5148410
356
IND
11
JH
Jharkhand
5148411
356
IND
12
KA
Karnataka
5148412
356
IND
13
KL
Kerala
5148413
356
IND
14
MP
Madhya Pradesh
5148414
356
IND
15
MH
Maharashtra
5148415
356
IND
16
MN
Manipur
5148416
356
IND
17
ML
Meghalaya
5148417
356
IND
18
MZ
Mizoram
5148418
356
IND
19
NL
Nagaland
5148419
356
IND
20
OR
Odisha
5148420
356
IND
21
PB
Punjab
5148421
356
IND
22
RJ
Rajasthan
5148422

AFC Telecom User Manual | 70 of 401
Copyright 2018 Avalara, Inc.
States in India
Ctry Code
ISO
State Id
Abbv
State
PCODE
356
IND
23
SK
Sikkim
5148423
356
IND
24
TN
Tamil Nadu
5148424
356
IND
25
TG
Telangana
5148425
356
IND
26
TR
Tripura
5148426
356
IND
27
UP
Uttar Pradesh
5148427
356
IND
28
UT
Uttarakhand
5148428
356
IND
29
WB
West Bengal
5148429
356
IND
30
AN
Andaman and Nicobar
5148430
356
IND
31
CH
Chandigarh
5148431
356
IND
32
DN
Dadra Nagar Haveli
5148432
356
IND
33
DD
Daman and Diu
5148433
356
IND
34
DL
Delhi
5148434
356
IND
35
LD
Lakshadweep
5148435
356
IND
36
PY
Puducherry
5148436
Jurisdiction Identification Details
Obtaining the correct user’s location is critical in calculating the local taxation.
Determining the Taxing Jurisdiction for Wireline
AFC applies taxes to transactions based on the statutes that dictate specific taxes per jurisdiction. The
AFC engine contains current taxing information for jurisdictions, but for AFC to calculate taxes for long
distance telecommunication calls correctly it must determine the taxing jurisdiction for the transaction
based on the following:
• Origination Jurisdiction – The Origination location of the transaction to be taxed. For telecom
activity, this is usually specified by the number called from, also known as the “From Number” or
“Origination number.

AFC Telecom User Manual | 71 of 401
Copyright 2018 Avalara, Inc.
• Termination – The Termination location of the transaction to be taxed. For telecom activity, this
is usually specified by the number called, also known as the "To Number" or the "Termination
number."
• Service Address – The Service Address of the transaction to be taxed. For telecom activity, this is
usually specified by the service location; also known as the Bill To Number or BTN.
Each jurisdiction from the state level down to the local level establishes jurisdiction rules to determine if
their tax will apply to a specific call transaction. These jurisdiction rules (also known as sourcing rules) for
determining the correct jurisdiction arose from a United States Supreme Court ruling that established the
minimum requirements necessary for a taxing jurisdiction to claim “nexus” and validly tax a particular
wireline long distance telecommunication transaction.
Known as the Goldberg Rule, or the “2 out of 3 Rule,” the ruling requires that two out of the three
sourcing elements (origination, termination, and service address) must take place in a particular
jurisdiction in order for that jurisdiction to tax the transaction. Figure 3-6 provides two examples to
illustrate this principle.
Figure 3-5 Correct Jurisdiction Transaction Taxation applying Goldberg Rule

AFC Telecom User Manual | 72 of 401
Copyright 2018 Avalara, Inc.
The first example is a call that originates in Oregon, terminates in California and has a service address
(BTN) in Oregon. Since “2 out of 3” sourcing elements take place in Oregon, Oregon may tax this
transaction.
The second example is a call that originates in New Mexico, terminates in Texas and has a service address
(BTN) in Kansas. Since no state has more than 1 out of the 3 sourcing elements, the transaction is not
taxable by any state.
The “Goldberg Rule” or “2 out of 3” is the minimum standard. Many jurisdictions apply rules that apply
stricter nexus requirements. For example, a jurisdiction might require that a transaction both originate
and be billed in that jurisdiction in order to be taxed. This is a stricter requirement since the jurisdiction
has eliminated one of the elements as a possibility. Fewer transactions will be taxable by this rule than by
the straight “Goldberg Rule”. No jurisdiction may impose a rule that will result in more transactions being
taxable than the “Goldberg Rule”.
Incorrect Jurisdiction Assignment
A customer may be assigned an incorrect jurisdiction if the geographical information is not thoroughly
researched. In the example shown in Figure 3-7, the customer (marked by an X) resides in a rural area
located in Pawnee County, Nebraska, just outside the city limits of Summerfield, Kansas.
Figure 3-6 Geographical Anomaly

AFC Telecom User Manual | 73 of 401
Copyright 2018 Avalara, Inc.
However, in all likelihood this customer’s phone line is served by a switch in Summerfield, Kansas and will
therefore have a Summerfield, Kansas NPANXX. It is also likely that the customer’s mail service is
provided by the Summerfield, Kansas Post Office and therefore has a Summerfield, Kansas mailing
address.
This geographical anomaly will cause an incorrect assessment of taxation if not researched properly. If
the AFC user enters the customers NPANXX and Service Address information into the transaction records,
the customer will be incorrectly assessed taxes according to those of the Summerfield, Kansas jurisdiction
instead of those for the unincorporated area of Pawnee County, Nebraska jurisdiction.
Tax Situsing
Although the jurisdiction is determined by the “2 out of 3 rule” for the majority of long distance
telecommunications taxes, it is only one of 10 rules specified for jurisdiction determination by taxing
jurisdictions in the United States.
1. Tax based on 2 out of 3 Rule – Apply tax where 2 out 3 jurisdictions are equal. This is usually the
default option.
2. Tax based upon Billing – Apply tax based on the billing location.
3. Tax based upon Origination – Apply tax based on the Origination of the call location.
4. Tax based upon Termination – Apply tax based on the Termination of the call location.
5. Tax if (Bill=Orig) – Apply tax only if billing jurisdiction and origination jurisdiction is equal.
6. Tax if (Bill=Orig=Term) – Apply tax only if all three jurisdictions are equal.

AFC Telecom User Manual | 74 of 401
Copyright 2018 Avalara, Inc.
7. Tax if (Bill=Tax Jurisdiction) – Apply tax if billing jurisdiction equals origination or termination
jurisdictions.
8. Tax if (Bill=Term) – Apply tax only if billing jurisdiction and termination jurisdiction is equal.
9. Tax if (Orig=Tax Jurisdiction) – Apply tax if origination jurisdiction equals billing or termination
jurisdictions.
10. Tax if (Term=Tax Jurisdiction) – Apply tax if termination jurisdiction equals billing or origination
jurisdictions.
Determining the Taxing Jurisdiction for Cellular
For cellular transactions, the service address (BTN) is used to determine the jurisdiction. Cellular services
by their inherent nature are nomadic, making the origination point of a phone call transient and prone to
difficulty in tracking. In an effort to resolve this uncertainty, Congress passed the Mobile
Telecommunications Sourcing Act (MTSA). The MTSA is a federal law which requires all state and local
taxes to adopt language sourcing cellular services to the customer’s “place of primary use” (PPU) or the
location where the customer predominately uses their cell phone. The federal statute allows the seller to
presume that the place of primary use is the customer’s billing address until the customer notifies them
that this is not the case.
Determining the Taxing Jurisdiction for VoIP
VoIP services may be utilized on a nomadic basis with difficulties in determining the originating location at
the time of the call. Unfortunately, Congress has not passed a Primary Place of Use (PPU) statute for
VoIP; however, the same guidelines outlined in the Mobile Telecommunications Sourcing Act (MTSA) are
the generally followed industry practice. The seller is allowed to presume the PPU based on the
customer’s billing address until the customer notifies them that this is not the case.
Determining the Taxing Jurisdiction within Canada
Sourcing telecommunication taxes in Canada differs in that determining the “place of supply” must be
clearly identified through application of the following rules:
1. A supply of a telecommunication service, which produces the availability of telecommunications
facilities, (other than a service of granting sole access to a telecommunications channel) is made
in a province if:
• all of the facilities are ordinarily located in that province; or
• where not all of the facilities are ordinarily located in the province, the invoice for the
supply is sent to an address in that province.

AFC Telecom User Manual | 75 of 401
Copyright 2018 Avalara, Inc.
2. For other types of supplies of telecommunication services (other than a service of granting sole
access to a telecommunications channel), the supply is made in a province if the
telecommunication:
• is both emitted (originating) and received (terminating) in that province;
• is either emitted (originating) or received (terminating) in that province and the billing
location for the service is located in that province; or
• is emitted (originating) in the province and received (terminating) outside the province
and the billing location for the service is not in a province where the telecommunication
is emitted or received.
AFC Calculations
The AFC Engine accepts the transaction record, processes the information provided and creates a table
containing the generated tax information. Additional methods to process specialized taxes are available
through the use of AFC functions.
Meeting the Requirements of Specific Tax Issues
Many tax issues are resolved within the AFC Engine, thereby relieving the user from making changes to
account for them. Additional functions are provided to meet other special taxation issues.
Table 4-1 Specific Tax Issues
Category
Description
Specific Tax Exemptions
Specifies tax type at specific tax level for exemption
Tax Adjustments
Allow for adjustment activities such as refunds, changing a customer’s
bill or when terminating un-collectable accounts.
Tax Overrides
Allows for a change of a tax rate.
Tax Rate Brackets
Tax rate that changes as the taxable amount of the transaction increases.
Rate at Final
A specialized case of tax brackets.
Discount Adjustment
Allows for entry of different discount adjustment types.
Tier on Transaction
Allows for tax to be determined using graduated tax brackets.
Tax on Tax Until no Effect
Option to control calculation of tax on tax
Taxed Taxes
Allows for processing when one tax includes in its base the tax calculated
from another tax.
Get Rates
Retrieves current tax information in a form suitable for overrides.

AFC Telecom User Manual | 76 of 401
Copyright 2018 Avalara, Inc.
Tax Type Exemptions
Tax Type Exemptions are used to specify a specific Tax Type at a specific Tax Level to be exempted for the
current transaction. The exemption jurisdiction code specifies the jurisdiction for the tax exemption. If
the jurisdiction code is not specified (i.e. set to zero), then all taxes of the Tax Type and Tax Level
specified are considered exempt regardless of the jurisdiction they are calculated for. Typically the JCode
should be specified as specific tax exemptions are normally only effective for specific jurisdictions.
Another option allows the tax type to be set to zero, to indicate that all taxes of a specific tax level are
exempt in the specific jurisdiction.
Declaring Tax Type Exemptions within a Transaction Record
When setting up the AFC transaction record, there are fields that specify either exempt at a tax level or a
specific tax. For more information, reference Sections 3.1.4 for exemption levels, 3.1.7 for Jcode
exemption levels and 3.1.10 for tax type exemption levels.
Declaring Tax Type Exemptions Using Functions
Alternatively, Tax Type Exemptions can be applied using functions (such as APIs). The following fields are
required for this.
Table 4-2 Tax Exempt Record
Tax Type
Tax Type identifier
Tax Level
Tax Level identifier
JCode for Exemption
Jurisdiction for exemption
In addition, the transaction contains a pointer set to the tax exempt to exempt a specific tax.
Table 4-3 Tax Exemption Fields
tax_exempt
Identifies the number of exemption records
*s_exempt
Pointer to the Tax Exempt record (see Table 2-4) or Array of Tax Exempt records.
If no records are setup, this value should be null.
General Tips When Declaring Tax Exemptions
1. The JCode is used to specify tax exemptions because exemptions are normally only effective for
specific jurisdictions.
2. Federal taxes cannot be exempted using a level exemption, but can be exempted using specific
exemptions. Some taxes, such as the Federal USF tax, are non-exemptible using level
exemptions. These non-exemptible federal taxes may also be overridden to exempt them. Refer
to Section 4.1.3 for more information on Tax Overrides.
3. It is easy to evaluate the exemptions passed through AFC because they are tracked separately
and stored in the tax log by type of exemption.

AFC Telecom User Manual | 77 of 401
Copyright 2018 Avalara, Inc.
Tax Adjustments
Tax adjustment functions provide for adjustment activities such as refunds, changing a customer’s bill or
writing off un-collectable accounts. The AFC engine allows adjustments to be passed by the user. Note
that these adjustments must be accounted for to provide an audit trail.
Tax adjustments are made using the Adjustment functions. The tax amount entered should be a positive
number for credit adjustments as the adjustment functions will appropriately sign the charges, lines or
locations for computation purposes. The adjustments are logged in the EZTax.log along with the rest of
the tax and transaction data associated with the tax run. The information is returned to the billing system
and is utilized to update tax data for report generation and compliance filing.
Adjustments may be declared as ‘default’ in which case they are processed exactly like a similar charge
transaction with negative tax results. They may be declared as least or most favorable.
This declaration is
only useful for taxes which have multiple tiers or brackets and should be used with caution.
The rate will be
determined separately for each tax returned within the tax table. AFC software will search the tiers or
brackets and select the tier which has either the highest rate (for most favorable) or lowest rate (for least
favorable) and apply that rate to the number of lines or charge amount as appropriate.
General Tips When Making Tax Adjustments
1. To calculate adjustments accurately, AFC requires the following activity:
a. Call AFC using an adjustment API. (Please refer to the APIs provided in Section 7.8 API
Listings).
b. Send positive values for change and lines.
c. Set the adjustment method (see the Adjustment Method Table below).
d. Set the discount type (see the Discount Type Table in Section 4.1.7).
2. If logging is turned on, adjustments are stored in the eztax.log file with the other transactions.
Adjustment Method Table
Name
Description
Default
Tax brackets applied normally.
LeastFavorableRate
Tax brackets applied to produce smallest tax refund.
MostFavorableRate
Tax brackets applied to produce largest tax refund.
Line Based Adjustments
Normal adjustments are managed with the processes outlined thoughout this section; however, there are
exceptions to this process when managing line based adjustments in Invoice Mode. When adjustments
are made in Invoice Mode with line based transactions, AFC will use the rate for the total number of lines
within the adjustment(s). The system will not make any assumptions regarding the purchase rate of the
original lines. Therefore, the rate charged will reflect the total number of lines received. (Please see the
example provided in the scenario below).

AFC Telecom User Manual | 78 of 401
Copyright 2018 Avalara, Inc.
Adjustment Scenario
Number of Lines
Rate
Total Tax Amount
Customer Orders 1 line
Rate @ 0.67
Tax = 0.67
Customer Orders 5 lines
Rate adjusted to 6 lines @ 0.34
Tax+=1.37
Customer Orders 40 lines
Rate adjusted to 46 lines @ 0.22
Tax+=8.08
Customer Orders 5 lines
Rate adjusted to 51 lines @ 0.17
Tax-=1.45
Customer adjustment 7 lines: rate @ 0.34 tax =2.38
Rate Table
Lines
Tax
Lines
Tax
1-10
5.92
81-90
53.28
11-20
11.84
91-100
59.20
21-30
17.76
101-110
65.12
31-40
23.68
111-120
71.04
41-50
29.60
121-130
76.96
51-60
35.52
131-140
88.80
61-70
41.44
141-150
59.20
71-80
47.36
151-160
94.72
Tax Overrides
Overrides allow the client to change the rate of a tax in the AFC Engine. Avalara markets the AFC
Manager – Rate and Logic Modifier (a Graphic User Interface based Windows program that is sold
separately) to support this activity. It steps the user through the process of creating an EZTax.ovr file.
Alternatively, overrides can be achieved using the Override functions (such as APIs).
WARNING:
An override to exempt taxes OVERRIDES the tax information in Avalara’s tax research
database. This is not recommended for those that do not possess a full understanding of the tax
ramifications and liabilities when doing so.
Although all clients can use Tax Overrides, the method to make use of them depends upon the client
type.
1. AFC SaaS Standard clients must use the AFC Manager – Rate and Logic Modifier to create an
EZTax.ovr file that contains the overrides to insert. The file is then uploaded to the service
bureau inside the FTP.zip file that carries the CDS file for processing. The overrides are then used
during that processing and for subsequent processing until a new or empty override file is
uploaded.
2. Avalara clients that submit records in Batch fashion must use the AFC Manager - Rate and Logic
Modifier to create an EZTax.ovr file that contains the overrides to insert. Filelocs.txt is then

AFC Telecom User Manual | 79 of 401
Copyright 2018 Avalara, Inc.
modified to point to this file. When the data file is processed, the overrides are inserted
automatically.
3. Avalara clients that integrate with the AFC Engine using functions (such as APIs) can use the
Override utility as an easy way to create overrides in the same manner that batch mode and
online clients do, modify filelocs.txt to point to the EZTax.ovr file or use the file path to point to
the EZTax.ovr file.
The following functions use a session and a tax override record to override the tax rates used by AFC to
calculate taxes.
Table 4-4 Tax Override Names and Descriptions
Function Name
Override Description
EZTaxOvrJCodeEx**
**This is the override JCode function for the
most current version of AFC.
Performs tax override using a JCode to designate the
Jurisdiction.
EZTaxOvrPCodeEx
Performs tax override using a PCode to designate the
Jurisdiction.
EZTaxOvrZipEx
Performs tax override using zip code and address information
to designate the Jurisdiction.
Tax Override Fields
AFC functions can be used to override a specific tax rate used by AFC.
Table 4-5 Tax Override Fields
Field
Description
Scope
Scope of override
Type
Tax type identifier
Level
Tax level identifier
Exempt Level
Level of Exemption
Limit
Maximum lines or charge to apply tax to
Date
Effective date of Tax Rate
Tax Rate
Tax Rate
Previous Tax Rate
Previous tax rate
Maximum Base
Maximum amount to apply tax
Excess Tax
Rate for amount above the Maximum Base
State Override
Override state rate if present
County Override
Override county tax if present
Replace State Tax
Tax replaces state tax
Replace County Tax
Tax replaces county tax
Scope
Refer to Table 4-6. The term Scope is used to indicate the magnitude of the override.

AFC Telecom User Manual | 80 of 401
Copyright 2018 Avalara, Inc.
Table 4-6 Tax Level Effect of Exemption
Tax Level
Scope
Effect of Exemption
Federal
Federal
Exempt all defined Federal taxes
Federal
State
Exempt entire State for the specific Federal taxes
Federal
County
Exempt the Federal taxes within a specified County
Federal
Locality
Exempt the Federal taxes within a specified Locality
State
State
Exempt all Defined State taxes within a State
State
County
Exempt the State taxes within a specified County
State
Locality
Exempt the State taxes within a specified Locality
County
State
Exempt all County taxes within a specified State
County
County
Exempt all County taxes within a specified County
County
Locality
Exempt the County taxes within a specified Locality
Locality
State
Exempt all Locality taxes within a specified State
Locality
County
Exempt all Locality taxes within a specified County
Locality
Locality
Exempt all Locality taxes within a specified Locality
As an example, specifying a gross receipts tax at the Local level with a scope of State level will cause all
jurisdictions in the state identified by the jurisdiction to be passed to the AFC Engine with the specified
tax overridden. The County level affects all taxes in the County and Local level affects only the jurisdiction
specified. The specification of Federal level is only valid with federal taxes which will always be
overridden at the Federal level.
Type
The Tax type identifier is used to define the type of tax for which the override will apply. Refer to Table 4-
19 for a complete list of Tax Types supported in AFC.
Level
The Tax level identifier is used to define the level for which the override will apply.
Exempt Level
Refer to Table 4-6. The Exempt Level indicator is used to define whether a tax can be exempted by an
exemption for all taxes at the same level as this tax. TRUE indicates that the tax can be exempted while
FALSE indicates that it cannot be exempted. Note that the tax can still be exempted by a specific tax
exemption.
For instance, a state level universal service fund will be exempt if this field is set TRUE and a state level tax
exemption flag is passed to AFC. If the flag is set TRUE an exemption at the level of the tax will exempt
the tax. If the flag is set FALSE an exemption at the level of the tax will have no effect on that specific tax.

AFC Telecom User Manual | 81 of 401
Copyright 2018 Avalara, Inc.
Limit
The limit indicator is only used for taxes applied per line. When this field is set to zero it indicates no
limits are in effect for the specified tax. When the limit is not zero, AFC will apply the tax based upon the
number of lines up to, but never exceeding, the limit amount. This has no effect on sales taxes
Date
The Date field is used to define the effective date that the tax rate is active. The transaction date is
compared to the effective date to determine if the current tax rate or the previous tax rate is to be
applied.
Tax Rate
If the taxes are computed as a percentage of the charge then the Tax Rate field is used to indicate the tax
rate. For example, if a 5% sales tax were applied then the tax rate would be entered as .05. For all other
taxes such as per line, fixed, and per minute, the dollar amount should be entered for the tax.
Previous Tax Rate
The Previous Tax Rate field is supplied for use when a previous tax is to be used for the tax rate.
Maximum Base
The Maximum Base defines the maximum charge that the tax is applied to. Any charge above the
maximum base is charged at the excess tax rate.
Excess Tax
If the tax only caps the charge that the tax is applied to then set the excess tax to zero.
State Override
The Locality or County sales tax record can override the state sales tax rate. This is useful where localities
or counties have a special agreement with the state to collect the state tax at a different rate. If the tax is
zero then no override will be in effect.
County Override
The Locality sales tax record can override a County sales tax rate. This is useful where localities have a
special agreement with the County to collect the County tax at a different rate. If the tax is zero then no
override will be in effect.

AFC Telecom User Manual | 82 of 401
Copyright 2018 Avalara, Inc.
Replace State Tax
This option is made available for the rare occasion when a Locality or County sales tax replaces the state
sales tax completely.
Replace County Tax
This option is made available for the rare occasion when a Locality sales tax replaces a county sales tax
completely.
Tax Override Options
The Enhanced Override is used to override taxes.
Table 4-7 Tax Override Options
Name
Description
Enhanced Override
Required fields for the Enhanced Override.
Enhanced Date Override
Required fields for Date Override.
Enhanced Rate Override
Required fields for Rate Override.
Enhanced Override
The Enhanced Override requires the following fields.
Table 4-8 Enhanced Override Fields
Scope
Scope of override
Type
Tax Type identifier
Level
Tax Level identifier
Date Count
Number of date records (normally 2)
Date Table
Address of array of date records
Enhanced Date Override
The Enhanced Date override requires the following fields.
Table 4-9 Enhanced Date Override Fields
Override Date
Starting (effective) date for this set of tax rates
Rate Count
Number of rate records for this date (normally 1)
Level Exempt
Indicates if tax can be exempted by an exemption for all taxes at the same level as this tax.
Tax can still be exempted by specific tax exemption.
Rate Table
address of array of rate records
Enhanced Rate Override
The Enhanced Rate Override requires the following fields and rate entries in rate table for taxes.
Table 4-10 Sales Rate Override Fields
Tax
Tax Amount (rate)
Maximum Base
Max amount subject to this tax(end of bracket)

AFC Telecom User Manual | 83 of 401
Copyright 2018 Avalara, Inc.
Table 4-10 Sales Rate Override Fields
Replace State
Tax replaces the state tax
State Override
Overrides the state rate if present
Replacement County
Tax replaces the county tax
County Override
Overrides the county tax if present
Get Rates
The AFC Get Rates function can be used to build the current tax information into the override structure.
Specific changes can be made to returned tax entries to create custom overrides.
Table 4-11 Get Rates Override Fields
PCode
Jurisdiction PCode
Tax Count
Count of all taxes for this jurisdiction
*Taxes Table
Table of all taxes for this jurisdiction in override format
NOTE:
The scope value will be set to the tax level.
General Tips When Using Overrides
1. Overrides are not permanent. When an AFC session is exited the created overrides are removed and
no longer available. They can also be removed without exiting a session using the EZTaxRestore
function.
2. AFC cannot override a tax that does not exist. If an existing tax is a rate, it is necessary to override the
tax as a rate, not a per line or fixed amount. Failure to do so will result in incorrect and high tax
amounts.
3. Non-exemptible taxes may be overridden to exempt taxes that are normally not exemptible.
4. The AFC Override functions can be used to override the rates, but they will not affect the rules that
5. Determine what taxes are applied to different transaction/service pairs.
General Rules for Configuring Override File
1. The override file path must be listed in filelocs.txt.
2. The override file must be the last item in filelocs.txt.

AFC Telecom User Manual | 84 of 401
Copyright 2018 Avalara, Inc.
3. There cannot be any blank lines in filelocs.txt.
Also, in order to verify that an override file is in the process of being loaded, the user must go to the AFC
Directory and locate the .sta or status file which indicates that an override file has been successfully
loaded.
Tax Rate Brackets
Some jurisdictions will dictate a tax rate that changes as the taxable amount of the transaction increases.
These break points at which the changes occur define the brackets (or steps) and are most commonly
based on dollar amount ranges although other units of measure exist. The rate may increase or decrease
according to usage levels.
AFC supports these transactions with an unlimited number of tax brackets. The Avalara Tax Research
department continually researches jurisdictions for specific tax practices, such as tax rate brackets,
updating the AFC Engine monthly. These updates occur automatically and the user is not required to
make changes to account for this.
An example of this is illustrated in Figure 4-1. If a jurisdiction has a general sales tax set at 2% for the first
$500 of a single transaction and set at 1% for that which is over $500, the tax for a $1200 sale would be
calculated as shown in the figure.
Figure 4-1 Example of Sale with Tax Brackets
First $500 of Sale
$500
@
2%
=
$10.00
Remaining Amount of Sale (Over $500)
$700
@
1%
=
7.00
$17.00
Total Tax
Rate at Final
Rate at Final is a variation of the typical tax bracket. Basically a lookup table, each bracket is defined by
the break points at which a rate change occurs and contains the rate to be charged for the total
transaction amount falling within the range.
For example, suppose a state establishes an E911 tax with a tax rate dependent on the total number of
lines as shown in Figure 4-2.
Figure 4-2 Example of Tax Brackets
Lines
Rate
1
$0.19
2
$0.14
3
$0.13
4 to 5
$0.11
6 to 10
$0.10
11 to 25
$0.08
26 to 50
$0.06
51 to 99
$0.05

AFC Telecom User Manual | 85 of 401
Copyright 2018 Avalara, Inc.
Figure 4-2 Example of Tax Brackets
Lines
Rate
100+
$0.04
If a customer has 7 lines, the tax rate of $0.10 per line will apply for a total tax of $0.70.
If a customer has 2 lines, the tax rate of $0.14 per line will apply for a total tax of $0.28.
Limits
Some jurisdictions have established tax rates that either take effect or cease to take effect at a specific
threshold, defined as a currency value. The point at which this occurs is referred to as a cap or limit. AFC
supports these transactions and the user is not required to make changes to account for it.
As an example, if a jurisdiction charges a 10% UTT on only the first $10 of an invoice, the tax for a $20
invoice would “cap” at the $10 threshold, resulting in a ($10 x 10% =) $1 UTT fee.
As an example of the converse, if a jurisdiction does NOT tax the first $25 of Internet Access usage, a $35
charge would be reduced by the $25 threshold “limit,” resulting in a ($35-$25 = ) $10 taxed amount.
Surcharges
When a government entity levies a surcharge, AFC automatically includes this surcharge in the base of the
FET. The most common occurrence of this is found in E911 surcharges. The returned tax table shows
which tax entries are considered surcharges.
Prorated Taxes
The AFC Prorating functions send in a percentage that is used to calculate taxable amount on the rated
tax and calculates a percentage of the line and fixed amounts. These functions check the prorated logic
of each tax in the appropriate jurisdiction to determine if prorating is allowed. If prorating is not allowed,
the full amount is taxed.
Discount Adjustment
AFC has an additional table that stores discount types by state with an “allow ability” indicator. The
adjustment functions have arguments for the discount type which look up the discount type from the
table to determine whether to apply taxes or not.
Discounts may or may not be taxed within each state. When a discount is taxed, the customer receives a
tax benefit commensurate with the amount of the discount (i.e., if the customer gets $5 off on a
transaction subject to a 5% tax, the customer pays $0.25 less in tax than they would have). When a

AFC Telecom User Manual | 86 of 401
Copyright 2018 Avalara, Inc.
discount is not taxed, the customer receives no tax benefit from the discount. Whether a discount is
taxed or not depends on the type of discount and the rules in a particular tax jurisdiction.
AFC provides five discount types to use in defining the particular discount to be applied and are fully
described with supporting example in the following sub-sections.
Discount Type
ID
Value
Description
0
None (Default)
Discount Type not applicable.
1
Retail Product
An amount subtracted from the original price to arrive at a lower price.
2
Manufacturer Product
A credit applied to the total amount reimbursed to either the retailer or
the customer by the manufacturer.
3
Account Level
A stand-alone discount that is not applied against any service but instead
as a stand-alone product.
4
Subsidized
A credit for telephone service where the telephone provider provides a
service to a lifeline eligible customer. The credit will be applied to the
subscriber line charge.
5 Goodwill A credit applied to customer invoices for the purpose of engendering
customer goodwill. For example, compensation for a service outage.
Account Level
Especially prevalent in large accounts, this discount is a stand-alone discount that is not applied against
any service but instead as a stand-alone product.
Example Description of Account Level
A Kansas customer spends significant amounts on a wide range of services including local exchange,
intrastate toll, and interstate toll. The customer’s purchasing activity occurs in several states and across
multiple accounts. The customer’s spending levels earn it a $1,000.00 discount that is not applied to any
particular product or service, but will be applied at an account level.
XYZ Phone Company’s Tax Department has determined that account level discounts in Kansas will receive
full tax credit, so the discount is mapped to a tax category created to represent generic account level
discounts and the customer gets a $53.00 credit of Kansas state sales tax along with the $1,000.00
discount. The application of Kansas sales tax to the discount, rather than other state's sales taxes (i.e.,
states in which there was purchasing activity that helped to earn the discount), is a consequence of the
discount being applied to a Kansas account and The Tax Department has determined that the related tax
risk is acceptable.

AFC Telecom User Manual | 87 of 401
Copyright 2018 Avalara, Inc.
Goodwill
A credit applied to customer invoices for the purpose of engendering customer goodwill. For example,
compensation for a service outage.
Example Description of Goodwill
A Kansas customer buys a second line and gets voice mail free for a month ($6.00 value). The free voice
mail is a Goodwill Discount because, although it is offered by the retailer and applied to a particular
product or service, the terms of the promotion provide that the discount will not be taxed.
To accomplish this, the billing system will make separate calls to the taxing engine of $6.00 for the
monthly recurring voice mail charge and -$6.00 for the Goodwill Discount. Both transactions will be
represented by the same tax category, but the billing system will send an additional value on the discount
transaction indicating that it is a Goodwill Discount. The $6.00 charge for voice mail generates $0.32 in
Kansas state sales tax. When the -$6.00 discount is processed for tax applications, the taxing engine
determines that a Goodwill Discount is not taxed and generates -$0.00 in Kansas state sales tax. The
offsetting tax amounts are presumably netted together in the tax summary on the customer’s bill.
Whether the charge and discount amounts are netted on the customer’s bill is up to the billing system,
and does not affect the tax calculation or the presentation of tax on the bill.
Manufacturer Product
A credit applied to the total amount reimbursed to either the retailer or the customer by the
manufacturer.
Example Description of Manufacturer Product
A Kansas customer buys a satellite dish for $300.00 and receives a $50.00 rebate (discount) from the
satellite company. The billing system will make separate calls to the taxing engine for the dish charge of
$300.00 and the discount of -$50.00. Both transactions will be represented by the same tax category, but
the billing system will send an additional value on the discount transaction indicating that it is a
Manufacturer Discount. The $300.00 charge for the satellite dish generates $15.90 in Kansas state sales
tax. For the -$50.00 discount, the tax engine determines that Kansas does not allow any tax credit on
Manufacturer Discounts and generates $0.00 in Kansas state sales tax. The offsetting tax amounts are
presumably netted together in the tax summary on the customer’s bill. Whether the charge and discount
amounts are netted on the customer’s bill is up to the billing system, and does not affect the tax
calculation or the presentation of tax on the bill.

AFC Telecom User Manual | 88 of 401
Copyright 2018 Avalara, Inc.
Retail Product
A retail product discount is an amount subtracted from the original price to arrive at a lower price.
Example Description of Retail Product
A Kansas customer has voice mail and is charged a monthly recurring charge of $6.00/month. The
customer buys a second line and gets voice mail free for a month. The billing system will make separate
calls to the taxing engine for the monthly recurring charge of $6.00 and the discount of -$6.00. Both
transactions will be represented by the same tax category, but the billing system will send an additional
value on the discount transaction indicating that it is a Retailer Discount.
The $6.00 charge for voice mail generates $0.32 in Kansas state sales tax. For the -$6.00 discount, the tax
engine determines that Kansas allows a full tax credit on Retailer Discounts and generates -$0.32 in
Kansas state sales tax. The offsetting tax amounts are presumably netted together in the tax summary on
the customer’s bill. Whether the charge and discount amounts are netted on the customer’s bill is up to
the billing system, and does not affect the tax calculation or the presentation of tax on the bill.
Subsidized
A credit for telephone service where the telephone provider provides a service to a lifeline eligible
customer. The credit will be applied to the subscriber line charge.
Example Description of Subsidized
A Kansas Lifeline customer purchases local exchange service. Local exchange service is normally $24.00,
but Lifeline customers are charged $20.50 and the balance of $3.50 is drawn from a federal government
fund for the subsidization of local exchange service to Lifeline customers. The company still has $24.00 in
revenue and will owe Kansas state sales tax on the entire $24.00 in revenue. The company is prohibited
from drawing on the federal government fund to pay for the tax on the $3.50, so the customer must pay
all of the applicable tax.
Tier at Transactions
In some states, the sales tax on a product has tier taxing logic. When tax is calculated using Tier at
Transactions the tax is determined using graduated tax brackets on each transaction separately rather
than the amount of the customer invoice. The tax applies tax brackets based on the single product
transaction. Tier at Transaction is not the default setting in AFC.

AFC Telecom User Manual | 89 of 401
Copyright 2018 Avalara, Inc.
Tax on Tax Until no Effect
The default application of tax on tax is to make one pass through the calculation of each tax, adding the
appropriate taxes to the base amount to be taxed. If the tax on tax until no effect option is selected, AFC
will continue to recalculate tax on tax until the amount added is less than 0.005 (one half of a cent).
Historical Tax Rates
AFC maintains an unlimited number of past tax rates. The tax rate history tables contain the tax rates and
effective dates and are referenced when tax calculations are performed on date other than the current
date.
Taxed Taxes
Taxed taxes are instances in which one tax includes in its base the tax calculated from another tax. This
can happen when the taxed tax was passed on from the carrier to the end user, thus being revenue to the
carrier. This commonly happens with the Federal USF, but it can happen with other taxes as well. As the
scope of this document prohibits a discussion of the many examples of taxed taxes, the most common
occurrence is discussed here with an example to serve as an introduction to the topic.
AFC applies Federal excise tax to surcharges, the federal universal service funds and the Federal
telecommunications relay service fund. The taxation of the federal universal service funds is performed
because they are not taxes by definition. In addition, both the federal universal service funds and the
federal telecommunications relay service fund are levied against telecommunications companies, not end
users.
Telecommunications companies are allowed, but not required, to pass these fees on to their customer
base. As these fees are revenue, not taxes, collecting revenue based upon a provided service is taxable as
payment for that service.
When the federal excise tax is multiplied by the amount passed to AFC for a transaction and the tax
generated by AFC doesn't agree with the calculation it is due to this situation. This phenomenon is not
limited to the federal excise tax. It is, however, where it is most noticed due to the volume of federal
excise taxes and the common knowledge of its rate.
Refer to Figure 4-3. In the case where the Federal USF and the FET are returned for a transaction, the
Federal USF is automatically included in the base of the FET. If both taxes are returned for a $100 charge,
the taxes would be calculated as follows:

AFC Telecom User Manual | 90 of 401
Copyright 2018 Avalara, Inc.
Figure 4-3 Taxed Taxes Example
(tax rate of 3% is used in this example)
Tax A
FET
Charge
$100.00
Charge
$100.00
Rate
x
3 %
Tax Amount
=
$3.00
Tax A
+
$3.00
Tax B base
=
$103.00
Rate
x
3%
Tax Amount
=
$3.09
Tax Logging
Once the tax calculations are complete, the EZTax.log is created. The log is a binary database containing
all of the taxes generated during the tax run. Information in the log includes the jurisdictional data, tax
types, tax levels, sale amounts, tax rates, tax amounts, exemptions, adjustments, customer number, etc.
Once AFC performs a graceful exit, the EZTax.log is available for use. This file is commonly used to create
tax returns, provide audit trails and internal tracking, and used when making projections.
The options available for reporting the tax information vary based on the integration method that the
client has chosen to use.
1. Batch mode clients – The EZTax.log is automatically produced when processing the .CDS file.
Several utilities are available for use to produce files to be imported into the billing system. Refer
to Section 5.1 for utility selection assistance.
2. AFC SaaS Standard clients - The EZTax.log is automatically produced and the sorting and reporting
activities are performed automatically.
3. On-site clients - The EZTax.log is automatically produced. Many sorting and reporting utilities are
available for use to produce the desired output file. Refer to Section 5.1 for utility selection
assistance.
4. APIs - Clients who use the functions (such as APIs) must turn logging on to gain the benefit of
sorting utilities. All of the information used for billing is returned real time during taxation.
Returned Taxes
Once the tax calculations are completed, the tax information is placed in the Tax Table, available to be
returned to the user from the AFC engine. An additional Tax Table will be returned if using Invoice Mode.

AFC Telecom User Manual | 91 of 401
Copyright 2018 Avalara, Inc.
Taxes Table
The AFC Table is dynamically allocated during AFC session initialization. This table is used to store tax
information as AFC processes transaction records. The size of this table is dependent upon the maximum
taxes that can be generated for a single transaction. As such, the size of this table can change from
month to month as new taxes are generated or removed from taxing jurisdictions. It is always safe to
access from 0 (zero) to [tax_count_returned -1] locations of the table. The user is cautioned to treat this
as a read only area. Attempting to access locations that do not exist will result in access violations on
most operating systems.
Each function that performs tax calculations or tax exceptions returns a count of taxes generated for the
specified transaction. The transaction tax data can be retrieved for use in a billing system by accessing
the Tax Table pointer which indicates the location of the tax amount in the AFC Table array.
Returned Tax Information
Tax information can be returned using the P Code, J Code, Zip or FIPS functions. A value is returned to
indicate the number of taxes returned and included in the Tax Table. Each tax calculated is returned as a
record in the tax table. Taxes are retrieved by looping through the table by the number of taxes, which is
then returned by the taxation API call.
Each row in the Tax Table will contain the information shown in Table 4-12.
Table 4-12 Enhanced Taxes Table Fields
PCode
PCode for tax jurisdiction
Tax Type
Tax Type
Tax Level
Tax Level**
Calculation Type
Calculation Type (i.e. Rate, Fixed, Per Minute, Per Line)
Rate
Tax Rate or amount applied
Tax Amount
Calculated tax amount
Taxable Measure
Amount of charge plus any taxed taxes
Exempt Sale Amount
Amount of the charge exempt from taxes
*Desc
Tax description string
Billable
Billable flag from tax logic
Compliance
Compliance flag from tax logic
Surcharge Flag
FET taxable flag from tax record
**Country taxes within any US territory will be returned at a state level versus a federal level.
Returned Tax Information Using Invoice Mode
AFC applies Steps, Brackets and/or Limits on a per transaction basis unless operating in Invoice Mode.
Invoice Mode is used to group transactions that apply to the same customer. AFC maintains a history of
the transactions and applies the Steps, Brackets and/or Limits to entire group of transactions.

AFC Telecom User Manual | 92 of 401
Copyright 2018 Avalara, Inc.
For example, suppose a jurisdiction charges a 10% sales on just the first $10 of an invoice. If two separate
$6 transactions on the invoice are passed while not in Invoice Mode, two $0.60 tax charges would be
erroneously totaled and a $1.20 tax would be generated. However, if these same transactions are passed
while in Invoice Mode, the total tax charge would be correctly totaled and a $1.00 tax would be
generated.
Table 4-13 Invoice Mode Tax Table Fields
PCode
PCode for tax
Tax Type
Tax Type
Tax Level
Tax Level**
Calculation Type
Calculation Type (i.e. Rate, Fixed, Per Minute, Per Line)
Rate
Tax Rate or amount applied.
Tax Amount
Calculated tax amount.
Exempt Sale Amount
Amount of the charge exempt from taxes.
*Desc
Tax description string
Lines
For tax calculations based on line counts, it is the number of lines used in the
calculation to produce the tax. For Federal taxes, the line count always matches the
lines input. For all other taxes, it is 0.
Minutes
For tax calculations based on minutes, it is the number of minutes used in the
calculation to produce the tax. For all other taxes, it is 0.
Max Base
Maximum amount to which tax is applied amounts above this will be taxed at a
higher bracketed rate (if applicable).
Min Base
Minimum amount to which tax is applied amounts below this will be taxed at a
lower bracketed rate (if applicable).
Excess Tax
Rate for amount above Max Base returned as part of county tax.
Total Charge
Sum of charges calculated on a per customer basis.
**Country taxes within any US territory will be returned at a state level versus a federal level.
Invoice Mode Tax Amount Adjustments
Since AFC processes each transaction as it is received with no knowledge of future transactions it must
make adjustments to the tax amount when additional transactions are received that cause the rate of
previous transactions to change.
Example
(Please reference and see the Rate Table for an overview of rates.)
Standard tax mode:
3 lines were received at the rate of 0.45 per line for E911 => tax amount $1.35.
2 lines were received at the rate of 0.50 per line for E911 => tax amount $1.00.
Total tax for E911 => $2.35

AFC Telecom User Manual | 93 of 401
Copyright 2018 Avalara, Inc.
Invoice Mode:
3 lines were received at the rate of 0.45 per line for E911 => tax amount $1.35.
2 more lines were received for a total of 5 lines which changes the rate to 0.40 per line.
The total tax should be $2.00 but since the customer had already been taxed $1.35 for this same
tax then the additional tax amount returned is $0.65.
Total tax for E911 => $2.00
In some cases the adjustment required for a rate change may cause a negative tax amount to be
returned. The summarized tax amounts returned when the list of customer transactions are complete
will match what the customer would have been charged had the series of transactions processed been
entered as a single transaction.
Tax Grouping
AFC allows a client application to group the tax calculation results returned in the tax table based on tax
level and tax type criteria. This may be accomplished by setting the appropriate group mode option in the
configuration file (see TM_00548_AFC Configuration Guide). The option specified in the configuration file
will automatically be applied to every AFC session as it is initialized. However, this option may be
overridden by calling the EZTaxGroupResults API function.
NOTE:
This option will not modify the way that tax calculation results are logged
into the EZtax log file. Only the tax calculation results returned by either
one of the tax calculation API will be group according to the values set for
this option.
General Rules
The following rules apply when using any value for this option:
1. Federal taxes may not be grouped. Each Federal tax will be returned individually.
2. Non-billable taxes may not be grouped.
3. Only rate-based taxes may be grouped. Taxes with a different calculation type (for example,
fixed, per line, etc) will be returned individually.
4. Use taxes may be grouped with other use taxes only (for example, state and local use tax).
Use taxes will not be grouped with other tax types.
5. When grouping taxes for different tax levels (for example, state and local taxes) the
jurisdiction code for the lowest level jurisdiction will be returned.

AFC Telecom User Manual | 94 of 401
Copyright 2018 Avalara, Inc.
6. Unincorporated taxes will be considered as County taxes when grouping taxes by tax level,
and will be grouped accordingly.
7. The tax rates for all taxes being grouped into a single record will be added together.
Options:
AFC provides the following options in order to group the taxes in the tax table by tax level:
1. Group taxes at the same level. When using this option, taxes at the same level will be
grouped together.
2. Group state, group county and local. By using this option, all state level taxes will be grouped
into a single record, and all county and local taxes will be grouped together into a separate
record.
3. Group state, county, and local. If this option is specified, all state, county, and local taxes will
be grouped together.
In addition to grouping taxes by tax level, AFC allows you to separate sales taxes from other tax types. The
following options may be used in conjunction to the tax level options specified above.
Group sales taxes. This option indicates that Sales Taxes (tax type 1) and Use Taxes should be
grouped separately from other taxes.
Group taxes in the sales category. All taxes that are in the sales category (such as some
District and Transit taxes, in addition to Sales Taxes) will be grouped together separately
from other taxes.
If the group mode is being specified within the EZTax.cfg file, the sales tax option may be combined with
the tax level option by inserting the option in the line following the tax level option. For example:
groupstatecountyandlocal
groupsalescategory
When calling the API function, a sales tax option may be combined with a tax level option by using the
bitwise OR operator in the group mode parameter. For example:
EZTaxGroupResults(session, GROUP_ST_CO_LOCAL | GROUP_SALES_CATEGORY);
By using the default option in the configuration file or the API function, this feature will be disabled, and
all taxes will be returned in an individual record.
Tax Return Table
When grouping taxes together, the fields in the tax return table will contain the following values:

AFC Telecom User Manual | 95 of 401
Copyright 2018 Avalara, Inc.
4. Jurisdiction Code. Jurisdiction Code (PCode or JCode depending on the API call and interface
being used) for the lowest level jurisdiction. For example, if Kansas state taxes and Overland
Park local taxes were grouped together, the tax record will contain the jurisdiction code for
Overland Park.
5. Tax level. When grouping State, County and Local taxes together, the tax record will contain a
value of 6 in the tax level. When grouping only County and Local taxes together, the tax
record will contain a value of 7 in the tax record. Constants are provided for these values in
the appropriate file.
6. Tax type. When grouping different taxes together, the tax type in the tax record will contain a
value of 0. If only Sales Taxes (tax type 1) or Use Taxes (tax type 49) are being grouped
together, the tax record will contain the corresponding tax type.
7. Tax amount. This field will contain the sum of the tax amount for all taxes being grouped
together.
8. Tax rate. This field will contain the sum of the tax rates for all taxes being grouped together.
NOTE:
The remaining fields in the tax table will not contain any meaningful
value. Grouping tax calculation results may serve as a way to simplify the
tax information for display purposes only. If further detail is required for
each tax being returned by AFC, this feature should not be used.
Tax Types
When a transaction is processed through the AFC Engine, a Tax Type is assigned based on the results. The
Tax Type is determined by the transaction location and transaction/service pairs provided in the
transaction record and is used to accurately describe the exact nature of the tax applied (refer to Table 4-
14).
With so many Tax Types available, highly detailed and specific tax descriptions are provided for use in
taxation disclosure. This is useful in billing and customer service, and simplifies tax compliance filing.
Users can only control the tax types with the Avalara EZdata® product (sold separately). AFC allows for a
change, referred to as an override (see section 4.1.3), of the rate for a specific tax type and tax level in a
specific jurisdiction. When overriding a tax type, the tax type must exist in the jurisdiction where for the
override is to be made.
Table 4-14 Tax Types Supported by AFC
TAX TYPE ID
NAME
DESCRIPTION
1
Sales Tax
This is a tax on the privilege of purchasing goods and services.
2
Business and Occupation
Tax
This is a tax that is normally based upon having a business, occupation,
or residence within the taxing authority's geopolitical boundaries.
3 Carrier Gross Receipts
This is a tax based upon gross receipts of the telecommunications
carrier. Each portion of the tax is passed on to consumers based upon
the amount of their phone bill.

AFC Telecom User Manual | 96 of 401
Copyright 2018 Avalara, Inc.
Table 4-14 Tax Types Supported by AFC
TAX TYPE ID
NAME
DESCRIPTION
4 District Tax
District taxes are taxes associated with a particular district. This is
typically this is a school district; however it could be a redevelopment,
sports entertainment or some other type of district.
5 Excise Tax
Excise taxes are imposed at the manufacturer and/or retail level and
are virtually indistinguishable from a sales tax to the consumer.
However, many excise taxes are considered part of the sale or gross
receipts and are therefore taxes by sales and/or gross receipts taxes.
6
Federal Excise Tax
Federal tax on telecommunications services.
7 Fed USF A – School
A federal universal service fund imposed by the Federal
Communications Commission to fund schools, libraries and rural health
care support mechanisms. (See also type 18)
8 License Tax
Tax based upon the granting of a license to perform a service to the
community. In many cases, this tax can be passed on to consumers.
9 P.U.C. Fee
Public Utility Commission fees are used to fund the Public Utility
Commission or Public Service Commission.
10
E911 Tax
This tax is used to fund the emergency 911 systems.
11 Service Tax This tax is used to fund a service such as the telecommunications relay
service for the deaf.
12
Special Tax
Used to specify a tax that does not fit into a typical category.
13 State Universal Service
Fund
The purpose of the fund depends upon the state; however these are
typically used for items such as funding schools or subsidizing the cost
of telecommunications users in remote locations.
14 Statutory Gross Receipts
Tax based upon the gross receipts of one or more transaction and
service type combinations.
15 Surcharge
Surcharge imposed by a taxing jurisdiction upon telecommunications
services. Typically these are taxed by the federal excise tax and may be
taxes by other taxes as well.
16 Utility Users Tax
This is a tax imposed upon users of utilities. In this case the utility is
telecommunications.
17 Sales Web Hosting
Similar to tax type 1 (Sales Tax) but applies only to web hosting
services.
18 Fed Universal Service
Fund
Federal Universal Service Fund charge imposed by FCC to fund schools,
libraries, rural health care support mechanisms, lifeline, link-up, and
the high cost fund. This charge is applied upon interstate and
international telephone revenue and FCC Subscriber Line Fee charges.
19 State High Cost Fund
State high cost funds are used to subsidize the cost of
telecommunications users in remote locations. For other than wireless
or VoIP revenue.
20 State Deaf and Disabled
Fund
This fund is used to provide access to telecommunications services for
deaf and disabled individuals.
21 CA Teleconnect Fund
This fund supports California providers that offer discounts to schools,
libraries, health care and community-based organizations with
telecommunications services that qualify. For other than wireless or
VoIP revenue.
22
Universal Lifeline
Telephone Service
Charge
This California state charge funds a program that provides basic
telephone service to qualifying low income families. For other than
wireless or VoIP revenue.
23 Telecom Relay Surcharge
Surcharge to provide funding for telecommunications access for the
hearing impaired.

AFC Telecom User Manual | 97 of 401
Copyright 2018 Avalara, Inc.
Table 4-14 Tax Types Supported by AFC
TAX TYPE ID
NAME
DESCRIPTION
24
Telecommunications
Infrastructure
Maintenance Fee
Fee used to fund the maintenance of telecommunications
infrastructure (network, switches, etc.).
25
State Poison Control
Fund
Fund used to establish and support a statewide poison control center
network.
26
Telecommunications
Infrastructure Fund
Fund used to support the telecommunications infrastructure.
27 NY MCTD 186c
New York Metropolitan Commuter Transportation District (NY MCTD)
imposed surcharge based on the taxable telephone services subject to
the NY 186e excise tax on telecommunications and said services have
occurred solely within the specific NY counties that comprise the NY
MCTD.
28 NY MCTD 184a
New York Metropolitan Commuter Transportation District (NY MCTD)
imposed surcharge based on the taxable local telephone services
subject to the NY Franchise 184 tax (tax type 45 below) and said
services have occurred solely within the specific NY counties that
comprise the NY MCTD.
29 Franchise Tax
Tax imposed upon a telecommunications carrier for granting of a
telecommunications franchise by the governing body. Many of these
can and are passed on to the consumer.
30 Utility Users Tax –
Business
Similar to tax type 16 (Utility Users Tax) but applies only to business
subscribers. This will occur when different rates exist for utility users
based upon their being a business or residential user.
31
Fed Telecommunications
Relay Service
The tax funds the Federal Telecommunications Relay Services (TRS),
which is required by Title IV of the Americans with Disabilities Act.
32 District Tax (Residential)
Similar to tax type 4 (District Tax) but applies only to a residential
customer.
33 Transit Tax
A specific state, county, district or local tax used to support a
transportation district or program. If this is a district program, the
boundaries can overlap county and local jurisdictions.
34 Telecommunications
Assistance Service Fund
Similar to tax type 13 (State Universal Service Fund) but the funding is
usually focused on helping low income and elderly telecommunication
users. Typically this charge is accessed as a per line charge on local
lines.
35 E911 Tax (Business)
Similar to tax type 10 (E911 Tax) but applies only to a business
customer.
36 TRS (Business)
Similar to tax type 23 (Telecommunications Relay Service Surcharge)
but applies only to a business customer.
37
Universal Service Fund
(Access/Trunk line)
Similar to tax type 13 (State Universal Service Fund) but applies only on
applicable local access or local trunk line.
38
Universal Service Fund
(Business Line)
Similar to tax type 13 (State Universal Service Fund) but applies only on
a business local line.
39
E911 Tax (PBX/Trunk
line)
Similar to tax type 10 (E911 Tax) but applies only on a local PBX or local
trunk line.
40 License Tax (Business)
Similar to tax type 8 (License Tax) but applies only to a business
customer type.
41
Optional
Telecommunications
Infrastructure
Maintenance Fee
Similar to tax type 24 (Telecommunications Infrastructure
Maintenance Fee) but applies only in the state of Illinois and at the
option of the carrier for municipalities in Illinois who do not impose a
local TIMF charge.

AFC Telecom User Manual | 98 of 401
Copyright 2018 Avalara, Inc.
Table 4-14 Tax Types Supported by AFC
TAX TYPE ID
NAME
DESCRIPTION
42 Sales Tax (Business)
Similar to tax type 1 (Sales Tax) but applies only to a business
customer.
43 E911 Tax (Residential)
Similar to tax type 10 (E911 Tax) but applies only to a residential
customer.
44 E911 Tax (Wireless) Similar to tax type 10 (E911 Tax) but applies only on wireless
telecommunications.
45 NY Franchise 184
NY State imposed franchise tax on local telephone carriers who are
principally engaged in the conduct of local telephone business (i.e. 50%
or more of the carrier’s operating revenues are derived from local
telephone business revenues.)
46 NY Franchise 184 Usage
Similar to tax type 45 (NY Franchise 184) but only applicable to
separately charged intraLATA toll services. Said charge is still subject
to the “principally engaged in the conduct of local telephone business”
standard as described above in tax type 45 description.
47 NY MCTD 184a Usage
Similar to tax type 28 (NY MCTD 184a) but only applicable to
separately charged intraLATA toll services. Said charge is still subject
to the “principally engaged in the conduct of local telephone business”
standard as described above in tax type 45 description.
48
Universal Service Fund
(Wireless)
Similar to tax type 13 (State Universal Service Fund), but applies only
on wireless telecommunications.
49 Use Tax
An ad Val Orem tax on the use, consumption, or storage of tangible
property and usually assessed at the same rate as the sales tax of the
applicable jurisdiction.
50
Sales Tax (Data)
Similar to tax type 1 (Sales Tax) but applies only on data services.
51 Municipal Right of Way
Tax imposed on local exchange telephone services to cover the
municipal cost in managing and maintaining municipal rights-of-way.
Typically these charges are accessed through a per line fee.
52
Municipal Right of Way
(Business)
Similar to tax type 51 (Municipal Right of Way) but applies only to
business customers of local exchange services.
53
Municipal Right of Way
(Private Line)
Similar to tax type 51 (Municipal Right of Way) but applies only to
private line customers (Residential and Business).
54
Utility Users Tax
(Wireless)
Similar to tax type 16 (Utility Users Tax) but applies only on wireless
telecommunications.
55 Fed USF Cellular
Similar to tax type 18 (Fed USF Combined High Cost and School) but
applies only on wireless telecommunications. Following the "safe
harbor" taxing and remittance standards for cellular providers set by
the FCC; this tax type is assessed at a rate of thirty seven and one tenth
percent (37.1%) of the current Federal USF rate as established by the
FCC.
56 Fed USF Paging
Similar to tax type 18 (Fed USF Combined High Cost and School) but
applies only on paging services. Following the "safe harbor" taxing and
remittance standards for paging service providers set by the FCC; this
tax type is assessed at a rate of twelve percent (12%) of the current
Federal USF rate as established by the FCC.
57 Sales Tax (Interstate)
Similar to tax type 1 (Sales Tax) but applies only on interstate telecom
services.
58
Utility Users Tax PBX
Trunk
Similar to tax type 16 (Utility Users Tax) but applies only on PBX trunks.
59 District Tax Web Hosting
Similar to tax type 4 (District Tax) but applies only on web hosting
services.

AFC Telecom User Manual | 99 of 401
Copyright 2018 Avalara, Inc.
Table 4-14 Tax Types Supported by AFC
TAX TYPE ID
NAME
DESCRIPTION
60 CA High Cost Fund A
CA state fund that provides subsidies to specific small independent
telephone companies. Said fund is used to minimize any rate disparity
of basic telephone service between rural and metropolitan areas. For
other than wireless or VoIP revenue.
61
Telecommunications
Education Access Fund
State fund used to facilitate internet access and related telecom
services to qualified schools and libraries.
62 Fed TRS Cellular
Similar to tax type 31 (Fed Telecommunications Relay Service) but
applies only on wireless services. Following “safe harbor” taxing and
remittance standards for cellular providers set by the FCC; this tax type
is assessed at a rate of fifteen percent (15%) of the current Federal TRS
rate as established by the FCC.
63 Fed TRS Paging
Similar to tax type 31 (Fed Telecommunications Relay Service) but
applies only on paging services. Following “safe harbor” taxing and
remittance standards for paging service providers set by the FCC; this
tax type is assessed at a rate of twelve percent (12%) of the current
Federal TRS rate as established by the FCC.
64
Communications
Services Tax
A tax on end users who consume communication services.
65 Value Added Tax (VAT)
International based tax on the final consumption of certain goods and
services.
66
Goods and Services Tax
(GST)
Goods and service tax based on consumption.
67
Harmonized Sales Tax
(HST)
Provincial sales tax applied in specific Canadian provinces. Rate is a
combination of the provincial sales tax and the national GST.
68
Provincial Sales Tax (PST)
Sales tax applied in various Canadian provinces.
69
Quebec Sales Tax (QST)
Specific sales tax applied only in the province of Quebec, Canada.
70
National Contribution
Regime (NCR)
National Canadian tax on telecom for the provisioning of universal
service throughout Canada. Similar to the Federal USF.
71
Utility Users Tax (Cable
Television)
Similar to tax type 16 (Utility Users Tax) but applies only on cable
television.
72
FCC Regulatory Fee
(Cable Television)
A fee used to fund the Federal Communications Commission.
73 Franchise Tax (Cable)
Similar to tax type 29 (Franchise Tax) but applies on a cable television
carrier for the granting of a cable television franchise by the governing
body.
74
Universal Service Fund
(Paging)
Tax similar to tax type 13 (State Universal Service Fund), but applies
only on paging telecommunications.
75 Statutory Gross Receipts
(Wireless)
Tax similar to tax type 14 (Statutory Gross Receipts) based upon the
gross receipts of one or more cellular-only transaction and service type
combinations.
82 Franchise Tax (Wireless)
Similar to tax type 29 (Franchise Tax) but applies on a wireless carrier
for the granting of a franchise by the governing body.
83
Reserved
Reserved
84
Public Education and
Government (PEG)
Access Fee
Fee to subscribers for support of PEG access.
85
Communications Service
Tax (Satellite)
Similar to tax type 64 (Communications Service Tax) but applied only
on satellite services.

AFC Telecom User Manual | 100 of 401
Copyright 2018 Avalara, Inc.
Table 4-14 Tax Types Supported by AFC
TAX TYPE ID
NAME
DESCRIPTION
86 Franchise Tax (Satellite)
Similar to tax type 29 (Franchise Tax) but applies on a satellite
television carrier for granting of a satellite TV franchise by the
governing body.
87
Reserved
Reserved
88
Reserved
Reserved
89 TRS (Centrex)
Similar to tax type 23 (Telecommunications Relay Service Surcharge)
but only applied to a Centrex extension.
90
Utility Users Tax (Cable
Television – Business)
Similar to tax type 71 (Utility users Tax – Cable Television) but only
applies to cable television services for business customers.
91
Utility Users Tax
(Centrex)
Similar to tax type 16 (Utility users Tax) but only applies to a Centrex
extension.
92
E911 (Centrex)
Similar to tax type 10 (E911) but only applies to a Centrex extension.
93 Utility Users Tax (Line)
This is a tax imposed upon users of utilities based on the number of
lines. This tax should not be confused with tax type 16 (Utility Users
Tax), which is based on a rate.
94
Crime Control District
Tax
A specific district tax that supports a crime control program. This
district can overlap county and local jurisdictions.
95 Library District Tax
A specific district tax that supports a library program. This district can
overlap county and local jurisdictions.
96 Hospital District Tax
A specific district tax that supports hospital program. This district can
overlap county and local jurisdictions.
97 Health Services District
Tax
A specific district tax that supports a health services program. This
district can overlap county and local jurisdictions.
98 Emergency Services
District Tax
A specific district tax that supports an emergency services program.
This district can overlap county and local jurisdictions.
99 Improvement District Tax
A specific district tax that supports a public improvement program.
This district can overlap county and local jurisdictions.
100 Development District Tax
A specific district tax that supports a development program. This
district can overlap county and local jurisdictions.
101 Transit Web Hosting Tax
A specific district tax on web hosting services that supports a
transportation program. This district can overlap county and local
jurisdictions.
102 Ambulance District Tax
A specific district tax that supports an ambulance program. This
district can overlap county and local jurisdictions.
103 Fire District Tax
A specific district tax that supports a fire district. This district can
overlap county and local jurisdictions.
104 Police District Tax
A specific district tax that supports a police district. This district can
overlap county and local jurisdictions.
105 Football District Tax
A specific district tax that supports a football program. This district can
overlap county and local jurisdictions.
106 Baseball District Tax
A specific district tax that supports a baseball program. This district
can overlap county and local jurisdictions.
107 Crime Control District
Web Hosting Tax
A specific district tax on web hosting services that supports a crime
control program. This district can overlap county and local
jurisdictions.
108
Library District Web
Hosting Tax
A specific district tax on web hosting services that supports a library
program. This district can overlap county and local jurisdictions.
109
Hospital District Web
Hosting Tax
A specific district tax on web hosting services that supports hospital
program. This district can overlap county and local jurisdictions.

AFC Telecom User Manual | 101 of 401
Copyright 2018 Avalara, Inc.
Table 4-14 Tax Types Supported by AFC
TAX TYPE ID
NAME
DESCRIPTION
110 Health Services District
Web Hosting Tax
A specific district tax on web hosting services that supports a health
services program. This district can overlap county and local
jurisdictions.
111 Emergency Services
District Web Hosting Tax
A specific district tax on web hosting services that supports an
emergency services program. This district can overlap county and local
jurisdictions.
112 Improvement District
Web Hosting Tax
A specific district tax on web hosting services that supports a public
improvement program. This district can overlap county and local
jurisdictions.
113 Development District
Web Hosting Tax
A specific district tax on web hosting services that supports a
development program. This district can overlap county and local
jurisdictions.
114
Utility Users Tax
(Interstate)
This tax is similar to tax type 16 (Utility Users Tax) but applies only to
the interstate portion of transactions.
115
Utility Users Tax
(Telegraph)
This tax is similar to tax type 16 (Utility Users Tax) but applies only to
telegraph transactions.
116
E911 Network and
Database Surcharge
Charge assessed on each access line to pay the cost of developing and
maintaining a network and database for a 911 emergency system.
117
License Tax Emergency
Utility tax for emergency budgetary purposes.
118
License Tax Emergency
(Business)
Utility tax for emergency budgetary purposes. (Applies to business
accounts.)
119 Educational Sales Tax
Sales tax designated specifically for education and reported apart from
the general sales tax.
120 Educational Use Tax
Use tax designated specifically for education and reported apart from
the general use tax.
121
E911 Operational
Surcharge County
Commission
Portion of E911 voted upon and approved by the County Commission.
122
E911 Operational
Surcharge Voter
Approved
Portion of E911 voted upon and approved by the Voters in a county.
123
Sales Tax Nine Hundred
Similar to Sales Tax (Type 1) but applies to 900 calls.
124
Convention Center Tax
Sales Tax designated for convention or conference centers.
125
E911 High Capacity
Trunk
This tax is used to fund the emergency 911 systems. This tax type is
used in jurisdictions that have a different rate for High Capacity Trunks.
126 School Board Tax A
Tax to fund School Board. This is typically a Sales Tax. The letter
designation is used in compliance reporting.
127 School Board Tax B
Tax to fund School Board. This is typically a Sales Tax. The letter
designation is used in compliance reporting.
128 School Board Tax C
Tax to fund School Board. This is typically a Sales Tax. The letter
designation is used in compliance reporting.
129 School Board Tax D
Tax to fund School Board. This is typically a Sales Tax. The letter
designation is used in compliance reporting.
130 School Board Tax E
Tax to fund School Board. This is typically a Sales Tax. The letter
designation is used in compliance reporting.
131 School Board Tax F Tax to fund School Board. This is typically a Sales Tax. The letter
designation is used in compliance reporting.
132
School District Tax
Tax to fund a School District. This is typically a Sales Tax.

AFC Telecom User Manual | 102 of 401
Copyright 2018 Avalara, Inc.
Table 4-14 Tax Types Supported by AFC
TAX TYPE ID
NAME
DESCRIPTION
133 Police Jury Tax B
Tax to fund Police jurisdictions. This is typically a Sales Tax. The letter
designation is used in compliance reporting.
134 Police Jury Tax C
Tax to fund Police jurisdictions. This is typically a Sales Tax. The letter
designation is used in compliance reporting.
135 Police Jury Tax E Tax to fund Police jurisdictions. This is typically a Sales Tax. The letter
designation is used in compliance reporting.
136
Communications
Services Tax (Wireless)
A tax on end users who consume communication services. This tax
type applies to wireless only.
137 Service Provider Tax
Tax imposed upon the seller for providing services in a particular
jurisdiction.
138 Telecommunications
Sales Tax
Tax on privilege of purchasing telecommunication services.
Occasionally tax jurisdictions impose an alternate sales tax rate on
sales of telecommunication services. This tax type will be returned in
instances where such distinction exists.
139 Advanced Transit Tax
A specific state, county, district or local tax used to support a
transportation district or program. If this is a district program, the
boundaries can overlap county and local jurisdictions.
140 Advanced Transit Web
Hosting Tax
A specific district tax on web hosting services that supports a
transportation program. This district can overlap county and local
jurisdictions.
141
Missouri Universal
Service Fund
Fund established by the Missouri PSC to help low-income and disabled
Missourians receive discounts for basic local telephone service.
142
Businesses and
Occupation Tax
(Wholesale)
This is a tax that is normally based upon having a business, occupation,
or residence within the taxing authority's geopolitical boundaries. This
tax type pertains to wholesale transactions only.
143
Telecommunications
Education Access Fund
(Centrex)
State fund used to facilitate Internet access and related telecom
services to qualified schools and libraries. This tax type pertains to
Centrex rates only.
144
Businesses and
Occupation Tax (Other)
This is a tax that is normally based upon having a business, occupation,
or residence within the taxing authority's geopolitical boundaries.
145
Tribal Sales Tax
Sales tax imposed by an Indian Tribe.
146
Sales Tax (Data
Processing)
This is a tax imposed on the sale of data processing services.
147 Transit Tax (Data
Processing)
A specific district tax on data processing services that supports a
transportation program. This district can overlap county and local
jurisdictions.
148 Crime Control District
Tax (Data Processing)
A specific district tax on data processing services that supports a crime
control program. This district can overlap county and local
jurisdictions.
149
Library District Tax (Data
Processing)
A specific district tax on data processing services that supports a library
program. This district can overlap county and local jurisdictions.
150
Hospital District Tax
(Data Processing)
A specific district tax on data processing services that supports hospital
program. This district can overlap county and local jurisdictions.
151 Health Services District
Tax (Data Processing)
A specific district tax on data processing services that supports a health
services program. This district can overlap county and local
jurisdictions.
152
Emergency Services
District Tax (Data
Processing)
A specific district tax on data processing services that supports an
emergency services program. This district can overlap county and local
jurisdictions.

AFC Telecom User Manual | 103 of 401
Copyright 2018 Avalara, Inc.
Table 4-14 Tax Types Supported by AFC
TAX TYPE ID
NAME
DESCRIPTION
153 Improvement District Tax
(Data Processing)
A specific district tax on data processing services that supports a public
improvement program. This district can overlap county and local
jurisdictions.
154 Development District Tax
(Data Processing)
A specific district tax on data processing services that supports a
development program. This district can overlap county and local
jurisdictions.
155 Advanced Transit Tax
(Data Processing)
A specific district tax on data processing services that supports a
transportation program. This district can overlap county and local
jurisdictions.
156
CA PSPE Surcharge
Surcharge to fund the payphone tariff enforcement program.
157 District Tax (Data
Processing)
District taxes are taxes associated with a particular district. Typically
this is a school district; however it could be a redevelopment, sports,
entertainment or some other type of district.
158
Reserved
Reserved
159
Reserved
Reserved
160 Statutory Gross Receipts
(Business)
Tax based upon the gross receipts of one or more transaction and
service type combinations. This tax type is returned when there is a
difference between the business rate and other rates.
161 E911 Tax (VoIP)
This tax is used to fund emergency 911 systems. This tax type applies
in jurisdictions that have enacted E911 charges specifically for VoIP
service.
162 FUSF (VoIP)
Similar to tax type 18 (Fed USF Combined High Cost and School) but
applies only on interconnected VoIP services. Following the "safe
harbor" taxing and remittance standards for interconnected VoIP
providers set by the FCC; this tax type is assessed at a rate of sixty four
and nine tenths percent (64.9%) of the current Federal USF rate as
established by the FCC.
163 FUSF
This tax type gives interconnected VoIP carriers the ability to report
actual interstate/international revenues subject to the FUSF as
opposed to using the Safe Harbor percentage. Those who wish to use
this method of reporting should override Tax Type 162 to 0% and
override Tax Type 163 to the current FUSF rate.
164
Reserved
Reserved
165 Universal Service Fund
(VoIP)
Similar to tax type 13 (State Universal Service Fund), but applies only to
interconnected VoIP services.
166
Communications Service
Tax (Cable)
A tax on end users who consume communication services. This tax
type applies to cable only.
167 Municipal Right of Way
(Cable)
Tax imposed on cable television services to cover the municipal cost in
managing and maintaining municipal rights-of-way. This tax type is
specific to charges imposed upon residential customers of cable
television services.
168
Network Access Fee –
Interstate
Reserved
169 FCC Regulatory Fee
(Wireline)
A fee paid by Interstate Telecommunications Service Providers to fund
the Federal Communications Commission. The current rate in the
system is the last rate published by the FCC and is based upon 499
revenues from a prior period; therefore it is only an estimate of actual
liability. If the user does not wish to pass this fee on, or collects the
fee by another mechanism, the rate can be overridden to 0%, or the
user can override the rate to match their estimation.

AFC Telecom User Manual | 104 of 401
Copyright 2018 Avalara, Inc.
Table 4-14 Tax Types Supported by AFC
TAX TYPE ID
NAME
DESCRIPTION
170 FCC Regulatory Fee
(Wireless)
A fee paid by Commercial Wireless providers to fund the Federal
Communications Commission. The current rate in the system is the
last rate published by the FCC and is based upon the number of
subscribers from a prior period; therefore it is only an estimate of
actual liability. If the user does not wish to pass this fee on, or collects
the fee by another mechanism, the rate can be overridden to 0%, or
the user can override the rate to match their estimation.
171
Reserved
Reserved
172
Statutory Gross Receipts
(Video)
Tax based upon the gross receipts of video services such as cable or
satellite.
173
Utility Users Tax –
Lifeline
Similar to tax type 16 (Utility Users Tax) but only applies to lifeline
customers.
174 TRS – Long Distance
Similar to tax type 23 (Telecommunications Relay Service) but applies
exclusively to long distance.
175
Telecom Relay Surcharge
(Wireless)
Similar to Tax Type 23 (Telecom Relay Surcharge), but applied only to
wireless.
176 Sales Tax – Senior Citizen
Similar to tax type 1 (Sales Tax) but only applies to Senior Citizens who
meet certain age requirements.
177 Regulatory Cost Charge –
Local
Fee charged by the applicable regulatory agency to cover that agencies
expenses for the upcoming year. This fee covers local phone service
only.
178
Regulatory Cost Charge –
Intrastate
Same as Regulatory Cost Charge-Local. The fee would cover intrastate
calling only.
179
Regulatory Cost Charge –
Cable
Same as Regulatory Cost Charge-Local. The fee would cover cable
services only.
180
P.U.C. Fee – Cable
Similar to Tax Type 9, but applies to Cable television revenues only.
181 Provincial Sales Tax
Sales Tax applied in various Canadian Provinces. This Tax Type applies
to TOLL services only.
182
Reserved
Reserved
183
Reserved
Reserved
184 Sales Tax-Manufacturing
Refers to a sales tax rate charged on the sale of manufacturing
machinery and other manufacturing related items.
185 Use Tax-Manufacturing
Refers to a use tax rate charged on the sale of manufacturing
machinery and other manufacturing related items.
186
Sales Tax-Motor Vehicles
Refers to a sales tax rate charged on the sale of motor vehicles.
187
Use Tax-Motor Vehicles
Refers to a use tax rate charged on the sale of motor vehicles.
188 Rental Tax
Tax exclusively on the rental of any item not specifically taxed by
another rental tax.
189
Rental Tax-Linen
Tax covering the rental of linen based supplies.
190 Sales Tax-Vending
Sales tax that applies to the retail sale of items sold through vending
machines.
191
Rental Tax-Motor
Vehicles
Tax covering the rental of motor vehicles.
192
Sales Tax-Wholesale
Sales Tax applying to wholesale transactions.
193
Sales Tax-Food and
Drugs
Refers to a rate charged on the sale of food, drugs or beverages.
194
Sales Tax-Food
Refers to a rate charged on the sale of food or beverages.
195
Fur Tax
Tax charged on the sale of furs.

AFC Telecom User Manual | 105 of 401
Copyright 2018 Avalara, Inc.
Table 4-14 Tax Types Supported by AFC
TAX TYPE ID
NAME
DESCRIPTION
196
Privilege Tax-
Manufacturing
Tax on the privilege of purchasing items to be used in the
manufacturing process.
197 Lead Acid Battery Fee
Fee charged to cover the cost involved in the disposing of lead based
batteries.
198
Sales Tax-Motor Fuel
Refers to a sales tax rate charged on the sale of motor fuel.
199
Lead Acid Battery Fee-
Larger Battery
Fee charged for batteries over a certain pre-described voltage to cover
the cost involved in disposing lead based batteries.
200
Sales Tax-Parking
Tax on the fee charged for the parking of motor vehicles.
201 Privilege Tax-Recreation
Tax charged for recreational events such as sporting events or any
similar type of endeavor.
202
Dry Cleaning Fee
Fee charged on the sale of dry cleaning services.
203 White Goods Tax
A fee applied to the sale of certain appliance and appliance type items
to cover the disposal of such items.
204
Sales Tax-Medical
Equipment
Sales Tax that applies exclusively to the sale of medical equipment.
205
Electronic Waste
Recycling Fee-Small
A fee charged for smaller monitors to cover the disposal of such items.
206
Electronic Waste
Recycling Fee-Medium
A fee charged for certain sized monitors fitting between certain
dimensions to cover the disposal of such items.
207
Electronic Waste
Recycling Fee-Large
A fee charged for larger monitors to cover the disposal of such items.
208 Alcoholic Beverage Tax
Alcoholic Beverages taxed under a different tax in lieu or in addition to
sales tax.
209
Sales Tax-Alcohol
Refers to a sales tax rate charged on the sale of alcohol.
210 Liquor Drink Tax
Applies where there is a distinct rate on the sale of mixed drinks ready
for on-site consumption.
211 IN Universal Service
Charge.
Indiana fee used to fund schools and underserved areas of the state.
212 TRS (Paging) Similar to Tax Type 23 (Telecommunications Relay Service Surcharge)
but only applied to paging.
213 ConnectME Fund
Assessment on state revenues to provide service to underserved areas
of Maine.
214 PA PURTA Surcharge
Similar to Tax Type 14 in PA, but this surcharge applies only to
intrastate revenues.
215
ConnectME Fund(VoIP)
Similar to Tax Type 213 in ME, but this surcharge applies only to VoIP.
216
ConnectME Fund(Cable)
Similar to Tax Type 213 in ME, but this surcharge applies only to Cable
217 TRS VoIP
Similar to Tax Type 23 (Telecommunications Relay Service Surcharge),
but applies only to VoIP
218 Consumer Council Fee
This fee provides funding for the Consumer Counsel, which represents
public utility consumers before the PSC and similar groups in matters
concerning public utility regulation.
219 San Diego Underground
Conversion Surcharge
Surcharge imposed to pay for costs associated with undergrounding
aerial telephone facilities in San Diego pursuant to the City of San
Diego Underground Utilities Procedural Ordinance and the San Diego
Surcharge for Underground Conversion Costs.
220 RSPF Surcharge
An Oregon Surcharge that funds the Telecommunications Relay
Service, Telephone Assistance Program, and the Telecommunications
Devices Access Program.
221
Reserved
Reserved

AFC Telecom User Manual | 106 of 401
Copyright 2018 Avalara, Inc.
Table 4-14 Tax Types Supported by AFC
TAX TYPE ID
NAME
DESCRIPTION
222
Reserved
Reserved
223 CASF
California Advanced Services Fund was created to encourage
deployment of broadband facilities for use in provisioning advanced
telecommunications service in unserved or underserved areas of
California. For other than wireless or VoIP revenue.
224 License Tax (Cable)
Similar to Tax Type 8 (License Tax), but applies to providers of cable
television services.
225
Relay Missouri Surcharge
A Missouri surcharge that funds the State Deaf and Disabled Fund.
226
FCC Regulatory Fee
(VoIP)
Similar to Tax Type 169 (FCC Regulatory Fee (Wireline)), but applies to
VoIP services.
228
Municipal Right of Way
(Extension)
Similar to Tax Type 51 – Right of Way (Residential), but only applies to
Centrex and PBX extensions.
227
Reserved
229
Carrier Cost Recovery
(VoIP)
230
Sales Tax-Video
A sales tax charged on the provision of video services.
231
North Carolina
Telecommunications
Sales Tax
Tax on privilege of purchasing telecommunication services in North
Carolina.
232
Telecommunications
Relay Surcharge
(Cellular)
Similar to tax type 31 (Fed Telecommunications Relay Service) but
applies only on wireless services. This tax type is assessed at the "safe
harbor" taxing and remittance standards for cellular providers set by
the FCC.
233 E-911 Prepaid Wireless
Similar to Tax Type 10 (E911 Tax) but applies only on prepaid wireless
telecommunications.
234 Telecommunications
Relay Surcharge (Paging)
Similar to tax type 31 (Fed Telecommunications Relay Service) but
applies only on paging services. This tax type is assessed at the "safe
harbor" taxing and remittance standards for paging providers set by
the FCC.
235 Telecommunications
Relay Surcharge (VoIP)
Similar to tax type 31 (Fed Telecommunications Relay Service) but
applies only on VoIP services. This tax type is assessed at the "safe
harbor" taxing and remittance standards for VoIP providers set by the
FCC.
236 TDAP
Program designed to distribute appropriate telecommunications
devices so that persons who have a disability may effectively use basic
telephone service.
237 TAP Surcharge
Surcharge to provide funding for telecommunications device for the
deaf distribution program.
238 Communications Service
Tax (Non-Facilities)
Similar to Tax Type 64, but applies only to providers without facilities in
the public right-of-way.
239 E-911 (VoIP) Alternate
This tax type gives interconnected VoIP carriers the ability to report
actual interstate/international revenues subject to the E-911 as
opposed to using the Safe Harbor percentage. Those who wish to use
this method of reporting should override Tax Type 161 to 0% and
override Tax Type 239 to the current E-911 rate.
240
E-911 (VoIP PBX)
Similar to Tax Type 10 (E911) but applies only to VoIP PBX Service.
241 Utility Users Tax (VoIP)
Similar to tax type 16 (Utility Users Tax) but applies only to users VoIP
services.

AFC Telecom User Manual | 107 of 401
Copyright 2018 Avalara, Inc.
Table 4-14 Tax Types Supported by AFC
TAX TYPE ID
NAME
DESCRIPTION
242 Utility Users Tax (VoIP-
Business)
Similar to tax type 241 (Utility Users Tax (VoIP)) but applies only to
VoIP business subscribers. This tax type will be used when different
rates exist for utility users based upon business versus residential use.
243
Solid Waste Collection
Tax
Tax on the service of removing solid waste.
244 E-911 (VoIP Business)
This tax is used to fund emergency 911 systems. This tax type applies
in jurisdictions that have enacted E911 charges specifically for VoIP
service. It applies only to a business customer.
245 E-911 (VoIP Nomadic)
Similar to tax type 10 (E911 ) but applies only to a nomadic VoIP
customer.
246 E-911 Prepaid Wireless
(Alternate)
This tax type gives prepaid wireless providers the ability to report E-
911 charged at the point of sale as opposed to using a fixed amount for
every $X of service. Those who wish to use this method of reporting
should override Tax Type 233 to $0 and override Tax Type 246 to the
current E-911 rate.
247 Police and Fire
Protection Fee
A tax to fund public safety services.
248 San Francisco Access
Line Tax
A tax to fund such general fund services as may be determined by the
Board of Supervisors including, without limitation, police, fire and
emergency services.
249 San Francisco Access
Line Tax (PBX/Trunk Line)
A tax to fund such general fund services as may be determined by the
Board of Supervisors including, without limitation, police, fire and
emergency services.
250 San Francisco Access
Line Tax (VoIP)
A tax to fund such general fund services as may be determined by the
Board of Supervisors including, without limitation, police, fire and
emergency services.
251 San Francisco Access
Line Tax (Wireless)
A tax to fund such general fund services as may be determined by the
Board of Supervisors including, without limitation, police, fire and
emergency services.
252 San Francisco Access
Line Tax (High Cap Trunk)
A tax to fund such general fund services as may be determined by the
Board of Supervisors including, without limitation, police, fire and
emergency services.
253 City of San Jose
Telephone Line Tax
A tax to fund such general fund services as may be determined by the
Board of Supervisors including, without limitation, police, fire and
emergency services.
254
City of San Jose
Telephone Line Tax-
PBX/Trunk Line
A tax to fund such general fund services as may be determined by the
Board of Supervisors including, without limitation, police, fire and
emergency services.
255
City of San Jose
Telephone Line Tax
(VoIP)
A tax to fund such general fund services as may be determined by the
Board of Supervisors including, without limitation, police, fire and
emergency services.
256
City of San Jose
Telephone Line Tax
(Wireless)
A tax to fund such general fund services as may be determined by the
Board of Supervisors including, without limitation, police, fire and
emergency services.
257 San Leandro Emerg Com
Sys Access Tax
A tax to fund such general fund services as may be determined by the
Board of Supervisors including, without limitation, police, fire and
emergency services.

AFC Telecom User Manual | 108 of 401
Copyright 2018 Avalara, Inc.
Table 4-14 Tax Types Supported by AFC
TAX TYPE ID
NAME
DESCRIPTION
258
San Leandro Emerg Com
Sys Access Tax (PBX
Trunk)
A tax to fund such general fund services as may be determined by the
Board of Supervisors including, without limitation, police, fire and
emergency services.
259 San Leandro Emerg Com
Sys Access Tax (VoIP)
A tax to fund such general fund services as may be determined by the
Board of Supervisors including, without limitation, police, fire and
emergency services.
260 San Leandro Emerg Com
Sys Access Tax (Wireless)
A tax to fund such general fund services as may be determined by the
Board of Supervisors including, without limitation, police, fire and
emergency services.
261
San Leandro Emerg Com
Sys Access Tax-High Cap
Trnk
A tax to fund such general fund services as may be determined by the
Board of Supervisors including, without limitation, police, fire and
emergency services.
262
Police and Fire
Protection Fee (Prepaid)
A tax to fund public safety services. This applies only to prepaid
services.
263
Public Safety
Communications
Surcharge
A tax to fund public safety services.
264 E-911 Technical Charge
A charge applied to users of E-911 services that is retained by the
carrier to absorb costs incurred for the provision of E-911 service.
265
Telecom Assistance Svc
Fund-High Capacity
Trunk
Similar to Tax Type 34 but applies only to High Capacity Trunks
266
Reserved
Reserved
267 Access Line Tax
A tax to fund such general fund services as may be determined by the
Board of Supervisors including, without limitation, police, fire and
emergency services.
268 Access Line Tax
(PBX/Trunk Line)
A tax to fund such general fund services as may be determined by the
Board of Supervisors including, without limitation, police, fire and
emergency services.
269 Access Line Tax (VoIP)
A tax to fund such general fund services as may be determined by the
Board of Supervisors including, without limitation, police, fire and
emergency services.
270 Access Line Tax
(Wireless)
A tax to fund such general fund services as may be determined by the
Board of Supervisors including, without limitation, police, fire and
emergency services.
271 WI USF
A fund in the state of Wisconsin to fund subsidizing the cost of
telecommunications users in remote locations.
272
Network Access Fee –
Interstate
Reserved
273 Sales Tax – Other
Refers to a separate sales tax rate charged on transactions that do not
fall into another existing category.
274
FCC Regulatory Fee (VoIP
Alternate)
Reserved
275
Excise Tax (Wireless)
Similar to Tax Type 5, but applies only to a wireless customer.
276
Reserved
Reserved
277 Federal Universal Service
Fund (Non-billable)
Charge imposed by the FCC to fund schools, libraries, rural healthcare
support mechanisms, lifeline, link-up and high cost fund. Charges
included in this tax type are liabilities of the company, but can not be
billed to the end-user.

AFC Telecom User Manual | 109 of 401
Copyright 2018 Avalara, Inc.
Table 4-14 Tax Types Supported by AFC
TAX TYPE ID
NAME
DESCRIPTION
278
Municipal Right of Way-
High Capacity Trunk
Similar to tax type 51 (Municipal Right of Way (Residential)) but applies
only to High Capacity Trunks.
279
Education Cess
A tax levied to collect funds for education.
280
Secondary and Higher
Education Cess
A tax levied to collect funds for secondary and higher education.
281 Utility Users Tax (Video)
Similar to Tax Type 16 (Utility Users Tax) but applies only on Video
services.
282
State USF (VoIP
Alternate)
This tax type gives the user the ability to report VoIP usage based on
actual usage rather than using the Safe Harbor percentage.
283 TRS (VoIP Business)
Similar to Tax Type 23 (Telecommunications Relay Service Surcharge)
but applies only to VoIP services for business customers.
284 TRS (Trunk)
Similar to Tax Type 23. (Telecommunications Relay Service Surcharge)
but applies only to Trunk type services.
285
Deaf and Disabled Fund
(Wireless)
Similar to Tax Type 20 (State Deaf and Disabled Fund), but applies only
to wireless transactions.
286 UUT-Wireless (Business)
Similar to Tax Type 16, but applies only to Wireless Business
subscribers.
287
Telecommunications
Sales Tax-Prepaid
Special Sales Tax used for Telecommunications Services applied to
prepaid services only.
288
CA High Cost Fund A
(VoIP Actual)
This tax type gives the user the ability to report VoIP usage based on
actual usage rather than using the Safe Harbor percentage.
289 State High Cost Fund
(VoIP Actual)
This tax type gives the user the ability to report VoIP usage based on
actual usage rather than using the Safe Harbor percentage.
290
Universal Lifeline
Telephone Svc Chg (VoIP
Actual)
This tax type gives the user the ability to report VoIP usage based on
actual usage rather than using the Safe Harbor percentage.
291
Telecommunications
Relay Svc Charge (VoIP
Actual)
This tax type gives the user the ability to report VoIP usage based on
actual usage rather than using the Safe Harbor percentage.
292
CA Teleconnect Fund
(VoIP Actual)
This tax type gives the user the ability to report VoIP usage based on
actual usage rather than using the Safe Harbor percentage.
293 CASF (VoIP Actual)
This tax type gives the user the ability to report VoIP usage based on
actual usage rather than using the Safe Harbor percentage.
294
Oklahoma Sales Tax
Similar to Tax Type 1 (Sales Tax) but applies only in Oklahoma.
295
Business and Occupation
Tax (Printing/Publishing)
Similar to Tax Type 2, but applied only to Printing and Publishing
services.
296 Premier Resort Area Tax
Similar to Sales Tax (Tax Type 1) , but applied only in Premier Resort
Areas.
297
911 Equalization
Surcharge
A surcharge that provides funding for the emergency 911 system.
298 Universal Service Fee
The purpose of the fund depends upon the state, however these are
typically used for items such as funding schools or subsidizing the cost
of telecommunications users in remote locations.
299
NE Universal Service
Similar to Tax Type 13. But, it is applied only in the state of Nebraska.
300 TAP Surcharge Wireless
Similar to Tax Type 237 (TAP Surcharge) but applied only to wireless
services.
301
GA Universal Access
Fund
Similar to Tax Type 13, used in GA to provide funding for the cost of
telecommunications in remote areas.

AFC Telecom User Manual | 110 of 401
Copyright 2018 Avalara, Inc.
Table 4-14 Tax Types Supported by AFC
TAX TYPE ID
NAME
DESCRIPTION
302
CA High Cost Fund A
(Wireless)
Similar to Tax Type 60. Used only for wireless service.
303
CA Teleconnect Fund
(Wireless)
Similar to Tax Type 21. Used only for wireless service.
304
CASF (Wireless)
Similar to Tax Type 223. Used only for wireless service.
305
State High Cost Fund
(Wireless)
Similar to Tax Type 19. Used only for wireless service.
306
PUC Fee (Wireless)
Similar to Tax Type 9. Used only for wireless service.
307
Universal Lifeline
Telephone Svc Charge
(Wireless)
Similar to Tax Type 22. Used only for wireless service.
308 NY TAF
Targeted Accessibility Fund of New York. Used to ensure proper
funding of Lifeline, E 911, Public Interest Pay Phones and TRS.
309
Prepaid Wireless E911
TRS Surcharge
A surcharge for E911 and TRS which is applied to Prepaid Wireless
Service.
310
TRS – Prepaid Wireless
Similar to Tax Type 23, but applied only to Prepaid Wireless services.
311 FUSF (Multi-line)
Federal Universal Service Fund charge imposed by FCC to fund schools,
libraries, rural health care support mechanisms, lifeline, link-up, and
the high cost fund. This charge is applied upon FCC Subscriber Line
Charges applicable to multi-line local phone service. This tax type
allows for regulatory compliance with FCC regulations in regards to
multi-line accounts.
312 ND Gross Receipts Tax
A North Dakota tax based upon the gross receipts of one or more
transaction and service type combinations.
313
NY Sales Tax
Similar to Tax Type 1 (Sales Tax) but applied only in New York.
314
NY Local Transit Tax
Similar to Tax Type 33 (Transit Tax) but applied only in New York.
315
NY Local District Tax
Similar to Tax Type 4 (District Tax) but applied only in New York.
316
Sales Tax - Satellite
Similar to Tax Type 1, but applied only to satellite service.
317
Sales Tax - Commercial
Lease
Similar to Tax Type 1, but applied only to commercial leases.
319
Network Access Fee LD –
Interstate
Reserved
320
Network Access Fee LD –
Intrastate
Reserved
393
Tasa de Control
A telecommunications regulatory fee applied in Argentina.
394 Radio Rights Fee
A fee applied per station and per frequency to providers of Mobile
Telecommunications.
397
Montana Excise Tax
Similar to Excise Tax (Tax Type 5) but applied only in Montana.
398
Rural Transportation
Authority District Tax
A specific district tax that supports a Rural Transportation Authority.
399 MHA District Tax
A specific district tax that supports a Multi-jurisdictional Housing
Authority.
400
Public Safety
Improvements District
Tax
A specific district tax that supports public safety improvements.
401
Mass Transit District Tax
A specific district tax that supports Mass Transit.
402
Metropolitan District Tax
A specific district tax that supports a Metropolitan district.
409
VAT (Reduced Rate)
Similar to VAT (Tax Type 65) but applied at a reduced rate.

AFC Telecom User Manual | 111 of 401
Copyright 2018 Avalara, Inc.
Table 4-14 Tax Types Supported by AFC
TAX TYPE ID
NAME
DESCRIPTION
410
Poison Control Fund
(Wireless)
Similar to Poison Control Fund (Tax Type 25) but applied only to
Wireless transactions
411
State Inspection and
Supervision
Reserved
424
Revenue Statement
Reserved
425 NY MCTD 186c
(Wireless)
New York Metropolitan Commuter Transportation District (NY MCTD)
imposed surcharge based on the taxable wireless telephone services
subject to the NY 186e excise tax on telecommunications and said
services have occurred solely within the specific NY counties that
comprise the NY MCTD.
426 WY USF
The purpose of the fund depends upon the state; however, these are
typically used for items such as funding schools or subsidizing the cost
of telecommunications users in remote locations. This USF tax type
does not tax the FUSF.
427 WY USF (Paging)
Tax similar to tax type 13 (State Universal Service Fund), but applies
only on paging telecommunications. This USF tax type does not tax the
FUSF.
428 WY USF (Wireless)
Similar to tax type 13 (State Universal Service Fund), but applies only
on wireless telecommunications. This USF tax type does not tax the
FUSF.
429 FCC Regulatory Fee-Toll
Free
A fee paid by interstate telecommunications providers to fund the
Federal Communications Commission. The current rate is the last rate
published by the FCC and is based upon the number of subscribers
from a prior period and is an estimate of actual liability.
430 FCC Regulatory Fee
(Satellite)
A fee paid by Satellite Television Service providers to fund the Federal
Communications Commission. The current rate in the system is the
last rate published by the FCC and is based upon the number of
subscribers from a prior period, therefore it is an estimate of actual
liability. If the user does not wish to pass this fee on, or collects the
fee by another mechanism, the rate can be overridden to 0%, or the
user can override the rate to match their estimation.
431
Commerce Tax
Tax on Gross Revenue for the privilege of engaging in business.
432
Telecom Assistance Svc
Fund - VoIP
Similar to Tax Type 34, but applies only to VoIP lines.
433
Telecom Assistance Svc
Fund - VoIP High Cap
Trnk
Similar to Tax Type 34, but applies only to VoIP High Capacity Trunks.
434
E-911 (VoIP Nomadic
PBX)
Similar to Tax Type 10 (E911), but applies only to VoIP Nomadic PBX
Service.
435
E-911 Service Fee (NL
911 Bureau)
Newfoundland and Labrador's Provincial E911 Fee.
436 Copyright Fee (Rated)
Fee to compensate copyright owners for re-transmission of
copyrighted programs. Customer charged as a percentage of revenue.
437 Copyright Fee (Fixed)
Fee to compensate copyright owners for re-transmission of
copyrighted programs. Customer charged as a fixed amount.
438 Utility Tax
This is a tax imposed upon utility services. In this case, the utility is
telecommunications.
439 Audio-Video Service Tax
This is a tax imposed upon service provided by a multi-channel video or
audio service provider.
440
Swachh Bharat Cess
A tax to collect funds for the Swachh Bharat (Clean India) Initiative.

AFC Telecom User Manual | 112 of 401
Copyright 2018 Avalara, Inc.
Table 4-14 Tax Types Supported by AFC
TAX TYPE ID
NAME
DESCRIPTION
441 PIS
A social contribution tax targeted to finance unemployment insurance
and allowance for low paid workers.
442
COFINS
A contribution levied to finance social security, health and social care.
443
ICMS
State tax for goods and services.
444 Federal USF (Centrex)
Federal Universal Service Fund charge imposed by FCC to fund schools,
libraries, rural health care support mechanisms, lifeline, link-up, and
the high cost fund. This charge is applied upon FCC Subscriber Line
Charges applicable to Centrex service. This tax type allows for
regulatory compliance with FCC regulations in regards to Centrex
accounts.
445 UUT (Prepaid Wireless)
Similar to Utility Users Tax (UUT) (Tax Type 16) but only applied to
prepaid wireless telecommunications.
446 Mobile Telephony
Services Surcharge
Mobile Telephony Services (MTS) Surcharge on prepaid wireless
telecommunications recovering California PUC expenses on wireless
communication services.
447
Access Line Tax (Prepaid
Wireless)
Similar to Access Line Tax (Tax Type 267) but only applied to prepaid
wireless telecommunications.
448
San Leandro Emerg Com
Sys Acc Tax (Ppd
Wireless)
Similar to San Leandro Emerg Com Sys Access Tax (Tax Type 257) but
only applied to prepaid wireless telecommunications.
449 Rental Tax (Lower Rate)
Similar to Rental Tax (Tax Type 188) but only applied to certain items at
a reduced rate.
450 CA High Cost Fund A
(VoIP)
CA state fund that provides subsidies to specific small independent
telephone companies. Said fund is used to minimize any rate disparity
of basic telephone service between rural and metropolitan areas. This
Tax Type is for reporting VoIP revenues.
451 State High Cost Fund
(VoIP)
State high cost funds are used to subsidize the cost of
telecommunications users in remote locations. This Tax Type is for
reporting VoIP revenues.
452 CA Teleconnect Fund
(VoIP)
This fund supports California providers that offer discounts to schools,
libraries, health care and community-based organizations with
telecommunications services that qualify. This Tax Type is for reporting
VoIP revenues.
453 CASF (VoIP)
California Advanced Services Fund was created to encourage
deployment of broadband facilities for use in provisioning advanced
telecommunications service in unserved or underserved areas of
California. This Tax Type is for reporting VoIP revenues.
454
Universal Lifeline
Telephone Service
Charge (VoIP)
This California state charge funds a program that provides basic
telephone service to qualifying low income families. This Tax Type is for
reporting VoIP revenues.
455 FUNTTEL
A telecommunications tax levied on providers of telecommunications
services to encourage the process of technological innovation.
456 FUST
Fund of Universalization of Telecommunication Services imposed to
cover costs of universal telecommunications services. It is applied on
the gross operating revenue resulting from the provision of
telecommunication services.
457
Telecommunications Use
Tax
Special use tax used for compliance reporting.
458 Krishi Kalyan Cess
A tax to generate funds for financing and promoting agricultural
improvement initiatives.

AFC Telecom User Manual | 113 of 401
Copyright 2018 Avalara, Inc.
Table 4-14 Tax Types Supported by AFC
TAX TYPE ID
NAME
DESCRIPTION
459 School and Library Fund
Surcharge
Required invoice presentation for the Maine Telecommunications
Education Access Fund. This is a state fund used to facilitate internet
access and related telecom services to qualified schools and libraries.
460
State 911 Charge
Provides funding for the state emergency 911 system.
461 ITAC Assessment The Illinois Telecommunications Access Corporation (ITAC) Assessment
assists persons that have a hearing or speech disability.
462
State 911 Charge
(Wireless)
Provides funding for the state emergency 911 system but applies only
on wireless telecommunications.
463
E-911 (Advanced
Services)
Similar to Tax Type 10 (E-911) but applied to Advanced Services.
464
VAT (Wireless)
Similar to Tax Type 65 (VAT) but only applied only to wireless services.
465 VAT (Communications)
Similar to Tax Type 65 (VAT) but only applied to communications
services.
466
CA TRS
Similar to Tax Type 23 (TRS) but only applied in California.
467 CA TRS (Wireless)
Similar to Tax Type 175 (TRS (Wireless)) but only applied in
California. This tax type is assessed at the safe harbor taxing and
remittance standards for wireless providers set by the FCC.
468
CA PUC Fee
Similar to Tax Type 9 (PUC Fee) but only applied in California.
469
Use Tax (Rental)
Similar to Tax Type 49 (Use Tax) but only applied to rental services.
470 Use Tax (Other)
Similar to Tax Type 49 (Use Tax) but only applied to transactions that
do not fall into another existing tax type. Generally transactions return
this tax type if a distinct use tax rate applies in a specific jurisdiction or
on a temporary basis.
473
SC USF
Similar to Tax Type 13 (State USF) but only applied in South Carolina.
474 USF (Prepaid Wireless)
Similar to Tax Type 13 (State USF) but only applied to prepaid wireless
services.
475
E-911 (Lifeline)
Similar to Tax Type 10 (E-911) but only applied to a lifeline customer.
476 Utility Tax NF
Similar to Tax Type 438 (Utility Tax), but does not include Federal USF
and Federal FCC Regulatory Fees in the assessment base.
477
Telecommunications
Sales Tax (Wholesale)
Special sales tax used for sales of telecommunications services made
on wholesale basis.
478
E-rate Broadband
Program
E-rate Broadband Program to assist schools and public libraries to fund
broadband facilities and obtain broadband connectivity.
479 E-rate Broadband
Program (Business Line)
Similar to tax type 478 (E-rate Broadband Program) but applies only to
a business local line.
480
E-rate Broadband
Program (Line)
Similar to tax type 478 (E-rate Broadband Program) but applies only to
applicable local access or local trunk line.
481
E-rate Broadband
Program (Wireless)
Similar to tax type 478 (E-rate Broadband Program) but applies only to
wireless telecommunications.
482
IGST (Communications)
Integrated goods and service tax based on consumption but applied
only to communications services.
483
CGST
National goods and service tax based on consumption within the
boundary of a state or territory.
484
CGST (Communications)
Similar to Tax Type 483 (CGST) but applied only to communications
services.
485
SGST
State goods and service tax based on consumption within the
boundary of a state or territory.
486
SGST (Communications)
Similar to Tax Type 485 (SGST) but applied only to communications
services.

AFC Telecom User Manual | 114 of 401
Copyright 2018 Avalara, Inc.
Table 4-14 Tax Types Supported by AFC
TAX TYPE ID
NAME
DESCRIPTION
487
Universal Service Fund
(Other)
Similar to Tax Type 13 (State Universal Service Fund) but only applied
to transactions that do not fall into another existing tax type.
488
IGST
Integrated goods and service tax based on consumption.
489
Kentucky Lifeline
Surcharge
Kentucky Universal Lifel ine Telephone Service surcharge to provide
basic telephone service to qualifying low income families. This is the
required invoice presentation.
490
Telecommunications
Sales Tax NF
Special Sales Tax used for Telecommunications Services, but does not
include Federal USF and Federal FCC Regulatory Fees in the
assessment base.
491 Public Safety
Communications
Surcharge (Prepaid)
A tax to fund public safety services but only applied to prepaid wireless
service.
492
Statutory Gross Receipts
NF
Similar to Tax Type 14 (Statutory Gross Receipts), but does not include
Federal USF and Federal FCC Regulatory Fees in the assessment base.
493 PUC Franchise Fee (Video)
NF
Similar to Tax Type 9 (P.U.C. Fee) but only applied to video services. This tax
does not include Federal USF or Federal FCC Regulatory Fees in the assessment
base.
494
Sales Tax NF
Similar to Tax Type 1 (Sales Tax), but does not include Federal
USF and Federal FCC Regulatory Fees in the assessment base.
495
District Tax NF
Similar to Tax Type 4 (District Tax), but does not include Federal
USF and Federal FCC Regulatory Fees in the assessment base.
496
Hospital District Tax
NF
Similar to Tax Type 96 (Hospital District Tax), but does not
include Federal USF and Federal FCC Regulatory Fees in the
assessment base.
497
Improvement District
Tax NF
Similar to Tax Type 99 (Improvement District Tax), but does not
include Federal USF and Federal FCC Regulatory Fees in the
assessment base.
498
Mass Transit District
Tax NF
Similar to Tax Type 401 (Mass Transit District Tax), but does not
include Federal USF and Federal FCC Regulatory Fees in the
assessment base.
499
Metropolitan District
Tax NF
Similar to Tax Type 402 (Metropolitan District Tax), but does not
include Federal USF and Federal FCC Regulatory Fees in the
assessment base.
500
MHA District Tax NF
Similar to Tax Type 399 (MHA District Tax), but does not include
Federal USF and Federal FCC Regulatory Fees in the assessment
base.
501
Public Safety
Improvement District
Tax NF
Similar to Tax Type 400 (Public Safety Improvements District
Tax), but does not include Federal USF and Federal FCC
Regulatory Fees in the assessment base.
502
Rural Transportation
Authority District Tax
NF
Similar to Tax Type 398 (Rural Transportation Authority District
Tax), but does not include Federal USF and Federal FCC
Regulatory Fees in the assessment base.
503
Transit Tax NF
Similar to Tax Type 33 (Transit Tax), but does not include Federal
USF and Federal FCC Regulatory Fees in the assessment base.
504
District Consumer Use
Tax NF
Similar to Tax Type 358 (District Consumer Use Tax), but does
not include Federal USF and Federal FCC Regulatory Fees in the
assessment base.

AFC Telecom User Manual | 115 of 401
Copyright 2018 Avalara, Inc.
Table 4-14 Tax Types Supported by AFC
TAX TYPE ID
NAME
DESCRIPTION
505
Hospital District
Consumer Use Tax NF
Similar to Tax Type 363 (Hospital District Consumer Use Tax),
but does not include Federal USF and Federal FCC Regulatory
Fees in the assessment base.
506
Improvement District
Consumer Use Tax NF
Similar to Tax Type 366 (Improvement District Consumer Use
Tax), but does not include Federal USF and Federal FCC
Regulatory Fees in the assessment base.
507
Mass Transit District
Consumer Use Tax NF
Similar to Tax Type 407 (Mass Transit District Consumer Use
Tax), but does not include Federal USF and Federal FCC
Regulatory Fees in the assessment base.
508
MHA Consumer Use
Tax NF
Similar to Tax Type 405 (MHA Consumer Use Tax), but does not
include Federal USF and Federal FCC Regulatory Fees in the
assessment base.
509
RTA Consumer Use Tax
NF
Similar to Tax Type 403 (RTA Consumer Use Tax), but does not
include Federal USF and Federal FCC Regulatory Fees in the
assessment base.
510
Transit Consumer Use
Tax NF
Similar to Tax Type 360 (Transit Consumer Use Tax), but does
not include Federal USF and Federal FCC Regulatory Fees in the
assessment base.
511
District Vendor Use
Tax NF
Similar to Tax Type 322 (District Vendor Use Tax), but does not
include Federal USF and Federal FCC Regulatory Fees in the
assessment base.
512
Hospital District
Vendor Use Tax NF
Similar to Tax Type 327 (Hospital District Vendor Use Tax), but
does not include Federal USF and Federal FCC Regulatory Fees in
the assessment base.
513
Improvement District
Vendor Use Tax NF
Similar to Tax Type 330 (Improvement District Vendor Use Tax),
but does not include Federal USF and Federal FCC Regulatory
Fees in the assessment base.
514
Mass Transit District
Vendor Use Tax NF
Similar to Tax Type 408 (Mass Transit District Vendor Use Tax),
but does not include Federal USF and Federal FCC Regulatory
Fees in the assessment base.
515
MHA Vendor Use Tax
NF
Similar to Tax Type 406 (MHA Vendor Use Tax), but does not
include Federal USF and Federal FCC Regulatory Fees in the
assessment base.
516
RTA Vendor Use Tax
NF
Similar to Tax Type 404 (RTA Vendor Use Tax), but does not
include Federal USF and Federal FCC Regulatory Fees in the
assessment base.
517
Transit Vendor Use
Tax NF
Similar to Tax Type 321 (Transit Vendor Use Tax), but does not
include Federal USF and Federal FCC Regulatory Fees in the
assessment base.
518
State USF (VoIP
Alternate) NF
Similar to Tax Type 282 (State USF (VoIP Alternate)) but does not
include Federal USF and Federal FCC Regulatory Fees in the
assessment base.
519
E-rate Broadband
Program (VoIP
Alternate)
Similar to Tax Type 478 (E-rate Broadband Program) but gives
the user the ability to report VoIP usage based on actual usage
rather than using the Safe Harbor percentage.

AFC Telecom User Manual | 116 of 401
Copyright 2018 Avalara, Inc.
Table 4-14 Tax Types Supported by AFC
TAX TYPE ID
NAME
DESCRIPTION
520
ConnectME Fund
(VoIP Alternate)
Similar to Tax Type 215 (ConnectME Fund (VoIP) but gives the
user the ability to report VoIP usage based on actual usage
rather than using the Safe Harbor percentage.
For the most current list of Tax Types, refer to the EZTaxTaxType.h file located on the most recent
Distribution/Update. For .NET users, the tax types are also available in EZTaxConstants.cs. For Java users,
the tax types are also available in TaxType.java.
Nexus
AFC allows a client application to set the nexus information in multiple methods.
• Set the appropriate nexus option in the configuration file (see TM_00548_AFC Configuration
Guide). The option specified in the configuration file will automatically be applied to every AFC
session as it is initialized. However, this option may be overridden by calling the EZTaxSetNexus
API function.
• By EZTaxSetNexus API function.
• By using a nexus_table at the transaction level.
• By EZTaxSetStateNexus API function.
General Usage
When the engine determines there is no nexus for the taxing jurisdiction of the transaction, no taxes will
be returned.
If the nexus information has been set by either configuration file or by API call, the transaction level nexus
will take precedence.
EZTaxSetNexus allows one call to set all nexus information whereas EZTaxSetStateNexus allows the client
application to set each state individually.
By using EZTaxSetNexus with a null pointer and a nexus count of zero, it will reset the AFC engine to
default value of nexus in every state.
Nexus is only used within the United States.
Exclusions
AFC allows a client application to exclude states or countries (and all lower level jurisdictions) from
taxation. By using the exclusion option, the client is informing AFC that the specified state or country and
all lower jurisdictions are to return no taxes. An excluded state will exempt all state and lower level
jurisdiction taxes; however, it will continue to return federal level taxes. An excluded country will exempt
all federal and lower level jurisdiction taxes. Exclusions may be accomplished using several methods,
such as those listed below:

AFC Telecom User Manual | 117 of 401
Copyright 2018 Avalara, Inc.
• Set the appropriate exclusion option in the configuration file (see TM_00548_AFC Configuration
Guide). The option specified in the configuration file will automatically be applied to every AFC
session as it is initialized. However, this option may be overridden with other API functions.
• Use the EZTaxSetStateExclusion API function.
• Use the EZTaxClearExclusion API function.
General Usage
When the engine determines that taxes are excluded at the state level for a transaction, only federal level
taxes are returned. When the engine determines that taxes are excluded at the federal level, no taxes are
returned.
EZTaxClearExclusion will clear all exclusion information and return taxes at every level.
US Territories
US Territory exclusions function like state exclusions and are set and cleared when the federal level USA
country code is used without a state or territory. When specified as a state jurisdiction using the two
letter state code, ex. ‘USA,VI’, the exclusion behaves like any other state jurisdiction.
Country codes for US Territories are deprecated.

AFC Telecom User Manual | 118 of 401
Copyright 2018 Avalara, Inc.
Utilities
Refer to Figure 5-1Figure 5-1. While tax results are typically returned to the billing system using
functions, the primary output mechanism of the AFC Engine employs the EZtax Log. The EZTax.log is the
link to the outside world. There are twenty-four utilities to choose from, one of which will almost
certainly suit your need.
When an AFC session is started with the AFC Initialization Function, the Tax Log is opened if the Tax Log
parameter is set to true. This allows the AFC Log to capture the binary formatted transaction and tax
data generated by the AFC Engine.
After exiting the AFC session, the AFC Log becomes available for use. This file should be archived by the
user for reruns, recovery and auditing purposes. This is accomplished by simply copying the EZTax.log file
to a local storage location (refer to Figure 5-1). In most cases this binary file will be used in the future and
nearly all of the utilities will delete the contents of the AFC Log upon job completion.
Figure 5-1 AFC Log Data Path
If the Billing System is configured to use the AFC Functions and does not require the logging of data, set
the first parameter of the AFC Initialization Function to FALSE to disable transaction logging. For instance,
if your program is saving or using the tax data returned to it by the tax calculation functions, you would
have no need to use the data in the log file for later processing.
NOTE:
When running AFC in batch fashion the EZTax.log file is always
generated.

AFC Telecom User Manual | 119 of 401
Copyright 2018 Avalara, Inc.
It is imperative that rigid backup practices are established and followed to avoid losing the transaction
and data information created during a session. Most utilities will delete the inputted log file when the
utility is finished and backups would be required should reruns be needed.
Utility Selection
AFC provides utilities for reporting and file management. The latest utilities, along with their file formats,
are located on the most current update. AFC has conversion utilities available for converting the tax log
file to formats used by compliance services. Contact Avalara for information on converting to specific
services.
Reporting Utilities
The reporting utilities are used for customer billing and compliance reporting. They extract specific data
from the content rich binary EZtax Log file, commonly sorting the data into a logical and orderly format.
The resulting output is a flat file containing just the information required for the specific report,
compatible with common software such as spreadsheets and databases.
The most common use of this information is to file tax returns. However, other uses may include audit
trails, internal tracking and projections.
Reporting File Extensions
Refer to Table 5-1. The reporting utility output file extensions are customized to indicate the type of
information provided within the file. Note that some utilities may produce more than one type of output
file.
Table 5-1 File Extension Definitions
Log File
Extension
Log File Type
File
Format
Note
.csf
Customer Billable amounts
.csf
.ssf Tax Compliance amounts .ssf
This file is not generated when the [–cl]
command line option is used.
.nba Non-billable amounts for
compliance .ssf
This file is not generated when the [–cl]
command line option is used. If there are no
non-billable amounts, this file is not created.
.nca Non-compliance amounts that
were billed .ssf
This file is generated only if there are
transactions in the AFC log that do not require
compliance with a jurisdiction.
.scl Billable amounts combined with
non-billable amounts .ssf
This file is generated when the [-cl] command
line option is used. The .scl file is created
instead of the .ssf and .nba files.

AFC Telecom User Manual | 120 of 401
Copyright 2018 Avalara, Inc.
The report file generated by the utility will be formatted as a comma delimited file or fixed field length file
depending on the utility used. Refer to the specific utility documentation to determine which formatting
will be provided.
Some report utilities provide specialized reports with the file name log.rpt. These comma delimited files
are modifications of .csf and .ssf report formats.
Refer to Figure 5-2. For example, the EZLog_NS.exe utility produces a comma-delimited flat file report
with an .ssf extension. When this file is copied into a preformatted (headings and column widths preset)
MS Excel spreadsheet the following output is displayed. If the spreadsheet had not been preformatted
the titles would not be present and the field widths might vary.
Figure 5-2 Sample EZLog_NS spreadsheet
File Management Utilities
File management utilities are provided for maintenance purposes, such as combining one or more
archived AFC log files or appending one log file to another.
Note that AFC provides the asciilog.exe utility for maintenance of AFC log files. It allows the user to view
the unsorted log file as readable ASCII text without deleting the file.
Specifying a Log File at Run Time
The AFC Log file to be submitted to a utility is specified by the log file name in the Filelocs.txt file
(EZTax.log by default). However, this file name will be ignored if a different file name is provided in the
AFC Initialization Function at session startup.
The Filelocs.txt contains the file locations for text file contains all of paths to the AFC Data Base files. Each
file in the AFC Data base is represented by one line. The lines in the text file must be in the defined order
and all files must be represented.
NOTE: Batch utility clients can only use the filelocs.txt file as they will not be using the function
programming method.
Country State County Locality Tax type Tax level Tax rate Tax amount Gross sales Exempt Adj.
Taxable
Measure
Minutes
USA 6 0 0.0300 29,881.87 996,062.25 0 0 996,062.25 14,859,213
USA 7 0 0.0076 10,116.13 1,331,070.00 0 0 1,331,070.00 20,410,578
USA 18 00.0314 11,145.49 354,952.00 0 0 354,952.00 5,446,827
USA AL 16 10.0670 969.97 14,477.20 0 0 14,477.20 220,239
USA AZ 1 1 0.0500 0.81 16.12 0 0 16.12 245
USA AZ 10 10.0125 9.07 725.47 0 0 725.47 11,038
USA AZ 12 10.0110 7.98 725.47 0 0 725.47 11,038
USA AZ APACHE 1 1 0.0500 0.81 16.12 0 0 16.12 245
USA AZ APACHE 1 2 0.0270 0.44 16.12 0 0 16.12 245
USA AZ APACHE SPRINGERVILLE 1 1 0.0500 0.71 14.11 0 0 14.11 215

AFC Telecom User Manual | 121 of 401
Copyright 2018 Avalara, Inc.
Log.sum File
The Log.sum file accumulates tax compliance totals over multiple runs to generate a compilation of the
tax totals. It contains a summary of the EZTax.log(s) with the data organized by taxing jurisdictions. Only
the EZ* prefix report utilities can be used to generate the log.sum file, which can then be passed as the
input to most of the report utilities.
This is a turnaround file used for maintaining one smaller log file rather than multiple log files in cases
where the customer billing cycle occurs more frequently than the tax compliance cycle. It carries tax
compliance information forward until the report is produced. The srt* utilities use this file for input only.
WARNING
The customer information is lost in the summation of the log.sum.
Remember to delete or move this file before running a utility that uses it,
if a combined report is not desired.
General Tips When Using Utilities
AFC is designed to provide optimum flexibility in creating reports. The following tips have been
accumulated to assist in making the best use of available options.
1. Combining Log Files
2. If an AFC log file exists when AFC is run, new tax data will be appended to the end of an existing
log file (i.e. not placed into a new log file). Also, log files can be combined prior to passing to a
utility, although they cannot be split apart after they are merged.
3. The criteria for deciding to combine files is based on how often AFC is run, how big the created
log files are and the date cycles of your billing and tax compliance system. Note that most
transactions will generate many tax records and that each tax record is either 100 or 168 bytes
long, depending on the configuration.
4. Many clients use a new log file for each run of AFC to reduce the complexity introduced when a
rerun or restart is required.
5. Most clients will do all of their customer billing processing within their Function programs and
use the log file to process only tax compliance data at a later date.
6. Utilities are provided to merge two or more log files into a single log file. This is useful when
running reports that reflect the combined data of the individual log files.
7. Primarily the srt* utilities will produce files sorted by the jurisdictional level.
8. AFC provides the asciilog.exe utility for maintenance of AFC log files, allowing the user to create
an ASCII version of the log file.
9. Many utilities produce a log.sum file that accumulates tax compliance totals over multiple runs to
generate a compilation of the tax totals.
10. The pkzip executable option listed with some utilities is only available with the windows platform.

AFC Telecom User Manual | 122 of 401
Copyright 2018 Avalara, Inc.
AFC Utilities
Table 5-2 Utility Summary
Utility Name
Function
Short Description
asciilog.exe File Management Dumps the contents of the logfilename.log to an ASCII version of
the log file
batchsplit.exe Processing
Allows for two output log files. logfilename1.log is the voice data
log and logfilename2.log is the data log.
commerge.exe File Management
Combines the log file with the log.sum (if present) then sorts and
combines the data.
comrp.exe Reporting
Data formatted to produce a customer information file called
ComRPT.ssf.
comptnum.exe Reporting
Reads the log file specified in filelocs.txt and produces comma
delimited text files outputfilename.ssf, outputfilename.nca, and
outputfilename.nba (or a unified file outputfilename.scl) for tax
compliance filing.
csf20.exe Processing
Reads the log file specified in filelocs.txt. Uses a CDF filename
from the command line to name the output files.
customsort.exe Reporting
Produces a comma-delimited file for compliance filing. User
selects sort criteria and preferences. Refer to the
AFC Custom
Sort Utility User Manual for more information on this utility.
ezcomprep.exe Reporting
Produces a comma-delimited file for compliance filing. Sorting
and combining is performed at the jurisdictional level.
ezlog_ns.exe Reporting Produces a comma-delimited file for compliance filing.
ezlogcust.exe Reporting
Produces a comma-delimited file for customer billing. Sorting
and reporting is done at the customer level.
ezlogcustios.exe Reporting
Produces a comma-delimited file for customer billing. Sorting
and reporting is done at the customer level.
ezlogcustpts.exe Reporting
Produces a comma-delimited file for customer billing. Sorting
and reporting is done at the customer level. The sort key also
contains PCode, optional, and Service Level Number fields.
ezlogcustptslnl.exe Reporting
Produces a comma-delimited file for customer billing. Sorting
and reporting is done at the customer level. In addition to the
PCode, optional, and Service Level Number fields and the
number of lines are also included.
EZTax_20.exe Processing
Refer to batchfile processing for details on the Batch processing
method.
EZTaxappend.exe File Management Combines two log files.
EZTaxappendf.exe File Management Combines multiple log files.
log no tax
transactions
This is an option in the EZTax.cfg file, placed here as it may effect
the output.
srtcdf20.exe Reporting
Produces a fixed length text file logfilename.ssf for tax
compliance filing and a fixed length text file filename.csf for
customer billing.
srtcdf20p.exe Reporting
Produces a fixed length text file EZTaxlogfilename.ssf for tax
compliance filing and a fixed length text file logfilename.csf for
customer billing.
srtcomcust20.exe Reporting
Produces a comma delimited text file logfilename.ssf for tax
compliance filing and a fixed length text file logfilename.csf for
customer billing.

AFC Telecom User Manual | 123 of 401
Copyright 2018 Avalara, Inc.
Table 5-2 Utility Summary
Utility Name
Function
Short Description
srtcomma20.exe Reporting
Produces a comma delimited text file logfilename.ssf for tax
compliance filing and a fixed length text file logfilename.csf for
customer billing.
srtcomma20l.exe Reporting
Produces a comma delimited text file logfilename.ssf for tax
compliance filing and a fixed length text file logfilename.csf for
customer billing, separating adjustments. The .csf file is used for
import into the billing system to populate customer bills. The
comma-delimited .ssf file is sorted at the jurisdictional level. The
.ssf file also contains the number of lines.
srtcomma20ld.exe Reporting
Produces a comma delimited text file logfilename.ssf for tax
compliance filing and a fixed length text file logfilename.csf for
customer billing.
srtrev20l.exe Reporting
Produces a comma delimited text file logfilename.ssf for tax
compliance filing and a fixed length text file logfilename.csf for
customer billing, separating adjustments. The .csf file is used for
import into the billing system to populate customer bills. The
comma-delimited .ssf file is sorted at the jurisdictional level. The
.ssf file also contains the number of lines and the base sale
amount. The base sale amount can be included in the csf by
command-line option.
strg.exe Reporting
Produces a fixed length text file logfilename.ssf for tax
compliance filing. If the extra logfilename is specified, it is used
for appending instead of the log.sum.
upsize_log.exe File Management
Converts the short format logfilename1 to a long format log
logfilename1.

AFC Telecom User Manual | 124 of 401
Copyright 2018 Avalara, Inc.
asciilog.exe
COMMAND LINE
asciilog logfilename.log <+p> <+tc> <+a> <+h> <-csv> <-?>
DESCRIPTION
The asciilog.exe command dumps the contents of the logfilename.log to an ASCII version of the
log file. It does not sort or combine records. It produces a file named logfilename.txt which is a
legible version of the logfilename.log data.
INPUT
Log file: logfilename.log file as defined in the command line and is NOT deleted at end of job.
OUTPUT
Comma delimited logfilename.txt or logfilename.csv file.
FILE FORMAT KEY
The contents of the file are highly dependent upon the command line arguments. Use the +h
argument to prepend the output with a header row that defines each column.
ARGUMENTS (in any order)
+p option adds the P-Code to the output, located before the Country for each record
+tc option adds the tax category description to the end of each record
+a option outputs all available fields
+h option prepends the output with a header record
-csv option uses .csv as the extension for easier import to other applications
-? option displays usage screen and exits
NOTES:
AFC log is NOT deleted.
Also, to have valid values for transaction type and service type, the AFC session that generated the
log must have logtransserv=true (ref 7.2.3.8 Log Transaction / Service Types).

AFC Telecom User Manual | 125 of 401
Copyright 2018 Avalara, Inc.
batchsplit.exe
COMMAND LINE
batchsplit inputfilename.cdf logfilename1.log logfilename2.log [-dD]
DESCRIPTION
The batchsplit command is a processing utility designed to accept records submitted in batch
fashion. Records are supplied as an ASCII formatted file inputfilename.cdf. Two output log files
are produced. logfilename1.log is the voice data log and logfilename2.log is the data log.
INPUT
Reads the inputfilename.cdf ASCII text file
OUTPUT
logfilename1 - as defined in the command line.
logfilename2 - as defined in the command line.
read_err.st - any errors found while editing input file are reported here.
billing.log - date/time stamp log (appended to).
bureau_log - run totals (appended to).
EZTax.sta - status
inputfilename.rpt - break down by totals (not for compliance filing).
FILE FORMAT KEY
Refer to Figure 6-2.
ARGUMENTS
logfilename1.log - Voice Data Log file name
logfilename2.log - Data Log file name
d or D - enables the default transaction/service type processing
NOTES:
If the cust_no field in the cdf file has an "I:" in it, the transaction will go to the data log. If not, the
transaction will go to the voice log.
The transactionservice.exp file must be in the EZtax working directory.
EZTax.log is neither deleted nor created.
Filelocs.txt MUST be in the working directory.
SAMPLE DATA
678367N 704752N 678367NB20070109+00000005067 0 0000001000001SI I: 6444U00000000013CDXXXC
678367N 408276N 678367NB20070109-14485457933 0 0000001000001SI 6444U00000003645DLFFFI
678367N 650786N 678367NB20070109+00000000600 0 0000001000001SI 6444U00000000002CDLXFC

AFC Telecom User Manual | 126 of 401
Copyright 2018 Avalara, Inc.
commerge.exe
COMMAND LINE
commerge
DESCRIPTION
The commerge.exe command reads the log file specified in filelocs.txt, combines the log file with
the log.sum (if present) then sorts and combines the data.
INPUT
Reads the log file as defined by filelocs.txt or AFC Initialization Function.
log.sum – optional input from previous run
OUTPUT
No output file is produced as this is a log manipulation utility.
FILE FORMAT KEY
The output file produced is a log file with no format key as this is a log manipulation utility.
ARGUMENTS
None.
NOTES:
The log.sum file is created
WARNING - EZTax.log is DELETED. Make backups in case reruns are needed.
SAMPLE DATA
No output file is produced as this is a log manipulation utility.

AFC Telecom User Manual | 127 of 401
Copyright 2018 Avalara, Inc.
comptnum.exe
COMMAND LINE
comptnum [-z <pkzip executable>] outputfilename <extralogfilename> [-cl]
DESCRIPTION
The comptnum.exe command reads the log file specified in filelocs.txt and produces comma
delimited text files outputfilename.ssf, outputfilename.nca, and outputfilename.nba (or a unified
file outputfilename.scl) for tax compliance filing.
INPUT
Reads the logfilename.log file as defined by filelocs.txt or EZtax Initialization Function.
log.sum – optional input from previous run.
OUTPUT
Comma Delimited outputfilename.ssf (nca, nba, scl) file for tax compliance filing.
Sorted and condensed by PCode, Tax Type, Tax Level, Tax Rate
FILE FORMAT KEY
Country, State, County, Locality, PCode, Tax type, Tax Type Description, Tax level, Tax Level
Description, Tax rate, Tax amount, Gross Sale, Exempt, Adjustments, Taxable measure, Minutes
Figure 5-3 comptnum SSF File Format Key
Description
Type
Country
Alpha
State
Alpha
County
Alpha
Locality
Alpha
PCode
Numeric
Tax Type
Numeric
Tax Type Description
Alpha
Tax Level
Numeric
Tax Level Description
Alpha
Tax Rate
Numeric
Tax Amount
Numeric
Gross Sale
Numeric
Exempt
Numeric
Adjustments
Numeric
Taxable Measure
Numeric
Minutes
Numeric
Customer number
Alpha

AFC Telecom User Manual | 128 of 401
Copyright 2018 Avalara, Inc.
ARGUMENTS
-z <pkzip executable> - path to zip executable file*
<output filename>
extra log file name – use instead of log.sum
–cl creates a combined compliance log file with a .scl extension, containing both the billable and
non-billable amounts instead of a separate log file for each.
* The pkzip executable option is only available with the windows platform.
NOTES:
• The Tax Rate field is sensitive to positive and negative values
• The log.sum file is NOT created
• WARNING - EZTax.log is DELETED. Make backups in case reruns are needed.
SAMPLE DATA
USA, , , , 0, 6, Federal Excise Tax, 0, Federal, 0.030000, 63.946941, 2131.564739, 0.000000, 0.000000, 2131.564739, 2376516.0, 1
USA, CA, , , 253500, 9, P.U.C. Fee, 1, State, 0.001100, 0.072776, 66.159998, 0.000000, 0.000000, 66.159998, 155916.0, 0000000000000002
USA, CA, , , 253500, 10, E911 Tax, 1, State, 0.006500, 0.450252, 69.269518, 0.000000, 0.000000, 69.269518, 155916.0, 0000000000004302
USA, CA, , , 253500, 19, State High Cost Fund, 1, State, 0.024300, 1.607688, 66.159998, 0.000000, 0.000000, 66.159998, 155916.0,
0000000000999999
U, 1SA, CA, , , 253500, 21, CA Teleconnect Fund, 1, State, 0.001600, 0.105856, 66.159998, 0.000000, 0.000000, 66.159998,
155916.0, Customer Number 2
USA, CA, , , 253500, , 160, CA High Cost Fund A, 1, State, 0.001500, 0.099240, 66.159998, 0.000000, 0.000000, 66.159998,
155916.0, User value here
USA, CO, , , 427200, 13, State Universal Service Fund, 1, State, 0.029000, 0.026172, 0.902500, 0.000000, 0.000000, 0.902500, 1920.0,
xxxxxxxxxxxxxxxx2
USA, CO, DENVER, , 442100, 4, District Tax, 2, County, 0.001000, 0.000211, 0.210945, 0.000000, 0.000000, 0.210945, 246.0,
00000000000000000000
Refer to Transactions and Tax Types for descriptions of the data in the generated file.

AFC Telecom User Manual | 129 of 401
Copyright 2018 Avalara, Inc.
comrpt.exe
COMMAND LINE
comrpt [-cl]
DESCRIPTION
The comrpt.exe command reads the log.sum. The data is then formatted to produce a customer
information file called compliance.ssf.
INPUT
Reads the log.sum file.
log.sum – optional input from previous run
OUTPUT
Fixed Length compliance.ssf file.
FILE FORMAT KEY
Figure 5-4 comrpt File Format Key
Description
Type
Length
Positions
PCode
Numeric
9
1-9
Tax Type
Numeric
6
10-15
Tax Level
Numeric
1
16
Tax Rate
Numeric
8
17-24
Tax Amount
Numeric
12
25-36
File Record Length
36
ARGUMENTS
–cl creates a combined compliance log file with a .scl extension, containing both the billable and
non-billable amounts instead of a separate log file for each.
NOTES:
None.
Refer to Transactions and Tax Types for descriptions of the data in the generated file.

AFC Telecom User Manual | 130 of 401
Copyright 2018 Avalara, Inc.
csf20.exe
COMMAND LINE
csf20 [-z <pkzip executable>] outputfilename [-cl]
DESCRIPTION
The csf20.exe command is a processing utility that reads the log file specified in filelocs.txt. It
produces a fixed length file with a .CSF extension. The command line argument determines the
output file name.
INPUT
Reads the log file as defined by filelocs.txt.
OUTPUT
Fixed Length outputfilename.csf file.
FILE FORMAT KEY
Table 5-3 csf20.exe File Format Key
Description
Type
Length
Positions
Customer Number
A/N
20
1-20
Tax type
A/N
6
21-26
Authority level
A/N
1
27
Tax amount sign
A
1
28
Tax amount
N
11.5
29-39
File record length
39
ARGUMENTS
outputfilename
-z <pkzip executable> - path to zip executable file*
–cl creates a combined compliance log file with a .scl extension, containing both the billable and
non-billable amounts instead of a separate log file for each.
* The pkzip executable option is only available with the windows platform.
NOTES:
EZTax.log is not deleted.
filelocs.txt MUST be in the working directory.
Refer to Transactions and Tax Types for descriptions of the data in the generated file.

AFC Telecom User Manual | 131 of 401
Copyright 2018 Avalara, Inc.
customsort.exe
COMMAND LINE
customsort -cfg customsort.cfg [-log logfile] [-data datapath] [-work workpath] [-ext extension] [-
?]
DESCRIPTION
The custom sort utility is designed to allow clients to produce taxation reports which are sorted
and summarized using client-specified fields and/or options. The utility is restricted to fields
available in the AFC transaction log, which can be affected by configuration settings in the
EZTax.cfg.
INPUT
Reads the log file as defined by filelocs.txt.
OUTPUT
User defined.
ARGUMENTS (in any order)
-cfg customsort.cfg : Required. Custom sort configuration to be used.
-log logfile : EZTax log file to be processed (DEF: EZTax.log).
-data <path> : Data directory; overrides config file value.
-work <path> : Working directory; overrides config file value.
-ext <ext> : Result file extension without ‘.’; overrides reserved config file extension.
-summarize <sumfile> : Log file is summarized into sumfile. On large log files, this option can
substantially speed up the sorting process.
-out <fname> : Output base filename; overrides config file. This option can be used
when there is a need to set the output files from a script so that different
sorts can share the same configuration file.
-? : Display usage and exit
Refer to the AFC Custom Sort Utility User Manual for more information on this utility.

AFC Telecom User Manual | 132 of 401
Copyright 2018 Avalara, Inc.
ezcomprep.exe
COMMAND LINE
ezcomprep [-cl]
DESCRIPTION
The ezcomprep.exe command reads the log file specified in filelocs.txt and produces a comma-
delimited file for compliance filing. It does not include adjustments as part of Gross Sale. Sorting
and combining is performed at the jurisdictional level. It combines the contents of log.sum if it
exists.
INPUT
Reads the log file as defined by filelocs.txt or AFC Initialization Function.
log.sum – optional input from previous run
OUTPUT
log.sum – sorted and condensed log file as optional input for next run
Comma delimited outputfilename.rpt file.
Sorted and condensed by PCode, Tax Type, Tax Level, Tax Rate
FILE FORMAT KEY
Country, State, County, Locality, Tax type, Tax level, Tax rate, Tax amount, Gross Sale, Exempt,
Adjustments, Taxable measure, Minutes
Figure 5-5 ezcomprep File Format Key
Description
Type
Country
Alpha
State
Alpha
County
Alpha
Locality
Alpha
Tax Type
Numeric
Tax Level
Numeric
Tax Rate
Numeric
Tax Amount
Numeric
Gross Sale
Numeric
Exempt
Numeric
Adjustments
Numeric
Taxable Measure
Numeric
Minutes
Numeric

AFC Telecom User Manual | 133 of 401
Copyright 2018 Avalara, Inc.
ARGUMENTS
–cl creates a combined compliance log file with a .scl extension, containing both the billable and
non-billable amounts instead of a separate log file for each.
NOTES:
WARNING - EZTax.log is DELETED. Make backups in case reruns are needed.
SAMPLE DATA
USA,,,, 6, 0, 0.030000, 29881.866905, 996062.252444, 0.000000, 0.000000, 996062.252444, 14859213.000000
Refer to Transactions and Tax Types for descriptions of the data in the generated file.

AFC Telecom User Manual | 134 of 401
Copyright 2018 Avalara, Inc.
ezlog_ns.exe
COMMAND LINE
ezlog_ns outputfilename [-cl]
DESCRIPTION
The ezlog_ns.exe command reads the log file specified in filelocs.txt and produces a comma-
delimited file for compliance filing.
INPUT
Reads the log file name from filelocs.txt.
log.sum – optional input from previous run
OUTPUT
log.sum – sorted and condensed log file as optional input for next run
Comma delimited outputfilename.ssf file.
Sorted and condensed by PCode, Tax Type, Tax Level, Tax Rate
FILE FORMAT KEY
Country, State, County, Locality, Tax type, Tax level, Tax rate, Tax amount, Gross Sale, Exempt,
Adjustments, Taxable measure, Minutes
Figure 5-6 ezlog_ns File Format Key
Description
Type
Country
Alpha
State
Alpha
County
Alpha
Locality
Alpha
Tax Type
Numeric
Tax Level
Numeric
Tax Rate
Numeric
Tax Amount
Numeric
Gross Sale
Numeric
Exempt
Numeric
Adjustments
Numeric
Taxable Measure
Numeric
Minutes
Numeric
ARGUMENTS
outputfilename
–cl creates a combined compliance log file with a .scl extension, containing both the billable and
non-billable amounts instead of a separate log file for each.

AFC Telecom User Manual | 135 of 401
Copyright 2018 Avalara, Inc.
NOTES:
WARNING - EZTax.log is DELETED. Make backups in case reruns are needed.
SAMPLE DATA
USA,,,, 6, 0, 0.030000, 29881.866905, 996062.252444, 0.000000, 0.000000, 996062.252444, 14859213.000000
Refer to Transactions and Tax Types for descriptions of the data in the generated file.

AFC Telecom User Manual | 136 of 401
Copyright 2018 Avalara, Inc.
ezlogcust.exe
COMMAND LINE
ezlogcust [-cl]
DESCRIPTION
The ezlogcust.exe command reads the log file specified in filelocs.txt and produces a comma-
delimited file for customer billing. Sorting and reporting is done at the customer level.
INPUT
Reads the log file as defined by filelocs.txt or AFC Initialization Function.
log.sum – optional input from previous run
OUTPUT
log.sum – sorted and condensed log file as optional input for next run
Comma delimited log.rpt file.
Sorted and condensed by Customer Number, PCode, Tax Type, Tax Level, Tax Rate, Calculation
Type.
FILE FORMAT KEY
Country, State, County, Locality, Tax type, Tax level, Tax rate, Calculation Type, Tax amount, Gross
Sale, Exempt, Adjustments, Taxable measure, Minutes, Lines, Customer Number
Figure 5-7 ezlogcust File Format Key
Description
Type
Country
Alpha
State
Alpha
County
Alpha
Locality
Alpha
Tax Type
Numeric
Tax Level
Numeric
Tax Rate
Numeric
Calculation Type
Numeric
Tax Amount
Numeric
Gross Sale
Numeric
Exempt
Numeric
Adjustments
Numeric
Taxable Measure
Numeric
Minutes
Numeric
Lines
Numeric
Customer Number
Alpha Numeric

AFC Telecom User Manual | 137 of 401
Copyright 2018 Avalara, Inc.
ARGUMENTS
–cl creates a combined compliance log file with a .scl extension, containing both the billable and
non-billable amounts instead of a separate log file for each.
NOTES:
WARNING - EZTax.log is DELETED. Make backups in case reruns are needed.
SAMPLE DATA
USA, , , , 6, 0, 0.030000, RATE, 0.892576, 29.752527, 0.000000, 0.000000, 29.752527, 0.000000, 1, 1, 2143278889
USA, TX, , , 9, 1, 0.001670, RATE, 0.049687, 29.752527, 0.000000, 0.000000, 29.752527, 0.000000, 1, 0, 2143278889
USA, TX, , , 13, 1, 0.036000, RATE, 1.035438, 28.762179, 0.000000, 0.000000, 28.762179, 0.000000, 1, 0, 2143278889
USA, TX, , , 26, 1, 0.012500, RATE, 0.367089, 29.367090, 0.000000, 0.000000, 29.367090, 0.000000, 1, 0, 2143278889
USA, TX, DALLAS, DALLAS, 1, 1, 0.062500, RATE, 1.863693, 29.819089, 0.000000, 0.000000, 29.819089, 0.000000, 1, 0, 2143278889
USA, TX, DALLAS, DALLAS, 1, 3, 0.010000, RATE, 0.298022, 29.802214, 0.000000, 0.000000, 29.802214, 0.000000, 1, 0, 2143278889
USA, TX, DALLAS, DALLAS, 4, 3, 0.010000, RATE, 0.283838, 28.383766, 0.000000, 0.000000, 28.383766, 0.000000, 0, 0, 2143278889
USA, TX, DALLAS, DALLAS, 10, 3, 0.620000, PER_LINE, 0.620000, 0.000000, 0.000000, 0.000000, 0.000000, 0.000000, 1, 0, 2143278889
USA, TX, DALLAS, DALLAS, 51, 3, 1.350000, PER_LINE, 1.350000, 0.000000, 0.000000, 0.000000, 0.000000, 0.000000, 1, 0, 2143278889
USA, , , , 6, 0, 0.030000, RATE, 0.210216, 7.007192, 0.000000, 0.000000, 7.007192, 5.100000, 0, 0, 2143278889B
USA, , , , 18, 0, 0.072805, RATE, 0.009967, 0.136896, 0.000000, 0.000000, 0.136896, 0.100000, 0, 0, 2143278889B
USA, , , , 31, 0, 0.000730, RATE, 0.000099, 0.135089, 0.000000, 0.000000, 0.135089, 0.100000, 0, 0, 2143278889B
USA, TX, , , 9, 1, 0.001670, RATE, 0.011392, 6.821736, 0.000000, 0.000000, 6.821736, 5.000000, 0, 0, 2143278889B
USA, TX, , , 10, 1, 0.006000, RATE, 0.039000, 6.500000, 0.000000, 0.000000, 6.500000, 5.000000, 0, 0, 2143278889B
USA, TX, , , 13, 1, 0.036000, RATE, 0.242515, 6.736532, 0.000000, 0.000000, 6.736532, 5.100000, 0, 0, 2143278889B
USA, TX, , , 26, 1, 0.012500, RATE, 0.086118, 6.889438, 0.000000, 0.000000, 6.889438, 5.100000, 0, 0, 2143278889B
USA, TX, DALLAS, DALLAS, 1, 1, 0.062500, RATE, 0.436224, 6.979585, 0.000000, 0.000000, 6.979585, 5.100000, 0, 0, 2143278889B
USA, TX, DALLAS, DALLAS, 1, 3, 0.010000, RATE, 0.068331, 6.833129, 0.000000, 0.000000, 6.833129, 5.000000, 0, 0, 2143278889B
USA, TX, DALLAS, DALLAS, 4, 3, 0.010000, RATE, 0.068331, 6.833129, 0.000000, 0.000000, 6.833129, 5.000000, 0, 0, 2143278889B
Refer to Transactions and Tax Types for descriptions of the data in the generated file.

AFC Telecom User Manual | 138 of 401
Copyright 2018 Avalara, Inc.
ezlogcustios.exe
COMMAND LINE
ezlogcustios [-cl]
DESCRIPTION
The ezlogcustios.exe command reads the log file specified in filelocs.txt and produces a comma-
delimited file for customer billing. Sorting and reporting is done at the customer level.
INPUT
Reads the reads the log file specified in filelocs.txt or AFC Initialization Function.
log.sum – optional input from previous run
OUTPUT
log.sum – sorted and condensed log file as optional input for next run
Comma delimited log.rpt file.
Sorted and condensed by Customer Number, PCode, Invoice Number, Optional, Service Level
Number, Tax Type, Tax Level, Tax Rate
FILE FORMAT KEY
Invoice Number, Optional, Service Level Number, Country, State, County, Locality, Tax type, Tax
level, Tax rate, Tax amount, Gross Sale, Exempt, Adjustments, Taxable measure, Minutes,
Customer Number
Figure 5-8 ezlogcustios File Format Key
Description
Type
Invoice Number
Numeric
Optional
Numeric
Service Level Number
Numeric
Country
Alpha
State
Alpha
County
Alpha
Locality
Alpha
Tax Type
Numeric
Tax Level
Numeric
Tax Rate
Numeric
Tax Amount
Numeric
Gross Sale
Numeric
Exempt
Numeric
Adjustments
Numeric
Taxable Measure
Numeric
Minutes
Numeric

AFC Telecom User Manual | 139 of 401
Copyright 2018 Avalara, Inc.
Figure 5-8 ezlogcustios File Format Key
Description
Type
Customer Number
Alpha Numeric
ARGUMENTS
–cl creates a combined compliance log file with a .scl extension, containing both the billable and
non-billable amounts instead of a separate log file for each.
NOTES:
WARNING - EZTax.log is DELETED. Make backups in case reruns are needed.
SAMPLE DATA
6, 8, 7, USA, AL, AUTAUGA, AUTAUGAVILLE, 1, 1, 0.040000, RATE, 0.720000, 18.000000, 0.000000, 0.000000, 18.000000, 275.940002, 54, 18,
BillSoft Inc.
6, 8, 7, USA, AL, AUTAUGA, JONES, 1, 2, 0.020000, RATE, 0.320000, 16.000000, 0.000000, 0.000000, 16.000000, 245.280014, 48, 16, BillSoft Inc.
6, 8, 7, USA, AL, AUTAUGA, PRATTVILLE, 1, 3, 0.025000, RATE, 0.050000, 2.000000, 0.000000, 0.000000, 2.000000, 30.660000, 6, 2, BillSoft Inc.
6, 8, 7, USA, AL, AUTAUGA, AUTAUGAVILLE, 1, 3, 0.030000, RATE, 0.060000, 2.000000, 0.000000, 0.000000, 2.000000, 30.660000, 6, 2, BillSoft
Inc.
6, 8, 7, USA, , , , 6, 0, 0.030000, RATE, 14.312928, 477.097605, 0.000000, 0.000000, 477.097605, 5825.416504, 1140, 380, BillSoft Inc.
6, 8, 7, USA, AL, , , 8, 1, 0.060000, RATE, 2.200486, 36.674766, 0.000000, 0.000000, 36.674766, 551.879822, 108, 36, BillSoft Inc.
6, 8, 7, USA, AL, BALDWIN, , 10, 2, 0.690000, PER_LINE, 4.140000, 2.000000, 0.000000, 0.000000, 2.000000, 30.660000, 6, 2, BillSoft Inc.
6, 8, 7, USA, AL, AUTAUGA, , 10, 2, 0.850000, PER_LINE, 35.700001, 14.000000, 0.000000, 0.000000, 14.000000, 214.620010, 42, 14, BillSoft Inc.
6, 8, 7, USA, AL, , , 16, 1, 0.060000, RATE, 7.759929, 129.332160, 0.000000, 0.000000, 129.332160, 1931.577759, 378, 126, BillSoft Inc.
6, 8, 7, USA, , , , 18, 0, 0.089000, RATE, 5.340000, 60.000000, 0.000000, 0.000000, 60.000000, 919.800232, 180, 60, BillSoft Inc.
6, 8, 7, USA, AL, , , 23, 1, 0.150000, PER_LINE, 16.200001, 36.000000, 0.000000, 0.000000, 36.000000, 551.879822, 108, 36, BillSoft Inc.
6, 8, 7, USA, , , , 31, 0, 0.003560, RATE, 0.213600, 60.000000, 0.000000, 0.000000, 60.000000, 919.800232, 180, 60, BillSoft Inc.
6, 8, 7, USA, AL, BALDWIN, , 35, 2, 1.950000, PER_LINE, 11.700000, 2.000000, 0.000000, 0.000000, 2.000000, 30.660000, 6, 2, BillSoft Inc.
6, 8, 7, USA, AL, AUTAUGA, , 35, 2, 2.400000, PER_LINE, 100.800004, 14.000000, 0.000000, 0.000000, 14.000000, 214.620010, 42, 14, BillSoft
Inc.
6, 8, 7, USA, AL, , , 44, 1, 0.700000, FIXED, 12.600000, 18.474840, 0.000000, 0.000000, 18.474840, 275.940002, 54, 18, BillSoft Inc.
6, 8, 7, USA, , , , 55, 0, 0.025365, RATE, 1.014600, 40.000000, 0.000000, 0.000000, 40.000000, 613.199890, 120, 40, BillSoft Inc.
6, 8, 7, USA, , , , 56, 0, 0.010680, RATE, 0.213600, 20.000000, 0.000000, 0.000000, 20.000000, 306.599976, 60, 20, BillSoft Inc.
6, 8, 7, USA, , , , 62, 0, 0.001015, RATE, 0.040600, 40.000000, 0.000000, 0.000000, 40.000000, 613.199890, 120, 40, BillSoft Inc.
6, 8, 7, USA, , , , 63, 0, 0.000427, RATE, 0.008540, 20.000000, 0.000000, 0.000000, 20.000000, 306.599976, 60, 20, BillSoft Inc.
Refer to Transactions and Tax Types for descriptions of the data in the generated file.

AFC Telecom User Manual | 140 of 401
Copyright 2018 Avalara, Inc.
ezlogcustpts.exe
COMMAND LINE
ezlogcustpts [-cl]
DESCRIPTION
The ezlogcustpts.exe command reads the log file specified in filelocs.txt and produces a comma-
delimited file for customer billing. Sorting and reporting is done at the customer level. The sort
key also contains PCode, optional, and Service Level Number fields.
INPUT
Reads the log file as defined by filelocs.txt or AFC Initialization Function.
log.sum – optional input from previous run
OUTPUT
log.sum – sorted and condensed log file as optional input for next run
Comma delimited log.rpt file.
Sorted and condensed by Customer Number, PCode, Optional, Service Level Number, Tax Type,
Tax Level, Tax Rate
FILE FORMAT KEY
PCode, Transaction type, Service Type, Country, State, County, Locality, Tax type, Tax level, Tax
rate, Tax amount, Gross Sale, Exempt, Adjustments, Taxable measure, Minutes, Customer
Number.
Figure 5-9 ezlogcustpts File Format Key
Description
Type
PCode
Numeric
Optional
Numeric
Service Level Number
Numeric
Country
Alpha
State
Alpha
County
Alpha
Locality
Alpha
Tax Type
Numeric
Tax Level
Numeric
Tax Rate
Numeric
Tax Amount
Numeric
Gross Sale
Numeric
Exempt
Numeric
Adjustments
Numeric
Taxable Measure
Numeric
Minutes
Numeric

AFC Telecom User Manual | 141 of 401
Copyright 2018 Avalara, Inc.
Figure 5-9 ezlogcustpts File Format Key
Description
Type
Customer Number
Alpha Numeric
ARGUMENTS
–cl creates a combined compliance log file with a .scl extension, containing both the billable and
non-billable amounts instead of a separate log file for each.
NOTES:
• WARNING - EZTax.log is DELETED. Make backups in case reruns are needed.
SAMPLE DATA
0, 1, 1, USA,,,, 6, 0, 0.030000, 0.128824, 4.294140, 0.000000, 0.000000, 4.294140, 61.320000, BillSoft, Inc.
0, 1, 1, USA,,,, 18, 0, 0.072805, 0.291220, 4.000000, 0.000000, 0.000000, 4.000000, 61.320000, BillSoft, Inc.
0, 1, 1, USA,,,, 31, 0, 0.000730, 0.002920, 4.000000, 0.000000, 0.000000, 4.000000, 61.320000, BillSoft, Inc.
0, 1, 2, USA,,,, 6, 0, 0.030000, 0.128824, 4.294140, 0.000000, 0.000000, 4.294140, 61.320000, BillSoft, Inc.
0, 1, 2, USA,,,, 18, 0, 0.072805, 0.291220, 4.000000, 0.000000, 0.000000, 4.000000, 61.320000, BillSoft, Inc.
0, 1, 2, USA,,,, 31, 0, 0.000730, 0.002920, 4.000000, 0.000000, 0.000000, 4.000000, 61.320000, BillSoft, Inc.
0, 1, 3, USA,,,, 6, 0, 0.030000, 0.128824, 4.294140, 0.000000, 0.000000, 4.294140, 61.320000, BillSoft, Inc.
0, 1, 3, USA,,,, 18, 0, 0.072805, 0.291220, 4.000000, 0.000000, 0.000000, 4.000000, 61.320000, BillSoft, Inc.
0, 1, 3, USA,,,, 31, 0, 0.000730, 0.002920, 4.000000, 0.000000, 0.000000, 4.000000, 61.320000, BillSoft, Inc.
0, 1, 4, USA,,,, 18, 0, 0.072805, 0.291220, 4.000000, 0.000000, 0.000000, 4.000000, 61.320000, BillSoft, Inc.
0, 1, 4, USA,,,, 31, 0, 0.000730, 0.002920, 4.000000, 0.000000, 0.000000, 4.000000, 61.320000, BillSoft, Inc.
0, 2, 1, USA,,,, 6, 0, 0.030000, 0.120000, 4.000000, 0.000000, 0.000000, 4.000000, 61.320000, BillSoft, Inc.
0, 2, 2, USA,,,, 6, 0, 0.030000, 0.120000, 4.000000, 0.000000, 0.000000, 4.000000, 61.320000, BillSoft, Inc.
0, 2, 3, USA,,,, 6, 0, 0.030000, 0.120000, 4.000000, 0.000000, 0.000000, 4.000000, 61.320000, BillSoft, Inc.
0, 2, 5, USA,,,, 6, 0, 0.030000, 0.120000, 4.000000, 0.000000, 0.000000, 4.000000, 61.320000, BillSoft, Inc.
0, 3, 6, USA,,,, 6, 0, 0.030000, 0.360000, 12.000000, 0.000000, 0.000000, 12.000000, 183.960007, BillSoft, Inc.
0, 3, 9, USA,,,, 6, 0, 0.030000, 0.120000, 4.000000, 0.000000, 0.000000, 4.000000, 61.320000, BillSoft, Inc.
100, 1, 1, USA, AL, , , 16, 1, 0.060000, 0.257648, 4.294140, 0.000000, 0.000000, 4.294140, 61.320000, BillSoft, Inc.
100, 1, 2, USA, AL, , , 16, 1, 0.060000, 0.257648, 4.294140, 0.000000, 0.000000, 4.294140, 61.320000, BillSoft, Inc.
100, 1, 3, USA, AL, , , 16, 1, 0.060000, 0.257648, 4.294140, 0.000000, 0.000000, 4.294140, 61.320000, BillSoft, Inc.
100, 1, 4, USA, AL, , , 16, 1, 0.060000, 0.257648, 4.294140, 0.000000, 0.000000, 4.294140, 61.320000, BillSoft, Inc.
100, 2, 1, USA, AL, , , 16, 1, 0.060000, 0.240000, 4.000000, 0.000000, 0.000000, 4.000000, 61.320000, BillSoft, Inc.
100, 2, 2, USA, AL, , , 16, 1, 0.060000, 0.240000, 4.000000, 0.000000, 0.000000, 4.000000, 61.320000, BillSoft, Inc.
100, 2, 3, USA, AL, , , 16, 1, 0.060000, 0.240000, 4.000000, 0.000000, 0.000000, 4.000000, 61.320000, BillSoft, Inc.
100, 2, 4, USA, AL, , , 16, 1, 0.060000, 0.240000, 4.000000, 0.000000, 0.000000, 4.000000, 61.320000, BillSoft, Inc.
100, 2, 5, USA, AL, , , 16, 1, 0.060000, 0.240000, 4.000000, 0.000000, 0.000000, 4.000000, 61.320000, BillSoft, Inc.
100, 3, 6, USA, AL, , , 16, 1, 0.060000, 0.720000, 12.000000, 0.000000, 0.000000, 12.000000, 183.960007, BillSoft, Inc.
200, 2, 5, USA, AL, AUTAUGA, , 10, 2, 0.050000, 0.100000, 2.000000, 0.000000, 0.000000, 2.000000, 30.660000, BillSoft, Inc.
Refer to Transactions and Tax Types for descriptions of the data in the generated file.

AFC Telecom User Manual | 142 of 401
Copyright 2018 Avalara, Inc.
ezlogcustptslnl.exe
COMMAND LINE
ezlogcustptslnl [-cl]
DESCRIPTION
The ezlogcustptslnl.exe command reads the log file specified in filelocs.txt and produces a
comma-delimited file for customer billing. Sorting and reporting is done at the customer level. In
addition to the PCode, optional, and Service Level Number fields and the number of lines and are
also included.
INPUT
Reads the log file as defined by filelocs.txt or AFC Initialization Function.
log.sum – optional input from previous run
OUTPUT
log.sum – sorted and condensed log file as optional input for next run
Comma delimited log.rpt file.
Sorted and condensed by Customer Number, PCode, Optional, Service Level Number, Tax Type,
Tax Level, Tax Rate
FILE FORMAT KEY
PCode, Transaction type, Service Type, Country, State, County, Locality, Tax type, Tax level, Tax
rate, Tax amount, Gross Sale, Exempt, Adjustments, Taxable measure, Minutes, Customer
Number, Lines
Figure 5-10 ezlogcustptslnl File Format Key
Description
Type
PCode
Numeric
Optional
Numeric
Service Level Number
Numeric
Country
Alpha
State
Alpha
County
Alpha
Locality
Alpha
Tax Type
Numeric
Tax Level
Numeric
Tax Rate
Numeric
Tax Amount
Numeric
Gross Sale
Numeric
Exempt
Numeric
Adjustments
Numeric

AFC Telecom User Manual | 143 of 401
Copyright 2018 Avalara, Inc.
Figure 5-10 ezlogcustptslnl File Format Key
Description
Type
Taxable Measure
Numeric
Minutes
Numeric
Customer Number
Alpha Numeric
Lines
Numeric
ARGUMENTS
–cl creates a combined compliance log file with a .scl extension, containing both the billable and
non-billable amounts instead of a separate log file for each.
NOTES:
• WARNING - EZTax.log is DELETED. Make backups in case reruns are needed.
SAMPLE DATA
0, 0, 0, USA, , , , 6, 0, 0.030000, 2.462930, 82.097663, 0.000000, 0.000000, 82.097663, 0.000000, BillSoft, Inc. , 6, 2
0, 0, 0, USA, , , , 18, 0, 0.089000, 1.157000, 13.000000, 0.000000, 0.000000, 13.000000, 0.000000, BillSoft, Inc. , 0, 0
0, 0, 0, USA, , , , 31, 0, 0.000000, 0.000000, 13.000000, 13.000000, 0.000000, 0.000000, 0.000000, BillSoft, Inc. , 0, 0
1210800, 0, 0, USA, KS, , , 13, 1, 0.048700, 1.458565, 29.949999, 0.000000, 0.000000, 29.949999, 0.000000, BillSoft, Inc. , 0, 0
1284800, 0, 0, USA, KS, SALINE, , 10, 2, 0.750000, 2.250000, 0.000000, 0.000000, 0.000000, 0.000000, 0.000000, BillSoft, Inc. , 3, 0
1284900, 0, 0, USA, KS, SALINE, SALINA, 1, 1, 0.053000, 2.039814, 38.487064, 0.000000, 0.000000, 38.487064, 0.000000, BillSoft, Inc. , 0, 0
1284900, 0, 0, USA, KS, SALINE, SALINA, 1, 2, 0.010000, 0.384871, 38.487064, 0.000000, 0.000000, 38.487064, 0.000000, BillSoft, Inc. , 0, 0
1284900, 0, 0, USA, KS, SALINE, SALINA, 1, 3, 0.007500, 0.288653, 38.487064, 0.000000, 0.000000, 38.487064, 0.000000, BillSoft, Inc. , 0, 0
2502500, 0, 0, USA, NY, , , 5, 1, 0.025000, 0.925712, 37.028499, 0.000000, 0.000000, 37.028499, 0.000000, BillSoft, Inc. , 0, 0
2502500, 0, 0, USA, NY, , , 45, 1, 0.003750, 0.138857, 37.028499, 0.000000, 0.000000, 37.028499, 0.000000, BillSoft, Inc. , 0, 0
2604000, 0, 0, USA, NY, NEW YORK, , 10, 2, 1.000000, 3.000000, 0.000000, 0.000000, 0.000000, 0.000000, 0.000000, BillSoft, Inc. , 3, 0
2604000, 0, 0, USA, NY, NEW YORK, , 27, 2, 0.005950, 0.220320, 37.028499, 0.000000, 0.000000, 37.028499, 0.000000, BillSoft, Inc. , 0, 0
2604000, 0, 0, USA, NY, NEW YORK, , 28, 2, 0.001275, 0.047211, 37.028499, 0.000000, 0.000000, 37.028499, 0.000000, BillSoft, Inc. , 0, 0
2604100, 0, 0, USA, NY, NEW YORK, NEW YORK, 1, 1, 0.042500, 1.630325, 38.360599, 0.000000, 0.000000, 38.360599, 0.000000, BillSoft, Inc.
, 0, 0
2604100, 0, 0, USA, NY, NEW YORK, NEW YORK, 1, 3, 0.043750, 1.678276, 38.360599, 0.000000, 0.000000, 38.360599, 0.000000, BillSoft, Inc.
, 0, 0
2604100, 0, 0, USA, NY, NEW YORK, NEW YORK, 29, 3, 0.023500, 0.870170, 37.028499, 0.000000, 0.000000, 37.028499, 0.000000, BillSoft, Inc.
, 0, 0
Refer to Transactions and Tax Types for descriptions of the data in the generated file.

AFC Telecom User Manual | 144 of 401
Copyright 2018 Avalara, Inc.
EZTax_20.exe
EZTax_20 is a Processing Utility used to pass transaction records through the AFC Engine in Batch fashion.
Refer to batch file processing for details on the Batch processing method.
EZTaxappend.exe
COMMAND LINE
EZTaxappend logfilename1.log logfilename2.log
DESCRIPTION
The EZTaxappend.exe command is used to combine two logfilename.log files. It appends
logfilename1.log to logfilename2.log, leaving logfilename1.log intact.
INPUT
logfilename1.log
OUTPUT
logfilename2.log
FILE FORMAT KEY
The output file produced is a log file with no format key as this is a log manipulation utility.
ARGUMENTS
logfilename1.log – the name of the EZTaxlog file to be appended
logfilename2.log – the name of the EZTaxlog file to be appended to.
NOTES:
• log.sum is NOT created.
• EZTax.log is NOT deleted.
• logfilename1.log and logfilename2.log must be actual filenames.
• Filelocs.txt is not used.

AFC Telecom User Manual | 145 of 401
Copyright 2018 Avalara, Inc.
EZTaxappendf.exe
COMMAND LINE
EZTaxappendf filelist.txt extaxlogfilename.log
DESCRIPTION
The EZTaxappendf.exe command is used to combine the logfilename.log files listed in the
filelist.txt text file containing the paths and logfilename.log names to combine.
INPUT
Filelist.txt
OUTPUT
logfilename.log
FILE FORMAT KEY
The output file produced is a log file with no format key as this is a log manipulation utility.
ARGUMENTS
Filelist.txt – the text file supplied by the user with the names of the logfilename.log files.
logfilename.log – the name of the new logfilename.log to be created.
NOTES:
• logfilename.log will be created if it does not exist. Otherwise it will append to the existing
logfilename.log file.
• All log files defined in Filelist.txt are concatenated to logfilename.log
• log.sum is NOT created.
• EZTax.log is NOT deleted.
• Filelocs.txt is not used.
• Filelist.txt entries can be space or line delimited.

AFC Telecom User Manual | 146 of 401
Copyright 2018 Avalara, Inc.
log no tax transactions
DESCRIPTION
LOGNOTAXTRANS=OFF
LOGNOTAXTRANS=ON
The Log No Tax Transaction option is used to allow writing zero tax amount transactions to the EZTax.ntl
log file. The default setting of “OFF” disables this logging function. When set to “ON,” AFC will write zero
tax amount transactions to the EZTax.ntl log file.
The no tax transaction log is used to track transactions that do not return any tax types and therefore do
not perform tax calculations. This allows for the distinction from a transaction that logs zero tax when a
calculation has occurred and resulted in a value of zero which is then placed in EZTax.log.
The no tax transaction log will be named [
logname
]
.
ntl in which logname refers to the name of the AFC
transaction log file, minus the extension, and will be output to the same directory as the log file.
Example of Naming Convention:
(Based on the assumption that the billing system has two sessions with log files named SessionA.log and
SessionB.log.)
The output from a normal run with no tax transaction logging enabled would be:
SessionA.log
SessionA.sta
SessionA.tsr
SessionA.ntl
SessionB.log
SessionB.sta
SessionB.tsr
SessionB.ntl
NOTE:
The lognotaxtrans switch is over-ridden by the overall logging switch. If
logging is turned off when the EZTaxInitEx function initializes the AFC
session, the no-tax-trans log will not be created.
FILE FORMAT KEY
Short Format:
Company Identifier, Customer Number, Transaction Type, Service Type, P Code, Charge

AFC Telecom User Manual | 147 of 401
Copyright 2018 Avalara, Inc.
Figure 5-11 Short EZTax.ntl Log File Format Key
Description
Type
Length
Positions
Company Identifier
Alpha
Numeric
20 1-20
Customer Number
Alpha
Numeric
20 21-40
Transaction Type
Numeric
4
41-44
Service Type
Numeric
4
45-48
P Code
Numeric
10
49-58
Charge
Numeric
15.5
59-73
Record Length
73
Long Format:
Company Identifier, Customer Number, Optional Alpha Text, Transaction Type, Service Type, P Code,
Charge
Figure 5-12 EZTax.ntl Long Log File Format Key
Description
Type
Length
Positions
Company Identifier
Alpha
Numeric
20 1-20
Customer Number
Alpha
Numeric
20 21-40
Optional Alpha
Alpha
20
41-60
Transaction Type
Numeric
4
61-64
Service Type
Numeric
4
65-68
P Code
Numeric
10
69-78
Charge
Numeric
15.5
79-93
Record Length
93

AFC Telecom User Manual | 148 of 401
Copyright 2018 Avalara, Inc.
NOTES:
None
SAMPLE DATA
Short Format:
company_identifier, customer_number, transaction_type, service_type, P_Code, charge
--- Sample output begins on the next line ----------
EZtax version 9.0.0.0.5 No-tax Transaction Log
6215687423a, TU98602746, 0001, 0027, 2102300, 1395.00000
6215687423a, OP97602744, 0001, 0027, 2102300, 630.00000
6215687423a, 104602742, 0004, 0008, 2102300, 950.00000
6215687423a, 555602718, 0001, 0027, 2102300, 100.00000
6215687423a, 16055602716, 0001, 0027, 2102300, 100.00000
6215687423a, 22602711, 0001, 0027, 2102300, 100.00000
6215687423a, 19602709, 0003, 0006, 2102300, 266.44000
6215687423a, 33602707, 0001, 0027, 2102300, 300.00000
6215687423a, 55602705, 0001, 0027, 2102300, 500.00000
6215687423a, LD55602703, 0001, 0027, 2102300, 100.00000
6215687423a, 56602701, 0003, 0006, 2102300, 266.44000
6215687423a, 57602699, 0001, 0027, 2102300, 300.00000
6215687423a, 58602697, 0001, 0027, 2102300, 500.00000
6215687423a, 58587819, 0001, 0027, 2350600, 500.00000
Long Format:
company_identifier, customer_number, optional alpha text, transaction_type, service_type, P_Code, charge
--- Sample output begins on the next line ----------
EZtax version 9.0.0.0.5 No-tax Transaction Log
6215687423a, TU98602746, Optional Text, 0001, 0027, 2102300, 1395.00000
6215687423a, OP97602744, Optional Text, 0001, 0027, 2102300, 630.00000
6215687423a, 104602742, Optional Text, 0004, 0008, 2102300, 950.00000
6215687423a, 555602718, Optional Text, 0001, 0027, 2102300, 100.00000
6215687423a, 16055602716, Optional Text, 0001, 0027, 2102300, 100.00000
6215687423a, 22602711, Optional Text, 0001, 0027, 2102300, 100.00000
6215687423a, 19602709, Optional Text, 0003, 0006, 2102300, 266.44000
6215687423a, 33602707, Optional Text, 0001, 0027, 2102300, 300.00000
6215687423a, 55602705, Optional Text, 0001, 0027, 2102300, 500.00000
6215687423a, LD55602703, Optional Text, 0001, 0027, 2102300, 100.00000
6215687423a, 56602701, Optional Text, 0003, 0006, 2102300, 266.44000
6215687423a, 57602699, Optional Text, 0001, 0027, 2102300, 300.00000
6215687423a, 58602697, Optional Text, 0001, 0027, 2102300, 500.00000
6215687423a, 58587819, Optional Text, 0001, 0027, 2350600, 500.00000

AFC Telecom User Manual | 149 of 401
Copyright 2018 Avalara, Inc.
srtcdf20.exe
COMMAND LINE
srtcdf20 [-z <pkzip executable>] outputfilename [-nN] [extralogfilename] [-cl]
DESCRIPTION
The srtcdf20.exe command reads the log file specified in filelocs.txt and produces a fixed length
text file outputfilename.ssf for tax compliance filing and a fixed length text file outputfilename.csf
for customer billing.
INPUT
Reads the log file as defined by filelocs.txt or AFC Initialization Function.
log.sum – optional input from previous run, or uses the extralogfilename from the command line.
OUTPUT
Fixed Length outputfilename.ssf file for tax compliance filing.
Sorted and condensed by PCode, Tax Type, Tax Level, Tax Rate
Fixed Length outputfilename.csf file for customer billing.
Sorted and condensed by Customer Number, Tax Type, Tax Level, Tax Rate
FILE FORMAT KEYS
Figure 5-13 srtcdf20 SSF File Format Key
Description
Type
Length
Positions
PCode
Numeric
9
1-9
Tax Type
Numeric
6
10-15
Tax Level
Numeric
1
16
Tax Rate
Numeric
8.5
17-24
Tax Amount Sign
Alpha
1
25
Tax Amount
Numeric
11.5
26-36
File Record Length
36
Figure 5-14 srtcdf20 CSF File Format Key
Description
Type
Length
Positions
Customer Number
Numeric
20
1-20
Tax Type
Numeric
6
21-26
Tax Level
Numeric
1
27
Tax Amount
Numeric
12
28-39
File Record Length
39

AFC Telecom User Manual | 150 of 401
Copyright 2018 Avalara, Inc.
ARGUMENTS:
-z <pkzip executable> - path to zip executable file*
N or n – CSF file is not sorted
extra log file name – use instead of log.sum
–cl creates a combined compliance log file with a .scl extension, containing both the billable and
non-billable amounts instead of a separate log file for each.
* The pkzip executable option is only available with the windows platform.
NOTES:
• The Tax Rate field is sensitive to positive and negative values
• The log.sum file is NOT created
• WARNING - EZTax.log is DELETED. Make backups in case reruns are needed.
SAMPLE DATA
0 1 2 3
123456789012345678901234567890123456
------------------------------------------------------------
000000000000006000003000+00098418707
000000000000007000000580+00018387113
000000000000018000003180+00081599822
000000000000031000000039+00001000752
Refer to Transactions and Tax Types for descriptions of the data in the generated file.

AFC Telecom User Manual | 151 of 401
Copyright 2018 Avalara, Inc.
srtcdf20p.exe
COMMAND LINE
srtcdf20p [-z <pkzippath>] outputfilename [-nN] [-cl]
DESCRIPTION
The srtcdf20p.exe command reads the log file specified in filelocs.txt and produces a fixed length
text file outputfilename.ssf for tax compliance filing and a fixed length text file outputfilename.csf
for customer billing.
The .csf file is used for import into the billing system to populate customer bills. Various
compliance vendors use the .ssf file. The csf file also contains the PCode.
INPUT
Reads the logfile as defined by filelocs.txt or AFC Initialization Function.
log.sum – optional input from previous run
OUTPUT
Fixed Length outputfilename.ssf file for tax compliance filing.
Sorted and condensed by PCode, Tax Type, Tax Level, Tax Rate
Fixed Length outputfilename.csf file for customer billing.
Sorted and condensed by Customer Number, Tax Type, Tax Level, Tax Rate
FILE FORMAT KEYS
Figure 5-15 srtcdf20p SSF File Format Key
Description
Type
Length
Positions
PCode
Numeric
9
1-9
Tax Type
Numeric
6
10-15
Tax Level
Numeric
1
16
Tax Rate
Numeric
8.5
17-24
Tax Amount Sign
Alpha
1
25
Tax Amount
Numeric
11.5
26-36
File Record Length
36
Figure 5-16 srtcdf20p CSF File Format Key
Description
Type
Length
Positions
Customer Number
Numeric
20
1-20
Tax Type
Numeric
6
21-26
Tax Level
Numeric
1
27
Tax Amount
Numeric
12
28-39
PCode
Numeric
9
40-48

AFC Telecom User Manual | 152 of 401
Copyright 2018 Avalara, Inc.
Figure 5-16 srtcdf20p CSF File Format Key
Description
Type
Length
Positions
File Record Length
48
ARGUMENTS:
-z <pkzip executable> - path to zip executable file*
N or n – CSF file is not sorted
–cl creates a combined compliance log file with a .scl extension, containing both the billable and
non-billable amounts instead of a separate log file for each.
* The pkzip executable option is only available with the windows platform.
NOTES:
• The Tax Rate field is sensitive to positive and negative values
• The log.sum file is NOT created
• WARNING - EZTax.log is DELETED. Make backups in case reruns are needed.
•
Refer to Transactions and Tax Types for descriptions of the data in the generated file.

AFC Telecom User Manual | 153 of 401
Copyright 2018 Avalara, Inc.
srtcomcust20.exe
COMMAND LINE
srtcomcust20 [-z <pkzip executable>] outputfilename [nN] [extra log file name] [-cl]
DESCRIPTION
The srtcomcust20.exe command reads the log file specified in filelocs.txt and produces a comma
delimited text file outputfilename.ssf for tax compliance filing and a fixed length text file
outputfilename.csf for customer billing.
The .csf file is used for import into the billing system to populate customer bills. The comma-
delimited .ssf file is sorted at the customer level.
INPUT
Reads the log file as defined by filelocs.txt or EZtax Initialization Function.
log.sum – optional input from previous run or uses the extra log file name from the command
line.
OUTPUT
Comma Delimited outputfilename.ssf file for tax compliance filing.
Sorted and condensed by Customer Number, PCode, Tax Type, Tax Level, Tax Rate, Calculation
Type.
Fixed Length outputfilename.csf file for customer billing.
Sorted and condensed by Customer Number, Tax Type, Tax Level, Tax Rate
FILE FORMAT KEY
Figure 5-17 srtcomcust20 SSF File Format Key
Description
Type
Country
Alpha
State
Alpha
County
Alpha
Locality
Alpha
PCode
Numeric
Tax Type
Numeric
Tax Level
Numeric
Tax Rate
Numeric
Calculation Type
Alpha
Tax Amount
Numeric
Gross Sale
Numeric
Exempt
Numeric
Adjustments
Numeric
Taxable Measure
Numeric

AFC Telecom User Manual | 154 of 401
Copyright 2018 Avalara, Inc.
Figure 5-17 srtcomcust20 SSF File Format Key
Description
Type
Minutes
Numeric
Lines
Numeric
Customer Number
Alpha Numeric
Figure 5-18 srtcomcust20 CSF File Format Key
Description
Type
Length
Positions
Customer Number
Numeric
20
1-20
Tax Type
Numeric
6
21-26
Tax Level
Numeric
1
27
Tax Amount
Numeric
12
28-39
File Record Length
39
ARGUMENTS:
-z <pkzip executable> - path to zip executable file*
N or n – CSF file is not sorted
extra log file name – use instead of log.sum
–cl creates a combined compliance log file with a .scl extension, containing both the billable and
non-billable amounts instead of a separate log file for each.
* The pkzip executable option is only available with the windows platform.
NOTES:
• The Tax Rate field is sensitive to positive and negative values
• The log.sum file is NOT created
• WARNING - EZTax.log is DELETED. Make backups in case reruns are needed.
Refer to Transactions and Tax Types for descriptions of the data in the generated file.
srtcomma20.exe

AFC Telecom User Manual | 155 of 401
Copyright 2018 Avalara, Inc.
COMMAND LINE
Srtcomma20 [-z <pkzip executable>] outputfilename [nN] [extra log file name][-cl]
DESCRIPTION
The srtcomma20.exe command reads the log file specified in filelocs.txt and produces a comma
delimited text file outputfilename.ssf for tax compliance filing and a fixed length text file
outputfilename.csf for customer billing.
The .csf file is used for import into the billing system to populate customer bills. The comma-
delimited .ssf file is sorted at the jurisdictional level.
INPUT
Reads the logfilename.log file as defined by filelocs.txt or AFC Initialization Function.
log.sum – optional input from previous run or uses the extra log file name from the command
line.
OUTPUT
log.sum – sorted and condensed log file as optional input for next run
Comma Delimited outputfilename.ssf file for tax compliance filing.
Sorted and condensed by PCode, Tax Type, Tax Level, Tax Rate
Fixed Length outputfilename.csf file for customer billing.
Sorted and condensed by Customer Number, Tax Type, Tax Level, Tax Rate
FILE FORMAT KEY
Country, State, County, Locality, Tax type, Tax level, Tax rate, Tax amount, Gross Sale, Exempt,
Adjustments, Taxable measure, Minutes
Figure 5-19 srtcomma20 SSF File Format Key
Description
Type
Country
Alpha
State
Alpha
County
Alpha
Locality
Alpha
Tax Type
Numeric
Tax Level
Numeric
Tax Rate
Numeric
Tax Amount
Numeric
Gross Sale
Numeric
Exempt
Numeric
Adjustments
Numeric
Taxable Measure
Numeric

AFC Telecom User Manual | 156 of 401
Copyright 2018 Avalara, Inc.
Figure 5-19 srtcomma20 SSF File Format Key
Description
Type
Minutes
Numeric
Figure 5-20 srtcomma20 CSF File Format Key
Description
Type
Length
Positions
Customer Number
Alpha
20
1-20
Tax Type
Numeric
6
21-26
Tax Level
Numeric
1
27
Tax Amount Sign
Alpha
1
28
Tax Amount
Numeric
11.5
29-39
File Record Length
39
ARGUMENTS:
-z <pkzip executable> - path to zip executable file*
N or n – CSF file is not sorted
extra log file name – use instead of log.sum
–cl creates a combined compliance log file with a .scl extension, containing both the billable and
non-billable amounts instead of a separate log file for each.
* The pkzip executable option is only available with the windows platform.
NOTES:
• The Tax Rate field is sensitive to positive and negative values
• The log.sum file is NOT created
• WARNING - EZTax.log is DELETED. Make backups in case reruns are needed.
SAMPLE DATA
USA,,,, 6, 0, 0.030000, 29881.866905, 996062.252444, 0.000000, 0.000000, 996062.252444, 14859213.000000
USA,,,, 7, 0, 0.007600, 10116.132171, 1331070.000000, 0.000000, 0.000000, 1331070.000000, 20410578.000000
USA,,,, 18, 0, 0.031400, 11145.492379, 354952.000000, 0.000000, 0.000000, 354952.000000, 5446827.000000
USA, AL, , , 16, 1, 0.067000, 969.972210, 14477.196802, 0.000000, 0.000000, 14477.196802, 220238.671875
USA, AZ, , , 1, 1, 0.050000, 0.806080, 16.121600, 0.000000, 0.000000, 16.121600, 245.280014
USA, AZ, , , 10, 1, 0.012500, 9.068400, 725.472000, 0.000000, 0.000000, 725.472000, 11037.642578
USA, AZ, , , 12, 1, 0.011000, 7.980192, 725.472000, 0.000000, 0.000000, 725.472000, 11037.642578
USA, AZ, APACHE, , 1, 1, 0.050000, 0.806080, 16.121600, 0.000000, 0.000000, 16.121600, 245.280014
USA, AZ, APACHE, , 1, 2, 0.027000, 0.435283, 16.121600, 0.000000, 0.000000, 16.121600, 245.280014
USA, AZ, APACHE, SPRINGERVILLE, 1, 1, 0.050000, 0.705320, 14.106400, 0.000000, 0.000000, 14.106400, 214.620010
Refer to Transactions and Tax Types for descriptions of the data in the generated file.

AFC Telecom User Manual | 157 of 401
Copyright 2018 Avalara, Inc.
srtcomma20l.exe
COMMAND LINE
srtcomma20l [-z <pkzip executable>] outputfilename <nN> <-p> <-s> <pcsf> <extralogfilename> [-
cl]
DESCRIPTION
The srtcomma20l.exe command reads the log file specified in filelocs.txt and produces a comma
delimited text file outputfilename.ssf for tax compliance filing and a fixed length text file
outputfilename.csf for customer billing, separating adjustments.
The .csf file is used for import into the billing system to populate customer bills. The comma-
delimited .ssf file is sorted at the jurisdictional level. The .ssf file also contains the number of
lines.
INPUT
Reads the logfilename.log file as defined by filelocs.txt or AFC Initialization Function.
log.sum – optional input from previous run or uses the extra log file name from the command
line.
OUTPUT
Fixed Length outputfilename.ssf file for tax compliance filing.
Sorted and condensed by PCode, Tax Type, Tax Level, Tax Rate.
Fixed Length outputfilename.csf file for customer billing.
Sorted and condensed by Customer Number, Tax Type, Tax Level, Tax Rate, Tax Amount.
FILE FORMAT KEY
Country, State, County, Locality, Tax type, Tax level, Tax rate, Tax amount, Gross Sale, Exempt,
Adjustments, Taxable measure, Minutes, Lines
WITH -p OPTION SPECIFIED
PCode, Tax type, Tax level, Tax rate, Tax amount, Gross Sale, Exempt, Adjustments, Taxable measure,
Minutes, Lines
Figure 5-21 srtcomma20l SSF File Format Key
without –p option
Description
Type
Country
Alpha
State
Alpha
County
Alpha
Locality
Alpha

AFC Telecom User Manual | 158 of 401
Copyright 2018 Avalara, Inc.
Figure 5-21 srtcomma20l SSF File Format Key
without –p option
Description
Type
Tax Type
Numeric
Tax Level
Numeric
Tax Rate
Numeric
Tax Amount
Numeric
Gross Sale
Numeric
Exempt
Numeric
Adjustments
Numeric
Taxable Measure
Numeric
Minutes
Numeric
Lines
Numeric
Figure 5-22 srtcomma20l SSF File Format Key
with –p option
Description
Type
PCode
Numeric
Tax Type
Numeric
Tax Level
Numeric
Tax Rate
Numeric
Tax Amount
Numeric
Gross Sale
Numeric
Exempt
Numeric
Adjustments
Numeric
Taxable Measure
Numeric
Minutes
Numeric
Lines
Numeric
Figure 5-23 srtcomma20l CSF File Format Key
Description
Type
Length
Positions
Customer Number
Alpha
20
1-20
Tax Type
Numeric
6
21-26
Tax Level
Numeric
1
27
Tax Amount Sign
Alpha
1
28
Tax Amount
Numeric
11.5
29-39
File Record Length
39
ARGUMENTS
-z <pkzip executable> - path to zip executable file*
N or n – .csf file is unsorted
-p – add PCode to ssf file. Does not add PCode to csf file
-s – produce only the ssf. The .csf file is not created.
-pcsf – add PCode to csf file.
extra log file name – use instead of log.sum
–cl creates a combined compliance log file with a .scl extension, containing both the billable and
non-billable amounts instead of a separate log file for each.

AFC Telecom User Manual | 159 of 401
Copyright 2018 Avalara, Inc.
* The pkzip executable option is only available with the windows platform.
NOTES:
• The Tax Rate field is sensitive to positive and negative values
• The log.sum file is NOT created
• WARNING - EZTax.log is DELETED. Make backups in case reruns are needed.
SAMPLE DATA
USA,,,, 6, 0, 0.030000, 29881.866905, 996062.252444, 0.000000, 0.000000, 996062.252444, 14859213.000000, 0
USA,,,, 7, 0, 0.007600, 10116.132171, 1331070.000000, 0.000000, 0.000000, 1331070.000000, 20410578.000000, 0
USA,,,, 18, 0, 0.031400, 11145.492379, 354952.000000, 0.000000, 0.000000, 354952.000000, 5446827.000000, 0
USA, AL, , , 16, 1, 0.067000, 969.972210, 14477.196802, 0.000000, 0.000000, 14477.196802, 220238.671875, 0
USA, AZ, , , 1, 1, 0.050000, 0.806080, 16.121600, 0.000000, 0.000000, 16.121600, 245.280014, 0
USA, AZ, , , 10, 1, 0.012500, 9.068400, 725.472000, 0.000000, 0.000000, 725.472000, 11037.642578, 0
USA, AZ, , , 12, 1, 0.011000, 7.980192, 725.472000, 0.000000, 0.000000, 725.472000, 11037.642578, 0
USA, AZ, APACHE, , 1, 1, 0.050000, 0.806080, 16.121600, 0.000000, 0.000000, 16.121600, 245.280014, 0
USA, AZ, APACHE, , 1, 2, 0.027000, 0.435283, 16.121600, 0.000000, 0.000000, 16.121600, 245.280014, 0
USA, AZ, APACHE, SPRINGERVILLE, 1, 1, 0.050000, 0.705320, 14.106400, 0.000000, 0.000000, 14.106400, 214.620010, 0
SAMPLE DATA WITH -p OPTION
0, 6, 0, 0.030000, 29881.866905, 996062.252444, 0.000000, 0.000000, 996062.252444, 14859213.000000, 0
0, 7, 0, 0.007600, 10116.132171, 1331070.000000, 0.000000, 0.000000, 1331070.000000, 20410578.000000, 0
0, 18, 0, 0.031400, 11145.492379, 354952.000000, 0.000000, 0.000000, 354952.000000, 5446827.000000, 0
100, 16, 1, 0.067000, 969.972210, 14477.196802, 0.000000, 0.000000, 14477.196802, 220238.671875, 0
125300, 1, 1, 0.050000, 0.806080, 16.121600, 0.000000, 0.000000, 16.121600, 245.280014, 0
125300, 10, 1, 0.012500, 9.068400, 725.472000, 0.000000, 0.000000, 725.472000, 11037.642578, 0
125300, 12, 1, 0.011000, 7.980192, 725.472000, 0.000000, 0.000000, 725.472000, 11037.642578, 0
125400, 1, 1, 0.050000, 0.806080, 16.121600, 0.000000, 0.000000, 16.121600, 245.280014, 0
125400, 1, 2, 0.027000, 0.435283, 16.121600, 0.000000, 0.000000, 16.121600, 245.280014, 0
125500, 1, 1, 0.050000, 0.705320, 14.106400, 0.000000, 0.000000, 14.106400, 214.620010, 0
Refer to Transactions and Tax Types for descriptions of the data in the generated file.

AFC Telecom User Manual | 160 of 401
Copyright 2018 Avalara, Inc.
srtcomma20ld.exe
COMMAND LINE
srtcomma20ld [-z <pkzip executable>] outputfilename <nN> <-p> <-s> <pcsf> <extralogfilename>
[-cl] [-tc]
DESCRIPTION
The srtcomma20ld.exe command reads the log file specified in filelocs.txt and produces a comma
delimited text file outputfilename.ssf for tax compliance filing and a fixed length text file
outputfilename.csf for customer billing, separating adjustments.
The .csf file is used for import into the billing system to populate customer bills. The comma-
delimited .ssf file is sorted at the jurisdictional level. The .ssf file also contains the number of
lines.
Note: srtcomma20ld handles adjustments differently than srtcomma20l does by subtracting the
adjustment from the Gross Sales before the Net Taxable Amount is calculated.
INPUT
Reads the logfilename.log file as defined by filelocs.txt or AFC Initialization Function.
log.sum – optional input from previous run or uses the extra log file name from the command
line.
OUTPUT
Fixed Length outputfilename.ssf file for tax compliance filing.
Sorted and condensed by PCode, Tax Type, Tax Level, Tax Rate.
Fixed Length outputfilename.csf file for customer billing.
Sorted and condensed by Customer Number, Tax Type, Tax Level, Tax Rate, Tax Amount.
FILE FORMAT KEY
Country, State, County, Locality, Tax type, Tax level, Discount type, Calculation type, Tax rate, Tax
amount, Gross Sale, Exempt, Adjustments, Taxable measure, Minutes, Lines
WITH -p OPTION SPECIFIED
PCode, Tax type, Tax level, Discount type, Calculation type, Tax rate, Tax amount, Gross Sale,
Exempt, Adjustments, Taxable measure, Minutes, Lines

AFC Telecom User Manual | 161 of 401
Copyright 2018 Avalara, Inc.
Figure 5-24 srtcomma20ld SSF File Format Key
without –p option
Description
Type
Country
Alpha
State
Alpha
County
Alpha
Locality
Alpha
Tax Type
Numeric
Tax Level
Numeric
Discount Type
Numeric
Calculation Type
Numeric
Tax Rate
Numeric
Tax Amount
Numeric
Gross Sale
Numeric
Exempt
Numeric
Adjustments
Numeric
Taxable Measure
Numeric
Minutes
Numeric
Lines
Numeric
Figure 5-25 srtcomma20ld SSF File Format Key
with –p option
Description
Type
PCode
Numeric
Tax Type
Numeric
Tax Level
Numeric
Discount Type
Numeric
Calculation Type
Numeric
Tax Rate
Numeric
Tax Amount
Numeric
Gross Sale
Numeric
Exempt
Numeric
Adjustments
Numeric
Taxable Measure
Numeric
Minutes
Numeric
Lines
Numeric
Figure 5-26 srtcomma20l CSF File Format Key
Description
Type
Length
Positions
Customer Number
Alpha
20
1-20
Tax Type
Numeric
6
21-26
Tax Level
Numeric
1
27
Tax Amount Sign
Alpha
1
28
Tax Amount
Numeric
11.5
29-39
Tax Category (optional)
Alpha
50
40-69
File Record Length
39 or 89

AFC Telecom User Manual | 162 of 401
Copyright 2018 Avalara, Inc.
ARGUMENTS
-z <pkzip executable> - path to zip executable file*
N or n – .csf file is unsorted
-p – add PCode to ssf file. Does not add PCode to csf file
-s – produce only the ssf. The .csf file is not created.
-pcsf – add PCode to csf file.
extra log file name – use instead of log.sum
–cl creates a combined compliance log file with a .scl extension, containing both the billable and
non-billable amounts instead of a separate log file for each.
-tc adds the tax category description to the end of each line
* The pkzip executable option is only available with the windows platform.
NOTES:
• The Tax Rate field is sensitive to positive and negative values
• The log.sum file is NOT created
• WARNING - EZTax.log is DELETED. Make backups in case reruns are needed.
SAMPLE DATA
USA, NY, NEW YORK, NEW YORK, 1, 1, 0, 1, 0.042500, 50.950600, 1198.837637, 0.000000, 0.000000, 1198.837637, 480.0, 0
USA, NY, NEW YORK, NEW YORK, 1, 3, 0, 1, 0.041250, 49.452053, 1198.837637, 0.000000, 0.000000, 1198.837637, 480.0, 0
USA, PA, BERKS, KEMPTON, 1, 1, 0, 1, 0.060000, 58.370907, 972.848456, 0.000000, 0.000000, 972.848456, 240.0, 0
USA, PA, SCHUYLKILL, NEW PHILADELPHIA, 1, 1, 0, 1, 0.060000, 58.370907, 972.848456, 0.000000, 0.000000, 972.848456, 240.0, 0
SAMPLE DATA WITH -p OPTION
1040600, 1, 1, 0, 1, 0.060000, 34.397387, 573.289778, 0.000000, 0.000000, 573.289778, 240.0, 0
1054600, 1, 1, 0, 1, 0.060000, 34.397387, 573.289778, 0.000000, 0.000000, 573.289778, 240.0, 0
1615500, 1, 1, 0, 1, 0.050000, 25.328978, 506.579556, 0.000000, 0.000000, 506.579556, 480.0, 0
2395900, 1, 1, 0, 1, 0.060000, 111.182681, 1853.044679, 0.000000, 0.000000, 1853.044679, 480.0, 0
2604100, 1, 1, 0, 1, 0.042500, 50.950600, 1198.837637, 0.000000, 0.000000, 1198.837637, 480.0, 0
2604100, 1, 3, 0, 1, 0.041250, 49.452053, 1198.837637, 0.000000, 0.000000, 1198.837637, 480.0, 0
3232600, 1, 1, 0, 1, 0.060000, 58.370907, 972.848456, 0.000000, 0.000000, 972.848456, 240.0, 0
3415300, 1, 1, 0, 1, 0.060000, 58.370907, 972.848456, 0.000000, 0.000000, 972.848456, 240.0, 0
Refer to Transactions and Tax Types for descriptions of the data in the generated file.

AFC Telecom User Manual | 163 of 401
Copyright 2018 Avalara, Inc.
srtcommadetail.exe
COMMAND LINE
srtcommadetail [-z <pkzip executable>] outputfilename [nN] <-nocsf> <extralogfilename> [-cl]
DESCRIPTION
The srtcommadetail.exe command reads the log file specified in filelocs.txt and produces a
comma delimited text file outputfilename.ssf for tax compliance filing and a fixed length text file
outputfilename.csf for customer billing.
INPUT
Reads the logfilename.log file as defined by filelocs.txt or AFC Initialization Function.
log.sum – optional input from previous run.
OUTPUT
Comma Delimited outputfilename.ssf file for tax compliance filing.
Sorted and condensed by PCode, Tax Type, Tax Level, Tax Rate
Fixed Length outputfilename.csf file for customer billing.
Sorted and condensed by Customer Number, Tax Type, Tax Level, Tax Rate
FILE FORMAT KEY
Country, State, County, Locality, PCode, Tax type, Tax Type Description, Tax level, Tax Level Description,
Tax rate, Tax amount, Gross Sale, Exempt, Adjustments, Taxable measure, Minutes
Figure 5-27 srtcommadetail SSF File Format Key
Description
Type
Country
Alpha
State
Alpha
County
Alpha
Locality
Alpha
PCode
Numeric
Tax Type
Numeric
Tax Type Description
Alpha
Tax Level
Numeric
Tax Level Description
Alpha
Tax Rate
Numeric
Tax Amount
Numeric
Gross Sale
Numeric
Exempt
Numeric
Adjustments
Numeric
Taxable Measure
Numeric
Minutes
Numeric

AFC Telecom User Manual | 164 of 401
Copyright 2018 Avalara, Inc.
Figure 5-28 srtcommadetail CSF File Format Key
Description
Type
Length
Positions
Customer Number
Alpha
20
1-20
Tax Type
Numeric
6
21-26
Tax Level
Numeric
1
27
Tax Amount Sign
Alpha
1
28
Tax Amount
Numeric
11.5
29-39
File Record Length
39
ARGUMENTS
-z <pkzip executable> - path to zip executable file*
<output filename>
n or N – csf file is not sorted
-nocsf – csf file is not created
extra log file name – use instead of log.sum
–cl creates a combined compliance log file with a .scl extension, containing both the billable and
non-billable amounts instead of a separate log file for each.
* The pkzip executable option is only available with the windows platform.
NOTES:
• The Tax Rate field is sensitive to positive and negative values
• The log.sum file is NOT created
• WARNING - EZTax.log is DELETED. Make backups in case reruns are needed.
SAMPLE DATA
USA, , , , 0, 6, Federal Excise Tax, 0, Federal, 0.030000, 63.946941, 2131.564739, 0.000000, 0.000000, 2131.564739, 2376516.0
USA, CA, , , 253500, 9, P.U.C. Fee, 1, State, 0.001100, 0.072776, 66.159998, 0.000000, 0.000000, 66.159998, 155916.0
USA, CA, , , 253500, 10, E911 Tax, 1, State, 0.006500, 0.450252, 69.269518, 0.000000, 0.000000, 69.269518, 155916.0
USA, CA, , , 253500, 19, State High Cost Fund, 1, State, 0.024300, 1.607688, 66.159998, 0.000000, 0.000000, 66.159998, 155916.0
USA, CA, , , 253500, 21, CA Teleconnect Fund, 1, State, 0.001600, 0.105856, 66.159998, 0.000000, 0.000000, 66.159998, 155916.0
USA, CA, , , 253500, 60, CA High Cost Fund A, 1, State, 0.001500, 0.099240, 66.159998, 0.000000, 0.000000, 66.159998, 155916.0
USA, CO, , , 427200, 13, State Universal Service Fund, 1, State, 0.029000, 0.026172, 0.902500, 0.000000, 0.000000, 0.902500, 1920.0
USA, CO, DENVER, , 442100, 4, District Tax, 2, County, 0.001000, 0.000211, 0.210945, 0.000000, 0.000000, 0.210945, 246.0
Refer to Transactions and Tax Types for descriptions of the data in the generated file.

AFC Telecom User Manual | 165 of 401
Copyright 2018 Avalara, Inc.
srtrev20l.exe
COMMAND LINE
srtrev20l [-z <pkzip executable>] outputfilename <nN> <-p> <-s> <pcsf> <extralogfilename> [-cl] [-
tc]
DESCRIPTION
The srtrev20l.exe command reads the log file specified in filelocs.txt and produces a comma
delimited text file outputfilename.ssf for tax compliance filing and a fixed length text file
outputfilename.csf for customer billing, separating adjustments. It is intended for use with log
files created using tax inclusive calculation functionality in AFC.
The .csf file is used for import into the billing system to populate customer bills. The comma-
delimited .ssf file is sorted at the jurisdictional level. The .ssf file also contains the number of
lines.
INPUT
Reads the logfilename.log file as defined by filelocs.txt or AFC Initialization Function.
log.sum – optional input from previous run or uses the extra log file name from the command
line.
OUTPUT
Fixed Length outputfilename.ssf file for tax compliance filing.
Sorted and condensed by PCode, Tax Type, Tax Level, Tax Rate.
Fixed Length outputfilename.csf file for customer billing.
Sorted and condensed by Customer Number, Tax Type, Tax Level, Tax Rate, Tax Amount.

AFC Telecom User Manual | 166 of 401
Copyright 2018 Avalara, Inc.
FILE FORMAT KEY
Country, State, County, Locality, Tax type, Tax level, Tax rate, Tax amount, Gross Sale, Exempt,
Adjustments, Taxable measure, Minutes, Lines, Sale amount
WITH -p OPTION SPECIFIED
PCode, Tax type, Tax level, Tax rate, Tax amount, Gross Sale, Exempt, Adjustments, Taxable
measure, Minutes, Lines
Figure 5-29 srtrev20l SSF File Format Key
without –p option
Description
Type
Country
Alpha
State
Alpha
County
Alpha
Locality
Alpha
Tax Type
Numeric
Tax Level
Numeric
Tax Rate
Numeric
Tax Amount
Numeric
Gross Sale
Numeric
Exempt
Numeric
Adjustments
Numeric
Taxable Measure
Numeric
Minutes
Numeric
Lines
Numeric
Sale Amount
Numeric
Figure 5-30 srtrev20l SSF File Format Key
with –p option
Description
Type
PCode
Numeric
Tax Type
Numeric
Tax Level
Numeric
Tax Rate
Numeric
Tax Amount
Numeric
Gross Sale
Numeric
Exempt
Numeric
Adjustments
Numeric
Taxable Measure
Numeric
Minutes
Numeric
Lines
Numeric
Sale Amount
Numeric

AFC Telecom User Manual | 167 of 401
Copyright 2018 Avalara, Inc.
Figure 5-31 srtrev20l CSF File Format Key
Description
Type
Length
Positions
Customer Number
Alpha
20
1-20
Tax Type
Numeric
6
21-26
Tax Level
Numeric
1
27
Tax Amount Sign
Alpha
1
28
Tax Amount
Numeric
11.5
29-39
Tax Category (optional)
Alpha
50
40-69
Base Sale Amount (optional)
Numeric
8
40-47 or 70-77
File Record Length
39, 47, 69, or 77
ARGUMENTS
-z <pkzip executable> - path to zip executable file*
N or n – .csf file is unsorted
-p – add PCode to ssf file. Does not add PCode to csf file
-s – produce only the ssf. The .csf file is not created.
-pcsf – add PCode to csf file.
extra log file name – use instead of log.sum
–cl creates a combined compliance log file with a .scl extension, containing both the billable and
non-billable amounts instead of a separate log file for each.
-tc adds the tax category description to the end of each line in the csf
-b adds the base sale amount to the end of each linein the csf
* The pkzip executable option is only available with the windows platform.
NOTES:
• The Tax Rate field is sensitive to positive and negative values
• The log.sum file is NOT created
• WARNING - EZTax.log is DELETED. Make backups in case reruns are needed.
SAMPLE DATA
USA, , , , 55, 0, 0.136000, 2.086860, 41.360000, 26.015440, 0.000000, 15.344560, 3.5, 0, 41.36
USA, , , , 170, 0, 0.015000, 0.015000, 41.360000, 26.015440, 0.000000, 15.344560, 3.5, 0, 41.36
USA, PA, , , 44, 1, 1.000000, 1.000000, 0.000000, 0.000000, 0.000000, 0.000000, 3.5, 0, 41.36
USA, PA, ALLEGHENY, PITTSBURGH, 1, 1, 0.060000, 2.738097, 45.634953, 0.000000, 0.000000, 45.634953, 3.5, 0, 41.36
USA, PA, ALLEGHENY, PITTSBURGH, 1, 2, 0.010000, 0.456350, 45.634953, 0.000000, 0.000000, 45.634953, 3.5, 0, 41.36
USA, PA, ALLEGHENY, PITTSBURGH, 14, 1, 0.050000, 2.173093, 43.461860, 0.000000, 0.000000, 43.461860, 3.5, 0, 41.36
SAMPLE DATA WITH -p OPTION
0, 55, 0, 0.136000, 0.000000, 82.720000, 52.030880, 15.344560, 15.344560, 7.0, 0, 82.72
0, 170, 0, 0.015000, 0.000000, 82.720000, 52.030880, 15.344560, 15.344560, 7.0, 0, 82.72
3198500, 44, 1, 1.000000, 0.000000, 0.000000, 0.000000, 0.000000, 0.000000, 7.0, 0, 82.72
3206100, 1, 1, 0.060000, 0.000000, 91.269906, 0.000000, 45.634953, 45.634953, 7.0, 0, 82.72
3206100, 1, 2, 0.010000, 0.000000, 91.269906, 0.000000, 45.634953, 45.634953, 7.0, 0, 82.72
3206100, 14, 1, 0.050000, 0.000000, 86.923720, 0.000000, 43.461860, 43.461860, 7.0, 0, 82.72
Refer to Transactions and Tax Types for descriptions of the data in the generated file.

AFC Telecom User Manual | 168 of 401
Copyright 2018 Avalara, Inc.
strg.exe
COMMAND LINE
strg outputfilename <extralogfilename> [-cl]
DESCRIPTION
The srtg.exe command reads the log file specified in filelocs.txt and produces a fixed length text
file outputfilename.ssf for tax compliance filing. If the extralogfilename is specified, it is used for
appending instead of the log.sum.
INPUT
Reads the logfilename file as defined by filelocs.txt or EZtax Initialization Function.
log.sum – optional input from previous run
<n> - optional input superseding log.sum
OUTPUT
Fixed Length outputfilename.ssf file for tax compliance filing.
Sorted and condensed by PCode, Tax Type, Tax Level, Tax Rate
FILE FORMAT KEY
Figure 5-32 strg SSF File Format Key
Description
Type
Length
Positions
PCode
Numeric
9
1-9
Tax Type
Numeric
6
10-15
Tax Level
Numeric
1
16
Tax Rate
Numeric
8
17-24
Tax Amount Sign
Alpha
1
25
Tax Amount
Numeric
11.5
26-36
File Record Length
36
ARGUMENTS
<outputfilename>
extralogfilename - optional input superseding log.sum
–cl creates a combined compliance log file with a .scl extension, containing both the billable and
non-billable amounts instead of a separate log file for each.
NOTES:
WARNING - EZTax.log is DELETED. Make backups in case reruns are needed.
Removes log.sum (or extra log)

AFC Telecom User Manual | 169 of 401
Copyright 2018 Avalara, Inc.
SAMPLE DATA
0 1 2 3
123456789012345678901234567890123456
------------------------------------------------------------
000000000000006000003000+00098418707
000000000000007000000580+00018387113
000000000000018000003180+00081599822
000000000000031000000039+00001000752
Refer to Transactions and Tax Types for descriptions of the data in the generated file.

AFC Telecom User Manual | 170 of 401
Copyright 2018 Avalara, Inc.
upsize_log.exe
COMMAND LINE
upsize_log logfilename1.log logfilename2.log
DESCRIPTION
The upsize_log.exe command converts the short format logfilename1.log to a long format log
logfilename2.log.
INPUT
First log file logfileame1.
OUTPUT
The output file produced is a log file with no format key as this is a log manipulation utility.
ARGUMENTS
None.
NOTES:
log.sum is NOT created.
EZTax.log is NOT deleted.
Refer to Transactions and Tax Types for descriptions of the data in the generated file.

AFC Telecom User Manual | 171 of 401
Copyright 2018 Avalara, Inc.
BATCH FILE PROCESSING
AFC allows company transactions to be taxed without directly interfacing AFC with the billing system
using the batch_sau command line feature. Although system performance is excellent using the batch
file processing method, it is less efficient than a direct interface in the following ways:
1. The billing system must provide an additional function that creates the AFC batch file.
2. AFC must read the batch-input file. With a direct interface, this is not necessary as the billing
system itself will read all required data from databases or files in order to perform rating
functions.
3. The billing system must read results of the AFC process for inclusion on end customer bills and
journal entries in the users accounting system.
However, this method can be the most cost effective, and provide the quickest solution to tax
compliance, depending upon the billing system in use and the level of technical expertise available. This
is available to both AFC SaaS Standard and AFC on-site licensed product clients.
Batch Processing Description
Refer to Figure 6-1. The Batch processing method allows for transaction information in a pre-defined
fixed length ASCII formatted file to be exported to and read by the AFC engine, without directly
integrating to a billing system. The formatted file is submitted to the AFC Engine using the precisely
defined format shown in Section 6.2. AFC processes the file and returns the taxes in a separate fixed
length ASCII file generated by one of available utilities. This file can be imported by the billing system and
viewed as a spreadsheet or other compatible software. The file contains key references, keyed per
transaction or per account.
AFC automatically summarizes tax data generated based upon the key passed, thereby returning unique
taxes per record or summarized results per customer. This simple method of interfacing is performed
with relative ease and with little programming experience.
Avalara clients that perform billing on mainframe computers have also found this method beneficial
because most mainframe users utilize a batch or batch-like billing process, which allows for easy insertion
of a new taxation method. The taxation step is simply replaced with an export and an import process.
When taxation is to be performed, all transactions are exported to a PC for taxation and the results are
imported back into the mainframe.

AFC Telecom User Manual | 172 of 401
Copyright 2018 Avalara, Inc.
Figure 6-1 AFC Batch Mode Model
When using the batch utility, the location of the AFC Data Base must be specified by using the filelocs.txt
file. The batch utility has built in edit functions to stop any erroneous data from being submitted to the
tax engine or to warn you about possible problems and still allow the transaction to be processed. An
output file is generated containing warning and error messages found during the run along with the line
number of the transaction.
Clients submitting CDS files in Batch fashion automatically produce an EZTax.log file. The user may select
from several utilities to create a .csf file to be imported back into the billing system. Refer to Section 5.1
for aid in output utility selection.

AFC Telecom User Manual | 173 of 401
Copyright 2018 Avalara, Inc.
AFC CDS Input File Specifications
The CDS fixed length input file contains one or more data records comprised of the fields detailed in the
figure below. Note that a file containing this specification is provided with the monthly update.
Figure 6-2 CDF20 Client Input Data Specification
Opt/
Req
Sec
Data Description
Type
Len
Positions
Defaults
Note
R J Origination N 10
1-10
Originating NPANXX if flag=N
Originating PCode if flag=P
Originating State code if flag=S (numeric
value)
R J Origination Flag A 1
11
Set to N if using NPANXX, P if using
PCode, or S if using State code
R J Termination N 10
12-21
Terminating NPANXX if flag=N
Terminating PCode if flag=P
Terminating State code if flag=S
(numeric value)
R J Termination Flag A 1
22
Set to N if using NPANXX, P if using
PCode, or S if using State code
R J Service Address N 10
23-32
Service (BTN) NPANXX if flag=N
Service PCode if flag=P
Service State code if flag=S (numeric
value)
R J Service Address Flag A 1
33
Set to N if using NPANXX, P if using
PCode, or S if using State code
R C Customer Type A 1
34
B
Business, Residential Customer,
Industrial, or Senior Citizen
R T Invoice Date N 8
35-42
Format "CCYYMMDD"
R T Taxable Amount Sign A 1
43
Format "+" , "-", “p” or ‘m”
R T Taxable Amount N 11.5
44-54
Format "99999999999" Zero-Filled, 5
decimal places, no decimal point
R T Lines N 6
55-60
0 6-character integer
R T/S Transaction Type A/N 6
67-72
See Table of Transaction Types and
Service Types
R T/S Service Type A/N 6
73-78
See Table of Transaction Types and
Service Types
R
T
Client Resale Flag
A
1
79
S
Call subject to Sale or Resale
R C Inc-Code A 1
80
I
Customer is Inside or Outside an
incorporated city area
R C Fed. Exempt A 1
81
Blank
Call is eXempt from Federal taxes (X or
blank)
R C State Exempt A 1
82
Blank
Call is eXempt from State taxes (X or
blank)
R C County Exempt A 1
83
Blank
Call is eXempt from County taxes (X or
blank)
R C Local Exempt A 1
84
Blank
Call is eXempt from Local taxes (X or
blank)
O C
Customer Number
(Primary Output Key)
A/N 20
85-104
Defines primary Key for Client Summary
Data
R CO Regulated / Unregulated
Flag A 1
105
R Reseller is Regulated or Unregulated in
the state of sale
R T Call Duration (in minutes) N 11.1
106-116
Format "99999999999" Zero-Filled, 1
decimal place, no decimal point

AFC Telecom User Manual | 174 of 401
Copyright 2018 Avalara, Inc.
Figure 6-2 CDF20 Client Input Data Specification
Opt/
Req
Sec
Data Description
Type
Len
Positions
Defaults
Note
R T Telecom Type A 1
117
C
C - Calls, D-Debit Card Calls, P-Point of
sale
R C Service Class Indicator A 1 118 D
D = Primarily Long Distance, L = Primarily
Local
O C Lifeline Flag A 1
119
Blank
L = Lifeline customer, N = Non-Lifeline
R CO Facilities Based Flag A 1
120
N
F = Facilities based, N = Non-Facilities
based
R CO Franchise Flag A 1
121
N
F = Franchise based, N = Non-Franchise
based
R
C
Business Class Indicator
A
1
122
C
C = CLEC, I = ILEC
J=Taxing Jurisdiction Info. C=Customer Info. CO=Company Info. T=Transaction Info.
T/S=Transaction/Service type M= Misc. R=Required, O=Optional
Each field within a record contains information specific to one of four categories; Taxing Jurisdiction
Identification, Company, Customer and Transaction (see the table below). These four categories are
addressed in detail in the following subsections.
Table 6-1 CDF Categories
Taxing Jurisdiction
Identification
Information
Customer Transaction Information
Customer
Information
Company
Information
Transaction Information
Origination
Customer Type
Facilities Based Flag
Invoice Date
Origination Flag
Inc-Code
Franchise Flag
Taxable Amount Sign
Termination Fed Exempt
Regulated / Unregulated
Flag
Taxable Amount
Termination Flag
State Exempt
Lines
Service Address
County Exempt
Client Resale Flag
Service Address Flag
Local Exempt
Call Duration
Customer Number
(Primary Output Key)
Telecom Type
Service Class Indicator
Transaction Type
Lifeline Flag
Service Type
Business Class Indicator
Taxing Jurisdiction Identification Information
The Origination, Origination Flag, Termination, Termination Flag, Service Address (also referred to as the
“bill-to” address) and Service Address Flag fields of the record are discussed in this section.
The batch interface method is designed to allow for the transaction jurisdiction service address,
origination point and termination point to be entered as NPANXXs, PCodes or State Code in the first fields
of the transaction record. (Note that there are advantages to using the PCode as described in Section
3.4.1).
NPANXXs are the first six-digits of a phone number in North America (area code and prefix). They are
administered under the North American Numbering Plan and associated with locations thereby making
them useful for jurisdiction identification. However, it is important to be aware that many NPANXXs serve
jurisdictions foreign to the jurisdiction they are associated with.

AFC Telecom User Manual | 175 of 401
Copyright 2018 Avalara, Inc.
PCodes are proprietary permanent jurisdiction codes created by Avalara that allow AFC software users to
populate their databases with proper jurisdiction assignments. When jurisdiction codes change, they are
re-mapped by Avalara and the PCode is updated, providing clients with up to date information without
making any changes themselves. The PCode is the preferred method of assigning and maintaining
jurisdiction identification, and the time invested in including PCodes into your database records will pay
off with increased accuracy and reliability.
The State Code (see the cross reference table below) should be used when restricting the tax calculations
to the Federal and State level. The following table provides the valid numeric State Codes for this field.
Using State Codes is discouraged as the county and locality jurisdictional information is lost and will not
be applied.
Table 6-2 State Code Cross Reference Table
State
State
Code
State
State
Code
State
State Code
NO STATE
0
Kansas
17
North_Dakota
35
Alabama
1
Kentucky
18
Ohio
36
Alaska
2
Louisiana
19
Oklahoma
37
Arizona
3
Maine
20
Oregon
38
Arkansas
4
Maryland
21
Pennsylvania
39
California
5
Massachusetts
22
Rhode_Island
40
Colorado
6
Michigan
23
South_Carolina
41
Connecticut
7
Minnesota
24
South_Dakota
42
Delaware
8
Mississippi
25
Tennessee
43
Washington_DC
9
Missouri
26
Texas
44
District_of_Columbia
9
Montana
27
Utah
45
Florida
10
Nebraska
28
Vermont
46
Georgia
11
Nevada
29
Virginia
47
Hawaii
12
New_Hampshire
30
Washington
48
Idaho
13
New_Jersey
31
West_Virginia
49
Illinois
14
New_Mexico
32
Wisconsin
50
Indiana
15
New_York
33
Wyoming
51
Iowa
16
North_Carolina
34
Origination
The Origination location of the transaction to be taxed. For telecom activity, this is usually specified by
the number called from, also known as the “From Number” or “Origination number). It can be filled with
the NPANXX, PCode or State Code.
Origination Flag
The Origination Flag specifies the configuration of the information in the Origination field. This field
should contain N if the Origination is in NPANXX format, P if the Origination is in PCode format and S if the
Origination is in State format.

AFC Telecom User Manual | 176 of 401
Copyright 2018 Avalara, Inc.
Termination
The Termination location of the transaction to be taxed. For telecom activity, this is usually specified by
the number called, also known as the "To Number" or the "Termination number." It can be filled with the
NPANXX, PCode or State Code.
Termination Flag
The Termination Flag specifies the configuration of the information in the Termination field. This field
should contain N if the Termination is in NPANXX format, P if the Termination is in PCode format and S if
the Termination is in State format.
Service Address
The Service Address of the transaction to be taxed. For telecom activity, this is usually specified by the
number that the call was billed to (also know as the Bill To Number or BTN) or the location of service. It
can be filled with the NPANXX, PCode or State Code.
Service Address Flag
The Service Address Flag specifies the configuration of the information in the Service Address field. This
field should contain N if the Service Address is in NPANXX format, P if the Service Address is in PCode
format and S if the Service Address is in State format.
Customer Information
The transaction customer information is supplied using the following fields; Customer Type, Inc-Code, Fed
Exempt, State Exempt, County Exempt, Local Exempt, Service Class Indicator, Lifeline Flag, Federal
Exemption JCode, State Exemption JCode, County Exemption JCode, Locality Exemption JCode, Invoice
Number, Service Level Number and Business Class Indicator.
Customer Type
This field is used to specify the type of customer involved in the transaction. The Customer Type is
selected from one of the following four options.
1. Business - When transactions are made at a place of business.
2. Residential - When transactions are made by a customer for home use.
3. Industrial - When transactions are made at an industrial business.
4. Senior Citizen - When transactions made by a customer meeting the jurisdiction requirements to
be considered a senior citizen and qualify for senior citizen tax breaks.

AFC Telecom User Manual | 177 of 401
Copyright 2018 Avalara, Inc.
Inc-Code
The Inc-Code field is used to specify whether the customer involved in this transaction is inside (specified
with an “I” in the one character length field) or outside (specified with an “O” in the one character length
field) of the incorporated area designated as their location. The tax may or may not be affected by this
designator depending upon whether or not the unincorporated areas are taxed in the same manner as
the incorporated areas.
Exemption Levels
The exemption level is the jurisdictional level of the taxing authority that defines the tax. It is used to
exempt taxes at specific federal, state, county and/or local taxes.
Fed Exempt
The Federal Exempt field is used to specify a Federal level tax exemption.
State Exempt
The State Exempt field is used to specify a State level tax exemption.
County Exempt
The County Exempt field is used to specify a County level tax exemption.
Local Exempt
The Local Exempt field is used to specify a Local level tax exemption.
Customer Number (Primary Output Key)
The Primary Output Key (POK) is a 20-character text field that is not manipulated during processing and
stored as part of the log file record.
It can be used as part of the sorting key (see Figure 6-3) when using some utilities, allowing for the
combining of records based upon this and other fields. It is useful when it is desired to have like taxes
from different transactions combined, to have taxes from each transaction detailed individually in a
report or to have each transaction detailed at the customer level.
Figure 6-3 Primary Output Key
Uniquekey.cds
0 1248900P2009108550FRS 34 106 020100815+ 100000000 11 BillSoft, Inc. - 1
0 1248900P 1248900PRS 34 106 020100815- 100000000 11 BillSoft, Inc. - 2
0 1248900P 1248900PRS 34 106 020100815p 100000000 11 BillSoft, Inc. - 3
0 1248900P 1248900PRS 34 106 020100815m 100000000 11 BillSoft, Inc. - 4

AFC Telecom User Manual | 178 of 401
Copyright 2018 Avalara, Inc.
Uniquekey.csf
Combined taxes
If you would want like taxes combined at the customer level, then you specify a
like POK for the records you want combined.
Samekey.cdf
0 1248900P2009108550FRS 34 106 020100815+ 100000000 11 BillSoft, Inc.
0 1248900P 1248900PRS 34 106 020100815- 100000000 11 BillSoft, Inc.
0 1248900P 1248900PRS 34 106 020100815p 100000000 11 BillSoft, Inc.
0 1248900P 1248900PRS 34 106 020100815m 100000000 11 BillSoft, Inc.
Samekey.csf
Service Class Indicator
The Service Class Indicator is provided to delineate the Primary activity of an organization as either Long
Distance or Local Service.
The service class only impacts Telecom transactions in certain jurisdictions, such as New York.

AFC Telecom User Manual | 179 of 401
Copyright 2018 Avalara, Inc.
NOTE:
This has no effect on non-Telecom Transactions.
Service Class
ID
Value
Description
0
Local (Default)
Primary Local Service providers are carriers vending their services with over 50% of
the gross business activities in Local Service revenue.
1
Long Distance
Primary Long Distance providers are carriers vending their services with over 50% of
the gross business activities in Long Distance revenue.
Lifeline Flag
The Lifeline Flag is used to indicate if a customer is a Lifeline participant.
Lifeline Flag
Value
Description
True
Has the effect of turning off the calculation of taxes that are not collected from
Lifeline recipients.
False (Default)
Collects all taxes.
Business Class Indicator
The Business Class Indicator field is used to specify if the business making the transaction is an Incumbent
Local Exchange Company (ILEC) or a Competitive Local Exchange Company (CLEC).
• An ILEC company is engaged in selling services over company owned lines and equipment,
• A CLEC company is engaged in selling services competing with an incumbent provider.
Company Information
The transaction information is contained in fields found in the transaction record. The Company
Identifier, Facilities-Based Flag, Franchise Flag and Regulated/Unregulated Flag are discussed in this
section.
Facilities Based Flag
The Facilities Based flag specifies whether the transaction is sold over tangible facilities controlled by the
seller. If the seller delivering the service owns or controls the facilities used to provide the service, then
the seller is facilities based. If the seller does not own or control the facilities, the seller is non-facilities
based. In some jurisdictions, tax outcomes will vary depending on whether the service is delivered over
infrastructure controlled by the seller.

AFC Telecom User Manual | 180 of 401
Copyright 2018 Avalara, Inc.
Franchise Flag
The Franchise flag indicates that the company provides services sold pursuant to a franchise agreement
between the carrier and jurisdiction. This designation applies to the Seller.
Note: Marking the transaction as Franchise = False will often result in no franchise fees or taxes being
returned.
Franchise Flag
Value
Description
True (Default)
Seller has a franchise agreement with jurisdiction.
False
Franchise fees and taxes do not apply to seller.
Regulated / Unregulated Flag
The Regulated / Unregulated flag is used to specify if the Telecommunication company and its services
are regulated by the Public Utility Commission, the Federal Communication Commission and/or other
government authorities.
Unless the seller is registered with the state regulatory commission as a rate-regulated, incumbent
provider, all transactions should be Regulated = False.
Field
Value
Description
Regulated Flag
True
Company is rate-regulated
False (Default)
Company is not rate-regulated
Transaction Information
The transaction information is contained in fields found in the transaction record. The Invoice Date,
Taxable Amount Sign, Taxable Amount, Lines, Client Resale Flag, Call Duration and Telecom Type fields of
the record are discussed in this section.
Invoice Date
The Invoice Date is normally populated with the bill date. Generally accepted accounting principles
dictate that liabilities should be recorded when revenues are recorded. In most cases, neither of these is
recorded (or even known) until billing occurs.
However, companies with a high call volume that record revenue daily as it occurs should record the tax
on the same basis (i.e. the call date should be used).
AFC compares this date to the effective date of each tax that applies to the transaction.

AFC Telecom User Manual | 181 of 401
Copyright 2018 Avalara, Inc.
• If the date passed to AFC is "equal to" or "greater than" the effective tax date, the current tax
rate is used.
• If the date passed to AFC is prior to the effective date, the tax rate in effect for the tax
is used to generate the tax amount applicable to the transaction.
• If a transaction is passed to AFC without a date (that is, the date is set to zero),
AFC will set the date to the current date.
Note: The invoice date passed to the server in the transaction by default is preserved as is. It is
recommended that clients not use time zone modifiers on the invoice date.
Taxable Amount Sign
The Taxable Amount Sign field is filled with either a “+” (plus) sign to indicate a charge or a “-“ (minus)
sign to indicate a refund or credit. In addition, the letters “p” (plus) and “m” (minus) are respectively
used to indicate the appropriate refund or credit on tax inclusive calculations.
Taxable Amount
The Taxable Amount field specifies the amount of the transaction to be taxed. This amount will be passed
through AFC to rate the tax based on the specified transaction/service pair. In addition, when peforming a
tax inclusive calculation, the taxable or charge amount entered by the user must reflect the desired total
charge plus the total tax returned (i.e. revenue plus total tax).
Lines
When local service is provided, a transaction should be generated with the Lines field populated with the
number of lines the customer subscribes to. AFC uses this information for generation of per line taxes
usually associated with local E911 charges and local telecommunications relay service taxes and other
assorted taxes.
Transaction Type
Refer to Section 2.6 Mapping Transactions for details of this field.
Service Type
Refer to Section 2.6 Mapping Transactions for details of this field.
Client Resale Flag
Telecommunication companies are taxed on transactions made by their clients, which in some cases can
be passed on or “resold” to their customers in part or in total. The Client Resale (wholesale) flag is used
to indicate whether the product or service transaction is final or if it is to be resold.
To have exempt taxes available for reporting, exemption type 3 (Sales For Resale) should be used in
combination with Resale.

AFC Telecom User Manual | 182 of 401
Copyright 2018 Avalara, Inc.
Call Duration
The Call Duration Field specifies the length of phone call in minutes, with one tenth of a minute precision
capability. AFC uses this field for generation of taxes that are specified as per minute flat fees in some
taxing jurisdictions and stores the value in the AFC log
database.
Telecom Type
The Telecom Type field specifies the type of telecom transaction. Enter D for Debit calls, P for Point of
Sale or C for a normal call.
It is possible to see both the sale transaction and service usage with one entry in the batch system by
using the “P” Telecom Type flag. In this case, the system will put the same dollar figure through the AFC
engine using the transaction/service pair 10/32 followed by the 01/01 T/S pair. Since it is unlikely that the
customer will use the entire prepaid service on a single long-distance call, this is best used for an
approximation on what the telecom taxes will be.
Federal or State Exclusion
The Federal or State Exclusion option allows the EZTax_20 user to prevent federal and/or state (or
province) and all lower jurisdictions including county, and local taxes from being created for Call Detail
Records (CDRs) from specified countries or states. If excluding a state, the Federal taxes will be calculated
from CDR records that have been designated for state exclusion. If excluding a country, no taxes,
including federal taxes, will be calculated.
When running AFC in batch fashion it checks for the exclude.txt file. If the file exists, the state and
country jurisdictions listed in the file will be excluded. For state exclusions, state, county and local taxes
are excluded. For country (federal) exclusions, country, state, county and local taxes are excluded.
If the file does not exist, the plain ASCII text file “exclude.txt” federal/state exclusions file can be created.
Please reference Section 1.5 Exclusion Configuration File in the AFC Manager User Manual for additional
details and instructions on creating exclusion files.
Accumulating the Log
For AFC users that run using the batch processing to do billing daily, the EZTax.Log needs to be
accumulating to run the sorting utility at the end of the month to create a tax compliance file.
Daily:
1. Run the taxation on *.CDF file.
2. Archive the EZTax.Log file to another location on the system.
3. Run the sorting utility executable. *.CSF is used for current client billing. The optional *.SSF file is
intended for end of the month tax compliance filing and can be ignored if generated.

AFC Telecom User Manual | 183 of 401
Copyright 2018 Avalara, Inc.
4. The next taxation run of the *.CDF file will produce a new EZTax.Log file when using some utilities
since it has been emptied by the previous sorting utility.
Monthly:
Avalara supplies the EZTaxappend and extaxappendf executable utilities that can be used to combine logs
into a single monthly log file. At the end of the month, select the utility that best fits your requirements
and combine the appropriate achieved log files. This will produce the tax compliance file .ssf file. The
optional .csf file is intended for use by billing clients and can be ignored if generated.
EZTax_20 Utility Specification
COMMAND LINE
EZTax_20 inputfilename.cdf [-d] [-vrpt [reportname.csv]] [-?]
DESCRIPTION
The EZTax_20 command is a processing utility designed to accept records submitted in batch
fashion. Records are supplied as an ASCII formatted file inputfilename.cdf.
INPUT
Reads the inputfilename.cdf ASCII text file
OUTPUT
EZTax.Log - as defined by filelocs.txt.
read_err.st - any errors found while editing input file are reported here.
billing.log - date/time stamp log (appended to).
bureau_log - run totals (appended to).
EZTax.sta – status from AFC engine
inputfilename.rpt - break down by totals (not for compliance filing).
reportname.csv – validation report, by default named inputfilename.csv

AFC Telecom User Manual | 184 of 401
Copyright 2018 Avalara, Inc.
FILE FORMAT KEY
Refer to Figure 6-2.
ARGUMENTS (in any order)
input filename : The cdf file with input records
-d : Indicates to use default transaction/service types
-vrpt [reportfile] : Create a comma delimited validation report. This report will show each
cdf line input with what API call was made along with any remarks or
errors. A sample is included in Figure 6-x.
-? : Print help screen and exit
NOTES:
The transactionservice.exp file must be in the AFC working directory.
EZTax.log is not deleted.
Filelocs.txt MUST be in the working directory.

AFC Telecom User Manual | 185 of 401
Copyright 2018 Avalara, Inc.
Deprecated CDF20 File Structure
Figure 6-4 CDF20 File Structure for Deprecated Input File of Version 8

AFC Telecom User Manual | 186 of 401
Copyright 2018 Avalara, Inc.
Figure 6-5 Data Specification for Deprecated Input File of Version 8
Data Description
Type
Len
In Client
CDRFile
Positions
Defaults
Note
Origin
N
10
Yes
1-10
NPANXX if flag=N
P code if flag=P
State code if flag=S
NPANXX (Area Code+ Exchange)
Origin Flag
A
1
11
N-origin is NPANXX
P-
origin is npermkey
S-origin state abbreviation
Termination
N
10
Yes
12-21
NPANXX if flag=N
P code if flag=P
State code if flag=S
Area Code+ Exchange (N) or npermkey (P) or
state abNumber
Termination Flag
A
1
22
N-termination is NPANXX
P-
termination is npermkey
S-origin state abbreviation
Service Address
N
10
Yes
23-32
NPANXX if flag=N
P code if flag=P
State code if flag=S
Customer NPANXX
Service Address Flag
A
1
33
N-origin is NPANXX
P-origin is npermkey
S-origin state abbreviation
Customer Type
A
1
Yes
34
B
Business or Residential Customer
Invoice Date
N
8
Yes
35-42
Format "CCYYMMDD"
Taxable Amount Sign
A
1
Yes
43
Format "+", "-", “p” or “m”
Taxable Amount
N
11.5
Yes
44-54
Format "99999999999" Zero-Filled,
5 decimal places, no decimal point
Lines
N
6
Yes
55-60
0
6-character integer
Transaction Type
A/N
6
Yes
67-72
See Table of Transaction Types and Service
Types
Service Type
A/N
6
Yes
73-78
See Table of Transaction Types and Service
Types
Client Resale Flag
A
1
Yes
79
S
Call subject to sale or resale
Inc-Code
A
1
Yes
80
I
Customer is Inside or Outside and
Incorporated Locality Area
Fed. Exempt
A
1
Yes
81
Blank
Call is eXempt from Federal taxes
State Exempt
A
1
Yes
82
Blank
Call is eXempt from State taxes
County Exempt
A
1
Yes
83
Blank
Call is eXempt from County taxes
Local Exempt
A
1
Yes
84
Blank
Call is eXempt from Local taxes
Primary Output Key
A/N
20
Yes
85-104
Defines primary Key for Client Summary
Data
Regulated / Unregulated Flag
A
1
105
R
Reseller is Regulated or Unregulated in the
state of sale
Call Duration
N
11
106-116
Format "99999999999" Zero-Filled,
1decimal places, no decimal point
Telecom Type
A
1
117
C
C - Calls, D-Debit Calls, P - Point of Sale
File Record Length*
117
* Each record Must terminate with a CR (ASCII 13) and LF (ASCII 10) located
at positions 118 and 119 respectively.
Do not append an end-of-file character (ASCII 26) to the end of the
Client Input Data File.

AFC Telecom User Manual | 187 of 401
Copyright 2018 Avalara, Inc.
The C/C++ API
The software for AFC is written in C/C++ and is delivered as an executable, creating a flexible
programming environment. The AFC engine operates independently from the client’s billing system
allowing it to be easily integrated using APIs. Making use of the AFC API functions is the most efficient
interface to the AFC Engine and there is very little performance difference when running the AFC taxation
generation.
To integrate with AFC, programmers simply link with it and interface through a standard and well
documented set of API calls. Programmers can typically perform the integration of AFC with a billing
system by utilizing the documentation. If questions should arise, Avalara provides unlimited phone
support for the integration of AFC and provides consulting services if desired.
Many AFC clients have accomplished integration in a matter of days and indicated that the effort with
their previous system took from three months to a year. Many companies spend multiples of the yearly
license cost to integrate with competing products, enduring long periods of inoperability during the
integration process. The product is delivered as a DLL, shared library or shared executable allowing
upgrades and enhancements of AFC to be accomplished by simply replacing a file.
Furthermore, the AFC API provides a rich and complete set of interfaces for taxation. In addition to
taxation APIs, it provides the ability to do adjustments, refunds, debits, prepaids, overrides, jurisdiction
information conversions and database interfaces. The APIs allow taxation using jurisdictional information
provided by jurisdiction codes, NPANXX, address and zip codes.
AFC API calls are descriptively named for easy identification and selection. For instance, functions that
end with “JCode” or “J” are Jurisdiction Code functions. Similar naming standards are maintained for the
“PCode,” “NPAN” and “Zip” functions.
Language Interfaces for AFC
AFC is written in C/C++ code. Interfaces to other software languages are provided that add another DLL
for the translation from C/C++ to that other language.
AFC supports interfaces to Java, the Microsoft .NET family, RPG, COBOL and Microsoft VB6.

AFC Telecom User Manual | 188 of 401
Copyright 2018 Avalara, Inc.
Configuration
Avalara offers all programs and file updates through a client login site, allowing for the download of a zip
file containing the installation or update files. After an order is processed, the download zip file will be
placed in the company’s user folder. Check this folder regularly for new downloads, updates and
announcements about Avalara’s products and services.
The install wizard suggests a default file folder organization (refer to the AFC Installation Manual).
Avalara encourages the use of the default settings to simplify the monthly update procedure. Changing
the default settings will require a modification of each monthly update in order for it to it to adhere to
the modified file folder organization, increasing the possibility of errors and poor performance.
The include files (header files) directory and the lib file must be incorporated into the C/C++ compiler and
linker and the appropriate include files must be added to your source code to access the Avalara
constants and structures. These files are in the same folder as the DLL.
Filelocs.txt File
AFC installs the Filelocs.upd file. This file must be moved to your working directory and renamed to
filelocs.txt. Windows Explorer should be set to show file extensions so that there is no confusion
between the two files. The Filelocs (File Locations) file (see Table 7-1) contains the paths to the files used
by AFC.
Table 7-1 Filelocs.txt Example
PATH
DESCRIPTION
C:\BillSoft\EZTax\Data\EZTax.dat;
INPUT: EZtax Data file
C:\BillSoft\EZTax\Data\EZTax.idx;
INPUT: EZtax IDX file
C:\BillSoft\EZTax\Data\EZTax.dll;
INPUT: EZtax DLL file
EZTax.log;
I/O: EZtax log file
C:\BillSoft\EZTax\Data\EZTax.npa;
INPUT: EZtax NPANXX cross reference file
EZTax.sta;
OUTPUT: EZtax status file
tmp77777.dat;
I/O: EZtax temporary file
C:\BillSoft\EZTax\Data\EZDesc.dat;
INPUT: EZtax location description file
C:\BillSoft\EZTax\Data\EZZIP.dat;
INPUT: EZtax ZIP Code file
C:\BillSoft\EZTax\cust_key;
I/O: EZtax customer key file
C:\BillSoft\EZTax\Data\EZTax.pcd;
C:\BillSoft\EZTax\Data\EZTax.jtp;

AFC Telecom User Manual | 189 of 401
Copyright 2018 Avalara, Inc.
Filelocs.sta File
The Filelocs.sta file will be created by EZTaxInitEx when the file paths are not provided or incomplete, and
if EZTaxInitEx cannot find Filelocs.txt in the current working directory. The directory where Filelocs.sta is
created is the working directory that AFC is using, and this is where Filelocs.txt should be placed. Copy
the Filelocs.upd file that is distributed with the AFC monthly update, rename it to Filelocs.txt, edit the
locations to match your configuration, and rerun your application.
AFC produces two .sta files:
• filelocs.sta
• EZTax.sta
In addition, the utilities can produce:
• log_file.sta
• read_err.sta
All the files except EZTax.sta are normally zero length. Any other size indicates a problem. Refer to Table
7-2 for an example of the output in EZTax.sta.
Table 7-2 EZTax.sta Example
4/17/07 14:21:38.806 <Info>: EZtax Version Number: 9.0.0.5, platform = Windows!
04/17/07 14:21:38.806 <Warning>: Configuration line >notranslog=off< not recognized.
04/17/07 14:21:39.572 <Info>: Tax override shown below inserted successfully
04/17/07 14:21:39.572 <Info>: 0, 87, 0, 0
04/17/07 14:21:39.572 <Info>: 20060801, 1, 1
04/17/07 14:21:39.572 <Info>: 5.500000, 2147483647.000000
04/17/07 14:21:39.572 <Info>: 19000101, 1, 1
04/17/07 14:21:39.572 <Info>: 4.500000, 2147483647.000000
04/17/07 14:22:09.307 <Info>: PCODE file closed, 0 PCODE records not found
04/17/07 14:22:09.307 <Info>: JCODE file closed, 0 JCODE records not found
04/17/07 14:22:09.307 <Info>: Closing AFC Session 334260

AFC Telecom User Manual | 190 of 401
Copyright 2018 Avalara, Inc.
General Overview of AFC API Integration
When integrated using the C/C++ APIs, the AFC Engine operates independent of the client’s billing system
giving the client more options. The engine is designed to allow passing of data through the program
rather than integration with the client’s billing system.
Refer the figure below. With the Application Programmer Interface (API), the billing system passes
transaction information to the AFC Engine as it is being rated for billing. AFC accepts the transaction
information, calculates all of the required taxes and returns the generated tax information to the billing
system.
Figure 7-1 AFC API Model
Refer the figure below. In addition to calculating and generating tax information, the AFC Engine can
store all of the generated tax data in AFC database log files. Utilities are provided for performing data
manipulation and generating reports that facilitate tax filing and provide insight to the rating, billing and
taxing processes.
Figure 7-2 AFC Engine

AFC Telecom User Manual | 191 of 401
Copyright 2018 Avalara, Inc.
Detailed Discussion of AFC API Integration
Avalara provides a multi-threaded dynamic link library that is utilized to interface with AFC. Integration of
an API interface opens the full capabilities of AFC.
Refer to Figure 7-3. The AFC Engine primarily accepts transaction information from the customer billing
system and returns the taxes associated with the transaction. However, it can also be used to perform
the following functions:
1. Perform tax adjustments.
2. Supply Jurisdiction information and JCodes based on address, Zip Code or NPANXX information.
3. Supply Jurisdiction information, address information, and convert JCodes to PCodes and PCodes
to JCodes.
4. Return Tax information based on Transactions.
Tax Adjustments
Adjustment information is returned to the billing system and is utilized to update tax data for report
generation and compliance filing. AFC also provides facilities that allow users to insert tax overrides and
exempt a transaction from taxes at federal, state, county and local authority levels. In addition, AFC also
provides the capability to limit exemptions to a specific jurisdiction and to exempt specific taxes.
Obtaining Jurisdiction and Address Information From JCodes and PCodes
Another option allows AFC to determine the taxing jurisdiction. After adding PCodes to the customer
record, use the NPANXX to PCode conversion function to obtain PCodes for the NPANXXs associated with
the TO and FROM numbers. AFC can use these PCodes, along with the PCode representing the “Bill To
Number,” to perform tax calculations by passing the PCodes to AFC using the EZTaxPCodeEx function. In
most cases it is acceptable and proper to use the PCode for a customer’s address as the “Bill To Number”.
This can be helpful in cases where the BTN (Bill To Number) is not available in the CDR (Call Detail Record)
source.
Obtaining Jurisdiction and Address Information From JCodes and PCodes
The AFC Address Database is available to obtain the address of a specific JCode or PCode. This is normally
not used during the AFC session as the billing system normally has address information required for
billing. AFC uses this database when generating reports for tax filing. The Address Database interface is
provided as a valuable tool to Avalara customers.

AFC Telecom User Manual | 192 of 401
Copyright 2018 Avalara, Inc.
Obtaining Tax Information From Transactions
AFC accepts transaction information and returns taxes to the Customer Billing System. Refer to Section
Error! Reference source not found. for a detailed description of this process.

AFC Telecom User Manual | 193 of 401
Copyright 2018 Avalara, Inc.
Figure 7-3 AFC API Operation Diagram

AFC Telecom User Manual | 194 of 401
Copyright 2018 Avalara, Inc.
Preparing the AFC Application Programmer Interface (API) Interface
This section defines the steps required to interface AFC directly with a billing system. With this interface,
the billing system passes transactions to AFC as they are being rated or billed. AFC calculates all required
taxes and returns the tax information to the billing system per transaction. In addition, AFC stores all tax
data generated in its databases and provides reports that facilitate tax filing and provide insight to the
telecommunications rating, billing and taxing processes.
AFC functions are included in the dynamic link library EZTax2.lib. To access AFC functions, this library
must be accessible when building the executable for the billing system at either link or executable build
time. When using the DLL, EZTax2.dll must be in a location that will allow the system to load the DLL.
To use the Avalara’s AFC Engine in a C or C++ code environment, the include file directory and the lib file
must be incorporated into the client C/C++ compiler and linker.
1. The include file directory is in the same folder as the dll found at C:\BillSoft\EZTax\dll if you
installed using the default directory. Add this folder to the include folders for your C++ compiler.
2. Add the following include files located in the dll folder to your source code in order to access the
Avalara constants and structures.
a. EZTaxStruct.h - Provides data structures required to interface with AFC. Refer to
Appendix A for the detailed structure.
b. EZTaxDefine.h, EZTaxTransType, EZTaxServType, EZTaxTaxType.h, EZTaxServType.h,
EZTaxCountryType.h, EZTaxStateType.h - Provides data constants required to interface
with EZtax. Refer to Appendix B for the detailed structure.
c. EZTaxProto.h - Contains function prototypes. Refer to Appendix C for the detailed
structure.
3. Add the selected include files and the lib file to your project file list if you wish to use editing tools
such as Microsoft Visual Studio to perform code completion based on the structure members.
NOTE:
If you include the EZTaxProto.h file in your source code it will include the
EZTaxStruct.h and the EZTaxDefine.h.
AFC API Function Calls
An AFC session is started with a call to one of the initialization routines (EZTaxInitEx or EZTaxInitExMT,
usually) to initialize the task. APIs are called to perform specified AFC functions that achieve the desired
results of the session.
Once all transactions are completed, EZTaxExitSessionEx must be called for each session started to flush
database buffers, de-allocate memory and perform other clean-up duties which free up resources utilized

AFC Telecom User Manual | 195 of 401
Copyright 2018 Avalara, Inc.
by AFC. Sessions must be completed by a call to EZTaxExitSessionEx at least once per tax filing period to
insure that the tax log is properly configured and complete before utilities that generate filing information
are started.
Retrieving Taxes
The AFC Tax Table
The AFC table is allocated during AFC session initialization. The size of this table is dependent upon the
maximum taxes that can be generated for a single transaction. As such, the size of this table can change
from month to month as new taxes are generated or removed from taxing jurisdictions. It is always safe
to access from 0 (zero) to [tax_count_returned -1] locations of the table. The user is cautioned to treat
this as a read only area. Attempting to access locations that do not exist will result in access violations on
most operating systems.
Each function that performs tax calculations or adjustments returns a count of the taxes generated for
the transaction and stores the taxes in the Tax Table. The taxes can be retrieved for storage in a billing
system by using the taxes_tbl struct pointer, which is activated when EZTaxInitEx is called. The pointer to
the AFC table can be used to select a tax from the array of taxes_tbl objects using the following code.
{
int index;
double tax;
tax = EZTax_table[index].tax_amount;
}

AFC Telecom User Manual | 196 of 401
Copyright 2018 Avalara, Inc.
Sample Code to Retrieve Taxes
To retrieve taxes generated, the following code segment (shown without proper status checking) can be
used with the DLL:
#include <BillSoft/EZTaxDefine.h>
#include <BillSoft/EZTaxProto.h>
#include <BillSoft/EZTaxStruct.h>
main()
{
short int i;
short int tax_count;
int err_code;
double tax;
struct enhanced_taxes_tbl *EZTax_table;
struct sau_J_Code transaction;
EZTaxSession session;
EZTax_table = EZTaxInitEx(FALSE, NULL, &session);
// initialize the transaction here
tax_count = EZTaxSAUJCode(session, &transaction,
NULL, 0, &err_code);
if (tax_count > 0)
{
for(i=0; i<tax_count; i++)
{
tax = EZTax_table[i].tax_amount;
// Perform billing system task or store tax data
}
}
EZTaxExitSessionEx(session);
}

AFC Telecom User Manual | 197 of 401
Copyright 2018 Avalara, Inc.
Multi-Threading
A user can process multiple sessions in separate threads (referred to as multi-threading) with AFC. This
technique increases the processing speed and efficiency of the client billing system because each thread
can start an independent AFC session and call the specified AFC functions.
For example, if there is a requirement to compute a customer’s taxes on calls and services, and also to
offer tax quotes, then one session can be setup with tax logging turned on to calculate the customer’s
bills while another session is established with tax logging turned off to offer tax quotes without the results
being logged.
Another example would be to allow the client’s billing system to process more than one customer base
on the same run, with each customer base using a separate session. In addition, the capability exits to
specify that each session will have a unique tax log in order to produce separate logs at session start up.
The latest in version 9
The latest version of AFC 9 features enhanced support for applications that use AFC in a multi-threaded
environment. Applications that want to take advantage of this new support should adhere to the
following guidelines:
1. AFC supports concurrent processing on separate threads by assigning each thread its own
EZTaxSession object. Usage of the same EZTaxSession by multiple threads is not supported and
will result in unpredictable and erroneous tax calculations.
2. Each separate EZTaxSession object should have a unique AFC log file if tax logging is enabled for
that session.
3. Each separate EZTaxSession object should have a unique status file.
4. When opening AFC, use the new “EZTaxInitExMT” method. Users who previously initialized AFC
using EZTaxInitEx will have one additional parameter to provide - a string that contains the
directory name to be used as the AFC Default directory. If this string is NULL, AFC will continue to
look in the Working Directory of the application for EZTax.cfg and filelocs.txt. Otherwise, AFC will
search the supplied directory name for EZTax.cfg and filelocs.txt.
5. When an AFC Session is no longer needed, be sure to call EZTaxExitSessionEx with the AFC
Session object obtained from EZTaxInitExMT. Sessions that are opened with EZTaxInitExMT will
not be closed when EZTaxExit is called, and failure to call EZTaxExitSessionEx will result in a
memory leak.
6. Certain functions will not work if a session is created with EZTaxInitExMT. These include
EZTaxGetHandle, which translates an EZTaxSession object to an integer handle. Since the
corresponding handle is not created by AFC when using the new EZTaxInitExMT method,
functions that take an integer handle argument cannot be used against a multi-threaded session.
7. Other functions that take no handle or session object are also not supported, including:
a. EZTaxPtoFips (use EZTaxPtoFipsEx)

AFC Telecom User Manual | 198 of 401
Copyright 2018 Avalara, Inc.
b. EZTaxNtoJCode (use EZTaxNtoJCodeEx)
c. EZTaxJtoPCode (use EZTaxJtoPCodeEx).
When sessions have been initialized by EZTaxInitExMT, an attempt to use these functions will
return an error code and will not work.
8. A new function has been added to AFC so that sessions created by EZTaxInitExMT will have the
functionality of AFC without resorting to an integer session handle. EZTaxOldOvrJCode allows
users to use the old override structure with an EZTaxSession object.
Users that start all their sessions before any separate threads are started and before any tax calculations
are performed can continue to use EZTaxInitEx, or the new function EZTaxInitDirEx. EZTaxInitDirEx
provides the name for the Default AFC directory, exactly like EZTaxInitExMT. Neither of these functions is
thread-safe, but the subsequent processing against the EZTaxSession objects created by these functions is
thread-safe.
If one or both of these non-thread-safe functions are used to initialize all EZTaxSession objects, EZTaxExit
will continue to close any open EZTaxSession objects without the need for a specific call to
EZTaxExitSession for each EZTaxSession object.
Multiple Sessions
When using the APIs, a session is started with a call to EZTaxInitExMT. Successive calls to EZTaxInitExMT
will initialize additional sessions, thereby accomplishing multi-threaded operation.
AFC writes compliance information to the EZTax.log file. The compliance logging function can be enabled
or disabled with each session and each session controls its own log file. The Log records are kept in the
memory to improve the efficiency and are written to the disk periodically. Several techniques can be
used to control when the log is written to disk, although many applications do not need any special
handling of the compliance log.
Overrides may be used with multiple sessions as each session will maintain its own overrides. The
override can be specified by JCode, PCode, NPANXX and Zip Code. Since each session has its own
override, the user can remove the override from a session by using the call EZTaxRestoreEx.
Each Session must have a separate Log File
Each Session should have a separate temporary File - and this is required if that session
applies overrides to the tax table

AFC Telecom User Manual | 199 of 401
Copyright 2018 Avalara, Inc.
Session Management
Several functions call EZTaxGetHandle to create session handles into memory pointers. Utilizing the
session handle from the memory improves operating efficiently. The session handle references AFC
sessions. It is a long integer that is pulled from a stack of unused session handles setup during the
EZTaxInitEx call.
EZTaxInitEx returns a void pointer type to the session memory and is defined as EZTaxSession. Each time
a session is initialized through EZTaxInitEx the session pointer is placed on a dynamically allocated stack.
The File Path structure (see Appendix BAppendix B EZTaxDefine.h) provides the ability to override any file
path specified in the filelocs.txt configuration file programmatically. A subset of the paths can be
overridden by specifying “NULL” for paths where the default is to be maintained. An address to this
structure can be specified when initializing a session with EZTaxInitEx.
General Tips to Maintain Session Efficiency
When using sessions to make calls to the database, it is important to maintain the performance level
between the billing system and the AFC engine.
The following tips have been accumulated to assist users in maintaining session efficiency.
1. Some calculations, such as requests for quotes from the Sales department, might not be
appropriate to log to the compliance files. Open a separate session for quotes with no logging to
achieve this.
2. If calculations have special tax rates that require an override of the AFC database, open a
separate session (with a separate log file and temporary file) for the override calculations.
3. If the application terminates all sessions at the end of a billing cycle, the normal session
completion will save all of the compliance data to the disk.
4. The EZTaxFlushToLogEx API can be used if more control of the log file is needed. Some
specialized applications call EZTaxFlushToLogEx after every call to one of the tax calculations, to
ensure that the disk copy of the log is always completely up-to-date.
5. Using the EZTaxExitSessionEx to control the log will close the session and save the compliance
data to the log. If all sessions are complete then EZTaxExit will perform the same function for
each session open.
6. Higher efficiency levels are obtained if you have sufficient memory (approximately 10 MB per
session) to "CACHE_ALL." Using the memory CACHE improves the processing speed many times
over.
7. The maximum number of sessions is 500.

AFC Telecom User Manual | 200 of 401
Copyright 2018 Avalara, Inc.
8. If multiple users want to perform tax calculations simultaneously (such as a Web application)
then use Session Pooling (Refer to 7.6.5).
Session Pooling
Session pooling is a resource managing tool that allows for multiple sessions to be held in a “pool” where
each can be checked out, processed and returned one at a time.
It is modeled after the office "steno pool" where instead of assigning a stenographer to a department, a
department would request one from the pool. The stenographer would leave, take the dictation and
return to the pool waiting for the next call. The concept was that a company might have only 5
stenographers, but 20 departments that needed stenography service. If 20 stenographers were hired,
they would probably be sitting around with no work for 75% of the work day. The drawback is that
sometimes all 5 will be checked out of the pool, and a department will have to wait for a stenographer to
return.
Session pools work in exactly the same manner. A transaction comes in that needs to be processed, a
session is grabbed from the pool, the session processes the transaction, and the session is returned to the
pool. If a second transaction comes in before the first transaction has completed, it gets the second
session from the pool. The AFC Web service has multiple sessions in the session pool to handle about 20
customers of AFC SaaS Pro.
The application should be structured in the following manner:
1. Create the number of sessions required.
2. Store the session handles in a memory table with a “use flag.”
3. When a tax calculation is required, search the table to find a handle that is not in use.
4. Set the use flag to on indicating the session is “in use”.
5. Perform the tax calculation.
6. Set the use flag to off, indicating the session is “not in use”.
General Tips When Using Session Pooling
The following tips have been accumulated to assist users when using Session Pooling.
1. Periodically call EZTaxFlushToLogEx on each session to update the EZTax.log for each open
session.
2. If there are more than 10 concurrent users the pool of sessions can be permitted to grow
dynamically for greater flexibility.
3. The use of Invoice Mode and overrides is prohibited since the session obtained for the next
transaction is unknown. Invoice Mode could be used if the session was held for all of
the customer's transactions.

AFC Telecom User Manual | 201 of 401
Copyright 2018 Avalara, Inc.
Sample Coding
The following sample code listings have been accumulated to assist users in performing specific tasks.
Using EZTaxGetRates to Build an Override
The Get Rates function can be used to accomplish an override using the following steps.
1. Call EZTaxGetRates with the desired PCode for the jurisdiction
Call objEZTax.EZTaxGetRates(glHandle, OLATHE_PCODE, taxes)
2. Search the taxes Table returned in the Jurisdiction Data to find the desired Enhanced Override for your
tax type and level. This example searches for the state sales tax.
overrides = taxes.taxesTable
For i = 0 To taxes.taxesCount - 1
If (overrides(i).Type = SALES_TAX)
And (overrides(i).level = STATE_LEVEL) Then
Call printMessage("Found State Sales Tax")
Set stateSalesTax = overrides(i)
foundSalesTax = True
End If
Next I
3. Using the Enhanced Override object found, make the appropriate changes
If foundSalesTax Then
effectiveDates = stateSalesTax.dateTable
Set currentEffectiveDate = effectiveDates(0)
rates = currentEffectiveDate.rateTable
Set currentRate = rates(0)
currentRate.tax = 0.04
4. Apply the override to AFC
Call objEZTax.EZTaxOvrJCodeEx(glHandle, OLATHE_JCODE, stateSalesTax)
Call printMessage("Rate changed to 4%")
End If

AFC Telecom User Manual | 202 of 401
Copyright 2018 Avalara, Inc.
API Listings
APIs Listed By Function
Sorted by Function
Description
Session Management Functions
The following functions support session activity.
EZTaxInitEx
Initializes an AFC Session.
EZTaxInitExMT
Initializes an AFC Multi-session. Multiple calls may be made to set up
completely different sessions.
EZTaxInitDirEx
Reads AFC files and initializes the AFC system. Multiple calls may be
made to set up completely independent sessions.
EZTaxInitV914
Reads AFC files and initializes the AFC system. Multiple calls may be
made to set up completely independent sessions.
The input structure allows all optional input files to be specified through
the initialization method. This method does not use filelocs.txt and will
ignore exclusion, nexus and bundle file settings in EZTax.cfg.
EZTaxInitV98
EZTaxInitV98 reads AFC files and initializes the AFC system. It differs
from EZTaxInitExMT in that the tax table returned includes tax category
information.
EZTaxClearExclusion
Removes all exclusions that have been set
EZTaxClearTSR
Allows API functionality to delete the data created by EZTaxGetTSR.
EZTaxClose Once processing is completed, databases must be closed using
EZTaxClose.
EZTaxExitSessionEx
Exits an AFC Session.
EZTaxExit
EZTaxExit insures that all internal buffer contents are stored on disk,
memory allocated by the system is deallocated and that databases are
properly closed.
EZTaxSetWorkingDir
Used to define a directory as the working directory.
EZTaxSetNexus
Sets nexus on or off for the specified states.
EZTaxSetStateExclusion
Uses the country code and a state code to set an exclusion.
EZTaxSetStateNexus
Uses a state code to set the nexus.
Jurisdiction Conversion Functions
The following functions are provided to convert between jurisdictional interfaces. This is useful when the
service address is available for a call record transaction to be taxed but only NPANXX information is
available for origination and termination points.
EZTaxCountryToPCode
EZTaxCountryToPCode takes a 3 byte country ISO code and converts it
to the correct PCode for that country.
EZTaxGetAddressEx
Used to obtain the address of a specific JCode. This is normally not
used during the AFC Session as the billing system normally has address
information required for billing. AFC uses this database when
generating reports for tax filing. The Address Database interface is
provided as a valuable tool to Avalara customers.
EZTaxGetJurisdiction
Retrieves the jurisdiction where the transaction is determined to be
taxed.

AFC Telecom User Manual | 203 of 401
Copyright 2018 Avalara, Inc.
APIs Listed By Function
Sorted by Function
Description
EZTaxGetTaxCatV98 EZTaxGetTaxCatV98 retrieves the tax category description for a
specified tax code.
EZTaxJtoPCodeEx
Returns PCode that is cross-referenced to a JCode.
EZTaxJurisdiction
Returns the first JCode at the lowest level.
EZTaxNextAddressEx
Returns the next sequential address for a specified jurisdiction when
the jurisdiction or parts of it are known by more than one address. This
is true for the many jurisdictions contained within the AFC system,
especially large cities. The Address Database interface is provided as a
valuable tool to Avalara customers.
EZTaxPtoJCodeEx
Converts a PCode into a JCode.
EZTaxZtoJCodeEx
Used to populate customer databases records with JCodes. Avalara
recommends the use of PCodes over JCodes, in which case the
ZtoPCodeEx function would be used. This provides users that interface
with AFC a large performance boost by providing addresses. The Zip
Code Database interface is provided as a valuable tool to Avalara
customers.
EZTaxZtoPCodeEx
Converts a zip code and address to a PCode.
EZTaxPtoFipsEx
Converts a PCode to a Fips Code.
EZTaxNtoJCodeEx
Obtain JCodes associated with an NPANXX.
EZTaxFtoPCodeEx
Converts a Fips Code into a PCode.
EZTaxGetCountryID
Get country ID for a PCode
EZTaxGetStateID
Get state ID for a PCode
Debit Transaction Functions
EZTaxDebitJEx
Accepts transaction data and performs tax debit calculations. BTN,
origination and termination information is passed using JCodes.
EZTaxDebitNEx
Accepts transaction data and performs tax debit calculations. BTN,
origination and termination information is passed using NPANXXs.
EZTaxDebitPEx
Accepts transaction data and performs tax debit calculations. BTN,
origination and termination information is passed using PCodes.
Override Functions
The following functions are provided to override an AFC value for the remainder of a session.
EZTaxRestoreEx
Removes all overrides that have been inserted by the user into the AFC
databases. This action occurs automatically on EZTaxExit.
EZTaxOldOvrJCodeEx
EZTaxOvrJCodeEx specifies an override for a specific tax. Tax
Jurisdiction information is passed via jurisdiction code. It takes a
J_Code and an override structure as input and inserts a tax override into
the AFC db system.
EZTaxOvrJCodeEx
Specifies an override for a specific tax. Tax Jurisdiction information is
passed with a jurisdiction code. It takes a JCode and an override
structure as input and inserts a tax override into the AFC db system for
that session.
EZTaxOvrNPANEx
Specifies an override for a specific tax. Tax jurisdiction information is
passed with an NPANXX. It takes an NPANXX and an override structure
as input and inserts a tax override into the AFC db system for that
session.

AFC Telecom User Manual | 204 of 401
Copyright 2018 Avalara, Inc.
APIs Listed By Function
Sorted by Function
Description
EZTaxOvrPCodeEx
Specifies an override for a specific tax. Tax jurisdiction information is
passed with a PCode. It takes a PCode and an override structure as
input and inserts a tax override into the AFC db system for that session.
EZTaxOvrZipEx
Specifies an override for a specific tax. Tax jurisdiction information is
passed via zip code and address. It takes zip code plus 4 and address
information, as well as an override structure as input and inserts a tax
override into the AFC db system for that session.
Invoice Mode Functions
The following functions are provided to support Invoice Mode Operation.
EZTaxSetInvoiceModeEx
Turns Invoice Mode on and off.
EZTaxSetInvoiceModeV98
EZTaxSetInvoiceModeV98 sets Invoice Mode on or off - allocating or
freeing memory for tables. It differs from EZTaxSetInvoiceModeEx in
that the tax table returned contains tax category information.
EZTaxNextCustomerEx
Indicates that all of the transactions associated with this customer are
complete. The system then clears out the transaction history table in
preparation of the next set of transactions.
EZTaxJCodeEx
Accepts transaction data and performs appropriate tax calculations. If
the AFC Session was started with the tax log open, tax calculations are
logged and will be reflected in tax reports. BTN, origination and
termination information is passed using JCodes.
EZTaxTaxInclusiveJCode
Accepts transaction data and performs a tax inclusive calculation. If the
AFC Session was started with the tax log open, a transaction with the
newly-calculated charge will be logged and will be reflected in tax
reports. BTN, origination and termination information is passed using
JCodes.
EZTaxDebitTaxInclusiveJCode
Accepts transaction data and performs a tax inclusive calculation for
prepaid debit transactions. If the AFC Session was started with the tax
log open, a transaction with the newly-calculated charge will be logged
and will be reflected in tax reports. BTN, origination and termination
information is passed using JCodes.
EZTaxThisJCodeEx
Accepts transaction data and performs appropriate tax calculations.
The tax jurisdiction to use for tax calculations is specified to AFC with
this method. If the AFC Session was started with the tax log open,
appropriate taxes are logged and will be reflected in tax reports.
Jurisdiction information is passed using a JCode.
EZTaxThisPCodeEx
Can be used to specify taxing based upon address information only by
passing the encoded PCode.
EZTaxPCodeEx
Accepts transaction data and performs appropriate tax calculations. If
the AFC Session was started with the tax log open, tax calculations are
logged and will be reflected in tax reports. BTN, origination and
termination information is passed using PCodes.
EZTaxTaxInclusivePCode
Accepts transaction data and performs a tax inclusive calculation. If the
AFC Session was started with the tax log open, a transaction with the
newly-calculated charge will be logged and will be reflected in tax
reports. BTN, origination and termination information is passed using
PCodes.

AFC Telecom User Manual | 205 of 401
Copyright 2018 Avalara, Inc.
APIs Listed By Function
Sorted by Function
Description
EZTaxDebitTaxInclusivePCode
Accepts transaction data and performs a tax inclusive calculation for
prepaid debit transactions. If the AFC Session was started with the tax
log open, a transaction with the newly-calculated charge will be logged
and will be reflected in tax reports. BTN, origination and termination
information is passed using PCodes.
EZTaxNPANEx
Accepts an NPANXX as input and calculates taxes for the transaction. If
the AFC Session was started with the tax log open, tax calculations are
logged and will be reflected in tax reports. BTN, origination and
termination information is passed using NPANXXs.
EZTaxTaxInclusiveNPAN
Accepts transaction data and performs a tax inclusive calculation. If the
AFC Session was started with the tax log open, a transaction with the
newly-calculated charge will be logged and will be reflected in tax
reports. BTN, origination and termination information is passed using
NPANXXs.
EZTaxDebitTaxInclusiveNPAN
Accepts transaction data and performs a tax inclusive calculation for
prepaid debit transactions. If the AFC Session was started with the tax
log open, a transaction with the newly-calculated charge will be logged
and will be reflected in tax reports. BTN, origination and termination
information is passed using NPANXXs.
EZTaxZipEx
Accepts transaction data and performs appropriate tax calculations. If
the AFC Session was started with the tax log open, tax calculations are
logged and will be reflected in tax reports.
EZTaxTaxInclusiveZip
Accepts transaction data and performs a tax inclusive calculation. If the
AFC Session was started with the tax log open, a transaction with the
newly-calculated charge will be logged and will be reflected in tax
reports. Jurisdiction information is passed using address information.
EZTaxDebitTaxInclusiveZip
Accepts transaction data and performs a tax inclusive calculation for
prepaid debit transactions. If the AFC Session was started with the tax
log open, a transaction with the newly-calculated charge will be logged
and will be reflected in tax reports. Jurisdiction information is passed
using address information.
Credit Adjustment Functions
The following functions are provided for implementing adjustments such as refunds, changing a customer’s
bill or when terminating un-collectable accounts.
These functions accept transaction data and perform appropriate tax calculations required to refund or
credit taxes for U.S. jurisdictions (Debits use EZTaxAdjDebitEx APIs). If the AFC Session was started with the
tax log open, appropriate taxes reductions are logged and will be reflected in tax reports.
EZTaxAdjDebitJEx
BTN, origination and termination information is passed using JCodes.
EZTaxAdjDebitNEx
BTN, origination and termination information is passed using NPANXXs.
EZTaxAdjDebitPEx
BTN, origination and termination information is passed using PCodes.
EZTaxAdjDebitZEx
The tax jurisdiction is specified using address information.
EZTaxAdjJCodeEx
BTN, origination and termination information is passed using JCodes.
EZTaxAdjTaxInclusiveJCode
Performs a tax inclusive calculation. Any logging will be done with the
newly-calculated charge. BTN, origination and termination information
is passed using JCodes.
EZTaxAdjDebitTaxInclusiveJCode
Performs a tax inclusive calculation for a prepaid debit transaction. Any
logging will be done with the newly-calculated charge. BTN, origination
and termination information is passed using JCodes.
EZTaxAdjNPANEx
BTN, origination and termination information is passed using NPANXXs.

AFC Telecom User Manual | 206 of 401
Copyright 2018 Avalara, Inc.
APIs Listed By Function
Sorted by Function
Description
EZTaxAdjTaxInclusiveNPAN
Performs a tax inclusive calculation. Any logging will be done with the
newly-calculated charge. BTN, origination and termination information
is passed using NPANXXs.
EZTaxAdjDebitTaxInclusiveNPAN
Performs a tax inclusive calculation for a prepaid debit transaction. Any
logging will be done with the newly-calculated charge. BTN, origination
and termination information is passed using NPANXXs.
EZTaxAdjPCodeEx
BTN, origination and termination information is passed using PCodes.
EZTaxAdjTaxInclusivePCode
Performs a tax inclusive calculation. Any logging will be done with the
newly-calculated charge. BTN, origination and termination information
is passed using PCodes.
EZTaxAdjDebitTaxInclusivePCode
Performs a tax inclusive calculation for a prepaid debit transaction. Any
logging will be done with the newly-calculated charge. BTN, origination
and termination information is passed using PCodes.
EZTaxAdjProRateJCode
Accepts a J_Code struct as input and calculates tax adjustments for the
transaction, then pro-rates the taxes calculated by the given percentage
for partial-month rates.
EZTaxAdjProRateNPAN
Accepts an NPAN_struct as input and calculates tax adjustments for the
transaction, then pro-rates the taxes calculated by the given percentage
for partial-month rates.
EZTaxAdjProRatePCode
Accepts a PCode struct as input and calculates tax adjustments for the
transaction, then pro-rates the taxes calculated by the given percentage
for partial-month rates.
EZTaxAdjProRateThisJCode
Accepts transaction data and performs appropriate tax calculations.
The tax jurisdiction to use for tax calculations is specified to AFC with
this method. If the AFC Session was started with the tax log open,
appropriate taxes are logged and will be reflected in tax reports.
Jurisdiction information is passed using a JCode. It pro-rates the taxes
calculated by the given percentage for partial-month rates.
EZTaxAdjProRateThisPCode
Accepts transaction data and performs appropriate tax calculations.
The tax jurisdiction to use for tax calculations is specified to AFC with
this method. If the AFC Session was started with the tax log open,
appropriate taxes are logged and will be reflected in tax reports.
Jurisdiction information is passed using a PCode. It pro-rates the taxes
calculated by the givenpercentage for partial-month rates.
EZTaxAdjProRateZip
EZTaxAdjProRateZip takes a Zip Code struct as input and calculates tax
adjustments for the transaction. It pro-rates the taxes calculated by the
given percentage for partial-month rates.
EZTaxAdjTaxInclusiveZip
Performs a tax inclusive calculation. Any logging will be done with the
newly-calculated charge. BTN, origination and termination information
is passed using address information.
EZTaxAdjDebitTaxInclusiveZip
Performs a tax inclusive calculation for a prepaid debit transaction. Any
logging will be done with the newly-calculated charge. BTN, origination
and termination information is passed using address information.

AFC Telecom User Manual | 207 of 401
Copyright 2018 Avalara, Inc.
APIs Listed By Function
Sorted by Function
Description
EZTaxAdjTPPEx
EZTaxAdjTPPEx accepts Tangible Personal Property (TPP) transaction
data and performs appropriate tax calculations required to refund or
credit taxes. The user provides up to three addresses: Ship From, Ship
To and Point of Acceptance. Rules will be applied against the input
addresses to determine in what jurisdiction any SALES or USE taxation
would be applicable. A Nexus Table may optionally be provided. If so it
will be checked to determine if nexus exists in the state found to have
taxing jurisdiction. If the AFC Session was started with the tax log open,
tax calculations are logged and will be reflected in tax reports.
EZTaxAdjZipEx
The tax jurisdiction is specified using address information.
Interstate-Intrastate Determination Functions
The Interstate-Intrastate functions are used to determine if a call is interstate or intrastate.
EZTaxJTTypeEx
Returns transaction type for a given pair of JCodes indicating whether
the call is interstate or intrastate. The first JCode is the originating and
the second the terminating JCode. Will set error code to
INTERSTATE_NOT_VALID_FOR_INTERNATIONAL_CALLS
If the originating country and terminating country are not the same.
EZTaxNTTypeEx
Returns transaction type for a given pair of NPANXX’s indicating
whether the call is interstate or intrastate. The first NPANXX is the
originating and the second is the terminating NPANXX.
EZTaxPTTypeEx
Returns transaction type for a given pair of PCodes indicating whether
the call is interstate or intrastate. The first PCode is the originating and
the second the terminating PCode. Will set error code to
INTERSTATE_NOT_VALID_FOR_INTERNATIONAL_CALLS
If the originating country and terminating country are not the same.
EZTaxTPPEx
Accepts up to three addresses; Ship From, Ship To, and Point-Of-
Acceptance. It requires Ship From. If others have NOT NULL values,
then they must be valid. Uses rules to determine interstate or
intrastate to determine which taxing jurisdiction should be used. It
accepts the optional Nexus Table, which if given will be checked against
the jurisdiction determined above. No taxes will be calculated unless
the flag is set (by the caller) for the given state. It returns tax_count,
having populated the tax log structure with any taxes found.
Get Functions
These functions are supplied to support activities requiring the retrieval of information and data.
EZTaxGetCustomLog
Returns the JCode that has jurisdiction at the most detailed taxing level.
EZTaxGetCustomLogCount
Returns the number of records in the current custom log table.
EZTaxGetHandle
Returns the handle object given the session.
EZTaxGetLogName
Retrieves the log filename when it is specified using the filelocs.txt.
Current use is in the batch executables that open the log file and
must know the filename.
EZTaxGetLogV914
Returns a pointer to a log structure, which is used for customized
logging. Returns a pointer to the v9114 tax log table.
EZTaxGetLogV914Count
Returns the number of records in the current custom log table.
EZTaxGetRates
Utilizes a PCode as input to produce the table of all taxes for that
jurisdiction.

AFC Telecom User Manual | 208 of 401
Copyright 2018 Avalara, Inc.
APIs Listed By Function
Sorted by Function
Description
EZTaxGetSession
Returns the session object given the handle.
EZTaxGetTaxDescription
Retrieves the tax description for a specified tax code. Current use is in
utilities reporting from the log, but users can also use this new feature.
EZTaxGetTSR
Allows applications API functionality to get the transaction service
report
EZTaxMaxTaxCount
Returns the maximum number of taxes that one transaction can
generate.
ProRate Functions
EZTaxProRate functions accept transaction data and perform appropriate tax calculations. If the taxing
jurisdiction allows a pro-rated reduction of taxes, the tax returned will be appropriately reduced. If the AFC
Session was started with the tax log open, tax calculations are logged and will be reflected in tax reports.
EZTaxProRateJCodeEx
BTN, origination and termination information is passed using JCodes.
This program takes a J_Code struct as input and calculates taxes for the
transaction. This is the same as EZTaxJCodeEx but with percent as
input.
EZprivate lineTaxProRateNPANEx
BTN, origination and termination information is passed using NPANXX.
This program takes an NPANXX code struct as input and calculates taxes
for the transaction. This is the same as EZTaxNPANEx but with input
percent
EZTaxProRatePCodeEx
BTN, origination and termination information is passed using PCode.
This program takes a PCode struct as input and calculates taxes for the
transaction. This is the same as EZTaxPCodeEx but with percent as
input.
EZTaxProRateThisJCodeEx
Jurisdiction information is passed using a JCode. This program takes a
specific jurisdiction code as input and calculates taxes for the
transaction. It is the same as EZTaxThisJCodeEx but with percent as
input.
EZTaxProRateThisPCodeEx
Jurisdiction information is passed using a PCode. This program takes a
specific jurisdiction code as input and calculates taxes for the
transaction. It is the same as EZTaxThisPCodeEx but with percent as
input.
EZTaxProRateZipEx
Jurisdiction information is passed using a Zip Code. This program takes
a Zip Code plus 4 structure as input and calculates taxes for the
transaction. This is the same as EZTaxZipEx but with percent as input.
Private Line or Point-to-Point Functions
Private line, or Point-to-Point (PTP) as it is often referred to, allows a transaction to be split between the A
point and Z point. The percentage specified applies to the A point. The Z point percentage will be
automatically calculated as 1-(A pt %).
EZTaxPrivateLine
Jurisdiction information is passed using a PCode. The program applies
the % split to the A point tax calculation, then the remaining % split to
the Z point calculation.
EZTaxPrivateLineAdj
Jurisdiction information is passed using a PCode. The program applies
the % split to the A point tax adjustment, then the remaining % split to
the Z point adjustment.
Miscellaneous Functions

AFC Telecom User Manual | 209 of 401
Copyright 2018 Avalara, Inc.
APIs Listed By Function
Sorted by Function
Description
The following functions perform miscellaneous operations.
EZTaxCalcJurisdiction
Returns the JCode that has jurisdiction at the most detailed taxing level.
EZTaxDbVersion
Reads the database version from EZTax.dll and returns it to the caller.
EZTaxDllVersion
Returns the version number of the AFC API.
EZTaxFlushToLogEx
Writes the current internal tax log buffers to the tax log disk file. The
internal tax log buffers are normally written to when they are filled to
capacity or when EZTaxExitEx is called. This function can be called to
force a write to tax log disk file.
EZTaxFreeRates
Frees up the memory from the table of all taxes for a jurisdiction
returned from EZTaxGetRates.
EZTaxGroupResults
Sets the mode that AFC uses to group the returned taxes by.
EZTaxSessionDbVersion
Reads the database version being used by the specified AFC Session and
returns it to the caller.
EZTaxWriteToLogEx
Allows customers to create the correctly formatted binary AFC log from
scratch by passing in data they have stored from a different database or
saved from AFC transactions using EZTaxInitExp.
EZTaxWriteToLogV914
Allows customers to create the correctly formatted binary AFC log from
scratch by passing in data they have stored from a different database or
saved from AFC transactions.

AFC Telecom User Manual | 210 of 401
Copyright 2018 Avalara, Inc.
EZTaxAdjDebitJEx
Description
EZTaxAdjDebitJEx accepts transaction data and performs appropriate tax calculations required to
refund or credit taxes for Debit transactions. If the AFC Session was started with the tax log open,
appropriate tax reductions are logged and will be reflected in tax reports. BTN, origination and
termination information is passed using J-codes.
Format
short int EZTaxAdjDebitJEx(EZTaxSession session,
struct J_CodeEx *trans,
int discount_type,
int adj_method, int *err_code);
Header(s) Required
EZTaxDefine.h
EZTaxProto.h
EZTaxStruct.h
Return Value List
[0] : Indicates no tax data available for transaction (not taxable) or an error has occurred
[n] : Indicates number of taxes stored in the struct enhanced_taxes_tbl array for this transaction
Parameters
session : session handle returned when initialized with call to EZTaxInitEx
*trans : Pointer to data structure which contains transaction data.
J-code transaction information
discount_type : discount type code
adj_method : adjustment method (DLM)
*err_code : error status returned
Remarks
Returns tax adjustments identical to method used for returning tax calculations. Interface data
structures are also described in detail in the AFC Data Structures section of the Manual. The AFC
calculations section contains a detailed explanation of how taxes are returned to the user.

AFC Telecom User Manual | 211 of 401
Copyright 2018 Avalara, Inc.
EZTaxAdjDebitNEx
Description
EZTaxAdjDebitNEx accepts transaction data and performs appropriate tax calculations required to
refund or credit taxes for Debit transactionss. If the AFC Session was started with the tax log open,
appropriate taxes reductions are logged and will be reflected in tax reports. BTN, origination and
termination information is passed using NPANXXs
Format
short int EZTaxAdjDebitNEx(EZTaxSession session,
struct NPANXX_codeEx *trans,
int discount_type, int adj_method, int *err_code);
Header(s) Required
EZTaxProto.h
EZTaxDefine.h
EZTaxStruct.h
Libraries
EZTax2.lib
Return Value List
[0]: Indicates no tax data available for transaction (not taxable) or an error has occurred.
[n]: Indicates number of taxes stored in the struct enhanced_taxes_tbl array for this transaction
Parameters
session: session handle returned when initialized with call to EZTaxInitEx
*trans: NPANXX transaction information
discount_type: discount type code
adj_method: adjustment method (DLM)
*err_code: error status returned
Remarks
Returns tax adjustments identical to method used for returning tax calculations. Interface data
structures are also described in detail in the AFC Data Structures section. The section AFC Calculations
explains how taxes are returned to the user in detail.

AFC Telecom User Manual | 212 of 401
Copyright 2018 Avalara, Inc.
EZTaxAdjDebitPEx
Description
Function EZTaxAdjDebitPEx accepts transaction data and performs appropriate tax calculations
required to refund or credit taxes for Debit transactionss. If the AFC Session was started with the tax
log open, appropriate taxes reductions are logged and will be reflected in tax reports. BTN, origination
and termination information is passed using PCodes.
Format
short int EZTaxAdjDebitPEx(EZTaxSession session,
struct P_CodeEx *trans,
int discount_type, int adj_method, int *err_code)
Header(s) Required
EZTaxProto.h
Libraries
EZTax2.lib
Return Value List
0 : Indicates no tax data available for transaction (not taxable) or an error has occurred.
n : Indicates number of taxes stored in the struct enhanced_taxes_tbl array for this transaction
Parameters
session : session handle returned when initialized with call to EZTaxInitEx
*trans : P-code transaction information
discount_type : discount type code
adj_method : adjustment method (DLM)
*err_code : error status returned
Remarks
Returns tax adjustments identical to method used for returning tax calculations. Interface data
structures are also described in detail in the AFC Data Structures section. The section AFC Calculations
explains how taxes are returned to the user in detail.

AFC Telecom User Manual | 213 of 401
Copyright 2018 Avalara, Inc.
EZTaxAdjDebitTaxInclusiveJCode (EZTaxAdjDebitRevJCode deprecated)
Description
EZTaxAdjDebitTaxInclusiveJCode accepts transaction data and performs a tax inclusive adjustment
calculation for a prepaid debit transaction to arrive at the base sale amount. The desired total (charge
plus all taxes) is placed in the ‘charge’ field in the transaction, and base charge necessary to generate
the total is returned in the ‘base_sale’ parameter. Taxes for the desired transaction are returned in the
same manner as EZTaxAdjJCodeEx. If the AFC Session was started with the tax log open, tax
calculations are logged and will be reflected in tax reports. BTN, origination and termination
information is passed using JCodes. The base sale amount will also be stored in the ‘optional’ field in
the log output, converted to an integer.
Format
short int EZTaxAdjDebitTaxInclusiveJCode (EZTaxSession session, struct J_CodeEx *trans,
int discount_type, int adj_method, double *base_sale, int *err_code);
Header(s) Required
EZTaxProto.h
EZTaxDefine.h
EZTaxStruct.h
Libraries
EZTax2.lib
Return Value List
[-1]: A critical error occurred while preparing the tax inclusive calculation session
[0]: No taxes calculated or an error was found
[n]: Indicates number of taxes stored in the struct enhanced_taxes_tbl array for this transaction
Parameters
session: session handle returned when initialized with call to EZTaxInitEx
*trans: transaction information
discount_type: discount type code
adj_method: adjustment method (DLM)
*base_sale: calculated charge returned
*err_code: error status returned
Remarks
When both return and err_code are 0, no taxes were found, but there is no error. The base_sale
returned will equal the charge sent in. If the charge sent in is insufficient to cover the taxes generated,
then no taxes will be calculated and the err_code will be set to -37. An error will be logged to the
status file indicating an insufficient charge error occurred.
**
Note
**: Non-billable taxes are not included in the calculation of the basesale amount. Adding the base
sale amount and all taxes that appear in thelog for a transaction may result in a value greater than the
target amount;any non-billable taxes returned by the transaction *will* be included in the total.

AFC Telecom User Manual | 214 of 401
Copyright 2018 Avalara, Inc.
EZTaxAdjDebitTaxInclusiveNPAN (EZTaxAdjDebitRevNPAN deprecated)
Description
EZTaxAdjDebitTaxInclusiveNPAN accepts transaction data and performs a tax inclusive adjustment
calculation for a prepaid debit transaction to arrive at the base sale amount. The desired total (charge
plus all taxes) is placed in the ‘charge’ field in the transaction, and base charge necessary to generate
that total is returned in the ‘base_sale’ parameter. Taxes for the desired transaction are returned in
the same manner as EZTaxAdjNPANEx. If the AFC Session was started with the tax log open, tax
calculations are logged and will be reflected in tax reports. BTN, origination and termination
information is passed using NPANXXs. The base sale amount will also be stored in the ‘optional’ field
in the log output, converted to an integer.
Format
short int EZTaxAdjDebitTaxInclusiveNPAN(EZTaxSession session,
struct NPANXX_CodeEx
*trans, int discount_type, int adj_method, double *base_sale, int *err_code);
Header(s) Required
EZTaxProto.h
EZTaxDefine.h
EZTaxStruct.h
Libraries
EZTax2.lib
Return Value List
[-1] : A critical error occurred while preparing the tax inclusive calculation session
[0] : No taxes calculated or an error was found
[n] : Indicates number of taxes stored in the struct enhanced_taxes_tbl array for this transaction
Parameters
session: session handle returned when initialized with call to EZTaxInitEx
*trans: transaction information
discount_type: discount type code
adj_method: adjustment method (DLM)
*base_sale: calculated charge returned
*err_code: error status returned
Remarks
When both return and err_code are 0, no taxes were found, but there is no error. The base_sale
returned will equal the charge sent in. If the charge sent in is insufficient to cover the taxes generated,
then no taxes will be calculated and the err_code will be set to -37. An error will be logged to the
status file indicating an insufficient charge error occurred.
**
Note
**: Non-billable taxes are not included in the calculation of the base sale amount. Adding the base
sale amount and all taxes that appear in the log for a transaction may result in a value greater than the
target amount, any non-billable taxes returned by the transaction *will* be included in the total.

AFC Telecom User Manual | 215 of 401
Copyright 2018 Avalara, Inc.
EZTaxAdjDebitTaxInclusivePCode (EZTaxAdjDebitRevPCode deprecated)
Description
EZTaxAdjDebitTaxInclusivePCode accepts transaction data and performs a tax inclusive adjustment
calculation for a prepaid debit transaction to arrive at the base sale amount. The desired total (charge
plus all taxes) is placed in the ‘charge’ field in the transaction, and base charge necessary to generate
that total is returned in the ‘base_sale’ parameter. Taxes for the desired transaction are returned in
the same manner as EZTaxAdjPCodeEx. If the AFC Session was started with the tax log open, tax
calculations are logged and will be reflected in tax reports. BTN, origination and termination
information is passed using PCodes. The base sale amount will also be stored in the ‘optional’ field in
the log output, converted to an integer.
Format
short int EZTaxAdjDebitTaxInclusivePCode(EZTaxSession session, struct P_CodeEx *trans,
int discount_type, int adj_method, double *base_sale, int *err_code);
Header(s) Required
EZTaxProto.h
EZTaxDefine.h
EZTaxStruct.h
Libraries
EZTax2.lib
Return Value List
[-1] : A critical error occurred while preparing the tax inclusive calculation session
[0] : No taxes calculated or an error was found
[n] : Indicates number of taxes stored in the struct enhanced_taxes_tbl array for this transaction
Parameters
session: session handle returned when initialized with call to EZTaxInitEx
*trans: transaction information
discount_type: discount type code
adj_method: adjustment method (DLM)
*base_sale: calculated charge returned
*err_code: error status returned
Remarks
When both return and err_code are 0, no taxes were found, but there is no error. The base_sale
returned will equal the charge sent in. If the charge sent in is insufficient to cover the taxes generated,
then no taxes will be calculated and the err_code will be set to -37. An error will be logged to the
status file indicating an insufficient charge error occurred.
**
Note
**: Non-billable taxes are not included in the calculation of the base sale amount. Adding the base
sale amount and all taxes that appear in the log for a transaction may result in a value greater than the
target amount;any non-billable taxes returned by the transaction *will* be included in the total.

AFC Telecom User Manual | 216 of 401
Copyright 2018 Avalara, Inc.
EZTaxAdjDebitTaxInclusiveZip (EZTaxAdjDebitRevZip deprecated)
Description
EZTaxAdjDebitTaxInclusiveZip accepts transaction data and performs a tax inclusive adjustment
calculation to arrive at the base sale amount. The desired total (charge plus all taxes) is placed in the
‘charge’ field in the transaction, and base charge necessary to generate that total is returned in the
‘base_sale’ parameter. Taxes for the desired transaction are returned as EZTaxJCodeEx. If the AFC
Session was started with the tax log open, tax calculations are logged and will be reflected in tax
reports. The base sale amount will also be stored in the ‘optional’ field in the log output, converted to
an integer.
This function passes tax jurisdiction information to AFC by specifying the appropriate zip code, state
identifier, county, and locality. AFC uses this information to determine the JCode used for tax
calculations. It is important to supply complete address information; there are many duplicate zip
codes and localities contained within the AFC database tables. AFC always returns the first match of
the data supplied.
Supplying incomplete information can result in tax calculations for an unexpected jurisdiction. When
information regarding the locality is not supplied, AFC may be limited to data based upon the county
or parish involved. Likewise, when information about the county is not supplied, the AFC engine may
be limited to calculations based upon the state and zip code identifiers.
Format
short int EZTaxAdjDebitTaxInclusiveZip(EZTaxSession session, struct zip_codeEx *trans,
int discount_type, int adj_method, double *base_sale, int *err_code);
Header(s) Required
EZTaxProto.h
EZTaxDefine.h
EZTaxStruct.h
Libraries
EZTax2.lib
Return Value List
[-1]: A critical error occurred while preparing the tax inclusive calculation session
[0]: No taxes calculated or an error was found
[n]: Indicates number of taxes stored in the struct enhanced_taxes_tbl array for this transaction
Parameters
session: session handle returned when initialized with call to EZTaxInitEx
*trans: transaction information
discount_type: discount type code
adj_method: adjustment method (DLM)
*base_sale: calculated charge returned
*err_code: error status returned

AFC Telecom User Manual | 217 of 401
Copyright 2018 Avalara, Inc.
Remarks
When both return and err_code are 0, no taxes were found, but there is no error. The base_sale
returned will equal the charge sent in. If the charge sent in is insufficient to cover the taxes generated,
then no taxes will be calculated and the err_code will be set to -37. An error will be logged to the
status file indicating an insufficient charge error occurred.
**
Note
**: Non-billable taxes are not included in the calculation of the base sale amount. Adding the base
sale amount and all taxes that appear in the log for a transaction may result in a value greater than the
target amount; any non-billable taxes returned by the transaction *will* be included in the total.

AFC Telecom User Manual | 218 of 401
Copyright 2018 Avalara, Inc.
EZTaxAdjDebitZEx
Description
EZTaxAdjDebitZEx accepts transaction data and performs appropriate tax calculations required to
refund or credit taxes for Debit transactionss. If the AFC Session was started with the tax log open,
appropriate taxes reductions are logged and will be reflected in tax reports. The tax jurisdiction is
specified using address information, identical to EZTaxDebitZEx.
Format
short int EZTaxAdjDebitZEx(EZTaxSession session,
struct zip_codeEx *trans,
int discount_type, int adj_method, int *err_code);
Header(s) Required
EZTaxProto.h
EZTaxDefine.h
EZTaxStruct.h
Libraries
EZTax2.lib
Return Value List
[0] : Indicates no tax data available for transaction (not taxable) or an error has occurred.
[n] : Indicates number of taxes stored in the struct enhanced_taxes_tbl array for this transaction
Parameters
session : session handle returned when initialized with call to EZTaxInitEx
*trans : zip code transaction information
discount_type : discount type code
adj_method : adjustment method (DLM)
* err_code : error status returned
Remarks
Returns tax adjustments identical to method used for returning tax calculations. Interface data
structures are also described in detail in the AFC Data Structures section. The section AFC Calculations
explains how taxes are returned to the user in detail. AFC currently has Zip Code information for U.S.
and Canadian jurisdictions.

AFC Telecom User Manual | 219 of 401
Copyright 2018 Avalara, Inc.
EZTaxAdjJCodeEx
Description
EZTaxAdjJCodeEx accepts transaction data and performs appropriate tax calculations required to
refund or credit taxes (Debit transactionss use EZTaxAdjDebitEx API’s). If the AFC Session was started
with the tax log open, appropriate taxes reductions are logged and will be reflected in tax reports.
BTN, origination and termination information is passed using JCodes.
Format
short int EZTaxAdjJCodeEx(EZTaxSession session, struct J_CodeEx *trans,
int discount_type, int adj_method, int *err_code);
Header(s) Required
EZTaxProto.h
EZTaxStruct.h
EZTaxDefine.h
Libraries
EZTax2.lib
Return Value List
[0] : Indicates no tax data available for transaction (not taxable) or an error has occurred.
[n] : Indicates number of taxes stored in the struct enhanced_taxes_tbl array for this transaction
Parameters
session : session handle returned when initialized with call to EZTaxInitEx
*trans : J-code transaction information
discount_type : discount type code
adj_method : adjustment method (DLM)
*err_code : error status returned
Remarks
Returns tax adjustments identical to method used for returning tax calculations. Interface data
structures are also described in detail in the AFC Data Structures section. The section AFC Calculations
explains how taxes are returned to the user in detail.

AFC Telecom User Manual | 220 of 401
Copyright 2018 Avalara, Inc.
EZTaxAdjNPANEx
Description
EZTaxAdjNPANEx accepts transaction data and performs appropriate tax calculations required to
refund or credit taxes (Debit transactionss use EZTaxAdjDebitEx API’s). If the AFC Session was started
with the tax log open, appropriate taxes reductions are logged and will be reflected in tax reports.
BTN, origination and termination information is passed using NPANXXs.
Format
short int EZTaxAdjNPANEx(EZTaxSession session,
struct NPANXX_codeEx *trans,
int discount_type, int adj_method, int *err_code);
Header(s) Required
EZTaxProto.h
EZTaxDefine.h
EZTaxStruct.h
Libraries
EZTax2.lib
Return Value List
[0] : Indicates no tax data available for transaction (not taxable) or an error has occurred.
[n] : Indicates number of taxes stored in the struct enhanced_taxes_tbl array for this transaction
Parameters
session : session handle returned when initialized with call to EZTaxInitEx
*trans : NPANXX transaction information
discount_type : discount type code
*err_code : error status returned
adj_method : adjustment method (DLM)
Remarks
Returns tax adjustments identical to method used for returning tax calculations. Interface data
structures are also described in detail in the AFC Data Structures section. The section AFC Calculations
explains how taxes are returned to the user in detail.

AFC Telecom User Manual | 221 of 401
Copyright 2018 Avalara, Inc.
EZTaxAdjPCodeEx
Description
EZTaxAdjPCodeEX accepts transaction data and performs appropriate tax calculations required to
refund or credit taxes (Debit transactionss use EZTaxAdjDebitEx API’s). If the AFC Session was started
with the tax log open, appropriate taxes reductions are logged and will be reflected in tax reports.
BTN, origination and termination information is passed using PCodes.
Format
short int EZTaxAdjPCodeEx(EZTaxSession session, struct P_CodeEx *trans,
int discount_type, int adj_method, int *err_code);
Header(s) Required
EZTaxProto.h
EZTaxDefine.h
EZTaxStruct.h
Libraries
EZTax2.lib
Return Value List
[0] : Indicates no tax data available for transaction (not taxable) or an error has occurred.
[n] : Indicates number of taxes stored in the struct enhanced_taxes_tbl array for this transaction
Parameters
session : session handle returned when initialized with call to EZTaxInitEx
*trans : P-code transaction information
discount_type : discount type code
adj_method : adjustment method (DLM)
*err_code : error status returned
Remarks
Returns tax adjustments identical to method used for returning tax calculations. Interface data
structures are also described in detail in the AFC Data Structures section. The section AFC Calculations
explains how taxes are returned to the user in detail.

AFC Telecom User Manual | 222 of 401
Copyright 2018 Avalara, Inc.
EZTaxAdjProRateJCode (EZTaxAdjProRateJCodeEx deprecated)
Description
EZTaxAdjProRateJCode takes a J_Code struct as input and calculates tax adjustments for the
transaction. It pro-rates the taxes calculated by the given percentage, for partial-month rates.
The user can select the type of Pro-Rate adjustment handling by using one of the following
parameters:
prorate_credit_or_cancel = STANDARD_PRORATED_ADJUSTMENT (1)
Standard or default processing will not return fixed taxes that are not flagged as pro-ratable. This
approach should be used when the desire is to only return taxes that are pro-ratable. An
example would be when a client has canceled a service and is due back taxes that are refundable.
prorate_credit_or_cancel = CANCEL_PRORATED_CALCULATION (2)
Cancel option will return fixed taxes that are not flagged as pro-ratable. This approach should be
used when the desire is to cancel out a previous pro-rated calculation. An example would be
when a pro-rated tax calculation has been made in error and needs to be canceled out so that
the net taxes are 0.
Format
short int EZTaxAdjProRateJCode(EZTaxSession session,
struct J_CodeEx *trans,
int discount_type, double percent,
int adj_method, int prorate_credit_or_cancel,
int *err_code);
Return Value List
[0] : Indicates no tax data available for transaction (not taxable) or an error has occurred.
[n] : Indicates number of taxes stored in the struct enhanced_taxes_tbl array for this transaction
Parameters
session : session handle returned when initialized with call to EZTaxInitEx
*trans : J-code transaction information
discount_type : discount type code
percent : portion of the billing period to pro-rate the tax by
adj_method : adjustment method (DLM)
int prorate_credit_or_cancel : method for how pro-rated adjustment should handle non-prorated
taxes
*err_code : error status returned
Remarks
None

AFC Telecom User Manual | 223 of 401
Copyright 2018 Avalara, Inc.
EZTaxAdjProRateNPAN (EZTaxAdjProRateNPANEx deprecated)
Description
EZTaxAdjProRateNPAN takes an NPANXX struct as input and calculates tax adjustments for the
transaction. It pro-rates the taxes calculated by the given percentage, for partial-month rates.
The user can select the type of Pro-Rate adjustment handling by using one of the following
parameters:
prorate_credit_or_cancel = STANDARD_PRORATED_ADJUSTMENT (1)
Standard or default processing will not return fixed taxes that are not flagged as pro-ratable. This
approach should be used when the desire is to only return taxes that are pro-ratable. An
example would be when a client has canceled a service and is due back taxes that are refundable.
prorate_credit_or_cancel = CANCEL_PRORATED_CALCULATION (2)
Cancel option will return fixed taxes that are not flagged as pro-ratable. This approach should be
used when the desire is to cancel out a previous pro-rated calculation. An example would be
when a pro-rated tax calculation has been made in error and needs to be canceled out so that
the net taxes are 0.
Format
short int EZTaxAdjProRateNPAN (EZTaxSession session,
struct NPANXX_codeEx *trans,
int discount_type, double percent,
int adj_method, int prorate_credit_or_cancel,
int *err_code);
Return Value List
[0] : Indicates no tax data available for transaction (not taxable) or an error has occurred.
[n] : Indicates number of taxes stored in the struct enhanced_taxes_tbl array for this transaction
Parameters
session : session handle returned when initialized with call to EZTaxInitEx
*trans : NPANXX transaction information
discount_type : discount type code
percent : portion of the billing period to pro-rate the tax by
adj_method : adjustment method (DLM)
int prorate_credit_or_cancel : method for how pro-rated adjustment should handle non-prorated
taxes
*err_code : error status returned
Remarks
None

AFC Telecom User Manual | 224 of 401
Copyright 2018 Avalara, Inc.
EZTaxAdjProRatePCode (EZTaxAdjProRatePCodeEx deprecated)
Description:
EZTaxAdjProRatePCode takes a p-code struct as input and calculates tax adjustments for the
transaction. It pro-rates the taxes calculated by the given percentage, for partial-month rates.
The user can select the type of Pro-Rate adjustment handling by using one of the following
parameters:
prorate_credit_or_cancel = STANDARD_PRORATED_ADJUSTMENT (1)
Standard or default processing will not return fixed taxes that are not flagged as pro-ratable. This
approach should be used when the desire is to only return taxes that are pro-ratable. An
example would be when a client has canceled a service and is due back taxes that are refundable.
prorate_credit_or_cancel = CANCEL_PRORATED_CALCULATION (2)
Cancel option will return fixed taxes that are not flagged as pro-ratable. This approach should be
used when the desire is to cancel out a previous pro-rated calculation. An example would be
when a pro-rated tax calculation has been made in error and needs to be canceled out so that
the net taxes are 0.
Format
short int EZTaxAdjProRatePCode (EZTaxSession session,
struct P_CodeEx *trans,
int discount_type, double percent,
int adj_method, int prorate_credit_or_cancel,
int *err_code);
Return Value List
[0] : Indicates no tax data available for transaction (not taxable) or an error has occurred.
[n] : Indicates number of taxes stored in the struct enhanced_taxes_tbl array for this transaction
Parameters
session : session handle returned when initialized with call to
EZTaxInitEx
*trans : p-code transaction information
discount_type : discount type code
percent : portion of the billing period to pro-rate the tax by
adj_method : adjustment method (DLM)
* int prorate_credit_or_cancel : method for how pro-rated adjustment should handle non-prorated
taxes
*err_code : error status returned
Remarks
None

AFC Telecom User Manual | 225 of 401
Copyright 2018 Avalara, Inc.
EZTaxAdjProRateThisJCode (EZTaxAdjProRateThisJCodeEx deprecated)
Description
EZTaxAdjProRateThisJCode accepts transaction data and performs appropriate tax calculations. The
tax jurisdiction to use for tax calculations is specified to AFC with this method. If the AFC Session was
started with the tax log open, appropriate taxes are logged and will be reflected in tax reports.
Jurisdiction information is passed using a PCode. It pro-rates the taxes calculated by the given
percentage, for partial-month rates.
The user can select the type of Pro-Rate adjustment handling by using one of the following
parameters:
prorate_credit_or_cancel = STANDARD_PRORATED_ADJUSTMENT (1)
Standard or default processing will not return fixed taxes that are not flagged as pro-ratable. This
approach should be used when the desire is to only return taxes that are pro-ratable. An
example would be when a client has canceled a service and is due back taxes that are refundable.
prorate_credit_or_cancel = CANCEL_PRORATED_CALCULATION (2)
Cancel option will return fixed taxes that are not flagged as pro-ratable. This approach should be
used when the desire is to cancel out a previous pro-rated calculation. An example would be
when a pro-rated tax calculation has been made in error and needs to be canceled out so that
the net taxes are 0.
Format
short int EZTaxAdjProRateThisJCode (EZTaxSession session,
struct this_J_Code *trans,
int discount_type, double percent,
int adj_method, int prorate_credit_or_cancel,
int *err_code);
Return Value List
[0] : Indicates no tax data available for transaction (not taxable) or an error has occurred.
[n] : Indicates number of taxes stored in the struct taxes_tbl array for this transaction
Parameters
session : Session object returned for session when initialized with
call to EZTaxInitEx.
*trans : Pointer to data structure that contains transaction data.
See the this_J_Code struct in EZTaxStruct.h
discount_type : discount type code
percent : portion of the billing period to pro-rate the tax by
adj_method : adjustment method (DLM)
int prorate_credit_or_cancel : method for how pro-rated adjustment should handle non-prorated
taxes
*err_code : error status returned

AFC Telecom User Manual | 226 of 401
Copyright 2018 Avalara, Inc.
Remarks
This API call is particularly suited for processing local transactions, since there is only one jurisdiction
involved.

AFC Telecom User Manual | 227 of 401
Copyright 2018 Avalara, Inc.
EZTaxAdjProRateThisPCode (EZTaxAdjProRateThisPCodeEx deprecated)
Description
EZTaxAdjProRateThisPCode accepts transaction data and performs appropriate tax calculations. The
tax jurisdiction to use for tax calculations is specified to AFC with this method. If the AFC Session was
started with the tax log open, appropriate taxes are logged and will be reflected in tax reports.
Jurisdiction information is passed using a PCode. It pro-rates the taxes calculated by the given
percentage, for partial-month rates.
The user can select the type of Pro-Rate adjustment handling by using one of the following
parameters:
prorate_credit_or_cancel = STANDARD_PRORATED_ADJUSTMENT (1)
Standard or default processing will not return fixed taxes that are not flagged as pro-ratable. This
approach should be used when the desire is to only return taxes that are pro-ratable. An
example would be when a client has canceled a service and is due back taxes that are refundable.
prorate_credit_or_cancel = CANCEL_PRORATED_CALCULATION (2)
Cancel option will return fixed taxes that are not flagged as pro-ratable. This approach should be
used when the desire is to cancel out a previous pro-rated calculation. An example would be
when a pro-rated tax calculation has been made in error and needs to be canceled out so that
the net taxes are 0.
Format
short int EZTaxAdjProRateThisPCode (EZTaxSession session,
struct this_P_Code *trans,
int discount_type, double percent,
int adj_method, int prorate_credit_or_cancel,
int *err_code);
Return Value List
[0] : Indicates no tax data available for transaction (not taxable) or an error has occurred.
[n] : Indicates number of taxes stored in the struct taxes_tbl array for this transaction
Parameters
session : Session object returned for session when initialized with call to EZTaxInitEx.
*trans : Pointer to data structure that contains transaction data.
See the this_P_Code struct in EZTaxStruct.h
discount_type : discount type code
percent : portion of the billing period to pro-rate the tax by
adj_method : adjustment method (DLM)
int prorate_credit_or_cancel : method for how pro-rated adjustment should handle non-prorated
taxes
*err_code : error status returned

AFC Telecom User Manual | 228 of 401
Copyright 2018 Avalara, Inc.
Remarks
This API call is particularly suited for processing local transactions, since there is only one jurisdiction
involved.

AFC Telecom User Manual | 229 of 401
Copyright 2018 Avalara, Inc.
EZTaxAdjProRateZip (EZTaxAdjProRateZipEx deprecated)
Description
EZTaxAdjProRateZip takes a p-code struct as input and calculates tax adjustments for the transaction.
It pro-rates the taxes calculated by the given percentage, for partial-month rates.
The user can select the type of Pro-Rate adjustment handling by using one of the following
parameters:
prorate_credit_or_cancel = STANDARD_PRORATED_ADJUSTMENT (1)
Standard or default processing will not return fixed taxes that are not flagged as pro-ratable. This
approach should be used when the desire is to only return taxes that are pro-ratable. An
example would be when a client has canceled a service and is due back taxes that are refundable.
prorate_credit_or_cancel = CANCEL_PRORATED_CALCULATION (2)
Cancel option will return fixed taxes that are not flagged as pro-ratable. This approach should be
used when the desire is to cancel out a previous pro-rated calculation. An example would be
when a pro-rated tax calculation has been made in error and needs to be canceled out so that
the net taxes are 0.
Format
short int EZTaxAdjProRateZip (EZTaxSession session,
struct zip_codeEx *trans,
int discount_type, double percent,
int adj_method, int adj_method, int prorate_credit_or_cancel,
int *err_code);
Return Value List
[0] : Indicates no tax data available for transaction (not taxable) or an error has occurred.
[n] : Indicates number of taxes stored in the struct enhanced_taxes_tbl array for this transaction
Parameters
session : session handle returned when initialized with call to EZTaxInitEx
*trans : zip code transaction information
discount_type : discount type code
percent : portion of the billing period to pro-rate the tax by
adj_method : adjustment method (DLM)
int prorate_credit_or_cancel : method for how pro-rated adjustment should handle non-prorated
taxes
*err_code : error status returned
Remarks
None

AFC Telecom User Manual | 230 of 401
Copyright 2018 Avalara, Inc.
EZTaxAdjTaxInclusiveJCode (EZTaxAdjRevJCode deprecated)
Description
EZTaxAdjTaxInclusiveJCode accepts transaction data and performs a tax inclusive adjustment
calculation to arrive at the base sale amount. The desired total (charge plus all taxes) is placed in the
‘charge’ field in the transaction, and base charge necessary to generate that total is returned in the
‘base_sale’ parameter. Taxes for the desired transaction are returned in the same manner as
EZTaxAdjJCodeEx does. If the AFC Session was started with the tax log open, tax calculations are
logged and will be reflected in tax reports. BTN, origination and termination information is passed
using JCodes. The base sale amount will also be stored in the ‘optional’ field in the log output,
converted to an integer.
Format
short int EZTaxAdjTaxInclusiveJCode(EZTaxSession session, struct J_CodeEx *trans,
int discount_type, int adj_method, double *base_sale, int *err_code);
Header(s) Required
EZTaxProto.h
EZTaxDefine.h
EZTaxStruct.h
Libraries
EZTax2.lib
Return Value List
[-1]: A critical error occurred while preparing the tax inclusive calculation session
[0]: No taxes calculated or an error was found
[n]: Indicates number of taxes stored in the struct enhanced_taxes_tbl array for this transaction
Parameters
session: session handle returned when initialized with call to EZTaxInitEx
*trans: transaction information
discount_type: discount type code
adj_method: adjustment method (DLM)
*base_sale: calculated charge returned
*err_code: error status returned
Remarks
When both return and err_code are 0, no taxes were found, but there is no error. The base_sale
returned will equal the charge sent in. If the charge sent in is insufficient to cover the taxes generated,
then no taxes will be calculated and the err_code will be set to -37. An error will be logged to the
status file indicating an insufficient charge error occurred.
**
Note
**: Non-billable taxes are not included in the calculation of the base sale amount. Adding the base
sale amount and all taxes that appear in the log for a transaction may result in a value greater than the
target amount, as any non-billable taxes returned by the transaction *will* be included in that total.

AFC Telecom User Manual | 231 of 401
Copyright 2018 Avalara, Inc.
EZTaxAdjTaxInclusiveNPAN (EZTaxAdjRevNPAN deprecated)
Description
EZTaxAdjTaxInclusiveNPAN accepts transaction data and performs a tax inclusive adjustment
calculation to arrive at the base sale amount. The desired total (charge plus all taxes) is placed in the
‘charge’ field in the transaction, and base charge necessary to generate that total is returned in the
‘base_sale’ parameter. Taxes for the desired transaction are returned in the same manner as
EZTaxAdjNPANEx does. If the AFC Session was started with the tax log open, tax calculations are
logged and will be reflected in tax reports. BTN, origination and termination information is passed
using NPANXXs. The base sale amount will also be stored in the ‘optional’ field in the log output,
converted to an integer.
Format
short int EZTaxAdjTaxInclusiveNPAN (EZTaxSession session, struct NPANXX_CodeEx *trans,
int discount_type, int adj_method, double *base_sale, int *err_code);
Header(s) Required
EZTaxProto.h
EZTaxDefine.h
EZTaxStruct.h
Libraries
EZTax2.lib
Return Value List
[-1]: A critical error occurred while preparing the tax inclusive calculation session
[0]: No taxes calculated or an error was found
[n]: Indicates number of taxes stored in the struct enhanced_taxes_tbl array for this transaction
Parameters
session: session handle returned when initialized with call to EZTaxInitEx
*trans: transaction information
discount_type: discount type code
adj_method: adjustment method (DLM)
*base_sale: calculated charge returned
*err_code: error status returned
Remarks
When both return and err_code are 0, no taxes were found, but there is no error. The base_sale
returned will equal the charge sent in. If the charge sent in is insufficient to cover the taxes generated,
then no taxes will be calculated and the err_code will be set to -37. An error will be logged to the
status file indicating an insufficient charge error occurred.
**
Note
**: Non-billable taxes are not included in the calculation of the base sale amount. Adding the base
sale amount and all taxes that appear in the log for a transaction may result in a value greater than the
target amount, as any non-billable taxes returned by the transaction *will* be included in that total.

AFC Telecom User Manual | 232 of 401
Copyright 2018 Avalara, Inc.
EZTaxAdjTaxInclusivePCode (EZTaxAdjRevPCode deprecated)
Description
EZTaxAdjTaxInclusivePCode accepts transaction data and performs a tax inclusive adjustment
calculation to arrive at the base sale amount. The desired total (charge plus all taxes) is placed in the
‘charge’ field in the transaction, and base charge necessary to generate that total is returned in the
‘base_sale’ parameter. Taxes for the desired transaction are returned in the same manner as
EZTaxAdjPCodeEx does. If the AFC Session was started with the tax log open, tax calculations are
logged and will be reflected in tax reports. BTN, origination and termination information is passed
using PCodes. The base sale amount will also be stored in the ‘optional’ field in the log output,
converted to an integer.
Format
short int EZTaxAdjTaxInclusivePCode(EZTaxSession session, struct P_CodeEx *trans,
int discount_type, int adj_method, double *base_sale, int *err_code);
Header(s) Required
EZTaxProto.h
EZTaxDefine.h
EZTaxStruct.h
Libraries
EZTax2.lib
Return Value List
[-1]: A critical error occurred while preparing the tax inclusive calculation session
[0]: No taxes calculated or an error was found
[n]: Indicates number of taxes stored in the struct enhanced_taxes_tbl array for this transaction
Parameters
session: session handle returned when initialized with call to EZTaxInitEx
*trans: transaction information
discount_type: discount type code
adj_method: adjustment method (DLM)
*base_sale: calculated charge returned
*err_code: error status returned
Remarks
When both return and err_code are 0, no taxes were found, but there is no error. The base_sale
returned will equal the charge sent in. If the charge sent in is insufficient to cover the taxes generated,
then no taxes will be calculated and the err_code will be set to -37. An error will be logged to the
status file indicating an insufficient charge error occurred.
**
Note
**: Non-billable taxes are not included in the calculation of the base sale amount. Adding the base
sale amount and all taxes that appear in the log for a transaction may result in a value greater than the
target amount, as any non-billable taxes returned by the transaction *will* be included in that total.

AFC Telecom User Manual | 233 of 401
Copyright 2018 Avalara, Inc.
EZTaxAdjTaxInclusiveZip (EZTaxAdjRevZip deprecated)
Description
EZTaxAdjTaxInclusiveZip accepts transaction data and performs a tax inclusive adjustment calculation
to arrive at the base sale amount. The desired total (charge plus all taxes) is placed in the ‘charge’ field
in the transaction, and base charge necessary to generate that total is returned in the ‘base_sale’
parameter. Taxes for the desired transaction are returned as EZTaxJCodeEx does. If the AFC Session
was started with the tax log open, tax calculations are logged and will be reflected in tax reports. The
base sale amount will also be stored in the ‘optional’ field in the log output, converted to an integer.
When the user knows the tax jurisdiction, address information can be supplied to specify it. This
function passes tax jurisdiction information to AFC by specifying the appropriate zip code, state
identifier, county, and locality. AFC uses this information to determine the JCode used for tax
calculations. It is important to supply complete address information as there are many duplicate zip
codes and localities contained within the AFC database tables. AFC always returns the first match of
the data supplied.
Supplying incomplete information can result in tax calculations for an unexpected jurisdiction. When
information regarding the locality is not supplied, AFC may be limited to data based upon the county
or parish involved. Likewise, when information about the county is not supplied, the AFC engine may
be limited to performance of calculations based upon the state and zip code identifiers.
Format
short int EZTaxAdjTaxInclusiveZip(EZTaxSession session, struct zip_codeEx *trans,
int discount_type, int adj_method, double *base_sale, int *err_code);
Header(s) Required
EZTaxProto.h
EZTaxDefine.h
EZTaxStruct.h
Libraries
EZTax2.lib
Return Value List
[-1]: A critical error occurred while preparing the tax inclusive calculation session
[0]: No taxes calculated or an error was found
[n]: Indicates number of taxes stored in the struct enhanced_taxes_tbl array for this transaction
Parameters
session: session handle returned when initialized with call to EZTaxInitEx
*trans: transaction information
discount_type: discount type code
adj_method: adjustment method (DLM)
*base_sale: calculated charge returned
*err_code: error status returned

AFC Telecom User Manual | 234 of 401
Copyright 2018 Avalara, Inc.
Remarks
When both return and err_code are 0, no taxes were found, but there is no error. The base_sale
returned will equal the charge sent in. If the charge sent in is insufficient to cover the taxes generated,
then no taxes will be calculated and the err_code will be set to -37. An error will be logged to the
status file indicating an insufficient charge error occurred.
**
Note
**: Non-billable taxes are not included in the calculation of the base sale amount. Adding the base
sale amount and all taxes that appear in the log for a transaction may result in a value greater than the
target amount, as any non-billable taxes returned by the transaction *will* be included in that total.

AFC Telecom User Manual | 235 of 401
Copyright 2018 Avalara, Inc.
EZTaxAdjTPPEx
Description
EZTaxAdjTPPEx accepts Tangible Personal Property (TPP) transaction data and performs appropriate
tax calculations required to refund or credit taxes. The user provides up to three addresses: Ship
From, Ship To and Point of Acceptance. Rules will be applied against the input addresses to determine
in what jurisdiction any SALES or USE taxation would be applicable. A Nexus Table may optionally be
provided; if so it will be checked to determine if nexus exists in the state found to have taxing
jurisdiction. If the AFC Session was started with the tax log open, tax calculations are logged and will
be reflected in tax reports.
Format
short int EZTaxAdjTPPEx(EZTaxSession session,
struct TPP_addrEx *tpp_trans, int discount_type,
struct nexus_table *nex_tab,
short int nexus_count, int adj_method, int *err_code);
Header(s) Required
EZTaxProto.h
EZTaxDefine.h
EZTaxStruct.h
Libraries
EZTax2.lib
Return Value List
[0]: Indicates no tax data available for transaction (not taxable) or an error has occurred.
[n]: Indicates number of taxes stored in the struct enhanced_taxes_tbl array for this transaction
Parameters
session : session handle returned when initialized with call to EZTaxInitEx
*tpp_trans : transaction information
discount_type : discount type code
*nex_tab : the nexus table
nexus_count : count of the entries in the nexus table
adj_method : adjustment method (DLM)
*err_code : error status returned
Remarks
Nexus Table
The Nexus Table (see structure definition below) provides a list of USPS state abbreviations, each with
a flag indicating whether the user has nexus in that state. This table is optional. If the table is not
provided, nexus is assumed in all states. The user is responsible for establishing this table and passing
it to EZtax.
Interface data structures are also described in detail in the AFC Data Structures section. The section
AFC Calculations explains how taxes are returned to the user in detail.

AFC Telecom User Manual | 236 of 401
Copyright 2018 Avalara, Inc.
Minimum Requirements
Ship From address must be provided. Address structure must include COUNTRY ISO, STATE, LOCALITY,
and ZIP CODE. All fields in any unused address must be NULL.
If only the Ship From address is provided, the transaction will always be INTRASTATE, and Ship From
will be the taxing jurisdiction. If only Ship From and Point-of-Acceptance addresses are given, Point-of-
Acceptance is used as the Ship To address.
The Transaction Type and Service Type fields of the tax_data structure are set within this function.
Any value previously set will be ignored.
In addition to other error codes that may be set for AFC API function calls, the following in particular
apply to EZTaxAdjTPPEx-
-27 Missing or Invalid Ship From Address
-28 Invalid Ship To Address
-29 Invalid Point-of-Acceptance
-30 Invalid State Input

AFC Telecom User Manual | 237 of 401
Copyright 2018 Avalara, Inc.
EZTaxAdjZipEx
Description
EZTaxAdjZipEx accepts transaction data and performs appropriate tax calculations required to refund
or credit taxes for U.S. jurisdictions (Debit transactionss use EZTaxAdjDebitEx API’s). If the AFC Session
was started with the tax log open, appropriate taxes reductions are logged and will be reflected in tax
reports. The tax jurisdiction is specified using address information, identical to EZTaxZipEx.
Format
short int EZTaxAdjZipEx(EZTaxSession session, struct zip_codeEx
*trans, int discount_type, int adj_method, int *err_code);
Header(s) Required
EZTaxProto.h
EZTaxDefine.h
EZTaxStruct.h
Libraries
EZTax2.lib
Return Value List
[0] : Indicates no tax data available for transaction (not taxable) or an error has occurred.
[n] : Indicates number of taxes stored in the struct enhanced_taxes_tbl array for this transaction
Parameters
session : session handle returned when initialized with call to EZTaxInitEx
*trans : zip code transaction information
discount_type : discount type code
adj_method : adjustment method (DLM)
*err_code : error status returned
Remarks
This API is used for tax adjustments for U.S. jurisdictions.
Returns tax adjustments identical to method used for returning tax calculations. Interface data
structures are also described in detail in the AFC Data Structures section. The section AFC Calculations
explains how taxes are returned to the user in detail.

AFC Telecom User Manual | 238 of 401
Copyright 2018 Avalara, Inc.
EZTaxCalcJurisdiction
Description
EZTaxCalcJurisdiction returns the JCode that has jurisdiction at the most detailed taxing level.
Format
unsigned long int EZTaxCalcJurisdiction (EZTaxSession session,
struct J_CodeEx *trans, int *err_code)
Header(s) Required
EZTaxStruct.h
EZTaxDefine.h
EZTaxProto.h
Libraries
EZTax2.lib
Return Value List
The most detailed jurisdiction determined to be applicable based on the transaction information;
however, if there is an error, both JCODE_NOT_FOUND (-11) and err_code zero are returned.
Parameters
session : session handle returned when initialized with call to EZTaxInitEx
*trans : J-code transaction information
Remarks
This API call does not log the taxes or calculate and return a tax table. It does apply the jurisdiction
rules to determine what taxing authority has jurisdiction for that transaction.

AFC Telecom User Manual | 239 of 401
Copyright 2018 Avalara, Inc.
EZTaxClearExclusion
Description
EZTaxClearExclusion is used to remove all exclusions that have been set.
Format
short int EZTaxClearExclusion(EZTaxSession session);
Header(s) Required
EZTaxProto.h
Libraries
EZTax2.lib
Return Value List
TRUE : was successful.
FALSE : failed.
Parameters
Session : session handle returned when initialized with call to EZTaxInitEx
Remarks
None

AFC Telecom User Manual | 240 of 401
Copyright 2018 Avalara, Inc.
EZTaxClearTSR
Description
EZTaxClearTSR allows API functionality to delete the data created by EZTaxGetTSR. This is used to
prevent memory leaks during operation.
Format
void EZTaxClearTSR(EZTaxSession session, struct rtr_data* rpt)
Return Value List
Void
Parameters
session: session handle returned for session when initialized with call to EZTaxInitEx
rpt: pointer to the T/S Report created by EZTaxGetTSR. This will be cleared from memory by
EZTaxClearTSR.
Remarks
None

AFC Telecom User Manual | 241 of 401
Copyright 2018 Avalara, Inc.
EZTaxClose
Description
Function EZTaxClose is utilized to close the NPANXX, address and zip code files.
Format
short int EZTaxClose(long int hdl, short int file);
Header(s) Required
EZTaxProto.h
EZTaxStruct.h
EZTaxDefine.h
Libraries
EZTax2.lib
Return Value List
always returns TRUE
Parameters
hdl : Session handle returned when initialized with call to EZTaxInit
file : database to open (not used)
Remarks
This API call is obsolete and provided only for backwards compatibility. EZTaxExitSession and
EZTaxExitSessionEx will now close all databases that are still open.

AFC Telecom User Manual | 242 of 401
Copyright 2018 Avalara, Inc.
EZTaxCountryToPCode
Description
EZTaxCountryToPCode takes a 3 byte country ISO code and converts it to the correct PCode for that
country.
Format
unsigned long int EZTaxCountryToPCode(EZTaxSession session,
const char* iso_code,
int *err_code)
Header(s) Required
EZTaxProto.h
EZTaxDefine.h
Libraries
EZTax2.lib
Return Value List
PCode : converted from the input fips code
0 : if conversion is unsuccessful
Parameters
session : session handle returned when initialized with call to EZTaxInitEx
*iso_code: 3 byte country ISO code to convert
*err_code : error status returned
Remarks
The value “UNS” will return the PCode for unsupported country. If the initial call fails due to the
county code not being supported, this can be a fallback value to use.

AFC Telecom User Manual | 243 of 401
Copyright 2018 Avalara, Inc.
EZTaxDbVersion
Description
Function EZTaxDbVersion reads the database version from EZTax.dll and returns it to the caller.
Format
short int EZTaxDbVersion(char *psz_EZTax_dat, char *psz_db_version);
Header(s) Required
EZTaxDefine.h,
EZTaxProto.h
Libraries
EZTax2.lib
Return Value List
TRUE if database version is returned in psz_db_version
FALSE if database version couldn't be obtained
Parameters
*psz_EZTax_dat : path to EZTax.dat file
*psz_db_version : address of character array that will receive the database version.
Remarks
The database version will be returned in the form ww.xx.yy.zz, where each piece of the database
version number can be 1 or 2 digits.

AFC Telecom User Manual | 244 of 401
Copyright 2018 Avalara, Inc.
EZTaxDebitJEx
Description
EZTaxDebitJEx accepts transaction data and performs appropriate tax calculations. If the AFC Session
was started with the tax log open, tax calculations are logged and will be reflected in tax reports. BTN,
origination and termination information is passed using JCodes.
Format
short int EZTaxDebitJEx(EZTaxSession session, struct J_CodeEx *trans,
int *err_code)
Header(s) Required
EZTaxProto.h
EZTaxDefine.h
EZTaxStruct.h
Libraries
EZTax2.lib
Return Value List
[0] : Indicates no tax data available for transaction (not taxable) or an error has occurred.
[n] : Indicates number of taxes stored in the struct enhanced_taxes_tbl array for this transaction
Parameters
session : session handle returned when initialized with call to EZTaxInitEx
*trans : J-code transaction information
*err_code : error status returned
Remarks
Interface data structures are also described in detail in the AFC Data Structures section. The section
AFC Calculations explains how taxes are returned to the user in detail.
Returns tax adjustments identical to method used for returning tax calculations.

AFC Telecom User Manual | 245 of 401
Copyright 2018 Avalara, Inc.
EZTaxDebitNEx
Description
EZTaxDebitNEx accepts transaction data and performs appropriate tax calculations. If the AFC Session
was started with the tax log open, tax calculations are logged and will be reflected in tax reports. BTN,
origination and termination information is passed using NPANXXs.
Format
short int EZTaxDebitNEx(EZTaxSession session,
struct NPANXX_codeEx *trans,
int *err_code);
Header(s) Required
EZTaxProto.h
EZTaxDefine.h
EZTaxStruct.h
Libraries
EZTax2.lib
Return Value List
[0] : Indicates no tax data available for transaction (not taxable) or an error has occurred.
[n] : Indicates number of taxes stored in the struct enhanced_taxes_tbl array for this transaction
Parameters
session : session handle returned when initialized with call to EZTaxInitEx
*trans : NPANXX transaction information
*err_code : error status returned
Remarks
Interface data structures are also described in detail in the AFC Data Structures section. The section
AFC Calculations explains how taxes are returned to the user in detail.

AFC Telecom User Manual | 246 of 401
Copyright 2018 Avalara, Inc.
EZTaxDebitPEx
Description
EZTaxDebitPEx accepts transaction data and performs appropriate tax calculations. If the AFC Session
was started with the tax log open, tax calculations are logged and will be reflected in tax reports. BTN,
origination and termination information is passed using PCodes.
Format
short int EZTaxDebitPEx(EZTaxSession session, struct P_CodeEx *trans,
int *err_code);
Header(s) Required
EZTaxProto.h
EZTaxDefine.h
EZTaxStruct.h
Libraries
EZTax2.lib
Return Value List
[0] : Indicates no tax data available for transaction (not taxable) or an error has occurred.
[n] : Indicates number of taxes stored in the struct enhanced_taxes_tbl array for this transaction
Parameters
session : session handle returned when initialized with call to EZTaxInitEx
*trans : P-code transaction information
*err_code : error status returned
Remarks
Interface data structures are also described in detail in the AFC Data Structures section. The section
AFC Calculations explains how taxes are returned to the user in detail.

AFC Telecom User Manual | 247 of 401
Copyright 2018 Avalara, Inc.
EZTaxDebitTaxInclusiveJCode (EZTaxDebitRevJCode deprecated)
Description
EZTaxDebitTaxInclusiveJCode accepts transaction data and performs a tax inclusive calculation for
prepaid debit transactions to arrive at the base sale amount. The desired total (charge plus all taxes) is
placed in the ‘charge’ field in the transaction, and base charge necessary to generate that total is
returned in the ‘base_sale’ parameter. Taxes for the desired transaction are returned in the same
manner as EZTaxJCodeEx. If the AFC Session was started with the tax log open, tax calculations are
logged and will be reflected in tax reports. BTN, origination and termination information is passed
using JCodes. The base sale amount will also be stored in the ‘optional’ field in the log output,
converted to an integer.
Format
short int EZTaxDebitTaxInclusiveJCode(EZTaxSession session, struct J_CodeEx *trans,
double *base_sale, int *err_code);
Header(s) Required
EZTaxProto.h
EZTaxDefine.h
EZTaxStruct.h
Libraries
EZTax2.lib
Return Value List
[-1]: A critical error occurred while preparing the tax inclusive calculation session
[0] : No taxes calculated or an error was found
[n]: Indicates number of taxes stored in the struct enhanced_taxes_tbl array for this transaction
Parameters
session: session handle returned when initialized with call to EZTaxInitEx
*trans: transaction information
*base_sale: calculated charge returned
*err_code: error status returned
Remarks
When both return and err_code are 0, no taxes were found, but there is no error. The base_sale
returned will equal the charge sent in. If the charge sent in is insufficient to cover the taxes generated,
then no taxes will be calculated and the err_code will be set to -37. An error will be logged to the
status file indicating an insufficient charge error occurred.

AFC Telecom User Manual | 248 of 401
Copyright 2018 Avalara, Inc.
**
Note
**: Non-billable taxes are not included in the calculation of the base sale amount. Adding the base
sale amount and all taxes that appear in the log for a transaction may result in a value greater than the
target amount; any non-billable taxes returned by the transaction *will* be included in the total.

AFC Telecom User Manual | 249 of 401
Copyright 2018 Avalara, Inc.
EZTaxDebitTaxInclusiveNPAN (EZTaxDebitRevNPAN deprecated)
Description
EZTaxDebitTaxInclusiveNPAN accepts transaction data and performs a tax inclusive calculation for
prepaid debit transactions to arrive at the base sale amount. The desired total (charge plus all taxes) is
placed in the ‘charge’ field in the transaction, and base charge necessary to generate that total is
returned in the ‘base_sale’parameter. Taxes for the desired transaction are returned in the same
manner as EZTaxNPANEx. If the AFC Session was started with the tax log open, tax calculations are
logged and will be reflected in tax reports. BTN, origination and termination information is passed
using NPANXXs. The base sale amount will also be stored in the ‘optional’ field in the log output,
converted to an integer.
Format
short int EZTaxDebitTaxInclusiveNPAN(EZTaxSession session, struct NPANXX_CodeEx *trans,
double *base_sale, int *err_code);
Header(s) Required
EZTaxProto.h
EZTaxDefine.h
EZTaxStruct.h
Libraries
EZTax2.lib
Return Value List
[-1]: A critical error occurred while preparing the tax inclusive calculation session
[0]: No taxes calculated or an error was found
[n]: Indicates number of taxes stored in the struct enhanced_taxes_tbl array for this transaction
Parameters
session: session handle returned when initialized with call to EZTaxInitEx
*trans: transaction information
*base_sale: calculated charge returned
*err_code: error status returned
Remarks
When both return and err_code are 0, no taxes were found, but there is no error. The base_sale
returned will equal the charge sent in. If the charge sent in is insufficient to cover the taxes generated,
then no taxes will be calculated and the err_code will be set to -37. An error will be logged to the
status file indicating an insufficient charge error occurred.
**
Note
**: Non-billable taxes are not included in the calculation of the base sale amount. Adding the base
sale amount and all taxes that appear in the log for a transaction may result in a value greater than the
target amount; any non-billable taxes returned by the transaction *will* be included in the total.

AFC Telecom User Manual | 250 of 401
Copyright 2018 Avalara, Inc.
EZTaxDebitTaxInclusivePCode (EZTaxDebitRevPCode deprecated)
Description
EZTaxDebitTaxInclusivePCode accepts transaction data and performs a tax inclusive calculation for
prepaid debit transactions to arrive at the base sale amount. The desired total (charge plus all taxes) is
placed in the ‘charge’ field in the transaction, and base charge necessary to generate that total is
returned in the ‘base_sale’ parameter. Taxes for the desired transaction are returned in the same
manner as EZTaxPCodeEx. If the AFC Session was started with the tax log open, tax calculations are
logged and will be reflected in tax reports. BTN, origination and termination information is passed
using PCodes. The base sale amount will also be stored in the ‘optional’ field in the log output,
converted to an integer.
Format
short int EZTaxDebitTaxInclusivePCode(EZTaxSession session, struct P_CodeEx *trans,
double *base_sale, int *err_code);
Header(s) Required
EZTaxProto.h
EZTaxDefine.h
EZTaxStruct.h
Libraries
EZTax2.lib
Return Value List
[-1]: A critical error occurred while preparing the tax inclusive calculation session
[0]: No taxes calculated or an error was found
[n]: Indicates number of taxes stored in the struct enhanced_taxes_tbl array for this transaction
Parameters
session: session handle returned when initialized with call to EZTaxInitEx
*trans: transaction information
*base_sale: calculated charge returned
*err_code: error status returned
Remarks
When both return and err_code are 0, no taxes were found, but there is no error. The base_sale
returned will equal the charge sent in. If the charge sent in is insufficient to cover the taxes generated,
then no taxes will be calculated and the err_code will be set to -37. An error will be logged to the
status file indicating an insufficient charge error occurred.
**
Note
**: Non-billable taxes are not included in the calculation of the base sale amount. Adding the base
sale amount and all taxes that appear in the log for a transaction may result in a value greater than the
target amount; any non-billable taxes returned by the transaction *will* be included in the total.

AFC Telecom User Manual | 251 of 401
Copyright 2018 Avalara, Inc.
EZTaxDebitTaxInclusiveZip (EZTaxDebitRevZip deprecated)
Description
EZTaxDebitTaxInclusiveZip accepts transaction data and performs a tax inclusive calculation for
prepaid debit transactions to arrive at the base sale amount. The desired total (charge plus all taxes) is
placed in the ‘charge’ field in the transaction, and base charge necessary to generate that total is
returned in the ‘base_sale’ parameter. Taxes for the desired transaction are returned in the same
manner as EZTaxJCodeEx. If the AFC Session was started with the tax log open, tax calculations are
logged and will be reflected in tax reports. The base sale amount will also be stored in the ‘optional’
field in the log output, converted to an integer.
This function passes tax jurisdiction information to AFC by specifying the appropriate zip code, state
identifier, county, and locality. AFC uses this information to determine the JCode used for tax
calculations. It is important to supply complete address information; there are many duplicate zip
codes and localities contained within the AFC database tables. AFC always returns the first match of
the data supplied.
Supplying incomplete information can result in tax calculations for an unexpected jurisdiction. When
information regarding the locality is not supplied, AFC may be limited to data based upon the county
or parish involved. Likewise, when information about the county is not supplied, the EZtax engine may
be limited to performance of calculations based upon the state and zip code identifiers.
Format
short int EZTaxDebitTaxInclusiveZip(EZTaxSession session, struct zip_codeEx *trans,
double *base_sale, int *err_code);
Header(s) Required
EZTaxProto.h
EZTaxDefine.h
EZTaxStruct.h
Libraries
EZTax2.lib
Return Value List
[-1]: A critical error occurred while preparing the tax inclusive calculation session
[0]: No taxes calculated or an error was found
[n]: Indicates number of taxes stored in the struct enhanced_taxes_tbl array for this transaction
Parameters
session: session handle returned when initialized with call to EZTaxInitEx
*trans: transaction information
*base_sale: calculated charge returned
*err_code: error status returned
Remarks
When both return and err_code are 0, no taxes were found, but there is no error. The base_sale
returned will equal the charge sent in. If the charge sent in is insufficient to cover the taxes generated,

AFC Telecom User Manual | 252 of 401
Copyright 2018 Avalara, Inc.
then no taxes will be calculated and the err_code will be set to -37. An error will be logged to the
status file indicating an insufficient charge error occurred.
**
Note
**: Non-billable taxes are not included in the calculation of the base sale amount. Adding the base
sale amount and all taxes that appear in the log for a transaction may result in a value greater than the
target amount; any non-billable taxes returned by the transaction *will* be included in the total.

AFC Telecom User Manual | 253 of 401
Copyright 2018 Avalara, Inc.
EZTaxDllVersion
Description
Function EZTaxDllVersion returns the version number of the AFC API.
Format
short int EZTaxDllVersion(char *psz_library_version);
Header(s) Required
EZTaxDefine.h
EZTaxProto.h
Libraries
EZTax2.lib
Return Value List
TRUE : if the database version is returned in psz_library_version
FALSE : if database version couldn't be obtained
Parameters
psz_library_version : version string returned
Remarks
The version string is the same value that is displayed in the EZTax.sta status file.

AFC Telecom User Manual | 254 of 401
Copyright 2018 Avalara, Inc.
EZTaxExit
Description
EZTaxExit writes the contents of database buffers to disk, de-allocates memory, closes databases and
performs other clean-up duties which free up resources utilized by EZtax. This function will then exit
the AFC system.
EZTaxExit terminates all sessions that were created with calls to EZTaxInit in addition to processes
mentioned above.
Format
short int EZTaxExit(EZTaxSession session)
Header(s) Required
EZTaxProto.h
EZTaxDefine.h
Libraries
EZTax2.lib
Return Value List
always returns TRUE
Parameters:
Void
Remarks
EZTaxExit must be called to terminate all existing AFC Session(s).
EZTaxExit will close any sessions still running.

AFC Telecom User Manual | 255 of 401
Copyright 2018 Avalara, Inc.
EZTaxExitSessionEx
Description
EZTaxExitSessionEx will terminate a session specified by valid session handle. EZTaxExitSessionEx
writes the current internal tax log buffers to the tax log disk file, de-allocates cached database
memory, closes all AFC database files, and performs other clean-up duties which free up resources
utilized for the specified session.
Format
short int EZTaxExitSessionEx(EZTaxSession session);
Header(s) Required
EZTaxProto.h
Libraries
EZTax2.lib
Return Value List
TRUE : if session exited successfully
FALSE : if an error occurred
Parameters
session : session handle returned when initialized with call to EZTaxInitEx
Remarks
The session handle and the struct taxes_tbl * returned by EZTaxInitEx during the initialization of the
given session handle are invalidated by a call to this function. Attempting to use either after a call to
EZTaxExitSessionEx will cause errors.

AFC Telecom User Manual | 256 of 401
Copyright 2018 Avalara, Inc.
EZTaxFlushToLogEx
Description
EZtax FlushToLogEx writes the current internal tax log buffers to the tax log disk file. The internal tax log
buffers are normally written to when they are filled to capacity or EZTaxExit is called. This function can be
called to force a write to tax log disk file.
Format
short int EZTaxFlushToLogEx(EZTaxSession session);
Header(s) Required
EZTaxProto.h
EZTaxDefine.h
EZTaxStruct.h
Libraries
EZTax2.lib
Return Value List
always returns TRUE
Parameters
session : session handle returned when initialized with call to EZTaxInitEx
Remarks
EZTaxFlushToLogEx writes the content of internal tax log buffers to disk.

AFC Telecom User Manual | 257 of 401
Copyright 2018 Avalara, Inc.
EZTaxFreeRates
Description
EZTaxFreeRates frees up the memory from the table of all taxes for a jurisdiction returned from
EZTaxGetRates
Format
short int EZTaxFreeRates(struct jurisdictionTaxes *taxes);
Header(s) Required
EZTaxProto.h
EZTaxDefine.h
Libraries
EZTax2.lib
Return Value List
always returns 0
Parameters
*taxes : tax information to be freed
Remarks
None

AFC Telecom User Manual | 258 of 401
Copyright 2018 Avalara, Inc.
EZTaxFtoPCodeEx
Description
EZTaxFtoPCodeEx converts a Fips Code into a PCode. Zero is returned if
not found.
Format
unsigned long int EZTaxFtoPCodeEx(EZTaxSession session, char *Fips,
int *err_code)
Header(s) Required
EZTaxDefine.h
EZTaxProto.h
EZTaxStruct.h
Libraries
EZTax2.lib
Return Value List
PCode : converted from the input fips code
0 : if conversion is unsuccessful
Parameters
session : session handle returned when initialized with call to EZTaxInitEx
*Fips: Fips code to convert
*err_code : error status returned
Remarks
None

AFC Telecom User Manual | 259 of 401
Copyright 2018 Avalara, Inc.
EZTaxGetAddressEx
Description
EZTaxGetAddressEx utilizes a J-Code as input to produce the location/address data for the jurisdiction
identified by the J-Code.
Format
short int EZTaxGetAddressEx(EZTaxSession session,
unsigned long int j_code,
struct address_data_p4 *address,
int *err_code);
Header(s) Required
EZTaxProto.h
EZTaxDefine.h
Libraries
EZTax2.lib
Return Value List
NOT_FOUND : EZTaxGetAddressEx failed due to invalid JCode or an error has occurred.
FOUND : EZTaxGetAddressEx successfully retrieved address
MORE : EZTaxGetAddressEx successfully retrieved address and other valid addresses exist for this
jurisdiction. Other address can be obtained by calling EZTaxNextAddressEx.
Parameters
Session : session handle returned when initialized with call to EZTaxInitEx
j_code : j-code to find an address for
*address : the address information returned
*err_code : error status code
Remarks
None

AFC Telecom User Manual | 260 of 401
Copyright 2018 Avalara, Inc.
EZTaxGetCustomLog
Description
EZTaxGetCustomLog is a routine that returns a pointer to a log structure, which is used for customized
logging.
Format
struct EZTax_logEx *EZTaxGetCustomLog(EZTaxSession session)
Return Value List
NULL : Indicates an error has occurred
pointer : The logging structure pointer
Parameters
session: session handle returned with call to initialize the AFC Session.
Remarks
This function is used after a call to initialize the AFC Session and before any taxes are calculated. The
log structure returned can be used to call EZTaxWriteToLogEx to output the information to the AFC
log. EZTaxGetCustomLogCount can be used to get the record count in the log table as needed.
When a transaction has been processed, the custom log structure will contain the tax information
generated by that transaction.
The value in eztax_logEx.p_code is the jcode representation of the jurisdiction.

AFC Telecom User Manual | 261 of 401
Copyright 2018 Avalara, Inc.
EZTaxGetCountryID
Description
EZTaxGetCountryID returns the country ID associated with the PCode passed in.
For a list of country codes, refer to the NpaNxx Country Id column listed under “Appendix D –
International NPANXX IDs” in document TM_00561_AFC Comprehensive Guide to Reports and Data
Files.pdf.
Format
unsigned int EZTaxGetCountryID(EZTaxSession session, unsigned long int PCode, int *err_code);
Return Value List
unsigned int representing the country id associated with the PCode passed in.
Parameters
session : Session object returned for session when initialized with call to EZTaxInitEx.
PCode : AFC proprietary code representing a taxing jurisdiciton
*err_code: Error codes returned. See the header EZTaxDefine.h for definitions.
Remarks
None

AFC Telecom User Manual | 262 of 401
Copyright 2018 Avalara, Inc.
EZTaxGetCustomLogCount
Description
Function returns the number of records in the current custom log table. This function can be used in
conjunction with EZTaxGetCustomLog() which returns a pointer to the custom log table.
Format
short int EZTaxGetCustomLogCount(EZTaxSession session)
Return Value List
Count of records : 0 if no records exist, else the number of records in the custom log table.
Parameters
session: session handle returned with call to initialize the AFC Session.
Remarks
GetCustomLogCount returns the number of taxes contained in the EZTaxGetCustomLog
structure. The log count includes no summarization. The log count always includes the non-
billable tax count.

AFC Telecom User Manual | 263 of 401
Copyright 2018 Avalara, Inc.
EZTaxGetHandle
Description
EZTaxGetHandle returns the handle object given the session.
Format
long int EZTaxGetHandle(EZTaxSession session);
Header(s) Required
EZTaxProto.h
EZTaxDefine.h
Libraries
EZTax2.lib
Return Value List
Handle : value if found
[-1] : otherwise
Parameters
session: session handle returned when initialized with call to EZTaxInitEx
Remarks
None

AFC Telecom User Manual | 264 of 401
Copyright 2018 Avalara, Inc.
EZTaxGetJurisdiction
Description
EZTaxGetJurisdiction retrieves the jurisdiction where the transaction is determined to be taxed at.
Current use is in the batch executables that report tax revenue group by state.
Format
unsigned long int EZTaxGetJurisdiction(EZTaxSession session,
struct J_CodeEx trans, int *err_code);
Header(s) Required
EZTaxProto.h
EZTaxDefine.h
Libraries
EZTax2.lib
Return Value List
[0] : if jurisdiction is not found
JCcode : otherwise
Parameters
session : session handle returned when initialized with call to EZTaxInitEx
trans : transaction information
*err_code : error status returned
Remarks
None

AFC Telecom User Manual | 265 of 401
Copyright 2018 Avalara, Inc.
EZTaxGetLogName
Description
EZTaxGetLogName retrieves the log filename when it is specified using the filelocs.txt. Current use is
in the batch executables that open the log file and must know the filename.
Format
short int EZTaxGetLogName(EZTaxSession session, char *filename);
Header(s) Required
EZTaxProto.h
EZTaxDefine.h
Libraries
EZTax2.lib
Return Value List
SESSION_NOT_INIT : if session handle is invalid
TRUE : otherwise
Parameters
session: session handle returned when initialized with call to EZTaxInitEx
*filename: filename from filelocs.txt configuration file or paths variable EZTaxInitEx was called with
Remarks
None

AFC Telecom User Manual | 266 of 401
Copyright 2018 Avalara, Inc.
EZTaxGetLogV914
Description
EZTaxGetLogV914 is a routine that returns a pointer to a log structure, which is used for customized
logging.
Format
struct eztax_log_v914 *EZTaxGetLogV914(EZTaxSession session)
Return Value List
NULL : Indicates an error has occurred
pointer : The v914 logging structure pointer
Parameters
session: session handle returned with call to initialize the AFC Session.
Remarks
This function is used after a call to initialize the AFC Session and before any taxes are calculated. The
log structure returned can be used to call EZTaxWriteToLogV914 to output the information to the AFC
log. EZTaxGetLogV914Count can be used to get the record count in the log table.
When a transaction has been processed, the V914 tax log structure will contain the tax information
generated by that transaction. In addition it will contain the charge and t/s pair used in the tax
calculation. This can be valuable when processing bundled transactions, as the t/s pair will be the
bundled product and the charge the % allocated to this t/s pair.
The value in eztax_log_v914.p_code is the jcode representation of the jurisdiction.

AFC Telecom User Manual | 267 of 401
Copyright 2018 Avalara, Inc.
EZTaxGetLogV914Count
Description
Function returns the number of records in the current custom log table. This function can be used in
conjunction with EZTaxGetLogV914 () which returns a pointer to the v9114 tax log table.
Format
short int EZTaxGetLogV914Count (EZTaxSession session)
Return Value List
Count of records : 0 if no records exist, else the number of records in the v914 tax log table.
Parameters
session: session handle returned with call to initialize the AFC Session.
Remarks
GetLogV914Count returns the number of taxes contained in the EZTaxGetLogV914
structure. The log count includes no summarization. The log count always includes the
non-billable tax count.
.

AFC Telecom User Manual | 268 of 401
Copyright 2018 Avalara, Inc.
EZTaxGetRates
Description
EZTaxGetRates utilizes a PCode as input to produce the table of all taxes for that jurisdiction.
Format
short int EZTaxGetRates(EZTaxSession session, unsigned long int p_code,
struct jurisdictionTaxes *taxes, int *err_code)
Header (s) Required
EZTaxProto.h
EZTaxDefine.h
Libraries
EZTax2.lib
Return Value List
Success: 0
Failure: 1
Parameters
pCode : jurisdiction to get rate information for
*taxes : tax rates
*err_code : error codes
Remarks
None

AFC Telecom User Manual | 269 of 401
Copyright 2018 Avalara, Inc.
EZTaxGetSession
Description
EZTaxGetSesson returns the session object given the handle.
Format
EZTaxSession EZTaxGetSession(long int hdl)
Header (s) Required
EZTaxProto.h
EZTaxDefine.h
Libraries
EZTax2.lib
Return Value List
returns the session pointer
Parameters
hdl : the session handle
Remarks
None

AFC Telecom User Manual | 270 of 401
Copyright 2018 Avalara, Inc.
EZTaxGetStateID
Description
EZTaxGetStateID returns the state id associated with the PCode passed in.
For a list of US state codes, refer to the Id column listed under “Appendix B – Supported States,
Territories and Provinces” in document TM_00561_AFC Comprehensive Guide to Reports and Data
Files.pdf.
Format
unsigned int EZTaxGetStateID (EZTaxSession session, unsigned long int PCode, int *err_code);
Return Value List
unsigned int representing the state id associated with the PCode passed in.
Parameters
session : Session object returned for session when initialized with call to EZTaxInitEx.
PCode : AFC proprietary code representing a taxing jurisdiciton
*err_code: Error codes returned. See the header EZTaxDefine.h for definitions.
Remarks
None

AFC Telecom User Manual | 271 of 401
Copyright 2018 Avalara, Inc.
EZTaxGetTaxCatV98
Description
EZTaxGetTaxCatV98 retrieves the tax category description for a specified tax code. Current use is in
utilities reporting from the log, but users can also use this new feature.
Format
char *EZTaxGetTaxCatV98(EZTaxSession session, int taxCode);
Header (s) Required
EZTaxProto.h
EZTaxDefine.h
Libraries
EZTax2.lib
Return Value List
the tax category description
Parameters
session : session handle returned when initialized with call to EZTaxInitEx
taxCode : the tax type to get the description for
Remarks
None

AFC Telecom User Manual | 272 of 401
Copyright 2018 Avalara, Inc.
EZTaxGetTaxDescription
Description
EZTaxGetTaxDescription retrieves the tax description for a specified tax code. Current use is in utilities
reporting from the log, but users can also use this new feature.
Format
char *EZTaxGetTaxDescription(EZTaxSession session, int taxCode);
Header (s) Required
EZTaxProto.h
EZTaxDefine.h
Libraries
EZTax2.lib
Return Value List
the tax description
Parameters
session : session handle returned when initialized with call to EZTaxInitEx
taxCode : the tax type to get the description for
Remarks
None

AFC Telecom User Manual | 273 of 401
Copyright 2018 Avalara, Inc.
EZTaxGetTSR
Description
EZTaxGetTSR allows applications API functionality to get the transaction service report. A flag is used
to specify whether the report data should be returned or written to file.
Format
struct rtr_data* EZTaxGetTSR(EZTaxSession session, int *size, short int returnData)
Return Value List
Pointer to rtr_data : if method succeeded AND returnData is true
NULL : otherwise
Parameters
session: session handle returned with call to initialize the AFC Session.
size : an integer passed by reference that will be set to the size of the returned array
returnData : flag that determines if the TSR data should be returned or written to file.
Remarks
EZTaxGetTSR returns a pointer to an array of data. This data is cleared from memory using
EZTaxClearTSR. Using EZTaxGetTSR without calling EZTaxClearTSR can lead to memory leaks.
If returnData is false, the function flushes the TSR data to file and clears the data from memory.
If returnData is true, the function returns the TSR data as an array and does not clear the data. Once
the returned data is processed and no longer needed, the calling application should call
EZTaxClearTSR() to clear the data from memory.

AFC Telecom User Manual | 274 of 401
Copyright 2018 Avalara, Inc.
EZTaxGroupResults
Description
This function sets the mode that AFC uses to group the returned taxes by. After calling this function,
the results in the tax return table will be grouped as specified by the groupMode parameter.
Format
short int EZTaxGroupResults(EZTaxSession session,
unsigned long int groupMode);
Header (s) Required
EZTaxProto.h
EZTaxDefine.h
EZTaxStruct.h
Libraries
EZTax2.lib
Return Value List
short int : TRUE or FALSE indicating if the function succeeded or not.
Parameters:
int groupMode: Constant indicating how tax calculation results should be returned. The options to
group taxes by tax level are following:
• GROUP_SAME_LEVEL: Indicates that taxes at the same level should be grouped together.
• GROUP_CO_LOCAL: When using this option, AFC will group all state taxes into a single record,
and county and local taxes will be grouped together into a separate record.
• GROUP_ST_CO_LOCAL. State, county and local taxes will be grouped together.
The options to group sales taxes separately may be appended to a tax level option by using the bitwise
OR operator (|). These options are:
• GROUP_SALES: Sales taxes (tax type 1) and Use Taxes (tax type 49) will be grouped separately
from other taxes.
• GROUP_SALES_CATEGORY: All taxes in the sales tax category will be grouped into a single record.
The DEFAULT option may be used to disable tax grouping. These options are included in the
EZTaxDefine.h header file.

AFC Telecom User Manual | 275 of 401
Copyright 2018 Avalara, Inc.
EZTaxInitDirEx
Description
EZTaxInitDirEx reads AFC files and initializes the AFC system. Multiple calls may be made to set up
completely independent sessions.
Format
struct enhanced_taxes_tbl *EZTaxInitDirEx(short int tax_log,
struct file_path *paths,
EZTaxSession *session,
char *directory);
Header(s) Required
EZTaxProto.h
EZTaxStruct.h
EZTaxDefine.h
Libraries
EZTax2.lib
Return Value List
pointer : to structure where taxes are returned later
NULL : if an error occurred
Parameters
tax_log : flag to log taxes or not
*paths : data structure with file-paths, if null or incomplete, paths
are read from file_locs.txt
*session : session handle returned
*directory : name of directory that AFC will search for EZTax.cfg and filelocs.txt
Remarks
This function initializes and starts an AFC Session.
Multiple sessions can be initialized by successive calls to EZTaxInitDirEx.

AFC Telecom User Manual | 276 of 401
Copyright 2018 Avalara, Inc.
EZTaxInitEx
Description
EZTaxInitEx reads AFC files and initializes the AFC system. Multiple calls may be made to set up
completely independent sessions.
Format
struct enhanced_taxes_tbl *EZTaxInitEx(short int tax_log,
struct file_path *paths,
EZTaxSession *session);
Header(s) Required
EZTaxProto.h
EZTaxStruct.h
EZTaxDefine.h
Libraries
EZTax2.lib
Return Value List
pointer : to structure where taxes are returned later
NULL : if an error occurred
Parameters
tax_log : flag to log taxes or not
*paths : data structure with file-paths, if null or incomplete, paths
are read from file_locs.txt
*session : session handle returned
Remarks
This function initializes and starts an AFC Session.
Multiple sessions can be initialized by successive calls to EZTaxInitEx.

AFC Telecom User Manual | 277 of 401
Copyright 2018 Avalara, Inc.
EZTaxInitExMT
Description
EZTaxInitExMT reads AFC files and initializes the AFC system. Multiple calls may be made to set up
completely independent sessions.
Format
struct enhanced_taxes_tbl *EZTaxInitEx(short int tax_log,
struct file_path *paths,
EZTaxSession *session,
char *directory);
Header(s) Required
EZTaxProto.h
EZTaxStruct.h
EZTaxDefine.h
Libraries
EZTax2.lib
Return Value List
pointer : to structure where taxes are returned later
NULL : if an error occurred
Parameters
tax_log : flag to log taxes or not
*paths : data structure with file-paths, if null or incomplete, paths
are read from file_locs.txt
*session : session object returned
*directory : name of directory that AFC will search for EZTax.cfg and filelocs.txt
Remarks
This function initializes and starts an AFC Session.
This function is designed to be thread-safe - other sessions on other threads can be running AFC
calculations when this function is called.
Be sure to call EZTaxExitSessionEx for each EZTaxSession object created by EZTaxInitExMT. EZTaxExit
will not close sessions created by EZTaxInitExMT. Failure to call EZTaxExitSessionEx will result in
memory leaks.

AFC Telecom User Manual | 278 of 401
Copyright 2018 Avalara, Inc.
EZTaxInitV914
Description
EZTaxInitV914 reads AFC files and initializes the AFC system. Multiple calls may be made to set up
completely independent sessions.
The input structure allows all optional input files to be specified through the initialization method.
This method does not use filelocs.txt and will ignore exclusion, nexus and bundle file settings in
EZTax.cfg.
Format
struct enhanced_taxes_tbl * EZTaxInitV914(short int tax_log_enabled,
struct file_path_v914 *paths,
EZTaxSession *session);
Return Value List
pointer : to structure where taxes are returned later
NULL : if an error occurred
Parameters
tax_log_enabled : flag to enable the log taxes process
*paths : data structure with file-paths.
*session : session object returned
*directory : name of directory that AFC will search for EZTax.cfg and filelocs.txt
Remarks
This function initializes and starts an AFC Session and is designed to be thread-safe - other sessions on
other threads can be running AFC calculations when this function is called.
Be sure to call EZTaxExitSessionEx for each EZTaxSession object created by EZTaxInitV914. EZTaxExit
will not close sessions created by EZTaxInitV914. Failure to call EZTaxExitSessionEx will result in
memory leaks.

AFC Telecom User Manual | 279 of 401
Copyright 2018 Avalara, Inc.
EZTaxInitV98
Description
EZTaxInitV98 reads AFC files and initializes the AFC system. It differs from
EZTaxInitExMT in that the tax table returned includes tax category information. Multiple
calls may be made to set up completely independent sessions.
Format
struct taxes_tbl_v98 *EZTaxInitV98(short int tax_log,
struct file_path *paths,
EZTaxSession *session,
char *directory);
Header(s) Required
EZTaxProto.h
EZTaxStruct.h
EZTaxDefine.h
Libraries
EZTax2.lib
Return Value List
pointer : to structure where taxes are returned later
NULL : if an error occurred
Parameters
tax_log : flag to log taxes or not
*paths : data structure with file-paths, if null or incomplete, paths
are read from file_locs.txt
*session : session object returned
*directory : name of directory that AFC will search for EZTax.cfg and filelocs.txt
Remarks
This function initializes and starts an AFC Session.
This function is designed to be thread-safe - other sessions on other threads can be running AFC
calculations when this function is called.
**
Note
**: Be sure to call EZTaxExitSessionEx for each EZTaxSession object created by EZTaxInitV98.
EZTaxExit will not close sessions created by EZTaxInitV98. Failure to call EZTaxExitSessionEx will result in
memory leaks.

AFC Telecom User Manual | 280 of 401
Copyright 2018 Avalara, Inc.
EZTaxJCodeEx
Description
EZTaxJCodeEx accepts transaction data and performs appropriate tax calculations. If the AFC Session
was started with the tax log open, tax calculations are logged and will be reflected in tax reports. BTN,
origination and termination information is passed using JCodes.
Format
short int EZTaxJCodeEx(EZTaxSession session, struct J_CodeEx *trans,
int *err_code);
Header(s) Required
EZTaxProto.h
EZTaxDefine.h
EZTaxStruct.h
Libraries
EZTax2.lib
Return Value List
[0] : No taxes calculated or an error was found
[n] : Indicates number of taxes stored in the struct enhanced_taxes_tbl array for this transaction
Parameters
session : session handle returned when initialized with call to EZTaxInitEx
*trans : transaction information
*err_code : error status returned
Remarks
When both return and err_code are 0, no taxes were found, but there is no error.

AFC Telecom User Manual | 281 of 401
Copyright 2018 Avalara, Inc.
EZTaxJtoPCodeEx
Description
EZTaxJtoPCodeEx Returns PCode that is cross-referenced to a JCode.
Format
unsigned long int EZTaxJtoPCodeEx(EZTaxSession session,
unsigned long int JCode,
int *err_code);
Header(s) Required
EZTaxDefine.h
EZTaxProto.h
EZTaxStruct.h
Libraries
EZTax2.lib
Return Value List
PCode : for the input jcode if found, 0 otherwise
Parameters
session: Session handle returned when initialized with call to EZTaxInitEx
JCode: j-code to convert
*err_code: Error status returned
Remarks
None

AFC Telecom User Manual | 282 of 401
Copyright 2018 Avalara, Inc.
EZTaxJTTypeEx (EZTaxJTType deprecated)
Description
Returns transaction type for a given pair of JCodes indicating whether the call is interstate or
intrastate. The first JCode is the originating and the second the terminating JCode. Will set error code
to INTERSTATE_NOT_VALID_FOR_INTERNATIONAL_CALLS
If the originating country and terminating country are not the same.
The returned value can also be used to determine service types. For example
for transaction type, 19, 20, 21, 59, the interstate service type is 49, the
intrastate service is 50. For transaction type 61, the intersate service is 585,
intrastate service is 586. But caller is responsible to map INTERSTATE or INTRASTATE
to the right service type.
Format
short int EZTaxJTTypeEx(EZTaxSession session,
unsigned long int orig_J_Code,
unsigned long int term_J_Code,
int* err_code)
Return Value List
INTERSTATE or INTRASTATE : depending on the origination and termination States.
Parameters
session: Session handle returned when session was initialized
orig_J_Code: origination j-code
term_J_Code: termination j-code
*err_code : error status returned
Remarks
This call will eventually be deprecated. Recommend usage of EZTaxPTTypeEx(…) which works with
PCodes in place of this call.

AFC Telecom User Manual | 283 of 401
Copyright 2018 Avalara, Inc.
EZTaxJurisdiction
Description
EZTaxJurisdiction returns the first JCode at the lowest level.
Format
unsigned long int EZTaxJurisdiction(long int hdl,
struct J_Code *trans);
Header(s) Required
EZTaxStruct.h
EZTaxDefine.h
EZTaxProto.h
Libraries
EZTax2.lib
Return Value List
[0] : if no j-code found.
JCode : otherwise as jurisdiction was found.
Parameters
hdl : Session handle returned when initialized with call to EZTaxInit
*trans : transaction information
Remarks
None

AFC Telecom User Manual | 284 of 401
Copyright 2018 Avalara, Inc.
EZTaxMaxTaxCount
Description
EZTaxMaxTaxCount returns the maximum number of taxes that one transaction can generate.
Format
Short int EZTaxMaxTaxCount();
Header(s) Required
EZTaxProto.h
Libraries
EZTax2.lib
Return Value List
Count : Maximum tax count generated by one transaction
Parameters
None
Remarks
None

AFC Telecom User Manual | 285 of 401
Copyright 2018 Avalara, Inc.
EZTaxNextAddressEx
Description
EZTaxNextAddressEx returns the next sequential record containing alternative address information for
a specific JCode. This function can be used to obtain additional address for a specified jurisdiction
when EZTaxGetAddressEx returns MORE, indicating additional information is available. The majority of
jurisdictions have more than one set of
address/zip code data associated with them.
Format
short int EZTaxNextAddressEx(EZTaxSession session,
struct address_data_p4 *address,
int *err_code);
Header(s) Required
EZTaxProto.h
EZTaxDefine.h
EZTaxStruct.h
Libraries
EZTax2.lib
Return Value List
FOUND : is returned if last address found
MORE : is returned if an address is found and more addresses are available
NOT_FOUND : is returned if not found
Parameters
session : session handle returned when initialized with call to
EZTaxInitEx
*address : address information
*err_code : error status returned
Remarks
None

AFC Telecom User Manual | 286 of 401
Copyright 2018 Avalara, Inc.
EZTaxNextCustomerEx
Description
EZTaxNextCustomerEx puts the taxes calculated in the customer table into a customer tax table that
the client can reference and reinitializes the customer table to prepare for the next set of customer
records.
Format
int EZTaxNextCustomerEx(EZTaxSession session);
Libraries
EZTax2.lib
Header(s) Required
EZTaxProto.h,
EZTaxDefine.h,
EZTaxStruct.h
Return Value List
Tax count : positive if all taxes waiting have been returned
[-1] : if there was an error
[-1*tax count] : if more taxes are waiting to be retrieved
Parameters
session : Session handle returned for session when initialized with call to EZTaxInit.
References:
EZTaxSetInvoiceModeEx
EZTaxSetInvoiceModeV98
Remarks
To be used if the system is in Invoice Mode. Reinitializes the customer table to prepare for the next
set of customer records when all waiting taxes have been retrieved. If the return value is negative
(and not -1), EZTaxNextCustomerEx must be called again to retrieve more taxes. Interface data
structures are also described in detail in the AFC Data Structures section.
**
Note
**: The summarized taxes returned when calling EZTaxNextCustomerEx are identical to the
total of the individual taxes returned from the taxing APIs. Typically one or the other is used but not
both. Combining the individual taxes and the summarized taxes will result in twice as much taxes as
should be normal.

AFC Telecom User Manual | 287 of 401
Copyright 2018 Avalara, Inc.
EZTaxNPANEx
Description
Function EZTaxNPANEx takes an NPANXX_codeEx struct as input and calculates taxes for the
transaction. If the AFC Session was started with the tax log open, tax calculations are logged and will
be reflected in tax reports. BTN, origination and termination information is passed using NPANXXs.
Format
short int EZTaxNPANEx(EZTaxSession session,
struct NPANXX_codeEx *trans,
int *err_code);
Header(s) Required
EZTaxProto.h,
EZTaxDefine.h,
EZTaxStruct.h
Libraries
EZTax2.lib
Return Value List
[n] : number of taxes returned
Parameters
session : Session handle returned when initialized with call to EZTaxInitEx
*trans : npanxx transaction information
*err_code : Error status returned
Remarks
Interface data structures are also described in detail in the AFC Data Structures section. The section
AFC Calculations explains how taxes are returned to the user in detail.

AFC Telecom User Manual | 288 of 401
Copyright 2018 Avalara, Inc.
EZTaxNtoJCodeEx
Description
EZTaxNtoJCodeEx returns JCode that is cross-referenced to an NPANXX
Format
unsigned long int EZTaxNtoJCodeEx (EZTaxSession session, unsigned long
int npanxx, int *err_code);
Header(s) Required
EZTaxDefine.h
EZTaxProto.h
EZTaxStruct.h
Libraries
EZTax2.lib
Return Value List
FALSE (0) : Indicates that the PCode specified was not found or an error has occurred.
JCode : Jurisdiction code
Parameters
session : Session handle returned when initialized with call to EZTaxInitEx
npanxx : 6 digit NPANXX (area code and exchange)
*err_code : Error codes returned. See the header EZTaxDefine.h for definitions.
Remarks
This function converts an NPANXX into a J-Code. If the supplied NPANXX was not found or an error has
occurred 0 is returned, which is valid U.S. Federal level code. Please check the error code before using
the JCode that is returned.

AFC Telecom User Manual | 289 of 401
Copyright 2018 Avalara, Inc.
EZTaxNTTypeEx
Description
EZTaxNTTypeEx returns transaction type for a given pair of NPANXX’s indicating whether the call is
interstate or intrastate. The first NPANXX is the originating and the second is the terminating NPANXX.
Format
short int EZTaxNTTypeEx(EZTaxSession session,
unsigned long int orig_NPANXX,
unsigned long int term_NPANXX);
Header(s) Required
EZTaxDefine.h
EZTaxProto.h
EZTaxStruct.h
Libraries
EZTax2.lib
Return Value List
[n] : 1 if the call was Interstate, 2 if the call was Intrastate
Parameters
session: Session handle returned when initialized with call to EZTaxInitEx
orig_NPANXX : A NPANXX for the originating part of the call.
term_NPANXX : A NPANXX for the terminating part of the call.
Remarks
This program takes the origination and termination NPANXXs as input and determines if the call if
INTERSTATE or INTRASTATE and returns the corresponding response to the caller

AFC Telecom User Manual | 290 of 401
Copyright 2018 Avalara, Inc.
EZTaxOldOvrJCode
Description
EZTaxOldOvrJCode specifies an override for a specific tax. Tax jurisdiction information is passed via
jurisdiction code. It takes a J_Code and an override structure as input and inserts a tax override into
the AFC db system.
Format
short int EZTaxOvrJCode(EZTaxSession session, unsigned long int j_code,
struct tax_ovrd *over);
Header(s) Required
EZTaxDefine.h
EZTaxProto.h
EZTaxStruct.h
Libraries
EZTax2.lib
Return Value List
FALSE : Override failed
TRUE : Override established
Parameters
session : Session object returned for session when initialized with call to EZTaxInitEx or EZTaxInitExMT.
j_code : Specifies jurisdiction to override via JCode.
over : Pointer to structure that specifies specific tax to override. See struct tax_ovrd in EZTaxStruct.h
for detailed information. Interface data structures are also described in detail in the AFC Data
Structures section.
Remarks
Taxes which are overridden are in effect from the time the override is established until the AFC
Session is terminated. All overrides can be removed from the system using the method EZTaxRestore.
Overrides must be approached with caution. The system allows overrides of all taxes and allows the
user to specify the scope of the override. Overriding a tax on a state or county level can impact taxes
in excess of a thousand jurisdictions in some cases. Further detail is containedin the AFC Data
Structure section.

AFC Telecom User Manual | 291 of 401
Copyright 2018 Avalara, Inc.
EZTaxOvrJCodeEx
Description
EZTaxOvrJCodeEx specifies an override for a specific tax. Tax Jurisdiction information is passed via
jurisdiction code. It takes a J_Code and an override structure as input and inserts a tax override into
the AFC db system.
Format
short int EZTaxOvrJCodeEx(EZTaxSession session,
unsigned long int j_code,
struct enhancedOverride *over)
Header(s) Required
EZTaxDefine.h
EZTaxProto.h
EZTaxStruct.h
Libraries
EZTax2.lib
Parameters
session : Session object returned for session when initialized with call to EZTaxInitEx
j_code : Specifies jurisdiction to override via JCode
*over : pointer to override information in the same form as returned by EZTaxGetRates. See struct
enhancedOverride in EZTaxStruct.h for detailed information.
Note:
This structure points to other structures with detailed information on effective date for each tax
rate and tax bracket. Interface data structures are also described in detail in the AFC Data Structures
section.
Return Value List
FALSE : Override failed
TRUE : Override established
Remarks
Taxes which are overridden are in effect from the time the override is established until the AFC
Session is terminated. All overrides can be removed from the system using the method EZTaxRestore.
Overrides must be approached with caution. The system allows overrides of all taxes and allows the
user to specify the scope of the override. Overriding a tax on a state or county level can impact taxes
in excess of a thousand jurisdictions in some cases. Further detail is contained in the AFC Data
Structure section.

AFC Telecom User Manual | 292 of 401
Copyright 2018 Avalara, Inc.
EZTaxOvrNPANEx
Description
EZTaxOvrNPANEx specifies an override for a specific tax. Tax jurisdiction information is passed via
NPANXX. It takes an NPANXX and an override structure as input and inserts a tax override into the AFC
db system.
Format
short int EZTaxOvrNPANEx(EZTaxSession session,
unsigned long int npanxx,
struct enhancedOverride *over)
Header(s) Required
EZTaxDefine.h
EZTaxProto.h
EZTaxStruct.h
Libraries
EZTax2.lib
Parameters
session : Session object returned for session when initialized with call to EZTaxInitEx
npanxx : Specifies jurisdiction to override via NPANXX
*over : pointer to override information in the same form as returned by EZTaxGetRates. See struct
enhancedOverride in EZTaxStruct.h for detailed information.
Note
: This structure points to other structures with detailed information on effective date
for each tax rate and tax bracket. Interface data structures are also described in detail in the AFC Data
Structures section.
Return Value List
FALSE : Override failed
TRUE : Override established
Remarks
Taxes which are overridden are in effect from the time the override is established until the AFC
Session is terminated. All overrides can be removed from the system using the method EZTaxRestore.
Overrides must be approached with caution. The system allows overrides of all taxes and allows the
user to specify the scope of the override. Overriding a tax on a state or county level can impact taxes
in excess of a thousand jurisdictions in some cases. Further detail is contained in the AFC Data
Structure section.

AFC Telecom User Manual | 293 of 401
Copyright 2018 Avalara, Inc.
EZTaxOvrPCodeEx
Description
EZTaxOvrPCodeEx specifies an override for a specific tax. Tax jurisdiction information is passed via
permanent jurisdiction code. It takes a P_Code and an override structure as input and inserts a tax
override into the AFC db system.
Format
short int EZTaxOvrPCodeEx(EZTaxSession session,
unsigned long int p_code,
struct enhancedOverride *over)
Header(s) Required
EZTaxDefine.h
EZTaxProto.h
EZTaxStruct.h
Libraries
EZTax2.lib
Parameters
session : Session object returned for session when initialized with call to EZTaxInitEx
p_code : Specifies jurisdiction to override via PCode
*over : pointer to override information in the same form as returned by EZTaxGetRates. See struct
enhancedOverride in EZTaxStruct.h for detailed information.
Note
: This structure points to other structures with detailed information on effective date for each tax
rate and tax bracket. Interface data structures are also described in detail in the AFC Data Structures
section.
Return Value List
FALSE : Override failed
TRUE : Override established
Remarks
Taxes which are overridden are in effect from the time the override is established until the AFC
Session is terminated. All overrides can be removed from the system using the method EZTaxRestore.
Overrides must be approached with caution. The system allows overrides of all taxes and allows the
user to specify the scope of the override. Overriding a tax on a state or county level can impact taxes
in excess of a thousand jurisdictions in some cases. Further detail is contained in the AFC Data
Structure section.

AFC Telecom User Manual | 294 of 401
Copyright 2018 Avalara, Inc.
EZTaxOvrZipEx
Description
EZTaxOvrZipEx specifies an override for a specific tax. Tax jurisdiction information is passed via zip
code and address. It takes zip code plus 4 and address information, as well as an override structure as
input and inserts a tax override into the AFC db system.
Format
short int EZTaxOvrZipEx(EZTaxSession session,
struct zip_address_p4 int zip_addr,
struct enhancedOverride *over,
int *err_code)
Header(s) Required
EZTaxDefine.h
EZTaxProto.h
Libraries
EZTax2.lib
Parameters
session : Session object returned for session when initialized with call to EZTaxInitEx.
zip_addr : Specifies jurisdiction to override via Zip code and address.
*over : pointer to override information in the same form as returned by EZTaxGetRates. See struct
enhancedOverride and struct zip_address_p4 in EZTaxStruct.h for detailed information.
err_code : error status returned
Note:
The enhancedOverride structure points to other structures with detailed information on effective
date for each tax rate and tax bracket. Interface data structures are also described
in detail in the AFC Data Structures section.
Return Value List
FALSE : Override failed
TRUE : Override established
Remarks
Taxes which are overridden are in effect from the time the override is established until the AFC
Session is terminated. All overrides can be removed from the system using the method EZTaxRestore.
Overrides must be approached with caution. The system allows overrides of all taxes and allows the
user to specify the scope of the override. Overriding a tax on a state or county level can impact taxes
in excess of a thousand jurisdictions in some cases. Further detail is contained in the AFC Data
Structure section.

AFC Telecom User Manual | 295 of 401
Copyright 2018 Avalara, Inc.
EZTaxPCodeEx
Description
EZTaxPCodeEx accepts transaction data and performs appropriate tax calculations. If the AFC Session
was started with the tax log open, tax calculations are logged and will be reflected in tax reports. BTN,
origination and termination information is passed using PCodes. This program takes a PCode struct as
input and calculates taxes for the transaction.
Format
short int EZTaxPCodeEx(EZTaxSession session,
struct P_CodeEx *trans,
int* err_code);
Header(s) Required
EZTaxDefine.h
EZTaxProto.h
EZTaxStruct.h
Libraries
EZTax2.lib
Return Value List
FALSE : Indicates no tax data available for transaction (not taxable) or an error has occurred.
[n] : Indicates number of taxes stored in the struct taxes_tbl array for this transaction.
Parameters
session : Session object returned for session when initialized with call to EZTaxInitEx.
*trans : Pointer to data structure that contains transaction data. See the P_CodeEx struct in the
header file EZTaxStruct.h.
*err_code : Error status returned
Remarks
Interface data structures are also described in detail in the AFC Data Structures section. The section
AFC Calculations explains how taxes are returned to the user in detail.

AFC Telecom User Manual | 296 of 401
Copyright 2018 Avalara, Inc.
EZTaxPrivateLine
Description
EZTaxPrivateLine accepts transaction data and performs tax calculations for a private line transaction.
If the AFC Session was started with the tax log open, tax calculations are logged and will be reflected in
tax reports. This program takes a private_line_P _Code struct as input and calculates taxes for the
transaction. The private_line_P_Code struct has fields named point_A (origination point),
point_Z(termination point), both in PCode, and split which is a number between 0 and 1 to indicate
the percentage which applies to the origination point. Any remaining charges are then applied to the
termination point.
Format
short int EZTaxPrivateLine (EZTaxSession session,
struct private_line_P_Code *trans,
int *err_code);
Return Value List
[0] : No taxes calculated or an error was found
[n] : Indicates number of taxes stored in the struct taxes_tbl array for this transaction
Parameters
session : Session handle returned when initialized with call to EZTaxInitEx
*trans : Pointer to data structure that contains transaction data. See the private_line_P_Code struct in
the header file EZTaxStruct.h.
*err_code : Error status returned

AFC Telecom User Manual | 297 of 401
Copyright 2018 Avalara, Inc.
EZTaxPrivateLineAdj
Description
EZTaxPrivateLineAdj accepts transaction data and performs tax adjustments for a private line
transaction. If the AFC Session was started with the tax log open, tax calculations are logged and will
be reflected in tax reports. This program takes a private_line_P _Code struct as input and calculates
taxes for the transaction. The private_line_P_Code struct has fields named point_A (origination point),
point_Z(termination point), both in PCode, and split which is a number between 0 and 1 to indicate
the percentage which applies to the origination point. Any remaining charges are then applied to the
termination point.
Format
short int EZTaxPrivateLineAdj (EZTaxSession session,
struct private_line_P_Code *trans,
int discount_type,
int adj_method,
int *err_code);
Return Value List
[0] : No taxes calculated or an error was found
[n] : Indicates number of taxes stored in the struct taxes_tbl array for this transaction
Parameters
session : Session handle returned when initialized with call to EZTaxInitEx
*trans : Pointer to data structure that contains transaction data. See the private_line_P_Code struct in
the header file EZTaxStruct.h.
discount_type : discount type code
adj_method : adjustment method (DLM)
*err_code : Error status returned
Remarks
Returns tax adjustments identical to method used for returning tax calculations. Interface data
structures are also described in detail in the AFC Data Structures section. The section AFC Calculations
explains how taxes are returned to the user in detail.

AFC Telecom User Manual | 298 of 401
Copyright 2018 Avalara, Inc.
EZTaxProRateJCodeEx
Description
EZTaxProRateJCodeEx accepts transaction data and performs appropriate tax calculations. If the
taxing jurisdiction allows a pro-rated reduction of taxes, the tax returned will be appropriately
reduced. If the AFC Session was started with the tax log open, tax calculations are logged and will be
reflected in tax reports. BTN, origination and termination information is passed using JCodes. This
program takes a J_Code struct as input and calculates taxes for the transaction. This is the same as
EZTaxJCodeEx but with percent as input.
Format
short int EZTaxProRateJCodeEx(EZTaxSession session,
struct J_CodeEx *trans,
double percent, int *err_code);
Header(s) Required
EZTaxDefine.h
EZTaxProto.h
EZTaxStruct.h
Libraries
EZTax2.lib
Return Value List
[0] : No taxes calculated or an error was found
[n] : Indicates number of taxes stored in the struct taxes_tbl array for this transaction
Parameters
session : Session handle returned when initialized with call to EZTaxInitEx
*trans : Pointer to data structure that contains transaction data. See the J_CodeEx struct in the
header file EZTaxStruct.h.
percent : percentage to pro-rate
*err_code : Error status returned
Remarks
Some taxes can be pro-rated when a customer receives only a partial period of service. The
transaction data should be filled in with the data for a complete period, and the percent value
calculated as the fraction of a period. When both return and *err_code are 0, no taxes were found,
but there is no error.

AFC Telecom User Manual | 299 of 401
Copyright 2018 Avalara, Inc.
EZTaxProRateNPANEx
Description
EZTaxProRateNPANEx accepts transaction data and performs appropriate tax calculations. If the
taxing jurisdiction allows a pro-rated reduction of taxes, the tax returned will be appropriately
reduced. If the AFC Session was started with the tax log open, tax calculations are logged and will be
reflected in tax reports. BTN, origination and termination information is passed using NPANXX. This
program takes an NPANXX_code struct as input and calculates taxes for the transaction. This is the
same as EZTaxNPANEx but with input percent.
Format
short int EZTaxProRateNPANEx(EZTaxSession session,
struct NPANXX_codeEx *trans,
double percent, int *err_code);
Header(s) Required
EZTaxDefine.h
EZTaxProto.h
EZTaxStruct.h
Libraries
EZTax2.lib
Return Value List
[0]: No taxes calculated or an error was found
[n]: Indicates number of taxes stored in the struct taxes_tbl array for this transaction
Parameters
session : Session handle returned when initialized with call to EZTaxInitEx
*trans : Pointer to data structure that contains transaction data. See the NPANXX_codeEx struct in the
header file EZTaxStruct.h.
percent : percentage to pro-rate
*err_code : Error status returned
Remarks
Some taxes can be pro-rated when a customer receives only a partial period of service. The
transaction data should be filled in with the data for a complete period, and the percent value
calculated as the fraction of a period. When both return and *err_code are 0, no taxes were found,
but there is no error.

AFC Telecom User Manual | 300 of 401
Copyright 2018 Avalara, Inc.
EZTaxProRatePCodeEx
Description
EZTaxProRatePCodeEx accepts transaction data and performs appropriate tax calculations. If the
taxing jurisdiction allows a pro-rated reduction of taxes, the tax returned will be appropriately
reduced. If the AFC Session was started with the tax log open, tax calculations are logged and will be
reflected in tax reports. BTN, origination and termination information is passed using PCode. This
program takes a PCode struct as input and calculates taxes for the transaction. This is the same as
EZTaxPCodeEx but with percent as input.
Format
short int EZTaxProRatePCodeEx(EZTaxSession session,
struct P_CodeEx *trans,
double percent, int *err_code);
Header(s) Required
EZTaxDefine.h
EZTaxProto.h
Libraries
EZTax2.lib
Return Value List
[0]: No taxes calculated or an error was found
[n]: Indicates number of taxes stored in the struct taxes_tbl array for this transaction
Parameters
session : Session handle returned when initialized with call to EZTaxInitEx
*trans : Pointer to data structure that contains transaction data. See the P_CodeEx struct in the
header file EZTaxStruct.h.
percent : percentage to pro-rate
*err_code : Error status returned
Remarks
Some taxes can be pro-rated when a customer receives only a partial period of service. The
transaction data should be filled in with the data for a complete period, and the percent value
calculated as the fraction of a period. When both return and *err_code are 0, no taxes were found,
but there is no error.

AFC Telecom User Manual | 301 of 401
Copyright 2018 Avalara, Inc.
EZTaxProRateThisJCodeEx
Description
EZTaxProRateThisJCodeEx accepts transaction data and performs appropriate tax calculations. If the
taxing jurisdiction allows a pro-rated reduction of taxes, the tax returned will be appropriately
reduced. If the AFC Session was started with the tax log open, tax calculations are logged and will be
reflected in tax reports. Jurisdiction information is passed using a JCode. This program takes a specific
jurisdiction code as input and calculates taxes for the transaction. It is the same as EZTaxThisJCodeEx
but with input percent.
Format
short int EZTaxProRateThisJCodeEx(EZTaxSession session,
struct this_J_CodeEx *trans,
double percent, int *err_code);
Header(s) Required
EZTaxDefine.h
EZTaxProto.h
EZTaxStruct.h
Libraries
EZTax2.lib
Return Value List
[0]: No taxes calculated or an error was found
[n]: Indicates number of taxes stored in the struct taxes_tbl array for this transaction
Parameters
session : Session handle returned when initialized with call to EZTaxInitEx
*trans : Pointer to data structure that contains transaction data. See the this_J_CodeEx struct in the
header file EZTaxStruct.h.
percent : percentage to pro-rate
*err_code : Error status returned
Remarks
Some taxes can be pro-rated when a customer receives only a partial period of service. The
transaction data should be filled in with the data for a complete period, and the percent value
calculated as the fraction of a period. When both return and *err_code are 0, no taxes were found,
but there is no error.

AFC Telecom User Manual | 302 of 401
Copyright 2018 Avalara, Inc.
EZTaxProRateThisPCodeEx
Description
EZTaxProRateThisPCodeEx accepts transaction data and performs appropriate tax calculations. If the
taxing jurisdiction allows a pro-rated reduction of taxes, the tax returned will be appropriately
reduced. If the AFC Session was started with the tax log open, tax calculations are logged and will be
reflected in tax reports. Jurisdiction information is passed using a PCode. This program takes a
specific jurisdiction code as input and calculates taxes for the transaction. It is the same as
EZTaxThisPCodeEx but with input percent.
Format
short int EZTaxProRateThisPCodeEx(EZTaxSession session,
struct this_P_CodeEx *trans,
double percent, int *err_code);
Header(s) Required
EZTaxDefine.h
EZTaxProto.h
EZTaxStruct.h
Libraries
EZTax2.lib
Return Value List
[0]: No taxes calculated or an error was found
[n] : Indicates number of taxes stored in the struct taxes_tbl array for this transaction
Parameters
session : Session handle returned when initialized with call to EZTaxInitEx
*trans : Pointer to data structure that contains transaction data. See the this_P_CodeEx struct in the
header file EZTaxStruct.h.
percent : percentage to pro-rate
*err_code : Error status returned
Remarks
Some taxes can be pro-rated when a customer receives only a partial period of service. The
transaction data should be filled in with the data for a complete period, and the percent value
calculated as the fraction of a period. When both return and *err_code are 0, no taxes were found,
but there is no error.

AFC Telecom User Manual | 303 of 401
Copyright 2018 Avalara, Inc.
EZTaxProRateZipEx
Description
EZTaxProRateZipEx accepts transaction data and performs appropriate tax calculations. If the taxing
jurisdiction allows a pro-rated reduction of taxes, the tax returned will be appropriately reduced. If
the AFC Session was started with the tax log open, tax calculations are logged
and will be reflected in tax reports. Jurisdiction information is passed using a Zip Code. This program
takes a zip code plus 4 structure as input and calculates taxes for the transaction. This is the same as
EZTaxZipEx but with percent as input.
Format
short int EZTaxProRateZipEx(EZTaxSession session,
struct zip_codeEx *trans,
double percent, int *err_code);
Header(s) Required
EZTaxDefine.h
EZTaxProto.h
Libraries
EZTax2.lib
Return Value List
[0]: No taxes calculated or an error was found
[n]: Indicates number of taxes stored in the struct taxes_tbl array for this transaction
Parameters
session : Session handle returned when initialized with call to EZTaxInitEx
*trans : Pointer to data structure that contains transaction data. See the zip_codeEx struct in the
header file EZTaxStruct.h.
percent : percentage to pro-rate
*err_code : Error status returned
Remarks
Some taxes can be pro-rated when a customer receives only a partial period of service. The
transaction data should be filled in with the data for a complete period, and the percent value
calculated as the fraction of a period. When both return and *err_code are 0, no taxes were found,
but there is no error.

AFC Telecom User Manual | 304 of 401
Copyright 2018 Avalara, Inc.
EZTaxPtoFipsEx
Description
EZTaxPtoFipsEx returns FIPS Code that is cross-referenced to a PCode. It converts a PCode into a Fips
Code. Zero is returned if not found.
Format
char *EZTaxPtoFipsEx(EZTaxSession session,
unsigned long int PCode,
int *err_code);
Header(s) Required
EZTaxDefine.h
EZTaxProto.h
EZTaxStruct.h
Libraries
EZTax2.lib
Return Value List
FALSE : (0) Indicates that the PCode specified was not found or an error has occurred.
FIPS Code : FIPS Jurisdiction code
Parameters
session : Session handle returned when initialized with call to EZTaxInitEx.
PCode : Permanent jurisdiction code.
*err_code : Error codes returned. See the header EZTaxDefine.h for definitions.
Remarks
If the supplied PCode was not found or an error has occurred 0 is returned.

AFC Telecom User Manual | 305 of 401
Copyright 2018 Avalara, Inc.
EZTaxPtoJCodeEx
Description
EZTaxPtoJCodeEx converts a PCode into a J-Code. PCODE_NOT_FOUND returned if not found.
Format
unsigned long int EZTaxPtoJCodeEx(EZTaxSession session, unsigned long
int PCode, int *err_code);
Header(s) Required
EZTaxDefine.h
EZTaxStruct.h
EZTaxProto.h
Libraries
EZTax2.lib
Return Value List
FALSE (0) : Indicates that the PCode specified was not found or an error has occurred.
JCode : Jurisdiction code
Parameters
session : Session handle returned when initialized with call to EZTaxInitEx PCode : Permanent
jurisdiction code.
*err_code : Error codes returned. See the header EZTaxDefine.h for definitions.
Remarks
If the supplied PCode was not found or an error has occurred 0 is returned, which is a valid U.S.
Federal level code.
Please check the error code before using the JCode that is returned.

AFC Telecom User Manual | 306 of 401
Copyright 2018 Avalara, Inc.
EZTaxPTTypeEx
Description
Returns transaction type for a given pair of PCodes indicating whether the call is interstate or
intrastate. The first JCode is the originating and the second the terminating PCode. Will set error code
to INTERSTATE_NOT_VALID_FOR_INTERNATIONAL_CALLS
If the originating country and terminating country are not the same.
The returned value can also be used to determine service types. For example
for transaction type, 19, 20, 21, 59, the interstate service type is 49, the
intrastate service is 50. For transaction type 61, the intersate service is 585,
intrastate service is 586. But caller is responsible to map INTERSTATE or INTRASTATE
to the right service type.
Format
short int EZTaxPTType(EZTaxSession session,
unsigned long int orig_PCode,
unsigned long int term_PCode,
int* err_code)
Return Value List
INTERSTATE or INTRASTATE : depending on the origination and termination States.
Parameters
session: Session handle returned when session was initialized
orig_PCode: origination p-code
term_PCode: termination p-code
*err_code : error status returned
Remarks
This is the preferred API to be used and replaces usage of EZTaxJTType and EZTaxJTTypeEx.

AFC Telecom User Manual | 307 of 401
Copyright 2018 Avalara, Inc.
EZTaxRestoreEx
Description
EZTaxRestoreEx removes all overrides that have been inserted, by the user, into the AFC databases.
This action occurs automatically on EZTaxExit. The function provides the user with the ability to
remove prior overrides, without terminating an AFC Session.
This program restores the AFC db to its original state (i.e. before overrides). All tables modified,
except for the federal tax table, are restored by restoring EZTax.dll and clearing cache. This is so
because all tables are modified by appending overrides to the end of the table and changing the
references from the old record to the new record. Therefore, when cache is cleared and new data is
pulled from the unmodified EZTax.dll, it references the original, unmodified record in the associated
tables. As federal taxes do not work in this fashion, federal tax overrides are installed and restored
using a unique procedure.
Format
short int EZTaxRestoreEx(EZTaxSession session);
Header(s) Required
EZTaxDefine.h
EZTaxProto.h
EZTaxStruct.h
Libraries
EZTax2.lib
Return Value List
TRUE : Restore succeeded
FALSE : Restore failed
Parameters
session : Session object returned for session when initialized with call to EZTaxInitEx.
Remarks
All prior overrides are lost and the system databases are returned to their original configuration.

AFC Telecom User Manual | 308 of 401
Copyright 2018 Avalara, Inc.
EZTaxTaxInclusiveJCode (EZTaxRevJCode deprecated)
Description
EZTaxTaxInclusiveJCode accepts transaction data and performs a tax inclusive calculation to arrive at
the base sale amount. The desired total (charge plus all taxes) is placed in the ‘charge’ field in
the transaction, and base charge necessary to generate that total is returned in the ‘base_sale’
parameter. Taxes for the desired transaction are returned in the same manner as EZTaxJCodeEx does.
If the AFC Session was started with the tax log open, tax calculations are logged and will be reflected in
tax reports. BTN, origination and termination information is passed using JCodes. The base sale
amount will also be stored in the ‘optional’ field in the log output, converted to an integer.
Format
short int EZTaxTaxInclusiveJCode(EZTaxSession session, struct J_CodeEx *trans,
double *base_sale, int *err_code);
Header(s) Required
EZTaxProto.h
EZTaxDefine.h
EZTaxStruct.h
Libraries
EZTax2.lib
Return Value List
[-1]: A critical error occurred while preparing the tax inclusive calculation session
[0]: No taxes calculated or an error was found
[n]: Indicates number of taxes stored in the struct enhanced_taxes_tbl array for this transaction
Parameters
session: session handle returned when initialized with call to EZTaxInitEx
*trans: transaction information
*base_sale: calculated charge returned
*err_code: error status returned
Remarks
When both return and err_code are 0, no taxes were found, but there is no error. The base_sale
returned will equal the charge sent in. If the charge sent in is insufficient to cover the taxes generated,
then no taxes will be calculated and the err_code will be set to -37. An error will be logged to the
status file indicating an insufficient charge error occurred.
**
Note
**: Non-billable taxes are not included in the calculation of the base sale amount. Adding the
base sale amount and all taxes that appear in the log for a transaction may result in a value greater
than the target amount, as any non-billable taxes returned by the transaction *will* be included in that
total.

AFC Telecom User Manual | 309 of 401
Copyright 2018 Avalara, Inc.
EZTaxTaxInclusiveNPAN (EZTaxRevNPAN deprecated)
Description
EZTaxTaxInclusiveNPAN accepts transaction data and performs a tax inclusive calculation to arrive at
the base sale amount. The desired total (charge plus all taxes) is placed in the ‘charge’ field in the
transaction, and base charge necessary to generate that total is returned in the ‘base_sale’ parameter.
Taxes for the desired transaction are returned in the same manner as EZTaxNPANEx does. If the AFC
Session was started with the tax log open, tax calculations are logged and will be reflected in tax
reports. BTN, origination and termination information is passed using NPANXXs. The base sale amount
will also be stored in the ‘optional’ field in the log output, converted to an integer.
Format
short int EZTaxTaxInclusiveNPAN(EZTaxSession session, struct NPANXX_CodeEx *trans,
double *base_sale, int *err_code);
Header(s) Required
EZTaxProto.h
EZTaxDefine.h
EZTaxStruct.h
Libraries
EZTax2.lib
Return Value List
[-1] : A critical error occurred while preparing the tax inclusive calculation session
[0]: No taxes calculated or an error was found
[n]: Indicates number of taxes stored in the struct enhanced_taxes_tbl array for this transaction
Parameters
session: session handle returned when initialized with call to EZTaxInitEx
*trans: transaction information
*base_sale: calculated charge returned
*err_code: error status returned
Remarks
When both return and err_code are 0, no taxes were found, but there is no error. The base_sale
returned will equal the charge sent in. If the charge sent in is insufficient to cover the taxes generated,
then no taxes will be calculated and the err_code will be set to -37. An error will be logged to the
status file indicating an insufficient charge error occurred.
**
Note
**: Non-billable taxes are not included in the calculation of the base sale amount. Adding the
base sale amount and all taxes that appear in the log for a transaction may result in a value greater
than the target amount, as any non-billable taxes returned by the transaction *will* be included in that
total.

AFC Telecom User Manual | 310 of 401
Copyright 2018 Avalara, Inc.
EZTaxTaxInclusivePCode (EZTaxRevPCode deprecated)
Description
EZTaxTaxInclusivePCode accepts transaction data and performs a tax inclusive calculation to arrive at
the base sale amount. The desired total (charge plus all taxes) is placed in the ‘charge’ field in the
transaction, and base charge necessary to generate that total is returned in the base_sale’parameter.
Taxes for the desired transaction are returned in the same manner as EZTaxPCodeEx does. If the AFC
Session was started with the tax log open, tax calculations are logged and will be reflected in tax
reports. BTN, origination and termination information is passed using PCodes. The base sale amount
will also be stored in the ‘optional’ field in the log output, converted to an integer.
Format
short int EZTaxTaxInclusivePCode(EZTaxSession session, struct P_CodeEx *trans,
double *base_sale, int *err_code);
Header(s) Required
EZTaxProto.h
EZTaxDefine.h
EZTaxStruct.h
Libraries
EZTax2.lib
Return Value List
[-1] : A critical error occurred while preparing the tax inclusive calculation session
[0]: No taxes calculated or an error was found
[n]: Indicates number of taxes stored in the struct enhanced_taxes_tbl array for this transaction
Parameters
session: session handle returned when initialized with call to EZTaxInitEx
*trans: transaction information
*base_sale: calculated charge returned
*err_code: error status returned
Remarks
When both return and err_code are 0, no taxes were found, but there is no error. The base_sale
returned will equal the charge sent in. If the charge sent in is insufficient to cover the taxes generated,
then no taxes will be calculated and the err_code will be set to -37. An error will be logged to the
status file indicating an insufficient charge error occurred.
**
Note
**: Non-billable taxes are not included in the calculation of the base sale amount. Adding the
base sale amount and all taxes that appear in the log for a transaction may result in a value greater
than the target amount, as any non-billable taxes returned by the transaction *will* be included in that
total.

AFC Telecom User Manual | 311 of 401
Copyright 2018 Avalara, Inc.
EZTaxTaxInclusiveZip (EZTaxRevZip deprecated)
Description
EZTaxTaxInclusiveZip accepts transaction data and performs a tax inclusive calculation to arrive at the
base sale amount. The desired total (charge plus all taxes) is placed in the ‘charge’ field in the
transaction, and base charge necessary to generate that total is returned in the ‘base_sale’parameter.
Taxes for the desired transaction are returned in the same manner as EZTaxJCodeEx does. If the AFC
Session was started with the tax log open, tax calculations are logged and will be reflected in tax
reports. The base sale amount will also be stored in the ‘optional’ field in the log output, converted to
an integer.
When the user knows the tax jurisdiction, address information can be supplied to specify it. This
function passes tax jurisdiction information to AFC by specifying the appropriate zip code, state
identifier, county, and locality. AFC uses this information to determine the JCode used for tax
calculations. It is important to supply complete address information as there are many duplicate zip
codes and localities contained within the AFC database tables. AFC always returns the first match of
the data supplied.
Supplying incomplete information can result in tax calculations for an unexpected jurisdiction. When
information regarding the locality is not supplied, AFC may be limited to data based upon the county
or parish involved. Likewise, when information about the county is not supplied, the AFC engine may
be limited to performance of calculations based upon the state and zip code identifiers.
Format
short int EZTaxTaxInclusiveZip(EZTaxSession session, struct zip_codeEx *trans,
double *base_sale, int *err_code);
Header(s) Required
EZTaxProto.h
EZTaxDefine.h
EZTaxStruct.h
Libraries
EZTax2.lib
Return Value List
[-1]: A critical error occurred while preparing the tax inclusive calculation session
[0]: No taxes calculated or an error was found
[n]: Indicates number of taxes stored in the struct enhanced_taxes_tbl array for this transaction
Parameters
session: session handle returned when initialized with call to EZTaxInitEx
*trans: transaction information
*base_sale: calculated charge returned
*err_code: error status returned

AFC Telecom User Manual | 312 of 401
Copyright 2018 Avalara, Inc.
Remarks
When both return and err_code are 0, no taxes were found, but there is no error. The base_sale
returned will equal the charge sent in. If the charge sent in is insufficient to cover the taxes generated,
then no taxes will be calculated and the err_code will be set to -37. An error will be logged to the
status file indicating an insufficient charge error occurred.
**
Note
**: Non-billable taxes are not included in the calculation of the base sale amount. Adding the
base sale amount and all taxes that appear in the log for a transaction may result in a value greater
than the target amount, as any non-billable taxes returned by the transaction *will* be included in that
total.

AFC Telecom User Manual | 313 of 401
Copyright 2018 Avalara, Inc.
EZTaxSessionDbVersion
Description
Function EZTaxSessionDbVersion reads the database version being used by the specified AFC Session
and returns it to the caller.
Format
short int EZTaxDbVersion(EZTaxSession session, char *psz_db_version);
Return Value List
TRUE if database version is returned in psz_db_version
FALSE if database version couldn't be obtained
Parameters
session : session handle
*psz_db_version : address of character array that will receive the database version.
Remarks
The database version will be returned in the form ww.xx.yy.zz, where each piece of the database
version number can be 1 or 2 digits.

AFC Telecom User Manual | 314 of 401
Copyright 2018 Avalara, Inc.
EZTaxSetInvoiceModeEx
Description
Function EZTaxSetInvoiceModeEx sets Invoice Mode on or off - allocating or freeing memory for
tables.
This function sets the Invoice Mode on or off. When the Invoice Mode is off AFC works in the normal
fashion, each transaction passed is taxed with caps and limits calculated on a per transaction basis.
When Invoice Mode is on, AFC performs appropriate tax calculations and returns the taxes calculated,
AFC also keeps the tax amounts in memory and uses them to adjust rates for bracketet or tiered taxes
and apply caps and limits to the taxes generated for each subsequent transaction. When
EZTaxNextCustomerEx is called a summarized version of the taxes is returned.
Format
struct enhanced_cust_taxes_tbl *EZTaxSetInvoiceModeEx(EZTaxSession session,
short int mode);
Header(s) Required
EZTaxProto.h
EZTaxDefine.h
EZTaxStruct.h
Libraries
EZTax2.lib
Return Value List
pointer : to the tax table if successful
null : if an error occurred
Parameters
session : session handle returned for session when initialized with call to EZTaxInitEx
mode: flag for turning Invoice Mode on (TRUE) or off (FALSE)
References:
EZTaxNextCustomerEx
Remarks
Interface data structures are also described in detail in the AFC Data Structures section.
Before setting the Invoice Mode to false, EZTaxNextCustomerEx must be called in order to get
summarized taxes should be processed prior to turning off the Invoice Mode). Failure to call
EZTaxNextCustomerEx will cause the last customer's summarized taxes to be lost.
Note:
The summarized taxes returned when calling EZTaxNextCustomerEx are identical to the total of
the individual taxes returned from the taxing APIs. Typically one or the other is used but not both.
Combining the individual taxes and the summarized taxes will result in twice as much taxes as should
be normal.

AFC Telecom User Manual | 315 of 401
Copyright 2018 Avalara, Inc.
EZTaxSetInvoiceModeV98
Description
Function EZTaxSetInvoiceModeV98 sets Invoice Mode on or off – allocating or freeing memory for
tables. It differs from EZTaxSetInvoiceModeEx in that the tax table returned contains tax category
information.
This function sets the Invoice Mode on or off. When the Invoice Mode is off AFC works in the normal
fashion, each transaction passed is taxed with caps and limits calculated on a per transaction basis.
When Invoice Mode is on, AFC performs appropriate tax calculations and returns the taxes calculated,
AFC also keeps the tax amounts in memory and uses them to adjust rates for bracketet or tiered taxes
and apply caps and limits to the taxes generated for each subsequent transaction. When
EZTaxNextCustomerEx is called a summarized version of the taxes is returned.
Format
struct cust_taxes_tbl_v98 *EZTaxSetInvoiceModeV98(EZTaxSession session,
short int mode);
Header(s) Required
EZTaxProto.h
EZTaxDefine.h
EZTaxStruct.h
Libraries
EZTax2.lib
Return Value List
pointer : to the tax table if successful
null : if an error occurred
Parameters
session : session handle returned for session when initialized withcall to EZTaxInitEx
mode: flag for turning Invoice Mode on (TRUE) or off (FALSE)
References:
EZTaxNextCustomerEx
Remarks
Interface data structures are also described in detail in the AFC Data Structures section.
Before setting the Invoice Mode to false, EZTaxNextCustomerEx must be called in order to get
summarized taxes should be processed prior to turning off the Invoice Mode). Failure to call
EZTaxNextCustomerEx will cause the last customer's summarized taxes to be lost.
Note:
The summarized taxes returned when calling EZTaxNextCustomerEx are identical to the total of
the individual taxes returned from the taxing APIs. Typically one or the other is used but not both.
Combining the individual taxes and the summarized taxes will result in twice as much taxes as should
be normal.

AFC Telecom User Manual | 316 of 401
Copyright 2018 Avalara, Inc.
EZTaxSetNexus
Description
Function EZTaxSetNexus sets nexus on or off for the specified states.
This function sets the nexus information by jurisdiction on or off. For each nexus point in the
nexus_table, the engine will calculate its jurisdiction and either set nexus on or off based on the
has_nexus variable of the nexus_table structure.
Format
short int EZTaxSetNexus(EZTaxSession session, struct nexus_table *nexus_tbl,
short int nexus_count);
Header(s) Required
EZTaxProto.h
EZTaxDefine.h
EZTaxStruct.h
Libraries
EZTax2.lib
Return Value List
TRUE if nexus information was changed;
FALSE otherwise
Parameters
session : session handle returned for session when initialized with call to EZTaxInitEx
*nexus_table : Pointer to nexus table structure that contains nexus information. See the nexus_table
struct in the header file EZTaxStruct.h.
nexus_count : Number of nexus points in the structure.
Remarks
Interface data structures are also described in detail in the AFC Data Structures section.
Using this API with the nexus=on option in the configuration file is not recommended.
This API is to be used as a programmatic option instead of a configuration file option.

AFC Telecom User Manual | 317 of 401
Copyright 2018 Avalara, Inc.
EZTaxSetStateExclusion
Description
EZTaxSetStateExclusion uses the country code and, optionally, a state code to set an exclusion. A flag
is used to determine if the country/state jurisdiction is to be turned off (enable regular taxation) or on
(exclude country and/or state taxation for all jurisdictions within the country or state including county
and local taxation). Transactions for an excluded state continue to return federal (country) level taxes
for all transactions within the excluded state.
Note: The three-character country code should be used for countries and the two-character code
should be used for states, including US territories.
In this context, references to state apply to either a state or province.
For US territories, the USA Federal exclusions have precedence over US Terriotry jurisdictions. As a
result, all US Territory exclusions will be set or cleared along with US Federal exclusions when only USA
is specified.
Please make note, country codes for US territories have been deprecated.
Format
short int EZTaxSetStateExclusion(EZTaxSession session, char country_ISO[4],
char state_abv[3], short int flag);
Header(s) Required
EZTaxProto.h
EZTaxDefine.h
Libraries
EZTax2.lib
Return Value List
TRUE : EZTaxSetStateExclusion was successful.
FALSE : EZTaxSetStateExclusion failed.
Parameters
Session : session handle returned when initialized with call to EZTaxInitEx
country_ISO: The country code. These are listed in EZTaxDefine.h.
state_abv: The state abbreviation. These are listed in EZTaxDefine.h.
flag: TRUE - Exclude this state from taxation.
FALSE - Do not exclude this state from taxation.
Remarks
None

AFC Telecom User Manual | 318 of 401
Copyright 2018 Avalara, Inc.
EZTaxSetStateNexus
Description
EZTaxSetStateNexus uses a state code to set the nexus. A flag is used to determine if the state has
nexus (true) or not (false).
Format
short int EZTaxSetStateNexus(EZTaxSession session, char state_abv[3], short int flag);
Header(s) Required
EZTaxProto.h
EZTaxDefine.h
Libraries
EZTax2.lib
Return Value List
TRUE : EZTaxSetStateNexus was successful.
FALSE : EZTaxSetStateNexus failed.
Parameters
Session : session handle returned when initialized with call to EZTaxInitEx
state_abv: The state abbreviation. These are listed in EZTaxDefine.h.
flag: TRUE or FALSE.
Remarks
None

AFC Telecom User Manual | 319 of 401
Copyright 2018 Avalara, Inc.
EZTaxSetWorkingDir
Description
Function EZTaxSetWorkingDir is utilized to set the working directory to a know location. This is
especially useful when AFC is being called from inside a database application where the default
working directory may be different from run to run.
Format
short int EZTaxSetWorkingDir(char *directory);
Header(s) Required
EZTaxProto.h
EZTaxStruct.h
EZTaxDefine.h
Libraries
EZTax2.lib
Return Value List
TRUE if change directory is successful;
FALSE otherwise
Parameters
directory : string containing directory path to change to
Remarks
MUST be called before EZTaxInitEx!

AFC Telecom User Manual | 320 of 401
Copyright 2018 Avalara, Inc.
EZTaxThisJCodeEx
Description
EZTaxThisJCodeEx accepts transaction data and performs appropriate tax calculations. The tax
jurisdiction to use for tax calculations is specified to AFC with this method. If the AFC Session was
started with the tax log open, appropriate taxes are logged and will be reflected in tax reports.
Jurisdiction information is passed using a PCode.
Format
short int EZTaxThisJCodeEx(EZTaxSession session, struct this_J_Code *trans,
int *err_code);
Header(s) Required
EZTaxProto.h
EZTaxStruct.h
Libraries
EZTax2.lib
Return Value List
FALSE : Indicates no tax data available for transaction (not taxable) or an error has occurred.
[n] : Indicates number of taxes stored in the struct taxes_tbl array for this transaction
Parameters
session : Session object returned for session when initialized with call to EZTaxInitEx.
*trans : Pointer to data structure that contains transaction data. See the this_J_Code struct in
EZTaxStruct.h
*err_code : Error codes returned. See the header EZTaxDefine.h for definitions.
Remarks
This API call is particularly suited for processing local transactions, since there is only one jurisdiction
involved

AFC Telecom User Manual | 321 of 401
Copyright 2018 Avalara, Inc.
EZTaxThisPCodeEx
Description
EZTaxThisPCodeEx accepts transaction data and performs appropriate tax calculations. The tax
jurisdiction to use for tax calculations is specified to AFC with this method. If the AFC Session was
started with the tax log open, appropriate taxes are logged and will be reflected in tax reports.
Jurisdiction information is passed using a PCode.
Format
short int EZTaxThisPCodeEx(EZTaxSession session, struct this_P_Code
*trans, int *err_code);
Header(s) Required
EZTaxProto.h
EZTaxDefine.h
EZTaxStruct.h
Libraries
EZTax2.lib
Return Value List
FALSE : Indicates no tax data available for transaction (not taxable) or an error has occurred.
[n]: Indicates number of taxes stored in the struct taxes_tbl array for this transaction.
Parameters
session : Session object returned for session when initialized with call to EZTaxInitEx.
*trans : Pointer to data structure that contains transaction data. See the this_P_Code struct in
EZTaxStruct.h
*err_code : Error codes returned. See the header EZTaxDefine.h for definitions.
Remarks
This API call is particularly suited for processing local transactions, since there is only one jurisdiction
involved

AFC Telecom User Manual | 322 of 401
Copyright 2018 Avalara, Inc.
EZTaxTPPEx
Description
EZTaxTPPEx takes up to three addresses; Ship From, Ship To, and Point-Of-Acceptance. It requires
Ship From. If others have NOT NULL values, then they must be valid. Uses rules to determine
interstate or intrastate to determine which taxing jurisdiction should be used.
It accepts the optional Nexus Table, which if given will be checked against the jurisdiction determined
above. No taxes will be calculated unless the flag is set (by the caller) for the given state. It returns
tax_count, having populated the tax_log structure with any taxes found.
Format
short int EZTaxTPPEx(EZTaxSession session, struct TPP_addrEx *tpp_trans,
struct nexus_table *nex_tab, short int nexus_count,
int *err_code)
Header(s) Required
EZTaxProto.h
EZTaxDefine.h
EZTaxStruct.h
Libraries
EZTax2.lib
Return Value List
Parameters
session : Session object returned for session when initialized with call to EZTaxInitEx.
*tpp_trans : Pointer to data structure that contains transaction data.
*nex_tab : list of states where a business nexus exists.
nexus_count : number of entries in nex_tab
*err_code : Error codes returned. See the header EZTaxDefine.h for definitions.
Remarks
None

AFC Telecom User Manual | 323 of 401
Copyright 2018 Avalara, Inc.
EZTaxWriteToLogEx
Description
Function EZTaxWriteToLogEx allows customers to create the correctly formatted binary AFC log from
scratch by passing in data they have stored from a different database or saved from AFC transactions
using EZTaxInitExp.
Format
short int EZTaxWriteToLogEx(EZTaxSession session, int count,
struct EZTax_logEx *log);
Header(s) Required
EZTaxProto.h
EZTaxStruct.h
Libraries
EZTax2.lib
Return Value List
FALSE : An error occurred
TRUE : Success
Parameters
session : Session handle returned when initialized with call to EZTaxInitEx
count: Number of taxes in the log structure
*log : Log structure to save information from
Remarks
EZTaxWriteToLogEx does not support logging of the transaction type and service type.

AFC Telecom User Manual | 324 of 401
Copyright 2018 Avalara, Inc.
EZTaxWriteToLogV914
Description
Function EZTaxWriteToLogV914 allows customers to create the correctly formatted binary AFC log
from scratch by passing in data they have stored from a different database or saved from AFC
transactions.
Format
short int EZTaxWriteToLogV914(EZTaxSession session, int count, struct eztax_log_v914 *log
Return Value List
FALSE : An error occurred
TRUE : Success
Parameters
session: session handle returned with call to initialize the AFC Session.
count: Number of taxes in the log structure
*log : Log structure containing records to be written to file.
Remarks
EZTaxWriteToLogEx does not support logging of the transaction charge, the tax description, the tax
category id or the tax category description.

AFC Telecom User Manual | 325 of 401
Copyright 2018 Avalara, Inc.
EZTaxZipEx
Description
EZTaxZipEx accepts transaction data and performs appropriate tax calculations. If the AFC Session was
started with the tax log open, tax calculations are logged and will be reflected in tax reports.
When the user knows the tax jurisdiction, address information can be supplied to specify it. This
function passes tax jurisdiction information to AFC by specifying the appropriate zip code, state
identifier, county, and locality. AFC uses this information to determine the JCode used
for tax calculations. It is important to supply complete address information as there are many
duplicate zip codes and localities contained within the AFC database tables. AFC always returns the
first match of the data supplied.
Supplying incomplete information can result in tax calculations for an unexpected jurisdiction. When
information regarding the locality is not supplied, AFC may be limited to data based upon the county
or parish involved. Likewise, when information about the county is not supplied, the AFC engine may
be limited to performance of calculations based upon the state and zip code identifiers.
Format
short int EZTaxZipEx(EZTaxSession session, struct zip_codeEx *trans,
int *err_code);
Header(s) Required
EZTaxDefine.h
EZTaxProto.h
EZTaxStruct.h
Libraries
EZTax2.lib
Return Value List
FALSE : Indicates no tax data available for transaction (not taxable) or an error has occurred.
[n] : Indicates number of taxes stored in the struct taxes_tbl array for this transaction.
Parameters
session : Session object returned for session when initialized with call to EZTaxInitEx.
*trans : Pointer to data structure that contains transaction data. See the zip_codeEx struct in the
header file EZTaxStruct.h.
*err_code : Error status returned
Remarks
Interface data structures are also described in detail in the AFC Data Structures section. The section
AFC Calculations explains how taxes are returned to the user in detail.
AFC currently has Zip Code information for U.S. and Canadian jurisdictions.
The six character Canadian postal code must be broken up for entry. The first 3 characters go into the
zip code field and the last 3 characters go into the plus 4 field.

AFC Telecom User Manual | 326 of 401
Copyright 2018 Avalara, Inc.
EZTaxZtoJCodeEx
Description
EZTaxZtoJCodeEx utilizes zip code plus 4 and address information supplied by the user, to obtain a J-
Code.
Format
unsigned long int EZTaxZtoJCodeEx(EZTaxSession session,
struct zip_address_p4 *address,
int *err_code);
Header(s) Required
EZTaxProto.h
EZTaxDefine.h
Libraries
EZTax2.lib
Return Value List
[0] : Error Code has been set. If the supplied address was not found or an error has occurred 0 is
returned, which is a valid U.S. Federal level code. Please check the error code before using the JCode
that is returned.
JCode : Error Code has not been set.
Parameters
session : Session handle returned when initialized with call to EZTaxInitEx
address : Address information with zip+4
*err_code : Error status returned
Remarks
AFC currently has Zip Code information for U.S. and Canadian jurisdictions. The six character Canadian
postal code must be broken up for entry. The first 3 characters go into the zip code field and the last 3
characters go into the plus 4 field.

AFC Telecom User Manual | 327 of 401
Copyright 2018 Avalara, Inc.
EZTaxZtoPCodeEx
Description
EZTaxZtoPCodeEx returns PCode cross-referenced to a zip code and address.
Format
unsigned long int EZTaxZtoPCodeEx(EZTaxSession session struct
zip_address_p4 *address, int *err_code);
Header(s) Required
EZTaxProto.h
Libraries
EZTax2.lib
Return Value List
PCode : Permanent jurisdiction code. If the supplied address was not found or an error has occurred 0
is returned which is a valid U.S. Federal level code. Please check the error code before using the
PCode that is returned.
Parameters
session : Session object returned for session when initialized with call to EZTaxInitEx.
*address : Pointer to zip_address_p4 structure containing valid address data, see struct in
EZTaxStruct.h Interface data structures are also described in detail in the AFC Data Structures section.
*err_code : Error codes returned. See the header EZTaxDefine.h for definitions.
Remarks
AFC currently has Zip Code information for U.S. and Canadian jurisdictions. The six character Canadian
postal code must be broken up for entry. The first 3 characters go into the zip code field and the last 3
characters go into the plus 4 field.

AFC Telecom User Manual | 328 of 401
Copyright 2018 Avalara, Inc.
EZTaxClearSafeHarborOverride
Description
EZTaxClearSafeHarborOverride clears the override flag and the engine will return to using the default
safe harbor percentages for the chosen TAMTypeID (celluar type, VoIP type or paging type).
Format
EZTaxClearSafeHarborOverride(EZTaxSession session, short TAMTypeID, int * error_code);
Return Value List
FALSE: 0
TRUE: 1
Parameters
session: Session object returned for session when initialized with call to EZTaxInitEx.
TAMTypeID
*err_code: Error codes returned. See the header EZTaxDefine.h for definitions.
Remarks
None

AFC Telecom User Manual | 329 of 401
Copyright 2018 Avalara, Inc.
EZTaxSetSafeHarborTAMOverride
Description
EZTaxSetSafeHarborTAMOverride stores the provided fraction in the session object and sets a flag
indicating that the particular session has an override at the federal level. The corresponding state
level fraction is calculated and stored. The override is written to the EZTax status file if it changed. The
AFC engine then applies the new values instead of the default safe harbor percentages for the chosen
TAMTypeID.
Format
EZTaxSetSafeHarborTAMOverride(EZTaxSession session, short TAMTypeID, double
originalFederalTAM, double newFederalTAM, int * error_code);
Return Value List
FALSE: 0
TRUE: 1
Parameters
session : Session object returned for session when initialized with call to EZTaxInitEx.
originalFederalTAM
newFederalTAM
*err_code: Error codes returned. See the header EZTaxDefine.h for definitions.
Remarks
None

AFC Telecom User Manual | 330 of 401
Copyright 2018 Avalara, Inc.
Appendices A - G
The complete content of the structures, constants and prototypes are provided in the following
Appendices. Also included are the monthly update procedures and a help guide.

AFC Telecom User Manual | 331 of 401
Copyright 2018 Avalara, Inc.
Appendix A EZTaxStruct.h
/*
EZTaxStruct.h
The file defines structures that are required to interface with
the AFC system.
*/
#ifndef _inc_EZTaxStruct_
#define _inc_EZTaxStruct_
/* If defined for C++ environment */
#ifdef __cplusplus
extern "C" {
#endif
#include "EZTaxDefine.h"
/* jurisdiction structure returned by EZTaxGetRates */
struct jurisdictionTaxes
{
unsigned long int pCode; /* jurisdiction's PCode */
short int taxesCount; /* count of all taxes for jurisdiction */
struct enhancedOverride *taxesTable; /* table of all taxes for jurisdiction in override
format */
/* notes: (1) the scope value will be set to the tax level */
/* (2) the taxesTable should be freed when the results */
/* are no longer needed to prevent a memory leak */
};
/* Primary override structure for AFC release 9 */
struct enhancedOverride
{
short int scope; /* Scope of override */
short int type; /* tax type identifier */
short int level; /* tax level identifier */
short int dateCount; /* number of date records (normally 2) */
struct enhancedDateOverride *dateTable; /* address of array of date records */
};
/* entries in the dateTable for overrides if the tax type is telecom (non-sales tax) */
struct enhancedDateOverride
{
unsigned long int overrideDate; /* starting (effective) date for this set of tax rates */
short int rateCount; /* number of rate records for this date (normally 1) */
short int levelExempt; /* TRUE indicates tax can be exempted by an */
/* exemption for all taxes at the same level as */
/* this tax, FALSE indicates it cannot be exempted. */
/* NOTE: Tax can be exempted by specific tax exemption. */
struct enhancedRateOverride *rateTable; /* address of array of telecom rate records */
};
/* rate entries in rateTable for telecom taxes */
struct enhancedRateOverride
{
double tax; /* tax amount (rate) */
double max_base; /* max amount subject to this tax(end of bracket) */
short int repl_st; /* if TRUE tax replaces state tax */
double st_ovrd_tax; /* overrides state rate if present */
short int repl_co; /* if TRUE tax replaces county tax */
double co_ovrd_tax; /* if present, override county tax */
};
/* Deprecated tax override structure (Prior to version 9) */
struct tax_ovrd
{
short int scope; /* Scope of override */

AFC Telecom User Manual | 332 of 401
Copyright 2018 Avalara, Inc.
short int type; /* tax type identifier */
short int level; /* tax level identifier */
short int level_exempt; /* TRUE indicates tax can be exempted by an */
/* exemption for all taxes at the same level as */
/* this tax, FALSE indicates it cannot be exempted. */
/* NOTE: Tax can be exempted by specific tax exemption. */
short int limit; /* limit - applies to local taxes to indicate */
/* max lines to apply tax to. */
unsigned long int date; /* tax effective date */
float tax; /* tax amount */
float prev_tax; /* previous tax amount */
float max_base; /* max amount to which tax is */
/* applied - amounts above this */
/* will be taxed at excess rate if */
/* county has excess rate */
float excess_tax; /* rate for amount above max_base */
/* returned as part of county tax */
float st_ovrd_tax; /* overrides state rate if present */
float co_ovrd_tax; /* if present, override county tax */
short int repl_st; /* if TRUE tax replaces state tax */
short int repl_co; /* if TRUE tax replaces county tax */
};
/* logic Override structure */
struct logicOverride
{
short int trans_type; /* See the programmer user's manual or EZTaxDefine.h */
short int srv_type; /* See the programmer user's manual for valid svc */
short int type; /* tax type identifier */
short int level; /* tax level identifier */
short int scope; /* Scope of override */
short int dateCount; /* number of date records (normally 1) */
void *detailTable; /* pointer to table of detail logic overrides */
};
/* logic Override Detail per effective date */
struct logicOverrideDetail
{
unsigned long int date; /* logic effective date */
short int calc_type_id; /* calculation rule */
short int data_type_id; /* tax data type (rate, flat, et cetera */
short int eff_sales_id; /* effect on sales tax (city, co, st) */
short int surcharge; /* indicates that tax is surcharge */
short int sale; /* TRUE, FALSE */
short int resale; /* TRUE, FALSE */
short int business; /* TRUE, FALSE */
short int residential; /* TRUE, FALSE */
short int regulated; /* TRUE, FALSE */
short int unregulated; /* TRUE, FALSE */
short int senior_citizen; /* TRUE, FALSE */
short int industrial; /* TRUE, FALSE */
short int lifeline; /* TRUE, FALSE */
short int ilec; /* TRUE, FALSE */
short int clec; /* TRUE, FALSE */
short int primary_ld; /* TRUE, FALSE */
short int primary_local; /* TRUE, FALSE */
short int franchise; /* TRUE, FALSE */
short int nonfranchise; /* TRUE, FALSE */
short int facilities; /* TRUE, FALSE */
short int nonfacilities; /* TRUE, FALSE */
short int tier_at_transaction; /* TRUE, FALSE */
short int billable; /* TRUE, FALSE */
short int pro_rated; /* TRUE, FALSE */
short int unrolled_id; /* 1=Tax Level, 2=City, 3=Local */
short int tier_on_total; /* TRUE, FALSE */
short int tax_by_oth; /* TRUE, FALSE */
short int compliance; /* TRUE, FALSE */
double tam; /* Transaction amount multiplier */
double tas; /* Transaction exempt amount */
short int ex_flag; /* flag showing whether 0-rate */
/* brackets are exempt or not */

AFC Telecom User Manual | 333 of 401
Copyright 2018 Avalara, Inc.
short int taxTaxesCount; /* count of tax taxes entries */
struct taxTaxesOverride *taxTaxesTable; /* ptr to table of taxes that this is taxed by */
};
/* logic Override Detail per effective date, with prepaid flag */
struct logicOverrideDetailP
{
unsigned long int date; /* logic effective date */
short int calc_type_id; /* calculation rule */
short int data_type_id; /* tax data type (rate, flat, et cetera */
short int eff_sales_id; /* effect on sales tax (city, co, st) */
short int surcharge; /* indicates that tax is surcharge */
short int sale; /* TRUE, FALSE */
short int resale; /* TRUE, FALSE */
short int business; /* TRUE, FALSE */
short int residential; /* TRUE, FALSE */
short int regulated; /* TRUE, FALSE */
short int unregulated; /* TRUE, FALSE */
short int senior_citizen; /* TRUE, FALSE */
short int industrial; /* TRUE, FALSE */
short int lifeline; /* TRUE, FALSE */
short int lifeline_only; /* TRUE, FALSE */
short int ilec; /* TRUE, FALSE */
short int clec; /* TRUE, FALSE */
short int primary_ld; /* TRUE, FALSE */
short int primary_local; /* TRUE, FALSE */
short int franchise; /* TRUE, FALSE */
short int nonfranchise; /* TRUE, FALSE */
short int facilities; /* TRUE, FALSE */
short int nonfacilities; /* TRUE, FALSE */
short int tier_at_transaction; /* TRUE, FALSE */
short int billable; /* TRUE, FALSE */
short int pro_rated; /* TRUE, FALSE */
short int unrolled_id; /* 1=Tax Level, 2=Cty, 3=Local */
short int tier_on_total; /* TRUE, FALSE */
short int tax_by_oth; /* TRUE, FALSE */
short int compliance; /* TRUE, FALSE */
double tam; /* Transaction amount multiplier */
double tas; /* Transaction exempt amount */
short int ex_flag; /* flag showing whether 0-rate */
/* brackets are exempt or not */
short int prepaid; /* TRUE, FALSE */
short int taxTaxesCount; /* count of tax taxes entries */
struct taxTaxesOverride *taxTaxesTable; /* ptr to table of taxes that this is taxed by */
};
/* logic Override Detail per effective date, with prepaid flag */
struct logicOverrideDetailUseTax
{
unsigned long int date; /* logic effective date */
short int calc_type_id; /* calculation rule */
short int data_type_id; /* tax data type (rate, flat, et cetera */
short int eff_sales_id; /* effect on sales tax (city, co, st) */
short int surcharge; /* indicates that tax is surcharge */
short int sale; /* TRUE, FALSE */
short int resale; /* TRUE, FALSE */
short int business; /* TRUE, FALSE */
short int residential; /* TRUE, FALSE */
short int regulated; /* TRUE, FALSE */
short int unregulated; /* TRUE, FALSE */
short int senior_citizen; /* TRUE, FALSE */
short int industrial; /* TRUE, FALSE */
short int lifeline; /* TRUE, FALSE */
short int lifeline_only; /* TRUE, FALSE */
short int ilec; /* TRUE, FALSE */
short int clec; /* TRUE, FALSE */
short int primary_ld; /* TRUE, FALSE */
short int primary_local; /* TRUE, FALSE */
short int franchise; /* TRUE, FALSE */

AFC Telecom User Manual | 334 of 401
Copyright 2018 Avalara, Inc.
short int nonfranchise; /* TRUE, FALSE */
short int facilities; /* TRUE, FALSE */
short int nonfacilities; /* TRUE, FALSE */
short int tier_at_transaction; /* TRUE, FALSE */
short int billable; /* TRUE, FALSE */
short int pro_rated; /* TRUE, FALSE */
short int unrolled_id; /* 1=Tax Level(no Unroll), 2=Cty, 3=Local */
short int tier_on_total; /* TRUE, FALSE */
short int tax_by_oth; /* TRUE, FALSE */
short int compliance; /* TRUE, FALSE */
double tam; /* Transaction amount multiplier */
double tas; /* Transaction exempt amount */
short int ex_flag; /* flag showing whether 0-rate */
/* brackets are exempt or not */
short int sales_flag; /* TRUE, FALSE */
short int use_flag; /* TRUE, FALSE */
short int prepaid; /* TRUE, FALSE */
short int threshold; /* TRUE, FALSE */
short int consumed; /* TRUE, FALSE */
short int vendor_use; /* TRUE, FALSE */
short int taxTaxesCount; /* count of tax taxes entries */
struct taxTaxesOverride *taxTaxesTable; /* pointer to table of taxes that this is taxed by
*/
};
/* structure for each tax that this tax is taxed by */
struct taxTaxesOverride
{
short int tax_type_id; /* Identifier of tax that has this tax applied to it. */
short int tax_level_id; /* Identifier of level of tax_type_id */
};
/* Individual tax exempt structure */
struct tax_exempt
{
short int tax_type; /* tax type identifier */
short int tax_level; /* tax level identifier */
unsigned long int exempt_J_Code; /* for local exemption */
};
/* EZTax_data structure contains data required for tax calculations */
struct EZTax_data
{
short int business; /* TRUE = business customer, FALSE = residential */
short int sale; /* TRUE = Sale, FALSE = Resale */
short int regulated; /* TRUE = Regulated, FALSE = unregulated */
short int trans_type; /* See the programmer user's manual or EZTaxDefine.h */
short int srv_type; /* See the programmer user's manual for valid trans */
/* transaction and service type combinations. */
/* EZTaxDefine.h defines valid service types */
unsigned long int date; /* Transaction bill date. Field is provided to */
/* allow rating and taxing to occur on */
/* date other than billing date. */
float charge; /* amount charge to customer for transaction */
float minutes; /* Minutes of call, defaults to zero when */
/* not appropiate (NOTE: some taxes are per minute. */
int lines; /* number of lines (use with transaction type */
/* LOCAL and service type LINES) */
int locations; /* number of locations (use with transaction */
/* type LOCAL and service type LOCATION) */
short int incorp; /* TRUE indicates within incorporated area */
/* of local jurisdiction, FALSE is outside */
short int FED_exempt; /* If TRUE, transaction exempt from Federal Tax */
short int st_exempt; /* If TRUE, transaction exempt from State Tax */
short int co_exempt; /* If TRUE, transaction exempt from County Tax */
short int loc_exempt; /* If TRUE, transaction exempt from local tax */
unsigned long int FED_J_Code; /* Jurisdiction for Federal exemption */
unsigned long int st_J_Code; /* Jurisdiction for state exemptionn */
unsigned long int co_J_Code; /* Jurisdiction for county exemption */

AFC Telecom User Manual | 335 of 401
Copyright 2018 Avalara, Inc.
unsigned long int loc_J_Code; /* Jurisdiction for local exemption */
short int spc_exempt; /* 0 indicates no of special exempts, */
/* other value indicates number of special exempts */
struct tax_exempt *s_exempt; /* Pointer to tax exempt structure that contains the */
/* number of special tax exemptions (spc_exempt) */
unsigned long int inv_no; /* Invoice number, user defined */
unsigned long int srv_lvl_no; /* Service level number, user defined */
unsigned long int optional; /* User defined value for reporting */
char cust_no[CUST_NO_SIZE]; /* Customer number, user defined */
};
/* EZTax_dataEx structure contains data required for tax calulations */
struct EZTax_dataEx
{
short int customer_type; /* 0=residential, 1=business, 2=Senior Citizen,
3=Industrial */
/* See the programmer user's manual or EZTaxDefine.h */
short int sale; /* TRUE = Sale, FALSE = Resale */
short int regulated; /* TRUE = Regulated, FALSE = unregulated */
short int trans_type; /* See the programmer user's manual or EZTaxDefine.h */
short int srv_type; /* See the programmer user's manual for valid trans */
/* transaction and service type combinations. */
/* EZTaxDefine.h defines valid service types */
short int business_class; /* CLEC = 1, ILEC = 0 */
short int service_class; /* Primary Long Distance = 1, Local Service = 0 */
/* (Default Long Distance) */
short int facilities_based; /* Facilities Based=TRUE, Non-Facilities Based=FALSE */
/* (Default Non-Facilities) */
short int franchise; /* Franchise = TRUE, Non-Franchise = FALSE */
/* (Default Non-Franchise) */
short int lifeline; /* Lifeline = TRUE, Non-lifeline = FALSE */
unsigned long int date; /* Transaction bill date. Field is provided to */
/* allow rating and taxing to occur on */
/* date other than billing date. */
double charge; /* amount charge to customer for transaction */
double minutes; /* Minutes of call, defaults to zero when not */
/* appropriate (some taxes are per minute) */
int lines; /* number of lines (use with transaction type */
/* LOCAL and service type LINES) */
int locations; /* number of locations (use with transaction */
/* type LOCAL and service type LOCATION) */
short int incorp; /* TRUE indicates within incorporated area */
/* of local jurisdiction, FALSE is outside */
short int FED_exempt; /* If TRUE, transaction exempt from Federal Tax */
short int st_exempt; /* If TRUE, transaction exempt from State Tax */
short int co_exempt; /* If TRUE, transaction exempt from County Tax */
short int loc_exempt; /* If TRUE, transaction exempt from local tax */
unsigned long int FED_J_Code; /* Jurisdiction for Federal exemption */
unsigned long int st_J_Code; /* Jurisdiction for state exemption */
unsigned long int co_J_Code; /* Jurisdiction for county exemption */
unsigned long int loc_J_Code; /* Jurisdiction for local exemption */
short int spc_exempt; /* 0 indicates no of special exempts, */
/* other value indicates number of special exempts */
struct tax_exempt *s_exempt; /* Pointer to tax exempt structure that contains the */
/* number of special tax exemptions (spc_exempt) */
short int exempt_type; /* Reason for exemption */
unsigned long int inv_no; /* Invoice number, user defined */
unsigned long int srv_lvl_no; /* Service level number, user defined */
unsigned long int optional; /* User defined value for reporting */
char cust_no[CUST_NO_SIZE]; /* Customer number, user defined */
char company_identifier[CO_IDENTIFIER_SIZE]; /* Company Identifier */
char opt_alpha_1[CUST_NO_SIZE]; /* optional alpha field */
unsigned long int opt_4; /* optional numeric field */
unsigned long int opt_5; /* optional numeric field */
unsigned long int opt_6; /* optional numeric field */
unsigned long int opt_7; /* optional numeric field */
unsigned long int opt_8; /* optional numeric field */
unsigned long int opt_9; /* optional numeric field */
unsigned long int opt_10; /* optional numeric field */
};

AFC Telecom User Manual | 336 of 401
Copyright 2018 Avalara, Inc.
/* The J_Code structure is used for interfacing with EZTax using J_Codes. */
/* This data structure is passed to EZTax with the function EZTaxJCode. */
struct J_Code
{
unsigned long int BTN_J_Code; /* Bill To Number Jurisdiction Code */
unsigned long int orig_J_Code; /* Origination number Jurisdiction Code */
unsigned long int term_J_Code; /* Termination number Jurisdiction Code */
struct EZTax_data tax_data; /* Required tax information */
};
/* The J_CodeEx structure is used for interfacing with EZTax using J_Codes. */
/* This data structure is passed to EZTax with the extended function EZTaxJCodeEx. */
struct J_CodeEx
{
unsigned long int BTN_J_Code; /* Bill To Number Jurisdiction Code */
unsigned long int orig_J_Code; /* Origination number Jurisdiction Code */
unsigned long int term_J_Code; /* Termination number Jurisdiction Code */
struct EZTax_dataEx tax_data; /* Required tax information */
};
/* The this_J_Code structure is used for interfacing with EZTax using */
/* a specific J_Code. This data structure is passed to EZTax with the */
/* function EZTaxThisJCode. With this function taxes will be calculated */
/* based upon the jurisdiction represented by the specified J_Code. */
struct this_J_Code
{
unsigned long int J_Code; /* Jurisdiction for tax determination */
struct EZTax_data tax_data; /* Required tax information */
};
/* The this_J_CodeEx structure is used for interfacing with EZTax using */
/* a specific J_Code. This data structure is passed to EZTax with the */
/* function EZTaxThisJCodeEx. With this function taxes will be calculated */
/* based upon the jurisdiction represented by the specified J_Code. */
struct this_J_CodeEx
{
unsigned long int J_Code; /* Jurisdiction for tax determination */
struct EZTax_dataEx tax_data; /* Required tax information */
};
/* The this_P_Code structure is used for interfacing with EZTax using */
/* a specific P_Code. This data structure is passed to EZTax with the */
/* function EZTaxThisPCode. With this function taxes will be calculated */
/* based upon the jurisdiction represented by the specified PCode. */
struct this_P_Code
{
unsigned long int P_Code; /* Jurisdiction for tax determination */
struct EZTax_data tax_data; /* Required tax information */
};
/* The this_P_Code structure is used for interfacing with EZTax using */
/* a specific P_Code. This data structure is passed to EZTax with the */
/* function EZTaxThisPCodeEx. With this function taxes will be calculated */
/* based upon the jurisdiction represented by the specified PCode. */
struct this_P_CodeEx
{
unsigned long int P_Code; /* Jurisdiction for tax determination */
struct EZTax_dataEx tax_data; /* Required tax information */
};
/* The priv_line_P_Code structure is used for interfacing with EZTax using */
/* two specifics P_Codes. This data structure is passed to EZTax with the */
/* function EZTaxPrivateLine. With this function taxes will be calculated */
/* based upon the jurisdictions represented by the specified PCode, */
/* allocated to each jurisdiction by the percentage value */
struct private_line_P_Code
{
unsigned long int point_A; /* Jurisdiction for tax determination */
unsigned long int point_Z; /* Jurisdiction for tax determination */
double split; /* percentage of charge that should */
/* be applied to the first jurisdiction */

AFC Telecom User Manual | 337 of 401
Copyright 2018 Avalara, Inc.
struct EZTax_dataEx tax_data; /* Required tax information */
};
/* The P_Code structure is used for interfacing with EZTax using P_Codes. */
/* This data structure is passed to EZTax with the function EZTaxPCode. */
struct P_Code
{
unsigned long int BTN_P_Code; /* Bill To Number PCode */
unsigned long int orig_P_Code; /* Origination number PCode */
unsigned long int term_P_Code; /* Termination number PCode */
struct EZTax_data tax_data; /* Required tax information */
};
/* The P_Code structure is used for interfacing with EZTax using P_Codes. */
/* This data structure is passed to EZTax with the function EZTaxPCodeEx. */
struct P_CodeEx
{
unsigned long int BTN_P_Code; /* Bill To Number PCode */
unsigned long int orig_P_Code; /* Origination number PCode */
unsigned long int term_P_Code; /* Termination number PCode */
struct EZTax_dataEx tax_data; /* Required tax information */
};
/* The NPANXX structure is used for interfacing with EZTax using NPANXXs. */
/* This data structure is passed to EZTax with the function EZTaxNPAN. */
struct NPANXX_code
{
unsigned long int BTN_NPANXX; /* Bill To NPANXX Code */
unsigned long int orig_NPANXX; /* Origination NPANXX Code */
unsigned long int term_NPANXX; /* Termination NPANXX Code */
struct EZTax_data tax_data; /* Required tax information */
};
/* The NPANXX_codeEx structure is used for interfacing with EZTax using NPANXXs. */
/* This data structure is passed to EZTax with the function EZTaxNPANEx. */
struct NPANXX_codeEx
{
unsigned long int BTN_NPANXX; /* Bill To NPANXX Code */
unsigned long int orig_NPANXX; /* Origination NPANXX Code */
unsigned long int term_NPANXX; /* Termination NPANXX Code */
struct EZTax_dataEx tax_data; /* Required tax information */
};
/* The zip_address structure is used to pass address data to */
/* EZTax in order to obtain a jurisdiction code. */
struct zip_address
{
long int zip_code; /* Zip code of taxing jurisdiction */
unsigned short int state_id; /* state identifier */
char county[25]; /* County name in null terminated string */
char locality[26]; /* Locality name in null terminated string */
};
/* zip_address structure to accommodate Zip code Plus 4 */
struct zip_address_p4
{
char zip_code[6]; /* String containing zip code */
char zip_p4[5]; /* String containing zip_p4 */
char country_ISO[4]; /* String containing country ISO code */
char state_abv[3]; /* String containing state level abbreviation */
char county[25]; /* County name in null terminated string */
char locality[26]; /* Locality name in null terminated string */
};
/* The zip_code structure is used for interfacing with EZTax using address */
/* information. This data structure is passed to EZTax with the function */
/* EZTaxZip. */
struct zip_code
{
struct zip_address zip_addr; /* ZIP code and address information */

AFC Telecom User Manual | 338 of 401
Copyright 2018 Avalara, Inc.
struct EZTax_data tax_data; /* Required tax information */
};
/* Zip code structure for use with Zip plus 4 */
struct zip_code_p4
{
struct zip_address_p4 zip_addr; /* ZIP code+4 and address information */
struct EZTax_data tax_data; /* Required tax information */
};
/* Zip code structure for use with Zip plus 4 */
struct zip_codeEx
{
struct zip_address_p4 zip_addr; /* ZIP code+4 and address information */
struct EZTax_dataEx tax_data; /* Required tax information */
};
/* The BridgeConferenceTransaction structure is used for calculating tax for a */
/* bridge conference with 1 to n participants. */
/* Note: USA PCode of 0 is considered invalid for Bridge/Billing/Host - for USA must be state
level or lower */
struct BridgeConferenceTransaction
{
unsigned short int ProcessInvalidParticipant; /* Process invalid Participants w/greatest tax
liability (default=false) */
unsigned short int IsAdjustment; /* Flag indicating call is an adjustment or
credit calculation */
unsigned short int DiscountType; /* Discount type (for adjustment calculation –
else ignored) */
int NumberOfParticipants; /* Size of participant list */
unsigned long int *ParticipantPCodeList; /* Participant PCode List */
unsigned long int *ParticipantNpaNxxList; /* Participant NpaNxx List */
struct zip_address_p4 *ParticipantAddressList; /* Participant Address List */
unsigned long int BridgePCode; /* Bridge PCode */
unsigned long int BridgeNpaNxx; /* Bridge NpaNxx */
struct zip_address_p4 BridgeAddress; /* Bridge Address */
unsigned long int HostPCode; /* Host PCode */
unsigned long int HostNpaNxx; /* Host NpaNxx */
struct zip_address_p4 HostAddress; /* Host Address */
unsigned long int BillingPCode; /* Billing PCode */
unsigned long int BillingNpaNxx; /* Billing NpaNxx */
struct zip_address_p4 BillingAddress; /* Billing Address */
struct EZTax_dataEx trans_data; /* Required transaction information */
};
struct BridgeConferenceParticipant
{
int ParticipantId; /* By order received - 1 to N */
int Offset; /* Where in tax table participant starts */
int TaxCount; /* Number of taxes in tax table for participant */
int ErrorCode; /* Error code (if applicable) for participant */
short int TransactionType; /* The transaction type used for participant */
short int ServiceType; /* The service type used for participant */
};
struct BridgeConferenceTaxes
{
struct EZTax_log_v914 *BCTaxes; /* Individual Participant Taxes for Conference */
unsigned short int TaxCount; /* Total number of taxes in BCTaxes array */
struct BridgeConferenceParticipant* BCParticipants; /* Participant array */
int ParticipantCount; /* Number of Participants in BCParticipants array */
};

AFC Telecom User Manual | 339 of 401
Copyright 2018 Avalara, Inc.
/* Structures use by EZTaxTPP and EZTaxAdjTPP */
struct TPP_addr
{
struct zip_address_p4 ship_from; /* origin ZIP code+4 and address information */
struct zip_address_p4 ship_to; /* delivery ZIP code+4 and address information */
struct zip_address_p4 point_of_accpt; /* bill-to ZIP code+4 and address information */
struct EZTax_data tax_data; /* Required tax information */
};
/* Structures use by EZTaxTPPEx and EZTaxAdjTPPEx */
struct TPP_addrEx
{
struct zip_address_p4 ship_from; /* origin ZIP code+4 and address information */
struct zip_address_p4 ship_to; /* delivery ZIP code+4 and address information */
struct zip_address_p4 point_of_accpt; /* bill-to ZIP code+4 and address information */
struct EZTax_dataEx tax_data; /* Required tax information */
};
struct nexus_table
{
char state[3]; /* state abbreviation */
short int have_nexus; /* TRUE, FALSE */
};
/* The taxes structure defines the data structure used to return tax */
/* information to the user. The functions EZTaxJCode, EZTaxNPAN, and */
/* EZTaxZip each return a short int. Zero indicates that no taxes were */
/* calculated for the transaction passed. If taxes were calculated, the */
/* value returned indicates the number of taxes returned in an array */
/* of struct taxes with the size of array being the number of taxes, */
/* Use the following definition to access the calculated taxes */
/* "extern struct taxes *tax_tbl;". The following code segment */
/* demonstrates an acceptable method of retrieving calculated tax data. */
/* */
/* struct taxes_tbl tax; */
/* extern struct taxes_tbl *EZTax_table; */
/* */
/* for (i=0; i<rtn_value; i++); */
/* { */
/* tax = EZTax_table[i]; */
/* */
/* -- Perform billing system required task */
/* */
/* } */
/* */
struct taxes_tbl
{
unsigned long int j_code; /* Despite the name, really the p-code */
short int tax_type; /* Tax type */
short int tax_level; /* Tax level */
short int calc_type; /* Calc type; RATE, FIXED, PER_MINUTE, PER_LINE,
SELFTAXING_RATE */
float rate; /* Tax rate or amount applied */
double tax_amount; /* Calculated tax amount */
#if defined(PF_V8_TAXABLE_MEASURE)
double taxable_measure; /* Amount of charge + any taxed taxes */
#endif
char *desc; /* Tax description string */
short int TVcalc_type_id; /* for EZView */
short int TVsurcharge; /* for EZView */
short int TVtax_type_id[EZVIEW_ID_ARRAY]; /* for EZView */
short int TVtax_level_id[EZVIEW_ID_ARRAY]; /* for EZView */
};
/* The enhanced_taxes_tbl structure provides for additional precision */
struct enhanced_taxes_tbl
{
unsigned long int p_code; /* p-code for tax */
short int tax_type; /* Tax type */
short int tax_level; /* Tax level */

AFC Telecom User Manual | 340 of 401
Copyright 2018 Avalara, Inc.
short int calc_type; /* Calc type; RATE, FIXED, PER_MINUTE, PER_LINE,
SELFTAXING_RATE */
double rate; /* Tax rate or amount applied */
double tax_amount; /* Calculated tax amount */
double taxable_measure; /* Amount of charge + any taxed taxes */
double exempt_sale_amt; /* Amount of the charge exempt from taxes */
char *desc; /* Tax description string */
short int billable; /* Billable flag from tax logic */
short int compliance; /* Compliance flag from tax logic */
short int surcharge_flag; /* Surcharge flag from tax logic */
short int TVcalc_type_id; /* for EZView */
short int TVsurcharge; /* for EZView */
short int TVtax_type_id[EZVIEW_ID_ARRAY]; /* for EZView */
short int TVtax_level_id[EZVIEW_ID_ARRAY]; /* for EZView */
};
/* The taxes_tbl_v98 structure adds tax category information */
struct taxes_tbl_v98
{
unsigned long int p_code; /* p-code for tax */
short int tax_type; /* Tax type */
short int tax_level; /* Tax level */
short int calc_type; /* Calc type; RATE, FIXED, PER_MINUTE, PER_LINE,
SELFTAXING_RATE */
double rate; /* Tax rate or amount applied */
double tax_amount; /* Calculated tax amount */
double taxable_measure; /* Amount of charge + any taxed taxes */
double exempt_sale_amt; /* Amount of the charge exempt from taxes */
char *desc; /* Tax description string */
short int billable; /* Billable flag from tax logic */
short int compliance; /* Compliance flag from tax logic */
short int surcharge_flag; /* Surcharge flag from tax logic */
short int tax_cat_id; /* Tax category */
char *tax_cat_desc; /* Tax category description string */
char reserved[RESERVE_SIZE]; /* reserved for BillSoft use */
short int TVcalc_type_id; /* for EZView */
short int TVsurcharge; /* for EZView */
short int TVtax_type_id[EZVIEW_ID_ARRAY]; /* for EZView */
short int TVtax_level_id[EZVIEW_ID_ARRAY]; /* for EZView */
};
/* The customer taxes table is similar to the taxes_tbl structure. See comments above */
/* This table is returned to the user from EZTaxSetCustMode(). This table contains a summarized
*/
/* tax information per customer */
struct cust_taxes_tbl
{
unsigned long int j_code; /* Jurisdiction code for tax */
short int tax_type; /* Tax type */
short int tax_level; /* Tax level */
short int calc_type; /* Calc type; RATE, FIXED, PER_MINUTE, PER_LINE,
SELFTAXING_RATE */
float rate; /* Tax rate or amount applied */
double tax_amount; /* Calculated tax amount */
char *desc; /* Tax description string */
short int TVsurcharge; /* for EZView */
int lines; /* Number of lines from customer input */
int locations; /* Number of locations from customer input */
float max_base; /* max amount to which tax is applied */
/* amounts above this will be taxed at excess rate if */
/* county has excess rate */
float excess_tax; /* rate for amount above max_base */
/* returned as part of county tax */
int limit; /* limit on the amount a charge can be taxed*/
double total_charge; /* Sum of charges calc. on per customer basis */
};
/* The enhanced invoice(customer) taxes table is similar to the taxes_tbl and */
/* cust_taxes_tbl structures. See comments for these two other structures */

AFC Telecom User Manual | 341 of 401
Copyright 2018 Avalara, Inc.
/* above. This table is returned to the user from EZTaxSetCustModeEx() or
EZTaxSetInvoiceModeEx(). */
/* This table contains a summarized tax information per customer or invoice */
#define enhanced_invoice_taxes_tbl enhanced_cust_taxes_tbl
struct enhanced_cust_taxes_tbl
{
unsigned long int j_code; /* j-code for tax */
short int tax_type; /* Tax type */
short int tax_level; /* Tax level */
short int calc_type; /* Calculation type (RATE, FIXED, etc.) */
double rate; /* Tax rate or amount applied */
double tax_amount; /* Calculated tax amount */
double exempt_sale_amt; /* Amount of the charge exempt from taxes */
char *desc; /* Tax description string */
short int TVsurcharge; /* for EZView */
int lines; /* # of lines from customer input */
int locations; /* # of locations from customer input */
double minutes; /* # of minutes from customer input */
double max_base; /* max amount to which tax is applied. */
/* Amounts above this will be taxed at a */
/* higher bracketed rate (if applicable). */
double min_base; /* min amount to which tax is applied */
double excess_tax; /* rate for amount above max_base returned */
/* as part of county tax */
double total_charge; /* Sum of charges calc. on per customer basis */
void *cust_tax_data; /* Customer mode tax data for logging */
};
/* The invoice(customer) taxes table V98 is similar to the taxes_tbl and */
/* cust_taxes_tbl structures. See comments for these two other structures */
/* above. This table is returned to the user from EZTaxSetCustModeV98() or
EZTaxSetInvoiceModeV98(). */
/* This table contains a summarized tax information per customer or invoice */
#define invoice_taxes_tbl_v98 cust_taxes_tbl_v98
struct cust_taxes_tbl_v98
{
unsigned long int j_code; /* j-code for tax */
short int tax_type; /* Tax type */
short int tax_level; /* Tax level */
short int calc_type; /* Calculation type (RATE, FIXED, etc.) */
double rate; /* Tax rate or amount applied */
double tax_amount; /* Calculated tax amount */
double exempt_sale_amt; /* Amount of the charge exempt from taxes */
char *desc; /* Tax description string */
short int TVsurcharge; /* for EZView */
int lines; /* # of lines from customer input */
int locations; /* # of locations from customer input */
double minutes; /* # of minutes from customer input */
double max_base; /* max amount to which tax is applied. */
/* Amounts above this will be taxed at a */
/* higher bracketed rate (if applicable). */
double min_base; /* min amount to which tax is applied */
double excess_tax; /* rate for amount above max_base returned */
/* as part of county tax */
double total_charge; /* Sum of charges calc. on per customer basis */
short int tax_cat_id; /* Tax category */
char *tax_cat_desc; /* Tax category description string */
};
/* declare address structure */
struct address_data
{
short int tax_level; /* Federal, State, County/Parish, Local */
char locality[26]; /* City name string */
char county[25]; /* County name string */
char state[2]; /* Two character state abbreviation */
long int zip_begin; /* Lowest zip code in range for identified area */
long int zip_end; /* Highest zip code in range for identified area */
};

AFC Telecom User Manual | 342 of 401
Copyright 2018 Avalara, Inc.
struct address_data_p4
{
short int tax_level; /* Tax level identifier */
char locality[26]; /* City name string */
char county[25]; /* County name string */
char state[2]; /* Two character state abbreviation */
char country_ISO[4]; /* Country ISO code */
char zip_begin[6]; /* zip code or beginning of range */
char zipb_p4[5]; /* Zip begin plus 4 */
char zip_end[6]; /* zip code or end of range */
char zipe_p4[5]; /* Zip end plus 4 */
};
struct file_path
{
char *EZTax_data; /* EZTax db file */
char *EZTax_IDX; /* EZTax idx file */
char *EZTax_DLL; /* EZTax dll */
char *EZTax_log; /* EZTax log */
char *EZTax_npanxx; /* EZTax NPANXX file */
char *EZTax_status; /* EZTax status file */
char *EZTax_temp_file; /* EZTax temporary file */
char *EZTax_location; /* EZTax location description file */
char *EZTax_zip; /* EZTax zip code file */
char *EZTax_customer_key; /* EZTax customer key file */
char *EZTax_pcode; /* EZTax PCODE file */
char *EZTax_jcode; /* EZTax JCODE file */
char *EZTax_over; /* EZTax override file */
};
struct file_path_v914
{
char *EZTax_data_dir; /* EZTax data directory */
char *EZTax_work_dir; /* Working directory */
char *EZTax_log_file; /* EZTax log */
char *EZTax_status_file; /* EZTax status file */
char *EZTax_ovr_file; /* EZTax override file */
char *EZTax_exc_file; /* EZTax exclusion file */
char *EZTax_nex_file; /* EZTax nexus file */
char *EZTax_bdl_file; /* EZTax bundle file */
};
/* structure used when doing local logging using EZTaxInitExp */
struct taxes_tbl_exp
{
struct taxes_tbl *taxtable; /* pointer to tax table */
struct EZTax_log *EZTaxlog; /* pointer to EZTax binary log */
};
/* Tax log structure, Use this structure for writing to EZTax binary log. */
struct EZTax_log
{
unsigned long int p_code; /* from tax table, convert jcode to pcode */
short int tax_type; /* from tax table */
short int tax_level; /* from tax table */
double tax; /* from tax table */
double tax_amount; /* from tax table */
double sale_amt; /* taxable measure from tax table */
double exempt_sale_amt; /* taxable measure if tax = 0 */
double refund_uncollect; /* taxable measure if tax < 0 */
double net_taxable_sale; /* reserved by EZTax, default to 0 */
double minutes; /* customer input */
unsigned long int inv_no; /* optional, user defined invoice number */
unsigned long int srv_lvl_no; /* optional, service type */
unsigned long int optional; /* optional, transaction type */
int lines; /* customer input */
int locations; /* customer input */
short int calc_type; /* calculation type from tax table */
char cust_no[CUST_NO_SIZE]; /* optional, user defined customer identifier */
int reserved1; /* reserved by EZTax, default to 0 */

AFC Telecom User Manual | 343 of 401
Copyright 2018 Avalara, Inc.
int reserved2; /* reserved by EZTax, default to 0 */
double reserved3; /* reserved by EZTax, default to 0 */
};
/* Tax log structure, use this structure with EZTaxWriteToLogEx for writing to EZTax log. */
struct EZTax_logEx
{
unsigned long int p_code; /* from tax table, convert jcode to pcode */
int tax_type; /* from tax table */
short int tax_level; /* from tax table */
double tax; /* from tax table */
double tax_amount; /* from tax table */
double sale_amt; /* taxable measure from tax table */
double exempt_sale_amt; /* taxable measure if tax = 0 */
double refund_uncollect; /* taxable measure if tax < 0 */
double minutes; /* customer input */
unsigned long int inv_no; /* optional, user defined invoice number */
unsigned long int srv_lvl_no; /* optional, service type */
unsigned long int optional; /* optional, transaction type */
int lines; /* customer input */
int locations; /* customer input */
short int calc_type; /* calculation type from tax table */
short int billable; /* billable flag from tax_grp */
short int compliance; /* compliance flag from tax_grp */
char cust_no[CUST_NO_SIZE]; /* optional, user defined customer identifier */
int adj_type; /* adjustment type from customer input */
int exempt_type; /* exemption type from customer input */
int surcharge_flag; /* surcharge flag from tax table */
unsigned long int log_counter; /* counter of log records */
char company_identifier[CO_IDENTIFIER_SIZE]; /* customer number */
char opt_alpha_1[CUST_NO_SIZE]; /* optional user input */
unsigned long int opt_4; /* optional user input */
unsigned long int opt_5; /* optional user input */
unsigned long int opt_6; /* optional user input */
unsigned long int opt_7; /* optional user input */
unsigned long int opt_8; /* optional user input */
unsigned long int opt_9; /* optional user input */
unsigned long int opt_10; /* optional user input */
};
struct EZTax_log_v914
{
/* EZTax_logEx entries */
unsigned long int p_code; /* from tax table, convert jcode to pcode */
int tax_type; /* from tax table */
short int tax_level; /* from tax table */
double tax; /* from tax table */
double tax_amount; /* from tax table */
double sale_amt; /* taxable measure from tax table */
double exempt_sale_amt; /* taxable measure if tax = 0 */
double refund_uncollect; /* taxable measure if tax < 0 */
double minutes; /* customer input */
unsigned long int inv_no; /* optional, user defined invoice number */
unsigned long int srv_lvl_no; /* optional, service type */
unsigned long int optional; /* optional, transaction type */
int lines; /* customer input */
int locations; /* customer input */
short int calc_type; /* calculation type from tax table */
short int billable; /* billable flag from tax_grp */
short int compliance; /* compliance flag from tax_grp */
char cust_no[CUST_NO_SIZE]; /* optional, user defined customer identifier */
int adj_type; /* adjustment type from customer input */
int exempt_type; /* exemption type from customer input */
int surcharge_flag; /* surcharge flag from tax table */
unsigned long int log_counter; /* counter of log records */
char company_identifier[CO_IDENTIFIER_SIZE]; /* customer number */
char opt_alpha_1[CUST_NO_SIZE]; /* optional user input */
unsigned long int opt_4; /* optional user input */
unsigned long int opt_5; /* optional user input */
unsigned long int opt_6; /* optional user input */

AFC Telecom User Manual | 344 of 401
Copyright 2018 Avalara, Inc.
unsigned long int opt_7; /* optional user input */
unsigned long int opt_8; /* optional user input */
unsigned long int opt_9; /* optional user input */
unsigned long int opt_10; /* optional user input */
/* Extended entries */
short int trans_type; /* transaction type */
short int srv_type; /* service type */
double trans_charge; /* applied trans charge amount */
char *desc; /* Tax description string */
short int tax_cat_id; /* Tax category */
char *tax_cat_desc; /* Tax category description string */
void* int_data; /* pointer to internal data */
};
/* Reconcile transaction report data struct - extended tsr report data fields */
struct rtr_data
{
int reportId; /* eg: Report_Canada or 1 */
char location[32]; /* Holds text for country or state name */
short int stateId; /* State ID */
short int ctryId; /* Country ID */
int bundlePkg; /* eg: 20000 (maps to bundle transaction type) */
int bundleId; /* eg: 20008 (maps to bundle service type) */
int transType; /* Transaction type */
int svcType; /* Service Type */
double charge; /* Client supplied charge */
double calcCharge; /* Calculated charge (for tax inclusive calcs) */
};
/* no-tax transaction structure, use with EZTaxGetNoTaxTrans */
struct no_tax_tbl
{
unsigned long int p_code; /* jurisdiction applied */
short int trans_type; /* transaction type from input transaction */
short int srv_type; /* service type from input transaction */
short int attr; /* attribute from input transaction */
double charge; /* charge amount from input transaction */
char company_identifier[CO_IDENTIFIER_SIZE]; /* cust num from input trans */
char cust_no[CUST_NO_SIZE]; /* customer number from input transaction */
};
#ifdef __cplusplus
}
#endif
#endif /* _inc_EZTaxStruct_ */

AFC Telecom User Manual | 345 of 401
Copyright 2018 Avalara, Inc.
Appendix B EZTaxDefine.h
EZTaxDefine.h
*/
#ifndef _inc_EZTaxDefine_
#define _inc_EZTaxDefine_
/* if defined for C++ environment */
#ifdef __cplusplus
extern "C" {
#endif
/* add a couple of platform-independence defines */
#if defined(WIN32)
#undef PF_V8_TAXABLE_MEASUR
/* function export define */
#ifndef PF_FUNC_SPEC
#ifdef BSI_EXPORT_DLL
#define PF_FUNC_SPEC __declspec (dllexport)
#else
#define PF_FUNC_SPEC __declspec (dllimport)
#endif
#endif
#else
#define PF_V8_TAXABLE_MEASURE 1
/* function export define */
#define PF_FUNC_SPEC
#endif
/* Define CACHE_ALL - Used to request caching of entire file */
#define CACHE_ALL 1000000
#define EZTAX_VERSION "9.19.1807.1"
#define EZTAX_MAJOR_VERSION 9
#define EZTAX_DB_VERSION 19
/* Define VERSION_MAX_LENGTH: Maximum length of EZTAX_VERSION plus '\0' */
/* MINOR_VERSION is build number (eg: 1403) */
/* INCR_VERSION is build iteration (0-9) - the limit of 9 is from assembly version limits */
#define VERSION_MAX_LENGTH 13
#define MINOR_VERSION_MIN 0
#define MINOR_VERSION_MAX 9999
#define INCR_VERSION_MIN 0
#define INCR_VERSION_MAX 9
/* define maximum length for a starting directory path */
#define MAX_PATH_LEN 256
/* define upper limit for max_base in tax tables */
#define MAX_BASE_LIMIT 2147483647
typedef void *EZTaxSession;
/* Define TRUE and FALSE */
#ifndef TRUE
#define TRUE 1
#endif
#ifndef FALSE
#define FALSE 0
#endif
/* Define IO status values */
#ifndef MORE
#define MORE 0

AFC Telecom User Manual | 346 of 401
Copyright 2018 Avalara, Inc.
#endif
#ifndef FOUND
#define FOUND 1
#endif
#ifndef LAST
#define LAST 2
#endif
#ifndef NO_IO_YET
#define NO_IO_YET 3
#endif
#ifndef NOT_FOUND
#define NOT_FOUND 4
#endif
/* Define size of Cust_no in tax_log */
#define CUST_NO_SIZE 20
/* Define size of tax type description here so users */
/* will know the max size to store the description */
#define TAX_DESCRIPTION_LENGTH 51
/* Define size of company_identifier */
#define CO_IDENTIFIER_SIZE 20
/* Define size of EZView arrays inside taxes table */
#define EZVIEW_ID_ARRAY 10
/* define size of reserved space in taxes table */
#define RESERVE_SIZE 20
/* define adjustment method types */
#define ADJUSTMENT_DEFAULT 0
#define ADJUSTMENT_LEAST_FAVORABLE 1
#define ADJUSTMENT_MOST_FAVORABLE 2
#define ADJUSTMENT_NOT_APPLICABLE 3
/* Define default regulated/unregulated setting */
#define DEFAULT_REGULATED_UNREGULATED FALSE
/* Define customer types */
#define RESIDENTIAL 0
#define BUSINESS 1
#define SENIOR_CITIZEN 2
#define INDUSTRIAL 3
#define DEFAULT_CUSTOMER_TYPE 1
/* Define business classes */
#define CLEC 1
#define ILEC 0
#define DEFAULT_BUSINESS_CLASS 1
/* Define service classes */
#define PRIMARY_LONG_DISTANCE 1
#define PRIMARY_LOCAL_SERVICE 0
#define DEFAULT_SERVICE_CLASS 1
/* Define sale/resale/consumed values */
#define WHOLESALE 0 /* Resale and Wholesale are
synonymous */
#define RESALE 0
#define SALE_RETAIL 1 /* Sale and Retail are synonymous
*/
#define SALE 1
#define CONSUMED 2
#define VENDOR_USE 3
/* Define relationship values */

AFC Telecom User Manual | 347 of 401
Copyright 2018 Avalara, Inc.
#define EQUAL_TO 0
#define LESS_THAN -1
#define GREATER_THAN 1
#define UNINITIALIZED 86
#define SAME_SIGN 2
/* Define Error Codes */
#define EZT_NO_ERROR 0
#define INVALID_TRANSACTION -1
#define JCODE_NOT_FOUND -11
#define PCODE_NOT_FOUND -12
#define ZIPCODE_NOT_FOUND -13
#define NPANXX_NOT_FOUND -14
#define ADDRESS_NOT_FOUND -15
#define CO_ST_ZP_NOT_FOUND -16
#define SESSION_NOT_INIT -17
#define JCDB_NOT_OPEN -18
#define PCDB_NOT_OPEN -19
#define ZIPDB_NOT_OPEN -20
#define NPDB_NOT_OPEN -21
#define ADDB_NOT_OPEN -22
#define JURISDICTION_NOT_FOUND -23
#define FIPS_NOT_FOUND -24
#define FIPS_NOT_OPEN -25
#define PCODEFIPS_NOT_OPEN -26
#define INVALID_TRANSACTION_DATE -27
#define INVALID_TRANSRV_PAIR -28
#define LOG_NAME_NOT_SET -29
#define INVALID_ATTR -30
#define INVALID_PROPERTY -31
#define TS_NOT_SUPPORTED -32
#define NEXUS_ERROR -33
#define TS_NOT_LICENSED -34
#define SYSTEM_MEMORY_ERROR -35
#define PRIVATE_LINE_SPLIT_OUT_OF_RANGE -36
#define REV_CALC_SESSION_FAILURE -37
#define TAX_INCLUSIVE_CALC_SESSION_FAILURE -37
#define TAX_ON_TAX_FAILURE -38
#define CUSTOM_LOG_SIZE_EXCEEDED -39
#define INVALID_EXCLUSION -40
#define INVALID_BRIDGECONF_DATA -41
#define INVALID_SAFE_HARBOR_TYPE -42
#define INVALID_SAFE_HARBOR_FRACTION -43
#define BUNDLEDITEM_TAX_ITEMS_EXCEEDED -44
#define BUNDLED_FIXED_EXCEEDS_CHARGE -45
#define BUNDLED_TS_PAIR_NOT_FOUND -46
#define BUNDLED_TS_PAIR_INVALID_SYNTAX -47
#define INTERSTATE_NOT_VALID_FOR_INTERNATIONAL_CALLS -48
/* Codes set by function EZTaxTPP and EZTaxAdjTPP */
#define MISSING_OR_INVALID_SHIP_FROM -27
#define INVALID_SHIP_TO_ADDRESS -28
#define INVALID_POINT_OF_ACCEPTANCE -29
#define INVALID_STATE_INPUT -30
#define ZIPCODE_DATABASE_NOT_OPEN -31
/* Deprecation error */
#define FUNCTION_DEPRECATED -50
/* Define size of getRates return table for RPG interface */
#define RPG_GETRATES_ARRY_SIZE 200
/* Codes set by RPG Wrapper APIs */
#define GETRATES_TAXES_TABLE_OVERFLOW -200
#define OVERRIDE_TAXES_TABLE_CNT_NOT_ONE_OR_MORE -201
#define OVERRIDE_INPUT_LARGER_THAN_DEFLT_ARRY_SIZE -202
#define OVERRIDE_CONTAINS_DUPLICATE_BRACKET_IN_RATES -203
#define MORE_THAN_ONE_TAX_STRUCT_PASSED_TO_OVERRIDE -204

AFC Telecom User Manual | 348 of 401
Copyright 2018 Avalara, Inc.
/* Define user bundle id start range */
#define BUNDLE_ID_START 20000
/* Group options for tax calculation results */
#define DEFAULT 0
#define GROUP_SAME_LEVEL 1
#define GROUP_CO_LOCAL 3
#define GROUP_ST_CO_LOCAL 4
#define GROUP_SALES 8
#define GROUP_SALES_CATEGORY 24
/* define file indicators */
#define NPANXX 1
#define ZIPCODE 2
#define ADDRESS 3
#define PCODE 4
#define JCODE 5
#define FIPS 6
#define PCDFIPS 7
/* Define tax levels */
#define FEDERAL_LEVEL 0
#define STATE_LEVEL 1
#define COUNTY_LEVEL 2
#define LOCAL_LEVEL 3
#define COUNTY_LEVEL_U 4
#define OTHER_LEVEL 5
#define ST_CO_LOCAL_LEVEL 6
#define CO_LOCAL_LEVEL 7
/* Define tax data calculation types. */
#define RATE 1
#define FIXED 2
#define PER_MINUTE 3
#define PER_LINE 4
#define SELFTAXING_RATE 5
#define PER_BRACKET 6
#define FIXED_ON_TIER 7
/* Customer mode specific calculations */
#define CUST_PER_LINE 8
#define CUST_PER_BRACKET 9
#define CUST_PER_LINE_TOTAL 10
#define CUST_PER_BRACKET_TOTAL 11
/* Define sort filters */
#define SORT_NO_FILTER_SET 0
#define SORT_FILTER_CUST_PER 1
#define SORT_FILTER_CUST_TOT 2
/* Define discount types */
#define NO_DISCOUNT 0
#define RETAIL_PRODUCT 1
#define MANUFACTURER_PRODUCT 2
#define ACCOUNT_LEVEL 3
#define SUBSIDIZED 4
#define GOODWILL 5
/* Define exemptions */
#define NO_EXEMPTION_TYPE 0
#define FED_SALES_SUPREMECY 1
#define STATE_LOCAL_GOV_SALES 2
#define SALES_FOR_RESALE 3
#define FED_COUPONS_WIC_VOUCHERS 4
#define REDUCED_FOOD_RATE 5
#define NON_PROFIT_SALES 6
#define PUBLIC_SCHOOL_SALES 7
#define RELIGIOUS_CHARITABLE_SALES 8
#define PRESCRIPTION_DRUG_SALES 9
#define PROSTHO_ORTHO_DEVICES 10
#define INSULIN_SALES 11

AFC Telecom User Manual | 349 of 401
Copyright 2018 Avalara, Inc.
#define INTER_STATE_FOREIGN_SALES 12
#define INGREDIENT_COMPONENT_PARTS 13
/* Define tax-on-tax iterations */
#define TAX_ON_TAX_ONCE 0
#define TAX_ON_TAX_ITERATE_ON_TAX_AMOUNT 1
#define TAX_ON_TAX_ITERATE_ON_TAXABLE_MEASURE 2
/* Define Safe Harbor Override Types */
#define EZTAX_SAFE_HARBOR_CELLULAR_TYPE 1
#define EZTAX_SAFE_HARBOR_VOIP_TYPE 2
#define EZTAX_SAFE_HARBOR_PAGING_TYPE 4
#define EZTAX_SAFE_HARBOR_CLEAR_ALL 7
/* Pro-rated adjustment related defines */
#define NO_PRORATED_APPLICATION 0
#define STANDARD_PRORATED_ADJUSTMENT 1
#define CANCEL_PRORATED_CALCULATION 2
#ifdef __cplusplus
}
#endif
#endif /* _inc_EZTaxDefine_ */

AFC Telecom User Manual | 350 of 401
Copyright 2018 Avalara, Inc.
EZTaxTaxType.h
#ifndef _inc_EZTaxTaxTypeDefine_
#define _inc_EZTaxTaxTypeDefine_
#ifdef __cplusplus
extern "C" {
#endif
/* Define tax types */
#define NO_TAX 0 /*No Tax*/
#define SALES_TAX 1 /*Sales Tax*/
#define BUSINESS_AND_OCCUPATION_TAX 2 /*Business and
Occupation Tax*/
#define CARRIER_GROSS_RECEIPTS 3 /*Carrier Gross
Receipts*/
#define DISTRICT_TAX 4 /*District Tax*/
#define EXCISE_TAX 5 /*Excise Tax*/
#define FEDERAL_EXCISE_TAX 6 /*Federal Excise
Tax*/
#define FED_USF_A_SCHOOL 7 /*Fed USF A -
School*/
#define LICENSE_TAX 8 /*License Tax*/
#define PUC_FEE 9 /*P.U.C. Fee*/
#define E911 10 /*E-911*/
#define SERVICE_TAX 11 /*Service Tax*/
#define SPECIAL_TAX 12 /*Special Tax*/
#define STATE_UNIVERSAL_SERVICE_FUND 13 /*State Universal
Service Fund*/
#define STATUTORY_GROSS_RECEIPTS 14 /*Statutory Gross
Receipts*/
#define SURCHARGE 15 /*Surcharge*/
#define UTILITY_USERS_TAX 16 /*Utility Users
Tax*/
#define SALES_WEB_HOSTING 17 /*Sales (Web
Hosting)*/
#define FED_UNIVERSAL_SERVICE_FUND 18 /*Fed Universal
Service Fund*/
#define STATE_HIGH_COST_FUND 19 /*State High Cost
Fund*/
#define STATE_DEAF_AND_DISABLED_FUND 20 /*State Deaf and
Disabled Fund*/
#define CA_TELECONNECT_FUND 21 /*CA Teleconnect
Fund*/
#define UNIVERSAL_LIFELINE_TELEPHONE_SERVICE_CHARGE 22 /*Universal
Lifeline Telephone Service Charge*/
#define TELECOM_RELAY_SURCHARGE 23 /*Telecom Relay
Surcharge*/
#define TELECOMMUNICATIONS_INFRASTRUCTURE_MAINTENANCE_FEE 24
/*Telecommunications Infrastructure Maintenance Fee*/
#define POISON_CONTROL_FUND 25 /*Poison Control
Fund*/
#define TELECOMMUNICATIONS_INFRASTRUCTURE_FUND 26
/*Telecommunications Infrastructure Fund*/
#define NY_MCTD_186C 27 /*NY MCTD 186c*/
#define NY_MCTD_184A 28 /*NY MCTD 184a*/
#define FRANCHISE_TAX 29 /*Franchise Tax*/
#define UTILITY_USERS_TAX_BUSINESS 30 /*Utility Users
Tax - Business*/
#define FED_TELECOMMUNICATIONS_RELAY_SERVICE 31 /*Fed
Telecommunications Relay Service*/
#define DISTRICT_TAX_RESIDENTIAL_ONLY 32 /*District Tax
(Residential Only)*/
#define TRANSIT_TAX 33 /*Transit Tax*/
#define TELECOMMUNICATIONS_ASSISTANCE_SERVICE_FUND 34
/*Telecommunications Assistance Service Fund*/
#define E911_BUSINESS 35 /*E911
(Business)*/

AFC Telecom User Manual | 351 of 401
Copyright 2018 Avalara, Inc.
#define TRS_BUSINESS 36 /*TRS
(Business)*/
#define UNIVERSAL_SERVICE_FUND_LINE 37 /*Universal
Service Fund (Line)*/
#define UNIVERSAL_SERVICE_FUND_BUSINESS_LINE 38 /*Universal
Service Fund (Business Line)*/
#define E911_PBX_TRUNK_LINE 39 /*E911 (PBX/Trunk
line)*/
#define LICENSE_TAX_BUSINESS 40 /*License Tax
(Business)*/
#define OPTIONAL_TIMF 41 /*Optional TIMF*/
#define SALES_TAX_BUSINESS 42 /*Sales Tax
(Business)*/
#define E911_RESIDENTIAL 43 /*E911
(Residential)*/
#define E911_WIRELESS 44 /*E911
(Wireless)*/
#define NY_FRANCHISE_184 45 /*NY Franchise
184*/
#define NY_FRANCHISE_184_USAGE 46 /*NY Franchise
184 Usage*/
#define NY_MCTD_184A_USAGE 47 /*NY MCTD 184a
Usage*/
#define UNIVERSAL_SERVICE_FUND_WIRELESS 48 /*Universal
Service Fund (Wireless)*/
#define USE_TAX 49 /*Use Tax*/
#define SALES_TAX_DATA 50 /*Sales Tax
(Data)*/
#define MUNICIPAL_RIGHT_OF_WAY 51 /*Municipal Right
of Way*/
#define MUNICIPAL_RIGHT_OF_WAY_BUSINESS 52 /*Municipal Right
of Way (Business)*/
#define MUNICIPAL_RIGHT_OF_WAY_PRIVATE_LINE 53 /*Municipal Right
of Way (Private Line)*/
#define UTILITY_USERS_TAX_WIRELESS 54 /*Utility Users
Tax - Wireless*/
#define FED_USF_CELLULAR 55 /*Fed USF
Cellular*/
#define FED_USF_PAGING 56 /*Fed USF
Paging*/
#define SALES_TAX_INTERSTATE 57 /*Sales Tax
(Interstate)*/
#define UTILITY_USERS_TAX_PBX_TRUNK 58 /*Utility Users
Tax (PBX Trunk)*/
#define DISTRICT_TAX_WEB_HOSTING 59 /*District Tax
(Web Hosting)*/
#define CA_HIGH_COST_FUND_A 60 /*CA High Cost
Fund A*/
#define TELECOMMUNICATIONS_EDUCATION_ACCESS_FUND 61
/*Telecommunications Education Access Fund*/
#define FED_TRS_CELLULAR 62 /*Fed TRS
Cellular*/
#define FED_TRS_PAGING 63 /*Fed TRS
Paging*/
#define COMMUNICATIONS_SERVICE_TAX 64 /*Communications
Service Tax*/
#define VALUE_ADDED_TAX 65 /*Value Added Tax
(VAT)*/
#define GOODS_AND_SERVICE_TAX 66 /*Goods and
Service Tax (GST)*/
#define HARMONIZED_SALES_TAX 67 /*Harmonized
Sales Tax (HST)*/
#define PROVINCIAL_SALES_TAX 68 /*Provincial
Sales Tax (PST)*/
#define QUEBEC_SALES_TAX 69 /*Quebec Sales
Tax (QST)*/
#define NATIONAL_CONTRIBUTION_REGIME 70 /*National
Contribution Regime (NCR)*/
#define UTILITY_USERS_TAX_CABLE_TELEVISION 71 /*Utility Users
Tax (Cable Television)*/

AFC Telecom User Manual | 352 of 401
Copyright 2018 Avalara, Inc.
#define FCC_REGULATORY_FEE 72 /*FCC Regulatory
Fee*/
#define FRANCHISE_TAX_CABLE 73 /*Franchise Tax
(Cable)*/
#define UNIVERSAL_SERVICE_FUND_PAGING 74 /*Universal
Service Fund (Paging)*/
#define STATUTORY_GROSS_RECEIPTS_WIRELESS 75 /*Statutory Gross
Receipts (Wireless)*/
#define SGT_E911_TAX 76 /*Sage E911 Tax*/
#define SGT_E911_TAX_BUSINESS 77 /*Sage E911 Tax
(Business)*/
#define SGT_E911_TAX_PBX_TRUNK_LINE 78 /*Sage E911 Tax
(PBX/Trunk line)*/
#define SGT_E911_TAX_RESIDENTIAL 79 /*Sage E911 Tax
(Residential)*/
#define SGT_E911_TAX_WIRELESS 80 /*Sage E911 Tax
(Wireless)*/
#define SGT_LICENSE_TAX 81 /*Sage License
Tax*/
#define FRANCHISE_TAX_WIRELESS 82 /*Franchise Tax
(Wireless)*/
#define FEDERAL_USF_ALTERNATE 83 /*Federal USF
(Alternate)*/
#define PEG_ACCESS_FEE 84 /*Public
Education and Government (PEG) Access Fee*/
#define COMMUNICATIONS_SERVICE_TAX_SATELLITE 85 /*Communications
Service Tax (Satellite)*/
#define FRANCHISE_TAX_SATELLITE 86 /*Franchise Tax
(Satellite)*/
#define CARRIER_COST_RECOVERY 87 /*Carrier Cost
Recovery*/
#define FEDERAL_TRS_ALTERNATE 88 /*Federal TRS
(Alternate)*/
#define TRS_CENTREX 89 /*TRS (Centrex)*/
#define UTILITY_USERS_TAX_CABLE_TELEVISION_BUSINESS 90 /*Utility Users
Tax (Cable Television - Business)*/
#define UTILITY_USERS_TAX_CENTREX 91 /*Utility Users
Tax (Centrex)*/
#define E911_CENTREX 92 /*E911
(Centrex)*/
#define UTILITY_USERS_TAX_LINE 93 /*Utility Users
Tax (Line)*/
#define CRIME_CONTROL_DISTRICT_TAX 94 /*Crime Control
District Tax*/
#define LIBRARY_DISTRICT_TAX 95 /*Library
District Tax*/
#define HOSPITAL_DISTRICT_TAX 96 /*Hospital
District Tax*/
#define HEALTH_SERVICES_DISTRICT_TAX 97 /*Health Services
District Tax*/
#define EMERGENCY_SERVICES_DISTRICT_TAX 98 /*Emergency
Services District Tax*/
#define IMPROVEMENT_DISTRICT_TAX 99 /*Improvement
District Tax*/
#define DEVELOPMENT_DISTRICT_TAX 100 /*Development
District Tax*/
#define TRANSIT_WEB_HOSTING_TAX 101 /*Transit Web
Hosting Tax*/
#define AMBULANCE_DISTRICT_TAX 102 /*Ambulance
District Tax*/
#define FIRE_DISTRICT_TAX 103 /*Fire District
Tax*/
#define POLICE_DISTRICT_TAX 104 /*Police District
Tax*/
#define FOOTBALL_DISTRICT_TAX 105 /*Football
District Tax*/
#define BASEBALL_DISTRICT_TAX 106 /*Baseball
District Tax*/
#define CRIME_CONTROL_DISTRICT_WEB_HOSTING_TAX 107 /*Crime Control
District Web Hosting Tax*/

AFC Telecom User Manual | 353 of 401
Copyright 2018 Avalara, Inc.
#define LIBRARY_DISTRICT_WEB_HOSTING_TAX 108 /*Library
District Web Hosting Tax*/
#define HOSPITAL_DISTRICT_WEB_HOSTING_TAX 109 /*Hospital
District Web Hosting Tax*/
#define HEALTH_SERVICES_DISTRICT_WEB_HOSTING_TAX 110 /*Health Services
District Web Hosting Tax*/
#define EMERGENCY_SERVICES_DISTRICT_WEB_HOSTING_TAX 111 /*Emergency
Services District Web Hosting Tax*/
#define IMPROVEMENT_DISTRICT_WEB_HOSTING_TAX 112 /*Improvement
District Web Hosting Tax*/
#define DEVELOPMENT_DISTRICT_WEB_HOSTING_TAX 113 /*Development
District Web Hosting Tax*/
#define UTILITY_USERS_TAX_INTERSTATE 114 /*Utility Users
Tax (Interstate)*/
#define UTILITY_USERS_TAX_TELEGRAPH 115 /*Utility Users
Tax (Telegraph)*/
#define E911_NETWORK_AND_DATABASE_SURCHARGE 116 /*E911 Network
And Database Surcharge*/
#define LICENSE_TAX_EMERGENCY 117 /*License Tax
Emergency*/
#define LICENSE_TAX_EMERGENCY_BUSINESS 118 /*License Tax
Emergency (Business)*/
#define EDUCATIONAL_SALES_TAX 119 /*Educational
Sales Tax*/
#define EDUCATIONAL_USE_TAX 120 /*Educational Use
Tax*/
#define E911_OPERATIONAL_SURCHARGE_COUNTY_COMMISSION 121 /*E911
Operational Surcharge County Commission*/
#define E911_OPERATIONAL_SURCHARGE_VOTER_APPROVED 122 /*E911
Operational Surcharge Voter Approved*/
#define SALES_TAX_NINE_HUNDRED 123 /*Sales Tax Nine
Hundred*/
#define CONVENTION_CENTER_TAX 124 /*Convention
Center Tax*/
#define E911_HIGH_CAPACITY_TRUNK 125 /*E911 High
Capacity Trunk*/
#define SCHOOL_BOARD_TAX_A 126 /*School Board
Tax A*/
#define SCHOOL_BOARD_TAX_B 127 /*School Board
Tax B*/
#define SCHOOL_BOARD_TAX_C 128 /*School Board
Tax C*/
#define SCHOOL_BOARD_TAX_D 129 /*School Board
Tax D*/
#define SCHOOL_BOARD_TAX_E 130 /*School Board
Tax E*/
#define SCHOOL_BOARD_TAX_F 131 /*School Board
Tax F*/
#define SCHOOL_DISTRICT_TAX 132 /*School District
Tax*/
#define POLICE_JURY_TAX_B 133 /*Police Jury Tax
B*/
#define POLICE_JURY_TAX_C 134 /*Police Jury Tax
C*/
#define POLICE_JURY_TAX_E 135 /*Police Jury Tax
E*/
#define COMMUNICATIONS_SERVICE_TAX_WIRELESS 136 /*Communications
Service Tax (Wireless)*/
#define SERVICE_PROVIDER_TAX 137 /*Service
Provider Tax*/
#define TELECOMMUNICATIONS_SALES_TAX 138
/*Telecommunications Sales Tax*/
#define ADVANCED_TRANSIT_TAX 139 /*Advanced
Transit Tax*/
#define ADVANCED_TRANSIT_WEB_HOSTING_TAX 140 /*Advanced
Transit Web Hosting Tax*/
#define MISSOURI_UNIVERSAL_SERVICE_FUND 141 /*Missouri
Universal Service Fund*/
#define BUSINESS_AND_OCCUPATION_TAX_WHOLESALE 142 /*Business and
Occupation Tax (Wholesale)*/

AFC Telecom User Manual | 354 of 401
Copyright 2018 Avalara, Inc.
#define TELECOMMUNICATIONS_EDUCATION_ACCESS_FUND_CENTREX 143
/*Telecommunications Education Access Fund (Centrex)*/
#define BUSINESS_AND_OCCUPATION_TAX_OTHER 144 /*Business and
Occupation Tax (Other)*/
#define TRIBAL_SALES_TAX 145 /*Tribal Sales
Tax*/
#define SALES_TAX_DATA_PROCESSING 146 /*Sales Tax (Data
Processing)*/
#define TRANSIT_TAX_DATA_PROCESSING 147 /*Transit Tax
(Data Processing)*/
#define CRIME_CONTROL_DISTRICT_TAX_DATA_PROCESSING 148 /*Crime Control
District Tax (Data Processing)*/
#define LIBRARY_DISTRICT_TAX_DATA_PROCESSING 149 /*Library
District Tax (Data Processing)*/
#define HOSPITAL_DISTRICT_TAX_DATA_PROCESSING 150 /*Hospital
District Tax (Data Processing)*/
#define HEALTH_SERVICES_DISTRICT_TAX_DATA_PROCESSING 151 /*Health Services
District Tax (Data Processing)*/
#define EMERGENCY_SERVICES_DISTRICT_TAX_DATA_PROCESSING 152 /*Emergency
Services District Tax (Data Processing)*/
#define IMPROVEMENT_DISTRICT_TAX_DATA_PROCESSING 153 /*Improvement
District Tax (Data Processing)*/
#define DEVELOPMENT_DISTRICT_TAX_DATA_PROCESSING 154 /*Development
District Tax (Data Processing)*/
#define ADVANCED_TRANSIT_TAX_DATA_PROCESSING 155 /*Advanced
Transit Tax (Data Processing)*/
#define CA_PSPE_SURCHARGE 156 /*CA PSPE
Surcharge*/
#define DISTRICT_TAX_DATA_PROCESSING 157 /*District Tax
(Data Processing)*/
#define TAX_TYPE_RESERVED_158 158 /*Eschelon UUT*/
#define CABLE_FRANCHISE_FEE 159 /*Cable Franchise
Fee*/
#define STATUTORY_GROSS_RECEIPTS_BUSINESS 160 /*Statutory Gross
Receipts (Business)*/
#define E911_VOIP 161 /*E911 (VoIP)*/
#define FUSF_VOIP 162 /*FUSF (VoIP)*/
#define FUSF 163 /*FUSF*/
#define COST_RECOVERY_SURCHARGE 164 /*Cost Recovery
Surcharge*/
#define UNIVERSAL_SERVICE_FUND_VOIP 165 /*Universal
Service Fund (VoIP)*/
#define COMMUNICATIONS_SERVICE_TAX_CABLE 166 /*Communications
Service Tax (Cable)*/
#define MUNICIPAL_RIGHT_OF_WAY_CABLE 167 /*Municipal Right
of Way (Cable)*/
#define TAX_TYPE_RESERVED_168 168 /*Reserved*/
#define FCC_REGULATORY_FEE_WIRELINE 169 /*FCC Regulatory
Fee (Wireline)*/
#define FCC_REGULATORY_FEE_WIRELESS 170 /*FCC Regulatory
Fee (Wireless)*/
#define TAX_TYPE_RESERVED_171 171 /*Reserved*/
#define STATUTORY_GROSS_RECEIPTS_VIDEO 172 /*Statutory Gross
Receipts (Video)*/
#define UTILITY_USERS_TAX_LIFELINE 173 /*Utility Users
Tax - Lifeline*/
#define TRS_LONG_DISTANCE 174 /*TRS - Long
Distance*/
#define TELECOM_RELAY_SURCHARGE_WIRELESS 175 /*Telecom Relay
Surcharge (Wireless)*/
#define SALES_TAX_SENIOR_CITIZEN 176 /*Sales Tax -
Senior Citizen*/
#define REGULATORY_COST_CHARGE_LOCAL 177 /*Regulatory Cost
Charge - Local*/
#define REGULATORY_COST_CHARGE_INTRASTATE 178 /*Regulatory Cost
Charge - Intrastate*/
#define REGULATORY_COST_CHARGE_CABLE 179 /*Regulatory Cost
Charge - Cable*/
#define PUC_FEE_CABLE 180 /*P.U.C. Fee -
Cable*/

AFC Telecom User Manual | 355 of 401
Copyright 2018 Avalara, Inc.
#define PROVINCIAL_SALES_TAX_TOLL 181 /*Provincial
Sales Tax (TOLL)*/
#define UUT 182 /*UUT*/
#define TAX_TYPE_RESERVED_183 183 /*Reserved*/
#define SALES_TAX_MANUFACTURING 184 /*Sales Tax-
Manufacturing*/
#define USE_TAX_MANUFACTURING 185 /*Use Tax-
Manufacturing*/
#define SALES_TAX_MOTOR_VEHICLES 186 /*Sales Tax-Motor
Vehicles*/
#define USE_TAX_MOTOR_VEHICLES 187 /*Use Tax-Motor
Vehicles*/
#define RENTAL_TAX 188 /*Rental Tax*/
#define RENTAL_TAX_LINEN 189 /*Rental Tax-
Linen*/
#define SALES_TAX_VENDING 190 /*Sales Tax-
Vending*/
#define RENTAL_TAX_MOTOR_VEHICLES 191 /*Rental Tax-
Motor Vehicles*/
#define SALES_TAX_WHOLESALE 192 /*Sales Tax-
Wholesale*/
#define SALES_TAX_FOOD_AND_DRUGS 193 /*Sales Tax-Food
and Drugs*/
#define SALES_TAX_FOOD 194 /*Sales Tax-
Food*/
#define FUR_TAX 195 /*Fur Tax*/
#define PRIVILEGE_TAX_MANUFACTURING 196 /*Privilege Tax-
Manufacturing*/
#define LEAD_ACID_BATTERY_FEE 197 /*Lead Acid
Battery Fee*/
#define SALES_TAX_MOTOR_FUEL 198 /*Sales Tax-Motor
Fuel*/
#define LEAD_ACID_BATTERY_FEE_LARGER_BATTERY 199 /*Lead Acid
Battery Fee-Larger Battery*/
#define SALES_TAX_PARKING 200 /*Sales Tax-
Parking*/
#define PRIVILEGE_TAX_RECREATION 201 /*Privilege Tax-
Recreation*/
#define DRY_CLEANING_FEE 202 /*Dry Cleaning
Fee*/
#define WHITE_GOODS_TAX 203 /*White Goods
Tax*/
#define SALES_TAX_MEDICAL_EQUIPMENT 204 /*Sales Tax-
Medical Equipment*/
#define ELECTRONIC_WASTE_RECYCLING_FEE_SMALL 205 /*Electronic
Waste Recycling Fee-Small*/
#define ELECTRONIC_WASTE_RECYCLING_FEE_MEDIUM 206 /*Electronic
Waste Recycling Fee-Medium*/
#define ELECTRONIC_WASTE_RECYCLING_FEE_LARGE 207 /*Electronic
Waste Recycling Fee-Large*/
#define ALCOHOLIC_BEVERAGE_TAX 208 /*Alcoholic
Beverage Tax*/
#define SALES_TAX_ALCOHOL 209 /*Sales Tax-
Alcohol*/
#define LIQUOR_DRINK_TAX 210 /*Liquor Drink
Tax*/
#define IN_UNIVERSAL_SERVICE_CHARGE 211 /*IN Universal
Service Charge*/
#define TRS_PAGING 212 /*TRS (Paging)*/
#define CONNECTME_FUND 213 /*ConnectME
Fund*/
#define PA_PURTA_SURCHARGE 214 /*PA PURTA
Surcharge*/
#define CONNECTME_FUND_VOIP 215 /*ConnectME Fund
(VoIP)*/
#define CONNECTME_FUND_CABLE 216 /*ConnectME Fund
(Cable)*/
#define TRS_VOIP 217 /*TRS (VoIP)*/
#define CONSUMER_COUNSEL_FEE 218 /*Consumer
Counsel Fee*/

AFC Telecom User Manual | 356 of 401
Copyright 2018 Avalara, Inc.
#define SAN_DIEGO_UNDERGROUND_CONVERSION_SURCHARGE 219 /*San Diego
Underground Conversion Surcharge*/
#define RSPF_SURCHARGE 220 /*RSPF
Surcharge*/
#define NETWORK_ACCESS_FEE 221 /*Network Access
Fee*/
#define FRANCHISE_FEE 222 /*Franchise Fee*/
#define CASF 223 /*CASF*/
#define LICENSE_TAX_CABLE 224 /*License Tax
(Cable)*/
#define RELAY_MISSOURI_SURCHARGE 225 /*Relay Missouri
Surcharge*/
#define FCC_REGULATORY_FEE_VOIP 226 /*FCC Regulatory
Fee (VoIP)*/
#define TAX_TYPE_RESERVED_227 227 /*Reserved*/
#define MUNICIPAL_RIGHT_OF_WAY_EXTENSION 228 /*Municipal Right
of Way (Extension)*/
#define CARRIER_COST_RECOVERY_VOIP 229 /*Carrier Cost
Recovery (VoIP)*/
#define SALES_TAX_VIDEO 230 /*Sales Tax-
Video*/
#define NORTH_CAROLINA_TELECOMMUNICATIONS_SALES_TAX 231 /*North Carolina
Telecommunications Sales Tax*/
#define TELECOMMUNICATIONS_RELAY_SURCHARGE_CELLULAR 232
/*Telecommunications Relay Surcharge (Cellular)*/
#define E911_PREPAID_WIRELESS 233 /*E-911 Prepaid
Wireless*/
#define TELECOMMUNICATIONS_RELAY_SURCHARGE_PAGING 234
/*Telecommunications Relay Surcharge (Paging)*/
#define TELECOMMUNICATIONS_RELAY_SURCHARGE_VOIP 235
/*Telecommunications Relay Surcharge (VoIP)*/
#define TDAP 236 /*TDAP*/
#define TAP_SURCHARGE 237 /*TAP Surcharge*/
#define COMMUNICATIONS_SERVICE_TAX_NON_FACILITIES 238 /*Communications
Service Tax (Non-Facilities)*/
#define E911_VOIP_ALTERNATE 239 /*E-911 (VoIP)
Alternate*/
#define E911_VOIP_PBX 240 /*E-911 (VoIP
PBX)*/
#define UTILITY_USERS_TAX_VOIP 241 /*Utility Users
Tax (VoIP)*/
#define UTILITY_USERS_TAX_VOIP_BUSINESS 242 /*Utility Users
Tax (VoIP-Business)*/
#define SOLID_WASTE_COLLECTION_TAX 243 /*Solid Waste
Collection Tax*/
#define E911_VOIP_BUSINESS 244 /*E-911 (VoIP
Business)*/
#define E911_VOIP_NOMADIC 245 /*E-911 (VoIP-
Nomadic)*/
#define E911_PREPAID_WIRELESS_ALTERNATE 246 /*E-911 Prepaid
Wireless (Alternate)*/
#define POLICE_AND_FIRE_PROTECTION_FEE 247 /*Police and Fire
Protection Fee*/
#define SAN_FRANCISCO_ACCESS_LINE_TAX 248 /*San Francisco
Access Line Tax*/
#define SAN_FRANCISCO_ACCESS_LINE_TAX_PBX_TRUNK_LINE 249 /*San Francisco
Access Line Tax (PBX/Trunk Line)*/
#define SAN_FRANCISCO_ACCESS_LINE_TAX_VOIP 250 /*San Francisco
Access line Tax (VoIP)*/
#define SAN_FRANCISCO_ACCESS_LINE_TAX_WIRELESS 251 /*San Francisco
Access Line Tax (Wireless)*/
#define SAN_FRANCISCO_ACCESS_LINE_TAX_HIGH_CAP_TRUNK 252 /*San Francisco
Access Line Tax (High Cap Trunk)*/
#define CITY_OF_SAN_JOSE_TELEPHONE_LINE_TAX 253 /*City of San
Jose Telephone Line Tax*/
#define CITY_OF_SAN_JOSE_TELEPHONE_LINE_TAX_PBX_TRUNK_LINE 254 /*City of San
Jose Telephone Line Tax-PBX/Trunk Line*/
#define CITY_OF_SAN_JOSE_TELEPHONE_LINE_TAX_VOIP 255 /*City of San
Jose Telephone Line Tax (VoIP)*/
#define CITY_OF_SAN_JOSE_TELEPHONE_LINE_TAX_WIRELESS 256 /*CIty of San
Jose Telephone Line Tax (Wireless)*/

AFC Telecom User Manual | 357 of 401
Copyright 2018 Avalara, Inc.
#define SAN_LEANDRO_EMERG_COM_SYS_ACCESS_TAX 257 /*San Leandro
Emerg Com Sys Access Tax*/
#define SAN_LEANDRO_EMERG_COM_SYS_ACCESS_TAX_PBX_TRUNK 258 /*San Leandro
Emerg Com Sys Access Tax (PBX Trunk)*/
#define SAN_LEANDRO_EMERG_COM_SYS_ACCESS_TAX_VOIP 259 /*San Leandro
Emerg Com Sys Access Tax (VoIP)*/
#define SAN_LEANDRO_EMERG_COM_SYS_ACCESS_TAX_WIRELESS 260 /*San Leandro
Emerg Com Sys Access Tax (Wireless)*/
#define SAN_LEANDRO_EMERG_COM_SYS_ACCESS_TAX_HIGH_CAP_TRNK 261 /*San Leandro
Emerg Com Sys Access Tax-High Cap Trnk*/
#define POLICE_AND_FIRE_PROTECTION_FEE_PREPAID 262 /*Police and Fire
Protection Fee (Prepaid)*/
#define PUBLIC_SAFETY_COMMUNICATIONS_SURCHARGE 263 /*Public Safety
Communications Surcharge*/
#define E911_TECHNICAL_CHARGE 264 /*E-911 Technical
Charge*/
#define TELECOM_ASSISTANCE_SVC_FUND_HIGH_CAPACITY_TRUNK 265 /*Telecom
Assistance Svc Fund-High Capacity Trunk*/
#define CRT_LEVY 266 /*CRT Levy*/
#define ACCESS_LINE_TAX 267 /*Access Line
Tax*/
#define ACCESS_LINE_TAX_PBX_TRUNK_LINE 268 /*Access Line Tax
(PBX/Trunk Line)*/
#define ACCESS_LINE_TAX_VOIP 269 /*Access Line Tax
(VoIP)*/
#define ACCESS_LINE_TAX_WIRELESS 270 /*Access Line Tax
(Wireless)*/
#define WI_USF 271 /*WI USF*/
#define NETWORK_ACCESS_FEE_INTERSTATE 272 /*Network Access
Fee-Interstate*/
#define SALES_TAX_OTHER 273 /*Sales Tax -
Other*/
#define FCC_REGULATORY_FEE_VOIP_ALTERNATE 274 /*FCC Regulatory
fee (VoIP Alternate)*/
#define EXCISE_TAX_WIRELESS 275 /*Excise Tax
(Wireless)*/
#define RESERVED_276 276 /*Reserved_276*/
#define FEDERAL_UNIVERSAL_SERVICE_FUND_NON_BILLABLE 277 /*Federal
Universal Service Fund (Non-Billable)*/
#define MUNICIPAL_RIGHT_OF_WAY_HIGH_CAPACITY_TRUNK 278 /*Municipal Right
of Way-High Capacity Trunk*/
#define EDUCATION_CESS 279 /*Education
Cess*/
#define SECONDARY_AND_HIGHER_EDUCATION_CESS 280 /*Secondary and
Higher Education Cess*/
#define UTILITY_USERS_TAX_VIDEO 281 /*Utility Users
Tax (Video)*/
#define STATE_USF_VOIP_ALTERNATE 282 /*State USF (VoIP
Alternate)*/
#define TRS_VOIP_BUSINESS 283 /*TRS (VoIP
Business)*/
#define TRS_TRUNK 284 /*TRS (Trunk)*/
#define DEAF_AND_DISABLED_FUND_WIRELESS 285 /*Deaf and
Disabled Fund (Wireless)*/
#define UTILITY_USERS_TAX_WIRELESSBUSINESS 286 /*Utility Users
Tax-Wireless(Business)*/
#define TELECOMMUNICATIONS_SALES_TAX_PREPAID 287
/*Telecommunications Sales Tax-Prepaid*/
#define CA_HIGH_COST_FUND_A_VOIP_ACTUAL 288 /*CA High Cost
Fund A (VoIP Actual)*/
#define STATE_HIGH_COST_FUND_VOIP_ACTUAL 289 /*State High Cost
Fund (VoIP Actual)*/
#define UNIVERSAL_LIFELINE_TELEPHONE_SVC_CHG_VOIP_ACTUAL 290 /*Universal
Lifeline Telephone Svc Chg (VoIP Actual)*/
#define TELECOMMUNICATIONS_RELAY_SVC_CHARGE_VOIP_ACTUAL 291
/*Telecommunications Relay Svc Charge (VoIP Actual)*/
#define CA_TELECONNECT_FUND_VOIP_ACTUAL 292 /*CA Teleconnect
Fund (VoIP Actual)*/
#define CASF_VOIP_ACTUAL 293 /*CASF (VoIP
Actual)*/

AFC Telecom User Manual | 358 of 401
Copyright 2018 Avalara, Inc.
#define OKLAHOMA_SALES_TAX 294 /*Oklahoma Sales
Tax*/
#define BUSINESS_AND_OCCUPATION_TAX_PRTG_AND_PUBLISHING 295 /*Business and
Occupation Tax (Prtg and Publishing)*/
#define PREMIER_RESORT_AREA_TAX 296 /*Premier Resort
Area Tax*/
#define E911_EQUALIZATION_SURCHARGE 297 /*E911
Equalization Surcharge*/
#define UNIVERSAL_SERVICE_FEE 298 /*Universal
Service Fee*/
#define NE_UNIVERSAL_SERVICE 299 /*NE Universal
Service*/
#define TAP_SURCHARGE_WIRELESS 300 /*TAP Surcharge
(Wireless)*/
#define GA_UNIVERSAL_ACCESS_FUND 301 /*GA Universal
Access Fund*/
#define CA_HIGH_COST_FUND_A_WIRELESS 302 /*CA High Cost
Fund A (Wireless)*/
#define CA_TELECONNECT_FUND_WIRELESS 303 /*CA Teleconnect
Fund (Wireless)*/
#define CASF_WIRELESS 304 /*CASF
(Wireless)*/
#define STATE_HIGH_COST_FUND_WIRELESS 305 /*State High Cost
Fund (Wireless)*/
#define PUC_FEE_WIRELESS 306 /*PUC Fee
(Wireless)*/
#define UNIVERSAL_LIFELINE_TELEPHONE_SVC_CHARGE_WIRELESS 307 /*Universal
Lifeline Telephone Svc Charge (Wireless)*/
#define NY_TAF 308 /*NY TAF*/
#define PREPAID_WIRELESS_E911_TRS_SURCHARGE 309 /*Prepaid
Wireless E911 TRS Surcharge*/
#define TRS_PREPAID_WIRELESS 310 /*TRS-Prepaid
Wireless*/
#define FUSF_MULTI_LINE 311 /*FUSF (Multi-
line)*/
#define ND_GROSS_RECEIPTS_TAX 312 /*ND Gross
Receipts Tax*/
#define NY_SALES_TAX 313 /*NY Sales Tax*/
#define NY_LOCAL_TRANSIT_TAX 314 /*NY Local
Transit Tax*/
#define NY_LOCAL_DISTRICT_TAX 315 /*NY Local
District Tax*/
#define SALES_TAX_SATELLITE 316 /*Sales Tax-
Satellite*/
#define SALES_TAX_COMMERCIAL_LEASE 317 /*Sales Tax-
Commercial Lease*/
#define FOOD_AND_BEVERAGE_TAX 318 /*Food and
Beverage Tax*/
#define NETWORK_ACCESS_FEE_LD_INTERSTATE 319 /*Network Access
Fee LD-Interstate*/
#define NETWORK_ACCESS_FEE_LD_INTRASTATE 320 /*Network Access
Fee LD-Intrastate*/
#define VENDOR_USE_TAX 321 /*Vendor Use
Tax*/
#define DISTRICT_VENDOR_USE_TAX 322 /*District Vendor
Use Tax*/
#define SPECIAL_VENDOR_USE_TAX 323 /*Special Vendor
Use Tax*/
#define TRANSIT_VENDOR_USE_TAX 324 /*Transit Vendor
Use Tax*/
#define CRIME_CONTROL_DISTRICT_VENDOR_USE_TAX 325 /*Crime Control
District Vendor Use Tax*/
#define LIBRARY_DISTRICT_VENDOR_USE_TAX 326 /*Library
District Vendor Use Tax*/
#define HOSPITAL_DISTRICT_VENDOR_USE_TAX 327 /*Hospital
District Vendor Use Tax*/
#define HEALTH_SERVICES_DISTRICT_VENDOR_USE_TAX 328 /*Health Services
District Vendor Use Tax*/
#define EMERGENCY_SERVICES_DISTRICT_VENDOR_USE_TAX 329 /*Emergency
Services District Vendor Use Tax*/

AFC Telecom User Manual | 359 of 401
Copyright 2018 Avalara, Inc.
#define IMPROVEMENT_DISTRICT_VENDOR_USE_TAX 330 /*Improvement
District Vendor Use Tax*/
#define DEVELOPMENT_DISTRICT_VENDOR_USE_TAX 331 /*Development
District Vendor Use Tax*/
#define AMBULANCE_DISTRICT_VENDOR_USE_TAX 332 /*Ambulance
District Vendor Use Tax*/
#define FIRE_DISTRICT_VENDOR_USE_TAX 333 /*Fire District
Vendor Use Tax*/
#define FOOTBALL_DISTRICT_VENDOR_USE_TAX 334 /*Football
District Vendor Use Tax*/
#define BASEBALL_DISTRICT_VENDOR_USE_TAX 335 /*Baseball
District Vendor Use Tax*/
#define EDUCATIONAL_VENDOR_USE_TAX 336 /*Educational
Vendor Use Tax*/
#define SCHOOL_DISTRICT_VENDOR_USE_TAX 337 /*School District
Vendor Use Tax*/
#define ADVANCED_TRANSIT_VENDOR_USE_TAX 338 /*Advanced
Transit Vendor Use Tax*/
#define TRIBAL_VENDOR_USE_TAX 339 /*Tribal Vendor
Use Tax*/
#define VENDOR_USE_TAX_SENIOR_CITIZEN 340 /*Vendor Use Tax-
Senior Citizen*/
#define VENDOR_USE_TAX_MANUFACTURING 341 /*Vendor Use Tax-
Manufacturing*/
#define VENDOR_USE_TAX_MOTOR_VEHICLES 342 /*Vendor Use Tax-
Motor Vehicles*/
#define VENDOR_USE_TAX_VENDING 343 /*Vendor Use Tax-
Vending*/
#define VENDOR_USE_TAX_FOOD_AND_DRUGS 344 /*Vendor Use Tax-
Food and Drugs*/
#define VENDOR_USE_TAX_FOOD 345 /*Vendor Use Tax-
Food*/
#define VENDOR_USE_TAX_MOTOR_FUEL 346 /*Vendor Use Tax-
Motor Fuel*/
#define VENDOR_USE_TAX_PARKING 347 /*Vendor Use Tax-
Parking*/
#define VENDOR_USE_TAX_MEDICAL_EQUIPMENT 348 /*Vendor Use Tax-
Medical Equipment*/
#define ALCOHOLIC_BEVERAGE_VENDOR_USE_TAX 349 /*Alcoholic
Beverage Vendor Use Tax*/
#define VENDOR_USE_TAX_ALCOHOL 350 /*Vendor Use Tax-
Alcohol*/
#define LIQUOR_DRINK_VENDOR_USE_TAX 351 /*Liquor Drink
Vendor Use Tax*/
#define VENDOR_USE_TAX_VIDEO 352 /*Vendor Use Tax-
Video*/
#define PREMIER_RESORT_AREA_VENDOR_USE_TAX 353 /*Premier Resort
Area Vendor Use Tax*/
#define NY_TRANSIT_VENDOR_USE_TAX 354 /*NY Transit
Vendor Use Tax*/
#define NY_DISTRICT_VENDOR_USE_TAX 355 /*NY District
Vendor Use Tax*/
#define VENDOR_USE_TAX_FOOD_AND_BEVERAGE 356 /*Vendor Use Tax-
Food and Beverage*/
#define CONSUMER_USE_TAX 357 /*Consumer Use
Tax*/
#define DISTRICT_CONSUMER_USE_TAX 358 /*District
Consumer Use Tax*/
#define SPECIAL_CONSUMER_USE_TAX 359 /*Special
Consumer Use Tax*/
#define TRANSIT_CONSUMER_USE_TAX 360 /*Transit
Consumer Use Tax*/
#define CRIME_CONTROL_DISTRICT_CONSUMER_USE_TAX 361 /*Crime Control
District Consumer Use Tax*/
#define LIBRARY_DISTRICT_CONSUMER_USE_TAX 362 /*Library
District Consumer Use Tax*/
#define HOSPITAL_DISTRICT_CONSUMER_USE_TAX 363 /*Hospital
District Consumer Use Tax*/
#define HEALTH_SERVICES_DISTRICT_CONSUMER_USE_TAX 364 /*Health Services
District Consumer Use Tax*/

AFC Telecom User Manual | 360 of 401
Copyright 2018 Avalara, Inc.
#define EMERGENCY_SERVICES_DISTRICT_CONSUMER_USETAX 365 /*Emergency
Services District Consumer UseTax*/
#define IMPROVEMENT_DISTRICT_CONSUMER_USE_TAX 366 /*Improvement
District Consumer Use Tax*/
#define DEVELOPMENT_DISTRICT_CONSUMER_USE_TAX 367 /*Development
District Consumer Use Tax*/
#define AMBULANCE_DISTRICT_CONSUMER_USE_TAX 368 /*Ambulance
District Consumer Use Tax*/
#define FIRE_DISTRICT_CONSUMER_USE_TAX 369 /*Fire District
Consumer Use Tax*/
#define FOOTBALL_DISTRICT_CONSUMER_USE_TAX 370 /*Football
District Consumer Use Tax*/
#define BASEBALL_DISTRICT_CONSUMER_USE_TAX 371 /*Baseball
District Consumer Use Tax*/
#define EDUCATIONAL_CONSUMER_USE_TAX 372 /*Educational
Consumer Use Tax*/
#define SCHOOL_DISTRICT_CONSUMER_USE_TAX 373 /*School District
Consumer Use Tax*/
#define ADVANCED_TRANSIT_CONSUMER_USE_TAX 374 /*Advanced
Transit Consumer Use Tax*/
#define TRIBAL_CONSUMER_USE_TAX 375 /*Tribal Consumer
Use Tax*/
#define CONSUMER_USE_TAX_SENIOR_CITIZEN 376 /*Consumer Use
Tax-Senior Citizen*/
#define CONSUMER_USE_TAX_MANUFACTURING 377 /*Consumer Use
Tax-Manufacturing*/
#define CONSUMER_USE_TAX_MOTOR_VEHICLES 378 /*Consumer Use
Tax-Motor Vehicles*/
#define CONSUMER_USE_TAX_VENDING 379 /*Consumer Use
Tax-Vending*/
#define CONSUMER_USE_TAX_FOOD_AND_DRUGS 380 /*Consumer Use
Tax-Food and Drugs*/
#define CONSUMER_USE_TAX_FOOD 381 /*Consumer Use
Tax-Food*/
#define CONSUMER_USE_TAX_MOTOR_FUEL 382 /*Consumer Use
Tax-Motor Fuel*/
#define CONSUMER_USE_TAX_PARKING 383 /*Consumer Use
Tax-Parking*/
#define CONSUMER_USE_TAX_MEDICAL_EQUIPMENT 384 /*Consumer Use
Tax-Medical Equipment*/
#define ALCOHOLIC_BEVERAGE_CONSUMER_USE_TAX 385 /*Alcoholic
Beverage Consumer Use Tax*/
#define CONSUMER_USE_TAX_ALCOHOL 386 /*Consumer Use
Tax-Alcohol*/
#define LIQUOR_DRINK_CONSUMER_USE_TAX 387 /*Liquor Drink
Consumer Use Tax*/
#define CONSUMER_USE_TAX_VIDEO 388 /*Consumer Use
Tax-Video*/
#define PREMIER_RESORT_AREA_CONSUMER_USE_TAX 389 /*Premier Resort
Area Consumer Use Tax*/
#define NY_LOCAL_TRANSIT_CONSUMER_USE_TAX 390 /*NY Transit
Consumer Use Tax*/
#define NY_DISTRICT_CONSUMER_USE_TAX 391 /*NY District
Consumer Use Tax*/
#define CONSUMER_USE_TAX_FOOD_AND_BEVERAGE 392 /*Consumer Use
Tax-Food and Beverage*/
#define TASA_DE_CONTROL 393 /*Tasa de
Control*/
#define RADIO_RIGHTS_FEE 394 /*Radio Rights
Fee*/
#define BUSINESS_AND_OCCUPATION_TAX_RENT_AND_ROYALTY 395 /*Business and
Occupation Tax-Rent and Royalty*/
#define BUSINESS_AND_OCCUPATION_TAX_OTHER_SERVICES 396 /*Business and
Occupation Tax-Other Services*/
#define MONTANA_EXCISE_TAX 397 /*Montana Excise
Tax*/
#define RURAL_TRANSPORTATION_AUTHORITY_DISTRICT_TAX 398 /*Rural
Transportation Authority District Tax*/
#define MHA_DISTRICT_TAX 399 /*MHA District
Tax*/

AFC Telecom User Manual | 361 of 401
Copyright 2018 Avalara, Inc.
#define PUBLIC_SAFETY_IMPROVEMENTS_DISTRICT_TAX 400 /*Public Safety
Improvements District Tax*/
#define MASS_TRANSIT_DISTRICT_TAX 401 /*Mass Transit
District Tax*/
#define METROPOLITAN_DISTRICT_TAX 402 /*Metropolitan
District Tax*/
#define RTA_CONSUMER_USE_TAX 403 /*RTA Consumer
Use Tax*/
#define RTA_VENDOR_USE_TAX 404 /*RTA Vendor Use
Tax*/
#define MHA_CONSUMER_USE_TAX 405 /*MHA Consumer
Use Tax*/
#define MHA_VENDOR_USE_TAX 406 /*MHA Vendor Use
Tax*/
#define MASS_TRANSIT_DISTRICT_CONSUMER_USE_TAX 407 /*Mass Transit
District Consumer Use Tax*/
#define MASS_TRANSIT_DISTRICT_VENDOR_USE_TAX 408 /*Mass Transit
District Vendor Use Tax*/
#define VAT_REDUCED_RATE 409 /*VAT (Reduced
Rate)*/
#define POISON_CONTROL_FUND_WIRELESS 410 /*Poison Control
Fund (Wireless)*/
#define STATE_INSPECTION_AND_SUPERVISION 411 /*State
Inspection and Supervision*/
#define EDUCATION_SALES_VENDING 412 /*Education
Sales-Vending*/
#define EDUCATION_SALES_MOTOR_VEHICLES 413 /*Education
Sales-Motor Vehicles*/
#define EDUCATION_USE_MOTOR_VEHICLES 414 /*Education Use-
Motor Vehicles*/
#define EDUCATION_CONSUMER_USE_MOTOR_VEHICLES 415 /*Education
Consumer Use-Motor Vehicles*/
#define EDUCATION_VENDOR_USE_MOTOR_VEHICLES 416 /*Education
Vendor Use-Motor Vehicles*/
#define EDUCATION_SALES_MANUFACTURING 417 /*Education
Sales-Manufacturing*/
#define EDUCATION_USE_MANUFACTURING 418 /*Education Use-
Manufacturing*/
#define EDUCATION_CONSUMER_USE_MANUFACTURING 419 /*Education
Consumer Use - Manufacturing*/
#define EDUCATION_VENDOR_USE_MANUFACTURING 420 /*Education
Vendor Use - Manufacturing*/
#define RENTAL_USE_TAX_MOTOR_VEHICLES 421 /*Rental Use Tax
- Motor Vehicles*/
#define CONSUMER_USE_RENTAL_TAX_MOTOR_VEHICLES 422 /*Consumer Use
Rental Tax - Motor Vehicles*/
#define VENDOR_USE_RENTAL_TAX_MOTOR_VEHICLES 423 /*Vendor Use
Rental Tax - Motor Vehicles*/
#define REVENUE_STATEMENT 424 /*Revenue
Statement*/
#define NY_MCTD_186C_WIRELESS 425 /*NY MCTD 186c
(Wireless)*/
#define NY_MCTD_186C_WIRELESS 425 /*NY MCTD 186c
(Wireless)*/
#define WY_USF 426 /*WY USF*/
#define WY_USF_PAGING 427 /*WY USF
(Paging)*/
#define WY_USF_WIRELESS 428 /*WY USF
(Wireless)*/
#define FCC_REGULATORY_FEE_TOLL_FREE 429 /*FCC Regulatory
Fee-Toll Free*/
#define FCC_REGULATORY_FEE_SATELLITE 430 /*FCC Regulatory
Fee (Satellite)*/
#define COMMERCE_TAX 431 /*Commerce Tax*/
#define TELECOM_ASSISTANCE_SVC_FUND_VOIP 432 /*Telecom
Assistance Svc Fund - VoIP*/
#define TELECOM_ASSISTANCE_SVC_FUND_VOIP_HIGH_CAP_TRNK 433 /*Telecom
Assistance Svc Fund - VoIP High Cap Trnk*/
#define E911_VOIP_NOMADIC_PBX 434 /*E-911 (VoIP-
Nomadic PBX)*/

AFC Telecom User Manual | 362 of 401
Copyright 2018 Avalara, Inc.
#define E911_SERVICE_FEE_NL_911_BUREAU 435 /*E-911 Service
Fee (NL 911 Bureau)*/
#define COPYRIGHT_FEE_RATED 436 /*Copyright Fee
(Rated)*/
#define COPYRIGHT_FEE_FIXED 437 /*Copyright Fee
(Fixed)*/
#define UTILITY_TAX 438 /*Utility Tax*/
#define AUDIO_VIDEO_SERVICE_TAX 439 /*Audio-Video
Service Tax*/
#define SWACHH_BHARAT_CESS 440 /*Swachh Bharat
Cess*/
#define PIS 441 /*PIS*/
#define COFINS 442 /*COFINS*/
#define ICMS 443 /*ICMS*/
#define FEDERAL_USF_CENTREX 444 /*Federal USF
(Centrex)*/
#define UUT_PREPAID_WIRELESS 445 /*UUT (Prepaid
Wireless)*/
#define MOBILE_TELEPHONY_SERVICES_SURCHARGE 446 /*Mobile
Telephony Services Surcharge*/
#define ACCESS_LINE_TAX_PREPAID_WIRELESS 447 /*Access Line Tax
(Prepaid Wireless)*/
#define SAN_LEANDRO_EMERG_COM_SYS_ACC_TAX_PPD_WIRELESS 448 /*San Leandro
Emerg Com Sys Acc Tax(Ppd Wireless)*/
#define RENTAL_TAX_LOWER_RATE 449 /*Rental Tax
(Lower Rate)*/
#define CA_HIGH_COST_FUND_A_VOIP 450 /*CA High Cost
Fund A (VoIP)*/
#define STATE_HIGH_COST_FUND_VOIP 451 /*State High Cost
Fund (VoIP)*/
#define CA_TELECONNECT_FUND_VOIP 452 /*CA Teleconnect
Fund (VoIP)*/
#define CASF_VOIP 453 /*CASF (VoIP)*/
#define UNIVERSAL_LIFELINE_TELEPHONE_SERVICE_CHARGE_VOIP 454 /*Universal
Lifeline Telephone Service Charge (VoIP)*/
#define FUNTTEL 455 /*FUNTTEL*/
#define FUST 456 /*FUST*/
#define TELECOMMUNICATIONS_USE_TAX 457 /*Telecommunicati
ons Use Tax*/
#define KRISHI_KALYAN_CESS 458 /*Krishi Kalyan
Cess*/
#define SCHOOL_AND_LIBRARY_FUND_SURCHARGE 459 /*School and
Library Fund Surcharge*/
#define STATE_911_CHARGE 460 /*State 911
Charge*/
#define ITAC_ASSESSMENT 461 /*ITAC
Assessment*/
#define STATE_911_CHARGE_WIRELESS 462 /*State 911
Charge (Wireless)*/
#define E911_ADVANCED_SERVICES 463 /*E-911 (Advanced
Services)*/
#define VAT_WIRELESS 464 /*VAT
(Wireless)*/
#define VAT_COMMUNICATIONS 465 /*VAT
(Communications)*/
#define CA_TRS 466 /*CA TRS*/
#define CA_TRS_WIRELESS 467 /*CA TRS
(Wireless)*/
#define CA_PUC_FEE 468 /*CA PUC Fee*/
#define USE_TAX_RENTAL 469 /*Use Tax
(Rental)*/
#define USE_TAX_OTHER 470 /*Use Tax
(Other)*/
#define CONSUMER_USE_TAX_OTHER 471 /*Consumer Use
Tax (Other)*/
#define VENDOR_USE_TAX_OTHER 472 /*Vendor Use Tax
(Other)*/
#define SC_USF 473 /*SC USF*/
#define USF_PREPAID_WIRELESS 474 /*USF (Prepaid
Wireless)*/

AFC Telecom User Manual | 363 of 401
Copyright 2018 Avalara, Inc.
#define E911_LIFELINE 475 /*E-911
(Lifeline)*/
#define UTILITY_TAX_NF 476 /*Utility Tax
NF*/
#define TELECOMMUNICATIONS_SALES_TAX_WHOLESALES 477 /*Telecommuni
cations Sales Tax (Wholesale)*/
#define E_RATE_BROADBAND_PROGRAM 478 /*E-rate
Broadband Program*/
#define E_RATE_BROADBAND_PROGRAM_BUSINESS_LINE 479 /*E-rate
Broadband Program (Business Line)*/
#define E_RATE_BROADBAND_PROGRAM_LINE 480 /*E-rate
Broadband Program (Line)*/
#define E_RATE_BROADBAND_PROGRAM_WIRELESS 481 /*E-rate
Broadband Program (Wireless)*/
#define IGST_COMMUNICATIONS 482 /*IGST
(Communications)*/
#define CGST 483 /*CGST*/
#define CGST_COMMUNICATIONS 484 /*CGST
(Communications)*/
#define SGST 485 /*SGST*/
#define SGST_COMMUNICATIONS 486 /*SGST
(Communications)*/
#define UNIVERSAL_SERVICE_FUND_OTHER 487 /*Universal
Service Fund (Other)*/
#define IGST 488 /*IGST*/
#define KENTUCKY_LIFELINE_SURCHARGE 489 /*Kentucky
Lifeline Surcharge*/
#define TELECOMMUNICATIONS_SALES_TAX_NF 490 /*Telecommuni
cations Sales Tax NF*/
#define PUBLIC_SAFETY_COMMUNICATIONS_SURCHARGE_PREPAID 491 /*Public Safety
Communications Surcharge (Prepaid)*/
#define STATUTORY_GROSS_RECEIPTS_NF 492 /*Statutory Gross
Receipts NF*/
#define PUC_FRANCHISE_FEE_VIDEO_NF 493 /*PUC Franchise
Fee (Video) NF*/
#define SALES_TAX_NF 494 /*Sales Tax NF*/
#define DISTRICT_TAX_NF 495 /*District Tax
NF*/
#define HOSPITAL_DISTRICT_TAX_NF 496 /*Hospital
District Tax NF*/
#define IMPROVEMENT_DISTRICT_TAX_NF 497 /*Improvement
District Tax NF*/
#define MASS_TRANSIT_DISTRICT_TAX_NF 498 /*Mass Transit
District Tax NF*/
#define METROPOLITAN_DISTRICT_TAX_NF 499 /*Metropolitan
District Tax NF*/
#define MHA_DISTRICT_TAX_NF 500 /*MHA District
Tax NF*/
#define PUBLIC_SAFETY_IMPROVEMENT_DISTRICT_TAX_NF 501 /*Public Safety
Improvement District Tax NF*/
#define RURAL_TRANSPORTATION_AUTHORITY_DISTRICT_TAX_NF 502 /*Rural
Transportation Authority District Tax NF*/
#define TRANSIT_TAX_NF 503 /*Transit Tax
NF*/
#define DISTRICT_CONSUMER_USE_TAX_NF 504 /*District
Consumer Use Tax NF*/
#define HOSPITAL_DISTRICT_CONSUMER_USE_TAX_NF 505 /*Hospital
District Consumer Use Tax NF*/
#define IMPROVEMENT_DISTRICT_CONSUMER_USE_TAX_NF 506 /*Improvement
District Consumer Use Tax NF*/
#define MASS_TRANSIT_DISTRICT_CONSUMER_USE_TAX_NF 507 /*Mass Transit
District Consumer Use Tax NF*/
#define MHA_CONSUMER_USE_TAX_NF 508 /*MHA Consumer
Use Tax NF*/
#define RTA_CONSUMER_USE_TAX_NF 509 /*RTA Consumer
Use Tax NF*/
#define TRANSIT_CONSUMER_USE_TAX_NF 510 /*Transit
Consumer Use Tax NF*/
#define DISTRICT_VENDOR_USE_TAX_NF 511 /*District Vendor
Use Tax NF*/

AFC Telecom User Manual | 364 of 401
Copyright 2018 Avalara, Inc.
#define HOSPITAL_DISTRICT_VENDOR_USE_TAX_NF 512 /*Hospital
District Vendor Use Tax NF*/
#define IMPROVEMENT_DISTRICT_VENDOR_USE_TAX_NF 513 /*Improvement
District Vendor Use Tax NF*/
#define MASS_TRANSIT_DISTRICT_VENDOR_USE_TAX_NF 514 /*Mass Transit
District Vendor Use Tax NF*/
#define MHA_VENDOR_USE_TAX_NF 515 /*MHA Vendor Use
Tax NF*/
#define RTA_VENDOR_USE_TAX_NF 516 /*RTA Vendor Use
Tax NF*/
#define TRANSIT_VENDOR_USE_TAX_NF 517 /*Transit Vendor
Use Tax NF*/
#define STATE_USF_VOIP_ALTERNATE_NF 518 /*State USF (VoIP
Alternate) NF*/
#define E_RATE_BROADBAND_PROGRAM_VOIP_ALTERNATE 519 /*E-rate
Broadband Program (VoIP Alternate)*/
#define CONNECTME_FUND_VOIP_ALTERNATE 520 /*ConnectME Fund
(VoIP Alternate)*/
#define TELECOMM_SALE_TAX 32711 /*For BillSoft
internal use only*/
/* Deprecated Tax Type constants */
#define BUSINESS_OCCUPATION_TAX BUSINESS_AND_OCCUPATION_TAX
#define FEDERAL_EXCISE FEDERAL_EXCISE_TAX
#define FED_USF_SCHOOL_A FED_USF_A_SCHOOL
#define E911_TAX E911
#define STATE_USF STATE_UNIVERSAL_SERVICE_FUND
#define FED_USF_HIGHCOST_B FED_UNIVERSAL_SERVICE_FUND
#define STATE_DEAF_DISABLED_FUND STATE_DEAF_AND_DISABLED_FUND
#define TELECOMMUNICATIONS_RELAY_SERVICE_CHARGE TELECOM_RELAY_SURCHARGE
#define TELECOM_RELAY_CHARGE TELECOM_RELAY_SURCHARGE
#define TELCOMMUNICATIONS_INFRASTRUCTURE_FUND
TELECOMMUNICATIONS_INFRASTRUCTURE_FUND
#define NY_MCTD_186c NY_MCTD_186C
#define NY_MCTD_184a NY_MCTD_184A
#define TELECOMMUNICATIONS_ASSISTANCE_FUND
TELECOMMUNICATIONS_ASSISTANCE_SERVICE_FUND
#define E911_TAX_PBX_TRUNK_LINE E911_PBX_TRUNK_LINE
#define E911_TAX_RESIDENTIAL E911_RESIDENTIAL
#define E911_TAX_WIRELESS E911_WIRELESS
#define NY_MCTD_184a_USAGE NY_MCTD_184A_USAGE
#define MUNICIPAL_RIGHT_OF_WAY_RESIDENTIAL MUNICIPAL_RIGHT_OF_WAY
#define COMMUNICATIONS_SERVICES_TAX COMMUNICATIONS_SERVICE_TAX
#define GOODS_SERVICE_TAX GOODS_AND_SERVICE_TAX
#define SGT_E911 SGT_E911_TAX
#define SGT_E911_BUSINESS SGT_E911_TAX_BUSINESS
#define SGT_E911_LICENSE_TAX SGT_LICENSE_TAX
#define FRANCISE_TAX_WIRELESS FRANCHISE_TAX_WIRELESS
#define E911_TAX_CENTREX E911_CENTREX
#define BUSINESS_OCCUPATION_TAX_WHOLESALE BUSINESS_AND_OCCUPATION_TAX_WHOLESALE
#define BUSINESS_OCCUPATION_TAX_OTHER BUSINESS_AND_OCCUPATION_TAX_OTHER
#define STATE_USF_VOIP UNIVERSAL_SERVICE_FUND_VOIP
#define COMMUNICATIONS_SERVICES_TAX_CABLE COMMUNICATIONS_SERVICE_TAX_CABLE
#define TRS_WIRELESS TELECOM_RELAY_SURCHARGE_WIRELESS
#define TELECOM_RELAY_CHARGE_WIRELESS TELECOM_RELAY_SURCHARGE_WIRELESS
#define CONNECT_ME_FUND CONNECTME_FUND
#define CONNECT_ME_FUND_VOIP CONNECTME_FUND_VOIP
#define CONNECT_ME_FUND_CABLE CONNECTME_FUND_CABLE
#define FUSF_NONBILLABLE
FEDERAL_UNIVERSAL_SERVICE_FUND_NON_BILLABLE
#define UUT_WIRELESS_BUSINESS UTILITY_USERS_TAX_WIRELESSBUSINESS
#define STATE_UNIV_SVC_FUND_ALTERNATE GA_UNIVERSAL_ACCESS_FUND
#define UNIV_LIFElINE_TELE_SVC_CHARGE_WIRELESS
UNIVERSAL_LIFELINE_TELEPHONE_SVC_CHARGE_WIRELESS
#define FUSF__MULTI_LINE FUSF_MULTI_LINE
#define NY_TRANSIT_CONSUMER_USE_TAX NY_LOCAL_TRANSIT_CONSUMER_USE_TAX
#ifdef __cplusplus
}
#endif

AFC Telecom User Manual | 365 of 401
Copyright 2018 Avalara, Inc.
#endif /* _inc_EZTaxTaxTypeDefine_ */

AFC Telecom User Manual | 366 of 401
Copyright 2018 Avalara, Inc.
EZTaxTransType.h
#ifndef _inc_EZTaxTransTypeDefine_
#define _inc_EZTaxTransTypeDefine_
#ifdef __cplusplus
extern "C" {
#endif
/* Define transaction types */
#define TRANS_NO_TAX 0 /*No Tax*/
#define INTERSTATE 1 /*Interstate*/
#define INTRASTATE 2 /*Intrastate*/
#define OTHER 3 /*Other*/
#define NON_RECURRING 4 /*Non-Recurring*/
#define INTERNET 5 /*Internet*/
#define PAGING 6 /*Paging*/
#define LOCAL 7 /*Local*/
#define FAX 8 /*Fax*/
#define VOICE_MAIL 9 /*Voice Mail*/
#define SALES 10 /*Sales*/
#define SHIPPING 11 /*Shipping*/
#define NATURAL_GAS 12 /*Natural Gas*/
#define CELLULAR 13 /*Cellular*/
#define INTERNATIONAL 14 /*International*/
#define TELEPHONY 15 /*Telephony*/
#define CABLE_TELEVISION 16 /*Cable
Television*/
#define SGT 17 /*Sage*/
#define SATELLITE_TELEVISION 18 /*Satellite
Television*/
#define VOIP 19 /*VoIP*/
#define VOIPA 20 /*VoIPA*/
#define PAYPHONE 21 /*Payphone*/
#define SOFTWARE 24 /*Software*/
#define TIMESHARING 25 /*Timesharing*/
#define ALCOHOL 27 /*Alcohol*/
#define BEVERAGES 28 /*Beverages*/
#define BOOKS 29 /*Books*/
#define CLOTHING 30 /*Clothing*/
#define DRUGS 31 /*Drugs*/
#define ELECTRONIC_EQUIPMENT_AND_COMPUTER_HARDWARE 32 /*Electronic
Equipment and Computer Hardware*/
#define FUEL 33 /*Fuel*/
#define GENERAL_MERCHANDISE 34 /*General
Merchandise*/
#define GROCERIES 35 /*Groceries*/
#define MAGAZINES 36 /*Magazines*/
#define MANUFACTURING 37 /*Manufacturing*/
#define MEDICAL_DURABLE_EQUIPMENT 38 /*Medical-Durable
Equipment*/
#define MEDICAL_MOBILITY_ENHANCING_EQUIPMENT 39 /*Medical-
Mobility Enhancing Equipment*/
#define MEDICAL_PROSTHETIC_DEVICES 40 /*Medical-
Prosthetic Devices*/
#define MOTOR_VEHICLES 41 /*Motor
Vehicles*/
#define NEWSPAPER 42 /*Newspaper*/
#define PREPARED_FOOD 43 /*Prepared Food*/
#define RENTALS_AND_LEASING 44 /*Rentals and
Leasing*/
#define SERVICES_CLEANING 45 /*Services-
Cleaning*/
#define SERVICES_LODGING 46 /*Services-
Lodging*/
#define SERVICES_PRINTING 47 /*Services-
Printing*/
#define SERVICES_PROFESSIONAL 48 /*Services-
Professional*/

AFC Telecom User Manual | 367 of 401
Copyright 2018 Avalara, Inc.
#define SERVICES_RECREATION 49 /*Services-
Recreation*/
#define SERVICES_REPAIR 50 /*Services-
Repair*/
#define SERVICES_STORAGE 51 /*Services-
Storage*/
#define TIRES 52 /*Tires*/
#define TOBACCO 53 /*Tobacco*/
#define TOOLING 54 /*Tooling*/
#define VENDING 55 /*Vending*/
#define INFORMATION_SERVICES 56 /*Information
Services*/
#define DIGITAL_GOODS 57 /*Digital Goods*/
#define DARK_FIBER 58 /*Dark Fiber*/
#define VOIP_NOMADIC 59 /*VoIP-Nomadic*/
#define SATELLITE_PHONE 60 /*Satellite
Phone*/
#define VPN 61 /*VPN*/
#define RESERVED_62 62 /*Reserved_62*/
#define RESERVED_63 63 /*Reserved_63*/
#define CONFERENCING 64 /*Conferencing*/
#define NON_INTERCONNECTED_VOIP 65 /*Non-
Interconnected VoIP*/
/* Deprecated transaction type constants */
#define DO_NOT_APPLY_TAX NO_TAX
#define INTERPROVINCIAL INTERSTATE
#define INTRAPROVINCIAL INTRASTATE
#define WIRELESS CELLULAR
#ifdef __cplusplus
}
#endif
#endif /* _inc_EZTaxTransTypeDefine_ */

AFC Telecom User Manual | 368 of 401
Copyright 2018 Avalara, Inc.
EZTaxServType.h
#ifndef _inc_EZTaxServTypeDefine_
#define _inc_EZTaxServTypeDefine_
#ifdef __cplusplus
extern "C" {
#endif
/* Define service types */
#define TOLL 1 /*Toll*/
#define TOLL_FREE 2 /*Toll-Free*/
#define WATS 3 /*WATS*/
#define PRIVATE_LINE 4 /*Private
Line*/
#define LOCAL_EXCHANGE 5 /*Local
Exchange*/
#define ACCESS_CHARGE 6 /*Access
Charge*/
#define SERVICE 7 /*Service*/
#define INSTALL 8 /*Install*/
#define DIRECTORY_ADS 9 /*Directory
Ads*/
#define USAGE 10 /*Usage*/
#define ACTIVATION 11 /*Activation*/
#define INTERNATIONAL_TOLL 12
/*International Toll*/
#define EQUIPMENT_REPAIR 13 /*Equipment
Repair*/
#define LATE_CHARGE 14 /*Late
Charge*/
#define PRODUCT 15 /*Product*/
#define N_900_SERVICE 16 /*900*/
#define FOB_ORIGIN 17 /*FOB Origin*/
#define FOB_DESTINATION 18 /*FOB
Destination*/
#define CONSUMPTION 19
/*Consumption*/
#define FCC_SUBSCRIBER_LINE_FEE 20 /*FCC
Subscriber Line Fee*/
#define LINES 21 /*Lines*/
#define COIN 22 /*Coin*/
#define LOCATION 23 /*Location*/
#define PBX_TRUNK 24 /*PBX/Trunk*/
#define USA_INBOUND 25 /*USA
Inbound*/
#define PREPAID 26 /*Prepaid*/
#define DATA 27 /*Data*/
#define E911_CALL 28 /*E911 Call*/
#define WEB_HOSTING 29 /*WEB
Hosting*/
#define LOCAL_FEATURE_CHARGE 30 /*Local
Feature Charge*/
#define USE 31 /*Use*/
#define DEBIT 32 /*Debit*/
#define ROAMING_CHARGE 33 /*Roaming
Charge*/
#define CONFERENCE_BRIDGE 34 /*Conference
Bridge*/
#define PREMIUM_SERVICE 35 /*Premium
Service*/
#define PAY_PER_VIEW_SERVICE 36 /*Pay Per View
Service*/
#define EQUIPMENT_RENTAL 37 /*Equipment
Rental*/
#define WIRE_MAINTENANCE_PLAN 38 /*Wire
Maintenance Plan*/
#define TV_GUIDE 39 /*TV Guide*/
#define CENTREX_DID_EXTENSION 40 /*Centrex/DID
Extension*/

AFC Telecom User Manual | 369 of 401
Copyright 2018 Avalara, Inc.
#define PBX_EXTENSION 41 /*PBX
Extension*/
#define CENTREX_TRUNK 42 /*Centrex
Trunk*/
#define INVOICE 43 /*Invoice*/
#define TELEGRAPH 44 /*Telegraph*/
#define HIGH_CAPACITY_TRUNK 45 /*High
Capacity Trunk*/
#define PICC 46 /*PICC*/
#define NO_PICK_PICC 47 /*No Pick
PICC*/
#define WIRELESS_ACCESS_CHARGE 48 /*Wireless
Access Charge*/
#define INTERSTATE_USAGE 49 /*Interstate
Usage*/
#define INTRASTATE_USAGE 50 /*Intrastate
Usage*/
#undef INTERNATIONAL_USAGE
#define INTERNATIONAL_USAGE 51
/*International Usage*/
#define WIRELESS_LINES 52 /*Wireless
Lines*/
#define LNP 53 /*LNP*/
#define DIRECTORY_ASSISTANCE 54 /*Directory
Assistance*/
#define LOCAL_USAGE 55 /*Local
Usage*/
#define PROVISIONING 56
/*Provisioning*/
#define DATA_PROCESSING 57 /*Data
Processing*/
#define ACCESS_LINE 58 /*Access
Line*/
#define LICENSED_SOFTWARE 59 /*Licensed
Software*/
#define SOFTWARE_MAINTENANCE_AGREEMENT 60 /*Software
Maintenance Agreement*/
#define REPORT_ON_CD_PAPER_FORM 61 /*Report On
CD/Paper Form*/
#define INFORMATION_RETRIEVAL 62 /*Information
Retrieval*/
#define RESTOCKING_FEE_RENTAL 63 /*Restocking
Fee - Rental*/
#define RESTOCKING_FEE_PURCHASE 64 /*Restocking
Fee - Purchase*/
#define PARTIAL_CREDIT 65 /*Partial
Credit*/
#define LATE_CHARGE_BUNDLE 84 /*Late Charge
Bundle*/
#define LOCAL_EXCHANGE_BUNDLE 85 /*Local
Exchange Bundle*/
#define FCC_SUBSCRIBER_LINE_FEE_BUNDLE 86 /*FCC
Subscriber Line Fee Bundle*/
#define LINES_BUNDLE 87 /*Lines
Bundle*/
#define LOCATION_BUNDLE 88 /*Location
Bundle*/
#define PBX_TRUNK_BUNDLE 89 /*PBX Trunk
Bundle*/
#define LOCAL_FEATURE_CHARGE_BUNDLE 90 /*Local
Feature Charge Bundle*/
#define CENTREX_EXTENSION_BUNDLE 91 /*Centrex
Extension Bundle*/
#define PBX_EXTENSION_BUNDLE 92 /*PBX
Extension Bundle*/
#define CENTREX_TRUNK_BUNDLE 93 /*Centrex
Trunk Bundle*/
#define INVOICE_BUNDLE 94 /*Invoice
Bundle*/
#define HIGH_CAPACITY_TRUNK_BUNDLE 95 /*High
Capacity Trunk Bundle*/

AFC Telecom User Manual | 370 of 401
Copyright 2018 Avalara, Inc.
#define NO_PICK_PICC_BUNDLE 96 /*No Pick PICC
Bundle*/
#define PICC_BUNDLE 97 /*PICC
Bundle*/
#define ACCESS_NUMBER 98 /*Access
Number*/
#define INTERSTATE_ACCESS_CHARGE 99 /*Interstate
Access Charge*/
#define INTRASTATE_ACCESS_CHARGE 100 /*Intrastate
Access Charge*/
#define INTERSTATE_ROAMING 101 /*Interstate
Roaming*/
#define INTRASTATE_ROAMING 102 /*Intrastate
Roaming*/
#define SALES_TAX_AND_FUSF 103 /*Sales Tax
and FUSF*/
#define GENERAL_RULE 106 /*General
Rule*/
#define BEVERAGE_ABOVE_7_PCT_CONTENT_BY_WEIGHT 107 /*Beverage
Above 7% Content By Weight*/
#define BEVERAGE_BELOW_7_PCT_CONTENT_BY_WEIGHT 108 /*Beverage
Below 7% Content By Weight*/
#define MIXED_BEVERAGE_ABOVE_7_PCT_CONTENT_BY_WEIGHT 109 /*Mixed
Beverage above 7% Content By Weight*/
#define MIXED_BEVERAGE_BELOW_7_PCT_CONTENT_BY_WEIGHT 110 /*Mixed
Beverage below 7% Content By Weight*/
#define NON_MIXED_SERVED_IN_RESTAURANT_ABOVE_7_PCT 111 /*Non Mixed
Served in Restaurant Above 7%*/
#define NON_MIXED_SERVED_IN_RESTAURANT_BELOW_7_PCT 112 /*Non Mixed
Served in Restaurant Below 7%*/
#define CARBONATED_BEVERAGES 113 /*Carbonated
Beverages*/
#define SWEETENED_CARBONATED_BEVERAGES 114 /*Sweetened
Carbonated Beverages*/
#define BOTTLED_WATER 115 /*Bottled
Water*/
#define BOTTLED_WATER_CARBONATED_AND_OR_FLAVORED 116 /*Bottled
Water - Carbonated and/or Flavored*/
#define BOTTLED_WATER_CARBONATED_AND_OR_SWEETENED 117 /*Bottled
Water-Carbonated and/or Sweetened*/
#define SOFT_DRINKS 118 /*Soft
Drinks*/
#define NATURAL_FRUIT_OR_VEGETABLE_JUICES 119 /*Natural
Fruit or Vegetable Juices*/
#define NATURAL_CONTENTS_BETWEEN_0_PCT_24_PCT 120 /*Natural
Contents Between 0%-24%*/
#define NATURAL_CONTENTS_BETWEEN_25_PCT_49_PCT 121 /*Natural
Contents Between 25%-49%*/
#define NATURAL_CONTENTS_BETWEEN_50_PCT_69_PCT 122 /*Natural
Contents Between 50%-69%*/
#define NATURAL_CONTENTS_BETWEEN_70_PCT_100_PCT 123 /*Natural
Contents Between 70%-100%*/
#define BOTTLED_TEA 124 /*Bottled
Tea*/
#define COFFEE 125 /*Coffee*/
#define RELIGIOUS 126 /*Religious*/
#define EDUCATIONAL_KINDERGARTEN_THROUGH_12TH_GRADE 127 /*Educational-
Kindergarten Through 12th Grade*/
#define EDUCATIONAL_COLLEGE_AND_TRADE_SCHOOL 128 /*Educational-
College and Trade School*/
#define EVERYDAY 129 /*Everyday*/
#define SPORTING_ACTIVITIES 130 /*Sporting
Activities*/
#define SPORTING_EQUIPMENT 131 /*Sporting
Equipment*/
#define PROTECTIVE 132 /*Protective*/
#define PROTECTIVE_MANUFACTURING 133
/*Protective/Manufacturing*/
#define FURS 134 /*Furs*/
#define UNIFORMS 135 /*Uniforms*/

AFC Telecom User Manual | 371 of 401
Copyright 2018 Avalara, Inc.
#define FORMAL_OR_SPECIAL_OCCASION_WEAR 136 /*Formal or
Special Occasion Wear*/
#define COSTUMES 137 /*Costumes*/
#define ACCESSORIES 138
/*Accessories*/
#define DISPLAY_SAMPLES 139 /*Display
Samples*/
#define CLOTH_DIAPERS 140 /*Cloth
Diapers*/
#define CLEAN_ROOM 141 /*Clean Room*/
#define BATHING_CAPS 142 /*Bathing
Caps*/
#define BELT_BUCKLES 143 /*Belt
Buckles*/
#define BOWLING_SHOES 144 /*Bowling
Shoes*/
#define SKI_BOOTS 145 /*Ski Boots*/
#define WADERS 146 /*Waders*/
#define SHOE_LACES 147 /*Shoe Laces*/
#define PRESCRIPTION_LEGEND 148 /*Prescription
- Legend*/
#define PRESCRIPTION_OVER_THE_COUNTER_HUMAN 149 /*Prescription
- Over the Counter-Human*/
#define NONPRESCRIPTION_OVER_THE_COUNTER_HUMAN 150
/*Nonprescription - Over the Counter-Human*/
#define PRESCRIPTION_OVER_THE_COUNTER_ANIMAL 151 /*Prescription
- Over the Counter-Animal*/
#define NONPRESCRIPTION_OVER_THE_COUNTER_ANIMAL 152
/*Nonprescription - Over the Counter-Animal*/
#define COUGH_DROPS 153 /*Cough
Drops*/
#define PRESCRIPTION_INSULIN_HUMAN_USE 154 /*Prescription
- Insulin - Human Use*/
#define NONPRESCRIPTION_INSULIN_HUMAN_USE 155
/*Nonprescription - Insulin - Human Use*/
#define PRESCRIPTION_INSULIN_ANIMAL_USE 156 /*Prescription
- Insulin - Animal Use*/
#define NONPRESCRIPTION_INSULIN_ANIMAL_USE 157
/*Nonprescription - Insulin - Animal Use*/
#define PRESCRIPTION_OXYGEN_HUMAN_USE 158 /*Prescription
- Oxygen-Human Use*/
#define NONPRESCRIPTION_OXYGEN_MEDICINAL_HUMAN_USE 159
/*Nonprescription - Oxygen-Medicinal-Human Use*/
#define PRESCRIPTION_OXYGEN_ANIMAL_USE 160 /*Prescription
- Oxygen-Animal Use*/
#define NONPRESCRIPTION_OXYGEN_MEDICINAL_ANIMAL_USE 161
/*Nonprescription-Oxygen-Medicinal-Animal Use*/
#define ENEMAS_AND_SUPPOSITORIES 162 /*Enemas and
Suppositories*/
#define PRESCRIPTION_ANIMAL_CONSUMPTION 163
/*Prescription-Animal Consumption*/
#define NONPRESCRIPTION_ANIMAL_CONSUMPTION 164
/*Nonprescription-Animal Consumption*/
#define NON_PRESC_SOLD_TO_HOSPITALS_HUMAN 165 /*Non-Presc
Sold to Hospitals-Human*/
#define PRESC_SOLD_TO_HOSPITALS_HUMAN 166 /*Presc Sold
to Hospitals-Human*/
#define NON_PRESC_SOLD_TO_HOSPITALS_ANIMALS 167 /*Non-Presc
Sold to Hospitals-Animals*/
#define PRESC_SOLD_TO_HOSPITALS_ANIMALS 168 /*Presc Sold
to Hospitals-Animals*/
#define TAXABLE_AND_NONTAXABLE_BUNDLED_TOGETHER 169 /*Taxable and
Nontaxable Bundled Together*/
#define FREE_SAMPLE_HUMAN_USE 170 /*Free Sample-
Human Use*/
#define FREE_SAMPLE_PRESC_HUMAN_USE 171 /*Free Sample-
Presc-Human Use*/
#define FREE_SAMPLE_ANIMAL_USE 172 /*Free Sample-
Animal Use*/
#define FREE_SAMPLE_PRESC_ANIMAL_USE 173 /*Free Sample-
Presc-Animal Use*/

AFC Telecom User Manual | 372 of 401
Copyright 2018 Avalara, Inc.
#define MONITORS_LESS_THAN_4_INCHES 174 /*Monitors
Less Than 4 Inches*/
#define MONITORS_BETWEEN_5_14_INCHES 175 /*Monitors
Between 5-14 inches*/
#define MONITORS_BETWEEN_THAN_15_34_INCHES 176 /*Monitors
Between Than 15-34 Inches*/
#define MONITORS_GREATER_THAN_35_INCHES 177 /*Monitors
Greater Than 35 Inches*/
#define UNLEADED_FUEL_W_O_EXCISE_TAX 178 /*Unleaded
Fuel w/o Excise Tax*/
#define DIESEL_FUEL_W_O_EXCISE_TAX 179 /*Diesel Fuel
w/o Excise Tax*/
#define GASOHOL_W_O_EXCISE_TAX 180 /*Gasohol w/o
Excise Tax*/
#define FUEL_TO_COMMON_CARRIERS_W_O_EXCISE_TAX 181 /*Fuel to
Common Carriers w/o Excise Tax*/
#define FUEL_PASSENGER_COMMON_CARRIER_W_O_EXCISE_TAX 182 /*Fuel-
Passenger Common Carrier w/o Excise Tax*/
#define UNLEADED_FUEL_W_EXCISE_TAX 183 /*Unleaded
Fuel w/Excise Tax*/
#define DIESEL_FUEL_W_EXCISE_TAX 184 /*Diesel Fuel
w/Excise Tax*/
#define GASOHOL_W_EXCISE_TAX 185 /*Gasohol
w/Excise Tax*/
#define FUEL_TO_COMMON_CARRIERS_W_EXCISE_TAX 186 /*Fuel to
Common Carriers w/Excise Tax*/
#define FUEL_PASSENGER_COMMON_CARRIER_W_EXCISE_TAX 187 /*Fuel-
Passenger Common Carrier w/ Excise Tax*/
#define FUEL_FOR_OFF_ROAD_PURPOSES 188 /*Fuel For Off
Road Purposes*/
#define JET_FUEL 189 /*Jet Fuel*/
#define JET_FUEL_COMMON_CARRIERS 190 /*Jet Fuel--
Common Carriers*/
#define APPLIANCES 191 /*Appliances*/
#define BABY_OIL 192 /*Baby Oil*/
#define US_FLAG 193 /*US Flag*/
#define COINS_WORK_OF_ART_PURE_METAL 194 /*Coins-Work
of Art-Pure Metal*/
#define COINS_FOREIGN_CURRENCY_PURE_METAL 195 /*Coins-
Foreign Currency-Pure Metal*/
#define COINS_COLLECTIBLE_PURE_METAL 196 /*Coins-
Collectible-Pure Metal*/
#define COINS_INVESTMENT_PURPOSES_PURE_METAL 197 /*Coins-
Investment Purposes-Pure Metal*/
#define COINS_WORK_OF_ART_90_PCT_OR_GREATER 198 /*Coins-Work
of Art-90% or Greater*/
#define COINS_FOREIGN_CURRENCY_90_PCT_OR_GREATER 199 /*Coins-
Foreign Currency-90% or Greater*/
#define COINS_COLLECTIBLE_90_PCT_OR_GREATER 200 /*Coins-
Collectible-90% or Greater*/
#define COINS_INVESTMENT_PURPOSES_90_PCT_OR_GREATER 201 /*Coins-
Investment Purposes-90% or Greater*/
#define COINS_WORK_OF_ART_BETWEEN_80_90_PCT 202 /*Coins-Work
of Art-Between 80-90%*/
#define COINS_FOREIGN_CURRENCY_BETWEEN_80_90_PCT 203 /*Coins-
Foreign Currency-Between 80-90%*/
#define COINS_COLLECTIBLE_BETWEEN_80_90_PCT 204 /*Coins-
Collectible-Between 80-90%*/
#define COINS_INVESTMENT_PURPOSES_BETWEEN_80_90_PCT 205 /*Coins-
Investment Purposes-Between 80-90%*/
#define COINS_WORK_OF_ART_LESS_THAN_80_PCT 206 /*Coins-Work
of Art-Less Than 80%*/
#define COINS_FOREIGN_CURRENCY_LESS_THAN_80_PCT 207 /*Coins-
Foreign Currency-Less Than 80%*/
#define COINS_COLLECTIBLE_LESS_THAN_80_PCT 208 /*Coins-
Collectible-Less Than 80%*/
#define COINS_INVESTMENT_PURPOSES_LESS_THAN_80_PCT 209 /*Coins-
Investment Purposes-Less Than 80%*/
#define UNCANCELLED_STAMPS_FOR_COLLECTIBLE_PURPOSES 210 /*Uncancelled
Stamps-For Collectible Purposes*/

AFC Telecom User Manual | 373 of 401
Copyright 2018 Avalara, Inc.
#define CANCELLED_STAMPS 211 /*Cancelled
Stamps*/
#define UNCANCELLED_STAMPS_FOR_POSTAGE_PURPOSES 212 /*Uncancelled
Stamps-For Postage Purposes*/
#define CASKETS_FOR_HUMAN_REMAINS 213 /*Caskets-For
Human Remains*/
#define BURIAL_VAULTS_FOR_HUMAN_REMAINS 214 /*Burial
Vaults-For Human Remains*/
#define CASKETS_FOR_ALL_OTHER_REMAINS 215 /*Caskets-For
All Other Remains*/
#define BURIAL_VAULTS_FOR_ALL_OTHER_REMAINS 216 /*Burial
Vaults-For All Other Remains*/
#define HEADSTONE_BURIAL_MARKER_W_O_INSTALLATION 217
/*Headstone/Burial Marker-w/o Installation*/
#define HEADSTONE_BURIAL_MARKER_W_INSTALLATION 218
/*Headstone/Burial Marker-w/ Installation*/
#define SANITARY_NAPKINS_OR_TAMPONS 219 /*Sanitary
Napkins or Tampons*/
#define OTHER_STATE_FLAG 220 /*Other State
Flag*/
#define HOME_STATE_FLAG 221 /*Home State
Flag*/
#define POW_FLAG 222 /*POW Flag*/
#define GROOMING_AND_HYGIENE_PRODUCTS_FOR_HUMAN_USE 223 /*Grooming and
Hygiene Products for Human Use*/
#define GROOMING_AND_HYGIENE_PRODUCTS_FOR_ANIMAL_USE 224 /*Grooming and
Hygiene Products for Animal Use*/
#define TOOTHPASTE_TOOTHBRUSH_DENTAL_FLOSS 225 /*Toothpaste,
Toothbrush, Dental Floss*/
#define GAMING_COINS_METAL_CONTENT_IS_GREATER_THAN_80_PCT 226 /*Gaming
Coins-Metal Content is Greater than 80%*/
#define GAMING_COINS_METAL_CONTENT_IS_LESS_THAN_80_PCT 227 /*Gaming
Coins-Metal Content is Less than 80%*/
#define MARINE_EQUIPMENT 228 /*Marine
Equipment*/
#define CHARCOAL 229 /*Charcoal*/
#define COUPON_BOOKS 230 /*Coupon
Books*/
#define SUPPLIES_AND_FOOD_FOR_SEEING_EYE_DOG 231 /*Supplies and
Food for Seeing Eye Dog*/
#define NON_LEAD_BASED_BATTERIES 232 /*Non-Lead
Based Batteries*/
#define CANDY 233 /*Candy*/
#define CHEWING_GUM 234 /*Chewing
Gum*/
#define FOOD_ADDITIVES 235 /*Food
Additives*/
#define CONFECTIONARY_ITEMS 236
/*Confectionary Items*/
#define ICE 237 /*Ice*/
#define DIETARY_SUPPLEMENTS_QUALIFY 238 /*Dietary
Supplements-Qualify*/
#define DIETARY_SUPPLEMENTS_NON_QUALIFY 239 /*Dietary
Supplements-Non Qualify*/
#define RETAIL_PUBLISHED_MONTHLY 240 /*Retail -
Published Monthly*/
#define RETAIL_PUBLISHED_ANNUALLY 241 /*Retail -
Published Annually*/
#define RETAIL_PUBLISHED_SEMI_MONTHLY 242 /*Retail -
Published Semi-Monthly*/
#define RETAIL_PUBLISHED_SEMI_ANNUALLY 243 /*Retail -
Published Semi-Annually*/
#define RETAIL_PUBLISHED_QUARTERLY 244 /*Retail -
Published Quarterly*/
#define RETAIL_PUBLISHED_WEEKLY 245 /*Retail -
Published Weekly*/
#define SUBSCRIPTION_MONTHLY_US_MAIL 246
/*Subscription-Monthly-US Mail*/
#define SUBSCRIPTION_ANNUALLY_DELIVERED_BY_US_MAIL 247
/*Subscription-Annually-Delivered by US Mail*/

AFC Telecom User Manual | 374 of 401
Copyright 2018 Avalara, Inc.
#define SUBSCRIPTION_SEMI_MONTHLY_DELIVERED_BY_US_MAIL 248
/*Subscription-Semi-Monthly-Delivered by US Mail*/
#define SUBSCRIPTION_SEMI_ANNUALLY_DELIVERED_BY_US_MAIL 249
/*Subscription-Semi-Annually-Delivered by US Mail*/
#define SUBSCRIPTION_QUARTERLY_DELIVERED_BY_US_MAIL 250
/*Subscription-Quarterly-Delivered by US Mail*/
#define SUBSCRIPTION_WEEKLY_DELIVERED_BY_US_MAIL 251
/*Subscription-Weekly-Delivered by US Mail*/
#define SUBSCRIPTION_MONTHLY_NOT_DELIVERED_BY_US_MAIL 252
/*Subscription-Monthly-Not Delivered by US Mail*/
#define SUBSCRIPTION_ANNUALLY_NOT_DELIVERED_BY_US_MAIL 253
/*Subscription-Annually-Not Delivered by US Mail*/
#define SUBSCRIPTION_SEMI_MONTHLY_NOT_DELIVERED_BY_US_MAIL 254
/*Subscription-Semi-Monthly-Not Delivered by US Mail*/
#define SUBSCRIPTION_SEMI_ANNUALLY_NOT_DELIVERED_BY_USMAIL 255
/*Subscription-Semi-Annually-Not Delivered by USMail*/
#define SUBSCRIPTION_QUARTERLY_NOT_DELIVERED_BY_US_MAIL 256
/*Subscription-Quarterly-Not Delivered by US Mail*/
#define SUBSCRIPTION_WEEKLY_NOT_DELIVERED_BY_US_MAIL 257
/*Subscription-Weekly-Not Delivered by US Mail*/
#define SUBSCRIPTION_MONTHLY_DOOR_TO_DOOR_DELIVERY 258
/*Subscription-Monthly-Door to Door Delivery*/
#define SUBSCRIPTION_ANNUALLY_DOOR_TO_DOOR_DELIVERY 259
/*Subscription-Annually-Door to Door Delivery*/
#define SUBSCRIPTION_SEMI_MONTHLY_DOOR_TO_DOOR_DELIVERY 260
/*Subscription-Semi-Monthly-Door to Door Delivery*/
#define SUBSCRIPTION_SEMI_ANNUALLY_DOOR_TO_DOOR_DELIVERY 261
/*Subscription-Semi-Annually-Door to Door Delivery*/
#define SUBSCRIPTION_QUARTERLY_DOOR_TO_DOOR_DELIVERY 262
/*Subscription-Quarterly-Door to Door Delivery*/
#define SUBSCRIPTION_WEEKLY_DOOR_TO_DOOR_DELIVERY 263
/*Subscription-Weekly-Door to Door Delivery*/
#define EQUIPMENT_EXISTING_FACILITIES 264 /*Equipment-
Existing Facilities*/
#define EQUIPMENT_ECONOMIC_EXPANSION_OF_FACILITIES 265 /*Equipment-
Economic Expansion of Facilities*/
#define EQUIPMENT_PHYSICAL_EXPANSION_OF_FACILITIES 266 /*Equipment-
Physical Expansion of Facilities*/
#define EQUIPMENT_NEW_FACILITIES 267 /*Equipment-
New Facilities*/
#define REPAIR_PARTS_EXISTING_FACILITIES 268 /*Repair
parts-Existing Facilities*/
#define REPAIR_PARTS_ECONOMIC_EXPANSION 269 /*Repair
Parts-Economic Expansion*/
#define REPAIR_PARTS_PHYSICAL_EXPANSION 270 /*Repair
Parts-Physical Expansion*/
#define REPAIR_PARTS_NEW_FACILITIES 271 /*Repair
Parts-New Facilities*/
#define REPAIR_LABOR_SEPARATELY_STATED 272 /*Repair
Labor-Separately Stated*/
#define REPAIR_LABOR_NOT_SEPARATELY_STATED 273 /*Repair
Labor-Not Separately Stated*/
#define INSTALLATION_LABOR_EQUIPMENT_SEPARATELY_STATED 274 /*Installation
Labor-Equipment-Separately Stated*/
#define INSTALLATION_LABOR_EQUIPMENT_NOT_SEPARATELY_STATED 275 /*Installation
Labor-Equipment-Not Separately Stated*/
#define AUTOMOBILE_SPECIFIC_EQUIPMENT_SEPARATELY_STATED 276 /*Automobile
Specific -Equipment-Separately Stated*/
#define OUTSIDE_INSTALLATION_LABOR_EQUIP_SEPARATELY_STATED 277 /*Outside
Installation Labor-Equip-Separately Stated*/
#define REPAIR_EQUIPMENT_SEPARATELY_STATED 278 /*Repair
Equipment-Separately Stated*/
#define REPLACEMENT_EQUIPMENT_SEPARATELY_STATED 279 /*Replacement
Equipment-Separately Stated*/
#define CLEAN_ROOM_EQUIPMENT 280 /*Clean room
Equipment*/
#define ENVIRONMENTAL_CONTROL_EQUIP 281
/*Environmental Control Equip*/
#define SAFETY_EQUIP 282 /*Safety
Equip*/

AFC Telecom User Manual | 375 of 401
Copyright 2018 Avalara, Inc.
#define PACKING_AND_SHIPPING_EQUIP 283 /*Packing and
Shipping Equip*/
#define INTRAPLANT_EQUIP 284 /*Intraplant
Equip*/
#define HAND_TOOLS 285 /*Hand Tools*/
#define WAREHOUSE_EQUIPMENT 286 /*Warehouse
Equipment*/
#define NOT_HOME_USE_WITHOUT_A_PRESCRIPTION 287 /*Not Home
Use-Without A Prescription*/
#define NOT_HOME_USE_WITH_A_PRESCRIPTION 288 /*Not Home
Use-With A Prescription*/
#define NOT_HOME_USE_PAID_FOR_BY_MEDICARE 289 /*Not Home
Use-Paid For By Medicare*/
#define NOT_HOME_USE_REIMBURSED_BY_MEDICARE 290 /*Not Home
Use-Reimbursed By Medicare*/
#define NOT_HOME_USE_PAID_FOR_BY_MEDICAID 291 /*Not Home
Use-Paid For By Medicaid*/
#define NOT_HOME_USE_REIMBURSED_BY_MEDICAID 292 /*Not Home
Use-Reimbursed By Medicaid*/
#define HOME_USE_WITHOUT_A_PRESCRIPTION 293 /*Home Use-
Without A Prescription*/
#define HOME_USE_WITH_A_PRESCRIPTION 294 /*Home Use-
With A Prescription*/
#define HOME_USE_PAID_FOR_BY_MEDICARE 295 /*Home Use-
Paid For By Medicare*/
#define HOME_USE_REIMBURSED_BY_MEDICARE 296 /*Home Use-
Reimbursed By Medicare*/
#define HOME_USE_PAID_FOR_BY_MEDICAID 297 /*Home Use-
Paid For By Medicaid*/
#define HOME_USE_REIMBURSED_BY_MEDICAID 298 /*Home Use-
Reimbursed By Medicaid*/
#define EQUIP_WITHOUT_A_PRESCRIPTION 299 /*Equip
Without a Prescription*/
#define EQUIP_WITH_A_PRESCRIPTION 300 /*Equip With a
Prescription*/
#define EQUIP_PAID_FOR_BY_MEDICARE 301 /*Equip Paid
for by Medicare*/
#define EQUIP_REIMBURSED_BY_MEDICARE 302 /*Equip
Reimbursed by Medicare*/
#define EQUIP_PAID_FOR_BY_MEDICAID 303 /*Equip Paid
for by Medicaid*/
#define EQUIP_REIMBURSED_BY_MEDICAID 304 /*Equip
Reimbursed by Medicaid*/
#define GENERAL_WITHOUT_A_PRESCRIPTION 305 /*General-
Without a Prescription*/
#define GENERAL_WITH_A_PRESCRIPTION 306 /*General-With
a Prescription*/
#define GENERAL_PAID_FOR_BY_MEDICARE 307 /*General-Paid
for by Medicare*/
#define GENERAL_REIMBURSED_BY_MEDICARE 308 /*General-
Reimbursed by Medicare*/
#define GENERAL_PAID_FOR_BY_MEDICAID 309 /*General-Paid
for by Medicaid*/
#define GENERAL_REIMBURSED_BY_MEDICAID 310 /*General-
Reimbursed by Medicaid*/
#define CORRECTIVE_EYEGLASSES_WITHOUT_A_PRESCRIPTION 311 /*Corrective
Eyeglasses-Without a Prescription*/
#define CORRECTIVE_EYEGLASSES_WITH_A_PRESCRIPTION 312 /*Corrective
Eyeglasses-With a Prescription*/
#define CORRECTIVE_EYEGLASSES_PAID_FOR_BY_MEDICARE 313 /*Corrective
Eyeglasses-Paid for by Medicare*/
#define CORRECTIVE_EYEGLASSES_REIMBURSED_BY_MEDICARE 314 /*Corrective
Eyeglasses-Reimbursed by Medicare*/
#define CORRECTIVE_EYEGLASSES_PAID_FOR_BY_MEDICAID 315 /*Corrective
Eyeglasses-Paid for by Medicaid*/
#define CORRECTIVE_EYEGLASSES_REIMBURSED_BY_MEDICAID 316 /*Corrective
Eyeglasses-Reimbursed by Medicaid*/
#define CONTACT_LENSES_WITHOUT_A_PRESCRIPTION 317 /*Contact
Lenses-Without a prescription*/
#define CONTACT_LENSES_WITH_A_PRESCRIPTION 318 /*Contact
Lenses-With a prescription*/

AFC Telecom User Manual | 376 of 401
Copyright 2018 Avalara, Inc.
#define CONTACT_LENSES_PAID_FOR_BY_MEDICARE 319 /*Contact
Lenses-Paid for by Medicare*/
#define CONTACT_LENSES_REIMBURSED_BY_MEDICARE 320 /*Contact
Lenses-Reimbursed by Medicare*/
#define CONTACT_LENSES_PAID_FOR_BY_MEDICAID 321 /*Contact
Lenses-Paid for by Medicaid*/
#define CONTACT_LENSES_REIMBURSED_BY_MEDICAID 322 /*Contact
Lenses-Reimbursed by Medicaid*/
#define HEARING_AIDS_WITHOUT_A_PRESCRIPTION 323 /*Hearing
Aids-Without a Prescription*/
#define HEARING_AIDS_WITH_A_PRESCRIPTION 324 /*Hearing
Aids-With a Prescription*/
#define HEARING_AIDS_PAID_FOR_BY_MEDICARE 325 /*Hearing
Aids-Paid for by Medicare*/
#define HEARING_AIDS_REIMBURSED_BY_MEDICARE 326 /*Hearing
Aids-Reimbursed by Medicare*/
#define HEARING_AIDS_PAID_FOR_BY_MEDICAID 327 /*Hearing
Aids-Paid for by Medicaid*/
#define HEARING_AIDS_REIMBURSED_BY_MEDICAID 328 /*Hearing
Aids-Reimbursed by Medicaid*/
#define DENTAL_PROSTHESIS_WITHOUT_A_PRESCRIPTION 329 /*Dental
Prosthesis-Without a prescription*/
#define DENTAL_PROSTHESIS_WITH_A_PRESCRIPTION 330 /*Dental
Prosthesis-With a prescription*/
#define DENTAL_PROSTHESIS_PAID_FOR_BY_MEDICARE 331 /*Dental
Prosthesis-Paid for by Medicare*/
#define DENTAL_PROSTHESIS_REIMBURSED_BY_MEDICARE 332 /*Dental
Prosthesis-Reimbursed by Medicare*/
#define DENTAL_PROSTHESIS_PAID_FOR_BY_MEDICAID 333 /*Dental
Prosthesis-Paid for by Medicaid*/
#define DENTAL_PROSTHESIS_REIMBURSED_BY_MEDICAID 334 /*Dental
Prosthesis-Reimbursed by Medicaid*/
#define LOW_EMISSION_VEHICLE_EXCEEDING_10000_LBS 335 /*Low Emission
Vehicle exceeding 10,000 lbs*/
#define VEHICLES_SOLD_TO_NATIVE_AMERICANS 336 /*Vehicles
sold to Native Americans*/
#define MOTOR_VEHICLES_USING_ALTERNATIVE_FUELS 337 /*Motor
Vehicles using Alternative Fuels*/
#define LOW_SPEED_ELECTRICAL_VEHICLES 338 /*Low Speed
Electrical Vehicles*/
#define SALE_TO_NON_RESIDENTS 339 /*Sale to Non-
Residents*/
#define TRUCKS_GENERAL_RULE 340 /*Trucks -
General Rule*/
#define USED_IN_INTERSTATE_COMMERCE 341 /*Used in
Interstate Commerce*/
#define TRAILER_13_16_AND_HALF_TONS_INTERSTATE_COMMERCE 342 /*Trailer 13-
16.5 Tons-Interstate Commerce*/
#define TRACTOR_EXCEEDS_16_AND_HALF_TONS_INTERSTATE_COMMERCE 343 /*Tractor
Exceeds 16.5 Tons-Interstate Commerce*/
#define USED_AS_A_CONTACT_CARRIER 344 /*Used as a
Contact Carrier*/
#define TRAILER_EXCEEDS_13_TONS_CONTRACT_CARRIER 345 /*Trailer
Exceeds 13 Tons-Contract Carrier*/
#define TRACTOR_EXCEEDS_16_AND_HALF_TONS_CONTRACT_CARRIER 346 /*Tractor
Exceeds 16.5 Tons-Contract Carrier*/
#define MOTOR_BOATS 347 /*Motor
Boats*/
#define AIRCRAFT 348 /*Aircraft*/
#define AIRCRAFT_FOR_INTERSTATE_TRANSPORT 349 /*Aircraft for
Interstate Transport*/
#define BATTERIES_LESS_THAN_12_VOLTS_LEAD_BASED 350 /*Batteries
Less than 12 Volts--Lead Based*/
#define BATTERIES_GREATER_THAN_12_VOLTS_LEAD_BASED 351 /*Batteries
Greater than 12 Volts--Lead Based*/
#define MOTORCYCLES 352
/*Motorcycles*/
#define MOPEDS 353 /*Mopeds*/
#define OFF_ROAD_VEHICLES 354 /*Off-Road
Vehicles*/

AFC Telecom User Manual | 377 of 401
Copyright 2018 Avalara, Inc.
#define SNOWMOBILES 355
/*Snowmobiles*/
#define MOTOR_OIL 356 /*Motor Oil*/
#define ANTIFREEZE 357 /*Antifreeze*/
#define BOAT_MOTOR 358 /*Boat Motor*/
#define RETAIL 359 /*Retail*/
#define CD_ROM_MICROFICHE 360 /*CD ROM
Microfiche*/
#define DIGITAL_PRODUCT_RETAIL 361 /*Digital
Product - Retail*/
#define DIGITAL_PRODUCT_SUBSCRIPTION 362 /*Digital
Product - Subscription*/
#define SUBSCRIPTION_MAIL 363 /*Subscription
Mail*/
#define SUBSCRIPTION_DELIVERY 364 /*Subscription
Delivery*/
#define FOOD_SOLD_BY_A_FOOD_MANUFACTURER 365 /*Food sold by
a Food Manufacturer*/
#define FOOD_SOLD_IN_AN_UNHEATED_STATE 366 /*Food sold in
an unheated state*/
#define BAKERY_ITEMS 367 /*Bakery
items*/
#define EMPLOYEE_MEALS_FULL_PRICE 368 /*Employee
Meals--Full Price*/
#define EMPLOYEE_MEALS_REDUCED_PRICE 369 /*Employee
Meals--Reduced Price*/
#define EMPLOYEE_MEALS_FREE_TO_EMPLOYEES 370 /*Employee
Meals--Free to Employees*/
#define TIPS_VOLUNTARY 371 /*Tips,
Voluntary*/
#define TIPS_MANDATORY 372 /*Tips,
Mandatory*/
#define NON_TIP_BASED_SERVICE_CHARGE 373 /*Non-Tip
Based Service Charge*/
#define UNIFORM_RENTAL_SERVICE 374 /*Uniform
Rental Service*/
#define AUTOMOTIVE_RENTAL_30_DAYS_OR_LESS 375 /*Automotive
Rental--30 Days or Less*/
#define AUTOMOTIVE_RENTAL_30_180_DAYS 376 /*Automotive
Rental--30-180 Days*/
#define AUTOMOTIVE_RENTAL_180_DAYS_TO_1_YEAR 377 /*Automotive
Rental--180 Days to 1 Year*/
#define AUTOMOTIVE_RENTAL_1_YEAR_OR_GREATER 378 /*Automotive
Rental--1 Year or Greater*/
#define AUTOMOTIVE_RENTAL_0_30_DAYS_TAX_PAID 379 /*Automotive
Rental-0-30 Days-Tax Paid*/
#define AUTOMOTIVE_RENTAL_31_180_DAYS_TAX_PAID 380 /*Automotive
Rental-31-180 Days-Tax Paid*/
#define AUTOMOTIVE_RENTAL_180_DAYS_1_YEAR_TAX_PAID 381 /*Automotive
Rental-180 Days-1 Year-Tax Paid*/
#define AUTOMOTIVE_RENTAL_GREATER_THAN_1_YEAR_TAX_PAID 382 /*Automotive
Rental-Greater than 1 Year-Tax Paid*/
#define LEASE_OF_AUTOMOBILE_TO_BE_REGISTERED_BY_LESSEE 383 /*Lease of
Automobile to be registered by lessee*/
#define AMUSEMENT_RELATED_PROPERTY 384 /*Amusement
Related Property*/
#define RENTALS_INCIDENTAL_TO_SERVICE 385 /*Rentals
Incidental to Service*/
#define MOVIE_RENTALS_PRIVATE_USE_PHYSICAL_MEDIUM 386 /*Movie
Rentals--Private Use--Physical Medium*/
#define MOVIE_RENTALS_PRIVATE_USE_DIGITAL_DOWNLOAD 387 /*Movie
Rentals--Private Use--Digital Download*/
#define MOVIE_RENTALS_AS_PART_OF_EXHIBITION_TO_PUBLIC 388 /*Movie
Rentals--As part of exhibition to public*/
#define MOVIE_RENTALS_TO_A_TELEVISION_STATION 389 /*Movie
Rentals--To a Television Station*/
#define DRY_CLEANING_CLOTHING 390 /*Dry
Cleaning-Clothing*/
#define DRY_CLEANING_NON_CLOTHING 391 /*Dry
Cleaning-Non Clothing*/

AFC Telecom User Manual | 378 of 401
Copyright 2018 Avalara, Inc.
#define CLEANING_SERVICES 392 /*Cleaning
Services*/
#define LAUNDRY_AND_CLOTHING_CARE_OTHER_ITEMS 393 /*Laundry and
Clothing Care-Other Items*/
#define LAUNDRY_AND_CLOTHING_CARE_CLOTH_DIAPERS 394 /*Laundry and
Clothing Care-Cloth Diapers*/
#define LAUNDRY_AND_CLOTHING_CARE_COIN_OPERATED 395 /*Laundry and
Clothing Care-Coin Operated*/
#define RUG_CLEANING_OFF_CUSTOMER_PREMISES 396 /*Rug Cleaning
off customer premises*/
#define RUG_CLEANING_ON_CUSTOMER_PREMISES 397 /*Rug Cleaning
on customer premises*/
#define WASHING_MOTOR_VEHICLES 398 /*Washing
Motor Vehicles*/
#define WASHING_MOTOR_VEHICLES_COIN_OPERATED_DEVICE 399 /*Washing
Motor Vehicles-Coin Operated Device*/
#define SOLID_WASTE_DISPOSAL 400 /*Solid Waste
Disposal*/
#define SWIMMING_POOL_SERVICES 401 /*Swimming
Pool Services*/
#define HOTEL_ROOMS_LESS_THAN_28_DAYS 402 /*Hotel Rooms
Less than 28 Days*/
#define HOTEL_ROOMS_28_29_DAYS 403 /*Hotel Rooms
28-29 Days*/
#define HOTEL_ROOMS_30_31_DAYS 404 /*Hotel Rooms
30-31 Days*/
#define HOTEL_ROOMS_32_60_DAYS 405 /*Hotel Rooms
32-60 Days*/
#define HOTEL_ROOMS_61_90_DAYS 406 /*Hotel Rooms
61-90 Days*/
#define HOTEL_ROOMS_91_120_DAYS 407 /*Hotel Rooms-
91-120 Days*/
#define HOTEL_ROOMS_121_180_DAYS 408 /*Hotel Rooms
121-180 Days*/
#define HOTEL_ROOMS_GREATER_THAN_180_DAYS 409 /*Hotel Rooms
Greater than 180 Days*/
#define PHOTOGRAPHY_SERVICES_LABOR_ONLY 410 /*Photography
Services-Labor Only*/
#define PHOTOGRAPHY_SERVICES_LABOR_WITH_PICTURES 411 /*Photography
Services-Labor with pictures*/
#define NEGATIVE_TO_STANDARD_SIZED_PICTURES_LABOR_ONLY 412 /*Negative to
Standard Sized Pictures-Labor Only*/
#define NEGATIVE_TO_ENLARGEMENT_SIZED_PICTURES_LABOR_ONLY 413 /*Negative to
Enlargement Sized Pictures-Labor Only*/
#define PRINTING_SERVICES 414 /*Printing
Services*/
#define COPYING_SERVICES 415 /*Copying
Services*/
#define CREDIT_CARD_PROCESSING_FEE_PART_OF_SALE 416 /*Credit Card
Processing Fee-Part of Sale*/
#define CREDIT_CARD_PROCESSING_FEE_SEPARATE_SALE 417 /*Credit Card
Processing Fee-Separate Sale*/
#define PROFESSIONAL_SERVICES 418 /*Professional
Services*/
#define INVESTIGATIVE_SERVICES 419
/*Investigative Services*/
#define PROTECTION_AND_SECURITY_SERVICES 420 /*Protection
and Security Services*/
#define PEST_CONTROL 421 /*Pest
Control*/
#define INTERIOR_DESIGN_SERVICES 422 /*Interior
Design Services*/
#define SKIN_ALTERATION_AND_CARE 423 /*Skin
Alteration and Care*/
#define MANICURE_AND_PEDICURE 424 /*Manicure and
Pedicure*/
#define FUNERAL_SERVICES 425 /*Funeral
Services*/
#define COSMETIC_MEDICAL_PROCEDURES 426 /*Cosmetic
Medical Procedures*/

AFC Telecom User Manual | 379 of 401
Copyright 2018 Avalara, Inc.
#define PROFESSIONAL_MEDICAL_SERVICES 427 /*Professional
Medical Services*/
#define TITLE 428 /*Title*/
#define DATING_SERVICE 429 /*Dating
Service*/
#define ESCROW 430 /*Escrow*/
#define MASSAGES 431 /*Massages*/
#define GIFT_WRAPPING 432 /*Gift
Wrapping*/
#define FLORAL_SERVICES 433 /*Floral
Services*/
#define ADVERTISING 434
/*Advertising*/
#define CREDIT_AND_REPORTING_SERVICES 435 /*Credit and
Reporting Services*/
#define PERSONNEL_SERVICES 436 /*Personnel
Services*/
#define LETTERING_SERVICES 437 /*Lettering
Services*/
#define COLLECTION_SERVICES 438 /*Collection
Services*/
#define BACKGROUND_MUSIC_SERVICES 439 /*Background
Music Services*/
#define LOCKSMITH_SERVICES 440 /*Locksmith
Services*/
#define LOBBYING 441 /*Lobbying*/
#define FLIGHT_INSTRUCTION 442 /*Flight
Instruction*/
#define INVESTMENT_COUNSELING 443 /*Investment
Counseling*/
#define SERVICE_CHG_FINANCIAL_INSTITUTION 444 /*Service Chg.
Financial Institution*/
#define TOW_SERVICE 445 /*Tow
Service*/
#define TAXIDERMY 446 /*Taxidermy*/
#define TELEPHONE_ANSWERING_SERVICE 447 /*Telephone
Answering Service*/
#define LIMOUSINE_SERVICE 448 /*Limousine
Service*/
#define ARCHITECTURE 449
/*Architecture*/
#define TANNING_SERVICES 450 /*Tanning
Services*/
#define PET_GROOMING_NOT_DONE_IN_MEDICAL_SETTING 451 /*Pet
Grooming--Not done in medical setting*/
#define PET_GROOMING_DONE_IN_MEDICAL_SETTING 452 /*Pet
Grooming--Done in Medical Setting*/
#define ENGRAVING 453 /*Engraving*/
#define HOUSE_MOVING 454 /*House
Moving*/
#define COUNSELING 455 /*Counseling*/
#define DAY_CARE_SERVICES 456 /*Day Care
Services*/
#define INVESTMENT_COMMISSIONS 457 /*Investment
Commissions*/
#define SALE_OF_INSURANCE 458 /*Sale of
Insurance*/
#define SPORTING_EVENT_WITH_FOOD_OR_PROPERTY 459 /*Sporting
Event with Food or Property*/
#define SPORTING_EVENT_WITHOUT_FOOD_OR_PROPERTY 460 /*Sporting
Event without Food or Property*/
#define AMUSEMENT_PARK_ENTRY_WITH_FOOD_OR_PROPERTY 461 /*Amusement
Park Entry with Food or Property*/
#define AMUSEMENT_PARK_ENTRY_WITHOUT_FOOD_OR_PROPERTY 462 /*Amusement
Park Entry without Food or Property*/
#define OTHER_AMUSEMENT_ENTRY_WITH_FOOD_OR_PROPERTY 463 /*Other
Amusement Entry with Food or Property*/
#define OTHER_AMUSEMENT_ENTRY_WITHOUT_FOOD_OR_PROPERTY 464 /*Other
Amusement Entry without Food or Property*/
#define ADMISSION_TO_BOXING_AND_WRESTLING 465 /*Admission to
Boxing and Wrestling*/

AFC Telecom User Manual | 380 of 401
Copyright 2018 Avalara, Inc.
#define ADMISSION_TO_HORSE_RACING 466 /*Admission to
Horse Racing*/
#define ADMISSION_TO_A_MOTION_PICTURE 467 /*Admission to
a Motion Picture*/
#define TOURS_FOR_8_25_PEOPLE 468 /*Tours for 8-
25 people*/
#define TOURS_FOR_MORE_THAN_25_PEOPLE 469 /*Tours for
more than 25 people*/
#define TOURS_FOR_8_25_PEOPLE_COMMISSIONS 470 /*Tours for 8-
25 people--Commissions*/
#define TOURS_FOR_MORE_THAN_25_PEOPLE_COMMISSIONS 471 /*Tours for
more than 25 people--Commissions*/
#define SPORT_FITNESS_AND_RECREATION_CLUB 472 /*Sport,
Fitness and Recreation Club*/
#define REPAIR_PARTS_GENERAL_RULE 473 /*Repair Parts
- General Rule*/
#define REPAIR_AND_LABOR_COMBINED 474 /*Repair and
Labor Combined*/
#define PARTS_USED_IN_CLOTHING_OR_SHOES 475 /*Parts used
in Clothing or Shoes*/
#define PARTS_USED_IN_REPAIR_OF_COMMERCIAL_AIRPLANES 476 /*Parts used
in repair of Commercial Airplanes*/
#define EXTENDED_WARRANTY_REPAIR_PARTS_USED 477 /*Extended
Warranty - Repair Parts Used*/
#define EXTENDED_WARRANTY_SERVICE_REPAIRS_USED 478 /*Extended
Warranty - Service Repairs Used*/
#define REPAIR_LABOR_GENERAL_RULE 479 /*Repair Labor
- General Rule*/
#define REPAIRS_OF_CLOTHING 480 /*Repairs of
Clothing*/
#define REPAIR_OF_RAILROAD_ROLLING_STOCK_AND_ENGINES 481 /*Repair of
Railroad Rolling Stock and Engines*/
#define REPAIR_OF_MOTOR_VEHICLE 482 /*Repair of
Motor Vehicle*/
#define SHOE_REPAIR_AND_CLEANING 483 /*Shoe Repair
and Cleaning*/
#define AUTOMOTIVE_PAINTING 484 /*Automotive
Painting*/
#define LANDSCAPING_AND_LAWN_CARE 485 /*Landscaping
and Lawn Care*/
#define SNOW_REMOVAL 486 /*Snow
Removal*/
#define REPAIR_OF_COMMERCIAL_JET_AIRCRAFT 487 /*Repair of
Commercial Jet Aircraft*/
#define JEWELRY_REPAIR 488 /*Jewelry
Repair*/
#define STORAGE 489 /*Storage*/
#define PARKING 490 /*Parking*/
#define CANNED_SOFTWARE 491 /*Canned
Software*/
#define MODIFIED_CHARGES 492 /*Modified
Charges*/
#define MODIFIED_SOFTWARE 493 /*Modified
Software*/
#define CUSTOM_SOFTWARE 494 /*Custom
Software*/
#define CANNED_SOFTWARE_LOAD_AND_LEAVE 495 /*Canned
Software-Load and Leave*/
#define CUSTOM_SOFTWARE_LOAD_AND_LEAVE 496 /*Custom
Software-Load and Leave*/
#define LICENSED_SOFTWARE_LOAD_AND_LEAVE 497 /*Licensed
Software-Load and Leave*/
#define MODIFIED_SOFTWARE_LOAD_AND_LEAVE 498 /*Modified
Software-Load and Leave*/
#define DOWNLOADED_CUSTOM_SOFTWARE 499 /*Downloaded
Custom Software*/
#define DOWNLOADED_CANNED_SOFTWARE 500 /*Downloaded
Canned Software*/
#define LICENSED_SOFTWARE_DOWNLOAD 501 /*Licensed
Software-Download*/

AFC Telecom User Manual | 381 of 401
Copyright 2018 Avalara, Inc.
#define MODIFIED_SOFTWARE_DOWNLOAD 502 /*Modified
Software-Download*/
#define SOFTWARE_SET_UP_OPTIONAL_CANNED 503 /*Software Set
Up-Optional-Canned*/
#define SOFTWARE_SET_UP_OPTIONAL_CUSTOM 504 /*Software Set
Up-Optional-Custom*/
#define SOFTWARE_SET_UP_OPTIONAL_DOWNLOADED 505 /*Software Set
Up-Optional-Downloaded*/
#define SOFTWARE_SET_UP_OPTIONAL_LOAD_AND_LEAVE 506 /*Software Set
Up-Optional-Load and Leave*/
#define SOFTWARE_SET_UP_OPTIONAL_MODIFIED 507 /*Software Set
Up-Optional-Modified*/
#define SOFTWARE_SET_UP_MANDATORY_CANNED 508 /*Software Set
Up-Mandatory-Canned*/
#define SOFTWARE_SET_UP_MANDATORY_CUSTOM 509 /*Software Set
Up-Mandatory-Custom*/
#define SOFTWARE_SET_UP_MANDATORY_DOWNLOADED 510 /*Software Set
Up-Mandatory-Downloaded*/
#define SOFTWARE_SET_UP_MANDATORY_LOAD_AND_LEAVE 511 /*Software Set
Up-Mandatory-Load and Leave*/
#define SOFTWARE_SET_UP_MANDATORY_MODIFIED 512 /*Software Set
Up-Mandatory-Modified*/
#define COMPUTER_CONSULTING_OPTIONAL_CANNED 513 /*Computer
Consulting-Optional-Canned*/
#define COMPUTER_CONSULTING_MANDATORY_CANNED 514 /*Computer
Consulting-Mandatory-Canned*/
#define COMPUTER_CONSULTING_OPTIONAL_CUSTOM 515 /*Computer
Consulting-Optional-Custom*/
#define COMPUTER_CONSULTING_MANDATORY_CUSTOM 516 /*Computer
Consulting-Mandatory-Custom*/
#define COMPUTER_CONSULTING_OPTIONAL_DOWNLOADED 517 /*Computer
Consulting-Optional-Downloaded*/
#define COMPUTER_CONSULTING_MANDATORY_DOWNLOADED 518 /*Computer
Consulting-Mandatory-Downloaded*/
#define COMPUTER_CONSULTING_OPTIONAL_LOAD_AND_LEAVE 519 /*Computer
Consulting-Optional-Load and Leave*/
#define COMPUTER_CONSULTING_MANDATORY_LOAD_AND_LEAVE 520 /*Computer
Consulting-Mandatory-Load and Leave*/
#define COMPUTER_CONSULTING_OPTIONAL_MODIFIED 521 /*Computer
Consulting-Optional-Modified*/
#define COMPUTER_CONSULTING_MANDATORY_MODIFIED 522 /*Computer
Consulting-Mandatory-Modified*/
#define COMPUTER_TRAINING_OPTIONAL_CANNED 523 /*Computer
Training-Optional-Canned*/
#define COMPUTER_TRAINING_MANDATORY_CANNED 524 /*Computer
Training-Mandatory-Canned*/
#define COMPUTER_TRAINING_OPTIONAL_CUSTOM 525 /*Computer
Training-Optional-Custom*/
#define COMPUTER_TRAINING_MANDATORY_CUSTOM 526 /*Computer
Training-Mandatory-Custom*/
#define COMPUTER_TRAINING_OPTIONAL_DOWNLOADED 527 /*Computer
Training-Optional-Downloaded*/
#define COMPUTER_TRAINING_MANDATORY_DOWNLOADED 528 /*Computer
Training-Mandatory-Downloaded*/
#define COMPUTER_TRAINING_OPTIONAL_LOAD_AND_LEAVE 529 /*Computer
Training-Optional-Load and Leave*/
#define COMPUTER_TRAINING_MANDATORY_LOAD_AND_LEAVE 530 /*Computer
Training-Mandatory-Load and Leave*/
#define COMPUTER_TRAINING_OPTIONAL_MODIFIED 531 /*Computer
Training-Optional-Modified*/
#define COMPUTER_TRAINING_MANDATORY_MODIFIED 532 /*Computer
Training-Mandatory-Modified*/
#define TIMESHARING_OFF_SITE_USE_OF_CPU_GENERAL_RULE 533 /*Timesharing
- Off-Site Use of CPU - General Rule*/
#define CPU_LOCATED_OUT_OF_STATE 534 /*CPU Located
out of State*/
#define CIGARETTES 535 /*Cigarettes*/
#define USEFUL_LIFE_BETWEEN_12_MONTHS_AND_3_YEARS 536 /*Useful Life
Between 12 Months and 3 years*/
#define USEFUL_LIFE_BETWEEN_6_12_MONTHS 537 /*Useful Life
Between 6-12 Months*/

AFC Telecom User Manual | 382 of 401
Copyright 2018 Avalara, Inc.
#define USEFUL_LIFE_EXCEEDS_3_YEARS 538 /*Useful Life
Exceeds 3 years*/
#define USEFUL_LIFE_LESS_THAN_6_MONTHS 539 /*Useful Life
Less Than 6 Months*/
#define CANDY_SOLD_FOR_76_CENTS_OR_MORE 540 /*Candy Sold
For $0.76 or More*/
#define CANDY_SOLD_FOR_50_CENTS_OR_LESS 541 /*Candy Sold
For $0.50 or Less*/
#define CANDY_BETWEEN_51_AND_75_CENTS 542 /*Candy
Between $0.51 and $0.75*/
#define CHEWING_GUM_SOLD_FOR_76_CENTS_OR_MORE 543 /*Chewing Gum
Sold For $0.76 or More*/
#define CHEWING_GUM_SOLD_FOR_50_CENTS_OR_LESS 544 /*Chewing Gum
Sold For $0.50 or Less*/
#define CHEWING_GUM_BETWEEN_51_AND_75_CENTS 545 /*Chewing Gum
Between $0.51 and $0.75*/
#define HOT_PREPARED_FOOD 546 /*Hot Prepared
Food*/
#define CARBONATED_BEVERAGES_FOR_76_CENTS_OR_MORE 547 /*Carbonated
Beverages For $0.76 or More*/
#define CARBONATED_BEVERAGES_FOR_51_TO_75_CENTS 548 /*Carbonated
Beverages For $0.51 to $0.75*/
#define CARBONATED_BEVERAGES_FOR_50_CENTS_OR_LESS 549 /*Carbonated
Beverages For $0.50 or Less*/
#define NON_CARBONATED_BEVERAGES 550 /*Non-
Carbonated Beverages*/
#define HOT_BEVERAGES 551 /*Hot
Beverages*/
#define PUBLIC_PHYSICAL_TRANSMISSION 552 /*Public-
Physical Transmission*/
#define PUBLIC_ELECTRONIC_TRANSMISSION 553 /*Public-
Electronic Transmission*/
#define PRIVATE_PHYSICAL_TRANSMISSION 554 /*Private-
Physical Transmission*/
#define PRIVATE_ELECTRONIC_TRANSMISSION 555 /*Private-
Electronic Transmission*/
#define LICENSED_SOFTWARE_PHYSICAL_TRANSMISSION 556 /*Licensed
Software-Physical Transmission*/
#define INFORMATION_SYSTEMS_SERVICES 557 /*Information
Systems Services*/
#define REPORT_PHYSICAL_TRANSMISSION 558 /*Report-
Physical Transmission*/
#define REMOTE_INFORMATION_RETREIVAL 559 /*Remote
Information Retreival*/
#define DOWNLOAD_FROM_INTERNET 560 /*Download
from Internet*/
#define DOWNLOAD_TO_PHONE 561 /*Download to
Phone*/
#define INTERSTATE_LOCAL_LOOP 562 /*local loop*/
#define LEASE_FACILITIES 563 /*Lease-
Facilities*/
#define LEASE_NON_FACILITIES 564 /*Lease-Non-
Facilities*/
#define DEBIT_WIRELESS 565 /*Debit-
Wireless*/
#define PBX_OUTBOUND_CHANNEL 566 /*PBX Outbound
Channel*/
#define PBX_OUTBOUND_CHANNEL_BUNDLE 567 /*PBX Outbound
Channel Bundle*/
#define CENTRAL_OFFICE_EQUIPMENT_SALES 568 /*Central
Office Equipment-Sales*/
#define CENTRAL_OFFICE_EQUIPMENT_USE 569 /*Central
Office Equipment-Use*/
#define DIRECTORY_LISTING 570 /*Directory
Listing*/
#define RECYCLING 571 /*Recycling*/
#define DIGITAL_DOWNLOAD 572 /*Digital
Download*/
#define RESERVED_573 573 /*Reserved_
573*/
#define FIXTURE 574 /*Fixture*/

AFC Telecom User Manual | 383 of 401
Copyright 2018 Avalara, Inc.
#define CONFERENCE_BRIDGE_INTRASTATE 575 /*Conference
Bridge-Intrastate*/
#define CONFERENCE_BRIDGE_INTRASTATE_W_DIAL_IN 576 /*Conference
Bridge-Intrastate w Dial In*/
#define ENHANCED_FEATURES 577 /*Enhanced
Features*/
#define PBX 578 /*PBX*/
#define PBX_HIGH_CAPACITY 579 /*PBX High
Capacity*/
#define HIGH_CAPACITY_EXTENSION 580 /*High
Capacity Extension*/
#define HIGH_CAPACITY_EXTENSION_BUNDLE 581 /*High
Capacity Extension Bundle*/
#define HIGH_CAPACITY_OUTBOUND_CHANNEL 582 /*High
Capacity Outbound Channel*/
#define HIGH_CAPACITY_OUTBOUND_CHANNEL_BUNDLE 583 /*High
Capacity Outbound Channel Bundle*/
#define DIGITAL_CHANNEL_TIER 584 /*Digital
Channel Tier*/
#define INTERSTATE_MPLS 585 /*Interstate
MPLS*/
#define INTRASTATE_MPLS 586 /*Intrastate
MPLS*/
#define CENTREX_OUTBOUND_CHANNEL 587 /*Centrex
Outbound Channel*/
#define CENTREX_OUTBOUND_CHANNEL_BUNDLE 588 /*Centrex
Outbound Channel Bundle*/
#define CONFERENCE_BRIDGE_INTERSTATE 589 /*Conference
Bridge-Interstate*/
#define RESERVED_590 590 /*Reserved_
590*/
#define ACCESS_CHARGE_NO_CONTRACT 591 /*Access
Charge-No Contract*/
#define ACCESS_NUMBER_NO_CONTRACT 592 /*Access
Number-No Contract*/
#define INFO_SVCS_PRIVATE_PHYSICAL_TRANS 593 /*Info Svcs-
Private Physical Trans*/
#define INFO_SVCS_PRIVATE_ELECTRONIC_TRANS 594 /*Info Svcs-
Private Electronic Trans*/
#define DOWNLOADED_LICENSED_SOFTWARE 595 /*Downloaded
Licensed Software*/
#define ACCESS_LOCAL_ONLY_SERVICE 596 /*Access-Local
Only Service*/
#define INFO_SVCS_PUBLIC_ELECTRONIC_TRANS 597 /*Info Svcs-
Public Electronic Trans*/
#define INFO_SVCS_PUBLIC_PHYSICAL_TRANS 598 /*Info Svcs-
Public Physical Trans*/
#define E_MAIL_HOSTING_SERVICE 599 /*E-mail
Hosting Service*/
#define REAL_PROPERTY_RENTAL 600 /*Real
Property Rental*/
#define RESERVED_601 601 /*Reserved -
601*/
#define SVCS_PROFESSIONAL 602 /*Services-
Professional*/
#define ONLINE_SERVICES 603 /*Online
Services*/
#define LEASE_FACILITIES_LOCAL_SERVICE 604 /*Lease-
Facilities-Local Service*/
#define LEASE_NON_FACILITIES_LOCAL_SVC 605 /*Lease-Non-
Facilities-Local Svc*/
#define RESERVED_606 606 /*Reserved_
606*/
#define RESERVED_607 607 /*Reserved_
607*/
#define CONFERENCE_BRIDGE_INTERSTATE_W_DIAL_IN 608 /*Conference
Bridge Interstate w Dial In*/
#define STREAMING_VIDEO 609 /*Streaming
Video*/
#define EARLY_TERMINATION_FEES 610 /*Early
Termination Fees*/

AFC Telecom User Manual | 384 of 401
Copyright 2018 Avalara, Inc.
#define RESERVED_611 611 /*Reserved-
611*/
#define FCC_SUBSCRIBER_LINE_FEE_MULTI_LINE 612 /*FCC
Subscriber Line Fee Multi line*/
#define FCC_SUBSCRIBER_LINE_FEE_MULTI_LINE_BUNDLE 613 /*FCC
Subscriber Line Fee Multi Line Bundle*/
#define TELECOM_EQUIPMENT_RENTAL 614 /*Telecom
Equipment Rental*/
#define EQUIPMENT_SALES 615 /*Equipment
Sales*/
#define HURRICANE_SUPPLIES 616 /*Hurricane
Supplies*/
#define SCHOOL_SUPPLIES 617 /*School
Supplies*/
#define APPLIANCES_ENERGY_STAR 618 /*Appliances-
Energy Star*/
#define HUNTING_SUPPLIES 619 /*Hunting
Supplies*/
#define TAKE_AND_BAKE_PIZZA 620 /*Take and
Bake Pizza*/
#define BULK_ITEMS 621 /*Bulk Items*/
#define TEXT_MESSAGE 622 /*Text
Message*/
#define CENTREX_INVOICE 623 /*Centrex
Invoice*/
#define WIRELESS_SERVICE 624 /*Wireless
Service*/
#define CUSTOMER_PREMISE_EQUIP_RENTAL 625 /*Customer
Premise Equip Rental*/
#define CUSTOMER_PREMISE_EQUIP_RENTAL 625 /*Customer
Premise Equip Rental*/
#define RESERVED_626_ 626 /*Reserved-626
*/
#define INTERNET_ACCESS 627 /*Internet
Access*/
#define RESERVED_628_ 628 /*Reserved-628
*/
#define MESSAGING_SERVICES 629 /*Messaging
Services*/
#define PRIVATE_LINE_10_PCT_RULE 630 /*Private Line
(10% Rule)*/
#define DATA_10_PCT_RULE 631 /*Data (10%
Rule)*/
#define SERVICE_CONTRACTS 632 /*Service
Contracts*/
#define DOWNLOADED_VIDEO 633 /*Downloaded
Video*/
#define SERV_TYPE_RESERVED_634 634 /*Reserved*/
#define TOLL_FREE_NUMBER 635 /*Toll-Free
Number*/
#define REMOTELY_ACCESSED_SOFTWARE 636 /*Remotely
Accessed Software*/
#define REMOTE_ACCESS_OF_SOFTWARE 637 /*Remote
Access of Software*/
#define SECURITY_MONITORING_SERVICES 638 /*Security
Monitoring Services*/
#define STREAMING_INTERNET_VIDEO 639 /*Streaming
Internet Video*/
#define RESTOCKING_FEE 640 /*Restocking
Fee*/
#define FCC_SUBSCRIBER_LINE_CHARGE_CENTREX 641 /*FCC
Subscriber Line Charge Centrex*/
#define FCC_SUBSCRIBER_LINE_CHARGE_CENTREX_BUNDLE 642 /*FCC
Subscriber Line Charge Centrex Bundle*/
#define DEBIT_WIRELESS_INDIRECT_NON_CARRIER_SALE 643 /*Debit-
Wireless (Indirect Non-Carrier Sale)*/
#define INFO_SVCS_PUB_ELEC_TRANS_FIN_AND_SECURITIES 644 /*Info Svcs-
Pub Elec Trans (Fin and Securities)*/
#define PUBLIC_ELEC_TRANS_FINANCIAL_AND_SECURITIES 645 /*Public-Elec
Trans (Financial and Securities)*/

AFC Telecom User Manual | 385 of 401
Copyright 2018 Avalara, Inc.
#define INFORMATION_RETRIEVAL_PROVIDER_DATA 646 /*Information
Retrieval (Provider Data)*/
#define REMOTE_INFORMATION_RETRIEVAL_PROVIDER_DATA 647 /*Remote
Information Retrieval (Provider Data)*/
#define INTRASTATE_WITH_FCC_JURISDICTION 648 /*Intrastate
with FCC Jurisdiction*/
#define INTERSTATE_WITHOUT_FCC_JURISDICTION 649 /*Interstate
without FCC Jurisdiction*/
#define MPLS_INTRASTATE_ACTIVATION 650 /*MPLS
Intrastate Activation*/
#define MPLS_INSTALL 651 /*MPLS
Install*/
#define MPLS_SERVICE 652 /*MPLS
Service*/
#define MPLS_INTERSTATE_ACTIVATION 653 /*MPLS
#define EQUIPMENT_RENTAL_BASIC 654 /*Equipment
Rental Basic*/
#define LOCKED_CELL_PHONE 655 /*Locked Cell
Phone*/
#define SERVICE_INDIA_INTERSTATE_SUPPLY 656 /*Service -
India Interstate Supply*/
#define SERVICE_INDIA_INTRASTATE_SUPPLY 657 /*Service -
India Intrastate Supply*/
#define PRODUCT_INDIA_INTERSTATE_SUPPLY 658 /*Product -
India Interstate Supply*/
#define PRODUCT_INDIA_INTRASTATE_SUPPLY 659 /*Product -
India Intrastate Supply*/
#define NO_RETRIEVAL_DISASTER_RECOVERY 660 /*No
Retrieval-Disaster Recovery*/
/* Deprecated constants */
#define N800 TOLL_FREE
#define LOCAL_LOOP ACCESS_CHARGE
#define CABLE_TELEVISION_BASIC_SERVICE ACCESS_CHARGE
#define LOCAL_ACTIVATION INSTALL
#define LOCAL_INSTALL INSTALL
#define DIR_AD DIRECTORY_ADS
#define NUMBER_PORTABILITY_RECOVERY FCC_SUBSCRIBER_LINE_FEE
#define CENTREX_EXTENSION CENTREX_DID_EXTENSION
#define TRUNK CENTREX_TRUNK
#define LICENSE_SOFTWARE LICENSED_SOFTWARE
#define BEVERAGE_ABOVE_7_PCTCONTENT_BY_WEIGHT
BEVERAGE_ABOVE_7_PCT_CONTENT_BY_WEIGHT
#define EDUCATIONAL_COLLEGE_OR_TRADE_SCHOOL EDUCATIONAL_COLLEGE_AND_TRADE_SCHOOL
#define TOOTHPASTE TOOTHPASTE_TOOTHBRUSH_DENTAL_FLOSS
#define LOW_EMISSION_VEHICLE_EXCEEDING_10
LOW_EMISSION_VEHICLE_EXCEEDING_10000_LBS
#define TIPS TIPS_VOLUNTARY
#define SPORT SPORT_FITNESS_AND_RECREATION_CLUB
#define INFORMATION_SYSTEM_SERVICES INFORMATION_SYSTEMS_SERVICES
#define LEASE_FACILITIES_LOCAL_SVC LEASE_FACILITIES_LOCAL_SERVICE
#define CONFERENCE_BRIDGE_INTERSTATE_W_DIALIN
CONFERENCE_BRIDGE_INTERSTATE_W_DIAL_IN
#ifdef __cplusplus
}
#endif
#endif /* _inc_EZTaxServTypeDefine_ */

AFC Telecom User Manual | 386 of 401
Copyright 2018 Avalara, Inc.
EZTaxStateType.h
#ifndef _inc_EZTaxStateTypeDefine_
#define _inc_EZTaxStateTypeDefine_
#ifdef __cplusplus
extern "C" {
#endif
/* Define state types */
#define NO_STATE 0 /**/
#define Alabama 1 /*Alabama*/
#define Alaska 2 /*Alaska*/
#define Arizona 3 /*Arizona*/
#define Arkansas 4 /*Arkansas*/
#define California 5 /*California*/
#define Colorado 6 /*Colorado*/
#define Connecticut 7 /*Connecticut*/
#define Delaware 8 /*Delaware*/
#define Washington_DC 9 /*Washington,
D.C.*/
#define Florida 10 /*Florida*/
#define Georgia 11 /*Georgia*/
#define Hawaii 12 /*Hawaii*/
#define Idaho 13 /*Idaho*/
#define Illinois 14 /*Illinois*/
#define Indiana 15 /*Indiana*/
#define Iowa 16 /*Iowa*/
#define Kansas 17 /*Kansas*/
#define Kentucky 18 /*Kentucky*/
#define Louisiana 19 /*Louisiana*/
#define Maine 20 /*Maine*/
#define Maryland 21 /*Maryland*/
#define Massachusetts 22 /*Massachusetts*/
#define Michigan 23 /*Michigan*/
#define Minnesota 24 /*Minnesota*/
#define Mississippi 25 /*Mississippi*/
#define Missouri 26 /*Missouri*/
#define Montana 27 /*Montana*/
#define Nebraska 28 /*Nebraska*/
#define Nevada 29 /*Nevada*/
#define New_Hampshire 30 /*New Hampshire*/
#define New_Jersey 31 /*New Jersey*/
#define New_Mexico 32 /*New Mexico*/
#define New_York 33 /*New York*/
#define North_Carolina 34 /*North
Carolina*/
#define North_Dakota 35 /*North Dakota*/
#define Ohio 36 /*Ohio*/
#define Oklahoma 37 /*Oklahoma*/
#define Oregon 38 /*Oregon*/
#define Pennsylvania 39 /*Pennsylvania*/
#define Rhode_Island 40 /*Rhode Island*/
#define South_Carolina 41 /*South
Carolina*/
#define South_Dakota 42 /*South Dakota*/
#define Tennessee 43 /*Tennessee*/
#define Texas 44 /*Texas*/
#define Utah 45 /*Utah*/
#define Vermont 46 /*Vermont*/
#define Virginia 47 /*Virginia*/
#define Washington 48 /*Washington*/
#define West_Virginia 49 /*West Virginia*/
#define Wisconsin 50 /*Wisconsin*/
#define Wyoming 51 /*Wyoming*/
#define Alberta 52 /*Alberta*/
#define Anguar 53 /*Anguar*/

AFC Telecom User Manual | 387 of 401
Copyright 2018 Avalara, Inc.
#define British_Columbia 54 /*British
Columbia*/
#define Guam 55 /*Guam*/
#define Koror 56 /*Koror*/
#define Kosrae 57 /*Kosrae*/
#define Manitoba 58 /*Manitoba*/
#define Manua_Islands 59 /*Manua Islands*/
#define New_Brunswick 60 /*New Brunswick*/
#define Newfoundland 61 /*Newfoundland*/
#define Northwest_Territories 62 /*Northwest
Territories*/
#define Nova_Scotia 63 /*Nova Scotia*/
#define Ontario 64 /*Ontario*/
#define Peleliu 65 /*Peleliu*/
#define Pohnpei 66 /*Pohnpei*/
#define Prince_Edward_Island 67 /*Prince Edward
Island*/
#define Puerto_Rico 68 /*Puerto Rico*/
#define Quebec 69 /*Quebec*/
#define Ralik_Chain 70 /*Ralik Chain*/
#define Ratak_Chain 71 /*Ratak Chain*/
#define Rose_Island 72 /*Rose Island*/
#define Rota 73 /*Rota*/
#define Saint_Croix 74 /*Saint Croix*/
#define Saint_John 75 /*Saint John*/
#define Saint_Thomas 76 /*Saint Thomas*/
#define Saipan 77 /*Saipan*/
#define Saskatchewan 78 /*Saskatchewan*/
#define Swains_Island 79 /*Swains Island*/
#define Tinian 80 /*Tinian*/
#define Truk 81 /*Truk*/
#define Tutulia_Island 82 /*Tutulia
Island*/
#define Yap 83 /*Yap*/
#define Yukon_Territory 84 /*Yukon
Territory*/
#define Dodecanese 85 /*Dodecanese*/
#define Lesvos 86 /*Lesvos*/
#define Chios 87 /*Chios*/
#define Samos 88 /*Samos*/
#define Thassos 89 /*Thassos*/
#define Samothraki 90 /*Samothraki*/
#define Cyclades 91 /*Cyclades*/
#define North_Sporades 92 /*North
Sporades*/
#define Skyros 93 /*Skyros*/
#define Nunavut 94 /*Nunavut*/
#define Bermuda 95 /*Bermuda*/
#define American_Samoa 96 /*American
Samoa*/
#define Fed_St_of_Micronesia 97 /*Fed St of
Micronesia*/
#define Marshall_Islands 98 /*Marshall
Islands*/
#define Northern_Mariana_Islands 99 /*Northern
Mariana Islands*/
#define Palau 100 /*Palau*/
#define US_Virgin_Islands 101 /*US Virgin
Islands*/
#define Sao_Paulo 102 /*Sao Paulo*/
#define Rio_de_Janeiro 103 /*Rio de
Janeiro*/
#define Distrito_Federal 104 /*Distrito
Federal*/
#define Sergipe 105 /*Sergipe*/
#define Bahia 106 /*Bahia*/
#define Amapa 107 /*Amapa*/
#define Acre 108 /*Acre*/
#define Alagoas 109 /*Alagoas*/
#define Amazonas 110 /*Amazonas*/
#define Ceara 111 /*Ceara*/

AFC Telecom User Manual | 388 of 401
Copyright 2018 Avalara, Inc.
#define Espirito_Santo 112 /*Espirito
Santo*/
#define Goias 113 /*Goias*/
#define Maranhao 114 /*Maranhao*/
#define Mato_Grosso 115 /*Mato Grosso*/
#define Mato_Grosso_do_Sul 116 /*Mato Grosso do
Sul*/
#define Minas_Gerais 117 /*Minas Gerais*/
#define Para 118 /*Para*/
#define Paraiba 119 /*Paraiba*/
#define Parana 120 /*Parana*/
#define Pernambuco 121 /*Pernambuco*/
#define Piaui 122 /*Piaui*/
#define Rio_Grande_do_Norte 123 /*Rio Grande do
Norte*/
#define Rio_Grande_do_Sul 124 /*Rio Grande do
Sul*/
#define Rondonia 125 /*Rondonia*/
#define Roraima 126 /*Roraima*/
#define Santa_Catarina 127 /*Santa
Catarina*/
#define Tocantins 128 /*Tocantins*/
#define Andhra_Pradesh 129 /*Andhra
Pradesh*/
#define Arunachal_Pradesh 130 /*Arunachal
Pradesh*/
#define Assam 131 /*Assam*/
#define Bihar 132 /*Bihar*/
#define Chhattisgarh 133 /*Chhattisgarh*/
#define Goa 134 /*Goa*/
#define Gujarat 135 /*Gujarat*/
#define Haryana 136 /*Haryana*/
#define Himachal_Pradesh 137 /*Himachal
Pradesh*/
#define Jammu_and_Kashmir 138 /*Jammu and
Kashmir*/
#define Jharkhand 139 /*Jharkhand*/
#define Karnataka 140 /*Karnataka*/
#define Kerala 141 /*Kerala*/
#define Madhya_Pradesh 142 /*Madhya
Pradesh*/
#define Maharashtra 143 /*Maharashtra*/
#define Manipur 144 /*Manipur*/
#define Meghalaya 145 /*Meghalaya*/
#define Mizoram 146 /*Mizoram*/
#define Nagaland 147 /*Nagaland*/
#define Odisha 148 /*Odisha*/
#define Punjab 149 /*Punjab*/
#define Rajasthan 150 /*Rajasthan*/
#define Sikkim 151 /*Sikkim*/
#define Tamil_Nadu 152 /*Tamil Nadu*/
#define Telangana 153 /*Telangana*/
#define Tripura 154 /*Tripura*/
#define Uttar_Pradesh 155 /*Uttar Pradesh*/
#define Uttarakhand 156 /*Uttarakhand*/
#define West_Bengal 157 /*West Bengal*/
#define Andaman_and_Nicobar 158 /*Andaman and
Nicobar*/
#define Chandigarh 159 /*Chandigarh*/
#define Dadra_Nagar_Haveli 160 /*Dadra Nagar
Haveli*/
#define Daman_and_Diu 161 /*Daman and Diu*/
#define Delhi 162 /*Delhi*/
#define Lakshadweep 163 /*Lakshadweep*/
#define Puducherry 164 /*Puducherry*/
/* Deprecated state type constants */
#define Distric_of_Columbia Washington_DC

AFC Telecom User Manual | 389 of 401
Copyright 2018 Avalara, Inc.
#ifdef __cplusplus
}
#endif
#endif /* _inc_EZTaxStateTypeDefine_ */

AFC Telecom User Manual | 390 of 401
Copyright 2018 Avalara, Inc.
EZTaxCountryType.h
#ifndef _inc_EZTaxCountryTypeDefine_
#define _inc_EZTaxCountryTypeDefine_
#ifdef __cplusplus
extern "C" {
#endif
/* Foreign countries apply to Telecom transactions only */
/* Define Country Ids */
#define UNITED_STATES_OF_AMERICA 0 /*United States
Of America*/
#define ARGENTINA 2 /*Argentina*/
#define AUSTRALIA 3 /*Australia*/
#define AUSTRIA 4 /*Austria*/
#define AZERBAIJAN 5 /*Azerbaijan*/
#define BARBADOS 6 /*Barbados*/
#define BELGIUM 7 /*Belgium*/
#define BOLIVIA 8 /*Bolivia*/
#define BULGARIA 9 /*Bulgaria*/
#define CAMBODIA 10 /*Cambodia*/
#define CANADA 11 /*Canada*/
#define CHINA 12 /*China*/
#define COLOMBIA 13 /*Colombia*/
#define COSTA_RICA 14 /*Costa Rica*/
#define CROATIA 15 /*Croatia*/
#define CYPRUS 16 /*Cyprus*/
#define CZECH_REPUBLIC 17 /*Czech
Republic*/
#define DENMARK 18 /*Denmark*/
#define ECUADOR 19 /*Ecuador*/
#define ESTONIA 20 /*Estonia*/
#define FIJI 22 /*Fiji*/
#define FINLAND 23 /*Finland*/
#define FRANCE 24 /*France*/
#define GERMANY 25 /*Germany*/
#define GHANA 26 /*Ghana*/
#define ZAMBIA 27 /*Zambia*/
#define HONDURAS 29 /*Honduras*/
#define HUNGARY 30 /*Hungary*/
#define INDONESIA 31 /*Indonesia*/
#define IRELAND 32 /*Ireland*/
#define ITALY 33 /*Italy*/
#define JAPAN 34 /*Japan*/
#define KENYA 35 /*Kenya*/
#define LATVIA 36 /*Latvia*/
#define LITHUANIA 37 /*Lithuania*/
#define LUXEMBOURG 38 /*Luxembourg*/
#define MAURITIUS 40 /*Mauritius*/
#define MEXICO 41 /*Mexico*/
#define MOROCCO 42 /*Morocco*/
#define NAMIBIA 43 /*Namibia*/
#define NETHERLANDS 44 /*Netherlands*/
#define NEW_ZEALAND 45 /*New Zealand*/
#define NORWAY 47 /*Norway*/
#define PANAMA 49 /*Panama*/
#define PAPUA_NEW_GUINEA 50 /*Papua New
Guinea*/
#define PERU 51 /*Peru*/
#define POLAND 52 /*Poland*/
#define PORTUGAL 53 /*Portugal*/
#define ROMANIA 54 /*Romania*/
#define RUSSIA 56 /*Russia*/
#define SINGAPORE 57 /*Singapore*/
#define SLOVENIA 58 /*Slovenia*/
#define SOUTH_AFRICA 59 /*South Africa*/
#define SPAIN 60 /*Spain*/
#define SWEDEN 61 /*Sweden*/
#define SWITZERLAND 62 /*Switzerland*/

AFC Telecom User Manual | 391 of 401
Copyright 2018 Avalara, Inc.
#define TAIWAN 63 /*Taiwan*/
#define TANZANIA 64 /*Tanzania*/
#define THAILAND 65 /*Thailand*/
#define TRINIDAD_AND_TOBAGO 66 /*Trinidad And
Tobago*/
#define TURKEY 67 /*Turkey*/
#define UGANDA 68 /*Uganda*/
#define UKRAINE 69 /*Ukraine*/
#define UNITED_KINGDOM 70 /*United
Kingdom*/
#define URUGUAY 71 /*Uruguay*/
#define VENEZUELA 73 /*Venezuela*/
#define VIETNAM 74 /*Vietnam*/
#define GREECE 75 /*Greece*/
#define ICELAND 76 /*Iceland*/
#define INDIA 77 /*India*/
#define NIGERIA 78 /*Nigeria*/
#define SOUTH_KOREA 79 /*South Korea*/
#define SLOVAK_REPUBLIC 80 /*Slovak
Republic*/
#define BERMUDA 81 /*Bermuda*/
#define UNSUPPORTED_COUNTRY 82 /*Unsupported
Country*/
#define REPUBLIC_OF_MALTA 83 /*Republic Of
Malta*/
#define MALAYSIA 84 /*Malaysia*/
#define REUNION_ISLAND 85 /*Reunion
Island*/
#define ST_KITTS_AND_NEVIS 86 /*St Kitts And
Nevis*/
#define ANTIGUA 87 /*Antigua*/
#define BELIZE 88 /*Belize*/
#define DOMINICA 89 /*Dominica*/
#define DOMINICAN_REPUBLIC 90 /*Dominican
Republic*/
#define EL_SALVADOR 91 /*El Salvador*/
#define GRENADA 92 /*Grenada*/
#define GUATEMALA 93 /*Guatemala*/
#define GUYANA 94 /*Guyana*/
#define JAMAICA 95 /*Jamaica*/
#define NICARAGUA 96 /*Nicaragua*/
#define ST_VINCENT 97 /*St Vincent*/
#define CHILE 98 /*Chile*/
#define PHILIPPINES 99 /*Philippines*/
#define ISRAEL 100 /*Israel*/
#define BOSNIA_AND_HERZEGOVINA 101 /*Bosnia And
Herzegovina*/
#define LEBANON 102 /*Lebanon*/
#define SERBIA 103 /*Serbia*/
#define EGYPT 104 /*Egypt*/
#define BAHAMAS 105 /*Bahamas*/
#define BRAZIL 106 /*Brazil*/
#define SENEGAL 107 /*Senegal*/
#define BAHRAIN 108 /*Bahrain*/
#define KUWAIT 109 /*Kuwait*/
#define OMAN 110 /*Oman*/
#define QATAR 111 /*Qatar*/
#define SAUDI_ARABIA 112 /*Saudi Arabia*/
#define UNITED_ARAB_EMIRATES 113 /*United Arab
Emirates*/
#define USA 0 /*United States
Of America*/
*/
#define ARG 2 /*Argentina*/
#define AUS 3 /*Australia*/
#define AUT 4 /*Austria*/
#define AZE 5 /*Azerbaijan*/
#define BRB 6 /*Barbados*/

AFC Telecom User Manual | 392 of 401
Copyright 2018 Avalara, Inc.
#define BEL 7 /*Belgium*/
#define BOL 8 /*Bolivia*/
#define BGR 9 /*Bulgaria*/
#define KHM 10 /*Cambodia*/
#define CAN 11 /*Canada*/
#define CHN 12 /*China*/
#define COL 13 /*Colombia*/
#define CRI 14 /*Costa Rica*/
#define HRV 15 /*Croatia*/
#define CYP 16 /*Cyprus*/
#define CZE 17 /*Czech
Republic*/
#define DNK 18 /*Denmark*/
#define ECU 19 /*Ecuador*/
#define EST 20 /*Estonia*/
#define FJI 22 /*Fiji*/
#define FIN 23 /*Finland*/
#define FRA 24 /*France*/
#define DEU 25 /*Germany*/
#define GHA 26 /*Ghana*/
#define ZMB 27 /*Zambia*/
#define HND 29 /*Honduras*/
#define HUN 30 /*Hungary*/
#define IDN 31 /*Indonesia*/
#define IRL 32 /*Ireland*/
#define ITA 33 /*Italy*/
#define JPN 34 /*Japan*/
#define KEN 35 /*Kenya*/
#define LVA 36 /*Latvia*/
#define LTU 37 /*Lithuania*/
#define LUX 38 /*Luxembourg*/
#define MUS 40 /*Mauritius*/
#define MEX 41 /*Mexico*/
#define MAR 42 /*Morocco*/
#define NAM 43 /*Namibia*/
#define NLD 44 /*Netherlands*/
#define NZL 45 /*New Zealand*/
#define NOR 47 /*Norway*/
#define PAN 49 /*Panama*/
#define PNG 50 /*Papua New
Guinea*/
#define PER 51 /*Peru*/
#define POL 52 /*Poland*/
#define PRT 53 /*Portugal*/
#define ROU 54 /*Romania*/
#define RUS 56 /*Russia*/
#define SGP 57 /*Singapore*/
#define SVN 58 /*Slovenia*/
#define ZAF 59 /*South Africa*/
#define ESP 60 /*Spain*/
#define SWE 61 /*Sweden*/
#define CHE 62 /*Switzerland*/
#define TWN 63 /*Taiwan*/
#define TZA 64 /*Tanzania*/
#define THA 65 /*Thailand*/
#define TTO 66 /*Trinidad And
Tobago*/
#define TUR 67 /*Turkey*/
#define UGA 68 /*Uganda*/
#define UKR 69 /*Ukraine*/
#define GBR 70 /*United
Kingdom*/
#define URY 71 /*Uruguay*/
#define VEN 73 /*Venezuela*/
#define VNM 74 /*Vietnam*/
#define GRC 75 /*Greece*/
#define ISL 76 /*Iceland*/
#define IND 77 /*India*/
#define NGA 78 /*Nigeria*/
#define KOR 79 /*South Korea*/

AFC Telecom User Manual | 393 of 401
Copyright 2018 Avalara, Inc.
#define SVK 80 /*Slovak
Republic*/
#define BMU 81 /*Bermuda*/
#define UNS 82 /*Unsupported
Country*/
#define MLT 83 /*Republic Of
Malta*/
#define MYS 84 /*Malaysia*/
#define REU 85 /*Reunion
Island*/
#define KNA 86 /*St Kitts And
Nevis*/
#define ATG 87 /*Antigua*/
#define BLZ 88 /*Belize*/
#define DMA 89 /*Dominica*/
#define DOM 90 /*Dominican
Republic*/
#define SLV 91 /*El Salvador*/
#define GRD 92 /*Grenada*/
#define GTM 93 /*Guatemala*/
#define GUY 94 /*Guyana*/
#define JAM 95 /*Jamaica*/
#define NIC 96 /*Nicaragua*/
#define VCT 97 /*St Vincent*/
#define CHL 98 /*Chile*/
#define PHL 99 /*Philippines*/
#define ISR 100 /*Israel*/
#define BIH 101 /*Bosnia And
Herzegovina*/
#define LBN 102 /*Lebanon*/
#define SRB 103 /*Serbia*/
#define EGY 104 /*Egypt*/
#define BHS 105 /*Bahamas*/
#define BRA 106 /*Brazil*/
#define SEN 107 /*Senegal*/
#define BHR 108 /*Bahrain*/
#define KWT 109 /*Kuwait*/
#define OMN 110 /*Oman*/
#define QAT 111 /*Qatar*/
#define SAU 112 /*Saudi Arabia*/
#define ARE 113 /*United Arab
Emirates*/
#define END_OF_COUNTRY_ISO 114 /* This should
always be last numerically */
/* Deprecated country ids */
#define AMERICAN_SAMOA 1 /*American
Samoa*/
#define ASM 1 /*American
Samoa*/
#define FEDERATED_STATES_OF_MICRONESIA 21 /*Federated
States Of Micronesia*/
#define FSM 21 /*Federated
States Of Micronesia*/
#define GUAM 28 /*Guam*/
#define GUM 28 /*Guam*/
#define MARSHALL_ISLANDS 39 /*Marshall
Islands*/
#define MHL 39 /*Marshall
Islands*/
#define NORTHERN_MARIANA_ISLANDS 46 /*Northern
Mariana Islands*/
#define MNP 46 /*Northern
Mariana Islands*/
#define PALAU 48 /*Palau*/
#define PLW 48 /*Palau*/
#define PUERTO_RICO 55 /*Puerto Rico*/
#define PRI 55 /*Puerto Rico*/

AFC Telecom User Manual | 394 of 401
Copyright 2018 Avalara, Inc.
#define US_VIRGIN_ISLANDS 72 /*Us Virgin
Islands*/
#define VIR 72 /*Us Virgin
Islands*/
#define AMERICA_SAMOA AMERICAN_SAMOA
#define NIGERA NIGERIA
#define ROM ROU
#define BELGUIM BELGIUM
#define COLUMBIA COLOMBIA
#ifdef __cplusplus
}
#endif
#endif /* _inc_EZTaxCountryTypeDefine_ */

AFC Telecom User Manual | 395 of 401
Copyright 2018 Avalara, Inc.
Appendix C EZTaxProto.h
#ifndef _inc_EZTaxProto_
#define _inc_EZTaxProto_
/* If defined for C++ environment */
#ifdef __cplusplus
extern "C" {
#endif
#include "EZTaxStruct.h"
/*******************************************************/
/* For more information on the API calls please */
/* refer to the EZTax Users Manual */
/*******************************************************/
/* Initialization / Termination Function Prototypes */
PF_FUNC_SPEC void EZTaxStart(void);
PF_FUNC_SPEC struct taxes_tbl_v98 *EZTaxInitV98(short int tax_log, struct file_path *paths,
EZTaxSession *session, char *working_dir);
PF_FUNC_SPEC struct enhanced_taxes_tbl *EZTaxInitDirEx(short int tax_log, struct file_path
*paths, EZTaxSession *session, char *working_dir);
PF_FUNC_SPEC struct enhanced_taxes_tbl *EZTaxInitEx(short int tax_log, struct file_path
*paths, EZTaxSession *session);
PF_FUNC_SPEC struct enhanced_taxes_tbl *EZTaxInitExMT(short int tax_log, struct file_path
*paths, EZTaxSession *session, char *working_dir);
PF_FUNC_SPEC struct enhanced_taxes_tbl *EZTaxInitV914(short int tax_log_enabled, struct
file_path_v914 *paths, EZTaxSession *session);
PF_FUNC_SPEC short int EZTaxExit(void);
PF_FUNC_SPEC short int EZTaxExitSessionEx(EZTaxSession session);
/* Set / Modify Prototypes */
PF_FUNC_SPEC short int EZTaxClearExclusion(EZTaxSession session);
PF_FUNC_SPEC short int EZTaxFreeRates(struct jurisdictionTaxes *taxes);
PF_FUNC_SPEC short int EZTaxGroupResults(EZTaxSession session, unsigned long int groupMode);
PF_FUNC_SPEC short int EZTaxRestoreEx(EZTaxSession session);
PF_FUNC_SPEC short int EZTaxSetLogName(EZTaxSession session, char *fileName);
PF_FUNC_SPEC short int EZTaxSetNexus(EZTaxSession session, struct nexus_table * nexus_tbl, int
nexus_count);
PF_FUNC_SPEC short int EZTaxSetStateExclusion(EZTaxSession session, char country_ISO[4], char
state_abv[3], short int flag);
PF_FUNC_SPEC short int EZTaxSetStateNexus(EZTaxSession session, char country_ISO[4], char
state_abv[3], short int flag);
PF_FUNC_SPEC short int EZTaxSetWorkingDir(char *directory);
/* Jurisdiction Calculation / Conversion Prototypes */
PF_FUNC_SPEC unsigned long int EZTaxCalcJurisdiction(EZTaxSession session, struct J_CodeEx
*trans, int *err_code);
PF_FUNC_SPEC unsigned long int EZTaxGetJurisdiction(EZTaxSession session, struct J_CodeEx
trans, int *err_code);
PF_FUNC_SPEC char* EZTaxPtoFipsEx(EZTaxSession session, unsigned long int PCode, int
*err_code);
PF_FUNC_SPEC unsigned long int EZTaxFtoPCodeEx(EZTaxSession session, char* Fips, int
*err_code);
PF_FUNC_SPEC unsigned long int EZTaxJtoPCodeEx(EZTaxSession session, unsigned long int JCode,
int *err_code);
PF_FUNC_SPEC unsigned long int EZTaxNtoJCodeEx(EZTaxSession session, unsigned long int npanxx,
int *err_code);
PF_FUNC_SPEC unsigned long int EZTaxPtoJCodeEx(EZTaxSession session, unsigned long int PCode,
int *err_code);
PF_FUNC_SPEC unsigned long int EZTaxZtoJCodeEx(EZTaxSession session, struct zip_address_p4
*address, int *err_code);
PF_FUNC_SPEC unsigned long int EZTaxZtoPCodeEx(EZTaxSession session, struct zip_address_p4
*address, int *err_code);
PF_FUNC_SPEC unsigned long int EZTaxCountryToPCode(EZTaxSession session, const char* iso_code,
int *err_code);

AFC Telecom User Manual | 396 of 401
Copyright 2018 Avalara, Inc.
PF_FUNC_SPEC short int EZTaxNextAddressEx(EZTaxSession session, struct address_data_p4
*address, int *err_code);
PF_FUNC_SPEC short int EZTaxJTType(unsigned long int orig_J_Code, unsigned long int
term_J_Code);
PF_FUNC_SPEC short int EZTaxJTTypeEx(EZTaxSession session, unsigned long int orig_J_Code,
unsigned long int term_J_Code, int *err_code);
PF_FUNC_SPEC short int EZTaxNTTypeEx(EZTaxSession session, unsigned long int orig_NPANXX,
unsigned long int term_NPANXX);
PF_FUNC_SPEC short int EZTaxPTTypeEx(EZTaxSession session, unsigned long int orig_PCode,
unsigned long int term_PCode, int *err_code);
PF_FUNC_SPEC short int EZTaxGetAddressEx(EZTaxSession session, unsigned long int j_code,
struct address_data_p4 *address, int *err_code);
PF_FUNC_SPEC unsigned int EZTaxGetCountryID(EZTaxSession session, unsigned long int PCode, int
*err_code);
PF_FUNC_SPEC unsigned int EZTaxGetStateID(EZTaxSession session, unsigned long int PCode, int
*err_code);
/* Misc Data Retrieval Prototypes */
PF_FUNC_SPEC char *EZTaxGetTaxCatV98(EZTaxSession session, int tax_type);
PF_FUNC_SPEC char *EZTaxGetTaxDescription(EZTaxSession session, int taxCode);
PF_FUNC_SPEC short int EZTaxDbVersion(char* psz_EZTax_dat, char* psz_db_version);
PF_FUNC_SPEC short int EZTaxSessionDbVersion(EZTaxSession session, char* psz_db_version);
PF_FUNC_SPEC short int EZTaxDllVersion(char* psz_library_version);
PF_FUNC_SPEC short int EZTaxGetLogName(EZTaxSession session, char* filename);
PF_FUNC_SPEC short int EZTaxGetRates(EZTaxSession session, unsigned long int pCode, struct
jurisdictionTaxes *taxes, int *err_code);
PF_FUNC_SPEC struct no_tax_tbl *EZTaxGetNoTaxTrans(EZTaxSession session);
PF_FUNC_SPEC short int EZTaxMaxTaxCount(void);
PF_FUNC_SPEC struct rtr_data* EZTaxGetTSR(EZTaxSession session, int *size, short int
returnData);
PF_FUNC_SPEC void EZTaxClearTSR(EZTaxSession session, struct rtr_data* rpt);
/* Customer Mode Related Prototypes */
PF_FUNC_SPEC int EZTaxNextCustomerEx(EZTaxSession session);
PF_FUNC_SPEC struct cust_taxes_tbl_v98 *EZTaxSetCustModeV98(EZTaxSession session, short int
mode);
PF_FUNC_SPEC struct enhanced_cust_taxes_tbl *EZTaxSetCustModeEx(EZTaxSession session, short
int mode);
/* Invoice Mode Related Prototypes */
PF_FUNC_SPEC int EZTaxNextInvoiceEx(EZTaxSession session);
PF_FUNC_SPEC struct invoice_taxes_tbl_v98 *EZTaxSetInvoiceModeV98(EZTaxSession session, short
int mode);
PF_FUNC_SPEC struct enhanced_invoice_taxes_tbl *EZTaxSetInvoiceModeEx(EZTaxSession session,
short int mode);
/* Debit Tax Calculation Prototypes*/
PF_FUNC_SPEC short int EZTaxDebitJEx(EZTaxSession session, struct J_CodeEx *trans, int
*err_code);
PF_FUNC_SPEC short int EZTaxDebitNEx(EZTaxSession session, struct NPANXX_codeEx *trans, int
*err_code);
PF_FUNC_SPEC short int EZTaxDebitPEx(EZTaxSession session, struct P_CodeEx *trans, int
*err_code);
PF_FUNC_SPEC short int EZTaxDebitTaxInclusiveJCode(EZTaxSession session, struct J_CodeEx
*trans, double *base_sale, int *err_code);
PF_FUNC_SPEC short int EZTaxDebitTaxInclusiveNPAN(EZTaxSession session, struct NPANXX_codeEx
*trans, double *base_sale, int *err_code);
PF_FUNC_SPEC short int EZTaxDebitTaxInclusivePCode(EZTaxSession session, struct P_CodeEx
*trans, double *base_sale, int *err_code);
PF_FUNC_SPEC short int EZTaxDebitTaxInclusiveZip(EZTaxSession session, struct zip_codeEx
*trans, double *base_sale, int *err_code);
PF_FUNC_SPEC short int EZTaxDebitZEx(EZTaxSession session, struct zip_codeEx *trans, int
*err_code);
/* Credit / Adjustment Tax Calculation Prototypes*/
PF_FUNC_SPEC short int EZTaxAdjDebitJEx(EZTaxSession session, struct J_CodeEx *trans, int
discount_type, int adj_method, int *err_code);

AFC Telecom User Manual | 397 of 401
Copyright 2018 Avalara, Inc.
PF_FUNC_SPEC short int EZTaxAdjDebitNEx(EZTaxSession session, struct NPANXX_codeEx *trans, int
discount_type, int adj_method, int *err_code);
PF_FUNC_SPEC short int EZTaxAdjDebitPEx(EZTaxSession session, struct P_CodeEx *trans, int
discount_type, int adj_method, int *err_code);
PF_FUNC_SPEC short int EZTaxAdjDebitTaxInclusiveJCode(EZTaxSession session, struct J_CodeEx
*trans, int discount_type, int adj_method, double *base_sale, int *err_code);
PF_FUNC_SPEC short int EZTaxAdjDebitTaxInclusiveNPAN(EZTaxSession session, struct
NPANXX_codeEx *trans, int discount_type, int adj_method, double *base_sale, int
*err_code);
PF_FUNC_SPEC short int EZTaxAdjDebitTaxInclusivePCode(EZTaxSession session, struct P_CodeEx
*trans, int discount_type, int adj_method, double *base_sale, int *err_code);
PF_FUNC_SPEC short int EZTaxAdjDebitTaxInclusiveZip(EZTaxSession session, struct zip_codeEx
*trans, int discount_type, int adj_method, double *base_sale, int *err_code);
PF_FUNC_SPEC short int EZTaxAdjDebitZEx(EZTaxSession session, struct zip_codeEx *trans, int
discount_type, int adj_method, int *err_code);
/* API Override Prototypes */
PF_FUNC_SPEC short int EZTaxOvrJCodeEx(EZTaxSession session, unsigned long int j_code, struct
enhancedOverride *over);
PF_FUNC_SPEC short int EZTaxOvrJCodeWithAdd(EZTaxSession session, unsigned long int j_code,
struct enhancedOverride *over);
PF_FUNC_SPEC short int EZTaxOvrNPANEx(EZTaxSession session, unsigned long int npanxx, struct
enhancedOverride *over);
PF_FUNC_SPEC short int EZTaxOvrPCodeEx(EZTaxSession session, unsigned long int p_code, struct
enhancedOverride *over);
PF_FUNC_SPEC short int EZTaxOvrZipEx(EZTaxSession session, struct zip_address_p4 zip_addr,
struct enhancedOverride *over, int *err_code);
PF_FUNC_SPEC short int EZTaxLogicOvrJCodeEx(EZTaxSession session, unsigned long int j_code,
struct logicOverride *over);
PF_FUNC_SPEC short int EZTaxLogicOvrJCodeExP(EZTaxSession session, unsigned long int j_code,
struct logicOverrideP *over);
PF_FUNC_SPEC short int EZTaxOldOvrJCodeEx(EZTaxSession session, unsigned long int j_code,
struct tax_ovrd *over);
PF_FUNC_SPEC short int EZTaxSetSafeHarborTAMOverride(EZTaxSession session,
short int safe_harbor_type, double original_federal_tam, double new_federal_tam, int
*err_code);
PF_FUNC_SPEC short int EZTaxClearSafeHarborTAMOverride(EZTaxSession session,
short int safe_harbor_type, int *err_code);
/* Standard Tax Calculation Prototypes*/
PF_FUNC_SPEC short int EZTaxJCodeEx(EZTaxSession session, struct J_CodeEx *trans, int
*err_code);
PF_FUNC_SPEC short int EZTaxNPANEx(EZTaxSession session, struct NPANXX_codeEx *trans, int
*err_code);
PF_FUNC_SPEC short int EZTaxPCodeEx(EZTaxSession session, struct P_CodeEx *trans, int
*err_code);
PF_FUNC_SPEC short int EZTaxProRateJCodeEx(EZTaxSession session, struct J_CodeEx *trans,
double percent, int *err_code);
PF_FUNC_SPEC short int EZTaxProRateNPANEx(EZTaxSession session, struct NPANXX_codeEx *trans,
double percent, int *err_code);
PF_FUNC_SPEC short int EZTaxProRatePCodeEx(EZTaxSession session, struct P_CodeEx *trans,
double percent, int *err_code);
PF_FUNC_SPEC short int EZTaxProRateThisJCodeEx(EZTaxSession session, struct this_J_CodeEx
*trans, double percent, int *err_code);
PF_FUNC_SPEC short int EZTaxProRateThisPCodeEx(EZTaxSession session, struct this_P_CodeEx
*trans, double percent, int *err_code);
PF_FUNC_SPEC short int EZTaxProRateZipEx(EZTaxSession session, struct zip_codeEx *trans,
double percent, int *err_code);
PF_FUNC_SPEC short int EZTaxTaxInclusiveJCode(EZTaxSession session, struct J_CodeEx *trans,
double *base_sale, int *err_code);
PF_FUNC_SPEC short int EZTaxTaxInclusiveNPAN(EZTaxSession session, struct NPANXX_codeEx
*trans, double *base_sale, int *err_code);
PF_FUNC_SPEC short int EZTaxTaxInclusivePCode(EZTaxSession session, struct P_CodeEx *trans,
double *base_sale, int *err_code);
PF_FUNC_SPEC short int EZTaxTaxInclusiveZip(EZTaxSession session, struct zip_codeEx *trans,
double *base_sale, int *err_code);

AFC Telecom User Manual | 398 of 401
Copyright 2018 Avalara, Inc.
PF_FUNC_SPEC short int EZTaxTPPEx(EZTaxSession session, struct TPP_addrEx *tpp_trans, struct
nexus_table *nex_tab, short int table_length, int *err_code);
PF_FUNC_SPEC short int EZTaxZipEx(EZTaxSession session, struct zip_codeEx *trans, int
*err_code);
PF_FUNC_SPEC short int EZTaxThisJCodeEx(EZTaxSession session, struct this_J_CodeEx *trans, int
*err_code);
PF_FUNC_SPEC short int EZTaxThisPCodeEx(EZTaxSession session, struct this_P_CodeEx *trans, int
*err_code);
PF_FUNC_SPEC short int EZTaxPrivateLine(EZTaxSession session, struct private_line_P_Code
*trans, int *err_code);
PF_FUNC_SPEC short int EZTaxPrivateLineAdj(EZTaxSession session, struct private_line_P_Code
*trans, int discount_type, int adj_method, int *err_code);
/* Bridge Conferencing Prototypes */
PF_FUNC_SPEC short int EZTaxBridgeConference(EZTaxSession session, struct
BridgeConferenceTransaction* bconft, struct BridgeConferenceTaxes** pbctaxes, int
*err_code);
PF_FUNC_SPEC void FreeBridgeParticipantMemory(struct BridgeConferenceTaxes* pBCT);
/* Credit / Adjustment Tax Calculation Prototypes*/
PF_FUNC_SPEC short int EZTaxAdjTaxInclusiveJCode(EZTaxSession session, struct J_CodeEx *trans,
int discount_type, int adj_method, double *base_sale, int *err_code);
PF_FUNC_SPEC short int EZTaxAdjTaxInclusiveNPAN(EZTaxSession session, struct NPANXX_codeEx
*trans, int discount_type, int adj_method, double *base_sale, int *err_code);
PF_FUNC_SPEC short int EZTaxAdjTaxInclusivePCode(EZTaxSession session, struct P_CodeEx *trans,
int discount_type, int adj_method, double *base_sale, int *err_code);
PF_FUNC_SPEC short int EZTaxAdjTaxInclusiveZip(EZTaxSession session, struct zip_codeEx *trans,
int discount_type, int adj_method, double *base_sale, int *err_code);
PF_FUNC_SPEC short int EZTaxAdjJCodeEx(EZTaxSession session, struct J_CodeEx *trans, int
discount_type, int adj_method, int *err_code);
PF_FUNC_SPEC short int EZTaxAdjNPANEx(EZTaxSession session, struct NPANXX_codeEx *trans, int
discount_type, int adj_method, int *err_code);
PF_FUNC_SPEC short int EZTaxAdjPCodeEx(EZTaxSession session, struct P_CodeEx *trans, int
discount_type, int adj_method, int *err_code);
PF_FUNC_SPEC short int EZTaxAdjProRateJCode(EZTaxSession session, struct J_CodeEx *trans, int
discount_type, double percent, int adj_method, int prorate_credit_or_cancel,int
*err_code);
PF_FUNC_SPEC short int EZTaxAdjProRateNPAN(EZTaxSession session, struct NPANXX_codeEx *trans,
int discount_type, double percent, int adj_method, int prorate_credit_or_cancel,int
*err_code);
PF_FUNC_SPEC short int EZTaxAdjProRatePCode(EZTaxSession session, struct P_CodeEx *trans, int
discount_type, double percent, int adj_method, int prorate_credit_or_cancel,int
*err_code);
PF_FUNC_SPEC short int EZTaxAdjProRateThisJCode(EZTaxSession session, struct this_J_CodeEx
*trans, int discount_type, double percent, int adj_method, int
prorate_credit_or_cancel,int *err_code);
PF_FUNC_SPEC short int EZTaxAdjProRateThisPCode(EZTaxSession session, struct this_P_CodeEx
*trans, int discount_type, double percent, int adj_method, int
prorate_credit_or_cancel,int *err_code);
PF_FUNC_SPEC short int EZTaxAdjProRateZip(EZTaxSession session, struct zip_codeEx *trans, int
discount_type, double percent, int adj_method, int prorate_credit_or_cancel,int
*err_code);
PF_FUNC_SPEC short int EZTaxAdjTPPEx(EZTaxSession session, struct TPP_addrEx *tpp_trans, int
discount_type, struct nexus_table *nex_tab, short _count, int adj_method, int
*err_code);
PF_FUNC_SPEC short int EZTaxAdjZipEx(EZTaxSession session, struct zip_codeEx *trans, int
discount_type, int adj_method, int *err_code);
/* Tax Log Prototypes */
PF_FUNC_SPEC struct EZTax_logEx *EZTaxGetCustomLog(EZTaxSession session);
PF_FUNC_SPEC short int EZTaxGetCustomLogCount(EZTaxSession session);
PF_FUNC_SPEC short int EZTaxWriteToLogEx(EZTaxSession session, int count, struct EZTax_logEx
*log);
PF_FUNC_SPEC struct EZTax_log_v914 *EZTaxGetLogV914(EZTaxSession session);
PF_FUNC_SPEC short int EZTaxGetLogV914Count(EZTaxSession session);
PF_FUNC_SPEC short int EZTaxWriteToLogV914(EZTaxSession session, int count, struct
EZTax_log_v914 *log);
/* The flush function works for all log types */
PF_FUNC_SPEC short int EZTaxFlushToLogEx(EZTaxSession session

AFC Telecom User Manual | 399 of 401
Copyright 2018 Avalara, Inc.
/* Deprecated Prototypes (preserved for backwards compatibility) */
PF_FUNC_SPEC short int EZTaxAdjProRateJCodeEx(EZTaxSession session, struct J_CodeEx *trans,
int discount_type, double percent, int adj_method, int *err_code);
PF_FUNC_SPEC short int EZTaxAdjProRateNPANEx(EZTaxSession session, struct NPANXX_codeEx
*trans, int discount_type, double percent, int adj_method, int *err_code);
PF_FUNC_SPEC short int EZTaxAdjProRatePCodeEx(EZTaxSession session, struct P_CodeEx *trans,
int discount_type, double percent, int adj_method, int *err_code);
PF_FUNC_SPEC short int EZTaxAdjProRateThisJCodeEx(EZTaxSession session, struct this_J_CodeEx
*trans, int discount_type, double percent, int adj_method, int *err_code);
PF_FUNC_SPEC short int EZTaxAdjProRateThisPCodeEx(EZTaxSession session, struct this_P_CodeEx
*trans, int discount_type, double percent, int adj_method, int *err_code);
PF_FUNC_SPEC short int EZTaxAdjProRateZipEx(EZTaxSession session, struct zip_codeEx *trans,
int discount_type, double percent, int adj_method, int *err_code);
PF_FUNC_SPEC short int EZTaxDebitRevJCode(EZTaxSession session, struct J_CodeEx *trans, double
*base_sale, int *err_code); //Replaced by EZTaxDebitTaxInclusiveJCode
PF_FUNC_SPEC short int EZTaxDebitRevNPAN(EZTaxSession session, struct NPANXX_codeEx *trans,
double *base_sale, int *err_code); //Replaced by EZTaxDebitTaxInclusiveNPAN
PF_FUNC_SPEC short int EZTaxDebitRevPCode(EZTaxSession session, struct P_CodeEx *trans, double
*base_sale, int *err_code); //Replaced by EZTaxDebitTaxInclusivePCode
PF_FUNC_SPEC short int EZTaxDebitRevZip(EZTaxSession session, struct zip_codeEx *trans, double
*base_sale, int *err_code); //Replaced by EZTaxDebitTaxInclusiveZip
PF_FUNC_SPEC short int EZTaxAdjDebitRevJCode(EZTaxSession session, struct J_CodeEx *trans, int
discount_type, int adj_method, double *base_sale, int *err_code);
PF_FUNC_SPEC short int EZTaxAdjDebitRevNPAN(EZTaxSession session, struct NPANXX_codeEx *trans,
int discount_type, int adj_method, double *base_sale, int *err_code);
PF_FUNC_SPEC short int EZTaxAdjDebitRevPCode(EZTaxSession session, struct P_CodeEx *trans, int
discount_type, int adj_method, double *base_sale, int *err_code);
PF_FUNC_SPEC short int EZTaxAdjDebitRevZip(EZTaxSession session, struct zip_codeEx *trans, int
discount_type, int adj_method, double *base_sale, int *err_code);
PF_FUNC_SPEC short int EZTaxRevJCode(EZTaxSession session, struct J_CodeEx *trans, double
*base_sale, int *err_code);
PF_FUNC_SPEC short int EZTaxRevNPAN(EZTaxSession session, struct NPANXX_codeEx *trans, double
*base_sale, int *err_code);
PF_FUNC_SPEC short int EZTaxRevPCode(EZTaxSession session, struct P_CodeEx *trans, double
*base_sale, int *err_code);
PF_FUNC_SPEC short int EZTaxRevZip(EZTaxSession session, struct zip_codeEx *trans, double
*base_sale, int *err_code);
PF_FUNC_SPEC short int EZTaxAdjRevJCode(EZTaxSession session, struct J_CodeEx *trans, int
discount_type, int adj_method, double *base_sale, int *err_code);
PF_FUNC_SPEC short int EZTaxAdjRevNPAN(EZTaxSession session, struct NPANXX_codeEx *trans, int
discount_type, int adj_method, double *base_sale, int *err_code);
PF_FUNC_SPEC short int EZTaxAdjRevPCode(EZTaxSession session, struct P_CodeEx *trans, int
discount_type, int adj_method, double *base_sale, int *err_code);
PF_FUNC_SPEC short int EZTaxAdjRevZip(EZTaxSession session, struct zip_codeEx *trans, int
discount_type, int adj_method, double *base_sale, int *err_code);
/* If defined for C++ environment */
#ifdef __cplusplus
}
#endif
#endif /* _inc_EZTaxProto_ */

AFC Telecom User Manual | 400 of 401
Copyright 2018 Avalara, Inc.
Appendix G Monthly Update Procedure
The AFC monthly update is available at approximately 4:00 PM Central time on the day before the
last business day of each month. It contains updated tax information and database files and is available at
the Avalara Support web site. The update contains changes resulting from ongoing research and
development, providing the most current and efficient tax-rating engine available.
The process of updating your AFC system is similar to the procedure used to install AFC. Use the
Installation Wizard to update your files monthly. There is no need to compile your system data because
the Avalara database and AFC software functions are independent from your billing system. Simply
follow the seven easy steps.
WARNING
AFC
MUST
be updated each month in order for the program to be
current. If the download is not completed within the allotted month,
AFC is disabled to prevent incorrect tax calculations.
Download the Monthly Update
The Monthly updates are available from the client download page of the AFC Comms Platform web site:
https://communications.avalara.net.
1. Click on this URL or copy it to your browser and click “go.” You will be taken to the Avalara Login
Screen. Refer to Figure 8-1.
2. Enter your User ID and Password and click on the “Log In” button.
Figure 8-1 Web Page Login Screen

AFC Telecom User Manual | 401 of 401
Copyright 2018 Avalara, Inc.
3. Refer to Figure 8-2. After a successful Login, click on “Downloads” in the selection menu near the
top of the screen.
Figure 8-2 Support Home
4. Refer to Figure 8-3. The Downloads screen contains the list of file(s) (with descriptions and
versions) to be downloaded. Click on the description of the file to be downloaded.
Figure 8-3 Downloads Available

AFC Telecom User Manual | 402 of 401
Copyright 2018 Avalara, Inc.
5. At the bottom of the screen, a window asking if you want to open or save the selected file
appears. Click “Open” and the content of the file is opened. Save the file in the appropriate
location.
6. Refer to Figure 8-4. After the file has been downloaded you will be returned to the Download
screen. There will be a check mark next to the file you downloaded. Mouse-over the check mark
to view the User Name and time that the file was downloaded.
Figure 8-4 Downloaded Files
7. If you have custom designed your application with different directories than the defaults
established by Avalara then move the appropriate files to their folders.

AFC Telecom User Manual | 403 of 401
Copyright 2018 Avalara, Inc.
Important Files in Update
The following files and directories are included in the monthly update:
• Update.exe - Utility that steps the user through the process of installing the update.
• Current tax changes and other documents - located in the \support\docs directory are file format
keys, guidelines, and the Tax Changes <month year>.doc
• filelocs.upd – rename this new file “filelocs.txt”
Monthly Maintenance
Proper monthly maintenance will keep the AFC system operating without interruption. Refer to the
following figure for the update procedure flow.
1. Take an inventory of all file directories and locations.
2. Create a backup of these either on media such as a diskette or save them to a backup directory.
3. Once the update is installed, closely review the update file locations.
4. Run a Test on a small file.
5. Review the \support\docs directory for tax changes and current update information.

AFC Telecom User Manual | 404 of 401
Copyright 2018 Avalara, Inc.
Figure 8-5 EZtax Update Procedure

AFC Telecom User Manual | 405 of 401
Copyright 2018 Avalara, Inc.
Help Guide
The Help guide is provided to support users when encountering difficulties with AFC. Users are
encouraged to contact Avalara with concerns of any nature:
Toll Fee: 800-525-8175
Corporate Website: http://communications.avalara.com/
AFC Comms Platform Website: https://communications.avalara.net
Email: communicationsupport@avalara.com
Troubleshooting
Troubleshooting information is provided to assist users in diagnosing and resolving issues when
encountered.
Table 8-1 Troubleshooting
Issue
Solution
When running an application that uses the EZTax2.dll, get
Unable to locate DLL error.
Make sure that EZTax2.dll is located in the working
directory or in a directory that is in your search path.
Open of filelocs.txt configuration file failed!
Place the filelocs.txt file in your working directory
EZTaxInitEx function call returns null tax table pointer
and invalid session
handle.
There is number of reasons EZTaxInitEx failed. Look in the
*.sta status files for indication of why the failure
happened. Most common items are the Database files are
expired or the file paths to the database and output files
were not specified.
When making adjustments,
AFC returns a positive tax.
When using the AFC adjustment functions, make sure the
tax amount entered is positive. The adjustment functio
ns
will then negate the charge or lines.
I calculate taxes by hand using the charge I sent and the
tax rate and tax amount
AFC returns and the results do
not compute.
AFC
takes into account tax on taxes, which will make the
tax base larger than the charge that was passed to
AFC.

AFC Telecom User Manual | 406 of 401
Copyright 2018 Avalara, Inc.
FAQ’s
FAQ’s are provided to answer common user questions.
Table 8-2 FAQ’s
Question
Answer
What happens if I passed in an invalid NPANXX?
No taxes are generated and the invalid number is reported
to EZTax.sta, and the err_code is set.
How do I apply taxes to other countries by using the
NPANXX functions?
By passing into the system the country id for that country
as the NPANXX. This should be defined in a header file.
I want to call AFC to compute taxes for a quote but not
log the taxes to the file.
Open a second s
ession with logging turned off.
What if I want to get a PCode for a Country or State in
AFC
?
Use the EZTaxZipToPCodeP4Ex function. If trying to find
PCode for a country, specify the country ISO code and the
rest of the field as null strings. If trying to find PCode for a
state, specify the country ISO code, state abbreviation and
the rest of the fields as null strings.
Do I need to input the county for EZTaxZip functions?
No, but if city crosses county boundaries, AFC will return
the first match it finds.
I have more than one tax log for the month. How do I
produce one compliance report?
You can use EZTaxAppend or EZTaxAppendF utilities to
append binary tax logs together. Also some
AFC
reporting
utilities allow combining tax logs together.
Do the field lengths include the null terminator for C
strings.
All field lengths are the actual size in the structure. Be sure
to allow one character for the null terminator.