19100 TM 9 6115 545 24_Parts 24 Parts
TM-9-6115-545-24P GENERATOR SET, DIESEL ENGINE DRIVEN, TAC SKID MTD., 60 KW, 3 PHASE, 4 WIRE, 120/208 AND 240/416 VOLTS, D S MEP-006A, UTILITY CLASS, 50/60 H/Z, (NSN 6115-00-118-124 MEP-105A, PRECISE CLASS, 50/60 H/Z, (6115-00-118-1252), MEP-115 P TM-9-6115-545-24P Military Generators == MEP 105A
TM-9-6115-545-24P GENERATOR SET, DIESEL ENGINE DRIVEN, TAC SKID MTD., 60 KW, 3 PHASE, 4 WIRE, 120/208 AND 240/416 VOLTS, D S MEP-006A, UTILITY CLASS, 50/60 H/Z, (NSN 6115-00-118-124 MEP-105A, PRECISE CLASS, 50/60 H/Z, (6115-00-118-1252), MEP-115 P TM-9-6115-545-24P Military Generators == MEP 006A
User Manual: TM-9-6115-545-24_Parts Military Generators == MEP 006A
Open the PDF directly: View PDF
.
Page Count: 459 [warning: Documents this large are best viewed by clicking the View PDF Link!]
- TOC
- GROUPS
- SECTIONS
- FIGURES
- FIGURE 1
- FIGURE 2
- FIGURE 3
- FIGURE 4
- FIGURE 5
- FIGURE 6
- FIGURE 7
- FIGURE 8
- FIGURE 9
- FIGURE 10
- FIGURE 11
- FIGURE 12
- FIGURE 13
- FIGURE 14
- FIGURE 15
- FIGURE 16
- FIGURE 17
- FIGURE 18
- FIGURE 19
- FIGURE 20
- FIGURE 21
- FIGURE 22
- FIGURE 23
- FIGURE 24
- FIGURE 25
- FIGURE 26
- FIGURE 27
- FIGURE 28
- FIGURE 29
- FIGURE 30
- FIGURE 31
- FIGURE 32
- FIGURE 33
- FIGURE 34
- FIGURE 35
- FIGURE 36
- FIGURE 37
- FIGURE 38
- FIGURE 39
- FIGURE 40
- FIGURE 41
- FIGURE 42
- FIGURE 43
- FIGURE 44
- FIGURE 45
- FIGURE 46
- FIGURE 47
- FIGURE 48
- FIGURE 49
- FIGURE 50
- FIGURE 51
- FIGURE 52
- FIGURE 53
- FIGURE 54
- FIGURE 55
- FIGURE 56
- FIGURE 57
- FIGURE 58
- FIGURE 59
- FIGURE 60
- FIGURE 61
- FIGURE 62
- FIGURE 63
- FIGURE 64
- FIGURE 65
- FIGURE 66
- FIGURE 67
- FIGURE 68
- FIGURE 69
- FIGURE 70
- FIGURE 71
- FIGURE 72
- FIGURE 73
- FIGURE 74
- FIGURE 75
- FIGURE 76
- FIGURE 77
- FIGURE 78
- FIGURE 79
- FIGURE 80
- FIGURE 81
- FIGURE 82
- FIGURE 83
- FIGURE 84
- FIGURE 85
- FIGURE 86
- FIGURE 87
- FIGURE 88
- FIGURE 89
- FIGURE 90
- FIGURE 91
- FIGURE 92
- FIGURE 93
- FIGURE 94
- FIGURE 95
- FIGURE 96
- FIGURE 97
- FIGURE 98
- FIGURE 99
- FIGURE 100
- FIGURE 101
- FIGURE 102
- FIGURE 103
- FIGURE 104
- FIGURE 105
- FIGURE 106
- FIGURE 107
- FIGURE 108
- FIGURE 109
- FIGURE 110
- FIGURE 111
- FIGURE 112
- FIGURE 113
- FIGURE 114
- FIGURE 115
- FIGURE 116
- FIGURE 117
- FIGURE 118
- FIGURE 119
- FIGURE 120
- FIGURE 121
- FIGURE 122
- FIGURE 123
- FIGURE 124
- FIGURE 125
- FIGURE 126
- FIGURE 127
- FIGURE 128
- FIGURE 129
- FIGURE 130
- FIGURE 131
- FIGURE 132
- FIGURE 133
- FIGURE 134
- FIGURE 135
- FIGURE 136
- FIGURE 137
- FIGURE 138
- FIGURE 139
- FIGURE 140
- FIGURE 141
- FIGURE 142
- FIGURE 143
- FIGURE 144
- FIGURE 145
- FIGURE 146
- FIGURE 147
- FIGURE 148
- PAGES
- PAGE 8
- PAGE 11
- PAGE 16
- PAGE 18
- PAGE 20
- PAGE 22
- PAGE 24
- PAGE 26
- PAGE 28
- PAGE 30
- PAGE 32
- PAGE 35
- PAGE 40
- PAGE 42
- PAGE 45
- PAGE 52
- PAGE 55
- PAGE 60
- PAGE 62
- PAGE 64
- PAGE 66
- PAGE 68
- PAGE 71
- PAGE 82
- PAGE 88
- PAGE 90
- PAGE 94
- PAGE 96
- PAGE 98
- PAGE 100
- PAGE 102
- PAGE 105
- PAGE 110
- PAGE 112
- PAGE 114
- PAGE 116
- PAGE 118
- PAGE 120
- PAGE 122
- PAGE 126
- PAGE 130
- PAGE 134
- PAGE 136
- PAGE 138
- PAGE 140
- PAGE 142
- PAGE 146
- PAGE 148
- PAGE 152
- PAGE 154
- PAGE 156
- PAGE 158
- PAGE 162
- PAGE 165
- PAGE 171
- PAGE 174
- PAGE 176
- PAGE 178
- PAGE 180
- PAGE 182
- PAGE 184
- PAGE 190
- PAGE 192
- PAGE 196
- PAGE 199
- PAGE 206
- PAGE 208
- PAGE 210
- PAGE 212
- PAGE 214
- PAGE 218
- PAGE 220
- PAGE 222
- PAGE 226
- PAGE 230
- PAGE 234
- PAGE 236
- PAGE 238
- PAGE 242
- PAGE 246
- PAGE 248
- PAGE 250
- PAGE 252
- PAGE 254
- PAGE 256
- PAGE 258
- PAGE 262
- PAGE 266
- PAGE 268
- PAGE 270
- PAGE 272
- PAGE 274
- PAGE 278
- PAGE 280
- PAGE 282
- PAGE 284
- PAGE 298
- PAGE 302
- PAGE 304
- PAGE 308
- PAGE 310
- PAGE 312
- PAGE 314
- PAGE 316
- PAGE 318
- PAGE 320
- PAGE 324
- PAGE 326
- PAGE 328
- PAGE 332
- PAGE 336
- PAGE 339
- PAGE 344
- PAGE 347
- PAGE 354
- PAGE 357
- PAGE 362
- PAGE 364
- PAGE 368
- PAGE 371
- PAGE 376
- PAGE 378
- PAGE 382
- PAGE 384
- PAGE 386
- PAGE 388
- PAGE 390
- PAGE 392
- PAGE 394
- PAGE 396
- PAGE 398
- PAGE 402
- PAGE 406
- PAGE 408
- PAGE 410
- PAGE 412
- PAGE 415
- PAGE 440
- PAGE 485

ARMY TECHNICAL MANUAL TM 9-6115-545-24P
AIR FORCE TECHNICAL ORDER TO 35C2-3-444-4
NAVY PUBLICATION NAVFAC P-8-626-24P
MARINE CORPS STOCK LIST SL-400038G/07499A
TECHNICAL MANUAL
UNIT, DIRECT AND GENERAL SUPPORT, AND DEPOT
MAINTENANCE REPAIR PARTS AND SPECIAL TOOLS LIST
GENERATOR SET, DIESEL ENGINE DRIVEN, TACTICAL, SKID RTD.,
60 KW, 3 PHASE, 4 WIRE, 120/208 AND 240/416 VOLTS
DOD MODEL CLASS HERTZ NSN
MEP-006A UTILITY 50/60 6115-00-118-1243
MEP-105A PRECISE 50/60 6115-00-118-1252
MEP-115A PRECISE 400 6115-00-118-1253
INCLUDING OPTIONAL KITS
DOD MODEL NOMENCLATURE NSN
MEP-006AWF WINTERIZATION KIT, FUEL BURNING 6115-00-407-8314
MEP-006AWE WINTERIZATION KIT, ELECTRIC 6115-00-455-7693
MEP-006ALM LOAD BANK KIT 6115-00-407-8322
MEP-O06AWM WHEEL MOUNTING KIT 6115-00-463-9092
DISTRIBUTION STATEMENT A: Approved for public release; distribution is unlimited.
This manual supersedes TM 5-6115-545-24P/TO 35C2-3-444-4/NAVFAC P-8-626-
24P/SL-400038G/7499A, dated 27 December 1983, including all changes.
DEPARTMENTS OF THE ARMY, AIR FORCE,
NAVY AND HEADQUARTERS, MARINE CORPS
28 JUNE 1995

ARMY TECHNICAL MANUAL TM 9-6115-545-24P
AIR FORCE TECHNICAL ORDER TO 35C2-3-444-4
NAVY PUBLICATION NAVFAC P-8-626-24P
MARINE CORPS STOCK LIST SL-400038G/07499A
TECHNICAL MANUAL HEADQUARTERS, DEPARTMENTS OF
THE ARMY, AIR FORCE, AND NAVY,
AND HEADQUARTERS, U.S. MARINE CORPS
NO. 9-6115-545-24P WASHINGTON, D.C., 28 JUNE 1995
UNIT, DIRECT AND GENERAL SUPPORT, AND DEPOT
MAINTENANCE REPAIR PARTS AND SPECIAL TOOLS LIST
GENERATOR SET, DIESEL ENGINE DRIVEN, TACTICAL, SKID MTD.,
60 KW, 3 PHASE, 4 WIRE, 120/208 AND 240/416 VOLTS
DOD MODEL CLASS HERTZ NSN
MEP-006A UTILITY 50/60 6115-00-118-1243
MEP-105A PRECISE 50/60 6115-00-118-1252
MEP-115A PRECISE 400 6115-00-118-1253
INCLUDING OPTIONAL KITS
DOD MODEL NOMENCLATURE NSN
MEP-006AWF WINTERIZATION KIT, FUEL BURNING 6115-00-407-8314
MEP-006AWE WINTERIZATION KIT, ELECTRIC 6115-00-455-7693
MEP-006ALM LOAD BANK KIT 6115-00-407-8322
MEP-O06AWM WHEEL MOUNTING KIT 6115-00-463-9092
The effective date of this publication is 28 June 1995. Instructions herein shall not be used prior to that date.
REPORTING ERRORS AND RECOMMENDING IMPROVEMENTS
You can help improve this manual. If you find any mistakes or if you know of a way to
improve the procedures, please let us know. Mail your letter or DA Form 2028
(Recommended Changes to Publications and Blank Forms), or DA Form 2028-2 located
in the back of this manual directly to: Commander, US Army Aviation and Troop
Command, ATTN: AMSAT-I-MP, 4300 Goodfellow Blvd., St. Louis, MO 63120-1798. A
reply will be furnished directly to you.
DISTRIBUTION STATEMENT: A: Approved for public release; distribution Is unlimited.
This manual supersedes TM5-6115-545-24P/T035C2-3-444-4/NAVFAC P-8-626-24P/SL-400038G/07499A dated 27
DECEMBER 1983 including all changes.
i
TM 9-6115-545-24P
TO 35C2-3-441-4
NAVFAC P-8-626-24P
SL-400038G/07499A
TABLE OF CONTENTS
Page Illustration
SECTION IINTRODUCTION
SECTION II INTRODUCTION
Group 01 Batteries and Slave Receptacles........................................................................... 8 1
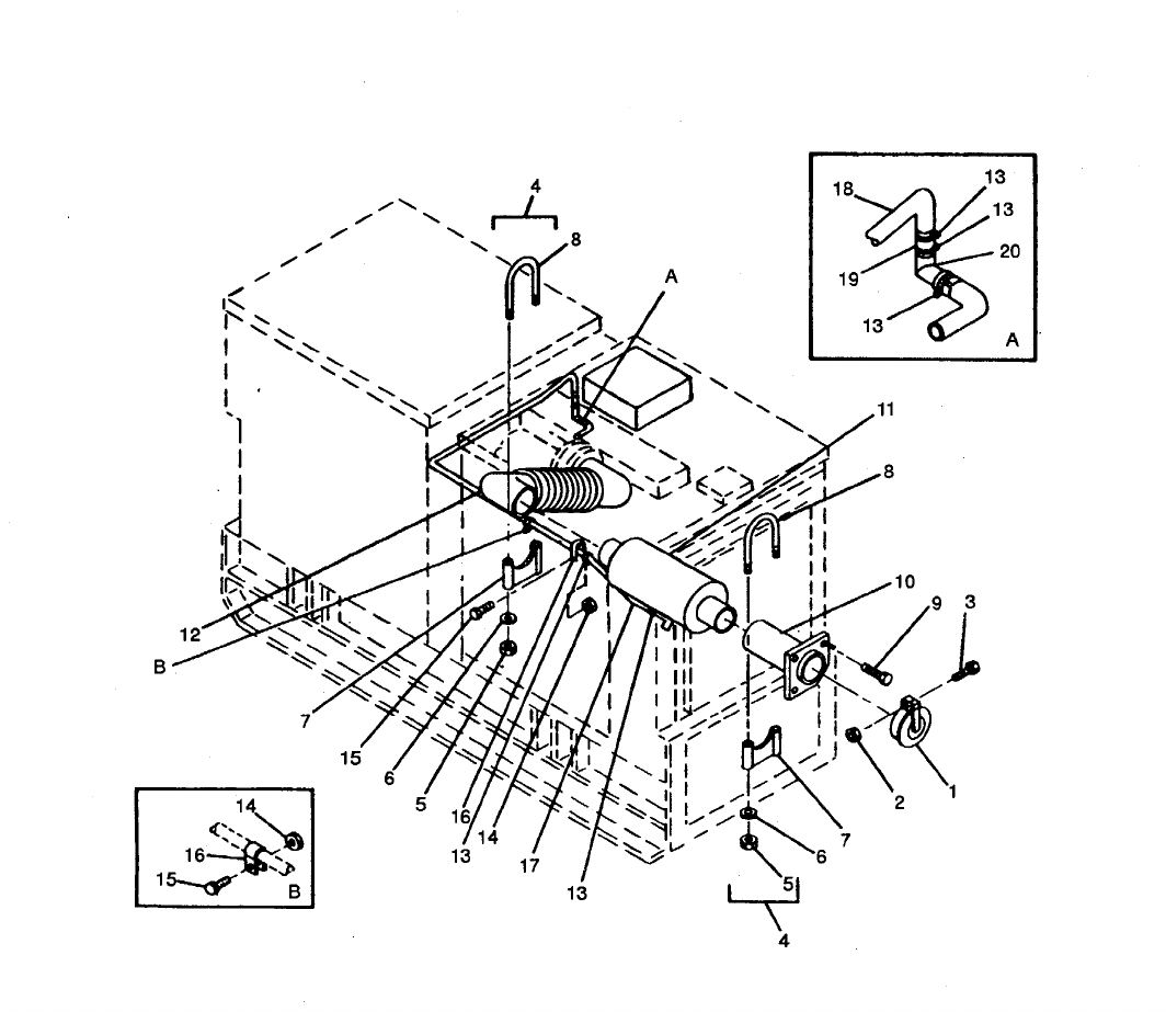
Group 02 Muffler, Exhaust and Breather Pipes .................................................................. 11 2
Group 03 Convenience Receptacles .................................................................................. 16 3
Group 05 Plate and Sleeve Assembly ............................................................................... 18 4
Group 06 Paralleling Receptacles ...................................................................................... 20 5
Wiring Harness, Convenience and Paralleling .................................................... 22 6
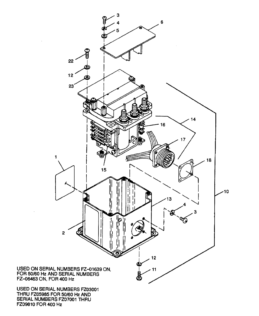
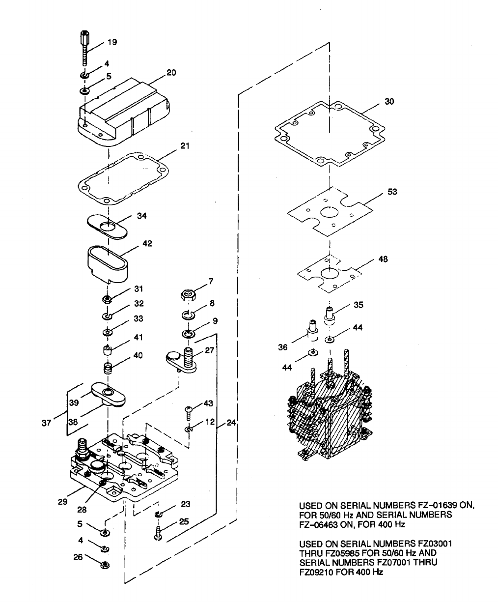
Group 07 Generator Set Controls ...................................................................................... 24 7
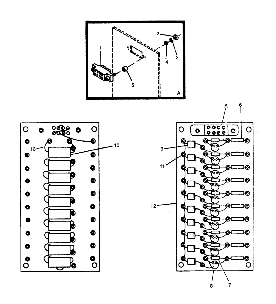
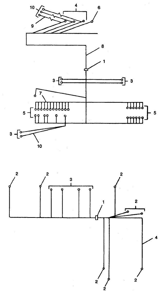
Wiring Harness, Control Cubicle ........................................................................ 26 8
Wiring Harness, Fault Indicator .......................................................................... 26 9
Fault Locating Indicator ...................................................................................... 28 10
Wiring Harness .................................................................................................. 30 11
Components Board Assembly ............................................................................ 32 12
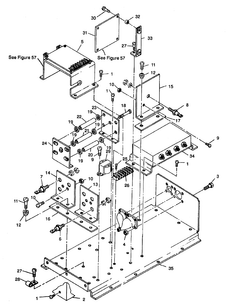
Control Box, Generator ...................................................................................... 35 13
Wiring Harness, Branched, Control Box ............................................................. 40 14
Circuit Card Assembly......................................................................................... 42 15
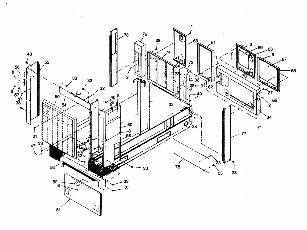
Group 08 Housing Group.................................................................................................... 45 16
Plates, Diagram, AC and DC .............................................................................. 52 17
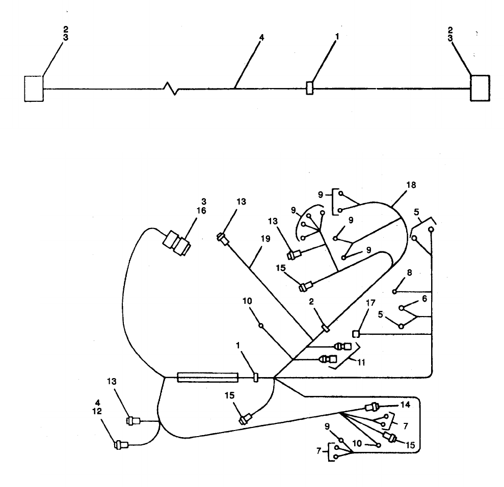
Group 09 Engine Generator and Chassis Wiring Harness .................................................. 55 18
Wiring Harness, Precise Relay Box .................................................................... 60 19
Wiring Harness, Tactical Relay Box .................................................................. .60 20
Wiring Harness, Excitation System .................................................................... 60 21
Wiring Harness, LMU Assembly ......................................................................... 62 22
Wiring Harness, Governor Control to Precise Relay ........................................... 62 23
Wiring Harness Assembly, Governor Control to Actuator . .................................. 62 24
Wiring Harness Assembly, Governor Control to Actuator . .................................. 64 25
Wiring Harness, Branched, Engine Accessories ................................................. 64 26
Wiring Harness, AC Power Control .................................................................... 66 27
Wiring Harness, RFI Capacitors ......................................................................... 66 28
Wiring Harness, AC, Power Control . .................................................................. 68 29
Group 10 Load Connection Group ..................................................................................... 71 30
Main Load Contactor........................................................................................... 82 31
Load Terminal Board Assembly ......................................................................... 88 32
Current Transformer Assembly .......................................................................... 90 33
Wiring Harness, Current Transformer ................................................................. 94 34
Reconnection Board ........................................................................................... 96 35
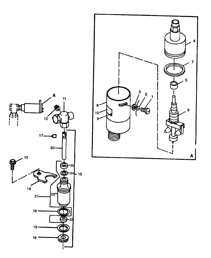
Group 11 Governor Control Unit and Related Parts ........................................................... 98 36
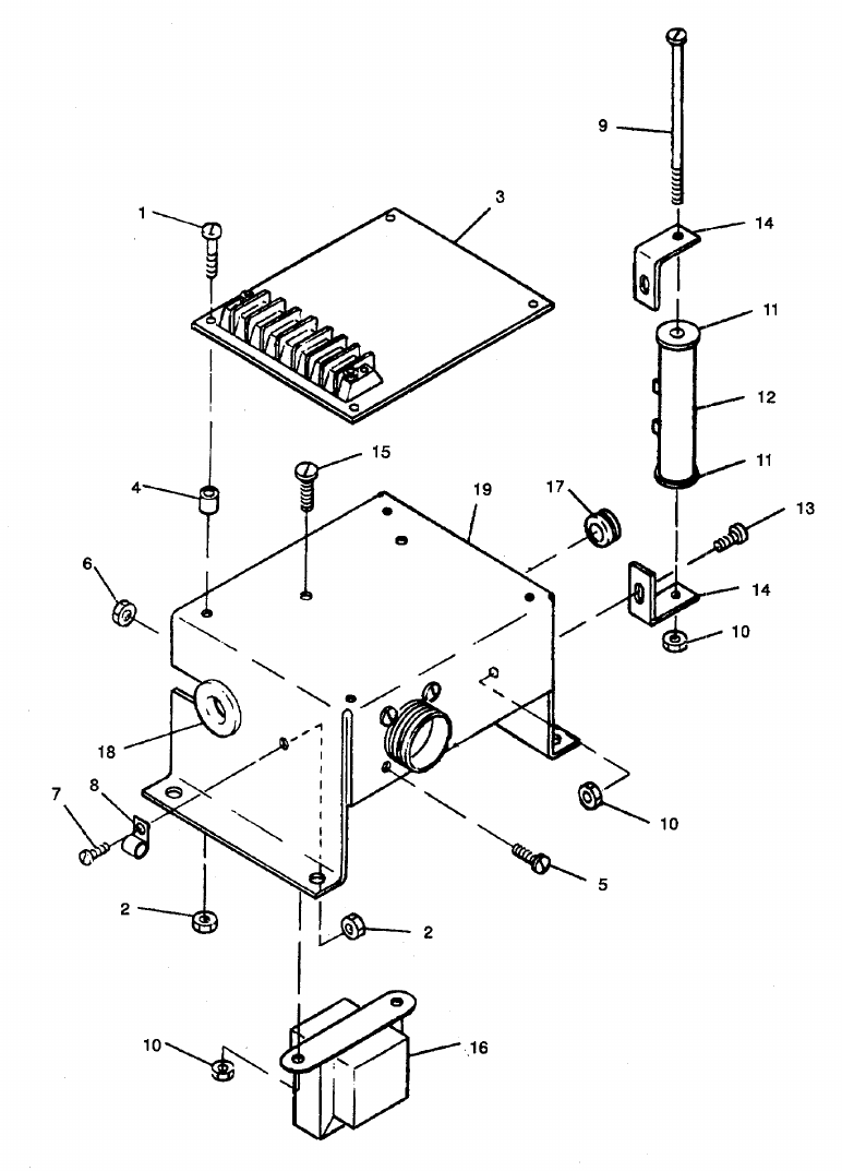
Governor Control Unit ...................................................................................... 100 37
Wiring Harness, Governor Control Unit 50/60 HZ.............................................. 102 38
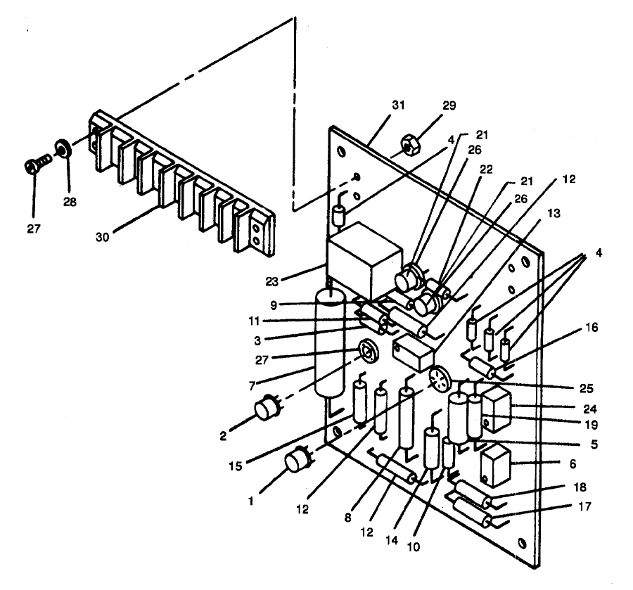
Electric Governor Printed Circuit Board Assembly ........................................... 105 39
Hydraulic Pump Cover Plate............................................................................. 110 40
Control Unit and Magnetic Pickup ..................................................................... 112 41
Actuator, Electric Governor............................................................................... 114 42
Actuator Linkage............................................................................................... 116 43
Wiring Harness, Electric Governor.................................................................... 118 44
ii
TM 9-6115-545-24P
TO 35C2-3 4M4-4
NAVFAC P-8-626-24P
SL-400038G/07499A
TABLE OF CONTENTS - Continued
Page Illustration
Group 12 Air Cleaner and Related Parts........................................................................... 120 45
Group 13 Relay Table and Related Parts.......................................................................... 122 46
Relay Box Assembly......................................................................................... 126 47
Tactical Relay................................................................................................... 130 48
Wiring Harness Assembly, Branched ................................................................ 134 49
Tactical Relay................................................................................................... 136 50
Resistor, Electrical ............................................................................................ 138 51
Tactical Relay................................................................................................... 140 52
Precise Relay Assembly, 50/60 HZ ................................................................... 142 53
Wiring Harness Assembly ................................................................................. 146 54
Excitation System Assembly............................................................................. 148 55
Wire Harness Assembly.................................................................................... 152 56
Voltage Regulator ............................................................................................. 154 57
Wiring Harness, Voltage Regulator .................................................................. 156 58
Voltage Regulator Circuit Card Assembly.......................................................... 158 59
Circuit Card Assembly....................................................................................... 162 60
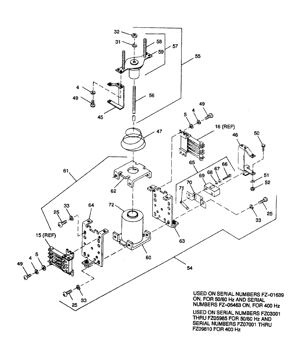
Special Relay Assembly.................................................................................... 165 61
Wiring Harness, Special Relay Box 50/60 HZ and 400 HZ ................................ 171 62
Resistor Assembly ............................................................................................ 174 63
Circuit Card Assembly....................................................................................... 176 64
Load Measuring Unit......................................................................................... 178 65
Wiring Harness Assembly ................................................................................. 180 66
Group 14 AC Generator and Related Parts....................................................................... 182 67
AC Generator Assembly.................................................................................... 184 68
Rectifier Assembly ........................................................................................... 190 69
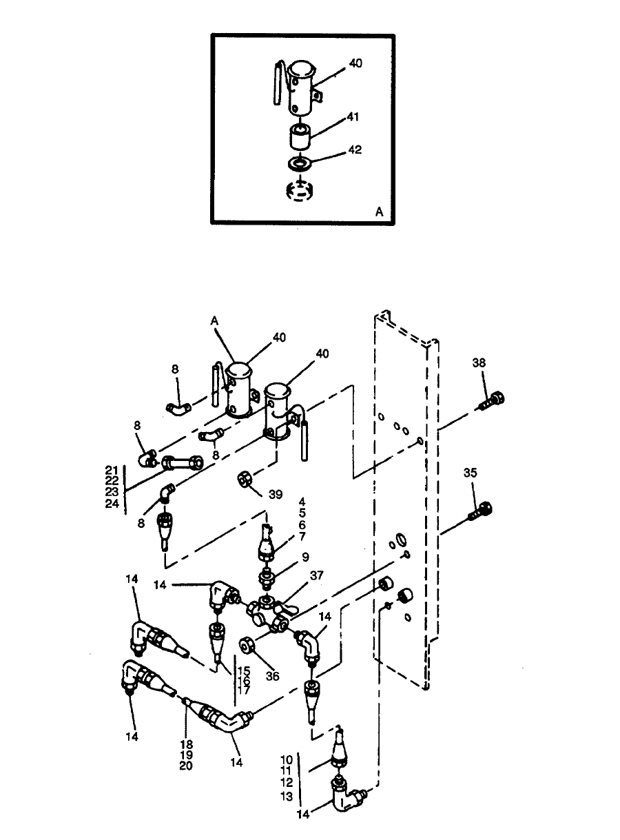
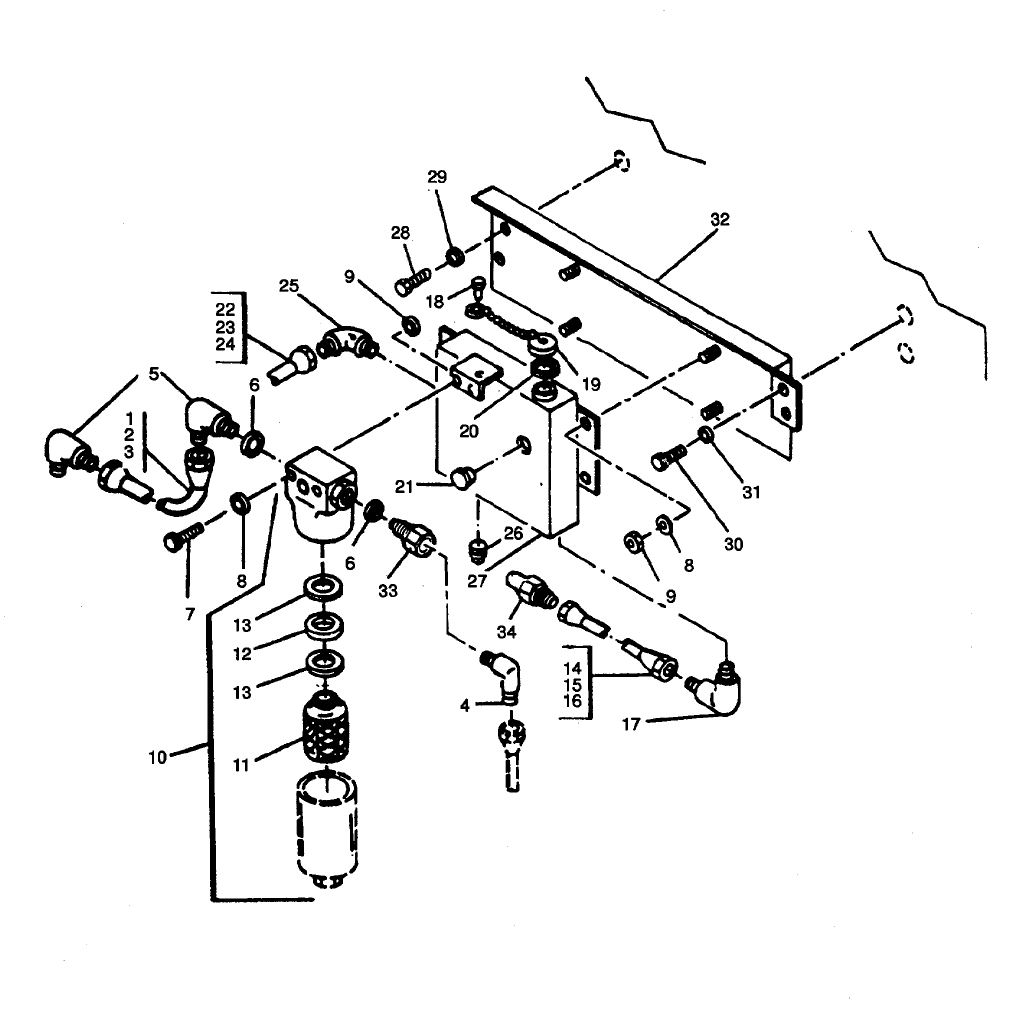
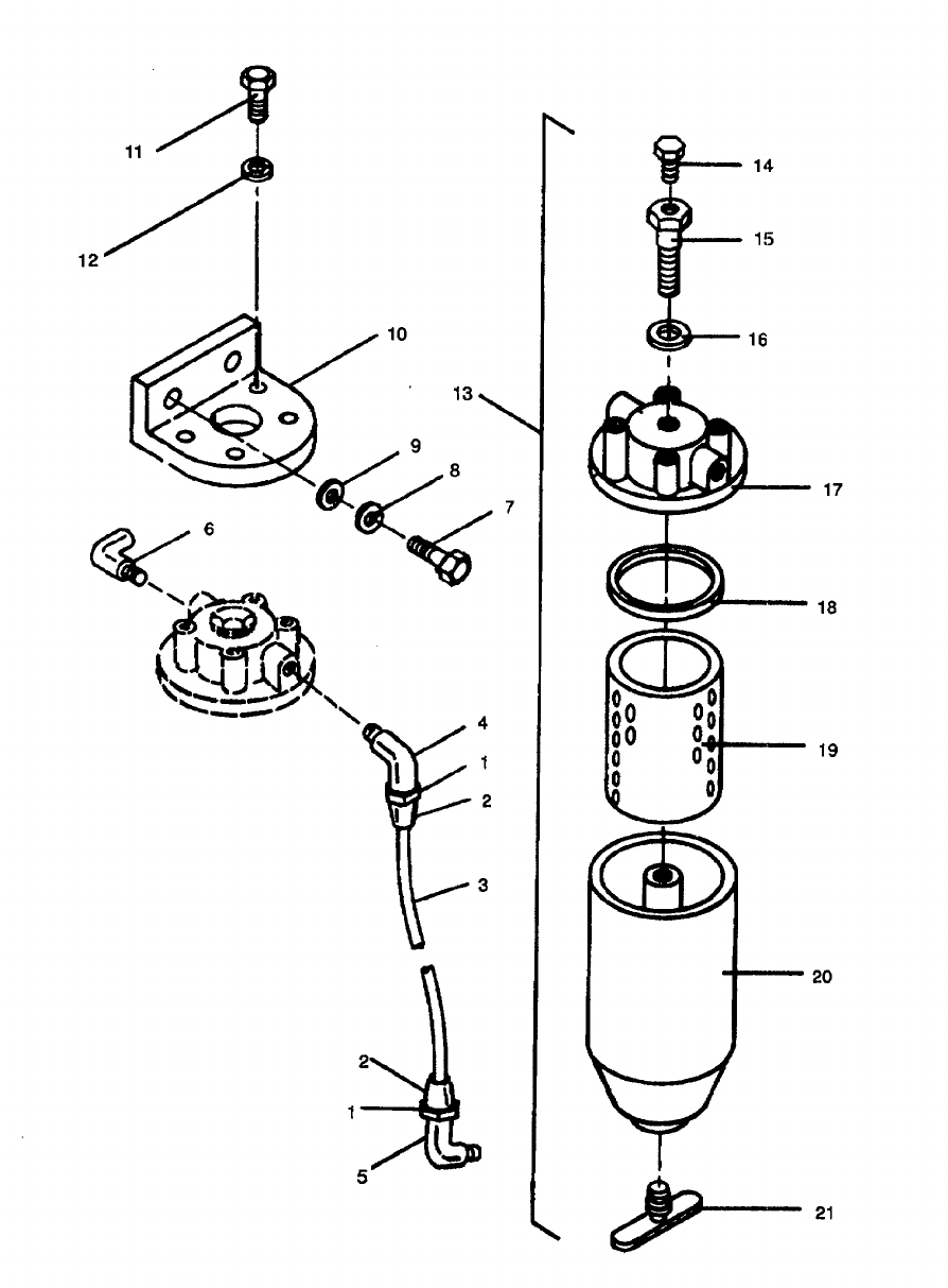
Group 15 Day Tank and Primary Fuel Filter...................................................................... 192 70
Filter, Fluid........................................................................................................ 196 71
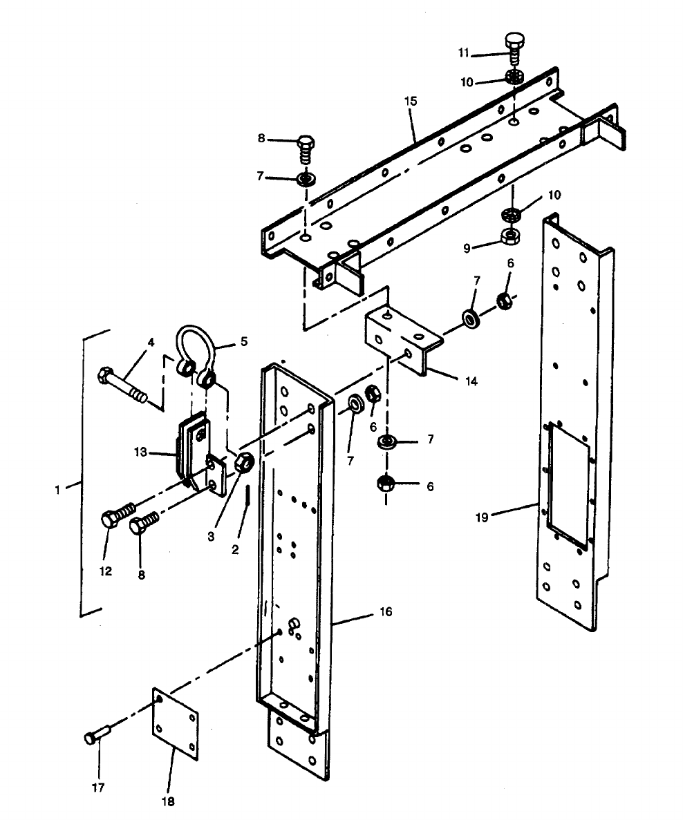
Group 16 Center Support and Related Parts..................................................................... 199 72
Lifting Frame Assembly .................................................................................... 206 73
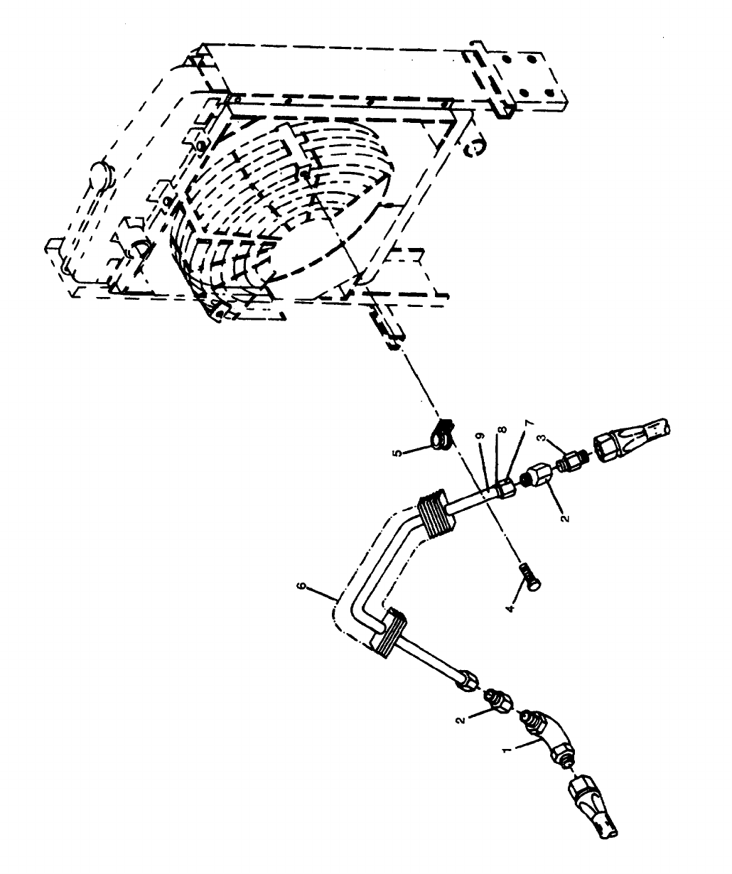
Group 17 Hydraulic Cooler and Related Parts .................................................................. 208 74
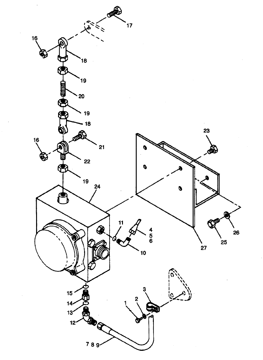
Cooling Group and Related Parts...................................................................... 210 75
Control Assembly and Related Parts................................................................. 212 76
Control Assembly.............................................................................................. 214 77
Cooling Group................................................................................................... 218 78
Shutter Assembly.............................................................................................. 220 79
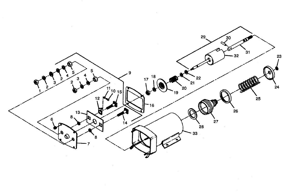
Group 18 Hydraulic Actuator and Related Parts................................................................ 222 80
Actuator Assembly, Electric .............................................................................. 226 81
Group 19 Hydraulic Sump and Filter................................................................................. 230 82
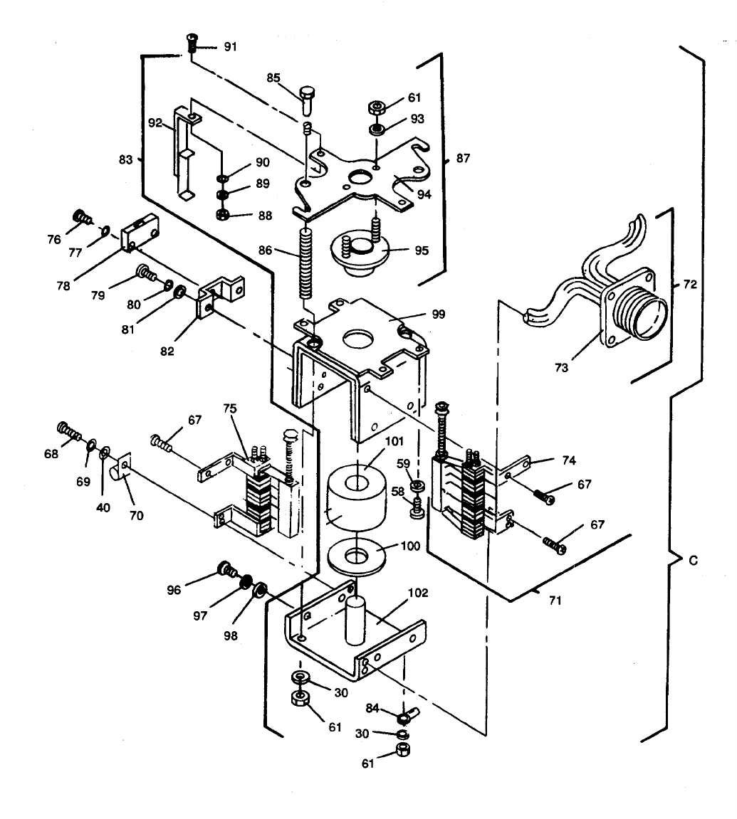
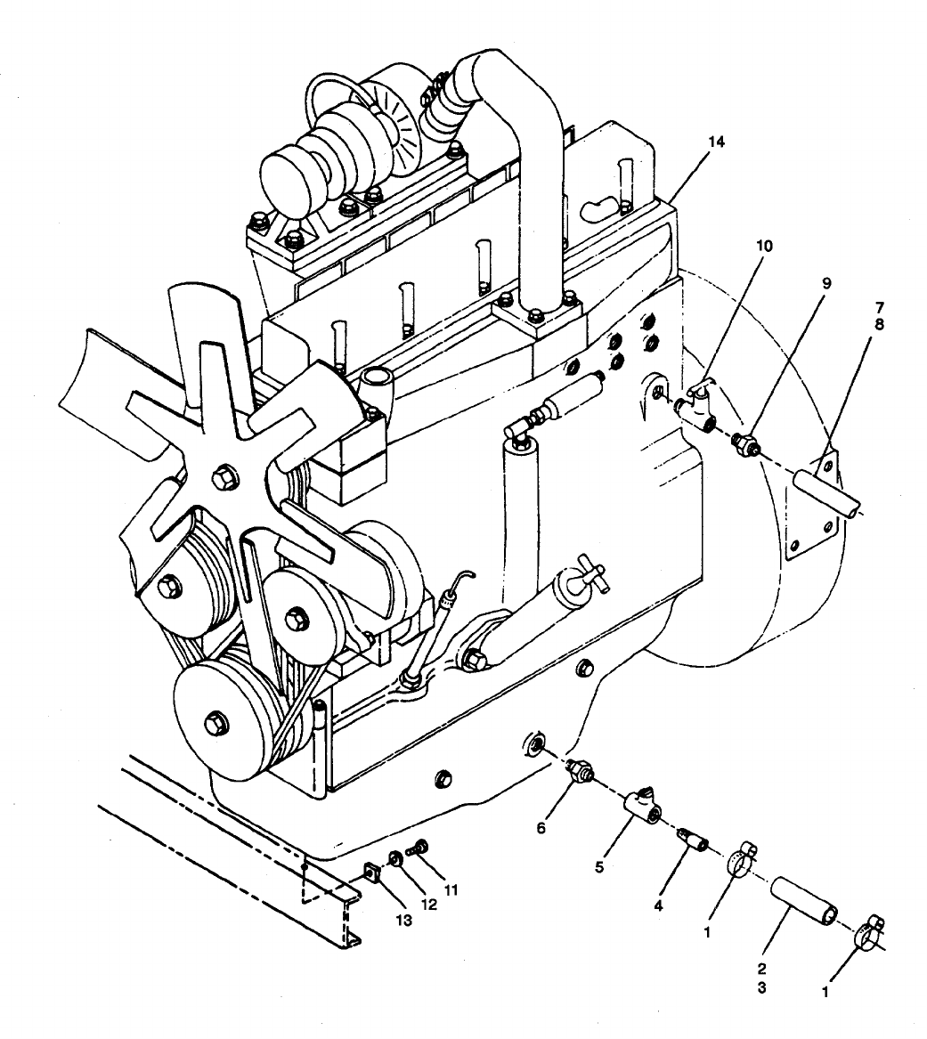
Group 20 Engine Assembly and Related Parts ................................................................ 234 83
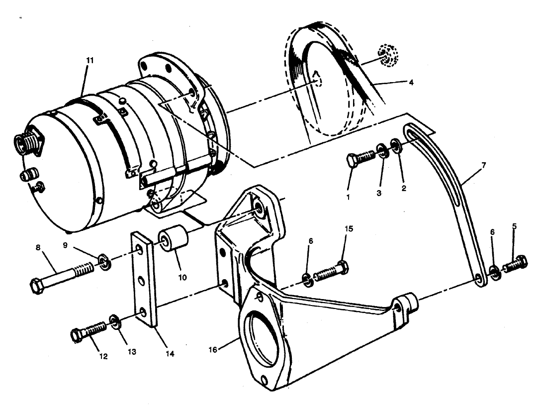
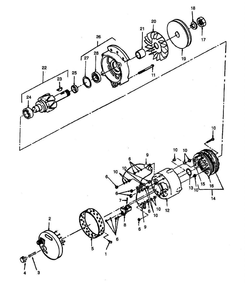
Alternator and Related Parts ............................................................................. 236 84
Generator, Engine ............................................................................................ 238 85
Alternator, Battery Charging.............................................................................. 242 86
Alternator, Battery Charging.............................................................................. 246 87
Hydraulic Pump and Related Parts.................................................................... 248 88
Speed Switch and Tachometer Drive ................................................................ 250 89
Switch Overspeed............................................................................................. 252 90
Oil Level Gage and Filter.................................................................................. 254 91
Electric Starter and Related Parts ..................................................................... 256 92
Electrical Starter Assembly ............................................................................... 258 93
iii
TM 9-6115-545-24P
TO 35C2-3-444-4
NAVFAC P-8-626-24P
SL-400038G/07499A
TABLE OF CONTENTS - Continued
Page Illustration
Group 20 Engine Assembly and Related Parts - (Continued)
Relay, Engine .................................................................................................. 262 94
Frame and Field Assembly ............................................................................... 266 95
Engine Lube Oil Filters...................................................................................... 268 96
Secondary Fuel Filter........................................................................................ 270 97
Lube Oil Cooler................................................................................................. 272 98
Nozzle Holder and Line Assemblies .................................................................. 274 99
Fuel Injection System...................................................................................... 278 100
Nozzle Holder Assembly ................................................................................. 280 101
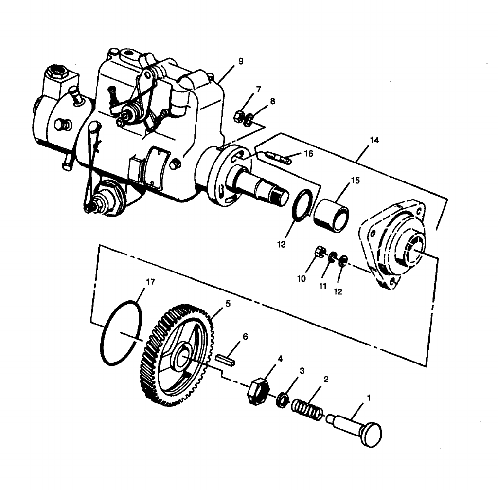
Injection Pump and Related Parts..................................................................... 282 102
Pump, Fuel, Metering........................................................................................ 284 103
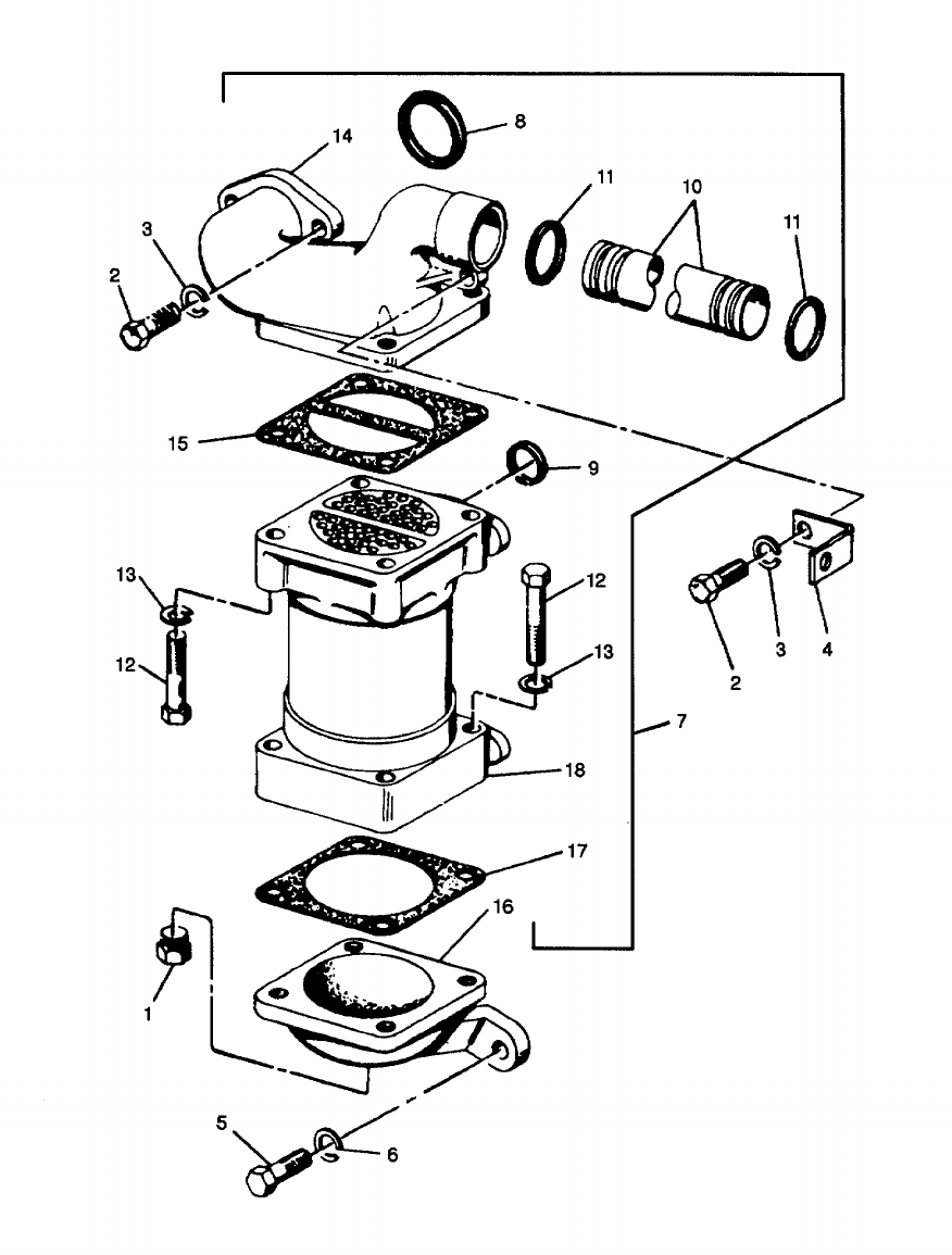
Diffuser and Turbocharger ................................................................................ 298 104
Turbocharger Assembly ................................................................................. . 302 105
Water Pump and Fan........................................................................................ 304 106
Thermostat and Housing................................................................................... 308 107
Crankshaft Pulley and Related Parts ................................................................ 310 108
Idler Pulley and Related Parts........................................................................... 312 109
Intake Manifold ................................................................................................ 314 110
Exhaust Manifold ............................................................................................. 314 111
Engine Front Support ....................................................................................... 316 112
Oil Pan Assembly ............................................................................................ 318 113
Oil Pump and Related Parts.............................................................................. 320 114
Oil Pump Assembly .......................................................................................... 324 115
Flywheel and Housing....................................................................................... 326 116
Timing Gear and Cover..................................................................................... 328 117
Cylinder Head and Valve Operating Mechanism ............................................... 332 118
Rocker Arm Shaft Assembly ............................................................................. 336 119
Cylinder Head Assembly................................................................................... 336 120
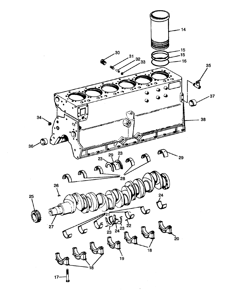
Piston, Crankshaft and Block ............................................................................ 339 121
Cylinder Block Assembly................................................................................... 344 122
Group 21 Base Group ...................................................................................................... 347 123
Group 22 Accessory Items ............................................................................................... 354 124
Group 25 Fuel Burning Winterization Kit........................................................................... 357 125
Wiring Harness Assembly ................................................................................. 362 126
Wiring Harness Assembly ................................................................................. 362 127
Engine Coolant Heater...................................................................................... 364 128
Heater Control Box Assembly ........................................................................... 368 129
Group 26 Electric Winterization Kit................................................................................... 371 130
Wiring Harness, Winterization Kit, Electric....................................................... .376 131
Electric Heater Control Box............................................................................... 378 132
Wire Harness Assembly................................................................................... .382 133
Electric Winterization Pump Motor Assembly................................................... .384 134
Group 27 Wheel Mounting Kit........................................................................................... 386 135
Running Gear Assembly ................................................................................... 388 136
Handbrake Lever and Shaft Assembly .............................................................. 390 137
Hand Lever and Bracket Assembly ................................................................... 392 138
Rear Unit Axle Assembly .................................................................................. 394 139
Brake Assembly................................................................................................ 396 140
Front Unit Axle Assembly.................................................................................. 398 141
iv
TM 9-6115545-24P
TO 35C2-3 444-4
NAVFAC P-8-626-24P
SL-400038G/07499A
TABLE OF CONTENTS - Continued
Page Illustration
Group 28 Load Bank Kit ................................................................................................... 402 142
Cable Assembly, Electrical, Special Purpose .................................................... 406 143
Wiring Harness Tactical Relay Box................................................................... 406 144
Wiring Harness Assembly, Load Bank Control PNL........................................... 408 145
Wiring Harness Load Bank Capacitors............................................................. .408 146
Wiring Harness Branched, Load Bank.............................................................. .410 147
Fan and Motor Assembly .................................................................................. 412 148
SECTION III SPECIAL TOOLS, TEST AND SUPPORT EQUIPMENT
(Not Applicable)
IV NATIONAL STOCK NUMBER AND PART NUMBER........................................ 415
INDEX .............................................................................................................. 440
VREFERENCE DESIGNATOR INDEX................................................................ 485
v

TM 9-6115-545-24P
TO 35C2-3 444 4
NAVFAC P-8626-24P
SL-400038G/07499A
SECTION I.
INTRODUCTION
1. Scope.
This joint Army, Navy, Air Force and Marine Corps manual lists repair parts and special tools required for the
performance of unit, direct and general support and depot maintenance of the generator set. The following paragraphs
are keyed to applicable users. All users should read paragraph 4, Special Information, prior to using this manual.
2. General.
This Repair Parts and Special Tools List is divided into the following section:
a. (ALL) Repair Parts - Section II. A list of repair parts authorized for the performance of maintenance at the unit,
direct support, general support and depot level in figure and item number sequence.
b. (ALL) Special Tools, Test and Support Equipment - Section III. A list of special tools, test and support equip-
ment authorized for the performance of maintenance at the unit, direct support, general support and depot level (Not
Applicable).
c. National Stock Number and Reference Number Index - Section IV. A list of National Stock Numbers in
ascending numerical sequence followed by a list of reference numbers appearing in all the listings, in ascending alpha-
numeric sequence, cross-referenced to the illustration figure number and item number.
d. Reference Designator Index - Section V. The Reference Designator Column includes all assigned reference
designators arranged first in alphabetical order, second in numeric order. Opposite each symbol is listed the figure
and item number of the part in Section II and the reference number.
3. Explanation of Columns.
The following provides an explanation of columns in the tabular lists in Sections II and III.
a. (ALL) Illustrations. (Column 1) This column is divided as follows:
(1) Figure number. (Column 1a) Indicates the figure number of the illustration on which the item is shown.
(2) Item number. (Column lb) Indicates the number used to identify the item on the illustration.
b. (ALL) Source, Maintenance, and Recoverability Codes (SMR). (Column 2).
(1) Uniform Source Codes applicable to all Military Services. GENERAL: Source Codes are assigned to support
items to indicate the manner of acquiring support items for maintenance, repair, or overhaul of end items. Source codes
are entered in the first and second positions of the Uniform SMR Code format as follows:
Code Definition
PA Item procured and stocked for anticipated or known usage.
PB Item procured and stocked for insurance purposes because essentiality dictates that a minimum quantity be
available in the supply system.
PC Item procured and stocked and which otherwise would be coded PA except that it is deteriorative in nature.
PD Support item, excluding support equipment, procured for initial issue or outfitting and stocked only for
subsequent or additional initial issues or outfittings. Not subject to automatic replenishments.
PE Support equipment procured and stocked for initial issue or outfittings to specified maintenance repair activities.
PF Support equipment which will not be stocked but which will be centrally procured on demand.
1
TM 9-6115-545-24P
TO 35C2-3-444 4
NAVFAC P-8-626-24P
SL-400038G/07499A
Code Definition
PG Item procured and stocked to provide for sustained support for the life of the equipment. It is applied to an item
peculiar to the equipment which because of probable discontinuance or shutdown of production facilities would
prove uneconomical to reproduce at a later time.
KD An item of depot overhaul/repair kit and not purchased separately. Depot kit defined as a kit that provides items
required at the time of overhaul or repair.
KF An item of maintenance kit and not purchased separately. Maintenance kit defined as a kit that provides an item
that can be replaced at unit level of maintenance.
KB Item included in both a depot overhaul/repair kit and a maintenance kit.
MO Item to be manufactured or fabricated at organizational level.
MF Item to be manufactured or fabricated at intermediate maintenance levels.
Air Force - Intermediate (*)
Army - General Support (*)
Marine Corps - 4th Echelon
Navy - Ashore
MG Item to be manufactured or fabricated at both afloat and ashore intermediate maintenance levels – Navy use
only.
MD Item to be manufactured or fabricated at depot maintenance level.
AO Item to be assembled at organizational level.
AF Item to be assembled at intermediate maintenance levels.
Air Force - Intermediate (*)
Army - Direct Support (*)
Marine Corps - 3rd Echelon
Navy - Afloat
AH Item to be assembled at intermediate maintenance levels.
Air Force - Intermediate (*)
Army - General Support (*)
Marine Corps - 4th Echelon
Navy - Ashore
AG Item to be assembled at both afloat and ashore intermediate maintenance levels -- Navy use only.
AD Item to be assembled at depot maintenance levels.
XA Item is not procured or stocked because the requirements for the item will result in the replacement of the next
higher assembly.
XB Item is not procured or stocked. If not available through salvage, requisition.
XC Installation drawing, diagram, instruction sheet, field service drawing, that is identified by manufacturer's part
number.
XD A support item that is not stocked. When required, item will be procured through normal supply channels.
(*) NOTE: For USAF and the USA Safeguard Program, only Code "P' will be used to denote intermediate maintenance.
On joint programs use of either code F or H by the joining service will denote intermediate maintenance to
USAF and the USA Safeguard Program.
2
TM 9-6115-545-24P
TO 35C2-3 444 4
NAVFAC P-8626-24P
SL-400038G/07499A
(2) Uniform Maintenance Codes applicable to all Military Services: GENERAL: Maintenance Codes are assigned
to indicate the levels of maintenance authorized to use and repair support items. The maintenance codes are in the third
and fourth position of the Uniform SMR Code format.
(a) USE (THIRD POSITION): The maintenance code entered in the third position indicates the lowest
maintenance level authorized to remove, replace, and use the support item. The maintenance code entered in the third
position indicates one of the following levels of maintenance.
Code Application/Explanation
OSupport item is removed, replaced, used at the organizational level of maintenance.
FSupport item is removed, replaced, used at the following intermediate levels:
USAF - Intermediate (*)
USA - Direct Support (*)
USN - Afloat
USMC - 3rd Echelon
GSupport item is removed, replaced, used at both afloat and ashore intermediate levels: Navy Only.
HSupport item is removed, replaced, used at the following intermediate levels:
USAF - Intermediate (*)
USA - General Support (*)
USN - Ashore (Only)
USMC - 4th Echelon
DSupport items that are removed, replaced, used at depot only:
USAF - Depot, Mobile Depot and Specialized Repair Activity
USA - Depot, Mobile Depot and Specialized Repair Activity
USN - Aviation Rework, Avionics and Ordinance Facilities, and Shipyards
USMC - Depot
(*) NOTE: For USAF and the USA Safeguard Program, only Code "F" will be used to denote intermediate maintenance.
On joint programs use of either code F or H by the joining service will denote intermediate maintenance USAF and the
USA Safeguard Program.
(b) REPAIR (FOURTH POSITION): The maintenance code entered in the fourth position indicates whether
the item is to be repaired and identifies the lowest maintenance level with the capacity to perform complete repair (i.e.,
all authorized maintenance functions).
Code Application/Explanation
OThe lowest maintenance level capable of complete repair of the support item is the organizational level.
FThe lowest maintenance level capable of complete repair of the support item is the following intermediate level:
USAF - Intermediate (*)
USA - General Support (*)
USN - Ashore (Only)
USMC - 4th Echelon
HThe lowest maintenance level capable of complete repair of the support item is the following intermediate level:
USAF - Intermediate (*)
USA - General Support (*)
USN - Ashore (Only)
USMC - 4th Echelon
3
TM 96115-545-24P
TO 35C2-3 444 4
NAVFAC P-8626-24P
SL-400038G/07499A
Code Application/Explanation
GBoth afloat and ashore intermediate levels are capable of complete repair of support item: Navy only.
DThe lowest maintenance level capable of complete repair of the support item is the depot level.
USAF - Depot, Mobile Depot, and Specialized Repair Activity
USA - Depot, Mobile Depot and Specialized Repair Activity
USN - Aviation Rework, Avionics and Ordinance Facilities, and Shipyards
USMC - Depot
LRepair restricted to designated Specialized Repair Activity.
ZNonreparable. No repair is authorized.
BNo repair is authorized. The item may be reconditioned by adjusting, lubricating, etc., at the user level. No parts
or special tools are procured for the maintenance of this item.
(*) NOTE: For USAF and the USA Safeguard Program, only Code "P' will be used to denote intermediate maintenance.
On joint programs use of either code F or H by the joining service will denote intermediate maintenance to USAF and the
USA Safeguard Program.
(3) Uniform Recoverability Codes applicable to all Military Services: GENERAL: Recoverability codes are
assigned to support items to indicate the disposition action on unserviceable items. The recoverability code is entered in
the fifth position of the Uniform SMR Code format as follows:
Code Definition
ZNonreparable item. When unserviceable, condemn and dispose at the level indicated in column 3.
OReparable item. When uneconomically reparable, condemn and dispose at organizational level.
FReparable item. When uneconomically reparable, condemn and dispose at the following intermediate levels:
USAF - Intermediate (*)
USA - Direct Support (*)
USN - Afloat
USMC - 3rd Echelon
HReparable item. When uneconomically reparable, condemn and dispose at the following levels:
USAF - Intermediate (*)
USA - General Support (*)
USN - Ashore
USMC - 4th Echelon
DReparable item. When beyond lower level repair capability, return to depot. Condemnation and disposal not
authorized below depot level.
LReparable item. Repair, condemnation and disposal not authorized below depot/Specialized Repair Activity
level.
AItem requires special handling or condemnation procedures because of specific reasons (i.e., precious metal
content, high-dollar value, critical material or hazardous material). Refer to appropriate manuals/directives for
specific instructions.
(*) NOTE: For USAF and the USA Safeguard Program, only Code "F" will be used to denote intermediate maintenance.
On joint programs use of either code F or H by the joining service will denote intermediate maintenance USAF and the
USA Safeguard Program.
4

TM 9-6115-545-24P
TO 35C2-3 4144 4
NAVFAC P626-24P
SL-400038G/07499A
c. (USMC) Special Stockage Indicator Code and Replacement Factor (Column 3).
(1) Special Stockage Indicator Code (Column 3a). This column reflects the condition under which certain
maintenance parts, (parts assigned NSNs and coded in the "P" series source code of the SMR code), are stocked. The
codes are explained as follows:
Code Description
No Code Indicates that the part may or may not be authorized in initial allowances to using or supporting organizations.
The manner of determining initial allowances is explained in paragraph (2) below.
IApplied to maintenance parts which predicted consumption would not warrant inclusion in Mount-Out but, for
which a quantity of one (1) is authorized as insurance for Mount-Out using a 360-day criterion. This criterion
is based on the total Onsity of equipment employed by the DIV/WING TEAM. Mount-Out allowances, so
authorized, will be stocked by the FSR or the MWSG in the case of MARINE Wing peculiar equipment, as
applicable.
DApplied to maintenance parts that are not considered critical or essential to be on hand and, therefore, are not
authorized in initial allowances; however, these items are stocked within the Supply System and may be
requisitioned based upon usage.
TIndicates that the part is authorized in garrison operating allowances in order to comply with state and local
laws; however, the part is not authorized in Mount-Out since it is not combat essential.
(2) Replacement Factor (Column 3b). This column reflects the replacement factor assigned to each National
Stock Number maintenance repair part on its first appearance in the publication. The replacement factor, expressed as a
decimal, indicates the average rate at which the type of item so coded has been used by Marine Corps field units or the
rate at which design engineers anticipate the item will fail, wear out, or otherwise require replacement. All computations
are based on a replacement period of one year. Therefore, a replacement factor of 0.08, applied to an item in this stock
list, indicates that eight out of every one hundred such items used in the end item of equipment to which this publication
pertains, is predicted to need replacement in one year. Likewise, 0.004 reflects that four out of every thousand in use are
predicted to require replacement in one year, while 2.0 shows that every one in use is predicted to be replaced twice
during each year.
(a) Initial authorized stockage levels of consumable and salvageable items for an organization are to be
computed for predicted consumption based on the number of items employed and/or supported by an organization within
the number of days for which stockage is authorized. In computing Garrison Operating Stock or Mount-Out, authorized
levels can be determined by the requiring Marine Corps unit by multiplying the replacement factor times the quantity
used per equipment, times the number of end items employed by the using organization or supported by the service
organization, times the authorized day level expressed in months and divided by 12. Specific formulas and examples
are provided in Marine Corps Order, MCO P4400.79
The replacement factors used in initial stockage computations should be revised, if warranted, after
significant usage is experienced in accordance with the guidelines of MCO 4400.32A. The following formula
replacement factor "X" represents actual usage experience (1 year), "A" represents the application per equipment, and
"B" represents the number of equipments supported. W = X
A x B
(b) Initial allowances for maintenance float items (recoverability codes "R" and "D") for the FMF and
appropriate post and stations are as furnished by Initial Issue Actions.
Changes to maintenance replacement rates resulting from actual usage may require recomputation of
maintenance float allowances by holding units. Any required recomputation of maintenance float allowances will be
made in accordance with MCO 4000.6.
(c) The replacement factor for same as (S/A) items is indicated upon the first appearance of the item in the
major combination, component or assembly.
5
TM 9-6115-545-24P
TO 35C2-3 4144 4
NAVFAC P626-24P
SL-400038G/07499A
d. (ALL) National Stock Number (Column 4) Indicates the National Stock Number assigned to the item and
will be used for requisitioning purposes.
e. (ALL) Description (Column 5) Indicates the Federal item name and any additional Description of the item
required The abbreviation "w/e" when used as part of the nomenclature, Indicates the National Stock Number includes all
armament, equipment, accessories and repair parts Issued with the Item A part number or other reference number is
followed by the applicable five-digit Federal Supply Code for Manufacturer in parentheses If two reference numbers and
Federal Supply Codes for Manufacturers are listed, the first listing refers to the Department of the Defense Drawing
Number and the second listing refers to the actual part manufacturer.
f. (ALL) Unit of Measure (U/M) (Column 6) Indicates the standard of the basic quantity of the listed Item as
used in performing the actual maintenance function. This measure is expressed by a two-character alphabetical
abbreviation (e 9., ea. in, pr, etc ). When the unit of measure differs from the unit of issue, the lowest unit of issue that
well satisfy the required units of measure will be requisitioned
g. (ALL) Quantity Incorporated in Unit (Column 7) indicates the quantity of the Item used In the assembly
group. A "V" appearing in this column in lieu of a quantity Indicates that a definite quantity cannot be indicated (e g,
shims, spacers, etc.)
h. (MC) Quantity Per Equipment (Column 8) Indicates the consolidated quantity of the maintenance part
used on an end item upon every appearance of the part In this publication
4. Special Information.
a. Usable On Codes are shown In the description column. Uncoded items are applicable to all models and/or serial
number range. Identification of the usable codes used In this publication are:
Code Used On
A, D MEP-006A
B, E MEP-105A
C, FMEP-115A
b.Army organizational maintenance personnel will extract the items which they require from Section II, 3rd or 4th
position of Column 2 of the direct and general support RPSTL. Parts which are manufactured or assembled at a higher
level than that authorized to install the part are indicated by the use of higher-level codes in the source column.
c. Stockage Information.
(1) Air Force stockage information is contained In Initial Supply Support Lists issued separately from this
publication by Sacramento Air Logistics Center in accordance with AFM 67-1, part 1, Chapter 12.
(2) Navy stockage objectives are contained In Consolidated Shipboard Allowance List as furnished separately
from the publication by the Ship Parts Control Center.
(3) Marine Corps Stockage information is contained In columns 3a and 3b of the tabular listing of this
publication.
(4) Army stockage is demand based in accordance with AR 710-2 Repair parts listed In this publication represent
those authorized for use at indicated maintenance levels and will be requisitioned on an as-required basis until stockage
is justified in accordance with AR 710-2.
d. In the parts list, some of the items are indented to show that they are a component or components of the Item
under which they are indented.
5. How To Locate Repair Parts.
a. (ALL) When National Stock Number or Reference number is unknown:
(1) Using the table of contents, determine the assembly group, i.e., batteries and related parts, exhaust and
breather pipes' within which the repair part belongs. This is necessary since illustrations are prepared for functional
groups, and listings are divided into the same groups.
(2) Find the illustration covering the functional group to which the repair part belongs.
6
TM 9-6115-545-24P
TO 35C2-3 4144 4
NAVFAC P626-24P
SL-400038G/07499A
(3) Identify the repair part on the illustration and note the illustration figure and Item number of the repair part.
(4) Using the Repair Parts Listing, find the figure and Item number noted on the illustration.
b. (ALL) When National Stock Number or Reference Number is known:
(1) Using the Index of National Stock Numbers and Reference Numbers, find the pertinent National Stock
Number or Reference Number. This index is in ascending NSN sequence followed by a list of reference numbers In
alpha-numeric sequence, cross-referenced to the illustrations figure number and Item number.
(2) After finding the figure and Item number, locate the figure and Item number in the Repair Parts List.
6. Use of the Reference Designator Index Section.
This Section (Section V) is used when the reference designator is known or identified by other technical manuals
supporting this equipment The reference number is given In this Section If description or location is desired, note the
figure and Item number Turn to Section II to the noted figure and Item number The location of the part and description is
given In this listing
7. Recommendations for Maintenance Publication Improvements.
Reporting of errors, omissions, and recommendations for improving this publication by the individual user is encouraged
Reports should be submitted as follows:
a. Army - DA Form 2028 (Recommended Changes to Publications and Blank Forms), directly to: Commander, U S
Army Aviation and Troop Support Command, ATTN AMSAT-I-MP, 4300 Goodfellow Boulevard, St. Louis, MO 63120-
1798. A reply will be furnished directly to you.
b. Air Force - AFTO Form 22 directly to Commander, Sacramento Air Logistics Center, ATTN: SM-ALC-MMEDTA,
McClellan Air Force Base, CA 95652-5609 In accordance with TO-00-5-1.
c. Marine Corps - NAVMAC Form 10772 directly to Commandant, Headquarters, US Marine Corps, ATTN: LMA-1,
Washington, DC 20380.
d. Navy - By letter directly to Commanding Officer, Naval Construction Battalion Center, ATTN Code 15741, Port
Hueneme, CA 93043-5000.
7

TM 9-6115-545-24P
TO 35C23 44 4
NAVFAC P-8-626-24P
SL-400038G/07499A
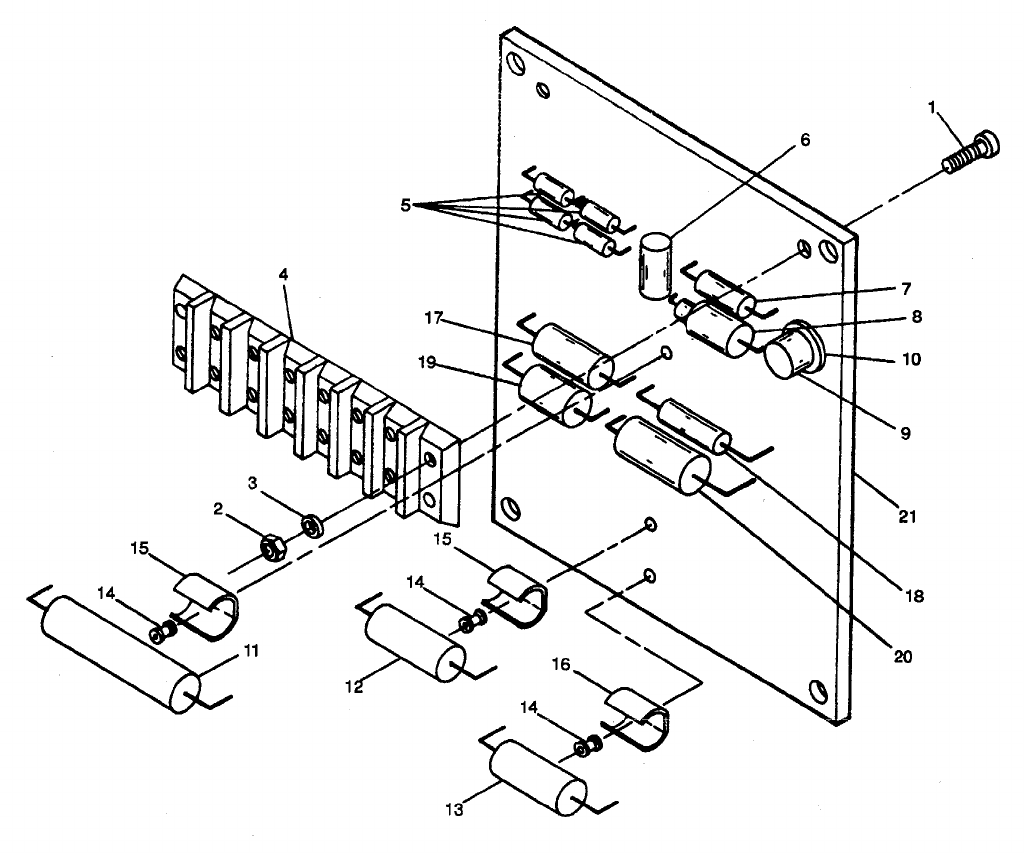
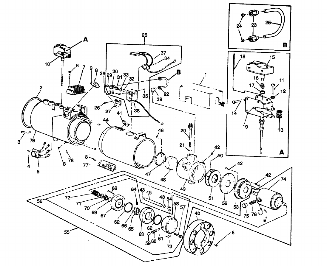
Figure 1. Batteries and Slave Receptacles.
8

(3)
USMC
(5)
DESCRIPTION USABLE
MFR ON
REF NUMBER CODE CODE
(8)
USMC
QTY
PER
EQUIP
(7)
QTY
INC
IN
UNIT
(6)
U/M
a
SSI
(2)
SMR CODE
(1)
ILLUSTRATION
d
USMC
c
NAVY
b
AIR
FORCE
a
ARMY
(a)
FIG
NO.
(b)
ITEM
NO.
(4)
NATIONAL
STOCK
NUMBER
b
REPL
FACTOR
TM 9-6115-545-24P
TO 35C2-3 444
NAVFAC P-8-626-24P
SL-400038G/07499A
GROUP 01 - BATTERIES AND SLAVE
RECEPTACLES
1 1 PAOZZ PAOZZ PAOZZ PAOZZ D.008 5306-00-036-6909 BOLT, ASSEMBLED WASHER 1/4-20 X EA 1 119
1/2 IN LG
70-1319-4 (30554)
1 2 PAOZZ PAOZZ PAOZZ PAOZZ D.008 5310-00-696-5173 NUT. ASSEMBLED WASHER. 1/4-20 EA 1 131
69-561-5 (30554)
511-251800-00 (78189)
1 3 PAOZZ PAOZZ PAOZZ PAOZZ D.008 6140-01-210-1964 CLAMP. LOOP. CUSHIONED EA 1 1
MS52149-1 (96906)
1 4 MOOZZ MOO MOOZZ MOOZZ CABLE, DC POWER. NEGATIVE EA 1 1
70-1582-5 (30554)
70-1582-5 (93742)
MANUFACTURE FROM
1 5 PAOZZ PAOZZ PAOZZ PAOZZ D.009 5940-00-804-0520 TERMINAL, LUG EA 1 7
MS25036-134 (96906)
1 6 PAOZZ PAOZZ PAOZZ PAOZZ D.020 614500-7056674 WIRE. ELECTRIC FT 50 108
M 1386/1-14 (81349)
1 7 PAOZZ PAOZZ PAOZZ PAOZZ 5970-00-914-3118 SLEEVING. INSULATION. BLACK FT 2 6
M23053/5-109-0 (81349)
1 8 MOOZZ MOO MOOZZ MOOZZ CABLE, ELECTRICAL. DC. M/F EA 1 108
70-1582-1 (30554)
70-1582-1 (93742)
1 9 PAOZZ PAOZZ PAOZZ PAOZZ D.008 5940-00-549-6581 ADAPTER. BATTERY. TERMINAL EA 1 2
.MS75004-1 (96906)
1 10 PAOZZ PAOZZ PAOZZ PAOZZ D008 5970-00-781-6832 SLEEVING. INSULATION, RED FT 2 8
M2305315109-2 (81349)
1 11 PAOZZ PAOZZ PAOZZ PAOZZ 5970-00-914-3118 SLEEVING. INSUL. BLK FT 2 2
M23053/5-109-0 (81349)
1 12 PAOZZ PAOZZ PAOZZ PAOZZ 5940-00-804-0520 TERMINAL LUG EA 2 7
MS25036-134 (96906)
1 13 PAOZZ PAOZZ PAOZZ PAOZZ D.008 TERMINAL BATTERY EA 1 2
MS75004-2 (96906)
1 14 PAOZZ PAOZZ XBOZZ PAOZZ D.020 6145-00-7056674 WIRE. ELECTRICAL. 13 50 IN LG FT 1 108
M13486/1-14 (81349)
1 15 MOOZZ MOO AOOOOMOOZZ CABLE DC POWER, POSITIVE EA 1 1
70-1582-4 (30554)
70-1582-4 (93742)
MANUFACTURE FROM
1 16 PAOZZ PAOZZ XBOZZ PAOZZ 008 5970-00-914-3117 SLEEVING, INSULATION FT 1 8
M23053/5-109-2 (81349)
1 17 PAOZZ PAOZZ XBOZZ PAOZZ 008 5940-00-804-0520 TERMINAL LUG EA 1 7
MS25036-134 (96906)
1 18 PAOZZ PAOZZ XBOZZ PAOZZ .020 6145-00-705-6674 WIRE. ELECTRICAL, 59 50 IN LG FT 1 108
M13486/1-14 (81349)
1 19 MOOZZ MOO XBOZZ MOOZZ CABLE. DC POWER EA 1 1
70-1582-2 (30554)
70-1582-2 (93742)
MANUFACTURE FROM
1 20 PAOZZ PAOZZ XBOZZ PAOZZ D.008 5970-00-914-3117 SLEEVING INSULATION, RED FT 1 8
M23053/5-109-2 (81349)
1 21 PAOZZ PAOZZ XBOZZ PAOZZ D.008 5940-00-549-6581 ADAPTER. BATTERY. TERMINALEA 1 2
MS75004-1 (96906)
1 22 PAOZZ PAOZZ PAOZZ PAOZZ D.008 5940-00-804-0520 TERMINAL, LUG EA 2 7
MS25036-134 (96906)
1 23 PAOZZ PAOZZ XBOZZ PAOZZ D.020 6145-00-7056674 WIRE. ELECTRICAL, 54 IN LG FT 50 108
M13486/1-14 (81349)
1 24 MOOZZ MOO XBOZ MOOZ CABLE, DC POWER EA 1 1
70-1582-3 (30554)
70-1582-3 (93742)
MANUFACTURE FROM
1 25 PAOZZ PAOZZ XBOZZ PAOZZ D008 5940-00-115-2684 ADAPTER, BATTERY, TERMINAL EA 1 2
MS75004-2 (96906)
1 26 PAOZZ PAOZZ PAOZZ PAOZZ 5970-00-914-3118 SLEEVING, INSUL, BLK FT 2 6
M23053/5-109-0 (81349)
9

(3)
USMC
(5)
DESCRIPTION USABLE
MFR ON
REF NUMBER CODE CODE
(8)
USMC
QTY
PER
EQUIP
(7)
QTY
INC
IN
UNIT
(6)
U/M
a
SSI
(2)
SMR CODE
(1)
ILLUSTRATION
d
USMC
c
NAVY
b
AIR
FORCE
a
ARMY
(a)
FIG
NO.
(b)
ITEM
NO.
(4)
NATIONAL
STOCK
NUMBER
b
REPL
FACTOR
TM 9-6115-545-24P
NAVFAC P-8-633-24P
1 27 PAOZZ PAOZZ XBOZZ PAOZZ D.008 5940-00-804-0520 TERMINAL, LUG EA 1 7
MS25036-134 (96906)
1 28 PAOZZ PAOZZ XBOZZ PAOZZ D.020 6145-00-705-6674 WIRE. ELECTRICAL. 54 IN. LG FT 5 108
M13486/1-14 (81349)
1 29 PAOZZ PAOZZ PAOZZ PAOZZ D.008 5310-00-732-0558 NUT, PLAIN. HEX EA 3 47
MS51967-8 (96906)
1 30 PAOZZ PAOZZ PAOZZ PAOZZ D.010 5310-00-061-1258 WASHER. LOCK EA 5 66
MS45904-76 (96906)
1 31 PAOZZ PAOZZ XBOZZ XBOZZ 6140-01-122-3026 RETAINER, BATTERY EA 1 1
70-1354 (30554)
70-1354 (93742)
1 32 PBOZZ PBOZZ XBOZZ PBOZZ 5307-01-150-9806 STUD, NUT ASSEMBLY EA 3 3
70-1355 (30554)
70-1355 (93742)
1 33 PAOZZ PAOZZ PAOZZ PAOZZ 100 6140-01-210-1964 BATTERY. STORAGE EA 2 2
MS52149-1 (96906)
1 34 PAOZZ PAOZZ PAOZZ PAOZZ D.008 530500-543-2419 SCREW, CAP HEXHD., 3/8-16 EA 2 2
X 1-1/8 IN LG
MS90728-861 (96906)
1 35 PAOZZ PAOZZ XBOZZ XBOZZ 6140-00-764-9209 TRAY, BATTERY EA 1 1
70-1353 (30554)
70-1353 (93742)
1 36 PAOZZ PAOZZ XBOZZ PAOZZ D.008 5305-00-184-9508 SCREW, ASSEMBLED WASHER EA 6 39
70-1319-1 (30554)
61-250681-00-0242B0542B (78189)
1 37 PAOZZ AOO XBOZZ PAOZZ 6110-00-244-1209 SLAVE RECEPTACLE BOXASSY EA 1 1
70-1508 (30554)
70-1508 (93742)
1 38 PAOZZ PAOZZ XBOZZ PAOZZ 5320-01-033-4375 RIVET, BLIND EA 4 84
M24243/6-C602H (81349)
1 39 XBOZZ MDO MDOZZ MDOZ PLATE, DESIGNATION EA 1 1
70-1332 (30554)
70-1332 (93742)
1 40 PAOZZ PAOZZ PAFZZ PAFZZ D.008 5306-00-036-6983 BOLT. ASSEMBLED WASHER. EA 4 15
114-20 X7/8 IN LG
70-1319-5 (30554)
61-251481-00-0242B-0542B (78189)
1 41 PAOZZ PAOZZ PAFZZ PAFZZ D.010 5310-00-696-5173 NUT. PLAIN. ASSEMBLED 114-20 EA 4 131
69-561-5 (30554)
511-251800-00 (78189)
1 42 PAOZZ PAOZZ PAFZZ PAFZZ -.030 5935-00-295-6403 CONNECTOR, RECEPTACLE EA 1 1
MS75058-1 (96906)
1 43 XBOZZ XB XBFZZ XBFZZ HOUSING. CONN. ELEC EA 1 1
70-1335 (30554)
70-1335 (93742)
1 44 MOOZZ MOO AGGZZ AFFZZ CABLE. DC POWER, NEG 11 5 IN EA 1 1
70-1582-9 (30554)
MANUFACTURE FROM
1 45 PAOZZ PAOZZ XBOZZ PAOZZ 5940-00-804-0520 TERMINAL EA 2 2
MS25036-134 (96906)
1 46 PAOZZ PAOZZ XBOZZ PAOZZ 6145-00-705-6674 CABLE SIZE 0 FT 2 2
M13486/1-14 (81349)
1 47 PAOZZ PAOZZ XBOZZ PAOZZ 5970-00-914-3118 SLEEVING, INSUL, BLK FT 2 2
M23053/5-109-0 (81349)
10
10

TM 9-6115-545-24P
TO 35C2-3 444 4
NAVFAC P-626-24P
SL-400038G/07499A
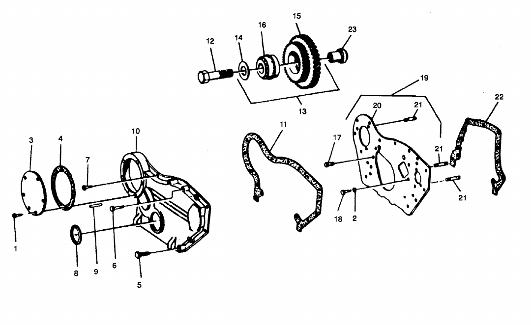
Figure 2. Muffler, Exhaust and Breather Pipes (Sheet 1 of 2).
11

TM 9-6115-545-24P
TO 35C2-3-444
NAVFAC P-8-626-24P
SL-400038G/07499A
Figure 2. Muffler, Exhaust and Breather Pipes (Sheet 2 of 2).
12

(3)
USMC
(5)
DESCRIPTION USABLE
MFR ON
REF NUMBER CODE CODE
(8)
USMC
QTY
PER
EQUIP
(7)
QTY
INC
IN
UNIT
(6)
U/M
a
SSI
(2)
SMR CODE
(1)
ILLUSTRATION
d
USMC
c
NAVY
b
AIR
FORCE
a
ARMY
(a)
FIG
NO.
(b)
ITEM
NO.
(4)
NATIONAL
STOCK
NUMBER
b
REPL
FACTOR
TM 9-6115-545-24P
TO 35C2-3-444-4
NAVFAC P-8-626-24P
SL400038G/07499A
GROUP 02-MUFFLER, EXHAUST
AND BREATHER PIPES
2 1 PAOZZ PAOZZ XBOZZ XBOZZ D.013 2990-00-872-4001 CAP, ASSEMBLY, PROTEC EA 1 1
70-1125 (30554)
3-3-4-970 (17284)
2 2 PAOZZ PAOZZ XBOZZ PAOZZ D.008 5310-01-122-4499 NUT, HEXAGON NO 5/16NC EA 1 1
970-1 (17284)
2 3 PAOZZ PAOZZ XBOZZ PAOZZ D.008 5306-01-122-0805 BOLT, CARRIAGE NO. 5/16 X 2 IN. EA 1 1
LG
970-2 (17284)
2 4 PAOZZ PAOZZ PAGZZ PAOZZ D.008 5340-00-308-1150 CLAMP LOOP EA 2 2
70-1123 (30554)
U325 (01652)
2 5 PAOZZ PAOZZ XAOZZ PAOZZ 5310-00-228-7518 NUT, HEXAGON EA 4 4
N380 (01652)
2 6 PAOZZ PAOZZ XAOZZXAOZZ 5310-00-637-9541 WASHER, LOCK EA 4 4
MS35338-46 (96906)
2 7 XBOZZ XB XAOZZ XAOZZ SADDLE EA 2 2
S325 (01652)
2 8 XBOZZ XB XAOZZ XAOZZ U-BOLT EA 2 2
UB325 (01652)
2 9 PAOZZ PAOZZ XBOZZ PAOZZ D.008 5306-00-036-6909 BOLT, ASSEMBLED WASHER 114-20 EA 3 119
X 1/2 IN. LG
70-1319-2 (30554)
61-250881-00-0242B-0542B (78189)
2 10 XBOZZ XB XBOZZ XBOZZ COUPLING. EXHAUST PIPE EA 1 1
70-1361 (30554)
70-1361 (93742)
2 11 PAOZZ PAOZZ PAGZZ PAOZZ I.009 2990-00-148-7494 MUFFLER, EXHAUST EA 1 1
70-1619 (30554)
2513 (80672)
2 12 PAOZZ PAOZZ XBOZZ PAOZZ D.010 2990-00-151-0867 PIPE, EXHAUST EA 1 1
70-1295 (30554)
70-1295 (93742)
2 13 PAOZZ PAOZZ XBOZZ PAOZZ -.007 4730-00-908-3194 CLAMP, HOSE EA 5 5
M535842-11 (96906)
2 14 PAOZZ PAOZZ XBOZZ PAOZZ D.008 5310-00-696-5173 NUT. PLAIN ASSEMBLED 1/4-20 EA 2 131
69-561-5 (30554)
511-251800-00 (78189)
2 15 PAOZZ PAOZZ XBOZZ PAOZZ D.008 5306-00-036-6980 BOLT, ASSEMBLED WASHER 1/4-20 EA 4 89
X 5/8 IN LG
70-1319-3 (30554)
61-251081-00-0242B-0542B (78189)
2 16 PAOZZ PAOZZ XBOZZ PAOZZ -.008 5340-00-515-0577 CLAMP. LOOP EA 2 2
70-1529-10 (30554)
TA724SS10 (84971)
2 17 PAOZZ PAOZZ PAOZZ PAOZZ -.008 4720-01-309-4446 HOSE. CRANKCASE VENT EA 1 1
70-1522-2 (30554)
2 18 PAOZZ PAOZZ PAOZZ PAOZZ -.008 4710-01-168-3497 TUBE, CRANKCASE VENT EA 1 2
70-1624 (30554)
2 19 PAOZZ PAOZZ PAOZZ PAOZZ -.008 4720-01-208-6036 HOSE, CRANKCASE VENT EA 1 1
70-1522-1 (30554)
2 20 PAOZZ PAOZZ XBOZZ XBOZZ -.027 CAP. CRANKCASE BREATHER EA 1 1
70-1622 (93742)
2 21 PAFZZ PAOZZ PAFZZ PAFZZ D4730-00-136-2018 ELBOW. PIPE TO HOSE EA 1 1
80-1000-3 (30554)
129HB-6-4 (93061)
2 22 PAFZZ PAOZZ PAFZZ PAFZZ 4330-01-156-8612 SEPARATOR, OIL EA 1 1
77-505 (30554)
2 23 PAFZZ PAOZZ PAFZZ PAFZZ 4730-01-022-8535 CLAMP, HOSE EA 1 7
70-1611 (30554)
2 24 PAFZZ PAOZZ PAFZZ PAFZZ D5306-00-036-6982 BOLT, ASSEMBLED WASHER EA 2 7
70-1319-4 (30554)
13

(3)
USMC
(5)
DESCRIPTION USABLE
MFR ON
REF NUMBER CODE CODE
(8)
USMC
QTY
PER
EQUIP
(7)
QTY
INC
IN
UNIT
(6)
U/M
a
SSI
(2)
SMR CODE
(1)
ILLUSTRATION
d
USMC
c
NAVY
b
AIR
FORCE
a
ARMY
(a)
FIG
NO.
(b)
ITEM
NO.
(4)
NATIONAL
STOCK
NUMBER
b
REPL
FACTOR
TM 9-6115-545-24P
TO 35C2-3-444-4
NAVFAC P-8-626-24P
SL400038G/07499A
2 25 PAFZZ PAOZZ PAFZZ PAOZZ 4720-00-882-1379 HOSE, BULK 1" ID 32' LG FT 3 3
SAE100R4-16 (81343)
2 26 PAFZZ PAOZZ PAFZZ PAFZZ D4730-00-9083195 CLAMP, HOSE EA 2 2
MS35842-10 (96906)
2 27 PAFZZ PAOZZ PAFZZ PAFZZ 4720-01-022-4446 HOSE, BULK 1 ID 38" LG FT 3 3
SAE100R4-16881-16 (81343)
2 28 PAFZZ PAOZZ PAFZZ PAFZZ 4720-00-200-0365 HOSE, ASSEMBLY 3/8' ID X 11' LG FT 3 3
70-1142-225 (81343)
2 29 PAFZZ PAOZZ XBFZZ PAFZZ 9510-00-982-2719 TUBE, STEEL BULK FT 1 1
A269-55GRADETP304 (81346)
2 30 PAFZZ PAOZZ PAFZZ PAFZZ 5340-01-122-3545 BRACKET CLAMP EA 1 1
70-1610 (30554)
2PAFZZ PAOZZ PAFZZ PAFZZ 5330-01-049-3967 GASKET EA 1 2
4035214 (09367)
2PAFZZ PAOZZ PAFZZ PAFZZ 8030-00-889-3534 TAPE, ANTISEIZING EA 1 1
P5025-1 (81755)
MILT27730 (81349)
14

TM 9-6115-545-24P
TO 35C2-3 444
NAVFAC P-8-626-24P
SL-400038G/07499A
Figure 3. Convenience Receptacles.
(15 blank)/16

(3)
USMC
(5)
DESCRIPTION USABLE
MFR ON
REF NUMBER CODE CODE
(8)
USMC
QTY
PER
EQUIP
(7)
QTY
INC
IN
UNIT
(6)
U/M
a
SSI
(2)
SMR CODE
(1)
ILLUSTRATION
d
USMC
c
NAVY
b
AIR
FORCE
a
ARMY
(a)
FIG
NO.
(b)
ITEM
NO.
(4)
NATIONAL
STOCK
NUMBER
b
REPL
FACTOR
TM 9-6115-545-24P
TO 35C2-3-444-4
NAVFAC P-8-626-24P
SL400038G/07499A
GROUP 03 - CONVENIENCE
RECEPTACLE
3 1 PAOZZ PAOZZ PAFZZ PAFZZ D008 5305-00-036-6978 SCREW, ASSEMBLED WASHEREA 6 50
10-24X 3/81 IN LG
69-662-48 (30554)
61-100641-40-0142B-0542B (78189)
3 2 XBOZZ XB XBFZZ XBFZZ DISTRIBUTION BOX ABDE EA 1 1
70-1507 (93742)
3 2 XBOZZ XB XBFZZ XBFZZ DCONVENIENCE RECEPTACLES BOX CF EA 11
ASSY
70-1545 (93742)
3 3 PAOZZ PAOZZ PAFZZ PAFZZ -008 5325-00-276-6087 GROMMET. NONMETALLIC EA 1 1
AN931-4-16 (88044)
3 4 XBOZZ XB XBFZZ XBFZZ RECEPTACLE BOX. EA 1 1
CONVENIENCE
70-1357 (30554)
3 5 PAOZZ PAOZZ XBOZZ PAOZZ 5320-01-033-4375 RIVET. BLIND EA 4 84
M24243/6-C602H (81349)
3 6 PBOZZ PBOZZ MDOZZ MDOZZ 9905-01-189-5361 PLATE. DESIGNATION ABDE EA 1 1
70-1331 (30554)
3 6 XBOZZ MDO MDOZZ MDOZZ PLATE, DESIGNATION CF EA 1 1
70-1330 (93742)
3 7 PAOZZ PAOZZ PAOZZ PAFZZ -023 5935--01012-3080 CONNECTOR RECEPTACLE EA 1 1
WC596/12-4 (81348)
3 8 PAOZZ PAOZZ PAFZZ PAFZZ D5305-00-036-6976 SCREW. ASSEMBLED WASHER ABDE EA 5 19
69-32 X 5/8 IN LG
69-662-21 (30554)
61-061041-40-0142B-0542B (78189)
3 8 PAOZZ PAOZZ XBOZZ PAFZZ 5305-00-036-6972 SCREW, ASSEMBLED WASHER CF EA 4 30
6-32 X 1/2 IN LG
69-662-20 (30554)
61-060841-40-0142B-0542B (78189)
3 9 PAOZZ PAOZZ PAFZZ PAFZZ D008 5975-00-879-7234 PLATE, WALL, ELECTRIC EA 1 1
5211 (74545)
3 10 PAOZZ PAOZZ PAOZZ PAFZZ -050 5925-00-686-3301 CIRCUIT BREAKER EA 1 2
MS25244-15 (96906)
3 11 XBOZZ XB XBOZZ XBFZZ COVER. CONVENIENCE 50/60 HZ EA 1 1
70-1394 (30554)
70-1394 (93742)
3XBOZZ XB XBOZZ XBOZZ NUT, PLAIN. CAPTIVE 6-32 EA 4 4
ONC-2B
70-1442-1 (30554)
C7931-632 (78553)
17

TM 9-6115-545-24P
TO 35C2-3 44 4
NAVFAC P-8-626-24P
SL-400038G/07499A
Figure 4. Plate and Sleeve Assembly.
18

(3)
USMC
(5)
DESCRIPTION USABLE
MFR ON
REF NUMBER CODE CODE
(8)
USMC
QTY
PER
EQUIP
(7)
QTY
INC
IN
UNIT
(6)
U/M
a
SSI
(2)
SMR CODE
(1)
ILLUSTRATION
d
USMC
c
NAVY
b
AIR
FORCE
a
ARMY
(a)
FIG
NO.
(b)
ITEM
NO.
(4)
NATIONAL
STOCK
NUMBER
b
REPL
FACTOR
TM 9-6115-545-24P
TO 35C2-3-444-4
NAVFAC P-8-626-24P
SL400038G/07499A
GROUP 05-
4 1 PAOZZ PAOZZ XBOZZ PAOZZ D .008 5306-00-036-6980 BOLT, ASSEMBLED WASHER 1/4-20 EA 6 89
X5/8 IN. LG
70-1319-3 (30554)
61-251081-00-0242B-0542B (78189)
4 2 PAOZZ MOO XBOZZ PAOZZ 3040-01-262-6047 PLATE, COVER EA 1 1
70-502 (30554)
70-502 (93742)
4 3 PAOZZ AOO AOOZZ AOOZZ 6115-00-033-6823 PLATE AND SLEEVE ASSY EA 1 1
69-580 (30554)
69-580 (93742)
4 4 PAOZZ PAOZZ PAOZZ PAOZZ D .010 5970-00-257-8055 BUSHING, INSULATING 2 906 IN. ID EA 1 1
X4 IN OD
69-570-3 (30554)
C70412-30 (98245)
4 5 PAOZZ PAOZZ PAOZZ PAOZZ D .008 5305-00-984-6193 SCREW, MACHINE 8-32 X 1/2 IN. LG EA 4 18
MS35206-245 (96906)
4 6 PAOZZ PAOZZ PAOZZ PAOZZ D .008 5310-00-052-3632 NUT, ASSEMBLED WASHER 8-32 EA 4 180
69-561-3 (30554)
511-081800-00 (78189)
4 7 PAOZZ PAOZZ XBOZZ PAOZZ 5340-01-157-9475 PLATE, RETAINER EA 1 1
69-563 (30554)
69-583 (93742)
4 6 PAOZZ PAOZZ PAOZZ PAOZZ D.008 5975-00-421-6952 BOOT, DUST AND MOISTURE EA 1 1
69-582 (30554)
69-582 (93742)
4 9 PBOZZ PAOZZ XBOZZ PAOZZ 2815-01-157-9476 PLATE, COVER EA 1 1
69-581 (30554)
69-581 (93742)
19

TM 9-6115-545-24P
TO 35C2-3 441 q
NAVFAC P-8-626-24P
SL-400038G/07499A
Figure 5. Paralleling Receptacles.
20

(3)
USMC
(5)
DESCRIPTION USABLE
MFR ON
REF NUMBER CODE CODE
(8)
USMC
QTY
PER
EQUIP
(7)
QTY
INC
IN
UNIT
(6)
U/M
a
SSI
(2)
SMR CODE
(1)
ILLUSTRATION
d
USMC
c
NAVY
b
AIR
FORCE
a
ARMY
(a)
FIG
NO.
(b)
ITEM
NO.
(4)
NATIONAL
STOCK
NUMBER
b
REPL
FACTOR
TM 9-6115-545-24P
TO 35C2-3-444-4
NAVFAC P-8-626-24P
SL400038G/07499A
GROUP 06 - PARALLELING
RECEPTACLES
5 1 PAOZZ PAOZZ PAOZZ PAOZZ D008 5305-00-983-6730 SCREW. MACHINE, PAN HEAD 4-40 EA 1 4
X 5/8 IN LG
MS35206-218 (96906)
5 2 PAOZZ PAOZZ PAOZZ PAOZZ D010 5310-00-950-1310 WASHER, FLAT EA 1 5
MS27183-4 (96906)
5 3 PAHZZ PAOZZ PAOZZ PAOZZ D008 5310-00-896-3520 NUT, ASSEMBLED WASHER 4-40 EA 1 1
69-561-1 (30554)
511-041800-00 (78189)
5 4 PAOZZ PAOZZ PAOZZ PAOZZ D008 5935-01-175-8419 COVER. ELEC EA 2 3
MS25043-18D (96906)
5 5 PAOZZ PAOZZ PAOZZ PAOZZ D030 5935-00-024-1060 DUMMY CONN PLUG ASSY EA 1 1
70-1267 (30554)
70-1267 (93742)
5 6 PAOZZ PAOZZ PAOZZ PAOZZ D.008 5305-00-211-9344 SCREW, ASSEMBLED WASHER EA 1 16
6-32 X 5/16 IN LG
69-662-17 (30554)
61-060541-40-0142B-0542B (78189)
5 7 PAOZZ PAOZZ PAOZZ PAOZZ - 010 4010-01-053-1122 CHAIN, WELDLESS EA 1 1
NAS1455-2-5C (80205)
5 8 PAOZZ PAOZZ PAOZZ PAOZZ - 023 5935-01-100-4823 CONNECTOR PLUG. ELECTRICAL EA 1 1
MS3456W18-4S (96906)
5 9 PAOZZ PAOZZ PAOZZ PAOZZ O 008 5305-00-036-6903 SCREW, ASSEMBLED WASHER 4-40 EA 12 20
X7/16 IN. LG
69-662-4 (30554)
61-040741-40-0142B-0542B (78189)
21

TM 9-6115-545-24P
TO 35C2-3 444 q
NAVFAC P-8-626-24P
SL-400038G/07499A
Figure 6. Wiring Hamess, Convenience and Paralleling.
22

(3)
USMC
(5)
DESCRIPTION USABLE
MFR ON
REF NUMBER CODE CODE
(8)
USMC
QTY
PER
EQUIP
(7)
QTY
INC
IN
UNIT
(6)
U/M
a
SSI
(2)
SMR CODE
(1)
ILLUSTRATION
d
USMC
c
NAVY
b
AIR
FORCE
a
ARMY
(a)
FIG
NO.
(b)
ITEM
NO.
(4)
NATIONAL
STOCK
NUMBER
b
REPL
FACTOR
TM 9-6115-545-24P
TO 35C2-3-444-4
NAVFAC P-8-626-24P
SL400038G/07499A
6AFFFF AFF XBOZZ AFFZZ DWIRING HARNESS, CONVENIENCE EA 1 1
AND PARALLELING
70-1222 (30554)
70-1222 (93742)
MANUFACTURE FROM'
6 1 PAFZZ PAOZZ XBOZZ PAFZZ D008 5975-00-074-2072 STRAP. TIEDOWN ELECTRICAL EA 45 2557
MS3367-1-9 (96906)
6 2 PAFZZ PAOZZ XBOZZ PAFZZ D008 5970-00-812-2969 SLEEVING. INSULATION FT 1 18
M23053/5-104-0 (81349)
6 3 PAFZZ PAOZZ XBOZZ PAFZZ D008 5935-00-823-5322 PLUG. END SEAL EA 3 77
MS25251-16 (96906)
6 4 PAFZZ PAOZZ XBOZZ PAFZZ D008 5940-00-143-4774 TERMINAL, LUG EA 4 113
MS25036-153 (96906)
6 5 PAFZZ PAOZZ XBOZZ PAFZZ D023 5935-01-075-9503 CONNECTOR, PLUG ELECTRICAL EA 1 1
MS3456W20-29P (96906)
6 6 PAFZZ PAOZZ XBOZZ PAFZZ D023 5935-01-100-4073 CONNECTOR, RECEPTACLE EA 3 3
MS3452W18-4P (96906)
6 7 PAFZZ PAOZZ XBOZZ PAFZZ D080 6140-00-578-6605 WIRE, ELECTRICAL FT 12 1010
M5086/2-16-9 (81349)
23

TM 9-6115-545-24P
TO 35C2-3 441 q
NAVFAC P-8-626-24P
SL-400038G/07499A
Figure 7. Generator Set Controls.
24

(3)
USMC
(5)
DESCRIPTION USABLE
MFR ON
REF NUMBER CODE CODE
(8)
USMC
QTY
PER
EQUIP
(7)
QTY
INC
IN
UNIT
(6)
U/M
a
SSI
(2)
SMR CODE
(1)
ILLUSTRATION
d
USMC
c
NAVY
b
AIR
FORCE
a
ARMY
(a)
FIG
NO.
(b)
ITEM
NO.
(4)
NATIONAL
STOCK
NUMBER
b
REPL
FACTOR
TM 9-6115-545-24P
TO 35C2-3-444-4
NAVFAC P-8-626-24P
SL400038G/07499A
GROUP 07 - GENERATOR SET
CONTROLS
7 1 PAOZZ PAOZZ XBOZZ PAOZZ D008 5306-00-036-6909 BOLT. ASSEMBLED WASHER 1/4-20 EA 9 119
X 1/2 IN LG
70-1319-2 (30554)
61-250881-00-0242B-0542B (78189)
7 2 PAOZZ PAOZZ XBOZZ PAOZZ D 008 5310-00-696-5173 NUT, ASSEMBLED WASHER 1/4-20 EA 1 131
69-561-5 (30554)
511-251800-00 (78189)
7 3 PAOZZ PAOZZ XBOZZ PAOZZ D008 5340-01-174-4811 CLAMP, LOOP EA 1 29
70-1529-8 (30554)
TA724SS8 (84971)
7 4 XBOZZ MOO XBOZZ XBOZZ PANEL. BLANK, FUEL BURNING EA 1 1
HEATER CONTROL PANEL HOLE
COVER
70-1505 (30554)
70-1505 (93742)
7 5 XBOZZ MOO XBOZZ XBOZZ PANEL. BLANK ELECTRIC HEATER EA 1 1
CONTROL PANEL HOLE COVER
70-1506 (30554)
70-1506 (93742)
7 6 PAOZZ PAOZZ PAGZZ PAFZZ -050 5925-00-686-3298 CIRCUIT BREAKER, 75 AMP EA 1 1
MS25244-7 1/2 (96906)
7 7 PAOZZ PAOZZ XBOZZ PAFZZ D008 5305-00-036-6978 SCREW. ASSEMBLED WASHER EA 4 50
10-24X3/8 IN LG
69-662-48 (30554)
61-100641-40-142B0542B (78189)
7 8 PAOFF PAOOO XBOZZ PAFFF I.370 6625-00-003-0976 INDICATOR, FAULT LOCATING EA 1 1
69-530 (30554)
69-530 (93742)
7 9 PAOZZ PAOZZ XBOZZ PAFZZ D008 5305-00-184-9508 SCREW, ASSEMBLED WASHER EA 11 39
70-1319-1 (30554)
61-250681-00-0242B-0542B (78189)
7 10 PAOZZ PAOZZ XBOZZ PAFZZ D008 5306-00-036-6982 BOLT, ASSEMBLED WASHER 1/4-20 EA 3 71
X 3/4 IN LG
70-1319-1 (30554)
61-251281 -00-02428-0542B (78189)
7 11 PBOFF PBODD XBOZZ AFFHH 6110-00-201-8315 CONTROL BOX GENERATOR 50/60 ABDE EA 1 2
See fihg 13 for breakdown
69-590-1 (30554)
69-590-1 (93742)
7 11 PBOFH PBODD XBOZZ AFFHH 6110-00-092-5116 CONTROL BOXGENERATOR 400 HZ CF EA 1 2
See ig 13for breakdown
69-590-2 (30554)
69-590-2 (93742)
7 12 PAOZZ PAOZZ XBOZZ PAOZZ 5340-01-177-5164 COVER. MANUAL THROTTLE BCEF EA 1 1
70-1602 (30554)
70-1602 (93742)
7 13 PAOZZ PAOZZ PAOZZ PAFZZ D010 3040-01-032-4758 SPEED CONTROL. MANUAL EA 1 1
70-1426 (30554)
271-632-66 (06970)
7 14 PAOZZ PAOZZ PAOZZ PAFZZ D008 5310-00-853-9336 NUT PLAIN. HEX 3/8-24 EA 2 2
MS35691-24 (96906)
7 15 PAOZZ PAOZZ XBOZZ PAFZZ D010 5310-00-637-9541 WASHER. LOCK NO 8 EA 1 155
MS35338-46 (96906)
25

TM 9-6115-545-24P
TO 35C2-3 44 4
NAVFAC P-8-626-24P
SL-400038G/07499A
Figure 8. Wiring Harness, Control Cubicle.
Figure 9. Wiring Harness, Fault Indicator.
26

(3)
USMC
(5)
DESCRIPTION USABLE
MFR ON
REF NUMBER CODE CODE
(8)
USMC
QTY
PER
EQUIP
(7)
QTY
INC
IN
UNIT
(6)
U/M
a
SSI
(2)
SMR CODE
(1)
ILLUSTRATION
d
USMC
c
NAVY
b
AIR
FORCE
a
ARMY
(a)
FIG
NO.
(b)
ITEM
NO.
(4)
NATIONAL
STOCK
NUMBER
b
REPL
FACTOR
TM 9-6115-545-24P
TO 35C2-3-444-4
NAVFAC P-8-626-24P
SL400038G/07499A
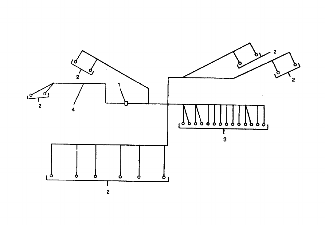
8 1 AFFFF MOO AFFZZ MFFZZ WIRING HARNESS, CONTROL EA 1 1
CUBICLE
70-1220 ~(30554)
70-1220
MANUFACTURE FROM'
8 1 PAFZZ PAOZZ AFFZZ PAFZZ D008 5975-00-074-2072 STRAP, TIEDOWN EA 45 2557
MS3367-1-9 (96906)
8 2 PAFZZ PAOZZ AFFZZ PAFZZ D023 5935-01-212-5468 CONNECTOR, PLUG EA 1 1
MS3456W36-7S (96906)
8 3 PAFZZ PAOZZ AFFZZ PAFZZ D,023 5935-01-187-6146 CONNECTOR, PLUG EA 1 1
MS3456W36-7P (96906)
8 4 PAFZZ PAOZZ AFFZZ PAFZZ D,008 5935-00-823-5322 PLUG, END SEAL EA 3 77
MS25251-16 (96906)
8 5 PAFZZ PAOZZ AFFZZ PAFZZ D.080 6145-00-578-6605 WIRE, ELECTRICAL FT 12 1010
M5086/2-16-9 (81349)
9 1 AFFFF MOO AFFZZ MFFZZ WIRING HARNESS, FAULT INDICATOR EA 1 1
70-1219 (30554)
70-1219 (93742)
MANUFACTURE FROM:
9 1 PAFZZ PAOZZ AFFZZ PAFZZ D.008 5975-00-074-2072 STRAP, TIEDOWN EA 45 2557
MS3367-1-9 (96906)
9 2 PAFZZ PAOZZ AFFZZ PAFZZ D.023 5935-00-626-3120 CONNECTOR, PLUG EA 1 1
MS3456W20-27S (96906)
9 3 PAFZZ PAOZZ AFFZZ PAFZZ D023 5935-00-506-6540 CONNECTOR, PLUG EA 1 1
MS3456W20-27P (96906)
9 4 PAFZZ PAOZZ AFFZZ PAFZZ D.008 5935-00-823-5322 PLUG, END SEAL EA 2 75
MS25251-16 (96906)
9 5 PAFZZ PAOZZ AFFZZ PAFZZ D080 6145-00-578-6605 WIRE, ELECTRICAL FT 12 1010
M5086/2-16-9 (81349)
27

TM 9-6115-545-24P
TO 35C2-3-444-4
NAVFAC P-8-626-24P
SL-400038G/07499A
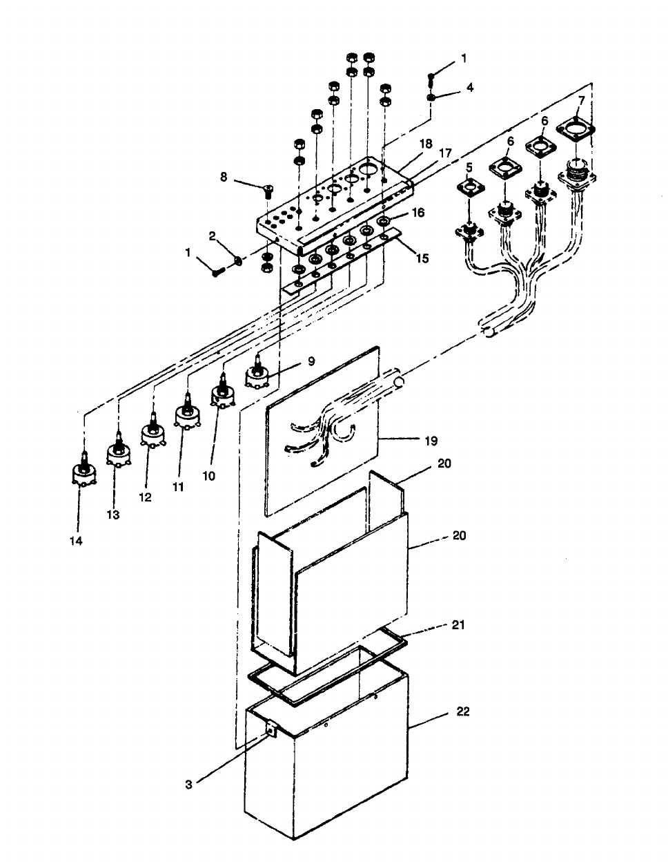
Figure 10. Fault Locating Indicator
28

(3)
USMC
(5)
DESCRIPTION USABLE
MFR ON
REF NUMBER CODE CODE
(8)
USMC
QTY
PER
EQUIP
(7)
QTY
INC
IN
UNIT
(6)
U/M
a
SSI
(2)
SMR CODE
(1)
ILLUSTRATION
d
USMC
c
NAVY
b
AIR
FORCE
a
ARMY
(a)
FIG
NO.
(b)
ITEM
NO.
(4)
NATIONAL
STOCK
NUMBER
b
REPL
FACTOR
TM 9-6115-545-24P
TO 35C2-3-444-4
NAVFAC P-8-626-24P
SL400038G/07499A
10 PAOFF PAOOO XBFFF PAFFF I370 6625-00-003-0976 INDICATOR, FAULT LOCATING EA 1 1
69-530 (30554)
69-530 (93742)
10 1 PAFZZ PAOZZ XBOZZ PAFZZ D008 5305-00-036-6968 SCREW, ASSEMBLED WASHER EA 18 39
6-32 X 3/8 IN LG
69-662-18 (30554)
61-060641-40-0142B0542B (78189)
10 2 XBFZZ MOO XBOZZ XBFZZ COVER EA
69-536 (30554)
69-536 (93742)
10 3 PAOZZ PAOZZ PAOZZ PAOZZ - 1 000 5920-00-280-4465 FUSE, CARTRIDGE EA 1 1
F02A250V1AS (81349)
10 4 PAFZZ PAOZZ XBOZZ PAFZZ D008 5920-00-875-4100 FUSE HOLDER, EXTRACTOR EA 1 2
FHN26G2 (81349)
10 5 PAFZZ PAOZZ PAOZZ PAFZZ -060 5930-00-615-7880 SWITCH. TOGGLE EA 1 1
MS35059-26 (96906)
10 6 PAFZZ PAOZZ PAOZZ PAFZZ D.008 5975-00-111-3208 STRAP, TIEDOWN EA 2 2
MS3367-5-9 (96906)
10 7 PAFZZ PAOZZ PAOZZ PAFZZ -.050 5910-00-009-9998 CAPACITOR, FIXED ELECTROLYTIC EA 1 1
M39006-02-1300 (81349)
10 8 PAOZZ PAOZZ XBOZZ PAOZZ - .008 6210-00-990-4637 LENS, LIGHT EA 10 10
LC12RN2 (81349)
10 9 PAOZZ PAOZZ PAOZZ PAOZZ- 160 6240-00-155-7836 LAMP. INCANDESCENT EA 10 10
MS25237-327 (96906)
10 10 PAFZZ PAOZZ XBOZZ PAFZZ -008 6210-00-813-8265 LIGHT. INDICATOR EA 10 10
LH73/1 (81349)
10 11 PAFZZ PAOZZ XBOZZ PAFZZD008 5305-00-984-4982 SCREW, MACHINE 6-32 X3/16 IN LG EA 2 16
MS35206-225 (96906)
10 12 PAOZZ PAOZZ XBOZZ PAFZZ D010 5310-00-045-4007 WASHER, LOCK. 1/4 EA 2 45
MS35338-41 (96906)
10 13 PAFZZ PAOZZ PAOZZ PAFZZ -050 5945-00-435-1833 RELAY EA 1 6
M5757/23-003 (81349)
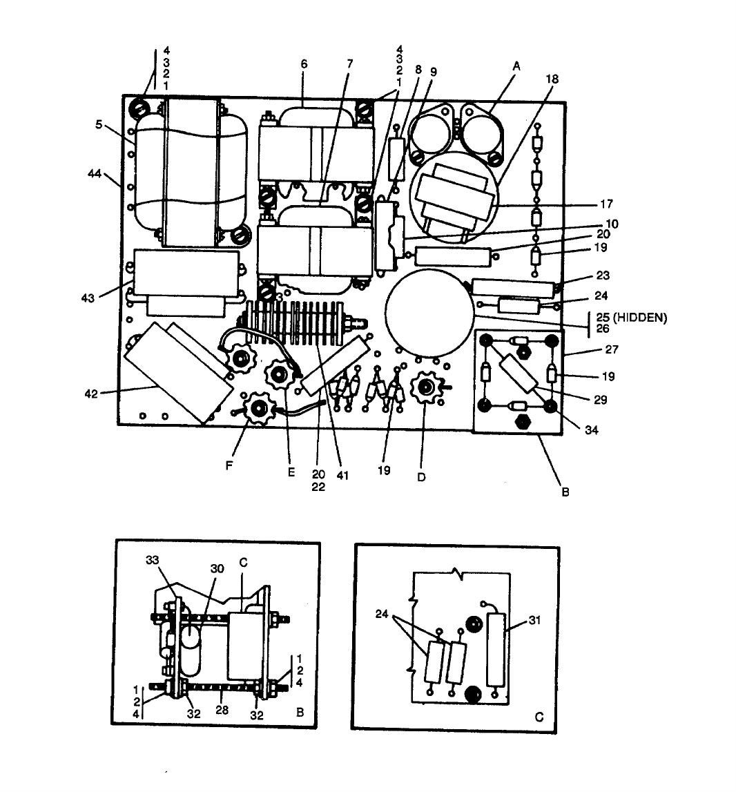
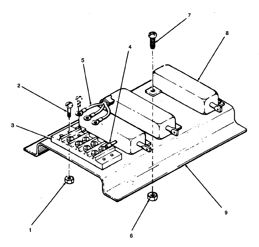
10 14 PBFZZ PBOOO XBOZZ PBFZZ 6110-00-199-1278 COMPONENT BOARD ASSY EA 1 2
69-540 (30554)
69-540 (93742)
10 15 XBFZZ XA XAOZZ XBFZZ PLATE, BOTTOM EA 1 1
69-533 (30554)
69-533 (93742)
10 16 PAFZZ PAOZZ PAOZZ PAFZZ D008 5305-00-036-6977 SCREW. ASSEMBLED WASHER. EA 4 51
8-32 X 3/8 IN LG
69-662-33 (30554)
61-080641-40-0142B-0542B (78189)
10 17 XBFZZ XA XAOZZ XBFZZ PANEL EA 1 1
69-532 (30554)
69-532 (93742)
10 18 XBFZZ XA XAOZZ XBFZZ CHASSIS EA 1 1
69-545 (30554)
69-545 (93742)
29

TM 9-6115-545-24P
TO 35C2-3 411 4
NAVFAC P-8-626-24P
SL-400038G/07499A
Figure 11. Wiring Harness.
30

(3)
USMC
(5)
DESCRIPTION USABLE
MFR ON
REF NUMBER CODE CODE
(8)
USMC
QTY
PER
EQUIP
(7)
QTY
INC
IN
UNIT
(6)
U/M
a
SSI
(2)
SMR CODE
(1)
ILLUSTRATION
d
USMC
c
NAVY
b
AIR
FORCE
a
ARMY
(a)
FIG
NO.
(b)
ITEM
NO.
(4)
NATIONAL
STOCK
NUMBER
b
REPL
FACTOR
TM 9-6115-545-24P
TO 35C2-3-444-4
NAVFAC P-8-626-24P
SL400038G/07499A
11 AFFFF AFF AHHZZ MFFZZ WIRING HARNESS EA 1 1
70-515
70-515 (30554)
MANUFACTURE FROM (93742)
11 1 PAFZZ PAOZZ XBHZZ PAFZZ D.008 5975-00-074-2072 STRAP, TIEDOWN EA V 2557
MS3367-1-9 (96906)
11 2 PAFZZ PAOZZ XBHZZ PAFZZ D.008 5970-00-954-1622 SLEEVING. INSULATION FT V10
M23053/5-105-0 (81349)
11 3 PAFZZ PAOZZ XBHZZ PAFZZ D.030 5935-00-007-2179 CONNECTOR. RECEPTACLE EA 1 1
69-502-7 (30554)
69-502-7 (93742)
11 4 PAFZZ PAOZZ XBHZZ PAFZZ D.080 6145-00-548-0969 WIRE, ELECTRICAL FT V50
22401A1WHITE (92607)
31

TM 9-6115-545-24P
TO 35C2-3-444 4
NAVFAC P-8-626-24P
SL-400038G/07499A
Figure 12. Component Board Assembly.
32

(3)
USMC
(5)
DESCRIPTION USABLE
MFR ON
REF NUMBER CODE CODE
(8)
USMC
QTY
PER
EQUIP
(7)
QTY
INC
IN
UNIT
(6)
U/M
a
SSI
(2)
SMR CODE
(1)
ILLUSTRATION
d
USMC
c
NAVY
b
AIR
FORCE
a
ARMY
(a)
FIG
NO.
(b)
ITEM
NO.
(4)
NATIONAL
STOCK
NUMBER
b
REPL
FACTOR
TM 9-6115-545-24P
TO 35C2-3-444-4
NAVFAC P-8-626-24P
SL400038G/07499A
12 XBFFF XB XBOZZ XBHHH COMPONENT BOARD ASSY EA 1 2
69-540 (30554)
69-540 (93742)
12 1 PBFZZ PBOZZ XBOZZ PBHZZ 5935-00-210-8648 SOCKET. RELAY EA 1 1
69-547 (30554)
V88/1UA11-80000300-1147 (05574)
12 2 PAFZZ PAOZZ XBOZZ PAHZZ D.008 5310-00-038-9412 NUT, HEX 6-32 EA 2 2
990-0002-030 (05574)
12 3 PAFZZ PAOZZ XBOZZ PAHZZ D.010 5310-00-038-9416 WASHER, FLAT, NO 6 EA 2 2
990-0001-054 (05574)
12 4 PAFZZ PAOZZ XBOZZ PAHZZ D.010 5310-00-038-9414 WASHER. LOCK, NO. 6 EA 2 2
990-0001-063 (05574)
12 5 PBFZZ PBOZZ XBOZZ PBHZZ 5365-00-216-1229 SPACER RELAY SOCKET EA 2 2
70-514 (30554)
70-514 (93742)
12 6 PAFZZ PAOZZ PAGZZ PAHZZ -.050 5905-00-141-1168 RESISTOR, FIXED EA 10 11
RCR20G222JS (81349)
12 7 PAFZZ PAOZZ PAGZZ PAHZZ -.050 5905-00-110-0196 RESISTOR, FIXED EA 10 11
RCR2OG102JS (81349)
12 8 PAFZZ PAOZZ PAGZZ PAHZZ -.040 5961-00-079-5958 SEMICONDUCTOR DEVICE EA 10 10
69-542 (30554)
2N1596 (80131)
12 9 PAFZZ PAOZZ PAGZZ PAHZZ -.040 5961-00-237-2384 RECTIFIER, SILICON EA 10 10
JAN1N5614 (81349)
12 10 PAFZZ PAOZZ PAGZZ PAHZZ -.050 5910-00-254-2789 CAPACITOR. FIXED ELECTRICAL EA 10 16
M39022/01-1661 (81349)
12 11 PAFZZ PAOZZ XBOZZ PAHZZ 5940-00-767-1596 TERMINAL. STUD EA 50 50
MS17157-10 (96906)
12 12 XBFZZ XA XBOZZ XBHZZ BOARD, FAULT INDICATOR EA 1 1
69-541 (30554)
12 13 PAFZZ PAOZZ PAGZZ PAHZZ 008 5970-00-954-1622 INSULATION SLEEVING EA 1 1
M23053/5-105-0 (81349)
33/(34 blank)

TM 9-6115-545-24P
TO 35C244-4
NAVFAC P-8-626-24P
SL-400038G/07499A
Figure 13. Control Box, Generator (Sheet 1 of 2).
35

TM 9-6115-545-24P
TO 35C2-3 44 4
NAVFAC P-626-24P
SL-400038G/07499A
Figure 13. Control Box, Generator (Sheet 2 of 2)
36

(3)
USMC
(5)
DESCRIPTION USABLE
MFR ON
REF NUMBER CODE CODE
(8)
USMC
QTY
PER
EQUIP
(7)
QTY
INC
IN
UNIT
(6)
U/M
a
SSI
(2)
SMR CODE
(1)
ILLUSTRATION
d
USMC
c
NAVY
b
AIR
FORCE
a
ARMY
(a)
FIG
NO.
(b)
ITEM
NO.
(4)
NATIONAL
STOCK
NUMBER
b
REPL
FACTOR
TM 9-6115-545-24P
TO 35C2-3-444-4
NAVFAC P-8-626-24P
SL-400038G/07499A
13 PBOFF PBODD AFFFF AFFFF 6110-00-201-8315 CONTROL BOX GENERATOR ABDE EA 1 2
69-590-1 (30554)
69-590-1 (93742)
13 PBOFF PBODD XBOZZ AFFFF 6110-00-092-5116 CONTROL BOX GENERATOR CF EA 1 2
69-590-2 (30554)
69-590-2 (93742)
13 1 PAOZZ PAOZZ XBOZZ PAFZZ D.008 5305-00-984-6193 SCREW, MACHINE 8-32 X 1/2 IN LG EA 14 18
MS35206-245 (96906)
13 2 PAOZZ PAOZZ XBOZZ PAFZZ D.008 5310-00-052-3632 NUT, PLAIN ASSEMBLED 8-32 EA 20 180
69-561-3 (30554)
511-081800-00 (78189)
13 3 PAOZZ PAOZZ XBOZZ PAFZZ D.008 5305-00-889-3000 SCREW, MACHINE 9-32 X 1/2 IN LG EA 9 15
MS35206-230 (96906)
13 4 PAOZZ PAOZZ XBOZZ PAFZZ D.008 5310-00-063-7360 NUT. PLAIN ASSEMBLED NO 6-32 EA 6 99
69-561-2 (30554)
511-061800-00 (78189)
13 5 PAOZZ PAOZZ PAOZZ PAFZZ I.030 6625-00-003-0971 FREQUENCY METER. MATCHED ABDE EA 1 1
SET
69-595 (30554)
13 5 PAOZZ PAOZZ PAOZZ PAFZZ .030 6625-00-003-0972 FREQUENCY METER, MATCHED CF EA 1 1
SET
69-596 (30554)
13 6 XAOZZ XA--- XA--- XAFZZ TRANSDUCER ABDE EA 1 1
267840 (65092)
13 6 XAOZZ XA--- XA--- XAFZZ TRANSDUCER CF EA 1 1
267838 (65092)
13 7 XAOZZ XA--- XA--- XAFZZ INDICATOR, FREQUENCY ABDE EA 1 1
267841 (65092)
13 7 XAOZZ XA--- XA--- XAFZZ INDICATOR, FREQUENCY CF EA 1 1
267839 (65092)
13 8 PAOZZPAOZZ PAOZZ PAFZZ .3030 6625-00-004-8066 METER, ELECTRICAL ABDE EA 1 1
69-597 (30554)
267842 (65092)
13 8 PAOZZ PAOZZ PAOZZ PAFZZ .3030 6625-00-081-5840 METER, CURRENT AC CF EA 1 1
69-598 (30554)
254014 (65092)
13 9 PAOZZ PAOOO PAOZZ PAFZZ D.040 6210-00-935-6919 LIGHT, PANEL EA 3 3
69-593 (30554)
47-0901-2900-201 (72619)
13 10 PAOZZ PAOZZ PAOZZ PAOZZ 6210-00-106-7568 HOOD, LIGHT EA 1 1
47-2900-200 (72619)
13 11 PAOZZ PAOZZ XBFZZ XBFZZ 5310-00-038-3252 NUT, PLAIN. HEX EA 1 1
4901-000-0032-01 (72619)
13 12 PAOZZ PAOZZ XBFZZ XBFZZ 5310-00-038-3227 WASHER, LOCK EA 2 2
8101-000-0032-01 (72619)
13 13 XAOZZ XA XAFZZ XAFZZ HOLDER, LAMP EA 1 1
47-0901-29-200 (72619)
13 14 PAOZZ PAOZZ PAOZZ PAOZZ D.160 6240-00-155-7878 LAMP. INCANDESCENT EA 3 3
69-594 (30554)
656-30V (08805)
13 15 PAOZZ PAOZZ PAOOZ PAFZZ D.040 6210-00-831-8247 LIGHT. INDICATOR EA 2 2
69-549 (30554)
51-3502-0137-203 (72619)
13 16 PAOZZ PAOZZ XBOZZ PAOZZ - .010 6210-00-244-2897 LENS. LIGHT EA 1 1
LC21CN3 (81349)
13 17 XAOZZ XA XBOZZ XAFZZ GASKET, RUBBER EA 1 1
3600-000-032-00 (72619)
13 18 XAOZZ XA XBOZZ XAFZZ HOLDER, LIGHT EA 1 1
51-3502-01-203 (72619)
13 19 PAOZZ PAOZZ PAOZZ PAOZZ .160 6240-00-143-3060 LAMP, INCANDESCENT EA 1 2
MS15567-1 (96906)
13 20 PAOZZ PAOZZ PAOZZ PAFZZ .040 6210-00-686-4999 LIGHT. INDICATOR EA 2 3
MS25331-2 (96906)
13 21 PAOZZ PAOZZ XBOZZ PAOZZ D.010 6210-00-283-9982 LENS, LIGHT (RED) EA 1 3
804-0331-500 (72619)
37

(3)
USMC
(5)
DESCRIPTION USABLE
MFR ON
REF NUMBER CODE CODE
(8)
USMC
QTY
PER
EQUIP
(7)
QTY
INC
IN
UNIT
(6)
U/M
a
SSI
(2)
SMR CODE
(1)
ILLUSTRATION
d
USMC
c
NAVY
b
AIR
FORCE
a
ARMY
(a)
FIG
NO.
(b)
ITEM
NO.
(4)
NATIONAL
STOCK
NUMBER
b
REPL
FACTOR
TM 9-6115-545-24P
TO 35C2-3-444-4
NAVFAC P-8-626-24P
SL-400038G/07499A
13 22 PAOZZ PAOZZ PAOZZ PAOZZ .160 6240-00-155-8714 LAMP. INCANDESCENT EA 3 7
MS25231-313 (96906)
13 23 PAOZZ PAOZZ PAOZZ PAFZZ - .160 6210-00-688-5088 LIGHT, INDICATOR EA 1 3
MS25331-4-313 (96906)
13 24 PAOZZ PAOZZ XBOZZ PAOZZD..010 6210-00-070-2180 LENS. LIGHT (AMBER) EA 1 2
804-0333-500 (72619)
13 25 PAOZZ PAOZZ PAOZZ PAFZZ D..008 5305-00-889-3000 SCREW. MACHINE 6-32 X9/16 IN LG EA 6 15
MS35206-230 (96906)
13 26 PAOZZ PAOZZ PAOZZ PAFZZ I.030 6625-00-003-0975 WATTMETER EA 1 1
70-4012 (30554)
260935 (65092)
13 27 PAOZZ PAOZZ PAOZZ PAFZZ I.030 6625-00-869-3144 VOLTMETER EA 1 1
69-599 (30554)
254013 (65092)
13 28 PAOZZ PAOZZ PAOZZ PAFZZ .050 5930-00-214-0431 SWITCH. ROTARY EA 1 1
70-4016 (30554)
31904LT (82121)
13 29 PAOZZ PAOZZ XBOZZ PAFZZ .020 5355-00-538-7331 KNOB EA 1 1
MS25166-1 (96906)
13 30 PAOZZ PAOZZ XBOZZ PAFZZ- .020 5355-00-916-2060 KNOB EA 2 2
MS91528-2P4B (96906)
13 31 PAOZZ PAOZZ PAOZZ PAFZZ .036 5905-00-264-7368 RESISTOR, VARIABLE EA 1 1
M22-03-00161FD (81349)
13 32 PAOZZ PAOZZ PAOZZ PAFZZ .036 5905-00-665-7855 RESISTOR, VARIABLE EA 1 1
M22-04-00181FD (81349)
13 33 PAOZZ PAOZZ PAOZZ PAFZZ .060 5930-00-655-1581 SWITCH, TOGGLE EA 2 2
MS25068-23 (96906)
13 34 PAOZZ PAOZZ XBOZZ PAFZZ 008 5930-00-615-6731 GUARD, SWITCH EA 1 1
MS25224-1 (96906)
13 35 PAOZZ PAOZZ PAOZZ PAFZZ .060 5930-00-655-1582 SWITCH, TOGGLE EA 1 1
MS35059-23 (96906)
13 36 PAOZZ PAOZZ PAOZZ PAFZZ .060 5930-00-655-1514 SWITCH, TOGGLE EA 2 3
MS35058-22 (96906)
13 37 PAOZZ PAOZZ PAOZZ PAFZZ .060 5930-00-044-3518 SWITCH, TOGGLE EA 1 1
MS25201-6 (96906)
13 38 PAOZZ PAOZZ PAOZZ PAFZZ .060 5930-00-782-8590 SWITCH, TOGGLE EA 1 1
69-572 (30554)
8906K1359 (27192)
13 39 PAOZZ PAOZZ PAOZZ PAFZZ .060 5930-00-655-1522 SWITCH. TOGGLE EA 1 1
MS35058-30 (96906)
13 40 PAOZZ PAOZZ PAGZZ PAFZZ D.004 6645-00-089-8842 METER,TIME TOTALIZING EA 1 1
M-3971/1-5 (81349)
13 41 PAOZZ PAOZZ XBOZZ PAFZZ D.008 5310-00-836-3520 NUT. PLAIN, ASSEMBLED EA 3 76
69-561-1 (30554)
511-041800-00 (78189)
13 42 PAOZZ PAOZZ XBOZZ PAFZZ D.008 5305-00-983-6730 SCREW, MACHINE 4-40 X 5/8IN LG EA 3
MS35206-218 (96906)
13 43 PAOZZ PAOZZ PAOZZ PAFZZ .030 6625-00-869-3141 AMMETER.DC EA 1 1
69-574 (30554)
253633 (65092)
13 44 PAOZZ PAOZZ PAOZZ PAFZZ .050 6685-00-857-0662 INDICATOR, TEMPERATURE EA 1 1
69-577 (30554)
505-BE (57733)
13 45 PAOZZ PAOZZ XBOZZ PAFZZ D 008 5310-00-934-9751 NUT, HEX 10-32 EA 6 10
MS35650-302 (96906)
13 46 PAOZZ PAOZZ XBOZZ PAFZZ D.010 5310-00-045-3296 WASHER. LOCK NO 10 EA 6 9
MS35338-43 (96906)
13 47 PAOZZ PAOZZ XAOZZ PAFZZ 3930-00-195-0232 CLAMP. MOUNT. METER EA 3 3
1503496 (70040)
13 48 PAOZZ PAOZZ PAOZZ PAFZZ .050 6680-00-052-3544 INDICATOR, LIQUID QUANTITY EA 1 1
69-575 (30554)
505-BC (57733)
13 49 PAOZZ PAOZZ PAOZZ PAFZZ .050 6620-00-005-4879 INDICATOR, PRESSURE EA 1 1
69-576-2 (30554)
505-BD (57733)
38

(3)
USMC
(5)
DESCRIPTION USABLE
MFR ON
REF NUMBER CODE CODE
(8)
USMC
QTY
PER
EQUIP
(7)
QTY
INC
IN
UNIT
(6)
U/M
a
SSI
(2)
SMR CODE
(1)
ILLUSTRATION
d
USMC
c
NAVY
b
AIR
FORCE
a
ARMY
(a)
FIG
NO.
(b)
ITEM
NO.
(4)
NATIONAL
STOCK
NUMBER
b
REPL
FACTOR
TM 9-6115-545-24P
TO 35C2-3-444-4
NAVFAC P-8-626-24P
SL-400038G/07499A
13 50 PAOZZ PAOZZ XBOZZ PAFZZ 5340-00-050-2740 CLAMP. LOOP EA 3 3
MS21333-75 (96906)
13 51 PAOZZ PAOZZ XBOZZ PAFZZ- .008 5340-00-057-2904 CLAMP, LOOP EA 1 1
MS21333-71 (96906)
13 52 PBOZZ PBOZZ XBOZZ PBOZZ 5340-01-179-4392 HOLDER, DOOR EA 2 2
69-763 (30554)
69-763 (93742)
13 53 PAOZZ PAOZZ XBOZZ PAOZZ D.008 5305-00-954-5629 SCREW. MACHINE 8-32 X 1/2 IN LG EA 2 2
MS35198-42 (96906)
13 54 PAOZZ PAOZZ XBOZZ PAOZZ D.010 5310-00-809-8544 WASHER, FLAT. No 8 EA 2 28
MS27183-7 (96906)
13 55 PAOZZ PAOZZ XBOZZ PAOZZ 4030-00-780-9350 HOOK, CHAINS EA 2 2
MS87006-13 (96906)
13 56 PAFZZ PAOZZ XBOZZ PAOZZ D.008 5325-00-432-9902 STUD TURNLOCK FASTENER EA 3 3
69-694-6 (30554)
98292-2-250 (60119)
13 57 PAOZZ PAOZZ XBOZZ PAOZZ D.008 5325-00-099-8827 EYELET. METALLIC EA 3 3
69-766 (30554)
295901-2 (60119)
13 58 PAOZZ PAOZZ XB--- PAOZZ D.008 5315-00-449-2945 PIN, GROOVED. HEADLESS EA 3 3
69-695 (30554)
99836 (60119)
13 59 XBOZZ XB--- XBOZZ XBFZZ DOOR, CONTROL BOX EA 1 1
69-592 (30554)
69-592 (93742)
13 60 PAOZZ PAOZZ XBOZZ PAFZZ D.008 5305-00-984-4988 SCREW. MACHINE 6-32 X3/8 IN LG EA 6 10
MS35206-218 (96906)
13 61 PAOZZ PAOZZ XBOZZ PAFZZ D.008 6150-00-665-7230 JUMPER. TERMINAL BOARD EA 3 3
69-651-3 (30554)
602J (75382)
13 62 PAOZZ PAOZZ XBOZZ XBFZZ 5940-00-983-6105 TERMINAL BOARD EA 1 1
39TB 10 (81349)
13 63 PAOZZ PAOZZ XBOZZ PAFZZ D.008 5305-00-984-6195 SCREW. MACHINE 8-32 X3/4 IN LG EA 4 4
MS35206-247 (96906)
13 64 PAOZZ PAOZZ PAOZZ PAFZZ .050 6625-01-180-7579 CONVERTER, THERMAL ABDE EA 1 1
69-589 (30554)
13 65 PAOZZ PAOZZ XBOZZ PAFFF I.250 6110-00-202-2888 CIRCUIT CARD ASSY EA 1 2
69-765 (30554)
69-765 (93742)
13 66 PAOZZ PAOZZ XBOZZ PAFZZ D.008 5310-00-094-3421 NUT, PLAIN ASSEMBLED EA 4 52
69-561-4 (30554)
511-101800-00 (78189)
13 67 XBOZZ XB XBOZZ XBFZZ CONTROL BOX EA 1 2
69-591 (30554)
69-591 (93742)
13 68 PAOZZ PAOZZ XBOZZ XBFZZ .010 5320-00-680-8779 RIVET. SOLID EA 6 6
AN427-4C6 (88044)
13 69 PAFZZ PAOZZ XBOZZ XBFZZ 5340-01-056-7595 HINGE EA 3 3
MS35823-6C (96906)
13 70 XBOZZ XB XBOZZ XBFZZ SPACER EA 2 2
69-591-7 (30554)
13 71 PAOZZ PAFZZ XBOZZ XBFZZ .008 5320-00-241-6020 RIVET. SOLID EA S 6
MS20427-4C4 (96906)
13 72 PAOZZ PAOZZ XBOZZ PAFZZ D. 008 5325-00-449-2967 RECEPTACLE. TURNLOCK EA 3 3
99947P130 (60119)
39

TM 9-6115-545-24P
TO 35C2-3-444-4
NAVFAC P-8-626-24P
SL-400038G/07499A
Figure 14. Wiring Harness, Branched, Control Box.
40

(3)
USMC
(5)
DESCRIPTION USABLE
MFR ON
REF NUMBER CODE CODE
(8)
USMC
QTY
PER
EQUIP
(7)
QTY
INC
IN
UNIT
(6)
U/M
a
SSI
(2)
SMR CODE
(1)
ILLUSTRATION
d
USMC
c
NAVY
b
AIR
FORCE
a
ARMY
(a)
FIG
NO.
(b)
ITEM
NO.
(4)
NATIONAL
STOCK
NUMBER
b
REPL
FACTOR
TM 9-6115-545-24P
TO 35C2-3-444-4
NAVFAC P-8-626-24P
SL-400038G/07499A
14 AFFFF MOO XBOZZ XBFZZ WIRING HARNESS, BRANCHED, EA 1 1
CONTROL BOX
69-677
MANUFACTURE FROM (30554)
14 1 PAFZZ PAOZZ XBOZZ PAFZZ D.008 5975-00-074-2072 STRAP, TIEDOWN ELECTRICAL EA 50 2557
CABLE
MS3367-1-9 (96906)
14 2 PAFZZ PAOZZ XBOZZ PAFZZ D.008 5970-00-954-1622 INSULATION SLEEVING, BLK FT 3 6
M23053/5-105-0 (81349)
14 3 PAFZZ PAOZZ XBOZZ PAFZZ D.023 5935-01-196-1094 CONNECTOR EA 1 2
MS3452W36-7P (96906)
14 4 PAFZZ PAOZZ XBOZZ PAFZZ D.008 5940-00-143-4774 TERMINAL LUG EA 18 113
MS25036-153 (96906)
14 5 PAFZZ PAOZZ XBOZZ PAFZZ D.008 5940-00-230-0515 TERMINAL LUG EA 3 36
MS25036-154 (96906)
14 6 PAFZZ PAOZZ XBOZZ PAFZZ D.008 5940-00-143-4780 TERMINAL LUG EA 3 48
MS25036-108 (96906)
14 7 PAFZZ PAOZZ XBOZZ PAFZZ D.008 5940-00-283-5280 TERMINAL LUG EA 38 549
MS25036-106 (96906)
14 8 PAFZZ PAOZZ XBOZZ PAFZZ D.008 5940-00-113-8184 TERMINAL LUG EA 7 7
MS25036-150 (96906)
14 9 PAFZZ PAOZZ XBOZZ PAFZZ D.008 5940-00-143-4771 TERMINAL LUG EA 8 8
MS25036-103 (96906)
14 10 PAFZZ PAOZZ XBOZZ PAFZZ D.008 5940-01-010-2899 TERMINAL LUG EA 19 19
MS25036-149 (96906)
14 11 PAFZZ PAOZZ XBOZZ PAFZZ D.008 5940-00-204-8966 TERMINAL LUG EA 64 64
MS25036-102 (96906)
14 12 PAFZZ PAOZZ XBOZZ PAFZZ D.080 6145-00-578-6605 WIRE, ELECTRICAL FT 80 1010
M5086/2-16-9 (81349)
14 13 PAFZZ PAOZZ XBOZZ PAFZZ D.080 6145-00-578-6602 WIRE, ELECTRICAL FT 147 153
M5086/2-18-9 (81349)
41

TM 9-6115-545-24P
TO 35C2-3-444-4
NAVFAC P-8-626-24P
SL-400038G/07499A
Figure 15. Circuit Card Assembly.
42

(3)
USMC
(5)
DESCRIPTION USABLE
MFR ON
REF NUMBER CODE CODE
(8)
USMC
QTY
PER
EQUIP
(7)
QTY
INC
IN
UNIT
(6)
U/M
a
SSI
(2)
SMR CODE
(1)
ILLUSTRATION
d
USMC
c
NAVY
b
AIR
FORCE
a
ARMY
(a)
FIG
NO.
(b)
ITEM
NO.
(4)
NATIONAL
STOCK
NUMBER
b
REPL
FACTOR
TM 9-6115-545-24P
TO 35C2-3 444 4
NAVFAC P-626-24P
SL-400038G/07499A
15 PAOFF PAOZZ XBOZZ PAFFF I.250 6110-00-202-2888 CIRCUIT CARDASSY EA 1 2
69-765 (30554)
69-765 (93742)
15 1 PAFZZ PAOZZ XBOZZ PAFZZ D.008 5305-00-036-6967 SCREW. ASSEMBLED WASHER EA 4 10
6-32 X 1/4 IN LG
69-662-18 (30554)
61-060441-40-0142B0542B (78189)
15 2 PAFZZ PAOZZ PAOZZ PAFZZ .050 5945-00-435-1833 RELAY EA 2 6
M5757/23-003 (81349)
15 3 PAFZZ PAOZZ XBOZZ PAFZZ- .030 5935-00-206-1400 SOCKET. RELAY EA 2 2
69-658 (30554)
V88-1FA11-80 (05574)
15 4 PAFZZ PAOZZ XBOZZ PAFZZ 5310-00-038-9413 NUT, PLAIN, HEXAGON EA 2 2
990-0002-009 (05574)
15 5 PAFZZ PAOZZ XBOZZ PAFZZ 5310-00-038-9942 WASHER, LOCK EA 2 8
990-0001-035 (05574)
15 6 PAFZZ PAOZZ XBOZZ PAFZZ 5310-00-040-9822 WASHER, FLAT EA 2 8
990-0001-012 (05574)
15 7 XBFZZ XB XBOZZ XAFZZ SPACER, SLEEVE EA 2 2
990-0007-000 (05574)
15 8 PAFZZ PAOZZ XBOZZ PAFZZ D.008 5305-00-984-6215 SCREW, MACHINE 10-24 X 1/4 IN LG EA 4 4
MS35208-268 (96906)
15 9 PAFZZ PAOZZ XBOZZ PAFZZ D.008 5310-00-094-3421 NUT. PLAIN, ASSEMBLED EA 8 52
69-561-4 (30554)
511-101800-00 (78189)
15 10 PAFZZ PAOZZ XBOZZ PAFZZ D.010 5310-00-809-8546 WASHER. FLAT, NO 10 EA 4 38
MS27183-8 (96906)
15 11 PAFZZ PAOZZ XBOZZ PAFZZ 5940-00-088-6357 TERMINAL BOARD EA 2 2
42TB6 (81349)
15 12 PAFZZ PAOZZ PAOZZ PAFZZ .020 5961-01-151-4695 RECTIFIER, SEMICONDUCTOR EA 1 2
69-739 (30554)
B-598-40 (06288)
15 13 PAFZZ PAOZZ PAGZZ PAFZZ .050 5905-01-184-5252 RESISTOR, FIXED WIREWOUND EA 1 2
RWR78S1501FS (81349)
15 14 PAFZZ PAOZZPAGZZ PAFZZ .050 5910-01-077-5322 CAPACITOR, FIXED EA 1 1
M39006/02-1296 (81349)
15 15 XAFZZ XA XAOZZ XAFZZ BOARD, PRINTED EA 1 1
69-764 (30554)
69-764 (93742)
43/(44 blank)

TM 9-6115-545-24P
TO 35C2-3 444 4
NAVFAC P-626-24P
SL-400038G/07499A
Figure 16. Housing Group (Sheet 1 of 2).
45

TM 9-6115-545-24P
TO 35C2-3 444 4
NAVFAC P-626-24P
SL-400038G/07499A
Figure 16. Housing Group (Sheet 2 of 2).
46

(3)
USMC
(5)
DESCRIPTION USABLE
MFR ON
REF NUMBER CODE CODE
(8)
USMC
QTY
PER
EQUIP
(7)
QTY
INC
IN
UNIT
(6)
U/M
a
SSI
(2)
SMR CODE
(1)
ILLUSTRATION
d
USMC
c
NAVY
b
AIR
FORCE
a
ARMY
(a)
FIG
NO.
(b)
ITEM
NO.
(4)
NATIONAL
STOCK
NUMBER
b
REPL
FACTOR
TM 9-6115-545-24P
TO 35C2-3 444 4
NAVFAC P-626-24P
SL-400038G/07499A
GROUP 08 - HOUSING GROUP
16 1 PAOZZ PAOZZ XBOZZ PAOZZ D.008 5305-00-984-6192 SCREW, MACHINE 8-32 X 7/16 IN LG EA 77 77
MS35206-244 (96906)
16 2 PAOZZ PAOZZ XBOZZ PAOZZ D.008 5310-00-052-3632 NUT, PLAIN ASSEMBLED 8-32 EA 77 180
69-561-3 (30554)
511-081800-00 (78189)
16 3 PAOZZ PAOZZ XBOZZ PAOZZ .089 5330-00-036-6995 SEAL, RUBBER STRIP FT 1 1
69-771 (30554)
RL2955 (10009)
16 4 PAFZZ PAOZZ XAOZZ PAOZZ .008 5340-00-229-3643 LATCH, RIM EA 21 21
69-657 (30554)
69-657 (93742)
16 5 PBOZZ PBOZZ XBOZZ PBFZZ 6115-01-219-6781 DOOR, ACCESS, GEN SET EA 1 1
70-1162 (30554)
70-1162 (93742)
16 6 PBOZZ PBOZZ XBOZZ PBFZZ 5340-01-218-6240 DOOR, ACCESS, GEN SET EA 3 3
70-1163 (30554)
70-1163(93742)
16 7 XBOZZ XB XBOZZ XBFZZ DOOR, ACCESS, GEN SET ABDE EA 1 1
70-1351-1 (30554)
70-1351-1 (93742)
16 7 PBOZZ PBOZZ XBOZZ PBFZZ 5340-01-150-3111 DOOR, ACCESS, GEN SET CF EA 1 1
70-1351-2 (30554)
70-1351-2 (93742)
16 8 PAOZZ PAFZZ XBOZZ PAOZZ 5320-01-033-4375 RIVET, BLIND EA 52 84
70-1305 (30554)
16 9 PBOZZ PBOZZ XCOZZ PBOZZ 9905-01-150-3078 PLATE, INFORMATION ABDE EA 1 1
70-1455-6 (30554)
70-1455-6 (93742)
16 9 PBOZZ PBOZZ XCOZZ PBOZZ 9905-01-163-4488 PLATE, INFORMATION CF EA 1 1
70-1455-8 (30554)
70-1455-8 (93742)
16 10 XBOZZ XB XBOZZ XBFZZ DOOR, ACCESS, GEN SET AD EA 1 1
70-1352-6 (30554)
70-1352-6 (93742)
16 10 PBOZZ PBOZZ XBOZZ PBFZZ 5340-01-181-8452 DOOR, ACCESS, GEN SET BCEF EA 1 1
70-1352-3 (30554
70-1352-3 (93742)
16 11 XBOZZ MDO XCOZZ MDOZZ PLATE. INFORMATION AD EA 1 1
70-1455-4 (30554)
70-1455-4 (93742)
16 11 XBOZZ MDO XCOZZ MDOZZ PLATE, INFORMATION BCEF EA 1 1
70-1455-1 (30554)
70-1455-1 (93742)
16 12 PAOZZ MDO XCOZZ MDOZZ 9905-01-159-4424 PLATE, INFORMATION AD EA 1 1
70-1455-3 (30554)
70-1455-3 (93742)
16 12 XBOZ MDO XEOZZ MDOZZ PLATE, INFORMATION BCEF EA 1 1
70-1455-2 (30554)
70-1455-2 (93742)
16 13 PBOZZ PBOZZ XBOZZ PBFZZ 5340-01-181-4094 DOOR, ACCESS, GEN SET EA 1 1
70-1352-1 (30554)
70-1352-1 (93742)
16 14 XBOZZ XB XBOZZ XBFZZ DOOR, ACCESS, GEN SET ABDE EA 1 1
70-1352-2 (30554)
70-1352-2 (93742)
16 14 PBOZZ PBOZZ XBOZZ PBFZZ 5340-01-150-9888 DOOR, ACCESS, GEN SET CF EA 1 1
70-1352-5 (30554)
70-1352-5 (93742)
16 15 KBOZZ MDO XCOZZ MDOZZ PLATE, INFORMATION ABDE EA 1 1
70-1455-5 (30554)
70-1455-5 (93742)
16 15 PAOZZ MDO XCOZZ PBOZZ 9905-01-184-6162 PLATE, INFORMATION CF EA 1 1
70-1455-7 (30554)
70-1455-7 (93742)
47

(3)
USMC
(5)
DESCRIPTION USABLE
MFR ON
REF NUMBER CODE CODE
(8)
USMC
QTY
PER
EQUIP
(7)
QTY
INC
IN
UNIT
(6)
U/M
a
SSI
(2)
SMR CODE
(1)
ILLUSTRATION
d
USMC
c
NAVY
b
AIR
FORCE
a
ARMY
(a)
FIG
NO.
(b)
ITEM
NO.
(4)
NATIONAL
STOCK
NUMBER
b
REPL
FACTOR
TM 9-6115-545-24P
TO 35C2-3 444 4
NAVFAC P-626-24P
SL-400038G/07499A
16 16 PAOZZ PAOZZ XBOZZ PAOZZ D.008 5305-00-036-6906 SCREW, ASSEMBLED WASHER EA 4 12
10-24 X 1/2 IN LG
69-662-50 (30554)
61-100841-40-0142B0542B (78189)
16 17 PAOZZ PAOZZ XBOZZ PAOZZ D.010 5310-00-809-8546 WASHER, FLAT EA 4 38
MS27183-8 (96906)
16 18 PBOZZ PBOZZ XBOZZ PBOZZ 5340-01-147-6598 COVER, ASSEMBLY EA 1 1
70-1470 (30554)
70-1470 (93742)
16 19 PAOZZ PAOZZ XBOZZ PAOZZ 5320-01-033-4375 RIVET, BLIND EA 4 84
70-1305 (30554)
16 20 PBOZZ PBOZZ XCOZZ PBOZZ 9905-01-150-3092 PLATE, INSTRUCTION EA 1 1
70-1485 (30554)
70-1485 (93742)
16 21 XBOZZ MOO XBOZZ XBOZZ COVER EA 1 1
70-1470-21 (30554)
70-1470-21 (93742)
16 22 PAOZZ PAOZZ XBOZZ PAOZZ D.008 5325-00-051-6791 STUD. TURNLOCK FASTENER EA 1 1
70-1510 (30554)
85-11-500-16 (94222)
16 23 PAOZZ PAOZZ XBOZZ PAOZZ D00B5365-00-838-0422 RETAINER. STUD EA 1 1
70-1511 (30554)
85-34-101-20 (94222)
16 24 PAOZZ PAOZZ XBOZZ PAOZZ D.008 5305-00-869-2998 SCREW. MACHINE 4-40 X7/16 IN LG EA 2 2
MS35206-216 (96906)
16 25 PAOZZ PAOZZ XBOZZ PAOZZ D.008 5310-00-836-3520 NUT. ASSEMBLED WASHER 4-40 EA 2 76
69-561-1 (30554)
511-041800-00 (78189)
16 26 PAOZZ PAOZZ XBOZZ PAOZZ D.008 5325-00-282-7471 RECEPTACLE, TURNLOCK EA 1 1
70-1509 (30554)
85-35-295-15 (94222)
16 27 PBOZZ PBOZZ XBOZZ PBOZZ 5340-01-157-2519 DOOR. ACCESS EA 1 1
70-1149 (30554)
70-1149 (93742)
16 28 PAOZZ PAOZZ XBOZZ PAOZZ D.008 5305-00-184-9508 SCREW, ASSEMBLED WASHER EA 20 39
1/4-20 X 3/8 IN LG
70-1319-1 (30554)
61-250681-00-0242B-0542B (78189)
16 29 PAOZZ PAOZZ XBOZZ PAOZZ 7520-01-154-7137 COMPARTMENT, DOCUMENT EA 1 1
70-1363 (30554)
70-1363 (93742)
16 30 PAFZZ PAOZZ PAGZZ PAOZZ D.008 5325-00-812-7008 FASTENER, DOOR EA 1 1
72-2283 (30554)
85-15-140-16 (94222)
16 31 PAOZZ PAOZZ XBOZZ PAOZZ D.008 5306-00-036-6980 BOLT. ASSEMBLED WASHER EA 58 89
70-1319-3 (30554)
61-251081-00-0242B0542B (78189)
16 32 PAOZZ PAOZZ PAOZZ PAOZZ D.008 5310-00-064-0380 RETAINER, NUT EA 58 58
70-1442-6 (30554)
C7988-1420-27 (78553)
16 33 PAOZZ PAOZZ XBOZZ PAOZZ D.008 5306-00-036-6906 BOLT, ASSEMBLED WASHER 1/4-20 EA 27 119
X 1/2 IN LG
70-1319-2 (30554)
61-250881-00-0242B0542B (78189)
16 34 PAOZZ PAOZZ XBOZZ PAOZZ D.008 5310-00-696-5173 NUT, ASSEMBLED WASHER, 1/4 EA 21 131
40-20
69-561-5 (30554)
511-251800-00 (78189)
16 35 PBOZZ PBOZZ XBOZZ PBOZZ 6115-01-181-3981 HOUSING GENERATOR EA 2 2
70-1161 (30554)
70-1161 (93742)
16 36 PBOZZ PBOZZ XBOZZ PBOZZ 6115-01-150-3079 HOUSING GENERATOR EA 1 1
70-1336 (30554)
70-1336 (93742)
16 37 XBOZZ XB XBOZZ XBOZZ HOUSING, GENERATOR EA 1 1
70-1160 (30554)
70-1160 (93742)
48

(3)
USMC
(5)
DESCRIPTION USABLE
MFR ON
REF NUMBER CODE CODE
(8)
USMC
QTY
PER
EQUIP
(7)
QTY
INC
IN
UNIT
(6)
U/M
a
SSI
(2)
SMR CODE
(1)
ILLUSTRATION
d
USMC
c
NAVY
b
AIR
FORCE
a
ARMY
(a)
FIG
NO.
(b)
ITEM
NO.
(4)
NATIONAL
STOCK
NUMBER
b
REPL
FACTOR
TM 9-6115-545-24P
TO 35C2-3 414 4
NAVFAC P-8-626-24P
SL-400038G/07499A
16 38 PAOZZ PAOZZ XBOZZ PAOZZ D.008 5305-01-010-2362 SCREW. CAP. HEX3/8-16 X7/8 N LG EA 2 2
MS18154-59 (96906)
16 39 PAOZZ PAOZZ XBOZZ PAOZZ D.010 5310-00-061-1258 WASHER, LOCK EA 2 66
MS45904-76 (96906)
16 40 PAOZZ PAOZZ XBOZZ PAOZZ D.008 5310-00-732-0558 NUT PLAIN. HEX EA 2 47
MS51967-8 (96906)
16 41 PAOZZ PAOZZ XBOZZ PAOZZ D.008 5306-00-036-6982 BOLT, ASSEMBLED WASHER 1/4-20 EA 4 71
X3/4 IN LG
70-1319-4 (30554)
61-251281-00-0242B0542B (78189)
16 42 XBOZZ XB XBOZZ XBFZZ HOUSING. GENERATOR EA 1 1
70-1148 (30554)
70-1148 (93742)
16 43 PBOZZ PBOZZ XBOZZ PBOZZ 5340-01-157-2496 BRACKET. CLAMP EA 1 2
70-1538 (30554)
70-1538 (93742)
16 44 PBOZZ PBOZZ XBOZZ PBFZZ 6115-01-157-0774 HOUSING. GENERATOR EA 1 1
70-1150 (30554)
70-1150 (93742)
16 45 PAOZZ PAOZZ XBOZZ PAOZZ D.008 5305-00-068-0502 SCREW, CAP, HEXAGON 1/4-20 X 3/4 EA 1 1
IN LG
MS90725-6 (96906)
16 46 PAOZZ PAOZZ XBOZZ PAOZZ D.010 5310-00-8094058 WASHER. FLAT EA 1 21
MS27183-10 (96906)
16 47 PAOZZ PAOZZ XBOZZ PAOZZ D.008 5310-00-088-1251 NUT. SELF-LOCKING, HEXAGON EA 1 3
MS51922-1 (96906)
16 48 PBOZZ PBOZZ XBOZZ PBOZZ 5340-01-214-1609 HOLDER. DOOR EA 1 1
70-1454 (30554)
70-1454 (93742)
16 49 PAOZZ PAOZZ XBOZZ PAFZZ D.008 5306-00-036-6983 BOLT. ASSEMBLED WASHER 1/4-20 EA 6 15
X 7/8 IN LG
70-1319-5 (30554)
61-251481-00-0242B0542B (78189)
16 50 PBOZZ PBOZZ XBOZZ PBFZZ 6115-01-150-3102 GRILLE EA 1 1
70-1047 (30554)
70-1047 (93742)
16 51 PAOZZ PAOZZ XBOZZ PBFZZ 5340-01-252-5265 DOOR, ACCESS. BATTERY EA 1 1
70-1143 (30554)
70-1143 (93742)
16 52 PBOZZ PBOZZ XBOZZ PBOZZ 9905-01-151-9226 PLATE, INSTRUCTION EA 1 1
70-1325 (30554)
70-1325 (93742)
16 53 XBOZZ XB XBOZZ XBFZZ HOUSING. GENERATOR EA 1 1
70-1144 (30554)
70-1144 (93742)
16 54 XBOZZ XB XBOZZ XBFZZ HOUSING. GENERATOR EA 1 1
70-1145 (30554)
70-1145 (93742)
16 55 XBOZZ XB XBGZZ XBFZZ HOUSING. GENERATOR AD EA 1 1
70-1146-6 (30554)
70-1146-6 (93742)
16 55 XBOZZ XB XBGZZ XBFZZ HOUSING, GENERATOR BE EA 1 1
70-1146-5 (30554)
70-1146-5 (93742)
16 55 XBOZZ XB XBGZZ XBFZZ HOUSING. GENERATOR CF EA 1 1
70-1146-4 (30554)
70-1146-4 (93742)
16 56 XBOZZ MDO XBOZZ MDOZZ PLATE, IDENTIFICATION AD EA 1 1
72-0504-8 (30554)
72-0504-8 (93742)
16 56 XBOZZ MDO XBOZZ MDOZZ PLATE IDENTIFICATION BE EA 1 1
72-0504-9 (30554)
72-0504-9 (93742)
16 56 XBOZZ MDO XBOZZ PBOZZ PLATE, IDENTIFICATION CF EA 1
72-0504-10 (30554)
72-0504-10 (93742)
49

(3)
USMC
(5)
DESCRIPTION USABLE
MFR ON
REF NUMBER CODE CODE
(8)
USMC
QTY
PER
EQUIP
(7)
QTY
INC
IN
UNIT
(6)
U/M
a
SSI
(2)
SMR CODE
(1)
ILLUSTRATION
d
USMC
c
NAVY
b
AIR
FORCE
a
ARMY
(a)
FIG
NO.
(b)
ITEM
NO.
(4)
NATIONAL
STOCK
NUMBER
b
REPL
FACTOR
TM 9-6115-545-24P
TO 35C2-3 44Q 4
NAVFAC P-626-24P
SL-400038G/07499A
16 57 XBOZZ MDO XBOZZ MOOZZ PLATE. INFORMATION ABDE EA 1 1
70-1346 (30554)
70-1346 (93742)
16 57 XBOZZ MDO XBOZZ MOOZZ PLATE. INFORMATION CF EA 1 1
70-1345 (30554)
70-1345 (93742)
16 58 XBOZZ XB XBOZZ XBFZZ HOUSING, GENERATOR EA 1 1
70-1147 (30554)
70-1147 (93742)
16 59 PBOZZ PBOZZ XCOZZ PBOZZ 6115-01-177-3635 PLATE, INSTRUCTION EA 1 1
70-1480 (30554)
70-1480 (93742)
16 60 PBOZZ PBOZZ XCOZZ PBOZZ 9905-01-157-5420 PLATE, INSTRUCTION EA 1 1
70-1481 (30554)
70-1481 (93742)
16 61 PAOZZ PAOZZ XBOZZ PAFZZ 5340-01-174-4045 DOOR, AIR INLET, LEFT EA 1 1
70-1156 (30554)
70-1156 (93742)
16 62 PAOZZ XB XBOZZ PBFZZ 5340-01-236-7631 HOOK, DOOR EA 1 1
70-1156-7 (30554)
70-1156-7 (93742)
16 63 PAOZZ PAOZZ XBOZZ PAFZZ 6115-01-150-3080 DOOR AIRINLET.RIGHT EA 1 1
70-1157 (30554)
70-1157 (93742)
16 64 PAOZZ PAOZZ XBOZZ PAFZZ 5340-01-144-1894 HOOK, DOOR EA 1 1
70-1157-10 (30554)
70-1157-10 (93742)
16 65 PBOZZ PBOZZ XBOZZ PBFZZ 6115-01-147-6620 DOOR. ACCESS, CONTROL EA 1 1
70-1154 (30554)
70-1154 (93742)
16 66 PBOZZ PBOZZ XBOZZ PBFZZ 5340-01-147-6694 HOOK, DOOR EA 1 1
70-1154-7 (30554)
70-1154-7 (93742)
16 67 PBOZZ PBOZZ XCOZZ PBOZZ 9905-01-152-7451 PLATE, INSTRUCTION EA 1 1
70-1467 (30554)
70-1467 (93742)
16 68 PBOZZ PBOZZ XBOZZ PBFZZ 5340-01-153-2313 DOOR, ACCESS. CONTROL EA 1 1
70-1155 (30554)
70-1155 (93742)
16 69 PBOZZ PBOZZ XCOZZ PBOZZ 9905-01-178-4984 PLATE, INSTRUCTION EA 1 1
70-1488 (30554)
70-1488 (93742)
16 70 PBOZZ PBOZZ XBOZZ PBFZZ 5340-01-154-7115 HOOK, DOOR EA 1 1
70-1155-10 (30554)
70-1155-10 (93742)
16 71 XBOZZ XB XBO7Z XBFZZ CUBICLE, CONTROL AD EA 1 1
70-1164-7 (30554)
70-1164-7 (93742)
16 71 XBOZZ XB XBOZZ XBFZZ CUBICLE,CONTROL BCEF EA 1 1
70-1164-6 (30554)
70-1164-6 (93742)
16 72 PBOZZ PBOZZ XBOZZ PBFZZ 6115-01-150-3081 PANEL. CORNER, REAR EA 1 1
70-1168 (30554)
70-1168 (93742)
16 73 XBOZZ MDO XBGZZ MOOZZ PLATE, DESIGNATION EA 1 1
70-1329 (30554)
70-1329 (93742)
16 74 PBOZZ PBOZZ XBOZZ PBFZZ 6115-01-151-9380 PANEL, LOUVRED EA 1 1
70-1396 (30554)
70-1396 (93742)
16 75 PBOZZ PBOZZ XBOZZ PBFZZ 6115-01-184-6110 HOUSING, GENERATOR EA 1 1
70-1159 (30554)
70-1159 (93742)
16 76 XBOZ XB XBOZZ PAFZZ PANEL, CORNER, REAR EA 1 1
70-1169 (30554)
70-1169 (93742)
50

(3)
USMC
(5)
DESCRIPTION USABLE
MFR ON
REF NUMBER CODE CODE
(8)
USMC
QTY
PER
EQUIP
(7)
QTY
INC
IN
UNIT
(6)
U/M
a
SSI
(2)
SMR CODE
(1)
ILLUSTRATION
d
USMC
c
NAVY
b
AIR
FORCE
a
ARMY
(a)
FIG
NO.
(b)
ITEM
NO.
(4)
NATIONAL
STOCK
NUMBER
b
REPL
FACTOR
TM 9-6115-545-24P
TO 35C2-3 Q44 4
NAVFAC P-8-626-24P
SL-400038G/07499A
16 77 PBOZZ PBOZZ XBOZZ PBFZZ 6115-01-150-3082 POST CORNER. LH REAR EA 1 1
70-1153 (30554)
70-1153 (93742)
16 78 XBOZZ XB XBOZZ XBFZZ POST, CORNER, RH REAR EA 1 1
70-1152 (30554)
70-1152 (93742)
51

TM 9-6115-545-24P
TO 35C2-3-411 1
NAVFAC P-8-626-24P
SL-400038G/07499A
Figure 17. Plates, Diagram, AC and DC.
52

(3)
USMC
(5)
DESCRIPTION USABLE
MFR ON
REF NUMBER CODE CODE
(8)
USMC
QTY
PER
EQUIP
(7)
QTY
INC
IN
UNIT
(6)
U/M
a
SSI
(2)
SMR CODE
(1)
ILLUSTRATION
d
USMC
c
NAVY
b
AIR
FORCE
a
ARMY
(a)
FIG
NO.
(b)
ITEM
NO.
(4)
NATIONAL
STOCK
NUMBER
b
REPL
FACTOR
TM 9-6115-545-24P
TO 35C2-3-444-4
NAVFAC P-8-626-24P
SL-400038G/07499A
GROUP 8 - HOUSING GROUP
17 1 XBOZZ MDO PLATE, TROUBLESHOOTING C. F
DIAGRAM, AC
84-1006 (30554)
17 2 XBOZZ MDO PLATE. SCHEMATIC DIAGRAM. DC C. F
84-1005 (30554)
17 3 XBOZZ MDO PLATE. TROUBLESHOOTING C, F
DIAGRAM. DC
84-1007 (30554)
17 4 XBO7Z MDO PLATE, SCHEMATIC DIAGRAM, AC C. F
84-1004 (30554)
53/(54 blank)

TM 9-6115-545-24P
TO 35C2-3 44 4
NAVFAC P-626-24P
SL-400038G/07499A
Figure 18. Engine Generator and Chassis Wiring Harness (Sheet 1 of 2).
55

TM 9-6115-545-24P
TO 35C2-3 444 4
NAVFAC P-8-626-24P
SL-400038G/07499A
Figure 18. Engine Generator and Chassis Wiring Harness (Sheet 2 of 2).
56

(3)
USMC
(5)
DESCRIPTION USABLE
MFR ON
REF NUMBER CODE CODE
(8)
USMC
QTY
PER
EQUIP
(7)
QTY
INC
IN
UNIT
(6)
U/M
a
SSI
(2)
SMR CODE
(1)
ILLUSTRATION
d
USMC
c
NAVY
b
AIR
FORCE
a
ARMY
(a)
FIG
NO.
(b)
ITEM
NO.
(4)
NATIONAL
STOCK
NUMBER
b
REPL
FACTOR
TM 9-6115-545-24P
TO 35C2-3 44 4
NAVFAC P-8-626-24P
SL-400038G/07499A
GROUP 09 - ENGINE GENERATOR
AND CHASSIS WIRING HARNESSES
18 1 PAOZZ PAOZZ XBOZZ PAFZZ D.008 5306-00-036-6909 BOLT. ASSEMBLED WASHER 1/4-20 EA 24 119
X 1/2 IN. LG
70-1319-2 (30554)
61-250881-00-242B-0542B (78189)
18 2 PAOZZ PAOZZ XBOZZ PAFZZ D.008 5340-00-126-7450 CLAMP, LOOP, CUSHIONED EA 1 2
70-1529-4 (30554)
TA724SS-4 (84971)
18 3 PAOZZ PAOZZ XBOZZ PAFZZ D.008 5310-00-696-5173 NUT, ASSEMBLED WASHER EA 18 131
69-561-5 (30554)
511-251800-00 (78189)
18 4 PAOZZ PAOZZ XBOZZ PAFZZ D.008 5340-00-333-6448 CLAMP, LOOP, CUSHIONED EA 2 29
70-1529-6 (30554)
TA724SS6 (84971)
18 5 PAOZZ PAOZZ XBOZZ PAFZZ D.008 5305-00-115-9526 SCREW, CAP. HEX HEAD 3/8-16 X3/4 EA 2 7
IN LG
MS18154-58 (96906)
18 6 PAOZZ PAOZZ XBOZZ PAFZZ D.010 5310-00-061-1258 WASHER, LOCK EA 2 66
MS45904-76 (96906)
18 7 PAOZZ PAOZZ PAOZZ PAFZZ D.060 5930-00-655-1514 SWITCH, TOGGLE EA 1 3
MS35058-22 (96906)
18 8 XBOZZ MOO XBOZZ XBFZZ BRACKET EA 1 1
70-1537 (30554)
70-1537 (93742)
18 9 PAOZZ PAOZZ XBOZZ PAFZZ D.008 5340-00-174-4811 CLAMP, LOOP. CUSHIONED EA 4 7
70-1529-8 (30554)
TA724SS8 (84971)
18 10 PAOZZ PAOZZ XBOZZ PAFZZ D.008 5340-01-124-7781 CLAMP, LOOP. CUSHIONED EA 1 2
70-1529-9 (30554)
TA724SS9 (84971)
18 11 PAOZZ MOO XBOZZ PBFZZ 5340-01-157-2496 BRACKET, MOUNTING EA 1 2
70-1538 (30554)
70-1538 (93742)
18 12 PAOZZ PAOZZ XBOZZ PAFZZ D.008 5306-00-036-6982 BOLT, ASSEMBLED WASHER 1/4-20 EA 1 71
X 3/4 IN LG
70-1319-4 (30554)
61-251281 -00-0242B-0542B (78189)
18 13 PAOZZ PAOZZ XBOZZ PAFZZ D.008 5340-00-174-4821 CLAMP, LOOP, CUSHIONED EA 1 1
70-1529-14 (30554)
TA724SS14 (84971)
18 14 PAOZZ PAOZZ XBOZZ PAOZZ D.008 5340-00-993-2308 CLAMP. LOOP, CUSHIONED EA 1 2
70-1529-12 (30554)
TA724SS12 (84971)
18 15 PAOZZ PAOZZ XBOZZ PAFZZ 5340-01-176-6947 BRACKET EA 2 2
70-1534 (30554)
70-1534 (93742)
18 16 PAOZZ PAOZZ XBOZZ PAFZZ D.008 5305-00-724-5906 SCREW. CAP HEX HEAD 5/11 X 3/4 AD EA 1 5
IN LG
MS90725-156 (96906)
18 17 PAOZZ PAOZZ XBOZZ PAFZZ D.010 5310-00-017-8627 WASHER, LOCK, I E T 5.8 IN. AD EA 1 10
MS45904-92 (96906)
18 18 XBOZZ MOO XBOZZ XBFZZ BRACKET AD EA 1 2
70-1535 (30554)
70-1535 (93742)
18 19 PAOZZ PAOZZ XBOZZ PAFZZ D.008 5305-00-549-7287 SCREW, ASSEMBLED WASHER EA 1 3
1/4-20 X 1 IN. LG
70-1319-6 (30554)
61-251681-00-0242B-0542B (78189)
18 20 MOOZZ AOO XBOZZ AFFZZ -.008 STRAP, GROUND EA 1 1
70-1604 (30554)
70-1604 (93742)
18 21 PAOZZ PAOZZ PAOZZ PAFZZ D.008 5940-00-143-4777 LUG, TERMINAL EA 1 7
MS25036-157 (96906)
57

(3)
USMC
(5)
DESCRIPTION USABLE
MFR ON
REF NUMBER CODE CODE
(8)
USMC
QTY
PER
EQUIP
(7)
QTY
INC
IN
UNIT
(6)
U/M
a
SSI
(2)
SMR CODE
(1)
ILLUSTRATION
d
USMC
c
NAVY
b
AIR
FORCE
a
ARMY
(a)
FIG
NO.
(b)
ITEM
NO.
(4)
NATIONAL
STOCK
NUMBER
b
REPL
FACTOR
TM 9-6115-545-24P
TO 35C2-3 444
NAVFAC P-8-626-24P
SL-400038G/07499A
18 22 PAOZZ PAOZZ PAOZZ PAFZZ D.008 5940-00-143-4794 LUG, TERMINAL EA 1 37
MS25036-112 (96906)
18 23 PAOZZ PAOZZ PAOZZ PAFZZ .080 6145-00-765-4280 BRAID WIRE, TUBULAR EA 1 1
300-28B (04946)
18 24 PAOZZ PAOZZ PAOZZ PAFZZ D.008 5305-00-038-3103 SCREW, ASSEMBLED WASHER 8-32 EA 1 26
X 12 IN. LG.
69-662-35 (30554)
61-080841-40-0142B0542B (78189)
18 25 PAOZZ PAOZZ PAOZZ PAFZZ I.020 5961-00-394-0902 RECTIFIER. SEMICONDUCTOR EA 1 1
70-1599 (30554)
B470 (06288)
18 26 PAOZZ PAOZZ PAOZZ PAFZZ D.008 5340-01-175-7022 CLAMP, LOOP, CUSHIONED EA 1 1
70-1529-28 (30554)
TA724SS-28 (84971)
58

TM 9-6115-545-24P
TO 35C2-3 444 4
NAVFAC P-8-626-24P
SL-400038G/07499A
Figure 19. Wiring Harness, Precise Relay Box.
Figure 20. Wiring Harness, Tactical Relay Box.
Figure 21. Wiring Harness, Excitation System.
(59 blank)/60

(3)
USMC
(5)
DESCRIPTION USABLE
MFR ON
REF NUMBER CODE CODE
(8)
USMC
QTY
PER
EQUIP
(7)
QTY
INC
IN
UNIT
(6)
U/M
a
SSI
(2)
SMR CODE
(1)
ILLUSTRATION
d
USMC
c
NAVY
b
AIR
FORCE
a
ARMY
(a)
FIG
NO.
(b)
ITEM
NO.
(4)
NATIONAL
STOCK
NUMBER
b
REPL
FACTOR
TM 9-6115-545-24P
TO 35C2-3 444 4
NAVFAC P-8-626-24P
SL-400038G007499A
19 MFFZZ MOO AFFZZ AFFZZ WIRING HARNESS, PRECISE RELAY BE EA 1 1
BOX
70-1218 (30554)
70-1218 (93742)
MANUFACTURE FROM'
19 1 PAFZZ PAOZZ PAOZZ PAFZZ D.008 5975-00-074-2072 STRAP. TIEDOWN BE EA 49 2257
MS3367-1-9 (96906)
19 2 PAFZZ PAOZZ PAOZZ PAFZZ D.008 5935-00-823-5322 PLUG, END SEAL BE EA 8 77
MS25251-16 (96906)
19 3 PAFZZ PAOZZ PAOZZ PAFZZ D.023 5935-00-622-2929 CONNECTOR, PLUG ABDE EA 1 1
MS3456W24-28S (96906)
19 4 PAFZZ PAOZZ PAOZZ PAFZZ D.023 5935-00-548-1529 CONNECTOR, PLUG BE EA 1 3
MS3456W24-28P (96906)
19 5 PAFZZ PAOZZ PAOZZ PAFZZ D.080 6145-00-578-6605 WIRE, ELECTRICAL, 430 IN BE FT 15 1010
M5086/2-16-9 (81349)
20 MFF2Z MOO AFFZZ AFFZZ WIRING HARNESS, TACTICAL RELAY EA 1 1
BOX
70-1212 (30554)
70-1212 (93742)
70-1212
MANUFACTURE FROM'
20 1 PAFZZ PAOZZ PAOZZ PAFZZ D.008 5975-00-074-2072 STRAP, TIEDOWN EA 45 2557
MS3367-1-9 (96906)
20 2 PAFZZ PAOZZ PAOZZ PAFZZ D.008 5935-00-823-5322 PLUG, END SEAL EA 2 77
MS25251-16 (96906)
20 3 PAFZZ PAOZZ PAOZZ PAFZZ D.023 5935-01-077-2624 CONNECTOR. PLUG EA 1 1
MS3456W28-12P (96906)
20 4 PAFZZ PAOZZ PAOZZ PAFZZ D.023 5935-00-622-2940 CONNECTOR. PLUG EA 1 1
MS3456W28-12S (96906)
20 5 PAFZZ PAOZZ PAOZZ PAFZZ D.080 6145-00-578-6605 WIRE, ELECTRICAL 792 IN, FT 12 1010
M5086/2-16-9 (81349)
21 MFFZZ MOO AFFZZ AFFZZ WIRING HARNESS EA 1 1
70-1213 (30554)
70-1213 (93742)
MANUFACTURE FROM
21 1 PAFZZ PAOZZ PAOZZ PAFZZ D.008 5975-00-074-2072 STRAP, TIEDOWN EA 45 2557
MS3367-1-9 (96906)
21 2 PAFZZ PAOZZ PAOZZ PAFZZ D.008 5935-00-823-5322 PLUG EA 4 77
MS25251-16 (96906)
21 3 PAFZZ PAOZZ PAOZZ PAFZZ D.023 5935-00-517-8519 CONNECTOR. PLUG EA 1 1
MS3456W14S6S (96906)
21 4 PAFZZ PAOZZ PAOZZ PAFZZ D.023 5935-00-721-1081 CONNECTOR, PLUG EA 1 1
MS3106R14S6P (96906)
21 5 PAFZZ PAOZZ PAOZZ PAFZZ D.080 6145-00-578-6605 WIRE, ELECTRICAL 128 IN. FT 12 1010
M5086/2-16-9 (81349)
61

TM 9-6115-545-24P
TO 35C2-3 444 4
NAVFAC P-8-626-24P
SL-400038G/07499A
Figure 22. Wiring Harness, LMU Assembly.
Figure 23. Wiring Harness, Governor Control to Precise Relay.
Figure 24. Wiring Harness Assembly, Governor Control to Actuator.
62

(3)
USMC
(5)
DESCRIPTION USABLE
MFR ON
REF NUMBER CODE CODE
(8)
USMC
QTY
PER
EQUIP
(7)
QTY
INC
IN
UNIT
(6)
U/M
a
SSI
(2)
SMR CODE
(1)
ILLUSTRATION
d
USMC
c
NAVY
b
AIR
FORCE
a
ARMY
(a)
FIG
NO.
(b)
ITEM
NO.
(4)
NATIONAL
STOCK
NUMBER
b
REPL
FACTOR
TM 9-6115-545-24P
TO 35C2-3 44 4
NAVFAC P-8-626-24P
SL-400038G/07499A
22 MFFZZ MOO AFFZZ AFFZZ WIRING HARNESS. LMU ASSY EA 1 1
70-1211 (30554)
70-1211 (93742)
MANUFACTURE FROM'
22 1 PAFZZ PAOZZ PAFZZ PAFZZ D.008 5975-00-074-2072 STPAP, TIEDOWN EA 60 2557
MS3367-1-9 (96906)
22 2 PAFZZ PAOZZ PAFZZ PAFZZ D.008 5935-00-823-5322 PLUG, END SEAL EA 10 77
MS25251-16 (96906)
22 3 PAFZZ PAOZZ PAFZZ PAFZZ D.023 5935-01-076-5725 CONNECTOR, PLUG EA 2 3
MS3456W20-29S (96906)
22 4 PAFZZ PAOZZ PAFZZ PAFZZ D.080 6145-00-578-6605 WIRE, ELECTRICAL FT 12 1010
M5086/2-16-9 (81349)
23 MFFZZ MOO AFFZZ AFFZZ WIRING HARNESS, GOVENOR BE EA 1 1
CONTROL TO PRECISE RELAY
50/60 HZ
70-1266 (30554)
70-1266 (93742)
23 MFFZZ MOO AFFZZ AFFZZ WIRING HARNESS, GOVENOR CF EA 1 1
CONTROL, 400 HZ
70-1216 (30554)
70-1216 (93742)
MANUFACTURE FROM:
23 1 PAFZZ PAOZZ PAFZZ PAFZZ D.008 5975-00-074-2072 STRAP, TIEDOWN BCEF EA 150 2557
MS3367-1-9 (96906)
23 2 PAFZZ PAOZZ PAFZZ PAFZZ D.008 5975-00-727-5153 STRAP. TIEDOWN BCEF EA 150 1094
MS3367-4-9 (96906)
23 3 PAFZZ PAOZ7 PAFZZ PAFZZ D.008 5935-00-823-5322 PLUG, END SEAL BCEF EA 7 77
MS25251-16 (96906)
23 4 PAFZZ PAOZZ PAFZZ PAFZZ D.023 5935-00-509-6194 CONNECTOR, PLUG BCEF EA 1 5
MS3456W10SL4S (81349)
23 5 PAFZZ PAOZZ PAFZZ PAFZZ D.023 5935-00-548-1528 CONNECTOR, PLUG BCEF EA 1 2
MS3456W2214S (96906)
23 6 PAFZZ PAOZZ PAFZZ PAFZZ D.023 5935-00-548-1529 CONNECTOR. PLUG BCEF EA 1 3
MS3456W24-28P (96906)
23 7 PAFZZ PAOZZ PAFZZ PAFZZ D.080 6145-00-578-6605 WIRE, ELECTRICAL 547 IN. BCEF FT 100 1010
M5086/2-16-9 (81349)
24 AFFFF MOO AFFZZ AFFZZ WIRING HARNESS ASSY BCEF EA 1 1
70-1205 (30554)
70-1205 (93742)
MANUFACTURE FROM
24 1 PAFZZ PAOZZ PAFZZ PAFZZ D.Q08 5975-00-074-2072 STRAP, TIEDOWN BCEF EA 55 2557
MS3367-1-9 (96906)
24 2 PAFZZ PAOZZ PAFZZ PAFZZ D.008 5935-00-823-5322 PLUG, END SEAL BCEF EA 2 77
MS25251-16 (96906)
24 3 PAFZZ PAOZZ PAFZZ PAFZZ D.023 5935-00-564-5362 CONNECTOR BCEF EA 2 2
MS3456W14SSS (96906)
24 4 PAFZZ PAOZZ PAFZZ PAFZZ D.080 6145-00-578-6605 WIRE, ELECTRICAL. 190 IN BCEF FT 16 1010
M5086/2-16-9 (81349)
63

TM 9-6115545-24P
TO 35C2-3 444 4
NAVFAC P-8-626-24P
SL400038G/07499A
Figure 25. Wiring Harness, Governor Control to Actuator.
Figure 26. Wiring Harness, Branched, Engine Accessories.
64

(3)
USMC
(5)
DESCRIPTION USABLE
MFR ON
REF NUMBER CODE CODE
(8)
USMC
QTY
PER
EQUIP
(7)
QTY
INC
IN
UNIT
(6)
U/M
a
SSI
(2)
SMR CODE
(1)
ILLUSTRATION
d
USMC
c
NAVY
b
AIR
FORCE
a
ARMY
(a)
FIG
NO.
(b)
ITEM
NO.
(4)
NATIONAL
STOCK
NUMBER
b
REPL
FACTOR
TM 9-6115-545-24P
TO 35C2-3 444 4
NAVFAC P-8-626-24P
SL-400038G/07499A
25 MFFZZ MOO AFFZZ AFFZZ WIRING HARNESS ASSY
GOVERNOR CONT TO ACTUATOR
70-1206 (30554)
70-1206 (93742)
MANUFACTURER FROM:
25 1 PAFZZ PAOZZ PAOZZ PAFZZ D.008 5975-00-074-2072 STRAP. TIEDOWN BCEF EA 170 2557
MS3367-1-9 (96906)
25 2 PAFZZ PAOZZ PAOZZ PAFZZ D.008 5935-00-823-5322 PLUG, END SEAL BCEF EA 2 77
MS25251-16 (96906)
25 3 PAFZZ PAOZZ PAOZZ PAFZZ D.023 5935-00-819-5886 CONNECTOR, PLUG BCEF EA 2 2
MS3106R14S2P (96906)
25 4 PAFZZ PAOZZ PAOZZ PAFZZ D.080 6145-00-578-6605 WIRE, ELECTRICAL, 208 IN. BCEF FT 17 1010
M5086/2-16-9 (81349)
26 MFFZZ MOO XBOZZ AFFZZ WIRING HARNESS, BRANCHED, EA 1 1
ENGINE ACCESSORIES
70-1208 (30554)
70-1208 (93742)
MANUFACTURE FROM:
26 1 PAFZZ PAOZZ PAOZZ PAFZZ D.008 5975-00-074-2072 STRAP. TIEDOWN EA 30 2557
MS33167-1-9 (96906)
26 2 PAFZZ PAOZZ PAOZZ PAFZZD.008 5975-00-727-5153 STRAP, TIEDOWN EA 409 1094
MS3367-4-9 (96906)
26 3 PAFZZ PAOZZ PAOZZ PAFZZ D.008 5935-00-823-5322 PLUG, END SEAL EA 8 77
MS2521-16 (96906)
26 4 PAFZZ PAOZZ PAOZZ PAFZZ D.008 5935-00-565-9503 PLUG, END SEAL EA 1 7
MS25251-12 (96906)
26 5 PAFZZ PAOZZ PAOZZ PAFZZ D.008 5940-00-682-2445 TERMINAL, LUG EA 3 3
MS25036-158 (96906)
26 6 PAFZZ PAOZZ PAOZZ PAFZZ D.008 5940-00-143-4777 TERMINAL LUG EA 1 40
MS25036-157 (96906)
26 7 PAFZZ PAOZZ PAOZZ PAFZZ D.008 5940-00-143-4775 TERMINAL, LUG EA 5 5
MS25036-156 (96906)
26 8 PAFZZ PAOZZ PAOZZ PAFZZ D.008 5940-00-660-3633 TERMINAL, LUG EA 1 7
MS25036-155 (96906)
26 9 PAFZZ PAOZZ PAOZZ PAFZZ D.008 5940-00-143-4774 TERMINAL, LUG EA 9 113
MS25036-153 (96906)
26 10 PAFZZ PAOZZ PAOZZ PAFZZ D.008 5940-00-143-4780 TERMINAL. LUG EA 2 48
MS25036-108 (96906)
26 11 PAFZZ PAOZZ PAOZZ PAFZZ D.023 5935-00-167-7775 CONNECTOR. PLUG EA 2 2
MS27144-1 (96906)
26 12 PAFZZ PAOZZ PAOZZ PAFZZ D.023 5935-00-622-2830 CONNECTOR, PLUG EA 1 1
M5345-6W18-15 (96906)
26 13 PAFZZ PAOZZ PAOZZ PAFZZ D.023 5935-00-339-7609 CONNECTOR, PLUG EA 3 3
MS3456W10SL4S (96906)
26 14 PAFZZ PAOZZ PAOZZ PAFZZ D.023 5935-00-845-1701 CONNECTOR, PLUG EA 1 1
MS3106R18-5P (96906)
26 15 PAFZZ PAOZZ PAOZZ PAFZZ D.023 5935-00-813-4717 CONNECTOR, PLUG EA 3 3
MS3106R14S2S (96906)
26 16 PAFZZ PAOZZ PAOZZ PAFZZ D.023 5935-00-824-7883 CONNECTOR, RECEPTACLE EA 1 1
MS3102R36-7S (96906)
26 17 PAFZZ PAOZZ PAOZZ PAFZZ D5935-00-608-1876 CONNECTOR, PLUG EA 1 1
70-1484 (30554)
26 18 PAFZZ PAOZZ PAOZZ PAFZZ D.080 6145-00-578-6605 WIRE. ELECTRICAL. 485 IN FT 41 1010
M5086/2-16-9 (81349)
26 19 PAFZZ PAOZZ PAOZZ PAFZZ D.080 6145-00-578-7514 WIRE, ELECTRICAL 1986 IN. FT 106 225
M5086/2-12-9 (81349)
65

TM 9-6115-545-24P
TO 35C2-3 444 4
NAVFAC P-8-626-24P
SL-4 000380D7499A
Figure 27. Wiring Harness, AC Power Control.
Figure 28. Wiring Harness, RF1 Capacitors.
66

(3)
USMC
(5)
DESCRIPTION USABLE
MFR ON
REF NUMBER CODE CODE
(8)
USMC
QTY
PER
EQUIP
(7)
QTY
INC
IN
UNIT
(6)
U/M
a
SSI
(2)
SMR CODE
(1)
ILLUSTRATION
d
USMC
c
NAVY
b
AIR
FORCE
a
ARMY
(a)
FIG
NO.
(b)
ITEM
NO.
(4)
NATIONAL
STOCK
NUMBER
b
REPL
FACTOR
TM 9-6115-545-24P
TO 35C2-3 444 4
NAVFAC P-8-626-24P
SL-400038 G07499A
27 MFFZZ MOO AHHZZ AFFZZ WIRING HARNESS, AC POWER ABDE EA 1 1
CONTROL
70-1214 (30554)
70-1214 (93742)
27 MFFZZ MOO AHHZZ AFFZZ WIRING HARNESS, AC POWER CF EA 1 1
CONTROL
70-1613 (30554)
70-1613 (93742)
MANUFACTURE FROM:
27 1 PAFZZ PAOZZ PAHZZ PAFZZ D.008 5975-00-074-2072 STRAP. TIEDOWN EA 45 2557
MS3367-1-9 (96906)
27 2 PAFZZ PAOZZ PAHZZ PAFZZ D.008 5975-00-727-5153 STRAP, TIEDOWN EA 45 1094
MS3367-4-9 (96906)
27 3 PAFZZ PAOZZ PAHZZ PAFZZ D.023 5935-00-851-9080 CONNECTOR, PLUG EA 1 1
MS3106R32-7S (96906)
27 4 PAFZZ PAOZZ PAHZZ PAFZZ D.023 5935-00-725-8233 CONNECTOR, PLUG EA 1 3
MS3106R20-29S (96906)
27 5 PAFZZ PAOZZ PAHZZ PAFZZ D.008 5940-00-113-8183 TERMINAL, LUG EA 1 2
MS25036-113 (96906)
27 6 PAFZZ PAOZZ PAHZZ PAFZZ D.008 5940-00-143-4793 TERMINAL, LUG EA 10 15
M4S25036-110 (96906)
27 7 PAFZZ PAOZZ PAHZZ PAFZZ D.008 5940-00-283-5280 TERMINAL, LUG EA 8 549
MS25036-106 (96906)
27 8 PAFZZ PAOZZ PAHZZ PAFZZ D.008 5935-00-565-9503 PLUG, END SEAL EA 6 7
MS25251-12 (96906)
27 9 PAFZZ PAOZZ PAHZZ PAFZZ D.008 5935-00-823-5322 PLUG. END SEAL EA 16 77
MS25251-16 (96906)
27 10 PAFZZ PAOZZ PAHZZ PAFZZ D.080 6145-00-578-6605 WIRE. ELECTRICAL FT 12 1010
M5086/2-16-9 (81349)
27 11 PAFZZ PAOZZ PAHZZ PAFZZ D.080 6145-00-578-7514 WIRE. ELECTRICAL FT 2 255
M5086/2-12-9 (81349)
28 MFFZZ MOO AHHZZ AFFZZ WIRING HARNESS, RF1
CAPACITORS
70-1603 (30554)
70-1603 (93742)
MANUFACTURE FROM
28 1 PAFZZ PAOZZ PAHZZ PAFZZ D.008 5975-00-074-2072 STRAP. TIEDOWN EA 25 557
MS3367-1-9 (96906)
28 2 PAFZZ PAOZZ PAHZZ PAFZZ D.008 5940-00-143-4774 TERMINAL, LUG EA 3 113
MS25036-153 (96906)
28 3 PAFZZ PAOZZ PAHZZ PAFZZ D.008 5940-00-143-4793 TERMINAL. LUG EA 10 12
MS25036-110 (96906)
28 4 PAFZZ PAOZZ PAHZZ PAFZZ D.080 6145-00-578-6605 WIRE, ELECTRICAL FT 4 1010
M5086/2-16-9 (81349)
67

TM 9-6115-545-24P
TO 35C2-3 44 4
NAVFAC P-8626-24P
SL-400038G/07499A
Figure 29. Wiring Harness, AC, Power Control
68

(3)
USMC
(5)
DESCRIPTION USABLE
MFR ON
REF NUMBER CODE CODE
(8)
USMC
QTY
PER
EQUIP
(7)
QTY
INC
IN
UNIT
(6)
U/M
a
SSI
(2)
SMR CODE
(1)
ILLUSTRATION
d
USMC
c
NAVY
b
AIR
FORCE
a
ARMY
(a)
FIG
NO.
(b)
ITEM
NO.
(4)
NATIONAL
STOCK
NUMBER
b
REPL
FACTOR
TM 9-6115-545-24P
TO 35C2-3 444 4
NAVFAC P-8-626-24P
SL-400038G/07499A
29 MFFZZ MOO AHHZZ AFFZZ WIRING HARNESS, AC, POWER EA 1 1
CONTROL
70-1612
70-1612 (30554)
MANUFACTURE FROM (93742)
29 1 PAFZZ PAOZZ PAHZZ PAFZZ D.008 5975-00-727-5153 STRAP. TIEDOWN EA 212 1094
MS3367-4-9 (96906)
29 2 PAFZZ PAOZZ PAHZZ PAFZZ D.008 5975-00-074-2072 STRAP. TIEDOWN EA 45 2557
MS3367-1-9 (96906)
29 3 PAFZZ PAOZZ PAHZZ PAFZZ D.008 593500-823-5322 PLUG, END SEAL EA 8 77
MS25251-16 (96906)
29 4 PAFZZ PAOZZ PAHZZ PAFZZ D.008 5940-00-283-5281 TERMINAL, LUG EA 1 1
MS25036-109 (96906)
29 5 PAFZZ PAOZZ PAHZZ PAFZZ D.008 5940-00-143-4793 TERMINAL, LUG EA 2 12
MS25036-110 (96906)
29 6 PAFZZ PAOZZ XBHZZ PAFZZ D.008 5940-00-283-5280 TERMINAL. LUG EA 8 549
MS25036-106 (96906)
29 7 PAFZZ PAOZZ PAHZZ PAFZZ D.023 5935-00-814-9781 CONNECTOR, PLUG EA 1 2
MS3106R22-14S (96906)
29 8 PAFZZ PAOZZ PAHZZ PAFZZ D.080 6145-00-578-6605 WRE. ELECTRICAL, 738 IN FT 12 1010
M5086/2-16-9 (81349)
69 / (70 blank)

TM 9-6115-545-24P
TO 35C23 444 4
NAVFAC P-626-24P
SL 400038G/07499A
Figure 30. Load Connection Group (Sheet 1 of 4).
71

TM 9-6115-545-24P
TO 35C2-3 44 4
NAVFAC P-8-626-24P
SL-400038G/07499A
Figure 30. Load Connection Group (Sheet 2 of 4).
72

TM 9-6115-545-24P
TO 35C2-3 444 4
NAVFAC P-8-626-24P
SL-400038G0 7499A
Figure 30. Load Connection Group (Sheet 3 of 4).
73

TM 9-6115-545-24P
TO 35C2-3 444 4
NAVFAC P-8-626-24P
SL-400038G107499A
Figure 30. Load Connection Group (Sheet 4 of 4).
74

(3)
USMC
(5)
DESCRIPTION USABLE
MFR ON
REF NUMBER CODE CODE
(8)
USMC
QTY
PER
EQUIP
(7)
QTY
INC
IN
UNIT
(6)
U/M
a
SSI
(2)
SMR CODE
(1)
ILLUSTRATION
d
USMC
c
NAVY
b
AIR
FORCE
a
ARMY
(a)
FIG
NO.
(b)
ITEM
NO.
(4)
NATIONAL
STOCK
NUMBER
b
REPL
FACTOR
TM 9-6115545-24P
TO 35C2-3 44 4
NAVFAC P-8-626-24P
SL-400038G/07499A
GROUP 10 - LOAD CONNECTION
GROUP
30 MFFZZ MOO MFFZZ AFFZZ CABLE ASSY. AC POWER EA 1 1
70-1207-1 (30554)
70-1207-1 (93742)
MANUFACTURE FROM.
30 1 PAFZZ PAOZZ PAFZZ PAFZZ D.008 5940-00-113-9835 TERMINAL, LUG EA 2 9
MS25036-136 (96906)
30 2 PAFZZ PAOZZ PAFZZ PAFZZ D.080 6145-00-578-6600 WIRE, ELECTRICAL. 25 IN FT 6 36
M5086/2-02-9 (82349)
30 MFFZZ MOO XBFZZ AFFZZ CABLE ASSY. AC POWER EA 1 1
70-1207-2 (30554)
70-1207-2 (93742)
MANUFACTURE FROM
30 3 PAFZZ PAOZZ PAFZZ PAFZZ D.008 5940-00-113-9835 TERMINAL. LUG EA 2 9
MS25036-136 (96906)
30 4 PAFZZ PAOZZ PAFZZ PAFZZ D.080 6145-00-578-6600 WIRE. ELECTRICAL FT 6 36
M5086/2-02-9 (81349)
30 MFFZZ MOO XBFZZ AFFZZ CABLE ASSY. AC POWER EA 1 1
70-1207-3 (30554)
70-1207-3 (93742)
MANUFACTURE FROM
30 5 PAFZZ PAOZZ PAFZZ PAFZZ D.008 5940-00-113-9835 TERMINAL LUG EA 2 9
MS25036-136 (96906)
30 6 PAFZZ PAOZZ PAFZZ PAFZZ D.080 6145-00-578-6600 WIRE, ELECTRICAL, 24 IN FT 6 36
M5086/2-02-9 (81349)
30 MFFZZ MOO XBFZZ AFFZZ CABLE ASSY. AC POWER EA 1 1
70-1207-4 (30554)
70-1207-4 (93742)
MANUFACTURE FROM
30 7 PAFZZ PAOZZ PAFZZ PAFZZ D.008 5940-00-025-1821 TERMINAL LUG EA 1 3
70-1572 (30554)
J787-34 (98410)
30 8 PAFZZ PAOZZ PAFZZ PAFZZ D.008 5940-00-113-9835 TERMINAL, LUG EA 1 9
MS25036-136 (96906)
30 9 PAFZZ PAOZZ PAFZZ PAFZZ D.080 6145-00-578-6600 WIRE, ELECTRICAL FT 1 36
M5086/2-02-9 (81349)
30 MFFZZ MOO XBFZZ AFFZZ CABLE ASSY, AC POWER EA 1 1
70-1207-5 (30554)
70-1207-5 (93742)
MANUFACTURE FROM
30 10 PAFZZ PAOZZ PAFZZ PAFZZ D.0085940-00-025-1821 TERMINAL, LUG EA 1 3
70-1572 (30554)
J787-34 (98410)
30 11 PAFZZ PAOZZ PAFZZ PAFZZ D.008 5940-00-113-9835 TERMINAL, LUG EA 1 9
MS25036-136 (96906)
30 12 PAFZZ PAOZZ PAFZZ PAFZZ D.080 6145-00-578-6600 WIRE, ELECTRICAL 6-3/4 IN FT 1 36
M5086/2-02-9 (81349)
30 MFFZZ MOO XBFZZ AFFZZ CABLE ASSY, AC POWER EA 1 1
70-1207-6 (30554)
70-1207-6 (93742)
MANUFACTURE FROM
30 13 PAFZZ PAOZZ PAFZZ PAFZZ D.008 5940-00-025-1821 TERMINAL. LUG EA 1 3
70-1572 (30554)
J787-34 (98410)
30 14 PAFZZ PAOZZ PAFZZ PAFZZ D.008 5940-00-113-9835 TERMINAL. LUG EA 1 9
MS25036-136 (96906)
30 15 PAFZZ PAOZZ PAFZZ PAFZZ D.080 6145-00-578-6600 WIRE. ELECTRICAL 11-1/2 IN FT 1 36
M5086/2-02-9 (81349)
30 MFFZZ MOO MFFZZ AFFZZ CABLE ASSY, AC POWER EA 1 1
70-1207-7 (30554)
70-1207-7 (93742)
MANUFACTURE FROM
30 16 PAFZZ PAOZZ PAFZZ PAFZZ D.008 5940-00-025-9159 TERMINAL LUG EA 1 2
70-1571 (30554)
F770-34 (98410)
75

(3)
USMC
(5)
DESCRIPTION USABLE
MFR ON
REF NUMBER CODE CODE
(8)
USMC
QTY
PER
EQUIP
(7)
QTY
INC
IN
UNIT
(6)
U/M
a
SSI
(2)
SMR CODE
(1)
ILLUSTRATION
d
USMC
c
NAVY
b
AIR
FORCE
a
ARMY
(a)
FIG
NO.
(b)
ITEM
NO.
(4)
NATIONAL
STOCK
NUMBER
b
REPL
FACTOR
TM 9-6115-545-24P
TO 35C2-3 44 4
NAVFAC P-8-626-24P
SL-4000380CD7499A
30 17 PAFZZ PAOZZ PAFZZ PAFZZ D.008 5940-00-557-4338 TERMINAL, LUG EA 1 2
MS25036-125 (96906)
30 18 PAFZZ PAOZZ PAFZZ PAFZZ D.080 6145-00-578-6595 WIRE, ELECTRICAL 331/4 IN. FT 3 5
M508612-4-9 (81349)
30 MFFZZ MOO MBFZZ AFFZZ CABLE ASSY, AC POWER EA 1 1
70-1207-8 (30554)
70-1207-8 (93742)
MANUFACTURE FROM'
30 19 PAFZZ PAOZZ PAFZZ PAFZZ D.008 5940-00-025-9159 TERMINAL, LUG EA 1 2
70-1571 (30554)
F770-34 (98410)
30 20 PAFZZ PAOZZ PAFZZ PAFZZ D.008 5940-00-557-4338 TERMINAL, LUG EA 1 2
MS25036-125 (96906)
30 21 PAFZZ PAOZZ PAFZZ PAFZZ D.080 6145-00-578-6594 WIRE, ELECTRICAL, 16 IN. FT 2 5
M5086f2-4-9 (81349)
30 22 PAFZZ PAOZZ PAFZZ PAFZZ D.008 5305-00-036-6902 SCREW, ASSEMBLED WASHER EA 4 4
8-32 X 5/8 IN .LG
69-662-36 (30554)
61-081041-40-0142B0542B (78189)
30 PAFFF PAOOO PAOGG PAFHH I.480 5945-00-007-1147 CONTRACTOR, OUTPUT LOAD EA 1 1
70-501-1 (30554)
8301EA (74063)
30 23 XBFZZ MDO XBFZZ MDOZZ PLATE, IDENTIFICATION EA 1 1
16043-001 (74063)
30 24 XBFZZ MDO XBFZZ MDOZZ PLATE, WIRING DIAGRAM EA 1 1
32225-001 (74063)
30 25 PAFZZ PAOZZ XBFZZ PAHZZ D .008 5305-00-036-6897 SCREW, MACHINE 4-40 X 114 IN LG EA 4 4
51204-391 (74063)
30 26 PAFZZ PAOZZ XBFZZ PAHZZ D.010 5310-00-226-7563 WASHER, FLAT 0 250 ID, 0 113OD, EA 4 4
0 015 IN THK
51701-291 (74063)
30 27 PAFZZ PAOZZ XBFZZ PAHZZ D.010 5310-00-939-1061 WASHER, LOCK, NO 4 EA 4 4
MS35333-104 (96906)
30 28 PAFZZ PAOZZ XBFZZ PAOZZ 5940-00-768-8794 COVER, TERMINAL BOARD EA 2 2
28678-001 (74063)
30 29 PAFZZ PAOZZ XBFZZ PAHZZ D.008 5305-00-036-6900 SCREW. MACHINE 8-32 X 14 IN LG EA 4 4
51208-061 (74063)
30 30 PAFZZ PAOZZ XBFZZ PAHZZ D.010 5310-00-019-0670 WASHER, LOCK, NO 8 EA 4 4
MS35333-106 (96906)
30 31 PAFZZ PAOZZ XBFZZ PAHZZ D.008 5305-00-036-6901 SCREW. MACHINE 8-32 X 1 IN. LG EA 4 4
51208-401 (74063)
30 32 PAFZZ PAOZZ XBFZZ PAHZZ D.010 5310-00-221-3153 WASHER. FLAT 3/8 ID, 11/64 OD, EA 16 16
0.025 IN. THK
1290497 (80064)
30 33 PAFZZ PAOZZ PAFZZ PAHZZ D.010 5310-00445-3299 WASHER. LOCK, NO 8 EA 4 38
MS3533842 (96906)
30 34 XBFZZ XB XBFZZ XBHZZ COVER ASSEMBLY EA 1 1
30413-010 (74063)
30 35 PAFZZ PAOZZ PAFZZ PAHZZ D.100 5945-01-186-8982 CONTRACTOR ASSY, PRIMARY EA 1 1
30920-010 (74063)
30 36 PAFZZ PAOZZ PAGZZ PAHZZ I .030 5330-00-036-6996 GASKET EA 1 1
15037-006 (74063)
30 37 PAFZZ PAOZZ PAGZZ PAHZZ I .030 5330-00-228-7468 GASKET EA 1 1
30392-001 (74063)
30 38 PAFZZ PAOZZ XBFZZ PAHZZ D 5305-00-231-1572 SCREW, MACHINE 4-40 X9/16 N. EA 4 4
LG
51204-831 (74063)
30 39 PAFZZ PAOZZ PAFZZ PAHZZ D.010 5310-00-720-8395 WASHER. LOCK, NO 4 EA 4 4
MS35338-104 (96906)
30 40 PAFZZ PAOZZ XBFZZ PAHZZ D.010 5310-00-726-7428 WASHER, FLAT 0.250 OD. 0.130, EA 4 5
0 020 IN THK
HSK779B0071 (06845)
30 41 XBFZZ XB XBFZZ XBHZZ CHAMBER BASE EA 1 1
28676-001 (74063)
30 42 PAFZZ PAOZZ PAGZZ PAHZZ I .030 533040-036-6998 GASKET EA 1 1
28744-001 (74063)
76

(3)
USMC
(5)
DESCRIPTION USABLE
MFR ON
REF NUMBER CODE CODE
(8)
USMC
QTY
PER
EQUIP
(7)
QTY
INC
IN
UNIT
(6)
U/M
a
SSI
(2)
SMR CODE
(1)
ILLUSTRATION
d
USMC
c
NAVY
b
AIR
FORCE
a
ARMY
(a)
FIG
NO.
(b)
ITEM
NO.
(4)
NATIONAL
STOCK
NUMBER
b
REPL
FACTOR
TM 9-6115-545-24P
TO 35C2-3 444 4
NAVFAC P-8-626-24P
SL-400038G107499A
30 43 PAFZZ PAOZZ PAFZZ PAHZZ D.008 5310-00-397-4707 NUT, PLAIN, HEX 10-32 EA 4 4
50410-031 (74063)
30 44 PAFZZ PAOZZ PAGZZ PAHZZ D.010 5310-00-019-0672 WASHER, LOCK NO. 10 EA 4 4
MS35333-107 (96906)
30 45 PAFZZ PAOZZ PAGZZ PAHZZ D.100 5999-01-031-3941 CONTACT ASSEMBLY EA 1 1
30592-10 (74063)
30 46 XAFZ7 XA XAFZZ XAHZ7 RING. RETAINING EA 6 6
50900-111 (74063)
30 47 XAFZZ XA XAFZZ XBHZZ D.008 BUSHING, LOCATING EA 6 6
30825-001 (74063)
30 48 XAF77 XA XAFZZ XAHZZ SPRING. MAIN CONTACT EA 6 6
28419-002 (74063)
30 49 XAFZ7 XA XAFZ7 XAHZZ .005 SHIM 007 EA 5 5
10127-001 (74063)
30 50 XAFZZ XA XAFZZ XAHZZ .005 SHIM 016 EA 5 5
10127-002 (74063)
30 51 XAFZZ XA XAFZZ XAHZ_ 005 SHIM 003 EA 5 5
10127-003 (74063)
30 52 XAFZZ XA XAFZZ XAHZ7 BRIDGE ASSY MAIN CONTACT EA 3 3
30590-010 (74063)
30 53 XAFZ7 XA XAFZZ XAHZZ OPERATOR MAIN CONTACT EA 1 1
28316-001 (74063)
30 54 XBFZZ XB XBFZZ XBHZ7 BUSHING, ADJUSTING EA 2 2
32003-010 (74063)
30 55 PAFZZ PAOZZ XBFZZ PAHZZ D.008 5310-00-199-1056 NUT, HEXAGON, 3/8 EA 6 6
MS35650-3385B (96906)
30 56 PAFZZ PAOZZ XBFZZ PAHZZ D.010 5310-00-184-8971 WASHER, LOCK 3/8 EA 6 12
MS35338-103 (96906)
30 57 PAFZZ PAOZZ XBFZ7 PAHZZ D.010 5310-00-038-2739 WASHER, FLAT EA 6 6
09305401 (74063)
30 58 PAFZZ PAOZZ XBFZ7 PAHZZ D.008 5305-00-397-4708 SCREW, MACHINE EA 4 4
51208-211 (74063)
30 59 PAFZZ PAOZZ PAFZZ PAHZZ D.010 5310-00-038-2738 WASHER, LOCK EA 16 16
51808-021 (74063)
30 60 XBFZZ XB AHHZZ XBHZZ BASE ASSEMBLY EA 1 1
30469-020 (74063)
30 61 PAFZZ PAOZZ XAFZZ PAHZZ .008 5310-00-397-4711 NUT, PLAIN, HEX EA 14 14
50408-081 (74063)
30 62 PAFZZ PAOZZ PAGZZ PAHZZ D.100 5999-00-255-9313 CONTACT ASSEMBLY EA 6 6
30651-010 (74063)
30 63 Xbfzz XB XBFZZ XBHZZ D.080 INSULATOR PLUG EA 3 3
28683-001 (74063)
30 64 XBFZZ XB XBFZZ XBHZZ GROMMET EA 6 6
28791-001 (74063)
30 65 XBFZZ XB XBFZZ XBHZZ SPACER, ARC CHUTE EA 3 3
30720-001 (74063)
30 66 XBFZZ XB XBFZZ XBHZZ BASE MAIN EA 1 1
20233-001 (74063)
30 67 PAFZZ PAOZZ PAGZZ PAHZZ D.008 5305-00-231-1535 SCREW, ASSEMBLED WASHER EA 7 7
51204-541 (74063)
30 68 PAFZZ PAOZZ PAGZZ PAHZZ D.008 5305-00-228-7508 SCREW, MACHINE EA 1 1
51204-781 (74063)
30 69 PAFZZ PAOZZ PAFZZ PAHZZ D.010 5310-00-228-7591 WASHER, LOCK EA 1 1
51804-021 (74063)
30 70 PAFZZ PAOZZ PAFZZ PAHZZ D.008 5340-00-397-5389 CLAMP. LOOP EA 1 1
52001-006 (74063)
30 71 PAFZZ PAOZZ AHHZZ PAHZZ 5935-00-024-1038 CONNECTOR, AUX CONTACT ASSY EA 1 1
29900-10 (74063)
30 72 PAFZZ PAOZZ PAFZZ PAHZZ D.030 5935-00-024-1050 CONNECTOR, RECEPTACLE EA 1 1
29901-010 (74063)
30 73 PAFZ7 PAOZZ PAFZZ PAHZ7 D.023 5935-00-755-2787 CONNECTOR, RECEPTACLE EA 1 3
MS3102R20-29P (96906)
77

(3)
USMC
(5)
DESCRIPTION USABLE
MFR ON
REF NUMBER CODE CODE
(8)
USMC
QTY
PER
EQUIP
(7)
QTY
INC
IN
UNIT
(6)
U/M
a
SSI
(2)
SMR CODE
(1)
ILLUSTRATION
d
USMC
c
NAVY
b
AIR
FORCE
a
ARMY
(a)
FIG
NO.
(b)
ITEM
NO.
(4)
NATIONAL
STOCK
NUMBER
b
REPL
FACTOR
TM 9-6115-545-24P
TO 35C2-3 444 4
NAVFAC P-8-626-24P
SL-400038G/07499A
30 74 PAFZZ PAOZZ PAGZZ PAHZZ D.100 5999-00-003-4578 CONTACT ASSY EA 1 1
28996-010 (74063)
30 75 PAFZZ PAOZZ PAFZZ PAHZZ D.100 5999-00-403-4579 CONTACT ASSY EA 1 1
29014-010 (74063)
30 76 PAFZZ PAOZZ XBFZZ PAHZZ D5305-00-500-3542 SCREW EA 2 2
14895-001 (74063)
30 77 PAFZZ PAOZZ XBFZZ PAHZZ D.008 5310-00-228-7579 WASHER, LOCK EA 2 2
51802-011 (74063)
30 78 PAFZZ PAOZZ PAGZZ PAHZZ D.010 5930-00-993-4654 SWITCH. SENSTITIVE EA 1 1
10018978 (18876)
30 79 PAFZZ PAOZZ XBFZZ PAHZZ 5305-00-231-1517 SCREW, MACHINE EA 2 2
51204-231 (74063)
30 80 PAFZZ PAOZZ PAFZZ PAHZZ D.010 5310-00-263-8416 WASHER, LOCK EA 2 2
51804-011 (74063)
30 81 PAFZZ PAOZZ PAFZZ PAHZZ D.010 5310-00-228-7578 WASHER, FLAT EA 2 2
51701-301 (74063)
30 82 XBFZZ XB XBFZZ XBHZZ BRACKET. MOUNTING SWITCH EA 1 1
27873-001 (74063)
30 83 XBFZZ XB AFFZZ AHHZZ ACTUATOR ASSEMBLY EA 1 1
30921-010 (74063)
30 84 PAFZZ PAOZZ PAFZZ PAHZZ D.008 5940-00-683-4339 TERMINAL, LUG EA 1 1
MS0035431-7 (96906)
30 85 XBFZZ XB PAFZZ XBHZZ .004 ROD, GUIDE EA 2 2
31821-001 (74063)
30 86 XBFZZ XB PAGZZ PAHZZ I .015 SPRING, HELICAL, COMPRESSION EA 2 2
30707-001 (74063)
30 87 PAFZZ PAOZZ PAFZZ PAHZZ D.100 5945-00-371-9858 RELAY, ELECTROMAGNET EA 1 1
30596-020 (74063)
30 88 PAFZZ PAOZZ PAFZZ PAHZZ D.008 5310-00-928-2683 NUT, PLAIN. HEX EA 1 1
50406-031 (74063)
30 89 PAFZZ PAOZZ PAFZZ PAHZZ D.010 5310-00-432-3550 WASHER EA 1 1
51702-151 (74063)
30 90 PAFZZ PAOZZ PAFZZ PAHZZ D.010 5310-00-397-5404 WASHER, LOCK EA 1 1
51806-031 (74063)
30 91 PAFZZ PAOZZ PAFZZ PAHZZ D.008 5305-00-397-4710 SCREW, 6-32 EA 1 1
51206-251 (74063)
30 92 XBFZZ XB XBFZZ XBHZZ .008 BRACKET ECON ASSY EA 1 1
31877-010 (74063)
30 93 PAFZZ PAOZZ PAFZZ PAHZZ D.010 5310-00-397-5424 WASHER. LOCK. NO 8 EA 2 2
518084-011 (74063)
30 94 XBFZZ XB XBFZZ XBHZZ .100 OPERATOR AUX EA 1 1
30274-002 (74063)
30 95 XAFZZ XA XBFZZ XBHZZ CORE AND ROD MOV EA 1 1
305954-010 (74063)
30 96 PAFZZ PAOZZ PAFZZ PAHZZ D.008 5305-00-397-4712 SCREW,10-32 EA 4 4
51210-271 (74063)
30 97 PAFZZ PAOZZ XBFZZ PAHZZ D.010 5310-00-264-0694 WASHER, FLAT EA 4 4
LN5635 (35510)
30 98 PAFZZ PAOZZ PAFZZ PAHZZ D.010 5310-01-122-6154 WASHER. LOCK EA 4 4
51818-031 (74063)
30 99 XBFZZ XB XBFZZ XBHZZ END PLATE EA 1 1
30918-010 (74063)
30 100 XBFZZ XB XBFZZ XBHZZ .010 WASHER. COIL EA 1 1
27289-001 (74063)
30 101 PAFZZ PAOZZ PAGZZ PAHZZ D.050 5950-00-24-1052 COIL, ELECTRICAL EA 1 1
30396-010 (74063)
30 102 XBFZZ XB XBFZZ XBHZZ CORE AND FRAME EA 1 1
30789-010 (74063)
30 103 PAFZZ PAOZZ PAFZZ PAHZZ D 008 5306-00-225-8499 BOLT, MACHINE 5/116-18 X 1 IN LG. EA 4 4
MS90725-34 (96906)
30 104 PAOZZ PAOZZ XBFZZ PAHZZ D.010 5310-00-167-0721 WASHER. LOCK EA 4 68
MS35333-41 (96906)
78

(3)
USMC
(5)
DESCRIPTION USABLE
MFR ON
REF NUMBER CODE CODE
(8)
USMC
QTY
PER
EQUIP
(7)
QTY
INC
IN
UNIT
(6)
U/M
a
SSI
(2)
SMR CODE
(1)
ILLUSTRATION
d
USMC
c
NAVY
b
AIR
FORCE
a
ARMY
(a)
FIG
NO.
(b)
ITEM
NO.
(4)
NATIONAL
STOCK
NUMBER
b
REPL
FACTOR
TM 9-6115-545-24P
TO 35C2-3 444 4
NAVFAC P-8-626-24P
SL-400038G/07499A
30 105 PAFZZ PAOZZ XBFZZ PAHZZ D.010 5310-00-081-4219 WASHER, FLAT, 5/16 IN. EA 2 2
M827183-12 (96908)
30 108 PAFZZ PAOZZ XBFZZ PAHZZ D.008 5310-00-880-7744 NUT, PLAIN HEXAGON EA 2 12
MS519687-5 (96906)
30 107 XSFZZ XB XBFZZ XBHZZ LOAD TERMINALBOARD ASSY EA 1 2
70-1240 (30554)
70-1240 (93742)
30 108 PAFZZ PAOZZ XBFZZ PAHZZ D.008 5305-00-724-5906 SCREW, CAP. HEX HD 5/8-11 X 3/4 EA 2 5
IN. LG.
MS90725-156 (96906)
30 109 PAFZZ PAOZZ XBFZZ PAHZZ D.010 5310-00-017-8627 WASHER, LOCK EA 2 10
MS45904-92 (96906)
30 110 PAFZZ PAOZZ XBFZZ PAHZZ D.008 5305-00-036-6982 SCREW, ASSEMBLED WASHER EA 8 71
1/4-20 X 3/4 IN. LG.
70-1319-4 (30554)
61-251281-00-0242B-0542B (78189)
30 111 PAFZZ PAOZZ PAFZZ PAHZZ D.010 5310-00-823-8804 WASHER, FLAT, 1/4 IN. NOM EA 1 15
MS27183-9 (96906)
30 112 PAFZZ PAOZZ XBFZZ PAHZZ D.008 5310-00-781-6882 NUT, PLAIN, HEXAGON EA 11 52
MS51967-2 (96906)
30 113 PAFZZ PAOZZ XBFZZ PAHZZ D.008 5310-00-761-6882 NUT, PLAIN, HEXAGON EA 1 52
MS51967-2 (96906)
30 114 PAFZZ PAOZZ PAFZZ PAHZZ D.008 5305-00-724-5910 SCREW, CAP, HEXAGON EA 1 1
MS90725-162 (96906)
30 115 PAFZZ PAOZZ PAFZZ PAHZZ D.010 5310-00-017-8627 WASHER, LOCK EA 1 10
M845904-92 (96908)
30 118 PAFZZ PAOZZ PAFZZ PAHZZ D..010 5310-00-951-7209 WASHER, FLAT EA 1 1
M827183-22 (88908)
30 117 XBFZZ XB AFFZZ XBFZZ TRANSFORMER ASSY, CURRENT 60 ABDE EA 1 2
KW, 50/680 HZ
70-1170 (30554)
70-1170 (93742)
30 117 XBFZZ XB AFFZZ XBHZZ TRANSFORMER ASSY, CURRENT 60 CF EA 1 1
KW, 400 HZ
70-1175 (30554)
70-1175 (83742)
30 118 PAFZZ PAOZZ XBFZZ PAHZZ D.008 5305-00-038-3150 SCREW, ASSEMBLED WASHEREA 4 5
10-24 X 7/8 IN. LG
89-682-53 (30554)
61-101441-40-0142B0542B (71789)
30 119 PAFZZ PAOZZ XBFZZ PAHZZ D.010 5310-00-809-8548 WASHER, FLAT EA 4 38
MS27183-8 (96906)
30 120 XBFZZ XB XBFZZ XBHZZ RECONNECTION PANEL ASSY EA 1 2
70-1102 (30554)
70-1102 (93742)
30 121 PAFZZ PAOZZ XBFZZ PAHZZ D.008 5305-00-549-7287 SCREW,ASSMBLED WASHER 1/4-20 EA 1 3
X 1 IN. LG
70-1319-6 (30554)
61-251681-00-0242B05428 (78189)
30 122 PAFZZ PAOZZ PAFZZ PAHZZ D.010 5310-00-809-4058 WASHER, FLAT, 1/4 IN NOM EA 1 21
MS27183-10 (96906)
30 123 PAFZZ PAOZZ XBPZZ PAHZZ D.008 5305-00-390-0552 SCREW, CAP, HEXAGON 1/4-20 X EA 1 1
1-1/2 IN. LG.
70-1319-8 (30554)
61-252481-00-0242B0542B (78189)
30 124 XBFZZ XB XBFZZ XBHZZ BRACKET. MTG LOAD CONTRACTOR EA 1 1
70-1223 (30554)
70-1223 (93742)
30 125 PAFZZ PAOZZ PAFZZ PAHZZ D.008 5305-00-036-6906 SCREW. ASSEMBLED WASHER EA 2 12
10-24 X 1/2 IN. LG
69-662-50 (30554)
61-100841-40-0142B0542B (78189)
30 126 XBFZZ XB XBFZZ XBHZZ BRACKET, MTG RECONNECTION EA 1 1
BOARD
70-1235 (30554)
70-1235 (93742)
79

(3)
USMC
(5)
DESCRIPTION USABLE
MFR ON
REF NUMBER CODE CODE
(8)
USMC
QTY
PER
EQUIP
(7)
QTY
INC
IN
UNIT
(6)
U/M
a
SSI
(2)
SMR CODE
(1)
ILLUSTRATION
d
USMC
c
NAVY
b
AIR
FORCE
a
ARMY
(a)
FIG
NO.
(b)
ITEM
NO.
(4)
NATIONAL
STOCK
NUMBER
b
REPL
FACTOR
TM 9-6115-545-24P
TO 35C2-3-444-4
NAVFAC P-8-626-24P
SL-400038G/07499A
30 127 PAFZZ PAOZZ XBFZZ PAHZZ D.008 5305-00-036-6978 SCREW, ASSEMBLED WASHER EA 2 50
10-24 X 3/8 IN LG
69- 662- 48 (30554)
61-100641-40-0142B0542B (78189)
30 128 PAFZZ PAOZZ XBF2Z PAHZZ D.008 5310-00-696-5173 NUT. PLAIN ,ASSEMBLED 1/4-20 EA 2 131
69-561-5 (30554)
511-251800-00 (78189)
30 129 PAFZZ PAOZZ XBFZZ PAHZZ D.010 5310-00-809-4058 WASHER, FLAT EA 2 21
MS27183-10 (96906)
30 130 PAFZZ PAOZZ PAFZZ PAHZZ D.008 5306-00-036-6982 SCREW. CAPTIVE 1/4-20 x 3/4 IN LG EA 2 71
69-662-79 (30554)
61-251241-40-01 42B0542B (78189)
30 131 XBFZZ XB PAFZZ PAHZZ .050 CAPACITORASSEMBLY EA 1 1
70-1600 (30554)
70-1600 (93742)
30 132 PAFZZ PAOZZ XBFZZ XBHZZ 5310-00-889-2528 WASHER, LOCK EA 2 46
MS45904-68 (96906)
30 133 PAFZZ PAOZZ PAFZZ PAHZZ D.010 5310-00-809-4058 WASHER, FLAT EA 6 21
MS27183-10
30 134 PAFZZ PAOZZ PAFZZ PAHZZ .050 5910-00-561-8847 CAPACITOR, FIXED EA 3 7
CA36KFW254 (81349)
30 135 PAFZZ PAOZZ XBFZZ PAHZZ D.008 5305-00-036-6983 BOLT, ASSEMBLED WASHER EA 1 15
1/4-20 X7/81 IN LG
70-1319-5 (30554)
61-251481-00-02428-05428 (78189)
30 136 PAF7Z PAOZZ PAFZZ PAHZZ D.010 9390-00-612-3272 STRIP, RUBBER, INSULATING EA 1 1
X218 (70485)
30 137 XBFZZ XB XBFZZ XBHZZ BRACKET, MTG EA 1 1
70-1236 (30554)
70-1236 (93742)
30 138 XBFZZ MOO XBFZZ XBHZZ BRACKET, SUPPORT EA 1 1
70-1239 (30554)
70-1239 (93742)
30 139 XBFZZ MOO XBFZZ XBHZZ BRACKET. HANGER LOAD TERMINAL EA 1 1
BOARD
70-1224 (30554)
70-1224 (93742)
30 140 XBFZZ MOO XBFZZ XBHZZ BRACKET. SUPPORT LOAD EA 1 1
TERMINAL BOARD
70-1243 (30554)
70-1243 (93742)
80

TM 9-6115-545-24P
TO 35C2-3-M444-4
NAVFAC P-8-626-24P
SL-400038G/07499A
Figure 31. Main Load Conductor (Sheet 1 of 3)
(81 blank)/82

TM 9-6115-545-24P
TO 35C2-3-444-4
NAVFAC P-8-626-24P
SL-400038G/07499A
Figure 31. Main Load Conductor (Sheet 2 of 3)
83

TM 9-6115-545-24P
TO 35C2-3-444-4
NAVFAC P-8-626-24P
SL-400038G/07499A
Figure 31. Main Load Conductor (Sheet 2 of 3)
84

(3)
USMC
(5)
DESCRIPTION USABLE
MFR ON
REF NUMBER CODE CODE
(8)
USMC
QTY
PER
EQUIP
(7)
QTY
INC
IN
UNIT
(6)
U/M
a
SSI
(2)
SMR CODE
(1)
ILLUSTRATION
d
USMC
c
NAVY
b
AIR
FORCE
a
ARMY
(a)
FIG
NO.
(b)
ITEM
NO.
(4)
NATIONAL
STOCK
NUMBER
b
REPL
FACTOR
TM 9-6115-545-24P
TO 35C2-3-444-4
NAVFAC P-8-626-24P
SL-400038G/07499A
31 PAFFF PAOOO PAFFF PAFHH 1.040 5945-01-021-2898 LOAD CONTACTOR MAIN (USED ON EA 1 1
S/N FZ-01639 ON, FOR 50/60 HZ &
S/N FZ-06463 ON, FOR 400 HZ)
70-501-2 (30554)
31 1 XCFZZ MDO XCFZZ MDOZZ PLATE EA 1 1
10818-1 (50603)
31 2 XCFZZ MDO XCFZZ MDOZZ PLATE, WIRING EA 1 1
10380-1 (50603)
31 3 PAFZZ PAOZZ PAFZZ PAHZZ D.008 5305-00-984-4988 SCREW, MACHINE 6-32 X3/8 EA 8 14
MS35206-25 (96906)
31 4 PAFZZ PAOZZ PAFZZ PAHZZ D.010 5310-00-045-4007 WASHER, LOCK NO 6 EA 4 45
MS35338-41 (96906)
31 5 PAFZZ PAOZZ PAFZZ PAHZZ D.010 5310-00-082-1404 WASHER, FLAT 3/8 X 156 X 049 EA 4 27
MS27183-6 (96906)
31 6 XBFZZ XB XBFZZ XBHZZ SHIELD, TERMINAL EA 2 2
10485-1 (50603)
31 7 PAFZZ PAOZZ PAFZZ PAHZZ D.008 5310-01-008-6409 NUT, HEX 3/8-24 X 5/8 X 7/32 EA 6 6
4971110017 (50603)
31 8 PAFZZ PAOZZ PAFZZ PAHZZ D.010 5310-00-184-8971 WASHER, LOCK 11/16 X 3/8 X 0 094 EA 6 12
MS35338-103 (96906)
31 9 PAFZZ PAOZZ PAFZZ PAHZZ D.010 5310-00-080-6004 WASHER, FLAT 13/16 X3/8 X 0 062 EA 6 6
MS27183-14 (96906)
31 10 XAFZZ XA XAFZZ XAHZZ CONTACTOR ASSY SUB EA 1 1
10813-10 (50603)
31 11 PAFZZ PAOZZ PAFZZ PAHZZ D.008 5305-00-889-3002 SCREW, MACHINE 8-32 X 5/16 EA 3 11
MS35206-242 (96906)
31 12 PAFZZ PAOZZ PAFZZ PAHZZ D.010 5310-00-045-3299 WASHER, LCCK NO 8 EA 3 38
MS35338-42 (96906)
31 13 XBFZZ XB PAFZZ XBHZZ COVER EA 1 1
10741-10 (50603)
31 14 PAFZZ PAOZZ PAFZZ AHHZZ 5945-01-013-3842 SWITCH-CONN ASSY EA 1 1
10819-10 (50603)
31 15 PAFZZ PAOZZ PAFZZ PAHZZ -. 060 5945-01-016-0797 SWITCH, AUX EA 1 1
10788-10 (50603)
31 16 PAFZZ PAOZZ PAFZZ PAHZZ -. 060 5945-01-016-0798 SWITCH, AUX EA 1 1
11911-10 (50603)
31 17 PAFZZ PAOZZ PAFZZ PAHZZ D.023 5945-01-013-3842 SWITCH-CONN ASSY EA 1 1
10819-10 (50603)
31 18 PAFZZ PAOZZ PAFZZ PAHZZ I.030 5330-01-008-6564 GASKET EA 1 1
3126760001 (50603)
31 19 PAFZZ PAOZZ PAFZZ XBHZZ 5365-01-008-6420 SPACER EA 4 4
10717-1 (50603)
31 20 XBFZZ XB XBFZZ XBHZZ CHAMBER CONTACT EA 1 1
10484-1 (50603)
31 21 PAFZZ PAOZZ PAHZZ PAHZZ .030 5330-01-014-6875 GASKET, HOUSING EA 1 1
10501-1 (50603)
31 22 PAFZZ PAOZZ PAHZZ PAHZZ D.008 5305-00-984-6194 SCREW, MACHINE 8-32 X 5/8 EA 4 22
MS35206-246 (96906)
31 23 PAFZZ PAOZZ PAHZZ PAHZZ D.010 5310-00-809-8544 WASHER, FLAT 3/8 X 187 X 047 EA 14 28
MS27183-7 (96906)
31 24 PAFZZ PAOZZ PAHZZ PAHZZ D.005 5945-01-010-5912 BASE ASSY EA 1 1
10802-10 (50603)
31 25 PAFZZ PAOZZ PAHZZ PAHZZ D.008 5305-01-008-6421 SCREW 10-32 X 1/2 EA 14 14
4181100041 (50603)
31 26 PAFZ PAOZZ PAHZZ PAHZZ D.008 5310-01-008-6410 NUT, PLAIN, HEX EA 6 6
4911100011 (50603)
31 27 PAFZZ PAOZZ PAHZZ PAHZZ D.001 6150-01-010-2597 BUS, CONDUCTOR EA 6 6
10497 (50603)
31 28 XBFZZ XB XBFZZ XBHZZ IINSERT EA 4 4
10064-1 (50603)
85

(3)
USMC
(5)
DESCRIPTION USABLE
MFR ON
REF NUMBER CODE CODE
(8)
USMC
QTY
PER
EQUIP
(7)
QTY
INC
IN
UNIT
(6)
U/M
a
SSI
(2)
SMR CODE
(1)
ILLUSTRATION
d
USMC
c
NAVY
b
AIR
FORCE
a
ARMY
(a)
FIG
NO.
(b)
ITEM
NO.
(4)
NATIONAL
STOCK
NUMBER
b
REPL
FACTOR
TM 9-6115-545-24P
TO 35C2-3-444-4
NAVFAC P-8-626-24P
SL-400038G/07499A
31 29 XAFZZ XA XBFZZ XBHZZ BASE, MAIN EA 1 1
10502-1 (50603)
31 30 PAFZZ PAOZZ PAHZZ PAHZZ I.030 5330-01-008-6565 GASKET EA 1 1
10505-1 (50603)
31 31 PAFZZ PAOZZ PAHZZ PAHZZ D.008 5310-00-281-9389 NUT, PLAIN, HEX 10-32 X 3/8 X 1/8 EA 3 3
X1898 (14351)
31 32 PAFZZ PAOZZ PAHZZ PAHZZ D.010 5310-00-045-3296 WASHER, LOCK NO, 10 EA 4 13
MS35338-43(96906)
31 33 PAFZZ PAOZZ PAHZZ PAHZZ D.010 5310-01-008-6596 WASHER, FLAT3/8X, 203X, 047 EA 9 9
MS27183-7 (96908)
31 34 PAFZZ PAOZZ PAHZZ PAHZZ D.005 5365-01-008-6422 SPACER EA 3 3
10812-1 (50603)
31 35 XBFZZ XB XBFZZ XBHZZ D.005 BUSHING EA 1 1
10692-1 (50603)
31 36 XBFZZ XB XBFZZ XBHZZ D.005 BUSHING, SLEEVE EA 2 1
10692-2 (50603)
31 37 PAFZZ PAOZZ PAHZZ PAHZZ I.007 5945-01-010-5913 BRIDGE ASSY EA 3 3
10715-10 (50603)
31 38 XAFZZ XA XAFZZ XAHZZ HOUSING, SPRING EA 3 3
10483-1 (50603)
31 39 XAFZZ XA XAFZZ XAHZZ BRIDGE, MAIN EA 3 3
10493-1 (50603)
31 40 PAFZZ PAOZZ PAHZZ PAHZZ D.015 5380-01-014-6934 SPRING EA 3 3
10703-1 (50803)
31 41 XBFZZ XB XBFZZ XBHZZ BUSHING, SLEEVE EA 3 3
10048-1 (50803)
31 42 XBFZZ XB XBFZZ XBHZZ ARC CHUTE EA 3 3
10481-1 (50803)
31 43 PAFZZ PAOZZ PAFZZ PAHZZ D.008 5305-00-984-8193 SCREW, MACHINE 8-32 X 1/2 EA 4 4
MS35208-245 (96908)
31 44 PAFZZ PAOZZ PAFZZ PAHZZ D.010 5310-01-008-8424 WASHER, METALLIC EA 1 1
10209-1 (50803)
31 45 PAFZZ PAOZZ PAFZZ PAHZZ 5945-01-010-5914 AUX SWITCH EA 1 1
10422-1 (50603)
31 46 PAFZZ PAOZZ PAFZZ PAHZZ 5945-01-010-5915 AUX SWITCH EA 1 1
10422-2 (50603)
31 47 PAFZZ PAOZZ PAFZZ PAHZZ I.030 5360-01-008-6425 SPRING, RETURN EA 1 1
10122-1 (50603)
31 48 XBFZZ XB XBFZZ XBHZZ DETENT EA 1 1
10078-2 (50603)
31 49 PAFZZ PAOZZ PAFZZ PAHZZ D.008 5305-00-984-4982 SCREW, MACHINE 6-32 X3/16 EA 8 16
MS35208-225 (96906)
31 50 PAFZZ PAOZZ PAFZZ PAHZZ D.008 5305-01-008-6427 SCREW 4-40 X 3/8 EA 4 12
4141100021 (50603)
31 51 PAFZZ PAOZZ PAFZZ PAHZZ D.010 5310-00-543-2410 WASHER, LOCK, NO, 4 EA 4 16
MS35338-40 (98908)
31 52 PAFZZ PAOZZ PAFZZ PAHZZ D.008 5310-00-008-6411 NUT, PLAIN, HEX 1/4 X 3/32 EA 4 4
4891110011 (50603)
31 53 PAFZZ PAOZZ PAFZZ PAHZZ D.020 5970-01-010-5848 INSULATION EA 1 1
10718-1 (50603)
31 54 PAFZZ PAOZZ PAFZZ PAHZZ .023 5945-01-010-5916 SOLENOID SUB ASSY EA 1 1
10798-10 (50603)
31 55 PAFZZ PAOZZ PAFZZ PAHZZ D.008 5945-01-010-5920 MOVABLE CORE AND ROD ASSY EA 1 1
10795-10 (50603)
31 56 XAFZZ XA XAFZZ XBHZZ ROD, CORE EA 1 1
10008-22 (50603)
31 57 XAFZZ XA XAFZZ XBHZZ CORE ASSY, MOVABLE EA 1 1
10794-10 (50603)
31 58 XBFZZ XA XAFZZ XBHZZ STUD, SELF LOCKING EA 2 2
4431100031 (50603)
86

(3)
USMC
(5)
DESCRIPTION USABLE
MFR ON
REF NUMBER CODE CODE
(8)
USMC
QTY
PER
EQUIP
(7)
QTY
INC
IN
UNIT
(6)
U/M
a
SSI
(2)
SMR CODE
(1)
ILLUSTRATION
d
USMC
c
NAVY
b
AIR
FORCE
a
ARMY
(a)
FIG
NO.
(b)
ITEM
NO.
(4)
NATIONAL
STOCK
NUMBER
b
REPL
FACTOR
TM 9-6115-545-24P
TO 35C2-3-444-4
NAVFAC P-8-626-24P
SL-400038G/07499A
31 59 XAFZZ XA XAFZZ XBHZ OPERATOR EA 1 1
10421-1 (50603)
31 60 XAFZZ XA XAFZZ XBHZZ FRAME AND CORE ASSY EA 1 1
10793-10 (50603)
31 61 XAFZZ XA XAFZZ XBHZZ FRAME ASSY, SIDE EA 1 1
10790-10 (50603)
31 82 XAFZZ XA XBFZZ XBHZZ FRAME-END EA 1 1
10007-2 (50603)
31 63 XAFZZ XA XBFZZ XBHZZ FRAME AND SPACER EA 1 1
10792-10 (50603)
31 64 XAFZZ XA XBFZZ XBHZZ FRAME AND SPACER EA 1 1
10791-10 (50603)
31 65 PAFZZ PAOZZ PAFZZ PAHZZ 5930-01-019-1280 SWITCH, SENSITIVE EA 1 1
10797-10 (50603)
31 66 PAFZZ PAOZZ PAFZZ PAHZZ D.008 5305-00-959-1713 SCREW, MACHINE 2-56 X 3/4 EA 2 2
MS35206-209 (96906)
31 67 PAFZZ PAOZZ PAFZZ PAHZZ D.010 5310-00-543-5060 WASHER, LOCK NO, 2 EA 2 6
MS35338-39 (96906)
31 68 PAFZZ PAOZZ PAFZZ PAHZZ D.010 5310-01-008-6597 WASHER FLAT , 250 X, 105 X , 032 EA 2 2
5601100011 (50803)
31 69 PAFZZ PAOZZ PAFZZ PAHZZ -.060 5930-00-914-6450 SWITCH, SENSITIVE EA 1 1
11-314 (04426)
31 70 XBFZZ XB XBFZZ XBHZZ BRACKET, SWITCH MOUNTING EA 1 1
10702-1 (50603)
31 71 XBFZZ XB XBFZZ XBHZZ PLATE, ADAPTER EA 1 1
10701-1 (50603)
31 72 PAFZZ PAOZZ PAFZZ PAHZZ -.008 5950-01-018-0230 COIL, RADIO FREQUENCY EA 1 1
10353-940 (50603)
87

TM 9-6115-545-24P
TO 35C2-3-444-4
NAVFAC P-8-626-24P
SL-400038G/07499A
Figure 32. Load Terminal Board Assembly.
88

(3)
USMC
(5)
DESCRIPTION USABLE
MFR ON
REF NUMBER CODE CODE
(8)
USMC
QTY
PER
EQUIP
(7)
QTY
INC
IN
UNIT
(6)
U/M
a
SSI
(2)
SMR CODE
(1)
ILLUSTRATION
d
USMC
c
NAVY
b
AIR
FORCE
a
ARMY
(a)
FIG
NO.
(b)
ITEM
NO.
(4)
NATIONAL
STOCK
NUMBER
b
REPL
FACTOR
TM 9-6115-545-24P
TO 35C2-3-444-4
NAVFAC P-8-626-24P
SL-400038G/07499A
32 XBOZZ AOO XBFZZ XBFZZ LOAD TERMINAL BOARD ASSY EA 1 2
70-1240 (30554)
32 1 PAOZZ PAOZZ XBFZZ PAFZZ D.008 5310-00-161-0654 NUT, SELF-LOCKING, HEX 3/4 EA 4 4
MS51922-59 (96906)
32 2 PAOZZ PAOZZ XBFZZ PAFZZ D.010 5310-00-167-0809 WASHER, FLAT, 3/4 IN EA 4 4
AN960C1216 (88044)
32 3 PAOZZ PAOZZ XBFZZ PAFZZ D.008 5940-00-237-2704 POST, BINDING, ELECTRICAL EA 4 4
69-692-5 (30554)
MS39347-6 (96906)
32 MFOZZ MOO AGGZZ AFFZZ 9505-00-893-4616 CLIP, TERMINAL
MANUFACTURE FROM,
WIRE 0, 080 IN DIA
32 4 PAOZZ PAOZZ XBFZZ PAFZZ D.008 5305-00-225-3842 SCREW, CAP, HEX 1/4-20 X 1-1/8 EA 2 2
IN LG
MS90728-9 (96906)
32 5 PAOZZ PAOZZ XBFZZ PAFZZ D.008 5310-00-761-6882 NUT, PLAIN, HEX EA 2 52
MS51967-2 (96906)
32 6 PAOZZ PAOZZ XBFZZ PAFZZ D.010 5310-00-889-2528 WASHER, LOCK, 1/4 EA 2 46
MS45904-68 (96906)
32 7 XBOZZ MOO XBFZZ XBFZZ BRACKET, MOUNTING EA 1 2
70-1234 (30554)
70-1234 (93742)
32 8 PBOZZ MOO XBFZZ XBFZZ 5940-01-150-9859 BOARD, LOAD TERM, BOTTOM EA 1 1
70-1098 (30554)
70-1098 (93742)
89

TM 9-6115-545-24P
TO 35C2-3-444-4
NAVFAC P-8-626-24P
SL-400038G/07499A
Figure 33. Current Transformer Assembly.
90

(3)
USMC
(5)
DESCRIPTION USABLE
MFR ON
REF NUMBER CODE CODE
(8)
USMC
QTY
PER
EQUIP
(7)
QTY
INC
IN
UNIT
(6)
U/M
a
SSI
(2)
SMR CODE
(1)
ILLUSTRATION
d
USMC
c
NAVY
b
AIR
FORCE
a
ARMY
(a)
FIG
NO.
(b)
ITEM
NO.
(4)
NATIONAL
STOCK
NUMBER
b
REPL
FACTOR
TM 9-6115-545-24P
TO 35C2-3-444-4
NAVFAC P-8-626-24P
SL-400038G/07499A
33 XBFZZ XB XBFZZ XBHZZ TRANSFORMER ASSY, CURRENT 60 ABDE EA 1 2
KW, 50/60 HZ
70-1170 (30554)
70-1170 (93742)
33 XBFZZ XB XBFZZ XBHZZ TRANSFORMER ASSY, CURRENT 60 CF EA 1 2
KW, 400 HZ
70-1175 (30554)
70-1175 (93742)
33 1 PAFZZ PAOZZ XBFZZ PAHZZ D.008 5305-00-036-6906 SCREW, ASSEMBLED WASHER EA 16 20
10-24 X 1/2 IN LG
69-662-50 (30554)
61-100841-40-0142B0542B (78189)
33 2 PAFZZ PAOZZ PAFZZ PAHZZ D.010 5310-00-809-8546 WASHER, FLAT. NO 10 EA 16 38
MS27183-8 (96906)
33 3 PAFZZ PAOZZ XBFZZ PAHZZ D.008 5305-00-984-6218 SCREW. MACHINE, 10-24 X2 IN. EA 16 16
LG
MS35206-271 (96906)
33 4 PAFZZ PAOZZ XBFZZ PAHZZ D.008 5310-00-094-3421 NUT, PLAIN, ASSEMBLED 10-24 EA 16 52
69-561-4 (30554)
511-101800-00 (78189)
33 5 PAFZZ PAFZZ XBFZZ PAHZZ D.008 5325-00-027-0322 GROMMET EA 9 10
2133336-3 (28528)
33 6 XBFZZ XB XBFZZ XBHZZ BRACKET, TRANSFORMER EA 6 6
70-1408 (30554)
70-1408 (93742)
33 7 PAFZZ PAOZZ MFFZZ XBHZZ 5330-00-093-7210 GASKET EA 6 86
70-1424 (30554)
70-1424 (93742)
33 8 PAFZZ PAOZZ PAFBF PAHZZ I.010 5950-00-024-1088 TRANSFORMER, CURRENT EA 3 3
70-1173 (30554)
7001-0012 (93742)
33 9 XBFZZ XB XBFZZ XBH7Z BRACKET, TRANSFORMER EA 2 2
70-1428 (30554)
70-1428 (93742)
33 10 PAFZZ PAOZZ MFFZZ XBHZZ 5330-00-036-6999 GASKET. TRANSFORMER EA 2 2
70-1429 (30554)
70-1429 (93742)
33 11 PAFZZ PAOZZ PAFBF PAHZZ D5950-00-098-9133 TRANSFORMER. CURRENT ABDE EA 1 1
70-1174 (30554)
7001-0011 (93742)
33 11 PAFZZ PAOZZ PAFBF PAHZZD5950-00-444-0265 TRANSFORMER, CURRENT CF EA 1 1
70-1178 (30554)
7001-0010 (93742)
33 12 PAFZZ PAOZZ XBFZZ PAHZZ D.008 5305-00-036-6902 SCREW, ASSEMBLED WASHER EA 6 8
8-32 X 5/8 IN LG
69-662-36 (30554)
61-081041-40-0142B0542B (78189)
33 13 PAFZZ PAOZZ XBFZZ PAHZZ D.010 5310-00-809-8544 WASHER, FLAT, NO. 8 EA 12 28
MS27183-7 (96906)
33 14 PAFZZ PAOZZ XBFZZ PAHZZ D.008 5310-00-052-3632 NUT, PLAIN, ASSEMBLED 8-32 EA 6 12
69-561-3(30554)
511-081800-00 (78189)
33 15 PAFZZ PAOZZ PAFBF PAHZZ D.009 5950-00-024-1000 TRANSFORMER, CURRENT EA 1 1
70-1172 (30554)
53A230 (12670)
33 16 PAFZZ PAOZZ PAFZZ PAHZZ D.008 5305-00-218-4864 SCREW, ASSEMBLED WASHER EA 2 2
6-32 X 3/4 IN LG
8483 WASHER, FLAT NO 6 EA 2 36
69-662-22 (30554)
33 17 PAFZZ PAOZZ XBFZZ PAHZZ D.010 5310-00-983-MS27183-5 (96906)
33 18 XBFZZ XB XBFZZ XBHZZ TERMINAL BOARD EA 1 1
38TB16 (81349)
91

(3)
USMC
(5)
DESCRIPTION USABLE
MFR ON
REF NUMBER CODE CODE
(8)
USMC
QTY
PER
EQUIP
(7)
QTY
INC
IN
UNIT
(6)
U/M
a
SSI
(2)
SMR CODE
(1)
ILLUSTRATION
d
USMC
c
NAVY
b
AIR
FORCE
a
ARMY
(a)
FIG
NO.
(b)
ITEM
NO.
(4)
NATIONAL
STOCK
NUMBER
b
REPL
FACTOR
TM 9-6115-545-24P
TO 35C2-3-444-4
NAVFAC P-8-626-24P
SL-400038G/07499A
33 19 XBFZZ XB XBFZZ XBHZZ PANEL. BLANK ABDE EA 1 1
70-1171 (30554)
70-1171 (93742)
33 19 XBFZZ XB XBFZZ XBHZZ PANEL. BLANK ABDE EA 1 1
70-1176 (30554)
70-1176 (93742)
92

TM 9-6115-545-24P
TO 35C2-3-444-4
NAVFAC P-8-626-24P
SL-400038G/07499A
Figure 34. Wiring Harness, Current Transformer.
(93 blank)/94

(3)
USMC
(5)
DESCRIPTION USABLE
MFR ON
REF NUMBER CODE CODE
(8)
USMC
QTY
PER
EQUIP
(7)
QTY
INC
IN
UNIT
(6)
U/M
a
SSI
(2)
SMR CODE
(1)
ILLUSTRATION
d
USMC
c
NAVY
b
AIR
FORCE
a
ARMY
(a)
FIG
NO.
(b)
ITEM
NO.
(4)
NATIONAL
STOCK
NUMBER
b
REPL
FACTOR
TM 9-6115-545-24P
TO 35C2-3-444-4
NAVFAC P-8-626-24P
SL-400038G/07499A
34 MFFZZ MOO AFFZZ AFFZZ WIRING HARNESS. CURRENT ABDE EA 1 1
TRANSFORMER
70-1204 (30554)
70-1204 (93742)
34 MFFZZ MOO AFFZZ AFFZZ WIRING HARNESS. CURRENT ABDE EA 1 1
TRANSFORMER
70-1269 (30554)
70-1269 (93742)
MANUFACTURED FROM
34 1 PAFZZ PAOZZ PAFZZ PAFZZ -.008 5975-00-727-5153 STRAP. TIE DOWN, ELECTRIC EA 117 1094
MS3367-9 (96906)
34 2 PAFZZ PAOZZ PAFZZ PAFZZ -.008 5940-00-143-4774 TERMINAL, LUG EA 2 113
MS25036-153 (96906)
34 3 PAFZZ PAOZZ XBFZZ PAFZZ -.008 5940-00-283-5280 TERMINAL, LUG EA 14 549
MS25036-106 (96906)
34 4 PAFZZ PAOZZ PAFZZ PAFZZ -.080 6145-00-578-6605 WIRE, ELECTRIC 255 IN FT 22 1010
M5086/2-16-9 (81349)
95

TM 9-6115-545-24P
TO 35C2-3-444-4
NAVFAC P-8-626-24P
SL-400038G/07499A
Figure 35. Reconnection Board.
96

(3)
USMC
(5)
DESCRIPTION USABLE
MFR ON
REF NUMBER CODE CODE
(8)
USMC
QTY
PER
EQUIP
(7)
QTY
INC
IN
UNIT
(6)
U/M
a
SSI
(2)
SMR CODE
(1)
ILLUSTRATION
d
USMC
c
NAVY
b
AIR
FORCE
a
ARMY
(a)
FIG
NO.
(b)
ITEM
NO.
(4)
NATIONAL
STOCK
NUMBER
b
REPL
FACTOR
TM 9-6115-545-24P
TO 35C2-3-444-4
NAVFAC P-8-626-24P
SL-400038G/07499A
35 XBOZZ XB XBFZZ XBFZZ RECONNECTION BOARD EA 1 2
70-1102 (30554)
70-1102 (93742)
35 1 PAOZZ PAOZZ XBFZZ PAFZZ D.008 5310-00-914-6028 NUT, SELF-LOCKING, HEX EA 26 26
MS51922-18 (96908)
35 2 PAOZZ PAOZZ PAFZZ PAFZZ D.008 5310-01-031-1459 NUT, PLAIN, HEX EA 13 13
70-1626-2 (30554)
70-1626-2 (93742)
35 3 PAOZZ PAOZZ XBFZZ PAFZZ D.010 5310-00-167-0804 WASHER, FLAT EA 9 9
AN960C616 (88044)
35 4 PAOZZ PAOZZ XBFZZ PAFZZ D.008 5307-00-040-9890 STUD, ASSEMBLY 3/8-16 X2-3/4 EA 13 13
IN LG (30554)
70-1101 (93742)
70-1101
35 5 PAOZZ PAOZZ XBFZZ PAFZZ D.008 5940-00-397-3479 TERMINAL BOARD EA 1 1
70-1113 (30554)
35 6 XBOZZ XA XAFZZ XBFZZ EYELET EA 12 12
A473 (57771)
35 7 XBOZZ MOO XAFZZ XBFZZ BUS BAR EA 6 6
70-1113-2 (30554)
70-1113-2 (93742)
35 8 XBOZZ XB XBFZZ XBFZZ INSULATOR, TERMINAL BOARD EA 1 1
70-1113-1 (30554)
70-1113-1 (93742)
35 9 PAOZZ PAOZZ XBFZZ XBFZZ D.008 5940-00-025-1825 TERMINAL BOARD EA 1 1
70-1114 (30554)
70-1114 (93742)
35 10 XBOZZ XB XBFZZ XBFZZ -.006 EYELET EA 3 4
A2092 (57771)
35 11 XBOZZ MOO XAFZZ XBFZZ BUS BAR EA 1 1
70-1114-2 (30554)
70-1114-2 (93742)
35 12 XBOZZ XA XAFZZ XBFZZ INSULATOR, TERMINAL BOARD EA 1 1
70-1114-1 (30554)
70-1114-1 (93742)
97

TM 9-6115-545-24P
TO 35C2-3-444-4
NAVFAC P-8-626-24P
SL-400038G/07499A
Figure 36. Governor Control Unit and Related Parts.
98

(3)
USMC
(5)
DESCRIPTION USABLE
MFR ON
REF NUMBER CODE CODE
(8)
USMC
QTY
PER
EQUIP
(7)
QTY
INC
IN
UNIT
(6)
U/M
a
SSI
(2)
SMR CODE
(1)
ILLUSTRATION
d
USMC
c
NAVY
b
AIR
FORCE
a
ARMY
(a)
FIG
NO.
(b)
ITEM
NO.
(4)
NATIONAL
STOCK
NUMBER
b
REPL
FACTOR
TM 9-6115-545-24P
TO 35C2-3-444-4
NAVFAC P-8-626-24P
SL-400038G/07499A
GROUP 11-GOVERNOR CONTROL
UNIT AND RELATED PARTS
36 1 PAFZZ PAOZZ XBOZZ PAFZZ D.008 5310-00-696-5173 NUT, PLAIN, ASSEMBLED 10-24 BCEF EA 2 131
69-561-5 (30554)
511-251800-00 (78189)
36 2 PAFZZ PAOZZ XBOZZ PAFZZ D.008 5305-00-225-3839 SCREW, CAP, HEX HD 1/4-20 X1 IN BCEF EA 2 14
LG
MS90725-8 (96906)
36 3 PAFZZ PAOZZ XBOZZPAFZZ D.010 5310-00-889-2528 WASHER, LOCK NO 1/4 BCEF EA 2 46
MS45904-68 (96906)
36 4 XBFZZ XB XBOZZ XBFZZ RETAINER, GOVERNOR CONTROL BCEF EA 1 1
UNIT
70-1395 (30554)
70-1395 (93742)
36 5 PAFZZ PAOZZ XBOZZ PAFZZ D.008 5305-00-036-6902 SCREW, ASSEMBLED WASHER 8-32 BCEF EA 1 8
X 5/8 IN LO
69-662-36 (30554)
61-081041-40-0142B-0542B (78189)
36 6 PAOZZ PAOZZ XBOZZ PAFZZ D.008 5310-00-052-3632 NUT, ASSEMBLED WASHER 8-32 BCEF EA 1 180
69-561-3 (30554)
511-081800-00 (78189)
36 7 MOOZZ MOO PAOZZ PAOZZ CHAIN ASSY BCEF EA 1 3
70-1461
70-1461 (30554)
MANUFACTURE FROM (93742)
36 8 PAOZZ PAOZZ MOOZZ PZOZZ D.008 4030-00-729-6054 HOOK, S CHAIN BCSF EA 2 3
MS7006-63 (96906)
36 9 PAOZZ PAOZZ XBOZZ PAOZZ D.008 5340-00-291-3546 HOOK, SNAP BCEF EA 1 2
70-1464 (30554)
437-3-8 (76786)
36 10 XBOZZ XB MOOZZ XBOZZ SLEEVING,3/8 IN ID X 0, 025 WALL BCEF EA 10 10
10 IN, LG
MILI-7444TYPEI (81349)
36 11 PAOZZ PAOZZ MOOZZ PAOZZ D.008 4010-00-099-8849 CHAIN, WELDLESS, 11 IN LG BCEF FT 1 3
NAS1455-50-10C (80205)
36 12 PAFZZ PAOZZ XBOZZ PAFZZ D.008 5305-00-724-5906 SCREW, CAP, HEX HD 58-11 X3/4 BCEF EA 2 5
IN LG
MS90725-156 (96906)
36 13 PAFZZ PAOZZ XBOZZ PAFZZ D.010 5310-00-017-8627 WASHER, LOCK INT-EXT TOOTH 5/8 BCEF EA 2 10
IN
MS45904-92 (96906)
36 14 XBFZZ XB XBOZZ XBFZZ BRACKET, MOUNTING CONTROL BCEF EA 1 1
UNIT
70-1393 (30554)
70-1393 (93742)
36 15 XBFZZ MOO XBOZZ XBFZZ BRACKET, CLAMP BCEF EA 1 2
70-1535 (30554)
70-1535 (93742)
36 16 PAFHH PAODD PBOGG PAPHH I.030 6110-00-202-2891 CONTROL UNIT, GOVERNOR 50/60 BE EA 1 2
HZ 24 VDC
69-784-2 (30554)
69-700 (30554)
36 16 PAFHH PAODD PBOGG PAPHH I.030 6110-00-222-8246 CONTROL UNIT, GOVERNOR 400 HZ, CF EA 1 2
24 VDC
69-784-1 (30554)
22910 REV C (12670)
99

TM 9-6115-545-24P
TO 35C2-3-444-4
NAVFAC P-8-626-24P
SL-400038G/07499A
Figure 37. Governor Control Unit.
100

(3)
USMC
(5)
DESCRIPTION USABLE
MFR ON
REF NUMBER CODE CODE
(8)
USMC
QTY
PER
EQUIP
(7)
QTY
INC
IN
UNIT
(6)
U/M
a
SSI
(2)
SMR CODE
(1)
ILLUSTRATION
d
USMC
c
NAVY
b
AIR
FORCE
a
ARMY
(a)
FIG
NO.
(b)
ITEM
NO.
(4)
NATIONAL
STOCK
NUMBER
b
REPL
FACTOR
TM 9-6115-545-24P
TO 35C2-3-444-4
NAVFAC P-8-626-24P
SL-400038G/07499A
GOVERNOR CONTROL UNIT
37 1 PAFZZ PAOZZ XBOZZ PAHZZ D.008 5305-00-984-191 SCREW. MACHINE BCEF EA 22 22
MS35206-243 (96906)
37 2 PAFZZ PAOZZ XBOZZ PAHZZ D.010 5310-00-596-7693 WASHER, LOCK, NO. 8 BCEF EA 6 6
AN93688 (88044)
37 3 PAFZZ PAOZZ XBOZZ PAHZZ D.008 5310-01-046-8499 NUT. PLAIN. WELDING BCEF EA 6 6
69-535-2 (30554)
RN1410 (76871)
37 4 PAFZZ PAOZZ PAOZZ PAHZZ D.010 5310-00-045-3299 WASHER, LOCK, NO 8 BCEF EA 16 38
MS35338-42 (96906)
37 5 PAFZZ PAOZZ PAOZZ PAHZZ D.040 5330-00-060-1679 GASKET BCEF EA 1 1
MS51007-2 (96906)
37 6 PAFZZ PAOZZ PAOZZ PAHZZ D.040 5330-00-079-7839 GASKET BCEF EA 2 2
MS51007-4 (96906)
37 7 PAFZZ PAOZZ PAOZZ PAHZZ D.040 5330-00-836-4356 GASKET BCEF EA 2 2
MS51007-8 (96906)
37 8 PAFZZ PAOZZ XBOZZ PAHZZ D.008 5935-00-702-4199 TESTJACK, RED BCEF EA 8 8
M39024/10-02 (81349)
37 9 PAFZZ PAOZZ PAOZZ PAHZZ I.050 5905-00-371-6825 RESISTOR, VARIABLE, 10K, 4W BCEF EA 1 1
69-738-3 (30554)
37 10 PAFZZ PAOZZ PAOZZ PAHZZ I.050 5905-00-371-6626 RESISTOR, VARIABLE. 5K 4W BCEF EA 1 1
69-738-4 (30554)
37 11 PAFZZ PAOZZ PAOZZ PAHZ I.050 5905-00-357-2810 RESISTOR, VARIABLE. 3K. 4W BCEF EA 1 1
69-738-1 (30554)
37 12 PAFZZ PAOZZ PAOZZ PAHZZ I.050 5905-00-001-3060 RESISTOR, VARIABLE, 500 OHM. 2W BCEF EA 1 1
RA20TAS8501A (81349)
37 13 PAFZZ PAOZZ PAOZZ PAHZZ I.050 5905-00-165-3280 RESISTOR. VARIABLE, 25K. 2W BCEF EA 1 1
69-738-2 (30554)
37 14 PAFZZ PAOZZ PAOZZ PAHZZ I.050 5905-00-378-0250 RESISTOR. VARIABLE. 10K, 2W BCEF EA 1 1
69-738-6 (30554)
37 15 XBFZZ XB XBOZZ XBHZZ SPACER BCEF EA 1 1
72-501 (30554)
37 16 XBFZZ XB XBOZZ XBHZZ D.040 PACKING W/RETAINER BCEF EA 6 6
NAS1598-6 (81349)
37 17 XCFZZ MDO XCOZZ MDOZZ PLATE, IDENTIFICATION BCEF EA 1 1
69-711 (30554)
69-711 (12670)
37 18 XBFZZ XB XAOZZ XBHZZ I.050 PANEL. FRONT BCEF EA 1 1
69-725 (30554)
69-725 (12670)
37 19 XBHHH XB XAGGG XBHHH PRINTED CIRCUIT BOARD 50/60 HZ, BE EA 1 2
28VDC
69-736 (30554)
37 19 PAHHH PAOOO XAGGG PAHHH 6115-00-204-1728 CIRCUITCARDASSY400HZ 28VDC CF EA 1 2
69-801 (30554)
69-801 (12670)
37 20 PAHZZ PAOZZ XBHZZ PAHZZ D.080 5970-00-519-9680 INSULATION, SLEEVING 19.86 X10X BCEF FT 1 18
.007
MIL1695 (81349)
37 21 PAFZZ PAOZZ PAOZZ PAHZZ D.040 5330-00-379-4626 GASKET BCEF EA 1 1
72-503 (30554)
UC118 (29227)
37 22 XBHZZ XB XBGzZ XBHZZ CABINET BCEF EA 1 1
69-710 (30554)
69-710 (12670)
101

TM 9-6115-545-24P
TO 35C2-3-444-4
NAVFAC P-8-626-24P
SL-400038G/07499A
Figure 38. Wiring Harness, Governor Control Unit, 50/60 Hz.
102

(3)
USMC
(5)
DESCRIPTION USABLE
MFR ON
REF NUMBER CODE CODE
(8)
USMC
QTY
PER
EQUIP
(7)
QTY
INC
IN
UNIT
(6)
U/M
a
SSI
(2)
SMR CODE
(1)
ILLUSTRATION
d
USMC
c
NAVY
b
AIR
FORCE
a
ARMY
(a)
FIG
NO.
(b)
ITEM
NO.
(4)
NATIONAL
STOCK
NUMBER
b
REPL
FACTOR
TM 9-6115-545-24P
TO 35C2-3-444-4
NAVFAC P-8-626-24P
SL-400038G/07499A
38 MHHZZ MOO AHHZZ AHHZZ WIRING HARNESS. GOVERNOR BE EA 1 1
CONTROL UNIT, 50/60 HZ
69-731 (30554)
69-731 (12670)
38 MHHZZ MOO XBHZZ AHHZZ WIRING HARNESS. GOVERNOR CF EA 1 1
CONTROL UNIT, 400 HZ
69-814
69-814 (30554)
MANUAFACTURED FROM (12670)
38 1 PAHZZ PAOZZ PAHZZ PAHZZ D.008 5975-00-074-2072 STRAP. TIEDOWN, ELECTRIC BCEF EA 150 2557
MS3367-1-9 (96906)
38 2 PAHZZ PAOZZ PAHZZ PAHZZ D.008 5940-00-813-0698 TERMINAL. LUG BCEF EA 1 2
MS25036-101 (96906)
38 3 PAHZZ PAOZZ PAHZZ PAHZZ D.023 5935-00-800-2824 CONNECTOR, RECEPTACLE BCEF EA 1 1
MS3102R14S2S (96906)
38 4 PAHZZ PAOZZ PAHZZ PAHZZ D.023 5935-00-721-0496 CONNECTOR. RECEPTACLE BCEF EA 1 2
MS3102R22-14P (96906)
38 5 PAHZZ PAOZZ PAHZZ PAHZZ D.023 5935-00-827-9045 CONNECTOR, RECEPTACLE BCEF EA 1 2
MS3102R10SL4P (96906)
38 6 PAHZZ PAOZZ PAHZZ PAHZZ D.023 5935-00-813-4722 CONNECTOR, RECEPTACLE BCEF EA 1 1
MS3102R145SP (96906)
38 7 PAHZZ PAOZZ PAHZZ PAHZZ D.008 5970-00-196-2928 INSULATION, SLEEVING BCEF FT 3 18
M23053/2-104-0 (81349)
38 8 PAHZZ PAOZZ PAHZZ PAHZZ D.080 6145-00-643-0647 WIRE, ELECTRICAL, 547 IN BCEF FT 46 54
MIL-W-16878-2 (81349)
103/(104 blank)

TM 9-6115-545-24P
TO 35C2-3-444-4
NAVFAC P-8-626-24P
SL-400038G/07499A
Figure 39. Electric Governor Printed Circuit Board Assembly (Sheet 1 of 2).
105

TM 9-6115-545-24P
TO 35C2-3-444-4
NAVFAC P-8-626-24P
SL-400038G/07499A
Figure 39. Electric Governor Printed Circuit Board Assembly (Sheet 2 of 2).
106

(3)
USMC
(5)
DESCRIPTION USABLE
MFR ON
REF NUMBER CODE CODE
(8)
USMC
QTY
PER
EQUIP
(7)
QTY
INC
IN
UNIT
(6)
U/M
a
SSI
(2)
SMR CODE
(1)
ILLUSTRATION
d
USMC
c
NAVY
b
AIR
FORCE
a
ARMY
(a)
FIG
NO.
(b)
ITEM
NO.
(4)
NATIONAL
STOCK
NUMBER
b
REPL
FACTOR
TM 9-6115-545-24P
TO 35C2-3-444-4
NAVFAC P-8-626-24P
SL-400038G/07499A
39 XBHHH XB XAGGG XBHHH .050 PRINTED CIRCUIT CARD ASSY 50/60 BE EA 1 2
HZ 28 VDC
69-736 (30554)
69-736 (12670)
39 PAHHH PAODD XAGGG PAHHH .050 6115-00-204-1728 CIRCUITCARDASSY400 HZ. 28VDC CF EA 1 2
69-801 (30554)
69-801 (12670)
39 1 PAHZZ PAOZZ XBGZZ PAFZZ D.008 5310-00-934-9747 NUT. PLAIN, HEX NO 6-32 BCEF EA 24 37
MS35649-262 (96906)
39 2 PAHZZ PAOZZ XBOZZ PAFZZ D.010 5310-00-045-4007 WASHER. LOCK. NO 6 BCEF EA 20 45
MS35338-41 (96906)
39 3 PAHZZ PAOZZ XBGZZ PAHZZ D.010 5310-00-983-8483 WASHER, FLAT, NO 6 BCEF EA 26 36
MS27183-5 (96906)
39 4 PAHZZ PAOZZ PAGZZ PAHZZ D.008 5305-00-579-2139 SCREW, MACHINE, 6-32 X 1/2 IN BCEF EA 6 6
LG
MS35265-30 (96906)
39 5 PAHZZ PAOZZ PAGZZ PAHZZ .050 5950-00-148-6066 TRANSFORMER, POWER BE EA 1 1
69-726 (30554)
TRA1266 (73662)
39 5 PAHZZ PAOZZ PAGZZ PAHZZ .050 5950-00-116-3613 TRANSFORMER, POWER CF EA 1 1
69-810 (30554)
TRA1183 (73662)
39 6 PAHZZ PAOZZ PAGZZ PAHZZ .050 5950-00-148-6067 REACTOR, 2 25H BE EA 1 1
69-727-1 (30554)
TRA1251 (73662)
39 6 PAHZZ PAOZZ PAGZZ PAHZZ .050 5950-00-148-6969 REACTOR. 4H CF EA 1 1
69-811-1 (30554)
TRA1005 (73662)
39 7 PAHZZ PAOZZ PAGZZ PAHZZ .050 5950-00-116-3472 REACTOR, 2H BE EA 1 1
69-727-2 (30554)
TRA1252 (73662)
39 7 PAHZZ PAOZZ PAGZZ PAHZZ .050 5950-00-116-3471 REACTOR, 0 64H CF EA 1 1
69-811-2 (30554)
TRA1006 (73662)
39 8 PAHZZ PAOZZ XBGZZ PAHZZ .050 5905-00-359-4131 RESISTOR. FIXED, WIRE, 5W BCEF EA 1 1
69-713-1 (30554)
K48181-15 (63743)
39 9 PAHZZ PAOZZ PAGZZ PAHZZ .050 5910-00-060-9391 CAPACITOR, FIXED, 50 MFD BCEF EA 1 1
69-716 (30554)
NLW50-50 (14655)
39 10 PAHZZ PAOZZ PAGZZ PAHZZ .050 5905-00-359-4132 RESISTOR. FIXED, WIRE. 5W BCEF EA 1 1
69-713-5 (30554)
04306-8119 (93568)
39 11 PAHZZ PAOZZ PAGZZ PAHZZ .050 5961-00-929-5014 TRANSISTOR, SILICON, POWER BCEF EA 2 2
2N3773 (80131)
39 12 PAHZZ PAOZZ PAGZZ PAHZZ D.008 5310-00-761-6882 NUT. PLAIN. HEX 1/4-20 BCEF EA 2 52
MS51967-2 (96906)
39 13 PAHZZ PAOZZ PAGZZ PAHZZ D.010 5310-00-582-5965 WASHER, LOCK. 1/4 BCEF EA 2 13
MS35338-44 (96906)
39 14 PAHZZ PAOZZ XBGZZ PAHZZ D.008 5305-00-808-9977 SCREW. MACHINE. FL HEAD, BCEF EA 4 4
1/4-20 X 1 IN LG
MS35265-83 (96906)
39 15 PAHZZ PAOZZ XBGZZ PAHZZ D.010 5310-00-809-3078 WASHER, FLAT. 5/16 BCEF EA 4 4
MS27183-11 (96906)
39 16 XBHZZ XS XBGZZ XBHZ HEATSINK, ELECTRICAL BCEF EA 2 2
69-702 (30554)
TXD079-137 (98978)
39 17 PAHZZ PAOZZ PAGZZ PAHZZ .050 5950-00-116-3614 REACTOR, 16H BE EA 1 1
69-718 (30554)
TW62510 (02640)
39 17 PAHZZ PAOZZ PAGZZ PAHZZ .050 5910-00-116-3616 REACTOR, 0 56H CF EA 1 1
69-806 (30554)
TW62511 (02640)
107

(3)
USMC
(5)
DESCRIPTION USABLE
MFR ON
REF NUMBER CODE CODE
(8)
USMC
QTY
PER
EQUIP
(7)
QTY
INC
IN
UNIT
(6)
U/M
a
SSI
(2)
SMR CODE
(1)
ILLUSTRATION
d
USMC
c
NAVY
b
AIR
FORCE
a
ARMY
(a)
FIG
NO.
(b)
ITEM
NO.
(4)
NATIONAL
STOCK
NUMBER
b
REPL
FACTOR
TM 9-6115-545-24P
TO 35C2-3-444-4
NAVFAC P-8-626-24P
SL-400038G/07499A
39 18 PAHZZ PAOZZ PAGZZ PAHZZ .050 5950-00-116-3646 TRANSFORMER, POWER BCEF EA 1 1
69-734 (30554)
TW62530 (02640)
39 19 PAHZZ PAOZZ PAGZZ PAHZZ .050 5961-00-998-6947 SEMICONDUCTOR DEVICE BCEF EA 16 22
JAN1N4385 (81349)
39 20 PAHZZ PAOZZ PAGZZ PAHZZ .050 5910-00-431-8036 CAPACITOR, FIXED, 2MFD BCEF EA 2 2
69-717-2 (30554)
X663F20551W (84411)
39 21 PAHZZ PAOZZ PAGZZ PAHZZ .050 5910-00-431-8036 CAPACITOR, FIXED, 2MFD BCEF EA 2 2
69-717-2 (30554)
X663F20551W (84411)
39 22 PAHZZ PAOZZ PAGZZ PAHZZ .050 5910-00-113-5321 CAPACITOR, FIXED. 10MFD BE EA 1 1
X683F10652W (84411)
39 23 PAHZZ PAOZZPAGZZ PAHZZ .050 5905-00-061-3919 RESISTOR. FIXED, WW, 3K, 10W BCEF EA 1 1
RW68V302 (81349)
39 24 PAHZZ PAOZZ PAGZZ PAHZZ .050 5905-00-429-7153 RESISTOR, FIXED, 51K, SW BCEF EA 4 5
69-713-3 (30554)
K48181-5100 (63743)
39 25 PAHZZ PAOZZ PAGZZ PAGZZ D.008 5310-00-934-9757 NUT, PLAIN, HEX, NO 8- 32 BCEF EA 1 4
MS35649-282 (30554)
39 26 PAHZZ PAOZZ PAGZZ PAHZZ .050 5950-00-116-3664 AMPLIFIER. MAGNETIC BCEF EA 1 1
69-735 (30554)
TW62514 (02640)
39 27 PAHZZ PAOZZ AHHHH AHHHH 6110-00-370-5864 PANEL, ASSEMBLY RECT, 50/60 CF EA 1 1
69-715 (30554)
39 27 PAHZZ PAOZZ AHHHH AHHHH 6110-01-212-1211 PANEL. ASSEMBLY RECT, 400 BE EA 1 1
69-805 (30554)
39 28 PAHZZ PAOZZ PAGZZ PAHZZ D.008 5307-00-508-8354 STUD, THREADED, 6-32 X 3-1/4 IN BCEF EA 6 6
LG
69-516-1 (30554)
39 29 PAHZZ PAOZZ PAGZZ PAHZZ .050 5905-00-429-7153 RESISTOR. FIXED, 5 1K, 5W BE EA 1 5
69-713-3 (30554)
K48181-5100 (63743)
39 29 PAHZZ PAOZZ PAGZZ PAHZZ .050 5905-00-333-8368 RESISTOR, FIXED, 3 5K, 5KW CF EA 1 5
69-713-4 (30554)
K48181-3500 (63743)
39 30 PAHZZ PAOZZ PAGZZ PAHZZ .050 5910-00-001-7251 CAPACITOR, 1 UF BE EA 1 1
212A10105J (14752)
39 31 PAHZZ PAOZZ PAGZZ PAHZZ .050 5910-00-226-8109 CAPACITOR, FIXED, 3 00 MFD BCEF EA 1 1
69-717-3 (30554)
X663F30552W (84411)
39 32 PAHZZ PAOZZ XBGZZ PAHZZ D.010 5310-00-082-1404 WASHER, FLAT. NO. 6 BCEF EA 3 27
MS27183-6(96906)
39 33 XBHZZ XA XBOGG PBHZZ PLATE, COMPONENT BCEF EA 1 1
69-704 (30554)
69-704 (12670)
39 34 XBHZZ XB XBDGG XBHZZ TERMINAL BC EA 4 4
69-705 (30554)
39 35 PAHZZ PAOZZ PAGZZ PAHZZ D.008 5305-01-006-2051 SCREW, MACHINE, CS, CD PLD BCEF EA 4 4
6-32 X2 75
MS51849-86 (96906)
39 36 PAHZZ PAOZZ PAGZZ PAHZZ D.010 5310-00-359-5570 WASHER, SHOULDERED BCEF EA 4 4
304A14 (44940)
39 37 PAHZZ PAOZZ PAGZZ PAHZZ D.010 5970-00-350-4949 WASHER. INSULATING BCEF EA 4 4
111218 (10138)
39 38 PAHZZ PAOZZ PAGZZ PAHZZ .050 5905-00-378-0840 RESISTOR, VAR. ADJ BE EA 2 2
69-733-2 (30554)
2DA1250 (11502)
39 39 PAHZZ PAOZZ PA(ZZ PAHZZ .050 5905-00-325-1239 RESISTOR, VAR. CF EA 2 2
69-733-1 (30554)
2DA750 (11502)
39 40 PAHZZ PAOZZ PAGZZ PAHZZ .050 5905-00-878-3604 RESISTOR, FIXED WIRE BCEF EA 2 2
RW32V511 (81349)
108

(3)
USMC
(5)
DESCRIPTION USABLE
MFR ON
REF NUMBER CODE CODE
(8)
USMC
QTY
PER
EQUIP
(7)
QTY
INC
IN
UNIT
(6)
U/M
a
SSI
(2)
SMR CODE
(1)
ILLUSTRATION
d
USMC
c
NAVY
b
AIR
FORCE
a
ARMY
(a)
FIG
NO.
(b)
ITEM
NO.
(4)
NATIONAL
STOCK
NUMBER
b
REPL
FACTOR
TM 9-6115-545-24P
TO 35C2-3-444-4
NAVFAC P-8-626-24P
SL-400038G/07499A
39 41 PAHZZ PAOZZ PAGZZ PAHZZ .050 6130-00-365-4472 RECTIFIER, MET SELENIUM BCEF EA 1 1
69-712 (30554)
1A43KAH1 (88725)
39 42 PAHZZ PAOZZ PAGZZ PAHZZ .050 5910-00-454-7428 CAPACITOR, FIXED, 2.0 MFD BCEF EA V V
625D1E205J (14752)
39 43 PAHZZ PAOZZ PAGZZ PAHZZ .050 5910-00-404-8981 CAPACITOR, FIXED, 56 MFD BCEF EA V V
X463UW56454W (84411)
39 43 PAHZZ PAOZZ PAGZZ PAHZZ .050 5910-00-166-9168 CAPACITOR, FIXED. 1 MFD BCEF EA V V
45-811178-2 (07397)
39 43 PAHZZ PAOZZ PAGZZ PAHZZ .050 5910-00-083-5049 CAPACITOR, FIXED, 22 MFD BCEF EA V V
74F01DA224 (01002)
39 43 PAHZZ PAOZZ PAGZZ PAHZZ .050 5910-00-331-9990 CAPACITOR. FIXED, 47 MFD BCEF EA V V
69-728-5 (30554)
74F01DA474 (56699)
39 43 PAHZZ PAOZZ PAGZZ PAHZZ .050 5910-00-331-9999 CAPACITOR. FIXED, 01 MFD BCEF EA V V
69-728-6 (30554)
74F01DA103 (56699)
39 43 PAHZZ PAOZZ PAGZZ PAHZZ .050 5910-00-332-0004 CAPACITOR, FIXED, .047 MFD BCEF EA V V
69-728-7 (30554)
74F01DA473 (56699)
+FIND 42. 43 ARE SELECTED
ITEMS AS REQUIRED
PROCEDURES
39 44 XBHZZ XB XBGZZ XBHZZ BOARD, PRINTED WIRING, 50/60 BE EA 1 1
HZ
69-732-1 (30554)
69-732-1 (12670)
39 44 XBHZZ XB XBGZZ XBHZZ BOARD. PRINTED WIRING, CF EA 1 1
69-732-2 (30354)
69-732-2 (12670)
109

TM 9-6115-545-24P
TO 35C2-3-444-4
NAVFAC P-8-626-24P
SL-400038G/07499A
Figure 40. Hydraulic Pump Cover Plate.
110

(3)
USMC
(5)
DESCRIPTION USABLE
MFR ON
REF NUMBER CODE CODE
(8)
USMC
QTY
PER
EQUIP
(7)
QTY
INC
IN
UNIT
(6)
U/M
a
SSI
(2)
SMR CODE
(1)
ILLUSTRATION
d
USMC
c
NAVY
b
AIR
FORCE
a
ARMY
(a)
FIG
NO.
(b)
ITEM
NO.
(4)
NATIONAL
STOCK
NUMBER
b
REPL
FACTOR
TM 9-6115-545-24P
TO 35C2-3-444-4
NAVFAC P-8-626-24P
SL-400038G/07499A
GROUP 11 -GOVERNOR
CONTROL UNIT AND RELATED
PARTS
40 1 PAFZZ PAOZZ PAFZZ 2920-00-779-9599 PLATE. COVER C,F EA 1 1
4027735 (09367)
40 2 PAFZZ PAOZZ PAOZZ 5330-00-031-1339 GASKET, COVER PLATE C,F EA 1 1
4025343 (6N299)
40 3 PAFZZ PAOZZ PAOZZ 5305-00-269-2801 SCREW, CAP HEXAGONAL HEAD, C,F EA 2 2
MS90726-58 (96906)
40 4 PAFZ PAOZZ PAOZZ 5310-00-732-0559 NUT. PLAIN, HEXAGONAL C.F EA 4 4
MS51968-8 (96906)
40 5 PAFZZ PAOZZ PAOZZ 5310-00-637-9541 WASHER, LOCK C,F EA 4 4
MS35338-46 (96906)
111

TM 9-6115-545-24P
TO 35C2-3-444-4
NAVFAC P-8-626-24P
SL-400038G/07499A
Figure 41. Control Unit and Magnetic Pickup.
112

(3)
USMC
(5)
DESCRIPTION USABLE
MFR ON
REF NUMBER CODE CODE
(8)
USMC
QTY
PER
EQUIP
(7)
QTY
INC
IN
UNIT
(6)
U/M
a
SSI
(2)
SMR CODE
(1)
ILLUSTRATION
d
USMC
c
NAVY
b
AIR
FORCE
a
ARMY
(a)
FIG
NO.
(b)
ITEM
NO.
(4)
NATIONAL
STOCK
NUMBER
b
REPL
FACTOR
TM 9-6115-545-24P
TO 35C2-3-444-4
NAVFAC P-8-626-24P
SL-400038G/07499A
41 1 PAFZZ PAOZZ PAOZZ 5340-00-333-6448 CLAMP, CUSHIONED, SUPPORT EA 2 2
LOOP TYPE (.375 DIAMETER)
70-1529-6 (30554) C.F
41 2 PAFZZ PAOZZ PAOZZ 5306-00-036-6909 SCREW AND CAPTIVE WASHER EA 2 2
ASSEMBLY
70-1319-2 (30554) C.F
41 3 PAFZZ PAOZZ PAOZZ 5310-00-696-5173 NUT AND CAPTIVE WASHER EA 2 2
ASSEMBLY
69-561-5 (30554) C.F
41 4 MFFZZ MOO PAOZZ WIRING HARNESS. BRANCHED. EA 1 1
ELECTRIC GOVERNOR
SEE FIGURE 44 FOR BREAKDOWN C.F
84-1002 (30554)
41 5 XBFZZ XB PAOZZ BRACKET. MOUNTING, CONTROL EA 1 1
UNIT
84-1003 (30554) C.F
41 6 PAFZZ PAOZZ PAOZZ 5303-00-724-5906 SCREW CAP. HEXAGONAL HEAD EA 2 2
.625-11UNC-2Z X 750L C.F
MS90725-156 (96906)
41 7 PAFZZ PAOZZ PZOZZ 5310-00-017-8627 WASHER. LOCK, INTERNAL AND EX- EA 2 2
TERNAL TEETH
MS45904-92 (96906) C,F
41 8 PAFZZ PAOZZ PAOZZ 5310-00-582-5965 WASHER. LOCK EA 4 4
MS35338-44 (96906) C.F
41 9 PAFZZ PAOZZ PAOZZ 5305-01-004-9121 SCREW CAP, HEXAGONAL HEAD EA 4 4
MS90725-6 (96906) C.F
41 10 PAFZZ PAOZZ PAOZZ 5310-00-997-1888 NUT, PLAIN EA 6 6
MS35649-2252 (96906) C.F
41 11 PAFZD PAODD PAOZZ6110-01-134-0576 CONTROL UNIT ELECTRICAL EA 1 1
GOVERNOR
81-4903 (30554) C,F
41 12 PAFZZ PAOZZ PAOZZ 2910-01-134-4520 MAGNETIC PICKUP, ELECTRICAL EA 1 1
GOVERNOR
81-4904 (30554) BCEF
41 13 PAFZZ PAOZZ PAOZZ 5310-00-038-3145 SCREW AND CAPTIVE WASHER EA 1 1
ASSEMBLY
69-662-37 (30554) C.F
41 14 PAFZZ PAOZZ PAOZZ 5310-00-052-3632 NUT AND CAPTIVE WASHER EA 1 1
ASSEMBLY
69-561-3 (30554) C.F
113

TM 9-6115-545-24P
TO 35C2-3-444-4
NAVFAC P-8-626-24P
SL-400038G/07499A
Figure 42. Actuator, Electric Governor.
114

(3)
USMC
(5)
DESCRIPTION USABLE
MFR ON
REF NUMBER CODE CODE
(8)
USMC
QTY
PER
EQUIP
(7)
QTY
INC
IN
UNIT
(6)
U/M
a
SSI
(2)
SMR CODE
(1)
ILLUSTRATION
d
USMC
c
NAVY
b
AIR
FORCE
a
ARMY
(a)
FIG
NO.
(b)
ITEM
NO.
(4)
NATIONAL
STOCK
NUMBER
b
REPL
FACTOR
TM 9-6115-545-24P
TO 35C2-3-444-4
NAVFAC P-8-626-24P
SL-400038G/07499A
42 1 PAFZZ PAOZZ PAOZZ 5305-00-071-2241 SCREW CAP, HEXAGONAL HEAD C,F EA 2 2
MS90725-10 (96906)
42 2 PAFZZ PAOZZ PAOZZ 5310-00-582-5965 WASHER, LOCK C.F EA 2 2
MS35338-44
42 3 PAFZZ PAOZZ PAOZZ BRACKET. MOUNTING, ACTUATOR C,F EA 1 1
81-704 (30554)
42 4 PAFZZ PAOZZ PAOZZ 5310-0-209-0965 WASHER, LOCK. 438 NOMINAL C.F EA 2 2
SIZE
MS35338-47 (96906)
42 5 PAFZZ PAOZZ PAOZZ 5305-00-069-5573 SCREW CAP. HEXAGONAL HEAD C,F EA 2 2
MS90725-85 (96906)
42 6 PAFZZ PAOZZ PAOZZ 2990-01-176-3510 ACTUATOR, ELECTRIC C.F EA 1 1
GOVERNOR
81-705 (30554)
115

TM 9-6115-545-24P
TO 35C2-3-444-4
NAVFAC P-8-626-24P
SL-400038G/07499A
Figure 43. Actuator Linkage.
116

(3)
USMC
(5)
DESCRIPTION USABLE
MFR ON
REF NUMBER CODE CODE
(8)
USMC
QTY
PER
EQUIP
(7)
QTY
INC
IN
UNIT
(6)
U/M
a
SSI
(2)
SMR CODE
(1)
ILLUSTRATION
d
USMC
c
NAVY
b
AIR
FORCE
a
ARMY
(a)
FIG
NO.
(b)
ITEM
NO.
(4)
NATIONAL
STOCK
NUMBER
b
REPL
FACTOR
TM 9-6115-545-24P
TO 35C2-3-444-4
NAVFAC P-8-626-24P
SL-400038G/07499A
43 1 PAFZZ PAOZZ PAOZZ 5305-00-021-3668 SCREW CAP. HEXAGONAL HEAD. EA 2 2
MS35307-310 (96906) C,F
43 2 PAFZZ PAOZZ PAOZZ 5310-00-582-5677 WASHER. FLAT EA 4 4
MS15795-810 (96906) C,F
43 3 PAFZZ PAOZZ PAOZZ 5310-00-929-1807 NUT, SELF-LOCKING EA 2 2
MS51922-2 (96906) C.F
43 4 PAFZZ PAOZZ PAOZZ 3120-00-106-8645 BEARING, PLAIN, ROD EA 6 6
70-1111 (30554) C,F
43 5 PAFZZ PAOZZ PAOZZ 5310-00-971-7989 NUT, JAM EA 2 2
MS35691-5 (96906) C.F
43 6 PAFZZ PAOZZ PAOZZ 2990-01-233-3160 ROD, LINKAGE, ACTUATOR, EA 1 1
ELECTRIC GOVERNOR
81-4909-2 (30554) C.F
PAFZZ PAOZZ PAOZZ CAPACITOR ASSEMBLY EA 1 1
83-2004 (30554) C.F
PAFZZ PAOZZ PAOZZ LEAD, ELECTRCAL EA 1 1
84-1011 (30554) C.F
PAFZZ PAOZZ PAOZZ 5940-01-263-5307 SPLICE. ELECTFUCAL, EA 1 1
M81824/2-2 (81349) C,F
PAFZZ PAOZZ PAOZZ 5975-00-451-5001 STRAP, TIEDOWN EA 6 6
MS3367-3-9 (81349) C.F
PAFZZ PAOZZ PAOZZ 5305-00-036-6968 SCREW. ASSEMBLED WASHER EA 22 22
69-662-18 (30554) C.F
PAFZZ PAOZZ PAOZZ 5310-00-982-6796 WASHER. FLAT EA 22 22
MS27183-6 (30554) C,F
PAFZZ PAOZZ PAOZZ 5310-00-081-8087 NUT, SELF-LOCIONG EA 22 22
MS21044N06 (96906) C,F
XD XB XBFZZ DECALCOMANIA, ELECTRIC EA 1 1
GOVERNOR RETROFIT
84-1023-3 (30554) C,F
PAOZZ PAOZZ PAFZZ 9905-00-807-3715 PLATE, MODIFICATION C,F EA 1 1
PAOZZ PAOZZ PAFZZ 5320-01-156-6896 RIVET. ONE-EIGHTH C,F EA 4 4
117

TM 9-6115-545-24P
TO 35C2-3-444-4
NAVFAC P-8-626-24P
SL-400038G/07499A
Figure 44. Wiring Harness, Electric Governor.
118

(3)
USMC
(5)
DESCRIPTION USABLE
MFR ON
REF NUMBER CODE CODE
(8)
USMC
QTY
PER
EQUIP
(7)
QTY
INC
IN
UNIT
(6)
U/M
a
SSI
(2)
SMR CODE
(1)
ILLUSTRATION
d
USMC
c
NAVY
b
AIR
FORCE
a
ARMY
(a)
FIG
NO.
(b)
ITEM
NO.
(4)
NATIONAL
STOCK
NUMBER
b
REPL
FACTOR
TM 9-6115-545-24P
TO 35C2-3-444-4
NAVFAC P-8-626-24P
SL-400038G/07499A
44 MFFFZ MOO MFFZZ WIRING HAHNESS, BRANCHED, CF EA 1 1
ELECTRIC GOVERNOR
84-1002 (30554)
44 1 PAFZZ PAOZZ PAFZZ 5935-00-752-2770 CONNECTOR, PLUG CF EA 1 1
MS3108R20-29S (96906)
44 2 PAFZZ PAOZZ PAFZZ 5935-00-823-5322 PLUG END, SEAL CF EA 8 8
MS25251-16 (96908)
44 3 PAFZZ PAOZZ PAFZZ 5935-01-167-6148 CONNECTOR ACCESSORY CF EA 1 1
MS5049/41-12A (96906)
44 4 PAFZZ PAOZZ PAFZZ 5365-00-663-2125 ADAPTER BUSHING CF EA 1 1
MS3420-10 (96908)
44 5 PAFZZ PAOZZ PAFZZ 5365-00-598-5418 ADAPTER, BUSHING CF EA 2 2
MS3420-12 (96906)
44 6 PAFZZ PAFZZ PAFZZ 5935-00-517-8519 CONNECTOR, PLUG CF EA 1 1
MS3456W14S6S (96906)
44 7 PAFZZ PAOZZ PAOZZ 5935-00-229-2650 CONNECTOR, PLUG CF EA 1 1
MS3106A24-28P (96906)
44 8 PAFZZ PAOZZ PAFZZ 5975-01-208-8984 EXTENSION, CONNECTOR CF EA 1 1
81-4917 (30554)
44 9 PAFZZ PAOZZ PAFZZ 5935-01-137-2305 CONNECTOR ASSEMBLY CF EA 1 1
MS5049/41-16A (969068)
44 10 PAFZZ PAOZZ PAFZZ 5365-00-141-6943 ADAPTER, BUSHING CF EA 1 1
MS3420-16 (96906)
44 11 PAFZZ PAOZZ PAFZZ 9905-00-893-3570 BAND, MARKER CF EA 1 1
MS43438/1-3 (96906)
44 12 PAFZZ PAOZZ PAFZZ 5935-00-089-4487 CONNECTOR, PLUG CF EA 1 1
M93106R10SL-45 (96906)
44 13 PAFZZ PAOZZ PAFZZ 5999-01-202-4249 PRINTED WIRING BOARD ASSY CF EA 1 1
83-2012 (30554)
44 PAFZZ PAOZZ PAFZZ 6145-00-578-666885 WIRE, ELECTRICAL, 18 AWG CF FT V V
WHITE
M5086/2-16-9 (96906)
44 PAFZZ PAOZZ 6145-00-578-6602 WIRE, ELECTRICAL, 18AWG CF FT V V
WHITE
M5086/2-18-9 (96906)
44 PAFZZ PAOZZ PAFZZ 5975-00-570-9598 STRAP, TIEDOWN CF EA V V
M53367-7-9 (96906)
44 PAFZZ PAOZZ PAFZZ 5970-01-288-7466 INSULATION, SLEEVING CF FT V V
M23053/7-104-C
119

TM 9-6115-545-24P
TO 35C2-3-444-4
NAVFAC P-8-626-24P
SL-400038G/07499A
Figure 45. Air Cleaner and Related Parts.
120

(3)
USMC
(5)
DESCRIPTION USABLE
MFR ON
REF NUMBER CODE CODE
(8)
USMC
QTY
PER
EQUIP
(7)
QTY
INC
IN
UNIT
(6)
U/M
a
SSI
(2)
SMR CODE
(1)
ILLUSTRATION
d
USMC
c
NAVY
b
AIR
FORCE
a
ARMY
(a)
FIG
NO.
(b)
ITEM
NO.
(4)
NATIONAL
STOCK
NUMBER
b
REPL
FACTOR
TM 9-6115-545-24P
TO 35C2-3-444-4
NAVFAC P-8-626-24P
SL-400038G/07499A
GROUP 12 - AIR CLEANER AND
RELATED PARTS
45 1 PAOZZ PAOZZ PAOZZ PAOZZ D.007 4730-00-909-8627 CLAMP, HOSE EA 2 6
MS35842-13 (96906)
45 2 PAOZZ PAOZZ PAOZZ PAOZZ D.070 4720-00-033-1844 HOSE, RUBBER EA 1 1
70-1343 (30554)
70-1343 (93742)
45 3 PAOZZ PAOZZ XBOZZ PAOZZ D.008 5306-00-036-6980 BOLT, ASSEMBLED WASHER 1/4-20 EA 3 39
X518 IN LG
70-1319-3 (30554)
61-251081-00-0242B0542B (78189)
45 4 PAOZZ AOO AFOOO AOOOO -.005 2940-00-033-2722 AIR CLEANER ASSY, INTAKE EA 1 1
70-1281 (30554)
70-1281 (93742)
45 5 PAOZZ PAOZZ XBOZZ PAOZZ D.008 5310-00-763-7872 NUT, SELF-LOCKING. WING EA 2 2
70-1320-9 (30554)
WC058 (72962)
45 6 PAOZZ PAOZZ XBOZZ PAOZZ D.008 5306-00-108-0943 BOLT, SOUARE NECK 5/16-18 X 10 EA 2 2
IN LG
MS35751-65 (96906)
45 7 XBOZZ MOO MGOZZ XBOZZ RETAINER, FILTER ELEMENT EA 2 2
70-1288 (30554)
70-1288 (93742)
45 8 PAOZZ PAOZZ PAOZZ PAOZZ D.050 5930-00-430-3532 SWITCH, PRESSURE, FILTER EA 1 1
70-1310 (30554)
89900001 (07988)
45 9 PAOZZ PAOZZ PAOBO PAOBO D .200 2940-00-463-1362 FILTER ELEMENT, INTAKE AIR EA 2 2
CLEANER
70-4020 (30554)
P11-4312 (18265)
45 10 XBOZZ XA XBOZZ XBOZZ HOUSING, AIR CLEANER EA 1 1
70-1279 (30554)
70-1279 (93742)
121

TM 9-6115-545-24P
TO 35C2-3-444-4
NAVFAC P-8-626-24P
SL-400038G/07499A
Figure 46. Relay Table and Related Parts.
122

(3)
USMC
(5)
DESCRIPTION USABLE
MFR ON
REF NUMBER CODE CODE
(8)
USMC
QTY
PER
EQUIP
(7)
QTY
INC
IN
UNIT
(6)
U/M
a
SSI
(2)
SMR CODE
(1)
ILLUSTRATION
d
USMC
c
NAVY
b
AIR
FORCE
a
ARMY
(a)
FIG
NO.
(b)
ITEM
NO.
(4)
NATIONAL
STOCK
NUMBER
b
REPL
FACTOR
TM 9-6115-545-24P
TO 35C2-3-444-4
NAVFAC P-8-626-24P
SL-400038G/07499A
GROUP 13 - RELAY TABLE AND
RELATED PARTS
46 1 PAOZZ PAOZZ XBGZZ PAFZZ D.008 5306-00-036-6909 BOLT, ASSEMBLED WASHER 1/4-20 EA 24 119
X 1/2 IN LG
70-1319-2 (30554)
61-250881-00-0242B0542B (78189)
46 2 PBFFF PBOOO PBGGG PAFHH I.200 6115-00-564-0067 RELAY ASSY, TACTICAL EA 1 2
70-2209 (30554)
46 3 PBFFF PBOOO PBGGG PAFHH I.290 5945-00-276-7622 RELAY ASSY, PRECISE-60KW BE EA 1 2
70-1115 (30554)
70-1115 (93742)
46 4 PAFZZ PAOZZ PAGZZ PAFZZ D.006 5305-00-038-3148 SCREW, ASSEMBLED WASHER EA 4 22
10-24 X 3/8 IN LG
69-662-51 (30554)
61-101041-40-0142B-0542B (78189)
46 5 PAFZZ PAOZZ PAGZZ PAFZZ D.008 5310-01-198-3489 NUT. CLIP EA 4 4
C7951-1024 (78553)
46 6 PAFFZ PAOOO PAGGG PAFHH I.003 6115-00-188-5333 LOAD GOVERNOR EA 1 2
69-785 (30554)
46 7 PBFFZ PBOOO PBOZZ PAFRH D.005 6115-00-244-1214 EXCITATION SYSTEM ASSY 50/60 HZ ABDE EA 1 1
70-1367 (30554)
70-1367 (93742)
46 7 PBFFF PBOOO PBOGG PAFHH I.005 6115-00-264-9654 EXCITATION SYSTEM ASSY 400 HZ CF EA 1 1
70-1368 (30554)
70-1368 (93742)
46 8 PBFHH PBOOO XBGZZ PAFHH I.290 6115-00-244-1212 RELAY ASSY, SPECIAL, 60 KW, 50/60 ABDE EA 1 2
HZ
70-1053 (30554)
70-1053 (93742)
46 8 PBFHZ PBOOO XBGZZ PAFHH I.290 6115-00-244-1213 RELAY ASSY. SPECIAL, 60 KW. 400 CF EA 1 2
HZ
70-1058 (30554)
70-1058 (93742)
46 8 PBFZZ PBODD PBFHZ PBFHH I.290 5945-01-253-0357 RELAY ASSY SPECIAL, 400HZ, EA 1 2
ELECTRONIC GOVERNOR ONLY
84-1015 (30554)
46 9 PAOZZ PAOZZ XBGZZ PAFZZ D.008 5306-00-036-6982 BOLT. ASSEMBED WASHER 1/4-20 X EA 21 71
3/4 IN LG
70-1319-4 (30554)
61-251281-00-0242B0542B (79189)
46 10 PAOZZ PAOZZ XBGZZ PAFZZ D.008 5310-00-696-5173 NUT. PLAIN. ASSEBLED 1/4-20 EA 26 131
69-561-5 (30554)
511-251800-00 (78189)
46 11 PAOZZ PAOZZ XBGZZ PAFZZ D.008 5340-00-126-7450 CLAMP, LOOP EA 2 2
TA724SS4 (84971)
46 12 PAOZZ PAOZZ XBGZZ PAFZZ D.008 5340-00-333-6448 CLAMP, LOOP EA 8 29
70-1529-6 (30554)
TA724SS6 (84971)
46 13 PAOZZ PAOZZ XBGZZ PAFZZ D.008 5340-00-174-4811 CLAMPR LOOP EA 3 7
70-1529-8 (30554)
TA724SS8 (84971)
46 14 PAOZZ PAOZZ XBGZZ PAFZZ D.008 5340-00-515-0577 CLAMP, LOOP EA 2 2
70-1529-10 (30554)
TA724SS10 (84971)
46 15 PAOZZ PAOZZ XBOZZ PAFZZ .008 5340-00-492-0608 CLAMP, LOOP EA 1 1
70-1529-16 (30554)
TA724SS16 (84971)
46 16 XBOZZ MOO XBOZZ XBFZZ BRACKET, CLAMP EA 2 2
70-1436 (30554)
70-1436 (93742)
46 17 PBOZZ PBOZZ XBOZZ XBFZZ 5340-01-150-1547 BRACKET, CLAMP EA 1 1
70-1621 (30554)
70-1621 (93742)
123

(3)
USMC
(5)
DESCRIPTION USABLE
MFR ON
REF NUMBER CODE CODE
(8)
USMC
QTY
PER
EQUIP
(7)
QTY
INC
IN
UNIT
(6)
U/M
a
SSI
(2)
SMR CODE
(1)
ILLUSTRATION
d
USMC
c
NAVY
b
AIR
FORCE
a
ARMY
(a)
FIG
NO.
(b)
ITEM
NO.
(4)
NATIONAL
STOCK
NUMBER
b
REPL
FACTOR
TM 9-6115-545-24P
TO 35C2-3-444-4
NAVFAC P-8-626-24P
SL-400038G/07499A
46 18 PAOZZ PAOZZ PAOZZ PAFZZ D.008 5305-00-038-3150 SCREW. ASSEMBLED WASHER EA 1 5
10-24 X 7/8 IN. LG
69-662-53 (30554)
61-101441-40-0142B0542B (78189)
46 19 PAOZZ PAOZZ PAOZZ PAFZZ D.008 5310-00-094-3421 NUT PLAIN ASSEMBLED 10-24 EA 1 52
69-561-4 (30554)
511-101800-00 (79189)
46 20 PAOZZ PAOZZ XBOZZ PAFZZ D.008 5305-00-036-6902 SCREW, ASSEMBLED WASHER 8-32 AD EA 1 8
X 5/8 IN LG
69-662-36 (30554)
61-081041-40-0142B0542B (78189)
46 21 MOOZZ MOO AOOZZ AOOZZ CHAIN ASSY EA 3 3
70-1461 (30554)
70-1461 (93742)
MANUFACTURE FROM
46 22 PAOZZ PAOZZ XBOZZ XBOZZ 4030-00-729-6054 HOOK. CHAIN - S EA 2 3
MS87006-63 (96906)
46 23 PAOZZ PAOZZ XBOZZ PAOZZ .008 5340-00-291-3546 SNAP, HOOK EA 1 2
437-3-8 (76786)
46 24 PAOZZ PAOZZ XBOZZ MOOZZ -.008 5970-00-682-8744 INSULATION SLEEVING FT 1 1
152-1757-00 (13499)
46 25 PAOZZ PAOZZ MOOZZ PAOZZ .008 4010-00-099-8849 CHAIN, WELDLESS FT 1 3
NAS1455-50-10C (80205)
46 26 PAOZZ PAOZZ XBOZZ PAOZZ .008 5325-00-027-0322 GROMMET, NONMETALLIC EA 1 10
MS21266-3N (96906)
46 27 MOOZZ MOO AOOZZ AOOZZ WRENCH ASSY EA 1 1
70-1516 (30554)
70-1516 (93742)
46 28 PAOZZ PAOZZ XBOZZ PAOZZ D.080 4020-00-523-9641 ROPE, FIBROUS, 1/4 IN DIA FT 1 2
1-4INDIA (72205)
46 29 PAOZZ PAOZZ XBOZZ PAOZZ .008 4030-00-717-8963FERRULE, WIRE ROPE EA 1 1
70-1501 (30554)
CL6F (99862)
46 30 PAOZZ PAOZZ XBOZZ PAOZZ -.008 5940-00-115-2678 TERMINAL, LUG EA 1 1
MS20659-111 (96906)
46 31 PAOZZ PAOZZ PAOZZ PAOZZ D.008 5120-00-808-5006 WRENCH, GENERATOR EA 1 1
69-786 (30554)
6004W0000 (12670)
46 32 PAFZZ PAOZZ XBOXZ PAFZZ D.008 5305-00-942-2198 SCREW, CAP, HEXAGON 3/8-16 X 1EA 8 34
IN LG
MS18154-60 (96906)
46 33 PAFZZ PAOZZ XBOZZ PAFZZ D.010 5310-00-061-1258 WASHER, LOCK INT-EXT TOOTH. 3/8 EA 20 66
IN MS45904-76 (96906)
46 34 PAFZZ PAOZZ XBOZZ XBFZZ D.008 5310-00-732-0558 NUT, HEXAGON 3/8-16 EA 8 47
MS51967-9 (96906)
46 35 XBFZZ XB XBOZZ XBFZZ RELAY TABLE EA 1 1
70-1191 (30554)
70-1191 (93742)
46 36 PAFZZ PAOZZ XBOZZ PAFZZ D.008 5306-00-036-6902 BOLT. ASSEMBLED WASHER 1/4-20 EA 4 71
X 3/4 IN. LG
70-1319-4 (30554)
61-251281-00-0242B0542B (78189)
46 37 XBFZZ MOO XBOZZ XBFZZ BRACKET. SUPPORT, RIGHT HAND EA 1 1
RELAY TABLE
70-1193 (30554)
70-1193 (93742)
46 38 XBFZZ MOO XBOZZ XBFZZ BRACKET, SUPPORT. LEFT HAND EA 1 1
RELAY TABLE
70-1192 (30554)
70-1192 (93742)
124

TM 9-6115-545-24P
TO 35C2-3-444-4
NAVFAC P-8-626-24P
SL-400038G/07499A
Figure 47. Relay Box Assembly.
(125 blank)/126

(3)
USMC
(5)
DESCRIPTION USABLE
MFR ON
REF NUMBER CODE CODE
(8)
USMC
QTY
PER
EQUIP
(7)
QTY
INC
IN
UNIT
(6)
U/M
a
SSI
(2)
SMR CODE
(1)
ILLUSTRATION
d
USMC
c
NAVY
b
AIR
FORCE
a
ARMY
(a)
FIG
NO.
(b)
ITEM
NO.
(4)
NATIONAL
STOCK
NUMBER
b
REPL
FACTOR
TM 9-6115-545-24P
TO 35C2-3-444-4
NAVFAC P-626-24P
SL-400038G/07499A
47 PBFFF PBOOO PBGGG PAFHH 1 .200 6115-00-564-0067 RELAY BOX ASSY EA 1 2
72-2209 (30554)
72-2209 (93742)
47 1PAFZZ PAOZZ XBGZZ PAFZZ D .008 5305-00-036-6978 SCREW, ASSEMBLED WASHER EA 9 50
10-24 X 3/8 IN LG
69-662-48 (30554)
61-100641-40-0142B4542B (78189)
47 2 XBFZZ XB XBFZZ XBFZZ COVER RELAY BOX TACTICAL EA 1 1
70-1134 (30554)
70-1134 (93742)
47 3 PAFZZ PAOZZXBGZZ PAFZZ D.008 5305-00-224-1092 SCREW. ASSEMBLED WASHER EA 4 8
4-40 X 1/2 IN LG
69-662-5 (30554)
61-040841-40-0142B0542B (78189)
47 4 PAFZZ PAOZZ XBGZZ PAFZZ D.008 5310-00-836-3520 NUT, PLAIN. ASSEMBLED 4-40 EA 4 76
69-561-1 (30554)
511-041800-00 (78189)
47 5PAFZZ PAOZZ XBGZZ PAFZZ D.008 5305-00-036-6976 SCREW, ASSEMBLED WASHER EA 4 19
6-32 X5/8 IN LG
69-662-21 (30554)
61-061041-40-0142B0542B (78189)
47 6PAFZZ PAOZZ XBGZZPAFZZ D.008 5310-00-063-7360 NUT, PLAIN ASSEMBLED 6-32 EA 4 99
69-561-2 (30554)
511-061800-00 (78189)
47 7PAFZZ PAOZZ XBGZZ PAFZZ 6115-00-652-7234 LINK TERMINALCONNECTOR EA 2 4
69-651-1 (30554)
600J (75382)
47 8 PAFZZ PAOZZ PAGZZ PAHZZ D.008 5305-00-984-4992 SCREW, MACHINE 6/32 X3/4 IN LG EA 7 7
MS35206-232 (96906)
47 9 XBFZZ XB XBGZZ XBFZZ TERMINAL BOARD EA 1 1
37TB10 (81349)
47 10 PAFZZ PAOZZ XBGZZ PAHZZ D.008 5305-00-984-6207 SCREW, MACHINE 10-24 X5/16 IN EA 2 2
LG
MS35206-260 (96906)
47 11 PAFZZ PAOZZ XBFZZ PAHZZ D.008 5310-00-094-3421 NUT, PLAIN ASSEMBLED 10-24 EA 2 52
69-561-4 30554
511-101800-0 (78189)
47 12 PAFZZ ADOO AFGZZ PAFHH I.150 5905-00-028-4081
RESISTOR,ELECTRICAL EA 1 2 70-1131 (30554)
70-1131 (93742)
47 13 PAFZZ PAOZZ XBGZZ PAHZZ D .008 5305-00-685-1634 SCREW, ASSEMBLED WASHER EA 12 40
8-32 X5/16 IN LG
48729 (78385)
47 14 PAFZZ PAOZZ PAGZZ PAHZZ . 030 5945-00-057-5655 RELAY, OVERVOLTAGE EA 1 1
70-1138 (30554)
11486 (12670)
47 15 PAFZZ PAOZZ XBGZZ PAHZZ .030 5945-00-420-4561 MODULE, RELAY ASSYSHORT EA 1 1
CIRCUIT
70-1137 (30554)
23380 (12670)
47 16 PAFZZ PAOZZ PAGZZ PAHZZ I .030 5945-00-919-7749 RELAY,ELECTROMAGNETIC, EA 1 1
REVERSE POWER
70-1136 (30554)
21690-1 (12670)
47 17 PAFZZ PAOZZ XBGZZ PAHZZ D.008 5305-00-036-6906 SCREW, ASSEMBLED WASHER EA 2 2
10-23 X 1/2 IN LG
69-662-50 (30554)
61-100841-40-0142BO542B (78189)
47 18 PAFZZ PAOZZ PAGZZ PAHZZ I .030 5945-00-318-3050 DEVICE, OVERLOAD PROTECTOR EA 1 1
70-1135 (30554)
6105-0001 (93742)
47 19 PAFZZ PAOZZ XBGZZ PAHZZ D.008 5305-00-984-6189 SCREW, MACHINE 8-32 X 1/4 IN EA 1 1
LG
MS35206-241 (96906)
127

(3)
USMC
(5)
DESCRIPTION USABLE
MFR ON
REF NUMBER CODE CODE
(8)
USMC
QTY
PER
EQUIP
(7)
QTY
INC
IN
UNIT
(6)
U/M
a
SSI
(2)
SMR CODE
(1)
ILLUSTRATION
d
USMC
c
NAVY
b
AIR
FORCE
a
ARMY
(a)
FIG
NO.
(b)
ITEM
NO.
(4)
NATIONAL
STOCK
NUMBER
b
REPL
FACTOR
TM 9-6115-545-24P
TO 35C2-3-444-4
NAVFAC P-626-24P
SL-400038G/07499A
47 20 PAFZZ PAOZZ XBGZZ PAHZZ D .008 5310-00-052-3632 NUT. PLAIN. ASSEMBLED 8-32 EA 1 180
69-561-3 (30554)
511-081800-00 (78189)
47 21 XBFZZ XB XAGZZ XBHZZ CHASSIS. RELAY ASSY TACTICAL EA 1 1
70-1133 (30554)
70-1133 (93742)
128

TM 9-6115-545-24P
TO 35C2-3-444-4
NAVFAC P-8-626-24P
SL-400038G/07499A
Figure 48. Tactical Relay.
(129 blank)/130

(3)
USMC
(5)
DESCRIPTION USABLE
MFR ON
REF NUMBER CODE CODE
(8)
USMC
QTY
PER
EQUIP
(7)
QTY
INC
IN
UNIT
(6)
U/M
a
SSI
(2)
SMR CODE
(1)
ILLUSTRATION
d
USMC
c
NAVY
b
AIR
FORCE
a
ARMY
(a)
FIG
NO.
(b)
ITEM
NO.
(4)
NATIONAL
STOCK
NUMBER
b
REPL
FACTOR
TM 9-6115-545-24P
TO 35C2-3-444-4 4
NAVFAC P-626-24P
SL-400038G/07499A
48 1 PAFZZ PAOZZ PAGZZ PAFZZ D.008 5305-00-068-0500 SCREW,CAP, HEXAGON EA 6 6
MS90725-3 (96906)
48 2 PAFZZ PAOZZ PAGZZ PAFZZ D.010 5310-00-582-5965 WASHER. LOCK EA 6 6
MS35338-44 (96906)
48 3 PAFZZ PAOZZ PAGZZ PAFZZ D.010 5310-00-823-8804 WASHER, FLAT EA 6 6
MS27183-9 (96906)
PBFFH PBOOO PAGGG PAFFF -.700 6115-00-564-0067 RELAY ASSEMBLY, TACTICAL EA 1 1
72-2209 (30554)
48 4 PAFZZ PAOZZ PAGZZ PAFZZ D.008 5305-00-191-6226 SCREW, ASSEMBLED WASHER EA 4 4
69-662-64 (30554)
P15121-64 (45722)
48 5 XBFZZ MOO XBGZZ XBFZZ - COVER, BOX EA 1 1
72-2210 (30554)
48 6 PAFZZ PAOZZ PAGZZ PAFZZ D.008 5305-00-191-6226 SCREW, ASSEMBLED WASHER EA 4 4
69-662-64 (30554)
P15121-64 (45722)
48 7 PAFZZ PAOZZ PAGZZ PAFZZ -.050 5945-00-318-3050 DEVICE, OVERLOAD EA 1 1
70-1135 (30554)
48 8 PAFZZ PAOZZ PAGZZ PAFZZ D006 5305-00-036-6977 SCREW. ASSEMBLED WASHER EA 4 12
69-662-33 (30554)
P15121-33 (45722)
48 9 PAFZZ PAOZZ PAGZZ PAFZZ -.050 5945-00-919-7749 RELAY,ELECTROMAGNETIC EA 1 1
70-1136 (30554)
10250 (12670)
21690-1 (12670)
48 10 PAFZZ PAOZZ PAGZZ PAFZZ -.050 5945-00-420-4561 RELAY,SHORTCIRCUIT EA 1 1
70-1137 (30554)
23380 (12670)
48 11 PAFZZ PAOZZ PAGZZ PAFZZ D.008 5305-00-036-6977 SCREW, ASSEMBLED WASHER EA 4 12
69-662-33 (30554)
P15121-33 (45722)
48 12 PAFZZ PAOZZ PAGZZ PAFZZ .050 5945-00-057-5655 RELAY. OVERVOLTAGE EA 1 1
70-1138 (30554)
11486 (12670)
48 13 PAFZZ PAOZZ PAGZZ PAFZZ D.008 5305-00-036-6977 SCREW, WASHER. RELAY MTG EA 1 1
69-662-33 (30554)
P15121-33 (45722)
48 14 PAFZZ PAOZZ PAGZZ PAFZZ D.008 5310-00-063-7360 NUT, WASHER EA 2 2
69-561-2 (30554)
511-061800-00 (78189)
48 15 PAFZZ PAOZZ PAGZZ PAFZZ D.008 5305-00-889-3001 SCREW, MACHINE EA 2 2
MS35206-231 (96906)
48 16 XBFZZ XB XBGZZ XBFZZ - TERMINAL BOARD EA 1 1
37TB10 (81349)
48 17 XBFZZ XB XBGZZ XBFZZ - LINK, TERMINALCONNECTION EA 2 2
600J (75382)
48 18 PAFZZ PAOZZ PAGZZ PAFZZ D.008 5310-00-052-3632 NUT. WASHER GROUND EA 2 2
69-561-3 (30554)
511-081800-0 (78189)
48 19 PAFZZ PAOZZ PAGZZ PAFZZ D.010 5310-00-890-8544 WASHER. FLAT EA 1 1
MS28183-7 (96906)
48 20 PAFZZ PAOZZ PAGZZ PAFZZ D.008 5305-00-984-6193 SCREW. MACHINE EA 1 1
MS35206-245 (96906)
48 21 PAFZZ PAOZZ PAGZZ PAFZZ D.008 5310-00-934-9747 NUT, PLAIN, HEXAGON EA 4 4
MS35649-262 (96906)
48 22 PAFZZ PAOZZ PAGZZ PAFZZ D.008 5305-00-036-6968 SCREW, WASHER EA 4 4
69-662-18 (30554)
P15121-18 (45722)
48 23 PAFZZ PAOZZ PAGZZ PAFZZ D.008 5310-00-934-9739 NUT, PLAIN, HEXAGON EA 4 4
MS35649-242 (96906)
48 24 PAFZZ PAOZZ PAGZZ PAFZZ D.008 5305-00-038-3089 SCREW, WASHER WIRING EA 4 4
HARNESS MTG
69-662-3 (30554)
P15121-3 (45722)
131

(3)
USMC
(5)
DESCRIPTION USABLE
MFR ON
REF NUMBER CODE CODE
(8)
USMC
QTY
PER
EQUIP
(7)
QTY
INC
IN
UNIT
(6)
U/M
a
SSI
(2)
SMR CODE
(1)
ILLUSTRATION
d
USMC
c
NAVY
b
AIR
FORCE
a
ARMY
(a)
FIG
NO.
(b)
ITEM
NO.
(4)
NATIONAL
STOCK
NUMBER
b
REPL
FACTOR
TM 9-6115-545-24P
TO 35C2-3-444-4 4
NAVFAC P-626-24P
SL-400038G/07499A
48 25 XBFZZ XB XBGZZ XBFZZ - - CHASSIS, BOX EA 1 1
72-2211 (30554)
48 26 PAFZZ PAOZZ PAGZZ PAFZZ D.008 5310-00-063-7360 NUT, WASHERRESISTOR MTG EA 2 2
69-561-2 (30554)
511-061800-00 (78189)
48 27 PAFZZ PAOZZ PAGZZ PAFZZ D.008 5305-00-984-6191 SCREW, MACHINERESISTOR EA 2 2
MTG
MS35206-243 (96906)
48 28 XBFFF XB AGGGG AFFFF - - RESISTOR ASSEMBLY EA 1 1
72-2226 (30554)
132

TM 9-6115-545-24P
TO 35C2-3-444-4
NAVFAC P-8-626-24P
SL-400038G/07499A
Figure 49. Wiring Harness Assembly, Branched.
(133 blank)/134

(3)
USMC
(5)
DESCRIPTION USABLE
MFR ON
REF NUMBER CODE CODE
(8)
USMC
QTY
PER
EQUIP
(7)
QTY
INC
IN
UNIT
(6)
U/M
a
SSI
(2)
SMR CODE
(1)
ILLUSTRATION
d
USMC
c
NAVY
b
AIR
FORCE
a
ARMY
(a)
FIG
NO.
(b)
ITEM
NO.
(4)
NATIONAL
STOCK
NUMBER
b
REPL
FACTOR
TM 9-6115-545-24P
TO 35C2-3-444-4 4
NAVFAC P-626-24P
SL-400038G/07499A
49 MFFZZ MOO AFGZZ AFFZZ WIRING HARNESS ASSY, BRANCHED EA 1 1
70-1209 (30554)
70-1209 (93742)
MANUFACTURE FROM
49 1 PAFZZ PAOZZ PAGZZ PAFZZ D.008 5975-00-727-5153 STRAP, TIEDOWN EA 110 1094
MS3367-4-9 (96906)
49 2 PAFZZ PAOZZ PAGZZ PAFZZ D.008 5975-00-074-2072 STRAP, TIEDOWN EA 75 2557
MS3367-1-9 (96906)
49 3 PAFZZ PAOZZ PAGZZ PAFZZ D.008 5940-00-143-4774 TERMINAL, LUG
EA 1 113
MS25036-153 (96906)
49 4 PAFZZ PAOZZ XBGZZ PAFZZ D.008 5940-00-283-5280 TERMINAL, LUG EA 59 549
MS25036-106 (96906)
49 5 PAFZZ PAOZZ PAGZZ PAFZZ D.023 5935-00-725-0888 CONNECTOR,RECEPTACLE EA 1 1
MS3102R28-12P (96906)
49 6 PAFZZ PAOZZ PAGZZ PAFZZ D.023 5935-00-755-2787 CONNECTOR,RECEPTACLE EA 1 3
MS3102R20-29P (96906)
49 7 PAFZZ PAOZZ PAGZZ PAFZZ D.008 5940-00-825-3701 TERNINAL, LUG EA 12 12
MS17143-8 (96906)
49 8 PAFZZ PAOZZ PAGZZ PAFZZ D.008 5970-00-012-2969 SLEEVING, INSULATION FT 4 18
M2305315-104-0 (81349)
49 9 PAFZZ PAOZZ PAGZZ PAFZZ D.008 6145-00-578-6605 WIRE,ELECTICAL 605 IN FT 6 1010
MS5086/2-16-9 (81349)
135

TM 9-6115-545-24P
TO 35C2-3-444-4
NAVFAC P-8-626-24P
SL-400038G/07499A
Figure 50. Tactical Relay.
136

(3)
USMC
(5)
DESCRIPTION USABLE
MFR ON
REF NUMBER CODE CODE
(8)
USMC
QTY
PER
EQUIP
(7)
QTY
INC
IN
UNIT
(6)
U/M
a
SSI
(2)
SMR CODE
(1)
ILLUSTRATION
d
USMC
c
NAVY
b
AIR
FORCE
a
ARMY
(a)
FIG
NO.
(b)
ITEM
NO.
(4)
NATIONAL
STOCK
NUMBER
b
REPL
FACTOR
TM 9-6115-545-24P
TO 35C2-3-444-4 4
NAVFAC P-626-24P
SL-400038G/07499A
50 MFFFF MOO AGGGG AFFZZ WIRING
HARNESS EA 1 1 72-2243
MANUFACTURE FROM (30554)
50 1 PAFZZ PAOZZ PAGZZ PAFZZ D .030 5935-01-182-1665 CONNECTOR,RECEPTACLE EA 1 1
MS3452W20-29P (96906)
50 2 PAFZZ PAOZZ PAGZZ PAFZZ D .030 5935-01-205-2911 CONNECTOR,RECEPTACLE EA 1 1
MS3452W28-12P (96906)
50 3 PAFZZ PAOZZ PAGZZ PAFZZ D .008 5970-00-954-1622 INSULATION,SLEEVING FT 2 2
M23053/5-105-0 (81349)
50 4 PAFZZ PAOZZ PAGZZ PAFZZ D .050 5940-00-204-8966 TERMINAL LUG EA 71 232
MS25036-102 (96906)
50 5 PAFZZ PAOZZ PAGZ PAFZZ D .050 5940-00-557-1629 TERMINAL, LUG EA 1 1
MS25036-149 (96906)
50 6 PAFZZ PAOZZ PAGZZ PAFZZ D .008 5975-00-111-3208 STRAP,CABLE EA V V
MS3367-5-9 (96906)
50 7 PAFZZ PAOZZ PAGZZ PAFZZ D .080 6145-00-578-6602 WIRE,ELECTRICAL FT V V
M5086/2-18-9 (81349)
137

TM 9-6115-545-24P
TO 35C2-3-444-4
NAVFAC P-8-626-24P
SL-400038G/07499A
Figure 51. Resistor, Electrical.
138

(3)
USMC
(5)
DESCRIPTION USABLE
MFR ON
REF NUMBER CODE CODE
(8)
USMC
QTY
PER
EQUIP
(7)
QTY
INC
IN
UNIT
(6)
U/M
a
SSI
(2)
SMR CODE
(1)
ILLUSTRATION
d
USMC
c
NAVY
b
AIR
FORCE
a
ARMY
(a)
FIG
NO.
(b)
ITEM
NO.
(4)
NATIONAL
STOCK
NUMBER
b
REPL
FACTOR
TM 9-6115-545-24P
TO 35C2-3-444-4 4
NAVFAC P-626-24P
SL-400038G/07499A
51 PAFZZ AOO XBGZZ PAFHH D .150 5905-00-028-4081
RESTSTOR,ELECTRICAL EA 1 2 70-1131 (30554)
70-1131 (93742)
51 1 PAFZZ PAOZZ XBGZZ PAHZZ D .008 5305-00-036-6976 SCREW. ASSEMBLED WASHER EA 2 19
6-32 X58 IN LG
69-662-21 (30554)
61-061041-40-0142B0452B (78189)
51 2 PAFZZ PAOZZ XBGZZ PAHZZ D.008 5310-00-063-7360 NUT. PLAIN ASSEMBLED 6-32 EA 2 99
69-561-2 (30554)
511-061800-00 (78189)
51 3 PAFZZ PAOZZ XBGZZ PAHZZ - .008 5940-00-283-5280 TERMINAL. LUG EA 4 549
MS25036-106 (96906)
51 4 XBFZZ XA XBGZZ XBHZZ TERMINAL BOARD EA 1 1
37TB4 (81349)
51 5 PAFZZ PAOZZ XBGZZ PAHZZ D .008 5305-00-038-3089 SCREW, ASSEMBLED WASHER EA 6 42
4-40 X 3/8 IN. LG
69-662-3 (30554)
61-040641-40-0142B0542B (78189)
51 6 PAFZZ PAOZZ XBGZZ PAHZZ D .008 5310-00-831-3520 NUT. PLAIN ASSEMBLED 4-40 EA 6 76
69-561-1 (30554)
511-041800-00 (78189)
51 7 PAFZZ PAOZZ PAGZZ PAHZZ - .050 5905-00-459-2558 RESISTOR, FIXED WIRE EA 3 3
RER75F7R50R (81349)
51 8 XBFZZ XA XBGZZ XBHZZ BRACKET,RESISTOR EA 1 1
70-1048 (30554)
70-1048 (93742)
139

TM 9-6115-545-24P
TO 35C2-3-444-4
NAVFAC P-8-626-24P
SL-400038G/07499A
Figure 52. Tactical Relay.
140

(3)
USMC
(5)
DESCRIPTION USABLE
MFR ON
REF NUMBER CODE CODE
(8)
USMC
QTY
PER
EQUIP
(7)
QTY
INC
IN
UNIT
(6)
U/M
a
SSI
(2)
SMR CODE
(1)
ILLUSTRATION
d
USMC
c
NAVY
b
AIR
FORCE
a
ARMY
(a)
FIG
NO.
(b)
ITEM
NO.
(4)
NATIONAL
STOCK
NUMBER
b
REPL
FACTOR
TM 9-6115-545-24P
TO 35C2-3-444-4 4
NAVFAC P-626-24P
SL-400038G/07499A
52 XDFZZ XB AGGGG AFFZZ - RESISTOR
ASSEMBLY EA 1 1 72-2226 (30554)
52 1 PAFZZ PAOZZPAGZZ PAFZZ D .008 5310-00-063-7360 NUT, WASHER EA 2 2
69-561-2 (30554)
511-061800-00 (78189)
52 2 PAFZZ PAOZZ PAGZZ PAFZZ D .008 5305-00-889-3001 SCREW, MACHINE EA 2 2
MS35206-231 (96906)
52 3 XBFZZ XB XBGZZ XBFZZ - TERMINAL BOARD EA 1 1
37TB4 (81349)
52 4 PAFZZ PAOZZ PAGZZ PAFZZ D .050 5940-00-204-8966 TERMINAL, LUG EA 4 4
MS25036-102 (96906)
52 5 PAFZZ PAOZZ PAGZZ PAFZZ D .080 6145-0-578-6602 WIRE,ELECTRICAL FT V 232
M5086/2-18-9 (81349)
52 6 PAFZZ PAOZZ PAGZZ PAFZZ D .008 5310-00-863-3520 NUT, PLAIN ASSEMBLED EA 6 6
69-561-1 (30554)
511-041800-00 (78189)
52 7 PAFZZ PAOZZ PAGZZ PAFZZ D ,008 5305-00-889-2997 SCREW, MACHINE EA 6 6
MS35206-215 (96906)
52 8 PAFZZ PAOZZ PAGZZ PAFZZ D .040 5905-00-459-2558 RESISTOR, FIXED EA 3 3
RER75F7R50R (81349) EA 3 3
52 9 XBFZZ MOO XBGZZ XBFZZ BRACKET,RESISTOR EA 1 1
72-2227 (30554)
141

TM 9-6115-545-24P
TO 35C2-3-444-4
NAVFAC P-8-626-24P
SL-400038G/07499A
Figure 53. Precise Relay Assembly, 50/60 Hz.
142

(3)
USMC
(5)
DESCRIPTION USABLE
MFR ON
REF NUMBER CODE CODE
(8)
USMC
QTY
PER
EQUIP
(7)
QTY
INC
IN
UNIT
(6)
U/M
a
SSI
(2)
SMR CODE
(1)
ILLUSTRATION
d
USMC
c
NAVY
b
AIR
FORCE
a
ARMY
(a)
FIG
NO.
(b)
ITEM
NO.
(4)
NATIONAL
STOCK
NUMBER
b
REPL
FACTOR
TM 9-6115-545-24P
TO 35C2-3-444-4 4
NAVFAC P-626-24P
SL-400038G/07499A
53 PBFFF PBOOO PaGGG PAFHH I 5945-00-276-7622 RELAY ASSY,
PRECISE50/60 HZ BE EA 1 270-1115 (30554)
70-1115 (93742)
53 1 PAFZZ PAOZZ XBGZZ PAHZZ D .008 5305-00-036-6906 SCREW, ASSEMBLED WASHER BE EA 4 12
10-24 X 112 IN. LG
69-662-50 (30554)
61-100841-40-0142B-0542B (78189)
53 2 XBFZZ MOO XBGZZ XBHZZ COVER, ACCESS RELAY BOX BE EA 1 1
70-1117 (30554)
70-1117 (93742)
53 3 PAFZZ PAOZZ XBGZZ PAHZZ D .008 5305-00-038-8978 SCREW, ASSEMBLED WASHER BE EA 2 50
10-24 X3/8 IN LG
69-662-48 (30554)
61-100641-40-0142B0542B (78189)
53 4 XBFZZ MOO XBGZZ XBHZZ COVER,SIDE, PRECISE RELAY BE EA 1 1
BOX
70-1189 (30554)
70-1189 (93742)
53 5 PAFZZ PAOZZ XBGZZ PAHZZ D .008 5305-00-036-6972 SCREW, ASSEMBLED WASHER BE EA 8 30
6-32 X 112 IN. LO
69-662-20 (30554)
61-060841-40-0142B0542B (78189)
53 8 PAFZZ PAOZZ XBGZZ PAHZZ D .008 5310-00-063-7360 NUT, PLAIN ASSEMBLED 6-32 BE EA 8 99
69-561-2 (30554)
511-061800-00 (78189)
53 7 PAFZZ PAOZZ PAGZZ PAHZZ I .040 5930-00-577-0404 SWITCH, TOGGLE BE EA 1 1
MS25127J4 (96906)
53 8 PAFZZ PAOZZ PAGZZ PAHZZ D .008 5310-00-180-0277 WASHER, LOCK BE EA 1 1
MS35333-76 (96906)
53 9 PAFZZ PAOZZ PAGZZ PAHZZ 5905-01-301-5509 RHEOSTAT BE EA 1 2
70-1630 (30554)
MODEL H L4204 (44655)
53 10 PAOZZ PAOZZ XBGZZ XBHZZ 5320-01-033-4375 RIVET, BLIND BE EA 8 84
M24243/8-C602H (81349)
53 11 XBOZZ MDO XBFZZ MDOZZ PLATE, DESIGNATION BE EA 1 1
70-1306 (30554)
70-1306 (93742)
53 12 XBOZZ MDO XBGZZ MDOZZ PLATE, DESIGNATION BE EA 1 1
70-1308 (30554)
70-1308 (93742)
53 13 PAFZZ PAOZZ XBGZZ XBHZZ 6150-00-632-7234 LINK, TERMINALCONNECTION BE EA 2 4
69-8651-1 (30554)
600J (75382)
53 14 PAFZZ PAOZZ PAGZZ PAHZZ D .008 SCREW, ASSEMBLED WASHER BE EA 2 2
4-40 X5/8 IN. LO
69-662-6 (30554)
53 15 PAFZZ PAOZZ XBGZZ PAHZZ D .008 5310-00-836-3520 NUT, PLAIN ASSEMBLED 4-40 BE EA 2 76
69-561-1 (30554)
511-041800-00 (78189)
53 16 PAFZZ PAOZZ XBGZZ XBHZZ 5940-00-983-6049 TERMINAL BOARD BE EA 1 1
37TB8 (81349)
53 17 PAFZZ PAOZZ XBGZZ PAHZZ D .008 5305-00-036-6977 SCREW, ASSEMBLED WASHER BE EA 16 51
8-32 X 3/8 IN LG
69-662-33 (30554)
61-080641-40-0142B0542B (78189)
53 18 PAFZZ PAOZZ XBGZZ PAHZZ D .008 5310-00-052-3632 NUT. PLAIN ASSEMBLED 8-32 BE EA 4 180
69-561-3 (30554)
511-081800-00 (78189)
53 19 PAFZZ PAOZZ AFGZZ PAHFF I .050 5915-00-093-1410 CAPACITOR-RESISTOR BE EA 1 13
70-1061 (30554)
70-1061 (93742)
53 20 PAFZZ PAOZZ PAGZZ PAHZZ I 5945-00-430-3576 MODULE, RELAY ASSY, UNDER BE EA 1 1
FREQUENCY50/60 HZ
70-1119 (30554)
11638 (12670)
143

(3)
USMC
(5)
DESCRIPTION USABLE
MFR ON
REF NUMBER CODE CODE
(8)
USMC
QTY
PER
EQUIP
(7)
QTY
INC
IN
UNIT
(6)
U/M
a
SSI
(2)
SMR CODE
(1)
ILLUSTRATION
d
USMC
c
NAVY
b
AIR
FORCE
a
ARMY
(a)
FIG
NO.
(b)
ITEM
NO.
(4)
NATIONAL
STOCK
NUMBER
b
REPL
FACTOR
TM 9-6115-545-24P
TO 35C2-3-444-4 4
NAVFAC P-626-24P
SL-400038G/07499A
53 21 PAFZZ PAOFF PAGZZ PAHZZ I .050 5945-00-450-9136 MODULE RELAY. PERMISSIVE BE EA 1 2
PARALLEL
70-1118 (30554)
23390 (12670)
53 22 PAFZZ PAOZZ PAGZZ PAHZZ I .050 5945-00-922-0030 RELAY.ELECTROMAGNETIC BE EA 1 2
UNDER VOLTAGE
70-1120 (30554)
11636 (12670)
53 23 XBFZZ XB XBGZZ XBHZZ CHASSIS, RELAY ASSY BE EA 1 1
70-1116 (30554)
70-1116 (93742)
144

TM 9-6115-545-24P
TO 35C2-3-444-4
NAVFAC P-8-626-24P
SL-400038G/07499A
Figure 54. Wiring Harness Assembly.
145 (blank)/ 146

(3)
USMC
(5)
DESCRIPTION USABLE
MFR ON
REF NUMBER CODE CODE
(8)
USMC
QTY
PER
EQUIP
(7)
QTY
INC
IN
UNIT
(6)
U/M
a
SSI
(2)
SMR CODE
(1)
ILLUSTRATION
d
USMC
c
NAVY
b
AIR
FORCE
a
ARMY
(a)
FIG
NO.
(b)
ITEM
NO.
(4)
NATIONAL
STOCK
NUMBER
b
REPL
FACTOR
TM 9-6115-545-24P
TO 35C2-3-444-4 4
NAVFAC P-626-24P
SL-400038G/07499A
54 MFFZZ MOO AFGZZ AFFZZ WIRING HARNESS ASSY BE EA 1 1
70-1215
70-1215 (30554)
MANUFACTURE FROM (93742)
54 1 PAFZZ PAOZZ PAGZZ PAFZZ D .008 5975-00-727-5153 STRAP, TIEDOWN,ELECTRIC BE EA 75 1094
MS3367-4-9 (96906)
54 2 PAFZZ PAOZZ PAGZZ PAFZZ D .008 5975-00-074-2072 STRAP. TIEDOWN,ELECTRIC BE EA 75 2557
MS3367-1-9 (96906)
54 3 PAFZZ PAOZZ XBGZZ PAFZZ D .008 5940-00-283-5280 TERMINAL, LUG BE EA 47 549
MS25036-106 (96906)
54 4 PAFZZ PAOZZ PAGZZ PAFZZ D .050 5935-00-721-0708 CONNECTOR,RECEPTACLE BE EA 1 1
MS3102R24-28P (96906)
54 5 PAFZZ PAOZZ PAGZZ PAFZZ D .050 5935-00-721-0501 CONNECTOR,RECEPTACLE BE EA 1 1
MS3102R24-28S (96906)
54 6 PAFZZ PAOZZ PAGZZ PAFZZ D .080 5970-00-812-2969 INSULATION.SLEEVING BE FT 2 18
M23053/5-104-0 (81349)
54 7 PAFZZ PAOZZ PAGZZ PAFZZ D .080 6145-00-578-6605 WIRE,ELECTRICAL524 IN BE FT 44 1010
M5086/2-16-9 (81349)
147

TM 9-6115-545-24P
TO 35C2-3-444-4
NAVFAC P-8-626-24P
SL-400038G/07499A
Figure 55. Excitation System Assembly.
148

(3)
USMC
(5)
DESCRIPTION USABLE
MFR ON
REF NUMBER CODE CODE
(8)
USMC
QTY
PER
EQUIP
(7)
QTY
INC
IN
UNIT
(6)
U/M
a
SSI
(2)
SMR CODE
(1)
ILLUSTRATION
d
USMC
c
NAVY
b
AIR
FORCE
a
ARMY
(a)
FIG
NO.
(b)
ITEM
NO.
(4)
NATIONAL
STOCK
NUMBER
b
REPL
FACTOR
TM 9-6115-545-24P
TO 35C2-3-444-4 4
NAVFAC P-626-24P
SL-400038G/07499A
55 PBFFF PBOOO PBOGG PAFHH D .008 6115-00-244-1214 EXCITATIONSYSTEM ASSY50/60 HZ ABDE EA 1 1
70-1367 (30554)
70-1367 (93742)
55 PBFFF PBOOO PBOGG PAFHH 6115-00-264-9654 EXCITATIONSYSTEM ASSY 400 HZ CF EA 1 1
70-1368 (30554)
70-1368 (93742)
55 1 PAFZZ PAOZZ XBGZZ PAHZZ D .008 5305-00-036-6978 SCREW. ASSEMBLED WASHER EA 19 50
10-24 X3/8 IN. LG
69-662-48 (30554)
61-100641-40-0142B0542B (78189)
55 2 XBFZZ XB XBGZZ XBHZZ COVER,EXCITATIONSYSTEM EA 1 1
70-1379 (30554)
70-1379 (93742)
55 3 PAFZZ PAOZZ XBGZZ PAHZZ D .008 5305-00-036-6903 SCREW. ASSEMBLED WASHER EA 8 20
4-40 X 7/16 IN LG
69-662-4 (30554)
61-040741-40-0142B0542B (78189)
55 4 PAFZZ PAOZZ XBGZZ PAHZZ D .008 5310-00-836-3520 NUT. PLAIN ASSEMBLED 4-40 EA 8 76
69-561-1 (30554)
511-041800-00 (78189)
55 5 PAFFF PAOOO PAGGG PAFHH .080 6110-00-030-7815
VOLTAGEREGULATOR EA 1 170-1369 (30554)
70-1369 (93742)
55 6 PAHZZ PAOZZ PAGZZ PAHZZ .040 5961-00-935-0148 SEMICONDUCTOR DEVICE, DIODE EA 4 6
JAN1N1206A (81349)
55 7 PAHZZ PAOZZ PAGZZ PAHZZ .040 5961-00-998-5601 SEMICONDUCTOR DEVICE, DIODE EA 3 3
JAN1N1206RA (81349)
55 8 PAHZZ PAOZZ PAGZZ PAHZZ .040 5961-00-226-8697 SEMICONDUCTOR DEVICE, DIODE EA 1 1
JAN2N689 (81349)
55 9 PAFZZ PAOZZ XBGZZ PAHZZ D .008 5305-00-036-6968 SCREW, ASSEMBLED WASHER EA 7 39
6-32 X5/8IN LG
69-662-18 (30554)
61-060641-40-0142B0542B (78189)
55 10 PAFZZ PAOZZ XBGZZ PAHZZ D .008 5310-00-063-7360 NUT, PLAIN ASSEMBLED 6-32 EA 5 99
69-561-2 (30554)
511-061800-00 (78189)
55 11 PAFZZ PAOZZ XBGZZ PAHZZ D .008 5305-00-038-3148 SCREW, ASSEMBLED WASHER EA 6 22
10-24 X5/8 IN LG
69-662-51 (30554)
61-101041-40-0142B0542B (78189)
55 12 PAHZZ PAOZZ XBGZZ PAHZZ D .010 5970-00-476-9527 WASHER,SHOULDER EA 6 6
70-1050-4 (30554)
2713-24850N194 (06540)
55 13 PAHZZ PAOZZ XBGZZ PAHZZ I .020 5999-00-224-5960 HEATSINK,ELECTRICAL EA 1 1
70-1376 (30554)
70-1376 (93742)
55 14 PAHZZ PAOZZ XBGZZ PAHZZ I .020 5999-00-232-2588 HEATSINK,ELECTRICAL EA 1 1
70-1377 (30554)
70-1377 (93742)
55 15 PAHZZ PAOZZ XBGZZ PAHZZ I .020 5999-00-232-2578 HEATSINK,ELECTRICAL EA 1 1
70-1375 (30554)
70-1375 (93742)
55 16 PAHZZ PAOZZ XBGZZ PAHZZ D .020 5970-00-029-4834 INSULATOR. PLATE EA 1 1
70-1382 (30554)
70-1382 (93742)
55 17 PAHZZ PAOZZ XBGZZ PAHZZ D .020 5970-00-029-5551 INSULATOR. PLATE EA 1 1
70-1381 (30554)
70-1381 (93742)
55 18 PAFZZ PAOZZ XBGZZ PAHZZ D .008 5305-00-463-1398 SCREW, MACHINE 8-32 X 3-3/8 IN EA 5 7
LG
70-1440 (30554)
70-1440 (93742)
55 19 PAFZZ PAOZZ XBGZZ PAHZZ D .010 5970-00-814-0393 INSULATED, WASHER EA 10 14
MS75009-2 (96906)
55 20 PAFZZ PAOZZ PAGZZ PAHZZ - .050 5905-00-805-8471 RESISTOR, FIXED. WIRE EA 3 3
RW33V300 (81349)
149

(3)
USMC
(5)
DESCRIPTION USABLE
MFR ON
REF NUMBER CODE CODE
(8)
USMC
QTY
PER
EQUIP
(7)
QTY
INC
IN
UNIT
(6)
U/M
a
SSI
(2)
SMR CODE
(1)
ILLUSTRATION
d
USMC
c
NAVY
b
AIR
FORCE
a
ARMY
(a)
FIG
NO.
(b)
ITEM
NO.
(4)
NATIONAL
STOCK
NUMBER
b
REPL
FACTOR
TM 9-6115-545-24P
TO 35C2-3-444-4 4
NAVFAC P-626-24P
SL-400038G/07499A
55 21 PAFZZ PAOZZ PAGZZ PAHZZ I .050 59000-843-2809 RESISTOR, FIXED, WIRE ABDE EA 1 1
RW22V150 (81349)
55 21 PAFZZ PAOZZ PAGZZ PAHZZ 5905.00-8530784 RESISTOR, FIXED, WIRE CF EA 1 1
RW33V150 (81349)
55 22 PAFZZ PAOZZ PAGZZ PAHZZ - .050 5905-00-878-9638 RESISTOR, FIXED, WIRE EA 1 1
RW33VR47 (81349)
55 23 XBFZZ MOO XBGZZ XBHZZ BRACKET,RESISTOR EA 1 1
70-1383 (30554)
70-1383 (93742)
55 24 XBFZZ MOO XBGZZ XBHZZ BRACKETRESISTOR EA 1 1
70-1384 (30554)
70-1384 (93742)
55 25 PAFZZ PAOZZ XBGZ PAHZZ D .008 5305-00-036-6976 SCREW, ASSEMBLED WASHER EA 2 19
8-32 X5/8 IN. LG
69-662-21 (30554)
61-061041-40-0142B05428 (78189)
55 26 PAFZZ PAOZZ XBGZZ PAHZZ 5940-00-983-6049 TERMINAL, BOARD EA 1 2
37TB6 (81349)
55 27 PAFZZ PAOZZ XBGZZ PAHZZ D .008 5305-00-036-6969 SCREW. ASSEMBLED WASHER EA 3 39
6-32 X 7/16 IN. LG
69662-19 (30554)
61-060741-40-0142B0542B (78189)
55 28 PAFZZ PAOZZ XBGZZ PAHZZ D 5340-00-576-9338 CLAMP, LOOP EA 1 1
MS21919WF6 (96906)
55 29 PAFZZ PAOZZ PAGZZ PAHZZ - .040 5950-00-101-2387 TRANSFORMER, POWER EA 1 1
70-1386 (30554
7002-0017 (93742)
55 30 PAFZZ PAOZZ XBGZZ PAHZZ D .008 5305-00-036-6972 SCREW, ASSEMBLED WASHER EA 4 30
6-32 X 1/2 IN. LG
69-622-20 (30554)
81-060841-40-0412B0542B (78189)
55 31 PAFFZ PAOOO PAGGG PAFHH I .490 5999-00-340-9843 CIRCUITCARD
ASSY50/80 HZ, ABDE EA 1 2 SEE FIGURE 60
70-1371 (30554)
70-1371 (93742)
55 31 PAFFZ PAOOO PAGGa PAFHH .087 6130-00-364-0828 CIRCUITCARD
ASSY 400 HZ CF EA 1 2 SEE FIGURE 60
70-1372 (30554)
70-1372 (93742)
55 32 PAFZZ PAOZZ XBGZZ PAHZZ D .008 5365-00-161-9596 SPACER,SLEEVE EA 4 8
70-1342-1 (30554)
9224N171 (06540)
55 33 XBFZZ XB XBGZZ XBHZZ BRACKETELECTRONIC ABC EA 2 2
COMPONENT BOARD
70-1387 (30554)
70-1387 (93742)
55 34 PAFZZ PAOZZ PAGZZ PAHZZ I .034 5915-01-027-6516 FILTER,RADIO FREQUENCY EA 1 1
70-1519 (30554)
FA20-77371225F2 (81831)
55 35 XBFZZ XS XAGZZ XBHZZ CHASSISEXCITATIONSYSTEM EA 1 1
70-1378 (30554)
70-1378 (93742)
150

TM 9-6115-545-24P
TO 35C2-3-444-4
NAVFAC P-8-626-24P
SL-400038G/07499A
Figure 56. Wire Harness Assembly.
(151 blank)/152

(3)
USMC
(5)
DESCRIPTION USABLE
MFR ON
REF NUMBER CODE CODE
(8)
USMC
QTY
PER
EQUIP
(7)
QTY
INC
IN
UNIT
(6)
U/M
a
SSI
(2)
SMR CODE
(1)
ILLUSTRATION
d
USMC
c
NAVY
b
AIR
FORCE
a
ARMY
(a)
FIG
NO.
(b)
ITEM
NO.
(4)
NATIONAL
STOCK
NUMBER
b
REPL
FACTOR
TM 9-6115-545-24P
TO 35C2-3-444-4 4
NAVFAC P-626-24P
SL-400038G/07499A
56 MFFZZ MOO AFGZZ AFFZZ WIRE HARNESS ASSY EA 1 1
70-1404
70-1404 (30554)
MANUFACTURE FROM: (93742)
56 1 PAFZZ PAOZZ PAGZZ PAFZZ D.008 5975-00-727-5153 STRAP. TIEDOWNELECTRICAL EA 40 1094
MS3367-4-9 (96906)
56 2 PAFZZ PAOZZPAGZZ PAFZZ D.008 5975-00-074-2072 STRAP, TIEDOWNELECTRICAL EA 40 2557
MS3367-1-9 (96906)
56 3 PAFZZ PAOZZ PAGZZ PAFZZ D .008 5935-00-823-5322 PLUG,END,SEAL.ELECTRICAL EA 2 77
MS25251-16 (96906)
56 4 PAFZZ PAOZZ PAGZZ PAFZZ D .008 5940-00-143-4780 TERMINAL, LUG EA 4 48
MS25036-108 (96906)
56 5 PAFZZ PAOZZ XBGZZ PAFZZ D.008 5940-00-283-5280 TERMINAL, LUG EA 36 549
MS25036-106 (96906)
56 6 PAFZZ PAOZZ PAGZZ PAFZZ D.023 5935-00-8214-345 CONNECTOR,RECEPTACLE EA 1 1
MS3102R14S6P (96906)
56 7 PAFZZ PAOZZ PAGZZ PAFZZ D.023 5935-00-834-4904 CONNECTOR, PLUG EA 1 1
ELECTRICAL
MS3106R18-1P (96906)
56 8 PAFZZ PAOZZ PAGZZ PAFZZ D .023 5935-00-721-0496 CONNECTOR,RECEPTACLE EA 1 2
MS3102R22-14P (96906)
56 9 PAFZZ PAOZZ PAGZZ PAFZZ D .008 5970-00-812-2969 INSULATIONSLEEVING FT 2 18
M2305315-104-0 (81349)
56 10 PAFZZ PAOZZPAGZZ PAFZZ D .080 6145-00-578-6605 WIRE,ELECTRICAL 628 IN FT 53 1010
M5086/2-16-9 (81349)
56 11 PAFZZ PAOZZ PAGZZ PAFZZ D .080 6145-00-578-6602 WIRE,ELECTRICAL 21 IN FT 2 153
M5086/2-18-9 (81349)
153

TM 9-6115-545-24P
TO 35C2-3-444-4
NAVFAC P-8-626-24P
SL-400038G/07499A
Figure 57. Voltage Regulator.
154

(3)
USMC
(5)
DESCRIPTION USABLE
MFR ON
REF NUMBER CODE CODE
(8)
USMC
QTY
PER
EQUIP
(7)
QTY
INC
IN
UNIT
(6)
U/M
a
SSI
(2)
SMR CODE
(1)
ILLUSTRATION
d
USMC
c
NAVY
b
AIR
FORCE
a
ARMY
(a)
FIG
NO.
(b)
ITEM
NO.
(4)
NATIONAL
STOCK
NUMBER
b
REPL
FACTOR
TM 9-6115-545-24P
TO 35C2-3-444-4 4
NAVFAC P-626-24P
SL-400038G/07499A
57 PAFFF PAOOO PAGGG PAFHH - .080 6110-00-030-7815 VOLTAGE,REGULATOR, EA 1 1
SEE FIGURE55
70-1369 (30154)
70-1369 (93742)
57 1 PAFZZ PAOZZ XBGZZ PAHZZ D .008 5305-00-036-6976 SCREW, ASSEMBLED WASHER EA 4 19
6-32 X5/8 IN LG
69-662-21 (30554)
61-061041-40-0142B0542B (78189)
57 2 PAFZZ PAOZZ XBGZZ PAHZZ D .008 5310-00-063-7360 NUT, ASSEMBLED 6-32 EA 2 99
69-561-2 (30554)
511-061800-00 (78189)
57 3 PAFFZ PAOOO PAGGG PAHHH I 1.020 5998-00-342-9762 CIRCUITCARD ASSY. VOLTAGE EA 1 2
REGULATOR
70-1370 (30554)
70-1370 (93742)
57 4 PAFZZ PAOOZ XBGZZ PAHZZ D .008 5365-00-161-9596 SPACER,SLEEVE EA 4 8
70-1342-1 (30554)
9224N171 (06540)
57 5 PAFZZ PAOZZ XBGZZ PAHZZ D .008 5305-00-036-6903 SCREW, ASSEMBLED WASHER EA 4 4
4-40 X 7/16 IN. LG
69-662-4 (30554)
61-040741-40-0142B0542B (78189)
57 6 PAFZZ PAOZZ XBGZZ PAHZZ D .008 5310-00-836-3520 NUT PLAIN ASSEMBLED 4-40 EA 4 76
69-561-1 (30554)
511-041800-00 (78189)
57 7 PAFZZ PAOZZ XBGZZ PAHZZ D .008 5305-00-036-6968 SCREW, ASSEMBLED WASHER EA 1 1
6-32 X 7/16 IN. LG
69-662-19 (30554)
61-060741-40-0142B0542B (78189)
57 8 PAFZZ PAOZZ PAGZZ PAHZZ D .008 5340-00-543-4394 CLAMP, LOOP EA 1 1
MS21919DG-6 (96906)
57 9 PAFZZ PAOZZ XBGZZ PAHZZ D .008 5305-00-463-1398 SCREW, MACHINE PAN HEAD 8-32 EA 2 7
X 3-3/8 IN. LG
70-1440 (30554)
70-1440 (93742)
57 10 PAFZZ PAOZZ XBGZZ PAHZZ D .008 5310-00-052-3632 NUT, PLAIN ASSEMBLED 8-32 EA 8 180
69-561-3 (30554)
511-081800-00 (78189)
57 11 PAFZZ PAOZZ XBGZZ PAHZZ D .010 5970-00-814-0393 INSULATED. WASHER EA 4 14
MS75009-2 (96906)
57 12 PAFZZ PAOZZ PAGZZ PAHZZ - .050 5905-00-665-6340 RESISTOR. FIXED, WIRE EA 2 2
RW33V102 (81349)
57 13 PAFZZ PAOZZ XBGZZ PAHZZ D .008 5305-00-038-3122 SCREW. ASSEMBLED WASHER EA 4 25
8-32 X7/16 IN LG
69-662-34 (30554)
61-080741-40-0142B0542B (78189)
57 14 XBFZZ MOO XBGZZ XBHZZ
BRACKET,RESISTOR EA 4 4 70-1388 (30554)
70-1388 (93742)
57 15 PAFZZ PAOZZ PAGZZ PAHZZ D .008 5305-00-036-6977 SCREW, ASSEMBLED WASHER EA 2 51
8-32 X 3/8 IN LG
69-662-33 (30554)
61-080641-40-0142B-0542B (78189)
57 16 PAFZZ PAOZZ PAGZZ PAHZZ - .040 5950-00-024-1099 TRANSFORMER, POWER EA 1 1
70-1073 (30554)
7002-0016 (93742)
57 17 PAFZZ PAOZZ XBGZZ PAHZZ D .00B 5325-00-263-6632 GROMMET. NONMETALLIC EA 1 1
MS35489-6 (96906)
57 18 PAFZZ PAOZZ XBGZZ PAHZZ D .008 5325-00-281-1557 GROMMET, NONMETALLIC EA 1 1
MS35489-17 (96906)
57 19 PAFZZ XB XBGZZ XBHZZ CHASIS, VR EA 1 1
70-1380 (30554)
155

TM 9-6115-545-24P
TO 35C2-3-444-4
NAVFAC P-8-626-24P
SL-400038G/07499A
Figure 58. Wiring Harness, Voltage Regulator.
156

(3)
USMC
(5)
DESCRIPTION USABLE
MFR ON
REF NUMBER CODE CODE
(8)
USMC
QTY
PER
EQUIP
(7)
QTY
INC
IN
UNIT
(6)
U/M
a
SSI
(2)
SMR CODE
(1)
ILLUSTRATION
d
USMC
c
NAVY
b
AIR
FORCE
a
ARMY
(a)
FIG
NO.
(b)
ITEM
NO.
(4)
NATIONAL
STOCK
NUMBER
b
REPL
FACTOR
TM 9-6115-545-24P
TO 35C2-3-444-4 4
NAVFAC P-626-24P
SL-400038G/07499A
58 MFFZZ MOO AFGZZ AFFZZ WIRING
HARNESS, VOLTAGE EA 1 1 REGULATOR
70-1425
70-1425 (30554)
MANUFACTURE FROM (93742)
58 1 PAFZZ PAOZZ PAGZZ PAFZZ - .008 5975-00-727-5153 STRAP, TIEDOWN EA 30 1094
MS3367-4-9 (96906)
58 2 PAFZZ PAOZZ PAGZZ PAFZZ - .008 5975-00-074-2072 STRAP, TIEDOWN EA 30 2557
MS3367-1-9 (96906)
58 3 PAFZZ PAOZZ XBGZZ PAFZZ - ..008 5940-00-283-5280 TERMINAL, LUG EA 9 549
MS25036-106 (96906)
58 4 PAFZZ PAOZZ PAGZZ PAFZZ - .023 5935-00-813-4364 CONNECTOR,RECEPTACLE EA 1 1
MS3102R18-1S (30554)
58 5 PAFZZ PAOZZ PAGZZ PAFZZ - .008 5970-00-812-2969 INSULATION,SLEEVING FT 2 18
M23053/5-104-0 (81349)
58 6 PAFZZ PAOZZ PAGZZ PAFZZ - .080 6145-00-578-6605 WIRE,ELECTRICAL 181 IN FT 16 1010
M5086/2-16-9 (81349)
157

TM 9-6115-545-24P
TO 35C2-3-444-4
NAVFAC P-8-626-24P
SL-400038G/07499A
Figure 59. Voltage Regulator Circuit Card Assembly.
158

(3)
USMC
(5)
DESCRIPTION USABLE
MFR ON
REF NUMBER CODE CODE
(8)
USMC
QTY
PER
EQUIP
(7)
QTY
INC
IN
UNIT
(6)
U/M
a
SSI
(2)
SMR CODE
(1)
ILLUSTRATION
d
USMC
c
NAVY
b
AIR
FORCE
a
ARMY
(a)
FIG
NO.
(b)
ITEM
NO.
(4)
NATIONAL
STOCK
NUMBER
b
REPL
FACTOR
TM 9-6115-545-24P
TO 35C2-3-444-4 4
NAVFAC P-626-24P
SL-400038G/07499A
59 PAFFF PAOOOPAGGG PAFHHI 1 020 611000-342-9762 CIRCUITCARD ASSEMBLY VOLTAGE EA 1 2
REGULATOR
70-1370 (30554)
70-1370 (93742)
59 1 PAFZZ PAOZZ PAGZZ PAHZZ - .040 5691-00-765-4589 SEMICONDUCTOR DEVICE EA 1 1
JAN2N2060 (81349)
59 2 PAFZZ PAOZZ PAGZZ PAHZZ - .040 5691-00-943-9407 TRANSISTOR EA 1 1
JAN2N3250A (81349)
59 3 PAFZZ PAOZZ PAGZZ PAHZZ .040 5961-00-995-2310 SEMICONDUCTOR DEVICE EA 1 1
JAN1N752A (81349)
59 4 PAFZZ PAOZZ PAGZZ PAHZZ ..040 5961-00-087-6047 SEMICONDUCTOR DEVICE EA 4 8
JAN1N645 (81349)
59 5 PAFZZ PAOZZ PAGZZ PAHZZ - .040 5961-00-8531065 SEMICONDUCTOR EA 1 1
JAN1N3026B (81349)
59 6 PAFZZ PAOZZ PAGZZ PAHZZ .050 5905-01-014-4761 RESISTOR, VARIABLE EA 1 1
RJR24FW103P (81349)
59 7 PAFZZ PAOZZ PAGZZ PAHZZ - .050 591000-154-0547 CAPACITOR, FIXED EA 1 1
M39003/01-3032 (81349)
59 8 PAFZZ PAOZZ PAGZZ PAHZZ .050 5910-00-551-8865 CAPACITOR. FIXED EA 1 1
M39003/02-0191 (81349)
59 9 PAFZZ PAOZZ PAGZZ PAHZZ ..040 5905-00-106-9344 RESISTOR, FIXED EA 1 1
RCR20G101JS (81349)
59 10 PAFZZ PAOZZ PAGZZ PAHZZ - 040 5905-00-141-1130 RESISTOR, FIXED EA 1 1
RCR20G272JS (81349)
59 11 PAFZZ PAOZZ PAGZZ PAHZZ - .040 5905-00-111-8357 RESISTOR. FIXED EA 1 1
RCR20G681JS (81349)
59 12 PAFZZ PAOZZ PAGZZ PAHZZ - .050 5905-00-422-3848 RESISTOR. FIXED, WIRE EA 2 3
RWR89S1001FR (81349)
59 13 PAFZZ PAOZZ PAGZZ PAHZZ .050 5905-00-594-2643 RESISTOR, VARIABLE EA 1 1
RJR24FW102P (81349)
59 14 PAFZZ PAOZZ PAGZZ PAHZZ .050 5905-00-409-3415 RESISTOR FIXED, WIRE EA 1 3
RWR89S1000FR (81349)
59 15 PAFZZ PAOZZ PAGZZ PAHZZ .050 5905-01-179-8490 RESISTOR, FIXED, WIRE EA 1 1
RWR89S2001FR (81349)
59 16 PAFZZ PAOZZ PAGZZ PAHZZ - .050 5905-00-114-5361 RESISTOR FIXED. WIRE EA 1 11
RCR20G121JS (81349)
59 17 PAFZZ PAOZZ PAGZZ PAHZZ .050 5905-00-466-1494 RESISTOR, FIXED, WIRE EA 1 1
RWR89S3011FR (81349)
59 18 PAFZZ PAOZZ PAGZZ PAHZZ .050 5905-00-997-2212 RESISTOR, FIXED EA 1 1
RW79U4991F (44665)
59 19 PAFZZ PAOZZ PAGZZ PAHZZ .050 5905-01-186-4927 RESISTOR, FIXED, WIRE EA 1 1
RWR89S1500FS (81349)
59 20 PAFZZ PAOZZ PAGZZ PAHZZ .040 5961-00-837-7262 TRANSISTOR EA 1 2
JAN2N697 (81349)
59 21 PAFZZ PAOZZ PAGZZ PAHZZ - . 040 5961-00-926-7299 TRANSITOR EA 1 1
JAN2N489A (81349)
59 22 PAFZZ PAOZZ PAGZZ PAHZZ - .040 5905-00-1048350 RESISTOR, FIXED EA 1 11
RCR20G221JS (81349)
59 23 PAFZZ PAOZZ PAGZZ PAHZZ - .004 5950-01-121-2164 TRANSFORMER. PULSE EA 1 1
70-1390 (30554)
59 24 PAFZZ PAOZZ PAGZZ PAHZZ - .050 5905-01-013-6993 RESISTOR. VARIABLE EA 1 1
RJR24FN503P (81349)
59 25 PAFZZ PAOZZ XBGZZ PAHZZ 5999-00-774-4004 MOUNTING PAD EA 1 1
70-1187 (30554)
10405N (07047)
59 26 XBFZZ XB XBGZZ XBHZZ MOUNTING PAD EA 3 4
70-1188 (30554)
59 27 PAFZZ PAOZZ XBGZZ PAFZZ D .008 5305-00-889-3001 SCREW, MACHINE EA 2 4
M535206-231 (96906)
159

(3)
USMC
(5)
DESCRIPTION USABLE
MFR ON
REF NUMBER CODE CODE
(8)
USMC
QTY
PER
EQUIP
(7)
QTY
INC
IN
UNIT
(6)
U/M
a
SSI
(2)
SMR CODE
(1)
ILLUSTRATION
d
USMC
c
NAVY
b
AIR
FORCE
a
ARMY
(a)
FIG
NO.
(b)
ITEM
NO.
(4)
NATIONAL
STOCK
NUMBER
b
REPL
FACTOR
TM 9-6115-545-24P
TO 35C2-3-444-4 4
NAVFAC P-626-24P
SL-400038G/07499A
59 28 PAFZZ PAOZZ PAGZZ PAFZZ D .010 5310-00-983-8483 WASHER, FLAT, NO 8 EA 2 36
MS27183-5 (96906)
59 29 PAFZZ PAOZZ XBGZZ PAFZZ D .008 5310-00-052-3632 NUT. PLATE ASSEMBLED WASHER EA 2 180
8-32
69-561-3 (30554)
511081800 (78189)
59 30 PAFZZ PAOZZ XBGZZ XBHZZ 5940-00-983-6068 TERMINAL BOARD EA 1
40TB7 (81349)
59 31 XBFZZ XB XAGZZ XAHZZ BOARD, PRINTEDCIRCUIT EA 1 1
70-1373 (30554)
70-1373 (93742)
160

TM 9-6115-545-24P
TO 35C2-3-444-4
NAVFAC P-8-626-24P
SL-400038G/07499A
Figure 60. Circuit Card Assembly.
(161 blank)/162

(3)
USMC
(5)
DESCRIPTION USABLE
MFR ON
REF NUMBER CODE CODE
(8)
USMC
QTY
PER
EQUIP
(7)
QTY
INC
IN
UNIT
(6)
U/M
a
SSI
(2)
SMR CODE
(1)
ILLUSTRATION
d
USMC
c
NAVY
b
AIR
FORCE
a
ARMY
(a)
FIG
NO.
(b)
ITEM
NO.
(4)
NATIONAL
STOCK
NUMBER
b
REPL
FACTOR
TM 9-6115-545-24P
TO 35C2-3-444-4 4
NAVFAC P-626-24P
SL-400038G/07499A
60 PAFFZ PAOOOPAGGG PAFHH 6130-00-364-0828 CIRCUITCARD ASSY, 400 HZ CF EA 1 2
70-1372 (30554)
70-1372 (93742)
60 PAFFZ PAOOOPAGGG PAFHH I .490 5999-00-340-9843 CIRCUITCARD ASSY.50/60 HZ ABDE EA 1 2
70-1371 (30554)
70-1371 (93742)
60 1 PAFZZ PAOZZ XBGZZ PAFZZ D .008 5305-00-889-3001 SCREW. MACHINE, 6-32 X5/8 IN EA 2 4
LG
MS35206-231 (96906)
60 2 PAFZZ PAOZZ XBGZZ PAFZZ D .008 5310-00-063-7360 NUT, PLAIN ASSEMBLED 6-32 EA 2 99
60-561-2 (30554)
511-061800-00 (78189)
60 3 PAFZZ PAOZZ XBGZZ PAFZZ D .010 5310-00-983-8483 WASHER, FLAT NO 6 EA 2 36
MS27183-5 (96906)
60 4 PAFZZ PAOZZ XBGZZ XBHZZ 5940-00-983-6067 TERMINAL BOARD EA 1 1
40TB6 (81349)
60 5 PAFZZPAOZZ PAGZZ PAHZZ - ..040 5961-00-087-6047 SEMICONDUCTOR DEVICE, DIODE EA 4 8
JAN1N645 (81349)
60 6 PAFZZ PAOZZ PAGZZ PAHZZ - .090 5905-01-012-9761 RESISTOR, VARIABLE EA 1 1
RJR24FW502P (81349)
60 7 PAFZZ PAOZZ PAGZZ PAHZZ - .040 5905-00-104-8348 RESISTOR, FIXED EA 1 1
RCR20G332JS (81349)
60 8 PAFZZ PAOZZ PAGZZ PAHZZ - .040 59861-00-826-9048 SEMICONDUCTOR DEVICE. DIODE EA 1 1
JAN1N3020B (81349)
60 9 PAFZZ PAOZZ PAGZ PAHZZ - .040 5961-00-837-7262 TRANSISTOR EA 1 2
JAN2N697 (81349)
60 10 PAFZZ PAOZZ XBGZZ PAHZZ 5999-00-350-2466 PAD, TRANSISTOR EA 1 4
70-1188 (30554)
60 11 PAFZZ PAOZZ PAGZZ PAHZZ - .050 5910-00-175-4632 CAPACITOR, FIXED EA 3 3
M3906/01-3074 (81349)
60 12 PAFZZ PAOZZ PAGZZ PAHZZ - .050 5910-00-175-4632 CAPACITOR. FIXED ABDE EA 1 1
M39006/01-3074 (81349)
60 13 PAFZZ PAOZZ PAGZZ PAHZZ - .050 5910-00-621-9459 CAPACITOR, FIXED ABDE EA 1 1
CQ05A1KB74K3 (81349)
60 13 PAFZZ PAOZZ PAGZZ PAHZZ 5910-00-621-9513 CAPACITOR, FIXED CF EA 1 1
CO05A1KC223K3 (81349)
60 14 XBFZZ XB XBGZZ XBHZZ - .006 EYEL, METALLIC EA 10
12 70-1391 (30554)
A334 (57771)
60 15 PAFZZPAOZZ XBGZZ XBHZZ 5340-00-951-8214 CLIP,CAPACITOR ABDE EA 2 2
M24066-2-123 (81349)
60 16 PAFZZ PAOZZ XBOZZ XBHZZ 5340-00-187-5664 CLIP,CAPACITOR ABDE EA 2 2
M24066-2-128 (81348)
60 17 PAFZZ PAOZZ PAGZZ PAHZZ - .050 5910-00-403-5093 CAPACITOR, FIXED EA 1 1
M39006/01-3071 (81349)
60 18 PAFZZ PAOZZ PAGZZ PAHZZ - .040 5905-01-170-3601 RESISTOR. FIXED, WIRE EA 1 1
RWR74S1000FS (81349)
60 19 PAFZZ PAOZZ PAGZZ PAHZZ - .040 5905-00-435-1723 RESISTOR. FIXED EA 1 1
RCR32G512JS (81349)
60 20 PAFZZ PAOZZ PAGZZ PAHZZ - .050 5905-01-186-3797 RESISTOR. FIXED EA 1 1
RWR84S3010FS (81349)
60 21 XBFZZ XB XBGZZ XBHZZ PRINTEDCIRCUIT BOARD ABDE EA 1 1
70-1374-1 (30554)
70-1374-1 (93742)
60 21 XBFZZ XB XBGZZ XBHZZ PRINTEDCIRCUIT BOARD CF EA 1 1
70-1374-2 (30554)
70-1374-2 (93742)
163/(164 blank)

TM 9-6115-545-24P
TO 35C2-3-444-4
NAVFAC P-8-626-24P
SL-400038G/07499A
Figure 61. Special Relay Assembly (Sheet 1 of 2).
165

TM 9-6115-545-24P
TO 35C2-3-444-4
NAVFAC P-8-626-24P
SL-400038G/07499A
Figure 61. Special Relay Assembly (Sheet 2 of 2).
166

(3)
USMC
(5)
DESCRIPTION USABLE
MFR ON
REF NUMBER CODE CODE
(8)
USMC
QTY
PER
EQUIP
(7)
QTY
INC
IN
UNIT
(6)
U/M
a
SSI
(2)
SMR CODE
(1)
ILLUSTRATION
d
USMC
c
NAVY
b
AIR
FORCE
a
ARMY
(a)
FIG
NO.
(b)
ITEM
NO.
(4)
NATIONAL
STOCK
NUMBER
b
REPL
FACTOR
TM 9-6115-545-24P
TO 35C2-3-444-4 4
NAVFAC P-626-24P
SL-400038G/07499A
61 PBFHH PBOOO XBGZZ PAFHH I 290 6115-00-244-1212 RELAYASSY,SPECIAL50/60 HZ ABDE EA 1 2
70-1053 (30554)
70-1053 (93742)
61 PBFHH PBOOO XBGZZ PAHZZ 611540-244-1213 RELAY ASSY.SPECIAL 400 HZ CF EA 1 2
70-1058 (30554)
70-1058 (93742)
61 1 PAFZZ PAOZZ XBGZ PAHZZ D 008 5305-00-036-6978 SCREW, ASSEMBLED WASHER EA 7 50
10-24 X 3/8 IN. LG
69-662-48 (30554)
61-100641-40-0142B0542B (78189)
61 2 PBFZZ PBOZZ XBGZZ XBHZZ 6115-01-150-0730 PANEL,REMOVABLE EA 1 1
70-1056 (30554)
70-1056 (93742)
61 3 PAFZZ PAOZZ XBGZZ PAHZZ D .008 5305-00-036-6977 SCREW. ASSEMBLED WASHER EA 13 51
8-32 X 3/8 IN LG
69-662-33 (30554)
61-080641-40-0142B-0542B (78189)
61 4 PAFZZ PAOZZ PAGZZ PAHZZ D .008 5310-00-052-3632 NUT. PLAIN ASSEMBLED 8-32 EA 45 180
69-561-3 (30554)
511-081800-00 (78189)
61 5 PAFZZ PAOZZ PAGZZ PAHZZ D .008 5935-00-024-1054 DUMMY,CONNECTOR, PLUG ABDE EA 1 1
070-1221 (30554)
61 6 PAFZZ PAOZZ XBGZZ PAHZZ D .023 5935-00-845-1349 CONNECTOR, PLUG. ABDE EA 1 3
ELECTRICAL
MS3106R24-28P (96906)
61 7 PAFZZ PAOZZ PAGZZ PAHZZ D .008 5305-00-211-9344 SCREW. ASSEMBLED WASHER ABDE EA 1 16
6-32 X5/16 IN LG.
69-662-17 (30554)
61-060501-40-0142B-0542B (78189)
61 8 PAFZZ PAOZZ XBGZZ PAHZZ 4010-40-157-5921 CHAIN, WELDLESS ABDE EA 1 1
NAS1455-14C (80205)
61 9 PAFZZ PAOZZ PAGZZ PAHZZ D .008 5305-00-036-6970 SCREW. ASSEMBLED WASHER EA 2 2
4-40 X5/16 IN LG.
69-662-2 (30554)
61-040541-40-0142B0542B (78189)
61 10 PAFZZ PAOZZ XBGZ PAHZZ D .008 5310-00-836-3520 NUT. PLAIN ASSEMBLED 4-40 EA 23 76
69-561-1 (30554)
511-041800-00 (78189)
61 11 PAFZZ PAOZZ PAGZZ PAHZZ D .008 5935-01-176-1708 COVER,ELEC EA 1 1
MS25043-22DA (96906)
61 12 PAFZZ PAOZZ XBGZZ PAHZZ D .008 5935-01-175-8419 COVER,ELEC EA 1 3
MS25043-18DA (96906)
61 13 PAFZZ PAOZZ XBGZZ PAHZZ D .008 5305-00-038-3103 SCREW, ASSEMBLED WASHER EA 12 26
8-32 X 1/2 IN LG
69-662-35 (30554)
61-080841-40-0142B0542B (78189)
61 14 PAFZZ PAOZZ XBGZZ PAHZZ D .008 5305-00-038-3089 SCREW, ASSEMBLED WASHER EA 20 42
4-40 X7/16 IN. LG.
69-662-4 (30554)
61 15 PAFZZ PAOZZ XBGZZ PAHZZ D .008 5305-00-036-6972 SCREW, ASSEMBLED WASHER
61-060841-40-0142B0542B (78189) EA 8 30
6-32 X 1/2 IN. LG.
69-662-20 (30554)
61-060841-40-0142B0542B (78189)
61 16 PAFZZ PAOZZ XBGZZ PAHZZ D .008 5310-00-063-7360 NUT, ASSEMBLED WASHER 6-32 EA 12 99
69-561-2 (30554)
511-061800-00 (78189)
61 17 PAFZZ PAOZZ XBGZZ PAHZZ D .008 5330-00-599-9126 GASKET,CONNECTOR EA 1 2
70-1228-3 (30554)
10-36675-20 (77820)
61 18 PAFZZ PAOZZ XBGZZ PAHZZ D .008 5330-00-298-0190 GASKET,CONNECTOR EA 2 2
70-1228-2 (30554)
10-36675-18 (77820)
61 19 PAFZZ PAOZZ XBGZ PAHZZ D .0081 5330-00-570-5097 GASKET,CONNECTOR EA 1 1
70-1228-4 (30554)
10-36675-22 (77820)
167

(3)
USMC
(5)
DESCRIPTION USABLE
MFR ON
REF NUMBER CODE CODE
(8)
USMC
QTY
PER
EQUIP
(7)
QTY
INC
IN
UNIT
(6)
U/M
a
SSI
(2)
SMR CODE
(1)
ILLUSTRATION
d
USMC
c
NAVY
b
AIR
FORCE
a
ARMY
(a)
FIG
NO.
(b)
ITEM
NO.
(4)
NATIONAL
STOCK
NUMBER
b
REPL
FACTOR
TM 9-6115-545-24P
TO 35C2-3-444-4 4
NAVFAC P-626-24P
SL-400038G/07499A
61 20 PAFZZ PAOZZ XBGZZ PAHZZ D .008 5330-00-355-8976 GASKET.CONNECTOR EA 1 6
70-1228-1 (30554)
10-36675-14 (77820)
61 21 PAFZZ PAOZZ XBGZZ PAHZZ D .008 5330-00-298-0189 GASKET,CONNECTOR EA 2 2
70-1228-5 (30554)
10-36675-36 (77820)
61 22 PAFZZ PAOZZ XBGZZ PAHZZ D .008 5330-00-614-0344 GASKET,CONNECTOR EA 1 1
70-1228-5 (30554)
10-36675-32 (77820)
61 23 XBFZZ XB XBGZZ XBHZZ COVER, RELAY BOX EA 1 1
70-1057 (30554)
70-1057 (93742)
61 24 PAFZZ PAOZZ PAGZZ PAHZZ D .090 5905-01-021-9133 RHEOSTAT EA 1 1
75-0851 (30554)
61 25 PAFZZ PAOZZ PAGZZ PAHZZ D .010 5310-00-180-0277 WASHER, LOCK CF EA 1 1
MS35333-76 (96906)
61 26 PAFZZ PAOZZ PAGZZ PAHZZ D .050 5905-00-079-3946 RHEOSTAT CF EA 1 2
70-1630 (30554)
MODEL H L4204 (44655)
61 27 PAFZZ PAOZZ XBGZZ PAHZZ 5320-01-033-4375 RIVET, BLIND EA 8 84
M24243/6-C602H (81349)
61 28 XBFZZ MDO XCGZZ MDOZZ PLATE, DESIGNATION EA 1 1
70-1307 (30554)
70-1307 (93742)
61 29 XBFZZ MDO XCGZZ MDOZZ PLATE, DESIGNATION CF
EA 1 1 70-1308 (30554)
70-1308 (93742)
61 30 PAFZZ PAOZZ XBGZZ PAHZZ D .008 5305-00-036-6908 SCREW, ASSEMBLED WASHER EA 1 1
1/4-20 X 1Q2 IN LG.
69-662-83 (30554)
61-252441-40-0142BO0542B (70189)
61 31 PAFZZ PAOZZ XBGZZ PAHZZ D .010 5310-00-889-2528 WASHER, LOCK, INTERNAL EA 1 46
EXTERNAL TEETH
MS45904-68 (96906)
61 32 PAFZZ PAOZZ XBGZZ PAHZZ D .010 5310-00-809-4058 WASHER, FLAT 1/4 IN EA 2 21
MS27183-10 (96906)
61 33 PAFZZ PAOZZ XBGZZ PAHZZ D .008 5310-00-761-6882 NUT, PLAIN HEXAGON 1/4-20 EA 2 52
MS51967-2 (96906)
61 34 PAFZZ PAOZZ XBGZZ PAHZZ D .008 5305-00-184-9508 SCREW, ASSEMBLED WASHER EA 2 39
70-1319-1 (30554)
61-250681-00-0242B-0542B (78189)
61 35 PAFZZ PAOZZ XBGZZ PAHZZ D .008 5310-00-696-5173 NUT, PLAIN ASSEMBLED EA 2 131
69-561-5 (30554)
511-251800-00 (78189)
61 36 PAFZZ PAOZZ PAGZZ PAHZZ - .050 5945-00-855-7478 RELAY,CRANKING EA 1 1
70-1140 (30554)
70-117224-5 (80089)
61 37 PAFZZ PAOZZ PAGZZ PAHZZ - .050 5950-01-121-2165 TRANSFORMER,CURRENT EA 1 1
70-1139 (30554)
7002-0014 (93742)
61 38 PAFZZ PAOZZ XBGZZ XBHZZ 6150-00-519-2714 BUS,CONDUCTOR EA 6 6
69-651-2 (30554)
61 39 PAFZZ PAOZZ XBGZZ PAHZZ D . 008 5305-00-038-3145 SCREW, ASSEMBLED WASHER EA 4 4
8-32 X 314 IN LG
69-662-37 (30554)
61-081241-40-0142B0542B (78189)
61 40 PAFZZ PAOZZ XBGZZ PAHZZ 5940-00-983-6096 TERMINAL BOARD EA 2 2
38TB20 (81349)
61 41 PAFFZ PAFFF AFGZZ PAFHH I .350 6110-00-201-6015 CIRCUITCARD ASSEMBLY,SEE EA 1 2
FIG 64 FOR BREAKDOWN
69-768 (30554)
69-768 (93742)
61 42 PAHZZ PAFZZ PAGZZ PAHZZ - .050 5905-00-642-1955 RESISTOR, FIXED, WIREWOUND EA 1 1
RW33V100 (81349)
168

(3)
USMC
(5)
DESCRIPTION USABLE
MFR ON
REF NUMBER CODE CODE
(8)
USMC
QTY
PER
EQUIP
(7)
QTY
INC
IN
UNIT
(6)
U/M
a
SSI
(2)
SMR CODE
(1)
ILLUSTRATION
d
USMC
c
NAVY
b
AIR
FORCE
a
ARMY
(a)
FIG
NO.
(b)
ITEM
NO.
(4)
NATIONAL
STOCK
NUMBER
b
REPL
FACTOR
TM 9-6115-545-24P
TO 35C2-3-444-4 4
NAVFAC P-626-24P
SL-400038G/07499A
61 43 PAHZZ PAOZZ XBGZZ PAHZZ 5905-00-860-6276 BRACKET,RESISTOR EA 1 1
MS75009-33 (96906)
61 44 PAHZZ PAOZZ XBGZZ PAHZZ D .008 5305-00-038-3148 SCREW, ASSEMBLED WASHER EA 2 22
10-24 X5/8 IN. LG.
69-662-51 (30554)
61-101041-40-0142B-0542B (78189)
61 45 PAHZZ PAOZZ XBGZZ PAHZZ D .008 5310-00-094-3421 NUT, PLAIN ASSEMBLED 10-24 EA 2 52
69-561-4 (30554)
511-101800-00 (78189)
61 46 PAHZZ PAOZZ XBGZZ PAHZZ - .050 6625-00-892-4342 SHUNT. INSTRUMENT EA 1 1
MS91586-10 (96906)
61 47 PAHHH PAOOO AFGZZ PAFHH .050 5915-00-093-1410 RESISTOR ASSY BCEF EA 1 3
See fig 63 for Breakcown
70-1061 (30554)
70-1061 (93742)
61 48 PAFZZ PAOZZ XBGZZ PAHZZ D .008 5305-00-038-3122 SCREW, ASSEMBLED WASHER EA 12 25
8-32 X 7/16 IN. LG
69662-34 (30554)
61-080741-40-0142B42B (78189)
61 49 PAFZZ PAOZZ PAGZZ PAHZZ .050 5945-00-922-0030 RELAY,ELECTROMAGNETIC CF EA 1 2
70-1120 (30554)
11636 (12670)
61 50 PAHZZ PAOZZ PAGZZ PAHZZ . .050 5945-00-922-0031 RELAY.ELECTROMAGNETIC CF EA 1 1
70-1141 (30554)
23370 (12670)
61 51 PAHZZ PAOZZ PAGZZ PAHZZ .050 5945-00-450-9136 RELAY, PERMISSIVE PARALLEL CF EA 1 2
70-1118 (30354)
23390 (12670)
61 52 XBHZZ XB XBGZZ XBHZZ HOUSING. RELAY BOX CF EA 1 1
70-1059 (30554)
70-1059 (93742)
61 52 XBHZZ XB XBGZZ XBHZZ HOUSING. RELAY BOX ABDE EA 1 1
70-1054 (30554)
70-1054 (93742)
169/(170 blank)

TM 9-6115-545-24P
TO 35C2-3-444-4
NAVFAC P-8-626-24P
SL-400038G/07499A
Figure 62. Wiring Harness, Special Relay Box 50/60 Hz (Sheet 1 of 2).
171

TM 9-6115-545-24P
TO 35C2-3-444-4
NAVFAC P-8-626-24P
SL-400038G/07499A
Figure 62. Wiring Harness, Special Relay Box 50/60 Hz (Sheet 2 of 2).
172

(3)
USMC
(5)
DESCRIPTION USABLE
MFR ON
REF NUMBER CODE CODE
(8)
USMC
QTY
PER
EQUIP
(7)
QTY
INC
IN
UNIT
(6)
U/M
a
SSI
(2)
SMR CODE
(1)
ILLUSTRATION
d
USMC
c
NAVY
b
AIR
FORCE
a
ARMY
(a)
FIG
NO.
(b)
ITEM
NO.
(4)
NATIONAL
STOCK
NUMBER
b
REPL
FACTOR
TM 9-6115-545-24P
TO 35C2-3-444-4
NAVFAC P-8-626-24P
SL-400038G/07499A
62 MFHZZ AOO AFGZZ AFGZZ WIRING HARNESS SPECIAL RELAY ABDE EA 1 1
BOX 50060 HZ
70-1202 (30554)
70-1202 (93742)
62 MFHZZ AOO AFGZZ AFGZZ WIRNG HARNESS SPECIAL RELAY CF EA 1 1
BOX 400 HZ
70-1201 (30554)
70-1201 (93742)
MANUFACTURE FROM
62 1 PAHZZ PAOZZ PAGZZ PAFZZ D.008 5975-00-727-5153 STRAP TIEDOWN ELECTRIC EA 150 1094
MS3367-4-9 (96906)
62 2 PAHZZ PAOZZ PAGZZ PAFZZ D.008 5975-00-074-2072 STRAP, TIEDOWN ELECTRIC EA 150 2557
MS3367-1-9 (96906)
62 3 PAHZZ PAOZZ PAGZZ PAFZZ D.008 5940-00-825-5041 TERMINAL, LUG EA 4 4
MS17143-6 (96906)
62 4 PAHZZ PAOZZ PAGZZ PAFZZ D.008 5940-00-143-4774 TERMINAL, LUG EA 6 113
MS25036-153 (96906)
62 5 PAHZZ PAOZZ PAGZZ PAFZZ D.008 5940-00-113-8183 TERMINAL, LUG EA 1 3
MS25036-113 (96906)
62 6 PAHZZ PAOZZ PAGZZ PAFZZ D.008 5940-00-143-4780 TERMINAL, LUG EA 2 48
MS25036-108 (96906)
62 7 PAHZZ PAOZZ XBGZZ PAFZZ D.008 5940-00-1434777 TERMINAL, LUG EA 15 40
MS25036-157 (96906)
62 8 PAHZZ PAOZZ XBGZZ PAFZZ D.008 5940-00-2300515 TERMINAL, LUG EA 27 36
MS25036-154 (96906)
62 9 PAHZZ PAOZZ XBGZZ PAFZZ D.008 5940-00-2835280 TERMINAL, LUG EA 288 549
MS25036-106 (96906)
62 10 PAHZZ PAOZZ PAGZZ PAFZZ D.023 5935-00-844-4467 CONNECTOR, RECEPTACLE EA 1 2
MS3102R36-7P (96906)
62 11 PAHZZ PAOZZ PAGZZ PAFZZ D.023 5935 00-7257248 CONNECTOR. RECEPTACLE EA 1 1
MS3102R28-12SC 96906)
62 12 PAHZZ PAOZZ PAGZZ PAFZZ D.023 5935-00-721-0501 CONNECTOR. RECEPTACLE EA 1 1
MS3102R24-28S (96906)
62 13 PAHZZ PAOZZ PAGZZ PAFZZ D.023 5935-00-682-0567 CONNECTOR. RECEPTACLE EA 1 2
MS3102R22-19S (96906)
62 14 PAHZZ PAOZZ PAGZZ PAFZZ D.023 5935-00-7553494 CONNECTOR, RECEPTACLE EA 1 1
MS3102R20-29S (96906)
62 15 PAHZZ PAOZZ PAGZZ PAFZZ D.023 5935-00-726-8317 CONNECTOR. RECEPTACLE EA 1 3
MS3102R32-7P (96906)
62 16 PAHZZ PAOZZ PAGZZ PAFZZ D.023 5935000-801-6620 CONNECTOR, RECEPTACLE EA 1 1
MS3102R14S6S (96906)
62 17 PAHZZ PAOZZ PAGZZ PAFZZ D.023 5935-00-642-6316 CONNECTOR, RECEPTACLE EA 1 2
MS3102R18-1 1SC (96906)
62 18 PAHZZ PAOZZ PAGZZ PAFZZ D.023 593500-801-6621 CONNECTOR, RECEPTACLE EA 1
MS3102R20-27S (96906)
62 19 PAHZZ PAOZZ PAGZZ PAFZZ D.023 593500-824-7883 CONNECTOR, RECEPTACLE EA 1
MS3102R36-7S (96906)
62 20 PAHZZ PAOZZ PAGZZ PAFZZ D.008 5970-00-812-2969 INSULATION, SLEEVING FT 3
M23053/51040 (81349)
62 20 PAHZZ PAOZZ PAGZZ PAFZZ D 5970-00-954-1622 INSULATION, SLEEVING FT 3
M23053/5105-0 (81349)
62 21 PAHZZ PAOZZ PAGZZ PAFZZ D.080 6145-00-57807514 WIRE, ELECTRICAL 269 IN FT 23
M5086/2-12-9 (81349)
62 22 PAHZZ PAOZZ PAGZZ PAFZZ D.080 6145-00-578-6605 WIRE, ELECTRICAL 4286 IN FT 358
M5086/2-16-9 (81349)
173

TM 9-6115-545-24P
TO 35C2-3-444-4
NAVFAC P-8-626-24P
SL-400038G/07499A
Figure 63. Resistor Assembly.
174

(3)
USMC
(5)
DESCRIPTION USABLE
MFR ON
REF NUMBER CODE CODE
(8)
USMC
QTY
PER
EQUIP
(7)
QTY
INC
IN
UNIT
(6)
U/M
a
SSI
(2)
SMR CODE
(1)
ILLUSTRATION
d
USMC
c
NAVY
b
AIR
FORCE
a
ARMY
(a)
FIG
NO.
(b)
ITEM
NO.
(4)
NATIONAL
STOCK
NUMBER
b
REPL
FACTOR
TM 9-6115-545-24P
TO 35C2-3-444-4
NAVFAC P-8-626-24P
SL-400038G/07499A
63 PAHHH PAOZZ XBGZZ PAFHH 591500-0931410 RESISTOR ASSY. See figure 61 BCDF EA
70-1061 (30554)
70-1061 (93742)
63 1 PAHZZ PAOZZ XBGZZ PAHZZ D.008 5305-00-038-3089 SCREW, ASSEMBLED WASHER BCEF EA 4 42
4-40 X 3/8 IN LG
89662-3 (30554)
61404064140-0142B0542B (78189)
63 2 PAHZZ PAOZZ XBGZZ PAHZZ D.008 5310-00-8363520 NUT, PLAIN ASSEMBLED 4-40 BCDF EA 4 74
69-561-1 (30554)
511-04180040 (78189)
63 3 PAHZZ PAOZZ PAGZZ PAHZZ 5805-00-140-9086 RESISTOR. FIXED WIRE BCEF EA 2 2
RER7OF2490R (81349)
63 4 PAHZZ PAOZZ PAGZZ PAHZZ 5910-00-782-5035 CAPACITOR, FIXED 6D UF 50 BCEF EA 1
VDCW
70-1524 (30554)
TAE60-SOSDNT-N-1 PORM15 (05884)
63 4 AFHHZ PAOZZ PAHZZ PAHZZ CAPACITOR ASSY. ELEC GOV EA 1
ONLY
83-2004 (30554)
63 5 XBHZZ XB XBGZZ PAHZZ EYELET METALLIC BCEF EA 2 12
70-1391 (30554)
A334 (57771)
63 6 PAHZZ PAOZZ XBGZZ PAHZZ D.005 5340-00-7256033 CLIP, SPRING TENSION BCEF EA 1 1
M24066-2-121 (81349)
63 7 PAHZZ PAOZZ XBGZZ PAHZZ D.008 5305-00-036-978 SCREW, ASSEMBLED WASHER BCEF EA 2 19
6-32 X 518 IN. LG
69-682-21 (30554)
61-061041-40-0142B054B (78189)
63 8 PAHZZ PAOZZ XBGZZ PAHZZ D.008 5310-00-063-7360 NUT, PLAIN ASSEMBLED BCEF EA 2 99
69-561-2 (30554)
511-061800-00 (78189)
63 9 PAHZZ PAOZZ XBGZZ PAHZZ D008 5940-00-283-5280 TERMINAL, LUG BCEF EA 6 549
MS25036-108 (96908)
63 10 PAHZZ PAOZZ XBGZZ PAHZZ 5940-00-983-6047 TERMINAL BOARD BCEF EA 1 2
37TB6 (81349)
63 11 XBHZZ MCO AFGZZ XBHZZ BRACKET, RESISTOR MTG BCEF EA 11
70-1080 (30554)
70-1080 (93742)
63 12 PAHZZ PAOZZ XBGZZ PAHZZ 5970-00-222-88611 TUBING, INSUL. FT 1 1
`MIL-I-631 (81349)
63 PAHZZ PAOZZ PAHZZ CAPACITOR EA 1 1
83-2017-17 (30554)
LPgA1A105J (56289)
63 PAHZZ PAOZZ PAHZZ TERMINAL LUG EA 2
MS25036-102 (96908)
63 XBHZZ XB XBHZZ TUBING, INSULATION 22AWG IN 3
MIL-1631TYF (81349)
175

TM 9-6115-545-24P
TO 35C2-3-444-4
NAVFAC P-8-626-24P
SL-400038G/07499A
Figure 64. Circuit Card Assembly.
176

(3)
USMC
(5)
DESCRIPTION USABLE
MFR ON
REF NUMBER CODE CODE
(8)
USMC
QTY
PER
EQUIP
(7)
QTY
INC
IN
UNIT
(6)
U/M
a
SSI
(2)
SMR CODE
(1)
ILLUSTRATION
d
USMC
c
NAVY
b
AIR
FORCE
a
ARMY
(a)
FIG
NO.
(b)
ITEM
NO.
(4)
NATIONAL
STOCK
NUMBER
b
REPL
FACTOR
TM 9-6115-545-24P
TO 35C2-3-444-4
NAVFAC P-8-626-24P
SL-400038G/07499A
64 PAFHH PAOOO AFGZZ PAFHH -350 6110-00-201-6015 CIRCUIT CARD ASSEMBLY EA 1 2
69-768 (30554)
69-768 (93742)
64 1 PAHZZ PAOZZ XBGZZ PAHZZ D008 5305-00-984-4982 SCREW MACHINE EA 16 16
MS35206-225 (96906)
64 2 PAHZZ PAOZZ XBGZZ PAHZZ D010 5310-00-045-4007 WASHER, LOCK EA 6 45
MS35338-41 (96906)
64 3 PAFZZ PAOZZ PAGZZ PAHZZ 030 5945-00-435-1833 RELAY. ELECTROMAGNETIC EA 3 6
M5757/23-003 (81349)
64 4 XBHZZ XB XBGZZ XBHZZ SOCKET, PLUG EA 3 3
69658 (30554)
VB11 FALL-80 (05574)
64 5 PAHZZ PAOZZ XBGZZ PAHZZ 5310-00-038-9413 NUT. PLAIN, HEXAGON EA 6 5
990-0002-009 (05574)
64 6 PAHZZ PAOZZ XBGZZ PAHZZ 5310-00-039-942 WASHER, LOCK EA 6 8
990-0001-035 (05574)
64 7 PAHZZ PAOZZ XBGZZ PAHZZ 5310-00-040-9822 WASHER. FLAT EA 6 8
990-0001-012 (05574)
64 8 PAHZZ PAOZZ XBGZZ PAHZZ 5365-00-402-9935 SPACER, SLEEVE EA 6 6
108-0007-000 (05574)
64 9 PAHZZ PAOZZ XBGZZ PAHZZ D008 5305-00-964-6221 SCREW, MACHINE 6-32 X 1 IN LG EA 4 6
MS35206-234 (96906)
64 10 PAHZZ PAOZZ XBGZZ PAHZZ D008 5310-00-063-7360 NUT, PLAIN, ASSEM 6-32 EA 8 99
69-561-2 (30554)
511-06180040 (78189)
64 11 PAHZZ PAOZZ XBGZZ PAHZZ D.010 5310-00-9838483 WASHER. FLAT, NO. 6 EA 4 36
M527183-5 (96906)
64 12 PAHZZ PAOZZ PAGZZ PAHZZ 5940-00-983-6073 TERMINAL BOARD EA 2 2
40TB12 (81349)
64 13 PAHZZ PAOZZ PAGZZ PAHZZ - .050 590501-189-2752 RESISTOR, FIXED, WIREWOUND EA 2 2
`RWR78S2671 FS (81349)
64 14 PAHZZ PAOZZ PAGZZ PAHZZ .050 590500-879-1163 RESISTOR, FIXED, WIREWOUND EA 2 2
RWS6V512 (81349)
64 15 PAHZZ PAOZZ PAGZZ PAHZZ - 050 590500-357-3093 RESISTOR, FIXED, WIREWOUND EA 1 2
RWR78S1501FS (81349)
64 16 PAHZZ PAOZZ PAGZZ PAHZZ - .040 5961-00-9767660 SEMICONDUCTOR DEVICE, DIODE EA 1 1
JAN1N540 (81349)
64 17 PAHZZ PAOZZ PAGZZ PAHZZ - .040 5961-00-9355032 SEMICONDUCTOR DEVICE EA 1 1
69-740 (30554)
1N4722 (80131)
64 18 PAHZZ PAOZZ PAGZZ PAHZZ - 040 5961-01-151-4695 RECTIFIER, SEMICONDUCTOR EA 1 2
69-739 (30554)
B-598-40 (06288)
64 19 XBHZZ XA XBGZZ XBHZZ BOARD, PRINTED CIRCUIT EA 1 1
69-767 (30554)
69-767 (93742)
177

TM 9-6115-545-24P
TO 35C2-3-444-4
NAVFAC P-8-626-24P
SL-400038G/07499A
Figure 65. Load Measuring Unit.
178

(3)
USMC
(5)
DESCRIPTION USABLE
MFR ON
REF NUMBER CODE CODE
(8)
USMC
QTY
PER
EQUIP
(7)
QTY
INC
IN
UNIT
(6)
U/M
a
SSI
(2)
SMR CODE
(1)
ILLUSTRATION
d
USMC
c
NAVY
b
AIR
FORCE
a
ARMY
(a)
FIG
NO.
(b)
ITEM
NO.
(4)
NATIONAL
STOCK
NUMBER
b
REPL
FACTOR
TM 9-6115-545-24P
TO 35C2-3-444-4
NAVFAC P-8-626-24P
SL-400038G/07499A
65 PAFFF PAOOO PAGGG PAFFF 1 130 6115-00-911-1368 LOAD MEASURING UNIT EA 1 2
69-500 (30554)
69-500 (12670)
65 1 XCOZZ XC XCOZZ XC DECAL, PLATE IDENTIFICATION EA 1 1
69-506 (12670)
69-506 (30554)
65 2 PAFZZ PAOZZ XB PAFZZ D.008 5310-00-934-9747 NUT, HEXAGON. 6-32 EA 10 37
MS35649-262 (96906)
65 3 PAFZZ PAOZZ XB PAFZZ D.010 5310-00-0454007 WASHER, LOCK NO 6 EA 10 45
MS35338-41 (96906)
65 4 PAFZZ PAOZZ XBOZZ PAFZZ D 010 5310-00-082-1404 WASHER, FLAT NO 6 EA 14 27
MS271836 (96906)
65 5 XBFZZ XB XBGZZ XB COVER EA 1 1
69-503 (30554)
69-503 (12670)
65 6 PAFZZ PAOZZ XBOZZ PAFZZ D.008 530500-622-9475 SCREW, MACHINE 8-32 X 1/4 IN LG EA 4 4
MS35265-41 (96906)
65 7PAFZZ PAOZZ XBOZZ PAFZZ D.010 5310-00-0453299 WASHER, LOCK NO 8 EA 5 38
MS3533842 (96906)
65 8 PAFZZ PAOZZ XBOZZ PAFZZ D.008 530500-582-5807 SCREW, MACHINE 6-32 X 38 IN LG EA 2 2
MS3526528 (96906)
65 9 XBFZZ MOO XBOZZ XB BRACKET, RECEPTACLE EA 1 1
69-504 (30554)
69-504 (12670)
65 10 PAFZZ PAOZZ XB- PAFZZ D.008 530500-069-5122 SCREW, MACHINE 8-32 X 2-1/2 IN. EA 1 1
LG.
MS3526555 (96906)
65 11 PAFZZ PAOZZ XB PAFZZ D.008 5310-00-934-9757 NUT, HEXAGON 8-32 EA 1 4
MS35649-282 (96906)
65 12 PAFZZ PAOZZ XB PAFZZ D010 5310-00-7653197 WASHER, FLAT NO. 8 EA 1 1
MS2718341 (96906)
65 13 PAFZZ PAOZZ PAOZZ PAFZZ D010 5970-00-991-2949 WASHER, NONMETALIC EA 2 2
NAS549P8 (80205)
65 14 PAFZZ PAOZZ XBOZZ PAFZZ - 050 590500D642-5025 RESISTOR, VARIABLE EA 1 1
69-505 (30554)
10DA500 (63743)
65 15 PAFZZ PAOZZ PAGZZ PAFZZ .040 5961-00-9986947 RECTIFIER. SILICON EA 6 22
JAN1N4385 (81349)
65 16 PAFZZ PAOZZ PAFZZ .008 2930-00-8652534 SLEEVE. INSULATOR FORM TM EA 4 4
TYPE PBG
MILP79C (81349)
65 17 PAFZZ PAOZZ PAGZZ PAFZZ - .050 5950-00-327-9625 TRANSFORMER ASSY EA 1 1
69-508 (30554)
69-508 (12670)
65 18 XBFZZ MOO XB XB BRACKET, MOUNTING EA 1 1
69-507 (30554)
69-507 (12670)
179

TM 9-6115-545-24P
TO 35C2-3-444-4
NAVFAC P-8-626-24P
SL-400038G/07499A
Figure 66. Wiring Harness Assembly
180

(3)
USMC
(5)
DESCRIPTION USABLE
MFR ON
REF NUMBER CODE CODE
(8)
USMC
QTY
PER
EQUIP
(7)
QTY
INC
IN
UNIT
(6)
U/M
a
SSI
(2)
SMR CODE
(1)
ILLUSTRATION
d
USMC
c
NAVY
b
AIR
FORCE
a
ARMY
(a)
FIG
NO.
(b)
ITEM
NO.
(4)
NATIONAL
STOCK
NUMBER
b
REPL
FACTOR
TM 9-6115-545-24P
TO 35C2-3 444 4
NAVFAC P-626-24P
SL 400038G/07499A
66 MFFZZ AOO AHHZZ AFFZZ WIRING HARNESS ASSY EA 1 1
69-511 (30554)
MANUFACTURE FROM
66 PAFZZ PAOZZ PAOZZ PAFZZ D.008 597500-1563253 STRAP, TIEDOWN EA 20 20
MS3367-2-9 (96906)
66 2 PAF7Z PAOZZ PAOZZ PAFZZ D.023 5935-00-7552787 CONNECTOR, RECEPTACLE EA 1 3
MS3102R20-29P (96906)
66 3 PAFZZ PAOZZ PAOZZ PAFZZ D.060 614500-6430647 WIRE, ELECTRICAL FT 8 54
MIL-W-16878/2 (81349)
66 4 PAFZZ PAOZZ PAFZZ PAFZZ D.080 5970-00-016-1705 INSULATION SLEEVING FT 5 5
M2305312-103-0 (81349)
181

TM 9-6115-545-24P
TO 35C2-3-444-4
NAVFAC P-8-626-24P
SL 400038G/07499A
Figure 67. AC Generator and Related Parts.
182

(3)
USMC
(5)
DESCRIPTION USABLE
MFR ON
REF NUMBER CODE CODE
(8)
USMC
QTY
PER
EQUIP
(7)
QTY
INC
IN
UNIT
(6)
U/M
a
SSI
(2)
SMR CODE
(1)
ILLUSTRATION
d
USMC
c
NAVY
b
AIR
FORCE
a
ARMY
(a)
FIG
NO.
(b)
ITEM
NO.
(4)
NATIONAL
STOCK
NUMBER
b
REPL
FACTOR
TM 9-6115-545-24P
TO 35C2-3-444-4
NAVFAC P-8-626-24P
SL 400038G/07499A
GROUP 14- AC GENERATOR AND RELATED PARTS
67 1 PAFZZ PAOZZ XBGZZ PAFZZ D.008 530500-050-1076 SCREW, CAP, HEX HD 7/16 X 1-1/2 IN EA 12 12
LG
MS90725-89 (96906)
67 2 PAFZZ PAOZZ XBGZZ PAFZZ D.010 5310-00-550-3503 WASHER, LOCK, 7/16 EA 12 12
MS3533536 (96906)
67 3 PAFZZ PAOZZ XBGZZ PAFZZ D.008 5305-00-044-5503 SCREW, CAP, HEX HD 58-11 X 1-1/4 EA 8 8
IN. LG
MS90725160 (96906)
67 4 PAFZZ PAOZZ XBGZZ PAFZZ - 008 5340-00-307-1626 LOCKING PLATE, NUT EA 8 8
70-1399 (30554)
70-1399 (93742)
67 5 PAFZZ PAOZZ XBGZZ PAFZZ D.008 530500-276-5739 SCREW, CAP. HEX HD 1-8 X 3-114 IN EA 4 4
LG
MS90728-237 (96906)
67 6 PAFZZ PAOZZ XBGZZ PAFZZ D.010 5310-00-298-2740 WASHER, FLAT, 1-1/32 IN. EA 8 4
70-1532 (30554)
CL12CFW (99862)
67 7 PAFZZ PAOZZ XBGZZ PAFZZ D.008 5310-00-762-6248 NUT. PLAIN, HEX EA 4 4
MS51967-29 (96906)
67 8 PBFHH PAODD PBGDD PAFHH .100 611500-455-7697 GENERATOR, ALTERNATING 50160 HZ ABDE EA 1 2
70-1900 (30554)
67 9 PBFHH PAODD PBGDD PAFHH .100 611500-455-7698 GENERATOR. ALTERNATING400 HZ CF EA 1 2
70-1901 (30554)
70-1901 (12532)
183

TM 9-6115-545-24P
TO 35C2-3-444-4
NAVFAC P-8-626-24P
SL 400038G/07499A
Figure 68. AC Generator Assembly.
184

(3)
USMC
(5)
DESCRIPTION USABLE
MFR ON
REF NUMBER CODE CODE
(8)
USMC
QTY
PER
EQUIP
(7)
QTY
INC
IN
UNIT
(6)
U/M
a
SSI
(2)
SMR CODE
(1)
ILLUSTRATION
d
USMC
c
NAVY
b
AIR
FORCE
a
ARMY
(a)
FIG
NO.
(b)
ITEM
NO.
(4)
NATIONAL
STOCK
NUMBER
b
REPL
FACTOR
TM 9-6115-545-24P
TO 35C2-3-444-4
NAVFAC P-8-626-24P
SL 400038G/07499A
68 1 PAFZZ PAOZZ PAGZZ PAHZZ D.008 5305 00-984-5678 SCREW, MACHINE 5116-18X 1/8 IN EA 3 3
LG
MS35206-298 (96906)
68 2 PAFZZ PAOZZ PAGZZ PAHZZ D.010 5305 01-187-5878 WASHER, LOCK EA 3 3
MS3533534 (96906)
68 3 PAFZZ PAOZZ PAGZZ PAHZZ D.008 SCREW, ASSEMBLED, WASHER EA 4 4
10-32 X518 IN. LG.
69-662-65 (30554)
61-101041-90-142B0542B (78189)
68 4 PAFZZ PAOZZ XBGZZ PAHZZ D.008 5330-00-196-5497 GASKET EA 1 1
70-1922 (30554)
68 5 PAFZZ PAOZZ XBGZZ PAHZZ D.008 611500-134-1522 CLAMP ASSY, GENERATOR EA 1 1
70-1921 (30554)
68 6 XBFZZ XB XBGZZ XBHZZ D.008 SCREW, MACH 10-32 X 3-314 IN. LG. EA 3 3
70-1964 (30554)
68 7 PAFZZ PAOZZ PAGZZ PAHZZ D.008 5310-01-012-3595 NUT, PLAIN. ASSEMBLED EA 3 3
69-561-6 (30554)
511-101800-50-4302-4102 (78187)
68 8 XBFZZ XB XBGZZ XBHZZ D008 BLOCK EA 1 1
70-1959 (30554)
68 9 XBFZZ XB XBGZZ PAHZZ D.008 BLOCK END EA 1 1
70-1962 (30554)
68 10 XBFZZ XB XBGZZ XBHZZ BLOCK EA 1 1
70-1961 (30554)
68 11 XBFZZ XB XBGZZ HBHZZ BLOCK, CENTER EA 1 1
70-1960 (30554)
68 12 PAFZZ PAOZZ PAGZ PAHZZ D 008 5305-00-019-16226 SCREW, ASSEMBLED WASHER 10-32 EA 22 23
X1/2 IN LG
6946264 (30554)
61-100641-90-0142B0542B (78189)
68 13 XZZ MOO XBGZZ XBHZZ COVER. SIDE, ES EA 1 1
70-1904 (30554)
70-1904 (12532)
68 14 PAFZZ PAOZZ XBGZZ PAHZZ D008 5330-00-036-6990 GASKET EA 1 1
70-1905 (30554)
70-1905 (12532)
68 15 XBFZZ MOO XBGZZ XBHZZ COVER. FACE, ES EA 1 1
70-1923 (30554)
70-1923 (12532)
68 16 PAFZZ PAOZZ XBGZZ PAHZZ 5330-00-093-6789 GASKET EA 1 1
JANIN540 (30554)
JANIN540 (12532)
68 17 PAFZZ PAOZZ XBGZZ PAHZZ D.010 5310-00-823-8804 WASHER FLAT, NO 10 EA 12 15
MS27183-9
68 18 XBFZZ XB XBGZZ PAHZZ SCREEN, ES EA 2 2
170-1906 (30554)
70-1906 (12532)
68 19 AFZZ PAOZZ XBGZZ PAHZZ D.008 5305-00-036-6968 SCREW, ASSEMBLED WASHER 6-32 EA 4 39
X 3/8 IN LG
69662-18 (30554)
61-060641-4040142BO542B (78189)
68 20 XCFZZ XC XCGZZ MDOZZ PLATE, MONOGRAM EA 1 1
70-1926 (30554)
70-1926 (12532)
68 21 PAFZZ PAOZZ PAGZZ PAHZZ D.040 5330-00-231-1646 GASKET EA 3 1
70-1963 (30554)
68 22 PAFZZ PAOZZ PAGZZ PAHZZ 0.008 5305-00-269-3217 SCREW, CAP. HEX HD 3/816 X 2 IN. EA 4 6
LG.
MS9072567 (96906)
68 23 PAFZZ PAOZZ XBGZZ PAHZZ D.010 5310-00061-1258 WASHER, LOCK EA 4 56
MS45904-76 (92906)
68 24 PAFZZ PAOZZ PAGZZ PAHZZ O.008 5305-00-724-6757 SCREW, CAP, HEX HD EA 4 4
MS90725-177 (96906)
185

(3)
USMC
(5)
DESCRIPTION USABLE
MFR ON
REF NUMBER CODE CODE
(8)
USMC
QTY
PER
EQUIP
(7)
QTY
INC
IN
UNIT
(6)
U/M
a
SSI
(2)
SMR CODE
(1)
ILLUSTRATION
d
USMC
c
NAVY
b
AIR
FORCE
a
ARMY
(a)
FIG
NO.
(b)
ITEM
NO.
(4)
NATIONAL
STOCK
NUMBER
b
REPL
FACTOR
TM 9-6115-545-24P
TO 35C2-3-444-4
NAVFAC P-8-626-24P
SL 400038G/07499A
68 25 PAFZZ PAOZZ XBGZZ PAHZZ D.010 5310-00-017-8627 WASHER, LOCK EA 4 10
MS45904-92 (96906)
68 26 PAFHH PADLD XBGDD PAHHH D.005 6115-00-407-8331 EXCITER ASSY ABDE EA 1 1
70-1910 (30554)
70-1910 (12532)
68 26 PAFHH PADLD XBGDD PAHHH 611501-038-7774 EXCITER ASSY CF EA 1 1
70-1927 (30554)
70-1927 (12532)
68 27 PAFZZ PAOZZ XBGZZ PAHZZ D.008 530500-191-6226 SCREW. ASSEMBLED WASHER EA 1 23
10-32 X112 IN LG
69-662-64 (30554)
61-100841-904-142B05428 (78189)
68 28 PAFZZ PAOZZ XBGZZ PAHZZ CLAMP. LOOP EA 1 1
MS21919WG8 (96906)
68 29 XBFZZ XB XBGZZ XBHZZ PIN, DOWEL EA 2 2
70-1943 (30554)
70-1943 (12532)
68 30 XAFZZ XA XAGZZ XAHZZ STATOR. EXCITER EA 1 1
70-1944 (30554)
70-1944 (12532)
68 31 XAFZZ XA XBGZZ XBHZZ SHIELD END, EXCITER EA 1 1
70-1567 (30554)
68 32 PAFZZ PADZZ PAGZZ PAH7Z D.008 5305-00-083-4620 SCREW, CAP. SOCKET HEAD EA 1 1
MS24671-84 (96906)
68 33 PAFZZ PADZZ XBGZZ PAHZZ D.030 5310-00-061-8078 WASHER. RECESS EA 1 1
70-1907 (30554)
70-1907 (12532)
68 34 PAFZZ PADZZ PAGZZ PAHZZ .050 3110-00-277-0322 BEARING, BALL EA 1 1
70-1908 (30554)
6308-2RSJ (52676)
68 35 PAFZZ PADZZ XBGZZ XBHZZ 3110-00-922-1670 PLATE. RETAIINNG BEARING EA 1
70-1909 (30554)
70-1909 (12532)
68 36 PAFHZ PAOZZ XBGZZ PAHZZ D.008 530-00-042-6417 SCREW. CAP HEX HD EA 8 18
MS90725113 (96906)
68 37 PAFZZ PAOZZ XBGZZ XBHZZ 6115-00-361-1425 STRIP, LOCKING EA 4 4
70-1919 (30554)
70-1919 (12532)
68 38 XBFZZ XB XBGZZ XBHZZ RING, CLAMP EA 1 1
70-1918 (30554)
70-1918 (12532)
68 39 PAFZZ PAOZZ XBGZZ XBHZZ 5340-01-183-6621 DISC, COUPLING EA 2 2
70-1917 (30554)
70-1917 (12532)
68 40 PAFZZ PAOZZ XBGZZ PAHZZ D.008 5305-00-9881724 SCREW, MACHINE EA 4 4
MS35206-280 (96906)
68 41 PAFZZ PAOZZ XBGZZ PAHZZ D.010 5310-00-889-2528 WASHER, LOCK EA 4 46
MS45904-68 (96906)
68 42 PAFZZ PAOZZ XBGZZ PAHZZ D.010 5310-00-809-4058 WASHER. FLAT EA 4 21
MS2713-10 (96906)
68 43 XBFZZ XB XBGZZ XBHZZ COVER EA 1 1
70-1912 (30554)
70-1912 (12532)
68 44 PAFZZ PAOZZ PAGZZ PAHZZ 5330-00-036-6989 GASKET, COVER EA 1 1
70-1913 (30554)
70-1913 (12532)
68 45 XFZZ XB XBGZZ XBHZZ SCREEN. COVER EA 1 1
70-1920 (30554)
70-1920 (12532)
68 46 XBFZZ XB XBGZZ XBHZZ DEFLECTOR, AIR EA 1 1
70-1914 (30554)
70-1914 (12532)
68 47 PAFZZ PAOZZ PAGZZ PAHZZ 611501089-9088 FAN EA 1 1
70-1915 (30554)
70-1915 (12532)
186
186

(3)
USMC
(5)
DESCRIPTION USABLE
MFR ON
REF NUMBER CODE CODE
(8)
USMC
QTY
PER
EQUIP
(7)
QTY
INC
IN
UNIT
(6)
U/M
a
SSI
(2)
SMR CODE
(1)
ILLUSTRATION
d
USMC
c
NAVY
b
AIR
FORCE
a
ARMY
(a)
FIG
NO.
(b)
ITEM
NO.
(4)
NATIONAL
STOCK
NUMBER
b
REPL
FACTOR
TM 9-6115-545-24P
TO 35C2-3-444-4
NAVFAC P-8-626-24P
SL 400038G/07499A
68 48 PBFZZ PAOZZ XBGZZ XBHZZ BOLT, EYE EA 1 2
70-1930 (30554)
70-1930 (12532)
68 49 PAFZZ PAOZZ XBGZZ PAHZZ D.008 5305-00-889-3118 SCREW, MACHINE EA 4 4
MS35206-203 (96906)
68 50 XCFZZ XC XCGZZ MDOZZ PLATE, IDENTIFICATION EA 1 1
70-1925 (30554)
70-1925 (93742)
68 51 PBFHH PBDLD PBGDD PAHHH - -.005 611500-4557682 STATOR, GENERATOR ABDE EA 1 1
70-1911 (30554)
70-1911 (12532)
68 51 PBFHH PBDLD PBGDD PAHHH 611500-407-8313 STATOR, GENERATOR CF EA 1 1
70-1928 (30554)
68 52 PAFZZ PADZZ XBGZZ PAHZZ 531500882-7051 PIN, GROOVED, HEADLESS EA 4 4
MS35671-67 (96906)
68 53 XAFZZ XA XBGZZ XAHZZ STATOR, WOUND ABDE EA 1 1
70-1949 (30554)
70-1949 (12532)
68 53 XAFZZ XA XBGZZ XAHZZ STATOR. WOUND CF EA 1 1
70-1950 (30554)
70-1950 (12532)
68 54 XAFZZ XA XBGZZ XAHZZ FRAME. STATOR EA 1 1
70-1948 (30554)
70-1948 (12532)
68 55 PAFHH PADLD PBGDD PAHHH D 005 6115-00-455-7680 ROTOR ASSY. GENERATOR ABDE EA 1 1
70-1916 (30554)
70-1916 (12532)
68 55 PAFHH PADLD PBGDD PAHHH 611500-470-0453 ROTOR ASSY, GENERATOR CF EA 1 1
70-1929 (30554)
70-1929 (12532
68 56 PAFZZ PADZZ XBGZZ PAHZZ D.008 5310-00084-0602 NUT, PLAIN. POUND EA 1 1
70-1932 (30554)
70-1932 (12532)
68 57 XBFZZ XB XBGZZ XBHZZ D.010 WASHER. KEY EA 1 1
70-1965 (30554)
68 58 AFFFF ADD AGGGG AHHHH RECTIFIER ASSY See fig 69 EA 1 2
For breakdown
70-1938 (30554)
70-1938 (12532)
68 59 PAFZZ PADZZ PAGZZ PAHZZ 5940-00-143-4777 TERMINAL LUG EA 2 9
MS25036-15 (96906)
68 60 PAFZZ PADZZ XBGZZ PAHZZ D.010 5310-00443-8282 WASHER, SPRING TENSION EA 1 1
70-1946 (30554)
W3118035 (92830)
68 61 PAFZZ PADZZ PAGZZ PAHZZ D.008 5315-00-090-4109 KEY. MACHINE EA 1 1
MS20066-296 (96906)
68 62 XAFZZ XA XBGZZ XAHZZ ROTOR, EXCITER ABDE EA 1 1
70-1940 (30554)
70-1940 (12532)
68 62 XAFZZ XA XBGZZ XAHZZ ROTOR, EXCITER CF EA 1 1
70-1941 (30554)
70-1941 (12532)
68 63 XBFZZ XB XBGZZ XBHZZ HUB, COUPLING EA 1 1
70-1934 (30554)
70-1934 (12532)
68 64 PAFZZ PADZZ PAGZZ PAHZZ - .008 5315-00-.420-5754 KEY, MACHINE EA 1 1
MS20066-568 (96906)
68 65 PAFZZ PADZZ PAGZZ PAHZZ D.008 5305-00-225-3848 SCREW. HEX HD EA 11 18
MS90725- (96906)
68 66 PAFZZ PADZZ PAGZZ PAHZZ D.008 5310-00-761-6882 NUT. HEX 1/4-20 EA 11 52
MS51967-2 (96906)
68 67 PAFZZ PADZZ PAGZZ PAHZZ 5310-00-809-3078 WASHER EA V V
M527183-11 (96906)
187
187

(3)
USMC
(5)
DESCRIPTION USABLE
MFR ON
REF NUMBER CODE CODE
(8)
USMC
QTY
PER
EQUIP
(7)
QTY
INC
IN
UNIT
(6)
U/M
a
SSI
(2)
SMR CODE
(1)
ILLUSTRATION
d
USMC
c
NAVY
b
AIR
FORCE
a
ARMY
(a)
FIG
NO.
(b)
ITEM
NO.
(4)
NATIONAL
STOCK
NUMBER
b
REPL
FACTOR
TM 9-6115-545-24P
TO 35C2-3-444-4
NAVFAC P-8-626-24P
SL 400038G/07499A
68 68 XBFZZ XB XBGZZ XBHZZ - .005 WEIGHT, BALANCE EA V V
70-1931-1 (30554)
70-1931-1 (12532)
68 69 XBFZZ XB XBGZZ XBHZZ PLATE. BALANCE EA 1 2
70-1933 (30554)
70-1933 (12332)
68 70 XBFZZ XB XBGZZ XBHZZ WEIGHT. BALANCE CF EA V V
70-1931-2 (30554)
70-1931-2 (12532)
68 71 PBFZZ PBOZZ XBGZZ XBHZZ 611501-242-9179 PLATE, BALANCE CF EA 1 1
70-1935 (30554)
70-1935 (12532)
68 72 XAFZZ XA XBGZZ XAHZZ SHAFT AND ROTOR ASSY ABDE EA 1 1
70-195570-1951 (30554)
70-195570-1951 (12532)
68 72 XAFZZ XA XBGZZ XAHZZ SHAFT AND ROTOR ASSY CF EA 1 1
70-195670-1952 (30554)
70-195670-1952 (12532)
188

TM 9-6115-545-24P
TO 35C2-3-444-4
NAVFAC P-8-626-24P
SL 400038G/07499A
Figure 69. Rectifier Assembly.
(189 blank)/190

(3)
USMC
(5)
DESCRIPTION USABLE
MFR ON
REF NUMBER CODE CODE
(8)
USMC
QTY
PER
EQUIP
(7)
QTY
INC
IN
UNIT
(6)
U/M
a
SSI
(2)
SMR CODE
(1)
ILLUSTRATION
d
USMC
c
NAVY
b
AIR
FORCE
a
ARMY
(a)
FIG
NO.
(b)
ITEM
NO.
(4)
NATIONAL
STOCK
NUMBER
b
REPL
FACTOR
TM 9-6115-545-24P
TO 35C2-3-444-4
NAVFAC P-8-626-24P
SL 400038G/07499A
69 AFFFF ADD AGQGG AHHHH RECTIFIER ASSY EA 1 2
70-1938 (30554)
70-1938 (12532)
69 1 PAFZZ PADZZ PAGZZ PAHZZ .050 5961-00-892-0888 RECTIFIER EA 3 3
JANN1SO90 (81349)
69 2 PAFZZ PADZZ PAGZZ PAHZZ .050 5961-00-901-2290 RECTIFIER EA 3 3
JAN1N1190R (81349)
69 3PAFZZ PADZZ XBGZZ PAHZZ D.008 5305-0D-990-1347 SCREW, MACHINE EA 6 6
MS35190-292 (96906)
69 4 PAFZZ PADZZ PAGZZ PAHZZ D.010 5310-00-582-5965 WASHER, LOCK EA 6 13
MS35338-44 (96906)
69 5 PAFZZ PADZZ XBFZZ PAHZZ D 008 5310-00D-761-6882 NUT, HEX. 1/4-20 EA 7 52
MS51967-2 (96906)
69 6PAFZZ PAOZZXBGZZ PAHZZ 5940-00-230-0515 TERMINAL. LUG EA 1 36
MS25036-154 (96906)
69 7 PAFZZ PAOZZ XBGZZ PAHZZ 6145-00-578-6604 WIRE NO. 14 X 2-1U2 IN. LG EA 1 1
M50862/14-9 (81349)
69 8 PAFZZ PADZZ XBGZZ PAHZZ D.010 5310-00-0453299 WASHER., LOCK EA 1 38
MS3533842 (96906)
69 9PAFZZ PADZZ PAGZZ PAHZZ D 008 5310-00-971-7989 NUT, PLAIN, HEX EA 6 6
MS35691 -5 (96906)
69 10 PAFZZ PADZZ PAGZZ PAHZZ .050 5920-00-939-2203 SURGE PROTECTOR ASSY EA 1 1
70-1939 (30554)
3300A84B0326G01 (12532)
69 11 PAFZZ PADZZ XBGZZ PAHZZ D.008 530500068-0500 SCREW, HEX HD EA 2 2
MS90725-3 (96906)
69 12 XBFZZ XA XBGZZ XBHZZ PLATE EA 1 1
70-1936 (30554)
70-1936 (12532)
69 13 XBFZZ XA XBGZZ XBHZZ HEAT SINK EA 1 1
70-1942-1 (30554)
70-1942-1 (12532)
69 14 XBFZZ XA XBGZZ XBHZZ HEATSINK EA 1 1
70-1942-2 (30554)
70-1942 -2 (12532)
191

TM 9-6115-545-24P
TO 35C2-3-444-4
NAVFAC P-8-626-24P
SL 400038G/07499A
Figure 70. Day Tank and Primary Fuel Filter.
192

(3)
USMC
(5)
DESCRIPTION USABLE
MFR ON
REF NUMBER CODE CODE
(8)
USMC
QTY
PER
EQUIP
(7)
QTY
INC
IN
UNIT
(6)
U/M
a
SSI
(2)
SMR CODE
(1)
ILLUSTRATION
d
USMC
c
NAVY
b
AIR
FORCE
a
ARMY
(a)
FIG
NO.
(b)
ITEM
NO.
(4)
NATIONAL
STOCK
NUMBER
b
REPL
FACTOR
TM 9-6115-545-24P
TO 35C2-3-444-4
NAVFAC P-8-626-24P
SL 400038G/07499A
GROUP 15 - DAY TANK AND PRIMA-
RY FUEL FILTER
70 1 MFOZZ MOO AFGZZ AFOZZ HOSE ASSY EA 1 1
MS28741-5-0075
MANUFACTURE FROM (96906)
70 2PAFZZ PAOZZ PAGZZ PAFZZ D.008 4730-00-842-2201 ADAPTER, STRAIGHT EA 2 20
MS24587-5 (96906)
70 3 PAFZZ PAOZZ PAGZZ PAFZZ D 070 4720-00-280-9197 HOSE NON-METALLIC FT 1 59
MIL-H-8794,5 (81349)
70 4 PAOZZ PAOZZ XBGZZ PAFZZ D.008 4730-00-113-0567 ELBOW, PIPE TO TUBE EA 2 3
70-1491-36 (30554)
5-4VTVXS (30780)
70 5 PAFZZ PAOZZ XBGZZ PAFZZ D.008 4730-00-278-3912 BUSHING, PIPE EA 2 4
3-8X1-4PTRS (30780)
70 6PAFZZ PAOZZ XBGZZ PAFZZ D.008 5305-01-073-6998 SCREW, ASSEMBLED WASHER EA 5 119
114-20 X 1f2 IN LG
69-662-77 (30554)
61-250841-400142B0542B (78189)
70 7PAOZZ PAOZZ XBGZZ PAFZZ D008 5310-00-761-6882 NUT, PLAIN, HEXAGON EA 6 52
MS51967-2 (96906)
70 8 PAOZZ PAOZZ XBGZZ PAFZZ D.010 5310-00-809-4058 WASHER, FLAT 1/4 NOM EA 1 21
MS27183-10 (96906)
70 9PAOZZ PAOZZ XBGZZ PAFZZ .00 5340-00-174-4811 CLAMP. LOOP EA 1 11
70-1529-8 (30554)
TA724SS8 (84971)
70 10 PAOZZ PAOZZ XBGZZ PAFZZ .008 4730-00-063-7919 CLAMP, HOSE EA 2 16
MS39326-8 (96906)
70 11 MOOZZ MOO MGGZZ MFOZZ HOSE, VENT EA 1 1
70-1521-5 (30554)
70-1521-5 (93742)
MANUFACTURE FROM.
70 12 PAFZZ PAOZZ PAGZZ PAGZZ 0.70 4720-00-235-4131 HOSE, NON-METALLIC FT 6 13
5191195 (30327)
70 13 PAOZZ PAOZZ XBGZZ PAFZZ D.008 5305-00-115-9526 SCREW, 318-16 X314 IN LG EA 5 7
MS18154-58 (96906)
70 14 PAOZZ PAOZZ PAGZZ PAFZZ -.008 5340-00-228-6476 CLAMP, LOOP EA 1 1
7D-1585-12 (30554)
TA612SS12 (84971)
70 15 MFOZZ MOO AHHZZ AFOZZ HOSE ASSY EA 1 1
MS28741-5-0300 (96906)
MANUFACTURE FROM
70 16 PAFZZ PAOZZ PAGZZ PAFZZ .008 4730-00-842-2201 ADAPTER, STRAIGHT, TUBE EA 2 2
MS24587-5 (96906)
70 17 PAFZZ PAOZZ PAGZZ PAFZZ .070 4720-00-289-9197 HOSE. NONMETALLIC FT 3 59
MILH8794-5 (81349)
70 18 PAOZZ PAOZZ PAGZZ PAFZZ .008 4730-00-121-0138 ELBOW. PIPE TO TUBE EA 2 9
MS51504B5-4 (96906)
70 19 PAOZZ PAOZZ PAGZZ PAFZZ .008 4730-00-817-1874 ADAPTER, STRAIGHT PIPE EA 1 1
MS51503A5 (96906)
70 20 MFOZZ MOO AFGZZ AFOZZ HOSE ASSY EA 1 2
MS28741-5-0190 (96906)
MANUFACTURE FROM
70 21 PAFZZ PAOZZ PAGZZ PAFZZ .008 4730-00-842-2201 ADAPTER, STRAIGHT. TUBE EA 2 20
MS24587-5 (96906)
70 22 PAFZZ PAOZZ PAGZZ PAFZZ .070 4720-00-289-9197 HOSE. NON-METALLIC FT 16 59
MiLH8794-5 (81349)
70 23 MFOZZ MOO AFGZZ AFOZZ HOSE ASSY EA 1 1
MS28741-50064 (96906)
MANUFACTURE FROM
70 24 PAFZZ PAOZZ PAGZZ PAFZZ D.008 4730-00-842-2201 ADAPTER. STRAIGHT. TUBE EA 2 20
MS24587-5 (96906)
70 25 PAFZZ PAOZZ PAGZZ PAFZZ -.070 4720-00-289-9197 HOSE, NON-METALLIC FT 1 59
M,LH8794-5 (81349)
193

(3)
USMC
(5)
DESCRIPTION USABLE
MFR ON
REF NUMBER CODE CODE
(8)
USMC
QTY
PER
EQUIP
(7)
QTY
INC
IN
UNIT
(6)
U/M
a
SSI
(2)
SMR CODE
(1)
ILLUSTRATION
d
USMC
c
NAVY
b
AIR
FORCE
a
ARMY
(a)
FIG
NO.
(b)
ITEM
NO.
(4)
NATIONAL
STOCK
NUMBER
b
REPL
FACTOR
TM 9-6115-545-24P
TO 35C2-3-444-4
NAVFAC P-8-626-24P
SL 400038G/07499A
70 26 PAOZZ PAOZZ XBFZZ PAFZZ D.008 4730-00-620-6904 ADAPTER, STRAIGHT. PIPE EA 1 6
MS51500A5-4 (96906)
70 27 PAOZZ PAOZZ XBGZZ PAFZZ D.008 4730-00-202-9390 ELBOW, PIPE EA 1 2
70-1195-2 (30554)
1/4SHP-B (30780)
103866 (92192)
70 28 PAOZZ PAOZZ PAGZZ PAFZZ D.008 4730-00-214-8108 TEE. PIPE EA 1 1
2091-4-4S (01276)
70 29 PAOZZ PAOZZ PAGZZ PAFZZ .015 4810-00-216-1849 VALVE. SOLENOID EA 1 1
69-787-2 (30554)
VSL8720 (81978)
70 30 PAOZZ PAOZZ PAOZZ PAFZZ D.023 5935-00-827-9045 CONNECTOR, RECECPTACLE EA 1 2
MS3102R10SL4P (96906)
70 31 PAOZZ PAOZZ XBGZZ PAFZZ D.008 4730-00-278-3722 NIPPLE, PIPE EA 1 1
114FF-S (30790)
70 32 PAOZZ PAOZZ XBGZZ PAFZZ D.008 4730-00-041-2526 ELBOW, PIPE TO HOSE 114-1/4 EA 1 1
70-1415 (30554)
2296-4 (93061)
70 33 PAOZZ PAOZZ XBGZZ PAOZZ D.008 4820-00-752-9040 COCK, DRAIN EA 1 4
MS35782-4 (96906)
70 34 PAOZZ PAOZZ XBGZZ PAFZZ D.008 4730-00-248-6728 BUSHING, PIPE EA 1 1
70-1314-21 (30554)
14X1l-PTRS (30780)
70 35 PAOZZ PAOZZ PAGZZ PAFZZ .015 5930-00-405-6153 SWITCH, FLOAT. FUEL EA 1 1
70-1594 (30554)
LS40820 (04034)
70 36 XBOFF XB XBGZZ XBFZZ DAY TANK, FUEL EA 1 1
70-1244 (30554)
70-1244 (93742)
70 37 PAOZZ PAOZZ XBGZZ PAFZZ D.010 5310-00061-1258 WASHER, LOCK EA 2 66
MS45904-76 (96906)
70 38 PAOZZ PAOZZ PAGZZ PAFZZ D.010 5310-00-595-7237 WASHER. LOCK EA 2 2
MS35333-42 (96906)
70 39 PAOOO PAOOO PAGGG PAOOO - .500 2910-00-085-5598 FILTER, FLUID EA 1 1
See figure 71 for breakout
70-507 (30554)
240903 (73370)
70 40 PAOZZ PAOZZ PAGZZ PAOZZ D.008 5306-00-036-6982 BOLT. ASSEMBLED WASHER EA 6 71
70-13194 (30554)
61-251281-00-024BO542B (78189)
70 41 XBOZZ MOO XBFZZ XBOZZ BRACE, DAY TANK EA 1 1
70-1257 (30554)
70-1257 (93742)
70 42 XBOZZ XB XBGZZ XBOZZ BRACKET, TANK EA 1 1
70-1245 (30554)
70-1245 (93742)
194

TM 9-6115-545-24P
TO 35C2-3-444-4
NAVFAC P-8-626-24P
SL 400038G/07499A
Figure 71. Filter, Fluid.
(195 blank)/196

(3)
USMC
(5)
DESCRIPTION USABLE
MFR ON
REF NUMBER CODE CODE
(8)
USMC
QTY
PER
EQUIP
(7)
QTY
INC
IN
UNIT
(6)
U/M
a
SSI
(2)
SMR CODE
(1)
ILLUSTRATION
d
USMC
c
NAVY
b
AIR
FORCE
a
ARMY
(a)
FIG
NO.
(b)
ITEM
NO.
(4)
NATIONAL
STOCK
NUMBER
b
REPL
FACTOR
TM 9-6115-545-24P
TO 35C2-3-444-4
NAVFAC P-8-626-24P
SL 400038G/07499A
71 PAOOO PAOOO PAGGG PAOOO I .500 2910-00-085-5598 FILTER. FLUID EA 1 1
70-507 (30554)
240903 (73370)
71 1 PAOOO PAOOO XBGZZ PAOZZD .101 2910-00-787-6551 FILTER. FLUID EA 1 1
151031 (73370)
71 2 PAOZZ PAOZZ XBGZZ PAOZZ D.008 4820-00-752-9040 COCK DRAIN EA 4 4
MS35782-4 (96906)
71 3 PAOZZ PAOZZ XBGZZ PAOZZ D.008 5310-00-784-0033 NUT, PLAIN, CAP EA 1 1
102458 (73370)
71 4 PAOZZ PAOZZ PAOZZ PAOZZ D040 5310-00-639-6385 WASHER EA 1 1
151328 (73370)
71 5 XAOZZ XA XAGZZ XAOZZ BODY ASSEMBLY FLUID EA 1 1
149557 (73370)
71 6 PAOZZ PAOZZ XBGZZ PAOZZ D.040 5330-00-663-4773 GASKET EA 2 3
101489 (73370)
71 7 PAOZZ PAOZZ XBGZZ PAOZZ D.008 5307-00-784-0015 STUD, PLAIN EA 1 1
106933 (73370)
71 8 PAOZZ PAOZZ XBGZZ PAOZZ D.008 5310-00-873-1159 NUT. PLAIN, HEXAGON EA 1 1
8234 (15434)
71 9 PAOZZ PAOZZ PAOBZ PAOBZ -.040 2910-00-374-6020 FILTER, ELEMENT, FLUID EA 1
F6X12AT3 (79960)
71 10 PAOZZ PAOZZ XBGZZ PAOZZ - .008 5340-00-036-3612 COVER, ACCESS EA 1 1
35066 (73370)
71 11 PAOZZ PAOZZ XBGZZ PAOZZ D.008 4920-00-752-9040 COCK DRAIN EA 1 4
MS35782-4 (96906)
71 12 PAOZZ PAOZZ XBGZZ PAOZZ D.008 5305-00-239-0562 SCREW, CAP HEX EA 1 1
115111 (15434)
71 13 PAOZZ PAOZZ PAOZZ PAOZZ - .040 5310-00-595-4398 GASKET EA 1 2
101487 (73370)
71 14 XAOZZ XA XAGZZ XAOZZ HOUSING, FILTER EA 1 1
70-507-5 (30554)
71 15 PAOZZ PAOZZ PAOZZ PAOZZ - 2.000 2910-00-287-1912 FILTER, ELEMENT, FLUID EA 1 2
C1175PB (73370)
71 16 XBOZZ XA XAGZZ XAOZZ HEADER, FILTER ASSY EA 1 1
157570 (15434)
197/(198 blank)

TM 9-6115-545-24P
TO 35C2-3-444-4
NAVFAC P-8-626-24P
SL 400038G/07499A
Figure 72. Center Support and Related Parts (Sheet 1 of 2).
199

TM 9-6115-545-24P
TO 35C2-3-444-4
NAVFAC P-8-626-24P
SL 400038G/07499A
Figure 72. Center Support and Related parts (Sheet 2 of 2)
200

(3)
USMC
(5)
DESCRIPTION USABLE
MFR ON
REF NUMBER CODE CODE
(8)
USMC
QTY
PER
EQUIP
(7)
QTY
INC
IN
UNIT
(6)
U/M
a
SSI
(2)
SMR CODE
(1)
ILLUSTRATION
d
USMC
c
NAVY
b
AIR
FORCE
a
ARMY
(a)
FIG
NO.
(b)
ITEM
NO.
(4)
NATIONAL
STOCK
NUMBER
b
REPL
FACTOR
TM 9-6115-545-24P
TO 35C2-3-444-4
NAVFAC P-8-626-24P
SL 400038G/07499A
72 GROUP 16 - CENTER SUPPORT AND
RELATED PARTS
72 1 PAOZZ PAOZZ XBGZZ PAFZZ D.008 4730-00-239-2503 SLEEVE, CLINCH. TUBE EA 2 2
MS518251 (96906)
72 2 PAOZZ PAOZZ PAGZZ PAFZZ D.008 NUT, TUBE COUPLING EA 2 2
MS51823-1 (96906)
72 3 PAOZZ PAOZZ MO PAFZZ D.003 4710-00-758-0087 TUBE. METALLIC EA 1 1
70-1546 (30554)
900-152 (03764)
72 4 PAOZZ PAOZZ XBGZZ PAFZZ D.008 4730-00-193-1915 ADAPTER, STRAIGHT PIPE EA 1 1
MS51819-1 (96906)
72 5 MFOZZ MOO AFGZZ AFOZZ HOSE ASSY EA 1 1
M528741-5-0111 (96906)
MANUFACTURE FROM'
72 6 PAFZZ PAOZZ PAGZZ PAFZZ D.008 4730-00-842-2201 ADAPTER, STRAIGHT TUBE EA 2 20
MS24587-5 (96906)
72 7 PAFZZ PAOZZ PAGZZ PAFZZ D.070 4720-00-289-9197 HOSE, NONMETALLIC FT 1 59
MILH8794-5 (81349)
72 8PAOZZ PAOZZ XBOZZ PAFZZ D.008 4730-00-917-4912 ELBOW, PIPE TO TUBE EA 4 4
70-1500 (30554)
20254-5S (01276)
72 9 PAOZZ PAOZZ PAGZZ PAFZZ D.008 4730-00-620-6904 ADAFTER, STRAIGHT, PIPE EA 3 6
MS51500A54 (96906)
72 10 PAOZZ PAOZZ XBGZZ AFOZZ 4710-01-181-6794 TUBE ASSEMBLY EA 1 1
70-1607 (30554)
70-1607 (93742)
72 11 XAFZZ XA XBGZZ PAFZZ D.008 SLEEVE, FLARED, TUBE EA 2 4
MS20819-5 (96906)
72 12 XAFZZ XA XBGZZ PAFZZ D.008 NUT, TUBE COUPLING EA 2 4
AN818-5 (88044)
72 13 XAFZZ XA XAGZZ XAFZZ D.030 PIPE, BENT EA 1 1
70-1607-1 (30554)
70-1607-1 (93742)
72 14 PAOZZ PAOZZ XBGZ PAFZZ D.008 4730-00-121-0138 ELBOW, PIPE TO TUBE EA 6 9
70-1109-6 (30554)
MS51504B54 (96906)
72 15 MFOZZ MOO AFGZZ AFOZZ HOSE ASSY EA 1 1
MS28741-5-0286 (96906)
MANUFACTURE FROM
72 16 PAFZZ PAOZZ PAFZZ PAFZZ D.008 4730-00-842-2201 ADAPTER, STRAIGHT, TUBE EA 2 20
MS24587-5 (96906)
72 17 PAFZZ PAOZZ PAGZ PAFZZ D.070 4720-00-289-9197 HOSE. NONMETALLIC FT 3 59
MILH8794-5 (81349)
72 18 MFOZZ MOO AFGZZ AFOZZ HOSE ASSY EA 1 1
MS28741-5-0226 (96906)
MANUFACTURE FROM
72 19 PAFZZ PAOZZ PAFZZ PAFZZ D.008 4730-00-842-2201 ADAPTER, STRAIGHT, TUBE EA 2 20
MS24581-5 (96906)
72 20 PAFZZ PAOZZ PAGZZ PAFZZ D.070 4720-00-289-9197 HOSE, NONMETALLIC EA 2 59
MILH8794-5 (813491
72 21 MFOZZ MOO XBGZZ AFOZZ 4710-01-261-5131 TUBE ASSY. FUEL EA 1 1
70-1515 (30554)
70-1515 (93742)
MANUFACTURE FROM
72 22 PAOZZ PAOZZ XBGZZ PAFZZ D.008 4730-00-433-3375 SLEEVE, FLARED TUBE EA 2 4
MS20819-5 (96906)
72 23 PAOZZ PAOZZ XBGZZ PAFZZ D.008 4730-00-2B7-0276 NUT, TUBE COUPLING EA 2 4
AN818-5 (88044)
72 24 XBFZZ XB XBGZZ XBFZZ .004 PIPE, METAL EA 1 1
SAE1018 31DX 032W (81349)
72 25 PAOZZ PAOZZ XBGZZ PAFZZ - 008 4730-00-063-7919 CLAMP, HOSE 1/2 IN EA 14 16
MS39326-8 (96906)
201

(3)
USMC
(5)
DESCRIPTION USABLE
MFR ON
REF NUMBER CODE CODE
(8)
USMC
QTY
PER
EQUIP
(7)
QTY
INC
IN
UNIT
(6)
U/M
a
SSI
(2)
SMR CODE
(1)
ILLUSTRATION
d
USMC
c
NAVY
b
AIR
FORCE
a
ARMY
(a)
FIG
NO.
(b)
ITEM
NO.
(4)
NATIONAL
STOCK
NUMBER
b
REPL
FACTOR
TM 9-6115-545-24P
TO 35C2-3-444-4
NAVFAC P-8-626-24P
SL 400038G/07499A
72 26 MOOZZ MOO MOGZZ MFOZZ HOSE. RUBBER EA 2 2
70-1521-2 (30554)
70-1521-2 (93742)
MANUFACTURED FROM.
72 27 PAOZZ PAOZZ PAGZZ PAFZZ - .070 4720-00-913-5910 HOSE. NONMETALLIC, 1 IN. FT 1 13
483868 (02280)
72 28 MOOZZ MOO MOGZZ MFOZZ HOSE. RUBBER EA 3 3
70-1521-1 (30554)
70-1521-1 (93742)
MANUFACTURED FROM.
72 29 PAOZZ PAOZZ PAGZZ PAFZZ - .070 4720-00-913-9510 HOSE, RUBBER FT 2 13
483666 (02280)
72 30 MOOZZ MOO MOGZZ MFOZZ HOSE. RUBBER EA 1 1
70-1521-3 (30554)
70-1521-3 (93742)
MANUFACTURED FROM
72 31 PAOZZ PAOZZ PAGZZ PAFZZ - .070 4720-00-913-9510 HOSE. NONMETALLIC FT 2 13
483666 (02280)
72 32 MOOZZ MOO MOGZZ MFOZZ HOSE. RUBBER EA 1 1
70-1521-4 (30554)
70-1521-4 (93742)
MANUFACTURE FROM:
72 33 PAOZZ PAOZZ PAGZZ PAFZZ - .070 4720-00-913-9510 HOSE. NONMETALLIC FT 2 13
483666 (02280)
72 34 PAOZZ PAOZZ XBGZZ PAFZZ - .008 4730-00-038-7174 TEE, HOSE, 1/4 IN. EA 3 3
70-1412 (30554)
224- (93061)
72 35 PAOZZ PAOZZ XBGZZ PAFZZ D.008 5305-0024-1093 SCREW, ASSEMBLED WASHER 10-24 EA 2 2
X3/4 IN LG
69-662-52 (30554)
61-101241-4-0142B-0542B (78189)
72 36 PAOZZ PAOZZ XBOZZ PAFZZ D.008 5310-00-094-3421 NUT, PLAIN ASSEMBLED EA 14 52
69-561-4 (30554)
511-101800-00 (78189)
72 37 PAOZZ PAOZZ PAOZZ PAFZZ - .010 4820-00-209-1562 COCK, PLUG EA 1 1
69-774 (30554)
SP-2201 (70411)
72 38 PAOZZ PAOZZ XBOZZ PAFZZ D.008 5306-00-036-6982 BOLT, ASSEMBLED WASHER EA 8 71
70-1319-4 (30554)
61-251281-00-0242B-0542B (78189)
72 39 PAOZZ PAOZZ XBGZZ PAFZZ D.008 5310-00-696-5173 NUT, PLAIN ASSEMBLED 1/4-20 EA 14 131
69-561-5 (30554)
511-251800-00 (78189)
72 40 PAOZZ PAOOO PAOOO PAFZZ .013 2910-00-930-9367 PUMP, FUEL, ELECTRICAL EA 2 2
480517 (72850)
72 41 PAOZZ PAOZZ PAOZZ PAFZZ - 010 2910-00-893-6402 STRAINER ELEMENT EA 2 2
479729 (72850)
72 42 PAOZZ PAOZZ PAOZZ PAFZZ - .003 5330-00-763-9322 GASKET EA 1 1
479136 (72850)
72 43 PAOZZ PAOZZ PAGZZ PAFZZ - .050 4810-00-357-0538 VALVE SOLENOID EA 1 1
70-1609 (30554)
240091 (s0999)
72 44 XBOZZ XB XBOZZ XBFZZ BRACKET TANK, ETHER EA 1 2
70-1610 (30554)
240067 (50999)
72 45 PAOZZ PAOZZ PAGZZ PAFZZ 4730-01-022-8535 CLAMP, HOSE EA 1 1
70-1611 (30554)
72 46 XBOZZ XB XBGZZ XBFZZ PIN. RETAINER EA 1 2
MS29523-1 (96906)
72 47 PAOZZ PAOZZ PAOBZ PAFZZ .027 2910-00-141-9758 CAP, FILLER OPENING EA 1 1
MS35645-1 (96906)
72 48 PAOZZ PAOZZ PAOZZ PAFZZ .005 5330-00-684-7851 GASKET EA 1 1
MS35643-1 (96906)
202

(3)
USMC
(5)
DESCRIPTION USABLE
MFR ON
REF NUMBER CODE CODE
(8)
USMC
QTY
PER
EQUIP
(7)
QTY
INC
IN
UNIT
(6)
U/M
a
SSI
(2)
SMR CODE
(1)
ILLUSTRATION
d
USMC
c
NAVY
b
AIR
FORCE
a
ARMY
(a)
FIG
NO.
(b)
ITEM
NO.
(4)
NATIONAL
STOCK
NUMBER
b
REPL
FACTOR
TM 9-6115-545-24P
TO 35C2-3-444-4
NAVFAC P-8-626-24P
SL 400038G/07499A
72 49 PAOZZ PAOZZ XBGZZ PAFZZ D.008 5305-00-034-3148 SCREW, ASSEMBLED WASHER 10-24 EA 10 22
X5/ IN. LG
69462-51 (30554)
61-101041-4040142B-0542B (78189)
72 50 PAOZZ PAOZZ XBGZZ PAFZZ D.010 5310-00-809-8546 WASHER, FLAT EA 10 38
MS271838 (96906)
72 51 XBOZZ XB XBGZZ XBFZZ FILLER NECK EA 1 1
70-1392 (30554)
70-1392 (93742)
72 52 PAOZZ PAOZZ XBGZZ PAFZZ .008 4730-00-908-6294 CLAMP, HOSE EA 2 2
MS35842-16 (96906)
72 53 MOOZZ MOO MOGZZ MFOZZ HOSE, FUEL FILLER NECK EA 1 1
70-1471 (30554)
70-1471 (93742)
MANUFACTURE FROM:
72 54 PAOZZ PAOZZ PAGZZ PAFZZ .070 4720-00-385-8750 HOSE, FUEL, FILLER FT 1 1
70-1471 (30554)
72 55 PAOZZ PAOZZ XBGZZ PAFZZ D.008 5305-00-942-2196 SCREW. CAP. HEX HD 3/16 X 1 IN EA 2 34
LG
MS18154-60 (96906)
72 56 PAOZZ PAOZZ XBGZZ PAFZZ D.010 5310-00-061-1258 WASHER. LOCK EA 14 56
MS45904-76 (96906)
72 57 PAOZZ PAOZZ XBGZZ PAFZZ D.008 5310-00-732-0558 NUT. PLAIN HEX EA 12 47
MS519678 (96906)
72 58 XBOZZ MOO XBGZZ XBFZZ BRACKET. TAIL PIPE EA 1 1
70-1034 (30554)
70-1034 (93742)
72 59 XBOZZ MOO XBGZZ XBFZZ SUPPORT BRACKET. LOAD BANK LH EA 1 1
70-1035 (30554)
70-1035 (93742)
72 60 XBOZZ MOO XBGZZ XBFZZ SUPPORT BRACKET, LOAD BANK RH EA 1 1
70-1036 (30554)
70-1036 (93742)
72 61 PAOZZ PAOZZ PAGZZ PAFZZ D.008 5306-00-036-6909 BOLT, ASSEMBLED WASHER 1/4-20 EA 2 119
X 1/2 IN LO
70-1319-2 (30554)
61-250881-00-0242B0542B (78189)
72 62 XBOZZ XB XBOZZ XBFZZ BRACKET SUPPORT EA 1 1
70-1597 (30554)
70-1597 (93742)
72 63 PAOZZ PAOZZ XBOZZ PAFZZ D.008 5306-00-036-6982 BOLT, ASSEMBLED WASHER EA 2 2
70-1319-4 (30554)
61-251281-00-0242B05428 (78189)
72 64 PAOZZ PAOZZ XBOZZ PAFZZ 4730-00-812-1333 CAP. TUBE EA 2 3
69-539-2 (30554)
69-539-2 (93742)
72 65 XBOZZ XB XBGZZ XBFZZ - 010 CHAIN. WELDLESS EA 1 2
`RRC271 TYPE II GRADE C
CLASS 3 (81349)
72 66 XBOZZ XB XBOZZ XBFZZ HOOK CHAIN EA 1 2
MS80076-3 (96906)
72 67 PAFZZ PAOZZ PAGZZ PAFZZ - .023 5935-00-938-7841 CONNECTOR, PLUG, ELECTRICAL EA 1 1
MS3101 R10SL-4P (96906)
72 68 PAFZZ PAOZZ XBGZZ PAFZZ D 008 5310-00-768-0318 NUT, HEX 1/2-13 EA 8 40
61D08 (12603)
72 69 PAFZZ PAOZZ XBGZZ PAFZZ D.010 5310-00-935-8984 WASHER, LOCK EA 16 46
MS4590484 (96906)
72 70 PAFZZ PAOZZ PAGZZ PAFZZ D.008 530500-915-8087 SCREW. CAP, HEX HD EA 8 8
MS18154-113 (96906)
72 71 PAFZZ PAOZZ XBGZZ PAFZZ D 008 5310-01-070-2105 NUT, PLAIN, HEX 112-13 EA 4 40
MS51967-14 (96906)
72 72 PAFZZ PAOZZ XBGZZ PAFZZ D .010 5310-00-9358984 WASHER. LOCK, 1/2 IN EA 8 46
MS4590484 (96906)
203

(3)
USMC
(5)
DESCRIPTION USABLE
MFR ON
REF NUMBER CODE CODE
(8)
USMC
QTY
PER
EQUIP
(7)
QTY
INC
IN
UNIT
(6)
U/M
a
SSI
(2)
SMR CODE
(1)
ILLUSTRATION
d
USMC
c
NAVY
b
AIR
FORCE
a
ARMY
(a)
FIG
NO.
(b)
ITEM
NO.
(4)
NATIONAL
STOCK
NUMBER
b
REPL
FACTOR
TM 9-6115-545-24P
TO 35C2-3-444-4
NAVFAC P-8-626-24P
SL 400038G/07499A
72 73 PAFZZ PAOZZ PAGZZ PAFZZ D .010 5310-00-399-0995 WASHER, BEVEL EA 4 12
70-1531-2 (30554)
38305 (05748)
72 74 PAFZZ PAOZZ XBGZZ PAFZZ D .008 5305-00-964-0589 SCREW. CAP, HEX HD EA 4 8
MS51095-416 (96906)
72 75 XBFZZ AOO XBGZZ XBFZZ LIFTING FRAME ASSY. See figure 73 EA 1 2
for breakdown
70-1026 (30554)
70-1026 (93742)
72 76 PAOZZ PAOZZ PAOZZ PAFZZ - .100 2910-00-646-9727 TANK PRIMER, STARTING EA 1 1
70-1608 (30554)
240096 (50999)
72 77 PAOZZ PAOZZ PAOZZ PAFZZ .010 2910-00-752-9138 FILLER TUBE, FUEL TANK EA 1
MS90908-1 (96906)
204

TM 9-6115-545-24P
TO 35C2-3-444-4
NAVFAC P-8-626-24P
SL 400038G/07499A
Figure 73. Lifting Frame Assembly.
(205 blank)/206

(3)
USMC
(5)
DESCRIPTION USABLE
MFR ON
REF NUMBER CODE CODE
(8)
USMC
QTY
PER
EQUIP
(7)
QTY
INC
IN
UNIT
(6)
U/M
a
SSI
(2)
SMR CODE
(1)
ILLUSTRATION
d
USMC
c
NAVY
b
AIR
FORCE
a
ARMY
(a)
FIG
NO.
(b)
ITEM
NO.
(4)
NATIONAL
STOCK
NUMBER
b
REPL
FACTOR
TM 9-6115-545-24P
TO 35C2-3-444-4
NAVFAC P-8-626-24P
SL 400038G/07499A
73 XBFZZ AOO XBOZZ XBFZZ D.008 LIFTING FRAME ASSY EA 1 2
70-1026 (30554)
70-1026 (93742)
73 1 XBFZZ XB XBOZZ XBFZZ CLEVIS ASSY EA 2 2
69-782 (30554)
XBN8190 (90202)
73 2 PAOZZ PAOZZ XBOZZ PAFZ 5315-00-298-1481 PIN, COTTER 1 X 1-1/2 IN LG EA 2 2
MS24665-357 (96906)
73 3 PAOZZ PAOZZ XAOZZ PAFZZ D.008 5310-00-880-8186 NUT, PLAIN, HEX EA 2 2
MS51967-26 (96906)
73 4 PAOZZ PAOZZ XBOZZ PAOZZ 5305-00-934-0262 SCREW, CAP. HEX EA 2 2
MS90728-219 (96906)
73 5 PAOZZ PAOZZ XAOZZ PAFZZ 5340-01-203-7936 CLEVIS EA 2 12
1XBNSO90 (90202)
73 6 PAFZZ PAOZZ XBOZZ PAFZZ D.008 5310-00-768-0318 NUT. PLAIN, HEX 112-13 EA 12 40
MS51967-14
73 7 PAFZZ PAOZZ XBOZZ PAFZZ D .010 5310-00-584-5272 WASHER, LOCK 1/2 IN EA 12 43
MS35338-48 (96906)
73 8 PAFZZ PAOZZ XBOZZ PAFZZ D.008 5305-00-042-6417 SCREW, CAP, HEXHD 112-13 X EA 8 18
1-1/2 IN. LG.
MS90725-113 (96906)
73 9 PAFZZ PAOZZ PAGZZ PAFZZ D.008 5310-00-732-0558 NUT PLAIN, HEX 3/8-16 EA 4 47
MS51967-8 (96906)
73 10 PAFZZ PAOZZ XBOZZ PAFZZ D.010 5310-00-061-1258 WASHER, LOCK EA 8 66
MS45904-78 (96906)
73 11 PAFZZ PAOZZ XBOZZ PAFZZ D.008 5305-00-942-2196 SCREW, CAP, HEX HD 3-16 X EA 4 34
1 IN. LG.
MS18154-60 (96906)
73 12 PAFZZ PAOZZ XBOZZ PAFZZ D.008 5305-00-964-0589 SCREW, CAP, HEX HD 12-13 X EA 4 8
2 IN. LG.
MS51095-416 (96906)
73 13 XBFZZ XB XBOZZ XBFZZ BRACKET, CLEVIS EA 2 2
70-1031 (30554)
70-1031 (93742)
73 14 XBFZZ MOO XBOZZ XBFZZ ANGLE, SUPPORT EA 2 2
70-1030 (30554)
70-1030 (93742)
73 15 XBFZZ XB XBOZZ XBFZZ LIFTIN3 FRAME TOP EA 1 1
70-1027 (30554)
70-1027 (93742)
73 16 XBFZZ XB XBOZZ XBFZZ SUPPORTASSY EA 1 1
70-1028 (30554)
70-1028 (93742)
73 17 PAOZZ PAOZZ XBOZZ PAFZZ .008 5320-01-033-4357 RIVET, BLIND EA 4 84
M24243/6-C602H (81349)
73 18 PAOZZ PAOZZ XBOZZ PAOZZ 9905-01-225-8482 PLATE, INSTRUCTION EA 1 1
70-1483 (30554)
70-1483 (93742)
73 19 XBFZZ XB XBOZZ XBFZZ SUPPORT, LIFTING EA 1 1
70-1029 (30554)
70-1029 (93742)
207

TM 9-6115-545-24P
TO 35C2-3-444-4
NAVFAC P-8-626-24P
SL 400038G/07499A
Figure 74. Hydraulic Cooler and Related Parts.
208

(3)
USMC
(5)
DESCRIPTION USABLE
MFR ON
REF NUMBER CODE CODE
(8)
USMC
QTY
PER
EQUIP
(7)
QTY
INC
IN
UNIT
(6)
U/M
a
SSI
(2)
SMR CODE
(1)
ILLUSTRATION
d
USMC
c
NAVY
b
AIR
FORCE
a
ARMY
(a)
FIG
NO.
(b)
ITEM
NO.
(4)
NATIONAL
STOCK
NUMBER
b
REPL
FACTOR
TM 9-6115-545-24P
TO 35C2-3-444-4
NAVFAC P-8-626-24P
SL 400038G/07499A
GROUP 17 - HYDRAULIC GROUP
AND RELATED PARTS
74 1 PAOZZ PAOZZ XBOZZ PAFZZ D.005 4730-00-121-0138 ELBOW, MALE, 5/16T X 114P BCEF EA 1 9
MS51504B5-4 (96906)
74 2 PAOZZ PAOZZ PAGZZ PAFZZ D.006 4730-00-202-9997 ADAPTER. STRAIGHT BCEF EA 2 2
MS51503A6 (96906)
74 3 PAOZZ PAOZZ PAGZZ PAFZZ D.006 4730-00-620-6904 ADAPTER, STRAIGHT BCEF EA 1 1
MS51500A54 (96906)
74 4 PAOZZ PAOZZ XBOZZ PAFZZ D.008 5306-00-036-6909 BOLT. ASSEMBLED WASHER BCEF EA 2 119
70-1319-2 (30554)
61-250881-00-0242B0542B (78189)
74 5 PAOZZ PAOZZ XBOZZ PAFZZ D.005 5340-00-333-6448 CLAMP. LOOP BCEF EA 2 2
70-1529-6 (30554)
TA724SS-6 (84971)
74 6 PAOZZ PAOZZ XBOZZ PAFZZ D.008 4710-00-433-6979 TUBE ASSY. METAL BCEF EA 1 1
70-1586 (30554)
70-1586 (93742)
74 7 XBFZZ XA XAOZZ XBFZZ NUT, COUPLING BCEF EA 2 2
A0N8186D (88044)
74 8 XBFZZ XA XAOZZ XBFZZ SLEEVE BCEF EA 2 2
MS20819-6J (96906)
74 9 XAOZZ XA XAOZZ XBFZZ TUBE, FINNED BCEF EA 1 1
70-1591 (30554)
56554 (77783)
209

TM 9-6115-545-24P
TO 35C2-3-444-4
NAVFAC P-8-626-24P
SL 400038G/07499A
Figure 75. Cooling Group and Related Parts.
210

(3)
USMC
(5)
DESCRIPTION USABLE
MFR ON
REF NUMBER CODE CODE
(8)
USMC
QTY
PER
EQUIP
(7)
QTY
INC
IN
UNIT
(6)
U/M
a
SSI
(2)
SMR CODE
(1)
ILLUSTRATION
d
USMC
c
NAVY
b
AIR
FORCE
a
ARMY
(a)
FIG
NO.
(b)
ITEM
NO.
(4)
NATIONAL
STOCK
NUMBER
b
REPL
FACTOR
TM 9-6115-545-24P
TO 35C2-3-444-4
NAVFAC P-8-626-24P
SL 400038G/07499A
COOLING GROUP AND RELATED
PARTS
75 XCFZZ AOO XCFZZ XCFZZ COOLING GROUP EA 1 2
70-1005 (30554)
70-1005 (93742)
75 1 PAOZZ PAOZZ PAOZZ PAOZZ - .008 4730-00-909-8627 CLAMP, HOSE EA 4 6
MS35842-13 (96906)
75 2 PAOZZ PAOZZ PAOZZ PAOZZ - .070 4720-00-283-9089 HOSE, PREFORMED EA 1 1
70-1089 (30554)
75 3 PAOZZ PAOZZ PAOZZ PAOZZ - .070 4720-00-309-2652 HOSE, PREFORMED EA 1 1
70-1090 (30554)
75 4 PAOZZ PAOZZ PAOZZ PAOZZ - .070 5360-01-122-0630 SPRING, HELICAL, COMPRESSION EA 1 1
70-1605 (30554)
70-1605 (93742)
75 5 MOOZZ MOO MOOZZ MOOZZ - 070 HOSE EA 1 1
70-1627 (30554)
70-1627 (93742)
MANUFACTURE FROM
75 6 PAOZZ PAOZZ PAOZZ PAOZZ - .070 4720-00-913-5910 HOSE, RUBBER FT 7 7
483666 (02280)
75 7 PAOZZ PAOZZ XBOZZ PAOZZ D.008 4730-00-465-5928 ADAPTER. STRAIGHT EA 1 1
70-1518 (30554)
125HBS8 (93061)
75 8 PAOZZ PAOZZ XBOZZ PAOZZ D.008 4820-00-136-1085 COCK. PLUG EA 1 5
69659 (30554)
1260-1-2 (90800)
75 9 PAOZZ PAOZZ XBOZZ PAOZZ D.008 4730-00-765-9090 ELBOW, PIPE EA 1 1
70-14958 (30554)
2202P8-8 (93061)
75 10 PAOZZ PAOZZ XBOZZ PAOZZ D.008 4730-00-5953108 NIPPLE. PIPE EA 1 5
70-1496-6 (30554)
216P8 (93061)
75 11 PAOZZ PAOZZ XBOZZ PAOZZ D.008 5305-00-071-2068 SCREW, CAP. HEX 1/2-13 X 1-3/8 EA 8 8
IN. LG.
MS90728-112 (96906)
75 12 PAOZZ PAOZZ XBOZZ PAOZZ D.010 5310-00-935-8984 WASHER, LOCK EA 16 46
MS45904-84 (96906)
75 13 PAOZZ PAOZZ XBOZZ PAOZZ D.008 5310-00-768-0318 NUT, PLAIN HEX EA 8 40
MS51967-14 (96906)
75 14 PAOZZ PAOZZ XBOZZ PAOZZ D.008 5305-00-269-3214 SCREW, CAR, HEX EA 6 10
MS9072564 (96906)
75 15 PAOZZ PAOZZ XBOZZ PAOZZ D.010 5310-00-038-9854 WASHER, BEVELED 1-1/4 IN. SO X EA 6 10
NO 3/8 IN HOLE
70-1531-1 (30554)
70-1531-1 (52660)
75 16 PAOZZ PAOZZ XBOZZ PAOZZ D.010 5310-00-061-1258 WASHER. LOCK, NO 318 EA 6 66
MS45904-76 (96906)
75 17 PAOZZ PAOZZ XBOZZ PAOZZ D.008 5310-00-732-0558 NUT, PLAIN, HEX, NO. 3/816 EA 6 47
MS51967-8 (96906)
211

TM 9-6115-545-24P
TO 35C2-3-444-4
NAVFAC P-8-626-24P
SL 400038G/07499A
Figure 76. Control Assembly and Related Parts.
212

(3)
USMC
(5)
DESCRIPTION USABLE
MFR ON
REF NUMBER CODE CODE
(8)
USMC
QTY
PER
EQUIP
(7)
QTY
INC
IN
UNIT
(6)
U/M
a
SSI
(2)
SMR CODE
(1)
ILLUSTRATION
d
USMC
c
NAVY
b
AIR
FORCE
a
ARMY
(a)
FIG
NO.
(b)
ITEM
NO.
(4)
NATIONAL
STOCK
NUMBER
b
REPL
FACTOR
TM 9-6115-545-24P
TO 35C2-3-444-4
NAVFAC P-8-626-24P
SL 400038G/07499A
CONTROL ASSY AND RELATED
PARTS
76 1 PAOZZ PAOZZ XBOZZ PAFZZ D.008 5305-00-942-2196 SCREW. CAP, HEX HD 3-816 X 1 EA 2 34
IN LG
MS18154-60 (96906)
76 2 PAOZZ PAOZZ XBOZZ PAFZZ D.010 5310-00-637-9541 WASHER, LOCK EA 2 155
MS35338-46 (96906)
76 3 PAOZZ PAOZZ PAOZZ PAFZZ - .030 5330-00-251-4082 GASKET EA 1 1
14803 (21101)
76 4 PAFFF PAOOO PAOOO PAFFFI I.160 2930-00-487-2819 CONTROL ASSEMBLY EA 1 2
See Figure 77 lor breakout
1G3691 (96906)
213

TM 9-6115-545-24P
TO 35C2-3-444-4
NAVFAC P-8-626-24P
SL 400038G/07499A
Figure 77. Control Assembly.
214

(3)
USMC
(5)
DESCRIPTION USABLE
MFR ON
REF NUMBER CODE CODE
(8)
USMC
QTY
PER
EQUIP
(7)
QTY
INC
IN
UNIT
(6)
U/M
a
SSI
(2)
SMR CODE
(1)
ILLUSTRATION
d
USMC
c
NAVY
b
AIR
FORCE
a
ARMY
(a)
FIG
NO.
(b)
ITEM
NO.
(4)
NATIONAL
STOCK
NUMBER
b
REPL
FACTOR
TM 9-6115-545-24P
TO 35C2-3-444-4
NAVFAC P-8-626-24P
SL 400038G/07499A
77 1 PAFZZ PAOZZ PAGZZ PAFZZ D.008 5310-01-122-9057 NUT, PLAIN. HEX EA 1 4
262A (96309)
77 2 PBFZZ PBOZZ XBGZZ XBFZZ BLOCK EA 1 1
1A164 (96309)
77 3 PAFZZ PAOZZ XBGZZ PAFZZ D.008 5305-00-723-9387 SETSCREW EA 2 6
MS51963-63 (96906)
77 4 XBFZZ XB XBGZZ XBFZZ LEVER EA 1 1
1065-3 (96309)
77 5 PAFZZ PAOZZ PAGZ PAFZZ D.008 5310-01-122-9056 NUT, PLAIN, HEX EA 1 1
265A (96309)
77 6 PAFZZ PAOZZ PAGZZ PAFZZ D.010 5360-00-343-3396 SPRING, HELICAL COMPRESSION EA 1 1
13616 (96309)
77 7 XBFZZ XB XBGZZ XBFZZ D.008 BOLT. MACHINE EA 1 1
594A (96309)
1A114 (96309)
77 8 PAFZZ PAOZZ PAGZZ PAFZZ D.010 5310-01-173-6716 WASHER, FLAT EA 1 1
353A (96309)
77 9 XBFZZ XB XBGZZ XBFZZ HANDLE EA I1
55405 (96309)
77 10 XBFZZ XB XBGZZ XBFZZ SPACER EA 1 1
47006 (96309)
77 11 PAFZZ PAOZZ PAGZZ PAFZZ D.008 5365-01-122-5600 RING. RETAINING EA 1 1
1A113 (96309)
77 12 PAFZZ PAOZZ PAGZZ PAFZZ D.005 3040-01-180-7281 SHAFT EA 1 1
1G36906(96309)
77 13 XBFZZ XB PAGZZ PAFZZ D.002 YOKE AND PLUNGER EA 1 1
1107-A (96309)
77 14 PAFZZ PAOZZ PAGZZ PAFZZ D.002 5315-00-622-8467 PIN, GROOVE HEADLESS EA 1 1
1101 (96309)
77 15 XBFZZ XB PAGZZ XBFZZ D.002 PLUNGER EA 1 1
18502 (96309)
77 16 PAFZZ PAOZZ PAGZZ PAFZZ .006 3120-00-797-1273 BUSHING, SLEEVE EA 2 2
1088 (96309)
77 17 XBFZZ XB PAGZZ XBFZZ - .002 YOKE EA 1 1
1107 (96309)
77 18 PAFZZ PAOZZ PAGZZ PAFZZ - .002 2930-00-679-8879 THERMOSTATASSY EA 1 1
2202 (96309)
77 19 PAFZZ PAOZZ PAGZZ PAFZZ D.008 5310-01-122-4500 NUT, PLAIN, HEX EA 2 2
545X (96309)
77 20 XBFZZ XA XBGZZ XBFZZ .008 STUD EA 2 2
1117 (96309)
77 21 PAFZZ PAOZZ PAGZZ PAFZZ - .001 2930-00-198-5795 MANIFOLD. FLUID COOLING EA 1 1
22001 (96309)
77 22 PAFZZ PAOZZ PAGZZ PAFZZ - .030 5330-00-251-4082 GASKET EA 1 1
14803 (96309)
77 23 XBFZZ XB PAGZZ XBFZZ - .050 THERMOSTAT EA 1 1
137 (96309)
77 24 PAFZZ PAOZZ PAGZZ PAFZZ D.008 5310-00-880-0341 NUT, PLAIN. HEX EA 1 1
3903 (96309)
77 25 PAFZZ PAOZZ PAGZZ PAFZZ I .030 5330-00-776-0580 PACKING, PREFORMED EA 1
3906 (96309)
77 26 PAFZZ PAOZZ PAGZZ PAFZZ - .005 5365-00-252-4746 RING, RETAINING EA 1 1
MS16625-150 (96906)
77 27 PAFZZ PAOZZ PAGZZ PAFZZ D.005 5310-00-118-3015 SEAT, SPRING EA 2 2
3912 (96309)
77 28 PAFZZ PAOZZ PAGZZ PAFZZ - .010 5310-00-854-4342 WASHER, FLAT EA 1 1
`3914 (96309)
77 29 PAFZZ PAOZZ PAGZZ PAFZZ I.015 2930-00-776-0491 SPRING THERMOSTAT EA 1 1
3910 (96309)
77 30 PAFZZ PAOZZ PAGZZ PAFZZ - .010 2930-0-034-3802 SEAT, BALL SOCKET EA 1 1
3911 (96309)
215

(3)
USMC
(5)
DESCRIPTION USABLE
MFR ON
REF NUMBER CODE CODE
(8)
USMC
QTY
PER
EQUIP
(7)
QTY
INC
IN
UNIT
(6)
U/M
a
SSI
(2)
SMR CODE
(1)
ILLUSTRATION
d
USMC
c
NAVY
b
AIR
FORCE
a
ARMY
(a)
FIG
NO.
(b)
ITEM
NO.
(4)
NATIONAL
STOCK
NUMBER
b
REPL
FACTOR
77 31 PAFZZ PAOZZ PAGZZ PAFZZ - .006 3120-00-379-5942 BUSHING, SLEEVE EA 2 2
1A136 (96309)
77 32 XAFZZ XA XBGZZ XBFZZ FLANGE EA 1 1
22002 (96309)
77 33 PAOZZPAOZZ PAGZZ PAFZZ D 005 3120-00-797-1271 BUSHING, SLEEVE EA 1 1
1087 (96309)
216

TM 9-6115-545-24P
TO 35C2-3-444-4
NAVFAC P-8-626-24P
SL-400038G/07499A
Figure 78. Cooling Group.
(217 blank)/218

(3)
USMC
(5)
DESCRIPTION USABLE
MFR ON
REF NUMBER CODE CODE
(8)
USMC
QTY
PER
EQUIP
(7)
QTY
INC
IN
UNIT
(6)
U/M
a
SSI
(2)
SMR CODE
(1)
ILLUSTRATION
d
USMC
c
NAVY
b
AIR
FORCE
a
ARMY
(a)
FIG
NO.
(b)
ITEM
NO.
(4)
NATIONAL
STOCK
NUMBER
b
REPL
FACTOR
TM 9-6115-545-24P
TO 35C2-3-444-4
NAVFAC P-8626-24P
SL-400038G/07499A
78 1 PAOZZ PAOZZ ZBOZZ PAFZZ D.008 5305-00-225-3840 SCREW, CAP. HEX HD EA 7 18
MS90725-7 (96906)
78 2 PAOZZ PAOZZ PAOZZ PAFZZ D.010 5310-00-889-2528 WASHER. LOCK EA 25 46
MS45904-68 (96906)
78 3 PBOZZ PBOZZ XBOZZ PAFZZ 611501-036-5619 GUARD, FAN, LH EA 1 1
70-1129 (30554)
78 4 PBOZZ PBOZZ XBOZZ PBFZZ 6115-01-036-5618 GUARD, FAN, RH EA 1 1
70-1128 (30554)
78 5 PAOZZ PAOZZ XBOZZ PAFZZ D008 5305-00-225-3839 SCREW, CAP, HEX HD EA 12 14
MS90725-8 (96906)
78 6 PAOZZ PAOZZ PAOGG PBFFF D.010 2930-01-171-0328 LOUVER. METAL EA 1 2
70-1127 (30554)
16369 (96309)
78 7 XBOZZ XB XBOZZ XBFZZ SUPPORT, RADIATOR, RH EA 1 1
70-1032 (30554)
70-1032 (93742)
78 8 XBOZZ XB XBOZZ XBFZZ SUPPORT, RADIATOR, LH EA 1 1
70-1033 (30554)
70-1033 (93742)
78 9 PBOFF PBOOO PBOGG PAFFF I.015 2930-00-322-0600 RADIATOR. ENGINE EA 1 1
70-1126 (30554)
X1696 (73540)
78 10 PAOZZ PAOZZ XBOZZ PAFZZ D.008 5305-01-073-6998 SCREW, ASSEMBLED WASHER EA 6 6
1/4-20 X 1/2 IN. LG.
69-662-77 (30554)
61-250841-40-014280542B (78189)
78 11 XBOZZ XB XBOZZ XBFZZ SHROUD EA 1 1
A7272 (73540)
78 12 XBOZZ XB XBOZZ XBFZZ PIN, RETAINING EA 1 2
MS29523-1 (96906)
78 13 PAOZZ PAOZZ PAOZZ PAFZZ D.008 2930-00-720-2677 CAP, FILLER OPENING EA 1 1
MS35840-1 (96906)
78 14 MOOZZ MOO PAOZZ PAFZZ -.070 HOSE, RADIATOR EA 1 1
70-1631 (30554)
70-1631 (93742)
MANUFACTURE FROM
78 15 PAOZZ PAOZZ PAOZZ PAOZZ 4720-00-273-9514 HOSE, RUBBER FT 2 2
839961 (19207)
78 16 XAFZZ XB XAOZZ XAFZZ -.015 CORE AND TANK EA 1 1
X1698-5 (73540)
219

TM 9-6115-545-24P
TO 35C2-3-444-4
NAVFAC P-8-626-24P
SL-400038G/07499A
Figure 79. Shutter Assembly.
220

(3)
USMC
(5)
DESCRIPTION USABLE
MFR ON
REF NUMBER CODE CODE
(8)
USMC
QTY
PER
EQUIP
(7)
QTY
INC
IN
UNIT
(6)
U/M
a
SSI
(2)
SMR CODE
(1)
ILLUSTRATION
d
USMC
c
NAVY
b
AIR
FORCE
a
ARMY
(a)
FIG
NO.
(b)
ITEM
NO.
(4)
NATIONAL
STOCK
NUMBER
b
REPL
FACTOR
TM 9-6115-545-24P
TO 35C2-3 414 4
NAVFAC P-8-626-24P
SL-400038GC07499A
79 PAOFF PAOOO PBOGG PAOFF D.010 SHUTTER ASSY EA 1 2
70-1127 (30554)
1G369 (96309)
79 1 PAOZZ PAOZZ PAOZZ PAFZZ -.035 5360-00-812-8893 SPRING, HELICAL EA 1 1
1054 (96309)
79 2 PAOZZ PAOZZ PAOZZ PAFZZ D.008 5310-01-122-9057 NUT, PLAIN, HEX EA 2 4
262A (96309)
79 3 PAOZZ PAOZZ PAOZZ PAFZZ -.009 536501-192-6669 RING. RETAINING EA 1 1
1A569 (96309)
79 4 XBOZZ XB XBOZZ XBFZZ ROD ASSEMBLY EA 1 1
1G3694 (96309)
79 5 PAOZZ PAOZZ PAOZZ PAFZZ D.008 531500-839-2326 PIN, COTTER EA 2 2
MS24665-281 (96906)
79 6 XBOZZ XB XBOZZ ZBFZZ BLOCK EA 1 1
136238 (96309)
79 7 PAOZZ PAOZZ PAOZZ PAFZ -.035 5360-00-696-8522 SPRING, HELICAL COMPRESSION EA 1 1
13622 (96309)
79 8 XBOZZ XB XBOZZ XBFZZ ROD EA 1 1
1 H36904 (96309)
79 9 PFOZZ PAOZZ PAOZZ PAFZZ -.008 2830-01-188-8201 TAPE, FOAM EA 1 1
1145 (96309)
79 10 XDOZZ XB XBOZZ XBFZZ D.006 RIVET EA 30 30
1020 (96309)
79 11 XAOZZ XA XBOZZ XBFZZ VANE, ASSY EA 15 15
1G36921 (96309)
79 12 XAOZZ XA XBOZZ XAFZZ D010 SHUTTER EA 1 1
1G3690 (96309)
221

TM 9-6115-545-24P
TO 35C2-3-444 4
NAVFAC P-8-626-24P
SL-400038G/07499A
Figure 80. Hydraulic Actuator and Related Parts.
222

(3)
USMC
(5)
DESCRIPTION USABLE
MFR ON
REF NUMBER CODE CODE
(8)
USMC
QTY
PER
EQUIP
(7)
QTY
INC
IN
UNIT
(6)
U/M
a
SSI
(2)
SMR CODE
(1)
ILLUSTRATION
d
USMC
c
NAVY
b
AIR
FORCE
a
ARMY
(a)
FIG
NO.
(b)
ITEM
NO.
(4)
NATIONAL
STOCK
NUMBER
b
REPL
FACTOR
TM 9-6115-545-24P
TO 35C2-3 444 4
NAVFAC P-8-626-24P
SL-400038G/07499A
GROUP 18 - HYDRAULIC ACTUATOR
AND RELATED PARTS
80 1 PAOZZ PAOZZ XBGZZ PAFZZ D.008 530500-269-3206 SCREW. CAP. HEX HD 3/816 X 1/2 IN BCEF EA 1 1
LG
MS90725-55 (96906)
80 2 PAOZZ PAOZZ XBGZZ PAFZZ D.010 531040061-1258 WASHERF LOCK, 3/8 IN BCEF EA 1
MS45904-76 (96906)
80 3 PAOZZ PAOZZ XBFZZ PAFZZ D.005 5340-00228, 6476 CLAMP LOOP, 3/4 IN DIA BCEF EA 1 1
70-1585-12 (30554)
TA612SS12 (84971)
80 4 MFOZZ MOO AFGZZ AFFZZ HOSE ASSY BCEF EA 1 2
MS28741-5-0190 (96906)
MANUFACTURE FROM:
80 5 PAFZZ PAOZZ PAGZZ PAFZZ D.005 4730-00-842-2201 ADAPTER, STRAIGHT TUBE BCEF EA 2 20
MS24587-5 (96906)
80 6 PAFZZ PAOZZ PAGZZ PAFZZ .020 4720-00-289-9197 HOSE, NONMETALLIC BCEF FT 2 59
MILH8794-5 (81349)
80 7 MFOZZ MOO AFGZZ AFFZZ HOSE ASSY BCEF EA 1 1
MS28741-4-0554 (96906)
MANUFACTURE FROM:
80 8 PAFZZ PAOZZ PAGZZ PAFZZ D005 4730-00-842-2200 ADAPTER, STRAIGHT TUBE BCEF EA 2 4
MS24587-4 (96906)
80 9 PAFZZ PAOZZ PAGZZ PAFZZ. 020 4720-00-639-9907 HOSE 55 IN BCEF FT 5 5
MILH8794-4 (81349)
80 10 PAOZZ PAOZZ XBGZZ PAFZZ 005 4730-00-906-2505 ELBOW. TUBE TO BOSS BCEF EA 1 1
MS51523-A5 (96906)
80 11 PAOZZ PAOZZ PAGZZ PAFZZ 040 5330-00- 337491 PACKING, PREFORMED BCEF EA 1 1
MS28778-5 (96906)
80 12 PAOZZ PAOZZ XBGZZ PAFZZ D.005 4730-00-713-5913 ELBOW, TUBE BCEF EA 1 2
4C50XSS (30780)
80 13 PAOZZ PAOZZ PAGZZ PAFZZ 040 5330-00-804-5695 PACKING, PREFORMED BCEF EA 1 3
AN90296 (88044)
80 14 PAOZZ PAOZZ PAGZZ PAFZZ D005 4730-00-021-1788 REDUCER, BOSS BCEF EA 1 1
70-1194 (30580)
4-6FS0G5S (30780)
80 15 PAOZZ PAOZZ PAGZZ PAFZZ 040 5330-00-805-2966 PACKING, PREFORMED BCEF EA 1 1
MS28778-4 (96906)
80 16 PAFZZ PAOZZ XBGZZ PAFZZ D.008 5310-00-088-1251 NUT, SELF-LOCKING HEX 1/4-20 BCEF EA 2 3
MS1922-1 (96906)
80 17 PAFZZ PAOZZ XBGZZ PAFZZ D008 5305-00-071-1317 SCREW. MACHINE 114-20 X 7/8 IN LG BCEF EA 1 1
MS51957-82 (96906)
80 18 PAFZZ PAOZZ PAGZZ PAFZZ D005 3120-00-106-8645 ROD END. SPHERICAL BCEF EA 2 2
70-1111 (30554)
HF4TMCB (73134)
80 19 PAFZZ PAOZZ PAGZZ PAFZZ D008 5310-00-905-1691 NUT. PLAIN HEX BCEF EA 3 3
MS51972-1 (96906)
80 20 XBFZZ XB XBGZZ XBFZZ STUD BCEF EA 1 1
70-1241 (30554)
70-1241 (93742)
80 21 PAFZZ PAOZZ PAGZZ PAFZZ 5305-00-071-1318 SCREW, MACHINE 1/4-20 X 1 IN LG BCEF EA 1 1
MS51957-83 (96906)
80 22 PAFZZ PAOZZ PAGZZ PAFZZ 5340-00-310-4952 CLEVIS, HYDRAULIC ACTUATOR BCEF EA 1 1
69698 (30554)
80 23 PAFZZ PAOZZ PAGZZ PAFZZ 5306-00-036-6909 BOLT, ASSEMBLED WASHER 1/4-20 X BCEF EA 4 119
70-1319-2 (30554)
61-250881-00-0242B0542B (78189)
223

(3)
USMC
(5)
DESCRIPTION USABLE
MFR ON
REF NUMBER CODE CODE
(8)
USMC
QTY
PER
EQUIP
(7)
QTY
INC
IN
UNIT
(6)
U/M
a
SSI
(2)
SMR CODE
(1)
ILLUSTRATION
d
USMC
c
NAVY
b
AIR
FORCE
a
ARMY
(a)
FIG
NO.
(b)
ITEM
NO.
(4)
NATIONAL
STOCK
NUMBER
b
REPL
FACTOR
TM 9-6115-545-24P
TO 35C2-3-444-4
NAVFAC P-8-626-24P
SL-400038G/07499A
80 24 PAFFH PAODD PAOGG PAFHH 2990-00-405-6146 ACTUATOR ASSY, HYDRAULIC, See BCEF EA 1 1
figure 81 for breakdown
6900-2 (30554)
1289A86G02 (88725)
80 25 PAFZZ PADZZ PAGZZ PAFZZ 5305-00-071-1784 SCREW. CAP, HEX HD 7/16-14 X 3/4 BCEF EA 2 4
IN LG
MS90728-83 (96906)
80 26 PAFZZ PAFZZ PAGZZ PAFZZ 5310-00-080-9785 WASHER, LOCK, 7/16 BCEF EA 2 4
MS45904 (96906)
80 27 PBFZZ XB XBGZZ XBFZZ BRACKET, ACTUATOR BCEF EA 1 1
70-1183 (30554)
70-1183 (93742)
224

TM 9-6115-545-24P
TO 35C2-3-444-4
NAVFAC P-8-626-24P
SL-400038G/07499A
Figure 81. Actuator Assembly, Electric.
(225 blank)/226

(3)
USMC
(5)
DESCRIPTION USABLE
MFR ON
REF NUMBER CODE CODE
(8)
USMC
QTY
PER
EQUIP
(7)
QTY
INC
IN
UNIT
(6)
U/M
a
SSI
(2)
SMR CODE
(1)
ILLUSTRATION
d
USMC
c
NAVY
b
AIR
FORCE
a
ARMY
(a)
FIG
NO.
(b)
ITEM
NO.
(4)
NATIONAL
STOCK
NUMBER
b
REPL
FACTOR
TM 9-6115-545-24P
TO 35C2-3 444 4
NAVFAC P-8-626-24P
SL-400038/07499A
81 PAFHH PAODD PAOGG PAFHH ACTUATOR ASSY, ELECTRIC BCEF EA 1 2
69-600 (30554)
81 PAFFF PAODD PAGRG PAFHH .008 2990-004056146 ACTUATOR ASSY. ELECTRIC BCEF EA 1 2
69-600-2 (30554)
23600-2REVE (12670)
81 1 PAFZZ PADZZ XBOZZ PAHZZ D.008 530500-9586517 SCREW, CAP, SOCKET HEX BCEFEA 3 3
MS16996-12 (96906)
81 2 PAFZZ PADZZ PAOZZ PAFZZ D.010 5310-00-0453296 WASHER. LOCK BCEF EA 3 9
M535338-43 (96906)
81 3 PAFZZ PADZZ XBOZZ PAHZZ D.005 611500-211-5241 COVER, ACCESS BCEF EA 1 1
69-616 (30554)
81 4 PAFZZ PADZZ PAGZZ PAHZZ .040 5330-00-211-9920 GASKET BCEF EA 1 1
69-606 (30554)
81 5 PAFZZ PADZZ XBGZZ PAHZZ D008 530500-969-4348 SETSCREW BCEF FA 1 1
MS18066-11 (96906)
81 6 PAFZZ PADZZ XBGZZ PAHZZ D.008 530500-9881727 SCREW, MACHINE 1t420 X 1 IN LG BCEF EA 1 1
MS35206-283 (96906)
81 7 PAFZZ PADZZ XBGZZ PAHZZ D.010 5310-00-045-4007 WASHER. LOCK BCEF EA 1 13
MS35338-44 (96906)
81 8 XBFZZ XB XBGZZ XBHZZ LINK BCEF EA 1 1
69-25 (30554)
69-25 (12670)
81 9 PAFZZ PADZZ PAGZZ PAHZZ D.008 5305-01-0259980 SETSCREW BCEF EA 1 1
MS51964-124 (96906)
81 10 PAFZZ PADZZ XBGZZ PAHZZ D.008 5305-00-5432732 SCREW, MACHINE BCEF EA 4 4
MS35265-18 (96906)
81 11 PAFZZ PADZZ PAGZZ PAHZZ D010 5310-00-54382410 WASHER, LOCK BCEF EA 12 16
MS35338-40 (96906)
81 12 XBFZZ XB XBGZZ XBHZZ SPACER, CONNECTOR BCEF EA 1 1
69-612 (30554)
69-612 (12670)
81 13 PAFZZ PADZZ PAGZZ PAHZZ D.005 5935-00-114-2783 CONNECTOR. RECEPTACLE, BCEF EA 1 1
ELECTRICAL
69-26 (30554)
69-626 (12670)
81 14 XBFZZ XB XBGZZ XBHZZ INSULATION BCEF FT 1 1
MIL-I-631 (81349)
81 15 PAFZZ PADZZ PADZZ PAHZZ 6625-00-190-4868 TRANSDUCER ASSY BCEF EA 1 1
69-629 (30554)
7123 (83550)
81 16 PAFZ PADZZ PAGZZ PAHZZ D005 5365-00-833-7454 RING, RETAINING BCEF EA 2 2
MS 16625-1093 (96906)
81 17 PAFZZ PADZZ PAGZZ PAHZZ 536501-169-2342 WASHER BCEF EA 2 2
81-600 (30554)
81 18 PAFZZ PADZZ PAGZZ PAHZZ D.010 5310-00-30350080 WASHER. FLAT BCEF EA 2 4
69-602 (30554)
69-602 (12670)
81 19 PAFZZ PADZZ PAGZZ PAHZZ D040 5330-00-357-2064 PACKING, ASSEMBLY BCEF EA 2 2
69-632 (30554)
K1N5112-112 (07322)
81 20 PAFZZ PADZZ PAGZZ PAHZZ 005 3120-00-212-0061 BUSHING, SLEEVE BCEF EA 2 4
69601 (30554)
81 21 PAFZZ PADZZ PAGZZ PAHZZ 020 5330-00-316-7248 PACKING. PRERORMED BCEF EA 2 2
69-610 (30554)
04116-388D (07322)
81 22 PAFZZ PADZZ PAGZZ PAHZZ 008 611500-211-5086 PISTON, ACUTATOR BCEF EA 1 1
69624 (30554)
69-624 (93742)
81 23 XBFZZ XB XBGZ XBHZZ PIN, SPRING BCEF EA 1 1
MS171572 (96906)
81 24 PAOZ PADZZ PAGBZ PAHZ .020 2990-00-211-5258 FILTER PLUG ASSY BCEF EA 1 1
69622 (30554)
69622 (12670)
227

(3)
USMC
(5)
DESCRIPTION USABLE
MFR ON
REF NUMBER CODE CODE
(8)
USMC
QTY
PER
EQUIP
(7)
QTY
INC
IN
UNIT
(6)
U/M
a
SSI
(2)
SMR CODE
(1)
ILLUSTRATION
d
USMC
c
NAVY
b
AIR
FORCE
a
ARMY
(a)
FIG
NO.
(b)
ITEM
NO.
(4)
NATIONAL
STOCK
NUMBER
b
REPL
FACTOR
TM 9-6115-545-24P
TO 35C2-3 444 4
NAVFAC P-8-626-24P
SL-400038G/07499A
81 25 PAOZZ PADZZ PAGZZ PAHZ .040 533000-067-3358 PACKING. PREFORMED BCEF EFA 1 1
AN6227-12 (18044)
81 26 XBFZZ XB XBGZZ XBHZZ PLUG, METAL, 516-24 BCEF EA 2 2
69-633 (30554)
7238X2 (74970)
81 27 PAFZZ PADZZ PAGZZ PAHZZ D.020 5330-00-5941040 PACKING, PREFORNED BCEF EA 6 6
MS9020-02 (96906)
81 28 PAFZZ PADZZ PAGZZ PAHZZ 53054006140260 SCREW. MACHINE 4-40 X 3/8 IN. LG BCEF EA 4 4
MS35265-17 (96906)
81 29 PAFZZ PADZZ PAGZZ PAHZZ D.005 593500-557-2054 CONNECTOR, PLUG, ELECTRICAL BCEF EA 1 1
69-623 (30554)
17D6703H10 (86725)
81 30 PAFZZ PADZZ PAGZZ PAHZZ .040 5330-00-213-8901 GASKET. CONN, ELECT. BCEF EA I1
69607 (30554)
69-607 (12570)
81 31 PAFZZ PADZZ XBGZZ PAFZZ D.008 5310-00-934-9747 NUT. PLAIN, HEX BCEF EA 2 37
MS35649-262 (96906)
81 32 PAFZZ PADZZ PAGZZ PAHZZ D.008 530500-058-9365 SETSCREW BCEF EA 2 2
MS51977-22 (96906)
81 33 PAFZZ PADZZ XBGZZ PAHZZ D.008 530500-531-0298 SCREW, MACHINE, 440 X 3/8 IN LG BCEF EA 4 4
MS35265-15 (96906)
81 34 AHHZZ ADD AHHHH AHHZZ 292040-224-7429 CORE-ARMATURE ASSY BCEF EA 1 1
69618 (30554)
69618 (12670)
81 35 PAHZZ PADZZ XBGZZ PAHZZ 530500-559-8144 SCREEN, MACHINE BCEF EA 4 4
MS35265-1 (96906)
81 36 PAHZZ PADZZ XBGZZ PAHZZ 5310-00-5435060 WASHER, LOCK BCEF EA 4 6
MS35338-39 (96906)
81 37 XB XA XBGZZ XBHZZ CORE BCEF EA 1 1
69-619 (30554)
69-619 (12670)
81 38 PAHZZ PADZZ XBGZZ PAHZZ 530500-978-9343 SCREW, CAP. SOCKET BCEF EA 4 4
MS16997-10 (96906)
81 39 PAHZZ PADZZ XBGZZ PAHZZ 5310-00-933-8118 WASHER. LOCK BCEF EA 8 8
MS35338135 (96906)
81 40 PAHZZ PADZZ XBGZZ PAHZZ 531040-982-4933 NUT, PLAIN, SQUARE BCEF EA 4 4
MS27040-4 (96906)
81 41 XBHZZ XA XBGZZ XBHZZ ARMATURE BCEF EA 1 1
69-620 (30554)
69-620 (12670)
81 42 PAHZZ PADZZ XBGZZ PAHZZ 530500-978-9342 SCREW. CAP, SOCXET BCEF EA 4 4
MS16997-9 (96906)
81 43 PAFZZ PADZZ XB(3ZZ XBHZZ 5360-00-267-0777 SPRING, FLAT BCEF EA 1 1
69-609 (30554
69-609 (12670)
81 44 PAHZZ PADZZ XBGZZ PAHZZ 531500-291-5471 PIN, SPRING BCEF EA 4 4
MS171431 (96906)
81 45 XBFZZ XA XBGZZ XBHZZ BRACKET BCEF EA 2 2
69-621 (30554)
69-621 (12670)
81 46 PAHZZ PADZZ PAGZZ PAHZZ .008 5950-00-211-2000 COIL, RADIO FREQUENCY BCEF EA 2 2
69-630 (30554)
81 47 PAHZZ PADZZ PAGZZ PAHZZ 540-01-051-2724 TERMINAL. STUD TURRET BCEF EA 2 2
73-0508 (30554)
10-301-2 (18310)
81 48 PAFZZ PAOZZ PAGZZ PAHZZ 009 2910-00-212-9065 NEEDLE, VALVE BCEF EA 2 2
69608 (30554)
69608 (93742)
81 49 PAFZZ PAOZZ PAGZZ PAHZZ .008 473000-285-4329 RESTRICTOR, FLUID BCEF EA 2 2
69605 (30554)
81 50 PAFZZ PAOZZ PAGZZ PAHZZ 009 2990-00-211-5066 VALVE. GOVERNOR BCEF EA 2 2
69-617 (30554)
69-617 (93742)
228

(3)
USMC
(5)
DESCRIPTION USABLE
MFR ON
REF NUMBER CODE CODE
(8)
USMC
QTY
PER
EQUIP
(7)
QTY
INC
IN
UNIT
(6)
U/M
a
SSI
(2)
SMR CODE
(1)
ILLUSTRATION
d
USMC
c
NAVY
b
AIR
FORCE
a
ARMY
(a)
FIG
NO.
(b)
ITEM
NO.
(4)
NATIONAL
STOCK
NUMBER
b
REPL
FACTOR
TM 9-6115-545-24P
TO 35C2-3 444 4
NAVFAC P-8-626-24P
SL-400038G/07499A
81 51 XBFZZ XB XBGZZ XBHZZ RESTRICTOR, FLUID BCEF EA 2 2
69-04 (30554)
69-604 (12670)
81 52 PAFZZ PAOZZ PAGZZ PAHZZ .008 4730-00-287-8473 RESTRICTOR, FLUID BCEF EA 2 2
69-603 (30554)
81 53 PAFZZ XB XBGZZ PAHZZ 5305-00-253-5603 SCREW, PLATE BCEF EA 4 4
MS21318-1 (96906)
81 54 XCFZZ XB XBGZZ MDOZZ PLATE, IDENTIFICATION BCEF EA 1 1
69-15 (30554)
69615 (12670)
81 55 XAHFF XA XAGZ XAHZZ VALVE BLOCK BOEF EA 1 1
69631 (30554)
69-631 (12670)
229
229

TM 9-6115-545-24P
TO 35C2-3 444 4
NAVFAC P-8-626-24P
SL-400038G/07499A
Figure 82. Hydraulic Sump and Filter.
230

(3)
USMC
(5)
DESCRIPTION USABLE
MFR ON
REF NUMBER CODE CODE
(8)
USMC
QTY
PER
EQUIP
(7)
QTY
INC
IN
UNIT
(6)
U/M
a
SSI
(2)
SMR CODE
(1)
ILLUSTRATION
d
USMC
c
NAVY
b
AIR
FORCE
a
ARMY
(a)
FIG
NO.
(b)
ITEM
NO.
(4)
NATIONAL
STOCK
NUMBER
b
REPL
FACTOR
TM 9-6115-545-24P
TO 35C2-344 4
NAVFAC P-8-626-24P
SL-400038G/07499A
82 GROUP 19 - HYDRAULIC SUMP AND
FILTER
82 1 MFOZZ MOO AFGZZ AFFZ HOSE ASSY, HYDRAULIC BCEF EA 1 1
MS28741-6-0112 (96906)
MANUFACTURE FROM.
82 2 PAFZZ PAOZZ PAGZZ PAFZ D.005 4730-00-843-0269 ADAPTER, STRAIGHT TUBE BCEF EA 2 4
MS24587-6 (96906)
82 3 PAFZZ PAOZZ PAGZZ PAFZZ .010 4720-00-278-1323 HOSE, NONMETALLIC BCEF FT 1 1
MILH8794 (81349)
82 4 PAOZZ PAOZZ XBGZZ PAOZ D.005 4730-00-738-4481 ELBOW, TUBE TO BOSS BCEF EA 3 2
6C50XSS (30780)
82 5 PAOZZ PAOZZ PAGZ PAOZZ D.005 4730-00-851-3423 ELBOW, STD THD WITH NUT BCEF EA 2 2
70-1110-1 (30554)
4C50X-5 (30780)
82 6 PAOZZ PAOZZ PAGZZ PAOZZ 020 5330-00-804-5695 PACKING, PREFORMED BCEF EA 2 3
MS28778-6 (96906)
82 7 PAOZ PAOZZ XBGZ PAOZZ D008 5305-00-071-2237 SCREW, CAP HEX HEAD BCEF EA 2 2
MS90725-14 (96906)
82 8 PAOZZ PAOZZ XBGZZ PAOZZ D010 5310-00-889-2528 WASHER, LOCK BCEF EA 6 46
MS45904-68 (96906)
82 9 PAOZZ PAOZ XBGZZ PAOZZ D.008 5310-00-761-6882 NUT, PLAIN, HEX BCEF EA 6 52
MS51967-2 (96906)
82 10 PAOZZ PAOZZ PAGGG PAOZ 1650-00-288-6908 FILTER, FLUID BCEF EA 1 1
MS28760-6 (96906)
82 11 PAOZZ PAOZZ PAOZZ PAOZ 030 4330-00-542-2060 ELEMENT FILTER, FLUID BCEF EA 1 1
AN6235-2A (88044)
82 12 PAOZZ PAOZZ PAOZZ PAOZ 020 5330-00-171-6649 PACKING, PREFORMED BCEF EA 1 1
MS28775-223 (96906)
82 13 PAOZZ PAOZZ PAGZZ PAOZZ D.005 5330-00-171-6695 GASKET BCEF EA 2 2
MS28782-27 (96906)
82 14 MFOZZ MOO AFGZZ AFFZ HOSE ASSY, HYDRAULIC BCEF EA 1 1
MS28741-8-0201 (96906)
MANUFACTURE FROM'
82 15 PAFZZ PAOZZ PAGZZ PAFZZ .005 4730-00-842-2202 ADAPTER, STRAIGHT, TUBE BCEF EA 2 22
MS24587-8 (96906)
82 16 PAFZ PAOZZ PAGZ PAFZZ 020 4720-00-999-8994 HOSE, NONMETALLIC BCEF FT 1 32
MILH8794-8 (81349)
82 17 PAOZZ PAOZZ XBGZ PAFZZ D005 4730-00-273-6686 ELBOW, PIPE TO TUBE BCEF EA 1 1
MS51504A8-8 (96906)
82 18 PAOZZ PAOZZ XBGZ PAOZZ D008 5305-00-036-6968 SCREW, ASSEMBLED WASHER 6-32 BCEF EA 1 39
X3/8 IN LG.
69-662-18 (30554)
61-060641-40-0142B0542B (78189)
82 19 PAOZZ PAOZZ XBGZZ PACZZ D005 2815-00-033-5179 CAP. FILLER OPENING BCEF EA 1 1
70-1326 (30554)
MIL24 (97484)
82 20 PAOZZ PAOZZ XBGZZ PAOZZ 040 5330-00-846-0500 GASKET, CAP BCEF EA 1 1
MS9241-119 (96906)
82 21 PAOZZ PAOZZ XBGZZ PAOZZ .020 6680-00-037-9009 INDICATOR, STRAIGHT. LIQUID BCEF EA 1 1
M-143C (97484)
82 22 MFOZ MOO AFGZZ AFFZZ HOSE, ASSY BCEF EA 1 1
MS287415-0120 (96906)
MANUFACTURE FROM:
82 23 PAFZ PAOZ PAGZZ PAFZZ D.005 4730-00-842-2201 ADAPTER, STRAIGHT, TUBE BCEF EA 2 20
MS24587-5 (96906)
82 24 PAFZ PAOZZ PAGZZ PAFZZ .020 4720-00-289-9197 HOSE, NONMETALLIC BCEF FT 1 59
MILH8794-5 (81349)
82 25 PAOZZ PAOZZ XBGZ PAFZZ D.005 4730-00-113-0567 ELBOW, PIPE TO TUBE BCEF EA 1 3
70-1491-36 (30554)
5-4VTX-S (45681)
82 26 PAOZ PAOZZ PAGZ PAOZZ D.005 4730-00-221-2139 PLUG, PIPE BCEF EA 1 2
MS20913-45 (96906)
231

(3)
USMC
(5)
DESCRIPTION USABLE
MFR ON
REF NUMBER CODE CODE
(8)
USMC
QTY
PER
EQUIP
(7)
QTY
INC
IN
UNIT
(6)
U/M
a
SSI
(2)
SMR CODE
(1)
ILLUSTRATION
d
USMC
c
NAVY
b
AIR
FORCE
a
ARMY
(a)
FIG
NO.
(b)
ITEM
NO.
(4)
NATIONAL
STOCK
NUMBER
b
REPL
FACTOR
TM 9-6115-545-24P
TO 35C2-3 444 4
NAVFAC-P-8-626-24P
SL-400038G/07499A
82 27 XBOZZ XB XBGZZ XBFZZ SUMP HYDRAULIC BCEF EA 1 1
70-1181 (30554)
70-1181 (93742)
82 28 PAOZZ PAOZZ XBGZZ PAFZZ D.008 5305-00-071-1784 SCREW, CAP, HEXAGON HEAD BCEF EA 4 4
MS90728-83 (96906)
82 29 PAOZZ PAOZZ XBGZZ PAFZZ D.010 5310-00-080-9785 WASHER, LOCK 7/16 IN. BCEF EA 2 4
MS45904-80 (96906) .
82 30 PAOZZ PAOZZ XBGZZ PAFZZ D008 5305-00-269-3208 SCREW, CAP HEXAGON HEAD BCEF EA 2 2
MS90725-57 (96908)
82 31 PAOZZ PAOZZ XBGZZ PAFZZ D010 5310-00-061-1258 WASHER, LOCK 3/8 IN. BCEF EA 2 66
MS45904-7B (96906)
82 32 XBOZZ XB XBGZZ XBFZZ BRACKET. HYDRAULIC BCEF EA 1 1
70-1184 (30554)
70-1184 (93742)
82 PAOZZ PAOZZ PAOZZ PAOZZ 4730-01-212-2601 ELBOW, PIPE TO TUBE EA 1
MS51504A6Z (96906)
82 33 PAOZZ PAOZZ PAGZZ PAFZZ 4730-00-008-9818 REDUCER, EXPANDER EA 1
6-4FSOG5-S (30780)
82 34 PAOZZ PAOZZ PAGZZ PAFZZ 4730-00-040-7450 ADAPTER BCEF EA 1
75-809-1 (30554)
232

TM 9-6115-545-24P
TO 35C2-3 444 4
NAVFAC P-8-626-24P
SL-400038G/07499A
Figure 83. Engine Assembly and Related Parts.
(233 blank)/234

(3)
USMC
(5)
DESCRIPTION USABLE
MFR ON
REF NUMBER CODE CODE
(8)
USMC
QTY
PER
EQUIP
(7)
QTY
INC
IN
UNIT
(6)
U/M
a
SSI
(2)
SMR CODE
(1)
ILLUSTRATION
d
USMC
c
NAVY
b
AIR
FORCE
a
ARMY
(a)
FIG
NO.
(b)
ITEM
NO.
(4)
NATIONAL
STOCK
NUMBER
b
REPL
FACTOR
TM 9-6115-545-24P
TO 35C2-3 444 4
NAVFAC P-8-626-24P
SL-400038G/07499A
GROUP 20 - ENGINE ASSY AND
RELATED PARTS
83 1 PAOZZ PAOZZ XBGZZ PAOZZ D.007 4730-00-908-3193 CLAMP, HOSE EA 4 6
MS35842-12 (96906)
83 2 MOOZZ MOO MOGZZ PAOZZ HOSE, OIL DRAIN EA 1 1
70-1533 (30544)
70-1533 (93742)
MANUFACTURE FROM:
83 3 PAOZZ PAOZZ PAGZZ PAOZZ -070 4720-00-708-3507 HOSE, RUBBER,4 1/2 IN REOD
ZZH428 TYPE 5 (81349)
GRADE A CLASS 2
83 4 PAOZZ PAOZZ PAGZZ PAOZZ D.008 4730-00-095-1265 ADAPTER, STRAIGHT.PIPE EA 1 1
70-1504 (30554)
12FWS (30780)
83 5 PAOZZ PAOZZ XBGZZ PAOZZ D008 4820-00-090-0554 COCK. PLUG EAS 1 2
70-1512 (30554)
A400-4 (16024)
83 6 PAOZZ PAOZZ XBGZZ PAOZZ D008 4730-00-278-3724 NIPPLE, PIPE EA 1 1
70-1315-30 (30554)
3-4FFS (30780)
83 7 MOOZZ MOO MOGZZ MOFZZ HOSE, ASSEMBLY EA 1 1
70-1521-6 (30554)
70-1521-6 (93742)
MANUFACTURE FROM
83 8 PAOZZ PAOZZ PAGZZ PAOZZ -.070 4720-00-235-4131 HOSE, NONMETALLIC FT 2 13
5191195 (30327)
83 9 PAOZZ PAOZZ PAGZZ PAOZZ D.008 4730-00-233-9980 ADAPTER, STRAIGHT,PIPE EA 1 1
28-6-4 (93061)
83 10 PAOZZ PAOZZ XBGZZ PAOZZ -.010 4820-00-785-8153 COCK, SHUTOFF EA 1 1
70-1313 (30554)
NU108P-4 (93061)
83 11 PAFZZ PAOZZ XBGZZ PAFZZ D.008 5305-00-042-6417 SCREW, CAP. HEXHD 1/2-13 X 1 1/2 EA 2 18
IN. LG.
MS90725-113 (96906)
83 12 PAFZZ PAOZZ XBGZZ PAFZZ D.010 5310-00-935-8984WASHER, LOCK 1/2 IN EA 2 46
MS45904-84 (96906)
83 13 PAFZZ PAOZZ PAGZZ PAFZZ D010 5310-00-399-0995 WASHER, BEVELED EA 2 2
70-1531-2 (30554)
38305 (05748)
83 14 PAFHH PAODD PAHHH PBFHH -150 2815-00-430-3480 ENGINE, DIESEL EA 1 1
70-1049-2 (30554)
4028653-2 (6N299)
235

TM 9-6115-545-24P
TO 35C2-3 444 4
NAVFAC P-8-626-24P
SL-400038G/07499A
Figure 84. Aternator and Related Parts.
236

(3)
USMC
(5)
DESCRIPTION USABLE
MFR ON
REF NUMBER CODE CODE
(8)
USMC
QTY
PER
EQUIP
(7)
QTY
INC
IN
UNIT
(6)
U/M
a
SSI
(2)
SMR CODE
(1)
ILLUSTRATION
d
USMC
c
NAVY
b
AIR
FORCE
a
ARMY
(a)
FIG
NO.
(b)
ITEM
NO.
(4)
NATIONAL
STOCK
NUMBER
b
REPL
FACTOR
TM 9-6115-545-24P
TO 35C2-3 444 4
NAVFAC P-8-626-24P
SL-400038G/07499A
ALTERNATOR AND RELATED PARTS
84 1 XD XB XBOZZ XBOZZ D.008 SCREW,CAP. HEX HD 5/16-18 X 7/8 EA 1 1
IN. LG.
0915813 (6N299)
84 2 XD XB XBOZZ PAOZZ D.010 WASHER, FLAT EA 1 1
0924874 (6N299)
84 3 PAOZZ PAOZZ XBOZZ PAOZZ D.010 5310-00-407-9566 WASHER, LOCK 5/16 IN EA 1 33
MS3533845 (96906)
84 4 PAOZZ PAOZZ PAOZZ PAOZZ .035 3030-00-822-6279 BELT. V
MS51066.48
48 BELT (96906)
84 4 PAOZZ PAOZZ PAOZZ PAOZZ -.035 3030-00-630-0092 BELT, V EA 1 1
9476 (24161)
84 5 PAOZZ PAOZZ XBOZZ PAFZZ D008 5305-00-942-2196 SCREW. CAP, HEX HD 3/8-16 X 1 IN. EA 1 34
LG
MS18154-60 (96906)
84 6 PAOZZ PAOZZ XBOZZ PAFZZ D.010 5310-00-637-9541 WASHER, LOCK 3/8 IN. EA 31155-
MS35338-46 (96906)
84 7 XBOZZ XB XBOZZ XBFZZ BRACE,ADJUSTABLE EA 1 1
4023007 (6N299)
84 8 XDOZZ XB XBOZZ PAFZZ D.008 SCREW.CAP. HEXHD 1/2-13 X 3 1/4 EA 1 1
IN LG
0923191 (6N299)
84 9 PAOZZ PAOZZ XBOZZ PAFZZ D.010 5310-00-584-5272 WASHER, LOCK 1/2 IN EA 1 43
MS3533848 (96906)
84 10 PBOZZ PAOZZ XBOZZ XBFZZ 5365-01-222-4292 SPACER, SLEEVE EA 1 2
4028749 (6N299)
84 11 PAOFH PAOOO PAOGG PAFHH I.360 2920-00-118-1222 GENERATOR ENGINE AC EA 1 1
see fig 85 for breakdown
69-780-2 (30554)
70D44672B02 (31211)
84 12 PAOZZ PAOZZ XBOZZ PAHZZ D008 5305-00-007-0315 SCREW, CAP. HEX HD 7/16-14 EA 2 4
X1 1/81 N. LG
0919228 (6N299)
84 13 PAOZZ PAOZZ XBOZZ PAHZZ D.010 5310-00-209-0965 WASHER, LOCK 7/16 IN. EA 2 16
MS35338-47 (96906)
84 14 PBOZZ XB XBOZZ XBFZZ 5340-00-289-5379 BRACKET, ALTERNATOR EA 1 1
4028743 (6N299)
84 15 PAOZZ PAOZZ XBOZZ PAFZZ D.008 5305-00-767-5831 SCREW. CAP HEX HD EA 2 2
0923470-9 (6N299)
84 16 XBOZZ XB XBOZZ XBFZZ BRACKET MOUNTING EA 1 2
4028686 (6N299)
237

TM 9-6115-545-24P
TO 35C2-3 444 4
NAVFAC P-8-626-24P
SL-400038G/07499A
Figure 85. Generator, Engine.
238

(3)
USMC
(5)
DESCRIPTION USABLE
MFR ON
REF NUMBER CODE CODE
(8)
USMC
QTY
PER
EQUIP
(7)
QTY
INC
IN
UNIT
(6)
U/M
a
SSI
(2)
SMR CODE
(1)
ILLUSTRATION
d
USMC
c
NAVY
b
AIR
FORCE
a
ARMY
(a)
FIG
NO.
(b)
ITEM
NO.
(4)
NATIONAL
STOCK
NUMBER
b
REPL
FACTOR
TM 9-6115-545-24P
TO 35C2-3 444 4
NAVFAC P-8-626-24P
SL-400038G/07499A
85 PAOFH PAOOO PAOGG PAFHH I360 2920-01-013-5802 GENERATOR ENGINE EA 1 1
69-780-4 (30554)
70D43103S01 (31211)
85 1 PAFZZ PAOZZ XBOZZ PAFZZ D008 5305-00-026-2577 SCREW EA 13 13
20-121 (31211)
85 2 PAFZZ PAOZZ XBOZZ PAHZZ D008 5310-00-020-4737 NUT,PLAIN.HEX 10-24 EA 2 2
20-34 (31211)
85 3 PAFZZ PAOZZ XBOZZ PAHZZ D008 5310-00-132-1527 NUT.LOCK 10-24 EA 4 4
20-33 (94990)
85 4 PAFZZ PAOZZ XBOZZ PAHZZ 5970-00-114-7307 WASHER,INSULATING EA 3 3
4A40771A01 (94990)
85 5 XBFZZ XB XBOZZ XBHZZ INSULATOR BUSHING EA 1 1
15-2 (31211)
85 6 PAFZZ PAOZZ PAOZZ PAFZZ .050 5920-00-1061454 ABSORBER OVERVOLTAGE EA 1 1
1144900B47 (31211)
85 7 PAOZZ PAOZZ PAOZZ PAOZZ .500 5920-00-131-9897 FUSE,CARTRIDGE EA 1 1
AGC40 (71400)
85 8 PAFZZ PAOZZ XBOZZ XBHZZ D.008 5920-00-892-9311 FUSE HOLDER,EXTRACTOR EA 1 1
FHN26G1 (81349)
85 9 XBFZZ XB XBOZZ XBHZZ COVER ASSY.HOUSING EA 1 1
15C44732B01 (31211)
85 10 XBFZZ XC XBOZZ MDOZZ PLATE,IDENT EA 1 1
33A40933A01 (31211)
85 11 XBFZZ XA XBOZZ XBHZZ COVER,ALT EA 1 1
1544733B01 (31211)
85 12 PAFZZ PAOZZ PAGZZ PAHZZ D.023 5935-00-827-1333 CONNECTOR.RECEPTACLE EA 1 1
MS3102R185S (96906)
85 13 XBFZZ XA XAGZZ XBHZZ HOUSING REAR ALTERNATING EA 1 1
15C44734B01 (31211)
85 14 PAFZZ PAOZZ PAOZZ PAHZZ .020 5961-00-484-3034 SEMICONDUCTOR DEVICE EA 1 1
48B44003F06 (31211)
85 15 PAFZZ PAOZZ XBOZZ PAHZZ D.008 5305-00-026-2597 SCREW,TAPPING THREAD EA 3 3
20-99 (31211)
85 16 PAFZZ PAOZZ PAOFF PAHZZ 036 5905-00-401-6563 RHEOSTAT EA 1 1
1V44900B42 (94990)
85 17 XBFZZ XB XBFZZ XBOZZ LEAD.ELECTRICAL EA 1 1
18-79 (31211)
85 18 PAFZZ PAOZZ XBGZZ PAHZZ D.008 5305-00-132-7816 SCREW,TAPPING EA 2 2
20-32 (94990)
85 19 XBFZZ XB XBGZZ XBOZZ COVER,BRUSH,HOLDER EA 1 1
3-5 (31211)
85 20 PAFZZ PAOZZ XBGZZ PAHZZ .470 2925-00-927-1460 BUSHING AND COVER EA 1 1
3-2 (31211)
85 21 XBFZZ XB XBGZZ XBOZZ WASHER INSULATING EA 12 12
4A40569A01 (94990)
85 22 PAFZZ PAOZZ XBOZZ XBHZZ 5306-00-069-0490 BOLT,MACHINE 10-32 X3 1/8 IN. LG EA 4 4
3B41741A03 (31211)
85 23 PAFZZ PAOZZ XBOZZ XBHZZ 5310-00-132-1525 NUT,PLAIN,SOUARE EA 4 4
20-3 (94990)
85 24 XBFZZ XB XBOZZ XBHZZ HOUSING,FRONT ALTERNATOR EA 1 1
5D40619A15 (31211)
85 25 XBFZZ XB XBOZZ XBHZZ SPACER,SPECIAL EA 4 4
15-1 (31211)
85 26 PAFZZ PAOZZ PAOZZ PAHZZ I .020 5981-00-136-4146 SEMICONDUCTOR DEVICE EA 1 1
48C40666A38 (94990)
85 27 PAFZZ PAOZZ PAOZZ PAHZZ I .020 5961-00-1386-4145 SEMICONDUCTOR DEVICE EA 1 1
85 28 PAFZZ PAOZZ XBOZZ PAHZZ D.004 6105-00-1058290 STATOR,MOTOR EA 1 1
13-5 (31211)
239

(3)
USMC
(5)
DESCRIPTION USABLE
MFR ON
REF NUMBER CODE CODE
(8)
USMC
QTY
PER
EQUIP
(7)
QTY
INC
IN
UNIT
(6)
U/M
a
SSI
(2)
SMR CODE
(1)
ILLUSTRATION
d
USMC
c
NAVY
b
AIR
FORCE
a
ARMY
(a)
FIG
NO.
(b)
ITEM
NO.
(4)
NATIONAL
STOCK
NUMBER
b
REPL
FACTOR
TM 9-6115-545-24P
TO 35C2-3 444 4
NAVFAC P-8626-24P
SL-400038G/07499A
8529 PAFZZ PAOZZ XBOZZ PAHZZ D.008 531000-132-1526 NUT. PLAIN, HEX EA 1
20-4 (94990)
8530 PAFZZ PAOZZ XBOZZ PAHZZ D.010 5310-00-436-1975 WASHER. LOCK 5/8 IN. EA 1 1
20-5 (31211)
8531 XBFZZ XB XBOZZ PAHZZ D.005 PULLEY, GROOVE EA 1 1
PU702(31211)
8532 PAFZZ PAOZZ PAOZZ PAHZZ 4140-00-135-6398 FAN, IMPELLER EA 1 1
7-8 (94990)
8533 PAFZZ PAOZZ XBOZZ PAHZZ D008 531500-133-3625 KEY WOODRUFF EA 1 1
20-7 (94990)
8534 XBFZZ XB XBOZZ XBHZZ SPACER, SLEEVE EA 1 1
43A44169801(31211)
8535 PAFZZ PAOZZ XBOZZ PAHZZ D008 536500-435-9379 RETAINER, RING EA 1 1
4A40146A01(31211)
8536 PAFZZ PAOZZ PAOZZ PAHZ -050 3110-00-123-2583 BEARING, BALL, ANNULAREA 1
11-42 (94990)
8537 XAFZZ XB XAOZZ XBHZZ HOUSING, FRONT EA 1 1
15040618A01(31211)
8538 PAFZZ PAOZZ XBOZZ PAHZZ 533041-084-4748 PACKING, PREFORMED EA 1 1
42A44535B02(31211)
8539 PAFZZ PAOZZ XBOZZ PAHZZ 3110-00-130-7718 BEARING, BALL, ANNULAR EA 1 1
11-41 (94990)
8540 PAFZZ PAOZZ XBOZZ PAHZZ D005 292000-133-9888 ROTOR GENERATOR EA 1 1
12-11 (31211)
240

TM 9-6115-545-24P
TO 35C2-3 444 4
NAVFAC P-8-626-24P
SL-400038G/07499A
Figure 86. Alternator, Battery Charging.
(241 blank)/242

(3)
USMC
(5)
DESCRIPTION USABLE
MFR ON
REF NUMBER CODE CODE
(8)
USMC
QTY
PER
EQUIP
(7)
QTY
INC
IN
UNIT
(6)
U/M
a
SSI
(2)
SMR CODE
(1)
ILLUSTRATION
d
USMC
c
NAVY
b
AIR
FORCE
a
ARMY
(a)
FIG
NO.
(b)
ITEM
NO.
(4)
NATIONAL
STOCK
NUMBER
b
REPL
FACTOR
TM 9-6115-545-24P
TO 35C2-3 444 4
NAVFAC P-8-626-24P
SL-400038G/07499A
86PAOFFPAOOO PAHOH PAFHH 2920-01-20808085 ALTERNATOR, BATTERY, CHARGING EA 1
INTRCH W P/N 72-2250-2
70D43103S01(31211)
88 1 PAFZZ PAOZZ PAGZZ PAHZZ 5310-00-343-1451 ..NUT, PULLEY MOUNTING EA 1
20-136(31211)
86 2 PAFZZ PAOZZ PAGZZ PAHZZ 5310-00-245-8670 ..WASHER, SPLIT LOCK 5/8' EA 1
20-137(31211)
86 3 PAFZZ PAOZZ PAGZZ PAHZZ 3020-00-207-9284 PULLEY EA 1
7-75 (31211)
86 4 XBFZZ XB XBHZZ XBHZZ ..FAN EA 1
7-8 (31211)
86 5 PAOZZ PAOZZ PAOZZ PAFZZ 5310-00-343-1500 .NUT SOUARE EA 1
20-150(94990)
86 6 PAFZZ PAOZZ PAGZZ XBHZZ 3040-01-226-4679 ..HOUSING. FRONT EA 1
14-46 (31211)
86 7 PAFZZ PAOZZ PAHZZ PAHZZ 3110-00-123-2583 .. BEARING, FRONT EA 1
11-42 (31211)
86 8 PAFZZ PAOZZ XBHZZ PAHZZ 536500-1330909 RETAINER, FRONT BEARING EA 1
11-3 (31211)
86 9 PAFZZ PAOZZ PAHZZ PAHZZ 6105-00-105-8290 STATOR ASSEMELY EA 1
13-5 (31211)
8610 PAFZZ PAOZZ PAHZZ PAHZZ 5961-01-199-7017 SEMI-CONDUCTOR DEVICE EA 1
1-171 (31211)
8611 PAFZZ PAOZZ PAHZZ PAHZZ 5961-01-198-8878 SEMI-CONDUCTOR DEVICE EA 1
1-126 (31211)
8612 PAFZZ PAOZZ PAHZZ PAHZZ 5970-01-199-4646 SLEEVE. INSULATING, NO 10 EA 1
STUD,30' LONG
15-27 (31211)
8613 PAFZZ PAOZZ PAGZZ PAHZZ 5315-00-133-3625 .. KEY. WOODRUFF EA 1
20-7 (31211)
8614 PAFZZ PAOZZ PAGZZ PAHZZ 5970-00-148-6300 ..WASHER. INSULATING NO 10 EA 3
STUD,3/4' O.D
153 (31211)
8615 PAFZZ PAOZZ XBGZZ XBHZZ 5365-01-012-3600 ..SPACER, FAN EA 1
20-92 (31211)
8616 PAFZZ PAOZZ PAOZZ PAHZZ 2920-00-133-9888 ..ROTOR ASSEMBLY EA 1
12-25 (31211)
8617 PAFZZ PAOZZ PAGZZ XBHZZ 3110-00-130-7718 .. BEARING, REAR EA 1
11-41 (31211)
8618 PAFZZ PAOZZ XBHZZ PAHZZ 5330-01-100-2073 RETAINER, REAR BEARING EA 1
11-25 (31211)
8619 PAFZZ PAOZZ PAGZZ XBHZZ 3040-01-226-4680 ..HOUSING, REAR EA 1
14-207(31211)
8620 XB XB XBOZZ XBHZZ ...BRUSH ASSEMBLY EA 1
3-15 (31211)
8621 PAFZZ PAOZZ PAHZZ PAHZZ 5305-01-224-4644 SCREW, TAPPING. NO. 81/2" EA 1
20-102(31211)
8622 PAFZZ PAOZZ PAGZZ PAHZZ 5340-01-226-7508 BRACKET, RHEOSTAT ASSEMBLY EA 1
16-126(31211)
8623 XBFZZ XB XBHZZ XBHZZ ..BOLT, THROUGH EA 4
20-143(31211)
8624 PAFZZ PAOZZ PAHZZ PAHZZ 6110-01-226-4681 VOLTAGE REGULATOR EA 1
15255 (31211)
8625 PAFZZ PAOZZ PAHZZ PAHZZ 5305-01-217-5166 ..SCREW, TAPPING, REGULATOR EA 1
MOUNTING
20-223(31211)
8626 PAFZZ PAOZZ PAHZZ PAHZZ 5961-01-1988877 ..SEMI-CONDUCTOR DEVICE EA 1
1-130 (31211)
8627 XBFZZ XB XBGZZ XBHZZ ..WASHER, SPLITLOCK 1/4' EA 2
20-113(31211)
243

(3)
USMC
(5)
DESCRIPTION USABLE
MFR ON
REF NUMBER CODE CODE
(8)
USMC
QTY
PER
EQUIP
(7)
QTY
INC
IN
UNIT
(6)
U/M
a
SSI
(2)
SMR CODE
(1)
ILLUSTRATION
d
USMC
c
NAVY
b
AIR
FORCE
a
ARMY
(a)
FIG
NO.
(b)
ITEM
NO.
(4)
NATIONAL
STOCK
NUMBER
b
REPL
FACTOR
TM 9-6115-545-24P
TO 35C2-3 4l4 4
NAVFAC P-626-24P
SL-400038G/07499A
8628 PAFZZ PAOZZ PAOZZ PAFZZ 5310-01-0153-5545 ..NUT, HEX 1/4'-20 EA 2
20-160(31211)
8629 XDFZZ XB XBHZZ XBHZZ .SLEEVE, INSULATING. NO 10 EA 1
STUD..38' LONG
1539 (31211)
8630 PAFZZ PAOZZ PAGZZ PAHZZ 5310-01-226-4809 ..WASHER, LOCK. NO.10 STUD, 5/" EA 2
OD
1551 (31211)
8631 PAFZZ PAOZZ PAGZZ PAHZZ 5310-00-168-6374 .WASHER, SPLITLOCK. NO. 10 EA 3
20-111(31211)
8632 PAFZZ PAOZZ PAHZZ PAHZZ 530500-026-2577 ..SCREW TAPPING, 832 X 516' LONG EA 13
20-121(31211)
8633 XBFZZ XB PAHZZ XBHZZ .HOUSING AND SHIELDS ASSEMBLY EA 1
14-209(31211)
8634 PAFFZ PAOZZ PAOZZ PAOZZ 593501-226-4777 .CONNECTOR PLUG ASSEMBLY EA 1
16-125(31211)
8635 XBFZZ XB XBFZZ XBFZZ ..COVER EA 1
14-208(31211)
8636 PAFZZ PAOZZ PAOZZ PAFZZ 5310-00-020-4737 ..NUT HEX 10-24 EA 5
20-34 (31211)
8637 PAOZZ PAOZZ PAOZZ PAOZZ 5920-00-131-9897 .FUSE. 40 AMP EA 1
2-9 (31211)
8638 PAOZZ PAOZZ PAOZZ PAOZZ 5920-00-450-8921 .RECEPTACLE AND FUSE COMPLETE EA 1
2-8
8639 PAFZZ PAOZZ PAOZZ PAOZZ 599501-1980202 CONNECTOR LEAD. RED. 1/4' RING EA 1
TERMINAL
1680 (31211)
8640 PAFZZ PAOZZ PAOZZ PAOZZ ..CONNECTOR LEAD, YELLOW. EA 1
SPADE TERMINAL
16-82 (31211)
8641 PAFZZ PAOZZ PAOZZ PAOZZ 2920-00-401-4282 ..CONNECTOR LEAD. BLACK NO 10 EA 1
RING TERMINAL
16-81 (31211)
8642 PAFZZ PAOZZ PAOZZ PAOZZ 1095-01-198-0194 .CONNECTOR LEAD. FUSE HOLDER EA 1
16-93 (31211)
8643 PAFZZ PAOZZ PAHZZ PAHEZ 5340-01-1980224 ..COVER. BRUSH ASSEMBLY EA 1
3-5 (31211)
8644 PAFZZ PAOZZ PAOZZ PAFZZ 5310-00-824-2688 .WASHER. FLAT NO. 10 STUD EA 2
20-120(31211)
8645 PAFZZ PAOZZ PAGZZ PAFZZ 5305-00-1255109 SCREW. 4-40 x 114' EA 4
20-156(31211)
8646 PAFZZ PAOZZ PAOZZ PAFZZ LOCKNUT. 4-40 EA 4
20-320(31211)
8647 PAFZZ PAOZZ PAHZZ PAHZZ 5970-01-136-7726 .SLEEVE, INSULATOR 1/4' STUD EA 2
1526 (31211)
8648 PAFZZ PAOZZ PAGZZ PAHZZ 5970-01-226-4821 ..WASHER, INSULATOR 1/4" STUD EA 2
1567 (31211)
8649 PAFZZ PAOZZ PAOZZ PAFZZ 5310-00-1686371 ..WASHER. FLAT 1/4' STUD EA 1
20-109(31211)
8650 PAFZZ PAOZZ PAHZZ PAHZZ 5306-01-2556482 ..BOLT. CARRIAGE NO 10-24 X 1 318" EA 1
20-93 (31211)
8651 PAFZZ PAOZZ PAHZZ PAHZZ 2920-00-133-3295 ..INSULATOR, SQUARE MOLDED EA 1
157 (31211)
8652 PAFZZ PAOZZ PAOZZ PAOZZ 6150-01-208-3428 .LEAD, ELECTRICAL EA 1
16-98 (31211)
8653 PAFZZ PAOZZ PAOZZ PAOZZ 530501-222-3287 ..SCREW, TAPPING, REGULATOR EA 2
MOUNTING
20-234(31211)
244

TM 9-6115-545-24P
TO 35C2-3 441 4
NAVFAC P-8-626-24P
SL-400038G/07499A
Figure 87. Alternator, Battery Charging.
(245 blank)/246

(3)
USMC
(5)
DESCRIPTION USABLE
MFR ON
REF NUMBER CODE CODE
(8)
USMC
QTY
PER
EQUIP
(7)
QTY
INC
IN
UNIT
(6)
U/M
a
SSI
(2)
SMR CODE
(1)
ILLUSTRATION
d
USMC
c
NAVY
b
AIR
FORCE
a
ARMY
(a)
FIG
NO.
(b)
ITEM
NO.
(4)
NATIONAL
STOCK
NUMBER
b
REPL
FACTOR
TM 9-6115545-24P
TO 35C2-3 444 4
NAVFAC P-626-24P
SL-400038G/07499A
87 PAOFF PAOOO PAHOH PAFHH .815 2920-01-013-5802 ALTERNATOR, BATTERY CHARGING EA 1
INTRCH W PIN 70043103S01
72-2250-2 (30554)
87 1 PAFZZ PAOZZ PAHZZ PAHZZ 5305-00-026-2577 .SCREW, TAPPING, COVER EA 8
ASSEMBLY MOUNTING
20-21 (31211)
87 2 PAFZZ PAOZZ PAHZZ PAHZZ .008 2920-01-011-6439 REGULATOR, VOLTAGE EA 1
ANJ1034 (68505)
87 3 PAOZZ PAOZZ PAOZZ PAOZZ 2.000 5920-00-131-9897 ..FUSE, CARTRIDGE EA 1
AGC40 (71400)
87 4 PAOZZ PAOZZ PAOZZ PAOZZ D.008 5920-00-450-8921 .HOLDER, FUSE EA 1
2-8 (31211)
87 5 XBFZZ XB PAHZZ XBHZZ .BAND, COVER EA 1
ANJ33 (68505)
87 8 PAFZZ PAOZZ PAGZZ PAHZZ D.008 5310-01-0181314 .NUT AND WASHER EA 1
90-33 (68505)
87 7 PAFZZ PAOZZ PAOZZ PAHZZ .470 5977-01-011-1154 .BRUSH ASSEMBLY EA 2
ALE1013AS (68505)
87 8 PAFZZ PAOZZ PAGZZ PAHZZ .030 5977-01-184-5198 .BRUSH HOLDER ASSEMBLY EA 1
ALU1045DS (68505)
87 9 PAFZZ PAOZZ PAGZZ PAHZZ .040 2920-01-029-8722 .CAPACITOR AND CLAMP PACKAGE EA 1
90-2378 (68505)
87 10 PAFZZ PAOZZ PAHZZ PAHZZ D.005 2920-01-011-9357 TERMINAL STUD AND PARTS EA 1
PACKAGE
90-2379 (68505)
87 11 XDFZZ XB PAHZZ XBHZZ .BOLT, THRU, HOUSING EA 4
ALA20S (868505)
87 12 XBFZZ XB XBHZZ XBHZZ HEAD ASSEMBLY EA 1
ANJ1002S (68505)
87 13 PAFZZ PAOZZ XBHZZ PAHZZ .030 5330-00-001-6680 .PACKING, PREFORMED EA 1
XA744AN (68505)
87 14 PAFZZ PAOZZ PAHZZ PAHZZ .050 2920-01-0116467 .RECTIFIERAND STATORASSEMBLY EA 1
ANJ3008 (68505)
87 15 PAFZZ PAOZZ PAHZZ PAHZZ .020 5961-01-020-2904 .PLATE AND RECTIFIER ASSEMBLY EA 1
ANJ1004S (68505)
87 16 PAFZZ PAOZZ PAHZZ PAHZZ .020 5961-01-020-4439 .PLATE AND RECTIFIER ASSEMBLY EA 1
ANJ1004AS (68505)
87 17 PAFZZ PAOZZ PAGZZ PAHZZ D.008 5310-00-132-1526 NUT, PLAIN, HEXAGON, PULLEY EA 1
MOUNTING
20-4 (31211)
87 18 PAFZZ PAOZZ PAGZZ PAHZZ D.010 5310-00-436-1975 WASHER, LOCK, PULLEY MOUNTING EA 1
20-5 (31211)
87 19 PAFZZ PAOZZ PAGZZ PAHZZ D005 3020-01-026-1260 .PULLEY, BELT EA 1
PU702 (68505)
87 20 XBFZZ XB PAHZZ XBHZZ .FAN, ALTERNATOR EA 1
PU1664 (68505)
87 21 XBFZZ XB XBGZZ XBHZZ SPACER, FAN EA 1
ALC21E (68505)
87 22 PAFZZ PAOZZ PAOZZ PAHZZ .030 2920-01-014-4070 .ROTOR ASSEMBLY, ALTERNATOR EA 1
ANJ2046 (68505)
87 23 PAFZZ PAOZZ PAGZZ PAHZZ D.020 5315-00-133-3625 ..KEY, WOODRUFF EA 1
20-7 (31211)
87 24 PAFZZ PAOZZ PAHZ PAHZZ .023 311001-017-5579 ..BEARING, REAR HOUSING EA 1
X3433 (68505)
87 25 PAFZZ PAOZZ XBHZZ PAHZZ D.020 2920-00-5659739 .RETAINER, FELT EA 1
GR32 (68505)
87 26 XBFZZ XB XBGZZ XBHZZ .HEAD ASSEMBLY, ALTERNATOR EA 1
ANJ1003 (68505)
87 27 XBFZZ XB XBHZZ PAFZZ D.013 ..RETAINER, BEARING EA 1
N5001-156 (68505)
87 28 PAFZZ PAOZZ PAHZZ PAHZZ .050 3110-00-244-2885 ..BEARING, FRONT HOUSING EA 1
X3416 (68505)
247

TM 9-6115-545-24P
TO 35C2-3 444 4
NAVFAC P-626-24P
SL-400038G/07499A
Figure 88. Hydraulic Pump and Related Parts.
248

(3)
USMC
(5)
DESCRIPTION USABLE
MFR ON
REF NUMBER CODE CODE
(8)
USMC
QTY
PER
EQUIP
(7)
QTY
INC
IN
UNIT
(6)
U/M
a
SSI
(2)
SMR CODE
(1)
ILLUSTRATION
d
USMC
c
NAVY
b
AIR
FORCE
a
ARMY
(a)
FIG
NO.
(b)
ITEM
NO.
(4)
NATIONAL
STOCK
NUMBER
b
REPL
FACTOR
TM 9-6115-545-24P
TO 35C2-3 444 4
NAVFAC P-8-626-24P
SL-400038G/07499A
HYDRAULIC PUMP AND RELATED
PARTS
88 1 PAFZZ PAOZZ XBGZZ PAFZZ D.008 5310-00-732-0559 NUT, PLAIN HEX BCEF EA 4 11
MS51968-8 (96906)
88 2 XDFZZ XB XBGZZ PAFZZ D.010 WASHER, FLAT BCEF EA 4 37
70916956-9 (6N299)
88 3 PAFZZPAOZZ XBGZZ PAFZZ D008 530504-020-4436 SCREW, CAP HEX HD BCEF EA 2 2
0916768 (6N299)
88 4 PAFZZ PAOZZ XBGZZ PAHZZ D.008 5305-00-024-6237 SCREW, CAP HEX HD BCEF EA 1 5
0916277 (6N299)
88 5 PAFZZ PAOZZ XBGZZ PAHZZ D.010 5310-00-407-9566 WASHER, LOCK BCEF EA 3 33
MS35338-45 (96906)
88 6 XD XB XBGZZ PAHZZ .008 SCREW, CAP,HEX HD BCEF EA 2 4
0921332 (6N299)
88 7 PAFZZ PAOOO PBOGG PAHZZ .006 4320-00-432-1327 PUMP, HYDRAULIC DRIVE BCEF EA 1 1
4028747 (6N299)
88 8 XBFZZ XB XBGZZ XBFZZ CAP, PROTECTIVE BCEF EA 1 1
0242787 (6N299)
88 9 PAFZZ PAOZZ PAGZZ PAFZZ .040 5330-00-239-4307 GASKET, PUMP MTG BCEF EA 1 1
4048002 (04407)
88 10 PAFZZ PAOZZ PAGZZ PAHZZ .040 5330-00-701-3424 GASKET, CVR PLATE (PART BCEF EA 1 2
OF KIT NSN: 5330-00-001-4944)
4376605-4 (6N299)
88 11 PAFZZ PAOOO XBFZZ PAFHH 2990-00-432-1328 DRIVE ASSY, HYDRAULIC BCEF EA 1 1
4028784-9 (6N299)
88 12 PAFZZ PAOZZ XBFZZ PAHZZ D.008 5305-00438-1815 SCREW, CAP BCEF EA 1 1
4029221 (6N299)
88 13 PAFZZ PAOZZ XBGZZ PAHZZ D.010 5310-00-415-2084 WASHER, FLAT BCEF EA 1 2
4025461L (6N299)
88 14 PAFZZ PAOZZ XBGZZ PAHZZ .020 3020-00-4013420 GEAR, HELICAL BCEF EA 1 1
4028691-6 (6N299)
88 15 PAFZZ PAOZZ PAGZZ PAHZZ .005 2990-00-432-1329 SHAFT, HYDRAULIC PUMP BCEF EA 1 1
4028693-2 (6N299)
88 16 PAFZZ PAOZZ PAGZZ PAHZZ .010 2815-00-930-9319 PARTS KIT, BEARING BCEF EA 1 2
4025082-1 (6N299)
88 17 XAFZZ XA XAGZZ XAHZZ HOUSING, PUMP DRIVE BCEF EA 1 1
4028692 (6N299)
88 18 PAFZZ PAOZZ KBGZZ KFHZZ 5330-00-291-3858 PACKING, PREFORMED PART BCEF EA 1 1
OF KIT NSN' 533000-001-4944
0923817 (6N299)
88 19 PAFZZ PAOZZ PAGZZ PAFZZ D.008 5310-00-931-8167 NUT, PLAIN, HEX3/8-16 AD EA 4 4
MS51967-6 (96906)
88 20 PAOZZ PAOZZ XBGZZ PAFZZ D.010 5310-00-637-9541 WASHER, LOCK 3/8 IN. AD EA 4 155
MS35338-46 (96906)
88 21 XDOZZ XB XBGZZ PAFZZ D.008 SCREW, CAP, HEX HD 3/6-16 AD EA 4 4
0922925 (6N299)
88 22 XBOZZ XB XBGZZ XBHZZ PLATE COVER AD EA 1 1
4027735 (6N299)
88 23 PAOZZ PAOZZ PAGZZ PAHZZ D.008 5330-00-031-1339 GASKET AD EA 1 2
4025343 (6N299)
249

TM 9-6115-545-24P
TO 35C2-3 444 4
NAVFAC P-8-626-24P
SL-400038G/07499A
Figure 89. Speed Switch and Tachometer Drive.
250

(3)
USMC
(5)
DESCRIPTION USABLE
MFR ON
REF NUMBER CODE CODE
(8)
USMC
QTY
PER
EQUIP
(7)
QTY
INC
IN
UNIT
(6)
U/M
a
SSI
(2)
SMR CODE
(1)
ILLUSTRATION
d
USMC
c
NAVY
b
AIR
FORCE
a
ARMY
(a)
FIG
NO.
(b)
ITEM
NO.
(4)
NATIONAL
STOCK
NUMBER
b
REPL
FACTOR
TM 9-6115-54524P
TO 35C2-3 44 4
NAVFAC P626-24P
SL-400038G/07499A
SPEED SWITCH AND TACHOMETER
DRIVE
89 PAOZZ PAOOO PAOGG PAFFF 5930-00-430-540 SWITCH, OVERSPEED (30554) ABDE EA 1 1
70-1105-2 (78388)
SA897-3DOB
89 PAOZZ PAOOO PAGZZ PAFFF 5930-01-021-9378 SWITCH, OVERSPEED (30554) CF EA 1 1
70-1105-1 (78388)
SA1644-3DOB
89 1 PAFZZ PAOZZ XCGZZ PAFZZ D.008 53054-00-218-5757 SCREW, ASSEMBLED WASHER (78388) EA 3 3
SE1045-A
89 2 XBFZZ XB XBFZZ XAFZZ -LOCKWIRE (78388) EA 1 1
ST89
89 3 PAFZZ PAOZZ XBGZZ PAFZZ D010 5310-00-515-8058 WASHER FLAT (88044) EA 3 11
AN960-8
89 4 XAFZZ XA XAGZZ XAFZZ BODY ASSY (78388) EA 1 1
SB900
89 5 XAFZZ XA XAGZZ XAFZZ SPACER (78388) EA 1 1
SE402
89 6 XAFZZ XA XAGZZ XAFZZ ROTOR ASSY (78388) EA 1 1
SB776E
89 7 PAFZZ PAOZZ XBGZZ PAFZ -.060 5330-00-807-8993 PACKING, PREFORMED (96906) EA 1 1
MS28775-228
89 8 XAFZZ XA XBGZZ MDOZZ -.060 SWITCH, CENTRIFUGAL (78388) EA 1 1
SB1014E
89 9 XBOZZ XB XBGZZ XBFZZ SCREW, MACHINE (78388) EA 2 2
SE117A
89 10 XCOZZ XC XCGZZ MDOZZ PLATE, IDENTIFICATION (78388) EA 1 1
SE122
89 11 PAFZZ PAOZZ XBGZZ PAFZZ 3040-00-001-7830 ADAPTER, SPEEDOMETER (6N299) EA 1 1
4389859-2
89 12 PAFZZ PAOZZ PAGZZ PAHZZ -008 4730-00-8066814 PLUG, PIPE (30554) EA 1 1
70-1629 (30780)
1-8HHP-S
89 13 PAFZZ PAOZZ XBGZZ PAFZZ D008 53054-00-24-6249 SCREW, CAP HEX HD (6N299) EA 1 1
4027690
89 14 XBFZZ XB XBGZZ XBFZZ CLAMP, MOUNTING (6N299) EA 1 1
4020814
89 15 PAFZZ PAOOO XBGZZ PAFHH I.120 2990-00-779-9795 DRIVE ASSY (6N299) EA 1 1
4028805
89 16 PAFZZ PAOZZ XBGZZ PAHZZ -.020 5330-00-213-8904 PACKING, PREFORMED (6N299) EA 1 1
0923576
89 17 PAFZZ PAOZZ XBGZZ PAHZZ -.008 5365-00-461-0473 RING, RETAINING (6N299) EA 1 1
4255932
89 18 PAFZZ PAOZZ XBGZZ PAFZZ 3020-00-762-1358 GEAR, HELICAL (6N299) EA 1 1
4028808
89 19 PAFZZ PAOZZ XBGZZ PAHZZ D.010 3120-00-001-4993 BEARING, WASHER, THRUST (6N299) EA 1 1
4028809
89 20 PAFZZ PAOZZ XBGZZ PAHZZ -020 2990-00-780-0152 SHAFT, SHOULDERED (6N299) EA 1 1
4028807
89 21 PAFZZ PAOZZ XBGZZ PAFZZ 2990-00-780-0779 HOUSING ASSY (6N299) EA 1 1
4028810
89 22 XBFZZ XA XBGZZ XBFZZ BUSHING (6N299) EA 2 2
4027561
89 23 XAFZZ XA XBGZZ XAFZZ HOUSING (6N299) EA 1 1
4028806
89 24 PAFZZ PAOZZ PAGZZ PAFZZ I.020 5330-00-001-4938 PACKING, PREFORMED (6N299) EA 1 1
0923865
251

TM 9-6115-545-24P
TO 35C2-3 44 4
NAVFAC P-8-626-24P
SL-400038G/07499A
Figure 90. Switch Overspeed.
252

(3)
USMC
(5)
DESCRIPTION USABLE
MFR ON
REF NUMBER CODE CODE
(8)
USMC
QTY
PER
EQUIP
(7)
QTY
INC
IN
UNIT
(6)
U/M
a
SSI
(2)
SMR CODE
(1)
ILLUSTRATION
d
USMC
c
NAVY
b
AIR
FORCE
a
ARMY
(a)
FIG
NO.
(b)
ITEM
NO.
(4)
NATIONAL
STOCK
NUMBER
b
REPL
FACTOR
TM 9-6115-545-24P
TO 35C2-3 444
NAVFAC P626-24P
SL-400038G/07499A
90 PAFZZ PAOOO XBGZZ PAFFF -.700 5930-01-023-4343 SWITCH OVERSPEED ABDF EA 1 1
70-1105-4 (30554)
72-2203-1 (54125)
(USED ON SIN FZ-01299 ON)
90 PAFZZ PAOOO XBGZZ PAFZZ 5930-01-018-1888 SWITCH OVERSPEED CF EA 1 1
70-1105-3 (30554)
72-22053-2 (54125)
(USED ON SIN FZ-06399 ON)
90 1 PAFZZ PAOZZ XBGGG PAFZZ D.008 5305-00-054-6652 SCREW, MACHINE EA 3 3
MS51957-28 (96906)
90 2 PAFZZ PAOZZ XBGGG PAFZZ D.010 5310-00-045-4007 WASHER, LOCK EA 3 45
MS35338-41 (96906)
90 3 PAFZZ PAOZZ XBGZZ PAFZZ 5930-01-018-6787 SWITCH SUBASSEMBLY EA 1 1
8170619 (54125)
90 4 XAFZZ XA XBGZZ XAFZZ CAP, ROTOR EA 1 1
8170616 (54125)
90 5 PAFZZ PAOZZ XBGZZ PAFZZ D008 5315-00-017-9252 PIN, COTTER EA 1 1
MS24665-136 (96906)
90 6 XAFZZ XA XBGZZ XAFZZ ROTOR EA 1 1
8170614 (54125)
90 7 PAFZZ PAOZZ XBGZZ PAFZZ D009 5365-00-807-7968 RING, RETAINING EA 1 1
MS16625-1068 (96906)
90 8 PAFZZ PAOZZ XBGZZ PAFZZ D009 5365-01-017-0573 RING, RETAINING EA 1 1
801-042 (54125)
90 9 PAFZZ PAOZZ XBGZZ PAFZZ -.050 3110-01015-5398 BEARING EA 1 1
801-058 (54125)
90 10 XAFZZ XA XBGZZ XAFZZ SHAFT, KEYED EA 1 1
8170613 (54125)
90 11 XAFZZ XA XBGZZ MDOZZ BASE EA 1 1
8170610 (54125)
90 12 XCFZZ XC XBGZZ MDOZZ LABEL, TYPE I ABDF EA 1 1
8170618-1 (54125)
90 12 XCFZZ XC XBGZZ MDOZZ LABEL, TYPE I I CF EA 1 1
8170618-2 (54125)
90 13 XAFZZ XA XBGGG XAFZZ ELECTRONICS EA 1 1
8180100 (54125)
253

TM 9-6115-545-24P
TO 35C2-3 44 4
NAVFAC P-8-626-24P
SL-400038G/07499A
Figure 91. Oil Level Gage and Filler.
254

(3)
USMC
(5)
DESCRIPTION USABLE
MFR ON
REF NUMBER CODE CODE
(8)
USMC
QTY
PER
EQUIP
(7)
QTY
INC
IN
UNIT
(6)
U/M
a
SSI
(2)
SMR CODE
(1)
ILLUSTRATION
d
USMC
c
NAVY
b
AIR
FORCE
a
ARMY
(a)
FIG
NO.
(b)
ITEM
NO.
(4)
NATIONAL
STOCK
NUMBER
b
REPL
FACTOR
TM 9-6115-45-24P
TO 35C2-3 444 4
NAVFAC P-8-62-24P
SL 400038G/07499A
OIL LEVEL GAGE AND FILLER
91 1 PAOZZ PAOZZ XBOZZ PAOZZ 6680-00-257-1322 GAGE ROD, LIOUID LEVEL EA 1 1
4026742-9 (6N299)
91 2 PAOZZ PAOZZ XBOZZ XBFZZ 2815-00-008-7219 ADAPTER ASSY EA 1 1
4026850 (6N299)
91 3 PAOZZ PAOZZ XBOZZ PAFZZ D.008 5305-00-007-0299 SCREW, CAP HEX HD 38-16 X 1-1/4 EA 2 5
IN. LG
0916272 (6N299)
91 4 PAOZZ PAOZZ XBOZZ PAFZZ D.010 5310-00-637-9541 WASHER, LOCK EA 4 155
MS35338-46 (96906)
91 5 PAOZZ PAOZZ XBOZZ PAFZZ D.010 5310-005-0725 WASHER, FLAT EA 2 37
0916956 (6N299)
91 6 PAOZZ PAOZZ PAOZZ PAOZZ D.008 2815-00-762-1359 CAP, FILLER OPENING EA 1 1
4385253-2 (6N299)
91 7 PAOZZ PAOZZ XBOZZ PAFZZ D.008 4730-00-767-6185 ELBOW EA 1 1
4027454 (6N299)
91 8 XDOZZ XB XBOZZ PAFZZ D.008 SCREW, CAP, HEX HD EA 2 32
0921968 (6N299)
91 9 XBOZZ XB XBOZZ XBFZZ PLATE OIL FILLER EA 1 1
4026382 (6N299)
91 10 KFFZZ PAOZZ XBOZZ KFFZZ 5330--890-3895 GASKET PART OF KIT NSN: EA 2 2
5330-00-1-4944
4025021 (6N299)
255

TM 9-6115-545-24P
TO 35C2-3 444 4
NAVFAC P-62-24P
SL-400038G/07499A
Figure 92. Electric Starter and Related Parts.
256

(3)
USMC
(5)
DESCRIPTION USABLE
MFR ON
REF NUMBER CODE CODE
(8)
USMC
QTY
PER
EQUIP
(7)
QTY
INC
IN
UNIT
(6)
U/M
a
SSI
(2)
SMR CODE
(1)
ILLUSTRATION
d
USMC
c
NAVY
b
AIR
FORCE
a
ARMY
(a)
FIG
NO.
(b)
ITEM
NO.
(4)
NATIONAL
STOCK
NUMBER
b
REPL
FACTOR
TM 9-6115-545-24P
TO 35C2-3 444 4
NAVFAC P-626-24P
SL-400038G/07499A
ELECTRIC STARTER AND RELATED
PARTS
92 1 PAFZZ PAOZZ XBGZZ PAFZZ D.008 5305-00-024-6232 SCREW 5/8 NC X2 1/4 IN, LG EA 3 3
0927082 (6N299)
92 2 PAFZZ PAOZZ XBGZZ PAFZZ D.010 5310-00-820-6653 WASHER, LOCK EA 3 3
MS35338-50 (96906)
92 3 PAOFH PAOOO PAGGG PAFHH I.250 2920-00-304-3493 STARTER, ENGINE, ELECTRICAL. EA 1 1
see fIg 93 for breakdown
70-1628 (30554)
MS53011-1 (96906)
92 4 PAFZZ PAOZZ XBGZZ PAFZZ -.250 2920-00-873-1880 ADAPTER, STARTER MOUNTING EA 1 1
4346320 (6N299)
92 5 PAFZZ PAOZZ PAGZZ PAFZZ D.008 5310-00-834-8732 NUT, PLAIN, HEX EA 1 1
MS35691-33 (96906)
92 6 PAFZZ PAOZZ PAGZZ PAFZZ D.010 5310-00-584-5272 WASHER, LOCK EA 1 43
MS35338-48 (96906)
257

TM 9-6115-545-24P
TO 35C23 444 4
NAVFAC P-62-24P
SL-400038G/107499A
Figure 93. Electrical Starter Assembly.
258

(3)
USMC
(5)
DESCRIPTION USABLE
MFR ON
REF NUMBER CODE CODE
(8)
USMC
QTY
PER
EQUIP
(7)
QTY
INC
IN
UNIT
(6)
U/M
a
SSI
(2)
SMR CODE
(1)
ILLUSTRATION
d
USMC
c
NAVY
b
AIR
FORCE
a
ARMY
(a)
FIG
NO.
(b)
ITEM
NO.
(4)
NATIONAL
STOCK
NUMBER
b
REPL
FACTOR
TM 9-6115-545-24P
TO 35C2-3 44 4
NAVFAC P626-24P
SL 400038G/07499A
93 PAFFH PAOOO PAGGG PAFHH I.250 2920-00-185-0833 STARTER, ENGINE, ELECTRICAL EA 1 1
MS53011-1C (16764)
113847 (96906)
93 1 PAFZZ PAOZZ XBGZZ PAHZZ D.008 5310-00-020-4787 NUT, PLAIN, HEX 112 EA 2 3
19X3439 (68505)
93 2 PAFZZ PAOZZ XBGZZ PAHZZ D.010 5310-00-584-5272 WASHER, LOCK 1/2 EA 3 6
MS35338-48 (96906)
93 3 KFFZZ KF KFGZZ KFHZZ LEAD ASSY, ELECTRICAL EA 1 1
(PART OF KIT 228 (19728))
MES48B (68505)
93 4 PAFZZ PAOZZ XBGZZ PAHZZ D008 5310-01-209-6119 NUT, PLAIN, HEX 1/2-13 EA 1 1
19X3437 (68505)
93 5 PAFZZ PAOZZ PAFZZ PAHZZ D.010 5310-00-534-6760 WASHER, FLAT EA 2 2
MU54B (68505)
93 6 KFFZZ PAOZ KFGZZ KFHZZ 5310-00-461-2764 WASHER, FLAT EA 1 1
(PART OF KIT 227 (19728))
MES78A (68505)
93 7 KFFZZ KF KFGZZ KFHZZ WASHER, INSULATING EA 1 2
(PART OF KIT 227 (19728))
MES93 (68505)
93 8 KFFZZ KF KFGZZ KFHZZ WASHER, FLAT EA 2 2
(PART OF KIT 227 (19728))
MES99 (68505)
93 9 KFFZZ KF KFGZZ KFHZZ WASHER, INSULATING EA 1 1
(PART OF KIT 227 (19728))
MES94 (68505)
93 10 PAFZZ PAOZZ PAGZZ PAHZZ D.008 5310-00-903-3994 NUT, PLAIN HEX3/8-16 EA 1 1
MS51969-3 (96906)
93 11 PAFZZ PAOZZ PAGZZ PAHZ7 D.010 5310-01-122-7680 WASHER, LOCK 3/8 EA 1 1
432646 (68505)
93 12 XBFZZ XB XBGZZ XBHZZ CONNECTOR, SWITCH EA 1 1
MES85 (68505)
93 13 KFFZZ KF KFGZZ KFHZZ SCREW EA 4 4
(PART OF KIT NSN
2920-0-089-3367)
7748641 (68505)
93 14 PAFFZ PAOOO PAOGG PAHHH I.150 2920-00-861-2063 RELAY, ENGINE, see f1, 94 for EA 1 1
breakdown
SAT4106UT (68505)
93 15 PAFZZ PAOZZ XBGZZ PAHZZ D.008 5305-00-420-5963 SCREW EA 1 1
8X3445 (68505)
93 16 PAFZZ PAOZZ XBGZZ PAHZZ 2920-00-767-6845 HEAD ASSY, STARTEREA 1 1
MFY1002JS (68505)
93 17 XBFZZ XB XBGZZ XBHZZ PLUG, PIPE EA 3 3
X3817 (68505)
93 18 PAFZZ PAOZZ XBGZZ PAOZZ -008 2920-00-292-0343 WICK EA 3 3
MBD150 (68505)
93 19 KFFZZ PAOZZ KFGZZ KFHZZ 3120-00-293-5041 BEARING, BRONZE EA 1 1
(PART OF KIT 228 (19728))
GBF79 (68505)
93 20 KFFZZ PAOZZ KFGZZ KFHZZ 5330-00-138-0251 GASKET EA 1 1
(PART OF KIT 227 AND
KIT 228 (68505))
MES95 (68505)
93 21 PAFZZ PAOZZ XBGZZ PAHZZ D010 5310-00-883-2237 WASHER, FLAT EA 1 1
ML129 (68505)
93 22 XBFZZ XB XBGZZ XBHZZ INSULATOR, BRUSH EA 1 1
MES81 (68505)
93 23 KFFZZ KF KFGZZ KFHZZ BUSHING, INSULATING EA 1 2
(PART OF KIT 227 (19728))
MES72 (68505)
93 24 KFFZZ KF KFGZZ KFHZZ WASHER, INSULATING EA 1 2
(PART OF KIT 227 (19728))
MES71 (68505)
93 25 PAFZZ PAOZZ PAGZZ PAHZZ D.008 5305-00-208-2522 SCREW, MACHINE EA 3 3
26X3407(68505)
259

(3)
USMC
(5)
DESCRIPTION USABLE
MFR ON
REF NUMBER CODE CODE
(8)
USMC
QTY
PER
EQUIP
(7)
QTY
INC
IN
UNIT
(6)
U/M
a
SSI
(2)
SMR CODE
(1)
ILLUSTRATION
d
USMC
c
NAVY
b
AIR
FORCE
a
ARMY
(a)
FIG
NO.
(b)
ITEM
NO.
(4)
NATIONAL
STOCK
NUMBER
b
REPL
FACTOR
TM 9-6115-545-24P
TO 35C2-3 44 4
NAVFAC P-8-626-24P
SL-400038G/07499A
93 26 MFFZZ PAOZZ KFGZZ KFHZZ 5330-00-168-8821 PACKING, PREFORMED EA 5 5
(PART OF KIT 227 (19728))
XA744AP (68505)
93 27 PAFZZ PAOZZ XBGZZ PAHZZ D.006 5305-01-122-6131 SCREW, MACHINE EA 8 8
19X304 (68505)
93 28 PAFZZ PAOZZ XBGZZ FAHZZ D.010 5310-00-042-6678 WASHER, LOCK EA 8 8
12X195 (618505)
93 29 KFFZZ KF KFGZZ KFHZZ PLATE, BRUSH EA 1 1
(PART OF KIT 228 (19728))
MES1064A (68505)
93 30 KFFZZ PAOZZ KFGZZ KFHZZ 2920-00-058-6574 SPRING SET EA 1 1
(PART OF KIT 226 (19728))
MBD19AS (68505)
93 31 KFFZZ PAOZZ KFGZZ KFHZZ 5977-01-007-6061 BRUSH, SET EA 1 1
(PART OF KIT 226 AND KIT 228)
MES1012AS (68505)
93 32 PAFZZ PAOZZ XBGZZ PAHZZ D.008 5305-00-020-5906 SCREW, CAP, SOCKET EA 6 6
8X3147 (68505)
93 33 XAFZZ XA XAGZZ XAHZZ HOUSING ASSY, PINION EA 1 1
PS1390B (68505)
93 34 KFFZZ PAOZZ KFGZZ KFHZZ 3120-00-140-2016 BEARING EA 1 1
(PART OF KIT 228 (19728))
MFY 36 (68505)
93 35 PAFZZ PAOZZ XBGZZ PAHZZ D.008 2920-00-223-6256 PLUG, NEOPREME EA 6 6
MFY34S (68505)
93 36 KFFZZ PAOZZ PAGZZ PAHZZ -.010 5330-00-137-3451 PACKING, PREFORMED EA 1 1
(PART OF KIT 228 (19728))
XA774AQ (68505)
36-754 (59534)
93 37 PAFZZ PAOZZ XBGZZ PAHZZ D.010 3120-00-869-4517 BEARING, WASHER, THRUST EA 1 1
MFY35 (68505)
93 38 PAFZZ PAOZZ XBGZZ PAHZZ 5365-00-303-0409 PLUG, MACHINE THREAD EA 1 1
MES61 (68505)
93 39 PAFZZ PAOZZ PAOZZ PAHZZ -.008 5330-00-001-021 GASKET EA 1 1
MF163 (68505)
93 40 PAFZZ PAOZZ XBGZZ PAHZZ D.008 5310-00-026-2622 NUT, PLAIN HEX EA 1 1
8X1681 (68505)
93 41 PAFZZ PAOZZ XBGZ PAHZZ D.008 5305-00-020-5893 SCREW, MACHINE EA 2 2
8X3656 (68505)
93 42 PAFZZ PAOZZ XBGZZ PAHZZ D.010 5310-00-461-1754 WASHER, FLAT EA 2 2
MFY39 (68505)
93 43 XBFZZ XB XBGZZ XBHZZ PIN, STRAIGHT EA 1 1
MES66A (68505)
93 44 PAFZZ PAOZZ XBGZZ PAHZZ 2920-00-767-6830 COVER, YOKE EA 1 1
MFY37BS (68505)
93 45 XBFZZ XB XBGZZ XBHZZ D008 SCREW. ASSEMBLED WASHER EA 2 2
1/4-28 X 11116 IN
X3190 (68505)
93 46 KFFZZ PAOZZ KFGZZ KFHZZ 5330-00-191-8171 GASKET EA 1 1
(PART OF KIT 228 (19728))
MFY38 (68505)
93 47 PAFZZ PAOZZ PAOZZ PAHZZ .050 2920-00-767-6824 DRIVE, ENGINE ELECTRICAL EA 1 1
PDSA (68505)
93 48 PAFZZ PAOZZ XBGZZ PAHZZ .020 2920-00-767-6707 SHIFTER FORK EA 1 1
MFY2042 (68505)
93 49 PAFZZ PAOZZ XBGZZ PAHZZ D.008 5305-00-020-6005 SCREW, CAP, HEX EA 7 7
8X3360 (68505)
93 50 XAFZZ XA XAGZZ XAHZZ HOUSING ASSY EA 1 1
MFY20308 (68505)
93 51 KFFZZ PAOZZ KFGZZ KFHZZ 3120-00-287-6660 BEARING EA 1 1
(PART OF KIT 228 (68505))
ML21A (68505)
93 52 KFFZZ PAOZZ KFGZZ KFHZZ 5330-00-304-9092 SEAL, OIL EA 1 1
(PART OF KIT 228 (68505))
XA1086 (68505)
260

(3)
USMC
(5)
DESCRIPTION USABLE
MFR ON
REF NUMBER CODE CODE
(8)
USMC
QTY
PER
EQUIP
(7)
QTY
INC
IN
UNIT
(6)
U/M
a
SSI
(2)
SMR CODE
(1)
ILLUSTRATION
d
USMC
c
NAVY
b
AIR
FORCE
a
ARMY
(a)
FIG
NO.
(b)
ITEM
NO.
(4)
NATIONAL
STOCK
NUMBER
b
REPL
FACTOR
TM 9-6115-545-24P
TO 35C2-3 444 4
NAVFAC P-8-626-24P
SL 400038G/07499A
93 53 PAFZZ PAOZZ XBGZZ PAHZZ D.010 5310-00-282-112 WASHER, FLAT EA 4 4
MU54 (8505)
93 54 KFFZZ KF PAGZZ PAHZZ -010 PACKING, PREFORMED EA 1 1
(PART OF KIT 227 AND KIT 228) (68505)
XA774Z (88505)
93 55 PAFZZ PAOZZ PAGZZ PAHZZ -.050 2920-00-432-1228 ARMATURE, MOTOR EA 1 1
MES22105A (68505)
93 56 PAFZZ PAOZZ PAGZZ PAHZZ D010 5310-00-534-6760 WASHER, FLAT EA 2 4
854882 (12603)
93 57 XAFZZ XA XAGZZ XAHZZ FRAME AND FIELD ASSY See fig 95 EA 1 1
for Br
MES2106AS (68505)
261

TM 9-6115-545-24P
TO 35C2-3 444 4
NAVFAC P-8-626-24P
SL-400038G/07499A
Figure 94. Relay, Engine.
262

(3)
USMC
(5)
DESCRIPTION USABLE
MFR ON
REF NUMBER CODE CODE
(8)
USMC
QTY
PER
EQUIP
(7)
QTY
INC
IN
UNIT
(6)
U/M
a
SSI
(2)
SMR CODE
(1)
ILLUSTRATION
d
USMC
c
NAVY
b
AIR
FORCE
a
ARMY
(a)
FIG
NO.
(b)
ITEM
NO.
(4)
NATIONAL
STOCK
NUMBER
b
REPL
FACTOR
TM 9-6115-545-24P
TO 35C2-3-444-4
NAVFAC P-8-626-24P
SL-400038G/07499A
94 PAFFF PAOOO PAOGG PAFHH I .150 2920-00-861-2063 RELAY. ENGINE EA 1 1
11610149 (24975)
94 1 PAFZZ PAOZZ XBGZZ PAHZZ D .008 5310-00-020-4787 NUT, PLAIN. HEX EA 1 1
19X3439 (24975)
94 2 PAFZZ PAOZZ XBGZZ PAHZZ D.010 5310-00-584-5272 WASHER, LOCK EA 3 6
MS35338-48 (96906)
94 3 PAFZZ PAOZZ XBGZZ PAHZZ D .010 5310-00-138-0257 NUT, PLAIN, HEX EA 2 2
8X3437 (24975)
94 4 PAFZZ PAOZZ XBGZZ PAHZZ D .010 5310-00-545-6787 WASHER. FLAT EA 2 2
69619 (75250)
94 5 XBFZZ XB XBGZZ XBHZZ BUSHING EA 2 1
SAT1 1 (24975)
94 6 KFFZZ KF KFGZZ KFHZZ NUT, PLAIN, HEX EA 4 4
(PART OF KIT NSN
2920-00-135-6511) 11621497 (19207)
94 7 XAFZZ XA XAGZZ XAHZZ COVER. SOLENOID EA 1 1
SAT4A (24975)
94 8 XBFZZ XB XBGZZ XBHZZ BUSHING EA 2 1
SAT45 (24975)
94 9 KFFZZ KF KFGZZ KFHZZ COVER EA 1 1
(PART OF KIT NSN
2920-00-135.6511) SAT1004B (24975)
94 10 PAFZZ PAOZZ XBGZZ PAHZZ D .010 5305-00-9846226 SCREW. MACHINE 8-32 X 3/16 EA 1 1
IN LG
MS35206-240 (96906)
94 11 PAFZZ PAOZZ XBGZZ PAHZZ D .010 5310-00-045-329 WASHER, LOCK NO. 8 EA 1 1
MS35338-42 (96906)
94 12 XBFZZ XB XBGZZ XBHZZ LUG, LEAD EA 1 1
SAT1B (24975)
94 13 XBFZZ XB XBGZZ XBHZZ - .008 INSULATOR EA 1 1
SAT20 (24975)
94 14 XBFZZ XB XBGZZ XBHZZ D STUD, TERMINAL EA 1 1
SAT1030 (24975)
94 15 PAFZZ PAOZZ XBGZZ PAHZZ .008 5307-01-157-5848 STUD, TERMINAL EA 1 1
SAT1029 (24975)
94 16 KFFZZ KF KFGZ KFHZZ GASKET EA 1 1
(PART OF KIT NSN
2920-0-135-6511) 11621495 (24975)
94 17 KFFZZ PAOZZ KFGZZ KFHZZ 5310-00-902-6676 NUT, SELF-LOCKING, HEX (PART EA 1 1
OF KIT NSN 2920-00-135-6511)
MS21083N3 (96906)
94 18 PAFZZ PAOZZ XBGZZ PAHZZ D .010 5310-00-461-2899 WASHER, FLAT EA 1 1
8X349 (24975)
94 19 KFFZZ KF KFGZZ KFHZZ CONTACT. ELECTRIC EA 1 1
(PART OF KIT NSN:
2920-00-135-6511) 11621496 (24975)
94 20 PAFZZ PAOZZ XBGZZ PAHZZ D .010 5360-00-624-0491 SPRING EA 1 1
SS88A (24975)
94 21 XBFZZ XB XBGZZ XBHZZ WASHER. SPRING EA 1 1
11621498 (24975)
94 22 XBFZZ XB XBGZ XBHZZ RETAINER EA 1 1
SAT34A (24975)
94 23 KFFZZ PAOZZ KFGZZ KFHZZ 5365-00-715-1152 RING. RETAINING EA 1 1
(PART OF KIT NSN.
2920-00-089-3367) MS16624-1037 (96906)
94 24 XBFZZ XB XBGZZ XBHZZ RETAINER, SPRING EA 1 1
SAT48 (24975)
94 25 KFFZZ PAOZZ KFGZZ KFHZZ 2920-00-812-0196 SPRING HELICAL EA 1 1
(PART OF KIT NSN'
2920-00-089-3367) 7748643 (24975)
94 26 XBFZZ XB XBGZ XBHZZ RETAINER. SPRING EA 1 1
SAT47 (24975)
263

(3)
USMC
(5)
DESCRIPTION USABLE
MFR ON
REF NUMBER CODE CODE
(8)
USMC
QTY
PER
EQUIP
(7)
QTY
INC
IN
UNIT
(6)
U/M
a
SSI
(2)
SMR CODE
(1)
ILLUSTRATION
d
USMC
c
NAVY
b
AIR
FORCE
a
ARMY
(a)
FIG
NO.
(b)
ITEM
NO.
(4)
NATIONAL
STOCK
NUMBER
b
REPL
FACTOR
TM 9-6115-545-24P
TO 35C2-3-444-4
NAVFAC P-8-626-24P
SL-400038G/07499A
94 28 PAFZZ PAOZZ XBGZZ PAHZZ D .010 5310-00-001-2000 WASHER, FLAT EA 1 1
SAT46 (24975)
94 29 XBFZZ XB XBGZZ XBHZZ CORE ASSEMBLY EA 1 1
SAT1042 (24975)
94 30 XBFZZ XB XBGZZ XBHZZ PIN, STRAIGHT EA 1 1
XA905 (24975)
94 31 XBFZZ XB XBGZZ XBHZZ SHAFT EA 1 1
SAT43 (24975)
94 32 XBFZZ XB XBGZZ XBHZZ CORE EA 1 1
STA1042A (24975)
94 33 XBFZZ XB XBGZZ XBHZZ CASE, SOLENOID RELAY EA 1 1
SAT1001B (24975)
PAFZZ PAOZZ PAGZZ PAFZZ - 050 2920-00-260-4224 KIT, STARTER REPAIR KIT 228 (24975) EA 1 1
93 3 1 - LEAD ASSY. ELECTRICAL
93 19 1 - BEARING, BRONZE
93 20 1 - GASKET
93 29 1 - PLATE. BRUSH
93 31 1- BRUSH, SET
93 34 1 - BEARING
93 36 1 - PACKING. PREFORMED
93 46 1-GASKET
93 51 1 - BEARING
93 52 1 - SEAL, OIL
93 54 1 - PACKING, PREFORMED
PAFZZ PAOZZ PAGZZ PAFZZ - .050 5977-00-263-0561 KIT. BRUSH, ELECTRIC KIT 226 (24975) EA 1 1
93 30 1 - SPRING SET. BR
93 31 1 - BRUSH SET
94 PAFZZ PAOZZ PAFZZ PAFZZ .050 2920-00-135-6511 KIT, RELAY, STARTER EA 1 1
5702764 (24975)
94 6 4 - NUT, PLAIN, HEX
94 9 1 - COVER
94 16 1 -GASKET
94 17 1- NUT. SELF-LOCKING. HEX
94 19 1 - CONTACT. ELECTRIC
PAFZZ PAOZZ PAFZZ PAFZZ -.050 2920-00-089-3367 KIT. STARTER SOLENOID EA 1 1
5702706 (19207)
94 13 4-SCREW
94 23 1 - RING, RETAINING
94 25 1 - SPRING. HELICAL
94 27 1 - BOOT
264

TM 9-6115-545-24P
TO 35C2-3-444-4
NAVFAC P-8-626-24P
SL-400038G/07499A
Figure 95. Frame and Field Assembly
(265 blank)/266

(3)
USMC
(5)
DESCRIPTION USABLE
MFR ON
REF NUMBER CODE CODE
(8)
USMC
QTY
PER
EQUIP
(7)
QTY
INC
IN
UNIT
(6)
U/M
a
SSI
(2)
SMR CODE
(1)
ILLUSTRATION
d
USMC
c
NAVY
b
AIR
FORCE
a
ARMY
(a)
FIG
NO.
(b)
ITEM
NO.
(4)
NATIONAL
STOCK
NUMBER
b
REPL
FACTOR
TM 9-6115-545-24P
TO 35C2-3-444-4
NAVFAC P-8-626-24P
SL-400038G/07499A
95 XBFZZ XB XBGZZ XAHZZ FRAME AND FIELD ASSY EA 1 1
MES2106AS (24975)
95 1 PAFZZ PAOZZ XBGZZ PAHZZ D 008 5310-01-122-7867 NUT. PLAIN, HEX EA 1 1
3/8 X 2845 (24975)
95 2 KFFZZ KF KFGZZ KFHZZ WASHER, FLAT 3/8 EA 1 1
(PART OF KIT 227 (24975))
MES78A (24975)
95 3 KFFZZ KF KFGZZ KFHZZ WASHER, FLAT 318 EA 1 1
(PART OF KIT 227 (24975))
MES93 (24975)
95 4 XBFZZ XB XBGZZ XBHZZ BUSHING EA 1 1
MES75 (24975)
95 5 XBFZZ XB XBGZZ XBHZZ WASHER, INSULATOR EA 1 1
MES92 (24975)
95 6 PAFZZ PAOZZ XBGZZ XBHZZ D .010 5310-00-461-2244 WASHER, FLAT EA 1 1
MES91 (24975)
95 7 PAFZZ PAOZZ XBGZZ PAHZZ D .008 5305-00-026-2594 SCREW EA 1 1
MCS38A (24975)
95 8 KFFZZ KF KFGZZ KFHZZ BUSHING, INSULATING EA 1 2
(PART OF KIT 227 (24975))
MES72 (24975)
95 9 KFFZZ KF KFGZZ KFHZZ WASHER, INSULATING EA 1 2
(PART OF KIT 227 (24975))
MES71 (24975)
95 10 XBFZZ XB XBGZZ XBHZZ SCREW, SQUARE, HEAD EA 1 1
MES11A (24975)
95 11 XBFZZ XB XBGZZ XBHZZ COIL, UPPER EA 1 1
MES1009F (24975)
95 12 PAFZZ PAOZZ XBGZZ PAHZZ D 008 5305-00-026-2593 SCREW EA 1 1
MESS9 (24975)
95 13 XBFZZ XB XBGZZ XBHZZ COIL, LOWER EA 1 1
MES1007E (24975)
95 14 XBFZZ XB XBGZZ XBHZZ PLUG, PIPE SLOTTED EA 1 1
1/8NPTX865A (24975)
95 15 PAFZZ PAOZZ XBGZZ PAHZZ D 008 5305-00-175-3230 SCREW, DRIVE EA 4 4
MS21318-14 (96906)
95 16 XBFZZ XC XCGZZ MDOZZ PLATE EA 1 1
MC517 (24975)
95 17 XAFZZ XB XBGZZ XBHZZ FRAME, FIELD EA 1 1
MES106 (24975)
95 PAFZZ PAOZZ PAGZZ PAFZZ 050 2920-00-260-4221 PARTS KIT. ELECTRICAL KIT 227 EA 1 1
KIT 227 (24975)
93 6 2 - WASHER, FLAT
93 7 2 - WASHER. INSULATING
93 8 1 - WASHER, FLAT
93 9 1 - WASHER, INSULATING
93 20 1- GASKET
93 23 2 - BUSHING, INSULATING
93 24 2 - WASHER, INSULATING
93 26 5- PACKING, PREFORMED
93 54 1 -PACKING. PREFORMED
95 2 1 - WASHER, FLAT
95 3 1 -WASHER. FLAT
95 8 1 - BUSHING, INSULATING
95 9 1 -WASHER, INSULATING
267

TM 9-6115-545-24P
TO 35C2-3-444-4
NAVFAC P-8-626-24P
SL-400038G/07499A
Figure 96. Engine Lube Oil Filters
268

(3)
USMC
(5)
DESCRIPTION USABLE
MFR ON
REF NUMBER CODE CODE
(8)
USMC
QTY
PER
EQUIP
(7)
QTY
INC
IN
UNIT
(6)
U/M
a
SSI
(2)
SMR CODE
(1)
ILLUSTRATION
d
USMC
c
NAVY
b
AIR
FORCE
a
ARMY
(a)
FIG
NO.
(b)
ITEM
NO.
(4)
NATIONAL
STOCK
NUMBER
b
REPL
FACTOR
TM 9-6115-545-24P
TO 35C2-3-444-4
NAVFAC P-8-626-24P
SL-400038G/07499A
96 ENGINE LUBE, OIL FILTER
96 1 PAOZZ PAOZZ PAGZZ PAOZZ -.050 6620-00-134-1593 TRANSMITTER. PRESSURE EA 1 1
69-779-2 (30554)
506-AD (57733)
96 2 PAOZZ PAOZZ PAGZZ PAOZZ -.050 5930-00-033-3298 SWITCH, PRESSURE EA 1 1
70-1309 (30554)
SP1Z20FA (85814)
96 3 PAOZZ PAOZZ XBGZZ PAOZZ -008 4730-00-580-7417 BUSHING, PIPE EA 2 4
70-1314-25K (03554)
8-41401400 (81343)
96 4 PAOZZ PAOZZ XBGZZ PAOZZ .005 2940-01-050-0229 HEADER ASSY, LUBE OIL EA 1 1
4035212 (6N299)
96 5 PAOZZ PAOZZ XBGZZ PAOZZ D.005 4730-00-497-1809 PLUG, PIPE EA 2 3
0918951 (6N299)
96 6 PAOZZ PAOZZ XBGZZ PAOZZ D.008 5305-00-020-5951 SCREW EA 2 2
0923161 (6N299)
96 7 PAOZZ PAOZZ XBGZZ PAOZZ D .010 5330-00-618-0593 PACKING, WITH RETAINER EA 2 2
4376749-0 (6N299)
96 8 PAOZZ PAOZZ XBGZZ PAHZZ 2940-00-228-6965 FILTER BODY, FLUID EA 2 2
4339021 (6N299)
96 9 PAOZZ PAOZZ PAOZZ PAOZZ -2.000 2940-00-580-6283 FILTER ELEMENT, FLUID EA 2 2
MS35802-3 (96906)
96 10 PAOZZ PAOZZ PAOZZ PAOZZ -2.000 5330-00-740-6097 GASKET EA 2 2
4396318 (6N299)
96 11 PAOZZ PAOZZ PAGZZ PAOZZ -.009 5365-00-486-7901 RING. RETAINING EA 2 2
4379269 (6N299)
96 12 XBOZZ XB XBGZZ XBOZZ ADAPTER EA 2 2
4055971 (6N299)
96 13 PAOZZ PAOZZ XBGZZ PAOZZ D .010 5310-00-006-2452 WASHER, FLAT EA 2 2
4053410 (6N299)
96 14 PAOZZ PAOZZ PAOZZ PAOZZ -.010 5310-00-929-3509 WASHER, FLAT EA 2 2
4053409-1 (6N299)
96 15 PAOZZ PAOZZ XBGZZ PAOZZ -.008 5380-00-766-9744 SPRING. HELICAL COMPRESSION EA 2 3
4379268 (6N299)
96 16 XDOZZ XB XBGZZ XBOZZ D.008 SCREW EA 6 6
0926109 (6N299)
96 17 PAOZZ PAOZZ XBGZZ PAOZZ D .010 5310-00-209-0965 WASHER, LOCK 7/16 EA 6 16
MS35338-47 (96906)
96 18 XBOZZ XA XBGZZ XBFZZ HEADER ASSEMBLY EA 1 1
4035212 (6N299)
96 19 PAOZZ PAOZZ KBGZZ PAFZZ -.050 5330-00-001-4943 GASKET EA 2 2
(PART OF KIT NSN
5330-00-001-4944)
4028858 (6N299)
96 20 XBFZZ XB XBGZZ XBFZZ CAP EA 1 1
4373610 (6N299)
96 21 KFFZZ PAOZZ KBGZZ KFFZZ 2940-00-860-0330 GASKET EA 1 1
(PART OF KIT NSN
5330-00-001-4944)
4253751 (6N299)
96 22 XBFZZ XB XBGZZ XBFZZ SPRING EA 1 1
4359656 (6N299)
96 23 PAFZZ PAOZZ XBGZZ PAFZZ D.008 2940-00-8981409 PISTON EA 1 1
4373613 (6N299)
96 24 PAFZZ PAOZZ XBGZZ PAFZZ .008 2940-00-231-7329 SLEEVE, CHECK VALVE EA 1 1
4373612 (6N299)
96 25 PAFZZ PAOZZ XBGZZ PAFZZ .008 2940-00-231-7330 SEAT EA 1 1
4373614 (6N299)
96 26 PAOZZ PAOZZ XBGZZ PAOZZ 4730-00-289-5176 PLUG, PIPE EA 4 4
MS49005-8 (96906)
96 27 XBOZZ XB XBGZZ XBOZZ GUIDE EA 2 2
4379263 (6N299)
269

TM 9-6115-545-24P
TO 35C2-3-444-4
NAVFAC P-8-626-24P
SL-400038G/07499A
Figure 97. Secondary Fuel Filter.
270

(3)
USMC
(5)
DESCRIPTION USABLE
MFR ON
REF NUMBER CODE CODE
(8)
USMC
QTY
PER
EQUIP
(7)
QTY
INC
IN
UNIT
(6)
U/M
a
SSI
(2)
SMR CODE
(1)
ILLUSTRATION
d
USMC
c
NAVY
b
AIR
FORCE
a
ARMY
(a)
FIG
NO.
(b)
ITEM
NO.
(4)
NATIONAL
STOCK
NUMBER
b
REPL
FACTOR
TM 9-6115-545-24P
TO 35C2-3-444-4
NAVFAC P-8-626-24P
SL-400038G/07499A
97 FUEL FILTER, SECONDARY
97 1PAOZZ PAOZZ PAOZZ PAFZZ D .008 4730-00-848-7131 NUT, TUBE, COUPLING EA 2 2
61 FL-3/8 (30327)
97 2 PAOZZ PAOZZ XBOZZ PAFZZ .008 5365-00-324-4884 SLEEVE COMPRESSION EA 2 2
0917807 (6N299)
97 3 PAOZZ PAOZZ XBOZZ PAFZZ 4710-00-432-1229 TUBE, FUEL FILTER EA 1 1
4028786 (6N299)
97 4 PAOZZ PAOZZ XBOZZ PAFZZ D .005 4730-00-273-8561 CONNECTOR, MALE EA 1 1
MS39169-15 (96906)
97 5 PAOZZ PAOZZ PAOZZ PAFZZ D .008 4730-00-377-3358 ELBOW EA 1 1
0920280 (6N299)
222-47 (10988)
97 6 PAOZZ PAOZZ XBOZZ PAFZZ D .008 4730-01-096-3170 ELBOW, PIPE TO TUBE EA 1 1
MS51504A5-4 (96906)
97 7 PAOZZ PAOZZ XBOZZ PAFZZ D.008 5305-00-026-2548 SCREW EA 2 4
920677 (6N299)
97 8 PAOZZ PAOZZ XBOZZ PAFZZ D .010 5310-00-209-0965 WASHER, LOCK, 7/16 IN. EA 2 16
MS35338-47 (96906)
97 9 PAOZZ PAOZZ PAOZZ PAFZZ D.010 5310-00-809-4085 WASHER, FLAT 7/16 IN. EA 2 2
MS27183-16 (96906)
97 10 XBOZZ XB XBOZZ XBFZZ BRACKET, MOUNTING EA 1 1
4028761 (6N299)
97 11 PAOZZ PAOZZ XBOZZ PAFZZ D .010 5305-00-942-2196 SCREW, CAP, HEX HD EA 4 34
MS18154-60 (96906)
97 12 PAOZZ PAOZZ XBOZZ PAFZZ D .010 5310-00-637-9541 WASHER, LOCK 3/8 IN. EA 4 55
MS35338-46 (96906)
97 13 PAOZZ PAOZZ XBOZZ PAFZZ - .050 2910-00-140-7094 FILTER FLUID EA 1 1
FBM1126PL (73370)
97 14 PAOZZ PAOZZ PAOZZ PAOZZ D .005 4730-00-537-1192 PLUG, PIPE EA 1 1
104018 (73370)
97 15 PAOZZ PAOZZ XBOZZ PAOZZ D .008 4730-00-861-6890 BOLT, FLUID PASSAGE EA 1 1
104071 (73370)
97 16 PAOZZ PAOZZ XBOZZ PAOZZ .050 5310-00-595.6398 WASHER, FLAT EA 1 2
101487 (73370)
97 17 XBOZZ XA XBOZZ XBOZZ HEAD, FILTER EA 1 1
101488 (73370)
97 18 PAOZZ PAOZZ XBOZZ PAOZZ -2 000 5330-00-663-4773 GASKET EA 1 3
101489 (73370)
97 19 PAOZZ PAOZZ PAOZZ PAOZZ - 2 000 2910-00-287-1912 ELEMENT, FILTER FLUID EA 1 2
C1175PB (73370)
97 20 XAOZZ XA XA077 XAOZZ HOUSING FILTER EA 1 1
139472 (73370)
97 21 PAOZZ PAOZZ XBOZZ PAOZZ D .008 4820-00-752-9040 COCK. DRAIN EA 1 4
MS35782-4 (96906)
271

TM 9-6115-545-24P
TO 35C2-3-444-4
NAVFAC P-8-626-24P
SL-400038G/07499A
Figure 98. Lube Oil Cooler.
272

(3)
USMC
(5)
DESCRIPTION USABLE
MFR ON
REF NUMBER CODE CODE
(8)
USMC
QTY
PER
EQUIP
(7)
QTY
INC
IN
UNIT
(6)
U/M
a
SSI
(2)
SMR CODE
(1)
ILLUSTRATION
d
USMC
c
NAVY
b
AIR
FORCE
a
ARMY
(a)
FIG
NO.
(b)
ITEM
NO.
(4)
NATIONAL
STOCK
NUMBER
b
REPL
FACTOR
TM 9-6115-545-24P
TO 35C2-3-444-4
NAVFAC P-8-626-24P
SL-400038G/07499A
98 LUBE OIL COOLER
98 1 PAOZZ PAOZZ XBGZZ PAFZZ -.008 4730-00-460-6725 PLUG, PIPE 1/4 IN EA 1 6
0920416 (6N299)
98 2 PAOZZ PAOZZ XBGZZ PAFZZ D .008 5305-00-007-3187 SCREW, CAP, HEX HEAD EA 3 14
0919230 (6N299)
98 3 PAOZZ PAOZZ XBGZZ PAFZZ D .010 5310-00-584-5272 WASHER, LOCK 1/2 IN EA 3 43
MS3533848 96906)
98 4 XBOZZ MOO XBGZZ XBFZZ BRACKET. THROTTLE EA 1 1
70-1443 (30554)
70-1443 (93742)
98 5 PAOZZ PAOZZ XBGZZ PAOZZ D .008 5305-00-026-2548 SCREW, CAP, HEX HEAD 7/16 NC X EA 2 4
1-1/4 IN. LG
0916197 (6N299)
98 6 PAOZZ PAOZZ XBGZZ PAFZZ D .010 5310-00-209-0965 WASHER, LOCK 7/16 IN. EA 2 16
MS3533847 (96906)
98 7 XBOZZ AOO AGGGG XBFFF COOLER ASSY, LUBE OIL EA 1 1
4029266 (6N299)
98 8 KFFZZ PAOZZ KBGZZ KFFZZ 5330-00-080-0213 PACKING, PREFORMED EA 1 1
(PART OF KIT NSN'
5330-00-001-4944)
0923814 (6N299)
98 9 KFFZZ PAOZZ KBGZZ KFFZZ 5330-00-518-5530 PACKING, PREFORMED EA 2 2
(PART OF KIT NSN.
5330-00001-4944)
0923649 (6N299)
98 10 PAOZZ PAOZZ XBGZZ XBFZZ 2930-00-762-1610 TUBE, COOLER EA 1 1
4035922 (6N299)
98 11 KFFZZ PAOZZ KBGZZ KFFZZ 5330-00-461-5760 PACKING, PREFORMED EA 1 1
(PART OF KIT NSN.
5330-00-001-4944)
0923664 (6N299)
98 12 PAFZZ PAOZZ XBGZZ PAFZZ D .008 5305-00-007-3201 SCREW, CAP, HEX HEAD 3/8 NC X EA 8 10
2-1/2 IN. LG
0912069 (6N299)
98 13 PAFZZ PAOZZ XBGZZ PAFZZ D.010 5310-00-637-9541 WASHER, LOCK 3/8 IN. EA 8 55
MS35338-46 (96906)
98 14 PAFZZ PAOZZ XBGZZ PAFZZ D .008 2930-00-408-9298 HEADER, OIL COOLER EA 1 1
4025365 (6N299)
98 15 KFFZZ PAOZZ KBGZZ KFFZZ 5330-00-890-3901 GASKET EA 1 1
(PART OF KITNSN:
5330000014944)
4025367 (6N299)
98 16 XBFZZ PAOZZ XBGZZ XBFZZ BONNET, OIL COOLER EA 1 1
4029267 (6N299)
98 17 KFFZZ PAOZZ KBGZZ KFFZZ 5330-00-953-2060 GASKET EA 1 1
(PART OF KIT NSN'
5330-00-001-4944)
4349984 (6N299)
98 18 XAFZZ XA XAGZZ XAFZZ COOLER, LUBRICATING EA 1 1
4026360 (6N299)
273

TM 9-6115-545-24P
TO 35C2-3-444-4
NAVFAC P-8-626-24P
SL-400038G/07499A
Figure 99. Nozzle-Holder and Line Assemblies (Model 3500).
274

(3)
USMC
(5)
DESCRIPTION USABLE
MFR ON
REF NUMBER CODE CODE
(8)
USMC
QTY
PER
EQUIP
(7)
QTY
INC
IN
UNIT
(6)
U/M
a
SSI
(2)
SMR CODE
(1)
ILLUSTRATION
d
USMC
c
NAVY
b
AIR
FORCE
a
ARMY
(a)
FIG
NO.
(b)
ITEM
NO.
(4)
NATIONAL
STOCK
NUMBER
b
REPL
FACTOR
TM 9-6115-545-24P
TO 35C2-3-444-4
NAVFAC P-8-626-24P
SL-400038G/07499A
99 NOZZLE-HOLDER AND LINE
ASSEMBLIES MODEL 3500
99 1 XBOZZ XB XBGZZ XBOZZ D .008 FLUID PASSAGE BOLTS EA 7 7
906248-4 (83179)
99 2 PAOZZ PAOZZ XBGZZ PAOZZ D .008 5340-00-110-5680 SLEEVE, SPECIAL EA 9 9
0917806-2 (92392)
99 3 PAOZZ PAOZZ XBGZZ PAOZZ D .004 4710-00-432-1230 PIPE, BENT METALLIC EA 1 1
4027476-3 (6N299)
99 4 PAOZZ PAOZZ PAGZZ PAOZZ D .008 4730-00-633-1492 TEE, PIPE TO TUBE EA 1 1
72FLI-4X118 (30327)
99 5 PAOZZ PAOZZ PAGZZ PAOZZ D .008 4730-00-496-7337 ADAPTER, STRAIGHT PIPE EA 2 2
919800 (92392)
99 6 PAOZZ PAOZZ XBGZZ XBOZZ 4710-01-256-7134 TUBE, RETURN EA 1 1
70429274 (6N299)
99 7 PAOZZ PAOZZ PAGZZ PAOZZ D .008 4730-00-5954924 NUT, TUBE COUPLING EA 6 6
4504409 (6N299)
99 8 PAOZZ PAOZZ PAGZZ PAOZZ D .008 4730-00-352-3024 FERRULE, BRAZING. TUBE EA 6 6
4501149-1 (6N299)
99 9 XBOZZ XB XBGZZ XBOZZ TUBE EA 6 6
4026560 (6N299)
99 10 KFOZZ PAOZZ PAGZZ PAOZZ D .010 5310-00-582-6014 WASHER, FLAT EA 12 12
(PART OF KIT NSN'
5330-00-001-4984)
6784886 (73342)
99 11 PAOZZ PAOZZ PAGZZ PAOZZ D .004 4710-00-407-6691 TUBE ASSY, METAL NO 1 CYLINDER EA 1 1
4026533 (6N299)
99 12 PAOZZ PAOZZ PAGZZ PAOZZ D .004 4710-00-407-6682 TUBE ASSY, METAL NO 2 CYLINDER EA 1 1
4026534 (6N299)
99 13 PAOZZ PAOZZ PAGZZ PAOZZ D .004 4710-00-407-6689 TUBE ASSY. METAL NO. 3 CYLINDER EA 1 1
4026535 (6N299)
99 14 PAOZZ PAOZZ PAGZZ PAOZZ D .004 4710-00-407-4935 TUBE ASSY, METAL NO. 4 CYLINDER EA 1 1
4026536 (6N299)
99 15 PAOZZ PAOZZ PAGZZ PAOZZ D .004 4710-00-432-1262 TUBE ASSY, METAL NO. 5 CYLINDER EA 1 1
4026537 (6N299)
99 16 PAOZZ PAOZZ PAGZZ PAOZZ D .004 4710-00-407-4937 TUBE ASSY, METAL NO.6 CYLINDER EA 1 1
4026538 (6N299)
99 17 PAOZZ PAOZZ XBGZZ PAOZZ D .008 5305-00-024-6238 SCREW EA 2 2
0918237 6N299)
99 18 PAOZZ PAOZZ XBGZZ PAOZZ D .008 5310-00-761-6882 NUT, HEXAGON 1/4-20 EA 2 52
MS51967-2 (96906)
99 19 PAOZZ PAOZZ PAGZZ PAOZZ D .010 5310-00-045-4007 WASHER, LOCK 1/4 EA 2 13
MS35338-44 (96906)
99 20 XBOZZ XB XBGZZ XBOZZ SPACER, SLEEVE EA 2 2
4020724 (6N299)
99 21 PAOZZ PAOZZ XBGZZ XBOZZ 2910-00-408-9391 BRACKET, INJECTOR FUEL EA 1 1
4025217 (6N299)
99 22 PAOZZ PAOZZ XBGZZ XBOZZ 2910-00-408-9392 CLAMP EA 1 1
04026479 6N299)
99 23 PAOZZ PAOZZ XBGZZ PAOZZ D .008 SCREW EA 2 2
0921977 (6N299)
99 24 PAOZZ PAOZZ XBGZZ PAOZZ D .008 5310-00-880-7744 NUT, PLAIN, HEX EA 2 12
MS51967-5 (96906)
99 25 PAOZZ PAOZZ XBGZZ PAOZZ D.010 5310-00-407-9566 WASHER, LOCK 5/16 EA 14 33
MS3533845 (96906)
99 26 PAOZZ PAOZZ XBGZZ XBOZZ 5340-00891-6136 SPACER, SPECIAL EA 3 3
4507359 (6N299)
99 27 PAOZZ PAOZZ XBOZZ XBOZZ 5340-00-010-6230 CLAMP EA 2 2
4507415 (6N299)
99 28 PAOZZ PAOZZ PAOZZ PAOZZ D .008 530500-202-1721 SCREW EA 12 12
0920248 (6N299)
275

(3)
USMC
(5)
DESCRIPTION USABLE
MFR ON
REF NUMBER CODE CODE
(8)
USMC
QTY
PER
EQUIP
(7)
QTY
INC
IN
UNIT
(6)
U/M
a
SSI
(2)
SMR CODE
(1)
ILLUSTRATION
d
USMC
c
NAVY
b
AIR
FORCE
a
ARMY
(a)
FIG
NO.
(b)
ITEM
NO.
(4)
NATIONAL
STOCK
NUMBER
b
REPL
FACTOR
TM 9-6115-545-24P
TO 35C2-3-444-4
NAVFAC P-8-626-24P
SL-400038G/07499A
99 29 PFFFF AOO AFGGG AFFHH HOLDER ASSY AND NOZZLE ASSY EA 6 6
See figure 101 for break our
4035510 (6N299)
99 30 KFFZZ PAOZZ PAOZZ PAFZZ .005 2910-00-930-5797 SHIELD, DUST EA 12 12
(PART OF KIT NSN.
5330-01-049-0579)
4025385-8 (6N299)
276

TM 9-6115-545-24P
TO 35C2-3-444-4
NAVFAC P-8-626-24P
SL-400038G/07499A
Figure 100. Fuel Injection System (Model 3500A)
(277 blank)/278

(3)
USMC
(5)
DESCRIPTION USABLE
MFR ON
REF NUMBER CODE CODE
(8)
USMC
QTY
PER
EQUIP
(7)
QTY
INC
IN
UNIT
(6)
U/M
a
SSI
(2)
SMR CODE
(1)
ILLUSTRATION
d
USMC
c
NAVY
b
AIR
FORCE
a
ARMY
(a)
FIG
NO.
(b)
ITEM
NO.
(4)
NATIONAL
STOCK
NUMBER
b
REPL
FACTOR
TM 9-6115-545-24P
TO 35C2-3-444-4
NAVFAC P-8-626-24P
SL-400038G/07499A
100 1 PAFFZ PAOZZ PAOZZ PAHZZ 5330-00477-8785 SHIELD, DUST EA 6 6
74025150 (6N299)
100 2 PAFZZ PAOZZ PAOZZ PAHZZ 5330-01-324-2529 WASHER, O-RING EA 6 6
70934784 (6N299)
100 3 PAFZZ PAOZZ PAOZZ PAHZZ 5340-01-281-7116 FLANGE, NOZZLE EA 6 6
7432293-4 (6N299)
100 4 PAFZZ PAOZZ PAOZZ PAHZZ 5306-01-307-1792 CAPSCREW EA 12 12
74009199-3 (6N299)
100 5 PAOZZ PAOZZ PAOZZ PAHZZ 4710-01-264-5764 TUBE ASSY EA 1 1
74036548-8 (6N299)
100 6 PAOZZ PAOZZ PAOZZ PAHZZ 5310-01-242-8458 GASKET, BANJO EA 12 12
74322189-4
100 7 PAOZZ PAOZZ PAOZZ PAHZZ 5305-01-280-7678 SCREW, METRIC M6X1.0 EA 6 6
74322188-6 (6N299)
100 8 XDOZZ XB XBOZZ XBHZZ TUBE, RETURN EA 1 1
74036572 (6N299)
100 9 PAOZZ PAOZZ PAOZZ PAHZZ 4730-01-237-8567 UNION EA 1 1
70921534-4 (6N299)
100 10 PAOZZ PAOZZ PAOZZ PAHZZ 4730-01-133-3020 SLEEVE EA 5 5
70917806-2 (6N299)
100 11 PAOZZ PAOZZ PAOZZ PAHZZ 5310-01-030-2622 NUT EA 5 5
70917809-6 (6N299)
100 12 PAOZZ PAOZZ PAOZZ PAHZZ 4730-01-280-8189 TEE EA 1 1
70920411-6 (6N299)
100 13 PAOZZ PAOZZ PAOZZ PAHZZ 4730-01-297-4667 CONNECTOR EA 1 1
70919800 (6N299)
100 14 XDOZZ XB XBOZZ XBHZZ TUBE, FLARED EA 1 1
74009238-3 (8N299)
100 15 PAOZZ PAOZZ PAOZZ PAHZZ 4710-01-324-5207 INJ. LINE CLUSTER EA 1 1
74037199 (8N299)
100 16 PAOZZ PAOZZ PAOZZ PAHZZ 5310-00-001-2035 WASHER, SEALING EA 12 12
4027748 (6N299)
100 17 PAOZZ PAOZZ PAOZZ PAHZZ 4730-00-873-1883 BOLT, FLUID EA 8 6
4369451 (6N299)
279

TM 9-6115-545-24P
TO 35C2-3-444-4
NAVFAC P-8-626-24P
SL-400038G/07499A
Figure 101. Nozzle, Fuel Injection.
280

(3)
USMC
(5)
DESCRIPTION USABLE
MFR ON
REF NUMBER CODE CODE
(8)
USMC
QTY
PER
EQUIP
(7)
QTY
INC
IN
UNIT
(6)
U/M
a
SSI
(2)
SMR CODE
(1)
ILLUSTRATION
d
USMC
c
NAVY
b
AIR
FORCE
a
ARMY
(a)
FIG
NO.
(b)
ITEM
NO.
(4)
NATIONAL
STOCK
NUMBER
b
REPL
FACTOR
TM 9-6115-545-24P
TO 35C2-3-444-4
NAVFAC P-8-626-24P
SL-400038G/07499A
101 1 PAFFH PAOZZ PAGZZ PAFHH -.060 2910-00-110-9692 NOZZLE ASSEMBLY. FUEL EA 6 6
INJECTION
40355053 (52285)
(3500 ENGINE ONLY)
101 2 KFFZZ PAOZZ PAOZZ PAHZZ -.030 5330-00-477-6785 GASKET EA 1 6
(PART OF KIT NSN
53301-049-0579)
4025150 (92392)
101 3 XAFZZ XA XAGZZ XAHZZ -.030 BODY. NOZZLE EA 1 6
4027881 (09367)
101 4 PAFZZ XA PAGZZ PAHZZ -.050 2910-01-173-8624 VALVE. NOZZLE EA 1 6
4025913 (6N299)
101 5 PAFZZ PAOZZ PAGZ PAFHH -.200 2910-00-780-0934 HOLDER ASSY EA 6 6
4060859 (6N299)
(3500 ENGINE ONLY)
101 6 PAFZZ PAOZZ XBGZZ XBHZZ 5310-00-777-3443 NUT. NOZZLE RING EA 1 6
74025146-7 (6N299)
101 7 PAFZZ PAOZZ PAGZZ PAHZZ 5315-00-111-0809 PIN, STRAIGHT. HEADLESS EA 2 12
4025149 (6N299)
101 8 PAFZZ PAOZZ XBGZZ PAHZZ 5305-00-890-3930 SCREW, PRESSURE ADJUSTABLE EA 1 6
4023570 (6N299)
101 9 PAFZZ PAOZZ XBGZZ XBHZZ 5310-00-007-6163 NUT, SLEEVE EA 1 6
74517266-8 (09367)
101 10 PAFZZ PAOZZ XBGZZ PAHZZ D .020 2910-00-470-6887 ROD, SPINDLE, NOZZLE EA 1 6
4025148 (6N299)
101 11 PAFZZ PAOZZ XBGZZ PAHZZ D .040 5360-00-052-1531 SPRING, HELICAL, COMPRESSION EA 1 6
74380652 (89926)
101 12 PAFZZPAOZZ XBGZZ PAHZZ D .010 5310-00-821-2424 WASHER. FLAT EA 1 6
4023571 (6N299)
101 13 PAFZZ PAOZZ XBGZZ PAHZZ -.010 5330-00-001-4939 PACKING, PREFORMED EA 2 12
70930506 (6N299)
101 14 XAFZZ XA XAGZZ XAHZZ BODY HOLDER EA 6 6
4023569 (09367)
101 15 XBFFH XB XBOZZ XBFHH NOZZLE ASSY. FUEL INJECTION EA 6 6
(MODEL 3500A)
74037242 (6N299)
101 16 PAFFH PAOOO PAOZZ PAFHH 2910-01-350-1453 NOZZLE ASSY, FUEL INJECTION EA 6 6
(MODEL 3500A)
74037148 (6N299)
REPLACEMENT NOZZLE FOR
ITEM 15
101 17 PAFZZ PAOZZ PAOZZ PAHZZ 5330-00-477-6785 GASKET EA 1 1
74025150 (6N299))
101 18 PAFZZ PAOZZ PAOZZ PAHZZ NUT. RETAINING EA 1 1
74062808 (6N299)
101 19 PAFZZ PAOZZ PAOZZ PAHZZ 2910-01-232-5863 NOZZLE ASSEMBLY EA 1 1
74036653 (6N299)
101 20 PAFZZ PAOZZ PAOZZ PAHZZ 536501-326-4819 SPACER ASSEMBLY EA 1 1
74062807 (6N299)
101 21 PAFZZ PAOZZ PAOZZ PAHZZ 5340-01-324-4917 SEAT, SPRING EA 1 1
74062806 (6N299)
101 22 PAFZZ PAOZZ PAOZZ PAHZZ 5360-01-324-0426 SPRING EA 1 1
74062805 (6N299)
101 23 XAFZZ XA XAGZZ XAHZZ HOLDER. BODY EA 1 1
76060000 (6N299)
101 24 PAFZZ PAOZZ PAOZZ PAHZZ 536501-236-9370 SHIM. KIT (MODEL 3500A) EA 1 1
74062761 (6N299)
281

TM 9-6115-545-24P
TO 35C2-3-444-4
NAVFAC P-8-626-24P
SL-400038G/07499A
Figure 102. Injection Pump and Related Parts.
282

(3)
USMC
(5)
DESCRIPTION USABLE
MFR ON
REF NUMBER CODE CODE
(8)
USMC
QTY
PER
EQUIP
(7)
QTY
INC
IN
UNIT
(6)
U/M
a
SSI
(2)
SMR CODE
(1)
ILLUSTRATION
d
USMC
c
NAVY
b
AIR
FORCE
a
ARMY
(a)
FIG
NO.
(b)
ITEM
NO.
(4)
NATIONAL
STOCK
NUMBER
b
REPL
FACTOR
TM 9-6115-545-24P
TO 35C2-3-444-4
NAVFAC P-8-626-24P
SL-400038G/07499A
INJECTION PUMP AND RELATED PARTS
102 1 PAFZZ PAOZZ XBGZZ PAHZZ D .008 2910-00-133-9877 BUTTON THRUST EA 1 1
16144 (84760)
102 2 PAFZZ PAOZZ XBGZZ PAHZZ D .015 5360-00-887-1536 SPRING. EHL, COMPRESSION EA 1 1
10541 (84780)
102 3 PAFZZ PAOZZ XBGZZ PAHZZ D .010 5310-00-407-5575 WASHER, LOCK EA 1 1
10534 (84760)
102 4 PAFZZ PAOZZ XBGZZ PAHZZ D .008 5310-00-115-6223 NUT. PLAIN, HEX EA 1 1
10529 (84760)
102 5 PAFZZ PAOZZ XBGZ PAHZZ - .005 3020-00-110-9616 GEAR. HELICAL EA 1 1
4025303 (6N299)
102 6 PAFZZ PAOZZ XBGZZ PAHZZ D .008 5315-01-056-3398 KEY EA 1 1
10274 (84760)
102 7 PAFZZ PAOZZ XBGZZ PAHZZ D .008 5310-00-006-2434 NUT. PLAIN, HEX EA 2 2
0910324 (6N299)
102 8 PAFZZ PAOZZ XBGZZ PAHZZ D .010 5310-00-898-1477 WASHER, LOCK EA 2 2
4371718-0 (6N299)
102 9 PAFHH PAODD POBGD PAFHH I .180 2910-00-228-2799 PUMP, FUEL, METERING (SEE FIG EA 1 1
103 FOR BREAKDOWN)
DCMFC629-2LQ (84760)
102 10 PAFZZ PAOZZ XBGZZ PAFZZ D .008 5310-00-732-0559 NUT, PLAIN. HEX3/8-24 EA 3 11
MS51968-8 (96906)
102 11 PAFZZ PAOZZ XBGZZ PAFZZ D .010 5310-00-637-9541 WASHER, LOCK EA 3 155
MS3533846 (96906)
102 12 PAFZZ PAOZZ XBGZZ PAFZZ D .010 WASHER, FLAT EA 3 37
(PART OF KIT NSN.
5330-00001-4948)
10519 (84760)
102 14 XBFZZ XB XBGZZ XBHZZ PLATE, RETAINING EA 1 1
4026004 (6N299)
102 15 PAFZZ PAOZZ XBGZZ PAHZZ - .008 2910-00-930-9358 ADAPTER, BEARING EA 1 1
4025249 (6N299)
102 16 XBFZZ XB XBGZZ XBHZZ STUD, THREADED EA 2 2
4025250 (6N299)
102 17 KFFZZ PAOZZ KFGZZ KFFZZ 5330-00-890-3905 PACKING, PREFORMED EA 1 1
(PART OF KIT NSN:
53300-0001-4949)
4255661 (6N299)
283

TM 9-6115-545-24P
TO 35C2-3-444-4
NAVFAC P-8-626-24P
SL-400038G/07499A
Figure 103. Pump, Fuel, Metering (Sheet 1 of 7).
284

TM 9-6115-545-24P
TO 35C2-3-444-4
NAVFAC P-8-626-24P
SL-400038G/07499A
Figure 103. Pump, Fuel, Metering (Sheet 2 of 7).
285

TM 9-6115-545-24P
TO 35C2-3-444-4
NAVFAC P-8-626-24P
SL-400038G/07499A
Figure 103. Pump, Fuel, Metering (Sheet 3 of 7).
286

TM 9-6115-545-24P
TO 35C2-3-444-4
NAVFAC P-8-626-24P
SL-400038G/07499A
Figure 103. Pump, Fuel, Metering (Sheet 4 of 7).
287

TM 9-6115-545-24P
TO 35C2-3-444-4
NAVFAC P-8-626-24P
SL-400038G/07499A
Figure 103. Pump, Fuel, Metering (Sheet 5 or 7)
288

TM 9-6115-545-24P
TO 35C2-3-444-4
NAVFAC P-8-626-24P
SL-400038G/07499A
Figure 103. Pump, Fuel, Metering (Sheet 6 of 7).
289

TM 9-6115-545-24P
TO 35C2-3-444-4
NAVFAC P-8-626-24P
SL-400038G/07499A
Figure 103. Pump, Fuel, Metering (Sheet 7 of 7).
290

(3)
USMC
(5)
DESCRIPTION USABLE
MFR ON
REF NUMBER CODE CODE
(8)
USMC
QTY
PER
EQUIP
(7)
QTY
INC
IN
UNIT
(6)
U/M
a
SSI
(2)
SMR CODE
(1)
ILLUSTRATION
d
USMC
c
NAVY
b
AIR
FORCE
a
ARMY
(a)
FIG
NO.
(b)
ITEM
NO.
(4)
NATIONAL
STOCK
NUMBER
b
REPL
FACTOR
TM 9-6115-545-24P
TO 35C2-3-444-4
NAVFAC P-8-626-24P
SL-400038G/07499A
103 PAFHH PAODD PBGGD PAFHH I .180 2910-00-228-2799 PUMP, FUEL. METERING EA 1 1
DCMFC629-2LO (84760)
103 1 PAHZZ PADZZ XBGZZ PAHZZ D .008 530500-846-0129 SCREW. MACHINE EA 3 3
MS3526568 (96906)
103 2 PAHZZ PADZZ XBGZZ PAHZ D .010 5310-00-209-1218 WASHER, LOCK EA 8 8
2239H (45152)
103 3 PAHZZ PADZZ XBGZZ PAHZZ D .010 5310-00-194-0607 WASHER, FLAT EA 7 7
779343 (79500)
103 4 PAHZZ PADZZ XBGZZ PAHZZ D .008 4730-00-200-3412 CONNECTOR ASSY EA 1 1
20154 (84760)
103 5 PAHZZ PADZZ XBGZZ PAHZZ D .008 2910-00-3359329 COVER, GOVERNOR CONTROL EA 1 1
12106 (84760)
103 6 KFHZZ KD KFGZZ KFHZZ GASKET, GOVERNOR COVER EA 1 1
(PART OF KIT NSN
5330-00-401-5247)
27244 (84760)
103 7 PAHZZ PADZZ XBGZZ PAHZZ D .008 5310-00-582-5765 NUT, SELF-LOCKING, HEX EA 2 2
8527012 (18876)
103 8 PAHZZ PADZZ XBGZZ PAHZZ D .008 5310-00-934-9757 NUT, PLAIN. HEX EA 2 4
MS35649-282 (96906)
103 9 PAHZZ PADZZ XBGZZ PAHZZ D .010 5310-00-190-0752 WASHER, FLAT EA 2 2
10-9858 (59501)
103 10 PAHZZ PADZZ XBGZZ PAHZZ D .010 5310-00-830-7825 WASHER, SHOULDERED EA 2 2
12500 (84760)
103 11 PAHZZ PADZZ XBGZZ PAHZZ D .008 5365-00-786-4025 BUSHING, RUBBER EA 2 2
12513 (84760)
103 12 PAHZZ PADZZ XBGZZ PAHZZ I .020 5360-00-691-7207 SPRING, HELICAL EXTENSION EA 1 1
12480 (84760)
103 13 PAHZZ PADZZ XBGZZ PAHZZ 536500-209-3148 BUSHING, RUBBER EA 1 1
16396 (84760)
103 14 PAHZZ PADZZ XBGZZ PAHZZ 2910-00-832-0122 ARM ASSY PUMP EA 1 1
16278 (84760)
103 15 PAHZZ PADZZ XBGZZ PAHZZ 2920-00-897-2459 FRAME ASSY, SOLENOID EA 1 1
22316 (84760)
103 16 PAFZZ PADZZ XBGZZ PAHZZ D .008 5305-01-007-1321 SCREW, CAP. SOCKET HEAD EA 1 1
12996 (84760)
103 17 PAFZZ PADZZ XBGZZ PAHZZ D 008 5305-00-978-9368 SCREW. CAP, SOCKET HEAD EA 1 1
MS16997-30 (96906)
103 18 PAFZZ PADZZ PAGZZ PAHZZ D .010 5310-00-559-0070 WASHER, LOCK EA 1 5
MS35333-38 (96906)
103 19 XBFZZ XB XBGZZ XBHZZ LEVER, ADJUST SHUNT EA 1 1
12979 (84760)
103 20 PAFZZ PADZZ XBGZZ PAHZZ D .008 5305-00-891-8979 SCREW, MACHINE EA 2 2
12972 (84760)
103 21 PAFZZ PADZZ XBGZZ PAHZZ D .008 5310-00-935-1243 NUT, PLAIN. HEX EA 2 2
12174 (84760)
103 22 PAFZZ PADZZ XBGZZ PAHZZ *.020 2910-00-897-2545 SHAFT ASSY EA 1 1
12237 (84760)
103 23 PAHZZ PADZZ XBGZZ PAHZZ -.020 2910-00-066-2499 CAM ASSY, SHUNT EA 1 1
14966 (84760)
103 24 PAHZZ PADZZ XBGZZ PAHZZ - .020 2910-00-204-9549 SHAFT ASSY. THROTTLE EA 1 1
17619 (84760)
103 25 PAHZZ PADZZ XBGZZ PAHZZ D .006 5305-00-024-6276 SCREW, CAP. SOCKET HEAD EA 2 2
18965 (84760)
103 26 PAHZZ PADZZ XBGZZ PAHZZ D .010 5310-00-935-1243 NUT, PLAIN HEX EA 1 3
12174 (84760)
103 27 PAHZZ PADZZ XBGZZ PAHZZ 5305-01-238-3122 SCREW. THROTTLE SPRING EA 1 1
12999 (84760)
103 28 PAHZZ PADZZ XBGZZ PAHZZ D .008 5340-00-786-1550 RETAINER. HELICAL EA 1 1
13010 (84760)
291

(3)
USMC
(5)
DESCRIPTION USABLE
MFR ON
REF NUMBER CODE CODE
(8)
USMC
QTY
PER
EQUIP
(7)
QTY
INC
IN
UNIT
(6)
U/M
a
SSI
(2)
SMR CODE
(1)
ILLUSTRATION
d
USMC
c
NAVY
b
AIR
FORCE
a
ARMY
(a)
FIG
NO.
(b)
ITEM
NO.
(4)
NATIONAL
STOCK
NUMBER
b
REPL
FACTOR
TM 9-6115-545-24P
TO 35C2-3-444-4
NAVFAC P-8-626-24P
SL-400038G/07499A
103 29 PAHZZ PADZZ XBGZZ PAHZZ D .040 5380-00-751-8916 SPRING, HELICAL EA 1 1
13003 (84760)
103 30 PAHZZ PADZZ XBGZZ PAHZZ D .008 530500-788-3735 SCREW. MACHINE EA 1 2
12957 (84760)
103 31 XBHZZ XB XBGZZ XBHZZ - .008 LEVER ASSY EA 1 1
20283 (84760)
103 32 KFHZZ KD KFGZZ KFHZZ WASHER, FLAT (PART OF KIT NSN: EA 2 2
533000-401-5247)
14408 (84760)
103 33 KFHZZ KD KFGZZ KFHZZ PACKING, PREFORMED (PART OF EA 3 3
KIT NSN: 5330-00-401-5247)
17438 (84760)
103 34 XBHZZ XB XBGZZ XBHZZ CAP. IDLER, ADJ EA 1 1
17602 (84760)
103 35 XBHZZ XB XBGZZ XBHZZ SPACER, THROTTLE EA 2 2
16587 (84760)
103 37 PAHZZ PADZZ PAGZZ PAHZZ D .020 2910-00-148-6557 HOOK, ASSY EA 1 1
20226 (84760)
103 38 PAHZZ PADZZ XBGZZ PAHZZ D .008 5305-00-250-5613 SCREW, MACHINE EA 1 1
12360 (84760)
103 39 PAHZZ PADZZ XBGZZ PAHZZ D .010 5310-00-400-8585 WASHER, SPRING EA 1 1
12362 (84760)
103 40 PAHZZ PADZZ PAGZZ PAHZZ -.008 3040-01-230-9081 LINKAGE ADJUST EA 1 1
20225 (84760)
103 41 XAHZZ XA XBGZZ XBHZZ HOOK, GOVERNOR EA 1 1
17604 (8t760)
103 42 PAHZZ PADZZ XBGZZ PAHZZ D .008 5360-00-335-9237 SPRING EA 1 1
11919 (84760)
103 43 KFHZZ KD KFGZZ KFHZZ PLUG. PIPE (PART OF KIT NSN. EA 1 1
5330-00-401-5247)
15821 (84760)
103 44 PAHZZ PADZZ XBGZZ PAHZZ - .008 4730-00-459-6077 PLUG, ADJUSTABLE EA 1 1
15228 (84760)
103 45 PAHZZ PADZZ XBGZZ PAHZZ D .030 4730-00-897-2460 BOLT, FLUID PASSAGE EA 1 1
17058 (84760)
103 46 KFHZZ KD KFGZZ KFHZZ PACKING, PREFORMED (PART EA 1 2
OF KIT NSN: 533-00-401-5247)
12406 (84760)
103 47 PAHZZ PADZZ XBGZZ PAHZZ - .020 2910-00-898-4926 ELEMENT, FILTER EA 1 1
15225 (84760)
103 48 KFHZZ KD KFGZZ KFHZZ WASHER, FLAT (PART OF KIT NSN EA 1 1
5330-0-401-5247)
15627 (84760)
103 49 KFHZZ KD KFGZZ KFHZZ PACKING, PREFORMED (PART OF EA 1 1
KIT NSN' 5330-00-401-5247)
11507 (84760)
103 50 PAHZZ PADZZ XBGZZ PAHZZ D .020 5360-00-418-4365 SPRING, HELICAL COMPRESSION EA 1 1
15913 (84760)
103 51 PAHZZ PADZZ XBGZZ PAHZZ - .008 2910-00-321-8737 PISTON, REGULATING EA 1 1
11508 (84760)
103 52 KFHZZ KD KFGZZ KFHZZ SEAL, PISTON (PART OF KIT NSN EA 1 1
5330-00-401-5247)
17056 (84760)
103 53 XBHZZ XB XBGZZ XBHZZ - .008 PLATE, END EA 1 1
15877 (84760)
103 54 PAHZZ PADZZ XBGZZ PAHZZ D .008 5305-00-788-4028 SCREW, EXTERNAL EA 4 14
11532 (84760)
103 55 PAOZZ PADZZ XBGZZ PAHZZ - .008 2910-00-901-0753 THRUST, PLATE, FUEL EA 1 1
15875 (84760)
292

(3)
USMC
(5)
DESCRIPTION USABLE
MFR ON
REF NUMBER CODE CODE
(8)
USMC
QTY
PER
EQUIP
(7)
QTY
INC
IN
UNIT
(6)
U/M
a
SSI
(2)
SMR CODE
(1)
ILLUSTRATION
d
USMC
c
NAVY
b
AIR
FORCE
a
ARMY
(a)
FIG
NO.
(b)
ITEM
NO.
(4)
NATIONAL
STOCK
NUMBER
b
REPL
FACTOR
TM 9-6115-545-24P
TO 35C2-3-444-4
NAVFAC P-8-626-24P
SL-400038G/07499A
103 56 PAHZZ PADZZ XBGZZ PAHZZ - .008 53500-992-7084 SPACER, SLEEVE EA 1 1
11525 (84760)
103 57 PAHZZ PADZZ XBGZZ PAHZZ - .008 530-00-900-2564 SPRING, HELICAL COMPRESSION EA 2 2
15699 (84780)
103 58 PAHZZ PADZZ PAGZZ PAHZZ -.020 2910-00148-6555 BLADE. TRANSFER PUMP EA 4 4
20804 (84760)
103 59 00-401-5247) 11329 (84760)
103 60 PAHZZ PADZZ XBGZZ PAHZZ D .008 2910-00-208-974 LINER. TRANSFER PUMP EA 1 1
18658 (84760)
103 61 XBHZZ XB XBGZZ XBHZ CAP ASSY EA 1 1
13567 (84760)
103 62 KFHZZ KD KFGZZ KFHZZ PACKING, PREFORMED (PART OF EA 1 1
KIT NSN: 5330-00-401-5247)
12966 (84760)
103 63 XBHZZ XB XBGZZ XBHZZ GUIDE, CONTROL ROD EA 1 1
20223 (84760)
103 64 PAHZZ PADZZ XBGZZ PAHZZ 5310-00-877-4957 WASHER EA 1 1
13572 (84760)
103 65 KFHZZ KD KFGZZ KFHZZ PACKING, PREFORMED (PART OF EA 1 1
KIT NSN: 5330-00-401-5247)
13550 (84760)
103 66 PAHZZ PADZZ XBGZZ PAHZZ 5315-00-786-3998 PIN. LOCKING EA 1 1
13554 (84760)
103 67 XBHZZ XB XBGZZ XBHZZ ROD ASSY, CONTROL EA 1 1
18275 (84760)
103 68 XBHZZ XB XBGZZ XBHZZ SPRING, COMPRESSION EA 1 1
13558 (84760)
103 69 PAHZZ PADZZ XBGZZ PAHZZ 5310-00-791-9437 NUT. PLAIN, HEX EA 2 2
12288 (84760)
103 70 KFHZZ PADZZ KFGZZ KFHZZ 5330-00-641-8286 SEAL (PART OF KIT NSN: EA 2 2
533040-401-5247)
11588 (87460)
103 71 XBHZZ XB XBGZZ PAHZZ I .020 SHAFT, GOVERNOR EA 1 1
20224 (84760)
103 72 XBHZZ XB XBGZZ XBHZZ ARM, GOVERNOR EA 1 1
20219 (84760)
103 73 PAHZZ PADZZ XBGZZ PAHZZ D.008 2910-00-780-0938 PISTON ASSY PUMP EA 1 1
16572 (84760)
103 74 PAHZZ PADZZ XBGZZ PAHZZ D .008 2910-00-200-3294 BARREL ASSY EA 1 1
16568 (84760)
103 75 PAHZZ PADZZ XBGZZ PAHZZ D.015 5360-01-032-3146 SPRING. HELICAL COMPRESSION EA 1 1
20475 (84760)
103 76 XBHZZ XB XBCZZ XBHZZ ARM ASSY. METER EA 1 1
22134 (84760)
103 77 PAHZZ PADZZ XBGZZ PAHZZ - .008 5365-00-877-4952 SHIM EA 1 1
111610 (84760)
103 78 PAHZZ PADZZ XBGZZ PAHZZ I .020 2910-01-054-3816 METERING VALVE, FUEL EA 1 1
20849 (84760)
103 79 PAHZZ PADZZ XBGZZ PAHZZ D .008 5365-00-485-0097 SPACER, PLATE EA 1 1
16575 (84760)
103 80 PAHZZ PAOZZ XBGZZ PAHZZ 5130-01-014-6985 SHIM. METERING VALVE EA V V
16576 (84760)
103 81 XBHZZ XB KBGZZ PAHZZ D .008 PLUG, PISTON HOLE EA 1 1
15752 (84760)
103 82 PAHZZ PADZZ XBGZZ PAHZZ - .008 5330-00-974-6643 PACKING PREFORMED EA 2 2
12764 (84760)
103 83 PAHZZ PADZZ PAGZZ PAHZZ 5330-01-014-6985 PACKING, PREFORMED EA 2 2
20113 (84760)
293

(3)
USMC
(5)
DESCRIPTION USABLE
MFR ON
REF NUMBER CODE CODE
(8)
USMC
QTY
PER
EQUIP
(7)
QTY
INC
IN
UNIT
(6)
U/M
a
SSI
(2)
SMR CODE
(1)
ILLUSTRATION
d
USMC
c
NAVY
b
AIR
FORCE
a
ARMY
(a)
FIG
NO.
(b)
ITEM
NO.
(4)
NATIONAL
STOCK
NUMBER
b
REPL
FACTOR
TM 9-6115-545-24P
TO 35C2-3-444-4
NAVFAC P-8-626-24P
SL-400038G/07499A
103 84 PAHZZ PADZ XBGZZ PAHZZ D .008 2910-00-453-6237 PISTON, ADVANCE, FUEL EA 1 1
17631 (84760)
103 85 PAHZZ PADZZ XBGZZ PAHZZ D.008 536500-459-6003 PLUG, MACHINE THREAD EA 1 1
15739 (84760)
103 86 KFHZZ KO KFGZZ KFHZZ SEAL, ADVANCE (PART OF KIT EA 1 1
NSN: 533000-401-5247)
12766 (84760)
103 87 PAHZZ PADZZ XBGZZ PAHZZ - .008 5315-00-128-1186 PIN. ADVANCE EA 1 1
15740 (84760)
103 88 PAHZZ PADZZ XBGZZ PAHZZ I .020 482000-432-1232 CARTRIDGE. RELIEF VALVE EA 1 1
22238 (84760)
103 89 KFHZZ KD KFGZZ KFHZZ GASKET (PART OF KIT NSN: EA 1 1
5330-00-401-5247)
15750 (84760)
103 90 PAHZZ PADZZ XBGZZ PAHZZ - .008 2910-00-932-4787 RING, FUEL INJECTOR EA 1 1
18967 (84760)
103 91 PAHZZ PADZZ XBGZZ PAHZZ - .008 5360-00-058-6555 SPRING, HELICAL COMPRESSION EA 1 1
12685 (84760)
103 92 XBHZZ XB XBGZZ XBHZZ WASHER, SPRING EA 1 1
17634 (84760)
103 93 XBHZZ XB XBGZZ XBHZZ RING, ADVANCE SPRING EA 1 1
17635 (84760)
103 94 XBHZZ XB XBGZZ XBHZZ PLUG, PISTON EA 1 1
18972 84760)
103 95 XBHZZ XB XBGZZ XBHZZ SCREW, ADVANCE EA 1 1
21721 (84760)
103 96 PAHZZ PADZZ XBGZZ PAHZZ D .008 531000-891-5703 NUT, PLAIN, HEX EA 1 1
13807 (84760)
103 97 PAHZZ PADZZ XBGZZ PAHZZ .008 291000-128-1185 CAP, ADJUSTING SCREW EA 1 1
11611 (84760)
103 98 PAHZZ PADZZ XBGZZ PAHZZ D .008 291001-117-7252 BEARING. SLEEVE EA 1 1
21312 (84760)
103 99 PAHZZ PADZZ XBGZZ PAHZZ 2910-00-209-1528 WEIGHT, GOVERNOR EA 6 6
20214 (84760)
103 100 PAHZZ PADZZ XBGZZ PAHZZ 3120-00-393-4067 WASHER. GOVERNOR EA 1 1
20222 (84760)
103 101 PAHZZ PADZZ XBGZZ PAHZZ D .008 536500-786-4027 RING, RETAINING EA 1 1
11208 (84760)
103 102 PAHZZ PADZZ XBGZZ PAHZZ D .008 536500-786-3964 SPACER, PLATE EA 2 2
11212 (84760)
103 103 PAHZZ PADZZ XBGZZ PAHZZ D .009 2910-00-780-1824 CAM, RING FUEL PUMP EA 1 1
21688 (84760)
103 104 KFHZZ KD KFGZZ KFHZZ PACKING, PREFORMED (PART OF EA 1 1
KIT NSN. 5330-00-401-5247)
11304 (84760)
103 105 PAHZZ PADZZ XBGZZ PAHZZ D .008 536500-128-1189 RING, RETAINING EA 1 1
15835 (84760)
103 106 PAHZZ PADZZ PAGZZ PAHZZ D .020 2910-00-148-6556 WEIGHT, RETAINER ASSY EA 1 1
20229 (84760)
103 107 KFHZZ KD KFGZZ KFHZZ RETAINER, PACKING (PART OF EA 1 1
KIT NSN' 533000-401-5247)
17513 (84760)
103 108 XAHZZ XA XBGZZ XAHZZ HUB ASSY PUMP EA 1 1
19536 (84760)
103 109 XAHZZ XA XBGZZ XAHZZ RETAINER ASSY EA 1 1
20227 (84760)
103 110 XBHZZ XA XAGZZ XAHZZ HYDRAULIC HEAD AND ROTOR EA 1 1
ASSEMBLY
20155 (84760)
103 111 XBHZZ XB XBGZZ XBHZZ PIN, ROTOR EA 1 1
15345 (84760)
294

(3)
USMC
(5)
DESCRIPTION USABLE
MFR ON
REF NUMBER CODE CODE
(8)
USMC
QTY
PER
EQUIP
(7)
QTY
INC
IN
UNIT
(6)
U/M
a
SSI
(2)
SMR CODE
(1)
ILLUSTRATION
d
USMC
c
NAVY
b
AIR
FORCE
a
ARMY
(a)
FIG
NO.
(b)
ITEM
NO.
(4)
NATIONAL
STOCK
NUMBER
b
REPL
FACTOR
TM 9-6115-545-24P
TO 35C2-3-444-4
NAVFAC P-8-626-24P
SL-400038G/07499A
103 112 PAHZZ PADZZ XBGZZ PAHZZ D .008 5315-00-887-1539 PIN, STRAIGHT, HEADLESS EA 4 4
11141 (84760)
103 113 PAHZZ PADZZ XBGZZ PAHZZ D .008 2910-00-2086982 SHOE, CAM ROLLER EA 4 4
20120 (84760)
103 114 PAHZZ PADZZ XBGZZ PAHZZ 2910-00-897-2465 PLUNGER, ROTOR EA 2 2
11056 (84760)
103 115 XBHZZ XB XBGZZ XBHZZ PLUNGER, ROTOR EA 2 2
16044 (84760)
103 116 PAHZZ PADZZ XBGZZ PAHZZ - .008 530500-1256194 SCREW EA 1 1
15869 (84760)
103 117 PAHZZ PADZZ XBGZZ PAHZZ -.008 2910-00-128-1173 SPRING, LEAF EA 2 2
15724 (84760)
103 118 PAHZZ PADZZ XBGZ PAHZZ D .008 530500-1256193 SCREW, SELF-LOCKING EA 1 1
15619 (84760)
103 119 PAHZZ PADZZ XBGZZ PAHZZ D .008 4730-00-3359315 BOLT. FLUID PASSAGE EA 6 6
11346 (84760)
103 120 PAHZZ PADZZ XBGZZ PAHZZ D .008 5305-00-786-4032 SCREW, VALVE RETAINING EA 1 1
13837 (84760)
103 121 PAHZZ PADZZ XBGZZ PAHZZ - .008 2910-00-897-2461 STOP, DELIVERY VALVE EA 1 1
16440 (84760)
103 122 PAHZZ PADZZ XBGZZ PAHZZ I .020 5360-00-419-0324 SPRING, HELICAL, COMPRESSION EA 1 1
16441 (84760)
103 123 PAHZZ PADZZ PAGZZ PAHZZ I .020 4820-00-128-1178 VALVE. DELIVERY EA 1 1
13829 (84760)
103 124 PAHZZ PADZZ XBGZZ PAHZZ D .008 5305-00-887-1547 SETSCREW EA 2 2
11438 (84760)
103 125 PAHZZ PADZZ XBGZZ PAHZZ D .008 5305-00-887-1564 SETSCREW EA 1 1
12216 (84760)
103 126 PAHZZ PADZZ XBGZZ PAHZZ 2910-00-887-1548 WIRE, RETAINER EA 1 1
11439 (84760)
103 127 PAHZZ PADZZ XBGZZ XBHZZ 2910-00-887-1546 WIRE, VENT EA 1 1
11437 (84760)
103 128 PAHZZ PADZZ XBGZZ PAHZZ D .008 5306-00-240-6750 BOLT, MACHINE EA 2 2
11332 (84760)
103 129 PAHZZ PADZZ XBGZZPAHZZ D .008 5305-00-1582937 SCREW, MACHINE EA 4 4
MS33190-249 (96906)
103 130 PBHZZ PAOZZ XBGZZ XBHZZ 5340-00-787-6422 COVER, ACCESS EA 2 2
10567 (84760)
103 131 KFHZZ KD KFGZZ KFHZZ GASKET, COVER (PART OF KIT EA 2 2
NSN: 5330-00-401-5247)
10574 (84760)
103 132 PAHZZ PADZZ XBGZZ PAHZZ D .008 530500-993-8748 SCREW, MACHINE EA 1 1
12259 (84760)
103 133 KFHZZ KD KFGZZ KFHZZ PACKING WITH RETAINER (PART EA 2 2
OF KIT NSN: 5330-00-401-5247)
10464 (84760)
103 134 PAHZZ PADZZ XBGZZ PAHZZ D .008 5305-00-993:8748 SCREW, MACHINE EA 1 1
12259 (84760)
103 135 PAHZZ PADZZ XBGZZ PAHZZ D .008 5305-00-253-5606 SCREW. DRIVE EA 2 2
MS21318-7 (96906)
103 136 XCHZZ XC XBGZZ MDOZZ PLATE, IDENTIFICATION EA 1 1
10394 (84760)
103 137 PAHZZ PADZZ XBGZZ PAHZZ - .008 5360-00-125-6181 SPRING, THROTTLE EA 1 1
16395 (84760)
103 138 PAHZZ PADZZ PAGZZ PAHZZ I .020 2910-00-148-7495 SHAFT ASSY. DRIVE EA 1 1
20221 (84760)
103 139 KFHZZ KD KFGZZ KFHZZ PACKING, PREFORMED (PART OF EA 1 2
KIT NSN. 5330-00-401-5247)
12406 (84760)
295

(3)
USMC
(5)
DESCRIPTION USABLE
MFR ON
REF NUMBER CODE CODE
(8)
USMC
QTY
PER
EQUIP
(7)
QTY
INC
IN
UNIT
(6)
U/M
a
SSI
(2)
SMR CODE
(1)
ILLUSTRATION
d
USMC
c
NAVY
b
AIR
FORCE
a
ARMY
(a)
FIG
NO.
(b)
ITEM
NO.
(4)
NATIONAL
STOCK
NUMBER
b
REPL
FACTOR
TM 9-6115-545-24P
TO 35C2-3-444-4
NAVFAC P-8-626-24P
SL-400038G/07499A
103 140 KFHZZ KD KFGZZ KFHZZ PACKING. PREFORMED (PART OF EA 2 2
KIT NSN' 5330-00-401-5247)
10453 (84760)
103 141 XBHZZ XA XBGZ XBHZZ HOUSING ASSY EA 1 1
17979 (84760)
103 PAHZZ PADZZ PAGZZ PAHZZ -.050 5330-00-401-5247 GASKET SET EA 1 1
16369 (84760)
99 10 12 - WASHER
102 13 1- SEAL
103 6 1 -GASKET, GOVERNOR COVER
103 32 2 - WASHER
103 33 3 - PACKING, PREFORMED
103 43 1 - PLUG, PIPE
103 46 2 - PACKING, PREFORMED
103 48 1 -WASHER. FLAT
103 49 1 - PACKING, PREFORMED
103 52 1 -SEAL. PISTON
103 59 1- PACKING. PREFORMED
103 62 1 - PACKING, PREFORMED
103 65 1 - PACKING PREFORMED
103 70 1 -SEAL
103 89 1 - GASKET
103 104 1- PACKING, PREFORMED
103 107 1- RETAINER. PACKING
103 133 1 - RETAINER WITH PACKING
103 139 1 - PACKING. PREFORMED
103 140 2 - PACKING. PREFORMED
296

TM 9-6115-545-24P
TO 35C2-3-444-4
NAVFAC P-8-626-24P
SL-400038G/07499A
Figure 104. Diffuser and Turbocharger.
(297 blank)/298

(3)
USMC
(5)
DESCRIPTION USABLE
MFR ON
REF NUMBER CODE CODE
(8)
USMC
QTY
PER
EQUIP
(7)
QTY
INC
IN
UNIT
(6)
U/M
a
SSI
(2)
SMR CODE
(1)
ILLUSTRATION
d
USMC
c
NAVY
b
AIR
FORCE
a
ARMY
(a)
FIG
NO.
(b)
ITEM
NO.
(4)
NATIONAL
STOCK
NUMBER
b
REPL
FACTOR
TM 9-6115-545-24P
TO 35C2-3-444-4
NAVFAC P-8-626-24P
SL-400038G/07499A
DIFFUSER AND TURBOCHARGER
104 1 PAOZZ PAOZZ XBGZZ PAOZZ D .008 5305-00-026-2568 SCREW. CAP, HEX HD EA 4 4
0923092 (09367)
104 2 PAOZZ PAOZZ XBGZZ PAFZZ D .010 5310-00-584-5272 WASHER, LOCK. 112 IN. EA 4 43
MS3533848 (96906)
104 3 PAOZZ PAOZZ XBGZZ PAOZZ D .008 5305-00-026-2571 SETSCREW EA 1 1
0920469 (09367)
104 4 PAOZZ PAOZZ XBGZZ PAOZZ D .008 5310-00-231-1956 NUT, PLAIN, HEX EA 1 1
0917421 (09367)
104 5 PAOZZ PAOZZ XBGZZ PAFZZ 2815-00-762-1360 DIFFUSER RING EA 1 1
4028953 (09367)
104 6 PAOZZ PAFZZ XBGZ PAOZZ D .008 5305-00-007-0299 SCREW, CAP. HEX HD 3/816 X 1-1/4 EA 3 5
IN. LG.
0916272 (09367)
104 7 PAOZZ PAOZZ XBGZZ PAOZZ D .008 5310-00-020-4739 NUT, SELF-LOCKING EA 4 4
0239400 (09367)
104 8 PAOZZ PAOZZ XBGZZ PAFZZ 2815-00-762-1361 DIFFUSER, SUPERCHARGE EA 1 1
4025922 (09367)
104 9 KFOZZ PAOZZ XBGZZ PAFZZ -.030 5330-00-001-4950 GASKET, DIFFUSER (PART OF KIT EA 1 1
NSN 5330-01-049-0579)
4338943-6 (09367)
104 10 XBOZZ XB XBGZZ XBFZZ CLAMP. LOOP EA 2 2
0921912 (09367)
104 11 PAOZZ PAOZZ MFGZZ PAFZZ -.008 4720-00-866-4962 HOSE, NONMETALLIC EA 1 1
12HR (70434)
104 12 XBOZZ XB XBGZZ XBFZZ FITTING, HOSE EA 1 1
4027718 (09367)
104 13 PAOZZ PAOZZ XBGZZ PAFZZ D .008 5305-00-006-8418 SCREW, CAP, HEX HD EA 2 32
0921967 (09367)
104 14 PAOZZ PAOZZ XBGZZ PAFZZ D .010 5310-00-637-9541 WASHER, LOCK, 3/8 IN. EA 1 155
MS35338-46 (96906)
104 15 XBOZZ XB XBGZZ XBFZZ TUBE, OIL DRIVE EA 1 1
4035892 (09367)
104 16 KFOZZ PAOZZ KBGZZ KFFZZ 5330-00-005-0415 GASKET (PART OF KIT NSN: EA 1 1
5330-0149-0579)
4339532 (09367)
104 17 MOOZZ AOO XBGZZ XBFZZ TUBE ASSY, OIL EA 1 1
4029245
MANUFACTURE FROM: (09367)
104 18 PAOZZ PAFZZ PAGZZ PAFZZ D.008 4730-00-737-3364 NUT, TUBE COUPLING EA 2 2
61FL112 (30327)
104 19 KFOZZ PAFZZ PAGZZ PAFZZ D 4730-00-174-2816 SLEEVE, COMPRESSION (PART EA 2 2
OF KIT NSN: 5330-01-049-0579)
4255985 (09367)
104 20 XBOZZ MOO XBGZZ XBFZZ TUBE EA 1 1
4029246 (09367)
104 21 PAOZZ PAOZZ PAOZZ PAOZZ 4730-01-057-9710 ELBOW, MALE EA 1 1
169XEX4 (72216)
104 22 XBOZZ XB XBGZZ XBFZZ ADAPTER. STRAIGHT EA 1 1
0921339 (09367)
104 23 XBOZZ XB XBGZZ XBFZZ CLAMP, LOOP EA 2 2
0927140 (09367)
104 24 PAOZZ PAOZZ XBGZZ PAFZZ 4720-00-432-1264 HOSE, NONMETALLIC EA 1 1
4027975 (09367)
104 25 XDOZZ XB XBGZZ XBFZZ D .008 SCREW EA 4 32
0921966 (6N299)
104 26 PAOZZ PAOZZ XBGZZ PAFZZ D .010 5310-00-637-9541 WASHER, LOOK, 38 IN. EA 4 155
MS3533846 (96906)
104 27 PAOZZ PAOZZ XBGAA PAFZZ D.005 2990-00-764-7833 PIPE, EXHAUST EA 1 1
4027714 (6N299)
299

(3)
USMC
(5)
DESCRIPTION USABLE
MFR ON
REF NUMBER CODE CODE
(8)
USMC
QTY
PER
EQUIP
(7)
QTY
INC
IN
UNIT
(6)
U/M
a
SSI
(2)
SMR CODE
(1)
ILLUSTRATION
d
USMC
c
NAVY
b
AIR
FORCE
a
ARMY
(a)
FIG
NO.
(b)
ITEM
NO.
(4)
NATIONAL
STOCK
NUMBER
b
REPL
FACTOR
TM 9-6115-545-24P
TO 35C2-3-444-4
NAVFAC P-8-626-24P
SL-400038G/07499A
104 28 KFOZZ PAOZZ PAOZZ PAFZZ -.050 5330-00-110-5692 GASKET (PART OF KIT NSN: EA 1 1
5330-01-049-0579 4025376 (6N299)
104 29 PAOZZ PAOZZ XBGZZ PAFZZ D .008 5310-00-020-4738 NUT, SELF-LOCKING EA 4 4
255977 (6N299)
104 30 XDOZZ XBFZZ XBGZZ XBFZZ D .010 WASHER. FLAT EA 4 37
09169568 (6N299)
104 31 PAOFH PAOOO PBGGD PAFHH -.150 2950-00-430-3080 TURBOCHARGER ASSY See figure EA 1 1
105 for breakout
4036527 (6N299)
300

TM 9-6115-545-24P
TO 35C2-3-444-4
NAVFAC P-8-626-24P
SL-400038G/07499A
Figure 105. Turbocharger Assembly.
(301 blank)/302

(3)
USMC
(5)
DESCRIPTION USABLE
MFR ON
REF NUMBER CODE CODE
(8)
USMC
QTY
PER
EQUIP
(7)
QTY
INC
IN
UNIT
(6)
U/M
a
SSI
(2)
SMR CODE
(1)
ILLUSTRATION
d
USMC
c
NAVY
b
AIR
FORCE
a
ARMY
(a)
FIG
NO.
(b)
ITEM
NO.
(4)
NATIONAL
STOCK
NUMBER
b
REPL
FACTOR
TM 9-6115-545-24P
TO 35C2-3-444-4
NAVFAC P-8-626-24P
SL-400038G/07499A
105 1 KFFZZ PAOZZ PAOZZ PAFZZ .050 5330-00-920-6840 GASKET (PART OF KIT NSN: EA 1 1
533001-049-0579)
4025781-8
105 2 PAFZZ PAOZ XBGZZ PAHZZ D .008 29500-0-003-0982 CLAMP, TURBOCHARGER EA 1 1
4059995 (8N299)
105 3 XBFZZ XB XBGZZ XBHZZ HOUSING, COMPRESSOR EA 1 1
4080008 (9N299)
105 4 PAFZZ PAOZZ XBGZZ PAHZZ 2950-00-003-0085 DIFFUSER, TURBOCHARGER EA 1 1
4080883 (8N299)
105 5 PAFZZ PAOZZ XBGZZ PAHZZ D .008 5306-00-418-2287 BOLT, MACHINE EA 6 8
4059998 (8N299)
105 6 PAFZZ PAOZZ XBGZZ PAHZZ 5340-00-418-3955 PLATE, SPECIAL EA 3 3
4059991-2 (6N299)
105 7 XBFZZ XB XBGZZ XBHZZ CLAMP EA 3 3
4059990 (8N299)
105 8 PAFZZ PAOZZ XBGZZ PAHZZ 2950-00-178-9075 HOUSING, TURBINE EA 1 1
4050701 (6N299)
105 9 PAFZZ PAOZZ XBGZZ PAHZZ D .008 5310-00-020-4740 NUT, SELF-LOCKING EA 1 1
74062464-8 (6N299)
105 10 PAFZZ PAOZZ XBGZZ PAHZZ D .020 2950-00-003-5913 WHEEL, COMPRESSOR EA 1 1
74060005-1 (6N299)
105 11 PAFZZ PAOZZ XBGZZ PAHZZ D .008 5305-00-418-2303 BOLT, MACHINE EA 4 4
0921959 (9N299)
105 12 PAFZZ PAOZZ XBGZZ PAHZZ D .010 5340-00-001-5038 WASHER, LOCK EA 2 2
4059992 (8N289)
105 13 XBFZZ XB XBGZZ XBHZZ BACKPLATE EA 1 1
4080941 (9N299)
105 14 PAFZZ PAOZZ XBGZZ PAHZZ D .008 5360-00-821-3391 SPRING, THRUST EA 1 1
4059987 (8N299)
105 15 PAFZZ PAOZZ XBGZZ PAHZZ I .020 5330-00-2344858 GASKET EA 1 1
4058300 (9N299)
105 18 PAFZZ PAOZZ XBGZZ PAHZZ D .008 2950-00-003-5910 RING, PISTON EA 1 1
4059984 (8N299)
105 17 PAFZZ PAOZZ XBGZZ PBHZZ 3040-00-764-7915 COLLAR, THRUST EA 1 1
4059988 (6N299)
105 18 PAFZZ PAOZZ XBGZZ PAHZZ -.050 3120-00-279-4401 BEARING EA 1 1
4080939 (6N299)
105 19 PAFZZ PAOZZ XAOZZ PBHZZ 2950-00-178-9077 HOUSING ASSY EA 1 1
7040934 (8N299)
105 20 PAFZZ PAOZZ XBGZZ PAHZZ D .008 5365-00-848-8008 RING, RETAINING EA 4 4
4060728 (6N299)
105 21 PAFZZ PAOZZ XBGZZ PAHZZ -.050 3120-00-178-0412 BEARING, SLEEVE EA 2 2
40609356 (6N299)
105 22 XBFZZ XB XBGZZ XBHZZ PIN, DOWEL EA 2 2
4053422 (6N299)
105 23 PAFZZ PAOZZ XBGZZ PAHZZ D .008 2950-00-176-9074 RING, PISTON EA 1 1
4060936 (6N299)
105 24 PAFZZ PAOZZ XBGZZ PAHZZ 2950-00-003-0986 SHROUD, TURBOCHARGER EA 1 1
4059997 (6N299)
105 25 XAFZZ XA XBGZZ XAHZZ - .050 SHAFT EA 1 1
4062661 (6N299)
303

TM 9-6115-545-24P
TO 35C2-3-444-4
NAVFAC P-8-626-24P
SL-400038G/07499A
Figure 106. Water Pump and Fan.
304

(3)
USMC
(5)
DESCRIPTION USABLE
MFR ON
REF NUMBER CODE CODE
(8)
USMC
QTY
PER
EQUIP
(7)
QTY
INC
IN
UNIT
(6)
U/M
a
SSI
(2)
SMR CODE
(1)
ILLUSTRATION
d
USMC
c
NAVY
b
AIR
FORCE
a
ARMY
(a)
FIG
NO.
(b)
ITEM
NO.
(4)
NATIONAL
STOCK
NUMBER
b
REPL
FACTOR
TM 9-6115-545-24P
TO 35C2-3-444-4
NAVFAC P-8-626-24P
SL-400038G/07499A
106 WATER PUMP AND FAN
106 1 PAOZZ PAOZZ PAOZZ PAOZZ - .035 3030-00-832-4323 BELTS. V MATCHED SET EA 1 1
MSS106752 (96906)
106 2 PAOZZ PAO XBOZZ PAFZZ D .008 530500-024-6233 SCREW EA 1 2
0927339 (6N299)
106 3 PAOZZ PAOZZ XBOZZ PAFZZ D .010 5310-00-637-9541 WASHER. LOCK EA 155
MS35338-46 (96906)
106 4 PAOZZ PAOZZ XBOZZ PAFZZ D .007 2930-00-167-0438 IMPELLER, FAN, AXLE EA 1 1
40292757 (6N299)
106 5 PAOZZ PAOZZ XBOZZ PAFZZ D .008 5365-00-821-4040 SPACER. FAN EA 1 1
4029016-5 (6N299)
106 6 PAOZZ PAOZZ XBOZZ PAFZZ D.005 3020-01-242-3119 PULLY, GROOVE EA 1 1
4029020 (6N299)
106 7 PAOZZ PAOZZ XBOZZ PAFZZ D .008 5305-00-942-2196 SCREW, CAP, HEX HD EA 2 34
MS18154-60 (96906)
106 8 XDOZZ XB XBOZZ XBFZZ D .010 WASHER. FLAT EA 2 37
74028447 (6N299)
106 9 XBOZZ XB XBOZZ XBFZZ PIPE. WATER INLET EA 1 1
4035924 (6N299)
106 10 KFOZZ PAOZZ PAOZZ PAFZZ -.008 5330-00-110-8744 GASKET (PART OF KIT NSN EA 1 1
5330-00001-4944 AND
5330-01-049-0579)
4025106 (6N299)
106 11 PAOZZ PAOZZ XBOZZ PAFZZ -.008 5305-00-269-3225 SCREW, CAP. HEX HD EA 1 6
MS9072575 (96906)
106 12 PAOZZ PAOZZ XBOZZ PAFZZ D .008 5305-00-025-4285 SCREW. CAP. HEX HD 3/8 NC X 2 IN. EA 2 2
LG
0923701 (6N299)
106 13 PAOZZ PAOZZ XBOZZ PAFZZ D .008 5305-00-006-8418 SCREW, CAP. HEX HD 3/8 NC X 1-1/8 EA 5 32
IN. LG.
0921967 (6N299)
106 14 PAOZZ PAOZZ XBOZZ PAFZZ D .008 5305-00-026-2570 SCREW, CAP. HEX HD 3/8 NC X 3-1/4 EA 1 1
IN LG.
0922918 (6N299)
106 15 PAOZZ PAOZZ XBOZZ PAFZZ D.010 5305-00-071-2514 SCREW, CAP, HEX HD 3/8 NC X 2-1/4 EA 2 2
IN. LG.
MS90728-17 (96906)
106 16 PAOZZ PAOZZ XBOZZ PAFZZ 2930-01-056-3384 HOUSING, WATER PUMP EA 1 1
4035921 6N299)
106 17 PAFFF PAOOO PAOGGPAFFF I .150 2930-01-061-4806 PUMP ASSY, WATER EA 1 1
4008840 (6N299)
106 18 PAFZZ PAOZZ XBOZZ PAFZZ D .005 3040-00-256-2407 HUB, PULLEY EA 1 1
74035849-4 (6N299)
106 19 KFOZZ KF XBOZZ KFFZZ PACKING, PREFORMED (PART OF EA 1 1
KIT NSN: 5330-00001-4944)
0923684 (6N299)
106 20 KFOZZ PAOZZ PAOZZ PAFZZ - .008 5330-00-110-5676 GASKET. WATER PUMP (PART OF EA 1 1
KIT NSN: 5330-00001-4944)
4026887-2 (6N299)
106 21 KFFZZ KF KFOZZ KFFZ BEARING-SHAFT ASSY (PART OF EA 1 1
KIT NSN. 2930-00-920-68850)
4029319 (6N299)
106 22 PAFZZ PAOZZ XBOZZ PAFZZ - .005 2930-00-443-6382 FLINGER EA 1 1
4507084 (6N299)
106 23 KFFZZ KF KFOZZ KFFZZ IMPELLER ASSY (PART OF KIT EA 1 1
NSN. 2930-00-920-6850)
4025067 (6N299)
106 24 KFFZZ KF KFOZZ KFFZZ SEAL ASSY (PART OF KIT NSN. EA 1 1
2930-00-9206850)
4025710 (6N299)
106 25 XAFZZ XA XAOZZ XAFZZ BODY. WATER PUMP EA 1 1
4027667 (6N299)
305

(3)
USMC
(5)
DESCRIPTION USABLE
MFR ON
REF NUMBER CODE CODE
(8)
USMC
QTY
PER
EQUIP
(7)
QTY
INC
IN
UNIT
(6)
U/M
a
SSI
(2)
SMR CODE
(1)
ILLUSTRATION
d
USMC
c
NAVY
b
AIR
FORCE
a
ARMY
(a)
FIG
NO.
(b)
ITEM
NO.
(4)
NATIONAL
STOCK
NUMBER
b
REPL
FACTOR
TM 9-6115-545-24P
TO 35C2-3-444-4
NAVFAC P-8-626-24P
SL-400038G/07499A
106 PAFZZ PAOZZ PAOZZ PAFZZ .050 2930-00-920-6850 KIT, WATER PUMP REPAIR EA 1 1
74008789-5 (6N299) EA 1 1
106 21 1- BEARING
106 23 1 - IMPELLER ASSY
106 24 1 -SEALASSY
306
TM 9-6115-545-24P
TO 35C2-3-444-4
NAVFAC P-862-24P
SL-400038G/07499A
307

TM 9-6115-545-24P
TO 35C2-3-444-4
NAVFAC P-8-626-24P
SL-400038G/07499A
Figure 107. Thermostat and Housing.
308

(3)
USMC
(5)
DESCRIPTION USABLE
MFR ON
REF NUMBER CODE CODE
(8)
USMC
QTY
PER
EQUIP
(7)
QTY
INC
IN
UNIT
(6)
U/M
a
SSI
(2)
SMR CODE
(1)
ILLUSTRATION
d
USMC
c
NAVY
b
AIR
FORCE
a
ARMY
(a)
FIG
NO.
(b)
ITEM
NO.
(4)
NATIONAL
STOCK
NUMBER
b
REPL
FACTOR
TM 9-6115-545-24P
TO 35C2-3-444-4
NAVFAC P-8-626-24P
SL-400038G/07499A
107 THERMOSTATANDHOUSING
107 1 XDOZZ XB XBOZZ XBFZZ D008 SCREW,CAP,HEXHD EA 2 2
0924891 (6N299)
107 2 PAOZZ PAOZZ XBOZZ PAFZZ D010 5310-00-209-0965 WASHER,LOCK7/16IN EA 4 16
MS35338-47 (96906)
107 3 PAOZZ PAOZZ XBOZ PAFZZ D005 5340-00-433-3923 FLANGE,WATEROUTLET EA 1 1
74027021 (6N299)
107 4 PAOZZ PAOZZ XBOZZ PAFZZ D008 4730-00-460-6725 PLUG.PIPE1/2-14IN EA 1 6
0920416 (6N299)
107 5 PAOZZ PAOZZ XBOZZ PAFZZ 250 5330-00-8489943 SEAL,PLAINENCASED EA 1 1
4317554-6 (6N299)
107 6 XAOZZ XA XBOZZ XAFZZ HOUSING.,THERMOSTAT EA 1 1
4027022 (6N299)
107 7 PAOZZ PAOZZ XBOZZ PAOZZ D020 4730-00-111-2509 CLAMP,HOSE EA 2 2
4255528 (6N299)
107 8 PAOZZ PAOZZ XBOZZ PAOZZ 070 4720-01-051-9847 HOSE.NONMETALLIC EA 1 1
4035923 (6N299)
107 9 PAOZZ PAOZZ PAOZZ PAFZZ 250 6620-00-954-8686 THERMOSTAT,FLOWCONTROL EA 1 1
MS35770-9 (96906)
107 10 KFOZZ PAOZZPAOZZ PAFZZ .008 5330-00-408-6005 GASKET(PARTOFKITNSN EA 1 1
5330-01-049-0579)
4027024-1 (6N299)
107 11 PAOZZ PAOZZ PAGZZ PAFZZ 050 6685-00-814-5271 TRANSMITTER.TEMPERATURE EA 1 1
MS245371-1 (96906)
107 12 PAOZZ PAOZZ XBOZZ PAFZZ D.008 6685-00-814-5271 SCREW,7/16-14X1-1/8INLG. EA 2 4
MS24537-1 (96906)
107 13 PAOZZ PAOZZ XBOZZ PAFZZ D005 6620-00-408-1290 HOUSING,THERMOSTAT EA 1 1
4027023 (6N299)
107 14 PAOZZ PAOZZ XBOZZ PAFZZ D008 4730-00-460-6725 PLUG,PIPE EA 1 6
0920416 (6N299)
107 15 PAOZZ PAOZZ PAGZZ PAFZZ .050 5930-00-400-7613 SWITCH,THERMOSTAT EA 1 1
69697-3 (30554)
TC150-222-4AN (85814)
107 16 PAFZZ PAOZZ XBOZZ PAFZZ D008 4730-00-287-3279 PLUG.PIPE1/4-18IN EA 1 1
444618 (21450)
107 17 KFOZZ PAOZZ PAOZZ PAFZZ 008 5330-00-930-5793 GASKET(PARTOFKITNSN EA 2 2
5330-01-049-0579)
4025101 (6N299)
309

TM 9-6115-545-24P
TO 35C2-3-444-4
NAVFAC P-8-626-24P
SL-400038G/07499A
Figure 108. Crankshaft Pulley and Related Parts.
310

(3)
USMC
(5)
DESCRIPTION USABLE
MFR ON
REF NUMBER CODE CODE
(8)
USMC
QTY
PER
EQUIP
(7)
QTY
INC
IN
UNIT
(6)
U/M
a
SSI
(2)
SMR CODE
(1)
ILLUSTRATION
d
USMC
c
NAVY
b
AIR
FORCE
a
ARMY
(a)
FIG
NO.
(b)
ITEM
NO.
(4)
NATIONAL
STOCK
NUMBER
b
REPL
FACTOR
TM 9-6115-545-24P
TO 35C2-3-444-4
NAVFAC P-8-626-24P
SL-400038G/07499A
108 CRANKSHAFTPULLEYAND
RELATEDPARTS
108 1 PAFZZ PAOZZ XBGZZ PAHZZ D008 5305-00-040-9325 SCREW,CAP,HEXHEAD1IN.NFX2 EA 1 1
IN.LG.
0918297-3 (6N299)
108 2 PAFZZ PAOZZ XBGZZ PAHZZ D010 5310-00-461-4815 WASHER.FLAT EA 1 1
74038937 (6N299)
108 3 PAFZZ PAOZZ XBGZZ PAHZZ D005 3020-00-762-1364 PULLEY,GROOVED EA 1 1
4029410 (6N299)
108 4 PAFZZ PAOZZ XBGZZ PAHZZ D008 5315-00-618-5530 KEY,WOODRUFF EA 1 2
MS35756-15 (96906)
311

TM 9-6115-545-24P
TO 35C2-3-444-4
NAVFAC P-862-24P
SL-400038G/7499A
Figure 109. Idler Pulley and Related Parts.
312

(3)
USMC
(5)
DESCRIPTION USABLE
MFR ON
REF NUMBER CODE CODE
(8)
USMC
QTY
PER
EQUIP
(7)
QTY
INC
IN
UNIT
(6)
U/M
a
SSI
(2)
SMR CODE
(1)
ILLUSTRATION
d
USMC
c
NAVY
b
AIR
FORCE
a
ARMY
(a)
FIG
NO.
(b)
ITEM
NO.
(4)
NATIONAL
STOCK
NUMBER
b
REPL
FACTOR
TM 9-6115-545-24P
TO 35C2-3-444-4
NAVFAC P-8-626-24P
SL-400038G07499A
109 IDLERPULLEYANDRELATEDPARTS
109 PAF PAOZZ AFFGG AHHZZ 3020-01-0116670 PARTSKITIDLERPULLEY EA 1 1
4035141 (6N299)
109 1 PAFZZ PAOZZ PAGZZ PHHZZ D008 5305-00-436-2058 SCREW,CAP.HEXHEAD EA 1 2
0919287-3 (6N299)
109 2 PAFZZ PAOZZ PAGZZ PHHZZ D010 5310-01-015-8794 WASHER.LOCK EA 1 2
0919312 (6N299)
109 3 PAFZZ PAOZZ PAGZZ PHHZZD .010 5310-00-461-5018 WASHER,FLAT EA 1 1
0922755-4 (6N299)
109 4 PAFZZ PAOZZ PAGZZ XBHZZ 5340-00-939-1101 PLUG.EXPANSION EA 1 1
MS9176-30 (96906)
109 5 PAFZZ PAOZZ PAGZZ PAFZZ D.008 5310-00-842-1190 NUT.PLAIN,HEX EA 1 1
MS3569181 (96906)
109 6 PAFZZ PAOZZ PAGZZ PAFZZ D.010 5310-01-015-8793 WASHER EA 1 1
0928914 (6N299)
109 7 PAFZZ PAOZZ PAGZZ PAFZZ D.013 5330-00-005-6049 SEAL,SPRINGLOADED EA 1 1
4255839-5 (6N299)
109 8 PAFZZ PAOZZ PAGZZ PAFZZ D.008 5365-00-263-3819 RING.,RETAINING EA 1 1
MS16631-1206 (96906)
109 9 PAFZZ PAOZZ PAGZZ PAFZZ D008 3110-00-109-1155 BEARING,BALLANNULAR EA 1 1
4391154-4 (6N299)
109 10 PAFZ PAOZZ PAGZZ XBHZZ 3020-01-021-1357 PULLEY,GROOVE EA 1 1
4035143 (6N299)
109 11 PAFZZ PAOZZ PAGZZ PAFZZ D.008 5305-00-436-2058 SCREW,CAP.HEXHEAD EA 1 2
0919287-3 (6N299)
109 12 PAFZZ PAOZZ PAGZZ PAFZZ D.010 5310-01-015-8794 WASHER,LOCK EA 1 2
0910287-2 (6N299)
109 13 PAGZZ PAOZZ PAGZZ PAFZZ D.008 3040-00-006-6235 SHAFT,THREADED EA 1 1
4390655-1 (6N299)
109 14 PAFZZ PAOZZ PAGZZ XBHZZ 3040-00-006-6236 SHAFT,PULLEY EA 1 1
4390992 (6N299)
109 15 XAFZZ XA XBGZZ XBHZZ BRACKET,IDLER EA 1 1
4035142 (6N299)
313

TM 9-6115-545-24P
TO 35C2-3-444-4
NAVFAC P-8-626-24P
SL-400038G/07499A
Figure 111. Exhaust Manifold.
314
Figure 110. Intake Manifold.

(3)
USMC
(5)
DESCRIPTION USABLE
MFR ON
REF NUMBER CODE CODE
(8)
USMC
QTY
PER
EQUIP
(7)
QTY
INC
IN
UNIT
(6)
U/M
a
SSI
(2)
SMR CODE
(1)
ILLUSTRATION
d
USMC
c
NAVY
b
AIR
FORCE
a
ARMY
(a)
FIG
NO.
(b)
ITEM
NO.
(4)
NATIONAL
STOCK
NUMBER
b
REPL
FACTOR
TM 9-6115-545-24P
TO 35C2-3-444-4
NAVFAC P-8-626-24P
SL-400038G/07499A
110 INTAKEMANIFOLD
110 1 PAOZZ PAOZZ PAOZZ PAFZZ D.050 2910-00-228-3436 JET,ASSEMBLYETHER EA 1 1
70-1583 (30554)
240031-1 (50999)
110 2 PAOZZ PAOZZ PAOZZ PAFZZ D.003 471000-7580087 TUBE EA 1 1
70-1548 (30554)
900-152 (03764)
110 3 PAOZZ PAOZZ XBOZZ PAFZZ 4730-00-923-0909 PLUG,MACHINETHREAD EA 1 1
70-1195-3 (30354)
3/8SHPB (30780)
110 4 PAOZZ PAOZZ XBOZZ XBFZZ 5310-01-123-7067 WASHER,FLAT EA 1 1
4512343 (6N299)
110 5 PAOZZ PAOZZXBOZZ PAFZZ D.008 5305-00-006-8418 SCREW,CAP.HEXHEAD EA 16 32
0921967 (6N299)
110 6 PAOZZ PAOZZ XBOZZ PAFZZ D010 5310-00-637-9541 WASHER.LOCK3/8IN EA 16 155
MS3533-46 (96906)
110 7 XDOZZ XB XBOZZ XBFZZ D010 WASHER.FLAT EA 16 37
0916956 (6N299)
110 8 XBOZZ MOO XBOZZ XBFZZ BRACKET EA 3 3
70-1539 (30554)
70-1539 (93742)
110 9 XBOZZ XB XBOZZ XBFZZ MANIFOLD.INTAKE EA 1 1
4027708 (6N299)
110 10 KFOZZ PAOZZ PAOZZ KFFZZ 5330-00-890-3884 GASKET(PARTOFKITNSN EA 1 1
5330-01-049-0579)
4026579 (6N299)
111 EXHAUSTMANIFOLD
111 1 PAOZZ PAOZZXBOZZ XBFZZ 4730-00-132-4625 PLUG,PIPE1/4NPT EA 1 1
0917425 (6N299)
111 2 PAOZZ PAOZZ XBOZZ PAFZZ D.008 5305-00-007-3187 SCREW,CAP.HEXHEAD1/2MCX EA 12 14
1-3/8IN.LG(LOCKTHREAD)
0919230-3 (6N299)
111 3 PAOZZ PAOZZ XBOZZ PAFZZ D.010 5310-01-052-1157 WASHER,FLAT EA 12 12
0912441 (6N299)
111 4 XBOZZ XB XBOZZ XBFZZ MANIFOLD,EXHAUSTFRONT EA 1 1
4036505 (6N299)
111 5 XBOZZ XB XBOZZ XBFZZ MANIFOLD,EXHAUSTREAR EA 1 1
4036504 (6N299)
111 6 PAOZZ PAOZZ PAOZZ PAFZZ D.008 5307-00-256-7793 STUD.PLAIN EA 4 4
4513701 (6N299)
111 7 XBOZZ XB XBOZZ XBFZZ MANIFOLD.CENTER,EXHAUST EA 1 1
4035345 (6N299)
111 8 XDOZZ XB XBOZZ XBFZZ SCREW,CAP.HEX EA 4 4
0921969 (6N299)
111 9 KFOZZ PAOZZ KFOZZ KFFZZ 5330--00005-0414 GASKETEXHAUST(PARTOFKIT EA 6 6
NSN.5330-01-049-0579)
4027014 (6N299)
315

TM 9-6115-545-24P
TO 35C2-3-444-4
NAVFAC P-8-626-24P
SL-400038G/07499A
Figure 112. Engine Front Support.
316

(3)
USMC
(5)
DESCRIPTION USABLE
MFR ON
REF NUMBER CODE CODE
(8)
USMC
QTY
PER
EQUIP
(7)
QTY
INC
IN
UNIT
(6)
U/M
a
SSI
(2)
SMR CODE
(1)
ILLUSTRATION
d
USMC
c
NAVY
b
AIR
FORCE
a
ARMY
(a)
FIG
NO.
(b)
ITEM
NO.
(4)
NATIONAL
STOCK
NUMBER
b
REPL
FACTOR
TM 9-6115-545-24P
TO 35C2-3-444-4
NAVFAC P-8-626-24P
SL-400038G/07499A
112 ENGINEFRONTSUPPORT
112 1 PAFZZ PAOZZ XBGZZ XBFZZ 5305-00-024-6239 SCREW1/2-13X3IN.LG EA 2 2
0924694 (6N299)
112 2 XDFZZ XB XB(3ZZ XBFZZ WASHER.FLAT17/32IN.IDXINOD EA 6 6
X.0.35IN.THK
0924359 (6N299)
112 3 XBFZZ XB XBGZZ XBFZZ BRACKET.FRONT EA 1 1
4028672 (6N299)
112 4 PBFZZ PBOZZ PBGZZ PAOZZ .040 2815-00-932-1060 LINER,BRACKET EA 2 2
4336491 (6N299)
317

TM 9-6115-545-24P
TO 35C2-3-444-4
NAVFAC P-8-626-24P
SL-400038G/07499A
Figure 113. Oil Pan Assembly.
318

(3)
USMC
(5)
DESCRIPTION USABLE
MFR ON
REF NUMBER CODE CODE
(8)
USMC
QTY
PER
EQUIP
(7)
QTY
INC
IN
UNIT
(6)
U/M
a
SSI
(2)
SMR CODE
(1)
ILLUSTRATION
d
USMC
c
NAVY
b
AIR
FORCE
a
ARMY
(a)
FIG
NO.
(b)
ITEM
NO.
(4)
NATIONAL
STOCK
NUMBER
b
REPL
FACTOR
TM 9-611-545-24P
TO 35C2-3-444-4
NAVFAC P-8-626-24P
SL-400038G/07499A
113 OILPANASSY
113 1 PAFZZ PAOZZ PAOZZ PFZZ D4370-00-045-1265 ADAPTER,STRAIGHT,PIPE EA 1 3
70-1504 (30554)
12-FWS (30780)
113 2 PAFZZ PAOZZ XBOZ PAFZZ -.008 482-00-909-0554 COCK,PLU3 EA 1 2
70-1512 (30554)
A400-4 (16024)
113 3 PAFZ PAOZZ XBOZZ PAFZZ D.008 473-00-324-1483 PLUG.PIPE EA 1I
3/SHPS(30780)
113 4 PAFZZ PAOZZ XBOZZ PAOZZ D.008 473-00678-4749 PLUG.PIPE EA 2 2
10863625 (6N299)
113 5 XDFZZ XB XBOZZ XBFZZ D.008 SCREW,CAP,HEXHD EA 5 5
0921965 (6N299)
113 6 PAFZZ PAOZZ XBOZZ PAFZZ D.008 5305-00-942-2196 SCREW.CAP,HEXHD3/816X1IN. EA 6 34
LG.
MS181544-60 (96906)
113 7 XBFZZ XB XBOZZ XBFZZ D.008 SCREW EA 26 32
0921966 (6N299)
113 8 PAFZZ PAOZZ XBOZZ PAFZZ D.010 5310-00-637-9541 WASHER,LOCK EA 37 155
MS3533848 (96906)
113 9 PBFZZ PBOZZ PBOZZ PBFZZ 2815-00-004-4076 PAN.OIL EA 1 1
7402657-0 (6N299)
113 10 KFFZZ PAOZZ KFOZZ KFFZZ 5330-00-110-5677 3ASKET(PARTOFKITNSN: EA 1 1
5330-01-052-5760 4026602 (6N299)
113 11 PAFZZ PAOZZ XBOZZ PAFZZ D.008 5305-00-024-6237 SCREW EA 2 5
0916277 (6N299)
113 12 PAFZZ PAOZZ XBOZZ PAFZZ D.008 5310-00-880-7744 NUT,PLAINHEXAGON5/16-18IN. EA 2 12
MS51967-5 (96906)
113 13 PAFZZ PAOZZ XBOZZ PAFZZ D.010 5310-00-407-9655 WASHER,LOCK5/16IN. EA 2 33
MS35-33B45 (96906)
113 14 PAFZZ PAOZZ PAOZZ PAFZZ D.008 4730-00-203-3480 ADAPTER,STRAIGHT,PIPE EA 2 2
68FL3-4X1-2 (30327)
113 15 XAFZZ XA XAOZZ XAFZZ BODY,CONNECTOR EA 1 1
0928379 (6N299)
113 16 XAFZZ XA XAOFF XAFZZ SLEEVE EA 1 1
0918960 (6N299)
113 17 XAFZZ XA XAOZZ XAFZZ NUT,HEXAGON3/4IN. EA 1 3
0918978 (6N299)
113 18 XBFZZ XB XBOZZ XBFZZ SLEEVE EA 2 2
4028760 (6N299)
113 19 XBFZZ XB XAOZZ XAFZZ NUT,HEXAGON3/4IN. EA 2 3
0918978 (6N299)
113 20 PAFZZ PAOZZ XBOZZ PAFZZ D.005 4540-00-432-1330 HEATER,TUBE,ELECTRICAL EA 1 1
4028741 (6N299)
113 21 PAFZZ PAOZZ XBOZZ PAFZZ 5340-00-4183273 CLAMP,LOOP EA 2 2
4255353 (6N299)
319

TM 9-6115-545-24P
TO 35C2-3-444-4
NAVFAC P-8-626-24P
SL-400038G/07499A
Figure 114. Oil Pump and Related Parts.
320

(3)
USMC
(5)
DESCRIPTION USABLE
MFR ON
REF NUMBER CODE CODE
(8)
USMC
QTY
PER
EQUIP
(7)
QTY
INC
IN
UNIT
(6)
U/M
a
SSI
(2)
SMR CODE
(1)
ILLUSTRATION
d
USMC
c
NAVY
b
AIR
FORCE
a
ARMY
(a)
FIG
NO.
(b)
ITEM
NO.
(4)
NATIONAL
STOCK
NUMBER
b
REPL
FACTOR
TM9-6115-545-24P
TO 35C2-3-444-4
NAVFAC P-8-626-24P
SL-400038G/07499A
114 OILPUMPANDRELATEDPARTS
114 1 PAHZZ PAOZZ XBGZZ PAFZZ D.008 530500-026-2537 SCREW EA 2 8
09143926 (6N299)
114 2 PAHZZ PAOZZ XBGZZ PAFZZ D.008 5310-00-880-7744 NUT,PLAINHEXAGON EA 2 12
MS51967-5 (96906)
114 3 PAHZZ PAOZZ XBGZZ PAFZZ D.010 5310-00-001-2033 WASHER,FLAT EA 6 6
0924817 (6N299)
114 4 PAHZZ PAOZZ PAGZZ PAFZZ D.010 5310-00-407-9566 WASHER,LOCK5/16IN EA 6 33
MS3533845 (96906)
114 5 XBHZZ XB MFGZZ XBFZZ CLAMPSUCTIONTUBE EA 1 1
4027958 (6N299)
114 6 PAHZZ PAOZZ XBGZZ PAFZZ D.008 5305-00-007-3198 SCREW EA 1 1
0920328 (6N299)
114 7 XDHZZ XBOZZ XBGZZXBFZZ D.008 SCREW,CAP,HEXHD EA 1 1
0920990 (6N299)
114 8 PAHZZ PAOZZ XBGZZPAFZZ D.010 5310-00-584-5272 WASHER,LOCK1/2IN EA 2 43
MS3533848 (96906)
114 9 PAHZZ PAOZZ PAGZZ PAFZZ D.008 5310-00-767-5648 NUT,TUBECOUPLING3/4IN.ODX EA 1 1
1-1/8IN.
0921331 (8N299)
114 10 PAHZZ PAOZZ XBGZZ PAFZZ -.008 4710-00-115-0487 TUBEASSY.METAL EA 1 1
4026993-8 (6N299)
114 11 XAHZZ XA XAGZZ XAFZZ ADAPTER EA 1 1
4026976 (6N299)
114 12 XAHZZ XA XAGZZ XAFZZ TUBE.DISCHARGE EA 1 1
4026992 (6N299)
114 13 KFHZZ PAOZZ XBGZZ KFFZZ- 008 5330-00-054-6937 PACKING.PREFORMED(PARTOF EA 2 2
KITNSN5330-00-001-4944AND
5330-014052-5760)
0923934-4 (90940)
114 14 XDHZZ XB XBGZZ XBFZZ D.008 SCREW EA 2 4
0921332 (6N299)
114 15 PAHZZ PAOZZ XBGZZ PAFZZ D.004 4710-00-432-1233 TUBEASSY,METAL EA 1 1
4028055 (6N299)
114 16 XAHZZ XA XAGZZ XAFZZ FLANGE EA 1 1
4028057 (6N299)
114 17 XAHZZ XA XAGZZ XAFZZ TUBE EA 1 1
4028056 (6N299)
114 18 XAHZZ XA XAGZZXAFZZ SCREENASSY EA 1 1
4027968 (6N299)
114 19 XAHZZ XA XAGZZ XAFZZ RETAINER,SCREEN EA 1 1
4027959 (6N299)
114 20 XAHZZ XA XAGZZ XAFZZ SCREEN,OILPUMP EA 1 1
4022579 (6N299)
114 21 XAHZZ XA XAGZZ XAFZZ RING EA 1 1
4255077 (6N299)
114 22 KFHZZ KFO KFGZZ KFFZZ GASKET,SUCTIONTUBE(PARTOF EA 1 1
KITNSN.5330-01-052-5760)
4028070 (6N299)
114 23 PAHZZ PAOZZ PAGZZ PAFZZ D.007 2840-01-090-0122 VALVEASSY,OIL EA 1 1
4036462 (6N299)
114 24 XAHZZ XA XAGZZ XAFZZ PIN,SPRING EA 1 1
0916001 (6N299)
114 25 XAHZZ XA XAGZZ XAFZZ WASHER,FLAT EA 1 1
0918264 (6N299)
114 26 XAHZZ XA XAGZZ XAFZZ SPRING,HELICAL EA 1 1
4028888 (6N299)
114 27 XAHZZ XA XBGZZ XAFZZ WASHER EA 1 1
4359310 (6N299)
321

(3)
USMC
(5)
DESCRIPTION USABLE
MFR ON
REF NUMBER CODE CODE
(8)
USMC
QTY
PER
EQUIP
(7)
QTY
INC
IN
UNIT
(6)
U/M
a
SSI
(2)
SMR CODE
(1)
ILLUSTRATION
d
USMC
c
NAVY
b
AIR
FORCE
a
ARMY
(a)
FIG
NO.
(b)
ITEM
NO.
(4)
NATIONAL
STOCK
NUMBER
b
REPL
FACTOR
TM94-6115-545-24P
TO 35C2-3-444-4
NAVFAC P-8-626-24P
SL-400038G/07499A
114 28 XAHZZ XA XAGZZ XAFZZ PISTON,VALVE EA 1 1
4354571 (6N299)
114 29 XAHZZ XA XAGZZ XAFZZ BODY,VALVE EA 1 1
4354572 (6N299)
114 30 PBHHH PBOOO PBGGO PAFHH I.150 2815-00-001-7805 OILPUMPASSYSeetlgure115for EA 1 2
breakout
4036125-1 (6N299)
114 31 PAHZZ PAOZZ XBGZZ PAFZZ D.008 5305-00-024-6237 SCREW EA 2 5
0916277 (6N299)
114 32 XBHZZ MOO XBGZZ XBFPZZ BRACKET.MOUNTING EA 1 1
4027960 (6N299)
114 PAFZZ PAOZZ PAGZZ PAFZZ -.050 5330-01-052-5760 GASKETSET,OILPAN EA 1 1
4035456 (6N299)
114 10 1-GASKET
114 13 2-PACKINGPREFORMED
114 22 1-GASKET.SUCTIONTUBE
322

TM9-6115545-24P
TO35C234444
NAVFAC P-8-626-24P
SL-400038G/7499A
Figure 115.Oil Pump Assembly.
(323blank)/324

(3)
USMC
(5)
DESCRIPTION USABLE
MFR ON
REF NUMBER CODE CODE
(8)
USMC
QTY
PER
EQUIP
(7)
QTY
INC
IN
UNIT
(6)
U/M
a
SSI
(2)
SMR CODE
(1)
ILLUSTRATION
d
USMC
c
NAVY
b
AIR
FORCE
a
ARMY
(a)
FIG
NO.
(b)
ITEM
NO.
(4)
NATIONAL
STOCK
NUMBER
b
REPL
FACTOR
TM 9-6115-545-24P
TO 35C2-3-444-4
NAVFAC P-8-626-24P
SL-400038G/07499A
115 PBHHH PBOOO PBGGD PAHHH I.150 2815-00-001-7805 OILPUMPASSY EA 1 2
4036125-1 (6N299)
115 1 PAHZZ PAOZZ XBZZ PAHZZ -.050 3020-00-110-9598 GEAR.DRIVE EA 1 1
4026605 (6N299)
115 2 PAHZZ PAOZZ XBGZZ PAHZZ D.008 5306-00-226-4824 BOLT,MACHINE EA 2 4
MS90728-31 (96906)
115 3 PAHZZ PAOZZ XBGZZ PAHZZ D.008 5305-00-026-2537 SCREW,CAP,HEXHD5116NCX1 EA 6 8
IN.LG
0914392 (6N299)
115 4 PAHZZ PAOZZ XBGZZ PAHZZ D.010 5310-00-407-9566 WASHER,LOCK5(16N. EA 6 33
MS35338-45 (96906)
115 5 XBHZZ XA XBGZZ XBHZZ D.005 COVER.FRONT EA 1 1
4027583 (6N299)
115 6 XBHZZ AOO XBGZZ XBHZZ GEARANDSHAFTASSY EA 1 1
4028078 (6N299)
115 7 XBHZZ AOO XBGZZ XBHZZ GEARANDSHAFTASSY EA 1 1
4028079 (6N299)
115 8 PAHZZ PAOZZ XBGZZ PAHZZ -.050 GEAR EA 1 1
4007877 (6N299)
115 9 PAHZZ PAOZZ XBGZZ PAHZZ -.050 2815-00-762-1373 SHAFT.ENGINEOILPUMP EA 1 1
4026614 (6N299)
115 10 XAHZZ XA XAGZZ XAHZZ BODYASSYPUMP EA 1 1
4028053 (6N299)
115 11 XBHZZ XB XBGZZ XBHZZ PIN,DOWEL3/8IN.X3/4IN. EA 2 2
0917547 (6N299)
115 12 XAHZZ XA XAGZZ XAHZZ BODY,PUMP EA 1 1
4028054 (6N299)
325

TM 9-6115-545-24P
TO 35C2-3-444-4
NAVFAC P--626-24P
SL-400038G/07499A
Figure 116. Flywheel and Housing.
326

(3)
USMC
(5)
DESCRIPTION USABLE
MFR ON
REF NUMBER CODE CODE
(8)
USMC
QTY
PER
EQUIP
(7)
QTY
INC
IN
UNIT
(6)
U/M
a
SSI
(2)
SMR CODE
(1)
ILLUSTRATION
d
USMC
c
NAVY
b
AIR
FORCE
a
ARMY
(a)
FIG
NO.
(b)
ITEM
NO.
(4)
NATIONAL
STOCK
NUMBER
b
REPL
FACTOR
TM 9-6115-545-24P
TO 35C2-3-444-4
NAVFAC P-8-626-24P
SL-00038G/07499A
116 FLYWHEELANDHOUSING
116 1 PAHZZ PAOZZ XBOZZ PAHZZ -008 5306-00-418-2840 BOLTMACHINE EA 6 6
4359808 (6N299)
116 2 PAHZZ PAOZZ XBOZZ PAHZZ 281500-196-0814 FLYWHEEL,ENGINE EA 1 1
4028676-7 (6N299)
116 3 PAHZZ PAOZZ XBOZZ PAHZZ D020 3020-00-705-5935 GEAR,SPUR EA 1 1
4303694 (6N299)
116 4 XAHZZ XA XAOZZ XAHZZ FLYWHEEL EA 1 1
4028677 (6N299)
116 5 PAHZZ PAOZZ XBOZZ PAHZZ D.008 281500-1487492 SLEEVE,WEAR EA 1 1
4029556-0 (6N299)
116 6 PAFZZ PAOZZ XBOZZ PAHZZ D.008 4730-00-460-6725 PLUG.PIPE1/4IN. EA 2 6
0920416 (6N299)
116 7 PAFZZ PAOZZ XBOZZ PAHZZ D008 5305-00-008-2111 SCREW,CAPHEXHD1/2NCX1-1/4 EA 8 8
INLG.
0916311 (6N299)
116 8 PAFZZ PAOZZ XBOZZ PAHZZ D010 5310-00-584-5272 WASHER,LOCK1/2IN EA 2 43
MS3533848 (96906)
116 9 PAHZZ PAOZZ XBOZZ PAHZZ D008 5330-00-4063739 SEAL,OIL,REARKITWITHINSTRUC- EA 1 1
TIONS
3054VG2 (01212)
116 10 KFFZZ PAOZZ PAOZZ KFHZZ 5330-00-492-6023 GASKET(PARTOFKITNSN: EA 1 1
5330000001-4944)
4020879 (6N299)
116 11 KFFZZ PAOZZ PAOZZ KFHZZ 5330-00-110-5687 PACKINGPREFORMED(PARTOFKIT EA 1 1
NSN'5330-00-001-4944)
4025097 (6N299)
116 12 XBFZZ XB XBOZZ XBHZZ HOUSING,FLYWHEEL EA 1 1
4028679 (6N299)
327

TM 9-6115-545-24P
TO 35C2-3-444-4
NAVFAC P--626-24P
SL-400038G/07499A
Figure 117. Timing Gear and Cover.
328

(3)
USMC
(5)
DESCRIPTION USABLE
MFR ON
REF NUMBER CODE CODE
(8)
USMC
QTY
PER
EQUIP
(7)
QTY
INC
IN
UNIT
(6)
U/M
a
SSI
(2)
SMR CODE
(1)
ILLUSTRATION
d
USMC
c
NAVY
b
AIR
FORCE
a
ARMY
(a)
FIG
NO.
(b)
ITEM
NO.
(4)
NATIONAL
STOCK
NUMBER
b
REPL
FACTOR
TM 9-6115-545-24P
TO 35C2-3-444-4
NAVFAC P-826-24P
SL-400038G/07499A
117 TIMINGGEARANDCOVER
117 1 PAHZZ PAOZZ PAGZZ PAHZZ 530500-050-9215 SCREW.CAPSOCKET EA 4 4
MS24667-52 (96906)
117 2 PAHZZ PAOZZ XBGZZ PAHZZ D.010 5310-00-637-9541 WASHER,LOCK3/8IN. EA 6 155
MS35338-46 (96906)
117 3 XBHZZ XB XBGZZ XBHZZ COVER,IDLERGEAR EA 1 1
4035144 (6N299)
117 4 KFHZZ PAOZZ PAGZZ PAHZZ D.008 GASKET(PARTOFKITNSN. EA 1 1
5330-000014944)
4026548 (6N299)
117 5 XDHZZ XB XBGZZ XBHZZ D.008 SCREW,CAP.HEXHEAD3/8NCX EA 2 2
3-112INLG.
0923938 (6N299)
117 6 PAHZZ PAOZZ XBGZZ PAHZZ D.008 530500-007-3201 SCREW,CAP,HEXHEAD3/8NCX EA 2 10
2-1/2INLG.
0912069 (6N299)
117 7 XDHZZ XB XBGZZ XBHZZ D.008 SCREWCAP.HEXHEAD3/8NCX EA 1 5
1-1/2INLG
0921969 (6N299)
117 8 PAHZZ PAOZZ XBGZZ PAHZZ D.008 5330-00-211-9967 SEAL,OIL EA 1 1
4036340 (6N299)
117 9 XBHZZ XB XBGZZ XBHZZ POINTER,TIMINGGEAR EA 1 1
4028742 (6N299)
117 10 PAHZZ PAOZZ XBGZZ PAHZZ 2815-00-812-1040 COVER,ACCESS EA 1 1
4028670 (6N299)
117 11 KFHZZ KF PAGZZ KFHZZ GASKET(PARTOFKITNSN EA 1 1
5330-00001-4944)
4035330 (6N299)
117 12 XDHZZ XB XBGZZ XBHZZ D.008 SCREW,CAP.HEXHEAD1/2NCX EA 1 1
3-112IN.LG.
0924746 (6N299)
117 13 AHHZZ AOO XBGZZ AHHZZ GEARASSY.IDLER EA 1 1
4027770 (6N299)
117 14 PAHZZ PAOZZ XBGZZ PAHZZ D.010 5310-00-415-2084 WASHER.FLAT EA 1 2
4025461L (6N299)
117 15 PAHZZ PAOZZ XBGZZ PAHZZ D.004 3020-00-930-9318 GEAR,IDLER EA 1 1
4027769-1 (6N299)
117 16 PAHZZ PAOZZ PAGZZPAHZZ- 050 2815-00-930-9319 PARTSKIT,BEARING EA 1 2
4025082-1 (6N299)
117 17 PAHZZ PAOZZ XBGZZ PAHZZ D.008 5306-004182838 BOLT.MACHINE EA 2 2
4254905 (6N299)
117 18 PAHZZ PAOZZ XBGZZ PAHZZ D.008 5305-00-942-2196 SCREW,CAP.HEXHEAD3/8NCX1 EA 4 34
INLG
MS18154-60 (96906)
117 19 XBHZZ XB XBGZZ XBHZZ PLATEASSY.FRONT EA 1 1
4027305 (6N299)
117 20 XAHZZXB XBGZZ XAHZZ PLATE,FRONT EA 1 1
4026489 (6N299)
117 21 PAHZZ PAOZZ XBGZZ PAHZZ -008 5307-00-001-8289 STUD.FUELPUMPAND EA 5 5
HYDRAULICPUMPMOUNTING
4026460 (6N299)
117 22 PAHZZ PAOZZ PAOZZ PAHZZD 005 5330-00-001-4942 GASKET EA 1 1
4027752 (6N299)
117 23 PAHZZ PAOZZ XBGZZ PAHZZ D005 2815-01-0534413 SHAFT,SHOULDER EA 1 1
4007230 (6N299)
117 PAOZZ PAOZZ PAGZZ PAHZZ -.050 5330-00-001-4944 GASKETANDSEALSET EA 1 1
74028867-5 (6N299)
88 10 1-GASKET
88 18 1-PACKING.PREFORMED
91 10 2-GASKET
329

(3)
USMC
(5)
DESCRIPTION USABLE
MFR ON
REF NUMBER CODE CODE
(8)
USMC
QTY
PER
EQUIP
(7)
QTY
INC
IN
UNIT
(6)
U/M
a
SSI
(2)
SMR CODE
(1)
ILLUSTRATION
d
USMC
c
NAVY
b
AIR
FORCE
a
ARMY
(a)
FIG
NO.
(b)
ITEM
NO.
(4)
NATIONAL
STOCK
NUMBER
b
REPL
FACTOR
TM9-6115545-24P
TO 35C2-3-444-4
NAVFAC P-8-626-24P
SL-400038G/07499A
96 19 2-GASKET
96 21 1-GASKET
98 8 1-PACKING.PREFORMED
98 9 2-PACKING.PREFORMED
98 11 2-PACKING,PREFORMED
98 15 1-GASKET
98 17 1-GASKET
102 17 1-GASKET
106 10 1-GASKET
106 18 1-PACKING,PREFORMED
106 19 1-GASKET
114 13 2-PACKING,PREFORMED
116 11 1-PACKING,PREFORMED
116 10 1-PACKING.PREFORMED
117 4 1-GASKET
117 11 1-GASKET
330

TM 9-6115-545-24P
TO 35C2-3-444-4
NAVFAC P-8-626-24P
SL-400038G/07499A
Figure 118. Cylinder Head and Valve Operating Mechanism.
(331blank)/332

(3)
USMC
(5)
DESCRIPTION USABLE
MFR ON
REF NUMBER CODE CODE
(8)
USMC
QTY
PER
EQUIP
(7)
QTY
INC
IN
UNIT
(6)
U/M
a
SSI
(2)
SMR CODE
(1)
ILLUSTRATION
d
USMC
c
NAVY
b
AIR
FORCE
a
ARMY
(a)
FIG
NO.
(b)
ITEM
NO.
(4)
NATIONAL
STOCK
NUMBER
b
REPL
FACTOR
TM 9-6115-545-24P
TO 35C2-3-444-4
NAVFAC P-8-626-24P
SL-400038G/07499A
118 CYLINDERHEADANDVALVE
OPERATINGMECHANISM
118 1 PAOZZ PAOZZ XBOZZ PAFZZ D008 5305-00-113-6204 SCREW,CAP,HEXHEAD EA 10 10
74036977 (6N299)
118 2 PAOZZ PAOZZ XBOZZ PAFZZ D.010 5310-00-110-2762 WASHER,FLAT EA 10 10
4025491-4 (6N299)
118 3 PAOZZ PAOZZ XBOZZ PAFZZ D.008 281500-115-0224 COVER,CYLINDERHEAD EA 1 1
7402555 (6N299)
118 4 PAOZZ PAOZZ PAOZZ PAFZZ -.008 5330-01-049-3967 GASKET(PARTOFKITNSN EA 1 2
5330-01-049-0579)
4035214 (6N299)
118 5 XBFZZ XB XBOZZ XBFZZ NUT,TUBECOUPLING EA 2 2
0912064 (6N299)
118 6 XBFZZ XB XBFZZ XBFZZ SLEEVE,COMPRESSION EA 2 2
0912367 (6N299)
118 7 XBFZZ XB XBOZZ PAFZZ CONNECTOR,MALE EA 1 1
0910376 (6N299)
118 8 XBFZZ XB XBOZZ XBFZZ ELBOW.PIPE EA 1 1
4025237 (6N299)
118 9 XBFZZ XB XBOZZ XBFZZ TUBE,OILFEED EA 1 1
4025175 (6N299)
118 10 XBFZZ XB XBOZZ XBFZZ NUT.TUBECOUPLING EA 2 2
0911437 (6N299)
118 11 XBFZZ XB XBOZZ XBFZZ SLEEVE,COMPRESSION EA 2 2
0911435 (6N299)
118 12 XBFZZ XB XBOZZ XBFZZ ELBOW.PIPE EA 1 1
0910240 (6N299)
118 13 XBFZZ XB XBOZZ XBFZZ TUBE,OILDRAIN EA 1 1
4025176 (6N299)
118 14 PAFZZ PAOZZ XBOZZ PAFZZ 5305-01-052-9025 SCREW,ASSEMBLEDWASHER EA 6 6
74035388 (6N299)
118 15 PAFZZ PAOZZ XBOZZ PAFZZ D.008 5305-00-024-6236 SCREW.CAP,HEXHEAD3/8-16X EA 6 6
3-3/4INLG
70921324 (6N299)
118 16 PAFZZ PAOZZ XBOZZ PAFZZ D.010 5310-00-637-9541 WASHER,LOCK.3/8IN EA 5 155
MS3533846 (6N299)
118 17 PAFZZ PAFZZ XBOZZ PAFZZ D.010 5310-00-005-0725 WASHER,FLAT13f32INIDX.065IN EA 6 37
THK
70916965 (6N299)
118 18 XDFZZ XB XBGGGXBFZZ ROCKERARMSHAFT EA 1 1
4035454 (6N299)
118 19 PAFZZ PAOZZ PAGZZ PAFZZ D.007 2815-00-432-1170 PUSHROD,ENGINE EA 12 12
4028110-7 (6N299)
118 20 PAFZZ PAOZZ PAGZZ PAFZZ D.008 530501-052-9026 SCREW,ASSEMBLEDWASHER EA 20 20
4035389 (6N299)
118 21 PAFZZ PAOZZ XBOZZ PAFZZ -.008 5340-00-407-4744 BRACKET,ANGLE EA 2 2
4025177 (6N299)
118 22 KFFZZ PAOZZ XBOZZ PAFZ -.150 5330-00-001-4949 GASKET(PARTOFKITNSN. EA 1 1
5330-01049-0579)
74037210-7 (6N299)
118 23 KFFZZ PAOZZ KBOZZ KFFZZ 5330-00-922-1666 GASKET(PARTOFKITNSN' EA 6 6
5330-01-0490579)
4027013 (6N299)
118 24 PAHZZ PAOZZ XBOZZ PAFZZ D.008 5306-00-4182352 BOLT.MACHINE EA 2 4
MS90728-31 (6N299)
118 25 PAHZZ PAOZZ XBOZZ PAFZZ D.008 5305-00-026-2537 SCREW EA 1 8
0914392 (6N299)
118 26 PAHZZ PAOZZ XBOZZ PAFZZ D.010 5310-00-407-9566 WASHER,LOCK EA 1 33
MS3533845 (6N299)
118 27 PAHZZ PAOZZ PAOZZ PAFZZ -.050 3020-00-762-1377 GEAR.CAM EA 1 1
4036496 (6N299)
333

(3)
USMC
(5)
DESCRIPTION USABLE
MFR ON
REF NUMBER CODE CODE
(8)
USMC
QTY
PER
EQUIP
(7)
QTY
INC
IN
UNIT
(6)
U/M
a
SSI
(2)
SMR CODE
(1)
ILLUSTRATION
d
USMC
c
NAVY
b
AIR
FORCE
a
ARMY
(a)
FIG
NO.
(b)
ITEM
NO.
(4)
NATIONAL
STOCK
NUMBER
b
REPL
FACTOR
TM 9-6115-545-24P
TO 35C2-3-444-4
NAVFAC P-8-626-24P
SL-400038G/07499A
118 28 XBHZZ XB XBOZZ XBFZZ KEY,WOODRUFF1/4X1IN EA 1 1
4022430 (6N299)
118 29 PAHZZ PAOZZ XBOZZ PAFZZ 2815-00-470-6295 PLATE,THRUST EA 1 1
4021454 (6N299)
118 30 PAHZZ PAOZZ PBGGG PAFZZ I.027 2815-00-001-7806 CAMSHAFT,ENGINE EA 1 1
4029000-0 (6N299)
118 31 PAHZZ PAOZZ PAGZZ PAFZZ -.027 2815-00-930-9314 TAPPET,ENGINE,POPPET EA 12 12
4026699 (6N299)
118 32 PAFZZ PAOZZ PAGZZ PAFZZ 5120-01-188-5306 ADAPTER.TOROUEWRENCH EA 1 1
59513C (55719)
118 PAFZZ PAOZZ PAGZZ PAFZZ -.050 5330-00-001-4944 GASKETSETVGRIND EA 1 1
74036897 (6N299)
99 30 12-DUSTSHIELD
101 2 6-GASKET
104 9 1-GASKET.DIFFUSER
104 16 1-GASKET
104 19 2-SLEEVE
104 28 1-GASKET
106 10 1-GASKET
107 10 1-GASKET
107 17 2-GASKET
110 10 1-GASAKET
111 8 6-GASKET
118 4 1-GASKET
118 22 1-GASKET
118 23 6-GASKET
334

TM 9-6115-545-24P
TO 35C2-3-444-4
NAVFAC P-8-626-24P
SL-400038G/07499A
Figure 120. Cylinder Head Assembly.
(335 blank)/336
Figure 119. Rocker Arm Shaft Assembly.

(3)
USMC
(5)
DESCRIPTION USABLE
MFR ON
REF NUMBER CODE CODE
(8)
USMC
QTY
PER
EQUIP
(7)
QTY
INC
IN
UNIT
(6)
U/M
a
SSI
(2)
SMR CODE
(1)
ILLUSTRATION
d
USMC
c
NAVY
b
AIR
FORCE
a
ARMY
(a)
FIG
NO.
(b)
ITEM
NO.
(4)
NATIONAL
STOCK
NUMBER
b
REPL
FACTOR
TM 9-6115-545-24P
TO 35C2-3-444-4
NAVFAC P-8-626-24P
SL-400038G/07499A
119 AFFZZ AOO PBGZZ AFFZZ ROCKERARMSHAFTASSY EA 1 1
4035454 (6N299)
119 1 PAFZZ PAOZZ XBGZZ PAFZZ D.008 5305-00-942-2196 SCREW.CAP.HEXHEAD3/8-16x1 EA 1 34
IN.LG
MS18154-60 (96906)
119 2 PAFZZ PAOZZ XBGZZ PAFZZ -008 4730-00-133-9985 ADAPTER,STRAIGHTPIPE EA 2 2
4025192 (6N299)
119 3 PAFZZ PAOZZ XBGZZ PAFZZ D.010 5310-00-115-6234 WASHER,FLAT EA 2 2
4025194 (6N299)
119 4 PAFZZ PAOZZ XBGZZ PAFZZ D.010 5310-00-143-6351 WASHER,SPRINGTENSION EA 2 2
4025193 (6N299)
119 5 PAFZZ PAOZZ PAGZZ PAFZZ D006 2815-00-930-5796ROCKER,ARMENGINE EA 12 12
4025188 (6N299)
119 6 PAFZZ PAOZZ XBGZZ PAFZZ D008 5305-00-076-9769 SCREW EA 12 12
4513206-5 (6N299)
119 7 XAFZZ XA XBGZZ XAFZZ ARM.ROCKER EA 12 12
4025248 (6N299)
119 8 PAFZZ PAOZZ PAGZZ PAFZZ D.015 2815-00-930-9325 SPRING,SPACER EA 5 5
4025191-0 (6N299)
119 9 PAFZZ PAOZZ PAGZZ PAFZZ D.008 2815-00-407-4743 BRACKET,ROCKERARM EA 6 6
4025189 (6N299)
119 10 XBFZZ XB XBGZZ XBFZZ D008 SHAFT,STRAIGHT EA 1 1
74035455 (6N299)
119 PAFZZ PAOZZ PAGZZ PAFZZ D.008 ROCKERSHAFTKIT EA 1 1
74037207 (6N299)
KITSHOULDBEINSTALLEDWHEN
ANYREPAIRTOSHAFTISRE-
QUIRED.REFERTOKITINSTRUC-
TIONSHEETFORINSTALLATION.
119 KFFZZ KF KFGZZ KFFZZ D.008 PLUG.SOLID EA 1 1
4037202
PARTOFKITP/N74037207 (6N299)
119 KFFZZ KF KFGZZ KFFZZ D.008 ELBOW EA 1 1
0910377
PARTOFKITP/N74037207 (6N299)
120 1 PAFZZ PAOZZ PAGZZ PAFZZ .027 2815-00-762-1376 LOCK,VALVESPRING EA 24 24
4376497 (6N299)
120 2 PAFZZ PAOZZ PAGZZ PAFZZ .027 2815-00-196-1014 ROTOCOILASSY EA 6 6
4028644 (6N299)
120 3 PAFZZ PAOZZ PAGZ PAFZZ .027 2815-01-022-1732 SEAT,HELICALCOMPRESSION EA 12 12
4020408 (6N299)
120 4 PAFZZ PAOZZ PAGZZ PAFZZ .027 2815-01-050-3951 VALVE,POPPET,INTAKEENGINE EA 6 6
74037135 (6N299)
120 5 PAFZZ PAOZZ PAGZZ PAFZZ 027 2815-00-432-1183 VALVE,POPPET,EXHAUST EA 6 6
ENGINE
74036609 (6N299)
120 6 PAFZZ PAOZZ PAGZ PAFZZ .027 5360-01-0533290 SPRING,VALVE EA 12 12
4035186 (6N299)
120 7 PAFHH PAOOOXAGGGPAFFF 2815-00-762-1376 HEADASSY,CYLINDER EA 1 1
74036659 (6N299)
120 8 PAHZZ PAOZZ PAGZZ PAFZZ .027 4820-00-432-1234 INSERT,VALVESEAT EA 6 6
4028642-9 (6N299)
120 9 PAHZZ PAOZZPAGZ PAFZZ .027 2815-00-432-1184 SEATVALVE EA 6 6
4028641-1 (6N299)
120 10 PAHZZ PAOZZ PAGZZ PAFZZ .027 2815-00-432-1185 VALVE,GUIDE EA 12 12
4022595-5 (6N299)
337

(3)
USMC
(5)
DESCRIPTION USABLE
MFR ON
REF NUMBER CODE CODE
(8)
USMC
QTY
PER
EQUIP
(7)
QTY
INC
IN
UNIT
(6)
U/M
a
SSI
(2)
SMR CODE
(1)
ILLUSTRATION
d
USMC
c
NAVY
b
AIR
FORCE
a
ARMY
(a)
FIG
NO.
(b)
ITEM
NO.
(4)
NATIONAL
STOCK
NUMBER
b
REPL
FACTOR
TM 9-6115-545-24P
TO 35C2-3-444-4
NAVFAC P-8-626-24P
SL-400038G/07499A
119 AFFZZ AOO PBGZZ AFFZZ ROCKERARMSHAFTASSY EA 1 1
4035454 (6N299)
120 11 PAFZZ PAOZZ XBGZZ PAFZZ .008 4730O-00-001695 PLUG,PIPE EA 6 6
9L8412 (11083)
120 12 PAFZZ PAOZZ XBGZZ PAFZZ .008 5340-00-1384290 PLUG.PROTECTIVEDUST EA 5 5
4255107 (6N299)
338

TM 9-6115-545-24P
TO 35C2-3-444-4
NAVFACP-8-626-24P
SL-400038G/07499A
Figure 121. Piston, Crankshaft and Block (Sheet 1of 2).
(339 blank)/340

TM 9-6115-545-24P
TO 35C2-3-444-4
NAVFAC P-8-626-24P
SL-400038G/07499A
Figure 121. Piston, Crankshaft and Block (Sheet 2of 2).
341

(3)
USMC
(5)
DESCRIPTION USABLE
MFR ON
REF NUMBER CODE CODE
(8)
USMC
QTY
PER
EQUIP
(7)
QTY
INC
IN
UNIT
(6)
U/M
a
SSI
(2)
SMR CODE
(1)
ILLUSTRATION
d
USMC
c
NAVY
b
AIR
FORCE
a
ARMY
(a)
FIG
NO.
(b)
ITEM
NO.
(4)
NATIONAL
STOCK
NUMBER
b
REPL
FACTOR
TM 9-6115-545-24P
TO 35C2-3-444-4
NAVFAC P-8-626-24P
SL-400038G/07499A
PISTON,CRANKSRAFT,ANDBLOCK
121 1 KFHZZ PAOZZ KFGZZ KFHZZ 281500-930-9316 RETAINER,PISTONPIN(PARTOF EA 12 12
PISTONNSN:2815-01-062-0813)
4254608 (6N299)
121 2 KFHZZ KF PAGZZ PAHZZ D.005 PIN,PISTON(PARTOFPISTONNSN: EA 6 6
281501062-0813) 4036657 (6N299)
121 3 PAHZZ PAOZZ PAGZZ PAHZZ -.027 281500-930-9:29 CONNECTINGRODPISTON EA 6 6
4036217 (6N299)
121 4 PAHZZ PAOZZ SBGZZ PAHZZ D.008 530501-054-2440 SCREW,CAP,HEX EA 2 1
74035395 (6N299)
121 5 XAHZZ XA XBGZZ XAHZZ ROD,CONNECTING EA 1 1
4027333 (BN299)
121 BPAHZZ PAOZZ PAGZZ PAHZZ D.050 312040-237-7825 BUSHING,SLEEVE EA 1 1
4025031 (6N299)
121 7 PAHZZ PAOZZ PAGZZ PAHZZ -.027 3120-0-930-9315 BEARING,SLEEVE(PARTOFKIT, EA 12 12
P/N4082337)
74029878 (BN299)
121 8 PAHZZ KF PAGZZ PAHZZ D.005 RINGSET,PISTON(PARTOFPISTON EA 1 1
NSN:2815401-062813)
4062401 (8N299)
121 9 XAHZZ XA XBGZZ KFHZZ RING,PISTONTOP EA 1 1
4027933 (6N299)
121 10 XAHZZ XA XBGZZ KFHZZ RING,PISTONSECOND EA 1 1
4027934 (6N299)
121 11 XAHZZ XA XBGZZ KFHZZ RING,PISTONTHIRD EA 1 1
4027935 (8N299)
121 12 XAHZZ XA XBGZZ KFHZZ RING,PISTONOIL EA 2 2
4027938 (8N299)
121 13 PAHZZ PAOZZ PAGZZ PAHZZ D.005 281501-082-0813 PISTONINTERNAL EA 8 8
74036681 (8N299)
121 14 KFHZZ PAOZZ PAGZZ PAHZZ D.005 SLEEVE,CYLINDER(PARTOFKIT EA 8 6
NSN:538501-1158975)
74037221 (6N299)
121 15 PAHZZ PAOZZ PAGZZ PAHZZ D.005 5330-00001-4948 PACKING,PREFORMED,BLACK EA 2 12
(PARTOFKITNSN:5386501-1158975)
4028875 (5N299)
121 16 PAHZZ PAOZZ PAGZZ PAHZZ D.008 533000-930-9270 PACKING,PREFORMED,RED(PART EA 6 6
OFKITNSN:536501-115-6975)
40250151 (6N299)
121 17 XDHZZ XB XBGZZ XBHZZ D.008 SCREW,CAP,HEX EA 14 19
4035387 (6N299)
121 18 XBHZZ XB XBGZZ XBHZZ CAP,BEARING,FRONT EA 5 19
4028075 (6N299)
121 19 XBHZZ XB XBGZZ XBHZZ CAP,BEARING,CENTER EA 1 1
4027543 (6N299)
121 20 XBHZZ XB XBGZZ XBHZZ CAP,BEARING,REAR EA 1 1
4035398 (8N299)
121 21 PAHZZ PAOZZ XBGZZ PAHZZ -.050 3120-0-930-9330 BEARINGHALF,SLEEVE(PARTOF EA 5 5
KIT,PIN4061842)
74035008 (8N299)
121 22 XBHZZ XB XBGZZ XBHZ PIN,GROOVE EA 4 4
70926358-6 (6N299)
121 23 XBHZZ XB XBGZZ XBHZZ D.008 FLANGE,THRUSTLOWER EA 4 4
4061818 (8N299)
121 24 PAHZZ PAOZZ PAGZZ PAHZ -.050 281500-930-9309 BEARING,MAINLOWERCENTER EA 2 2
(PARTOFKIT,P/N4061842)
4035010 (8N299)
121 25 PAHNZZ PAOZZ PAGZZ PAHZ D.008 302040-930-9312 GEAR,CRANKSHAFT EA 1 1
4025041 (8N299)
342

(3)
USMC
(5)
DESCRIPTION USABLE
MFR ON
REF NUMBER CODE CODE
(8)
USMC
QTY
PER
EQUIP
(7)
QTY
INC
IN
UNIT
(6)
U/M
a
SSI
(2)
SMR CODE
(1)
ILLUSTRATION
d
USMC
c
NAVY
b
AIR
FORCE
a
ARMY
(a)
FIG
NO.
(b)
ITEM
NO.
(4)
NATIONAL
STOCK
NUMBER
b
REPL
FACTOR
TM 9-6115-545-24P
TO 35C2-3-444-4
NAVFAC P-8-626-24P
SL-400038G/07499A
121 26 PAHZZ PAOZZ XBGZZ PAHZZ -.008 5315-00-011-2139 KEY,WOOORUFF1/4X7/8IN. EA 1 2
WOODRUFFNO.A
0905845-4 (6N299)
121 27 PBHZZ PBOZZ PBGDD PBHZZ D.008 2815-01-053-4892 CRANKSHAFT,ENGINE EA 1 1
4035953 (6N299)
121 28 PAHZZ PAOZZ PAGZZ PAHZZ -.050 3120-01-054-7312 BEARINGHALF,SLEEVE(PARTOF EA 5 5
KIT,P/N4061642)
4035007 (6N299)
121 29 PAHZZ PAOZZ PAGZZ PAHZZ -.050 3120-00-930-9334 BEARINGHALF,SLEEVE(PARTOF EA '2 2
KIT,P/N4081642)
4035009 (6N299)
121 30 PBFZZ PBOZZ PBGZZ PBHZZ -.008 5306-00-890-3950 BOLT,SELF-LOCKING EA 1 1
4022129 (6N299)
121 31 PAFZZ PAOZZ XBGZZ PAHZZ .008 5360-00-598-9900 SPRING,HELICAL EA 1 1
4500231 (8N299)
121 32 PAFZZ PAOZZ XBGZZ PAHZZ D.008 2815-00-352-3063 PISTON,REGULATORVALVE EA 1 1
4507374 (6N299)
121 33 PAHZZ PAOZZ PAGZZ PAHZZ D.008 2815-00-936-8201 INSERT EA 1 1
4507673 (6N299)
121 34 XBHZZ XB XBGZZ XBHZZ PLUG,RESTRICTOR EA 1 1
4025392 (6N299)
121 35 PAOZZ PAOZZ XBGZZ PAHZZ I .010 4820-00-785-8153 COCKSHUTOFF,SCREW EA 1 1
NV108P-4 (93061)
121 38 PAHZZ PAOZZ PAGZZ PAHZZ -.050 3120-00-930-9333 BEARING,SLEEVE EA 1 1
4025025 (6N299)
121 37 PAHZZ PAOZZ PAGZZ PAHZZ -.050 3120-00-930-9332 BEARING,SLEEVE EA 5 5
4025238 (6N299)
121 38 XBHHH XB PBGGD XBHHH CYLINDERBLOCKASSY EA 1 2
4035904 (6N299)
343/(344 blank)

TM 9-6115-545-24P
TO 35C2-3-444-4
NAVFAC P-8-626-24P
SL-400038G/07499A
Figure 122. Cylinder Block Assembly.
345

(3)
USMC
(5)
DESCRIPTION USABLE
MFR ON
REF NUMBER CODE CODE
(8)
USMC
QTY
PER
EQUIP
(7)
QTY
INC
IN
UNIT
(6)
U/M
a
SSI
(2)
SMR CODE
(1)
ILLUSTRATION
d
USMC
c
NAVY
b
AIR
FORCE
a
ARMY
(a)
FIG
NO.
(b)
ITEM
NO.
(4)
NATIONAL
STOCK
NUMBER
b
REPL
FACTOR
TM 9-6115-545-24P
TO 35C2-3-444-4
NAVFAC P-8-626-24P
SL-400038G/07499A
122 1 PAOZZ PAOZZ XBGZZ XBHZZ 4730-00-018-9566 PLUG.PIPE,1/8NPT EA 5 5
5811B (15434)
122 2 PAOZZ PAOZZ XBGZZ XBHZZ PLUG.PIPE,1Q2NPT EA 1 1
0904223-5 (6N299)
122 3 XDOZZ XB XBGZZ XBHZZ D.008 PLUG.PIPE1/8NPT EA 1 1
4255490 (6N299)
122 4 PAOZZ PAOZZ XBGZZ PAOZZ D.008 4820-00-849-1220 COCK,DRAIN,114NPT EA 1 1
MS35782-5 (96906)
122 5 PAOZZ PAOZZ XBGZZ PAHZZ D.008 4730-00-005-7377 PLUG.PIPE,1/4NPT EA 1 1
4255491 (6N299)
122 6 PAOZZ PAOZZ XBGZZ PAHZZD008 4730-00-640-5852 PLUG.PIPE,1IN.NPT EA 1 1
MS27769-7 (96906)
122 7 XBOZZ XB XBGZZ XBHZZ PLUG,DISTRIBUTORHOLE EA I1
4027355 (6N299)
122 8 PAOZZ PAOZZ XBGZZ PAHZZ D.008 4730-00-444715 PLUG.PIPE,3/8NPT EA 1 1
444715 (24617)
122 9 PAOZZ PAOZZ PAGZZ PAHZZ D.008 4730-00-9851294 PLUG,PIPE,1/2NPT EA 2 2
MS21336-5 (96906)
122 10 XBFZZ XB XBGZZ BHZZ PIN,DOWELL EA 2 2
0917542 (6N299)
122 11 XBFZZ XB XBGZZ XBHZZ PIN,DOWELL,7/6X3/4IN. EA 2 2
0921023 (6N299)
122 12 XBFZZ XB XBGZZ XBHZZ PLUG,OILGALLERY EA 1 1
4028772 (6N299)
122 13 XBFZZ XB XBGZZ XBHZZ PIN,DOWELL,1R2X1-3/8IN. EA 2 2
0917538 (6N299)
122 14 PAOZZ PAOZZ XBGZZ PAHZZ D008 4730-00-044-4688 PLUG,PIPE,118NPT EA 1 1
917673-6 (6N299)
122 15 XBOZZ XB XBGZZ XBHZZ D.008 PLUG.HEAWDUTY EA 2 2
0928200-5 (6N299)
122 16 PAOZZ PAOZZ XBGZZ PAHZZ D.008 531500-141-1096 PIN,STRAIGHT.HEADLESS EA 6 6
4028848 (6N299)
122 17 XBFZZ XB XBGZZ XBHZZ SETSCREW EA 1 1
0919110 (6N299)
122 18 XBOZZ XB XBGZZ XBHZZ SCREW,DRIVENO.6X1/4INLG EA 4 4
0904516 (6N299)
122 19 XBOZZ XC XBGZZ XBHZZ PLATE,IDENTIFICATION EA 1 1
4007953 (6N299)
122 PAFZZ PAOZZ XAGZZ XAHZZ BALL EA 9 9
0929248 (6N299)
121 PAHZZ PAOZZ PAGZZ PAHZZ- .030 2815-01-062-0813 KIT,PISTONINTERNAL EA 6 6
4062399 (6N299)
121 1 2-RETAINER,PISTON,PIN
121 2 1-PIN,PISTON
121 8 1-RINGSET,PISTON
121 13 1-PISTON,INTERNAL
121 PAHZZ PAOZZ PAGZZ PAHZZ- .030 KIT.CONNECTINGRODBEARING, EA 1 1
STD
74062337- (6N299)
121 7 12-BEARING,SLEEVE
121 PAHZZ PAOZZ PAGZZ PAHZZ -.030 2815-00-456-5608 KIT,CYLINDERSLEEVE EA 6 6
4036682
121 14 1-SLEEVE,CYUNDER
121 15 3-PACKING,PREFORMED,BLACK
346

(3)
USMC
(5)
DESCRIPTION USABLE
MFR ON
REF NUMBER CODE CODE
(8)
USMC
QTY
PER
EQUIP
(7)
QTY
INC
IN
UNIT
(6)
U/M
a
SSI
(2)
SMR CODE
(1)
ILLUSTRATION
d
USMC
c
NAVY
b
AIR
FORCE
a
ARMY
(a)
FIG
NO.
(b)
ITEM
NO.
(4)
NATIONAL
STOCK
NUMBER
b
REPL
FACTOR
TM9-6115-545-24P
TO 35C2-3-444-4
NAVFAC P-8-626-24P
SL-400038G/07499A
121 PAHZZ PAOZZ PAGZZ PAHZZ- .030 312001-151-9230 KIT,CRANKSHAFTBEARING.STD EA 1 1
4061642 (8N299)
121 21 5-BEARINGHALF.SLEEVE
121 24 2-BEARING,MANLOWERCENTER
121 28 5-BEARINGHALF.SLEEVE
121 29 2-BEARINGHALF.SLEEVE
347

TM 9-6115-545-24P
TO 35C2-3-444-4
NAVFAC P-8-626-24P
SL-400038G/07499A
Figure 123. Base Group (Sheet 1of 2).
348

TM 9-6115-545-24P
TO 35C2-3-444- 4
NAVFAC P 8-626-24P
SL-400038G/07499A
Figure 123. Base Group (Sheet 2 of 2).
349

(3)
USMC
(5)
DESCRIPTION USABLE
MFR ON
REF NUMBER CODE CODE
(8)
USMC
QTY
PER
EQUIP
(7)
QTY
INC
IN
UNIT
(6)
U/M
a
SSI
(2)
SMR CODE
(1)
ILLUSTRATION
d
USMC
c
NAVY
b
AIR
FORCE
a
ARMY
(a)
FIG
NO.
(b)
ITEM
NO.
(4)
NATIONAL
STOCK
NUMBER
b
REPL
FACTOR
TM 9-6115-545-24P
TO 35C2-3-444-4
NAVFAC P-8-626-24P
SL-400038G/07499A
GROUP21-BASEGROUP
123 XBFZZ XB XB3GG XBFFF BASEASSY EA 1 1
70-1185 (30554)
70-1185 (93742)
123 1 PAOZZ PAOZZ XBGZZ XBFZZ 4730-00-812-1333 CAP,TUBE EA 1 3
69-539-2 (93742)
69-539-2 (30554)
123 2 PAOZZ PAOZZ XBGZZ XBFZZ 4030-00-270-5436 HOOK,CHAIN,S EA 1 2
MS87006-3 (96906)
123 3 XBOZZ MOO XBGZZ XBFZZ CHAIN,WELDLESS(8LINKSLG) EA 1 2
RRC271TYPEIIGRADEC
CLASS3 (81348)
123 4 PAOZZ PAOZZ XBGZZ PAFZZ D.008 4730-00-820-6904 ADAPTER,STRAIGHT,PIPE,1/4P EA 1 6
X5/16T
MS51500A54 (30554)
123 5 PAOZZ PAOZZ PAOZZ PAFZZ D.008 4820-00-987-3106 VALVEASSY EA 1 1
70-1451 (30554)
172CL (70411)
123 6 PAOZZ PAOZZ XBGZZ XBFZZ 4730-00-033-2651 NIPPLE,PIPE,LONG EA 1 1
70-1450 (30554)
70-1450 (93742)
123 7 PAOZZ PAOZZ XBGZZ PAFZZ D.008 5308-00-036-6980 BOLT,ASSEMBLEDWASHER, EA 6 39
1/4-20X5/8IN.LG. (30554)
70-1319-3
61-251081-00-0242B0254B
123 BPAOZZ PAOZZ XBGZZ PAFZZ D.008 5310-00-761-6882 NUT,PLAIN,HEX1/4-20 EA 5 52
MS51967-2 (96906)
123 9 PBOZZ PBOZZ XBGZZ XBFZZ 2540-01-150-9887 BOX,STORAGE,TOOL EA 1 1
70-1358 (93742)
70-1358 (30554)
123 10 PAOZZ PAOZZ XBGZZ PAFZZ D.008 5305-00-038-3103 SCREW,ASSEMBLEDWASHER, EA 5 26
8-32X1/2IN.LG.
69-662-35 (30554)
061-080841-40-0142B-05242B (78189)
123 11 PAOZZ PAOZZ PAGZZ PAFZZ -.050 6680-00-410-4964 TRANSMITTER,LIQUIDOTY EA 1 1
70-1474 (30554)
123 12 PAOZZ PAOZZ PAGZZ PAFZZ D.008 5310-00-891-1709 NUT.PLAIN,HEX5/16-18 EA 1 1
MS35691-9 (96906)
123 13 PAOZZ PAOZZ PAGZZ PAFZZ D.010 5310-00-407-9566 WASHER,LOCK,5/16 EA 1 1
MS35338-45 (96906)
123 14 PAOZZ PAOZZ PAGZZ PAFZZ D.008 5310-01-174-4568 NUT,PLAIN,HEX,5/16-18 EA 1 1
70-1626-1 (30554)
123 15 PAOZZ PAOZZ PAGZZ PAFZZ D010 5310-00-889-2527 WASHER,LOCK,5/16 EA 1 5
MS45904-72 (96906)
123 16 PAOZZ PAOZZ XBGZZ PAOZZ D.008 5940-00-234-3383 TERMINAL,STUD EA 1 1
69-6926 (30554)
69-692-6 (93742)
123 MFOZZ MOO AGGZZ AFFZZ CLIP,TERMINAL EA 1 1
MANUFACTUREFROM.
WIRE0042IN.DIA
ASTM-A-580 (81346)
123 17 PAOZZ PAOZZ PAGZZ PAFZZ5306-00-036-6919 SCREW,ASSEMBLEDWASHER, EA 4 4
1/4-20X1-1/4INLG.
70-1319-7 (30554)
61-2/52081-000242B-0542B (78189)
123 18 XBFZZ MOO XBGZZ XBFZZ BRACKET,FUELTANK.HOLD EA 4 4
DOWN
70-1460 (93742)
70-1460 (30554)
123 19 PAFZZ PAOZZ XBGZZ PAFZZ D.008 5306-00-036-6982 BOLT.ASSEMBLED,WASHER, EA 6 71
1/4-20X3/4IN.LG
70-1319-4 (30554)
61-251281-00-0242B-0542B (78189)
350

(3)
USMC
(5)
DESCRIPTION USABLE
MFR ON
REF NUMBER CODE CODE
(8)
USMC
QTY
PER
EQUIP
(7)
QTY
INC
IN
UNIT
(6)
U/M
a
SSI
(2)
SMR CODE
(1)
ILLUSTRATION
d
USMC
c
NAVY
b
AIR
FORCE
a
ARMY
(a)
FIG
NO.
(b)
ITEM
NO.
(4)
NATIONAL
STOCK
NUMBER
b
REPL
FACTOR
TM 9-6115-545-24P
TO 35C2-3-444-4
NAVFAC P-8-626-24P
SL-400038G/07499A
123 20 XBFZZ MOO XBGZZ XBFZZ BRACKET,FUELTANK,LOWER EA 4 4
70-1459 (93742)
70-1459 (30554)
123 21 PAFZZ PAOZZ XBGZZ PAFZZ D.008 5305-00-044-4153 SCREW,CAP,HEXHD EA 4 4
MS90725-109 (96906)
123 22 PAFZZ PAOZZ XBGZZ PAFZZ D.010 5310-00-935-8984 WASHER,LOCK EA 4 46
MS45904-84 (96906)
123 23 XBFZZ XB XBGZZ XBFZZ BRACKET,ANGLE EA 4 4
70-1389 (30554)
70-1389 (93742)
123 24 XBFZZ XB XBGZZ XBFZZ FRAME,LOWER.REARPNL EA 1 1
70-1409 (30554)
70-1409 (93742)
123 25 PBFZZ PBOZZ XBGZZ XBFZZ 2910-01-181-4084 TANK,FUEL EA 1 1
81-2001 (30554)
123 26 XBFZZ MOO XBGZZ XBFZZ -.008 BRACKET,ANGLE EA 1 1
70-1356 (30554)
70-1356 (93742)
123 27 PAFZZ PAOZZ XBGZZ PAFZZ 0 008 5306-00-036-6982 BOLT,ASSEMBLEDWASHER, EA 3 71
1/4-20X1/4IN.LG
70-1319-4 (30554)
61-25128100-0242B-0524B (78189)
123 28 XBFZZ AOO XBGZZ XBFZZ COVERASSY,FUELBURNING EA 1 1
EXHAUST
70-1438 (30554)
70-1438 (93742)
123 29 PAFZZ PAOZZ MOGZZ PAOZZ -.008 4030-00-270-5436 HOOK,CHAIN.S EA 1 1
MS87006-3 (96906)
123 30 PAFZZ PAOZZ MOGZZ PAOZZ -.008 4010-00-099-8849 CHAIN,WELDLESS,FLATLINK FT 1 3
NAS1455-50-10C (80205)
123 31 XBFZZ MOO XBGZZ XBFZZ PLATE,COVER EA 1 1
70-1438-1 (30554)
70-1438-1 (93742)
123 32 PAFZZ PAOZZ XBGZZ PAOZZ D.008 5305-00-889-2999 SCREW,MACHINE,PANHDNO. EA 4 12
4-40X1i2INLG
MS35206-217 (96906)
123 33 PAFZZ PAOZZ XBGZZ PAOZZ D.008 5310-00-836-3520 NUT,PLAIN,ASSEMBLEDNO. EA 4 76
4-40
69-561-1 (30554)
511-04180000 (78189)
123 34 XBFZZ XC XCGZZ MDOZZ PLATE,DESIGNATION EA 1 1
70-1341 (30554)
70-1341 (93742)
123 35 PAFZZ PAOZZ XBGZZ XBFZZ 4730-00-0951285 NIPPLE EA 1 3
70-1054 (30554)
70-1054 (93742)
123 36 PAFZZ PAOZZ XBGZZ PAFZZ D.008 4730-00-815-2390 COUPLING,PIPE EA 1 1
70-1618-2 (30554)
3-4GGS (30780)
123 37 PAFZZ PAOZZ XBGZZ XBFZZ 4730-00-869-6360 COUPLING,PIPE EA 1 1
70-1618-1 (30554)
3-80G-S (30780)
123 38 XBFZZ XB XBGZZ XBFZZ BASE,SKID EA 1 1
70-1000 (30554)
70-1000 (93742)
123 39 PAFZZ PAOZZ PAGZZ PAFZZ D.008 5310-00-094-3421 NUT.PLAIN,ASSEMBLED10-24 EA 1 1
69-561-4 (30554)
511-10180000 (78189)
123 40 PAOZZ PAOZZ PAOZZ PAOZZ 5330-01-268-2815 GASKET
GK0023 (09527)
123 41 PAOZZ PAOZZ PAOZZ 4730-01-197-7724 ELBOW,PLASTIC EA 4
81-1000-4 (30554)
N4MEB-4 (87373)
351

(3)
USMC
(5)
DESCRIPTION USABLE
MFR ON
REF NUMBER CODE CODE
(8)
USMC
QTY
PER
EQUIP
(7)
QTY
INC
IN
UNIT
(6)
U/M
a
SSI
(2)
SMR CODE
(1)
ILLUSTRATION
d
USMC
c
NAVY
b
AIR
FORCE
a
ARMY
(a)
FIG
NO.
(b)
ITEM
NO.
(4)
NATIONAL
STOCK
NUMBER
b
REPL
FACTOR
TM 9-6115-545-24P
TO 35C2-3-444-4
NAVFAC P-8-626-24P
SL-400038G/07499A
123 42 MFOZZ MOO MFOZZ HOSEASSY RL 2
HOSERUBBERTYPE11/4X14
INLG
70-1185-40 (30554)
123 43 PAOZZ PAOZZ PAOZZ 4730-01-195-3821 TEE,PLASTIC,BARBED EA 2
81-1002-3 (30554)
N4TUB-4 (87373)
123 44 MFOZZ MOO MFOZZ HOSEASSY RL 2
HOSENONMETALLICTYPE11/4
X950INLG
70-118555 (30554)
123 45 PAOZZ PAOZZ PAOZZ 4820-00-595-3191 VALVE,SHUTOFF EA 1
72-2297-2 (30554)
695 (79470)
123 46 XBOZZ XB XBOZZ CAPTUBE EA 1
69-539-2 (30554)
123 47 PAOZZ PAOZZ PAOZZ 4730-01-196-7480 CONNECTOR.PI3/8IN EA 1
81-1004-3 (30554)
C5275X6 (79470)
123 48 PAOZZ PAOZZ PAOZZ 4730-00-908-3194 CLAMP.HOSETYPEF,11/16TO EA 2
1-114DIA
MS35842-11 (96906)
123 49 PAOZZ PAOZZ PAOZZ 5310-00-045-3296 WASHER,LOCK-SPRING EA 11
MS35338-43 (96906)
123 50 PAOZZ PAOZZ PAOZZ 5340-00-177-4039 CLAMP.LOOP-STEEL.50ID EA 11
MS21333-7 (96906)
123 51 PAOZZ PAOZZ PAOZZ 5305-00-206-2510 SCREW,MACHINE-PANHEAD EA 11
190-32X.50LG
MS3521555 (96906)
123 52 MFOZZ MOO MFOZZ HOSE,ASSY RL 1
HOSENONMETALLICTYPE11/4
INIDX3850INLG
70-1185-53 (30554)
123 53 PAOZZ PAOZZ PAOZZ 4730-01-195-9124 ELBOW.PLASTICEA 1
81-2004-1 (30554)
N4EUB-4 (87373)
123 54 MFOZZ MOO MFOZZ HOSEASSY RL 1
HOSENONMETALLIC,TYPE1,
1/4-X2INLG
70-1185-51 (30554)
123 55 MFOZZ MOO MFOZZ HOSEASSY RL 1
HOSENONMETALLIC,TYPEI,
1/4X48INLG
70-1185-50 (30554)
123 56 PAOZZ PAOZZ PAOZZ 5940-00-1138183 TERMINAL,LUG,CRIMPSTYLE. EA 1
INS
MS25036-113 (96906)
123 57 PAOZZ PAOZZ PAOZZ 4730-01-1888240 BUSHING EA 2
81-1003 (30554)
123 58 PAOZZ PAOZZ PAOZZ 4730-01-1588417 ADAPTER EA 2
81-2003-7 (30554)
125HBL-6-4 (93061)
123 59 MFOZZ MOO MFOZZ HOSEASSY RL 2
HOSENONMETALLIC,TYPE1.
3/8X6.00INLG
70-1185-46 (30554)
123 60 PAOZZ PAOZZ PAOZZ BRAID.WIRE,67INLG EA 1
OQ-B-575 (81348)
R32T0203
123 61 PAOZZ PAOZZ PAOZZ 5940-00-143-4775 TERMINAL,LUG EA 1
MS25036-156 (96906)
123 PAOZZ PAOZZ PAOZZ 8030-00-252-3391 SEALINGCOMPOUND AR 1
MS213337 (96906)
MIL-S-45180TY2 (81349)
352

(3)
USMC
(5)
DESCRIPTION USABLE
MFR ON
REF NUMBER CODE CODE
(8)
USMC
QTY
PER
EQUIP
(7)
QTY
INC
IN
UNIT
(6)
U/M
a
SSI
(2)
SMR CODE
(1)
ILLUSTRATION
d
USMC
c
NAVY
b
AIR
FORCE
a
ARMY
(a)
FIG
NO.
(b)
ITEM
NO.
(4)
NATIONAL
STOCK
NUMBER
b
REPL
FACTOR
TM 9-6115-545-24P
TO 35C2-3-444-4
NAVFAC P-8-626-24P
SL-400038G/07499A
123 62 PAOZZ PAOZZ PAOZZ 2910-01-181-4084 TANK. FUEL, ENGINE EA 1
81-2001 (30554)
F114400 (58631)
123 PAOZZ PAOZZ PAOZZ 4720-40-913-5910 HOSE, NONMETALLIC, TYPE I AR 1
MIL-H-13444 (81349)
353/354 blank)

TM 9-6115-545-24P
TO 35C2-3-444-4
NAVFAC P-8-626-24P
SL-400038G/07499A
Figure 124. Accessory Item.
355

(3)
USMC
(5)
DESCRIPTION USABLE
MFR ON
REF NUMBER CODE CODE
(8)
USMC
QTY
PER
EQUIP
(7)
QTY
INC
IN
UNIT
(6)
U/M
a
SSI
(2)
SMR CODE
(1)
ILLUSTRATION
d
USMC
c
NAVY
b
AIR
FORCE
a
ARMY
(a)
FIG
NO.
(b)
ITEM
NO.
(4)
NATIONAL
STOCK
NUMBER
b
REPL
FACTOR
TM 9-6115-545-24P
TO 35C2-3-444-4
NAVFAC P-8-626-24P
SL-400038G/07499A
GROUP 22 -ACCESSORY ITEMS
124 1 MFOZZ MOO AFGZZ AFFZZ CABLE ASSY. PARALLELING BCEF EA 1 1
4-CONDUCTOR. 25 FT. L 305)
69-7722 (30554)
69 m2 (93742)
MANUFACTURE FROM:
124 2 PAFZZ PAOZ PAGZZ PAFZZ D.005 5935-00-211-0783 CONNECTOR, PLUG, ELEC BCEF EA 2 2
MS3106F18-4S (96906)
124 3 PAFZZ PAOZ PAGZZ PAFZZ .008 6145-00-643-0723 CABLE, 25 FT POWER ELEC BCEF FT 25 25
69-772 (30554)
C004HOF-4-16-0485 (81349)
124 4 MFOZZ MOO AFGZZ AFFZZ HOSE ASSY, AUXFUEL EA 1 1
69668 (30554)
FA1493FFF3000 (01276)
MANUFACTURE FROM:
124 5 PAOZZ PAOZ XBGZZ PAFZZ 4730-00-040-7450 NIPPLE, TUBE EA 1 1
750809-1 (30554)
SLHBTX-B (30780)
124 6 PAFZZ PAOZ MOGZ PAFZZ -.008 4010-00-554-8661 CHAIN. WELDLESS IN 1 1
42C16550 (10001)
124 7 PAOZZ PAOZ MOGOZ XBFZZ 5365-01-211-1811 RING. CHAIN EA 1 1
69468-4 (30554)
69468-4 (93742)
124 8 MOOZ MOO XAGZZ XAFZZ HOSE ASSY, MEDIUM PRESSURE EA 1 1
MS28741-5-2992 (96906)
MANUFACTURE FROM.
124 9 PAFZZ PAOZ PAGZ PAOZZ D.008 4730-00-842-2201 ADAPTER. STRAIGHT. TUBE EA 2 20
MS24587-5 (96906)
124 10 PAOZZ PAOZ PAGZZ PAOZZ D.070 4720-00-289-9197 HOSE, 300 IN IN 25 59
MILH8794-5 (81349)
124 11 XBFZZ XB XBGZZ XBOZZ STUD, JACKING EA 2 2
70-1420 (30554)
70-1420 (93742)
124 12 PBFZZ PBOZZ PAGZZ XBOZZ 6115-01-154-7055 ANGLE, JACKING SUPPORT EA 2 2
70-1419 (30554)
70-1419 (93742)
124 13 XBFZ XB XBGZZ XBOZZ BOLT, EYE EA 1 2
70-1930 (30554)
70-1930 (12532)
356

TM 9-6115-545-24P
TO 35C2-3-444-4
NAVFAC P-8-626-24P
SL-400038G/07499A
Figure 125. Fuel Burning Winterization Kit (Sheet 1 of 2).
(357 blank)/358

TM 9-6115-545-24P
TO 35C2-3-444-4
NAVFAC P-8-626-24P
SL-400038G/07499A
Figure 125. Fuel Burning Winterization Kit (Sheet 2 of 2).
359

(3)
USMC
(5)
DESCRIPTION USABLE
MFR ON
REF NUMBER CODE CODE
(8)
USMC
QTY
PER
EQUIP
(7)
QTY
INC
IN
UNIT
(6)
U/M
a
SSI
(2)
SMR CODE
(1)
ILLUSTRATION
d
USMC
c
NAVY
b
AIR
FORCE
a
ARMY
(a)
FIG
NO.
(b)
ITEM
NO.
(4)
NATIONAL
STOCK
NUMBER
b
REPL
FACTOR
TM 9-6115-545-24P
TO 35C2-3-444-4
NAVFAC P-8-626-24P
SL-400038G/07499A
GROUP 24 - NOT USED
GROUP 25 - FUEL BURNING
WINTERIZATION KIT
125 PBOFF PAOFF PAOGG PBOFF -.030 6115-00-407-8314 FUEL BURNING WINTERIZATION KIT EA 1 1
70-1297 (30554)
70-1297 (93742)
125 1 PAOZZ PAOZZ XBOGG PAOZZ 5306-00-036-6909 BOLT. ASSEMBLED WASHER EA 8 119
70-1319-2 (30554)
61-250881-00-0242B0542B (78189)
125 2 PAOZZ PAOZZ PAOGG PAFZZ 5310-00-696-5173 NUT. PLAIN ASSEMBLED EA 20 131
69-561-5 (30554)
511-251800-00 (78189)
125 3 PAOZZ PAOZZ XBOGG PAOZZ 5340-00-333-6448 CLAMP, LOOP EA 5 29
70-1529-6 (30554)
TA724SS6 (84971)
125 4 PBOZZ PBOFF XBOGG XBOZZ 6115-00-235-4703 CONTROL BOX, HEATER EA 1 2
740650 (30554)
74-0650 (93742)
125 5 PAOZZ PAOZZ PAOGG PAOZZ 5340-01-124-7781 CLAMP. LOOP EA 1 2
70-1529-9 (30554)
TA724SS-9 (84971)
125 6 MOOZZ AOO AOOGG AOOZZ HOSE ASSY EA 1 1
MS28741-50372 (96906)
MANUFACTURE FROM.
125 7 PAOZZ PAOZZ PAOGG PAOZZ 4730-00-842-2201 ADAPTER, STRAIGHT, TUBE EA 2 20
MS24587-5 (96906)
125 8 PAOZZ PAOZZ PAOGG PAOZZ 4720-00-289-9197 HOSE. NONMETALLIC FT 4 59
MILH8794-5 (81349)
125 9 MOOZZ AOO AOOGG AOOZZ HOSE ASSY, 3 WAY EA 1 1
MS28741-8-0162 (96906)
MANUFACTURE FROM
125 10 PAOZZ PAOZZ PAOGG PAOZZ 4730-00-842-2202 ADAPTER, STRAIGHT, TUBE EA 2 22
MS24587-8 (96906)
125 11 PAOZZ PAOZZ PAOGG PAOZZ 4720-00-999-8994 HOSE, NONMETALLIC FT 2 32
MILH8794-8 (81349)
125 12 PBOZZ PBOZZ XBOGG PAOZZ 5340-00-9932308 CLAMP, LOOP EA 2 2
70-1529-12 (30554)
TA724SS-12 (84971)
125 13 XBOZZ MOO XBOGG XBOZZ BRACKET, CABLE CLAMP EA 1 1
70-1530-3 (30554)
70-1530-3 (93742)
125 14 MOOZZ AOO AOOGG AOOZZ HOSE ASSEMBLY EA 1 2
MS28741-8-0182 (96906)
MANUFACTURE FROM.
125 15 PAOZZ PAOZZ PAOGG PAOZZ 4730-00-842-2202 ADAPTER, STRAIGHT. TUBE EA 2 22
MS24587-8 (96906)
125 16 PAOZZ PAOZZ PAOGG PAOZZ 4720-00-999-8994 HOSE. NONMETALLIC FT 2 32
MILH8794-8 (81349)
125 17 MOOZZ AOO AFOGG AOOZZ HOSE ASSY, ENGINE EA 1 2
MS28741-8-0680
MANUFACTURE FROM (96906)
125 18 PAOZZ PAOZZ PAOGG PAOZZ 4730-00-842-2202 ADAPTER, STRAIGHT. TUBE EA 2 22
MS24587-8 (96906)
125 19 PAOZZ PAOZZ PAOGG PAOZ 4720-00-999-8994 HOSE, NONMETALLIC EA 6 32
MILH8794-8 (81349)
125 20 MOOZZ AOO AOOGG AOOZZ HOSE ASSY. HEATER EA 1 1
MS287418-0145 (96906)
MANUFACTURE FROM
125 21 PAOZZ PAOZZ PAOGG PAOZZ 4730-00-842-2202 ADAPTER, STRAIGHT. TUBE EA 2 22
MS24587-8 (96906)
125 22 PAOZZ PAOZZ PAOGG PAOZZ 4720-00-999-8994 HOSE, NONMETALLIC FT 2 32
MILH8794-8 (81349)
360

(3)
USMC
(5)
DESCRIPTION USABLE
MFR ON
REF NUMBER CODE CODE
(8)
USMC
QTY
PER
EQUIP
(7)
QTY
INC
IN
UNIT
(6)
U/M
a
SSI
(2)
SMR CODE
(1)
ILLUSTRATION
d
USMC
c
NAVY
b
AIR
FORCE
a
ARMY
(a)
FIG
NO.
(b)
ITEM
NO.
(4)
NATIONAL
STOCK
NUMBER
b
REPL
FACTOR
TM 9-6115-545-24P
TO 35C2-3-444-4
NAVFAC P-8-626-24P
SL-400038G/07499A
125 23 PAOZZ PAOZZ PAOGG PAOZZ 4730-00-620-6904 ADAPTER. STRAIGHT PIPE EA 1 6
MS51500A5-4 (96906)
125 24 PAOZZ PAOZZ XBOGG PAOZZ 4820-00-785-8153 COCK, SHUT-OFF, SCREW EA 1 1
NV108P-4 (93061)
125 25 XBOZZ MFO XBOGG XBOZZ BRACKET, CABLE CLAMP EA 1 1
70-1530-2 (30554)
70-1530-2 (93742)
75-1297 (30554)
125 26 PAOZZ PAOZZ PAGZ PAFZZ 5930-01-043-6966 SWITCH, THERMOSTATIC EA 1 1
70-1592-2 (30554)
5100-11-198 (28340)
125 27 PAOZZ PAOZZ XBOGG PAOZZ 4730-00-595-3108 NIPPLE, PIPE EA 2 5
70-1496-8 (30554)
S1990 (50019)
125 28 PAOZZ PAOZZ XBOGG PAOZZ 4820-00-136-1085 COCK, PLUG EA 2 5
504-0011 (44940)
125 29 PAOZZ PAOZ XBOGG PAOZZ 4820-00-934-7877 VALVE, AIR PRESSURE EA 1 2
70-1498 (30554)
16004-013 (43990)
125 30 PAOZZ PAOZZ PAOGG PAOZZ 4730-00-194-0216 BUSHING, PIPE EA 1 1
AN912-5 (88044)
125 31 PAOZZ PAOZZ PAOGG PAOZZ 4730-00-200-6904 ADAPTER, STRAIGHT. PIPE EA 1 1
MS51500A5-4 (96906)
125 32 PAOZZ PAOZ XBOGG PAOZZ 4730-00-294-1512 TEE, PIPE EA 1 3
70-1489 (30554)
125 33 PAOZZ PAOZ XBOGG PAOZZ 4730-00-437-0040 ELBOW. PIPE TO TUBE EA 5 4
84CTXB (30780)
125 34 MFOZZ AOO AOOGG AOOZZ HOSE ASSEMBLY EA 1 1
MS28741-&0366 (96906)
MANUFACTURE FROM:
125 35 PAOZZ PAOZZ PAOGG PAOZZ 4730-00-842-2202 ADAPTER, STRAIGHT, TUBE EA 2 22
MS24587-8 (96906)
125 36 PAOZ PAOZZ PAOGG PAOZZ 4720-00-999-8994 HOSE. NONMETALLIC FT 3 32
MILH8794-8 (81349)
125 37 XBOZZ MFO XBOGG XBOZZ BRACKET. CABLE CLAMP EA 1 1
70-1530-1 (30554)
70-1530-1 (93742)
125 38 PAOZZ PAOZZ XBOGG PAOZZ 4730-00-221-2139 PLUG, PIPE EA 1 2
MS20913-4S (96906)
125 39 XDOZZ XB XBOGG XBOZZ ELBOW, PIPE TO TUBE 1/2P X 1/2T EA 1 2
8-VTXB (30780)
70-1491 (30554)
125 40 PBOZZ PAOZZ XBOGG PAOZZ 4730-00-294-1508 ELBOW, PIPE TO TUBE EA 1 1
1/8P X 5/16T
SCCTXS (30780)
125 41 PAOZ PAOZ XBOGG PAOZZ 4730-00-908-3193 CLAMP. HOSE EA 2 6
MS35842-12 (96906)
125 42 XBOZZ XB XBOGG XBOZZ TUBE, EXHAUST, FUEL EA 1 1
70-1434 (30554)
70-1434 (93742)
125 43 PAOZZ PAOZZ XBOGG PAOZZ 5306-00-036-4980 BOLT, ASSEMBLED WASHER EA 8 89
1/4-20 X 58 IN LG
70-1319-3 (30554)
61-251081-00-0242BO542B (78189)
125 44 PAOZ PAOZ XBOGG PAOZ 5306-00-036-6983 BOLT, ASSEMBLED WASHER EA 4 15
1/4-20 X7/8 IN. LG
70-1319-5 (30554)
61-251481-00-0242BO542B (78189)
125 45 XBOZZ XB XBOGG XBOZZ BRACKET, FUEL EA 1 1
70-1435 (30554)
70-1435 (93742)
SR10784A-034 (97393)
125 46 PAOFZ PAOGG PAFFZ 2990-00-135-6427 HEATER, ENGINE COOLANT EA 1 2
CP3050-24 (51403)
381

(3)
USMC
(5)
DESCRIPTION USABLE
MFR ON
REF NUMBER CODE CODE
(8)
USMC
QTY
PER
EQUIP
(7)
QTY
INC
IN
UNIT
(6)
U/M
a
SSI
(2)
SMR CODE
(1)
ILLUSTRATION
d
USMC
c
NAVY
b
AIR
FORCE
a
ARMY
(a)
FIG
NO.
(b)
ITEM
NO.
(4)
NATIONAL
STOCK
NUMBER
b
REPL
FACTOR
TM 9-6115-545-24P
TO 35C2-3-444-4
NAVFAC P-8-626-24P
SL-400038G/07499A
125 47 XDOZZ XB XBOGG XBOZZ ELBOW. PIPE TO TUBE 3/P X 1/2T EA 1 2
8-4VTXB (30780)
125 48 PAOZZ PAOZZ PAOGG PAOZZ 4730-00-011-2578 PLUG. PIPE EA 1 2
109B1-4 (30327)
125 49 XDOZZ XB XBOGG XBOZZ ELBOW. MALE 114P X 12T EA 2 4
8-4CTXB (45681)
125 50 PAOZZ PAOZZ XBOGG PAOZZ 4730-00-277-5553 ELBOW EA 1 1
1202PS4-4 (93061)
125 51 PAOZZ PAOZZ PAOZZ PAOZZ 4820-00-639-9224 COCK, PLUG EA 1 2
MS35932-2 (96906)
125 52 XBOZZ MFO XBOGG XBOZZ BRACKET. 3 WAY VALVE EA 1 1
70-1439 (30554)
70-1439 (93742)
125 53 PAOZZ PAOZZ XBOGG PAFZZ 5310-00-063-7360 NUT. PLAIN ASSEMBLED 6-32 EA 5 99
69-561-2 (30554)
511-061800-00 (78189)
125 54 PAOZZ PAOZZ XBOGG PAFZZ 5305-00-211-9344 SCREW, ASSEMBLED WASHER EA 5 16
6-32 X5t16 IN. LG.
69662-17 (30554)
61060541-40-0142B0542B (78189)
125 55 XBOZZ XC XCOGG PAOZZ PLATE, INSTRUCTION EA 1I
70-1486 (30554)
79-1486 (93742)
125 56 PAOZZ PAOZZ XBOGG PAOZZ 5320-00-402-2855 RIVET. BLIND EA 4 4
AD54AH (07707)
125 57 XBOZZ XC XCOGG MDOZZ PLATE. INSTRUCTION EA 1 1
70-1482 (30554)
70-1482 (93742)
125 58 PAOZZ PAOZZ PAOZZ PAOZZ 4730-00-908-6294 CLAMP. HOSE EA 1 1
MS35842-16 (96906)
125 59 XDOZZ XB XBOZZ XBOZZ BRACKET. HEATER MOUNTING EA 1 1
C85-2005 (30554)
362

TM 9-6115-545-24P
TO 35C2-3-444-4
NAVFAC P-8-626-24P
SL-400038G/07499A
Figure 127. Wiring Harness Assembly.
Figure 126. Wiring Harness Assembly.
363

(3)
USMC
(5)
DESCRIPTION USABLE
MFR ON
REF NUMBER CODE CODE
(8)
USMC
QTY
PER
EQUIP
(7)
QTY
INC
IN
UNIT
(6)
U/M
a
SSI
(2)
SMR CODE
(1)
ILLUSTRATION
d
USMC
c
NAVY
b
AIR
FORCE
a
ARMY
(a)
FIG
NO.
(b)
ITEM
NO.
(4)
NATIONAL
STOCK
NUMBER
b
REPL
FACTOR
TM 9-6115-545-24P
TO 35C2-3-444-4
NAVFAC P-8-626-24P
SL-400038G/07499A
126 MFOZZ AOO AFGZZ AFFZZ WIRING HARNESS ASSY EA 1 1
70-1217 (30554)
70-1217 (93742)
MANUFACTURE FROM:
126 1 PAFZZ PAOZZ PAGZZ PAFZZ 5975-00-074-2072 STRAP. TIEDOWN EA 20 2557
MS3367-1-9 (96906)
126 2 PAFZZ PAOZZ PAGZZ PAFZZ 5935-00-879-3265 CONNECTOR, PLUG EA 1 2
MS3106R18-11P (96906)
126 3 PAFZZ PAOZZ PAGZZ PAFZZ 5935-01-035-5139 CONNECTOR, PLUG EA 1 2
MS3106R18-11S (96906)
126 4 PAOZZ PAOZZ PAGZZ PAFZZ 6145-00-578-6605 WIRE, ELECTRICAL 38 IN FT 4 4
M50862-16-9 (81349)
126 5 PAOZZ PAOZZ PAGZZ PAFZZ 6145-00-578-7514 WIRE. ELECTRICAL 152 IN FT 15 1010
M5086/2-12-9 (81349)
127 MFOZZ AOO AFGZZ AFFZZ WIRING HARNESS ASSY EA 1 1
70-1303 (30554)
70-1303 (93742)
MANUFACTURE FROM
127 1 PAOZZ PAOZZ PAGZZ PAFZZ 5975-00-074-2072 STRAP, TIEDOWN EA 80 2557
MS3367-1-9 (96906)
127 2 PAFZZ PAOZZ PAGZZ PAFZZ 5935-00-879-3265 CONNECTOR. PLUG EA 1 2
MS3106R18-11P (96906)
127 3 PAFZZ PAOZZ PAGZZ PAFZZ 5935-01-035-5139 CONNECTOR, PLUG EA 1 2
MS3106R18-11S (96906)
127 4 PAFZZ PAOZZ PAGZZ PAFZZ 6145-00-578-6605 WIRE. ELECTRICAL 254 IN. FT 15 1010
M5086/2-16-9 (81349)
127 5 PAFZZ PAOZZ PAGZZ PAFZZ 6145-00-578-7514 WIRE, ELECTRICAL 169 IN. FT 22 255
M50862-12-9 (81349)
364

TM 9-6115-545-24P
TO 35C2-3-444-4
NAVFAC P-8-626-24P
SL-400038G/07499A
Figure 128. Engine Coolant Heater.
365

(3)
USMC
(5)
DESCRIPTION USABLE
MFR ON
REF NUMBER CODE CODE
(8)
USMC
QTY
PER
EQUIP
(7)
QTY
INC
IN
UNIT
(6)
U/M
a
SSI
(2)
SMR CODE
(1)
ILLUSTRATION
d
USMC
c
NAVY
b
AIR
FORCE
a
ARMY
(a)
FIG
NO.
(b)
ITEM
NO.
(4)
NATIONAL
STOCK
NUMBER
b
REPL
FACTOR
TM 9-6115-545-24P
TO 35C2-3-444-4
NAVFAC P-8-626-24P
SL-400038G/07499A
128 PAOFF PAOOO PAOGG PAFFF 2990-00-135-6427 HEATER. ENGINE COOLANT EA 1 2
69-775 (30554)
CP3050-24 (51403)
128 1 PFOZZ PAOZZ XBOGG XBFZZ 5340-00-477-6153 COVER. PROTECTIVE EA 1 1
B2794 (51403)
128 2 PFOZZ PAOZZ XBOGG XBFZZ 5340-01-165-0581 CLAMP. HOSE EA 2 2
B2185 (46522)
128 3 PFOZZ XB XBOGG XBFZZ 2540-01-165-0497 BRACKET, MOUNTING EA 2 2
82793 (46522)
128 4 XDOZZ XB XBOGG PAFZZ SCREW. ASSEMBLED WASHER EA 4 6
6-32 X5/16 IN LG.
A2172 (51403)
128 5 XDFZZ XB XBOZZ XBFZZ CONNECTOR, RECEPTACLE EA 1 1
A2796 (51403)
A2796 (80684)
128 6 PBFZZ PAOZZ XBOGG PAFZZ 5305-00-721-4529 SCREW, ASSEMBLED WASHER EA 4 4
8-32 X 5/8 IN LG.
A2173 (51403)
128 7 PBFZZ PAOZZ XBOGG XBFZZ 5940-00-788-2699 TERMINAL BOARD EA 1 1
A2015 (51403)
128 8 XDFZZ XB XBOGG PAFZZ SCREW, ASSEMBLED WASHER EA 17 17
A2841 (51403)
128 9 PAFZZ PAFZZ PAGZZ PAFZZ 5930-00-854-4344 SWITCH, THERMOSTATIC EA 1 1
A2322 (51403)
128 10 PAFZZ PAFFF PAGGG PAFFF 5930-00-532-0777 SWITCH, THERMOSTATIC EA 1 1
82070 (51403)
128 11 XDFZZ XB XBOGG XBFZZ SCREW, MACHINE EA 1 1
A2137 (51403)
128 12 PAFZZ PAFZZ XBOGG PAFZZ 5310-00-531-9514 WASHER, FLAT EA 1 1
AN960C6 (88044)
128 13 PAFZZ PAOZZ XBOGG XBFZZ 6115-00-859-5923 SPRING, HELICAL EA 1 1
A2091 (51403)
128 14 PAFZZ PAFZz XBOGG PAFZZ 5305-00-984-6221 SCREW, MACHINE EA 2 6
MS35206-234 (96906)
128 15 PAFZZ PAFZZ PAGGZ PAFZZ 5930-00-167-1746 SWITCH, SENSITIVE EA 1 1
A2092 (81780)
128 16 PBFZZ PAOZZ XBOGG XBFZZ 6115-00-859-5922 SPRING. HELICAL EA 1 1
A2090 (51403)
128 17 XBFZZ XA XBOGG XBFZZ RETAINER, SPRING EA 1 1
A2013 (51403)
128 18 XDFZZ XB XBOGG XBFZZ ROD, OUARTZ EA 1 1
A2010 (51403)
128 19 XAFZZ XA XAOGG XAFZZ FRAME ASSY, SWITCH EA 1 1
B2117 (51403)
128 20 PAOZZ PAFZZ XBOGG PAFZZ 2920-00-122-2098 GLOW PLUG EA 1 1
A2757 (51403)
128 21 PAOZZ PAFZZ XBOGG PAFZZ 5330-00-119-4732 GASKET EA 1 1
A2096 (51403)
128 22 XDOZZ AFF XBOSG PAFFZ TUBE ASSY. FLUID EA 1 1
A2827 (80684)
128 23 PAOZZ PAOZZ XBOG3 PAFZZ 4730-00-043-3750 NUT, TUBE COUPLING EA 2 2
MS39178-2 (96906)
128 24 PAOZZ PAOZZ XBO3G PAFZZ 4730-00-701-7737 SLEEVE, COMPRESSION EA 2 2
MS39177-2 (96906)
A2118 (80212)
128 25 PAOZZ PAFZZ PAOGG PAFZZ HOSE, METALLIC 3-16 ID EA 1 1
X5 IN. LG.
A3206 (80684)
128 28 XDFZZ XB XBOGG PAFZZ SCREW, ASSEMBLED WASHER EA 6 6
8-32 X 114 IN. LG.
A2170 (51403)
366

(3)
USMC
(5)
DESCRIPTION USABLE
MFR ON
REF NUMBER CODE CODE
(8)
USMC
QTY
PER
EQUIP
(7)
QTY
INC
IN
UNIT
(6)
U/M
a
SSI
(2)
SMR CODE
(1)
ILLUSTRATION
d
USMC
c
NAVY
b
AIR
FORCE
a
ARMY
(a)
FIG
NO.
(b)
ITEM
NO.
(4)
NATIONAL
STOCK
NUMBER
b
REPL
FACTOR
TM 9-6115-545-24P
TO 35C2-3-444-4
NAVFAC P-8-626-24P
SL-400038G/07499A
128 27 XBFZZ MFF XBOGG XBFZZ BRACKET REGULATOR EA 2 2
B2055 (51403)
128 28 XDFZZ XB XBGGG XBFFF VALVE, REGULATING EA 1 1
B2795 (51403)
128 29 XAFZZ XA XAOGG XAFZZ PLUG, ORIFICE EA 1 1
A2154 (53335)
128 30 XAFZZ XA XAOGG XAFZZ ORIFICE, METER EA 1 1
A2602 (53335)
128 31 XAFZZ XA XAOGG XAFZZ BODY, FILTER EA 1 1
A2603 (53335)
128 32 PAFZZ PAFZZ PAFZZ PAFZZ 2910-00-454-0666 FILTER ELEMENT, FLUID EA I1
A2604 (51403)
128 33 XDFZZ XB XBFZZ XBFZZ GASKET. FILTER EA 1 1
A2605 (53335)
128 34 XDFZZ XB XBOGG XBPZZ SCREW, ASSEMBLED WASHER EA 2 6
6-32 X5/16 IN. LG
A2172 (53335)
128 35 XDFZZ XB XBOGG XBFZZ SETSCREW EA 1 1
A2847 (51403)
128 36 PAFZZ PAFZZ XBOGG XBFZZ 5305-01-121-9357 SETSCREW EA 1 1
A2204 (51403)
128 37 PBFZZ PAFZZ PAGZZ PAFZZ 2920-00-400-6977 PRE-HEATER ASSY EA 1 1
A2684 (51403)
128 38 XAFZZ XA XAOGG XAFZZ VALVE, REGULATOR EA 1 1
B2940 (53335)
128 39 PAOZZ PAFZZ XBOGG PAFZZ 4730-00-278-0187 ELBOW, PIPE TO TUBE EA 1 1
HLS740 (78243)
A2828 (51403)
128 40 XBFZZ XB XBOGG XBFZZ COVER, AIR INLET EA 1 1
B2859 (46522)
128 41 PAFZZ PAFZZ XBOGG PAFZZ 5325-00-899-1271 GROMMET, NONMETALLIC EA 1 1
AGW9111 (02231)
128 42 XDFZZ XB XBOGG PAFZZ SCREW, ASSEMBLED WASHER EA 39 39
8-32 X 3/8 IN. LG.
A2822 (51403)
128 43 PAFZZ PAOZZ XBOGG XBFZZ CLAMP, HOSE EA 4 4
A2823 (46522)
128 44 XBFZZ XB XBOGG XBFZZ HOUSING, BURNER EA 1 1
C2797 (53335)
128 45 PBFZZ MOO MGOZZ XBFZZ 4720-00-139-4105 HOSE, PREFORMED EA 2 2
A2829 (46522)
128 46 PAFZZ PAFZZ XBOGG PAFZZ 5305-00-059-3665 SCREW, MACHINE EA 2 2
MS5195869 (96906)
128 47 PAFZZ PAFZZ XBOGG PAFZZ 2990-00-477-6143 RETAINER, VAPORIZER EA 1 1
A2612 (53335)
128 48 PAFZZ PAFZZ XBOGG PAFZZ 2540-00-454-0665 VAPORIZER, CERAMIC EA 1 1
A2610 (46522)
128 49 XBFZZ XB XBOGG XBFZZ BURNER, CHAMBER EA 1 1
C2583 (53335)
128 50 PAFZZ PAFZZ XBOGG PAFZZ 5305-00-724-6798 SETSCREW EA 1 1
MS51964-49 (96906)
128 51 XBFZZ PAFZZ XBOGG PAFZZ FAN, CENTER COMBUSTION EA 1 1
A2615 (51403)
128 52 XBFZZ XB XBOGG XBFZZ PLATE, INLET EA 1 1
A2631 (51403)
128 53 XBFZZ XB XBOGG XBFZZ INLET COMBUSTION AIR EA 1 1
B2283(46522)
128 54 XBFZZ XB XBOGG XBFZZ ELBOW. PIPE TO TUBE EA 2 2
A2889 (46522)
367

(3)
USMC
(5)
DESCRIPTION USABLE
MFR ON
REF NUMBER CODE CODE
(8)
USMC
QTY
PER
EQUIP
(7)
QTY
INC
IN
UNIT
(6)
U/M
a
SSI
(2)
SMR CODE
(1)
ILLUSTRATION
d
USMC
c
NAVY
b
AIR
FORCE
a
ARMY
(a)
FIG
NO.
(b)
ITEM
NO.
(4)
NATIONAL
STOCK
NUMBER
b
REPL
FACTOR
TM 9-6115-545-24P
TO 35C2-3-444-4
NAVFAC P-8-626-24P
SL-400038G/07499A
128 55 PAFFD PAFFF AFOGG AFFZZ 2930-00-052-3545 MOTOR-PUMP ASSY EA 1 1
B2856 (46522)
128 56 PAFZZ PAOOO XBOGG PAFFF 4320-00-217-5827 PUMP ASSY, COOLANT EA 1 1
B2894 (46522)
128 57 PAFZZ PAOZZ XBOGG PAFZZ 530501-248-6917 SETSCREW EA 4 4
A2897 (46522)
128 58 XBFZZ XA XBOGG XBFZZ PLATE, PORT EA 1 1
B2929 (46522)
128 59 PAFZZ PAFZZ XBOGG XBFZZ 4730-00-277-6339 PLUG. PIPE EA 1 1
A2895 (46522)
128 60 PAFZZ PAFZZ XBOGG XBFZZ 5360-00-221-6558 SPRING, HELICAL EA 1 1
COMPRESSION
A2896 (51403)
128 61 PAFZZ PAFZZ XBOGG XBFZZ 3110-00-724-7884 BALL BEARING EA 1 1
A2903 (51403)
128 62 PAFZZ PAFZZ PAGZZ PAFZZ 5330-00-462-4524 PACKING PREFORMED EA 2 2
A2932 (51403)
128 63 XBFZZ XA XBOGG XBOGG RING CAM EA 1 1
A2898 (51403)
128 64 PAFZZ PAFZZ PAGZZ PAFZZ 2540-00-122-2114 BLADE, ROTOR, HEATER EA 4 4
A2901 (51403)
128 65 XDFZZ XB XBOGG PAFZZ SETSCREW 3-48 X 3(16 IN LG EA 1 1
M70CR348-3E (02615)
A2902 (46522)
128 66 XBFZZ XA XBOGG XBFZZ ROTOR. PUMP EA 1 1
A2900 (46522)
128 67 XBFZZ XA XBOGG XBFZZ ADAPTER, PUMP EA 1 1
A2928 (53335)
128 68 PAFZZ PAFZZ PAGZ PAFZZ 5330-01-183-5688 PACKING EA 1 1
A2904 (46522)
128 69 XAFZZ XA XAOGG XAFZZ PACKING. PREFORMED EA 1 1
A2899 (51403)
128 70 XAFZZ XA XAOGG XAFZZ CAGE, SEAL EA 1 1
A2905 (53335)
128 71 XDFZZ XB XBOGG PAFZZ WASHER, FLAT EA 1 1
A2931 (51403)
128 72 XDFZZ XB XBOGG PAFZZ SPRING. HELICAL, EA 1 1
COMPRESSION
A2930 (51403)
128 73 XCFZZ XC XCOGG MDOZZ DECAL EA 1 1
A2933 (53335)
128 74 PAFZZ PBFFF XBOGG PAFZZ 6105-00-400-0196 MOTOR. DIRECTCURRENT EA 1 1
B2798 (51403)
128 75 XBFZZ XB XBOGG XBFZZ CAP, ELECTRIC EA 2 2
A2480 (46522)
128 76 PAFZZ PAFZZ PAGZZ PAFZZ 5977-00-078-9102 BRUSH. ELECTRICCONTACT EA 2 2
A2481 (51403)
128 77 XCFZZ XC XCOGG MDOZZ PLATE, IDENTIFICATION EA 1 1
A2714 (53335)
128 78 XBFZZ XB XBOGG XBFZZ PLUG. PIPE EA 1 1
A2393 (46522)
128 79 XBFZZ XB XBOGG XBFZZ HEAT EXCHANGER EA 1 1
C2691 (53335)
368

TM 9-6115-545-24P
TO 35C2-3-444-4
NAVFAC P-8-626-24P
SL-400038G/07499A
Figure 129. Heater Control Box Assembly.
369

(3)
USMC
(5)
DESCRIPTION USABLE
MFR ON
REF NUMBER CODE CODE
(8)
USMC
QTY
PER
EQUIP
(7)
QTY
INC
IN
UNIT
(6)
U/M
a
SSI
(2)
SMR CODE
(1)
ILLUSTRATION
d
USMC
c
NAVY
b
AIR
FORCE
a
ARMY
(a)
FIG
NO.
(b)
ITEM
NO.
(4)
NATIONAL
STOCK
NUMBER
b
REPL
FACTOR
TM 9-6115-545-24P
TO 35C2-3-444-4
NAVFAC P-8-626-24P
SL-400038G/07499A
129 XBOFF XB XBOGG XBFZZ CONTROL BOX, HEATER ASSY EA 1 2
69650 (30554)
133-145 (44940)
129 1 PAFZZ PAOZZ XBOGG PAFZZ 5305-00-211-9344 SCREW. ASSEMBLED WASHER EA 4 16
6-32 X 5/16 IN LG
69-662-17 (30554)
P15121-17 (45722)
129 2 XBFZZ XB XBOGG XBFZZ COVER, BOX EA 1 1
69656 (30554)
69656 (93742)
129 3 PAFZZ PAOZZ XBOGG PAFZZ 5305-00-889-2999 SCREW, MACHINE 440 X 1l2 IN. LG EA 8 12
MS35206-217 (96906)
129 4 PAFZZ PAOZZ XBOGG PAFZZ 5310-00-836-3520 NUT, PLAIN ASSEMBLED 4-40 EA 8 76
69-561-1 (30554)
511-041800-00-0211-0511 (78189)
129 5 PAFZZ PAFZZ PAOGG PAFZZ 5935-01-154-6264 CONNECTOR, RECEPTACLE EA 1 1
ELECTRICAL
MS3102R18-11P (96906)
129 6 PAFZZ PAFZZ PAGZ PAFZZ 5935-00-842-6316 CONNECTOR, RECEPTACLE EA 1 2
ELECTRICAL
MS3102R18-11SC (96906)
129 7 PAOZZ PAOZZ PAOZZ PAOZZ 6240-00-155-8714 LAMP, INCANDESCENT EA 1 7
MS25231-313 (96906)
129 8 PAFZZ PAOOO PAOZZ PAFZZ 6210-01-108-2600 LIGHT. TEST EA 1 3
M25331-4 (96906)
129 9 XAFZZ XB XBOGG PAOZZ LENS, LIGHT EA 1 3
804-0331-500 (72619)
129 10 PAFZZ PAOZ XBOGG PAFZZ 5940-00-143-4775 TERMINAL, LUG, NO. 8 EA 2 7
MS25036-156 (96906)
129 11 PAFZZ PAOZ PAGZ PAFZZ 5940-00-143-4774 TERMINAL, LUG, NO. 8 EA 14 113
MS25036-153 (96906)
129 12 PAFZZ PAOZZ PAOZZ PAFZZ 5925-00-686-3301 CIRCUIT BREAKER., 15 AMPS EA 1 2
MS25244-15 (96906)
129 13 PAFZZ PAOZZ XBOGG PAFZZ 5940-00-283-5280 TERMINAL, LUG, NO 6 EA 3 549
MS25036-106 (96906)
129 14 PAFZZ PAOZZ XBOGG PAFZZ 5940-00-204-8990 TERMINAL. LUG, NO. 6 EA 1 2
MS25036-111 (96906)
129 15 PAFZZ PAOZ PAOZ PAFZZ 5930-00-655-1575 SWITCH, TOGGLE EA 1 2
MS35039-22 (96906)
129 16 XBFZZ MFOXBOGG XBFZZ PLATE, FACE EA 1 1
69-654 (30554)
69-654 (93742)
129 17 XBFZZ XB XBOGG XBFZZ FRAME, BOX EA 1 1
69655 (30554)
69-655 (93742)
370

TM 9-6115-545-24P
TO 35C2-3-444-4
NAVFAC P-8-626-24P
SL-400038G/07499A
Figure 130. Electric Winterization Kit (Sheet 1 of 2)
(371 blank)372

TM 9-6115-545-24P
TO 35C2-3-444-4
NAVFAC P-8-626-24P
SL-400038G/07499A
Figure 130. Electric Winterization Kit (Sheet 2 of 2).
373

(3)
USMC
(5)
DESCRIPTION USABLE
MFR ON
REF NUMBER CODE CODE
(8)
USMC
QTY
PER
EQUIP
(7)
QTY
INC
IN
UNIT
(6)
U/M
a
SSI
(2)
SMR CODE
(1)
ILLUSTRATION
d
USMC
c
NAVY
b
AIR
FORCE
a
ARMY
(a)
FIG
NO.
(b)
ITEM
NO.
(4)
NATIONAL
STOCK
NUMBER
b
REPL
FACTOR
TM 9-6115-545-24P
TO 35C2-3-444-4
NAVFAC P-8-626-24P
SL-400038G/07499A
GROUP 26 - WINTERIZATION KIT, ELECTRIC
130 PBOFF PAFFF PBOGG PBFFF 6115-00-455-7693 WINTERIZATION KIT, ELECTRIC EA 1 1
70-1299 (30554)
70-1299 (93742)
130 1 PAOZZ PAOZZ XBOGG PAFZZ 5310-00-696-5173 NUT, PLAIN ASSEMBLED 1/4 -20 EA 12 131
69-581-5(30554)
511-251800-00 (78189)
130 2 PAOZZ PAOZZ XBOGG PAOZZ 5306-00-036-6909 BOLT. ASSEMBLED WASHER EA 12 119
114-20 X 1/2 IN. LG
70-1319-2 (30554)
130 3 PAOZZ PAOZZ PAOGG PAOZZ 5340-00-333-6448 CLAMP, LOOP EA 8 29
70-15294 (30554)
TA724SS6 (84971)
130 4 XBOZZ MFO XBOGG XBFZZ BRACKET, CABLE CLAMP EA 5 5
70-1530-3 (30554)
70-1530-3 (93742)
130 5 PAOZZ PAOZZ PAOGG PAOZZ 5340-01-124-8044 CLAMP, LOOP' EA 1 3
70-1529-5 (30554)
TA724SS5 (84971)
130 6 XBOFZ XB XBOGG XBFZZ CONTROL BOX ELECTRIC HEATER EA 1 2
70-1232 (30554)
70-1232 (93742)
130 7 PAOZZ PAOZZ XBOGG PAFZZ 5305-00-211-9344 SCREW, ASSEMBLED WASHER EA 5 16
6-32 X5/16 IN LG
69-662-17 (30554)
P15121-17 (45722)
130 8 PAOZZ PAOZZ XBOGG PAFZZ 5310-00-063-7360 NUT. PLAIN ASSEMBLED 6-32 EA 5 99
69-561-2 (30554)
511-081800-00 (78189)
130 9 XBOZZ XC XCOGG MDOZZ PLATE, INSTRUCTION EA 1 1
70-1487 (30554)
70-1487 (93741)
130 10 MOOZZ AFO AFOGG AOOZZ 4720-00-541-9248 HOSE ASSY' EA 1 1
MS287416-0150 (96906)
MANUFACTURE FROM:
130 11 PAOZZ PAFZZ PAOGG PAOZZ 4730-00-842-2202 ADAPTER, STRAIGHT EA 2 22
MS24587-8 (96906)
130 12 PAOZZ PAFZZ PAOGG PAOZZ 4720-00-999-8994 HOSE, NONMETALLIC FT 2 32
MILH8794-8 (81349)
130 13 PAOZZ PAOZZ XBOGG PAOZZ ELBOW, MALE, 90' EA 2 4
8-4CTXB (45681)
130 14 PAOZZ PAOZZXBOGG PAOZZ 5340-00-993-2308 CLAMP, LOOP EA 1 2
70-1529 (30554)
TA724SS-12 (84971)
130 15 MOOZZ AFO AFOGG AOOZZ HOSE ASSY EA 1 2
MS28741-80680 (96906)
MANUFACTURE FROM:
130 16 PAOZZ PAFZZ PAOGG PAOZZ 4730-00-842-2202 ADAPTER, STRAIGHT EA 2 22
MS24587-8 (96906)
130 17 PAOZZ PAFZZ PAOGG PAOZZ 4720-00-289-9200 HOSE. NONMETALLIC FT 6 32
MILH8794 (81349)
130 18 PAOZZ PAOZZ XBOZZ PAOZZ 4730-00-437-0040 ELBOW, PIPE TO TUBE EA 3 4
8-8CTXB (30780)
130 19 MOOZZ AFO AFOGG AOOZZ HOSE ASSY EA I1
MS28741-0480 (96906)
MANUFACTURE FROM:
130 20 PAOZZ PAFZZ PAOGG PAOZZ 4730-00-842-2202 ADAPTER, STRAIGHT EA 2 22
MS24587-8 (96906)
130 21 PAOZZ PAFZZ PAOGG PAOZZ 4720-00-289-9200 HOSE, NONMETALLIC FT 4 32
MILH8794 (81349)
*NOTE: ITEM NO. 5 AND 10 REQUIRED ONLY
WHEN ELEC AND FB WINTERIZATION KITS
ARE USED TOGETHER.
374

(3)
USMC
(5)
DESCRIPTION USABLE
MFR ON
REF NUMBER CODE CODE
(8)
USMC
QTY
PER
EQUIP
(7)
QTY
INC
IN
UNIT
(6)
U/M
a
SSI
(2)
SMR CODE
(1)
ILLUSTRATION
d
USMC
c
NAVY
b
AIR
FORCE
a
ARMY
(a)
FIG
NO.
(b)
ITEM
NO.
(4)
NATIONAL
STOCK
NUMBER
b
REPL
FACTOR
TM 9-6115-545-24P
TO 35C2-3-444-4
NAVFAC P-8-626-24P
SL-400038G/07499A
130 22 MOOZZ AFO AOOGGAOOZZ HOSE ASSY EA 1 2
MS28741-8-0182 (96096)
MANUFACTURE FROM
130 23 PAOZZ PAFZZ PAOGG PAOZZ 4730-00-842-2202 ADAPTER, STRAIGHT EA 2 22
MS24587-8 (96906)
130 24 PAOZZ PAFZZ PAOGG PAOZZ 4720-00-289-9200 HOSE, NONMETALLIC FT 2 32
MILH8794 (81349)
130 25 MOOZZ AFO AFOGG AOOZ 4720-00-202-7935 HOSE ASSY EA 1 1
MS28741-8-0200 (96906)
MANUFACTURE FROM:
130 26 PAOZZ PAFZZ PAOGG PAOZZ 4720-00842-2202 ADAPTER, STRAIGHT EA 2 22
MS24587-8 (96906)
130 27 PAOZZ PAFZZ PAOGG PAOZZ 4720-00-289-9200 HOSE, NONMETALLIC FT 2 32
MILH8794 (81349)
130 28 PAOZZ PAFZZ PAOGG PAOZZ 4730-00-295-6865 ELBOW, PIPE TO TUBE EA 1 2
8-4VTXB (30780)
130 29 XBOZZ XB XBOGG XBFZZ CLAMP ASSY, SADDLE EA 1 1
MC300 (72741)
130 30 XBOZZ XA XBOGG XBFZZ BRACKET. CLAMP EA 1 1
MC300-1 (72741)
130 31 XBOZZ XA XBOGG XBFZZ NUT, PLAIN. HEX 3/8-16 EA 2 2
200-012 (72741)
130 32 PAOZZ PAOZZ PAOGG PAOZZ 5310-01-194-0404 WASHER, LOCK. 318 EA 1 1
265-012 (72741)
130 33 PAOZZ PAOZZ PAOGG PAOZZ 5306-01-124-5168 U-BOLT, 3 IN DIA EA 1 1
MC300-2 (72741)
130 34 XBOZZ XB XBOGG XBOZZ ADAPTER, REDUCING 3/8 X 1/4 EA 1 1
FG-B (93061)
130 35 PAOZZ PAOZZ XBOGG PAFZZ 5306-00-036-6982 BOLT, ASSEMBLED WASHER EA 3 71
1/4-20 X3/4 IN. LG.
70-1319-4 (30554)
61-251281-00-0242B0542B (78189)
130 36 XBOZZ XB XBOGG XBFZZ BRACKET, ELECTRIC EA 1 1
WINTERIZATION PUMP
70-1433 (30554)
70-1433 (93742)
130 37 PBOFF PBOFF PBOGG PBOFF 4320-00-292-2575 PUMP UNIT, CENTRIFUGAL EA 1 2
P400F (64560)
130 38 XDOZZ XB XBOGG PAOZZ ELBOW, PIPE TO TUBE EA 1 2
B-VTXB (30780)
130 39 PAOZZ PAOZZ XBOGG PAOZZ 5305-00-225-8507 SCREW, CAP, HEX HEAD EA 4 4
MS90725-43 (96906)
130 40 PAOZZ PAOZZ PAOGG PAOZZ 5310-00-889-2527 WASHER, LOCK, 5/16 IN. EA 4 5
MS45904-72 (96906)
130 41 PAOZZ PAOZZ XBOGG PAFZZ 5310-00-880-7744 NUT, PLAIN, HEX EA 4 12
MS51967-5 (96906)
130 42 XBOZZ XB XBOGG XBFZZ BRACKET, SADDLE EA 2 2
MS158-1 (72741)
130 43 PAOZZ PAOZZ XBOGG PAOZZ 4820-00-934-7877 VALVE, AIR PRESSURE EA 1 2
70-1498 (30554)
16005026 (43990)
130 44 XDOZZ XB XBOGG PAOZZ BUSHING, SLEEVE EA 1 1
70-1494-6 (30554)
130 45 PAOZZ PAOZZ PAOGG PAOZZ 4730-00-899-4758 ADAPTER, STRAIGHT EA 2 2
8-8FBTXB (30780)
130 46 PAOZZ PAOZZ XBOGG PAOZZ 4730-00-294-1512 TEE. PIPE EA 2 3
70-1489 (30554)
1-2MR08 (30780)
130 47 PAOZZ PAOZZ XBOGG PAOZZ 4730-01-019-4018 BUSHING, PIPE EA 2 2
70-1492 (30554)
130 48 PAOZZ PAOZZ PAOZZ PAOZZ 4540-00-282-8181 HEATING ELEMENT, ELEC EA 2 2
31517502 (59326)
375

(3)
USMC
(5)
DESCRIPTION USABLE
MFR ON
REF NUMBER CODE CODE
(8)
USMC
QTY
PER
EQUIP
(7)
QTY
INC
IN
UNIT
(6)
U/M
a
SSI
(2)
SMR CODE
(1)
ILLUSTRATION
d
USMC
c
NAVY
b
AIR
FORCE
a
ARMY
(a)
FIG
NO.
(b)
ITEM
NO.
(4)
NATIONAL
STOCK
NUMBER
b
REPL
FACTOR
TM 9-6115-545-24P
TO 35C2-3-444-4
NAVFAC P-8-626-24P
SL-400038G/07499A
130 49 PAOZZ PAOZZ PAGZZ PAFZZ 5930-01-043-6966 SWITCH. THERMOSTATIC EA 1 1
5100-11-198 (28340)
130 50 PAOZZ PAOZZ XBOGG PAOZZ 4730-00-278-3988 TEE, PIPE EA 2 2
AN917-10 (88044)
130 51 XBOZZ XB XBOGG XBFZZ PIPE. ELECT. WINT EA 1 1
70-1416 (30554)
70-1416 (93742)
130 52 PAOZZ PAOZZ XBOGG PAOZZ 4730-00-011-3176 PLUG, PIPE EA 1 2
1-2SHPB (30780)
130 53 PAOZZ PAOZZ XBOGG PAOZZ 4730-00-595-3108 NIPPLE, PIPE EA 2 5
S1990 (50019)
130 54 PAOZZ PAOZZ XBOGG PAOZZ 4820-00-136-1085 COCK, PLUG EA 2 5
69659 (30554)
5040030 (44940)
376

TM 9-6115-545-24P
TO 35C2-3-444-4
NAVFAC P-8-626-24P
SL-400038G/07499A
Figure 131. Wiring Harness, Winterization Kit, Electric.
377

(3)
USMC
(5)
DESCRIPTION USABLE
MFR ON
REF NUMBER CODE CODE
(8)
USMC
QTY
PER
EQUIP
(7)
QTY
INC
IN
UNIT
(6)
U/M
a
SSI
(2)
SMR CODE
(1)
ILLUSTRATION
d
USMC
c
NAVY
b
AIR
FORCE
a
ARMY
(a)
FIG
NO.
(b)
ITEM
NO.
(4)
NATIONAL
STOCK
NUMBER
b
REPL
FACTOR
TM 9-6115-545-24P
TO 35C2-3-444-4
NAVFAC P-8-626-24P
SL-400038G/07499A
131 MFOZZ AFF AFFZZ AFFZZ WIRING HARNESS. WINTERIZATION EA 1 1
KIT, ELECTRIC
70-1253
70-1253 (30554)
MANUFACTURE FROM: (93742)
131 1 PAHZZ PAFZZ PAOGG PAFZZ 5975-00-727-5153 STRAP, TIEDOWN. ELECTRICAL EA 60 1094
MS3367-4-9 (96906)
131 2 PAOZZ PAFZZ PAOGG PAFZZ 5975-00-074-2072 STRAP. TIEDOWN, ELECTRICAL EA 60 2557
MS3367-1-9 (96906)
131 3 PAOZZ PAFZZ PAOGG PAFZZ 5935-01-205-2840 TERMINAL, LUG EA 6 113
MS25036-153 (96906)
131 4 PAFZZ PAFZZ PAOGG PAFZZ 5935-00-879-0235 CONNECTOR, PLUG EA 1 1
MS3106R28-9D (96906)
131 5 PAFZZ PAFZZ PAOGG PAFZZ 5935-00-509-6194 CONNECTOR, PLUG EA 1 5
MS3106R10SL4SC (96906)
131 6 PAFZZ PAFZZ PAOGG PAFZZ 5935-00-565-9503 PLUG, END SEAL EA 5 12
MS25251-12 (96906)
131 7 PAFZZ PAFZZ PAOGG PAFZZ 5340-00-823-5322 PLUG, END SEAL EA 2 75
MS25251-16 (96906)
131 8 PAFZZ PAFZZ PAOGG PAFZZ INSULATION, SLEEVING FT 2V
M23053/12 (81349)
131 9 PAOZZ PAFZZ PAOGG PAFZZ 6145-00-578-7514 WIRE. ELECTRICAL 160 IN FT 13 225
M5086/2-12-9 (81349)
378

TM 9-6115-545-24P
TO 35C2-3-444-4
NAVFAC P-8-626-24P
SL-400038G/07499A
Figure 132. Electric Heater Control Box.
379

(3)
USMC
(5)
DESCRIPTION USABLE
MFR ON
REF NUMBER CODE CODE
(8)
USMC
QTY
PER
EQUIP
(7)
QTY
INC
IN
UNIT
(6)
U/M
a
SSI
(2)
SMR CODE
(1)
ILLUSTRATION
d
USMC
c
NAVY
b
AIR
FORCE
a
ARMY
(a)
FIG
NO.
(b)
ITEM
NO.
(4)
NATIONAL
STOCK
NUMBER
b
REPL
FACTOR
TM 9-6115-545-24P
TO 35C2-3-444-4
NAVFAC P-8-626-24P
SL-400038G/07499A
132 XBOFF XB XBOGG XBFZZ CONTROL BOY ELECTRIC HEATER EA 1 2
70-1232 (30S54)
70-1232 (93742)
132 1 PAFZZ PAOZZ XBOGG PAFZZ 5305-00-036-3122 SCREW. ASSEMBLED WASHER EA 9 25
8-32 X7/16 IN. LO
69-662-34 (30554)
132 2 XBFZZ MFO XBOGG XBFZZ COVER, CONTROL BOX EA 1 1
70-1231 (30554)
70-1231 (93742)
132 3 PAFZZ PAOZZ XBGZZ PAFZZ 5305-00-036-6972 SCREW. ASSEMBLED WASHER EA 6 30
6-32 X 1/2 IN LG
69662-20 (30554)
P15121-20 (45722)
132 4 PAFZZ PAOZZ XBOGG PAFZZ 5310-00-063-7360 NUT. PLAIN. ASSEMBLED 6-32 EA 16 99
69-561-2 (30554)
511-061800-00 (78189)
132 5 PAFZZ PAOZZ XBOGG PAFZZ 5305-00-038-3089 SCREW, ASSEMBLED WASHER EA 4 42
4-40 X 3/8 IN LG
69-662-3 (30!i54)
132 6 PAFZZ PAOZZ XBOGG PAFZZ 5310-00-836-3520 NUT. PLAIN, ASSEMBLED 4-40 EA 4 76
69-561-1 (30554)
511-040800-00 (78189)
132 7 PAFZZ PAOOO PAOZZ PAFZZ 6210-00-686-4999 LIGHT. INDICATOR EA 1 3
MS25331-2 (96906)
132 8 XAFZZ XB XBOGG PAOZZ LENS. LIGHT EA 1 3
8040331-500 (72619)
132 9 PAOZZ PAOZZ PAOZZ PAOZZ 6240-00-155-8714 LAMP. INCANDESCENT EA 2 7
MS25231-313 (96906)
132 10 PAFZZ PAOOO PAOZZ PAFZZ 6625-01-108-2600 LIGHT. TEST EA 1 3
MS25331-4 (96906)
132 11 XAFZZ XB XBOGG PAOZZ LENS. LIGHT EA 1 2
8040333-500 (72619)
132 12 PAOZZ PAOZZ PAOZZ PAOZZ 6240-00-155-8714 LAMP, INCANDESCENT EA 1 7
MS25231-313 (96906)
132 13 PAFZZ PAOZZ PAOZZ PAFZZ 5925-00-682-4015 CIRCUIT BREAKER EA 1 1
MS25244-20 (96906)
132 14 PAFZZ PAOZZ PAOZZ PAOZZ 5920-00-474-6125 FUSE. CARTRIDGE1-1/4X114 EA 1 1
GLASS. 2 AMP
F02A250V2AS (811349)
132 15 PAFZZ PAOZZ XBOGG PAFZZ 5920-00-875-4100 FUSE HOLDER EA 1 2
FHN26G2 (81349)
132 16 PAFZZ PAOZZ PAGZZ PAFZZ 5930-00-601-6342 SWITCH. TOGGLE EA 1 1
70-1614 (30554)
7660K13 (27191)
132 17 PAFZZ PAOZZ XBOGG PAFZZ SCREW. ASSEMBLED WASHER EA 4 4
1/4-20 X 3/8 IN. LG
69-62-76 (30554)
132 18 XBFZZ MFOBZ XBOGG XBFZZ PANEL, FRONT. CONTROL BOX EA 1 1
70-1229 (30554)
70-1229 (93742)
132 19 PAFZZ PAOZZ PAGZZ PAFZZ 5310-00-596-7691 WASHER. LOCK EA 4 4
MS35335-32 (96906)
132 20 PAFZZ PAOZZ PAGZ PAFZZ 5310-00-934-9751 NUT, PLAIN. HEX EA 4 10
MS35650-302 (96906)
132 21 PAFZZ PAOZZ PAOGG PAFZZ 5961-00-724-5970 SEMICONDUCTOR CONTROL EA 2 2
RECTIFIER
JAN1N1204A (81349)
132 22 PAFZZ PAOZZ PAGZZ PAFZZ 5961-00-998-9317 SEMICONDUCTOR CONTROL EA 2 2
RECTIFIER
JAN1N204RA (81349)
132 23 PAFZZ PAOZZ XBGZZ PAFZZ 5305-00-036-6968 SCREW. ASSEMBLED WASHER EA 6 39
6-32 X3/8 IN. LG
69662-18 (30554)
380

(3)
USMC
(5)
DESCRIPTION USABLE
MFR ON
REF NUMBER CODE CODE
(8)
USMC
QTY
PER
EQUIP
(7)
QTY
INC
IN
UNIT
(6)
U/M
a
SSI
(2)
SMR CODE
(1)
ILLUSTRATION
d
USMC
c
NAVY
b
AIR
FORCE
a
ARMY
(a)
FIG
NO.
(b)
ITEM
NO.
(4)
NATIONAL
STOCK
NUMBER
b
REPL
FACTOR
TM 9-6115-545-24P
TO 35C2-3-444-4
NAVFAC P-8-626-24P
SL-400038G/07499A
132 24 PAFZZ PAOZZ PAOGG PAFZZ 5305-00-036-6976 SCREW. ASSEMBLED WASHER EA 4 4
6-32 X 5/8 IN. LG
69662-21 (30554)
132 25 PAFZZ PAOZZ XBOGG XBFZZ 5970-00-311-5924 INSULATOR, BUSHING EA 8 8
2642-24850N140 (06540)
132 26 PAFZZ PAOZZ XBOGG XBFZZ 5310-00-883-9384 WASHER. FLAT EA 4 4
MS15795-842 (96906)
132 27 PAFZZ PAOZZ PAOGG PAFZZ 5310-00-082-1404 WASHER. FLAT EA 6 27
MS27183-6 (96906)
132 28 XBFZZ XB XBOGG XBFZZ HEATSINK EA 1 1
70-1282 (30554)
70-1282 (93742)
132 29 XBFZZ XB XBOGG XBFZZ HEATSINK EA 1 1
12-1283 (93742)
132 30 PAFZZ PAOZZ XBOGG PAFZZ 5340-00-150-1658 CLAMP, LOOP EA 1 1
11176106-5 (17773)
132 31 PAFZZ PAOZZ PAOGG PAFZZ 5325-00-185-0012 GROMMET. NONMETALLIC EA 1 1
MS35489-35 (96906)
132 32 XBFZZ XB XBOGG XBFZZ BRACKET. HEATSINK EA 1 1
70-1284 (30554)
70-1284 (93742)
132 33 PAFZZ PAOZZ XBOGG XBFZZ 5970-00-311-5943 INSULATOR. BUSHING EA 2 2
2661-20385N152 (06540)
132 34 PAFZZ PAOZZ PAGZZ PAFZZ 5999-00-332-0010 CONTACT, ELECTRICAL EA 1 1
70-1286 (30554)
X1516 (14790)
132 35 XBFZZ XB XBOGG XBFZZ INSULATOR, RELAY EA 1 1
70-1466 (30554)
70-1466 (93742)
132 36 PAFZZ PAOZZ XBOZZ PAFZZ 5305-00-177-5778 SCREW. ASSEMBLED WASHER EA 4 20
10-24 X 7/16 IN LG
69662-49 (30554)
132 37 PAFZZ PAOZZ PAOGG PAFZZ 5310-00-094-3421 NUT. PLAIN ASSEMBLED 10-24 EA 4 52
69-561-4 (30554)
511-10180000 (78189)
132 38 XDFZZ XB PAGZZ PAFZZ TRANSFORMER, VOLTAGE EA 1 1
7002-0018 (93742)
132 39 XBFZZ XB XBOGG XBFZZ CHASSIS. CONTROL BOX EA 1 1
70-1230 (30554)
70-1230 (93742)
381/(382 blank)

TM 9-6115-545-24P
TO 35C2-3-444-4
NAVFAC P-8-626-24P
SL-400038G/07499A
Figure 133. Wire Harness Assembly.
383

(3)
USMC
(5)
DESCRIPTION USABLE
MFR ON
REF NUMBER CODE CODE
(8)
USMC
QTY
PER
EQUIP
(7)
QTY
INC
IN
UNIT
(6)
U/M
a
SSI
(2)
SMR CODE
(1)
ILLUSTRATION
d
USMC
c
NAVY
b
AIR
FORCE
a
ARMY
(a)
FIG
NO.
(b)
ITEM
NO.
(4)
NATIONAL
STOCK
NUMBER
b
REPL
FACTOR
TM 9-6115-545-24P
TO 35C2-3-444-4
NAVFAC P-8-626-24P
SL-400038G/07499A
133 AFFZZ AFF AFFZZ AFFZZ WIRE HARNESS ASSY EA 1 1
70-1233 (30554)
70-1233 (93742)
MANUFACTURE FROM:
133 1 PAFZZ PAFZZ PAFZZ PAFZZ 5975-00-074-2072 STRAP. TIEDOWN EA 113 2557
MS3367-1-9 (96906)
133 2 PAFZZ PAFZZ PAFZZ PAFZZ 5975-00-727-5153 STRAP. TIEDOWN EA 20 1094
MS3367-49 (96906)
133 3 PAFZZ PAFZZ PAFZZ PAFZZ 5940-00-143-4775 TERMINAL, LUG EA 1 7
MS25036-156 (96906)
133 4 PAFZZ PAFZZ PAFZZ PAFZZ 5940-00-143-4774 TERMINAL, LUG EA 6 113
MS25036-153 (96906)
133 5 PAFZZ PAFZ PAFZZ PAFZZ 5940-00-283-5280 TERMINAL. LUG EA 18 549
MS25036-106 (96906)
133 6 PAFZZ PAFZZ PAFZZ PAFZZ 5940-00-204-8990 TERMINAL, LUG EA 1 2
MS25036-111 (96906)
133 7 PAFZZ PAFZZ PAFZZ PAFZZ 5935-00-806-4588 CONNECTOR. RECEPTACLE EA 1 1
MS3102R16-10P (96906)
133 8 PAFZZ PAFZZ PAFZZ PAFZZ 5935-01-180-3999 CONNECTOR, RECEPTACLE EA 1 1
MS3102R28-9S (96906)
133 9 PAFZZ PAFZZ PAFZZ PAFZZ 5970-00-954-1622 INSULATION, SLEEVING 0 1871D, FT 3 13
BLK
M2305315-105-0 (81349)
133 10 PAFZZ PAFZZ PAFZZ PAFZZ 5970-00-812-2969 INSULATION, SLEEVING 0.1251D, FT 3 18
BLK
M23053/5-104-0 (81349)
133 11 PAFZZ PAFZZ PAFZZ PAFZZ 6145-00-578-7514 WIRE, ELECTRICAL46IN FT 4 255
M50862-12-9 (81349)
133 12 PAFZZ PAFZZ PAFZZ PAFZZ 6145-00-578-6605 WIRE, ELECTRICAL 339 IN. FT 30 1010
M508612-16-9 (81349)
384

TM 9-6115-545-24P
TO 35C2-3-444-4
NAVFAC P-8-626-24P
SL-400038G/07499A
Figure 134. Electric Winterization Pump Motor Assembly.
385

(3)
USMC
(5)
DESCRIPTION USABLE
MFR ON
REF NUMBER CODE CODE
(8)
USMC
QTY
PER
EQUIP
(7)
QTY
INC
IN
UNIT
(6)
U/M
a
SSI
(2)
SMR CODE
(1)
ILLUSTRATION
d
USMC
c
NAVY
b
AIR
FORCE
a
ARMY
(a)
FIG
NO.
(b)
ITEM
NO.
(4)
NATIONAL
STOCK
NUMBER
b
REPL
FACTOR
TM 9-6115-545-24P
TO 35C2-3-444-4
NAVFAC P-8-626-24P
SL-400038G/07499A
134 PBOFF PBOFF PBOGG PBOFF 4320-00-029-2575 PUMP-MOTORASSY ELEC EA 1 2
WNTERIZATION
P400F (92270)
134 1 PAFZZ PAFZZ XBOZZ XBFZZ 5305-40-983-6656 SCREW, CAP, SOCKET EA 4 4
M516998-35 (96906)
134 2 PAFFF PAFFF XAOZZ XAFZZ 4320-00-217-5827 PUMP, ROTARY EA 1 1
B2894 (46522)
134 3 PAFZZ PAFZZ XBOZZ PAFZZ 4730-01-103-4249 PLUG, RELIEF VALVE EA 1 1
8652 (92270)
134 4 PAFZZ PAFBZ XAOZZ XBFZZ 5360-00-255-4410 SPRING, HELICAL EA 1 1
P403 (92270)
134 5 PAFZZ PAFZZ PAOZZ PAFZZ 3110-00-198-1050 BALL, BEARING EA 1 1
MS190604814 (96906)
134 6 XCFZZ XC XCOZZ MDOZZ NAMEPLATE EA 1 1
8995 (64560)
134 7 XCFZL XC XCOZZ MDOZZ DECAL, ASSY DATE EA 1 1
P302 (64560)
134 8 PAFZ PAFZZ XBOZZ PBFZZ 4320-01-181-1811 PORT PLATE EA 1 1
P393 (64560)
134 9 PAFZZ PAFZZ PAOZZ PAFZZ 5330-01-091-3337 PACKING. PREFORMED EA 2 2
P408 (92270)
134 10 PAFZZ PAFZZ XBOZZ PAFZZ 5305-01-124-0483 SETSCREW EA 1 1
P397 (92270)
134 11 PAFZZ PAFZZ XBOZZ XBFZZ 2930-00-167-0443 BLADE. ROTOR, WATER EA 4 4
P395 (92270)
134 12 PAFZZ PBFZZ PBOZZ PBFZZ 4320-41-091-4068 ROTOR EA 1 1
P394 (64560)
134 13 PAFZZ PAFZZ PAOZZ PAFZZ 2930-00-167-0444 RING, WEARING EA 1 1
P392 (92270)
134 14 PAFZZ PAFZZ PAOZZ PAFZZ 2930-00-167-0442 ADAPTER EA 1 1
P391 (92270)
134 15 PAFZZ PAFZZ PAOZZ PAFZZ 5330-00-230-9806 SEAL. CAGE EA 1 1
P406 (92270)
134 16 PAFZZ PAFZZ PAOZZ PAFZZ 5330-00-245-4070 PACKING. PREFORMED EA 1 1
P399 (92270)
134 17 PAFZZ PAFZZ PAOZZ PAFZZ 5310-00-237-7457 WASHER, FLAT EA 1 1
P405 (92270)
134 18 PAFZZ PAFZZ PAOZZ PAFZZ 5360-00-255-4408 SPRING, HELICAL EA 1 1
P404 (92270)
134 19 PAFZZ PAFZZ PBOZZ PBFZZ 6105-00-229-6846 MOTOR ASSY EA 1 1
P196NB (92270)
134 20 PAOZZ PAFZZ PAOZZ PAFZZ 5975-00-031-2249 CAP EA 2 2
1100 (62119)
134 21 PAOZZ PAFZZ PAOZZ PAFZZ 5977-00-951-5446 BRUSH SET. ELECTRICAL EA 2 2
25T57-1-1 (62119)
134 22 PAFZZ PAFZZ PAOZZ PAFZZ 5305-01-124-6450 SCREW, MACHINE 6-32 X 1/4 IN. EA 4 4
LG
P415 (64560)
134 23 PAOZZ PAFZZ PAOZZ PAFZZ 5935-01-092-2905 CONNECTOR, RECEPTACLE EA 1 1
MS3452W10SL-4P (96906)
386

TM 9-6115-545-24P
TO 35C2-3-444-4
NAVFAC P-8-626-24P
SL-400038G/07499A
Figure 135. Wheel Mounting Kit.
387

(3)
USMC
(5)
DESCRIPTION USABLE
MFR ON
REF NUMBER CODE CODE
(8)
USMC
QTY
PER
EQUIP
(7)
QTY
INC
IN
UNIT
(6)
U/M
a
SSI
(2)
SMR CODE
(1)
ILLUSTRATION
d
USMC
c
NAVY
b
AIR
FORCE
a
ARMY
(a)
FIG
NO.
(b)
ITEM
NO.
(4)
NATIONAL
STOCK
NUMBER
b
REPL
FACTOR
TM 9-6115-545-24P
TO 35C2-3-444-4
NAVFAC P-8-626-24P
SL-400038G/07499A
GROUP 27 - WHEEL MOUNTING KIT
135 PBFFF PAFFF PBGGG PBFFF 2530-00-782-7582 WHEEL MOUNTING KIT EA 1 1
70-1256 (30554)
70-1256 (93742)
135 1 PAFZZ PAFZZ XBGZZ PAFZZ 5305-00-268-2111 SCREW. CAP HEAD 3/8-16 X 1-3/8 EA 6 6
IN. LG
B1821BH038C138N (80204)
135 2 PAFZZ PAOZZ XBGZZ PAFZZ 5310-00-637-9541 WASHER, LOCK 3/8 IN. EA 12 155
MS35338-46 (98906)
135 3 PAFZZ PAOZ XBGZZ PAOZZ 5310-00-732-0556 NUT, PLAIN, HEX 3/8-16 EA 12 47
MS51667-86 (96906)
135 4 PAFZZ PAOZZ XBGZZ PAOZZ 5305-00-725-2317 SCREW, CAP, HEXHEAD 3/8-16 X EA 4 10
1/2 IN. LG
MS90725-64 (96906)
B1821BH038C150N (80204)
135 5 PAFZZ PAOZZ XBGZZ PAOZZ 5310-00-438-9854 WASHER, BEVELED EA 4 10
70-1531-1 (30554)
135 6 PAFZZ PAOZZ XBGZZ PAOZZ 5305-00-269-3217 SCREW, CAP, HEXHEAD 3/816 X EA 2 6
2 IN. L(3
MS9072567 (96906)
135 7 XBFZZ MFO XBGZZ XBFZZ SUPPORT, HANDBRAKE EA 1 1
70-1258 (30554)
70-1258 (93742)
135 8 XBFZZ MFO XBGZZ XBFZZ BRACKET, BRAKE EA 1 1
70-1260 (30554)
70-1260 (93742)
135 9 PAOZZ PAOZZ PAGZZ PAOZZ 4730-00-172-0034 FITTING, LUBRICATION EA 1 10
MS15003-6 (96906)
135 10 PAFZZ PAOZZ XBGZZ PAFZZ 5305-00-071-2070 SCREW, HEX HEAD 1Q2-13 X 1-3/4 EA 8 8
IN. LG
MS90725-114 (96906)
B1821BH050C175N (80204)
135 11 PAFZZ PAFZZ XBGZ PAOZZ 5310-00-399-0995 WASHER, BEVELED. 1/2 EA 8 12
70-1531-2 (30554)
38305 (96406)
135 12 PAFZZ PAFZZ XBGZZ PAOZZ 5310-00-584-5272 WASHER. LOCK. 112 EA 8 43
MS3533848 (96906)
135 13 PAFZZ PAFZZ PAGZZ PAOZZ 5310-00-768-0318 NUT, PLAIN, HEX, 11-13 EA 8 40
MS51967-14 (96906)
135 14 XAFZZ XA XAGZZ XAFZZ RUNNING GEAR ASSY EA 1 2
110-7320 (22938)
388

TM 9-6115-545-24P
TO 35C2-3-444-4
NAVFAC P-8-626-24P
SL-400038G/07499A
Figure 136. Running Gear Assembly.
389

(3)
USMC
(5)
DESCRIPTION USABLE
MFR ON
REF NUMBER CODE CODE
(8)
USMC
QTY
PER
EQUIP
(7)
QTY
INC
IN
UNIT
(6)
U/M
a
SSI
(2)
SMR CODE
(1)
ILLUSTRATION
d
USMC
c
NAVY
b
AIR
FORCE
a
ARMY
(a)
FIG
NO.
(b)
ITEM
NO.
(4)
NATIONAL
STOCK
NUMBER
b
REPL
FACTOR
TM 9-6115-545-24P
TO 35C2-3-444-4
NAVFAC P-8-626-24P
SL-400038G/07499A
EA 1 2
136 1 PAOZZ PAOZZ XBOZZ PAOZZ 2530-00-528-7224 WHEEL ASSY. PNEUMATIC TIRE EA 4 4
MS243251 (96906)
136 2 PAOZZ PAOZZ XBOZZ XBFZZ 5310-00-732-0560 NUT, PLAIN, HEX 1/2-20 NF EA 20 30
MS51968-14 (96906)
136 3 PAOZZ PAOZZ XBOZZ PAFZZ 5310-00-637-9541 WASHER, LOCK EA 20 155
MS3533846 (9906)
136 4 PAOZZ PAOZZ PAOZZ PAFZZ 5305-00-269-3234 SCREW, CAP, HEX HEAD EA 8 8
MS90726-58 (96906)
136 5 PAOZZ PAOZZ XBOZZ PAFZZ 5310-00-637-9541 WASHER. LOCK EA 8 155
MS35338-46 (96906)
136 6 PAOZZ PAOZZ XBOZZ PAFZZ 5310-00-975-2075 NUT. PLAIN, HEX EA 8 8
MS35691-21 (96906)
136 7 XAOZZ XA XAOZZ XAFZZ DISC, WHEEL EA 1 1
1590-1 (22938)
136 8 XAOZZ XA XAOZZ XAFZZ DISC, WHEEL EA 1 1
1590-2 (22938)
136 9 PAOZZ PAOOO PAOZZ PAOZZ 2610-00-089-5997 INNER TUBE. PNEUMATIC TIRE, EA 4 4
NO. 6.00 X9
FED STD 308 (96906)
600X9 (73808)
136 10 PAOZZ PAOZZ PAOZ PAOZ 2610-00-050-9840 TIRE, PNEUMATIC NO. 6.00 X 9. 6 EA 4 4
PLY
MS35389-6 (96906)
GP1/TYA/6.00/6.90-9/C/PLR8 (81348)
136 11 PAOZZ PAOZZ XBOZZ PAFZZ 5315-00-842-3044 PIN. COTTER EA 1 2
M524665-283 (96906)
136 12 PAOZZ PAOZZ XBOZZ PAFZZ 5315-00-957-2649 PIN. STRAIGHT EA 1 2
M520392-5C33 (96906)
136 13 PAOZZ PAOZZ XBOZZ PAFZZ 5310-00-269-6302 NUT, HEX EA 1 2
NT1138 (24956)
136 14 PAOZZ PAOZZ XBOZZ PAFZZ 5340-00-308-6129 CLEVIS. ROD END EA 2 3
33 X 103 (22938)
136 15 XBOZZ MFF XBOZZ XBFZZ BRAKE. ROD EA 2 2
7046-102 [22938)
136 16 XBFZZ XB XBOZZ XBFZZ HANDBRAKE LEVER AND SHAFT EA 2 3
ASSY
4-7053 (22938)
136 17 XBOZZ XB XBOZZ XBFZZ PIN, COTTER EA 1 1
9-207 (22938)
136 18 PAOZZ PAOZZ XBOZZ PAFZZ 5315-00-806-9711 PIN, STRAIGHT. HEADED EA 1 1
14-01 (22938)
31608CA (22938)
136 19 PAOZZ PAOZZ XBOZZ PAFZZ 2540-00-756-8375 DRAWBAR ASSY EA 1 1
133502 0W357
136 20 XBFZZ MFF XBOZZ XBFZZ CLAMP, AXLE, FRONT EA 2 2
2-1112 (22938)
136 21 XBFZZ MFF XBOZZ XBFZZ CLAMP, AXLE. REAR PA 2 2
3-1112 (22938)
136 22 XBFZZ AFF AFOZZ AFFZZ AXLE ASSY, FRONT UNIT EA 1 1
18-4268 (22938)
136 23 XBFZZ AFF AFOZZ XBFZZ AXLE ASSY. REAR UNIT EA 1 1
85758 (22938)
390

TM 9-6115-545-24P
TO 35C2-3-444-4
NAVFAC P-8-626-24P
SL-400038G/07499A
Figure 137. Handbrake Lever and Shaft Assembly.
391

(3)
USMC
(5)
DESCRIPTION USABLE
MFR ON
REF NUMBER CODE CODE
(8)
USMC
QTY
PER
EQUIP
(7)
QTY
INC
IN
UNIT
(6)
U/M
a
SSI
(2)
SMR CODE
(1)
ILLUSTRATION
d
USMC
c
NAVY
b
AIR
FORCE
a
ARMY
(a)
FIG
NO.
(b)
ITEM
NO.
(4)
NATIONAL
STOCK
NUMBER
b
REPL
FACTOR
TM 9-6115-545-24P
TO 35C2-3-444-4
NAVFAC P-8-626-24P
SL-400038G/07499A
137 XBFZZ XB XBOZ XBFZZ HANDBRAKE LEVER AND SHAFT EA 1 1
ASSY
4-7053 (22938)
137 1 PAOZZ XB XBOZZ XBFZZ 5315-00-842-3044 PIN. COTTER EA 1 2
MS24665-283 (96906)
137 2 PAOZZ XB XBOZZ XBFZZ 5315-00-357-2649 PIN, STRAIGHT. HEADLESS EA 1 2
MS20392-5C33 (96906)
137 3 PAOZZ XB XBOZ XBFZZ 5310-00-269-3602 NUT, PLAIN, HEX EA 1 2
NT1138 (24956)
137 4 PAOZZ XB XBOZZ XBFZZ 5340-00-308-6129 CLEVIS, ROD END EA 1 3
33 X 103 (22938)
137 5 PAOZZ XB XBOZa XBFZZ 5315-00-468-1635 PIN. STRAIGHT. HEADLESS EA 3 3
27 X 465C (22938)
137 6 PBOZZ XB XBOZZ XBFZZ 2530-00-871-6901 LEVER EA 2 2
7047-3 (22938)
137 7 PBOZZ XB XBOZZ XBFZZ 2530-00-311-2114 HAND LEVER AND BRACKETASSY EA 1 2
090704 (22938)
137 8 XDOZZ XB XBOZZ XBFZZ BEARING, SLEEVE EA 1 1
7047-5 (62589)
137 9 XBOZZ XB XBOZZ XBFZZ SHAFT EA I1
52-7047 (22938)
392

TM 9-6115-545-24P
TO 35C2-3-444-4
NAVFAC P-8-626-24P
SL-400038G/07499A
Figure 138. Hand Lever and Bracket Assembly.
393

(3)
USMC
(5)
DESCRIPTION USABLE
MFR ON
REF NUMBER CODE CODE
(8)
USMC
QTY
PER
EQUIP
(7)
QTY
INC
IN
UNIT
(6)
U/M
a
SSI
(2)
SMR CODE
(1)
ILLUSTRATION
d
USMC
c
NAVY
b
AIR
FORCE
a
ARMY
(a)
FIG
NO.
(b)
ITEM
NO.
(4)
NATIONAL
STOCK
NUMBER
b
REPL
FACTOR
TM 9-6115-545-24P
TO 35C2-3-444-4
NAVFAC P-8-626-24P
SL-400038G/07499A
138 XBOZZ XB XBOZZ XBFZZ HAND LEVER AND BRACKET ASSY EA 1 2
090704 (62589)
138 1 XBOZZ XA XBOZZ XBFZZ HAND LEVER SUBASSY EA 1 1
7070-20 (22938)
138 2 PAOZZ PAFZZ PAOZZ PAOZZ 5305-00-989-1861 SCREW. LATCH EA 2 2
7070-4 (22938)
138 3 PAOZZ PAFZZ PAOZZ PAOZZ 5310-00-989-3184 NUT, PLAIN, HEX EA 2 2
7070-5 (22938)
138 4 PBOZZ PAOZ PBOZZ PBFZZ 3040-01-116-5906 GRIP, LATCH EA 1 1
5914-5 (22938)
138 5 PAOZZ PAFZZ XBOZZ XBFZZ 5360-00-988-9511 SPRING, HELICAL COMPRESSION EA 1 1
7070-3 (22938)
138 6 PAOZZ PAFZZPAOZZ PAOZZ 531500-839-5820 PIN, COTTER EA 1 1
MS24665-134 (96906)
138 7 PAOZZ PAFZZ PAOZZ PAOZZ 2530-00-981-2506 ROD. PAWL EA 1 1
5914-18 (22938)
138 8 PAOZZ PAFZZ PAOZZ PAOZZ 5340-00-279-9112 ROD, END EA 1 1
7070-6 (22938)
138 9 PAOZZ PAFZZ PAOZZ PAOZZ 5306-00-225-9089 SCREW. PAWL EA 1 1
MS90726-34 (96906)
138 10 PAOZZ PAFZZ PAOZZ PAOZZ 5310-00-989-3185 NUT. PLAIN, HEX EA 1 1
7070-9 (22938)
138 11 PAOZZ PAFZZ PAOZZ PAOZZ 3040-00-971-4759 PAWL EA I1
7070-7 (22938)
138 12 PAOZZ PAFZZ XBOZZ XBFZZ 2530-01-116-5905 LEVER, HAND EA 1 1
7070-1 (22938)
138 13 PBOZZ PBFZZ PBOZZ PBOZZ 3040-01-116-5906 BRACKET SUBASSY HAND BRAKE EA 1 1
5914-5 (22938)
138 14 PAOZZ PAFZZ PAOZZ PAOZZ 5305-00-068-0511 SCREW. LATCH EA 2 3
MS9072562 (96906)
138 15 PAOZZ PAFZZ PAOZZ PAOZZ 5310-00-639-5075 WASHER, LOCK EA 2 2
20-500-8 (83298)
138 16 PAOZZ PAFZZ PAOZZ PAOZZ 2530-00-971-4760 RATCHET EA 1 1
5914-13 (22938)
138 17 XAOZZ XA XAOZZ XAFZZ BRACKET, HAND BRAKE EA 1 1
7070-13 (22938)
394

TM 9-6115-545-24P
TO 35C2-3-444-4
NAVFAC P-8-626-24P
SL-400038G/07499A
Figure 139. Rear Unit Axle Assembly.
395

(3)
USMC
(5)
DESCRIPTION USABLE
MFR ON
REF NUMBER CODE CODE
(8)
USMC
QTY
PER
EQUIP
(7)
QTY
INC
IN
UNIT
(6)
U/M
a
SSI
(2)
SMR CODE
(1)
ILLUSTRATION
d
USMC
c
NAVY
b
AIR
FORCE
a
ARMY
(a)
FIG
NO.
(b)
ITEM
NO.
(4)
NATIONAL
STOCK
NUMBER
b
REPL
FACTOR
TM 9-6115-545-24P
TO 35C2-3-444-4
NAVFAC P-8-626-24P
SL-400038G/07499A
139 XBOZZ AFF AFGZZ XBFZZ AXLE ASSY, REAR UNIT EA 1 2
8-5758 (22938)
139 1 PAOZZ PAOZZ PAGZZ PAFZZ 5315-00-296-1499 PIN. COTTER EA 1 7
MS24665360 (96906)
139 2 PAOZZ PAFZZ XBGZZ PAFZZ 5310-00-911-5467 NUT, HEXY SLOTTED EA 1 3
2-906 (22938)
139 3 PAOZZ PAFZZ XBGZZ PAFZZ 5310-00-911-5468 WASHER. FLAT EA 1 2
7-914 (22938)
139 4 XBOZZ XB XBGZZ PAFZZ HUB AND DRUM ASSY REAR UNIT EA 2 2
8-06 (22938)
139 5 PAOZZ PAFZZ PAGZZ PAFZZ 2530-00-589-8537 CAP. GREASE. WHEEL HUB EA 1 2
8364029 (19207)
139 6 PAOZZ PAFZZ XBGZZ PAFZZ 5310-00-732-0560 NUT. PLAIN, HEX REAR UNIT EA 5 30
MS51968-14 (96906)
139 7 PAOZZ PAOZZ XBGZZ PAFZZ 5310-00-584-5272 WASHER. LOCK. REAR UNIT EA 5 43
MS3533848 (96906)
139 8 XBOZZ XB XBGZZ XAFZZ HUB, REAR SUBASSY EA 1 1
9-606 (22938)
139 9 PAOZZ PAFZZ XBGZZ PAFZZ 5306-00-882-7811 STUD, REAR UNIT EA 5 5
6251-13 (22938)
139 10 XBOZZ XB XBGZZ XBFZZ BRAKE DRUM, REAR UNIT EA 1 1
11-8107 (22938)
139 11 PAOZZ PAFZZ PAGZZ PAFZZ 3110-00-100-0542 CUP, BEARING. INNER EA 1 2
AOS356 (55396)
139 12 PAOZZ PAFZZ PAGZZ PAFZZ 3110-00-198-2169 CUP, BEARING. OUTER EA 1 3
A3874 (96787)
139 13 PAOZZ PAOZZ XBGZZ PAFZZ 2530-00-893-0568 HUB EA 1 3
10-606 (22938)
139 14 PAOZZ PAFZZ PAFZZ PAFZZ 5330-00-631-6649 SEAL. PLAIN. ENCASED EA 1 2
6811 (22938)
139 15 PAOZZ PAFZZ PAGZZ PAFZZ CONE. BEARING. INNER EA 1 2
AP24780 (16004)
139 16 PAOZZ PAFZZ PAGZZ PAFZZ 3110-00-198-2169 CONE. BEARING, OUTER EA 1 3
17 X 136 (22938)
139 17 PAOZZ PAOZZ XBGZZ PAFZZ 5310-00-637-9541 WASHER, LOCK EA 4 155
MS35338-46 (96906)
139 18 PAOZZ PAFZZ XBGZZ PAFZZ 5310-00-732-0559 NUT. PLAIN, HEX EA 4 11
MS51968-8 (96906)
139 19 XBOZZ AFF XBGZZ PAFZZ BRAKE ASSY See Fig 128 EA 1 1
lor breakdown
6-8104 (22938)
139 20 XBFZZ XB XBGZZ XBFZZ BEAM, REAR AXLE EA 1 1
5508-8 (22938)
396

TM 9-6115-545-24P
TO 35C2-3-444-4
NAVFAC P626-24P
SL-400038G07499A
Figure 140. Brake Assembly.
397

(3)
USMC
(5)
DESCRIPTION USABLE
MFR ON
REF NUMBER CODE CODE
(8)
USMC
QTY
PER
EQUIP
(7)
QTY
INC
IN
UNIT
(6)
U/M
a
SSI
(2)
SMR CODE
(1)
ILLUSTRATION
d
USMC
c
NAVY
b
AIR
FORCE
a
ARMY
(a)
FIG
NO.
(b)
ITEM
NO.
(4)
NATIONAL
STOCK
NUMBER
b
REPL
FACTOR
TM 9-6115-545-24P
TO 35C2-3-444-4
NAVFAC P-8-626-24P
SL-400038G/07499A
140 1 XBOZZ AFF AFGZZ XBFZZ BRAKE ASSY EA 1 1
8-8104 (22938)
140 1 PAOZZ PAFZZ XBGZZ PAFZZ 5310-00-567-3687 CLIP, SPRING EA 1 1
1718F110 (78500)
140 2 PAOZZ PAFZZ XBGZZ PAFZZ 5360-00-494-7401 SPRING, HELICAL, EXTENSION EA 2 2
8104-10 (22938)
140 3 XDOZZ XB XBGZZ XBFZZ SHOE AND LINING ASSY EA 2 2
8104-11 (22938)
140 4 XBOZZ XB XBGZZ XBFZZ LEVER CONTROL EA 1 1
8104-2 (22938)
140 5 XBOZZ XB XBGZZ XBFZZ WEDGE ASSY EA 1 1
8104-13 (22938)
140 6 PAOZZ PAFZZ XBGZZ PAFZZ 5315-00-118-5131 PIN, ABUTMENT EA 2 2
8237 (22938)
140 7 XDOZZ XB XBGZZ XBFZZ COVER, DUST EA 2 2
8104-15 (22938)
140 8 PAOZZ PAOZZ XBGZZ PAFZZ 5305-00-772-6334 BOLT, ADJUSTMENT EA 2 2
32997 (22938)
140 9 XBOZZ XB XBGZZ XBFZZ LEVER EA 1 1
8104-17 (22938)
140 10 XBOZZ XB XBGZZ XBFZZ LEVER EA 1 1
8237-18 (22938)
140 11 XBOZZ XB XBGZZ XBFZZ PLATE, BACKING EA 1 1
8104-19 (22938)
140 12 PAOZZ PAOZZ XBGZZ PAFZZ 5305-00-269-2803 SCREW, SHOULDER 3/8-24 X EA 4 4
3/16 IN. LG
MS90726-60 (96906)
398

TM 9-6115-545-24P
TO 35C2-3-444-4
NAVFAC P-8-626-24P
SL400038G/07499A
Figure 141. Front Unit Axle Assembly.
399

(3)
USMC
(5)
DESCRIPTION USABLE
MFR ON
REF NUMBER CODE CODE
(8)
USMC
QTY
PER
EQUIP
(7)
QTY
INC
IN
UNIT
(6)
U/M
a
SSI
(2)
SMR CODE
(1)
ILLUSTRATION
d
USMC
c
NAVY
b
AIR
FORCE
a
ARMY
(a)
FIG
NO.
(b)
ITEM
NO.
(4)
NATIONAL
STOCK
NUMBER
b
REPL
FACTOR
TM 9-6115-545-24P
TO 35C2-3-444-4
NAVFAC P-8-626-24P
SL-400038G/07499A
141 XBFZZ XB AFGZZ XBFZZ AXLE, ASSY. FRONT UNIT EA 1 1
18-4268 (22938)
141 1 PAOZZ PAOZZ XBGZZ PAFZZ 531500-298-1499PIN. COTTER EA 2 7
MS24665360 (96906)
141 2 PAOZZ PAFZZ XBGZZ PAFZZ 5310-00-911-5467 NUT, HEX SLOTTED EA 2 3
2-906 (22938)
141 3 PAOZZ PAFZZ XBGZZ PAFZZ 5310-00-911-5468 WASHER, FLAT EA 2 2
7-914 (22938)
141 4 PAOZZ PAFZZ XBGZZ PAFZZ 2530-00-093-0568 HUB ASSY. FRONT UNIT EA 2 2
MS24328-1 (96906)
141 5 PAOZZ PAFZZ PAGZZ PAFZZ 2530-00-509-8537 CAP, GREASE WHEEL HUB EA 1 2
8364029 (19207)
141 6 PAOZZ PAFZZ XBGZZ PAFZZ 5310-00-732-0560 NUT. PLAIN. HEX EA 5 30
MS51968-14 (96906)
141 7 PAOZZ PAFZZ XBGZZ PAFZZ 5310-00-584-5272 WASHER. LOCK EA 5 43
MS35338-48 (96906)
141 8 PAOZZ PAFZZ PAGZZ PAFZZ 53300-631-6649 SEAL, PLAIN. ENCASED EA 1 2
6311 (22938)
141 9 PAOZZ PAFZZ PAGZZ PAFZZ 3110-00-100-3537 CONE, BEARING INNER EA 1 2
8057 (22938)
141 10 PAOZZ PAFZZ PAGZZ PAFZZ 3110-00-1982169 CONE, BEARING, OUTER EA 1 3
8058 (22938)
141 11 XBOZZ XB XBGZZ XAFZZ HUB SUBASSY EA 1 1
12606 (22938)
141 12 PAOZZ PAFZZ PAGZZ PAFZZ 3110-00-100-0542 CUP. BEARING. INNER EA 1 2
24720 (12603)
141 13 PAOZZ PAFZZ PAGZZ PAFZZ 3110-00-198-2170 CUP. BEARING. OUTER EA 1 1
A3876 (90598)
141 14 PAOZZ PAFZZ PAGZZ PAFZZ 5306-40-839-1373 STUD EA 5 5
15806 (22938)
141 15 PAOZZ XB XBGZZ PAFZZ 2530-40-893-0568 HUB EA 1 2
10-606 (22938)
141 16 XBFZZ XB XBGZZ XBFZZ AXLE ASSY. FRONT EA 1 1
18-4018 (22938)
141 17 PAOZZ PAOZZ XBGZZ PAFZZ 473040-172-0034 FITTING. LUBRICATION. FRONT EA 9 10
MS150036 (96906)
141 18 PAOZZ PAOZZ XBGZZ PAFZZ 531500-298-1499 PIN, COTTER EA 4 7
MS24665360 (96906)
141 19 XBOZZ XB XBGZZ PAFZZ NUT, HEX SLOTTED 9/16-18 EA 4 4
5 X 455 (22938)
141 20 XBOZZ XB XBGZZ PAFZZ TIE ROD ASSY. STEERING EA 2 2
16L465 (22938)
141 21 PAOZZ PAFZZ XBGZZ PAFZZ 53104-0-831-6597 NUT. HEX LH EA 1 1
3-907CA (22938)
141 22 PBOZZ PAFZZ XBGZZ PAFZZ 531000-881-1763 NUT, HEX RH EA 1 1
4-907 (22938)
141 23 PAOZZ XB PAGZZ PAFZZ 253041-090-6679 END. TIE ROD, FRONT LH EA 1 1
403-10 (22938)
141 24 PAOZZ PAFZZ PAGZZ PAFZZ 3040-01-091-5044 END. TIE ROD, FRONT RH EA 1 1
3951-1 (22938)
141 25 XBOZZ XB XBGZZ XBFZZ TIE ROD EA 2 2
16TU2010 (22938)
141 28 PAOZZ PAOZZ XBGZZ PAFZZ 531540-297-2444 PIN. COTTER, FRONT EA 1 1
MS24665-623 (96906)
141 27 PAOZZ PAOZZ XBGZZ PAFZZ 5310-00-850-9142 WASHER. FLAT. FRONT EA 1 1
403669 (08179)
141 28 XBOZZ XB XBGZZ XBFZZ PIN. CENTERED EA 1 1
19-800 (22938)
400

(3)
USMC
(5)
DESCRIPTION USABLE
MFR ON
REF NUMBER CODE CODE
(8)
USMC
QTY
PER
EQUIP
(7)
QTY
INC
IN
UNIT
(6)
U/M
a
SSI
(2)
SMR CODE
(1)
ILLUSTRATION
d
USMC
c
NAVY
b
AIR
FORCE
a
ARMY
(a)
FIG
NO.
(b)
ITEM
NO.
(4)
NATIONAL
STOCK
NUMBER
b
REPL
FACTOR
TM 9-6115-545-24P
TO 35C2-3-444-4
NAVFAC P-8-626-24P
SL-400038G/07499A
141 29 XBOZZ XB XBGZZ XBFZZ ARM ASSY, CENTER STEERING EA 1 1
FRONT
3-522 (22938)
141 30 XBOZZ XB XBGZZ XBFZZ PIN. SPRING. FRONT EA 2 2
MS9048-176 (22938)
141 31 PAOZZ PAOZZ XBGZZ PAFZZ 2530-00-759-1967 LATCH. CENTER STEERING EA 1 1
ARM. FRONT
9200 (22938)
141 32 PAOZZ PAFZZ XBGZZ PAFZZ 2530-00-947-3935 SPRING. HELICAL EA 1 1
COMPRESSION. FRONT
1-1983(22938)
141 33 XBOZZ XB XBGZZ XBFZZ ARM, STEERING, CENTER EA 1 1
FRONT
38544 (22938)
141 34 PAOZZ PAOZZ XBGZZ PAFZZ 2530-00-613-6061 KING. PIN, STEERING. EA 2 2
KNUCKLE FRONT
X-68 (22938)
141 35 PBOZZ PBOOO AFGZZ PAFZZ 2530-00-873-4384 SPINDLE, KNUCKLE ASSY EA 1 1
STEERING. FRONT
3-1205 (22938)
141 36 XAOZZ XB XBGZZ XAFZZ KNUCKLE EA 1 1
12052 (22938)
141 37 XAOZZ XA PAGZZ XAFZZ SPINDLE EA 1 1
6006-20(22938)
141 38 PBOZZ PAOZZ AFGZZ PAFZZ 2530-00-873-4385 SPINDLE, KNUCKLE ASSY EA 1 1
STEERING FRONT
4-X41 (22938)
141 39 XAOZZ XB XBGZZ XAFZZ KNUCKLE EA 1 1
12053 (22938)
141 40 XBFZZ XB XBGZZ XBFZZ BEAM. FRONT AXLE EA 1 1
4018-18(22938)
401/(402 blank)

TM 9-6115-545-24P
TO 35C2-3-444-4
NAVFAC P-8-626-24P
SL-400038G07499A
Figure 142. Load Bank Kit.
403

(3)
USMC
(5)
DESCRIPTION USABLE
MFR ON
REF NUMBER CODE CODE
(8)
USMC
QTY
PER
EQUIP
(7)
QTY
INC
IN
UNIT
(6)
U/M
a
SSI
(2)
SMR CODE
(1)
ILLUSTRATION
d
USMC
c
NAVY
b
AIR
FORCE
a
ARMY
(a)
FIG
NO.
(b)
ITEM
NO.
(4)
NATIONAL
STOCK
NUMBER
b
REPL
FACTOR
TM 9-6115-545-24P
TO 35C2-3-444-4
NAVFAC P-8-626-24P
SL-400038G/07499A
GROUP 28- LOAD BANK KIT
142 PBOFF PAOFF PAOGG PAFFF 6115-00-407-8322 LOAD BANK KIT EA 1 1
70-1271 (30554)
70-1271 (93742)
142 1 PAOZZ PAOZZ XBGZZ PAFZZ 532001-033-4375 RIVET. BLIND 0.125 OD X 0 296 IN EA 4 101
LG.
70-1305 (30554)
142 2 XDOZZ MDO XCGZZ MDOZZ PLATE. INSTRUCTION EA 1 1
70-1339 (30554)
70-1339 (93742)
142 3 PAOZZ PAFZZ PAGZZ PAFZZ 530501-073-6996 SCREW. ASSEMBLED WASHER EA 1 3
1/4-20 X 1/2 IN LG
69662-77 (30554)
A320A357-0419 (88818)
142 4 PAOZZ PAFZZ XBGZZ PAFZZ 530501-073-6998 SCREW. ASSEMBLED WASHER EA 2 3
1/4-20 X1/2 IN LG
69662-77 (30554)
P15121-77 (45722)
142 5 PAOZZ PAOZZ XBGZZ PAFZZ 531000-696-5173 NUT. ASSEMBLED WASHER EA 6 131
69-561-5 (30554)
501-250800-00 (78189)
142 6 PBOZZ PAFZZ XBGZZ PAFZZ 5340-01-124-8044 CLAMP. LOOP, CUSHIONED EA 2 3
70-1529-5 (30554)
TA724SS5 (84971)
142 7 PBOZZ PAFZZ XBGZZ PAFZZ 534000-345-2030 CLAMP, LOOP, CUSHIONED EA 2 2
70-1529-22 (30554)
TA724SS-22 (84971)
142 8 PAOZZ PAFZZ PAGZZ PAFZZ 5340-00-174-4811 CLAMP, LOOP. CUSHIONED EA 10 11
TA724SS-8(84971)
142 9 PAOZZ PAFZZ XCGZZ PAFZZ 530500-036-6977 SCREW. ASSEMBLED WASHER EA 27 40
8-32 X 3/8 IN. LG.
69662-33 (30554)
P15121-33 (45722)
142 10 XDOZZ XB XBGZZ XBFZZ COVER, LOAD BANK EA 1 1
70-1333 (30554)
70-1333 (93742)
142 11 XDOZZ XB XBGZZ XBFZZ COVER, LOAD BANK EA 1 1
70-1273 (30554)
70-1273 (93742)
142 12 PAFZZ XBFZZ XBGZZ PAFZZ SCREW. ASSEMBLED WASHER EA 8 26
8-32 X3/81 IN LG.
69662-33 (30554)
P15121-33 (45722)
142 13 PAFZZ PAFZZ PAGZZ PAFZZ 594500-323-8367 RELAY. LD REJECT EA 1 1
6119-0002(93742)
142 14 PAOZZ PAOZZ XBGZZ PAFZZ 5305-00-036-6902 SCREW, ASSEMBLED WASHER EA 2 3
1/4-20 X 1 IN LG
70-1319-6 (30554)
69662-36 (78189)
142 15 PAOZZ PAFZZ XBGZZ PAFZZ 5310-00-809-4058 WASHER. FLAT. 1/4 EA 4 21
MS27183-10 (96906)
142 16 PAOZZ PAOZZ XBGZZ XBFZZ 5310-00-889-2528 WASHER. 114 EA 4 46
MS45904-68 (96906)
142 17 PAOZZ PAFZZ PAGZZ PAFZZ 5910-00-561-8847 CAPACITOR EA 6 7
CA36KFW254 (81349)
142 18 PAOZZ PAFZZ PAGZZ PAFZZ 530500-038-3089 SCREW. ASSEMBLED WASHER EA 2 8
4-40 X 5/16 IN. LG.
69662-3 (30554)
P15121-3 (45722)
142 19 PAOZZ PAFZZ PAGZZ PAFZZ 531000-934-9739 NUT, PLAIN. HEX NO. 4-40 EA 6 8
MS35649-242 (96906)
142 20 PAOZZ PAFZZ PAGZZ XBFZZ 594001-200-6999 BOARD. TERMINAL EA 4 4
MS27212-2-9 (96906)
404

(3)
USMC
(5)
DESCRIPTION USABLE
MFR ON
REF NUMBER CODE CODE
(8)
USMC
QTY
PER
EQUIP
(7)
QTY
INC
IN
UNIT
(6)
U/M
a
SSI
(2)
SMR CODE
(1)
ILLUSTRATION
d
USMC
c
NAVY
b
AIR
FORCE
a
ARMY
(a)
FIG
NO.
(b)
ITEM
NO.
(4)
NATIONAL
STOCK
NUMBER
b
REPL
FACTOR
TM 9-6115-545-24P
TO 35C2-3-444-4
NAVFAC P-8-626-24P
SL-400038G/07499A
142 21 PAOZZ PAOZZ XBGZZ PAFZZ 5305-00-036-6970 SCREW, ASSEMBLED WASHER EA 2 2
4-40 X5/16 IN LG
69-662-2 (30554)
P15121-2 (45722)
142 22 PAOZZ PAOZZ XBGZZ PAFZZ 5310-00-836-3520 NUT, ASSEMBLED WASHER, 4-40 EA 6 12
69-561-1 (30554)
511-04180000-0211-0511 (78189)
142 23 PAOZZ PAOZZ PAOZZ PAFZZ 5930-01-029-0956 SWITCH THERMO EA 1 1
M1450351-282 (01295)
142 24 PAFZZ PAOZZ PAOZZ PAFZZ 5961- 00-194-8010 SEMICONDUCTOR DEVICE. DIODE EA 2 6
TX1N1206A (81349)
142 25 PAFZZ PAOZZ PAFZZ PAFZZ 5961-00-998-5601 SEMICONDUCTOR DEVICE, DIODE EA 2 2
1N1206RA (04713)
142 26 PAFZZ PAOZZ XBGZZ PAFZZ 5305-00-218-4864 SCREW. ASSEMBLED WASHER EA 4 4
6-32 X 3/4 IN. LG
69-662-22 (30554)
P15121-22 (45722)
142 27 PAFZZ PAOZZ XBGZZ PAFZZ 5310-00-063-7360 NUT, ASSEMBLED WASHER 6-32 EA 4 99
69-561-2 (30554)
511-061800-00 (78189)
142 28 XBFZZ XB XBGZZ XBFZZ HEATSINK EA 1 1
70-1072-1 (30554)
70-1072-1 (93742)
142 29 XBFZZ XB XBGZZ XBFZZ HEATSINK EA 1 1
70-1072-2 (30554)
70-1072-2 (93742)
142 30 PBFZZ PAOZZ XBGZZ PAFZZ 5305-00-9959026 SCREW. ASSEMBLED WASHER EA 4 4
1/4-28 X 1-114 IN LG.
MS35310-310(96906)
142 31 PAOZZ PAOZZ XBGZZ PAFZZ 5310-00-177-1156 WASHER, FLAT. 1/4 EA 4 4
AN961-416T (88044)
142 32 PAOZZ PAOZZ XBGZZ PAFZZ 5310-00-869-1018 NUT, PLAIN. HEX EA 8 8
MS35650-3255 (96906)
142 33 PAOZZ PAOZZ XBGZZ PAFZZ 5305-00-211-9341 SCREW, ASSEMBLED WASHER EA 6 8
8-32 X 1-1/2 IN LG.
69-662-41 (30554)
142 34 PAOZZ PAOZZ XBGZZ PAFZZ 5310-00-052-3632 NUT. ASSEMBLED WASHER 8-32 EA 6 180
69-561-3 (30554)
511-801800-00 (78189)
142 35 XBOZZ XB XBGZZ XBFZZ STANDOFF EA 6 6
9231N171 (06540)
142 36 XBFZZ XB XBGZZ XBFZZ BOARD, TERMINAL 3-1/2 X 10-1/4 EA 1 1
IN. LG.
70-1277 (30554)
70-1277 (93742)
142 37 PAOZZ PAFZZ XBGZZ PAFZZ 530500-224-1092 SCREW, ASSEMBLED WASHER EA 4 8
4-40 X 1/2 IN. LG
P15121-5 (45722)
69-662-5 (30554)
142 38 PAOZZ PAOZZ XBGZZ PAFZZ 5310-00-836-3520 NUT, ASSEMBLED WASHER 4-40 EA 4 76
69-561-1 (30554)
511-04180000-0211-0511 (78189)
142 39 PAOZZ PAFZZ XBGZZ PAFZZ 5330-00-599-9126 GASKET, ELEC EA 1 2
10-3667520 (77820)
142 40 PAOZZ PAFZZ XBGZZ PAFZZ 530500-052-1457 SCREW EA 48 48
MS35308-311(96906)
142 41 PAOZZ PAFZZ XBGZZ PAFZZ 5310-00-844-4872 NUT, ASSEMBLED WASHER EA 48 48
MS21043-4 (96906)
142 42 PAOZZ PAFZZ PAOZZ PAFZZ 4540-00-917-4790 ELEMENT, HEATING EA 24 24
417-SM43B250B (74924)
142 43 PAOZZ PAOZZ XBGZZ PAFZZ 5306-00-036-6982 SCREW, ASSEMBLED WASHER EA 1 71
1/4-20 X 3/4 IN LG.
70-1319-4 (30554)
142 44 PBOZZ PAFZZ XBGZZ PAFZZ 5305-00-036-6905 SCREW. ASSEMBLED WASHER EA 2 2
10-24 X5/16 IN LG
69-662-47 (78189)
405

(3)
USMC
(5)
DESCRIPTION USABLE
MFR ON
REF NUMBER CODE CODE
(8)
USMC
QTY
PER
EQUIP
(7)
QTY
INC
IN
UNIT
(6)
U/M
a
SSI
(2)
SMR CODE
(1)
ILLUSTRATION
d
USMC
c
NAVY
b
AIR
FORCE
a
ARMY
(a)
FIG
NO.
(b)
ITEM
NO.
(4)
NATIONAL
STOCK
NUMBER
b
REPL
FACTOR
TM 9-6115-545-24P
TO 35C2-3-444-4
NAVFAC P-8-626-24P
SL-400038G/07499A
142 45 PAOZZ PAFZZ XBGZZ PAFZZ 5310-00-823-8804 WASHER, FLAT EA 2 15
MS27183-9 (96906)
142 46 PAOZZ PAOZZ XBGZZ PAFZZ 5310-00-094-3421 NUT, ASSEMBLED WASHER 10-24 EA 2 52
69-561-4 (30554)
511-101800-00 (78189)
142 47 PAOZZ XB XBGZZ PAFZZ SCREW, ASSEMBLED WASHER EA 7 7
10-24 X 1/4 IN L
69462-46 (30554)
142 48 XBOZZ XB AFGZZ XBFZZ PANEL ASSY, CONTROL EA 1 1
70-1275 (30554)
70-1275 (93742)
142 49 PAOOO PAOOO XBGZZ PAFZZ 6210-01-166-9109 LAMP ASSY, INDICATING EA 1 1
80-0901-0511203(72619)
142 50 PAOZZ PAOZZ XBGZZ PAFZZ 6210-00-051-7913LENS, LAMP EA 1 1
LC22RD3 (81349)
142 51 PAOZZ PAOZZ PAOZZ PAOZZ 6240-0-951-4005 LAMP, INCAND EA 1 2
A52-1153 (93742)
142 52 PAOZZ PAOZZ XBGZZ PAFZZ 530500-397-4448 SETSCREW EA 2 2
02016-4 (82121)
142 53 PAOZZ PAOZZ PAGZZ PAFZZ 533500-397-4522 KNOB, SWITCH ROTARY EA 2 2
02000-11B (82121)
142 54 XBOZZ XB XCGZZ MDOZZ BRACKET, SWITCH EA 1 1
70-1337 (30554)
70-1337 (93742)
142 55 PAOZZ PAOZZ PAOZZ PAFZZ 593000-3750152 SWITCH, ROTARY EA 1 1
70-1291 (30554)
224212LB (82121)
142 56 XBOZZ XB XBGZZ MDOZZ PLATE, ESCUTCHEON EA 2 2
02039-5B (82121)
142 57 PAOZZ PAOZZ PAGZZ PAGZZ 5930-00-3750139 SWITCH, ROTARY EA 1 1
70-1290 (30554)
64-1290 (82121)
142 58 PAOZZ PAOZZ PAGZZ PAGZZ 5930-0-6551514 SWITCH, TOGGLE EA 1 3
MS35058-22 (96906)
142 59 PAOZZ PAOZZ XBGZZ PAFZZ 530500-036-6967 SCREW, ASSEMBLED WASHER EA 6 10
6-32 X 1/4 IN. LG.
69-662-16 (30554)
P15121-16 (45722)
142 60 PAOZZ PAOZZ XBGZZ PAFZZ 592501-1174759 CIRCUIT BREAKER EA 1 1
13MCB217-455 (82647)
142 61 PAFZZ PAOZZ XBGZZ PAFZZ 5305-00-036-6977 SCREW, ASSEMBLED WASHER EA 4 51
8-32 X 3/8 IN. LG
69662-33 (30554)
P15121-33 (45722)
142 62 PAOFF PBFFF PFGGG PAFFF 4140-00-322-0588 FAN AND MOTOR ASSY EA 1 1
70-1293 (30554)
BD3020F2 (92702)
142 63 PAOZZ PAOZZ XBGZZ PAFZZ 532500-2853345 GROMMET, SPLIT EA 1 1
MS35489-58 (96906)
142 64 XBOZZ MOO XBGZZ XBFZZ PANEL, CONTROL EA 1 1
70-1276 (305864)
70-1276 (93742)
142 65 XBOZZ XB XBGZZ XBFZZ BRACKET, SWITCH EA 1 1
70-1633 (30554)
142 66 PAFZZ PAOZZ XBGZZ PAFZZ 530540-036-6977 SCREW, ASSEMBLED WASHER EA 2 51
8-32 X3/8 IN. LO.
69862-33 (30554)
P15121-33 (45722)
142 87 PAOZZ PAFZZ PAGZZ PAFZZ 596041-097-3141 RECTIFIER, BRIDGE EA 1 1
70-1635 (30554)
142 68 PAOZZ PAFZZ PAGZZ PAFZZ 590500-834-7831 RESISTOR, ADJUSTABLE EA 1 1
70-1634(30554)
1360B (44855)
142 69 XBOZZ XB XBGZZ XBFZZ HOUSING, LOAD BANK EA 1 1
70-1272 (30554)
70-1272 (93742)
406

TM 9-6115-545-24P
TO 35C2-3-444-4
NAVFAC P-826-24P
SL-400038G/07499A
Figure 143. Cable Assembly, Electrical, Special Purpose.
Figure 144. Wiring Hamess Tactical Relay Box.
407

(3)
USMC
(5)
DESCRIPTION USABLE
MFR ON
REF NUMBER CODE CODE
(8)
USMC
QTY
PER
EQUIP
(7)
QTY
INC
IN
UNIT
(6)
U/M
a
SSI
(2)
SMR CODE
(1)
ILLUSTRATION
d
USMC
c
NAVY
b
AIR
FORCE
a
ARMY
(a)
FIG
NO.
(b)
ITEM
NO.
(4)
NATIONAL
STOCK
NUMBER
b
REPL
FACTOR
TM 9-6115-545-24P
TO 35C2-3-444-4
NAVFAC P-8-626-24P
SL-400038G/07499A
143 MFOZZ AFFBZ AFGZZ AFFZZ CABLE ASSEMBLY ELECTRICAL, EA 1 1
SPECIAL PURPOSE (30554)
70-1274 (937U)
70-1274 (3742)
MANUFACTURE FROM'
143 1 PAFZZ PAFZZ PAGZZ PAFZZ 5970-00-082-3948 INSULATION. SLEEVING..51 ID FT 2 2
M23053/5-108-9 (81349)
143 2 PAFZZ PAFZZ XBGZZ PAFZZ 5940-00-143-4777 TERMINAL. LUG EA 1 40
MS25036-157 (96906)
143 3 PAOZZ PAFZZ PAGZZ PAFZZ 5940-00-557-4341 TERMINAL, LUG EA 4 7
MS25036-123 (96906)
143 4 PAFZZ PAFZZ PAGZZ PAFZZ 6145-00-054-7464 SHIELDING FT 11 11
OQB575R30T1.500 (81348)
143 5 PAFZZ PAFZZ PAGZZ PAFZZ 6145-00-548-2920 SHIELDING FT 1 1
75190628-12S (81349)
143 6 XBOZZ PAFZZ PAGZZ PAFZZ CABLE, ELECTRIC, 95FPT FT 10 10
CO-04HCF44-1340 (81349)
144 MFFZZ AFF XCGZZ AFFFZ WIRING HARNESS TACTICAL RELAY EA 1 1
70-1598 (30554)
70-1598
MANUFACTURE FROM.
144 1 PAFZZ PAFZZ PAGZZ PAFZZ 597500-074-2072 STRAP, CABLE EA 450 2557
MS3367-1-9 (96906)
144 2 PAFZZ PAFZZ PAGZZ PAFZZ 5935-00-823-5322 PLUG, END, SEAL EA 2 77
MS25251-16 (96906)
144 3 PAFZZ PAFZZ PAGZZ PAFZZ 593501-076-9456 CONNECTOR EA 1 1
75190620-7S (77820)
144 4 PAFZZ PAFZZ PAGZZ PAFZZ 593501-169-5297 CONNECTOR EA 1 1
75-190128-12P (77820)
144 5 PAFZZ PAFZZ PAGZZ PAFZZ CONNECTOR EA 1 1
75190628 (77820)
144 6 PAFZZ PAFZZ PAGZZ PAFZZ 614500-578-7514 WIRE. ELECTRICAL 1421 IN FT 71 255
M5086/2-12-9
408

TM 9-6115-545-24P
TO 35C2-3 444-4
NAVFAC P-626-24P
SL 400038G/07499A
Figure 145. Wiring Harness Assembly, Load Bank Control PNL.
Figure 146. Wiring Harness Load Bank Capadtors.
409

(3)
USMC
(5)
DESCRIPTION USABLE
MFR ON
REF NUMBER CODE CODE
(8)
USMC
QTY
PER
EQUIP
(7)
QTY
INC
IN
UNIT
(6)
U/M
a
SSI
(2)
SMR CODE
(1)
ILLUSTRATION
d
USMC
c
NAVY
b
AIR
FORCE
a
ARMY
(a)
FIG
NO.
(b)
ITEM
NO.
(4)
NATIONAL
STOCK
NUMBER
b
REPL
FACTOR
TM 9-6115-545-24P
TO 35C2-3-444-4
NAVFAC P-8-626-24P
SL-400038G/07499A
145 MFOZZ AFF XBGZZ AFFZZ WIRING HARNESS ASSY LOAD BANK EA 1 1
CONTROL PNL
70-1573
T701573 (93742)
MANUFACTURE FROM:
145 1 PAOZZ PAFZZ PAGZZ PAFZZ 5975-00-074-2072 STRAP. CABLE EA 150 2557
MS3367-1-9 (96906)
145 2 PAOZZ PAFZZ PAGZZ PAFZZ 5940-00-557-4341 TERMINAL, LUG EA 3 7
MS25036-123 (96906)
145 3 PAFZZ PAFZZ PAGZZ PAFZZ 5940-00-143-4774 TERMINAL, LUG EA 9 122
MS25036-153 (96906)
145 4 PAHZZ PAFZZ PAGZZ PAFZZ 5940-00-143-4777 TERMINAL, LUG EA 8 40
MS25036-157 (96906)
145 5 PAOZZ PAFZZ PAGZZ PAFZZ TERMINAL, LUG EA 40 40
MS17143-9 (96906)
145 6 PAOZZ PAFZZ PAGZZ PAFZZ 5940-00-230-0515 TERMINAL. LUG EA 1 36
MS25036-154 (96906)
145 7 PAOZZ PAFZZ PAGZZ PAFZZ 6145-00-578-7513 WIRE, ELECTRICAL 158 IN. FT 15 V
M5086/2-10-9 (81349)
145 8 PAOZZ PAFZZ PAGZZ PAFZZ 6145-00-578-7514 WIRE, ELECTRICAL 537 IN. FT 14 255
M508612-12-9 (81349)
145 9 PAOZZ PAFZZ PAGZZ PAFZZ 6145-00-578-6596 WIRE. ELECTRICAL 45 IN. FT 4 4
M5086/2-2-9 (81349)
145 10 PAOZZ PAFZZ PAGZZ PAFZZ 6142-00-578-6605 WIRE. ELECTRICAL 179 IN. FT 45 1010
M5086/-16-9 (81349)
146 MOOZZ AFF PAHZZ AFFZZ WIRING HARNESS LOAD BANK EA 1 1
CAPACITORS (30554)
70-1601 (93742)
MANUFACTURE FROM:
146 1 PAOZZ PAFZZ PAGZZ PAFZZ 5975-00-074-2072 STRAP, CABLE EA 30 2557
MS3367-1-9 (96906)
146 2 PAOZZ PAFZZ PAGZZ PAFZZ 5940-00-143-4774 TERMINAL, LUG EA 8 113
MS25036-153 (96906)
146 3 PAOZZ PAFZZ PAGZZ PAFZZ 5940-00-230-0515 TERMINAL. LUG EA 4 36
MS25036-154 (96906)
146 4 PAOZZ PAFZZ PAGZZ PAFZZ WIRE, ELECTRICAL 74 IN FT 7 1010
M5086/2-16-9 (81349)
410

TM 9-6115-545-24P
TO 35C2- 444-4
NAVFAC P626-24P
SL-400038G07499A
Figure 147. Wiring Harness Branched, Load Bank
411

(3)
USMC
(5)
DESCRIPTION USABLE
MFR ON
REF NUMBER CODE CODE
(8)
USMC
QTY
PER
EQUIP
(7)
QTY
INC
IN
UNIT
(6)
U/M
a
SSI
(2)
SMR CODE
(1)
ILLUSTRATION
d
USMC
c
NAVY
b
AIR
FORCE
a
ARMY
(a)
FIG
NO.
(b)
ITEM
NO.
(4)
NATIONAL
STOCK
NUMBER
b
REPL
FACTOR
TM 9-6115-545-24P
TO 35C2-3- 444- 4
NAVFAC P-8-626-24P
SL-400038G/07499A
147 MFOZZ AFF AFGZZ AFFZZ WIRING HARNESS BRANCHED. EA 1 1
LOADBANK
70-1278 (30554)
70-1278 (93742)
MANUFACTURE FROM:
147 1 PAOZZ PAFZZ PAGZZ PAFZZ 5975-00-074207 S TRAP, CABLE EA 150 2557
MS3367-1-9 (96906)
147 2 PAFZZ PAFZZ PAGZZ PAFZZ 5940-00-143-4774 TERMINAL. LUG EA 36 133
MS25036 -153 (96906)
147 3 PAOZZ PAFZZ PAGZZ PAFZZ 5940-00-143-4777 TERMINAL, LUG EA 3 40
MS25036-157 (96906)
147 4 PAOZZ PAFZZ PAGZZ PAFZZ 5940-00-113-9824 TERMINAL LUG EA 9 8
MS20659-107
147 5 PAOZZ PAFZZ PAGZZ PAFZZ 5940-00-283-5280 TERMINAL, LUG EA 14 549
MS25036-106 (96906)
147 6 PAOZZ PAFZZ PAGZZ PAFZZ 5940-00-114-1300 TERMINAL. LUG EA 18 54
MS20659-105 (96906)
147 7 PAFZZ PAFZZ PAGZZ PAFZZ 5940-00-143-4780 TERMINAL, LUG EA 36 48
MS25036-108 (96906)
147 8 PAFZZ PAFZZ PAGZZ PAFZZ 5940-00-143-4794 TERMINAL, LUG EA 36 37
MS25036-112 (96906)
147 9 PAFZZ PAFZZ PAGZZ PAFZZ 5935-01-117-2430 CONNECTOR EA 1 1
75-190220-7P (77820)
147 10 PAFZZ PAFZZ PAGZZ PAFZZ 5970-00-088-2975 INSULATION, SLEEVING FT 4 4
M23053/5-104-9(81349)
147 11 PAFZZ PAFZZ PAGZZ PAFZZ 5970-00-082-3942 INSULATION, SLEEVING FT 4 4
M23053/5-105-9
147 12 PAOZZ PAFZZ PAGZZ PAFZZ 6145-00-295-2812 WIRE, ELECTRICAL 16GA WHT FT 100 200
MIL-W-16878/4 (81349)
147 13 PAOZZ PAFZZ PAGZZ PAFZZ 614500-295-2815 WIRE, ELECTRICAL 10 GA. WHT FT 100 200
M1687821BM69 (81349)
412

TM 9-6115-545-24P
TO 35C2-3 44 4
NAVFAC P-8-62-24P
SL-400038G/07499A
Figure 148. Fan and Motor Assembly.
413

(3)
USMC
(5)
DESCRIPTION USABLE
MFR ON
REF NUMBER CODE CODE
(8)
USMC
QTY
PER
EQUIP
(7)
QTY
INC
IN
UNIT
(6)
U/M
a
SSI
(2)
SMR CODE
(1)
ILLUSTRATION
d
USMC
c
NAVY
b
AIR
FORCE
a
ARMY
(a)
FIG
NO.
(b)
ITEM
NO.
(4)
NATIONAL
STOCK
NUMBER
b
REPL
FACTOR
TM 9-6115-545-24P
TO 35C2-3-444-4
NAVFAC P-8-626-24P
SL-400038G/07499A
1 48 PAFHH PBFFF PBGGG PAFFF 4140-00-322-0588 FAN AND MOTOR ASSY EA 1 2
70-1293 (30554)
BD3020F2 (92702)
148 1 PBOZZ PAOZZ XBGZZ XBFZZ 4140-00-563-7648 GUARD, FAN EA 1 1
65-118-7 (92702)
148 2 PAOZZ PAOZZ XBGZZ PAFZZ 5305-01-1184858 SCREW EA 8 8
91-19-11 (92702)
148 3 PAOZZ PAOZZ PAGZZ PAFZZ 5310-01-119-3156WASHER, LOCK EA 8 8
928 (92702)
148 4 PAFZZ PAOZZ XBGZZ PAFZZ 5310-00-515-8058 WASHER EA 8 11
AN960-8 (88044)
148 5 PAOZZ PAOZZ PAGZZ PAFZZ 5310-01-098-6187 NUT EA 10 10
94-1-1 (92702)
148 6 PAOZZ PAOZZ PAGZZ PAFZZ 5305-00-989-7434 SCREW EA 8 8
MS35207-263 (98906)
148 7 PAOZZ PAOZZ XBGZZ PAFZZ 5310-01-119-1447 WASHER EA 8 8
82-1-2 (92702)
148 8 PAOZZ PAOZZ XBGZZ PAFZZ 5325-00-286-0689 GROMMET EA 8 8
85-15(92702)
148 9 XBOZZ XB XBGZZ XBFZZ BRACKET EA 2 2
64-513 (92702)
148 10 XBOZZ XB XBGZZ XBFZZ VENTURI EA 1 1
64-16-4 (92702)
148 11 PAOZZ PAOZZ XBGZZ PAFZZ 5305-01-121-8479 SETSCREW EA 2 2
91-12-1 (92702)
148 12 PAOZZ PAOBZ XBGZZ PAFZZ 4140-01-116-8141 FAN EA 1 1
68-080-25-4 (92702)
148 13 PAOZZ PAOZZ PAGZZ PAFZZ 5305-00-984-4984 SCREW, MACHINE EA 4 4
M535206-227 (96906)
148 14 PAOZZ PAFZZ XBGZZ PAFZZ 5310-00-477-0294 WASHER, LOCK EA 4 4
92-1 (92702)
148 15 PAOZZ PAOZZ XSGZZ PAFZZ 5325-00-288-0889 GROMMET EA 1 9
85-15 (92702)
148 18 XBOZZ XB XBGZZ XBFZZ SHROUD EA 1 1
3311-4-3 (92702)
148 17 XBOZZ XBFZZ XBGZZ XBFZZ CAP. ELECTRICAL EA 2 2
6611-3 (92702)
148 18 PAOZZ PAFZZ PAOZZ PAFZZ 5977-00-686-4476 BRUSH ASSY, ELEC EA 2 2
8811-348 (92702)
148 19 PAFZZ PAFZZ PAGZZ PAFZZ 5305-01-118-9579 BOLT, MACHINE EA 2 2
91-19-6 (92702)
148 20 PAFZZ PAFZZ XBGZZ PAFZZ 5310-00-559-0070 WASHER, LOCK EA 4 5
MS35333-38 (96906)
148 21 XBFZZ XB XBGZZ XBFZZ TERMINAL, LUG EA 4 4
93-57 (92702)
148 22 PAFZZ PAFZZ PAGZZ PAFZZ 5305-01-1188859B OLT, MACHINE EA 2 2
91-19-16 (92702)
148 23 PAFZZ PAFZZ PAGZZ PAFZZ 5305-01-121-8471 SCREW, MACHINE EA 4 4
91-34-2 (92702)
148 24 XBFZZ XB XBGZZ XBFZZ PLATE EA 1 1
64.41 (02702)
148 25 PAFZZ PAFZZ XBGZZ PAFZZ 5310-00-561-8210 WASHER, SPG TENSION EA 1 1
83-10 (92702)
148 26 PAFZZ PAFZZ PAGZZ PAFZZ 3110-01-010-2469 BEARING EA 2 2
47-3-31 (92702)
148 27 XBFZZ XB XBGZZ XAFZZ ARMATURE ASSY EA 1 2
4111B15-1 (92702)
148 28 XBFZZ XB XBGZZ XBFZZ RING, RETAINING EA 1 1
83-1 (92702)
414

(3)
USMC
(5)
DESCRIPTION USABLE
MFR ON
REF NUMBER CODE CODE
(8)
USMC
QTY
PER
EQUIP
(7)
QTY
INC
IN
UNIT
(6)
U/M
a
SSI
(2)
SMR CODE
(1)
ILLUSTRATION
d
USMC
c
NAVY
b
AIR
FORCE
a
ARMY
(a)
FIG
NO.
(b)
ITEM
NO.
(4)
NATIONAL
STOCK
NUMBER
b
REPL
FACTOR
TM 9-6115-545-24P
TO 35C2-3-444-4
NAVFAC P-8-626-24P
SL-400038G/07499A
148 29 PAFZZ PAFZZ XBGZZ XBFZZ 36500-579-4189 SHIM EA V V
816 (92702)
148 30 PAFZZ XB XBGZZ XBFZZ 5340-00-579-4100 SHIM EA V V
81-7 (92702)
148 31 PAFZZ PAFZZ XBGZZ PAFZZ 5365-01-197-6466 SHIM EA V V
816 (92702)
148 32 PBFZZ PBFZZ XBGZZ XBFZZ 5310-00-641-9464 WASHER, FLAT EA V V
61-0542-1 (42280)
148 33 XBFZZ XB XBGZZ XBFZZ END CAP EA 1 1
3111B10 (92702)
148 34 XBFZZ XB XBGZZ XBFZZ END CAP ASSY EA 1 1
3611B3-7 (92702)
148 35 XBFZZ XB XBGZZ XBFZZ FIELD ASSY EA 1 1
5111-12-1 (92702)
415
TM 9-6115-545-24P
TO 35C2-3- 444- 4
NAVFAC P-8-626-24P
SL-400038G/07499A
SECTION IV. NATIONAL STOCK NUMBER AND PART NUMBER INDEX
FIGURE ITEM FIGURE ITEM
NSN NO. NO. NSN NO. NO.
5310-00-001-2000 94 28 5305-00-006-8418 110 5
5331-00-001-2021 93 39 5305-00-007-0299 91 3
5310-00-001-2033 114 3 5305-00-007-0299 104 6
5310-00-001-2035 100 16 5305-00-007-0315 84 12
5305-00-001-3050 37 12 5305-00-007-0315 107 12
3020-00-001-3420 88 14 5940-00-007-1147 30
5330-00-001-4944 118 5935-00-007-2179 11 3
5330-00-001-4938 97 24 5305-00-007-3187 98 2
5330-00-001-4939 101 13 5305-00-007-3187 111 2
5330-00-001-4940 118 22 5305-00-007-3198 114 6
5330-00-001-4942 117 22 5305-00-007-3201 98 12
5330-00-001-4943 96 19 5305-00-007-3201 117 6
5330-00-001-4944 117 5310-00-007-6163 101 9
5330-00-001-4946 121 15 4730-00-008-1695 120 11
5330-00-001-4949 118 22 5305-00-008-2111 116 7
5330-00-001-4950 104 9 4730-00-008-9818 82 33
5340-00-001-5038 105 12 2815-00-008-7219 91 2
5910-00-001-7251 39 30 5910-00-009-9998 10 7
2815-00-001-7805 114 30 5340-00-010-6230 99 27
2815-00-001-7805 115 4730-00-011-2578 125 48
2815-00-001-7806 118 30 5315-00-011-2139 121 26
3040-00-001-7830 89 11 4730-00-011-3176 130 52
5307-00-001-8289 117 21 3120-00-011-4943 89 19
2950-00-003-0962 105 2 3020-01-011-6670 109
2950-00-003-0965 105 4 2920-00-014-4070 87 22
2950-00-003-0966 105 24 5970-00-016-1705 66 4
6625-00-003-0971 13 5 5310-00-017-8627 18 17
6625-00-003-0972 13 5 5310-00-017-8627 30 109
6625-00-003-0973 13 64 5310-00-017-8627 30 115
6625-00-003-0974 13 64 5310-00-017-8627 36 13
6625-00-003-0976 7 8 5310-00-017-8627 68 25
6625-00-003-0976 10 5315-00-017-9252 90 5
5999-00-003-4578 30 74 4730-00-018-9566 122 1
5999-00-003-4579 30 75 5310-00-019-0670 30 30
2530-00-003-5228 139 4 5310-00-019-0672 30 44
2950-00-003-5910 105 16 5305-00-020-4436 88 3
2950-00-003-5913 105 10 5310-00-020-4737 85 2
6625-00-004-8066 13 8 5310-00-020-4738 104 29
2815-00-004-8076 113 9 5310-00-020-4739 104 7
5330-00-005-0414 111 9 5310-00-020-4787 93 1
5330-00-005-0415 104 16 5310-00-020-4787 94 1
6620-00-005-4879 13 49 5305-00-020-5893 93 41
5310-00-005-0725 118 17 5305-00-020-5906 93 32
5330-00-005-6049 109 7 5305-00-020-5951 96 6
4730-00-005-7376 122 3 5305-00-020-6005 93 49
4730-00-005-7377 122 5 4730-00-021-1788 80 14
5310-00-006-2434 102 7 5950-00-024-1000 33 15
5310-00-006-2452 96 13 5950-00-024-1052 30 101
3040-00-006-6235 109 13 5950-00-024-1088 33 8
3040-00-006-6236 109 14 5950-00-024-1099 57 16
5305-00-006-8418 104 13 5305-00-024-6232 92 1
5305-00-006-8418 106 13 5305-00-024-6233 106 2
416
TM 9-6115-545-24P
TO 35C2-3-444-4
NAVFAC P-8-626-24P
SL-400038G/07499A
SECTION IV. NATIONAL STOCK NUMBER AND PART NUMBER INDEX
FIGURE ITEM FIGURE ITEM
NSN NO. NO. NSN NO. NO.
5305-00-024-6236 118 15 5340-00-036-3612 71 10
5935-00-024-1038 30 71 5305-00-036-6897 30 25
5935-00-024-1050 30 72 5305-00-036-6900 30 29
5935-00-024-1054 61 5 5305-00-036-6901 30 31
5935-00-024-1060 5 5 5305-00-036-6902 30 22
5305-00-024-6237 88 4 5305-00-036-6902 33 12
5305-00-024-6237 113 11 5305-00-036-6902 36 6
5305-00-024-6237 114 31 5305-00-036-6902 46 20
5305-00-024-6238 99 17 5305-00-036-6902 142 14
5305-00-024-6239 112 1 5305-00-036-6903 5 9
5305-00-024-6249 89 13 5305-00-036-6903 55 3
5305-00-024-6276 103 25 5305-00-036-6903 57 5
5940-00-025-1821 30 7 5305-00-036-6905 142 44
5940-00-025-1821 30 10 5305-00-036-6906 16 16
5940-00-025-1821 30 13 5305-00-036-6906 30 125
5940-00-025-1825 35 9 5305-00-036-6906 33 1
5305-00-025-4285 106 12 5305-00-036-6906 47 17
5940-00-025-9159 30 16 5305-00-036-6906 53 1
5940-00-025-9159 30 19 5305-00-036-6908 61 30
5305-00-026-2537 114 1 5305-00-036-6909 1 1
5305-00-026-2537 115 3 5306-00-036-6909 2 9
5305-00-026-2537 118 25 5306-00-036-6909 7 1
5305-00-026-2548 97 7 5306-00-036-6909 16 33
5305-00-026-2548 98 5 5306-00-036-6909 18 1
5305-00-026-2568 104 1 5306-00-036-6909 46 1
5305-00-026-2570 106 14 5306-00-036-6909 74 4
5305-00-026-2571 104 3 5306-00-036-6909 80 23
5305-00-026-2575 94 10 5306-00-036-6909 125 1
5305-00-026-2577 85 1 5306-00-036-6909 130 2
5305-00-026-2593 95 12 5306-00-036-6919 123 17
5305-00-026-2594 95 7 5305-00-036-6967 15 1
5305-00-026-2597 85 15 5305-00-036-6967 142 59
5310-00-026-2622 93 40 5305-00-036-6968 10 1
5325-00-027-0322 33 5 5305-00-036-6968 48 22
5325-00-027-0322 46 26 5305-00-036-6968 55 9
5905-00-028-4081 47 12 5305-00-036-6968 57 7
5905-00-028-4081 51 5305-00-036-6968 68 19
5970-00-029-4834 55 16 5305-00-036-6968 82 18
5970-00-029-5551 55 17 5305-00-036-6968 132 23
6110-00-030-7815 55 5 5305-00-036-6969 55 27
6110-00-030-7815 57 5305-00-036-6970 61 9
5330-00-031-1339 88 23 5305-00-036-6970 142 21
5975-00-031-2249 134 20 5305-00-036-6972 3 8
5999-00-031-3941 30 45 5305-00-036-6972 53 5
3040-00-032-4758 7 13 5305-00-036-6972 55 30
4710-00-033-1844 45 2 5305-00-036-6972 61 15
4730-00-033-2651 123 6 5305-00-036-6972 132 3
2940-00-033-2722 45 4 5305-00-036-6976 3 8
5930-00-033-3298 96 2 5305-00-036-6976 47 5
2815-00-033-5179 82 19 5305-00-036-6976 51 1
6115-00-033-6623 4 3 5305-00-036-6976 55 25
2930-00-034-3802 77 30 5305-00-036-6976 57 1
417
TM 9-6115-545-24P
TO 35C2-3-444-4
NAVFAC P-8-626-24P
SL-400038G/07499A
SECTION IV. NATIONAL STOCK NUMBER AND PART NUMBER INDEX
FIGURE ITEM FIGURE ITEM
NSN NO. NO. NSN NO. NO.
5305-00-036-6976 63 7 5310-00-038-2739 30 57
5305-00-036-6976 132 24 5305-00-038-3089 51 5
5305-00-036-6977 10 16 5305-00-038-3089 48 24
5305-00-036-6977 48 11 5305-00-038-3089 61 14
5305-00-036-6977 48 13 5305-00-038-3089 63 1
5305-00-036-6977 48 8 5305-00-038-3089 132 5
5305-00-036-6977 53 17 5305-00-038-3089 142 18
5305-00-036-6977 57 15 5305-00-038-3096 47 13
5305-00-036-6977 61 3 5305-00-038-3103 18 24
5305-00-036-6977 142 9 5305-00-038-3103 61 13
5305-00-036-6977 142 61 5305-00-038-3103 123 10
5305-00-036-6977 142 66 5305-00-038-3122 57 13
5305-00-036-6978 3 1 5305-00-038-3122 61 48
5305-00-036-6978 7 7 5305-00-038-3122 132 1
5305-00-036-6978 30 127 5305-00-038-3145 61 39
5305-00-036-6978 47 1 5305-00-038-3148 46 4
5305-00-036-6978 53 3 5305-00-038-3148 55 11
5305-00-036-6978 55 1 5305-00-038-3148 61 44
5305-00-036-6978 61 1 5305-00-038-3150 30 118
5306-00-036-6980 2 15 5305-00-038-3150 46 18
5306-00-036-6980 4 1 5310-00-038-3227 13 12
5306-00-036-6980 16 31 5310-00-038-3252 13 11
5306-00-036-6980 45 3 4730-00-038-7174 72 34
5306-00-036-6980 123 7 5310-00-038-9412 12 2
5306-00-036-6980 125 43 5310-00-038-9413 15 4
5306-00-036-6982 2 24 5310-00-038-9413 64 5
5306-00-036-6982 7 10 5310-00-038-9414 12 4
5306-00-036-6982 16 41 5310-00-038-9416 12 3
5306-00-036-6982 18 12 5310-00-038-9854 75 15
5306-00-036-6982 30 110 5310-00-038-9854 135 5
5306-00-036-6982 30 130 5310-00-038-9942 15 5
5306-00-036-6982 46 9 5310-00-038-9942 64 6
5306-00-036-6982 46 36 4730-00-040-1695 82 34
5306-00-036-6982 70 40 4730-00-040-7450 124 5
5306-00-036-6982 72 38 5305-00-040-9325 108 1
5306-00-036-6983 123 19 5307-00-040-9890 35 4
5306-00-036-6983 123 27 5310-00-040-9822 15 6
5306-00-036-6983 130 35 5310-00-040-9822 64 7
5306-00-036-6983 142 43 5310-00-042-6678 91 23
5306-00-036-0983 1 40 5305-00-042-6417 68 36
5305-00-036-6983 16 49 5305-00-042-6417 73 8
5306-00-036-6983 30 135 5305-00-042-6417 83 11
5306-00-036-6983 125 44 5310-00-043-2646 91 11
5330-00-036-6989 68 44 4730-00-043-3750 128 23
5330-00-036-6990 68 14 5930-00-044-3518 13 37
5330-00-036-6995 16 3 4730-00-044-4688 122 14
5330-00-036-6996 30 36 5305-00-044-4153 123 21
5330-00-036-6998 30 42 4730-00-044-4715 122 8
5330-00-036-6999 33 10 5305-00-044-5503 67 3
6680-00-037-9009 82 21 5310-00-045-4007 99 20
5305-00-038-1815 88 12 4370-00-045-1265 113 1
5310-00-038-2738 30 59 5310-00-045-3296 13 46
418
TM 9-6115-545-24P
TO 35C2-3-444-4
NAVFAC P-8-626-24P
SL-400038G/07499A
SECTION IV. NATIONAL STOCK NUMBER AND PART NUMBER INDEX
FIGURE ITEM FIGURE ITEM
NSN NO. NO. NSN NO. NO.
5310-00-045-3296 31 32 5310-00-061-1258 68 21
5310-00-045-3296 81 2 5310-00-061-1258 70 37
5310-00-045-3299 30 33 5310-00-061-1258 73 10
5310-00-045-3299 31 12 5310-00-061-1258 75 16
5310-00-045-3299 37 4 5310-00-061-1258 80 2
5310-00-045-3299 65 7 5310-00-061-1258 82 31
5310-00-045-3299 69 8 5310-00-061-8078 68 33
5310-00-045-3299 94 11 5310-00-063-7360 13 4
5310-00-045-4007 10 12 5310-00-063-7360 47 6
5310-00-045-4007 31 4 5310-00-063-7360 48 14
5310-00-045-4007 39 2 5310-00-063-7360 48 26
5310-00-045-4007 64 2 5310-00-063-7360 51 2
5310-00-045-4007 65 3 5310-00-063-7360 53 6
5310-00-045-4007 81 7 5310-00-063-7360 55 10
5310-00-045-4007 90 2 5310-00-063-7360 57 2
5305-00-050-1076 67 1 5310-00-063-7360 60 2
5305-00-050-9215 117 1 5310-00-063-7360 63 8
2610-00-050-9840 136 9 5310-00-063-7360 64 10
5325-00-051-6791 16 22 5310-00-063-7360 125 53
5360-00-052-1531 101 11 5310-00-063-7360 130 8
5305-00-052-1457 142 40 5310-00-063-7360 132 4
2930-00-052-3545 128 55 5310-00-063-7360 142 27
5310-00-052-3632 4 6 4730-00-063-7919 70 10
5310-00-052-3632 13 2 4730-00-063-7919 72 25
5310-00-052-3632 16 2 2910-00-066-2499 103 23
5310-00-052-3632 33 14 5330-00-067-3358 81 25
5310-00-052-3632 36 7 5945-00-067-5655 47 14
5310-00-052-3632 47 20 5305-00-068-0500 48 1
5310-00-052-3632 48 18 5305-00-068-0500 69 11
5310-00-052-3632 53 18 5305-00-068-0502 16 45
5310-00-052-3632 57 10 5305-00-068-0511 138 14
5310-00-052-3632 59 29 4820-00-069-0763 121 35
5310-00-052-3632 61 4 4820-00-069-0763 125 24
5310-00-052-3632 142 34 5305-00-069-5122 65 10
3120-00-054-7312 6210-00-070-2180 13 24
5305-00-054-6652 90 1 5305-00-071-1317 80 17
5330-00-054-6937 114 13 5305-00-071-1318 80 21
3120-00-055-6887 121 29 5305-00-071-1784 80 25
5315-00-056-3398 102 6 5305-00-071-1784 82 28
5340-00-057-2904 13 51 5305-00-071-2068 75 11
5945-00-057-5655 48 12 5305-00-071-2070 135 10
5360-00-058-6555 103 91 5305-00-071-2237 82 7
2920-00-058-6574 93 30 5305-00-071-2514 106 15
5305-00-058-9365 79 32 2815-00-073-8147 120 1
5305-00-059-3665 128 46 5975-00-074-2072 6 1
5330-00-060-1679 37 5 5975-00-074-2072 9 1
5910-00-060-9391 39 9 5975-00-074-2072 11 1
5310-00-061-1258 1 30 5975-00-074-2072 14 1
5310-00-061-1258 16 39 5975-00-074-2072 19 1
5310-00-061-1258 18 6 5975-00-074-2072 8 1
5310-00-061-1258 46 33 5975-00-074-2072 20 1
5310-00-061-1258 68 23 5975-00-074-2072 21 1
419
TM 9-6115-545-24P
TO 35C2-3-444-4
NAVFAC P-8-626-24P
SL-400038G/07499A
SECTION IV. NATIONAL STOCK NUMBER AND PART NUMBER INDEX
FIGURE ITEM FIGURE ITEM
NSN NO. NO. NSN NO. NO.
5975-00-074-2072 22 1 2610-00-089-5997 136 10
5975-00-074-2072 23 1 6645-00-089-8842 13 40
5975-00-074-2072 24 1 4820-00-090-0554 83 5
5975-00-074-2072 25 1 4820-00-090-0554 113 2
5975-00-074-2072 26 1 5315-00-090-4109 68 61
5975-00-074-2072 27 1 2530-01-090-6679 141 23
5975-00-074-2072 28 1 4730-00-091-2526 80 32
5975-00-074-2072 29 2 6110-00-092-5116 7 11
5975-00-074-2072 38 1 6110-00-092-5116 13
5975-00-074-2072 49 2 5915-00-093-1410 53 19
5975-00-074-2072 54 2 5915-00-093-1410 61 47
5975-00-074-2072 56 2 5915-00-093-1410 63
5975-00-074-2072 58 2 5330-00-093-6789 68 16
5975-00-074-2072 62 2 5330-00-093-7210 33 7
5975-00-074-2072 126 1 5310-00-094-3421 13 66
5975-00-074-2072 127 1 5310-00-094-3421 15 9
5975-00-074-2072 135 1 5310-00-094-3421 33 4
5975-00-074-2072 136 1 5310-00-094-3421 46 19
5975-00-074-2072 137 1 5310-00-094-3421 47 11
5975-00-074-2072 131 2 5310-00-094-3421 61 45
5975-00-074-2072 133 1 5310-00-094-3421 72 36
5975-00-074-2107 134 1 5310-00-094-3421 123 39
5305-00-076-9769 119 6 5310-00-094-3421 132 37
5977-00-078-9102 128 76 5310-00-094-3421 142 46
5961-00-079-5958 12 8 5905-00-096-3239 59 19
5330-00-079-7839 37 6 4730-00-095-1265 83 4
5330-00-080-0213 98 8 4730-00-095-1265 123 35
5310-00-080-6004 31 9 5950-00-098-9133 33 11
5310-00-080-9785 80 26 5325-00-099-8827 13 57
5310-00-080-9785 82 29 4010-00-099-8849 36 11
5905-00-081-3919 39 23 4010-00-099-8849 46 25
5310-00-081-4219 30 105 4010-00-099-8849 123 30
6625-00-081-5840 13 8 3110-00-100-0542 139 11
5310-00-082-1404 31 5 3110-00-100-0542 141 12
5310-00-082-1404 39 32 3110-00-100-3537 141 9
5310-00-082-1404 65 4 5950-00-101-2387 55 29
5310-00-082-1404 132 27 5905-00-104-8350 59 22
5470-00-082-3942 147 11 6105-00-105-8290 85 28
5970-00-082-3948 143 1 5920-00-106-1454 85 6
5305-00-083-4620 68 32 6210-00-106-7568 13 10
5910-00-083-5049 39 43 3120-00-106-8645 80 18
5310-00-084-0380 16 32 5905-00-106-9344 59 9
5310-00-084-0602 68 56 5306-00-108-0943 45 6
5305-00-084-6194 31 22 3110-00-109-1155 109 9
2910-00-085-5598 70 39 5905-00-110-0196 12 7
2910-00-085-5598 71 5310-00-110-2762 118 2
5310-00-088-1251 16 46 5330-00-110-5676 106 19
5310-00-088-1251 80 16 5330-00-110-5677 113 10
5470-00-088-2975 147 10 5340-00-110-5680 93 2
5940-00-088-6357 5330-00-110-5687 116 11
5961-00-087-6047 60 5 5330-00-110-5692 104 28
5935-00-089-4487 44 12 5330-00-110-8744 106 10
420
TM 9-6115-545-24P
TO 35C2-3-444-4
NAVFAC P-8-626-24P
SL-400038G/07499A
SECTION IV. NATIONAL STOCK NUMBER AND PART NUMBER INDEX
FIGURE ITEM FIGURE ITEM
NSN NO. NO. NSN NO. NO.
2815-00-110-9598 115 1 2920-00-122-2098 128 20
3020-00-110-9616 102 5 3110-00-123-2583 85 36
2910-00-110-9692 101 1 5305-00-125-6193 103 118
5330-00-111-0739 117 4 5360-00-125-6181 103 137
5330-00-111-0739 107 4 5305-00-125-6194 103 116
4730-00-111-2509 107 7 5340-00-126-7450 46 11
5975-00-111-3208 10 6 5340-00-126-7450 18 2
5905-00-111-8357 59 11 2910-00-128-1173 103 117
4730-00-113-0567 70 4 4820-00-128-1178 103 123
4730-00-113-0567 82 25 2910-00-128-1185 103 97
5910-00-113-5321 39 22 2910-00-128-1186 103 87
5305-00-113-6204 118 1 2910-00-128-1189 103 105
5940-00-113-8183 27 5 5365-00-128-1199 103 105
5940-00-113-8183 62 5 3110-00-130-7718 85 39
5940-00-113-8184 14 8 5905-00-131-3156 59 24
5940-00-113-9824 147 4 5920-00-131-9897 86 37
S940-00-113-9835 30 1 5920-00-131-9897 85 7
5940-00-113-9835 30 3 5310-00-132-1525 85 23
5940-00-113-9835 30 5 5310-00-132-1526 85 29
5940-00-113-9835 30 8 5310-00-132-1527 85 3
5940-00-113-9835 30 11 4730-00-132-4625 111 1
5940-00-113-9835 30 14 5305-00-132-7816 85 18
5940-00-114-1300 147 6 5315-00-133-3625 85 33
5935-00-114-2783 81 13 2910-00-133-9877 102 1
5905-00-114-5361 59 16 2920-00-133-9888 85 40
4710-00-115-0487 114 10 4730-00-133-9985 119 2
2815-00-115-0224 118 3 6115-00-134-1522 68 5
5940-00-115-2678 46 30 6620-00-134-1593 96 1
5940-00-115-2884 1 25 2990-00-135-6427 125 46
5310-00-115-6223 102 4 2990-00-135-6427 128
5310-00-115-6234 119 3 4820-00-136-1085 75 8
5305-00-115-9526 18 5 4820-00-136-1085 125 28
5305-00-115-9526 70 13 4820-00-136-1085 130 54
5950-00-116-3471 39 7 4730-00-136-2018 2 21
5950-00-116-3472 39 7 5961-00-136-4146 85 26
5950-00-116-3613 39 5 5330-00-137-3451 93 36
5950-00-116-3614 39 17 5935-00-137-4670 61 11
5950-00-116-3616 39 17 5330-00-138-0251 93 20
5950-00-116-3646 39 18 5310-00-138-0257 94 3
5950-00-116-3664 39 26 5340-00-138-4290 120 12
2530-01-116-5905 138 12 4720-00-139-4105 128 45
2530-01-116-5906 138 13 5905-00-140-6364 60 18
2920-00-118-1222 84 11 5905-00-140-9086 63 3
2920-00-118-1222 85 3120-00-140-2016 93 34
5340-00-118-3015 77 27 2910-00-140-7094 98 13
5315-00-118-5131 140 6 5315-00-141-1096 122 16
5310-00-118-3015 77 27 5905-00-141-1130 59 10
5330-00-119-4732 128 21 5905-00-141-1168 12 6
4730-00-121-0138 70 18 5365-00-141-6943 44 10
4730-00-121-0138 72 14 2910-00-141-9758 72 47
4730-00-121-0138 74 1 6240-00-143-3060 13 19
2540-00-122-2114 128 64 5940-00-143-4771 14 9
421
TM 9-6115-545-24P
TO 35C2-3-444-4
NAVFAC P-8-626-24P
SL-400038G/07499A
SECTION IV. NATIONAL STOCK NUMBER AND PART NUMBER INDEX
FIGUREITEM FIGURE ITEM
NSN NO. NO. NSN NO. NO.
5940-00-143-4774 6 4 5305-00-156-2937 103 129
5940-00-143-4774 14 4 5307-00-157-5848 94 15
5940-00-143-4774 26 9 4010-00-157-5921 58 8
5940-00-143-4774 28 2 5310-00-161-0654 32 1
5940-00-143-4774 34 2 5365-00-161-9596 55 32
5940-00-143-4774 49 3 5365-00-161-9596 57 4
5940-00-143-4774 129 11 5905-00-165-3280 37 13
5940-00-143-4774 133 4 5330-00-166-8621 93 26
5940-00-143-4774 145 3 5910-00-166-9168 39 43
5940-00-143-4774 146 2 2930-00-167-0438 106 4
5940-00-143-4774 147 2 2930-00-167-0442 134 14
5940-00-143-4775 26 7 2930-00-167-0443 134 11
5940-00-143-4775 129 10 2930-00-167-0444 134 13
5940-00-143-4775 143 3 5310-00-167-0721 30 104
5940-00-143-4777 18 21 5310-00-167-0804 35 3
5940-00-143-4777 26 6 5310-00-167-0809 32 2
5940-00-143-4777 62 7 5930-00-167-1746 128 15
5940-00-143-4777 68 59 5935-00-167-7775 26 11
5940-00-143-4777 143 2 5310-00-168-6371 86 49
5940-00-143-4777 145 4 5330-00-171-5641 103 46
5940-00-143-4777 147 3 5330-00-171-6649 82 12
5940-00-143-4780 147 7 5330-00-171-6695 82 13
5940-00-143-4780 14 6 4730-00-172-0034 135 9
5940-00-143-4780 26 10 4730-00-174-2816 114 19
5940-00-143-4780 56 4 5340-00-174-4811 1 3
5940-00-143-4780 62 6 5340-00-174-4811 18 9
5940-00-143-4793 27 6 5340-00-174-4811 46 13
5940-00-143-4793 28 3 5340-00-174-4811 70 9
5940-00-143-4793 29 5 5340-00-174-4811 142 8
5940-00-143-4794 18 22 5340-00-174-4821 18 13
5940-00-143-4794 147 8 5340-00-174-4811 7 3
5310-00-143-6351 119 4 5305-00-175-3230 95 15
5970-00-144-7307 85 4 5910-00-175-4632 60 11
5950-00-148-6066 39 5 5305-00-175-5109 86 45
5950-00-148-6067 39 6 5340-00-175-7022 18 26
5950-00-148-6069 39 6 2950-00-176-9074 105 23
2910-00-148-6555 103 58 2950-00-176-9075 105 8
2910-00-148-6556 103 106 2950-00-176-9077 105 19
2910-00-148-6557 103 37 5310-00-177-1156 142 31
2815-00-148-7492 116 5 5305-00-177-5278 132 36
2910-00-148-7495 103 138 3120-00-178-0412 105 21
2990-00-148-7494 2 11 5310-00-180-0277 53 8
5340-00-150-1658 132 30 5310-00-180-0277 61 25
2990-00-151-0867 2 12 5360-00-183-5688 128 68
5910-00-154-0547 59 7 5310-00-184-8971 30 56
4730-00-153-7372 125 39 5310-00-184-8971 31 8
6240-00-155-7836 10 9 5305-00-184-9508 1 36
6240-00-155-7878 13 14 5305-00-184-9508 7 9
6240-00-155-8714 13 22 5305-00-184-9508 16 28
6240-00-155-8714 129 7 5305-00-184-9508 61 34
6240-00-155-8714 132 9 5325-00-185-0012 132 31
6240-00-155-8714 132 12 2920-00-185-0833 93
422
TM 9-6115-545-24P
TO 35C2-3-444-4
NAVFAC P-8-626-24P
SL-400038G/07499A
SECTION IV. NATIONAL STOCK NUMBER AND PART NUMBER INDEX
FIGURE ITEM FIGURE ITEM
NSN NO. NO. NSN NO. NO.
5340-00-187-5664 60 16 5935-00-206-1400 15 3
6115-00-188-5333 46 6 3020-00-207-9284 85 31
5935-00-189-3932 26 12 5305-00-208-2522 93 25
5310-00-190-0752 103 9 2910-00-208-6982 104 113
6625-00-190-4868 81 15 2910-00-208-6974 103 60
5305-00-191-6226 68 12 5310-00-209-0965 84 13
5305-00-191-6226 68 27 5310-00-209-0965 96 17
5305-00-191-6226 48 4 5310-00-209-0965 97 8
5305-00-191-6226 48 6 5310-00-209-0965 98 6
5310-00-191-6226 68 10 5310-00-209-0965 107 2
5330-00-191-8171 93 46 5310-00-209-1218 103 2
4730-00-193-1915 72 4 2910-00-209-1528 103 99
4730-00-194-0216 125 30 4820-00-209-1562 72 27
5310-00-194-0607 103 3 5365-00-209-3148 103 13
5961-00-194-8010 142 24 5935-00-210-8648 12 1
3505-00-195-0232 96 6 5935-00-211-0783 124 2
3930-00-195-0232 13 47 5950-00-211-2000 81 45
2815-00-196-0814 116 2 5950-00-211-2000 81 46
2815-00-196-1014 120 2 2990-00-211-5066 81 50
5970-00-196-2928 38 7 6115-00-211-5086 81 22
5330-00-196-5497 68 4 6115-00-211-5241 81 3
3110-00-198-1050 134 5 2990-00-211-5258 81 24
3110-00-198-2169 139 12 5330-00-211-9920 81 4
3110-00-198-2169 139 16 5330-00-211-9967 117 8
3110-00-198-2169 141 10 5305-00-211-9341 142 33
3110-00-198-2170 141 13 5305-00-211-9344 5 6
2930-00-198-5795 77 21 5305-00-211-9344 61 7
5310-00-199-1056 30 55 5305-00-211-9344 129 1
6110-00-199-1278 10 14 5305-00-211-9344 125 54
4720-00-200-0365 2 28 5305-00-211-9344 130 7
2910-00-200-3294 103 74 3120-00-212-0061 81 20
4730-00-200-3412 103 4 2910-00-212-9065 81 48
5935-00-201-4604 20 4 5330-00-213-8901 81 30
5935-00-201-4604 144 5 5330-00-213-8904 89 16
6110-00-201-6015 61 41 5930-00-214-0431 13 28
6110-00-201-6015 64 4730-00-214-8108 70 28
6110-00-201-8315 7 11 5365-00-216-1229 12 5
6110-00-201-8315 13 4810-00-216-1849 70 29
5305-00-202-1721 99 28 4320-00-217-5827 128 56
6110-00-202-2888 13 65 4320-00-217-5827 134 2
6110-00-202-2888 15 5305-00-218-4864 33 16
6115-00-202-2891 36 16 5305-00-218-4864 142 26
4720-00-202-7935 130 25 5305-00-218-5757 89 1
4730-00-202-9390 70 22 4730-00-221-2139 82 26
4730-00-202-9997 74 2 4730-00-221-2139 125 38
4730-00-203-3480 113 14 5310-00-221-3153 30 32
6115-00-204-1728 37 19 5360-00-221-6558 128 60
6115-00-204-1728 39 6115-00-222-8246 36 16
5940-00-204-8966 14 11 2920-00-223-6256 93 35
5940-00-204-8990 129 14 5305-00-224-1092 47 3
5940-00-204-8990 133 6 5305-00-224-1092 142 37
2910-00-204-9549 103 24 2920-00-224-7429 81 34
423
TM 9-6115-545-24P
TO 35C2-3-444-4
NAVFAC P-8-626-24P
SL-400038G/07499A
SECTION IV. NATIONAL STOCK NUMBER AND PART NUMBER INDEX
FIGURE ITEM FIGURE ITEM
NSN NO. NO. NSN NO. NO.
5999-00-224-5960 55 13 4720-00-235-4131 83 8
5305-00-224-1093 72 35 6115-00-235-4703 125 4
5305-00-225-3839 36 2 5961-00-237-2384 12 9
5305-00-225-3839 78 5 5940-00-237-2704 32 3
5305-00-225-3840 68 65 5310-00-237-7457 134 17
5305-00-225-3840 78 1 3120-00-237-7825 121 6
5305-00-225-3842 32 4 5305-00-239-0562 71 12
5306-00-225-8499 30 103 4730-00-239-2503 72 1
5306-00-225-8507 130 39 5330-00-239-4307 88 9
5306-00-225-9089 138 9 5306-00-240-6750 103 128
5306-00-226-4824 115 2 5320-00-241-6020 13 71
5910-00-226-8109 39 31 6115-00-244-1212 46 8
5901-00-226-8697 55 8 6115-00-244-1212 61
2910-00-228-2799 102 9 6115-00-244-1213 46 8
2910-00-228-2799 103 6115-00-244-1213 61
2910-00-228-3436 110 1 6115-00-244-1214 46 7
5340-00-228-6470 70 14 6115-00-244-1214 51
5340-00-228-6470 80 3 6210-00-244-2897 13 16
2940-00-228-6965 96 8 6110-00-244-1209 1 37
5330-00-228-7468 5330-00-245-4070 134 16
5305-00-228-7508 30 68 4730-00-248-6728 70 34
5310-00-228-7518 2 5 5305-00-250-5613 103 38
5310-00-228-7563 30 26 5330-00-251-4082 76 3
5310-00-228-7578 30 81 5365-00-252-4746 77 26
5310-00-228-7579 30 77 5305-00-252-8978 142 47
5310-00-228-7591 30 69 5305-00-253-5603 81 53
5935-00-229-2650 44 7 5305-00-253-5606 103 135
5340-00-229-3643 16 4 5910-00-254-2789 12 10
5940-00-230-0515 14 5 5360-00-255-4408 134 18
5940-00-230-0515 62 8 5360-00-255-4410 134 4
5940-00-230-0515 69 6 5999-00-255-9313 30 62
5940-00-230-0515 145 6 3040-00-256-2407 106 18
5940-00-230-0515 146 3 4710-01-256-7134 99 6
5330-00-230-9806 134 15 5307-00-256-7793 111 6
5330-00-231-1646 68 21 3030-00-257-0727 106 1
5310-00-231-1956 104 4 6080-00-257-1322 91 1
5305-00-231-1517 30 79 5970-00-257-8055 4 4
5305-00-231-1535 30 67 2920-00-260-4221 95
5305-00-231-1572 30 38 4710-01-261-5131 72 21
2940-00-231-7329 96 24 5977-00-263-0561 93
5999-00-232-2578 55 15 5365-00-263-3819 106 8
5999-00-232-2588 55 14 5325-00-263-6632 57 17
2990-01-233-3160 51 6 5310-00-263-8416 30 80
4730-00-233-9980 83 9 5310-00-264-0694 30 97
4730-00-234-1483 113 3 4710-01-264-5764 100 5
5330-00-234-4858 105 15 5905-00-264-7368 13 31
5940-00-234-3383 123 16 6115-00-264-9654 46 7
4720-00-235-4131 70 12 6115-00-264-9654 51
4720-00-235-4131 72 27 5360-00-267-0777 81 43
4720-00-235-4131 72 29 5305-00-269-2801 40 3
4720-00-235-4131 72 31 5305-00-269-2803 140 12
4720-00-235-4131 72 33 5305-00-269-3206 80 1
424
TM 9-6115-545-24P
TO 35C2-3-444-4
NAVFAC P-8-626-24P
SL-400038G/07499A
SECTION IV. NATIONAL STOCK NUMBER AND PART NUMBER INDEX
FIGURE ITEM FIGURE ITEM
NSN NO. NO. NSN NO. NO.
5305-00-269-3208 82 30 4730-00-285-4329 81 49
5305-00-269-3213 138 14 5325-00-286-0689 148 15
5305-00-269-3214 75 14 5325-00-286-0689 148 8
5305-00-269-3217 68 22 4730-00-287-0276 72 23
5305-00-269-3217 135 6 4730-00-287-3279 107 16
5305-00-269-3225 106 11 4730-00-287-8473 81 52
5305-00-269-3234 136 4 2910-00-287-1912 71 15
5305-00-269-4511 135 1 2910-00-287-1912 97 19
5310-00-269-6302 136 13 3120-00-287-6660 93 51
5310-00-269-6302 137 3 1650-00-288-6908 82 10
4030-00-270-5436 123 29 4730-00-288-9948 125 31
4730-00-272-5553 125 50 4730-00-289-5176 96 26
4730-00-273-6686 82 17 5340-00-289-5379 84 14
4730-00-273-8561 97 4 4720-00-289-9197 70 3
4720-00-273-9514 78 16 4720-00-289-9197 70 22
5945-00-275-5451 47 4720-00-289-9197 70 25
5305-00-276-5739 67 5 4720-00-289-9197 72 7
5325-00-276-6087 3 3 4720-00-289-9197 72 17
5945-00-276-7622 46 3 4720-00-289-9197 72 20
5945-00-276-7622 53 4720-00-289-9197 80 6
3110-00-277-0322 68 34 4720-00-289-9197 72 24
4730-00-277-6339 128 59 4720-00-289-9197 124 10
4730-00-278-0187 128 39 4720-00-289-9197 125 18
4730-00-278-3722 70 31 4720-00-289-9200 130 12
4730-00-278-3724 83 6 4720-00-289-9200 130 17
4730-00-278-3912 70 5 4720-00-289-9200 130 21
4730-00-278-3988 130 50 4720-00-289-9200 130 24
4720-00-278-1323 82 3 4720-00-289-9200 130 27
3120-00-279-4401 105 18 5340-00-291-3546 36 9
5340-00-279-9112 138 8 5340-00-291-3546 46 23
2920-00-280-4224 93 5330-00-291-3858 88 18
5920-00-280-4465 10 3 5315-00-291-5471 81 44
5325-00-281-1557 57 18 2920-00-292-0343 93 18
5310-00-281-9389 31 31 4320-00-292-2575 130 37
5310-00-282-6112 93 53 4320-00-292-2575 134
5325-00-282-7471 16 26 3120-00-293-5041 93 19
4540-00-282-8181 130 49 4730-00-294-1508 125 40
5940-00-283-5280 14 7 4730-00-294-1512 125 32
5940-00-283-5280 27 7 4730-00-294-1512 130 46
5940-00-283-5280 29 6 6145-00-295-2812 147 12
5940-00-283-5280 34 3 6145-00-296-2815 147 13
5940-00-283-5280 49 4 5935-00-295-6403 1 42
5940-00-283-5280 51 3 4730-00-295-6865 125 47
5940-00-283-5280 54 3 4730-00-295-6865 130 28
5940-00-283-5280 56 5 5315-00-297-2444 141 26
5940-00-283-5280 58 3 5330-00-298-0189 61 21
5940-00-283-5280 62 9 5330-00-298-0190 61 18
5940-00-283-5280 63 9 5315-00-298-1481 73 2
5940-00-283-5281 29 4 5315-00-298-1499 139 1
6210-00-283-9982 13 21 5315-00-298-1499 141 1
4720-00-283-9089 75 2 5315-00-298-1499 141 18
5325-00-285-3345 142 64 5310-00-298-2740 67 6
425
TM 9-6115-545-24P
TO 35C2-3-444-4
NAVFAC P-8-626-24P
SL-400038G/07499A
SECTION IV. NATIONAL STOCK NUMBER AND PART NUMBER INDEX
FIGURE ITEM FIGURE ITEM
NSN NO. NO. NSN NO. NO.
5310-00-303-0080 81 18 2815-00-352-3063 121 32
5365-00-303-0409 93 38 5330-00-355-8976 61 20
2920-00-304-3493 92 3 4810-00-357-0538 72 43
2920-00-304-3493 93 3 5330-00-357-2064 81 19
5330-00-304-9092 93 52 5905-00-357-2810 37 11
5340-00-307-1626 67 4 5905-00-357-3093 64 15
5340-00-308-1150 2 4 5905-00-357-3093 15 13
5340-00-308-6129 137 4 5905-00-359-4131 39 8
5340-00-308-6129 136 14 5905-00-359-4132 39 10
4720-00-309-2652 75 3 5310-00-359-5570 39 36
5340-00-310-4952 80 22 6115-00-361-1425 68 37
2530-00-311-2114 137 7 6130-00-364-0828 55 31
5970-00-311-5924 132 25 6130-00-364-0828 60
5970-00-311-5943 132 33 6130-00-365-4477 39 41
5330-00-316-7248 81 21 6110-00-370-5864 39 27
5945-00-318-3050 50 18 5905-00-371-6625 37 9
2910-00-321-8737 103 51 5905-00-371-6626 37 10
5310-00-321-9973 68 59 5905-00-371-6629 37 14
4140-00-322-0588 142 62 5945-00-371-9858 30 87
4140-00-322-0588 148 2910-00-374-6020 71 9
2930-00-322-0600 78 9 5930-00-375-0139 142 57
5945-00-323-8367 142 13 5930-00-375-0152 142 55
5365-00-324-4884 97 2 5905-00-375-1239 39 39
5905-00-325-6894 60 20 4730-00-377-3358 97 5
5950-00-327-9625 65 17 5905-00-378-0840 39 38
5910-00-331-9990 39 43 5905-00-378-0250 37 14
5910-00-331-9999 39 43 5330-00-379-4626 37 12
5910-00-332-0004 39 43 3120-00-379-5942 77 31
5999-00-332-0010 132 34 4720-00-385-8750 72 54
5340-00-333-6448 7 3 5305-00-390-0552 30 123
5340-00-333-6448 18 4 3120-00-393-4067 103 100
5340-00-333-6448 46 12 5961-00-394-0902 18 25
5340-00-333-6448 74 5 5940-00-397-3479 35 5
5340-00-333-6448 125 3 5305-00-397-4448 142 52
5340-00-333-6448 130 3 5355-00-397-4522 142 54
5905-00-333-8368 39 29 5310-00-397-4707 30 43
4730-00-335-9315 103 119 5305-00-397-4708 30 58
5360-00-335-9327 103 42 5305-00-397-4710 30 91
2910-00-335-9329 103 5 5310-00-397-4711 30 61
5935-00-339-7609 26 13 5305-00-397-4712 30 96
5935-00-339-7609 131 5 5340-00-397-5389 31 70
5999-00-340-9843 55 31 5310-00-397-5404 30 90
5999-00-340-9843 60 5310-00-397-5424 30 93
5998-00-342-9762 57 3 8030-00-398-4130 2
6110-00-342-9762 59 5310-00-399-0995 72 73
5998-00-342-9762 57 3 5310-00-399-0995 83 13
5310-00-343-1500 86 5 5310-00-399-0995 135 11
5360-00-343-3396 77 6 6105-00-400-0196 128 74
2920-00-350-1453 101 16 2920-00-400-6977 128 37
5999-00-350-2466 60 10 5930-00-400-7613 102 15
5970-00-350-4949 39 37 5310-00-400-8585 103 39
4730-00-352-3024 99 8 5330-00-401-5247 103 6
426
TM 9-6115-545-24P
TO 35C2-3-444-4
NAVFAC P-8-626-24P
SL-400038G/07499A
SECTION IV. NATIONAL STOCK NUMBER AND PART NUMBER INDEX
FIGURE ITEM FIGURE ITEM
NSN NO. NO. NSN NO. NO.
5330-00-401-5247 103 89 5306-00-418-2287 105 5
5330-00-401-5247 103 104 5305-00-418-2303 105 11
5330-00-401-5247 103 107 5306-00-418-2352 118 24
5330-00-401-5247 103 131 5306-00-418-2838 117 17
5330-00-401-5247 103 133 5306-00-418-2840 116 1
5330-00401-5247 103 139 5340-00-418-3273 113 21
5330-00-401-5247 103 140 5340-00-418-3955 102 6
5330-00-401-5247 103 52 5330-00-418-4365 103 50
5330-00-401-5247 103 59 5360-00-419-0324 103 122
5330-00-401-5247 103 62 5945-00-420-4561 47 15
5330-00-401-5247 103 65 5315-00-420-5754 68 64
5330-00-401-5247 103 32 5305-00-420-5963 93 15
5330-00-401-5247 103 33 5975-00-421-6952 4 8
5330-00-401-5247 103 43 5905-00-422-3848 59 12
5330-00-401-5247 103 46 5905-00-429-7153 39 24
5330-00-401-5247 103 48 5905-00-429-7153 39 29
5330-00-401-5247 103 49 2950-00-430-3080 104 31
5330-00-401-5247 103 2950-00-430-3080 105
5905-00-401-6563 85 16 2815-00-430-3480 83 14
5320-00-402-2855 125 56 5930-00-430-3532 48 8
5365-00-402-9935 64 8 5930-00-430-3540 87
5910-00-403-5098 60 17 5945-00-430-3576 53 20
5910-00-404-0499 39 43 5910-00-431-8036 39 21
2990-00-405-6146 80 24 2815-00-432-1170 118 19
2990-00-405-6146 81 2815-00-432-1183 120 5
5930-00-405-6153 70 35 2815-00-432-1184 120 9
5330-00-406-3739 116 9 2815-00-432-1185 120 10
2815-00-407-4743 119 9 2920-00-432-1228 93 55
5340-00-407-4744 118 21 4710-00-432-1229 97 3
4710-00-407-4935 99 14 4710-00-432-1230 99 3
4710-00-407-4937 99 16 4820-00-432-1232 103 88
5310-00-407-5575 102 3 4710-00-432-1233 114 15
4710-00-407-6682 99 11 4820-00-432-1234 120 8
4710-00-407-6689 99 13 4710-00-432-1262 99 15
4710-00-407-6691 99 12 4720-00-432-1264 104 24
6115-00-407-8313 68 51 4540-00-432-1330 113 20
6115-00-407-8413 125 2990-00-432-1328 88 11
6115-00-407-8322 142 2990-00-432-1329 88 15
6115-00-407-8331 68 26 5310-00-432-3550 30 89
5310-00-407-9566 84 3 5325-00-432-9902 13 56
5310-00-407-9566 88 5 4730-00-433-3375 72 22
5310-00-407-9566 99 25 5340-00-433-3923 107 3
5310-00-407-9566 113 13 4710-00-433-6979 74 6
5310-00-407-9566 114 4 5905-00-435-1723 60 19
5310-00-407-9566 115 4 5945-00-435-1833 10 13
5310-00-407-9566 118 26 5945-00-435-1833 15 2
5310-00-407-9566 123 13 5945-00-435-1833 64 3
5330-00-408-6005 107 10 5365-00-435-9379 85 35
2930-00-408-9298 98 14 5310-00-436-1975 85 30
5905-00-409-3415 59 14 5305-00-436-2058 109 1
5310-00-415-2084 88 13 5305-00-436-2058 109 11
5310-00-415-2084 117 14 4730-00-437-0040 125 33
427
TM 9-6115-545-24P
TO 35C2-3-444-4
NAVFAC P-8-626-24P
SL-400038G/07499A
SECTION IV. NATIONAL STOCK NUMBER AND PART NUMBER INDEX
FIGURE ITEM FIGURE ITEM
NSN NO. NO. NSN NO. NO.
2930-00-443-6382 106 22 5935-00-484-1743 144 3
5310-00-443-8282 68 60 5961-00-484-3034 85 14
5950-00-444-0265 33 11 5365-00-485-0097 103 79
5315-00-449-2945 13 58 5365-00-486-7901 96 11
5325-00-449-2967 13 72 2930-00-487-2819 76 4
5945-00-450-9136 53 21 2930-00-487-2819 77 1
5945-00-450-9136 61 51 5330-00-491-9397 82 13
5975-00-451-5001 43 5340-00-492-0608 46 .15
2910-00-453-6237 103 84 5330-00-492-6023 116 10
2910-00-454-0666 128 32 5360-00-494-7401 140 2
2540-00-454-0665 128 48 4730-00-496-7337 99 5
5910-00-454-7428 39 42 4730-00-497-1809 96 5
6115-00-455-7680 68 55 5305-00-500-3542 30 76
6115-00-455-7682 68 51 5935-00-506-6540 9 3
6115-00-455-7693 130 5307-00-508-8354 39 23
6115-00-455-7697 67 8 5935-00-509-6194 23 4
6115-00-455-7097 68 5935-00-509-6194 26 13
6115-00-455-7698 68 5935-00-509-6194 131 5
5905-00-459-2558 51 7 5340-00-515-0577 2 16
4730-00-459-6077 103 44 5340-00-515-0577 46 14
5365-00-459-6003 103 85 5310-00-515-8058 89 3
4730-00-460-6725 98 1 5310-00-515-8058 148 4
4730-00-460-6725 107 4 5935-00-517-8519 44 6
4730-00-460-6725 107 14 5330-00-518-5530 98 9
4730-00-460-6725 116 6 6150-00-519-2714 61 38
5365-00-461-0473 89 17 5970-00-519-9680 55 20
5310-00-461-1754 93 42 4020-00-523-9641 40 28
5310-00-461-2244 95 6 2530-00-528-7224 136 1
5310-00-461-2764 93 6 5305-00-531-0298 81 33
5310-00-461-2764 95 2 5310-00-531-9514 128 12
5310-00-461-2899 94 18 S930-00-532-0777 128 10
5310-00-461-5018 109 3 5310-00-534-6760 93 5
5330-00-461-5760 98 11 5310-00-534-6760 93 56
5330-00-462-4524 128 62 4730-00-537-1192 97 14
2940-00-463-1362 45 9 5355-00-538-7331 13 29
5305-00-463-1398 55 18 4720-00-541-9248 130 10
5305-00-463-1398 57 9 4330-00-542-2060 82 11
6115-00-463-9092 135 5310-00-543-2410 31 51
4730-00-465-5928 75 7 5305-00-543-2419 1 34
5905-00-466-1494 59 17 5305-00-543-2732 81 10
5315-00-468-1635 137 5 5340-00-543-4394 57 8
6115-00-470-0453 68 55 5310-00-543-5060 31 67
2815-00-470-6295 118 29 5310-00-543-5060 81 36
2910-00-470-6887 101 10 5310-00-545-6787 94 4
5920-00-474-6125 132 14 6145-00-548-0969 11 4
5970-00-476-9527 55 12 5935-00-548-1528 23 6
5310-00-477-0294 148 14 5935-00-548-1529 19 4
2990-00-477-6143 128 47 6145-00-548-2920 143 5
5340-00-477-6153 128 1 5905-00-549-4119 65 14
5330-00-477-6785 101 2 5940-00-549-6581 1 9
100 1 5940-00-549-6581 1 21
101 17 5305-00-549-7287 18 19
428
TM 9-6115-545-24P
TO 35C2-3-444-4
NAVFAC P-8-626-24P
SL-400038G/07499A
SECTION IV. NATIONAL STOCK NUMBER AND PART NUMBER INDEX
FIGURE ITEM FIGURE ITEM
NSN NO. NO. NSN NO. NO.
5305-00-549-7287 30 121 6145-00-578-6605 28 4
5310-00-550-3503 67 2 6145-00-578-6605 29 8
5910-00-551-8865 59 8 6145-00-578-6605 34 4
4010-00-554-8661 124 6 6145-00-578-6605 49 9
5935-00-557-2054 81 29 6145-00-578-6605 54 7
5310-00-559-0070 103 18 6145-00-578-6605 56 11
5310-00-559-0070 148 20 6145-00-578-6605 58 6
5305-00-559-8144 81 35 6145-00-578-6605 62 22
5310-00-561-6210 148 25 6145-00-578-6605 126 4
5910-00-561-8847 30 134 6145-00-578-6605 126 5
5910-00-561-8847 142 17 6145-00-578-6605 127 4
4140-00-563-7648 148 1 6145-00-578-6605 133 12
6115-00-564-0067 47 6145-00-578-6605 145 10
6115-00-564-0067 46 2 6145-00-578-6605 146 4
5935-00-564-1355 3 7 6145-00-578-7513 145 7
5935-00-564-5362 24 3 6145-00-578-7514 26 19
5310-00-567-3687 140 1 6145-00-578-7514 27 11
5330-00-570-5097 61 19 6145-00-578-7514 62 21
5975-00-570-9598 44 6145-00-578-7514 126 5
5340-00-576-9338 55 28 6145-00-578-7514 131 9
5930-00-577-0404 53 7 6145-00-578-7514 133 11
5940-00-557-1629 14 10 6145-00-578-7514 144 6
5940-00-557-4338 30 17 6145-00-578-7514 145 8
5940-00-557-4338 30 20 5305-00-579-2139 39 4
5940-00-557-4341 143 3 5340-00-579-4188 148 30
5940-00-557-4341 145 2 5365-00-579-4189 148 29
6145-00-578-6594 30 21 2940-00-580-6283 96 9
6145-00-578-6595 30 18 4730-00-580-7417 96 3
6145-00-578-6596 145 9 5310-00-582-5765 103 7
6145-00-578-6600 30 2 5305-00-582-5807 65 8
6145-00-578-6000 30 4 5310-00-582-5965 39 13
6145-00-578-6600 30 6 5310-00-582-5965 48 2
6145-00-578-6600 30 9 5310-00-582-5965 69 4
6145-00-578-6600 30 12 5310-00-582-6014 99 10
6145-00-578-6600 30 15 5330-00-584-1040 81 27
6145-00-578-6602 14 13 5310-00-584-5272 73 7
6145-00-578-6602 44 5310-00-584-5272 84 9
6145-00-578-6602 56 11 5310-00-584-5272 92 6
6145-00-578-6604 69 7 5310-00-584-5272 93 2
6145-00-578-6605 6 7 5310-00-584-5272 94 2
6145-00-578-6605 8 5 5310-00-584-5272 98 3
6145-00-578-6605 9 5 5310-00-584-5272 104 2
6145-00-578-6605 14 12 5310-00-584-5272 114 8
6145-00-578-6605 19 5 5310-00-584-5272 116 8
6145-00-578-6605 20 5 5310-00-584-5272 135 12
6145-00-578-6605 21 5 5310-00-584-5272 139 7
6145-00-578-6605 22 4 5310-00-584-5272 141 7
6145-00-578-6605 23 7 5935-00-565-9503 26 4
6145-00-578-6605 24 4 5935-00-565-9503 27 8
6145-00-578-6605 25 4 5935-00-565-9503 131 6
6145-00-578-6605 26 18 2530-00-589-8537 139 5
6145-00-578-6605 27 10 2530-00-589-8537 141 5
429
TM 9-6115-545-24P
TO 35C2-3-444-4
NAVFAC P-8-626-24P
SL-400038G/07499A
SECTION IV. NATIONAL STOCK NUMBER AND PART NUMBER INDEX
FIGURE ITEM FIGURE ITEM
NSN NO. NO. NSN NO. NO.
5905-00-594-2643 59 13 5310-00-637-9541 104 14
4730-00-595-3108 75 10 5310-00-637-9541 104 26
4730-00-595-3108 125 27 5310-00-637-9541 106 3
4730-00-595-3108 130 53 5310-00-637-9541 110 6
4730-00-595-4924 99 7 5310-00-637-9541 113 8
5310-00-595-6398 71 13 5310-00-637-9541 117 2
5310-00-595-6398 97 16 5310-00-637-9541 118 16
5310-00-595-7237 70 38 5310-00-637-9541 135 2
5310-00-596-7691 132 19 5310-00-637-9541 136 3
5310-00-596-7693 37 2 5310-00-637-9541 136 5
5365-00-598-5416 44 5 5310-00-637-9541 139 17
5360-00-598-9900 121 31 5310-00-639-5075 138 15
5330-00-599-9126 61 17 5310-00-639-6385 71 4
5330-00-599-9126 142 39 4820-00-639-9224 125 51
5930-00-601-6342 132 16 4720-00-639-9907 80 9
5395-00-608-1876 26 17 4730-00-640-5852 122 6
9390-00-612-3272 30 136 5330-00-641-8286 103 70
2530-00-613-6061 141 34 5310-00-641-9464 148 32
5305-00-614-0260 81 28 5330-00-641-8286 103 70
5330-00-614-0344 61 22 5905-00-642-1955 61 42
5930-00-615-6731 13 34 5905-00-642-5025 65 14
5910-00-615-7880 10 5 6145-00-643-0647 38 8
5315-00-616-5530 108 4 6145-00-643-0647 66 3
5330-00-618-0593 96 7 6145-00-643-0723 124 3
4730-00-620-6904 70 26 2910-00-646-9727 72 76
4730-00-620-6904 72 9 6115-00-652-7234 47 7
4730-00-620-6904 74 3 5930-00-655-1514 13 36
4730-00-620-6904 123 4 5930-00-655-1514 18 7
4730-00-620-6904 125 23 5930-00-655-1514 142 58
4730-00-620-6904 125 31 5930-00-655-1522 13 39
5910-00-621-9459 60 13 5930-00-655-1575 129 15
5910-00-621-9513 60 13 5930-00-655-1581 13 33
5935-00-622-2830 19 3 5930-00-655-1582 13 35
5935-00-622-2929 20 4 5940-00-660-3633 26 8
5935-00-622-2940 9 2 5365-00-663-2125 44 4
5315-00-622-8467 77 14 5330-00-663-4773 72 6
5305-00-622-9475 65 6 5330-00-663-4773 97 18
5360-00-624-0491 94 20 5905-00-665-6340 57 12
5935-00-626-3120 26 12 6150-00-665-7230 13 61
3030-00-630-0092 84 4 5905-00-665-7855 13 32
5330-00-631-6649 139 14 4730-00-678-4749 113 4
5330-00-631-6649 141 8 2930-00-679-8879 77 18
4730-00-633-1492 99 4 5320-00-680-8779 13 68
5310-00-637-9541 2 6 5935-00-682-0567 62 13
5310-00-637-9541 7 15 5935-00-682-0570 20 4
5310-00-637-9541 77 2 5940-00-682-1445 26 5
5310-00-637-9541 84 6 6150-00-682-7234 53 13
5310-00-637-9541 88 20 5920-00-682-4015 132 13
5310-00-637-9541 91 4 5970-00-682-8744 46 24
5310-00-637-9541 97 12 5940-00-683-4339 30 84
5310-00-637-9541 88 13 5330-00-684-7851 72 48
5310-00-637-9541 102 11 5305-00-685-1634 47 13
430
TM 9-6115-545-24P
TO 35C2-3-444-4
NAVFAC P-8-626-24P
SL-400038G/07499A
SECTION IV. NATIONAL STOCK NUMBER AND PART NUMBER INDEX
FIGURE ITEM FIGURE ITEM
NSN NO. NO. NSN NO. NO.
5925-00-686-3298 7 6 5305-00-724-6798 128 50
5925-00-686-3301 3 10 5961-00-724-5970 132 21
5925-00-686-3301 129 12 3110-00-724-7884 128 61
5977-00-686-4476 148 18 5935-00-725-0888 54 5
6210-00-686-4999 13 20 5305-00-725-2317 135 4
6210-00-686-4999 132 7 5340-00-725-6033 63 6
6210-00-688-5088 13 23 5935-00-725-7248 62 11
5360-00-691-7207 103 12 5935-00-725-8233 27 4
5310-00-696-5173 1 2 5310-00-726-7428 30 40
5310-00-696-5173 1 41 5935-00-726-8317 62 15
5310-00-696-5173 2 14 5975-00-727-5153 23 2
4310-00-696-5173 7 2 5975-00-727-5153 26 2
5310-00-696-5173 16 34 5975-00-727-5153 27 2
5310-00-696-5173 18 3 5975-00-727-5153 29 1
5310-00-696-5173 30 128 5975-00-727-5153 34 1
5310-00-696-5173 36 1 5975-00-727-5153 49 1
5310-00-696-5173 46 10 5975-00-727-5153 54 1
5310-00-696-5173 61 35 5975-00-727-5153 56 1
5310-00-696-5173 72 39 5975-00-727-5153 58 1
5310-00-696-5173 125 2 5975-00-727-5153 62 1
5310-00-696-5173 130 1 5975-00-727-5153 131 1
5310-00-696-5173 142 5 5975-00-727-5153 133 2
5360-00-696-8522 79 7 4030-00-729-6054 36 8
5330-00-701-3424 88 10 4030-00-729-6054 46 22
4730-00-701-7737 128 24 5310-00-732-0558 1 29
5935-00-702-4199 37 8 5310-00-732-0558 16 40
5961-00-702-5763 64 17 5310-00-732-0558 46 34
3020-00-705-5935 116 3 5310-00-732-0558 73 9
6145-00-705-6678 1 6 5310-00-732-0558 75 17
6145-00-705-6678 1 14 5310-00-732-0558 135 3
6145-00-705-6678 1 18 5310-00-732-0559 88 1
6145-00-705-6678 1 23 5310-00-732-0559 101 10
6145-00-705-6678 1 28 5310-00-732-0559 139 18
4720-00-708-3507 83 3 5310-00-732-0560 136 2
4730-00-713-5913 80 12 5310-00-732-0560 139 6
5365-00-715-1152 94 23 5310-00-732-0560 141 6
4030-00-717-8963 46 29 4730-00-737-3364 104 18
2930-00-720-2677 78 13 4730-00-738-4481 82 4
5310-00-720-8395 30 39 5330-00-740-6097 96 10
5935-00-721-0496 38 4 5360-00-751-8916 103 29
5935-00-721-0496 56 8 5935-00-752-2770 44 1
5935-00-721-0501 54 5 4820-00-752-9040 70 33
5935-00-721-0501 62 12 4820-00-752-9040 71 2
5935-00-721-0708 49 4 4820-00-752-9040 71 11
5935-00-721-1081 21 4 4820-00-752-9040 97 21
5307-00-721-4529 128 6 2910-00-752-9138 72 77
5305-00-723-9387 77 3 5935-00-755-2787 30 73
5305-00-724-5906 18 16 5935-00-755-2787 49 6
5305-00-724-5906 30 108 5935-00-755-2787 66 2
5305-00-724-5906 36 12 5935-00-755-3494 62 14
5305-00-724-5910 30 114 4710-00-758-0087 72 3
5305-00-724-6757 68 24 4710-00-758-0087 110 2
431
TM 9-6115-545-24P
TO 35C2-3-444-4
NAVFAC P-8-626-24P
SL-400038G/07499A
SECTION IV. NATIONAL STOCK NUMBER AND PART NUMBER INDEX
FIGURE ITEM FIGURE ITEM
NSN NO. NO. NSN NO. NO.
2540-00-756-8375 136 19 5330-00-776-0580 77 25
2530-00-759-1967 141 31 2920-00-779-9599 40 1
2530-00-759-1968 141 33 2990-00-779-9795 89 15
5310-00-761-6882 30 112 2990-00-780-0152 89 20
5310-00-761 6882 32 5 2990-00-780-0779 89 21
5310-00-761-6882 39 12 2910-00-780-0934 101 5
5310-00-761-6882 68 66 2910-00-780-0938 103 73
5310-00-761-6882 61 33 2910-00-780-1824 103 103
5310-00-761-6882 69 5 5970-00-781-6832 1 10
5310-00-761-6882 70 7 5910-00-782-5035 63 4
5310-00-761-0882 82 9 2530-00-782-7582 135
5310-00-761-6882 99 18 5930-00-782-8590 13 38
5310-00-761-6882 123 8 5310-00-784-0033 71 3
2815-00-762-1359 91 6 5307-00-784-0015 71 7
2815-00-762-1360 104 5 4820-00-785-8153 83 10
2815-00-762-1361 104 8 4820-00-785-8153 121 32
2815-00-762-1373 115 9 5315-00-786-3998 103 66
2815-00-762-1376 120 1 5340-00-786-1550 103 28
2815-00-762-1376 120 7 5365-00-786-3964 103 102
2815-00-762-1374 116 12 5365-00-786-4025 103 11
3020-00-762-1358 89 18 5365-00-786-4027 103 101
3020-00-762-1363 106 6 5305-00-786-4028 103 54
2815-00-762-1375 117 19 5305-00-786-4032 103 120
3020-00-762-1377 118 27 5340-00-787-6422 103 130
3020-00-762-7364 108 3 2910-00-787-6551 71 1
5310-00-762-6248 67 7 5940-00-788-2699 128 7
5310-00-763-7872 45 5 5305-00-788-3735 103 30
5330-00-763-9322 72 42 5310-00-791-9437 103 69
2990-00-764-7833 104 27 3120-00-797-1271 77 33
3040-00-764-7915 105 17 3120-00-797-1273 77 16
6140-00-764-9209 1 35 5935-00-800-2824 38 3
5310-00-765-3197 65 12 5935-00-801-6620 62 16
6145-00-765-4280 18 23 5935-00-801-6621 62 18
5961-00-765-4589 59 1 5940-00-804-0520 1 45
4730-00-765-9090 75 9 5940-00-804-0520 1 5
5360-00-766-9477 96 15 5940-00-804-0520 1 12
5940-00-767-1596 12 11 5940-00-804-0520 1 17
5310-00-767-5648 114 9 5940-00-804-0520 1 22
5305-00-767-5831 89 15 5940-00-804-0520 1 27
4730-00-767-6185 91 7 9505-00-804-3818 123
2920-00-767-6707 93 48 5330-00-804-5695 80 13
2920-00-767-6824 93 47 5330-00-804-5695 82 6
2920-00-767-6830 93 44 5330-00-805-2966 80 15
2920-00-767-6845 93 16 5905-00-805-8471 55 20
5310-00-768-0318 72 68 5935-00-806-4588 133 7
5310-00-768-0318 73 6 5315-00-806-9711 136 18
5310-00-768-0318 75 13 5365-00-807-7968 90 7
5310-00-768-0318 135 13 5330-00-807-8993 89 7
5940-00-768-8794 30 28 5120-00-808-5006 46 31
5305-00-772-6334 140 8 4730-00-808-6814 89 12
5999-00-774-4004 59 25 5305-00-808-9977 39 14
2930-00-776-0491 77 29 5310-00-809-3078 39 15
432
TM 9-6115-545-24P
TO 35C2-3-444-4
NAVFAC P-8-626-24P
SL-400038G/07499A
SECTION IV. NATIONAL STOCK NUMBER AND PART NUMBER INDEX
FIGURE ITEM FIGURE ITEM
NSN NO. NO. NSN NO. NO.
5310-00-809-3078 68 67 5935-00-823-5322 20 2
5310-00-809-4058 16 46 5935-00-823-5322 21 2
5310-00-809-4058 30 122 5935-00-823-5322 22 2
5310-00-809-4058 30 129 5935-00-823-5322 23 3
5310-00-809-4058 30 133 5935-00-823-5322 24 2
5310-00-809-4058 61 32 5935-00-823-5322 25 2
5310-40-809-4058 68 42 5935-00-823-5322 26 3
5310-00-809-4058 70 8 5935-00-823-5322 27 9
5310-00-809-4058 142 15 5935-00-823-5322 29 3
5310-00-809-4085 97 9 5935-00-823-5322 56 3
5310-00-809-8544 31 23 5935-00-823-5322 144 2
5310-00-809-8544 33 13 5935-00-823-5322 44 2
5310-00-809-8544 48 19 5310-00-823-8804 30 111
5310-00-809-8544 13 54 5310-00-823-8804 48 3
5310-00-809-8546 15 10 5310-00-823-9804 68 17
5310-00-809-8546 16 17 5310-00-823-8804 142 45
5310-00-809-8546 30 119 5935-00-824-7883 26 16
2920-00-812-0196 94 25 5935-00-824-7883 62 19
2815-00-812-1040 117 10 5940-00-825-3701 49 7
5970-00-812-2969 6 2 5940-00-825-5041 52 3
5970-00-812-2969 49 8 5961-00-826-9048 60 8
5970-00-812-2969 54 6 5935-00-827-1333 85 12
5970-00-812-2969 56 9 5935-00-827-9045 38 5
5970-00-812-2969 58 5 5935-00-827-9045 70 30
5970-00-812-2969 62 20 5310-00-830-7825 103 10
5970-00-812-2969 133 10 5310-00-831-6597 141 21
5935-00-812-3756 44 4 6210-00-831-8247 13 15
5360-00-812-8893 79 1 2910-00-832-0122 103 14
5940-00-813-0698 38 2 5365-00-833-7454 81 16
6210-00-813-8255 10 10 5330-00-833-7491 80 11
5935-00-813-4364 58 4 5935-00-834-4904 56 7
5935-00-813-4717 26 15 5905-00-834-7831 142 69
5935-00-813-4722 38 6 5310-00-834-8732 92 5
5970-00-814-0393 55 19 5310-00-836-3520 5 3
5970-00-814-0393 57 11 5310-00-836-3520 13 41
6685-00-814-5271 107 11 5310-00-836-3520 16 25
5935-00-814-6769 147 9 5310-00-836-3520 47 4
5935-00-814-9781 29 7 5310-00-836-3520 52 6
4730-00-815-2930 123 36 5310-00-836-3520 53 15
4730-00-817-1874 70 19 5310-00-836-3520 55 4
5935-00-819-5886 25 3 5310-00-836-3520 57 6
5310-00-820-6653 92 2 5310-00-836-3520 61 10
5935-00-821-0345 56 6 5310-00-836-3520 63 2
5310-00-821-2424 101 12 5310-00-836-3520 123 33
5360-00-821-3391 105 14 5310-00-836-3520 129 4
5365-00-821-4040 106 5 5310-00-836-3520 132 6
3030-00-822-6279 84 4 5310-00-836-3520 142 38
5935-00-823-5322 6 3 5330-00-836-4356 37 7
5935-00-823-5322 8 4 5961-00-837-7262 59 20
5935-00-823-5322 9 4 5961-00-837-7262 60 9
5340-00-823-5322 131 7 5365-00-838-0422 16 23
5935-00-823-5322 19 2 5306-00-839-1373 141 14
433
TM 9-6115-545-24P
TO 35C2-3-444-4
NAVFAC P-8-626-24P
SL-400038G/07499A
SECTION IV. NATIONAL STOCK NUMBER AND PART NUMBER INDEX
FIGURE ITEM FIGURE ITEM
NSN NO. NO. NSN NO. NO.
5315-00-839-2326 79 5 2940-00-860-0330 96 21
5315-00-839-5820 138 6 5310-00-860-0341 77 24
5310-00-842-1190 109 5 5905-00-860-6276 61 43
4730-00-842-2200 80 8 2920-00-861-2063 93 14
4730-00-842-2201 70 2 2920-00-861-2063 94
4730-00-842-2201 70 16 4730-00-861-6890 96 15
4730-00-842-2201 70 21 4730-00-861-6890 97 15
4730-00-842-2201 70 24 4720-00-866-4962 104 11
4730-00-842-2201 72 6 5310-00-869-1018 142 32
4730-00-842-2201 72 16 6025-00-869-3141 13 43
4710-00-842-2201 72 19 6625-00-869-3144 13 27
4730-00-842-2201 80 5 3120-00-869-4517 93 37
4730-00-842-2201 82 23 4730-00-869-6360 123 37
4730-00-842-2201 124 9 2530-00-871-6901 137 6
4730-00-842-2201 125 7 2990-00-872-4001 2 1
4730-00-842-2202 82 15 5310-00-873-1159 71 8
4730-00-842-2202 125 10 2920-00-873-1880 92 4
4730-00-842-2202 125 15 4730-00-873-1883 100 17
4730-00-842-2202 125 18 5905-00-873-3604 39 40
4730-00-842-2202 125 21 2530-00-873,4384 141 35
4730-00-842-2202 125 35 2530-00-873-4385 141 38
4730-00-842-2202 130 11 5920-00-875-4100 10 4
4730-00-842-2202 130 16 5920-00-875-4100 132 15
4730-00-842-2202 130 20 5365-00-877-4952 103 77
4730-00-842-2202 130 23 5310-00-877-4957 103 64
4730-00-842-2202 130 26 5330-00-877-4972 102 13
5315-00-842-3044 136 11 5905-00-878-9636 55 22
5315-00-842-3044 137 1 5935-00-879-0235 131 4
5935-00-842-6316 62 17 5935-00-879-3265 126 2
5935-00-842-6316 129 6 5935-00-879-3265 127 2
4730-00-843-0269 82 2 5905-00-879-1163 64 14
5905-00-843-2809 55 21 5975-00-879-7234 3 9
5315-00-843-9730 81 23 5310-00-880-7744 30 106
5310-00-844-4872 142 41 5310-00-880-7744 99 24
5935-00-845-1349 61 6 5310-00-880-7744 113 12
5935-00-845-1701 26 14 5310-00-880-7744 114 2
5330-00-846-0500 82 20 5310-00-880-7744 130 41
5305-00-846-0129 103 1 5310-00-880-8186 73 3
4730-00-848-7131 97 1 5310-00-881-1763 141 22
5365-00-848-8008 105 20 4720-00-882-1379 2 25
5330-00-848-9943 107 5 5315-00-882-7051 68 52
4820-00-849-1220 122 4 5306-00-882-7811 139 9
5310-00-850-9142 141 27 5310-00-883-2237 93 21
4730-00-851-3423 82 34 5310-00-883-9384 132 26
5935-00-851-9080 27 3 5360-00-887-1536 102 2
5905-00-853-0784 55 21 5315-00-887-1539 103 112
5961-00-853-1065 59 5 2910-00-887-1546 103 127
5310-00-853-9336 7 14 5305-00-887-1547 103 124
5310-00-854-4342 77 28 2910-00-887-1548 103 126
5930-00-854-8344 128 9 5305-00-887-1564 103 125
5945-00-855-7478 61 36 2920-00-889-1864 94 27
6685-00-857-0662 13 44 5310-00-889-2527 123 15
434
TM 9-6115-545-24P
TO 35C2-3-444-4
NAVFAC P-8-626-24P
SL-400038G/07499A
SECTION IV. NATIONAL STOCK NUMBER AND PART NUMBER INDEX
FIGURE ITEM FIGURE ITEM
NSN NO. NO. NSN NO. NO.
5310-00-889-2527 130 40 5310-00-903-3994 93 10
8030-00-889-3534 2 12 5310-00-905-1691 80 19
5310-00-889-8528 30 132 4730-00-906-2505 80 10
5310-00-889-2528 32 6 4730-00-908-3193 83 4
5310-00-889-2528 36 3 4730-00-908-3193 125 41
5310-00-889-2528 61 31 4730-00-908-3193 2 13
5310-00-889-2528 68 41 4730-00-908-3195 2 26
5310-00-889-2528 78 2 4730-00-908-6294 125 59
5310-00-889-2528 82 8 4730-00-909-8627 45 1
5310-00-889-2528 142 16 4730-00-909-8627 75 1
5305-00-889-2998 16 24 6115-00-911-1368 65
5305-00-889-2999 123 32 5310-00-911-5467 139 2
5305-00-889-2999 129 3 5310-00-911-5467 141 2
5305-00-889-3000 13 3 5310-00-911-5468 139 3
5305-00-889-3000 13 25 5310-00-911-5468 141 3
5305-00-889-3001 48 15 4720-00-913-5910 75 6
5305-00-889-3001 59 27 5970-00-914-3117 1 16
5305-00-889-3001 60 1 5970-00-914-3118 1 20
5305-00-889-3002 31 11 5970-00-914-3118 1 7
5305-00-889-3118 68 49 5970-00-914-3118 1 11
5330-00-890-3884 110 10 5970-00-914-3118 1 26
5330-00-890-3895 91 10 5970-00-914-3118 1 47
5330-00-890-3901 98 15 5310-00-914-6028 35 1
5330-00-890-3905 102 17 5930-00-914-6450 31 69
5330-00-890-3898 117 11 5305-00-915-8087 72 70
5305-00-890-3930 101 8 5355-00-916-2060 13 30
5310-00-891-1709 123 12 4540-00-917-4790 142 42
5310-00-891-5703 103 96 4730-00-917-4912 72 8
5305-00-891-8979 103 20 5945-00-919-7749 47 16
5961-00-892-0888 69 1 5330-00-920-6840 105 1
6625-00-892-4342 61 46 5945-00-922-0030 53 22
5920-00-892-9311 85 8 5945-00-922-0080 61 49
2530-00-893-0568 141 15 5945-00-922-0081 61 50
2530-00-893-0568 139 13 5330-00-922-1666 118 23
2530-00-893-0568 141 4 3110-00-922-1670 68 35
9505-00-893-4616 33 4730-00-923-0909 105 3
9905-00-893-3570 44 11 5961-00-926-7299 59 21
2910-00-893-6402 72 41 2925-00-927-1460 85 20
2920-00-897-2459 103 15 5310-00-928-2683 30 88
4730-00-897-2460 103 45 5310-00-929-3509 96 14
2910-00-897-2461 103 121 5961-00-929-5014 39 11
2910-00-897-2465 103 114 5935-00-929-5164 26 13
2940-00-898-1409 96 23 5935-00-929-5164 131 5
5310-00-898-1477 102 8 5330-00-930-5793 107 17
2910-00-898-4926 103 47 2815-00-930-5796 119 5
5325-00-899-1271 128 41 2910-00-930-5797 99 30
4730-00-899-4758 130 45 5330-00-930-9270 121 16
5360-00-900-2564 103 57 2815-00-930-9309 121 24
2910-00-901-0799 103 52 3020-00-930-9312 121 25
2910-00-901-0753 103 55 2815-00-930-9314 118 31
5961-00-901-2290 69 2 3120-00-930-9315 121 7
5310-00-902-6676 94 17 29154-0-930-9316 121 1
435
TM 9-6115-545-24P
TO 35C2-3-444-4
NAVFAC P-8-626-24P
SL-400038G/07499A
SECTION IV. NATIONAL STOCK NUMBER AND PART NUMBER INDEX
FIGURE ITEM FIGURE ITEM
NSN NO. NO. NSN NO. NO.
3020-00-930-9318 117 15 5961-00-943-9407 59 2
2815-00-930-9319 88 16 5935-00-944-4467 62 10
2815-00-930-9319 117 19 2530-00-947-3935 141 32
2815-00-930-9325 119 8 5310-00-950-1310 5 2
2815-00-930-9329 121 3 5310-00-951-7209 30 116
3120-00-930-9330 121 21 6240-00-951-4005 142 51
3120-00-930-9332 121 37 5977-00-951-5446 134 21
3120-00-930-9333 121 36 5340-00-951-8214 60 15
2910-00-930-9358 102 15 5330-00-953-2060 98 17
2910-00-930-9367 72 40 5970-00-954-1622 11 2
5310-00-931-8167 88 19 5970-00-954-1622 12 13
2910-00-932-4787 103 90 5970-00-954-1622 14 2
6680-00-933-3600 13 48 5970-00-954-1622 62 20
5310-00-933-8118 89 39 5970-00-954-1622 133 9
5305-00-934-0262 73 4 5305-00-954-5629 13 53
4820-00-934-7877 125 29 6620-00-954-8686 107 9
4820-00-934-7877 130 43 5315-00-957-2649 136 12
5310-00-934-9739 48 23 5315-00-957-2649 137 2
5310-00-934-9739 142 19 5305-00-958-6517 81 1
5310-00-934-9747 39 1 5305-00-959-1713 31 66
5310-00-934-9747 48 21 5305-00-964-0589 73 12
5310-00-934-9747 81 31 4820-00-967-3106 123 5
5310-00-934-9747 65 2 4730-00-968-6294 125 58
5310-00-934-9751 13 45 5305-00-969-4348 81 5
5310-00-934-9751 132 20 3040-00-971-4759 138 11
5310-00-934-9757 39 25 2530-00-971-4760 138 17
5310-00-934-9757 65 11 5310-00-971-7989 60 9
5310-00-934-9757 103 8 5330-00-974-6643. 103 82
5961-00-935-0148 55 6 5310-00-975-2075 136 6
5310-00-935-1243 103 21 5961-00-978-7660 64 16
5310-00-935-1243 103 26 5305-00-978-9342 81 42
5961-00-935-5032 64 17 5305-00-978-9343 81 38
5310-00-935-8984 72 69 5305-00-978-9368 103 17
5310-00-935-8984 72 72 5305-00-988-1724 68 40
5310-00-935-8984 75 12 2530-00-981-2506 138 7
5310-00-935-8984 83 12 9510-00-982-2719 2 29
5310-00-935-8984 123 22 5310-00-982-4933 81 40
6210-00-935-6919 13 9 5940-00-983-6105 13 62
2815-00-936-8201 121 33 5940-00-983-6047 54 26
5310-00-936-3520 142 22 72 10
5310-00-939-1061 30 27 5310-00-983-8433 33 17
5340-00-939-1101 109 4 5310-00-983-8483 39 3
5920-00-939-2203 69 10 5310-00-983-8483 59 28
5305-00-942-2196 46 32 5310-00-983-8483 60 3
5305-00-942-2196 73 11 5310-00-983-8483 64 11
5305-00-942-2196 76 1 5305-00-983-6656 134 1
5305-00-942-2196 84 5 5305-00-983-6730 5 1
5305-00-942-2196 97 11 5305-00-983-6730 13 42
5305-00-942-2196 106 7 5305-00-984-4982 10 11
5305-00-942-2196 113 6 5305-00-984-4982 31 49
5305-00-942-2196 117 18 5305-00-984-4982 64 1
5305-00-942-2196 119 1 5305-00-984-4984 148 13
436
TM 9-6115-545-24P
TO 35C2-3-444-4
NAVFAC P-8-626-24P
SL-400038G/07499A
SECTION IV. NATIONAL STOCK NUMBER AND PART NUMBER INDEX
FIGURE ITEM FIGURE ITEM
NSN NO. NO. NSN NO. NO.
5305-00-984-4988 13 60 6625-01-003-0975 13 26
5305-00-984-4988 31 3 5305-01-006-2051 39 35
5305-00-984-4992 47 8 5305-01-007-1321 103 16
5305-00-984-5678 68 1 5310-01-008-6409 31 7
5305-00-984-6221 128 14 5310-01-008-6410 31 26
5305-00-984-6189 47 19 5310-01-008-6411 31 52
5305-00-984-6191 37 1 5310-01-008-6424 31 44
5305-00-984-6191 48 27 5360-01-008-6425 31 47
5305-00-984-6192 16 1 5365-01-008-6420 31 19
5305-00-984-6193 4 5 5305-01-008-6421 31 25
5305-00-984-6193 13 1 5305-01-008-6427 31 50
5305-00-984-6193 31 43 5365-01-008-6422 31 34
5305-00-984-6193 48 20 5330-01-008-6564 31 18
5305-00-984-6195 13 63 5330-01-008-6565 31 30
5305-00-984-6207 47 10 5310-01-008-6596 31 33
5305-00-984-6215 15 8 5310-01-008-6597 31 68
5305-00-984-6218 33 3 5305-01-010-2362 16 38
5305-00-984-6221 64 9 5940-01-010-2899 14 10
5305-00-984-6226 94 10 3110-01-010-2469 148 26
4730-00-985-1294 122 9 6150-01-010-2597 31 27
5961-00-987-6047 59 4 5970-01-010-5848 31 53
5305-00-988-1727 81 6 5945-01-010-5912 31 24
5935-00-988-7841 72 67 5945-01-010-5913 31 37
5360-00-988-9511 138 5 5945-01-010-5914 31 45
5305-00-989-1861 138 2 5945-01-010-5915 31 46
5305-00-989-7434 148 6 5945-01-010-5916 31 54
5310-00-989-3184 138 3 5945-01-010-5920 31 55
5310-00-989-3185 138 10 5935-01-012-3080 3 7
5305-00-990-1347 69 3 5310-01-012-3595 68 7
6210-00-990-4637 10 8 5905-01-012-9761 60 6
5970-00-991-2949 65 13 5945-01-013-3842 31 14
5365-00-992-7084 103 56 5945-01-013-3842 31 17
5340-00-993-2308 18 14 5310-01-013-5545 86 28
5340-00-993-2308 125 12 5905-01-013-6993 59 24
5340-00-993-2308 130 14 5905-01-014-4761 59 6
5930-00-9934654 30 78 5360-01-014-6934 31 40
5305-00-993-8748 103 132 5330-01-014-6875 31 21
5305-00-993-8748 103 134 5330-01-014-6985 103 83
5305-00-995-9026 142 30 5330-01-014-6985 103 83
5961-00-995-2310 59 3 3110-01-015-5398 90 9
5905-00-997-2212 59 18 5310-01-015-8793 109 6
5961-00-998-5601 55 7 5310-01-015-8794 109 2
5961-00-998-5601 142 25 5310-01-015-8794 109 12
5961-00-998-6947 39 19 5945-01-016-0797 31 15
5961-00-998-6947 65 15 5945-01-016-0798 31 16
5961-00-998-9317 132 22 5365-01-017-0573 90 8
4720-00-999-8994 82 16 5950-01-018-0230 31 72
4720-00-999-8994 125 11 5930-01-018-1888 90
4720-00-999-8994 125 16 5930-01-018-6787 90 3
4720-00-999-8994 125 19 5930-01-019-1280 31 65
4720-00-999-8994 125 22 4730-01-019-4018 130 47
4720-00-999-8994 130 12 3030-01-021-1357 109 10
437
TM 9-6115-545-24P
TO 35C2-3-444-4
NAVFAC P-8-626-24P
SL-400038G/07499A
SECTION IV. NATIONAL STOCK NUMBER AND PART NUMBER INDEX
FIGURE ITEM FIGURE ITEM
NSN NO. NO. NSN NO. NO.
5930-01-021-9378 89 2930-01-061-4806 106 17
5905-01-021-9133 61 24 2815-01-062-0813 121 13
2815-01-022-1732 120 3 2815-01-062-0813 121
4720-01-022-4446 2 27 5306-01-069-0490 85 22
4730-01-022-8535 72 45 5310-01-070-2105 72 71
4730-01-022-8535 2 23 5305-01-073-6996 142 3
5930-01-023-4343 90 5305-01-073-6998 70 6
5305-01-025-9980 81 9 5305-01-073-6998 78 10
6110-01-026-4681 86 24 5305-01-073-6998 142 4
5915-01-027-6516 55 34 5935-01-075-9503 17 5
5930-01-029-0956 142 23 5935-01-076-5725 22 3
5310-01-030-2622 100 11 5935-01-076-9456 144 3
5310-01-031-1459 35 2 5935-01-077-2624 20 3
5360-01-032-3146 103 75 5910-01-077-5322 15 14
5320-01-033-4375 1 38 5330-01-084-4748 85 38
5320-01-033-4375 3 5 6115-01-089-9088 68 47
5320-01-033-4375 16 8 5330-01-091-3337 134 9
5320-01-033-4375 16 19 4320-01-091-4068 134 12
5320-01-033-4375 53 10 3040-01-091-5044 141 24
5320-01-033-4375 61 27 5935-01-092-2905 134 23
5320-01-033-4375 73 17 4730-01-096-3170 97 6
5320-01-033-4375 142 1 5960-01-097-3141 142 67
5935-01-035-5139 126 3 5310-01-098-6187 148 5
5935-01-035-5139 127 3 5935-01-100-4073 6 6
6115-01-036-5618 78 4 5935-01-100-4823 5 8
6115-01-036-5619 78 3 4730-01-103-4249 145 3
6115-01-036-7774 68 26 5905-01-104-8348 60 7
5930-01-043-6966 125 26 6210-01-108-2600 129 8
5930-01-043-6966 130 49 6625-01-108-2600 132 10
5310-01-046-8499 37 3 5365-01-115-6975 111
5330-01-049-0579 118 3040-01-116-5906 138 4
5330-01-049-3967 24140-01-116-8141 148 12
5330-01-049-3967 118 4 5925-01-117-6759 142 60
2920-01-050-0229 96 4 5935-01-117-2430 147 9
2815-01-050-3951 120 4 2910-01-117-7252 103 99
6210-01-051-7913 142 50 5305-01-118-8858 148 2
4720-01-051-9847 107 8 5305-01-118-8859 148 22
5310-01-052-1157 101 3 5305-01-118-9579 148 19
5330-01-052-4965 114 5310-01-119-1447 148 7
5330-01-052-5764 114 5310-01-119-3156 148 3
5305-01-052-9025 118 14 5950-01-121-2164 59 23
5305-01-052-9026 118 20 5950-01-121-2165 61 37
4730-01-052-9710 104 21 5945-01-121-2898 31
4010-01-053-1122 5 7 5305-01-121-8471 148 23
5360-01-053-3290 120 6 5305-01-121-8479 148 11
2815-01-053-4413 117 23 5305-01-121-9357 128 36
2815-01-053-4892 121 27 5360-01-122-0630 75 4
2910-01-054-3816 103 78 5365-01-122-5600 77 11
6140-01-054-7464 143 4 5306-01-122-0805 2 3
5305-01-054-2440 121 4 5340-01-122-3535 2 30
2930-01-056-3384 106 16 5935-01-122-3947 131 4
5340-01-056-7595 13 69 5305-01-122-6131 93 27
438
TM 9-6115-545-24P
TO 35C2-3-444-4
NAVFAC P-8-626-24P
SL-400038G/07499A
SECTION IV. NATIONAL STOCK NUMBER AND PART NUMBER INDEX
FIGURE ITEM FIGURE ITEM
NSN NO. NO. NSN NO. NO.
5310-01-122-4499 2 2 6115-01-157-0794 16 44
5310-01-1224500 77 19 5340-01-157-2496 17 42
5310-01-122-6154 30 98 5340-01-157-9475 4 7
5310-01-122-7667 95 1 2815-01-157-9476 4 9
5310-01-122-9056 77 5 9905-01-159-4424 16 12
6140-01-122-3021 1 31 9905-01-163-4488 16 9
5310-01-122-9057 77 1 5340-01-165-0581 128 2
5310-01-122-9057 79 2 2540-01-165-0497 128 3
5310-01-123-7067 101 4 6210-01-166-9109 142 49
5305-01-124-0483 134 10 5935-01-167-6148 44 3
5306-01-124-5168 130 33 5365-01-169-2342 81 17
5305-01-124-6450 134 22 4710-01-169-3497 2 18
5340-01-124-7781 18 10 5935-01-169-5297 144 4
5340-01-124-7781 125 5 5905-01-170-3602 60 18
5340-01-124-8044 142 6 2930-01-171-0328 78 6
5340-01-124-8044 130 5 5310-01-173-6716
5340-01-124-8044 7 3 2910-01-173-8624 101 4
4730-01-133-3020 100 10 5340-01-174-4045 16 61
6110-01-134-0576 41 11 5310-01-174-4568 123 14
5970-01-136-7726 86 47 5935-01-175-8419 5 4
5935-01-137-2305 44 9 5935-01-175-8419 61 12
5340-01-144-1894 16 64 5935-01-176-1708 61 11
5340-01-147-6598 16 18 5340-01-176-6947 17 15
5340-01-147-6694 16 66 6115-01-177-3635 16 59
6115-01-147-6620 16 65 5340-01-177-5164 7 12
6116-01-150-0730 61 2 9905-01-178-4984 16 69
5340-01-150-1547 46 17 5340-01-179-4392 13 52
9905-01-150-3078 16 9 5905-01-179-8490 59 15
9905-01-150-3092 16 20 5935-01-180-3999 133 8
6115-01-150-3079 16 36 3040-01-180-7281 77 12
6115-01-150-3080 16 63 4320-01-181-1811 134 8
6115-01-150-3081 16 72 6115-01-181-3981 16 35
6115-01-150-3082 16 77 2910-01-181-4084 123 25
6115-01-150-3102 16 50 5340-01-181-4094 16 13
5340-01-150-3111 16 6 4710-01-181-6794 72 10
5307-01-150-9806 1 32 5340-01-181-8452 16 10
5940-01-150-9859 32 5340-01-181-8452 16 10
2540-01-150-9887 123 9 5305-01-182-5848 68 3
5981-01-151-4695 15 5340-01-183-6621 68 39
9905-01-151-9226 16 52 5905-01-184-5452 15 13
3120-01-151-9230 121 36 5905-01-184-5252 15 13
6115-01-151-9380 16 74 6115-01-184-6110 16 75
5340-01-151-9898 16 14 9905-01-184-6162 16 15
9905-01-152-7451 16 67 5905-01-186-3797 60 20
5340-01-153-2313 16 68 5905-01-186-4927 59 19
5935-01-154-6264 129 5 5945-01-186-8982 30 35
5340-01-154-7115 16 70 5305-01-187-5878 68 2
6115-01-154-7055 124 12 5120-01-188-5306 118 32
7520-01-154-7137 16 29 2830-01-188-8201 79 9
5975-01-156-3253 66 1 5905-01-189-2752 64 13
4330-01-156-8612 2 22 5365-01-192-6669 79 3
9905-01-157-5420 16 60 5310-01-194-0404 130 32
439
TM 9-6115-545-24P
TO 35C2-3-444-4
NAVFAC P-8-626-24P
SL-400038G/07499A
SECTION IV. NATIONAL STOCK NUMBER AND PART NUMBER INDEX
FIGURE ITEM FIGURE ITEM
NSN NO. NO. NSN NO. NO.
5935-01-196-1094 14 3 3040-01-226-4680 86 19
5365-01-197-6466 148 31 5935-01-226-4777 86 34
5995-01-198-0202 86 39 5310-01-226-4809 86 30
5340-01-198-0224 86 43 5970-01-226-4821 86 48
5310-01-198-3489 46 5 5340-01-226-7508 86 22
5961-01-198-8878 86 11 2910-01-232-5863 101 19
1095-01-198-0194 86 42 5365-01-236-9370 101 24
5961-01-198-8877 86 26 4730-01-237-8567 100 9
5961-01-199-7017 86 10 5310-01-242-8458 100 6
5961-01-199-4646 86 12 6115-01-242-9179 68 71
5940-01-200-6999 142 20 5305-01-248-6907 128 57
5999-01-202-4249 44 13 5340-01-252-5265 16 51
5310-01-203-7936 73 5 5945-01-253-0357 46 8
5935-01-205-2890 131 5940-01-263-5307 43 8
4720-01-208-6036 2 19 5330-01-268-2615 123 11
5975-01-208-8984 44 8 5330-01-268-2615 123 40
5310-01-209-6119 93 4 5330-01-268-2615 123 40
6140-01-210-1964 1 33 5305-01-280-7678 100 7
5365-01-211-1811 84 10 4730-01-280-8189 100 12
6110-01-212-1211 39 27 5340-01-281-7116 100 3
4730-01-212-2601 82 33 5970-01-286-7466 44
5340-01-214-1609 16 48 4730-01-297-4667 100 13
5305-01-217-5166 86 25 5905-01-301-5509 53 9
6115-01-219-6781 16 5 5306-01-307-1792 100 4
5305-01-222-3284 86 53 4720-01-309-4446 2 17
5365-01-222-4292 84 10 5360-01-324-0426 101 22
5365-01-222-4292 124 7 5330-01-324-2529 100 2
5970-00-222-6611 63 12 5340-01-324-4917 45 20
5305-01-224-4644 86 21 4710-01-324-5207 100 15
9905-01-225-8482 73 18 5365-01-3264819 101 20
3040-01-226-4679 86 6
440
TM 9-6115-545-24P
TO 35C2-3-444-4
NAVFAC P-8-626-24P
SL-400038G/07499A
SECTION IV. NATIONAL STOCK NUMBER AND PART NUMBER INDEX
REFERENCE FIG ITEM REFERENCE FIG ITEM
NUMBER FSCM NO. NO. NUMBER FSCM NO. NO.
AD51A11 07707 125 56 A2481 51403 128 76
AGC40 71400 85 7 A2602 53335 128 30
AGW9111 02231 128 41 A2603 53335 128 31
ALA20S 68505 87 11 A2604 51403 128 32
ALE1013AS 68505 87 7 A2605 53335 128 33
ALU1045DS 68505 87 8 A2610 51403 128 48
ANJ1002S 68505 87 12 A2612 53335 128 47
ANJ1034 68505 87 2 A2615 51403 128 51
ANJ33 68505 87 5 A2631 51403 128 52
ANJ3008 68505 87 14 A2684 51403 128 37
AN4274C6 88044 13 68 A269-55GRADETP304 81346 2 29
AN6227-12 88044 81 25 A2714 53335 128 77
AN6235-2A 88044 82 11 A2757 51403 128 20
AN818-5 88044 72 12 A2796 51403 128 5
AN818-5 88044 72 23 A2796 80684 128 5
AN8186D 88044 74 7 A2822 51403 128 42
AN902B6 88044 80 13 A2823 51403 128 43
AN912-5 88044 125 30 A2827 80684 128 22
AN917-10 88044 130 50 A2828 51403 128 39
AN931-4-16 88044 3 3 A2829 46522 128 45
AN936B8 88044 37 2 A2841 51403 128 8
AN960-8 88044 89 3 A2847 51403 128 35
AN960-8 88044 148 4 A2889 46522 128 54
AN960C1216 88044 32 2 A2895 51403 128 68
AN960C6 88044 128 12 A2896 51403 128 60
AN960C616 88044 35 3 A2897 51403 128 57
AN961-416T 88044 142 31 A2898 51403 128 63
AOS356 55396 139 11 A2899 51403 128 69
AP24780 16004 139 15 A2900 46522 128 66
ASTM-A-580 81346 123 A2901 51403 128 64
A2010 51403 128 18 A2902 51403 128 65
A2013 51403 128 17 A2903 51403 128 61
A2015 51403 128 7 A2904 51403 128 68
A2090 51403 128 16 A2905 53335 128 70
A2091 51403 128 13 A2928 53335 128 67
A2092 57771 35 10 A2930 51403 128 72
A2092 81780 128 15 A2931 51403 128 71
A2096 51403 128 21 A2932 51403 128 62
A2118 80212 128 24 A2933 53335 128 73
A2137 51403 128 11 A3206 80684 128 25
A2154 51403 128 29 A334 57771 60 14
A2170 51403 128 26 A334 57771 63 5
A2172 51403 128 4 A3874 96787 139 12
A2172 51403 128 34 A3876 90598 141 13
A2173 51403 128 6 A400-3 16024 125 28
A2204 51403 128 36 A400-3 16024 130 54
A2322 51403 128 9 A400-4 16024 83 5
A2393 46522 128 78 A400-4 16024 113 2
A2480 46522 128 75 A473 57771 35 6
441
TM 9-6115-545-24P
TO 35C2-3-444-4
NAVFAC P-8-626-24P
SL-400038G/07499A
SECTION IV. NATIONAL STOCK NUMBER AND PART NUMBER INDEX
REFERENCE FIG ITEM REFERENCE FIG ITEM
NUMBER FSCM NO. NO. NUMBER FSCM NO. NO.
A7272 73540 78 11 FEDSTD308 96906 136 9
B-598-40 06288 15 12 FG-B 93061 130 34
B-598-40 06288 64 18 FHN26G1 81349 85 8
BD3020F2 92702 142 62 FHN26G2 81349 10 4
BD3020F2 92702 148 FHN26G2 81349 132 15
B2055 51403 128 27 F02A250V1AS 81349 10 3
B2070 51403 128 10 F02A250V2AS 81349 132 14
B2117 51403 128 19 F770-34 98410 30 16
B2185 51403 128 2 F770-34 98410 30 19
B2283 46522 128 53 GBF79 68505 93 19
B2793 46522 128 3 GK0023 09527 123 40
B2794 51403 128 1 HLS740 78243 128 39
B2795 51403 128 28 HSK779B0071 06845 30 40
B2796 51403 128 74 IN4722 80131 64 17
B2856 46522 128 55 JANN1190 81349 69 1
B2859 46522 128 40 JAN1N119OR 81349 69 2
B2894 46522 128 56 JANlN1204A 81349 132 21
B2929 46522 128 58 JANlN1206A 81349 65 6
B2940 53335 128 38 JAN1N1206RA 81349 55 7
B301EA 74063 30 JANlN1206RA 81349 142 25
B470 06288 18 25 JANlN204RA 81349 132 22
CA36KFW254 81349 30 134 JAN1N3020B 81349 60 8
CA36KFW254 81349 142 17 JAN1N3026B 81349 59 5
CL12CFW 99862 67 6 JAN1N4385 81349 39 19
CL6F 99862 46 29 JAN1 N4385 81349 65 15
CLASS3 81348 123 3 JAN1 N540 81349 64 16
C004HOF4-16-0485 81349 124 3 JAN1N5614 81349 12 9
C004HCCF4-4-1340 81349 143 6 JAN1N645 81349 59 4
CP3050-24 51403 125 46 JAN1N645 81349 60 5
CP3050-24 51403 128 JAN1N752A 81349 59 3
CQ05AIKB74K3 81349 60 13 JAN2N2060 81349 59 1
CQ05A1KC223K3 81349 60 13 JAN2N3250A 81349 59 2
C1126PL 73370 71 15 JAN2N689 81349 55 8
C1126PL 73370 97 19 JAN2N697 81349 59 20
C2583 53335 128 49 JAN2N697 81349 60 9
C2691 53335 128 79 JAN2N849A 81349 59 21
C2797 53335 128 44 J787-34 98410 30 7
C70412-30 98245 4 4 J787-34 98410 30 10
C7931-632 78553 3 J787-34 98410 30 13
C7951-1024 78553 46 5 KIT226 24975
C7988-1420 78553 16 32 KIT227 24975
C85-2005 30554 125 59 KIT228 24975
DCMFC629-2LQ 84760 102 9 KlN5112-8112 07322 81 19
DCMFC629-2LQ 84760 103 K48181-15 63743 39 8
E-892 13327 142 67 K48181-3500 63743 39 29
FA20-77371225F2 81831 55 34 K48181-5100 63743 39 24
FA1493FFF3000 01276 124 4 K48181-5100 63743 39 29
FBM1126 70040 97 15 LC12RN2 81349 10 8
FBM1126PL 70040 97 13 LC21CN3 81349 13 16
442
TM 9-6115-545-24P
TO 35C2-3-444-4
NAVFAC P-8-626-24P
SL-400038G/07499A
SECTION IV. NATIONAL STOCK NUMBER AND PART NUMBER INDEX
REFERENCE FIG ITEM REFERENCE FIG ITEM
NUMBER FSCM NO. NO. NUMBER FSCM NO. NO.
LC22RD3 81349 142 50 MFY34S 68505 93 15
LH73/1 81349 10 10 MFY35 68505 93 37
LN5635 35510 30 97 MFY36 68505 93 34
LP9A1A05J 56289 63 MFY37BS 68505 93 44
LS40820 04034 70 35 MFY38 68505 93 46
M-143C 97484 82 21 MFY39 68505 93 42
M-3971/1-5 81349 13 40 MIL-H-13444 81349 123 -
M16878/21BM69 81349 147 13 MILH8784-5 81349 70 17
M23053/5-109-0 81349 1 47 MILH8784-5 81349 80 5
MBD150 68505 93 18 MILH8794 81349 82 3
MBD19AS 68505 93 30 MILH8794-4 81349 80 9
MCS38A 68505 93 7 MILH8794-5 81349 70 3
MC158-1 72741 130 42 MILH8794-5 81349 70 22
MC300 72741 130 29 MILH8794-5 81349 70 25
MC300-1 72741 130 30 MILH8794-5 81349 72 7
MC300-2 72741 130 33 MILH8794-5 81349 72 17
MC517 24975 95 16 MILH9794-5 81349 72 20
MES1007E 24975 95 13 MILH8794-5 81349 82 24
MES10O9F 24975 95 11 MILH8794-5 81349 124 10
MES1012AS 68505 93 31 MILH8794-5 81349 125 89
MES106 24975 95 17 MILH8794-8 81349 82 16
MES1064A 68505 93 29 MIL-I-631TYF 81349 63
MES110A 24975 95 10 MILH8794-8 81349 125 11
MES2105A 68505 93 55 MILH8794-8 81349 125 16
MES2106A5 68505 93 57 MILH8794-8 81349 125 19
MES2106A5 24975 95 MILH8794-8 81349 125 22
MES48B 68505 93 3 MILH8794-8 81349 125 36
MES61 68505 93 38 MILH8797-8 81349 130 12
MES66A 68505 93 43 MILH8794 81349 130 17
MES71 68505 93 24 MILH8794 81349 130 21
MES71 24975 95 9 MILH8794 81349 130 24
MES72 68505 93 23 MILH8794 81349 130 27
MES72 24975 95 8 MIL-I-631TYF 81349 63
MES75 24975 95 4 MILI631 81349 63 12
MES78A 68505 93 6 MILI631 81349 81 14
MES81 68505 93 22 MIL1695 81349 37 20
MES85 68505 93 12 MILI7444TYPEI 81349 36 10
MES89 24975 95 12 MILP79C 81349 37 16
MES91 24975 95 6 MIL127730 81349 2
MES92 24975 95 5 MIL-S-45180TY2 81349 123 -
MES93 68505 93 7 MILW16878-2 81349 38 8
MES93 24975 95 3 MILW16878/2 81349 66 3
MES94 68505 93 9 MILW16878/4 81349 147 12
MES95 68505 93 20 ML129 68505 93 21
MES99 68505 93 8 ML21A 68505 93 51
MF163 68505 93 39 MODEL H L4204 44655 53 9
MFY1002JS 68505 93 16 MODEL H L4204 44655 61 26
MFY2030B 68505 93 50 MS0035431-7 96906 30 84
MFY2042 68505 93 48 MS15003-6 96906 135 9
443
TM 9-6115-545-24P
TO 35C2-3-444-4
NAVFAC P-8-626-24P
SL-400038G/07499A
SECTION IV. NATIONAL STOCK NUMBER AND PART NUMBER INDEX
REFERENCE FIG ITEM REFERENCE FIG ITEM
NUMBER FSCM NO. NO. NUMBER FSCM NO. NO.
MS15003-6 96906 141 17 MS21083N3 96906 95 17
MS15567-1 96906 13 19 MS21266-3N 96906 46 26
MS15795-842 96906 132 26 MS21318-1 96906 81 53
MS16624-1037 96906 94 23 MS21318-14 96906 95 15
MS16625-1068 96906 90 7 MS21318-7 96906 103 135
MS16625-1093 96906 81 16 MS21333-7 96906 123 50
MS16625-150 96906 77 26 MS21333-71 96906 13 51
MS16631-1206 96906 106 8 MS21333-75 96906 13 50
MS16996-12 96906 81 1 MS21336-5 96906 122 9
MS16997-9 96906 81 42 MS21919WG8 96906 68 28
MS16997-10 96906 81 38 MS2191DG-6 96906 57 8
MS16997-30 96906 103 17 MS21919WF6 96906 55 28
MS16998-35 96906 134 1 MS24066-2-121 81349 63 6
MS17143-7 96906 62 3 MS24243/6-C602H 81349 61 27
MS17143-8 96906 49 7 MS24325-1 96906 136 1
MS17143-9 96906 145 5 MS24328-1 96906 141 4
MS171431 96906 81 44 MS24537-1 96906 107 11
MS17157-10 96906 12 11 MS24587-4 96906 80 8
MS171572 96906 81 23 MS24587-5 96906 70 2
MS18066-11 96906 81 5 MS24587-5 96906 70 16
MS18154-113 96906 72 70 MS24587-5 96906 70 21
MS18154-58 96906 18 5 MS24587-5 96906 70 24
MS18154-58 96906 70 13 MS24587-5 96906 72 6
MS18154-59 96906 16 37 MS24587-5 96906 72 16
MS18154-60 96906 46 32 MS24587-5 96906 72 19
MS18154-60 96906 73 11 MS24587-5 96906 80 5
MS18154-60 96906 76 1 MS24587-5 96906 72 23
MS18154-60 96906 84 5 MS24587-5 96906 124 9
MS18154-60 96906 97 11 MS24587-5 96906 125 7
MS18154'60 96906 106 7 MS24587-6 96906 82 2
MS18154-60 96906 103 6 MS24587-8 96906 82 15
MS18154-60 96906 107 18 MS24587-8 96906 125 10
MS18154-60 96906 108 1 MS24587-8 96906 125 15
MS19060-22 96906 134 5 MS24587-8 96906 125 18
MS20066-296 96906 68 61 MS245878 96906 125 21
MS20066-568 96906 68 64 MS24587-8 96906 125 35
MS20066-581 96906 68 MS24587-8 96906 130 11
MS20066-585 96906 68 MS24587-8 96906 130 16
MS20392-5C33 96906 136 12 MS24587-8 96906 130 20
MS20392-5C33 96906 137 2 MS24587-8 96906 130 23
MS204274C4 96906 13 71 MS24587-8 96906 130 26
MS20659-107 96906 147 4 MS24665-134 96906 138 6
MS20659-111 96906 46 4 MS24665-136 96906 90 5
MS20819-5 96906 72 11 MS24665-281 96906 79 5
MS20919-5 96906 72 22 MS24665-283 96906 136 11
MS20819-6J 96906 74 8 MS24665-283 96906 137 1
MS20913-4S 96906 72 26 MS24665-357 96906 73 2
MS20913-4S 96906 125 38 MS24665-360 96906 139 1
MS21043-4 96906 142 41 MS24665-360 96906 141 1
444
TM 9-6115-545-24P
TO 35C2-3-444-4
NAVFAC P-8-626-24P
SL-400038G/07499A
SECTION IV. NATIONAL STOCK NUMBER AND PART NUMBER INDEX
REFERENCE FIGITEM REFERENCE FIG ITEM
NUMBER FSCM NO. NO. NUMBER FSCM NO. NO.
MS24665-360 96906 141 18 MS25036-136 96906 30 1
MS24665-623 96906 141 26 MS25036-136 96906 30 3
MS24667-52 96906 117 1 MS25036-136 96906 30 5
MS24671-84 96906 68 32 MS25036-136 96906 30 8
MS25036-101 96906 38 2 MS25036-136 96906 30 11
MS25036-102 96906 14 11 MS25036-136 96906 30 14
63 MS25036-149 96906 14 10
MS25036-103 96906 14 9 MS25036-150 96906 14 8
MS25036-105 96906 147 6 MS25036-153 96906 6 4
MS25036-106 96906 14 7 MS25036-153 96906 14 4
MS25036-106 96906 27 7 MS25036-153 96906 26 9
MS25036-106 96906 29 6 MS25036-153 96906 28 2
MS25036-106 96906 34 3 MS25036-153 96906 34 2
MS25036-106 96906 49 4 MS25036-153 96906 49 3
MS25036-106 96906 51 3 MS25036-153 96906 62 4
MS25036-106 96906 54 3 MS25036-153 96906 129 11
MS25036-106 96906 56 5 MS25036-153 96906 131 3
MS25036-106 96906 58 3 MS25036-153 96906 133 4
MS25036-106 96906 62 9 MS25036-153 96906 145 3
MS25036-106 96906 63 9 MS25036-153 96906 146 2
MS25036-106 96906 129 13 MS25036-153 96906 147 2
MS25036-106 96906 133 5 MS25036-154 96906 14 5
MS25036-106 96906 147 5 MS25036-154 96906 62 8
MS25036-108 96906 14 6 MS25036-154 96906 69 6
MS25036-108 96906 26 10 MS25036-154 96906 145 6
MS25036-108 96906 56 4 MS25036-154 96906 146 3
MS25036-108 96906 62 6 MS25036-155 96906 26 8
MS25036-108 96906 147 7 MS25036-156 96906 26 7
MS25036-109 96906 29 4 MS25036-156 96906 111 61
MS25036-110 96906 27 6 MS25036-156 96906 129 10
MS25036-110 96906 28 3 MS25036-156 96906 132 3
MS25036-110 96906 29 5 MS25036-157 96906 18 21
MS25036-111 96906 129 14 MS25036-157 96906 26 6
MS25036-111 96906 130 6 MS25036-157 96906 62 7
MS25036-112 96906 18 22 MS25036-157 96906 68 59
MS25036-112 96906 147 8 MS25036-157 96906 143 2
MS25036-113 96906 27 5 MS25036-157 96906 145 4
MS25036-113 96906 62 5 MS25036-157 96906 147 3
MS25036-113 96906 123 56 MS25036-158 96906 26 5
MS25036-123 96906 143 3 MS25043-18D 96906 5 4
MS25036-123 96906 145 2 MS25043-18D 96906 61 12
MS25036-125 96906 30 17 MS25043-22DA 96906 61 11
MS25036-125 96906 30 20 MS25068-23 96906 13 33
MS25036-134 96906 1 5 MS25127J4 96906 53 7
MS25036-134 96906 1 12 MS25166-1 96906 13 29
MS25036-134 96906 1 17 MS25201-6 96906 13 37
MS25036-134 96906 1 22 MS25224-1 96906 13 34
MS25036-134 96906 1 27 MS25231-313 96906 13 22
MS25036-134 96906 1 45 MS25231-313 96906 129 7
445
TM 9-6115-545-24P
TO 35C2-3-444-4
NAVFAC P-8-626-24P
SL-400038G/07499A
SECTION IV. NATIONAL STOCK NUMBER AND PART NUMBER INDEX
REFERENCE FIG ITEM REFERENCE FIG ITEM
NUMBER FSCM NO. NO. NUMBER FSCM NO. NO.
MS25231-313 96906 132 9 MS27183-5 96906 33 17
MS25231-313 96906 132 12 MS27183-5 96906 39 3
MS25237-327 96906 10 9 MS27183-5 96906 59 28
MS25244-15 96906 3 10 MS27183-5 96906 60 3
MS25244-15 96906 129 12 MS27183-5 96906 64 11
MS25244-20 96906 132 13 MS27183-6 96906 31 5
MS25244-7112 96906 7 6 MS27183-6 96906 39 32
MS25251-12 96906 26 4 MS27183-6 96906 65 4
MS25251-12 96906 27 8 MS27183-6 96906 132 27
MS25251-12 96906 130 6 MS27183-7 96906 13 54
MS25251-16 96906 6 3 MS27183-7 96906 31 23
MS25251-16 96906 8 4 MS27183-7 96906 33 13
MS25251-16 96906 9 4 MS27183-7 96906 31 33
MS25251-16 96906 19 2 MS27183-8 96906 15 10
MS25251-16 96906 20 2 MS27183-8 96906 16 17
MS25251-16 96906 21 2 MS27183-8 96906 30 119
MS25251-16 96906 22 2 MS27183-8 96906 33 2
MS25251-16 96906 23 3 MS27183-9 96906 30 111
MS25251-16 96906 24 2 MS27183-9 96906 48 3
MS25251-16 96906 25 2 MS27183-9 96906 68 17
MS25251-16 96906 26 3 MS27183-9 96906 142 45
MS25251-16 96906 27 9 MS27212-2-9 96906 142 20
MS25251-16 96906 29 3 MS27769-7 96906 122 6
MS25251-16 96906 56 3 MS28720-6 96906 82 10
MS25251-16 96906 130 7 MS28741-4-0554 96906 80 17
MS25251-16 96906 144 2 MS28741-5-0064 96906 70 23
MS25331-2 96906 13 20 MS28741-5-0075 96906 70 1
MS25331-2 96906 132 7 MS28741-5-0075 96906 70 1
MS25331-4 96906 129 8 MS28741-5-0111 96906 72 5
MS25331-4 96906 132 10 MS28741-5-0120 96906 82 22
MS25331-4-313 96906 13 23 MS28741-5-0190 96906 70 20
MS27040-4 96906 81 40 MS28741-5-0190 96906 80 4
MS27144-1 96906 26 11 MS28741-5-0226 96906 72 18
MS27183-10 96906 16 46 MS28741-5-0286 96906 72 15
MS27183-10 96906 30 122 MS28741-5-0300 96906 70 15
MS27183-10 96906 30 129 MS28741-5-0372 96906 125 6
MS27183-10 96906 30 133 MS28741-5-2992 96906 124 8
MS27183-10 96906 61 32 MS28741-6-0112 96906 82 1
MS27183-10 96906 68 42 MS28741-8-0145 96906 125 20
MS27183-10 96906 70 8 MS28741-8-0150 96906 130 10
MS27183-10 96906 142 15 MS28741-8-0162 96906 125 9
MS27183-11 96906 39 15 MS287419-0182 96906 125 14
MS27183-11 96906 68 67 MS28741-8-0182 96906 130 22
MS27183-12 96906 30 105 MS28741-8-0200 96906 130 25
MS27183-14 96906 31 9 MS28741-8-0201 96906 82 14
MS27183-16 96906 97 9 MS28741-8-0366 96906 125 34
MS27183-22 96906 30 116 MS28741-8-0480 96906 130 19
MS271834 96906 5 2 MS28741-8-0680 96906 125 17
MS27183-41 96906 65 12 MS28741-8-0680 96906 130 15
446
TM 9-6115-545-24P
TO 35C2-3-444-4
NAVFAC P-8-626-24P
SL-400038G/07499A
SECTION IV. NATIONAL STOCK NUMBER AND PART NUMBER INDEX
REFERENCE FIG ITEM REFERENCE FIG ITEM
NUMBER FSCM NO. NO. NUMBER FSCM NO. NO.
MS28775-223 96906 82 12 MS3106R18-11P 96906 126 2
MS28775-228 96906 89 7 MS3106R18-11P 96906 127 2
MS28778-4 96906 80 15 MS3106R18-11S 96906 126 3
MS28778-5 96906 80 11 MS3106R18-11S 96906 127 3
MS28778- 96906 82 6A MS3106R18-5P 96906 26 14
MS28782-27 96906 82 13 MS3106R20-75 96906
MS29523-1 96906 72 46 MS3106R20-29S 96906 22 4
MS29523-1 96906 78 12 MS3106R20-29S 96906 29 4
MS3101R10SL-4P 96906 72 67 MS3106R22-14S 96906 29 7
MS3101R25-12P 96906 144 4 MS3106R24-28P 96906 19 4
MS3102R-7P 96906 147 9 MS3106R24-28P 96906 61 6
MS3102R10SL49 96906 38 5 MS3106R28-9P 96906 131 4
MS3102R10SL4P 96906 70 30 MS3106R28-12S 96906 144 5
MS3102R10SL4P 96906 134 23 MS3106R28-12SC 96906 20 4
MS3102R14S2S 96906 38 3 MS3106R32-7S 96906 27 3
MS3102R14S5P 96906 38 6 MS31066-18-4S 96906 124 2
MS3102R14S6P 96906 56 6 MS3367-1-9 96906 6 1
MS3102R14S65 96906 62 16 MS3367-1-9 96906 6 1
MS3102R16-10P 96906 133 7 MS3367-1-9 96906 8 1
MS3102R18-1S 96906 58 4 MS3367-1-9 96906 9 1
MS3102R18-11P 96906 129 5 MS3367-1-9 96906 11 1
MS3102R18-11SC 96906 62 17 MS3367-1-9 96906 14 1
MS3102R18-11SC 96906 129 6 MS3367-1-9 96906 19 1
MS3102R18-5S 96906 85 12 MS3367-1-9 96906 20 1
MS3102R20-27S 96906 62 18 MS3367-1-9 96906 21 1
MS3102R20-29P 96906 30 73 MS3367-1-9 96906 22 1
MS3102R20-29P 96906 49 6 MS3667-1-9 96906 23 1
MS3102R20-29P 96906 66 2 MS3367-1-9 96906 24 1
MS3102R20-29S 96906 62 14 MS3367-1-9 96906 25 1
MS3102R22-14P 96906 38 4 MS3367-1-9 96906 26 1
MS3102R22-14P 96906 56 8 MS3367-1-9 96906 27 1
MS3102R22-19S 96906 62 13 MS3367-1-9 96906 28 1
MS3102R24-28P 96906 54 4 MS3667-1-9 96906 29 2
MS3102R24-28S 96906 54 5 MS3367-1-9 96906 38 1
MS3102R2428S 96906 62 12 MS3367-1-9 96906 49 2
MS3102R28-12P 96906 49 5 MS3367-1-9 96906 54 2
MS3102R28-12SC 96906 62 11 MS3367-1-9 96906 56 2
MS3102R28-9S 96906 133 8 MS3367-1-9 96906 58 2
MS3102R32-7P 96906 62 15 MS3667-1-9 96906 62 2
MS3102R36-7P 96906 62 10 MS3367-1-9 96906 126 1
MS3102R36-7S 96906 26 16 MS3367-1-9 96906 127 1
MS3102R36-7S 96906 62 19 MS3367-1-9 96906 131 2
MS3106R10SL4SC 96906 130 5 MS3367-1-9 96906 132 1
MS3106R14S2S 96906 26 12 MS3367-1-9 96906 144 1
MS3106R14S25 96906 26 15 MS3667-1-9 96906 145 1
MS3106R14S2P 96906 25 3 MS3367-1-9 96906 146 1
MS3106R14S5S 96906 24 3 MS3367-1-9 96906 147 1
MS3106R14S6P 96906 21 4 MS3367-2-9 96906 66 1
MS3106R18-1P 96906 56 7 MS3367-4-9 96906 23 2
447
TM 9-6115-545-24P
TO 35C2-3-444-4
NAVFAC P-8-626-24P
SL-400038G/07499A
SECTION IV. NATIONAL STOCK NUMBER AND PART NUMBER INDEX
REFERENCE FIG ITEM REFERENCE FIG ITEM
NUMBER FSCM NO. NO. NUMBER FSCM NO. NO.
MS3367-4-9 96906 26 2 MS35206-218 96906 5 1
MS3667-4-9 96906 27 2 MS35206-218 96906 13 42
MS3367-4-9 96906 29 1 MS35206-225 96906 20 11
MS3367-4-9 96906 34 1 MS35206-225 96906 31 49
MS3367-4-9 96906 49 1 MS35206-225 96906 64 1
MS3367-4-9 96906 54 1 MS35206-228 96906 13 60
MS3367-4-9 96906 56 1 MS35206-230 96906 13 3
MS3667-4-9 96906 58 1 MS35206-230 96906 13 25
MS3367-4-9 96906 62 1 MS35206-231 96906 60 1
MS3367-4-9 96906 131 1 MS35206-232 96906 47 8
MS3367-4-9 96906 133 2 MS35206-234 96906 64 9
MS3367-5-9 96906 10 6 MS35206-234 96906 128 14
MS3452W184P 96906 6 6 MS35206-240 96906 92 10
MS3452W18-4S 96906 5 8 MS35206-241 96906 50 19
MS3452W18-15 96906 26 12 MS35206-242 96906 31 11
MS3452W36-7P 96906 14 3 MS35206-243 96906 39 1
MS3456W10SL4S 81349 23 4 MS35206-244 96906 15 1
MS3456W14S5S 96906 24 3 MS35206-245 96906 4 5
MS3456W14S6S 96906 21 3 MS35206-245 96906 13 1
MS3456W14S6S 96906 44 7 MS35206-245 96906 31 43
MS3456W20-27P 96906 9 3 MS35206-246 96906 31 22
MS3456W20-27S 96906 9 2 MS35206-247 96906 13 63
MS3456W20-29P 96906 6 5 MS35206-25 96906 13 60
MS3456W20-29S 96906 22 3 MS35206-25 96906 31 3
MS3456W-20-75 96906 144 3 MS35206-260 96906 47 10
MS3456W1DSL48 96906 26 13 MS35206-268 96906 15 8
MS3456W22-14S 96906 23 5 MS35206-27 96906 148 13
MS3456W24-28P 96906 19 4 MS35206-271 96906 33 3
MS3456W24-28P 96906 23 6 MS35206-280 96906 59 40
MS3456W24-28S 96906 19 3 MS35206-283 96906 81 6
MS3456W28-12P 96906 20 3 MS35206-298 96906 68 1
MS3456W28-12S 96906 20 4 MS35206-31 96906 59 27
MS3456W36-7P 96906 8 3 MS35207-263 96906 148 6
MS3456W36-7P 96906 8 2 MS35215-55 96906 123 51
MS35039-22 96906 129 15 MS35265-1 96906 81 35
MS35058-22 96906 13 36 MS35265-15 96906 81 33
MS35058-22 96906 17 7 MS35265-17 96906 81 28
MS35058-22 96906 142 58 MS35265-18 96906 81 10
MS35058-30 96906 13 39 MS35265-255 96906 65 10
MS35059-23 96906 13 35 MS35265-28 96906 65 8
MS35059-26 96906 10 5 MS35265-30 96906 39 4
MS35190-249 96906 103 129 MS3526541 96906 65 6
MS35190-292 96906 69 3 MS35265-55 96906 65 10
MS3519842 96906 13 53 MS35265-68 96906 103 1
MS35206-203 96906 68 49 MS35265-83 96906 39 14
MS35206-209 96906 31 66 MS35308-311 96906 142 40
MS35206-216 96906 16 24 MS35310-310 96906 142 30
MS35206-217 96906 123 32 MS35333-104 96906 30 27
MS35206-217 96906 129 3 MS35333-106 96906 30 30
448
TM 9-6115-545-24P
TO 35C2-3-444-4
NAVFAC P-8-626-24P
SL-400038G/07499A
SECTION IV. NATIONAL STOCK NUMBER AND PART NUMBER INDEX
REFERENCE FIG ITEM REFERENCE FIG ITEM
NUMBER FSCM NO. NO. NUMBER FSCM NO. NO.
MS35333-107 96906 30 44 MS35338-46 96906 76 2
MS35333-38 96906 103 18 MS3533846 96906 84 6
MS35333-38 96906 148 20 MS3533846 96906 88 20
MS3533341 96906 30 104 MS35338-46 96906 91 4
MS35333-42 96906 70 38 MS35338-46 96906 97 12
MS35333-76 96906 53 8 MS3533846 96906 98 13
MS35333-76 96906 61 25 MS3533846 96906 102 11
MS35335-32 96906 132 19 MS35338-46 96906 104 14
MS35335-34 96906 68 2 MS3533846 96906 104 27
MS35335-36 96906 67 2 MS35338-46 96906 106 3
MS35338-103 96906 30 56 MS3533846 96906 110 6
MS35338-103 96906 31 8 MS3533846 96906 113 8
MS35338-104 96906 30 39 MS35338-46 96906 117 2
MS35338-135 96906 81 39 MS35338-46 96906 118 16
MS35338-39 96906 31 67 MS35338-46 96906 135 2
MS35338-39 96906 81 36 MS3533846 96906 136 3
MS35338-40 96906 31 51 MS35338-46 96906 136 5
MS35338-40 96906 81 11 MS35338-46 96906 139 17
MS35338-41 96906 10 12 MS35338-47 96906 84 13
MS35338-41 96906 31 4 MS35338-47 96906 94 11
MS35338-41 96906 39 2 MS35338-47 96906 95 8
MS35338-41 96906 64 2 MS35338-47 96906 96 6
MS35338-41 96906 65 3 MS35338-47 96906 104 2
MS35338-41 96906 90 2 MS35338-48 96906 73 7
MS35338-42 96906 30 33 MS35338-48 96906 84 9
MS35338-42 96906 31 12 MS35338-48 96906 92 6
MS35338-42 96906 37 4 MS35338-48 96906 93 2
MS35338-42 96906 65 7 MS35338-48 96906 94 2
MS35338-42 96906 69 8 MS35338-48 96906 98 3
MS35338-42 96906 94 11 MS35338-48 96906 104 2
MS35338-43 96906 13 46 MS35338-48 96906 114 8
MS35338-43 96906 31 32 MS35338-48 96906 116 8
MS35338-43 96906 81 2 MS35338-48 96906 135 12
MS35338-43 96906 123 49 MS35338-48 96906 139 7
MS35338-44 96906 39 13 MS35338-48 96906 141 7
MS35338-44 96906 48 2 MS35338-50 96906 92 2
MS35338-44 96906 69 4 MS35389-6 96906 136 10
MS35338-44 96906 81 7 MS35431-7 96908 30 84
MS35338-44 96906 99 19 MS35489-17 96906 57 18
MS35338-45 96906 84 3 MS35489-35 96906 132 31
MS35338-45 96906 86 5 MS35489-54 96906 142 63
MS35338-45 96906 99 25 MS35489-6 96906 57 17
MS35338-45 96906 113 13 MS35643-1 96906 72 48
MS35338-45 96906 115 4 MS35645-1 96906 72 47
MS35338-45 96906 115 4 MS35649-242 96906 142 19
MS35338-45 96906 118 26 MS35649-262 96906 39 1
MS35338-45 96906 123 13 MS35649-262 96906 65 2
MS35338-46 96906 2 6 MS35649-262 96906 81 31
MS35338-46 96906 7 15 MS35649-282 30554 39 25
449
TM 9-6115-545-24P
TO 35C2-3-444-4
NAVFAC P-8-626-24P
SL-400038G/07499A
SECTION IV. NATIONAL STOCK NUMBER AND PART NUMBER INDEX
REFERENCE FIG ITEM REFERENCE FIG ITEM
NUMBER FSCM NO. NO. NUMBER FSCM NO. NO.
MS35649-282 96906 65 11 MS45904-72 96906 130 40
MS35649-282 96906 103 8 MS45904-76 96906 1 30
MS35650-302 96906 13 45 MS45904-76 96906 16 39
MS35650-302 96906 132 20 MS45904-76 96906 18 6
MS35650-3255 96906 142 32 MS45904-76 96906 46 33
MS35650-3385 96906 30 55 MS45904-76 96906 68 23
MS35671-67 96906 68 52 MS45904-76 96906 70 37
MS35691-21 96906 136 6 MS45904-76 96906 73 10
MS35691-24 96906 7 14 MS45904-76 96906 75 16
MS35691-33 96906 92 5 MS45904-76 96906 80 2
MS35691-5 96906 69 9 MS45904-76 96906 82 31
MS35691-61 96906 109 5 MS45904-80 96906 80 26
MS35691-9 96906 123 12 MS45904-80 96906 82 29
MS35751-65 96906 45 6 MS45904-84 96906 72 69
MS35756-15 96906 108 4 MS45904-84 96906 72 72
MS35770-9 96906 107 9 MS45904-84 96906 72 12
MS35782-4 96906 70 33 MS45904-84 96906 83 12
MS357824 96906 71 2 MS45904-84 96906 124 22
MS35782-4 96906 71 11 MS45904-92 96906 18 17
MS35782-4 96906 97 21 MS45904-92 96906 30 109
MS35782-5 96906 122 4 MS45904-92 96906 30 115
MS35802-3 96906 95 9 MS45904-92 96906 36 14
MS35803-222 96906 82 13 MS45904-92 96906 68 25
MS35823-6C 96906 13 69 MS49005-8 96906 96 27
MS35840-1 96906 78 13 MS51007-2 96906 37 5
MS35842-10 96906 2 26 MS51007-4 96906 37 6
MS35842-11 96906 2 13 MS51007-8 96906 37 7
MS35842-11 96906 123 48 MS51095-416 96906 72 74
MS35842-12 96906 83 1 MS51095-416 96906 73 12
MS35842-12 96906 125 41 MS51500A5-4 96906 70 26
MS35842-13 96906 40 1 MS51500A5-4 96906 72 9
MS35842-13 96906 75 1 MS51500A5-4 96906 74 3
MS35842-16 96906 125 58 MS51500A5-4 96906 123 4
MS35932-2 96906 125 51 MS51500A5-4 30554 123 4
MS39169-15 96906 97 4 MS51500A5-4 96906 125 23
MS39176-2 96906 128 23 MS51500A5-4 96906 125 31
MS39177-2 96906 128 24 MS51500A5-4 96906 72 9
MS39326-8 96906 70 10 MS51503A6 96906 74 2
MS39326-8 96906 72 25 MS51504A5-4 96906 95 6
MS39347-6 96906 32 3 MS51504A6Z 96906 82 33
MS45904-68 96906 30 132 MS51504A8-8 96906 82 17
MS45904-68 96906 32 6 MS51504B5-4 96906 70 18
MS45904-68 96906 37 3 MS51504B504 96906 72 14
MS45904-68 96906 61 31 MS51523-A5 96906 74 1
MS45904-68 96906 68 41 MS51523-A5 96906 80 10
MS45904-68 96906 78 2 MS51819-1 96906 72 4
MS45904-68 96906 82 8 MS51823-1 96906 72 2
MS45904-68 96906 143 16 MS51825-1 96906 72 1
MS45904-72 96906 123 15 MS51849-86 96906 39 35
450
TM 9-6115-545-24P
TO 35C2-3-444-4
NAVFAC P-8-626-24P
SL-400038G/07499A
SECTION IV. NATIONAL STOCK NUMBER AND PART NUMBER INDEX
REFERENCE FIG ITEM REFERENCE FIG ITEM
NUMBER FSCM NO. NO. NUMBER FSCM NO. NO.
MS51922-1 96906 16 47 MS53011-1C 96906 93
MS51922-1 96906 80 16 MS75004-1 96906 1 9
MS51922-18 96906 35 1 MS75004-1 96906 1 21
MS51922-59 96906 32 1 MS75004-2 96906 1 13
MS51957-28 96906 88 1 MS75004-2 96906 1 25
MS51957-82 96906 80 17 MS75009-2 96906 55 19
MS51957-83 96906 80 21 MS75009-2 96906 57 11
MS51958-69 96906 128 46 MS75009-33 96906 61 43
MS51963-63 96906 77 3 MS75058-1 96906 1 42
MS51964-124 96906 81 9 MS80076-3 96906 72 66
MS51964-49 96906 128 50 MS87006-13 96906 13 55
MS51967-14 96906 72 71 MS87006-3 96906 123 2
MS51967-14 96906 73 6 MS87006-3 96906 123 29
MS51967-14 96906 75 13 MS87006-63 96906 36 9
MS51967-14 96906 75 17 MS87006-63 96906 46 22
MS51967-14 96906 135 13 MS9020-02 96906 81 27
MS51967-2 96906 30 112 MS9048-176 22938 141 30
MS51967-2 96906 30 113 MS90725-109 96906 123 21
MS51967-2 96906 32 5 MS90725-112 96906 75 11
MS51967-2 96906 39 12 MS90725-113 96906 68 36
MS51967-2 96906 61 33 MS90725-113 96906 73 8
MS51967-2 96906 68 66 MS90725-113 96906 83 11
MS51967-2 96906 69 5 MS90725-114 96906 135 10
MS51967-2 96906 70 7 MS90725-14 96906 82 7
MS51967-2 96906 82 9 MS90725-156 96906 18 16
MS51967-2 96906 99 18 MS90725-156 96906 30 108
MS51967-2 96906 123 8 MS90725-156 96906 36 13
MS51967-26 96906 73 3 MS90725-162 96906 30 114
MS51967-29 96906 67 7 MS90725-177 96906 68 24
MS51967-5 96906 30 106 MS90725-3 96906 69 11
MS51967-5 96906 99 24 MS90725-34 96906 30 103
MS51967-5 96906 113 12 MS90725-43 96906 130 39
MS51967-5 96906 114 2 MS90725-55 96906 80 1
MS51967-5 96906 130 41 MS90725-57 96906 82 30
MS51967-6 96906 88 19 MS90725-6 96906 16 45
MS51967-8 96906 1 29 MS90725-62 96906 138 14
MS51967-8 96906 16 40 MS90725-63 96906 135 1
MS51967-8 96906 46 34 MS90725-64 96906 75 14
MS51967- 96906 73 9 MS90725-64 96906 135 4
MS51967-8 96906 135 3 MS90725-67 96906 68 22
MS51968-14 96906 136 2 MS90725-67 96906 106 15
MS51968-14 96906 139 6 MS90725-67 96906 135 6
MS51968-14 96906 141 6 MS90725-3 96906 48 2
MS51968-8 96906 88 1 MS90725-7 96906 68 65
MS51968-8 96906 102 10 MS90725-7 96906 68 1
MS51968-8 96906 139 18 MS90725-75 96906 106 12
MS51969-3 96906 93 11 MS90725-8 96906 36 2
MS51972-1 96906 90 19 MS90725-8 96906 78 5
MS51977-22 96906 81 32 MS90725-89 96906 67 1
451
TM 9-6115-545-24P
TO 35C2-3-444-4
NAVFAC P-8-626-24P
SL-400038G/07499A
SECTION IV. NATIONAL STOCK NUMBER AND PART NUMBER INDEX
REFERENCE FIG ITEM REFERENCE FIG ITEM
NUMBER FSCM NO. NO. NUMBER FSCM NO. NO.
MS90726-34 96906 138 9 M23053/5-109-0 81349 1 26
MS90726-58 96906 136 4 M23053/5-109-2 81349 1 10
MS90726-60 96906 140 12 M23053/5-109-2 81349 1 16
MS90728-219 96906 73 4 M23053/5-109-2 81349 1 20
MS90728-237 96906 67 5 M24066-2-123 81349 60 15
MS90728-17 96906 106 15 M24066-2-128 81349 60 16
MS90728-31 96906 115 2 M24243/6-C602H 81349 1 38
MS90728-31 96906 118 24 M24243/6-C602H 81349 3 5
MS90728-61 96906 35 1 M24243/6-C602H 81349 53 10
MS90728-83 96906 80 25 M24243/6-C602H 81349 73 17
MS90728-83 96906 82 28 M39003/01 -3082 81349 59 7
MS90728-9 96906 32 4 M39003102-0191 81349 59 8
MS90908-1 96906 72 77 M3900601-3071 81349 60 17
MS91528-2P4B 96906 13 30 M39006/01 81349 60 11
MS91586-10 96906 61 46 MS34006-02-1296 81349 15 14
MS9176-30 96906 109 4 M39006-02-1300 81349 10 7
MS9241-119 96906 82 20 M39022/01-1661 81349 12 10
MU54B 68505 93 5 M39024110-02 81349 37 8
MU54B 68505 93 56 M508612-02-9 81349 30 2
MU54 68505 93 53 M39003/01-3032 81349 59 7
M1124 97484 82 19 M39003/02-0191 81349 59 8
M13486/1-14 81349 1 6 M39006/01-3071 81349 60 17
M13486/1-14 81349 1 14 M39006/01-3074 81349 60 11
M13486/1-14 81349 1 18 M39006-02-1268 81349 15 14
M13486/1-14 81349 1 23 M39006-02-1300 81349 10 7
M13486/1-14 81349 1 28 M39022/01-1661 81349 12 10
M1450351-282 01295 142 23 M39024/10-02 81349 37 8
M22-03-00161FD 81349 13 31 M5086/2-02-9 81349 30 2
M22-04-00181 FD 81349 13 32 M5086/2-02-9 81349 30 4
M23053/12 81349 131 8 M5086/2-02-9 81349 30 6
M23053/2-103-0 81349 66 4 M50862-02-9 81349 30 9
M23053/2-104-0 81349 38 7 M508612-02-9 81349 30 12
M23053/5-104-0 81349 6 2 M508612-02-9 81349 30 15
M2305315-104-0 81349 49 8 M508612-10-9 81349 145 7
M23053/5-104-0 81349 54 6 M508612-12-9 81349 26 19
M23053/5-104-0 81349 56 9 M5086/2-12-9 81349 27 11
M23053/5-104-0 81349 58 5 M5086/2-12-9 81349 62 21
M23053/5-104-0 81349 62 20 M5086/2-12-9 81349 126 5
M23053/5-104-0 81349 133 10 M5086/2-12-9 81349 127 5
M23053/5-104-9 81349 147 10 M508612-12-9 81349 133 11
M23053/5-105-0 81349 11 2 M5086/2-12-9 81349 144 6
M23053/5-105-0 81349 12 13 M5086/2-12-9 81349 145 8
M23053/5-105-0 81349 14 2 50862/14-9 81349 69 7
M23053/5-105-0 81349 62 20 5086/2-16-9 81349 6 7
M23053/5-105-0 81349 133 9 M50862-16-9 81349 8 5
M23053/5-105-9 81349 147 11 M508612-16-9 81349 9 5
M23053/5-108-9 81349 143 1 M508612-16-9 81349 14 12
M23053/5-109-0 81349 1 7 M508612-16-9 81349 19 5
M23053/5-109-0 81349 1 11 M508612-16-9 81349 20 5
452
TM 9-6115-545-24P
TO 35C2-3-444-4
NAVFAC P-8-626-24P
SL-400038G/07499A
SECTION IV. NATIONAL STOCK NUMBER AND PART NUMBER INDEX
REFERENCE FIG ITEM REFERENCE FIG ITEM
NUMBER FSCM NO. NO. NUMBER FSCM NO. NO.
M5086/2-16-9 81349 21 5 P1390B 68505 93 33
M5086/2-16-9 81349 22 4 P11-4312 18265 45 9
M5086/2-16-9 81349 23 7 P15121-17 45722 129 1
M508612-16-9 81349 24 4 P15121-17 45722 130 7
M508612-16-9 81349 25 4 P190N8 64560 134 19
M5086/2-16-9 81349 26 18 P302 64560 134 7
M5086/2-16-9 81349 27 10 P391 64560 134 14
M5086/2-16-9 81349 28 4 M392 64560 134 13
M508612-16-9 81349 29 8 P393 64560 134 8
M5086/2-16-9 81349 34 4 P394 64560 134 12
M5086/2-16-9 81349 49 9 P395 64560 134 11
M5086/2-16-9 81349 54 7 P397 64560 134 10
M508612-16-9 81349 46 10 P399 64560 134 16
M5086/2-16-9 81349 58 6 P40 64560 134 2
M5086/2-16-9 81349 62 22 P400F 64560 130 37
M5086/2-16-9 81349 126 4 P40F 64560 134
M5086/2-16-9 81349 127 4 P403 64560 134 4
M5086/2-12-9 81349 131 9 P404 64560 134 18
M5086/2-16-9 81349 133 12 P405 64560 134 17
M5086/2-16-9 81349 145 10 P406 64560 134 15
M5086/2-16-9 81349 146 4 P408 64560 134 9
M5086/2-18-9 81349 14 13 P415 64560 134 22
M5086/2-18-9 81349 56 11 P5025-1 81755 2
M508612-2-9 81349 145 10 QQ-B-575 81348 123 60
M508612-4-9 81349 30 18 QQB575R30T1.500 81349 143 4
M5086/2-4-9 81349 30 21 QQB575R32T203 81349 143 5
M5757123-008 81349 10 13 Q4116-388D 07322 81 21
M5757/23-008 81349 15 2 RA20TASB501A 81349 37 12
M5757-23-008 81349 64 3 RCR20G101JS 81349 59 9
M70CR348-3E 02615 128 65 RCR20G102JS 81349 12 7
M90725-160 96906 67 3 RCR20G121JS 81349 59 16
NAS1355-1-4C 80206 61 8 RCR20G221JS 81349 59 22
NAS1455-2-5C 80205 5 7 RCR20G222JS 81349 12 6
NAS1455-50-10C 80205 36 11 RCR20G272JS 81349 59 10
NAS1455-50-10C 80205 46 25 RCR20G332JS 81349 60 7
NAS1455-50-10C 80205 123 30 RCR20G681JS 81349 59 11
NAS1598-6 81349 37 16 RCR32G512JS 81349 60 19
NAS549P8 80205 65 13 RER70F2490R 81349 63 3
NLW50-50 14655 39 9 RER75F7R50R 81349 51 7
NT1138 24956 135 13 RJR24FN5030 81349 59 24
NT1138 24956 137 3 RJR24FW102P 81349 59 13
N4108P-4 93061 83 10 RJR14FW103P 81349 59 6
NV108P-4 93061 121 35 RJR24FW502P 81349 59 6
NV108P-4 93061 125 24 RL2955 10009 16 3
NV108P4 93061 83 10 RN1410 76871 37 3
N380 01652 2 5 RRC271TYPEIIGRADE- 81349 72 65
PD8A 68505 93 47 CLASS
PU1664 68505 87 20 RW32V511 81349 39 39
PU702 68505 87 19 RW33VR47 81349 55 22
453
TM 9-6115-545-24P
TO 35C2-3-444-4
NAVFAC P-8-626-24P
SL-400038G/07499A
SECTION IV. NATIONAL STOCK NUMBER AND PART NUMBER INDEX
REFERENCE FIG ITEM REFERENCE FIG ITEM
NUMBER FSCM NO. NO. NUMBER FSCM NO. NO.
RW33V1009 81349 61 42 SS88A 19728 94 20
RW33V102 81349 57 12 ST89 78388 89 2
RW33V150 81349 55 21 S1990 50019 125 27
RW33V300 81349 55 20 S1990 50019 130 53
RW33V6R8 81349 55 21 S325 01652 2 7
RW33V100 81349 39 23 S911B 15434 122 1
RW79U4991F 44655 59 18 S9513C 55716 118 32
RWR74S1000FR 81349 60 18 S-4481 20796 106 1
RWR78S1501FR 81349 15 13 TAE60-50SDNT- 05884 63 4
RWR78S1501FR 81349 64 15 N-1PORM1570
RWR78S2671FR 81349 64 13 TA612SS12 84971 70 14
RWR84S3010FR 81349 60 20 TA612SS12 84971 80 3
RWR89S10O01FR 81349 59 12 TA724SS-4 84971 18 2
RWR89S1001FR 81349 59 14 TA724SS4 84971 46 11
RWR89S1500FR 81349 59 19 TA724SS5 84971 130 5
RWR89S2001FR 81349 59 15 TA724SS5 84971 142 6
RWR89S3011FR 81349 59 17 TA724SS6 84971 18 4
RWS6V512 81349 59 14 TA724SS6 84971 46 12
SAE100R4-16 81343 2 25 TA724SS6 84971 74 5
2 27 TA724SS6 84971 125 3
SAE1018-31DX- 81349 72 24 TA724SS6 84971 130 3
032W
SAT1001B 24975 94 33 TA724SS-8 84971 7 3
SAT1 004B 24975 94 9 TA724SS-8 84971 142 8
SAT1042 24975 94 29 TA724SS8 84971 18 9
SAT1042A 24975 94 32 TA724SS8 84971 46 13
SAT1029 24975 94 15 TA724SS8 84971 70 9
SAT1030 24975 94 14 TA724SS9 84971 18 10
SAT11 24975 94 5 TA724SS-9 84971 125 5
SAT18 24975 94 12 TA724SS10 84971 2 16
SAT20 24975 94 13 TA724SS10 84971 46 14
SAT34A TA724SS-12 84971 18 14
SAT4A 24975 94 7 TA724SS-12 84971 125 12
SAT43 24975 94 31 TA724SS-12 84971 130 14
SAT45 24975 94 8 TA724SS14 84971 18 13
SAT46 24975 94 29 TA724SS16 84971 46 15
SAT47 24975 94 26 TA724SS-22 84971 142 7
SAT48 24975 94 24 TA724SS-28 84971 18 26
SA1644-3DOB 78388 89 TA72455-28 84971 1 3
SA897-3DOB 78388 89 TC150-222-4AN 85814 107 15
SB1014E 78388 89 8 TRA1005 73662 39 6
SB776E 78388 89 6 TRA1006 73662 39 7
SB900 78388 89 4 TRA1183 73662 39 5
SE1045-A 78388 89 1 TRA1251 73662 39 6
SE117A 78388 89 9 TRA1252 73662 39 7
SE122 78388 89 10 TRA1266 73662 39 5
SE402 78388 89 5 TW62510 02640 39 17
SLHBTX-B 30780 124 5 TW62511 02640 39 17
SP1Z20FA 85814 96 2 TW62514 02640 39 26
SP2201 70411 72 37 TW62530 02640 39 18
454
TM 9-6115-545-24P
TO 35C2-3-444-4
NAVFAC P-8-626-24P
SL-400038G/07499A
SECTION IV. NATIONAL STOCK NUMBER AND PART NUMBER INDEX
REFERENCE FIG ITEM REFERENCE FIG ITEM
NUMBER FSCM NO. NO. NUMBER FSCM NO. NO.
TXD079-137 98978 39 16 0912069 6N299 98 12
TX1N1206A 81349 142 24 0912069 6N299 117 6
UB325 01652 2 8 0912367 6N299 118 6
UC116 29227 37 21 0912441 6N299 111 3
U325 01652 2 4 0914392 6N299 115 3
VB8/1 FALL-80 05574 64 4 0914392 6N299 118 25
VB8-1 FALL-80 05574 15 3 09143926 6N299 114 1
VB8/UAI1- 05574 12 1 0915813 6N299 84 1
80000300-1147 0915980 6N299 113 16
V5L8720 81978 70 29 0916001 6N299 114 24
WC058 72962 45 5 0916197 6N299 98 5
WC596/12-4 81348 3 7 0916272 6N299 91 3
W3118-035 92830 68 60 0916272 6N299 104 6
XA1026 68505 93 52 0916275 6N299 108 15
XA744AP 68505 93 26 091 6277 6N299 88 4
XA774Z 68505 93 54 091 6277 6N299 113 11
XA905 24975 94 30 0916277 6N299 114 31
XBN8190 90202 73 1 0916311 6N299 116 7
X-68 22938 141 34 0916768 6N299 88 3
X1516 14790 132 34 0916956 6N299 88 2
X1698 73540 78 9 0916956 6N299 88 5
X1698-5 73540 78 16 0916956 6N299 102 12
X1896 14351 31 31 0916956 6N299 104 30
X218 70485 30 136 0916956 6N299 106 8
X3190 19728 93 45 0916956 6N299 110 7
X3817 19728 93 17 0916956 6N299 118 17
X46UW5645W 84411 39 42 0917421 6N299 104 4
X663F10625W 84411 39 22 0917425 6N299 111 1
X663F20551W 84411 39 20 0917536 6N299 122 13
X663F30552W 84411 39 31 0917542 6N299 122 10
ZZH428TYPE5 GRA-81349 83 3 0917547 6N299 115 11
DEACLASS2 0917673-6 6N299 122 14
02000-11B 82121 142 53 0917806-2 6N299 99 2
02016-4 82121 142 52 0917807 6N299 97 2
02039-5B 82121 142 56 0918237 6N299 99 17
0239400 6N299 104 7 0918264 6N299 114 25
0242787 6N299 88 8 0918297-3 6N299 108 1
04306-8119 93568 39 1018951 6N299 96 5
09-0704 22938 137 7 0918978 6N299 113 17
09-0704 62589 138 -0918978 6N299 113 179
0904223-5 6N299 122 2 0919110 6N299 122 17
0904516 6N299 122 18 0919228 6N299 84 12
0905845-4 6N299 121 26 0919228 6N299 107 12
091240 6N299 118 12 0919230 6N299 98 2
0910287-2 6N299 119 12 0919230-3 6N299 111 2
0910324 6N299 102 7 133-195 44940 129 -
0910376 6N299 118 7 14803 21102 76 3
0911435 6N299 118 11 15740 84760 103 87
0911437 6N299 118 10 15750 87460 103 99
0212064 6N299 118 5
455
TM 9-6115-545-24P
TO 35C2-3-444-4
NAVFAC P-8-626-24P
SL-400038G/07499A
SECTION IV. NATIONAL STOCK NUMBER AND PART NUMBER INDEX
REFERENCE FIG ITEM REFERENCE FIG ITEM
NUMBER FSCM NO. NO. NUMBER FSCM NO. NO.
15752 84760 103 81 18275 84760 103 67
157570 15434 71 16 18502 96309 77 15
15806 22938 141 14 18658 84760 102 60
15821 84760 103 43 18965 84760 102 25
15835 84760 103 105 18967 84760 102 90
15869 84760 103 116 18972 84760 102 94
15875 84760 103 55 19-800 22938 141 28
15877 84760 103 53 19X304 68505 93 27
1590-1 22938 136 7 19X3439 24975 94 1
1590-2 22938 136 8 19535 84760 103 108
15913 84760 103 50 2-1112 22938 136 20
16-004-013 43990 125 29 2-906 22938 139 2
16-004-013 43990 130 43 2-906 22938 141 2
16-79 31211 85 17 2DA1250 11502 39 38
16TU2010 22938 141 25 2DA750 11502 39 39
16043-001 74063 30 23 2N1596 80131 12 8
16044 84760 103 115 2N3773 80131 39 11
16144 84760 102 1 20-121 31211 85 1
16278 84760 103 14 20-3 94990 85 23
16369 96309 78 6 20-32 94990 85 18
16395 84760 103 137 20-33 94990 85 3
16396 84760 103 13 20-34 31211 85 2
16440 84760 103 121 20-4 94990 85 29
16441 84760 103 122 205-5 31211 85 30
16568 84760 20-500-9 19315 138 15
16572 84760 103 73 20-7 94990 85 33
16575 84760 103 79 20-99 31211 85 15
16576 84760 103 80 200-012 72741 130 31
16587 84760 103 35 20113 84770 103 83
166465 22938 141 20 20120 84760 103 113
169X8X4 72216 104 21 20154 84760 103 4
17D6703H10 88725 81 29 20155 84760 103 110
17X136 22938 139 16 20214 84760 103 99
17056 84760 103 52 20219 84760 103 72
17058 84760 103 45 20221 84760 103 138
1718Fl10 78500 140 1 20222 84760 103 99
172CL 70411 123 5 20223 84760 103 63
17438 84760 103 33 20224 84760 103 71
17513 84760 103 107 20225 84760 103 40
17602 84760 103 34 20226 84760 103 37
17604 84760 103 41 20227 84760 103 109
17619 84760 103 24 20229 84760 103 106
17631 84760 103 84 2025-4-5S 01276 72 8
17634 84760 103 92 20283 84760 103 31
17635 84760 103 93 20475 84760 103 75
17979 84760 103 141 20804 84760 103 58
18-4018 22938 141 16 20849 84760 103 78
18-4269 22938 136 22 2091-4-4S 01276 70 28
18-4268 22938 141 212A10105J 14752 39 30
456
TM 9-6115-545-24P
TO 35C2-3-444-4
NAVFAC P-8-626-24P
SL-400038G/07499A
SECTION IV. NATIONAL STOCK NUMBER AND PART NUMBER INDEX
REFERENCE FIG ITEM REFERENCE FIG ITEM
NUMBER FSCM NO. NO. NUMBER FSCM NO. NO.
21312 84760 103 98 0920416 6N299 98 1
2133336-3 28528 33 5 0920416 6N299 107 4
216P8 93961 75 10 0920416 6N299 107 14
21688 84760 103 103 0920416 6N299 116 6
21690-1 12670 47 16 0920469 6N299 104 3
21721 84760 103 95 0920990 6N299 114 7
21820A 12670 13 64 0921023 6N299 122 11
22001 96309 77 21 0921331 6N299 114 9
22002 96309 77 39 0921332 6N299 88 6
2202 96309 77 18 0921322 6N299 114 14
2202P8-8 84760 75 9 0921339 6N299 104 22
22134 84760 103 76 0921912 6N299 104 10
22238 84760 103 88 0921959 6N299 105 11
222-47 10888 97 5 0921965 6N299 113 5
22316 84760 103 15 0921966 6N299 91 8
2239H 84760 103 2 0921966 6N299 104 25
224-6 93061 72 34 0921966 6N299 113 7
22401A1WHITE 92607 11 4 0921967 6N299 104 13
2242122B 82121 142 55 0921967 6N299 106 13
228 68505 93 -0921967 6N299 110 5
229-6-4 93061 70 32 0921969 6N299 111 8
22910RECV 12670 36 16 0921969 6N299 117 7
23370 12670 61 50 0921977 6N299 99 23
22380 12670 47 15 0922755-4 6N299 109 3
23390 12670 53 21 0922918 6N299 106 14
23390 12620 61 51 0922925 6N299 88 21
23600-2REVE 12670 81 0923092 6N299 104 1
240031-1 50999 110 1 0923161 6N299 96 6
240067 50999 72 44 0923191 6N299 84 8
240091 50999 72 43 0923470-9 6N299 84 15
240096 50999 72 76 0923576 6N299 89 16
240903 73370 70 39 0923649 6N299 98 9
240903 73370 70 0923664 6N299 98 11
24720 12603 141 12 0923684 6N299 106 19
25A18A3 62119 134 21 0923701 6N299 106 12
2513 80672 2 11 0923814 6N299 98 8
253633 65092 13 43 0923817 6N299 88 18
254013 65092 13 27 0923865 6N299 89 24
254014 65092 13 8 0923934-4 90940 114 13
26X3407 68505 93 25 0923938 6N299 117 5
260935 65092 13 26 0924359 6N299 112 2
091583 6N299 84 1 0924694 6N299 112 1
0916275 6N299 118 15 0924746 6N299 1117 12
0919287-3 6N299 109 1 0924817 6N299 114 3
0919287-3 6N299 109 11 0924874 6N299 84 2
0919312 6N299 109 2 0924891 6N299 107 1
0920248 6N299 99 28 0926109 6N299 96 16
0920280 6N299 97 5 0927082 6N299 92 1
0920328 6N299 114 6 0927140 6N299 104 23
457
TM 9-6115-545-24P
TO 35C2-3-444-4
NAVFAC P-8-626-24P
SL-400038G/07499A
SECTION IV. NATIONAL STOCK NUMBER AND PART NUMBER INDEX
REFERENCE FIG ITEM REFERENCE FIG ITEM
NUMBER FSCM NO. NO. NUMBER FSCM NO. NO.
0927339 6N299 106 2 10122-1 50603 31 47
0928200-5 6N299 122 15 10127-001 74063 30 49
0928379 6N299 113 15 10127-002 74063 30 50
0928914 6N299 109 6 10127-003 74063 30 51
0929218 6N299 122 101487 73370 71 13
09305-001 74063 30 57 101487 73370 97 16
1/8N1TX865A 24975 95 15 101488 73370 97 17
91-1983 22938 141 32 101489 73370 71 6
1-2MROB 54938 130 46 101489 73370 97 18
1-2SHPB 30780 130 52 1020 96309 79 10
1-41ND1A 72205 46 28 10209-1 50603 31 44
1-4FF-S 30790 70 31 102458 73370 71 3
1-8HHPS 30780 89 12 10274 84760 102 6
1A113 96309 77 11 10353-940 50603 31 72
1A114 96309 77 7 10380-1 50603 31 2
1A136 96309 77 31 10934 84760 103 136
1A164 96309 77 2 104018 73370 97 14
1A43KAH1 88725 39 41 104071 73370 97 15
1A569 96309 79 3 10409N 07047 59 25
1G369 96309 79 1042-1 50603 31 59
1G3690 96309 79 12 10422-1 50603 31 45
1G36906 96309 77 12 10422-2 50603 31 46
1G3691 96309 76 4 10453 84760 103 140
1G3691 96309 77 1 10464 84760 103 133
1G36921 96309 76 11 10481-1 50603 31 42
lG3694 86398 76 4 10483-1 50603 31 38
1N36904 96309 76 8 10484-1 50603 31 20
lV4900B42 94990 85 16 10485-1 50603 31 6
1XBN8190 90202 73 5 10493-1 50603 31 39
1-4FFS 30780 70 31 10497 50603 31 27
1/470-1109- 30780 70 27 1054 96309 79 1
1/4SHP-B 30780 70 34 10501-1 50603 31 21
1-4X1-8PTRS 18310 81 47 10502-1 50603 31 29
10-301-2 18310 81 47 10505-1 50603 31 30
10-36675-14 77820 61 20 10519 84760 102 13
10-36675-18 77820 61 18 10529 84760 102 4
10-36675-20 77820 142 39 10534 84760 102 3
10-36675-22 77820 61 19 10541 84760 102 2
10-36675-32 77820 61 22 10567 84760 103 130
10-36675-36 77820 61 21 10574 84760 103 131
10-606 22938 141 15 10-606 22938 139 13
10-9858 59501 103 9 1065-3 96309 77 4
10A500 63743 65 14 10692-1 50603 31 35
10007-2 50603 31 62 10692-2 50603 31 36
10008-22 50603 31 56 106933 73370 71 7
10018978 18876 30 78 10701-1 50603 31 74
10048-1 50603 31 41 10702-1 50603 31 70
10064-1 50603 31 28 10703-1 50603 31 40
10078-2 50603 31 48 10715-10 50603 31 37
458
TM 9-6115-545-24P
TO 35C2-3-444-4
NAVFAC P-8-626-24P
SL-400038G/07499A
SECTION IV. NATIONAL STOCK NUMBER AND PART NUMBER INDEX
REFERENCE FIG ITEM REFERENCE FIG ITEM
NUMBER FSCM NO. NO. NUMBER FSCM NO. NO.
10717-1 50603 31 19 11486 12670 47 14
10718-1 50603 31 53 11507 84760 103 49
10741-10 50603 31 13 11508 84760 103 51
10788-10 50603 31 15 115111 15434 71 12
10790-10 50603 31 61 11525 84760 103 56
10791-10 50603 31 64 11532 84760 103 54
10792-10 50603 31 63 11588 84760 103 70
10793-10 50603 31 60 11610 84760 103 77
10794-10 50603 31 57 11610149 19207 91 14
10795-10 50603 31 55 11610149 19207 92
10797-10 50603 31 65 11611 84760 103 97
10798-10 50603 31 54 1161495 24975 94 16
108-0007-000 05574 64 8 11621496 24975 94 19
10802-10 50603 31 24 11621497 19207 94 6
10812-1 50603 31 34 11621498 24975 94 21
10813-10 50603 31 10 11636 12670 53 22
10818-1 50603 31 1 11636 12670 61 49
10819-10 50603 31 14 11638 12670 53 20
10819-10 50603 31 17 11911-10 50603 31 16
10863625 6N299 113 4 11919 84760 103 42
1087 96309 77 33 12-11 31211 85 40
1088 96309 77 16 12-1283 93742 132 29
109B1-4 30327 125 48 12-606 22938 141 11
11-314 04426 31 69 12FWS 30780 93 4
11-41 94990 87 39 12FWS 30780 113 1
11-42 94990 87 36 12HR 70434 104 11
11-8107 22938 139 10 12X195 68505 93 28
110-7320 22938 135 14 12X201 68505 93 11
110-7320 22938 136 1202PS4-4 93061 125 50
1101 96309 77 14 1205-2 22938 141 36
11056 84760 103 114 1205-3 22938 141 39
1107 96309 77 17 12106 84760 103 5
1107-A 96309 77 13 12174 84760 103 21
111218 10138 39 37 12174 84760 103 26
11141 84760 103 112 12216 84760 103 125
1117 96309 77 20 12221 84760 103 36
11176106-5 17773 132 30 12237 84760 103 22
1118641 62445 100 6 12259 84760 103 132
11208 84760 103 101 12259 84760 103 134
11212 84760 103 102 12288 84760 103 69
11304 84760 103 104 12360 84760 103 38
11329 84760 103 59 12362 84760 103 39
11332 84760 103 128 12406 84760 103 46
11346 84760 103 119 12406 84760 103 139
11437 84760 103 127 12480 84760 103 12
11438 84760 103 124 125HBB-8 93061 75 7
11439 84760 103 126 12500 84760 103 10
1144900B47 31211 85 6 12513 84760 103 11
1145 96309 79 9 1260-1-2 90800 75 8
459
TM 9-6115-545-24P
TO 35C2-3-444-4
NAVFAC P-8-626-24P
SL-400038G/07499A
SECTION IV. NATIONAL STOCK NUMBER AND PART NUMBER INDEX
REFERENCE FIG ITEM REFERENCE FIG ITEM
NUMBER FSCM NO. NO. NUMBER FSCM NO. NO.
12685 84760 103 91 15225 84760 103 47
12764 84760 103 82 15228 84760 103 44
12766 84760 103 86 15345 84760 103 111
1289A86G02 88725 80 24 15619 84760 103 118
129HB-6-4 93061 2 21 15627 84760 103 48
1290497 80064 30 32 15699 84760 103 57
12957 84760 103 30 15724 84760 103 117
12966 84760 103 62 15739 84760 103 85
12972 84760 103 20 16369 84760 103
12979 84760 103 19 262A 96309 77 1
12996 84760 103 16 262A 96309 79 2
12999 84760 103 27 2642-24850N140 06540 132 25
13-3502 22938 136 19 265-012 72741 130 32
13-5 31211 85 28 265A 96309 77 5
13MCB217-455 01295 142 60 2661-20385N152 06540 132 33
13003 84760 103 29 26738 65092 13 6
13010 84760 103 28 267839 65092 13 7
13550 84760 103 65 267840 62092 13 6
13554 84760 103 66 267841 65092 13 7
13558 84760 103 68 267842 65092 13 8
13567 84760 103 61 27X465C 22938 137 5
13572 84760 103 64 2713-24850N194 06540 55 12
13616 96309 77 6 27244 84760 103 -
13622 96309 79 7 272-5313 30554 72 40
13623B 96309 79 6 272-632-06 06970 7 13
137 96309 77 23 27289-001 74063 30 100
13807 84760 103 96 27873-001 74063 30 82
13829 84760 103 123 28-6-4 98061 83 9
13837 84760 103 120 28316-001 74063 30 53
139472 73370 71 14 28419-002 74063 30 48
139472 73370 97 20 28676-001 74063 30 41
14-801 22938 136 18 28678-001 74063 30 28
14T3 62119 132 20 28688-001 74063 30 63
14408 84760 103 32 28744-001 74063 30 42
14803 96309 77 22 28791-001 74063 30 64
14895-001 74063 30 76 28996-010 74063 30 74
149557 73370 71 5 29014-010 74063 30 75
14966 84760 103 23 29233-001 74063 30 66
15-1 31211 85 25 295901-2 60119 13 57
15-2 31211 85 5 29900-010 74063 30 71
15C44732B01 31211 85 9 29901-010 74063 30 72
15C44733B01 31211 85 11 3/8SHPB 30780 110 3
15C44734B01 31211 85 13 3/8X2845 24975 95 1
15D40618A01 31211 85 37 3-1112 22988 136 21
1503496 70040 13 47 3-1205 22988 141 35
15037-006 74063 30 36 3-2 31211 85 20
151031 73370 71 1 3-34-970 17284 2 1
151328 73370 71 4 3-4FFS 30780 83 6
152-1757-00 13499 46 24 3-4GGS 30780 123 36
460
TM 9-6115-545-24P
TO 35C2-3-444-4
NAVFAC P-8-626-24P
SL-400038G/07499A
SECTION IV. NATIONAL STOCK NUMBER AND PART NUMBER INDEX
REFERENCE FIG ITEM REFERENCE FIG ITEM
NUMBER FSCM NO. NO. NUMBER FSCM NO. NO.
3-5 31211 85 19 38TB16 81349 33 18
3-522 22938 141 29 37TB8 81349 53 16
3-8GGS 30780 123 37 38TB20 81349 61 40
3-8X1 -F4PTRS 30780 70 5 38306 05748 72 73
33-907CA 22938 141 21 38306 05748 85 13
3B41741A03 31211 85 22 38306 05748 135 11
300-28B 04946 18 23 3854-6 22938 141 33
30274-002 74063 30 94 39TB10 81349 13 62
30392-001 74063 30 37 3903 96309 77 29
30396-010 74063 30 101 3906 96309 77 25
304A14 44940 39 35 3910 96309 77 29
30413-010 74063 30 34 3911 96309 77 30
30469-020 73063 30 60 3912 96909 77 27
30590-010 74063 30 52 3914 96306 77 28
30592-10 74063 30 45 3951-1 22938 141 24
30595-010 74063 30 95 6F50G55 30780 80 14
30596-020 74063 30 87 4-7063 22938 136 16
30651-010 74063 30 62 4-7063 22938 137
30707-001 74063 30 86 4-907 22938 141 22
30720-001 74063 30 65 4A40146A01 31211 85 35
30790-010 74063 30 102 4A40669A01 94990 85 21
30825-001 74063 30 47 4A40771A01 94990 85 4
30918-010 74063 30 99 4C50X-5 30780 82 5
30920-010 74063 30 35 4C50X-5 30780 82 3A
30921-010 74063 30 83 4C50X55 30780 80 12
3111B10 92702 148 33 4-X-81 22938 141 38
3126760001 50603 31 18 40TB12 81349 64 12
314SHPS 30780 113 3 40TB6 81349 60 4
315-175-02 80599 130 48 40TB7 81349 59 30
31821-001 74063 30 85 4007230 6N299 118 23
31877-010 74061 30 92 4007877 6N299 120 8
31904LT 82121 13 28 4007968 6N299 122 19
32003-010 74063 30 54 4008789 6N299 106
32225-001 74063 30 24 4008840 6N299 106 17
32997 22938 140 8 4018-18 22938 141 40
33A40833A01 31211 85 10 4020408 6N299 120 4
33X103 22938 136 14 4020724 6N299 99 20
33X103 22938 137 4 4020814 6N299 89 14
3300A84B0826G01 12352 69 10 4020879 6N299 116 10
33114-3 92702 148 16 4021454 6N29 118 29
35066 73370 71 10 4022129 6N299 121 30
353A 96309 77 8 4022430 6N299 118 28
3600-000-082-00 72619 13 17 4022579 6N299 114 20
36-754 59534 93 36 4022595-5 6N299 120 10
3611 B3-7 92702 148 34 4023007 6N299 84 7
37TB-4 81349 51 4 4023569 6N299 101 14
37TB6 81349 55 26 4023570 6N299 101 8
37TB6 81349 63 10 4023571 6N299 101 12
3TrB10 81349 70 9 4025015-1 6N299 121 16
461
TM 9-6115-545-24P
TO 35C2-3-444-4
NAVFAC P-8-626-24P
SL-400038G/07499A
SECTION IV. NATIONAL STOCK NUMBER AND PART NUMBER INDEX
REFERENCE FIG ITEM REFERENCE FIG ITEM
NUMBER FSCM NO. NO. NUMBER FSCM NO. NO.
4025021 6N299 91 10 4026533 6N299 99 12
4025025 6N299 121 36 4026534 6N299 99 12
4025031 6N299 121 6 4026535 6N299 99 13
4025041 6N299 121 25 4026536 6N299 99 14
4025067 6N299 106 23 4026537 6N299 99 15
4025082-1 6N299 88 16 4026538 6N299 99 16
4025082-1 6N299 118 16 4026548 6N299 117 4
4025097 6N299 116 11 4026560 6N299 99 9
4025101 6N299 107 17 4026579 6N299 110 10
4025106 6N299 106 10 4026602 6N299 113 1
4025148 6N299 101 10 4026605 6N299 115 1
4025149 6N299 101 7 4026614 6N299 115 9
4025150 92392 101 2 4026699 6N299 118 31
4025175 6N299 118 9 4026742-9 6N299 91 1
4025176 6N299 118 13 4026850 6N299 91 2
4025177 6N299 118 21 4026887-2 6N299 106 20
4025188 6N299 119 5 4026976 6N299 114 11
4025189 6N299 119 9 4026992 6N299 114 12
4025191-0 6N299 119 8 4026998-8 6N299 114 10
4025192 6N299 119 2 4027013 6N299 118 23
4025193 6N299 119 4 4027014 6N299 111 9
4025194 6N299 119 3 4027021 6N299 107 3
4025217 6N299 99 21 4027022 6N299 107 6
4025237 6N299 118 8 4027023 6N299 107 13
4025238 6N299 121 37 4027024-1 6N299 107 10
4025248 6N299 119 7 4027305 6N299 117 19
4025249 6N299 102 15 4027333 6N299 121 5
4025250 6N299 102 16 4027355 6N299 122 7
4025303 6N299 102 5 4027454 6N299 91 7
425243 6N299 40 2 4027476-2 6N299 99 3
4025343 6N299 88 23 4027543 6N299 121 19
4025365 6N299 98 14 4027561 6N299 89 22
4025367 6N299 98 15 4027583 6N299 115 5
4025376 6N299 104 28 4027667 6N299 106 25
4025385-8 6N299 99 30 4027690 6N299 89 13
4025392 6N299 121 34 4027708 6N299 110 9
4025461L 6N299 88 13 4027714 6N299 104 27
4025461L 6N299 117 14 4027718 6N299 104 12
4025491 6N299 118 2 4027735 6N299 88 22
4025555 6N299 118 3 4027748 6N299 100 16
4025710 6N299 106 24 4027752 6N299 117 22
4025913 6N299 101 3 4027769-1 6N299 117 15
4025922 6N299 104 8 4027770 6N299 117 13
4026004 6N299 102 14 4027881 6N299 101 3
4026360 6N299 98 18 4027933 6N299 121 9
4026382 6N299 91 9 4027934 6N299 121 10
4026460 6N299 117 21 4027935 6N299 121 11
4026479 6N299 99 22 4027936 6N299 121 12
4026489 6N299 117 20 4027936 6N299 121 12
462
TM 9-6115-545-24P
TO 35C2-3-444-4
NAVFAC P-8-626-24P
SL-400038G/07499A
SECTION IV. NATIONAL STOCK NUMBER AND PART NUMBER INDEX
REFERENCE FIG ITEM REFERENCE FIG ITEM
NUMBER FSCM NO. NO. NUMBER FSCM NO. NO.
4027958 6N299 114 5 4028888 6N299 114 26
4027959 6N299 114 19 4028953 6N299 104 5
4027960 6N299 114 32 4029000-9 6N299 118 30
4027968 6N299 114 18 4029016-5 6N299 106 5
4027975 6N299 104 24 4029020 6N299 106 6
4028053 6N299 115 10 4029221 6N299 88 12
4028054 6N299 115 12 4029245 6N299 104 17
4028055 6N299 114 15 4029245 6N299 104 20
4028056 6N299 114 17 4029266 6N299 98 7
4028057 6N299 114 16 4029267 6N299 98 16
4028070 6N299 114 22 4029274 6N299 99 6
4028075 6N299 121 18 4029275-7 6N299 106 4
4028078 6N299 115 6 4029319 6N299 106 21
4028079 6N299 115 7 4029399 6N299 116 9
4028110-7 6N299 118 19 4029410 6N299 118 3
4028641-1 6N299 120 9 4029556-0 6N299 116 5
4028642-9 6N299 120 8 403-10 22938 141 23
4028644 6N299 120 3 403-11 22938 141 24
4028653-2 6N299 86 14 4035007 6N299 121 28
4028657 6N299 113 9 4035009 6N299 121 29
4028662 20796 106 1 4035010 6N299 121 24
4028670 6N299 117 10 4035141 6N299 109
4028672 6N299 112 3 4035142 6N299 109 15
4028676-7 6N299 116 2 4035143 6N299 109 10
40228-677 6N299 116 4 4035144 6N299 117 3
4028679 6N299 116 12 4035186 6N299 120 7
4028686 6N299 84 16 4035212 6N299 96 4
4028691-6 6N299 88 14 4035212 6N299 96 18
4028692 6N299 88 17 4035214 6N299 2
4028693-2 6N299 88 15 4035214 6N299 118 4
4028742 6N299 117 9 4035253 6N299 118
4028743 6N299 84 14 4035311 6N299 121 23
4028747 6N299 88 7 4035330 6N299 117 11
4028749 6N299 84 10 4035345 6N299 111 7
4028760 6N299 113 18 4035387 6N299 121 17
4028761 6N299 97 10 4035389 6N299 118 14
4028772 6N299 122 12 4035396 6N299 121 20
4028784-9 6N299 88 11 4035454 6N299 118 18
4028786 6N299 97 3 4035454 6N299 119
4028805 6N299 89 15 4035456 6N299
4028806 6N299 89 23 4035508-3 52285 101 1
4028807 6N299 89 20 4035510 6N299 99 29
4028808 6N299 89 18 4035892 6N299 104 15
4028809 6N299 89 19 4035904 6N299 121 38
4028810 6N299 89 21 4035904 6N299 122
4028848 6N299 122 16 4035921 6N299 106 16
4028858 6N299 96 19 4035922 6N299 98 10
4028867 6N299 117 4035923 6N299 107 8
4028875 6N299 121 15 4035924 6N299 106 9
463
TM 9-6115-545-24P
TO 35C2-3-444-4
NAVFAC P-8-626-24P
SL-400038G/07499A
SECTION IV. NATIONAL STOCK NUMBER AND PART NUMBER INDEX
REFERENCE FIG ITEM REFERENCE FIG ITEM
NUMBER FSCM NO. NO. NUMBER FSCM NO. NO.
4035953 6N299 121 27 4131100041 50303 31 25
4036125-1 6N299 114 30 417-SM438250B 74924 142 42
4036125-1 6N299 115 42A44535B02 31211 85 39
4036217 6N299 121 3 42C16550 10001 124 6
4036340 6N299 117 8 42TB6 81349 15 11
4036462 6N299 114 23 4251746 6N299 121 22
4036496 6N299 118 27 4253751 6N299 94 21
4036504 6N299 111 5 4254608 6N299 121 1
4036505 6N299 111 4 4254905 6N299 117 17
4036527 6N299 104 31 4255077 6N299 114 21
4036537 6N299 105 4255107 6N299 120 12
4036657 6N299 121 2 4255353 6N299 113 21
4036682 6N299 121 4255490 6N299 122 3
403669 08179 141 27 4255491 6N299 122 5
4036937 6N299 108 2 4255528 6N299 107 7
4048002 04407 88 9 4255661 6N299 102 17
4053409-1 6N299 96 14 4255839-5 6N299 107 7
4053410 6N299 96 13 4255932 6N299 89 17
4053422 6N299 105 22 4255977 6N299 104 29
4055971 6N299 96 12 4255985 6N299 104 19
4056300 6N299 105 15 43A44168B01 31211 85 34
4059984 6N299 105 16 4303694 6N299 116 3
4059987 6N299 105 14 4317554-6 6N299 107 5
4059988 6N299 105 17 4336491 6N299 112 4
4059990 6N299 105 7 4338943-6 6N299 104 9
4059991-2 6N299 105 6 4339021 6N299 96 8
4059992-0 6N299 105 12 4339532 6N299 104 16
4059995 6N299 105 1 4346320 6N299 92 4
4059997 6N299 105 24 4349984 6N299 98 17
4059998 6N299 105 5 4354571 6N299 114 28
4060005 6N299 105 10 4354572 6N299 114 29
4060008 6N299 105 3 4359310 6N299 114 27
4060683 6N299 105 4 4359656 6N299 96 22
4060701 6N299 105 8 4359806 6N299 116 1
4060726 6N299 105 20 4369451 6N299 100 7
4060859 6N299 101 5 437C605-4 6N299 88 10
4060934 6N299 105 19 4371718-0 6N299 102 8
4060935-6 6N299 105 21 4373610 6N299 96 20
4060936 6N299 105 23 437612 6N299 96 24
4060939 6N299 105 18 4373613 6N299 96 23
4060941 6N299 105 13 4373614 6N299 96 25
4061692 6N299 121 437-3-8 76786 36 10
4062337 6N299 121 437-3-8 76786 46 23
4062399 6N299 121 4376497 6N299 120 2
4062401 6N299 121 8 4376605-4 6N299 88 10
4062464 6N299 105 9 4376749-0 6N299 96 7
4062661 6N299 105 25 4.379263 6N299 96 27
4111B15-1 92702 148 27 4379268 6N299 96 15
4141100021 50603 31 50 4379269 6N299 96 11
464
TM 9-6115-545-24P
TO 35C2-3-444-4
NAVFAC P-8-626-24P
SL-400038G/07499A
SECTION IV. NATIONAL STOCK NUMBER AND PART NUMBER INDEX
REFERENCE FIG ITEM REFERENCE FIG ITEM
NUMBER FSCM NO. NO. NUMBER FSCM NO. NO.
4385253-2 6N299 91 6 5X455 22938 141 19
4389859-2 6N299 89 11 504-0011 44940 125 28
4390655-1 6N299 109 13 50406-031 74063 30 88
4390992 6N299 109 14 50408-081 74063 30 61
4391154-4 6N299 109 9 50410-031 74063 30 43
4396318 6N299 96 10 505-BC 57733 13 48
4431100031 50603 31 58 505-BD 57733 13 49
444617 21450 107 16 506-BE 57733 13 44
444715 24617 122 8 506-AD 57733 96 1
45-811178-2 07397 39 43 50900-111 74063 30 46
4500230-1 6N299 121 31 51-3502-01-203 72619 13 18
4500231 6N299 121 31 51-3502-0137-203 72619 13 15
4501149-1 6N299 99 8 5100-11-198 28340 125 26
4504409 6N299 99 7 5100-11-198 28340 130 49
4507084 6N299 106 22 511-041800-0211-0511 78189 129 4
4507359 6N299 99 26 511-041800 78189 142 22
4507374 6N299 121 32 511-041800-00 78189 5 3
4507415 6N299 99 27 511-041800-00 78189 13 41
4507673 6N299 121 33 511-041800-00 78189 16 25
4511343 6N299 110 4 511-041800-00 78189 47 4
4513206-5 6N299 119 6 511-041800-00 78189 51 6
4513701 6N299 111 6 511-041800-00 71889 53 15
47-0901-29-200 72619 13 13 511-041800-00 78189 55 4
47-0901-2900-201 72619 13 9 511-041800-00 78189 57 6
47-2900-200 72619 13 10 511-041800-00 78189 61 10
47-3-31 92702 148 26 511-041800-00 78189 63 2
47006 96309 77 10 511-041800-00 78189 123 33
479136 72850 72 42 511-041800-00 78189 132 6
47929 72850 72 41 511-041800-00 78189 142 38
48B44003F06 31211 85 14 511-061800-00 78189 13 4
48C40666A13 94990 85 27 511-061800-00 78189 47 6
48C40666A38 94990 85 27 511-061800-00 78189 62 2
490517 72820 72 40 511-061800-00 78189 53 6
483666 02280 75 6 511-061800-00 79189 55 10
483666 02280 72 27 511-061800-00 78189 57 2
483066 02280 72 29 511-061900-00 78189 60 2
483666 02280 72 31 511-061800-00 78189 61 16
483666 02280 72 33 511-061800-00 78189 63 8
48729 78385 47 13 511-061800-00 78189 64 10
4891110011 50603 31 52 511-061800-00 78189 125 53
4901-000-0032-01 72619 13 11 511-061800-00 78189 130 8
4911100011 50603 31 26 511-061800-00 78189 132 4
4971110017 50603 31 7 511-061800-00 78189 142 27
5-4CTX-S 30780 72 14 511-081800-00 78189 59 27
5-4VTVXS 30780 70 4 511-081800-00 78189 61 4
5-4VTX-S 45681 82 25 511-081800-00 78189 4 6
5-4481 20796 106 1 511-081800-00 78189 13 2
5CCTXS 30780 125 40 511-081800-00 78189 16 2
5D40619A15 31211 85 24 511-081800-00 78189 33 14
465
TM 9-6115-545-24P
TO 35C2-3-444-4
NAVFAC P-8-626-24P
SL-400038G/07499A
SECTION IV. NATIONAL STOCK NUMBER AND PART NUMBER INDEX
REFERENCE FIG ITEM REFERENCE FIG ITEM
NUMBER FSCM NO. NO. NUMBER FSCM NO. NO.
511-081800-00 78189 36 7 51808-011 74063 30 93
511-081800-00 78189 47 20 51808-021 74063 30 59
511-081800-00 78189 53 18 51818-031 74063 30 98
511-081800-00 78189 57 10 5191195 30327 70 12
511-081800-00 78189 142 34 83 8
511-101800-00 78189 13 66 52-7047 22938 137 9
511-101800-00 78189 15 9 52001-006 74063 30 70
511-101800-00 78189 33 4 5211 74545 3 9
511-101800-00 78189 46 19 5234 15434 71 8
511-101800-00 78199 47 11 53A230 12670 33 15
511-101800-00 78189 61 45 545X 96309 77 19
511-101800-00 78189 72 36 5508-8 22938 139 20
511-101800-00 78189 123 39 55405 96309 77 9
511-101800-00 78189 132 37 5601100011 50603 31 68
511-101800-00 78189 142 46 5611100031 50603 31 33
511-101800-10-4302 78189 68 7 56554 77783 74 9
-4102 5914-5 22938 138 4
511-251800 78189 142 5 5914-13 22938 138 16
511-251800-00 78189 1 2 5914-18 22938 138 7
511-251800-00 78189 1 41 594A 96309 77 7
511-251800-00 78189 2 14 6-4FSOG5-S 30780 82 6A
511-251800-00 78189 7 2 6-8104 22938 139 19
511-251900-00 78189 16 34 6-4FSOG5-S 30780 82 7B
511-251800-00 78189 18 3 6C50XSS 30780 82 4
511-251800-00 78189 30 128 6S6-30V 08805 13 14
511-251800-00 78189 36 1 600J 75382 47 7
511-251800-00 78189 46 10 600J 75382 53 14
511-251800-00 78189 61 35 6004Wo000 12760 46 31
511-251800-00 78189 72 34 601J 75382 61 38
511-251800-00 78189 125 2 602J 75382 13 61
511-251800-00 78189 130 1 606 21938 139 13
5111-12-1 92702 148 35 606 22938 141 15
51204-231 74063 30 79 61-04064140-0142 78189 51 5
51204-391 74063 30 25 B05428
51204-541 74063 30 67 61-04064140-0142 78189 63 1
51204-781 74063 30 68 B0542B
51204-831 74063 30 38 61-04074140-0142 78189 5 9
51206 74063 30 91 B0542B
51208-061 74063 30 29 61-040741-40-0142 78189 55 3
51208-211 74063 30 58 61-040741-40-0142 78189 57 5
51208-401 74063 30 31 B0542B
51210-271 74063 30 96 61-040841-40-0142 78189 47 3
51701-291 74063 30 26 B0542B
51701-301 74063 30 81 61-0542-1 42280 148 32
51702-151 74063 30 89 61-060441-40-014 78189 15 1
51802-011 74063 30 77 B0542B
51804-011 74063 30 80 61-060501-40-0142 78189 61 7
51804-021 74063 30 69
51806-031 74063 30 90
466
TM 9-6115-545-24P
TO 35C2-3-444-4
NAVFAC P-8-626-24P
SL-400038G/07499A
SECTION IV. NATIONAL STOCK NUMBER AND PART NUMBER INDEX
REFERENCE FIG ITEM REFERENCE FIG ITEM
NUMBER FSCM NO. NO. NUMBER FSCM NO. NO.
61-060541-40-0142 78189 5 6 61-080841-40-0142 78189 123 10
B0542B B0542B
61-060541-40-0142 78189 125 54 61-090841-40-0142 78189 18 24
BO542B B0542B
61-060541-40-0142 78189 130 7 61-090841-40-0142 78189 33 12
B0542B B0542B
61-060641-40-0142 78189 10 1 61-080841-40-0142 78189 61 13
B0542B B0542B
61-060641-40-0142 78189 55 9 61-081041-40-0142 78189 36 5
B0542B B0542B
61-060641-40-0142 78189 68 19 61-081041-40-0142 78189 30 22
B0542B B0542B
61-060641-40-0142 78189 82 18 61-081041-40-0142 78189 46 20
B5042B B0542B
61-060741-40-0142 78189 55 27 61-081241-40-0142 78189 61 39
B0542B B0542B
61-060741-40-0142 78189 57 7 61-100641-40-0142 78189 3 1
B0542B B0542B
61-060841-40-0142 78189 3 8 61-100641-40-0142 78189 7 7
B0542B B0542B
61-060841-40-0142 78189 53 5 61-100641-40-0142 78189 30 127
B0542B B0542B
61-060841-40-0142 78189 55 30 61-100641-40-0142 78189 47 1
B0542B B0542B
61-060841-40-0142 78189 61 14 61-100641-40-0142 78189 53 3
B0542B B0542B
61-060841-40-0142 78189 61 15 61-100641-40-0142 78189 55 1
B0542B B0542B
61-061041-40-0142 78189 3 8 61-100641-40-0142 78189 61 1
B0542B B0542B
61-061041-40-0142 79189 47 5 61-100841-40-0142 78189 53 1
B0542B B0542B
61-061041-40-0142 78189 51 1 61-100841-40-0142 78189 16 16
B0542B B0542B
61-061041-40-0142 78189 55 25 61-100841-40-0142 78189 30 125
B0542B B0542B
61-061041-40-0142 78189 57 1 61-100841-40-0142 78189 33 1
B0542B B0542B
61-061041-40-0142 78189 63 7 61-100841-40-0142 78189 47 17
B0542B B0542B
61-080541-40-0142 78189 47 13 61-100841-90-0142 78189 68 12
B0542B B0542B
61-080641-40-0142 78199 10 16 61-100841-90-0142 78189 68 27
B0542B B0542B
61-080641-40-0142 78189 57 15 61-101041-40-0142 78189 46 4
B0542B B0542B
61-080641-400142 78189 61 3 61-101041-40-0142 78189 61 44
B0542B B0542B
61-080641-40-0142 78189 53 17 61-101041-40-0142 78189 55 11
B0542B B0542B
61-080741-40-0142 78189 57 13 61-101041-90-0142 78189 68 3
B0542B B0542B
61-080741-40-0142 78189 61 48 61-101241-40-0142 78189 72 35
B0542B B0542B
467
TM 9-6115-545-24P
TO 35C2-3-444-4
NAVFAC P-8-626-24P
SL-400038G/07499A
SECTION IV. NATIONAL STOCK NUMBER AND PART NUMBER INDEX
REFERENCE FIG ITEM REFERENCE FIG ITEM
NUMBER FSCM NO. NO. NUMBER FSCM NO. NO.
61-101441-40-0142 71789 30 118 61-251281-00-0242 78189 130 35
B0542B B0542B
61-101441-40-0142 71789 46 18 61-251281-00-0242 78189 16 41
B0542B B0541B
61-250681-00-0242 78189 7 9 61-251281-00-0242 78189 46 9
B0542B B0542B
61-250681-00-0242 78189 16 28 61-251281-00-0242 78189 46 36
B0542B B0542B
61-250681-00-0242 78189 61 34 61-251281-00-0242 78189 70 40
B0542B B0542B
61-250681-00-0242 78189 1 36 61-251281-00-0242 78189 72 38
B0542B B0542B
61-250841-40-0142 78189 78 10 61-251481-00.0242 78189 1 40
B0542B B0542B
61-250881-00-0242 78189 2 9 61-251481-00-0242 78189 30 135
B0542B B0542B
61-250881-00-0242 78189 7 1 61-251481-00-0242 78189 125 44
B0542B B0542B
61-250881-00-0242 78189 18 2 61-251481-00-0242 78189 16 49
B0542B B0542B
61-250881-00-0242 78189 125 1 61-251681-00-0242 78189 18 19
B0542B B0542B
61-250881-00-0242 78189 16 33 61-251681-00-0242 78189 30 121
B0542B B0542B
61-250881-00-0242 78189 46 1 61-252081-00-0242 78189 123 17
B0542B B0542B
61-250881-00-0242 78189 74 4 61-252441-40-0142 78189 61 30
B0542B B0542B
61-250881-00-0242 78189 80 23 61-252481-00-0242 78189 30 123
B0542B B0542B
61-251081-00-0242 78189 2 15 61D8 12603 72 68
B0542B 61FL-3/8 30327 97 1
61-251081-00-0242 78189 4 1 61FL1-2 30327 104 18
B0542B 6105-0001 93742 47 18
61-251081-00-0242 78189 123 7
B0254B 6119-0002 93742 142 13
61-251081-00-0242 78189 125 43 6251-13 22938 139 9
B0254B 625D1E205J 14752 39 41
61'-251081-00-0242 78189 16 31 64-16-4 92702 148 10
B0542B 64-41 92702 148 24
61-251081-00-0242 78189 45 3 64-513 92702 148 9
B0542B 65-118 92702 148 1
61-251241-40-0142 78189 30 130 6611-3 92702 148 17
B0542B 6784886 73342 99 10
61-251281-00-0242 78189 7 10
B0542B 6811 22938 139 14
61-251281-00-0242 78189 18 12 68-080-25-4 92702 148 12
B0542B 68FL3-4X1-2 30327 113 14
61-251281-00-0242 78189 30 110 69-500 30554 65
B0542B 69-500 12674 65
61-251281-00-0242 78189 123 19 69-502-7 30554 11 3
B0542B 69-502-7 93742 11 3
61-251281-00-0242 78189 123 27 69-503 30554 65 5
B0542B 468
TM 9-6115-545-24P
TO 35C2-3-444-4
NAVFAC P-8-626-24P
SL-400038G/07499A
SECTION IV. NATIONAL STOCK NUMBER AND PART NUMBER INDEX
REFERENCE FIG ITEM REFERENCE FIG ITEM
NUMBER FSCM NO. NO. NUMBER FSCM NO. NO.
69-503 12670 65 5 69-561-1 30554 142 22
69-504 30554 65 9 69-561-1 30554 142 38
69-504 12670 65 9 69-561-2 30554 13 4
69-506 30554 65 1 69-561-2 30554 47 6
69-506 12670 65 1 69-561-2 30554 51 2
69-507 30554 65 18 69-561-2 30554 53 6
69-507 12670 65 18 69-561-2 30554 55 10
69-508 30554 65 17 69-561-2 30554 57 2
69-508 12670 65 17 69-561-2 30554 60 2
69-511 30554 66 69-561-2 30554 61 16
69-516-1 30554 39 28 69-561-2 30554 63 8
69-530 30554 7 8 69-561-2 30554 64 10
69-530 93742 7 8 69-561-2 30554 125 53
69-530 30554 10 69-561-2 30554 130 8
69-530 93742 10 69-561-2 30554 132 4
69-532 30554 10 17 69-561-2 30554 142 27
69-532 93742 10 17 69-561-3 30554 4 6
69-533 30554 10 15 69-561-3 30554 13 2
69-533 93742 10 15 69-561-3 30554 16 2
69-535-2 30554 37 3 69-561-3 30554 33 14
69-536 30554 10 2 69-561-3 30554 36 6
69-536 93742 10 2 69-561-3 30554 47 20
69-539-2 93742 72 64 69-561-3 30554 53 18
69-539-2 93742 123 1 69-561-3 30554 57 10
69-539-2 30554 72 64 69-561-3 30554 59 29
69-539-2 30554 123 46 69-561-3 30554 61 4
69-540 30554 10 14 69-561-3 30554 142 34
69-540 93742 10 14 69-561-4 30554 13 66
69-540 30554 12 69-561-4 30554 33 4
69-540 93742 12 69-561-4 30554 46 19
69-541 30554 12 12 69-561-4 30554 47 11
69-542 30554 12 8 69-561-4 30554 61 45
69-545 30554 10 18 69-561-4 30554 63 2
69-545 93742 10 18 69-561-4 30554 123 39
69-547 30554 12 1 69-561-4 30554 132 37
69-549 30554 13 15 69-561-4 30554 142 46
69-561-1 30554 5 3 69-561-5 30554 1 2
69-561-1 30554 13 41 69-561-5 30554 1 41
69-561-1 30554 16 25 69-561-5 30554 2 14
69-561-1 30554 47 4 69-561-5 30554 7 2
69-561-1 30554 51 6 69-561-5 30554 16 34
69-561-1 30554 53 15 69-561-5 30554 18 3
69-561-1 30554 55 4 69-561-5 30554 30 128
69-561-1 30554 57 6 69-561-5 30554 36 1
69-561-1 30554 61 10 69-561-5 30554 46 10
69-561-1 30554 63 2 69-561-5 30554 61 35
69-561-1 30554 123 33 69-561-5 30554 72 39
69-561-1 30554 129 4 69-561-5 30554 125 2
69-561-1 30554 132 6 69-561-5 30554 130 1
469
TM 9-6115-545-24P
TO 35C2-3-444-4
NAVFAC P-8-626-24P
SL-400038G/07499A
SECTION IV. NATIONAL STOCK NUMBER AND PART NUMBER INDEX
REFERENCE FIG ITEM REFERENCE FIG ITEM
NUMBER FSCM NO. NO. NUMBER FSCM NO. NO.
69-561-5 30554 142 5 69-608 30554 81 48
69-561-6 30554 68 7 69-608 93742 81 48
69-570-3 30554 4 4 69-609 30554 81 43
69-572 30554 13 38 69-609 12670 81 43
69-574 30554 13 43 69-610 30554 81 21
69-575 30554 13 48 69-612 30554 81 12
69-576-2 30554 13 49 69-612 12670 81 12
69-577 30554 13 44 69-615 30554 81 54
69-580 30554 4 3 69-615 12670 81 54
69-580 93742 4 3 69-616 30554 81 3
69-581 30554 4 9 69-617 30554 81 50
69-581 93742 4 9 69-617 93742 81 50
69-582 30554 4 8 69-618 36554 81 34
69-582 93742 4 8 69-618 12670 81 34
69-583 30554 4 7 69-619 30554 81 37
69-583 93742 4 7 69-619 12670 81 37
69-589-1 30554 13 64 69-620 30554 81 41
69-589-2 30554 13 64 69-620 12670 81 41
69-590-1 30554 7 11 69-621 30554 81 45
69-590-1 93742 7 11 69-621 12670 81 45
69-590-1 30554 13 69-622 30554 81 24
69-590-1 93742 13 69-622 12670 81 24
69-590-2 30554 7 11 69-623 30554 81 29
69-590-2 93742 7 11 69-624 30554 81 22
69-590-2 30554 13 69-624 93742 81 22
69-590-2 93742 13 69-625 30554 81 8
69-591 30554 13 67 69-625 12670 81 8
69-591 93742 13 67 69-626 30554 81 13
69-591-7 30554 13 70 69-626 12670 81 13
69-592 30554 13 59 69-629 30554 81 15
69-592 93742 13 59 69-630 30554 81 46
69-593 30554 13 9 69-631 30554 81 55
69-594 30554 13 14 69-631 12670 81 55
69-595 30554 13 5 69-632 30554 81 19
69-596 30554 13 5 69-633 30554 81 26
69-599 30554 13 27 69-650 30554 129
69-600 30554 81 69-651-1 30554 47 7
69-600-2 30554 90 24 69-651-1 30554 53 13
69-600-2 30554 81 69-651-2 30554 61 38
69-601 30554 81 20 69-651-3 30554 13 61
69-602 30554 81 18 69-654 30554 129 16
69-602 12670 81 18 69-8654 93742 129 16
69-603 30554 81 52 69-655 30554 129 17
69-604 30554 81 51 69-655 93742 129 17
69-604 12670 81 51 69-656 30554 129 2
69-605 30554 81 49 69-656 93742 129 2
69-606 30554 81 4 69-657 30554 16 4
69-607 30554 81 30 69-657 93742 16 4
69-607 12670 81 30 69-658 30554 15 3
470
TM 9-6115-545-24P
TO 35C2-3-444-4
NAVFAC P-8-626-24P
SL-400038G/07499A
SECTION IV. NATIONAL STOCK NUMBER AND PART NUMBER INDEX
REFERENCE FIG ITEM REFERENCE FIG ITEM
NUMBER FSCM NO. NO. NUMBER FSCM NO. NO.
69-58 30554 64 4 69-662-35 30554 61 13
69-659 30554 75 8 69-662-35 30554 123 10
69-659 30554 130 54 69-662-36 30554 30 22
69-661-2 30554 58 3 69-662-36 30554 33 12
69-662-16 30554 15 1 69-662-36 30564 36 5
69-662-16 30554 142 59 69-662-36 30554 46 20
69-662-17 30554 5 6 69-662-37 30554 61 39
69-662-17 30554 125 54 69-662-4 30554 5 9
69-662-17 30554 130 7 69-662-4 30554 55 3
69-662-18 30554 10 1 69-662-4 30554 57 5
69-662-18 30554 55 9 69-662-4 30554 61 14
69-662-18 30554 68 17 69-662-4 30554 142 33
69-662-18 30554 132 23 69-662-46 30554 142 47
69-662-19 30554 55 27 69-662-47 30554 142 44
69-662-19 30554 57 7 69-662-48 30554 3 1
69-662-2 30554 61 9 69-662-48 30554 7 7
69-662-2 30554 142 21 69-662-48 30554 30 127
69-662-20 30564 3 8 69-662-48 30554 47 1
69-662-20 30554 53 5 69-662-48 30554 53 3
69-662-20 30554 55 30 69-662-48 30554 55 1
69-662-20 30554 61 15 69-662-48 30554 61 1
69-662-20 30554 132 3 69-662-49 30554 132 36
69-662-21 30554 3 8 69-662-5 30554 47 3
69-662-21 30554 47 5 69-662-5 30554 142 37
69-662-21 30554 51 1 69-662-50 30554 16 16
69-662-21 30554 55 25 69-662-50 30554 30 125
69-662-21 30554 57 1 69-662-50 30554 33 1
69-662-21 30554 68 7 69-662-50 30554 47 17
69-662-21 30554 132 24 69-662-50 30554 53 1
69-662-22 30554 33 16 69-662-51 30554 46 4
69-662-22 30554 142 26 69-662-51 30554 55 11
69-662-3 30554 52 5 69-662-51 30554 61 44
69-662-3 30554 63 1 69-662-53 30554 30 118
69-662-3 30554 132 5 69-662-53 30554 46 18
69-662-3 30554 142 18 69-662-6 30554 53 14
69-662-33 30554 10 16 69-662-64 30554 48 4
69-662-33 30554 48 8 69-662-64 30554 48 6
69-662-33 30554 48 11 69-662-64 30554 68 10
69-662-33 30554 53 17 69-662-64 30554 68 27
69-662-33 30554 57 15 69-662-71 30554 70 6
69-662-33 30554 61 3 69-662-76 30564 132 17
69-662-33 30554 142 9 69-662-77 30554 78 10
69-662-33 30554 142 12 69-662-77 30554 142 3
69-662-33 30554 142 61 69-662-77 30554 142 4
69-662-33 30554 142 66 69-662-79 30554 30 130
69-662-34 30554 57 13 69-662-83 30554 61 30
69-662-34 30554 61 48 69-668 30554 124 4
69-662-34 30554 132 1 69-668-4 30554 124 7
69-662-35 30554 18 24 69-668-4 93742 124 7
471
TM 9-6115-545-24P
TO 35C2-3-444-4
NAVFAC P-8-626-24P
SL-400038G/07499A
SECTION IV. NATIONAL STOCK NUMBER AND PART NUMBER INDEX
REFERENCE FIG ITEM REFERENCE FIG ITEM
NUMBER FSCM NO. NO. NUMBER FSCM NO. NO.
69-677 30554 14 69-736 12670 39
69-692-5 30554 32 3 69-738-1 30554 37 11
69-692-6 30554 123 16 69-738-2 30554 37 13
69-692-6 93742 123 16 69-738-3 30554 37 9
69-694-6 30554 13 56 69-738-4 30554 37 10
69-695 30554 13 58 69-738-6 30554 37 14
69-697-3 30554 107 15 69-739 30554 15 12
69-698 30554 80 22 69-739 30554 64 18
69-700 30554 36 16 69-740 30554 64 17
69-702 30554 39 16 69-763 30554 13 52
69-704 30554 39 33 69-763 93742 13 52
69-704 12670 39 33 69-764 30554 15 15
69-705 30554 39 34 69-764 93742 15 65
69-710 30554 37 22 69-765 30554 13 65
69-710 12670 37 22 69-765 93742 13 65
69-711 30554 37 17 69-765 30554 15
69-711 12670 37 17 69-765 93742 15
69-712 30554 39 40 69-766 30554 13 57
69-713-1 30554 39 8 69-767 30554 64 19
69-713-3 30554 39 24 69-767 93742 64 19
69-713-3 30554 39 29 69-768 30554 61 41
69-713-4 30554 39 29 69-768 93742 61 41
69-713-5 30554 39 10 69-768 93742 64
69-715 30554 39 27 69-768 93742 64
69-716 30554 39 9 69-771 30554 16 3
69-717-2 30654 39 20 69-772 30554 124 3
69-717-3 30554 39 31 69-772-2 30554 124 1
69-718 30564 39 17 69-772-2 93742 124 1
69-725 30554 37 18 69-774 30554 72 37
69-725 12670 37 18 69-779-2 30554 96 1
69-726 30554 39 5 69-780-2 30554 84 11
69-727-1 30554 39 6 69-780-2 30554 85
69-727-2 30554 39 7 69-782 30554 73 1
69-728-2 30554 39 43 69-784-1 30554 36 16
69-728-4 30554 39 43 69-784-2 30554 36 16
69-728-5 30554 39 43 69-785 30554 46 6
69-728-6 30554 39 43 69-786 30554 46 31
69-728-7 30554 39 43 69-801 30554 37 19
69-731 30554 38 69-801 12670 37 19
69-731 12670 38 69-801 30554 39
69-732-1 30554 39 44 69-801 12670 39
69-732-1 12670 39 44 69-805 30554 39 27
69-732-2 30554 39 44 69-806 30554 39 17
69-732-2 12670 39 44 69-810 30554 39 5
69-733-1 30554 39 39 69-811-1 30554 39 6
69-733-2 30554 39 38 69-811-2 30554 39 7
69-735 30554 39 26 69-814 30554 38
69-736 30554 37 19 69-814 12670 38
69-736 30554 39 69619 75250 94 4
472
TM 9-6115-545-24P
TO 35C2-3-444-4
NAVFAC P-8-626-24P
SL-400038G/07499A
SECTION IV. NATIONAL STOCK NUMBER AND PART NUMBER INDEX
REFERENCE FIG ITEM REFERENCE FIG ITEM
NUMBER FSCM NO. NO. NUMBER FSCM NO. NO.
7-75 31211 85 31 70-1058 93742 46 8
7-8 31211 85 32 70-1058 30554 61
7-914 22938 139 3 70-1058 93762 61
7-914 22938 141 3 70-1059 30554 61 52
70-507 30554 79 39 70-1059 93742 61 52
70-507 30554 71 70-1060 30554 63 11
70-1000 30554 123 38 70-1060 93742 63 11
70-1000 93742 123 38 70-1061 30554 53 19
70-1005 30654 75 70-1061 93742 53 19
70-1005 93742 75 70-1061 30554 61 47
70-1005 30554 78 70-1061 93742 61 47
70-1005 93742 78 70-1061 30554 63
70-1026 30554 72 75 70-1061 93742 63
70-1026 93742 72 75 70-1072-1 30554 142 28
70-1026 30554 73 70-1072-1 93742 142 28
70-1026 93742 73 70-1072-2 30554 142 29
70-1027 30554 73 15 70-1072-2 93742 142 29
70-1027 93742 73 15 7G-1073 30554 57 16
70-1029 30554 73 16 70-1089 30554 75 2
70-1028 93742 73 16 70-1090 30554 75 3
70-1029 30554 73 19 70-1098 30554 32 8
70-1029 93742 73 19 70-1098 93742 32 8
70-1030 30554 73 14 70-1101 30554 35 4
70-1030 93742 73 14 70-1101 93742 35 4
70-1031 30554 73 13 70-1102 30554 30 120
70-1031 93742 73 13 70-1102 93742 30 120
70-1032 30554 78 7 70-1102 30554 35
70-1032 93742 78 7 70-1102 93742 35
70-1033 30554 78 8 70-1105-1 30554 89
70-1033 93742 78 8 70-1105-2 30554 89
70-1047 30554 16 50 70-1105-3 30554 90
70-1047 93742 16 50 70-1105-4 30554 90
70-1048 30554 51 8 70-1109-6 30554 72 14
70-1048 93742 51 8 70-1110-1 30554 82 5
70-1049-2 30554 83 14 70-1111 30554 80 18
70-1050-4 30554 55 12 70-1113 30554 35 5
70-1053 30554 46 8 70-1113-1 30554 35 8
70-1053 93742 46 8 70-1113-1 93742 35 8
70-1053 30554 61 70-1113-2 30554 35 7
70-1053 93742 61 70-1113-2 93742 35 7
70-1054 30554 61 52 70-1114 30554 35 9
70-1054 93742 61 52 70-1114 93742 35 9
70-1054 30554 123 35 70-1114-1 30554 35 12
70-1054 93742 123 35 70-1114-1 93742 35 12
70-1056 30554 61 2 70-1114-2 30554 35 11
70-1056 93742 61 2 70-1114-2 93742 35 11
70-1057 30554 61 23 70-1115 30554 46 3
70-1057 93742 61 23 70-1115 93742 46 3
70-1058 30554 46 8 70-1115 30554 53
473
TM 9-6115-545-24P
TO 35C2-3-444-4
NAVFAC P-8-626-24P
SL-400038G/07499A
SECTION IV. NATIONAL STOCK NUMBER AND PART NUMBER INDEX
REFERENCE FIG ITEM REFERENCE FIG ITEM
NUMBER FSCM NO. NO. NUMBER FSCM NO. NO.
70-1115 93742 53 70-1147 93742 16 58
70-1116 30554 53 23 70-1148 30554 16 42
70-1116 93742 53 23 70-1148 93742 16 42
70-1117 30554 53 2 70-1149 30554 16 28
70-1117 93742 53 2 70-1149 93742 16 28
70-1118 30554 53 21 70-1150 30554 16 44
70-1118 30554 61 51 70-1150 93742 16 44
70-1119 30554 53 20 70-1152 30554 16 78
70-1120 30554 53 22 70-1152 93742 16 78
70-1120 30554 61 49 70-1153 30554 16 77
70-1123 30554 2 4 70-1153 93742 16 77
70-1125 30554 2 1 70-1154 30554 16 65
70-1126 30554 75 6 70-1154 93742 16 65
70-1127 30554 75 6 70-1154-7 30554 16 66
70-1127 30554 79 70-1154-7 93742 16 66
70-1128 30554 75 4 70-1155 30554 16 68
70-1129 30554 75 3 70-1155 93742 16 68
70-1131 30554 47 12 70-1155-10 30554 16 70
70-1131 93742 47 12 70-1155-10 93742 16 70
70-1131 30554 51 70-1156 30554 16 61
70-1131 93742 53 70-1156 93742 16 61
70-1133 30554 53 21 70-1156-7 30554 16 62
70-1133 93742 53 21 70-1156-7 93742 16 62
70-1134 30554 53 2 70-1157 30554 16 63
70-1134 93742 53 2 70-1157 93742 16 63
70-1135 30554 53 18 70-1157-10 30554 16 64
70-1135 30554 48 7 70-1157-10 93742 16 64
70-1136 30554 48 8 70-1159 30554 16 75
70-1136 30554 53 16 70-1159 93742 16 75
70-1137 30554 48 10 70-1160 30554 16 37
70-1137 30554 53 15 70-1160 93742 16 37
70-1138 30554 48 12 70-1161 30554 16 35
70-1138 30554 53 14 70-1161 93742 16 35
70-1140 30554 61 36 70-1162 30554 16 5
70-1141 30554 61 50 70-1162 93742 16 5
70-1142-225 30554 2 28 70-1163 30554 16 6
70-1143 30554 16 51 70-1163 93742 16 6
70-1143 93742 16 51 70-1164-6 30554 16 71
70-1144 30554 16 53 70-1164-6 93742 16 71
70-1144 93742 16 53 70-1164-7 30554 16 71
70-1145 30554 16 54 70-1164-7 93742 16 71
70-1145 93742 16 54 70-1168 30554 16 72
70-1146-4 30554 16 55 70-1168 93742 16 72
70-1146-4 93742 16 55 70-1169 30554 16 76
70-1146-5 30554 16 55 70-1169 93742 16 76
70-1140-5 93742 16 55 70-1170 30554 30 117
70-1146-6 30554 16 55 70-1170 93742 30 117
70-1146-6 93742 16 55 70-1170 30554 33
70-1147 30554 16 58 70-1170 93742 33
474
TM 9-6115-545-24P
TO 35C2-3-444-4
NAVFAC P-8-626-24P
SL-400038G/07499A
SECTION IV. NATIONAL STOCK NUMBER AND PART NUMBER INDEX
REFERENCE FIG ITEM REFERENCE FIG ITEM
NUMBER FSCM NO. NO. NUMBER FSCM NO. NO.
70-1171 30554 33 19 70-1207-1 30554 30
70-1171 93742 33 19 70-1207-1 93742 30
70-1172 30554 33 15 70-1207-2 30554 30
70-117224-5 80089 61 36 70-1207-2 93742 30
70-1173 30554 33 8 70-1207-3 30554 30
70-1174 30554 33 11 70-1207-3 93742 30
70-1175 30554 30 117 70-1207-4 30554 30
70-1175 93742 30 117 70-1207-4 93742 30
70-1175 30554 33 70-1207-5 30554 30
70-1175 93742 33 70-1207-5 93742 30
70-1176 30554 33 19 70-1207-6 30554 30
70-1176 93742 33 19 70-1207-6 93742 30
70-1178 30554 33 11 70-1207-7 30554 30
70-1181 30554 82 27 70-1207-7 93742 30
70-1181 93742 82 27 70-1207-8 30554 30
70-1183 30554 80 27 70-1207-8 93742 30
70-1183 93742 80 27 70-1208 30554 26
70-1184 30554 82 32 70-1208 93742 26
70-1184 93742 82 32 70-1209 30554 49
70-1185-40 30554 123 42 70-1209 93742 49
70-118546 30554 123 59 70-1211 30554 22
70-1185-50 30554 123 55 70-1211 93742 22
70-1185-51 30554 123 54 70-1212 30554 20
70-1185-53 30554 123 52 70-1212 93742 20
70-1185-55 30554 123 44 70-1213 30554 21
70-1187 30554 59 25 70-1213 93742 21
70-1188 30554 59 26 70-1214 30554 27
70-1188 30554 60 10 70-1214 93742. 27
70-1189 30554 53 4 70-1215 30554 54
70-1189 93742 53 4 70-1215 93742 54
70-1191 30554 46 35 70-1216 30554 23
70-1191 93742 46 35 70-1216 93742 23
70-1192 30554 46 38 70-1217 30554 126
70-1192 93742 46 38 70-1217 93742 126
70-1193 30554 46 37 70-1218 30554 19
70-1193 93742 46 37 70-1218 93742 19
70-1194 30554 80 14 70-1219 30554 9
70-1195-2 30554 70 27 70-1219 93742 9
70-1195-3 30554 110 3 70-1220 30554 8
70-1201 30554 62 70-1220 93742 8
70-1201 93742 62 70-1221 30554 61 5
70-1202 30554 62 70-1222 30554 6
70-1202 93742 62 70-1222 93742 6
70-1204 30554 34 70-1223 30554 30 124
70-1204 93742 34 70-1223 93742 30 124
70-1205 30554 24 70-1224 30554 30 139
70-1205 93742 24 70-1224 93742 30 139
70-1206 30554 25 70-1228-1 30554 61 20
70-1206 93742 25 70-1228-3 30554 61 17
475
TM 9-6115-545-24P
TO 35C2-3-444-4
NAVFAC P-8-626-24P
SL-400038G/07499A
SECTION IV. NATIONAL STOCK NUMBER AND PART NUMBER INDEX
REFERENCE FIG ITEM REFERENCE FIG ITEM
NUMBER FSCM NO. NO. NUMBER FSCM NO. NO.
70-1228-4 30554 61 19 70-1269 93742 34
70-1228-5 30554 61 22 70-1271 30554 142
70-1228-6 30554 61 21 70-1271 93742 142
70-1229 30554 132 18 70-1272 30554 142 69
70-1229 93742 132 18 70-1272 93742 142 69
70-1230 30554 132 39 70-1273 30554 142 11
70-1230 93742 132 39 70-1273 93742 142 11
70-1231 3G554 132 2 70-1274 30554 143
70-1231 93742 132 2 70-1274 93742 143
70-1232 30554 130 6 70-1275 30554 142 48
70-1232 93742 130 6 70-1275 93742 142 48
70-1232 30554 132 70-1276 30554 142 64
70-1232 93742 132 70-1276 93742 142 64
70-1233 30554 133 70-1277 30554 142 36
70-1233 93742 133 7G-1277 93742 142 36
70-1234 30554 32 7 70-1278 30554 147
70-1234 93742 32 7 70-1278 93742 147
70-1235 30554 30 126 70-1279 30554 45 10
70-1235 93742 30 126 70-1279 93742 45 10
70-1236 30554 30 137 70-1281 30554 45 4
70-1236 93742 30 137 70-1281 93742 45 4
70-1239 30554 30 138 70-1282 30554 132 28
70-1239 93742 30 138 70-1282 93742 132 28
70-1240 30554 30 107 70-1284 30554 132 32
70-1240 93742 30 107 70-1284 93742 132 32
70-1240 30554 32 70-1286 30554 132 34
70-1241 30554 80 20 70-1288 30554 45 7
70-1241 93742 80 20 70-1288 93742 45 7
70-1243 30554 30 140 70-1291 30554 142 55
70-1243 93742 30 140 70-1293 30554 142 62
70-1244 30554 70 36 70-1295 30554 2 12
70-1244 93742 70 36 70-1295 93742 2 12
70-1245 30554 70 42 70-1297 30554 125
70-1245 93742 70 42 70-1297 93742 125
70-1253 30554 131 70-1299 30554 130
70-1253 93742 131 70-1299 93742 130
70-1256 30554 135 70-1303 30554 127
70-1256 93742 135 70-1303 93742 127
70-1257 30554 70 41 70-1305 30554 142 1
70-1257 93742 70 41 70-1305 30554 16 8
70-1258 30554 135 7 70-1305 30554 16 19
70-1258 93742 135 7 70-1306 30554 53 11
70-1260 30554 135 8 70-1306 93742 53 11
70-1260 93742 135 8 70-1307 30554 61 28
70-1266 30554 23 70-1307 93742 61 28
70-1266 93742 23 70-1308 30554 53 12
70-1267 30554 5 5 70-1308 93742 53 12
70-1267 93742 5 5 70-1308 30554 61 29
70-1269 30554 34 70-1308 93742 61 29
476
TM 9-6115-545-24P
TO 35C2-3-444-4
NAVFAC P-8-626-24P
SL-400038G/07499A
SECTION IV. NATIONAL STOCK NUMBER AND PART NUMBER INDEX
REFERENCE FIG ITEM REFERENCE FIG ITEM
NUMBER FSCM NO. NO. NUMBER FSCM NO. NO.
70-1310 30554 45 8 70-1331 30554 3 6
70-1313 30554 83 10 70-1332 30554 1 39
70-1314-21 30554 70 34 70-1332 93742 1 39
70-1314-25K 30554 96 3 70-1333 30554 142 10
70-1315-30 30554 83 6 70-1333 93742 142 10
70-1319-1 30554 1 36 70-1335 30554 1 43
70-1319-1 30554 7 9 70-1335 93742 1 43
70-1319-1 30554 16 28 70-1336 30554 16 36
70-1319-2 30554 2 9 70-1336 93742 16 36
70-1319-2 30554 7 1 70-1337 30554 142 54
70-1319-2 30554 16 33 70-1337 93742 142 54
70-1319-2 30554 18 1 70-1339 30554 142 2
70-1319-2 30554 46 1 70-1339 93742 142 2
70-1319-2 30554 74 4 70-1341 30554 123 34
70-1319-2 30554 80 23 70-1341 93742 123 34
70-1319-2 30554 125 1 70-1342-1 30554 57 4
70-1319-2 30554 130 2 70-1343 30554 45 2
70-1319-3 30554 4 1 70-1343 93742 45 2
70-1319-3 30554 16 31 70-1345 30554 16 57
70-1319-3 30554 123 7 70-1345 93742 16 57
70-1319-4 30554 1 1 70-1346 30554 16 57
70-13194 30554 2 24 70-1346 93742 16 57
70-1319-4 30554 7 10 70-1351-1 30554 16 7
70-1319-4 30554 16 40 70-1351-1 93742 16 7
70-1319-4 30554 18 12 70-1351-2 30554 16 7
70-1319-4 30554 30 110 70-1351-2 93742 16 7
70-1319-4 30554 46 9 70-1352-1 30554 16 13
70-1319-4 30554 46 36 70-1352-1 93742 16 13
70-1319-4 30554 70 40 70-1352-2 30554 16 14
70-1319-4 30554 72 38 70-1352-2 93742 16 14
70-1319-4 30554 123 19 70-1352-3 30554 16 10
70-1319-4 30554 123 27 70-1352-3 93742 16 10
70-13194 30554 130 35 70-1352-5 30554 16 14
70-1319-4 30554 142 43 70-1352-5 93742 16 14
70-1319-5 30554 1 40 70-1352-6 30554 16 10
70-1319-5 30554 16 49 70-1352-6 93742 16 10
70-1319-5 30554 30 135 70-1353 30554 1 35
70-1319-6 30554 18 19 70-1353 93742 1 35
70-1319-6 30554 30 121 70-1354 30554 1 31
70-1319-6 30554 142 14 70-1354 93742 1 31
70-1319-7 30554 123 17 70-1355 30554 1 32
70-1319-8 30554 30 123 70-1355 93742 1 32
70-1320-9 30554 40 5 70-1356 30554 123 26
70-1325 30554 16 52 70-1356 93742 123 26
70-1325 93742 16 52 70-1357 30554 3 4
70-1326 30554 82 19 70-1358 93742 123 9
70-1329 30554 16 73 70-1358 30554 123 9
70-1329 93742 16 73 70-1361 30554 2 10
70-1330 93742 3 6 70-1361 93742 2 10
477
TM 9-6115-545-24P
TO 35C2-3-444-4
NAVFAC P-8-626-24P
SL-400038G/07499A
SECTION IV. NATIONAL STOCK NUMBER AND PART NUMBER INDEX
REFERENCE FIG ITEM REFERENCE FIG ITEM
NUMBER FSCM NO. NO. NUMBER FSCM NO. NO.
70-1363 30554 16 29 70-1384 30554 55 24
70-1363 93742 16 29 70-1384 93742 55 24
70-1367 30554 46 7 70-1386 30554 57 29
70-1367 93742 46 7 70-1387 30554 55 33
70-1367 30554 55 70-1387 43742 55 33
70-1367 93742 55 70-1388 30554 57 14
70-1368 30554 46 7 70-1388 93742 57 14
70-1368 93742 46 7 70-1389 30554 123 23
70-1368 30554 55 70-1389 93742 123 23
70-1368 93742 55 70-1390 30554 59 23
70-1369 30554 55 5 70-1391 30554 60 14
70-1369 93742 55 5 70-1391 30554 63 5
70-1369 30554 57 70-1393 30554 36 14
70-1369 93742 57 70-1393 93742 36 14
70-1370 30554 59 70-1394 30554 3 11
70-1370 93742 59 70-1394 93742 3 11
70-1370 30554 57 3 70-1395 30554 36 4
70-1370 93742 57 3 70-1395 93742 36 4
70-1371 30554 55 31 70-1396 30554 16 74
70-1371 93742 55 31 70-1396 93742 16 74
70-1371 30554 60 70-1399 30554 67 4
70-1371 93742 60 70-1399 93742 67 4
70-1372 30554 55 31 70-1404 30554 56
70-1372 93742 55 31 70-1404 93742 56
70-1372 30554 60 70-1408 30554 33 6
70-1372 93742 60 70-1408 93742 33 6
70-1373 30554 59 31 70-1409 30554 123 24
70-1373 93742 59 31 70-1409 93742 123 24
70-1374-1 30554 60 21 70-1412 30554. 72 34
70-1374-1 93742 60 21 70-1415 30554 70 32
70-1374-2 30554 60 21 70-1416 30554 130 51
70-1374-2 93742 60 21 70-1416 93742 130 51
70-1375 30554 55 15 70-1419 30554 124 12
70-1375 93742 55 15 70-1419 93742 124 12
70-1376 30554 55 13 70-1420 30554 124 11
70-1376 93742 55 13 70-1420 93742 124 11
70-1377 30554 55 14 70-1424 30554 33 7
70-1377 93742 55 14 70-1424 93742 33 7
70-1378 30554 55 35 70-1424 09527 123 11
70-1378 93742 55 35 70-1425 30554 58
70-1379 30554 55 2 70-1425 93742 58
70-1379 93742 55 2 70-1426 30554 7 13
70-1380 30554 57 19 70-1428 30554 33 9
70-1381 30554 55 17 70-1428 93742 33 9
70-1381 93742 55 17 70-1429 30554 33 10
70-1382 30554 55 16 70-1429 93742 33 10
70-1382 93742 55 16 70-1433 30554 130 36
70-1383 30554 55 23 70-1433 93741 130 36
70-1383 93742 55 23 70-1434 30554 130 42
478
TM 9-6115-545-24P
TO 35C2-3-444-4
NAVFAC P-8-626-24P
SL-400038G/07499A
SECTION IV. NATIONAL STOCK NUMBER AND PART NUMBER INDEX
REFERENCE FIG ITEM REFERENCE FIG ITEM
NUMBER FSCM NO. NO. NUMBER FSCM NO. NO.
70-1434 93742 130 42 70-1466 30554 132 35
70-1435 10554 130 45 70-1466 93742 132 35
70-1435 93742 130 45 70-1467 30554 16 67
70-1436 30554 46 16 70-1467 93742 16 67
70-1436 9,742 46 16 70-1470 30554 16 18
70-1438 30554 123 28 70-1470 93742 16 18
70-1438 93742 123 28 70-1470-21 30554 16 21
70-1438-1 30554 123 31 70-1470-21 93742 16 21
70-1438-1 93742 123 31 70-1474 30554 123 11
70-1439 30554 123 52 70-1480 30554 16 59
70-1439 93742 123 52 70-1480 93742 16 59
70-1440 30554 55 18 70-1481 30554 16 60
70-1440 93742 55 18 70-1481 93742 16 60
70-1440 30554 57 970-1482 30554 125 57
70-1440 93742 57 9 70-1482 93742 125 57
70-1442-1 30554 3 70-1483 30554 73 18
70-1442-6 30554 16 32 70-1483 93742 73 18
70-1443 30554 98 4 70-1484 30554 26 17
70-1443 93742 98 4 70-1485 30554 16 20
70-1450 30554 123 670-1485 93742 16 20
70-1450 91742 123 6 70-1486 30554 125 55
70-1451 30554 123 5 70-1486 93742 125 55
70-1454 30554 16 48 70-1487 30554 130 9
70-1454 93742 16 48 70-1487 93742 130 9
70-1455-1 30554 16 11 70-1488 30554 16 69
70-1455-1 93742 16 11 70-1488 93742 16 69
70-1455-2 30554 16 12 70-1489 30554 125 32
70-1455-2 93742 16 12 70-1489 30554 130 46
70-1455-3 30554 16 12 70-1491-36 30554 70 4
70-1455-3 93742 16 12 70-1491-36 30554 82 25
70-1455-4 30554 16 11 70-1492 30554 130 47
70-1455-4 93742 16 11 70-1494-6 30554 130 44
70-1455-5 30554 16 15 70-1495-8 30554 75 9
70-1455-5 93742 16 15 70-1496-6 30554 75 10
70-1455-6 30554 16 9 70-1496-6 30554 125 27
70-1455-6 93742 16 9 70-1498 30554 125 29
70-1455-7 30554 16 15 70-1498 30554 130 43
70-1455-7 93742 16 15 70-1500 30554 72 8
70-1455-8 30554 16 9 70-1501 30554 46 29
70-1455-8 93742 16 9 70-1504 30554 83 4
70-1459 93742 123 20 70-1504 30554 113 1
70-1459 30554 123 20 70-1505 30554 7 4
70-1460 93742 123 18 70-1505 93742 7- 4
70-1460 30554 123 18 70-1506 30554 7 5
70-1461 30554 36 7 70-1506 93742 7 5
70-1461 93742 36 7 70-1507 93742 3 2
70-1461 30554 46 21 70-1508 30554 1 37
70-1461 93742 46 21 70-1508 93742 1 37
70-1464 30554 36 9 70-1509 30554 16 26
479
TM 9-6115-545-24P
TO 35C2-3-444-4
NAVFAC P-8-626-24P
SL-400038G/07499A
SECTION IV. NATIONAL STOCK NUMBER AND PART NUMBER INDEX
REFERENCE FIG ITEM REFERENCE FIG ITEM
NUMBER FSCM NO. NO. NUMBER FSCM NO. NO.
70-1510 30554 16 22 70-1530-3 93742 125 13
70-1512 30554 83 5 70-1530-3 30554 130 4
70-1512 30554 113 2 70-1530-3 93742 130 4
70-1515 30554 72 21 70-1531-1 30554 75 15
70-1515 93742 72 21 70-1531-1 30554 135 5
70-1516 30554 46 27 70-1531-2 30554 72 73
70-1516 93742 46 27 70-1531-2 30554 83 13
70-1518 30554 75 7 70-1531-2 30554 135 11
70-1519 30554 55 34 70-1532 30554 67 6
70-1521-1 30554 72 28 70-1533 30554 83 2
70-1521-1 93742 72 28 70-1533 93742 83 2
70-1521-3 30554 72 30 70-1534 30554 18 15
70-1521-3 93742 72 30 70-1534 93742 18 15
70-1521-4 30554 72 32 70-1535 30554 18 18
70-1521-4 93742 72 32 70-1535 93742 18 18
70-1521-5 30554 70 11 70-1535 30554 36 15
70-1521-6 30554 83 7 70-1535 93742 36 15
70-1521-6 93742 83 7 70-1537 30554 18 8
70-1522-1 93742 2 19 70-1537 93742 18 8
70-1522-2 93742 2 17 70-1538 30554 16 43
70-1524 30554 63 4 70-1538 93742 16 43
70-1525-2 30554 72 26 70-1538 30554 18 11
70-1525-2 93742 72 26 70-1539 93742 18 11
70-1529 30554 130 14 70-1539 30554 110 8
70-1529-10 30554 2 16 70-1539 93742 110 8
70-1529-10 30554 46 14 70-1545 93742 3 2
70-1529-12 30554 18 14 70-1546 30554 72 3
70-1529-12 30554 135 12 70-1546 30554 110 2
70-1529-14 30554 18 13 70-1567 30554 68 31
70-1529-16 30554 46 15 70-1571 30554 30 16
70-1529-22 30554 142 7 70-1571 30554 30 19
70-1529-28 30554 18 26 70-1572 30554 30 7
70-1529-4 30554 18 2 70-1572 30554 30 10
70-1529-5 30554 142 6 70-1572 30554 30 13
70-1529-6 30554 18 4 70-1573 30554 145
70-1529-6 30554 46 12 70-1573 93742 145
70-1529-6 30554 74 5 70-1582-1 30554 1 8
70-1529-6 30554 125 3 70-1582-1 93742 1 8
70-1529-8 30554 1 3 70-1582-2 30554 1 19
70-1529-8 30554 18 9 70-1592-2 93742 1 19
70-1529-8 30554 7 3 70-1582-3 30554 1 24
70-1529-8 30554 46 13 70-1582-3 93742 1 24
70-1529-9 30554 18 10 70-1582-4 30554 1 15
70-1529-9 30554 125 5 70-1582-4 93742 1 15
70-1530-1 30554 125 37 70-1582-5 30554 1 4
70-1530-1 93742 125 37 70-1582-5 93742 1 4
70-1530-2 30554 125 25 70-1583 30554 110 1
70-1530-2 93742 125 25 70-1585-12 30554 70 14
70-1530-3 30554 125 13 70-1585-12 30554 80 3
480
TM 9-6115-545-24P
TO 35C2-3-444-4
NAVFAC P-8-626-24P
SL-400038G/07499A
SECTION IV. NATIONAL STOCK NUMBER AND PART NUMBER INDEX
REFERENCE FIG ITEM REFERENCE FIG ITEM
NUMBER FSCM NO. NO. NUMBER FSCM NO. NO.
70-1586 30554 74 6 70-1630 30554 53 9
70-1586 93742 74 6 70-1630 30554 61 26
70-1591 30554 74 9 70-1631 30554 78 14
70-1592-2 30554 125 20 70-1631 93742 78 14
70-1594 30554 70 35 70-1633 30554 142 65
70-1598 30554 144 70-1634 30554 142 68
70-1598 93742 144 70-1900 30554 67 8
70-1599 30554 18 25 70-1900 30554 68
70-1600 30554 30 131 70-1901 30554 67 8
70-1600 93742 30 131 70-1901 12532 67 8
70-1601 30554 146 70-1901 30554 68
70-1601 93742 146 70-1901 12532 68
70-1602 30554 7 12 70-1904 30554 68 11
70-1602 93742 7 12 70-1904 12532 68 11
70-1603 30554 28 70-1905 30554 68 12
70-1603 93742 28 70-1905 12532 68 12
70-1604 30554 18 20 70-1906 30554 68 18
70-1604 93742 18 20 70-1906 12532 68 18
70-1605 30554 75 4 70-1907 30554 68 33
70-1605 93742 75 4 70-1907 12352 68 33
70-1607 30554 72 10 70-1908 30554 68 34
70-1607 93742 72 10 70-1909 30554 68 35
70-1607-1 30554 72 13 70-1909 12352 68 35
70-1607-1 93742 72 13 70-1910 30554 68 26
70-1608 30554 72 76 70-1910 12352 68 26
70-1609 30554 72 43 70-1911 30554 68 51
70-1610 30554 33 31 70-1911 12532 68 51
70-1610 30554 72 44 70-1912 30554 68 43
70-1611 30554 2 23 70-1912 12532 68 43
70-1611 30554 72 45 70-1913 330554 68 44
70-1612 30554 29 70-1913 12532 68 44
70-1612 93742 29 70-1914 30554 68 46
70-1613 30554 27 70-1914 12532 68 46
70-1613 93742 27 70-1915 12532 68 47
70-1618-1 30554 123 37 70-1916 30554 68 55
70-1618-2 30554 123 36 70-1916 12532 68 55
70-1619 30554 2 11 70-1917 30554 68 39
70-1621 30554 46 17 70-1917 12532 68 39
70-1621 93742 46 17 70-1918 30554 68 38
70-1622 93742 2 20 70-1918 12532 68 38
70-1624 30554 2 18 70-1919 12532 68 37
70-1626-1 30554 123 14 70-1920 30554 68 45
70-1626-2 30554 35 2 70-1920 12532 68 45
70-1626-2 93742 35 2 70-1921 30554 68 5
70-1627 30554 75 5 70-1922 30554 68 4
70-1627 93742 75 5 70-1923 30554 68 13
70-1628 30554 92 3 70-1923 12532 68 13
70-1628 30554 93 70-1924 30554 68 14
70-1629 30554 89 12 70-1924 12532 68 14
481
TM 9-6115-545-24P
TO 35C2-3-444-4
NAVFAC P-8-626-24P
SL-400038G/07499A
SECTION IV. NATIONAL STOCK NUMBER AND PART NUMBER INDEX
REFERENCE FIG ITEM REFERENCE FIG ITEM
NUMBER FSCM NO. NO. NUMBER FSCM NO. NO.
70-1925 30554 68 50 70-1955570-1951 30554 68 72
70-1925 93742 68 50 70-1955570-1951 12532 68 72
70-1926 30554 68 20 70-195670-1952 30554 68 72
70-1926 12532 68 20 70-195670-1952 12532 68 72
70-1927 30554 68 26 70-1959 30554 68 8
70-1927 12532 68 26 70-1960 30554 68 11
70-1928 30554 68 51 70-1961 30554 68 10
70-1929 30554 68 55 70-1962 30554 68 9
70-1929 12532 68 55 70-1963 30554 68 21
70-1930 12532 68 48 70-1964 30554 68 6
70-1930 30554 124 13 70-1965 30554 68 77
70-1030 12532 124 13 70-2209 30554 55 2
70-1931-1 30554 68 68 70-4012 30554 13 26
70-1931-1 12532 68 68 70-4016 30554 13 28
70-1931-2 30554 68 70 70-4020 30554 45 9
70-1931-2 12532 68 70 70-501-1 30554 30
70-1932 30554 68 56 70-501-2 30554 31
70-1932 12532 68 56 70-502 30554 4 2
70-1933 30554 68 69 70-502 93742 4 2
70-1933 12532 68 69 70-514 30554 12 5
70-1934 30554 68 63 70-514 93742 12 5
70-1934 12532 68 63 70-515 30554 11
70-1935 30554 68 71 70-515 93742 11
70-1935 12532 68 71 70D44672B02 31211 84 11
70-1936 30554 69 12 70D44672B02 31211 85
70-1936 12532 69 12 70011-0010 93742 33 11
70-1938 30554 68 58 7001-0011 93742 33 11
70-1938 12532 68 58 7001-0012 93742 33 8
70-1938 30554 69 7002-0014 93742 61 37
70-1938 12532 69 7002-0016 93742 57 16
70-1939 30554 69 9 7002-0017 93742 55 29
70-1940 30554 68 62 7002-0018 93742 132 38
70-1940 12532 68 62 7046-102 22938 136 15
70-1941 12532 68 62 7047-3 22938 137 6
70-1941 30554 68 62 7047-5 62589 137 8
70-1942-1 39554 69 13 7070-1 22938 128 12
70-1942-1 12532 69 13 7070-13 22938 128 17
70-1942-2 30554 69 14 7070-20 22938 128 1
70-1942-2 12532 69 14 7070-22 22938 128 13
70-1943 30554 68 29 7070-3 22938 128 5
70-1943 12532 68 29 7070-4 22938 128 2
70-1944 30554 68 30 7070-5 22938 128 3
70-1944 12532 68 30 7070-6 22938 128 8
70-1948 30554 68 54 7070-7 22938 128 11
70-1948 12532 68 54 7070-9 22938 128 10
70-1949 30554 68 53 70916965 6N299 118 117
70-1949 12532 68 53 70917806 6N299 100 10
70-1950 30554 68 53 70917809 6N299 100 11
70-1950 12532 68 53 70919800 6N299 100 13
482
TM 9-6115-545-24P
TO 35C2-3-444-4
NAVFAC P-8-626-24P
SL-400038G/07499A
SECTION IV. NATIONAL STOCK NUMBER AND PART NUMBER INDEX
REFERENCE FIG ITEM REFERENCE FIG ITEM
NUMBER FSCM NO. NO. NUMBER FSCM NO. NO.
70920411 6N299 100 12 74036659 6N299 120 7
70921324 6N299 118 15 74036681 6N299 126 13
70921534 6N299 100 9 74036897 6N299 118
70930506 6N299 101 13 74036977 6N299 118 1
70934784 6N299 100 2 74037135 6N299 120 4
7123 83550 23 15 74037148 6N299 101 16
72-0504-8 30554 16 56 74037199 6N299 100 15
72-0504-8 93742 16 56 74037210-7 6N299 118 22
70-0504-9 30554 16 56 74037242 6N299 101 15
72-0504-9 93742 16 56 74037221 6N299 126 14
72-0504-10 30554 16 56 74037221 6N299 121 14
72-0504-10 93742 16 56 74060000 6N299 101 23
72-2203-1 54125 90 4062761 6N299 101 24
72-2203-2 54125 90 74062805 6N299 101 22
72-2209 30554 47 74062806 6N299 101 21
72-2209 93742 47 74062807 6N299 101 20
72-2209 30554 48 -74062808 6N299 101 18
72-2297-2 30554 111 45 74322188 6N299 100 7
72-502-2 30554 39 36 74322293 6N299 100 3
72-501 30554 37 15 74380652 6N299 101 11
72-503 30554 37 21 74517266-8 6N299 101 9
72FL1-4X-8 30327 99 4 75-0809-1 30554 82 14A
7238X2 79470 81 26 75-0809-1 30554 124 5
73-0508 30554 81 47 75-0851 30554 61 24
74-0650 30554 125 4 75-190220-7P 77820 147 9
74-0650 93742 125 4 75-190611-4S 77820 26 13
74F01DA103 56699 39 43 75-190611-4S 77820 131 5
74F01DA224 01002 39 43 75-190620-7S 77820 143 3
74F01DA473 56699 39 43 78-190628-9P 77820 131 4
74F01DA474 56699 39 43 7660K13 27919 132 16
74F01DA564 06001 39 43 77-505 30554 2 22
74F01DC205 06001 39 42 7748637 19728 94 27
74009199 6N299 100 4 7748641 19728 93 13
74009236-3 6N299 100 14 7748643 19728 94 25
74025146-7 6N299 101 6 7762609 81263 26 17
74025150 6N299 100 1 779343 79500 103 8
74025150 6N299 101 17 8-4CTXB 45681 125 49
7402555 6N299 118 3 8-4CTXB 45681 130 13
74028741 6N299 113 20 8-4VTXB 30780 125 47
74029876 6N299 121 7 8-4VTXB 30780 730 28
74035008 6N299 121 21 8-41401400 81343 96 3
74035388 6N299 118 14 8-5758 22938 136 23
74035395 6N299 121 4 8-5758 22938 139
74035455 6N299 119 10 8-606 22938 139 4
74035849-4 6N299 106 18 8-8CTXB 30780 130 18
74036548 6N299 100 5 9-8CTXB 30780 125 33
74036572 6N299 100 8 8-8FBTXB 30780 130 45
74036609 6N299 120 5 8-8VTXB 30780 125 39
74036653 6N299 101 19 8-8VTXB 30780 130 38
483
TM 9-6115-545-24P
TO 35C2-3-444-4
NAVFAC P-8-626-24P
SL-400038G/07499A
SECTION IV. NATIONAL STOCK NUMBER AND PART NUMBER INDEX
REFERENCE FIG ITEM REFERENCE FIG ITEM
NUMBER FSCM NO. NO. NUMBER FSCM NO. NO.
8-8104 22938 140 83-1 92702 148 28
8-8070202CA 81343 82 17 83-10 92702 148 25
8X1681 68505 93 40 83-2004 30554 63 4
8X3147 68505 93 32 83-2017-17 30554 63
8X3360 68505 93 49 8364029 19207 139 5
8X3437 24975 94 3 8364029 19207 141 5
8X3445 68505 93 15 839981 19207 75 15
8X349 24975 94 18 84-1015 30554 46 8
8X3656 68505 93 41 84-1290 82121 142 57
80-0901-0511203 72619 142 49 85-11-500-16 94222 16 22
80-1000-3 30554 2 21 85-15 92702 148 8
801-042 54125 90 8 85-15 92702 148 15
801-058 54125 90 9 8527012 18876 103 7
804-0331-500 72619 13 21 85-34-101-20 94222 16 23
804-0331-500 72619 129 9 85-35-295-15 94222 16 26
804-0331-500 72619 132 8 8652 64560 134 3
804-0333-500 72619 13 24 881-16 98441 2 27
804-0333-500 72619 132 11 8811-3-8 92702 148 18
81-1000 30554 123 41 8906K1359 27192 13 38
81-1002-3 30554 123 43 89900001 07988 45 8
81-1003 30554 123 57 8995 64560 134 6
81-1004-3 30554 123 47 9L8412 6N299 120 11
81-2001 30554 123 25 90-33 68505 87 6
81-2001 30554 123 62 900-152 03764 72 3
81-2003-7 30554 123 58 900-152 03764 101 2
81-2004-1 30554 123 53 906248-4 83179 99 1
81-6 92702 148 29 91-12-1 92702 148 11
81-600 30554 81 17 91-19-11 92702 148 2
81-7 92702 148 30 91-19-16 92702 148 22
81-8 92702 148 31 91-19-6 92702 148 19
8108-000-0082-01 72619 13 12 91-34-2 92702 148 23
8104-2 22938 140 4 919800 92982 99 5
8104-10 22938 140 2 9-207 22988 146 17
8104-11 22938 140 3 9200 22988 141 31
8104-13 22938 140 5 920677 09906 97 7
8104-15 22938 140 7 92-1 92702 148 14
8104-17 22938 140 9 9224N171 06540 55 32
8104-19 22938 140 11 9224N171 06540 57 4
8170610 54125 90 11 9231N171 06540 142 35
8170613 54125 90 10 92-8 92702 148 3
8170614 54125 90 6 93-57 92702 148 21
8170616 54125 90 4 8057 22938 141 9
8170618-1 54125 90 12 8058 22938 141 10
8170618-2 54125 90 12 81-1000-4 30554 123 41
8170619 54125 90 3 94-1-1 92702 148 5
8180100 54125 90 13 9476 24161 84 4
82-1-2 92702 148 7 9-606 22988 139 8
8237 22938 140 6 970-1 17284 2 2
8237-18 22938 140 10 970-2 17284 2 3
484
TM 9-6115-545-24P
TO 35C2-3-444-4
NAVFAC P-8-626-24P
SL-400038G/07499A
SECTION IV. NATIONAL STOCK NUMBER AND PART NUMBER INDEX
REFERENCE FIG ITEM REFERENCE FIG ITEM
NUMBER FSCM NO. NO. NUMBER FSCM NO. NO.
98292-2-250 60119 13 56 990-0002-009 05574 15 4
990-0001-012 05574 15 6 990-0002-009 05574 64 5
990-0001-012 05574 64 7 990-0002-030 05574 12 2
990-0001-035 05574 15 5 990-0007-000 05574 15 7
990-0001-035 05574 64 6 99836 60119 13 58
990-0001-054 05574 12 3 99947P130 60119 13 72
990-0001-063 05574 12 4
485

TM 9-6115-545-24P
TO 35C2-3-444-4
NAVFAC P62-24P
SL-400038G/07499A
SECTION IV. NATIONAL STOCK NUMBER AND REFERENCE NUMBER INDEX
Reference Figure & Reference Reference Figure & Reference
Designator Item No. Number Designator Item No. Number
C3 39-42 625D1 E205J DS8 13-20 MS25331-2
C3 39-42 625D1 E205J DS9 10-9 MS25237-327
C3 39-41 1A43KAH1 DS10 10-9 MS25237-327
C3 39-42 625D1E205J DS301 132-10 MS25331-4
C4 12-10 M39022/01-1661 DS302 132-7 MS25331-2
C4 30-134 CA36KFW254 Fl 10-3 F02A250V1AS
C5 12-10 M39022/01-1661 F301 132-14 F02A250V2AS
C5 30-134 CA36KFW254 FL1 70-35 LS40820
C5 39-31 X663F30552W FL2 70-35 LS40820
C6 12-10 M39022/01-1661 G1 67-8 70-1900
C6 39-20 X663F20551W G1 67-8 70-1901
C6 39-20 69-717-2 G1 68- 70-1900
C7 12-10 M39022/01-1661 G1 68- 70-1901
C8 12-10 M39022/01-1661 G2 84-11 70D44672B02
C9 12-10 M39022/01-1661 G2 85- 70D44672B02
C9 39-20 X663F20551W J1 14-3 MS3102R36-7P
C9 39-20 69-717-2 J2 62-19 MS3102R36-7S
C9 39-21 X663F20551W J3 38-4 MS3102R22-14P
C9 39-21 69-717-2 J3 62-16 MS3102R14S6S
C10 12-10 M39022/01-1661 J4 49-6 MS3102R20-29P
C11 10-7 M39006-02-1300 J5 62-10 MS3102R36-7P
C200 60-13 CQ05A1KB74K3 J6 62-18 MS3102R20-27S
C200 60-13 CQ05A1KB74K3 J7 62-17 MS3102R18-11SC
C201 59-8 M39003/02-0191 J8 54-5 MS3102R24-28S
C202 59-7 M39003/01-3032 J9 56-6 MS3102R14S6P
C204 60-12 M39006/01-3074 110 62-15 MS3102R32-7P
C204 60-12 M39006/01-3074 111 58-4 3102R18-18
C205 60-17 M39006/01-3071 J12 11-3 69-502-7
C206 60-11 M39006/01-3074 J13 29-7 MS3106R22-14S
C206 60-12 M39006/01-3074 J13 56-8 MS3102R22-14P
DS1 10-9 MS25237-327 J15 62-14 MS3102R20-29S
DS1 13-14 6S6-30V J16 66-2 MS3102R20-29P
DS1 129-8 MS25331-4 J19 133-8 MS3102R28-9S
DS2 10-9 MS25237-327 J27 129-6 MS3102R18-11SC
DS2 13-14 6S6-30V J29 62-13 MS3102R22-19S
DS3 10-9 MS25237-327 J3161-6 MS3106R24-28P
DS3 13-14 6S6-30V J31 62-12 MS3102R24-28S
DS4 10-9 MS25237-327 J31 62-13 MS3102R2219S
DS4 13-15 51-3502-0137-203 J32 54-4 MS3102R24-28P
DS5 10-9 MS25237-327 J45 6-6 MS3102R18-4P
DS5 13-15 51-3502-0137-203 J46 6-6 MS3102R18-4P
DS6 10-9 MS25237-327 J47 6-6 MS3102R18-4P
DS6 13-23 MS25331-4-313 J49 133-7 MS3102R16-10P
DS7 10-9 MS25237-327 J50 62-11 MS3102R28-12SC
DS7 13-20 MS25331-2 J51 49-5 MS3102R28-12P
DS8 10-9 MS25237-327 J54 62-12 MS3102R24-28S
486

TM 9-6115-545-24P
TO 35C2-3-444-4
NAVFAC P62-24P
SL-400038G/07499A
SECTION IV. NATIONAL STOCK NUMBER AND REFERENCE NUMBER INDEX
Reference Figure & Reference Reference Figure & Reference
Designator Item No. Number Designator Item No. Number
J55 3-7 WC596112-4 P3 21-4 MS3106R14S6P
J81 147-9 75-1902207P P4 22-3 MS3106R20-29S
K1 10-13 M5757/23-003 P5 26-16 MS3102R36-7S
K1 15-2 M5757/23-003 P5 38-5 MS3102R10SL-4P
k3 61-36 70-117224-5 P6 93 M3106R20-27P
K5 64-3 M5757/23-003 P7 126-2 MS3106R18-llP
K6 15-2 M5757/23-003 P7 127-3 MS3106R18-11S
K7 64-3 M5757/23-003 P8 23-6 MS3106R24-28P
K8 64-3 M5757/23-003 P9 21-3 MS3106R14S6S
Kll 53-22 11636 P10 27-3 M3106R32-7S
K11 61-49 11636 P11 56-7 MS3106R18-1P
K12 53-20 11638 P12 92 MS3106R20-27S
K12 61-50 23370 P14 26-15 MS3106R14S-2S
K16 53-21 23390 P15 6-5 MS3106R20-29P
K16 61-51 23390 P16 22-3 MS3106R20-29S
K17 45-8 89900001 P17 23-5 MS3106R22-14S
L1 39-6 TRA1005 P19 131-4 75-190628-9P
L1 39-6 69-811-1 P21 23-4 M83723/23R1104
L1 103-15 22316 P22 25-3 MS3106R14S2P
L2 39-7 TRA1006 P23 24-3 MS3106R14S5S
L2 39-7 TRA1252 P24 25-3 MS3106R14S2P
L3 39-17 TW62510 P25 24-3 MS3106R14S5S
L3 39-17 TW62511 P26 126-3 MS3106R18-11S
L3 72-43 240091 P26 127-2 MS3106R18-11P
L4 93-14 11610149 P27 126-3 MS3106R18-11S
L4 94- 11610149 P27 127-2 MS3106R18-11P
MT1 96-1 506AD P28 126-2 MS3106R18-11P
MT2 107-11 506AE P28 127-3 MS3106R18-11S
M1 13-49 505-BD P31 19-4 MS3106R24-28P
M1 13-49 69-576-2 P32 19-3 MS3106R24-28S
M2 13-44 505-BE P33 26-15 MS3106R14S-2S
M2 13-44 69-577 P35 26-13 75-19061148S
M3 13-48 505-BC P36 26-13 75-190611-4S
M3 13-48 69-575 P38 26-13 75-190611-4S
M4 13-43 253633 P41 27-4 MS3106R20-29S
M5 13-40 M-3971/1-5 P42 26-15 MS3106R14S-2S
M6 13-7 267839 P43 26-14 MS3106R18-5P
M7 13-26 260935 P50 20-3 MS3106R28-12P
M8 13-8 254014 P50 144-4 75-190128-12P
M8 13-8 267842 P51 20-4 MS3106R28-12S
M9 13-27 254013 P51 144-5 75-190628
OP 96-2 SP1Z20FA P54 23-6 MS3106R24-28P
P1 8-2 MS3106R36-7S P80 131-5 75-190611-4S
P1 38-3 MS3102R14S2S P81 144-3 75-190620-78
P2 8-3 MS3106R36-7P Q1 39-11 2N3773
P2 38-6 MS3102R14S5P Q2 39-11 2N3773
487

TM 9-6115-545-24P
TO 35C2-3-444-4
NAVFAC P62-24P
SL-400038G/07499A
SECTION IV. NATIONAL STOCK NUMBER AND REFERENCE NUMBER INDEX
Reference Figure & Reference Reference Figure & Reference
Designator Item No. Number Designator Item No. Number
Q201 59-1 JAN2N2060 R18 37-14 69-738-6
Q202 59-21 JAN2N489A R19 12-7 RCR20G102JS
Q203 59-20 JAN2N697 R20 12-7 RCR20G102JS
Q204 59-2 JAN2N3250A R20 39-23 RW68V302
Q206 60-9 JAN2N697 R22 39-24 K48181-5100
R1 12-6 RCR20G222JS R23 39-10 04306-8119
R1 13-32 M22-04-00181 FD R23 51-7 RER75F7R50R
R1 39-39 2DA750 R24 51-7 RER75F7R50R
R1A 39-39 2DA750 R25 51-7 RER75F7R50R
R2 12-6 RCR20G222JS R28 53-9 70-1630
R2 13-31 M22-03-00161FD R28 61-26 70-1630
R3 12-6 RCR20G222JS R29 61-24 75-0851
R3 64-15 RWR78S1501FR R37 39-24 K48181-5100
R4 12-6 RCR20G222JS R37 39-29 K48181-5100
R4 39-24 K48181-5100 R201 59-22 RCR20G221JS
R4 39-29 K48181-5100 R202 59-15 RWR89S2001FR
R4 63-3 R2R70F2490R R203 59-9 RCR20G101JS
R5 12-6 RCR20G222JS R203 59-11 RCR20G681JS
R5 39-8 K48181-15 R204 60-7 RCR20G332JS
R5 63-3 R2R70F2490R R206 59-14 RWR89S1000FR
R6 12-6 RCR20G222JS R207 59-13 RJR24FW102P
R6 64-14 RW56V512 R209 59-12 RWR89S1001FR
R7 12-6 RCR20G222JS R210 59-10 RCR20G272JS
R7 64-13 RWR78S2671FR R211 59-24 RJ22FW503
R8 12-6 RCR20G222JS R212 59-6 RJR24FW103P
R8 64-13 RWR78S2671FR R213 59-17 RV1rR89S3011FR
R8 39-24 K48181-5100 R214 59-18 RW79U5001F
R9 12-6 RCR20G222JS R215 59-19 RWR89S1500FR
R9 64-14 RW56V512 R216 57-12 RW33V102
R10 12-6 RCR20G222JS R217 57-12 RW33V102
R10 15-13 RWR78S2671FR R218 60-19 RCR32G512JS
R10 39-37 111218 R219 55-21 RW33V150
R10 39-38 2DA1250 R220 60-6 RJR24FW502P
Rll 37-10 69-738-4 R221 55-20 RW33V300
Rll 12-7 RCR20G102JS R222 55-20 RW33V300
R12 12-7 RCR20G102JS R223 55-20 RW33V300
R12 37-9 69-738-3 R224 55-21 RW33V150
R13 12-7 RCR20G102JS R225 60-20 RWR84S3010FR
R14 12-7 RCR20G102JS R226 60-18 RWR74S1000FR
R14 37-11 69-738-1 R227 59-16 RCR20G121JS
R15 12-7 RCR20G102JS SCR1 12-8 2N1596
R15 37-12 RA20TASB501A SCR10 12-8 2N1596
R16 12-7 RCR20G102JS SR1 1-38 M24243/6-C602H
R16 37-13 69-738-2 S1 10-5 MS35059-26
R17 12-7 RCR20G102JS S1 13-39 MS35058-30
R18 12-7 RCR20G102JS S1 129-15 MS35039-22
488

TM 9-6115-545-24P
TO 35C2-3-444-4
NAVFAC P62-24P
SL-400038G/07499A
SECTION IV. NATIONAL STOCK NUMBER AND REFERENCE NUMBER INDEX
Reference Figure & Reference Reference Figure & Reference
Designator Item No. Number Designator Item No. Number
S2 13-38 8906K1359 TB6 30-120 70-1102
S3 13-37 MS25201-6 TB101 61-40 38TB20
S4 13-36 MS35058-22 TB102 61-40 38TB20
S5 13-35 MS35059-23 TB104 53-16 37TB8
S7 13-33 MS25068-23 TB106 63-10 37TB6
S8 13-28 31904LT TB107 52-4 37TB4
S9 89- SA1644-3DOB TB202 59-30 40TB7
S9 89- 70-1105-1 TB203 60-4 40TB6
S9 89- 70-1105-2 T1 39-5 TRA1266
S9 90- 70-1105-4 T1 39-5 TRA1183
S9 90- 72-2203-1 T2 39-18 TW62530
S10 53-7 MS25127J4 T101 61-37 7002-0014
S22 18-7 MS35058-22 T201 57-16 7002-0016
S301 132-16 7660K13 T202 59-23 70-1390
TB5 30-107 70-1240 T301 132-38 7002-0018
489/(490 blank)


The Metric System and Equivalents
Linear Measure Liquid Measure
1 centiliter = 10 milliters = .34 fl. ounce
1 centimeter = 10 millimeters = .39 inch 1 deciliter = 10 centiliters = 3.38 fl. ounces
1 decimeter = 10 centimeters = 3.94 inches 1 liter = 10 deciliters = 33.81 fl. ounces
1 meter = 10 decimeters = 39.37 inches 1 dekaliter = 10 liters = 2.64 gallons
1 dekameter = 10 meters = 32.8 feet 1 hectoliter = 10 dekaliters = 26.42 gallons
1 hectometer = 10 dekameters = 328.08 feet 1 kiloliter = 10 hectoliters = 264.18 gallons
1 kilometer = 10 hectometers = 3,280.8 feet Square Measure
Weights 1 sq. centimeter = 100 sq. millimeters = .155 sq. inch
1 centigram = 10 milligrams = .15 grain 1 sq. decimeter = 100 sq. centimeters = 15.5 sq. inches
1 decigram = 10 centigrams = 1.54 grains 1 sq. meter (centare) = 100 sq. decimeters = 10.76 sq. feet
1 gram = 10 decigram = .035 ounce 1 sq. dekameter (are) = 100 sq. meters = 1,076.4 sq. feet
1 decagram = 10 grams = .35 ounce 1 sq. hectometer (hectare) = 100 sq. dekameters = 2.47 acres
1 hectogram = 10 decagrams = 3.52 ounces 1 sq. kilometer = 100 sq. hectometers = .386 sq. mile
1 kilogram = 10 hectograms = 2.2 pounds
1 quintal = 100 kilograms = 220.46 pounds Cubic Measure
1 metric ton = 10 quintals = 1.1 short tons 1 cu. centimeter = 1000 cu. millimeters = .06 cu. inch
1 cu. decimeter = 1000 cu. centimeters = 61.02 cu. inches
1 cu. meter = 1000 cu. decimeters = 35.31 cu. feet
Approximate Conversion Factors
To change To Multiply by To change To Multiply by
inches centimeters 2.540 ounce-inches Newton-meters .007062
feet meters .305 centimeters inches .394
yards meters .914 meters feet 3.280
miles kilometers 1.609 meters yards 1.094
square inches square centimeters 6.451 kilometers miles .621
square feet square meters .093 square centimeters square inches .155
square yards square meters .836 square meters square feet 10.764
square miles square kilometers 2.590 square meters square yards 1.196
acres square hectometers .405 square kilometers square miles .386
cubic feet cubic meters .028 square hectometers acres 2.471
cubic yards cubic meters .765 cubic meters cubic feet 35.315
fluid ounces milliliters 29,573 cubic meters cubic yards 1.308
pints liters .473 milliliters fluid ounces .034
quarts liters .946 liters pints 2.113
gallons liters 3.785 liters quarts 1.057
ounces grams 28.349 liters gallons .264
pounds kilograms .454 grams ounces .035
short tons metric tons .907 kilograms pounds 2.205
pound-feet Newton-meters 1.356 metric tons short tons 1.102
pound-inches Newton-meters .11296
Temperature (Exact)
°FFahrenheit 5/9 (after Celsius °C
temperature subtracting 32) temperature
PIN: 074040-000