18352 TM 9 6115 653 14 And P POWER UNIT PU 732/M (NSN 00 260 3082) MEP 113A 15 KW 400 HZ GENERATOR SET M200 2 WHEEL, 4 TIRE, MODIFIED TRAILER
User Manual: TM-9-6115-653-14-and-P POWER UNIT PU-732/M (NSN 6115-00-260-3082) MEP-113A 15 KW 400 HZ GENERATOR SET M200 2-WHEEL, 4-TIRE, MODIFIED TRAILER Military Generators == MEP 113A
Open the PDF directly: View PDF
.
Page Count: 101 [warning: Documents this large are best viewed by clicking the View PDF Link!]
- TOC
- LOI
- LOT
- LAST CHANGE
- WARNING
- CHAPTERS
- FIGURES
- TABLES
- APPENDICES
- PAGES
- PAGE 1-1
- PAGE 1-2
- PAGE 1-3
- PAGE 2-1
- PAGE 2-2
- PAGE 3-1
- PAGE 3-20
- PAGE 4-1
- PAGE 4-2
- PAGE 4-4
- PAGE 4-6
- PAGE 4-7
- PAGE 4-8
- PAGE 4-9
- PAGE 4-12
- PAGE 4-13
- PAGE 4-14
- PAGE 4-15
- PAGE 4-17
- PAGE 4-19
- PAGE 4-21
- PAGE 4-23
- PAGE 5-1
- PAGE 5-2
- PAGE 5-3
- PAGE 5-4
- PAGE 6-1
- PAGE A-1
- PAGE B-1
- PAGE C-1
- PAGE D-1
- PAGE D-8
- PAGE D-10
- PAGE D-14
- PAGE D-16
- PAGE D-18
- PAGE D-20
- PAGE D-22
- PAGE D-24

*TM 9-6115-653-14&P
TECHNICAL MANUAL
OPERATOR, UNIT, DIRECT AND GENERAL SUPPORT
MAINTENANCE MANUAL
(INCLUDING REPAIR PARTS AND
SPECIAL TOOLS LISTS)
POWER UNIT
PU-732/M (NSN 6115-00-260-3082)
MEP-113A 15 KW 400 HZ GENERATOR SET
M200A1 2-WHEEL, 4-TIRE, MODIFIED
TRAILER
Approved for public release; distribution is unlimited.
* This manual supersedes Chapter 4 of TM 5-6115-594-14&P dated 25 September 1984.
HEADQUARTERS, DEPARTMENT OF THE ARMY
15 FEBRUARY 1990
TM 9-6115-653-14&P
C 2
CHANGE HEADQUARTERS
DEPARTMENT OF THE ARMY
NO 2 WASHINGTON, DC, 5 August 1991
Operator, Unit, Direct and General Support Maintenance Manual
(Including Repair Parts and Special Tools Lists)
POWER UNIT, PU-732/M, (NSN 6115-00-260-3082)
MEP-113A, 15 KW, 400 HZ,
GENERATOR SET
M200A1 2-WHEEL, 4-TIRE, MODIFIED TRAILER
Approved for public release, distribution is unlimited
TM 9-6115-653-14&P, 15 February 1990, is changed as follows
1. Remove and insert pages as indicated below. New or changed text material is indicated by a vertical bar in the
margin. An illustration change is indicated by a miniature pointing hand
Remove pages Insert pages
B-1 and B-2 B-1 and B--2
2. Retain this sheet in front of manual for reference purposes.
By Order of the Secretary of the Army:
GORDON R SULLIVAN
General, United States Army
Chief of Staff
Official:
PATRICIA P. HIICKERSON
Brigadier General, United States Army
The Adjutant General
DISTRIBUTION:
To be distributed In accordance with DA Form 12-25E, (qty rqr block no 0931)
TM 9-6115--653-14&P
C1
CHANGE HEADQUARTERS
DEPARTMENT OF THE ARMY
NO 1
WASHINGTON, D C 5 DECEMBER 1990
Operator, Unit, Direct and General Support Maintenance Manual
(Including Repair Parts and Special Tools Lists)
POWER UNIT, PU-732/M, NSN 6115-00-260-3082)
MEP-113A, 15 kW, 400 HZ, GENERATOR SET
M200A1, 2-WHEEL, 4-TIRE, MODIFIED TRAILER
Approved for public release, distribution is unlimited
TM 9-6115-653-14&P, 15 February 1990 is changed as follows
1. Remove and insert pages as indicated below New or changed text material is indicated by a vertical bar in the
margin. An illustration change is indicated by a miniature pointing hand
Remove pages Insert pages
D-11 and D-12 D-11 and D-12
D-17 and D-18 D-17 and D-18
D-25 and D-26 D-25 and D-26
2. Retain this sheet In front of manual for reference purposes
By Order of the Secretary of the Army
CARL E VUONO
General, United Stares Army
Chief of Staff
Official:
THOMAS F SIKORA
Brigadier General, United States Army
The Adjutant General
DISTRIBUTION:
To be distributed In accordance with DA Form 12-25E, (qty rqr block no 0931)

TM 9-6115--653-14&P
SAFETY STEPS TO FOLLOW IF SOMEONE
IS THE VICTIM OF ELECTRICAL SHOCK
DO NOT TRY TO PULL OR GRAB THE INDIVIDUAL
IF POSSIBLE TURN OFF THE ELECTRICAL POWER
IF YOU CANNOT TURN OFF THE ELECTRICAL
POWER, PULL, PUSH, OR LIFT THE PERSON TO
SAFETY USING A DRY WOODEN POLE OR A DRY
ROPE OR SOME OTHER INSULATING MATERIAL
SEND FOR HELP AS SOON AS POSSIBLE
AFTER THE INJURED PERSON IS FREE OF
CONTACT WITH THE SOURCE OF ELECTRICAL
SHOCK, MOVE THE PERSON A SHORT DISTANCE
AWAY AND IMMEDIATELY START ARTIFICIAL
RESUSCITATION

TM 9-61 15-653-14&P
WARNING
All specific cautions and warnings contained in this manual shall be strictly adhered to Otherwise, severe injury, death
and/or damage to the equipment may result.
HIGH VOLTAGE
is produced when this power unit Is in operation
DEATH
or severe burns may result If personnel fail to observe safety precautions. Do not operate this power unit until the ground
terminal stud has been connected to a suitable ground. Disconnect the battery ground cable on the generator set before
removing and installing components on the engine or in the electrical control panel system. Remove all rings, watches,
and other jewelry when performing maintenance on this equiprnent. Loose fitting clothing should be secured to prevent it
catching moving parts. Do not attempt to service or otherwise make any adjustments, connections or reconnections of
wires or cables until generator set is shut down and completely de-energized
DANGEROUS GASES
Batteries generate explosive gas during charging therefore, utilize extreme caution. Do not smoke, or use open flame In
the vicinity of the generator set when servicing batteries.
Exhaust discharge contains noxious and deadly fumes. Do not operate power unit generator set in enclosed areas
unless exhaust discharge is properly vented to the outside.
To avoid sparking between filler nozzle and fuel tank, always maintain metal to metal contact between filler nozzle and
fuel tank when filling generator set fuel tank.
Do not smoke or use open flame in the vicinity of the power unit while refueling generator set.
LIQUIDS UNDER HIGCH PRESSURE
are generated as a result of operation of the power unit generator set. Do not expose any part of the body to a high
pressure leak in the fuel injection system.
NOISE
Operating noise level of the generator set can cause hearing damage. Ear protectors, as recommended by the medical
or safety officer, must be worn when working near this power unit.
WARNING
Clean parts in a well-ventilated area. Avoid inhalation of solvent fumes and prolonged exposure of skin to cleaning
solvent. Wash exposed skin thoroughly. Dry cleaning solvent (PD-680) used to clean parts is potentially dangerous to
personnel and property. Do not use near open flame or excessive heat Flash point of solvent Is 100°F to 138°F (38°C to
59°C).
b
*TM 9-6115-653-14&P
TECHNICAL MANUAL HEADQUARTERS
DEPARTMENT OF THE ARMY
NO 9-6115-653-14&P
WASHINGTON, D.C., 15 February 1990
Operator, Unit, Direct and General Support Maintenance Manual
(Including Repair Parts and Special Tools Lists)
for
POWER UNIT, PU-732/M
(NSN 6115-00-260-3082)
MEP-113A 15 KW 400 HZ GENERATOR SET
M200A1 2-WHEEL, 4-TIRE, MODIFIED TRAILER
Approved for public release; distribution is unlimited.
TABLE OF CONTENTS
Page
CHAPTER 1. INTRODUCTION
Section I. General............................................................................................................................................. 1-1
Section II. Description and Data......................................................................................................................... 1-2
CHAPTER 2. OPERATING INSTRUCTIONS
Section I. Operating Procedures ....................................................................................................................... 2-1
Section II. Operation of Auxiliary Equipment...................................................................................................... 2-2
Section III. Operation Under Unusual Conditions ................................................................................................ 2-2
CHAPTER 3. OPERATOR/CREW MAINTENANCE INSTRUCTIONS
Section I. Consumable Operating and Maintenance Supplies ........................................................................... 3-1
Section II. Lubrication Instructions ..................................................................................................................... 3-1
Section III. Preventive Maintenance Checks and Services (PMCS) .................................................................... 3-1
Section IV. Troubleshooting .............................................................................................................................. 3-20
Section V. Operator/Crew Maintenance ........................................................................................................... 3-20
CHAPTER 4. UNIT MAINTENANCE
Section I. Service Upon Receipt of Equipment ................................................................................................. 4-1
Section II. Movement to a New Worksite ........................................................................................................... 4-6
Section III. Repair Parts, Special Tools, Special Test, Measurement and
Diagnostic Equipment (TMDE)....................................................................................................... 4-7
Section IV. Lubrication Instructions ..................................................................................................................... 4-7
Section V. Preventive Maintenance Checks and Services.................................................................................. 4-8
Section VI. Troubleshooting .............................................................................................................................. 4-12
Section VII. Radio Interference Suppression ...................................................................................................... 4-12
Section VIII. Maintenance of Power Unit Trailer .................................................................................................. 4-13
*This manual supersedes Chapter 4 of TM 5-6115-594-14&P dated 25 September 1984.
TM 9-6115-653-14&P
Page
CHAPTER 5. DIRECT AND GENERAL SUPPORT MAINTENANCE INSTRUCTIONS
Section I. Introduction.......................................................................................................................................... 5-1
Section II. Maintenance of Power Unit Trailer ....................................................................................................... 5-1
Section II. Generator Set ...................................................................................................................................... 5-2
CHAPTER 6. TEST AND INSPECTION AFTER REPAIR
Section I. General Requirements ......................................................................................................................... 6-1
Section II. Inspection ............................................................................................................................................ 6-1
Section III. Operational Tests................................................................................................................................. 6-1
APPENDIX A. REFERENCES ....................................................................................................................................A-1
APPENDIX B. COMPONENTS OF END ITEM AND BASIC ISSUE ITEMS LISTS......................................................B-1
APPENDIX C. MAINTENANCE ALLOCATION CHART...............................................................................................C-1
APPENDIX D. UNIT, DIRECT AND GENERAL SUPPORT AND DEPOT
MAINTENANCE REPAIR PARTS AND SPECIAL TOOLS LIST.........................................................D-1
ii
TM 9-6115-653-14&P
LIST OF ILLUSTRATIONS
Figure Title Page
1-1 Power Unit, Curbside Front, Three-Quarter View................................................................................. 1-3
1-2 Power Unit, Roadside Rear, Three-Quarter View................................................................................. 1-3
4-1 Power Unit Packed for Shipment......................................................................................................... 4-1
4-2 Unpacking Power Unit ......................................................................................................................... 4-2
4-3 Installing Power Unit............................................................................................................................ 4-4
4-4 External Fuel Line Connection............................................................................................................. 4-6
4-5 Fuel Can Bracket Replacement........................................................................................................... 4-13
4-6 Accessory Box Replacement............................................................................................................... 4-14
4-7 Fire Extinguisher Bracket Replacement............................................................................................... 4-15
4-8 Front Step Replacement...................................................................................................................... 4-17
4-9 Rear Step and Bracket Replacement................................................................................................... 4-19
4-10 Fender Replacement........................................................................................................................... 4-21
4-11 Personnel Platform Replacement ........................................................................................................ 4-23
5-1 Accessory Box Repair ......................................................................................................................... 5-1
5-2 Power Unit Markings ........................................................................................................................... 5-2
5-3 Detaching Generator Set From Trailer................................................................................................. 5-3
5-4 Lifting Generator Set ........................................................................................................................... 5-4
D-1 Generator Set...................................................................................................................................... D-8
D-2 Trailer Body......................................................................................................................................... D-10
D-3 Accessory Box..................................................................................................................................... D-14
D-4 Front Steps.......................................................................................................................................... D-16
D-5 Rear Steps .......................................................................................................................................... D-18
D-6 Fenders............................................................................................................................................... D-20
D-7 Personnel Platform.............................................................................................................................. D-22
D-8 Handbrakes......................................................................................................................................... D-24
LIST OF TABLES
Number Title Page
3-1 Consumable Operating and Maintenance Supplies.............................................................................. 3-1
3-2 Operator/Crew Preventive Maintenance Checks and Services (PMCS)............................................... 3-4
4-1 Unit Preventive Maintenance Checks and Services (PMCS) ............................................................... 4-9
iii/(iv blank)
TM 9-6115-653-14&P
CHAPTER 1
INTRODUCTION
Section I. GENERAL
1-1. Scope. This manual is for your use in operating and maintaining the Power Unit, PU-732/M The PU-732/M is a
mobile power unit used to supply power to any system or equipment requiring up to 15 KW of 400 Hz input operating
power In addition to operating Instructions and operator, unit, and direct and general support maintenance procedures,
this manual contains a Repair Parts and Special Tools List for the power unit.
1-2. Maintenance Forms and Records. Maintenance forms and records used by Army personnel are prescribed by
DA Pam 738-750.
1-3. Reporting of Errors. Reporting of errors and omissions and recommendations for Improvement of this publication
by the Individual user Is encouraged Reports should be submitted on a DA Form 2028 directly to Commander, US Army
Troop Support Command, ATTN AMSTR-MCTS, 4300 Goodfellow Boulevard, St Louis, MO, 63120-1798.
1-4. Reporting Equipment Improvement Recommendations (EIR). EIR's will be prepared using SF 368 Product
Quality Deficiency Report. Instructions for preparing EIR's are provided In DA Pam 738-750, The Army Maintenance
Management System EIR's should be mailed directly to Commander, US Army Troop Support Command, ATTN:
AMSTR-QX, 4300 Goodfellow Boulevard, St. Louis, MO, 63120-1798.
1-5. Levels of Maintenance Accomplishment. Army users shall refer to the Maintenance Allocation Chart (MAC) for
tasks and levels of maintenance to be performed.
1-6. Destruction of Army Materiel. Destruction of Army materiel to prevent enemy use shall be in accordance with
TM 750-244-3.
1-7. Administrative Storage.
a. Placement of equipment in administrative storage should be for short periods of time when a shortage of
maintenance effort exists Items should be In mission readiness within 24 hours or within the time factors as determined
by the directing authority. During the storage period appropriate maintenance records will be kept.
b. Before placing equipment In administrative storage, current maintenance services and equipment serviceable
criteria (ESC) evaluations should be completed, shortcomings and deficiencies should be corrected, and all modification
work orders (MWO's) should be applied .
c. Storage site selection. Inside storage is preferred for Items selected for administrative storage If inside storage
Is not available, trucks, vans, conex containers and other containers may be used.
1-8. Preparation for Shipment and Storage. Refer to TB 740-97-2.
1-1

TM 9-6115-653-14&P
Section II. DESCRIPTION AND DATA
1-9. Description. Power Unit PU-732/M (figures 1 1 and 1-2) is made up of one Precise Power Generator Set, DOD
Model MEP-1 13A, mounted on a modified M1200A1 trailer. The generator set is a liquid-cooled diesel engine-driven
unit with a load capacity of 15 KW at 400 Hz The trailer is a two-wheeled unit with dual tires mounted The trailer has a 2-
1/2-ton carrying capacity. The modifications to the basic trailer provide stowage for the accessories and all equipment
necessary for mobile operation as well as providing a work platform for the operator and maintenance personnel.
1-10. Tabulated Data. The tabulated data provides operator and unit level personnel with the dimensions and weights
for Power Unit, PU-732/M. These specifications are computed from the combined dimensions and weights of the
generator set and trailer as modified for use with the power unit. Specifications of the Individual components can be
found in their respective technical publications. For additional Information concerning Generator Set DOD Model MEP-1
13A, refer to TM 5-6115-464-12 and -34. For additional information on the M200A1 trailer, refer to TM 9-2330-205-
14&P. The tabulated data also Includes the location and content of all data plates unique to the power unit.
a. Identification and Instruction Plates.
(1) Identification plate.
(a) Location This plate is located on the front roadside frame between the trailer body and the lunette.
(b) Content.
US
POWER UNIT
PU 732/M
KW 15
HERTZ 400
NSN 6115-00-260-3082
(2) Instruction plate.
(a) Location. This plate is located near the ground stud on the front, roadside corner of the trailer body.
(b) Content.
GROUND TERMINAL
1-2

TM 9-6115-653-14&P
Figure 1-1. Power Unit, Curbside Front, Three - Quarter View.
Figure 1-2. Power Unit, Roadside Rear, Three - Quarter View.
1-3

TM 9-6115-653-14&P
b. Tabulated Data for Power Unit
Overall Length 166 3/8 inches (423 6 centimeters)
Overall Width 95 1/2 inches (242 6 centimeters)
Overall Height 84 inches (213 4 centimeters)
Net Weight (empty) 1179.3 (kilograms)
Net Weight (filled) 1250.5 (kilograms)
Shipping Weight 1341.27 (kilograms)
Cubage 788 cubic feet (22 3 cubic meters)
1-11. Differences Between Models. There are no differences between models, serial numbers, or serial number
groups applicable to this equipment.
1-4

TM 9-6115-653-14&P
CHAPTER 2
OPERATING INSTRUCTIONS
Section I. OPERATING PROCEDURES
2-1. Power Unit Operating Procedures. The typical mission for any mobile power generating equipment can be
described In three steps or phases. In the first phase, the power unit Is towed to the worksite and installed by unit level
technicians (paragraph 4-2). In the second phase of the mission, the operator starts the generator set, runs it to power a
system or equipment, and eventually shuts it down. In the final phase, the power unit is dismantled, packed up and
either moved to a new worksite or returned to standby status (paragraph 4-3). This final phase is also accomplished by
unit level technicians.
a. Generator Set Operating Procedures.
WARNING
Do not operate power unit generator set until properly grounded (paragraph 4-2, b ) Serious
injury or death by electrocution can result from operating an ungrounded generator set.
Operating noise level of generator set can cause hearing damage. Ear protectors, as
recommended by medical or safety officer, must be worn when working near power unit.
CAUTION
To avoid damage to equipment, make certain of voltage, frequency, and phase
requirements of load connected to power unit.
NOTE
Before starting generator set, do your Before PMCS as described In table 3-2.
Detailed procedures for prestarting, starting, operating, and shutting down the power unit generator set is found in TM 5-
6115-464-12 and on the Operating Instruction data plate found on the equipment. Refer to the data plate, located inside
the right hand control panel door, to start and run the generator set Monitor and adjust power output as required during
operation At the end of the mission, shut down generator set in accordance with operating instructions on the data plate.
b. Trailer Operating Procedures. Refer to TM 9-2330-205-14&P for specific operating procedures for the M200A1
trailer.
Section II. OPERATION OF AUXILIARY EQUIPMENT
2-2. Operation of Auxiliary Equipment. There is no auxiliary equipment supplied with the power unit.
2-1
TM 9-6115-653-14&P
Section III. OPERATION UNDER UNUSUAL CONDITIONS
2-3. Operation Under Unusual Conditions. When operating the power unit under unusual conditions such as
extremes in temperature or difficult terrain, there are steps that must be taken to protect the equipment.
a. Refer to TM 5-6115-464-12 for special procedures when operating the generator set under unusual conditions.
b. Refer to TM 9-2330-205-14&P for special procedures when operating the trailer under unusual conditions.
2-2

TM 9-6115-653-14&P
CHAPTER 3
OPERATOR/CREW MAINTENANCE INSTRUCTIONS
Section I. CONSUMABLE OPERATING AND MAINTENANCE SUPPLIES
3-1. Consumable Supplies. Consumable supplies used In the maintenance and operation of the power unit are listed
In Table 3-1.
Table 3-1. Consumable Operating and Maintenance Supplies
(1)
Component
application
(2)
National
stock number
(3)
Description
(4)
Qty
req. for
initial
operation
(5)
Qty
req. 8 hrs.
operation
(6)
Note
s
General
Cleaning 6850-00-664-5685 Solvent, Drycleaning, PD-680 1 quart As required
Personnel
Platform 9150-00-186-6681 Oil Lubricating, OE/HDO-30 1 quart As required
9150-00-402-4478 Oil, Lubricating, OEA 1 quart As required
Section II. LUBRICATION INSTRUCTIONS
3-2. General. Detailed Instructions for the lubrication of the major components of the power unit are contained In the
applicable Lubrication Orders (LO's). Refer to DA Pam 25-30 to ensure the latest editions of the LO's are used.
3-3. Generator Lubrication. Refer to TM 5-6115-464-12 for generator set Lubrication Order.
3-4. Trailer Lubrication. There are no operator/crew lubrication requirements for the power unit trailer.
Section III. PREVENTIVE MAINTENANCE CHECKS AND SERVICES (PMCS)
NOTE
The PMCS chart in this section contains all necessary Operator/Crew preventive
maintenance checks and services for this equipment.
3-5. General. The preventive maintenance checks and services listed in Table 3-2 are grouped according to stages of
equipment operation or time intervals. Using the following as a guide, do the checks and services at the intervals shown.
a. Before you operate, perform your before (B) PMCS. Observe all CAUTIONS and WARNINGS
3-1

TM 9-6115-653-14&P
bWhile you operate, perform your during (D) PMCS Observe all CAUTIONS and WARNINGS.
cAfter you operate, be sure to perform your after (A) PMCS.
dDo (W) PMCS weekly.
eDo (M) PMCS monthly.
fIf equipment fails to operate, refer to Section IV Troubleshooting. If the problem cannot be corrected, see
paragraph 3-8, Reporting Deficiencies
3-6. Purpose of PMCS Table. The purpose of the PMCS table is to provide a systematic method of inspecting and
servicing the equipment. In this way, small defects can be detected early before they become a major problem causing
the equipment to fall to complete Its mission. The PMCS table Is arranged with the individual PMCS procedures listed In
sequence under assigned intervals. The most logical time (before, during, or after operation) to perform each procedure
determines the interval to which it is assigned. Make a habit of doing the checks and services in the same order each
time and anything wrong will be seen quickly. See paragraph 3-7 for an explanation of the columns in table 3-2.
3-7. Explanation of Columns. The following is a Iist of the PMCS table column headings with a description of the
information found In each column.
a. Item No. This column shows the sequence in which the checks and services are to be performed, and is used to
identify the equipment area on the Equipment Inspection and Maintenance Worksheet, DA Form 2404.
bInterval. This column shows when each check is to be done.
cItem to be Inspected. This column identifies the general area or specific part where the check or service is to be
done
d. Procedures. This column lists the checks or services to be done and explains how to do them.
e. Equipment is Not Ready/Available If. This column Iists conditions that rnake the equipment unavailable for use
because it is unable to perform its mission or because it would represent a safety hazard. Do not accept or operate
equipment with a condition in the "Equipment is Not Ready/Available If" column.
3-8. Reporting Deficiencies. If you discover any problem with the equipment during PMCS or while operating it that
you are unable to correct, it must be reported. Refer to DA Pam 738-750 and report the deficiency using the proper
forms.
3-9. Special Instructions. Preventive maintenance is not limited to performing the checks and services listed in the
PMCS table. Covering unused receptacles, stowing unused equipment and other routine procedures such as equipment
inventory, cleaning components, and touch-up painting are not listed in the PMCS table. These are things you should do
any time you see they need to be done if a routine check is listed in the PMCS table it is because other operators have
reported problems with this item. Take along tools and cleaning cloths needed to perform the required checks and
services. Use the Information In the following paragraphs to help you identify problems at any time.
3-2

TM 9-6115-653-14&P
a. Routine Inspections. Use the following Information to help identify potential problems before and during checks
and services.
WARNING
Drycleaning solvent PD-680 is both toxic and flammable. Wear safety goggles and gloves
and use in a well-ventilated area Avoid prolonged breathing of vapors and avoid skin
contact. Do not use near open flame or excessive heat. Flash point of solvent is 100°F to
138°F (38°C to 59°C). If you become dizzy while using PD-680, get fresh air immediately
and get medical aid. If PD-680 contacts eyes, flush with water and get medical aid
Immediately.
(1) Keep it clean. Dirt, grease, and oil get in the way and may cover up a serious problem. Use drycleaning
solvent PD-680, to clean metal surfaces. Use soap and water to clean rubber or plastic parts and material.
(2) Bolts, nuts, and screws. Check them all to make sure they're not loose, missing, bent, or broken. Don't try to
check them all with a tool, but look for chipped paint, bare metal, or rust around bolt heads. If you find one
loose, tighten it or report it to unit maintenance.
(3) Welds. Look for loose or chipped paint, rust, or gaps where parts are welded together. If a broken weld is
found, report it to higher level of maintenance.
(4) Electrical wires connectors, terminals and receptacles. Look for cracked or broken insulation, bare wires,
and loose or broken connectors. Tighten loose connectors and make sure the wires are in good condition.
Examine terminals and receptacles for serviceability.
(5) Hoses and fluid lines. Look for wear, damage, and leaks. Make sure clamps and fittings are tight. Wet
spots and stains around a fitting or connector can mean a leak. If a leak comes from a loose connector,
tighten it. If something is broken or worn out, report It to unit maintenance.
b. Leakage Definitions. It is necessary for you to know how fluid leakage affects the status of your equipment The
following are definitions of the types/classes of leakage you need to know to be able to determine the status of your
equipment. Learn and be familiar with them. When In doubt, NOTIFY YOUR SUPERVISOR!.
Leakage Definitions
Class I Seepage of fluid (as Indicated by wetness or discoloration) not great enough to form drops.
Class II Leakage of fluid great enough to form drops but not enough to cause drops to drip from item being
checked/inspected.
Class III Leakage of fluid great enough to form drops that fall from the item being checked/inspected.
3-3

INTERVAL
TM 9-6115-653-14&P
CAUTION
Equipment operation is allowable with minor leakage (Class I or 11) of any fluid except fuel.
Of course, consideration must be given to the fluid capacity in the item being
checked/inspected When In doubt, notify your supervisor.
When operating with Class I or II leaks, continue to check fluid level more often than
required In the PMCS. Parts without fluid will stop working and/or cause equipment damage.
Class III leaks should be reported to your supervisor or unit maintenance.
NOTE
If the equipment must be kept in continuous operation, check and service only those items
that can be checked and serviced without disturbing operation. Make the complete checks
and services when the equipment can be shut down.
Within designated interval, these checks are to be performed in the order listed.
Table 3-2. Operator/Crew Preventive Maintenance Checks and Services (PMCS).
BBEFORE DDURING AAFTER WWEEKLY MMONTHLY
BDAWM
WARNING
Before performing any maintenance that requires climbing on
or under trailer, set trailer handbrakes, chock wheels, and lower
rear leveling jacks. Injury to personnel could result from trailer
suddenly rolling or tipping.
NOTE
Perform weekly as well as before PMCS if you are the
assigned operator but have not operated the equipment since
the last weekly inspection, or If you are operating the equipment
for the first time.
3-4
ITEM
NO.
ITEM TO BE INSPECTED
PROCEDURE: CHECK FOR AND HAVE REPAIRED,
FILLED, OR ADJUSTED AS NEEDED
EQUIPMENT IS NOT
READY/AVAILABLE IF:

INTERVAL
TM 9-6115-653-14&P
Table 3-2. Operator/Crew Preventive Maintenance Checks and Services (PMCS) (cont)
BBEFORE DDURING AAFTER WWEEKLY MMONTHLY
BDAWM
GENERATOR SET EXTERIOR
a Check on, around, and beneath generator set A Class III coolant or lubrica-
for fuel or oil and coolant leaks tion oil leak or any class fuel.
leak is detected.
b Check that generator set ground is properly Not properly grounded
Installed and grounding connections are
tight.
c Manually open and close radiator louvers to
check for proper operation.
2 * FUEL GAGE
Check fuel gage (1) for sufficient fuel for
continuous operation.
ITEM
NO.
ITEM TO BE INSPECTED
PROCEDURE: CHECK FOR AND HAVE REPAIRED,
FILLED, OR ADJUSTED AS NEEDED
EQUIPMENT IS NOT
READY/AVAILABLE IF:
3-5

INTERVAL
TM 9-6115-653-14&P
Table 3-2. Operator/Crew Preventive Maintenance Checks and Services (PMCS) (cont)
BBEFORE DDURING AAFTER WWEEKLY MMONTHLY
BDAWM
3•COOLANT LEVEL
Check coolant level (2) Proper level is two inches If coolant is below proper coolant level
below the overflow pipe Add coolant as required.
4•HYDRAULIC FLUID LEVEL
Check level of fluid In hydraulic sump (3). If hydraulic fluid is below the full mark.
ITEM
NO.
ITEM TO BE INSPECTED
PROCEDURE: CHECK FOR AND HAVE REPAIRED,
FILLED, OR ADJUSTED AS NEEDED
EQUIPMENT IS NOT
READY/AVAILABLE IF:
3-6

INTERVAL
TM 9-6115-653-14&P
Table 3-2. Operator/Crew Preventive Maintenance Checks and Services (PMCS) (cont)
BBEFORE DDURING AAFTER WWEEKLY MMONTHLY
BDAWM
5* ENGINE OIL LEVEL
Check oil filler dipstick (4) for proper oil level If engine oil is at or below
Add oil as required ADD mark
6*ACCESSORIES
Check that the following accessories are
not missing
a Sledge hammer
b Fire extinguisher Fire extinguisher is missing
c Slide hammer
d Ground rods Ground rods are missing
e Fuel Drum Adapter
7 * BRACKETS
Check fire extinguisher and fuel can mounting
brackets for loose hardware and broken fittings
ITEM
NO.
ITEM TO BE INSPECTED
PROCEDURE: CHECK FOR AND HAVE REPAIRED,
FILLED, OR ADJUSTED AS NEEDED
EQUIPMENT IS NOT
READY/AVAILABLE IF:
3-7

TM 9-6115-653-14&P
Table 3-2. Operator/Crew Preventive Maintenance Checks and Services (PMCS) (cont)
BBEFORE DDURING AAFTER WWEEKLY MMONTHLY
BDAWM
8*TIRES
a Check for cuts, foreign objects, or unusual tread One tire is flat, missing, or
wear Remove any stones from between the unserviceable
treads
b Check that tire pressure is 35 psi (241 22 kPa)
when tires are cool
9*WHEELS
Check for wheel damage and loose or missing One wheel is damaged
stud nuts (5) One stud nut is loose or
missing
10 *LUNETTE
Check lunette (6) for Insecure mounting and Lunette Is loose or bent
obvious damage
11 *INTERVEHICULAR CABLE
Check cable (7) and connector for cuts and breaks Intervehicular cable is
broken or missing
INTERVAL
ITEM
NO.
ITEM TO BE INSPECTED
PROCEDURE: CHECK FOR AND HAVE REPAIRED,
FILLED, OR ADJUSTED AS NEEDED
EQUIPMENT IS NOT
READY/AVAILABLE IF:
3-8

TM 9-6115-653-14&P
Table 3-2. Operator/Crew Preventive Maintenance Checks and Services (PMCS) (cont)
BBEFORE DDURING AAFTER WWEEKLY MMONTHLY
BDAWM
12 *SAFETY CHAINS
Check safety chains (8) for insecure mounting Safety chains are missing or
and obvious damage unsecured
13 *AIR HOSES, FITTINGS AND BRAKE AIR
CHAMBER
Check air hoses (9) , fittings (10) and brake air Damage or leaks are
chamber (1 i) for signs of damage or leaks detected
INTERVAL
ITEM
NO.
ITEM TO BE INSPECTED
PROCEDURE: CHECK FOR AND HAVE REPAIRED,
FILLED, OR ADJUSTED AS NEEDED
EQUIPMENT IS NOT
READY/AVAILABLE IF:
3-9

TM 9-6115-653-14&P
Table 3-2. Operator/Crew Preventive Maintenance Checks and Services (PMCS) (cont).
BBEFORE DDURING AAFTER WWEEKLY MMONTHLY
BDAWM
14 *HYDRAULIC HOSES, FITTINGS AND MASTER
CYLINDER
Check brake system hoses (12) and fittings (13) A class III brake fluid leak is
and master cylinder (14), and check under vehicle detected.
for signs of brake fluid leaks
15 *LANDING LEG
Check condition of landing leg (15) There is indication that leg
might collapse
INTERVAL
ITEM
NO.
ITEM TO BE INSPECTED
PROCEDURE: CHECK FOR AND HAVE REPAIRED,
FILLED, OR ADJUSTED AS NEEDED
EQUIPMENT IS NOT
READY/AVAILABLE IF:
3-10

INTERVAL
TM 9-6115-653-14&P
Table 3-2. Operator/Crew Preventive Maintenance Checks and Services (PMCS) (cont)
BBEFORE DDURING AAFTER WWEEKLY MMONTHLY
BDAWM
16 *LEVELING JACK
Check condition of leveling jack (16) There Is Indication that a jack
might collapse
17 *LIGHTS
a With Intervehicular cable connected to towing Taillights fall to operate
vehicle, operate vehicle light switch through properly
all settings and check lights (17)
NOTE
An assistant is required while checking brake
lights
b Step on brake pedal and check brake Brake lights fall to operate
lights (17) properly
ITEM
NO.
ITEM TO BE INSPECTED
PROCEDURE: CHECK FOR AND HAVE REPAIRED,
FILLED, OR ADJUSTED AS NEEDED
EQUIPMENT IS NOT
READY/AVAILABLE IF:
3-11

INTERVAL
TM 9-6115-653-14&P
Table 3-2. Operator/Crew Preventive Maintenance Checks and Services (PMCS) (cont).
BBEFORE DDURING AAFTER WWEEKLY MMONTHLY
BDAWM
17 *LIGHTS (cont)
18 *BRAKE SYSTEM
Test brake system by hooking trailer to towing Service brakes fall to
vehicle and applying brakes operate
19 *TRAILER OPERATION
a Be alert for any unusual noises while towing
trailer Stop and Investigate any unusual noises
b Ensure that trailer is tracking/following correctly
behind towing vehicle with no side pull
20 *GENERATOR SET GAGES AND INSTRUMENTS
a Check that air cleaner condition Indicator (18) Light remains on during
does not Indicate a clogged air cleaner Press- operation
to-test
b Check that battery charging ammeter (1 9) is Battery indicator not In
In green area during normal operation green area
ITEM
NO.
ITEM TO BE INSPECTED
PROCEDURE: CHECK FOR AND HAVE REPAIRED,
FILLED, OR ADJUSTED AS NEEDED
EQUIPMENT IS NOT
READY/AVAILABLE IF:
3-12

INTERVAL
TM 9-6115-653-14&P
Table 3-2 Operator/Crew Preventive Maintenance Checks and Services (PMCS) (cont)
BBEFORE DDURING AAFTER WWEEKLY MMONTHLY
BDAWM
20 •GENERATOR SET GAGES AND INSTRUMENTS
(cont)
4885-014
c. Check that frequency meter (20) Indicates Correct frequency cannot be
400 Hz (red Iine) when generator Is operating maintained
under load
d. Check that kilowatt meter (21) reading does
not exceed 100%
4885-015
eCheck that A C ammeter (22) reading does not No Indication when load
exceed 100% of rated current or more than 5% is applied
load difference between phases
ITEM
NO.
ITEM TO BE INSPECTED
PROCEDURE: CHECK FOR AND HAVE REPAIRED,
FILLED, OR ADJUSTED AS NEEDED
EQUIPMENT IS NOT
READY/AVAILABLE IF:
3-13

INTERVAL
TM 9-6115-653-14&P
Table 3-2. Operator/Crew Preventive Maintenance Checks and Services (PMCS) (cont)
BBEFORE DDURING AAFTER WWEEKLY MMONTHLY
BDAWM
20 •GENERATOR SET GAGES AND INSTRUMENTS
(cont)
f. Check that A C voltmeter (23) Indicates desired Desired voltage cannot be
output voltage as determined by load connec- obtained and maintained
tions and amps-volts selector switch
4885-016
g. Check engine oil pressure gage (24) for Oil pressure drops below
20 to 55 psig indication 20 psig
h. Check coolant temperature gage (25) for Temperature exceeds 200°F
170° to 200°F (76 70 to 93 30C) Indication (93 3°C)
4885-017
ITEM
NO.
ITEM TO BE INSPECTED
PROCEDURE: CHECK FOR AND HAVE REPAIRED,
FILLED, OR ADJUSTED AS NEEDED
EQUIPMENT IS NOT
READY/AVAILABLE IF:
3-14

INTERVAL
TM 9-6115-653-14&P
Table 3-2. Operator/Crew Preventive Maintenance Checks and Services (PMCS) (cont).
BBEFOREDDURINGAAFTER WWEEKLY MMONTHLY
BDAWM
20 •GENERATOR SET GAGES AND INSTRUMENTS
(cont)
iCheck that all lights on FAULT INDICATOR Fault light will not go out
panel (26) are out during operation Check when switch Is set to TEST
bulb operation with TEST or RESET switch on or RESET position, then
panel released All bulbs should
be lit when switch is in TEST
or RESET position
4885-018
21 •FUEL TANK
a. Fill set tank upon completion of operation
NOTE
Fuel system temperature must be above
freezing when draining water and sediment
b. Open drain (27) and drain water and sediment
from fuel tank Into a suitable container Allow
to drain until fuel runs clean
ITEM
NO.
ITEM TO BE INSPECTED
PROCEDURE: CHECK FOR AND HAVE REPAIRED,
FILLED, OR ADJUSTED AS NEEDED
EQUIPMENT IS NOT
READY/AVAILABLE IF:
3-15

INTERVAL
TM 9-6115-653-14&P
Table 3-2. Operator/Crew Preventive Maintenance Checks and Services (PMCS) (cont)
BBEFORE DDURING AAFTER WWEEKLY MMONTHLY
BDAWM
21 •FUEL TANK (cont)
4885-019
22 •DAY TANK
NOTE
Fuel system temperature must be above
freezing when draining water and sediment
Open drain (28) and drain -water and sediment from
day tank into a suitable container Allow to drain
until fuel runs clean
ITEM
NO.
ITEM TO BE INSPECTED
PROCEDURE: CHECK FOR AND HAVE REPAIRED,
FILLED, OR ADJUSTED AS NEEDED
EQUIPMENT IS NOT
READY/AVAILABLE IF:
3-16

INTERVAL
TM 9-6115-653-14&P
Table 3-2. Operator/Crew Preventive Maintenance Checks and Services (PMCS) (cont)
BBEFORE DDURING AAFTER WWEEKLY MMONTHLY
BDAWM
22 •DAY TANK (cont)
4885-049
23 •FUEL STRAINER AND FILTERS
Drain water and sediment from strainer (29),
primary (30) and secondary (31) filters into a
suitable container Allow to drain until fuel runs
clean
ITEM
NO.
ITEM TO BE INSPECTED
PROCEDURE: CHECK FOR AND HAVE REPAIRED,
FILLED, OR ADJUSTED AS NEEDED
EQUIPMENT IS NOT
READY/AVAILABLE IF:
3-17

INTERVAL
TM 9-6115-653-14&P
Table 3-2. Operator/Crew Preventive Maintenance Checks and Services (PMCS) (cont).
BBEFORE DDURING AAFTER WWEEKLY MMONTHLY
BDAWM
24 •BATTLE SHORT INDICATOR LIGHT
Push In on lens housing Light (32) should
Illuminate If not, replace bulb
25 •CIRCUIT BREAKER INDICATOR LIGHT
Push in on lens housing Light (33) should
Illuminate If not, replace bulb
4885-021
26 •BRAKE DRUMS AND HUBS
WARNING
A defect In the operation of the brakes or hub
can cause these parts to get hot enough to
cause serious burns Use extreme caution
when attempting to detect heat In this area
Feel drums and hubs for overheating Brakes or hub are dragging
or binding
27 •AIR RESERVOIR
Open draincock (34) to drain moisture from air
reservoir (35) and close when finished
ITEM
NO.
ITEM TO BE INSPECTED
PROCEDURE: CHECK FOR AND HAVE REPAIRED,
FILLED, OR ADJUSTED AS NEEDED
EQUIPMENT IS NOT
READY/AVAILABLE IF:
3-18

INTERVAL
TM 9-6115-653-14&P
Table 3-2. Operator/Crew Preventive Maintenance Checks and Services (PMCS) (cont)
BBEFORE DDURING AAFTER WWEEKLY MMONTHLY
BDAWM
27 •AIR RESERVOIR (cont)
4885-022
28 •HANDBRAKES
With trailer hooked to towing vehicle, set hand- Handbrakes cannot
brakes (36) Move trailer slightly to see If hand- be adjusted
brakes hold wheels Adjust as required
4885-023
ITEM
NO.
ITEM TO BE INSPECTED
PROCEDURE: CHECK FOR AND HAVE REPAIRED,
FILLED, OR ADJUSTED AS NEEDED
EQUIPMENT IS NOT
READY/AVAILABLE IF:
3-19

INTERVAL
TM 9-6115-653-14&P
Table 3-2. Operator/Crew Preventive Maintenance Checks and Services (PMCS) (cont)
BBEFORE DDURING AAFTER WWEEKLY MMONTHLY
BDAWM
29 •REFLECTORS
Check for damaged or missing reflectors
30 •BATTERIES
Check battery (37) electrolyte level. Level should
be about 3/4 Inch above top of plates Add water
if level is low Use clean water (distilled water
if available)
4885-024
31 •FIRE EXTINGUISHER
ainspect seal for damage Inspect gage to see
If extinguisher needs recharging
b. inspect and weigh fire extinguisher
(See paragraph 3-11 )
32 •TRAILER FRAME
Inspect entire chassis frame for damage, cracks, Frame is obviously broken
and broken welds or cracked
ITEM
NO.
ITEM TO BE INSPECTED
PROCEDURE: CHECK FOR AND HAVE REPAIRED,
FILLED, OR ADJUSTED AS NEEDED
EQUIPMENT IS NOT
READY/AVAILABLE IF:
3-20
TM 9-6115-653-14&P
Section IV. TROUBLESHOOTING
3-10. Power Unit Troubleshooting. There are no troubleshooting procedures authorized at operator level for the
power unit end item . Troubleshooting procedures for the generator set and trailer are contained In their respective
technical manuals referenced below.
a. Generator Set Troubleshooting Refer to TM 5-6115-464-12 for troubleshooting procedures applicable to the
generator set.
b. Trailer Troubleshooting Refer to TM 9-2330-205-1 4&P for troubleshooting procedures applicable to the trailer.
Section V. OPERATOR/CREW MAINTENANCE
3-11. Fire Extinguisher Maintenance. The PU-732/M Power Unit is equipped with a 5 lb CO2 fire extinguisher.
Maintenance is limited to weighing the fire extinguisher monthly to insure that it is sufficiently charged. Fully charged,
the fire extinguisher weighs 13 lb. Send the unit to specialized activity for recharging if it weighs 12.5 lb or less.
CAUTION
Do not attempt to verify readiness of a fire extinguisher by partially discharging unit. Any
discharge of contents will require refilling.
3-21/(3-22 blank)

TM 9-6115-653-14&P
CHAPTER 4
UNIT MANTENANCE
Section I. SERVICE UPON RECEIPT OF EQUIPMENT
4-1 Inspecting and Servicing Equipment. The power unit is unpacked, inspected, and serviced as described in the
following paragraphs. Unpacked equipment must be checked against the Equipment Packing List to insure
completeness. Discrepancies must be reported in accordance with instructions In DA Pam 738-750
a. Unpacking Power Unit (See figures 4-1 and 4-2 ) The generator set is packed in place on the trailer frame
Before beginning the unpacking procedure, locate, remove, and save the waterproof envelopes marked Depreservatlon
Guide
4885-025
Figure 4-1. Power Unit Packed for Shipment.
4-1

4885-026
Figure 4-2. Unpacking Power Unit.
4-2

TM 9-6115-653-14&P
WARNING
The steel banding used in packaging of power unit has sharp edges. Care should be taken
when cutting and handling banding to avoid injury to personnel.
(1) Remove steel banding around plywood box covering generator set.
(2) Remove lag screws securing plywood box cover over generator set and lift cover off generator.
(3) Remove wooden wedges and spacers from around generator set base.
(4) Remove and save package of technical manuals secured to barrier material covering generator.
(5) Remove four sets of attaching hardware and drop plywood cover from beneath generator set.
(6) Remove barrier material and fiberboard caps from generator set.
(7) Remove packaged fire extinguisher from within generator set enclosure Unpack and secure fire
extinguisher in bracket on front roadside step.
(8) Remove steel banding around accessory box, unpack and Inventory contents.
(9) Refer to DA Form 2258, Depreservation Guide for Vehicles and Equipment, packed with power unit and
follow instructions given for putting unit into service.
(10) Stow technical manuals in box on inside of generator set enclosure rear curbside door.
(11) Stow all authorized accessories in the accessory box.
b. Inspection and Servicing of Generator Set. Refer to Service Upon Receipt of Materiel In TM 5-6115-464-12 for
initial inspection and servicing procedures.
c. Inspection and Servicing of Trailer. Refer to Service Upon Receipt of Materiel In TM 9-2330-205-14&P for
initial inspection and servicing procedures
4-2 Installation. (See figure 4-3 ) Installation of the power unit at a worksite involves positioning the trailer and
grounding the power unit.
a. Positioning Power Unit. Position the power unit on the worksite as follows:
(1) Select an area as level as possible to install power unit and position trailer.
(2) Set trailer handbrakes and lower landing leg.
(3) Chock both sets of wheels.
(4) Lower both rear leveling jacks, secure leveling jacks with lockpins, and extend lower tubes by stepping on
hinged pads
4-3

TM 9-6115-653-14&P
Figure 4-3. Installing Power Unit.
WARNING
Remove fire extinguishers and fuel cans from power unit when generator set is in operation
This will insure that in the event of fire, extra fuel will not be involved and extinguisher will
remain accessible.
(5) Locate fuel cans and fire extinguisher on ground away from power unit.
WARNING
Do not operate generator set until power unit is properly grounded (paragraph 4-2, b) Serious
injury or death by electrocution can result from operating an ungrounded power unit.
CAUTION
To avoid damage to equipment, make certain of voltage, frequency, and phase
requirements of load being connected to generator set
4-4

TM 9-6115-653-14&P
(6) Connect power unit to system or equipment to be powered Refer to TM 5-6115-464-12 and generator
set load terminal board data plate.
(7) Remove two platform anchor quick-release pins and lower personnel platform.
(8) Close all doors on generator set enclosure except control panel doors and the two doors immediately
below the control panel.
b. Grounding. Check that generator set is grounded to GROUND TERMINAL stud on trailer frame. Using
ground wire supplied with power unit, connect power unit GROUND TERMINAL to a suitable ground as described
below. The following sources of good ground are listed in order of preference.
NOTE
As a substitute for the supplied ground wire, any copper wire of a least No. 6 AWG may be
used.
(1) Underground water system. Ground power unit to one of the accessible pipes in an underground
water system. Make certain underground pipe is made of metal and there is no insulation, such as a water
meter, between ground wire and the earth.
(2) Ground rod. Drive ground rod a minimum of eight feet into earth A ground rod must have a minimum
diameter of 5/8-inch, if solid, or 3/4-inch If pipe
NOTE
It may be necessary to saturate the area around ground rod with water if soil conditions are
dry
(3) Ground plate. Ground power unit to a metal plate buried four feet deep. Ground plate should cover a
minimum area of nine square feet.
c. External Fuel Line Connection. (See figure 4-4 ) The power unit generator set can be fueled from an external
source such as a five-gallon fuel can or 55 gallon drum This eliminates the need for frequent refilling of the generator's
fuel tank during long Intervals of operation.
(1) Remove fuel can adapter and fuel pickup tube from storage locations on power unit and assemble by
threading pickup tube into adapter.
(2) Thread one end of auxiliary fuel line onto fuel can adapter fitting and tighten.
(3) Connect free end of auxiliary fuel line to AUXILIARY FUEL CONNECTION. This connection is located
next to the fuel filler above the trailer roadside fender.
(4) Insert fuel can adapter in external fuel source and secure by pressing down on lever.
(5) Set FUEL SELECTOR VALVE beneath fuel filler to AUXILIARY position.
4-5

TM 9-6115-653-14&P
Figure 4-4. External Fuel Line Connection.
Section II. MOVEMENT TO A NEW WORKSITE
4-3 Dismantling for Movement. Because the power unit is designed to be mobile, a minimum amount of effort is
required to relocate to a new worksite Procedures are as follows:
a. Disconnect power unit from system or equipment being powered.
b. Disconnect ground cable from source of ground and from power unit GROUND TERMINAL. Roll up cable and
store in accessory box.
c. Using slide hammer, remove ground rod. Disassemble, clean, and stow ground rod in accessory box.
d. Disconnect power unit from external fuel source, if applicable.
e. Stow any remaining authorized equipment in accessory box.
f. Secure fire extinguisher and fuel cans in their respective mounting brackets.
g. Close all doors on the generator set enclosure.
h. Swing personnel platform Into traveling position and secure with two platform anchor quick-release pins.
4-6

TM 9-6115-653-14&P
WARNING
Use care when releasing spring-loaded lower tube of leveling jacks. The lower tube will
return to retracted position with considerable force and can cause injury.
i. Retract lower tubes of leveling jacks. Swing leveling jacks up into traveling position and secure with lockpins.
j. Remove wheel chocks.
k. Attach power unit to towing vehicle. Refer to TM 9-2330-205-14&P.
I. Release trailer handbrakes.
4-4 Reinstallation After Movement. After movement to a new worksite, install power unit in accordance with
paragraph 4-2.
Section III. REPAIR PARTS, SPECIAL TOOLS, SPECIAL TEST, MEASUREMENT AND DIAGNOSTIC EQUIPMENT
(TMDE)
4-5 Tools and Equipment. There are no special tools or equipment required to maintain the PU-732/M power unit.
4-6 Maintenance Repair Parts. Repair parts and equipment for maintenance of this power unit are listed and
Illustrated in the repair parts and special tools list in Appendix D of this manual.
Section IV. LUBRICATION INSTRUCTIONS
4-7 General. Detailed instructions for the lubrication of the major components of the power unit are contained in the
applicable Lubrication Orders (LO’s). Refer to DA Pam 25-30 to ensure that the latest editions of the L O 's are used. This
section contains lubrication instructions that are not included in the Lubrication Orders.
4-8 Generator Lubrication. Refer to TM 5-6115-464-12 for generator set Lubrication Order.
4-9 Trailer Assembly Lubrication.
a. Trailer Lubrication. Refer to TM 9-2330-205-14&P for trailer Lubrication Order.
b Personnel Platform Lubrication .The personnel platform is a modification to the standard M200A1 trailer and, as
such, does not appear in the associated L O Lubricate the personnel platform semiannually as follows:
4-7
TM 9-6115-653-14&P
WARNING
Clean parts in a well-ventilated area. Avoid inhalation of solvent fumes and prolonged
exposure of skin to cleaning solvent. Wash exposed skin thoroughly. Dry cleaning solvent
(PD-680) used to clean parts is potentially dangerous to personnel and property. Do not
smoke or use near open flame or excessive heat. Flash point of solvent Is 100°F to 138°F
(38°C to 59°C).
(1) Using PD-680, or equivalent, clean area to be lubricated.
(2) Apply OE lubricating oil to personnel platform pivot points and to platform anchor quick-release pins.
Section V. PREVENTIVE MAINTENANCE CHECKS AND SERVICES
NOTE
The PMCS chart in this section contains all necessary unit preventive maintenance checks
and services for this equipment.
4-10. General. The trailer assembly and generator set must be inspected and serviced systematically to insure that
the power unit is ready for operation at all times. Inspection will allow defects to be discovered and corrected before they
result in serious damage or failure. Table 4-1 contains a tabulated list of preventive maintenance checks and services to
be performed by unit maintenance personnel. All of the unit PMCS on the trailer is scheduled to be performed
semiannually or annually. Unit PMCS on the generator set is scheduled monthly or on a per-hours-of-operation basis.
The running time meter on the control panel is used to determine the operating time of the generator set. Using the
following as a guide, do the checks and services at the intervals shown. Observe all CAUTIONS and WARNINGS.
a. For PMCS performed on an operating time basis, perform your hourly (H) PMCS as close as possible to the
time intervals Indicated
NOTE
For units In continuous operation, perform PMCS before starting operation if continuous
operation will extend service interval past that which is shown.
b. Perform your monthly (M) PMCS every month or 100 hours of generator set operating time.
c. Do your semiannual (S) PMCS once every six rnonths or 500 hours of generator set operating time.
d. Do your annual (A) PMCS once every twelve months or 1000 hours of generator set operating time.
e. If you discover a problem with the equipment, refer to Section VI, Troubleshooting. If you cannot correct the
problem, refer to paragraph 4-12, Reporting Deficiencies.
4-11 Explanation Of Columns. The following is a list of the PMCS table column headings with a description of the
Information found in each column.
4-8

TM 9-6115-653-14&P
aItem No. This column shows the sequence in which to do the checks and services, and is used to identify the
equipment area on the Equipment Inspection and Maintenance Worksheet, DA Form 2404.
b. Interval. This column shows when each check is to be done.
c. Item to be Inspected. This column identifies the general area or specific part where the check or service is to be
done.
d. Procedures. This column lists the checks or service you have to do and explains how to do them.
4-12. Reporting Deficiencies. If you discover any problem with the equipment during PMCS that you are unable to
correct, It must be reported Refer to DA Pam 738-750 and report the deficiency using the proper forms
Table 4-1. Unit Preventive Maintenance Checks and Services (PMCS).
H - Hours of operation M - Monthly S - Semiannually A - Annually
(As indicated (100 hours) (500 hours) 1,000 hours)
INTERVAL
ITEM
NO. HMSAITEM TO BE INSPECTED PROCEDURES
WARNING
Before performing any maintenance that
requires climbing on or under trailer, set
trailer handbrakes, chock wheels, and lower
rear leveling jacks Injury to personnel
could result from trailer suddenly rolling or
tipping
1•Generator Set Exterior Inspect generator set for fuel and oil leaks, loose
or missing components and hardware, and un-
usual wear or deterioration Clean generator set
2•Fuel Strainer and Filters NOTE
Fuel system must be above freezing
temperature when draining water and
sediment from strainer, filters, and tank
Open drains on fuel strainer, and primary and
secondary fuel filters Drain water and sediment
into a suitable container Allow to drain until fuel
runs clean
3•Fuel Tanks Open drains on main fuel tank and day tank Drain
water and sediment Into a suitable container
Allow to drain until fuel runs clean
4-9

TM 9-6115-653-14&P
Table 4-1. Unit Preventive Maintenance Checks and Services (PMCS) (cont).
H - Hours of operation M - Monthly S - Semiannually A - Annually
(As indicated) (100 hours) (500 hours) 1,000 hours)
INTERVAL
ITEM
NO. HMSAITEM TO BE INSPECTED PROCEDURES
4•Fuel Pumps Clean or replace, as necessary, fuel strainer In bottom of fuel
pump
5•Batteries Perform a hydrometer test on batteries every 100 hours Refer
to TM 5-6115-464-12 for test procedures
6•V-Belts Inspect for worn, frayed, oil soaked, or cracked belts Check
adjustment Proper adjustment for fan belt is a deflection of 1/2
inch with application of 12-14 lb pressure midway between
alternator and water pump pulley
7•Fuel Filters Replace filter elements every 100 hours of operation
8 300 Fuel Strainer Clean fuel strainer every 300 hours of operation
9 300 Lubricating Oil and Filter Change lubricating oil and filter every 300 hours of operation or
six months
10 •Hydraulic Sump Drain and refill (Refer to LO)
11 •Hydraulic Filter Replace filter (Refer to LO)
12 •Hydraulic Actuator Screen Clean filter (Refer to LO)
13 300 Breather and Inspect for damage Clean breather and
Breather Tube tube at oil change interval
14 AR Air Cleaner Clean air cleaner element whenever necessary as Indicated by
air filter condition indicator light
15 •Taillights Replace any broken or cracked lenses or defective bulbs
16 •Intervehicular Check for cuts, breaks, frayed wires, or damaged Cable plug
4-10

TM 9-6115-653-14&P
Table 4-1. Unit Preventive Maintenance Checks and Services (PMCS) (cont)
H - Hours of operation M - Monthly S - Semiannually A - Annually
(As indicated (100 hours) (500 hours) 1,000 hours)
INTERVAL
ITEM
NO. HMSAITEM TO BE INSPECTED PROCEDURES
17 •Lunette Check security of mounting Inspect ring for excessive wear
18 •Safety Chains Inspect for broken links or missing chain(s)
19 •Reflectors Replace any cracked, broken, or missing reflectors
20 •Data Plates and Markings Make sure data plates are legible and securely mounted
Replace illegible data plates
21 •Landing Leg Inspect landing leg and brace for bent or broken parts
22 •Leveling Jacks Inspect leveling lacks for bent or broken parts
23 •Suspension Assemblies a. Inspect shackles, bearings, pins, leaf springs and spring
eyes for damage or broken parts
b. Inspect mounting brackets for cracks or loose or missing
hardware
24 •Axle a. Check for damaged axle tube
b. Check for loose or missing U-bolts or nuts
25 •Wheels and Tires a. Check serviceability of tires as Indicated In
TM 9-2610-200-24
b. Tighten wheel stud nuts to 450 to 500 ft-lb
(611 to 678 Nom)
26 •Brakes a. Inspect brake linings for wear Replace If brake shoe
lining is less than 1/8-inch (3 2 mm) thick
b. Inspect brake adjusting screw, retaining screw, retaining
pins, springs, and clips for corrosion and wear
c. Inspect hydraulic wheel cylinders for leaks
d. Adjust brakes
4-11

TM 9-6115-653-14&P
Table 4-1. Unit Preventive Maintenance Checks and Services (PMCS) (cont)
H - Hours of operation M - Monthly S - Semiannually A - Annually
(As indicated (100 hours) (500 hours) 1,000 hours)
INTERVAL
ITEM
NO. HMSAITEM TO BE INSPECTED PROCEDURES
27 Wheel Bearings Clean and repack wheel bearings
28 Hydraulic Brake Hoses and Inspect for dents, cracks, loose connections and Fittings leaks
29 Air Hoses and Fittings Inspect for dents, cracks, loose connections and leaks
30 Brake Master Cylinder Check fluid level Fill to 1/2 Inch from top
31 Trailer - Road Test Perform road test paying special attention to items that were
repaired or adjusted, In accordance with TM 9-2330-205-14&P
Section VI. TROUBLESHOOTING
4-13 Power Unit Troubleshooting. There are no troubleshooting procedures authorized at unit level for
the power unit end item . Troubleshooting procedures for the individual generator set and trailer are
contained in their respective technical manuals referenced below:
a. Generator Set Troubleshooting. Refer to TM 5-6115-464-12 for troubleshooting procedures applicable
to the generator set.
b. Trailer Troubleshooting. Refer to TM 9-2330-205-14&P for troubleshooting procedures applicable to
the trailer.
Section VII. RADIO INTERFERENCE SUPPRESSION
4-14 General Methods Used to Attain Proper Suppression. Essentially, suppression is attained by
providing a low resistance path to ground for stray currents. The methods used include shielding ignition and
high-frequency wires, grounding the frame with bonding straps, and using filtering systems.
4-15 Radio Interference Suppression Components. All component parts on the power unit end item,
whose primary or secondary function is radio interference suppression, are on the generator set. Refer to
TM 5-6115-464-12 for location of radio interference suppression components
4-12

TM 9-6115-653-14&P
Section VIII. MAINTENANCE OF POWER UNIT TRAILER
4-16 General. This section of the manual contains unit level maintenance procedures for components of the M200A1
trailer added when the trailer is used as part of the PU-732/M power unit. These components are not covered in the
overall trailer maintenance manual. For all other unit maintenance procedures on the trailer, refer to TM 9-2330-205-
14&P. When power unit has been painted in camouflage, replacement parts must be painted to match authorized
patterns and colors as specified in TB 43-0147. Application of camouflage paint shall be done in accordance with MIL-C-
53072.
WARNING
Before performing any maintenance that requires climbing on or under trailer, set trailer
handbrakes, chock both wheels, and lower rear leveling jacks. Injury to personnel could
result from trailer suddenly rolling or tipping.
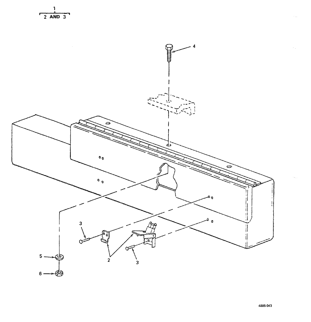
4-17. Fuel Can Bracket Replacement. (See figure 4-5.) There are two fuel can brackets supplied with the PU-732/M.
The brackets are mounted on top of the curbside front step. Replacement procedures described below are the same for
both.
4885-029
Figure 4-5. Fuel Can Bracket Replacement
a. Removal.
(1) Remove four screws (1, figure 4-5), four self-locking nuts (2) and four flat washers (3) securing bracket (4)
to step (5).
(2) Remove bracket (4) from step (5).
4-13

TM 9-6115-653-14&P
b. Installation.
(1) Position fuel can bracket (4) on step (5).
(2) Insert four screws (1) down through bracket (4) and through step (5).
(3) Install one washer (3) and one self-locking nut (2) on each screw (1). Tighten hardware to secure bracket
(4).
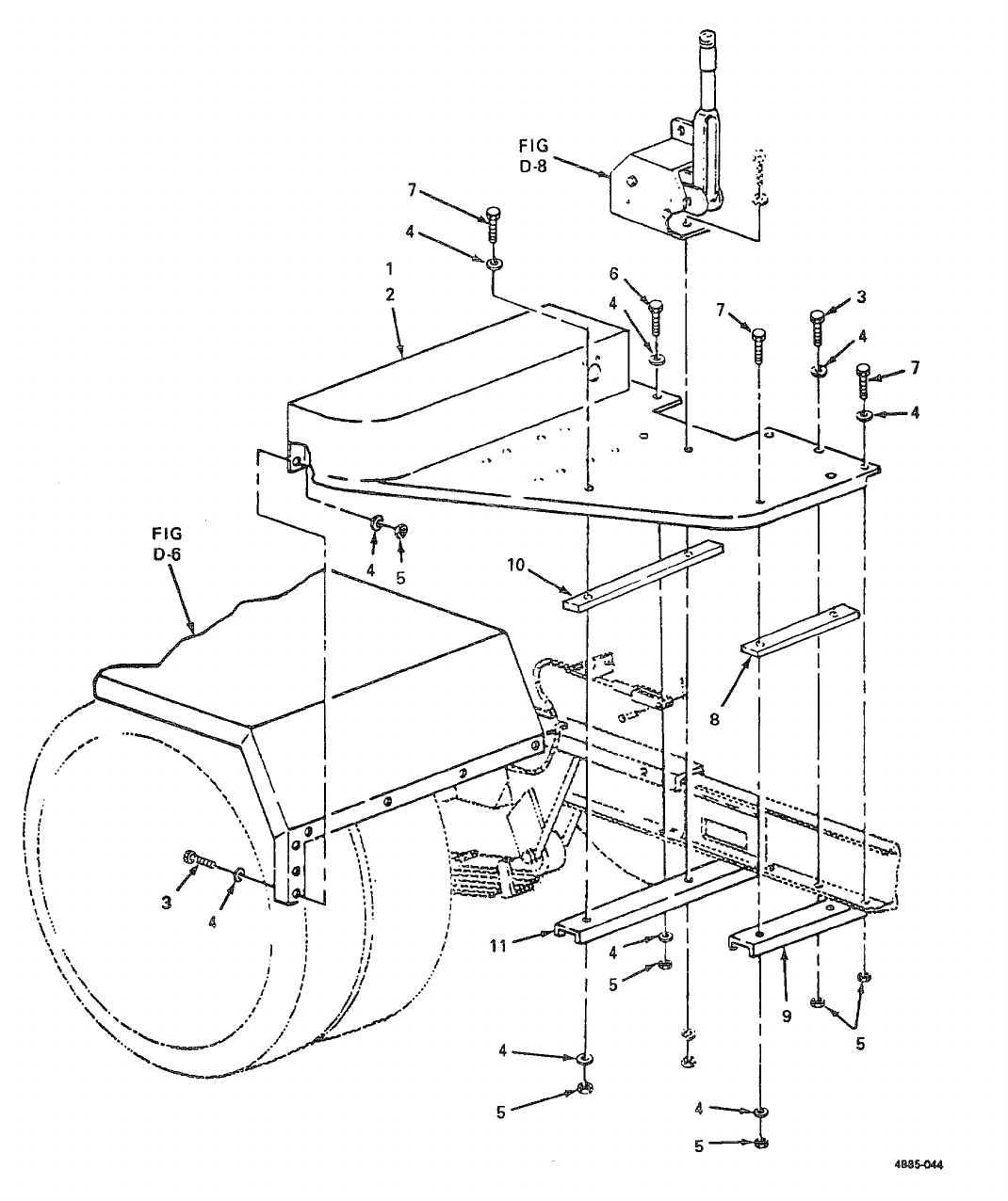
4-18. Accessory Box Replacement. (See figure 4-6). The accessory box is mounted to the trailer frame at the
curbside front step.
Figure 4-6. Accessory Box Replacement. 4885-030
a. Removal.
(1) Remove three screws (1, figure 4-6), three flat washers (2) and three nuts (3) securing accessory box (4)
to trailer frame (5).
(2) Slide accessory box (4) forward and off front step (6).
b. Installation.
(1) Position accessory box (4) on front trailer step (6) with narrow end between handbrake lever (7) and trailer
frame (5).
4-14

TM 9-6115-653-14&P
(2) Slide accessory box (4) so that top of box contacts lip of trailer frame (5).
(3) Insert three screws (1) down through trailer frame (5) into accessory box (4).
(4) Install one nut (3) and one washer (2) on each screw (1) and tighten.
4-19 Fire Extinguisher Bracket Replacement. (See figure 4-7 ). The fire extinguisher supplied with the power unit is
carried in a bracket mounted on the front roadside step.
Figure 4-7. Fire Extinguisher Bracket Replacement.
4885-031
a. Removal.
(1) Remove four screws (1, figure 4-7), four flat washers (2), and four nuts (3) securing bracket (4) to step (5).
(2) Remove bracket (4) from step (5).
b. Installation.
(1) Position fire extinguisher bracket (4) on step (5).
(2) Insert four screws (1) down through bracket (4) and through step (5).
(3) Install one flat washer (2) and one nut (3) on each screw (1). Tighten hardware to secure bracket (4).
4-15

TM 9-6115-653-14&P
4-20 Front Step Replacement. (See figure 4-8 ) The roadside and curbside front steps are symmetrical, and
replacement procedures are the same except where noted in the steps below.
a. Removal.
NOTE
When removing roadside front step, omit steps (1) and (2).
(1) Remove fuel can brackets (paragraph 4-17, a).
(2) Remove accessory box (paragraph 4-18, a).
(3) Remove cotter pin (1, figure 4-8) and clevis pin (2) securing handbrake cable (3) to handbrake lever
mechanism (4).
(4) Remove two screws (5), two flat washers (6) and two nuts (7) securing handbrake (8) to trailer frame (9).
(5) Remove two screws (10), two flat washers (11) and two nuts (12) securing handbrake cable bracket (13) to
front step (14).
NOTE
There are two screws, flat washers, and nuts securing handbrake bracket to front step. It
only necessary to remove one set of attaching hardware to remove front step from trailer
frame.
(6) Remove screw (15), flat washer (16), lockwasher (17) and nut (18) directly beneath pivot point of
handbrake lever (4).
(7) Remove seven screws (19) 14 flat washers (20) and seven nuts (21) securing front step (14) to front
edge of fender (22).
(8) Remove four screws (23, 24 and 25), eight flat washers (26) and four nuts (27) securing front step (14) to
edge of trailer frame (9).
(9) Remove three screws (28), three flat washers (29) and three nuts (30) securing front step (14) to trailer
cross brace channels (31) and remove front step (14) and spacers (32) and (33).
b. Installation.
NOTE
Three different length screws are used to mount the front step. Screws with index numbers
(5), (10), (18) and (23) in figure 4-8 are one inch long. Screw with index number (24) is 1-1/4
inch long. Screws with index numbers (15), (22) and (27) are 1-3/4 inch long. Observe
lengths and locations when installing hardware.
4-16

TM 9-6115-653-14&P
Figure 4-8. Front Step Replacement.
4-17

TM 9-6115-653-14&P
(1) Position front step (14) and spacers (32) and (33) on cross brace channels (31 ) and trailer frame (9) insert
cloves on handbrake cable (3) through hole in front step (14)
(2) Insert four screws (23, 24 and 25) with flat washers (26) through front step (14) and trailer frame (9)
(3) Insert three screws (28) with flat washers (29) through front step (14) and trailer cross brace channels (31 )
(4) Working under step, install one nut (30) on each screw (28) securing front step (14) to cross brace
channels (31 ) and install one flat washer (26) and one nut (27) on each screw (23, 24 and 25) securing
step to trailer frame (9) Tighten seven sets of hardware
(5) Secure front step (14) to fender (22) with seven screws (19), 14 flat washers (20) and seven nuts (21)
(6) insert screw (15) with flat washer (16) through handbrake bracket (8) front step (14) and cross brace
channel (31 ) Install lockwasher (17) and nut (18) on screw from underneath and tighten
(7) Insert two screws (5) with flat washers (6) through handbrake bracket (8) and trailer frame (9) Install one
nut (7) on each screw and Tighten
(8) Insert two screws (10) through front step (14) and handbrake cable bracket (13) Install one flat washer (11)
and one nut (12) on each screw and tighten
(9) Position cloves on handbrake cable (3) on handbrake lever mechanism (4) Insert clevis pin (2) and secure
with cotter pin (1 )
NOTE
When installing roadside front step, omit steps (10) and (11)
(10) Install accessory box (paragraph 4-18, b)
(11) install fuel can brackets (paragraph 4-17, b)
4-21. Rear Step and Bracket Replacement. (See figure 4-9 ) The roadside and curbside rear steps are
symmetrical, and replacement procedures are the same for both
a. Removal
(1) Remove two screws (1, figure 4-9), two fiat washers (2) and two nuts (3) securing rear step bracket (4)
and platform anchor (5) to trailer frame (6) under taillight (7)
(2) Remove two screws (8), four flat washers (9) and two nuts (10) securing rear step (11) to trailer frame (6)
(3) Remove five screws (12), ten flat washers (13) and five nuts (14) securing rear step (11) to tender (15)
Remove rear step from trailer
4-18

TM 9-6115-653-14&P
Figure 4-9. Rear Step and Bracket Replacement
NOTE
If rear step bracket (4) must be straightened or replaced, do step 4 Remove
and retain reflector for installation on new or repaired rear step bracket
(4) Remove three screws (16), three flat washers (17), and three nuts (18) Separate rear
step bracket (4) from step (11)
4-19

TM 9-6115-653-14&P
b. Installation
(1) If rear step bracket (4) and step (11) were separated during removal, alone bracket and step and install
three screws (16), three flat washers (17), three nuts (18) and tighten
(2) Position rear step (11 ) on trailer frame (6)
(3) Secure rear step (11 ) to trailer frame (6) with two screws (8), four flat washers (9) and two nuts (10)
(4) Secure rear step (11 ) to fender (15) with five screws (12), ten flat washers (13) and five nuts (14)
(5) Alone two mounting holes in rear step bracket (4) with holes in trailer frame (6) under taillight (7) and
insert two screws (1 )
(6) Slide S-hook at chain end of platform anchor (5) onto threaded end of lower screw (1 ) inside trailer
frame (6).
(7) Install one flat washer (2) and one nut (3) on each screw (1 ) and tighten
4-22 Fender Replacement. (See figure 4-10 ) The fenders on the trailer are symmetrical, and replacement
procedures are the same for both.
a. Removal
(1) Remove five screws (1, figure 4-10), ten flat washers (2) and five nuts (3) securing fender (4) to trailer
frame (5).
WARNING
There are five sets of hardware securing fender to rear step and seven sets of hardware
securing fender to front step This hardware should be removed in sequence from trailer
frame outward In this way, last two screws on front and rear lower fender edge will support
fender until you are out from underneath
(2) Remove six screws (6), 12 flat washers (7) and six nuts (8) securing fender (4) to front step (9).
(3) Remove four screws (10), eight flat washers (11 ) and four nuts (12) securing fender (4) to rear step (13).
WARNING
Support fender while removing remaining two screws When screws are removed, tender will
drop
(4) Remove one screw (6), two flat washers (7) and one nut (8) securing fender (4) to front step (9)
(5) Remove one screw (10), two flat washers (11) and one nut (12) securing fender (4) to rear step (13)
(6) Remove fender (4)
4-20

TM 9-6115-653-14&P
Figure 4-10. Fender Replacement
4-21

TM 9-6115-653-14&P
b. Installation
(1) Position fender (4) on trailer
(2) Insert one screw (10) with flat washer (11) through lower outside edge of fender (4) Into rear step (13), and
Insert one screw (6) with flat washer (7) through lower outside edge of fender (4) into front step (9)
(3) Install one washer (11) and one nut (12) on screw (10), and one washer (7) and one nut (8) on screw (6)
Tighten hardware
(4) Insert five screws (1 ) with flat washers (2) down through fender (4) into trailer frame (5)
(5) Working under fender, Install one flat washer (2) and one nut (3) on each screw (1 ) and tighten
(6) Insert six screws (6) with flat washers (7) through fender (4) Into front step (9) install one washer (7) and
one nut (8) on each screw (6) and tighten
(7) Insert four screws (10) with flat washers (11) through fender (4) into rear step (13) install one washer (11)
and one nut (12) on each screw (10) and tighten
4-23. Personnel Platform Replacement. (See figure 4-11 ) This platform is mounted on the rear of the trailer to
facilitate access to generator set controls and indicators
a. Removal
(1) Remove two screws (1, figure 4-11), four flat washers (2) and two self-locking nuts (3) securing platform
(4) to mounting brackets (5)
WARNING
Support platform while removing anchors When anchors are removed, platform will drop
(2) Remove two platform anchors (6) by pushing In on button on head of pin while pulling pin out of mounting
hole.
NOTE
Mounting brackets are fastened with self-locking nuts Removal may damage locking
capability when reinstalled Do not remove mounting brackets unless they are damaged
(3) Remove three screws (7) three flat washers (8) and three self-locking nuts (9) from each mounting bracket
(5) and take mounting brackets off of trailer frame (10)
4-22

TM 9-6115-653-14&P
Figure 4-11. Personnel Platform Replacement.
b. Installation
NOTE
If mounting brackets have not been removed, omit step (1 )
(1) Position each mounting bracket (8) on trailer frame (10) Insert three screws (7) through
frame into each bracket Install one washer (8) and one self-locking nut (9) on each
screw and tighten
(2) Holding platform (4) in vertical position, position platform on mounting brackets (5) so
that holes in platform line up with holes in brackets and Install platform anchors
(6) in upper mounting hole on each side of platform
(3) Secure platform (4) to brackets (5) with two screws (1), four flat washers (2) and two self-
locking nuts (3)
4-23(4-24 blank)

TM 9-6115-653-14&P
CHAPTER 5
DIRECT AND GENERAL SUPPORT MAINTENANCE INSTRUCTIONS
Section I. INTRODUCTION
5-1 General. This chapter contains direct and general support level maintenance procedures for components of the
M200A1 trailer added when the trailer is used as part of the PU-732/M power unit These components are not covered in
the overall trailer maintenance manual For all other direct and general support maintenance procedures on the trailer,
refer to TM 9-2330-205-14&P For direct and general support maintenance procedures on the generator set, refer to
TM 5-6115-464-34
WARNING
Before performing any maintenance that requires climbing on or under trailer, set trailer
handbrakes, chock wheels and lower rear leveling Jacks Injury to personnel could result from
trailer suddenly roiling or tipping
Section II. MAINTENANCE OF POWER UNIT TRAILER
5-2 Step and Fender Repair. Repair of the front and rear steps and the fenders is limited to straightening, welding
and repainting If required, repaint in accordance with MIL-T-704, Type F. Color Green, No 383 of MIL-C-46168 If power
unit is painted in camouflage, refer to paragraph 5-4, Marking
5-3 Accessory Box Repair. (See figure 5-1 ) The accessory box is repaired by replacing the latch and strike
assemblies The box itself may be straightened, welded and repainted If required, repaint in accordance with MiL-T-704,
Type F. Color Green, No 383 of MIL-C-46168 If power unit is painted in camouflage, refer to paragraph 5-4, Marking
Replace latch and strike assemblies as follows
a. Grind off or drill out solid rivets (1, figure 5-1 ) securing latch and strike assembly (2) to accessory box (3)
b. Position new latch and strike assembly (2) on accessory box (3) and secure with solid rivets (1)
c. Touch up with paint as required
4885 036
Figure 5-1. Accessory Box Repair.
5-1

TM 9-6115-653-14&P
5-4.Marking. (See figure 5-2 ) The power unit four-digit registration number, preceded by the prefix
"VB" and the words "U S ARMY", is marked in three places on power unit trailer Marking is done in
accordance with MlL-STD-642 On the fender, over each wheel, "T P 35 PSI" is marked in 1 00 + 12
inch high characters in accordance with MIL-STD-130 figure 5-2 shows the approximate location of
markings on power unit If required, touch-up ' of the base color shall be done in accordance with
MIL-T-704 Type F. Color Green, No 383 of MIL-C-46168 When power unit has been previously
painted in camouflage, any touch-up painting following repairs must match authorized patterns and
colors as specified in TB 43-0147 Application of camouflage paint shall be done in accordance with
MIL-C-53072
Figure 5-2. Power Unit Markings.
Section III. GENERATOR SET
5-5 Generator Set Replacement. (See figures S-3 and 5-4)
a. Removal
(1) Disconnect ground wire (1, figure 5-3) from generator set (2) to GROUND TERMINAL
stud (3) on trailer
5-2

TM 9-6115-653-14&P
NOTE
Two center mounting screws on each side can be reached through cutouts in
trailer frame under each fender The beveled washers (5) may have been
welded in place
Figure 5-3. Detaching Generator Set from Trailer.
(2) Remove eight screws (4), eight beveled washers (5), eight flat washers (6) and eight
nuts (7) securing generator set (2) to trailer.
WARNING
When lifting generator set, use lifting equipment with a minimum lifting
capacity of 3500 lb. Do not stand under generator while it is being lifted Do
not permit generator set to swing Failure to observe these precautions can
cause Injury to personnel or damage to equipment.
(3) Attach lifting equipment with a minimum letting capacity of 3500 lb (1, figure 5-4) to both
lifting eyes (2) on top edges of generator set (3) Insert a rope (4) through each of four
tiedown rings (5) on generator set.
(4) With one person at each rope to steady and guide generator set (3), lift generator set off
of trailer.
5-3

TM 9-6115-631-14&P
Figure 5-4. Lifting Generator Set
b. Installation
WARNING
When letting generator set, use lifting equipment with a minimum lifting
capacity of 3500 lb Do not stand under generator Do not permit generator set
so swing Failure to observe these precautions can cause Injury to personnel
or damage to equipment
(1) Attach lifting equipment with a minimum lifting capacity of 3500 lb (1, figure 5-4) to lifting
eyes (2) on top edges of generator set (3) Insert a rope (4) through each of four tiedown
rings (5) on generator set.
(2) With one person at each rope to steady and guide generator set (3), lift generator set
and carefully lower it onto trailer NOTE
Two center mounting screws on each side can be reached through cutouts in
trailer frame under each fender
(3) Insert eight screws (4, figure 5-3) with beveled washers (5) down through generator set
skids into trailer
(4) Working under trailer Install one flat washer (6) and one nut (7) on each screw (4)
(5) Position beveled washers (5) so that screw heads are parallel to tops of washers While
holding beveled washers in position, tighten hardware
(6) Connect generator set ground wire (1) to trailer GROUND TERMINAL stud (3)
5-4
TM 9-6115-653-14&P
CHAPTER 6
TEST AND INSPECTION AFTER REPAIR
Section I. GENERAL REQUIREMENTS
6-1 General Requirements. The activity performing the repair s responsible for the performance of
all applicable tests and inspections specified in the technical manuals referenced below Activities
performing maintenance on any component of the power unit must perform those tests and
Inspections required by the applicable component or system repair Instruction
Section II. INSPECTION
6-2 Generator Set inspections. Refer to TM 5-6115-464-12 and -34 for Inspections required
following repair of the generator set
6-3 Trailer Inspections. Refer to TM 9-2330-205-14&P for Inspections required following repair of
the trailer
Section III OPERATIONAL TESTS
6-4 Generator Set Operational Tests. Refer to TM 5-6115-464-12 and -34 for operational tests
required to verify satisfactory performance of the generator set
6-5 Trailer Operational Tests. Refer to TM 9-2330-205-14&P for operational tests required to
verify satisfactory performance of the trailer
6-1/(6-2 blank)
TM 9-6115-653-14&P
APPENDIX A
REFERENCES
A-1. Scope. This appendix lists all pamphlets, forms, technical manuals, specifications and
miscellaneous publications referenced in this manual
A-2 Forms and Records.
Supply Policy Below the Wholesale Level ........................................................ AR 710-2
Recommended Changes to Publications and Blank Forms .............................. DA Form 2028
Depreservation Guide for Vehicles and Equipment .......................................... DA Form 2258
Equipment Inspection and Maintenance Worksheet......................................... DA Form 2404
Maintenance Request. ...................................................................................... DA Form 2407
Consolidated Index of Army Publications.......................................................... DA PAM 25-30
The Army Maintenance Management System (TAMMS) .................................. DA PAM 738-750
Product Quality Deficiency Report .................................................................... SF 368
A-3. Military Specifications.
Chemical Agent Resistant Aliphatic Polyurethane Coating............................... MIL-C-46168
Chemical Agent Resistant Coating (CARC) System Application Procedure and
Q/C Inspection .................................................................................................. MIL-C-53072
Identification Marking of U S Military Property.................................................. MIL-STD-130
Identification Marking of Combat and Tactical Transport.................................. MIL-STD-642
Treatment and Painting of Materiel................................................................... MIL-T-704
A-4. Technical Manuals.
Operator and Organizational Maintenance Manual Generator Set,
Diesel Engine Driven, Tactical Skid Mounted, 15 KW, 3 Phase,
4 Wire, 1201208 and 240/41 6V (DOD Model MEP-004A) Utility
Class, 50/60 Hz (NSN 6115-00-118-1241), (Model MEP-103A),
Precise Class, 50/60 Hz (6115-00-118-1245), (Model MEP-113A),
Precise Class, 400 Hz (6115-00-118-1244) ................................................ TM 5-6115-464-1 2
Organizational, Intermediate (Field) (Direct Support and General
Support and Depot Maintenance Repair Parts and Special Tools
List) Generator Set, Diesel Engine Driven, Tactical Skid Mounted,
15 KW, 3 Phase, 4 Wire, 120/208 and 240/416 V (DOD Models
MEP-004A) Utility Class, 50/60 HZ (NSN 6115-00-118-1241),
(Model MEP-103A3, Precise Class, 50/60 HZ (6115-00-118-1245),
(Model MEP-113A), Precise Class, 400 Hz (6115-00-118-1244)................ TM 5-6115-464-24P
A-1
TM 9 61115-653-148&P
Intermediate (Field) Direct and General Support and Depot Level
Maintenance Manual, Generator Set, Diesel Engine Driven,
Tactical Skid Mtd, 15 KW, 3 Phase, ~ Wire, 120/208 and
240/416 Volts DOD Model MEP-004A, Utility Class, 50160 HZ
(NSN 6115-00-118-1241), Model MEP-103A, Precise Class,
50/60 HZ (61 15-00-1 18-1245), Model MEP-1 13A, Precise
Class, 400 1 IZ (6115-00-118-1244)............................................................ TM 5-6115-464-34
Procedures for Destruction of Equipment to Prevent Enemy Use
(Mobility Equipment Command)................................................................... TM 750-244-3
Operator's, Organizational, Direct Support and General Support Maintenance
Manual Including Repair Parts and Special Tools List for Chassis, Trailer,
Generator, 2-1/2 Ton, 2-Wheel M200A1 (NSN 2330 00-331-2307)............ TM 9-2330-205-
14&P
Organizational, Direct Support, and General Support Care Maintenance
and Repair of Pneumatic Tires and Inner Tubes......................................... TM 9-2610-200-24
A-5. Technical Bulletins
Color, Marking and Camouflage Patterns Used on Military Equipment Managed
by USATROSCOM....................................................................................... TB 43-0147
Preservation of USAMECOM Mechanical Equipment for
Shipment and Storage ................................................................................. TB 740-97-2
A-2

TM 9-6115-653-14&P
APPENDIX B
Section I. INTRODUCTION
B-1 SCOPE This appendix lists components of end item and basic issue items for the power unit to
help you
inventory items required for sate and efficient operation
B-2 General The Components of End Item and Basic Issue Items lists are divided into the following
sections
a. Section II. Components of End Item. This listing is for informational purposes only, and is not
authority to requisition replacements These items are pad of the end item but are removed and
separately packaged for transportation or shipment As part of the end Item, these Items must be with
the end item whenever it is issued or transferred between property accounts Illustrations are
furnished to assist you in identifying the items
b. Section III. Basic Issue items These are the minimum essential Items required to place the
power unit in operation, to operate it, and to perform emergency repairs Although shipped separately
packaged, Bll must be with the power unit during operation and whenever it is transferred between
property accounts The Illustrations will assist you with hard-to-identify items This manual is your
authority to request/requisition Bll, based on TOE/MTOE authorization of the end item
B-3 Explanation Of Columns. The following provides an explanation of columns found in the
tabular
listings
a. Column (1) Illustration Number (Illus No ) This column indicates the number assigned to the
Item
b. Column (2) National Stock Number Indicates the National Stock Number assigned to the
Item
c. Column (3) Description Indicates the federal Item name and, it required, a minimum
description to identify and locate the item The last line for each item indicates the FSCM (in
parentheses) followed by the part number If item needed differed for different models of this
equipment, the model would be shown under the Usable on Code" heading in this column The
Usable on Code is not applicable for this equipment
d. Column (4). Unit of Measure (U/M) Indicates the measure used in performing the actual
operational
maintenance function This measure is expressed by a two-character alphabetical abbreviation (eg,
ea. in pr).
e. Column (5). Quantity Required (Qty Req’d) Indicates the quantity of the item authorized to
be used with/on the equipment
B-1

TM 9-6115-653-14&P
Section II. COMPONENTS OF END ITEM
(1) (2) (3) (4) (5)
DESCRIPTION
ILLUS NATIONAL USABLE QTY
NO. STOCK NUMBER FSCM AND PART NUMBER ON CODE U/M REQ’D
15120-00-243-2957 Hammer, Hand, Engineers 10 lb. ea 1
(3 6 kg) (81348) GGG-H-86
25975-00-878-3791 Rod, Ground, Driven, Sectional ea 2
9 ft (2.7 m) (81349) MIL-R-11461
35120-01-013-1676 Hammer, Slide (97403) 13226E7741 ea 1
47240-00-177-6154 Spout, Can, Flexible (81349) ea 1
MIL-S-1285
52910-00-066-1235 Adapter Assy, Fuel Drum (97403) ea 1
13214E7541
GOVERNMENT PRINTING Of OFFICE 1991 - 554-030/40098
067311-002
Change 2 B-2

TM 9-6115-653-14&P
Section III. BASIC ISSUE ITEMS
TM
SECTION II. COMPONENTS OF ITEM LIST
(1) (2) (3) (4) (5)
DESCRIPTION
ILLUS NATIONAL USABLE QTY
NO. STOCK NUMBER FSCM AND PART NUMBER ON CODE U/M REQ’D
14210-00-270-4512 Extinguisher, fire, Hand, 5 lb ea 1
(2 3 kg) (81348) O-E-910
2Manual, Technical ea 1
TM 5-6115-653-14&P
B-3/(B-4 blank)

TM 9-6115-653-14&P
APPENDIX C
MAINTENANCE ALLOCATION CHART
Section I. INTRODUCTION
C-1 General.
a. This section provides a general explanation of all maintenance and repair functions authorized at various
maintenance levels
b. Section II designates overall responsibility for the performance of maintenance functions on the identified end
Item or component The implementation of the maintenance functions upon the end Item or component will be consistent
with the assigned maintenance functions
c. Section III lists the tools and test equipment required for each maintenance function as referenced from
Section II
d. Section IV contains supplemental Instructions, explanatory notes and/or Illustrations required for a particular
maintenance function
C-2 Explanation of Columns in Section II
a. Group Number Column 1 The assembly group is a numerical group assigned to each assembly in a top down
breakdown sequence The applicable assembly groups are listed on the MAC in disassembly sequence beginning with the
first assembly removed In a top down disassembly sequence
b. Assembly Group Column 2 This column contains a brief description of the components of each assembly group
c. Maintenance Functions Column 3 This column lists the various maintenance functions (A through K) and
Indicates the lowest maintenance category authorized to perform these functions The symbol designations for the venous
maintenance categories are as follows
C - Operator or crew
O - Unit maintenance
F - Direct support maintenance
H - General support maintenance
D - Depot maintenance
The maintenance functions are defined as follows
A - Inspect To determine serviceability of an item by comparing its physical, mechanical, and electrical
characteristics with established standards
B - Test To verify serviceably and to detect electrical or mechanical failure by use of test equipment
C-1

TM 9-6115-653-14&P
C - Service To clean, to preserve, to charge, and to add fuel, lubricants, cooling agents, and air
If it Is desired that elements, such as painting and lubricating, be defined separately, they may be so
listed
D - Adjust To rectify to the extent necessary to bring Into proper operating range
E - Alone To adjust specified variable elements of an item to bring to optimum performance
F - Calibrate To determine the corrections to be made in the readings of instruments or test
equipment used in precise measurement Consists of the comparison of two instruments, one of
which is a ceded standard of known accuracy, to detect and adjust any discrepancy in the accuracy
of the Instrument being compared with the certified standard
G - Install To set up for use in an operational environment such as emplacement, site, or vehicle
H - Replace To replace unserviceable items with serviceable like Items
I - Repair Those maintenance operations necessary to restore an item to serviceable condition
through correction of material damage to a specific failure Repair may be accomplished at each
category of maintenance
J - Overhaul Normally, the highest degree of maintenance performed by the Army in order to
minimize time work in process is consistent with quality and economy of operation It consists of that
maintenance necessary to restore an item to completely serviceable condition as prescribed by
maintenance standard in technical publications for each Item of equipment Overhaul normally does
not return an item to like new, zero mileage, or zero hour condition
K - Rebuild The highest degree of material maintenance It consists of restoring equipment as
nearly as possible to new conditions in accordance with original manufacturing standards Rebuild is
performed only when required by operational considerations or other paramount factors and then
only at the depot maintenance category Rebuild reduces to zero the hours or miles of the equipment,
or component thereof, has been in use
d. Symbols The uppercase letter placed in the appropriate column indicates the lowest level at
which that particular maintenance function is to be performed
e. Tools and Equipment Column 4 This column is provided for referencing by code, the special
tools and test equipment, (Section III required to perform the maintenance functions (Section II)
f. Remarks Column 5 This column Is provided for referencing by code, the remarks (Section
IV) pertinent to the maintenance functions
C-3 Explanation of Columns in Section III. Tools, Test, and Support Equipment Requirements is
not applicable
C-4 Explanation of Columns in Section IV. Remarks, is not applicable.
C-2

TM 9-6115-653-14&P
Section II. MAINTENANCE ALLOCATION CHART
(1) (2) (3) (4) (5)
Maintenance functions
ABC D EFGHIJK
Group Assembly Tools and
No. group equipment Remarks
01 GENERATOR SET C C FSee TM 5-
0. 2 2 .0 3. 0 6115-464-12,-34
for generator set
maintenance
02 ACCESSORIES
Sledge Hammer C C
0.1 0.1
Fire Extinguisher C C
0.1 0.1
Slide Hammer C C
0.1 0.1
Ground Rods C C
0.1 0.1
03 TRAILER ASSEMBLY COCSee TM 9
0.5 1.0 0.5 2330-205-14&P
for trailer
Accessory Box OFmaintenance
0.5 2.0
Fuel Can/Fire CO
Extinguisher Brackets 0.1 0.5
Steps/Platforms COF
0.1 1.0 2.0
Fenders OF
1.0 2.0
Reflectors CO
0.1 0.5
Data Plates O
0.2
Leveling Jacks C
0.1
Lighting CO O O
0.1 0.3 1.0 05
Handbrake COF F
0.1 0.2 0.5 0.5
I
n
s
p
e
c
t
T
e
s
t
S
e
r
v
i
c
e
A
d
j
u
s
t
A
l
i
g
n
C
a
l
i
b
r
a
t
e
I
n
s
t
a
l
l
R
e
p
l
a
c
e
R
e
p
a
i
r
O
v
e
r
h
a
u
l
R
e
b
u
i
l
d
C-3/(C-4blank)

`TM 9-6115-653-14&P
APPENDIX D
UNIT, DIRECT, GENERAL SUPPORT AND DEPOT MAINTENANCE
REPAIR PARTS AND SPECIAL TOOLS LIST
Section I. INTRODUCTION
D-1 Scope. This manual lists repair parts and special tools required for the performance of unit,
direct and
general support and depot maintenance of the power unit
D-2 General. The Repair Parts and Special Tools List is divided into the following sections
a. Repair Parts - Section II. A list of repair parts authorized for the performance of maintenance
at the unit, direct and general support and depot level in figure and item number sequence
b. Special Tools. Test and Support Equipment - Section III. A list of special tools, test and
support equipment authorized for the performance of maintenance at the unit, direct and general
support and depot level
c. National Stock Number and Reference Number Index - Section IV. A list of National stock
numbers in numerical sequence, followed by a list of reference numbers appearing in all the listings,
in alphanumeric sequence, cross-referenced to the illustration figure number and item number
d. Reference Designator Index - Section V. The reference Designator Column includes all
assigned reference designators arranged first in alphabetical order, second in numerical order
Opposite each symbol is listed the figure and item number of the part in Section II and the reference
number
D-3 Explanation of Columns. The following provides an explanation of columns in the tabular lists
in Sections II and III
a. Illustrations (Column 1). This column is divided as follows
(1) figure number Indicates the figure number of the Illustration on which the Item Is shown
(2) Item number Indicates the number used to Identify the item on the illustration
D-1

TM 9-6115-653-14&P
b. Source, Maintenance, and Recoverability Codes (SMR), (Column 2)
(1) Source codes
GENERAL Source Codes are assigned to support Items to Indicate the manner of acquiring support
items for
maintenance, repair, or overhaul of end Items Source codes are entered in the first and second
positions of the
Uniform SMR Code format as follows
Code Definition
PA Item procured and stocked for anticipated or known usage
PB Item procured and stocked for insurance purposes because essentiality
dictates that a minimum quantity be available in the supply systems
PC Item procured and stocked and which otherwise would be coded PA except that it is
deteriorative in nature
PD Support Item, excluding support equipment, procured for initial issue or
outfitting and stocked only for subsequent or additional initial
issues or outfittings Not subject to automatic replenishment
PE Support equipment procured and stocked for Initial Issue or outfittings to
specified maintenance repair activities
PF Support equipment which will not be stocked but which will be centrally
procured on demand
PG Item procured and stocked to provide for sustained support for the life of
the equipment It is applied to an item peculiar to the equipment
which because of probable discontinuance or shutdown of
production facilities would prove uneconomical to reproduce at a later time
KD An item of depot overhaul/repair kit and not purchased separately Depot
kit defined as a kit that provides Items required at the time of
overhaul or repair
KF An item of maintenance kit and not purchased separately Maintenance kit
defined as a kit that provides an item that can be replaced at unit
or DS/GS levels of maintenance
KB Item Included in both a depot overhaul/repair kit and a maintenance kit
MO Item to be manufactured or fabricated at unit level
D-2
TM 9-6115-653-14&P
Code Definition
MF Item to be manufactured or fabricated at general support maintenance
levels
MD Item to be manufactured or fabricated at depot maintenance level
AO Item to be assembled at unit level
AF Item to be assembled at direct support maintenance levels
AH Item to be assembled at general support maintenance levels
AD Item to be assembled at depot maintenance level
XA Item is not procured or stocked because the requirements for the item will
result In the replacement of the next higher assembly
XB Item is not procured or stocked If not available through salvage,
requisition XC Installation drawing, diagram, instruction
sheet, field service drawing, that is identified by manufacturer's part number
XD A support item that is not stocked When required, item will be procured
through normal supply channels
(2) Maintenance codes: GENERAL Maintenance Codes are assigned to indicate the levels of
maintenance authorized to USE and REPAIR support items The Maintenance Codes are in the third
and fourth position of the Uniform SMR Code Format
(a) Use (third position) The Maintenance Code entered in the third position indicates the
lowest level maintenance level authorized to remove, replace, and use the support Item The
Maintenance Code entered in the third position indicates one of the following levels of maintenance
Code Application/Explanation
OSupport item is removed, replaced, used at the unit level of maintenance
FSupport item is removed, replaced, used at direct support level
HSupport item is removed, replaced, used general support level
Code Definition
DSupport items that are removed, replaced, used at depot only Depot,
Mobile Depot and Specialized Repair Activity
(b) Repair (fourth position): The maintenance code entered in the fourth position indicates
whether the item is to be repaired and identifies the lowest maintenance level with the capability to
perform complete repair (i.e., all authorized maintenance functions)
D-3
TM 9-6115-653-14&1P
Code Application/Explanation
OThe lowest maintenance level capable of complete repair of the support
Item is the unit level
FThe lowest maintenance level capable of complete repair of the support
item is direct support level
HThe lowest maintenance level capable of complete repair of the support
item is general support level
Code Definition
DThe lowest maintenance level capable of complete repair of the support
item is the depot level Depot, Mobile Depot, and
Specialized Repair Activity
Code Application/Explanation
LRepair restricted to designated Specialized Repair Activity
2Nonreparable No repair is authorized
BNo repair is authorized The item may be reconditioned by adjusting,
lubricating, etc. at the user level No parts or special tools are procured
for the maintenance of this item
(3) Recoverability codes GENERAL Recoverability Codes are assigned to support Items to
indicate the disposition action on unserviceable items The recoverability code is entered in the fifth
position of the uniform SMR Code Format as follows
Recoverability
Codes Definition
ZNonreparable Item When unserviceable, condemn and dispose at the
level indicated in column 3
OReparable item When uneconomically reparable, condemn and dispose
at unit level
FReparable item When uneconomically reparable, condemn and dispose
at direct support level
HReparable hem When uneconomically reparable, condemn and dispose
at general support level
D-4

TM 9-6115-653-14&P
Recoverability
Codes Definition
DReparable item When beyond lower level repair capability, return to depot
Condemnation and disposal not authorized below depot level
LReparable item Repair, condemnation and disposal not authorized below
depot/Specialized Repair Activity level
AItem requires special handling or condemnation procedure because of specific reasons
(i.e., precious metal content, high-dollar value, critical material or hazardous material)
Refer to appropriate manuals/directives for specific Instructions
c. National Stock Number (Column 4). Indicates the National Stock Number assigned to the Item and will be used
for requisitioning purposes
d. Description (Column 5). Indicates the Federal Item name and any additional descriptions of the Item required
The abbreviation "w/e" when used as a part of the nomenclature, Indicates that the National Stock Number Includes all
armament, equipment, accessories and repair parts Issued with the Item A part number or other reference number is
followed by the applicable five digit Federal Supply Code for Manufacturer in parentheses If two reference numbers and
Federal Supply Codes for Manufacturer are listed, the first listing refers to the Department of Defense Drawing Number,
the second listing refers to the actual part manufacturer Items that are included in kits and sets are listed below the name
of the kit or set with the quantity of each item in the kit or set indicated in the quantity incorporated in unit column
e. Unit of Measure (U/M) (Column 6). Indicates the standard of the basic quantity of the listed item as used in
performing the actual maintenance function This measure is expressed by a two-character alphabetical abbreviation (e 9,
ea. in pr. etc. ) When the unit of measure differs from the unit of Issue, the lowest unit of issue that will satisfy the
required units of measure will be requisitioned
f. Quantity Incorporated in Unit (Column 7). Indicates the quantity of the item used in the assembly group A "V,,
appearing in this column in lieu of a quantity indicates that a definite quantity cannot be Indicated (e g, shims, spacers,
etc. )
D-4 Special Information.
a. Identification of Usable On Codes for this manual is not applicable
b. Army unit maintenance personnel will extract the items which they require from Section II, 3rd or 4th position of
column 2 of the direct and general support RPSTL Parts which are manufactured or assembled at a higher level than that
authorized to Install the part are Indicated by the use of higher level code in the source column
c. Stockage Information Army stockage is demand based in accordance with AR 710-2 Repair parts listed in this
publication represent those authorized for use at Indicated maintenance levels and will be requisitioned on an as-required
basis until stockage is Justified In accordance with AR 710-2
D-5

TM 9-6115-653-14&P
d. In the parts list, some items are indented to show that they are a component of the Item under which they are
indented
D-5 How to Locate Repair Parts.
a. When National Stock Number or Reference Number is Unknown:
(1) Using the table of contents, determine the functional group, i.e., batteries and related parts, exhaust and
breather pipes, within which the repair part belongs This is necessary since illustrations are prepared for
functional groups
(2) Find the illustration covering the functional group to which the repair part belongs
(3) Identify the repair part on the Illustration and note the illustration figure and Item number of the repair part
(4) Using the Repair Parts Listing, find the figure and Item number noted on the illustration
b. When National Stock Number or Reference Number is Known:
(1) Using the Index of National Stock Numbers and Reference Numbers, find the pertinent national stock
number or reference number This index is in ascending NSN sequence followed by a list of reference
numbers in alphanumeric sequence, cross-referenced to the illustration figure number and item number
(2) After finding the figure and item number, locate the figure and item number in the repair parts list
D-6 Use of the Reference Designator Index Section. This Section (Section V) is used when the reference designator
is known or identified by other technical manuals supporting this equipment The reference number is given in this section
If description or location is desired, note the figure and item number Turn to Section II to the noted figure and item
number The location of the pad and description is given in this listing
D-7 Abbreviations
Abbreviations Explanation
Not Applicable
D-8 Federal Supply Codes for Manufacturers.
Code Manufacturer
Not Applicable
D-9 Recommendation for Maintenance Publication Improvements. Report of errors, omissions, and
recommendations for improving this publication by the individual user is encouraged Reports should be submitted
directly to Commander, US Army Troop Support Command, ATTN AMSTR-MCTS, 4300 Goodfellow Boulevard,
St. Louis, MO 63120-1798.
D-6

Figure D-1. Generator Set.
(D-7 blank)/D-8

TM 9-6115-653-14&P
Group 01- GENERATOR
D-1 16115 00 118 1244 GENERATOR SET, DIESEL EA 1
MEP 113A 97403
D-1 2PAFZZ 5305 00 J24 7222 SCREW, CAP, HEX EA 8
MS90728 164 96906
D 1 3PAFZZ 5310 01 185 0586 WASHER, REVELED EA 4
13206E4482 3 97403
D-1 4PAFZZ 531001 8238803 WASHER,FLATEA 8
MS27183 21 96906
D-1 5PAFZZ 5310 00 269 4040 NUT, SELF-LOCKING EA 8
MS51922 49 96906
(3)
USMC
(5)
DESCRIPTION USABLE
REF NUMBER ON
& MFR CODE CODE
(8)
USMC
QTY
PER
EQUIP
(7)
QTY
INC
IN
UNIT
(6)
U/M
a
SSI
(2)
SMR CODE
(1)
ILLUSTRATION
d
USMC
c
NAVY
b
AIR
FORCE
a
ARMY
(a)
FIG
NO.
(b)
ITEM
NO.
(4)
NATIONAL
STOCK
NUMBER
b
REPL
FACTOR
D-9

TM 9-6115-653-14&P
Figure D-2. Trailer Body
D-10

TM 9-6115-653-14&P
Group 03 - Trailer
03 - Body
D-2 1PAOZZ 2590-00-473-6331 BRACKET ASSEMBLY, LIQUID EA 2
CONTAINER MS53052-1 96906
D-2 2XBOZZ 5305-00-269-3210 SCREW, CAP, HEXEA 8
MS90725 62 96906
D-2 3PAOZZ 5310-00 080-6004 WASHER, FLAT EA 20
MS27183-14 96906
D-2 4PAOZZ 5310-00-087-4652 NUT, SELF-LOCKING EA 12
MS51922-17 96906
D-2 5PAOZZ 4210-00-223-4857 BRACKET, FIRE EXTINGUISHER EA 1
13214E1235 97403
D-2 6PAOZZ 5305-00-984-5691 SCREW, MACHINE EA 4
MS35206 311 96906
D-2 7PAOZZ 5340-00-999-6277 BRACKET ASSEMBLY EA 1
13214E1214 97403
D-2 8PAOZZ 5305-00 068-0502 SCREW, CAP, HEX EA 3
MS90725 6 96906
D-2 9PAOZZ 5310-00-809-4058 WASHER, FLAT EA 3
MS27183-10 96906
D-2 10 PAOZZ 5130-00-088-1251 NUT, SELF-LOCKING EA 3
'MS51922-1 96906
D-2 11 PAOZZ 5304-00-914-2578 CLIP, SPRING EA 1
13214E1213-1 97403
D-2 12 PAOZZ 5310 00-543-4717 NUT, PLAIN, WING EA 1
MS35435-28 96906
D-2 13 PAOZZ 5310-00-584-7995 NUT, PLAIN, HEX EA 1
MS16203-27 96906
D-2 14 PAOZZ 5310-00 004-9129 WASHER, FLAT EA 4
AN961 - 616S 81352
D-2 14A PAOZZ 5310-00-187-2413 WASHER, FLAT EA 4
AN961-616T 81352
D-2 15 PAOZZ 5310-00-026-5824 NUT, PLAIN, HEX EA 2
MS16203 39 96906
D-2 16 PAOZZ 5310-00 022 8847 LOCKWASHER EA 2
MS35333-110 96906
D-2 17 PAOZZ 5307-00-227-1741 STUD EA 1
13214E1223 97403
D-2 18 MDFZZ 9905-01-085-7703 PLATE, IDENTIFICATION EA 1
13205E4918 97403
D-2 19 MDFZZ PLATE, IDENTIFICATION EA 1
13216E7604-39 97403
D-2 20 PAOZZ 5305-00-253-5616 SCREW, DRIVE EA 4
MS21318-21 96906
(3)
USMC
(5)
DESCRIPTION USABLE
REF NUMBER ON
& MFR CODE CODE
(8)
USMC
QTY
PER
EQUIP
(7)
QTY
INC
IN
UNIT
(6)
U/M
a
SSI
(2)
SMR CODE
(1)
ILLUSTRATION
d
USMC
c
NAVY
b
AIR
FORCE
a
ARMY
(a)
FIG
NO.
(b)
ITEM
NO.
(4)
NATIONAL
STOCK
NUMBER
b
REPL
FACTOR
Change 1 D-11

TM 9-6115-653-14&P
Group 03 - TRAILER
03 Body (cont)
D-2 21 PAOZZ 4730-00-908-3193 CLAMP, HOSE EA 1
MS35842-12 96803
D-2 22 PAOZZ 5325-00-290-1960 GROMMET EA 1
MS35489 -7 96906
D-2 23 MHOZZ HOSE EA I
ZZ-H-426 81348
D-2 24 PAOZZ 5940-00-115-4992 TERMINAL LUG EA 2
MS20659-110 96906
D-2 25 PAOZZ 8145-00-395-8799 WIRE, NO. 6AWG FT AR
ZZ-W-343 81348
(3)
USMC
(5)
DESCRIPTION USABLE
REF NUMBER ON
& MFR CODE CODE
(8)
USMC
QTY
PER
EQUIP
(7)
QTY
INC
IN
UNIT
(6)
U/M
a
SSI
(2)
SMR CODE
(1)
ILLUSTRATION
d
USMC
c
NAVY
b
AIR
FORCE
a
ARMY
(a)
FIG
NO.
(b)
ITEM
NO.
(4)
NATIONAL
STOCK
NUMBER
b
REPL
FACTOR
D-12

TM 9-6115-653-14&P
Figure D-3. Accessory Box.
D-14

TM 9-6115-653-14&P
03 - Accessory Box
D-3 1XBFFF 2450-00-903-3503 ACCESSORY BOX EA 1
13214E1256 97403
D-3 2PAFZZ 5340-00-975-2126 CATCH, CLAMPING AND STRIKE EA 2
ASSEMBLY
MS18015-1 96906
D-3 3PAFZZ 5320-00-753-3830 RIVET EA 8
MS20613-4P5 96906
D-3 4PAOZZ 5306-00-225-8498 SCREW,CAP,HEX EA 3
MS90725-33 96906
D-3 5PAOZZ 5310-00-087-7493 WASHER,FLAT EA 3
MS27183-13 96906
D-3 6PAOZZ 5310-00-985-3806 NUT, SELF LOCKING EA 3
MS51922-9 96906
(3)
USMC
(5)
DESCRIPTION USABLE
REF NUMBER ON
& MFR CODE CODE
(8)
USMC
QTY
PER
EQUIP
(7)
QTY
INC
IN
UNIT
(6)
U/M
a
SSI
(2)
SMR CODE
(1)
ILLUSTRATION
d
USMC
c
NAVY
b
AIR
FORCE
a
ARMY
(a)
FIG
NO.
(b)
ITEM
NO.
(4)
NATIONAL
STOCK
NUMBER
b
REPL
FACTOR
D-15

TM 9-6115-653-14&P
Figure D-4. Front Steps.
D-16

TM 9-6115-653-14&P
03 - FRONT STEPS
D-4 1XBOFF 2330-01-150-9864 STEP,FRONT,CURBSIDE EA 1
13214E1461 97403
D-4 2XBOFF 2510-00-196-682 STEP, FRONT, ROADSIDE EA 1
13214E1462 97403
D-4 3PAOZZ 5306 00-225-499 SCREW,CAP,HEX EA 18
MS90725-4 96906
D-4 4PAOZZ 5310-00 081-4219 WASHER, FLAT EA 60
MS27183-12 96906
D-4 5PAOZZ 5310-00-984-3806 NUT, SELF-LOCKING EA 30
MS51922-9 96906
D-4 6PAOZZ 5305-00-225-9081 SCREW, CAP, HEX EA 2
MS90725 36 96906
D-4 7PAOZZ 5306 00-225-8503 SCREW, CAP, HEX EA 10
MS90725 39 96906
D-4 8XDFZZ 5365-00-944-2692 SPACER EA 2
13214E1267-1 97403
D-4 9 XBFZZ CHANNEL EA 1
13214E1268 97403
D-4 10 XBFZZ 5365-00-945-5998 SPACER EA 2
13214E1267-2 97403
D-4 10 XBFZZ CHANNEL EA 1
13214E1463 94703
(3)
USMC
(5)
DESCRIPTION USABLE
REF NUMBER ON
& MFR CODE CODE
(8)
USMC
QTY
PER
EQUIP
(7)
QTY
INC
IN
UNIT
(6)
U/M
a
SSI
(2)
SMR CODE
(1)
ILLUSTRATION
d
USMC
c
NAVY
b
AIR
FORCE
a
ARMY
(a)
FIG
NO.
(b)
ITEM
NO.
(4)
NATIONAL
STOCK
NUMBER
b
REPL
FACTOR
Change 1 D-17

TM 9-6115-653-14&P
Figure D-5. Rear Steps.
D-18

TM 9-6115-653-14&P
03 - Rear Steps
D-5 1XBOFF 5340-01-875-8820 BRACKET, STEP, REAR EA 2
13214E1309-1 97403
D-5 2PAOZZ 5305-00-269-3213 SCREW, CAP, HEX EA 6
MS90725-62 96906
D-5 3PAOZZ 5310-00-080-6004 WASHER, FLAT EA 6
MS27183-14 96906
D-5 4PAOZZ 5310-00-087-4652 NUT, SELF-LOCKING EA 6
MS51922-17 96906
D-5 5XBOFF 2510-01-N73-0729 STEP, REAR, ROADSIDE EA 1
13214E1261 97403
D-5 6XBOFF 2510-01-N73-0794 STEP, REAR, CURBSIDE EA 1
13214E1259 97403
D-5 7PAOZZ 5306-00-225-8499 SCREW, CAP,HEX EA 20
MS90725-34 96906
D-5 8PAOZZ 5310-00-081-4219 WASHER, FLAT EA 40
MS27183-12 96906
D-5 9PAOZZ 5310-00-984-3806 NUT, SELF-LOCKING EA 20
MS51922-9 96906
(3)
USMC
(5)
DESCRIPTION USABLE
REF NUMBER ON
& MFR CODE CODE
(8)
USMC
QTY
PER
EQUIP
(7)
QTY
INC
IN
UNIT
(6)
U/M
a
SSI
(2)
SMR CODE
(1)
ILLUSTRATION
d
USMC
c
NAVY
b
AIR
FORCE
a
ARMY
(a)
FIG
NO.
(b)
ITEM
NO.
(4)
NATIONAL
STOCK
NUMBER
b
REPL
FACTOR
D-19

TM 9-6115-653-14&P
Figure D-6. Fenders.
D-20

TM 9-6115-653-14&P
Group 03 - Fenders
D-6 1XBOFF 2510-01-213-3242 FENDER, ROADSIDE EA 1
13214E1264 97403
D-6 2XBOFF 2510-01-195-4273 FENDER, CURBSIDE EA 1
13214E1263 97403
D-6 3PAOZZ 5306-00-225-8500 SCREW, CAP, HEX EA 10
MS90725-35 96506
D-6 4PAOZZ 5310-00-081-4219 WASHER,FLAT EA 20
MS27183-12 96906
D-6 5PAOZZ 5310-00-984-3806 NUT, SELF-LOCKING EA 10
MS51922-9 96906
(3)
USMC
(5)
DESCRIPTION USABLE
REF NUMBER ON
& MFR CODE CODE
(8)
USMC
QTY
PER
EQUIP
(7)
QTY
INC
IN
UNIT
(6)
U/M
a
SSI
(2)
SMR CODE
(1)
ILLUSTRATION
d
USMC
c
NAVY
b
AIR
FORCE
a
ARMY
(a)
FIG
NO.
(b)
ITEM
NO.
(4)
NATIONAL
STOCK
NUMBER
b
REPL
FACTOR
D-21

TM 9-6115-653-14&P
Figure D-7. Personnel Platform.
D-22

TM 9-6115-653-14&P
03 - Personnel Platform
D-7 1PAOZZ 5340-01-156-6142 ANCHOR, PLATFORM EA 2
13214E1303 97403
D-7 2XBOFF 2510-00-926-3517 PLATFORM, PERSONNEL EA 1
13214E1298 97403
D-7 3PAOZZ 5305-00-939-9204 SCREW, CAP, HEX EA 2
MS90725-187 96906
D-7 4PAOZZ 5310-00-809-8533 WASHER, FLAT EA 4
MS27183-23 96906
D-7 5PAOZZ 5310-00-067-6356 NUT, SELF LOCKING EA 2
MS51922-57 96906
D-7 6XBOFF 5340-00-097-7676 BRACKET, LEFT EA 1
13214E1299 97403
D-7 7XBOFF 5340-00-999-6441 BRACKET, RIGHT EA 1
13214E1300 97403
D-7 8PAOZZ 5305-00-042-6417 SCREW, CAP, HEX EA 6
MS90725-113 96906
D-7 9PAOZZ 5310-00-809-5998 WASHER, FLAT EA 6
MS27153-18 96906
D-7 10 PAOZZ 5310-00-225-6993 NUT, SELF-LOCKING EA 6
MS51922-33 96906
(3)
USMC
(5)
DESCRIPTION USABLE
REF NUMBER ON
& MFR CODE CODE
(8)
USMC
QTY
PER
EQUIP
(7)
QTY
INC
IN
UNIT
(6)
U/M
a
SSI
(2)
SMR CODE
(1)
ILLUSTRATION
d
USMC
c
NAVY
b
AIR
FORCE
a
ARMY
(a)
FIG
NO.
(b)
ITEM
NO.
(4)
NATIONAL
STOCK
NUMBER
b
REPL
FACTOR
D-23

TM 9-6115-653-14&P
Figure D-8. Handbrakes
D-24

TM 9-6115-653-14&P
03 - Handbrakes
D-8 1XBFZZ 6115-01-876-2084 STRAP, BRAKE CABLE EA 2
13214E1271 97403
D-8 2PAFZZ BRACKET, BRAKE CABLE EA 2
13214E1270 97403
D-8 3PAOZZ 5306-00-225-8499 SCREW, CAP, HEX EA 10
MS90725-34 96906
D-8 4PAOZZ SCREW, CAP, HEX EA 2
MS90725-39 96906
D-8 5PAOZZ 5310-00-081-4219 WASHER, FLAT EA 20
MS27183-12 96906
D-8 6PAOZZ 5310-00-984-3806 NUT, SELF-LOCKING EA 12
MS51922-9 96906
D-8 7XBFZZ 5340-01-226-5766 BRACKET, BRAKE EA 2
13214E1269 97403
D-8 8XBFZZ 5365-00-989-3304 SPACER EA 4
13214E1272 97403
(3)
USMC
(5)
DESCRIPTION USABLE
REF NUMBER ON
& MFR CODE CODE
(8)
USMC
QTY
PER
EQUIP
(7)
QTY
INC
IN
UNIT
(6)
U/M
a
SSI
(2)
SMR CODE
(1)
ILLUSTRATION
d
USMC
c
NAVY
b
AIR
FORCE
a
ARMY
(a)
FIG
NO.
(b)
ITEM
NO.
(4)
NATIONAL
STOCK
NUMBER
b
REPL
FACTOR
Change 1 D-25

TM 9-6115-653-14&P
Section III. SPECIAL TOOLS, TEST, AND SUPPORT EQUIPMENT
Not Applicable
Section iV. NATIONAL STOCK NUMBER AND REFERENCE NUMBER INDEX
FIGURE ITEM FIGURE ITEM
NSN NO. NO. NSN NO. NO.
2330-01-150-9864 D-4 1D-8 5
2450-00-903-3503 D-3 15310-00-087-4652 D-2 4
2510-00-926-3517 D-7 2D-5 4
2510-01-N73-0729 D-5 55310-00-087-7493 D-3 5
2510-01-N73-0794 D-5 65310-00-088-1251 D-2 10
2510-01-195-4273 D-6 25310-00-187-2413 D-2 14
2510-01-196-4682 D-4 25310-00-225-6993 D-7 10
2510-01-213-3242 D-6 15310-00-269-4040 D-1 5
2590-00-473-6331 D-2 15310-00-543-4717 D-2 12
4210-00-223-4857 D-2 55310-00-584-7995 D-2 13
4730-00-908-3193 D-2 21 5310-00-809-4058 D-2 9
5304-00-914-2578 D-2 11 5310-00-809-5998 D-7 9
5305-00-042-6417 D-7 85310-00-809-8533 D-7 4
5305-00-068-0502 D-2 85310-00-984-3806 D-4 5
5305-00-225-9081 D-4 6D-5 9
5305-00-253-5616 D-2 20 D-6 5
5305-00-269-3210 D-2 2D-8 6
5305-00-269-3213 D-5 25310-00-985-3806 D-3 6
5305-00-724-7222 D-1 25310-01-185-0586 D-1 3
5305-00-939-9204 D-7 35310-01-823-8803 D-1 4
5305-00-984-5691 D-2 65320-00-753-3830 D-3 3
5306-00-225-8398 D-3 45325-00-290-1960 D-2 22
5306-00-225-8499 D-4 35340-00-087-7676 D-7 6
D-5 75340-00-975-2126 D-3 2
D-8 35340-00-999-6277 D-2 7
5306-00-225-8500 D-6 35340-00-999-6441 D-7 7
5306-00-225-8503 D-4 75340-01-875-8820 D-5 1
5307-00-227-1741 D-2 17 5340-01-156-6142 D-7 1
5310-00-004-9129 D-2 14 5340-01-226-5766 D-8 7
5310-00-022-8847 D-2 16 5365-00-944-2692 D-4 8
5310-00-026-5824 D-2 15 5365-00-945-5998 D-4 10
5310-00-067-6356 D-7 55365-00-989-3304 D-8 8
5310-00-080-6004 D-2 35940-00-115-4992 D-2 24
D-5 36115-00-118-1244 D-1 1
5310-00-081-4219 D-4 46115-01-876-2084 D-8 1
D-5 86145-00-395-8799 D-2 25
D-6 49905-01-085-7703 D-2 18
*U.S. GOVERNMENT PRINTING OFFICE 1991 554-123/20096
PIN: 0-67311-001
Change 1 D-26

TM 9-6115-653-14&P
Section IV. NATIONAL STOCK STOCK NUMBER AND REFERENCE NUMBER INDEX (cont)
Reference Fig. Item Reference Fig. Item
Number FSCM No.No. Number FSCM No. No.
AN961-616S 81352 D-2 14 MS90725-34 96906 D-4 3
AN961-616T 81352 D-2 14 96906 D-5 7
MS16203-27 96906 D-2 13 96906 D-8 3
MS16203-39 96906 D-2 15 MS90725-35 96906 D-6 3
MS18015-1 96906 D-3 2MS90725-36 96906 D-4 6
MS20613-4P5 96906 D-3 3MS90725-39 96906 D-4 7
MS20659-110 96906 D-2 24 96906 D-8 4
MS21318-21 96906 D-2 20 MS90725-6 96906 D-2 8
MS27183-10 96906 D-2 9MS90725-62 96906 D-2 2
MS27183-12 96906 D-4 4 96906 D-5 2
96906 D-5 8QQ-W-343 81348 D-2 25
96906 D-6 4ZZ-H-428 81348 D-2 23
96906 D-8 513205E4918 97403 D-2 18
MS27183-13 96906 D-3 513206E4482-3 97403 D-1 3
MS27183-14 96906 D-2 313214E1213-1 97403 D-2 11
96906 D-5 313214E1214 97403 D-2 7
MS27183-18 96906 D-7 913214E1223 97403 D-2 17
MS27183-21 96906 D-1 413214E1235 97403 D-2 5
MS27183-23 96906 D-7 413214E1256 97403 D-3 1
MS35206-311 96906 D-2 613214E1259 97403 D-5 6
MS35333-110 96906 D-2 16 13214E1261 97403 D-5 5
hAS35435-28 96906 D-2 12 13214E1263 97403 D-6 2
MS35489-27 96906 D-2 22 13214E1264 97403 D-6 1
MS35842-12 96906 D-2 21 13214E1267-1 97403 D-4 8
MS51922-1 96906 D-2 10 13214E1267-2 97403 D-4 10
MS51922-17 96906 D-2 413214E1268 97403 D-4 9
96906 D-5 413214E1269 97403 D-8 7
MS51922-33 96906 D-7 10 13214E1270 97403 D-8 2
MS51922-49 969O6 D-1 513214E1271 97403 D-8 1
MS51922-57 96906 D-7 513214E1272 97403 D-8 8
MS51922-9 96906 D-3 613214E1298 97403 D-7 2
96906 D-4 513214E1299 97403 D-7 6
96906 D-5 913214E1300 97403 D-7 7
96906 D-6 513214E1303 97403 D-7 1
96906 D-8 613214E1309-1 97403 D-5 1
MS53052-1 96906 D-2 1 13214E1461 97403 D-4 1
MS90725-113 96906 D-7 813214E1462 97403 D-4 2
MS90728-164 96906 D-1 213214E1463 97403 D-4 11
MS90725-187 96906 D-7 313216E7604-39 97403 D-2 19
MS90725-33 96906 D-3 4
D-27
TM 9-6115-653-14&P
Section V. REFERENCE DESIGNATOR INDEX
Not Applicable
D-28
TM 9-6115-653-14&P
By Order of the Secretary of the Army:
CARL E. VUONO
General, United States Army
Chief of Staff
Official:
WILLIAM J. MEEHAN, II
Brigadier General, United States Army
The Adjutant General
DISTRIBUTION:
To be distributed in accordance with DA Form 12-25A, Operator, Unit, Direct Support and
General Support Maintenance Requirements for Generator Set, Diesel Engine Driven, Trailer
Mounted.
*U.S. GOVERNMENT PRINTING OFFICE 1990 754-029/20047

The Metric System and Equivalents
Linear Measure Liquid Measure
1 centiliter = 10 milliters = .34 fl. ounce
1 centimeter = 10 millimeters = .39 inch 1 deciliter = 10 centiliters = 3.38 fl. ounces
1 decimeter = 10 centimeters = 3.94 inches 1 liter = 10 deciliters = 33.81 fl. ounces
1 meter = 10 decimeters = 39.37 inches 1 dekaliter = 10 liters = 2.64 gallons
1 dekameter = 10 meters = 32.8 feet 1 hectoliter = 10 dekaliters = 26.42 gallons
1 hectometer = 10 dekameters = 328.08 feet 1 kiloliter = 10 hectoliters = 264.18 gallons
1 kilometer = 10 hectometers = 3,280.8 feet Square Measure
Weights 1 sq. centimeter = 100 sq. millimeters = .155 sq. inch
1 centigram = 10 milligrams = .15 grain 1 sq. decimeter = 100 sq. centimeters = 15.5 sq. inches
1 decigram = 10 centigrams = 1.54 grains 1 sq. meter (centare) = 100 sq. decimeters = 10.76 sq. feet
1 gram = 10 decigram = .035 ounce 1 sq. dekameter (are) = 100 sq. meters = 1,076.4 sq. feet
1 decagram = 10 grams = .35 ounce 1 sq. hectometer (hectare) = 100 sq. dekameters = 2.47
acres
1 hectogram = 10 decagrams = 3.52 ounces 1 sq. kilometer = 100 sq. hectometers = .386 sq. mile
1 kilogram = 10 hectograms = 2.2 pounds
1 quintal = 100 kilograms = 220.46 pounds Cubic Measure
1 metric ton = 10 quintals = 1.1 short tons 1 cu. centimeter = 1000 cu. millimeters = .06 cu. inch
1 cu. decimeter = 1000 cu. centimeters = 61.02 cu.
inches
1 cu. meter = 1000 cu. decimeters = 35.31 cu. feet
Approximate Conversion Factors
To change To Multiply by To change To Multiply by
inches centimeters 2.540 ounce-inches Newton-meters .007062
feet meters .305 centimeters inches .394
yards meters .914 meters feet 3.280
miles kilometers 1.609 meters yards 1.094
square inches square centimeters 6.451 kilometers miles .621
square feet square meters .093 square centimeters square inches .155
square yards square meters .836 square meters square feet 10.764
square miles square kilometers 2.590 square meters square yards 1.196
acres square hectometers .405 square kilometers square miles .386
cubic feet cubic meters .028 square hectometers acres 2.471
cubic yards cubic meters .765 cubic meters cubic feet 35.315
fluid ounces milliliters 29,573 cubic meters cubic yards 1.308
pints liters .473 milliliters fluid ounces .034
quarts liters .946 liters pints 2.113
gallons liters 3.785 liters quarts 1.057
ounces grams 28.349 liters gallons .264
pounds kilograms .454 grams ounces .035
short tons metric tons .907 kilograms pounds 2.205
pound-feet Newton-meters 1.356 metric tons short tons 1.102
pound-inches Newton-meters .11296
Temperature (Exact)
°FFahrenheit 5/9 (after Celsius °C
temperature subtracting 32) temperature
PIN: 067311-000