Shelter Kit Manual Rev 2E.p65 TM Underground Kita
User Manual: TM-Underground-Shelter-Kita of /SteelBuildings
Open the PDF directly: View PDF
.
Page Count: 58

The Bunker Book
American Safe Room’s
Underground Blast Resistant
Bomb/Fallout Shelter System
www.AmericanBombShelter.com
File: TM-Underground-Shelter-Kit.pdf
Revision: 2E
Date: June 29, 2011
Contact information
TM-Underground-Shelter-Kit.pdf
Revision: 2E — Date: June 29, 2011
Address:
Shelter questions and support:
Engineering:
Main telephone:
FAX:
Websites:
American Safe Room
868 Murdock Drive
Oakland, OR 97462
541-315-0987
shelters@AmericanBombShelter.com
info@mailasr.com
541-459-1806
503-212-6695
www.AmericanBombShelter.com
www.AmericanSafeRoom.com
www.AmericanIsolationRoom.com
COPYRIGHT ©2011 LEONARD M. HENRIKSON, ALL RIGHTS RESERVED
THE DRAWINGS AND TEXT IN THIS MANUAL ARE COPYRIGHTED MATERIAL
Version notes
June 22, 2011
This is the American Safe Room underground shelter kit manual, version 2D.
It supersedes all previous versions.
The revision 2 manuals are the first revision to incorporate the 200, 300, and 400 series shelters.
Planned additions:
• Horizontal “tunnel” kit to attach two or more shelters together or a shelter to a basement
• Stair kit to allow access to a vertical blast door
• Variable length shelter kits that allow the length to be adjusted in 32 inch increments
Section A
Description, notes, and cautions ...................................................................... 5
Ordering a shelter kit ..................................................................................... 6
Shelter kit work sheet .................................................................................... 7
Choosing the shelter size and location .............................................................. 8
Section B
Excavation overview ....................................................................................... 9
Series 100 ............................................................................................. 10, 11
Series 200 ............................................................................................. 12, 13
Series 300 ............................................................................................. 14, 15
Series 400 ............................................................................................. 16, 17
Section C
Shelter floor overview .................................................................................. 18
Floor slab size............................................................................................. 19
Floor slab horizontal rebar placement ............................................................. 20
Floor slab vertical rebar placement ................................................................ 21
Shelter grounding system ............................................................................. 22
Section D
Constructing the walls .................................................................................. 23
Section E
Ceiling truss overview .................................................................................. 24
Ceiling trusses — setting and centering .......................................................... 25
Section F
Ceiling form boards overview ........................................................................ 26
Dimensions of form boards ........................................................................... 26
Ceiling form boards — dimension drawings and quantities ................................ 27
Ceiling form boards — installing the long perimeter form boards ....................... 28
Ceiling form boards — installing the short perimeter form boards ...................... 29
Ceiling form boards — installing the bottom form boards .................................. 30
Ceiling form boards — securing the perimeter boards ....................................... 31
Section G
Ceiling penetration kits overview ................................................................... 32
Ceiling penetrations - electrical, water, and waste water ................................... 33
Ceiling penetrations - ventilation pipes and blast valves .................................... 34
Section H
Ceiling — rebar layout .................................................................................. 35
Ceiling — installing the rebar ........................................................................ 36
Table of contents
Table of contents – continued
Section I
Riser hatch and ladder assemblies ................................................................. 37
Mounting the riser on the ceiling trusses ......................................................... 38
Mounting the riser over conventional concrete openings ................................... 38
Ladder assembly — installation ..................................................................... 39
Section J
Pouring the ceiling and wall concrete .............................................................. 40
Roof expansion groove detail ......................................................................... 40
Ceiling slab slope ......................................................................................... 41
Section K
Exterior sealant ........................................................................................... 42
Back filling the excavation ............................................................................ 42
Section L
NBC air filtration system overview ................................................................. 43
NBC air filtration system parts ....................................................................... 44
Section M
Optional french drain system ......................................................................... 45
Optional vertical blast door ........................................................................... 46
Optional vertical blast door installation ........................................................... 47
Optional automatic ventilation system ............................................................ 48
Optional differential pressure gauge overview ................................................. 49
Optional differential pressure gauge installation............................................... 50
Optional electrical connection kit overview ...................................................... 51
Optional electrical connection kit installation ................................................... 52
Optional electrical connection kit wiring instructions ......................................... 53
Optional toilet installation kit overview ........................................................... 54
Optional toilet installation kit parts ................................................................ 55
Optional toilet installation kit dimensions ........................................................ 56
Section N
Reference - rebar cut and forming chart ......................................................... 57
Reference - certification of pressure rating ...................................................... 58
TM-Underground-Shelter-Kit.pdf
Revision: 2E — Date: June 29, 2011
Section
Page 5
Description
The American Safe room Shelter System is comprised of a series of individual kits that can be
supplied together to build a complete shelter or separately for use in your own shelter design.
There are four series of shelters: 100, 200, 300, and 400. They correspond to different widths of
shelters. The width is the span distance that the load rating is computed — side to side, not end to
end.
The ceiling trusses span the width and support the ceiling concrete while it is curing. After it cures,
these trusses reinforce the concrete, adding a significant amount of steel right where it can be best
used to resist the high pressures of a nearby detonation.
All of the necessary penetrations can be through the ceiling — ingress/egress riser hatch, air
ventilation pipes, electrical, plumbing, and communication. These penetrations can be installed
before the ceiling pour and cast into place.
The walls of the shelter can be built using the block construction shown in this manual or
conventional steel reinforced concrete construction. Either construction method is made easier
because of the lack of requiring the penetrations to be through the walls.
As an option, an American Safe Room blast door can be installed in a wall of the shelter when one or
more walls are exposed. Blast doors greatly increase the usability of a shelter by eliminating the
need to get supplies, pets, or elderly and infirmed people up and down a ladder.
Notes and cautions
The construction techniques described in this manual are intended as a guide for experienced
professionals.
The ceiling trusses and riser assembly are heavy and require the use of heavy lifting equipment and
qualified operators. The proper equipment should be used for every operation.
This kit is designed to be easily installed by a licenced general contractor utilizing subcontractors as
necessary. The skills and certifications necessary to build a complete underground shelter include
excavation, concrete forms and pouring, masonry, electrical, plumbing, and structural skills. An
experienced, licensed general contractor is highly recommended to oversee this project.
All of the items in these kits have been designed to conform to the Uniform Building Code. Local
building codes and ordinances do vary by location. It is the responsibility of the builder and owner
to insure that all construction techniques and practices meet all building code requirements before
construction begins. This includes all permits and inspections.
A
TM-Underground-Shelter-Kit.pdf
Revision: 2E — Date: June 29, 2011
Section
Page 6
Ordering a shelter kit
Getting a quotation
The first step is to determine exactly what shelter you need. See the worksheet on page 6 that
shows all of the options available. Next, contact our shelter sales department for a quotation — see
page 2 for contact information. You will need to give us the details from the worksheet, a shipping
address, and an e-mail address so we can send you a quotation.
Terms
All items are shipped prepaid. Special order items require a 50% deposit at time of order and the
balance due before shipping. When you order is complete, a proof picture will be e-mailed to you,
you arrange payment for the balance due, and we ship your order right out by truck line and send
you the tracking number. Most locations will see about one week shipping time.
Payment options
American Safe Room accepts checks (held until cleared), certified checks, and wire transfers.
Availability
The shelter kit is considered a special order item. We build them to order — first come, first serve.
We can usually ship a shelter order in about five weeks.
Custom engineering
We can custom engineer shelter modifications if we have enough bandwith in our engineering
department. At times, we may decide to not bid on custom jobs. Please contact our shelter sales
department to find out if we are able to provide custom engineering and the costs involved.
What is included with every kit
Seven each steel trusses with brackets and fasteners (nuts, bolts, and washers)
Complete cut and formed rebar kit
One each riser hatch with ladder (other options available)
One each complete blast protected NBC air filtration system that includes:
one each ASR-100-AV-NBC Safe Cell NBC air filter
one each ASR-50-BB emergency hand pump
two each ASR-101-BV blast valves
one each ASR-50-OP overpressure valve
Two each 48 inch ceiling ventilation pipes — one each for air intake and outflow
One each ceiling electrical penetration, water penetration, and waste water penetration kit
Optional items
French drain — see page 45
Blast door — see page 46
Automatic ventilation system — see page 48
Differential pressure gauge — see page 49
Electrical system — see page 51
Toilet installation kit — see page 54
What is not included
Concrete blocks
Form boards
Concrete, mortar, and gravel
Rebar safety caps
External plumbing and wiring
Anything else not explicitly listed above in the “included” list
A
TM-Underground-Shelter-Kit.pdf
Revision: 2E — Date: June 29, 2011
Section
Page 7
Shelter kit order worksheet
We will need the information below and a shipping address to accurately quote your kit. Please fill in
the quantities below and return this information by e-mail to shelters@AmericanBombShelter.com or
by FAX to 503-212-6695. Manuals referenced below are available at www.AmericanBombShelter.com
Shelter size
___ 100 series, 8’8” x 20’ inside dimensions, total shielding: ___ feet, see page 11
___ 200 series, 10’ x 20’ inside dimensions, total shielding: ___ feet, see page 13
___ 300 series, 12’ x 20’ inside dimensions, total shielding: ___ feet, see page 15
___ 400 series, 14’ x 20’ inside dimensions, total shielding: ___ feet, see page 17
Doors and hatches
___ Single leaf blast door, part number: _________________________, see pages 46 – 48
___ Riser blast hatch, part number: _________________________, see pages 37 – 39
see the respective manuals for information how to generate the part number
Ceiling penetration kits
___ Ventilation pipes — 48” ceiling penetration pipes without sleeve kit, see page 34
see the vent pipe manual for more information and options
___ Electrical penetration kit, see pages 32 and 33
___ Water supply penetration kit, see pages 32 and 33
___ Waste (septic) penetration kit, see pages 32 and 33
Filtration and ventilation — see the respective manuals for information about these parts
___ Complete blast protected NBC air filtration system, see pages 43 and 44
Includes: one ASR-100-AV-NBC Safe Cell NBC air filtration system
one ASR-50-BB backup hand pump
two ASR-101-BV blast valves
one ASR-50-OP overpressure valve
Or, choose your components individually:
___ ASR-100-AV-NBC — AC and DC Safe Cell NBC air filter
___ ASR-100-XX-NBC — DC only Safe Cell NBC air filter, please specify 12 or 24 volt
___ ASR-50-BB backup hand pump
___ ASR-101-BV blast valve
___ ASR-50-OP overpressure valve
___ ASR-50-FILTERS complete filter replacement for all Safe Cell models
___ ASR-100-AB automatic ventilation system, see page 49
___ ASR-XX-DPG differential pressure gauge, specify range: ___, see pages 49 and 50
Optional kits
___ French drain system, see page 45
___ Electrical connection kit, see pages 51 — 53
___ Toilet installation kit, see pages 54 – 56
A
TM-Underground-Shelter-Kit.pdf
Revision: 2E — Date: June 29, 2011
Section
Page 8
Choosing the shelter size based on occupancy ratings
There are two constraints to occupancy in a shelter: space and airflow. FEMA publication number
453,
Safe Rooms and Shelters - Protecting People Against Terrorist Attacks. Here are some excerpts. For
additional context, see this entire document:
1.6 Occupancy Duration, Toxic Free Area (TFA ) Floor Space, and Ventilation Requirements
a. Less Than 24 Hours. An occupancy duration of less than 24 hours does not require
sleeping areas. The occupant load will generally be a net 1.86 m2/person (20 square
feet/person), depending upon the classification of occupancy.
b. More Than 24 Hours. An occupancy duration greater than 24 hours requires sleeping
areas. The minimum floor area, with the use of single size beds, is approximately 5.6
m2/person (60 square feet/person). With the use of bunked beds, the minimum floor
area is approximately 2.8 m2/person (30 square feet/person).
The recommended occupancy ratings based on floor space are:
100 series — 6 adults
200 series — 7 adults
300 series — 8 adults
400 series — 9 adults
The recommended occupancy rating based on air supply is 12 occupants per Safe Cell air filtration
system. This is using the ASHRE standard of 5 cubic feet of air per minute, per person. It is common
practice to install more than one NBC air filter in a shelter to supply the required airflow. To ensure
adequate airflow, each Safe Cell should have it’s own air intake and outflow ventilation pipe and
blast valve.
Choosing the location
Careful planning should be given before an underground structure is started. The shelter should be
accessible for quick entry while being hidden from view. There are some other considerations:
1. The shelter, or its foundation, may not be lower than the high water table.
2. The location should have sufficient slope to allow for surface water drainage.
3. The allowable compaction ratio of the soil at the footing should not be less than a 10,000
pounds per square foot — otherwise a thicker footing may be required.
4. location must comply with all required local building permits.
5. With fully or partially buried shelters make sure that you have sufficient space and access for
needed construction equipment for excavating and lowering the pallets of loaded block into
the finished excavation.
Caution — do not attempt to construct your under ground shelter below the high
water table. Be sure to consult with a local soil expert or drill appropriate test holes
before excavation.
A
TM-Underground-Shelter-Kit.pdf
Revision: 2E — Date: June 29, 2011
Section
Page 9
Excavation overview
The following eight pages have the dimensions of the shelters and the required excavation.
The drawings show the size for both a 3 foot and a 4 foot total shielding — ceiling slab plus back
filled earth, with adequate slope to relieve surface water. Note that the ventilation pipes are shown
at two feet off of the surface — as per the US Army Corps of Engineers guidelines.
Be sure and read “Choosing the Location” on the previous page.
To guard against cave-in of the excavation, American Safe Room drawings depicts a bench side wall
slope of 45 degrees. This is considered sufficient slope for A and B soil types. The drawings show an
end elevation of the shelter with the bench shown on the long side of the hole. The short sides
(ends) of the holes also require this bench. The safe slope or bench for the banks of an excavation
varies with different soil types, and must be determined on each individual project by the excavation
contractor.
If your excavating contractor is in doubt of your soil type, consult with OSHA regulations Safety and
Health Regulations for Construction, part 1926, Subpart P sloping and benching and soil
classifications in appendix A.
Excavate the floor of the hole as level as possible without disturbing the compaction. Care must be
taken not to disturb the soil compaction at the bottom of the excavation. At the recommended 10 to
11 foot depths, the soil is usually compacted sufficiently — unless it is disturbed in the excavation
process. If it is disturbed, you must compact the soil with a vibra-plate compactor before
constructing the floor slab forms and a footer may be required to carry the load.
Caution — excavating a large hole can be dangerous. A qualified equipment operator
with the proper equipment is recommended.
B

TM-Underground-Shelter-Kit.pdf
Revision: 2E — Date: June 29, 2011
Section
Page 10
Series 100 shelter dimensions and quantities
Maximum recommended occupancy: 6 persons
Dimensions
Inside dimensions: 8.7 feet wide x 20 feet long x 7.3 feet high
Inside area: 173.2 square feet
Inside volume: 1,264.4 cubic feet
Outside square footage (walls and top) for sealant: 650 square feet
Block count — local purchase
8 inch x 16 inch blocks
Standard: 245 each
Half: 22 each
Bond: 245 each
Total: 490 each
Concrete requirement — local purchase
4000 PSI concrete
Floor slab: 4.0 cubic yards
Walls: 5.5 cubic yards
Ceiling: 7.7 cubic yards
Rebar requirement — see page 57
B
Figure B-1
Note:
Be sure and order extra concrete.
The truck may be short, the
ground uneven below the floor
slab, or the blocks you use may
have larger cavities. It is standard
practice to order 10% extra.

TM-Underground-Shelter-Kit.pdf
Revision: 2E — Date: June 29, 2011
Section
Page 11
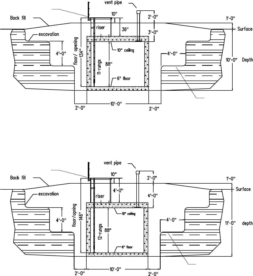
Series 100
Required excavation depth, riser, ladder and vent pipe lengths
B
Figure B-3
4 feet of total top shielding
(ceiling plus backfill)
Top of riser hatch
10 inches above grade
Excavation depth 11-ft
Ceiling beam height 10-in
Floor to ceiling height 88-in
Floor to opening height 146-in
Riser height 48-in
Vent pipe length 72-in
Ladder length 140-in
Ladder rungs 12
Excavation depth 10-ft
Ceiling beam height 10-in
Floor to ceiling height 88-in
Floor to opening height 134-in
Riser height 36-in
Vent pipe length 60-in
Ladder length 128-in
Ladder rungs 11
Figure B-2
3 feet of total top shielding
(ceiling plus backfill)
Typical bench on all
four sides of the hole
Top of riser hatch
10 inches above grade
Typical bench on all
four sides of the hole

TM-Underground-Shelter-Kit.pdf
Revision: 2E — Date: June 29, 2011
Section
Page 12
Series 200 shelter dimensions and quantities
Maximum recommended occupancy: 7 persons
Dimensions
Inside dimensions: 10 feet wide x 20 feet long x 7.3 feet high
Inside area: 200 square feet
Inside volume: 1,460 cubic feet
Outside square footage (walls and top) for sealant: 700 square feet
Block count — local purchase
8 inch x 16 inch blocks
Standard: 265 each
Half: 22 each
Bond: 265 each
Total: 530 each
Concrete requirement — local purchase
4000 PSI concrete
Floor slab: 6.0 cubic yards
Walls: 5.6 cubic yards
Ceiling: 10.4 cubic yards
Rebar requirement — see page 57
B
Figure B-4
Note:
Be sure and order extra concrete.
The truck may be short, the
ground uneven below the floor
slab, or the blocks you use may
have larger cavities. It is standard
practice to order 10% extra.

TM-Underground-Shelter-Kit.pdf
Revision: 2E — Date: June 29, 2011
Section
Page 13
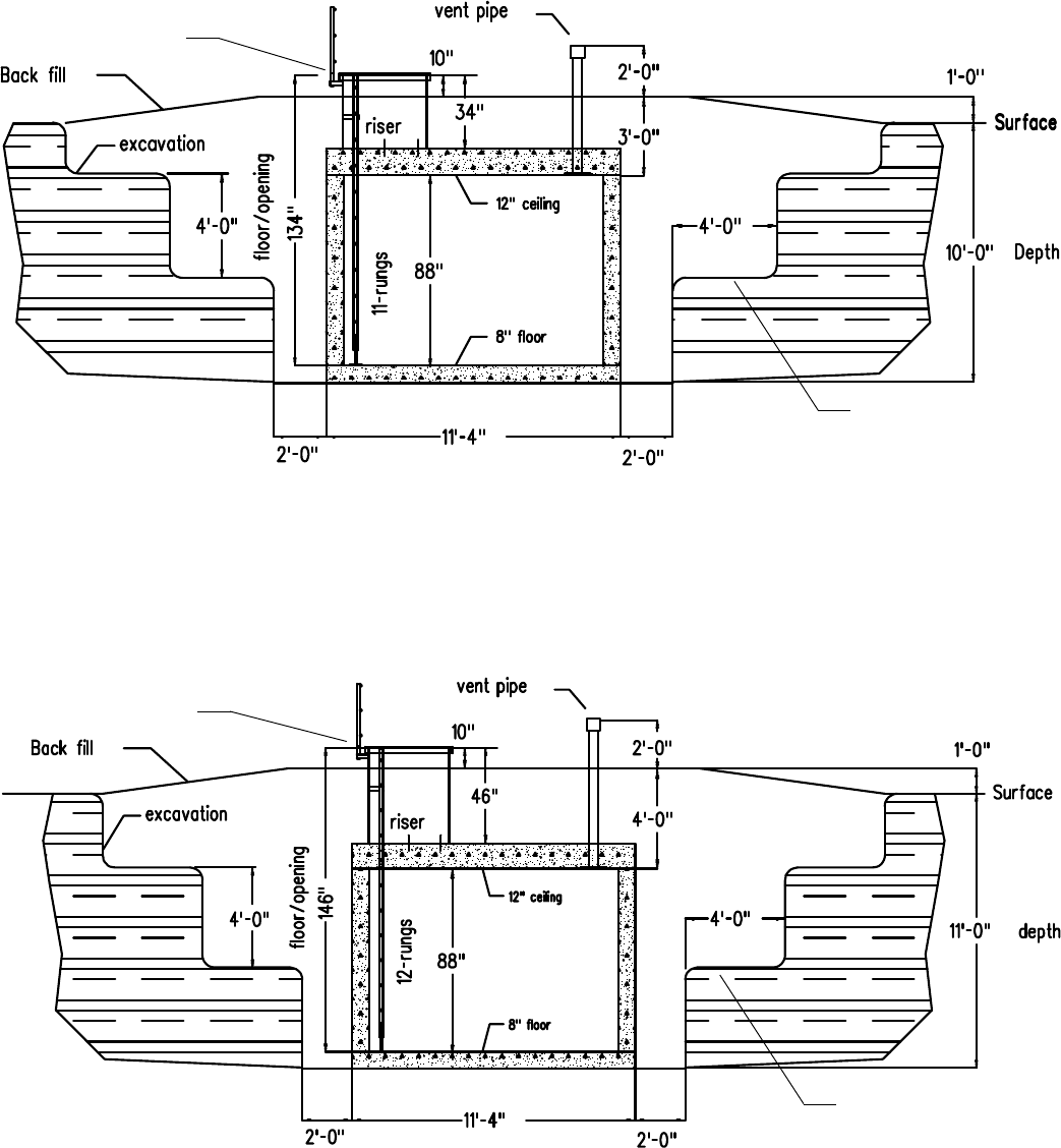
Series 200
Required excavation depth, riser, ladder and vent pipe lengths
B
Figure B-5
3 feet of total top shielding
(ceiling plus backfill)
Figure B-6
4 feet of total top shielding
(ceiling plus backfill)
Excavation depth 10-ft
Ceiling beam height 12-in
Floor to ceiling height 88-in
Floor to opening height 134-in
Riser height 34-in
Vent pipe length 60-in
Ladder length 128-in
Ladder rungs 11
Excavation depth 11-ft
Ceiling beam height 12-in
Floor to ceiling height 88-in
Floor to opening height 146-in
Riser height 46-in
Vent pipe length 72-in
Ladder length 140-in
Ladder rungs 12
Top of riser hatch
10 inches above grade
Top of riser hatch
10 inches above grade
Typical bench on all
four sides of the hole
Typical bench on all
four sides of the hole

TM-Underground-Shelter-Kit.pdf
Revision: 2E — Date: June 29, 2011
Section
Page 14
Series 300 dimensions and quantities
Maximum recommended occupancy: 8 persons
Dimensions
Inside dimensions: 12 feet wide x 20 feet long x 7.3 feet high
Inside area: 240 square feet
Inside volume: 1,752 cubic feet
Outside square footage (walls and top) for sealant: 775 square feet
Block count — local purchase
8 inch x 16 inch blocks
Standard: 287 each
Half: 11 each
Bond: 287 each
Total: 574 each
Concrete requirement — local purchase
4000 PSI concrete
Floor slab: 7.1 cubic yards
Walls: 5.9 cubic yards
Ceiling: 14.0 cubic yards
Rebar requirement — see page 57
B
Figure B-7
Note:
Be sure and order extra concrete.
The truck may be short, the
ground uneven below the floor
slab, or the blocks you use may
have larger cavities. It is standard
practice to order 10% extra.

TM-Underground-Shelter-Kit.pdf
Revision: 2E — Date: June 29, 2011
Section
Page 15
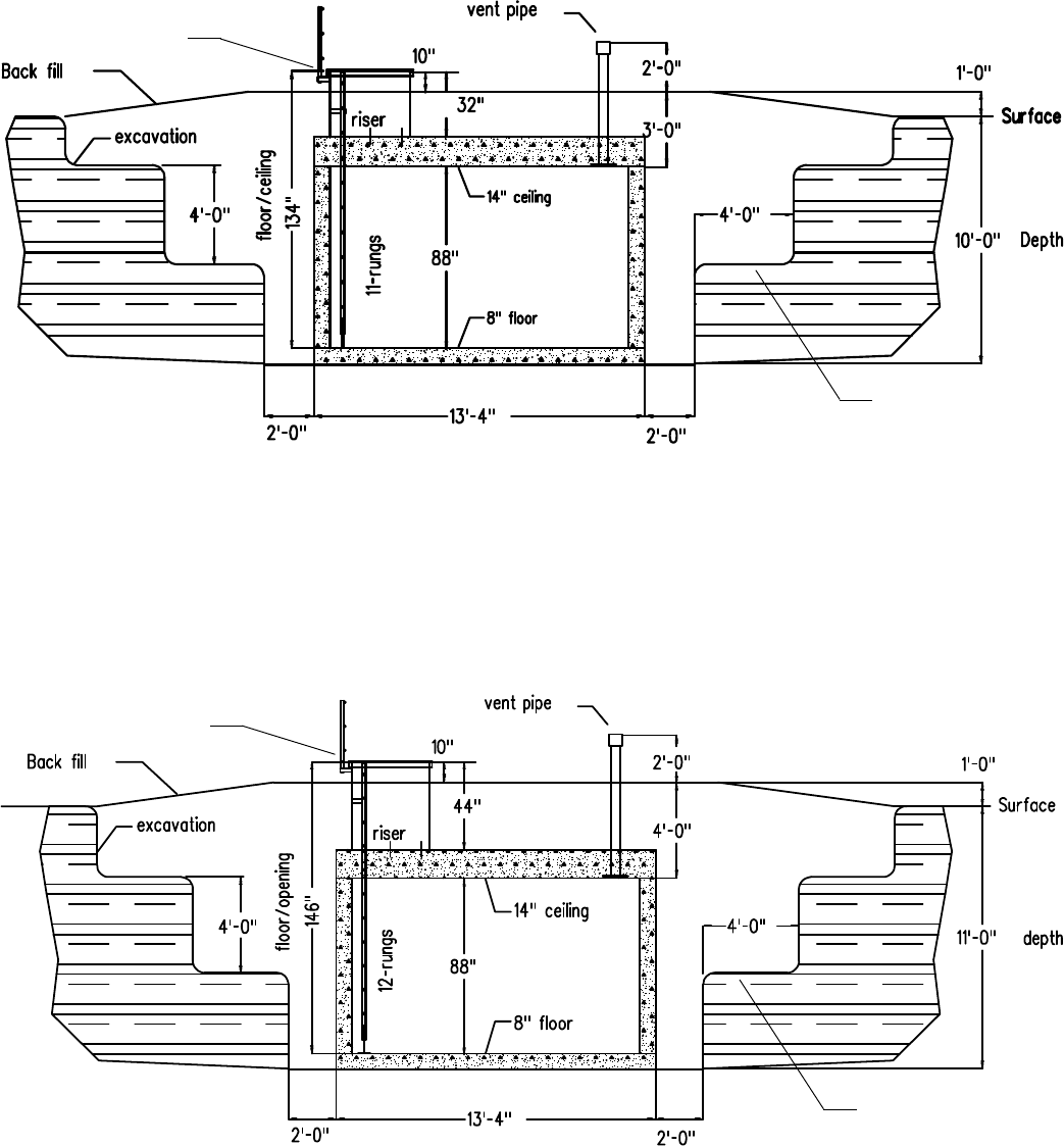
Series 300
Required excavation depth, riser, ladder and vent pipe lengths
B
Figure B-8
3 feet of total top shielding
(ceiling plus backfill)
Figure B-9
4 feet of total top shielding
(ceiling plus backfill)
Excavation depth 10-ft
Ceiling beam height 14-in
Floor to ceiling height 88-in
Floor to opening height 134-in
Riser height 32-in
Vent pipe length 60-in
Ladder length 128-in
Ladder rungs 11
Excavation depth 11-ft
Ceiling beam height 14-in
Floor to ceiling height 88-in
Floor to opening height 146-in
Riser height 44-in
Vent pipe length 72-in
Ladder length 140-in
Ladder rungs 12
Top of riser hatch
10 inches above grade
Top of riser hatch
10 inches above grade
Typical bench on all
four sides of the hole
Typical bench on all
four sides of the hole

TM-Underground-Shelter-Kit.pdf
Revision: 2E — Date: June 29, 2011
Section
Page 16
Series 400 shelter dimensions and quantities
Maximum recommended occupancy: 9 persons
Dimensions
Inside dimensions: 14 feet wide x 20 feet long x 7.3 feet high
Inside area: 280 square feet
Inside volume: 2044 cubic feet
Outside square footage (walls and top) for sealant: 850 square feet
Block count — local purchase
8 inch x 16 inch blocks
Standard: 305 each
Half: 22 each
Bond: 305 each
Total: 610 each
Concrete requirement — local purchase
4000 PSI concrete
Floor slab: 10.1 cubic yards
Walls: 6.3 cubic yards
Ceiling: 18.2 cubic yards
Rebar requirement — see page 57
B
Figure B-10
Note:
Be sure and order extra concrete.
The truck may be short, the
ground uneven below the floor
slab, or the blocks you use may
have larger cavities. It is standard
practice to order 10% extra.

TM-Underground-Shelter-Kit.pdf
Revision: 2E — Date: June 29, 2011
Section
Page 17
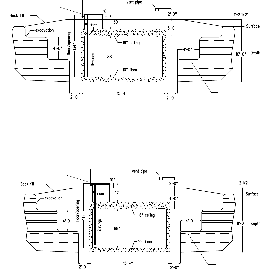
Series 400
Required excavation depth, riser, ladder and vent pipe lengths
B
Figure B-11
3 feet of total top shielding
(ceiling plus backfill)
Figure B-12
4 feet of total top shielding
(ceiling plus backfill)
Excavation depth 10-ft
Ceiling beam height 16-in
Floor to ceiling height 88-in
Floor to opening height 134-in
Riser height 30-in
Vent pipe length 60-in
Ladder length 128-in
Ladder rungs 11
Excavation depth 11-ft
Ceiling beam height 16-in
Floor to ceiling height 88-in
Floor to opening height 146-in
Riser height 42-in
Vent pipe length 72-in
Ladder length 128-in
Ladder rungs 12
Top of riser hatch
10 inches above grade
Top of riser hatch
10 inches above grade
Typical bench on all
four sides of the hole
Typical bench on all
four sides of the hole
TM-Underground-Shelter-Kit.pdf
Revision: 2E — Date: June 29, 2011
Section
Page 18
Shelter floor overview
The floor constructed of 6 to 10 inches of 4,000 PSI minimum concrete with ¾ inch minus aggregate
and a 5 to 6 inch slump. It should be poured at one time and allowed to cure for a minimum of
seven to ten days. See pages 10, 12, 14, or 16 for the amount of concrete needed.
Note - see page the Excavation Overview on page 9 for information on soil compaction
and the need to not disturb the soil at the bottom of the excavation.
Building the forms
Construct the proper size forms as shown in figures C-3. Lay a 6 mil plastic vapor barrier down
inside the forms. Trim the plastic so it lays flat inside the forms and does not curl up onto the form
boards. When completed, the vapor barrier should not extend out past the floor slab or it will funnel
water under the slab.
Setting the rebar
Lay the rebar in place as per the drawing C-2 on page 20. The horizontal rebar in the floor form
should be set at a height of 3 inches off of the ground. Use dobies (small blocks of concrete with
embedded wire) to hold the rebar at this height.
Caution — because the rebar is at the bottom of a hole, all exposed ends should be
capped as soon as they are laid in place or cut to length. Anyone who looses their
balance in the hole is in danger of falling on an exposed rebar end.
Installing the Ufer grounding system
This is a special grounding system that complies with NEMA code and enhances the EMP resistance
of the shelter. It needs to be installed before the floor is poured. See page 22 for more information.
Pouring the concrete
It is recommended to use a concrete pump to deliver the concrete down in the hole. After the form is
full of concrete, rod it off, bull float it, and apply a trowel or broom finish.
Note:
Be sure and order extra concrete. The truck may be short, the ground uneven below the floor slab,
or the blocks you use may have larger cavities. It is standard practice to order 10% extra.
C

TM-Underground-Shelter-Kit.pdf
Revision: 2E — Date: June 29, 2011
Section
Page 19
Floor slab size
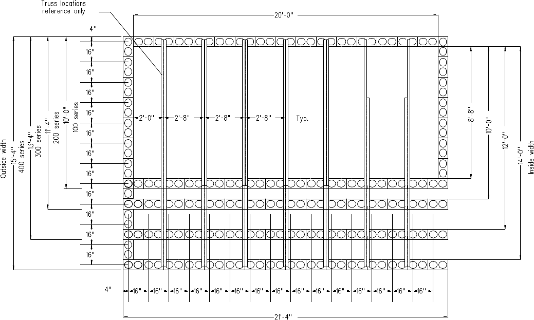
Reference the drawing below when constructing the forms. The outside length at the bottom and the
outside widths on the left side are the dimensions of the floor slab. The inside of the form boards
should hold these dimensions. The ceiling trusses are shown for reference.
Inside length
Outside length
Build form to this dimension
C
Figure C-1
Floor slab dimensions

TM-Underground-Shelter-Kit.pdf
Revision: 2E — Date: June 29, 2011
Section
Page 20
Floor slab horizontal rebar placement
Lay the rebar in the floor forms as shown below. The perimeter rebar is doubled and placed 4 inches
from the edge so it is centered under the walls.
For rebar counts and lengths, see page 57.
All rebar connections and intersections must be properly tied with two ties at least 12 inches apart.
C
Figure C-2
Floor slab horizontal rebar placement

TM-Underground-Shelter-Kit.pdf
Revision: 2E — Date: June 29, 2011
Section
Page 21
W
L
F2A
F1A
2X8
board
12”-exposed rebar
Floor slab vertical rebar placement
Ensure that the exposed vertical rebar studs are properly located to extend up into the center of the
blocks.
Figure C-4
Figure C-3
F1D
UFER ground, F1D
See UFER ground
details on the next
page
UFER ground
6” to 10”
thickness
C

TM-Underground-Shelter-Kit.pdf
Revision: 2E — Date: June 29, 2011
Section
Page 22
This shelter kit utilizes the Ufer Ground.
The Ufer Ground is an electrical earth grounding method named after Herbert Ufer. It is a concrete
encased ground electrode. It is installed by connecting the ground wire to the rebar in foundation
concrete. Proper grounding is essential to comply with NEMA code and mitigate the effects of
electromagnetic pulses (EMP).
A piece of bent rebar is attached to one of the F1A rebar pieces with wire ties. Place this Ufer ground
rod in a location near where you plan on placing the electrical box — see pages 52 and 53.
A grounding wire is connected to the box and this Ufer grounding rod.
The National Electrical Code (NEC) Section 250.52(A) (3) requires the electrical service to be
grounded to the footer reinforcing steel. This grounding is known as the Ufer Ground.
This requirement only applies to footers having at least 20 feet continuous ½ inch diameter or
larger reinforcing steel.
This NEC requirement began January 1, 2005 for commercial buildings, and May 27, 2006 for
residential buildings.
1) The contractor shall use a standard electrical ground rod or ½ inch or larger reinforcing
steel rated for external use such as but not limited to (galvanized rod).
Standard steel reinforcing rod wrapped with metallic tape will not be accepted. This ground
rod or reinforcing steel shall be wire tied to the 20 ft of reinforcing steel in the footer with a
minimum of two wire ties.
This Ufer Ground can extend beyond the inside or the outside of the footer enough to make a
future connection.
The building inspectors shall mark the location of the Ufer Ground on the approved set of
plans, and sign building card under UFER GROUND heading.
2) Ufer Ground extensions installed toward the inside of the footer shall be long enough to go
above the finished floor.
Shelter grounding system
Figure C-5
Wall
F1D
F1A
UFER ground
C

TM-Underground-Shelter-Kit.pdf
Revision: 2E — Date: June 29, 2011
Section
Page 23
Constructing the walls
After the floor slab has cured for at least seven days, the walls are built from industry standard
concrete 8 x 8 x 16 inch 1,000 PSI two hole blocks using a 3/8 inch mortar bead. The completed wall
assembly is 88-inches and 11 courses high. See section B for the block counts.
Horizontal rebar is laid in every other layer. Course 1 (shown below) is standard block. Course 2
(shown below) is the horizontal rebar bond course, see fig D-3 below. All rebar connections and
intersections must be properly tied with two ties at least 12 inches apart. Vertical rebar pieces are
placed in the wall at the time of the ceiling kit assembly. See the rebar cut and forming chart in the
reference section at the end of this manual for dimensions of the rebar shown below.
The corner blocks on course 2 (the rebar courses) are made from regular blocks so the ends of the
rebar channels are not exposed.
Figure D-1
Figure D-2 Figure D-3
Standard block
Floor
Bond block
Standard block
Bond block
W1B
W1A
W1A
W1B
W1C
To be installed
with ceiling kit
1
1
1
1
1
1
2
2
2
2
2
D

TM-Underground-Shelter-Kit.pdf
Revision: 2E — Date: June 29, 2011
Section
Page 24
Ceiling truss overview
The ceiling trusses are set on the tops of the walls. There are standard trusses and riser trusses
which are shipped assembled as shown below. The standard trusses are shipped and installed
individually. The riser trusses are shipped and installed as a pair (shown below). They are designed
to reinforce the structure under the riser hatch. If no riser hatch is installed, standard trusses are
used for the entire ceiling.
Place and center the riser truss pair (T-2) as shown below and on the next page.
Place and center the remaining five standard trusses (T-1) as shown below and on the next page.
All trusses are centered over block pairs as shown in figures E-2 and GE-3 and centered between the
walls as shown in figure E-4, leaving room for the ceiling perimeter form boards.
Caution — The ceiling trusses and riser assembly are heavy and require the use of
heavy lifting equipment and qualified operators. The proper equipment should be used
for every operation.
T-2
Figure E-1
T-1
E

TM-Underground-Shelter-Kit.pdf
Revision: 2E — Date: June 29, 2011
Section
Page 25
Figure E-2
Side (elevation) view — all trusses are located on 32” centers
Top (plan) view — all truss centers fall between the vertical columns in the
block
End view — all trusses are centered on their long axis as shown above
Wall
Truss
Open Column
Truss/wall centering bracket
Form board
Wall
Ceiling trusses — setting and centering
Figure E-3
Figure E-4
as per series width
Angle bracket
Truss
E
TM-Underground-Shelter-Kit.pdf
Revision: 2E — Date: June 29, 2011
Section
Page 26
Dimensions of form boards
100 Series
10’-0” X 21’-4”
Side perimeter group, see figure F-1
Low side h=12”, high side h=14.1/2”
End perimeter group, see figure F-2
h1=12”, h2=14.1/2”
End bottom group, see figure F-3
h= 25.1/2”, L=108”
Center bottom group, see figure F-4
h=30.3/4”, L=108”
200 Series
11’-0” X 21’-4”
Side perimeter group, see figure F-1
Low side h=14”, high side h=17”
End perimeter group, see figure F-2
h1=14”, h2=17”
End bottom group, see figure F-3.
h= 25.1/2”, L=124”
Center bottom group, see figure F-4
h=30.3/4”, L=124”
300 Series
13’-4” X 21’-4”
Side perimeter group, see figure F-1
Low side h=16”, high side h=19.1/4”
End perimeter group, see figure F-2
h1=16”, h2=19.1/4”
End bottom group, see figure F-3
h= 25.1/2”, L=148”
Center bottom group, see figure F-4
h=30.3/4”, L=148”
400 Series
15’-4” X 21’-4”
Side perimeter group, see figure F-1
Low side h=17.3/4”, high side h=21.1/2”
End perimeter group, see figure F-2
h1=17.3/4”, h2=21.1/2”
End bottom group, see figure F-3
h= 25.1/2”, L=172”
Center bottom group, see figure F-4
h=30.3/4”, L=172”
Ceiling form boards overview
Once the trusses are set, the perimeter form
boards for the ceiling are cut and placed around
the trusses.
Then the bottom form boards are cut and placed
between the bottom flanges of the trusses.
The form boards are to be supplied by the
concrete contractor and made up onsite from 1.1/
8 thick CDX plywood.
All finished form boards should be painted with a
weather proof primer before the concrete pour.
Caution — the form system is designed to carry
the wet pour load, if the pour thicknesses in this
manual are exceeded, the forms may fail, allowing
the ceiling concrete drop down onto the floor slab.
There are 3 types of form boards.
1. The long side form boards are cut in two
different heights to accommodate the required
roof drainage slope of ¼” per foot. The high
side is placed on the hatch-riser side of the
roof.
2. The short end forms are taper cut to properly
fit the side forms difference of ¼” per ft. The
end boards are not installed until placement of
the longitudinal rebar.
3. The bottom form boards are cut to 30.3/4”
widths to nest between the trusses, and made
up in rows in sufficient lengths to be 4-inches
longer than the inside shelter width, as not to
cover the block openings. If the block openings
are covered, the walls cannot be filled with
concrete during the ceiling pour. See figure F-8
on page 30.
F

TM-Underground-Shelter-Kit.pdf
Revision: 2E — Date: June 29, 2011
Section
Page 27
Ceiling form boards — dimension drawings and quantities
Reference the dimensions on the previous page
Figure F-1
Side perimeter
form boards
Figure F-2
End perimeter
form boards
Figure F-3
End bottom
form boards
Figure F-4
Center bottom
form boards
(L)
(L)
(L)
(h-1) (h-2)
(h)
(h)
(h)
2 required different (h)
2 required
2 required
6 required
F

TM-Underground-Shelter-Kit.pdf
Revision: 2E — Date: June 29, 2011
Section
Page 28
Ceiling form boards — installing the long perimeter form boards
The perimeter side boards serve two functions, first to secure the trusses from movement along the
long axis of the shelter and secondly to provide the perimeter form for the poured concrete ceiling.
Caution — it is critical that the distance between the truss centers on both ends of
the trusses is correct as per figures E-3 and E-4.
Using the fasteners provided with your truss kit:
1. Install all board brackets to the ends of the centered trusses as shown in fig. F-6, and F-7 but do
not yet tighten the board bracket securely to the truss.
2. Set the long form boards on top of the wall and against the face of the board brackets as shown in
figure F-7.
3. Using the board brackets as a template, mark and drill the 3/8-inch holes for the perimeter long
form board bolts, and fasten the long form boards to the brackets.
4. Adjust the long perimeter form boards so that the outside face of the board is flush with the
outside face of the wall, and tighten the board bracket truss bolts, as per figure F-7.
Figure
F-5
Side board
End board
place after rebar
End board
place after rebar
F

TM-Underground-Shelter-Kit.pdf
Revision: 2E — Date: June 29, 2011
Section
Page 29
Ceiling form boards — installing the short perimeter form boards
1. Install the two short form boards over the end walls with the outside face of the board flush with
the outside face of the wall just as the long form boards.
2. Use the corner board brackets as a drill template and fasten the corners with the provided bolts.
Figure F-6
long form boards
short form board
connection plate
corner board bracket
angle bracket nut
washer
2½” angle bracket bolt
Figure F-7
long form boards truss
1¼” truss/wall centering brackets bolts
2½” perimeter
form board bolts
washer
F
1¼” board bracket/truss bolts

TM-Underground-Shelter-Kit.pdf
Revision: 2E — Date: June 29, 2011
Section
Page 30
Figure F-9
side view
Truss
Truss
Ceiling form board
being rotated into place
Figure F-8
top view
Truss
Truss
Center form
board
End form
board
Wall Openings
in wall blocks
Ceiling form boards — installing the bottom form boards
Ceiling form board
in place
F

TM-Underground-Shelter-Kit.pdf
Revision: 2E — Date: June 29, 2011
Section
Page 31
Figure F-10
Ceiling form boards — securing the perimeter boards
It is necessary to secure the perimeter side boards to the bottom boards to insure that they do not
bulge or bow during the pour.
Using the form brace as a template, mark and drill bolt locations for fasteners 1 and 2, and then
install fasteners.
Using a power screwdriver mark and drill bolt locations for fasteners 3, and then install fasteners.
Using a good caulking compound, seal any gaps or openings around the trusses and wall edges.
Bottom form boards
Form braces
Form braces
3
1
2
F
1. 2½” form brace bolt through perimeter form board
2. Form brace nut
3. 2½” form brace bolt through bottom form board

TM-Underground-Shelter-Kit.pdf
Revision: 2E — Date: June 29, 2011
Section
Page 32
Figure G-1
Air intake
Air exhaust
Ceiling penetration kits overview
There are four individual penetration kits.
They are designed for quick and simple installation through the bottom concrete form board before
the pouring of the concrete.
1. Electrical 1-inch, figure G-2.
2. Water 1-inch, figure G-3.
3. Waste (septic) water 2-inch, figure G-4.
4. Air ventilation 4-inch, figure G-5.
The bulkhead connection kits work by capturing both sides of the bottom form board by sandwiching
or clamping the board between the upper and lower elements of the kit.
Place the kit gasket at the desired penetration location and use as hole template for drilling through
the form board.
G

TM-Underground-Shelter-Kit.pdf
Revision: 2E — Date: June 29, 2011
Section
Page 33
Figure G-2
Electrical penetration
Figure G-3
Water penetration Figure G-4
Waste water penetration
2
1
1
3
2
2
Bottom
form board
Bottom
form board
4
3
3
4
5
4
Ceiling penetrations - electrical, water, and waste water
1. Mounting plate
2. Gasket
3. ¼”-20 x 2-inch length bolt – 4 each
4. Hex nut ¼”-20 – 4 each
A. Conduit 90 – 1 each
B. Close nipple 1” x 3” – 1 each
C. Close nipple 1” x 1” – 1 each
D. Coupling 1” female/female – 1 each
E. Adaptor – 1 each
1. 1½” x 20” pipe nipple
2. Mounting plate
3. Gasket
4. ¼”-20 bolts – 4 each
5. ¼”-20 nuts – 4 each
1. 2” x 20” pipe nipple
2. Gasket
3. ¼”-20 bolts – 4 each
4. ¼”-20 nuts – 4 each
A
B
C
D
1
E
Bottom
form board
G

TM-Underground-Shelter-Kit.pdf
Revision: 2E — Date: June 29, 2011
Section
Page 34
Note: this part list is for one ventilation pipe.
Two ventilation pipes are required for each shelter
for the air intake and the air outflow.
Included with this installation
A. 1 eachceiling style ventilation pipe
G. 1 eachrubber gasket
1. 8 eachHHCS ½”-13 x 3”
2. 16 each flat washer ½”
3. 8 eachhex nut ½”-13
Note: this installation can also be used for steel
shelters with flat ceilings.
Installation steps:
1. After the bottom form board of the ceiling is in
place, locate and cut a 4½ inch hole where the
vent pipe is to be mounted.
2. Using the blast valve as template, locate and drill
bolt circle for valve, ½ inch holes in all 8
locations.
3. Using the 8 each ½ inch X 3-in length bolts,
sandwich the assembly together as shown in
figure G-5.
Mounting bolt
Flanged hex nut
Ceiling form
board
Figure G-5
Detail of pipe
system
Ventilation pipe
Blast valve
Gasket
Gasket
Figure G-6
Mounting bolt
pattern and
dimensions
Ceiling penetrations - ventilation pipes and blast valves
The ventilation pipes are bolted down to the bottom form boards before the ceiling pour. The
mounting flange for the ventilation pipes exactly matches the mounting flange for the blast valve.
These two mounting flanges sandwich a gasket, the bottom form board, and then another gasket as
shown below.
Washer
G

TM-Underground-Shelter-Kit.pdf
Revision: 2E — Date: June 29, 2011
Section
Page 35
Ceiling — rebar layout
The rebar is laid down as shown below.
For length information see the rebar cut and forming chart on page 57.
Note — all rebar connections and intersections must be properly tied with at least two
ties at least 12 inches apart.
Figure H-1
H

TM-Underground-Shelter-Kit.pdf
Revision: 2E — Date: June 29, 2011
Section
Page 36
Ceiling — installing the rebar
Figure H-2
Figure H-3
Figure G-22
R1B
W1B
R2B
Note — letters refer to the rebar
cut and form chart on page 57
W1B
W1B
R1B
R2B
R1B
R1B
R2B
H

TM-Underground-Shelter-Kit.pdf
Revision: 2E — Date: June 29, 2011
Section
Page 37
Riser hatch and ladder assemblies
The riser hatch should be installed prior to the ceiling pour.
Caution — the riser hatch and ladder assembly weighs several hundred pounds.
It is the responsibility of the installer that proper lifting equipment be used for
these procedures and that the installer has sufficient experience skill and
knowledge to accomplish these tasks safely.
Figure I-1
Figure I-2
Hatch riser assembly
Ladder assembly
A
B
C
Hatch riser installation
See figures I-3
Ladder installation
See figures I-5, I-6
I

TM-Underground-Shelter-Kit.pdf
Revision: 2E — Date: June 29, 2011
Section
Page 38
This installation is for the special riser truss
kit, provided with this shelter.
1. Apply a liberal coat of weather resistant
silicone sealant over the edges of the openings
surface face where the riser mounting flange
bottom face will mate.
2. Install and tighten the provided hex bolts,
washers and nuts as shown.
This procedure will require the concrete
stud anchor kit provided with your
concrete style riser and ladder kit order.
1. Using the riser base as a temple,
locate the drill hole locations for the
anchors of the provided stud anchor kit.
2. Remove the riser and drill the holes for
the stud anchors.
3. Apply a liberal coat of weather
resistant silicone sealant over the edges
of the openings surface face where the
riser mounting flange bottom face will
mate.
4. Replace the riser assembly squarely
over the opening and insert the stud
anchor assemblies through the riser
bottom flange into the drilled hole in the
concrete.
5. Tighten all anchor stud nuts to
(60 ft-lbs) in a cross pattern.
Figure I-4
A
C
B
D
Mounting the riser on the ceiling trusses
Mounting the riser over conventional concrete openings
Figure I-3
A. 12.ea. Bolt 3/8-16 X 1.3/4” lg.
B. 12. ea. Hex nut 3/8-16.
C. Riser mounting flange.
D. Truss mounting flange.
A. 12.ea. Concrete anchor studs 1/2” X 6” lg.
B. 12. ea. 1/2” drilled hole w/provided drill
bit.
C. Riser mounting flange.
A
C
B
Note:
Concrete opening may not exceed 32” X 38”
I

TM-Underground-Shelter-Kit.pdf
Revision: 2E — Date: June 29, 2011
Section
Page 39
Ladder assembly — installation
1. Pass the ladder down through the
riser opening and rest the second
rung on the top support brackets as
shown.
2. Insert the provided U-bolts over
the ladder rung into and through the
support bracket holes and install and
tighten provided hex nuts.
3. With the ladder hanging straight
loosen the bottom foot locking bolt
and lower the mounting foot to the
floor and retighten the locking bolt,
repeat this procedure for the
opposite side.
4. Insure that the ladder is
positioned in a true vertical attitude
and using the foot as a drill template
install the provided anchor stud kit
using the same procedure as
described above.
Figure I-6
A
C
B
D
E
F
G
A. 2 ea. Support bracket
B. 2 ea. U-bolt
C. 4 ea. Hex nuts
D. 2 ea. Locking bolt
E. 2 ea. Concrete anchor stud
F. 2 ea. Drilled hole w/provided bit
Figure I-5
I

TM-Underground-Shelter-Kit.pdf
Revision: 2E — Date: June 29, 2011
Section
Page 40
Pouring the ceiling and wall concrete
The block wall cavities and the ceiling are poured as single “pour.” More than one truck load of
concrete may be required. See the concrete requirements on pages 10, 12, 14, and 16. Add the
requirements for the walls and ceiling together when ordering the concrete. All concrete is minimum
4,000 psi strength, ¾-inch minus aggregate, and a 5-inch to 6-inch slump.
A concrete pump is required. Fill the block cavities first, then the ceiling slab. Tamp the concrete
down into the block cavities and finish the ceiling slab with a trowel or broom using the proper slope
and expansion grooves shown below and on the following page.
Note:
Be sure and order extra concrete. The truck may be short, the ground uneven below the floor slab,
or the blocks you use may have larger cavities. It is standard practice to order 10% extra.
Roof expansion groove detail
To avoid excessive fractures in the roof slab, the installation of an expansion groove is
recommended.
Figure J-1
Truss flange
Support board Cement fill
J

TM-Underground-Shelter-Kit.pdf
Revision: 2E — Date: June 29, 2011
Section
Page 41
Series 100
Ceiling slab slope
These drawings show the end elevation view
Series 200
Series 300
Series 400
Taper per/ft.
J
Figure J-2
Figure J-3
Figure J-4
Figure J-5

TM-Underground-Shelter-Kit.pdf
Revision: 2E — Date: June 29, 2011
Section
Page 42
Back filling the excavation
The shelter is back filled as shown below.
A 6-mil vapor barrier is laid over the top and
extends down the sides. The optional french
drains system must be installed before
backfilling.
K
Exterior sealant
The recommended sealant is Ames Blue Max Liquid Rubber Coating. It can be purchased at this
website: www.AmesResearch.com/bluemax.htm
The manufacturer’s recommended application:
“Apply Ames' Blue Max to the surface. We recommend two gallons per 100 sq. ft. or two coats
as needed for walls, and three gallons per 100 sq. ft. or three coats for cisterns and tanks, or
as needed.”
See the outside square footage dimensions listed on pages 10, 12, 14, and 16 to determine how
much sealant you need to order.
Follow the manufacturer’s recommendation for application.
Perforated pipe
F-1 Vapor barrier
Backfill
Drain rock
Figure K-1
Figure K-2
F-1 Vapor barrier
Wrap F-1 vapor barrier up side under F-2 vapor barrier
F-2 Vapor barrier
F-2 Vapor barrier
TM-Underground-Shelter-Kit.pdf
Revision: 2E — Date: June 29, 2011
Section
Page 43
NBC air filtration system overview
The shelter air filtration system is divided into two groups, the intake group for drawing outside air
into the NBC filtration unit, and the outflow group for expelling the CO2 laden air out.
This arrangement provides for true positive pressure air filtration.
AC electrical power
Connect the power cord to the control panel power socket and plug into a working power source
(electrical outlet). Switch on the lighted main power switch on the front control panel.
Automatic battery back up
Connect the 12-VDC cable connector to the control panel socket and connect the clip leads (jumper
cable style clips) to a user supplied 12-volt DC automotive or marine type battery — ensure that the
polarity is correct; red is positive, black is negative.
For more detailed information regarding the components comprising this system, you may refer to
the individual technical manuals available at www.AmericanBombShelter.com:
1. TM-50-VP, blast resistant ventilation pipes.
2. TM-101-BV, blast valve
3. TM-100-AV-NBC, air filtration system
4. TM-50-BB, emergency hand pump
5. TM-50-OP, overpressure valve
6. ASR-100-AB auxiliary ventilation system
7. TM-05-DPG, differential pressure gauge
L

TM-Underground-Shelter-Kit.pdf
Revision: 2E — Date: June 29, 2011
Section
Page 44
11
2
2
33
4
4
A1
5
5
6
12
C
B
Form
board 5
5
6
9
11
Battery 12-V
user supplied
B
C
7
8
10
Form
board
Figure L-1
Intake group
Figure L-2
Output group
1. Heavy steel rain cap
2. EMP/insect screen
3. Locking lug
4. Heavy steel vent pipe
5. Gasket
6. Heavy steel blast valve
7. Intake hose
8. Filtration unit
9. Emergency backup hand pump
10. Power cord
11. Battery jumpers
12. Over pressure valve
A. Hex bolt ½-13 X 3”
B. Flat washer
C. Hex nut ½-13
NBC air filtration system parts
L

TM-Underground-Shelter-Kit.pdf
Revision: 2E — Date: June 29, 2011
Section
Page 45
Optional french drain system
A, 10 inch PVC Culvert Pipe
D, 10 inch PVC Culvert Pipe Cap
C, Sump Pump
F2 Vapor Seal
D
A
C
B
F1 Vapor Seal
B, perforated drain pipe
Figure M-1
Figure M-2
M

TM-Underground-Shelter-Kit.pdf
Revision: 2E — Date: June 29, 2011
Section
Page 46
Optional vertical blast door
ASR-50-BD Blast Door is a pre-hung, explosion resistant blast door that offers excellent protection
from extremely high pressure blast waves like those produced by a large conventional or nuclear
device detonated in relatively close proximity. This door is rated to withstand high pressure waves up
to 7,200 pounds per square foot — that is 50 pounds per square inch (PSI). Additionally, the step
over threshold option (page 8, blast door manual) offers a compression seal between the door and
the frame allowing for the use of a positive pressure NBC filtration system inside the shelter. See the
complete manual available at www.AmericanBombShelter.com
Lift the door into place
Lift door frame assembly into the wall opening and push the door so that the frame lip is fully
captured inside the boundaries of the opening. Brace or otherwise secure the door frame assembly
so that it can not fall out of the opening.
Caution — take care to not pinch body parts between the door and any obstructions as
a severe pinch injury will occur. When swinging the door closed use only the provided
door handles. Read and understand these instructions thoroughly before attempting to
hang this blast door. American Safe Room strongly recommends that this door be
installed by a qualified installer with the proper tools and equipment. A licenced general
contractor should be able to follow these directions and complete the installation
properly.
Strapping at lift points
Figure M-3
M

TM-Underground-Shelter-Kit.pdf
Revision: 2E — Date: June 29, 2011
Section
Page 47
Fill w/concrete
Optional vertical blast door installation
If the wall is not perfectly straight, the door frame will bend when the nuts are tightened on the
wedge anchors, so it is imperative that the wall be grouted to the frame, not the frame tightened to
the wall.
In order for the door to close, latch and seal correctly it is necessary for the outer door frame flange
to nest flat against the wall surface (C).
In cases where the wall is not square or flat with the door frame it will be necessary to use cement
grout to create a flat surface between the frame and well.
This is accomplished by creating a ½-inch wide void between the door frame and wall surface and
filling it with wet cement grout.
Using the door frame and wall surface as a vice evenly clamp a number of ½-inch thick shims or
spacers between the door frame and wall surface by lightly tightening the anchor bolts.
When the cement grout is dry remove the shims and tighten the anchor bolts to full torque, this will
provide the door frame with a flat mounting surface.
Figure M-5
M
A
BC
Figure M-4

TM-Underground-Shelter-Kit.pdf
Revision: 2E — Date: June 29, 2011
Section
Page 48
Emergency
hand blower
110 AC
110 AC
12 V
Battery
Plug
Output
Plug
Intake
Timer Wall bkt
Power supply
Outside
air
Air intake hose
Connection 1
Figure M-6
Hose port
Parts included
in this kit
Air intake hose
Connection 2
Optional automatic ventilation system
The ASR-100-AB auxiliary ventilation blower system provides 100 CFM of fresh unfiltered air into
your shelter.
It may be used in ventilation mode only during non threat times when no outside toxins are present
to purge your shelter of unwanted stale air, relieve moisture, and prevent anaerobic mold spores
from growing.
M

TM-Underground-Shelter-Kit.pdf
Revision: 2E — Date: June 29, 2011
Section
Page 49
Optional differential pressure gauge overview
The American Safe Room Differential Pressure Gauge displays the difference in air pressure between
the inside and outside of a shelter to constantly verify that you have positive pressure inside your
shelter. It has a sampling tube that goes through the wall or ceiling in order to read the outside air
pressure. Another sampling tube is inside the housing and the difference in air pressure is displayed
by a needle on a dial gauge.
When you do not have the Safe Cell NBC overpressure air filter on, a properly installed differential
pressure gauge will read zero because there is no difference in the air pressure inside, and outside of
the shelter. When you start the Safe Cell, the gauge will read a higher pressure.
The unit of measure displayed is inches of water column (wc). There are 27.67 inches of water in
one pound per square inch (PSI).
Air flow and air pressure are two properties of forced air that are linked together. As a general rule,
the more air pressure, the less air flow. An airflow of 5 cubic feet per minute per person at 0.3-inch
(7.62-mm) of water column is recommended by the United States Army Corps of Engineers in the
technical letter ETL 1110-3-498. See www.AmericanSafeRoom.com to view this document.
There are three ranges of gauges available that displays positive overpressures:
1. zero to 0.5-inches of water column — part number ASR-05-DPG
2. zero to 1-inch of water column — part number ASR-10-DPG (special order item)
3. zero to 25-mm of water column — part number ASR-25-DPG (special order item)
The Differential Pressure Gauge is designed for easy installation into any protected space. The kit
includes all of the required components for installation inside of the protected space.
Please see the manual for the Adjustable Overpressure Relief Valve to set up your shelter at the
proper pressure. It is available at www.AmericanSafeRoom.com.
Specifications
Range: 0 to .5-inches/wc (12.7 mm/wc) or 0 to 1-inch/wc (25.4 mm/wc)
Accuracy: +/- 5% of full scale
Absolute pressure limit: 30 psi g (2.067 bar)
Temperature limits: 20-120 F (-6.67-48.9 C)
Figure M-7
M
Figure M-8

TM-Underground-Shelter-Kit.pdf
Revision: 2E — Date: June 29, 2011
Section
Page 50
Optional differential pressure gauge installation
differential pressure gauge
wall
90 degree fitting
seal
washer
coupler
inside pressure port
outside pressure port
hex nut
seal
mounting screws
Installation
1. Choose a mounting location on an outside wall
with smooth flat surfaces to insure proper
sealing of the bulkhead compression seals.
2. Drill a 13/32-inch diameter hole through the
bulkhead wall.
3. Insert the hollow threaded rod through
the hole and assemble the seals and
threaded fasteners as shown in Figure M-6.
Note: two 6-inch sampling pipes are included
with a coupler to connect them. Maximum wall
thickness is 5-inches per sampling pipe. Please
order additional sampling pipes for thicker walls.
Figure M-9
Figure M-10
hex nut
washer
sampling pipe - see note below
coupler
M

TM-Underground-Shelter-Kit.pdf
Revision: 2E — Date: June 29, 2011
Section
Page 51
Optional electrical connection kit overview
This optional kit brings 110 volt AC electrical service from the included ceiling penetration down to a
breaker box and then out to two outlets on the bottom of that box. The basic load center kit is a 60
amp service installed in a NEMA 2, UL approved enclosure having two each 20 amp ground fault
protected three prong outlets factory mounted at the bottom of the enclosure. The unit comes
completely pre-wired except for the 4 wire connection to the grid or generator and accompanying
UFER ground installed with the floor rebar kit. The kit is full expandable with eight additional breaker
slots.
The kit also includes all connection hardware such as conduit, fittings, UFER ground rod and clamp
and mounting hardware.
Figure M-11
M
UFER ground
Enclosure
Conduit
group A
Bulkhead
Ceiling
Conduit
group B
NOTE
Be sure to place UFER
ground in proper
location to connect the
enclosure ground
Conduit
group C
Figure M-11

TM-Underground-Shelter-Kit.pdf
Revision: 2E — Date: June 29, 2011
Section
Page 52
Optional electrical connection kit installation
The components are listed in the order of installation
A. 1 each NEMA 2 enclosure and door
B. 2 each concrete anchors
C. 1 each bulkhead kit, w/ gasket and fasteners
D. 1 each conduit group A, w/ fittings
E. 1 each conduit group B, w/ fittings
F. 1 each conduit group C, w/ fittings
G. 1 each UFER ground kit
M
A
F
E
C
D
B
AA
G
BB
UFER ground
rod
Figure M-12

TM-Underground-Shelter-Kit.pdf
Revision: 2E — Date: June 29, 2011
Section
Page 53
L1
L2
Ground
Ground
clamp
UFER
ground rod
Neutral
Caution — The final hook up
wiring to the power source and
commissioning of the load center
should be done by a licensed
electrician.
Wiring instructions
All internal wiring of the load center from the main breaker on is done at the factory.
The minimum gage size of hook up wire shall be #6.
All conduits and fittings from conduit group C, to the source is to be provided by the installer.
All connection wire from the load center to the source is provided by the installer.
There are only four on site wire connections and a ground required by the installing electrician as per
the figure M-13 below.
Figure M-13
TM-Underground-Shelter-Kit.pdf
Revision: 2E — Date: June 29, 2011
Section
Page 54
Optional toilet installation kit overview
This kit will allow a Zoeller Qwik Jon to be installed in a shelter. It uses the air outflow vent pipe to
vent the toilet by connecting between the overpressure valve and the blast valve. The overpressure
valve is a one way check valve so septic odors will not be released into the shelter.
This kit contains parts R-6 through R-14 referenced below and shown on the next page.
Parts R-1 through R-5 (all items shown on the next page) are furnished with the ventilation kit
hardware. Please specify that you want this optional item at time of ordering — there is an additional
charge for this kit. Parts R-A through R-H are furnished by the end user.
Note — the installation of the items in this section must be carried out BEFORE the
ceiling/wall pour of concrete. Some of these parts are poured in place.
The Zoeller Qwik Jon, catalog sheet can be downloaded here:
http://www.zoeller.com/zcopump/zcopdfdocs/FM0692.pdf
The Zoeller Qwik Jon, installation instructions can be downloaded here:
http://www.zoeller.com/zcopump/zcopdfdocs/FM1469.pdf
The contact information for the factory is:
Zoller Pump CompanyTelephone: 800-928-7867
3649 Cane Run Road 502-778-2731
Louisville, Kentucky. 40200-1961
Item index for the drawing on the next page:
R-1 ............ exhaust ventilation pipe
R-2 ............ blast valve
R-3 ............ fastener bolts, 8 each
R-4 ............ fastener nuts, 8 each
R-5 ............ overpressure valve
R-6 ............ Y-connection
R-7 ............ flanged trough the ceiling drain pipe
R-8 ............ fastener screws, 4 each
R-9 ............ fastener nuts, 4 each
R-10 ........... threaded 2-inch pipe coupling pipe to 2” PVC pipe
R-11 ........... flanged through the ceiling water pipe
R-12 ........... fastener screws
R-13 ........... threaded 3/4-inch pipe coupling pipe to 3/4-inch PVC pipe
R-14 ........... 3/4-inch mail to 1/2-inch female PVC nipple reducer
R-A ............ ½” shut off valve
R-B ............ ½” toilet connection pipe
R-C ............ toilet
R-D ............ Zoller, “Qwick Jon®” Model number 100 with sewage pump — part number WM264
R-E ............ vent pipe 3-inch PVC
R-F ............. 2-inch shut off valve
R-G ............ 2-inch PVC pipe
R-H ............ anti-backflow device
This system is recommended because of its cost effectiveness and this system allows for the addition
of a sink and shower. See the Zoeller Qwik Jon installation manual pages 6 and 7 for plumbing
of additional fixtures such as showers and sinks. R
M

TM-Underground-Shelter-Kit.pdf
Revision: 2E — Date: June 29, 2011
Section
Page 55
R-1
R-3
R-7
R-8
R-4
R-11
R-12
Ceiling
form board
R-13
R-14
R-A
R-B
R-2
R-6
R-5
R-9
R-10
R-F
R-G
R-H
R-D
R-XX
R-C
R-E
Figure M-14
Optional toilet installation kit parts
M

TM-Underground-Shelter-Kit.pdf
Revision: 2E — Date: June 29, 2011
Section
Page 56
Optional toilet installation kit dimensions
RM
Figure M-15
Figure M-16
Figure M-17

TM-Underground-Shelter-Kit.pdf
Revision: 2E — Date: June 29, 2011
Section
Page 57
All series
H dimension = 16-in
Reference - rebar cut and forming chart
A
B
CD
Rebar naming convention
1st. character = destination, floor, walls, roof.
2ed. character = location at destination.
3rd. character = cut and forming detail.
(NOTE) bar size R2B
(NOTE) all rebar connections and intersections must be properly tied
Series 100
F1A = 34 pcs. #4 bar x 112” lg.
F2A = 17 pcs. #4 bar x 248” lg.
F1D = 01 pcs. #4 bar x 16” lg
W1A = 10 pcs. #4 bar x 112” lg.
W1B = 10 pcs. #4 bar x 248” lg
W1C = 86 pcs. #4 bar x 92 “ lg.
R1B = 13 pcs. #4 bar x 248” lg.
R2B = 30 pcs. #7 bar x 112” lg.
Series 200
F1A = 34 pcs. #4 bar x 128” lg.
F2A = 20 pcs. #4 bar X 248” lg.
F1D = 01 pcs. #4 bar x 16” lg.
W1A = 10 pcs. #4 bar x 128” lg.
W1B = 10 pcs. #4 bar x 248” lg.
W1C = 90 pcs. #4 bar x 92” lg.
R1B = 14 pcs. #4 bar x 248” lg.
R2B = 30 pcs. #7 bar x 128” lg.
Series 300
F1A = 34 pcs. #4 bar X 152” lg.
F2A = 24 pcs. #4 bar X 248” lg.
F1D = 01 pcs. #4 bar x 16” lg.
W1A = 10 pcs. #4 bar x 152” lg.
W1B = 10 pcs. #4 bar x 248” lg.
W1C = 94 pcs. #4 bar x 92” lg.
R1B = 16 pcs. #4 bar x 248” lg.
R2B = 30 pcs. #8 bar x 152” lg.
Series 400
F1A = 34 pcs. #4 bar x 176” lg.
F2A = 29 pcs. #4 bar x 248” lg.
F1D = 01 pcs. #4 bar x 16” lg.
W1A = 10 pcs. #4 bar x 176” lg.
W1B = 10 pcs. #4 bar x 248” lg.
W1C = 98 pcs. #4 bar x 92” lg.
R1B = 18 pcs. #4 bar x 248” lg.
R2B = 30 pcs. #9 bar x 176” lg.
N
Figure N-1
Figure N-2
Figure N-3

TM-Underground-Shelter-Kit.pdf
Revision: 2E — Date: June 29, 2011
Section
Page 58
Reference - certification of pressure rating
N