ARMOUR, VOLUME 7, USER MANUAL COUGAR, PART TWO, ARMAMENT Cougar (vol 2) B GL 305 007
User Manual: manual pdf -FilePursuit
Open the PDF directly: View PDF
.
Page Count: 413 [warning: Documents this large are best viewed by clicking the View PDF Link!]
- FOREWORD
- CONTENTS
- LIST OF FIGURES
- CHAPTER 1 GENERAL INTRODUCTION
- CHAPTER 2 GUN 76 MM L23A1
- CHAPTER 3 THE MOUNTING AND RECOIL SYSTEM
- CHAPTER 4 TURRET ELECTRICAL SYSTEM
- CHAPTER 5 THE GUN CONTROL EQUIPMENT
- CHAPTER 6 COMMANDER'S SIGHTING EQUIPMENT
- CHAPTER 7 GUNNER'S SIGHTING EQUIPMENT
- CHAPTER 8 GUN LAYING INSTRUMENTS
- CHAPTER 9 BORESIGHTING
- CHAPTER 10 THE MULTI-BARREL SMOKE GRENADE DISCHARGER
- CHAPTER 11 MACHINE-GUN 7.62 MM C5A1
- SECTION 1 INTRODUCTION
- SECTION 2 DESCRIPTION
- SECTION 3 HANDLING
- SECTION 4 STRIPPING AND ASSEMBLING
- SECTION 5 ADDITIONAL STRIPPING AND ASSEMBLING
- GENERAL
- STRIPPING THE LOCK FRAME
- ASSEMBLING THE LOCK FRAME
- STRIPPING THE BARREL EXTENSION
- ASSEMBLING THE BARREL EXTENSION
- STRIPPING THE FEEDWAY MECHANISM
- ASSEMBLING THE FEEDWAY MECHANISM
- STRIPPING THE COVER GROUP
- ASSEMBLING THE COVER GROUP
- STRIPPING THE FRONT BARREL BEARING AND PLUG
- ASSEMBLING THE FRONT BARREL BEARING AND PLUG
- THE BLANK FIRING ATTACHMENT
- SECTION 6 PREPARATION FOR FIRING (SEVEN POINT CHECK)
- SECTION 7 7.62 MM STOPPAGE DRILLS
- SECTION 8 THE 7.62 MM MACHINE-GUN MOUNTS
- SECTION 10 MACHINE-GUN SERVICING
- SECTION 11 INSPECTION AND SERVICING GUIDES
- CHAPTER 12 ANCILLARY SYSTEMS AND COMPONENTS
- CHAPTER 13 AMMUNITION
- CHAPTER 14 GUN DRILLS
- CHAPTER 15 SUMMARY OF ARMAMENT SERVICING
- ANNEX A RELATED DOCUMENTS
B-GL-305-007/MS-002
ARMOUR
VOLUME 7
USER MANUAL - COUGAR
PART TWO
ARMAMENT
(BILINGUAL)
WARNING
ALTHOUGH NOT CLASSIFIED, THIS PUBLICATION, OR
ANY PART OF IT, MAY BE EXEMPTED FROM
DISCLOSURE TO THE PUBLIC UNDER THE ACCESS TO
INFORMATION ACT. ALL ELEMENTS OF INFORMATION
CONTAINED HEREIN MUST BE CLOSELY SCRUTINIZED
TO ASCERTAIN WHETHER OR NOT THE PUBLICATION,
OR ANY PART OF IT, MAY BE RELEASED.
Issued on Authority of the Chief of the Defence Staff
OPI: LFCHQ, G3 ARMOUR 1989-06-30
Ch 2 - 1994-12-09
LIST OF EFFECTIVE PAGES
Insert latest changed pages; dispose of superseded pages in accordance with applicable orders.
NOTE
The portion of the text affected by the latest change is indicated by
a black vertical line in the margin of the page. Changes to
illustrations are indicated by miniature pointing hands or black
vertical lines.
Dates of issue for original and changed pages are:
Original ......................0.................................1989-06-30
Ch...............................1.................................1992-10-19
Ch...............................2.................................1994-12-09
Zero in Change No. Column indicates an original page. Total number of pages in this publication
is 530 consisting of the following:
Page No. Change No. Page No. Change No.
Title, A....................................2 2-1-1 to 2-1-4.................................0
B,C ..........................................2 2-2-1, 2-2-2....................................0
i...............................................1 2-3-1 to 2-3-3/2-3-4 .......................0
ii to xi......................................0 2-4-1, 2-4-2....................................0
xii ............................................2 2-5-1 to 2-5-8.................................0
xiii to xv..................................1 2-6-1 to 2-6-6.................................0
xvi ...........................................2 2-7-1 to 2-7-10...............................0
xvii to xxivA/xxivB................1 2-8-1 to 2-8-6.................................0
xxv ..........................................2 2-9-1...............................................0
xxvi .........................................0 2-9-2, 2-9-3....................................2
xxvii, xxviii.............................2 2-9-4 to 2-9-9/2-9-10.....................0
1-1-1, 1-1-2 .............................0 3-1-1 to 3-1-10...............................0
1-2-1 to 1-2-5..........................0 3-2-1 to 3-2-13/3-2-14 ...................0
1-2-6........................................2 3-3-1 to 3-3-5/3-3-6 .......................0
1-2-7, 1-2-8 .............................0 4-1-1, 4-1-2....................................0
1-2-9 to 1-2-11/1-2-12 ............2 4-2-1 to 4-2-8.................................0
4-3-1, 4-3-2 .............................0 11-4-9, 11-4-10..............................2
5-1-1, 5-1-2 .............................0 11-4-11, 11-4-12............................0
5-2-1 to 5-2-7..........................0 11-5-1 to 11-5-7.............................0
5-2-8........................................2 11-5-8.............................................2
5-2-9, 5-2-10 ...........................0 11-5-9 to 11-5-15/11-5-16 .............0
5-3-1 to 5-3-4..........................0 11-6-1 to 11-6-8.............................0
5-4-1, 5-4-2 .............................0 11-7-1 to 11-7-7/11-7-8 .................2
5-4-3, 5-4-4 .............................2 11-8-1 to 11-8-5.............................0
5-4-5, 5-4-6 .............................0 11-8-6.............................................2
5-4-7, 5-4-8 .............................2 11-8-7 to 11-8-10...........................0
5-5-1 to 5-5-4..........................0 11-9-1 to 11-9-21/11-9-22 .............0
6-1-1 to 6-1-14........................0 11-10-1 to 11-10-5/11-10-6 ...........0
6-2-1 to 6-2-4..........................0 11-11-1 to 11-11-4.........................0
6-3-1 to 6-3-3/6-3-4 ................0 12-1-1, 12-1-2................................0
7-1-1 to 7-1-6..........................0 12-2-1.............................................0
7-2-1 to 7-2-4..........................0 12-2-2.............................................2
7-3-1, 7-3-2 .............................0 12-3-1 to 12-3-3/12-3-4 .................0
8-1-1/8-1-2..............................0 12-4-1 to 12-4-5/12-4-6 .................0
8-2-1 to 8-2-4..........................0 12-5-1 to 12-5-6.............................0
8-3-1 to 8-3-10........................0 12-5-7.............................................2
8-4-1 to 8-4-3/8-4-4 ................0 12-5-8 to 12-5-9/12-5-10 ...............0
9-1-1 to 9-1-5/9-1-6 ................0 12-6-1 to 12-6-4.............................0
9-2-1 to 9-2-3..........................0 13-1-1 to 13-1-25/13-1-26 .............0
9-2-4 to 9-2-6..........................2 13-2-1 to 13-2-9/13-2-10 ...............0
9-3-1, 9-3-2 .............................0 13-3-1, 13-3-2................................2
9-4-1, 9-4-2 .............................0 13-3-3 to 13-3-5.............................0
9-5-1, 9-5-2 .............................0 13-3-6.............................................2
9-6-1 to 9-6-7/9-6-8 ................0 13-4-1 to 13-4-10...........................0
10-1-1/10-1-2..........................0 13-5-1 to 13-5-7/13-5-8 .................0
10-2-1/10-2-2..........................0 13-6-1 to 13-4-4.............................0
10-3-1, 10-3-2 .........................0 13-6-5 to 13-6-8.............................2
10-4-1, 10-4-2 .........................0 13-6-9/13-6-10...............................0
10-5-1/10-5-2..........................0 13-7-1 to 13-7-12...........................0
11-1-1 to 11-1-4......................0 13-8-1, 13-8-2................................0
11-2-1 to 11-2-5/11-2-6 ..........0 13-8-3.............................................2
11-3-1 to 11-3-5/11-3-6 ..........0 13-8-4.............................................0
11-4-1 to 11-4-3......................0 13-9-1, 13-9-2................................2
11-4-4......................................2 13-9-3/13-9-4.................................0
11-4-5 to 11-4-8......................0 14-1-1/14-1-2.................................0
14-2-1 to 14-2-3......................2 15-2-1/15-2-2.................................0
14-2-4 to 14-2-6......................0 15-3-1 to 15-3-15/15-3-16 .............2
14-3-1 to 14-3-4......................2 15A-1/5A-2....................................0
15-1-1 to 15-1-4......................0
Contact Officer: G3 Armour 3 (Doc)
FOREWORD
1. B-GL-305-007/MS-002, Armour, Volume 7, User Manual -Cougar Part 2, Armament, is
issued on authority of the Chief of the Defence Staff.
2. B-GL-305-007/MS-002 is effective on receipt.
3. Any loss or suspected compromise of this publication, or portions thereof, shall be
reported in accordance with A-SJ-100-001/A5-000, Chapter 34.
4. Forward suggestions for changes through normal channels to LFC HQ Attention: SSO
Armour.

RECORD OF CHANGES
Identification of Change
Change No. Date Date Entered Signature
CONTENTS
CHAPTER 1 - GENERAL INTRODUCTION
SECTION 1 - PURPOSE AND SCOPE
AIM
SCOPE
RELATED DOCUMENTS
GENERAL BACKGROUND
SECTION 2 - COUGAR
GENERAL DATA
THE TURRET
TURRET FLOOR
ARMAMENT
GUN CONTROLS
CREW POSITIONS AND OBSERVATION EQUIPMENT
AMMUNITION STOWAGE SUMMARY
CHAPTER 2 - GUN 76 MM L23A1
SECTION 1 - INTRODUCTION
GENERAL
DESCRIPTION
COMPONENTS
SECTION 2 - THE 76 MM BARREL
L1A3 DESCRIPTION
SECTION 3 - THE BREECH RING
DESCRIPTION
SECTION 4 - THE YOKE
DESCRIPTION
SECTION 5 - THE BREECH MECHANISM
DESCRIPTION
COMPONENTS
BREECH BLOCK
FIRING CIRCUIT COMPONENTS
BREECH CLOSING SPRING
ACTUATING SHAFT
THE BREECH MECHANISM LEVER
SECTION 6 - HANDLING
SAFETY PRECAUTIONS
TO CLOSE THE BREECH
TO LOAD
TO FIRE
MAKE SAFE
UNLOAD
EASE SPRINGS
TO REMOVE A JAMMED CARTRIDGE
SECTION 7 - STRIPPING AND ASSEMBLING THE GUN
INTRODUCTION
THE RULES OF STRIPPING AND ASSEMBLING
EQUIPMENT REQUIRED
PREPARATION
TO REMOVE THE STRIKER MECHANISM ASSEMBLY
TO REMOVE THE CRANK STOP
TO REMOVE THE BREECH BLOCK
TO STRIP THE BREECH BLOCK
TO ASSEMBLE THE BREECH BLOCK
TO REPLACE THE BREECH BLOCK
SECTION 8 - MECHANISM
GENERAL
ACTION OF THE BREECH MECHANISM WHEN OPENED BY HAND
ACTION OF THE BREECH MECHANISM ON LOADING
ACTION OF THE BREECH MECHANISM ON FIRING
ACTION ON UNLOADING
ACTION OF THE RECOCKING MECHANISM
SAFETY ARRANGEMENT
SECTION 9 - SERVICING THE GUN
GENERAL
LUBRICANTS
ROUTINE CLEANING (WEEKLY)
PREPARATION
MONTHLY CLEANING
CLEANING BEFORE FIRING
CLEANING DURING FIRING
CLEANING AFTER FIRING
SPECIAL CONDITIONS
TESTS
TO GAUGE THE STRIKER PROTRUSION
TO TEST THE BREECH CLOSING SPRING
SPARE PARTS AND TOOLS
CHAPTER 3 - THE MOUNTING AND RECOIL SYSTEM
SECTION 1 - THE MOUNTING
INTRODUCTION
THE MANTLET
THE CRADLE
GUN BASKET
SECTION 2 - THE RECOIL SYSTEM
INTRODUCTION
THE BUFFER NO. 10, MARK 1
THE REPLENISHER
THE HYDRO-PNEUMATIC RECUPERATOR
THE RECOIL INDICATOR
SECTION 3 - SERVICING
SERVICING THE RECOIL SYSTEM
TO TOP UP THE BUFFER
CHECK THE RECUPERATOR
SET THE RECOIL INDICATOR
MONTHLY SERVICING
SERVICING THE MOUNTING
CHAPTER 4 - TURRET ELECTRICAL SYSTEM
SECTION 1 - INTRODUCTION
INTRODUCTION
SECTION 2 - COMPONENTS
TURRET ROTARY BASE JUNCTION
TURRET MASTER SWITCH
TURRET FUSE BOX
RADNIS CONTROL UNIT
THE POWER TRAVERSE CONTROL UNIT
THE GUN SELECTOR SWITCH BOX
TURRET LIGHTS
CREW COMMANDER'S MAP READING LIGHT
SECTION 3 - SERVICING
PROCEDURES
CHAPTER 5 - THE GUN CONTROL EQUIPMENT
SECTION 1 - INTRODUCTION
GENERAL
GUN LAYING SYSTEMS
GUN CONTROLS
FIRING CIRCUITS
SECTION 2 - COMPONENTS OF THE GUN LAYING SYSTEM
TRAVERSE GEARBOX
MANUAL TRAVERSE
POWER TRAVERSE
ELEVATING SYSTEM
SECTION 3 - OPERATION
MANUAL TRAVERSE
POWER TRAVERSE
TO TEST THE OPERATION OF THE POWER TRAVERSE
ELEVATION SYSTEM
SECTION 4 - FIRING CIRCUITS
INTRODUCTION
76 MM GUN FIRING CIRCUIT
76 MM GUN MECHANICAL CIRCUIT
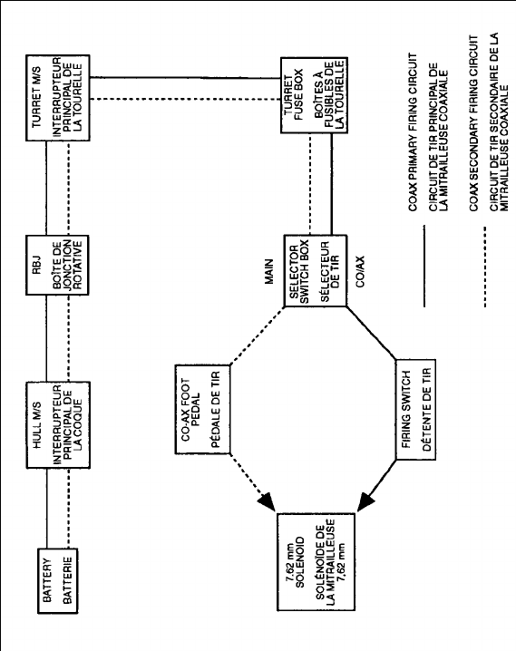
COAXIAL PRIMARY FIRING CIRCUIT
COAXIAL SECONDARY FIRING CIRCUIT
VEHICLES FITTED WITH RADNIS
SECTION 5 - SERVICING
TRAVERSE GEARBOX
SERVICING ELEVATING GEAR
TO TEST THE 76 MM FIRING GEAR
ADJUSTING THE 76 MM GUN FIRING GEAR
TESTING THE COAXIAL MACHINE GUN FIRING GEAR
TO ADJUST THE COAXIAL MACHINE GUN FIRING GEAR
CHAPTER 6 - COMMANDER'S SIGHTING EQUIPMENT
SECTION 1 - COMPONENTS
INTRODUCTION
THE SIGHT MOUNTING
THE SIGHT WASHER SYSTEM
THE SIGHT, PERISCOPIC, ARMOURED VEHICLE, NO. 71
COMMANDER'S RADNIS
SECTION 2 - OPERATION
COMPONENT ADJUSTMENT AND OPERATION OF THE NO. 71 SIGHT
COMPONENT ADJUSTMENT AND OPERATION OF THE COMMANDER'S RADNIS
SECTION 3 - SERVICING
OBJECT PRISMS AND OBJECT GLASSES
OCULAR PRISMS AND EYE LENSES
GENERAL INSPECTION OF OPTICAL AND SIGHTING EQUIPMENT
GRATICULE LAMP
SERVICING THE SIGHT WASHER SYSTEM
TEST FOR PARALLAX
CHAPTER 7 - GUNNER'S SIGHTING EQUIPMENT
SECTION 1 - COMPONENTS
INTRODUCTION
THE SIGHT MOUNTING
THE TURNBUCKLE, FIRE CONTROL, ARMOURED FIGHTING VEHICLE, NO. 26,
MARK 1
THE SIGHT, PERISCOPIC, ARMOURED VEHICLE, NO. 54, MARK 1
GUNNER'S RADNIS
SECTION 2 - OPERATION
COMPONENT ADJUSTMENT AND OPERATION OF THE NO. 54 SIGHT
MOVING THE NO. 54 SIGHT TO THE STOWED POSITION
RELEASING THE NO. 54 SIGHT FROM THE STOWED POSITION
COMPONENT ADJUSTMENT AND OPERATION OF THE GUNNER'S RADNIS
SECTION 3 - SERVICING
MOUNTING/DISMOUNTING THE NO. 54 SIGHT
OPTICAL SERVICING
CHAPTER 8 - GUN LAYING INSTRUMENTS
SECTION 1 - INTRODUCTION
GENERAL
SECTION 2 - TRAVERSE INDICATOR
FUNCTION
DESCRIPTION
OPERATION
SECTION 3 - QUADRANT FIRE CONTROL
FUNCTION
DESCRIPTION
OPERATION OF THE TRILUX LAMPS
SAFETY PRECAUTIONS FOR TRILUX LAMPS
OPERATIONS
SECTION 4 - SERVICING
TRAVERSE INDICATOR
TO TEST THE ACCURACY OF THE TRAVERSE INDICATOR
QUADRANT FIRE CONTROL
QUADRANT FIRE CONTROL DRIVE
TO ZERO THE QUADRANT FIRE CONTROL
CHAPTER 9 - BORESIGHTING
SECTION 1 - BORESIGHT AND SCREEN
DESCRIPTION
SECTION 2 - BORESIGHTING
GENERAL
DEFINITION OF BORESIGHTING
PREPARATION BEFORE BORESIGHTING
E METHOD OF BORESIGHTING
ZEROING PROCEDURE FOR COUGAR AVGP
SECTION 3 - VISUAL BORESIGHTING (NO BORESIGHT)
PROCEDURE
SECTION 4 - CONVERGING THE COMMANDER'S SIGHT
GENERAL
PREPARATION
ADJUSTING THE SIGHT
SECTION 5 - EXAMPLE CALCULATION OF THE MEAN READING
PROCEDURE
SECTION 6 - ZEROING
GENERAL
ZEROING PROCEDURE
ZEROING WITH STANDARD VALUES
ZEROING REGISTRATION FORM
CHAPTER 10 - THE MULTI-BARREL SMOKE GRENADE DISCHARGER
SECTION 1 - INTRODUCTION
GENERAL
SECTION 2 - DESCRIPTION
THE DISCHARGER
SWITCH BOX
THE GRENADE
SECTION 3 - OPERATION
LOADING
FIRING
UNLOADING
MISFIRE DRILL
SECTION 4 - SERVICING
CIRCUIT TEST
CLEANING
SECTION 5 - MEDICAL TREATMENT
TREATMENT OF PHOSPHOROUS BURNS
CHAPTER 11 - MACHINE-GUN 7.62 MM C5A1
SECTION 1 - INTRODUCTION
GENERAL
PARTICULARS AND PERFORMANCE
SECTION 2 - DESCRIPTION
OPERATION
BARREL
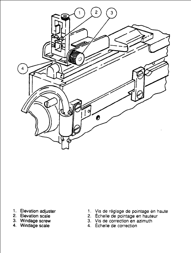
SIGHTS
SECTION 3 - HANDLING
TO PROVE THE GUN
TO HALF LOAD
TO LOAD FROM THE HALF LOAD
TO FIRE
TO MAKE THE GUN SAFE
TO LOAD FROM THE MAKE SAFE
TO UNLOAD THE GUN (ACTION FORWARD)
TO UNLOAD THE GUN (MAKE SAFE POSITION)
TO EASE SPRINGS
SECTION 4 - STRAPPING AND ASSEMBLING
GENERAL
NORMAL STRIPPING OF THE GUN
TO STRIP THE BOLT
TO ASSEMBLE THE BOLT
ASSEMBLING THE GUN
SECTION 5 - ADDITIONAL STRIPPING AND ASSEMBLING
GENERAL
STRIPPING THE LOCK FRAME
ASSEMBLING THE LOCK FRAME
STRIPPING THE BARREL EXTENSION
ASSEMBLING THE BARREL EXTENSION
STRIPPING THE FEEDWAY MECHANISM
ASSEMBLING THE FEEDWAY MECHANISM
STRIPPING THE COVER GROUP
ASSEMBLING THE COVER GROUP
STRIPPING THE FRONT BARREL BEARING AND PLUG
ASSEMBLING THE FRONT BARREL BEARING AND PLUG
THE BLANK FIRING ATTACHMENT
SECTION 6 - PREPARATION FOR FIRING (SEVEN POINT CHECK)
GENERAL
BUFFER DISC ASSEMBLY
HEADSPACING
TIMING
FIRING PIN PROTRUSION
FEED MECHANISM
FEED SLIDE TEST
BARREL JACKET, FRONT BARREL BEARING AND PLUG AND SIGHTS
SECTION 7 - 7.62 MM STOPPAGE DRILLS
7.62 MM STOPPAGE DRILLS
5 STOPPAGE DRILLS
SETTING UP STOPPAGES (FOR INSTRUCTORS)
SECTION 8 - THE 7.62 MM MACHINE-GUN MOUNTS
GENERAL
THE COAXIAL MACHINE-GUN CRADLE
MOUNTING, ADJUSTING AND DISMOUNTING THE MACHINE-GUN
TRIPOD MOUNT M2
TRAVERSING AND ELEVATING MECHANISM
LAYING THE GUN (TRIPOD MOUNTED)
AIMING (TRIPOD MOUNTED)
AIMING OFF FOR WIND (TRIPOD MOUNTED)
FIRING THE GUN (TRIPOD MOUNTED)
SECTION 9 - MECHANISM
GENERAL
TRIGGER ACTION
UNLOCKING
EXTRACTION AND EJECTION
LOADING
FEEDING
COCKING
LOCKING
AUTOMATIC FIRING
SECTION 10
MACHINE-GUN SERVICING
INTRODUCTION
LUBRICANTS AND THEIR USES
PREPARATION FOR SERVICING
CLEANING AND RE-OILING THE BORE
NORMAL CLEANING
CLEANING BEFORE FIRING
CLEANING AFTER FIRING
SERVICING THE MACHINE-GUN CRADLE
SPECIAL CONDITIONS
SPARE PARTS AND TOOLS
SECTION 11 - INSPECTION AND SERVICING GUIDES
INSPECTION GUIDE
CHAPTER 12 - ANCILLARY SYSTEMS AND COMPONENTS
SECTION 1 - EXTRACTOR FAN
DESCRIPTION
OPERATION
SECTION 2 - SPOTLIGHT NO. 1, MARK 2
DESCRIPTION
SECTION 3 - HATCHES AND SEATS
OPERATION OF HATCHES
OPERATION OF SEATS
SECTION 4 - OBSERVATION EQUIPMENT
PERISCOPES, ARMOURED VEHICLE, NO. 48 AND NO.43
BINOCULARS - DESCRIPTION
SECTION 5 - THE LASER RANGE FINDER GVS-5
THE LASER RANGE FINDER GVS-5
PARTICULARS AND PERFORMANCE
DESCRIPTION AND COMPONENTS
PREPARATION FOR USE
OPERATION
SECTION 6 - SERVICING
EXTRACTOR FAN
SPOTLIGHT NO. 1, MARK 2
HATCHES AND SEATS
PERISCOPES
LASER RANGE FINDER GVS-5
CHAPTER 13 - AMMUNITION
SECTION 1 - 76 MM AMMUNITION
INTRODUCTION
TYPES OF AMMUNITION
COMPONENTS OF 76 MM AMMUNITION
BASE CLIP NO. 48 MARK 1
HIGH EXPLOSIVE SQUASH HEAD L29
HIGH EXPLOSIVE L24
SMOKE BASE EJECTION L32
CANISTER SHOT L33
PRACTICE SQUASH HEAD L40
SHELL PRACTICE L25
TRACER SHELL L5A2
BLANK CARTRIDGE
76 MM AMMUNITION PACKING
SECTION 2 - SMALL ARMS AMMUNITION
GENERAL
TERMINOLOGY
7.62 MM AMMUMITION
9 MM AMMUNITION
PACKAGING OF SMALL ARMS AMMUNITION
SECTION 3 - GRENADES
TYPES OF GRENADES
GRENADE, DISCHARGER, SMOKE, SCREENING, L5
GRENADE DISCHARGER, SMOKE, SCREENING, L7
GRENADE, DISCHARGER, SMOKE, SCREENING, L8
SECTION 4 - FLARES
MINI-FLARES
DESCRIPTION
PROJECTILE DATA
PACKAGE DATA
INSPECTING THE CARTRIDGE
TO OPERATE THE PROJECTOR
ILLUMINATION FLARE (FLARE, PARACHUTE, HAND FIRED, C3)
SECTION 5 - PERSONAL ANTI-ARMOUR WEAPON
PERSONAL ANTI-ARMOUR WEAPON (M72A1 and M72 A1E1)
SECTION 6 - BATCHING
DEFINITION
CARTRIDGE LETTER
BATCH NUMBER
SUB-BATCH LETTER
SECTION 7 - AMMUNITION MARKING
GENERAL
MARKING OF AMMUNTION PACKAGING
MARKING OF AMMUNITION
SMALL ARMS AMMUNITION
SECTION 8 - CARE AND HANDLING OF AMMUNITION
GENERAL
RULES FOR HANDLING
MAIN ARMAMENT AMMUNITION
SMALL ARMS AMMUNITION
GRENADES
AMMUNITION MALFUNCTIONS AND DEFECTS
SECTION 9 - AMMUNITION STOWAGE
GENERAL
STOWAGE POSITIONS
CHAPTER 14 - GUN DRILLS
SECTION 1 - INTRODUCTION
GENERAL
SECTION 2 - NORMAL DRILLS
ACTION DRILL
TABLE OF COMMANDER'S ACTIONS
TABLE OF GUNNER'S ACTIONS
REPLENISH
CHECK GUNS
MAKE SAFE
STILL
CLEAR GUNS
JAMMED CARTRIDGE
SECTION 3 - 76 MM MISFIRE DRILL
GENERAL
CHAPTER 15 - SUMMARY OF ARMAMENT SERVICING
SECTION 1 - GENERAL SERVICING SUMMARY
SERVICING GENERAL
RESPONSIBILITY
FREQUENCY OF SERVICING
SECTION 2 - LUBRICANTS
OIL
GREASE
SECTION 3 - SERVICING GUIDE TABLE
WEEKLY SERVICING
ANNEX A RELATED DOCUMENTS
LIST OF FIGURES
FIGURE TITLE
Figure 1-2-1 Turret Side View (Right-Hand Side)
Figure 1-2-2 Turret Side View (Left-Hand Side)
Figure 1-2-3 Turret Front View
Figure 1-2-4 Turret Floor
Figure 1-2-5 (1 of 2) Turret Interior
Figure 1-2-5 (2 of 2) Turret Interior
Figure 2-1-1 The Gun
Figure 2-2-1 The Barrel
Figure 2-3-1 Breech Ring Right-Hand Side
Figure 2-3-2 Breech Ring Left-Hand Side
Figure 2-4-1 The Yoke
Figure 2-5-1 (1 of 2) Breech Left-Hand Side
Figure 2-5-1 (2 of 2) Breech Left-Hand Side
Figure 2-5-2 (1 of 2) Breech Right-Hand Side
Figure 2-5-2 (2 of 2) Breech Right-Hand Side
Figure 2-5-3 Breech Mechanism
Figure 2-6-1 Key Removing Jammed Cartridge
Figure 2-7-1 (1 of 2) Breech Block Components
Figure 2-7-1 (2 of 2) Breech Block Components
Figure 2-7-2 (1 of 2) Striker Mechanism Assembly
Figure 2-7-2 (2 of 2) Striker Mechanism Assembly
Figure 2-9-1 Gauging the Striker Protrusion
Figure 3-1-1 Mantlet Interior View
Figure 3-1-2 Mantlet Exterior View (Front)
Figure 3-1-3 Mantlet Exterior View
Figure 3-1-4 Deflector Guard
Figure 3-1-5 Cradle, Left-Hand Side
Figure 3-1-6 Cradle, Right-Hand Side
Figure 3-2-1 Buffer and Replenisher Cylinders
Figure 3-2-2 Yoke
Figure 3-2-3 Buffer
Figure 3-2-4 Replenisher
Figure 3-2-5 Recuperator and Hydro-Pneumatic Cylinders
Figure 3-2-6 Recuperator and Hydro-Pneumatic Cylinders
Figure 3-2-7 Recoil Indicator
Figure 3-3-1 Recoil System Fault/Cause Chart
Figure 4-1-1 Main Circuit Breaker 225 Amp
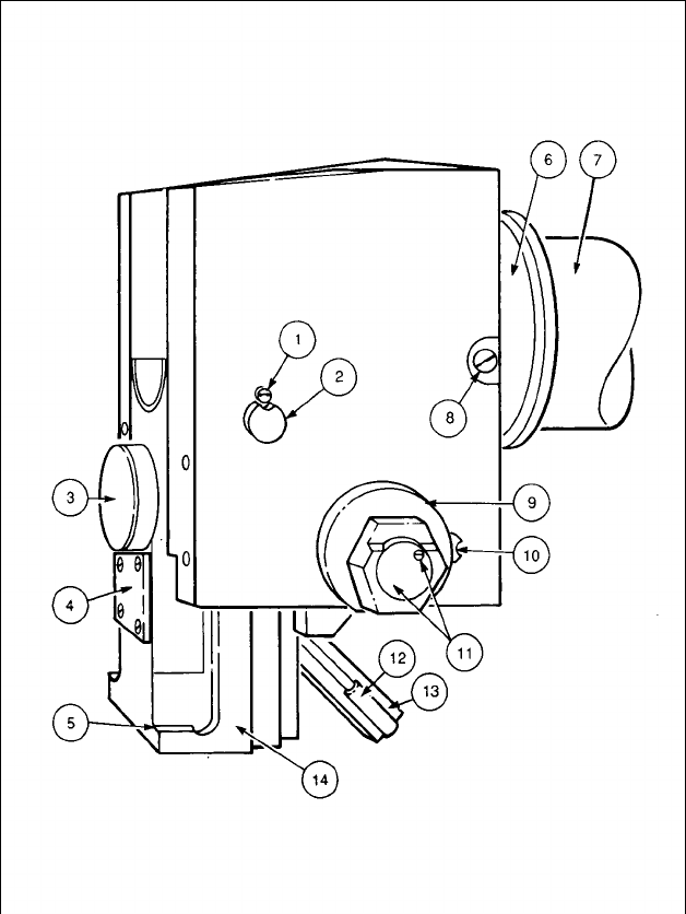
Figure 4-2-1 Turret Rotary Base Junction
Figure 4-2-2 Turret Master Switch
Figure 4-2-3 Turret Fuse Box
Figure 4-2-4 Radnis Control Unit
Figure 4-2-5 The Power Traverse Control Unit
Figure 4-2-6 Gun Selector Switch Box
Figure 5-2-1 Traverse Gearbox
Figure 5-2-2 Power Traverse Control Unit
Figure 5-2-3 Manual Traverse Engaged
Figure 5-2-4 Power Traverse Engaged
Figure 5-2-5 Diagramatic Arrangement of Power Traverse System
Figure 5-2-6 Elevating Gearbox
Figure 5-2-7 Elevating Gearbox Gearing
Figure 5-4-1 76 mm Firing Gear
Figure 5-4-2 Main Gun Firing Circuits
Figure 5-4-3 Coaxial Firing Circuits
Figure 6-1-1 Mount Armoured Vehicle Periscope No. 45 Mark 1
Figure 6-1-2 Sight Periscopic, Armoured Vehicle, No. 71
Figure 6-1-3 Day Graticule Pattern All Sights
Figure 6-1-4 Graticule Pattern Explained
Figure 6-1-5 SS126 Commander's Radnis
Figure 6-1-6 SS126 Commander's Radnis
Figure 6-1-7 Radnis Control Unit
Figure 6-1-8 Radnis Night Graticule Pattern
Figure 7-1-1 Sight, Periscopic, Armoured Vehicle, No. 54
Figure 7-1-2 Day Sight Graticule Pattern All Sights
Figure 7-1-3 Radnis Night Graticule Pattern
Figure 8-2-1 Traverse Indicator
Figure 8-3-1 Quadrant Fire Control, No. 16, Mark 1
Figure 8-3-2 Trilux Lamps
Figure 9-1-1 Boresight Armoured Fighting Vehicle No. 3 Mark 1
Figure 9-1-2 Boresight Armoured Fighting Vehicle No. 3 Mark 1
Figure 9-1-3 76 mm Boresighting Screen
Figure 9-6-1 Cougar Zeroing Registration Form (3 Sheets)
Figure 11-1-1 Machine-Gun 7.62mm C5
Figure 11-2-1 Barrel Components
Figure 11-2-2 Front Sight
Figure 11-2-3 Rear Sight
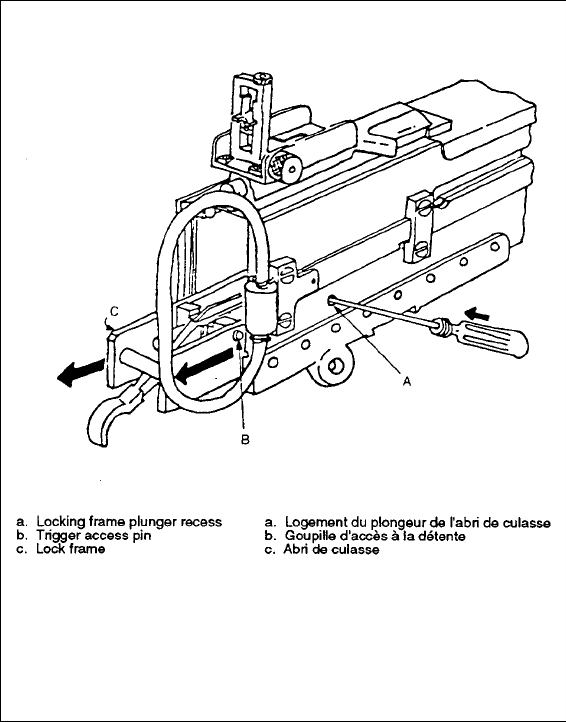
Figure 11-4-1 Removing Lock Frame and Barrel from Receivers
Figure 11-4-2 stripped components
Figure 11-4-3 Barrel Extension
Figure 11-4-4 Barrel Extension and Lock Frame
Figure 11-4-5 The Bolt
Figure 11-4-6 (1 of 2) The Bolt (Exploded View)
Figure 11-4-6 (2 of 2) The Bolt (Exploded View)
Figure 11-5-1 Lock Frame
Figure 11-5-2 Lock Frame (Exploded View)
Figure 11-5-3 Barrel Extension
Figure 11-5-4 Barrel Extension (Exploded View)
Figure 11-5-5 Feedway Mechanism
Figure 11-5-6 Feedway Mechanism (Exploded View)
Figure 11-5-7 Cover Group
Figure 11-5-8 Cover Group (Exploded View)
Figure 11-5-9 Blank Firing Attachment
Figure 11-6-1 Headspacing and Timing Gauge
Figure 11-6-2 Feed Slide Test
Figure 11-7-1 The Coaxial Machine-Gun Cradle
Figure 11-7-2 Top of Link Exit Chute
Figure 11-7-3 Setting Up Stoppages
Figure 11-8-1 Spent Casing Bag
Figure 11-8-2 Cartridge Trap
Figure 11-8-3 Tripod Mount M2
Figure 11-8-4 Traversing and Elevating Mechanism
Figure 11-9-1 Recoiling Parts in Forward Position
Figure 11-9-2 Trigger Action in Cocked Position
Figure 11-9-3 Trigger Action Fire Position
Figure 11-9-4 Unlocking (First Phase)
Figure 11-9-5 Unlocking (Second Phase)
Figure 11-9-6 Unlocking (Third Phase)
Figure 11-9-7 Extraction
Figure 11-9-8 Ejection
Figure 11-9-9 Loading (First Phase)
Figure 11-9-10 Loading (Second Phase)
Figure 11-9-11 Feeding (First Phase)
Figure 11-9-12 Feeding (Second Phase)
Figure 11-9-13 Cocking Action
Figure 11-9-14 Locking
Figure 11-9-15 Automatic Firing
Figure 11-10-1 Universal Tool
Figure 11-11-1 Parts to Check Before, During and After Firing
Figure 12-1-1 Extractor Fan
Figure 12-2-1 Spotlight No. 1, Mark 2
Figure 12-4-1 Graticule Pattern binoculars 7 x 50 ELCAN
Figure 12-4-2 Periscope Armoured Vehicle No. 48 and no. 43
Figure 12-5-1 Laser Range Finder GVS-5 Exterior Control
Figure 12-5-2 Laser Range Graticule Pattern
Figure 12-5-3 Target Acquisition
Figure 12-6-1 Laser Range Finder Remedy Chart
Figure 13-1-1 Primer, Percussion, Quick Fire Cartridges, No. 15, Mark 5
Figure 13-1-2 Shell, 76 mm, Armd C, HESH
Figure 13-1-3 (1 of 2) Fuse, Percussion, Base Medium, L19A5
Figure 13-1-3 (2 of 2) Fuse, Percussion, Base Medium, L19A5
Figure 13-1-4 Shell, 76 mm, Armd C, HE
Figure 13-1-5 (1 of 2) Fuse, Nose, Percussion, Direct Action, L17A6
Figure 13-1-5 (2 of 2) Fuse, Nose, Percussion, Direct Action, L17A6
Figure 13-1-6 Shell, 76 mm Armd C, Smoke, Be
Figure 13-1-7 (1 of 2) Fuse, Nose, Time No. 390
Figure 13-1-7 (2 of 2) Fuse, Nose, Time No, 390
Figure 13-1-8 Canister Shot, 76 mm, Armd C
Figure 13-1-9 Shell, Practice Squash Head L40
Figure 13-1-10 Shell Practice High Explosive L25
Figure 13-1-11 Tracer, Shell, 15A2
Figure 13-1-12 Black Cartridge
Figure 13-2-1 Cardboard Container 7.62 mm Ammunition
Figure 13-2-2 Wooden, Wire-Wrapped Crate
Figure 13-2-3 Cartons for 9 mm Ammunition
Figure 13-2-4 Metal Container for 9 mm Ammunition
Figure 13-3-1 Grenade, Discharger, Smoke, Screening L5
Figure 13-3-2 Grenade, Discharger, Smoke, Screening Green, L7
Figure 13-3-3 Grenade, Discharger, Smoke, Screening L8
Figure 13-3-4 Cougar Grenade Recognition
Figure 13-4-1 Three Different Types of Projectors Used by the Canadian Forces
Figure 13-4-2 Description of Projector
Figure 13-4-3 Cartridge
Figure 13-4-4 (1 of 2) Flare, Parachute Hand-Fired, C3
Figure 13-4-4 (2 of 2) Flare, Parachute Hand-Fired, C3
Figure 13-5-1 (1 of 2) M72 Rocket Launcher and Rocket
Figure 13-5-1 (2 of 2) M72 Rocket Launcher and Rocket
Figure 13-5-2 M72 Front Sight
Figure 13-6-1 Shell, 76 mm, Armd C, SH Practice
Figure 13-6-2 Round, 76 mm, Armd C, HESH
Figure 13-6-3 Round, 76 mm, Armd C, HE
Figure 13-6-4 Round, 76 mm, Armd C, Practice
Figure 13-6-5 Round, 76 mm, Armd C, Smoke BE
Figure 13-6-6 Round, 76 mm, Armd C, Canister Shot
Figure 13-6-7 Cartridge, Blank, 76 mm, Armd C, L2A1
Figure 13-7-1 Typical Marking on Outer Ammunition Boxes (Except those Containing
Small Arms Ammunition)
Figure 13-7-2 Typical Stampings Applied to Base of Small Arms Ammunition Cartridge
Cases
Figure 13-7-3 Symbols Denoting Type of Pack for Small Arms Ammunition
Figure 13-7-4 Symbols Denoting Nature of Bullets for Small Arms Ammunition
Figure 13-7-5 Method of Marking Inner Boxes Containing Small Arms Ammunition
Figure 13-7-6 Method of Marking Outer Boxes Containing Small Arms Ammunition
Figure 14-2-1 Table of Commander's Actions
Figure 14-2-2 Table of Gunner's Actions
Figure 14-3-1 (1 of 3) 76 mm Misfire Drill
Figure 14-3-1 (1 of 3) 76 mm Misfire Drill
Figure 14-3-1 (1 of 3) 76 mm Misfire Drill
Figure 15-3-1 (1 of 2) Lubrication Chart
Figure 15-3-1 (2 of 2) Lubrication Chart
CHAPTER 1
GENERAL INTRODUCTION
SECTION 1
PURPOSE AND SCOPE
AIM
1. To provide a description and operating instructions for the systems and components of the
Cougar turret.
2. To provide a technical reference for gunnery instructors and crews.
SCOPE
3. This manual provides descriptive material and illustrations to enable users to understand
the systems and components of the Cougar turret.
4. Instructions are provided for users to undertake the user level preventive maintenance and
servicing required by all Cougar turret systems and components. Repair and overhaul are not
covered.
5. This manual is organized into 15 chapters. Chapters 2 and 3 deal with the main
armament. Chapter 4 deals with the turret electrical system; Chapters 5 to 8 deal with gun control
equipment, sights and gun laying instruments. Chapter 9 deals with the boresight and
boresighting screen. Multi-barrel smoke grenade dischargers are dealt with in Chapter 10. The
machine gun is covered in Chapter 11. Chapter 12 deals with ancillary systems and components.
Ammunition is dealt with in Chapter 13. Gun drills are covered in Chapter 14 and a summary of
armament servicing is provided in Chapter 15.
RELATED DOCUMENTS
6. The primary related document is the Cougar Crew Commander's Checklist. Other related
documents are annotated at Annex A.
GENERAL BACKGROUND
7. The Cougar was designed for the Armour Branch as a tan trainer. The turret is
constructed in England by Alvis using aluminum alloys and is mounted on a MOWAG hull
which is produced in Switzerland. The hull and the turret are assembled by General Motors of
Canada in London, Ontario.
8. The Cougar is amphibious with minimum preparation time. It has no nuclear, biological
and chemical (NBC) protection capability; this option is available, but was not purchased.
9. Some of the Cougars have the Radnis Image Intensification sight which gives them a
night fighting capability.
SECTION 2
COUGAR
GENERAL DATA
1.
Crew Commander, gunner, driver
Weights gross vehicle weight 10,500 kg
Bridge classification 12
Length approximately 5.97 m
Width approximately 2.5 m
Height approximately 2.62 m
Range on roads approximately 600 km
Maximum speed in water approximately 10 km/h
Maximum road speed approximately 100 km/h
Engine 6V 53T GM Detroit Diesel producing 278.85 HP
(CV) at 2,800 RPM
Vertical step 0.4 - 0.5 m
Maximum gradient 70% (depending on adhesion)
Maximum side slope 35% (depending on adhesion)
Angle of approach 40%
Main armament gun, 76 mm, L23A1
Secondary armament 1 X GPMG 7.62 mm C5A1
GENERAL TURRET DATA
2.
Turret crew 2 men, commander, gunner
Weight of turret approximately 6800 kg
Weight of complete gun 150.59 kg
Elevation range 600 mils
Depression range 140 mils
Traversing range 6400 mils
Rated voltage 24 V
Permissible operating voltage 22.5 to 28 V
THE TURRET
3. The turret houses the armament, the fire control systems, the gun control equipment and
communication equipment.
4. The Cougar turret is constructed of an aluminium alloy specially treated and aged by a
heating process which improves strength. The plates are welded using a fully automatic process
which results in welds of constant quality. An additional layer of weld metal is laid onto the plate
surface near the weld joint. This is a stress-relieving treatment which minimizes stress corrosion
and cracking.
5. The roof is provided with mounting holes for the commander's and gunner's hatches and
sights.
6. There are four lifting points welded to the turret which are used for removing and
replacing the turret with a crane or an armoured recovery vehicle (ARV). On the left-hand side of
the turret, a bag is attached for stowing the camouflage net. Two antenna mounts, which house
the antenna tuning unit and the antenna support, are also mounted on the turret.
TURRET FLOOR
7. The turret floor is fastened to the turret by two mounting brackets on the turret ring and is
supported by of four double rollers in the hull. The turret floor also provides stowage for 7.62
mm ammunition.
8. The gun basket is attached to the turret floor and provides stowage bins for spare
periscopes and 9 mm sub-machine-gun (SMG) magazines for the commander and gunner.
9. The rotary base junction is located on the centre of the turret floor.
ARMAMENT
10. The Cougar has the following weapons available to its crew:
a. a 76 mm L23A1 gun as main armament;
b. a general purpose machine-gun (GPMG) 7.62 mm C5A1 coaxially mounted to the
main armament;
c. eight smoke grenade dischargers- 4 mounted on each side of the turret; and
d. personal weapons.
GUN CONTROLS
11. The Cougar has an electrically powered system and a manual system to lay the gun. The
weapon systems are fired either electrically or mechanically. The power controls provide power
traverse for the gunner and an override controller for the Commander.
12. The manual controls provide manual traverse and elevation for the gunner. The firing
controls provide:

Figure 1-2-1 Turret Side View (Right-Hand Side)

Figure 1-2-2 Turret Side View (Left-Hand Side)

Figure 1-2-3 Turret Front View

Figure 1-2-4 Turret Floor
a. an electrical firing circuit for main gun and coaxial machine-gun (MG);
b. an emergency mechanical firing circuit for the main gun;
c. a secondary electromechanical firing circuit for the coaxial MG; and
d. an independent firing control for the multi-barrel smoke grenade dischargers.
13. The armament may be fired using direct, semi-indirect, indirect or fixed line procedures.
CREW POSITIONS AND OBSERVATION EQUIPMENT
14. Commander. The commander's position is to the left rear of the turret. It is provided with
an adjustable seat and foot rest. Convenient to the right hand and attached to the No. 71
Commander's sight is the power traverse override controller. The coaxial MG is mounted in the
cradle convenient to the right hand. All-around observation is provided by seven periscopes
mounted in the turret roof.
15. Gunner. The gunner is positioned on an adjustable seat on the right hand side of the
armament. The fire control systems and gun control equipment are conveniently positioned to the
front and near the gunner's right hand. There are two observation periscopes mounted in the
turret roof.
16. Driver. The driver is the only member of the crew not in the turret. The driver's
compartment is positioned to the left front of the vehicle hull. The driver is controlled by the
commander.through the vehicle intercom (IC) system. When the driver's hatch is closed, the
driver has three periscopes for observation and driving. There is an image intensification (II)
device for driving and observation at night. There is a traverse safety switch which prevents the
turret from being traversed electrically unless the driver's hatch is fully closed and locked.
AMMUNITION STOWAGE SUMMARY
15. The following is a summary of ammunition stowage:
a. ammunition for 76 mm gun:
(1) ready bin - 10,
(2) stowage bin - 30; and
b. ammunition for 7.62 mm machine gun:
(1) one box in the coaxial feed tray,
(2) three boxes under the gun basket, and
(3) thirteen boxes in the hull;
c. ammunition for personal weapons:
(1) 5.56 mm - as per Standing Operating Procedures (SOPs);
d. grenades:
(1) eight smoke grenades in dischargers,
(2) eight smoke grenades stowed on the exterior of the turret, and
(3) ten fragmentation hand grenades;
e. M72 - three in hull;
f. four para flares C3 in the hull; and
g. signal flares - one projector and 24 flares.

Figure 1-2-5 (Sheet 1 of 2) Turret Interior

Figure 1-2-5 (Sheet 2 of 2) Turret Interior
CHAPTER 2
GUN 76 MM L23A1
SECTION 1
INTRODUCTION
GENERAL
1. The 76 mm gun is the main armament on the Cougar. The gun is capable of firing
medium and low velocity ammunition. The following types can be fired:
a. High Explosive Squash Head (HESH);
b. High Explosive (HE);
c. Smoke Base Ejection (BE);
d. Canister;
e. Squash Head (SH) Practice;
f. High Explosive (HE) Practice; and
g. Blank ammunition.
DESCRIPTION
1. The following information is provided for the 76 mm gun:
a. name Gun, 76 mm, L23A1;
b. calibre 76 mm;and
c. muzzle velocities:
(1) medium HESH 533 m/sec,
SH Practice 533 m/sec,
HE Practice 514 m/sec,
Canister not calculated, and
(2) low Smoke 290 m/sec.
2. The gun is loaded by hand with a percussion initiated cartridge. When fired, the gun
recoils approximately 28 cm under the control of a buffer replenisher assembly and is returned to
the firing position by a hydro-pneumatic type recuperator. During run out, the breech is opened
mechanically and the fired cartridge case is ejected. The breech remains open until the next round
is loaded.
COMPONENTS
3. The gun is comprised of the following main components:
a. the 76 mm barrel;
b. the breech ring;
c. the yoke; and
d. the breech mechanism.
2. The following technical data pertain to the 76 mm gun:

Figure 2-1-1 The Gun
a. calibre 76 mm;
b. normal barrel recoil 28 cm;
c. length of barrel 2.156 m;
with breech ring
d. length of barrel 2.029 m;
without breech ring
e. number of grooves 20;
in the rifling
f. ratio of twist 1 turn in 20 calibres;
g. direction of twist uniform, right hand;
h. weight of breech 43.79 kg;
ring
j. weight of breech 15.99 kg;
block
k. Equivalent full 1 EFC value (all ammunition
charge (EFC) including blanks)
m. number of EFC/rounds 250 rounds (examination at least
which can be fired between once a year);and
examinations
n. condemning limits 4750 rounds.
SECTION 2
THE 76 MM BARREL
L1A3 DESCRIPTION
1. The barrel is called the L1A3. The barrel registration number, part number, year of
manufacture and the manufacturer's initial are found on the rear face of the barrel. It is fitted with
a safety collar. The barrel is attached to the breech ring by interrupted threads. Barrel rotation is
prevented by a locking plate which is secured within the breech ring and breech face of the
barrel. Inside the barrel are 20 grooves in the rifling which provide right-hand twist to the
projectile during its movement out of the barrel. The barrel has a condemning limit of 4750
rounds.

Figure 2-2-1 The Barrel
SECTION 3
THE BREECH RING
DESCRIPTION
2. The breech ring is machined from a solid steel block and includes drillings for the breech
mechanism.
3. The breech ring is of the open jaw type with a vertical sliding block. Its front end forms
the housing for the yoke. A projection of the anti-rotation key slides into a keyway cut into the
front face.
To retain the breech ring to the barrel and to prevent its rotation, a locking plate is fitted centrally
at the top of the breech face. The breech ring number can be found on the top face of the breech
ring. A recocking lever on the left face of the breech ring can be hand-operated to the safe, fire
and recock positions.
4. There is a lubrication point located on top of the anti-rotation key.

Figure 2-3-1 Breech Ring Right-Hand Side

Figure 2-3-2 Breech Ring Left-Hand Side
SECTION 4
THE YOKE
DESCRIPTION
1. The yoke sections are clamped together to form a collar around the front of the breech
ring. The yoke is also attached to the buffer and recuperator piston ends by bobbins; these form
the link between the gun and the recoil system. The anti-rotation key is mounted to the top of the
yoke by two screws.

Figure 2-4-1 The Yoke
SECTION 5
THE BREECH MECHANISM
DESCRIPTION
1. The breech mechanism provides the means by which the breech is closed, the round fired,
the breech re-opened, and the empty casing ejected.
2. The breech mechanism is mounted in the breech ring. It can be operated either
mechanically or manually.
COMPONENTS
3. The breech mechanism consists of the following main components:
a. the breech block;
b. the firing circuit components;
c. the breech closing spring;
d. the actuating shaft; and
e. the breech mechanism lever.
BREECH BLOCK
4. The breech block is machined from a solid steel block. It moves vertically in the inclined
channel of the breech ring.
5. The striker mechanism assembly housed in the breech block is controlled by the breech
block mechanism and is comprised of:
a. the sear;
b. the cocking link; and
c. the recocking crank.
6. On the actuating shaft, a crank is fitted which rides in the breech block crank path,
forcing the breech block downward and recocking the gun. The gun can also be recocked
manually using the recocking lever.
FIRING CIRCUIT COMPONENTS
7. The firing circuit components form part of the breech mechanism and consist of:
a. the firing plunger;
b. the sear; and
c. the striker mechanism assembly.
8. The firing plunger is attached to the breech ring. It: relays a mechanical signal from the
firing lever to the sear.
9. The sear is mounted in the breech block and it releases the striker when the firing plunger
is pushed.
10. The striker mechanism assembly is contained in the breech block and is held there by an
end cap. The striker mechanism, when released by the sear, strikes the primer of the round.
BREECH CLOSING SPRING
11. The breech closing spring consists of a cased actuating shaft which has 17 torsion springs
on the inside. Both ends of the shaft are secured by end caps. The right end cap is locked in place
by the actuating shaft retaining plunger which causes the springs to twist when the actuating shaft
is rotated.

Figure 2-5-1 (Page 1 of 2) Breech Left-Hand Side

Figure 2-5-1 (Page 2 of 2) Breech Left-Hand Side

Figure 2-5-2 (Page 1 of 2) Breech Right-Hand Side

Figure 2-5-2 (Page 2 of 2) Breech Right-Hand Side
ACTUATING SHAFT
12. The actuating shaft is mounted horizontally in the breech ring. Attached to the actuating
shaft are the following:
a. the left and right extractors;
b. the crank; and
c. the breech mechanism lever.
13. The extractors eject the empty casing and hold the breech block in the open position.
They allow the breech block to move upward when they are depressed.
14. The crank limits the downward movement of the breech block by making contact with the
crank stop. The crank also forces the breech block upward (by rotating the actuating shaft it
causes the breech closing spring [torsion] to reassert itself). The crank recocks the gun during the
downward movement of the breech block since it is in contact with the cocking link.
THE BREECH MECHANISM LEVER
15. The breech mechanism lever is used to open and close the breech by hand. It consists of a
handle with an operating lever and is located to the left hand side of the actuating shaft. When the
operating lever is pressed, the actuating shaft is engaged. When the handle is rotated, the
actuating shaft also rotates, opening or closing the breech.
16. Mounted on the crank there is a stud which rides in the semi-automatic cam. When the
gun fires, the stud contacts the end of the spring-loaded semi-automatic cam, causing the crank
lever to rotate and opening the breech during the forward movement of the gun.
17. A lubrication point is located on the semi-automatic cam.

Figure 2-5-3 Breech Mechanism
SECTION 6
HANDLING
SAFETY PRECAUTIONS
1. The following actions must be carried out before any work is started on the gun:
a. check that the recuperator nitrogen pressure is not less than 200 PSI;
b. trip the loader's safety switch by pushing the front bottom lever forward;
c. unscrew the stop running back (SRB) and place it in its retaining clip;
d. open the breech by first pressing in on the operating level and releasing the breech
mechanism lever (BML) from its retaining catch. Maintaining pressure on the
operating lever, pull the BML fully to the rear until the pawl engages with the
crank lever of the actuating shaft. Continue to maintain pressure on the operating
lever and push the BML forward until the breech is fully open and the extractors
have engaged with the breech block. Release the operating lever, return the BML
to the fully forward position ensuring it is engaged by the BML catch;
e. look from the top of the chamber to the bottom of the muzzle end and confirm
that the chamber and bore are completely clear of any ammunition or fouling
(fouling is anything that can obstruct the passage of the projectile through the
barrel); and
f. if no further work is to be carried out, close the breech.
TO CLOSE THE BREECH
2. To close the breech the following procedure is used:
a. release the BML catch by pressing in on the operating lever. Maintaining pressure
on the lever, pull the BML slightly to the rear to engage the pawl, then push the
BML forward to take the pressure of the breech block off the extractors;
b. press forward on the extractors and allow the breech block to rise under control
until fully closed;
c. release the operating lever, return the BML to the fully forward position, and
ensure that it is engaged by the BML catch; and
d. fit the SRB (if no further actions are to be carried out on the gun).
TO LOAD
3. To load, the following procedure is used:
a. open the breech;
b. select the nature of ammunition required, insert the nose of the round into the
chamber and remove the base clip;
c. with the knuckles of the right fist, push the round fully into the chamber;
d. make the loader's safety switch by pulling the operating lever to the rear; and
e. report "Loaded".
TO FIRE
4. To fire the gun, use the following procedure:
a. electrical firing gear:
(1) set the selector switch to MAIN, check that the red indicator light and gun
ready light are illuminated,
(2) report "Firing now", press the firing switch on the elevating handwheel,
then release the firing switch; and
b. using the mechanical firing gear:
(1) report "Firing now", press the foot firing pedal and then remove foot from
the pedal, and
(2) to fire from make safe, the locking bar must be disengaged from the foot
firing pedal.
NOTE
To avoid injury, crew commanders must ensure they are clear of all
recoiling parts.
MAKE SAFE
5. To make safe, use the following sequence:
a. trip the loader's safety switch;
b. switch the gunner's selector to OFF; and
c. move the foot firing pedal locking bar to the UP position.
UNLOAD
6. To unload an unfired round, use the following sequence:
a. trip the loader's safety switch;
b. switch the gunner's selector to OFF;
c. move the foot firing pedal locking bar to the UP position;
d. open the breech, supporting the round as it is ejected, until the cartridge rim is
clear of the breech ring; and
e. fit a base clip on the cartridge, then completely remove the round from the gun
and stow it.
EASE SPRINGS
7. To ease the springs, use the following sequence:
a. close the breech;
b. fire the action by means of the electrical firing circuit (the loader's safety switch
should be made prior to giving order); or
c. fire using the foot firing pedal.
TO REMOVE A JAMMED CARTRIDGE
8. Jammed cartridges are usually the result of badly stowed or damaged ammunition or a
dirty chamber. If a cartridge is jammed and cannot be removed by leverage of the BML, it will be
removed with the key removing jammed cartridge No. 9 Mark 2 which consists of the following:
a. a rectangular bar with a hole drilled through the centre which is fitted with two
pintles at either end;
b. a spindle with a threaded head and a partially threaded shaft;
c. a handle which is internally threaded; and
d. a tool removing multi-primer.
9. To remove the jammed cartridge, the commander will:
a. unscrew the primer by means of the pintles on the end of the rectangular bar (use
the tool removing multi-primer as a bar if extra leverage is required);
b. screw the head of the spindle handle tight into the base of the cartridge;
c. pass the hole of the rectangular bar over the spindle and fit the bar across the
breech ring horizontally;
d. screw the handle on the spindle up against the bar to withdraw the cartridge; and
e. dismantle and restow the key removing jammed cartridge.

Figure 2-6-1 Key Removing Jammed Cartridge
SECTION 7
STRIPPING AND ASSEMBLING THE GUN
INTRODUCTION
1. Normal stripping of the gun is carried out on the following occasions:
a. before and on completion of firing;
b. if the gun has become wet for thorough cleaning and inspection;
c. for an examination of the gun; and
d. when required by the servicing schedule.
THE RULES OF STRIPPING AND ASSEMBLING
2. The rules of stripping and assembling are as follows:
a. ensure that the gun is unloaded (prove the gun);
b. use the correct sequence;
c. use the proper tools correctly;
d. do not use force; and
e. place the parts so they will not become damaged or dirty.
EQUIPMENT REQUIRED
3. The following equipment is required for stripping and assembling:
a. a screwdriver;
b. a 1/2 x 7/16 inch AF Spanner;
c. a spanner OS single ended 2.26 inch;
d. a 1/16 inch alien key;
e. a 3/16 inch alien key; and
f. a brass drift.
NOTES
1. During periods of instruction, students will not be
positioned within the fighting compartment forward of the
breech because parts could release under pressure and cause
injury.
2. Stripping and assembling the main armament will always
be carried out as a two-person task.
PREPARATION
4. Preparation consists of the following:
a. proving the gun; and
b. easing the springs.
TO REMOVE THE STRIKER MECHANISM ASSEMBLY
5. Set the recocking lever into the SAFE position. Press in the striker mechanism assembly
retaining plunger. Rotate the end cap counter-clockwise as far as possible (see Figure 2-7-2). Pull
the striker mechanism assembly partially out of the breech block until it clears the sear, push in
and rotate the end cap clockwise to ease the spring and then remove the end cap from the breech
block.
TO REMOVE THE CRANK STOP
6. Remove the crank stop securing screw with the 3/16 inch alien key then remove the crank
stop.
TO REMOVE THE BREECH BLOCK
7. The breech block is removed as follows:
a. support the breech block. Fit the OS 2.26 inch spanner onto the actuating shaft
end cap with the handle of the spanner in the horizontal position. Insert the brass
drift into the hole on the quadrant fire control (QFC) bracket. Push up on the
spanner and at the same time push on the actuating shaft retaining plunger with
the brass drift. Rotate the spanner downward and lower the breech block under
control to its first stop; and
b. remove the spanner from the end cap, reposition it with the handle in the
horizontal position. Push in the actuating shaft retaining plunger. Rotate the
spanner downward until the breech block is completely clear of the breech ring.
Remove the breech block to a convenient position.
TO STRIP THE BREECH BLOCK
8. The breech block is stripped as follows:
a. position the breech block on its front face with the horns forward;
b. remove the four screws securing the cocking link cover plate;
c. remove the cover plate and springs;
d. remove striker mechanism assembly retaining plunger and spring;
e. remove the recocking crank shaft by pulling it to the left;
f. remove the recocking crank and cocking link; and
g. push in slightly on the sear and remove the screw retaining sear. Remove the sear
and spring.
TO ASSEMBLE THE BREECH BLOCK
9. The breech block is assembled as follows:
a. insert the screw and sear, push in slightly on the sear and fit the screw retaining
sear;
b. rotate the breech block on its side with the opening of the striker mechanism
assembly facing towards the right;
c. insert the cocking link from right to left until it is fully to the left;
d. insert the recocking crank with the convex side (the toe) facing the breech block
into the crank path recess ensuring that the toe of the crank is in the recess of the
cocking link as far as it will go. Insert the recocking crank shaft with the
projection on the large end at the three o'clock position. Check the operation and
then fit the retaining screw;
e. position the breech block on its face;
NOTE
The recocking crank must be inserted in the correct position prior
to assembling the breech block into the breech ring. If this is not
done, the recocking lever cannot be used.
f. replace the striker mechanism assembly retaining plunger and spring;
g. insert the cocking link springs and cover-plate, ensuring that the springs are
engaged on the pintles of the cover-plate; and
h. gauge the striker protrusion (see section 9, paragraph 24).
TO REPLACE THE BREECH BLOCK
10. The breech block is replaced as follows:
a. insert the breech block partially into the breech ring. Raise the breech block and at
the same time engage the crank with the crank path;
b. when the breech block has been raised as high as it will go, move the semi-
automatic (SA) cam to the left and raise the breech block until the extractors
engage;
c. disengage the extractors from the breech block. Push the breech block up to the
fully closed position. Fit the spanner onto the actuating shaft end cap, with the
handle in the six o'clock position. Push on the actuating shaft retaining plunger
with the brass drift and rotate the spanner upward; once the end cap has cleared
the plunger, remove the brass drift. Continue the rotation of the spanner until the
flat surface on the end cap is in line with the bottom of the breech ring and locks
into position;
d. fit the crank stop and secure it with the securing screw;
e. insert the striker mechanism assembly into the breech block, push forward and at
the same time rotate the end cap counter-clockwise to put the striker mechanism
assembly (SMA) spring under tension. Press on the firing plunger and push the
striker mechanism assembly fully forward. Rotate the end cap clockwise until the
retaining plunger engages;
f. check the operation of the breech mechanism by opening and closing the breech;
g. ease the springs; and
h. check the operation of the recocking lever.
NOTE
If the main armament cannot be recocked with the recocking lever,
this indicates that either the recocking crank was assembled
backward or the protrusion on the recocking crank shaft and the
recocking lever are not making contact because they are worn or
broken. If this occurs, removal of the SMA will not be possible
unless the following sequence is followed:
(1) open the breech approximately 12 mm until resistance is met; this will line
up the striker. lug with the recess of the striker case,
(2) hold the breech block in this position and remove the SMA,
(3) remove and strip the breech block,
(4) check the correct assembly of the recocking crank, and
(5) check for broken or worn parts; if any are found, report to a technician.

Figure 2-7-1 (Page 1 of 2) Breech Block Components

Figure 2-7-1 (Page 2 of 2) Breech Block Components

Figure 2-7-2 (Page 1 of 2) Striker Mechanism Assembly

Figure 2-7-2 (Page 2 of 2) Striker Mechanism Assembly
SECTION 8
MECHANISM
GENERAL
1. Knowledge of the gun mechanism is necessary because it instills confidence in the crew,
allows them to handle the gun with understanding, and permits them to diagnose any faults
(should they occur).
ACTION OF THE BREECH MECHANISM WHEN OPENED BY HAND
2. Breech Mechanism Lever. The breech mechanism lever (BML) is released from the
locked position by pressing the operating lever. This disengages it from the retaining catch in the
bracket on the breech ring. With pressure maintained on the operating lever, the BML is rotated
rearward until the paw], forced by a spring, engages in the recess on the actuating shaft.
3. Withdrawal of the Firing Pin. With the operating lever still pressed, downward rotation
of the BML causes the actuating shaft and the crank to rotate. The initial movement brings the
crank from its position at forward of top and dead centre, breaking the mechanical lock. During
this movement of the crank, and before the breech block starts to move, the cocking link is forced
to the rear by the cam groove on the crank bearing against the projection on the front of the
cocking link. The lug on the upper surface of the cocking link, being in contact with the rear
projection of the lug on the striker, forces the striker to the rear and withdraws the firing pin into
the breech block.
4. Action of the Sear. Continued rotation of the BML moves the crank rollers onto the
lower surface of the crank path in the breech block, forcing the breech block downward. During
this movement, the crank forces the cocking link to the rear compressing the striker spring. When
the bent on the front of the striker lug is to the rear of the step in the sear, the sear spring drives
the sear to the right. If the sear spring fails, the striker is moved far enough to the rear to bring the
inclined face on the striker lug and the gear into engagement; the sear is then mechanically forced
to move in front of the bent.
5. Breech Closing Spring. While opening the breech, tension is applied to the breech
closing spring. The spring is locked on the right hand side of the breech ring by the end cap and
retaining plunger. As the actuating shaft rotates, the springs are twisted and tensioned.
6. Action of the Extractors. As the breech block moves down, the shoulders on the breech
block strike the short arm of the extractors. This causes the upper arms to move to the rear. This
allows the extractor plunger springs to reassert and hold the extractors to the rear.
7. Open Position of the Breech Block. The downward movement of the breech block is
finally limited by the crank contacting the crank stop on the breech ring. The operating lever on
the BML can now be released and the BML returned to the locked position in the bracket. When
the operating lever is released, the breech closing spring reasserts and rotates the actuating shaft
and crank. Rotation of the crank brings the crank rollers against the upper surface of the crank
path and raises the breech block. During the upward movement, the recesses on the front of the
breech block engage with the stops of the extractor and the breech block is prevented from
closing.
ACTION OF THE BREECH MECHANISM ON LOADING
8. Inserting the Round. When a round is loaded into the chamber, the rim of the round
strikes the nibs of the two extractors. The extractors are forced forward and the extractor stops
are disengaged from the recesses in the breech block. During this movement, the extractor
plunger springs are compressed.
9. Closing the Breech. With the breech block free, the breech closing springs, which have
been held under tension, reassert and rotate the actuating shaft and crank. Rotation of the crank
causes the crank rollers to force against the upper surface of the crank path and raise the breech
block. As the breech block rises, the crank moves away from the cocking link. The cocking link
springs reassert and force the cocking link forward allowing the striker spring to force the striker
into engagement with the sear, where it is held in the cocked position.
10. Forcing the Round into the Chamber. During the upward movement, the loading bevel
on the front face of the breech block presses the round into the chamber. The slight forward
inclination of the guides in the breech ring continue to force the round more tightly into the
chamber until further upward movement of the breech block is prevented by the closing stops
contacting the breech ring.
11. Locking the Breech. Although the breech block is now prevented from rising any higher,
further rotation of the actuating shaft moves the crank past the top and dead centre position and
the breech becomes locked. The rotation of the crank is stopped when the top of the crank
contacts the upper face of the crank path.
ACTION OF THE BREECH MECHANISM ON FIRING
12. The Firing Circuit. When either the electrical firing switch or the foot firing pedal are
pressed, the firing lever presses inward on the firing plunger of the breech ring. Movement of the
firing plunger forces the sear to the left, disengaging the bent on the sear from the lug on the
striker. The striker spring is now free to drive the striker forward and the firing pin strikes the
percussion cap in the base of the round. When the percussion cap in the primer is struck, the flash
produced ignites the powder in the magazine of the primer, which in turn ignites the propellant
charge.
13. Sealing the Breech. The rapidly increasing gas pressure caused by the burning propellant
charge causes the case to expand radially against the inner walls of the chamber. This action seals
the breech and prevents any escape of gas to the rear. This action is known as obturation.
14. Recoil. The rapidly increasing gas pressure forces the projectile out of the case and along
the bore; it also causes the gun to recoil. The recoil of the gun is controlled and limited to
approximately 28 cm by the buffer. During the initial rearward movement of the gun, the circuit
breaking cam on the breech ring contacts the forward lever on the loader's safety switch and
automatically disconnects the electrical firing circuit. As the movement to the rear continues, the
stud on the crank lever of the actuating shaft bears against the inner face of the semiautomatic
(SA) cam forcing it to the left and compressing the SA cam spring. When the stud is clear of the
SA cam, the spring reasserts and forces the cam to the right into the path which the stud on the
crank lever will take during run out.
ACTION ON UNLOADING
15. Action of the Semi-Automatic Cam. As the gun runs out, the stud on the crank lever of
the actuating shaft strikes the SA cam and is forced to the rear. This causes the actuating shaft to
rotate together with the crank. Tension is applied to the breech closing springs.
16. Withdrawal of the Firing Pin. During the initial movement of the crank, the firing pin is
withdrawn from the base of the round and the breech is unlocked.
17. Opening the Breech. Continued forward movement of the gun causes the stud on the
crank lever of the actuating shaft to travel down the inclined face on the underside of the SA
cam, rotating the actuating shaft and crank and opening the breech.
18. Extraction and Ejection of the Empty Casing. As the breech block moves downward,
the extractors are rotated slightly by the inclined ramps on the breech block bearing against the
short arms of the extractors. Since the nibs of the extractors are in front of the rim of the empty
casing, the casing is eased from the chamber. When the breech block has moved far enough
down to open the breech, the shoulders of the breech block strike the short arms of the extractors,
causing them to rotate sharply and to eject the empty casing.
19. The Open Position of the Breech. The shape of the SA cam ensures that the breech
block is brought to the fully open position during the final phase of run out. When the gun is
fully run out, the breech block is allowed to rise until any further upward movement is prevented
because the stops of the extractors engage with the recesses in the front face of the breech block.
ACTION OF THE RECOCKING MECHANISM
20. As the recocking lever is pulled to the rear, the shaft through the breech ring rotates. A
cam on the end of the shaft is engaged with the projection on the end of the recocking crank shaft
and the latter also rotates together with the recocking crank. The top of the recocking crank,
engaged in the recess in the bottom of the cocking link, forces the link to the rear. If the
recocking lever is set at SAFE, the cocking link is held in position so it prevents the forward
movement of the striker.
SAFETY ARRANGEMENT
21. If the breech is not closed, the gun will not fire for the following reasons:
a. the head of the sear is not aligned with the firing plunger in the breech ring;
b. the striker hole is not in line with the percussion cap in the base of the round; and
c. the cocking link is not clear of the striker path.
22. If the breech is closed but not locked, the gun cannot be 0 fired because the cocking link
is not clear of the striker path.
SECTION 9
SERVICING THE GUN
GENERAL
1. Proper and frequent servicing is necessary to ensure that the gun is mechanically efficient
and to obtain the maximum life from the gun components.
LUBRICANTS
2. Oil 3GP 335C is used for cleaning and lubricating the bore, breech mechanism and outer
surfaces of the gun.
3. Grease 3GP 685C is used for lubricating the breech mechanism bearings.
4. The following equipment is required:
a. tools, accessories and spares as per check list; and
b. clean cloth and oil as required.
ROUTINE CLEANING (WEEKLY)
5. Cleaning is carried out weekly, or more frequently under special conditions, to remove
dirt and renew the protecting film of oil.
PREPARATION
6. The preparation for cleaning is as follows:
a. remove the muzzle cover;
b. traverse the gun to 3 o'clock or 9 o'clock;
c. remove the breech block and depress the gun; and
d. assemble the staves of the cleaning rod.
7. Step 1 - Dry Cleaning. To dry clean, use the following procedures:
a. insert the staves into the muzzle and push through to the breech ring. Place one
thickness of clean cloth around the brush, connect it to the staves and draw it
through the bore. Inspect the cloth for signs of rusting and moisture; if these signs
are apparent, scour barrel;
b. inspect the bore and repeat sub-para 7a above if necessary;
c. with a clean cloth wrapped on the brush attached to the stave for the chamber,
wipe the walls of the chamber. Inspect the chamber and bore to ensure that all oil,
moisture and dirt have been removed; and
NOTE
To inspect the front end of the chamber properly, an inspection
lamp should be inserted into the chamber.
d. dry clean and inspect all the working parts including the breech block and the
breech ring.
8. Step 2 - Re-oiling. To re-oil the gun, use the following procedure:
a. re-oil the bore and chamber as follows:
(1) insert the staves into the muzzle end, push through to the breech ring then
attach the oil brush to the staves;
(2) saturate the bore with oil,
(3) draw the staves and brush through the bore to the muzzle, and
(4) wipe the walls of the chamber with a well oiled cloth;
b. inspect to see that a complete film of oil covers the bore and chamber. If it does
not, re-oil;
c. re-oil the breech block and breech ring;
d. re-oil all parts of the breech block with a thin film of oil; and
e. assemble the gun, close the breech and ease the springs.
MONTHLY CLEANING
9. Monthly cleaning shall be done once a month.
10. Step 1 - Dry cleaning. Dry cleaning gun components is done as follows:
a. strip, dry clean and inspect the breech block and the breech ring; and
b. dry clean the barrel in the same manner as for routine cleaning.
11. Step 2 - Re-oiling. The re-oiling is done as follows:
a. re-oil the barrel in the same manner as for routine cleaning;
b. re-oil the breech ring;
c. assemble and re-oil the breech block;
d. carry out the Striker Protrusion Test;
e. replace the breech block; and
f. carry out the Breech Closing Spring Test.
CLEANING BEFORE FIRING
12. Strip the 76 mm gun. Clean, inspect and lubricate but leave the following parts dry:
a. bore and chamber;
b. face of the breech block; and
c. firing pin.
13. To reassemble, use the following procedures:
a. gauge the striker protrusion;
b. assemble the gun;
c. test the breech closing spring; and
d. ensure the depression limit stops are in place.
CLEANING DURING FIRING
14. Every opportunity should be taken to clean, examine and lubricate the gun during lulls in
firing. Dusty conditions will demand extra care. Special attention should be given to the SMA
and chamber which are gas affected. The crank stop retaining screw must be checked for security
at the beginning of each day's firing.
CLEANING AFTER FIRING
15. When doing range work, if there is to be no more firing within the next 72 hours, the bore
should be scoured with oil as soon as it is cool enough to handle.
16. On return to camp or harbour, the gun should be cleaned.
17. The cleaning sequence is as follows:
a. scour the barrel in the following manner:
(1) pour oil onto the brush and insert it into the muzzle; scour the bore
throughout its length adding oil to the brush from time to time. Using the
chamber stave and the brush, scour the chamber; and
(2) disconnect the brush and push the staves through the bore to the breech.
Clean the brush, wrap it with one thickness of clean cloth, connect it to the
staves then dry clean the bore and inspect;
b. dry clean and inspect the breech block and breech ring paying particular attention
to the following:
(1) the face of the block and striker hole,
(2) the bottom of the breech block,
(3) the guide-ways in the breech ring; and
(4) the extractors.
18. Re-oil the gun in the same manner as for routine cleaning.
19. During each of the next three days, while the barrel is still sweating, the gun should be
dry cleaned and re-oiled in the same manner as for routine cleaning.
SPECIAL CONDITIONS
20. Cold Climate. Before firing in temperatures below zero degrees Celsius, strip the gun
completely and wash it in a varsol bath. This removes all traces of temperate lubricant, grease
and dirt. Temperate oil and grease will congeal during sub-zero temperatures. Apply oil 3-GP
335A to only the working surfaces. If the proper oil is not available, it is better to dispense with
all lubricants entirely rather than use one which will congeal. When oil is used during the winter,
a rule of thumb to follow is this: if fingerprints can be seen after touching the metal, too much oil
has been used. To avoid condensation, clean the gun outside heated shelters. When oil is brought
indoors to be used for cleaning, it must be kept in air tight containers to prevent moisture seeping
into the oil. If this is not done, there is an increased possibility of rust forming when oil is applied
to the weapon. The gun cover is waterproof and should be used to keep the gun dry when it is not
in use.
21. Dry Hot Climate. Sand and dust will affect the mechanism of the gun by creating friction
on the working surfaces which causes rapid wear on these parts. Weapons must be stripped and
cleaned daily. Critical operating surfaces should be kept dry to prevent sand from accumulating
and acting as an abrasive, causing damage to the gun. Avoid using excessive oil on other
surfaces. Due to the cold nights in desert areas, sweat will form on metal; therefore, sweat must
be removed or rust will form. The gun cover will prevent sand from entering the mechanism of
the gun and should be used whenever the gun is not firing.
22. Tropical Climate. In tropical climates, where humidity is high, special precautions must
be taken by the crew to prevent the formation of rust. To reduce condensation within the turret,
all hatches should remain open when weather and tactical considerations permit, to allow the free
circulation of air. Armoured Vehicles General Purpose (AVGPS) should be exposed to sunlight
as often as possible and the interior compartments dried out daily. When not in use, gun barrels
should be kept fully depressed. All lubricating oils should be carefully strained to remove water
before use. Oil containers should be kept tightly sealed and stored on their sides. At frequent
intervals, the gun will be stripped completely, dry cleaned, inspected thoroughly for rust, and re-
oiled before assembly. All parts of the mounting will be frequently dry cleaned and re-oiled.
TESTS
23. Equipment Required. To conduct tests, the following equipment is required:
a. tools for stripping;
b. the gauge, contact protrusion No. 16; and
c. a 76 mm round (drill or live - see note to paragraph 25).
TO GAUGE THE STRIKER PROTRUSION
24. To gauge the striker protrusion (see Figure 2-9-1), use the following procedure:
a. with the breech block removed from the gun, place the striker into the recess for
the striker mechanism assembly, press in on the sear to disengage the sear step
from the striker lug;
b. push the striker sleeve fully forward and maintain pressure throughout the test;
c. position the No. 16 gauge on the front face of the breech block and at right angles
to it. Slide the gauge over the firing pin. The minimum part of the gauge should
foul the pin and the maximum part should clear it;
d. if the pin is too long or too short, it must be changed;
e. to change the firing pin:
(1) remove the striker sleeve from the breech block,
(2) remove the screw securing the firing pin retaining nut from the striker
sleeve (1/16 inch alien key) (1/2 x 7/16 inch AF Spanner),
(3) remove the firing pin from the retaining nut, and
(4) change the firing pin, assembling in the reverse order; and
f. gauge the protrusion of the new firing pin.
TO TEST THE BREECH CLOSING SPRING
25. To test the breech closing spring, use the following procedure:
a. examine the breech block guides for damage and ensure that the breech ring and
breech block are correctly lubricated;
b. ensure that the end cap is correctly assembled; and
c. load the gun. If the breech closes sluggishly or fails to close, report to a weapons
technician.
NOTE
Whenever possible, this test will be carried out with a drill round.
If a drill round is not available, the test may be done with a live
round, provided that the striker mechanism assembly is
removed.
SPARE PARTS AND TOOLS
26. All spare parts for the gun must be inserted and tested to ensure that they are serviceable
and fit. When they have been tested, they will be oiled to prevent rust and stowed in the correct
place in the Cougar. Spares will be dry cleaned and inspected during gun cleaning, as well as
before and after firing. Tools will be kept clean, serviceable and, if they are made of steel, lightly
oiled.

Figure 2-9-1 Gauging the Striker Protrusion
CHAPTER 3
THE MOUNTING AND RECOIL SYSTEM
SECTION 1
THE MOUNTING
INTRODUCTION
1. The mounting on the Cougar supports the gun, the coaxial machine gun and the recoil
system. This mounting is designed to provide an elevation of 600 mils and a depression of 140
mils throughout the 6400 mils of the turret traverse. Movement in the vertical plane is obtained
by a nut and screw type elevation gear. The two main components of the mounting are:
a. the mantlet; and
b. the cradle.
THE MANTLET
2. The mantlet is supported in the turret by trunnions. Two sealing strips are located in
grooves on the right and left-hand faces to prevent water and dust from entering into the turret. A
recess houses the front end of the cradle; four bolts in the rear face locate and secure the cradle to
the mantlet. An aperture on the left side houses the front part of the coaxial mounting; four bolts
secure the coaxial mounting to the mantlet. Between the mantlet and the turret, an asbestos shield
is mounted to keep foreign material out of the turret. The replenisher is also secured to the
mantlet.
3. On the exterior of the mantlet (mounted to the turret) are two metal scrapers to prevent
entry of foreign material between the mantlet and the turret. Elevation and depression limit stops
are also mounted there.
To pull back the gun, an eyelet is connected to the rear end of the buffer which also serves to
secure and lock the buffer to the mantlet. The recuperator is also secured to the mantlet. The gas
laser simulator bracket can be mounted on the mantlet using the four drillings provided. A canvas
protective cover bolted to the mantlet prevents entry of foreign material between the barrel and
the phosphor bronze bushing.

Figure 3-1-1 Mantlet Interior View
THE CRADLE
4. The cradle (see Figure 3-1-5) supports the barrel in two phosphor bronze bushings. These
are positioned internally at the front and rear of the cradle. Two grease nipples for lubricating the
bushings are positioned on the right rear side of the cradle. Three welded lugs secure the cradle to
the mantlet. Attached to the cradle are the following components:
a. the firing gear;
b. the quadrant fire control (QFC);
c. the anti-rotation keyway;
d. the hydro-pneumatic cylinder;
e. the support bracket for the buffer;
f. the deflector guard;
g. the connector for the elevating mechanism;
h. the loader's safety switch; and
j. the semi-automatic cam.
5. The firing gear is secured on the right-hand side of the cradle by three bolts. It consists of
the following components:
a. the electric firing solenoid;
b. the bowden cable;

Figure 3-1-2 Mantlet Exterior View (Front)

Figure 3-1-3 Mantlet Exterior View
c. the horizontal rod;
d. the stirrup; and
e. the firing lever.
6. The QFC is also secured to the firing gear bracket. lit is used by the gunner to fire semi-
indirect, indirect and fixed line.
7. The anti-rotation keyway is welded to the top centre of the cradle to accommodate the
anti-rotation key which prevents rotation of the breech ring during the recoil and run out of the
gun.
8. The hydro-pneumatic cylinder is secured to the cradle on a mounting pad welded to the
left side of the cradle.
9. The buffer support bracket is mounted directly forward of the stuffing box on the buffer.
Its purpose is to support the buffer during recoil and run out, preventing damage to the buffer
piston.
10. The deflector guard is secured to the cradle on the right side by four bolts, two directly
above the QFC and two above the electric firing solenoid. On the left side, the deflector guard is
secured by two bolts, one located on the semi-automatic cam bracket and the other on the
mantlet. A recoil indicator is mounted on the deflector guard to record the length of gun recoil.
The deflector guards protect the crew commander and the gunner from getting caught in the
recoil. A canvas deflector can also be attached by three clamps to prevent hot empty casings from
deflecting and injuring crew members.
11. There are two holes in the lower side of the cradle to which the elevating mechanism is
connected and secured by a hinge pin.
12. The loader's safety switch is connected to the cradle and secured under the left side of the
gun by two bolts attached to the semi-automatic cam bracket.
13. The semi-automatic cam is welded to the rear underside of the cradle and opens the
breech during run out of the gun. The SRB is attached to the bracket by a screw. The SRB will
prevent the breech block from being opened and the gun from moving out of the battery when
there is insufficient pressure in the hydro-pneumatic recuperator to keep the gun fully run out.
The SRB is secured by a chain and has a stowage position mounted on the deflector. A grease
nipple is located on the SA cam for lubrication.
NOTE
The SRB must be fitted to the SA cam at all times (except when
firing).
GUN BASKET
14. The gun basket is firmly bolted to the floor; attached to it is a flexible hose and a canvas
bag to accept 7.62 mm spent casings and links.

Figure 3-1-4 Deflector Guard

Figure 3-1-5 Cradle, Left-Hand Side

Figure 3-1-6 Cradle, Right-Hand Side
SECTION 2
THE RECOIL SYSTEM
INTRODUCTION
1. The recoil system consists of a buffer, replenisher and a hydro-pneumatic recuperator.
The buffer and recuperator are mounted between the mantlet and the yoke. The replenisher is
interconnected to the buffer by a flexible pipe. It is an expansion cylinder for oil displaced from
the buffer due to rise in temperature.
2. The purposes of the recoil system are as follows:
a. to dissipate recoil energy;
b. to return the gun to the firing position;
c. to buffer the gun during run out; and
d. to hold the gun in the firing position through all angles of elevation.
3. The normal recoil is 28 cm.
THE BUFFER NO. 10, MARK 1
4. Components. The buffer is connected between the mantlet and the yoke, above and to the
left of the cradle. It is connected by a flexible oil pipe to the replenisher. It has a capacity of 86
litres of 3GP 26 oil.
5. The buffer cylinder is machined with four shallowing grooves which decrease in depth
from the front to the rear of the cylinder. An end housing sealed by a Q-ring is screwed into the
front of the cylinder, with a control chamber machined in the housing. The front of the end
housing passes through the mantlet and is secured to it by a threaded bushing and lock plate. The
bushing incorporates an adaptor for pulling back the gun.
6. The piston rod passes through the centre of the cylinder; it is machined at the front end to
form a control plunger and piston. The rear end is threaded to receive the yoke bobbin.
7. The stuffing box screws into the rear of the cylinder. It is machined internally to receive a
set of chevron packings, the piston rod bearing and a seal housing. The screw plug and washer
seal the oil filler hole in the top rear of the cylinder.
8. Operation. As the gun recoils, the piston rod (attached by the bobbin to the yoke) is
drawn out of the cylinder. Oil in the rear of the cylinder, displaced as the piston head moves
rearward, flows over the piston head through the shallowing grooves into the front of the
cylinder. The reduction in flow space in the shallowing grooves, combined with an increase in
the recuperator nitrogen pressure, absorbs the recoil energy gradually which brings the gun to a
halt.
9. When the nitrogen pressure reasserts and run out commences, the piston rod (since it is
attached to the yoke) is forced into the cylinder; the piston head, moving forward in the cylinder,
forces oil over the piston head, through the shallowing grooves into the rear of the cylinder. The
resistance to the oil flow decreases and the depth of the grooves increases. At 76 mm from the
fully run out position, the control plunger enters the control chamber. The clearance between the
control plunger and chamber allows oil to be displaced from the control chamber at a rate which
cushions and provides a final control to run out.
THE REPLENISHER
10. Components. The replenisher is bolted to the mantlet, above and to the right of the
cradle. A flexible oil pipe connects the replenisher body to the buffer cylinder.

Figure 3-2-1 Buffer and Replenisher Cylinders

Figure 3-2-2 Yoke

Figure 3-2-3 Buffer
11. The replenisher cylinder screws into the front of the replenisher body. A cannelure
formed inside the body houses a Q-ring, providing a seal between the cylinder and body. An oil
filling hole is positioned at the top rear of the body; it is sealed by a plug and sealing washer. A
groove is cut across the plug threads allowing oil to bleed from the replenisher when the plug is
loosened. A push rod bearing and Q ring seal are housed in the body. The left side of the body is
drilled and tapped to receive the oil pipe union.
12. The end cap seals the front of the cylinder. The cap provides a seat for the piston return
springs and a housing for the air filter and front push rod seal. The push rod passes through the
replenisher; it is a guide for the piston and it also functions as a tell-tale rod.
13. The piston, comprised of a piston head, two packings, Qrings and a washer, is retained on
the push rod by a circling). Inner and outer piston return springs fit in the cylinder between the
piston and the front end cap.
14. Operation. Oil from the buffer cylinder, expanding due to temperature rise, flows
through the flexible connecting pipe into the replenisher. The replenisher piston is forced forward
compressing the piston springs. As the oil contracts during cooling, the compressed piston return
springs reassert, forcing the piston to the rear and returning the oil from the replenisher into the
buffer cylinder. Air flows through the air filter in the end cap during the operating cycle,
relieving pressure on the front piston packing during expansion of the oil and preventing a
vacuum in the front of the cylinder as the oil returns to the buffer.
THE HYDRO-PNEUMATIC RECUPERATOR
15. Components. The hydro pneumatic recuperator is comprised of an oil filled cylinder
mounted parallel and interconnected to an oil and nitrogen filled cylinder in a mounting block. A
floating piston separates the nitrogen and oil in the hydro-pneumatic cylinder (see Figure 3-2-5).

Figure 3-2-4 Replenisher
16. The mounting block forms an extension of the cylinders. An internal lateral oil gallery
joins the cylinders at the rear. Interconnected air channels (in the left-hand end of the block) are
threaded to receive the Schraeder air valve, pipe union and nitrogen pressure gauge union. The
nitrogen pressure gauge is mounted on the left side of the turret and is connected to the
recuperator by a flexible pipe.
17. The recuperator cylinder is externally threaded at both ends. The rear is secured in the
mounting block and the front is sealed by an end cap. Four breather holes are drilled through the
cap and a filter is positioned inside the cap over the holes. The front end of the cap passes
through the mantlet and is retained by a threaded collar, tab washer, and locking nut.
18. The piston rod passes through the centre of the cylinder. The front end of the rod is
machined to form a support for the piston head and the rear end is threaded to accept the yoke
bobbin. The piston rod bearing and chevron packings seal the oil cylinder at its rear extension to
the mounting block.
19. An oil filling hole is situated at the top rear of the cylinder and is sealed by a filier plug
and washer.
20. The hydro-pneumatic cylinder is externally threaded at the rear to engage the cylinder
extension in the mounting block; the front end is sealed by an internal end cap. The end cap
extends into the cylinder providing a stop for the floating piston. A, hollow bolt secures the
nitrogen pipe front coupling to the end cap. Two washers provide an airtight seal.
21. A double-acting floating piston separates the nitrogen and oil in the cylinder. Two sets of
chevron packings are positioned on the steel piston. The packings are retained on the piston by
two gland nuts. The rear gland nut also secures the tell-tale rod to the piston.

Figure 3-2-5 Recuperator and Hydro-Pneumatic Cylinders
22. The tell-tale rod extends through the cylinder extension. A housing is machined in the
cylinder extension for the tell.-tale rod bearing the chevron packings and the front end of the tell
tale-rod cover.
23. The tell-tale rod cover is bolted to the rear of the hydropneumatic cylinder. NORMAL
(N) and CEASE FIRE (CF) lines are engraved on the edge of a slot machined in the side of the
cover. An engraved line on the tell-tale rod is visible through the slot. This line's position in
relation to the NORMAL and CEASE FIRE marks indicate the recuperator oil quantity.
24. The bracket is welded to the cylinder exterior, forward of the oil filling hole. A hole in the
bracket accepts a resilient mounting bush which secures the cylinder to the cradle.
25. Oil filling and drain holes are provided in the top arid lower sides of the cylinder. These
holes are sealed by threaded plugs fitted with seals.
26. Operation. As the gun recoils, the recuperator cylinder piston rod, which is connected to
the yoke, is withdrawn from the cylinder. The piston forces oil from the cylinder through the
connecting gallery into the hydro-pneumatic cylinder, forcing the floating piston forward. This
increases the nitrogen pressure in the front of the cylinder thereby absorbing part of the recoil
energy. During recoil, the four breather holes in the oil cylinder front end cap allow filtered air to
be drawn into the non-pressure side of the oil cylinder which prevents a vacuum from being
formed.
27. When recoil ceases, the compressed nitrogen in the hydropneumatic cylinder expands,
forcing the floating piston rearward and returning the oil through the connecting gallery into the
recuperator cylinder. The oil, under pressure from the compressed nitrogen, forces the
recuperator cylinder piston forward. The recuperator cylinder piston rod which is connected to
the yoke, returns the gun to the fully run out position.
THE RECOIL INDICATOR
28. The recoil indicator is located on the inner right side of the deflector guard. It consists of
a bracket and slide. The bracket is marked with two vertical lines and the words NORMAL and
CEASE FIRE. The slide is marked with a white vertical line and has a lug. The amount of recoil
is indicated by the relationship of the white line on the slide to the indicator mark on the bracket.
Incorrect readings can be the result of a bent or warped deflector guard.

Figure 3-2-6 Recuperator and Hydro-Pneumatic Cylinders

Figure 3-2-7 Recoil Indicator
SECTION 3
SERVICING
SERVICING THE RECOIL SYSTEM
1. To service the recoil system, the following are required:
a. oil 3GP 26;
b. injector oil and petrol;
c. Alien key 1/4 - inch;
d. Alien key 3/8 - inch;
e. plumb bob brass 8 oz;
f. oil 3GP 335; and
g. cloth.
2. The SRB back must be fitted except when firing.
3. Before removing any filler plug, ensure that the area surrounding the plug is free from dirt
by wiping it with a clean cloth.
4. Oil 3GP 26 is the correct oil to use in the recoil system.
TO TOP UP THE BUFFER
5. To top up the buffer, use the following procedure:
a. check that the recuperator nitrogen pressure is not less than 200 PSI;
b. check that the gun is fully run out;
c. level the gun using the gun controls and QFC or plumb bob;
d. depress the gun slightly below level and top up the buffer cylinder until oil
overflows at both filler holes;
e. level and depress the gun several times to purge the oil, taking care not to elevate
above level as this could induce air into the system;
f. level the gun again and top up if necessary until more oil flows from both the
buffer and replenisher filler holes;
g. after ensuring both sealing washers are serviceable, replace and tighten the buffer
and replenisher filler plugs; and
h. check the system for leaks, security and cleanliness.
NOTES
1. When the buffer is cold, there should be approximately
11.4 cm of the tell-tale rod protruding from the rear of the
replenisher. During firing, the oil in the buffer expands into
the replenisher; this reduces the amount of protrusion of the
tell-tale rod. During subsequent cooling, the oil contracts
and is returned from the replenisher to the buffer, thus
increasing the amount of protrusion of the tell-tale rod.
2. During intense sustained fire, the tell-tale rod may
disappear completely from view. While it is safe to
continue firing, there is a likelihood of pressure build-up
which will stop the gun from running out fully; this
prevents firing.
6. It must be clearly understood that the tell-tale rod on the expansion tank assembly
indicates only the presence of heat expanded oil in the buffer/expansion tank system. The tell-tale
rod does not and will not indicate insufficient oil in the system.
7. The only way to ensure that the buffer/expansion tank assemblies are properly charged
with oil is to follow the procedure outlined above.
CHECK THE RECUPERATOR
8. To check the recuperator, use the following procedure:
a. check that the recuperator nitrogen pressure is not less than 200 PSI. If it is, report
this to a weapons technician;
b. check the tell-tale rod at the rear of the hydro-pneumatic cylinder. If it has reached
the CEASE FIRE position, report to a weapons technician; and
c. check the system for leaks, security and cleanliness.
SET THE RECOIL INDICATOR
9. To set the recoil indicator, use the following procedure:
a. clean and lubricate the indicator;
b. push the slide until the white line of the slide is in line with the line marked
NORMAL on the bracket; and
c. loosen the three retaining bolts, slide the bracket until there are 28 cm from the
rear face of the breech ring to the end of the lug on the slide and then tighten the
retaining bolts.
10. After firing the first round, check the relative positions of the lines on the slide bracket. If
the line on the slide is on or past the CEASE FIRE line, the gun must not be fired until the recoil
system has been checked.
MONTHLY SERVICING
11. The recoil system must be checked by a weapons technician at monthly intervals or every
250 rounds. The gun is pulled back and the buffer piston rod is checked for scoring and free
rotation.
SERVICING THE MOUNTING
12. To service the mounting, use the following procedure:
a. lubricate the nipples for the two phosphor bronze bushings and the SA cam pivot
pin with grease 3GP 641;
b. ensure the four bolts securing the cradle to the mantlet are tight;
c. clean and wipe with an oiled cloth the anti-rotation key and SA cam spring; and
d. lubricate the anti-rotation keyway nipple.

Figure 3-3-1 Recoil System Fault/Cause Chart
CHAPTER 4
TURRET ELECTRICAL SYSTEM
SECTION 1
INTRODUCTION
INTRODUCTION
1. The Cougar electrical system is designed for 24 V DC with a permissible operating
voltage of 20 to 28 V.
2. The electrical source consists of four 12 V 100 amp batteries located in the hull behind
the driver. The batteries are hooked up in series parallel providing 24 V 200 amps.
3. Power to the turret is controlled by the hull master switch located to the left rear of the
driver's compartment and the turret master switch which is located on the turret wall to the right
of the gunner. Both master switches must be on to have power transferred from the hull to the
turret.
4. Fuses which protect the various components and circuits of the turret electrical system are
found mounted in the turret to the right of the gunner.
5. A main 225 amp circuit breaker, located behind the driver, protects the electrical supply
to the turret and the hull.

Figure 4-1-1 Main Circuit Breaker 225 Amp
SECTION 2
COMPONENTS
TURRET ROTARY BASE JUNCTION
1. The rotary base junction (RBJ) (see Figure 4-2-1) is bolted to the centre of the turret
floor. It transmits from the batteries the power required in the turret. Three cables connected to
the RBJ provide power to the turret master switch, radio facilities to the driver and the electrical
connection to the driver's traverse safety switch.
TURRET MASTER SWITCH
2. The turret master switch is located on the turret wall to the right of the gunner's position.
It is a semi-rotary switch with an ON/OFF position. When the turret master switch is turned to
the ON position, it provides power to the turret if the hull master switch is also positioned ON.
TURRET FUSE BOX
3. The turret fuse box is secured on the turret wall to the right of the gunner. The various
circuits are protected by 10 amp fuses. The toggle switch, located top centre of the fuse box, is
not used. The electrical connection below fuse F13 is used to provide power to the spotlight. All
information required regarding fuses is located on a colour-coded identification plate directly
above the fuse box. A Cougar without Radnis has a black fuse box and a Cougar with Radnis has
a red one.
RADNIS CONTROL UNIT
4. If the Cougar is fitted with Radnis, there will be an additional control unit with two
additional fuses. The 3 amp fuse protects the commander and gunner's sight wipers. The 15 amp
fuse protects the electrical system for Radnis. The control unit is mounted on the turret to the
right of the gunner.

Figure 4-2-1 Turret Rotary Base Junction

Figure 4-2-2 Turret Master Switch

Figure 4-2-3 Turret Fuse Box

Figure 4-2-4 Radnis Control Unit
THE POWER TRAVERSE CONTROL UNIT
5. The power traverse control unit is mounted in the rear of the turret on the turret flange; it
controls all functions of the power traverse system. It is independent of the turret fuse box and
has a 25 amp circuit breaker.
THE GUN SELECTOR SWITCH BOX
6. The gun selector switch box is located on the turret wall to the right of the gunner's sight.
It has a three position switch (CO-AX, OFF, and MAIN). This box has three lights: the orange
light illuminates when CO-AX is selected; the red light illuminates when MAIN is selected and
the red Gun Ready light illuminates when the loader's safety switch is made and MAIN is
selected. The lights' brilliance can be controlled by rotation of the plastic covers.
TURRET LIGHTS
7. Two turret lights are mounted in the turret to provide white light only. Each has a rheostat
to control the brilliance.
CREW COMMANDER'S MAP READING LIGHT
8. The crew commander's map reading light is mounted on the turret roof; it provides the
crew commander with a light for map reading at night. The light can be stowed by a clip when
not in use and has a rheostat to vary the brilliance. The flexible rod by which the light is extended
provides the commander with map reading facilities without having to hold the light. It has a 24V
5W double contact push-pull type bulb.

Figure 4-2-5 The Power Traverse Control Unit

Figure 4-2-6 Gun Selector Switch Box
SECTION 3
SERVICING
PROCEDURES
1. Servicing. The servicing of the electrical system consists of the following:
a. inspection;
b. operation;
c. check for cleanliness;
d. replacement of fuses; and
e. replacement of bulbs.
2. Inspection. At least once a month a thorough inspection shall be carried out by the crew.
The inspection shall include the following:
a. security of all components; and
b. serviceability of all components.
3. Operation. Normal operation will prove the various electrical components and systems.
4. Cleanliness. When checking for cleanliness, all components must be free from dirt, oil
and grease. All protective caps must be mounted on the connectors when they are not in use.
5. Replacement of Fuses. If a component or system fails to function, a check of all circuit
breakers and fuses pertaining to that system will be carried out. Circuit breakers are reset by
pushing them in. Fuses will be replaced by removing the fuse holder and inserting a replacement
fuse of the correct amperage.
6. To replace fuses, the turret master switch will be switched OFF.
7. If, after resetting a circuit breaker or replacing a fuse, the system still does not operate, the
circuit breaker is tripped or the fuse is blown again, the fault must be reported to a technician.
8. Replacement of Bulbs. If a bulb has to be changed, the turret master switch will be
switched OFF. The light bulbs in the gun selector switch box will be replaced with a 28 V pea
bulb. To replace the bulb, use the following procedure:
a. unscrew the bulb holder;
b. separate the bulb from the holder; and
c. replace the bulb.
9. Turret light bulbs will be replaced with a 24V 5W centre contact bulb.
10. The map reading light bulb will be replaced with a 24V 5W
double wire contact bulb. To replace the bulb, use the following procedure:
a. push in on the light guard until the bulb is completely exposed;and
b. pull the bulb out and replace.
CHAPTER 5
THE GUN CONTROL EQUIPMENT
SECTION 1
INTRODUCTION
GENERAL
1. The gun control equipment consists of both an electric and a manual system for laying the
gun, and an electromechanical firing circuit.
GUN LAYING SYSTEMS
2. The turret traversing system can be operated electrically or manually. Using the electrical
traversing system, the gunner and commander can quickly lay the gun for line. If the electrical
system fails, only the gunner can traverse the turret by using the manual traverse handle. The
elevation or depression of the gun can only be done manually by the gunner.
3. The turret can be traversed electrically at a speed of less than 16 seconds for one
revolution.
GUN CONTROLS
4. The gun controls consist of the following components:
a. Gunner's Power Controller. This allows the gunner to lay the gun for line using
power traverse;
b. Commander's Override Controller. This allows the commander to override the
gunner and lay the gun for line when power traverse is engaged; and
c. Manual Traverse and Elevation Controls. These allow the gunner to lay the gun
for line and elevation. The elevation handle incorporates a firing switch.
FIRING CIRCUITS
5. The main gun can be fired electrically or manually.
6. The coaxial machine-gun has a primary and secondary electrical firing system. It can also
be fired manually by initializing the trigger on the gun.
SECTION 2
COMPONENTS OF THE GUN LAYING SYSTEM
TRAVERSE GEARBOX
1. The traverse gearbox is bolted to the turret flange in front of the gunner's position. It
conveys the manual or power drive through a system of gears to the pinion engaged with the
turret ring. A multi-plate friction plate built into the gearbox protects it from possible damage
caused by the gun striking a solid object.
MANUAL TRAVERSE
2. Manual traverse is provided by the hand traverse handle mounted on the lower case of the
traverse gearbox. When the handle is in the DOWN position, a spline on the handle shaft engages
in the gears within the gearbox. Turning the handle causes the turret to rotate in the desired
direction.
POWER TRAVERSE
3. The Cougar is equipped with an electrical power traverse system which utilizes an
electric motor and the traverse gearbox. The power traverse consists of the components which are
listed below.
4. Power Traverse Control Unit. The power traverse control unit is securely mounted in
the rear of the turret on the turret flange. It receives its power through the turret master switch
and it controls all the functions of the power traverse system. A 25 amp circuit breaker is located
on the face of the control unit. There are two electrical connectors marked J1 and J2 as well as a
ground strap.
5. Driver's Traverse Safety Switch. The driver's traverse safety switch is mounted in the
hull to the right of the driver. When the hatch is closed and locked, the switch is depressed which
completes the electrical circuit. The switch is connected via the rotary base junction directly to
the power traverse control unit.

Figure 5-2-1 Traverse Gearbox
6. Electric Motor. The 24V DC electric motor is mounted to the front of the traverse
gearbox. When the system is activated, the motor drives the traverse gears causing the turret to
rotate.
7. Hand Traverse Handle. The hand traverse handle mounted on the traverse gearbox is
the means by which the manual and power traverse systems are engaged or disengaged. With the
handle at the 9 o'clock position and pushed up, the spline on the handle shaft is disengaged from
the gears in the gearbox. The top of the shaft then comes in contact with a micro switch. Either
manual traverse or power traverse may be used; they must not, however, be used simultaneously.
8. Gunner's Power Controller. The gunner's power controller is mounted on the left of the
traverse gearbox. The controller is a thumb operated control which provides two increasing rates
of speed and a maximum speed as follows:
a. from centre to 250 mils in either direction will give a progressively increasing
turret rotation from 0.3 mils per second (mps) to 3.3 mps;
b. from 250 mils to 500 mils will give a progressively increasing turret rotation from
3.3 mps to 160 mps; and
c. at the maximum position (540 mils) the turret will rotate at a maximum speed of
427 mps (4 revolutions per minute).
9. Commander's Override Controller. The commander's override controller is mounted to
the bottom right, side of the sight. Initial movement of the thumb control from the centre position
overrides the gunner's controller. All other aspects of operation are the same as for the gunner's
controller.
ELEVATING SYSTEM
10. The elevating system consists of an elevating handwheel and a nut and screw type gear.
11. Elevating Handwheel. The elevating handwheel is:situated to the left of the gunner's
position. It is connected by a drive shaft encased in a housing to the elevating gear nut in the
gearbox. The handwheel is retained on the drive shaft by a pin. On the outside face of the
handwheel are 32 serrations into which the plunger of a clicker device fits. This plunger can be
disengaged by pulling and rotating the knob. The handle incorporates the electrical firing switch.
12. Elevating Gearbox. The elevating gearbox is bolted to the underside of the turret flange.
A hinge pin connects the elevating gear screw to the two lugs on the underside of the cradle. All
rubber gaiter protects the elevating gear screw when it is extended from the gearbox.

Figure 5-2-2 Power Traverse Control Unit

Figure 5-2-3 Manual Traverse Engaged

Figure 5-2-4 Power Traverse Engaged

Figure 5-2-5 Diagrammatic Arrangement of Power Traverse SYSTEM

Figure 5-2-6 Elevating Gearbox

Figure 5-2-7 Elevating Gearbox Gearing
SECTION 3
OPERATION
MANUAL TRAVERSE
1. To operate the manual traverse system, use the following procedure:
a. pull the hand traverse handle fully down;
b. rotate the hand traverse handle clockwise to traverse right; and
c. rotate the hand traverse handle counter-clockwise to traverse left.
POWER TRAVERSE
2. To operate the power traverse system, use the following procedure:
a. ensure there are no external or internal obstructions to interfere with turret
rotation;
b. turn on the hull master switch;
c. start the engine (the system can be operated for short periods of time if the
batteries are charged well);
d. close the driver's hatch;
e. turn on the turret master switch;
f. rotate the hand traverse handle to the 9 o'clock position and push fully up; and
g. operate the system by using the gunner's or commander's controller.
TO TEST THE OPERATION OF THE POWER TRAVERSE
3. Prior to testing the operation of the power traverse, prepare the system for operation and
ensure the vehicle is on level ground.
4. Driver's Traverse Safety Switch. To test the driver's traverse safety switch, use the
following procedure:
a. open the driver's hatch and check that the system will not operate; and
b. close the driver's hatch and pull the traverse handle to the DOWN position and
check that the system will not work when using the power controller.
5. Response. To test the system for response, use the following procedure:
a. rotate the gunner's power controller to the right and check that the turret moves
right; and
b. repeat in the opposite direction.
6. Traverse Speed. To test the traverse speed, use the following procedure:
a. move each controller in turn, up to a maximum of 500 mils from centre in each
direction, and check that the traverse speed progressively increases as the
controller is rotated outward and decreases when rotated back to centre; and
b. check that the speed for one revolution is less than 1 6 seconds with the controller
at maximum displacement.
7. Commander's Override Controller. To test the commander's override controller, use
the following procedure:
a. have the gunner traverse right or left;
b. operate the commander's override in the opposite direction;
c. the commander should gain control and the turret should rotate in the direction
opposite the gunner's traverse; and
d. repeat for the opposite direction.
8. Should any of the above tests fail, the fault must be reported to a technician.
WARNING
In case of a run away turret, the following action will be taken:
a. the crew commander will pull out the 25 amp circuit breaker on the power
traverse control unit;
b. the gunner will turn the turret master switch OFF; and
c. report to a technician.
ELEVATION SYSTEM
9. To operate the elevating system, use the following procedure:
a. grasp the elevation handwheel;
b. rotate the handwheel forward to depress; and
c. rotate the handwheel rearward to elevate.
NOTE
Due to the meshing of the gears, when laying on to a target, the
final movement of the handwheel must be one of depression to
eliminate the effect of backlash in the gearing.
SECTION 4
FIRING CIRCUITS
INTRODUCTION
1. The firing circuits for the 76 mm and coaxial 7.62 mm machine-gun (MG) are of the
electromechanical type. In addition, the 76 mm gun is fitted with a completely mechanical firing
gear.
2. The following components are common to both the 76 mm gun and the coaxial 7.62 mm
electrical firing circuits:
a. batteries which supply the power for the vehicle electrical system and are located
in the hull. The batteries are charged when the vehicle engine is running;
b. a hull master switch which supplies current from the hull to the turret; to have
power in the turret, the hull master switch must be ON;
c. the rotary base junction which is the means for power transfer from the hull to the
turret;
d. the turret master switch which is located on the turret wall to the right of the
gunner's position. It is a semi-rotary switch with ON/OFF positions;
e. the turret fuse box which is positioned adjacent to the turret master switch. Fuse
F8 on this box protects the firing circuit;
f. the gun selector switch box which is located on the turret wall to the right of the
gunner's sight. The switch has three positions: CO-AX, OFF, and MAIN; and
g. the firing switch which is positioned on the handle of the elevating handwheel.
76 MM GUN FIRING CIRCUIT
3. The 76 mm gun firing circuit is completed as follows:
a. the loader's safety switch is mounted on the underside of the semi-automatic cam
bracket which is attached to the gun cradle. There are two operating levers, one
located on top of the box (to make the switch work) which must be pulled to the
rear. The other lever is located on the underside of the box and is used to manually
trip the safety switch by pushing the lever forward. When the gun fires, a cam on
the breech ring automatically trips the switch;
b. the solenoid is mounted on the right side of the cradle. The rear of the solenoid
core is in contact with the front end of the horizontal rod. This rod is in contact
with the firing lever mounted on the cradle;
c. the firing lever is attached to the cradle, and exert!; pressure on the firing plunger;
d. the firing plunger is mounted on the breech ring and when pressed inward by the
firing lever, it presses on the sear;
e. the sear is mounted in the breech block and is forced to the left by the firing
plunger and releases the striker; and
f. the striker mechanism assembly is mounted in the breech block. The striker is
released by the sear allowing it to move forward and strike the percussion cap in
the! base of the round.
76 MM GUN MECHANICAL CIRCUIT
4. The mechanical firing circuit (see Figure 5-4-1) is completed as follows:
a. the foot firing pedal is positioned on the turret floor in front of the gunner. The
pedal has a pivoting safety locking bar which, when raised, prevents the pedal
from being depressed;
b. the bowden cable extends from the foot firing pedal to a bracket on the right of the
76 mm gun cradle. The cable adjuster is fitted into the bracket. The inner cable
passes through the bracket and is attached to a stirrup at the top of a pivoted lever.
The lower end of the lever contacts the horizontal rod which operates the firing
lever mounted on the cradle; and
c. from the firing lever, the circuit is completed the same as the normal firing circuit
(see paragraph 3).
CAUTION
When the 76 mm mechanical firing circuit is used, the loader's
safety switch is bypassed and provides no safety for the
commander.
COAXIAL PRIMARY FIRING CIRCUIT
5. The coaxial primary firing circuit consists of the following components:
a. batteries;
b. hull master switch;
c. rotary base junction;
d. turret master switch;
e. turret fuse box;
f. gun selector switch box (this must be set to CO-AX and the orange light
illuminated); and
9. solenoid (which is located on the rear of the mount and is connected into the circuit by a
socket; when the firing switch is pressed, the solenoid moves a rod which operates the trigger on
the machine-gun).
COAXIAL SECONDARY FIRING CIRCUIT
6. The coaxial secondary firing circuit is used when the primary circuit fails. It consists of
the following components:
a. batteries;
b. hull master switch;
c. rotary base junction;
d. turret master switch;
e. turret fuse box;
f. gun selector switch box (this must be set at MAIN and the red light illuminated);
g. foot firing pedal (which is positioned on the turret floor in front of the gunner; it
consists of a hinged pedal and electrical switch which only operates when the gun
selector switch is at MAIN); and
h. solenoid.
VEHICLES FITTED WITH RADNIS
7. The commander's and gunner's Radnis sights are fitted with a protection shutter. This
shutter operates only when the Day/Night switch is at NIGHT and the main gun is fired using the
electrical firing circuit. It does not operate in the DAY mode or when firing CO-AX. The timing
and signal control is located in the Radnis Control Unit.

Figure 5-4-1 76 mm Firing Gear

Figure 5-4-2 Main Gun Firing Circuits

Figure 5-4-3 Coaxial Firing Circuits
SECTION 5
SERVICING
TRAVERSE GEARBOX
1. The crew is required to check the three mounting bolts, keep the equipment clean,
lubricate the traverse handle with 3G 335 and grease the turret ring. The gearbox is serviced by a
weapons technician.
SERVICING ELEVATING GEAR
2. To service the elevating gear, use the following procedure:
a. check the security of the three mounting bolts;
b. cheek the security and the serviceability of the rubber gaiter; and
c. check that the gearing operates smoothly throughout the complete arc of
movement.
TO TEST THE 76 MM FIRING GEAR
3. To test the 76 mm firing gear, use the following procedure:
a. prove the gun and close the breech, but do not ease springs;
b. set the hull and turret master switches to the ON position;
c. set the gun selector switch to MAIN and ensure that the indicator light illuminates
(if the light does not illuminate, inspect the bulb and fuse F8);
d. make the loader's safety switch and ensure that the Gun Ready light illuminates (if
the light does not illuminate, inspect the bulb);
e. press the firing switch on the elevating handwheel and check that the striker has
been released;
f. if the striker has not been released, press the firing switch and, at the same time,
check that the solenoid is being energized:
(1) if the solenoid is not being energized, check the electrical connections. If
the connections are correct, report to a technician, and
(2) if the solenoid is energized, adjust the firing gear as detailed in paragraph
4 which follows;
g. cock the gun using the recocking lever;
h. press the foot firing pedal and check that the striker has been released; and
j. if the striker has not been released, adjust the firing gear as detailed in paragraph 4
which follows.
ADJUSTING THE 76 MM GUN FIRING GEAR
4. To adjust the 76 mm firing gear, use the following procedure:
a. prove the gun, close the breech, do not ease springs;
b. ensure that the solenoid is fully forward. If it is not loosen the solenoid clamp
bolts, move the solenoid forward to the end plate. Tighten the solenoid clamp;
c. loosen the locking nut on the bowden cable;
d. using the adjusting nut, adjust the cable until the firing lever is just clear of the
firing plunger;
e. tighten the locking nut on the bowden cable;
f. press the foot firing pedal (the gun should fire);
g. set the hull and turret master switches to the ON position;
h. set the gun selector switch to MAIN;
j. cock the gun using the recocking lever;
k. make the loader's safety switch and ensure that the Gun Ready light illuminates;
m. press the firing switch on the elevating handwheel; and
n. if either the electrical or mechanical gears fail to operate correctly, report to a
technician.
TESTING THE COAXIAL MACHINE GUN FIRING GEAR
5. To test the coaxial machine-gun firing gear, use the following procedure:
a. ensure that the procedure for mounting the MG has been completed correctly;
b. set the hull and turret master switches to the ON position;
c. prove the machine gun, but do not fire the action;
d. set the selector switch to CO-AX and ensure that the indicator light illuminates. If
the light does not illuminate, inspect the bulb and fuse F8;
e. press the firing switch (the solenoid should energize and fire the gun);
f. if the solenoid is not energized, check that the electrical connectors are tight; if
they are, report to a technician; and
g. cock the MG, place the selector switch to MAIN and fire using foot firing pedal.
TO ADJUST THE COAXIAL MACHINE GUN FIRING GEAR
6. To adjust the coaxial firing gear, use the following procedure:
a. loosen the locking nut on the solenoid adjusting nut;
b. loosen or tighten the adjusting nut until it just clears the trigger bar;
c. tighten the locking nut;
d. test both the foot firing pedal and the firing switch on the elevating handwheel;
and
e. if, after checking the electrical leads and fuse F8 the solenoid does not energize,
report to a technician.
CHAPTER 6
COMMANDER'S SIGHTING EQUIPMENT
SECTION 1
COMPONENTS
INTRODUCTION
1. The commander is provided with a Sight, Periscope, Armoured Vehicle (AV), No. 71 or a
combined day/night SS126 Commander's Radnis. Either sight can be traversed approximately
500 mils either side of centre. The mounting has a scale with a pointer which indicates the
amount that the sight is traversed.
THE SIGHT MOUNTING
2. The sight is mounted in a Mounting Periscope Sight, AV No. 45. This mounting enables
the whole sight to be rotated 500 mils left or right of centre.
3. The mounting consists of a fixed half installed in the turret roof and a rotary half into
which the sight is secured. A clamp fitted into the slot in the traverse arc is provided for joining
the two parts. A scale and pointer allows the commander to read the amount by which the sight is
traversed away from the centre zero position. A spring-loaded plunger fitting into a recess in a
traverse arc determines the line-up position and enables it to be selected. Initial setting up of the
correct line-up position can be achieved by fine-tuning the adjusting bolts on either side of the
plunger assembly.
THE SIGHT WASHER SYSTEM
4. A spray system is provided for both the commander's and gunner's sights. The system is
supplied from a 1.7 litre plastic reservoir mounted on the right-hand turret wall. Hand operated
plungers provide independent operation for both the commander and gunner. They are situated in
the turret roof forward of each sight. The spray nozzles can be unscrewed for cleaning purposes.
THE SIGHT, PERISCOPIC, ARMOURED VEHICLE, NO. 71
5. The sight consists of the upper case, which contains a movable object mirror, and the
main case which houses the remainder of the optical systems together with the mechanical
components for operating them. A three-pin electrical connector is located on the left-hand side
of the front face of the sight. A sight wiper motor is mounted on top and in front of the sight. The
wiper blade is operated by the switch situated on the left hand wall of the turret.
6. The sight has X1 and X10 optical systems. The field of view of the X10 system is 115
mils. Both optical systems can have the field of view raised 700 mils or depressed 200 mils from
the horizontal by means of the object mirror tilting control (0 - 700 mils in elevation [E] and 0-
200 mils in depression [D]). A pointer to the right of the control indicates the angle of tilt. The
control is situated on the left of the sight.
7. The X1 Unity Viewing System. The viewing window for the X1 system is immediately
above the X10 sighting system. The window is protected by a spring-loaded blackout shutter
which can be held in the closed position by a clamp on the left hinge.
8. Inside the sight is a laser filter which is moved by a control on the left side of the sight
body. The filter is in the vertical operative position when the control is in the DOWN position.
When the control is in the UP position, the filter is moved to the horizontal position away from
the line of sight.
9. A two-position flip mirror inside the sight determines whether the image path is reflected
from the object mirror into the X1 system. The position of the mirror is determined by the
rearward of the two controls on the left side of the sight. With the control in the UP (X1)
position, the mirror reflects into the X1 unity window. With the control in the DOWN (X10)
position, the mirror is clear of the image path.

Figure 6-1-1 Mount Armoured Vehicle Periscope No. 45 Mark 1

Figure 6-1-2 Sight Periscopic, Armoured Vehicle, No. 71
10. A circle positioned in the X1 unity window encloses half the field of view of the X10
optical system.
11. The X10 Optical System. The X10 eyepieces are positioned below the X1 unity window.
They are fitted with heaters that can be switched ON or OFF by a switch to the left of the
eyepieces.
12. An adjustable face mask fits over the eyepieces. The mask can be removed by a quick
release plunger and can be moved forward and backward by adjusters.
13. The right eyepiece is rigidly mounted. The left eyepiece, mounted in a movable cradle,
can be adjusted by the interocular setting control positioned on the left side of the main case.
This adjustment is recorded on a scale below the eyepiece. Both eyepieces have fixed focus.
14. An etched graticule pattern is incorporated within the right eyepiece (see Figure 6-1-3).
The graticule is illuminated by a lamp unit situated below the X10 eyepiece. This lamp is
controlled by the graticule lamp dimmer situated above the eyepiece heater switch. The electrical
circuit of the sight is protected by the fuse F3.
15. The Object Mirror Assembly. This is common to both the X1 and X10 optical system.
It is fitted in the top case by a pivoting mount and trunnions. Tilting the mirror will raise or lower
the line of sight. The angle of the mirror is controlled by rotating the object mirror tilting control
on the left side of the sight.
COMMANDER'S RADNIS
16. The Radnis comprises optics for both day and night viewing. It consists of an upper case
which contains a movable object mirror and the main case which houses the remainder of the
optical systems with their mechanical components. An electrical connector is located on the
lower left front of the sight.

Figure 6-1-3 Day Graticule Pattern All Sights

Figure 6-1-4 Graticule Pattern Explained
17. Day Optics. The sight has both X1 and X10 optical systems for day observation. The
field of view of the X10 system is 113 mils. Both optical systems can have the field of view
raised 700 mils or depressed 200 mils from the horizontal position by using the optical mirror
tilting control.
18. X1 Unity Viewing System. The viewing window for the X1 system is immediately
above the X10 eyepiece.
19. A two-position flip mirror inside the sight determines whether the image path is reflected
from the object mirror into the X1 system. The position of the mirror is determined by the control
lever mounted on the left side of the sight main case. With the lever in the horizontal (UP)
position, the mirror reflects into the X1 unity window. With the lever in the DOWN position, the
mirror is clear of the image path.
20. A circle positioned in the X1 unity window encloses half the field of view of the X10
optical system.
21. X10 Optical System. The X10 eyepiece is positioned below the X1 unity window. A face
mask, which can be positioned for either left or right eye viewing, fits over the eyepiece. The
eyepiece can be removed by rotating the face mask 90 degrees; it has a fixed focus for day only.
22. An injected graticule pattern is incorporated within the eyepiece. This graticule receives
power when the sight is turned on at the Radnis control box located on the turret wall to the right
and forward of the gunner. Brightness is controlled by a rheostat located on the right underside of
the sight (the knob closest to the commander). The field of view for the X10 optical system is
113 mils.
23. Night Optics. With the eyepiece giving a magnification of X9, the field of view is 115
mils. This field of view can be raised 700 mils in elevation (E), and 200 mils in depression (D)
by means of the optical mirror control. The night system does not utilize the X1 unity window.

Figure 6-1-5 SS126 Commander's Radnis

Figure 6-1-6 SS126 Commander's Radnis
24. X9 Image Intensification System. The X9 eyepiece is the same as that for X10 day
optics. Focus can be adjusted by a focus control lever mounted on the underside of the sight main
case. An injected graticule pattern is incorporated within the eyepiece; the brightness is
controlled by the forward of the two rheostat knobs mounted on the right underside of the sight.
The sight contains a flash shutter which operates when the firing switch is pressed.
25. The Object Mirror Assembly. This is common to both the day and night systems. It is
fitted in the top case by a pivoting mount and trunnions. Tilting the mirror raises and lowers the
line of sight. The angle of the mirror is controlled by the rotation of the object mirror tilting on
the left side of the sight.
26. The Radnis Control Box. This is located on the turret wall to the right and forward of
the gunner's position. Power for the sight is provided by the batteries and the circuit is protected
by a 15 amp fuse on the Radnis control unit. The following switches and connectors are located
on the box:
a. the power switch for the sights is an ON/OFF toggle switch situated on the bottom
right corner of the box;
b. the wiper switch for the sights is an ON/OFF toggle switch situated on the top
right corner of the box;
c. the heater switch for the sights is an ON/OFF toggle switch situated between the
power and wiper switches. A warning lamp is also provided;
d. the power input is connected to a plug situated on the top left corner of the box.
(PL 10 in Figure 6-1-7); and
e. two output sockets that allow connection of the Radnis Sights are SKT 9 and SKT
19 in Figure 6-1-7.
NOTE
With the heater switch in the ON position, it will cut out the power
supplied to the graticule illuminations bulbs.
27. Graticule Adjuster Knobs. These are located on the right side of the main case. The
upper knob vertically adjusts the graticule for both day and night. The lower knob adjusts the
graticule horizontally. Each adjuster is marked every 11/5 mil, numbered every 2 mils and has a
run of 0-24 mils. A locking lever is provided for both.
28. Day/Night Selector. This is located on the lower right side of the sight. It is a lever with
two positions: UP for day and DOWN for night.
WARNING
Do not select night optics (DOWN POSITION) during daylight.

Figure 6-1-7 Radnis Control Unit

Figure 6-1-8 Radnis Night Graticule Pattern
SECTION 2
OPERATION
COMPONENT ADJUSTMENT AND OPERATION OF THE NO. 71 SIGHT
1. Face Mask. To adjust the face mask and interocular setting, use the following procedure:
a. remove the eyepiece cap; and
b. position the forehead against the mask and adjust it until it is comfortable by:
sonia
(1) unlocking the locking nuts situated on the top right and top left of the
metal frame of the mask,
(2) rotating the three adjusters until the desired position is obtained, and
(3) locking the locking nuts to secure the face mask.
2. Switching on the Sight. To switch on the sight, use the following procedure:
a. set the hull and turret battery master switches to the ON position; and
b. turn the graticule lamp dimmer clockwise and adjust the brilliance as required.
3. Eyepiece Heater. To operate the eyepiece heater, use the following procedure:
a. set the heater switch to the ON position; and
b. note whether the warning lamp beside the switch illuminates.
4. Traverse the Sight. To traverse the sight, use the following procedure:
a. unclamp the sight mounting by moving the clamp lever clockwise;
b. if the sight is in the lined-up position, pull the plunger to the left and rotate the
sight as required;
c. read off the amount of sight traverse from the scale which is positioned on the
underside of the turret roof;
d. reclamp the sight in any position by moving the clamp counter-clockwise; and
e. if line-up is required, rotate the sight until the plunger engages in the recess of the
traverse arc.
COMPONENT ADJUSTMENT AND OPERATION OF THE COMMANDER'S RADNIS
5. To Switch On Day. To switch the sight on for day use, use the following procedure:
a. ensure the daylight protection shutter is closed;
b. ensure the day/night selector is set to day;
c. switch on the power at the Radnis control unit;
d. select X1;
e. rotate the lamp brightness control knob to check the illumination of the field
defining graticule seen in the X1 unity window;
f. select X10; and
g. check the illumination of the ballistic graticule.
6. To Switch Off Day. Switch the power off at the Radnis control box.
7. To Switch on Night. To switch the sight on for night use, use the following procedure:
a. put the daylight protection shutter in the OPEN position (rear);
b. put the day/night selector to night (forward);
c. select X9;
d. switch on power at the Radnis control unit;
e. focus using the focus lever; and
f. adjust the ballistic graticule.
NOTES
1. For best operation, ensure X9 magnification is selected and
that the graticule pattern is as dim as possible.
2. The night system may be checked in daylight providing the
pinhole mask or filter is taped to the front of the sight.
8. To Switch Off Night. To switch off the sight, use the following procedure:
a. return the day/night selector to the day position;
b. close the daylight protection shutter; and
c. switch off power at the Radnis control box.
WARNING
Before any operating procedures are carried out on the
commander's Radnis, ensure the gunner's Radnis day/night selector
is at DAY.
NOTE
During either day or night operations, if there is too much glare in
the sight, close the anti-glare filter.
SECTION 3
SERVICING
OBJECT PRISMS AND OBJECT GLASSES
1. Object prisms and object glasses are the components exposed to weather and traffic film.
Remove all mud and film with clean cold water and pat dry with a clean soft cloth or tissue paper
(soft toilet paper is both clean and absorbent).
OCULAR PRISMS AND EYE LENSES
2. Ocular prisms and eye lenses are the glass surfaces nearest the eye. They are not exposed
to mud and traffic film and are usually coated with a bluish anti-reflection coating. Great care
must be taken to blow away any grit or dust before cleaning them. Clean tissues will be used. A
polish may be obtained by breathing on the glass, but there must be no hard rubbing with water.
If it is not possible to clean an optical surface satisfactorily by these methods, a technician should
be informed. Methylated spirits, gasoline or other cleaning agents should be used only by suitably
qualified personnel since excessive use of these can cause deterioration of the sealing and
bonding materials.
3. No attempt should be made to wipe off dry mud or grit as this will scratch the glass
surface and reduce the efficiency of the instrument. Any abrasions, chips or scratches (especially
radial ones due to wiper action,) should be reported to a technician for investigation. Cotton
waste must never be used to clean glass surfaces. Even service flannelette (4 inch x 2 inch),
which may be the cleanest cloth available, is suspect since its heavy woolen texture harbours grit.
However, if nothing better is available, it may be used carefully.
GENERAL INSPECTION OF OPTICAL AND SIGHTING EQUIPMENT
4. Inspect and check for the following:
a. missing, loose or damaged screws;
b. damage on seating and locating faces;
c. condition of external finish;
d. condition of electrical fittings, switches, etc;
e. condition of engraving on scales and readers;
f. condition of external glass surfaces;
g. condition of face masks;
h. efficiency of locking devices and safety catches;
j. graticules are sharp and clearly defined; and
k. when looking through an instrument from the object end, the internal optics can
be viewed clean, unfilmed and free of fungus or cracks.
5. When hand-operated controls are fitted to an equipment, they should be used by hand
only. Under no circumstances must mechanical aids be used to force them. A technician should
be informed immediately of any difficulty or malfunction.
GRATICULE LAMP
6. To change the graticule lamp:
a. set the graticule illumination switch to the OFF position;
b. slacken the screw on the lamp unit cover plate;
c. remove the unserviceable lamp and replace it with a new one; and
d. close the cover and secure it.
SERVICING THE SIGHT WASHER SYSTEM
7. The sight washer system will be serviced as follows:
a. keep the reservoir filled with water to the correct level (during cold weather, anti-
freeze will be used);
b. check the operation of the system;
c. check for clogged or leaking connections;
d. report any defects to a technician.
NOTE
It is important in dry conditions to operate the washer system
before using the sight wiper. This will prevent the glass surface
from becoming scratched.
TEST FOR PARALLAX
8. Test for parallax as follows:
a. lay on to an aiming mark at not less than 600 metres;
b. rotate the head while looking at the aiming mark;
c. if the graticule moves with the head, then parallax is present in the sight and must
be reported to a technician.
9. This test should be carried out on all sights that have a graticule pattern and are used to
employ direct fire weapons from AFVS.
CHAPTER 7
GUNNER'S SIGHTING EQUIPMENT
SECTION 1
COMPONENTS
INTRODUCTION
1. The gunner is provided with a Sight, Periscopic, AV, No. 54 or with a combined
day/night optical sight SS 125 Gunner's Radnis instead of the No. 54 sight.
THE SIGHT MOUNTING
2. The mounting AFV, Periscopic Sight No. 38, Mark 1 is bolted into the turret roof. It
protects and supports the Sight Periscopic, AV, No. 54, Mark 1 and consists of the following
main components:
a. The Hood. The hood completely covers the exposed part of the sight. The front
face is sealed by a glass window which is fitted with a wiper. A heater element is
located around the inside of the window. The switches for controlling the wiper
and heater are located in the turret on the right underside of the mounting. The
circuits are protected by fuses F1 and F2;
b. The Trunnion Locking Lever. The trunnion locking lever is located on the right
side of the mounting. It operates two trunnion pins which fit into trunnion
mountings on either side of the main case of the sight. When the lever is to the
rear, a safety catch engages with it preventing any forward movement which
would release the sight; and
c. The Sun Visor. The sun visor is located in the hood. The gunner can raise or lower
it by adjusting the screw control located on the left rear of the mounting.
THE TURNBUCKLE, FIRE CONTROL, ARMOURED FIGHTING VEHICLE, NO. 26,
MARK 1
3. This is a sight link bar which connects the Sight, Periscope, AV, No. 54, Mark 1 to the
gun mounting so that elevation or depression of the gun is transmitted to the sight. On the rear
end of the link bar is a cone shaped connector which fits into the sight connection lug; this is
operated by a lever. Adjustment of the link bar will be carried out only by a weapons technician.
4. When the link bar is disconnected, the sight can be pushed forward and retained in the
forward position by a spring catch. This is situated to the right of the sight and is bolted to the
turret roof.
THE SIGHT, PERISCOPIC, ARMOURED VEHICLE, NO. 54, MARK 1
5. The sight consists of a detachable sighting head and a main case which houses the
remainder of the optical systems and their mechanical operating components. A four pin
electrical connector is located on the front face of the sight. The sight has X1 and X10 optical
systems; the field of view of the X10 system is 120.88 mils.
6. The X1 Unity Viewing System. The unity viewing window for the X1 system is
immediately above the X10 eyepiece. The window is protected by a black out shutter which is
operated by a lever located above the window. A circle positioned in the X1 unity window
encloses half the field of view of the X10 optical system.
7. The X10 Optical System. The X10 eyepiece is positioned below the X1 window. It is
fitted with a heater which can be switched ON or OFF by a switch on the right underside of the
sight mount. The eyepiece can be focussed by rotating the focussing adjuster. A face mask fits
over the eyepiece and can be positioned for either left or right eye viewing.
8. A graticule pattern is incorporated within the eyepiece. Illumination is provided by a lamp
unit situated in the bottom of the sight. The lamp is controlled by a switch and a dimmer located
on the right side of the sight. Two graticule adjusters are fitted to the sight. The deflection
adjuster is on the left side and the elevation adjuster is on the bottom of the main case. Both are
calibrated in mils from 0 to 36, numbered every 2 mils and graduated in fifth-of-a-mil intervals.
Each adjuster has a locking lever.
9. A laser filter is contained within the sight. The position of the filter is determined by a
control on the right side of the sight on which the positions IN and OUT are engraved.
10. The electrical circuit of the sight is protected by fuse F1 on the turret fuse box.
GUNNER'S RADNIS
11. The gunner's Radnis is similar to the commander's Radnis except that the movable object
mirror is linked to the gun by a link bar. Therefore, this sight does not have the object mirror
tilting control. The gunner may elevate or depress the gun to vertically change the view. The
sight cannot be rotated.
12. Transit Lock. The gunner's Radnis is provided with a transit lock mounted on the left top
side of the sight. This lock is used only when the sight is removed from the vehicle. When
locked, it prevents the head mirror from moving.
CAUTION
The gunner must ensure that the transit lock is screwed out when
the sight is mounted. If it is in the locked position damage to the
sight could result.

Figure 7-1-1 Sight, Periscopic, Armoured Vehicle, No. 54

Figure 7-1-2 Day Sight Graticule Pattern All Sights

Figure 7-1-3 Radnis Night Graticule Pattern
SECTION 2
OPERATION
COMPONENT ADJUSTMENT AND OPERATION OF THE NO. 54 SIGHT
1. Face Mask. To adjust the face mask and focus the eyepiece, use the following procedure:
a. the face mask may be mounted to give either left or right eye vision through the
X10 eyepiece. To change the position of the face mask:
(1) unscrew the bottom two and top centre knurled wheels which are under the
mask,
(2) resecure the face mask by tightening the three knurled wheels; and
b. select an aiming mark of not less than 600 metres and rotate the focussing adjustor
until the graticule pattern and the aiming mark are sharp and clear.
2. Graticule Illumination. To illuminate the graticule, use the following procedure:
a. set the switch to the ON position;
b. rotate the dimmer control until the required brilliance is obtained; and
c. if the graticule fails to illuminate, check fuse F1.
3. Washer and Wiper. To operate the wiper, use the following procedure:
a. if it is not raining, first operate the washer to avoid scratching the window surface;
and
b. set the left-hand switch on the underside of the sight mounting to the ON position.
MOVING THE NO. 54 SIGHT TO THE STOWED POSITION
4. To move the sight to the stowed position, use the following procedure:
a. ensure that all sight switches are set to OFF and that the black out shutter control
is set to SHUT;
b. release the sight link bar and stow; and
c. swing the sight forward and retain it in the stowed position by engaging the spring
catch with the right side of the sight.
RELEASING THE NO. 54 SIGHT FROM THE STOWED POSITION
5. To release the sight from the stowed position, use the following procedure:
a. support the sight and pull the spring catch to the right; and
b. carefully swing the sight down, lift the sight link bar into alignment with the sight
connection lug. Turn the turn buckle connection lever a quarter turn clockwise to
engage it with the sight.
COMPONENT ADJUSTMENT AND OPERATION OF THE GUNNER'S RADNIS
6. To Switch On Day. To switch on the sight for day use, use the following procedure:
a. ensure the daylight protection lever is closed;
b. set the day/night selector to day;
c. switch on the power at the Radnis control unit;
d. select X1;
e. rotate the lamp brightness control knob to check the illumination of the field
defining graticule seen in the X1 unity window;
f. select X10; and
g. check the illumination of the ballistic graticule.
7. To Switch Off Day. Switch the power off at the Radnis control box.
8. To Switch On Night. The night system may be checked in daylight provided that the pin
hole mask or filter is taped to the front of the sight. To switch on the sight, use the following
procedure:
a. put the daylight protection shutter to the OPEN position (rear);
b. put the day/night selector to night (forward);
c. select X9;
d. switch on power at the Radnis control unit;
e. focus using the focus lever; and
f. adjust the ballistic graticule.
NOTE
For best operation, ensure X9 magnification is selected and that the
graticule pattern is as dim as possible.
9. To Switch Off Night. To switch off the sight, use the following procedure:
a. return the day/night selector to day position;
b. close the daylight protection shutter; and
c. switch off power at the Radnis control unit.
WARNING
Before any operation procedures are carried out on the gunner's
Radnis, ensure the commander's Radnis day/night selector is at
DAY.
NOTE
During day or night operations, if there is too much glare in the
sight, close the anti-glare filter.
SECTION 3
SERVICING
MOUNTING/DISMOUNTING THE NO. 54 SIGHT
1. To dismount the No. 54 sight, use the following procedure:
a. ensure that the turret master switch is set to OFF;
b. disconnect the electrical connections from the sight;
c. with the right hand rotate the turnbuckle connection lever a quarter turn counter-
clockwise and pull the link bar out of the sight connection lug;
d. stow the link bar;
e. elevate the gun;
f. supporting the sight, push up on the locking lever safety catch and push the lever
forward to release the trunnion pins; and
g. carefully lower the sight.
2. To mount the No. 54 sight, use the following procedure:
a. ensure that the mounting and the sight connection lug on the sight are clean,
undamaged and lightly lubricated;
b. elevate the gun, ensuring that the trunnion locking lever is in the forward position,
then lift the sight into the mounting aperture;
c. supporting the sight, pull the trunnion locking lever to the rear to engage the
trunnion pins and listen for safety catch to engage;
d. lift the sight link bar into alignment with the sight connection lug and turn the
turnbuckle connection lever a quarter turn clockwise to engage it with the sight;
e. ensure that the turret master switch is set to OFF and connect the electrical supply
to the sight; and
f. elevate and depress the main armament to ensure that the sight linkage is working
correctly.
OPTICAL SERVICING
3. Optical servicing of the gunner's sighting equipment is the same as for the commander's
sighting equipment (see Chapter 6, Section 3).
CHAPTER 8
GUN LAYING INSTRUMENTS
SECTION 1
INTRODUCTION
GENERAL
1. The Cougar is equipped with gun laying instruments so the gun may be fired on fixed
lines, semi-indirect or indirect. These instruments are:
a. the traverse indicator; and
b. the quadrant fire control.
SECTION 2
TRAVERSE INDICATOR
FUNCTION
1. The traverse indicator is mounted on top of the traverse gear box. It indicates any
movement of the turret in azimuth, permits the gunner to apply line corrections as ordered by the
commander, and allows the gunner to measure and apply angles in line from a given point.
DESCRIPTION
2. The instrument, which is mechanically driven, is flexibly mounted with a bracket on top
of the traverse gearbox. The dial is marked with outer and inner scales which are used in
conjunction with the long and short pointers.
3. A combined light switch and dimmer control is positioned on top of the instrument. This
controls scale illumination through four bulbs, one in each corner of the instrument. The bulbs
are accessible through screwed adaptors.
4. Two pointer zeroing knobs are provided below the dial.
5. The outer scale is marked in single mils and numbered every 10 mils from 0 - 100 in red
for left rotation and green for right rotation. The scale is used in conjunction with the long
pointer which is zeroed with the right-hand knob.
6. The inner scale is marked in hundreds of mils from 0 - 3200 and is numbered every 1000
mils from 1000 to 3000 for left and right rotation. The scale is used in conjunction with the short
pointer which is zeroed with the left-hand knob.
7. The instrument is permanently in mesh with the traverse gears. The scale illumination is
turned on as required.
OPERATION
8. To Illuminate the Scale. Turn the dimmer knob counterclockwise and adjust the brilliance
if necessary. If there is no illumination, check fuse F4 and the bulbs.
9. To Zero the Pointers. Press in and turn the zeroing knobs, as required, to bring the
pointers into line with the zero marks; on the inner and outer scales.
10. Applying Line Corrections. To apply a line correction, use the following procedure:
a. zero the pointers;
b. repeat the ordered correction;
c. apply ordered correction against the outer scale; and
d. rezero the pointers.
11. Measuring a Line Switch. To measure a line switch, use the following procedure:
a. lay on the distant, flank or gun aiming point, traversing in the direction to which
the line switch is to be made;
b. record the zero line by zeroing the pointers; and
c. traverse onto the target and read the measurement from the inner and outer scale.
12. Applying a Measured Line Switch. To apply a measured line switch, use the following
procedure:
a. lay on the recorded zero line, traversing in the direction to which the line switch is
to be made;
b. zero the pointers;
c. traverse the required line switch; and
d. rezero the pointers.
NOTE
To eliminate backlash in the gears, it is essential that traversing
ends in the direction of the intended movement prior to the initial
registering of zero.

Figure 8-2-1 Traverse Indicator
SECTION 3
QUADRANT FIRE CONTROL
FUNCTION
1. The quadrant fire control, AFV, No. 16, Mark 1, is bolted to a bracket on the right side of
the gun cradle. It consists of a range drum and clinometer. The quadrant fire control (QFC) is
used:
a. to fire semi-indirect, indirect and on fixed lines;
b. to set a range for HE/HESH over 2000 m for semi-indirect fire;
c. to set a range for smoke from 0 - 3700 m;
d. to measure and apply an angle of sight;
e. to apply quadrant elevation to the gun; and
f. to determine minimum safe range (MSR).
DESCRIPTION
2. The Clinometer. This is a simple spirit level. It is attached to a spring-loaded arm which
at its other extremity rests on an eccentric cam. Attached to the cam is a range drum.
3. The Range Drum. This consists of two main parts, fixed and movable, each with its
separate scale. The two main parts are clamped together by a wing-type clamping nut within a
knurled handwheel. When unclamped, the right-hand scale can be moved by rotating the circular
plate attached to the scale. A cursor with a line provides the means of setting the drum adjuster.
4. The scales on the range drum are marked as follows:
a. the fixed drum (left-hand) is a mils scale which can also be used as an angle of
sight scale. It is marked every two mils and numbered every 20 mils, from 0-320
in elevation and 0-120 in depression. On either side of zero are the letters E and D
indicating elevation and depression;
b. the movable drum (right-hand) is a range scale for HE--/HESH and SMOKE. The
HE/HESH scale, on the left side, is marked every 100 metres and numbered every
500 metres from 100 - 5000. In addition, there is the figure 4 indicating the 400 m
mark. The SMOKE scale, on the right side, is marked and numbered every 100 m
from 0 - 3700 m.
5. Trilux Lamps. Three trilux lamps are used to illuminate the clinometer and range drum
scales. A small trilux lamp is mounted to the rear of the clinometer bubble. Two large trilux
lamps are mounted inside the GFC below the cursor and underneath the range scales to provide
illumination of the scales.
OPERATION OF THE TRILUX LAMPS
6. The trilux lamps consist of a small capsule of glass coated internally with a layer of
phosphor. The capsule contains a radioactive gas which activates the phosphor, and produce.;
visible light.
7. Nuclear lamps are self-illuminating, do not require any external power supply and do not
need to be exposed to daylight before they become effective.
8. The colour of the emitted light, which can lie in a number of bands within the visible
spectrum, is determined by the type of phosphor selected. The trilux lamp in the Cougar emits a
green light.

Figure 8-3-1 Quadrant Fire Control, No. 16, Mark 1

Figure 8-3-2 Trilux Lamps
9. The type of lamp currently used in the service (trilux lamp) contains tritium gas (an
isotope of hydrogen) which emits electrons (beta particles) of low energy only. There is
negligible radiation from these lamps as the beta particles are absorbed by the glass walls of the
capsule, and the total radioactive content of the lamps employed in a single equipment is limited
to a maximum of 10 curies. If, however, the capsule is broken, certain precautions must be
observed.
SAFETY PRECAUTIONS FOR TRILUX LAMPS
10. The following is an extract from instructions dealing with the precautions to be taken in
the event of breakages:
a. there is no health hazard unless nuclear lamps break and only then if the breakage
occurs in a confined and poorly ventilated space. If this should occur in
peacetime, all personnel should leave the store room or AFV for 50 minutes.
When personnel leave, doors, hatches, etc will be left open to allow the tritium
gas to escape;
b. it is difficult to detect damage to, or leakage of, gas from a capsule other than by
visual means. Luminance will decrease if cracking occurs. Slight leakage could
take several days; and
c. damaged lamps must be handled carefully. Contact with the inside of the glass
capsule can cause contamination for several days. Lamps will be replaced by
qualified personnel only.
OPERATIONS
11. Measuring an Angle of Sight. To measure an angle of sight, use the following procedure:
a. the commander orders "Set angle of sight";
b. the gunner lays the main battle sight (MBS) 76 mm mark of the sight graticule on
to the target;
c. unlocks the range drum adjuster;
d. rotates the range drum adjuster until the bubble is within the two large scribe
marks;
e. slips the HE/HESH scale until ZERO is under the cursor line;
f. securely locks the range drum adjuster (ensuring that the bubble or the mil scale
are not disturbed); and
g. reports "Set".
NOTE
If the angle of sight is only required for a range card, delete
subparagraphs e, f and g.
12. Applying an Angle of Sight. To apply an angle of sight, the gunner must:
a. repeat the angle ordered by the commander;
b. unlock the range drum adjuster;
c. rotate the range drum adjuster until the required angle corresponds to the cursor
line;
d. slip the HE/HESH scale to ZERO;
e. securely lock the range drum adjuster; and
f. report "Set".
13. Obtaining Quadrant Elevation (Fixed Line Below 2000 m). Since fixed line firing is
normally carried out under 2000 m, the following procedure will normally be used to obtain
quadrant elevation (QE):
a. the commander will determine the type of ammunition to be recorded and one of
the following methods for determining the range to the target or target area:
(1) laser range finder,
(2) registration by fire,
(3) map measurement, or
(4) estimation;
b. the gunner, using the corresponding range on the ballistic sight, will lay on to the
centre of the target or target area;
c. level the bubble using the range adjuster;
d. read off the mil scale; and
e. the commander will then record the reading on the range card.
14. Obtaining Quadrant Elevation (Fixed Line Above 2000 m). If quadrant elevation above
2000 m is required, use the following procedure:
a. the gunner will lay the MBS 76 mm on to the centre of the target or target area;
b. unlock the range drum adjuster;
c. rotate the range drum adjuster until the bubble is within the two large scribe
marks;
d. slip the HE/HESH scale to ZERO;
e. securely lock the range adjuster;
f. the gunner will apply the ordered range given by the commander;
g. read off the mil scale; and
h. the commander will record the reading on the range card.
15. Applying Quadrant Elevation. To apply quadrant elevation the gunner must:
a. repeat the quadrant elevation ordered by the commander;
b. rotate the range drum adjuster until the required quadrant elevation is under the
line in the cursor;
c. level the gun using the gun controls; and
d. report "Level".
16. To Fire Smoke 0-3700, HE/HES Hover 2000 metres. Due to the sight marking
limitations, it may be necessary to fire smoke or engage a target with HE/HESH beyond 2000
metres without an angle of sight. In either case, the procedure is as follows:
a. the commander will order "Zero scales";
b. the gunner will unlock the range drum adjusters;
c. set all scales to zero;
d. relock the range drum adjustor and report "Scales zeroed";
e. apply the range to the applicable range scale as ordered by the commander;
f. level the gun with the gun control; and
g. report "Level".
NOTE
If an angle of sight is required, the commander and the gunner will
follow the procedure outlined in paragraph 1.
17. To Lay Semi-indirect and Indirect. When range and angle of sight are used, the procedure
is as follows:
a. unlock the range drum adjuster;
b. rotate the range drum adjuster until the angle of sight required is directly below
the cursor line;
c. slip the HE/HESH scale until zero is under the cursor line;
d. securely lock the range drum adjuster;
e. rotate the range drum adjuster until the range marking required is directly below
the cursor line;
f. elevate the gun until the bubble is within the two large scribe marks (ending the
lay in depression); and
g. report "Level".
18. Determine Minimum Safe Range. The following procedure will be used to determine
minimum safe range (MSR):
a. the gunner will zero the QFC scales and level the gun; the commander will look
through the bore from the top of the breech to the bottom of the muzzle and order
the gunner to elevate until the bore is clear of any obstructions;
b. the gun is traversed through the arc of responsibility. Each time the bore is fouled,
the gun is elevated until the bore is clear. In this way the lowest point is found at
which the gun can be depressed without fouling the crest within the arc; and
c. the gunner will level the bubble on the QFC using the range drum then report the
range to the commander.
SECTION 4
SERVICING
TRAVERSE INDICATOR
1. The traverse indicator is checked for security and cleanliness. If a bulb needs to be
replaced, use the following procedure:
a. unscrew the adaptor and withdraw the bulb from it; and
b. insert a new bulb 28V .04A and secure the adaptor.
TO TEST THE ACCURACY OF THE TRAVERSE INDICATOR
2. To test the accuracy of the traverse indicator, use the following procedure:
a. illuminate the scales of the indicator;
b. lay the MBS 76 mm mark on to an aiming mark not less than 600 m traversing
from right to left;
c. zero both pointers;
d. traverse right 100 mils then look through the sight and traverse left until the MBS
76 mm mark is laid on to the aiming mark again. Do not over-run or the test must
be redone;
e. note the reading on the pointers. The reading should be within one mil of zero;
and
f. repeat the test in the opposite direction. If the error is greater than one mil in either
direction, report to a technician.
QUADRANT FIRE CONTROL
3. The quadrant fire control is checked for security, cleanliness and that the range drums are
clean and dry. The trilux lamps are inspected for cracks or damage.
QUADRANT FIRE CONTROL DRIVE
4. To test the drive in the quadrant fire control, use the following procedure:
a. rotate the range drum adjuster until zero on the mils scale is directly below the
cursor line;
b. elevate the gun until the bubble in the clinometer is within the two large scribe
marks;
c. rotate the range drum adjuster and check that the clinometer bubble moves
immediately; and
d. continue to rotate the range drum adjuster and ensure that the clinometer arm is
moving smoothly and continuously.
TO ZERO THE QUADRANT FIRE CONTROL
5. To zero the quadrant fire control, use the following procedure:
a. lay the plumb line of the brass plumb bob over the back of the 76 mm breech ring;
b. elevate or depress the gun until the plumb line is lying evenly against the back of
the breech ring from top to bottom;
c. rotate the range drum adjuster until the bubble in the clinometer is within the two
large scribe marks;
d. ensure that the zero mark on the mils scale is directly below the cursor line;
e. if not, slacken the four clamping screws and slide the cursor until the line is
directly above zero on the mils scale;
f. tighten the clamping screws; and
g. if the movement on the cursor is insufficient, report to a technician.
CHAPTER 9
BORESIGHTING
SECTION 1
BORESIGHT AND SCREEN
DESCRIPTION
1. The boresight is an optical instrument used to very accurately define the bore axis of a
barrel at the muzzle end.
2. The Sight, Bore, Optical, Cased, No. 3, Mark 1 is the boresight used with the 76 mm gun;
it consists of the following main parts:
a. the body is a Y-section metal shaft with a locating ring at either end and a spring-
loaded positioning plunger;
b. the sight box is attached to the forward end of the body and consists of a metal
box incorporating an X7 right-angled telescope. There are two windows, the one
at the front is the object glass and the one at the side is an eye piece. The field of
view of the instrument is 107 mils; and
c. the graticule consists of a ring with a central dot. When viewed through the eye
piece, the ring covers an arc of 18 mils and the dot a diameter of 0.15 mils. The
dot defines the bore axis at the gun muzzle.
NOTE
The boresight is an optical instrument and should be handled
carefully if it is to retain its accuracy. It should not be left in the
sunlight or in a hot gun for longer than is absolutely necessary.
2. Figure 9-1-3 defines the dimensions and gives a description of the boresighting screen.

Figure 9-1-1 Boresight Armoured Fighting Vehicle No. 3 Mark 1

Figure 9-1-2 Boresight Armoured Fighting Vehicle No. 3 Mark 1

Figure 9-1-3 76 mm Boresighting Screen
NOTES
1. All lines are 2 cm thick.
2. The centre circle inside diameter is 16 cm.
3. The centre circle outside diameter is 25 cm.
4. Each grid square is 25 cm.
5. Total dimensions are 210 cm x 210 cm for each screen.
SECTION 2
BORESIGHTING
GENERAL
1. It is important that the sighting equipment is aligned with the axis of the main armament
bore. If this alignment does not exist, the sights may possibly be laid on to a target while the
main armament is pointing elsewhere.
DEFINITION OF BORESIGHTING
2. The definition of boresighting is to establish the correct relationship between gun and the
sight by aligning the axis of the bore and the aiming mark of the sight at a range appropriate to
the equipment.
PREPARATION BEFORE BORESIGHTING
3. To prepare the system for boresighting, use the following procedure:
a. complete all servicing tests of the sighting equipment;
b. place the vehicle on firm, level ground if possible;
c. prove all guns and leave the main armament breech open;
d. traverse the gun to 3 o'clock or 9 o'clock;
e. ensure that the vehicle engine is switched OFF (leave master switches ON);
f. position the boresighting screen 600 metres from the AFV (under service
conditions a suitable target should be selected at a range of 600 metres);
g. ensure the laser filter is either all the way in or out on the AV 54 gunner's sight;
and
h. insert the boresight No. 3 into the muzzle of the 76 mm gun with the eyepiece on
the sight box to the left.
NOTE
If the laser filter is not completely in or out, an error in
boresighting will occur.
METHOD OF BORESIGHTING
4. The following method is used to boresight:
a. order the gunner to lay the MBS 76 mark of the sight graticule onto the aiming
circle of the screen;
b. look through the boresight eye piece and order the gunner to traverse and elevate
as required until the boresight dot is laid on to the centre of the aiming circle (the
final movement of the gun is one of elevation);
c. order the gunner to adjust the sight graticule with the graticule adjusters so that
the MBS 76 mark of the graticule is again in the centre of the aiming circle;
d. the gunner will now ensure that the graticule adjusters are firmly locked;
e. order the gunner to traverse and elevate off the target and then relay the MBS 76
mark of the sight graticule on to the centre of the aiming circle, ending the lay in
elevation;
f. check that the boresight dot is again in the centre of the aiming circle.
g. if the boresight dot is not in the centre of the aiming circle, then:
(1) the gunner has made an incorrect adjustment, or
(2) the gunner's lay is inconsistent, or
(3) the fire control equipment is faulty;
NOTE
If any fault stated in sulparagraph g. is discovered, it will be
rectified immediately and the boresighting procedure will be
repeated.
h. if there is no fault as stated in subparagraph g. above, the gunner will record the
readings on the graticule adjusters and report the readings to the commander;
j. the commander will remove the boresight from the gun, rotate if through 3200
mils and reposition it in the bore (eye piece to the right);
k. order the gunner to lay the MBS 76 mark on the centre of the aiming circle of the
screen. Looking through the eye piece, the commander will note the position of
the boresight dot. If the boresight dot is in the centre of the aiming circle, sight
adjustment is completed;
m. If the boresight dot is not in the centre of the aiming circle, the commander will
realign the boresight as in subparagraph b. above and order the gunner to readjust
the sight graticule as in subparagraphs c., d. and e. above;
n. the gunner will once again record the readings on the graticule adjusters and
report them to the commander;
p. the commander, having obtained two sets of readings, will calculate the mean
readings and order the gunner to apply these mean readings to the graticule
adjusters. If the difference between the two readings is greater than one mil in
elevation and half a mit in line, the boresight error is unacceptable and the
instrument requires calibration; and
q. remove the muzzle boresight from the gun and stow it.
ZEROING PROCEDURE FOR COUGAR AVGP
5. Complete boresighting procedures IAWB-GL-305-007/MS-002, Chapter 9, and record
values on registration form. Lay HESH 900 aiming mark on centre of zeroing screen. Then fire 3
rounds at the centre of the zeroing screen at 900 m ensuring that the same point of aim is used for
each round fired. If first round does not hit the zeroing screen adjust the graticule by doing the
following:
a. if the round is minus move the graticule using the graticule adjuster, from the
centre of the zeroing screen to where the projectile hit the ground;
b. if the round is plus move the graticule using the graticule adjuster, from the center
of the zeroing screen to the spot where the tracer flew over the zeroing screen.
6. Proceed down range and measure the distance in cm, from the centre of the circle on the
zeroing screen to each round, both in azimuth and elevation. Record the readings on the
registration form and then:
a. calculate the MPI in cm by adding the columns, determining the difference and
dividing by three to find the MPI in cm for both azimuth and elevation;
b. mark the MPI on the zeroing screen with red paint, mark or cover the previous
shots on the screen and return to the Cougar;
c. have the gunner lay 900 m aiming mark on to the centre of the zeroing screen
using the hand traverse and elevation; unlock the graticule adjusters and move the
graticule using the graticule adjusters to the MPI on the zeroing screen and lock
the graticule adjuster once completed.
7. Confirm that the difference between total column and physical. Reading column at No. 7
on registration form is no greater than 0.2 mils otherwise repeat paragraph 6 a. b. c.
8. Relay the 900 m aiming mark on the centre of the zeroing screen using the gun controls
and fire one confirming round; the confirming round should be close to the centre of the tgt or at
least on the shooting in screen.
NOTE
If the zeroing round only can be fired the following procedure will
be followed:
a. boresighting as per 1;
b. add standard values (difference between boresighting and zeroing values);
c. fire 1 round as per 9 and if the projectile hits the zeroing screen, the gun is
considered zeroed.
NOTE
Last lay always in depression with a round in the chamber; and last
lay always in elevation with the boresight in the muzzle end.
9. To check boresighting:
a. return to prerecorded boresighting values;
b. order the gunner to lay MBS 76 mark of the sight graticule on the centre of the
aiming circle, ending the last lay in elevation;
c. check that the boresight dot is again in the centre of the aiming circle; and
d. if not re-boresight as per complete procedure stated in B-GL-305-007/MS-002.
NOTE
When confirming if the round misses the zeroing screen the crew
will check the following:
a. gunner's actions,
b. settings on graticule adjusters,
c. boresighting, and
d. if no fault is found, re-zero.
SECTION 3
VISUAL BORESIGHTING (NO BORESIGHT)
PROCEDURE
1. To prepare and adjust the system, use the following procedure:
a. complete servicing and testing the sighting equipment;
b. place the vehicle on firm, level ground if possible;
c. prove all guns, leave the breech open;
d. ensure that the vehicle engine is switched OFF (master switches ON);
e. ensure the laser filter is either all the way in or out on the AV 54 gunner's sight;
f. select an object with a well-defined right angle at a range of 600 metres;
g. place a piece of greased cotton or thread accurately into the vertical scribe marks
on the muzzle of the 76 mm gun and another into the horizontal scribe marks and
secure them in position with grease or tape;
h. remove the striker mechanism assembly from the 76 mm gun;
j. align the bore roughly on to the corner of the object selected and close the breech;
k. place the left tube of a pair of binoculars, ie, the tube without the graticule pattern,
against the recess in the breech block which holds the striker mechanism assembly
and focus the binoculars until the cross threads at the end of the muzzle are clear
and the object is clear and sharply defined;
m. order the gunner to traverse and elevate/depress until the cross threads are laid
onto the right angle of the object (ensure that the final movement of the gun is one
of depression);
n. order the gunner to adjust the sight graticule with the graticule adjusters so that
the MBS 76 mark of the graticule is aligned on to the same corner of the object
(when this is done, the gunner will ensure that the adjusters are firmly locked);
p. order the gunner to traverse and elevate off the object and then re-lay (ensure that
the final movement of the gun is one of depression);
q. the commander will now check that the cross threads on the muzzle are correctly
positioned on the object (if they are, the sight is adjusted correctly; if they are not,
the adjustment must be carried out again); and
r. replace the striker mechanism assembly.
SECTION 4
CONVERGING THE COMMANDER'S SIGHT
GENERAL
1. For the commander to accurately lay the gunner on the line, the commander's and
gunner's sights must be properly aligned.
PREPARATION
2. To converge the commander's sight to the gunner's, the following procedure will be
followed:
a. select a well defined object at a range of not less than 2000 m, order the gunner to
lay the MBS 76 mm mark of the sight graticule on to a specific point on the object
and maintain the lay throughout the period of adjustment; and
b. move the commander's sight to the line-up position ensuring that the plunger is
engaged in the recess (for Radnis ensure graticule adjusters are at the centre of
their run). Adjust the tilting mirror in the commander's sight so that the object is
visible through the X10 eye piece.
ADJUSTING THE SIGHT
3. Sight, Armoured Vehicle No. 71. If the MBS 76 mark is not correct for line, adjust the
position of the sight mounting as follows:
a. loosen the two plunger assembly securing bolts;
b. loosen the two locking nuts securing the adjusting bolts;
c. rotate the adjusting bolts until the MBS 76 mark is on the same aim point as the
gunner;
d. tighten the locking nuts and plunger assembly securing bolts;
e. after establishing the correct line-up position, pull out the plunger and rotate the
sight away from the object; and
f. rotate the sight back to the line-up position and check that the MBS 76 mark has
returned to the object.
4. Commander's Radnis. If the MBS 76 mark is not correct for line, adjust the graticule
using the azimuth graticule adjustor. If there is insufficient adjustment, report to a technician.

SECTION 5
EXAMPLE CALCULATION OF THE MEAN READING
PROCEDURE
1. After boresighting, record the following readings on the boresighting knobs:
a. elevation: 2.4 mils; and
b. deflection: 1.8 mils.
2. Rotate the boresight 3200 mils (the dot in the boresight is out of the 16 cm circle). The
gunner should now readjust to the centre of the circle. Final readings on the boresight knobs are:
a. elevation: 2.8 mils; and
b. deflection: 1.4 mils.
3. Now add the two together (for both elevation and deflection) and divide by two (2).
Elevation: 2.4 Deflection: 1.8
+ 2.8 + 1.4
= 5.2 = 3.2
5.2 ** 2 = 2.6 3.2 ** 2 = 1.6
= Elevation: 2.6 = Deflection 1.6
4. The commander should now have the gunner put these readings on the boresight knobs:
a. Elevation: 2.6; and
b. Deflection: 1.6.
SECTION 6
ZEROING
GENERAL
1. After the sighting equipment has been boresighted, it is important to confirm the
gun/sight relationship by firing a number of rounds onto a target at a range appropriate to the
equipment. This is called zeroing.
ZEROING PROCEDURE
2. The following procedure is used to zero:
a. Complete boresighting procedures IAW Sections 1 and 2 to this chapter and
record values on the Cougar Zeroing Registration Form (Figure 9-6-1).
b. Position the zeroing screen 900 m from the AFV and order the gunner to lay the
hesh 900 m aiming mark onto the centre of the zeroing screen.
c. Fire three rounds at the centre of the zeroing screen ensuring that the same point
of aim is used for each round fired. if the first round does not hit the zeroing
screen adjust the graticule by doing the following:
(1) if the round is minus - move the graticule, using the graticule adjuster,
from the centre of the zeroing screen to where the projectile hit the ground;
and
(2) if the round is plus - move the graticule, using the graticule adjuster, from
the centre of the zeroing screen to the spot where the tracer flew over the
zeroing screen.
d. Proceed down range and measure the distance in centimetres from the center of
the circle on the zeroing screen to each round, both in azimuth and elevation.
Record the readings on the Cougar Zeroing Registration Form.
e. Calculate the MPI by adding the columns, determining the difference and dividing
by three to find the MP] for both azimuth and elevation.
f. Mark the MPI on the zeroing screen with red paint, mark or cover the previous
shots on the screen and return to the AFV.
9. Have the gunner lay a 900 m aiming mark onto the centre of the zeroing screen using the
hand traverse and elevation. Unlock the graticule adjusters and move the graticule using the
graticule adjusters to the MPI on the zeroing screen. Lock the graticule adjusters once completed.
h. Confirm that the difference between the total column and physical reading column
on the Cougar Zeroing Registration Form is no greater than 0.2 mils otherwise
repeat steps e, f and 9.
j. Relay the 900 m aiming mark on the centre of the zeroing screen using the gun
controls and fire one confirmation round.
k. The confirmation round should be close to the centre of the target or at least on
the zeroing screen.
m. When confirming, if the round misses the zeroing screen the crew will check the
following:
(1) the gunner's action,
(2) the settings on the graticule adjusters, and
(3) the boresighting.
n. Re-confirm and if the second round misses, re-zero.
NOTE
The boresighting screen (Figure 9-1-3) is also used as a zeroing
screen.
ZEROING WITH STANDARD VALUES
3. If only one round is available to zero, the following procedure will be used:
a. boresight the gun;
b. add the last recorded standard values of the vehicle (difference between
boresighting and zeroing values);
c. fire one round at the zeroing screen at 900 m; and
d. if the projectile hit the screen, the gun is considered zeroed.
ZEROING REGISTRATION FORM
4. The Cougar Zeroing Registration Form (Figure 9-6-1) will be completed as follows:
a. Block 1 - Record the Cougar CFR, date of zeroing and the crew commander's
name and gunner's name.
b. Block 2 - Record the weather conditions and wind direction and speed.
c. Block 3 - Record examination of ordnance date and EFC counts.
d. Block 4 - Record the ammunition batch number.
e. Block 5 - Record the azimuth and elevation boresight readings from the graticule
adjusters.
f. Block 6 - Record the location of each shot of the zeroing practice.
g. Block 7 - Record the exact location in centimetres of each zeroing round from the
centre of the zeroing screen in both azimuth and elevation, and compute as
follows:
(1) Column Total - Total azimuth left/right columns and elevation plus/minus
columns.
(2) Difference - Subtract the azimuth left column total from the right column
total and record the difference in the appropriate column. Subtract the
elevation plus column total from the minus column total and record the
difference in the appropriate column.
(3) MPI CM - Divide the azimuth and elevation column by 3 to determine the
MPI cm for azimuth and elevation. Round off both results to the nearest
centimetre.
(4) MPI Mils - Convert the MPI cm to mils for azimuth acrid elevation.
Round off to the nearest tenth of a mil (to convert move the decimal two
places left).
h. Block 8 - Record initial settings and MPI in mils; add them up and record the
physical readings from the graticule adjusters setting.
j. Block 9 - Record the standard values for azimuth and elevation by calculating the
difference between boresighting and zeroing values.

Figure 9-6-1 (Sheet 1 of 3) Cougar Zeroing Registration Form

Figure 9-6-1 (Sheet 2 of 3) Cougar Zeroing Registration Form

Figure 9-6-1 (Sheet 3 of 3) Cougar Zeroing Registration Form
CHAPTER 10
THE MULTI-BARREL SMOKE GRENADE DISCHARGER
SECTION 1
INTRODUCTION
GENERAL
1. The multi-barrel smoke grenade dischargers (MBSGD) are designed to provide an
immediate self-protection screen of short duration and at short range.
2. There are two smoke grenade dischargers, one fitted on either side of the turret front. The
barre is are mounted at a fixed elevation and provide a range of approximately 60 m and a lateral
spread covering an arc of 3200 mils when both dischargers are fired. The dischargers are
operated electrically from inside the turret.
3. General Data. The following data pertain to the MBSGD:
a. covering arc - 3200 mils;
b. distance - 60 metres;
c. time of build-up for smoke screen - 8 to 12 seconds (L8 [WP] is instantaneous);
and
d. duration - approximately 90 seconds.
SECTION 2
DESCRIPTION
THE DISCHARGER
1. Each discharger consists of a base plate and four barrels. These barrels are fitted with a
male adaptor which forms part of the electrical jack-type connection with the self-projecting
grenade. There is a drain hole at the lowest point in each barrel.
2. The barrels will be covered by the issued rubber cups to prevent the loaded grenades from
being dislodged and to prevent water, mud and dust from entering the discharger barrels.
SWITCH BOX
3. The dischargers are connected electrically to the switch box which has two firing buttons,
one for the left-hand discharger and one for the right-hand discharger. The switch box is situated
to the left of the commander's position on the left hand side of the turret.
4. The electrical circuit for the dischargers is protected by fuse F5 on the turret fuse box.
THE GRENADE
5. The grenade contains the female part of the electrical connection, a fuse and a propelling
charge. Three types of grenades are used: the L5 for white smoke, the L7 for green smoke and the
L8 red phosphorous which emits white smoke.
SECTION 3
OPERATION
LOADING
1. To load the grenades, use the following procedure:
a. remove the rubber cups;
b. test the electrical circuit (if time is available);
c. ensure that the hull and turret master switches are off;
d. insert the grenade from the top of the turret from the outside to the inside, push
the grenade until it engages in the first female clip, push the grenade fully home
until it engages with the second female clip and give a half turn to ensure positive
contact;
e. replace the rubber cups; and
f. ensure that there are no personnel in the danger area, then turn the master switches
on.
CAUTION
1. Do not expose any part of the body in front of dischargers
during loading or unloading or when the master switch is
turned on.
2. Grenades will not be loaded or unloaded from the
discharger if a radio antenna is in the transmit mode two
metres or less from the dischargers.
FIRING
2. To fire press either one or both firing buttons.
UNLOADING
3. To unload the grenades, use the following procedure:
a. ensure the turret and hull master switches are off;
b. remove the rubber cups from the barrels;
c. remove the grenades from the top of the turret from the inside toward the outside
and stow them; and
d. replace the rubber cups.
MISFIRE DRILL
4. The drill for misfired grenades is as follows:
a. wait 30 minutes;
b. unload;
c. replace in containers; and
d. transport to disposal area and dispose as per range standing orders.
NOTE
This applies to all three grenades: the L5, L7 and L8.
SECTION 4
SERVICING
CIRCUIT TEST
1. The following equipment is required to test the electrical circuit:
a. a 12 inch screwdriver;
b. a 24 volt bulb; or
c. a circuit tester.
2. To test the electrical circuit, use the following procedure:
a. turn the hull and turret master switches on;
b. hold the screwdriver on the upper part of the male jack connector;
c. ground the bulb against the side of the discharger barrel and touch the centre
contact of the bulb with the screwdriver;
d. the bulb should light when the appropriate firing button is pressed;
e. if it does, press the other button to ensure that it does not light; and
f. test each barrel on both banks.
NOTE
If any of the circuits are faulty during the test, report to a
technician.
CLEANING
3. Cleaning is done at the following times:
a. weekly:
(1) check for foreign material in the barrels,
(2) check that the male jacks are bright and clear of fouling if not, clean with
steel wool or other abrasive material to ensure proper contact,
(3) ensure that the drain holes in each barrel are clear,
(4) dry clean and lightly re-oil with 3GP 335; and
(5) replace the rubber cups;
b. before firing:
(1) remove all oil from the barrels prior to loading; and
c. after firing:
(1) remove deposits left from firing, ensuring that no female clips have
remained;
(2) dry clean and re-oil the barrels with 3GP 335; and
(3) replace the rubber cups.
SECTION 5
MEDICAL TREATMENT
TREATMENT OF PHOSPHOROUS BURNS
1. All personnel connected with handling or storing phosphorus ammunition should be
familiar with the first aid methods for burns or phosphorous contamination.
2. The following first aid is to be administered to any person burned or contaminated by
phosphorous:
a. if possible, immediately immerse the burned area in water or pour liberal
quantities of water over the burned area;
NOTE
No other preparation is to be used as phosphorous is soluble in oil
or grease and may be absorbed into the system, resulting in
poisoning.
b. apply a large wet dressing and ensure that it is kept wet or burning will recur; and
d. If phosphorous is splashed into the eyes of an individual, thoroughly flush the
eyes with water and apply a wet dressing in the form of a pad. This dressing is to
be kept wet by pouring water onto it; it is not to be removed or allowed to dry
because burning will recur.
WARNING
No preparations found in the vehicle first aid kit are to be included
as part of the first aid treatment for phosphorous burns.
CHAPTER 11
MACHINE-GUN 7.62 MM C5A1
SECTION 1
INTRODUCTION
GENERAL
1. The 7.62 mm general purpose machine-gun (GPMG) C5 A1 came into general issue in
the Canadian Forces in 1978; it replaced the 7.62 mm GPMG C1. Both guns are similar in
appearance; in fact, the 7.62 mm C5 GPMG is basically a C1 GPMG with a number of
components remachined and repositioned in the gun.
PARTICULARS AND PERFORMANCE
2. The particulars of the GPMG are:
a. calibre 7.62 mm
b. length of gun 86cm
c. weight
(1) gun 14 kg
(2) tripod 5 kg
(3) barrel 3.2 kg
(4) pintle, elevating and traversing 1.6 kg
mechanism
(5) 220 round belt of ammunition in a 7.4 kg
cardboard/metal box
d. sight range 2000 m
e. system of operation gas assisted recoil and spring
f. cyclic rate of fire 500 - 600 rounds per minute
g. range up to 1500 m depending on
observation
h. muzzle velocity approximately 846 m per
second
j. trace burn out 850 to 1200 m
k. effective range 700 m
3. Characteristics. The operating characteristics of the GPMG are described below:
a. Sustained Accurate Concentrated Volume of Fire. It is belt fed and has a heavy
mechanism;
b. Accurate Fire at Night. Targets can be engaged effectively at night using artificial
white light or by mounting an II sight. The weapon can also be fired very
effectively at night on fixed lines; however, preparation must be made during
daylight hours;
c. Effective Fire at Longer Ranges. The maximum effective range is 1500 m if the
GPMG is mounted on a tripod or fixed mount and observation conditions are
ideal;
d. Small Target. Due to its low silhouette on the tripod, it presents a small target;
e. Flexibility. The gun can engage targets rapidly when mounted on a vehicle or
without moving the tripod when it is ground-mounted;
f. Mobility. The gun and equipment can be carried by three individuals or can be
mounted on a vehicle; and
g. Disadvantages. The gun has certain disadvantages that can be minimized by
careful siting and maintenance. They include:

Figure 11-1-1 Machine-Gun 7.62mm C5
(1) mechanical breakdown,
(2) barrel overheating,
(3) detection from smoke, muzzle blast and flash, and
(4) the machine-gun cannot be used for overhead fire during peacetime;
during battle, only under ideal situations should it be used for overhead
fire.
SECTION 2
DESCRIPTION
OPERATION
1. The gun is a short recoil weapon which is fitted with a muzzle booster (this will be
referred to throughout the chapter as a front barrel bearing and plug). The muzzle booster traps
some of the gases which increases the rate of fire and ensures the positive recoil of the recoiling
parts. These are:
a. the barrel;
b. the barrel extension; and
c. the bolt.
2. The driving spring forces these recoiling parts forward.
BARREL
3. The gun has a heavy barrel which has a chrome-plated chamber, bore and barrel bearing
(see Figure 11-2-1). This barrel is slow to heat because of its large surface. Air circulating
between the barrel and the perforated barrel jacket carries off some of the heat caused by firing.
SIGHTS
4. The gun is equipped with a folding, adjustable, blade-type front sight which is attached to
the front of the receiver by bracket and locking screws (see Figure 11-2-3).
5. The rear sight is a folding leaf-type fixed to the rear sight base and is adjustable for
windage and elevation (see Figure 11-2-4).
6. To allow the gunner to follow the fall of shot, there is usually a ratio of four ball to one
tracer. Tracer burnout is from approximately 0, 850 to 1200 m, depending on the barrel
temperature. Belts hold 220 rounds at a ratio of four ball to once trace.

Figure 11-2-1 Barrel Components

Figure 11-2-2 Front Sight

Figure 11-2-3 Rear Sight
SECTION 3
HANDLING
TO PROVE THE GUN
1. Safety precautions must be rigidly observed at the start of and during all training periods,
or at any time when live firing takes place.
2. To prove the gun, use the following procedure:
a. pull the bolt to the rear and engage the cocking handle on the rear cocking handle
guide bracket;
b. raise the cover;
c. inspect the interior of the receiver and chamber;
d. allow the bolt to go forward under control;
e. brush the extractor down;
f. ensure that the stud on the feed lever is to the left;
g. close the cover;
h. fire the action by raising the trigger; and
j. inspect all drill rounds before periods of instruction.
NOTE
During periods of instruction, all rounds and ammunition boxes are
inspected to ensure that all rounds are drill rounds.
TO HALF LOAD
3. To half load the GPMG, take the following steps:
a. open the cover and ensure that the bolt is forward;
b. place the belt in the feedway with the open side of the link down until the first
round comes in contact with the cartridge guide and link guide;
c. ensure that the tail of the leading link is under the link guide (this does not apply
to a new ammunition belt);
d. lower the extractor ensuring that it engages in the groove of the round; and
e. ensure that the stud on the feed lever is to the left and close the cover.
TO LOAD FROM THE HALF LOAD
4. To load the weapon, the cocking handle is pulled fully to the rear and released.
TO FIRE
5. The MG can be fired by two methods: mounted or on the tripod.
6. To fire the coaxially mounted MG with the firing switch, use the following procedure:
a. set the turret and hull master switches to the ON position;
b. set the gun selector switch to CO-AX, ensuring that the indicator light illuminates;
and
c. report "Firing now" and press the firing switch on the elevating handwheel.
7. To fire the coaxially mounted MG with the foot pedal, use the following procedure:
a. set the turret and hull master switches to the ON position;
b. set the gun selector switch to MAIN ensuring that the indicator light illuminates;
and
c. report "Firing now" and press the foot firing pedal downward.
8. To fire the MG mounted on the tripod, raise up on the trigger.
TO MAKE THE GUN SAFE
9. To make the gun safe, the cocking handle is pulled fully to the rear and held for five
seconds then engaged on the rear guide bracket.
TO LOAD FROM THE MAKE SAFE
10. To load from the make safe position, the cocking handle is pulled to the rear and up, then
is released.
TO UNLOAD THE GUN (ACTION FORWARD)
11. To unload the gun, use the following procedure:
a. pull the cocking handle fully to the rear and hold for five seconds;
b. engage the cocking handle on the rear guide bracket;
c. open the cover and remove the belt;
d. pull the cocking handle fully to the rear, raise the extractor and, with a screwdriver
placed on the rim of the cartridge, push down to clear the round or empty casing
from the T-slot on the face of the bolt;
e. re-engage the cocking handle on the rear guide bracket;
f. inspect the chamber and the interior of the gun to see that they are clear; and
g. report "Gun clear".
TO UNLOAD THE GUN (MAKE SAFE POSITION)
12. To unload the gun from the make safe position, use the following procedure:
a. open the cover and remove the belt;
b. pull the cocking handle fully to the rear, raise the e),tractor and with a screwdriver
placed on the rim of the cartridge, push down to clear the round or empty casing
from the T-slot on the face of the bolt;
c. re-engage the cocking handle on the rear guide bracket;
d. inspect the chamber and interior of the gun to see that they are clear; and
e. report "Gun clear".
TO EASE SPRINGS
13. The procedure to ease springs is as follows:
a. ease the bolt forward under control;
b. brush down the extractor;
c. ensure that the stud on the feed lever is to the left;
d. close the cover; and
e. fire the action.
SECTION 4
STRIPPING AND ASSEMBLING
GENERAL
1. The primary aim of all stripping and assembling is to clean, lubricate and inspect the gun
and replace broken, worn or damaged parts.
2. The rules of stripping prevent damage to the gun and must be followed. These rules
include the following:
a. ensure that the gun is unloaded before stripping;
b. use the correct sequence;
c. use the proper tools correctly;
d. do not use force; and
e. place the parts so they will not become damaged or dirty.
3. Stripping is done:
a. before and after firing;
b. for weekly servicing; and
c. under special conditions.
NORMAL STRIPPING OF THE GUN
4. Backplate. The cover latch is slid to the rear and the cover is raised. The cocking handle
is pulled and held fully to the rear and the tip of a screwdriver is inserted in the rear slot of the
driving rod. The slot must be in the horizontal position. The driving rod is pushed inward fully
and turned clockwise until it is vertical. In this locked position, the driving spring is compressed
within the bolt. The bolt stud is moved forward enough to push the driving spring rod out of its
position in the backplate. The cocking handle is now pushed fully forward. The backplate catch
is then pushed forward and the backplate lifted out.
5. Bolt Stud. The bolt stud is aligned with the recess in the right sideplate and is removed.
6. Bolt. The bolt is removed by inserting the left hand into the cover opening and pushing
the bolt to the rear where it is caught in the right hand. The cocking lever is rotated to the rear
and the sear depressed. This releases the tension on the firing pin spring.
7. Lock Frame. A drift is inserted in the small hole to the rear of the right sideplate and
pushed in on the trigger axis pin. The trigger is grasped and pulled to the rear until the rear
portion of the barrel extension is clear of the receiver. By holding the! barrel extension with the
left hand and the lock frame with the right, the accelerators are rotated forward with the right
thumb to Separate the lock frame from the barrel extension.
8. Barrel Extension and Barrel. Finally, the barrel and barrel extension are removed from the
receiver as one piece. The barrel is not unscrewed from the barrel extension.
TO STRIP THE BOLT
9. Extractor. The extractor is rotated upright and removed.
10. Cocking Lever. The pin is removed and the cocking lever lifted out.
11. Driving Spring Rod and Driving Spring. The protruding end of the driving spring rod is
placed on a soft firm surface (such as a block of wood). The bolt is held upright with the palm of
the right hand over the face of the bolt. The bolt is pressed down and, at the same time, it is
pivoted one quarter turn counter-clockwise (this releases the driving spring rod from its recess in
the bolt). The bolt is allowed to rise approximately 7.5 cm. The protruding end of the driving
spring and rod is grasped with the free hand. The bolt is then quickly taken straight away from
the rod and spring so the driving spring does not buckle.

Figure 11-4-1 Removing Lock Frame and Barrel from Receiver

Figure 11-4-2 Stripped Components

Figure 11-4-3 Barrel Extension

Figure 11-4-4 Barrel Extension and Lock Frame
CAUTION
If, for any reason, it is necessary to lift the bolt after making the
down/left movement, extreme care must be exercised, ensuring
that the driving spring rod is properly locked back into the bolt.
This is an extremely dangerous procedure; an injury will result if
the rod flies out and strikes someone.
12. Sear. The bolt is held in the hand, face toward the body, with the forefinger under the
sear. The sear spring is pushed down and to the right, seating it in the slot inside the bolt. The
sear will drop out of the bottom of its slide.
13. Sear Spring and Pin. The sear spring is returned to its normal position. The tail of the
cocking lever slides under the spring until it touches the pin. The pin, but not the spring, is pried
up.
14. Firing Pin. The bolt is tilted away from the body and the firing pin is allowed to fall into
the hand.
TO ASSEMBLE THE BOLT
15. Firing Pin. The firing pin is placed into its recess in the bolt with the square shoulders
downward. Slide it forward until the striker protrudes through the face of the bolt.

Figure 11-4-5 The Bolt

Figure 11-4-6 (Sheet 1 of 2) The Bolt (Exploded View)

Figure 11-4-6 (Sheet 2 of 2) The Bolt (Exploded View)
16. Sear Spring and Pin. The bolt is held in the same manner as for stripping. The sear spring
and pin are replaced in the pin hole. The pin, not the spring, is pushed down and slight pressure is
exerted on the sear spring to move it into the right slot in the bolt.
17. Sear. The sear is inserted from the bottom with the platform to the front of the bolt. The
sear spring is pressed down and to the left to engage in its recess in the sear.
18. Driving Spring and Rod. The driving spring is placed on the rod with the slotted end of
the rod resting on the same surface that was used for stripping. As much of the spring as possible
is compressed onto the rod starting with the bottom of the spring. The spring is held down with
the thumb and forefinger. The bolt is held securely with the face of the bolt in the palm of the
hand; it should slide over the spring and rod. The downward pressure is continued until the pins
on the rod enter their slots in the bolt. The bolt is then pivoted one-quarter turn clockwise until
the pins are firmly engaged and the slot is vertical. The bolt is slowly raised off the surface (keep
it pointed downward). The end of the bolt should be carefully looked at to check that the rod is
locked in position.
19. Cocking Lever. The cocking lever is replaced through the slot in the sear spring. Ensure
that the rounded nose is down and to the rear. The cocking lever pin is inserted from the left side
of the bolt.
20. Assembly Test. The cocking lever is rotated forward, cocking the firing pin. The cocking
lever is again rotated to the rear. The sear is depressed. If correctly assembled, a distinct metallic
click will be heard.
21. Extractor. The extractor is held upright and the rounded pin inserted in the rear hole on
the left side of the bolt. The extractor assembly is allowed to fall forward locking it in position.
ASSEMBLING THE GUN
22. Barrel and Barrel Extension. The barrel is inserted through the receiver until the front of
the barrel extension is resting on the rear of the receiver.
23. Lock Frame. The barrel extension is held with one hand and the lock frame with the
other, with the forefinger supporting the accelerator. The breech lock depressors are aligned with
the recesses in the barrel extension. The claws of the accelerator are placed underneath and in
front of the T-lug. A quick, forward movement of the lock frame secures it to the barrel
extension. The accelerator tips are pressed down to ensure a positive lock,.
24. Lock Frame, Barrel Extension and Barrel. The lock frame barrel extension and barrel are
inserted into the gun until the! trigger axis pin contacts the rear of the receiver. The trigger axis
pin is pressed in with a screwdriver or the nose of a round; the forward pressure is continued. A
distinct click will be heard when the trigger axis pin reseats itself. By pulling back on the trigger,
the working parts are checked to ensure they cannot be pulled out of the receiver.
25. Bolt and Bolt Stud. The bolt is cocked by rotating the cocking lever fully forward. The
bolt is inserted by pressing down on the trigger to cause the bolt to ride up and over the
accelerators. The bolt stud is replaced and the bolt is pushed forward far enough to allow the
backplate to be replaced.
26. Backplate. The cover latch is pushed forward. The backplate is replaced and the cover
latch pulled to the rear.
27. Releasing the Driving Rod Spring. The bolt is pulled fully to the rear and held by the
cocking handle. Using a screwdriver, the driving rod is turned counter-clockwise until the slot is
horizontal. The bolt is released under control. The extractor is brushed down and, with the feed
lever to the left, the cover is closed. The action is fired to ease the tension on the firing pin
spring.
SECTION 5
ADDITIONAL STRIPPING AND ASSEMBLING
GENERAL
1. Usually further stripping is not done. Additional stripping is more detailed; components
are stripped to check for and replace damaged or worn parts to ensure the gun functions
efficiently and continuously.
STRIPPING THE LOCK FRAME
2. Trigger. By using the small drift, the trigger axis pin (Figures 11-5-1 and 11-5-2) is
pushed out from the left. The trigger is removed but the spring is not.
3. Accelerator. The accelerator pin is pushed out and the accelerator is removed.
4. Barrel Plunger and Spring. The lock frame is held on a flat surface by the left hand with
the breech lock depressors uppermost; fingers should be around the spring. With the thumb of the
right hand, the plunger guide is pushed down and to the right to disengage it from its slot. The
plunger and spring are allowed to rise under control. They are then removed from the lock frame.
The spring is separated from the plunger.
ASSEMBLING THE LOCK FRAME
5. Barrel Plunger and Spring. The lock is held in the left hand with the breech lock
depressors uppermost and the barrel plunger guide slot to the left. Once the plunger and spring
are assembled, the spring is placed in its recess with the guide pin in line with its slot; the fingers
of the left hand should be wrapped around the spring. By using the thumb of the right hand, the
plunger is pressed down and the pin engaged in its slot on the left.

Figure 11-5-1 Lock Frame

Figure 11-5-2 Lock Frame (Exploded View)
6. Accelerator. The accelerator is replaced with the claws uppermost. The pin is inserted
from either side, ensuring that the ends of the pin are flush with the sides of the lock frame.
7. Trigger. The lock frame is held in the left hand with the plunger to the left. The trigger is
inserted under the spacer. The hole in the trigger is aligned with the trigger axis pin hole, the
trigger axis pin is then replaced.
STRIPPING THE BARREL EXTENSION
8. The Barrel Extension. The barrel is unscrewed from the barrel extension (see Figures 11-
5-3 and 11-5-4).
9. Barrel Locking Spring. If the barrel locking springs is not punched, the tip of a
screwdriver is slipped under the hooked end of it, and pried forward then removed.
10. Breech Lock. The breech lock pin is pushed out and the breech lock is removed.
ASSEMBLING THE BARREL EXTENSION
11. Breech Lock. Ensure that the barrel extension is upright. The breech lock is replaced with
the double bevel up and to the front. The breech lock pin is replaced, ensuring that the end of the
pin is flush with the sides of the barrel extension.
12. Barrel Locking Spring. If removed, the barrel locking spring is inserted into its recess
with the hooked end toward the barrel threads. Slide it in as far as it will go.
13. The barrel is screwed fully into the barrel extension lifting the barrel locking spring over
the barrel while doing so. It is then slackened off by one click. When the gun has been
reassembled, head-spacing must be adjusted.

Figure 11-5-3 Barrel Extension
STRIPPING THE FEEDWAY MECHANISM
14. Link Guide (see Figure 11-5-6). The feedway mechanism retaining pin is withdrawn
approximately 2.5 cm. The link guide is removed by lifting it up and out.
15. Belt Holding Pawl. The belt holding pawl is pressed down and held there. The feedway
mechanism retaining pin is withdrawn which releases the belt holding pawl. The belt holding
pawl and its spring are removed.
16. Cartridge Guide. The cartridge guide is removed and the cartridge guide spring is
separated from the cartridge guide.
ASSEMBLING THE FEEDWAY MECHANISM
17. Cartridge Guide. The cartridge guide spring is assembled in the cartridge guide. The
cartridge guide is replaced.
18. Belt Holding Pawl. The belt holding pawl spring is replaced in its recess in the feedway.
The belt holding pawl is placed over its spring, pressed down and held there. The feedway
mechanism retaining pin is replaced.
19. Link Guide. The link guide is replaced in its recess. The feedway mechanism retaining
pin is pushed fully forward.
STRIPPING THE COVER GROUP
20. Feed Lever Pivot (see Figure 11-5-8). The screw is removed from the bushing. The
shakeproof washer is removed. By pushing the pivot pin from the underside of the cover, the
pivot pin is removed.
21. Feed Lever. The feed lever is withdrawn from its recess in the feed slide and is removed
from the cover.

Figure 11-5-4 Barrel Extension (Exploded View)

Figure 11-5-5 Feedway Mechanism

Figure 11-5-6 Feedway Mechanism (Exploded View)
22. Feed Slide and Pawl. The slide is removed from the cover. The pawl and spring are
compressed between the thumb and forefinger; the feed pawl pin is pushed out, the pawl and its
spring are removed from the slide.
23. Cover Extractor Spring. Press down with the thumb on the locking end and disengage it
from the recess in the cover extractor cam. Carefully, under control, the tension is released and
the spring is then removed.
24. Cover Latch. The latch is removed by sliding it to the rear.
ASSEMBLING THE COVER GROUP
25. Cover Latch. The latch is pushed forward.
26. Cover Extractor Spring. The notched end of the cover extractor spring is hooked over the
stud in the cover. It is then pressed down and in on the projection until it is engaged in the cover
extractor cam recess.
27. Feed Pawl and Slide. The slide is placed on a flat surface with the underside facing
upward. The small end of the feed pawl spring is placed over the stud in the slide. The large end
of the spring is aligned with its recess in the pawl and is pressed together. The feed pawl pin is
replaced, ensuring that its ends are flush with the sides of the slide.
28. Feed Lever. The rounded end of the feed lever is inserted into the feed slide through the
slot in the cover. The hole in the lever is aligned with the pivot hole in the bushing.
29. Feed Lever Pivot Pin. The feed lever pivot pin is inserted into the feed slide through the
hole in the bushing on top of the cover. The hole in the lever is aligned with the pivot hole in the
bushing.

Figure 11-5-7 Cover Group

Figure 11-5-8 Cover Group (Exploded View)
STRIPPING THE FRONT BARREL BEARING AND PLUG
30. The locking ring is punched out of the front barrel bearing and barrel jacket.
31. The front barrel bearing and plug are removed.
ASSEMBLING THE FRONT BARREL BEARING AND PLUG
32. Ensure that the locking ring is in place and serviceable.
33. The front barrel bearing and plug are screwed on the barrel jacket.
34. The locking ring is punched into the front barrel bearing and barrel jacket.
THE BLANK FIRING ATTACHMENT
35. Attaching the Blank Firing Attachment. To attach the blank firing attachment, use the
following procedure:
a. open the cover and ensure the gun is clear. Withdraw the feedway mechanism
retaining pin. Remove the cartridge guide and replace it with the cartridge
discriminator. Push in the feedway mechanism retaining pin fully forward; and
CAUTION
The cartridge discriminator is painted yellow for easy
identification. It must be used to fire blank ammunition or when
using drill rounds. It also prevents a live round from being fed into
the gun.
b. remove the front barrel bearing and plug. Remove the locking ring. Ensure that
the muzzle piece is clean. Screw the muzzle piece into barrel jacket and ensure it
is secure.
1. Do not use the locking ring when using the muzzle piece.
2. The muzzle piece is painted yellow for easy identification.
36. Removing the Blank Firing Attachment. To remove the blank firing attachment, take the
following steps:
a. remove the muzzle piece from the gun and thoroughly clean it. Replace locking
ring and front barrel bearing and plug; and
b. withdraw the feedway mechanism retaining pin., Remove the cartridge
discriminator and replace the cartridge guide. Push the feedway mechanism
retaining pin fully forward.
37. Precautions for the Blank Firing Attachment. The precautions for blank firing are as
follows:
a. never mount the muzzle piece unless the cartridge discriminator is in position;
b. always remove the muzzle piece before receiving the cartridge discriminator;
c. after firing blank ammunition, it is absolutely essential that the barrel be cleaned
before firing any other type of ammunition; and
d. the safety distance for the 7.62 mm blank is 100 m. The gun will not be pointed at
anyone under this range.
SECTION 6
PREPARATION FOR FIRING
(SEVEN POINT CHECK)
GENERAL
1. The following systematic check of the gun will be carried out in the prescribed sequence
prior to firing the weapon. These checks will ensure that the weapon is functioning properly.
2. The following must be checked:
a. buffer disc assembly;
b. headspacing;
c. timing;
d. firing pin protrusion;
e. feed mechanism;
f. feed slide test; and
g. barrel jacket, front barrel bearing and plug, and sights.
BUFFER DISC ASSEMBLY
3. Check the adjustment of the buffer disc assembly as follows:
a. fully tighten the adjusting screw;
b. ensure that part of the last thread on the adjusting screw is still visible;
c. working from the right side of the gun use a screwdriver to screw the barrel all the
way into the barrel extension;
d. insert the Headspace Gauge 0.127 inch into the T-slot;
e. working from the left side of the gun, screw the barrel out one notch. Release the
bolt and check to see if the recoiling parts close, clamping the gauge between the
rear face of the barrel and cartridge seat on the face of the bolt. If not, repeat the
process until it does;
f. once the recoiling parts close (which clamps the gauge between the rear face of
the barrel and the cartridge seat on the face of the breech block), headspacing is
correct; and
g. fire the action. If action does not fire, change the trigger bar.
8. Causes of Improper Functioning. The causes of improper GPMG functioning, as they
relate to headspacing, are as fellows:
a. Tight Headspace. This occurs when the breech lock is unable to enter completely
into its recess in the bolt. This may cause damage to the barrel extension, bolt or
breech lock. A symptom of tight headspacing is the hesitant or sluggish operation
of the gun; or
b. Loose Headspace. This occurs when the breech lock enters too freely into its
recess in the bolt and is in position before the bolt is fully forward. This may
cause damage to the breech lock cam due to excessive vibration. A symptom of
loose headspace is the occurrence of separated casings.
TIMING
9. Definition. Timing is the adjustment of the machine-gun so that firing takes place when
the recoiling parts are between 0.76 mm (the FIRE part of gauge) and 3.0 mm (the NO FIRE part
of gauge) from being fully forward.
10. When to Check Timing. Timing is checked on the following occasions:
a. before firing;
b. when the barrel or any part of the receiver is changed; and
c. when in doubt.
11. To Check Timing. To check for proper timing, use the following procedure:
a. cock the gun and ease the working parts forward onto the NO FIRE timing gauge;
b. raise the trigger; the firing pin should not release (if it does release, replace the
trigger and repeat the test);
c. remove the NO FIRE timing gauge and insert the FIRE gauge and fire the action
(if it does not fire, change the trigger and repeat the test); and
d. remove the FIRE gauge.
FIRING PIN PROTRUSION
12. To do the firing pin protrusion test, use the following procedure:
a. cock the action;
b. look down the face of the bolt and fire the action; and
c. ensure that the firing pin protrudes 1.5 mm and is well-rounded.

Figure 11-6-2 Feed Slide Test
SECTION 7
7.62 MM STOPPAGE DRILLS
7.62 MM STOPPAGE DRILLS
1. The immediate and secondary actions are the actions taken to ensure that the gun works
properly after a stoppage.
2. The Immediate Action (IA) is a drill, while the secondary action is a systematic check of
the gun in a logical sequence to expose faults as quickly as possible.
3. The importance of being able to carry out the actions properly and instinctively cannot be
stressed enough. Personnel must know the weapon and its working parts well so quick
identification and correction of stoppages are possible.
4. Proper preparation and careful checking of all working parts and components (especially
ammunition) for cleanliness and defects will greatly reduce the risk of stoppages.
5. A stoppage on the coaxial MG may be caused by incorrect crew drills, a failure in the
electrical circuit mechanism or by an obstruction or fault in the weapon. Obviously, the gun will
also stop when ammunition is expended (end of the belt). The gunner will usually notice the
stoppage first because there will be no reaction to pressure on the firing switch. However, the
commander may notice that a faulty feed is liable to cause a stoppage. In either case, the person
concerned will report 'Stoppage' and the gunner will not attempt to fire until the appropriate drills
have been carried out.
STOPPAGE DRILLS
6. Figure 11-7-1 sets out the drills to be followed. The drill in each serial follows a
numerical sequence.

Figure 11-7-1 (Sheet 1 of 3) Setting Up Stoppages

Figure 11-7-1 (Sheet 2 of 3) Setting Up Stoppages

Figure 11-7-1 (Sheet 3 of 3) Setting UP Stoppages

Figure 11-7-2 The coaxial Machine-Gun Cradle

Figure 11-7-3 Top of Link Exit Chute

SETTING UP STOPPAGES (FOR INSTRUCTORS)
7. Stoppages for instructional purposes may be set up in accordance with Figure 11-7-4.
Figure 11-7-4 Method of Setting Up
SECTION 8
THE 7.62 MM MACHINE-GUN MOUNTS
GENERAL
1. The machine-gun 7.62 mm GPMG C5 can be mounted coaxially to the main gun or used
on the M2 tripod in the ground mounted role.
THE COAXIAL MACHINE-GUN CRADLE
2. The Cradle. The cradle is in two parts: the front part is fixed to the mantlet on the left of
the 76 mm cradle by four bolts; the link exit chute and spent casing chute form the other part of
the MG cradle. These parts are secured to the MG cradle by four alien screws. The machine-gun
is held by two trunnion pins. The forward one is threaded and is tightened by a tommy bar held
captive by a chain attached to the cradle. The rear pin is not threaded but is the push-pull type,
held captive by a chain attached to the MG cradle.
NOTE
Any adjustment to the machine-gun mount is carried out by a
weapons technician. The crew needs to only check security.
3. The Link Exit Chute and Spent Casing Chute. This chute is formed in the bottom of the
rear part of the cradle. The chute is surrounded by the circular attachment for the spent case
trunking; it also incorporates the exit for the links which are expelled from the right side of the
MG. At its lower end, the trunking is attached to the top of the frame supporting the spent casing
bag at the front of the main armament gun basket. A hole in the top of the chute allows the entry
of the link/casing clearing tool which is used to clear any obstructions in the chute.

Figure 11-8-2 Cartridge Trap
NOTE
If the solenoid does not energize after checking the electrical leads
and fuse F8, report to a technician.
7. To dismount the MG, use the following procedure:
a. unscrew and remove the front mounting pin;
b. remove the rear mounting pin;
c. withdraw the machine-gun from the mounting; and
d. replace the front mounting pin.
CAUTION
If the machine-gun has been firing, use asbestos mitts when
removing it otherwise severe burns will result.
TRIPOD MOUNT M2
8. The M2 mount is used with the gun in its ground-mounted role. The tripod head serves as
a front support for the gun; the traversing bar serves as the rear support. The mount cannot be
adjusted for height.
9. In the tripod head is a bushing which holds the pintle in position by means of the gun
pintle latch.
10. The traversing bar supports the traversing and elevating mechanism when the gun is
mounted. It is divided into 100 mil divisions, sub-divided in 5 mil divisions, from 450 mils left
to 425 mils right, for a total of 875 mils traverse.

Figure 11-8-3 Tripod Mount M2

Figure 11-8-4 Traversing and Elevating Mechanism
e. secure the traversing and elevating mechanism to the ground mount by placing the
traversing slide onto the traversing bar and engaging the traversing slide lock
lever.
LAYING THE GUN (TRIPOD MOUNTED)
16. Unlock the slide lock lever and swing the gun so it points in the direction of the target.
Lock the slide locking lever. With the elevating handwheel, elevate or depress the gun onto the
target. Fine lateral adjustment of not more than 5 mils left or right of zero may be made by using
the traversing handwheel.
AIMING (TRIPOD MOUNTED)
17. The point of aim will normally be at the centre base of the target. This point of aim
ensures that the top half of the beaten zone goes through the target and the lower half causes
ricochet hits.
AIMING OFF FOR WIND (TRIPOD MOUNTED)
18. If fire is affected by a crosswind, the following procedure can be used:
a. re-lay onto the target;
b. move the rear sight laterally with the windage scale until the line of sight is on the
fall of shot;
c. re-lay onto original point of aim; and
d. the gun is now laid with the correct wind allowance on the gun.
TRIGGER ACTION
3. When the gun is cocked and ready to fire, the recoiling parts are locked together in their
forward position with one round seated in the chamber (see Figure 11-9-1).
4. The shoulder of the firing pin is engaged in the sear notch; the sear is forced up by the
action of its spring. The firing pin spring is held compressed between the sear spring pin and the
firing pin spring. The trigger cams are engaged in the Sear cams ready to release the firing pin
when the trigger is raised.
5. When the trigger is raised, it pivots on the trigger axis pin and the front end is forced
down. The trigger cams, engaged with the sear cams, force the sear down. This releases the firing
pin shoulders from their engagement with the sear notch. The firing pin is forced forward by the
expansion of the firing pin spring, thereby striking the primer and exploding the cartridge.
UNLOCKING
6. At the moment of explosion, the recoiling parts are locked in their forward position. The
bolt is locked to the barrel extension and against the rear of the barrel. The breech lock is
positioned on top of the breech lock cam and fully into its recess in the bottom of the bolt.
7. The firing pin strikes the primer, exploding the cartridge. This explosion forces the
recoiling parts to the rear. During the first 8 mm of travel, there coiling parts remain locked
together. During the next 8 mm, the bolt becomes unlocked from the barrel extension and moves
freely to the rear, away from the barrel (see Figure 11-9-3). When the breech lock rides down off
the breech lock cam it unlocks and is forced down by the breech lock depressors on the lock
frame acting on the breech lock pin. The barrel depressors on the lock frame act on the breech
lock pin. The barrel and barrel extension move a total of 1 6 mm to the rear.
8. The rear of the barrel extension strikes the curved surfaces of the accelerator which
causes it to pivot to the rear. As the accelerator rotates, its tips strike the lower projections on the
bolt, accelerating its movement to the rear. As the bolt moves to the rear, the driving spring is
compressed which produces the energy that will assist in driving the bolt forward. The rearward
movement of the bolt is checked when it strikes the buffer plate which causes it to rebound. The
remaining energy is absorbed by the buffer plate (see Figure 11-9-4).
9. The stud on the T-lug of the barrel extension is engaged in the groove in the end of the
barrel plunger. As the barrel extension moves to the rear, the stud acts on the barrel plunger and
compresses the barrel plunger spring. The barrel plunger spring is compressed and held by the
claws of the accelerator which wrap around and engage the T-lug, locking the barrel extension to
the lock frame. The accelerator stop on the lock frame prevents the accelerator from rotating too
far to the rear (see Figure 11-9-5).
EXTRACTION AND EJECTION
10. As the recoiling parts move to the rear, the extractor withdraws a new round from the
belt; the empty case, held by the T-slot, is withdrawn from the chamber.
11. As the bolt moves to the rear, the extractor cam plunger passes over the top of the
extractor cam and rides along the extractor feed cam until forced in by the bevelled surface of the
feed cam. At this point, the top of the extractor continues its rearward movement and the plunger
springs out below the notch in the end of the extractor feed cam. The new round is inserted in the
T-slot by the extractor. The empty case in the T-slot is ejected by the new round moving into
position down the T-slot on the face of the bolt. The last empty case must be removed by hand.

Figure 11-9-2 Trigger Action in Cocked Position

Figure 11-9-3 Trigger Action Fire Position

Figure 11-9-4 Unlocking (First Phase)

Figure 11-9-5 Unlocking (Second Phase)

Figure 11-9-6 Unlocking (Third Phase)
LOADING
12. After the extractor cam plunger clears the bottom of the extractor feed cam ramp and the
bolt is moving forward, the new round is held in line by the extractor and the cartridge retaining
plungers on the face of the bolt (see Figure 11-9-9).
13. As the bolt continues forward, the extractor rises as its plunger rides up the extractor cam
(Figure 11-9-10). The bolt moves into its forward position and seats the new round in the
chamber. The extractor rides over the extractor spring ready to withdraw a new round on the next
rearward movement of the bolt.
FEEDING
14. As the bolt moves to the rear, the stud on the end of the pivoted feed lever moves to the
right in the cam groove that is on top of the bolt. This forces the end which is engaged in the feed
slide to move to the left and, with it, the slide. The feed pawl rides over the first round in the belt
which is held in position by, the belt holding pawl (see Figure 11-9-11).
15. As the bolt moves forward, the stud and slide move in opposite directions. The feed pawl
pushes the first round in against the cartridge guide and link guide. The cartridge guide spring
forces the new round against the face of the bolt, ready to be gripped by the extractor. The next
round rides over the belt holding pawl and depresses it. After the cartridge passes over it, the
pawl rises under the action of the belt holding pawl spring. The round is held in position, ready to
be engaged by the feed slide (see Figure 1-9-12).
16. If the extractor fails to withdraw the first round from the belt, the finger on the feed pawl
will ride on top of this round and prevent the pawl from engaging the second round. A double
feed is impossible.

Figure 11-9-7 Extraction

Figure 11-9-8 Ejection

Figure 11-9-9 Loading (First Phase)

Figure 11-9-10 Loading (Second Phase)

Figure 11-9-11 Feeding (First Phase)

Figure 11-9-12 Feeding (Second Phase)
COCKING
17. As the bolt moves to the rear, the cocking lever is rammed forward by the recess in the
top plate. This action forces the lower rounded nose of the cocking lever to the rear bringing the
firing pin with it. The firing pin spring, held between the firing pin spring pin and sear spring pin,
is compressed; this provides the energy to drive the firing pin forward (see Figure 11-9-13).
18. During the initial movement of the bolt to the rear, the sear cams are disengaged from the
trigger cams.
19. The firing pin is withdrawn and its shoulders ride on top of the sear platform. The sear
spring maintains upward pressure. When the shoulder is aligned with the sear notch, it lifts the
sear to engage the firing pin.
20. As the bolt moves forward, the upper end of the cocking lever is rammed to the rear,
pivoting the rounded nose out of its position in the firing pin. If the firing pin is prematurely
released by the sear, the rounded nose will re-engage the rear of the firing pin and ease it
forward; this prevents a premature discharge.
LOCKING
21. As the bolt moves forward, the front of the lower projections on the bolt trip the
accelerator and rotate it forward. This disengages the barrel extension from the lock frame and
releases the barrel plunger spring. The barrel and barrel extension are moved forward by the force
of the bolt acting against the accelerator and by expansion of the barrel plunger spring (see Figure
11-9-14).
22. As the recoiling portions move forward, the breech lock rides up on the breech lock cam
and into the recess in the bottom of the bolt. This locks the bolt firmly to the barrel extension and
against the rear of the barrel.

Figure 11-9-13 Cocking Action

Figure 11-9-14 Locking
AUTOMATIC FIRING
23. With the trigger raised, the trigger cams engage the sear cams each time the bolt moves
forward, forcing the sear down and releasing the firing pin. The gun fires automatically and
repeats the operation described above until the trigger is released or the ammunition is expended
(see Figure 11-9-15). Release of the firing pin takes place approximately 1.5 mm before the
recoiling parts are fully forward but after the breech is locked.

Figure 11-9-15 Automatic Firing
SECTION 10
MACHINE-GUN SERVICING
INTRODUCTION
1. General. Proper care and cleaning of the machine gun is essential. Due to the close fit of
the working surfaces and the high speed at which the gun operates, all surfaces must be kept free
of burrs, rust, dirt and grease if the gun is to fire properly.
LUBRICANTS AND THEIR USES
2. The recommended oil for cleaning, lubricating and preserving small arms (including
machine-guns) is 3GP 335. It is to be used under all temperate conditions.
PREPARATION FOR SERVICING
3. When servicing the gun, the parts will be dry cleaned, inspected and lubricated in the
sequence in which they are assembled. As each part is dealt with, it will be reassembled to ensure
that it does not become damaged or dirty. If more than one gun is being serviced, ensure that
parts are replaced in the same gun from which they were taken. All spares and tools must be
complete and serviceable. A seven point check will be made to ensure that the gun is in
satisfactory mechanical condition.
c. inspect all parts for damage and all bearing surfaces for roughness, burrs and
sharp edges (this can be detected by running a finger along suspected parts); and
d. any faults that cannot be rectified must be reported to a weapons technician.

Figure 11-10-1 Universal Tool
CLEANING AND RE-OILING THE BORE
5. To clean and re-oil the bore with the gun mounted, lock the working parts to the rear. The
bore and chamber are cleaned with a clean piece of 10 cm by 5 cm flannelette attached to the
cleaning rod loop. The flannelette is then examined. If indications of rust or fouling are present
on the flannelette, the gun is stripped and examined. If no rust or fouling is present on the
flannelette, the bore and chamber are re-oiled, and the gun and mount are wiped with an oiled
cloth.
6. The headspace adjustment must be redone whenever the bore is cleaned as a large piece
of flannelette on the cleaning rod may cause the barrel to rotate and upset the headspacing.
7. Care must be taken not to damage the face of the bolt with the cleaning rod.
NORMAL CLEANING
8. For normal cleaning, use the following procedure:
a. strip the gun in the same manner as normal stripping;
b. dry clean and lightly re-oil all parts including the bore, exterior of the gun and the
gun mount; and
c. if the machine gun has become wet or excessively dirty, the gun must be stripped
completely and all parts dry cleaned and re-oiled.
CLEANING BEFORE FIRING
9. Before firing, the following parts will be left dry:
a. the front barrel bearing and plug;
b. the bore and exterior of the barrel;
c. the face of the bolt;
d. the exterior of the gun; and
e. the gun mount,
CLEANING AFTER FIRING
10. Immediately after firing, while the machine gun is still warm, fouling will be removed
from the bore, chamber and face of the bolt by dry cleaning. After this has been done the part will
be oiled to prevent corrosion.
11. Upon return to harbour or camp, the machine gun will be stripped completely and the
bore will be cleaned. The bore and chamber are dry cleaned first. This is repeated until the bore is
clean. The bore is examined for metallic fouling which is removed with the wire brush and
cleaning rod. The wire brush will be oiled before use. If it is impossible to remove the metallic
fouling in this way, the barrel will be handed over to a weapons technician. The threads of the
barrel will be thoroughly cleaned and examined for distortion. The carbon on the muzzle face is
softened within oil and removed with a wire brush or steel wool (take care not to scratch the
barrel). All other parts are dry cleaned and inspected. Re-oiling will take place after inspection.
The gun is reassembled and the seven point check is carried out. If faults have occurred during
firing, the cause should be determined and corrected (if possible). When the cause cannot be
determined, or if major repairs are needed, report to a weapons technician. The barrel will be
cleaned, inspected and re-oiled daily for at least 72 hours after firing (3 days).
SERVICING THE MACHINE-GUN CRADLE
12. Clean all traces of carbon from the cradle (including outside the ballistic cap).
13. Ensure that the bolts holding the cradle to the mantlet and the four alien screws on the
link exit chute are tight.
14. Lightly lubricate the trunnion pins with oil.
15 Wipe all unpainted surfaces with an oiled cloth.
SPECIAL CONDITIONS
16. Sand or Dust. Sand or dust will affect the mechanism of the machine-gun by creating
friction on the working surfaces and causing rapid wear of these parts. The machine-gun should
be stripped and cleaned frequently. Lubrication should be reduced to a minimum. The working
parts must be lightly oiled to prevent rust and to lubricate the gun during firing. Keep the outer
and non-frictional surfaces of the gun absolutely dry. The bore should be protected by a flimsy
paper muzzle cover which can be blown off when the gun fires.
17. Cold Conditions. If oil 3GP 335 is not available, dispense with all lubricants rather than
use those which would congeal. To avoid condensation, clean the machine-gun outside heated
shelters.
18. Tropical Conditions. In tropical climates humidity is high so special precautions must be
taken to prevent rust. The machine-gun must be stripped clean and inspected for rust and re-oiled
frequently. All lubricating oils should be carefully strained before use to remove water. Oil
containers should be kept tightly sealed and stored on their sides.
SPARE PARTS AND TOOLS
19. All spare parts will be assembled in the machine-gun to ensure that they fit and are
serviceable. When they have been tested, they will be oiled to prevent rust and stowed in their
correct place. Spares will be dry cleaned and inspected during weekly cleaning of the armament
before and after firing. Tools will be kept clean, serviceable and, if they are made of steel, lightly
oiled.
SECTION 11
INSPECTION AND SERVICING GUIDES
INSPECTION GUIDE
1. The exterior appearance should be inspected as follows:
a. surface:
(1) it should have a dark blued surface and should be lightly oiled;
b. front barrel bearing and plug:
(1) they must be tight and free of fouling, and
(2) the locking ring should be in place and punched;
c. barrel jacket:
(1) it should not be bent or cracked, and
(2) it should be secured to the receiver;
d. front sight:
(1) check security, and
(2) the post must remain in folded and elevated positions;
e. backsight:
(1) the numbers must be legible,
(2) the backsight must remain in folded and elevated positions; and
(3) elevation and wind ages crews must turn freely throughout their entire
runs;
f. cover:
(1) it must remain in:
(a) closed position, or
(b) two open positions, and
(2) the feed mechanism should be checked; and
g. backplate: with the adjusting screw tight, at least part of one thread must be
exposed.
2. To field strip, the following procedure is used:
a. barrel:
(1) examine for rust and fouling, and
(2) check the muzzle end and in front of the chamber;
b. barrel extension:
(1) check for cracks,
(2) ensure the double bevel on the breech lock is on top and to the front, and
(3) check for excessive wear on the breech lock;
c. lock frame:
(1) check for wear on the accelerator,
(2) check the trigger pin (it should be under tension); and
(3) check for wear on the trigger cams;
d. bolt:
(1) check the face of the T-slot for wear, burrs and fractures,
(2) check cartridge retaining plungers for tension, and
(3) with cocking lever to the rear, fire the action. Check firing pin protrusion.
The tip should be rounded; and
e. backplate: ensure the buffer adjusting screw is turned back to the nearest locking
plunger position.
3. For a mechanical inspection with the weapon assembled, the following procedure is used:
a. pull the action to the rear (the feed slide should move out of the cover);
b. allow the action to move forward (the feed slide should move back into cover);
and
c. cock the gun, hold the trigger up, ease the recoiling parts forward; the gun should
fire approximately 1.5 mm before the recoiling parts are fully forward.

Figure 11-11-1 Parts to Check Before, During and After Firing
CHAPTER 12
ANCILLARY SYSTEMS AND COMPONENTS
SECTION 1
EXTRACTOR FAN
DESCRIPTION
1. The extractor fan assembly is mounted on the front left side of the turret where it may be
reached by the vehicle commander. The assembly contains an axial-flow fan and a micro-switch
and outlet valve which are controlled by a knurled knob on the side of the fan casing. When the
switch is activated, fumes are extracted from the turret and exhausted through an outlet port
which is protected by a ballistic cap.
OPERATION
2. To operate the extractor fan, grip the knurled control knob and pull outward. Then rotate
knob through 90 degrees and release.
WARNING
During operation, do not insert fingers or any other foreign objects
into the rear recess of the fan drive as it may cause injuries or
damage to the equipment.

Figure 12-1-1 Extractor Fan
SECTION 2
SPOTLIGHT NO. 1. MARK 2
DESCRIPTION
1. The spotlight and mounting bracket (see Figure 12-2-1) are fitted to the commander's
sight. The bracket is a three-piece assembly with two turn buckles which permit the light to be
easily swivelled or deflected. The light is stem-mounted to the bracket. A ball and socket joint is
incorporated between the light body and stem. A handle fitted to the body provides another
method of controlling the swivel of light; slacken off the stem nut first.
2. The lamp is the double filament type (50/50 watt) used in headlight units. The dipped
filament is shorted out and only the main filament is used when fitted to the spotlight.
3. The spotlight is provided with an ON/OFF toggle switch which is fitted to the body of the
light. The switch is partly protected by the searchlight beam directing handle.
4. The spotlight is also provided with a harness cable approximately 9 m long which plugs
into a socket located adjacent to the left smoke grenade discharger. The circuit is protected by
fuse F7 in the turret fuse box. When not in use, the cable may be wrapped around the body
against the stem handle with the two brackets fitted on either side of the light. A spring clip to
house the cable plug is fitted to one of the brackets.
5. If the spotlight does not operate, check to ensure the electrical connector on the turret fuse
box is secure.
NOTE
Vehicle fitted with Radnis have no mounting facilities for the
spotlight.

Figure 12-2-1 Spotlight No. 1, Mark 2
SECTION 3
HATCHES AND SEATS
OPERATION OF HATCHES
1. Commander's and Gunner's Hatches. To close either hatch, use the following procedure:
a. push down on the back of the hatch to take the pressure off;
b. lift the latch by releasing it from the stud on the latch hinge (the equilibrator
assembly will assist in closing the hatch); and
c. grasp the strap and close the hatch.
2. To lock the hatch, use the following procedure:
a. push upward on the hatch lock (left or right);
b. turn counter-clockwise one quarter turn;
c. lock in position by pulling rearward and up; and
d. repeat with the outer hatch lock.
3. To open the hatch, use the following procedure:
a. pull down on the hatch lock;
b. rotate clockwise one quarter turn;
c. lift the hatch holding on to the strap;
d. fully open the hatch until the back comes in contact with the hatch stop; and
e. ensure that the hatch latch (which is spring-loaded) has fully seated itself to the
stud on the hatch spring.
4. Driver's Hatch. To close the hatch, use the following procedure:
a. unlock the latch lock by pulling up to the vertical position;
b. close the hatch; and
c. rotate the hatch handle to lock the position (ensure that the handle is fully locked
or the microswitch for power traverse will not be engaged).
5. To open the hatch, use the following procedure:
a. rotate the hatch handle to the unlock position;
b. open the hatch;
c. push the hatch lock down until a click is heard to signal it is in position; and
d. attempt to close the hatch to ensure it is in the lock position.
OPERATION OF SEATS
6. Crew Commander's Seat. The commander's seal: has a jack-type system. To operate the
seat, use the following procedure:
a. to raise it, pump the seat handle; and
b. to lower it, press down on the seat release using the right foot.
7. Gunner's Seat. To operate the gunner's seat, use the following procedure:
a. to raise it, lift up on the seat release catch and pull it up; and
b. to lower it, lift up on the seat release catch and push down the seat.
SECTION 4
OBSERVATION EQUIPMENT
PERISCOPES, ARMOURED VEHICLE, NO. 48 AND NO.43
8. There are nine periscopes in the turret roof: one No. 43 and six No. 48 for use by the
commander and two No. 43 for the gunner. Each periscope is rigidly mounted and is secured by
two captive screws. Stowage for two spare periscopes is located on the gun basket.
9. The periscope consists of ocular and object prisms, each contained in its own half-body.
The two halves are permanently joined together. There is a rubber sealing ring on the lower half
which makes a seal with the mounting. A rubber black out shield is fitted to the ocular prism.
10. The periscope No. 48 differs from the periscope No. 43 as follows:
a. the object prism is larger in the periscope No. 48; and
b. the ocular prism is angled in the periscope No. 48.
11. Although not adjustable, the commander's periscopes are arranged so that in conjunction
with the sight, the commander has all around vision. The gunner's periscopes, which are on either
side of the sight, give the gunner an increased field of view to the front.
12. When operating under black out conditions, secure the rubber black out shields across the
ocular prisms to prevent light from escaping through the periscope.
BINOCULARS - DESCRIPTION
13. The ELCAN 7 X 50 binoculars consists of two metal tubes which contain a series of
lenses and prisms. The eyepieces can be focussed with a scale marked around the collar (plus or
minus 0-4). There is a graticule pattern marked in the right eyepiece and two tubes are
interconnected by an adjustable bridgepiece which also has a scale on it (55 - 75 mm). There are
two screws on the underside of each tube which are painted red; these must not be touched. A
web strap is attached to the binoculars.
14. Operation. To set the bridgepiece, use the following procedure:
a. pivot the tubes until a single circular view is obtained; and
b. note the reading on the scale.
15. To focus, use the following procedure:
a. select a distant object;
b. turn the left eyepiece until the object is clear and well defined;
c. rotate the right eyepiece until both graticule and object are well defined; and
d. if the binoculars are to be used at night, reduce the reading on the eyepiece scale
by one division.
16. To measure a lateral difference, use the following procedure:
a. lay the centre mark of the graticule pattern on to the object/target;
b. note which part of the graticule aligns with the other object/fall of shot; and
c. calculate the difference in mils (each vertical line on the graticule is 10 mils from
the adjacent vertical line).

Figure 12-4-1 Graticule Pattern Binoculars 7 X 50 ELCAN

Figure 12-4-2 Periscope Armoured Vehicle No. 48 and No. 43
SECTION 5
THE LASER RANGE FINDER GVS-5
THE LASER RANGE FINDER GVS-5
1. The laser range finder is designed to quickly and accurately measure the range to a target,
thereby increasing the possibility of a first round hit. It is an individually operated, portable
distance-measuring device capable of determining the range to targets to an accuracy of plus or
minus 10 m.
PARTICULARS AND PERFORMANCE
2. The particulars and performance of the laser range finder GVS-5 are as follows:
a. name laser range finder GVS-5
b. operating temperature 10°C to 52 °C
c. burst rate 6 ranging/minute for 2 minutes
d. sustained rate 2 ranging/minute
e. sighting telescope X7 magnification
f. ranging data Range 200 -9990 m in 10 m
increments ± 10 m
g. dimensions 8.2 cm high
22.5 cm deep
20.5 cm wide
h. weight with battery 2.6 kg
DESCRIPTION AND COMPONENTS
3. The Objective Lens Cover. This protects the lenses when they are not in use.
4. The Eyepiece Focus Adjustment. This adjusts the focus of the telescope.
5. The MIN RNG Spring-Loaded Push Button Switch. This switch displays the minimum
range setting on the RANGE METRES display.
6. The PWR ON Switch. This switch turns on the laser range finder.
7. The Graticule Pattern. This provides the operator. with a sighting axis; the centre 1 mil
circle is the aiming point.
8. The MULT TGT Indicator. This indicates more than one target within the one mil circle
during a ranging.
9. The RANGE METRES Display. This displays in metres the distance to a target or the
minimum range setting.
10. The LOW BATT Indicator. This indicates that the battery needs to be replaced.
11. The FIRE Switch. This is pressed and held until the range appears; the appearance is then
noted.
12. The MIN RNG SET Control. This control sets the minimum range.
13. The RET ON Switch. This illuminates the graticule.
14. The RET BRT Control. This adjusts the brightness of the graticule pattern.
15. The Battery Cover. This provides access to the battery compartment for battery
replacement or installation of the external power cable.
16. The Eyepiece Lens Cover. This protects the lens when it is not in use.
PREPARATION FOR USE
17. To prepare the laser range finder for use, first remove the range finder from the carrying
case and perform a visual inspection for physical damage.
18. To determine if a battery is installed or if the battery needs to be replaced, use the
following procedure:
a. remove the eyepiece lens cover;
b. set the PWR ON switch to ON;
c. press and hold the MIN RNG switch;
d. look into the eyepiece and observe the RANGE METRES display and the LOW
BATT indicator;
e. if any numbers are displayed on the RANGE METRES display and the LOW
BATT indicator are not illuminated, the battery is probably good and the range
finder is ready for use. Set the PWR ON switch to OFF; and
f. if the LOW BATT indicator is illuminated and the numbers are displayed on the
RANGE METRES, set the PWR ON switch to OFF, remove the battery cover and
install a new battery (inserting the positive [+] terminal into the compartment
first); then install the battery cover, return the weak battery to be charged and
repeat steps a. to d.
OPERATION
19. To Operate the Laser Range Finder. To operate the laser range finder, use the following
procedure:
a. remove the objective and eyepiece lens covers;
b. set the PWR ON switch to ON and set the MIN RNG SET fully counter
clockwise;
c. position the range finder as firmly as possible and while looking at a target
through the telescope, adjust the focus for the sharpest image possible;
d. locate the target and place the one mil circle on the centre of the visible mass (see
Figure 12-5-3); and
e. while keeping the one mil circle centred on the target, press and hold the FIRE
switch until the target range is displayed and noted.
20. Display Indications. The following displays are possible:
a. Three "O"s indicating:
(1) no target was ranged; or
(2) the range finder was moved off the target while ranging; or
(3) the target was closer than the MIN RNG setting;
b. the MULT TGT indicator illuminates and target range is displayed:
(1) this indicates that more than one target is located within the MIL circle:
(a) carefully observe for the presence of objects other than targets in
the one mil circle,
(b) note the target range, press the MIN RNG switch and adjust the
MIN RNG SET to slightly more (at least 20 m) than the target
range noted;
(c) repeat ranging to get the range to the second target,
(d) after ranging, return the MIN RNG fully counter clockwise; and
c. if the LOW BATT indicator illuminates during ranging and the range is displayed,
a few more rangings are possible but the battery must be replaced as soon as
possible.
21. The Power Cable. The power cable replaces the battery and allows the range finder to be
operated on a power source external to the range finder.
22. To install the power cable, use the following procedure:
a. remove the power cable from its stowed position in the equipment case;
b. remove and stow the battery cover and the battery;
c. ensure the power cable is not attached to the power source and install the power
cable captive cover onto the battery compartment;
d. connect the power alligator clips to the power source (turret batteries) and ensure
that the power cable leads are connected to the correct and polarity; and
e. operate the laser range finder in the same manner as with the battery; however,
mobility is limited to the length of the power cable.
NOTE
Disregard the LOW BATT indicator when using the power cable.
If the range finder does not range check the external power source
voltage.

Figure 12-5-1 Laser Range Finder GVS-5 Exterior Control

Figure 12-5-2 Laser Range Graticule Pattern

Figure 12-5-3 Target Acquisition
SECTION 6
SERVICING
EXTRACTOR FAN
1. To service the fan, the following are checked:
a. serviceability, ie, the operation of the fan;
b. security of the fan casing; and
c. security of the electrical connections.
SPOTLIGHT NO. 1, MARK 2
2. Check the operation of the spotlight, security and electrical cable and connections for
fraying.
3. To change a lamp filament, use the following procedure:
a. disconnect the electrical source;
b. remove the four rim clamps;
c. remove the light rim, light unit and rear seal together;
d. grasp the lamp filament and turn counter-clockwise and pull out;
e. insert new lamp filament by pushing in and turning clockwise;
f. replace the light rim, light unit and rear seal together; and
g. replace the four rim clamps.
HATCHES AND SEATS
4. Check the hatches and seats as follows:
a. check for proper operation;
b. inspect for damages, broken or worn parts;
c. inspect for rips and tears; and
d. lightly oil all working parts.
PERISCOPES
5. To Remove a Periscope. To remove a periscope, use the following procedure:
a. undo the captive securing screw on each side of the periscope;
b. push the periscope upward; carefully remove it upward and forward from the
mounting; and
c. take care not to damage the sealing ring.
6. To Replace a Periscope. To replace a periscope, use the following procedure:
a. check that the mounting and periscope body are Clean and lightly relubricate all
mating surfaces using grease XG 315 (silicone grease);
b. ensure that the sealing ring is in place and is undamaged;
c. carefully lower the periscope into position from above;
d. check that the sealing ring is correctly positioned and locate the two securing
screws into the threaded holes on the periscope body;
e. carefully tighten each screw; and
f. wipe the glass surfaces free of finger marks.
LASER RANGE FINDER GVS-5
7. Preventive Maintenance. Before operation of the laser range finder, check for the
following:
a. completeness;
b. dirt and moisture on external surfaces and parts; and
c. that a sharp focus can be obtained while looking through the eyepiece.

LASER RANGE FINDER FAULT REMEDY CHART
Figure 12-6-1 Laser Range Finder Remedy Chart
CHAPTER 13
AMMUNITION
SECTION 1
76 MM AMMUNITION
INTRODUCTION
1. Quick Fire (QF) fixed ammunition is used with the 76 mm gun mounted on the Cougar.
In this type of ammunition, the filled cartridge case is assembled to the projectile to form one
unit or round which is loaded into the gun in one operation. The principal components of a fixed
round of ammunition are the cartridge case, propellant, percussion primer and the projectile.
According to its nature, the projectile may be fitted with a fuse and/or a tracer. The cartridge case
is attached to the projectile by canneluring the mouth of the case over a rubber ring fitted in a
groove in the base end of the projectile. All rounds are fitted with a removable base clip to
protect the percussion cap.
TYPES OF AMMUNITION
2. The following types of 76 mm ammunition are used:
a. Round, 76 mm, Armd C, HESH, L29;
b. Round, 76 mm, Armd C, Practice, SH, L40;
c. Round, 76 mm, Armd C, HE, L24;
d. Round, 76 mm, Armd C, Practice, L25;
e. Round, 76 mm, Armd C, Smoke, BE, L32;
f. Round, 76 mm, Armd C, Canister Shot, L33; and
9. Cartridge, Blank, 76 mm, Armd C, L1 or L2.
COMPONENTS OF 76 MM AMMUNITION
3. Cartridge Case. This is made of brass and is approximately 231 mm long. The body is
tapered to the neck and the base is drilled and threaded to receive the percussion primer. A black
stencilled marking on the base of the case indicates the type of projectile that is fitted to the
cartridge case.
4. Propellant Charge. The charge consists of a quantity of propellant filled loosely into the
cartridge case. The quantity and nature of the propellant used varies according to the type of
round.
5. Primer. The primer used with all rounds is Primer, Percussion, QF cartridge, No. 15.
a. Description. This primer consists of a body, cap, anvil, ball, plug, magazine with
filling and an envelope or sleeve. The joint between the cap and the primer body
is made waterproof with an approved varnish and the two top threads of the plug
are coated with an approved cement. The anvil is assembled in the body with its
threads in a dry condition and
b. Action. The striker of the firing mechanism is driven on to the percussion cap of
the primer and the composition is nipped on the anvil. The flame from the
resultant ignition passes through the fire channels in the anvil, past the soft copper
ball, continuing through the fire channels in the plug and the paper disc to ignite
the magazine filling. The gases generated by the burning composition force the
copper ball onto its coned seating in the anvil, which prevents rearward gasescape.
The flame from the composition passes through the fire holes of the magazine to
ignite the propellant charge in the cartridge case of the round.
6. Projectile. The 76 mm cartridge case can be fitted with the following types of projectiles:
a. HESH L29;
b. HE L24;
c. Smoke BE L321.
d. Canister shot L33;
e. Practice SH, L40; and
f. Practice L25.
BASE CLIP NO. 48 MARK 1
7. The base of the round is fitted with a base clip No. 48 Mark 1. The clip has four arms,
three of which are made to fit the rim of the cartridge. The fourth arm is in the form of a catch
which can be raised to remove the clip from the round. The clip is fitted with a fabric carrying
handle. The fourth arm is colour coded to denote the type of projectile as follows:
a. yellow - HESH L29;
b. blue - practice ammunition;
c. deep bronze green - Canister/HE; and
d. eau-de-Nil - Smoke BE L32.
8. These clips prevent the percussion cap from accidently being struck. The base clip will
remain on the round until it is loaded in the gun for firing.
HIGH EXPLOSIVE SQUASH HEAD L29
9. The shell, High Explosive, Squash Head (HESH) is a very thin walled projectile with a
short rounded nose; this gives it a somewhat squat appearance which distinguishes it from the
HE shell. A copper driving band is fitted around the rear end of the body and the base of the shell
is bored to receive the base fuse. A tracer is fitted to the projectile. The shell is filled with a
quantity of RDX explosive and has a nose pad of inert composition. When the nose of the HESH
shell strikes armour plate, the shell collapses so that the explosive filling is squashed into a
plaster. The base fuse detonates immediately after the plastering action is complete so there is a
direct transfer of the detonation wave to the armour. A large scab of plate is therefore detached at
a considerable velocity from the inside of the armour. When used in the HE role, blast and
fragmentation produce the required effect. For recognition, the nose cap of the shell is painted
golden yellow and the body is painted black. Golden yellow stencilled markings on the shell
body indicate the nature of the round and the type of filling. The T symbol indicates that a tracer
is fitted.

Figure 13-1-1 Primer, Percussion, Quick Fire Cartridges, No. 15, Mark 5
10. Fuse, Percussion, Base, Medium, L19A5. The L19A5 base fuse is a graze action
detonating type which incorporates a delayed arming unit and a striker locking segment
assembly, locking ring, No. 6 or 6/1 delayed arming unit and a magazine.
11. Safety Arrangements of the Fuse L19A5. The safety arrangements are as follows:
a. the shutter of the delayed arming unit is retained in the safe or unarmed position
by the spring-loaded safety plunger which engages in the locking plate. This
provides bore and muzzle safety by ensuring a specified minimum distance from
the gun before arming commences;
b. when the shutter is in the unarmed position, its detonator is screened off from the
striker and the stemmed chemical explosive (CE) channel leading to the CE
pellets in the magazine;
c. the escapement mechanism provides a slight delay before the shutter reaches the
armed position;

Figure 13-1-2 Shell, 76 mm, Armd C, HESH
d. the striker locking segments prevent the striker from moving forward before firing
and holds the striker in the safe position in handling, loading and transit; and
e. the creep spring prevents the striker from moving forward during flight. The
tendency of the striker to do this is due to the deceleration of the shell after it
leaves.the gun.
12. Action of the Fuse L19A5. Firing causes friction to set back and retain the shutter, the
striker locking segments and the striker in the unarmed position.
13. During flight, centrifugal forces created by the spin of the shell cause the striker locking
segments to move outward against their springs, leaving a clear passage for the striker to move
forward. When the spin reaches a predetermined number of revolutions per minute, the safety
plunger overcomes its spring and withdraws from the locking plate. The shutter, now free to
move, rotates under control of the escapement mechanism for the first 60 degrees of its travel,
after which the segment disengages from the escape pinion and the shutter swings to the fully
armed position. It is locked in this position by the locking plate which has moved out to engage
with a recess in the shutter body. The shutter detonator is now in alignment with the striker
needle and the diaphragm over the stemmed CE channel.
14. On impact or graze, the momentum of the striker compresses the creep spring and carries
the striker needle forward to fire the detonator. The resulting detonating wave penetrates the
diaphragm, ignites the stemmed CE in the channel and the CE pellet in the magazine.
HIGH EXPLOSIVE L24
15. Shell, High Explosive (HE) ammunition is made from forged steel and is approximately
289 mm long. The body is comparatively thin-walled and its base is recessed to receive an
external tracer. The nose of the shell is long and pointed; it is threaded internally to receive the
direct action percussion fuse. A copper driving band is pressed into a groove around the rear end
of the body. The explosive filling consists of a quantity of RDX TNT. For recognition, the body
of the shell is painted deep bronze green. Golden yellow stencilled markings on the shell body
indicate the nature of the round and the type of filling. The T symbol indicates that a tracer is
fitted.

Figure 13-1-3 (Page 1 of 2) Fuse, Percussion, Base Medium, L19A5

Figure 13-1-3 (Page 2 of 2) Fuse, Percussion, Base Medium, L19A5
16. Fuse, Nose, Percussion, Direct Action, L17A6. The L17A6 fuse is of the direct action
detonating type and consists principally of a body, fairing, shutter, shutter spring, detonator
holder, detonator plug, detonator plug detonator, needle assembly, detent, detent spring and plug,
and bottom cap.
17. Safety Arrangements of the Fuse L17A6. Until the gun has fired, the shutter is retained in
the unarmed position by the shutter spring and by the spring-loaded detent. In the unarmed
position, the hole in the shutter containing stemmed CE is out of alignment with the detonator
above it and the stemmed CE in the platform below it.
18. Action of the Fuse L17A6. When the gun is fired, the acceleration of the shell in the bore
causes the detent to set back away from the shutter. The shutter is then retained in the unarmed
position by its spring and by friction.
19. During flight, centrifugal action causes the shutter to compress its spring and swing
outwards until the stemmed CE is in alignment with the stemmed CE in the platform and the
detonator is in its holder.
20. On impact, the needle assembly is forced downward causing the needle to penetrate the
detonator. The detonator passes to the stemmed CE in the shutter and in the platform and from
there to the CE pellet in the magazine.

Figure 13-1-4 Shell, 76 mm, Armd C, HE
SMOKE BASE EJECTION L32
21. Shell, Smoke, Base Ejection (BE) is a carrier shell, consisting of a body, base plate, three
smoke containers, a burster and a time fuse No. 390. A copper driving band is pressed into a
groove around the body about 15 cm from the base. The No. 390 time fuse is pre-set by the
commander to the desired range. When the gun is fired, the detonator is ignited; after an interval
of time (which is determined by the fuse setting) the flame reaches and fires the powder pellets in
the fuse body. The burster charge is initiated by the fuse and ignites the smoke composition in the
containers. At the same time, the force of the explosion ejects the base plate and the containers
from the shell. The ignited containers fall to the ground to make the smoke screen while the body
continues on its trajectory. For recognition, the body of the shell is painted with an eau-de-Nif
colouring. Brown stencilled markings on the shell body indicate the nature of the round.
22. Fuse, Nose, No. 390, Mark 3/1. The No. 390 Mark 3/1 fuse is a tensioned double-banked
combustion (powder train type) time fuse with a variable burning time of between 0 and 23
seconds. It consists of a body, base plug, striker, spring, detonator, mechanism sleeve and plug,
magazine ring, detonator, top and bottom time rings, cap and cover.
23. Safety Arrangements of the Fuse No. 390. The safety arrangements are as follows:
a. the initial compression of the spring between the detonator holder and the striker
keeps the detonator clear of the striker; and
b. when the fuse is set at SAFE, the flash holes in the lower timing ring and in the
magazine are masked by the bridges at the top and bottom of the timing rings
respectively. This provides a double safety device against the ignition of the
magazine filling should the initiating mechanism function prematurely.

Figure 13-1-5 (Page 1 of 2) Fuse, Nose, Percussion, Direct Action, L17A6

Figure 13-1-5 (Page 2 of 2) Fuse, Nose, Percussion, Direct Action, L17A6

Figure 13-1-6 Shell, 76 mm Armd C, Smoke, BE

Figure 13-1-7 (Page 1 of 2) Fuse, Nose, Time No. 390

Figure 13-1-7 (Page 2 of 2) Fuse, Nose, Time No. 390
24. Action of the Fuse. When the gun is fired, set-back. causes the detonator holder to
compress the spring and the detonator to impinge on the striker. The flash from the resultant
ignition passes through the flash channels in the stem of the body and fires the mealed powder in
the oblique channel of the top time ring. This ignites the composition in the powder train channel
and the gunpowder pellet in the gas escape hole. The sealing disc in the escape hole is blown out,
providing a vent for the escape of gases generated by the burning composition.
25. During flight, the composition in the top time ring burns until the flame reaches the
powder pellet in the bottom time ring (the interval of time is determined by the setting). The
pellet is fired, igniting the composition in the powder channel and blowing out the closing disc in
the escape hole. The composition in the bottom time ring burns in the reverse direction until the
flame reaches and fires the powder pellets assembled in the elbow-shaped channel in the flange
of the fuse body (the interval of time is determined by the setting). The resulting ignition passes
to the gunpowder in the magazine which explodes, blowing out the brass disc in the base plug
and passing through the flash hole to the shell.
26. To Set the Fuse No. 390. To set the fuse No. 390, use the following procedure:
a. remove the brass cover from the fuse with the aid of a pair of pliers;
b. place the fuse setting key L1A2 over the fuse and engage the knob of the key with
the indentation on the setting ring; and
c. rotate the key clockwise until the required range (in metres) marked on the key
scale is opposite the line marked SAFE on the fuse.
CANISTER SHOT L33
27. The canister shot consists of a cylindrical tin plate body, an aluminum base, two tin plate
discs and 799 steel pellets. For recognition, the body of the canister shot is painted a deep bronze
green colour. White stencilled markings on the shot indicate the type of the round.
PRACTICE SQUASH HEAD L40
28. Shell, Practice, Squash Head (PRAC SH) is designed to give the same ballistics
performance as the service shell it represents, but it is filled with a non-explosive substitute. For
recognition, the body of the shell is painted a deep saxe blue. White stencilled markings on the
shell body indicate the nature of the round. The T symbol indicates that a tracer is fitted.
SHELL PRACTICE L25
29. Shell, Practice consists of one of the bodies used with service HE shell. It is filled with a
quantity of substitute and is fitted with a plug representing the fuse. For recognition, the body of
the shell is painted deep saxe blue. White stencilled markings on the shell body indicate the
nature of the round. The T symbol indicates that a tracer is fitted.
TRACER SHELL L5A2
30. The L5A2 tracer is of the external type and consists of a body with a grub screw, a
closing ring, brass closing cup and a filling.
31. Action. When the gun is fired, the propellant gases generated by the burning propellant in
the cartridge case of the round blow in the closing cap and ignite the priming composition which,
in turn, ignites the tracer composition. The flame escapes to the rear through the exposed end of
the tracer body and enables the trajectory of the shell to be observed.

Figure 13-1-8 Canister Shot, 76 mm, Armd C

Figure 13-1-9 Shell, Practice Squash Head L40
BLANK CARTRIDGE
32. The blank cartridge has a normal cartridge case and a No. 15 primer. In place of the
propellant charge, the blank has a filling of G12 gunpowder contained in a silk cloth bag; it is
retained in position by a leather bound closing cup.
76 MM AMMUNITION PACKING
33. Rounds are double-packed as follows:
a. the outer packing is a rectangular steel container which holds two rounds fitted
with a lid and two lifting handles; and
b. the inner Packing is a cylindrical moulded polythene container fitted with a cap
and lifting handle.

Figure 13-1-10 Shell Practice High Explosive L25

Figure 13-1-11 Tracer, Shell, L5A2

Figure 13-1-12 Blank Cartridge
SECTION 2
SMALL ARMS AMMUNITION
GENERAL
1. In Canada and the United Kingdom (UK) the term small arms is applied to weapons
which have a calibre of 25 mm or less. In the United States, the calibre is 15 mm or less. The
NATO upper limit is 20 mm.
TERMINOLOGY
2. The term cartridge is applied to the assembly which consists of:
a. cartridge case;
b. primer (percussion cap);
c. propellant charge; and
d. bullet.
3. Cartridge Case. Brass is generally used in manufacturing of small arms ammunition
cases. This is a copper/zinc alloy of approximately 70/30 composition.
4. For low velocity weapons (such as the pistol), the case is not normally necked, but is
short with parallel walls. For high velocity weapons (such as rifles and machine guns), the case
must be longer. To keep the round compact and yet contain the heavier charge, the diameter is
usually enlarged at the base and necked down to the bullet size. As chamber pressures in high
velocity weapons may be high, the extraction of a cylindrical case after firing would be difficult.
Therefore, cases are generally tapered.
5. A rimless base provides an extractor groove. Positioning is done by the shoulder of the
case.
6. Primer. The 7.62 mm cartridges have a centre-fire primer. A cap chamber is formed in the
base of the case and is connected to the interior by one or more flash holes. The cap composition
is contained in a cup fitted into the primer pocket. The anvil is an integral part of the primer.
Caps are flush with the base of the case. The space between the walls of the primer cap (the
annulus) and the case is usually sealed with lacquer. In the UK pattern ammunition, this lacquer
is coloured and serves as a method of identifying the type of round.
7. Propellants. Two types of propellant are used: chopped tubular cordite or a nitro-
cellulose. Nitro-cellulose powders erode less than cordite; the first indication that the limit of the
barrel's life is being reached is a sudden breakdown in range and accuracy. Cordite effects are
gradual.
8. Bullets. Small arms bullets (with the exception of special types, ie, tracer and incendiary)
may be considered as solid projectiles which consist of a jacket (or envelope), core and tip. These
components are:
a. jackets which consist of cupro-nickel (80 per cent copper and 20 per cent nickel),
gilding metal (85 per cent to 90 per cent copper and 10 per cent to 15 per cent
zinc), or mild steel coated with either cupro-nickel or gilding metal to prevent
rust;
b. lead cores for 7.62 and 9 mm ammunition; and
c. tips, usually of a lighter material than the core, which give steadiness in flight.
9. Types of Bullets. Small arms bullets can be classified into the following three types:
a. ball which is cheaply produced and used against personnel and light material
targets. The bullet may be solid lead, a lead core (with or without a light tip) in a
jacket, or a mild steel core in an envolope;
b. tracer which leaves a visible trace and, when fired with other types of small arms
ammunition (SAA), shows the gunner the trajectory of the other bullets. It has a
lead core forward with tracer composition behind it; and
c. blank which usually consists of a cartridge case containing a quantity of propellant
and a primer.
NOTE
For more information, refer to CFTO C-74-050-006/MD-000.
7.62 MM AMMUNITION
10. Ball Ammunition. The complete 7.62 mm ball consists of the bullet, the cartridge case,
the percussion cap and the propellant charge. They are described as follows:
a. the bullet consists of a lead antimony case contained in a gilding metal jacket. The
bullet has a straight body and is not streamlined at the base;
b. the cartridge case is of the rimless head type. The anvil is not an integral part of
the case. One fire hole is used. Stampings on the base of the case indicate the
factory and date of manufacture;
c. the percussion cap which is fitted into a recess in the base of the case immediately
below the anvil. A flash hole connects the cap chamber with the propellant charge.
The cap contains a pellet of cap composition; and
d. the propellant charge gives the bullet a muzzle velocity of approximately 823 m
per second.
11. Tracer. The components, except for the bullet of the 7.62 mm tracer round, are the same
as for ball ammunition. The tracer bullet has a lead core in the front and a tracer composition
with an igniter charge in the rear. The tracer bullet is identified by a red painted tip. Tracer
ammunition has a muzzle velocity of approximately 828 m per second.
9 MM AMMUNITION
12. The 9 mm ball Mk 1Z or Mk 2Z is used in the sub-machinegun. The complete round
consists of the bullet, the cartridge case, the percussion cap and the propellant charge. These
components are described as follows:
a. the bullet consists of an envelope of either gilding metal or steel coated with
cupro-nickel, which encloses a lead and antimony alloy;
b. the case which is made of drawn brass and is provided with a cannelure for
extraction;
c. the percussion cap which is fitted into a recess in the base of the case immediately
below the anvil. A flash hole connects the cap chamber with the propellant charge.
The cap contains a pellet of cap composition; and
d. the propellant charge which consists of a quantity of nitro cellulose (NC) powder
(indicated by Z on the base of the round); 4.8 grains of charge are in the Mk 1 and
six grains are in the Mk 2 round.
PACKAGING OF SMALL ARMS AMMUNITION
13. 7.62 mm. The 7.62 mm ammunition is packed in the following manner:
a. 1 belt to a cardboard or metal container (see Figure 13-2-1);
b. 4 containers to a wooden, wire wrapped crate (see Figure 13-2-2); and
c. 1 box to a wooden wire-wrapped crate.
14. 9 mm - Ball and Blank. 9 mm ammunition, both ball and blank, comes packed in metal
containers. Ball rounds come with three containers to a crate; blank rounds have two containers
to a crate (see Figures 13-2-3 and 13-2-4).

Figure 13-2-1 Cardboard Container 7.62 mm Ammunition

Figure 13-2-2 Wooden, Wire-Wrapped Crate

Figure 13-2-3 Cartons for 9 mm Ammunition

Figure 13-2-4 Metal Container for 9 mm Ammunition
SECTION 3
GRENADES
TYPES OF GRENADES
1. The following smoke grenades may be issued:
a. grenade, discharger, smoke, screening, L5;
b. grenade, discharger, smoke, screening, coloured, L7; and
c. grenade, discharger, smoke, screening, white phosphorous, L8.
GRENADE, DISCHARGER, SMOKE, SCREENING, 15
2. The L5 Grenade. This grenade is fired from an electrically-operated discharger and
provides white smoke which persists for approximately 90 seconds. The grenades are fired in
groups of four and provide an immediate screen.
3. The Body. The body consists of a steel cylinder with flanged edges. The cylinder is
approximately 17.8 m in length and 6.6 em in diameter. The external surfaces of the body are
painted a deep bronze green with an eau-de-Nil coloured ring around the upper part of the body.
The body contains the composition for producing smoke.
4. Fuse, Charge and Top Assembly. The fuse, charge and top assembly consist of:
a. the top contact assembly which is based on a dish-shaped tin plate top. The upper
flat surface of the top has eight holes drilled in it. An aluminium diaphragm
covers the eight holes and provides an airtight joint;
b. the electric fuse which consists of a paper tube containing a low tension type fuse
head secured in the tube; and
c. the charge which is comprised of gunpowder.
5. Operation. The four grenades in each discharger are fired by a push button which, when
pressed, completes the firing circuit to the jacket connection of each discharger cup. The electric
current passes to and fires the electric fuse in the grenade, which ignites the gunpowder charge
and then ignites the smoke composition.
GRENADE DISCHARGER, SMOKE, SCREENING, L7
6. The L7 Grenade. The L7 grenade is similar in design to the L5 described above. The
primary difference between the grenades is confined to the filling, the top contact assembly and
the colour of the smoke produced.
GRENADE, DISCHARGER, SMOKE, SCREENING, L8
7. The L8 Grenade. The L8 grenade is similar in design to the L7. The primary differences
between the grenades are:
a. the body of the L8 grenade:
(1) is made of moulded rubber and is closed at the base,
(2) is left in its natural finish and the cylinder at the top is painted eau-de-Nil;
and
b. the filling of the L8 is red phosphorous; however, clue to chemical reaction when
fired, the L8 emits white smoke.
8. The 18 grenade bursts at a distance of approximately 60 m from the discharger and at a
height of from six to eight metres from the ground. It provides a protecting smoke screen for
about one minute.

Figure 13-3-1 Grenade, Discharger, Smoke, Screening, L5

Figure 13-3-2 Grenade, Discharger, Smoke, Screening, Green, L7

Figure 13-3-3 Grenade, Discharger, Smoke, Screening, L8

Figure 13-3-4 Cougar Grenade Recognition
SECTION 4
FLARES
MINI-FLARES
1. There are three versions of the same basic flare projector in use in the Canadian Forces.
Two of these projectors are almost the same the cocking piece is painted red. One has a large
cocking piece (20 mm in length), while the other one has a cocking piece only 6 mm in length.
Both projectors have "Projector Pyrotechnic NSN 1095-21-804-8889" stamped on the barrel. The
third projector differs slightly in that the spring guide is 61 mm in length, the cocking piece is
black in colour, and there are no markings on the body.
DESCRIPTION
2. The projector consists of an aluminium body, locking cap, pencil clip, striker, spring
guide, spring and cocking piece. The aluminium body is internally threaded at the lower end to
accept the knurled locking cap which retains the pencil clip and the spring. The upper end of the
body houses the striker protrusion hole and is internally threaded to accept the cartridge. The
striker is attached to the external cocking piece which functions, under pressure, to compress the
internal spring and cock the projector.
3. There are two cartridges available: red and green. These cartridges consist of an
aluminium casing which contains the igniter and tracer composition. Each is closed at the upper
end by a fibreboard disc and is sealed with NC varnish. The lower end of the cartridge casing
embodies a rimfire blank cartridge and is externally threaded to mate with the upper end of the
projector.
PROJECTILE DATA
4. The mini-flare has the following performance data:

Figure 13-4-1 Three Different Types of Projectors Used by the Canadian Forces

Figure 13-4-2 Description of Projector

Figure 13-4-3 Cartridge
a. colours - red and green;
b. burning time - 4 to 8 seconds;
c. ejection height - 45 m minimum;
d. illumination - 6000 lux minimum;
e. distance visible - 2.4 km (bright sunlight); and
f. distance visible - 19.2 km (night).
PACKAGE DATA
5. The flares are packaged as follows:
a. 12 per plastic bag;
b. 144 per fibreboard container; and
c. NATO Stock Number 1370-21-804-8890.
INSPECTING THE CARTRIDGE
6. Before the cartridge is installed in the projector, it will be inspected for the following:
a. security of the top closure or sealing disc;
b. security of the primer (percussion) cap;
c. cracks, dents or distortion in the case; and
d. damaged threads.
WARNING
Under no circumstances will a damaged cartridge be installed in
the projector.
TO OPERATE THE PROJECTOR
7. To operate the projector with the mini-flare, use the following procedure:
a. the projector open end striker recess is inspected for foreign matter and freedom
of movement. The cocking piece is retracted and engaged in the safe notch;
b. the projector is held with the open end pointed in a safe direction. The cartridge is
screwed into the projector;
c. to fire it, the projector is held at arm's length and pointing upward. The cocking
piece is then moved from the safe position; and
d. to remove the cartridge, the cocking piece is engaged in the safe notch. The
cartridge is unscrewed and removed.
NOTE
For more information, refer to CFTO C-74-210-000/MF-000.
ILLUMINATION FLARE (FLARE, PARACHUTE, HAND FIRED, C3)
8. The illumination flare consists of a rocket-type projectile enclosed in an aluminium alloy
tube which, in turn, acts as the launcher. The tube is fitted at the rear with a threaded plastic cap.
The flare is not carried fully prepared for firing; the end cap will be kept in position at all times
when the flare is not in use.
9. Safety Precautions. The following safety precautions will be observed when firing the
illuminating flare:
a. before using the flare, ensure that the outer tube is not damaged;
b. follow exactly the directions that are on the outer tube;
c. no attempt will be made to tamper with or alter the flare in any way;
d. before firing, ensure there are no obstructions (ie, trees, helicopters) on the flight
path of the flare and ensure that no one is in front of, or immediately behind, the
flare;
e. when firing, pull the cord at an approximate 500 mil angle from the tube to avoid
the backblast. Care should be taken not to greatly exceed this angle because if it is
too great, the cord may break; and
f. the flare will not be fired (in normal usage) at less than 800 mils elevation from
the horizontal.
10. The characteristics of the flare are:
a. total length - 32.7 cm;
b. weight - 0.32 kg; and
c. burning time - 30 to 35 seconds.
11. The following procedure will be adhered to when firing the flare:
a. remove the end cap;
b. with arm outstretched, hold the flare at an angle away from the body;
c. hold the firing cord at an angle tot he flare to avoid backblast; and
d. pull the cord.

Figure 13-4-4 (Page 1 of 2) Flare, Parachute, Hand-Fired, C3

Figure 13-4-4 (Page 2 of 2) Flare, Parachute, Hand-Fired, C3
SECTION 5
PERSONAL ANTI-ARMOUR WEAPON
PERSONAL ANTI-ARMOUR WEAPON (M72A1 and M72 A1E1)
1. The 66 mm HEAT rocket, M72A1 and M72A1E1 is a lightweight, self contained anti-
tank system consisting of a rocket packed within its own launcher. When issued, the launcher
serves as a watertight packing container for the rocket. However, when the launcher is placed
into the firing position, it serves to ignite and guide the rocket on its initial flight toward the
target. The launcher houses a percussion-type firing mechanism to activate the rocket.
2. Description. A description of the Personal Anti-armour Weapon (PAW) is as follows:
a. Launcher. The launcher for the M72A1 and M72A1E1 is composed of two
concentric tubes. The inner tube is oriented to the outer tube by a channel
assembly which rides in an alignment slot in the trigger assembly. The outer tube
has the following parts fixed to it:
(1) the trigger housing assembly, located on the upper surface of the outer
tube,
(2) trigger assembly,
(3) trigger safety handle,
(4) rear sight assembly,
(5) front sight assembly, and
(6) rear cover.
The inner tube is constructed of aluminium. It will extend telescopically along the channel
assembly which houses the firing pin rod assembly and locks the launcher in the extended
position through the detent lever assembly. The firing pin rod assembly locks under the trigger
assembly and cocks the weapon upon extension; and
b. Rocket. The rocket is made up of the 66 mm HEAT warhead M18, the point-
initiating-base detonating fuse M412 and the rocket motor M54. Attached to the
muzzle of the rocket motor are six spring-loaded fins which are folded forward
along the motor when the rocket is within the launcher. Once the rocket motor has
been ignited, all of the propellant is burned before the rocket leaves the launcher.
The rocket's momentum carries it to the target.
3. The characteristics of the PAW are:
a. length (firing position) - 80 cm;
b. length (closed position) - 68 cm;
c. weight (complete system) - 1.15 kg; and
d. firing mechanism - percussion.
4. Sights. A description of the PAW sights is as follows:
a. Front Sight. The front sight contains an embossed vertical range line with ranges
from 50 to 350 metres in 25 metre increments. Two curved stadia lines are etched
on the front sight to aid the gunner in range estimation. On each side of the
vertical range line are 24 km/h aim-off marks, and
b. Rear Sight. The rear sight consists of a steel rear bar sight bracket, a plastic rear
sight and a rubber sight boot. Inside the plastic rear sight is the rear sight aperture
plate which is attached to a spring that automatically compensates for temperature
change.

Figure 13-5-1 (Page 1 of 2) M72 Rocket Launcher and Rocket

Figure 13-5-1 (Page 2 of 2) M72 Rocket Launcher and Rocket

Figure 13-5-2 M72 Front Sight
5. Operation. The procedure for operating the PAMF is as follows:
a. pull the pin and place the rear cover downward, allowing the front cover and
adjustable sling assembly to fall free (do not discard the sling assembly until the
rocket is fired);
b. to extend the launcher, grasp the rear sight cover and sharply pull the launcher to
the rear until it locks into position. Extending the launcher slowly can result in
failure to cock the launcher;
c. place the launcher on the shoulder, pull the safety handle to the ARM position,
aim the launcher and depress the trigger bar. If the trigger safety handle will not
remain in the ARM position, the launcher is not fully extended; and
d. in the event the launcher is not fired, it may be returned to the carry position by
doing the following:
(1) return the trigger safety handle to the SAFE position,
(2) depress the barrel detent,
(3) collapse the launch tube,
(4) guide the front and rear sight into position, and
(5) replace the sling assembly.
6. Misfire Procedure. Should the M72 fail to fire, use the following procedure:
a. re-squeeze the trigger. If the round does not fire, wait 10 seconds;
b. keep the launcher trained on target, place the trigger safety handle on the SAFE
position and remove the launcher from the shoulder;
c. once the launcher is removed from the shoulder, wait one minute, depress the
detent and collapse the launcher approximately 10 cm. Grasp the rear sight cover
and re-extend the launcher (this should recock the system);
d. place the launcher on the shoulder, pull the safety handle to ARM, aim and
squeeze the trigger;
e. if the weapon still does not fire, wait 10 seconds before returning the trigger safety
handle to the SAFE position. Keep the weapon trained on the target area for at
least one minute:
f. do not collapse the launcher; and
g. discard it for destruction in accordance with range standing orders.
SECTION 6
BATCHING
DEFINITION
1. Batching is a system of marking and indexing fixed, QF ammunition to simplify tracing
components. It is comprised of a cartridge letter, a batch number and a sub-batch letter, eg,
E766B.
CARTRIDGE LETTER
2. The rounds are allotted a letter which denotes the type of projectile and shell filling. The
following code is used:
a. B - HE or HESH;
b. D - coloured smoke;
c. E - armour piercing;
d. N - canister;
e. T - practice (weighted);
f. C - white (screening) smoke; and
g. S - practice (filled, with or without trace).
BATCH NUMBER
3. QF fixed ammunition is batched according to the propellant lot; each lot of propellant
is given a batch number. If CIL allots 766 as a batch number, all rounds containing propellant
from that lot will be numbered 766. The batch number should not be confused with the
propellant lot number which is always prefixed by the initials of the manufacturer of the
propellant.
SUB-BATCH LETTER
4. As many as 10,000 rounds may contain propellant from the same propellant lot, whereas
the number of other components, eg, fuses in a lot, never exceeds 2,000. Therefore, during the
manufacture of these 10,000 rounds, other components from several component lots will be used.

Figure 13-6-2 Round, 76 mm, Armd C, HESH

Figure 13-6-3 Round, 76 mm, Armd C, HE

Figure 13-6-4 Round, 76 mm, Armd C, Practice

Figure 13-6-5 Round, 76 mm, Armd C, Smoke BE

Figure 13-6-6 Round, 76 mm, Armd C, Canister Shot

Figure 13-6-7 Cartridge, Blank, 76 mm, Armd C, L2A1
SECTION 7
AMMUNITION MARKING
GENERAL
1. Ammunition is primarily identified by using of various colours. The paint not only
enables ammunition to be identified but also acts as a preservative and a method of camouflage.
In addition t painting, each complete round will have its components stamped and stencilled with
various code numbers and symbols. This enables individual parts to be identified and traced if
difficulties o defects appear.
2. This section briefly describes the Canadian marking system as contained in CFTO C-74-
050-001/MD-000, Identification and Ammunition, which is based on NATO Standardization
Agreements (STANAGS). Older or foreign ammunition which does not folio this system may be
encountered; therefore, details of some of this ammunition are contained in the reference
mentioned above.
MARKING OF AMMUNITION PACKAGING
3. The information in the following paragraphs does not apply to small arms ammunition
below 20 mm.
4. Packages constructed or manufactured from aluminium, galvanized steel, glass reinforced
plastic, fibreboard or wood are generally left unpainted. There will be instances, however, when
some or all of these may be painted to restore the original protective surface, for camouflage
purposes, or to eradicate former markings which may cause confusion.
5. Outer Packages. The following markings are found on the outer packages:
a. Canadian Transport Commission (CTC) shipping nomenclature. This is applied to
all ammunition offered for transport by rail in Canada. Usually it is stencilled
directly on the container. It may, however, be applied in the form of a label;
b. Government Explosive Group (GEG) and Safety Distance Category (SDC)
applied either by stencilling or in the form of a label; and
c. Miscellaneous markings, such as package number or special depot (Canadian
Forces Ammunition Depot [CFAD]) markings.
6. More details on outer packaging are contained in Figure 13-7-2.
MARKING OF AMMUNITION
7. The following minimum markings should appear on each item of ammunition:
a. calibre or mass;
b. model designation;
c. lot designation; and
d. special characteristic markings (as applicable).
8. In addition to the minimum requirements, the Following national markings will appear:
a. description nomenclature;
b. nature of filling;
c. weight of filling;
d. monogram of loading activity;
e. date of loading;
f. serial number;
g. propellant type or charge design;
h. operating instructions, safety precautions, preparation for use, etc; and
j. DND ammunition code.
SMALL ARMS AMMUNITION
9. Cartridge Case. The following minimum markings (Figure 13-7-2) are stamped on the
base of the cartridge case of small arms ammunition (SAA):
a. NATO design mark (if applicable);
b. manufacturer's initials or recognized identification letters; and
c. the last two digits of the year of manufacture.
10. Bullet Markings. The tip of each bullet is coloured in accordance with the following code:

Figure 13-7-1 Typical Marking on Outer Ammunition Boxes (Except those Containing Small
Arms Ammunition)

Figure 13-7-2 Typical Stampings Applied to Base of Small Arms Ammunition Cartridge Cases
a. ball - no marking;
b. tracer - red;
c. armour piercing - black;,
d. armour piercing incendiary - silver;
e. observing - yellow; and
f. incendiary - blue.
11. If an ammunition has more than one role, a combination of the appropriate colours is
used. The colouring will extend a minimum of 6 mm down from the tip but under no
circumstances will it appear on the bearing surface of the bullet.
12. Packaging Markings. The following markings are found on SAA packages:
a. quantity of ammunition is indicated by numerals; on all packages;
b. nomenclature and calibre is indicated on all packages in distinct letters and
numerals;
c. NATO design mark will be indicated on all packages which contain ammunition
manufactured to a design that satisfies a NATO Standardization Agreement;
d. the type of pack (bulk, charger, clip, belted, or bandolier) will be indicated by
symbols on all packages (see Figure 13-7-3). The model of charger or clip, belt or
link will also be indicated if applicable;
e. lot number, manufacturer's initial or recognized identification letters, (the last two
digits of the year of manufacture or packaging) will be indicated on all packages
in numerals and letters smaller than those used for the calibre;
f. the nature of the bullet contained in all packages will be indicated with the
appropriate symbols (see Figure 13-7-4). When the pack contains bullets of
different types, the symbols will show their arrangement. For example, the
quantity of the first type is followed by its symbol, the quantity of the second type
is followed by its symbol;
g. the interchangeability symbol to denote the operational interchangeability of
ammunition is placed on the outer package only;
NOTE
Interchangeability as denoted by the NATO symbol of all items in
a package (ammunition, links, chargers, etc) is indicated by the
NATO symbol of interchangeability (clover leaf) enclosed by a
square.
h. additional marking or words may be applied at the discretion of national
authorities but must never be of a size greater than that used to indicate the
calibre;
j. Canadian Transport Commission (CTC) shipping nomenclature is applied to all
ammunition offered for transport by rail in Canada. Usually it is stencilled directly
on the container; it may, however, be applied in the form of a label;
k. NATO stock numbers and DND the ammunition code;
m. gross weight;
n. shipping volume;
p. Government Explosive Group (GEG) and Safety Distance Category (SDC) are
applied either by stencilling or in the form of a label;
q. miscellaneous markings, such as package number or special depot (CFAD)
marking; and
r. packages containing mixed lots of SAA have a functional lot number assigned and
the word FUNCTIONAL precedes the word LOT. After the word LOT the letter B
or 1. is added to indicate if the ammunition is packed in web befits (B) or metallic
link belts (L).

Figure 13-7-3 Symbols Denoting Type of Pack for Small Arms Ammunition

Figure 13-7-4 Symbols Denoting Nature of Bullets for Small Arms Ammunition

Figure 13-7-5 Method of Marking Inner Boxes Containing Small Arms Ammunition

Figure 13-7-6 Method of Marking Outer Boxes Containing Small Arms Ammunition
SECTION 8
CARE AND HANDLING OF AMMUNITION
GENERAL
1. Rough handling of ammunition, whether it is packaged or not, impairs efficiency,
shortens storage life and is likely to cause accidents. Any handling which tends to deform or
damage the ammunition or package is prohibited. In particular, packages or unboxed rounds must
not be dragged along the ground or rolled end over end; they must be lifted from place to place.
2. The following principles should be followed:
a. do not unpack more ammunition than is necessary for immediate bombing;
b. repack all unexpended ammunition in original containers prior to storing it; and
c. do not store unserviceable ammunition at the storage site.
3. Tank ammunition is built to very fine tolerances. The round fits snugly into the chamber.
Dirt on the round could prevent chambering, damage the gun, or make a dent in the round.
Consequently, if rounds get dirty, they should be wiped clean before they are stowed in the
vehicle. A further visual check should be made when they are placed in ready racks. Special care
must be paid to the base of the round to ensure base clips are fitted. Never stand rounds on their
end when they are on the ground.
4. If a round is damaged, it should be disposed of as soon as possible. A loose projectile
could result in the explosive propellant being spilled inside the vehicle.
RULES FOR HANDLING
5. Keep Ammunition Dry. Dampness causes the explosives contained in the primer and the
propellant charge to deteriorate. Misfires, hangfires, or erratic shooting may be caused by damp
ammunition.
6. Keep Ammunition Clean. A clean dry rag is used for cleaning. Oil or abrasives will not
be used under any circumstances.
7. Keep Ammunition Cool. Precautions must be taken to ensure that ammunition (especially
cartridges and time fuses, boxed or unboxed) is not left exposed to the direct rays of the sun.
Shooting will be consistent if rounds are kept at an even temperature. The ideal protection is
some form of overhead cover that permits the circulation of air or provides an insulating air
barrier, eg, a vehicle tarp. If this is not possible, the ammunition should be covered with what is
available, eg, empty boxes, camouflage nets, etc. Ammunition, either boxed or unboxed, which is
exposed to solar radiation in a hot climate may reach a temperature that makes it unsafe to fire.
Any ammunition that can be handled with bare hands without serious discomfort is safe to fire.
8. Handle All Ammunition With Care. Cartridge cases are easily dented and should be
protected from hard knocks and blows.
9. Battery Covers Must Be Fitted At All Times. Failure to have battery covers fitted at all
times could result in a fire or other form of hazard. One fatal accident occurred when a round of
main armament ammunition was allowed to fie across the battery terminals; the heat generated
was sufficient to ignite the propellant charge. This resulted in the death of the loader.
10. Use Base Clips. Base clips must be fitted correctly at the following times:
a. when ammunition is removed from its container, and is stacked in the open or is
in transport; and
b. when ammunition is being transferred from outside to inside the AFV, i.e.,
"bombing-up".
11. Once inside the vehicle, clips must be kept on all cartridges.
MAIN ARMAMENT AMMUNITION
12. Ammunition should be sorted by batches and sub-batches whenever possible; shooting
may be less consistent if ammunition from different batches is used on a single engagement.
13. The primer should be free from dirt and excess luting forced from the threads of the
primer. The base should be flush with the base of the case.
14. The cartridge case should be clean, dry and free from cracks and dents. Ensure that no
part of the packing is sticking to the case. Cracked or badly dented cases will be rejected.
15. The projectile should be secure in the case, clean, dry, well painted and free from rust and
cracks. Such rounds should not be removed from packages until shortly before they are to be
used. Any rounds which show signs of filling leakage or have loose or corroded fuses will be
exchanged. To ensure that the sealing of the setting ring on the time fuses is unbroken, an attempt
should be made to turn the ring by hand to check that the ring is set to SAFE.
SMALL ARMS AMMUNITION
16. Boxes of small arms ammunition should not be opened until required for use. Liners
should be examined for cracks, slits and other damage. If they are damaged they should be
rejected. 5.56 (C7/C8) magazines should be kept clean and the springs are tested by pressing the
magazine platform inward.
GRENADES
17. Grenade boxes inside the AFV should be kept closed to prevent the entry of dust and
moisture.
AMMUNITION MALFUNCTIONS AND DEFECTS
18. Ammunition malfunctions and defects must be reported promptly so that timely
corrective action can be taken.
19. To report malfunctions and defects, use the Form CF 410, Ammunition Defect and
Malfunction Report. It is used to specify:
a. ammunition malfunctions;
b. ammunition defects including corrosion, faulty or incomplete assembly, and faulty
packaging;
c. irregularities in bracing, dunnaging, or shipping of ammunition;
d. defects discovered during inspections and testing or proof programmes (the Form
CF 410 shall not replace or render unnecessary forms used for recording the
results of the above-mentioned inspections and programmes); and
e. defects and malfunctions which appear to be the result of previous misuse.
20. Failed or defective ammunition should not be returned without prior advice from
technical ammunition personnel.
21. Details of reporting defects are contained in CFAOs and range standing orders.
SECTION 9
AMMUNITION STOWAGE
GENERAL
1. The amount of ammunition carried on the Cougar is as follows:
a. 76 mm 40 rounds;
b. 7.62 mm 17 boxes (stowed);
c. smoke grenades 16 grenades (L5, L7 or L8);
d. anti-personnel grenades 10 (M67);
e. signal flares 1 mini projector and 24 flares;
f. para-flares 4 (C3 hand held para flares);
g. 5.56 mm as per SOP; and
h. M72 LAW 3.
STOWAGE POSITION
2. The 76 mm rounds are stowed in the following positions:
a. 30 rounds in rear hull container (30 round stowage bin); and
b. 10 rounds to the rer of the gun basket (10 round ready bin).
NOTES
1. When loading ammunition in the 30 round stowage bin,
ensure that the rounds are inserted in the bottom row of the
tubes first, then the second row, etc finishing with the top
row of tubes.
2. When replenishing the 10 round ready bin, start with the
top row of tubes and work downward after emptying each
row of tubes consecutively and ending with the bottom row
of tubes.
3. The 7.62 mm ammunition is stowed in the following locations:
a. one box immediate supply in the feed tray to the left of the coaxial MG;
b. three boxes on the right sponson and 10 boxes on the left sponson;and
c. three boxes on the floor under the gun basket.
4. Smoke grenades are stowed as follows:
a. eight grenades fitted in the dischargers; and
b. eight grenades in stowage bins fitted externally to the right side of the turret.
5. There are ten anti-personnel grenades in the stowage bin located inside the vehicle left
rear.
6. Signal flares are stowed as per SOP.
7. Four para-flares should be in the stowage bin located on the fire wall below the first aid
kit stowage bin.
8. Three M72 PAW are in the stowage receptacles located on the hull roof to the rear of the
vehicle.
8. 9 mm ammunition may be stowed in the following locations:
a. 10-round magazines fitted to weapons;
b. three 30-round magazines stowed left forward of the commander;
c. three 30-round magazines stowed left forward of the gunner; and
d. three 30-round magazines stowed to the right rear of the driver.
9. Three M72 PAW are in the stowage receptacles located on the hull roof to the rear of the
vehicle.
CHAPTER 14
GUN DRILLS
SECTION 1
INTRODUCTION
GENERAL
1. To provide a uniform system of orders and actions for handling the weapons and
equipment, a system of drills has been devised. These drills must be carried out as ordered to:
a. save time and reduce the possibility of misunderstanding an order;
b. ensure an automatic reaction to a familiar order understress; and
c. for standardization to assist replacement crews.
SECTION 2
NORMAL DRILLS
ACTION DRILL
1. The order "Action" will be given by the commander to bring the weapons into a state of
readiness. If the smoke grenade dischargers are required to be loaded, this action will be
completed by the commander and gunner prior to completing the following drills:
a. The commander will carry out the drill and report the commander's actions as
outline in Figure 14-2-1;
NOTE
The term "Bore clear" indicates that no obstruction is visible
throughout the length of the bore and chamber. An obstruction
means not only large objects such as cotton waste but also small
particles of grit, grease or similar substances. During night firing,
the bore must be checked by shining a flashlight into the barrel
from the muzzle and chamber end in turn.
b. the gunner will carry out the drill and report the gunner's actions as outlined in
Figure 14-2-2; and
c. the driver will ensure that the hatch is properly closed and locked.

TABLE OF COMMANDER'S ACTIONS
Figure 14-2-1 Table of Commander's Actions

TABLE OF GUNNER'S ACTIONS
Figure 14-2-2 Table of Gunner's Actions
REPLENISH
2. The order "Replenish" will be given by the commander when it becomes necessary to
replace the ready rounds from the other stowage positions. This order may be combined with the
order "Check guns" at the commander's discretion. On this order, the following actions are
carried out:
a. the commander will:
(1) tell the gunner which position to traverse the turret,
(2) replenish the supply of ready rounds, jettison all empty cases and empty
co-ax ammunition boxes, and
b. the gunner will assist the commander as required.
NOTE
The commander may use the traverse controller to position the
turret.
CHECK GUNS
3. The order "Check guns" will be given by the commander when the opportunity exists for
the crew to check the weapons. This order may be combined with "Replenish". On the "Check
guns" order, the commander will:
a. wipe clean and re-oil any parts of the main armament breech mechanism that have
become dirty;
b. check the security of the crank stop; and
c. lubricate the working parts of the coaxial machine gun.
MAKE SAFE
4. The order "Make Safe" will be given by the commander when there is a danger that
loaded guns may be trained on our own troops. On this order, the following procedures are
carried out:
a. the commander will:
(1) make safe the 76 mm gun, and
(2) make safe the coaxial MG; and
b. the gunner will set the gun selector switch to the OFF position and set the locking
bar up.
STILL
5. The emergency cry "Still" may be given by any member of the crew who observes any
defect or hazard likely to imperil them or the vehicle. When the members of the fighting
compartment hear this cry, they will freeze. The crew member who gave the order will report the
nature of the defect or hazard and the commander will order the appropriate action to be taken.
Under most normal conditions the vehicle will be stationary, but if the vehicle is moving, the
commander will order the driver to halt (unless this would aggravate the situation). The order
"Carry on" will be given by the commander after remedial action has been taken.
CLEAR GUNS
6. The order "Clear guns" will be given by the commander when firing is no longer
anticipated. If the smoke grenade dischargers require unloading, the commander will not attempt
to clear them until all other weapons have been cleared. On the "Clear guns" order, the following
actions are carried out:
a. the commander will:
(1) unload the main armament and ease the springs,
(2) unload the coaxial machine gun and ease the springs,
(3) switch off all unnecessary lights and switches,
(4) tell the driver when it is safe to open up the hatch, and
(5) jettison all empty cases and empty coaxial ammunition boxes;
b. the gunner will:
(1) set the gun selector switch to the OFF position,
(2) engage the locking bar under the 76 mm foot firing pedal,
(3) set the coaxial electrical foot firing pedal to the UP position,
(4) switch off all unnecessary lights and switches,
(5) assist the commander with the removal of empty cases, etc, and
(6) if the gun is fitted with Radnis, the gunner ensures the proper closing
down procedure is carried out.
JAMMED CARTRIDGE
7. Jammed cartridges are usually the result of badly stowed or damaged ammunition or a
dirty chamber. If a cartridge is jammed and cannot be removed by the leverage of the breech
mechanism lever, it will be removed with the key removing jammed cartridge.
8. The commander will report "Jammed cartridge" when an empty case or an unfired round
cannot be extracted by the breech mechanism lever. The commander will carry out the removal
of the cartridge as per Chapter 2, section 6, paragraphs 8 and 9.
SECTION 3
76 MM MISFIRE DRILL
GENERAL
1. To ensure safety and an automatic reaction to a misfired round, there is a systematic drill
carried out by the crew which will quickly find the fault and rectify it.
2. If a fault is not found through this drill, one can reasonably be sure that there is a faulty
round in the chamber.
3. The entire turret crew must know by memory the Immediate Action drill which is shown
in Table 14-3-1.

Figure 14-3-1 (Sheet 1 of 3) 76 mm Misfire Drill

Figure 14-3-1 (Sheet 2 of 3) 76 mm Misfire Drill

Figure 14-3-1 (Sheet 3 of 3) 76 mm Misfire Drill
CHAPTER 15
SUMMARY OF ARMAMENT SERVICING
SECTION 1
GENERAL SERVICING SUMMARY
SERVICING GENERAL
1. The servicing requirement for the armament on the Cougar is based on the following four
principles:
a. the armament is kept in good operating condition by regular, periodic servicing
done at weekly, monthly and quarterly intervals. This will reduce to a minimum
amount the essential servicing required immediately before firing;
b. operational servicing should be reduced to a minimum. This is essential to keep
the armament completely battle-worthy, and is practical under operational firing
conditions;
c. the number of different servicing occasions must be kept to a minimum; and
d. the servicing guide is flexible, so it can be carried out under all conditions.
2. The servicing guide is written in a logical sequence which must be strictly followed to if
servicing is to be done in the shortest possible time and cover all items of the equipment.
3. The sections in the servicing guide which cover before and during-firing servicing have
been written to include both peacetime and active service conditions. Before-firing servicing is
not intended as an alternative to the preventive servicing guide; it is complementary to it. There
will be occasions when preventive servicing is carried out immediately before firing. In these
circumstances it is not necessary to carry out before-firing tasks. However, on active service and
during a period of open range firing in peacetime, before and during-firing servicing will be an
automatic, daily task.
4. The schedule has been written on the assumption that all equipment is in a serviceable
state. If any defects become apparent, repair out of serial sequence is left to the commander's
discretion.
RESPONSIBILITY
5. Correct servicing of the armament is the direct responsibility of the crew commander. The
troop leader has the overall responsibility for correct servicing within the troop.
FREQUENCY OF SERVICING
6. Armament servicing should be carried out at the following times:
a. once a week;
b. once every month;
c. quarterly;
d. immediately before firing;
e. during a lull in firing; and
f. after firing.
7. Although all aspects of servicing have been written for general, world-wide application,
the weekly and monthly servicing may be required more frequently in adverse conditions.
Notification of changes in servicing frequency will be made to all concerned through the usual
channels. Circumstances will also affect the type of oil used in extreme temperatures and
abnormal weather conditions; these changes will be notified through commands.
8. Weekly servicing is designed to check parts of the main and secondary armament which
could deteriorate if they were serviced only once a month.
9. On active service, the weekly servicing should be carried out when time permits.
10. In peacetime it is essential that servicing be carried out once week, particularly when the
vehicle is out on training.
11. At monthly intervals complete routine servicing and checking the main and secondary
armament and ancillary equipment should be done. At its conclusion, the vehicle should be fit
for. battle.
12. On active service, monthly servicing should be carried out before the vehicle is
committed to battle and on other occasions when time permits.
13. In peacetime, monthly servicing should be carried out as follows:
a. once a month (or more frequently in adverse conditions);
b. on preparation for open range firing; and
c. at the end of a period of open range firing.
14. Quarterly servicing comprises full monthly servicing plus the additional items which
require minimum servicing.
15. Quarterly servicing will be carried out:
a. every four months; and
b. on receipt of a new or overhauled vehicle.
16. Before-firing servicing is designed to fulfill the minimum requirement prior to firing.
Every effort should be made to do monthly servicing prior to firing.
17. During a full in firing, servicing is designed to check the
weapons and to lubricate the working parts.
18. Upon completion of firing, monthly maintenance will be done.
SECTION 2
LUBRICANTS
OIL
1. The following oils are used:
a. 3GP 335 which is a mineral detergent oil used for general cleaning, lubrication
and for guns under all temperature conditions;
b. 3GP 26 which is used in the 76 mm recoil system; and
c. 3GP 304 which is engine oil used on the turret rollers.
NOTE
For arctic conditions, use 3GP 343 instead of 3GP 304.
GREASE
2. The following types of grease are used:
a. 3GP 641 which is a graphite grease used on the barrel chase;
b. 3GP 685 which is a general purpose grease; and
c. 9150-21-879-9637 Moly-Kote Spray which is used on mating surfaces.

SECTION 3
SERVICING GUIDE TABLE
Lubricants: O - 3GP 335 M - 3GP 26
W - 3GP 685 S - Winshield washer fluid
Y - 3GP 641 L - 3GP304
WEEKLY SERVICING
Elements to be checked Actions to be taken Lubricant
MAIN ARMAMENT
Bore and chamber Clean, inspect (re-oil if no firing is
expected within 72 hours). O
Breech block and Striker Strip, clean, inspect, lubricate. O
Striker protrusion Test. Reassemble breech block to
breech ring. O
Breech closing springs Test. O
Firing gears Clean, inspect, lubricate. Test
operation of electrical and mechanical. O
Phosphor bronze bushing Clean and grease. O
MACHINE GUN (Remove if mounted)
Gun Strip, clean, inspect, lubricate, carry
out sever, point check during
reassemble.
O
SMOKE GRENADE DISCHARGERS
Smoke grenade dischargers Service and test circuits. O
GUN CONTROLS AND MOUNTING
Electrical connections Check for security and damage.
Traverse gear Clean, inspect, check security Test
operation over full movement.
Traverse indicator Clean, inspect, check security and
operation. Carry out test.
Elevation gear Clean, inspect (including gaitor),
check security. Test operation over full
movement.

Elements to be checked Actions to be taken Lubricant
Cradle Clean, inspect, check security
Lubricate where necessary:
Deflector guard.
Recoil indicator - Check setting.
O
Recoil system Clean, inspect and check security.
check recuperator nitrogen pressure
(200 PSI). Top up buffer. Check
position of recuperator tell-tale rod.
Check system for leaks.
M
Quadrant fire control Clean, inspect, check security Zero
and test the operation over full
movement.
PERISCOPES AND SIGHTS
Washers Check reservoir, clean nozzles, test
operation. S
Wipers Clean, inspect, check security. Test
operation of the black out shutters. O
Gunner's sunvisor Test operation.
Sights No. 71, No. 54, Radnis
and mountings Clean, inspect, lubricate, check
security. Test operation of heaters,
filters, graticule illumination, graticule
adjusters, face mask and focus. Test
for parallax.
Sight adjustment Carry out complete boresighting
procedure including adjustment of
commander's sight.
AMMUNITION STOWAGE
Ammunition stowage Clean and inspect the condition of all
ammunition and stowage containers.
HATCHES, SEATS INTERNAL LIGHTS
Hatches, seats, internal lights Test Operation.
STOWAGE
Stowage Check internal and external stowage.
HEATING AND VENTILATION UNIT
Heating and ventilation unit Check operation.

MONTHLY SERVICING
Monthly servicing is carried out on the following instances:
-upon reception of a refitted or new vehicle (including the four monthly tasks);
-at least once a month;
-just prior to a firing period or imminent usage; and
-after firing.
Elements to be checked Actions to be taken Lubricant
MAIN ARMAMENT
Bore and chamber Clean, inspect (re-oil if no firing is
expected within 72 hours). O
Breech block and striker Strip, clean, inspect, lubricate. O
Striker protrusion Test. Reassemble breech block and
insert in the breech ring.
Breech closing spring Test.
Firing gears Clean, inspect lubricate. Test
operation of electrical and mechanical. O
Phosphor bronze bushing Clean and grease. Y
Gauge plug and bore Pass the gauge through the bore.
MACHINE GUN (Remove if mounted)
Mounting Clean, inspect, lubricate, check
security including exit chutes and
trunking.
Gun Strip, clean, inspect, lubricate, carry
out seven point check during
reassembly.
O
Firing gear Mount machine-gun. Test operation.
SMOKE GRENADE DISCHARGERS
Smoke grenade dischargers Service and test circuits. O

Elements to be checked Actions to be taken Lubricant
GUN CONTROLS AND MOUNTING
Turret floor rollers Clean, inspect and lubricate. L
Electrical connections Check for security and damage.
Traverse gear Clean, inspect, check security and
operation. Carry out test. Y
Elevation gear Clean, inspect (including gaiter),
check security. Test operation over full
movement.
Cradle Clean, inspect, check security
Lubricate where necessary:
Gun cradle liners (2 nipples)
SA cam and spring
Anti-rotation key and keyway
Deflector guard
Recoil indicator - check setting.
Y
O
O
O
Recoil system Clean, inspect, check security Check
recuperator nitrogen pressure (200
PSI). Top up buffer. Check position of
recuperator tell-tale rod. Check system
for leaks. Pull back gun, inspect buffer
piston rod.
M
GUN CONTROLS AND MOUNTING
Quadrant fire control Clean, inspect, check security. Zero
and test the operation over full
movement.
PERISCOPES AND SIGHTS
Washers Check reservoir, clean nozzles, test
operation. S
Wipers Clean, inspect blades , test operation. O
Periscopes Clean, inspect, check security. Test
operation of black out shutters. O
Gunner's sunvisor Test operation. O

Elements to be checked Actions to be taken Lubricant
PERISCOPES AND SIGHTS (cont’d)
Sights No. 71, No. 54, Radnis
and mountings Clean, inspect, lubricate, check
security. Test operation of heaters,
filters, graticule illumination, graticule
adjusters, face mask and focus. Test
for parallax.
O
Sight adjustment Carry out complete boresighting
procedure including converging of the
commander's sight.
AMMUNITION STOWAGE
Ammunition stowage Clean, inspect condition of all
ammunition and stowage containers. L
HATCHES, SEATS, INTERNAL LIGHTS
Hatches, seats, internal lights Clean, inspect lubricate. Test
operation. L
SPARES AND TOOLS
Spares and tools Clean, inspect, lubricate, check and
restow. L
INTERNAL AND EXTERNAL STOWAGE
Internal and external stowage Check.
HEATING AND VENTILATION UNIT
Heating and ventilation unit Check operation.

SERVICING BEFORE FIRING
This daily maintenance is performed to keep the equipment in good working condition at all times
and while firing outdoors.
Servicing before firing is not a substitute to monthly servicing, but rather completes it.
Elements to be checked Actions to be taken Lubricant
MAIN ARMAMENT
Bore and chamber Dry clean.
Breech block and striker Dry clean face of breech block, striker
recess and firing pin.
Firing pin protrusion Gauge.
Breech closing spring Test.
Firing gears Test.
MACHINE GUN
Bore and chamber Dry clean.
Firing gear Test operation.
SMOKE GRENADE DISCHARGERS
Smoke grenade dischargers Test circuits.
GUN CONROLS AND MOUNTING
Traverse gear Test operation.
Elevation gear Test operation.
Cradle Deflector guard - Check security.
Recoil indicator - Check setting.
Recoil system Check recuperator nitrogen pressure
(200 PSI), Check hydraulic fluid levels
of the recoil system. Check for oil
leaks. Check position of recuperator
tell-tale rod.
PERISCOPES AND SIGHTS
External Clean.
Internal Clean and check security. Test
operation of washers, wipers, heaters,
filters, graticule illumination, graticule
adjusters, face mask, focus. Test for
parallax.

Elements to be checked Actions to be taken Lubricant
PERISCOPES AND SIGHTS (cont’d)
Sight adjustment Carry out boresighting procedure.
STOWAGE
Stowage Check internal and external Stowage.
EXTRACTOR FAN
Extractor fan Check operation of fan.
DURING FIRING
Elements to be checked Actions to be taken Lubricant
MAIN ARMAMENT
Breech block and striker Remove any dirt or fouling, re-oil if
necessary. O
Crank stop retaining screw Check prior to each day's firing.
MACHINE GUN
Receiver Remove any fouling, reoil.
IMMEDIATELY AFTER FIRING
Elements to be checked Actions to be taken Lubricant
MAIN ARMAMENT
Bore Clean and re-oil if no more firing is
expected within 72 hours. O
Chamber Clean and oil. O
Breech block and striker Clean, inspect, re-oil. O
Firing gears Test operation. O
MACHINE GUN (Remove if mounted)
Gun Strip, clean, inspect, lubricate, carry
out seven- point check during
assembly.
Firing Gear Mount machine-gun, test operation.
SMOKE GREDANE DISCHARGERS
Smoke grenade dischargers Service if fired. O
PERISCOPES AND SIGHTS
External Clean.
Internal Clean and check security.

QUATERLY SERVICING
Quaterly servicing is carried out on the following instances:
-upon reception of a refitted or new vehicle; and
-at least once every three months.
Elements to be checked Actions to be taken Lubricant
Turret rack and traverse gear
box pinion Clean, inspect and lightly grease. O
Periscopes and mountings Remove periscopes, clean, inspect,
lubricate. Replace and check security. O

Figure 15-3-1 (Sheet 1 of 2) Lubrication Chart

Figure 15-3-1 (Sheet 2 of 2) Lubrication Chart
ANNEX A
RELATED DOCUMENTS
1. The following NATO Standardization Agreements (STANAGS) have been wholly or
partially incorporated into this manual:
a. 2310, Small Arms Ammunition (7.62 mm);
b. 2316, Marking of Ammunition (and its packaging of Calibre below 20 mm);
c. 2321, NATO Code of Colours for the Identification of Ammunition (except below
20 mm);
d. 2322, Minimum Marking for the Identification of Ammunition (and its
packaging);
e. 2329, Links for Disintegrating Belts for use with NATO 7.62 mm Cartridge; and
f. 4090, Small Arms Ammunition 9 mm Parabellum.
2. The following America, Britain, Canada, Australia (ABCA) Quadripartite
Standardization Agreements (QSTAGS) have been sholly or partially incorporated into this
manual:
a. 302, 76 mm Ammunition for Guns L5 and L23;
b. 454, L8 Smoke Grenade;
c. 584, Scorpion Turret; and
d. 597 (Draft) Handheld Laser Rangefinder AN/GVS-5.