1.0 XEA110
User Manual: XEA110
Open the PDF directly: View PDF
.
Page Count: 32

XE-AIIOVS
SHARP SERVICEMANUAL
CODE: OOZXEA11OVSME
ELECTRONIC
CASH REGISTER
SRV KEY: Not necessary
PRINTER:M-31
(For “V”version)
XE-A130
CONTENTS \
CHAPTER
CHAPTER
CHAPTER
CHAPTER
CHAPTER
CHAPTER
CHAPTER
1.
2.
3.
4.
5.
6.
7.
‘SPECIFICATIONS
OPTIONS . . . . . . .
. . .
. . .
MASTER RESET AND
..........
..........
PROGRAM
HARDWARE DESCRIPTION .....
TEST FUNCTION ..............
SERVICE PRECAUTION ........
......................1
......................5
RESET . . . . . . . . . . .. ...5
......................5
......................9
.....................11
PARTS GUIDE
CIRCUIT DIAGRAM AND PWB LAYOUT ................12
Parts marked with “A” is important for maintaining the safety of the set. Be sure to replace these parts with specified
ones for maintaining the safety and performance of the set.
SHARP CORPORATION This document has been published to be used
for after sales service only.
The contents are subject to change without notice.

XE-A11OVS
CHAPTER 1. SPECIFICATIONS
1. Appearance
Front view
XE-AI 10 XE-A130
2. Rating
XE-A110 XE-A130
Version SEEG SUK SCA SEEG
I
SUK SCA
(Country) (GERMANY) (U.K.) (AUSTRALIA) (GERMANY) (U.K.) (AUSTRALIA)
Weight 4.0 kg 4.3 kg 10.0 kg
External dimension (Including the drawer) 330 (W) x380 (D)x218 (H) mm 420 (W) x423 (D) x234 (H) mm
Power source AC 230V (fl O”/.),60 Hz
Ambit temperature, humidity 0- 40*C (32 to 104”F)
10- 90”C
3. Keyboard
1)Keyboard layout
@XE-A11O
Type Normal keyboard
Key position STD/MAX 27
Key pitch 19 (w) x19 (h) mm
Kev Iavout Fixed tvDe I
B
T@nM~L
789
456
123
0‘00
VAT Po m
RA Q/o
D4m
CJ-i CR
m3
#/ST
n2
TUAT/NS
P1E
@XE-A130
Type Normal keyboard
Key position STD/MAX 31
Key pitch 19 (w) x19 (h) mm
Key layout Fixed tvc)e
IVAT
&
456
123
000
m
iPo @
5[
RA %
m4m
wCR
m3
#/ST
m2
TUAT/NS
P1E
2) Key List
KEYTOP DESCRIPTION XE-A110 XE-A130
0to 9,00 Numeric keys o0
CL Clear key Go
@/TM Multiplication/
Time display key ox
Ie~Discount key xo
I
DEPT. 1-4 IDepartment 1-4 keys ox
!
DEPT. 1-5 IDepartment 1-10 keys xo
TPaper feed key o0
RA Received on account key o0
Po Paid out key o0
0/0 %key o0
Void key o0
#/ST INon add codel
~Tax included subtotal key o0
CH ~Check key o0
k
CR ICredit key o0
TMAT/NS Total/Amount tender/
No sale key o0
+
IVAT IVAT kev 1010
@Multiplication key xo
TM Time disI)lav kev xo
IRF \Refund kev Ixlo
-1-

4. Mode Switch
1)Layout
@XE-A11O
●Slide type
&CAL ~EG XFLASH ZPGU
Ir--’ I
I1I1
@XE-A115
●Rotary type
REG
CAL IX/FLASH
OP key: “POWER OFF” mode to “REG” mode.
MA key: “POWER OFF” mode to “Z/PGM” mode.
*The keys can be inserted or drawn out in “REG” and “POWER
OFF” position.
@(POWER OFF): Switching off the display to prevent keyboard
entries.
CAL: Calculator mode,
REG: Various registrations.
WFLASH: Reading of any daily totals/Display reading of
some daily totals and limit overriding.
ZIPGM: Resetting of any daily totals/PGM programming.
5. Display
1) Operator display
Display device: LED numeric display
Number of line: 1line
Number of positions: 9positions numeric display
Color of display: Red
Character size: Numeric 14.2 (H) x7.8 (W) mm
(Layout)
2) Customer display (Only XE-A130)
Display device: LED numeric display
Number of line: 1line
Number of positions: 7positions numeric display
Color of display: Red
Style: Rear
Character size: Numeric 14.2 (H) x7.8 (W) mm
.m-Allovs
3) Display contents
hDisplay !Description
position
Amount I8-1 ~
Minus sign I9-2 I–: Floating
Error 9IE
PGM Mode 91P
CA/AT/NS [9 ~F:Lightsup when aregistration is
CHARGE Ifinalized by depressing
CHECK TUAT/NS, CH or CR Key.
Subtotal or shod i90
tender
Change 9C:Lights up whenever the change
due amount appears in the
Idisplay.
Department 9–8 No zero-suppressed.
Repeat 8Endless count, stafiing from 2
Decimal point 3-1 ITAB
Low battery 9L:Lights up when the voltage of
the battery for memoty
retention is lower than the
reaulated voltaae.
6. Printer
1)Printer
@M-31 (For XE-A11O)
●Model name:
●No. of stations:
●Printing system:
●Printing capacity:
oCharacter size:
●Print pitch:
●Print speed:
M-31
1
Print wheel selective type
Journal -13 characters
1.6mm (W) x2.8mm (H)
Column distance 2.lmm (numeric to numeric),
2.6mm (numeric to symbol)
Row distance 4.6mm
Approximate 1.4 lines/s
●Paper feed speed: Approximate 4.3 lines/s
●Reliability: MCBF 0.3 million lines
@M-42V {For XE-A130)
●
●
●
●
●
●
●
●
●
Model name:
No. of stations:
Printing system:
Printing capacity:
Character size:
Print pitch:
Print speed:
M-42V
1
Print wheel selective type
Journal -19 characters
1.6mm (W) x2.8mm (H)
Column distance 2.1mm (numeric to numeric),
2.6mm (numeric to symbol)
Row distance 4.6mm
Approximate 2.2 iines/s
Paper feed speed: Approximate 8.0 lines/s
Reliability: MCBF 0.7 million lines
(Layout)
-2-

XE-A11OVS
2) Paper
●Paper roll dimension: 57.5N.5mm
max. 80 mm in diameter
●Paper quality: Journal
Bond paper (paper thickness: 0.06to
0.085mm paperweight: 47 to 64g/m2)
3) Inking
●Ink supply system: Ink rill
●Form: Roller
●Specification: Material –rubber
●Ribbon life: 1million characters
●Print color: purple
4) Logo stamp (No)
7, Drawer
[Outline]
●
●
●
Standard equipment: Yes (1)
Max. number of “
connectable drawers: None
The drawer consists of:
(1) Drawer box (outer case) and drawer
(2) Lock (attached to the drawer)
[Specification]
1) Drawer box and drawer
@Except for XE-A130 SCA (Australia) and SUK (U.K.) version
IModel nameofthe drawer box ISK-380 I
ISize I330(W) x380 (D)x94 (H) I
5) Cutter (No) Color Gray 6
Material Plastic
6) Printing wheel layout
@M-31
1 2 3 4 5 6 7 8 9 10 11 12 13
0 010 0 0 0 0 ~o 0 0]0 o‘o]x
1I
1 111 ‘1 111~1 1 1‘1 1 1 z
222 2 2 2 212 2 2 2 2 2 RA
333 3 3 3 3 ~333 3 3 3 /PO
4 4 4, 4 4 4 414 4 ,4 4 4 4 Ivl)
I
555!5 5 5 ,515 515’ 555‘/0
66616 6 6 6 6 6/6 6 6 6 @
77~717 777‘7 7777 7 ST
88~818 8 8 8 8 888‘8 8TX
(
99[9\9 99“ 9 9 919 9 9 9 ICA
10 ~I1
31 –~–~- –-–––\– ––-ICH
,
12 i~,,. ]CK
13 # i#;#,####1#~#~#~# #ICG
@M-42V
1 2 3 4 5 6 7 8 9 10 11 1213 141516 17 18 19
00/0 Ojo oio ‘0/0 oo~o ‘O~O~OIO]o~oICA L
I
1 111 1’1 ‘1 111,1 ‘Ill 111 1]1 11CH 1
2 2 ~2I22222\2[212[2 212 2 2 2 2RA 2
!
3 313 3 3 3 3 3 [3~3~3[3333333Po 3
4 414 4 4 4 4 4 4 414 4 4 4 4 4 4 4INT 4
5 515 5,5 5 5 5 5 5 5 ,5 515 5 5 5 5 ST CK
66\6 61616 6666‘6 66~6 6 6 6 6AT +
7 7 7 717 7 777777717’ 7 7 7 17 CG -
,
8 8 8 8 I8, 88888888]8 8 8 8 8Tx x
9 9 99/9~91 919 9 999919 9 919 9RF @
10 – --1-\-~- ------/-,- - - -
11 ,,,l,i,~, , , , , , ,!, , , , ,*#
12 . . .~.l.~, ... . .\. i. . . . . y. NS
13 # ,# #~#I#I#~####l#\#!# # # # #VD TA
Bell —
Release lever Standard equipment; situated at
the bottom
Drawer open sensor i– I
@For XE-A130 SCA (Australia) and SUK (U.K.) version
Model name of the drawer box ISK-423 I
Size I420 (W) X423 (D) X114 (H) I
Color Gray 6
Material Metal
Bell l–
Release lever Standard equipment; situated at
the bottom
IDrawer open sensor l–
Separation from the main unit Disallowed
-3-

XE-A11OVS
2) Money case
@Except for XE-A130 SCA (Australia) and SUK (U.K.) version
Separation from the drawer Disallowed
Coin case Fixed type
Number of compartments 4f3/5c
Layout:
❑
4B15C
@For XE-A130 SCA (Australia) and SUK (U.K.) version
Separation from the drawer Allowed
Separation of the bill components from Disallowed
the coin compartments
Bill separater Standard
Number of compartments \4B/8C
3)
●
●
Bill saparator: lpc
4B18C
Lock (LOCK KEY: LKGIM7331BHZZ)
Location of the lock: Front
Method of locking and unlocking
To lock, insert the drawer lock key into the
●Key No.:
lock and turn it 90 degrees counter clock-
wise.
To unlock, insert the drawer lock key and
turn it 90 degrees clockwise.
SKI-1
8. Battery
1)Memory backup battery
For memory back up, the dry battery ULM-3 (3 pieces) are needed.
1.
2.
2)
Memoy holding time:
Approx. 1year after NEW dry batteries are inserted.
Battery exchange method:
When the low battery symbol “L” lights up, replace the batteries (3
AA) replaced by the following method, within 2days.
1) Power on the ECR.
2) Mode switch turn to “REG” mode.
3) Remove the OLD dry batteries (3 pieces).
4) Insert the NEW dry batteries (3 pieces).
5) Confirm the low battery symbol “L” is off.
Low battery
Low battery indication will appear on left side of display when the
battery voltage is low.
CASE 1: When sitting idle or afier completion of transaction.
The machine can indicate the low battery condition. (Always)
CASE 2: Low battery indication will not appear during key opera-
tions, but will appear after power up of the cash register.
[Display sample]
u0.00u:Battery is OK.
“L 0.00 “:Low battery (You have to change the batteries.)
After finalization
“F 12.34“ :Battery is OK.
“L 12.34“ :Low battery. (“L” indicate instead of “F”.)
3) No battery
If the user forgets to replace the battery and the battery voltage falls
below acertain level, or if apower failure occurs with no battery
installed, memory contents cannot be retained. The CPU judges it as
no battery and perform the master reset. In this case, all the settings
and registrations are cleared. If, however, the power is supplied to the
AC cord, even though no battery is installed, memory contents are
retained.
-4-

XE-A11OVS
CHAPTER 2. OPTIONS
1. Options (No)
2. Service options (No)
3. Supplies
NO. NAME PARTS CODE PRICE RANK DESCRIPTION
1. ROLL PAPER DPAPR 10 25CSZZ AS 5ROLLS/PACK
2. ,INK ROLLER NR~LR 10 22CC05 AF
4. Special service tools (No)
CHAPTER 3. MASTER RESET
Master reset: Clears all the memory and initializes each preset
parameter.
Master reset should be performed by using the following procedure.
1. Turn off the power (Power OFF). (See Note 1,)
2. Let the ECR be without the memory backup battery.
3, Turn the mode switch to the others of Power-off position.
4. Turn on the power (Power ON). (See Note 2.)
When the master reset is completed, the buzzer sounds intermittently
three times.
5. Attach the memory backup battery to the ECR.
The master reset can also be accomplished in the following case.
(See Note3.)
Note 1) Power OFF: Means stopping the AC power supply to the
machine.
(Specifically, unplugging the machine.)
Note 2) Power ON: Means supplying the AC power to the machine.
(Specifically, plugging in the machine.)
Note 3) In case power failure occurs when the machine has no bat-
tery attached to it, the master reset operation is automatically
performed after the power has been restored.
This is because if power failure occurs with no battery at-
tached to the machine, all the memory is lost and the
machine does not work properly after power recovery;
this requires the master reset operation.)
CHAPTER 4. HARDWARE
DESCRIPTION
1. Block diagram
m-y
E
‘Printer DrwerIC
M-31
(XE-A1 10) Tumungsignal
or
M*V Drawer
[XE-Al~) ~Eox ,Driver
L
LSI
.Ci3650
d
Vo’
-5-

XE-A11OVS
2. CPU (LC8650) Pin configuration
—
I
NO. ~PIN NAME SIGNAL NAME ~DESCRIPTION [IN/OUT IACTIVE ~Powerintemption
1{Usedfortimer interruption)
II1
1:Plo/soo RWND ,REWIND MOTOR OUT ,HIGH ~‘LOW ‘ ‘
2;PI l/SIO/SBO MTR MOTOR FOR M42V/M31 OUT HIGH ~LOW
3;P12/SCKO TRG PRINT SOLENOID IOUT ~HIGH LOW
4~P13/sol DR DRAWER IOUT IHIGH LOW
5~P14/Sll/SBl ~NOT USED OUT LOW ~LOW
I
6~P15/SCKl ~NOT USED OUT LOW LOW
7;p16/Buz ‘BZ ~BUZZER ,OUT \HIGH/LOW ILOW
8~P171PWM \NOT USED 1OUT LOW iLOW
9ITESTI TEST ~NOT USED ,
!I
10 /RES /RES ~RESET IIN LOW IN
11 ~XT1 iXT1 ISUB CLOCK I
12 1XT2 \XT2 ~SUB CLOCK !
13 IVss GND \GND ~
14 ~CF1 xl IMAIN CLOCK II
,
15 CF2 x2 MAIN CLOCK I
I!
16 VDD VDD VDD I!
I
17 ,P80/ANo KR1 ,KEY RETURN 1IIN ~HIGH IIN
LOW
LOW
,m,,’
–6–

XE-A11OVS
3. Clock generator 5. RESET circuit
The Xl generator 32.768KHz which is primarily used to update the
internal RTC (Real Time Clock).
The X2 generator 12MHz which is used as main clock.
4. P-OFF circuit
frompower suppty circuit
f>
T
Vo m
ZD1
\\ ‘M -,
$;;K
AI MTZ6.2B:XE-A110\
MTZ6.2A:XE-A130\R6
D5 10OK
!R4 1C7
5.6K ~3.31JF/50V
I
POF
When the power is supplied, vottage Vo from the power supply circuit
rises. When it reaches about 6.2V, point Ais driven to HIGH so that
the POF signal of the CPU is fixed to HIGH with Vcc and the CPU
performing power ON process.
When voltage Vo falls below about 6.2V by turning off the power,
point Ais driven to LOW to fix the POF signal of the CPU to LOW and
the CPU performs power OFF process.
Since Q1 is turned on by Vcc, the RES signal is driven to LOW to
reset the CPU. After that, discharging of C8 turns off Q1 to drive the
RES signal to HIGH.
6. Printer circuit
TRG‘I
Drwer
,#
~~ Trriggermagnet
Ic
IIVcc I
to‘~ SubTimingpulsdetector
mI
1
RI
%y %.’~ Reseipulsdetector
II,
I I
1JI
7. REWIND motor drive circuit
b
hJMOTOR
R1o
Fiwm Q2
IK
7
C37M
Rll
15K
When the RWND signal from
operate the motor. the CPU is HIGH, Q2 is turned on to
8. DRAWER drive circuit
T
Vo
F>“-””
R12
OR 03
TK ,C3784
4
R13
1%
I
-7-
When the DR signal from the CPU is HIGH, Q3 is turned on to
operate the solenoid.

XE-A11OVS
Keyboard circuit 10. Display circuit
\\\,
CPU
I
‘sT’-KST”‘&2T24s”
Key Mode
Matrix Svuitdl
~KR2-KR5 I~
1.
1
lms
-:
+30-1Oops
ST1 .,
.,
ST2 :
KSTn nn
n=l-4, m=5-8
KSTm nh
KST2 -KST5 of the key strobe signal are used as the Mode switch
strobe signals.
CPU
CPU ““’’””Y*I I I1
II
ST1-5 -
SA1-~1
4
4C3198
2.2K
SDP1
lx
One strobe signal drives two-digit LED.
-8-

CHAPTER 5. TEST FUNCTION
1)To execute the diag test, set the mode switch to Z/PGM, enter a
desired JOB code, and press PO (paid out) key.
2) The test message is printed by the printer.
3) Test contents and key operations
No. ~Test contents !KevoDerations
fI.!
1Mode SW test I1+~
2Key test —02 + ~
3Display buzzer test 3+ ~
4Drawer test 4+ ~
5Printer test ~5+ ~
6,CPU version No. print ~6A ~
7IBattery level test I7+~pol
1. Mode switch test
1) Key operation
2) Test procedure
Change over the mode switch as shown in 3). If the mode switch data
in the proper sequence is not read with the above operation, an error
print is made.
To cancel this test mode, set the mode switch from aposition other
than 2PGM to Z/PGM. In this case, the completion print is made.
During the test, the display indicates hard codes which correspond to
switch positions.
3) Mode switch operation
Mode: Z/PGM +WFLASH +REG +CAL +(!) w~PGM
Display: (04) (03) (02) (01) k(0.00)
No check when
returning the
switch to Z/PGM.
Completion print 01
Error print ########ol
3) Key check sequence
There is no specified key check sequence. Pressing TL/AT/NS key
terminates the key check and starts comparison with the sum check
data.
Completion print 02
Error print ########02
No, IModel ISumcheck data Production start
1XE-A11O [946 Jun. 1995
2XE-A130 I1107 Jun. 1995
The hard codes shown below are added in the hexadecimal system
and the lower two digits of the total are converted into the decimal
number, which is the sum check data.
Sum check data table (Keys which are shaded as ~are not used.)
@XE-A11O
m15 14
? 05 04
25 24 03
35 34 23
32 44 02
45 75 55
@)(E-A130
m15 14
TI05 ~04
I
25 ~24 03
35 ~34 ~23
32 ~44 02
45 75 55
13 22 42
12 I63 72
43 ~53 64
54 45 73
74 ~TuAT/NS
13 22 42
12 ~63 72
43 ~53 i64
54 45 73
74 ~TUAT/NS)
All the key position codes of each model are summed up and the total
is used for the sum check data.
2, Key test
1) Key operation 3. Display buzzer test
02+ ~
t---- Sumcheck data 1) Key operation
3+~
2) Test procedure
Perform the keyboard check with the sum check data of the key code.
Enter the sum check data of each model in the four digits preceding
the diag number 02. and compare the data with the key position code
which is added until TUAT/NS key is pressed. (THAT/NS key is out
of calculation.) If the data coincides with the code, the completion
print is made. If not, the error print is made.
(At that time, acatch sound is generated and the key code is dis-
played in the lower two digits on the display.)
2) Test procedure
Check the continuous buzzer sound and the display state.
Dispiay state:
8.7.6.5.4.3.2.1.
The decimal points will shift from the lower digit to the upper, step
by step.
To cancel the test mode, press any key, and the buzzer will stop and
“0.00” will be displayed.
Completion print 03
-9-

~-AllOVS
4. Drawer test
1) Key operation
2) Test procedure
The drawer opens with the above key operation. Check that the
drawer is open. Press any key to terminate the test.
Completion print 04
5. Printer test
1) Key operation
5+~
2) Test procedure
With the above key operation, the print test pattern is repeatedly
printed. Pressing any key will terminate the test after completion of
one cycle print. {The receipt is issued at the end.)
@XE-A11O
,0 010 x
I111z
II*. . ‘1
I
!333Po
14 4 4VD
!!,
!5 5 50/0
6 6 6@
i7 7 7ST
t8 8 8TX
I9 9 9CA
{
I——-GH
ICK
# # #CG
@XE-A130
Io0ICA z
!1 1 ICH 1
2 2 IRA 2
3 3 Po 3
I4 4 NT 4
iI5 5 ST CK
[*6 6 AT +
I,7 7 CG -
8 8 Tx x
9 9 RF @
- - ,
, , *\#
$I?4 NS
[# # \VD TA
6. CPU version
1) Key operation
6+~
No.print
2) Description
The CPU version No. are printed with the above key operation.
(Print example)
0100 CPU version No.
This test is terminated when printing is completed.
7. Battery voltagesensortest
1)Key operation
7+~
2) Test procedure
Displays A/D mnversion port read value.
●0155 or greater: Normal
●0154 or smaller: Low battery display
To terminate the test, press any key.
Completion print 07
-10-

XE-A11OVS
CHAPTER 6. SERVICE PRECAUTION
1. Printer
Since the service parts of the printer for this model are of low price,
only the printer unit is supplied. Therefore, the printer component
pans are not supplied and no service document on them is issued.
For troubleshooting of the printer, refer to the tabie beiow:
*Printer iife: 300 thousand lines (XE-A11O:M-31)
700 thousand iines (XE-A130: M-42V)
ink roil life: 1miiiion characters
Phenomena Check point/possibie cause 1
1Repair
t
●The printer motor is iocked and the ●Check if the printer cabie is disconnected. z●Check and repair the printer cabie.
buzzer sounds intermittentiy.
●The printer does not work properly. cCheck if the printer life is reached. ~. Repiace the printer.
●Check if any foreign materiai is attached to the ●Remove the foreign materiai. (After removing the
printing type wheei or the gear section. foreign material, set the mode switch to “REG”
and press “CL” key.)
●Defective print (Lack on the upper/ ●Check if the printing type is worn down. ●Repiace the printer.
iower or ieff/right side) ●Check if any foreign material is attached to the ‘●Remove the foreign materiai. (After removing the
printing type wheei. foreign material, set the mode switch to “REG”
and press “CL” key.)
I
●Thin print ●Check if the ink roll iife is reached. ~●Replace the ink roli.
●Check if the ink roii is properiy attached. ●Attach the ink roli properiy.
●Check if the printing type wheel is worn down ●Repiace the printer.
because of life.
@Uneven pitch of print paper feed ●Check if the roii paper size is proper. ,●Use the roll paper of foiiowing sizes:
Paper width: 57.5 *0.5 mm
\Outside diameter: 980 mm or iess
inside diameter of paper tube: 912 mm or iess
Paper thickness: 0.06-0.085 mm
●Check if aioad is appiied to the roii paper ●Remove the cause to remove the ioad.
during paper feed because of aforeign
material attached to the roil paper.
-11-

XE-A11OVS
...................................
I
.........
&
z8:
6:
x,
2’
.
1
/\I
I
M42V(XE-A130)
..... . . .u
-12-

XE-A11OVS
t’) ‘1\ )
i
-13-

XE-A11OVS
2. PWB LAYOUT
@XE-AIIO MAIN PWB
-:4-

XE-AIIOVS
XE-A130 MAIN PWB
XE-AIIO SLIDE PWB (~j XE-A130 ROTARY pWB
11
-H
L2
%@l M-OA
B
F7443BH-55 <.
-15-

SHARP PARTS GUIDE
EX-A110
MODEL Ex-A130
PRINTER: M-31 (XE-A1 10)
M-42 V(XE-AI 30)
for KA, KB, TQ, TS, TR
~cONTENTs \
m
—
~Exteriors ~slide PWB unit [XE-AI 10]
Drawer box unit(SK380type) TRotary PWBunit [XE-A130]
[except XE-A130 :KA, KB] ~
@Atricles for consumption
Drawer box unit(SK423type)
[XE-A130 :KA, KB]
Packing material &Accessories
Main PWB unit
~Ac CARD
■Index
I
Because parts marked with “A’ is indispensable for the machine safety maintenance and operation, it must
be replaced with the parts specific to the product specification.
Table of destinations
SELECTION
CODE ICOUNTRIES 1
uiU. S. A., Guam i
I
A/Canada
TS iGermany I
~SEEG terntory other than Germany I
Tn
IIY (Stamp :English) I
,
!7D SEEG territory other than Germany :
I,!, I(Stamp :Spanish)
I
tKB \U. Kingdom
KA ]Australla
.. .
SELECTION
CODE ICOUNTRIES
K]Korea {
I
~SELECTION I\
IA- . . ICOUNTRIES
Luvt I!
IMorocco, Algeria, Tunisia, !
RA1 /West Africa
RA2 Chile, Uruguay, Peru,
Argentina, Paraguay I
RA5 Sn Lanka 1
SELECTION ;
CODE ;COUNTRIES
SE 4
ISaudi Arab[a (127V area)
ISBA iSaudi Arabia (220V area)
ISc ~¾¶•`‰¶•••‘•”•%Tatwan
—
SD :Venezuela
SE :Hong Kong
Lebanon, Syria, Greece, Pakistan, Iran,
I
ISG !Egypt. Thailand, Iraq, Mauntl us, 1
Seychelles, Tahiti, Jordan, Sudan, Turkey
,
ISH South Africa (U. S. A. version) I
,
ISHE South Africa (Europe version) ,
I
ISJ IPhilippines (Europe versl~n) I
SJ2 !phllipplnes (U. S. A. version) 4
SM iKuwait, Qatar, Oman, UAE, Malta, Bahrain
SMT ~Nlgena, Yemen, Kenya
)
ISELECTION I
!CODE !COUNTRIES I
R53 ‘Indonesia !
IRE34 I
SELECTION I
CODE COUNTRIES
RC1 iMalaysia (Europe version)
RC2 ~Singapore
~RC5 ,
IDomlnlcanRepublic,Ecuador:

XEA130V
?~HDECP6840BHzz !AL N
HDECP6841BHZZ !AL N
9,GFTAB6791BHzz ~AF
IOIQTANZ
ll~QTANZ6609BHZ ZIAF INI~
1710TANZ
NIcB~~te~ycover !I~
6652BHZZ !AE NcBattery terminal ”-” 1:!0
cBattery terminal “A” i“-. I
L’ o
6650 BHZZ AF INIcBattery terminal “B” oc
6651BHZZ AF] NQ
1cBattery terminal “+” L, L!
6774BHZZ BE] hEPrtnter(M-31) 2
IE]Pnnter(M–42V}
cIScrew(3X8) n
L, :
.
L;5 G+AN~
14 KI–~B
Ki–OB6 775BHZZ BK IN
15 XLJBSD30P 0800 OAA I
16 GDAI–6667BHZz AG Nc ]
Paper stand ILIu
17 XBPSD26F’04000 AA ,--./..
1- -mI
18 LHLDZ6833BHZZ AE N
19 PGUMM6702BHZZ AB
70 RMfiTM
Lscrew (L.b~4) Iu
cMotor holder :o
ic Motor gum o0
16631BHZZ IAZ BMotor ~oio
n
;~lQcNw–7738BHzZ AE NcIMoter cable 1L’ ~U
221CPWBF7438BH0 3BM N1EIMain PWB unit (include M25,28)l ~1
[cPw6F7441BH02 BP N1r“’-”- ‘U’m “-” fl”,-l,,Aa M?K ?R)i In
23\CPWBF7443BH0 1AS ‘i’ ‘
L\lvidlrl rwDulill <,, ,L,,””G V...64, L”J U
Iw 1ERotary PWB unit 2
124/ XJSSN30P 080 00 IAA cScrew (3X 8) o0
IcScrew (3x 6) o 0
., -- --- .
25 XBBSD30P 06000 /AA I
{Inell ,dn
27 CPWBF7442BH01 \AZ N
28 LA NGK7575E “-- ‘““ “
29 QC NW–- - - --
30 LKGIW
\.,,u, u”” .- ”- “. /
ESlide PWB unit o“
tiHLL AM NIcPWB Angle o 0
-//3 bBHZz AK NcMode switch cable (5P) o
i7 374BHZZ AX NBMode swltch(body) !o
.- ...n..-,-“r !nOP key Io
, I
31LKGi M/ JIIMHLL IAt I I D
,LKGIM711OBHZZ /AE n
32] LFRM– - “- - ‘- ‘‘- ,
~3\ PGUMM 6 7 2 1 BHL L \AU IN1
IPGUMM6722BHZ Z‘AV INbIr~c y
34\P S HE P 6 8 2 7 BHZ Z AY ]N]n‘“
35 ILPLTM6 69 6 BHZ Z AS I“
36 ~XUP S D- - - - “ - - - “
~7iCKNBZ6891BH0 1IAX INc\Key top unit (
\CKNBZ6892BH0 1IAZ ~Nc ~Key top unit
38i9CNW– -----”’-- ‘‘e ‘“‘-‘fi’y””L’- (
IDMA key Io
-6694 E3HLL IA> \N1DKey frame 0/0
.- -- . . ., cKey rubber (27key) o
P‘-’ rubber (34key) !0
nej sheet unit 0]0
N:
IBase plate 0!0
J3Ut’Ub UUU IAH !IcScrew (3X 6) 010
Key frame tkey top) 10
Key frame +key top)
-/ fi [HHLL ~HP :NbIu/ Ica~le o:
II
I ! I
1
11II I
II I
I
II
I I IIi
I
I!f
!
I!
1II
—l—

XEA130V
❑Exteriors
110
13
For XE-AI 10
r————————
30

H
AK
AU
AF
15 RPLU–6644BHZZ IAW
16 LX–BZ6775BHZZ ‘AA
17 MLEVF6712BHZZ AF
18 MSPRT6742BHZZ AD wi
19 XRESJ’” ““””n “
20 NR~LP~--U--J’ ~-- ‘
21 MSPRC
22 LBRC–6668BHZZ IAN !,cIBracket I
23 MSPRT6731BHZZ
24 MLEVF6699BHZZ AE-[ ‘c Bill lever
25 XNESD60–50000 AA cNut(M6)
26 XUBSD30P06000 AA me––- ,-,...-.
27 PsKR–~~~~Qu7 7AU
*r“,”,”!
DlMoneycase(3B/5C)
B]Lock key (body)
cIKey ring
c\Lock key spring
I341XRESJ50–06000 ]AA 1IcEtypenng(5m)
351DHNT–1306BH 2Z IAX ELock key unit
IPCm..-.,., {A vC\
},
3i i j BSD~ ~ P6~O6~AA ,IudL1cw <v-w]
37 LPLTM6694BHZZ AV NcBottom plate
38 LX–BZ6778BHZZ AA \cScrew
39 XUBSD
40 LANGK
41 MSPRC
I3OP1OOOO AC cScrew (3X10)
7584BHZZ AL 1!C Solenoid angle
:6748BHZZ AD IcPlunger spring
,8339BHZZ AC IDPaper pad
‘6655BHZA AFI NIcRofler
44[NSFTA6655BH ZZ AE N\ CIRofler shaft . ...,,
(Unit)
901!GBOXD7 1 3 3BHZZ BQ NEDrawer box unit (except kl-11,38)
I I
—3–

XEA130V
❑Drawer box unit(SK380type) [except XE-A130 :KA,KB]
38\
1
/
7
36
35 I34
‘1 i32 “, ~”
33 0
L/
.————
RCPSO067
—4—

XEA130V
Ill >~~dl d LUI i
II bag
!oney case (4B/8C) I
lnold
unit I
ILULn ncy api IIIE
jttom plate I
Ic1Screw(4X 12)
Irtti spring
I40 IMS P RB67 1 1 BHZ Z \AD1Ic\Ea
41 IXHP S C3 0 PO8 0 0 0 ]A A ciScrew (3x 8)
142]D U N T – 1 3 0 6 B H Z Z ]A X j]EILock key unit (include Mn20,21,33-36)
43
49
50, LX–t-l Zn n ~KR U 7 7 IAA I[r Iqrr,
51 \LBN D J20 03 SCZ Z IA A cINyl
SPAKA8 25 5BHZZ IAC D!PaL
LX– BZ 677 8BHZZ IAA cIScrt
.“ “ ., “-,, - - 1,. . . 1 1 I-“. .
36877 BHZZ IAZ INIB\pov
A52~R TR N P
531 QC N W– 77 3 9 BHZ Z IAGNc!Ps
AIQ ACCL 1 0 1 8CCN 1AV BAC
54 IQ CNW– 1 03 5 C C Z Z AL BAC
2,~QP LGA O006 QCZ ZAQ r
.Plul
55 ~GC~VH7 0 9 4 BHZ Z AK
XHPSD30P 06000 \AA I
~r pad
?W
?W (3 X8KS)
ver transformer (230 V-240V) I
cable
cord [KA]
cord [KB]
E( 3A 250V) [KB]
N D ITrans cover I
CIEarth wire
IciScrew (3X 6)
EIMoney case unit (4B/8C)
ri~rawer case unit (Include k28-32)
i(Unit)
901 ;GBdXD7 1 0 6 BHZCBS NEDrawer box unit (except k49-58)
[
—.5—

XEA130V
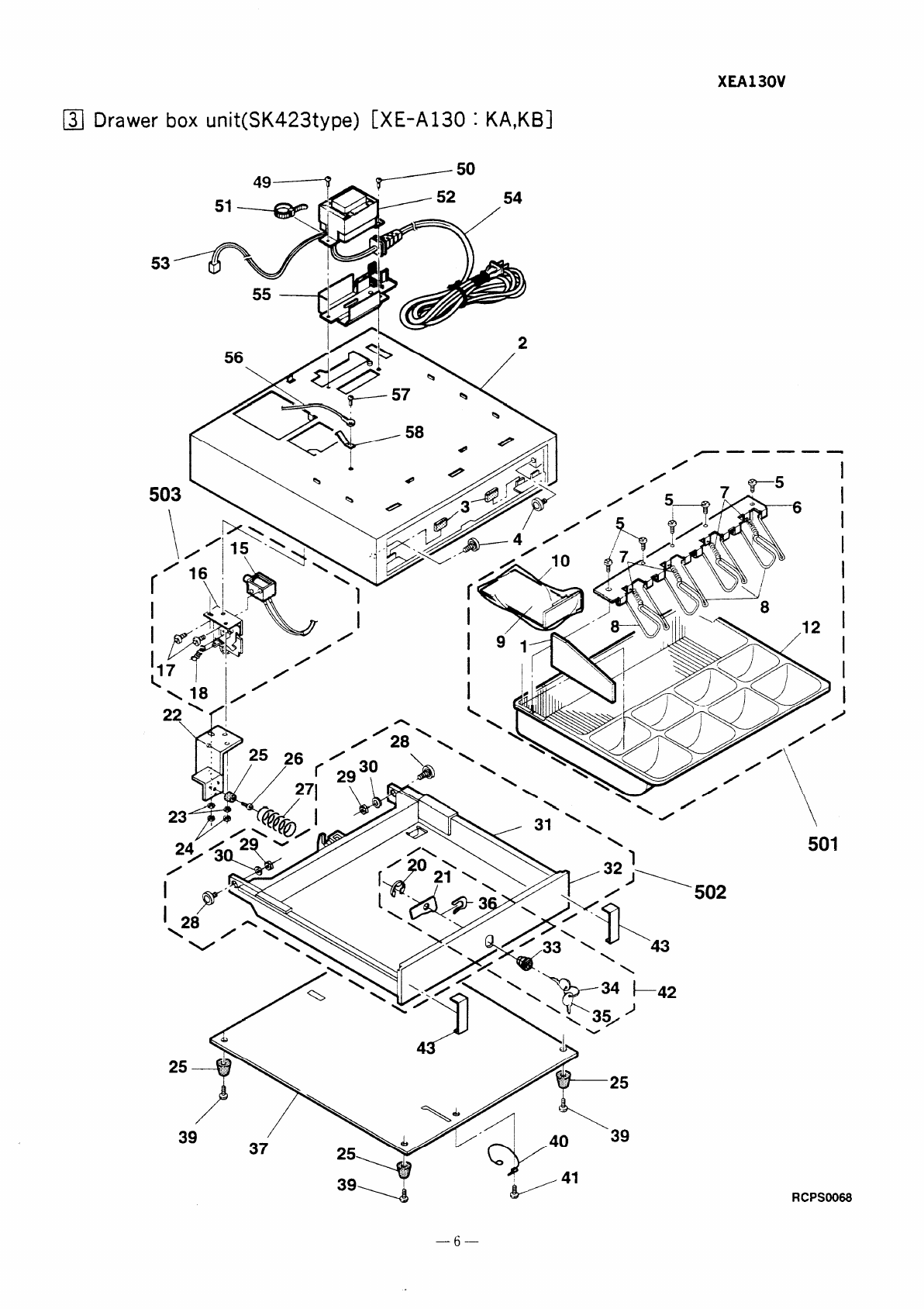
❑Drawer box unit(SK423type) [XE-A130 :KA,KB]
53
5
r
I
I
4
v/ / /. \
\
>
1
\32J~502
\0
T
.;::.
39-
!
I
I
I
I
I
I
I
I
/
RCPSO068
—6—

XEA130V
~, packin~ ~ateria[ &Accessories
u’”
NO. PARTS CODE PRICE NEW \PART
RANK MARK 1RANK DESCRIPTION
SPA KC8320BHZz AY N!- “ “-
1SPA KC 833 5BHZZ AY Nuracnlng case
SPAKC8321BHZZ AY NDPacktngcase
2sPAKA8~9~Ru77 Av NnPacklnc afid(Ll [xE-A13
3uREL–6. -------- ---- 1
~PSHEP6828BHZZ AF] NvfracKlng sneal LXt–A15
PSHEP6681BHZZ AF D]Packlng sheet LRA,~tl
5]SPAKA8~?~nM 77 Avl NDIPackin~ addfRl [XE–A130: except KA,KB
6SSAKH4231CCZZ IAA DVinyl bag (14wx500nln) [XE–A13- .,,.,,m
7ssAKH3015cczz ]AA DVinylbag’n~’’”=6- ‘
8TINSM7326BHZZ IAQ NDInstruction
TINSM7327BHZZ IAQ N
110ISSAKI
XE-
A11O
~J
XE-
A130
vlracKing case
R1- ,,—... IKA,KBI L o
[TQ,TR,TS] oI
,“-”-.!.-.-1. . . 1I-------- ---— IO :excePt KA,KB] o~
;~9QRu77 AN NiISpool 0a
., 1m––i,—- -L--- ,..- ““70: excePtt(A,KB] ~0
r... ..=7 Io
.“-” -,,-- ,. . . ,. . ——.. ———
—. . . . . -
,.
K
—T
<21 SPA KA78361an& L1II
22 SSAKH30 12CCZZ :; uIvinyl Da~
.. . ,. -., -. . -,. -,. ., -, -[.. f I . I.a-..4
————
/1
———.—— /
—7—
RCPSO069

XEA130V
1VHLI 1N4UULb/– 1IAA II
*VHERD6 2EB2–1 ~AB
vHFM-r76 7A/–l AC IN!
“----- -- : ,.,. 11,.,
. .. -.. - - - . . . -.1,, ,. tI I ,.ee.~.”, \., -.. . . . m.
10 VRD–R~?~Y? ~ ~ IIAA IIr IPSsiSLur~1,1+W
11 vRD– Rp9~y7 7 ? I I AA I 1P IRQcl----ff1~~~
12 VRn– Rf’7FVA7 ?I I AA I I cIRa.i.tnr rI/AW A/K ~J z~~o)
13 VRD– RC2EY4 73 J \AA 1cResl: .. , ... , .-, .-.. .. r,.
14 VRD– RC2EY5 62 JAA \cResif
15 VRD– RC2EY5 63 JAA cResl’
16 VRD– RC2EY682J 1AA cResisIor (L14w cr.ahii XDYO) L
17 VRD– RC2EY6 8 3 J~AA cResl: L,. / .,. }-m,.-L.-n ,.
18 VRD– RC2EY4 7 1J!AA IcRe<il
2O!VCEAGA1EW1O 7M !AR 1Ir‘-!Pan:
~1 VCEAGA 1~W7 7~~
VCEAG._- - ..
22 QFSHD2109AFZZ \A; tF
i;;s:
23 VCEAGAICW106M !AA cCap:
VCEAGA1CW226M 1AB cCap;
24 VCQYNUIHMI04K ~AB IcCapz
25 ~R C –Z1N104 R C Z Z AA Ic ICapacllul {.L,F vu.i~r~
26] VC C C PU1H H 220 JAA 1cICap: L/-,. ,.,, , ----.
27 \VC C C PU1H H 300 JAA ]C ICapavl Lul f~u,, ,Jvrr)
281 VC C C P
❑Main PWB unit
,, . ., .. “““,.. !,, - 1,“,“
-. ., -.“-. . ). . r. II [“’
MVsuscu uI–P
35 VH iKi~7R nKP– I
36 VHILB1268 //– 1
37 QC NCW7 118BHOE
38 QCNCW7 I I 8BH0 I~BH NcConnector (9P)(5229–09CPB)
39 QCNW– 774 0 BHZ Z ~ADNcEarth w!re (PWH TO PWR\
40 0 CNW– 7 7 4 7 R H 7 7 IAF ,r Ca,th ,L,tvm f
)..- - ..- ,
/DWQ -rn ufol
41 VCEAGU i tWJJ51W ! Ab IL I
Gapa
42 LA NGK7 57 5BHZz IAM Nr-’ Iu--+
43 VH ITDri ?503P–1 AC II
44 “1 ,1.,
45 QCNC;708 ~‘R‘C O%I~ ~ L!
46 QCNCM6 8 6 5 Rcrl BIAA VW.s.,w”.”, ,Gp, ,r ,
IRIPnnnaetmr (z~,~)
-----.-w.”, -,, , -, “
1~7 q – /– 1IA; I I RITv=ne;.tfi. f~cn 1n~n
1(2pln)
48 QCNCM2 23 6S6ZZ IAC -“ .,..U,..”,
RICnnnfaf-tnr (7m,n\(nr2wer)
49 VS2 SD- .- .v,#, ,~,,=,>Lu,
50 R C R S P 23?7R; 7; ; A;[LJU 1>L5
InIrr,, eta i/19kA u-. )
51 RCRSP
52 RALMB ,
A53 QF s–c4 30 1 c cz z \AE I1J
54 XBBSD
VH i 86 i O ~ ~ ~ ~ 6 ~ ‘ Ax It1
i;;;8;;;;;
I50165896 AX ]NBIC (86501(
3“ VHI 8650 1 65800 AX \NIBIC (86501(
VH I8650 165895 AX iN1RIr (Qb=.Gn 1L
55 VHPHDSP5 5 7 1 –1 IAK I II
VHPHDSP5 57 1–1 uLulg.)
IAK Iin 1Icn /uncDs~21)(Red Zdlg.)
\;5866) [ICI] (Until the Augast PI
F. VHI 86 ;5896) [lCl](From the september pI
i5800) [ICI] (Until the Augast PI
,,uv~v .<5895)
57 RC–KZ1 05 4 CCZ2IA E ]“- [ICI] (From the septernber Pr
Ii‘“
Capacitor (50WV OIAF)
VHPHDSP 550 1–1 ! AH \ N 1BLED (HDSP5501)(Red Idlg.)
58 VHPH D S P 5 5 0 1 – I~-A HINIB,LED (HDSP5501 }(Red ldI~ \
~ol CPWB F743 8 BHO3BM INEiM
CPWB F744 1 BHO2BP
t
I1fIII
❑Slide PWB unit [XE-AI1O] J
NO. PARTS CODE PRICE NEW IPART
RANK MARKIRANK DESCRIPTION
1QC N CW7 1 6 7 BH OHAG NIcConnector (52012–0810)
2[CN5 :
QCNW– 7734 BHZ Z AN N~C ]Slide PWB cable {13P)
—8—

XEA130V
~Slide PWB unit [XE-A11OI -1
NO. PARTS CODE PRICE NEW PART
RANK MARK RANK DESCRIPTION
3QSW– S6900 BHZ Z AL NBSlide switch [Sw 11
(Unit) I
901 CPWB F744 2 BHO 1AZ ]NESlide PWBunit
1
DESCRIPTION
~Rotary PWB unit [y ‘-A 1‘nl
INo. PARTS CODE PRICE ::~w PART
DANK DANK J
1QC N CW 6882 BHOHAF IcConnector (5201 1–0810) [CN5]
2QCNW– 7735 BHZ Z AL NcRotary PWB cable (8P)
(Unit)
901 CPWB F7443 BHO1AS NERotary PWB unit
I1i
I
\I
—9—

XEA130V
.—
BPlug St
3‘AC cord SE
3iPlug SH, RA5
;67q RC77 AN BAC cord SH. RA5, SHE
~QPLGA 450 ICCZZ AK
1QCNW-6629RCzz AN c
QPLGAO018WRE0 AN ~
.& 5QcNw– 6-------- ,
,- PHOG–1023CCZZ AB B Bushing for ACcord SH, RA5,SHE
6,QACCL1018CCN1 AV B
~. ,ACcord KA, SL
QTANPOO04HCZZ AB BLug terminal RC2. SM, SMT, RC1, SBA, RB8
:nDIcAqo06Qc z z ANBPlug KB, SM, SMT, RC1. SBA. RB~ Rep
--- -. ,U,,.w&
7i; ; L;~;o35cczz
,Aii
\QCNW–6629RCzz AN
BAC cord KB, Kc 1. ttC2, SM. SMT, SBA
1B!AC cord RB8
!8~QC N W– 66 29 R C Z Z ANrAP --.2 nmA/An.-.,-! -- 1,, -f-h- ..!,-, \~
19;QAC C Z3 4 7JO~77AH [
>( ,te [fl~[<~ad ~i .\
DML LUIU ~D+ (Mb LUI UUI Ily 1I1~ plug IS no[ Incl uaea.; I
/QACCJ 14 13QCZZ ‘
\QAccA3441 Qczz)
QACCL10 18CCN1
(QACCD8411QCZZ’,l
QTANPooo4Hczz/
2
jQCNW-1035CCZZ \
IQCNW-6629RCZZ \
\QTANPOO04HCZZJ
QPLGAooo6Qczz/
~-.
-. L
~,<
~~+-.. .- \
----
Table of destinations
SELECTION
[CODE i
QACCE3120QCN5
~QCNW-6629RCZZ )
~The PIug ~snot included..
8
COUNTRIES
uU. S. A., Guam
A
TS ‘Germany
,SEEG territory other than Germany
,Tn
IQ I(Stamp :English)
,~SEEG territory other than Germany
ITR
.(Stam~ :SDanlsh)
KB ,U. Kingdom
KA Australla
SELECTION ‘
CODE ‘COUNTRIES
KKorea
(QCN W-6629 RCZZ ‘
‘\QPLGA4501 CCZZ
&’ 4
(QACCZ3423QCZZ)
/QcNw-6629Rczz~
(QPLGAOO18WR EOj
PHOG-I023CCZZ z,
.6’%, ,
SELECTION
CODE COUNTRIES
SE ‘Saud! Arabia (127V area) —
SBA Saudi Arabia (220V area) ..—.—
Sc Taiwan .
SD Venezuela
SE Hong Kong
Lebanon, Syria, Greece, Pak!stan, [ran, Eg~pt.
SG Thailand, Iraq, Mauritius, Seychelles, Tahiti,
Jordan, Sudan, Turkey
SH South Africa (U. S. A. version)
SHE South Africa (Europe version)
SJ Philippines (Europe version)
SJ2 Phlllpplnes (U. S. A. version) —.
SM Kuwait, Qatar, Oman, UAE, Malta, Bahrain
r—.
SMT N/gerla, Yemen, Kenya
SELECTION ;COUNTRIES SELECTION SELECTION
ICODE ~COUNTRIES
CODE CODE COUNTRIES
IMorocco, Algeria, Tunisia, I
RA1RB3 IIndonesia RC1Malaysla (Europe version)
!West Africa !RB4
IRC2 ,Singapore
I——.
1
IRA2 IChlIe, Uruguay, Peru, RB5 Cyprus RC5 ~Domlnlcan Republlc, Ecuador
.—
IArgentina, paraguay
[RB6 Panama
,
,
IRA5 ISri Lanka RB7 Barbados
RB8 Malaysla (U. S. A. version)
—10 —

XEA130V
■Index
PARTS CODE No. PRICE NEW PART
RANK MARK RANK
,,-.1
Lbl Ii
GB0XD7106BHZC 3-901 BS NIE
GBOXD7133BHZZ 2-901 BQ NE
GCABB7206BHzz 2- 13 BD N D
GCABB7207BHZZ 1- 4BC D
GCABB7208BHZZ 1- 4BC N D
GCAS–6678BHZZ 3- 12 BC D
GCAS–6697BHzz 2- 28 AZ N D
‘GC~VA7036BHSB 3- 32 AT N[
GCOVB7093BHZZ 1- 1AR NI
-.n ”o,,77 9. 7. ,. .,
crnuu7r}. “-.-.,, t.- ‘
‘AK’*
““”.!l, ”#7-l!---
[-, I,... ,
II 3- 55 IAK
GDAI–6667BHzz 1- 16 IAG Nib
GDRW–6678BHSA 3-502 jBF NIE
GDRW–6678BHz2 3- 31 ]BF ;C
GFTAB6791BHZZ 1- 9AF N\C
rul I1
L,14 i!i)
HDECP6840BHZZ 1- 8IAL N\D
HDECP6841BHzz 1- 8AL NID
[K] I
KI–~B6774BHZZ 1- 14 BE NIE
KI–~B6775BHZZ 1- 14 BK! NE
[L)
LANGK7575BHZZ 1- 28
// 5- 42 AM INc
LANGK7584BHZZ 2- 40 AL c
LANGQ7565BHZZ 2- 11 AE c
// 3- 58 AE c
LANGQ7576BHZZ 2- 6AG NcI
LBNDJ2003SCZZ 2- 4AA c
// ?- 51 AAI Ic
I,
LBRC–6663BHZZ i- ‘6 AQ !c
LBRC–6668BHZZ 2- 22 IAN ]C
LFRM–6682BHZZ 3- 22 iAN c
LFRM–6694BHZZ I1- 32 AS N~D
LHLDZ6833BHZZ 1- 18 AE NIC
LKGIM711OBHZZ 1- 31 AE B
t
II 4- 12 AE B
LKGIM7111BHZZ 1- 31 AE B
It 4- 12 AE B
LKGIM7331BHZZ I2- 30 AE B
II 3- 35 AE B
II ! 4- 11 AE B
LKGIW7330BHZZ 2- 29 AY B
II I3- 33 AY B
LKGIW7374BHZZ 1- 30 AX] NB
LPLTM6674BHZC 3- 37 AY
LPLTM6694BHZZ 2- 37 AV N:
LPLTM6695BHZZ 2- 8AU N c
LPLTM6696BHZZ 1- 35 AS Nc
LX–BZ6775BHZZ 2- 16 AA c
If 3- 17 AA c
LX–BZ6778BHZZ 2- 38 AA c
I3- 49 IAAI Icl I
LX–HZO056BHZZ 2- 11AA IcI
t} I~- 50 I AA c
MCAMM(63iBHzz 12- 33 AG IcII
PARTS CODE ‘NO. PRICE NEW PART
RANK MARK RANK 1
MCAMM6633BHZZ 3- 21
MLEVF669-- ’-- ‘ ‘ “
MLEVF669
MLEVF671
MSPRB67115HLL IJ- 4U
MSPRC671 --,<--- ..-
,
AG c
5BHLL 3- 0AK c
9BHZZ 2- 24 AE c
2BHZZ 2- 17 AF N,C
.-.,- -. t..,-, AD c
LBHLL J- [1 ]AF 1c
MiPRC6743BHZZ 2- 21 AG Nc
MSPRC6748BHZZ 2- 41 AD c
MSPRK6718BHZZ 2- 32 AF cI
II 3- 36 AF c
MSPRT6713BHzz 3- 18 AD c
MSPRT6714BHZZ 3- 7AE c
MSPRT6731BHzz I2- 23 AD c
MSPRT6742BHzz I2- 18 AD N c
[N] I
NR~LP6650BHzz 2- 20 AP c
II 3- 4AP c
/1 3- 28 AP c
NROLP6655BHzA 2- 43 AF Nc
NROLRI022CC05 8- 2BA s
NSFTA6655BHZZ 2- 44 AE Nc
NSFTA6656BHZz 12- 12 AD N c
rnl
Lr) i1!
PCUT–6652BHZZ 1- 2~AF NIC
PFILW6940BHZZ 11- 7IAM N]D
PFILW6941BHZZ 1- 6\AK N!D
PGUMM6695BHZZ 3- 3\AE D
PGUMM6696BHZZ 3- 25 AE D1
PGUMM6702BHZZ 1- 19 AB c
PGUMM6721BHZZ 1- 33 AU] NcI
PGUMM6722BHZZ 1- 33 Av~ Nc
PRNGT6637BHZZ 2- 31 AA c
II 3- 34 AA c
PSHEP6681BHZZ 4- 4AF ]D
PSHEP6826BHZZ 2- 14 AE Nc
PSHEP6827BHZZ 1- 34 AY N1c
PSHEP6828BHZZ 14- 4AF NID
PSKR–6628BHZZ !3- 1)AG Ic
PSKR–6629BHZZ 3- 9;AL c
PSKR–6630BHZZ 2- 27 IAH c
.-. i!
[QJ II
QACCE3120QCN5 2- 3IAL B
QACCL1018CCN1 2- 3\AV B
I3- 54 ~AV B
QCNCMIYOICCZZ 5- 47 IAB c
QcNcM22365CZZ 5- 48 ~AC B
QCNCM6865RC0B I
QcNcM7085RcoB 5- 46 ~AA B
5- 45 ABi B!
QCNCw6882BH0H 7- 1AF ic
IQcNcw7118BHoE 5- 37 BF:N c
0CNCW7118BHo I5- 38 BH N c
QCNCW7167BHOH 6- 1AG Nc
QcNw-1035CCZZ 2- 3AL B
3- 54 [AL B
QCNW-7~34BHZZ I6- 2~AN NIC
QCNW-7735BHZZ !7- 2IAL N1c
QCNw-7736BHZZ 11- 29 ~AK N~C
QCNW-7737BHZZ 1- 38 ~AF N\C
QcNw-7738BHZZ 1- 21 AE N~C
QCNW-7739BHZZ 2- 5~AG Nc
3- 53 AG Nc
QCNw-7Y40BHZZ 5- 39 AD N c
QCNW-7742BHZZ 2- 9AF c
II 3- 56 AF c
1) <- An AF IIC
t=--- J
OF~–C4301cczZ ;- ii AE ]I
QF5HD2105AFzZ 5- 22 AC !
,QpLGAonn60~7z :
2- 3“- 1 1
I
m---- .--— 3jAQ Iu
1/ i- 54 AQ c
j900BHzz 6- 3AL] NB
9BHZZ 1- 11 AFI Nc
QTANZ664:
QTANZ6650BHZZ 1- 12 IAF Nic
QTANZ6651BHZZ 1- 13 AF NIc
QTANZ6652BHZZ 1- 10 IAE N\C
rDl
L ,. 4
‘m” “m5006SCZZ II1
5- 52 !AD B
1054CCZZ 5- 57 iAB Ic
KC–L1N104RCZZ 5- 25 \AA c
RCRSPIO03CCZZ 5- 51 \AT B
RCRSP2327RCZZ 5- 50 jAD iB
—11–

XEA130V
,
PARTS CODE NO. PRICE NEW PART]
RANKMARK RANK
RMOTM6631BHZZ 1- 20 AZ B
RPLU–6644BHZZ 2- 15 AW NB
RPLU–6645BHZZ 3- 15 ]AX NB
RTRNP6876BHZZ 2- 2\AZ N.B
RTRNP6877BHZZ 2- 2!AZ NB
:J I3- 52 IAZ NB
r,-.
PARTS CODE INU. \RANK\MARKIRANKl
VRD–RC2EY562J 5- 14 ‘‘A iIP1I
VRD–RC2EY563J 5- 15 AA 1c
2EY682J 5- 16 AA c
2EY683J 5- 17 AA 1c
r–.fi IPRIcEINEwlpARTl I
VRD–RC
VRD–RC:
VSDSCOO1–A/BC 15- 34 IAA 8I
VS2SE67” ”-’-A ‘“‘“ AD B
VS2SD1929–/–l 5- 49 ~AD B
, ., , I 1IJ
Lbj IIII
SPAKA7836BHZZ !4- 21 IAX D
SPAKA7837BHZZ 4- 20 AX D
SPAKA8255BHZZ I3- 43 AC 1D
SPAKA8325BHZZ 4- 5AV1 N D
SPAKA8326BHZZ 14- 2AV\ N D
SPAKA8339BHZZ 2- 42 AC D
SPAKC8320BHZZ 4- 1AY N1DI
SPAKC8321BHZZ 4- 1AY N~D
SPAKC8335BHZZ I4- 1AY NID
SSAKA5004BHZZ 3- 10 AA D
SSAKA5004CCZZ 4- 19 AA D
SSAKH3012CCZZ I4- 10 AA D
4- 22 AA D
.SSAKH3115CCZZ I4- 7AA D
SSAKH4231CCZZ !4- 6AA ID
Ii-l
XBBSD30P06000 1- 25 IAA c
if 5- 54 IAA c
XBPSD26P04000 1- 17 ‘‘A n
XBPSD30P08KS0 1- 5
xBPsD30Pl ”””” ‘c
XEBSD20P(lbUUU I1
iAA c
1UR3U II- jAB c
..- -- ~- 3AA c
XHBSD30P12000 1
3- 26 AA c
XHBSD40P12000 3- 39 AA c
XHPSC30P08000 I3- 41 “’ .
XHPSD30P06000 [2- 10
,, I 2- K?
1IAA IILI
)AA c
~- ~) IAA c
~XJSSN3;P08000 1
1- 24 IAA c
XNESD40–32000 3- 24 IAA c1+
‘XNESD60–50000 2- 2!
1) I3- 2!
XRESJ40–06000 ]2- l!
XRESJ50–06000 t2- 3~
LIJ II1
TCADZ2001BHZA 4- 16 AM D4
TCAUSOO02AHZZ 14- 18 AD D
TCAUZ6681BHZZ i4- 9AD ,D
TGANEIOOIBHZA 4- 15 AF! D
TGANE6642BHZZ 4- 15 AF ID
TINSM7326BHZZ 4- 8AQi ND
TINSM7327BHZZ I4- 8AQ; N D
TINSN7240BHZZ 4- 17 AF ID
TLABR6985BHZZ 4- 13 AGi N D
TLABR6989BHZZ 4- 13 AG~ N D
f,ll I
0\3- 20 IIb
XUBSD30P06000 2- 26 j;; c
XUBSD30P08000 1- 15 AA~ c
1/ 3- 5]AA Ic
Vllo lsD30Ploooo 2- 39 \AC c
40P06000 2- 36 AA 1c
‘SD30P06000 1- 36 AA c
XWSSD4O–1OOOO 3- 23 AA c
XWSSD60–15000 3- 30 AA c
, I
F
AUD
XUBSDI
XUP
LUJ III
UBNDA6629BHZZ 4= 101 AA c
UREL–6629BHZZ 4- 3AN N D
,,,. [I
VCCCPU1HH220J 5- 26 IAA c!
VCCCPU1HH300J 5- 27 ]AA c
vcccPu’’’”n-”n’ c‘0 ‘‘n ‘mI
VCEAGAI~VVIuum J- LJ
VCEAGA1CW226M 5- 23
VCEAGA1CW227M 5- 21
VCEAGA1CW337M 5- 21 IIIV I
VCEAGA1EW107M 5- 20 ii IcjII
VCEAGA1EW337M 5- 19 AC Cl
VCEAGA1HW226M 5- 29 A% Ci
VCEAGA1HW335M 5- 30 AB c
VCEAGU1EW338M 5- 41 AG c
VCKYPUIHB103K 5- 31 AA’ Ic
VCQYNAIHM333K 5- 32 AA c]
VCQYNUluMlfi~K k- 7A AR ir
VHDDSS
VHD1D4
. ,,,.,. wT.. !!II1
133HV-1 i- ‘-i ]Ai i
1I
R47//–l I5- dA An IR! I
1iI1t
I I I I 1 1
mO02G/–l I5- 1[AA I I BI1
62A/–l 5- 2AC NIB
2EB2–1 5- 2AB B
70Ac0—I c– Qc AU N B
Di
I
I
I
u
B
N B
Bi
ULU.J03U nA NB
v“r””dP5501–1 ;: ;; AH N B I
II 5- 58 AH NB
““-HDSP5521-1 5- 55 AK B
It 5- 55 AK B
2EY102J 5- 8AA c
vrnr II&1i
I
II I I 1
2EY104J 5- 5AA cl
2EY105J 5- 9AA c
2EY123J 5- 6AA c
.,.= nu2EY153J 5- 7AA c
‘VRD–RC2EY221J 5- 4AA c
// 5- 4\AA Ic
VRD–RC2EY222J 5- 10 AA c
VRD–RC2EY272J 5- 11 AA c
VRD–RC2EY471J 5- 18 AA Ic
VRD–RC2EY472J 5- 12 AA cI
VRD-RC2EY473,J 1. 5:,,,.lJ. AA_,. Ic
IIi
II
—12—



XE-A11OVS
SHARP
COPYRIGHT~1995 BY SHARP
All rights reserved.
Printed in Japan.
No part of this publication may be
CORPORATION
reproduced,
stored in aretrievai system, or transmitted,
in any form or by any means,
electronic, mechanical, photocopying, recording, or otherwise,
without prior written permission of the pubiisher.
SHARP CORPORATION
information SystemsGroup
Quality &Reliability Control Center
Yamatokoriyama, Nara 639-11, Japan
1995Juiy Printed in Japan @