XF Owners Handbook 10MY Tcm144 47656
User Manual: 2010 Jaguar XF Owners Manual PDF | SERVICE MANUAL OWNERS
Open the PDF directly: View PDF  .
.
Page Count: 391 [warning: Documents this large are best viewed by clicking the View PDF Link!]

OWNER’S HANDBOOK
Publication Part No. JJM 10 02 40 101

2
This handbook forms part of the Owner literature supplied with your new vehicle. Left-hand drive 
and right-hand drive conditions may be shown in the graphics and where information is specific to 
a particular country, it is indicated as such. 
Please take the time to study the operating instructions with your vehicle as soon as you can. 
IMPORTANT
The information contained in this handbook covers all vehicle derivatives and optional equipment. 
Some of the options may not be fitted to your vehicle, unless they formed part of the original vehicle 
specification. Therefore, some parts of this handbook may not apply to your vehicle. Furthermore, 
due to printing cycles, it may include descriptions of options before they become generally 
available.
The options, hardware and software in your vehicle are from the available specifications for the 
market in which the vehicle was intended for sale. If your vehicle is to be used in another 
geographical area, you may have to modify the vehicle specification to suit local conditions. 
Jaguar Cars Limited is not responsible for the cost of any modifications.
The information contained in this publication was correct when it went to print. Vehicle design 
changes may have been made after this handbook was printed. When this occurs a handbook 
supplement is added to the literature pack. Subsequent updates can be viewed on the Jaguar 
Internet site at: www.ownerinfo.jaguar.com.
In the interest of development, the right is reserved to change specifications, design or equipment 
at any time without notice and without incurring any obligations. This publication, or part thereof, 
may not be reproduced nor translated without our approval. Errors and omissions excepted.
© Jaguar 2008
All rights reserved.
Published by Jaguar Technical Communications.

Contents
3
Introduction
SYMBOLS GLOSSARY...................................... 9
LABEL LOCATIONS ........................................... 9
HEALTH AND SAFETY..................................... 10
DATA RECORDING.......................................... 11
DISABILITY MODIFICATIONS ......................... 11
FASCIA AND CONTROLS ................................ 12
PARTS AND ACCESSORIES............................  14
Keys and remote controls
PRINCIPLE OF OPERATION ............................  16
GENERAL INFORMATION ON RADIO 
FREQUENCIES ................................................ 16
USING THE REMOTE CONTROL .....................  17
UNLOCKING AND DISARMING THE VEHICLE. 18
LOCKING AND ARMING THE VEHICLE ........... 19
DOCKING/UNDOCKING THE JAGUAR SMART 
KEY .................................................................  20
PROGRAMMING THE REMOTE CONTROL...... 21
CHANGING THE REMOTE CONTROL BATTERY ... 
24
EMERGENCY KEY BLADE ............................... 25
Locks
LOCKING AND UNLOCKING............................ 26
USING THE EMERGENCY KEY BLADE ............ 28
VALET MODE.................................................. 30
JAGUAR SMART KEY SYSTEM TRANSMITTERS  
32
KEYLESS ENTRY ............................................ 33
GLOBAL OPENING AND CLOSING .................. 35
Alarm
ARMING THE ALARM ..................................... 37
DISARMING THE ALARM ...............................  38
SECURITY SENSORS...................................... 39
Seats
SITTING IN THE CORRECT POSITION ............ 41
ELECTRIC SEATS............................................ 42
HEAD RESTRAINTS ........................................ 44
REAR SEATS................................................... 45
HEATED SEATS...............................................  47
CLIMATE SEATS .............................................  48
Seat belts
PRINCIPLE OF OPERATION ............................  49
SEAT BELT REMINDER ..................................  50
USING SEAT BELTS DURING PREGNANCY....  51
FASTENING THE SEAT BELTS ........................  51
SEAT BELT HEIGHT ADJUSTMENT ................  52
Supplementary restraints system
PRINCIPLE OF OPERATION............................  53
AIRBAG WARNING LAMP ..............................  57
WHIPLASH PROTECTION...............................  57
AIRBAG LABELS.............................................  58
AIRBAG SERVICE INFORMATION...................  58
Child safety
CHILD SEATS .................................................  59
CHILD SEAT POSITIONING ............................  60
BOOSTER CUSHIONS.....................................  61
CHILD SEAT ANCHOR POINTS.......................  62
CHILD SAFETY LOCKS ...................................  65
Pedestrian protection
PRINCIPLE OF OPERATION............................  66
AFTER DEPLOYMENT OF THE PEDESTRIAN 
PROTECTION SYSTEM ...................................  66
Steering wheel
ADJUSTING THE STEERING WHEEL ..............  67
HORN .............................................................  68
HEATED STEERING WHEEL............................  68
AUDIO CONTROL ...........................................  69
VOICE CONTROL ............................................  69
CRUISE CONTROL..........................................  74
Lighting
LIGHTING CONTROL ......................................  75
AUTOLAMPS ..................................................  76
REAR FOG LAMPS..........................................  77
HAZARD WARNING FLASHERS......................  77
DIRECTION INDICATORS ...............................  78
HEADLAMPS - DRIVING ABROAD..................  78
HEADLAMP LEVELLING .................................  79
CORNERING OR STATIC BENDING LAMPS....  79
INTERIOR LAMPS ..........................................  80
APPROACH LAMPS........................................  81
REMOVING A HEADLAMP ..............................  81
REMOVING A REAR LAMP .............................  82
CHANGING A BULB ........................................  83
HEADLAMP UNIT BULBS ...............................  83

Contents
4
SIDE REPEATER LAMP ..................................  85
REAR LAMP BULBS .......................................  85
BULB SPECIFICATION CHART........................  87
Wipers and washers
WINDSCREEN WIPERS ..................................  88
RAIN SENSOR ................................................  89
WINDSCREEN WASHERS...............................  89
HEADLAMP WASHERS...................................  90
CHECKING THE WIPER BLADES ....................  90
CHANGING THE WIPER BLADES....................  91
Windows and mirrors
ELECTRIC WINDOWS.....................................  93
INTERIOR MIRROR ........................................  94
EXTERIOR MIRRORS .....................................  95
BLIND SPOT MONITOR ..................................  97
Instruments
INSTRUMENT PANEL OVERVIEW ..................  99
WARNING LAMPS AND INDICATORS ..........  100
AUDIBLE WARNINGS AND INDICATORS .....  104
Information displays
GENERAL INFORMATION .............................  105
WARNING AND INFORMATION MESSAGES.  106
TRIP COMPUTER .........................................  107
TOUCH-SCREEN...........................................  109
PERSONALISED SETTINGS ..........................  111
Climate control
AIR VENTS ...................................................  115
AUTOMATIC CLIMATE CONTROL.................  116
ELECTRIC SUNROOF ....................................  121
Convenience features
SUN VISORS ................................................  123
SUN BLINDS.................................................  123
INSTRUMENT LIGHTING DIMMER...............  123
CLOCK ..........................................................  124
AUXILIARY POWER SOCKETS .....................  125
GLOVE BOX ..................................................  125
CUP HOLDERS .............................................  126
STORAGE COMPARTMENTS........................  127
GARAGE DOOR TRANSCEIVER ....................  128
PORTABLE AUDIO INTERFACE.....................  131
Starting the engine
GENERAL INFORMATION.............................. 132
KEYLESS STARTING..................................... 133
SWITCHING OFF THE ENGINE....................... 134
DIESEL PARTICULATE FILTER (DPF)............ 135
Transmission
AUTOMATIC TRANSMISSION ....................... 137
Brakes
PRINCIPLE OF OPERATION .......................... 144
HINTS ON DRIVING WITH ABS..................... 144
ELECTRIC PARKING BRAKE (EPB) ............... 146
Parking aid
PRINCIPLE OF OPERATION .......................... 148
USING THE PARKING AID............................. 148
Rear view camera
PRINCIPLE OF OPERATION .......................... 152
Driving hints
RUNNING-IN ................................................. 154
ECONOMICAL DRIVING ................................ 155
Cruise control
PRINCIPLE OF OPERATION .......................... 156
USING CRUISE CONTROL............................. 156
Adaptive cruise control (ACC)
PRINCIPLE OF OPERATION .......................... 159
USING ACC ................................................... 159
FORWARD ALERT FUNCTION ....................... 164
ADVANCED EMERGENCY BRAKE ASSIST..... 165
Automatic speed limiter (ASL)
PRINCIPLE OF OPERATION .......................... 167
USING THE ASL ............................................ 167
Driving dynamics
GENERAL INFORMATION.............................. 169
WINTER MODE ............................................. 169
DYNAMIC MODE........................................... 170
STABILITY CONTROL.................................... 170
Fuel and refuelling
SAFETY PRECAUTIONS................................. 174

Contents
5
FUEL QUALITY..............................................  174
ALTERNATIVE FUELS FOR PETROL ENGINES..... 
175
DIESEL ENGINED VEHICLES......................... 176
RUNNING OUT OF FUEL ...............................  177
FUEL CUT-OFF ..............................................  177
FUEL FILLER FLAP........................................ 178
REFUELLING.................................................  179
DIESEL MISFUELLING PROTECTION DEVICE...... 
180
FUEL CONSUMPTION ...................................  181
Load carrying
GENERAL INFORMATION .............................  182
LUGGAGE ANCHOR POINTS.........................  182
REAR UNDER FLOOR STORAGE...................  182
Towing
TOWING A TRAILER (V6 petrol and diesel 
vehicles only)................................................  183
LEVELLING ................................................... 184
RECOMMENDED TOWING WEIGHTS ........... 185
ESSENTIAL TOWING CHECKS ......................  185
TOW BAR......................................................  186
Vehicle care
CLEANING THE ALLOY WHEELS ..................  187
CLEANING THE EXTERIOR ...........................  187
CLEANING THE INTERIOR ............................  189
REPAIRING MINOR PAINT DAMAGE ............  191
Maintenance
GENERAL INFORMATION .............................  192
OPENING AND CLOSING THE BONNET ........ 195
ENGINE COMPARTMENT OVERVIEW ...........  196
ENGINE OIL CHECK - V6 Petrol engines ....... 197
ENGINE OIL CHECK - V8 Petrol engines ....... 199
ENGINE OIL CHECK - V6 Diesel engines ....... 201
ENGINE OIL SPECIFICATION ........................  203
ENGINE COOLANT CHECK ............................  204
BRAKE FLUID CHECK ................................... 206
POWER STEERING FLUID CHECK ................  208
WASHER FLUID CHECK ................................  209
TECHNICAL SPECIFICATIONS ...................... 210
Vehicle battery
BATTERY WARNING SYMBOLS ................... 212
BATTERY CARE ............................................  212
USING BOOSTER CABLES............................  214
CHARGING THE VEHICLE BATTERY.............  215
CHANGING THE VEHICLE BATTERY.............  215
Wheels and tyres
GENERAL INFORMATION.............................  216
TYRE CARE...................................................  217
USING WINTER TYRES ................................  223
USING SNOW CHAINS .................................  223
RUN FLAT TYRES.........................................  224
TOOL KIT......................................................  224
CHANGING A ROAD WHEEL.........................  225
TYRE REPAIR KIT.........................................  229
TYRE PRESSURE MONITORING SYSTEM....  234
TYRE GLOSSARY .........................................  238
TYRE SPECIFICATIONS - ARDUOUS TERRAIN ...  
239
Fuses
CHANGING A FUSE.......................................  241
FUSE BOX LOCATIONS.................................  242
FUSE SPECIFICATION CHART ......................  245
Emergency equipment
HAZARD WARNING FLASHERS....................  250
WARNING TRIANGLE ...................................  250
FIRST AID KIT ..............................................  250
FIRE EXTINGUISHER....................................  250
Status after a collision
DRIVING AFTER A COLLISION .....................  251
INSPECTING SAFETY SYSTEM COMPONENTS...  
252
Vehicle recovery
TOWING POINTS..........................................  253
TRANSPORTING THE VEHICLE ....................  254
TOWING THE VEHICLE ON FOUR WHEELS..  256
Vehicle identification
VEHICLE IDENTIFICATION PLATE ................  257
ENGINE NUMBER .........................................  257
TRANSMISSION NUMBER ...........................  257
VEHICLE IDENTIFICATION NUMBER (VIN)...  257
VEHICLE BUILD DATE PLATE.......................  257

Contents
6
Technical specifications
ENGINE SPECIFICATIONS ............................  258
WEIGHTS......................................................  259
DIMENSIONS................................................  260
Type approvals
DECLARATIONS OF CONFORMITY ...............  262
Audio introduction
RADIO RECEPTION.......................................  268
Audio unit overview
AUDIO UNIT OVERVIEW...............................  269
Audio unit operation
ON/OFF CONTROL ........................................  271
VOLUME CONTROL......................................  271
AUDIO CONTROL .........................................  272
WAVEBAND BUTTON ...................................  274
AUTOSTORE CONTROL................................  274
STATION PRESET BUTTONS ........................  275
TRAFFIC INFORMATION CONTROL ..............  276
Audio unit menus
RADIO DATA SYSTEM (RDS) .......................  277
PRIORITY PROGRAMME TYPE (PTY) ..........  278
Digital audio broadcasting
GENERAL INFORMATION .............................  280
AUDIO CONTROLS .......................................  282
DISPLAY OPTIONS.......................................  283
CHANNEL AUTOMATIC TUNING...................  284
CHANNEL OPTIONS .....................................  284
PRESET BUTTONS .......................................  287
SETTINGS.....................................................  288
Compact disc player
COMPACT DISC COMPATABILITY................  292
LOADING COMPACT DISCS .........................  292
EJECTING COMPACT DISCS ........................  294
COMPACT DISC SELECTION ........................  294
TRACK SELECTION.......................................  295
COMPACT DISC PAUSE................................  295
SHUFFLE/RANDOM ......................................  295
REPEAT COMPACT DISC TRACKS ...............  296
COMPACT DISC DISPLAY OPTIONS ............  296
MP3 FILE PLAYBACK ...................................  297
Portable audio
PORTABLE AUDIO......................................... 299
AUXILIARY INPUT DEVICES ......................... 302
Telephone
GENERAL INFORMATION.............................. 307
TELEPHONE PAIRING AND DOCKING........... 309
VOICE MAIL .................................................. 313
ANSWER OPTIONS ....................................... 314
PHONE OPTIONS .......................................... 314
PHONEBOOK................................................. 315
MAKING A CALL............................................ 317
NAMES.......................................................... 318
LAST 10 OPTION........................................... 320
HANDS-FREE CONTROLS ............................. 321
OTHER FEATURES ........................................ 322
TELEPHONE VOICE CONTROL ...................... 323
Television
GENERAL INFORMATION.............................. 328
TELEVISION CONTROLS............................... 329
USING THE TELEVISION ............................... 330
FINDING TV CHANNELS................................ 331
TELEVISION SETUP ...................................... 332
Navigation system
THE NAVIGATION SYSTEM........................... 334
SATELLITE SIGNALS..................................... 334
GETTING STARTED ....................................... 336
MENU STRUCTURE....................................... 337
MAIN MENU.................................................. 338
USER SETTINGS ........................................... 338
TURN-BY-TURN NAVIGATION ...................... 339
LANGUAGE SELECTION ................................ 339
MEASUREMENT UNITS................................. 340
KEYBOARD LAYOUT ..................................... 340
MAP SPLIT SCREEN ..................................... 341
MAP DISPLAY ICONS ................................... 342
SETTING A DESTINATION............................. 344
ROUTE PREFERENCES.................................. 347
START GUIDANCE......................................... 347
VOICE GUIDANCE ......................................... 349
CANCEL GUIDANCE ...................................... 350
QUICK POI SELECTION ................................. 350
CALIBRATION ............................................... 351
RESTORE SYSTEM DEFAULTS ..................... 352
LANGUAGE SELECTION ................................ 353

Contents
7
MEMORY ...................................................... 353
AVOID POINTS..............................................  355
HOME ........................................................... 355
DESTINATION ENTRY................................... 356
POSTCODE ................................................... 357
MAP..............................................................  357
COORDINATES .............................................  357
MEMORY ...................................................... 358
PREVIOUS .................................................... 358
MOTORWAY ................................................. 359
COMPASS..................................................... 360
POINTS OF INTEREST................................... 362
POI ICON DISPLAY .......................................  363
CANCELLING POI ICON DISPLAY.................  365
JAGUAR DEALERSHIP LOCATIONS..............  365
ENTRY BY TOWN.......................................... 365
ENTRY BY CATEGORY ..................................  365
OTHER SELECTION METHODS..................... 366
CATEGORIES AND SUB-CATEGORIES ..........  366
POI ENTRY MESSAGES ................................ 366
QUICK POI SELECTION................................. 366
SELECTING A QUICK POI CATEGORY........... 367
MEMORY POINTS......................................... 367
RDS-TMC OVERVIEW ................................... 368
USING TMC .................................................. 370
SURVEILLANCE SETTING............................. 372
USING VOICE CONTROL...............................  373
NAVIGATION SYSTEM VOICE COMMANDS.. 374
ORDNANCE SURVEY DATA ..........................  378
NAVTEQ CORPORATION............................... 379
EUROPEAN DECLARATION OF CONFORMITY ..... 
380
8

9
Introduction
SYMBOLS GLOSSARY
Warnings
Cautions
Symbols
This recycling symbol identifies 
those items that must be disposed 
of safely in order to prevent 
unnecessary damage to the 
environment.
This symbol identifies those 
features that can be adjusted, 
disabled or enabled by your 
Dealer/Authorised Repairer.
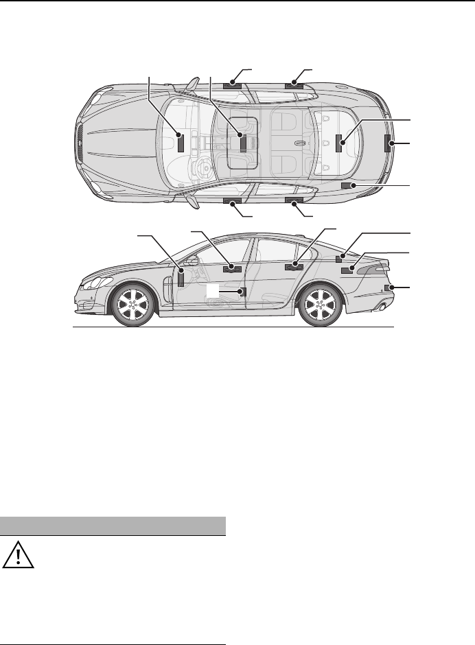
LABEL LOCATIONS
Warning labels attached to your 
vehicle bearing this symbol mean: 
Do not touch or adjust components 
until you have read the relevant 
instructions in the handbook.
Labels showing this symbol 
indicate that the ignition system 
utilises very high voltages. Do not 
touch any ignition components 
while the starter switch is turned 
on.
WARNING
Safety warnings are included in this 
handbook. These indicate either a 
procedure which must be followed 
precisely, or information that should be 
considered with great care in order to avoid 
the possibility of personal injury.
CAUTION
Cautions are included in this handbook. 
These indicate either a procedure which 
must be followed precisely, or information that 
should be considered with great care in order 
to avoid the possibility of damage to your 
vehicle.

Introduction
10
Warning labels
Labels are attached to your vehicle at several 
positions. These are applied to draw your 
attention to important subjects, e.g. tyre 
pressures, tow bar use, airbags, roll-over risk, 
engine compartment hazards, etc.
Additional information labels may also be 
found at these locations.
1. Left-hand front suspension tower - Air 
conditioning label
2. Top face of battery - Battery warning 
symbols
3. End of fascia (passenger side) - 
Passenger airbag label 
4. Sun visor - Airbag label 
5. Base of left-hand C pillar - Tyre pressure 
label, Airbag warning label, Vehicle 
Identification Number label
6. Right-hand B pillar - Vehicle 
Identification Number label (China)
7. Inner face of fuel filler flap - Fuel 
specification label
It is important that you are familiar with these 
subjects to ensure that your vehicle and its 
features are used safely. Using the index at the 
back of this handbook, refer to the relevant 
topic for more information. 
HEALTH AND SAFETY
E95340
1
2
56
7
3
4
3
4
WARNINGS
The vehicle should not be parked over 
long dry grass or other combustible 
material, particularly during dry 
weather. As the heat generated by the exhaust 
and emission control systems may be 
sufficient to start a fire.
Before exiting the vehicle, ensure that 
P park is selected and the park brake 
applied. When exiting the vehicle, 
ensure that the Jaguar Smart Key is removed 
from the vehicle.

11
Introduction
DATA RECORDING
Service data recording
Service data recorders in your vehicle are 
capable of collecting and storing diagnostic 
information about your vehicle. This potentially 
includes information about the performance or 
status of various systems and modules in the 
vehicle such as engine, throttle, steering or 
brakes.
In order to properly diagnose and service your 
vehicle, Jaguar service and repair facilities may 
access vehicle diagnostic information through 
a direct connection to your vehicle.
Event data recording
This vehicle is equipped with an Event Data 
Recorder (EDR). The main purpose of an EDR 
is to record, in certain crash or near crash-like 
situations, such as an air bag deployment or 
hitting a road obstacle, data that will assist in 
understanding how a vehicle’s systems 
performed. The EDR is designed to record data 
related to vehicle dynamics and safety systems 
for a short period of time, typically 30 seconds 
or less. The EDR in this vehicle is designed to 
record such data as:
•How various systems in your vehicle were 
operating.
•Whether or not the driver and passenger 
safety belts were buckled/fastened.
•How far (if at all) the driver was depressing 
the accelerator and/or the brake pedal.
•How fast the vehicle was travelling.
•The rotational position of the steering 
wheel.
These data can help provide a better 
understanding of the circumstances in which 
crashes and injuries occur.
Note: EDR data are recorded by your vehicle 
only if a non-trivial crash situation occurs; no 
data are recorded by the EDR under normal 
driving conditions and no personal data (e.g. 
name, gender, age and crash location) are 
recorded. However, other parties, such as law 
enforcement, could combine the EDR data with 
the type of personally identifying data routinely 
acquired during a crash investigation.
To read data recorded by an EDR, special 
equipment is required, and access to the 
vehicle or the EDR is needed. In addition to the 
vehicle manufacturer, other parties, such as 
law enforcement, that have the special 
equipment, can read the information if they 
have access to the vehicle or the EDR.
DISABILITY MODIFICATIONS
Occupants with disabilities which may require 
modification of the vehicle, must contact a 
Dealer/Authorised Repairer before any 
modifications are made.

Introduction
12
FASCIA AND CONTROLS
JAG1634   
A t
m
n t  F e
1 0 m
Au
m
n t  Fu
10 km
12 3 45678 9 10 11 12 13 14 1615
17
18
19
20
21
22
23
12 3 45678 9 10
21 22
17
18
19
20
11 12 14 15
24
26
27
28 25

13
Introduction
1. Steering wheel audio controls. 
See AUDIO CONTROL (page 69).
2. External lamp controls. See LIGHTING 
CONTROL (page 75).
3. Sequential gear change down paddle. 
See AUTOMATIC TRANSMISSION 
(page 137).
4. Speedometer. See INSTRUMENT PANEL 
OVERVIEW (page 99).
5. Driver’s horn and airbag. See HORN 
(page 68). See Supplementary 
restraints system (page 53).
6. Message centre. See WARNING AND 
INFORMATION MESSAGES (page 106).
7. Tachometer. See INSTRUMENT PANEL 
OVERVIEW (page 99).
8. Sequential gear change up paddle. 
See AUTOMATIC TRANSMISSION 
(page 137).
9. Wiper and washer control. See Wipers 
and washers (page 88).
10. Cruise control and Adaptive cruise 
control steering wheel controls. 
See Cruise control (page 156). 
See Adaptive cruise control (ACC) 
(page 159).
11. Audio control panel. See Audio unit 
overview (page 269).
12. Fascia lock/unlock buttons. 
See LOCKING AND UNLOCKING 
(page 26).
13. Touch-screen. See TOUCH-SCREEN 
(page 109).
14. Hazard warning lamp switch. 
See HAZARD WARNING FLASHERS 
(page 77).
15. Climate control panel. See Climate 
control (page 115).
16. Glove box proximity sensor. See GLOVE 
BOX (page 125).
17. Engine START/STOP switch. 
See Starting the engine (page 132).
18. JaguarDrive gear selector. 
See AUTOMATIC TRANSMISSION 
(page 137).
19. JaguarDrive mode selectors. See Driving 
dynamics (page 169).
20. Electric Parking Brake (EPB). 
See ELECTRIC PARKING BRAKE (EPB) 
(page 146).
21. Steering wheel adjustment control. 
See ADJUSTING THE STEERING WHEEL 
(page 67).
22. Starter control docking unit for the 
Jaguar Smart Key. 
See DOCKING/UNDOCKING THE 
JAGUAR SMART KEY (page 20).
23. Bonnet release lever. See OPENING AND 
CLOSING THE BONNET (page 195).
24. Luggage compartment release switch. 
See LOCKING AND UNLOCKING 
(page 26).
25. Headlamp levelling control. 
See HEADLAMP LEVELLING (page 79).
26. Instrument lighting dimmer control. 
See INSTRUMENT LIGHTING DIMMER 
(page 123).
27. Rear fog lamps switch. See REAR FOG 
LAMPS (page 77).
28. Adaptive Cruise Control (ACC) Forward 
Alert switch. See FORWARD ALERT 
FUNCTION (page 164).

Introduction
14
PARTS AND ACCESSORIES
The vehicle has been designed, built and 
tested, to cope with a variety of driving 
conditions, some of which can place the 
severest possible demands on control systems 
and components. As such, fitting replacement 
parts and accessories that have been 
developed and tested to the same stringent 
standards as the original components, will 
safeguard the continued reliability, safety and 
performance of your vehicle.
To augment the vehicle's already impressive 
performance, a comprehensive range of Jaguar 
approved spare parts and accessories is 
available.
Jaguar parts are the only parts built to original 
equipment specifications and approved by 
Jaguar designers; this means that every single 
part and accessory has been rigorously tested 
by the same engineering team that designed 
and built the vehicle.
A full list and description of all accessories is 
available from your Dealer/Authorised 
Repairer.
Electrical equipment
Always consult your Dealer/Authorised 
Repairer before fitting any accessory.
Fitting inferior quality parts or accessories, 
may be dangerous and could invalidate the 
vehicle warranty.
It is recommended that you always consult 
your Dealer/Authorised Repairer for advice 
regarding the approval, suitability, installation 
and use of any parts or accessories before 
fitting.
WARNINGS
Do not fit non-approved parts and 
accessories or carry out 
non-approved alterations or 
conversions. It may be dangerous and could 
affect the safety of the vehicle and occupants. 
Also, the terms and conditions of the vehicle 
warranty may be invalidated.
Jaguar will not accept any liability for 
death, personal injury or damage to 
property which may occur as a direct 
result of fitment of non-approved accessories 
or the carrying out of non-approved 
conversions to Jaguar vehicles.
Jaguar strongly advise against 
making any modifications to the 
suspension or steering system. This 
could seriously affect the handling and 
stability of the vehicle leading to loss of control 
or roll-over.
WARNING
It is extremely hazardous to fit or 
replace parts or accessories, the 
installation of which requires the 
dismantling of, or addition to, either the 
electrical or fuel systems.

15
Introduction
Airbag system
To prevent malfunction of the airbag system 
always consult your Dealer/Authorised 
Repairer before fitting any of the following:
•Electronic equipment such as a mobile 
phone, two-way radio or in-car 
entertainment system.
•Accessories attached to the front of the 
vehicle.
•Any modification to the front of the vehicle.
•Any modification involving the removal or 
repair of any wiring or component in the 
vicinity of any of the airbag system 
components, including the steering wheel, 
steering column, instrument or fascia 
panels.
•Any modification to the fascia panels or 
steering wheel.
After-sales service
The After Sales Parts service is of paramount 
importance, with franchised representation in 
over 100 countries worldwide, Jaguar are able 
to support your vehicle wherever you go.
Travelling abroad
In certain countries, it is a legal requirement to 
fit parts made to the vehicle manufacturers' 
specification.
Owners should ensure that any parts or 
accessories fitted to the vehicle while travelling 
abroad, will also conform to the legal 
requirements of their own country when they 
return home.
WARNING
The components that make up the 
airbag system are sensitive to 
electrical or physical interference, 
either of which could easily damage the 
system and cause inadvertent operation or a 
malfunction of the airbag module.
E95341

Keys and remote controls
16
PRINCIPLE OF OPERATION
The security system and entry to the vehicle are 
controlled by the Jaguar Smart Key remote 
control. All doors and the luggage 
compartment can be locked and unlocked 
using the remote control buttons.
Keyless Entry is an enhancement of the Jaguar 
Smart Key and allows entry to the vehicle, 
without the need to press a button. Full security 
integrity of the vehicle is still maintained. 
See KEYLESS ENTRY (page 33).
The Jaguar Smart Key also allows the vehicle to 
be started without the use of a starter key. 
See KEYLESS STARTING (page 133).
Two handsets, incorporating a detachable 
emergency key blade, are supplied. Separate 
emergency key blades are available from 
Dealers.
The emergency key blade number is recorded 
on an attached label. Peel off the label and 
attach it to the designated area on the Security 
Card, supplied in the literature pack. Keep the 
Security Card safe, but not in the vehicle.
GENERAL INFORMATION ON RADIO 
FREQUENCIES
Note: The radio frequency used by your remote 
control may be used by other devices. For 
example: amateur radios, medical equipment, 
wireless headphones, or other remote control 
devices. This may cause the frequency to be 
jammed, and prevent your remote control from 
operating correctly.
Environmental conditions can affect the 
operation of remote controls and the operating 
range may vary considerably depending on the 
vehicle's location.
CAUTION
Remove all Jaguar Smart Keys from the 
vehicle when it is left unattended. This 
will ensure the vehicle is left in a secure 
condition.
If a Jaguar Smart Key is lost, a 
replacement can be obtained and 
programmed to the vehicle by your Dealer. 
Notify your Dealer as soon as a Jaguar Smart 
Key is lost or stolen and have the remaining 
Jaguar Smart Key(s) reprogrammed.
E93136

17
Keys and remote controls
USING THE REMOTE CONTROL
Jaguar Smart Key
Note: The operational range of the Jaguar 
Smart Key will vary considerably depending on 
atmospheric conditions and interference from 
other transmitting devices.
Note: Some features of the security system are 
market dependent or are options, so may not 
be present on your vehicle.
1. Unlock.
2. Lock.
3. Luggage compartment release.
4. Convenience headlamp feature.
5. Panic alarm.
6. Emergency key blade.
7. Emergency key blade release button.
Unlocking
Press to unlock. See UNLOCKING 
AND DISARMING THE VEHICLE 
(page 18).
Locking
Press to lock. See LOCKING AND 
ARMING THE VEHICLE (page 19).
Luggage compartment
Press to unlock, disarm and open 
the luggage compartment. The 
vehicle security system will remain 
active, but for the period the luggage 
compartment is open, the intrusion and 
inclination sensing systems will be inhibited. 
Door and bonnet security will remain active.
When the luggage compartment is 
subsequently closed, the hazard warning 
lamps will flash after a few seconds, to confirm 
that the vehicle has rearmed the full alarm 
system (if previously armed).
Approach lamps
When approaching the vehicle in 
the dark, press to switch on the 
approach illumination. The 
headlamps will illuminate for up to 25 seconds. 
Pressing the button again or operating the 
starter button, will turn the approach lamps off.
Panic button
Press and hold for three seconds, 
or press three times within three 
seconds, to activate the emergency 
alarm. The horn, siren and the hazard lamps 
will operate.
Once active for more than five seconds, the 
alarm can be cancelled by pressing the button 
and holding for three seconds, or pressing 
three times within three seconds.
WARNING
Never leave the Jaguar Smart Key in 
the vehicle if children or animals are 
also left in the vehicle. The vehicle's 
systems and remote control functions could 
be operated, which may result in injury.
4 3 2
1
7
6
5
E90683

Keys and remote controls
18
The emergency alarm will also be cancelled if 
the Jaguar Smart Key is inserted into the 
starter control unit and the START/STOP 
button is pressed or if the vehicle detects a 
valid Jaguar Smart Key when the START/STOP 
button is pressed.
Care of the Jaguar Smart Key
Do not expose to extremes of heat, dust, 
humidity or allow contact with fluids. Do not 
leave the transmitter exposed to direct 
sunlight.
Irregular operation
If difficulty is experienced with remote keyless 
entry, keyless entry, keyless starting or Jaguar 
Smart Key operation, it may be caused by:
•Internal battery low voltage. Replace the 
battery. See CHANGING THE REMOTE 
CONTROL BATTERY (page 24).
•High levels of localised external electrical 
interference, e.g. a radio transmitter.
•Until the battery can be replaced, or until 
the vehicle is outside the area of electrical 
interference, the Jaguar Smart Key must 
be inserted into the starter control unit.
UNLOCKING AND DISARMING THE 
VEHICLE
Your vehicle can be unlocked using 
either Single or Multi-point entry. 
Single-point entry is a security 
feature that only unlocks the driver's door 
when the unlock button is pressed. 
To change from Single to Multi-point entry (or 
vice versa), press both the lock and unlock 
buttons simultaneously for three seconds. The 
hazard warning lamps will flash twice to 
confirm the change. 
The change can also be achieved using the 
vehicle touch-screen. See PROGRAMMING 
THE REMOTE CONTROL (page 21).
Single-point entry
First press: Unlocks the driver's door and 
enables the other doors to be opened from the 
inside (unless the child safety locks have been 
activated on the rear doors). The hazard 
warning lamps will flash twice, to indicate that 
the vehicle is unlocked and the alarm has been 
disarmed. The interior lamps will illuminate to 
assist entry to the vehicle.
Note: In some markets, an audible warning will 
sound.
Second press: Unlocks the passenger doors 
and the luggage compartment.
Multi-point entry
Press briefly to unlock all the doors and 
luggage compartment and to disarm the alarm. 
The hazard warning lamps will flash twice to 
indicate that the vehicle is unlocked and the 
alarm has been disarmed. The interior lamps 
will illuminate to assist entry to the vehicle.
Note: In some markets, an audible warning will 
sound.
Power-fold mirrors
If automatic power-fold is enabled, the door 
mirrors will unfold when the vehicle is 
unlocked. The power-fold feature can be 
enabled/disabled using the touch-screen. 
See EXTERIOR MIRRORS (page 95).
Global opening
Press and hold the unlock button for three 
seconds. The vehicle will unlock (either single 
or multi-point) and the alarm will be disarmed 
immediately. After the three seconds, all of the 
windows and sunroof will open. This feature 
can be enabled/disabled using the vehicle 
touch-screen. See PROGRAMMING THE 
REMOTE CONTROL (page 21).

19
Keys and remote controls
LOCKING AND ARMING THE VEHICLE
Press the lock button to secure the 
vehicle. The vehicle can be Single 
or Double locked, as follows:
Single locking
Press the lock button briefly. Single locking 
secures the vehicle and prevents the doors 
being opened from outside of the vehicle. The 
doors can be unlocked and opened from inside 
the vehicle. The hazard warning lamps will 
flash once as confirmation.
Note: In some markets, an audible warning will 
sound.
Double locking
Press the lock button twice within three 
seconds. Double locking secures the vehicle 
and prevents the doors being unlocked or 
opened from inside or outside of the vehicle, 
except with the correct Jaguar Smart Key. The 
hazard warning lamps will flash twice (with a 
long second flash) and an audible warning will 
sound, as confirmation.
Double locking provides additional security if 
the vehicle is left unattended. The vehicle 
cannot be opened by breaking a window and 
operating the door locks from inside the 
vehicle.
Power-fold mirrors
If automatic power-fold is enabled, the door 
mirrors will fold in towards the vehicle body 
when the vehicle is locked. The power-fold 
feature can be enabled/disabled using the 
touch-screen. See PROGRAMMING THE 
REMOTE CONTROL (page 21).
Lock confirmation
If you are uncertain whether the vehicle is 
locked and armed (either by single or double 
locking), press the lock button again. The 
hazard warning lights will flash to indicate and 
confirm the current lock status.
Note: If the vehicle is not already locked and 
armed, pressing the lock button will single lock 
the vehicle. Press again to double lock, if 
required.
Global closing
Press and hold the lock button for three 
seconds. The vehicle will single lock and the 
alarm will be fully armed immediately. After the 
three seconds, all the windows and the sunroof 
will close.
WARNING
The vehicle will only lock, if all door, 
luggage compartment and bonnet 
apertures are closed. If a lock attempt 
is made when an aperture is open, the vehicle 
will not lock and two audible error warnings 
will sound.
WARNING
Never double lock the vehicle with 
people, children, or pets inside. In the 
event of an emergency they would be 
unable to escape, and the emergency services 
would be unable to release them quickly.
WARNING
Ensure that no children, pets, or 
obstructions are in any open aperture 
before operating global closing. 
Safety mechanisms are in place to prevent 
serious injury, however, injuries can still 
occur.

Keys and remote controls
20
Automatic relocking
If a door, or the tailgate, are not opened within 
one minute of unlocking the vehicle using the 
Jaguar Smart Key, doors will lock again 
automatically. This feature can be 
enabled/disabled using the touch-screen. 
See PROGRAMMING THE REMOTE CONTROL 
(page 21).
DOCKING/UNDOCKING THE JAGUAR 
SMART KEY
Docking the Jaguar Smart Key
During normal operation, it is not necessary to 
dock the Jaguar Smart Key. However, if the 
unlock button on the Smart Key fails to operate 
and the vehicle has been unlocked using the 
emergency key blade, it will be necessary to 
dock the Jaguar Smart Key to deactivate and 
disarm the alarm system.
The Smart Key should also be docked when the 
vehicle is being towed, in order to prevent the 
steering column from locking.
Insert the Jaguar Smart Key into the starter 
control unit, located on the driver's side of the 
vehicle, as shown.
Note: When docking the Jaguar Smart Key, it is 
recommended that the emergency key blade is 
left in place. The end of the key blade can then 
be used as a handle, to pull the Smart Key from 
the control unit when undocking.
E92455

21
Keys and remote controls
Undocking the Jaguar Smart Key
To remove the Jaguar Smart Key from the 
starter control unit:
1. Ensure that the vehicle is at rest with the 
gear selector in the P position and the 
ignition switched off.
2. Press the Jaguar Smart Key and release. 
The key will eject into its rest position.
3. Remove the Jaguar Smart Key from the 
starter control unit.
Message centre information displays
PROGRAMMING THE REMOTE 
CONTROL
The Jaguar Smart Key and various features of 
the vehicle security system, can be 
programmed to your individual requirements 
by use of the touch-screen.
The programmable features are as follows:
•Drive-away locking (including variable 
speed)
•Single or multi-point entry (2 stage 
unlocking)
•Alarm trigger information (market 
dependent)
•Window global open or close (passive 
entry vehicles only)
•Valet key mode
•Passive arming
•Automatic relock and arm.
CAUTION
Ensure the engine is switched off before 
attempting to undock the Jaguar Smart 
Key, otherwise damage to the Smart Key may 
occur.
E92456
2
3
Message Meaning
SMART KEY NOT 
FOUND, PLEASE 
INSERT IN SLOT
The Jaguar Smart Key 
has not been detected, 
insert into the starter 
control unit.
CHECK SMART 
KEY
The Jaguar Smart Key 
detected by the in-vehicle 
systems is not the one 
belonging to the vehicle.
REMOVE SMART 
KEY
Remove the Jaguar 
Smart Key from the 
starter control unit.

Keys and remote controls
22
Selecting single (2 stage unlock) or 
multi-point entry
From the main Home touch-screen menu, 
select Vehicle:
•Select Veh. settings.
•The Security menu is selected 
automatically as the default.
•Select: 2-stage unlocking On (for single-
point entry) or Off (for multi-point entry).
Note: This selection changes the setting for 
both keyless entry and for when unlocking 
using the Jaguar Smart Key.
Selecting alarm sensor override
From the main Home touch-screen menu, 
select Vehicle:
•Select Veh. settings.
•The Security menu is selected 
automatically as the default.
•Touch the arrow button to scroll down to 
Alarm sensors and select either On or Off.
Selecting Off will override the interior and tilt 
sensors until the vehicle is locked and 
unlocked again. This facility is normally used 
for recovery of the vehicle or travelling on a 
ferry.
Vehicle
Security
Parking
Drive away
locking
2 stage unlocking Off On
12:26 pm
Off On
Valet mode
LAN1510
Home
Audio/TV
Climate
Phone
Navigation
Vehicle
DAB radio    DAB1
BBC 5Live Xtra
BBC National DAB
TA FM DAB i Subch.
Valet
12:26 pm
External
15
C
Left Right
20 17
CC
.5 .5
Vehicle
Security
Parking
Passive arming
Off On
Alarm sensors Off On
12 : 26 pm
Off On
Auto-relock and
                     arm
Valet mode
E93148

23
Keys and remote controls
Selecting drive-away locking
From the main Home touch-screen menu, 
select Vehicle:
•Select Veh. settings.
•The Security button is selected 
automatically as the default.
•Select the arrow button to scroll down to 
Drive away locking and select either On or 
Off.
Setting the drive-away locking speed
•Once Drive away locking On is selected, 
select the speed from the list at which you 
want the locks to activate (8, 16 or 32 km/h 
or 5, 10 or 20 mph). To change between 
Imperial and Metric measurement units, 
select Units.
Selecting window global opening or 
closing
From the main Home touch-screen menu, 
select Vehicle:
•Select Veh. settings.
•The Security button is selected 
automatically as the default.
•Scroll down to Global open or Global 
close and select either On or Off.
Selecting passive arming
From the main Home touch-screen menu, 
select Vehicle:
•Select Veh. settings.
•The Security button is selected 
automatically as the default.
•Scroll down to Passive arming and select 
either On or Off.
Vehicle
Security
Parking
Drive away
locking
2 stage unlocking Off On
12 : 26 pm
Off On
Valet mode
E93149
Vehicle
Security
Parking
Drive away
locking
2 stage unlocking
Speed (MPH)
Off On
12 : 26 pm
Off On
Valet mode
510 20
Units
JAG1306
Vehicle
Security
Parking Off On
Off
Off On
global open
Mirror fold back
12 : 26 pm
Windows
global close
Windows
Valet mode
E93150
Vehicle
Security
Parking
Passive arming
Off On
Alarm sensors Off On
12 : 26 pm
On
Auto-relock a
ar
Valet mode
E93151

Keys and remote controls
24
Selecting automatic relock and arm
From the main Home touch-screen menu, 
select Vehicle:
•Select Veh. settings.
•The Security button is selected 
automatically as the default.
•Scroll down to Auto-relock and arm and 
select either On or Off.
CHANGING THE REMOTE CONTROL 
BATTERY
When the battery needs renewing, there will be 
a significant decrease in the effective range of 
the Jaguar Smart Key transmitter and the 
message SMART KEY BATTERY LOW is 
displayed in the message centre.
Vehicle
Security
Parking
Passive arming
Off On
Alarm sen On
12 : 26 pm
Off On
Auto-relock and
arm
Valet mode
E93152
2
3
5
2
4
1
E90710

25
Keys and remote controls
To renew the battery, follow the procedure 
below:
1. Remove the key blade from the Jaguar 
Smart Key. See USING THE REMOTE 
CONTROL (page 17).
2. Remove the two side covers, one at a time, 
by inserting a small, flat bladed 
screwdriver between the cover and body 
and lightly twist the screwdriver.
3. Insert the screwdriver between the two 
body halves of the Jaguar Smart Key. 
Apply light pressure to the screwdriver and 
separate the two halves.
4. Remove the printed circuit board, taking 
care not to touch the battery terminals. 
Remove the old battery and dispose of it 
safely.
5. Fit a new battery, type CR2032 (available 
from your Dealer/Authorised Repairer), 
with the positive (+) downwards, in the 
battery receptacle. Avoid touching the new 
battery, as moisture/oil from the fingers 
can reduce battery life and corrode the 
contacts.
Refit the parts in the reverse order, ensuring 
that they click securely into place.
Battery disposal
Used batteries must be disposed of 
correctly, as they contain a number 
of harmful substances. Seek advise 
on disposal from your Dealer/
Authorised Repairer and/or your local 
authority.
EMERGENCY KEY BLADE
To extract: Press and hold the release button 
(7), while pulling the key blade (6) from the 
Jaguar Smart Key body.
To insert: Press and hold the release button 
while pushing the key blade into appropriate 
slot in the Jaguar Smart Key.
The key blade operates the left-hand front door 
lock and the luggage compartment lock. 
See USING THE EMERGENCY KEY BLADE 
(page 28).
E92438
6
7

Locks
26
LOCKING AND UNLOCKING
Locking and unlocking from outside the 
vehicle
Locking and unlocking the vehicle using the 
Jaguar Smart Key, is explained earlier in this 
handbook. See USING THE REMOTE 
CONTROL (page 17). Locking and unlocking 
the vehicle using the Keyless Entry system is 
explained later in this handbook. See KEYLESS 
ENTRY (page 33).
Note: To help prevent locking the Jaguar Smart 
Key inside the vehicle, it has been made 
difficult to slam lock a door using the interior 
door locking lever. The door will not lock.
Luggage compartment
Note: If the Jaguar Smart Key is placed within 
a metal box, it will not be detected by the 
vehicle security system.
The luggage compartment can be opened at 
any time, using the appropriate button on the 
Jaguar Smart Key or via keyless entry. It can 
also be opened using the exterior release, 
provided the doors are unlocked. 
Provided the vehicle is not locked or alarmed, 
the luggage compartment can also be opened 
using the interior release button.
The luggage compartment can also be 
unlocked and opened using the emergency key 
blade, as described later in this section.
Drive-away locking
This feature locks all unsecured locks when the 
vehicle reaches a designated forward speed. 
This designated speed and whether or not 
drive-away locking is enabled, can be set using 
the vehicle touch-screen. See PROGRAMMING 
THE REMOTE CONTROL (page 21).
WARNING
Never double lock the vehicle with 
people, children or pets inside. In the 
event of an emergency they would be 
unable to escape, and the emergency services 
would be unable to release them quickly.
When the vehicle is double-locked the doors 
cannot be opened, either from inside or 
outside the vehicle.
Breaking a window will not allow a door to be 
opened.
CAUTION
If the luggage compartment is opened 
after the driver and passenger doors are 
locked, ensure that the Jaguar Smart Key 
remains outside the vehicle when it is closed 
again. If the Jaguar Smart Key is inadvertently 
left inside the luggage compartment, an 
audible warning will sound and the luggage 
compartment will re-open after three seconds.

27
Locks
Locking and unlocking from inside the 
vehicle
Door lock and release levers
1. Press the locking lever to lock the door, 
pull the lever to unlock the door. Operating 
the locking lever on either front door will 
lock all closed doors. If the doors are 
locked, operating the locking lever on 
either front door will unlock all four doors 
(provided the doors were locked from 
inside the vehicle and the alarm is 
disarmed).
2. Pull the release lever to open a door. If the 
doors are locked, operating the lever will 
have no effect.
Note: If the car was locked using the Jaguar 
Smart Key, then operating the locking lever will 
only unlock that door and the alarm will sound.
Note: If the vehicle has been double-locked, 
then the interior door lock and release levers 
will not operate. The vehicle must be unlocked 
using the Jaguar Smart Key.
Fascia buttons
Locking: With all the doors closed, press the 
button to lock all doors and the luggage 
compartment. Press and hold to lock all doors 
and the luggage compartment and close all 
windows and the sunroof. The windows and 
sunroof will stop closing if the button is 
released.
Note: The fascia locking button will not 
function unless all the doors are closed.
Unlocking: Press to unlock all doors and the 
luggage compartment. Press and hold to 
unlock all doors and the luggage compartment 
and open all windows and the sunroof. The 
windows and sunroof will stop opening if the 
button is released.
2
1
E93160
E93161
E93162

Locks
28
Press to open the luggage compartment.
Mislock
If one of the doors, the bonnet, or the luggage 
compartment are not shut fully when the 
vehicle is locked using the Jaguar Smart Key or 
by Keyless locking, the vehicle will not lock and 
two warning tones will sound. Check that all 
doors, the bonnet and the luggage 
compartment are closed properly and lock the 
vehicle again. 
If one or more of the doors fails to lock 
properly when a lock attempt is made using the 
Jaguar Smart Key, two warning tones will 
sound and one or more of the doors may not be 
locked.
USING THE EMERGENCY KEY BLADE
The emergency key blade will be needed to 
unlock the vehicle, if the Jaguar Smart Key has 
a discharged battery or is damaged. The 
emergency key blade is also used for accessing 
the luggage compartment if the vehicle has 
been left in Valet mode. Withdraw the key from 
the Jaguar Smart Key for use. See USING THE 
REMOTE CONTROL (page 17).
Locking and unlocking the doors
Remove the front left-hand door lock cover as 
follows: 
1. Insert the emergency key blade into the 
slot on the underside of the cover.
2. Gently lever the key blade upwards.
3. Carefully twist the key blade, to lever the 
cover off the retaining clips.
Insert the key blade into the exposed lock to 
operate.
Note: To refit the door lock cover, push it firmly 
back into place until all three securing tabs 
click into position.
JAG1333
JAG1310
12
3

29
Locks
To lock: Ensure all the doors are closed, then 
turn the key blade towards the front of the 
vehicle and release. This will lock all doors but 
will not arm the alarm.
To unlock: Turn the key blade towards the rear 
of the vehicle and release. If the security 
system is disarmed, all doors and the luggage 
compartment will be unlocked. If the security 
system is armed, only the front left-hand door 
will unlock. The interior lighting will be turned 
on at reduced level for two minutes.
If the vehicle is unlocked using the emergency 
key blade with the security system armed, the 
alarm will sound when a door is opened. To 
deactivate the alarm, press the unlock button 
on the Jaguar Smart Key or press the engine 
START/STOP button with the Smart Key inside 
the vehicle. If the Jaguar Smart Key is 
inoperable, the alarm can be deactivated by 
docking the Smart Key into the starter control 
unit. See DOCKING/UNDOCKING THE JAGUAR 
SMART KEY (page 20).
Unlocking the luggage compartment
If Valet mode is selected, or if the vehicle 
battery is discharged, it will be necessary to 
use the emergency key blade to unlock and 
open the luggage compartment.
Note: If the security system is in Valet mode, 
the touch-screen can be used to cancel Valet 
mode, in which case the luggage compartment 
can then be opened in the normal manner.
Note: If the alarm is armed when the 
emergency key blade is used to unlock the 
luggage compartment, the alarm will sound 
when the luggage compartment is opened. 
Press the unlock button on the Jaguar Smart 
Key to disarm/deactivate the alarm.
•Use the emergency key blade to prise away 
the black lock cover.
•Insert the emergency key blade, then turn 
the key clockwise to unlock and open the 
luggage compartment.
Note: Unlocking the luggage compartment 
using the emergency key blade will cancel Valet 
mode.
E93157

Locks
30
VALET MODE
Valet mode allows the vehicle to be locked by a 
parking attendant, without giving access to the 
luggage compartment and glove compartment. 
Valet mode also prevents operation of the 
touch-screen, to prevent access to telephone 
numbers or navigation addresses.
Selecting valet mode
From the main Home touch-screen menu, 
select Valet:
Enter a four digit Personal identification 
Number (PIN) (personally chosen) by touching 
the digit screen pad. On completion, touch the 
OK button. 
If you wish to cancel the PIN, touch the C 
button at any time during entering the number.
Once the PIN has been entered, a pop-up 
screen is displayed, advising you to remove the 
emergency key blade from the Jaguar Smart 
Key and to keep it safe. Select OK. 
The screen will indicate that the PIN has been 
accepted by displaying Valet on. 
The luggage compartment and glove 
compartment are now securely locked in Valet 
mode.
On exiting and securing the vehicle, hand the 
Jaguar Smart Key, with the emergency key 
blade removed, to the attendant.
Note: Ensure that the emergency key blade is 
kept safely at all times.
Valet off - enter pin
Vehicle
Security
Parking
12 3
4 6
78 9
0
C
OK
12:26 pm
Valet mode
JAG1511
Home
Audio/TV
Climate
Phone
Navigation
Vehicle
DAB radio    DAB1
BBC 5Live Xtra
BBC National DAB
TA FM DAB i Subch.
Valet
12:26 pm
External
15
C
Left Right
20 17
CC
.5 .5
Vehicle
Security
Parking
12:26 pm
Valet mode
Please ensure Jaguar mechanical keyblade
is removed from Smart key stowage and 
kept safe, before handing smart key to
Valet personnel
Valet mode
OK
JAG0948

31
Locks
Deselecting valet mode
When you enter the vehicle, the Valet mode 
screen will be displayed automatically.
Enter your four digit PIN and touch the OK 
button. 
A pop-up screen is displayed, advising you to 
return the emergency key blade to the Jaguar 
Smart Key. Select OK.
The screen will indicate that your PIN has been 
accepted by displaying Valet off.
•The luggage compartment will return to 
the previously set security requirement.
•The glove compartment will now open as 
normal.
Note: If the PIN number has been forgotten, 
the luggage compartment can be unlocked by 
using the emergency key blade. This will cancel 
the Valet mode. 
Valet on - enter pin
Vehicle
Security
Parking
12 3
4 6
78 9
0
C
OK
12 : 26 pm
Valet mode
JAG0946
Vehicle
Security
Parking
12:26 pm
Valet mode
Please ensure Jaguar mechanical keyblade
is returned to Smart key stowage for safe
keeping
Valet mode
OK
JAG0949

Locks
32
JAGUAR SMART KEY SYSTEM 
TRANSMITTERS
1. Cabin front transmitter.
2. Cabin rear transmitter.
3. Front exterior door handle transmitters.
4. Rear exterior door handle transmitters.
5. Luggage compartment interior 
transmitter.
6. Luggage compartment exterior 
transmitter.
7. Keyless vehicle module.
JAG1305
34
5
6
7
1 2
34
3
1
2
5
6
7
4
WARNING
Any person fitted with an implanted 
medical device should ensure that the 
device is kept at a distance of at least 
22 cm (8.7 inches) away from any transmitter 
mounted in the vehicle. This is to avoid any 
possibility of interference between the system 
and device.

33
Locks
KEYLESS ENTRY
Keyless entry allows the driver to unlock and 
disarm the vehicle by simply operating the 
door handle. The Keyless Entry function 
operates in the following manner:
•As a door handle is operated, the vehicle 
emits a search signal.
•If the Jaguar Smart Key is within 
approximately 1.0 m (3 feet) of the 
operated door handle, the signal will be 
acknowledged.
•The vehicle recognises the Jaguar Smart 
Key and disarms the alarm and unlocks the 
vehicle according to the current security 
setting (either Single-point or Multi-point 
entry). See USING THE REMOTE 
CONTROL (page 17). The hazard warning 
lamps flash twice as confirmation (in some 
markets an audible warning will sound 
twice).
Note: The Jaguar Smart Key needs only to be 
on the driver's person or in a non-metallic bag 
or briefcase. It does not need to be exposed or 
handled.
Note: If Single-point entry is the current 
security setting and a door other than the 
driver's door is opened first, then all doors will 
be unlocked. If the driver's door is opened, 
only the driver's door will be unlocked. All 
other doors and the luggage compartment will 
remain locked.
Jaguar Smart Key check
When the last open door is closed, the vehicle 
will perform a search of the vehicle interior for 
the Jaguar Smart Key. If one is not found, 
SMART KEY NOT FOUND, PLEASE INSERT IN 
SLOT will be displayed for four seconds in the 
message centre. This is to alert the driver that 
the Jaguar Smart Key may have been 
inadvertently removed from the vehicle.
E93153

Locks
34
Keyless locking
The vehicle will not lock automatically.
The vehicle will only lock if all doors, luggage 
compartment and bonnet are closed. If a lock 
attempt is made with an open aperture, the 
vehicle will not lock and two audible error 
warnings will sound.
•To single-lock the vehicle, press the button 
on the door handle once. The hazard 
warning lamps will flash once as 
confirmation (in some markets, an audible 
warning will sound).
•To double-lock the vehicle, press the 
button twice within three seconds. The 
hazard warning lamps will flash twice (with 
a long second flash). In some markets, a 
double audible warning will sound.
Note: Keyless locking will only activate if the 
Jaguar Smart Key is outside the vehicle. If no 
Smart Key is present, two audible error 
warnings will sound.
Window global closing
Press and hold the button on the door handle 
for three seconds, to lock the vehicle, arm the 
alarm and also close all open windows and the 
sunroof. The windows and sunroof will stop 
closing when the button is released.
Convenience mode
When the door is opened using either the 
Jaguar Smart Key or keyless entry, the 
vehicle's electrical system initiates the 
convenience mode. The following systems 
become functional:
•Memory.
•Seat and steering column adjustment.
•Interior and exterior lighting.
•Message centre.
•Auxiliary power socket.
WARNING
Never double-lock the vehicle with 
people, children or pets inside. In the 
event of an emergency they would be 
unable to escape and the emergency services 
would be unable to release them quickly.
E93154

35
Locks
Steering column lock
Your vehicle is fitted with an electronic steering 
column lock. The column unlocks when it 
detects a Jaguar Smart Key inside the vehicle.
The steering column automatically locks when 
the starter switch is turned off and the driver's 
door is opened.
Any malfunction of the steering column lock 
will be indicated by the message STEERING 
COLUMN LOCKED displaying in the message 
centre. If this occurs:
1. Press the starter button to return to the 
convenience mode.
2. Try again to unlock the steering column 
lock, by turning the steering wheel gently 
to the left and right.
3. If the malfunction still persists, seek 
qualified assistance as soon as possible.
GLOBAL OPENING AND CLOSING
Global opening and closing is enabled/disabled 
via the touch-screen.See PROGRAMMING THE 
REMOTE CONTROL (page 21).
Window global opening
Press and hold the unlock button 
on the Jaguar Smart Key for at least 
three seconds. The alarm will 
disarm, all doors and the luggage 
compartment will unlock and all the windows 
and sunroof will open.
Note: The windows and sunroof will continue 
to open when the unlock button is released.
Press and hold the interior unlock button on 
the fascia. After three seconds, all the windows 
and the sunroof will open.
Note: The windows and sunroof will stop 
opening when the unlock button is released.
CAUTION
During vehicle recovery, the Jaguar 
Smart Key must remain inside the 
vehicle (or be stowed in the starter control unit 
in the centre console), so that the steering 
column remains unlocked.
WARNING
Accidental closing of an electrically 
operated window or sunroof on 
fingers, hands or any vulnerable part 
of the body, can result in serious injury. 
Always observe the following precautions: 
Ensure that you have a clear view of all open 
apertures on the vehicle and that all apertures 
are unobstructed before activating global 
closing.

Locks
36
Window global closing (not Japan)
Press and hold the lock button on 
the Jaguar Smart Key. The alarm 
will arm, all doors and the luggage 
compartment will lock and, after three 
seconds, all open windows and sunroof will 
close.
Note: The windows and sunroof will continue 
to close when the lock button is released.
Press and hold the exterior locking button on 
the driver's door handle for at least three 
seconds, with a valid Jaguar Smart Key in the 
vicinity of the door.
Note: The windows and sunroof will stop 
closing when the lock button is released.
Press and hold the interior lock button on the 
fascia. After three seconds, all open windows 
and the sunroof will close.
Note: The windows and sunroof will stop 
closing when the lock button is released.
Cancelling global opening/closing
To stop the windows and sunroof from 
opening/closing, during global opening/
closing operation, press any of the buttons on 
the Jaguar Smart Key or operate the driver's 
window switch. To stop a particular window 
from opening, operate the relevant window 
switch.
E93154

37
Alarm
ARMING THE ALARM
The engine is automatically 
immobilised when the Jaguar 
Smart Key is removed from the 
vehicle. The alarm system is armed when the 
lock button on the Jaguar Smart Key is pressed 
or the button on the exterior door handle is 
pressed with a valid Jaguar Smart Key in close 
proximity. The hazard lamps will flash to 
indicate that the alarm is armed (in certain 
markets, an audible tone will sound). The alarm 
can also arm automatically (known as passive 
arming), 30 seconds after all doors, luggage 
compartment and bonnet apertures are closed, 
and the Jaguar Smart Key is removed from the 
vehicle. Passive arming does not lock the 
vehicle.
This feature can be enabled/disabled using the 
vehicle touch-screen. See PROGRAMMING 
THE REMOTE CONTROL (page 21).
Full alarm
To set full alarm protection, ensure that all the 
windows and the sunroof are closed. Then, on 
vehicles fitted with double-locking, press the 
lock button twice within three seconds. The 
hazard warning lights will flash twice to 
confirm the alarm state and, in some markets, 
an audible tone will sound.
Once fully armed the alarm will sound if:-
•The bonnet, luggage compartment, or a 
door are opened.
•If a front door is unlocked using the 
emergency key blade or the interior door 
lock release levers and then opened.
•Movement is detected within the vehicle 
interior.
•A window, front or rear windscreen, or 
sunroof glass are broken.
•The vehicle is raised or tilted.
•The vehicle battery is disconnected.
•An attempt is made to disconnect the 
alarm siren.
•An attempt is made to start the vehicle, 
without a valid Jaguar Smart Key present.
Note: If the alarm is armed and a window or the 
sunroof are left open, the alarm may sound due 
to movement of air currents.
Note: Some of the above conditions are market 
or option dependent and therefore may not 
apply to your vehicle.
Perimeter alarm
To set perimeter alarm protection, briefly press 
the lock button once. The hazard warning lights 
will flash once to confirm the alarm state.
Once armed the perimeter alarm will sound if:-
•The bonnet, luggage compartment, or a 
door are opened.
•If a front door is unlocked using the 
emergency key blade or the interior door 
lock release levers and then opened.
•The vehicle battery is disconnected.
•An attempt is made to disconnect the 
alarm siren.
•An attempt is made to start the vehicle, 
without a valid Jaguar Smart Key present.
Note: This setting should be used in 
circumstances such as travelling on a ferry, 
when pets are to be left in the vehicle, when a 
window must be left open etc.
Note: Some of the above conditions are market 
or option dependent and therefore may not 
apply to your vehicle.

Alarm
38
Alarm indicator
The alarm status is displayed by the indicator. 
•Indicator off - alarm disarmed.
•Indicator flashes once per second - alarm 
is armed and engine immobilised.
Battery-backed sounder
In certain markets, a separate battery backed 
sounder is fitted. This device will sound the 
alarm if the vehicle battery or the alarm 
sounder is disconnected when the security 
system is armed.
DISARMING THE ALARM
When the vehicle is unlocked using 
the Jaguar Smart Key or by valid 
keyless entry, the alarm is 
automatically disabled. The hazard lamps will 
flash twice to indicate that the alarm is 
disabled. In certain markets, a double audible 
tone will sound.
Disarming when the unlock button fails 
to work
If, when pressed, the unlock button fails to 
operate the vehicle can still be unlocked and 
the alarm disabled. To unlock the vehicle:-
1. Unlock the left-hand front door using the 
emergency key blade. See USING THE 
EMERGENCY KEY BLADE (page 28).
2. Dock the Jaguar Smart Key into the starter 
control unit. See DOCKING/UNDOCKING 
THE JAGUAR SMART KEY (page 20).
Note: When the left-hand front door is 
unlocked using the key, the alarm will sound 
until the Jaguar Smart Key is docked.
Deactivating the alarm when triggered
If the alarm has been triggered, it can be 
deactivated by any one of the following 
methods:-
•Pressing the unlock button on the Jaguar 
Smart Key.
•Docking the Smart Key into the starter 
control unit.
•Opening a door using keyless entry.
•Pressing the START/STOP button with a 
valid Jaguar Smart Key present.
km
/ 0 km
E93168

39
Alarm
Alarm trigger information
If you have reason to believe that the alarm was 
triggered when you were away from the 
vehicle, it is possible to check on your return 
using the touch-screen.
From the touch-screen Home menu, select 
Vehicle and then Veh. settings. The Security 
menu is displayed automatically as the default.
Use the arrow icons to scroll to the second 
screen.
A text display (arrowed) will indicate if the 
alarm has been triggered, and also indicate 
what the cause of the trigger was (e.g. Driver 
door, Passenger door, Inclination sensor, 
Trunk, etc.).
SECURITY SENSORS
Note: If the vehicle is to be transported by 
road, rail or sea, the vehicle should not be 
double-locked or the tilt and intrusion sensors 
should be deactivated using the touch-screen. 
See PROGRAMMING THE REMOTE CONTROL 
(page 21). This prevents the alarm from 
sounding as the vehicle pitches and rolls.
Tilt sensor
The tilt sensor detects any change in the 
vehicle's inclination to the ground. When the 
alarm is armed and the vehicle double-locked, 
any change in the vehicle's inclination will 
activate the tilt alarm. This feature protects 
against unauthorised towing away or 
jacking-up of the vehicle.
The tilt alarm is disarmed when the vehicle 
security system is disarmed using the Jaguar 
Smart Key.
Intrusion sensor
The intrusion sensor is mounted in the roof 
console and detects any movement within the 
vehicle cabin via the use of ultrasonic sound 
waves. When the alarm is armed and the 
vehicle double-locked, any movement detected 
inside the cabin will activate the alarm.
Note: It takes approximately 30 seconds for 
the sensor to create an ultrasonic profile of the 
cabin and be fully armed.
The intrusion alarm is disarmed when the 
vehicle security system is disarmed using the 
Jaguar Smart Key.
Note: Ensure all windows and sunroof are 
closed prior to arming the alarm and 
double-locking the vehicle. Failure to do so 
may result in false alarms being sounded due 
to movements detected outside the vehicle.
Vehicle
Security
Parking
Passive arm
fOn
Alarm sensors Off On
12:26 pm
Off On
Auto-relock and
                     arm
Valet mode
Passenger door
Alarm triggered by:
JAG1309

Alarm
40
Passive arming
This vehicle is fitted with a passive arming 
feature which can, if enabled, automatically 
arm the anti-theft system. Passive arming will 
automatically arm the perimeter alarm system 
30 seconds after the driver's door is closed, 
provided all doors, bonnet and luggage 
compartment are closed, the ignition is 
switched off and there are no valid Jaguar 
Smart Keys inside the vehicle.
It will also automatically arm the perimeter 
alarm system 30 seconds after the vehicle is 
unlocked, if none of the doors or the luggage 
compartment are opened.
Passive arming will not lock the vehicle, 
although access to the luggage compartment 
via the interior or exterior release buttons will 
be inhibited and the fuel filler flap will be 
locked. 
Passive arming can be disabled/enabled using 
the touch-screen. See PROGRAMMING THE 
REMOTE CONTROL (page 21).
Automatic relocking and re-arming of the 
alarm
Automatic relock and re-arm is a feature which, 
if enabled, automatically relocks the vehicle 
and arms the anti-theft system.
If the vehicle is in a locked and armed state and 
the remote unlock button is pressed, but none 
of the doors or the luggage compartment are 
opened within 45 seconds, the vehicle will 
automatically relock all the doors and the 
luggage compartment and will re-arm the 
alarm system.
Note: Automatic relocking and arming will only 
relock to a centrally locked state and will only 
arm to a perimeter alarm condition.
Automatic relocking and re-arming can be 
disabled/enabled using the touch-screen. 
See PROGRAMMING THE REMOTE CONTROL 
(page 21).
Sensor faults
If the security systems detect a fault with one 
of the security sensors, two error tones will 
sound from the alarm siren after the vehicle is 
unlocked and disarmed. If this condition 
occurs, please visit your Dealer/Authorised 
Repairer for rectification.

41
Seats
SITTING IN THE CORRECT POSITION
The seat, head restraint, seat belt and airbags, 
all contribute to the protection of the user. 
Correct use of these components will give you 
greater protection, therefore you should 
observe the following points:
1. Sit in an upright position with the base of 
your spine as far back as possible and the 
seatback reclined no more than 30 
degrees.
2. Do not move the driver's seat too close to 
the steering wheel. Ideally, a minimum 
distance of 254 mm (10 inches) is 
recommended between the breastbone 
and the steering wheel airbag cover. Hold 
the steering wheel in the correct position 
with your arms slightly bent.
•Adjust the head restraint so that its highest 
point is level with the top of your head.
•Position the seat belt so that it is mid-way 
between your neck and your shoulder. Fit 
the strap tightly across your hips, not 
across your stomach.
•Ensure that your driving position is 
comfortable and enables you to maintain 
full control of the vehicle.
WARNING
Do not adjust the seat while the 
vehicle is moving. Doing so could 
cause loss of vehicle control and 
personal injury.
E93242
1
2

Seats
42
ELECTRIC SEATS
JAG1650
1
1
2
2A B
3
3
4
5
6
7
8
4
5
6
7
8

43
Seats
1. Cushion length adjustment.
2. Bolster adjustment:
A. Bolster inflate.
B. Bolster deflate.
3. Lumbar support adjustment.
4. Seat back angle adjustment.
5. Head restraint height adjustment.
6. Height adjustment.
7. Fore and aft adjustment.
8. Cushion front tilt adjustment.
To adjust the seats, the Jaguar Smart Key must 
be in the vehicle and the ignition turned on.
Driving position memory
1. Memory preset 1.
2. Memory preset 2.
3. Memory Set button.
4. Indicator light.
Once you have adjusted the driver's seat, 
steering column and exterior mirrors for your 
ideal driving position, the vehicle can 
memorise these settings for future use.
1. Press the memory set button to activate 
the memory function.
2. Press one of the preset buttons within five 
seconds to memorise the current settings. 
An audible chime will sound and MEMORY 
1 (or 2) SETTINGS SAVED is displayed in 
the message centre, to confirm the 
settings have been memorised.
A seat position can only be memorised during 
the five second active period.
Any existing settings for a memory preset will 
be over-written when programming a memory 
position.
Recalling a memorised position
Press the appropriate memory preset button (1 
or 2), MEMORY 1 (or 2) SETTINGS RECALLED 
will be displayed in the message centre.
WARNINGS
Do not adjust a seat while the vehicle 
is moving. Failure to follow this 
instruction could potentially cause 
personal injury or loss of vehicle control.
Before making rearward, height or 
reclining seat adjustments, check that 
the rear passenger has adequate leg 
room.
The driver and front passenger must 
not ride with the seat fully reclined.
E93239
4
3
2
1

Seats
44
HEAD RESTRAINTS
For information on adjusting power-operated 
head restraints, refer to the Electric seats 
section. See ELECTRIC SEATS (page 42).
Whiplash protection
Both front seats are equipped with Active Head 
Restraints (AHR), which reduce the risk of neck 
and spinal injury (whiplash) in the event of a 
rear impact. See WHIPLASH PROTECTION 
(page 57).
Head restraint tilt adjustment
To adjust the angle of the head restraint, press 
the locking button on the side of the restraint 
(solid arrow) and move the restraint to the 
desired position. Release the button to lock in 
place.
The head restraint should be tilted so that it is 
in close proximity to the back of the head, when 
seated in the normal driving position.
WARNINGS
Head restraints are designed to 
support the head, not the back of the 
neck. The restraint must be 
positioned correctly to restrain rearward 
movement of the head in a collision. An 
incorrectly adjusted head restraint increases 
the risk of death or serious injury in the event 
of a collision.
Adjust the head restraint so that the 
top of the head restraint is above the 
centre line of the head. An incorrectly 
adjusted head restraint increases the risk of 
death or serious injury in the event of a 
collision. See SITTING IN THE CORRECT 
POSITION (page 41).
On front head restraints, it is possible 
to adjust the tilt of the head restraint 
forwards or backwards. For greater 
protection in the event of a collision, the head 
restraint should be adjusted so that it is as 
close to the back of the head as is practical.
Do not drive, or carry passengers, 
with the head restraints removed 
from occupied seats. The absence of 
a correctly adjusted head restraint increases 
the risk of death or serious injury in the event 
of a collision.
Never adjust the head restraints while 
the vehicle is in motion. An 
incorrectly adjusted head restraint 
increases the risk of death or serious injury in 
the event of a collision.
JAG1655

45
Seats
Manual head restraints
1. Press the locking collar to release the head 
restraint.
2. Whilst pressing the locking collar, move 
the head restraint up or down to the 
required position.
Note: It is not necessary to press the locking 
collar to adjust the head restraint upwards.
Head restraint removal
Manual head restraints may be removed, if 
required, to fit larger child seats. Press the 
locking collar and lift the restraint out of the 
seat back. Ensure the restraint is refitted once 
the child seat is removed.
Note: It is not possible to remove power-
operated head restraints.
Note: Refer to the Child Safety section for 
details on correct child restraint fitment. 
See CHILD SEATS (page 59).
REAR SEATS
The split fold rear seat can be folded 
completely to accommodate large loads, or 
partially to accommodate long loads, and still 
retain seating for passengers.
CAUTION
Do not attempt to remove a front head 
restraint fitted with a display screen. 
This may damage electrical connections.
E93185
WARNINGS
Always ensure that objects carried 
within the vehicle are secured 
properly. Unsecured items can cause 
death or serious injury in the event of an 
impact or sudden manoeuvre.
Never allow passengers to travel in 
the luggage compartment under any 
circumstances. All vehicle occupants 
should be seated correctly, and wear a seat 
belt at all times when the vehicle is in motion. 
Failure to do so will greatly increase the risk of 
death and serious injury in the event of an 
accident or heavy braking.
Always take note of safety warnings 
and labels attached to the rear seats. 
The labels give advice on safely 
folding and erecting the seats.

Seats
46
Folding the rear seats
Stow the rear seat armrest.
With the luggage compartment open, pull the 
relevant seat release handle, located as shown 
(illustration shows view from the rear of the 
vehicle, with the luggage compartment open).
Fold the seat back part-way forward and 
remove the head restraint(s) from the folded 
seat back. See HEAD RESTRAINTS (page 44).
Fully fold the seat back forward and, if required, 
repeat the process for the second seat section.
JAG0925
JAG0926
WARNING
Ensure that the removed rear head 
restraints are stored securely. Never 
leave them loose in the vehicle, as 
they can cause serious injury or death in the 
event of an accident, heavy braking, or sudden 
manoeuvres.
JAG0927
JAG0928

47
Seats
Raising the rear seats
The process for raising the rear seat is the 
reverse of folding.
HEATED SEATS
Note: To prevent the battery from becoming 
discharged the seat heaters will only operate 
when the engine is running.
Seat heating is adjusted through the vehicle 
touch-screen (from either the Climate or the 
Home menu). The seat heaters have three 
temperature levels, indicated by the three bars 
adjacent to each seat icon. 
•Touch the left or right-hand seat icon (as 
appropriate) to activate the seat heater, 
which initially selects the maximum 
temperature level (three bars).
•Touch the icon a second time to select the 
medium temperature setting (two bars).
•Touch the icon a third time to select the 
lowest temperature setting (one bar).
•Touch the icon again to switch off the seat 
heaters.
WARNINGS
Ensure that when the seat back is 
raised, the seat belts are routed 
correctly and are not trapped by the 
seat back.
Ensure that when the seat back is 
raised, the locking mechanism is fully 
engaged. Failure to do so can 
increase the risk of death or serious injury in 
the event of an accident or sudden manoeuvre 
or heavy braking.
Before driving, ensure that the head 
restraints are correctly fitted to the 
rear seats.
Home
Audio/TV
Climate
Phone
Navigatio
Vehicle
Left Right
20 17
CC
.5 .5
Valet
12:26 pm
External
15
C
DAB radio    DAB1
BBC 5Live Xtra
BBC National DAB
  B i Subch.
JAG1512

Seats
48
CLIMATE SEATS
Note: To prevent the battery from becoming 
discharged the climate seats will only operate 
when the engine is running.
Seat ventilation is adjusted through the vehicle 
touch-screen (from either the Climate or the 
Home menu). The climate seats have three 
heated and three cooled settings, indicated by 
the three bars adjacent to each seat icon. These 
bars will appear red when heated ventilation is 
selected, or blue when cooled ventilation is 
selected.
Heated ventilation
Touch the up arrow to activate heated 
ventilation for the chosen seating position. The 
system automatically selects the maximum 
heated ventilation setting (3 red bars 
illuminated).
To adjust the level of heated ventilation, touch 
the down arrow the appropriate number of 
times:
•1 touch = intermediate heated ventilation 
(2 red bars).
•2 touches = minimum heated ventilation (1 
red bar).
•3 touches = heated ventilation off (no bars 
illuminated).
Cooled ventilation
Touch the down arrow to activate cooled 
ventilation for the chosen seating position. The 
system automatically selects the maximum 
cooled ventilation setting (3 blue bars 
illuminated).
To adjust the level of cooled ventilation, touch 
the up arrow the appropriate number of times:
•1 touch = intermediate cooled ventilation 
(2 blue bars).
•2 touches = minimum cooled ventilation (1 
blue bar).
•3 touches = cooled ventilation off (no bars 
illuminated).
Backrest ventilation only
It is possible to set the seat ventilation so that 
only the seat backrest is ventilated. Backrest 
only ventilation is selected using the 
touch-screen.
•From the Climate menu, select Settings.
•For the left or right front seat select the 
appropriate icon; either full seat ventilation 
(1) or seat backrest ventilation only (2).
Home
Audio/TV
Climate
Phone
Navigation
Vehicle
Valet
12:26 pm
External
15
C
Left Right
20 17
CC
.5 .5
DAB radio    DAB1
BC 5Live Xtra
 National DAB
TA FM DAB i Subch.
JAG1513
Auto
12 : 26 pm
Auto
Climate
Ventilation
External
Left
Sensitivity
Climate seat
settings
Change units
ht
Always
open
Auto
15
C
JAG0914
12

49
Seat belts
PRINCIPLE OF OPERATION
Seat belts
Seat belt safety
WARNINGS
Seat belts are designed to bear upon 
the bony structure of the body, and 
should be worn low across the front 
of the pelvis or the pelvis chest and shoulders, 
as applicable; wearing the lap section of the 
belt across the abdominal area must be 
avoided.
Seat belts should be adjusted as 
firmly as possible, consistent with 
comfort, to provide the protection for 
which they have been designed. A slack belt 
will greatly reduce the protection afforded to 
the wearer.
Care should be taken to avoid 
contamination of the webbing with 
polishes, oils and chemicals, and 
particularly battery acid. Cleaning may safely 
be carried out using mild soap and water.
The belt should be replaced if 
webbing becomes frayed, 
contaminated or damaged.
It is essential to replace the entire 
assembly after it has been worn in a 
severe impact even if damage to the 
assembly is not obvious.
Belts should not be worn with the 
straps twisted.
E82942
WARNINGS
Do not carry hard, fragile or sharp 
items between your person and the 
seat belt. In an impact, the pressure 
from the seat belt on such items can cause 
them to break, which in turn may cause death 
or serious injuries.
Each belt assembly must only be used 
by one occupant; it is dangerous to 
put a belt around a child being carried 
on the occupant's lap.
The occupants of the front seats 
should not travel with the seat back at 
more than 30 degrees from upright. 
Doing so will reduce the protection afforded by 
the seat belt.
WARNINGS
Seat belts should be worn by all 
vehicle occupants, for every journey, 
no matter how short. Failure to do so, 
will greatly increase the risk of death or 
serious injury in the event of an accident.
Never wear just the lap belt or just the 
shoulder belt of a lap/shoulder 
diagonal seat belt. Both of these 
actions are extremely dangerous and may 
increase your risk of injury.
No modifications or additions should 
be made by the user which will either 
prevent the seat belt adjusting 
devices from operating to remove slack, or 
prevent the seat belt assembly from being 
adjusted to remove slack. 
A slack seat belt offers a greatly reduced level 
of occupant protection in an impact.

Seat belts
50
Seat belt checks
Note: If the vehicle is parked on an incline, the 
seat belt mechanism may lock. This is not a 
fault and the belt should be gently eased out 
from the upper anchorage.
The seat belts should be inspected regularly to 
check for fraying, cuts or wear to the webbing, 
and the condition and security of the 
mechanism, buckles, adjusters, and mounting 
points.
•With the seat belt fastened, give the 
webbing near the buckle a quick upward 
pull. The buckle must remain securely 
locked.
•With the seat belt unfastened, unreel the 
seat belt to the limit of its travel. Check that 
it unreels smoothly with no snatches or 
snags. Allow the belt to fully retract, again 
checking for smooth operation.
•Partially unreel the seat belt, then hold the 
tongue plate and give a quick forward pull. 
The mechanism must lock and prevent any 
further unreeling.
If any of the seat belts fail to meet those 
criteria, immediately contact your Dealer/
Authorised Repairer.
SEAT BELT REMINDER
If the driver's seat belt is not 
fastened when the vehicle is in 
motion, a chime will be heard and 
the seat belt warning indicator will illuminate. 
The warning chime and indicator will also be 
activated if the front passenger seat is 
occupied without the seat belt being fastened.
Note: Objects placed on the front passenger 
seat may activate the seat belt reminder 
warning chime and indicator. It is 
recommended that any objects placed on the 
front passenger seat are secured using the seat 
belt.
If any damage, wear, cuts, defects or 
impaired operation are noted with the 
seat belts, the vehicle should be taken 
to a Dealer/Authorised Repairer for immediate 
attention. Do not use the vehicle if the seat 
belts cannot be operated correctly.
When using seat belts to restrain 
items other than occupants, take care 
to ensure that the belts are not 
damaged, or exposed to sharp edges.
Care must be taken to avoid 
contaminating the seat belt webbing 
and seat belt mechanisms with any 
chemicals, liquids, grit, dirt or cleaning 
products. If the seat belts do become 
contaminated, they should be replaced 
immediately. Contaminated seat belts my not 
operate correctly in an impact and cannot be 
relied upon.
The use of comfort clips, or devices 
that would create slackness in the 
seat belt system, is not advised.
WARNINGS

51
Seat belts
USING SEAT BELTS DURING 
PREGNANCY
Position the lap strap comfortably across the 
hips beneath the abdomen. Place the diagonal 
part of the seat belt between the breasts and to 
the side of the abdomen. Ensure that the seat 
belt is not slack or twisted.
FASTENING THE SEAT BELTS
1. Draw the belt out smoothly, ensure that the 
belt height, the seat, and your position on 
the seat are correct. The belt should lay flat 
across the pelvis, chest, and mid-point of 
the collar bone between the neck and 
shoulder.
2. With the seat belt correctly positioned, 
place the metal tongue into the buckle 
nearest to you. Press it in until a click is 
heard.
Releasing the seat belts
Note: When releasing the seat belt it is 
advisable to hold the belt before pressing the 
release button. This will prevent the belt from 
retracting too quickly.
To release the seat belt, press the red button.
WARNINGS
Position the seat belt correctly for the 
safety of the mother and unborn 
child. Never wear just the lap strap, 
and never sit on the lap strap whilst using just 
the shoulder strap. Both of these actions are 
extremely dangerous and may increase your 
risk of serious injury in the event of an accident 
or during emergency braking. 
Never place anything between you 
and the seat belt in an attempt to 
cushion the impact in the event of an 
accident. It can be dangerous and will reduce 
the effectiveness of the seat belt in preventing 
injury.
E82643
E93298

Seat belts
52
SEAT BELT HEIGHT ADJUSTMENT
1. Press to release the catch.
2. With the catch depressed move the 
mechanism slide up or down to the 
required height. Ensure that the locking 
mechanism has engaged.
When correctly positioned the seat belt should 
cross the collar bone at the mid-point between 
the neck and end of your shoulder.
Where possible, rear seat passengers should 
adjust their seating position to achieve the 
same seat belt position.
WARNING
Correct seat belt adjustment is 
essential for safety and comfort. 
Ensure that the height is correctly 
adjusted and the mechanism is locked in place 
before driving the vehicle. Do not attempt to 
adjust the seat belt height once the vehicle is 
in motion. Doing so may cause you to loose 
control of the vehicle, or incorrectly adjust the 
seat belt.
E82904
2
1

53
Supplementary restraints system
PRINCIPLE OF OPERATION
Introduction
In the event of a collision, the airbag control 
unit monitors the rate of deceleration caused 
by the collision. This information is then used 
to determine whether airbags should be 
deployed.
Airbag deployment is dependent on the rate at 
which the passenger compartment changes 
velocity following the collision. The 
circumstances affecting different collisions 
(vehicle speed, angle of impact, type and size 
of object hit, etc.), vary considerably and will 
affect the rate of deceleration accordingly.
The Supplementary Restraint System (SRS) 
components include:-
•SRS warning indicator.
•Rotary coupler.
•Airbag modules.
•Seat belt pre-tensioners (front seat belts).
•Restraints control module.
•Crash sensors.
•Airbag wiring harnesses.
The SRS is not designed to operate as a result 
of:
•Rear impacts.
•Minor front impacts.
•Minor side impacts.
•Heavy braking.
•Driving over bumps and pot holes.
Therefore, it follows that considerable 
superficial damage to the vehicle can occur, 
without causing the airbags to deploy.

Supplementary restraints system
54
Airbags
1. Driver's airbag.
2. Front passenger airbag.
3. Seat mounted side airbags.
4. Curtain airbags.
E94099
3 4
3
21
WARNINGS
High speed impacts may cause 
serious injury or death irrespective of 
safety features fitted to a vehicle. 
Always drive with caution and consideration 
for the vehicle's characteristics, road and 
weather conditions.
The airbag cannot provide protection 
in some types of impact, therefore 
seat belts should be worn at all times 
by the driver and passengers in all seating 
positions.
WARNINGS
Airbags inflate at high speeds, and 
can cause injuries. To minimise the 
risk of injury, ensure that all vehicle 
occupants wear correctly positioned seat 
belts, sit correctly in the seats, and position 
the seats as far back as practical.
Sitting centrally and correctly in each 
seating position helps ensure that a 
gap is maintained between the side of 
the vehicle and the head and torso. This will 
aid inflation of the curtain and seat-mounted 
airbags.
Airbag inflation takes place 
instantaneously. Not all airbags are 
designed to protect against the 
effects of secondary impacts. During 
secondary impact, a level of protection may be 
provided by a correctly worn seat belt.

55
Supplementary restraints system
Note: The general location of airbags fitted to 
the vehicle are marked by the word AIRBAG.
Always contact your Dealer/Authorised 
repairer if:-
•An airbag inflates.
•The front or sides of the vehicle are 
damaged.
•Any part of the SRS shows signs of 
cracking or damage, including trim 
covering airbags.
Airbag operation
Airbags cannot deploy correctly if they are 
obstructed. Examples of obstructions are:-
•Any part of an occupants body in contact 
with, or close to, an airbag covering.
•Objects placed on, or close to, an airbag 
cover.
•Clothing, sun screens, or other material 
hanging from grab handles.
•Clothing, cushions, or other material, 
covering seat mounted airbags.
•Seat covers which are not approved by 
Jaguar, or specifically designed for use 
with seat mounted airbags.
•Luggage that intrudes into the area that 
will be occupied by a deploying airbag 
system.
This list is not exhaustive and it remains the 
responsibility of the driver and passengers to 
ensure that the airbags are not obstructed in 
any way.
Deployment and deflation
In the event of a collision, the restraints control 
system monitors the rate and direction of 
deceleration. If required to supplement the seat 
belts, airbags will be deployed as appropriate. 
After operation, frontal airbags do not retain 
pressure.
Front airbags
The front passenger’s and driver’s airbags are 
able to deploy in two stages, depending on the 
severity of the frontal impact. In a severe 
impact, the airbags inflate fully to offer 
maximum protection. In a lower severity 
impact, less inflation may be required, so the 
airbags inflate in a different manner.
WARNINGS
Phone systems should only be 
installed by qualified persons familiar 
with the operation of, and 
requirements for, vehicles fitted with SRS. If 
you are in any doubt, seek advice from your 
Jaguar Dealer/Authorised repairer.
WARNINGS
For the airbags to operate correctly 
the roof lining and door post trims 
must be in good condition, correctly 
fitted, and free from obstruction. Any damage, 
wear, or incorrect fitment should be referred to 
your Dealer/Authorised repairer as soon as 
possible for examination and repair.
Do not allow passengers to obstruct 
the operation of the airbags by 
placing any part of their person, or 
any objects, in contact with, or close to, an 
airbag module. Airbags deploy at very high 
speeds and can cause serious injury or death 
if objects or occupants are within the area of 
deployment.

Supplementary restraints system
56
Side and curtain airbags
To ensure that the side and curtain airbags are 
fully effective: 
Side and curtain airbags are designed to offer 
increased protection for the torso and head in 
a side impact. The curtain airbags may deflate 
at a slower rate than the front or side airbags, 
to afford prolonged protection.
Airbag deployment effects
WARNINGS
Do not allow passengers to obstruct 
the operation of the airbags by 
placing any part of their person, or 
any objects, in contact with, or close to, an 
airbag module. Airbags deploy at very high 
speeds and can cause serious injury or death 
if objects or occupants are within the area of 
deployment.
Do not sit too close to, lean or 
sleep against the door trim. The 
side and curtain airbags could 
injure you as they deploy.
Do not lean out of the window. 
Only use approved accessories (e.g. 
seat covers).
Due to the function of the curtain 
airbag deployment, consult your 
Jaguar Dealer/Authorised Repairer, 
prior to installing any accessories in the upper 
environment/pillar trim area (e.g. hands-free 
telephone kits). 
WARNINGS
When an airbag inflates, a by-product 
of the gas generation may be released 
as small particles. It is possible that 
this may cause irritation and should be 
thoroughly flushed from the eyes and any cuts 
or abrasions.
After inflation, some airbag 
components are at high 
temperatures. To prevent injury, do 
no touch the airbag components until they 
have cooled.
In order to react with sufficient speed, 
airbags are deployed by a pyrotechnic 
device. Consequently, airbag 
deployment is accompanied by a very loud 
noise which may cause discomfort and 
temporary loss of hearing.

57
Supplementary restraints system
AIRBAG WARNING LAMP
The airbag warning indicator is 
mounted in the instrument pack, 
and will illuminate as a bulb check 
when the starter switch is turned on.
If any of the following warning indicator 
conditions occur, the vehicle should be 
checked by your Dealer/Authorised repairer 
immediately.
•The warning indicator fails to illuminate 
when the starter switch is initially turned 
on.
•The warning indicator fails to extinguish 
within six seconds of the starter switch 
being turned on.
•The warning indicator illuminates at any 
time other than the bulb check, when the 
starter switch is on.
WHIPLASH PROTECTION
Both front seats are equipped with Active Head 
Restraints (AHR), which reduce the risk of neck 
and spinal injury (whiplash) in the event of a 
rear impact.
When activated, the head restraint moves 
upwards and forwards, supporting the 
occupant's head.
After activation, the whiplash protection 
mechanism automatically resets and does not 
need to be replaced.
WARNING
If the warning indicator signals that a 
fault is present in the system, do not 
use a child restraint on the front 
passenger seat. Doing so will increase the risk 
of death or serious injury to the child.
E93243

Supplementary restraints system
58
AIRBAG LABELS
Airbag warning information is printed on the 
driver and passenger sun visors.
AIRBAG SERVICE INFORMATION
All of the following operations should only be 
carried out by a Dealer/Authorised Repairer, or 
suitably qualified person:-
•Removal or repair of any wiring or 
component in the vicinity of any SRS 
components.
•Installation of electrical, or electronic, 
equipment and accessories.
•Modification to the front or sides of the 
vehicle exterior.
•Attachment of accessories to the front or 
sides of the vehicle.
In the event of the vehicle being dismantled, 
airbag module removal and disposal must be 
carried out by a qualified person.
E94101
WARNINGS
Do not attempt to service, repair, 
replace, modify, or tamper with, any 
part of the SRS. This includes wiring 
or components in the vicinity of SRS 
components. Doing so may cause the system 
to trigger, or render the system inoperative, 
either of which may result in death or serious 
injuries.
Do not use any electrical test 
equipment or devices in the vicinity of 
SRS components or wiring. Doing so 
may cause the system to trigger, or render the 
system inoperative, either of which may result 
in death or serious injuries.

59
Child safety
CHILD SEATS
The seat belts fitted to your vehicle are 
designed for adults and larger children. For 
their safety, it is very important for all infants 
and children under 12 years of age to be 
restrained in a suitable child safety seat 
appropriate to their age and size.
Children are always safest when seated in a 
rear seating position.
If it is essential that a child travels in the front 
passenger seat, Jaguar recommends that the 
following preparations are made before fitting 
the child restraint.
•Adjust the front passenger seat fully 
rearwards.
•Adjust the lumbar support to its minimum 
support position.
•Adjust the seat cushion to its highest 
position. If cushion front tilt adjustment is 
possible, adjust it to its lowest position.
•Adjust the seat back to the fully upright 
position.
•Adjust the seat belt adjustable upper 
anchorage to its lowest position.
In some countries, legislation prohibits 
children travelling in the front of a vehicle. 
Ensure that you are familiar with the legislation 
in force where the vehicle is being used and are 
in full compliance.
WARNINGS
Do not use a child restraint on a seat 
protected by an airbag in front of it. 
There is a risk of death or serious 
injury when the airbag deploys. 
Crash statistics show that children 
are safest when properly restrained in 
a child or infant restraint system that 
is secured in a rear seating position.
For optimum safety, children should 
travel in the rear of the vehicle at all 
times; front passenger seat travel is 
not recommended. However, if it is 
essential that a child travels in the front, set the 
vehicle seat fully rearward and seat the child in 
an approved forward-facing child seat. Do not 
use a rear-facing child seat - an inflating airbag 
could impact with the seat and cause serious 
injury.
Do not use a forward facing child seat 
until the child using it is above the 
minimum weight of 9 kg (20 lb.) and 
able to sit up unaided. Up to the age of two, a 
child's spine and neck are not sufficiently 
developed to avoid injury in a frontal impact.
Do not allow a baby or infant to be 
held or carried on the lap. The force of 
a crash can increase effective body 
weight by as much as thirty times, making it 
impossible to hold onto the child. 
Children typically require the use of a 
booster seat appropriate to their age 
and size, thereby enabling the seat 
belts to be properly fitted, reducing the risk of 
injury in a crash. Children could be 
endangered in a crash if their child restraints 
are not properly secured in the vehicle.
Do not use a child seat that hooks 
over the seat back. This type of seat 
cannot be satisfactorily secured and 
is unlikely to be safe for your child.
WARNINGS

Child safety
60
This symbol is affixed to the end of the fascia 
on the passenger side. Its purpose is to warn 
against the use of a rear facing child seat in the 
front passenger seat, when the front passenger 
airbag is fitted.
Child restraint check list
Every time a child travels in the vehicle observe 
the following:-
•Use appropriate child restraints.
•Carefully follow the restraint system 
manufacturers instructions.
•Adjust the harnesses for every child on 
every trip.
•Ensure that all slack is removed from the 
adult seat belt.
•Always attach the top tether when 
installing an ISOFIX seat. See CHILD SEAT 
ANCHOR POINTS (page 62).
•Always check the security of the child 
restraint.
•Do not dress a child in bulky clothing, or 
place any objects/padding between the 
child and the restraint.
•Regularly check the fit and condition of 
child restraints. If the fit is poor, or 
wear/damage is visible replace the 
restraint immediately.
•Set a good example - always wear your 
seat belt.
CHILD SEAT POSITIONING
For optimum safety, children should travel in 
the rear of the vehicle at all times; front 
passenger seat travel is not recommended. 
However, if it is essential that a child travels in 
the front, set the vehicle seat fully rearward and 
seat the child in an approved forward-facing 
child seat. Do not use a rear-facing child seat - 
an inflating airbag could impact with the seat 
and cause serious injury.
Note: The information contained in the 
following table may not be applicable to all 
countries. If you are in any doubt regarding the 
type and fitment of child seats seek advice from 
your Dealer/Authorised Repairer.
Note: The legislation which governs how and 
where children should be carried when 
travelling in a vehicle, is subject to change. It is 
the responsibility of the driver to comply with 
all regulations in force.
WARNING
Original text according to ECE R94. 
01. Extreme hazard! Do not use a 
rearward facing child restraint on a 
seat protected by an airbag in front of it!
E79258
CAUTION
Information given within the table is 
correct at the time of going to press. 
However, availability of child restraints may 
change. Please consult your Dealer/
Authorised Repairer for the latest 
recommendation.

61
Child safety
Child safety seating and positions
•U = Suitable for universal category 
restraints approved for this mass group.
•UF = Suitable for forward facing Universal 
category restraints approved for this mass 
group.
•X = Not suitable for child restraint fitment 
in this mass group.
* Jaguar recommend that the front passenger 
seat be positioned fully rearward, with the 
cushion adjusted to the highest position when 
installing child restraints.
Note: Ages given are approximate. In case of 
doubt, the child’s weight, not age, should be 
used when considering an appropriate child 
seat.
BOOSTER CUSHIONS
In a situation where a child is too large to fit 
into a child safety seat, but is still too small to 
safely fit the three point belt properly, a booster 
seat is recommended for maximum safety. 
Follow the manufacturer's instructions for 
fitting and use, then adjust the seat belt to suit.
Seating positions Front passenger* Rear outboard Rear centre
Mass group
0 =  Up to 10 kg (22 lb.) 
0 to 9 months
XU U
0+ =  Up to 13 kg (29 lb.)
0 to 18 months
XU U
I =  9 to 18 kg (20 to 40 lb.)
9 months to 4 years
UF U U
II =  15 to 25 kg (33 to 55 lb.)
4 to 9 years
UU U
III =  22 to 36 kg (49 to 79 lb.)
8 to 12 years
UU U

Child safety
62
CHILD SEAT ANCHOR POINTS
ISOFIX anchor points (not Australia)
Both of the outer rear seat positions are 
equipped to accept ISOFIX restraints. 
This symbol is shown on a label 
sewn into the seats to indicate the 
position of the ISOFIX lower 
anchorages.
Note: The information contained in the 
following table may not be applicable to all 
countries. If you are in any doubt regarding the 
type and fitment of child seats seek advice from 
your Jaguar Dealer/Authorised Repairer.
WARNINGS
Do not attempt to fit ISOFIX restraints 
to the centre rear seating position. 
The anchor bars are not designed to 
hold an ISOFIX restraint in this position.
If the restraint is not correctly 
anchored, there is a significant risk of 
injury to the child in the event of a 
collision or emergency braking.
Child restraint anchorages are 
designed to withstand only loads 
imposed by correctly fitted child 
restraints. Under no circumstances are they to 
be used for adult seat belts, harnesses or for 
attaching other items or equipment to the 
vehicle.
If removing a head restraint in order 
to fit a child restraint, always secure 
the head restraint when storing it. If 
left loose in the vehicle, it may cause death or 
serious injury during sudden braking or an 
impact.
E94103

63
Child safety
ISOFIX child seats
•IUF = Suitable for ISOFIX forward child 
restraint systems of universal category 
approved for use in the mass group.
•IL = These ISOFIX child restraint systems 
are of the specific vehicle, restricted or 
semi-universal categories.
•* = Child seats suitable for use in these 
locations are Britax Cosy-Tot Premium 
Infant carrier and Britax Duo Plus child 
seat.
Note: Ages given are approximate. In case of 
doubt, the child’s weight, not age, should be 
used when considering an appropriate child 
seat.
Installing an ISOFIX child seat
To install an ISOFIX child seat:-
1. Raise or remove the head restraint from 
the relevant seat.
2. Lift the velcro flap to expose the ISOFIX 
locking mechanism.
3. Slide the child seat into the locking 
mechanism.
4. Test the security of the child restraint. To 
do this attempt to pull the restraint away 
from the vehicle seat and twist the restraint 
from side to side. Even if the restraint 
appears secure you should still check the 
anchor points visually to ensure correct 
attachment.
Note: Always ensure that if an upper tether is 
provided, it is fitted and tightened correctly.
Mass group Size classes Fixtures Rear outboard seats
Carrycot F/G ISO L1/L2 X
0 = Up to 10 kg (22 lb.)
0 to 9 months
EISO R1 IL*
0+ =  Up to 13 kg (29 lb.)
0 to 18 months
C/D/E ISO R1/R2/R3 IL*
I =  9 to 18 kg (20 to 40 lb.)
9 months to 4 years
C/D
A/B1/B
ISO R2/R3
ISO F2/F2X/F3
X
IUF
II =  15 to 25 kg (33 to 55 lb.)
4 to 9 years
-N/AN/A
III =  22 to 36 kg (49 to 79 lb.)
8 to 12 years
-N/AN/A
E94104

Child safety
64
Tether anchorage points (Australia only)
Note: A tether anchorage is provided for the 
centre seat position. Do not use this anchor 
position with an ISOFIX child seat.
Attaching tether straps
1. Install the child restraint securely in one of 
the rear seating positions.
2. Pass the tether strap over the seat back 
and beneath the head restraint.
3. Attach the tether strap hook to the tether 
anchor point on the back of the seat. 
Ensure that the tether strap hook is facing 
the correct way. See illustration.
4. Tighten the tether strap according to the 
manufacturer's instructions.
WARNING
Child restraint anchorages are 
designed to withstand only those 
loads imposed by correctly fitted 
child restraints. Under no circumstances are 
they to be used for adult seat belts, harnesses 
or for attaching other items or equipment to 
the vehicle.
If a child seat or restraint system is to 
be fitted to the centre seating 
position, the centre armrest must be 
in the stowed position (folded into the seat).
E94105

65
Child safety
CHILD SAFETY LOCKS
Child safety locks are fitted to the rear doors to 
allow you to prevent accidental opening of the 
doors when the vehicle is in motion.
If children are to be carried in the rear seat 
positions, it is recommended that the rear door 
interior handles are disabled.
Note: For convenience, the rear door interior 
handles should be re-enabled when carrying 
adult passengers in the rear seat positions.
To change the child lock settings:-
1. Open the door to access the child safety 
lock.
2. Insert the emergency key into the slot and 
rotate a quarter of a turn, to enable or 
disable the interior door handle, as 
required.
E94106
1
2

Pedestrian protection
66
PRINCIPLE OF OPERATION
The pedestrian protection system has been 
designed to reduce lower leg and head injuries 
in the event of a frontal collision with a 
pedestrian.
The bumper includes energy absorbing foam 
and plastics in its construction to reduce leg 
injuries and sensors that detect the collision 
with a pedestrian.
Deployment
During a pedestrian collision, the sensors 
initiate a bonnet deployment system that 
releases the bonnet hinge system and raises 
the rear edge of the bonnet by approximately 
130 mm (5.1 inches).
This increases the gap between the bonnet and 
the components within the engine 
compartment e.g. engine, suspension etc. This 
increased gap creates a cushion to mitigate 
injury caused to the pedestrian.
The bonnet deployment system is active only 
when the ignition is on and the vehicle is driven 
between the speeds of approximately 20 km/h 
(12 mph) and 45 km/h (28 mph).
AFTER DEPLOYMENT OF THE 
PEDESTRIAN PROTECTION SYSTEM
The vehicle must be stopped as soon as it is 
safe to do so.
The hazard warning lamps will be activated and 
can only be switched off by pressing the engine 
START/STOP button to turn the engine off and 
on again.
A warning message CHECK PEDESTRIAN 
SYSTEM will appear on the message centre 
and the vehicle should be transported to the 
nearest Dealer/Authorised Repairer. The 
vehicle must not be driven when the bonnet 
has been deployed. See Vehicle recovery 
(page 253).
Note: If the warning message CHECK 
PEDESTRIAN SYSTEM appears in the message 
centre when the bonnet has not been deployed, 
the vehicle should be taken to the nearest 
Dealer/Authorised Repairer immediately. It can 
be driven.
If any significant damage occurs to the front 
bumper it should be inspected by a 
Dealer/Authorised Repairer as soon as 
possible.
E94698
CAUTION
Do not attempt to open the bonnet if the 
pedestrian protection system has been 
deployed.

67
Steering wheel
ADJUSTING THE STEERING WHEEL
The steering wheel can be adjusted for tilt and 
reach, as follows:
1. Turn the switch to the COLUMN or AUTO 
position.
2. Move the switch forwards or rearwards to 
adjust reach.
3. Move the switch up or down to adjust tilt.
Two steering wheel positions can be stored 
and recalled by the driver position memory 
system.
The message centre will indicate which switch 
position has been selected by displaying the 
message COLUMN ADJUST or COLUMN 
ADJUST AUTO.
Entry and exit mode
Entry and exit mode provides automatic 
movement of the steering column, to allow 
easier entry to, or exit from, the vehicle.
Entry and exit mode is selected by setting the 
steering column adjustment switch to the 
AUTO position.
Exit: If the driver's door is opened, the steering 
column will move to the uppermost tilt 
position, unless already in that position.
Entry: When the door is closed and the ignition 
is switched on, the steering column will return 
to its previous position.
Note: If the steering column switch is moved 
away from AUTO when the steering column is 
in the Exit position, the steering column will 
move back to its previous (driving) position, 
when the driver's door is closed and the 
ignition is switched on.
If the steering column position is manually 
adjusted during Entry or Exit operation, 
steering column movement will stop.
WARNING
Never adjust the steering wheel 
position whilst the vehicle is in 
motion. Doing so will reduce control 
of the vehicle and may cause unpredictable 
steering movements.
CAUTION
Do not use steering wheel mounted 
security devices, as movement of the 
steering wheel in entry and exit mode, could 
result in damage to the vehicle or possible 
injury to the occupant.
E91122

Steering wheel
68
HORN
The dual tone horn is operated by pressing the 
centre pad on the steering wheel.
The horn also operates as the alarm sounder, if 
the vehicle alarm system is activated.
HEATED STEERING WHEEL
The heated steering wheel is activated via the 
touch-screen main Home menu.
With the engine running, touch the steering 
wheel icon to turn the heating on. The icon will 
glow red when the steering wheel heater is on.
The heated steering wheel can also be activated 
via the Climate menu on the touch-screen. With 
the engine running, touch the steering wheel 
icon to turn the heating on or off.
E91123
Home
Audio/TV
Climate
Phone
Navigation
Vehicle
Valet
12:26 pm
External
15
C
Left
20 17
CC
.5 .5
DAB radio    DAB1
BBC 5Live Xtra
BBC National DAB
TA FM DAB i Subch.
JAG1514
Settings
Te m p . sync.
External
12
C
Auto
21
C 5 C
Auto
A/C
OFF
.5
Climate
12 :  26 pm
Auto
E94700

69
Steering wheel
AUDIO CONTROL
1. Rotate (up or down) to increase or 
decrease volume.
2. Rotate (up or down) and release, to scroll 
up or down through preset radio stations 
or CD tracks. 
Rotate and hold (for two seconds) to select 
the next or previous radio station on the 
waveband, or to select the next or previous 
loaded CD (on multi-disc CD players).
3. Press repeatedly to scroll through the 
audio source options, comprising: FM1, 
FM2, AM, CD, DAB radio, Auxiliary input, 
Portable Audio Interface and TV options.
Press and hold (for two seconds) to select 
Phonebook view (when a phone is 
connected to the system).
4. Press to mute the audio unit. 
Press to dial, answer or end a phone call.
VOICE CONTROL
JaguarVoice control provides a safe and 
convenient way of operating certain vehicle 
systems, without the need to operate the 
controls manually. 
Voice commands are available for the phone, 
navigation and touch-screen display systems, 
and a notepad facility is provided, to allow 
voice notes to be recorded. Help and tutorial 
functions provide advice on operating the 
system. Information on JaguarVoice operation 
of the telephone and navigation systems is 
detailed later in this handbook. 
See TELEPHONE VOICE CONTROL (page 323). 
See USING VOICE CONTROL (page 373).
The system is controlled using the voice button 
on the steering wheel (arrowed). Voice 
commands are picked up by a dedicated 
microphone and audible feedback will be heard 
through the audio system speakers.
1 2
4 3
E91129
E95902

Steering wheel
70
Activating the system
To activate voice control, press the voice 
button on the steering wheel. A tone will be 
heard and LISTENING will be displayed in the 
message centre, to indicate that the system is 
now waiting for a voice command.
Note: It is only necessary to press the voice 
button at the beginning of each voice session.
Language and accent
Voice feedback is given in the same language 
as is set for Voice recognition. For example, if 
the Voice recognition language is set to UK 
English, the system will not recognise other 
languages (e.g. US English). The language for 
the system can be changed using the 
touch-screen as follows:
1. From the Home menu, select Comms.
2. From the Comms menu, select Voice and 
then select Settings.
3. Select Change, then select the desired 
language from the options available.
Note: Changing the Voice recognition language 
will not affect the language settings for the 
touch-screen.
Giving a command
Note: If background noise is excessive (e.g. 
driving with windows open), the voice system 
may not recognise a given voice command.
Press and release the Voice button on the 
steering wheel and, after the tone, say one of 
the commands listed later in this section, or 
one of the commands given in either the 
Telephone voice section or the Navigation 
voice section, as appropriate. See TELEPHONE 
VOICE CONTROL (page 323). See USING 
VOICE CONTROL (page 373).
Note: Always wait until the tone finishes 
sounding before giving a voice command.
Give commands while facing forwards, in a 
natural speaking voice as if talking to a 
passenger or on the phone. Most accents are 
understood without difficulty, but if the system 
does not recognise the command, the system 
will respond with SORRY and allow two more 
attempts to say the command.
The system will repeat the command (as 
understood by the system) back to you as 
confirmation. The command will then be acted 
on or the system will ask for further 
information - always wait until after the tone 
has sounded before speaking.
Once you are familiar with system requests, it 
is possible to skip to the end of the request (to 
when the tone sounds) to give your response. 
To achieve this, briefly press and release the 
voice button on the steering wheel during the 
system request.
Note: If the Voice button on the steering wheel 
is pressed before the system is ready to receive 
a command, VOICE NOT READY will be 
displayed in the message centre.
Voice
12 : 26 pm
Add phone nametags
Command list
Operating guide
Settings
E96024
Voice
12 : 26 pm
Feedback Volume
Voice language
English UK Change

71
Steering wheel
Cancelling voice control
To cancel a voice command, press and hold the 
Voice button on the steering wheel until a 
double tone is heard.
Note: If a phone call is received during a voice 
session, voice control is cancelled.
Voice system tutorial
To listen to a tutorial on how to use 
JaguarVoice, press and release the voice 
button and, after the tone, say VOICE 
TUTORIAL.
The tutorial is divided into four lessons and has 
a total duration of approximately four minutes. 
The tutorial can only be undertaken with the 
vehicle stationary and parked.
The tutorial can also be accessed via the 
touch-screen.
1. Select Comms from the Home menu.
2. From the Comms menu, select Voice.
3. From the Voice menu, select Operating 
guide and then select Tutorial.
To cancel the tutorial, press and release the 
Voice button and say CANCEL. To skip to the 
previous or next lesson of the tutorial, press 
and release the Voice button and say 
PREVIOUS or NEXT.
Command help
For a list of the most commonly used voice 
commands, press and release the Voice button 
and, after the tone, say the appropriate 
command from the following list:
•VOICE HELP
•NAVIGATION HELP
•PHONE HELP
•DISPLAY HELP
•NOTEPAD HELP
Voice
12 : 26 pm
Add phone nametags
Comm  
Operating guide
Settings
E96025
Voice
12 : 26 pm
To give a voice command briefly press
the voice button and speak normally
after the tone
Tutorial will help you start to use your
voice control system
Tutorial

Steering wheel
72
Full command list
A full list of voice commands available can be 
accessed on the touch-screen.
1. Select Comms from the Home menu.
2. From the Comms menu, select Voice.
3. From the Voice menu select Command 
list.
4. Select Navigation or Display to view the 
relevant command list or select Comms to 
view the options available.
If Comms was selected, you can now choose 
which system’s command list you wish to view 
(Voice, Notepad or Phone)
1. Select the appropriate system (Phone in 
this example).
2. Scroll down to view the entire command 
list for the chosen system.
Nametags
Nametags allow the voice system to be 
personalised with the addition of names for 
phone numbers and navigation locations, 
destinations and waypoints. A nametag can be 
any unique name chosen by the user.
Details for storing and using nametags in 
conjunction with the telephone and Navigation 
systems, are given later in this handbook. 
See TELEPHONE VOICE CONTROL (page 323). 
See USING VOICE CONTROL (page 373).
A spoken list of currently stored nametags can 
be heard by pressing and releasing the Voice 
button and saying PHONE PLAY DIRECTORY 
or NAVIGATION PLAY DIRECTORY, as 
appropriate.
Voice
12 : 26 pm
Add ph   tags
Command list
Operating guide
Settings
E96026
Voice
12 : 26 pm
Select a system for the list of
voice commands
Comms
Navigation
Display
Voice
Phone help
Phone reject calls
Phone accept calls
Phone redial
Phone dial number
JAG0899
Voice
12 : 26 pm
Select a system for the list of
voice commands
Voice
Notepad
Phone

73
Steering wheel
Notepad
The notepad facility enables the user to record 
a note, up to a maximum of 30 seconds 
duration, which can be subsequently recalled.
Note: To hear information on notepad 
commands, press the Voice button, wait for the 
tone to sound and then say NOTEPAD HELP.
Recording a note
1. Press and release the Voice button, wait 
for the tone to sound, then say RECORD 
NOTE.
2. Say the words of the note to be recorded, 
then press and hold the Voice button to 
end and save the note.
Note: The maximum length of a note is 30 
seconds, after which time the recording of the 
note will be ended automatically.
Playing a note
Press and release the Voice button, wait for the 
tone to sound, then say PLAY NOTEPAD. If 
multiple notes are stored on the system, press 
and release the Voice button during playback 
and say NEXT, to skip to the next note.
Deleting notes
To delete an individual note, press and release 
the Voice button during playback of the note to 
be deleted and say DELETE.
To delete all notes stored on the system, press 
and release the Voice button and say CLEAR 
NOTEPAD.
Voice volume adjustment
The volume level for voice recognition can be 
adjusted independently, either by using the 
steering wheel controls or using the 
touch-screen:
•Press the voice button on the steering 
wheel, to initiate a voice session. Use the 
volume control thumbwheel on the 
steering wheel to adjust the volume, as 
required.
•Select Vehicle from the touch-screen 
Home menu, then select Veh. settings. 
Find the correct entry from the menu of 
infotainment volume settings and adjust as 
required.
Voice commands
This is a list and a description of the basic 
Voice commands used to operate the system. 
A list and description of telephone and 
Navigation system commands, is detailed later 
in this handbook. See TELEPHONE VOICE 
CONTROL (page 323). See NAVIGATION 
SYSTEM VOICE COMMANDS (page 374). 
Command Description
VOICE HELP Plays information on 
operating the Voice 
system.
VOICE TUTORIAL Initiates a four-part 
tutorial on use of the 
Voice system.
DISPLAY HELP Plays information on 
touch-screen display 
voice commands.
DISPLAY SHOW 
PHONE
The Phone menu is 
displayed on the 
touch-screen.

Steering wheel
74
CRUISE CONTROL
1. SET - Rotate and release to engage cruise 
control (at the vehicle's current speed). 
With cruise control operating, rotate up or 
down to increase or decrease the speed in 
2 km/h (1 mph) steps.
2. CANCEL - Press to cancel cruise control. 
The previously programmed set speed will 
be retained and can be reselected by 
pressing RESUME.
3. RESUME - Press to resume the previously 
programmed set speed (e.g. after cruise 
control has been cancelled).
4. GAP (ACC only) - Rotate up or down to 
increase or decrease the time gap to the 
vehicle ahead. The gap can be set to one of 
four pre-defined intervals. The current 
setting will be displayed in the message 
centre.
For more information about cruise control: 
See USING CRUISE CONTROL (page 156).
For more information about adaptive cruise 
control (ACC): See USING ACC (page 159).
DISPLAY SHOW 
NAVIGATION
The Navigation main 
menu is displayed on the 
touch-screen (the 
navigation caution must 
be accepted before the 
menu is displayed).
DISPLAY ON Turns the touch-screen 
on.
DISPLAY OFF Turns the touch-screen 
off.
NOTEPAD HELP Plays information on 
notepad commands.
RECORD NOTE Allows recording of a 
note, up to 30 seconds 
long. 
PLAY NOTEPAD Plays all currently stored 
notes.
CLEAR NOTEPAD Deletes all notes currently 
stored in notepad.
Command Description
E97079 2
3
4
1

75
Lighting
LIGHTING CONTROL
Note: If the ignition system is switched off and 
the lamps are left on, the message centre will 
display LIGHTS ON.
The exterior lamps are controlled by the 
left-hand column stalk switch.
The rotary collar on the stalk has three 
positions for turning the exterior lamps on or 
off and positions for autolamps and exit delay. 
Off
All exterior lamps off (except vehicles provided 
with daylight running lamps).
Side lamps
Switches on the side lamps, tail, number plate 
and any other marker lamps required by local 
legislation. The instrument panel will also be lit.
Headlamps
Select this position to switch on the 
headlamps.
Headlamp flash: Pull the switch towards the 
steering wheel and release to flash the high 
beam on and off. The high beam will remain on 
for as long as the switch is held.
High beam: With the headlamps on, push the 
switch away from the steering wheel to switch 
to high beam. 
The blue warning indicator on the instrument 
panel will illuminate.
To turn high beam off and return to low beam, 
pull the column switch towards the steering 
wheel.
Note: If the rotary control switch is moved to 
the OFF position, with high beam still activated, 
both low and high beam will be extinguished. 
Both low and high beam will illuminate when 
the headlamps are turned on again.
E91137
E91138
E91139
E91140
E91141

Lighting
76
Daylight running lamps
In certain countries it is a legal requirement for 
the lamps to be on during the hours of daylight.
With the rotary collar in the OFF position, low 
beam headlamps, side lamps, tail, number 
plate lamps and, where fitted, side marker 
lamps will switch on automatically with the 
following conditions:
•The ignition is on (market dependent).
•The vehicle gear selector out of park.
•The park brake is not applied (is released).
Condensation
In certain circumstances, misting may occur 
on the inside of a lamp lens. This is caused by 
natural changes in environmental conditions. 
This misting is not detrimental to lamp 
performance and will clear during normal 
usage.
AUTOLAMPS
A light sensor, mounted on the front of the 
fascia, monitors exterior light levels and 
automatically switches the side lamps and low 
beam headlamps on or off.
The ignition system must be on for full 
automatic light operation.
When light fades towards dusk, the side lamps 
and headlamps will switch on automatically.
At dawn, as light increases, the side lamps and 
headlamps switch off automatically.
Do not cover the sensor and keep the 
windscreen clean. Obstructing the light in this 
area of the sensor may lead to unwanted 
operation of the side lamps and headlamps.
Note: Low exterior light levels, caused by 
adverse weather conditions, may also cause 
the autolamp system to switch on the side and 
headlamps. 
Windscreen wiper detection
This function only operates when autolamps is 
selected. The side lamps and headlamps will 
switch on automatically if the windscreen 
wipers are switched on for 20 seconds or 
more. Once the windscreen wipers are 
switched off, the side lamps and headlamps 
will automatically switch off two minutes later.
E91142

77
Lighting
Exit delay
Three settings on the rotary collar set the time 
that the headlamps will remain on after the 
driver’s door has closed:
1. 30 seconds.
2. 60 seconds.
3. 120 seconds.
The message centre displays the selected delay 
time (e.g. AUTOLAMP DELAY 0:60) or displays 
AUTOLAMP DELAY OFF when the autolamp 
delay function has been turned off.
Note: If the lamp switch rotary collar is in the 
AUTO position there will be no exit delay and 
the headlamps will extinguish when the ignition 
system is turned off.
REAR FOG LAMPS
Rear fog lamps will only operate when 
headlamp dipped beam or Auto lamps are 
selected. Press the rear fog lamp button to 
switch on, press again to switch off.
HAZARD WARNING FLASHERS
Press the switch to turn the hazard warning 
lamps on. When the hazard warning lamps are 
operating, the indicator warning lamps will 
flash in time with the hazard warning lamps. 
Press again to turn the lamps off.
Use only in an emergency, to warn traffic of a 
vehicle breakdown or approaching danger.
Note: Hazard warning lamps can be used when 
the ignition is on or off.
JAG0924
1
2
3
JAG1332
E94710

Lighting
78
DIRECTION INDICATORS
The direction indicators are operated using the 
indicator stalk. Move the stalk up or down, to 
indicate a right or left turn. A green warning 
indicator will flash in the instrument panel.
The indicators will operate three times (e.g. to 
indicate a lane change) if the stalk is briefly 
pushed up or down. Lane change flash can be 
disabled or enabled by a Dealer/Authorised 
Repairer.
Note: Should a direction indicator bulb fail, the 
corresponding green warning indicator will 
flash at twice the normal rate and the audible 
ticking will sound at twice the normal rate.
HEADLAMPS - DRIVING ABROAD
Note: The headlamps must be removed in 
order to change the beam pattern. 
See REMOVING A HEADLAMP (page 81).
The tourist lever allows you to adjust the 
headlamps to the correct beam pattern for 
driving in countries where vehicles drive on the 
left, or the right.
When new, the lever will be set to the correct 
position for the country in which the vehicle is 
sold. To change the pattern for driving on the 
other side of the road, move the lever to the 
opposite position.
Note: When changing the beam pattern using 
the lever, ensure that you change the lever 
position on both headlamps.
E91163
E94707

79
Lighting
HEADLAMP LEVELLING
Halogen headlamps
Use the headlamp levelling control to account 
for vehicle loading changes.
Xenon headlamps
Headlamp levelling is adjusted automatically if 
Xenon headlamps are fitted, to account for 
vehicle load conditions, to avoid dazzling 
oncoming drivers.
CORNERING OR STATIC BENDING 
LAMPS
Cornering or static bending lamps are angled 
outwards from the centre line of the vehicle. 
These lamps broaden the beam of the 
headlamps when cornering during normal 
night driving.
1. Light spread of a vehicle not fitted with 
static bending lamps.
2. Light spread of a vehicle fitted with static 
bending lamps
The system switches on the lamp if it has 
received an input from the vehicle's direction 
indicator. Only the lamp on the same side as 
the operating direction indicator illuminates.
The system only operates with the ignition 
switched on.
Vehicle load Switch position
Driver only 0
Driver and front seat 
passenger
1
Driver and passengers in 
all seats
2
Maximum gross vehicle 
weight
2
Maximum rear axle load 2 or 3
JAG1334
1
2
JAG0923

Lighting
80
INTERIOR LAMPS
1. Sun visor lamps. Switch on automatically 
when the vanity mirror is opened.
2. Front map reading lamps. Move your 
finger close to (or touch) the relevant 
proximity switch to switch on/off.
3. Front interior courtesy lamp. Illuminates 
when the doors are unlocked and 
extinguish 20 seconds after all doors are 
closed or when the vehicle is locked. The 
lamps are operated by proximity sensors. 
Move your finger close to (or touch) the 
appropriate lens to switch on or off 
manually. Touch the lens for 2 seconds to 
deactivate/activate automatic illumination.
4. Glove box lamp. Automatically illuminates 
when the glove box is opened.
5. Footwell lamps. Automatically illuminate 
when the front doors are opened.
6. Rear map reading/interior lamps. Switch 
on automatically when the doors are 
opened. Press the appropriate switch to 
activate an interior lamp manually (e.g. as 
a map reading lamp). Press the 
appropriate switch again to extinguish the 
lamp. Touch the front courtesy lamp lens 
for approximately 2 seconds to 
deactivate/activate automatic illumination 
of the rear interior lamps.
E94712
4
5
1
5
22
3
1
6
6

81
Lighting
Note: For lamps controlled by proximity 
sensors, the wearing of gloves may interfere 
with operation. If you are wearing gloves, it 
may be necessary to touch the proximity 
switch to operate the lamps.
Ambience lighting
Ambience lighting. Automatically illuminates 
when the headlamps are on. Ambience lighting 
creates a blue glow around the centre console 
and front door armrests.
Luggage compartment lamp
Automatically illuminates when the luggage 
compartment is opened.
APPROACH LAMPS
This feature is activated by pressing 
the headlamp icon button on the 
Jaguar Smart Key. See USING THE 
REMOTE CONTROL (page 17). The headlamps 
will remain on for 25 seconds or until the 
button is pressed again, or until the engine 
START/STOP button is pressed. 
REMOVING A HEADLAMP
1. Open the bonnet. See OPENING AND 
CLOSING THE BONNET (page 195).
2. Remove the two bolts from the top of the 
headlamp unit.
3. Remove the retaining bolt located in the 
wheel arch.
Note: To improve access to the wheel arch, 
turn the steering wheel to full lock, in the 
direction of the affected headlamp.
4. Pull the headlamp away slightly from the 
body of the vehicle.
CAUTION
It is recommended that the following 
procedure should only be attempted by 
a qualified technician. If in doubt, consult your 
Dealer/Authorised Repairer.
Do not place the removed lamp unit face 
down on hard or abrasive surfaces. 
Doing so may scratch the surface of the lens.
3
2
2
E94719
2
4

Lighting
82
5. Press the tab and pull to disconnect the 
electrical connector.
6. Press the clip and pull to disconnect the 
headlamp washer hose (if headlamp 
washers are fitted).
7. Remove the headlamp unit.
REMOVING A REAR LAMP
Only the rear direction indicator and reverse 
lamp bulbs can be replaced. Failure of any 
other rear lamp unit should be investigated by 
a qualified technician. Consult your Dealer/
Authorised Repairer.
Note: Access to the rear lamp units is achieved 
through access hatches, located behind the 
rear boot trim.
1. Remove the two retaining nuts.
2. Pull and slide the lamp unit rearwards to 
remove.
CAUTION
It is recommended that the following 
procedure should only be attempted by 
a qualified technician. If in doubt, consult your 
Dealer/Authorised Repairer.
Do not place the removed lamp unit face 
down on hard or abrasive surfaces. 
Doing so may scratch the surface of the lens.
E94720
5
6
E94721

83
Lighting
CHANGING A BULB
General information
Note: In certain markets its a legal requirement 
to carry spare bulbs. A replacement bulb kit is 
available as an approved accessory from your 
Dealer/Authorised Repairer.
Halogen bulbs
Halogen bulbs are used for main beam and 
dipped beam headlamps. Take care not to 
touch the glass part of the bulb with your 
fingers; always use a cloth to handle the bulb. 
If necessary use methylated spirits to remove 
finger prints.
Xenon lamps
Seek advice about the correct 
disposal of Xenon lamp units from 
your Dealer/Authorised Repairer, or 
your local authority.
HEADLAMP UNIT BULBS
Halogen dipped beam
With the headlamp unit removed:-
1. Rotate the cover counter-clockwise to 
remove.
2. Twist the bulb holder counter-clockwise 
and withdraw it from the headlamp unit.
3. Pull the bulb from the holder to remove.
Note: When fitting the replacement bulb, 
ensure the orientation of the tab (arrowed) is as 
shown.
CAUTION
Always replace bulbs with the correct 
type and specification. If you are in any 
doubt contact your Dealer/Authorised 
Repairer for advice.
WARNINGS
Replacement or maintenance of 
Xenon lamps should only be carried 
out by suitably qualified personnel.
High voltage is required to ignite the 
gas and metal vapour which are used 
to power Xenon lamps. Contact with 
this voltage can cause serious injuries.
Xenon lamp units operate at a very 
high temperature. Ensure that the 
lamp units have cooled before 
attempting to touch them.
Xenon lamp units contain Mercury 
which is highly toxic and can be 
extremely harmful.
E94732
1
2
3

Lighting
84
Halogen dipped and main beam
With the headlamp unit removed:-
1. Rotate the relevant cover 
counter-clockwise to remove.
2. Twist the bulb holder counter-clockwise 
and withdraw it from the headlamp unit.
3. Pull the bulb from the holder to remove.
Note: When fitting the replacement bulb, 
ensure the orientation of the tab (arrowed) is as 
shown.
Direction indicator bulbs
With the headlamp unit removed:-
1. Twist the indicator bulb holder 
counter-clockwise, and remove it from the 
lamp unit.
2. Press the bulb into the holder, then twist it 
to remove.
E94733
1
2
3
E94734
1
2

85
Lighting
Side lamp bulbs
1. Rotate the cover counter-clockwise and 
remove.
2. Pull the bulb holder tab to remove from the 
lamp unit.
3. Pull the bulb to remove.
When replacing, push the bulb holder into its 
socket in the lamp unit until it clicks in place.
SIDE REPEATER LAMP
REAR LAMP BULBS
Rear direction indicator and reverse 
lamp bulbs
With the rear lamp unit removed:-
1. Squeeze the two tabs together, then pull to 
remove the relevant bulb holder.
2. Press and release the tab on the electrical 
connector and pull to remove the bulb unit.
E94735
1
2
3
CAUTION
These lamps are LED units and should 
only be replaced by a Dealer/Authorised 
Repairer.
E94736
1
2

Lighting
86
Number plate lamp bulb
1. Using a small flat-bladed screwdriver as 
shown, lever out the side of the lamp unit 
and remove.
2. Twist the bulb holder 90° counter-
clockwise to access the bulb.
3. Pull to remove the bulb from the holder.
Other rear lamp bulbs
The following rear lamps are LED units and 
should not be replaced by the owner:
•Tail lamps.
•Brake lamps.
•Rear fog lamps.
•High level brake lamp.
•Rear side marker lamps.
E94737
1
23
CAUTION
LED lamp units should only be replaced 
by a Dealer/Authorised Repairer.

87
Lighting
BULB SPECIFICATION CHART
Note: The tail lamp, stop lamp, rear fog lamps, 
rear side lamps, side repeater lamps and high 
mounted stop lamp, are LED units and are 
non-serviceable. If any of these lamps should 
fail, they should be investigated by qualified 
personnel. Consult your Dealer/Authorised 
Repairer.
CAUTION
Before attempting to replace a bulb, 
ensure that both the affected lamp and 
the vehicle's ignition are turned off. If the 
circuit is live a short circuit can occur which 
may damage the vehicle's electrical system.
Lamp Specification Power (Watts)
Halogen headlamp (Low and High beam) H7/H7 55/55
Xenon headlamp (Low and High beam) D1S/H7 35/55
Front side lamps W5W HCB 5
Front direction indicators PY21W 21
Rear direction indicators PY19W 19
Reverse lamps PS19W 19
Number plate lamps W5W 5
Interior overhead lamps W6WX 6
Footwell lamps W5W 5
Luggage lamp S10W 10
Tailgate lamps W5W 5
Glove box lamp W5W 5
Vanity mirror lamp 2 x TS1.3W 1.3

Wipers and washers
88
WINDSCREEN WIPERS
Note: If the wiper blades become stuck or 
jammed, an electronic cut-out may temporarily 
halt wiper operation. If this happens, switch off 
the wipers and the ignition. Clear any 
obstructions and free the wiper blades, before 
attempting to switch on the ignition.
Wiper operation
1. Windscreen wipers off and parked.
2. Rain sensor activated wipe.
3. Low speed wipe.
4. High speed wipe.
5. Rain sensor sensitivity control.
Rain sensor variable delay
1. Maximum sensitivity.
2. Rotate control to adjust sensitivity.
3. Minimum sensitivity.
With the rain sensor activated, the sensitivity of 
the rain sensor can be adjusted. Rotate the 
control upwards to reduce the sensitivity of the 
rain sensor. 
Single wipe
Pull the stalk towards the steering wheel for a 
single wipe. Holding the switch in this position, 
operates the wipers at normal speed until the 
switch is released.
CAUTIONS
Do not operate the windscreen wipers 
on a dry screen. The drag on the wiper 
mechanism may cause damage.
In freezing or very hot conditions, 
ensure that the wipers have not stuck to 
the windscreen before operating. The drag on 
the wiper mechanism may cause damage.
Remove any snow, ice or frost from the 
windscreen, around the wiper arms and 
blades, and the screen scuttle, before 
operating the wipers. Snow and ice can cause 
damage to the wiper mechanism, if left 
uncleared.
JAG1620
5
1
2
3
4
1
2
3
JAG1622
JAG1621

89
Wipers and washers
Speed-dependent mode
If vehicle speed drops below 2 km/h (1.2 mph) 
with the wipers operating, the wiper frequency 
automatically reduces. The wipers will switch 
to the next lowest speed. When the vehicle’s 
speed increases to over 8 km/h (5 mph), the 
original wiper speed settings are restored 
automatically.
RAIN SENSOR
The rain sensor is able to detect the presence 
and amount of rain, dirt or snow on the 
windscreen and automatically activates the 
windscreen wipers accordingly.
To activate the rain sensitive wipers, move the 
wiper stalk to the rain sensor/intermittent delay 
position and adjust the rain sensor sensitivity 
control as required. See WINDSCREEN 
WIPERS (page 88).
WINDSCREEN WASHERS
To operate the windscreen washers press and 
release the button on the end of the wiper stalk. 
The wipers will perform 5 normal speed wipes, 
followed by a drip wipe (if configured). The 
washers will operate during the first two wipes.
If the washers are operated with the wipers 
operating at normal or fast speed, the washer 
jets will operate for two wipes and operation of 
the wipers will not be affected.
Note: If the button is pressed and held, the 
wipers and washers will operate at normal 
speed until the button is released (or for a 
maximum of 10 seconds). After the button is 
released, the wipers will operate for a further 
three wipes, followed by a drip wipe (if 
configured). If the wipers are already operating 
at normal or fast speed, operating the washers 
will not affect wiper operation.
CAUTION
Ensure that the wipers are switched off 
before entering a car wash. If the rain 
sensitive wipers operate during the car 
washing process damage may occur to the 
wiper mechanism.
MAX
JAG1623
WARNING
Some screenwash products are 
flammable, do not allow screenwash 
to come into contact with sources of 
ignition.
CAUTION
Only screenwash products which are 
approved for automotive use should be 
used, and then only in accordance with the 
manufacturer's instructions.
JAG1624

Wipers and washers
90
Low screen wash
If the low washer fluid warning is on, the 
windscreen wipers will not operate when the 
wash/wipe is activated, even though there may 
be washer fluid remaining in the reservoir 
which is sprayed onto the screen. This is to 
prevent damage to the wiper blades, scratching 
of the glass or smearing dirt across the screen. 
Normal, fast or single wipe can be selected 
manually, to clear any spray from the 
windscreen.
Timed jet function
If the timed jet function is configured, 
the washer jets will only operate on the 
up stroke of the wipers.
This function can be enabled/disabled by your 
Dealer/Authorised Repairer.
Drip wipe
If the drip wipe function is configured, 
the wipers will operate four seconds 
after a wash wipe cycle has finished, to 
clear any remaining drips from the windscreen.
This function can be enabled/disabled by your 
Dealer/Authorised Repairer.
Blocked jets
If a washer jet becomes blocked, use a thin 
strand of wire to unblock the jet by inserting 
the wire into the jet. Ensure that the wire is 
completely removed after unblocking.
HEADLAMP WASHERS
Headlamp power wash operates automatically 
with the windscreen wash, and will only 
operate if the headlamps are switched on and 
there is sufficient washer fluid in the reservoir. 
Headlamp wash operates with every fourth 
operation of the screen washers, provided that 
ten minutes have elapsed since the last 
operation of the headlamp washers.
Note: The power wash sequence is reset when 
the headlamps or the ignition are turned off.
Note: Headlamp power wash is inhibited when 
the low washer fluid warning is on.
CHECKING THE WIPER BLADES
The wiping edge of the blades should be 
checked and cleaned periodically. Check the 
blade rubber and replace the blade immediately 
if cracks, splits or roughness are detected, to 
prevent damage to the glass.
Clean the blade edge by wiping with a soft cloth 
or sponge, using warm soapy water.
If the wipers fail to clear the windscreen when 
operated, check the condition of the blade and 
replace if necessary.
WARNING
Do not operate the washer jets during 
adjustment. Windscreen washer fluid 
may cause irritation to the eyes and 
skin. Always read and observe the washer fluid 
manufacturers instructions.
WARNING
Only use cleaning products which 
have been approved for use on 
automotive glass and rubber. 
Inappropriate products can cause smearing, 
and increase glare.
E80573

91
Wipers and washers
CHANGING THE WIPER BLADES
Service position
The windscreen wiper service position allows 
the wipers to be parked in a more accessible 
position. This makes it easier to change wiper 
blades.
Setting the service position
1. With the ignition switched off, pull the 
wiper stalk towards the steering wheel to 
the single wipe position. Hold the stalk in 
this position.
2. Make sure the brake pedal is not applied 
and, while still holding the wiper stalk in 
the single wipe position, press the ignition 
START/STOP button to switch on the 
ignition.
The wipers will move to the vertical (service) 
position. Release the wiper stalk. 
To return the wiper blades to the operating 
position, turn the ignition off.
CAUTIONS
When checking or changing the wiper 
blades, they can be set to the service 
position or parked normally.
E94746
JAG1625
12

Wipers and washers
92
Changing the wiper blades
Having set the wipers to the service position, 
lift the wiper blade clear of the windscreen. The 
removal procedure for the wiper blade is as 
follows:-
1. Push the clips together on the underside of 
the wiper mounting.
2. Rotate the clips and blade away from the 
wiper mounting.
3. Slide the wiper blade off the wiper arm.
To fit the new blade, follow the removal 
procedure in reverse.
CAUTION
Only fit the correct length and type of 
wiper blade. Failure to do so may cause 
damage to the wiper system, it may also affect 
the operation of the rain sensor.
1
2
3
E94748
1

93
Windows and mirrors
ELECTRIC WINDOWS
With the ignition on or engine running, press a 
switch down to lower the window, pull it up to 
raise the window. Release the switch at any 
point to stop window movement.
The windows will operate for five minutes after 
the engine is switched off, as long as none of 
the doors are opened.
One-shot operation
All four windows have one-shot operation. 
Briefly pull the switch up and release, the 
window will continue to raise until fully closed. 
Briefly press the switch down and release, the 
window will continue to lower until fully open. 
Pressing or pulling the switch again will stop 
the window.
Overriding anti-trap protection
Anti-trap protection will stop window 
movement if an obstruction or resistance is 
detected. Check the window and its aperture 
and remove any obstructions, ice, etc. If it is 
still necessary to raise the window, the override 
procedure is as follows:-
1. Attempt to close the window. Anti-trap will 
prevent closure and lower the window.
2. Within ten seconds, attempt to raise the 
window again. Anti-trap will prevent 
closure and lower the window.
3. Attempt to close the window for a third 
time, this time holding the switch in the 
close position. The window will raise 
whilst the switch is held. Hold until closed.
Note: If this procedure fails to remove the 
blockage, the window operation may need to 
be reset.
Window reset
The windows will need to be reset if the battery 
is disconnected, becomes discharged or power 
supply is interrupted.
Reset as follows:-
1. Close the window fully.
2. Release the switch, then lift it to the close 
position and hold for two seconds.
3. Open the window fully.
4. Release the switch, then push it to the 
open position and hold for two seconds.
5. Lift and release the switch to operate the 
one-shot function.
6. Repeat the procedure on each window.
WARNING
All of the windows have an anti-trap 
protection system. However, before 
closing a window care must be taken 
to ensure that none of the occupants have any 
part of their body in a position where it could 
be trapped. Even with an anti-trap system 
serious injury or death can occur.
E94755

Windows and mirrors
94
Window isolator
To prevent operation of the rear windows, 
press the inhibitor switch. To allow passengers 
control of the windows, press the switch again.
INTERIOR MIRROR
Auto dimming
The interior mirror dimming is adjusted 
automatically according to the amount of 
ambient light when the ignition is on. If reverse 
gear is selected, the automatic dimming 
feature is turned off to allow maximum 
visibility for reversing.
Note: If the mirror becomes detached from the 
windscreen it should be re-attached by a 
Dealer/Authorised Repairer.
Note: If the rear screen is obscured, or the light 
falling on the mirror is reduced by an 
obstruction, the automatic dimming feature 
may not operate correctly.
Manual dimming
To dim the light levels reflected by the mirror, 
push the lever forward. To return it to normal 
light levels, pull the lever back.
WARNING
If children are carried in the rear 
seats, the isolator switch should be 
used to prevent operation of the 
windows. If the windows are operated by 
young children there is a risk of serious injury 
or death.
E94756
E94836
E94837

95
Windows and mirrors
EXTERIOR MIRRORS
Adjusting and folding
1. Left mirror adjustment.
2. Right mirror adjustment.
3. Powerfold.
Note: Depending on the type of lens used, 
distances may be difficult to judge accurately 
when only using the mirrors.
Adjusting
Mirror adjustment is available with the ignition 
switched on:
1. Press the left or right mirror button as 
required. The tell-tale light in the switch 
will illuminate to indicate that it has been 
selected.
2. Move the joystick control to adjust the 
mirror as required.
Folding
To fold the mirrors back, press both left and 
right buttons at the same time. To unfold the 
mirrors, press both of the buttons again.
The mirrors can be folded when the ignition is 
on, and for up to five minutes after the ignition 
is switched off, provided the driver’s door is 
not opened. If the door is opened, it will be 
necessary to turn the ignition on again, before 
folding the mirrors.
Note: If the mirrors are folded manually, or 
knocked into the folded position accidentally, 
the mirror head will be loose. To re-engage the 
mechanism, fold, then unfold the mirrors using 
the switches.
E94820
1 2
3

Windows and mirrors
96
Automatic folding
The mirrors can be configured to automatically 
fold when the vehicle is locked and unfold 
when unlocked.
Note: If the mirrors were folded using the 
switches, they will not unfold when the vehicle 
is unlocked.
To select or deselect automatic folding:
1. From the touch-screen Home menu, select 
Vehicle.
2. Security is displayed as the default menu. 
Select Parking. Touch the arrow icon at the 
bottom of the menu to scroll down the list, 
until the screen above is displayed.
3. Select Mirror fold back - On or Off.
Mirror dip when reversing
The mirrors can be configured so that when 
reverse gear is selected, the passenger door 
mirror is automatically adjusted to provide an 
improved viewing angle for reversing.
The exact dipped position can be adjusted 
using the joystick control, when the mirror is 
dipped. The next time reverse is selected, the 
newly adjusted position will be selected.
When the gear selector is moved out of 
reverse, or if vehicle speed exceeds 12 km/h 
(7.5 mph) while reversing, the mirror will 
return to its previous position.
To select or deselect mirror dip:
1. From the touch-screen Home menu, select 
Vehicle.
2. Security is displayed as the default menu. 
Select Parking.
3. Select Reverse mirror dip - On or Off.
Heating elements
The external mirrors are equipped with heating 
elements which disperse ice or mist from the 
glass. The heating elements will operate 
automatically, depending on the external 
ambient temperature and conditions.
Vehicle
Valet mode
Security
Parking Off On
Off On
12:26 pm
Off On
Mirror fold back
E94821
global open
Windows
global close
Windows
mirror dip
Vol. presets
Off On
Vehicle
Security
Parking
Valet mode
Reverse
12:26 pm
E94822

97
Windows and mirrors
BLIND SPOT MONITOR
The Blind Spot Monitor (BSM) system 
monitors a zone that covers the area adjacent 
to the vehicle, that is not easily visible by the 
driver and is designed to identify any object 
overtaking the vehicle. The system uses a radar 
on each side of the vehicle to identify any 
overtaking vehicle/object within the blind spot 
area of the vehicle, while disregarding other 
objects which may be stationary or travelling in 
the opposite direction, etc.
The radar monitors the area extending from the 
exterior mirror rearwards, to approximately 7 
metres (23 feet) behind the rear wheels, and up 
to 2.5 metres (8.2 feet) from the side of the 
vehicle (the width of a typical carriageway 
lane).
Note: This radar sensor is approved in all RTTE 
countries.
Note: The system covers an area of a fixed lane 
width. If the lanes are narrower than a typical 
carriageway lane, objects travelling in 
non-adjacent lanes may be detected.
BSM automatically switches on and becomes 
active when the vehicle is travelling at greater 
than 16 km/h (10 mph) in a forward drive gear. 
When the system initiates, it performs a 
self-check, during which the warning icons in 
the mirrors illuminate alternately for a short 
period of time.
WARNINGS
The Blind Spot Monitor (BSM) 
system is a supplement to, not a 
replacement for, a safe driving style 
and use of the exterior and rear-view mirrors. 
It remains the driver's responsibility to detect 
other vehicles, and their relative distance and 
speed, when deciding whether or not it is safe 
to change lanes.
Please note that BSM may not be able 
to give adequate warning of vehicles 
approaching very quickly from behind 
or vehicles that are being overtaken rapidly. 
The radar sensors may be impaired 
by rain, snow or road spray. This may 
affect the system's ability to reliably 
detect a vehicle/object within the blind spot. In 
such conditions, take extra care when 
changing lanes.
BSM may not be able to detect all 
vehicles and may also detect objects, 
such as roadside barriers, etc.
CAUTIONS
Ensure that the warning indicators in the 
exterior mirrors are not obscured by 
stickers or other objects.
Do not attach stickers or objects to the 
rear bumpers, that may interfere with 
the radar sensors.
E96410

Windows and mirrors
98
BSM is designed to work most effectively when 
driving on multi-lane highways.
If an object is identified by the system as being 
an overtaking vehicle/object, an amber 
warning icon (1) illuminates in the relevant 
exterior mirror, to alert the driver that there is a 
potential hazard in the vehicle's blind spot and 
therefore, that a lane change might be 
dangerous.
Note: If an overtaking vehicle is detected on 
both sides of the vehicle simultaneously, the 
warning icons in both mirrors will illuminate.
Note: BSM is automatically turned off when 
reverse (R) gear is selected, when the vehicle is 
in park (P), the vehicle is travelling below 
16 km/h (10 mph) and also when the electrical 
connector for the trailer socket is plugged in on 
vehicles with a factory-fitted towing bracket. 
When in these conditions, an amber warning 
indicator within the exterior mirror is 
displayed.
Sensor blockage
The BSM system will automatically disable if 
either of the sensors become completely 
obscured, an amber warning indicator dot (2) 
is displayed in the exterior mirror and the 
message BSM sensor blocked appears in the 
message centre.
Note: Blockage testing is only initiated when 
vehicle speed is above 32 km/h (20 mph) and 
will take at least two minutes of accumulated 
time travelling above this speed, to determine 
that the sensor is blocked. 
If the sensors become blocked, then please 
check that there is nothing obscuring the rear 
bumper and that it is clear from ice, frost and 
dirt.
System fault
If a fault with one of the radar sensors is 
detected, an amber warning indicator dot is 
displayed in the exterior mirror and the 
message BSM not available is displayed in the 
message centre.
Note: Even if the detected fault only affects the 
radar sensor on one side of the vehicle, the 
whole system is disabled. If the fault is 
temporary, the system will operate correctly 
once the engine has been switched off and then 
on again.
If a fault in the system occurs, consult your 
Dealer/Authorised Repairer.
E96411
12

99
Instruments
INSTRUMENT PANEL OVERVIEW
Instrument panel
1. Speedometer.
2. Message centre.
3. Tachometer.
4. Fuel gauge.
The instruments will not show correct 
information until the ignition system is on.
Speedometer
Indicates road speed.
Message centre
Displays warning and information messages 
and gear selector mode and position 
information. See WARNING AND 
INFORMATION MESSAGES (page 106). 
See AUTOMATIC TRANSMISSION (page 137).
Tachometer
Indicates engine speed in revolutions per 
minute (RPM) x 1000.
Fuel gauge
The message centre will display FUEL LEVEL 
LOW, when the fuel level is approximately 1/16 
of tank capacity. This gives an approximate 
range of 50 to 65 km (30 to 40 miles).
As a reminder for the location of the fuel filler, 
there is an arrow above the fuel pump symbol, 
which points to the relevant side of the vehicle.
A
km
l/100km
JAG1630
1 2 3
4
CAUTION
Never allow the vehicle to run out of fuel. 
The resulting misfire may cause serious 
damage to the catalytic convertor.

Instruments
100
WARNING LAMPS AND INDICATORS
1. Anti-lock Braking System (ABS)/
Electronic Parking Brake (EPB).
2. Adaptive Cruise Control (ACC).
3. Glow plugs (diesel only).
4. Adaptive front lighting system (AFL).
5. Engine malfunction.
6. Tyre Pressure Monitoring System 
(TPMS).
7. Airbag.
8. Right-hand direction indicator.
9. Rear fog lamp.
10. Dynamic Stability Control (DSC).
11. High beam.
12. Side lamps.
13. Seat belt.
14. Message centre.
15. Automatic Speed Limiter (ASL).
16. Forward alert.
17. Brakes - Electric Parking Brake (EPB) 
On/Brake fluid low/Electronic Brakeforce 
Distribution (EBD)
18. Left-hand direction indicator.
RED warning indicators are for primary 
warnings. A primary warning must be 
investigated immediately by the driver or seek 
qualified assistance as soon as possible.
AMBER warning indicators are for secondary 
warnings, to indicate that a vehicle system is in 
operation or that the driver must take action 
and then seek qualified assistance.
Other indicators within the instrument panel 
indicate system status (e.g. blue for main beam 
or green for direction indicators, when in use). 
Indicator check
An indicator bulb check is initiated when the 
ignition system is switched on and lasts for 
three seconds (excepting the airbag warning 
indicator which will remain on for six seconds). 
If any warning indicator remains on after this 
period, investigate the cause before driving.
Some warning indicators have associated 
messages displayed on the message centre.
Note: Not all warning indicators are included in 
the check (e.g. main beam headlamps and 
direction indicators).
A
km
l/100km
JAG1631
123 4 5 6
7
8910
18 17 16 15 14 13 12 11

101
Instruments
Brake - Red
Illuminates when the ignition 
system is on and the parking brake 
is applied and/or the brake fluid is 
low. The indicator will also illuminate when 
there is a fault with the Electronic Brakeforce 
Distribution (EBD) system.
If the indicator is illuminated and there are no 
associated messages, it means that the parking 
brake is applied.
If the indicator is illuminated and the message 
PARK BRAKE ON is displayed, it means that the 
parking brake is applied but the vehicle is 
moving. Release the parking brake or stop the 
vehicle when it is safe to do so.
If the indicator is illuminated and the message 
LOW BRAKE FLUID with a red priority lamp is 
displayed on the message centre, low brake 
fluid is indicated. In this case, loss of braking in 
one or both brake circuits may be imminent. 
Stop the vehicle gently and check and top-up 
the brake fluid reservoir, using the 
recommended fluid. If the warning message 
remains, do not drive the vehicle until the brake 
fault is rectified. Seek qualified assistance 
before continuing. See BRAKE FLUID CHECK 
(page 206).
If the indicator is illuminated and the message 
EBD FAULT (with red backlight) is displayed in 
the message centre, a fault with the EBD 
system is indicated. Stop the vehicle gently, as 
soon as safety permits and seek qualified 
assistance.
Seat belt - Red
The warning indicator stays 
illuminated when the ignition is on 
and:
•The driver’s seat belt is not fastened.
•Or a passenger is sitting in the front seat 
and their seat belt is not fastened.
The indicator should extinguish when the 
relevant seat belt is fastened.
Beltminder - Red
The beltminder feature, which uses 
the same indicator as the seat belt 
warning, provides reminders to the 
driver that the driver’s and/or front passenger’s 
seat belt is unbuckled.
If the vehicle is moving at or above 16 km/h (10 
mph) and the seat belt of an occupied seat is 
not fastened, the warning indicator will flash.
The flashing will last for ten seconds and then 
repeat every 30 seconds for approximately five 
minutes or until the belt(s) is fastened or the 
vehicle stops.
If the warning indicator stays illuminated with 
the seat belt(s) fastened, seek qualified 
assistance as soon as possible. It is safe to 
drive the vehicle with the indicator illuminated, 
provided that the seat belt(s) is properly 
fastened.
Ensure that all occupants fasten their seat belt 
before driving.
Note: If a heavy object is placed on the front 
passenger seat, it may activate the Beltminder 
feature. It is recommended that the object be 
placed in the luggage compartment.
WARNING
If the message LOW BRAKE FLUID is 
displayed, check the brake fluid level 
and top-up as necessary. Do not drive 
the vehicle until the brake fault is rectified. 
Seek qualified assistance before continuing.

Instruments
102
Anti-lock Braking System (ABS)/
Electronic Parking Brake (EPB) - Amber
Illuminates if a fault has been 
detected in the ABS (accompanied 
by a warning message in the 
message centre).
The brake system will continue to function 
normally, but without ABS braking.
The warning indicator will also illuminate if a 
fault has been detected in the EPB system 
(accompanied by a warning message in the 
message centre).
If the warning indicator illuminates or stays 
illuminated after the bulb check cycle, seek 
qualified assistance as soon as possible.
Adaptive Front Lighting - Amber
Illuminates when there is a system 
fault. Seek qualified assistance as 
soon as possible.
Engine malfunction - Amber
Illuminates when the ignition 
system is on and remains 
illuminated until the engine is 
started.
If the indicator illuminates when the engine is 
running, there is an engine malfunction.
Specialised diagnostic equipment is required 
to repair such faults. Seek qualified assistance 
as soon as possible.
The vehicle may activate limp-home mode, 
with the possibility of reduced engine 
performance. Drive with caution.
Dynamic Stability Control (DSC) - Amber
The indicator will flash twice every 
second when DSC is operating.
The message DSC NOT AVAILABLE 
will be displayed and the indicator will 
illuminate continuously, if a fault is detected.
When Trac DSC is selected, the message TRAC 
DSC is displayed for four seconds and the 
warning indicator remains illuminated.
When DSC is switched off, a chime will sound, 
the message DSC OFF is displayed in the 
message centre and the warning indicator 
remains illuminated.
Rear fog lamps - Amber
Illuminates when the rear fog lamps 
are switched on.
Adaptive Cruise Control - Amber
Illuminates when adaptive cruise 
control is active, to indicate that the 
vehicle is in follow mode.
Forward alert - Amber
Illuminates when the forward alert 
function is active.
Airbag - Amber
Flashes if the airbag system 
develops a fault, then illuminates 
permanently until the fault has been 
diagnosed and cleared.
Seek qualified assistance as soon as possible.
WARNING
If the ABS and brake warning 
indicators are illuminated at the same 
time, do not drive the vehicle until the 
fault is rectified. Seek qualified assistance 
immediately.

103
Instruments
Tyre Pressure Monitoring System - 
Yellow
Illuminates when one or more tyres 
are significantly under-inflated. The 
vehicle should be stopped as soon 
as possible and the tyres checked and inflated 
to the recommended pressure.
High beam - Blue
Illuminates when the high beam 
headlamps are switched on or 
flashed.
Automatic Speed Limiter - Green
Illuminates when Automatic Speed 
Limiter is active.
Side lamps - Green
Illuminates when the side (parking) 
lamps are switched on.
Direction indicators - Green
The appropriate indicator will flash 
when the column stalk is moved up 
or down to signal a turn. If a 
direction indicator bulb fails, the audible ticking 
and warning indicator will sound and flash at 
twice the normal rate, when that direction 
indicator is selected.
Hazard warning indicators
When the hazard warning lamps are switched 
on, both direction indicator warning indicators 
flash simultaneously.

Instruments
104
AUDIBLE WARNINGS AND INDICATORS
Various sounds are produced for warning and notification purposes as follows:
Hazard or Condition Chime or tone/remedy
External lamps remain on when 
the driver’s door is opened.
A chime will sound until the lamps are switched off or driver’s 
door is closed (unless the lighting control is in AUTO position).
Hazard warning indicators on. A ticking will sound until the hazard indicators are switched off.
Direction indicators on. A ticking will sound until the indicators are switched off.
Memory 1 (or 2) settings saved. A short tone as the memory selection is saved.
Airbag system failure. A tone sequence is repeated five times. Seek qualified assistance 
as soon as possible.
Seat belt reminder. A chime will sound until an unfastened seat belt is fastened. The 
warning will cease if occupied front seat belts are buckled, the 
ignition is turned off or more than approximately three minutes 
has elapsed since the start of the chime.
Electric parking brake (EPB). If the EPB is applied while the vehicle is moving a continuous 
chime will sound; release the EPB. If there is a fault with the 
system which would prevent the application of the EPB, a brief 
sequence of chimes is initiated.
Adaptive Cruise Control (ACC) 
driver intervene.
Multiple chime. Apply the brakes.
ACC low speed automatic 
switch off.
A chime will sound to indicate that the ACC system is no longer 
operating.
Forward Alert Multiple chime. Apply the brakes.
Speed is over 15 km/h (9 mph) 
above the set limit speed.
A short warning chime. Reduce speed.
Gear selector is not in Park with 
ignition off.
A chime will sound. Select Park.
Entry delay warning (European 
markets only).
Intermittent slow, low pitched chime. Disarm vehicle.
The Jaguar Smart Key cannot be 
detected.
A chime will sound. The remote handset should be inserted into 
the starter control unit.
The Jaguar Smart Key is to be 
removed from the starter 
control unit.
A chime will sound for 60 seconds if the Jaguar Smart Key is in 
the starter control unit and the driver’s door is opened. The 
remote handset should be removed from the starter control unit.
DSC OFF A chime will sound.

105
Information displays
GENERAL INFORMATION
The driver message centre display is situated 
within the instrument panel between the 
tachometer and speedometer gauges. The 
message centre is active as soon as a door is 
opened for access.
The primary function of the message centre is 
to inform the driver of the following:
•Warning messages.
•Temporary alert messages.
•Information messages.
•Turn-by-turn navigation.
The message centre screen is divided into 
various zones displaying the following:
1. Gear selection, automatic or manual.
2. Warning messages, accompanied by a red 
or amber backlight, if system faults are 
detected. Status messages are displayed 
to indicate changes in state of certain 
vehicle functions (e.g. navigation). 
When there are no current warning 
messages, turn-by-turn navigation 
information is displayed, giving 
instructions for the next junction. This 
facility can be turned off via the 
touch-screen. See TURN-BY-TURN 
NAVIGATION (page 339).
The clock can be shown when no other 
information is required to be displayed. 
See CLOCK (page 124).
3. Trip computer information, including total 
distance covered by the vehicle. See TRIP 
COMPUTER (page 107).
4. Set trip computer information display 
relating A, B or Auto trip computer. 
See PERSONALISED SETTINGS 
(page 111).
On diesel and V8 petrol models, the 
electronic engine oil dipstick reading can 
also be displayed, when selected using the 
trip computer button. See ENGINE OIL 
CHECK - V8 Petrol engines (page 199).
5. The fuel level gauge. The small arrow on 
the top of the fuel pump symbol denotes 
which side of the vehicle the fuel filler cap 
is located.
Auto
miles
Inst  Fuel
mpg
BOOT OPEN
E95066
1
2
3
4
5

Information displays
106
WARNING AND INFORMATION 
MESSAGES
Most displayed warning messages have an 
associated warning indicator, which will 
illuminate on to indicate the message priority. 
Also from time to time information messages 
will be displayed.
If more than one message is active, each is 
displayed in turn for two seconds in order of 
priority.
Messages take priority over the trip computer 
data and will be displayed when the ignition is 
on.
Note: The message centre information 
messages and their meanings, are detailed 
where necessary within the appropriate subject 
sections.
Clearing messages from the display
It is possible to temporarily clear certain 
warning or information messages from the 
message centre.
When a message is displayed in the message 
centre (e.g. WASHER FLUID LOW), a red 
warning triangle icon appears on the 
touch-screen, where shown.
Touch the icon to temporarily stop the 
currently displayed message from appearing. 
Once the message is removed, the colour of 
the warning icon in the message centre 
changes to white, as a reminder that an 
outstanding message exists. 
Note: Certain warnings, that are critical for the 
safe operation of the vehicle, cannot be cleared 
from the display.
Note: If multiple messages are displayed, this 
process can be repeated to remove all 
messages from the display.
Removed messages will display again, 
whenever the ignition is switched on, until the 
fault is rectified (i.e. in this example, when the 
washer fluid is topped up).
WARNING
If a warning indicator is displayed, 
stop the vehicle as soon as possible 
when it is safe to do so. Do not ignore 
critical warning messages. Failure to do so 
may result in serious damage to the vehicle.
Home
Audio/TV
Climate
Phone
Navigation
Vehicle
Valet
12:26 pm
External
15
C
Left Right
20 17
CC
.5 .5
DAB radio    DAB1
BBC 5Live Xtra
BBC National DAB
TA FM DAB i Subch.
JAG1515

107
Information displays
TRIP COMPUTER
The computer memory stores data for a 
journey or series of journeys until it is reset to 
zero.
The displayed information is for guidance only, 
as it can be affected by traffic, road and 
weather conditions.
Three independent memories are available, A, 
B and Auto. A and B memories can be set 
independently, while the Auto trip will reset 
after every ignition cycle as the vehicle moves.
Full trip computer information for the trip 
memories can be displayed on the vehicle 
touch-screen located in the centre console, 
while current selected trip computer 
information is displayed on the instrument 
panel message centre.
To access the trip computer touch-screen 
settings:
•From the touch-screen Home menu, select 
Vehicle.
•Select Trip computer.
•Select requirements from the menu.
Trip computer information centre display
Vehicle total distance travelled (1) and trip 
distance (2) are displayed, as well as average 
fuel economy and average speed if selected via 
the touch-screen. Also A, B or Auto will be 
displayed, depending on the current memory 
selected.
Odometer
The odometer shows the total vehicle distance 
travelled since the vehicle was new.
The odometer and trip distance reading is 
displayed in either miles or kilometres, 
depending on the settings selected via the 
touch-screen. 
Changing the display
Press the TRIP button on the end of the left 
column stalk switch repeatedly to display the 
message centre data in the following order:
•Trip distance
•Average speed
•Average fuel consumption
•Range.
Trip distance (A, B and Auto)
Distance travelled since the last memory reset. 
The maximum trip reading is 16 090 kilometres 
(9 999.9 miles). The computer will 
automatically reset to zero if this distance is 
exceeded.
Average speed (A, B and Auto)
The average speed since the last press of the 
reset button.
km
10849
A :
238.7
1
2
E91243
E91244

Information displays
108
Average fuel consumption (A, B and 
Auto)
The average fuel consumption, stated as litres 
per 100 kilometres (except Japan, kilometres 
per litre), miles per litre or miles per gallon (UK 
only), based on the accumulated distance 
travelled and the accumulated fuel used.
Range
This shows the predicted distance, miles or 
kilometres, that the vehicle should travel on the 
remaining fuel, assuming average fuel 
economy and fuel consumption stay constant.
Electronic dipstick (diesel and V8 petrol 
engines only)
This shows the current engine oil level and any 
associated warnings. See ENGINE OIL CHECK - 
V8 Petrol engines (page 199).
ML-km (also Miles-litre)
The display of metric or imperial units is 
selected via the touch-screen.
Display language
The display language is selected via the 
touch-screen.
Reset
Resetting of the trip memories is carried out via 
the touch-screen.
Service interval indicator 
The service interval message will only be 
displayed when the vehicle has less than 
3400 km (2000 miles) before the service is 
due.
When the ignition is switched on, and the 
vehicle has started its service countdown, 
SERVICE REQ'D XXXX km (XXXX MLS) is 
displayed in the message centre. At the same 
time the display will glow Amber.
After approximately five seconds, the display 
reverts to show the preset requirements.
When the service distance has been reached, 
SERVICE REQUIRED is displayed in the 
message centre and the display will glow Red.
After approximately five seconds, the display 
reverts to show the preset requirements.
The distance countdown reduces in increments 
of 50 km or 50 miles, depending on which 
display units have been selected.
The distance countdown is controlled by the 
engine management system and is 
automatically adjusted to allow for driving style 
and conditions. This gauges when the service 
becomes necessary.
Note: After the completion of each service, the 
Dealer/Authorised Repairer will reset the 
distance display to commence the countdown 
to the next service.
CAUTION
If no service interval indicator is 
displayed during the vehicle service 
cycle, make sure that your vehicle is serviced 
in accordance with the intervals, as stated in 
the Service Portfolio.

109
Information displays
TOUCH-SCREEN
1. Touch-screen.
2. Home menu button.
3. Touch-screen on/off.
Note: When the engine is stopped, for the 
touch-screen to remain active, press the 
engine START/STOP button again without 
pressing the brake pedal.
1. Touch-screen: When initially activated, the 
touch-screen will display the main Home 
menu. From this menu, all touch-screen 
facilities and operations are initiated by 
touching the relevant touch-screen 
buttons and icons.
2. Home menu button: Press to return to the 
main Home menu from all facilities.
3. Touch-screen on/off: Press once to turn 
the screen on, press again to revert to 
screen-saver mode. A further press will 
turn the touch-screen off.
System facilities
There are six major systems controlled via the 
touch-screen, with their individual levels of 
operation and settings. They are as follows:
•Audio: Radio display AM/FM or DAB, 
auxiliary and portable audio, TV or CD.
•Climate: Air conditioning, Distribution, 
Seats, Heated steering wheel, Automatic 
air recirculation.
•Phone: Digit dial view, Phonebook, Last 
ten calls (made, received, missed).
•Navigation: Destination, Stored locations, 
Navigation setup, Route options. 
•Vehicle: Security, Parking, Valet mode, 
Trip computer, Clock, Brightness, 
Contrast, System settings, Vehicle 
settings, Display settings.
•Voice: Operating guide, Command list, 
Add phone nametag, Settings.
Home
Audio/TV
Climate
Phone
Navigation
Vehicle
Valet
12:26 pm
JAG1516
External
15
C
Left Right
20 17
CC
.5 .5
DAB radio    DAB1
BBC 5Live Xtra
BBC National DAB
TA FM DAB i Subch
1 2 3

Information displays
110
Touch-screen use
When the engine START/STOP button is 
pressed, the touch-screen is activated by the 
on/off switch on the centre console.
The buttons on the centre console, below the 
touch-screen display, are referred to as hard 
buttons and should be pressed firmly. The 
touch-screen buttons are soft buttons and only 
require short, light pressure to function. Do not 
use excessive pressure.
When operating touch-screen buttons, always 
extend the tip of one finger, and withhold the 
thumb and remaining fingers from the screen. 
Touching the screen with more than one finger 
at a time may cause false inputs.
Throughout the handbook, the expression 
Select an item (or similar wording) means 
touch the on-screen button to select or alter 
the required item.
The handbook shows the on-screen menus, 
explains how to operate the controls and 
illustrates how to select or alter settings and 
requirements. After becoming familiar with the 
controls, follow the on-screen menus and 
prompts, to operate the system as required.
Touch-screen display icons
Touch-screen display icons are as follows 
(they may not all be displayed at the same 
time):
WARNING
In the interest of road safety, only 
operate, adjust or view the system 
when it is safe to do so.
CAUTION
Always run the engine during prolonged 
use of the touch-screen. Failure to do so 
may discharge the vehicle battery, preventing 
the engine from starting.
Return to the previous screen 
displayed.
Warning triangle button indicating 
an information or warning 
message in the message centre. 
Touch the button to temporarily remove the 
warning message from the message centre 
display. See WARNING AND INFORMATION 
MESSAGES (page 106).
Telephone: send button.
Telephone: end call.
Page up or increase setting to 
required value.
Page down or decrease setting to 
required value.
Direct access to the valet mode 
setting screen.
Telephone signal strength 
indicator (if supported by 
Bluetooth phone).
Telephone battery level indicator 
(if supported by Bluetooth phone).
No phone connected.
Valet

111
Information displays
Touch-screen care
Do not use any abrasive cleaners to clean your 
touch-screen. For approved screen cleaners, 
you should contact your Dealer/Authorised 
Repairer.
The touch-screen inner bezel must be kept 
clean to maintain optimum performance. 
Finger marks and attracted dust should be 
regularly removed using a soft cloth and a 
Jaguar approved cleaning agent.
Where possible, avoid exposing the 
touch-screen to direct sunlight for long 
periods.
PERSONALISED SETTINGS
General Information
The touch-screen provides touch-control of the 
vehicle Audio, Climate, Phone, Navigation and 
Vehicle systems, as fitted.
Note: When the engine is stopped, the 
touch-screen reverts to the stand-by mode. To 
activate the touch-screen press the engine 
Start/Stop button again.
Home menu display
When initially activated, the touch-screen will 
display the main Home menu. The Home menu 
may also be displayed at any time by pressing 
the Home button on the screen surround.
Screen settings: The touch-screen brightness 
and contrast can be set to individual 
requirements, including dimming for night 
driving. This is accessed via the Vehicle menu. 
Select Cont./Bright.
Auto dimming: Select Auto dimming On. 
Brightness and contrast are automatically 
adjusted by the ambient light level. As the light 
level decreases, the touch-screen brightness 
will decrease, until the full night screen level of 
brightness is initiated.
CAUTION
Care must be taken to avoid spilling or 
splashing fluids onto the touch-screen.
Home
Audio/TV
Climate
Phone
Navigation
Vehicle
Valet
12:26 pm
External
15
C
Left Right
20 17
CC
.5 .5
DAB radio    DAB1
BBC 5Live Xtra
BBC National DAB
TA FM DAB i Subch.
JAG1517
Vehicle
Off On
Auto
Trip computer
Clock adjust
Cont./Bright.
Syst. settings
Veh. settings Contrast
12:26 pm
dimming
Brightness
JAG1416

Information displays
112
Further adjustment of the touch-screen 
brightness can be achieved by using the + or - 
buttons in the Cont./Bright. screen or by 
adjustment of the instrument panel dimmer 
switch. See INSTRUMENT LIGHTING DIMMER 
(page 123).
Pop-up messages
The operation of certain functions will cause a 
small message (pop-up) to appear, overlaying 
the touch-screen display.
The pop-up is mainly for information and will 
disappear automatically after a few seconds, or 
can be dismissed by touching the pop-up 
screen area. If any action or adjustment is 
required, the message will clearly indicate what 
is required and which button to touch.
Touch-screen systems
There are five major systems controlled via the 
touch-screen with their individual levels of 
operation and settings. They are as follows:
•Audio
•Climate
•Phone/Comms/Voice
•Navigation
•Vehicle.
Note: The Phone entry is renamed Comms if 
the JaguarVoice system is fitted and renamed 
Voice if the JaguarVoice system is fitted but 
without telephone.
Audio system
The vehicle Audio system interacts with 
Navigation, In-car Telephone and Climate 
Control systems.
The Audio system can be controlled from the 
switches on the console, the touch-screen 
buttons and from the multi-function controls 
on the left-hand side of the steering wheel. 
See AUDIO CONTROL (page 69).
Detailed instructions on the use of the audio 
system are provided later in this handbook. 
See Audio unit operation (page 271).
Automatic climate control
The automatic climate control system can be 
controlled from the switches on the console 
and the touch-screen buttons. 
See AUTOMATIC CLIMATE CONTROL 
(page 116).
Phone/Comms/Voice
The communications system is composed of 
the following facilities:
•Digit dial
•Phonebook
•Last ten calls made, received, missed.
•Voice
The telephone system can be controlled from 
the touch-screen, by voice recognition or by 
using the multi-function controls on the 
left-hand side of the steering wheel. 
See ADJUSTING THE STEERING WHEEL 
(page 67). Detailed instructions on the use of 
the phone are provided later in this handbook. 
See Telephone (page 307).
Navigation system
Detailed instructions on the use of the 
navigation system are provided later in this 
handbook. See Navigation system (page 334).
Audio/TV
DAB radio
CD
AM/FM
12 : 26 pm
TP TA PTY DPLII
Tr 04
Portable audio
00:36
Settings
89.9 89.9 BBC R2
Cancel
Please wait...
Audio
E95072

113
Information displays
Vehicle system
The following system functions are set using 
the touch-screen:
•Trip computer
•Clock adjust
•Brightness and contrast
•System settings
•Vehicle settings
Languages and distance units
The screen text and distance units are available 
in various languages and either Imperial or 
Metric units.
The required languages and units are accessed 
by selecting Vehicle from the Home menu, 
then selecting:
•Trip computer
•Unit change
•Preferences and then selecting from the 
menu.
To change the units: Touch the button 
corresponding to the desired unit display 
(metric or imperial). 
Note: The choice of units displayed is market 
dependent. The illustration above represents a 
typical screen.
Temperature display is selected by touching 
either °C or °F.
Note: Celsius or Fahrenheit may be selected 
independently of metric or Imperial units.
To change the language: The language 
choices are displayed as a list. Scroll up or 
down through the list using the up or down 
arrows. Touch to select the chosen language.
Note: The navigation system is not affected by 
the language change. To change the navigation 
system language display, refer to the 
navigation system instructions later in this 
handbook. See Navigation system (page 334).
Vehicle
12 : 26 pm
Display set.
Preferences
Button audio
Miles,  MPH,  MPG
km,  km/h,  1/100km
F
C
0
0
Display language
English UK
Vol. presets
Change
E95073
Vehicle
12 : 26 pm
Display set.
Preferences
Button audio
Miles,  MPH,  MPG
km,  km/h,  1/100km
F
C
0
0
Display language
English UK
Vol. presets
Change
Vehicle
12 : 26 pm
Dutch
Danish
Finnish
French
Norwegian
E95074

Information displays
114
Timeout to home menu
The time period before the touch-screen 
display reverts to the Home menu, after the last 
user input, can be adjusted to suit personal 
preference.
From the Home menu, select Vehicle.
1. Select Syst. settings.
2. Select Display set, then touch the + or - 
buttons to increase or decrease the 
timeout delay. The timeout can be adjusted 
from ten seconds to five minutes.
Note: An initial default setting of one minute is 
set if no time adjustment is made.
3. To prevent the display from reverting to 
the Home menu, select Timeout to home 
screen Off.
Vehicle
Trip  B
Trip 
       auto
eset
Units
Distance
Av. speed
Av. fuel
532 Km
42 Km/h
12.3 L/100km
353 Km
Range
Clock adjust
Cont./Bright.
Trip computer
Syst. settings
Veh. settings
Trip  A
12 : 26 pm
E95075
1
Vehicle
Display set.
Pr
But   io
Vol. presets
12 : 26 PM
50 seconds
On
Off
Screensaver
Timeout to home
setting
screen
W
E95076
3
2

115
Climate control
AIR VENTS
1. Air volume adjust.
2. Air direction adjust.
3. Solar sensor.
The rotating air vents activate and rotate out of 
the fascia when the engine START/STOP 
button is pressed, provided the climate system 
has not been manually switched off. Adjust the 
volume of air using the thumbwheels (1) and 
the direction of the air using the direction 
controls (2), to suit your requirements.
It is possible to set the air vents so that they 
remain permanently on view, even when the 
ignition is switched off.
From the touch-screen Climate menu, select 
Settings. Select Vent rotation Always open.
Rear vents
The temperature of the air supplied by the rear 
air vents is dependent on the combined 
temperature settings for the driver and front 
passenger. For example, if the driver 
temperature is set to 21°C (70°F) and 20°C 
(68°F) for the front passenger, the temperature 
of the air supplied to the rear of the vehicle will 
be approximately 20.5°C (69°F).
A
k
I t  F
1 k
E95077
1 1
1
2 3
2
1
2
2
CAUTIONS
Do not obstruct the solar sensor (3) or 
the temperature and humidity sensor, 
located adjacent to the glove box.
Do not obstruct the extract vents for the 
climate system, located in the trim panel 
behind the rear seats.
Climate
Sensitivity
Auto
Climate seat
settings
Vent rotation
12 : 26 pm
Auto Always
open
Change units
External 15˚c
Left Right
Auto
E95447

Climate control
116
AUTOMATIC CLIMATE CONTROL
Automatic climate control provides efficient 
regulation of the vehicle environment, without 
constant adjustments from the occupant.
Sensors inside the vehicle monitor 
temperature, humidity and direct sunlight. The 
electronic control system automatically adjusts 
the heat input, blower speed, air intake and 
airflow distribution, to maintain the selected 
temperature(s) and reduce misting. The air 
conditioning system also incorporates a 
pollen/odour filter, to further increase the 
comfort of the vehicle environment.
Automatic operation provides optimum 
comfort under most driving conditions.
It is recommended that automatic control 
(AUTO) is selected as the normal operating 
mode.
Automatic control can be overridden at any 
time.
Controls
1. Touch-screen display.
2. Left-hand temperature control.
3. Right-hand temperature control.
4. Blower speed, rotate to change blower 
speed. Press to turn the climate control 
system on/off.
5. AUTO mode, press to select fully 
automatic operation.
6. Recirculation, press to switch on/off.
7. Heated rear screen, press to switch on/off.
8. Heated front screen, press to switch 
on/off.
9. Defrost program, press to switch on/off.
Settings
Temp  sync
External
12
C
Auto
19 21
C 5 C
Auto
A/C
5
Climate
12   26 pm
Auto
OFF
Auto
E95086
1
4
65
789
2 3

117
Climate control
Temperature controls
Separate controls allow the driver 
and front passenger zone 
temperatures to be independently 
adjusted. Press the upper (red) 
button to increase temperature and the lower 
(blue) button to decrease temperature.
Both driver and passenger temperatures are 
displayed on the touch-screen.
Selecting the maximum or minimum 
temperature settings for the driver temperature 
zone, causes the display to change to HI or LO 
respectively. This cancels AUTO mode.
To quickly change from HI or LO to a 
convenient mid-range temperature of 22°C 
(72°F), press and hold AUTO for a few 
seconds.
Note: The maximum possible temperature 
differential between the driver and passenger 
settings is 3°C (5.4°F)
Windscreen defrost and demist
To remove frost or heavy misting 
from the windscreen, press the DEF 
button. The following functions will 
activate:
•The blower switches on at a high speed 
(blower speed can be adjusted manually to 
suit).
•The air conditioning activates (to 
dehumidify the air) and cannot be switched 
off.
•Recirculation is cancelled and cannot be 
selected.
•The front and rear screen heaters switch 
on automatically (if the engine is running).
To deselect, press the DEF button again or 
press AUTO.
Heated screens
The front (F) and rear (R) 
screen heaters, may be 
switched on and off in 
any mode, including with 
the climate control system off. However, they 
will only operate when the engine is running.
The front screen heater switches off 
automatically after 5 minutes. The rear screen 
heater switches off automatically after 21 
minutes.
The screen heaters can be manually deselected 
using the push buttons.
In cold ambient conditions, the front and rear 
screen heaters will switch on automatically for 
the timed period when the engine is started. 
The front and rear screen heaters will 
automatically come on at temperatures below 
5°C (41°F).
Auto mode
Automatic operation utilises 
the air conditioning and other 
climate controls, to provide a 
controlled environment over a 
temperature range of 16°C to 28°C (59°F to 
83°F) and should be regarded as the normal 
operating mode.
To select automatic climate control press the 
AUTO button.
Select the required temperature.
Front and rear screen heating and timed air 
recirculation may be selected in AUTO mode, 
but selecting any other manual control will 
cancel AUTO operation.
To resume fully automatic operation at any 
time, press the AUTO button.

Climate control
118
Blower speed
Set the blower speed as required by 
adjusting the rotary control.
Press to turn the climate control 
system on or off.
When operating in AUTO mode, blower speed 
is controlled automatically and AUTO is 
displayed on the touch-screen. Any adjustment 
of the knob will cancel AUTO mode.
Note: In AUTO mode, if heating is required, the 
blower only operates at low speed, until the 
engine reaches normal operating temperature.
Recirculation
Press to turn recirculation on 
or off. The button indicator 
illuminates when recirculation 
is turned on.
When selected, the air is recirculated inside the 
vehicle. This helps to maintain a high or low 
temperature, and is useful for preventing 
fumes from entering the vehicle.
Recirculation may also be selected in AUTO 
mode, if the climate control system detects 
high levels of pollution in the atmosphere 
outside the vehicle (if a smog sensor is fitted). 
Manual operation of the recirculation control 
will override the automatic setting. This facility 
can be switched off through the Settings menu 
on the touch-screen.
Note: Prolonged use at low temperatures may 
cause the windows to mist.
Air conditioning
Press the AUTO button to turn 
the air conditioning on.
The air conditioning system is 
controlled automatically in AUTO mode to 
maintain the desired temperature and humidity 
(even if higher temperature settings are 
selected).
The air conditioning system is also switched on 
automatically in defrost mode (DEF) in order to 
dehumidify the air.
Note: Water may collect underneath the vehicle 
when parked. This is moisture expelled from 
the interior of the vehicle by the air 
conditioning system and is not cause for 
concern.
Heated/climate seats and heated 
steering wheel
The heated seats, climate seats and heated 
steering wheel can be controlled from both the 
Home and Climate menus on the touch-screen. 
See HEATED SEATS (page 47). See CLIMATE 
SEATS (page 48). See HEATED STEERING 
WHEEL (page 68).

119
Climate control
Touch-screen operation
Certain functions of the climate control system 
are adjusted using the Climate menu on the 
touch-screen.
Select Climate from the Home menu.
The climate main menu is displayed, from 
which the climate control settings can be 
adjusted.
Climate control display icons
The climate control display buttons and icons 
are as follows:
Home
Audio/TV
Climate
Phone
Navigation
Vehicle
Valet
12:26 pm
External
15
C
t Right
20 17
CC
.5 .5
DAB radio    DAB1
BBC 5Live Xtra
BBC National DAB
TA FM DAB i Subch.
JAG1518
Settings
Temp. sync.
External
12
C
Auto
21 21
C .5 C
Auto
A/C
OFF
.5
Climate
12 :  26 pm
Auto
E95094
Auto climate control 
on.
Air distribution to 
windscreen.
Air distribution to 
face.
Air distribution to feet.
Synchronizes the 
passenger's climate 
control zone to the 
driver's settings.
Blower speed control decrease and increase.
Access to the Settings 
control menu to set 
the vent rotation 
mode, to adjust
personal climate zone settings and also to 
access the automatic air recirculation sensor 
control setting.
Auto
Temp. sync.
Settings

Climate control
120
Note: If the air vents are programmed to rotate, 
they will rotate into the fascia when climate 
control is turned off.
External temperature
The external temperature is displayed at the top 
of the Climate menu.
Smog/pollution filter
The smog filter operates in conjunction with 
the air recirculation feature, to reduce 
pollutants entering the vehicle. 
When pollution is detected by the smog 
sensor, air recirculation is selected 
automatically, to help prevent pollution 
entering the vehicle. 
The sensitivity of the smog sensor can be 
adjusted for personal preference or the sensor 
can be switched off entirely, as follows:
1. Select Settings from the Climate menu.
2. Touch the + or - buttons to increase or 
decrease the sensitivity of the smog 
sensor.
There are five sensitivity settings, indicated by 
the five bars between the + and - buttons. To 
switch the smog filter off, touch the - button 
until none of the five bars are illuminated.
This icon appears at the top of the 
touch-screen when the smog filter 
is on. When the smog sensor is 
switched off, this icon will not be displayed.
Air conditioning 
on/off. When the air 
conditioning is 
switched off, Economy
 mode is selected automatically. Economy 
mode turns off the air conditioning 
compressor and reduces power consumed 
by the climate control system. This will 
reduce air conditioning performance. 
Prolonged use of Economy mode, may cause 
the windows to mist.
Climate control on/off 
button.
Auto
12:26 pm
Auto
Climate
Vent Rotation
External
Sensitivity
Change units
Always
open
Auto
15
C
JAG1519
Auto

121
Climate control
ELECTRIC SUNROOF
Operation
The sunroof can only be operated with the 
ignition on.
Tilt
With the roof closed, press and release the 
front of the switch (1). The sunroof will move 
to the tilted position automatically. It can be 
stopped at any point by pressing the button 
again.
Fully open
With the sunroof closed, press and release the 
rear of the switch (2). The sunroof will move to 
the fully open position automatically. It can be 
stopped at any point by pressing the button 
again.
Close
•From the fully open position, press and 
release the front of the switch (1). The roof 
will return to the closed position 
automatically.
•From the tilted position, press and release 
the rear of the switch (2). The roof will 
return to the closed position automatically.
Anti-trap mechanism
If the sunroof encounters resistance when 
closing it will stop, and then open fully. This is 
to prevent serious injury or damage to the 
mechanism.
Override
The anti-trap mechanism can be overridden to 
allow the roof to be closed when movement is 
restricted by dirt. To override the anti-trap 
mechanism, press and hold the front of the 
switch until the roof reaches the closed 
position.
WARNINGS
Extreme care must be taken to ensure 
that none of the occupants have any 
part of their body in a position where 
it could be trapped by the sunroof when 
closing. Although an anti-trap mechanism is 
fitted, serious injuries can occur.
Never leave children alone in the 
vehicle, as this could result in serious 
injury or death.
It is recommended that the Jaguar 
Smart Key be removed when leaving 
the vehicle.
E95097
1
2
WARNING
The sunroof can cause serious injury 
should a body part become trapped. 
Always ensure that the sunroof is free 
from obstructions before closing.
CAUTION
Wherever possible remove any dirt, 
leaves etc. from the sunroof mechanism 
before closing. Failure to do so may damage 
the sunroof mechanism.

Climate control
122
Calibration
If the battery is disconnected, or the power 
supply is interrupted, whilst the sunroof is 
partially open it will need to be recalibrated.
Once the battery is reconnected, or the power 
supply is restored, recalibrate the sunroof as 
follows:
1. Switch the ignition on.
2. Press the front of the switch, so that the 
sunroof is in the tilt position, then release 
the switch.
3. Press the front of the sunroof switch, and 
hold for thirty seconds.
4. After thirty seconds the sunroof will begin 
to move. Keep the front of the switch 
pressed until the sunroof has fully opened, 
then closed.
5. Once the open/close cycle has completed 
and the sunroof has stopped moving, 
release the switch.
The sunroof can now be operated as normal.
Sunroof blind
The blind can be manually opened and closed, 
using the handle, with the sunroof closed or 
tilted open.
The blind opens automatically when the 
sunroof is fully opened and cannot be closed 
with the sunroof in this position. The sunroof 
needs to be fully closed before the blind can be 
closed.
E95098

123
Convenience features
SUN VISORS
Pivot the sun visor downward to reduce sun 
glare through the front windscreen. If required, 
the visor can unclipped and then be pivoted 
towards the side window to reduce sun glare 
from that side of the vehicle.
Vanity mirror
Pivot the sun visor downward and raise the 
cover on the vanity mirror to illuminate the 
mirror. Close the cover to extinguish the 
lamps. If the cover is left open, the lamps will 
extinguish automatically after 16 minutes to 
prevent battery drain.
SUN BLINDS
Press the switch to raise or lower the sun blind.
INSTRUMENT LIGHTING DIMMER
Rotate the thumbwheel up to increase, and 
down to decrease, the level of instrument 
illumination.
E95106
JAG1331

Convenience features
124
CLOCK
The clock is set using the touch-screen. Select 
Vehicle from the Home menu.
1. From the Vehicle menu, select Clock 
adjust.
2. Touch the up or down arrow icons to 
adjust the hours.
3. Touch the up or down arrow icons to 
adjust the minutes.
4. Touch to switch between 12 and 24 hour 
clock display.
5. Touch to set the new time. The time 
display in the bottom left corner of the 
screen will now change to reflect any 
adjustments made.
Note: Any adjustments made will be lost, 
unless Set is selected before exiting the Clock 
adjust menu.
Setting the clock as the screensaver
From the Home menu on the touch-screen, 
select Vehicle.
From the Vehicle menu, select Syst. settings 
(1).
Select Display set. (2), then touch the clock 
symbol (3). The clock will now appear as the 
screensaver.
Note: To select an alternative screensaver from 
the four available, click on the appropriate icon.
Vehicle
Clock adjust
Cont./Bright.
Tr   uter
Syst. settings
Veh. settings
Set
12:26 pm
JAG1521
Home
Audio/TV
Climate
Phone
Navigation
Vehicle
DAB radio    DAB1
BBC 5Live Xtra
BBC National DAB
TA FM DAB i Subch.
Valet
12:26 pm
External
15
C
Left Right
20 17
CC
.5 .5
Vehicle
Trip  B
Trip 
       auto
eset
Units
Distance
Av. speed
Av. fuel
532 Km
42 Km/h
12.3 L/100km
353 Km
Range
Clock adjust
Cont./Bright.
Trip computer
Syst. settings
Veh. settings
Trip  A
12 : 26 pm
E95075
1
Vehicle
Display set.
Pr
But   io
Vol. presets
12:26 PM
50 seconds
On
O
Screensaver
Timeout to
setting
home screen
JAG1522
23

125
Convenience features
AUXILIARY POWER SOCKETS
The auxiliary power socket is located in the 
cubby box.
GLOVE BOX
The glove box is opened using the 
JaguarSense proximity sensor on the fascia 
(arrowed). To open the glove box, place the tip 
of your finger close to and directly over the 
sensor, as shown in the left-hand inset of the 
illustration.
The sensor is able to distinguish between a 
finger approach and an accidental finger rub 
approach from a knee or other large items, 
including being wiped for cleaning purposes. 
Under these conditions, the sensor will not 
react to the input and the glove box will remain 
closed.
Note: When the vehicle alarm is armed or Valet 
mode is selected, the proximity sensor is 
disabled, preventing the glove box from being 
opened.
Note: The wearing of gloves may interfere with 
the operation of the proximity sensor. If gloves 
are worn, it may be necessary to touch the 
sensor to open the glove box.
CAUTIONS
Only Jaguar approved accessories 
should be plugged into the power 
sockets. Using any other equipment may 
damage the vehicle's electrical system. If you 
are in any doubt contact your Dealer/
Authorised Repairer.
The engine should be running when 
using accessories for long periods. 
Failure to do so can discharge the battery.
E95111
JAG1653

Convenience features
126
CUP HOLDERS
1. Front single cup holder.
2. Front twin cup holder.
3. Rear cup holders.
To access a front cup holder, press and release 
the lid. To access the rear cup holders, fold 
down the rear seat armrest.
E95112
12 3
WARNINGS
The cup holders should only be used 
for soft containers. Containers which 
are hard (cans, metal, ceramic, hard 
plastic etc.) can cause serious injury if the 
vehicle is involved in an accident, sudden 
manoeuvre or braking.
Do not carry open drinks containers. 
Hot liquids can cause serious injury 
when spilled and may damage the 
vehicle.
Do not drink, or use the drinks 
holders when driving. Doing so 
would break concentration, which 
may result in loss of control.

127
Convenience features
Twin cup holder
The twin cup holder can be converted into a 
storage compartment by removing the insert. 
Use one hand to squeeze the two sides of the 
insert together and, lifting the edge nearest the 
driver first, use the other hand to rotate the 
insert up and out of its compartment, towards 
the passenger seat.
Note: An ashtray and cigar lighter pack, which 
replaces the front twin cup holder, is available 
from your Dealer/Authorised Repairer.
STORAGE COMPARTMENTS
1. Glove box.
2. Front door stowage.
3. Cubby box.
4. Seat map pockets.
5. Rear door stowage.
E95113
WARNING
Ensure that any items stored in the 
vehicle are secure and cannot move. 
If the vehicle is involved in an 
accident, or subject to sudden braking or 
direction change, loose items can cause 
serious injury.
E95121
22
3
4 4
5
1
5

Convenience features
128
GARAGE DOOR TRANSCEIVER The door transceiver is located in the rear-view 
mirror. It can be programmed to transmit the 
radio frequencies of up to three different 
transmitters, which can be used to activate 
garage doors, entry gates, home lighting, 
security systems or other radio frequency 
operated devices.
Although this section mainly describes the 
procedures for a garage door opener, it also 
equally applies to the previously mentioned 
applications.
In some countries, this feature is also known 
as the HomeLink® Universal Transceiver.
For further information, see Information and 
Assistance later in this section.
Before programming
For best results, fit a new battery to the 
hand-held transmitter of the garage door 
opener (or other device) before programming. 
If your garage door opener receiver (located in 
the garage) is equipped with an antenna, 
ensure that the antenna is hanging straight 
down.
WARNINGS
Do not use the transceiver with any 
garage door opener that lacks the 
safety stop and reverse feature as 
required by safety standards. Using a garage 
door opener without these features increases 
risk of serious injury or death.
When programming the transceiver 
to a garage door opener or entry gate, 
ensure the area is clear. This will 
prevent potential harm or damage as the gate 
or garage door will activate during the 
programme.
CAUTION
This device may suffer from interference 
if operated in the vicinity of a mobile or 
fixed station transmitter. This interference is 
likely to affect the hand-held transmitter as 
well as the in-car transceiver.
E95122
CAUTION
When programming a device that may 
require you to press and re-press the 
hand-held transmitter (cycle), unplug the 
device during the cycling process to prevent 
possible motor failure.

129
Convenience features
To erase all programming
For first time programming, ensure that the 
engine is switched off:
1. Ensure that the ignition system is in 
convenience mode.
2. Press and hold the two outer buttons on 
the transceiver in the rear-view mirror. 
Keep the buttons pressed until the 
indicator lamp begins to flash (this will 
take approximately 20 seconds), then 
release the buttons.
All memories in the garage door opener have 
now been cleared.
Note: Do not perform this procedure when 
programming the additional garage door 
opener buttons.
Programming
Ensuring that the engine is switched off:
1. Ensure that the ignition system is on.
2. Hold the end of the original garage door 
opener hand-held transmitter 
approximately 50 to 150 mm (2 to 6 
inches) away from the transceiver in the 
rear-view mirror, keeping the indicator 
lamp in view.
3. Using both hands, simultaneously press 
and hold both the chosen transceiver 
button on the rear-view mirror, as shown 
above, and the hand-held transmitter 
button. Keep both buttons pressed. The 
indicator lamp will flash slowly at first and 
then change to a fast flash. When the 
indicator lamp flashes rapidly, release both 
buttons. The rapid flashing lamp indicates 
successful programming.
4. If, after 60 seconds, the indicator lamp 
does not flash rapidly, release both the 
transceiver and the hand-held transmitter 
buttons and repeat the procedure starting 
with Step 2. Position the hand-held 
transmitter at a different angle and/or 
distance.
5. Press and hold the programmed garage 
door opener button and observe the 
indicator lamp.
•If the indicator is continuous, 
programming is complete and your 
device should activate when the garage 
door opener button is pressed and held 
for approximately 1 to 2 seconds and 
then released.
•If the indicator lamp blinks rapidly for 
two seconds and then turns a 
continuous light, proceed with the 
following programming instructions for 
rolling code device equipment.
E95123

Convenience features
130
Rolling code device equipment 
programming
Note: The assistance of a second person, may 
make the following steps quicker and easier. 
Once the button has been pressed there are 
only 30 seconds in which to complete Step 3.
1. At the garage door opener receiver (motor 
head unit) in the garage, locate the learn or 
smart button/switch.
•The name of the button or switch may 
vary between manufacturers.
2. Press and release the learn or smart 
button.
3. Return to the vehicle and firmly press and 
hold the programmed garage door opener 
button for two seconds and release.
4. Repeat the press, hold, release sequence 
three times to complete the programming 
process.
The garage door opener in the rear-view mirror 
should now activate the rolling code device.
Reprogramming a single garage door 
opener button
To programme a device to a previously trained 
button:
1. Press and hold the desired 
pre-programmed garage door opener 
button for at least 20 seconds, but no 
longer than 30 seconds, until the indicator 
lamp begins to flash.
2. Without releasing the rear-view mirror 
button, position the hand-held transmitter 
approximately 50 to 150 mm (2 to 6 
inches) away from the transceiver in the 
rear-view mirror, keeping the indicator 
lamp in view.
3. Carry out Step 3 of Programming.
Entry gate programming
The technology of some entry gates requires 
you to press and re-press (cycle) the hand-held 
transmitter button every two seconds during 
programming.
Continue to press and hold the desired 
rear-view mirror button while you cycle your 
hand-held transmitter until the indicator lamp 
flashes rapidly.
Information and assistance
For information on the range of available 
compatible products or accessories, or for 
assistance, you should contact your Dealer/
Authorised Repairer.
You can also contact the supplier’s helpline on 
0 0800 0466 354 65. This toll-free number can 
be called from anywhere within Europe. No 
separate country code is required (the first zero 
is not required when calling from within 
Germany).
Contact can also be made via the internet. The 
website address is www.eurohomelink.com. 
The e-mail address is: 
info@eurohomelink.com.
Note: Keep the original transmitter for future 
use or programming procedures if, for 
example, you purchase a new vehicle.
Note: The manufacturer is not responsible for 
any radio or TV interference caused by 
unauthorised modifications to this equipment. 
Such modifications could void the user’s 
authority to operate the equipment.
CAUTION
It is recommended that when you sell or 
dispose of the vehicle, the programmed 
transceiver buttons be erased for security 
purposes.

Starting the engine
132
GENERAL INFORMATION
START/STOP button
The START/STOP button is used to start or 
stop the engine, or to turn on the ignition 
without starting the engine.
Note: The START/STOP button will only be 
operational if a valid Jaguar Smart key is 
detected within the vehicle.
Switching on the ignition
To turn on the ignition without starting the 
engine, make sure the brake pedal is not 
applied and that there is a valid Jaguar Smart 
Key in the vehicle, then press and release the 
START/STOP button. The warning indicators 
illuminate and most electrical systems will be 
operational.
Note: If the brake pedal is pressed when the 
START/STOP button is pressed, the engine will 
start.
Steering column lock
Your vehicle is fitted with an electronic steering 
column lock. The column unlocks when it 
detects a Jaguar Smart Key inside the vehicle.
The steering column automatically locks when 
the starter switch is turned off and the driver's 
door is opened.
If the steering column remains locked, even 
with a valid Jaguar Smart Key in the vehicle, 
STEERING COLUMN LOCKED is displayed in 
the message centre. If this occurs:
1. Press the starter button to return to the 
convenience mode.
2. Try again to unlock the steering column 
lock, by turning the steering wheel gently 
to the left and right.
3. If the malfunction still persists, seek 
qualified assistance as soon as possible.
E94135
CAUTION
During vehicle recovery, the Jaguar 
Smart Key must remain inside the 
vehicle (or be stowed in the starter control unit 
in the centre console), so that the steering 
column remains unlocked.

133
Starting the engine
KEYLESS STARTING
With the Jaguar Smart Key inside the vehicle 
and the brake pedal depressed, press and 
release the START/STOP button to start the 
engine.
Note: On diesel models, Smart Start in 
progress is displayed in the message centre. If 
the brake pedal is released, a gear change is 
made or if a fault occurs, Smart Start 
cancelled is displayed in the message centre 
and the start procedure is cancelled.
Starting a petrol engine
With the brake pedal applied and with a valid 
Jaguar Smart Key in the vehicle, press and 
release the START/STOP button. The engine 
will start, the JaguarDrive selector will elevate 
out of the centre console and the air vents in 
the front fascia will rotate to the open position.
Starting a diesel engine
With the brake pedal applied and with a valid 
Jaguar Smart Key in the vehicle, press and 
release the START/STOP button. In ambient 
conditions, after 3 seconds, the engine will 
start to crank. The JaguarDrive selector will 
elevate out of the centre console and the air 
vents in the front fascia will rotate to the open 
position.
Note: Smart Start in progress is displayed in 
the message centre prior to the engine 
cranking. If, during the start procedure, the 
brake pedal is released, a gear change is made 
or if a fault occurs, Smart Start cancelled is 
displayed in the message centre and the start 
procedure is cancelled.
Cold climates
In very cold conditions, the delay between 
pressing the START/STOP button and the 
engine cranking, can be up to 12 seconds. 
During this delay, keep the brake pedal applied 
and do not press the START/STOP button 
again, as this will switch off the ignition. Also in 
very cold conditions, expect engine cranking 
times to increase.
WARNING
Never start the engine or leave it 
running, when the vehicle is in an 
enclosed space. Exhaust gases are 
poisonous and can cause unconsciousness 
and death if inhaled.
E94136

Starting the engine
134
Engine block heaters
Engines are more difficult to start when the 
ambient temperature is very low. In 
geographical areas where temperatures below 
-10°C (14°F) are experienced frequently, it is 
advisable to fit an engine block heater. The 
block heater will have an insulated connector at 
the front of the vehicle, which is connected to a 
mains supply using a suitable extension cable. 
The heater can remain in use overnight if 
required. Typically, an engine block heater will 
use between 400W and 1000W per hour.
For further information consult your Jaguar 
Dealer/Authorised Repairer.
If the engine fails to start
When pressing the engine START/STOP button 
to start the engine, if the security status 
indicator lamp on the top surface of the 
instrument panel remains flashing, a fault 
condition is indicated. Seek qualified 
assistance as soon as possible.
Note: If the Jaguar Smart Key is placed in the 
door pocket, it may be outside the range of the 
sensors when the door is opened.
Note: If the fuel system inertia switch has 
tripped, the ignition circuit will be isolated. 
See FUEL CUT-OFF (page 177).
Petrol engines
If the engine persistently fails to start, press the 
START/STOP button (without applying the 
brake pedal) to return the ignition to 
convenience mode. Slowly depress the 
accelerator pedal fully, hold it in this position 
and press the START/STOP button with the 
brake pedal applied, the engine will start to 
crank. Release the accelerator pedal when the 
engine starts.
If the engine still fails to start, consult your 
Dealer/Authorised Repairer.
Diesel engines
If the engine persistently fails to start, press 
and hold the START/STOP button (with the 
brake pedal applied). Keep the START/STOP 
button and the brake pedal pressed until the 
engine starts, then release. 
If the engine still fails to start, consult your 
Dealer/Authorised Repairer.
SWITCHING OFF THE ENGINE
With the gear selector in position P, press the 
engine START/STOP button. The engine will 
stop and the ignition system will return to 
convenience mode. The audio, telephone and 
touch-screen systems will revert to stand-by 
mode and the JaguarDrive selector will retract 
into the centre console. Pressing the 
START/STOP button again (without pressing 
the brake pedal) will activate the systems.
CAUTION
The fitting of an engine block heater 
does not eliminate the need for 
antifreeze.
WARNING
Never switch off the engine when the 
vehicle is in motion.

135
Starting the engine
DIESEL PARTICULATE FILTER (DPF)
The Diesel Particulate Filter (DPF) forms part of 
the emissions reduction system fitted to your 
vehicle. The DPF will remove a high proportion 
of the harmful carbon microspheres (soot) 
before they leave the exhaust. It achieves this 
by filtering out the particles, which are then 
stored until they are burnt away and the filter is 
emptied.
Regeneration
Unlike a normal filter which requires periodic 
replacement, the DPF has been designed to 
regenerate, or clean itself, to maintain 
operating efficiency. This regeneration process 
takes place automatically in most cases. 
However, some unfavourable driving 
conditions may mean that the regeneration 
process must be initiated deliberately by the 
driver.
Warning indicators and messages
If regeneration cannot be achieved 
automatically by the system, due to short 
journeys for example, the driver will be notified 
via a warning indicator or message.
DPF FULL
If this message appears in the message centre 
(with a red backlight), the vehicle should be 
taken to your Dealer/Authorised Repairer as 
soon as possible.
DPF FULL SEE HANDBOOK
If this message appears in the message centre 
(with an amber backlight), the driver should 
carry out the DPF regeneration procedure that 
follows, as soon as possible.
CAUTION
The regeneration procedure produces 
high temperatures in the DPF. Heat can 
be felt radiating from beneath the vehicle, 
which is normal and not a cause for concern. 
However, the vehicle should not be parked 
over combustible material, particularly during 
dry weather. The heat generated could be 
sufficient to start a fire when in close proximity 
to combustible material such as long dry 
grass, paper etc.
CAUTION
Failure to take the appropriate action 
when a warning message appears, may 
result in damage to the engine and DPF 
system, increased vehicle emissions and 
costly repairs.

Starting the engine
136
Regeneration procedure
If the warning DPF FULL SEE HANDBOOK 
appears in the message centre, carry out the 
following procedure as soon as possible.
Note: At all times during this procedure you 
should observe all relevant speed limits, laws 
and regulations. Always take account of traffic 
and weather conditions and drive with 
consideration for other road users.
1. Drive the vehicle until the engine reaches 
normal operating temperature. The engine 
should not be left idling to achieve working 
temperature.
2. Drive the vehicle for a further twenty 
minutes, keeping the vehicle at a steady 
speed between 75 km/h (45 mph) and 
120 km/h (75 mph). 
Keeping a constant speed enables the DPF 
to regenerate more efficiently. It is 
therefore recommended that Cruise 
control is used to achieve this, if possible.
3. If regeneration is successful, the warning 
message will extinguish. If the message 
remains, repeat the process.
If the warning message fails to extinguish after 
60 minutes of driving, contact your Dealer/
Authorised Repairer for assistance.

137
Transmission
AUTOMATIC TRANSMISSION
The transmission system is designed to 
operate in two distinct modes, conventional 
automatic and Jaguar Sequential Shift.
The automatic modes are accessed by the gear 
selector:
•D - Drive - automatic shifting.
•S - Sport - sport automatic shifting.
The Jaguar Sequential Shift mode enables 
sequential manual gear selection in D 
(temporary) and S (permanent) modes, via the 
steering wheel mounted paddles.
Note: In addition to the standard shift patterns 
available in D and S, the transmission will 
adapt to differing conditions by modifying shift 
points, based upon vehicle sensor information 
for road gradient, cornering, braking pressure 
and driving style.
JaguarDrive selector
The JaguarDrive selector elevates out of the 
centre console when the engine is started, in 
readiness for gear selection. Press the brake 
pedal, then rotate the control to select the 
chosen gear (P, R, N or D) or, from D, press 
down on the control and rotate to select S 
(Sport).
CAUTIONS
Never select the Park (P) position whilst 
the vehicle is in motion. Doing so may 
cause serious damage to the transmission.
Never select the Reverse (R) position 
whilst the vehicle is in forward motion. 
Doing so may cause serious damage to the 
transmission.
Never select a forward gear whilst the 
vehicle is in rearward motion. Doing so 
may cause serious damage to the 
transmission.
Do not rev the engine or allow it to run 
above normal idle speed while selecting 
D or R, or while the vehicle is stationary with 
any gear selected.
Do not allow the vehicle to remain 
stationary for any length of time, with a 
gear selected and the engine running. Always 
select P or N if the engine is to idle for a 
prolonged period.
E94119

Transmission
138
P should be selected before switching off the 
engine. However, it is possible to switch the 
engine off with R, D or S selected - the selector 
will automatically select P, while retracting into 
the centre console.
Note: If the engine is switched off with N 
selected, the system will wait for 10 minutes 
before selecting P. This procedure is to allow 
the vehicle to be conveyed through a car wash 
only and should not be used for vehicle 
recovery purposes.
To prevent the transmission from 
automatically selecting P (e.g. for vehicle 
recovery purposes), it is necessary to activate 
the Emergency Park Release. 
See TRANSPORTING THE VEHICLE 
(page 254).
Selector positions
P - Park: Use when parked. In this position the 
transmission is locked, do not attempt to select 
P if the vehicle is moving.
Note: P will be selected automatically when the 
engine is switched off.
R - Reverse: Do not select if the vehicle is 
moving forward.
N - Neutral: Disconnects drive to the wheels. 
Use the parking brake when stopping 
temporarily with N selected.
D - Drive: Gear changing is automatic for all six 
forward gears. The shift points are determined 
by accelerator pedal position and road speed, 
to provide the best balance of performance, 
refinement and fuel economy, for the large 
majority of driving conditions.
S - Sport: Gear changing is automatic for all six 
forward gears, with modified gear shift points 
to maximise the vehicle response in 
demanding driving conditions. This mode is 
not suitable for town or highway cruising.
Note: Both D and S positions also offer 
additional features, which are listed under 
Automatic mode and Sport mode, later in this 
section.
Stationary vehicle
When the vehicle is stationary, the selector 
may be left in D or S, unless the vehicle is to be 
parked. When stopping for extended periods, 
either select P or apply the parking brake and 
select N.
Selector interlock
The transmission is equipped with an interlock, 
to prevent inadvertent selection of a drive gear 
(D, S or R) from the P or N positions. To 
release the interlock to select a drive gear, 
press the brake pedal while making the 
selection.
Ensure the required driving range has selected 
prior to releasing the brake pedal. The range 
indicator (R, D or S) on the selector and 
message centre displays, will illuminate 
continuously to confirm selection.
Note: If the brake pedal is released too early 
during selector rotation from P or N to a driving 
range (R, D or S), then the selected range will 
not be engaged. The selected range will flash 
on the selector and message centre displays.
To obtain the selected range, press the brake 
pedal, select P or N and reselect the required 
range, ensuring the brake pedal is depressed.
If N is selected for less than 2 seconds (e.g. 
when moving the selector between R and D), 
the interlock will not activate and the brake 
pedal will not need to be pressed. 
Note: The interlock is deactivated when the 
vehicle is travelling at more than 5 km/h 
(3 mph).

139
Transmission
If the selector fails to elevate
If the JaguarDrive selector is obstructed when 
the engine is started, it may be prevented from 
elevating out of the centre console. If this 
occurs, turn off the ignition, ensure that the 
selector is not obstructed and then start the 
engine. The selector should elevate as normal.
If the selector still fails to elevate, even if there 
is no obstruction, a fault in the system is 
indicated. The selector can still be used in the 
lowered position, but be aware that it will not 
automatically select P when the engine is 
switched off, so P should be selected manually. 
The fault should be rectified by a Dealer/
Authorised Repairer at the earliest opportunity.
Starting
In the unlikely event that the selector did not 
rotate back to P when the vehicle was 
previously switched off, and the selector has 
remained in R, D or S, it will not be possible to 
start the engine. The vehicle will go to ignition 
on. The selected range will flash and the 
selector will now be unlocked, to allow the 
driver to select P and start the engine.
Automatic mode
To select Drive (D) when the vehicle is 
stationary:-
1. Apply the foot brake.
2. Rotate the gear selector to D.
When in D the transmission will automatically 
select the most appropriate gear for the current 
driving conditions.
Note: When a gear is selected the vehicle may 
begin to move as soon as the foot brake is 
released.
Kick-down
When D is selected and the accelerator pedal is 
depressed fully, the transmission will 
downshift to the lowest appropriate gear. Once 
the accelerator pedal is returned to a normal 
driving position, the transmission will up-shift 
to the highest appropriate gear.
Note: Kick-down operation will vary according 
to road speed, current gear in use and 
accelerator movement.
E94120

Transmission
140
Fast off
Activated when rapidly lifting off the 
accelerator pedal and takes account of road 
gradient. This feature inhibits up-shifts, 
enhancing performance.
Note: If Sport mode is selected, driver type 
recognition will vary the activation of this 
feature according to driving style.
Shift adapt under braking
Under braking, the transmission will vary the 
down-shift point in proportion to braking effort 
and road gradient. This feature works in 
conjunction with the positive torque function, 
resulting in a smoother down-shift.
Note: If Sport mode is selected, driver type 
recognition will vary the activation of this 
feature according to driving style.
Corner recognition
Inhibits up-shifts during cornering, to provide 
improved vehicle balance.
Note: If Sport mode is selected, driver type 
recognition will vary the activation of this 
feature according to driving style.
Road gradient recognition
When the vehicle is being driven on an uphill 
gradient, the transmission adapts the shift 
pattern to make better use of engine power.
When driving on a long downhill gradient, the 
transmission may automatically select a lower 
gear, to increase engine braking. Selecting 
Sport mode (S) will increase the tendency of 
the transmission to select a lower gear in these 
conditions, further increasing engine braking.
Note: It is also possible to manually select a 
lower gear to increase engine braking via use of 
the shift paddles.
Sport mode
To select Sport mode: 
1. With the selector in D, push down on the 
selector.
2. Rotate from D to S.
Note: When Sport mode is selected SPORT will 
be displayed in the message centre, and the 
selector indicator will illuminate. 
Sport mode enhances the responsiveness of 
the transmission, to provide a sporting feel to 
driving the vehicle. Sport mode is 
recommended for overtaking manoeuvres and 
for when rapid progress is desired.
To return to automatic mode move the selector 
lever back to the D position. The D on the 
selector display will illuminate to confirm that 
automatic mode has been selected. 
E94121
1
2

141
Transmission
Driver type recognition
In Sport mode, the transmission monitors 
driving style and in combination with sensors 
in the vehicle, varies the shift schedule, 
fast-off, corner recognition and shift adapt 
under braking functions, according to the 
driving style.
Manual mode - Jaguar Sequential Shift
Shifts in the Jaguar Sequential Shift manual 
mode are made using the steering wheel 
mounted shift paddles and are optimised to 
provide a rapid response to gear shift requests. 
Up-shift requests (+) are optimised for 
performance via the short shift function, 
resulting in firmer feeling shifts than in 
automatic mode. Down-shift requests (-) 
utilise a throttle blip during the shift, resulting 
in improved shift feel.
The Jaguar Sequential Shift manual mode can 
be accessed either temporarily, or 
permanently.
Temporary manual gear selection: When the 
gear selector is in the D position, manual mode 
may be directly accessed by the single action of 
operating the steering wheel mounted shift 
paddles.
This convenience feature allows immediate but 
temporary use of the shift paddles when the 
gear selector is in D.
If continued use of manual mode is required, 
the gear selector may be subsequently moved 
to the S position to enter permanent manual 
mode in the currently selected gear.
If the gear selector remains in the D position, 
temporary manual mode will be held whilst the 
driver is accelerating, decelerating, cornering 
or continuing to request shifts via the paddles.
The transmission will revert to automatic 
operation after a short period of driving at 
steady speed; alternatively the shift-up (+) 
paddle may be held for a short period 
(approximately one second) to return directly 
to automatic operation in D.
Permanent manual gear selection: Select the 
S position, permanent manual mode is then 
accessed by the operation of the steering wheel 
mounted shift paddles.
The message centre will highlight the currently 
selected gear.
E94122

Transmission
142
Note: When the transmission is set to 
permanent manual mode (i.e. using the 
paddles to change gear while in Sport mode) 
and Dynamic mode is selected, transmission 
up-shifts are fully controlled by the driver. This 
means that the transmission will not change up 
a gear automatically, even when the vehicle's 
rev limit is reached. When the rev limit is 
reached, the gear position indicator in the 
message centre will glow amber, to indicate 
that the next gear should be selected.
To exit from the Jaguar Sequential Shift 
permanent manual mode, either pull and hold 
the shift-up paddle for approximately one 
second (to return directly to automatic 
operation in S), or rotate the gear selector to 
the D position. The transmission will revert to 
the D automatic shift mode.
Manual operation
To shift-up, briefly pull the shift-up (+) paddle 
on the right-hand side of the steering wheel 
towards you.
To shift-down, briefly pull the shift-down 
paddle (-) on the left-hand side of the steering 
wheel towards you.
The message centre display will change to 
highlight the requested gear.
Note: The transmission will inhibit up-shifts 
and down-shifts if the requested shift would 
result in an engine speed outside the normal 
operating range of the engine. If this occurs, 
the message centre will briefly display the 
requested gear selection, but will return to 
displaying the current gear.
The Jaguar Sequential Shift mode also has the 
following features:
Kick-down: Operation of kick-down in Jaguar 
Sequential Shift mode will override the 
currently selected gear. The lowest available 
gear will be selected for maximum acceleration 
and will be highlighted in the message centre 
display. Subsequent manual shifts may then be 
selected as usual.
Positive torque: Provides throttle blips on 
down-shifts, improving shift feel and response.
Shift assist: The transmission will 
automatically up-shift at the engine speed 
redline in Jaguar Sequential Shift mode, as if 
commanded manually.
The transmission will automatically 
down-shift, when the engine speed drops too 
low for the currently selected gear.
When the vehicle approaches, or comes to 
rest, second gear is automatically selected.
Subsequent pull-aways will occur in second 
gear, unless the accelerator pedal demand is 
high or a down-shift is manually selected, in 
which case, first gear will be selected.
In all cases the message centre will display the 
current gear.
Note: During sustained braking, if a down-shift 
is selected at a speed which would result in the 
engine speed exceeding its normal operating 
range, the gear change will be indicated in the 
message centre, but the down-shift will be 
delayed until the vehicle speed has reduced 
sufficiently for the gear selection to be made, 
without causing the engine speed to exceed its 
normal operating range.

143
Transmission
Limp-home mode
Note: The driver should be aware that the 
vehicle’s performance will be reduced and 
must take this into account when driving. Also 
the use of the Jaguar Sequential Shift paddles 
will be disabled. In this event, seek qualified 
assistance as soon as possible.
In the unlikely event of an electrical or 
mechanical failure, transmission operation will 
be limited. The vehicle gear selector ranges P, 
R, N, D and S may still be used to enable the 
vehicle to be driven to a safe area.
Some faults will cause the selector to be locked 
in position until the ignition is switched off. If 
the selected range flashes, it signifies that the 
driver request cannot be engaged. Re-select N 
and repeat the attempt.
If the transmission is still unable to select the 
requested gear, contact your Dealer/
Authorised Repairer.
Message centre display
The message centre will confirm the 
JaguarDrive selector position (selected gear).
Selector position is shown highlighted at the 
top of the message centre and confirmed by 
the dot on the circular representation of the 
selector.
If manual mode is selected, the numbers 1 to 6 
appear at the top of the display, with the 
currently selected gear highlighted.
Note: With the transmission set to permanent 
manual mode and Dynamic mode selected, 
when the rev limit is reached, the gear position 
indicator in the message centre will glow 
amber, to indicate that the next gear should be 
selected.
The message centre may also display the 
following messages with associated warning 
indicators:
ENGINE SYSTEMS FAULT (Red)
RESTRICTED PERFORMANCE (Red or Amber)
GEARBOX FAULT (Amber)
If any of these messages are displayed it is 
likely that loss of power or driveability will be 
experienced. Seek qualified assistance as soon 
as possible.
A
km
l/100km
JAG1629

Brakes
144
PRINCIPLE OF OPERATION
Brake pads
Brake pads require a period of bedding in when 
new. Drive with extra caution for the first 
500 km (300 miles) to avoid the need for heavy 
braking.
Brake pad wear warning
When the brake pads are wearing low, the 
warning message BRAKE PADS LOW is 
displayed in the message centre. Arrange for 
your vehicle to be seen by your Dealer/
Authorised Repairer at the earliest opportunity.
Wet conditions
Driving through heavy rain or water can have 
an adverse effect on braking efficiency. Under 
such circumstances, it is recommended that 
you lightly apply the brakes intermittently to 
dry the brakes.
ABS warning indicator
If this amber warning indicator 
illuminates while driving and/or 
ABS FAULT is displayed in the 
message centre, drive with extra caution, avoid 
heavy braking where possible, and seek 
qualified assistance as soon as possible.
If this red warning indicator 
illuminates while driving and/or the 
message LOW BRAKE FLUID is 
displayed in the message centre, check the 
brake fluid level at the earliest opportunity and 
top-up as required. See BRAKE FLUID CHECK 
(page 206).
HINTS ON DRIVING WITH ABS
ABS (Anti-Lock Braking System) allows 
maximum brake pressure, and thus maximum 
braking efficiency, to be applied, and prevents 
the road wheels locking. This allows the driver 
to retain steering control during heavy braking 
under most road conditions.
ABS optimises tyre to road adhesion under 
maximum braking conditions, though it cannot 
provide increased cornering ability.
WARNINGS
Do not rest your foot on the brake 
pedal whilst the vehicle is in motion. 
This may cause a light application of 
the brakes, which can result in overheating, 
reduced brake performance, and excessive 
brake wear.
Never allow the vehicle to coast 
(freewheel) with the engine turned 
off. The engine must be running to 
provide full braking assistance. The brakes will 
still function with the engine off, but far more 
pressure will be required to operate them.
If the red brake warning indicator 
illuminates, safely bring the vehicle to 
a stop, as quickly as possible. Seek 
qualified assistance before proceeding.
Never place non-approved floor 
matting or any other obstructions 
under the brake pedal. This restricts 
pedal travel and braking efficiency.
WARNINGS
ABS cannot overcome the physical 
limitations of braking distance. Nor 
can it overcome the lack of grip on a 
road surface (e.g. aquaplaning on water).
Braking distance is increased on a 
slippery surface. This applies to all 
vehicles, even those fitted with ABS.
The driver should not be tempted to 
take risks when driving, in the hope 
that ABS will correct errors of 
judgement. In all cases it remains the driver's 
responsibility to drive with due care and 
attention, paying particular attention to the 
effects of speed, weather, road conditions etc.

145
Brakes
During emergency braking conditions ABS 
constantly monitors the speed of each wheel. 
ABS varies the brake pressure to individual 
wheels, according to the grip available. The 
constant alteration of brake pressure can be 
felt as a pulsing sensation through the brake 
pedal. This is not a cause for concern, as it is 
designed to demonstrate to the driver that ABS 
is operating.
ABS braking techniques
For optimum ABS performance, these 
instructions on braking techniques during ABS 
operation should be followed:
•Do not release the brake pressure when 
the pulsating effect is felt. Maintain a 
constant pressure until the manoeuvre is 
completed.
•To familiarise yourself with the feel of the 
brake pedal during ABS braking, practise 
an emergency stop procedure, always 
making sure it is safe to do so. With the 
seat belts fitted to all occupants, drive the 
vehicle at 32 km/h (20 mph) and brake 
sharply.
•ABS enables the driver to steer around 
obstacles during emergency braking. 
However, the consequences of turning 
sharply at high speed cannot be overcome 
by the ABS.
•Do not attempt to pump the brakes to 
avoid skidding, as this can interfere with 
ABS operation. The ABS will not allow the 
wheels to skid under normal road 
conditions.
•The ABS will tend to keep the vehicle 
straight during braking. Because braking 
distances may increase under certain road 
conditions, it is necessary to plan and 
make turning manoeuvres as early as 
possible.
Electronic Brakeforce Distribution (EBD)
EBD balances the distribution of braking forces 
between the wheels on the front and rear axles, 
to maintain maximum braking under all vehicle 
loading conditions.
For example; Under light loads, EBD applies 
less braking effort to the rear wheels, to 
maintain stability. Conversely, it allows full 
braking effort to the rear wheels when the 
vehicle is towing or is heavily laden.
A fault with the EBD system is 
indicated by illumination of the red 
brake warning indicator and the 
message EBD FAULT is displayed in the 
message centre. Gently stop the vehicle, as 
soon as safety permits, and seek qualified 
assistance.

Brakes
146
Emergency Brake Assist (EBA)
The EBA system measures the rate at which the 
brake pressure increases. If the system detects 
an emergency braking situation, EBA 
automatically initiates full braking effect. This 
can reduce stopping distances in critical 
situations.
EBA stops operating as soon as the brake pedal 
is released.
EBA is part of the Dynamic Stability 
Control (DSC) system and a fault 
with the EBA system is indicated by 
the amber DSC warning indicator illuminating 
and DSC NOT AVAILABLE (with amber 
backlight) displaying in the message centre. 
Seek qualified assistance as soon as possible.
Brake vacuum assist
(V6 petrol models only)
When the engine is cold and/or engine vacuum 
is low, Brake vacuum assist provides additional 
brake pedal assistance. When the function is 
operating, a pulsation may be felt through the 
brake pedal - this is not a cause for concern.
A fault is indicated by the message BRAKE 
ASSIST FAULT (with amber backlight) 
appearing in the message centre. Increased 
brake pedal effort may be required to slow the 
vehicle when the engine is cold and/or engine 
vacuum is low. Seek qualified assistance.
ELECTRIC PARKING BRAKE (EPB)
The switch which operates the parking brake is 
mounted on the centre console to the rear of 
the gear selector.
To engage the parking brake (1): Pull the 
parking brake switch upwards and release. The 
switch will return to the neutral position. The 
Parking brake warning and Brake fluid low 
warning indicator on the instrument panel will 
illuminate.
The Drive Away Release feature allows the 
parking brake to release automatically as the 
vehicle is driven away.
To disengage the parking brake (2): With the 
ignition system on or with the engine running, 
apply the foot brake and press the parking 
brake switch down.
If the parking brake is applied while the vehicle 
is stationary and D or R is selected, applying 
the throttle will automatically release the 
parking brake.
The parking brake is also automatically 
released when the gear selector is moved from 
the P position.
WARNING
The EBA system is an additional 
safety system; it is not intended to 
relieve the driver of his or her 
responsibility for exercising due care and 
attention when driving.
1 2
E95148

147
Brakes
If the parking brake is inadvertently applied 
when the vehicle is moving at above 3 km/h 
(1.8 mph), PARK BRAKE APPLIED is displayed 
in the message centre, the warning indicator in 
the instrument panel will illuminate and a 
warning chime will sound.
If the parking brake is applied whilst the vehicle 
is moving, releasing the switch will disengage 
the parking brake. The parking brake cannot be 
applied when the vehicle is moving, if the 
accelerator pedal is pressed.
Note: If the vehicle is in motion, the parking 
brake should only be used as an emergency 
brake.
The warning indicator in the instrument panel 
will remain on for a short time, if the parking 
brake is applied when the ignition system is 
reverted to the convenience mode.
If a fault in the system is detected, 
the amber brake warning indicator 
will illuminate and PARK BRAKE 
FAULT or CANNOT APPLY PARK BRAKE will 
be displayed in the message centre. Seek 
qualified assistance as soon as possible.
If the battery has been discharged or 
disconnected, APPLY FOOT AND PARK BRAKE 
will be displayed in the message centre when 
the ignition is next switched on. Depress the 
foot brake and pull the parking brake switch up 
to apply the parking brake. This is required to 
reset the parking brake system. The parking 
brake will now function correctly.
CAUTION
Always apply the parking brake when 
the vehicle is parked.

Parking aid
148
PRINCIPLE OF OPERATION
Note: Once the system has been activated by 
selecting reverse or using the switch, the front 
and rear sensors are active when the gear 
selector is in neutral. Therefore, if an obstacle 
is detected an audible warning tone will sound.
The parking aid is automatically in standby 
when the ignition is on and provides the driver 
with information on most obstructions, and 
their distance from the vehicle, when 
manoeuvring. This is achieved by using four 
ultrasonic sensors on each bumper.
When objects are detected the Park aid will 
emit a warning tone which increases in 
frequency and then becomes constant, as the 
vehicle gets closer to the object.
USING THE PARKING AID
Touch-screen
To set the volume of the parking aid warning 
tones:
•Select Vehicle from the touch-screen 
Home menu, then select Veh. settings.
•Select Parking, then select Vol. presets.
Touch the Parking aid + or - button to increase 
or decrease the warning tone volume.
Note: This adjusts both front and rear speaker 
volume.
WARNINGS
It remains the driver’s responsibility 
to be vigilant when reversing. Small 
children or animals may not be 
detected by the system.
It remains the driver’s responsibility 
to detect obstacles and estimate the 
vehicle’s distance from them. Some 
overhanging objects, barriers, thin 
obstructions or painted surfaces which could 
possibly cause damage to the vehicle may not 
be detected by the system. Always be vigilant 
when reversing.
CAUTIONS
Objects moving away from the vehicle 
will be reported. However, whilst driving 
away, object warning may be temporarily 
reported due to ground reflection.
Systems using the same frequency 
band as the front parking sensors, may 
cause irregular tones to be emitted.
mirror dip
Vol. presets
Off On
Vehicle
Security
Parking
Reverse
12 : 26 pm
Navigat
Phone
Vehicle
Display set.
Preferences
Button audio
Parking aid
Vol. presets
AVC Low Medium High
12 : 26 pm
Valet mode
E94137

149
Parking aid
When the parking aid is active, a pop-up screen 
is initiated displaying a plan view of the vehicle 
and the immediate surrounding area. This can 
be cancelled by touching the screen within the 
pop-up area.
Note: If a rear-view camera is fitted, when 
reverse gear (R) is selected, the camera display 
is selected automatically. To view the parking 
aid display, touch the screen. The rear view 
camera will indicate when a rear parking aid 
sensor has been activated, by showing a red 
panel over the relevant area of the camera 
display. See Rear view camera (page 152).
Rear parking aid
The rear parking aid operates only with the 
ignition is on and reverse gear selected. If 
obstacles are detected within operating range 
(shown in next illustration), the parking aid 
automatically provides an audible proximity 
warning.
1. Approximately 600 mm (24 inches).
2. Approximately 1800mm (71 inches).
Note: The outer rear sensors (1) will show 
visual detection on the touch-screen, before 
the audible warning is given.
Hom
Audi
Clim
Phon
Navi
Vehi
Valet
12:26 pm
Parking aid alert
E94138
E94139
2
1
E94140

Parking aid
150
Front and rear parking aid
When both front and rear parking aids are 
fitted, a switch is located in the overhead 
console.
Pressing the switch turns both the front and 
rear parking aids on or off. The switch warning 
indicator will come on when the system is 
turned on. A switch is not provided when only 
a rear parking aid is fitted.
Note: The front parking aid will also operate 
when reverse gear is selected.
The front parking aid provides an audible 
proximity warning when driving forwards or 
reversing.
The front and rear sensors only operate within 
a fixed speed range in forward gears and are 
not effective when moving forwards above 
15 km/h (9 mph).
Objects are detected within the approximate 
operating range from the front of the vehicle, 
as shown in the illustration above:
1. 600 mm (24 inches).
2. 1800 mm (71 inches).
3. 800 mm (31 inches).
If an obstacle is detected at the front or rear of 
the vehicle, a warning tone will be heard from 
the front or rear speaker respectively.
Note: The outer rear sensors (1) will show 
visual detection on the touch-screen, before 
the audible warning is given.
The warning tone increases in rate as the 
vehicle approaches the obstacle.
CAUTION
The parking aid system automatically 
switches off when the vehicle is moving 
above 15 km/h (9 mph) in D, and will need to 
be reselected when moving below 15 km/h 
(9 mph).
E94141
E94142
3
2
1
1

151
Parking aid
The front or rear warning tone will become 
continuous when the obstacle is detected at or 
within 300 mm (12 inches) from the vehicle.
Note: The outer front and rear sensors will 
switch off if the distance to an object increases 
or remains constant for 3 seconds. The 
sensors will reactivate automatically if a new 
object is detected within the operating range, 
or if the distance to the original object reduces.
Rear fitted accessories
Particular care must be taken when reversing 
with rear fitted accessories e.g. bicycle carrier, 
as the rear park assist will only indicate the 
distance from the bumper to the obstacle.
Cleaning the sensors
Do not clean the sensors with abrasive or sharp 
objects or materials.
For reliable operation, the sensors in the front 
and rear bumpers should be kept free from ice, 
frost and grime.
When using a high pressure spray the sensors 
should only be sprayed briefly and not from a 
distance of less than 200 mm (8 inches).
System fault
If the system has a fault when engaging reverse 
gear or turning on the ignition, then a single, 
three second tone will be heard (only once per 
ignition cycle) and a pop-up warning will 
appear on the touch-screen. If both front and 
rear parking aids are fitted, the warning 
indicator in the parking aid switch will flash for 
three seconds and then switch off, if a fault is 
detected. 
If a fault is detected, the system is 
automatically disabled.
The parking aid may sound spurious tones if it 
detects a frequency tone using the same band 
as the sensors (e.g. air brakes).

Rear view camera
152
PRINCIPLE OF OPERATION
The system provides a rear view image to 
assist in reversing the vehicle.
The camera is positioned centrally and 
unobtrusively, just above the rear license plate. 
When reverse gear (R) is selected, the rear 
view camera displays a wide-angle, colour view 
from the rear of the vehicle, displayed on the 
touch-screen.
The camera display also incorporates graphic 
overlays to aid the driver in assessing vehicle 
direction, width and proximity to surrounding 
objects. These are detailed under Camera 
overlays later in this section.
The camera display on the touch-screen has 
priority over the parking aid display. To view 
the parking aid display instead, touch the 
touch-screen. 
If a parking aid sensor is activated with the 
camera in use, a corresponding red shaded 
area will appear on the camera display to 
identify which sensor has been activated.
To cancel the rear view camera display at any 
time, touch the touch-screen.
The camera image will not be displayed when 
any of the following apply:
•D is selected and the vehicle speed is 
greater than 16 km/h (10 mph).
•D is selected for longer than 2 seconds and 
the vehicle speed is less than 16 km/h 
(10 mph).
WARNINGS
It remains the driver's responsibility 
to detect obstacles and estimate the 
vehicle's distance from them when 
reversing. Some overhanging objects or 
barriers, which could possibly cause damage 
to the vehicle, may not be detected by the 
camera.
Always be vigilant when reversing.
E96469

153
Rear view camera
Camera overlays
A. Solid line: This is the projected wheel 
trajectory.
B. Dotted line: This is the safe working width 
of the vehicle (including standard exterior 
mirrors).
C. Boot access guideline: Do not reverse the 
vehicle beyond this point if access to the 
boot is required.
D. Rear bumper.
E. Parking sensor activation: A red area will 
appear on the camera image, to indicate 
which rear parking sensor(s) has been 
activated.
C
B
A
D
JAG1651
C
B
A
D
E
JAG1652
CAUTIONS
If, after the ignition has been switched 
off, the steering wheel is turned, the 
projected wheel trajectory graphics (A) will 
display as being straight (as in the second 
illustration), until the vehicle is driven for 
approximately 10 seconds.

Driving hints
154
RUNNING-IN
Apart from a few precautionary 
recommendations, there are no strict 
running-in procedures for this vehicle.
By observing the following advisory 
precautions you will ensure maximum engine, 
transmission and brake life for your vehicle:
Engine
•Allow the engine to reach operating 
temperature before operating at engine 
speeds over 3 500 rev/min.
•Vary the speed frequently.
•From 1 500 kilometres (940 miles) 
onwards, gradually increase performance 
of the vehicle up to the permitted 
maximum speed.
Engine oil consumption
A certain amount of oil consumption is normal. 
The rate of consumption will depend on the 
following:
•The quality and viscosity of the oil.
•Climatic conditions.
•The speed at which the engine is being 
operated.
•Road conditions.
Drivers should expect above normal 
consumption when the engine is new, and after 
running-in if high speeds are sustained.
Brakes
To ensure that brake pads reach their optimum 
wear and performance condition, usually 
within 500 kilometres (300 miles), it is 
recommended that the following points are 
observed.
•Where possible, avoid heavy or harsh 
braking, as this can result in damage to the 
brake pads and discs.
•Avoid prolonged use of the brakes 
(e.g. when descending severe gradients).
•Frequent light application of the brakes is 
desirable. This helps to fully bed-in the 
brake pads.
These running-in guidelines also apply when 
new brake discs or pads have been fitted.
Final drive unit
During the first 1 500 kilometers (940 miles):
•Avoid full throttle applications and do not 
exceed 190 km/h (120 mph). Observe the 
national speed limits in the country in 
which you are travelling.
•Do not participate in motor racing events, 
test track days, sports driving schools or 
similar for the first 8 000 kilometers 
(4 975 miles).

155
Driving hints
ECONOMICAL DRIVING
There are two main factors which influence fuel 
economy, the way the vehicle is driven and 
maintenance.
Driving tips for economy
•Avoid unnecessary journeys, especially 
short stop-start trips.
•Accelerate smoothly and gently from a 
stand still.
•Allow time to brake gently and smoothly.
•Be aware of traffic and road conditions 
ahead, and take action in time to avoid 
hard braking or acceleration.
•When stationary apply the park brake, and 
select neutral.
•Turn off the air conditioning when not 
needed.
Maintenance and fuel economy
Regular servicing by a Dealer/Authorised 
Repairer, along with regular checks by the 
driver are essential for vehicle longevity and 
fuel economy.
The condition of the engine (oils, filters, spark 
plugs, settings etc.) tyre pressures, and wheel 
alignment, will all have a bearing on fuel 
economy. For this reason it is essential that the 
vehicle is checked regularly by the driver and 
serviced by an approved Dealer/Authorised 
Repairer at the correct intervals.
Note: If you are in any doubt about the 
maintenance requirements, intervals, or 
checks required, contact your Dealer/
Authorised Repairer for advice.

Cruise control
156
PRINCIPLE OF OPERATION
Cruise control enables the driver to maintain a 
constant road speed without using the 
accelerator pedal. This is particularly useful for 
motorway cruising, or for any journey where a 
constant speed can be maintained for a lengthy 
period.
The cruise (speed) control system can be used 
by the driver to maintain a selected vehicle 
speed above 30 km/h (18 mph).
Adjustment controls on the steering wheel 
allow the driver manual control of the system. 
Brake operations also influence the cruise 
control system.
1. SET - The speed adjustment control thumb 
wheel is used to engage cruise control 
initially by rolling it upwards. It is also used 
to increase (+) or decrease (-) the set 
speed until the desired speed is obtained.
2. CANCEL - Cancels cruise control but 
retains the set speed in memory.
3. RESUME - Resumes the cruise control set 
speed after it has been cancelled.
USING CRUISE CONTROL
Setting vehicle speed
When you are travelling at the speed you 
require, roll the speed adjustment control (1) 
upwards or downwards to increase or decrease 
speed.
Cruise control will engage and maintain the set 
speed and you can remove your foot from the 
accelerator pedal.
Note: Cruise control will automatically 
disengage when the brake pedal is pressed or 
when the vehicle speed falls below 30 km/h 
(18 mph).
E97088 2
3
1
WARNING
Only use cruise control when 
conditions are favourable, for 
example, straight, dry, open roads 
with light traffic.
In certain conditions, such as a steep 
downhill gradient, the vehicle speed 
may exceed the set cruising speed. 
This is because engine braking is unable to 
maintain or reduce the vehicle speed. Driver 
intervention may be required.

157
Cruise control
Changing the speed
There are two ways to change the set speed:
•Accelerate or decelerate to the desired 
speed then roll the speed adjustment 
control upwards (+).
•Increase or decrease the speed by rolling 
the speed adjustment control upwards (+) 
or downwards (-) until the desired speed is 
obtained.
Note: The set speed can be increased or 
decreased in steps of 2 km/h (1 mph), by 
rolling the speed adjustment control upwards 
(+) or downwards (-) briefly until the desired 
speed is obtained.
Resuming the speed
If the vehicle is accelerated above the set 
speed, then the set speed will be resumed 
when the accelerator pedal is released.
If CANCEL is pressed, or the brake pedal is 
pressed, the cruise control will disengage but 
the set speed memory will be retained. Press 
RESUME and the vehicle will return to the set 
speed.
Note: Cruise control will not resume at speeds 
below 30 km/h (18 mph).
RESUME will not operate if the ignition has 
been turned off.
Cruise control will switch off and clear the 
memory when:
•The ignition system is switched off.
•A fault occurs. The cruise control system 
will switch off and cannot be used until the 
fault is cleared.
Automatic switch off
Cruise control will switch off but the set speed 
will remain in the memory when:
•The CANCEL button is pressed.
•The brake pedal is pressed.
•Speed falls below 30 km/h (18 mph).
•Neutral, Park or Reverse gear positions are 
selected.
•Dynamic Stability Control is operating.
•The difference between the actual and set 
speed is too great.
•When the vehicle reaches a maximum 
speed of 192 km/h (120 mph).
•The accelerator pedal is used to accelerate 
beyond the set speed for too long a period.
E97089
CAUTIONS
RESUME should only be used if the 
driver is aware of the set speed and 
intends to return to it.
It is not recommended to resume set 
speed when a low gear is selected as 
excessive engine speeds will occur.

Cruise control
158
Message centre information displays
Message Warning 
Indicator
Priority 
Indicator
Meaning
CRUISE OVERRIDE None None Driver is pressing the accelerator pedal, 
overriding Cruise Control function. 
Message will disappear when accelerator 
pedal is released and Cruise Control 
speed is resumed.
CRUISE CANCELLED None None Driver has cancelled cruise control or is 
braking.
CRUISE NOT AVAILABLE None None Cruise Control or Adaptive Cruise Control 
malfunction.

159
Adaptive cruise control (ACC)
PRINCIPLE OF OPERATION
The Adaptive Cruise Control (ACC) system is 
designed to aid the driver to maintain a gap 
from the vehicle ahead or a set road speed if 
there is no slower vehicle ahead. The system is 
intended to provide enhanced operation of the 
vehicle when following other vehicles which 
are in the same lane and travelling in the same 
direction.
The ACC system uses a radar sensor, which 
projects a beam directly forward of the vehicle 
to detect objects ahead.
The radar sensor is mounted centrally behind 
the bumper cover above the cooling aperture, 
to provide a clear view forward for the radar 
beam.
USING ACC
The system is operated by adjustment controls 
mounted on the steering wheel. The driver can 
also intervene at any time by use of the brake 
or accelerator pedals. The steering wheel 
adjustment controls operate as follows:
1. SET - Rotate the thumbwheel upwards (+) 
or downwards (-), to increase or decrease 
speed, until the desired speed is achieved.
2. Gap increase or decrease. Four settings 
available by adjusting the thumb wheel.
3. CANCEL - Cancels but retains the set 
speed in memory.
4. RESUME - Resumes the set speed after it 
has been cancelled.
WARNING
ACC is not a collision warning or 
avoidance system. Additionally, ACC 
will not react to:
•Stationary or slow moving vehicles below 
10 km/h (6 mph).
•Pedestrians or objects in the roadway.
•Oncoming vehicles in the same lane.
CAUTION
Only use ACC when conditions are 
favourable (i.e. main roads with free 
flowing traffic).
Do not use in poor visibility, specifically 
fog, heavy rain, spray or snow.
E94163
Do not use on icy or slippery roads.
It is the drivers responsibility to stay 
alert, drive safely and be in control of the 
vehicle at all times.
Keep the front of the vehicle free from 
dirt, metal badges or objects, including 
vehicle front protectors, which may 
prevent the sensor from operating.
Do not use ACC when entering or 
leaving a motorway.
CAUTION
E97090
12
34

Adaptive cruise control (ACC)
160
Setting the speed
Accelerate as normal until the required speed is 
reached.
Rotate the speed adjustment control upwards 
(+) to store the vehicle speed in the memory 
and engage the system. 
The set speed will be displayed on the message 
centre (e.g. SETSPEED 80 KM/H (50 MPH)).
Changing the speed
There are three ways to change the set speed:
•Accelerate or brake to the desired speed 
then rotate the speed adjustment control 
upwards (+).
•Increase or decrease the speed by rotating 
the speed adjustment control upwards (+) 
or downwards (-), until the required set 
speed is shown on the message centre. 
The vehicle speed will gradually adjust to 
the selected speed.
•Increase or decrease the speed in steps of 
2 km/h (1 mph) by rotating the speed 
adjustment control upwards (+) or 
downwards (-) briefly until the desired 
speed is obtained.
ACC operates between approximately 30 km/h 
and 180 km/h (18 mph and 112 mph) 
dependent on the country specification.
Set speeds outside this range will not be 
captured.
The ACC may apply the brakes to slow down 
the vehicle to the new set speed. The new set 
speed will be displayed on the message centre 
until ACC is cancelled.
Follow mode gap settings
Once a set speed has been selected, the driver 
can release the accelerator and the set road 
speed will be maintained.
When a vehicle ahead enters the same lane or 
a slower vehicle is ahead in the same lane, the 
vehicle speed will be adjusted automatically 
until the gap to the vehicle ahead corresponds 
to the default gap setting (gap level 3). The 
vehicle is now in follow mode.
The amber warning indicator in the 
instrument panel will be 
illuminated.
The message centre will display the gap set.
E97091
WARNING
When in follow mode, the vehicle will 
not decelerate automatically to a stop, 
nor will the vehicle always decelerate 
quickly enough to avoid a collision, without 
driver intervention.
E91497

161
Adaptive cruise control (ACC)
The vehicle will then maintain the constant time 
gap to the vehicle ahead until:
•The vehicle ahead accelerates to a speed 
above the set speed.
•The vehicle ahead moves out of lane or out 
of view.
•A new gap distance is set.
If necessary, the vehicle brakes will be 
automatically applied to slow the vehicle to 
maintain the gap to the vehicle in front.
The maximum braking which is applied by the 
ACC system is limited and can be overridden by 
the driver applying the brakes, if required.
Note: Driver braking will cancel ACC.
If the ACC system predicts that its maximum 
braking level will not be sufficient, then an 
audible warning will sound while the ACC 
continues to brake. DRIVER INTERVENE will be 
displayed on the message centre. The driver 
should take immediate action.
When in follow mode, the vehicle will 
automatically return to the set speed when the 
road ahead is clear, for instance when:
•The vehicle in front accelerates or changes 
lane.
•The driver changes lane to either side or 
enters an exit lane.
The driver should intervene if appropriate.
Changing the follow mode set gap
The gap from the vehicle ahead can be 
decreased or increased by rolling the 
thumbwheel on the steering wheel. Four gap 
settings are available and the selected gap 
setting will be displayed on the message centre 
when either ACC button is pressed. 
Each gap level is indicated by an additional 
chevron in front of the vehicle icon in the 
message centre (one chevron (gap level 1) 
being the shortest, four chevrons (gap level 4) 
being the longest). After the ignition is 
switched on, the default gap (gap level 3) will 
be automatically selected ready for ACC 
operation.
Note: When the ignition is switched off, the 
gap setting will revert to the default setting 
(gap level 3) when switched on again.
Note: It is the driver’s responsibility to select a 
gap appropriate to the driving conditions.
Overriding the speed and follow mode
The set speed and gap can be overridden by 
pressing the accelerator pedal when cruising at 
constant speed or in follow mode. If the vehicle 
is in follow mode, the instrument warning 
indicator will go out when the ACC is 
overridden by the driver using the accelerator 
and CRUISE OVERRIDE will be displayed on 
the message centre. When the accelerator is 
released the ACC function will operate again 
and vehicle speed will decrease to the set 
speed, or a lower speed if follow mode is 
active.
WARNING
Whenever the driver is overriding the 
ACC by depressing the accelerator 
pedal, the ACC will not automatically 
apply the brakes to maintain separation from 
any vehicle ahead.

Adaptive cruise control (ACC)
162
Automatic low speed switch off
If the speed of the vehicle decreases below 
30 km/h (18 mph), the ACC system will be 
automatically switched off and the instrument 
warning indicator will go out.
If the brakes were being applied by the ACC 
system, they will be slowly released.
This will be accompanied by an audible 
warning, and DRIVER INTERVENE will be 
displayed on the message centre. The driver 
must take control.
Automatic switch off
ACC will disengage, but not clear the memory 
when;
•the CANCEL button (3) is pressed
•the brake pedal is pressed
•Neutral (N), Park (P) or Reverse (R) gear 
positions are selected
•Dynamic Stability Control activates.
ACC will disengage, and clear the memory 
when;
•the ignition system is switched off
•maximum vehicle speed is reached
•a fault occurs in the ACC system.
Resuming the speed and follow mode
By pressing the RESUME button (4) after ACC 
has been cancelled, for example, after braking, 
the ACC will become active again provided that 
the set speed memory has not been erased. 
The original set speed will be resumed (unless 
a vehicle ahead causes the follow mode to 
become active) and the set speed will be 
displayed in the message centre for four 
seconds.
Hints on driving with ACC
The system acts by regulating the speed of the 
vehicle using engine control and the brakes. 
Gear changes may occur in response to 
deceleration or acceleration whilst in ACC.
ACC is not a collision avoidance system. 
However, during some situations the system 
may provide the driver with an indication that 
intervention is required.
An audible alarm will sound, accompanied by 
the message DRIVER INTERVENE if the ACC 
detects:
•A failure has occurred whilst the system is 
active
•That using maximum ACC braking only is 
not sufficient.
Note: ACC operates when the gear selector 
lever is in position S or D.
Note: When engaged, the accelerator pedal 
rests in the raised position. Fully release the 
pedal to allow normal ACC operation.
Note: When braking is applied by the ACC, the 
vehicle brake lamps will be switched on 
although the brake pedal will not move.
CAUTION
RESUME should only be used if the 
driver is aware of the set speed and 
intends to return to it.

163
Adaptive cruise control (ACC)
Detection beam issues
Detection issues can occur:
1. When driving on a different line to the 
vehicle in front.
2. When a vehicle edges into your lane. The 
vehicle will only be detected once it has 
moved fully into your lane.
3. There may be issues with the detection of 
vehicles in front when going into and 
coming out of a bend.
In these cases ACC may brake late or 
unexpectedly. The driver should stay alert and 
intervene if necessary.
ACC malfunction
If a malfunction occurs during operation of the 
system in cruise or follow modes, the ACC 
system will switch off and cannot be used until 
the fault is cleared. The message DRIVER 
INTERVENE appears briefly and is then 
replaced by the message CRUISE NOT 
AVAILABLE. If malfunction of the ACC or any 
related system occurs at any other time, the 
message CRUISE NOT AVAILABLE will be 
displayed. It will not be possible to activate the 
ACC system in any mode.
Accumulations of dirt, snow or ice on the 
sensor or cover may inhibit ACC operation. 
Fitting of a vehicle front protector or metallised 
badges may also affect ACC operation.
The ACC system relies on its radar to detect 
objects and constantly scans ahead. If the 
radar detects no objects ahead in ACC or follow 
mode, then the ACC will be deactivated, the 
audible alarm sounds and the message 
DRIVER INTERVENE displays briefly. The 
message ACC SENSOR BLOCKED will then be 
displayed.
The same messages may also be displayed 
while driving on open roads with few objects 
for the radar to detect.
Clearing the obstruction allows the system to 
return to normal operation. If the obstruction is 
present when ACC is inactive, e.g. on initial 
starting or with the ACC system switched off, 
the message ACC SENSOR BLOCKED will be 
displayed.
Tyres other than those recommended may 
have different sizes. This can affect the correct 
operation of the ACC.
1
2
3
E91498

Adaptive cruise control (ACC)
164
Adverse weather conditions
During adverse weather conditions such as 
heavy rain or snowfall, the sensitivity of radar 
blockage detection is increased, so that it can 
correctly detect any reduced performance 
caused by a blocked sensor.
During these conditions, the warning message 
ACC SENSOR BLOCKED may be displayed 
more frequently, especially in areas where 
there are few roadside objects for the radar to 
detect.
FORWARD ALERT FUNCTION
Limited detection and warning of objects 
ahead, is provided during ACC operation by the 
ACC FORWARD ALERT warning. The enhanced 
forward alert feature additionally provides 
warnings when ACC is not engaged; if an object 
is detected close ahead, then the warning tone 
and message will be issued. The brakes will not 
be applied.
The forward alert system does not initiate any 
action. The driver must take appropriate action 
when the FORWARD ALERT message is 
displayed. However, the system monitors 
driver actions (e.g. braking, steering or 
indicating) and may not initiate the warning 
display if the appropriate action has been taken 
early enough.
The Forward alert function may be switched on 
or off using the forward alert switch, located 
where shown.
When the indicator in the 
instrument panel is on, Forward 
alert is active.
The sensitivity of the warning may be changed:
•Press the gap decrease button when ACC 
is disengaged to display and then decrease 
the sensitivity of the alert.
•Press the gap increase button to display 
and then increase the sensitivity of the 
alert.
FORWARD ALERT is 
displayed in the 
message centre.
WARNING
Do not use in poor visibility, 
specifically fog, heavy rain, spray or 
snow.
Do not use on icy or slippery roads.
JAG1303

165
Adaptive cruise control (ACC)
ADVANCED EMERGENCY BRAKE 
ASSIST
On vehicles fitted with Advanced Emergency 
Brake Assist, brake response is improved 
during emergency braking when a moving 
vehicle is detected close ahead.
Advanced Emergency Brake Assist activates If 
the risk of collision increases after the 
FORWARD ALERT warning is displayed. 
See FORWARD ALERT FUNCTION (page 164). 
The brakes are automatically applied gently in 
preparation for rapid braking (which may be 
noticeable). If the brake pedal is then pressed 
quickly, then braking is implemented fully, 
even if the pressure on the pedal is light. 
See HINTS ON DRIVING WITH ABS 
(page 144).
Advanced Emergency Brake Assist is available 
at speeds above approximately 7 km/h (5 mph) 
and will function even if Forward Alert and 
Adaptive Cruise Control are switched off. A 
fault with the system will be indicated by the 
warning FORWARD ALERT UNAVAILABLE 
appearing in the message centre. Advanced 
Emergency Brake Assist will not be available 
until the fault is rectified.
WARNING
Advanced Emergency Brake Assist, is 
an additional safety system and is not 
intended to relieve the driver of the 
responsibility for exercising due care and 
attention when driving.
CAUTION
The system may not react to slow 
moving vehicles and will not react to 
stationary vehicles or vehicles not 
travelling in the same direction as your vehicle.
Advanced Emergency Brake Assist can 
only improve braking performance if the 
driver applies the brakes.
Warnings may not appear if the distance 
to the vehicle ahead is very small or if 
steering wheel and pedal movements 
are large (e.g. to avoid a collision).
Advanced Emergency Brake Assist 
utilises the same radar sensor as 
Adaptive Cruise Control and Forward 
Alert - the same limitations of performance 
apply. 
See PRINCIPLE OF OPERATION (page 159). 
See USING ACC (page 159). 
See FORWARD ALERT FUNCTION 
(page 164).

Adaptive cruise control (ACC)
166
MESSAGE CENTRE INFORMATION MESSAGES
Message Meaning
CRUISE OVERRIDE Driver is pressing the accelerator pedal overriding cruise control 
function. Message will disappear when accelerator pedal is released 
and cruise control speed is resumed.
CRUISE CANCELLED Driver has cancelled cruise control or is braking.
CRUISE NOT 
AVAILABLE
Cruise control or Adaptive Cruise Control malfunction.
DRIVER INTERVENE Action by the driver to apply the brakes is required.
SETSPEED XXX KM/H Speed set for Adaptive Cruise Control.
GAP Set the distance (time gap).
RADAR SENSOR 
BLOCKED
Clean the front of the vehicle in the area of the sensor unit (the sensor 
is mounted centrally behind the bumper cover above the cooling 
aperture).
This message may also appear under the following conditions:
If stone chip protection has been applied.
On rural roads with few roadside objects.
In heavy rain.
FORWARD ALERT 
OFF
Forward alert feature has been switched off.
WARNING: A warning will not be given for objects detected in 
the vehicle’s path of travel.
FORWARD ALERT Forward Alert feature has been switched on or the setting changed. A 
warning will be given for objects detected in the vehicle path of travel. 
A longer gap indicates that the system will warn when detected objects 
are further away than the previous setting.
Action by the driver to apply the brakes is required.
FORWARD ALERT 
UNAVAILABLE
Advanced emergency brake assist and Forward Alert functions are 
unavailable.

167
Automatic speed limiter (ASL)
PRINCIPLE OF OPERATION
ASL can be used in a situation where varying 
vehicle speed is likely but a maximum speed 
must not be exceeded. For example, where a 
local speed limit is 80 km/h (50 mph), the set 
speed could be at that limit or just under.
If ASL is not selected, cruise control is always 
available by simply rotating the thumb wheel 
on the right-hand side of the steering wheel to 
set a cruising speed. The ASL button allows the 
driver to select between cruise control and the 
automatic speed limiter. The ASL can be set to 
any speed between 30 km/h (18 mph) and 240 
km/h (150 mph).
Note: Although ASL only operates at speeds 
between 30 km/h (18 mph) and 240 km/h (150 
mph), the maximum speed can be set when the 
vehicle is stationary.
When ASL is selected, the warning indicator in 
the instrument panel will illuminate. When the 
ASL button is pressed again, the light will 
extinguish, ASL will be cancelled and cruise 
control will be available again.
USING THE ASL
Setting a speed limit
•Press the ASL button.
•Use the thumb wheel (1) to set the 
required speed. The message centre 
display in the instrument panel will show 
the selected speed.
•The set speed can be adjusted at any time 
by rotating the thumb wheel (1).
WARNINGS
Automatic Speed Limiter (ASL) set 
speeds must be within local speed 
restriction limits. The driver must 
always ensure that a safe speed is set, taking 
into account the prevailing traffic and road 
conditions.
In certain conditions, such as a steep 
downhill gradient, the vehicle speed 
may exceed the set speed limit. This 
is because engine braking is unable to 
maintain or reduce the vehicle speed. Driver 
intervention may be required.
E94156
E97092 23
1

Automatic speed limiter (ASL)
168
Note: The message is also displayed at other 
times as an information display.
When ASL is selected and a set speed inserted, 
the engine will respond normally up to the set 
speed. Further accelerator pedal pressure will 
not increase the vehicle speed beyond your set 
speed, unless kickdown is initiated, in which 
case ASL will be suspended.
Suspending ASL
ASL can be suspended by pressing the 
CANCEL button (3). Applying sudden, rapid 
acceleration (kickdown) will also suspend ASL.
Resuming ASL
If ASL has been suspended, it can be reinstated 
with a single press of the RESUME button (2), 
however, ASL will only reinstate if the vehicle 
speed is less than the current speed set in 
memory and greater than 30 km/h (18 mph). 
The message centre will display an appropriate 
message if the vehicle speed is too fast to 
resume ASL.
Exceeding the set speed
If the set speed is exceeded, e.g. on a steep 
downhill section, the message centre will 
display an appropriate message along with an 
amber warning indicator.
There are three categories of over limit 
displays:
•If the set speed is exceeded by up to 3 
km/h (1.8 mph), the message centre will 
display the message along with an amber 
warning indicator.
•If the set speed is exceeded by more than 
7 km/h (4 mph), the message centre will 
display the message along with a flashing 
red warning indicator.
•If the set speed is exceeded by more than 
7 km/h (4 mph) for a duration of four 
seconds, the message centre will display 
the message along with a flashing red 
warning indicator and an audible warning 
tone.
Use your brakes to rectify the situation.
ASL unavailable
If ASL is not available due to a fault, the 
message centre will display an appropriate 
message along with an amber warning 
indicator.
The message and warning indicator will display 
when the driver attempts to use ASL.
When the ignition is switched off, ASL is 
deactivated and any set speed is deleted from 
memory.
LIMITER SET
 XXX km/h (MPH)
LIMITER CANCELLED
TOO FAST TO RESUME
OVER LIMIT XXX km/h (MPH)
LIMITER NOT AVAILABLE

169
Driving dynamics
GENERAL INFORMATION
JaguarDrive Control
JaguarDrive Control is a selectable vehicle 
optimisation system, designed to fine-tune the 
driving characteristics of the vehicle by 
accommodating different driving conditions or 
driving styles.
The system allows the performance envelope 
of the vehicle to be stretched and prevents the 
necessity for a single, compromised 
configuration for all conditions, thereby 
increasing the vehicle's abilities.
The vehicle systems optimised by JaguarDrive 
Control are:
•Engine management.
•Transmission management.
•Dynamic Stability Control and traction 
control.
•Adaptive dynamics.
•Active Differential Control (E-diff) - 
Supercharged vehicles only.
Note: Changing from one special mode to 
another, will introduce noticeably different 
vehicle responses. For example, the engine 
revs produced by the accelerator position when 
a special mode is not selected, may increase or 
decrease when a mode is selected.
To familiarise yourself with, and get the best 
from, the JaguarDrive Control modes, you 
should try out the modes in circumstances 
which are safe for you and other road users.
1. Dynamic mode switch.
2. Winter mode switch.
3. DSC mode switch.
WINTER MODE
 Press to operate. Designed for use 
in slippery conditions, when active, 
Winter mode selects 2nd gear for 
driving away on level ground (no incline), 
softens the responsiveness of the engine and 
modifies the gear change strategy. This 
ensures that optimum traction is maintained.
Winter mode optimises stability of the vehicle 
to suit slippery conditions, when grip is 
reduced. The vehicle performs in a more gentle 
and controlled manner, to avoid skidding, 
allowing more confident progress under 
adverse conditions.
Note: Winter mode cannot be active at the 
same time as Dynamic mode. Winter mode will 
remain selected indefinitely after the ignition is 
switched off, until deselected by the driver.
WARNING
It remains the driver's responsibility 
to drive safely, according to the 
prevailing conditions and within the 
law.
JAG1654
1
2
3

Driving dynamics
170
DYNAMIC MODE
(V8 petrol and diesel vehicles only)
Press to operate. Dynamic mode 
co-ordinates the vehicle's control 
systems to deliver a high 
performance driving experience. This setting 
enhances key vehicle systems so that the 
vehicle's full potential can be exploited. The 
vehicle's responses are aimed at involving the 
driver more in focused and purposeful driving, 
helping swift progress.
Note: When the transmission is set to 
permanent manual mode (i.e. using the 
paddles to change gear while in Sport mode) 
and Dynamic mode is selected, transmission 
upshifts are fully controlled by the driver. This 
means that the transmission will not change up 
a gear automatically, even when the vehicle's 
rev limit is reached. When the rev limit is 
reached, the gear position indicator in the 
message centre will glow amber, to indicate 
that the next gear should be selected.
Note: Dynamic mode cannot be active at the 
same time as Winter mode. Dynamic mode will 
remain selected for approximately six hours 
after the ignition is switched off, after which 
point it will need to be reselected if required.
STABILITY CONTROL
Dynamic Stability Control (DSC)
Dynamic Stability Control (DSC) is operational 
whenever the engine is running, unless it has 
been manually switched off. When the system 
is operating, the warning indicator in the 
instrument panel will flash.
The DSC system controls the Anti-lock Braking 
System (ABS), traction control and yaw control 
of the vehicle.
The DSC system assists the driver in retaining 
directional control of the vehicle in situations 
where the vehicle is sliding (understeer or 
oversteer). It must not encourage the driver to 
drive beyond the limit of adhesion or at speeds 
higher than those suitable for the prevailing 
road and traffic conditions.
DSC applies braking pressure to individual 
wheels if excessive variation is detected. This 
ensures that the vehicle follows the driver’s 
intended direction of travel as closely as 
possible.
Traction control will intervene to control wheel 
spin by automatically reducing the power 
output from the engine and applying braking to 
individual wheels. This improves acceleration, 
particularly on surfaces with uneven friction 
(e.g. one wheel on ice with another on tarmac).
Note: For recommended DSC mode selection, 
refer to the JaguarDrive Control scenarios 
section in this handbook.
WARNING
The fact that the vehicle is fitted with 
DSC, must never allow the driver to 
be tempted into taking risks which 
could affect his or her safety or that of other 
road users. In all cases, it remains the driver’s 
responsibility to drive safely according to the 
prevailing conditions.

171
Driving dynamics
TracDSC
TracDSC is an alternative setting of DSC with 
reduced system interventions. With TracDSC 
engaged, traction may be somewhat increased, 
although stability may be reduced compared to 
normal DSC. TracDSC is intended for use only 
on dry tarmac, by suitably experienced drivers 
and should not be selected for other surfaces 
or by drivers with insufficient skill and training 
to operate the vehicle safely with the TracDSC 
function engaged.
The less restrictive TracDSC setting may be 
preferred, for example, by expert drivers 
engaged in high performance driving on dry 
Tarmac surfaces such as tracks and circuits.
Switching between DSC and Trac DSC
•Press and hold the DSC switch for less 
than 10 seconds.
•The message centre will temporarily 
display either Trac DSC or DSC ON.
•The warning indicator in the instrument 
panel will illuminate while Trac DSC is 
selected.
•The warning indicator will flash when DSC 
or Trac DSC is active.
Note: If cruise control is engaged, it will 
automatically disengage if stability control 
activates.
Switching between DSC OFF and ON
Switching DSC OFF
•Press and hold the DSC switch for more 
than 10 seconds.
•The message centre will display DSC OFF 
and a short warning chime will sound.
•The warning indicator in the instrument 
panel will illuminate.
Switching DSC ON
If DSC is OFF:
•Press and release the DSC switch.
•The DSC system will switch on, the 
message centre will temporarily display 
DSC ON.
•The warning indicator in the instrument 
panel will be extinguished.
Note: Switching the engine off and then on 
again, will always revert DSC status to DSC ON, 
regardless of which JaguarDrive Control mode 
is selected.
WARNING
Vehicle safety may be reduced by 
inappropriate use of TracDSC. 
TracDSC should only be used in 
suitable conditions.
E95149

Driving dynamics
172
Note: In rare circumstances, when TracDSC is 
selected or DSC is off, high acceleration on 
rough roads may cause DSC to switch back on. 
This prevents high loads on the vehicle 
driveline. DSC will subsequently remain on, 
unless TracDSC is selected or DSC is switched 
off manually.
Stability control indicator
If there is a fault, the warning 
indicator will illuminate in the 
instrument panel and the message 
centre will display DSC NOT AVAILABLE with 
an amber backlight.
It is safe to drive the vehicle, but the DSC 
system will not activate under wheel spin or 
slide conditions. You should seek qualified 
assistance as soon as possible.
Adaptive dynamics 
(Supercharged vehicles only)
Jaguar Adaptive dynamics continuously 
monitors the road and driver inputs and 
optimises the vehicle suspension settings for 
ride comfort and control.
The adaptive dynamics system is linked to 
Dynamic mode, modifying the suspension 
settings for a more sporting character.
If the message centre displays the message 
ADAPTIVE DYNAMICS FAULT, a fault has been 
detected in the adaptive dynamics system. 
Seek qualified assistance as soon as possible.
Active Differential Control (E-diff) 
(Supercharged vehicles only)
The E-diff improves traction when one driven 
wheel has more grip than the other. This 
improves progress out of corners and on 
patchy or uneven surfaces. The E-diff can also 
increase stability in oversteer situations, 
depending on road conditions and driver 
inputs.
Settings for the E-diff are made automatically, 
without the need for driver selection.
If there is a fault with the E-diff system, the 
message centre will display EDIFF SYSTEM 
FAULT. If DSC is off, then TracDSC will be 
selected automatically. The driver can still 
switch between DSC modes, as normal and the 
vehicle is safe to drive, but seek qualified 
assistance as soon as possible.
Note: If the E-diff is active continuously for an 
extended period (e.g. on a patchy surface with 
DSC off) then the E-diff may be temporarily 
deactivated to prevent overheating. If DSC is 
off, then TracDSC will be selected 
automatically. The message centre will display 
EDIFF NOT AVAILABLE. The driver can still 
switch between DSC modes as normal and the 
E-diff will become available again automatically 
when it has cooled sufficiently.

173
Driving dynamics
JaguarDrive Control scenarios
The table below gives examples of the drive control settings suggested for different driving 
scenarios.
Scenario Suggested driver selection
Tyre fitment JaguarDrive 
Control
Dynamic 
Stability Control 
(DSC)
Transmission
Wet grass Standard Winter mode DSC On 
(default)
Drive (D)
Very wet tarmac
Slippery boat launch 
ramp
Hill descents while 
towing on slippery 
surfaces
Sport (S) + 
Manual
Ice/light snow Standard or All 
Season tyres
Drive (D)
Snow ploughed 
hard-topped roads 
(including black ice)
All Season tyres
Packed snow roads Winter tyres
Deep fresh snow Snow chains Sport (S)
Normal driving 
conditions (e.g. dry 
tarmac, town driving, 
motorway cruising 
etc.)
Standard
No driver 
selection 
required. 
Special modes 
off.
Drive (D)
Overtaking on a dry 
road
Drive (D) or 
Sport (S)
Pulling out onto a 
busy road in dry 
conditions
Favourite country 
lane (public road)
Dynamic mode Sport (S) 
or 
Sport (S) + 
Manual
Private track/race 
day
TracDSC 
(where conditions 
permit)

Fuel and refuelling
174
SAFETY PRECAUTIONS
FUEL QUALITY
Water in fuel
Petrol engined vehicles
WARNINGS
Petroleum gasses are highly 
flammable, have a low flash point, 
and are explosive, especially in 
confined spaces. Avoid exposing the gasses to 
any potential sources of ignition as the 
resulting fire and explosion may cause serious 
injuries and/or death.
Only use containers specifically 
designed for carrying fuel and always 
remove them from the vehicle to fill 
them. Failure to do so may result in spillage, 
and cause a fire.
Switch off the engine when refuelling, 
as it is both a source of extreme 
temperatures, and electrical sparks. 
The resulting fire and explosion may cause 
serious injury and death.
Switch off any personal electronic 
devices such as mobile phones, or 
music players. They have the 
potential to cause electrical sparks. The 
resulting fire and explosion may cause serious 
injury and death.
Do not smoke, use a naked flame, or 
cause sparks. The resulting fire and 
explosion may cause serious injury 
and death.
Do not overfill the fuel tank. 
Overfilling may cause spillage when 
the vehicle is driven. Spillage may 
also occur if the fuel expands in high ambient 
temperatures.
Any modifications to the fuel system 
not specifically designed for this 
Jaguar are prohibited. Such 
modifications in some circumstances, could 
result in a fire. All service actions should be 
entrusted to a Dealer/Authorised Repairer.
The presence of any unusual fumes 
(e.g. petrol or exhaust fumes) in the 
passenger compartment and/or 
luggage compartment, should be corrected 
immediately by a Dealer/Authorised Repairer. 
If you must drive under these conditions, do 
so only with all windows fully open.
CAUTIONS
If the warning WATER IN FUEL is 
displayed in the message centre, an 
excessive amount of water has collected in the 
fuel filter bowl. Seek assistance from a Jaguar 
Dealer/Authorised Repairer to have the filter 
drained, as soon as possible.
CAUTIONS
Do not use leaded fuels, lead substitutes 
or fuel additives. Doing so can cause 
damage to the engine, fuel and emission 
control systems.
Only use high quality petrol, as using 
lower quality fuels can cause damage to 
the engine, fuel and emission control systems.
Fuel system cleaning agents should not 
be used, unless approved by Jaguar. 
Unapproved products may be harmful to fuel 
system components on your vehicle.
It is the driver’s responsibility to fill the 
vehicle with the correct fuel. If the 
vehicle is filled with the wrong type of fuel, do 
not start the engine. Call for Roadside 
Assistance.
WARNINGS

175
Fuel and refuelling
Unleaded fuel
Unleaded fuel must be used for the emission 
control system to operate properly. Its use will 
also reduce spark plug fouling, exhaust system 
corrosion and engine oil deterioration.
Octane rating
The recommended unleaded fuel should have 
an octane rating of 95 RON (Research Octane 
Number) or higher. However, you may also use 
unleaded fuel with a lower RON, but 
performance will be reduced. The minimum 
octane rating for fuel to be used is 91 RON.
Note: Using unleaded fuel with a lower octane 
rating than recommended, can cause 
persistent heavy engine knock (a metallic 
rapping noise). If severe, this can lead to 
engine damage. 
If a heavy knock is detected, even when using 
fuel to the recommended octane rating, or if 
you hear knock while holding a steady speed 
on level roads, consult your Dealer/Authorised 
Repairer to have the problem corrected. Failure 
to do so is misuse of the vehicle, for which 
Jaguar Cars is not responsible. However, 
occasional, light knock for a short time while 
accelerating or driving up hill, may occur.
ALTERNATIVE FUELS FOR PETROL 
ENGINES
Fuels containing alcohol
Some fuel suppliers sell fuel containing alcohol 
without advertising its presence. Where 
uncertainty exists, check with the service 
centre operator.
Note: Some difficulty in starting may be 
encountered when using alcohol blended fuel.
Ethanol
Fuels containing up to 10% Ethanol (grain 
alcohol) may be used. Ensure that the fuel has 
octane ratings no lower than those 
recommended for unleaded fuel. Most drivers 
will not notice any operating difference with 
fuel containing Ethanol. If a difference is 
detected, the use of conventional unleaded fuel 
should be resumed.
Methanol
Some fuels contain Methanol (Methyl or wood 
alcohol). If you use fuels containing Methanol 
the fuels must also contain co-solvents and 
corrosion inhibitors for Methanol. Also, do not 
use fuels which contain more than 10% 
Methanol even if they contain co-solvents and 
corrosion inhibitors. Fuel system damage or 
vehicle performance problems resulting from 
the use of such fuels is not the responsibility of 
Jaguar, and may not be covered under the 
warranty.
CAUTIONS
Fuel containing alcohol can cause paint 
damage, which may not be covered 
under the warranty.
CAUTIONS
This vehicle is not suitable for use with 
fuels containing more than 10% 
Ethanol.
Do not use E85 fuels (85% Ethanol 
content). Equipment necessary for the 
use of fuels containing more than 10% Ethanol 
is not fitted to this vehicle. If E85 fuels are 
used, serious engine and fuels system damage 
will occur.
CAUTION
Wherever possible avoid using fuel 
containing Methanol.

Fuel and refuelling
176
Methyl Tertiary Butyl Ether (MTBE)
Unleaded fuel containing an oxygenate known 
as MTBE can be used provided that the ratio of 
MTBE to conventional fuel does not exceed 
15%. MTBE is an Ether based compound 
derived from Petroleum, which has been 
specified by several refiners as the substance 
to enhance the Octane rating of fuel.
Reformulated gasoline
Several petroleum companies have announced 
the availability of reformulated fuels. These 
fuels are specially formulated to further reduce 
vehicle emissions. Jaguar fully supports all 
efforts to protect and maintain ambient air 
quality and encourages the use of reformulated 
gasoline, where available.
DIESEL ENGINED VEHICLES
Use only high quality diesel fuel according to 
EN590 or equivalent.
The quality of diesel fuel is variable, depending 
on geographic location. Always use premium 
or the highest quality fuel available in your 
locality. High quality fuel ensures a longer life 
for your engine components. Lower grade fuel 
contains higher levels of sulphur, which is 
detrimental to engine components. If low 
quality fuel is used, light coloured smoke may 
be evident at the exhaust.
Note: Jaguar vehicles are capable of running 
with up to a 5% blend of bio-diesel, in 
accordance with European Standard EN590.
Prolonged use of additives is not 
recommended. Do not add paraffin or petrol to 
diesel fuels.
Winter grade diesel fuel
To make sure of reliable diesel engine 
operation during cold seasonal periods, Winter 
grade fuel must be used. This fuel is normally 
available from fuel retailers during these 
periods and the fuel companies adjust the fuel 
quality to suit climatic conditions.
If the vehicle is not filled with Winter grade 
diesel fuel, it is recommended that the engine 
is idled for a period of over two minutes after 
starting, to prevent fuel solidification during 
operation.
CAUTION
Do not use RME (bio-diesel) except in 
the case of those proprietary diesel fuels 
which contain a mix of up to 5%. Jaguar can 
accept no responsibility for damage caused by 
using RME in concentrations greater than 5%.
CAUTIONS
If you inadvertently fill your vehicle with 
petrol instead of diesel, do not attempt 
to start the engine. Contact your Dealer/
Authorised Repairer immediately. Attempting 
to start the engine with petrol in the fuel tank, 
will cause extensive damage to the engine and 
fuel system, which will not be covered by your 
Jaguar warranty.
Jaguar cars can accept no responsibility 
for any damage caused by running your 
vehicle with petrol or vegetable oil in the fuel 
tank.

177
Fuel and refuelling
Sulphur content
In some countries diesel may contain higher 
levers of Sulphur, which could cause damage 
to the vehicle, if in doubt contact a local 
Dealer/Authorised Repairer for advice.
RUNNING OUT OF FUEL
Note: If the vehicle does run out of fuel, a 
minimum of 4 litres (0.9 gallons) will be 
required to restart the engine. The vehicle will 
need to be driven 1.6-5 km (1-3 miles) in order 
to reset the engine management and 
monitoring systems.
Note: If the vehicle does run out of fuel, 
seeking qualified assistance is advisable.
Diesel engines
Vehicles with diesel engines are equipped with 
a system to prevent the fuel tank from 
emptying completely. When the fuel reaches a 
minimum level, the system will activate a 
reduced power mode (i.e. the engine will not 
run properly). This will be followed by the 
engine stopping in approximately 1.6 km 
(1 mile).
This feature prevents the fuel system from 
running dry, which could cause damage to the 
vehicle. If the gauge indicates low fuel or the 
warning indicator illuminates, the fuel tank 
should be refuelled as soon as possible at the 
next filling station, with at least 4 litres (0.9 
gallons) of fuel.
If the system protection function has activated, 
the vehicle must firstly be refuelled, then 
restarted using the following procedure:
1. With the brake pedal pressed, press and 
hold the engine START/STOP button and 
crank the engine for five seconds.
2. Release the START/STOP button.
3. With the brake pedal pressed, press and 
release the START/STOP button to crank 
the engine. The engine should start within 
approximately five seconds.
Note: If the engine does not start, pause for ten 
seconds with the ignition in convenience 
mode, before repeating the procedure from the 
beginning.
FUEL CUT-OFF
The fuel system cut-off forms part of the 
Supplementary Restraint System (SRS) fitted 
to your vehicle. Following an impact, and 
depending on the severity, the fuel pump may 
be switched off.
CAUTION
Your vehicle is fitted with a Diesel 
Particulate Filter (DPF), the maximum 
Sulphur content must not exceed 0.005%. 
Using an incorrect fuel will cause serious 
damage to the DPF. See DIESEL 
PARTICULATE FILTER (DPF) (page 135).
CAUTION
Avoid running out of fuel. Doing so can 
cause damage to the vehicle's engine, 
fuel and emission control systems.
CAUTION
Do not crank the engine for longer than 
30 seconds, or damage to the fuel pump 
may occur.

Fuel and refuelling
178
Resetting the fuel cut-off
1. Switch the ignition off and wait for one 
minute.
2. Turn the ignition on for 30 seconds.
3. Check the vehicle thoroughly for fuel leaks. 
If a leak is detected switch the ignition off 
immediately.
•Do not start the vehicle if a leak is 
present. Seek qualified advice and have 
the vehicle recovered.
4. If no leaks are detected, start the vehicle.
FUEL FILLER FLAP
Note: The fuel filler flap cannot be opened 
when the alarm system is armed.
The fuel filler flap is located on the right-hand 
side of the vehicle, at the rear.
1. Ensure that the vehicle is fully unlocked. 
Push and release the rear of the flap (in the 
area indicated in the illustration) to 
unlatch.
2. Pull the fuel filler flap open. The label on 
the inside of the flap indicates the correct 
fuel for the vehicle.
3. Twist the cap counter-clockwise to undo.
4. Stow the cap on the lip provided on the top 
of the hinge arm, as shown.
When replacing the cap, turn it clockwise until 
the ratchet clicks. Failure to do so could cause 
the Engine malfunction warning indicator to 
illuminate.
To close the filler flap, push the flap closed until 
it latches.
WARNING
The fuel cut-off should never be reset 
if you can smell fuel, or a leak can be 
seen. Doing so can lead to a fire 
which may cause personal injury or death.
WARNINGS
Open the fuel filler cap slowly and 
allow the pressure to release before 
fully removing the cap to avoid fuel 
spillage due to rapid expansion.
Take note of all warnings and 
instructions given on the label affixed 
to the inside of the filler flap. Failure to 
do so may result in injury or death.
E95150
2
1
3
4

179
Fuel and refuelling
REFUELLING
Fuel filler
Filling station pumps used for diesel 
commercial vehicles deliver fuel at a higher 
rate than normal. The higher fill rate can cause 
premature cut-off and may cause fuel spillage. 
Therefore, it is recommended that only 
standard light vehicle pumps are used.
If the fuel cuts off as soon as the trigger on the 
pump is operated, check that the correct fuel 
has been selected. Immediate cut-off may have 
been caused by the fuel guard system. 
See DIESEL MISFUELLING PROTECTION 
DEVICE (page 180).
Fuel tank capacity
Avoid the risk of running out of fuel and never 
intentionally drive the vehicle when the fuel 
gauge indicates that the tank is empty. When 
refuelling your vehicle after the fuel gauge 
reads empty, you may not be able to add the 
fuel quantity shown below, as there will be a 
small reserve remaining in the tank.
All engines
WARNINGS
When refuelling ensure that all 
windows, doors, and sunroof are fully 
closed, particularly if young children 
or animals are in the vehicle. Fuel vapour 
contains harmful chemical compounds, some 
of which may cause cancer.
Do not attempt to fill the tank to its 
maximum capacity. If the vehicle is to 
be parked on a slope, in direct 
sunlight or high ambient temperature, 
expansion of the fuel could cause spillage. 
Filling station pumps are equipped with 
automatic cut-off sensing, to avoid fuel 
spillage. Fill the tank until the filler nozzle 
automatically cuts off supply. Do not attempt 
to fill the tank beyond this point.
CAUTIONS
Check the fuel pump information 
carefully, to ensure that you are putting 
the correct fuel into the vehicle. Filling a 
vehicle with the incorrect fuel can cause 
serious engine and fuel system damage.
It is the driver’s responsibility to fill the 
vehicle with the correct fuel. If the 
vehicle is filled with the wrong type of fuel, do 
not start the engine. Call for Roadside 
Assistance.
Fuel specification:
Petrol 95-98 RON
Diesel EN 590
Total tank capacity:
Petrol 69.5 litres 
(15.3 gallons)
Diesel 68.1 litres
(15 gallons)
Fill capacity (when fuel gauge 
indicates empty)
64 litres 
(14.1 gallons)
Reserve capacity (when fuel 
gauge indicates empty)
5.5 litres 
(1.2 gallons)
E95151

Fuel and refuelling
180
DIESEL MISFUELLING PROTECTION 
DEVICE
Diesel engine vehicles in some markets are 
equipped with a misfuelling protection device, 
incorporated into the fuel filler neck, designed 
to alert that the wrong fuel type has been 
selected. If the narrow filler nozzle fitted to 
pumps delivering unleaded petrol is correctly 
inserted (i.e. fully inserted) into the filler neck, 
the misfuel protection device will activate.
The protection device continually interrupts the 
fuel flow from the pump, until the protector 
mechanism in the filler neck is reset.
When activated, the yellow protection device 
will be visible in the filler neck. The device will 
need to be reset before the tank can be 
correctly filled with diesel fuel. This is achieved 
using the reset tool, located in the luggage 
compartment, clipped onto the battery 
restraining bar.
Note: It is the driver’s responsibility to fill the 
vehicle with the correct fuel. The diesel 
misfuelling protection device only reduces the 
risk of filling the vehicle with the incorrect fuel.
Note: When refuelling the vehicle using a 
disposable fuel canister, use a canister 
designed for diesel fuel where possible. The 
spout on petrol canisters may activate the 
protection device. The device may also be 
activated by fuel pumps with a smaller nozzle 
than those fitted to standard diesel pumps.
Resetting the protection device
To reset the misfuelling protection device:
1. Insert the reset tool (with the teeth 
uppermost) into the filler neck opening, as 
far as it will go. The triangular section on 
the reset tool stops on the protection 
device at the required insertion depth.
2. Pivot the reset tool handle downwards to 
engage the teeth into the protection device.
3. Keeping the reset tool handle held down, 
slowly pull the reset tool out of the filler 
neck to reset the misfuelling protection 
device.
Note: To ensure that the protection device is 
correctly reset, check that the yellow protector 
is no longer visible in the filler neck.
After resetting the misfuelling protection 
device, remove the tool from the filler neck and 
secure it to the battery restraining bar. If 
subsequent driveability difficulties are 
encountered, seek assistance from your 
Dealer/Authorised Repairer.
WARNINGS
When the misfuelling protection 
device is activated, it could cause fuel 
to be discharged from the filler neck.
CAUTIONS
Using the incorrect fuel can result in 
major damage to your vehicle’s engine 
and fuel system.
JAG1618
1
2
3

181
Fuel and refuelling
FUEL CONSUMPTION
The fuel consumption figures shown below have been calculated using a standard testing 
procedure (the new EC test procedure from Directive 99/100/EC), and produced in accordance with 
The Passenger Car Fuel Consumption (Amendment) Order 1996.
Under normal use, a vehicle's actual fuel consumption figures may differ from those achieved 
through the test procedure, depending on driving technique, road and traffic conditions, 
environmental factors, vehicle load and condition.
Urban cycle
The urban test cycle is carried out from a cold start and consists of a series of accelerations, 
decelerations and periods of steady speed driving and engine idling. The maximum speed attained 
during the test is 50 km/h (30 mph) with an average speed of 19 km/h (12 mph).
Extra-urban cycle
The extra-urban test cycle is carried out immediately after the urban test. Approximately half of the 
test comprises steady-speed driving, while the remainder consists of a series of accelerations, 
decelerations and engine idling. The maximum test speed is 120 km/h (75 mph) and the average 
speed 63 km/h (39 mph). The test is carried out over a distance of 7 km (4.3 miles).
Combined
The combined figure is an average of the urban and extra-urban test cycle results, which has been 
weighted to take account of the different distances covered during the two tests.
For additional information on fuel consumption figures and exhaust emissions, visit the Vehicle 
Certification Agency (VCA) website at http://www.vcacarfueldata.org.uk/. 
Variant Urban Extra-urban Combined CO² emissions
g/km
3.0 V6 Diesel 9.5 l/100 km 
(30.0 mpg)
5.5 l/100 km 
(51.3 mpg)
6.8 l/100 km 
(42.0 mpg)
179
3.0 V6 Petrol 15.8 l/100 km 
(17.8 mpg)
7.5 l/100 km 
(37.8 mpg)
10.5 l/100 km 
(26.8 mpg)
249
5.0 V8 Petrol - 
Normally aspirated
17.3 l/100 km 
(46.3 mpg)
7.8 l/100 km 
(36.4 mpg)
11.1 l/100 km 
(25.4 mpg)
264
5.0 V8 Petrol - 
Supercharged
18.7 l/100 km 
(15.1 mpg)
8.7 l/100 km 
(32.4 mpg)
12.5 l/100 km 
(22.5 mpg)
292

Load carrying
182
GENERAL INFORMATION
Weights and load capacities
Note: It is the driver's responsibility to ensure 
that the maximum weights are not exceeded, 
and that the load is distributed correctly within 
the vehicle.
Information and values for the maximum 
weights can be found in the Weights section. 
See WEIGHTS (page 259).
Roof racks
LUGGAGE ANCHOR POINTS
Four load securing rings are provided in the 
rear luggage area to assist in safely securing 
items carried.
Note: A range of approved luggage retention 
accessories are available from your Dealer/
Authorised Repairer.
REAR UNDER FLOOR STORAGE
On vehicles not fitted with a spare wheel, there 
is a storage compartment beneath the luggage 
compartment floor. Lift the hatch for access 
and hook the strap over the upper boot seal to 
keep the hatch open.
CAUTION
Your vehicle is not designed for use with 
a roof rack. Do not fit a roof rack to the 
vehicle, as damage may result.
WARNINGS
All items carried in the luggage area 
should be properly secured. Loose 
items can cause serious injury or 
death in the event of an accident or sudden 
manoeuvre.
E95152

183
Towing
TOWING A TRAILER (V6 petrol and 
diesel vehicles only)
Note: It is the driver's responsibility to ensure 
that the towing vehicle, and the trailer are being 
used correctly, and in accordance with 
manufacturers recommendations and any 
applicable legislation.
Your Dealer/Authorised Repairer and main 
motoring and caravanning organisation can 
advise you on towing, towing weight capacities 
and about regulations that apply in other 
countries.
The following are important points of safety, 
stability and comfort, upon which further 
advice should be sought:
•Maximum braked towing weight is 
permissible, provided that long periods of 
uphill driving on gradients over 8% are not 
undertaken.
•In high altitude mountainous regions, the 
thinner atmosphere can reduce engine 
performance. Above 1000 metres (3250 
feet), the stipulated maximum permitted 
gross train weight must be reduced by 
10% for every 1000 metres (3250 feet) in 
altitude.
E95507
WARNINGS
Never exceed the maximum weights 
for either the vehicle, or the trailer. 
Doing so can cause accelerated wear 
and damage to the vehicle. It can also 
adversely affect vehicle stability and braking, 
which in turn can lead to loss of control and 
increased braking distance resulting in a 
rollover or crash.
To preserve handling and stability, 
only fit Jaguar approved towing 
accessories.
Never use towing eyes or lashing 
points to tow a trailer. They have not 
been designed for this purpose and 
doing so may cause them to fail resulting in 
injury or death.
When towing, do not exceed 100 
km/h (60 mph) or 80 km/h (50 mph) 
if a temporary spare wheel is in use.

Towing
184
Diesel engine vehicles
The diesel engine management system 
incorporates sensors to determine optimum 
performance. It is also designed to protect the 
engine when arduous conditions are 
encountered during towing. When ambient 
temperature exceeds 40°C (104°F), the engine 
coolant temperature may increase above 
normal operating level. If this occurs, the 
management system will initiate a series of 
actions to restore normal operating conditions. 
The actions may include:
•A message centre message.
•Engine performance reduction.
•Air conditioning system cycling. The 
system temperature output will fluctuate 
between hot and cold, in order to dissipate 
engine heat. If engine overheat persists, 
the air conditioning will move to 
continuous heat output.
It is advisable to bring the vehicle and trailer to 
a convenient stop and allow the engine to idle 
until normal temperature is restored. Do not 
turn off the engine.
Trailer electrical connection
Note: The rear parking sensors are 
automatically disabled when the trailer 
electrical connection is made using Jaguar 
approved towing equipment.
The vehicle's electrical system has been 
designed to support all towing requirements, 
and comply with legal requirements for the 
specific territory in which the vehicle is first 
sold.
LEVELLING
To maintain vehicle stability, it is essential that 
the trailer is loaded so that it remains parallel to 
the ground. This is particularly important when 
towing twin axled trailers.
CAUTION
Only connect approved electrical 
circuits, which are in good condition to 
the trailer socket. Connecting incorrect, or 
faulty circuits may seriously damage the 
vehicle's electrical circuits.
E95506

185
Towing
RECOMMENDED TOWING WEIGHTS
Nose/tongue weight must be the greater of 
50 kg (110 lbs) or 7% of the actual trailer 
weight, up to the maximum tow hitch load. 
Nose/tongue weight can be measured using a 
proprietary brand of nose weight indicator.
If it is necessary to increase the nose/tongue 
weight up to the maximum allowed, the vehicle 
load should be reduced accordingly. This 
ensures that the Gross Vehicle Weight (GVW), 
and maximum rear axle load, are not exceeded.
Note: When towing the maximum permissible 
gross vehicle weight can be increased by a 
maximum of 100 kg (220 lb.) provided that the 
road speed is limited to 100 km/h (60 mph).
Note: When calculating rear axle loading, 
remember that the trailer nose/tongue weight, 
the load in the vehicle's luggage area and the 
weight of rear seat passengers must all be 
added together.
Towing weights - Australia only
The weight of a trailer must not exceed 1.5 
times the towing vehicle’s weight. The 
nose/tongue weight must be a minimum of 7% 
of gross caravan/trailer weight, up to a 
maximum of 350 kg (722 lbs).
ESSENTIAL TOWING CHECKS
•The trailer should be parallel to the ground 
when loaded and connected to the vehicle.
•When calculating the laden weight of the 
trailer remember to include the weight of 
the trailer, plus the weight of the load.
•If the load can be divided between the 
vehicle and trailer, loading more weight 
into the vehicle will generally improve 
stability. Do not exceed the vehicle's 
weight limits. See WEIGHTS (page 259).
•Ensure that all applicable regulations and 
legislation are complied with when loading 
and towing a trailer.
•Increase rear tyre pressures of the towing 
vehicle to those for maximum vehicle 
loading conditions.
•Ensure trailer tyre pressures are set to 
trailer manufacturer's recommendations.
•If the vehicle is loaded to maximum Gross 
Vehicle Weight (GVW) the nose weight is 
limited (see Towing weights table).
•Ensure that a suitable breakaway cable or 
secondary coupling is used. Refer to the 
trailer manufacturer's instructions for 
guidance.
•Ensure that the tow ball is secure.
•Check the operation of all trailer lights.
Maximum permissible 
towing weights
Unbraked trailers 750 kg (1653 lb.)
Trailers with 
overrun brakes
1850 kg (4080 lb.)
Nose/Tongue 
weight
75 kg (165 lb.)
WARNING
Do not exceed the Gross Vehicle 
Weight (GVW), maximum rear axle 
weight, maximum trailer weight, or 
nose/tongue weight. Exceeding any of these 
limits could cause instability and loss of 
control. See WEIGHTS (page 259).
WARNING
Do not loop the breakaway cable over 
the tow ball as it may slide off.

Towing
186
TOW BAR
Tow bar dimensions and mounting points
Note: Dimensions given are in millimetres.
E95505
479
677 509 509
1222
79
506
507

187
Vehicle care
CLEANING THE ALLOY WHEELS
Wash the wheels with soap and water, this 
should be done more frequently when the 
wheels are exposed to heavy dirt deposits, salt, 
clay etc. If you are unsure how often to clean 
the wheels in particular conditions, seek advice 
from your Dealer/Authorised Repairer.
Jaguar approved wheel cleaner should be used 
to remove heavy soiling.
CLEANING THE EXTERIOR
Washing the vehicle paintwork
Remove heavy deposits of mud and dirt with a 
hose before washing the vehicle.
When salt is used on the roads, wash the 
vehicle immediately after encountering such 
conditions. Clean undersides and wheel arches 
using a high pressure jet.
Wash the vehicle frequently using a sponge 
and generous quantities of cold or luke warm 
water containing a suitable car shampoo. Rinse 
thoroughly and dry with a chamois leather or 
synthetic substitute.
For best results, do not wash the vehicle under 
strong sunlight. Always allow the vehicle to 
cool down before washing.
Do not use a dry cloth to wipe dirty paintwork. 
Dust and gritty substances are abrasive and 
will scratch the paintwork. Remove dirt using a 
cellulose sponge and plenty of warm (never 
hot) water. Rinse off with clean water and dry 
using a clean, damp chamois leather. Wash the 
vehicle frequently.
CAUTION
Do not use non-approved, or acid based 
wheel cleaners. These can damage the 
wheel coating which may lead to corrosion of 
the wheel rims.
CAUTIONS
Some high pressure cleaning systems 
are sufficiently powerful to penetrate 
door and window seals, and damage trim and 
door locks. Never aim the water jet directly at 
the engine air intake, heater air intakes, body 
seals (doors, sunroof, windows etc.) or at any 
components which may be damaged (lamps, 
mirrors, exterior trim etc.).
Ensure that you read and comply with all 
warnings and instructions supplied with 
any cleaning products.
Never use cleaning products which are 
not approved for use on vehicles.
CAUTION
Substances which are corrosive, such 
as bird droppings, tree resin, dead 
insects, tar spots, road salt and industrial fall 
out, can damage the vehicle's paintwork. Any 
such deposits should be removed as soon as 
possible to prevent damage.
E94168

Vehicle care
188
Do not use household soaps or detergents. The 
use of Jaguar Vehicle Shampoo is 
recommended.
Note: The vehicle's brightwork should be 
cleaned using a sponge and generous 
quantities of cold or lukewarm water only. 
Rinse thoroughly and dry with a chamois 
leather or synthetic substitute.
Using an automatic wash
Note: Regular use of automatic car washes 
tends to dull the lustre of the paintwork.
1. Drive up to the entry of the car wash and 
onto the conveyor.
2. Select N (Neutral) using the JaguarDrive 
selector.
3. Press and release the engine START/STOP 
button to stop the engine. The JaguarDrive 
selector should remain raised and the 
selector and message centre should 
indicate that N is selected.
4. The vehicle should remain in this condition 
while it is conveyed through the car wash.
5. At the end of the wash cycle, when directed 
to start the engine by the car wash 
instructions, press the brake pedal and 
press and release the engine START/STOP 
button to start the engine.
6. Select D (Drive) using the JaguarDrive 
selector and drive away.
Do not start the engine or change the 
JaguarDrive selector position during the car 
wash.
After leaving the car wash, switch on the 
windscreen wiper immediately to remove water 
and prevent a build up of wax.
Underbonnet cleaning
CAUTIONS
Commercially operated automatic car 
washes, jet washes and power-operated 
mops, are not recommended. The detergents 
used can contain certain chemicals which 
may, over time, be detrimental to some 
exterior parts of the vehicle. Prolonged usage 
of automatic car washes and power-operated 
mops will also cause fine scratches in the paint 
surface.
Ensure that Auto wipe is not selected 
when entering a car wash, or damage to 
the wiper blades and arms can occur if they 
operate during the wash cycle.
Ensure that when using an automatic 
drive through car wash, N (Neutral) is 
selected and that the ignition is left in 
convenience mode for the duration of the 
wash.
CAUTIONS
Do not use a high pressure washer or 
steam cleaner in the engine 
compartment. Damage to components could 
occur.
Ensure that the brake fluid reservoir is 
kept dry at all times. Only use a clean, 
dry cloth to clean the brake fluid cap and 
reservoir.

189
Vehicle care
Glass surfaces
Clean the rear window with a soft cloth to avoid 
damaging the heating element. Do not scrape 
the glass or use any abrasive cleaning fluid.
Mirror glass is particularly susceptible to 
damage. Wash with soapy water. Do not use 
abrasive cleaning compounds or metal 
scrapers to remove ice.
The following products will ensure glass 
surfaces and windscreen wipers are kept in 
good condition:
•Jaguar Screen Clean Paste - Apply only to 
the windscreen exterior to ensure effective 
operation of the windscreen wiper.
•Jaguar Glass Cleaner - Interior and exterior 
of all other glass surfaces.
•Jaguar Screen Wash - Washer reservoir 
additive.
•Jaguar Winter Care Kit comprising de-icer, 
ice scraper, anti-mist wipe cloth and aerial 
cleaner - for use in adverse weather 
conditions.
Cleaning the rear screen
To avoid damaging the heating elements when 
cleaning the inside of the rear screen, use only 
a soft damp cloth/chamois leather. Do not use 
solvents or sharp objects to clean the glass.
Removing grease and tar
Remove grease or tar with Jaguar Tar Remover 
or methylated spirit (alcohol). White spirit is 
also effective, but must not be applied to 
rubber, particularly the windscreen wiper 
blades.
Bird droppings
Do not allow bird droppings or tree sap to 
harden. Remove from paintwork immediately 
with a lukewarm soap and water solution.
Polishing
For maximum protection against road dust, 
salts, industrial fall-out etc., it is recommended 
that the vehicle is polished regularly using 
Jaguar polish and a polishing cloth.
CLEANING THE INTERIOR
CAUTION
Ensure that after using methylated or 
white spirit, the area is washed 
immediately with soapy water, to remove all 
traces of spirit.
CAUTION
Chrome polish, or other abrasive 
cleaners, must not be used on the 
vehicle's brightwork. The vehicle's brightwork 
should be cleaned using a sponge and 
generous quantities of cold or lukewarm water 
only. Rinse thoroughly and dry with a chamois 
leather or synthetic substitute.
WARNING
Ensure that you read all of the 
information and instructions for use 
provided with cleaning products. 
Some products contain substances that are 
harmful and can cause health problems if used 
incorrectly.
CAUTIONS
Some products, if used incorrectly can 
cause damage to the interior surfaces of 
the vehicle.
To prevent airbag damage, the steering 
wheel centre pad and other areas 
containing airbags should only be cleaned 
sparingly with a damp cloth, warm water and a 
non-detergent soap. Do not allow these areas 
to be flooded with chemical solvents, liquids, 
furniture cream or polishes.

Vehicle care
190
Leather
Leather is an easy to maintain natural product. 
However, dust and substances can penetrate 
the pores and crease the leather, causing 
surface wear and brittleness.
To prevent ingrained dirt and staining, inspect 
the seat upholstery regularly and clean every 
one to two months, as follows:
•Wipe off fine dust from the seat surfaces 
using a clean, damp, non-coloured cloth. 
Change frequently to a clean area of cloth, 
to avoid abrasive action on the leather 
surface. Avoid over-wetting.
•If this is not sufficient, use a cloth which 
has been dampened with warm soapy 
water and then wrung out. Use only mild 
non-caustic soap.
•Use Jaguar Leather Cleaner for heavily 
soiled areas. Dry off and rub with a clean 
soft cloth, changing surfaces regularly.
When staining (e.g. from clothing) or spillage 
occurs, clean the affected area immediately as 
described above.
Use Jaguar Leather Cleaner several times a 
year to maintain its appearance and 
suppleness. The cleaner will nourish and 
moisturise and help to improve the surface 
protective film against dust and substances.
•Do not use solvents. Do not use 
detergents, furniture polish or household 
cleaners. While these products may 
initially give impressive results, their use 
will lead to rapid deterioration of the 
leather and will invalidate the warranty. 
Jaguar recommend a basic set of products 
that have been specially selected for the 
type of leather in your vehicle.
•Dark clothing may stain leather seats just 
like other upholstery products.
•Sharp objects such as belts, zip fasteners, 
rivets, etc., can leave permanent scratches 
and scratch marks on the leather surface.
•Unless spillages such as tea, coffee or ink 
are washed away immediately, permanent 
staining may have to be accepted.
If a valet service is used, ensure that the 
specialist concerned is aware of, and follows, 
these instructions precisely.
Cloth and fabric
Use Jaguar Upholstery Cleaner, following the 
instructions. Avoid over-wetting.
Removing stains
Most stains on woollen fabric can be removed 
if treatment is carried out immediately, before 
the stain has a chance to dry-in.
Most stains can be treated with one of three 
cleaning fluids: Jaguar Upholstery Cleaner, dry 
cleaning fluid or clean water. Follow the 
instructions on the package.
Instrument pack, clock, and audio 
equipment
Only use a soft dry cloth to clean the 
instrument pack, clock and audio equipment. 
Do not use cleaning fluids or sprays.
CAUTIONS
Never use soap, ammonia, bleach or 
other cleaners intended for use on hard 
surfaces.
Do not use upholstery cleaner on 
electrical equipment such as fascia 
switches.
When cleaning around electrical 
equipment such as switches, ensure 
that fluids do not leak into any gaps around the 
components or between panels or trim.

191
Vehicle care
Carpet and mats
Marks or stains can be removed by gentle 
scrubbing with a weak solution of soap and 
warm water.
For more stubborn stains a commercially 
available carpet cleaner should be used.
Seat belts
Extend the seat belts fully, then use warm 
water and a non-detergent soap to clean. Allow 
the seat belts to dry naturally whilst fully 
extended and do not allow the belts to retract 
until fully dry.
Note: Whilst cleaning the seat belt, take the 
opportunity to examine the webbing for 
damage and wear. Any wear or damage should 
be reported to, and rectified by, a Dealer/
Authorised Repairer.
Airbag module covers
REPAIRING MINOR PAINT DAMAGE
Regularly inspect the paintwork for damage. 
Any stone chips, fractures, or deep scratches, 
in the paint/bodywork should be repaired 
promptly. Bare metal will corrode quickly, and 
if left untreated can result in expensive repairs.
Minor chips and scratches can be touched up 
using materials and advice available from a 
Dealer/Authorised Repairer. Larger areas of 
damage will require professional repair, and 
you should consult a Dealer/Authorised 
Repairer.
WARNING
Do not allow any water, cleaning 
products, or fabric from cloths to 
enter the seat belt mechanism. Any 
substance which enters the mechanism may 
affect the performance of the seat belt in an 
impact.
WARNINGS
Airbag covers should only be cleaned 
using a slightly dampened cloth, and 
a small amount of upholstery cleaner.
Do not allow the airbag covers, or 
surrounding areas, to become 
contaminated with liquids. Any 
substance which enters the mechanism, can 
prevent correct deployment of an airbag 
during an impact.

Maintenance
192
GENERAL INFORMATION
Regular systematic maintenance is the key to 
ensuring the continued reliability and efficiency 
of your vehicle.
Maintenance is the owner's responsibility and 
you must ensure that owner maintenance 
operations, oil services, inspections and brake 
fluid and coolant changes are carried out when 
required and according to the manufacturer's 
recommendations.
The routine maintenance requirements for your 
vehicle are shown in the Service Portfolio book. 
Most of this necessary workshop maintenance 
requires specialised knowledge and 
equipment, and should preferably be entrusted 
to a Dealer/Authorised Repairer.
Service Portfolio
The Service Portfolio book includes a Service 
Record section, which enables a record to be 
kept of all the servicing and inspections that are 
carried out on the vehicle. This section of the 
book also has an area for brake fluid changes 
to be recorded.
Ensure your service provider signs and stamps 
the book after each service and inspection.
Owner maintenance
In addition to the routine services and 
inspections, a number of simple checks must 
be carried out more frequently. These checks 
can be carried out by the owner and advice is 
given on the pages that follow.
Daily checks
•Operation of lamps, horn, direction 
indicators, wipers, washers and warning 
indicators.
•Operation of seat belts and brakes.
•Look for fluid deposits underneath the 
vehicle that might indicate a leak. 
Condensation drips from the air 
conditioning is normal.
CAUTION
Severe damage to the electrical system 
and electronic components can occur, if 
any attempt is made to diagnose faults in the 
electrical system using conventional 
diagnostic equipment (e.g. the use of test 
lamps or low impedance voltmeters). The 
fitting of any electrical accessory should only 
be entrusted to a Dealer/Authorised Repairer.
CAUTION
Any significant or sudden drop in fluid 
levels, or uneven tyre wear, should be 
reported to a qualified technician without 
delay.

193
Maintenance
Weekly checks
•Engine oil level (non-electronic dipstick 
vehicles). See ENGINE OIL CHECK - V6 
Petrol engines (page 197).
•Engine coolant check. See ENGINE 
COOLANT CHECK (page 204).
•Brake fluid level. See BRAKE FLUID 
CHECK (page 206).
•Power steering fluid level. See POWER 
STEERING FLUID CHECK (page 208).
•Screen washer fluid level. See WASHER 
FLUID CHECK (page 209).
•Tyre pressures and condition. See TYRE 
CARE (page 217).
•Operate air conditioning. See AUTOMATIC 
CLIMATE CONTROL (page 116).
Note: The engine oil level on V6 petrol engines, 
should be checked more frequently if the 
vehicle is driven for prolonged periods at high 
speeds. The engine oil level on diesel and V8 
petrol engines is checked automatically at all 
times by the electronic dipstick.
Severe driving conditions
When a vehicle is operated in severe 
conditions, more frequent attention must be 
paid to servicing requirements.
Severe driving conditions include:
•Driving in dusty and/or sandy conditions.
•Driving on rough and/or muddy roads 
and/or wading.
•Driving in extremely hot or cold 
conditions.
•Driving in areas using road salt or other 
corrosive materials.
•Towing a trailer or driving in mountainous 
conditions.
Contact your Dealer/Authorised Repairer for 
advice.
Emission control
Your vehicle is fitted with various items of 
emission and evaporative control equipment, 
designed to meet specific territorial 
requirements. You should be aware that 
unauthorised replacement, modification or 
tampering with this equipment by an owner or 
repair shop, may be unlawful and subject to 
legal penalties.
In addition, engine settings must not be 
tampered with. These have been established to 
ensure that your vehicle complies with 
stringent exhaust emission regulations. 
Incorrect engine settings may adversely affect 
exhaust emissions, engine performance and 
fuel consumption. They may also cause high 
temperatures, which will result in damage to 
the catalytic converter and the vehicle.
Road testing dynamometers (rolling 
roads)
Because your vehicle is equipped with anti-lock 
brakes, it is essential that any dynamometer 
testing is carried out only by a qualified person, 
familiar with the dynamometer testing and 
safety procedures practised by 
Dealers/Authorised Repairers.
CAUTION
Ensure that you take notice of any 
message centre information and 
warnings relating to engine oil level (V8 petrol 
and diesel engines only). Top-up the level 
when advised to do so. See ENGINE OIL 
CHECK - V8 Petrol engines (page 199).

Maintenance
194
Safety in the garage Fuel system
Poisonous fluids
Fluids used in motor vehicles are poisonous 
and should not be consumed or brought into 
contact with open wounds. These include; 
battery acid, antifreeze, brake, clutch and 
power steering fluid, petrol, diesel, engine oil 
and windscreen washer additives.
For your own safety, always read and obey all 
instructions printed on labels and containers.
Used engine oil
Prolonged contact with engine oil may cause 
serious skin disorders, including dermatitis 
and cancer of the skin. Always wash 
thoroughly after contact.
It is illegal to pollute drains, water 
courses or soil. Use authorised 
waste disposal sites to dispose of 
used oil and toxic chemicals.
WARNINGS
If the vehicle has been driven 
recently, do not touch exhaust and 
cooling system components until the 
engine has cooled.
Never leave the engine running in an 
unventilated area - exhaust gases are 
poisonous and extremely dangerous.
Do not work beneath the vehicle with 
the wheel changing jack as the only 
means of support.
Keep your hands and clothing away 
from drive belts, pulleys and fans. 
Some fans may continue to operate 
after the engine has stopped.
Remove metal wrist bands and 
jewellery, before working in the 
engine compartment.
Do not touch electrical leads or 
components while the engine is 
running, or with the starter switch 
turned on.
Do not allow tools or metal parts of 
the vehicle to make contact with the 
battery leads or terminals.
WARNINGS
Under no circumstances should any 
part of the fuel system be dismantled 
or replaced by anyone other than a 
suitably qualified vehicle technician. Failure to 
comply with this instruction, may result in fuel 
spillage with a consequent serious risk of fire.
Ensure sparks and naked lights are 
kept away from the engine 
compartment.
Wear protective clothing, including, 
where practicable, gloves made from 
an impervious material.

195
Maintenance
OPENING AND CLOSING THE 
BONNET
Opening the bonnet
1. Pull the bonnet release handle located in 
the left-hand front footwell.
2. Lift the bonnet safety catch lever located 
below the centre point of the bonnet, and 
raise the bonnet.
Closing the bonnet
1. Lower the bonnet until the safety catch 
engages. Using both hands, press the 
bonnet down until the catches click.
2. Check that both catches are fully engaged 
by attempting to lift both sides of the front 
edge of the bonnet. This should be free 
from all movement.
CAUTION
Do not attempt to open the bonnet if the 
pedestrian protection system has 
deployed. See PRINCIPLE OF OPERATION 
(page 66).
E95157
1
2
WARNING
Do not drive with the bonnet retained 
by the safety catch alone.

Maintenance
196
ENGINE COMPARTMENT OVERVIEW
1. Washer fluid
2. Brake fluid (right-hand drive)
3. Brake fluid (left-hand drive)
4. Engine oil - V8 petrol engines
5. Engine oil - Diesel engines
6. Engine oil - V6 petrol engines
7. Engine oil dipstick - V6 petrol engines
8. Power steering 
9. Coolant - V8 petrol engines
10. Coolant - Diesel and V6 petrol engines
Washer fluid reservoir cap (Blue)
Brake fluid reservoir cap (Yellow)
Engine oil filler caps (Black)
JAG1649
WARNINGS
While working in the engine 
compartment, always observe the 
safety precautions listed under Safety 
in the garage. See GENERAL INFORMATION 
(page 192).
Do not drive the vehicle if there is a 
possibility that leaked fluid will come 
into contact with a hot surface, such 
as the exhaust. A resulting fire may cause 
death or serious injury.
E96100
E96101
JAG1635

197
Maintenance
Engine oil dipsticks (Red/yellow) - V6 
Petrol only
Power steering fluid reservoir cap 
(Black)
 Coolant reservoir cap (Black)
ENGINE OIL CHECK - V6 Petrol 
engines
The oil consumption of an engine is influenced 
by many factors. Under high loads an engine 
will consume more oil than usual. Diesel 
engines consume slightly more oil than petrol 
engines.
Above normal oil consumption should be 
expected when the engine is new.
Check the oil level weekly, when the engine is 
cold and with the vehicle resting on level 
ground.
E95160
E95161
E96102
CAUTIONS
If the message ENGINE OIL PRESSURE 
LOW is displayed, stop the engine as 
soon as it is safe to do so and seek qualified 
assistance. Do not start the engine until the 
cause has been identified and rectified.
Your vehicle’s warranty may be 
invalidated if damage is caused by the 
use of improper engine oil. Low quality or 
obsolete oils do not provide the protection 
required by modern, high performance 
engines. Failure to use an oil that meets the 
required specification could cause excessive 
engine wear, a build up of sludge and deposits 
and increased pollution. It could also lead to 
engine failure.
Do not use oil additives of any type as 
engine damage could occur. Use only 
specified lubricants.

Maintenance
198
Checking the oil level
Note: If it is necessary to check the oil level 
when the engine is hot, switch off the engine 
and let stand for five minutes to allow the oil to 
drain into the sump. Do not start the engine.
1. Withdraw the dipstick (1) and wipe the 
blade clean with a lint free cloth.
2. Fully re-insert the dipstick and withdraw 
again to check the oil level. Never allow the 
oil level to fall below the lower mark or 
notch on the dipstick.
As a general guide, if the level on the dipstick:
•Is nearer to the upper mark or notch than 
the lower, add no oil.
•Is nearer to the lower mark or notch than 
the upper, add half a litre (one pint) of oil.
•Is below the lower mark or notch, add one 
litre (two pints) of oil and re-check the level 
after a further five minutes.
Topping up the oil
1. Unscrew the oil filler cap (2). 
2. Add oil to maintain the level between the 
MIN and MAX marks or notches on the 
dipstick. Clean up any oil spilled during 
topping-up.
3. Check the oil level again after 5 minutes.
It is essential to use the correct specification 
oil, and to ensure it is suitable for the climatic 
conditions in which the vehicle is to be 
operated.
Note: The approximate quantity of oil required 
to raise the level from MIN to MAX on the 
dipstick is 1.0 litre (1.76 pints). 
JAG1524
1
2
CAUTIONS
Your vehicle warranty may be 
invalidated if damage is caused by using 
oil that does not meet the required 
specification.
Failure to use an oil that meets the 
required specification could cause 
excessive engine wear, a build up of sludge 
and deposits, and increase pollution. It could 
also lead to engine failure.
Overfilling with oil could result in severe 
engine damage. Oil should be added in 
small quantities and the level re-checked to 
ensure that the engine is not overfilled.

199
Maintenance
ENGINE OIL CHECK - V8 Petrol 
engines
Engine oil consumption
A certain amount of oil consumption is normal. 
The rate of consumption will depend on the 
following:
•The quality and viscosity of the oil.
•Climatic conditions.
•The speed at which the engine is being 
operated.
•Road conditions.
Drivers should expect above normal 
consumption when the engine is new.
Checking the oil level
For an accurate oil level reading to be taken, the 
following conditions must be met:
•The vehicle needs to be parked on level 
ground.
•The oil level should be checked when the 
oil is hot. It is therefore recommended that 
a reading is taken after a journey.
•The vehicle needs to stand for 
approximately 10 minutes after the engine 
is switched off, to allow the oil to drain 
back into the sump.
Note: The system will not give a reading until 
the oil level has stabilised.
Once the above conditions are met, check the 
oil level as follows:
1. Switch on the ignition - do not start the 
engine.
2. Set the transmission to Park (P).
3. Press the TRIP button on the end of the 
left-hand column stalk repeatedly, until the 
oil can icon is displayed at the bottom of 
the message centre.
4. The oil level and topping-up advice will be 
shown in the message centre. Top-up as 
instructed.
CAUTIONS
It is recommended that the oil level is 
checked weekly. If any significant or 
sudden drop in oil level is noted you should 
seek qualified assistance immediately.
Your vehicle’s warranty may be 
invalidated if damage is caused by the 
use of improper engine oil. Low quality or 
obsolete oils do not provide the protection 
required by modern, high performance 
engines. Failure to use an oil that meets the 
required specification could cause excessive 
engine wear, a build up of sludge and deposits 
and increased pollution. It could also lead to 
engine failure.
Do not use oil additives of any type as 
engine damage could occur. Use only 
specified lubricants.

Maintenance
200
A. Oil at recommended level. No top-up 
required.
B. Add 0.5 litres (0.9 pint) of oil.
C. Add 1 litre (1.8 pints) of oil.
D. Oil level above maximum for safe 
operation. Do not drive the vehicle. Seek 
qualified assistance.
E. Oil level below minimum for safe 
operation. Add 1.5 litre (2.6 pints) of oil, 
then recheck level. 
F1. Oil level stabilising, oil level not available. 
Wait ten minutes and then recheck the oil 
level display. 
F2. If this display is accompanied by the 
warning message ENGINE OIL LEVEL 
MONITOR SYSTEM FAULT, a fault with 
the oil level monitor is indicated. Seek 
qualified assistance.
Topping up the oil
ADD 0.5L
ADD 1.0L
LEVEL OK
JAG1412
SEE HANDBOOK
NOT AVAILABLE
SEE HANDBOOK
SEE HANDBOOK
C
B
A
F
E
D
CAUTIONS
Your vehicle warranty may be 
invalidated if damage is caused by using 
oil that does not meet the required 
specification.
Failure to use an oil that meets the 
required specification, could cause 
excessive engine wear, a build-up of sludge 
and deposits and increase pollution. It could 
also lead to engine failure.
Overfilling with oil could result in severe 
engine damage.

201
Maintenance
1. Unscrew the oil filler cap (arrowed).
2. Add the appropriate quantity of oil (as 
indicated by the message centre oil level 
display). Wait 5 minutes to let the oil level 
stabilise and re-check the level.
Clean up any oil spilled during topping up.
3. Once the correct level is achieved, refit the 
filler cap and hand tighten securely.
Note: The approximate quantity of oil required 
to raise the level from the minimum level of 
safe operation to the maximum, is 1.5 litres 
(2.6 pints).
ENGINE OIL CHECK - V6 Diesel 
engines
Engine oil consumption
A certain amount of oil consumption is normal. 
The rate of consumption will depend on the 
following:
•The quality and viscosity of the oil.
•Climatic conditions.
•The speed at which the engine is being 
operated.
•Road conditions.
Drivers should expect above normal 
consumption when the engine is new.
JAG1383
CAUTIONS
If the warning ENGINE OIL CRITICALLY 
LOW is displayed in the message centre, 
stop the engine as soon as it is safe to do so 
and seek qualified assistance. Do not start the 
engine until the cause has been identified and 
rectified.
Your vehicle’s warranty may be 
invalidated if damage is caused by the 
use of improper engine oil. Low quality or 
obsolete oils do not provide the protection 
required by modern, high performance 
engines. Failure to use an oil that meets the 
required specification could cause excessive 
engine wear, a build up of sludge and deposits 
and increased pollution. It could also lead to 
engine failure.
Do not use oil additives of any type as 
engine damage could occur. Use only 
specified lubricants.

Maintenance
202
Oil level warnings
Warnings will be displayed in the message 
centre if the oil level is not maintained within 
the safe operating levels (minimum and 
maximum). A warning will also be displayed if 
there is a fault with the oil level monitoring 
system.
•ENGINE OIL LOW (amber): The oil is at the 
minimum level for safe operation. Top-up 
with 1 litre (1.8 pints) of oil.
•ENGINE OIL HIGH (amber): This warning 
is displayed when the engine is started, if 
the oil is above the maximum level for safe 
operation. Seek qualified assistance to 
have the engine oil drained, before driving 
the vehicle.
•ENGINE OIL CRITICALLY LOW (red): The 
oil is below the minimum level for safe 
operation. Stop the vehicle as soon as 
safety permits and top-up with 1.5 litres 
(2.6 pints) of oil. Wait for 5 minutes, 
recheck the oil level reading and top-up 
again if necessary.
•ENGINE OIL LEVEL MONITOR SYSTEM 
FAULT (amber): A fault with the oil level 
monitoring system is indicated. Seek 
qualified assistance as soon as possible.
Checking the oil level
The engine oil level is automatically monitored 
and is displayed in the trip computer area of the 
message centre. 
The current oil level can be viewed with the 
ignition on, with the engine stopped and the 
transmission in Park (P).
To view the current oil level, allow 5 minutes 
after stopping the engine (to allow the oil level 
to stabilise), then press the TRIP button on the 
end of the left column stalk repeatedly, until the 
oil can icon is displayed at the bottom of the 
message centre.
A. Oil at recommended level. No top-up 
required.
B. Add 0.5 litres (0.9 pint) of oil.
C. Add 1 litre (1.8 pints) of oil.
D. Oil level above maximum for safe 
operation. Do not drive the vehicle. Seek 
qualified assistance.
E. Oil level below minimum for safe 
operation. Add 1.5 litre (2.6 pints) of oil, 
then recheck level. 
F1. Oil level stabilising, oil level not available. 
Wait ten minutes and then recheck the oil 
level display. 
F2. If this display is accompanied by the 
warning message ENGINE OIL LEVEL 
MONITOR SYSTEM FAULT, a fault with 
the oil level monitor is indicated. Seek 
qualified assistance.
ADD 0.5L
ADD 1.0L
LEVEL OK
JAG1412
SEE HANDBOOK
NOT AVAILABLE
SEE HANDBOOK
SEE HANDBOOK
C
B
A
F
E
D

203
Maintenance
Topping up the oil
1. With the ignition on, but the engine not 
running, unscrew the oil filler cap 
(arrowed).
2. Add the appropriate quantity of oil (as 
indicated by the message centre oil level 
display). Wait 5 minutes to let the oil level 
stabilise and re-check the level.
Clean up any oil spilled during topping up.
3. Once the correct level is achieved, refit the 
filler cap and hand tighten securely until 
one click is heard.
Note: The approximate quantity of oil required 
to raise the level from the minimum level of 
safe operation to the maximum, is 1.5 litres 
(2.6 pints).
Note: The ignition must be left on during the 
top-up, so that the electronic dipstick can 
register and display the new oil level. This 
enables an accurate level re-check.
ENGINE OIL SPECIFICATION
It is essential to use the correct specification of 
engine oil, and to ensure it is suitable for the 
climatic conditions in which the vehicle is to be 
operated.
Jaguar recommends:
CAUTIONS
Your vehicle warranty may be 
invalidated if damage is caused by using 
oil that does not meet the required 
specification.
Failure to use an oil that meets the 
required specification, could cause 
excessive engine wear, a build-up of sludge 
and deposits and increase pollution. It could 
also lead to engine failure.
Overfilling with oil could result in severe 
engine damage.
JAG1383
Model Specification
V6 Petrol 
engines
5W-30 engine oil, meeting 
Jaguar specification WSS 
M2C913-B is preferred. 
Where this is not possible, oil 
meeting ACEA A1/B1 or ACEA 
A3/B3 specification may be 
used.
V8 Petrol 
engines
5W-20 engine oil, meeting 
Jaguar specification WSS 
M2C925-A only.
Diesel engines 5W-30 engine oil, meeting 
Jaguar specification WSS 
M2C934-B only.
Japan V6 
Petrol engines
5W-30 engine oil, meeting 
specification ILSAC GF-4 
with API SM is preferred. 
Where this is not possible, oil 
meeting ILSAC GF-3 API SL 
specification may be used.
Japan V8 
Petrol engines
5W-20 engine oil, meeting 
Jaguar specification WSS 
M2C925-A only.

Maintenance
204
ENGINE COOLANT CHECK
Checking the coolant level
The coolant level in the expansion tank should 
be checked at least weekly (more frequently in 
high mileage or severe operating conditions). 
Always check the level when the system is 
cold.
Ensure the coolant level is maintained between 
the level indicator marks located on the inside 
of the expansion tank filler neck.
If the level has fallen appreciably, suspect 
leakage or overheating and arrange for the 
vehicle to be examined by a qualified 
technician.
Diesel and V6 petrol engines
V8 petrol engines
If the message LOW COOLANT LEVEL is 
displayed in the message centre, stop the 
vehicle as soon as safety permits and top-up 
the coolant reservoir with the recommended 
antifreeze/water mix.
If the message centre displays the message 
ENGINE OVERHEATING, pull off the 
carriageway and allow the engine to idle for five 
minutes and then switch off the ignition for ten 
minutes. Switch on the engine and, provided 
that the warning does not occur, continue your 
journey, avoiding harsh acceleration. Seek 
qualified assistance as soon as possible.
CAUTIONS
Running the engine without coolant will 
cause serious engine damage.
If persistent coolant loss is noticed, 
seek qualified assistance immediately.
E95163
E96105

205
Maintenance
Topping up the coolant
Top-up to the upper level indicator mark 
located on the side of the expansion tank. Use 
only a 50% mix of water and antifreeze to 
specification WSS M97B44 (coloured orange) 
Extended Life Coolant.
Note: In an emergency - and only if the 
approved antifreeze is unavailable - top-up the 
cooling system with clean water, but be aware 
of the resultant reduction in frost protection. 
Do not top-up or refill with conventional 
antifreeze formulations. If in doubt consult a 
qualified technician.
Ensure the cap is tightened fully after top-up is 
completed by turning the cap until the ratchet 
cap clicks.
Antifreeze
Antifreeze contains important corrosion 
inhibitors. The antifreeze content of the coolant 
must be maintained at 50% ± 5% all year round 
(not just in cold conditions). To ensure that the 
anti-corrosion properties of the coolant are 
retained, the antifreeze content should be 
checked once a year and completely renewed 
every ten years, regardless of distance 
travelled. Failure to do so may cause corrosion 
of the radiator and engine components.
The specific gravity of a 50% antifreeze 
solution at 20°C (68°F) is 1.068 and protects 
against frost down to -40°C (-40°F).
Use antifreeze to specification WSS M97B44 
(coloured orange) Extended Life Coolant.
WARNINGS
Never remove the filler cap when the 
engine is hot - escaping steam or 
scalding water could cause serious 
personal injury.
Antifreeze is highly inflammable. Do 
not allow antifreeze to come into 
contact with naked flames or other 
sources of ignition (e.g. a hot engine) - a fire 
may result.
Unscrew the filler cap slowly, 
allowing the pressure to escape 
before removing completely.
CAUTION
When travelling in territories where the 
water supply contains salt, always 
ensure you carry a supply of fresh (rain or 
distilled) water. Topping up with salt water will 
cause serious engine damage. 
WARNINGS
Antifreeze is poisonous and can be 
fatal if swallowed - keep containers 
sealed and out of the reach of 
children. If accidental consumption is 
suspected, seek medical attention 
immediately.
If the fluid comes into contact with 
the skin or eyes, rinse immediately 
with plenty of water.
CAUTIONS
The use of non-approved antifreeze will 
have an adverse effect on the engine 
cooling system and therefore engine 
durability.
Antifreeze will damage painted surfaces; 
soak up any spillage with an absorbent 
cloth immediately and wash the area with a 
mixture of car shampoo and water.

Maintenance
206
BRAKE FLUID CHECK
If the quantity of fluid in the brake 
reservoir drops below the 
recommended level, a red warning 
indicator in the instrument pack will illuminate 
and the message BRAKE FLUID LOW will be 
displayed in the message centre.
Note: If the warning indicator illuminates or the 
message is displayed, while the vehicle is being 
driven, stop the vehicle as soon as safety 
permits by gently applying the brakes. Check 
and top-up the fluid level if necessary.
Checking the fluid level
With the vehicle on level ground, check the 
fluid level at least every week (more frequently 
in high mileage or arduous operating 
conditions).
The brake fluid reservoir is located beneath a 
cover on the raised platform to the rear of the 
main underbonnet area. See ENGINE 
COMPARTMENT OVERVIEW (page 196).
1. Release the catch.
2. Lift the cover forwards, then pull 
rearwards, to release the hinges.
3. Clean the filler cap with a clean, dry cloth 
before removing, to prevent dirt or 
moisture from entering the reservoir.
WARNING
Seek qualified assistance immediately 
if brake pedal travel is unusually long, 
unusually short or if there is any 
significant loss of brake fluid. Driving under 
such conditions could result in extended 
stopping distances or complete brake failure.
WARNINGS
Brake fluid is highly toxic - keep 
containers sealed and out of reach of 
children. If accidental consumption is 
suspected, seek medical attention 
immediately.
If the fluid comes into contact with 
the skin or eyes, rinse immediately 
with plenty of water.
Brake fluid is highly inflammable. Do 
not allow brake fluid to come into 
contact with naked flames or other 
sources of ignition (e.g. a hot engine) - a fire 
may result.
Do not drive the vehicle with the fluid 
level below the MIN mark.
E95164
1
2

207
Maintenance
4. Remove the filler cap.
5. The brake fluid level should be between the 
MIN and the MAX marks on the side of the 
reservoir.
The fluid level may drop slightly during normal 
use, as a result of brake pad wear, but should 
not be allowed to drop below the MIN mark.
Topping up the fluid
1. Top up the reservoir to the MAX mark 
using Shell DOT4 ESL brake fluid. If 
unavailable, a low viscosity brake fluid that 
meets ISO 4925 class 6 specification. Only 
fluid of this type and standard may be 
used.
2. Replace the cap.
3. Refit the reservoir cover.
E95165
4
5
CAUTIONS
Brake fluid will damage painted 
surfaces. Soak up any spillage with an 
absorbent cloth immediately and wash the 
area with a mixture of car shampoo and water.
Only use new fluid from an airtight 
container (fluid from open containers or 
fluid previously bled from the system, will 
have absorbed moisture, which will adversely 
affect performance, and must not be used).

Maintenance
208
POWER STEERING FLUID CHECK
Checking the fluid level
Check and top-up the fluid with the vehicle on 
level ground, with the engine switched off and 
the system cold. Ensure that the steering wheel 
is not turned after stopping the engine.
The level of fluid can be seen through the 
translucent body of the reservoir.
The fluid level should be between the MIN and 
the MAX marks.
Topping up the fluid
1. Clean the filler cap before removing to 
prevent dirt from entering the reservoir.
2. Remove filler cap.
3. Using Mobil ATF320, top-up the reservoir 
until the fluid level is between the MIN and 
MAX marks.
4. Replace filler cap.
WARNINGS
Power steering fluid is highly toxic. 
Keep containers sealed and out of 
reach of children. If accidental 
consumption of fluid is suspected, seek 
medical attention immediately.
If the fluid comes into contact with 
the skin or eyes, rinse immediately 
with plenty of water.
Power steering fluid is highly 
inflammable. Do not allow power 
steering fluid to come into contact 
with naked flames or other sources of ignition 
(e.g. a hot engine) - a fire may result.
CAUTIONS
The engine must not be started if the 
fluid level has dropped below the MIN 
mark. Severe damage to the steering pump 
could result.
Seek qualified assistance immediately if 
there is a noticeable drop in the fluid 
level. Severe damage to the steering pump 
could result.
If fluid loss is slow, the reservoir may be 
topped-up to the upper level mark to 
enable the vehicle to be driven to a repair 
facility for examination. However, it is 
recommended that you seek qualified 
assistance before driving the vehicle.
CAUTIONS
It is imperative that the power steering 
system does not become contaminated 
in any way. Always use new fluid and clean the 
area around the filler neck both before 
removing the filler cap and after topping up. 
Never return drained fluid to the system.
Power steering fluid will damage 
painted surfaces. Soak up any spillage 
with an absorbent cloth immediately and wash 
the area with a mixture of car shampoo and 
water.
Do not fill the reservoir above the MAX 
mark.
E95166

209
Maintenance
WASHER FLUID CHECK
The washer reservoir supplies the windscreen 
and headlamp washer jets. 
Check and top-up the reservoir level at least 
every week.
Fill with Jaguar Windscreen Washer Fluid, 
diluted with clean water, as specified in the 
instructions on the bottle. Using a 
non-approved fluid may adversely affect the 
wiper blade rubber, resulting in ineffectual and 
noisy wiping.
Operate the washer switches periodically to 
check that the nozzles are clear and properly 
directed.
Topping up the fluid
1. Clean the filler cap before removing to 
prevent dirt from entering the reservoir.
2. Open filler cap.
3. Top-up the reservoir until the fluid is 
visible in the filler neck.
4. Close filler cap.
WARNINGS
Some screen washer products are 
inflammable, particularly if high or 
undiluted concentrations are exposed 
to sparking. Do not allow screen washer fluid 
to come into contact with naked flames or 
sources of ignition.
If the vehicle is operated in 
temperatures below 4°C (40°F), use a 
washer fluid with frost protection. In 
cold weather, failure to use a washer fluid with 
frost protection, could result in impaired 
vision and increase the risk of a vehicle crash.
CAUTIONS
Do not use an antifreeze or 
vinegar/water solution in the washer 
reservoir - antifreeze will damage painted 
surfaces, while vinegar can damage the 
windscreen washer pump.
Body panels may suffer discolouration 
as a result of screen washer fluid 
spillage. Take care to avoid spillage, 
particularly if an undiluted or high 
concentration is being used. If spillage occurs, 
wash the affected area immediately with water.
E95174

Maintenance
210
TECHNICAL SPECIFICATIONS
Lubricants and fluids
If in doubt about the required specification of a lubricant or fluid for your vehicle, seek advice from 
your Dealer/Authorised Repairer.
Part Variant Specification
Engine oil V6 Petrol 
engines
SAE 5W-30 meeting Jaguar specification WSS M2C913-B 
is preferred. Oil meeting ACEA A1/B1 or ACEA A3/B3 
specification may be used.
V8 Petrol 
engines
Use only Castrol 5W-20 engine oil meeting specification 
WSS M2C925-A.
Diesel engines SAE 5W-30 meeting Jaguar specification WSS M2C934-B 
only.
V6 engines 
Japan only
SAE 5W-30 meeting specification ILSAC GF-4 with API SM 
is preferred. Oil meeting ILSAC GF-3 API SL specification 
may be used.
Power steering fluid All vehicles Mobil ATF320 power steering fluid.
Brake fluid All vehicles Shell DOT4 ESL is preferred. If unavailable, a low viscosity 
brake fluid that meets ISO 4925 specification may be used. 
Screen washer All vehicles Screen wash with frost protection.
Coolant All vehicles 50% mixture antifreeze of water and specification WSS 
M97B44 (coloured orange) Extended Life Coolant. 

211
Maintenance
Capacities
The quoted capacities are approximate and provided as a guide only. All levels must be checked 
using the dipstick or level marks as applicable.
Item Variant Capacity
Fuel tank Diesel vehicles 68.1 litres (15 gallons)
Petrol vehicles 69.5 litres (15.3 gallons)
Fuel capacity (when the fuel gauge 
indicates empty)
Diesel vehicles 64 litres (14.1 gallons)
Petrol vehicles 64 litres (14.1 gallons)
Reserve capacity (when the fuel 
gauge indicates empty)
Diesel vehicles 5.5 litres (1.2 gallons)
Petrol vehicles 5.5 litres (1.2 gallons)
Engine oil refill and filter change Diesel vehicles 6.4 litres (11.3 pints)
V6 Petrol vehicles 6.5 litres (11.4 pints)
V8 Petrol vehicles 7.25 litres (12.8 pints)
Engine oil MIN to MAX on dipstick Diesel vehicles 1.0 litres (1.8 pints)
Petrol vehicles 1.0 litres (1.8 pints)
Washer reservoir With headlamp wash 5.5 litres (9.7 pints)
Washer reservoir Without headlamp wash 4.4 litres (7.7 pints)
Cooling system (fill from dry) Diesel vehicles 12.5 litres (22 pints)
V6 Petrol vehicles 9.25 litres (16.3 pints)
V8 Normally Aspirated Petrol 
vehicles
12.5 litres (22 pints)
V8 Supercharged Petrol vehicles 12.3 litres (21.6 pints)
Cooling system (service fill) Diesel vehicles 9.7 litres (17.1 pints)
V6 Petrol vehicles 7.42 litres (13.1 pints)
V8 Normally Aspirated Petrol 
vehicles
7.5 litres (13.2 pints)
V8 Supercharged Petrol vehicles 
- both drain points used
8.6 litres (15.1 pints)

Vehicle battery
212
BATTERY WARNING SYMBOLS
BATTERY CARE
Do not allow any naked flames, 
or other sources of ignition near 
the battery as the battery may 
emit explosive gasses.
Ensure that when working near, 
or handling the battery, suitable 
eye protection is worn. This will 
reduce the risk of eye damage 
caused by acid splashes.
To prevent risk of injury, do not 
allow children near the battery.
Be aware that the battery may 
emit explosive gasses.
The battery contains acid which 
is extremely corrosive, and toxic.
WARNINGS
Do not allow the battery electrolyte 
(fluid) to come into contact with your 
skin or eyes. It is both corrosive and 
toxic, and the resulting injuries can be severe. 
If any electrolyte does come into contact with 
your skin or eyes, immediately rinse the 
affected area with clean, cold water. 
Immediate medical advice will be required.
If battery electrolyte comes into 
contact with your skin and/or clothes 
you should remove the affected 
clothing and flush the skin with copious 
amounts of water. Seek medical assistance 
immediately.
If battery electrolyte comes into 
contact with your eyes, flush with 
copious amounts of clean cold water. 
Seek medical assistance immediately, and 
continue to flush with water.
If swallowed, battery electrolyte can 
be fatal. If electrolyte is swallowed, 
seek medical assistance immediately.
Do not connect any 12 volt equipment 
directly to the battery terminals. 
Doing so may cause a spark, which 
can result in an explosion.
The cell plugs and vent pipe must be 
in place at all times when the battery 
is connected to the vehicle. Ensure 
that the vent pipe is clear of obstructions and 
not kinked. Failure to do so may cause a 
pressure build up in the battery, resulting in an 
explosion.
Do not expose the battery to a naked 
flame or spark as the battery 
produces explosive, flammable gas.
Never jump start (boost) or charge, a 
frozen battery. Doing so can result in 
an explosion.
Remove all metal jewellery before 
working on, or near, the battery, and 
never allow metal tools or vehicle 
components to come into contact with the 
battery terminals. Metal objects can cause 
sparks and/or short circuits, resulting in an 
explosion.
Do not allow the battery posts or 
terminals to come into contact with 
your skin. They contain lead and lead 
compounds, which are toxic. Always wash 
your hands thoroughly after handling the 
battery.
WARNINGS

213
Vehicle battery
Your vehicle is fitted with a low maintenance 
battery, which is located under the floor of the 
luggage compartment.
In hot climates more frequent checks of the 
battery electrolyte level and condition are 
required. If necessary, the battery cells can be 
topped up using distilled water.
When the ignition is switched on, but without 
the engine running, BATTERY NOT CHARGING 
is displayed in the message centre. The battery 
will only charge when the engine is running.
Note: Do not connect any 12 volt equipment 
(e.g. a 12 volt inspection lamp), directly to the 
battery terminals. Use the accessory socket 
located in the cubby box, for connecting Jaguar 
approved accessories.
Battery Monitoring System (BMS)
Your vehicle is equipped with a Battery 
Monitoring System (BMS) which manages the 
battery charging system and, if excessive 
battery discharge is occurring when the engine 
isn't running, shuts down non-essential 
electrical systems to protect battery power.
In the event that too many electrical systems 
are operational when the engine is not running, 
and the battery charge is insufficient, the audio 
and entertainment systems (if active) and 
climate control system will be switched off. 
This will be confirmed by a low battery warning 
message displayed on the touch-screen. If this 
occurs, switch on and run the engine for at 
least five minutes, preferably with all auxiliary 
electrical systems switched off (e.g. lights, 
wipers, climate control, seat heaters etc.).
Note: The audio system can be operated 
during this five minute period when the engine 
is running.
If the engine is switched off before the five 
minute period ends and the audio system is 
switched on, the warning message will 
re-appear on the touch-screen and the audio, 
entertainment and climate control systems will 
switch off again. For this reason, it is important 
that the engine is left running for the full five 
minute period.
Charging faults
If there is a fault in the battery charging system, 
CHARGING FAULT is displayed with red 
backlighting in the message centre. If this 
occurs, switch off all non-essential electrical 
systems and seek qualified assistance at the 
earliest opportunity.
CAUTION
Do not allow battery electrolyte to come 
into contact with fabrics or painted 
surfaces. If battery electrolyte comes into 
contact with any surface, the surface should 
be washed down immediately with copious 
amounts of clean water. Battery electrolyte is 
both corrosive and toxic, and can damage a 
wide range of materials if left.

Vehicle battery
214
USING BOOSTER CABLES
Note: Before connecting booster cables, 
ensure that the battery connections on the 
disabled vehicle are correct and that all 
electrical equipment has been switched off.
1. Connect one end of the positive booster 
cable to the positive terminal on the donor 
vehicle's battery.
2. Connect the other end of the positive 
booster cable to the positive terminal on 
the disabled vehicle's battery.
3. Connect one end of the negative booster 
cable to the earth point of the donor vehicle 
that is recommended for jump starting by 
the manufacturer.
4. Connect the other end of the negative 
booster cable to a suitable earth point on 
the disabled vehicle. The earth point 
should be at least 0.5 metres (20 inches) 
away from the battery and as far as 
possible from any fuel or brake pipes.
•Check that all cables are clear of any 
moving components and that all four 
connections are secure.
5. Start the engine of the donor vehicle, and 
allow it to idle for a few minutes.
6. Start the engine of the disabled vehicle.
7. Allow both vehicles to idle for two minutes.
8. Switch off the donor vehicle.
Disconnecting the cables
Note: Do not switch on any electrical 
equipment until after the cables have been 
disconnected.
The engine should be running on the 
previously disabled vehicle and the engine 
switched off on the donor vehicle. Disconnect 
the booster cables in the exact reverse order of 
that used for connection.
WARNINGS
Always wear appropriate eye 
protection when working with 
batteries.
During normal use, batteries emit 
explosive hydrogen gas - ensure 
sparks and naked lights are kept away 
from the luggage compartment.
Do not attempt to start the vehicle if 
the electrolyte in the battery is 
suspected of being frozen.
Make sure both batteries are of the 12 
volt type and that the booster cables 
have insulated clamps and are 
approved for use with 12 volt batteries.
Do not disconnect the discharged 
battery.
Do not connect positive (+) terminals 
to negative (-) terminals and ensure 
booster cables are kept away from 
any moving parts in the engine compartment.
Do not connect a booster cable to the 
negative (-) terminal of the battery. 
Always connect to the recommended 
earthing point.
WARNING
To avoid serious injury use extreme 
caution when removing the booster 
cables as the engine will be running 
on the previously disabled vehicle. This means 
that you may be working close to components 
which are moving at high speed, carry high 
voltage, or may be hot.

215
Vehicle battery
CHARGING THE VEHICLE BATTERY
CHANGING THE VEHICLE BATTERY
Battery disposal
Used batteries must be disposed of 
correctly as they contain a number of 
harmful substances. Seek advice on 
disposal from your Dealer/
Authorised Repairer, and/or your local 
authority.
WARNING
Ensure that the correct type of battery 
charger is used. Using an unsuitable 
charger may damage the battery and 
could cause the battery to explode.
Always charge the battery in a well 
ventilated area, away from any naked 
flames, sparks or other ignition 
sources. During charging, the battery can 
produce a highly explosive and flammable gas.
CAUTIONS
Battery disconnection, removal and 
replacement, should only be carried out 
by qualified personnel. Consult your 
Dealer/Authorised Repairer.
If the battery has been removed from 
the vehicle to be charged, the Battery 
Monitoring System will automatically 
recalibrate. During this time, Low Battery 
warning messages may appear.
Always follow the instructions supplied 
with the battery charger. Failure to do so 
may result in damage to the battery.
WARNING
Use caution when lifting the battery 
our of, or into, the vehicle. It is heavy 
and may cause injury when lifting or if 
dropped.
Do not tilt the battery more than 45°, 
as it may cause damage and may 
cause the electrolyte to leak out. 
Battery electrolyte is highly corrosive and 
toxic.
CAUTIONS
Battery disconnection, removal and 
replacement, should only be carried out 
by qualified personnel. Consult your Dealer/
Authorised Repairer.
If the vehicle battery is replaced by a 
new battery, the vehicle electrical 
system must be reset to the new battery by 
qualified personnel. Failure to reset the 
electrical system, may result in Low Battery 
warning messages. Consult your Dealer/
Authorised Repairer.
Only a replacement battery of the same 
type and specification as the original 
should be fitted. Other batteries may vary in 
size or have different terminal positions, which 
could cause a fire hazard when connected to 
the vehicle's electrical system.
Do not rest the battery on any part of the 
vehicle, as it may cause damage due to 
its weight.
Do not run the engine with the battery 
disconnected. Doing so may damage 
the charging system.

Wheels and tyres
216
GENERAL INFORMATION
Tyre markings
1. P indicates that the tyre is for passenger 
vehicle use.
2. The width of the tyre from sidewall edge to 
sidewall edge in millimetres.
3. The aspect ratio, also known as the profile, 
gives the sidewall height as a percentage 
of the tread width. So, if the tread width is 
205 mm, and the aspect ratio is 50, the 
sidewall height will be 102 mm.
4. R indicates that the tyre is of Radial ply 
construction.
5. The diameter of the wheel rim given in 
inches.
6. The load index for the tyre. This index is 
not always shown.
7. The speed rating denotes the maximum 
speed at which the tyre should be used for 
extended periods. †
8. Tyre manufacturing standard information, 
which can be used for tyre recalls and 
other checking processes. Most of this 
information relates to the manufacturer, 
place of manufacture etc. The last four 
numbers are the date of manufacture. For 
example, if the number was 3106, the tyre 
was made in the 31st week of 2006.
9. M+S or M/S indicates that the tyre has 
been designed with some capability for 
mud and snow.
10. The number of plies in both the tread area, 
and the sidewall area, indicates how many 
layers of rubber coated material make up 
the structure of the tyre. Information is 
also provided on the type of materials 
used.
JAG1525
12345678
9
10
11
12
13
14
15

217
Wheels and tyres
11. Wear rate indicator. A tyre rated at 400 for 
example, will last twice as long as a tyre 
rated at 200.
12. The traction rating grades a tyres 
performance when stopping on a wet road 
surface. The higher the grade the better the 
braking performance. The grades from 
highest to lowest are, AA, A, B, and C.
13. The maximum load which can be carried 
by the tyre.
14. Heat resistance grading. The tyre's 
resistance to heat is grade A, B, or C, with 
A indicating the greatest resistance to heat. 
This grading is provided for a correctly 
inflated tyre, which is being used within its 
speed and loading limits.
15. The maximum inflation pressure for the 
tyre. This pressure should not be used for 
normal driving. 
† Speed ratings
TYRE CARE
Tyre pressures
Rating Speed km/h (mph)
Q 160 (99)
R 170 (106)
S 180 (112)
T 190 (118)
U 200 (124)
H 210 (130)
V 240 (149)
W 270 (168)
Y 300 (186)
WARNINGS
Defective tyres are dangerous. Do not 
drive the vehicle if a tyre is damaged, 
excessively worn, or incorrectly 
inflated. Doing so may lead to premature tyre 
failure.
Avoid contaminating the tyres with 
vehicle fluids as they may cause 
damage to the tyre.
Avoid spinning the wheels. The forces 
released can damage the structure of 
the tyre and cause it to fail. Doing so 
may lead to premature tyre failure.
If wheel spin is unavoidable due to a 
loss of traction (in deep snow, for 
example), do not exceed the 50 km/h 
(30 mph) point on the speedometer. Doing so 
may lead to premature tyre failure.
Do not exceed the maximum pressure 
stated on the sidewall of the tyre. 
Over-inflation could cause the tyre to 
fail suddenly.
WARNINGS
Never drive your vehicle if the tyre 
pressures are incorrect. 
Under-inflation causes excessive 
flexing and uneven tyre wear. This can lead to 
sudden tyre failure. Over-inflation causes a 
harsh ride, uneven tyre wear and poor 
handling.
Pressure checks should only be 
carried out when the tyres are cold, 
and the vehicle has been stationary 
for more than three hours. A hot tyre at or 
below recommended cold inflation pressure is 
dangerously under-inflated.

Wheels and tyres
218
All of the vehicle's tyres (including the spare) 
should be checked regularly for damage, wear 
and distortion. If you are in any doubt about the 
condition of a tyre, have it checked immediately 
by a tyre repair centre or your 
Dealer/Authorised repairer.
Checking the tyre pressures
The recommended tyre pressures are listed on 
a placard label fixed to the end of the left-hand 
side door. These pressures provide optimum 
ride and handling characteristics for all normal 
operating conditions.
If winter tyres are fitted, please refer to the 
winter tyre pressure information. See USING 
WINTER TYRES (page 223).
In the interest of safety, reliability and fuel 
efficiency, check the tyres, including the spare, 
for condition and pressure on a weekly basis 
and before long journeys.
Do not check tyre pressures immediately after 
the vehicle has travelled in excess of 1.6 km 
(1.0 mile). Tyre temperatures and pressures 
increase when running. Deflating a warm tyre 
to the recommended pressure will result in 
under-inflation.
If tyre pressures are checked while the vehicle 
is inside a protected covered area, e.g. a 
garage, and subsequently driven in lower 
outdoor temperatures, tyre under-inflation 
could occur.
A slight pressure loss occurs naturally with 
time. If this exceeds 0.14 bar (2 lbf/in², 14 kPa,) 
per week, have the cause investigated and 
rectified by qualified assistance.
Tyre pressures (including the spare) should be 
checked at least once a week with normal 
on-road use, but should be checked daily if the 
vehicle is used off-road. Always check the tyre 
pressures before setting off on a long journey.
If it is necessary to check tyre pressures when 
the tyres are warm, you should expect the 
pressures to have increased by up to 
0.3-0.4 bar (4-6 lbf/in², 30-40 kpa). Do not 
reduce the tyre pressures to the cold inflation 
pressure under these circumstances. Allow the 
tyres to cool fully before adjusting the 
pressures.
If the vehicle has been parked in 
strong sunlight, or used in high 
ambient temperatures do not reduce 
the tyre pressures. move the vehicle into the 
shade and allow the tyres to cool before 
re-checking the pressures.
WARNING
Tyre pressures should be checked 
regularly using an accurate pressure 
gauge, when the tyres are cold. 
Failure to properly maintain your tyre 
pressures could increase the risk of tyre failure 
resulting in loss of vehicle control and 
personal injury.
WARNINGS
E95180

219
Wheels and tyres
The following procedure should be used to 
check and adjust the tyres pressures.
1. Remove the valve cap.
2. Firmly attach a tyre pressure gauge/inflator 
to the valve.
3. Read the tyre pressure from the gauge, 
and add air if required.
4. If air is added to the tyre, remove the gauge 
and re-attach it before reading the 
pressure. Failure to do so may result in an 
inaccurate reading.
5. If the tyre pressure is too high, remove the 
gauge and allow air out of the tyre by 
pressing the centre of the valve. Refit the 
gauge to the valve and check the pressure.
6. Repeat the process adding or removing air 
as required until the correct tyre pressure 
is reached.
7. Refit the valve cap.
Note: It is an offence in certain countries to 
drive a vehicle with incorrect tyre pressures.
Note: It is the driver's responsibility to ensure 
that the tyre pressures are correct.
Tyre valves
Keep the valve caps screwed down firmly to 
prevent water or dirt entering the valve. Check 
the valves for leaks when checking the tyre 
pressures.
Pressure compensation for ambient 
temperature changes
If the intended journey will take the vehicle into 
an area where the ambient local temperature is 
known to be lower than the journey start point, 
tyre pressure under-inflation could occur.
A colder ambient local temperature will reduce 
pressure within the tyre. An effect is to 
decrease sidewall height and to increase tyre 
shoulder wear with the potential for tyre failure. 
Vehicle dynamics could also be adversely 
affected.
In order to minimise this effect, tyre pressures 
can be adjusted to compensate before the start 
of the journey. Alternatively, tyre pressures can 
be adjusted when the area of lower ambient 
temperature is reached.
In this situation, the vehicle must be left in the 
ambient local temperature for a least one hour 
before tyre pressure is adjusted.
To compensate for colder ambient 
temperatures, tyre pressures should be 
increased by 0.14 bar (2lbf/in², 14 kPa) for 
each 10°C (20°F) decrease.
Note: Ensure that correct tyre pressures are 
maintained when moving to areas of differing 
ambient temperature.
The Tyre Pressure Monitoring system (TPM 
system) may issue a warning if the 
under-inflation becomes significant. When 
driving through variable climatic conditions the 
TPM system warnings may be intermittent.
E95181

Wheels and tyres
220
Tyre pressure compensation chart - high 
ambient temperatures
Tyre pressures during long term vehicle 
storage
To minimise the possibility and effects of flat 
spots during storage, the tyres may be inflated 
to the maximum pressure indicated on the tyre 
wall.
Note: Before using the stored vehicle on the 
road again, ensure that correct tyre pressures 
are restored.
Flat spots
If the vehicle is stationary for a long period, 
when the ambient temperature is high, the 
tyres may form flat spots. When the vehicle is 
driven, these flat spots will cause a vibration 
which will steadily disappear as the tyres warm 
up and regain their original shape.
In order to minimise flat spotting, the tyre 
pressures can be increased. Tyre pressures 
should be increased by 0.14 bar/14 kPa (2 
lbf/in²) for each 10°C (20°F) temperature 
increase above 20°C (68°F)
Long term storage
Flat spotting can be minimised during long 
term storage, by increasing the tyre pressures 
to the maximum indicated on the tyre sidewall.
Note: The tyre pressures should be reduced to 
the correct pressure before the vehicle is 
driven.
Tyre wear
Good driving practise will improve the mileage 
you obtain from your tyres, and avoid 
unnecessary damage. 
•Always ensure that the tyre pressures are 
correctly adjusted.
•Always observe the posted speed limits, 
and advisory speeds for bends.
•Avoid pulling away quickly, or hard 
acceleration.
•Avoid making fast turns or braking 
sharply.
•Wherever possible, avoid potholes, or 
obstacles on the road.
•Do not drive up kerbs, or rub the tyres 
against them when parking.
Tyre pressure temperature compensation
Ambient 
temperature - 
°C (°F)
Pressure 
compensation - 
bar (lbf/in², kPa)
20 (68) use placard label
30 (86) + 0.14 (2, 14)
40 (104) + 0.28 (4, 28)
50 (122) + 0.41 (6, 41)
E80322

221
Wheels and tyres
Wear indicators
When the tread has worn down to 
approximately 2 mm, wear indicators start to 
appear at the surface of the tread pattern. This 
produces a continuous band of rubber across 
the tread as a visual indicator.
To maintain performance and grip the tyre 
must be replaced as soon as the wear indicator 
becomes visible. Sooner, if legislation requires 
replacement at a greater tread depth.
Note: Tread depth should be checked 
regularly, in some case more frequently than 
the service intervals. For advice on checking 
tyres contact your Dealer/Authorised repairer 
or a tyre dealer.
Age degradation
Tyres degrade over time due to the effects of 
ultraviolet light, extreme temperatures, high 
loads, and environmental conditions. It is 
recommended that tyres are replaced at least 
every six years, but they may require 
replacement more frequently.
Jaguar recommends that even if unused, the 
spare tyre be replaced at the same time as the 
four road tyres.
Punctured tyres
Tyre checks
Not all punctures result in the tyre deflating 
immediately. Therefore, it is important to check 
the tyres for damage and foreign objects, 
regularly.
When driving, if a sudden vibration, or change 
to the vehicle's handling is noticed, reduce 
speed immediately. Do not brake hard, or make 
any sudden manoeuvres or direction changes. 
Drive slowly to an area off the main highway 
and stop the vehicle.
Note: Driving the vehicle to a safe area may 
cause damage to the punctured tyre, but 
occupant safety is far more important.
Inspect the tyres for signs of punctures, 
damage or under inflation. If any damage or 
deformity is detected, the tyre should be 
replaced. If a spare tyre is not available, then 
the vehicle should be recovered to a tyre repair 
centre, or Dealer/Approved repairer.
WARNING
Wear indicators show the minimum 
tread depth recommended by the 
manufacturers. Tyres which have 
worn to this point will have reduced grip and 
poor water displacement characteristics.
CAUTION
If tread wear is uneven across a tyre, or 
the tyre wears excessively, the vehicle 
should be checked by your Dealer/Authorised 
Repairer as soon as possible.
E91698
WARNING
Do not drive the vehicle with a 
punctured tyre. Even if the punctured 
tyre has not deflated, it is unsafe to 
use, as the tyre may deflate suddenly at any 
time. See TYRE REPAIR KIT (page 229).

Wheels and tyres
222
Replacement tyres
Ideally, tyres should be replaced in sets of four. 
If this is not possible, replace the tyres in pairs 
(front and rear). When tyres are replaced, the 
wheels should always be re-balanced and 
alignment checked.
The correct tyre specification for your vehicle 
can be found on the tyre information label.
Directional tyres
Directional tyres are designed to operate 
correctly when rotating forwards (when the 
vehicle is travelling forwards).
Typical direction indicators
WARNINGS
Do not fit cross-ply tyres.
Do not fit tubed tyres.
Do not swap tyres around the vehicle. 
Tyres bed in to the specific 
characteristics of each wheel 
position. Swapping them around may affect 
the vehicle's handling and traction.
Always fit replacement tyres of the 
same type, and wherever possible of 
the same make and tread pattern.
Replacement wheels should be 
genuine Jaguar parts. This will 
maintain the designed driving 
characteristics.
If the use of tyres not recommended 
by Jaguar is unavoidable, ensure that 
you read, and fully comply with, the 
tyre manufacturers instructions. Failure to do 
so, may lead to tyre failure due to incorrect 
fitment or use.
E95182

223
Wheels and tyres
USING WINTER TYRES
Winter tyres are more suitable during extremes 
of low temperatures, snow and ice and will 
considerably improve the vehicle’s handling 
during these conditions.
Do not exceed 240 km/h (150 mph) when 
using Jaguar approved winter tyres.
Winter tyres must be fitted to all four wheels.
Approved winter tyre sizes
Front:
•Dunlop Wintersport M3 - 235/55R17 99H, 
245/45R18 96V, 245/45R18 100V, 
245/40R19 98V.
•W240 Pirelli Sotto Zero - 245/45R18 100V, 
245/40R19 98V, 255/35R20 97V
Rear: 
•Dunlop Wintersport M3 - 235/55R17 99H, 
245/45R18 96V, 245/45R18 100V, 
245/40R19 98V.
•W240 Pirelli Sotto Zero - 245/45R18 100V, 
245/40R19 98V, 285/30R20 99V
Winter tyre pressures
USING SNOW CHAINS
Snow chains, of the recommended type, can 
only be fitted to rear wheels. They should not 
be used on temporary use spare wheels.
You should contact your Dealer/Authorised 
Repairer for details and availability of approved 
snow chains.
The maximum speed when using snow chains 
is 50 km/h (30 mph).
Remove the snow chains immediately the 
roads are clear of snow.
Ensure the fitting instructions supplied with the 
snow chains are kept in a safe place, for 
example, with this literature pack.
Note: When using snow chains, select 
JaguarDrive Control Winter mode with DSC 
switched on.
CAUTION
Tyres with an all season icon or M+S 
have a level of winter performance and 
need not be replaced.
Up to 240 km/h (150 mph)
Front 2.0 bar (30 lbf/in², 207 kPa)
Rear 2.3 bar (33 lbf/in², 230 kPa)
CAUTION
It is essential that only snow chains of 
the recommended type are fitted, other 
snow chains may cause damage to the vehicle.

Wheels and tyres
224
RUN FLAT TYRES
Run-flat tyres can be identified by the lettering 
RSC on the sidewall. The tyre construction 
utilises a specially reinforced sidewall, which 
allows the vehicle to be driven at restricted 
speeds, even when the tyre is depressurised. 
Run-flat tyres can only be fitted to special rims, 
constructed for run-flat tyre use.
A tyre pressure monitoring system is 
mandatory when the vehicle is fitted with 
run-flat tyres. See TYRE PRESSURE 
MONITORING SYSTEM (page 234).
If the tyre has deflated, the vehicle should be 
driven with caution, as handling characteristics 
will be different compared to a fully inflated 
tyre.
If the vehicle is fully laden with passengers and 
luggage, the maximum distance that can be 
completed on a fully deflated tyre, is 
approximately 80 kilometres (50 miles).
Stop immediately if the tyre construction 
begins to break down or if the tyre dislodges 
from the wheel rim. Typically, this will be 
accompanied by excessive vibration.
A tyre driven in a deflated condition must be 
replaced as soon as possible.
Vehicles fitted with run-flat tyres are not fitted 
with a spare wheel or jacking equipment. 
Therefore, run-flat tyres should be replaced 
with the same type of tyre.
TOOL KIT
Tool kit contents
1. Jack.
2. Wheel brace.
3. Chock.
4. Locking wheel nut adaptor.
5. Towing eye.
Note: When returning the tool kit to its stowage 
position, hook the T-bar of the clamp over the 
jack handle, to secure in position.
Note: The jack requires occasional 
maintenance. Examine the jack for wear, 
damage or corrosion and lubricate the moving 
parts.
WARNING
If a run-flat tyre is deflated, maximum 
vehicle speed must not exceed 
80 km/h (50 mph).
E91708
WARNING
After use, the tool kit should be 
returned to the under floor storage 
area and correctly stowed. Do not 
leave the tool kit or its components loose in the 
storage area, as they can prove hazardous 
during an impact or sudden manoeuvre.
E95183
5
1
3
4
2

225
Wheels and tyres
CHANGING A ROAD WHEEL
If a wheel change is required, pull off the road 
completely. Park on ground which is as level 
and solid as possible. Ensure that the vehicle is 
clear of any objects that will obstruct the safe 
removal of the wheel. Switch on hazard 
warning lamps and, where legally required, 
display the warning triangle.
Regular maintenance of tyres contributes not 
only to safety, but to the designed function of 
the vehicle. Road-holding, steering and braking 
are especially vulnerable to incorrectly 
pressurised, badly fitted or worn tyres.
Tyres of the correct size and type, but of 
different make can have widely varying 
characteristics. It is therefore recommended 
that Jaguar approved tyres are fitted to all 
wheels.
Temporary use spare wheel
Observe the following warnings before using 
the wheel:
WARNINGS
Always ensure replacement tyres 
have the correct rating and 
specifications (e.g. load index, size, 
speed rating) for your vehicle.
When using tyres other than those 
recommended by Jaguar, do not 
exceed the speed capacity 
recommended by the manufacturer.
Wheels are extremely heavy. Take 
care when lifting and particularly 
when removing and replacing a wheel 
in its storage position in the luggage 
compartment.
CAUTION
Ultra high performance tyres. This 
vehicle is equipped with an Ultra High 
Performance (UHP) tyre and wheel 
combination designed to give maximum dry 
road performance with consideration for 
aquaplaning resistance. UHP tyres have 
performance enhancing soft rubber tread 
compound. If driven aggressively they may 
suffer rapid tread wear and a shorter life than 
can be expected from other tyre types. This 
wheel and tyre combination is more 
susceptible to damage from road hazards.
Do not use this combination for driving on 
snow or ice. High performance tyres must be 
replaced with winter tyres when weather 
conditions dictate.
WARNINGS
Note the temporary use spare wheel 
warning label. Adhere to instructions 
on the label. Failure to comply can be 
dangerous.
When a temporary use spare wheel is 
fitted, drive with caution and replace 
with the specified wheel and tyre as 
soon as possible.
Do not fit more than one temporary 
use spare wheel and tyre assembly at 
one time.
The temporary use spare wheel must 
be inflated to 4.2 bar (60 lbf/in², 
420 kPa) and cannot be repaired.
Temporary use spare wheel, 
maximum speed is 80 km/h 
(50 mph).

Wheels and tyres
226
Locking wheel nuts
Vehicles may be equipped with a locking wheel 
nut on each wheel. These are similar to 
standard wheel nuts, and can only be removed 
using the special adaptor provided with the 
jacking equipment.
1. Insert the adaptor firmly onto the locking 
wheel nut.
2. Using the wheel brace, unscrew the wheel 
nut and adaptor.
3. Return the locking wheel nut adaptor to the 
correct storage position.
Note: A code number is stamped on the side of 
the locking nut. Ensure the number is recorded 
on the Security Card supplied with the 
literature pack. Quote this number if a 
replacement is required. Do not keep the 
Security Card in the vehicle.
Spare wheel location
The spare wheel and jacking tools are stored 
under the luggage compartment floor panel.
To remove the spare wheel: Raise the luggage 
compartment floor panel, hooking the strap 
over the upper boot seal as illustrated.
Unscrew the Tee bolt, releasing the retaining 
clamp and hook.
Remove the tool tray from the spare wheel and 
remove the spare wheel from the luggage 
compartment. 
Remove the jack and wheel nut wrench from 
the tray.
Note: When refitting the Tee bolt, ensure that 
the retaining hook (1) fits over the jack handle, 
as illustrated.
If the vehicle is fitted with Tyre 
Pressure Monitoring System (TPM 
System). See TYRE PRESSURE 
MONITORING SYSTEM (page 234).
DSC must be on when the temporary 
use spare wheel is in use.
WARNINGS
E91709
JAG1304
JAG1327 1

227
Wheels and tyres
Wheel changing safety
Before raising the vehicle, or changing a wheel 
ensure that you read, and comply with the 
following warnings.
WARNINGS
Always find a safe place to stop, off 
the highway and away from traffic.
Ensure that the vehicle is on firm level 
ground.
Disconnect trailer/caravan from 
vehicle.
Switch on the hazard warning lamps.
Ensure that all passengers, and 
animals, are out of the vehicle and in 
a safe place away from the highway.
Place a warning triangle at a suitable 
distance behind the vehicle, facing 
towards oncoming traffic.
Ensure that the front wheels are in the 
straight ahead position, and engage 
the steering lock.
Apply the parking brake, and engage 
Park (P).
Ensure that the jack is on firm level 
ground.
Never place anything between the 
jack and the ground, or the jack and 
the vehicle.
When one rear wheel is lifted off the 
ground the selection P (Park) position 
will not prevent the vehicle from 
moving and possibly slipping off the jack as 
the park brake only operates on the rear 
wheels.
Do not start or run the engine while 
the vehicle is supported only by a 
jack.
The jack is designed for use when 
changing a wheel only. Never work 
beneath the vehicle with the jack as 
the only means of support - use vehicle 
support stands. 
Always chock the wheel diagonally 
opposite the wheel to be changed, 
using the wheel chock supplied in the 
tool kit. Chock the front of a front wheel, or the 
rear of a rear wheel.
If jacking the vehicle on a slight slope 
is unavoidable, place chocks on the 
downhill side of the two opposite 
wheels. An additional chock will be 
needed.
Take care when lifting the spare 
wheel, and removing the punctured 
wheel. The wheels are heavy, and can 
cause injuries if not handled 
correctly.
Remove the spare wheel prior to 
jacking the vehicle. To avoid 
destabilising the vehicle when raised.
Take care when loosening the wheel 
nuts. The wheel brace may slip off if 
not properly attached, and the wheel 
nuts may give way suddenly. Either 
unexpected movement may cause an injury.
WARNINGS

Wheels and tyres
228
Wheel changing procedure
1. Ensure that all passengers are in a safe 
place, clear of the vehicle.
2. Apply the parking brake and select gear 
position P (Park).
3. Ensure that the jack is placed on firm and 
level ground.
Observe the instructions printed on the jack.
Use the jack only for lifting the vehicle during 
wheel changing and only use the jack which is 
stored in the vehicle.
Before raising the vehicle slacken but do not 
remove the wheel nuts.
There are four jacking points on the underside 
of the floor. Two indented, triangular indicators 
are provided on each sill cover. These indicate 
the location for the jack.
The simplest way to correctly locate the jacking 
point is to feel along the sill panel to the 
triangular indentation and then fit the jack to 
the body, not to the sill panel.
Carefully raise the vehicle by turning the jack 
handle. Stop jacking the vehicle when the tyre 
just clears the ground. Minimum tyre lift gives 
maximum vehicle stability.
Remove the wheel nuts and the wheel.
To remove the centre badge use the plastic 
tipped end of the wheel nut wrench handle, 
push the centre badge from its housing from 
the inside of the wheel.
Push the centre badge into the replacement 
wheel. If the temporary use spare wheel is to be 
fitted, keep the centre badge safely and fit it to 
the repaired full size wheel when it has been 
refitted.
Fit the spare wheel and loosely secure with the 
wheel nuts.
WARNINGS
Do not attempt to lift the vehicle 
unless the jack head is fully engaged 
in the jacking point.
Ensure that the park brake is applied.
CAUTION
Ensure before raising the vehicle that 
the jack is correctly positioned to avoid 
any damage to the vehicle sills or sill panels.
E95185

229
Wheels and tyres
Tightening the wheel nuts
Using the wheel nut wrench, lightly tighten the 
wheel nuts alternately using the sequence 
shown in the illustration.
Lower the jack and tighten the wheel nuts 
alternately. Do not overtighten by using foot 
pressure or extension bars on the wheel nut 
wrench.
At the earliest opportunity have the wheel nuts 
tightened with a torque wrench to 125 Nm 
(92 lb.ft).
This torque must not be exceeded.
TYRE REPAIR KIT
Your vehicle may not be equipped with a spare 
tyre. If this is the case, in its place in the rear 
underfloor storage compartment, you will find 
a Jaguar tyre repair kit (except where run-flat 
tyres are fitted). The Jaguar tyre repair kit can 
be used to repair one tyre and it is essential 
that you read the following guide before 
attempting to repair a tyre.
The Jaguar tyre repair kit seals most punctures 
caused by nails, or similar items, with a 
maximum diameter of 6 mm (1/4 inch).
Note: The sealant used in the tyre repair kit has 
a shelf life and the expiry date is shown on the 
tyre sealant bottle. Ensure that the container is 
replaced before the expiry date.
1
4
2
5
3
E91712
WARNINGS
To ensure vehicle safety, it is 
essential that you read and 
understand the following information. 
Failure to follow the instructions given here, 
may lead to serious tyre damage and may 
result in death or serious injury.
If you are in any doubt regarding your 
ability to carry out the instructions, 
contact your Dealer/Approved 
Repairer before attempting the repair.

Wheels and tyres
230
Jaguar tyre repair kit safety information
WARNINGS
Some tyre damage may only be 
partially sealed, or may not seal at all, 
depending on the amount and type of 
damage. Any loss of tyre pressure can 
seriously affect vehicle safety.
Do not use the tyre repair kit if the tyre 
has been damaged by driving while 
under-inflated.
Only use the tyre repair kit to seal 
damage located within the tyre tread 
area.
Do not use the tyre repair kit to seal 
damage to the tyre sidewall.
Do not exceed 80 km/h (50 mph) 
when a repaired tyre is fitted to the 
vehicle.
The maximum distance that should 
be driven when a repaired tyre is 
fitted, is 200 km (125 miles).
When a repaired tyre is fitted, drive 
with caution and avoid sudden 
braking or steering manoeuvres.
Only use the tyre repair kit for the 
vehicle with which it was supplied.
Do not use the tyre repair kit for any 
other purpose than tyre repair.
Never leave the tyre repair kit 
unattended when in use.
Only use the tyre repair kit within the 
-30 °C to +70 °C temperature range.
Always keep children and animals at a 
safe distance from the tyre repair kit 
when in use.
Do not stand directly beside the 
compressor when it is operating.
Check the tyre sidewall prior to 
inflation. If any cracks, damage or 
deformities are apparent, do not 
inflate the tyre.
Watch the tyre sidewall during 
inflation. If any cracks, bumps or 
similar damage, or deformities 
appear, switch off the compressor and deflate 
the tyre.
WARNINGS

231
Wheels and tyres
Jaguar tyre repair kit
1. Maximum speed label. 80 km/h (50 mph).
2. Tyre inflation hose.
3. Inflation hose protective cap.
4. Inflation hose connector.
5. Compressor power cable.
6. Power cable connector.
7. Sealant bottle receiver cap (orange).
8. Sealant bottle receiver.
9. Sealant bottle cap.
10. Sealant bottle.
11. Tyre pressure gauge.
12. Compressor on/off switch (I = on. 0 = off.).
E96498
34
2
6
5
1
12
11
8
9
10
7

Wheels and tyres
232
Using the Jaguar tyre repair kit
Note: All vehicle drivers and occupants should 
be made aware that a temporary repair has 
been made to a tyre fitted to the vehicle. They 
should also be made aware of the special 
driving conditions imposed when using a 
repaired tyre.
Repair procedure
1. Open the tyre repair kit and peel off the 
maximum speed label. Attach the label to 
the fascia in the driver's field of vision. 
Take care not to obstruct any of the 
instruments or warning lights.
2. Uncoil the compressor power cable and 
the inflation hose.
3. Unscrew the orange cap from the sealant 
bottle receiver and the sealant bottle cap.
4. Screw the sealant bottle into the receiver 
(clockwise) until tight.
•Screwing the bottle onto the receiver will 
pierce the bottle's seal. Do not unscrew 
a full, or partly used bottle from the 
receiver. Doing so will result in sealant 
leaking from the bottle.
5. Remove the valve cap from the damaged 
tyre.
6. Remove the protective cap from the 
inflation hose and connect the inflation 
hose to the tyre valve. Ensure that the hose 
is screwed on firmly.
7. Ensure that the compressor switch is in 
the off (0) position.
8. Insert the power cable connector into the 
auxiliary power socket. See AUXILIARY 
POWER SOCKETS (page 125).
WARNINGS
Avoid skin contact with the sealant 
which contains natural rubber latex.
If the tyre inflation pressure does not 
reach 1.8 bar (26 lbf/in², 180 kPa) 
within seven minutes, the tyre may 
have suffered excessive damage. A temporary 
repair will not be possible, and the vehicle 
should not be driven until the tyre has been 
replaced.
CAUTIONS
Before attempting a tyre repair, ensure 
that the vehicle is parked safely, as far 
away from passing traffic as possible.
Ensure that the parking brake is applied 
and P (Park) is selected.
Do not attempt to remove foreign 
objects such as nails, screws, etc. from 
the tyre.
Always run the engine when using the 
compressor, unless the vehicle is in an 
enclosed or poorly ventilated space, as this 
may cause asphyxiation.
To prevent overheating, do not operate 
the compressor continuously for longer 
than ten minutes.
WARNING
Check the tyre sidewall prior to 
inflation. If there are any cracks, 
bumps or similar damage, do not 
attempt to inflate the tyre. Do not stand 
directly beside the tyre while the compressor 
is pumping. Watch the tyre sidewall. If any 
cracks, bumps or similar damage appear, turn 
off the compressor and let the air out by 
means of the pressure relief valve. Do not 
continue to use the tyre.

233
Wheels and tyres
9. Unless the vehicle is in an enclosed area, 
start the engine.
10. Set the compressor switch to the on (I) 
position.
11. Inflate the tyre to a minimum of 1.9 bar 
(26 lbf/in²) and a maximum of 3.5 bar 
(51 lbf/in²).
•When pumping the sealant through the 
tyre valve, the pressure may rise up to 6 
bar (87 lbf/in²). The pressure will drop 
again after approximately 30 seconds.
12. During the inflation, switch the 
compressor off briefly, to check the tyre 
pressure using the gauge mounted on the 
compressor.
•It should not take longer than seven 
minutes to inflate the tyre. If, after seven 
minutes, the tyre has not yet reached 
minimum pressure, the tyre should not 
be used.
13. Once the tyre has been inflated, switch off 
the compressor. If desired, the engine may 
be turned off after the compressor has 
been turned off.
14. Remove the power connector from the 
auxiliary power socket.
15. Remove the inflation hose from the tyre 
valve, by unscrewing it as quickly as 
possible (counter-clockwise).
16. Replace the inflation hose protective cap 
and the tyre valve cap.
17. Do not remove the sealant bottle from the 
receiver.
18. Ensure that the tyre repair kit (including 
the bottle and receiver caps) are placed 
securely in the vehicle. You will need to 
use the kit to check the tyre pressure after 
approximately 3 km (2 miles), so ensure 
they are easily accessible.
19. Immediately drive the vehicle for 
approximately 3 km (2 miles), to allow the 
sealant to coat the inner surface of the tyre 
and form a seal at the puncture.
Checking the tyre pressure after a repair
1. Drive the vehicle for 3 km (2 miles) then 
stop in a safe place. Carry out a visual 
examination of the tyres condition.
2. Make sure that the sealant container 
section is in its original position.
3. Screw the inflation hose connector firmly 
onto the tyre valve.
4. Read the tyre pressure from the gauge.
5. If the pressure of the sealant filled tyre is 
above 1.3 bar (19 lb/in²) adjust the 
pressure to the correct value. See TYRE 
CARE (page 217).
6. Ensure that the compressor switch is in 
the off (O) position and insert the power 
cable connector into the auxiliary power 
socket. 
If the vehicle is in a well ventilated area, 
start the engine.
WARNINGS
When driving the vehicle, if you 
experience vibrations, abnormal 
steering, or noises, reduce speed 
immediately. Drive with extreme caution and 
reduced speed, to the first safe place to stop 
the vehicle. Visually examine the tyre and 
check its pressure. If there are any signs of 
damage or deformity to the tyre, or the tyre 
pressure is below 1.3 bar (19 lb/in²), do not 
continue driving.
Consult a tyre repair centre or your 
Dealer/Authorised Repairer, for 
advice concerning the replacement of 
a tyre after using a tyre repair kit.

Wheels and tyres
234
7. Switch the compressor to on (I) and inflate 
the tyre to the correct pressure.
8. To check the tyre pressure, turn off the 
compressor then read the pressure from 
the gauge.
9. When the compressor is off, if the tyre 
pressure is too high, release the required 
amount of pressure using the pressure 
relief valve.
10. Once the tyre is inflated to the correct 
pressure, switch off the compressor and 
remove the power plug from the auxiliary 
socket.
•The use of the tyre repair kit sealant may 
lead to error prompts and incorrect 
readings of the Tyre Pressure 
Monitoring System. Therefore, use the 
tyre repair kit pressure gauge to check 
and adjust the damaged tyre's inflation 
pressure.
11. Unscrew the inflation hose connector from 
the tyre valve, replace the tyre valve cap 
and the inflation hose connector protective 
cap.
12. Ensure that the tyre repair kit is placed 
securely in the vehicle.
13. Drive to the nearest tyre repair centre or 
Dealer/Authorised Repairer, for a 
replacement tyre to be fitted. Ensure that 
you make the repair centre aware that the 
tyre repair kit has been used before the tyre 
is removed.
14. Both the tyre inflation hose, and the sealant 
container should be replaced once a new 
tyre has been fitted.
Only sealant containers which are 
completely empty should be 
disposed of with normal household 
waste. Sealant containers which contain some 
sealant, and the tyre inflation hose, should be 
disposed of by a tyre specialist or your 
Dealer/Authorised Repairer, in compliance with 
local waste disposal regulations.
TYRE PRESSURE MONITORING 
SYSTEM
Note: Non-approved accessories may interfere 
with the system. If this occurs, TYRE 
PRESSURE SYSTEM FAULT is displayed in the 
message centre.
WARNINGS
The Tyre Pressure Monitoring (TPM) 
system is NOT a substitute for 
manually checking tyre pressures. 
The TPM system only provides a low pressure 
warning and does not re-inflate your tyres. 
Tyre pressures should be checked regularly 
using an accurate pressure gauge when cold. 
Failure to properly maintain your pressures 
could increase the risk of tyre failure, with 
consequential loss of vehicle control and 
personal injury.
The TPM system can NOT register 
damage to a tyre. Regularly check the 
condition of your tyres, especially if 
the vehicle is driven off-road.
CAUTION
When inflating tyres, care should be 
taken to avoid bending or damaging the 
TPM system valves. Always ensure correct 
alignment of the inflation head to the valve 
stem.

235
Wheels and tyres
Note: Different types of tyre may affect the 
performance of the TPM system. Always 
replace tyres in accordance with 
recommendations. See TYRE 
SPECIFICATIONS - ARDUOUS TERRAIN 
(page 239).
Your vehicle may be equipped with a TPM 
System which monitors pressure in each tyre 
(temporary use spare wheels are not fitted with 
sensors and are consequently not monitored).
Wheels fitted with a TPM system can be easily 
visually identified by the external metal lock nut 
and valve (1). All Jaguar non-TPM system 
wheels have a rubber valve fitted (2).
TPM system operation
The TPM system monitors pressure of the 
tyres via sensors located in each wheel and a 
receiver located within the vehicle. 
Communication between sensor and receiver 
is via Radio Frequency (RF) signals.
The tyre pressure warning 
comprises a yellow warning telltale 
within the instrument panel, and 
the associated messages within the message 
centre.
If the telltale light illuminates, you should stop 
and check your tyres as soon as possible and 
inflate them to the recommended pressure as 
stated on the tyre pressure placard. If low 
pressure warnings occur frequently, the cause 
must be determined and rectified.
When driving through variable climatic 
conditions the TPM system warnings may be 
intermittent.
Your vehicle will also indicate a TPM System 
malfunction by initially flashing and 
subsequent continuous illumination of the 
warning telltale. A text message will 
accompany the system malfunction and will 
display TYRE PRESSURE SYSTEM FAULT. The 
TPM system fault sequence will be activated at 
every ignition cycle until the fault is rectified. 
When a malfunction occurs, the system may 
not be able to detect or signal low tyre pressure 
as intended.
TPM system malfunctions may occur for a 
variety of reasons which may include other 
radio frequency systems that could cause 
interference or the installation of incompatible 
replacement tyres on the vehicle.
1
2
E91713
Auto
km
Inst  Fu
l/100km
E95244

Wheels and tyres
236
Tyre pressure warning with speed
If the vehicle is to be driven at speeds in excess 
of 160 km/h (100 mph), the tyre pressures 
should be increased as stated in this handbook 
or on the placard label. Failure to increase the 
tyre pressures and driving in excess of 
160 km/h (100 mph), will illuminate the yellow 
warning telltale and display a text message 
TYRE PRESSURES LOW FOR SPEED. In the 
event of this warning being displayed, vehicle 
speed should be reduced
Temporary use spare wheel and tyre 
change
If the temporary use spare wheel is fitted the 
system will automatically recognise the change 
in wheel positions. Then after approximately 
ten minutes of driving above 25 km/h 
(18 mph), a message TYRE NOT MONITORED 
will be displayed accompanied by illumination 
of the warning telltale and the corresponding 
block in the vehicle graphic.
The warning telltale will initially flash and will 
subsequently revert to continuous illumination. 
Extended use of the temporary use spare wheel 
will produce an additional text message TYRE 
PRESSURE SYSTEM FAULT.
This TPM system display sequence will be 
activated at every ignition cycle until the 
temporary use spare wheel is replaced by a 
fully operational full size wheel and tyre 
assembly.
Always replace the temporary use wheel before 
having TPM system faults investigated. The 
fault may well be rectified with the fitment of a 
fully operational full size running tyre in lieu of 
the temporary use spare wheel assembly.
Tyre changing
Always have your tyres serviced or changed by 
a qualified engineer.
Care must be taken to avoid contact between 
the bead of the tyre and the sensor during 
removal and refitting of the tyre, otherwise the 
sensor may become damaged and or 
inoperable.
Sensors can be removed from the wheel by the 
unscrewing of the valve retention nut.
Replacement sensor
Should the sensor require replacing, it should 
be carried out by a Dealer/Authorised Repairer.
A replacement sensor must be fitted to a 
running wheel in order to be recognised by the 
system. The vehicle needs to be stationary for 
15 minutes during the sensor fitment before 
the system is ready to detect the new sensor. 
The vehicle must be driven for a minimum of 
fifteen minutes after the sensor change, and 
then remain stationary for fifteen minutes to 
activate full TPM system operation.
If the TPM system warning for any wheel does 
not clear, even after ensuring correct inflation 
and driving for more than ten minutes above 
25 km/h (18 mph), you should seek qualified 
assistance as soon as possible.
CAUTION
Valve stem seal, washer, nut, valve core 
and cap should be replaced at every tyre 
change. Valve stem seal, washer and nut must 
be replaced if valve retention nut is loosened. 
Sensor units and nuts must be refitted using 
correct torque figures and associated profile. 
Damage to the vehicle may result if these 
precautions are not taken.

237
Wheels and tyres
TPM System information messages
Message Warning 
Indicator
Priority 
Indicator
Meaning
CHECK TYRE PRESSURE 
(Graphic indication displays 
which tyre is under-inflated.)
TPM 
System
Amber You should as soon as possible stop, check 
your tyre and inflate them to the 
recommended pressure.
CHECK ALL TYRE 
PRESSURES
TPM 
System
Amber May be displayed when the vehicle is learning 
that a new sensor is fitted to the vehicle and 
one or more tyres has low pressure. You 
should as soon as possible stop, check your 
tyres and inflate them to the recommended 
pressure.
TYRE PRESSURE SYSTEM 
FAULT
TPM 
System
Amber 1. The wheels do not have TPM System 
sensors fitted.
2. The TPM System sensors have become 
defective, an unapproved accessory is 
interfering with the system or a general fault 
has been detected. Seek qualified assistance 
as soon as possible.
TYRE NOT MONITORED 
(Graphic indication displays 
which tyre is not monitored.)
TPM 
System
Red 1. A temporary use spare wheel is fitted. 
Vehicle speed should be limited to 80 km/h 
(50 mph). 2. A TPM System sensor has 
become defective, an unapproved accessory 
is interfering with the system or a wheel has 
been fitted that does not have a sensor. Seek 
qualified assistance as soon as possible.
TYRE PRESSURES LOW FOR 
SPEED
TPM 
System
Amber The tyre pressures are not suitable for high 
speed driving. You should reduce vehicle 
speed and inflate the tyres to recommended 
pressures for high speed driving.

Wheels and tyres
238
TYRE GLOSSARY
lbf/in² or psi 
Pounds per square inch, an imperial unit of 
measure for pressure.
kPa
Kilo Pascal, a metric unit of measure for 
pressure.
Cold tyre pressure
The air pressure in a tyre which has been 
standing in excess of three hours, or driven for 
less than 1.6 km (1 mile).
Maximum inflation pressure
The maximum pressure to which the tyre 
should be inflated. This pressure is given on 
the tyre side wall in lbf/in² (psi) and kPa.
Note: This pressure is the maximum allowed 
by the tyre manufacturer. It is not the pressure 
recommended for use.
Kerb weight
The weight of a standard vehicle, including a 
full tank of fuel, any optional equipment fitted, 
and with the correct coolant and oil levels.
Gross vehicle weight
The maximum permissible weight of a vehicle 
with driver, passengers, load, luggage, 
equipment, and towbar load.
Accessory weight
The combined weight (in excess of those items 
replaced) of items available as factory installed 
equipment.
Production options weight
The combined weight of options installed 
which weigh in excess of 1.4 kg (3 lb) more 
than the standard items that they replaced, and 
are not already considered in kerb or accessory 
weights. Items such as heavy duty brakes, high 
capacity battery, special trim etc.
Vehicle capacity weight
The number of seats multiplied by 68 kg 
(150 lb) plus the rated amount of load/luggage.
Maximum loaded vehicle weight
The sum of kerb weight, accessory weight, 
vehicle capacity weight, plus any production 
option weights.
Rim
The metal support for a tyre, or tyre and tube, 
upon which the tyre beads are seated.
Bead
The inner edge of a tyre that is shaped to fit to 
the rim and form an air tight seal. The bead is 
constructed of steel wires which are wrapped, 
or reinforced, by the ply cords.

239
Wheels and tyres
TYRE SPECIFICATIONS - ARDUOUS TERRAIN 
In certain markets, due to the possibility of very uneven or unmetalled roads, it is necessary to fit 
tyres suitable for the conditions. These markets and the relevant tyre specification are detailed 
below.
The following chart details the tyres recommended for use in the countries listed below:
A. Australia, Bahrain, Egypt, Israel, Jordan, Kuwait, Lebanon, Malaysia, Mexico, Morocco, 
Oman, Qatar, Saudi Arabia, South Africa, Syria, Thailand, United Arab Emirates.
B. Argentina, Belarus, Brazil, Bulgaria, Chile, Dominican Republic, Estonia, Guatemala, 
Indonesia, Kaxakhstan, Panama, Philippines, Russia, Sri Lanka, Ukraine, Uzbekistan.
Wheel position Tyre size Pattern A B
Front and rear 235/55R17 99W Pirelli P7 No No
Front and rear 245/45R18 100Y X/L Pirelli PZero Asymmetric Yes Yes
Front and rear 245/45R18 100W X/L Dunlop Sport 01 Asymmetric Yes Yes
Front and rear 245/40R19 98Y X/L Dunlop Sport 01 Asymmetric Yes Yes
Front 255/35R20 97Y X/L Pirelli PZero Asymmetric Yes Yes
Rear 285/30R20 99Y X/L Pirelli PZero Asymmetric Yes Yes
Temporary use spare wheel (front and rear):
Alloy 4J x 18 T135/80R18 Pirelli
For all other countries you should refer to your local Dealer/Authorised Repairer for specific tyre 
fitment.

Wheels and tyres
240
Accessory wheels and tyres
1. Front tyre pressure.
2. Rear tyre pressure.
3. Wheel and tyre information (size, speed 
rating, etc.).
Note: Use the table above to record accessory 
wheel and tyre information.
WARNING
Contact your Dealer/Authorised 
Repairer before fitting any accessory 
wheels and tyres. Your Dealer/
Authorised Repairer will be able to 
offer guidance regarding the correct 
accessories. Fitting incorrect wheel/tyre 
combinations can seriously affect the ride and 
handling of your vehicle. In extreme cases, 
this may lead to loss of control of the vehicle.
12
3
E95187

241
Fuses
CHANGING A FUSE
Note: Jaguar recommend that owners do not 
remove or replace relays. It is recommended 
that you seek qualified assistance in the event 
of a relay failure.
Always switch off the ignition and the affected 
electrical circuit, before replacing a fuse.
Fuse failure is identified by an inoperative 
circuit.
A special tool for removing and replacing Mini 
fuses is provided in the engine compartment 
fuse box, together with spare fuses.
Two types of fuses are fitted in the fuse boxes:
1. Mini-type
2. J-Case
If a spare fuse is used, renew it (or have it 
renewed) with a fuse of the same amperage 
rating.
Push the tool onto the suspect fuse and 
withdraw it.
If the wire in the fuse is broken, the fuse has 
blown.
Fit a new fuse using the tool.
Checking or renewing a blown fuse
J-Case fuses (2) and relays should only be 
replaced by a qualified technician.
Fuses are colour coded according to the 
amperage and the rating is also marked on 
each fuse.
CAUTIONS
Always turn off the ignition system and 
the affected electrical circuit, before 
replacing a fuse.
Fit Jaguar approved replacement fuses 
of the same rating and type, or fuses of 
matching specification. Using an incorrect 
fuse may result in damage to the vehicle's 
electrical system, and can result in a fire.
No attempt should be made to repair a 
fuse that has blown.
If the replacement fuse blows after 
installation, the system should be 
checked by your Dealer/Authorised Repairer.
1 2
E95262

Fuses
242
FUSE BOX LOCATIONS
There are three separate fuse boxes fitted to the 
vehicle, each one containing fuses protecting a 
different group of circuits.
They are located in:
1. The engine compartment
2. The passenger compartment.
3. The luggage compartment.
Engine compartment fuse box
The fuse box is located underneath a cover on 
the right-hand side of the engine compartment.
Remove the engine compartment right-hand 
cover by releasing the turnbuckles (1).
Remove the fuse box lid by pressing the 
retaining lugs (solid arrows) and lifting.
When refitting, press the fuse box lid in the 
area of the retaining lugs until the lid engages.
CAUTION
When a fuse box lid is removed, take 
care to protect the box from moisture, 
and refit the lid at the earliest opportunity.
1
2
3
E95263
E95264
1
1
1
1

243
Fuses
Passenger compartment fuse box
The passenger compartment fuse box is 
located behind an access hatch in the 
right-hand footwell.
Press the release catch to access the fuse box.
Luggage compartment fuse box
The fuse box is located behind an access hatch 
on the right-hand side of the luggage 
compartment.
Push down on the top of the hatch and pull 
away from the side of the vehicle, to access the 
fuse box.
E95265
E95266

Fuses
244
Fuse and relay positions
1. Engine compartment fuse box.
2. Passenger compartment fuse box.
3. Luggage compartment fuse box
F28
F29
F30
F31
F32
F33
F34
F35
F36
F19 F10 F3
F11
F12
F13
F14
F15
F44
F43
F42
F41
F40
F39
F38
F37
F17
F18
F16
F4
F5
F6
F7
F8
F9
F1
F2
F20
F21
F22
F23
F24
F25
F26
F27
F3
F4
F5
F6
F21
F22
F23
F24
F20
F25
F14
F13
F15
F16
F1
F2
F18
F17
F19
F28
F29
F30
F36
F35
F34
F33
F32
F31
F12
F11
F10
F9
F8
F7 F26
F27
F3
F4
F5
F6
F21
F22
F23
F24
F20
F25
F14
F13
F15
F16
F1
F2
F18
F17
F19
F28
F29
F30
F36
F35
F34
F33
F32
F31
F12
F11
F10
F9
F8
F7
JAG1533
1
23
F26
F27
F45

245
Fuses
FUSE SPECIFICATION CHART
Engine compartment fuse box
Fuse No Rating 
(amps)
Fuse 
Colour
Circuit
F1 - - Not used.
F2 - - Not used.
F3 20A Blue Emissions system (petrol only).
F4 20A Blue Emissions system (petrol only).
F5 40A Green Anti-lock brake pump.
F6 30A Pink Power wash pump.
F7 - - Not used.
F8 - - Not used.
F9 50A Red Engine management.
F10 - - Not used.
F11 - - Not used.
F12 50A Red Secondary air injection (petrol only).
F13 30A Pink Wipers.
F14 30A Pink Starter solenoid.
F15 40A Green Screen heater.
F16 40A Green Screen heater.
F17 80A Black Radiator fan. (V6 petrol only)
F18 60A Yellow Glow plugs (diesel only).
F19 - - Not used.
F20 15A Blue Horn.
F21 25A Clear Anti-lock brakes.
F22 15A Blue Cigar lighter.
F23 - - Not used.
F24 5A Tan Adaptive cruise control.
F25 10A Red Anti-lock brakes.
F26 10A Red Engine management. JaguarDrive selector. Transmission 
control module.
F27 5A Tan Diesel - Engine management.
F27 5A Tan Petrol - Secondary air injection.

Fuses
246
F28 - - Not used.
F29 - - Not used.
F30 - - Not used.
F31 - - Not used.
F32 - - Not used.
F33 - - Not used.
F34 - - Not used.
F35 5A Tan Air conditioning compressor clutch.
F36 15A Blue Engine management system (diesel only).
20A Blue Engine management system (V8 petrol only).
F37 15A Blue Ignition system (petrol only).
F38 5A Tan Power steering.
F39 5A Tan Headlamp levelling system.
F40 15A Blue Water pump (Supercharged vehicles only).
F41 5A Tan Diesel - Emissions system.
10A Red Petrol - Engine management system.
F42  30A Green Diesel - Engine management system. Ignition supply.
  10A Red Petrol - Engine management system. Ignition supply. Radiator 
fan.
F43  5A Tan Diesel - Fuel system.
10A Red Petrol - Engine management system. Emission control.
F44 5A Tan Engine management system (diesel only)
15A Blue Fuel injectors (petrol only).
F45 100A Blue Radiator fan (diesel and V8 petrol only).
Fuse No Rating 
(amps)
Fuse 
Colour
Circuit

247
Fuses
Passenger compartment fuse box
Fuse No Rating 
(amps)
Fuse 
Colour
Circuit
F1 - - Not used.
F2 - - Not used.
F3 20A Blue Driver's seat adjustment.
F4 20A Blue Driver's seat adjustment.
F5 - - Not used.
F6 - - Not used.
F7 - - Not used.
F8 20A Blue Front passenger's seat adjustment.
F9 20A Blue Front passenger's seat adjustment.
F10 20A Blue Left-hand rear door controls.
F11 20A Blue Right-hand rear door controls.
F12 - - Not used.
F13 10A Red Steering column adjust.
F14 - - Not used.
F15 - - Not used.
F16 5A Tan Sunblind.
F17 - - Not used.
F18 - - Not used.
F19 - - Not used.
F20 5A Tan Remote control receiver.
F21 5A Tan Foot brake.
F22 5A Tan Electric parking brake.
F23 5A Tan Driver's seat. Audio system. Auto headlamps. Upper centre 
console switches.
F24 10A Red Front passenger seat. Electric windows. Mirror adjustment.
F25 20A Yellow Driver's heated/climate seat
F26 15A Blue Trailer power connector. Road pricing system.
F27 20A Yellow Front passenger's heated/climate seat.
F28 15A Blue Auxiliary power socket.
F29 20A Yellow Keyless entry system.
F30 10A Red Air conditioning.

Fuses
248
Luggage compartment fuse box
F31 15A Blue Sunroof.
F32 5A Tan Jaguar Smart Key docking station.
F33 5A Tan Diagnostic connector.
F34 5A Tan Instrument pack.
F35 15A Blue Interior lamps.
F36 10A Red Suspension system.
Fuse No Rating 
(amps)
Fuse 
Colour
Circuit
Fuse No Rating 
(amps)
Fuse 
Colour
Circuit
F1 30A Pink Air blower.
F2 30A Pink Electric parking brake.
F3 - - Not used.
F4 - - Not used.
F5 - - Not used.
F6 - - Not used.
F7 30A Pink Heated rear screen.
F8 30A Pink Audio system (Premium audio only).
F9 50A Red RBD link.
F10 40A Green Rear electronic differential (e-Diff).
F11 - - Not used.
F12 - - Not used.
F13 - - Not used.
F14 5A Tan Telephone.
F15 10A Red TV. DVD. DAB radio.
F16 - - Not used.
F17 - - Not used.
F18 - - Not used.
F19 - - Not used.
F20 - - Not used.
F21 - - Not used.
F22 - - Not used.

249
Fuses
F23 - - Not used.
F24 - - Not used.
F25 25A Clear Fuel pump.
F26 15A Blue Audio system. Portable audio interface.
F27 10A Red Navigation. Voice recognition. Touch-screen.
F28 15A Blue Trailer power connector. Road pricing system.
F29 15A Blue Trailer power connector.
F30 25A Clear Driver’s door module.
F31 25A Clear Front passenger door module.
F32 - - Not used.
F33 5A Tan Tyre pressure monitoring system.
F34 - - Not used.
F35 10A Red Supplementary restraint system.
F36 10A Red Pedestrian protection system.
Fuse No Rating 
(amps)
Fuse 
Colour
Circuit

Emergency equipment
250
HAZARD WARNING FLASHERS
If the vehicle is stationary in an unsafe location, 
or may cause a hazard to other road users, 
switch on the hazard warning flashers. Press 
the switch to turn the hazard warning lamps 
on.
Note: Hazard warning lamps can be used when 
the ignition is on or off.
WARNING TRIANGLE
The warning triangle is located in the luggage 
compartment, attached to a luggage anchor 
point.
FIRST AID KIT
If the vehicle is equipped with a first aid kit, it is 
strapped to the side of the luggage 
compartment.
FIRE EXTINGUISHER
Dependent on market, if the vehicle is equipped 
with a fire extinguisher, it will either be located 
in the luggage compartment, or mounted to the 
front passenger seat.
E94710

251
Status after a collision
DRIVING AFTER A COLLISION
Before starting or driving
If the vehicle has been involved in an accident 
it should be checked thoroughly before 
attempting to start the engine or drive the 
vehicle.
Check for:-
•Fuel leaks.
•Fluid leaks.
•Battery damage.
•Damage to wiring.
•Damage to lights.
•Damage to steering, suspension, wheels 
or tyres.
•Sharp or protruding bodywork.
•Operation of doors and locks.
•Condition and operation of seat belts and 
SRS components.
•Activation of the pedestrian protection 
system.
•Condition of child seats and their 
mounting/attachment points.
Note: This list is not exhaustive.
Resetting the fuel cut-off
The fuel system cut-off forms part of the Safety 
and Restraint System (SRS) fitted to your 
vehicle. Following an impact, and depending on 
the severity, the fuel pump may be switched 
off.
1. Switch the ignition off, and wait for 10 
seconds.
2. Without pressing the brake pedal, press 
the engine START/STOP button, to switch 
the electrical circuits on. Wait for 30 
seconds.
3. Check the vehicle thoroughly for fuel leaks. 
If a leak is detected switch the ignition off 
immediately.
•The vehicle must not be started if a leak 
is present. Seek qualified advice, and 
have the vehicle recovered.
4. If no leaks are detected, start the engine.
WARNING
If the vehicle is involved in a collision 
it should be checked by a Dealer/
Authorised repairer, or suitably 
qualified personnel, before starting or driving.
WARNING
The fuel cut-off should never be reset 
if you can smell fuel, or a leak can be 
seen. Doing so can lead to a fire 
which may cause personal injury or death.

Status after a collision
252
When driving
When driving a vehicle which has been 
involved in a collision use caution and pay extra 
attention to the operation of the vehicle. If any 
changes in vehicle operation after the collision 
are noted when compared to it's operation 
before the collision, do not continue to drive 
the vehicle. Stop the vehicle as soon as it is 
safe to do so, and have the vehicle recovered.
Pay particular attention to changes in:-
•Steering.
•Braking.
•Unusual noises.
•Warning lights or messages displayed.
•Problems with electrical systems.
INSPECTING SAFETY SYSTEM 
COMPONENTS
Following a collision the seat belt and 
Supplementary Restraint System components 
should be inspected for damage and/or 
deformity. The inspection and any subsequent 
repair work should only be carried out by a 
Dealer/Authorised Repairer, or other suitably 
qualified personnel.
Components which require inspection 
include:-
•Seat belt webbing and mechanisms.
•Seat belt pre-tensioners.
•Airbag covers and modules.
•Seat frames and mounting points.
•Child seats.
•Child seat anchor points.
•Pedestrian protection system.
Note: This list is not exhaustive.
In addition to the physical items checked, the 
electronic control system and its associated 
wiring should also be checked thoroughly. This 
process will include a diagnostic check which 
can only be carried out by a Dealer/Authorised 
repairer or suitably qualified and equipped 
persons.
WARNING
It is not recommended that the 
vehicle be driven or used until all of 
the occupant protection systems 
have been checked.

253
Vehicle recovery
TOWING POINTS
Front and rear towing eyes and lashing points
The front and rear towing eyes are the only 
recommended lashing points on the vehicle.
Attaching the front towing eye
The front towing eye is included in the tool kit, 
located in the under-floor area of the luggage 
compartment. See TOOL KIT (page 224).
1. Press the lower edge of the towing eye 
cover in the front bumper to open, then 
pull from the aperture, allowing the cover 
to hang from its retaining strap. 
2. Locate the towing eye through the bumper 
and screw the towing eye 
counter-clockwise into its fixing, until 
secure.
E95301
1
2
WARNINGS
The towing eyes at the front and rear 
of the vehicle are designed for 
on-road recovery only. If they are 
used for any purpose other than those 
indicated, it may result in vehicle damage and 
serious injury.
Never use the towing eyes to tow a 
trailer, caravan etc. Doing so may 
result in vehicle damage and serious 
injury.
CAUTION
Only use the lashing points indicated, or 
over-tyre tie-downs, to secure the 
vehicle to the transporter or trailer. Use of any 
other position (e.g. lower control arms) may 
result in damage to the vehicle.

Vehicle recovery
254
TRANSPORTING THE VEHICLE
The recommended method for 
recovery/transportation of the vehicle, is on a 
transporter or trailer designed for that purpose. 
Ensure that transportation is carried out by 
suitably qualified persons, and that the vehicle 
is secured correctly. 
If the vehicle is being transported on a trailer or 
vehicle flat-bed transporter, the parking brake 
must be applied, the wheels are chocked and 
the Emergency Park Release (EPR) operated, 
to ensure that the transmission remains in N 
and does not automatically select P.
Emergency Park Release (EPR)
When recovering your vehicle, it is essential 
that the EPR is operated. EPR prevents the 
transmission from automatically selecting P, 
ensuring that the transmission remains in 
neutral (N). EPR is operated by a lever located 
behind a trim panel in the cubby box. Before 
activating the EPR, select P, apply the parking 
brake and turn the ignition off.
1. Open the twin cup holder lid.
2. Open the cubby box lid.
3. Using a flat-bladed screwdriver, lever the 
trim panel upwards (at the point indicated) 
to release and remove.
E95304
2
3
E96407
1

255
Vehicle recovery
4. Using a flat-bladed screwdriver, turn the 
locking device 90° counter-clockwise.
5. Apply the foot brake.
6. Use the strap to pull the EPR lever 
upwards, until it latches in the vertical 
position.
When EPR is activated, the JaguarDrive 
selector will remain in P, but the selector 
indicator and the gear display in the message 
centre will both flash N (if ignition is on), to 
indicate that EPR is active.
When vehicle transportation has been 
completed, EPR should be cancelled, to allow 
Park to be re-engaged.
Cancelling EPR
1. Using a flat-bladed screwdriver, release 
the latch (arrowed).
2. Return the EPR lever to its horizontal 
position. 
3. Turn the locking device 90° clockwise to 
secure.
4. Replace the trim panel and close the cubby 
box and twin cup holder lids.
E96408
4
5
6
2
1
E96409
3

Vehicle recovery
256
TOWING THE VEHICLE ON FOUR 
WHEELS
Note: The recommended recovery method is 
to raise all four wheels.
Towing procedure
1. The vehicle should be parked on firm level 
ground, with the parking brake on, and the 
gear selector in P (Park).
2. Secure the towing attachment from the 
recovery vehicle to the front towing eye. 
See TOWING POINTS (page 253).
3. Dock the Jaguar Smart Key and switch on 
the ignition. See GENERAL INFORMATION 
(page 132).
4. Apply the foot brake and release the 
parking brake.
5. With the foot brake still applied, activate 
the Emergency Park Release (EPR). 
See TRANSPORTING THE VEHICLE 
(page 254).
6. The vehicle can now be towed a maximum 
of 0.8 km (0.5 miles) at a maximum speed 
of 48 kmh (30 mph).
7. Upon arrival at the destination, ensure 
wherever possible that the vehicle is 
parked on firm level ground.
8. Lower the Emergency Park Release (EPR) 
lever, to cancel EPR and to re-engage P 
(Park).
9. Apply the parking brake.
10. Switch off the ignition and remove the 
Jaguar Smart Key.
11. Remove the towing attachment from the 
towing eye.
WARNINGS
Ensure that the remote control 
remains docked whilst the vehicle is 
being towed. Removing the remote 
control will engage the steering lock, which 
will prevent the vehicle from steering 
correctly.
If the engine cannot be run whilst the 
vehicle is being towed, there will be 
no power assistance for the steering 
or brakes. This will result in greater effort 
being required to steer or slow the vehicle, and 
greatly increased stopping distances.
CAUTIONS
The vehicle should only be towed in a 
forward direction with all four wheels on 
the ground. 
The vehicle should only be towed for a 
maximum of 0.8 km (0.5 miles), at a 
maximum speed of 48 km/h (30 mph). Towing 
for a greater distance or at a higher speed, may 
result in serious damage to the transmission.
CAUTION
Leaving the ignition switched on for 
extended periods will cause the battery 
to drain.
WARNING
Use extreme caution when detaching 
towing equipment. Vehicle movement 
is possible which can result in serious 
injuries.

257
Vehicle identification
VEHICLE IDENTIFICATION PLATE
The Vehicle Identification Number (VIN) and 
recommended maximum vehicle weights, are 
shown on a plate adhered to the hinge side of 
the left-hand (right-hand in China) front door. 
VIN should match the VIN recorded in the 
Service Portfolio, and the VIN visible through 
the windscreen.
ENGINE NUMBER
Note: To access the number, it may be 
necessary to remove the engine covers. For 
further assistance, contact your Dealer/
Authorised Repairer.
V6 Petrol engines
The number is located on the lower left-hand 
side of the cylinder block, near the bedplate. 
V8 Petrol engines
The number is located on the front of the 
right-hand cam cover. 
Diesel engines
The number is located on a metal label attached 
to the top of the left-hand camshaft cover
TRANSMISSION NUMBER
The transmission number is located on a label 
attached to the transmission casing.
VEHICLE IDENTIFICATION NUMBER 
(VIN)
As a deterrent to thieves, and to assist the 
Police, the VIN is stamped on a plate which is 
visible through the lowest part of the left side of 
the windscreen.
Note: If you need to communicate with a 
Dealer/Authorised repairer, you may be asked 
to quote the VIN number.
VEHICLE BUILD DATE PLATE
This is the calendar month and year in which 
the body and power train assemblies were 
conjoined and the vehicle was driven from the 
production line.
The vehicle built date is shown on the VIN 
plate. 
E95305
E95306

Technical specifications
258
ENGINE SPECIFICATIONS
Data V6 Diesel
Number of cylinders 6
Displacement 2998 cc
Compression ratio 16:1
Data V6 Petrol
Number of cylinders 6
Displacement 2967 cc
Compression ratio 10.5:1
Data V8 Normally Aspirated Petrol
Number of cylinders 8
Displacement 5000 cc
Compression ratio 11.5:1
Data V8 Supercharged Petrol
Number of cylinders 8
Displacement 5000 cc
Compression ratio 9.5:1

259
Technical specifications
WEIGHTS
Note: ¹The maximum permitted luggage compartment load can be exceeded, provided the 
requirements regarding the maximum permissible axle weights and tyre pressures are followed.
¹ The maximum permissible weight of the vehicle including passengers and load.
² The front and rear axle maximum loads can not be reached simultaneously as this will exceed the 
GVW limit.
³ The maximum permissible weight of the vehicle and braked trailer including their respective loads.
Variant Vehicle weight 
from
Front axle weight 
from
Rear axle weight 
from
Max. luggage 
compartment 
load¹
V6 Diesel 1820 kg
4012 lbs
1016 kg
2240 lbs
804 kg
1772 lbs
35 kg
77 lbs
 V6 Petrol 1679 kg
3702 lbs
878 kg
1936 lbs
801 kg
1766 lbs
35 kg
77 lbs
V8 Normally 
Aspirated Petrol
1780 kg
3924 lbs
961 kg
2119 lbs
819 kg
1806 lbs
35 kg
77 lbs
V8 Supercharged 
Petrol
1891 kg
4169 lbs
1022 kg
2253 lbs
869 kg
1916 lbs
35 kg
77 lbs
Variant Gross Vehicle 
Weight (GVW)¹
Maximum front 
axle load²
Maximum rear 
axle load²
Gross Train 
Weight³
V6 Diesel 2360 kg
5203 lbs
1200 kg
2646 lbs
1215 kg
2679 lbs
4210 kg
9281 lbs
V6 Petrol 2215 kg
4883 lbs
1090 kg
2403 lbs
1180 kg
2601 lbs
4065 kg
8962 lbs
V8 Normally 
Aspirated Petrol
2285 kg
5038 lbs
1130 kg
2491 lbs
1200 kg
2646 lbs
Not 
Applicable
V8 Supercharged 
Petrol
2345 kg
5170 lbs
1165 kg
2568 lbs
1200 kg
2646 lbs
Not 
Applicable

Technical specifications
260
DIMENSIONS
¹ Narrowest dimension applies to 20 inch wheels only.
E95307
1
2
3
4
5
6
7
Item Description mm/inches
1 Width 2053/80.5
2 Width with mirrors folded 1877/74.0
3 Track - front 1559/61.4
4 Maximum height 1460/57.5
5 Track - rear¹ 1571-1605/61.9-63.2
6 Wheelbase 2909/114.5
7 Length excluding number plate plinth 4961/195.3
- Turning circle (kerb to kerb) 11.5 m/37.7 ft.

261
Technical specifications
Wheel alignment data (China only)
Brake pedal travel (China only)
The brake pedal travel is set at the factory and 
is non-adjustable.
Wheel alignment - front +0.25°
Wheel alignment - rear +0.13°
Camber - front -0.30°
Camber - rear -0.69°
Castor - front  6.61°
Castor - rear non-adjustable

Type approvals
262
DECLARATIONS OF CONFORMITY
E97083

263
Type approvals
E97084

Type approvals
264
E97085

265
Type approvals
E97086

Type approvals
266
E97087

267
Type approvals
JAG1291

Audio introduction
268
RADIO RECEPTION
Some interference is to be expected from time 
to time during a journey. Occasionally, it may 
be necessary to retune the audio unit, to offset 
the effects of moving from one transmitter area 
to another.
While Radio Data System (RDS) automatic 
retuning helps to reduce the effects of signal 
changes, some manual retuning may still be 
required (especially for local stations) in areas 
of weak reception.
FM Signals travel in a straight line, so large 
obstacles, such as tall buildings, can shield the 
vehicle from the signal, causing distortion or 
loss of reception (known as dead spots).
Distortion can also occur if FM signals received 
directly from the transmitter, mix with signals 
deflected by obstructions such as mountains, 
hills and tall buildings. This is known as 
multi-path distortion.
Note: Although distortion, interference and 
lack of signal clarity are sometimes attributed 
to a fault in the radio, this is rarely the case.
JAG1328

269
Audio unit overview
AUDIO UNIT OVERVIEW
The Jaguar infotainment system contains 
AM/FM radio, compact disc player and portable 
audio interface. Digital (DAB) radio, six-disc CD 
player and TV are optional.
Audio controls
The audio unit is controlled by the 
touch-screen (1) and console buttons (2–8).
1. Touch-screen: See TOUCH-SCREEN 
(page 109).
2. LOAD: Press to load one or more CDs. 
See LOADING COMPACT DISCS 
(page 292).
3. Seek up: Short press to seek next station 
frequency up or next CD track. 
4. Settings button:
•Short press to display the audio Settings 
menu. 
•Long press (two seconds) to display the 
Vol presets settings menu.
5.  Audio system on/off and volume control:
•Press to switch the system on/off.
•Rotate to increase or decrease volume 
level. Any volume adjustment made in 
any mode will be memorised for that 
mode.
6. SOURCE: Press repeatedly to scroll 
through all audio sources: FM1, FM2, AM, 
DAB1, DAB2, DAB3, CD, Portable audio 
and TV.
7. Seek down: Short press to seek next 
station frequency down or previous CD 
track. 
8. Eject: Press to eject CD. See EJECTING 
COMPACT DISCS (page 294).
9. CD load and eject slot.
WARNING
Sustained exposure to high sound 
levels can damage your hearing.
Audio/TV
DAB radio
CD
AM/FM
12 : 26 pm
BBC R2  BBC R3 
BBC R4  BBC LDN BBC W&M
Mercia Galaxy 106 2
Radio 1
Settings
Autostore
TP TA PTY AF REG 3CH
FM2 89 0 BBC R2
Portable audio
TV
E93935
1
9
8
7
6
5
2
3
4

Audio unit overview
270
Steering wheel controls
1. Rotate up or down to increase or decrease 
volume. 
2. Rotate up or down and release repeatedly 
to scroll through preset radio stations or 
CD tracks. Rotate up and hold for two 
seconds to select next strong radio station 
or next loaded CD (if a six-disc system is 
fitted).
3. SOURCE: Press repeatedly to scroll 
through all audio sources.
4. Press to mute audio unit. This button is 
also used to dial, answer or end calls in 
phone mode and to start a Voice session.
Sound system overview
There are three versions of the sound system:
•The standard Jaguar sound system 
comprises a 140W system with AM/FM 
radio featuring EON, RDS, PTY, TA and 
in-dash CD player with automatic volume 
control, MP3 compatibility (six-disc 
system only) and 8 speakers
•The Jaguar 320W Premium Sound System 
system also includes a remote amplifier, 
upgraded speakers plus an additional 
subwoofer mounted in the rear of the 
vehicle.
•The Bowers & Wilkins 440W Surround 
Sound System has been developed in 
conjunction with Bowers & Wilkins™ and 
incorporates upgraded kevlar speakers, 
additional mid range speakers mounted in 
the front doors, an additional centre 
speaker mounted in the fascia and 
additional surround sound speakers to 
support Dolby Prologic II Surround 
Sound™.
CAUTIONS
Care must be taken to avoid spilling or 
splashing drinks onto the audio unit 
controls, speakers or touch-screen. In the 
event of such an occurrence, contact your 
Dealer/Authorised Repairer.
The audio unit may be damaged if 
unsuitable items, such as coins or credit 
cards, are inserted into the CD load slot.
E94043
1 2
4 3

271
Audio unit operation
ON/OFF CONTROL
The audio system can be used with the vehicle 
ignition on or off, but will switch off 
automatically when the ignition is switched off. 
To operate the audio system when the ignition 
has been switched off, press the On/off volume 
control.
The audio system can be switched on in one of 
two ways:
With the vehicle ignition on or off, press the 
on/off control on the console, or;
With the vehicle ignition on and the 
touch-screen active, select Audio/TV from the 
Home menu.
The touch-screen displays the current audio 
settings. The information displayed will depend 
on the mode selected, e.g. AM/FM radio.
VOLUME CONTROL
The volume of the audio output can be adjusted 
in one of two ways:
Rotate the audio on/off and volume control on 
the audio console, or;
Rotate the volume control on the steering 
wheel.
E94044
Home
Audio/TV
Climate
Phone
Navigation
Vehicle
External
ft Right
20 17
C C
15
C
.5 .5
AUDIO OFF
Valet
12 : 26 pm
E94045
WARNING
Sustained exposure to high sound 
levels can damage your hearing.
Home
Audio/TV
Climate
Phone
Navigation
Vehicle
External
Left Right
20 17
C C
15
C
.5 .5
DAB radio    DAB1
BBC 5Live Xtra
BBC National DAB
TA FM DAB i Subch. PL II
Valet
12 : 26 pm
E94046
E94085
E94086

Audio unit operation
272
While the volume is being adjusted, the volume 
level is displayed on the touch-screen display 
using a graduated bar. 
Volume settings
A number of functions have preset volume 
levels. You can adjust these settings on the Vol 
presets menu.
1. From the touch-screen Home menu, select 
Vehicle.
2. Select Syst. settings and then select Vol. 
presets.
3. Use the + and – icons to adjust the volume 
levels for the options available.
Automatic volume control (AVC)
This maintains radio volume at a level sufficient 
to overcome road noise, as vehicle speed 
increases or decreases.
On the Vol presets menu, select Low, Medium 
or High levels for AVC. 
The default AVC setting is Medium.
AUDIO CONTROL
Sound settings
On the main AM/FM screen, select Settings.
Select Sound to display the sound quality 
settings menu. 
Note: The list of settings available depends on 
the sound system fitted to the vehicle. 
See AUDIO UNIT OVERVIEW (page 269).
Home
Audio
Climate
Phone
Navigation
Vehicle
Left Right
TP TA PTY
Valet
12 : 26 pm
Audio
External
15
C
E94087
Voice
Vehicle
Display set
Preferences
Button audio
Parking aid
Vol. presets
AVC Low Medium High
12 : 26 pm
Navigation
Phone
E94052
Audio/TV
DAB radio
CD
AM/FM
12 : 26 pm
BBC R2  BBC R3 
BBC R4  BBC LDN BBC W&M
Mercia Galaxy 106.2
Radio 1
Settings
Aut
TP TA PTY AF REG 3CH
FM2 89.0 BBC R2
Portable audio
TV
E94055

273
Audio unit operation
Standard and Premium sound systems
To increase or decrease Bass and Treble levels, 
select + or –.
Balance and Fade levels can be optimised for a 
selected seating position, by selecting L (left) 
or R (right) adjustment and R (rear) or F (front) 
adjustment.
On vehicles fitted with a Subwoofer, to adjust 
the Subwoofer volume level up or down, select 
Sub + or –.
Bowers & Wilkins™ surround sound 
system
Bass, Treble and Sub are adjusted as for the 
Premium system.
Select Stereo, 3Ch (3-channel surround 
sound) or DPLII (Dolby Prologic II surround 
sound™), to choose the sound mode you 
require. Your selection will be displayed in the 
information panel at the top of the display.
Note: DPLII is not available for AM/FM radio 
broadcasts.
Note: The settings available for adjustment 
depend on the sound mode currently selected 
(Stereo, 3Ch or DPLII).
From the Options menu, select Bal/Fade.
Select the four directional icons as required to 
adjust the balance and fade.
Select DPLII and on the Settings menu, you 
can scroll down to the Centre and Surround 
settings. Select the + or – buttons to adjust 
these settings as required.
Audio
Options
PTY
Sound
12 : 26 pm
Settings
Treble
Bass
Balance
Fade
L
R
R
F
E94056
Sub
Audio
Bal/Fade
Options
Sound
12 : 26 pm
Settings
PTY
E94274
Audio/TV
Bal/Fade
Options
Sound
12 : 26 pm
Settings
Treble
Sub
PTY
Bass
Stereo 3 Ch. DPLII
Audio/TV
Bal/Fade
Options
Sound
12 : 26 pm
Settings
Surround
PTY
Centre
E94671

Audio unit operation
274
WAVEBAND BUTTON
Select AM/FM to cycle the radio through FM1, 
FM2 and AM (both Medium and Long 
wavebands). 
Your waveband selection will be shown in the 
display panel. 
Note: If a CD is being played, select AM/FM to 
start radio operation.
AUTOSTORE CONTROL
The Autostore function finds and stores up to 
nine strong stations on a selected waveband to 
presets 1 to 9. This is a useful way to locate and 
store stations with a good signal when 
travelling in an unfamiliar area.
If no preset stations are currently stored, select 
Autostore to start the process for storing 
presets. 
If preset stations are already stored, a short 
touch will recall those stations and tune to the 
previous station, whereas a long touch of 
Autostore will start a new autostore process.
The radio will be briefly muted while it searches 
the selected waveband (AM or FM) for up to 
nine strong stations. 
When the process is complete, the radio will 
default to preset 1 and audio volume will be 
restored. 
If stations cannot be located for all the preset 
positions, those that are found will be allocated 
positions commencing with number 1, leaving 
the remainder empty.
Note: The display will show — for empty 
presets.
When stations have been stored, select 
Autostore to switch between the 
automatically-stored stations and the 
manually-stored stations.
Audio/TV
DAB radio
CD
AM/FM
12 : 26 pm
BBC R2  BBC R3 
BBC R4  BBC LDN BBC W&M
Mercia Galaxy 106.2
Radio 1
Settings
Autostore
P TA PTY AF REG 3CH
FM2 89.0 BBC R2
Portable audio
TV
E94049
FM2 AMFM1
Audio/TV
DAB radio
CD
AM/FM
12 : 26 pm
BBC R   C R3 
BBC R4  BBC LDN BBC W&M
Mercia Galaxy 106.2
Radio 1
Settings
Autostore
TP TA PTY AF REG 3CH
FM2 89.0 BBC R2
Portable audio
TV
E94050

275
Audio unit operation
STATION PRESET BUTTONS
Tuning stations
The seek buttons on the audio console and on 
the touch-screen perform the same function.
Short touch: In AM or FM mode, selecting and 
releasing the seek buttons will activate radio 
tuning through the frequency range, up or 
down, to the next available strong station. 
The touch-screen displays Seek on the upper 
display until a station has been found, and will 
then display the station name during broadcast 
(if available).
Long touch (two seconds): In AM or FM mode, 
for as long as the seek button is being touched, 
the frequencies will be scanned either up or 
down. If you then release the button, the 
touch-screen displays Manual for a short time 
and repeated short touches of the button will 
manually change the frequency.
Storing stations as presets
On each waveband, nine stations can be 
memorised using the touch-screen keypad. 
After tuning to a station, touch and hold (two 
seconds) the selected preset number. An 
audible signal indicates that the station is 
stored. If RDS information is broadcast, the 
station name will replace the preset number.
Briefly touch the preset key to recall the stored 
station. 
Rotate and release the steering wheel selector 
control repeatedly to cycle through all the 
preset stations.
Audio/TV
DAB radio
CD
AM/FM
12 : 26 pm
BBC R2   R3 
BBC R4  BBC LDN BBC W&M
Mercia Galaxy 106.2
adio 1
Settings
Autostore
TP TA PTY AF REG 3CH
FM2 89.0 Seek
Portable audio
TV
E94063
Seek
Audio/TV
DAB radio
CD
AM/FM
12 : 26 pm
BBC R2   R3 
BBC R4  BBC LDN BBC W&M
Mercia Galaxy 106.2
dio 1
Settings
Autostore
TP TA PTY AF REG 3CH
FM2 89.0 Manual
Portable audio
TV
E94064
Manual
Fox FM
Audio/TV
DAB radio
CD
AM/FM
12 : 26 pm
C R2  BBC R3 
BBC R4  BBC LDN BBC W&M
Mercia Gala y 106.2
Radio 
Settings
Autostore
TP TA PTY AF REG 3CH
FM2 89.0 BBC R2
Portable audio
TV
E94051

Audio unit operation
276
TRAFFIC INFORMATION CONTROL
With the Traffic Announcements (TA) option 
on, local traffic announcements will interrupt 
normal broadcasts or playback.
If audio volume is set at a minimum, then the 
volume will increase for the announcement, 
returning to the previous volume setting 
afterwards. 
When broadcasting an announcement, a traffic 
announcement pop-up is displayed.
When enabled, TA will appear at the top of the 
touch-screen. The audio unit then checks that 
the station has Radio Data System (RDS) 
Traffic Programme (TP). If it is not available on 
the current station, the display will not show 
TP. If TP is not displayed with TA after 45 
seconds have elapsed, then the audio unit will 
search for a new TP station.
To change this setting, on the AM/FM screen, 
select Settings.
Select Options and then switch the Traffic 
option On or Off.
Note: You can switch the Traffic option on and 
off on the Settings menu for each individual 
source.
Skipping traffic announcements
Traffic announcements (TA) can be skipped 
during broadcast by selecting Skip, which will 
cancel the pop-up and the announcement. You 
will be returned to your selected station. 
Note: Selecting Skip will not switch off TA 
permanently and it will remain ready for the 
next interrupt.
Select Traffic off to switch TA off completely 
(the TA indicator will clear from the display). 
Selecting anywhere on the pop-up screen will 
cancel the pop-up, but the traffic 
announcement will continue to be broadcast.
Note: TA relies on the broadcast information 
from local radio stations and may be better in 
some locations than others.
Audio/TV
DAB radio
CD
AM/FM
12 : 26 pm
BBC R2  BBC R3 
BBC R4  BBC LDN BBC W&M
Mercia Galaxy 106.2
Radio 1
Settings
Au
TP TA PTY AF REG 3CH
FM2 89.0 BBC R2
Portable audio
TV
E94055
Audio/TV
Options
PTY
Sound
12 : 26 pm
Settings
Traffic
OnOff
Off
OnOff
Dist. LocalOff
OnOffFM text 
EON
REG
AF
E94053
Home
Audio
Climate
Phone
Navigation
Vehicle
Valet
12 : 26 pm
External
15
C
Traffic announcement
SkipTraffic off
BBC
95.6
WM
FM1
E94059

277
Audio unit menus
RADIO DATA SYSTEM (RDS)
Options menu overview
Your radio is equipped with Radio Data System 
(RDS), which enables the audio unit to receive 
additional information with normal FM radio 
signals. 
When tuned to certain stations on the FM 
waveband, the radio decodes signals 
transmitted to provide the functions listed 
below (dependent upon the service available 
from the broadcasters).
Note: Not all FM radio stations broadcast RDS 
information. If you are currently tuned to a 
non-RDS station, then RDS features will be 
unavailable.
Select Settings to display the Settings menu, 
then select Options to display the list of RDS 
options.
Traffic
RDS provides local travel information (where 
broadcast). See TRAFFIC INFORMATION 
CONTROL (page 276).
Regionalisation (REG)
As you drive into different radio reception 
areas, RDS automatically retunes the radio to 
the strongest signal. The Regional (REG) 
option stops the system from tuning to another 
local radio station with a stronger signal.
From the Options menu, you can switch the 
REG option On or Off. With REG on, your 
selected local radio station will remain tuned 
even if reception levels drop.
Alternative frequency (AF)
Some radio stations broadcast on different 
frequencies in different parts of the country. If 
the selected station signal weakens, the radio 
will automatically re-tune to a stronger 
alternative frequency (AF), if one is available 
(this feature is particularly useful on long 
journeys where the vehicle travels through 
different transmitter areas serving the same 
radio station). 
From the Options menu, you can switch AF On 
or Off.
Enhanced other networks (EON)
The Enhanced Other Network (EON) option will 
tune to any radio station on the same station 
network as the one that you are listening to, if 
the signal becomes weak. 
Either local (Local) or distant (Dist.) networks 
can be enabled on the Options menu, or the 
option can be switched Off.
Audio/TV
Options
PTY
Sound
12 : 26 pm
Settings
Traffic
OnOff
Off
OnOff
Dist. LocalOff
OnOffFM text 
EON
REG
AF
E94053

Audio unit menus
278
FM text
FM text displays any text messages sent out by 
the current station.
Select the arrow icon to display a pop-up 
screen showing the complete text message.
Select Cancel to remove the pop-up screen.
PRIORITY PROGRAMME TYPE (PTY)
PTY overview
The Programme Type (PTY) feature has two 
functions:
•To set a desired PTY category for the 
current station.
•To search for a station in a selected PTY 
category and then retune to that station (if 
found).
Select Settings to display the Settings menu.
Select PTY to display a list of available PTY 
categories.
Selecting PTY categories
Select the arrow icon to scroll through the list 
of available PTY categories.
Select a PTY category to select it in the list; 
touch the category again to clear the selection. 
If you want to deselect all PTY categories, 
select Clear all.
Note: If no PTY categories are selected, then 
the text PTY will disappear from the top of the 
touch-screen display.
While tuned to a station, touch the required 
PTY category (or categories), then touch the 
previous screen arrow. The audio unit will now 
wait for RDS information to indicate that a 
station has changed its programme type.
If the current station is already in the selected 
PTY category and reception is lost, then the 
radio will attempt to find another station with 
the correct PTY category.
Note: PTY is active in FM radio, CD, TV and 
Portable audio modes only.
Audio/TV
DAB radio
CD
AM/FM
12 : 26 pm
BBC R2  BBC R3 
BBC R4  BBC LDN BBC W&M
Mercia Galaxy 106.2
Radio 1
Settings
utostore
TP TA PT AF REG 3CH
FM2 89. BBC R2
Portable audio
TV
Text sent by station
E94057
Text sent by station
Audio/TV
DAB radio
CD
AM/FM
12 : 26 pm
TP TA PTY AF REG 3CH
FM2 89.0 BBC R2
Portable audio
TV
FM text
The latest news headlines from BBC Radio 2.
Valet
E94058
Audio
Options
PTY
Sound
12 : 26 pm
Settings
Clear all
PTY
search
Education
News
Current affairs
Information
Sport
E94088

279
Audio unit menus
PTY alarm (where broadcast)
The Alarm option in the PTY menu will alert 
you to a crisis of national or international 
importance. Any radio broadcast or other audio 
playback will be interrupted. When such a 
broadcast is made, the word ALARM will be 
displayed on the touch-screen. The default 
setting is On.
PTY search
If you touch a PTY category and then select 
PTY search, the audio unit will search for and 
then retune to an available station belonging 
that category. If no station is found in that 
category, then NO PTY is displayed and you 
will return to the current station.
While PTY is displayed (for ten seconds 
following a search), a search of PTY categories 
can be performed using the Seek buttons.
Audio
Options
PTY
Sound
12 : 26 pm
Settings
Alarm
National music
Oldies music
Folk music
Documentary
Clear all
PTY
search
E94062

Digital audio broadcasting
280
GENERAL INFORMATION
Digital radio reception
DAB radio is very different from normal AM/FM 
radio in both operation and sound quality. The 
DAB network is designed to provide near CD 
quality from radio broadcasts. In most 
locations DAB signals are available without 
hiss, crackle, pop or interference, and no 
fading or overlap. 
DAB radio can significantly increase the 
number of radio channels/stations available. 
The DAB signals are transmitted to most major 
cities, towns and motorway networks. 
Radio signals travel in a straight line so large 
obstacles, such as tall buildings, can shield the 
vehicle from the signal, causing temporary loss 
of reception (known as dead spots). 
Digital radio is transmitted from regional 
transmitters. Some local channels are not 
available outside the range of their 
transmitters. If you want to listen to local 
channels as you move around the country, use 
the auto-tune function (AUTO) to build new 
channel lists. For more information on the 
auto-tune function. See CHANNEL 
AUTOMATIC TUNING (page 284).
Note: If any auxiliary electrical equipment is 
connected to the vehicle, then this may reduce 
the DAB radio sound quality.
E94094

281
Digital audio broadcasting
Ensembles
Unlike AM/FM radio, DAB transmits several 
channels/stations on a single frequency. A 
group of channels is known as an ensemble. 
Ensembles may consist of six or more 
channels (national or local). Some may have 
sub-channels offering several listening 
options. 
When scrolling through the channels the 
sub-channels will appear in order, and can be 
selected in the same way as the channels. If 
reception is lost when the vehicle is in motion 
select AUTO to build a new list of ensembles. 
The table below provides an example of the 
ensembles, channels and sub-channels 
available in one location.
Ensemble Channel/station Sub-channel 1 Sub-channel 2
First ensemble Channel/station 1
Channel/station 2 Sub-channel
Channel/station 3
Channel/station 4
Channel/station 5
Channel/station 6 Sub-channel Sub-channel
Channel/station 7
Channel/station 8
Channel/station 9
Second ensemble Channel/station 1
Channel/station 2
Channel/station 3
Channel/station 4
Channel/station 5
Channel/station 6
Third ensemble Channel/station 1
Channel/station 2
Channel/station 3
Channel/station 4

Digital audio broadcasting
282
AUDIO CONTROLS
1. Touch-screen. See TOUCH-SCREEN 
(page 109).
2. Seek up.
•Short press to find the next channel.
•Long press (two seconds) to find next 
available ensemble.
3. Settings:
•Short press to display the audio Settings 
menu. 
•Long press (two seconds) to display the 
Vol presets menu.
4. On/off and volume control.
5. SOURCE button.
•Press repeatedly to select the next 
available audio source FM1, FM2, AM, 
DAB1, DAB2, DAB3, iPod, USB, 
Auxiliary, TV.
6. Seek down.
•Short press to find previous channel.
•Long press (two seconds) to find 
previous available ensemble.
Steering wheel controls
1. Rotate up or down to increase or decrease 
the audio volume. 
2. Rotate and release to scroll through 
channels. Rotate and hold for two seconds 
to select next available digital ensemble.
3. Press the SOURCE button repeatedly to 
scroll through the available audio sources 
FM1, FM2, AM, DAB1, DAB2, DAB3, CD, 
iPod, USB, Auxiliary input and TV.
4. Press to mute the audio unit. 
Audio/TV
DAB radio
CD
AM/FM
12 : 26 pm
BBC R2  Viking
Trent Century BBC Leic
Radio 1
Settings
DAB search
TA-FM DAB-i L nk DPL I
DAB1 BBC Radio2
Portab e audio
TV
BBC National DAB
E94503
1
6
5
4
2
3
E94043
1 2
4 3

283
Digital audio broadcasting
DISPLAY OPTIONS
Touch-screen information panel
1. DAB band indicator.
2. TA-FM is displayed if the FM traffic option 
is enabled. See SETTINGS (page 288).
3. The arrow icon indicates that subchannels 
are available under the current channel. 
SubCh is displayed if a subchannel is 
tuned to.
4. Link is displayed if the Link DAB option is 
enabled. See SETTINGS (page 288).
5. Dolby Prologic II surround sound 
indicator.
6. Channel name.
7. DAB-i indicates that DAB Announcements 
are enabled.
Note: The display can also show PTY or 
Ensemble information if you have selected one 
of these options under DAB text on the Settings 
menu. See SETTINGS (page 288).
DAB radio text
Many digital channels transmit additional text 
(DLS, Dynamic Label Segment) to accompany 
a broadcast. For safety reasons, this text does 
not scroll across the screen.
 The first 16 characters of text are displayed 
(1). If you want to read the full text, you must 
select the additional text button (2).
The DAB radio text pop-up screen displays all 
128 characters of text. This text may change 
periodically, if the broadcaster chooses to do 
so. 
To remove the pop-up screen, briefly touch it.
Audio/TV
DAB radio
CD
AM/FM
12 : 26 pm
BBC R2  Viking
Trent Century BBC Leic
Radio 1
Settings
DAB search
TA FM DAB i Link DPLII
DAB1 BBC Radio2
Portable audio
TV
DAB radio text
BBC National DAB
Se
TA-FM DAB-i Link DPLII
DAB1 BBC Radio2
BBC National DAB
E94179
1 2 3 4 567
Audio/TV
DAB radio
CD
AM/FM
12 : 26 pm
BBC R2  Vikin
Trent ury BBC 
Radio 1
Settings
DAB search
TA FM DAB i L nk DPLII
DAB1 BBC Radio2
Portable audio
TV
DAB radio text
BBC National DAB
E94180
21
Audio/TV
DAB radio
CD
AM/FM
12 : 26 pm
TA FM DAB i Link DPLII
DAB1 BBC Radio2
Portable audio
TV
DAB radio text
The latest news headlines from BBC Radio 2.
E94181

Digital audio broadcasting
284
CHANNEL AUTOMATIC TUNING
Note: When you first use the DAB radio, you 
will be unable to listen to any digital broadcasts 
until you have completed the auto-tune 
process.
In DAB mode, select DAB search, then select 
Auto-tune to start automatic tuning and build a 
list of all the digital ensembles and channels 
that are available in your region.
While automatic tuning is running, the 
message Auto-tuning will be displayed on the 
touch-screen, along with a percentage 
complete. When tuning is complete, the first 
channel found will start playing.
Note: The auto-tune process can take longer 
than one minute to complete.
To update the list of local channels when you 
move to a different region, select Auto-tune 
again. You can also add local channels as 
presets to minimise the need for auto-tuning as 
you move location. 
CHANNEL OPTIONS
To receive digital broadcasts, short press the 
SOURCE button repeatedly to toggle between 
the available sources, or briefly touch the DAB 
Radio button on the touch-screen. See AUDIO 
CONTROLS (page 282).
Choose DAB1, DAB2 or DAB3 to receive digital 
radio broadcasts. The three DAB sources 
enable you to preset up to 18 different 
channels. See PRESET BUTTONS (page 287).
The channel that was last played on your 
chosen digital source will be selected for 
playback automatically.
Note: If this is the first time you have used DAB 
radio, you must first build a list of available 
channels using the auto-tune function. 
See CHANNEL AUTOMATIC TUNING 
(page 284).
Digital radio channels are organised into 
groups called ensembles. Some channels may 
sometimes provide one or more subchannels.
Audio/TV
DAB radio
CD
AM/FM
12 : 26 pm
BBC R2  Vik
Trent Century BBC Leic
Radio 1
Settings
DAB search
TA FM DAB i L nk DPL I
DAB1 BBC Radio2
Portable audio
TV
DAB radio text
BBC National DAB
12 : 26 pm
Now Middlesbrough
BBC National DAB
Digital1 Network
EMAP Leeds
MXR
Audio/TV
TA FM DAB i L nk DPL I
DAB1 BBC Radio2
Channel list
Subchannel list
Ensemble list
PTY
Channel data
Auto-tune
E94182
E94185

285
Digital audio broadcasting
If the digital radio signal is lost or the system 
takes time to tune in to a channel, then the 
display screen will show the message No 
reception.
The problem may be caused by a temporary 
problem, such as buildings or trees blocking 
the signal, or it might be a problem with the 
broadcast service operator. Try tuning to an 
alternative channel and return later to see if the 
problem has been resolved. If you are unable to 
tune to any other channels, switch off the audio 
unit and then try again.
Finding a channel
Briefly touch one of the channel seek buttons to 
select the next available digital channel. The 
seek up button selects the next channel, the 
seek down button selects the previous channel. 
Note: If the next or previous channel is in a 
different ensemble, then there will be a pause 
before the channel is located. The message 
Searching... is displayed on the screen.
On the touch-screen, if channels have been 
preset, select one of the six preset buttons to 
start playing that channel. If no channel has 
been preset, the button will display ---.
Finding a subchannel
If subchannels are available under the current 
channel, the subchannel arrow icon (1) is 
displayed at the top of the touch-screen and the 
Subchannel button is enabled. 
To access the subchannels, select the 
downward-pointing arrow (2). Select the seek 
buttons (3) to find the next/previous 
subchannel.
To return to the channel tier, select the 
upward-pointing arrow.
Note: When you select and play a subchannel, 
the subchannel icon is replaced by SubCh.
Note: You cannot store a subchannel as a 
preset.
Note: If you select the preset button for the 
channel containing the subchannel you are 
currently playing, you will be returned to the 
channel.
Audio/TV
DAB radio
CD
AM/FM
12 : 26 pm
BBC R2  Viking
Trent Century BBC Leic
Radio 1
Settings
DAB search
TA FM L nk DPLII
DAB1 No reception
Portable audio
TV
E94186
TA-FM Link DPLII
DAB1 No reception
Audio/TV
DAB radio
CD
AM/FM
12 : 26 pm
BBC R   king
Trent Century BBC Leic
io 1
Settings
DAB search
TA FM Link DPLII
DAB1 BBC Radio2
Portable audio
TV
DAB radio text
BBC National DAB
E94187
Audio/TV
DAB rad
CD
AM/FM
12 : 26 pm
 R2  Viking
Trent Century BBC Leic
Radi  
Settings
DAB search
TA FM DAB Link DPLII
DAB1  Radio2
Portable audio
TV
BBC N  DAB
E94188
2
3
1

Digital audio broadcasting
286
Finding an ensemble
Touch and hold (two seconds) the seek 
buttons to find the next or previous ensemble. 
See AUDIO CONTROLS (page 282).
After a few seconds pause, the first channel in 
the ensemble found will start playing.
DAB search
The DAB search menu enables you to view lists 
of available ensembles, channels and 
subchannels. You can also perform searches 
based on programme type (PTY).
Select DAB search to display the DAB search 
menu.
Auto-tune
Select Auto-tune to build a list of available 
ensembles and channels for your current 
location. See CHANNEL AUTOMATIC TUNING 
(page 284).
Ensemble list
Select Ensemble list to display a list of all 
available ensembles. Select an ensemble name 
in the list to display a list of channels in that 
ensemble. Select a channel name to tune that 
channel.
Channel list
Select Channel list to display a complete list of 
all channels in all available ensembles. Select a 
channel name to tune that channel.
Subchannel list
Select Subchannel list to display a list of any 
subchannels available for the currently tuned 
channel. If no subchannels are currently 
available, then the Subchannel list option is 
disabled. If the maximum five subchannels are 
available, then use the arrows to scroll through 
the list.
PTY 
Channels are categorised by the broadcaster as 
belonging to a programme type (PTY) 
category. You can display a list of channels 
organised according to their PTY category.
Select PTY to display a list of PTY categories 
that contain channels. Select a PTY category to 
display a list of channels in that category. 
Select a channel name to play that channel. 
Briefly touch one of the seek buttons 
repeatedly during the first ten seconds of 
broadcast, to cycle through all channels 
contained in the PTY category that you chose. 
Stop touching the seek button when you have 
found a channel you want.
Channel data
Select Channel data to display technical data 
relating to the currently-tuned channel. The 
data listed is as follows: Channel name, 
Ensemble name, Bit rate (kbits/s) and Audio 
level.
12 : 26 pm
Now Middlesbrough
BBC National DAB
Digital1 Network
EMAP Leeds
MXR
Audio/TV
TA FM DAB i Link DPLII
DAB1 BBC Radio2
Channel list
Subchannel list
Ensemble list
PTY
Channel data
Auto-tune
E94189

287
Digital audio broadcasting
PRESET BUTTONS
Storing channels as presets
Store up to eighteen digital channels (six each 
on DAB1, DAB2 and DAB3) using the 
numbered preset keys. Follow the procedure 
below to store channels as presets.
1. Search for and start playing the channel 
you want to preset.
2. Touch and hold (two seconds) the preset 
button on which you want to store the 
current channel. Audio output is muted for 
a further two seconds while the channel is 
stored and a confirmation message is 
displayed.
3. Repeat steps 1 and 2 for each channel that 
you want to store as a preset.
Note: You cannot store a subchannel as a 
preset. If you try to store a subchannel, you will 
store the channel to which the subchannel 
belongs.
Recalling a preset channel
Make sure that you have selected the 
appropriate digital source (DAB1, DAB2 or 
DAB3) and then briefly touch the preset button 
you require. The channel you have selected will 
start to play automatically.
Note: If you try to recall a channel that has 
previously been stored as a preset, but is now 
unavailable or invalid, the message No channel 
found is displayed. You must choose another 
channel.
Audio/TV
DAB radio
CD
AM/FM
12 : 26 pm
BBC R2  Viking
Trent ury BBC Leic
Radio 1
Settings
DAB search
TA FM DAB i Link DPLII
DAB1 BBC Radio2
Portable audio
TV
DAB radio text
BBC National DAB
E94183
Audio/TV
DAB radio
CD
AM/FM
12 : 26 pm
BBC R2  Viking
Trent ntury BBC Leic
Radio 1
Settings
DAB search
TA FM DAB i L nk DPLII
DAB1 BBC Radio1
Portable audio
TV
DAB radio text
BBC National DAB
E94184
Home
Audio/TV
Climate
Phone
Navigation
Vehicle
Valet
12 : 26 pm
Audio
Seek
No channel found
Preset 3
DAB 1
TA-FM DAB-i
E94487

Digital audio broadcasting
288
SETTINGS
In DAB mode, select Settings.
Select Options. 
Note: If Settings is selected once, but no 
action is taken for a further ten seconds, the 
system will exit the menu automatically.
Announcements
You can select up to four types of 
announcement from a list of eleven, for 
example, News, Area/Weather, Traffic and 
Alarm. 
When a DAB announcement is broadcast, it will 
interrupt normal play for the duration of the 
announcement.
Note: The Alarm announcement type, 
broadcasts information concerning crises of 
national or international importance.
To display the full list of announcement types, 
touch Select. 
Select an announcement type to enable it, 
select it again to disable it. If you want to clear 
all enabled types, select Clear all. To scroll 
through the list, select the arrow buttons.
Note: If you have already selected four 
announcement types, you will be unable to 
select further types.
Audio/TV
DAB radio
CD
AM/FM
12 : 26 pm
BBC R2  Viking
Trent Century BBC Leic
Radio 1
Settings
 search
TA FM DAB i Link DPLII
DAB1 BBC Radio2
Portable audio
TV
DAB radio text
BBC National DAB
E94190
Audio/TV
Bal/Fade
Options
Sound
12 : 26 pm
Settings
Announcements
OnOff
OnOff
Ensemble
PTYOffDAB text
Link DAB
FM traffic
PTY
SelectClear all
E94191
Audio/TV
Bal/Fade
Options
Sound
12 : 26 pm
Settings
Announcements
OnOff
OnOff
Ensemble
PTYOffDAB text
Link DAB
FM traffic
PTY
SelectClear all
E94192
Audio/TV
12 : 26 pm
Settings
News
Alarm
Traffic
Transport flash
Warning services
Clear all
Select up to
four options
E94193

289
Digital audio broadcasting
FM traffic
The FM traffic option detects the presence of 
local traffic announcements on FM stations. As 
soon as an announcement is received, radio 
reception or CD play will be interrupted. At the 
end of the announcement, radio or CD play will 
resume.
Select On or Off to enable or disable the FM 
traffic option. 
Note: The audio unit switches to an FM 
broadcast for the duration of the 
announcement, so there may be a temporary 
loss of sound quality.
Link DAB
Regional ensembles containing a list of local 
digital channels are broadcast by a variety of 
regional providers. 
A channel in two different regional ensembles 
will share an identification if broadcast by the 
same provider. If channels are being broadcast 
by different suppliers, then they will not share 
the same identification. 
If you move from one region to another and 
Link DAB is enabled, the DAB radio will attempt 
to retune to a channel with the same 
identification in a different ensemble. 
If the signal strength for a local channel falls 
below an acceptable level, the audio unit will 
automatically search other available ensembles 
for another channel with the same 
identification. 
If an alternative channel is found in another 
ensemble that is also in your current channel 
list, then the new channel is tuned 
automatically after a few seconds. If a channel 
is not found after a few seconds, then No 
reception is displayed on the screen. 
The word Link is displayed at the top of the 
touchscreen to indicate that Link DAB is 
enabled.
Audio/TV
Bal/Fade
Options
Sound
12 : 26 pm
Settings
Announcements
OnOff
On
Ensemble
PTYOffDAB text
Link D
FM traffic
PTY
SelectClear all
E94194
Audio/TV
Bal/Fade
Options
Sound
12 : 26 pm
Settings
Announcements
OnOff
OnOff
Ense
TYDAB te
Link DAB
FM traffic
PTY
SelectClear all
E94195

Digital audio broadcasting
290
DAB text
The DAB text option controls the type of 
information that is displayed on the screen 
when a channel or subchannel is playing.
•Select Ensemble to display the name of 
the ensemble to which the current channel 
belongs.
•Select PTY to display the name of the 
programme type to which the current 
channel belongs.
•Select Off to display only the channel 
name.
DAB country
If you move the vehicle to a different country, 
you can change DAB Country options to make 
sure that you receive the best possible 
reception and sound quality. 
Note: If you have already selected a DAB 
format, then the DAB country option is 
disabled.
Select Change to display a list of countries 
where DAB services are available. Select the 
country name to enable it. 
Note: When you change the DAB country, the 
audio unit will automatically start auto-tuning. 
If you Cancel the auto-tune, the country setting 
will remain changed but you may not have 
access to all available ensembles for that 
country. See CHANNEL AUTOMATIC TUNING 
(page 284).
Note: This option is disabled when the vehicle 
is moving
Audio/TV
Bal/Fade
Options
Sound
12 : 26 pm
Settings
Announcements
OnOff
OnOff
Ensemble
PTYOffDAB text
Link DAB
FM traffic
PTY
SelectClear all
E94196
Audio/TV
Bal/Fade
Options
Sound
12 : 26 pm
Settings
Announcements
OnOff
OnOff
Ensemble
PTYOff  xt
Link DAB
FM traffic
PTY
SelectClear all
Audio/TV
Bal/Fade
Options
Sound
12 : 26 pm
Settings
Change
PTY
Change
DAB Country:
Spain
DAB Format:
Band III
Audio/TV
12 : 26 pm
Settings
Turkey
Spain
Sweden
Switzerland
Taiwan
Format list
E94197

291
Digital audio broadcasting
DAB format
Different regions or countries may use different 
digital bands to broadcast DAB channels. If you 
know the band(s) required, then you can 
choose from the Band selection list. 
Select Change to display a list of formats. The 
available bands are: 
•L Band
•Band III
•L Band & Band III
•L Band Canada
•L Band Can & Band III
Note: When you change the DAB format, the 
audio unit will automatically start auto-tuning. 
If you Cancel the auto-tune, the format setting 
will stay changed but you may not have access 
to all available ensembles for that format. 
See CHANNEL AUTOMATIC TUNING 
(page 284).
Note: This option is disabled when the vehicle 
is moving
Audio/TV
12 : 26 pm
Settings
L Band Canada and Band III
Band III
Band L
Band III and Band L
L Band Canada
Country list
Audio/TV
12 : 26 pm
Settings
Turkey
Spain
Sweden
Switzerland
Taiwan
Format list
E94198

Compact disc player
292
COMPACT DISC COMPATABILITY The following CD formats may cause the CD 
player to malfunction. It is recommended that 
the following types of CD are not used:
•8 cm (3.1 in.) discs with or without an 
adaptor.
•CDs that are not circular.
•CDs with a paper label.
•CDs that are warped, dirty, scratched or 
have an abnormal edge.
•Dual format, dual-sided discs (DVD Plus, 
CD-DVD format).
•DVDs.
It is recommended that only high quality 12 cm 
(4.7 in.) circular discs, that show the Compact 
Disc Digital Audio logo, are used.
LOADING COMPACT DISCS
Note: Some privately recorded CD-R discs may 
not have been acceptably formatted to be able 
to be played on this CD player.
An in-dash compact disc (CD) player is 
installed in the audio unit. The CD player will 
accommodate one or up to six discs (where 
fitted).
The unit will play Compact Disc Digital Audio 
(CDDA) discs (normal discs), MP3 and WMA 
files.
CAUTIONS
Irregular shaped CDs and CDs with a 
scratch protection film should not be 
used.
CDs with labels (or stickers) attached, 
should not be used. Labels may become 
warped and prevent the CD from being ejected, 
causing damage to the CD player. Such 
damage is not covered by the warranty 
agreement.
The CD unit will play compact discs that 
conform to the international Red Book 
standard audio specification. Copy-protected 
CDs from some manufacturers do not 
conform to this standard and playback cannot 
be guaranteed.
Due to technical incompatibility, 
recordable (CD-R) discs and re-writable 
(CD-RW) discs may not function correctly.
Dual format, dual-sided discs (DVD 
Plus, CD-DVD format) are thicker than 
normal CDs and consequently playback 
cannot be guaranteed in Jaguar audio units, 
and jamming could occur. Warranty claims, 
where this type of disc is found to be inside an 
audio unit returned for repair, will not be 
accepted.
CAUTIONS
Do not force the disc into the slot.

293
Compact disc player
The Home menu indicates whether a CD is 
loaded and (if applicable) which CD slot is 
loaded and ready for playing. If no CDs have 
been loaded, the touch-screen displays 
ghosted discs.
To access the CD player touch-screen menu:
1. From the touch-screen Home menu, select 
Audio/TV.
2. Select CD.
You can also press the SOURCE button 
repeatedly to scroll through all audio sources 
to find CD.
Loading a CD (player empty)
Gently place a CD into the loading slot. A CD 
loading message is displayed on the 
touch-screen, while the disc is drawn into the 
player and the disc is loaded.
Loading one CD (six CD player, 
part-loaded)
Touch one of the empty disc slots (2). You are 
prompted to insert the CD into the empty slot. 
1 indicates the currently playing CD and 3 
indicates slots that are already loaded. 
Home
Audio/TV
Climate
Phone
Navigation
Vehicle
External
Left Right
20 17
C C
15
C
.5 .5
Valet
12 : 26 pm
5
Tr  3
CD
03:42
E94065
Audio/TV
DAB radio
CD
AM/FM
12 : 26 pm
BBC R2  BBC R3 
BBC R4  BBC LDN BBC W&M
Mercia Galaxy 106.2
Radio 1
Settings
Autostore
TP TA PTY AF REG 3CH
FM2 89.0 BBC R2
Portable 
TV
E94090
E94066
Audio/TV
DAB radio
CD
AM/FM
12 : 26 pm
Portable audio
TV
Settings
123456
Mix Repeat
Tr 3 Paused
E94067 1 2 3

Compact disc player
294
Loading several CDs (six CD player)
Press the LOAD button and insert each CD into 
the CD slot as requested by the message on the 
touch-screen. A pop-up message will indicate 
which slot is being selected in turn until the 
unit is fully loaded. 
When the CD player has been loaded, you can 
operate the CD using the touch-screen 
controls.
EJECTING COMPACT DISCS
Press the eject button. A short press will eject 
a single CD, while a long press will eject each 
loaded CD in sequence. 
When a disc is ejected, remove it from the 
loading slot. If you fail to remove an ejected 
disc, it will be drawn back into the player after 
ten seconds.
If you want to stop ejecting multiple discs, on 
the touch-screen, select Cancel.
COMPACT DISC SELECTION
On a six CD player, when a CD has been 
selected on the touch-screen, the upper display 
indicates which disc is being loaded and play 
will start when loading is complete. Touch 
another disc on the screen to load and start 
playing that disc.
•TP: The background radio station provides 
Traffic Programme (TP) and is able to 
support Traffic Anouncements (TA).
•TA: Traffic announcements are available in 
the CD mode and will interrupt the playing 
of the CD. At the end of the announcement, 
the CD will resume playing.
E94068
E94071
Audio/TV
DAB radio
CD
AM/FM
12 : 26 pm
Portable audio
TV
Settings
123456
Mix Repeat
TP TA 3CH
Loading CD 1
E94072
TP TA 3CH
Loading CD 1

295
Compact disc player
TRACK SELECTION
Tr 12 - Track number of the track being played. 
03:47 - Track elapsed play time from start of 
track.
You can move to the next or previous CD track, 
using the seek buttons either on the 
touch-screen or on the audio console. 
See AUDIO UNIT OVERVIEW (page 269).
Briefly touch the seek buttons to move to the 
previous or next track.
Touch and hold (two seconds) to play rapidly 
back through one or more tracks (review) or 
rapidly forward through one or more tracks 
(cue). 
Normal playback resumes when the seek 
button is released.
COMPACT DISC PAUSE
Select II to pause the current track. While play 
is paused, the pause icon becomes a play icon, 
select it again to resume playback.
Note: If the volume is turned down to zero, CD 
playback is automatically paused. Play 
resumes when the volume is increased.
SHUFFLE/RANDOM
Briefly touch Mix to activate the Mix CD option, 
which shuffles the track order for the current 
CD so that tracks are played in a random 
sequence. If you are playing an MP3 CD, a brief 
touch will mix the tracks in the current folder. 
Audio/TV
DAB radio
CD
AM/FM
12 : 26 pm
Portable audio
TV
Settings
2346
Mix Repeat
Tr
P TA 3CH
12 03 47
E94073
03 47Tr 12
Audio/TV
DAB radio
CD
AM/FM
12 : 26 pm
Portable audio
TV
Settings
123456
Mix Repeat
Tr
TP TA 3CH
12 03 47
E94074
Audio/TV
DAB radio
CD
AM/FM
12 : 26 pm
Portable audio
TV
Settings
123456
Mix
Repeat
Tr
TP TA 3CH
12 03 47Mix CD
E94076
Mix CD Mix all

Compact disc player
296
Touch and hold (two seconds) Mix to activate 
the Mix all option, which shuffles the order of 
play for all tracks across all loaded CDs. If you 
are playing an MP3 CD, a long touch will mix 
the tracks from all the folders on the current 
disc.
REPEAT COMPACT DISC TRACKS
Briefly touch Repeat to play the current track 
repeatedly. Select again to cancel repeat and 
resume normal play.
Touch and hold (two seconds) Repeat to 
repeat play the whole CD. Select again to 
cancel repeat and resume normal play. This 
feature applies only the 6-disc CD unit.
COMPACT DISC DISPLAY OPTIONS
In CD mode, select Settings to display the CD 
Settings menu.
Traffic: Traffic announcements can be 
switched On or Off. See TRAFFIC 
INFORMATION CONTROL (page 276).
CD text: CD text can be switched On or Off. CD 
text displays track-related information that has 
been saved on the CD (not all CDs will provide 
CD text).
Audio/TV
DAB radio
CD
AM/FM
12 : 26 pm
Portable audio
TV
Settings
123456
Mix
Repeat
Tr
TP TA 3CH
12 03 47Rpt CD
E94077
Rpt Tr Rpt CD
Audio/TV
DAB radio
CD
AM/FM
12 : 26 pm
Portable audio
TV
Settings
123456
Mix Repeat
Tr
TP TA 3CH
12 03 47
E94078
Vehicle
Options
Sound
Bal/Fade
12 : 26 pm
Settings
Traffic
OnOff
OnOff
CD text
PTY
E94079

297
Compact disc player
MP3 FILE PLAYBACK
On audio units fitted with a 6-disc CD player, 
you can play CDs containing MP3 files.
 MP3 discs have the potential to hold more 
music than a conventional CD, because each 
track can be compressed to a higher degree 
during recording.
If you record your own music, each session 
must be properly closed but the whole disc 
does not have to be finalised.
Some pre-recorded and personally-recorded 
discs, can contain additional information on 
the disc, e.g. CD titles, track titles and the 
artist's name (this information is contained in 
ID3 Tags). 
Additional touch-screen controls enable you to 
select folders and tracks and display various 
items of information about the recordings. 
Note: A mixture of CDs and MP3 discs can be 
loaded into the 6-disc CD player together.
Note: The audio system will play MP3, WMA, 
WAV and AAC files. The highest compression 
rate supported, is 320k bits per second (kbps). 
If anything less than 128 kbps is used, Digital 
Signal Processing (DSP) functionality may be 
lost.
Note: The CD player is not guaranteed to play 
every disc available because of variation in the 
quality of discs.
Using MP3 discs
When an MP3 disc is first played, the first track 
in the root folder will play first. If you restart 
play after switching to another disc or audio 
source, then play will resume from the point 
you left it.
Note: The CD player may take a long time (one 
minute or more) to load an MP3 disc, owing to 
the number of tracks on it. To minimise the 
loading on the system, a rigid folder structure 
is recommended.
If the MP3 disc has been recorded with the 
music files contained within folders, additional 
information is available by selecting Folders. 
A list of folders and files is displayed on the 
touch-screen. The titles of any folders and 
tracks recorded on the CD, will be displayed in 
alphabetical order, even when the disc has 
been recorded in a different order.
CAUTION
Copyright laws vary in different 
countries; please check the laws in your 
country if you want to record from copyright 
source material.
Audio/TV
DAB radio
CD
AM/FM
12 : 26 pm
Portable audio
TV
Settings
123 6
Mix Repeat
Folders
TP TA 3CH
Tr01 00:32
E94082
Audio/TV
DAB radio
CD
AM/FM
12 : 26 pm
Portable audio
TV
TP TA 3CH
Tr01 00:32
Please Please Me
Beatles-Hits
Revolver
Sgt. Pep
Help
E94083

Compact disc player
298
Select the folder to access the tracks contained 
within the folder. To help you navigate through 
multiple folders and files, the display changes 
when you select folders, sub-folders and 
tracks.
If more than four folders or files are listed, 
select the up/down arrow icons to scroll 
through the list.
Select a track to start playing that track.
Note: If you have selected a track using the 
Folders function, then you will return to the 
same folder when you next access the folder 
menu.
MP3 folder structure
A CD-R or CD-RW can have MP3 folders and 
tracks recorded in many different ways, with 
many layers of folders and with tracks 
distributed throughout the folder structure.
Note: Any CD containing a mixture of MP3 and 
CDDA tracks will be treated as a CD (any MP3 
tracks will be ignored).
Audio/TV
DAB radio
CD
AM/FM
12 : 26 pm
Portable audio
TV
TP TA PTY DPL I
Tr01 00:34
Eleanor Rigby 
Revolver
I'm Only Sleeping 
Love You To 
Taxma
E94084

299
Portable audio
PORTABLE AUDIO
Portable audio overview
The portable audio system is located in the 
centre console cubby box. You can connect a 
variety of audio devices, including iPods, via 
this interface to the audio system. 
If you are connecting an iPod or mass storage 
device, you can use the touch-screen to 
operate and search the device. Many of the 
controls are similar to those available for CD 
play.
The devices that you can connect to the 
portable audio interface include:
•USB mass storage devices, for example 
memory stick.
•iPod.
•Auxiliary device (no touch-screen control).
Note: The portable audio interface supports 
the following iPods:
•
iPod (generations 3-5).
•
iPod Mini.
•
iPod Nano (generations 1-3).
•
iPod Photo.
•
iPod Classic.
Note: The audio system will play MP3, WMA, 
WAV and AAC files.
Note: Some MP3 players have their own file 
system that is not supported by this system. To 
use your MP3 player, you must set it to USB 
Removable Device or Mass Storage Device 
mode (see manufacturer's information for 
further details). Only music that has been 
added to the device in this mode can be played 
via the vehicle's portable audio system.
Note: The system will support devices with a 
storage capacity up to 256 GB (approximately 
65 000 tracks).
CAUTION
We recommend that you replace the 
rubber cover when a portable device is 
not plugged in. This will prevent damage to the 
system. The cover is not waterproof.
Please disconnect your iPod when 
leaving the vehicle. Failure to do so may 
result in the iPod battery discharging.

Portable audio
300
Connecting an iPod
On the audio Home screen, select Audio/TV, 
then Portable audio, then iPod.
Note: You can also press the SOURCE button 
repeatedly to select Portable audio device.
A dedicated iPod lead is supplied with the 
Portable audio interface. Plug in your iPod with 
the usual care necessary to protect the 
connector pins from damage.
Play will start automatically from the point at 
which the iPod was last played.
Connecting a USB device
On the audio Home screen, select Audio/TV, 
then Portable audio, then USB.
Note: You can also press the SOURCE button 
repeatedly to select Portable audio device.
Insert the USB device into the socket indicated.
Whenever the device is connected, the first 
track in the first available folder is played 
automatically.
Note: We recommend that only music files are 
loaded on the USB device. This will speed up 
the automatic indexing of files.
E94338
E94339

301
Portable audio
Connecting an auxiliary device
On the audio Home screen, select Audio/TV 
and then select Portable audio.
Note: You can also press the SOURCE button 
repeatedly to select Portable audio device. 
Insert the AUX jack plug into the socket 
indicated.
Select AUX.
Play will start when you switch on and start 
playing the auxiliary device.
Note: You cannot operate or search the 
auxiliary audio device using the touch-screen, 
so all buttons on the touch-screen are 
unavailable.
Connecting more than one device
You can connect an iPod and a USB device 
simultaneously to the portable audio interface 
and switch between them using the 
touch-screen. Select iPod, USB or AUX, to 
switch between modes. 
The device docked first will remain the active 
device until you choose to change. 
If, after changing to the newly-docked device, 
you change back to the first device, play will 
resume at the point you left it (USB and iPod 
only).
Note: You cannot use a USB hub to connect 
more than one USB device to the audio unit.
Note: Devices connected to the iPod and USB 
ports will be charged, but devices that are fully 
discharged will not play. Please disconnect 
your iPod when leaving the vehicle. Failure to 
do so may result in the iPod battery 
discharging.
Note: Options such as Repeat and Mix relate 
to the device currently playing, they will not 
apply to any subsequent device.
E94340
Audio/TV
DAB radio
CD
AM/FM
12 : 26 pm
iPod AUX
Repe
USB
Settings
Folders
TP TA PTY DPLII
Tr 04
Portable audio
TV
Sing for absolution
00:36
E94709

Portable audio
302
AUXILIARY INPUT DEVICES
Playing a portable device
If you are using a USB mass storage device or 
iPod, you can control playback using the 
touch-screen controls. 
If you are using any portable audio device via 
the AUX socket, then you must control 
playback from the device itself.
Autoplay
Whenever a USB device is docked, play will 
start automatically at the first track in the first 
available folder.
For an iPod, play will always resume from the 
current track, whether previously docked or 
not.
Pause
Select II to pause playback, select the button 
again to resume playback.
Mix
USB: 
•Briefly touch Mix to play tracks in the 
current folder in a random sequence. 
•Touch and hold (two seconds) Mix to play 
all tracks on the device in a random 
sequence.
iPod:
•Briefly touch Mix to play tracks in the 
current playlist in a random sequence. 
•Touch and hold (two seconds) Mix to play 
all tracks on the iPod in a random 
sequence.
If the Mix option is active, select Mix to cancel 
it and return to normal playback.
WARNING
Auxiliary devices cannot be controlled 
using the touch-screen. We strongly 
advise against controlling playback or 
altering settings on the auxiliary device while 
driving.
Audio/TV
DAB radio
CD
AM/FM
12 : 26 pm
iPod AUX
Mix Repeat
USB
Settings
Folders
TP TA PTY DPLII
Tr 02
Portable audio
TV
iamond Dogs
01:36
E94341
Paused
Audio/TV
DAB radio
CD
AM/FM
12 : 26 pm
iPod AUX
Mix Repeat
USB
Settings
Folders
TP TA PTY DPL I
Tr 02
Portable audio
TV
Diamond Dogs
01:36
E94342
Mix folder
Mix all Mix folder

303
Portable audio
Repeat
USB:
•Briefly touch Repeat to repeat play the 
current track continuously.
•Touch and hold (two seconds) Repeat to 
repeat all tracks in the current folder on a 
loop.
iPod:
•Briefly touch Repeat to repeat play the 
current track continuously. 
•Touch and hold (two seconds) Repeat to 
repeat all tracks on the iPod on a loop.
Select Repeat again to cancel it and return to 
normal playback.
Displaying track information
Many tracks will be saved with additional 
information contained in an id3 tag. You can 
choose to display some or all of this 
information on the screen. The default display 
provides track title information only.
Briefly touch the --> button repeatedly to toggle 
through the information, including track title, 
artist, album and genre.
Touch and hold (two seconds) the --> button to 
display the Portable audio text pop-up screen 
providing all the id3 tag information available 
for the track. 
If no information is available, the screen will 
display the text No entry. 
Touch the pop-up screen to close it.
Audio/TV
DAB radio
CD
AM/FM
12 : 26 pm
iPod AUX
Mix Repeat
USB
Settings
Folders
TP TA PTY DPLII
Tr 02
Portable audio
TV
Diamond Dogs
01:36
E94343
Rpt folder
Rpt Tr Rpt folder
Audio/TV
DAB radio
CD
AM/FM
12 : 26 pm
iPod AUX
Mix Repeat
USB
Settings
lders
TP TA PTY DPLII
Tr 04
Portable audio
TV
Sing for absolution
00:36
E94648
Audio/TV
DAB radio
CD
AM/FM
12 : 26 pm
TP TA PTY DPLII
Tr 04
Portable audio
TV
00:36
Portable audio text
Artist: Muse
Track: Sing for absolution
Genre: Rock
Album: Absolution
E94649

Portable audio
304
Searching a portable device
Next/previous track
Briefly touch the seek buttons to move to the 
previous or next track. 
If the Mix option is switched on, then the next 
track will be the next in the randomised playlist. 
In Mix mode, selecting previous will only return 
playback to the beginning of the currently 
playing track.
Fast forward/reverse
Touch and hold a seek button to fast forward or 
reverse through the current track. Release the 
seek button to resume normal play.
USB folders
The Folder option enables you to explore the 
folder structure on the USB device. 
Note: Only compatible file types will be 
displayed on the touch-screen.
Note: We recommend that only compatible 
files are loaded onto the device. This will speed 
up the automatic indexing of your files.
Note: This feature is most useful when the files 
and folders on the USB device have been 
organised logically.
Select Folders to display all folders on the 
device. 
Select a folder name to display a list of tracks 
in that folder. Use the arrow icons (if displayed) 
to scroll through the list.
Audio/TV
DAB radio
CD
AM/FM
12 : 26 pm
iPod X
Mix Repeat
B
Settings
Folders
TP TA PTY DPLII
Tr 04
Portable audio
TV
The man who sold t
00:01
E94344
Audio/TV
DAB radio
CD
AM/FM
12 : 26 pm
iPod X
Mix Repeat
B
Settings
Folders
TP TA PTY DPLII
Tr 12
Portable audio
TV
Suffragette City
01:36
E94345
03 47Tr 12
Audio/TV
DAB radio
CD
AM/FM
12 : 26 pm
iPod AUX
Mix Repeat
USB
Folders
TP TA PTY DPLII
Tr 02
Portable audio
TV
Diamond Dogs
01:36
E94346
Audio/TV
12 : 26 pm
Tr
Elvis Costello
My USB device
Live stuff
Snow Patrol
Beatles
681
TP TA PTY DPLII
01:36
E94348

305
Portable audio
Select a track to start playback of that track. 
Play will continue as normal through the 
remainder of the tracks in that folder.
Select the open folder icon at the top of a menu 
to move back to the level of that folder.
iPod folders
Select Folders to display all search methods 
available on the iPod. Search methods include, 
Playlist, Artist, Album, Genre, Composer, 
Podcast, Audio Book and Song. 
Select a search method from the list to display 
a list of items found.
If you select Artist, a list of artists will be 
displayed.
If you select an album title, a list of tracks is 
displayed. Select a track to start playback.
Select the open folder icon at the top of a menu 
to move back to the level of that folder.
Audio/TV
12 : 26 pm
Tr
One by One
Foo fighters
Skin and Bones
Monkey wrench
Favourite live tracks
681
TP TA PTY DPLII
01:36
E94349
Audio/TV
DAB radio
CD
AM/FM
12 : 26 pm
iPod AUX
Mix Repeat
USB
Folders
TP TA PTY DPLII
Tr 02
Portable audio
TV
Diamond Dogs
01:36
E94347
Audio/TV
12 : 26 pm
Tr
Artist
My ipod
Album
Song
Playlist
01
TP TA PTY DPL I
00:36
E94350
Audio/TV
12 : 26 pm
Tr
Air
Artist
Badly drawn boy
Coldplay
All
01
TP TA PTY DPL I
00:36
E94351
Audio/TV
12 : 26 pm
Tr
Everybody Hertz
Air
Moon safari
Premieres symptomes
All
01
TP TA PTY DPLII
00:36
E94352

Portable audio
306
Portable device settings
In Portable audio mode, select Settings, then 
select Options.
Traffic announcements
With Traffic enabled, traffic announcements 
(TA) will interrupt portable audio playback. 
Portable audio text
With Portable audio text enabled, any text 
information saved on the device associated 
with a track, for example artist name, will be 
displayed on the touch-screen during playback 
of that track.
Page jump
Only five items are displayed on screen from a 
list of many items. If you select a single arrow 
scroll button, then four items will scroll past. 
The Page jump setting helps you to navigate a 
very long list of items by setting the number of 
items scrolled through when a double-arrow 
page scroll button is selected.
For example, if you select 10 under Page jump, 
then 10 × 4 (40) items will scroll past each time 
you select a page scroll button.
Audio/TV
Bal/Fade
Options
Sound
12 : 26 pm
Settings
OnOff
OnOff
PTY
51015 20
Traffic
Portable
audio text
Page
jump
E94355

307
Telephone
GENERAL INFORMATION Note: The vehicle telephone system is 
designed to function with a wide variety of 
Bluetooth® telephones. 
As these telephones have a wide range of audio 
and echo characteristics, it may take a few 
seconds for the vehicle telephone system to 
adapt and deliver optimum audio performance. 
It may be necessary to reduce the in-vehicle 
volume slightly, to fully optimise audio 
performance and reduce echo.
In order to achieve the best possible audio 
performance, it may be necessary to select a 
lower speed on the heater blower and reduce 
the system volume slightly, when using certain 
mobile phones.
Telephone networks
The telephone network standard allows you to 
use your telephone in many countries. 
However, telephone reception may be poor or 
unavailable in remote regions. This may be due 
to the inadequate power of the transmitter, 
which results in a weak signal or incomplete 
coverage.
What is Bluetooth®?
Jaguar Bluetooth® Connectivity was 
developed to be used with a selected range of 
mobile phones, from a number of different 
manufacturers. Some mobile phones feature 
different operating software versions - the 
correct version is needed for successful 
integration with the Jaguar Bluetooth® 
system.
Bluetooth is an international standard that 
allows electronic components to communicate 
with each other, using a short-range radio link. 
Bluetooth eliminates the need for wires or 
cables: Typically, devices can communicate at 
a range of up to 10 metres (33 feet).
WARNING
Using the telephone near the car: Do 
not telephone inside a garage or near 
an open car bonnet. The air may 
contain fuel vapours and the telephone could 
produce sparks and start a fire.
Unusual ambient conditions: Switch 
off the telephone in areas where high 
explosives are being used. High 
frequency remote controls could be interfered 
with and cause an explosion. Switch off your 
telephone in areas with a high explosion risk. 
This includes filling stations, fuel storage 
areas or chemical factories, as well as places 
where the air contains fuel vapour, chemicals 
or metal dust. The telephone might produce 
sparks and cause a fire or explosion.
Medical equipment: The functioning 
of cardiac pacemakers or hearing aids 
may be impaired when the phone is in 
use. Check with a doctor or manufacturer 
whether any such devices you or your 
passengers are using, are sufficiently 
protected against high-frequency energy.
Always stow your mobile phone 
securely. In an accident, loose items 
can cause injury.
Using any hand-held appliance while 
driving, can be dangerous and is 
illegal in certain countries.

Telephone
308
The Bluetooth in-car telephone system allows 
certain mobile phones to be used hands-free in 
your vehicle. There is no need to connect the 
mobile phone to a cradle or cable.
Bluetooth® is a registered trademark of 
Bluetooth SIG, Inc.
Please refer to the Owner section of the Jaguar 
website at www.jaguar.com, for a list of 
compatible phones. Alternatively, please refer 
to your Dealer/Authorised Repairer.
Note: The Bluetooth technology phones listed 
on Jaguar.com, have been tested for 
compatibility with Jaguar vehicles. 
Performance will vary, based on phone 
software version, coverage and your wireless 
carrier. Phones are warranted by their 
manufacturer, not Jaguar.
If your mobile phone battery charge becomes 
low it may switch off its Bluetooth link to the 
vehicle. This is normal operation for mobile 
phones, to help preserve the remaining battery 
charge. In this event, the touch-screen will 
display a phone connection message.
The mobile phone must be paired and docked 
with the vehicle system before use. 
See TELEPHONE PAIRING AND DOCKING 
(page 309). Once paired and docked, the 
phone can be operated via the steering wheel 
switches or the touch-screen. The mobile 
phone doesn’t need to be physically connected 
to the vehicle, it can be left in a jacket pocket, 
for instance. Calls are routed through the 
vehicle’s audio speakers, and a dedicated 
microphone is fitted within the overhead 
console and is directionally biased towards the 
driver.
You can use the system to answer or reject 
incoming calls, make outgoing calls or alter the 
call volume. The system does not support SMS 
text messaging.
Note: The vehicle ignition system must be on 
and the touch-screen system must be active, in 
order to use the phone.
Call volume
The volume of telephone calls can be adjusted 
for hands-free operation. To adjust the volume, 
operate the audio system’s volume control 
during a phone call.
If the audio system is in use when the phone 
becomes active, the audio system source is 
suppressed for the duration of the call.
Charging your phone
It is possible to use the in-car 12V/USB socket 
to charge your mobile phone. Refer to the 
mobile phone operating instructions for 
charging information.

309
Telephone
Safety
Driving
Check local regulations covering the use of 
in-car telephones in the areas that you intend to 
use your telephone, and always obey them. 
Observe the following guidelines if you are 
using the phone when driving. 
•Give full attention to driving - safe driving 
is your prime responsibility.
•Always use hands-free operation when 
driving.
•When receiving a call, if driving conditions 
demand, pull off the road and park.
Electronic devices
Most modern electronic equipment is shielded 
from Radio Frequency (RF) signals. However, 
certain equipment may not be shielded against 
RF signals from your phone.
Pacemakers
The Health Industry Manufacturers' 
Association recommends that a minimum 
separation of 15 centimetres (six inches) is 
maintained between a wireless phone antenna 
and a pacemaker, to avoid potential 
interference with the pacemaker. These 
recommendations are consistent with the 
independent research by, and 
recommendations of, Wireless Technology 
Research. 
TELEPHONE PAIRING AND DOCKING
Before use, your mobile phone must be paired 
and docked with the vehicle’s Bluetooth 
system. This is done via your mobile phone or 
the touch-screen.
Pairing and docking using your mobile 
phone
Follow the steps below, to pair and dock your 
phone with the vehicle using your mobile 
phone. 
Note: The process of pairing and docking your 
phone with the vehicle using the mobile phone, 
will vary depending on the type of mobile 
phone used.
3. Ensure that the ignition is on and the 
touch-screen is active.
4. Ensure that there is no mobile phone 
currently docked with the vehicle's 
Bluetooth system. If a mobile phone is 
docked with the system, you will not be 
able pair and dock another phone until the 
current phone has been undocked. To 
undock a phone, select Phone or Comms 
on the home screen, then Settings and 
then Undock. 
5. Using the mobile phone, search for 
Bluetooth devices. See your phone's 
operating instructions for further 
information.
WARNING
Read the following information 
thoroughly before using your 
telephone.
nametag
Register
Voice mail
Answer options
Phone options
Change phone
E96911
Comms
Add phone
Search new
Docked phone: Nokia 6230i
Undock

Telephone
310
6. When the vehicle's Bluetooth system is 
discovered, your mobile phone will list 
Jaguar as a discovered Bluetooth device. 
Select this device from the list.
7. You will now be requested to enter a 
Bluetooth PIN. When pairing and docking 
from your mobile phone, this number is 
always 1313.
Once your phone is paired to the vehicle's 
Bluetooth system, it can connect automatically. 
If the phone does not automatically connect, 
you will have to connect manually with the 
Jaguar Bluetooth System, via the mobile 
phone. Please consult the mobile phone's 
handbook for further information.
Note: Some mobile phones require you to 
authorise the connection each time you start 
the system. To change this, you must set 
Jaguar as ‘authorised’ in the mobile phone’s 
known device list. This will enable connections 
from the vehicle to the mobile phone to take 
place automatically without confirmation each 
time. Please consult the mobile phone’s 
handbook for further information.
Pairing and docking using the 
touch-screen
1. Switch on your mobile phone’s Bluetooth 
connection, using the phone’s menu. Make 
sure that your mobile phone is in Bluetooth 
discoverable mode, sometimes referred to 
as find me mode (see your phone’s 
operating instructions for more 
information).
2. Switch the ignition system on, ensure that 
the touch-screen is active. 
3. From the home menu select Comms. If 
your car is not fitted with JaguarVoice, 
Phone will appear in the position occupied 
by Comms.
4. Select Settings.
5. Select Search new. The system will search 
for all Bluetooth phones that are in range. 
If a phone is already docked, it will be 
automatically undocked when a Search is 
initiated.
Home
Audio/TV
Climate
Comms
Navigation
Vehicle
External
Left Right
20 17
C C
15
C
.5 .5
DAB radio    DAB1
BBC 5Live Xtra
BBC National DAB
TA FM DAB i Subch. PL II
Valet
12 : 26 pm
E96908
Digit Dial
Names
Last 10
Settings
7
1
4
*
8
2
5
0
9
6
Options
C
E96912
Comms

311
Telephone
6. Select your phone from the displayed list.
7. Once you have selected your phone, a 
pop-up window appears.
8. To pair and dock the phone, enter XXXX on 
the handset (XXXX being a random four 
digit code displayed on the touch-screen). 
Enter this into your phone (see your 
phone’s operating instructions for more 
information).
9. Your phone is now paired and docked 
ready for use. For further information, refer 
to the following procedures - Making a 
call, Ending a call, Receiving a call.
10. Once a mobile phone has been paired and 
docked with the vehicle, the system will 
search for the last connected phone, each 
time the ignition is switched on.
Note: Due to the duration of a Bluetooth 
search, it is advised that the timeout to home 
screen feature is switched off before 
attempting to search for Bluetooth devices. 
This setting can be changed within Vehicle, 
Syst settings, Display set, Timeout to home 
screen.
Note: You do not need to manually pair and 
dock the phone with the vehicle every time you 
switch the ignition on. If an incorrect code is 
entered, your mobile phone should prompt you 
to enter the correct code.
The Bluetooth system supports Bluetooth 
Hands Free Profile 1.5 (HFP 1.5). If the mobile 
phone paired to the system also supports this 
profile, additional features will be available 
such as battery level indicator, signal strength 
indicator and network operator. If the mobile 
phone does not support these features, they 
will not be available on the touch-screen. 
However, you can refer to the mobile phone's 
display to determine these items.
Pairing other phones
Up to five mobile phones can be paired with the 
vehicle in the same way. However, only one can 
be docked for use. For further information, 
refer to Changing the docked phone.
E96918
Comms
Digit Dial
Names
Last 10
Cancel
Bluetooth search
Please wait
Searching . . .
Apple iPhone
Comms
Nokia 6300
Pair & dock
Delete
Not
  P i d
To pair & dock phone
Enter (5616) on handset
JAG1312

Telephone
312
Changing the docked phone
Only one phone can be docked to the vehicle at 
any one time. To dock a different paired phone 
to the vehicle, follow the steps below:
1. From the home menu, select Comms 
(Phone on vehicles without Voice).
2. Select Settings.
3. Select Change phone.
4. Select Dock from the list of available 
phones.
Deleting a paired phone
To delete a phone from the system, follow the 
steps below:
1. From the home menu, select Comms 
(Phone on vehicles without Voice).
2. Select Settings.
Home
Audio/TV
Climate
Comms
Navigation
Vehicle
External
Left Right
20 17
C C
15
C
.5 .5
DAB radio    DAB1
BBC 5Live Xtra
BBC National DAB
TA FM DAB i Subch. PL II
Valet
12 : 26 pm
E96908
Digit Dial
Names
Last 10
Settings
7
1
4
*
8
2
5
0
9
6
Options
C
E96912
Comms
JAG1314
Comms
Delete
Delete
Delete
Paired
Paired
Dock
Dock
Docked
Nokia N73
Nokia 6300
Apple iPhone
Home
Audio/TV
Climate
Comms
Navigation
Vehicle
External
Left Right
20 17
C C
15
C
.5 .5
DAB radio    DAB1
BBC 5Live Xtra
BBC National DAB
TA FM DAB i Subch. PL II
Valet
12 : 26 pm
E96908
Digit Dial
Names
Last 10
Settings
7
1
4
*
8
2
5
0
9
6
Options
C
E96912
Comms

313
Telephone
3. Select Change phone.
4. Select Delete. This permanently removes 
the phone from the vehicle's Bluetooth 
system list. To use the phone again, you 
have to pair and dock the phone to the 
vehicle.
5. The phone does not need to be present to 
be deleted from the list.
Register
From the Settings main menu, selecting 
Register gives the options to Undock, Change 
phone or Search new. For further information, 
refer to the following procedures - Pairing 
other phones, Changing the docked phone.
VOICE MAIL
You can set up your voice mail to be accessed 
via the touch-screen. The voice mail (network 
service) option is an answering service, where 
callers who are unable to reach you can leave 
messages.
Select Voice mail, enter the number provided 
by your service provider and select OK. This 
number is stored in the system and used to 
retrieve any voice mail messages.
Retrieving voice mail
To listen to your voice mail 
messages, select and hold 1.
The voice mail features can be used as if dialled 
from the mobile phone.
JAG1314
Comms
Delete
Delete
Delete
Paired
Paired
Dock
Dock
Docked
Nokia N73
Nokia 6300
Apple iPhone
C
7
1
*
8
2
5
0
9
3
6
OK
Enter voice mail number
 nametag
Register
Voice mail
Answer options
Phone options
E96913
Comms
Add phone
Operator Name
*
Digit Dial
Names
Last 10
Settings
7
1
4
*
8
2
5
0
9
3
6
Options
E96922
Comms
C

Telephone
314
ANSWER OPTIONS
1. Select Answer options.
2. Auto answer: If automatic answer is on, 
the call will automatically answer after a 
few seconds. Select Off or On.
3. Caller announce: This feature, if available, 
allows the callers name to be announced. 
Select Off or On.
PHONE OPTIONS
1. Select Phone options (1).
2. Ring tones (Ring tone options).
3. Phonebook (Phonebook options).
Ring tones
Four ring tones are available (for in-vehicle 
ringing) or you can use your mobile phone’s 
own ring tone:
Select Ring tones (2). Select Portable’s 
inband tone to use your mobile phones ring 
tone.
Note: Not all phones support inband ringing.
Or, select Ring tone 1, 2, 3 or 4, to use a Jaguar 
preset ring tone.
Note: The system will store the ring tone 
setting associated with each mobile phone.
 nameta
Register
Voice mail
Answer options
Phone options
E96933
Comms
Add phone
On
On
Off
Off
Auto answer
Caller announce
 nametag
Register
Voice mail
Answer options
Phone options
E96917
Comms
Add phone
Ring tones
Phonebook
E96916
Comms
Portable's inband tone
Ringtone  1
Ringtone  2
Rington   
Ringtone  4
Comms
Portable's inband tone
Ringtone  1
Ringtone  2
Ringtone  3
Ringtone  4

315
Telephone
PHONEBOOK
The phonebook option (3), allows you to 
download your mobile phone's directory 
(either automatically or manually) or erase it 
from the vehicle’s memory, assuming that the 
phone supports this feature.
The system can store a maximum of 750 
entries, although this figure varies, depending 
on the type of mobile phone used. Refer to 
Phone capacity.
Note: It may take several minutes to copy the 
phonebook to the vehicle, depending on the 
phone and number of entries stored. The 
telephone system may not be operational 
during this period.
Automatic download
Any phone numbers stored in your mobile 
phonebook, can be copied to the vehicle’s 
phonebook.
If Auto Download is on, the mobile phone 
phonebook will be transferred to the vehicle 
every time the phone is connected (docked).
This feature will only work on phones that 
support AT Phonebook Profile. Refer to your 
phone’s operating instructions.
To change Auto Download: Select Phone 
options (1), then select Phonebook (3).
Select Off or On.
If On is selected, the vehicle will automatically 
download the entire directory, each time the 
phone is docked.
Manual download
If your phone does not support AT Phonebook 
(automatic phonebook download), you may be 
able to manually send your phonebook 
(individual entries or in full) to the vehicle's 
Bluetooth system using the phone's Object 
push facility. Refer to your phone's operating 
instructions to determine whether this feature 
is available.
To initiate a manual download, select Phone 
options, then Phonebook and then Start 
manual download.
 nametag
Register
Voice mail
Answer options
Phone options
E96917
Comms
Add phone
Ring tones
Phonebook
E96914
Comms
Off On
Auto download
Start manual download
Erase entire phonebook
E96957
Comms
Off On
Auto download
Start manual download
Erase entire phonebook

Telephone
316
The Bluetooth system will disconnect the 
currently docked phone and will be able to 
receive phonebook data sent from that phone. 
Please refer to your phone's operating 
instructions for details of how to send 
phonebook data using Bluetooth.
Once the phonebook data has been sent, select 
Exit to reconnect the last docked phone.
The vehicle's Bluetooth system will now 
display the manually downloaded phonebook 
data. For more information, refer to your 
phone's operating instructions.
Note: This feature only allows you to send 
phonebook data from the last docked phone. 
You cannot download data from the Bluetooth 
system to a mobile phone.
Once a paired phone is deleted from the paired 
phone list, the phonebook data associated with 
this phone is deleted.
Erase entire phonebook
To erase the entire phonebook:
Select Phone options (1), then select 
Phonebook (3).
Select Erase entire phonebook.
A pop-up window alerts you that you are about 
to Erase entire phonebook. Select OK to 
remove all names from the vehicle phonebook.
To delete one or more names, but not all, refer 
to Deleting names from the Directory.
Note: This feature deletes phonebook entries 
stored in the vehicle memory and not those 
stored in the mobile phone memory.
Phonebook capacity
Certain mobile phones store the phonebook in 
two different areas, the SIM card and the phone 
memory. Where possible, the vehicle will 
display both SIM card and phone memory 
entries up to a maximum of 750. With some 
mobile phones, the number of entries from one 
or both of these areas may be restricted. It is 
not always possible to transfer addresses 
stored in one or both of these areas.
The number of entries displayed is dependent 
upon the number of SIM and phone memory 
entries supported by the mobile phone.
Note: Certain mobile phones do not allow 
phonebook entries stored on the SIM card to 
be transferred via Bluetooth. However, it may 
be possible to transfer the SIM phonebook to 
the mobile phone’s memory, before copying it 
to the vehicle phonebook. Refer to your mobile 
phone operating instructions for more 
information. It is advisable to remove duplicate 
and blank entries from the mobile phone, 
before the phonebook is downloaded.
E96923
Off On
Auto download
OK
Phone
Cancel
Erase entire phonebook

317
Telephone
MAKING A CALL
Before you make a call, your mobile phone 
must be paired and docked with the vehicle’s 
Bluetooth system.
From the Home menu, select Comms.
Key in the phone number, including the area 
code, if applicable - the number will be 
displayed. Touch the connect icon.
Changing a phone number
When entering a number, you can change the 
phone number shown on the touch-screen 
using the C button.
A momentary touch erases a single digit, a long 
touch erases the complete number.
Receiving a call
If the audio system is in use when the phone 
becomes active, the audio system source is 
suppressed for the duration of the call.
If automatic answer has been programmed, the 
call will automatically answer after a few 
seconds. Refer to Answer options.
To answer a call: The preferred method to 
accept an incoming call, if Automatic answer is 
not active, is to use the hands-free controls on 
the steering wheel (refer to Hand-free 
controls). Alternatively, you can accept or 
reject the incoming call, from the pop-up 
displayed on the touch-screen.
Ending a call
The preferred method to end a call is to use the 
hands-free controls on the steering wheel. 
Refer to Hands-free controls.
Alternatively, select the End call icon 
(arrowed).
Continuity of calls
Whilst in a call, the call remains connected if 
the vehicle is in convenience mode. When the 
call ends, another call cannot be made or 
received through the vehicle system, unless 
the ignition is on and the touch-screen system 
active.
Home
Audio/TV
Climate
Comms
Navigation
Vehicle
External
Left Right
20 17
C C
15
C
.5 .5
DAB radio    DAB1
BBC 5Live Xtra
BBC National DAB
TA FM DAB i Subch. PL II
Valet
12 : 26 pm
E96908
Digit Dial
Names
Last 10
Settings
7
1
4
*
8
2
5
0
9
3
6
Options
C
E96924
Comms
02476303080
Digit Dial
Names
Last 10
Settings
7
1
4
*
8
2
5
0
9
3
6
Options
C
E96925
Comms
00:00:05

Telephone
318
NAMES
Directory name search
From the Home menu, select Comms.
Select Names.
1. Using the keyboard, select the first letter of 
the contact name. If the name begins with 
the second or third letter on the button, 
touch the button two or three times 
respectively (i.e. if the name begins with an 
F, touch the DEF button three times).
2. Select OK.
Select the desired name to make a call.
Note: Using the hands-free controls, you can 
search the phonebook via the message centre. 
Home
Audio/TV
Climate
Comms
Navigation
Vehicle
External
Left Right
20 17
C C
15
C
.5 .5
DAB radio    DAB1
BBC 5Live Xtra
BBC National DAB
TA FM DAB i Subch. PL II
Valet
12 : 26 pm
E96908
E96926
Comms
Digit Dial
Names
Last 10
Settings
PQRS
GHI
TUV
ABC
JKL
WXYZ
DEF
MNO
Search letter
OK
Comms
Comms
Names
Last 10
Settings
PQRS
GHI
TUV
ABC
JKL
WXYZ
DEF
MNO
Search letter
OK
Names
Last 10
Settings
PQRS
GHI
TUV
ABC
JKL
WXY
DEF
MNO
M
OK
JAG1315
Digit Dial
Digit Dial
JAG0900
Comms
Delete
Delete
Delete
Delete
Delete
Mark
Mark
Mark
Mike
Mia
0201 9898989
0201 7878787
0223 6846846
07907970970
07044700447
Operator Name

319
Telephone
Directory contact types
If your phone supports contact type data, you 
will be able to see a contact type icon in the 
vehicle's phonebook directory. These can be 
seen on the right-hand side of each contact in 
the directory and will indicate one of the 
following types:
Deleting names from the directory
From the Home menu, select Comms.
Select Names.
1. Using the keyboard, select the first letter or 
letters of the contact name to narrow your 
search. The selected letter(s) appears in 
the upper display.
2. Select OK.
The search fields are opened and matching 
contacts are listed.
Work.
Home.
Mobile.
Car.
No Icon Voice.
Home
Audio/TV
Climate
Comms
Navigation
Vehicle
External
Left Right
20 17
C C
15
C
.5 .5
DAB radio    DAB1
BBC 5Live Xtra
BBC National DAB
TA FM DAB i Subch. PL II
Valet
12 : 26 pm
E96908
E96926
Comms
Digit Dial
Names
Last 10
Settings
PQRS
GHI
TUV
ABC
JKL
WXYZ
DEF
MNO
Search letter
OK
Comms
Comms
Names
Last 10
Settings
PQRS
GHI
TUV
ABC
JKL
WXYZ
DEF
MNO
Search letter
OK
Names
Last 10
Settings
PQRS
GHI
TUV
ABC
JKL
WXY
DEF
MNO
M
OK
JAG1315
Digit Dial
Digit Dial

Telephone
320
Select Delete to remove a name(s) from the 
phonebook.
LAST 10 OPTION
The Last 10 option allows you to view the last 
10 calls made, received or missed.
From the home menu, select Comms.
1. Select Last 10.
2. Select Calls made or.
3. Select Calls received or
4. Select Calls missed.
The search fields are opened and a list of the 
calls made, received or missed are listed, with 
the most recent at the top.
To make or return a call, select the name from 
the list. Your call will be routed automatically.
Note: The vehicle will display the list in the 
order that they are sent from the mobile phone. 
Some phones may arrange the list in reverse or 
other order.
JAG0901
Comms
Delete
Delete
Delete
Delete
Delete
Mark
Mark
Mark
Mike
Mia
0201 9898989
0201 7878787
0223 6846846
07907970970
07044700447
Operator Name
Home
Audio/TV
Climate
Comms
Navigation
Vehicle
External
Left Right
20 17
C C
15
C
.5 .5
DAB radio    DAB1
BBC 5Live Xtra
BBC National DAB
TA FM DAB i Subch. PL II
Valet
12 : 26 pm
E96908
E96927
Comms
Digit Dial
Names
Last 10
Settings
Calls missed
Calls made
Calls received
3
2
1
4
E96928
Comms
Mark Home
Mark Work
Melissa
Mike Home
Mia Mobile

321
Telephone
HANDS-FREE CONTROLS
Four system adjustment controls are situated 
on the left-hand side of the steering wheel, 
duplicating functions of buttons on the 
touch-screen. Using these buttons is the 
preferred method of adjustment, as driver 
distraction is minimised.
1. Scroll up/down to increase or decrease 
volume.
2. Scroll up/down to next/previous memory 
location.
3. Source. Press and hold to access phone 
mode on the touch-screen and message 
centre.
4. Voice button. Briefly press to dial, answer 
or end a phone call. This button is also 
used for voice control functions. 
Phonebook scrolling using message 
centre
Press and hold the Source button on the 
steering wheel, to scroll through and select a 
phonebook contact via the message centre. 
Phone will be displayed and the Phonebook 
can be accessed on the touch-screen.
Use the scroll up and down buttons to search 
through the Phonebook. Each entry will be 
shown in the message centre.
With the required contact displayed, press the 
Voice button on the steering wheel to make the 
phone call.
E71452
Auto
miles
Inst  Fuel
mpg
Phone
E96934
Auto
miles
Inst  Fuel
mpg
John Johnson
012398765432
E96958

Telephone
322
Making/ending a call
To dial:
Key in the phone number, including the area 
code. The number will be displayed.
To connect:
To end a call:
OTHER FEATURES
Keyboard magnification
This option allows the user to increase the 
keyboard size.
When making a call using the numerical key 
pad displayed on the touch-screen, the 
Magnify icon becomes selectable.
Select the Magnify icon to enlarge the keypad.
Select the Magnify icon again to reduce the 
size.
Do not disturb mode
If you do not wish to be disturbed by incoming 
phone calls, select the bell icon (1) on the 
touch-screen. A visual representation will be 
displayed on the touch-screen, to advise the 
driver that the Do not disturb mode is selected 
(3) and Do not disturb mode will be visible 
when in telephone mode (2). Any incoming 
calls will be rejected or diverted to voice mail.
Press this button on the steering 
wheel, or
Touch this icon on the 
touch-screen.
Press this button on the steering 
wheel, or
Touch this icon on the 
touch-screen.
Digit Dial
Names
Last 10
Settings
7
1
4
*
8
2
5
0
9
3
6
Options
C
E96930
Comms
E96931
Comms
OptionsOptions
C
7
1
4
*
8
2
5
0
9
3
6
Digit Dial
Names
Last 10
Settings
7
1
4
*
5
9
3
6
Options
C
E96929
Comms
Do not disturb mode

323
Telephone
TELEPHONE VOICE CONTROL
Voice control allows many of the telephone 
features to be activated by voice commands.
The system is controlled by the 
switch on the left-hand side of the 
steering wheel. 
Note: The voice control directory is separate 
from your phone SIM card address or 
phonebook. See VOICE CONTROL (page 69).
The voice control system understands 
predefined commands which need to be 
spoken word for word. A list of all telephone 
voice commands is below.
•PHONE HELP
•PHONE DIAL NUMBER
•PHONE REDIAL
•PHONE STORE NAME
•PHONE DIAL NAME
•PHONE ACCEPT CALLS
•PHONE REJECT CALLS
•PHONE DIAL LAST ANSWERED CALL
•PHONE DIAL LAST MISSED CALL
•PHONE DIAL VOICEMAIL
•PHONE PLAY DIRECTORY
•PHONE DELETE DIRECTORY
•PHONE DIAL HANDSET NAME
Most of the above commands are self 
explanatory, those which are not, are explained 
more fully in the following section.
Operating the system
Press and release the voice button on the 
steering wheel (arrowed) and after the tone, 
speak one of the system commands. 
In response to your command, the system will 
repeat your instruction and Listening will 
appear in the message centre. The system will 
either carry out your command or ask for more 
information. If the system asks for more 
information, wait until the tone has sounded 
before replying. 
To cancel a voice control session, press and 
hold the switch on the steering wheel (until a 
double tone sounds).
WARNING
Do not use voice control when placing 
emergency calls. Your voice and tone 
could be affected by stressful 
situations and, as a result, the process of 
establishing a connection could be delayed.
E95902

Telephone
324
Dialling a phone number
The system will guide you through the process. 
After each prompt where the system asks for a 
response, always wait for the tone before 
responding.
The phone number can be given as a series of 
single digits (from zero to nine). Either Zero or 
Oh is recognised, but zero is likely to give the 
best results.
For example: 01926543791 = zero, one, nine, 
two, six, five, four, three, seven, nine, one.
You can also speak the number in groups of 
three to six digits. If you adopt this approach, 
always wait for the system to respond with 
Continue before providing the next group of 
numbers.
It is also possible to give the number as a 
whole, with no pause between the digits.
To dial a phone number, follow one of the 
procedures listed below.
If, during the procedure, the system prompts 
you with a response of Continue, you can use 
the following commands.
•DELETE - Will delete all digits entered and 
prompt for entry of a number;
•CORRECTION - Deletes the digit entered 
last, repeats the digits given so far and 
prompts Continue; 
•CANCEL - Cancels this dialogue;
•DIAL - Terminates the entry of digits and 
dials the entered number.
Telephone numbers up to 20 digits are 
acknowledged. If a longer number is given, the 
message Number too long will be heard.
Dialling a number in groups
Dialling a number as a whole
Step Voice command System response
1. PHONE DIAL NUMBER PHONE DIAL NUMBER, NUMBER PLEASE
2. ZERO, ONE, NINE, TWO, SIX ZERO, ONE, NINE, TWO, SIX. CONTINUE?
3. FIVE, FOUR, THREE FIVE, FOUR, THREE. CONTINUE?
4. SEVEN, NINE, ONE SEVEN, NINE, ONE. CONTINUE?
5. DIAL DIALLING
Step Voice command System response
1. PHONE DIAL NUMBER PHONE DIAL NUMBER, NUMBER PLEASE
2. ZERO, ONE, NINE, TWO, SIX, 
FIVE, FOUR, THREE, SEVEN, 
NINE, ONE
ZERO, ONE, NINE, TWO, SIX, FIVE, FOUR, THREE, 
SEVEN, NINE, ONE. CONTINUE?
5. DIAL DIALLING

325
Telephone
Phone store name
The system will guide you through the process. 
After each prompt where the system asks for a 
response, always wait for the tone before 
responding.
To store a name, follow the procedure below.
If, during the procedure, the system prompts 
you with a response of Continue, you can use 
the following commands.
•DELETE - Will delete all digits entered and 
prompt for entry of a number;
•CORRECTION - Deletes the digit entered 
last, repeats the digits given so far and 
prompts Continue; 
•CANCEL - Cancels this dialogue;
•STORE - Terminates the entry of digits and 
stores the entered phone number.
Step Voice command System response
1. PHONE STORE NAME PHONE STORE NAME, NUMBER PLEASE
2. ZERO, ONE, NINE, TWO, SIX, FIVE, 
FOUR, THREE, SEVEN, NINE, ONE
ZERO, ONE, NINE, TWO, SIX, FIVE, FOUR, 
THREE, SEVEN, NINE, ONE. CONTINUE?
3. STORE NAME, PLEASE
4. <NAMETAG> PLEASE REPEAT NAME
5. <NAMETAG> <NAMETAG> STORED
6. DIAL DIALLING

Telephone
326
Storing nametags using the 
touch-screen
Nametags can also be added to the system by 
using the Add Phone nametag feature on the 
touch-screen, as described below. 
1. From the Home menu, select the Comms 
button. 
2. From the Comms menu, select the Add 
Phone Nametag button.
3. A numerical touch-screen is displayed. 
Enter the phone number.
4. When the number is entered, select the 
Add button in the top right-hand corner 
and, once the tone has sounded, speak the 
name that you wish the number to be 
stored under.
Note: The storage of the nametag itself is 
subject to the nametag not being too short 
(less than 0.4 seconds), too long (longer than 
4 seconds), not sounding too much like 
another stored nametag and relies on the 
repetition of the nametag sounding the same 
as the first utterance of it. If any of these criteria 
are not met, the system will prompt you to give 
a new nametag.
Note: The Add button will be greyed out if the 
phone number is not valid.
Dialling a nametag
To dial a number stored under a nametag in the 
directory, press and release the voice button 
and say Phone dial name. The system will 
repeat the command and will prompt you for a 
stored nametag by saying Name please. After 
the tone, speak the nametag of the required 
number. The system will replay the stored 
nametag and ask for confirmation that it is 
correct. Answer with Yes or No, as appropriate.
Dialling voicemail
The number for your voicemail service needs 
to be stored in the system, before using this 
facility. To store the voicemail number:
•From the Home menu, select Comms.
•From the Comms menu, select Settings.
•The phone Settings menu has a Voice mail 
button, to allow your voicemail number to 
be entered.
To dial the voicemail number, press and 
release the Voice button on the steering wheel, 
wait for the tone to sound, then say Phone dial 
voicemail.
Play all stored nametags
To play all the nametags stored in the directory, 
press and release the Voice button on the 
steering wheel and after the tone, say Phone 
play directory. The list can be interrupted at 
any time, by pressing and releasing the button 
again. Once interrupted, you can then use the 
commands, REPLAY, DIAL, DELETE, EDIT or 
CANCEL.
Dialling a nametag stored on the 
handset
To dial a number associated with a nametag 
stored on the phone handset, press and release 
the Voice button on the steering wheel and, 
after the tone, say Phone dial handset name.

327
Telephone
Message centre messages
A number of responses by the telephone voice 
system are reinforced by text messages 
appearing in the message centre display. 
These messages are in the following list.
•LISTENING 
•VOICE NOT READY 
•NOT AVAILABLE PHONE IN USE 
•COMMAND NOT RECOGNISED 
•NO SPEECH DETECTED
• STORING 
•COMMAND CANCELLED 
•SEARCHING 
•HOLD BUTTON TO CANCEL
•DIRECTORY
Phonebook entries
You can also view the phonebook entries on 
the message centre. See HANDS-FREE 
CONTROLS (page 321).

Television
328
GENERAL INFORMATION
Introduction
TV viewing is possible when the vehicle is 
stationary with the transmission in the P (Park) 
position. The TV picture can be viewed in 
preview mode or full-screen.
If the vehicle is moving when TV is selected or 
if the vehicle is driven off when the TV is 
operating, a warning message will display, the 
TV picture will cease and only audio reception 
is available.
Note: Japan market: The TV will operate 
normally up to speeds of 5 km/h (3 mph), after 
which the TV picture will cease and only audio 
reception is available.
TV sound is provided through the audio system 
speakers.
TV reception
Repositioning the vehicle may improve the 
picture whereas in difficult locations (distant 
transmitter, hills etc.), reception may not be 
possible at all. Sound quality may also be 
affected to a lesser degree by loss of signal, 
which can give rise to variable quality over 
short distances while on the move.
Note: Television systems require consistent 
and strong signals for good quality reception. 
These signals are affected by transmitter 
coverage and surrounding features (hills, high 
buildings, trees etc.) which will reduce the 
signal, thus reducing picture quality.
TV inhibit with vehicle moving
If the vehicle is moved whilst the TV picture is 
being displayed, the TV will be inhibited and 
returned to the TV Menu screen. 
A warning indicator will appear across the 
screen for three seconds stating For your 
safety, the picture is off while the vehicle is 
in motion.
With the TV picture inhibited, TV sound and 
channel changing continues to be available.
Audio/TV
12 : 26 pm
UK TV ITV1
Ch 4 Sky News
E4 CBBC
BBC1
Settings
Channel list
TP TA PTY DPLII
DTV BBC1
Style
UK TV
People
Sky
Sports N
Source
For your safety, the
picture is off while
motion
the vehicle is in
Analogue Digital
E94679

329
Television
TELEVISION CONTROLS
TV controls
1. Touch-screen: See TOUCH-SCREEN 
(page 109).
2.  Seek up: Short press to seek next channel 
frequency; long press for next available 
channel.
3. Settings:
•Short press to display the audio Settings 
menu. 
•Long press (two seconds) to display the 
Vol presets menu.
4. On/off and volume control:
•Press the control to switch the system 
on/off.
•Rotate the control to increase or 
decrease volume level. Any volume 
setting made whilst in audio, phone, 
navigation or voice activation mode, will 
be memorised for that system.
5. SOURCE: Press to change the source 
media through FM1, FM2, AM, DAB1, 
DAB2, DAB3, CD, iPod, USB, Auxiliary 
input and TV.
6. Seek down: Short press to seek previous 
preset channel; long press for previous 
available channel. 
Audio/TV
12 : 26 pm
More4 TMF
TP TA PTY DPLII
DTV ITV3
UKTV
History
Source
ITV2
ITV2+1 ITV4
Film4
Settings
Channel list
Analogue Digital
Ftn
ITV3
Touch image for
full screen
Savage Planet
E94705
1
6
5
4
2
3

Television
330
Steering wheel controls
1. Rotate up or down to increase or decrease 
volume. 
2. Rotate up or down and release repeatedly 
to scroll through preset TV channel. Rotate 
up and hold for two seconds to select next 
strong TV channel.
3. Press repeatedly to scroll through all 
sources.
4. This button can be used to mute the TV 
sound at any time.
USING THE TELEVISION
On/off control
To operate the TV, the ignition system must be 
on (press the engine START/STOP button). 
Press the audio on/off and volume control on 
the audio console.
On the touch-screen Home menu, select 
Audio/TV, then select TV. The buttons on the 
left of the screen will slide away and be 
replaced by the TV preview picture. To 
redisplay the buttons for five seconds, select 
the Source button under the TV preview 
picture. See TELEVISION CONTROLS 
(page 329).
Volume control
The volume of the TV output can be adjusted in 
one of two ways:
Rotate the audio on/off and volume control on 
the audio console, or;
Rotate the volume control on the steering 
wheel.
E94043
1 2
4 3
E94044
Audio/TV
DAB radio
CD
AM/FM
12 : 26 pm
Portable audio
TV
UK TV ITV1
Ch 4 Sky News
E4 CBBC
BBC1
Settings
Channel list
TA PTY DPLII
DTV BBC1
Style
UK TV
People
Sky
Sports N
TP
Analogue Digital
E94680
E94085
E94086

331
Television
Analogue/Digital option
The TV offers both analogue and digital TV 
reception. You can switch between the two 
modes using the touch-screen controls.
Select Digital to display the options available 
for digital TV. 
Select Analogue to display the options 
available for analogue TV. 
Note: If no channels have been preset, no 
channel names will be displayed on preset 
keys.
Loss of reception
For a variety of reasons, you might lose 
reception on the channel you are currently 
viewing. This might happen because you have 
moved outside the area for a local channel or 
because the signal has become blocked by an 
obstruction. In either case, the message No 
reception will be displayed.
Full screen view
The TV main screen displays a preview picture 
in a small screen alongside all the touch-screen 
controls and preset channels. 
Touch anywhere on the TV picture to display it 
in full screen mode. A list of control buttons is 
displayed on the full screen picture for five 
seconds before disappearing. 
To redisplay the buttons in full screen mode, 
touch the screen again.
FINDING TV CHANNELS
Next/previous channel
Select the seek buttons on the touch-screen to 
find the next/previous TV channel that is 
available.
If you are watching in full screen mode, you 
must first touch the picture to display the seek 
buttons on screen.
Audio/TV
12 : 26 pm
More4 TMF
TP TA PTY DPLII
DTV ITV3
UKTV
History
Source
ITV2
ITV2+1 ITV4
Film4
Settings
annel list
Analogue Digital
Ftn
ITV3
Touch image for
full screen
Savage Planet
E94681
Audio/TV
12 : 26 pm
UK TV ITV1
Ch 4 Sky News
E4 CBBC
BBC1
Settings
Channel list
TP TA PTY DPLII
DTV BBC1
Style
UK TV
People
Sky
Sports N
Source
No reception
Analogue Digital
E94682
4:3
Zoom
16:9
ITV3
20:00
21:00
Movies Now
Brideshead Revisited
20 : 26 
E94687
Audio/TV
12 : 26 pm
More4 TMF
TP TA PTY DPL I
DTV ITV3
UKTV
History
Source
2
ITV2+1 ITV4
m4
Settings
Channel list
Analogue Digital
Ftn
ITV3
Touch image for
full screen
Savage Planet
E94696

Television
332
Channel list
On the preview screen, select Channel list to 
display the channels available. The channel list 
will update automatically. While you are 
viewing the channel list, it is updated 
automatically.
Use the arrow keys to scroll through the 
channel list.
Using presets channels
On each waveband, nine channels can be 
memorised using the touch-screen keypad. 
Storing channels
After tuning to a channel, touch and hold (two 
seconds) the selected preset button. An 
audible signal indicates that the channel is 
stored. If the information is broadcast, the 
channel name will be displayed.
Recalling channels
Briefly touch the preset key on the 
touch-screen to recall the stored channel. 
Rotate and release the steering wheel selector 
control repeatedly to cycle through all the 
preset channels. 
TELEVISION SETUP
TV screen format
You can change the format of the picture 
displayed on the touch-screen. The default 
format is 16:9 with the additional options of 4:3 
and Zoom.
Touch the TV picture to display full screen 
mode with control buttons displayed.
Select 4:3, Zoom or 16:9, as required. If no 
further change is made within five seconds, the 
format you have chosen will remain displayed 
and the control buttons will disappear.
Audio/TV
12 : 26 pm
More4 TMF
TP TA PTY DPLII
DTV ITV3
UKTV
History
Source
ITV
ITV2+1 ITV4
Film4
Settings
Channel list
Analogue Digital
Ftn
ITV3
Touch image for
full screen
Savage Planet
E94697
Audio/TV
12 : 26 pm
More4 TMF
TP TA PTY DPLII
DTV ITV3
UKTV
History
Source
ITV2
ITV2+ ITV4
Film4
Settings
Channel list
Analogue Digital
Ftn
TV3
Touch image for
full screen
Savage Planet
E94701
4:3
Zoom
16:9
ITV3
20:00
21:00
Movies Now
Brideshead Revisited
20 : 26 
E94702

333
Television
TV settings
On the TV main menu, select Settings, then 
select Options.
Note: You cannot change any TV settings while 
the vehicle is moving.
Traffic
The Traffic option detects the presence of local 
radio traffic announcements. As soon as an 
announcement is received, TV play will be 
interrupted. At the end of the announcement, 
play will resume as normal.
Select On or Off to enable or disable the Traffic 
option. 
TV country
If you move the vehicle to a different country, 
you can change the TV country setting to make 
sure that you receive the best possible 
reception and sound quality. On the Options 
menu, the currently selected TV country is 
displayed.
Note: If you have already selected a TV format, 
then the TV country option is disabled.
For TV country, select Change to display a list 
of all countries where TV services are available. 
Select the country name to enable it. 
The TV country setting determines the most 
appropriate settings for TV broadcasts in your 
current location.
TV format
You can change the TV format setting from the 
Options menu. If you change the format, then 
the TV country setting will be disabled because 
there are fewer formats that can apply to more 
than one country. 
On the Options menu, the currently selected TV 
format is displayed, for example PAL-C. Select 
Change to view a complete list of available 
formats. Use the arrow buttons to scroll 
through the list.
Audio/TV
DAB radio
CD
AM/FM
12 : 26 pm
Portable audio
TV
UK TV ITV1
Ch 4 Sky News
E4 CBBC
BBC1
Settings
Ch   t
TA PTY DPLII
DTV BBC1
Style
UK TV
People
Sky
Sports N
TP
Analogue Digital
E94703
Audio/TV
Bal/Fade
Options
Sound
12 : 26 pm
Settings
Traffic
OnOff
Change
TV country:
PTY
United Kingdom
TV format
PAL-C
Change
E94704

Navigation system
334
THE NAVIGATION SYSTEM
Loading the navigation DVD
Note: Before use, ensure that the navigation 
DVD player is loaded with the correct mapping 
DVD for your country.
The navigation DVD player is located behind an 
access panel on the left-hand side of the 
luggage compartment. The trim panel will need 
to be removed (as shown) to access the DVD 
player.
•Turn on the vehicle ignition.
•Move the lock/unlock button to the unlock 
position (1). 
•Press the unload button (2) to eject a DVD, 
if one is installed in the DVD player.
•Load the correct Navigation System DVD 
with the printed side upwards.
•Move the lock/unlock button to the locked 
position. Replace the access cover.
SATELLITE SIGNALS
The system uses signals from the Global 
Positioning System (GPS) satellites, which 
allow the approximate position of the vehicle to 
be calculated. This is combined with 
information from vehicle sensors and data 
from the Navigation DVD, to establish the true 
vehicle position.
The navigation computer then integrates this 
data with the information stored on the DVD, 
enabling you to plan and follow a route to your 
desired destination.
WARNING
In the interests of road safety, only 
operate, adjust or view the system 
when it is safe to do so.
JAG0840
CAUTION
Do not allow moisture, dirt or foreign 
objects to enter the slot.

335
Navigation system
Digitised area
Ensure that you are using the latest version of 
the correct DVD for your country. 
Note: Your Dealer/Authorised Repairer will 
have details of how to order DVD updates.
The navigation DVD provided, contains a 
digitised street map. Larger cities and 
boroughs are completely covered. The regional 
and unclassified roads or access roads and the 
town centre for smaller towns and boroughs 
are included. 
One way streets, pedestrian zones, turn bans 
and other traffic regulations are taken into 
account as far as possible. There may be 
discrepancies between the data on the 
navigation DVD and the actual local situation, 
due to temporary or permanent changes to 
road systems and their traffic regulations.
If the vehicle battery has been disconnected, or 
if the vehicle has been transported to a new 
location on another vehicle (e.g. by trailer or 
train), the navigation system may require 
several minutes to identify the new position. 
Errors in vehicle position
Under certain driving conditions, it is possible 
that the vehicle position shown may be 
incorrect. Some examples are shown below:
•Negotiating circular ramps in car parks.
•Elevated roads in proximity to other roads.
•Where two roads run parallel to each other.
•Driving on steep roads.
•When the vehicle is transported by ferry or 
train.
•After the tyres have been replaced.
•When using snow chains.
•After the vehicle has been rotated on a 
turntable.
•After vehicle battery removal or supply 
fuse failure.
Reception of GPS signals
GPS signals are highly directional and 
reception may occasionally be interrupted. 
Some examples of situations likely to cause 
problems are shown below:
•Inside buildings
•Forest roads between mountains
•Between tall buildings
•Roads under cliffs.
The vehicle’s direction and speed sensors will 
minimise any adverse effect on the operation of 
the navigation system, if this should occur. 
Normal operation will resume once the 
obstruction has been passed. 

Navigation system
336
GETTING STARTED
If the screen is already displaying another 
function (radio, phone, etc.), touch either the 
back arrow or the Home button below the 
touch-screen to access the Home Menu. 
Select Navigation.
Read the caution and touch Agree or select 
Language if you need to select a different 
navigation language.
Non-European countries only
The introduction screen text for non-European 
countries is as shown below and not as seen on 
the previous illustration:
Most functions are inhibited whilst the vehicle 
is in motion. Please read the handbook for 
operating instructions. Always obey traffic 
regulations
Note: In some countries the front seat 
passenger may enter data whilst the vehicle is 
in motion.
Home
Audio/TV
Climate
hone
Navigation
Vehicle
Valet
12:26 pm
JAG1523
External
15
C
Left Right
20 17
CC
.5 .5
DAB radio    DAB1
BBC 5Live Xtra
BBC National DAB
TA FM DAB i Subch
Caution
Distraction may cause accidents.
Never enter data whilst driving.
Always concentrate on driving
and obey traffic regulations.
See Owners Handbook. 
Language Agree
12 : 26 pm
JOL4500ENG

337
Navigation system
MENU STRUCTURE
The following menu outlines the touch-screen Navigation system menu structure.
Navigation Setup User Settings
Quick POI Selection
Calibration
Restore Defaults
RDS-TMC
Language Selection
Stored Locations Memory Add
Destination/waypoint Edit
Previous Delete
Avoid Points
Home
Destination Entry Address House
Street
Town
Intersection
Display Map
Search
Save
POI POI Name
POI
Phone
Postcode
Map
Coordinates
Route Options Route Preferences
Destination/Waypoint
Detour
Search Condition
Route Preview
Display Route
Calculate
Cancel Guidance
Route Trace
Auto voice guidance off

Navigation system
338
MAIN MENU
After selecting navigation, the main menu is 
displayed showing available functions. For 
detailed information on these items:
See DESTINATION ENTRY (page 356).
See ROUTE PREFERENCES (page 347).
See USER SETTINGS (page 338).
There are additional sections in this handbook 
specifically showing Points of Interest (POIs) 
and End User Licence Agreements.
Select the menu item required.
Note: To view the map without the buttons 
showing, touch anywhere on the map display. 
To display the buttons, touch Menu.
USER SETTINGS
From the main navigation menu select 
Navigation Setup.
A number of user settings can be made from 
this menu. 
Select those which you require then touch OK. 
Note: Touch a dark blue band to deselect that 
feature or a light band to select it.
The individual details must be firstly set in the 
navigation setup menu.
LUTON
Menu
Stored
Destination
Auto Voice
Entry
Guidance Off
LUTON
LUTON
RD
FORD
M 4 0
mi
Menu
2
mi
12 : 26 pm
12 : 26 pm
Locations
Navigation
Setup
Route
Options
JOL4506ENG
Guidance screen
User Settings
Motorway Information
Border guidance
Congestion Charge guidance
OK
Default
Navigation Setup
Low Fuel Warning
User Settings
Display Petrol Station POI
Text Size on the MAP
iy traffic restriction
Auto voice guidance
Medium
OK
Default
Selection
Calibration
Restore
User
Settings
Defaults
Quick POI
12 : 26 pm
12 : 26 pm
12 : 26 pm
RDS-TMC
Language 
Selection
JOL4547ENG

339
Navigation system
Saving user preferences to memory
Use the scroll arrows (1) to see the options. 
Most of these selections are either on or off, 
light blue band is not selected, dark blue band 
is selected.
Touch the line of your choice then OK (2).
TURN-BY-TURN NAVIGATION
(Message centre guidance)
Turn-by-turn navigation guidance (displayed in 
the message centre) can be turned on or off as 
follows:
From the main navigation menu, select 
Navigation Setup, then select User Settings.
Scroll through the user settings list until the 
Message centre guidance band is displayed. 
Touch the band to select/deselect the feature. 
If the band is dark blue, then Message centre 
guidance is active. If the band is light blue, 
Message centre guidance is turned off.
LANGUAGE SELECTION
From the initial navigation screen, select 
Language and select your language.
If necessary, use the scroll arrows to the left of 
the list to search up or down.
N
LUTON
Menu
Navigation Setup
Low Fuel Warning
User Settings
Display Petrol Station 
Text Size on the MAP
y traffic restriction
Auto voice guidance
Medium
OK
Default
Selection
Calibration
Restore
User
Settings
Defaults
Quick POI
12 : 26 pm
12 : 26 pm
12 : 26 pm
2
1
Stored
Destination
Auto Voice
Entry
Guidance Off
Locations
Navigation
Setup
Route
Options
RDS-TMC
Language 
Selection
JOL4507ENG
German
French
Italian
English
Caution
Language Agree
English
Language
US English
12 : 26 pm
12 : 26 pm
JOL4501ENG
Distraction may cause accidents.
Never enter data whilst driving.
Always concentrate on driving
and obey traffic regulations.
See Owners Handbook. 

Navigation system
340
MEASUREMENT UNITS
Distances are shown on the screen and given in 
voice guidance, either in metric units 
(kilometres and metres) or in Imperial units 
(miles and yards) and can only be changed 
from the vehicle touch-screen menu, not from 
the navigation system menu.
To change the measurement units, select 
Vehicle on the vehicle touch screen, then select 
Unit Change.
To change the units: The unit choices are 
selected by touching either km or Mls.
KEYBOARD LAYOUT
The keyboard layout can be changed from a 
QWERTY type to ABCDEF type, from the User 
Settings screen, accessible from the 
Navigation Setup screen. 
Touch the bar to change the keyboard layout, 
then touch OK.
Display set
Preferences
Button audio
Mls. MPH MPG
km km/h 1/100
Vehicle
F
C
0
0
Display language
English UK
Vol. presets
Change
JOL4657ENG
Navigation Setup
Selection
Calibration
Restore
User
Settings
Defaults
Quick POI
12 : 26 pm
RDS-TMC
Language 
Selection
12 : 26 pm
Low Fuel Warning
User Settings
Display Petrol Station POI
Text Size on the MAP
Key board layout
Medium
OK
Default
ABC
JOL4658ENG
LUTON
LUTON
Menu
12 : 26 pm
Stored
Destination
Auto Voice
Entry
Guidance Off
Locations
Navigation
Setup
Route
Options

341
Navigation system
MAP SPLIT SCREEN
1. North is up.
2. GPS (Global Positioning System) a signal 
is not being received.
3. TMC (Traffic Message Channel), a signal is 
being received.
4. TMC, a signal is not being received.
5. Message box.
6. Small compass display which always 
indicates North.
7. Next direction display.
8. Current vehicle position.
9. TMC Incident (Red Star).
10. Back one screen arrow.
11. Repeat last voice instruction.
12. Split screen.
13. POI - fuel station shown.
•The POI button will not be active if the 
zoom level is above 1 km (½ mile).
14. Current street location.
15. Normal screen.
16. Screen mode selection.
17. Menu
18. Distance display.
19. Zoom
FO D
FORD
12 : 26 pm
132 mi
Menu
TMC
GPS
St James Lane
N
TMC TMC
mi
2
M 4 0
GPS
M 4 0
JOL4497ENG
2
5
3 4
6
8
16 10
111415
17
18
19
1
13
9
12
mi1.2
7

Navigation system
342
MAP DISPLAY ICONS
The icons on the split screens are:
This is only displayed when 
a satellite signal is not being 
received.
This icon is displayed when 
TMC is selected and a signal 
is received.
When the bar is across the 
TMC, then a signal is not 
being received and TMC will 
not function.
Touching this icon toggles it 
with the N (North) icon (1). 
The compass always points 
North or else the vehicle 
direction arrow always 
points to the top of the map.
Distance and direction for 
the next turn. 
If the compass icon (6) is 
showing, the vehicle 
direction icon (8) is always 
to the top of the map 
irrespective of where North 
is. 
Example RDS-TMC Icon 
(this one showing incident).
Go back one screen.
Touch to repeat last voice 
instruction.
GPS
TMC
TMC
mi1.2
Example POI (this one 
showing a fuel station).
This icon shows information 
concerning journey distance 
and the estimated time 
remaining before arriving at 
your destination. 
It also indicates your journey from your 
current position to the next waypoint or to 
your destination. In this example the journey 
is to your destination, shown in the top of the 
icon as the vehicle position arrow and a 
pointer towards a red circle.
This icon shows distance 
from your current position, 
distance and direction to 
way point 2.
This is your zoom button, 
enabling you to alter the map 
scale. The current level of 
zoom is shown between the 
two arrows (e.g. 2 miles). 
You may also see a zoom 
bar on the map.
This icon is toggled with the 
compass (6). When this is 
showing, North is always to 
the top of the map.
This icon is visible when the 
navigation screen has been 
scrolled away from the 
current vehicle position, so 
that the vehicle (compass) 
icon is no longer visible. 
Touch the icon to re-centre 
the screen on the current 
vehicle position.
mi
136
mi
17
mi
2
N

343
Navigation system
Other icons
Other icons can be shown to select different 
views of the screen(s). Touch the button, 
arrowed above, to show the icons for selection.
Show full screen.
Show the split screen.
Show the compass.
List of forthcoming junctions 
and turn directions shown on 
the split screen.
LUTON
LUTON
M 4 0
LUTON
LUTON
4
MI
NInfo
56  MI
Menu
Info
B4100  Banbury Road
4
MI
N
B4100  Banbury Road
56 MI
Menu
12 : 26 pm
12 : 26 pm
JOL4528ENG
This displays a larger next 
junction guidance arrow on the 
right screen.
This facility is only available 
when travelling on a motorway 
and appears automatically to 
display the remaining motorway 
exits (up to the required exit for 
your route) and the exit 
numbers. 
Automatically shows the next 
junction on the right of the 
screen.

Navigation system
344
SETTING A DESTINATION
After touching Agree, the initial map screen is 
displayed, now select Menu
From the Navigation Menu, select Destination 
Entry.
Note: If you wish to view the map without the 
buttons showing, touch anywhere on the map 
display. To display the buttons, touch Menu.
If at any time you make a mistake, use the back 
arrow key on the lower right side of the screen 
to either go back one letter or number at a time 
or repeatedly touch it until the previous screen 
is shown.
The Destination Entry menu provides a choice 
of methods for entering a destination. For this 
example, the destination address, 81 Austin 
Place, Abingdon, Oxfordshire will be used. 
From the Destination screen select Address 
and input the Town name.
N
LUTON
Menu
Stored
Destination
Auto Voice
Entry
Guidance Off
N
LUTON
F RD
ORD
M 4 0
m
Menu
2
mi
12 : 26 pm
12 : 26 pm
Locations
Navigation
Setup
Route
Options
JOL4502ENG
Menu
12 : 26 pm
Stored
Destination
Auto Voice
Entry
Guidance Off
Locations
Navigation
Setup
Route
Options
JOL4503ENG
Address
Street
Town
Intersection
House
Display Map GBR
Destination
POI
Postcode
Map
Coordinates
Address
Home GBR
12 34 5
vious
Motorway
Memory
Last 5
KETTERING(KETTERING),N
Clear
NUNEATON(NUNEATON),WA
LEAMINGTON SPA,WARWIC
Not Registered
Not Registered GBR
Town Name
Nearest 5
Search
  Area
12 : 26 pm
12 : 26 pm
12 : 26 pm
Search
Area
Search
Area
Number
JOL4536ENG

345
Navigation system
Input the destination town name by touching 
the letters on the display. Only letters which are 
highlighted can be used. Delete incorrect 
letters by touching the back arrow.
Once sufficient letters have been inputted the 
system will display all the possible towns. 
If necessary, use the scroll arrows to the left of 
the list to search up or down.
Select (touch) the town you require.
Now enter the street name.
Once again, only letters which are available will 
be highlighted. When the system recognises 
enough letters, the street or a list of streets will 
be displayed.
Select the street you require.
Address
Town Input Town Name ****
Delete
More 0-9 , ()
List
Address
Town ABIN 8
Delete
More 0-9 , ()List
Address
GBR
Town ABINGD 2
ABINGDON,OXFORDSHIRE
QWER T YU I O P
AS DF GHJ KL
XCV BNM
QWER T YU I O P
AS DF GHJ KL
ZXC NM
ABINGDON(ABING FORDSHIRE
12 : 26 pm 
12 : 26 pm
12 : 26 pm
JOL4537ENG
Address
Street A132
Delete
More 0-9 , ()
List
Address
GBR
Street AU 2
AUDLETT DRIVE
QWER T YU I O P
AS DF G KL
ZXCV BNM
AUSTIN PLACE
Address
Street
Town
Intersection
Display Map GBR
ABINGDON,OXFORDSHIRE
House
Number
Search
Area
12 : 26 pm
12 : 26 pm
12 : 26 pm
JOL4538ENG

Navigation system
346
Enter the house number of the address (if 
known) then touch OK to confirm.
If the house number is not known, press OK (1) 
- the mid-point of the street is then used as the 
destination.
Note: If a list of house number ranges is 
displayed, select the applicable range and then 
enter the number.
The map screen showing the route settings and 
destination details is displayed.
Touch Route Prefs. (1) to change the route 
settings or Destination to start the route 
calculation. If a destination is already set, touch 
Waypoint to add a waypoint in the journey.
Address
Street
Town
Intersection
Display Map GBR
ABINGDON,OXFORDSHIRE
AUSTIN PLACE
Address
(1-139):
OK
1 Delete23
456
789
0
Address
(1-139):81
OK
1 Delete23
456
789
0
House
Number
House
Number
House
Number
Search
Area
12 : 26 pm
12 : 26 pm
12 : 26 pm
1
JOL4539ENG
A 3 4
Info
Route
 Prefs.
N
1/8
mi
81 AUSTIN PLAC
TMC
12 : 26 pm
Destination Waypoint
JOL4540ENG

347
Navigation system
ROUTE PREFERENCES
If Route Prefs. is selected, the route 
preferences screen will be displayed. select the 
desired option(s) and select OK to confirm.
Note: Touch a dark blue band to select that 
feature or a light blue band to deselect it.
START GUIDANCE
After touching Destination, the system will 
calculate the route.
There is now a choice to select 3 Route, 
Change Route or to Start navigation guidance. 
If 3 Route is touched, a choice of three different 
routes is displayed on the map.
Major Roads
Route Preferences
Toll Road
Ferry
Restricted Roa
Car Train OK
Major Roads
Route Preferences
Toll Road
Ferry
Restricted Road
Car Train OK
12 : 26 pm
12 : 26 pm
JOL4541ENG
A 3 4
N
1/8
mi
81 AUSTIN PLACE
Searching route....
Destination has been set as
81 AUSTIN PLACE.
12 : 26 pm
JOL4542ENG
OXFORD
OXFORD
L
LUTON
M 4 0
12 : 26 pm
m
Route 1
Change
 Route Start3 Route
2
ml
JOL4659ENG
Total
12  ml
20
10
N
TMC
JOL4669ENG
RD
OXFORD
O
LUTON
M 4 0
12 : 26 pm
m
Route 1
Change
 Route Start3 Route
2
ml
Total
12  ml
20
10
N
TMC

Navigation system
348
The roads on the map are drawn in three 
different colours to highlight each route.
Select route 1, 2 or 3 by touching the 
respective box displayed on the right side of 
the map.
If Change Route is touched you will be given a 
menu to select from. Each menu item is 
described in detail this handbook.
When you have made your selection, if any, 
touch Start.
The route will be highlighted on the map, with 
an arrow icon showing your current position 
and a circle within a red circle showing your 
destination. The road name/number is also 
listed in the text area below the map.
Drive away, following the voice guidance given 
by the system. 
As you approach a junction, in addition to the 
voice guidance, an inset on the map will display 
an enlarged view of the junction.
When your destination is reached, voice and 
visual confirmation is given.
XF
OXFORD
LUTON
LUTON
12 : 26 pm
N
TMC
Info
Route 1
mi
Route 2
Route 3
128
min
26
h
2
mi
383
min
42
h
2
mi
356
m n
15
h
3
16
mi
O
LONDON
B N
BIRM NGHAM
JOL4672ENG
JOL4670ENG
OXFORD
OXFORD
N
LUTON
M 4 0
12 : 26 pm
m
Route 1
Change
 Route Start3 Route
2
ml
Total
12  ml
20
10
N
TMC
JOL4671ENG
OXFORD
OXFORD
LUTON
M 4 0
12 : 26 pm
m
Route 1
Change
 Route Start3 Route
2
ml
Total
12  ml
20
10
l
N
TMC
43  mi
Menu
B4100  Banbury Road
64
mi
NQuick
12 : 26 pm
JOL4543ENG
A 3 4
OXFORD
CULHAM
ATON
ATON
1 5  mi
A4183 / OXFORD ROAD
4
mi
N
DUNMORE ROAD
300 
yard
miles
0
1/2
12 : 26 pm
JOL4544ENG

349
Navigation system
VOICE GUIDANCE
The last voice guidance message can be 
repeated by touching the speaker icon in the 
lower right of the screen.
To turn voice guidance on or off but maintain 
route guidance proceed as follows:
Go to the Navigation Menu, then select Auto 
Voice Guidance Off. This takes you to the User 
Settings menu. 
If the panel is deep blue, Auto Voice Guidance 
is on, if the panel is light blue then it is muted. 
To change the voice guidance setting, touch 
the bar, then touch OK (1). 
Note: The repeat voice guidance key (the 
speaker icon) is always available for use.
A 3 4
OXFORD
OXFORD
CULHAM
CULHAM
ATON
1 5  mi
A4183 / OXFORD ROAD
4
mi
N
DUNMORE ROAD
300 
yard
miles
0
1/2
12 : 26 pm
JOL4545ENG
T
LUTON
Menu
Low Fuel Warning
User Settings
Display Petrol Station POI
Text Size on the MAP
Notifiy traffic restriction
Auto voice guidance
Medium
OK
Default
12 : 26 pm
12 : 26 pm
1
JOL4504ENG
Stored
Destination
Auto Voice
Entry
Guidance Off
Locations
Navigation
Setup
Route
Options

Navigation system
350
CANCEL GUIDANCE
To cancel guidance, touch the Menu button on 
the touch-screen, select Route Options and 
then Cancel Guidance.
QUICK POI SELECTION
Touch the Map screen to display the POI 
button. Touch the POI button. The screen 
shows six suggested categories that can be 
selected as quick points of interest.
Note: The POI button will not be active if the 
zoom level is above 1 km (½ mile).
Select a Quick POI category, or select More to 
see further POIs.
The map screen with the POI icon(s) is 
displayed. Select the five POIs you wish to see 
when the Quick POIs are displayed.
T
LUTON
Menu
12 : 26 pm
Stored
Destination
Auto Voice
Entry
Guidance Off
Locations
Navigation
Setup
Route
Options
12 : 26 pm
Route Options
Destination /
Detour
Search
Route
Route Display
Preferences
Condition
Calculate
Cancel Guidance
Route Trace
12 : 26 pm
Route Options
Waypoint
Detour
Search
Route
 Preview
Route
Display
  Route
Preferance
Condition
Destination
Cancel No Yes
Cancel guidance?
Route Trace
Waypoint
JOL4546ENG
Quick POI Selection
Default
OK
All
Park
Petrol
Golf
Shop
Hotel
Car
Q-POI Selection
Community
Hotel
Leisure
Others
12 : 26 pm
12 : 26 pm
More
FORD
FORD
T
LUTON
M 4 0
12 : 26 pm
4
N
Set
 Destination
Menu
POI
mi
JOL4508ENG

351
Navigation system
CALIBRATION
If the vehicle has been moved, for example, by 
rail or trailer, the vehicle position/direction may 
need to be calibrated.
The map showing the heading adjustment 
arrows is displayed. Adjust the heading by 
touching and using the arrows until the 
navigation symbol shows the correct 
alignment. Touch OK to confirm the new 
heading.
Quick POI
Navigation Setup
Calibration
Select after
tyre change
Adjust the
Current Position Position/Direction
Distance
12 : 26 pm
12 : 26 pm
Selection
Calibration
Restore
User
Settings
Defaults
Quick POI
JOL4548ENG
RDS-TMC
Language 
Selection
A 3 4
OK
NPosition
A 3 4
N
Calibration
OK
1/8
mi
1/8
mi
12 : 26 pm
12 : 26 pm
Direction 
Calibration
JOL4509ENG

Navigation system
352
RESTORE SYSTEM DEFAULTS
If you have made any changes to the system 
default settings, speed settings etc. then using 
this menu will restore the original settings.
Navigation Setup
System defaults will be restored. Please see
handbook for more information on system defauls
System Defaults
Average Speed Default
Selection
Calibration
Restore
User
Settings
Defaults
Quick POI
12 : 26 pm
12 : 26 pm
JOL4656ENG
RDS-TMC
Language 
Selection
System defaults will be restored. Please see
handb k f    i f ti     t  d f l
System Defaults
Average Speed Default
Cancel No Yes
Do you want to reset the average
speed to default value?
12 : 26 pm
JOL4549ENG
System defaults will be restored. Please see
handbook for more information on system defauls
System Defaults
Average Speed Default
Your average speed is now
a default setting
12 : 26 pm
JOL4550ENG

353
Navigation system
LANGUAGE SELECTION
Language change can be made from the map 
screen, or as shown above using the 
Navigation Setup menu.
MEMORY
From the navigation menu, select Stored 
Locations. This enables you to manage 
destinations such as, place of work, home, 
favourite restaurant or areas to avoid.
From the Stored Locations menu you can save 
up to 106 memory points, add your home 
address and save up to 10 areas to avoid.
For this example we will store the exit at the 
M69 motorway and on to the A5 major road to 
Nuneaton. 
Select Memory Points to add a memory point 
(stored location).
Touching any of the Stored Locations 
submenus, shown in the top illustration above, 
allows you to Add, Edit or Delete. 
Note: The screen above appears in many of the 
navigation submenu selections. 
Select Add to store a memory point.
T N
LUTON
Menu
Navigation Setup
Selection
Calibration
Restore
User
Settings
Defaults
Quick POI
12 : 26 pm
12 : 26 pm
Stored
Destination
Auto Voice
Entry
Guidance Off
Locations
Navigation
Setup
Route
Options
RDS-TMC
Language 
Selection
English
Language
US English
German
French
Italian
English
12 : 26 pm
JOL4510ENG
Stored Location
 Destination &
  Waypoint
Previous
Avoid Points
Home
Memory
Calculate
Display memory
Memory Points
Add
Edit
Delete
Stored Memory
1/106
point icon
Points
Destination
Points
JOL4551ENG
14 : 26 pm
14 : 26 pm

Navigation system
354
To store a memory point
For this example we will choose a motorway 
exit.
We will choose a motorway exit on the M69. 
Touch the motorway letter M, then touch the 
numeric key (0 - 9) to change the keypad.
Enter 69.
Choose Exit.
Select an exit, for this example choose the A5.
The map shows the M69 and the A5. Touch OK.
Select Nuneaton.
Motorway Input Motorway Name
Entry/Exit
QWER T YU I O P
AS DFGHJ KL
Z X C V B N M Delete
More 0-9 , ()List
12 : 26 pm
JOL4552ENG
M_ 54
~!$
123
%^&*_456
I-7 8 Delete
More
A-Z
?0 List
9
I
I
I
I
I
I
I
I
`
`
@
1/2
Motorway
Entry/Exit
12 : 26 pm
JOL4553ENG
Motorway Entry/Exit
Entrance
Motorway
Exit
M69
Please Select an
1
Entrance
12 : 26 pm
JOL4554ENG
Exit
Motorway
A5
A5
B4109
B4109
M69
Please select 17
1
Input
Dist
12 : 26 pm
JOL4555ENG
OK
Info
N
1/8 ml
M69,A5
M69
A5
M69
A5
12 : 26 pm
JOL4556ENG
Exit
Motorway
NUNEATON
A5
M. KEYNES
B4109
M69
Please select 17
1
Input
12 ml
ml
ml
ml
6
64
62 Name
12 : 26 pm
JOL4557ENG

355
Navigation system
Information on Destination/Waypoint entry is 
given elsewhere in this handbook. 
See DESTINATION ENTRY (page 356). 
AVOID POINTS
After a route has been selected you can set a 
single or a series of Avoid Points. Touch Avoid 
Points and the map is displayed. Using your 
finger, touch the map and drag it until the circle 
is over the area you wish to avoid. 
Use the zoom bar if required to firstly enlarge 
the search area and, after moving the circle to 
the general area, zoom to precisely the area to 
avoid.
Use the Reduce/Enlarge buttons to find the 
exact area you wish to avoid. Touch OK.
The area to avoid is stored.
HOME
From the Stored Locations menu select HOME.
NM69,HINCKLEY ROAD
Destination has been set as
M69,HINCKLEY ROAD
M69
M69,HINCKLEY ROAD
12 : 26 pm
JOL4558ENG
OK
A 3 4
NAdd area to avoid
1/8 mi
12 : 26 pm
JOL4559ENG
A 3 4
12 : 26 pm
N
OK
100
m
Change area size
Reduce Enlarge
400m
JOL4660ENG
TMC
Edit area to avoid
Location
Area
Name
ON OKEffect
EPSOM, EPSOM, SURREY
REIGATE
Area to avoid registered at
REIGATE
Searching route...
12 : 26 pm
JOL4560ENG

Navigation system
356
DESTINATION ENTRY
Setting a destination
From the Navigation Menu, select Destination 
Entry.
The Destination Entry menu provides a choice 
of methods for entering a destination. 
Choosing your route
Once the destination has been calculated 
options for your journey can be made by 
touching Route Prefs. or by selecting 3 Route 
or Change Route.
Information about altering your route 
preferences is given earlier in this handbook. 
See ROUTE PREFERENCES (page 347).
Start guidance
When the system has calculated the route, the 
map is displayed. 
The route will be highlighted on the map, with 
an icon showing your current position. The 
road name/number is also listed in the text 
area.
If no destination is set, the Destination key is 
highlighted and Waypoint is greyed out (not 
selectable).
If a destination is set and no waypoint is set 
both Destination and Waypoint are 
highlighted.
Drive away, following the voice guidance given 
by the system. As you approach a junction, in 
addition to the voice guidance, an inset on the 
map will display an enlarged view of the 
junction.
When your destination is reached, voice and 
visual confirmation is given.
Points of interest
To set a POI as destination or a waypoint. 
See POINTS OF INTEREST (page 362).
Destination
POI
Postcode
Map
Coordinates
Address
Home GBR
12 34 5
vious
Memory
Search
Motorway
Entry/Exit
Area
12 : 26 pm
JOL4561ENG
A 3 4
OK
Info
N
1/8
mi
81 AUSTIN PLACE
12 : 26 pm
Route
 Prefs.
JOL4562ENG

357
Navigation system
POSTCODE
Not all countries have this facility. Enter the 
postcode of your waypoint or destination from 
the keypad. Ensure that any spaces and 
punctuation is as used in reality otherwise the 
system may not find it.
Postcode formats
The following is a list of countries where the 
navigation system provides full postcode entry:
•Austria
•Belgium
•Denmark
•France
•Germany
•Italy
•Luxembourg
•Spain
•Switzerland
•United Kingdom
The following is a list of countries where the 
navigation system provides reduced postcode 
entry:
•Netherlands - The four numeric digits only, 
e.g. 4817
•Sweden - Only the first three digits of the 
postcode can be entered, 
e.g. 162 00 must be entered as 162.
When the postcode has been entered touch OK.
MAP
After selecting map, the local area map is 
displayed. If the destination or waypoint is not 
shown on the map, use the zoom button to 
increase the area. By using your finger on the 
touch-screen move the circle to the area for 
your destination or waypoint, zooming in if 
required.
This location can be stored as a destination or 
waypoint.
COORDINATES
If you know the coordinates of your destination 
they can be entered from this screen. The full 
latitude must be entered first before the 
longitude coordinates can be entered.
When the coordinates have been entered, 
touch OK.
If the coordinates entered are not contained 
within the area covered by the DVD, a message 
will be shown. This can also occur if the 
incorrect coordinates have been entered.
Coordinates
OK
Delete
Delete
123
456
LAT
N S Input Latitude
789
0WE
LONG
"
12 : 26 pm
JOL4564ENG
OK
Delete
Delete
123
456
LAT
NS
789
0WE
LONG
"
Coordinates
12 : 26 pm
JOL4565ENG
OK
Delete
Delete
123
456
LAT
NS
789
0WE
LONG
"
Input Longitude
Coordinates
12 : 26 pm
JOL4566ENG

Navigation system
358
MEMORY
Points of interest (POI)
Select POI Name, POI Near (1) or a Search 
Area (2) from the Destination menu screen.
Input the POI name using the keypad or select 
List to see the complete list of POIs.
Select the POI name, or select a search area 
such as a city centre to find the selected POI.
PREVIOUS
After selecting Previous from the menu, the 
screen shows a list of stored previous 
destinations. Select your destination, by 
touching the bar, and the details are displayed 
for confirmation.
Note: Whilst driving, list scrolling is not active. 
You can only choose from the items shown at 
the top of the list.
POI
 POI near
Phone
POI Name
GBR
Number
Search
 Area
12 : 26 pm
JOL4567ENG
Name Input POI Name ****
QWER T YU I O P
AS DF GHJ KL
Z X C V B N M Delete
More 0-9 , ( ) List
Category
Town
12 : 26 pm
JOL4568ENG
Car
POI Catergory
Community
Hotel
Leisure
Others OK
Delete
12 : 26 pm
JOL4570ENG
City Centre
QWER T YU I O P
AS DF GHJ KL
Z X C V B N M Delete
More 0-9 , ( ) List
City Centre ****
Input city centre name
Select Search Point
Input city centre
Current Position
Map
12 : 26 pm
12 : 26 pm
JOL4569ENG

359
Navigation system
MOTORWAY
This enables you to select a motorway exit or 
entrance as a destination or as part of a route 
itinerary. 
From Destination Entry select Motorway 
Entry/Exit.
Enter the motorway name or number. In this 
example the M69 is selected with a destination 
of Nuneaton, exiting the M69 on to the A5.
Now select an entrance or exit. 
The screen gives all of the entrance or exit 
junctions on the M69. Choose the A5.
The map showing the selected motorway and 
the selected exit junction is displayed. 
Motorway Input Motorway Name
Entry/Exit
QWER T YU I O P
AS DFGHJ KL
Z X C V B N M Delete
More 0-9 , ()List
12 : 26 pm
JOL4552ENG
M_ 54
~!$
123
%^&*_456
I-7 8 Delete
More
A-Z
?0 List
9
I
I
I
I
I
I
I
I
`
`
@
1/2
Motorway
Entry/Exit
12 : 26 pm
JOL4553ENG
Motorway Entry/Exit
Entrance
Motorway
Exit
M69
Please Select an
1
Entrance
12 : 26 pm
JOL4554ENG
Exit
Motorway
A5
A5
B4109
B4109
M69
Please select 17
1
Input
Dist
12 : 26 pm
JOL4555ENG
OK
Info
N
1/8 ml
M69,A5
M69
A5
M69
A5
12 : 26 pm
JOL4556ENG

Navigation system
360
Now Nuneaton is selected by touching the bar.
The destination has now been set and the route 
is calculated.
COMPASS
Select the compass icon and the compass will 
be displayed.
Exit
Motorway
NUNEATON
A5
M. KEYNES
B4109
M69
Please select 17
1
Input
12 ml
ml
ml
ml
6
64
62 Name
12 : 26 pm
JOL4557ENG
NM69,HINCKLEY ROAD
Destination has been set as
M69,HINCKLEY ROAD
M69
M69,HINCKLEY ROAD
12 : 26 pm
JOL4558ENG
56 mi
Menu
B4100 Banbury Road
Destination
Current
Lat     N52' 29' 58'
Lat     N52' 29' 58'
Long   : W1' 26' 48'
Long     W1' 26' 48'
 B4100 Banbury Road
N
E
S
W
N
LUTON
LUTON
M 4 0
4
mi
NInfo
B4100  Banbury Road
56 mi
Menu
12 : 26 pm
12 : 26 pm
JOL4571ENG

361
Navigation system
The illustration above shows the map display 
always facing North. The car (1) position faces 
its compass direction of travel and item (2) is 
the destination or next waypoint.
In this illustration the car (1) position faces 
upwards to the top of the map and item (2) is 
the destination or next waypoint.
N
56 mi
Menu
B4100 Banbury Road
Destination
Current
Lat     N52' 29' 58'
Lat     N52' 29' 58'
Long   : W1' 26' 48'
Long     W1' 26' 48'
 B4100 Banbury Road
N
E
S
W
N
12 : 26 pm
JOL4572ENG
N
56 mi
Menu
B4100 Banbury Road
Destination
Current
Lat     N52' 29' 58'
Lat     N52' 29' 58'
Long     W1' 26' 48'
Long   : W1' 26' 48'
B4100 Banbury Road
N
S
W
12 : 26 pm
JOL4573ENG

Navigation system
362
POINTS OF INTEREST
The Navigation System DVD contains 
information about a large number of points of 
interest (POI). There are many categories of 
POI, including fuel stations, restaurants, 
railway stations and hospitals.
This chapter explains how to select a specific 
POI. A selected POI can be set as a destination.
From the Destination Entry menu, select POI.
Input the POI name, for example Petrol to 
display fuel stations on the map, or touch List 
for a list of POIs.
Note: If entering a POI name results in too 
many matches being listed, try entering the 
town name first. If you do not know the name 
of the POI you want, try selecting a POI 
category.
Alternatively, choose Category to see all 
categories of POI and make your selection.
Use the scroll arrows to change pages.
Some POIs are sub-categorised, e.g. selecting 
Community will be further divided into:
•Community Centre.
•Exhibition Centre.
•Hospital.
•Park & Recreation.
•Town Hall
When the appropriate POI has been selected, 
the system begins to search for a route to that 
POI. 
Note: POI icons can only be displayed up to the 
1 km (½ mile) zoom level.
For this example, choose Petrol Station and 3D 
Petrol.
POI
 POI near
Phone
POI Name
GBR
Number
Search
 Area
12 : 26 pm
JOL4584ENG
Name Input POI Name ****
QWER T YU I O P
AS DF GHJ KL
Z X C V B N M Delete
More 0-9 , ( ) List
Category
Town
12 : 26 pm
JOL4585ENG
All
POI Category
Airport
Bowling centre
Bus station
Car Rental
Category
12 : 26 pm
JOL4586ENG
Category
3D PETROL
A D PETROL
ACTUAL PETROL
AMBER PETROL
Name 43
Town
12 : 26 pm
JOL4587ENG

363
Navigation system
Once the POI has been selected the route is 
determined. Touch Route Prefs. to change the 
route settings, or touch OK to start the route 
calculation.
The map screen showing the destination 
details and route settings is displayed.
POI ICON DISPLAY
After selecting a category, the map display 
shows the location of each POI in the selected 
category, indicated by the appropriate POI 
icon.
For information about a particular POI, touch 
the desired POI icon.
List of icons
OK
Info
N
1/8 mi
3D PETROL
12 : 26 pm
Route
 Prefs.
JOL4588ENG
N
3D PETROL
Destination has been set as
3D PETROL.
12 : 26 pm
JOL4589ENG
Shopping
Shopping Centre
Travel
Park & Ride
Railway Station
Tourist 
Information
Airport
Bus Station
Ferry Port
Motorway Service 
Station

Navigation system
364
Hotel
Car
Car Rental
Jaguar Dealer
Parking
Petrol Station
Community
Community Centre
Exhibition Centre
Hospital
Park & Recreation
Town Hall
Leisure
Bowling Centre
Casino
Cinema
Golf Course
Ice Skating Rink
Music Club
Ski Resort
Sports Centre
Tourist Attraction
Vineyard
Others
Historical 
Monument

365
Navigation system
CANCELLING POI ICON DISPLAY
If the display of POI icons is no longer required, 
they can be turned off as follows:
•Touch the map screen to display the 
additional buttons.
•Touch POI Off to cancel the display of POI 
icons on the map.
JAGUAR DEALERSHIP LOCATIONS
Details of Jaguar Dealerships are held on the 
Navigation System DVD as a points of interest 
(POI) category. Certain Dealers may be located 
in areas that are not fully mapped on the DVD. 
If a route is set to one of these Dealers, 
guidance may only be possible to the nearest 
town centre; a warning message will be 
displayed.
If Jaguar Dealerships (or certain other 
categories, such as airports) are selected, they 
will be displayed across all search areas.
ENTRY BY TOWN
If a town name is entered first, the points of 
interest listed will be restricted to that town.
•From the Input POI Name screen, touch 
Town.
•Enter the town name required.
•Touch List to display the list of possible 
towns.
•Select the town required.
The Input POI screen is displayed again.
•Enter the POI name required.
ENTRY BY CATEGORY
If a POI category is selected first, the points of 
interest listed will be restricted to that category.
Others continued 
Museum
Theatre
Town Centre
University/College
Restaurant
All Restaurants
Chinese
Fast Food
French
Italian
Japanese
Other Restaurants

Navigation system
366
OTHER SELECTION METHODS
Town centres
The POI database holds town centre locations. 
To select a town centre, proceed as follows:
•From the Input POI Name screen, enter the 
town name required in the Name text area 
(do not select the Town button).
•Touch List to display the list of matches.
•For the town centre, select the entry 
showing the town name only.
Note: In some cases, more than one town 
centre location may be listed.
CATEGORIES AND SUB-CATEGORIES
The POI database is divided into a number of 
categories. Each main category is further 
divided into a number of sub-categories.
The first entry in the list of Restaurant 
sub-categories, is ALL. This selects all of the 
Restaurant sub-categories.
To narrow the search, touch the Town button. 
This will display the alpha keyboard, to allow 
the desired town name to be entered.
Search area
When searching the database, only points of 
interest in the current search area are included, 
except for the sub-categories marked All 
search areas in the POI category list.
List button
The List button becomes active, when the 
characters entered reduce the possible entries 
to a small enough number (the list is displayed 
automatically when the number of entries 
reduces to four or less).
You can also select List (when active) without 
entering a POI name. All the relevant points of 
interest will be displayed, e.g. in a selected 
town or category.
All button
The All button returns to searching all 
categories after selecting one category.
POI ENTRY MESSAGES
While searching for points of interest, you may 
encounter one of the following messages:
1. There are no POIs in this Category.
2. No POIs Found in this Town.
QUICK POI SELECTION
A total of five POIs can be stored. 
Quick POI Selection
Default
OK
All
Park
Petrol
Golf
Shop
Hotel
Car
Q-POI Selection
Community
Hotel
Leisure
Others
12 : 26 pm
12 : 26 pm
More
FORD
FORD
T
LUTON
M 4 0
12 : 26 pm
4
N
Set
 Destination
Menu
POI
mi
JOL4508ENG

367
Navigation system
Changing the Quick POI Categories
The five default Quick POI categories can be 
changed as required.
•At the Map screen, touch anywhere on the 
map.
•Touch the POI button.
•Select the Quick POI category that you 
wish to replace.
The screen shows the full list of POI categories.
•Select the new category required from the 
list.
The screen shows the new selection of 
category icons.
•Repeat for another category icon if 
required.
•Touch OK to apply the new settings.
SELECTING A QUICK POI CATEGORY
•Touch the Initial Map screen, then touch 
the POI button. The screen shows six 
suggested categories that can be selected 
as quick points of interest.
Note: The POI button will not be active if the 
zoom level is below 1 km (½ mile).
•Select a Quick POI category.
The map screen is displayed with POI icons.
Other categories
You can also select from the complete list of 
POI categories.
•Touch List Categories and select a 
category from the list displayed.
Local POI search
This selects the points of interest in all 
categories within 32 kilometres (20 miles) of 
the vehicle.
•Touch the All Local POIs button.
MEMORY POINTS
The procedure for using memory points is 
functionally the same as for using the Quick 
Points of Interest.
The map display shows the location of all 
stored memory points in view.
•For information about a particular memory 
point, touch the desired memory point 
icon.
After touching the memory point icon, the 
name of the selected memory point is 
displayed at the top of the screen.
Note: Unlike POIs, memory points are 
displayed at all zoom levels.
Memory point details
•Touch Info. to display the details of the 
selected memory point.
The details include Icon, Name, Position and 
Tel.
The telephone number can be called by 
touching the telephone button, if a Jaguar 
telephone is fitted.
The memory point details can be edited.

Navigation system
368
RDS-TMC OVERVIEW
Radio Data System-Traffic Message Channel 
(RDS-TMC) is a feature that announces traffic 
hold-ups on your route, as broadcast by radio 
stations that transmit TMC information.
Touch the RDS-TMC button on the Navigation 
Menu to access the TMC menu.
Touch the Change button - the system begins 
a search of all radio stations being received in 
your locality.
The tuner will scan the FM frequency once and 
this may take a few minutes. Searching will be 
displayed while scanning is in progress.
When a station is found which is offering TMC 
information, the RDS name is shown on the list 
and the search for more stations will continue.
Note: In the United Kingdom the station giving 
TMC information is Classic FM.
You can stop the search at any time and select 
any stations presented on the list, by touching 
the Change button or the button next to the 
desired station in the list.
RDS-TMC display
When a TMC signal is received the icon in the 
top left of the screen will appear gray. If a TMC 
signal is not being received, the icon will be 
shown with a bar through it.
The system will inform the driver of any 
roadworks, narrow road, contraflow, 
accidents, slippery road, diversion, 
information, parking information, congestion 
or other hazard.
The driver is informed of a traffic event as
follows:
•A TMC Event icon shown on the map at the 
location of the event.
•Text can be displayed showing the details 
of each occurrence which can be selected 
either by touching the screen icon or from 
the traffic information list.
•Voice guidance will describe the event on 
the route. This information will be repeated 
when the repeat switch is selected.
•Dynamic route guidance, which calculates 
an alternative route when the system 
receives the traffic event warning affecting 
the route currently set in the navigation 
system.
•Traffic event list shows all events sorted by 
road name/ distance on your selected 
route in a straight line or along your actual 
route.
The information regarding the hold-up is 
maintained and updated even if the vehicle 
crosses into another country.
RDS-TMC icons
Any traffic event (broadcast on TMC) in your 
area, will be displayed as a warning icon on the 
map and an alert may be displayed as a 
message giving the road number(s) and 
between which junctions the hold-up or event 
occurs. Voice guidance will also inform you of 
the hold-up when an event icon exists on the 
current route.
This data is stored in the system for up to of 30 
minutes.
The colour of the TMC icon changes in order to 
show the type and priority of a TMC event. The 
background colour of the icon returns to 
normal when there is no longer an event or 
hold-up, or if any re-route instructions are 
calculated.

369
Navigation system
The TMC Event icons appear on the navigation 
map display to indicate the location and nature 
of a TMC event. 
TMC Event icons will appear on the map, even 
if the event does not occur on your route.
Level 1 TMC event icons
Note: Single arrow icons indicate that the 
traffic event affects traffic travelling in the 
direction of the arrow. Double arrows indicate 
that both directions are affected.
Level 2 TMC event icons
Incident (Red star)
Moving Tailback Ahead (Red 
arrow)
Moving Tailback Both 
Carriageways (Red double arrow)
Slow Traffic Ahead (Yellow arrow)
Slow Traffic Both Carriageways 
(Yellow double arrow)
Information (Yellow circle)
Incident (Yellow star)
Stationary Traffic Ahead 
(Red arrow pointing on line)
Stationary Traffic Both 
Carriageways (Red double arrow 
pointing on line)
Other Hazard (Yellow)
Roadworks (Pink)
Narrow Road (Pink)
Contraflow (Pink)
Accidents (Pink)
Slippery Road (Yellow)
Diversion (Yellow)
Parking Information (Grey)
Information (Gray)
Congestion (Red)

Navigation system
370
USING TMC
Dynamic route guidance
Dynamic route guidance will calculate an 
alternative route to avoid a traffic event when 
the system receives an event warning.
The system calculates a new route for all 
sections. However, if any way points are set, 
the system calculates for the next way point.
If the event on route is serious (closed road) or 
if the new route is shorter than the current one 
and the current one was not recalculated within 
the last 5 minutes, then a message to confirm 
the new route will be displayed. This pop-up 
message will be displayed for 10 minutes and 
if the new route is not rejected, then the vehicle 
will follow the new route.
Voice guidance
While voice guidance is on, the system will give 
audio guidance for traffic events on route.
If the on route icon is touched, with audio 
guidance switched on, the audio message will 
be repeated. If the icon is grey, the audio 
guidance function has been switched off and 
touching the icon will not repeat any message.
After the vehicle passes the event, you will be 
notified of the next nearest event on route.
Audio messages are not given if you are in that 
event.
Traffic on route
While the vehicle is on the guidance route, the 
system will generate a traffic event list for that 
route when you touch the Traffic on Route 
screen button.
If a route is calculated but the vehicle is not on 
the highlighted route, a pop-up is displayed 
with an error message.
Traffic on route
Slippery Road
B214
Accident
A420
Road Works
M69
57 km
21 km
19 km
Map
Detail
Map
Detail
Map
Detail
12 : 26 pm
RDS-TMC
Traffic on
Show TMC
Auto avoid
ll Traffic
United KingdomCountry
Station
Manual
Change
Auto
Surveillance
Events
Voice
Guidance
12 : 26 pm
Information Setting
traffic
Route
JOL4655ENG

371
Navigation system
On route event icon
The on route event icon will show a traffic event 
as a line of stationary vehicles with the distance 
to the start point of the event. Touch the icon to 
repeat audio guidance (when audio guidance is 
switched on).
The icon will be displayed on the map with the 
following conditions:
•The map scale is between 50 metres and 
4 km (1/32 mile and 2 miles).
•RDS-TMC setting is on and there are some 
events on the route.
The on route event icon will show the nearest 
event on the route and the distance to the 
event.
All traffic events
When the All Traffic Events button on the 
RDS-TMC setting screen is touched, all traffic 
events are listed by road name. If an event 
occurs on more than one road of your route, 
the system will list it with the first road name.
Each event is seen as text information from the 
menu. 
While the list is being displayed the information 
is not updated.
When you select a road the system shows 
traffic events, if there are any, with the basic 
information.
Note: The maximum text length displayed is 24 
characters.
The basic information screen shows:
•Road number.
•Brief information of the event.
•Direction and distance to the start point of 
the event (in a straight line).
Up to 20 events can be shown in distance order 
from the current vehicle position. If the event 
list is longer than three the remaining can be 
seen by scrolling the screen.
When the Map button is touched, the map 
screen will display the place of the event start 
point. The scale is always 500 metres (1/4 
mile). If the event has finished, the map screen 
will still be displayed when the Map button is 
touched but no event icon will be shown on the 
map.
When the Detail button is touched, the system 
shows the detail of that event.

Navigation system
372
SURVEILLANCE SETTING
If you frequently travel through an area that is 
subject to slow or stationary traffic, it is 
possible to set a surveillance area which can be 
viewed at any time. 
Up to three areas can be set for this 
surveillance.
RDS-TMC radio data for the selected 
surveillance area must be available and TMC 
must be enabled in order to show TMC events 
in this area
From the Navigation Setup menu select 
RDS-TMC.
Select Surveillance Setting.
Select Add.
Choose any of the methods above to select a 
surveillance area. 
If you select Map you can position the area 
accurately by zooming in using the binoculars 
icon (arrowed).
JOL4661ENG
Quick POI
Navigation Setup
Selection
Calibration
Restore
User
Settings
Defaults
Quick POI
12 : 26 pm
RDS-TMC
Language 
Selection
JOL4662ENG
RDS-TMC
Traffic on
Show TMC
Auto avoid
All Traffic
United KingdomCountry
Station
Manual
Change
Auto
Surveillance
Events
Voice
Guidance
12 : 26 pm
Information Setting
traffic
Route
JOL4663ENG
Stored Locations
Surveillance Point 2
Surveillance Point 3
Surveillance Point 1
Delete
Add
Delete
12 : 26 pm
Add Surveillance Point?
POI
Postcode
Map
Coordinates
Address
Home
GBR
12 34 5
Previous
Memory
12 : 26 pm
Search
Motorway
Entry/Exit
Area
JOL4664ENG
A 3 4
Info
N
1/8 ml
TMC
12 : 26 pm
B4100  Banbury Rd
JOL4665ENG

373
Navigation system
Choose to save as any one of the three choices.
The map will display the saved area.
USING VOICE CONTROL
JaguarVoice allows many of the navigation 
features to be activated by voice commands.
The system is controlled by the switch on the 
left-hand side of the steering wheel.
Briefly press the switch on the steering wheel 
(arrowed) and after the tone, speak one of the 
system commands. 
In response to your command, the system will 
repeat your instruction and Listening will 
appear in the message centre. The system will 
either carry out your command or ask for more 
information. If the system asks for more 
information, wait until the tone has sounded 
before replying.
To cancel a voice control session, press and 
hold the switch on the steering wheel.
The voice control system understands 
pre-defined commands, which need to be 
spoken word for word. A list of all navigation 
voice commands is given in the following table.
Nametags
Information on nametags is given earlier in this 
handbook. See VOICE CONTROL (page 69).
Message centre messages
A number of responses by the navigation voice 
system are reinforced by text messages 
appearing in the message centre display.
Info
N
1/8 ml
M69,A5
A5
mi
TMC
Surveillance Point2
Surveillance Point3
Surveillance
Cancel
Surveillance Point1
12 : 26 pm
JOL4666ENG
A 3 4
mi
N
TMC
B4100  Banbury Road
Surveillance Point 1
1/4 ml
12 : 26 pm
JOL4667ENG
E95902

Navigation system
374
NAVIGATION SYSTEM VOICE COMMANDS
Voice command System response
NAVIGATION HELP Gives spoken information about the navigation commands. 
NAVIGATION VOICE GUIDANCE 
ON
Switches on voice guidance for a set route.
NAVIGATION VOICE GUIDANCE 
OFF
Switches off voice guidance for a set route.
NAVIGATION SHOW MAP Displays the navigation map on the touch-screen
NAVIGATION SHOW TURN LIST 
GUIDANCE
Lists forthcoming junctions and turn directions on the split 
screen.
NAVIGATION SHOW CURRENT 
POSITION
Shows current position of vehicle on the map.
NAVIGATION SHOW 
DESTINATION
Shows a route preview and allows you to fast forward to the 
end.
NAVIGATION SHOW ENTIRE 
ROUTE MAP
Shows complete route.
NAVIGATION SHOW ARROW 
GUIDANCE
Changes right-hand side of split screen to show arrow 
guidance directions. See COMPASS (page 360).
NAVIGATION SHOW 
CROSSROADS GUIDANCE
If there is a crossroads within 500 metres (1640 feet), the 
right-hand side of split screen changes to show crossroad 
guidance directions. If there are no crossroads, a voice 
message There are no nearby crossroads on the set route 
will be given.
NAVIGATION SHOW 
MOTORWAY GUIDANCE
When travelling on a motorway, changes right-hand side of 
split screen to show the remaining motorway exits, and 
their numbers, up to the required exit for the route.
NAVIGATION DUAL MAP MODE Displays split screen view.
NAVIGATION SINGLE MAP 
MODE
Shows full screen map.
NAVIGATION SHOW NORTH UP Changes orientation of the map so that North is at the top of 
the screen.
NAVIGATION SHOW HEADING 
UP
Changes orientation of the map so that the vehicle is always 
heading up the screen. A compass in the top left-hand 
corner will point to North.
NAVIGATION SHOW RIGHT MAP 
NORTH UP
Changes orientation of the right-hand map so that North is 
at the top of the screen.
NAVIGATION SHOW RIGHT MAP 
HEADING UP
Changes orientation of the right-hand map so that the 
vehicle is always heading up the screen.
NAVIGATION ZOOM IN 
MAXIMUM
Displays the map (left-hand map in split screen mode) at 
the maximum magnification.

375
Navigation system
NAVIGATION ZOOM OUT 
MAXIMUM
Displays the map (left-hand map in split screen mode) at 
the minimum magnification.
NAVIGATION RIGHT MAP ZOOM 
IN MAXIMUM
 In split screen mode, displays the right-hand map at the 
maximum magnification.
NAVIGATION RIGHT MAP ZOOM 
OUT MAXIMUM
 In split screen mode, displays the right-hand map at the 
minimum magnification.
NAVIGATION ZOOM LEVEL 
(NUMBER)
Allows you to specify the level of magnification of the map 
(left-hand map in split screen mode). A selection of 
between 1 and 13 can be made, e.g. voice command 
Navigation zoom level eleven, will set the magnification 
level accordingly. 
NAVIGATION ZOOM IN 
(NUMBER)
Allows you to zoom in on the map (left-hand map in split 
screen mode) according to the user specified increment (a 
selection of between 1 and 12 can be made). If the current 
zoom level is five, the voice command Navigation zoom in 
two, will cause the system to zoom in to level three. 
NAVIGATION ZOOM OUT 
(NUMBER)
Allows you to zoom out on the map (left-hand map in split 
screen mode) according to the user specified increment (a 
selection of between 1 and 12 can be made). If the current 
zoom level is five, the voice command Navigation zoom out 
two, will cause the system to zoom out to level seven. 
NAVIGATION RIGHT MAP ZOOM 
IN (NUMBER)
Allows you to zoom in on the right-hand map. A selection of 
between 1 and 12 can be made, e.g. If the current zoom 
level is five, the voice command Navigation zoom in two, 
will cause the system to zoom in to level three. 
NAVIGATION RIGHT MAP ZOOM 
OUT (NUMBER)
Allows you to zoom in on the right-hand map. A selection of 
between 1 and 12 can be made, e.g. If the current zoom 
level is five, the voice command Navigation zoom out two, 
will cause the system to zoom out to level seven. 
NAVIGATION GO HOME Sets the destination to your currently set Home. Home 
location can be stored using the Stored locations option, 
available from the Navigation menu on the touch-screen.
NAVIGATION GO TO NAME The system will respond with Name please and you can 
specify a previously stored nametag either as a destination 
or a waypoint.
NAVIGATION GO TO PREVIOUS 
DESTINATION
Allows you to specify a previously stored destination either 
as a new destination or a waypoint. If you are following 
route guidance, and this is the last destination set, this will 
be your current destination.
Voice command System response

Navigation system
376
NAVIGATION GO TO PREVIOUS 
STARTING POINT
Allows you to specify the start point of a previous route 
either as a destination or a waypoint. If you are following 
route guidance, and this is the last start point set, this will 
be your current start point.
NAVIGATION SHOW (NEXT, 1ST, 
2ND, 3RD, 4TH, 5TH) WAYPOINT
Displays the waypoint asked for, provided it has been set.
NAVIGATION DELETE NEXT 
WAYPOINT
Deletes the next waypoint from the route and recalculates 
the route if appropriate.
NAVIGATION DETOUR This command prompts the navigation system to propose a 
detour in the route being followed. This takes effect from 
your current position and the length of the detour can be 
specified in Route Preferences. See ROUTE PREFERENCES 
(page 347).
NAVIGATION DETOUR ENTIRE 
ROUTE 
This command prompts the navigation to offer one of the 
alternative routes calculated for the current destination. 
NAVIGATION CANCEL GUIDANCE Cancels route guidance.
NAVIGATION AVOID MAJOR 
ROADS
Ensures that routes are calculated avoiding major roads.
NAVIGATION PREFER MAJOR 
ROADS
Ensures that major roads are included when routes are 
calculated.
NAVIGATION AVOID TOLL 
ROADS
Ensures that routes are calculated avoiding toll roads.
NAVIGATION PREFER TOLL 
ROADS
Ensures that toll roads are included when routes are 
calculated.
NAVIGATION AVOID FERRIES Ensures that routes are calculated avoiding ferries.
NAVIGATION PREFER FERRIES Ensures that ferries are included when routes are 
calculated.
NAVIGATION PLAY DIRECTORY Prompts a voice message giving all the navigation 
nametags. This can be interrupted by pressing the voice 
control button and, after the tone, saying REPLAY, GO TO, 
DELETE or CANCEL.
NAVIGATION DELETE 
DIRECTORY
Delete the entire directory of navigation nametags.
NAVIGATION MARK CURRENT 
POSITION
Marks the vehicle’s current position as a memory point.
NAVIGATION DYNAMIC 
GUIDANCE ON
Switches on dynamic route guidance.
NAVIGATION DYNAMIC 
GUIDANCE OFF
Switches off dynamic route guidance.
Voice command System response

377
Navigation system
NAVIGATION SHOW TRAFFIC 
INFORMATION
Displays Traffic information.
NAVIGATION HIDE TRAFFIC 
INFORMATION
Hides Traffic information.
NAVIGATION STORE NAME Allows you to store nametags for waypoints or 
destinations. Each nametag must meet the following 
criteria:
•Be spoken in more than 0.4 seconds, but less than four 
seconds.
•Not similar to any other nametag.
•Once stored, you must always speak the name in the 
same manner as during storage.
If the criteria is not met, the system will supply one of the 
following feedback:
•Name too short, new name please.
•Name too long, new name please.
•(nametag) sounds too much like (another nametag).
•The names entered are different, new name please.
NAVIGATION (POI) Provided that the map magnification is at 1 km (0.6 mile) or 
less, this voice command allows you to select up to five 
Points Of Interest (POI) from the list below. 
•Petrol
•Parking
•Town centre
•Hotel
•Hospital
•Golf course
•Shopping
•Restaurant
•I’m hungry
•Tourist information
•Jaguar (Dealer) - not Australia
•Motorway services
If more then five POIs are selected, a feedback message of 
Navigation POI off will be heard. Clear your current 
selection to allow further POIs to be displayed.
NAVIGATION POI OFF Hides all the POI icons.
Voice command System response

Navigation system
378
ORDNANCE SURVEY DATA
Please read this agreement carefully before 
using the Navigation System.
This is a licence agreement to use the 
Ordnance Survey (OS) Code-Point data 
incorporated in the Navigation System. By 
using this Code-Point data you accept and 
agree to all the terms and conditions below.
Ownership
The OS Code-Point data is licensed by 
Ordnance Survey with permission of Her 
Majesty’s Stationery Office. 
© Crown Copyright. All rights reserved.
Licence grant
OS grants you a non-exclusive licence to use 
your copy of the OS Code-Point data for your 
personal use solely as part of the Navigation 
System. You may transfer the licence to a 
subsequent purchaser of the vehicle with 
which the Navigation System is supplied, 
provided that the purchaser agrees to abide by 
each of the terms of this licence.
Licence Terms 
These licence terms are governed by English 
Law and are subject to the exclusive 
jurisdiction of the English courts.
Limitations of use
The OS Code-Point data is restricted for use in 
the specific system for which it was created. 
Except to the extent explicitly permitted by 
mandatory applicable laws, you may not 
extract or re-utilise any part of the contents of 
the OS Code-Point data, not reproduce, copy, 
modify, adapt, translate, disassemble, 
decompile, or reverse engineer any portion of 
the OS Code-Point data.
Limitation of liability
Ordnance Survey does not warrant or 
represent that any of the Code-Point data is 
accurate, error-free or suitable for your 
purposes. In no event shall OS or the supplier 
of the Navigation System using the OS 
Code-Point data be liable for any 
consequential, special, incidental or indirect 
damages for any direct or indirect loss of 
revenue, profits, business, data, or use, 
incurred by you or any third party arising out of 
your use of the OS Code-Point data, whether in 
an action in contract or tort (including 
negligence and breach of statutory duty) or 
otherwise, even if OS or the supplier of the 
Navigation System has been advised of the 
possibility of such damages. In any event, OS’s 
liability for direct damages is limited to the 
price of the copy of the OS Code-Point data. 
Nothing in these licence terms shall operate to 
exclude or limit any liability which cannot be 
excluded or limited by law.
THE DISCLAIMER OF WARRANTY AND 
LIMITATION OF LIABILITY, SET FORTH IN 
THIS AGREEMENT, DO NOT AFFECT OR 
PREJUDICE YOUR STATUTORY RIGHTS 
WHERE YOU HAVE ACQUIRED THE 
DATABASE OTHERWISE THAN IN THE 
COURSE OF A BUSINESS.

379
Navigation system
NAVTEQ CORPORATION
Please read this agreement carefully before 
using the Navigation System.
This is a licence agreement for your copy of the 
Navigable Map Database, (the ‘DATABASE’) 
originally made by NAVTEQ Corporation), used 
in the Navigation System. By using this 
DATABASE you accept and agree to all the 
terms and conditions below.
Ownership
The DATABASE and the copyrights and 
intellectual property or neighbouring rights 
therein are owned by NAVTEQ Corporation or 
its licensors. 
Licence grant
NAVTEQ Corporation grants you a 
non-exclusive licence to use your copy of the 
DATABASE for your personal use or for use in 
your business’ internal operations. This license 
does not include the right to grant 
sub-licenses.
Limitations of use
The DATABASE is restricted for use in the 
specific system for which it was created. 
Except to the extent explicitly permitted by 
mandatory applicable laws, you may not 
extract or re-utilise substantial parts of the 
contents of the DATABASE, not reproduce, 
copy, modify, adapt, translate, disassemble, 
decompile, or reverse engineer any portion of 
the DATABASE.
Transfer
You may not transfer the DATABASE to third 
parties, except together with system for which 
it was created, provided that you do not retain 
any copy of the DATABASE, and provided that 
the transferee agrees to all terms and 
conditions of this agreement.
Disclaimer of warranty
NAVTEQ Corporation does not warrant or make 
any representations regarding, either express 
or implied, regarding the use or results of the 
use of the DATABASE in terms of its 
correctness, accuracy, reliability, or otherwise 
and expressly disclaims any implied warranties 
of quality, performance, merchantability, 
fitness for a particular purpose or 
non-infringement.
NAVTEQ Corporation does not warrant that the 
DATABASE is or will be error-free. No oral or 
written information or advice provided by 
NAVTEQ Corporation, your supplier or any 
other person shall create a warranty.
Limitation of liability
The price of the DATABASE does not include 
any consideration for assumption of risk of 
consequential, indirect or unlimited direct 
damages which may arise in connection with 
your use of the DATABASE. 
Accordingly, in no event shall NAVTEQ 
Corporation or supplier of the navigation 
system using the DATABASE (‘Supplier’) be 
liable for any consequential, special, incidental 
or indirect damages, including without 
limitation, loss of revenue, data, or use, 
incurred by you or any third party arising out of 
your use of the DATABASE, whether in an 
action in contract or tort or based on a 
warranty, even if NAVTEQ Corporation or the 
Supplier has been advised of the possibility of 
such damages. In any event, NAVTEQ 
Corporation’s liability for direct damages is 
limited to the price of your copy of the 
DATABASE.

Navigation system
380
THE DISCLAIMER OF WARRANTY AND 
LIMITATION OF LIABILITY, SET FORTH IN 
THIS AGREEMENT, DO NOT AFFECT OR 
PREJUDICE YOUR STATUTORY RIGHTS 
WHERE YOU HAVE ACQUIRED THE 
DATABASE OTHERWISE THAN IN THE 
COURSE OF A BUSINESS. Some states and 
laws do not allow the exclusion of implied 
warranties, so the above disclaimer may not 
apply to you.
Government end users
If the DATABASE is for a region of North 
America and is being acquired by or on behalf 
of the United States government or any other 
entity seeking or applying rights similar to 
those customarily claimed by the United States 
government, the DATABASE is licensed with 
‘limited rights’.
Utilization of the DATABASE is subject to the 
restrictions specified in the ‘Rights in Technical 
Data and Computer Database’ clause at DFARS 
252.227–7013, or the equivalent clause for 
non-defence agencies. Manufacturer of the 
DATABASE of North America is NAVTEQ 
Corporation, 10400 W. Higgins Road, Suite 
400, Rosemont, Illinois 60018, USA.
EUROPEAN DECLARATION OF 
CONFORMITY
Hereby, DENSO CORPORATION 
declares that this DN-NS-019 is in 
compliance with the essential 
requirements and other relevant 
provisions of Directive 1999/5/EC.
WARNING
The DATABASE reflects reality as 
existing before you received the 
DATABASE and it comprises data and 
information from government and other 
sources, which may contain errors and 
omissions. Accordingly, the DATABASE may 
contain inaccurate or incomplete information 
due to the passage of time, changing 
circumstances, and due to the nature of the 
sources used. The DATABASE does not 
include or reflect information on - inter alia - 
neighbourhood safety; law enforcement; 
emergency assistance; construction work; 
road or lane closures; vehicle or speed 
restrictions; road slope or grade; bridge 
height, weight or other limits; road or traffic 
conditions; special events; traffic congestion; 
or travel time.

Index
381
A
ABS driving hints  . . . . . . . . . . . . . . . . . .   144
ACC . . . . . . . . . . . . . . . . . . . . . . . . . . . . .   159
Accessories. . . . . . . . . . . . . . . . . . . . . . . .   14
Adaptive cruise control . . . . . . . . . . . . . .   159
Adaptive cruise control (ACC)
principle of operation . . . . . . . . . . . . .   159
Adaptive dynamics  . . . . . . . . . . . . . . . . .   172
Adjusting the headlamps. . . . . . . . . . . . . .   78
Adjusting the steering wheel . . . . . . . . . . .   67
entry and exit mode  . . . . . . . . . . . . . . .   67
Advanced emergency brake assist  . . . . .   165
AFS . . . . . . . . . . . . . . . . . . . . . . . . . . . . . .   79
Air vents . . . . . . . . . . . . . . . . . . . . . . . . .   115
rear vents . . . . . . . . . . . . . . . . . . . . . .   115
Airbag labels . . . . . . . . . . . . . . . . . . . . . . .   58
Airbag service information  . . . . . . . . . . . .   58
Airbag warning lamp . . . . . . . . . . . . . . . . .   57
Alarm
trigger information . . . . . . . . . . . . . . . .   39
Alarm sensor override. . . . . . . . . . . . . . . .   22
Approach lamps  . . . . . . . . . . . . . . . . . . . .   81
Arming  . . . . . . . . . . . . . . . . . . . . . . . . . . .   19
Arming the alarm  . . . . . . . . . . . . . . . . . . .   37
alarm indicator . . . . . . . . . . . . . . . . . . .   38
battery-backed sounder  . . . . . . . . . . . .   38
full alarm. . . . . . . . . . . . . . . . . . . . . . . .   37
perimeter alarm  . . . . . . . . . . . . . . . . . .   37
ASL . . . . . . . . . . . . . . . . . . . . . . . . . . . . .   167
Audible warnings and indicators . . . . . . .   104
Audio
portable interface . . . . . . . . . . . . . . . .   131
Audio control. . . . . . . . . . . . . . . . . . .   69, 272
sound settings  . . . . . . . . . . . . . . . . . .   272
Audio controls. . . . . . . . . . . . . . . . . . . . .   282
steering wheel controls. . . . . . . . . . . .   282
Audio unit overview. . . . . . . . . . . . . . . . .   269
audio controls. . . . . . . . . . . . . . . . . . .   269
sound system overview  . . . . . . . . . . .   270
Autolamps. . . . . . . . . . . . . . . . . . . . . . . . .   76
exit delay. . . . . . . . . . . . . . . . . . . . . . . .   77
windscreen wiper detection  . . . . . . . . .   76
Automatic climate control . . . . . . . . . . . .   116
controls  . . . . . . . . . . . . . . . . . . . . . . .   116
touch-screen operation. . . . . . . . . . . .   119
Automatic speed limiter . . . . . . . . . . . . . . 167
Automatic speed limiter (ASL)
principle of operation . . . . . . . . . . . . . . 167
Automatic transmission . . . . . . . . . . . . . . 137
automatic mode . . . . . . . . . . . . . . . . . . 139
JaguarDrive selector  . . . . . . . . . . . . . . 137
limp-home mode . . . . . . . . . . . . . . . . . 143
manual mode . . . . . . . . . . . . . . . . . . . . 141
message centre display . . . . . . . . . . . . 143
sport mode  . . . . . . . . . . . . . . . . . . . . . 140
starting. . . . . . . . . . . . . . . . . . . . . . . . . 139
Autostore control . . . . . . . . . . . . . . . . . . . 274
Auxiliary connections . . . . . . . . . . . . . . . . 299
connecting a USB device . . . . . . . . . . . 300
connecting an auxiliary device . . . . . . . 301
connecting an iPod  . . . . . . . . . . . . . . . 300
connecting more than one device  . . . . 301
portable audio overview . . . . . . . . . . . .  299
Auxiliary input devices . . . . . . . . . . . . . . . 302
displaying track information. . . . . . . . . 303
playing a portable device . . . . . . . . . . . 302
portable device settings . . . . . . . . . . . . 306
searching a portable device . . . . . . . . . 304
Auxiliary power sockets . . . . . . . . . . . . . . 125
B
Battery
charging faults . . . . . . . . . . . . . . . . . . . 213
Battery care  . . . . . . . . . . . . . . . . . . . . . . . 212
Battery Monitoring System (BMS) . . . . 213
Battery charging . . . . . . . . . . . . . . . . . . . . 215
Battery warning symbols  . . . . . . . . . . . . . 212
Blind spot monitor . . . . . . . . . . . . . . . . . . . 97
sensor blockage. . . . . . . . . . . . . . . . . . . 98
system fault . . . . . . . . . . . . . . . . . . . . . . 98
Block heaters . . . . . . . . . . . . . . . . . . . . . . 134
Bonnet lock  . . . . . . . . . . . . . . . . . . . . . . . 195
Booster cables . . . . . . . . . . . . . . . . . . . . . 214
Booster cushions . . . . . . . . . . . . . . . . . . . . 61
Brake fluid check  . . . . . . . . . . . . . . . . . . . 206
checking the fluid level. . . . . . . . . . . . . 206
topping up the fluid . . . . . . . . . . . . . . . 207
Brakes
brake pads . . . . . . . . . . . . . . . . . . . . . . 144
pad wear warning. . . . . . . . . . . . . . . . . 144
principle of operation . . . . . . . . . . . . . . 144

Index
382
Bulb changing . . . . . . . . . . . . . . . . . . . . . .  83
direction indicator bulb (front) . . . . . . .  84
headlamp unit bulbs . . . . . . . . . . . . . . .  83
high level brake lamp  . . . . . . . . . . . . . .  86
number plate lamp bulb  . . . . . . . . . . . .  86
rear lamp bulbs. . . . . . . . . . . . . . . . . . .  85
side lamp bulb  . . . . . . . . . . . . . . . . . . .  85
side repeater lamp  . . . . . . . . . . . . . . . .  85
Bulb specification chart . . . . . . . . . . . . . . .  87
C
Cancel guidance  . . . . . . . . . . . . . . . . . . .  350
Car wash . . . . . . . . . . . . . . . . . . . . . . . . .  187
Cautions  . . . . . . . . . . . . . . . . . . . . . . . . . . .  9
Changing a bulb  . . . . . . . . . . . . . . . . . . . .  83
general information. . . . . . . . . . . . . . . .  83
Changing a fuse. . . . . . . . . . . . . . . . . . . .  241
checking or renewing a blown fuse. . .  241
Changing a road wheel  . . . . . . . . . . . . . .  225
locking wheel nuts  . . . . . . . . . . . . . . .  226
spare wheel location . . . . . . . . . . . . . .  226
temporary use spare wheel . . . . . . . . .  225
tightening the wheel nuts . . . . . . . . . .  229
wheel changing procedure  . . . . . . . . .  228
wheel changing safety. . . . . . . . . . . . .  227
Changing the remote control battery . . . . .  24
Changing the vehicle battery . . . . . . . . . .  215
battery disposal. . . . . . . . . . . . . . . . . .  215
Changing the wiper blades  . . . . . . . . . . . .  91
changing the wiper blades  . . . . . . . . . .  92
service position. . . . . . . . . . . . . . . . . . .  91
Channel automatic tuning . . . . . . . . . . . .  284
Channel options. . . . . . . . . . . . . . . . . . . .  284
DAB search . . . . . . . . . . . . . . . . . . . . .  286
finding a channel. . . . . . . . . . . . . . . . .  285
finding a subchannel. . . . . . . . . . . . . .  285
finding an ensemble . . . . . . . . . . . . . .  286
Charging the vehicle battery  . . . . . . . . . .  215
Checking the wiper blades. . . . . . . . . . . . .  90
Child safety locks  . . . . . . . . . . . . . . . . . . .  65
Child seat anchor points  . . . . . . . . . . . . . .  62
installing an ISOFIX child seat. . . . . . . .  63
ISOFIX anchor points . . . . . . . . . . . . . .  62
tether anchorage points  . . . . . . . . . . . .  64
Child seat positioning . . . . . . . . . . . . . . . .  60
Child seats  . . . . . . . . . . . . . . . . . . . . . . . . . 59
child restraint check list . . . . . . . . . . . . . 60
Cleaning the alloy wheels . . . . . . . . . . . . . 187
Cleaning the exterior. . . . . . . . . . . . . . . . . 187
bird droppings . . . . . . . . . . . . . . . . . . . 189
cleaning the rear screen . . . . . . . . . . . . 189
glass surfaces  . . . . . . . . . . . . . . . . . . . 189
polishing  . . . . . . . . . . . . . . . . . . . . . . . 189
removing grease and tar. . . . . . . . . . . . 189
underbonnet cleaning. . . . . . . . . . . . . . 188
using an automatic wash . . . . . . . . . . . 188
washing the vehicle paintwork . . . . . . . 187
Cleaning the interior . . . . . . . . . . . . . . . . . 189
airbag module covers. . . . . . . . . . . . . . 191
carpet and mats . . . . . . . . . . . . . . . . . . 191
cloth and fabric  . . . . . . . . . . . . . . . . . . 190
instrument pack, clock, and audio 
equipment . . . . . . . . . . . . . . . . . . . . 190
leather  . . . . . . . . . . . . . . . . . . . . . . . . . 190
removing stains . . . . . . . . . . . . . . . . . . 190
seat belts . . . . . . . . . . . . . . . . . . . . . . . 191
Climate seats  . . . . . . . . . . . . . . . . . . . . . . . 48
backrest ventilation only. . . . . . . . . . . . . 48
cooled ventilation . . . . . . . . . . . . . . . . . . 48
heated ventilation . . . . . . . . . . . . . . . . . . 48
Clock. . . . . . . . . . . . . . . . . . . . . . . . . . . . . 124
setting the clock as the screensaver. . . 124
Compact disc display options. . . . . . . . . . 296
Compact disc pause . . . . . . . . . . . . . . . . . 295
Compact disc player
CD compatibility . . . . . . . . . . . . . . . . . . 292
loading CDs . . . . . . . . . . . . . . . . . . . . . 292
Compact disc selection. . . . . . . . . . . . . . . 294
Compass view. . . . . . . . . . . . . . . . . . . . . . 360
Condensation - lamps. . . . . . . . . . . . . . . . . 76
Controls overview . . . . . . . . . . . . . . . . . . . . 12
Coolant check . . . . . . . . . . . . . . . . . . . . . . 204
Cornering lamps . . . . . . . . . . . . . . . . . . . . . 79
Cruise control . . . . . . . . . . . . . . . . . . . 74, 156
principle of operation . . . . . . . . . . . . . . 156
Cup holders  . . . . . . . . . . . . . . . . . . . . . . . 126
twin cup holder  . . . . . . . . . . . . . . . . . . 127

Index
383
D
Destination entry. . . . . . . . . . . . . . . . . . .   356
choosing your route . . . . . . . . . . . . . .   356
coordinates. . . . . . . . . . . . . . . . . . . . .   357
map  . . . . . . . . . . . . . . . . . . . . . . . . . .   357
memory  . . . . . . . . . . . . . . . . . . . . . . .   358
motorway . . . . . . . . . . . . . . . . . . . . . .   359
points of interest. . . . . . . . . . . . . . . . .   356
postcode. . . . . . . . . . . . . . . . . . . . . . .   357
previous . . . . . . . . . . . . . . . . . . . . . . .   358
setting a destination . . . . . . . . . . . . . .   356
start guidance . . . . . . . . . . . . . . . . . . .   356
Diesel particulate filter (DPF). . . . . . . . . .   135
regeneration . . . . . . . . . . . . . . . . . . . .   135
regeneration procedure. . . . . . . . . . . .   136
warning indicators and messages. . . .   135
Digital audio broadcasting
general information. . . . . . . . . . . . . . .   280
Dimensions . . . . . . . . . . . . . . . . . . . . . . .   260
brake pedal travel (China only) . . . . . .   261
wheel alignment data (China only) . . .   261
Dipstick - electronic  . . . . . . . . . . . .   199, 202
Direction indicators . . . . . . . . . . . . . . . . . .   78
Disability modifications . . . . . . . . . . . . . . .   11
Disarming . . . . . . . . . . . . . . . . . . . . . . . . .   18
Disarming the alarm . . . . . . . . . . . . . . . . .   38
deactivating the alarm when triggered .   38
disarming when the unlock button fails to 
work . . . . . . . . . . . . . . . . . . . . . . . . .   38
Display options . . . . . . . . . . . . . . . . . . . .   283
DAB radio text. . . . . . . . . . . . . . . . . . .   283
touch-screen information panel . . . . .   283
Docking the Jaguar Smart Key  . . . . . . . . .   20
DPF . . . . . . . . . . . . . . . . . . . . . . . . . . . . .   135
Drive control
general information. . . . . . . . . . . . . . .   169
Driving after a collision . . . . . . . . . . . . . .   251
before starting or driving  . . . . . . . . . .   251
resetting the fuel cut-off . . . . . . . . . . .   251
when driving. . . . . . . . . . . . . . . . . . . .   252
Dynamic mode . . . . . . . . . . . . . . . . . . . .   170
E
Economical driving. . . . . . . . . . . . . . . . . . 155
driving tips for economy . . . . . . . . . . . 155
maintenance and fuel economy . . . . . . 155
E-Diff (differential) . . . . . . . . . . . . . . . . . . 172
Ejecting compact discs. . . . . . . . . . . . . . . 294
Electric parking brake (EPB) . . . . . . . . . . . 146
Electric seats  . . . . . . . . . . . . . . . . . . . . . . . 42
driving position memory . . . . . . . . . . . . 43
Electric sunroof  . . . . . . . . . . . . . . . . . . . .  121
anti-trap mechanism  . . . . . . . . . . . . . . 121
calibration  . . . . . . . . . . . . . . . . . . . . . . 122
operation . . . . . . . . . . . . . . . . . . . . . . . 121
sunroof blind . . . . . . . . . . . . . . . . . . . .  122
Electric windows  . . . . . . . . . . . . . . . . . . . . 93
one-shot operation. . . . . . . . . . . . . . . . . 93
overriding anti-trap protection . . . . . . . . 93
window isolator . . . . . . . . . . . . . . . . . . .  94
window reset . . . . . . . . . . . . . . . . . . . . . 93
Emergency brake assist (advanced) . . . . . 165
Emergency key blade . . . . . . . . . . . . . . 25, 28
Engine
block heaters . . . . . . . . . . . . . . . . . . . . 134
Engine compartment overview . . . . . . . . . 196
brake fluid reservoir . . . . . . . . . . . . . . .  196
coolant reservoir  . . . . . . . . . . . . . . . . . 197
engine oil dipsticks  . . . . . . . . . . . . . . . 197
engine oil filler . . . . . . . . . . . . . . . . . . . 196
power steering fluid reservoir  . . . . . . . 197
washer fluid reservoir  . . . . . . . . . . . . . 196
Engine coolant check . . . . . . . . . . . . . . . . 204
checking the coolant level  . . . . . . . . . . 204
topping up the coolant . . . . . . . . . . . . . 205
Engine number . . . . . . . . . . . . . . . . . . . . . 257
diesel engines  . . . . . . . . . . . . . . . . . . . 257
petrol engines  . . . . . . . . . . . . . . . . . . . 257
Engine oil check
engine oil consumption . . . . . . . . 199, 201
engine oil specification. . . . . . . . . . . . . 203
V6 diesel engines . . . . . . . . . . . . . . . . . 201
V6 petrol engines . . . . . . . . . . . . . . . . . 197
V8 petrol engines . . . . . . . . . . . . . . . . . 199
Engine specifications . . . . . . . . . . . . . . . . 258
EPB. . . . . . . . . . . . . . . . . . . . . . . . . . . . . . 146
Errors in vehicle position . . . . . . . . . . . . . 335

Index
384
Essential towing checks  . . . . . . . . . . . . .  185
Event data recording . . . . . . . . . . . . . . . . .  11
Exterior mirrors . . . . . . . . . . . . . . . . . . . . .  95
adjusting and folding  . . . . . . . . . . . . . .  95
mirror dip when reversing. . . . . . . . . . .  96
F
Fascia - controls overview . . . . . . . . . . . . .  12
Fastening the seat belts . . . . . . . . . . . . . . .  51
releasing the seat belts . . . . . . . . . . . . .  51
Ferry
disarming the tilt alarm sensor . . . . . . .  22
Fire extinguisher . . . . . . . . . . . . . . . . . . .  250
First aid kit. . . . . . . . . . . . . . . . . . . . . . . .  250
Forward alert function . . . . . . . . . . . . . . .  164
Fuel
octane rating. . . . . . . . . . . . . . . . . . . .  175
petrol fuel guard . . . . . . . . . . . . . . . . .  180
refuelling. . . . . . . . . . . . . . . . . . . . . . .  179
Fuel cut-off  . . . . . . . . . . . . . . . . . . . . . . .  177
resetting the fuel cut-off . . . . . . . . . . .  178
Fuel filler flap. . . . . . . . . . . . . . . . . . . . . .  178
Fuel guard . . . . . . . . . . . . . . . . . . . . . . . .  180
Fuel quality  . . . . . . . . . . . . . . . . . . . . . . .  174
alternative fuels for petrol engines  . . .  175
diesel engined vehicles . . . . . . . . . . . .  176
petrol engined vehicles . . . . . . . . . . . .  174
unleaded fuel. . . . . . . . . . . . . . . . . . . .  175
Fuse box locations. . . . . . . . . . . . . . . . . .  242
engine compartment fuse box. . . . . . .  242
fuse and relay positions  . . . . . . . . . . .  244
luggage compartment fuse box. . . . . .  243
passenger compartment fuse box. . . .  243
Fuse specification chart. . . . . . . . . . . . . .  245
G
Garage door transceiver  . . . . . . . . . . . . .  128
before programming. . . . . . . . . . . . . .  128
entry gate programming . . . . . . . . . . .  130
information and assistance . . . . . . . . .  130
programming . . . . . . . . . . . . . . . . . . .  129
reprogramming a single garage door opener 
button. . . . . . . . . . . . . . . . . . . . . . .  130
rolling code device equipment 
programming . . . . . . . . . . . . . . . . .  130
to erase all programming . . . . . . . . . .  129
General information on radio frequencies. . 16
Global opening and closing. . . . . . . . . . . . . 35
cancelling global opening/closing  . . . . . 36
window global closing (not Japan). . . . . 36
window global opening  . . . . . . . . . . . . . 35
Glove box . . . . . . . . . . . . . . . . . . . . . . . . . 125
H
Hazard warning flashers . . . . . . . . . . . 77, 250
Head restraints . . . . . . . . . . . . . . . . . . . . . . 44
head restraint removal . . . . . . . . . . . . . . 45
manual head restraints. . . . . . . . . . . . . . 45
tilt adjustment  . . . . . . . . . . . . . . . . . . . . 44
whiplash protection . . . . . . . . . . . . . . . . 44
Headlamp adjustment. . . . . . . . . . . . . . . . . 78
Headlamp levelling . . . . . . . . . . . . . . . . . . . 79
halogen headlamps  . . . . . . . . . . . . . . . . 79
xenon headlamps . . . . . . . . . . . . . . . . . . 79
Headlamp removal . . . . . . . . . . . . . . . . . . . 81
Headlamp washers . . . . . . . . . . . . . . . . . . . 90
Heated seats . . . . . . . . . . . . . . . . . . . . . . . . 47
Heated steering wheel. . . . . . . . . . . . . . . . . 68
Hints on driving with ABS. . . . . . . . . . . . . 144
ABS braking techniques . . . . . . . . . . . . 145
ABS warning indicator . . . . . . . . . . . . . 144
brake vacuum assist (V6 petrol models 
only)  . . . . . . . . . . . . . . . . . . . . . . . . 146
Electronic Brakeforce Distribution (EBD) . .  
145
Emergency Brake Assist (EBA). . . . . . . 146
Horn . . . . . . . . . . . . . . . . . . . . . . . . . . . . . . 68
I
Information displays
general information  . . . . . . . . . . . . . . . 105
Information messages  . . . . . . . . . . . . . . . 106
Inspecting safety system components . . . 252
Instrument lighting dimmer . . . . . . . . . . . 123
Instrument panel overview . . . . . . . . . . . . . 99
instrument panel  . . . . . . . . . . . . . . . . . . 99
Interior lamps . . . . . . . . . . . . . . . . . . . . . . . 80
rear interior lighting . . . . . . . . . . . . . . . . 80
Interior mirror. . . . . . . . . . . . . . . . . . . . . . . 94
auto dimming . . . . . . . . . . . . . . . . . . . . . 94
manual dimming  . . . . . . . . . . . . . . . . . . 94
Isofix child restraints  . . . . . . . . . . . . . . . . . 62

Index
385
J
Jaguar Smart Key . . . . . . . . . . . . . . . . . . .   17
system transmitters . . . . . . . . . . . . . . .   32
Jump starting . . . . . . . . . . . . . . . . . . . . .   214
K
Keyboard layout  . . . . . . . . . . . . . . . . . . .   340
Keyless entry. . . . . . . . . . . . . . . . . . . . . . .   33
convenience mode . . . . . . . . . . . . . . . .   34
Jaguar Smart Key check . . . . . . . . . . . .   33
keyless locking . . . . . . . . . . . . . . . . . . .   34
steering column lock  . . . . . . . . . . . . . .   35
Keyless starting. . . . . . . . . . . . . . . . . . . .   133
if the engine fails to start  . . . . . . . . . .   134
starting a diesel engine. . . . . . . . . . . .   133
starting a petrol engine. . . . . . . . . . . .   133
Keys
emergency key blade  . . . . . . . . . . .   25, 28
Keys and remote controls
principle of operation . . . . . . . . . . . . . .   16
L
Lamps
cornering lamps . . . . . . . . . . . . . . . . . .   79
static bending lamps. . . . . . . . . . . . . . .   79
Language selection . . . . . . . . . . . . . . . . .   339
Levelling . . . . . . . . . . . . . . . . . . . . . . . . .   184
Lighting
condensation  . . . . . . . . . . . . . . . . . . . .   76
Lighting control. . . . . . . . . . . . . . . . . . . . .   75
daylight running lamps . . . . . . . . . . . . .   76
headlamps  . . . . . . . . . . . . . . . . . . . . . .   75
off . . . . . . . . . . . . . . . . . . . . . . . . . . . . .   75
side lamps  . . . . . . . . . . . . . . . . . . . . . .   75
Load carrying
general information. . . . . . . . . . . . . . .   182
Loading compact discs . . . . . . . . . . . . . .   292
loading a CD (player empty) . . . . . . . .   293
loading one CD (six CD player, part-loaded) 
293
loading several CDs (six CD player) . .   294
Loading the map DVD . . . . . . . . . . . . . . .   334
Locking . . . . . . . . . . . . . . . . . . . . . . . . . . .   19
Locking and unlocking . . . . . . . . . . . . . . . . 26
locking and unlocking from inside the 
vehicle . . . . . . . . . . . . . . . . . . . . . . . .  27
locking and unlocking from outside the 
vehicle . . . . . . . . . . . . . . . . . . . . . . . .  26
mislock  . . . . . . . . . . . . . . . . . . . . . . . . . 28
using the emergency key blade . . . . . . . 28
valet mode . . . . . . . . . . . . . . . . . . . . . . .  30
Luggage anchor points. . . . . . . . . . . . . . . 182
M
Main menu . . . . . . . . . . . . . . . . . . . . . . . . 338
Maintenance
general information . . . . . . . . . . . . . . . 192
technical specifications  . . . . . . . . . . . . 210
Map display icons. . . . . . . . . . . . . . . . . . . 342
Measurement units. . . . . . . . . . . . . . . . . . 340
Mirrors
heated  . . . . . . . . . . . . . . . . . . . . . . . . . . 96
MP3 file playback . . . . . . . . . . . . . . . . . . . 297
MP3 folder structure . . . . . . . . . . . . . . 298
using MP3 discs  . . . . . . . . . . . . . . . . . 297
N
Navigation
digitised area . . . . . . . . . . . . . . . . . . . . 335
getting started . . . . . . . . . . . . . . . . . . .  336
map display icons  . . . . . . . . . . . . . . . . 342
map screen  . . . . . . . . . . . . . . . . . . . . . 341
memory . . . . . . . . . . . . . . . . . . . . . . . . 353
menu structure  . . . . . . . . . . . . . . . . . . 337
route preference. . . . . . . . . . . . . . . . . . 347
saving preferences. . . . . . . . . . . . . . . . 339
setting a destination. . . . . . . . . . . . . . . 344
start guidance  . . . . . . . . . . . . . . . . . . . 347
turn guidance off . . . . . . . . . . . . . . . . .  350
turn voice guidance on or off . . . . . . . . 349
Navigation overview
loading the DVD. . . . . . . . . . . . . . . . . . 334
Navigation setup
calibration  . . . . . . . . . . . . . . . . . . . . . . 351
language selection . . . . . . . . . . . . . . . . 353
quick POI selection  . . . . . . . . . . . 350, 366
restore system defaults . . . . . . . . . . . . 352
user settings  . . . . . . . . . . . . . . . . . . . . 338

Index
386
O
Octane rating. . . . . . . . . . . . . . . . . . . . . .  175
Oil check
V6 diesel engines . . . . . . . . . . . . . . . .  201
V6 petrol engines . . . . . . . . . . . . . . . .  197
V8 petrol engines . . . . . . . . . . . . . . . .  199
Oil level check . . . . . . . . . . . . . . . . .  199, 202
On/off control  . . . . . . . . . . . . . . . . . . . . .  271
Opening and closing the bonnet  . . . . . . .  195
closing the bonnet  . . . . . . . . . . . . . . .  195
opening the bonnet . . . . . . . . . . . . . . .  195
P
Parking aid  . . . . . . . . . . . . . . . . . . . . . . .  148
principle of operation . . . . . . . . . . . . .  148
Parking brake  . . . . . . . . . . . . . . . . . . . . .  146
Parts . . . . . . . . . . . . . . . . . . . . . . . . . . . . .  14
Pedestrian protection
principle of operation  . . . . . . . . . . . . . .  66
Pedestrian protection system
after deployment. . . . . . . . . . . . . . . . . .  66
Personalised settings  . . . . . . . . . . . . . . .  111
audio system. . . . . . . . . . . . . . . . . . . .  112
automatic climate control . . . . . . . . . .  112
general Information. . . . . . . . . . . . . . .  111
home menu display. . . . . . . . . . . . . . .  111
languages and distance units . . . . . . .  113
navigation system . . . . . . . . . . . . . . . .  112
phone/comms/voice . . . . . . . . . . . . . .  112
pop-up messages . . . . . . . . . . . . . . . .  112
timeout to home menu . . . . . . . . . . . .  114
touch-screen systems. . . . . . . . . . . . .  112
vehicle system  . . . . . . . . . . . . . . . . . .  113
Petrol fuel guard . . . . . . . . . . . . . . . . . . .  180
Points of interest  . . . . . . . . . . . . . . . . . . . 362
cancelling the icon display . . . . . . . . . . 365
categories and sub-categories . . . . . . . 366
entry by category . . . . . . . . . . . . . . . . . 365
entry by town . . . . . . . . . . . . . . . . . . . . 365
entry messages  . . . . . . . . . . . . . . . . . . 366
icon display  . . . . . . . . . . . . . . . . . . . . . 363
Jaguar Dealerships. . . . . . . . . . . . . . . . 365
list of icons. . . . . . . . . . . . . . . . . . . . . . 363
memory points. . . . . . . . . . . . . . . . . . . 367
other selection methods. . . . . . . . . . . . 366
selecting a quick POI category . . . . . . . 367
Pollution sensor . . . . . . . . . . . . . . . . . . . . 120
Portable audio. . . . . . . . . . . . . . . . . . . . . . 299
Portable audio interface  . . . . . . . . . . . . . . 131
Power steering fluid check . . . . . . . . . . . . 208
checking the fluid level. . . . . . . . . . . . . 208
topping up the fluid . . . . . . . . . . . . . . . 208
Preset buttons  . . . . . . . . . . . . . . . . . . . . . 287
recalling a preset channel. . . . . . . . . . . 287
storing channels as presets . . . . . . . . . 287
Principle of operation
airbag deployment effects  . . . . . . . . . . . 56
airbag operation . . . . . . . . . . . . . . . . . . . 55
airbags . . . . . . . . . . . . . . . . . . . . . . . . . . 54
deployment  . . . . . . . . . . . . . . . . . . . . . . 66
deployment and deflation . . . . . . . . . . . . 55
introduction . . . . . . . . . . . . . . . . . . . . . . 53
seat belt checks . . . . . . . . . . . . . . . . . . . 50
seat belt safety . . . . . . . . . . . . . . . . . . . . 49
seat belts . . . . . . . . . . . . . . . . . . . . . . . . 49
wet conditions . . . . . . . . . . . . . . . . . . . 144
Priority programme type (PTY). . . . . . . . . 278
PTY overview . . . . . . . . . . . . . . . . . . . . 278
PTY search . . . . . . . . . . . . . . . . . . . . . . 279
selecting PTY categories  . . . . . . . . . . . 278
Programming the remote control . . . . . . . . 21
selecting alarm sensor override . . . . . . . 22
selecting automatic relock and arm . . . . 24
selecting drive-away locking  . . . . . . . . . 23
selecting passive arming . . . . . . . . . . . . 23
selecting single (2 stage unlock) or multi-
point entry . . . . . . . . . . . . . . . . . . . . . 22
selecting window global opening or closing  
23

Index
387
R
Radio data system (RDS) . . . . . . . . . . . .   277
alternative frequency (AF). . . . . . . . . .   277
extended other networks (EON) . . . . .   277
FM text . . . . . . . . . . . . . . . . . . . . . . . .   278
options menu overview. . . . . . . . . . . .   277
regionalisation (REG) . . . . . . . . . . . . .   277
traffic  . . . . . . . . . . . . . . . . . . . . . . . . .   277
Radio reception. . . . . . . . . . . . . . . . . . . .   268
Rain sensor . . . . . . . . . . . . . . . . . . . . . . . .   89
RDS-TMC  . . . . . . . . . . . . . . . . . . . . . . . .   368
all traffic events  . . . . . . . . . . . . . . . . .   371
display  . . . . . . . . . . . . . . . . . . . . . . . .   368
dynamic navigation. . . . . . . . . . . . . . .   370
icons. . . . . . . . . . . . . . . . . . . . . . . . . .   368
on route events. . . . . . . . . . . . . . . . . .   371
surveillance setting. . . . . . . . . . . . . . .   372
traffic on route . . . . . . . . . . . . . . . . . .   370
using TMC  . . . . . . . . . . . . . . . . . . . . .   370
voice guidance . . . . . . . . . . . . . . . . . .   370
Rear fog lamps . . . . . . . . . . . . . . . . . . . . .   77
Rear lamp removal . . . . . . . . . . . . . . . . . .   82
Rear seats . . . . . . . . . . . . . . . . . . . . . . . . .   45
folding the rear seats  . . . . . . . . . . . . . .   46
raising the rear seats  . . . . . . . . . . . . . .   47
Rear under floor storage . . . . . . . . . . . . .   182
Rear view camera
principle of operation . . . . . . . . . . . . .   152
Recommended towing weights . . . . . . . .   185
Refuelling  . . . . . . . . . . . . . . . . . . . . . . . .   179
fuel consumption . . . . . . . . . . . . . . . .   181
fuel filler . . . . . . . . . . . . . . . . . . . . . . .   179
fuel tank capacity . . . . . . . . . . . . . . . .   179
Remote control . . . . . . . . . . . . . . . . . . . . .   17
Remote control battery . . . . . . . . . . . . . . .   24
Remote control programming. . . . . . . . . .   21
Removing a headlamp. . . . . . . . . . . . . . . .   81
Removing a rear lamp. . . . . . . . . . . . . . . .   82
Repairing minor paint damage  . . . . . . . .   191
Repeat compact disc tracks  . . . . . . . . . .   296
Run flat tyres. . . . . . . . . . . . . . . . . . . . . .   224
Running out of fuel . . . . . . . . . . . . . . . . .   177
diesel engines. . . . . . . . . . . . . . . . . . .   177
Running-in . . . . . . . . . . . . . . . . . . . . . . . . 154
brakes  . . . . . . . . . . . . . . . . . . . . . . . . . 154
engine  . . . . . . . . . . . . . . . . . . . . . . . . . 154
engine oil consumption . . . . . . . . . . . . 154
final drive unit  . . . . . . . . . . . . . . . . . . . 154
S
Safety . . . . . . . . . . . . . . . . . . . . . . . . . . . . . 10
Safety precautions . . . . . . . . . . . . . . . . . . 174
Satellite signal reception. . . . . . . . . . . . . . 335
Satellite signals  . . . . . . . . . . . . . . . . . . . . 334
Seat belt height adjustment  . . . . . . . . . . . . 52
Seat belt reminder  . . . . . . . . . . . . . . . . . . . 50
Seat belts
principle of operation . . . . . . . . . . . . . . . 49
Seats
front . . . . . . . . . . . . . . . . . . . . . . . . . . . . 42
head restraints . . . . . . . . . . . . . . . . . . . . 44
memory . . . . . . . . . . . . . . . . . . . . . . . . . 43
Service data recording . . . . . . . . . . . . . . . . 11
Setting avoid points . . . . . . . . . . . . . . . . . 355
Settings  . . . . . . . . . . . . . . . . . . . . . . . . . . 288
announcements . . . . . . . . . . . . . . . . . . 288
DAB country. . . . . . . . . . . . . . . . . . . . . 290
DAB format  . . . . . . . . . . . . . . . . . . . . . 291
DAB text. . . . . . . . . . . . . . . . . . . . . . . . 290
FM traffic . . . . . . . . . . . . . . . . . . . . . . . 289
link DAB . . . . . . . . . . . . . . . . . . . . . . . . 289
Shuffle/random. . . . . . . . . . . . . . . . . . . . . 295
Sitting in the correct position . . . . . . . . . . . 41
Smart key . . . . . . . . . . . . . . . . . . . . . . . . . . 17
Smog sensor  . . . . . . . . . . . . . . . . . . . . . . 120
Snow chains. . . . . . . . . . . . . . . . . . . . . . . 223
Stability control  . . . . . . . . . . . . . . . . . . . . 170
adaptive dynamics . . . . . . . . . . . . . . . . 172
Dynamic Stability Control (DSC)  . . . . . 170
JaguarDrive Control scenarios . . . . . . . 173
stability control indicator . . . . . . . . . . . 172
switching between DSC and Trac DSC. 171
switching between DSC OFF and ON . . 171
tracDSC . . . . . . . . . . . . . . . . . . . . . . . . 171
Starting the engine
general information . . . . . . . . . . . . . . . 132
Static bending lamps . . . . . . . . . . . . . . . . . 79

Index
388
Station preset buttons . . . . . . . . . . . . . . .  275
storing stations as presets . . . . . . . . .  275
tuning stations  . . . . . . . . . . . . . . . . . .  275
Steering wheel. . . . . . . . . . . . . . . . . . . . . .  67
heated . . . . . . . . . . . . . . . . . . . . . . . . . .  68
Storage compartments . . . . . . . . . . . . . .  127
Stored locations
home. . . . . . . . . . . . . . . . . . . . . . . . . .  355
memory  . . . . . . . . . . . . . . . . . . . . . . .  353
setting avoid points. . . . . . . . . . . . . . .  355
store a memory point . . . . . . . . . . . . .  354
Sun blinds . . . . . . . . . . . . . . . . . . . . . . . .  123
Sun visors . . . . . . . . . . . . . . . . . . . . . . . .  123
vanity mirror . . . . . . . . . . . . . . . . . . . .  123
Sunroof . . . . . . . . . . . . . . . . . . . . . . . . . .  121
Supplementary restraints system
principle of operation  . . . . . . . . . . . . . .  53
Switching off the engine . . . . . . . . . . . . .  134
T
Technical specifications
accessory wheels and tyres  . . . . . . . .  240
capacities  . . . . . . . . . . . . . . . . . . . . . .  211
lubricants and fluids . . . . . . . . . . . . . .  210
Telephone . . . . . . . . . . . . . . . . . . . . . . . .  309
general information. . . . . . . . . . . . . . .  307
Television
general information. . . . . . . . . . . . . . .  328
Television controls  . . . . . . . . . . . . . . . . .  329
TV controls . . . . . . . . . . . . . . . . . . . . .  329
Television setup. . . . . . . . . . . . . . . . . . . .  332
TV screen format  . . . . . . . . . . . . . . . .  332
TV settings . . . . . . . . . . . . . . . . . . . . .  333
Tilt alarm sensor override . . . . . . . . . . . . .  22
Tilt sensor . . . . . . . . . . . . . . . . . . . . . . . . .  39
Tool kit  . . . . . . . . . . . . . . . . . . . . . . . . . .  224
tool kit contents  . . . . . . . . . . . . . . . . .  224
Touch-screen  . . . . . . . . . . . . . . . . . . . . .  109
system facilities  . . . . . . . . . . . . . . . . .  109
touch-screen care . . . . . . . . . . . . . . . .  111
touch-screen display icons . . . . . . . . .  110
touch-screen use  . . . . . . . . . . . . . . . .  110
Tow bar . . . . . . . . . . . . . . . . . . . . . . . . . .  186
tow bar dimensions and mounting points. .  
186
Towing . . . . . . . . . . . . . . . . . . . . . . . . . . . 183
diesel engines. . . . . . . . . . . . . . . . . . . . 184
Towing a trailer. . . . . . . . . . . . . . . . . . . . . 183
trailer electrical connection  . . . . . . . . . 184
Towing points . . . . . . . . . . . . . . . . . . . . . . 253
front and rear towing eyes and lashing 
points. . . . . . . . . . . . . . . . . . . . . . . . 253
Towing the vehicle on four wheels . . . . . . 256
towing procedure . . . . . . . . . . . . . . . . . 256
Track selection . . . . . . . . . . . . . . . . . . . . . 295
Traffic information control . . . . . . . . . . . . 276
skipping traffic announcements . . . . . . 276
Transmission number. . . . . . . . . . . . . . . . 257
Transmitters . . . . . . . . . . . . . . . . . . . . . . . . 32
Transporting the vehicle . . . . . . . . . . . . . . 254
Emergency Park Release (EPR) . . . . . . 254
Trip computer . . . . . . . . . . . . . . . . . . . . . . 107
average fuel consumption (A, B and Auto).  
108
average speed (A, B and Auto) . . . . . . . 107
changing the display  . . . . . . . . . . . . . . 107
display language. . . . . . . . . . . . . . . . . . 108
information display. . . . . . . . . . . . . . . . 107
ML-km (also Miles-litre). . . . . . . . . . . . 108
odometer . . . . . . . . . . . . . . . . . . . . . . . 107
range . . . . . . . . . . . . . . . . . . . . . . . . . . 108
reset . . . . . . . . . . . . . . . . . . . . . . . . . . . 108
service interval indicator (Diesel vehicles) .  
108
trip distance (A, B and Auto)  . . . . . . . . 107
Turn-by-turn navigation . . . . . . . . . . . . . . 339
Type approvals . . . . . . . . . . . . . . . . . . . . . 262
declarations of conformity . . . . . . . . . . 262

Index
389
Tyre care . . . . . . . . . . . . . . . . . . . . . . . . .   217
age degradation  . . . . . . . . . . . . . . . . .   221
directional tyres  . . . . . . . . . . . . . . . . .   222
flat spots. . . . . . . . . . . . . . . . . . . . . . .   220
pressure compensation for ambient 
temperature changes . . . . . . . . . . .   219
punctured tyres. . . . . . . . . . . . . . . . . .   221
replacement tyres . . . . . . . . . . . . . . . .   222
tyre checks . . . . . . . . . . . . . . . . . . . . .   221
tyre pressures. . . . . . . . . . . . . . . . . . .   217
tyre pressures during long term vehicle 
storage . . . . . . . . . . . . . . . . . . . . . .   220
tyre wear. . . . . . . . . . . . . . . . . . . . . . .   220
Tyre glossary. . . . . . . . . . . . . . . . . . . . . .   238
Tyre pressure monitoring system . . . . . .   234
replacement sensor  . . . . . . . . . . . . . .   236
temporary use spare wheel. . . . . . . . .   236
TPM System information messages . .   237
TPM system operation . . . . . . . . . . . .   235
tyre changing . . . . . . . . . . . . . . . . . . .   236
Tyre repair kit  . . . . . . . . . . . . . . . . . . . . .   229
checking the tyre pressure after a repair. . .  
233
Jaguar tyre repair kit. . . . . . . . . . . . . .   231
Jaguar tyre repair kit safety information . . .  
230
using the Jaguar tyre repair kit . . . . . .   232
U
Undocking the Jaguar Smart Key . . . . . . .   21
Unlocking  . . . . . . . . . . . . . . . . . . . . . . . . .   18
Using ACC . . . . . . . . . . . . . . . . . . . . . . . .   159
ACC malfunction. . . . . . . . . . . . . . . . .   163
automatic low speed switch off  . . . . .   162
automatic switch off . . . . . . . . . . . . . .   162
changing the follow mode set gap  . . .   161
changing the speed. . . . . . . . . . . . . . .   160
detection beam issues  . . . . . . . . . . . .   163
entering the follow mode set gap . . . .   160
hints on driving with ACC . . . . . . . . . .   162
overriding the speed and follow mode   161
resuming the speed and follow mode.   162
setting the speed  . . . . . . . . . . . . . . . .   160
Using booster cables. . . . . . . . . . . . . . . .   214
disconnecting the cables  . . . . . . . . . .   214
Using cruise control . . . . . . . . . . . . . . . . . 156
automatic switch off. . . . . . . . . . . . . . . 157
changing the speed . . . . . . . . . . . . . . . 157
message centre information displays. . 158
resuming the speed . . . . . . . . . . . . . . . 157
setting vehicle speed . . . . . . . . . . . . . . 156
Using seat belts during pregnancy . . . . . . . 51
Using snow chains . . . . . . . . . . . . . . . . . . 223
Using the ASL. . . . . . . . . . . . . . . . . . . . . . 167
ASL unavailable . . . . . . . . . . . . . . . . . . 168
exceeding the set speed. . . . . . . . . . . . 168
resuming ASL  . . . . . . . . . . . . . . . . . . . 168
setting a speed limit. . . . . . . . . . . . . . . 167
suspending ASL. . . . . . . . . . . . . . . . . . 168
Using the parking aid . . . . . . . . . . . . . . . . 148
cleaning the sensors  . . . . . . . . . . . . . . 151
front and rear parking aid. . . . . . . . . . . 150
rear fitted accessories . . . . . . . . . . . . . 151
rear parking aid . . . . . . . . . . . . . . . . . . 149
system fault . . . . . . . . . . . . . . . . . . . . .  151
touch-screen . . . . . . . . . . . . . . . . . . . . 148
Using the remote control . . . . . . . . . . . . . . 17
approach lighting . . . . . . . . . . . . . . . . . . 17
care of the Jaguar Smart Key. . . . . . . . . 18
docking the Jaguar Smart Key . . . . . . . . 20
emergency key blade . . . . . . . . . . . . . . . 25
irregular operation . . . . . . . . . . . . . . . . . 18
Jaguar Smart Key. . . . . . . . . . . . . . . . . . 17
Jaguar Smart Key system transmitters . 32
locking and arming the vehicle. . . . . . . . 19
luggage compartment  . . . . . . . . . . . . . . 17
panic button. . . . . . . . . . . . . . . . . . . . . . 17
undocking the Jaguar Smart Key . . . . . . 21
unlocking and disarming the vehicle . . . 18

Index
390
Using the telephone. . . . . . . . . . . . . . . . .  309
answer options . . . . . . . . . . . . . . . . . .  314
changing a phone number  . . . . . . . . .  317
changing the docked phone  . . . . . . . .  312
continuity of calls . . . . . . . . . . . . . . . .  317
deleting a paired phone. . . . . . . . . . . .  312
deleting names from the Directory . . .  319
directory contact types . . . . . . . . . . . .  319
ending a call . . . . . . . . . . . . . . . . . . . .  317
erase entire phonebook. . . . . . . . . . . .  316
hands-free controls. . . . . . . . . . . . . . .  321
keyboard magnification. . . . . . . . . . . .  322
last 10 option . . . . . . . . . . . . . . . . . . .  320
making a call. . . . . . . . . . . . . . . . . . . .  317
making-ending a call. . . . . . . . . . . . . .  322
message centre messages . . . . . . . . .  327
names . . . . . . . . . . . . . . . . . . . . . . . . .  318
operating the system  . . . . . . . . . . . . .  323
other features . . . . . . . . . . . . . . . . . . .  322
pairing other phones. . . . . . . . . . . . . .  311
phone options . . . . . . . . . . . . . . . . . . .  314
phonebook  . . . . . . . . . . . . . . . . . . . . .  315
phonebook capacity  . . . . . . . . . . . . . .  316
receiving a call  . . . . . . . . . . . . . . . . . .  317
register . . . . . . . . . . . . . . . . . . . . . . . .  313
retrieving voice mail . . . . . . . . . . . . . .  313
telephone pairing and docking  . . . . . .  309
telephone voice control. . . . . . . . . . . .  323
voice mail . . . . . . . . . . . . . . . . . . . . . .  313
Using the television . . . . . . . . . . . . . . . . .  330
analogue/digital option . . . . . . . . . . . .  331
finding TV channels  . . . . . . . . . . . . . .  331
full screen view . . . . . . . . . . . . . . . . . .  331
on/off control  . . . . . . . . . . . . . . . . . . .  330
using preset channels . . . . . . . . . . . . .  332
volume control . . . . . . . . . . . . . . . . . .  330
Using winter tyres . . . . . . . . . . . . . . . . . .  223
Approved Winter tyre sizes . . . . . . . . .  223
Winter tyre pressures . . . . . . . . . . . . .  223
V
Valet mode  . . . . . . . . . . . . . . . . . . . . . . . .  30
Vehicle build date plate . . . . . . . . . . . . . .  257
Vehicle identification number (VIN). . . . .  257
Vehicle identification plate. . . . . . . . . . . .  257
Vents . . . . . . . . . . . . . . . . . . . . . . . . . . . .  115
VIN . . . . . . . . . . . . . . . . . . . . . . . . . . . . . . 257
Voice control. . . . . . . . . . . . . . . . . . . . 69, 373
activating the system . . . . . . . . . . . . . . . 70
command help . . . . . . . . . . . . . . . . . . . . 71
language and accent. . . . . . . . . . . . . . . . 70
nametags . . . . . . . . . . . . . . . . . . . . . . . . 72
notepad  . . . . . . . . . . . . . . . . . . . . . . . . . 73
using the system . . . . . . . . . . . . . . . . . . 70
voice commands  . . . . . . . . . . . . . . . . . . 73
voice system tutorial  . . . . . . . . . . . . . . . 71
voice volume adjustment . . . . . . . . . . . . 73
Volume control . . . . . . . . . . . . . . . . . . . . . 271
volume settings . . . . . . . . . . . . . . . . . . 272
W
Warning labels . . . . . . . . . . . . . . . . . . . . . . 10
Warning lamps and indicators  . . . . . . . . . 100
adaptive cruise control . . . . . . . . . . . . . 102
adaptive front lighting  . . . . . . . . . . . . . 102
airbag . . . . . . . . . . . . . . . . . . . . . . . . . . 102
anti-lock braking system (ABS) . . . . . . 102
automatic speed limiter . . . . . . . . . . . . 103
beltminder  . . . . . . . . . . . . . . . . . . . . . . 101
brake  . . . . . . . . . . . . . . . . . . . . . . . . . . 101
direction indicators. . . . . . . . . . . . . . . . 103
dynamic stability control (DSC) . . . . . . 102
engine malfunction. . . . . . . . . . . . . . . . 102
forward alert. . . . . . . . . . . . . . . . . . . . . 102
hazard warning indicators  . . . . . . . . . . 103
high beam  . . . . . . . . . . . . . . . . . . . . . . 103
indicator check. . . . . . . . . . . . . . . . . . . 100
rear fog lamps . . . . . . . . . . . . . . . . . . . 102
seat belt . . . . . . . . . . . . . . . . . . . . . . . . 101
side lamps . . . . . . . . . . . . . . . . . . . . . . 103
tyre pressure monitoring system . . . . . 102
Warning triangle . . . . . . . . . . . . . . . . . . . . 250
Warnings  . . . . . . . . . . . . . . . . . . . . . . . . . . . 9
Washer fluid check . . . . . . . . . . . . . . . . . . 209
topping up the fluid . . . . . . . . . . . . . . . 209
Washing . . . . . . . . . . . . . . . . . . . . . . . . . . 187
Waveband button . . . . . . . . . . . . . . . . . . . 274
Weights  . . . . . . . . . . . . . . . . . . . . . . . . . . 259
Wheels and tyres
general information  . . . . . . . . . . . . . . . 216
technical specifications  . . . . . . . . . . . . 239
Whiplash protection . . . . . . . . . . . . . . . . . . 57

Index
391
Windscreen washers . . . . . . . . . . . . . . . . .   89
blocked jets. . . . . . . . . . . . . . . . . . . . . .   90
drip wipe. . . . . . . . . . . . . . . . . . . . . . . .   90
low screen wash . . . . . . . . . . . . . . . . . .   90
timed jet function . . . . . . . . . . . . . . . . .   90
Windscreen wipers . . . . . . . . . . . . . . . . . .   88
rain sensor variable delay . . . . . . . . . . .   88
single wipe . . . . . . . . . . . . . . . . . . . . . .   88
speed-dependent mode  . . . . . . . . . . . .   89
wiper operation. . . . . . . . . . . . . . . . . . .   88
Winter mode . . . . . . . . . . . . . . . . . . . . . .   169
Winter tyres. . . . . . . . . . . . . . . . . . . . . . .   223
Wiper blades . . . . . . . . . . . . . . . . . . . . . . .   90
