Acer Extensa 5635/5635Z/5235 Service Guide. Www.s Manuals.com. 5235, 5635, 5635z Guide
User Manual: Notebook Acer Extensa 5235 - Service manuals and Schematics, Disassembly / Assembly. Free.
Open the PDF directly: View PDF
.
Page Count: 201 [warning: Documents this large are best viewed by clicking the View PDF Link!]
- System Specifications
- System Utilities
- Machine Disassembly and Replacement
- Disassembly Requirements
- General Information
- External Module Disassembly Process
- Main Unit Disassembly Process
- Main Unit Disassembly Flowchart
- Removing the Switch Cover
- Removing the Keyboard
- Removing the LCD Module
- Removing the Upper Cover
- Removing the TouchPad Bracket
- Removing the Speaker Module
- Removing the Microphone
- Removing the Bluetooth Board
- Removing the USB Board
- Removing the Mainboard
- Removing the Hinge Supports
- Removing the Thermal Module
- Removing the CPU
- LCD Module Disassembly Process
- LCD Module Reassembly Procedure
- Troubleshooting
- Jumper and Connector Locations
- FRU (Field Replaceable Unit) List
- Model Definition and Configuration
- Test Compatible Components
- Online Support Information
- Index

Extensa 5635/5635Z/5235
Service Guide
Service guide files and updates are available
on the ACER/CSD web; for more information,
please refer to http://csd.acer.com.tw

II
PRINTED IN TAIWAN

III
Revision History
Please refer to the table below for the updates made to this Series service guide.
Date Chapter Updates

IV
Copyright
Copyright © 2009 by Acer Incorporated. All rights reserved. No part of this publication may be reproduced,
transmitted, transcribed, stored in a retrieval system, or translated into any language or computer language, in
any form or by any means, electronic, mechanical, magnetic, optical, chemical, manual or otherwise, without
the prior written permission of Acer Incorporated.
Disclaimer
The information in this guide is subject to change without notice.
Acer Incorporated makes no representations or warranties, either expressed or implied, with respect to the
contents hereof and specifically disclaims any warranties of merchantability or fitness for any particular
purpose. Any Acer Incorporated software described in this manual is sold or licensed "as is". Should the
programs prove defective following their purchase, the buyer (and not Acer Incorporated, its distributor, or its
dealer) assumes the entire cost of all necessary servicing, repair, and any incidental or consequential
damages resulting from any defect in the software.
Acer is a registered trademark of Acer Corporation.
Intel is a registered trademark of Intel Corporation.
Pentium and Pentium II/III are trademarks of Intel Corporation.
Other brand and product names are trademarks and/or registered trademarks of their respective holders.

V
Conventions
The following conventions are used in this manual:
SCREEN MESSAGES Denotes actual messages that appear
on screen.
NOTE Gives bits and pieces of additional
information related to the current
topic.
WARNING Alerts you to any damage that might
result from doing or not doing specific
actions.
CAUTION Gives precautionary measures to
avoid possible hardware or software
problems.
IMPORTANT Reminds you to do specific actions
relevant to the accomplishment of
procedures.

VI
Preface
Before using this information and the product it supports, please read the following general information.
1. This Service Guide provides you with all technical information relating to the BASIC CONFIGURATION
decided for Acer's "global" product offering. To better fit local market requirements and enhance product
competitiveness, your regional office MAY have decided to extend the functionality of a machine (e.g.
add-on card, modem, or extra memory capability). These LOCALIZED FEATURES will NOT be covered
in this generic service guide. In such cases, please contact your regional offices or the responsible
personnel/channel to provide you with further technical details.
2. Please note WHEN ORDERING FRU PARTS, that you should check the most up-to-date information
available on your regional web or channel. If, for whatever reason, a part number change is made, it will
not be noted in the printed Service Guide. For ACER-AUTHORIZED SERVICE PROVIDERS, your Acer
office may have a DIFFERENT part number code to those given in the FRU list of this printed Service
Guide. You MUST use the list provided by your regional Acer office to order FRU parts for repair and
service of customer machines.

VII
Table of Contents
System Specifications . . . . . . . . . . . . . . . . . . . . . . . . . . . . . 1
Features . . . . . . . . . . . . . . . . . . . . . . . . . . . . . . . . . . . . . . . . . 1
System Block Diagram . . . . . . . . . . . . . . . . . . . . . . . . . . . . . . 4
Acer Notebook tour . . . . . . . . . . . . . . . . . . . . . . . . . . . . . . . . . 5
Front View . . . . . . . . . . . . . . . . . . . . . . . . . . . . . . . . . . . . 5
Hot Keys . . . . . . . . . . . . . . . . . . . . . . . . . . . . . . . . . . . . . 7
Closed Front View . . . . . . . . . . . . . . . . . . . . . . . . . . . . . . 7
Rear View . . . . . . . . . . . . . . . . . . . . . . . . . . . . . . . . . . . . 8
Left View . . . . . . . . . . . . . . . . . . . . . . . . . . . . . . . . . . . . . 8
Right View . . . . . . . . . . . . . . . . . . . . . . . . . . . . . . . . . . . . 9
Bottom View . . . . . . . . . . . . . . . . . . . . . . . . . . . . . . . . . . 9
Touchpad Basics . . . . . . . . . . . . . . . . . . . . . . . . . . . . . 11
Using the Keyboard . . . . . . . . . . . . . . . . . . . . . . . . . . . . . . . 12
Lock Keys and embedded numeric keypad . . . . . . . . . 12
Windows Keys . . . . . . . . . . . . . . . . . . . . . . . . . . . . . . . 13
Special Key . . . . . . . . . . . . . . . . . . . . . . . . . . . . . . . . . . 14
Acer GridVista (dual-display compatible) . . . . . . . . . . . 15
Hardware Specifications and Configurations . . . . . . . . . . . . 16
System Utilities . . . . . . . . . . . . . . . . . . . . . . . . . . . . . . . . . . . 23
BIOS Setup Utility . . . . . . . . . . . . . . . . . . . . . . . . . . . . . . . . . 23
Navigating the BIOS Utility . . . . . . . . . . . . . . . . . . . . . . 23
Information . . . . . . . . . . . . . . . . . . . . . . . . . . . . . . . . . . 24
Main . . . . . . . . . . . . . . . . . . . . . . . . . . . . . . . . . . . . . . . 25
Security . . . . . . . . . . . . . . . . . . . . . . . . . . . . . . . . . . . . . 26
Boot . . . . . . . . . . . . . . . . . . . . . . . . . . . . . . . . . . . . . . . . 29
Exit . . . . . . . . . . . . . . . . . . . . . . . . . . . . . . . . . . . . . . . . 30
BIOS Flash Utility . . . . . . . . . . . . . . . . . . . . . . . . . . . . . . . . . 31
Using the Flash16 Utility to Update the BIOS . . . . . . . . 31
WinFlash Utility . . . . . . . . . . . . . . . . . . . . . . . . . . . . . . . 32
Remove HDD/BIOS Password Utilities . . . . . . . . . . . . . . . . . 34
Miscellaneous Utilities . . . . . . . . . . . . . . . . . . . . . . . . . . 37
Machine Disassembly and Replacement . . . . . . . . . . . . . . 39
Disassembly Requirements . . . . . . . . . . . . . . . . . . . . . . . . . 39
General Information . . . . . . . . . . . . . . . . . . . . . . . . . . . . . . . 40
Pre-disassembly Instructions . . . . . . . . . . . . . . . . . . . . 40
Disassembly Process . . . . . . . . . . . . . . . . . . . . . . . . . . 40
External Module Disassembly Process . . . . . . . . . . . . . . . . 41
External Modules Disassembly Flowchart . . . . . . . . . . 41
Removing the Battery Pack . . . . . . . . . . . . . . . . . . . . . 42
Removing the SD Dummy Card . . . . . . . . . . . . . . . . . . 43
Removing the Lower Door . . . . . . . . . . . . . . . . . . . . . . 44
Removing the RTC Battery . . . . . . . . . . . . . . . . . . . . . . 45
Removing the Optical Drive Module . . . . . . . . . . . . . . . 46
Removing the Hard Disk Drive Module . . . . . . . . . . . . . 48
Removing the DIMM Modules . . . . . . . . . . . . . . . . . . . . 50
Removing the WLAN Module . . . . . . . . . . . . . . . . . . . . 51
Main Unit Disassembly Process . . . . . . . . . . . . . . . . . . . . . . 53
Main Unit Disassembly Flowchart . . . . . . . . . . . . . . . . . 53
Removing the Switch Cover . . . . . . . . . . . . . . . . . . . . . 54
Removing the Keyboard . . . . . . . . . . . . . . . . . . . . . . . . 56
Removing the LCD Module . . . . . . . . . . . . . . . . . . . . . . 57
Removing the Upper Cover . . . . . . . . . . . . . . . . . . . . . 60

VIII
Table of Contents
Removing the TouchPad Bracket . . . . . . . . . . . . . . . . . 63
Removing the Speaker Module . . . . . . . . . . . . . . . . . . . 65
Removing the Microphone . . . . . . . . . . . . . . . . . . . . . . 68
Removing the Bluetooth Board . . . . . . . . . . . . . . . . . . . 69
Removing the USB Board . . . . . . . . . . . . . . . . . . . . . . . 71
Removing the Mainboard . . . . . . . . . . . . . . . . . . . . . . . 73
Removing the Hinge Supports . . . . . . . . . . . . . . . . . . . 75
Removing the Thermal Module . . . . . . . . . . . . . . . . . . . 76
Removing the CPU . . . . . . . . . . . . . . . . . . . . . . . . . . . . 77
LCD Module Disassembly Process . . . . . . . . . . . . . . . . . . . 78
LCD Module Disassembly Flowchart . . . . . . . . . . . . . . 78
Removing the LCD Bezel . . . . . . . . . . . . . . . . . . . . . . . 79
Removing the LCD Panel . . . . . . . . . . . . . . . . . . . . . . . 81
Removing the FPC Cable and LCD Brackets . . . . . . . . 83
Removing the Camera Board . . . . . . . . . . . . . . . . . . . . 85
LCD Module Reassembly Procedure . . . . . . . . . . . . . . . . . . 86
Replacing the Camera Board . . . . . . . . . . . . . . . . . . . . 86
Replacing the LCD Brackets and FPC Cable . . . . . . . 87
Replacing the LCD Panel . . . . . . . . . . . . . . . . . . . . . . . 89
Replacing the LCD Bezel . . . . . . . . . . . . . . . . . . . . . . . 90
Troubleshooting . . . . . . . . . . . . . . . . . . . . . . . . . . . . . . . . . . 91
Common Problems . . . . . . . . . . . . . . . . . . . . . . . . . . . . . . . . 91
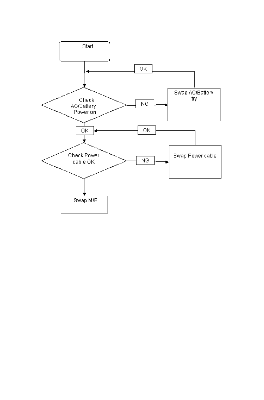
Power On Issue . . . . . . . . . . . . . . . . . . . . . . . . . . . . . . 92
No Display Issue . . . . . . . . . . . . . . . . . . . . . . . . . . . . . . 93
Random Loss of BIOS Settings . . . . . . . . . . . . . . . . . . 95
LCD Failure . . . . . . . . . . . . . . . . . . . . . . . . . . . . . . . . . . 96
Built-In Keyboard Failure . . . . . . . . . . . . . . . . . . . . . . . 97
TouchPad Failure . . . . . . . . . . . . . . . . . . . . . . . . . . . . . 98
Internal Speaker Failure . . . . . . . . . . . . . . . . . . . . . . . . 99
Internal Microphone Failure . . . . . . . . . . . . . . . . . . . . 101
HDD Not Operating Correctly . . . . . . . . . . . . . . . . . . . 102
USB Failure (Rightside) . . . . . . . . . . . . . . . . . . . . . . . 103
External Mouse Failure . . . . . . . . . . . . . . . . . . . . . . . . 104
Other Failures . . . . . . . . . . . . . . . . . . . . . . . . . . . . . . . 105
Intermittent Problems . . . . . . . . . . . . . . . . . . . . . . . . . . . . . 105
Undetermined Problems . . . . . . . . . . . . . . . . . . . . . . . . . . . 105
POST Code Reference Tables . . . . . . . . . . . . . . . . . . . . . . 106
Chipset POST Codes . . . . . . . . . . . . . . . . . . . . . . . . . 106
Jumper and Connector Locations . . . . . . . . . . . . . . . . . . . . 111
Top View . . . . . . . . . . . . . . . . . . . . . . . . . . . . . . . . . . . . . . . 111
Bottom View . . . . . . . . . . . . . . . . . . . . . . . . . . . . . . . . . . . . 112
Clearing Password Check and BIOS Recovery . . . . . . . . . 113
Clearing Password Check . . . . . . . . . . . . . . . . . . . . . . 113
BIOS Recovery by Crisis Disk . . . . . . . . . . . . . . . . . . 114
FRU (Field Replaceable Unit) List . . . . . . . . . . . . . . . . . . . . 115
Extensa 5635/5635Z/5235 Exploded Diagrams . . . . . . . . . 116
Main Assembly . . . . . . . . . . . . . . . . . . . . . . . . . . . . . . 116
LCD Assembly . . . . . . . . . . . . . . . . . . . . . . . . . . . . . . 117
Extensa 5635/5635Z/5235 FRU List . . . . . . . . . . . . . . . . . . 118
Screw List . . . . . . . . . . . . . . . . . . . . . . . . . . . . . . . . . . 126

IX
Table of Contents
Model Definition and Configuration . . . . . . . . . . . . . . . . . . . 128
Extensa 5635/5635Z/5235 Series . . . . . . . . . . . . . . . . . . . 128
Test Compatible Components . . . . . . . . . . . . . . . . . . . . . . . 179
Windows XP Environment Test . . . . . . . . . . . . . . . . . . . . . 180
Online Support Information . . . . . . . . . . . . . . . . . . . . . . . . . 185
Index . . . . . . . . . . . . . . . . . . . . . . . . . . . . . . . . . . . . 187

X
Table of Contents

Chapter 1 1
System Specifications
Features
Below is a brief summary of the computer’s many features:
Operating System
• Microsoft Windows® Vista
Platform
• Intel® Centrino® 2 processor technology, featuring:
• Intel® Core™2 Duo processor
• Mobile Intel® PM45/GM45 Express Chipset*
• Intel® Wireless WiFi Link 5100/5300*
• Intel® Pentium® mobile processor*
• Intel® Celeron® mobile processor*
• Mobile Intel® GM45/GL40 Express Chipset*
• Acer InviLink™ Nplify™ 802.11b/g/Draft-N*
• Acer InviLink™ 802.11b/g*
System Memory
• Dual-Channel SDRAM support
• • Up to 2 GB of DDR3 800 MHz memory, upgradeable to 4 GB using two soDIMM modules*
• • Up to 2 GB of DDR3 1066 MHz memory, upgradeable to 4 GB using two soDIMM modules
Display
• 16:9 aspect ratio
• 15.6" HD 1366 x 768
Graphics
• Mobile Intel® GL40 Express Chipset*
• Mobile Intel® GM45 Express Chipset*
• NVIDIA® GeForce® G105M*
Audio
• High-definition audio support
• MS-Sound compatible
• Built-in microphone
• Two built-in stereo speakers
Chapter 1

2Chapter 1
Storage subsystem
• 2.5" hard disk drive
• DVD-Super Multi double-layer drive*
• 5-in-1 card reader
Communication
• Integrated Acer Crystal Eye webcam
•WLAN:
• Intel® Wireless WiFi Link 5100/5300*
• Acer InviLink™ Nplify™ 802.11b/g/Draft-N*
• Acer InviLink™ 802.11b/g*
• WPAN: Bluetooth® 2.1+Enhanced Data Rate (EDR)*
• LAN: Gigabit Ethernet; Wake-on-LAN ready
Privacy control
• BIOS user, supervisor, HDD passwords
• Kensington lock slot
Dimensions and Weight
• 370 (W) x 243.5 (D) x 24.4/34.95 (H) mm (14.6 x 9.6 x 0.96/1.4 inches)
• 2.50 kg (5.51 lbs.) with 6-cell battery pack
Power subsystem
•ACPI 3.0
• 48.8 W 4400 mAh
• 3-pin 65 W AC adapter
• ENERGY STAR®*
Special keys and controls
• 105-/106-key keyboard
• Touchpad pointing device
I/O interface
• 5-in-1 card reader (SD/MMC/MS/MS PRO/xD)
• USB 2.0 port
• External display (VGA) port
• Headphones/speaker/line-out jack
• Microphone-in jack
• Ethernet (RJ-45) port
• DC-in jack for AC adapter

Chapter 1 3
Environment
• Temperature:
• Operating: 5 °C to 35 °C (41 °F to 95 °F)
• Non-operating: -20 °C to 65 °C (-4 °F to 149°F)
• Humidity (non-condensing):
• Operating: 20% to 80%
• Non-operating: 20% to 80%

4Chapter 1
System Block Diagram
Azalia
ODD (SATA)
(RTS5159)
FSB
X'TAL
32.768KHz
Media
Cardreader
SATA1
X'TAL
14.318MHz
X'TAL
32.768KHz
PCI-Express
X4 DMI interface
Fan Driver
Int USB Port x 1
EC (WPC775LDG)
LPC
Penryn 479
USB 2.0
ICS:
SELGO: SLG8SP512TTR
HDD (SATA) *1
Thermal Sensor
ICH9M
SPI ROM
Cantiga
Card Reader
Connector
Touch Pad
USB11
CCD
Giga-LAN
Atheros
X'TAL
25MHz
Transformer
USB 7
SATA0
NB
SB
667/800/1067 Mhz
K/B COON.
CLOCK GENERATOR
PCIE-6
(AR8131)
RJ45
BOM MARK
EV@: STUFF FOR EXT VGA
IV@: INT VGA
667/800 MHz
DDRIII
Dual Channel DDR3
Audio Amplifier
G1453L
Audio CODEC
(CX20561)
Int. MIC
Mini Card
PCIE-1
MIC Jack
VRAM DDRII
512MB
NVIDIA
N10M-GE1
PCIE 16X
EXT_LVDS
EXT_CRT
INT_LVDS
INT_CRT
SWITCH
CIRCUIT
LVDS
CRT
LVDS
RGB
EXT_HDMI
USB8
CHARGER
ISL6251
3/5V SYS PWR
ISL6237
CPU CORE PWR
OZ8116LN
+1.05V
UP6111AQDD
DDR3 PWR
TPS51116
THERMAL
PROTECTION
DISCHARGER
VGA CORE
OZ8118
Bluetooth
Ext USB Port x 2
USB 0,1
Int.
Speaker
SP@: STUFF FOR UMA or VGA

Chapter 1 5
Acer Notebook tour
Front View
No. Icon Item Description
1 Acer Crystal Eye
webcam
Web camera for video communication (only for
certain models).
2 Display screen Also called Liquid-Crystal Display (LCD),
displays computer output (Configuration may
vary by models).
3 Speakers Left and right speakers deliver stereo audio
output.
4 HDD Indicates when the hard disk drive is
active.
Num Lock Lights up when Num Lock is activated.
Caps Lock Lights up when Caps Lock is activated.
5 Power button Turns the computer on and off.
Wireless LAN
Communication
button / Indicator
Enables/disables the wireless LAN function.
Indicates the status of wireless LAN
communication.
Bluetooth
Communication
button/indicator
Enables/disables the Bluetooth function.
Indicates the status of Bluetooth
communication. (only for certain models)
6 Keyboard For entering data into your computer.

6Chapter 1
7 Touchpad Touch-sensitive pointing device which functions
like a computer mouse.
8 Power Indicates the computer's power status.
Battery Indicates the computer's battery status.
1. Charging: The light shows amber when the
battery is charging.
2. Fully charged: The light shows blue when in
AC mode.
9 Click buttons
(left, center* and
right)
The left and right buttons function like the left
and right mouse buttons.
*The center button serves as Acer Bio-
Protection fingerprint reader supporting Acer
FingerNav 4-way control function (only for
certain models).
10 Palmrest Comfortable support area for your hands when
you use the computer.
11 Microphone Internal Microphone for sound recording
No. Icon Item Description

Chapter 1 7
Hot Keys
The computer employs hotkeys or key combinations to access most of the computer's controls like screen
brightness and volume output.
To activate hotkeys, press and hold the <Fn> key before pressing the other key in the hotkey combination.
Closed Front View
Hotkey Icon Function Description
<Fn> + <F1> Hotkey Help Displays help on hotkeys
<Fn> + <F2> System Properties Display the System Properties dialog box.
<Fn> + <F3> Power Options Display the Power Options Properties
dialog box.
<Fn> + <F4> Sleep Puts the computer in Sleep mode.
<Fn> + <F5> Display toggle Switches display output between the display
screen, external monitor (if connected) and
both.
<Fn> + <F6> Screen blank Turns the display screen backlight off to save
power. Press any key to return.
<Fn> + <F7> TouchPad toggle Turns the internal TouchPad on and off.
<Fn> + <F8> Speaker toggle Turns the speakers on and off.
<Fn> + < > Brightness up Increases the screen brightness.
<Fn> + < > Brightness down Decreases the screen brightness.
<Fn> + < > Volume up Increases the sound volume.
<Fn> + < > Volume down Decreases the sound volume.
No. Icon Item Description
1 5-in-1 card
reader
Accepts Secure Digital (SD), MultiMediaCard
(MMC), Memory Stick (MS), Memory Stick
PRO (MS PRO), xD-Picture Card (xD).
Note: Push to remove/install the card. Only
one card can operate at any given time.

8Chapter 1
Rear View
Left View
No. Icon Item Description
1 DC-in jack Connects to an AC adapter.
No. Icon Item Description
1 Ethernet (RJ-45)
port
Connects to an Ethernet 10/100/1000-based
network.
2 Ventilation slots Enable the computer to stay cool, even after
prolonged use.
3 External display
(VGA) port
Connects to a display device
(e.g. external monitor, LCD projector).
4 USB 2.0 port Connect to USB 2.0 devices
(e.g. USB mouse, USB camera)
5 Microphone jack Accepts inputs from external microphones.
Headphones/
speaker/line-out
jack with S/PDIF
support
Connects to audio line-out devices
(e.g., speakers, headphones).

Chapter 1 9
Right View
Bottom View
No. Icon Item Description
1 USB 2.0 port Connect to USB 2.0 devices (e.g. USB mouse,
USB camera).
2 Optical drive Internal optical drive; accepts CDs or DVDs.
3 Optical disk access
indicator
Lights up when the optical drive is active.
4 Optical drive eject
button
Ejects the optical disk from the drive.
5 Emergency eject
hole
Ejects the optical drive tray when the computer is
turned off.
Note: Insert a paper clip into the emergency eject
hole to eject the optical drive tray when the
computer is off.
No. Icon Item Description
1 Battery bay Houses the computer's battery pack.
2 Battery release
latch
Releases the battery for removal.
3 Hard disk bay Houses the computer's hard disk (secured with
screws).
4 Memory
compartment
Houses the computer's main memory.

10 Chapter 1
5 Battery lock Locks the battery in position.
6 Ventilation slots
and cooling fan
Enable the computer to stay cool, even after
prolonged use.
Note: Do not cover or obstruct the opening of the
fan.
No. Icon Item Description

Chapter 1 11
Touchpad Basics
The following items show you how to use the touchpad:
•Move your finger across the touchpad (1) to move the cursor.
•Press the left (2) and right (3) buttons located beneath the touchpad to perform selection and
execution functions. These two buttons are similar to the left and right buttons on a mouse.
Tapping on the touchpad is the same as clicking the left button.
NOTE: When using the touchpad, keep it - and your fingers - dry and clean. The touchpad is sensitive to finger
movement; hence, the lighter the touch, the better the response. Tapping too hard will not increase the
touchpad’s responsiveness.
Function Left Button (2) Right Button (4) Main touchpad (1)
Execute Quickly click twice. Tap twice (at the same speed
as double-clicking a mouse
button).
Select Click once. Tap once.
Drag Click and hold, then use
finger on the touchpad to
drag the cursor.
Tap twice (at the same speed
as double-clicking a mouse
button); rest your finger on
the touchpad on the second
tap and drag the cursor.
Access
context menu
Click once.

12 Chapter 1
Using the Keyboard
The keyboard has full-sized keys and an embedded numeric keypad, separate cursor, lock, Windows, function
and special keys.
Lock Keys and embedded numeric keypad
The keyboard has three lock keys which you can toggle on and off.
The embedded numeric keypad functions like a desktop numeric keypad. It is indicated by small characters
located on the upper right corner of the keycaps. To simplify the keyboard legend, cursor-control key symbols
are not printed on the keys.
Lock key Description
Caps Lock When Caps Lock is on, all alphabetic characters typed are in uppercase.
Num Lock
<Fn> + <F11> When Num Lock is on, the embedded keypad is in numeric mode. The keys
function as a calculator (complete with the arithmetic operators +, -, *, and /). Use
this mode when you need to do a lot of numeric data entry. A better solution
would be to connect an external keypad.
Scroll Lock <Fn> +
<F12> When Scroll Lock is on, the screen moves one line up or down when you press
the up or down arrow keys respectively. Scroll Lock does not work with some
applications.
Desired access Num Lock on Num Lock off
Number keys on
embedded keypad
Type numbers in a normal manner.
Cursor-control keys on
embedded keypad
Hold <Shift> while using cursor-
control keys.
Hold <Fn> while using cursor-
control keys.
Main keyboard keys Hold <Fn> while typing letters on
embedded keypad.
Type the letters in a normal
manner.

Chapter 1 13
Windows Keys
The keyboard has two keys that perform Windows-specific functions.
Key Description
Windows key Pressed alone, this key has the same effect as clicking on the Windows Start button;
it launches the Start menu. It can also be used with other keys to provide a variety of
functions:
<>: Open or close the Start menu
<> + <D>: Display the desktop
<> + <E>: Open Windows Explore
<> + <F>: Search for a file or folder
<> + <G>: Cycle through Sidebar gadgets
<> + <L>: Lock your computer (if you are connected to a network domain), or
switch users (if you're not connected to a network domain)
<> + <M>: Minimizes all windows
<> + <R>: Open the Run dialog box
<> + <T>: Cycle through programs on the taskbar
<> + <U>: Open Ease of Access Center
<> + <X>: Open Windows Mobility Center
<> + <BREAK>: Display the System Properties dialog box
<> + <SHIFT+M>: Restore minimized windows to the desktop
<> + <TAB>: Cycle through programs on the taskbar by using Windows Flip 3-D
<> + <SPACEBAR>: Bring all gadgets to the front and select Windows Sidebar
<CTRL> + <> + <F>: Search for computers (if you are on a network)
<CTRL> + <> + <TAB>: Use the arrow keys to cycle through programs on the
taskbar by using Windows Flip 3-D
Note: Depending on your edition of Windows Vista, some shortcuts may not function
as described.
Application
key
This key has the same effect as clicking the right mouse button; it opens the
application's context menu.

14 Chapter 1
Special Key
You can locate the Euro symbol and the US dollar sign at the upper-center and/or bottom-right of your
keyboard.
The Euro symbol
1. Open a text editor or word processor.
2. Hold <Alt Gr> and then press the <5> key at the upper-center of the keyboard.
NOTE: Note: Some fonts and software do not support the Euro symbol. Please refer to www.microsoft.com/
typography/faq/faq12.htm for more information.
The US dollar sign
1. Open a text editor or word processor.
2. Hold <Shift> and then press the <4> key at the upper-center of the keyboard.
NOTE: This function varies by the operating system version.

Chapter 1 15
Acer GridVista (dual-display compatible)
NOTE: This feature is only available on certain models.
To enable the dual monitor feature of the notebook, first ensure that the second monitor is connected, then
select Start, Control Panel, Display and click on Settings. Select the secondary monitor (2) icon in the
display box and then click the check box Extend my windows desktop onto this monitor. Finally, click
Apply to confirm the new settings and click OK to complete the process.
Acer GridVista is a handy utility that offers four pre-defined display settings so you can view multiple windows
on the same screen. To access this function, please go to Start´ All Programs and click on Acer GridVista.
You may choose any one of the four display settings indicated below:
Double (vertical), Triple (primary at left), Triple (primary at right), or Quad Acer Gridvista is dual-display
compatible, allowing two displays to be partitioned independently.
Acer Gridvista is dual-display compatible, allowing two displays to be partitioned independently.
AcerGridVista is simple to set up:
1. Run Acer GridVista and select your preferred screen configuration for each display from the task bar.
2. Drag and drop each window into the appropriate grid.
3. Enjoy the convenience of a well-organized desktop.
NOTE: Please ensure that the resolution setting of the second monitor is set to the manufacturer's
recommended value.

16 Chapter 1
Hardware Specifications and Configurations
Processor
Processor Specifications
Item Specification
CPU Manufacturer Intel
CPU package Micro-FCPGA packaging, 479-pin
Core Logic • NB Chipset Intel CS GM45NB / PM45NB
• SB Chipset Intel CS ICH9M
Chipset • ENE KB926 for Keyboard Controller, Battery management
Unit, and RTC.
• Integrated VGA solution for Intel 945GSE.
• Realtek ALC272X-GR for High Definition Audio Codec.
• Atheros AR8114A for 10/100 LAN
Features • Dual-core processor for mobile with enhanced performance
• Supports Intel® architecture with Intel® Wide Dynamic
Execution
• Supports L1 cache-to-cache (C2C) transfer
• On-die, primary 32-kB instruction cache and 32-kB write-back
data cache in each core
• The Penryn processor in XE, SV and LV have an On-die, up to
6-MB second-level shared cache with Advanced Transfer
Cache architecture
• The Penryn processor in ULV have an On-die, up to 3-MB
second-level shared cache with Advanced Transfer Cache
architecture
• Streaming SIMD extensions 2 (SSE2), streaming SIMD
extensions 3 (SSE3), supplemental streaming SIMD
extensions 3 (SSSE3) and SSE4.1 instruction sets
• The Penryn processor in XE, SV and LV are offered at 667-
MHz, 800-MHz and 1066-MHz source-synchronous front side
bus (FSB)
• The Penryn processor in ULV are offered at 667-MHz and 800-
MHz source synchronous front side bus (FSB)
• Advanced power management features including Enhanced
Intel SpeedStep® Technology and dynamic FSB frequency
switching
• Digital thermal sensor (DTS)
• Intel® 64 architecture
• Supports enhanced Intel® Virtualization Technology
• Intel® Dynamic Acceleration Technology and Enhanced Multi
Threaded
Item CPU
Speed Cores Bus
Speed
(MHz)
Mfg.
Tech Cache
Size Package P/N
P7450 2.13 GHz 2 1066 45 nm 3 MB Micro-FCPGA
P8600 2.4 GHz 2 1066 45 nm 3 MB Micro-FCPGA
P8700 2.53 GHz 2 1066 45 nm 3 MB Micro-FCPGA
P9500 2.53 GHz 2 1066 45 nm 6 MB Micro-FCPGA
T6400 2.0 GHz 2 800 45 nm 3 MB Micro-FCPGA

Chapter 1 17
CPU Fan Tru Value Table
• Throttling 50%: On= 84°C; OFF=86°C
• OS shut down at 100°C; H/W shut down(PH1) at 110°C
Graphics
T6600 2.2 GHz 2 800 45 nm 2 MB Micro-FCPGA
T9550 2.66 GHz 2 1066 45 nm 6 MB Micro-FCPGA
T9600 2.8GHz 2 1066 45 nm 6 MB Micro-FCPGA
T9800 2.93 GHz 2 1066 45 nm 6 MB Micro-FCPGA
CPU Temperature at
Diode (°C) Fan Speed (RPM) SPL Spec (dBA)
33 38 2700 28
40 45 3000 31
52 47 3300 34
60 67 3800 37
72 75 4000 40
92 89 4800
Item Specification
Graphics
processor
NVIDIA® N10M-GE1 Mobile Intel® GM45/GL40 Express
Chipset
Specifications • Supports multi-mode DisplayPort,
in addition to TMDS (DVI and
HDMI) and LVDS
• Capable of running at next
generation PCI Express 2.0
speeds.
• DX10 graphics hardware leverages
the extremely efficient unified
shader architecture introduced by
NVIDIA with the GeForce NB8x
family of products.
• Enabled with PureVideo HD
technology, providing the highest
video quality while at the same time
minimizing CPU utilization for video
playback, especially for the latest
video-intensive HDDVD and Blu-
Ray content.
• Integrated 3D graphics, featuring
Intel® Graphics Media Accelerator
4500MHD (Intel® GMA 4500MHD)
• Up to 1759 MB of Intel® Dynamic
Video Memory Technology 5.0 (128
MB of dedicated video memory, up
to 1631 MB of shared system
memory)
• Supports Microsoft® DirectX® 10
Display support Dual independent display support
Colors 16.7 million colors
Item CPU
Speed Cores Bus
Speed
(MHz)
Mfg.
Tech Cache
Size Package P/N

18 Chapter 1
System Memory
System Storage
Hard Disk Drive Interface
External
resolution/refresh
rate
• 2048 x 1536: 75/60 Hz
• 1920 x 1440: 85/75/60 Hz
• 1920 x 1200: 75/60 Hz
• 1920 x 1080: 100/85/75/60 Hz
• 1680 x 945: 100/85/75/60 Hz
• 1600 x 1200: 120/100/85/75/60 Hz
• 1600 x 900: 120/100/85/75/60 Hz
• 1400 x 1050: 85/75/60 Hz
• 1366 x 768: 85/75/60 Hz
• 1280 x 1024: 120/100/85/75/60 Hz
• 1280 x 960: 85/75/60 Hz
• 1280 x 768: 85/75/60 Hz
• 1280 x 720: 100/85/75/60 Hz
• 1024 x 768: 120/100/85/75/60 Hz
• 800 x 600: 120/100/85/72/60 Hz
Supported
interfaces
• MPEG-2/DVD decoding
• WMV9 (VC-1) and H.264 (AVC) decoding
• HDMI™ (High-Definition Multimedia Interface) with HDCP (High-bandwidth
Digital Content Protection) support
• DisplayPort™ support
Item Specification
Memory controller Built in
Memory size N/A
DIMM socket number 2
Supports memory size per socket 2 GB
Supports maximum memory size 4 GB
Supports DIMM type JEDEC 204-pin SODIMM, 67.75”x 30.15”x 3.8”(Max)n
Supports DIMM Speed DDR 3-800/1066 Mhz
Item Specification
HDD • 9.5mm height, 2.5" HDD
• Easily removable with no more than four screws
• SATA bus
• 160-500GB
• 5400 rpm
• SATA connector BTO
Item Hard Disk Specification
Vendor &
Model Name
Seagate
ST9160310AS
Seagate
ST9250315AS
Seagate
ST9320320AS
Seagate
ST9500325AS
Hitachi
HTS545016B9A
300
Hitachi
HTS545025B9
A300
Capacity (GB) 160 250 320 500 160 250
Bytes per
sector
512 512 512 512 512 512
Data heads 2 2 4 4 2 2
Item Specification

Chapter 1 19
Drive Format
Disks 1 1 2 2 1 1
Spindle speed
(RPM)
5400 5400 5400 5400 5400 5400
Performance Specifications
Buffer size 8 MB 8 MB 8MB 8 MB 8 MB 8MB
Interface SATA SATA SATA SATA SATA SATA
Fast data
transfer rate
(Mbits/sec,
max)
830 1175 830 1175 845 875
Media data
transfer rate
(Mbytes/sec
max)
300 300 300 300 300 300
DC Power Requirements
Voltage
tolerance
5V ±5% 5V ±5% 5V ±5% 5V ±5% 5V ±5% 5V ±5%
Item Hard Disk Specification
Vendor &
Model Name
Hitachi
HTS545032B9
A300
Hitachi
HTS545050B9
A300
To s h i b a
MK1655GSX
To s h i b a
MK2555GSX
Tosh iba
MK3255GSX
To s h i b a
MK5055GSX
Capacity (GB) 320 500 160 250 320 500
Bytes per
sector
512 512 512 512 512 512
Data heads 2 4 2 2 4 4
Drive Format
Disks 1 2 1 1 2 2
Spindle speed
(RPM)
5400 5400 5400 5400 5400 5400
Performance Specifications
Buffer size 8 MB 8 MB 8MB 8 MB 8 MB 8MB
Interface SATA SATA SATA SATA SATA SATA
Fast data
transfer rate
(Mbits/sec,
max)
875 875 363 ~ 952
typical
363 ~ 952
typical
363 ~ 952
typical
363 ~ 952
typical
Media data
transfer rate
(Mbytes/sec
max)
300 300 300 300 300 300
DC Power Requirements
Voltage
tolerance
5V ±5% 5V ±5% 5V ±5% 5V ±5% 5V ±5% 5V ±5%
Item Hard Disk Specification
Vendor & Model Name
Western Digital
WD1600BEVT-22ZCTO
Western Digital
WD2500BEVT-22ZCT0
Western Digital
WD3200BEVT-22ZCT0
Western Digital
WD5000BEVT-22ZAT0
Capacity (GB) 160 250 320 500
Bytes per sector 512 512 512 512
Data heads 2434
Drive Format
Disks1222
Spindle speed (RPM) 5400 5400 5400 5400
Performance Specifications
Item Hard Disk Specification

20 Chapter 1
Optical Disk Drive
BIOS
LCD 10.1”
Buffer size 8 MB 8 MB 8MB 8 MB
Interface SATA SATA SATA SATA
Fast data transfer rate
(Mbits/sec, max)
N/A N/A N/A N/A
Media data transfer
rate
(Mbytes/sec max)
300 300 300 300
DC Power Requirements
Voltage tolerance 5V ±5% 5V ±5% 5V ±5% 5V ±5%
Item Specification
Manufacturer Sony 30656330, PLDS Corp., TS-L633B, Panasonic UJ880ADAA-A
Type 8X DVD-Super Multi double-layer drive
Performance Specification
Transfer rate (MB/
sec)
10.8
Buffer Memory 2MB
Read/write speeds Read: 24X CD-ROM, 24X CD-R, 24X CD-RW, 8X DVD-ROM, 8X DVD-R, 8X
DVD+R, 6X DVD-ROM DL (double-layer), 6X DVD-R DL (double-layer), 6X DVD+R
DL (double-layer), 6X DVD-RW, 6X DVD+RW, 5X DVD-RAM
·Write: 24X CD-R, 16X CD-RW, 8X DVD-R, 8X DVD+R, 4X DVD-R DL (double-
layer), 4X DVD+R DL (double-layer), 6X DVD-RW, 8X DVD+RW, 5X DVD-RAM
Interface SATA
Loading mechanism Drawer-Type
Power Requirement
Input Voltage DC 5 V +/- 5%
Item Specification
BIOS vendor Phoenix
BIOS Version V0.3207C
BIOS ROM type Flash
BIOS ROM size 16 MB
Item Specification
Vendor/model name AU Optronics Chi Mei Samsung LG
Screen Diagonal (mm) 391 391 391 354.95
Active Area (mm) 344.2 X 193.5 344.232 X
193.536
344.232 X
193.536
309.40 X
173.95
Display resolution (pixels) 1366x768 1366x768 1366x768 1366x768
Pixel Pitch (mm) 0.252X0.252 0.252X0.252 0.252X0.252 0.2265X0.226
5
Typical White Luminance (cd/m2)
also called Brightness
220 220 220 220
Contrast Ratio 500 500 500 500
Response Time (Optical Rise
Time/Fall Time) msec
88258
Item Hard Disk Specification

Chapter 1 21
Audio Interface
LAN Interface
Typical Power Consumption
(watt)
5.6 5.3 4.9 4.5
Weight (without inverter) 450 355 360 350
Physical Size (mm) 360x210x5.5 359.3x209.5x
5.2
359.3x209.5x
5.5
324x192.5x5.
2
Electrical Interface 1 ch. LVDS 1 ch. LVDS LVDS LVDS
Viewing Angle (degree)
Horizontal (Right)/CR = 10 (Left)
Vertical (Upper)/CR = 10 (Lower)
45/45 (typical)
15/35 (typical)
45/45 (typical)
20/45 (typical)
45/45 (typical)
15/35 (typical)
40/40 (min)
10/30 (min)
Item Specifications
Audio Controller • Conexant CX-20561-15Z Azalia Codec
• Amplifier GMT G1441
Audio onboard or option Built-in
Mono or Stereo Stereo
Resolution 2.1
Compatibility Headphone-out with S/PDIF, Line-In and Microphone-In.2 stereo ADCs
support 16/20/24-bit PCM format recording simultaneously.
Sampling Rate. All DACs supports 16/20/24-bit, 44.1k/48k/96k/192kHz sample rate.All
ADCs supports 16/20/24-bit, 44.1k/48k/96k/192kHz sample rate.Two
independent S/PDIF-OUT converters support 16/20/24-bit, 44.1k/48k/88.2k/
96k/192kHz sample rate. One for normal S/PDIF output, the other one
output an independent digital stream to HDMI transmitter.
Internal Microphone • Digital MICRO PHONE ZK2(HFM-M101-006-L19-G)
• Digital MICRO PHONE ZK2(A-OA2408FM-018)
Internal speaker/
Quantity
Two Med-High Speakers (2W/4Ohm) and one Subwoofer (3W/4Ohm)
Item Specification
LAN Chipset Atheros AL8131L-Al1E-R/AL008131002 Gigabit Ethernet
LAN Controller
Features • Combines a 10/100/1000BASE-T GbE media access
controller (MAC), a triple-speed Ethernet physical layer
transceiver (PHY), and a PCI Express bus interface.
• Compliant with IEEE 802.3u specification for 10/
100Mbps Ethernet and IEEE 802.3ab specification for
1000Mbps Ethernet.
• Combines pulse shaping, Tx/Rx PCS, echo canceller,
NEXT canceller, equalizer, decoder, and timing recovery
functions to deliver robust signal performance in noisy
environments.
• Supports checksum offload features for IP, TCP, and
UDP, lowering CPU utilization and optimizing network
performance.
• Supports advanced power management functions,
including Wake-On-LAN (WOL) and AMD Magic
Packet™
Item Specification

22 Chapter 1
Keyboard
Mini Card
3G Card
Bluetooth interface
Wireless LAN
Battery
Item Specification
Type Flat keyboard
Total number of keypads 84
Windows logo key Yes
Internal & external keyboard work
simultaneously
Plug USB keyboard to the USB port directly: Yes
Item Specification
Number Supported 2
Features • 2 mini card slot (1 for 3G / WiMax (full-size) and 1 for
WLAN (half-size)
• Embedded 3G module and built-in 2 antenna (combo
wireless + 3G) on top of LCD
Item Specification
Features • 3G card in mini card slot for 3G/ WiMAX (full-size)
• Control by USB interface
• User accessible SIM card by battery removal
• Antenna: Has to be placed on the sides of LCD in A/B
cover
Item Specification
Chipset • FOXCON T60H928.01 LF Bluetooth miniUSB module
Features • Embedded USB solution with antenna
• Bluetooth 2.0+EDR
• Bluetooth control for BT optical mouse
Item Specification
Type IEEE802.11 b/g Half PCI-e Card
Features • IEEE 802.11 b/g
• PCI-Express Half Mini card (H2 type)
Item Specification
Vendor & model name SANYO UM-2008BW, PANASONIC UM-2008B, SIMPLO
UM-2008A
Battery Type Li-ion
Pack capacity 4400/5800 mAh
Number of battery cell 6
Package configuration 3S2P

Chapter 2 23
System Utilities
BIOS Setup Utility
The BIOS Setup Utility is a hardware configuration program built into your computer’s BIOS (Basic Input/
Output System).
Your computer is already properly configured and optimized, and you do not need to run this utility. However, if
you encounter configuration problems, you may need to run Setup. Please also refer to Chapter 4
Troubleshooting if a problem arises.
To activate the BIOS Utility, press F2 during POST (when Press <F2> to enter Setup message is prompted
on the bottom of screen).
Press F2 to enter setup. The default parameter of F12 Boot Menu is set to “disabled”. If you want to change
boot device without entering BIOS Setup Utility, please set the parameter to “enabled”.
Press <F12> during POST to enter multi-boot menu. In this menu, user can change boot device without
entering BIOS SETUP Utility.
Navigating the BIOS Utility
There are six menu options: Information, Main, Advanced, Security, Power, Boot, and Exit.
Follow these instructions:
• To choose a menu, use the left and right arrow keys.
• To choose an item, use the up and down arrow keys.
• To change the value of a parameter, press F5 or F6.
• A plus sign (+) indicates the item has sub-items. Press Enter to expand this item.
• Press Esc while you are in any of the menu options to go to the Exit menu.
• In any menu, you can load default settings by pressing F9. You can also press F10 to save any
changes made and exit the BIOS Setup Utility.
NOTE: You can change the value of a parameter if it is enclosed in square brackets. Navigation keys for a
particular menu are shown on the bottom of the screen. Help for parameters are found in the Item
Specific Help part of the screen. Read this carefully when making changes to parameter values. Please
note that system information is subject to different models.
Chapter 2

24 Chapter 2
Information
The Information screen displays a summary of your computer hardware information.
NOTE: The system information is subject to different models.
Parameter Description
CPU Type This field shows the CPU type of the system.
CPU Speed This field shows the speed of the CPU.
IDE0 Model Name This field shows the model name of HDD installed on primary IDE master.
IDE0 Serial Number This field displays the serial number of HDD installed on primary IDE master.
System BIOS Version Displays system BIOS version.
VGA BIOS Version This field displays the VGA firmware version of the system.
Serial Number This field displays the serial number of this unit.
Asset Tag Number This field displays the asset tag number of the system.
Product Name This field shows product name of the system.
Manufacturer Name This field displays the manufacturer of this system.
UUID Number Universally Unique Identifier (UUID) is an identifier standard used in software
construction, standardized by the Open Software Foundation (OSF) as part of
the Distributed Computing Environment (DCE).
Phoenix SecureCore(tm) Setup Utility
F1
ESC
Help
Exit
Select Item
Select Menu
Change Values
Select SubMenu
Enter
F9
F10
Setup Default
Save and Exit
Intel(R) Core(TM)2 Duo CPU P6570 @ 2.10GHz
2100MHz
WDC WD3200BEVT-22ZCT0
WD-WXEZ08P30288
Optiarc DVD RW AD-7580S
V0.3207C
nVidia 62.98.61.00.F9
Z060SK03C190917A7D2500
Acer
C0343F08AB34E45B45CD12447670098B8
Intel(R) Core(TM)2 Duo CPU P6570 @ 2.10GHz
2100MHz
WDC WD3200BEVT-22ZCT0
WD-WXEZ08P30288
Optiarc DVD RW AD-7580S
V0.3207C
nVidia 62.98.61.00.F9
Z060SK03C190917A7D2500
Acer
C0343F08AB34E45B45CD12447670098B8
CPU Type
CPU Speed
IDE0 Model Name:
IDE0 Serial Number:
ATAPI Model Name:
System BIOS Version:
VGA BIOS Version:
Serial Number:
Asset Tag Number:
Product Name:
Manufacturer Name:
UUID:
CPU Type
CPU Speed
IDE0 Model Name:
IDE0 Serial Number:
ATAPI Model Name:
System BIOS Version:
VGA BIOS Version:
Serial Number:
Asset Tag Number:
Product Name:
Manufacturer Name:
UUID:
F5/F6
Main Boot Exit
SecurityInformation

Chapter 2 25
Main
The Main screen allows the user to set the system time and date as well as enable and disable boot option
and recovery.
NOTE: The screen above is for your reference only. Actual values may differ.
The table below describes the parameters in this screen. Settings in boldface are the default and suggested
parameter settings.
Parameter Description Format/Option
System Time Sets the system time. The hours are displayed with 24-
hour format.
Format: HH:MM:SS
(hour:minute:second)
System Date Sets the system date. Format MM/DD/YYYY
(month/day/year)
Total Memory This field reports the memory size of the system.
Memory size is fixed to 4094MB.
N/A
Video Memory
Shows the video memory size.
N/A
Quiet Boot Allows startup to skip certain tests while booting,
decreasing the time needed to boot the system.
Option: Enabled or Disabled
Network Boot Enables, disables the system boot from LAN (remote
server).
Option: Enabled or Disabled
F12 Boot Menu Enables, disables Boot Menu during POST. Option: Enabled or Disabled
D2D Recovery Enables, disables D2D Recovery function. The function
allows the user to create a hidden partition on hard disc
drive to store operation system and restore the system
to factory defaults.
Option: Enabled or Disabled
SATA Mode Control the mode in which the SATA controller should
operate.
Option: AHCI or IDE
Item Specific Help
<Tab>, <Shift-Tab>, or
<Enter> selects field.
F1
ESC
Help
Exit
Select Item
Select Menu
Change Values
Select SubMenu
Enter
F9
F10
Setup Default
Save and Exit
[10:49:59]
[03/03/2009]
4094 MB
512 MB
[Enabled]
[Enabled]
[Disabled]
[Enabled]
[AHCI Mode]
[10:49:59]
[03/03/2009]
4094 MB
512 MB
[Enabled]
[Enabled]
[Disabled]
[Enabled]
[AHCI Mode]
System Time:
System Date:
Total Memory:
Video Memory:
Quiet Boot
Network Boot
F12 Boot Menu
D2D Recovery
SATA Mode
System Time:
System Date:
Total Memory:
Video Memory:
Quiet Boot
Network Boot
F12 Boot Menu
D2D Recovery
SATA Mode
F5/F6
Phoenix SecureCode(tm) Setup Utility
Boot Exit
SecurityInformation PowerMain

26 Chapter 2
Security
The Security screen contains parameters that help safeguard and protect your computer from unauthorized
use.
The table below describes the parameters in this screen. Settings in boldface are the default and suggested
parameter settings.
NOTE: When you are prompted to enter a password, you have three tries before the system halts. Don’t forget
your password. If you forget your password, you may have to return your notebook computer to your
dealer to reset it.
Parameter Description Option
Supervisor Password Is Shows the setting of the Supervisor password Clear or Set
User Password Is Shows the setting of the User password. Clear or Set
HDD Password Is Shows the setting of the HDD password. Clear or Set
Set Supervisor Password Press Enter to set the supervisor password. When
set, this password protects the BIOS Setup Utility
from unauthorized access. The user can not either
enter the Setup menu nor change the value of
parameters.
Set User Password Press Enter to set the user password. When user
password is set, this password protects the BIOS
Setup Utility from unauthorized access. The user can
enter Setup menu only and does not have right to
change the value of parameters.
Set Hdd Password Enter HDD password.
Power on password Defines whether a password is required or not while
the events defined in this group happened. The
following sub-options are all requires the Supervisor
password for changes and should be grayed out if the
user password was used to enter setup.
Enabled or
Disabled
Item Specific Help
Supervisor Password
controls access to the
setup utility.
F1
ESC
Help
Exit
Select Item
Select Menu
Change Values
Select SubMenu
Enter
F9
F10
Setup Default
Save and Exit
Clear
Clear
Clear
[Enter]
[Enter]
[Enter]
[Disabled]
Clear
Clear
Clear
[Enter]
[Enter]
[Enter]
[Disabled]
Supervisor Password Is:
User Password Is:
HDD Password Is:
Set Supervisor Password
Set User Password
Set Hdd Password
Password on Boot
Supervisor Password Is:
User Password Is:
HDD Password Is:
Set Supervisor Password
Set User Password
Set Hdd Password
Password on Boot
F5/F6
Phoenix SecureCore(tm) Setup Utility
Information Main Boot Exit
Security

Chapter 2 27
Setting a Password
Follow these steps as you set the user or the supervisor password:
1. Use the ↑ and ↓ keys to highlight the Set Supervisor Password parameter and press the Enter key. The
Set Supervisor Password box appears:
2. Type a password in the “Enter New Password” field. The password length can not exceeds 8
alphanumeric characters (A-Z, a-z, 0-9, not case sensitive). Retype the password in the “Confirm New
Password” field.
IMPORTANT:Be very careful when typing your password because the characters do not appear on the screen.
3. Press Enter. After setting the password, the computer sets the User Password parameter to “Set”.
4. If desired, you can opt to enable the Password on boot parameter.
5. When you are done, press F10 to save the changes and exit the BIOS Setup Utility.
Removing a Password
Follow these steps:
1. Use the ↑ and ↓ keys to highlight the Set Supervisor Password parameter and press the Enter key. The
Set Password box appears:
2. Type the current password in the Enter Current Password field and press Enter.
3. Press Enter twice without typing anything in the Enter New Password and Confirm New Password fields.
The computer then sets the Supervisor Password parameter to “Clear”.
4. When you have changed the settings, press u to save the changes and exit the BIOS Setup Utility.
Set Supervisor Password
Enter New Password [ ][ ]
Confirm New Password [ ]
Set Supervisor Password
Enter Current Password [ ][ ]
Enter New Password [ ]
Confirm New Password [ ][ ]

28 Chapter 2
Changing a Password
1. Use the ↑ and ↓ keys to highlight the Set Supervisor Password parameter and press the Enter key. The
Set Password box appears.
2. Type the current password in the Enter Current Password field and press Enter.
3. Type a password in the Enter New Password field. Retype the password in the Confirm New Password
field.
4. Press Enter. After setting the password, the computer sets the User Password parameter to “Set”.
5. If desired, you can enable the Password on boot parameter.
6. When you are done, press F10 to save the changes and exit the BIOS Setup Utility.
If the verification is OK, the screen will display as following.
The password setting is complete after the user presses Enter.
If the current password entered does not match the actual current password, the screen will show you the
Setup Warning.
If the new password and confirm new password strings do not match, the screen displays the following
message.
Set Supervisor Password
Enter Current Password [ ][ ]
Enter New Password [ ]
Confirm New Password [ ][ ]
Setup Notice
Changes have been saved.
[Continue][Continue]
Setup Warning
Invalid Password.
[Continue][Continue]
Setup Warning
Passwords do not match.
Re-enter password.
[Continue][Continue]

Chapter 2 29
Boot
This menu allows the user to decide the order of boot devices to load the operating system. Bootable devices
includes USB drives, the onboard hard disk drive and the DVD drive in the module bay.
Item Specific Help
Keys used to view or
configure devices:
Up and Down arrows
select a device.
<+> and <-> moves
the device up or down.
<f> and <r> specifies
the device fixed or
removable.
<x> exclude or include
the device to boot.
<Shift+1>enables or
disables a device.
<1 - 4> Loads default
boot sequence.
F1
ESC
Help
Exit
Select Item
Select Menu
Change Values
Select SubMenu
Enter
F9
F10
Setup Default
Save and Exit
Boot priority order:
1. IDE0 : WDC WD3200BEVT-22ZCT0-(S1)
2. IDE CD : Optiarc DVD RW AD-7580S
3. PCI LAN: Atheros Boot Agent
4. USB HDD :
5. USB CDROM :
6. USB FDC :
7. USB KEY :
8:
Excluded from boot order:
Boot priority order:
1. IDE0 : WDC WD3200BEVT-22ZCT0-(S1)
2. IDE CD : Optiarc DVD RW AD-7580S
3. PCI LAN: Atheros Boot Agent
4. USB HDD :
5. USB CDROM :
6. USB FDC :
7. USB KEY :
8:
Excluded from boot order:
F5/F6
Phoenix SecureCore(tm) Setup Utility
Information Main Boot Exit
Security

30 Chapter 2
Exit
The Exit screen allows you to save or discard any changes you made and quit the BIOS Utility.
The table below describes the parameters in this screen.
Parameter Description
Exit Saving Changes Exit System Setup and save your changes to CMOS.
Exit Discarding
Changes
Exit utility without saving setup data to CMOS.
Load Setup Default Load default values for all SETUP item.
Discard Changes Load previous values from CMOS for all SETUP items.
Save Changes Save Setup Data to CMOS.
Item Specific Help
Exit System Setup and
save your changes to
CMOS.
F1
ESC
Help
Exit
Select Item
Select Menu
Change Values
Enter
F9
F10
Setup Default
Save and Exit
Exit Saving Changes
Exit Discarding Changes
Load Setup Defaults
Discard Changes
Save Changes
Exit Saving Changes
Exit Discarding Changes
Load Setup Defaults
Discard Changes
Save Changes
F5/F6
Phoenix SecureCore(tm) Setup Utility
Information Main Boot Exit
Security
Execute Command

Chapter 2 31
BIOS Flash Utility
The BIOS flash memory update is required for the following conditions:
• New versions of system programs
• New features or options
• Restore a BIOS when it becomes corrupted.
Use the Flash16 utility to update the system BIOS flash ROM.
NOTE: Do not install memory-related drivers (XMS, EMS, DPMI) when you use the Flash16 Utility.
NOTE: Please use the AC adaptor power supply when you run the flashit utility. If the battery pack does not
contain enough power to finish the BIOS flash, you may not boot the system because the BIOS is not
completely loaded.
Using the Flash16 Utility to Update the BIOS
Follow the steps below to run the Flash16 Utility.
1. Prepare a bootable diskette.
2. Copy the flash utilities to the bootable diskette.
3. Boot the system from the bootable diskette.
4. Run Phlash16.exe z06_3106.wph /mode=3 /x. After flashing the BIOS the system will restart.
5. During POST, press F2 to enter into the BIOS setup screen.
6. Navigate to the Exit page, choose Load Setup Defaults then press ENTER.
7. When a Setup Confirmation appears, choose 'Yes’. The system will restart with the BIOS settings
included in the utility.

32 Chapter 2
WinFlash Utility
Perform the following steps to use the WinFlash Utility:
1. Copy the BIOS file into the Winflash folder.
2. Double-click the WinFlash executable file.

Chapter 2 33
3. Click OK to begin the update. A progress screen displays.
4. When the process is complete, close all programs and applications and reboot the system.

34 Chapter 2
Remove HDD/BIOS Password Utilities
To reset a hard drive or BIOS password you require an additional PC. The utilities run on a DOS prompt on the
second machine.
This section provides instructions on how to remove a HDD password. If you enter the wrong hard drive
password three times, the system reports the following error code:
To reset the HDD password, run HDD_PW.EXE on a second machine as follows:
1. At a command prompt, type hdd_pw 15494 0
2. Type 2.
3. Write down one of the two strings (in this example, OKJFN42 or UVEIQ96).
4. Reboot the system and type the selected string (in this example OKJFN42 or UVEIQ96) for the HDD user
password.

Chapter 2 35
Removing BIOS Passwords:
If you key in the wrong Supervisor Password three times, System Disabled displays on the screen as below.
To reset the BIOS password, run BIOS_PW.EXE on a second machine as follows:
1. At a command prompt, type bios_pw 14452 0.
2. Select one string from the list.

36 Chapter 2
3. Reboot the system and type the selected string (in this example qjjg9vy or 07yqmjd etc.) for the
BIOS user password.
Cleaning BIOS Passwords
To clear the password, perform the following steps:
1. From a DOS prompt, Execute clnpwd.exe
2. Press 1 or 2 to clean the desired password shown on the screen.
The onscreen message determines whether the function is successful or not.

Chapter 2 37
Miscellaneous Utilities
Using Boot Sequence Selector
Boot Sequence Selector allows the boot order to be changed without accessing the BIOS. To use Boot
Sequence Selector, perform the following steps:
1. Enter into DOS.
2. Execute BS.exe to display the usage screen.
3. Select the desired boot sequence by entering the corresponding sequence, for example, enter BS2 to
change the boot sequence to HDD|CD ROM|LAN|Floppy.
Using DMITools
The DMI (Desktop Management Interface) Tool copies BIOS information to eeprom to be used in the DMI pool
for hardware management.
When the BIOS displays Verifying DMI pool data it is checking the table correlates with the hardware before
sending to the operating system (Windows, etc.).
To update the DMI Pool, perform the following steps:
1. Op[en a command prompt.
2. Execute dmitools.exe. The following messages show dmitools usage:
IMPORTANT:The following write examples (2 to 5) require a system reboot to take effect

38 Chapter 2
Example 1: Read DMI Information from Memory
Input:
dmitools /r
Output:
Manufacturer (Type1, Offset04h): Acer
Product Name (Type1, Offset05h): Aspire one xxxxx
Serial Number (Type1, Offset07h): 01234567890123456789
UUID String (Type1, Offset08h): xxxxxxxx-xxxx-xxxx-xxxx-xxxxxxxxxxxx
Asset Tag (Type3, Offset04h): Acer Asstag
Example 2: Write Product Name to EEPROM
Input:
dmitools /wp Acer
Example 3: Write Serial Number to EEPROM
Input:
dmitools /ws 01234567890123456789
Example 4: Write UUID to EEPROM
Input:
dmitools /wu
Example 5: Write Asset Tag to EEPROM
Input:
dmitools /wa Acer Asstag
Using the LAN MAC Utility
Perform the following steps to write MAC information to eeprom:
1. Use a text editor, for example Notepad, to edit the MAC.CFG file as shown:
• WriteData= '001122334455' <------- MAC value
• StartAddr=7A <------- MAC address
• WriteLeng=6 <------- MAC value length
• KeepByte=0 <------- can be any value
2. Boot into DOS.
3. Execute MAC.BAT to write MAC information to eeprom.

Chapter 3 39
Machine Disassembly and Replacement
This chapter contains step-by-step procedures on how to disassemble the notebook computer for
maintenance and troubleshooting.
Disassembly Requirements
To disassemble the computer, you need the following tools:
•Wrist grounding strap and conductive mat for preventing electrostatic discharge
•Flat screwdriver
•Philips screwdriver
•Plastic flat screwdriver
•Plastic tweezers
NOTE: The screws for the different components vary in size. During the disassembly process, group the
screws with the corresponding components to avoid mismatch when putting back the components.
Chapter 3

40 Chapter 3
General Information
Pre-disassembly Instructions
Before proceeding with the disassembly procedure, make sure that you do the following:
1. Turn off the power to the system and all peripherals.
2. Unplug the AC adapter and all power and signal cables from the system.
3. Place the system on a flat, stable surface.
4. Remove the battery pack.
Disassembly Process
The disassembly process is divided into the following stages:
•External module disassembly
•Main unit disassembly
•LCD module disassembly
The flowcharts provided in the succeeding disassembly sections illustrate the entire disassembly sequence.
Observe the order of the sequence to avoid damage to any of the hardware components. For example, if you
want to remove the main board, you must first remove the keyboard, then disassemble the inside assembly
frame in that order.
Main Screw List
Screw Quantity Part Number
M3*0.5+3.5I 2 86.A03V7.006
M2.5*3.0-I (BZN) 4 86.TPK07.003
M2.5*2-I (NI,NYLOK) IRON 3 86.EDM07.002
M2.5*4.0-I (BUWZN) (NYLON PATCH) IRON 10 86.EDM07.003
M2.5*5.0-I (BZN) 50 86.ARE07.003
M2.0*3.0-I (BKAG) (NYLOK) IRON 9 86.ARE07.002

Chapter 3 41
External Module Disassembly Process
External Modules Disassembly Flowchart
Screw List
Step Screw Quantity Part No.
Lower Door M2.5*5 8 86.ARE07.003
ODD Module M2.5*5 1 86.ARE07.003
ODD Bracket M2*3 2 86.ARE07.002
HDD Carrier M3*3 2 86.A03V7.006
WLAN Module M2.5*4 2 86.EDM07.003
Disconnect power
and signal cables
from system
Remove
Battery
Turn off system
and peripherals
power
Remove
DIMMs
Remove
WLAN
Remove
HDD
Remove
ODD
Remove
Lower Door
Remove
RTC Battery
Remove
SD Dummy Card

42 Chapter 3
Removing the Battery Pack
1. Turn the computer over.
2. Slide the battery lock to the unlocked position.
3. Slide and hold the battery release latch to the release position (1), then lift out the battery pack from the
main unit (2).
1
2

Chapter 3 43
Removing the SD Dummy Card
1. Push the SD Dummy Card all the way in to eject it.
2. Pull the card out from the slot.

Chapter 3 45
Removing the RTC Battery
IMPORTANT: Follow local regulations for disposal of all batteries.
1. See “Removing the Lower Door” on page 44.
IMPORTANT: Do not pry the battery out of the socket. Using force may permanently damage the battery socket.
2. Slide the RTC Battery to the right to release the securing clips in the battery socket.
3. Lift the battery clear of the socket.

46 Chapter 3
Removing the Optical Drive Module
1. See “Removing the Lower Door” on page 44.
2. Remove the single screw securing the ODD Module.
3. Insert a suitable object in to the Lower Cover to push the ODD Module clear of the casing.
4. Pull the ODD Module out of the chassis.
Step Size Quantity Screw Type
ODD Module M2.5*5 1

Chapter 3 47
5. Remove the two screws securing the ODD Bracket and remove the ODD bracket from the module.
6. Insert a pin in the eject hole of the ODD to eject the ODD tray.
7. Press down on the locking catch to release the ODD cover and remove.
Step Size Quantity Screw Type
ODD Bracket M2*3 2

48 Chapter 3
Removing the Hard Disk Drive Module
1. See “Removing the Lower Door” on page 44.
2. Use the pull-tab to slide the HDD in the indicated direction and disconnect the interface.
3. Lift the hard disk drive module out of the bay, right side first as shown.
NOTE: To prevent damage to device, avoid pressing down on it or placing heavy objects on top of it.

Chapter 3 49
4. Remove the two screws securing the hard disk to the carrier.
5. Remove the HDD from the carrier.
Step Size Quantity Screw Type
HDD Carrier M3*3 2

Chapter 3 51
Removing the WLAN Module
1. See “Removing the Lower Door” on page 44.
2. Disconnect the Antenna cables from the WLAN Module.
NOTE: The black cable attaches to the MAIN terminal and the white cable attaches to the AUX terminal.
NOTE: When reattaching the antennas, ensure the cables are tucked into the chassis to prevent damage.
3. Remove the two screws securing the WLAN Module to the Mainboard
Step Size Quantity Screw Type
WLAN Module M2.5*4 2

52 Chapter 3
4. Detach the WLAN Module from the WLAN socket.

Chapter 3 53
Main Unit Disassembly Process
Main Unit Disassembly Flowchart
Screw List
Step Screw Quantity Part No.
Switch Cover M2.5*2 3 86.EDM07.002
M2.5*5 4 86.ARE07.003
LCD Module M2.5*5 6 86.ARE07.003
Upper Cover M2.5*5 18 86.ARE07.003
M2.5*4 4 86.EDM07.003
TouchPad Bracket M2.5*3 2 86.TPK07.003
Speaker Module M2.5*3 2 86.TPK07.003
Bluetooth Board M2*3 1 86.ARE07.002
USB Board M2.5*5 2 86.ARE07.003
Mainboard M2.5*5 1 86.ARE07.003
Hinge Supports M2.5*4 4 86.EDM07.003
Remove
Mainboard
Remove
USB Board
Remove
Switch Cover
Remove
Keyboard
Remove
Upper Cover
Remove
LCD Module
Remove External
Modules before
proceeding
Remove
TouchPad
Bracket
Upper
Cover
Lower
Cover
Remove
Speaker Module
Remove
CPU
Remove
Thermal Module
Remove
Bluetooth
Remove
Microphone
Remove
Hinge Supports

54 Chapter 3
Removing the Switch Cover
1. See “Removing the Battery Pack” on page 42.
2. Remove the five screws securing the Switch Cover to the Upper Cover.
NOTE: The screws marked with green callouts are also marked on the Lower Cover with the letters KB.
3. Remove the two screws on the spine of the Notebook securing the Switch Cover to the LCD Brackets.
Step Size Quantity Screw Type
Switch Cover
(red callout)
M2.5*2 3
Switch Cover
(green callout)
M2.5*5 2
Step Size Quantity Screw Type
Switch Cover M2.5*5 2

Chapter 3 55
4. Turn the computer over and open the LCD Panel to the full extent.
IMPORTANT: Do not use metal tools to remove the Switch Cover. Using metal tools may permanently damage the
casing.
5. Insert a suitable plastic tool in to the cutout located above the keypad Num Lock key, and pry the Switch
Cover away from the Upper Cover as shown.
6. Working from right to left, lift the Switch Cover away from the Upper Cover as shown.
7. Remove the Switch Cover from the Upper Cover.

56 Chapter 3
Removing the Keyboard
1. See “Removing the Switch Cover” on page 54.
2. Lift the centre of Keyboard up as shown to release the four securing clips on the Upper Cover.
IMPORTANT: Do not remove the Keyboard from the computer; the Keyboard FFCs are still connected.
3. Turn the Keyboard over and place it on the TouchPad.
4. Disconnect the Keyboard cable by opening the FFC latch and removing the cable from the Mainboard.
5. Remove the Keyboard from the Upper Cover.

Chapter 3 57
Removing the LCD Module
1. See “Removing the Keyboard” on page 56.
2. Turn the computer over. Remove the two screws securing the LCD Module to the Lower Cover.
3. Remove the Antenna cables from the cable channel. Ensure that the cables are free from all cable clips.
Step Size Quantity Screw Type
LCD Module M2.5*5 2

58 Chapter 3
4. Pull the Antenna cables through the Upper Cover as shown. Ensure that the Antennas are completely
free from the cover.
5. Remove the Antenna from the cable channel all the way to the Hinge Well. Ensure that the cables are free
from all cable clips.
6. Grasp the pull tab and lift upward as shown to disconnect the LVDS cable.

Chapter 3 59
7. Remove the LVDS cable from the cable channel all the way to the Hinge Well. Ensure that the cable is
free from the cable clip.
8. Remove the four screws securing the LCD Module to the Lower Cover.
9. Using both hands, lift the LCD Module clear of the Lower Cover.
Step Size Quantity Screw Type
LCD Module M2.5*5 4

60 Chapter 3
Removing the Upper Cover
IMPORTANT: The TouchPad is supplied as part of the Upper Cover. If the TouchPad is defective, replace the entire
Upper Cover.
1. See “Removing the LCD Module” on page 57.
2. Turn the computer over. Remove the eighteen screws on the bottom panel.
3. Turn the computer over and disconnect the following cables from the Mainboard.
NOTE: Avoid pulling on cables directly to prevent damage to the connectors.
NOTE: Use the pull-tabs on FFC cables whenever available to prevent damage.
Step Size Quantity Screw Type
Upper Cover M2.5*5 18
A
BC

Chapter 3 61
4. Disconnect A as shown.
5. Disconnect B as shown.
6. Open the locking latch on C and disconnect the FFC from the Mainboard.

62 Chapter 3
7. Remove the eleven screws securing the Upper Cover to the Lower Cover.
8. Remove the Upper Cover, right side first as shown.
Step Size Quantity Screw Type
Upper Cover M2.5*4 4

Chapter 3 63
Removing the TouchPad Bracket
IMPORTANT: The TouchPad is supplied as part of the Upper Cover. If the TouchPad is defective, replace the entire
Upper Cover.
1. See “Removing the Upper Cover” on page 60.
2. Remove the two screws securing the bracket to the Upper Cover.
3. Lift the bracket right side first and remove it from the Upper Cover as shown.
Step Size Quantity Screw Type
TouchPad
Bracket
M2.5*3 2

64 Chapter 3
4. Open the locking latch and remove the TouchPad FFC as shown.
5. Lift the protective sheet away from the Upper Cover to expose the TouchPad FFC as shown.
6. Peel the FFC away from the protective cover and remove the cable from the Upper Cover.

Chapter 3 65
Removing the Speaker Module
1. See “Removing the Upper Cover” on page 60.
2. Lift the protective sheet away from the Upper Cover to expose the Microphone and Speaker cables as
shown.
3. Remove the Microphone cable from the first two cable clips as shown.
4. Remove the left speaker cable from the cable channel. Ensure that the cable is free from all cable clips.

66 Chapter 3
5. Remove the right speaker cable from the cable channel. Ensure that the cable is free from all cable clips.

Chapter 3 67
6. Turn the Upper Cover over and remove the speaker cable from the cable clip as shown.
7. Remove the two screws (one each side) securing the Speaker Modules to the Upper Cover.
8. Remove the Speaker Modules from the Upper Cover as shown.
Step Size Quantity Screw Type
Speaker Module M2.5*3 2

68 Chapter 3
Removing the Microphone
1. See “Removing the Speaker Module” on page 65.
2. Remove the Microphone cable from the cable channel. Ensure that the cable is free from all cable clips.
3. Turn the Upper Cover over and remove the cable from the cable clip as shown.
4. Lift the Microphone clear of the Upper Cover.

70 Chapter 3
4. Remove the single screw securing the Bluetooth Board to the Lower Cover.
5. Remove the Bluetooth Board from the Lower Cover.
Step Size Quantity Screw Type
Bluetooth Board M2*3 1

Chapter 3 71
Removing the USB Board
1. See “Removing the Upper Cover” on page 60.
2. Open the locking latch on the FFC and disconnect it from the Mainboard.
3. Open the locking latch on the FFC and disconnect it from the USB Board.
4. Remove the adhesive tape securing the USB FFC to the Lower Cover and remove the cable.

72 Chapter 3
5. Remove the two screws securing the USB Board to the Lower Cover.
6. Remove the USB Board from the Lower Cover as shown.
Step Size Quantity Screw Type
USB Board M2.5*5 2

74 Chapter 3
4. Rotate the Mainboard upward and remove it from the chassis, right side first. Place the Mainboard on a
clean, dust-free surface.

Chapter 3 75
Removing the Hinge Supports
1. See “Removing the Mainboard” on page 73.
2. Remove the four screws (one on the left and three on the right) securing the Hinge Supports to the Lower
Cover.
3. Lift the Hinge Supports clear of the Lower Cover.
Step Size Quantity Screw Type
Hinge Supports M2.5*4 4

76 Chapter 3
Removing the Thermal Module
1. See “Removing the Mainboard” on page 73.
2. Disconnect the fan cable from the Mainboard.
3. Loosen the six captive screws (in reverse numerical order from screw 6 to screw 1) securing the Thermal
Module in place.
4. Lift the Thermal Module clear of the Mainboard.
1
2
3
4
5
6

Chapter 3 77
Removing the CPU
1. See “Removing the Thermal Module” on page 76.
2. Turn the securing screw 180° to release the CPU from the socket.
3. Remove the CPU from the socket as shown.
IMPORTANT: The pins on the underside of the CPU are very delicate. If they are damaged, the CPU may
malfunction. Place the CPU on a clean, dry surface when it is not installed.

78 Chapter 3
LCD Module Disassembly Process
IMPORTANT:Cable paths and positioning may not represent the actual model. During the removal and
replacement of components, ensure all available cable channels and clips are used and that the
cables are replaced in the same position.
LCD Module Disassembly Flowchart
Screw List
Step Screw Quantity Part No.
LCD Bezel M2.5*5 6 86.ARE07.003
LCD Panel M2.5*5 4 86.ARE07.003
LCD Brackets M2*3 6 86.ARE07.002
Remove
LCD Panel
Remove
LCD Bezel
Remove
LCD FPC Cable
Remove LCD
Panel from Main
Unit before
proceeding
Remove
LCD Brackets
Remove
Camera Module

Chapter 3 79
Removing the LCD Bezel
1. See “Removing the LCD Module” on page 57.
2. Remove the six screw caps and screws from the LCD Bezel.
3. Starting from the inside bottom edge, pry the Bezel away from the panel. Continue up the sides as shown.
If necessary, use a plastic pry to release the corners of the Bezel.
Step Size Quantity Screw Type
LCD Bezel M2.5*5 6

80 Chapter 3
4. Lift up the Bezel and remove it from the LCD Module.

82 Chapter 3
4. Disconnect the Camera cable and remove the LCD Panel.

84 Chapter 3
4. Disconnect the cable from the LCD panel as shown.
5. Remove the six securing screws (three each side) from the LCD Panel brackets.
6. Remove the brackets from the LCD Panel.
Step Size Quantity Screw Type
LCD Brackets M2*3 6

86 Chapter 3
LCD Module Reassembly Procedure
Replacing the Camera Board
1. Ensure that the locating pins are correctly positioned and place the Camera Board in the LCD Module.
2. Press down to secure it in place

Chapter 3 87
Replacing the LCD Brackets and FPC Cable
1. Secure the brackets to the panel using six bracket screws (three each side).
2. Insert the LCD Cable into the panel connector
as shown.
3. Secure the connector by replacing the adhesive
strip as shown.
4. Replace the LCD cable as shown. Press down as indicated to secure the cable in place.

88 Chapter 3
IMPORTANT:Ensure that the LCD Cable runs as shown to avoid trapping when the Bezel is replaced.

Chapter 3 89
Replacing the LCD Panel
1. Place the LCD Panel adjacent to the LCD Cover and reconnect the Camera cable.
2. Turn the panel over and place it in the LCD Cover.
IMPORTANT: Ensure that the cables are not trapped under the panel.
3. Replace the four screws to secure the panel in place.
Step Size Quantity Screw Type
LCD Panel M2.5*5 4

90 Chapter 3
Replacing the LCD Bezel
1. Place the Bezel onto the LCD Module ensuring that the cables exit the module as shown and are not
trapped between the bezel and the cover.
2. Press down around the perimeter of the Bezel to snap it in to place.
3. Replace the six screws and screw caps for the LCD Bezel.
Step Size Quantity Screw Type
LCD Bezel M2.5*5 6

Chapter 4 91
Troubleshooting
Common Problems
Use the following procedure as a guide for computer problems.
NOTE: The diagnostic tests are intended to test only Acer products. Non-Acer products, prototype cards, or
modified options can give false errors and invalid system responses.
1. Obtain the failing symptoms in as much detail as possible.
2. Verify the symptoms by attempting to re-create the failure by running the diagnostic test or by repeating
the same operation.
3. Use the following table with the verified symptom to determine which page to go to.
4. If the Issue is still not resolved, see “Online Support Information” on page 185.
Symptoms (Verified) Go To
Power On Issue Page 92
No Display Issue Page 93
LCD Failure Page 96
Internal Keyboard Failure Page 97
TouchPad Failure Page 98
Internal Speaker Failure Page 99
Internal Microphone Failure Page 101
Right Side USB Failure Page 103
Other Functions Failure Page 105
Intermittent Problems Page 105
Undetermined Problems Page 105
Chapter 4

92 Chapter 4
Power On Issue
If the system doesn’t power on, perform the following actions one at a time to correct the problem. Do not
replace a non-defective FRU:
Computer Shuts Down Intermittently
If the system powers off at intervals, perform the following actions one at a time to correct the problem.
1. Check the power cable is properly connected to the computer and the electrical outlet.
2. Remove any extension cables between the computer and the outlet.
3. Remove any surge protectors between the computer and the electrical outlet. Plug the computer directly
into a known good electrical outlet.
4. Remove all external and non-essential hardware connected to the computer that are not necessary to
boot the computer to the failure point.
5. Remove any recently installed software.
6. If the Issue is still not resolved, see “Online Support Information” on page 185.

Chapter 4 93
No Display Issue
If the Display doesn’t work, perform the following actions one at a time to correct the problem. Do not replace
a non-defective FRUs:
No POST or Video
If the POST or video doesn’t display, perform the following actions one at a time to correct the problem.
1. Make sure that the internal display is selected. On this notebook model, switching between the internal
display and the external display is done by pressing Fn+F5. Reference Product pages for specific model
procedures.
2. Make sure the computer has power by checking at least one of the following occurs:
• Fans start up
• Status LEDs light up
If there is no power, see “Power On Issue” on page 92.
3. Drain any stored power by removing the power cable and battery and holding down the power button for
10 seconds. Reconnect the power and reboot the computer.
4. Connect an external monitor to the computer and switch between the internal display and the external
display is by pressing Fn+F5 (on this model).
If the POST or video appears on the external display, see “LCD Failure” on page 96.
5. Disconnect power and all external devices including port replicators or docking stations. Remove any
memory cards and CD/DVD discs. Restart the computer.
If the computer boots correctly, add the devices one by one until the failure point is discovered.
6. Reseat the memory modules.

94 Chapter 4
7. Remove the drives (see “Disassembly Process” on page 40).
8. If the Issue is still not resolved, see “Online Support Information” on page 185.
Abnormal Video Display
If video displays abnormally, perform the following actions one at a time to correct the problem.
1. Reboot the computer.
2. If permanent vertical/horizontal lines or dark spots display in the same location, the LCD is faulty and
should be replaced. See “Disassembly Process” on page 40.
3. If extensive pixel damage is present (different colored spots in the same locations on the screen), the LCD
is faulty and should be replaced. See “Disassembly Process” on page 40.
4. Adjust the brightness to its highest level. See the User Manual for instructions on adjusting settings.
NOTE: Ensure that the computer is not running on battery alone as this may reduce display brightness.
If the display is too dim at the highest brightness setting, the LCD is faulty and should be replaced. See
“Disassembly Process” on page 40.
5. Check the display resolution is correctly configured:
a. Minimize or close all Windows.
b. If display size is only abnormal in an application, check the view settings and control/mouse wheel
zoom feature in the application.
c. If desktop display resolution is not normal, right-click on the desktop and select
Personalize´ Display Settings.
d. Click and drag the Resolution slider to the desired resolution.
e. Click Apply and check the display. Readjust if necessary.
6. Roll back the video driver to the previous version if updated.
7. Remove and reinstall the video driver.
8. Check the Device Manager to determine that:
• The device is properly installed. There are no red Xs or yellow exclamation marks.
• There are no device conflicts.
• No hardware is listed under Other Devices.
9. If the Issue is still not resolved, see “Online Support Information” on page 185.
10. Run the Windows Memory Diagnostic from the operating system DVD and follow the onscreen prompts.
11. If the Issue is still not resolved, see “Online Support Information” on page 185.

Chapter 4 95
Random Loss of BIOS Settings
If the computer is experiencing intermittent loss of BIOS information, perform the following actions one at a
time to correct the problem.
1. If the computer is more than one year old, replace the CMOS battery.
2. Run a complete virus scan using up-to-date software to ensure the computer is virus free.
3. If the computer is experiencing HDD or ODD BIOS information loss, disconnect and reconnect the power
and data cables between devices.
If the BIOS settings are still lost, replace the cables.
4. If HDD information is missing from the BIOS, the drive may be defective and should be replaced.
5. Replace the Motherboard.
6. If the Issue is still not resolved, see “Online Support Information” on page 185.

96 Chapter 4
LCD Failure
If the LCD fails, perform the following actions one at a time to correct the problem. Do not replace a non-
defective FRUs:

Chapter 4 97
Built-In Keyboard Failure
If the built-in Keyboard fails, perform the following actions one at a time to correct the problem. Do not replace
a non-defective FRUs:

98 Chapter 4
TouchPad Failure
If the TouchPad doesn’t work, perform the following actions one at a time to correct the problem. Do not
replace a non-defective FRUs:

Chapter 4 99
Internal Speaker Failure
If the internal Speakers fail, perform the following actions one at a time to correct the problem. Do not replace
a non-defective FRUs:
Sound Problems
If sound problems are experienced, perform the following actions one at a time to correct the problem.
1. Reboot the computer.
2. Navigate to Start´ Control Panel´ System and Maintenance´ System´ Device Manager. Check
the Device Manager to determine that:
• The device is properly installed.
• There are no red Xs or yellow exclamation marks.
• There are no device conflicts.
• No hardware is listed under Other Devices.
3. Roll back the audio driver to the previous version, if updated recently.
4. Remove and reinstall the audio driver.
5. Ensure that all volume controls are set mid range:
a. Click the volume icon on the taskbar and drag the slider to 50. Ensure that the volume is not muted.
b. Click Mixer to verify that other audio applications are set to 50 and not muted.
6. Navigate to Start´ Control Panel´ Hardware and Sound´ Sound. Ensure that Speakers are selected
as the default audio device (green check mark).
NOTE: If Speakers does not show, right-click on the Playback tab and select Show Disabled Devices
(clear by default).
7. Select Speakers and click Configure to start Speaker Setup. Follow the onscreen prompts to configure
the speakers.
8. Remove and recently installed hardware or software.

100 Chapter 4
9. Restore system and file settings from a known good date using System Restore.
If the issue is not fixed, repeat the preceding steps and select an earlier time and date.
10. Reinstall the Operating System.
11. If the Issue is still not resolved, see “Online Support Information” on page 185.

Chapter 4 101
Internal Microphone Failure
If the internal Microphone fails, perform the following actions one at a time to correct the problem. Do not
replace a non-defective FRUs:
Microphone Problems
If internal or external Microphones do no operate correctly, perform the following actions one at a time to
correct the problem.
1. Check that the microphone is enabled. Navigate to Start´ Control Panel´ Hardware and Sound´
Sound and select the Recording tab.
2. Right-click on the Recording tab and select Show Disabled Devices (clear by default).
3. The microphone appears on the Recording tab.
4. Right-click on the microphone and select Enable.
5. Select the microphone then click Properties. Select the Levels tab.
6. Increase the volume to the maximum setting and click OK.
7. Test the microphone hardware:
a. Select the microphone and click Configure.
b. Select Set up microphone.
c. Select the microphone type from the list and click Next.
d. Follow the onscreen prompts to complete the test.
8. If the Issue is still not resolved, see “Online Support Information” on page 185.

102 Chapter 4
HDD Not Operating Correctly
If the HDD does not operate correctly, perform the following actions one at a time to correct the problem.
1. Disconnect all external devices.
2. Run a complete virus scan using up-to-date software to ensure the computer is virus free.
3. Run the Windows Vista Startup Repair Utility:
a. insert the Windows Vista Operating System DVD in the ODD and restart the computer.
b. When prompted, press any key to start to the operating system DVD.
c. The Install Windows screen displays. Click Next.
d. Select Repair your computer.
e. The System Recovery Options screen displays. Click Next.
f. Select the appropriate operating system, and click Next.
NOTE: Click Load Drivers if controller drives are required.
g. Select Startup Repair.
h. Startup Repair attempts to locate and resolve issues with the computer.
i. When complete, click Finish.
If an issue is discovered, follow the onscreen information to resolve the problem.
4. Run the Windows Memory Diagnostic Tool. For more information see Windows Help and Support.
5. Restart the computer and press F2 to enter the BIOS Utility. Check the BIOS settings are correct and that
CD/DVD drive is set as the first boot device on the Boot menu.
6. Ensure all cables and jumpers on the HDD and ODD are set correctly.
7. Remove any recently added hardware and associated software.
8. Run the Windows Disk Defragmenter. For more information see Windows Help and Support.
9. Run Windows Check Disk by entering chkdsk /r from a command prompt. For more information see
Windows Help and Support.
10. Restore system and file settings from a known good date using System Restore.
If the issue is not fixed, repeat the preceding steps and select an earlier time and date.
11. Replace the HDD. See “Disassembly Process” on page 40.

Chapter 4 103
USB Failure (Rightside)
If the rightside USB port fails, perform the following actions one at a time to correct the problem. Do not
replace a non-defective FRUs:

104 Chapter 4
External Mouse Failure
If an external Mouse fails, perform the following actions one at a time to correct the problem.
1. Try an alternative mouse.
2. If the mouse uses a wireless connection, insert new batteries and confirm there is a good connection. See
the mouse user manual.
3. If the mouse uses a USB connection, try an alternate USB port.
4. Try an alternative program to verify mouse operation. Reinstall the program experiencing mouse failure.
5. Restart the computer.
6. Remove any recently added hardware and associated software.
7. Remove any recently added software and reboot.
8. Restore system and file settings from a known good date using System Restore.
If the issue is not fixed, repeat the preceding steps and select an earlier time and date.
9. Run the Event Viewer to check the events log for errors. For more information see Windows Help and
Support.
10. Roll back the mouse driver to the previous version if updated recently.
11. Remove and reinstall the mouse driver.
12. Check the Device Manager to determine that:
• The device is properly installed. There are no red Xs or yellow exclamation marks.
• There are no device conflicts.
• No hardware is listed under Other Devices.
13. If the Issue is still not resolved, see “Online Support Information” on page 185.

Chapter 4 105
Other Failures
If the CRT Switch, Dock, LAN Port, external MIC or Speakers, PCI Express Card, 5-in-1 Card Reader or
Volume Wheel fail, perform the following general steps to correct the problem. Do not replace a non-defective
FRUs:
1. Check Drive whether is OK.
2. Check Test Fixture is ok.
3. Swap M/B to Try.
Intermittent Problems
Intermittent system hang problems can be caused by a variety of reasons that have nothing to do with a
hardware defect, such as: cosmic radiation, electrostatic discharge, or software errors. FRU replacement
should be considered only when a recurring problem exists.
When analyzing an intermittent problem, do the following:
1. Run the advanced diagnostic test for the system board in loop mode at least 10 times.
2. If no error is detected, do not replace any FRU.
3. If any error is detected, replace the FRU. Rerun the test to verify that there are no more errors.
Undetermined Problems
The diagnostic problems does not identify which adapter or device failed, which installed devices are incorrect,
whether a short circuit is suspected, or whether the system is inoperative.
Follow these procedures to isolate the failing FRU (do not isolate non-defective FRU).
NOTE: Verify that all attached devices are supported by the computer.
NOTE: Verify that the power supply being used at the time of the failure is operating correctly. (See “Power On
Issue” on page 92):
1. Power-off the computer.
2. Visually check them for damage. If any problems are found, replace the FRU.
3. Remove or disconnect all of the following devices:
• Non-Acer devices
• Printer, mouse, and other external devices
•Battery pack
• Hard disk drive
•DIMM
• CD-ROM/Diskette drive Module
• PC Cards
4. Power-on the computer.
5. Determine if the problem has changed.
6. If the problem does not recur, reconnect the removed devices one at a time until you find the failing FRU.
7. If the problem remains, replace the following FRU one at a time. Do not replace a non-defective FRU:
• System board
• LCD assembly

106 Chapter 4
POST Code Reference Tables
These tables describe the POST codes and components of the POST process.
Chipset POST Codes
The following table details the chipset POST codes and functions used in the POST.
Code Beeps POST Routine Description
02h Verify Real Mode
03h Disable Non-Maskable Interrupt (NMI)
04h Get CPU type
06h Initialize system hardware
08h Initialize chipset with initial POST values
09h Set IN POST flag
0Ah Initialize CPU registers
0Bh Enable CPU cache
0Ch Initialize caches to initial POST values
0Eh Initialize I/O component
0Fh Initialize the local bus IDE
10h Initialize Power Management
11h Load alternate registers with initial POST values
12h Restore CPU control word during warm boot
13h Initialize PCI Bus Mastering devices
14h Initialize keyboard controller
16h 1-2-2-3 BIOS ROM checksum
17h Initialize cache before memory autosize
18h 8254 timer initialization
1Ah 8237 DMA controller initialization
1Ch Reset Programmable Interrupt Controller
20h 1-3-1-1 Test DRAM refresh
22h 1-3-1-3 Test 8742 Keyboard Controller
24h Set ES segment register to 4 GB
26h Enable A20 line
28h Autosize DRAM
29h Initialize POST Memory Manager
2Ah Clear 512 KB base RAM
2Ch 1-3-4-1 RAM failure on address line xxxx*
2Eh 1-3-4-3 RAM failure on data bits xxxx* of low byte of memory bus
2Fh Enable cache before system BIOS shadow
30h 1-4-1-1 RAM failure on data bits xxxx* of high byte of memory bus
32h Test CPU bus-clock frequency
33h Initialize Phoenix Dispatch Manager
36h Warm start shut down
38h Shadow system BIOS ROM
3Ah Autosize cache

Chapter 4 107
3Ch Advanced configuration of chipset registers
3Dh Load alternate registers with CMOS values
42h Initialize interrupt vectors
45h POST device initialization
46h 2-1-2-3 Check ROM copyright notice
48h Check video configuration against CMOS
49h Initialize PCI bus and devices
4Ah Initialize all video adapters in system
4Bh QuietBoot start (optional)
4Ch Shadow video BIOS ROM
4Eh Display BIOS copyright notice
50h Display CPU type and speed
51h Initialize EISA board
52h Test keyboard
54h Set key click if enabled
58h 2-2-3-1 Test for unexpected interrupts
59h Initialize POST display service
5Ah Display prompt Press F2 to enter SETUP
5Bh Disable CPU cache
5Ch Test RAM between 512 and 640 KB
60h Test extended memory
62h Test extended memory address lines
64h Jump to UserPatch1
66h Configure advanced cache registers
67h Initialize Multi Processor APIC
68h Enable external and CPU caches
69h Setup System Management Mode (SMM) area
6Ah Display external L2 cache size
6Bh Load custom defaults (optional)
6Ch Display shadow-area message
6Eh Display possible high address for UMB recovery
70h Display error messages
72h Check for configuration errors
76h Check for keyboard errors
7Ch Set up hardware interrupt vectors
7Eh Initialize coprocessor if present
80h Disable onboard Super I/O ports and IRQs
81h Late POST device initialization
82h Detect and install external RS232 ports
83h Configure non-MCD IDE controllers
84h Detect and install external parallel ports
85h Initialize PC-compatible PnP ISA devices
86h Re-initialize onboard I/O ports.
Code Beeps POST Routine Description

108 Chapter 4
87h Configure Motherboard Configurable Devices (optional)
88h Initialize BIOS Data Area
89h Enable Non-Maskable Interrupts (NMIs)
8Ah Initialize Extended BIOS Data Area
8Bh Test and initialize PS/2 mouse
8Ch Initialize floppy controller
8Fh Determine number of ATA drives (optional)
90h Initialize hard-disk controllers
91h Initialize local-bus hard-disk controllers
92h Jump to UserPatch2
93h Build MPTABLE for multi-processor boards
95h Install CD ROM for boot
96h Clear huge ES segment register
97h Fixup Multi Processor table
98h 1-2 Search for option ROMs. One long, two short beeps on checksum failure
99h Check for SMART Drive (optional)
9Ah Shadow option ROMs
9Ch Set up Power Management
9Dh Initialize security engine (optional)
9Eh Enable hardware interrupts
9Fh Determine number of ATA and SCSI drives
A0h Set time of day
A2h Check key lock
A4h Initialize Typematic rate
A8h Erase F2 prompt
AAh Scan for F2 key stroke
ACh Enter SETUP
AEh Clear Boot flag
B0h Check for errors
B2h POST done - prepare to boot operating system
B4h 1 One short beep before boot
B5h Terminate QuietBoot (optional)
B6h Check password (optional)
B9h Prepare Boot
BAh Initialize DMI parameters
BBh Initialize PnP Option ROMs
BCh Clear parity checkers
BDh Display MultiBoot menu
BEh Clear screen (optional)
BFh Check virus and backup reminders
C0h Try to boot with INT 19
C1h Initialize POST Error Manager (PEM)
C2h Initialize error logging
Code Beeps POST Routine Description

Chapter 4 109
* If the BIOS detects error 2C, 2E, or 30 (base 512K RAM error), it displays an additional word-bitmap (xxxx)
indicating the address line or bits that failed. For example, 2C 0002 means address line 1 (bit one set) has
failed. 2E 1020 means data bits 12 and 5 (bits 12 and 5 set) have failed in the lower 16 bits. Note that error 30
cannot occur on 386SX systems because they have a 16 rather than 32-bit bus. The BIOS also sends the
bitmap to the port-80 LED display. It first displays the check point code, followed by a delay, the high-order
byte, another delay, and then the low-order byte of the error. It repeats this sequence continuously.
C3h Initialize error display function
C4h Initialize system error handler
C5h PnPnd dual CMOS (optional)
C6h Initialize notebook docking (optional)
C7h Initialize notebook docking late
C8h Force check (optional)
C9h Extended checksum (optional)
D2h Unknown interrupt
Code Beeps For Boot Block in Flash ROM
E0h Initialize the chipset
E1h Initialize the bridge
E2h Initialize the CPU
E3h Initialize system timer
E4h Initialize system I/O
E5h Check force recovery boot
E6h Checksum BIOS ROM
E7h Go to BIOS
E8h Set Huge Segment
E9h Initialize Multi Processor
EAh Initialize OEM special code
EBh Initialize PIC and DMA
ECh Initialize Memory type
EDh Initialize Memory size
EEh Shadow Boot Block
EFh System memory test
F0h Initialize interrupt vectors
F1h Initialize Run Time Clock
F2h Initialize video
F3h Initialize System Management Mode
F4h 1 Output one beep before boot
F5h Boot to Mini DOS
F6h Clear Huge Segment
F7h Boot to Full DOS
Code Beeps POST Routine Description

110 Chapter 4

Chapter 5 111
Jumper and Connector Locations
Top View
Glide PAD FFC Conn
PU5 Thermal protection
CN4/ Int. SPK. Conn.
CN2/ K/B FFC conn.
PU2 +1.5VSUS PWM
U17 System BIOS
U14/ EC/ KBC
Y3/ KBC X’tal
Glide PAD Left SW
CN9/ BT wire
Y4 S.B X’tal.
U4 LAN EEPROM IC
U11 HDMI lever shift
CN1 LCD wire Conn
U7/U9 Dis VRAM
U13 Clock generator
U16 Acer ID ROM
PU1/ SM BUS IC
Glide PAD Right SW
U2 / LAN control IC
CN8 / Ext USB wire Conn
U5 / CPU thermal IC
CN7 Card reader Conn
U10 Fan control IC,
PU3 / Charge PWM IC
Chapter 5

112 Chapter 5
Bottom View
U25 / U27 Dis VRAM IC.
U22 / CPU socket
CN11 / CRT Conn
CN9 / LAN Conn
CN15 / HDMI Conn.
CN16 / USB
CN18 / EXT Mic conn
CN21 / EXT HP
U21 / LAN transformer
PU8 VGA 1.1V
PU10/ 3V/5V PWM IC
CN19 Mini card Conn
PJ1 Battery Conn
CN14 /FAN Conn
CN12, CN13 / Memory DIMM
U28 N.B.
U27 / N10 VGA IC
CN10 ODD Conn
U9 / CRT Switch IC
U32 SB
CN17 HDD Conn
PJ2/ PWR Jack conn.
U24 DIS HDCP ROM
U23 Dis Spectrum IC
U31 SPK Amplify IC
U33 Codec IC
U18 Card reader
PU6/ CPU core
PU7/ +1.05V PWM

Chapter 5 113
Clearing Password Check and BIOS Recovery
This section provides you the standard operating procedures of clearing password and BIOS recovery for
Extensa 5635/5635Z/5235. Extensa 5635/5635Z/5235 provides one Hardware Open Gap on main board for
clearing password check, and one Hotkey for enabling BIOS Recovery.
Clearing Password Check
Hardware Open Gap Description
Steps for Clearing BIOS Password Check
If users set a BIOS Password (Supervisor Password and/or User Password) for security reasons, the BIOS will
prompt for a password during system POST or when systems enter to BIOS Setup menu. However, if it is
necessary to bypass the password check, users need to short the HW Gap to clear the password by
performing the following procedure:
1. Power off the system, and unplug the AC and Battery from the machine.
2. Open the Hard Drive and RAM door.
3. Find the appropriate HW Gap on M/B as shown in the picture.
• G2 is the Secondary RTC Reset. This signal resets the manageablility register bits in the RTC
well when the TRTC battery is removed. The SRTCRST# input must always be high when all
other RTC power planes are on. In the case where the RTC Battery is dead or missing on the
platform, the SRTCRST# pin must rise before the RSMRST# pin.
• G3 is the RTC Reset. When asserted, this signal resets register bits in the RTC well. Unless
the CMOS is being cleared (only to be done in the G3 power state), the RTCRST# input must
always be high when all other RTC power planes are on. In the case where the RTC Battery is
dead or missing on the platform, the RTCRST# pin must rise before the RSMRST# pin.
4. Use an electric conductivity tool to short the two points of the HW Gap G3.
5. Plug in AC, keeping the HW Gap shorted, and press Power Button to power on the system till BIOS POST
finish. Then remove the tool from the HW Gap.
6. Restart system. Press F2 key to enter BIOS Setup menu.
If there is no Password request, the BIOS Password has been successfully cleared. Otherwise, please follow
the steps and try again.
NOTE: The steps are only for clearing BIOS Password (Supervisor Password and User Password).

114 Chapter 5
BIOS Recovery by Crisis Disk
BIOS Recovery Boot Block:
BIOS Recovery Boot Block is a special block of BIOS. It is used to boot up the system with minimum BIOS
initialization. Users can enable this feature to restore the BIOS firmware to a successful one if a previous BIOS
flashing process fails.
BIOS Recovery Hotkey:
The system provides a function hotkey: Fn+Esc, for enabling BIOS Recovery process when the system is
powered on during BIOS POST. To use this function, it is strongly recommended to have the AC adapter and
Battery present. If this function is enabled, the system will force the BIOS to enter a special BIOS block, called
Boot Block.
Steps for BIOS Recovery from USB Storage:
Before doing this, prepare the Crisis USB key. The Crisis USB key can be made by executing the Crisis Disk
program in another system with Windows XP OS.
Follow the steps below:
1. Save the ROM file along with Flashit.exe (BIOS flash tool) to the root directory of the USB storage disk.
2. Plug USB storage disk into the USB port.
3. Press Fn + ESC + Power buttons. Remove your finger from the Power button but keep the Fn + Esc keys
pressed till the Power button flashes once.
Note: During the first iteration, the LED of the USB disk will keep flashing for about 3 - 7 minutes. After this, the
system restarts. You can check the BIOS version after the system restarts. If correct, the crisis system is set up
correctly.

Chapter 6 115
FRU (Field Replaceable Unit) List
This chapter gives you the FRU (Field Replaceable Unit) listing in global configurations of Extensa 5635/
5635Z/5235. Refer to this chapter whenever ordering for parts to repair or for RMA (Return Merchandise
Authorization).
Please note that WHEN ORDERING FRU PARTS, you should check the most up-to-date information available
on your regional web or channel. For whatever reasons a part number change is made, it will not be noted on
the printed Service Guide. For ACER AUTHORIZED SERVICE PROVIDERS, your Acer office may have a
DIFFERENT part number code from those given in the FRU list of this printed Service Guide. You MUST use
the local FRU list provided by your regional Acer office to order FRU parts for repair and service of customer
machines.
NOTE: To scrap or to return the defective parts, you should follow the local government ordinance or
regulations on how to dispose it properly, or follow the rules set by your regional Acer office on how to
return it.
Chapter 6

116 Chapter 6
Extensa 5635/5635Z/5235 Exploded Diagrams
Main Assembly
Item Description Part Number Item Description Part Number
1 Keyboard KB.INT00.105 7 ODD Bezel 42.EDM07.003
2 Switch Cover 42.EDW07.001 8 ODD Module 6M.EDM07.001
3 Upper Cover 60.EDM07.001 9 HDD KH.16004.006
4 Battery BT.00607.072 10 Lower Cover 60.EDM07.002
5 Mainboard MB.EDX06.001 11 Lower Door 42.EDM07.002
6 Thermal Module 60.EDR07.002
1
2
3
4
5
6
7
8
9
10
11

Chapter 6 117
LCD Assembly
Item Description Part Number
1 LCD Cover 60.EDM07.003
2 LCD Bracket_L 33.EDM07.003
3 LCD Bezel 60.EDR07.001
4 LCD Cable 50.EDM07.005
5 LCD Bracket_R 33.EDM07.002
6 LCD Panel LK.15605.003
1
2
3
4
5
6

118 Chapter 6
Extensa 5635/5635Z/5235 FRU List
CATEGORY PARTNAME ACER P/N
Adapter
Adapter DELTA 65W 19V 1.7x5.5x11 Yellow ADP-65JH
DB A, LV5 LED LF
AP.06501.026
Adapter LITE-ON 65W 19V 1.7x5.5x11 Yellow PA-1650-
22AC LV5 LED LF
AP.06503.024
Adapter HIPRO 65W 19V 1.7x5.5x11 Yellow HP-
A0652R3B 1LF, LV5 LED LF
AP.0650A.012
Battery
Battery SIMPLO AS-2009C Li-Ion 3S2P PANASONIC 6
cell 4400mAh Main COMMON
BT.00607.072
Battery SIMPLO AS-2009C Li-Ion 3S2P SAMSUNG 6
cell 4400mAh Main COMMON
BT.00607.073
Battery SANYO AS-2009C Li-Ion 3S2P SANYO 6 cell
4400mAh Main COMMON
BT.00603.078
Board
BLUETOOTH MODULE (T60H928.11) BT.21100.005
Foxconn Wireless LAN Atheros AR5B91 1x2 BGN NI.23600.030
WIRELESS LAN CARD FOXCONN T60h976.00 MINI 54.AZL07.001
QMI WIRELESS LAN ATHEROS AR5B91 1X2 BGN NI.23600.033
QMI Wireless LAN Atheros HB95 (HM) EM305 NI.23600.050
Foxconn Wireless LAN Wireless LAN Ralink RT2700E
1x2 BGN
NI.23600.031
Lan Intel WLAN 512AG_MMWG Shirley Peak 5100
MM#897004
KI.SPM01.005
Lan Intel WLAN 512AN_MMWG2 Shirley Peak 5100 ME
enable / MM#899541
KI.SPM01.008
Lan Intel WLAN 512AN_MMWG Shirley Peak 5100
MM#895361 TA#E14718-014
KI.SPM01.003
USB BOARD 55.EDM07.001
Cable
PWR CORD V943B30001218008 DANISH 3P 27.A03V7.006
PWR CORD(ISR)1.8M 3PBLK FZ0I0008-038 27.TATV7.005
PWR CORD V50CB3T3012180QD TW-110V,3P 27.A99V7.002
POWER CORD(SWI)1.8M 3PBLACK FZ010008-011 27.A99V7.004
POWER CORD(IT) 1.8M 3PBLACK FZ010008-008 27.A99V7.005
POWER CORD(S.A) 1.8M 3BLACK FZ010008-006 27.T48V7.001
POWER CORD US 3PIN ROHS 27.TAXV7.001
POWER CORD(EU) 1.8M 3PBLACK FM010008-010 27.TATV7.001
POWER CORD(UK) 1.8M 3PBLACK FP010008-013 27.TATV7.003
POWER CORD BRAZIL IMETRO 3 PIN 27.S0607.001
POWER CORD(S.A) 1.8M 3BLACK FZ010008-006 27.T48V7.001

Chapter 6 119
BLUETOOTH CABLE 50.EDM07.001
DC IN CABLE 50.EDM07.002
FFC CABLE - USB/B TO NB 50.EDM07.003
FFC CABLE - TP TO NB 50.EDM07.004
Case/Cover/Bracket Assembly
MIDDLE COVER FOR EX5635 42.EDW07.001
MIDDLE COVER FOR EX5635Z 42.EDM07.001
MIDDLE COVER FOR EX5235 42.EDP07.001
UPPER CASE ASSY W/TP,SPEAKER,MIC 60.EDM07.001
LOWER CASE ASSY W/DC-IN CABLE, USB FFC 60.EDM07.002
BASE COVER W/RUBBER 42.EDM07.002
SD DUMMY CARD 42.S6507.003
CPU/Processor
CPU Intel CeleronM T1600 1.66G 1M 667 Dual Core,
MV
KC.16001.CMT
CPU Intel Core2Dual P7370 PGA 2.0G 3M 1066 25W KC.73701.DPP
CPU Intel Pentium Dual-Core T4200 PGA 2.0G 1M 800
35W R-0 no VT
KC.42001.DTP
CPU Intel Core2Dual T6570 PGA 2.1G 2M 800 R-0 KC.65701.DTP
CPU Intel Core2Dual T6600 PGA 2.2G 2M 800 35W R-0 KC.66001.DTP
CATEGORY PARTNAME ACER P/N

120 Chapter 6
ODD
DVD/RW SUPER MULTI SATA MODULE 6M.EDM07.001
ODD PANASONIC Super-Multi DRIVE 12.7mm Tray DL
8X UJ880A LF W/O bezel SATA
KU.00807.064
ODD TOSHIBA Super-Multi DRIVE 12.7mm Tray DL 8X
TS-L633B LF W/O bezel SATA
KU.00801.030
SUPER-MULTI DRIVE 12.7MM SONY TRAY DL 8X AD-
7580S LF W/O BEZEL SATA
KU.0080E.017
ODD PLDS Super-Multi DRIVE 12.7mm Tray DL 8X DS-
8A3S LF W/O bezel SATA
KU.0080F.004
ODD BRACKET 33.PDA07.003
ODD BEZEL - SUPER MULTI 42.EDM07.003
ODD BRACKET 33.PDA07.003
BD COMBO BEZEL 42.EDM07.004
ODD BRACKET 33.PDA07.003
DVD/CDRW COMBO BEZEL 42.EDM07.005
HDD
HDD TOSHIBA 2.5" 5400rpm 160GB MK1655GSX Libra
SATA LF F/W: FG011J
KH.16004.006
HDD HGST 2.5" 5400rpm 250GB HTS545025B9A300
Panther B SATA LF F/W:C50K
KH.25007.015
HDD TOSHIBA 2.5" 5400rpm 320GB MK3255GSX Libra
SATA LF F/W:FG011J
KH.32004.002
HDD HGST 2.5" 5400rpm 500GB HTS545050B9A300
Panther B SATA LF F/W:C60F
KH.50007.009
HDD SEAGATE 2.5" 5400rpm 250GB ST9250315AS
Wyatt SATA LF F/W:0001SDM1
KH.25001.016
HDD TOSHIBA 2.5" 5400rpm 250GB MK2555GSX Libra
SATA LF F/W:FG001J
KH.25004.003
HDD HGST 2.5" 5400rpm 320GB HTS545032B9A300
Panther B SATA LF F/W: C60F
KH.32007.007
HDD WD 2.5" 5400rpm 320GB WD3200BEVT-22ZCT0
ML160 SATA LF F/W:11.01A11
KH.32008.013
HDD WD 2.5" 5400rpm 500GB WD5000BEVT-22ZAT0
ML250 SATA LF F/W:01.01A01
KH.50008.013
HDD BRACKET 33.EDM07.001
CATEGORY PARTNAME ACER P/N

Chapter 6 121
Keyboard
Keyboard 17KB-FV2 Tangiz/Texcoco 105KS Black US
International
KB.INT00.105
Keyboard 17KB-FV2 Tangiz/Texcoco 105KS Black US
International Hebrew
KB.INT00.106
Keyboard 17KB-FV2 Tangiz/Texcoco 106KS Black UK KB.INT00.107
Keyboard 17KB-FV2 Tangiz/Texcoco 106KS Black
Turkish
KB.INT00.108
Keyboard 17KB-FV2 Tangiz/Texcoco 105KS Black
Thailand
KB.INT00.109
Keyboard 17KB-FV2 Tangiz/Texcoco 106KS Black
Swiss/G
KB.INT00.110
Keyboard 17KB-FV2 Tangiz/Texcoco 106KS Black
Swedish
KB.INT00.111
Keyboard 17KB-FV2 Tangiz/Texcoco 106KS Black
Spanish
KB.INT00.112
Keyboard 17KB-FV2 Tangiz/Texcoco 106KS Black SLO/
CRO
KB.INT00.115
Keyboard 17KB-FV2 Tangiz/Texcoco 105KS Black
Russian
KB.INT00.116
Keyboard 17KB-FV2 Tangiz/Texcoco 106KS Black
Portuguese
KB.INT00.117
Keyboard 17KB-FV2 Tangiz/Texcoco 106KS Black
Norwegian
KB.INT00.119
Keyboard 17KB-FV2 Tangiz/Texcoco 105KS Black
Korean
KB.INT00.121
Keyboard 17KB-FV2 Tangiz/Texcoco 106KS Black Italian KB.INT00.122
Keyboard 17KB-FV2 Tangiz/Texcoco 106KS Black
Hungarian
KB.INT00.125
Keyboard 17KB-FV2 Tangiz/Texcoco 105KS Black Greek KB.INT00.126
Keyboard 17KB-FV2 Tangiz/Texcoco 106KS Black
German
KB.INT00.127
Keyboard 17KB-FV2 Tangiz/Texcoco 106KS Black
French
KB.INT00.128
Keyboard 17KB-FV2 Tangiz/Texcoco 106KS Black
Danish
KB.INT00.131
Keyboard 17KB-FV2 Tangiz/Texcoco 106KS Black
Czech
KB.INT00.132
Keyboard 17KB-FV2 Tangiz/Texcoco 105KS Black
Traditional Chinese
KB.INT00.133
Keyboard 17KB-FV2 Tangiz/Texcoco 106KS Black
Brazilian Portuguese
KB.INT00.135
Keyboard 17KB-FV2 Tangiz/Texcoco 106KS Black
Belgium
KB.INT00.136
Keyboard 17KB-FV2 Tangiz/Texcoco 105KS Black
Arabic/English
KB.INT00.137
Keyboard 17KB-FV2 Tangiz/Texcoco 106KS Black
Nordic
KB.INT00.216
CATEGORY PARTNAME ACER P/N

122 Chapter 6
Keyboard 17KB-FV2 Tangiz/Texcoco 106KS Black
English/Canadian French
KB.INT00.217
Keyboard 17KB-FV2 Tangiz/Texcoco 106KS Black
Slovak
KB.INT00.114
Keyboard 17KB-FV2 Tangiz/Texcoco 106KS Black Dutch KB.INT00.130
K/B(POLAND) BLACK S.P TBD
K/B(CHINA) BLACK S.P TBD
K/B(JAP) BLACK S.P TBD
K/B(LA) BLACK S.P TBD
K/B(US) BLACK S.P TBD
K/B(ICELAND) BLACK S.P TBD
Keyboard 17KB-FV2 Tangiz/Texcoco 106KS Black
Arabic/French
KB.INT00.215
LCD
LCD MODULE 15.6 IN. LED WXGA GLARE W/CCD
ANTENNA
6M.EDR07.001
LED LCD AUO 15.6"W WXGA Glare B156XW02 V0 LF
220nit 8ms 500:1
LK.15605.003
LED LCD SAMSUNG 15.6"W WXGA Glare
LTN156AT02-A01 LF 220nit 8ms 500:1
LK.15606.003
LED LCD LPL 15.6"W WXGA Glare LP156WH2-TLE1
LF 220nit 8ms 400:1
LK.15608.002
LED LCD CMO 15.6"W WXGA Glare N156B6-L04 LF
220nit 8ms 500:1
LK.1560D.005
LCD CABLE 15.6 IN. W/CCD 50.EDM07.005
LCD COVER ASSY W/ANTENNA 60.EDM07.003
LCD BEZEL ASSY W/CCD 60.EDR07.001
LCD BRACKET W/HINGE - R 33.EDM07.002
LCD BRACKET W/HINGE - L 33.EDM07.003
CCD MODULE 0.3M 57.WB707.001
CATEGORY PARTNAME ACER P/N

Chapter 6 123
LCD MODULE 15.6 IN. LED WXGA W/CCD ANTENNA 6M.EDR07.002
LED LCD AUO 15.6"W WXGA None Glare B156XW02
V1 LF 220nit 8ms 500:1
LK.15605.005
LED LCD SAMSUNG 15.6"W WXGA None Glare
LTN156AT02-101 LF 220nit 8ms 500:1
LK.15606.002
LED LCD LPL 15.6"W WXGA None Glare LP156WH2-
TLF1 LF 220nit 8ms 400:1
LK.15608.005
LED LCD CMO 15.6"W WXGA None Glare N156B6-L03
LF 220nit 8ms 400:1
LK.1560D.006
LCD CABLE 15.6 IN. W/CCD 50.EDM07.005
LCD COVER ASSY W/ANTENNA 60.EDM07.003
LCD BEZEL ASSY W/CCD 60.EDR07.001
LCD BRACKET W/HINGE - R 33.EDM07.002
LCD BRACKET W/HINGE - L 33.EDM07.003
CCD MODULE 0.3M 57.WB707.001
LCD MODULE 15.6 IN. LED WXGA GLARE W/O CCD
W/ANTENNA
6M.EDM07.002
LED LCD AUO 15.6"W WXGA Glare B156XW02 V0 LF
220nit 8ms 500:1
LK.15605.003
LED LCD SAMSUNG 15.6"W WXGA Glare
LTN156AT02-A01 LF 220nit 8ms 500:1
LK.15606.003
LED LCD LPL 15.6"W WXGA Glare LP156WH2-TLE1
LF 220nit 8ms 400:1
LK.15608.002
LED LCD CMO 15.6"W WXGA Glare N156B6-L04 LF
220nit 8ms 500:1
LK.1560D.005
CATEGORY PARTNAME ACER P/N

124 Chapter 6
LCD CABLE 15.6 IN W/O CCD 50.EDM07.006
LCD COVER ASSY W/ANTENNA 60.EDM07.003
LCD BEZEL ASSY W/O CCD 60.EDM07.004
LCD BRACKET W/HINGE - R 33.EDM07.002
LCD BRACKET W/HINGE - L 33.EDM07.003
LCD MODULE 15.6 IN. LED WXGA W/O CCD W/
ANTENNA
6M.EDM07.003
LED LCD AUO 15.6"W WXGA None Glare B156XW02
V1 LF 220nit 8ms 500:1
LK.15605.005
LED LCD SAMSUNG 15.6"W WXGA None Glare
LTN156AT02-101 LF 220nit 8ms 500:1
LK.15606.002
LED LCD LPL 15.6"W WXGA None Glare LP156WH2-
TLF1 LF 220nit 8ms 400:1
LK.15608.005
LED LCD CMO 15.6"W WXGA None Glare N156B6-L03
LF 220nit 8ms 400:1
LK.1560D.006
LCD CABLE 15.6 IN W/O CCD 50.EDM07.006
LCD CABLE 15.6 IN. W/CCD 50.EDM07.005
LCD COVER ASSY W/ANTENNA 60.EDM07.003
LCD BEZEL ASSY W/O CCD 60.EDM07.004
LCD BRACKET W/HINGE - R 33.EDM07.002
LCD BRACKET W/HINGE - L 33.EDM07.003
CATEGORY PARTNAME ACER P/N

Chapter 6 125
Mainboard
MB ASSY(INT,GM45,UMA) W/O CPU S.P MB.EDX06.001
MAINBOARD UMA GL40 A1 W/CARD READER W/O
CPU RAM
MB.EDU06.001
MB ASSY(INT,PM45,N10M) W/O CPU S.P MB.EDY06.001
MB ASSY(INT,GM45,N10M) W/O CPU S.P MB.EDR06.001
Memory
Memory ELPIDA SO-DIMM DDRIII 1066 1GB
EBJ11UE6BBS0-AE-F LF 64*16 0.065um
KN.1GB09.011
Memory SAMSUNG SO-DIMM DDRIII 1066 1GB
M471B2874DZ1-CF8 LF
KN.1GB0B.019
Memory HYNIX SO-DIMM DDRIII 1066 1GB
HMT112S6AFP6C-G7N0 LF 64*16 0.065um
KN.1GB0G.019
Memory SAMSUNG SO-DIMM DDRIII 1066 1GB
M471B2873EH1-CF8 LF 64*16 0.055um
KN.1GB0B.028
Memory ELPIDA SO-DIMM DDRIII 1066 2GB
EBJ21UE8BBS0-AE-F LF 128*8 0.065um
KN.2GB09.004
Memory HYNIX SO-DIMM DDRIII 1066 2GB
HMT125S6AFP8C-G7N0 LF 128*8 0.065um
KN.2GB0G.009
Memory SAMSUNG SO-DIMM DDRIII 1066 2GB
M471B5673DZ1-CF8 LF
KN.2GB0B.005
Memory SAMSUNG SO-DIMM DDRIII 1066 2GB
M471B5673EH1-CF8 LF 128*8 0.055um
KN.2GB0B.012
Thermal Module
THERMAL MODULE - DIS 60.EDR07.002
THERMAL MODULE - UMA 60.EDM07.005
Miscellaneous
LCD BEZEL RUBBER 47.EDM07.001
RUBBER FOOT -C 47.ASR07.004
Speaker
SPEAKER 23.EDM07.001
SPEAKER - HALOGEN-FREE 23.EDM07.002
MIC 23.EDM07.003
CATEGORY PARTNAME ACER P/N

126 Chapter 6
Screw List
CATEGORY PARTNAME ACER P/N
SCREW SCREW M3*0.5+3.5I 86.A03V7.006
SCREW SCREW M2.5*3.0-I(BZN) 86.TPK07.003
SCREW SCREW M2.5*6.0-P(NI)(NYLOK)IRON 86.EDM07.001
SCREW SCREW M2.5*2-I (NI,NYLOK)IRON 86.EDM07.002
SCREW SCREW M2.5*4.0-I(BUWZN)(NYLON PATCH)IRON 86.EDM07.003
SCREW SCREW M2.5*5.0-I(BZN) 86.ARE07.003
SCREW SCREW M2.0*3.0-I(BKAG)(NYLOK) IRON 86.ARE07.002
SCREW SCREW M3*0.5+3.5I 86.TDY07.003

Chapter 6 127

Appendix A 128
Model Definition and Configuration
Extensa 5635/5635Z/5235 Series
Model RO Country Acer Part No Description CPU
EX5235-
901G16Mn
EMEA Middle East LX.EDU0C.001 EX5235-901G16Mn LINPUSEME6
UMACkk 1*1G/160/BT/6L/5R/
CB_bgn_0.3D_AN_EN11
CM900
EX5235-
901G16Mn
WW WW S2.EDU0C.001 EX5235-901G16Mn LINPUSEWW1
UMACkk 1*1G/160/BT/6L/5R/
CB_bgn_0.3D_AN_EN11C build
SKU 1
CM900
EX5235-
902G16Mn
EMEA Switzerland LX.EDP0Y.075 EX5235-902G16Mn VHB32ERCH1
MC UMAkk 1*2G/160/6L/5R/
CB_bgn_AN_IT41
CM900
EX5235-
902G16Mn
EMEA Luxembourg LX.EDP0Y.070 EX5235-902G16Mn VHB32ERLU3
MC UMAkk 1*2G/160/6L/5R/
CB_bgn_AN_IT41
CM900
EX5235-
902G16Mn
EMEA Austria LX.EDP0Y.076 EX5235-902G16Mn VHB32ERAT1
MC UMAkk 1*2G/160/6L/5R/
CB_bgn_AN_DE11
CM900
EX5235-
902G16Mn
EMEA Middle East LX.EDP0Y.071 EX5235-902G16Mn EM
VHB32ERME9 MC UMAkk 1*2G/
160/6L/5R/CB_bgn_AN_FR22
CM900
EX5235-
902G16Mn
EMEA Czech LX.EDP0Y.074 EX5235-902G16Mn VHB32ERCZ2
MC UMAkk 1*2G/160/6L/5R/
CB_bgn_AN_SK12
CM900
EX5235-
902G16Mn
EMEA Belgium LX.EDP0Y.073 EX5235-902G16Mn VHB32ERBE1
MC UMAkk 1*2G/160/6L/5R/
CB_bgn_AN_NL11
CM900
EX5235-
902G16Mn
EMEA Germany LX.EDP0Y.072 EX5235-902G16Mn VHB32ERDE1
MC UMAkk 1*2G/160/6L/5R/
CB_bgn_AN_DE11
CM900
EX5235-
902G16Mn
EMEA Eastern
Europe
LX.EDP0Y.069 EX5235-902G16Mn VHB32EREU5
MC UMAkk 1*2G/160/6L/5R/
CB_bgn_AN_RO12
CM900
EX5235-
902G16Mn
EMEA Denmark LX.EDP0Y.068 EX5235-902G16Mn VHB32ERDK1
MC UMAkk 1*2G/160/6L/5R/
CB_bgn_AN_NO11
CM900
EX5235-
902G16Mn
EMEA Eastern
Europe
LX.EDP0Y.065 EX5235-902G16Mn VHB32EREU4
MC UMAkk 1*2G/160/6L/5R/
CB_bgn_AN_SV22
CM900
EX5235-
902G16Mn
EMEA Eastern
Europe
LX.EDP0Y.066 EX5235-902G16Mn VHB32EREU3
MC UMAkk 1*2G/160/6L/5R/
CB_bgn_AN_RU14
CM900
EX5235-
902G16Mn
EMEA Spain LX.EDP0Y.067 EX5235-902G16Mn VHB32ERES1
MC UMAkk 1*2G/160/6L/5R/
CB_bgn_AN_ES21
CM900
EX5235-
902G16Mn
EMEA Eastern
Europe
LX.EDP0Y.064 EX5235-902G16Mn VHB32EREU5
MC UMAkk 1*2G/160/6L/5R/
CB_bgn_AN_PL14
CM900
Appendix A

129 Appendix A
EX5235-
902G16Mn
EMEA Eastern
Europe
LX.EDP0Y.062 EX5235-902G16Mn VHB32EREU7
MC UMAkk 1*2G/160/6L/5R/
CB_bgn_AN_SL11
CM900
EX5235-
902G16Mn
EMEA France LX.EDP0Y.060 EX5235-902G16Mn VHB32ERFR1
MC UMAkk 1*2G/160/6L/5R/
CB_bgn_AN_FR21
CM900
EX5235-
902G16Mn
EMEA Middle East LX.EDP0Y.051 EX5235-902G16Mn EM
VHB32ERME3 MC UMAkk 1*2G/
160/6L/5R/CB_bgn_AN_FR22
CM900
EX5235-
902G16Mn
EMEA Finland LX.EDP0Y.061 EX5235-902G16Mn VHB32ERFI2
MC UMAkk 1*2G/160/6L/5R/
CB_bgn_AN_FI11
CM900
EX5235-
902G16Mn
EMEA Eastern
Europe
LX.EDP0Y.063 EX5235-902G16Mn VHB32EREU7
MC UMAkk 1*2G/160/6L/5R/
CB_bgn_AN_ENR2
CM900
EX5235-
902G16Mn
EMEA Ukraine LX.EDP0Y.044 EX5235-902G16Mn VHB32ERUK1
MC UMAkk 1*2G/160/6L/5R/
CB_bgn_AN_RU11
CM900
EX5235-
902G16Mn
EMEA Middle East LX.EDP0Y.050 EX5235-902G16Mn EM
VHB32ERME6 MC UMAkk 1*2G/
160/6L/5R/CB_bgn_AN_EN13
CM900
EX5235-
902G16Mn
EMEA Norway LX.EDP0Y.048 EX5235-902G16Mn VHB32ERNO1
MC UMAkk 1*2G/160/6L/5R/
CB_bgn_AN_NO11
CM900
EX5235-
902G16Mn
EMEA Portugal LX.EDP0Y.041 EX5235-902G16Mn VHB32ERPT1
MC UMAkk 1*2G/160/6L/5R/
CB_bgn_AN_PT11
CM900
EX5235-
902G16Mn
EMEA Poland LX.EDP0Y.047 EX5235-902G16Mn VHB32ERPL1
MC UMAkk 1*2G/160/6L/5R/
CB_bgn_AN_PL11
CM900
EX5235-
902G16Mn
EMEA Holland LX.EDP0Y.049 EX5235-902G16Mn VHB32ERNL1
MC UMAkk 1*2G/160/6L/5R/
CB_bgn_AN_NL11
CM900
EX5235-
902G16Mn
EMEA South Africa LX.EDP0Y.045 EX5235-902G16Mn EM
VHB32ERZA1 MC UMAkk 1*2G/
160/6L/5R/CB_bgn_AN_FR22
CM900
EX5235-
902G16Mn
EMEA South Africa LX.EDP0Y.046 EX5235-902G16Mn EM
VHB32ERZA4 MC UMAkk 1*2G/
160/6L/5R/CB_bgn_AN_ENA1
CM900
EX5235-
902G16Mn
EMEA South Africa LX.EDP0Y.042 EX5235-902G16Mn EM
VHB32ERZA2 MC UMAkk 1*2G/
160/6L/5R/CB_bgn_AN_EN13
CM900
EX5235-
902G16Mn
EMEA Turkey LX.EDP0Y.043 EX5235-902G16Mn EM
VHB32ERTR1 MC UMAkk 1*2G/
160/6L/5R/CB_bgn_AN_TR43
CM900
EX5235-
902G16Mn
EMEA Hungary LX.EDP0Y.034 EX5235-902G16Mn VHB32ERHU1
MC UMAkk 1*2G/160/6L/5R/
bgn_AN_HU14
CM900
EX5235-
902G16Mn
EMEA Sweden LX.EDP0Y.039 EX5235-902G16Mn VHB32ERSE1
MC UMAkk 1*2G/160/6L/5R/
CB_bgn_AN_FI12
CM900
EX5235-
902G16Mi
EMEA Russia LX.EDP0Y.040 EX5235-902G16Mi VHB32ERRU1
MC UMAkk 1*2G/160/6L/5R/
CB_bg_AN_RU12
CM900
EX5235-
902G16Mn
EMEA Luxembourg LX.EDP0Y.038 EX5235-902G16Mn VHB32ERLU3
MC UMAkk 1*2G/160/6L/5R/
bgn_AN_IT41
CM900
Model RO Country Acer Part No Description CPU

Appendix A 130
EX5235-
902G16Mn
EMEA Israel LX.EDP0Y.037 EX5235-902G16Mn VHB32ERIL1
MC UMAkk 1*2G/160/6L/5R/
bgn_AN_HE13
CM900
EX5235-
902G16Mn
EMEA UK LX.EDP0Y.036 EX5235-902G16Mn VHB32ERGB1
MC UMAkk 1*2G/160/6L/5R/
bgn_AN_EN12
CM900
EX5235-
902G16Mn
EMEA Finland LX.EDP0Y.033 EX5235-902G16Mn VHB32ERFI2
MC UMAkk 1*2G/160/6L/5R/
bgn_AN_FI11
CM900
EX5235-
902G16Mn
EMEA Eastern
Europe
LX.EDP0Y.032 EX5235-902G16Mn VHB32EREU7
MC UMAkk 1*2G/160/6L/5R/
bgn_AN_ENR2
CM900
EX5235-
902G16Mn
EMEA Switzerland LX.EDP0Y.031 EX5235-902G16Mn VHB32ERCH1
MC UMAkk 1*2G/160/6L/5R/
bgn_AN_IT41
CM900
EX5235-
902G16Mn
EMEA Austria LX.EDP0Y.035 EX5235-902G16Mn VHB32ERAT1
MC UMAkk 1*2G/160/6L/5R/
bgn_AN_DE11
CM900
EX5235-
902G16Mn
EMEA Belgium LX.EDP0Y.023 EX5235-902G16Mn VHB32ERBE1
MC UMAkk 1*2G/160/6L/5R/
bgn_AN_NL11
CM900
EX5235-
902G16Mn
EMEA Germany LX.EDP0Y.024 EX5235-902G16Mn VHB32ERDE1
MC UMAkk 1*2G/160/6L/5R/
bgn_AN_DE11
CM900
EX5235-
902G16Mn
EMEA Eastern
Europe
LX.EDP0Y.027 EX5235-902G16Mn VHB32EREU3
MC UMAkk 1*2G/160/6L/5R/
bgn_AN_RU14
CM900
EX5235-
902G16Mn
EMEA Czech LX.EDP0Y.029 EX5235-902G16Mn VHB32ERCZ2
MC UMAkk 1*2G/160/6L/5R/
bgn_AN_SK12
CM900
EX5235-
902G16Mn
EMEA Eastern
Europe
LX.EDP0Y.030 EX5235-902G16Mn VHB32EREU5
MC UMAkk 1*2G/160/6L/5R/
bgn_AN_RO12
CM900
EX5235-
902G16Mn
EMEA Eastern
Europe
LX.EDP0Y.028 EX5235-902G16Mn VHB32EREU4
MC UMAkk 1*2G/160/6L/5R/
bgn_AN_SV22
CM900
EX5235-
902G16Mn
EMEA Eastern
Europe
LX.EDP0Y.021 EX5235-902G16Mn VHB32EREU7
MC UMAkk 1*2G/160/6L/5R/
bgn_AN_SL11
CM900
EX5235-
902G16Mn
EMEA Eastern
Europe
LX.EDP0Y.022 EX5235-902G16Mn VHB32EREU5
MC UMAkk 1*2G/160/6L/5R/
bgn_AN_PL14
CM900
EX5235-
902G16Mn
EMEA Spain LX.EDP0Y.026 EX5235-902G16Mn VHB32ERES1
MC UMAkk 1*2G/160/6L/5R/
bgn_AN_ES21
CM900
EX5235-
902G16Mn
EMEA Denmark LX.EDP0Y.025 EX5235-902G16Mn VHB32ERDK1
MC UMAkk 1*2G/160/6L/5R/
bgn_AN_NO11
CM900
EX5235-
902G16Mn
EMEA Turkey LX.EDP0Y.011 EX5235-902G16Mn EM
VHB32ERTR1 MC UMAkk 1*2G/
160/6L/5R/bgn_AN_TR43
CM900
EX5235-
902G16Mn
EMEA Greece LX.EDP0Y.019 EX5235-902G16Mn VHB32ERGR1
MC UMAkk 1*2G/160/6L/5R/
bgn_AN_EL21
CM900
EX5235-
902G16Mn
EMEA Middle East LX.EDP0Y.017 EX5235-902G16Mn EM
VHB32ERME2 MC UMAkk 1*2G/
160/6L/5R/bgn_AN_AR12
CM900
Model RO Country Acer Part No Description CPU

131 Appendix A
EX5235-
902G16Mn
EMEA Italy LX.EDP0Y.018 EX5235-902G16Mn VHB32ERIT1
MC UMAkk 1*2G/160/6L/5R/
bgn_AN_IT11
CM900
EX5235-
902G16Mn
EMEA Norway LX.EDP0Y.016 EX5235-902G16Mn VHB32ERNO1
MC UMAkk 1*2G/160/6L/5R/
bgn_AN_NO11
CM900
EX5235-
902G16Mn
EMEA Middle East LX.EDP0Y.015 EX5235-902G16Mn EM
VHB32ERME9 MC UMAkk 1*2G/
160/6L/5R/bgn_AN_FR22
CM900
EX5235-
902G16Mn
EMEA France LX.EDP0Y.020 EX5235-902G16Mn VHB32ERFR1
MC UMAkk 1*2G/160/6L/5R/
bgn_AN_FR21
CM900
EX5235-
902G16Mn
EMEA Sweden LX.EDP0Y.013 EX5235-902G16Mn VHB32ERSE1
MC UMAkk 1*2G/160/6L/5R/
bgn_AN_FI12
CM900
EX5235-
902G16Mn
EMEA South Africa LX.EDP0Y.014 EX5235-902G16Mn EM
VHB32ERZA1 MC UMAkk 1*2G/
160/6L/5R/bgn_AN_FR22
CM900
EX5235-
902G16Mn
EMEA Ukraine LX.EDP0Y.012 EX5235-902G16Mn VHB32ERUK1
MC UMAkk 1*2G/160/6L/5R/
bgn_AN_RU11
CM900
EX5235-
902G16Mn
EMEA South Africa LX.EDP0Y.010 EX5235-902G16Mn EM
VHB32ERZA2 MC UMAkk 1*2G/
160/6L/5R/bgn_AN_EN13
CM900
EX5235-
902G16Mi
EMEA Russia LX.EDP0Y.002 EX5235-902G16Mi VHB32ERRU1
MC UMAkk 1*2G/160/6L/5R/
bg_AN_RU12
CM900
EX5235-
902G16Mn
EMEA Portugal LX.EDP0Y.003 EX5235-902G16Mn VHB32ERPT1
MC UMAkk 1*2G/160/6L/5R/
bgn_AN_PT11
CM900
EX5235-
902G16Mn
EMEA Middle East LX.EDP0Y.007 EX5235-902G16Mn EM
VHB32ERME2 MC UMAkk 1*2G/
160/6L/5R/bgn_AN_EN13
CM900
EX5235-
902G16Mn
EMEA Middle East LX.EDP0Y.009 EX5235-902G16Mn EM
VHB32ERME3 MC UMAkk 1*2G/
160/6L/5R/bgn_AN_FR22
CM900
EX5235-
902G16Mn
EMEA Holland LX.EDP0Y.005 EX5235-902G16Mn VHB32ERNL1
MC UMAkk 1*2G/160/6L/5R/
bgn_AN_NL11
CM900
EX5235-
902G16Mn
EMEA Poland LX.EDP0Y.004 EX5235-902G16Mn VHB32ERPL1
MC UMAkk 1*2G/160/6L/5R/
bgn_AN_PL11
CM900
EX5235-
902G16Mn
EMEA Middle East LX.EDP0Y.006 EX5235-902G16Mn EM
VHB32ERME6 MC UMAkk 1*2G/
160/6L/5R/bgn_AN_EN13
CM900
EX5235-
902G16Mn
EMEA Middle East LX.EDP0Y.008 EX5235-902G16Mn EM
VHB32ERME2 MC UMAkk 1*2G/
160/6L/5R/bgn_AN_AR22
CM900
EX5235-
901G16Mn
EMEA Middle East LX.EDP0C.066 EX5235-901G16Mn LINPUSE ME9
UMAkk 1*1G/160/6L/5R/
CB_bgn_AN_ENA1
CM900
EX5235-
901G16Mn
EMEA Germany LX.EDP0C.059 EX5235-901G16Mn LINPUSEDE1
UMAkk 1*1G/160/6L/5R/
CB_bgn_AN_ENA1
CM900
EX5235-
901G16Mn
EMEA Denmark LX.EDP0C.060 EX5235-901G16Mn LINPUSEDK1
UMAkk 1*1G/160/6L/5R/
CB_bgn_AN_EN51
CM900
Model RO Country Acer Part No Description CPU

Appendix A 132
EX5235-
901G16Mn
EMEA Eastern
Europe
LX.EDP0C.063 EX5235-901G16Mn LINPUSEEU4
UMAkk 1*1G/160/6L/5R/
CB_bgn_AN_EN82
CM900
EX5235-
901G16Mn
EMEA Eastern
Europe
LX.EDP0C.061 EX5235-901G16Mn LINPUSEEU7
UMAkk 1*1G/160/6L/5R/
CB_bgn_AN_EN11
CM900
EX5235-
901G16Mn
EMEA Finland LX.EDP0C.058 EX5235-901G16Mn LINPUSEFI2
UMAkk 1*1G/160/6L/5R/
CB_bgn_AN_EN81
CM900
EX5235-
901G16Mn
EMEA Eastern
Europe
LX.EDP0C.062 EX5235-901G16Mn LINPUSEEU5
UMAkk 1*1G/160/6L/5R/
CB_bgn_AN_EN44
CM900
EX5235-
901G16Mn
EMEA Czech LX.EDP0C.064 EX5235-901G16Mn LINPUSECZ2
UMAkk 1*1G/160/6L/5R/
CB_bgn_AN_EN22
CM900
EX5235-
901G16Mn
EMEA Austria LX.EDP0C.065 EX5235-901G16Mn LINPUSEAT1
UMAkk 1*1G/160/6L/5R/
CB_bgn_AN_ENA1
CM900
EX5235-
902G16Mn
EMEA South Africa LX.EDP0Y.001 EX5235-902G16Mn EM
VHB32ERZA4 MC UMAkk 1*2G/
160/6L/5R/bgn_AN_ENA1
CM900
EX5235-
901G16Mn
EMEA UK LX.EDP0C.049 EX5235-901G16Mn LINPUSEGB1
UMAkk 1*1G/160/6L/5R/
CB_bgn_AN_EN11
CM900
EX5235-
901G16Mn
EMEA Greece LX.EDP0C.056 EX5235-901G16Mn LINPUSEGR1
UMAkk 1*1G/160/6L/5R/
CB_bgn_AN_EN11
CM900
EX5235-
901G16Mn
EMEA Hungary LX.EDP0C.055 EX5235-901G16Mn LINPUSEHU1
UMAkk 1*1G/160/6L/5R/
CB_bgn_AN_EN41
CM900
EX5235-
901G16Mn
EMEA Italy LX.EDP0C.053 EX5235-901G16Mn LINPUSEIT1
UMAkk 1*1G/160/6L/5R/
CB_bgn_AN_ENA1
CM900
EX5235-
901G16Mn
EMEA Middle East LX.EDP0C.051 EX5235-901G16Mn LINPUSEME2
UMAkk 1*1G/160/6L/5R/
CB_bgn_AN_EN11
CM900
EX5235-
901G16Mn
EMEA Middle East LX.EDP0C.048 EX5235-901G16Mn LINPUSEME3
UMAkk 1*1G/160/6L/5R/
CB_bgn_AN_ENA1
CM900
EX5235-
901G16Mn
EMEA Middle East LX.EDP0C.052 EX5235-901G16Mn LINPUSEME1
UMAkk 1*1G/160/6L/5R/
CB_bgn_AN_EN11
CM900
EX5235-
901G16Mn
EMEA Israel LX.EDP0C.054 EX5235-901G16Mn LINPUSEIL1
UMAkk 1*1G/160/6L/5R/
CB_bgn_AN_EN13
CM900
EX5235-
901G16Mn
EMEA France LX.EDP0C.050 EX5235-901G16Mn LINPUSEFR1
UMAkk 1*1G/160/6L/5R/
CB_bgn_AN_ENA1
CM900
EX5235-
901G16Mn
EMEA Spain LX.EDP0C.057 EX5235-901G16Mn LINPUSEES1
UMAkk 1*1G/160/6L/5R/
CB_bgn_AN_EN61
CM900
EX5235-
901G16Mn
EMEA Turkey LX.EDP0C.039 EX5235-901G16Mn LINPUSETR1
UMAkk 1*1G/160/6L/5R/
CB_bgn_AN_EN13
CM900
EX5235-
901G16Mi
EMEA Russia LX.EDP0C.038 EX5235-901G16Mi LINPUSERU1
UMAkk 1*1G/160/6L/5R/
CB_bg_AN_EN72
CM900
Model RO Country Acer Part No Description CPU

133 Appendix A
EX5235-
901G16Mn
EMEA Portugal LX.EDP0C.041 EX5235-901G16Mn LINPUSEPT1
UMAkk 1*1G/160/6L/5R/
CB_bgn_AN_EN61
CM900
EX5235-
901G16Mn
EMEA Poland LX.EDP0C.042 EX5235-901G16Mn LINPUSEPL1
UMAkk 1*1G/160/6L/5R/
CB_bgn_AN_EN41
CM900
EX5235-
901G16Mn
EMEA Holland LX.EDP0C.043 EX5235-901G16Mn LINPUSENL1
UMAkk 1*1G/160/6L/5R/
CB_bgn_AN_EN31
CM900
EX5235-
901G16Mn
EMEA Middle East LX.EDP0C.044 EX5235-901G16Mn LINPUSEME7
UMAkk 1*1G/160/6L/5R/
CB_bgn_AN_EN11
CM900
EX5235-
901G16Mn
EMEA Middle East LX.EDP0C.045 EX5235-901G16Mn LINPUSEME6
UMAkk 1*1G/160/6L/5R/
CB_bgn_AN_EN11
CM900
EX5235-
901G16Mn
EMEA Middle East LX.EDP0C.046 EX5235-901G16Mn LINPUSEME5
UMAkk 1*1G/160/6L/5R/
CB_bgn_AN_EN11
CM900
EX5235-
901G16Mn
EMEA Middle East LX.EDP0C.047 EX5235-901G16Mn LINPUSEME4
UMAkk 1*1G/160/6L/5R/
CB_bgn_AN_EN73
CM900
EX5235-
901G16Mn
EMEA Turkey LX.EDP0C.040 EX5235-901G16Mn LINPUSETR1
UMAkk 1*1G/160/6L/5R/
CB_bgn_AN_TR51
CM900
EX5235-
901G16Mn
EMEA Spain LX.EDP0C.033 EX5235-901G16Mn LINPUSEES1
UMAkk 1*1G/160/6L/5R/
bgn_AN_EN61
CM900
EX5235-
901G16Mn
EMEA Eastern
Europe
LX.EDP0C.030 EX5235-901G16Mn LINPUSEEU7
UMAkk 1*1G/160/6L/5R/
bgn_AN_EN11
CM900
EX5235-
901G16Mn
EMEA Finland LX.EDP0C.029 EX5235-901G16Mn LINPUSEFI2
UMAkk 1*1G/160/6L/5R/
bgn_AN_EN81
CM900
EX5235-
901G16Mn
EMEA Eastern
Europe
LX.EDP0C.031 EX5235-901G16Mn LINPUSEEU5
UMAkk 1*1G/160/6L/5R/
bgn_AN_EN44
CM900
EX5235-
901G16Mn
EMEA Eastern
Europe
LX.EDP0C.032 EX5235-901G16Mn LINPUSEEU4
UMAkk 1*1G/160/6L/5R/
bgn_AN_EN82
CM900
EX5235-
901G16Mn
EMEA France LX.EDP0C.028 EX5235-901G16Mn LINPUSEFR1
UMAkk 1*1G/160/6L/5R/
bgn_AN_ENA1
CM900
EX5235-
901G16Mn
EMEA UK LX.EDP0C.027 EX5235-901G16Mn LINPUSEGB1
UMAkk 1*1G/160/6L/5R/
bgn_AN_EN11
CM900
EX5235-
901G16Mn
EMEA South Africa LX.EDP0C.034 EX5235-901G16Mn LINPUSEZA2
UMAkk 1*1G/160/6L/5R/
CB_bgn_AN_EN11
CM900
EX5235-
901G16Mn
EMEA South Africa LX.EDP0C.035 EX5235-901G16Mn LINPUSEZA1
UMAkk 1*1G/160/6L/5R/
CB_bgn_AN_ENA1
CM900
EX5235-
901G16Mn
EMEA Ukraine LX.EDP0C.036 EX5235-901G16Mn LINPUSEUK1
UMAkk 1*1G/160/6L/5R/
CB_bgn_AN_EN72
CM900
EX5235-
901G16Mn
EMEA Sweden LX.EDP0C.037 EX5235-901G16Mn LINPUSESE1
UMAkk 1*1G/160/6L/5R/
CB_bgn_AN_EN82
CM900
Model RO Country Acer Part No Description CPU

Appendix A 134
EX5235-
901G16Mn
EMEA Greece LX.EDP0C.026 EX5235-901G16Mn LINPUSEGR1
UMAkk 1*1G/160/6L/5R/
bgn_AN_EN11
CM900
EX5235-
901G16Mn
EMEA Czech LX.EDP0C.025 EX5235-901G16Mn LINPUSECZ2
UMAkk 1*1G/160/6L/5R/
bgn_AN_EN22
CM900
EX5235-
901G16Mn
EMEA Italy LX.EDP0C.022 EX5235-901G16Mn LINPUSEIT1
UMAkk 1*1G/160/6L/5R/
bgn_AN_ENA1
CM900
EX5235-
901G16Mn
EMEA Middle East LX.EDP0C.021 EX5235-901G16Mn LINPUSEME1
UMAkk 1*1G/160/6L/5R/
bgn_AN_EN11
CM900
EX5235-
901G16Mn
EMEA Israel LX.EDP0C.023 EX5235-901G16Mn LINPUSEIL1
UMAkk 1*1G/160/6L/5R/
bgn_AN_EN13
CM900
EX5235-
901G16Mn
EMEA Hungary LX.EDP0C.024 EX5235-901G16Mn LINPUSEHU1
UMAkk 1*1G/160/6L/5R/
bgn_AN_EN41
CM900
EX5235-
901G16Mn
EMEA Middle East LX.EDP0C.020 EX5235-901G16Mn LINPUSEME5
UMAkk 1*1G/160/6L/5R/
bgn_AN_EN11
CM900
EX5235-
901G16Mn
EMEA Turkey LX.EDP0C.018 EX5235-901G16Mn LINPUSETR1
UMAkk 1*1G/160/6L/5R/
bgn_AN_EN13
CM900
EX5235-
901G16Mn
EMEA Sweden LX.EDP0C.019 EX5235-901G16Mn LINPUSESE1
UMAkk 1*1G/160/6L/5R/
bgn_AN_EN82
CM900
EX5235-
901G16Mn
EMEA Turkey LX.EDP0C.017 EX5235-901G16Mn LINPUSETR1
UMAkk 1*1G/160/6L/5R/
bgn_AN_TR51
CM900
EX5235-
901G16Mn
EMEA South Africa LX.EDP0C.014 EX5235-901G16Mn LINPUSEZA2
UMAkk 1*1G/160/6L/5R/
bgn_AN_EN11
CM900
EX5235-
901G16Mn
EMEA Germany LX.EDP0C.013 EX5235-901G16Mn LINPUSEDE1
UMAkk 1*1G/160/6L/5R/
bgn_AN_ENA1
CM900
EX5235-
901G16Mn
EMEA South Africa LX.EDP0C.015 EX5235-901G16Mn LINPUSEZA1
UMAkk 1*1G/160/6L/5R/
bgn_AN_ENA1
CM900
EX5235-
901G16Mn
EMEA Ukraine LX.EDP0C.016 EX5235-901G16Mn LINPUSEUK1
UMAkk 1*1G/160/6L/5R/
bgn_AN_EN72
CM900
EX5235-
901G16Mn
EMEA Denmark LX.EDP0C.012 EX5235-901G16Mn LINPUSEDK1
UMAkk 1*1G/160/6L/5R/
bgn_AN_EN51
CM900
EX5235-
901G16Mn
EMEA Portugal LX.EDP0C.010 EX5235-901G16Mn LINPUSEPT1
UMAkk 1*1G/160/6L/5R/
bgn_AN_EN61
CM900
EX5235-
901G16Mn
EMEA Middle East LX.EDP0C.008 EX5235-901G16Mn LINPUSEME2
UMAkk 1*1G/160/6L/5R/
bgn_AN_EN11
CM900
EX5235-
901G16Mi
EMEA Russia LX.EDP0C.009 EX5235-901G16Mi LINPUSERU1
UMAkk 1*1G/160/6L/5R/
bg_AN_EN72
CM900
EX5235-
901G16Mn
EMEA Poland LX.EDP0C.011 EX5235-901G16Mn LINPUSEPL1
UMAkk 1*1G/160/6L/5R/
bgn_AN_EN41
CM900
Model RO Country Acer Part No Description CPU

135 Appendix A
EX5235-
901G16Mn
EMEA Middle East LX.EDP0C.007 EX5235-901G16Mn LINPUSEME6
UMAkk 1*1G/160/6L/5R/
bgn_AN_EN11
CM900
EX5235-
901G16Mn
EMEA Middle East LX.EDP0C.002 EX5235-901G16Mn LINPUSEME3
UMAkk 1*1G/160/6L/5R/
bgn_AN_ENA1
CM900
EX5235-
901G16Mn
EMEA Middle East LX.EDP0C.001 EX5235-901G16Mn LINPUSEME4
UMAkk 1*1G/160/6L/5R/
bgn_AN_EN73
CM900
EX5235-
901G16Mn
EMEA Austria LX.EDP0C.003 EX5235-901G16Mn LINPUSEAT1
UMAkk 1*1G/160/6L/5R/
bgn_AN_ENA1
CM900
EX5235-
901G16Mn
EMEA Middle East LX.EDP0C.006 EX5235-901G16Mn LINPUSEME7
UMAkk 1*1G/160/6L/5R/
bgn_AN_EN11
CM900
EX5235-
901G16Mn
EMEA Middle East LX.EDP0C.004 EX5235-901G16Mn LINPUSE ME9
UMAkk 1*1G/160/6L/5R/
bgn_AN_ENA1
CM900
EX5235-
901G16Mn
EMEA Holland LX.EDP0C.005 EX5235-901G16Mn LINPUSENL1
UMAkk 1*1G/160/6L/5R/
bgn_AN_EN31
CM900
EX5235-
902G16Mn
EMEA UK LX.EDP0Y.059 EX5235-902G16Mn VHB32ERGB1
MC UMAkk 1*2G/160/6L/
CB_bgn_AN_EN12
CM900
EX5235-
902G16Mn
EMEA Italy LX.EDP0Y.055 EX5235-902G16Mn VHB32ERIT1
MC UMAkk 1*2G/160/6L/
CB_bgn_AN_IT11
CM900
EX5235-
902G16Mn
EMEA Middle East LX.EDP0Y.053 EX5235-902G16Mn EM
VHB32ERME2 MC UMAkk 1*2G/
160/6L/CB_bgn_AN_AR22
CM900
EX5235-
902G16Mn
EMEA Middle East LX.EDP0Y.052 EX5235-902G16Mn EM
VHB32ERME2 MC UMAkk 1*2G/
160/6L/CB_bgn_AN_EN13
CM900
EX5235-
902G16Mn
EMEA Middle East LX.EDP0Y.054 EX5235-902G16Mn EM
VHB32ERME2 MC UMAkk 1*2G/
160/6L/CB_bgn_AN_AR12
CM900
EX5235-
902G16Mn
EMEA Israel LX.EDP0Y.056 EX5235-902G16Mn VHB32ERIL1
MC UMAkk 1*2G/160/6L/
CB_bgn_AN_HE13
CM900
EX5235-
902G16Mn
EMEA Greece LX.EDP0Y.058 EX5235-902G16Mn VHB32ERGR1
MC UMAkk 1*2G/160/6L/
CB_bgn_AN_EL21
CM900
EX5235-
902G16Mn
EMEA Hungary LX.EDP0Y.057 EX5235-902G16Mn VHB32ERHU1
MC UMAkk 1*2G/160/6L/
CB_bgn_AN_HU14
CM900
EX5235-
162G25Mi
WW WW S2.EDP0X.003 EX5235-162G25Mi VHP32EWW1
MC UMACkk 2*1G/250/BT/6L/
CB_bg_0.3D_AN_EN11
CMT1600
EX5235-
162G25Mi
WW WW S2.EDP0X.002 EX5235-162G25Mi VHP32EWW1
MC UMACkk 2*1G/250/6L/
CB_bg_0.3D_AN_EN11
CMT1600
EX5235-
161G25Mi
WW WW S2.EDP0X.001 EX5235-161G25Mi VHP32EWW1
MC UMACkk 1*1G/250/6L/
CB_bg_0.3D_AN_EN11
CMT1600
Model RO Country Acer Part No Description CPU

Appendix A 136
EX5635G-
7A1G50Mn
WW WW S2.EDY0C.001 EX5635G-7A1G50Mn
LINPUSEWW1 N10MGE1512Ckk
1*1G/500_L/BT/6L/5R/
CB_n2_0.3D_AN_EN11C build SKU
4
C2DP7370
EX5635G-
664G50Mn
WW WW S2.EDQ0X.002 EX5635G-664G50Mn
VHP32EWW1 MC
N10MGE1512Ckk 2*2G/500_L/BT/
6L/CB_n2_0.3D_AN_EN11
C2DT6600
EX5635G-
664G50Mn
WW WW S2.EDQ0X.001 EX5635G-664G50Mn
VHP32EWW1 MC
N10MGE1512Ckk 2*2G/500_L/6L/
CB_n2_0.3D_AN_EN11
C2DT6600
EX5635ZG-
424G32Mn
WW WW S2.EDR0C.001 EX5635ZG-424G32Mn
LINPUSEWW1 N10MGE1512Ckk
2*2G/320/BT/6L/5R/
CB_bgn_0.3D_AN_EN11
PMDT4200
EX5635ZG-
422G25Mn
EMEA Germany LX.EDR0X.001 EX5635ZG-422G25Mn
VHP32ERDE1 MC
N10MGE1512Ckk 1*2G/250/BT/6L/
5R/CB_bgn_0.3D_AN_DE11
PMDT4200
EX5635ZG-
422G32n
WW WW S2.EDR0X.001 EX5635ZG-422G32n VHP32EWW1
MC N10MGE1512Ckk 1*2G/320/
BT/6L/CB_bgn_0.3D_AN_EN11
PMDT4200
EX5635Z-
421G25Mn
EMEA Middle East LX.EDV0C.002 EX5635Z-421G25Mn LINPUSEME6
UMACkk 1*1G/250/BT/6L/5R/
CB_bgn_0.3D_AN_EN11
PMDT4200
EX5635Z-
421G16Mn
EMEA Middle East LX.EDV0C.003 EX5635Z-421G16Mn LINPUSEME6
UMACkk 1*1G/160/BT/6L/5R/
CB_bgn_0.3D_AN_EN11
PMDT4200
EX5635Z-
422G16Mn
PA USA LX.EDV0Z.001 EX5635Z-422G16Mn VB32ERUS1
MC UMACkk 2*1G/160/6L/5R/
CB_bgn_0.3D_AN_FR31
PMDT4200
EX5635Z-
422G16Mn
PA USA LX.EDV06.001 EX5635Z-422G16Mn XPPERUS1
MC UMACkk 1*2G/160/6L/5R/
CB_bgn_0.3D_AN_EN31
PMDT4200
EX5635Z-
423G32Mn
EMEA Eastern
Europe
LX.EDV0C.001 EX5635Z-423G32Mn LINPUSEEU5
UMACkk 2G+1G/320/BT/6L/5R/
CB_bgn_0.3D_AN_EN44
PMDT4200
EX5635Z-
431G16Mn
EMEA South Africa LX.EDM0C.101 EX5635Z-431G16Mn LINPUSEZA1
UMAkk 1*1G/160/6L/5R/
bgn_AN_ENA1
PMDT4300
EX5635Z-
431G16Mn
EMEA South Africa LX.EDM0C.099 EX5635Z-431G16Mn LINPUSEZA2
UMAkk 1*1G/160/6L/5R/
bgn_AN_EN11
PMDT4300
EX5635Z-
431G16Mn
EMEA Denmark LX.EDM0C.098 EX5635Z-431G16Mn LINPUSEDK1
UMAkk 1*1G/160/6L/5R/
bgn_AN_EN51
PMDT4300
EX5635Z-
431G16Mn
EMEA France LX.EDM0C.097 EX5635Z-431G16Mn LINPUSEFR1
UMAkk 1*1G/160/6L/5R/
bgn_AN_ENA1
PMDT4300
EX5635Z-
431G16Mn
EMEA Germany LX.EDM0C.096 EX5635Z-431G16Mn LINPUSEDE1
UMAkk 1*1G/160/6L/5R/
bgn_AN_ENA1
PMDT4300
EX5635Z-
431G16Mn
EMEA Holland LX.EDM0C.095 EX5635Z-431G16Mn LINPUSENL1
UMAkk 1*1G/160/6L/5R/
bgn_AN_EN31
PMDT4300
Model RO Country Acer Part No Description CPU

137 Appendix A
EX5635Z-
431G16Mn
EMEA Austria LX.EDM0C.093 EX5635Z-431G16Mn LINPUSEAT1
UMAkk 1*1G/160/6L/5R/
bgn_AN_ENA1
PMDT4300
EX5635Z-
431G16Mn
EMEA Czech LX.EDM0C.091 EX5635Z-431G16Mn LINPUSECZ2
UMAkk 1*1G/160/6L/5R/
bgn_AN_EN22
PMDT4300
EX5635Z-
431G16Mn
EMEA Eastern
Europe
LX.EDM0C.089 EX5635Z-431G16Mn LINPUSEEU7
UMAkk 1*1G/160/6L/5R/
bgn_AN_EN11
PMDT4300
EX5635Z-
431G16Mn
EMEA Finland LX.EDM0C.087 EX5635Z-431G16Mn LINPUSEFI2
UMAkk 1*1G/160/6L/5R/
bgn_AN_EN81
PMDT4300
EX5635Z-
431G16Mn
EMEA Eastern
Europe
LX.EDM0C.088 EX5635Z-431G16Mn LINPUSEEU4
UMAkk 1*1G/160/6L/5R/
bgn_AN_EN82
PMDT4300
EX5635Z-
431G16Mn
EMEA Eastern
Europe
LX.EDM0C.090 EX5635Z-431G16Mn LINPUSEEU5
UMAkk 1*1G/160/6L/5R/
bgn_AN_EN44
PMDT4300
EX5635Z-
431G16Mn
EMEA Sweden LX.EDM0C.092 EX5635Z-431G16Mn LINPUSESE1
UMAkk 1*1G/160/6L/5R/
bgn_AN_EN82
PMDT4300
EX5635Z-
431G16Mi
EMEA Russia LX.EDM0C.094 EX5635Z-431G16Mi LINPUSERU1
UMAkk 1*1G/160/6L/5R/
bg_AN_EN72
PMDT4300
EX5635Z-
431G16Mn
EMEA Hungary LX.EDM0C.086 EX5635Z-431G16Mn LINPUSEHU1
UMAkk 1*1G/160/6L/5R/
bgn_AN_EN41
PMDT4300
EX5635Z-
431G16Mn
EMEA Greece LX.EDM0C.083 EX5635Z-431G16Mn LINPUSEGR1
UMAkk 1*1G/160/6L/5R/
bgn_AN_EN11
PMDT4300
EX5635Z-
431G16Mn
EMEA Italy LX.EDM0C.081 EX5635Z-431G16Mn LINPUSEIT1
UMAkk 1*1G/160/6L/5R/
bgn_AN_ENA1
PMDT4300
EX5635Z-
431G16Mn
EMEA Middle East LX.EDM0C.079 EX5635Z-431G16Mn LINPUSEME6
UMAkk 1*1G/160/6L/5R/
bgn_AN_EN11
PMDT4300
EX5635Z-
431G16Mn
EMEA Middle East LX.EDM0C.077 EX5635Z-431G16Mn LINPUSEME5
UMAkk 1*1G/160/6L/5R/
bgn_AN_EN11
PMDT4300
EX5635Z-
431G16Mn
EMEA Middle East LX.EDM0C.078 EX5635Z-431G16Mn LINPUSEME1
UMAkk 1*1G/160/6L/5R/
bgn_AN_EN11
PMDT4300
EX5635Z-
431G16Mn
EMEA Middle East LX.EDM0C.080 EX5635Z-431G16Mn LINPUSEME4
UMAkk 1*1G/160/6L/5R/
bgn_AN_EN73
PMDT4300
EX5635Z-
431G16Mn
EMEA Israel LX.EDM0C.082 EX5635Z-431G16Mn LINPUSEIL1
UMAkk 1*1G/160/6L/5R/
bgn_AN_EN13
PMDT4300
EX5635Z-
431G16Mn
EMEA Spain LX.EDM0C.084 EX5635Z-431G16Mn LINPUSEES1
UMAkk 1*1G/160/6L/5R/
bgn_AN_EN61
PMDT4300
EX5635Z-
431G16Mn
EMEA Portugal LX.EDM0C.085 EX5635Z-431G16Mn LINPUSEPT1
UMAkk 1*1G/160/6L/5R/
bgn_AN_EN61
PMDT4300
EX5635Z-
431G16Mn
EMEA Middle East LX.EDM0C.076 EX5635Z-431G16Mn LINPUSEME2
UMAkk 1*1G/160/6L/5R/
bgn_AN_EN11
PMDT4300
Model RO Country Acer Part No Description CPU

Appendix A 138
EX5635Z-
431G16Mn
EMEA Turkey LX.EDM0C.071 EX5635Z-431G16Mn LINPUSETR1
UMAkk 1*1G/160/6L/5R/
bgn_AN_TR51
PMDT4300
EX5635Z-
431G16Mn
EMEA Ukraine LX.EDM0C.069 EX5635Z-431G16Mn LINPUSEUK1
UMAkk 1*1G/160/6L/5R/
bgn_AN_EN72
PMDT4300
EX5635Z-
431G16Mn
EMEA Turkey LX.EDM0C.070 EX5635Z-431G16Mn LINPUSETR1
UMAkk 1*1G/160/6L/5R/
bgn_AN_EN13
PMDT4300
EX5635Z-
431G16Mn
EMEA Poland LX.EDM0C.072 EX5635Z-431G16Mn LINPUSEPL1
UMAkk 1*1G/160/6L/5R/
bgn_AN_EN41
PMDT4300
EX5635Z-
431G16Mn
EMEA Middle East LX.EDM0C.075 EX5635Z-431G16Mn LINPUSE
ME9 UMAkk 1*1G/160/6L/5R/
bgn_AN_ENA1
PMDT4300
EX5635Z-
431G16Mn
EMEA Middle East LX.EDM0C.074 EX5635Z-431G16Mn LINPUSEME7
UMAkk 1*1G/160/6L/5R/
bgn_AN_EN11
PMDT4300
EX5635Z-
431G16Mn
EMEA Middle East LX.EDM0C.073 EX5635Z-431G16Mn LINPUSEME3
UMAkk 1*1G/160/6L/5R/
bgn_AN_ENA1
PMDT4300
EX5635Z-
432G16Mn
EMEA Spain LX.EDM0X.118 EX5635Z-432G16Mn
VHP32ERES1 MC UMAkk 1*2G/
160/6L/5R/bgn_AN_ES21
PMDT4300
EX5635Z-
431G16Mn
EMEA UK LX.EDM0C.068 EX5635Z-431G16Mn LINPUSEGB1
UMAkk 1*1G/160/6L/5R/
bgn_AN_EN11
PMDT4300
EX5635Z-
432G16Mn
EMEA Greece LX.EDM0X.114 EX5635Z-432G16Mn
VHP32ERGR1 MC UMAkk 1*2G/
160/6L/5R/bgn_AN_EL31
PMDT4300
EX5635Z-
432G16Mn
EMEA Middle East LX.EDM0X.113 EX5635Z-432G16Mn EM
VHP32ERME4 MC UMAkk 1*2G/
160/6L/5R/bgn_AN_RU61
PMDT4300
EX5635Z-
432G16Mn
EMEA Middle East LX.EDM0X.108 EX5635Z-432G16Mn EM
VHP32ERME2 MC UMAkk 1*2G/
160/6L/5R/bgn_AN_AR22
PMDT4300
EX5635Z-
432G16Mn
EMEA Middle East LX.EDM0X.109 EX5635Z-432G16Mn EM
VHP32ERME2 MC UMAkk 1*2G/
160/6L/5R/bgn_AN_AR12
PMDT4300
EX5635Z-
432G16Mn
EMEA Middle East LX.EDM0X.110 EX5635Z-432G16Mn EM
VHP32ERME4 MC UMAkk 1*2G/
160/6L/5R/bgn_AN_EN11
PMDT4300
EX5635Z-
432G16Mn
EMEA Middle East LX.EDM0X.112 EX5635Z-432G16Mn EM
VHP32ERME6 MC UMAkk 1*2G/
160/6L/5R/bgn_AN_EN13
PMDT4300
EX5635Z-
432G16Mn
EMEA Israel LX.EDM0X.115 EX5635Z-432G16Mn VHP32ERIL1
MC UMAkk 1*2G/160/6L/5R/
bgn_AN_HE13
PMDT4300
EX5635Z-
432G16Mn
EMEA Italy LX.EDM0X.116 EX5635Z-432G16Mn VHP32ERIT1
MC UMAkk 1*2G/160/6L/5R/
bgn_AN_IT11
PMDT4300
EX5635Z-
432G16Mn
EMEA Middle East LX.EDM0X.117 EX5635Z-432G16Mn EM
VHP32ERME2 MC UMAkk 1*2G/
160/6L/5R/bgn_AN_EN13
PMDT4300
EX5635Z-
432G16Mn
EMEA Middle East LX.EDM0X.111 EX5635Z-432G16Mn EM
VHP32ERME9 MC UMAkk 1*2G/
160/6L/5R/bgn_AN_FR22
PMDT4300
Model RO Country Acer Part No Description CPU

139 Appendix A
EX5635Z-
432G16Mn
EMEA South Africa LX.EDM0X.107 EX5635Z-432G16Mn EM
VHP32ERZA2 MC UMAkk 1*2G/
160/6L/5R/bgn_AN_EN13
PMDT4300
EX5635Z-
432G16Mn
EMEA Denmark LX.EDM0X.105 EX5635Z-432G16Mn
VHP32ERDK1 MC UMAkk 1*2G/
160/6L/5R/bgn_AN_NO11
PMDT4300
EX5635Z-
432G16Mn
EMEA South Africa LX.EDM0X.106 EX5635Z-432G16Mn EM
VHP32ERZA1 MC UMAkk 1*2G/
160/6L/5R/bgn_AN_FR22
PMDT4300
EX5635Z-
432G16Mn
EMEA Belgium LX.EDM0X.102 EX5635Z-432G16Mn
VHP32ERBE1 MC UMAkk 1*2G/
160/6L/5R/bgn_AN_NL11
PMDT4300
EX5635Z-
432G16Mn
EMEA Luxembourg LX.EDM0X.099 EX5635Z-432G16Mn VHP32ERLU3
MC UMAkk 1*2G/160/6L/5R/
bgn_AN_IT41
PMDT4300
EX5635Z-
432G16Mn
EMEA Holland LX.EDM0X.101 EX5635Z-432G16Mn VHP32ERNL1
MC UMAkk 1*2G/160/6L/5R/
bgn_AN_NL11
PMDT4300
EX5635Z-
432G16Mn
EMEA Germany LX.EDM0X.103 EX5635Z-432G16Mn
VHP32ERDE1 MC UMAkk 1*2G/
160/6L/5R/bgn_AN_DE11
PMDT4300
EX5635Z-
432G16Mn
EMEA France LX.EDM0X.104 EX5635Z-432G16Mn
VHP32ERFR1 MC UMAkk 1*2G/
160/6L/5R/bgn_AN_FR21
PMDT4300
EX5635Z-
432G16Mn
EMEA Norway LX.EDM0X.098 EX5635Z-432G16Mn
VHP32ERNO1 MC UMAkk 1*2G/
160/6L/5R/bgn_AN_NO11
PMDT4300
EX5635Z-
432G16Mn
EMEA Austria LX.EDM0X.096 EX5635Z-432G16Mn VHP32ERAT1
MC UMAkk 1*2G/160/6L/5R/
bgn_AN_DE11
PMDT4300
EX5635Z-
432G16Mn
EMEA Sweden LX.EDM0X.095 EX5635Z-432G16Mn
VHP32ERSE1 MC UMAkk 1*2G/
160/6L/5R/bgn_AN_FI12
PMDT4300
EX5635Z-
432G16Mn
EMEA Eastern
Europe
LX.EDM0X.093 EX5635Z-432G16Mn
VHP32EREU7 MC UMAkk 1*2G/
160/6L/5R/bgn_AN_SL11
PMDT4300
EX5635Z-
432G16Mn
EMEA Eastern
Europe
LX.EDM0X.091 EX5635Z-432G16Mn
VHP32EREU7 MC UMAkk 1*2G/
160/6L/5R/bgn_AN_ENR2
PMDT4300
EX5635Z-
432G16Mn
EMEA Eastern
Europe
LX.EDM0X.089 EX5635Z-432G16Mn
VHP32EREU3 MC UMAkk 1*2G/
160/6L/5R/bgn_AN_RU24
PMDT4300
EX5635Z-
432G16Mn
EMEA Eastern
Europe
LX.EDM0X.090 EX5635Z-432G16Mn
VHP32EREU5 MC UMAkk 1*2G/
160/6L/5R/bgn_AN_PL14
PMDT4300
EX5635Z-
432G16Mn
EMEA Eastern
Europe
LX.EDM0X.092 EX5635Z-432G16Mn
VHP32EREU5 MC UMAkk 1*2G/
160/6L/5R/bgn_AN_RO12
PMDT4300
EX5635Z-
432G16Mn
EMEA Czech LX.EDM0X.094 EX5635Z-432G16Mn
VHP32ERCZ2 MC UMAkk 1*2G/
160/6L/5R/bgn_AN_SK12
PMDT4300
EX5635Z-
432G16Mi
EMEA Russia LX.EDM0X.097 EX5635Z-432G16Mi VHP32ERRU1
MC UMAkk 1*2G/160/6L/5R/
bg_AN_RU12
PMDT4300
EX5635Z-
432G16Mn
EMEA Middle East LX.EDM0X.082 EX5635Z-432G16Mn EM
VHP32ERME3 MC UMAkk 1*2G/
160/6L/5R/bgn_AN_FR22
PMDT4300
Model RO Country Acer Part No Description CPU

Appendix A 140
EX5635Z-
432G16Mn
EMEA Poland LX.EDM0X.083 EX5635Z-432G16Mn VHP32ERPL1
MC UMAkk 1*2G/160/6L/5R/
bgn_AN_PL11
PMDT4300
EX5635Z-
432G16Mn
EMEA Portugal LX.EDM0X.085 EX5635Z-432G16Mn VHP32ERPT1
MC UMAkk 1*2G/160/6L/5R/
bgn_AN_PT11
PMDT4300
EX5635Z-
432G16Mn
EMEA Hungary LX.EDM0X.086 EX5635Z-432G16Mn
VHP32ERHU1 MC UMAkk 1*2G/
160/6L/5R/bgn_AN_HU14
PMDT4300
EX5635Z-
432G16Mn
EMEA Finland LX.EDM0X.087 EX5635Z-432G16Mn VHP32ERFI2
MC UMAkk 1*2G/160/6L/5R/
bgn_AN_FI11
PMDT4300
EX5635Z-
432G16Mn
EMEA Eastern
Europe
LX.EDM0X.088 EX5635Z-432G16Mn
VHP32EREU4 MC UMAkk 1*2G/
160/6L/5R/bgn_AN_SV22
PMDT4300
EX5635Z-
432G16Mn
EMEA Switzerland LX.EDM0X.084 EX5635Z-432G16Mn
VHP32ERCH1 MC UMAkk 1*2G/
160/6L/5R/bgn_AN_IT41
PMDT4300
EX5635Z-
432G16Mn
EMEA Ukraine LX.EDM0X.080 EX5635Z-432G16Mn
VHP32ERUK1 MC UMAkk 1*2G/
160/6L/5R/bgn_AN_RU11
PMDT4300
EX5635Z-
432G16Mn
EMEA UK LX.EDM0X.079 EX5635Z-432G16Mn
VHP32ERGB1 MC UMAkk 1*2G/
160/6L/5R/bgn_AN_EN12
PMDT4300
EX5635Z-
432G16Mn
EMEA Turkey LX.EDM0X.081 EX5635Z-432G16Mn EM
VHP32ERTR1 MC UMAkk 1*2G/
160/6L/5R/bgn_AN_TR33
PMDT4300
EX5635Z-
422G25Mn
EMEA Eastern
Europe
LX.EDM0C.067 EX5635Z-422G25Mn LINPUSEEU5
UMAkk 1*2G/250/6L/5R/
bgn_AN_EN44
PMDT4200
EX5635Z-
422G16Mn
EMEA Austria LX.EDM0X.078 EX5635Z-422G16Mn VHP32ERAT1
MC UMAkk 1*2G/160/6L/5R/
CB_bgn_AN_DE11
PMDT4200
EX5635Z-
422G16Mn
EMEA Czech LX.EDM0X.077 EX5635Z-422G16Mn
VHP32ERCZ2 MC UMAkk 1*2G/
160/6L/5R/CB_bgn_AN_SK12
PMDT4200
EX5635Z-
422G16Mn
EMEA Czech LX.EDM0X.068 EX5635Z-422G16Mn
VHP32ERCZ2 MC UMAkk 1*2G/
160/6L/5R/bgn_AN_SK12
PMDT4200
EX5635Z-
422G16Mn
EMEA Holland LX.EDM0X.076 EX5635Z-422G16Mn VHP32ERNL1
MC UMAkk 1*2G/160/6L/5R/
bgn_AN_NL11
PMDT4200
EX5635Z-
422G16Mn
EMEA Luxembourg LX.EDM0X.071 EX5635Z-422G16Mn VHP32ERLU3
MC UMAkk 1*2G/160/6L/5R/
bgn_AN_IT41
PMDT4200
EX5635Z-
422G16Mn
EMEA Middle East LX.EDM0X.072 EX5635Z-422G16Mn EM
VHP32ERME2 MC UMAkk 1*2G/
160/6L/5R/bgn_AN_AR22
PMDT4200
EX5635Z-
422G16Mn
EMEA Middle East LX.EDM0X.073 EX5635Z-422G16Mn EM
VHP32ERME3 MC UMAkk 1*2G/
160/6L/5R/bgn_AN_FR22
PMDT4200
EX5635Z-
422G16Mn
EMEA Middle East LX.EDM0X.075 EX5635Z-422G16Mn EM
VHP32ERME9 MC UMAkk 1*2G/
160/6L/5R/bgn_AN_FR22
PMDT4200
EX5635Z-
422G16Mn
EMEA Middle East LX.EDM0X.074 EX5635Z-422G16Mn EM
VHP32ERME6 MC UMAkk 1*2G/
160/6L/5R/bgn_AN_EN13
PMDT4200
Model RO Country Acer Part No Description CPU

141 Appendix A
EX5635Z-
422G16Mn
EMEA Israel LX.EDM0X.070 EX5635Z-422G16Mn VHP32ERIL1
MC UMAkk 1*2G/160/6L/5R/
bgn_AN_HE13
PMDT4200
EX5635Z-
422G16Mn
EMEA Germany LX.EDM0X.069 EX5635Z-422G16Mn
VHP32ERDE1 MC UMAkk 1*2G/
160/6L/5R/bgn_AN_DE11
PMDT4200
EX5635Z-
422G16Mn
EMEA Belgium LX.EDM0X.067 EX5635Z-422G16Mn
VHP32ERBE1 MC UMAkk 1*2G/
160/6L/5R/bgn_AN_NL11
PMDT4200
EX5635Z-
422G16Mn
EMEA Middle East LX.EDM0X.066 EX5635Z-422G16Mn EM
VHP32ERME4 MC UMAkk 1*2G/
160/6L/5R/bgn_AN_RU61
PMDT4200
EX5635Z-
422G16Mn
EMEA Eastern
Europe
LX.EDM0X.065 EX5635Z-422G16Mn
VHP32EREU5 MC UMAkk 1*2G/
160/6L/5R/bgn_AN_PL14
PMDT4200
EX5635Z-
422G16Mn
EMEA Eastern
Europe
LX.EDM0X.064 EX5635Z-422G16Mn
VHP32EREU4 MC UMAkk 1*2G/
160/6L/5R/bgn_AN_SV22
PMDT4200
EX5635Z-
422G16Mn
EMEA Hungary LX.EDM0X.063 EX5635Z-422G16Mn
VHP32ERHU1 MC UMAkk 1*2G/
160/6L/5R/bgn_AN_HU14
PMDT4200
EX5635Z-
422G16Mn
EMEA Greece LX.EDM0X.062 EX5635Z-422G16Mn
VHP32ERGR1 MC UMAkk 1*2G/
160/6L/5R/bgn_AN_EL31
PMDT4200
EX5635Z-
422G16Mn
EMEA UK LX.EDM0X.061 EX5635Z-422G16Mn
VHP32ERGB1 MC UMAkk 1*2G/
160/6L/5R/bgn_AN_EN12
PMDT4200
EX5635Z-
422G16Mn
EMEA France LX.EDM0X.060 EX5635Z-422G16Mn
VHP32ERFR1 MC UMAkk 1*2G/
160/6L/5R/bgn_AN_FR21
PMDT4200
EX5635Z-
422G16Mn
EMEA Finland LX.EDM0X.059 EX5635Z-422G16Mn VHP32ERFI2
MC UMAkk 1*2G/160/6L/5R/
bgn_AN_FI11
PMDT4200
EX5635Z-
422G16Mn
EMEA Eastern
Europe
LX.EDM0X.058 EX5635Z-422G16Mn
VHP32EREU7 MC UMAkk 1*2G/
160/6L/5R/bgn_AN_SL11
PMDT4200
EX5635Z-
422G16Mi
EMEA Russia LX.EDM0X.057 EX5635Z-422G16Mi VHP32ERRU1
MC UMAkk 1*2G/160/6L/5R/
bg_AN_RU12
PMDT4200
EX5635Z-
422G16Mn
EMEA Middle East LX.EDM0X.054 EX5635Z-422G16Mn EM
VHP32ERME2 MC UMAkk 1*2G/
160/6L/5R/bgn_AN_EN13
PMDT4200
EX5635Z-
422G16Mn
EMEA Middle East LX.EDM0X.055 EX5635Z-422G16Mn EM
VHP32ERME2 MC UMAkk 1*2G/
160/6L/5R/bgn_AN_AR12
PMDT4200
EX5635Z-
422G16Mn
EMEA Italy LX.EDM0X.056 EX5635Z-422G16Mn VHP32ERIT1
MC UMAkk 1*2G/160/6L/5R/
bgn_AN_IT11
PMDT4200
EX5635Z-
422G16Mn
EMEA Middle East LX.EDM0X.053 EX5635Z-422G16Mn EM
VHP32ERME4 MC UMAkk 1*2G/
160/6L/5R/bgn_AN_EN11
PMDT4200
EX5635Z-
422G16Mn
EMEA Poland LX.EDM0X.051 EX5635Z-422G16Mn VHP32ERPL1
MC UMAkk 1*2G/160/6L/5R/
bgn_AN_PL11
PMDT4200
EX5635Z-
422G16Mn
EMEA Sweden LX.EDM0X.049 EX5635Z-422G16Mn
VHP32ERSE1 MC UMAkk 1*2G/
160/6L/5R/bgn_AN_FI12
PMDT4200
Model RO Country Acer Part No Description CPU

Appendix A 142
EX5635Z-
422G16Mn
EMEA Austria LX.EDM0X.048 EX5635Z-422G16Mn VHP32ERAT1
MC UMAkk 1*2G/160/6L/5R/
bgn_AN_DE11
PMDT4200
EX5635Z-
422G16Mn
EMEA Portugal LX.EDM0X.050 EX5635Z-422G16Mn VHP32ERPT1
MC UMAkk 1*2G/160/6L/5R/
bgn_AN_PT11
PMDT4200
EX5635Z-
422G16Mn
EMEA Norway LX.EDM0X.052 EX5635Z-422G16Mn
VHP32ERNO1 MC UMAkk 1*2G/
160/6L/5R/bgn_AN_NO11
PMDT4200
EX5635Z-
422G16Mn
EMEA Turkey LX.EDM0X.040 EX5635Z-422G16Mn EM
VHP32ERTR1 MC UMAkk 1*2G/
160/6L/5R/bgn_AN_TR33
PMDT4200
EX5635Z-
422G16Mn
EMEA Germany LX.EDM0X.036 EX5635Z-422G16Mn
VHP32ERDE1 MC UMAkk 1*2G/
160/6L/5R/CB_bgn_AN_DE11
PMDT4200
EX5635Z-
422G16Mn
EMEA South Africa LX.EDM0X.039 EX5635Z-422G16Mn EM
VHP32ERZA1 MC UMAkk 1*2G/
160/6L/5R/bgn_AN_FR22
PMDT4200
EX5635Z-
422G16Mn
EMEA Denmark LX.EDM0X.044 EX5635Z-422G16Mn
VHP32ERDK1 MC UMAkk 1*2G/
160/6L/5R/bgn_AN_NO11
PMDT4200
EX5635Z-
422G16Mn
EMEA Eastern
Europe
LX.EDM0X.045 EX5635Z-422G16Mn
VHP32EREU3 MC UMAkk 1*2G/
160/6L/5R/bgn_AN_RU24
PMDT4200
EX5635Z-
422G16Mn
EMEA Spain LX.EDM0X.043 EX5635Z-422G16Mn
VHP32ERES1 MC UMAkk 1*2G/
160/6L/5R/bgn_AN_ES21
PMDT4200
EX5635Z-
422G16Mn
EMEA Switzerland LX.EDM0X.047 EX5635Z-422G16Mn
VHP32ERCH1 MC UMAkk 1*2G/
160/6L/5R/bgn_AN_IT41
PMDT4200
EX5635Z-
422G16Mn
EMEA South Africa LX.EDM0X.038 EX5635Z-422G16Mn EM
VHP32ERZA2 MC UMAkk 1*2G/
160/6L/5R/bgn_AN_EN13
PMDT4200
EX5635Z-
422G16Mn
EMEA Ukraine LX.EDM0X.041 EX5635Z-422G16Mn
VHP32ERUK1 MC UMAkk 1*2G/
160/6L/5R/bgn_AN_RU11
PMDT4200
EX5635Z-
422G16Mn
EMEA Switzerland LX.EDM0X.037 EX5635Z-422G16Mn
VHP32ERCH1 MC UMAkk 1*2G/
160/6L/5R/CB_bgn_AN_IT41
PMDT4200
EX5635Z-
422G16Mn
EMEA Belgium LX.EDM0X.035 EX5635Z-422G16Mn
VHP32ERBE1 MC UMAkk 1*2G/
160/6L/5R/CB_bgn_AN_NL11
PMDT4200
EX5635Z-
422G16Mn
EMEA Spain LX.EDM0X.025 EX5635Z-422G16Mn
VHP32ERES1 MC UMAkk 1*2G/
160/6L/5R/CB_bgn_AN_ES21
PMDT4200
EX5635Z-
422G16Mn
EMEA Eastern
Europe
LX.EDM0X.029 EX5635Z-422G16Mn
VHP32EREU7 MC UMAkk 1*2G/
160/6L/5R/CB_bgn_AN_ENR2
PMDT4200
EX5635Z-
422G16Mn
EMEA Middle East LX.EDM0X.033 EX5635Z-422G16Mn EM
VHP32ERME9 MC UMAkk 1*2G/
160/6L/5R/CB_bgn_AN_FR22
PMDT4200
EX5635Z-
422G16Mn
EMEA Middle East LX.EDM0X.032 EX5635Z-422G16Mn EM
VHP32ERME4 MC UMAkk 1*2G/
160/6L/5R/CB_bgn_AN_RU61
PMDT4200
EX5635Z-
422G16Mn
EMEA Middle East LX.EDM0X.031 EX5635Z-422G16Mn EM
VHP32ERME3 MC UMAkk 1*2G/
160/6L/5R/CB_bgn_AN_FR22
PMDT4200
Model RO Country Acer Part No Description CPU

143 Appendix A
EX5635Z-
422G16Mn
EMEA Denmark LX.EDM0X.034 EX5635Z-422G16Mn
VHP32ERDK1 MC UMAkk 1*2G/
160/6L/5R/CB_bgn_AN_NO11
PMDT4200
EX5635Z-
422G16Mn
EMEA Eastern
Europe
LX.EDM0X.030 EX5635Z-422G16Mn
VHP32EREU7 MC UMAkk 1*2G/
160/6L/5R/CB_bgn_AN_SL11
PMDT4200
EX5635Z-
422G16Mn
EMEA Eastern
Europe
LX.EDM0X.028 EX5635Z-422G16Mn
VHP32EREU5 MC UMAkk 1*2G/
160/6L/5R/CB_bgn_AN_RO12
PMDT4200
EX5635Z-
422G16Mn
EMEA Eastern
Europe
LX.EDM0X.026 EX5635Z-422G16Mn
VHP32EREU3 MC UMAkk 1*2G/
160/6L/5R/CB_bgn_AN_RU24
PMDT4200
EX5635Z-
422G16Mn
EMEA Eastern
Europe
LX.EDM0X.027 EX5635Z-422G16Mn
VHP32EREU5 MC UMAkk 1*2G/
160/6L/5R/CB_bgn_AN_PL14
PMDT4200
EX5635Z-
422G16Mn
EMEA Middle East LX.EDM0X.024 EX5635Z-422G16Mn EM
VHP32ERME6 MC UMAkk 1*2G/
160/6L/5R/CB_bgn_AN_EN13
PMDT4200
EX5635Z-
422G16Mn
EMEA France LX.EDM0X.018 EX5635Z-422G16Mn
VHP32ERFR1 MC UMAkk 1*2G/
160/6L/5R/CB_bgn_AN_FR21
PMDT4200
EX5635Z-
422G16Mn
EMEA Greece LX.EDM0X.020 EX5635Z-422G16Mn
VHP32ERGR1 MC UMAkk 1*2G/
160/6L/5R/CB_bgn_AN_EL31
PMDT4200
EX5635Z-
422G16Mn
EMEA Middle East LX.EDM0X.023 EX5635Z-422G16Mn EM
VHP32ERME2 MC UMAkk 1*2G/
160/6L/5R/CB_bgn_AN_AR22
PMDT4200
EX5635Z-
422G16Mn
EMEA Luxembourg LX.EDM0X.022 EX5635Z-422G16Mn VHP32ERLU3
MC UMAkk 1*2G/160/6L/5R/
CB_bgn_AN_IT41
PMDT4200
EX5635Z-
422G16Mn
EMEA Israel LX.EDM0X.021 EX5635Z-422G16Mn VHP32ERIL1
MC UMAkk 1*2G/160/6L/5R/
CB_bgn_AN_HE13
PMDT4200
EX5635Z-
422G16Mn
EMEA Hungary LX.EDM0X.015 EX5635Z-422G16Mn
VHP32ERHU1 MC UMAkk 1*2G/
160/6L/5R/CB_bgn_AN_HU14
PMDT4200
EX5635Z-
422G16Mn
EMEA UK LX.EDM0X.019 EX5635Z-422G16Mn
VHP32ERGB1 MC UMAkk 1*2G/
160/6L/5R/CB_bgn_AN_EN12
PMDT4200
EX5635Z-
422G16Mn
EMEA Finland LX.EDM0X.017 EX5635Z-422G16Mn VHP32ERFI2
MC UMAkk 1*2G/160/6L/5R/
CB_bgn_AN_FI11
PMDT4200
EX5635Z-
422G16Mn
EMEA Eastern
Europe
LX.EDM0X.016 EX5635Z-422G16Mn
VHP32EREU4 MC UMAkk 1*2G/
160/6L/5R/CB_bgn_AN_SV22
PMDT4200
EX5635Z-
422G16Mn
EMEA Italy LX.EDM0X.014 EX5635Z-422G16Mn VHP32ERIT1
MC UMAkk 1*2G/160/6L/5R/
CB_bgn_AN_IT11
PMDT4200
EX5635Z-
422G16Mi
EMEA Russia LX.EDM0X.006 EX5635Z-422G16Mi VHP32ERRU1
MC UMAkk 1*2G/160/6L/5R/
CB_bg_AN_RU12
PMDT4200
EX5635Z-
422G16Mn
EMEA Portugal LX.EDM0X.009 EX5635Z-422G16Mn VHP32ERPT1
MC UMAkk 1*2G/160/6L/5R/
CB_bgn_AN_PT11
PMDT4200
EX5635Z-
422G16Mn
EMEA Poland LX.EDM0X.007 EX5635Z-422G16Mn VHP32ERPL1
MC UMAkk 1*2G/160/6L/5R/
CB_bgn_AN_PL11
PMDT4200
Model RO Country Acer Part No Description CPU

Appendix A 144
EX5635Z-
422G16Mn
EMEA Norway LX.EDM0X.008 EX5635Z-422G16Mn
VHP32ERNO1 MC UMAkk 1*2G/
160/6L/5R/CB_bgn_AN_NO11
PMDT4200
EX5635Z-
422G16Mn
EMEA Holland LX.EDM0X.010 EX5635Z-422G16Mn VHP32ERNL1
MC UMAkk 1*2G/160/6L/5R/
CB_bgn_AN_NL11
PMDT4200
EX5635Z-
422G16Mn
EMEA Middle East LX.EDM0X.013 EX5635Z-422G16Mn EM
VHP32ERME2 MC UMAkk 1*2G/
160/6L/5R/CB_bgn_AN_AR12
PMDT4200
EX5635Z-
422G16Mn
EMEA Middle East LX.EDM0X.011 EX5635Z-422G16Mn EM
VHP32ERME4 MC UMAkk 1*2G/
160/6L/5R/CB_bgn_AN_EN11
PMDT4200
EX5635Z-
422G16Mn
EMEA Middle East LX.EDM0X.012 EX5635Z-422G16Mn EM
VHP32ERME2 MC UMAkk 1*2G/
160/6L/5R/CB_bgn_AN_EN13
PMDT4200
EX5635Z-
421G16Mn
EMEA Middle East LX.EDM0C.066 EX5635Z-421G16Mn LINPUSE
ME9 UMAkk 1*1G/160/6L/5R/
CB_bgn_AN_ENA1
PMDT4200
EX5635Z-
421G16Mn
EMEA Middle East LX.EDM0C.064 EX5635Z-421G16Mn LINPUSEME5
UMAkk 1*1G/160/6L/5R/
CB_bgn_AN_EN11
PMDT4200
EX5635Z-
422G16Mn
EMEA Sweden LX.EDM0X.003 EX5635Z-422G16Mn
VHP32ERSE1 MC UMAkk 1*2G/
160/6L/5R/CB_bgn_AN_FI12
PMDT4200
EX5635Z-
422G16Mn
EMEA Ukraine LX.EDM0X.004 EX5635Z-422G16Mn
VHP32ERUK1 MC UMAkk 1*2G/
160/6L/5R/CB_bgn_AN_RU11
PMDT4200
EX5635Z-
422G16Mn
EMEA South Africa LX.EDM0X.001 EX5635Z-422G16Mn EM
VHP32ERZA2 MC UMAkk 1*2G/
160/6L/5R/CB_bgn_AN_EN13
PMDT4200
EX5635Z-
422G16Mn
EMEA South Africa LX.EDM0X.005 EX5635Z-422G16Mn EM
VHP32ERZA1 MC UMAkk 1*2G/
160/6L/5R/CB_bgn_AN_FR22
PMDT4200
EX5635Z-
422G16Mn
EMEA Turkey LX.EDM0X.002 EX5635Z-422G16Mn EM
VHP32ERTR1 MC UMAkk 1*2G/
160/6L/5R/CB_bgn_AN_TR33
PMDT4200
EX5635Z-
421G16Mn
EMEA Middle East LX.EDM0C.065 EX5635Z-421G16Mn LINPUSEME6
UMAkk 1*1G/160/6L/5R/
CB_bgn_AN_EN11
PMDT4200
EX5635Z-
421G16Mn
EMEA Middle East LX.EDM0C.063 EX5635Z-421G16Mn LINPUSEME3
UMAkk 1*1G/160/6L/5R/
CB_bgn_AN_ENA1
PMDT4200
EX5635Z-
421G16Mn
EMEA Holland LX.EDM0C.057 EX5635Z-421G16Mn LINPUSENL1
UMAkk 1*1G/160/6L/5R/
CB_bgn_AN_EN31
PMDT4200
EX5635Z-
421G16Mn
EMEA Middle East LX.EDM0C.062 EX5635Z-421G16Mn LINPUSEME1
UMAkk 1*1G/160/6L/5R/
CB_bgn_AN_EN11
PMDT4200
EX5635Z-
421G16Mn
EMEA Israel LX.EDM0C.056 EX5635Z-421G16Mn LINPUSEIL1
UMAkk 1*1G/160/6L/5R/
CB_bgn_AN_EN13
PMDT4200
EX5635Z-
421G16Mn
EMEA Hungary LX.EDM0C.055 EX5635Z-421G16Mn LINPUSEHU1
UMAkk 1*1G/160/6L/5R/
CB_bgn_AN_EN41
PMDT4200
EX5635Z-
421G16Mn
EMEA Greece LX.EDM0C.054 EX5635Z-421G16Mn LINPUSEGR1
UMAkk 1*1G/160/6L/5R/
CB_bgn_AN_EN11
PMDT4200
Model RO Country Acer Part No Description CPU

145 Appendix A
EX5635Z-
421G16Mn
EMEA Germany LX.EDM0C.061 EX5635Z-421G16Mn LINPUSEDE1
UMAkk 1*1G/160/6L/5R/
CB_bgn_AN_ENA1
PMDT4200
EX5635Z-
421G16Mn
EMEA Czech LX.EDM0C.060 EX5635Z-421G16Mn LINPUSECZ2
UMAkk 1*1G/160/6L/5R/
CB_bgn_AN_EN22
PMDT4200
EX5635Z-
421G16Mn
EMEA Austria LX.EDM0C.059 EX5635Z-421G16Mn LINPUSEAT1
UMAkk 1*1G/160/6L/5R/
CB_bgn_AN_ENA1
PMDT4200
EX5635Z-
421G16Mn
EMEA Spain LX.EDM0C.058 EX5635Z-421G16Mn LINPUSEES1
UMAkk 1*1G/160/6L/5R/
CB_bgn_AN_EN61
PMDT4200
EX5635Z-
421G16Mn
EMEA Denmark LX.EDM0C.047 EX5635Z-421G16Mn LINPUSEDK1
UMAkk 1*1G/160/6L/5R/
CB_bgn_AN_EN51
PMDT4200
EX5635Z-
421G16Mn
EMEA Eastern
Europe
LX.EDM0C.048 EX5635Z-421G16Mn LINPUSEEU4
UMAkk 1*1G/160/6L/5R/
CB_bgn_AN_EN82
PMDT4200
EX5635Z-
421G16Mn
EMEA Eastern
Europe
LX.EDM0C.049 EX5635Z-421G16Mn LINPUSEEU5
UMAkk 1*1G/160/6L/5R/
CB_bgn_AN_EN44
PMDT4200
EX5635Z-
421G16Mn
EMEA Finland LX.EDM0C.051 EX5635Z-421G16Mn LINPUSEFI2
UMAkk 1*1G/160/6L/5R/
CB_bgn_AN_EN81
PMDT4200
EX5635Z-
421G16Mn
EMEA Middle East LX.EDM0C.044 EX5635Z-421G16Mn LINPUSEME4
UMAkk 1*1G/160/6L/5R/
CB_bgn_AN_EN73
PMDT4200
EX5635Z-
421G16Mn
EMEA Middle East LX.EDM0C.045 EX5635Z-421G16Mn LINPUSEME2
UMAkk 1*1G/160/6L/5R/
CB_bgn_AN_EN11
PMDT4200
EX5635Z-
421G16Mn
EMEA Italy LX.EDM0C.046 EX5635Z-421G16Mn LINPUSEIT1
UMAkk 1*1G/160/6L/5R/
CB_bgn_AN_ENA1
PMDT4200
EX5635Z-
421G16Mn
EMEA UK LX.EDM0C.053 EX5635Z-421G16Mn LINPUSEGB1
UMAkk 1*1G/160/6L/5R/
CB_bgn_AN_EN11
PMDT4200
EX5635Z-
421G16Mn
EMEA France LX.EDM0C.052 EX5635Z-421G16Mn LINPUSEFR1
UMAkk 1*1G/160/6L/5R/
CB_bgn_AN_ENA1
PMDT4200
EX5635Z-
421G16Mn
EMEA Eastern
Europe
LX.EDM0C.050 EX5635Z-421G16Mn LINPUSEEU7
UMAkk 1*1G/160/6L/5R/
CB_bgn_AN_EN11
PMDT4200
EX5635Z-
421G16Mn
EMEA Middle East LX.EDM0C.043 EX5635Z-421G16Mn LINPUSEME7
UMAkk 1*1G/160/6L/5R/
CB_bgn_AN_EN11
PMDT4200
EX5635Z-
421G16Mn
EMEA South Africa LX.EDM0C.034 EX5635Z-421G16Mn LINPUSEZA2
UMAkk 1*1G/160/6L/5R/
CB_bgn_AN_EN11
PMDT4200
EX5635Z-
421G16Mn
EMEA Czech LX.EDM0C.031 EX5635Z-421G16Mn LINPUSECZ2
UMAkk 1*1G/160/6L/5R/
bgn_AN_EN22
PMDT4200
EX5635Z-
421G16Mn
EMEA Austria LX.EDM0C.033 EX5635Z-421G16Mn LINPUSEAT1
UMAkk 1*1G/160/6L/5R/
bgn_AN_ENA1
PMDT4200
EX5635Z-
421G16Mn
EMEA Middle East LX.EDM0C.032 EX5635Z-421G16Mn LINPUSE
ME9 UMAkk 1*1G/160/6L/5R/
bgn_AN_ENA1
PMDT4200
Model RO Country Acer Part No Description CPU

Appendix A 146
EX5635Z-
421G16Mn
EMEA Poland LX.EDM0C.038 EX5635Z-421G16Mn LINPUSEPL1
UMAkk 1*1G/160/6L/5R/
CB_bgn_AN_EN41
PMDT4200
EX5635Z-
421G16Mi
EMEA Russia LX.EDM0C.037 EX5635Z-421G16Mi LINPUSERU1
UMAkk 1*1G/160/6L/5R/
CB_bg_AN_EN72
PMDT4200
EX5635Z-
421G16Mn
EMEA Sweden LX.EDM0C.040 EX5635Z-421G16Mn LINPUSESE1
UMAkk 1*1G/160/6L/5R/
CB_bgn_AN_EN82
PMDT4200
EX5635Z-
421G16Mn
EMEA Turkey LX.EDM0C.036 EX5635Z-421G16Mn LINPUSETR1
UMAkk 1*1G/160/6L/5R/
CB_bgn_AN_EN13
PMDT4200
EX5635Z-
421G16Mn
EMEA Portugal LX.EDM0C.039 EX5635Z-421G16Mn LINPUSEPT1
UMAkk 1*1G/160/6L/5R/
CB_bgn_AN_EN61
PMDT4200
EX5635Z-
421G16Mn
EMEA Eastern
Europe
LX.EDM0C.029 EX5635Z-421G16Mn LINPUSEEU7
UMAkk 1*1G/160/6L/5R/
bgn_AN_EN11
PMDT4200
EX5635Z-
421G16Mn
EMEA Hungary LX.EDM0C.021 EX5635Z-421G16Mn LINPUSEHU1
UMAkk 1*1G/160/6L/5R/
bgn_AN_EN41
PMDT4200
EX5635Z-
421G16Mn
EMEA Italy LX.EDM0C.022 EX5635Z-421G16Mn LINPUSEIT1
UMAkk 1*1G/160/6L/5R/
bgn_AN_ENA1
PMDT4200
EX5635Z-
421G16Mn
EMEA Middle East LX.EDM0C.030 EX5635Z-421G16Mn LINPUSEME6
UMAkk 1*1G/160/6L/5R/
bgn_AN_EN11
PMDT4200
EX5635Z-
421G16Mn
EMEA Portugal LX.EDM0C.025 EX5635Z-421G16Mn LINPUSEPT1
UMAkk 1*1G/160/6L/5R/
bgn_AN_EN61
PMDT4200
EX5635Z-
421G16Mn
EMEA Sweden LX.EDM0C.023 EX5635Z-421G16Mn LINPUSESE1
UMAkk 1*1G/160/6L/5R/
bgn_AN_EN82
PMDT4200
EX5635Z-
421G16Mi
EMEA Russia LX.EDM0C.024 EX5635Z-421G16Mi LINPUSERU1
UMAkk 1*1G/160/6L/5R/
bg_AN_EN72
PMDT4200
EX5635Z-
421G16Mn
EMEA Holland LX.EDM0C.026 EX5635Z-421G16Mn LINPUSENL1
UMAkk 1*1G/160/6L/5R/
bgn_AN_EN31
PMDT4200
EX5635Z-
421G16Mn
EMEA Middle East LX.EDM0C.027 EX5635Z-421G16Mn LINPUSEME4
UMAkk 1*1G/160/6L/5R/
bgn_AN_EN73
PMDT4200
EX5635Z-
421G16Mn
EMEA South Africa LX.EDM0C.028 EX5635Z-421G16Mn LINPUSEZA1
UMAkk 1*1G/160/6L/5R/
bgn_AN_ENA1
PMDT4200
EX5635Z-
421G16Mn
EMEA Eastern
Europe
LX.EDM0C.011 EX5635Z-421G16Mn LINPUSEEU4
UMAkk 1*1G/160/6L/5R/
bgn_AN_EN82
PMDT4200
EX5635Z-
421G16Mn
EMEA Eastern
Europe
LX.EDM0C.012 EX5635Z-421G16Mn LINPUSEEU5
UMAkk 1*1G/160/6L/5R/
bgn_AN_EN44
PMDT4200
EX5635Z-
421G16Mn
EMEA Greece LX.EDM0C.020 EX5635Z-421G16Mn LINPUSEGR1
UMAkk 1*1G/160/6L/5R/
bgn_AN_EN11
PMDT4200
EX5635Z-
421G16Mn
EMEA UK LX.EDM0C.019 EX5635Z-421G16Mn LINPUSEGB1
UMAkk 1*1G/160/6L/5R/
bgn_AN_EN11
PMDT4200
Model RO Country Acer Part No Description CPU

147 Appendix A
EX5635Z-
421G16Mn
EMEA France LX.EDM0C.018 EX5635Z-421G16Mn LINPUSEFR1
UMAkk 1*1G/160/6L/5R/
bgn_AN_ENA1
PMDT4200
EX5635Z-
421G16Mn
EMEA Finland LX.EDM0C.017 EX5635Z-421G16Mn LINPUSEFI2
UMAkk 1*1G/160/6L/5R/
bgn_AN_EN81
PMDT4200
EX5635Z-
421G16Mn
EMEA Denmark LX.EDM0C.016 EX5635Z-421G16Mn LINPUSEDK1
UMAkk 1*1G/160/6L/5R/
bgn_AN_EN51
PMDT4200
EX5635Z-
421G16Mn
EMEA Germany LX.EDM0C.015 EX5635Z-421G16Mn LINPUSEDE1
UMAkk 1*1G/160/6L/5R/
bgn_AN_ENA1
PMDT4200
EX5635Z-
421G16Mn
EMEA Middle East LX.EDM0C.014 EX5635Z-421G16Mn LINPUSEME3
UMAkk 1*1G/160/6L/5R/
bgn_AN_ENA1
PMDT4200
EX5635Z-
421G16Mn
EMEA Middle East LX.EDM0C.013 EX5635Z-421G16Mn LINPUSEME2
UMAkk 1*1G/160/6L/5R/
bgn_AN_EN11
PMDT4200
EX5635Z-
421G16Mn
EMEA Spain LX.EDM0C.010 EX5635Z-421G16Mn LINPUSEES1
UMAkk 1*1G/160/6L/5R/
bgn_AN_EN61
PMDT4200
EX5635Z-
421G16Mn
EMEA Middle East LX.EDM0C.008 EX5635Z-421G16Mn LINPUSEME1
UMAkk 1*1G/160/6L/5R/
bgn_AN_EN11
PMDT4200
EX5635Z-
421G16Mn
EMEA Middle East LX.EDM0C.007 EX5635Z-421G16Mn LINPUSEME5
UMAkk 1*1G/160/6L/5R/
bgn_AN_EN11
PMDT4200
EX5635Z-
421G16Mn
EMEA Poland LX.EDM0C.005 EX5635Z-421G16Mn LINPUSEPL1
UMAkk 1*1G/160/6L/5R/
bgn_AN_EN41
PMDT4200
EX5635Z-
421G16Mn
EMEA Turkey LX.EDM0C.003 EX5635Z-421G16Mn LINPUSETR1
UMAkk 1*1G/160/6L/5R/
bgn_AN_TR51
PMDT4200
EX5635Z-
421G16Mn
EMEA South Africa LX.EDM0C.001 EX5635Z-421G16Mn LINPUSEZA2
UMAkk 1*1G/160/6L/5R/
bgn_AN_EN11
PMDT4200
EX5635Z-
421G16Mn
EMEA Ukraine LX.EDM0C.002 EX5635Z-421G16Mn LINPUSEUK1
UMAkk 1*1G/160/6L/5R/
bgn_AN_EN72
PMDT4200
EX5635Z-
421G16Mn
EMEA Turkey LX.EDM0C.004 EX5635Z-421G16Mn LINPUSETR1
UMAkk 1*1G/160/6L/5R/
bgn_AN_EN13
PMDT4200
EX5635Z-
421G16Mn
EMEA Middle East LX.EDM0C.006 EX5635Z-421G16Mn LINPUSEME7
UMAkk 1*1G/160/6L/5R/
bgn_AN_EN11
PMDT4200
EX5635Z-
421G16Mn
EMEA Israel LX.EDM0C.009 EX5635Z-421G16Mn LINPUSEIL1
UMAkk 1*1G/160/6L/5R/
bgn_AN_EN13
PMDT4200
EX5635Z-
421G16Mn
EMEA Turkey LX.EDM0C.041 EX5635Z-421G16Mn LINPUSETR1
UMAkk 1*1G/160/6L/
CB_bgn_AN_TR51
PMDT4200
EX5635Z-
421G16Mn
EMEA Ukraine LX.EDM0C.035 EX5635Z-421G16Mn LINPUSEUK1
UMAkk 1*1G/160/6L/
CB_bgn_AN_EN72
PMDT4200
EX5635Z-
421G16Mn
EMEA South Africa LX.EDM0C.042 EX5635Z-421G16Mn LINPUSEZA1
UMAkk 1*1G/160/6L/
CB_bgn_AN_ENA1
PMDT4200
Model RO Country Acer Part No Description CPU

Appendix A 148
EX5635Z-
422G16Mn
EMEA Eastern
Europe
LX.EDM0X.046 EX5635Z-422G16Mn
VHP32EREU5 MC UMAkk 1*2G/
160/6L/bgn_AN_RO12
PMDT4200
EX5635Z-
422G16Mn
EMEA Eastern
Europe
LX.EDM0X.042 EX5635Z-422G16Mn
VHP32EREU7 MC UMAkk 1*2G/
160/6L/bgn_AN_ENR2
PMDT4200
EX5635Z-
422G25Mn
WW WW S2.EDM0X.003 EX5635Z-422G25Mn VHP32EWW1
MC UMACkk 2*1G/250/BT/6L/
CB_bgn_0.3D_AN_EN11
PMDT4200
EX5635Z-
422G25Mn
WW WW S2.EDM0X.002 EX5635Z-422G25Mn VHP32EWW1
MC UMACkk 2*1G/250/6L/
CB_bgn_0.3D_AN_EN11
PMDT4200
EX5635Z-
421G25Mn
WW WW S2.EDM0X.001 EX5635Z-421G25Mn VHP32EWW1
MC UMACkk 1*1G/250/6L/
CB_bgn_0.3D_AN_EN11
PMDT4200
EX5635-
651G32Mi
WW WW S2.EDX0C.003 EX5635-651G32Mi LINPUSEWW1
UMACkk 1*1G/320/BT/6L/5R/
CB_abg_0.3D_AN_EN11
C2DT6570
EX5635-
901G25Mi
WW WW S2.EDX0C.002 EX5635-901G25Mi LINPUSEWW1
UMACkk 1*1G/250/BT/6L/5R/
CB_bg_0.3D_AN_EN11
CM900
EX5635-
901G25Mn
WW WW S2.EDX0C.001 EX5635-901G25Mn LINPUSEWW1
UMACkk 1*1G/250/BT/6L/5R/
CB_bgn_0.3D_AN_EN11
CM900
Model LCD VGA Chip VRAM 1 Memory 1 Memory 2 HDD 1
(GB)
EX5235-
901G16Mn
NLED15.6
WXGAG
UMA N SO1GBIII10 N N160GB
5.4KS
EX5235-
901G16Mn
NLED15.6
WXGAG
UMA N SO1GBIII10 N N160GB
5.4KS
EX5235-
902G16Mn
NLED15.6
WXGAG
UMA N SO2GBIII10 N N160GB
5.4KS
EX5235-
902G16Mn
NLED15.6
WXGAG
UMA N SO2GBIII10 N N160GB
5.4KS
EX5235-
902G16Mn
NLED15.6
WXGAG
UMA N SO2GBIII10 N N160GB
5.4KS
EX5235-
902G16Mn
NLED15.6
WXGAG
UMA N SO2GBIII10 N N160GB
5.4KS
EX5235-
902G16Mn
NLED15.6
WXGAG
UMA N SO2GBIII10 N N160GB
5.4KS
EX5235-
902G16Mn
NLED15.6
WXGAG
UMA N SO2GBIII10 N N160GB
5.4KS
EX5235-
902G16Mn
NLED15.6
WXGAG
UMA N SO2GBIII10 N N160GB
5.4KS
EX5235-
902G16Mn
NLED15.6
WXGAG
UMA N SO2GBIII10 N N160GB
5.4KS
EX5235-
902G16Mn
NLED15.6
WXGAG
UMA N SO2GBIII10 N N160GB
5.4KS
EX5235-
902G16Mn
NLED15.6
WXGAG
UMA N SO2GBIII10 N N160GB
5.4KS
EX5235-
902G16Mn
NLED15.6
WXGAG
UMA N SO2GBIII10 N N160GB
5.4KS
EX5235-
902G16Mn
NLED15.6
WXGAG
UMA N SO2GBIII10 N N160GB
5.4KS
Model RO Country Acer Part No Description CPU

149 Appendix A
EX5235-
902G16Mn
NLED15.6
WXGAG
UMA N SO2GBIII10 N N160GB
5.4KS
EX5235-
902G16Mn
NLED15.6
WXGAG
UMA N SO2GBIII10 N N160GB
5.4KS
EX5235-
902G16Mn
NLED15.6
WXGAG
UMA N SO2GBIII10 N N160GB
5.4KS
EX5235-
902G16Mn
NLED15.6
WXGAG
UMA N SO2GBIII10 N N160GB
5.4KS
EX5235-
902G16Mn
NLED15.6
WXGAG
UMA N SO2GBIII10 N N160GB
5.4KS
EX5235-
902G16Mn
NLED15.6
WXGAG
UMA N SO2GBIII10 N N160GB
5.4KS
EX5235-
902G16Mn
NLED15.6
WXGAG
UMA N SO2GBIII10 N N160GB
5.4KS
EX5235-
902G16Mn
NLED15.6
WXGAG
UMA N SO2GBIII10 N N160GB
5.4KS
EX5235-
902G16Mn
NLED15.6
WXGAG
UMA N SO2GBIII10 N N160GB
5.4KS
EX5235-
902G16Mn
NLED15.6
WXGAG
UMA N SO2GBIII10 N N160GB
5.4KS
EX5235-
902G16Mn
NLED15.6
WXGAG
UMA N SO2GBIII10 N N160GB
5.4KS
EX5235-
902G16Mn
NLED15.6
WXGAG
UMA N SO2GBIII10 N N160GB
5.4KS
EX5235-
902G16Mn
NLED15.6
WXGAG
UMA N SO2GBIII10 N N160GB
5.4KS
EX5235-
902G16Mn
NLED15.6
WXGAG
UMA N SO2GBIII10 N N160GB
5.4KS
EX5235-
902G16Mn
NLED15.6
WXGAG
UMA N SO2GBIII10 N N160GB
5.4KS
EX5235-
902G16Mn
NLED15.6
WXGAG
UMA N SO2GBIII10 N N160GB
5.4KS
EX5235-
902G16Mn
NLED15.6
WXGA
UMA N SO2GBIII10 N N160GB
5.4KS
EX5235-
902G16Mn
NLED15.6
WXGAG
UMA N SO2GBIII10 N N160GB
5.4KS
EX5235-
902G16Mi
NLED15.6
WXGAG
UMA N SO2GBIII10 N N160GB
5.4KS
EX5235-
902G16Mn
NLED15.6
WXGA
UMA N SO2GBIII10 N N160GB
5.4KS
EX5235-
902G16Mn
NLED15.6
WXGA
UMA N SO2GBIII10 N N160GB
5.4KS
EX5235-
902G16Mn
NLED15.6
WXGA
UMA N SO2GBIII10 N N160GB
5.4KS
EX5235-
902G16Mn
NLED15.6
WXGA
UMA N SO2GBIII10 N N160GB
5.4KS
EX5235-
902G16Mn
NLED15.6
WXGA
UMA N SO2GBIII10 N N160GB
5.4KS
EX5235-
902G16Mn
NLED15.6
WXGA
UMA N SO2GBIII10 N N160GB
5.4KS
EX5235-
902G16Mn
NLED15.6
WXGA
UMA N SO2GBIII10 N N160GB
5.4KS
Model LCD VGA Chip VRAM 1 Memory 1 Memory 2 HDD 1
(GB)

Appendix A 150
EX5235-
902G16Mn
NLED15.6
WXGA
UMA N SO2GBIII10 N N160GB
5.4KS
EX5235-
902G16Mn
NLED15.6
WXGA
UMA N SO2GBIII10 N N160GB
5.4KS
EX5235-
902G16Mn
NLED15.6
WXGA
UMA N SO2GBIII10 N N160GB
5.4KS
EX5235-
902G16Mn
NLED15.6
WXGA
UMA N SO2GBIII10 N N160GB
5.4KS
EX5235-
902G16Mn
NLED15.6
WXGA
UMA N SO2GBIII10 N N160GB
5.4KS
EX5235-
902G16Mn
NLED15.6
WXGA
UMA N SO2GBIII10 N N160GB
5.4KS
EX5235-
902G16Mn
NLED15.6
WXGA
UMA N SO2GBIII10 N N160GB
5.4KS
EX5235-
902G16Mn
NLED15.6
WXGA
UMA N SO2GBIII10 N N160GB
5.4KS
EX5235-
902G16Mn
NLED15.6
WXGA
UMA N SO2GBIII10 N N160GB
5.4KS
EX5235-
902G16Mn
NLED15.6
WXGA
UMA N SO2GBIII10 N N160GB
5.4KS
EX5235-
902G16Mn
NLED15.6
WXGA
UMA N SO2GBIII10 N N160GB
5.4KS
EX5235-
902G16Mn
NLED15.6
WXGA
UMA N SO2GBIII10 N N160GB
5.4KS
EX5235-
902G16Mn
NLED15.6
WXGA
UMA N SO2GBIII10 N N160GB
5.4KS
EX5235-
902G16Mn
NLED15.6
WXGA
UMA N SO2GBIII10 N N160GB
5.4KS
EX5235-
902G16Mn
NLED15.6
WXGA
UMA N SO2GBIII10 N N160GB
5.4KS
EX5235-
902G16Mn
NLED15.6
WXGA
UMA N SO2GBIII10 N N160GB
5.4KS
EX5235-
902G16Mn
NLED15.6
WXGA
UMA N SO2GBIII10 N N160GB
5.4KS
EX5235-
902G16Mn
NLED15.6
WXGA
UMA N SO2GBIII10 N N160GB
5.4KS
EX5235-
902G16Mn
NLED15.6
WXGA
UMA N SO2GBIII10 N N160GB
5.4KS
EX5235-
902G16Mn
NLED15.6
WXGA
UMA N SO2GBIII10 N N160GB
5.4KS
EX5235-
902G16Mn
NLED15.6
WXGA
UMA N SO2GBIII10 N N160GB
5.4KS
EX5235-
902G16Mi
NLED15.6
WXGA
UMA N SO2GBIII10 N N160GB
5.4KS
EX5235-
902G16Mn
NLED15.6
WXGA
UMA N SO2GBIII10 N N160GB
5.4KS
EX5235-
902G16Mn
NLED15.6
WXGA
UMA N SO2GBIII10 N N160GB
5.4KS
EX5235-
902G16Mn
NLED15.6
WXGA
UMA N SO2GBIII10 N N160GB
5.4KS
EX5235-
902G16Mn
NLED15.6
WXGA
UMA N SO2GBIII10 N N160GB
5.4KS
Model LCD VGA Chip VRAM 1 Memory 1 Memory 2 HDD 1
(GB)

151 Appendix A
EX5235-
902G16Mn
NLED15.6
WXGA
UMA N SO2GBIII10 N N160GB
5.4KS
EX5235-
902G16Mn
NLED15.6
WXGA
UMA N SO2GBIII10 N N160GB
5.4KS
EX5235-
902G16Mn
NLED15.6
WXGA
UMA N SO2GBIII10 N N160GB
5.4KS
EX5235-
901G16Mn
NLED15.6
WXGAG
UMA N SO1GBIII10 N N160GB
5.4KS
EX5235-
901G16Mn
NLED15.6
WXGAG
UMA N SO1GBIII10 N N160GB
5.4KS
EX5235-
901G16Mn
NLED15.6
WXGAG
UMA N SO1GBIII10 N N160GB
5.4KS
EX5235-
901G16Mn
NLED15.6
WXGAG
UMA N SO1GBIII10 N N160GB
5.4KS
EX5235-
901G16Mn
NLED15.6
WXGAG
UMA N SO1GBIII10 N N160GB
5.4KS
EX5235-
901G16Mn
NLED15.6
WXGAG
UMA N SO1GBIII10 N N160GB
5.4KS
EX5235-
901G16Mn
NLED15.6
WXGAG
UMA N SO1GBIII10 N N160GB
5.4KS
EX5235-
901G16Mn
NLED15.6
WXGAG
UMA N SO1GBIII10 N N160GB
5.4KS
EX5235-
901G16Mn
NLED15.6
WXGAG
UMA N SO1GBIII10 N N160GB
5.4KS
EX5235-
902G16Mn
NLED15.6
WXGA
UMA N SO2GBIII10 N N160GB
5.4KS
EX5235-
901G16Mn
NLED15.6
WXGAG
UMA N SO1GBIII10 N N160GB
5.4KS
EX5235-
901G16Mn
NLED15.6
WXGAG
UMA N SO1GBIII10 N N160GB
5.4KS
EX5235-
901G16Mn
NLED15.6
WXGAG
UMA N SO1GBIII10 N N160GB
5.4KS
EX5235-
901G16Mn
NLED15.6
WXGAG
UMA N SO1GBIII10 N N160GB
5.4KS
EX5235-
901G16Mn
NLED15.6
WXGAG
UMA N SO1GBIII10 N N160GB
5.4KS
EX5235-
901G16Mn
NLED15.6
WXGAG
UMA N SO1GBIII10 N N160GB
5.4KS
EX5235-
901G16Mn
NLED15.6
WXGAG
UMA N SO1GBIII10 N N160GB
5.4KS
EX5235-
901G16Mn
NLED15.6
WXGAG
UMA N SO1GBIII10 N N160GB
5.4KS
EX5235-
901G16Mn
NLED15.6
WXGAG
UMA N SO1GBIII10 N N160GB
5.4KS
EX5235-
901G16Mn
NLED15.6
WXGAG
UMA N SO1GBIII10 N N160GB
5.4KS
EX5235-
901G16Mn
NLED15.6
WXGAG
UMA N SO1GBIII10 N N160GB
5.4KS
EX5235-
901G16Mi
NLED15.6
WXGAG
UMA N SO1GBIII10 N N160GB
5.4KS
EX5235-
901G16Mn
NLED15.6
WXGAG
UMA N SO1GBIII10 N N160GB
5.4KS
Model LCD VGA Chip VRAM 1 Memory 1 Memory 2 HDD 1
(GB)

Appendix A 152
EX5235-
901G16Mn
NLED15.6
WXGAG
UMA N SO1GBIII10 N N160GB
5.4KS
EX5235-
901G16Mn
NLED15.6
WXGAG
UMA N SO1GBIII10 N N160GB
5.4KS
EX5235-
901G16Mn
NLED15.6
WXGAG
UMA N SO1GBIII10 N N160GB
5.4KS
EX5235-
901G16Mn
NLED15.6
WXGAG
UMA N SO1GBIII10 N N160GB
5.4KS
EX5235-
901G16Mn
NLED15.6
WXGAG
UMA N SO1GBIII10 N N160GB
5.4KS
EX5235-
901G16Mn
NLED15.6
WXGAG
UMA N SO1GBIII10 N N160GB
5.4KS
EX5235-
901G16Mn
NLED15.6
WXGAG
UMA N SO1GBIII10 N N160GB
5.4KS
EX5235-
901G16Mn
NLED15.6
WXGA
UMA N SO1GBIII10 N N160GB
5.4KS
EX5235-
901G16Mn
NLED15.6
WXGA
UMA N SO1GBIII10 N N160GB
5.4KS
EX5235-
901G16Mn
NLED15.6
WXGA
UMA N SO1GBIII10 N N160GB
5.4KS
EX5235-
901G16Mn
NLED15.6
WXGA
UMA N SO1GBIII10 N N160GB
5.4KS
EX5235-
901G16Mn
NLED15.6
WXGA
UMA N SO1GBIII10 N N160GB
5.4KS
EX5235-
901G16Mn
NLED15.6
WXGA
UMA N SO1GBIII10 N N160GB
5.4KS
EX5235-
901G16Mn
NLED15.6
WXGA
UMA N SO1GBIII10 N N160GB
5.4KS
EX5235-
901G16Mn
NLED15.6
WXGAG
UMA N SO1GBIII10 N N160GB
5.4KS
EX5235-
901G16Mn
NLED15.6
WXGAG
UMA N SO1GBIII10 N N160GB
5.4KS
EX5235-
901G16Mn
NLED15.6
WXGAG
UMA N SO1GBIII10 N N160GB
5.4KS
EX5235-
901G16Mn
NLED15.6
WXGAG
UMA N SO1GBIII10 N N160GB
5.4KS
EX5235-
901G16Mn
NLED15.6
WXGA
UMA N SO1GBIII10 N N160GB
5.4KS
EX5235-
901G16Mn
NLED15.6
WXGA
UMA N SO1GBIII10 N N160GB
5.4KS
EX5235-
901G16Mn
NLED15.6
WXGA
UMA N SO1GBIII10 N N160GB
5.4KS
EX5235-
901G16Mn
NLED15.6
WXGA
UMA N SO1GBIII10 N N160GB
5.4KS
EX5235-
901G16Mn
NLED15.6
WXGA
UMA N SO1GBIII10 N N160GB
5.4KS
EX5235-
901G16Mn
NLED15.6
WXGA
UMA N SO1GBIII10 N N160GB
5.4KS
EX5235-
901G16Mn
NLED15.6
WXGA
UMA N SO1GBIII10 N N160GB
5.4KS
EX5235-
901G16Mn
NLED15.6
WXGA
UMA N SO1GBIII10 N N160GB
5.4KS
Model LCD VGA Chip VRAM 1 Memory 1 Memory 2 HDD 1
(GB)

153 Appendix A
EX5235-
901G16Mn
NLED15.6
WXGA
UMA N SO1GBIII10 N N160GB
5.4KS
EX5235-
901G16Mn
NLED15.6
WXGA
UMA N SO1GBIII10 N N160GB
5.4KS
EX5235-
901G16Mn
NLED15.6
WXGA
UMA N SO1GBIII10 N N160GB
5.4KS
EX5235-
901G16Mn
NLED15.6
WXGA
UMA N SO1GBIII10 N N160GB
5.4KS
EX5235-
901G16Mn
NLED15.6
WXGA
UMA N SO1GBIII10 N N160GB
5.4KS
EX5235-
901G16Mn
NLED15.6
WXGA
UMA N SO1GBIII10 N N160GB
5.4KS
EX5235-
901G16Mn
NLED15.6
WXGA
UMA N SO1GBIII10 N N160GB
5.4KS
EX5235-
901G16Mn
NLED15.6
WXGA
UMA N SO1GBIII10 N N160GB
5.4KS
EX5235-
901G16Mn
NLED15.6
WXGA
UMA N SO1GBIII10 N N160GB
5.4KS
EX5235-
901G16Mi
NLED15.6
WXGA
UMA N SO1GBIII10 N N160GB
5.4KS
EX5235-
901G16Mn
NLED15.6
WXGA
UMA N SO1GBIII10 N N160GB
5.4KS
EX5235-
901G16Mn
NLED15.6
WXGA
UMA N SO1GBIII10 N N160GB
5.4KS
EX5235-
901G16Mn
NLED15.6
WXGA
UMA N SO1GBIII10 N N160GB
5.4KS
EX5235-
901G16Mn
NLED15.6
WXGA
UMA N SO1GBIII10 N N160GB
5.4KS
EX5235-
901G16Mn
NLED15.6
WXGA
UMA N SO1GBIII10 N N160GB
5.4KS
EX5235-
901G16Mn
NLED15.6
WXGA
UMA N SO1GBIII10 N N160GB
5.4KS
EX5235-
901G16Mn
NLED15.6
WXGA
UMA N SO1GBIII10 N N160GB
5.4KS
EX5235-
901G16Mn
NLED15.6
WXGA
UMA N SO1GBIII10 N N160GB
5.4KS
EX5235-
902G16Mn
NLED15.6
WXGAG
UMA N SO2GBIII10 N N160GB
5.4KS
EX5235-
902G16Mn
NLED15.6
WXGAG
UMA N SO2GBIII10 N N160GB
5.4KS
EX5235-
902G16Mn
NLED15.6
WXGAG
UMA N SO2GBIII10 N N160GB
5.4KS
EX5235-
902G16Mn
NLED15.6
WXGAG
UMA N SO2GBIII10 N N160GB
5.4KS
EX5235-
902G16Mn
NLED15.6
WXGAG
UMA N SO2GBIII10 N N160GB
5.4KS
EX5235-
902G16Mn
NLED15.6
WXGAG
UMA N SO2GBIII10 N N160GB
5.4KS
EX5235-
902G16Mn
NLED15.6
WXGAG
UMA N SO2GBIII10 N N160GB
5.4KS
EX5235-
902G16Mn
NLED15.6
WXGAG
UMA N SO2GBIII10 N N160GB
5.4KS
Model LCD VGA Chip VRAM 1 Memory 1 Memory 2 HDD 1
(GB)

Appendix A 154
EX5235-
162G25Mi
NLED15.6
WXGAG
UMA N SO1GBIII10 SO1GBIII10 N250GB
5.4KS
EX5235-
162G25Mi
NLED15.6
WXGAG
UMA N SO1GBIII10 SO1GBIII10 N250GB
5.4KS
EX5235-
161G25Mi
NLED15.6
WXGAG
UMA N SO1GBIII10 N N250GB
5.4KS
EX5635G-
7A1G50Mn
NLED15.6
WXGAG
N10MGE1 N SO1GBIII10 N N500GB
5.4KS
EX5635G-
664G50Mn
NLED15.6
WXGAG
N10MGE1 VR1GbII5 SO2GBIII10 SO2GBIII10 N500GB
5.4KS
EX5635G-
664G50Mn
NLED15.6
WXGAG
N10MGE1 VR1GbII5 SO2GBIII10 SO2GBIII10 N500GB
5.4KS
EX5635ZG-
424G32Mn
NLED15.6
WXGAG
N10MGE1 512M-DDR2(64*16*4) SO2GBIII10 SO2GBIII10 N320GB
5.4KS
EX5635ZG-
422G25Mn
NLED15.6
WXGAG
N10MGE1 512M-DDR2(64*16*4) SO2GBIII10 N N250GB
5.4KS
EX5635ZG-
422G32n
NLED15.6
WXGAG
N10MGE1 512M-DDR2(64*16*4) SO2GBIII10 N N320GB
5.4KS
EX5635Z-
421G25Mn
NLED15.6
WXGAG
UMA N SO1GBIII10 N N250GB
5.4KS
EX5635Z-
421G16Mn
NLED15.6
WXGAG
UMA N SO1GBIII10 N N160GB
5.4KS
EX5635Z-
422G16Mn
NLED15.6
WXGAG
UMA N SO1GBIII10 SO1GBIII10 N160GB
5.4KS
EX5635Z-
422G16Mn
NLED15.6
WXGAG
UMA N SO2GBIII10 N N160GB
5.4KS
EX5635Z-
423G32Mn
NLED15.6
WXGAG
UMA N SO2GBIII10 SO1GBIII10 N320GB
5.4KS
EX5635Z-
431G16Mn
NLED15.6
WXGA
UMA N SO1GBIII10 N N160GB
5.4KS
EX5635Z-
431G16Mn
NLED15.6
WXGA
UMA N SO1GBIII10 N N160GB
5.4KS
EX5635Z-
431G16Mn
NLED15.6
WXGA
UMA N SO1GBIII10 N N160GB
5.4KS
EX5635Z-
431G16Mn
NLED15.6
WXGA
UMA N SO1GBIII10 N N160GB
5.4KS
EX5635Z-
431G16Mn
NLED15.6
WXGA
UMA N SO1GBIII10 N N160GB
5.4KS
EX5635Z-
431G16Mn
NLED15.6
WXGA
UMA N SO1GBIII10 N N160GB
5.4KS
EX5635Z-
431G16Mn
NLED15.6
WXGA
UMA N SO1GBIII10 N N160GB
5.4KS
EX5635Z-
431G16Mn
NLED15.6
WXGA
UMA N SO1GBIII10 N N160GB
5.4KS
EX5635Z-
431G16Mn
NLED15.6
WXGA
UMA N SO1GBIII10 N N160GB
5.4KS
EX5635Z-
431G16Mn
NLED15.6
WXGA
UMA N SO1GBIII10 N N160GB
5.4KS
EX5635Z-
431G16Mn
NLED15.6
WXGA
UMA N SO1GBIII10 N N160GB
5.4KS
EX5635Z-
431G16Mn
NLED15.6
WXGA
UMA N SO1GBIII10 N N160GB
5.4KS
Model LCD VGA Chip VRAM 1 Memory 1 Memory 2 HDD 1
(GB)

155 Appendix A
EX5635Z-
431G16Mn
NLED15.6
WXGA
UMA N SO1GBIII10 N N160GB
5.4KS
EX5635Z-
431G16Mi
NLED15.6
WXGA
UMA N SO1GBIII10 N N160GB
5.4KS
EX5635Z-
431G16Mn
NLED15.6
WXGA
UMA N SO1GBIII10 N N160GB
5.4KS
EX5635Z-
431G16Mn
NLED15.6
WXGA
UMA N SO1GBIII10 N N160GB
5.4KS
EX5635Z-
431G16Mn
NLED15.6
WXGA
UMA N SO1GBIII10 N N160GB
5.4KS
EX5635Z-
431G16Mn
NLED15.6
WXGA
UMA N SO1GBIII10 N N160GB
5.4KS
EX5635Z-
431G16Mn
NLED15.6
WXGA
UMA N SO1GBIII10 N N160GB
5.4KS
EX5635Z-
431G16Mn
NLED15.6
WXGA
UMA N SO1GBIII10 N N160GB
5.4KS
EX5635Z-
431G16Mn
NLED15.6
WXGA
UMA N SO1GBIII10 N N160GB
5.4KS
EX5635Z-
431G16Mn
NLED15.6
WXGA
UMA N SO1GBIII10 N N160GB
5.4KS
EX5635Z-
431G16Mn
NLED15.6
WXGA
UMA N SO1GBIII10 N N160GB
5.4KS
EX5635Z-
431G16Mn
NLED15.6
WXGA
UMA N SO1GBIII10 N N160GB
5.4KS
EX5635Z-
431G16Mn
NLED15.6
WXGA
UMA N SO1GBIII10 N N160GB
5.4KS
EX5635Z-
431G16Mn
NLED15.6
WXGA
UMA N SO1GBIII10 N N160GB
5.4KS
EX5635Z-
431G16Mn
NLED15.6
WXGA
UMA N SO1GBIII10 N N160GB
5.4KS
EX5635Z-
431G16Mn
NLED15.6
WXGA
UMA N SO1GBIII10 N N160GB
5.4KS
EX5635Z-
431G16Mn
NLED15.6
WXGA
UMA N SO1GBIII10 N N160GB
5.4KS
EX5635Z-
431G16Mn
NLED15.6
WXGA
UMA N SO1GBIII10 N N160GB
5.4KS
EX5635Z-
431G16Mn
NLED15.6
WXGA
UMA N SO1GBIII10 N N160GB
5.4KS
EX5635Z-
431G16Mn
NLED15.6
WXGA
UMA N SO1GBIII10 N N160GB
5.4KS
EX5635Z-
432G16Mn
NLED15.6
WXGA
UMA N SO2GBIII10 N N160GB
5.4KS
EX5635Z-
431G16Mn
NLED15.6
WXGA
UMA N SO1GBIII10 N N160GB
5.4KS
EX5635Z-
432G16Mn
NLED15.6
WXGA
UMA N SO2GBIII10 N N160GB
5.4KS
EX5635Z-
432G16Mn
NLED15.6
WXGA
UMA N SO2GBIII10 N N160GB
5.4KS
EX5635Z-
432G16Mn
NLED15.6
WXGA
UMA N SO2GBIII10 N N160GB
5.4KS
EX5635Z-
432G16Mn
NLED15.6
WXGA
UMA N SO2GBIII10 N N160GB
5.4KS
Model LCD VGA Chip VRAM 1 Memory 1 Memory 2 HDD 1
(GB)

Appendix A 156
EX5635Z-
432G16Mn
NLED15.6
WXGA
UMA N SO2GBIII10 N N160GB
5.4KS
EX5635Z-
432G16Mn
NLED15.6
WXGA
UMA N SO2GBIII10 N N160GB
5.4KS
EX5635Z-
432G16Mn
NLED15.6
WXGA
UMA N SO2GBIII10 N N160GB
5.4KS
EX5635Z-
432G16Mn
NLED15.6
WXGA
UMA N SO2GBIII10 N N160GB
5.4KS
EX5635Z-
432G16Mn
NLED15.6
WXGA
UMA N SO2GBIII10 N N160GB
5.4KS
EX5635Z-
432G16Mn
NLED15.6
WXGA
UMA N SO2GBIII10 N N160GB
5.4KS
EX5635Z-
432G16Mn
NLED15.6
WXGA
UMA N SO2GBIII10 N N160GB
5.4KS
EX5635Z-
432G16Mn
NLED15.6
WXGA
UMA N SO2GBIII10 N N160GB
5.4KS
EX5635Z-
432G16Mn
NLED15.6
WXGA
UMA N SO2GBIII10 N N160GB
5.4KS
EX5635Z-
432G16Mn
NLED15.6
WXGA
UMA N SO2GBIII10 N N160GB
5.4KS
EX5635Z-
432G16Mn
NLED15.6
WXGA
UMA N SO2GBIII10 N N160GB
5.4KS
EX5635Z-
432G16Mn
NLED15.6
WXGA
UMA N SO2GBIII10 N N160GB
5.4KS
EX5635Z-
432G16Mn
NLED15.6
WXGA
UMA N SO2GBIII10 N N160GB
5.4KS
EX5635Z-
432G16Mn
NLED15.6
WXGA
UMA N SO2GBIII10 N N160GB
5.4KS
EX5635Z-
432G16Mn
NLED15.6
WXGA
UMA N SO2GBIII10 N N160GB
5.4KS
EX5635Z-
432G16Mn
NLED15.6
WXGA
UMA N SO2GBIII10 N N160GB
5.4KS
EX5635Z-
432G16Mn
NLED15.6
WXGA
UMA N SO2GBIII10 N N160GB
5.4KS
EX5635Z-
432G16Mn
NLED15.6
WXGA
UMA N SO2GBIII10 N N160GB
5.4KS
EX5635Z-
432G16Mn
NLED15.6
WXGA
UMA N SO2GBIII10 N N160GB
5.4KS
EX5635Z-
432G16Mn
NLED15.6
WXGA
UMA N SO2GBIII10 N N160GB
5.4KS
EX5635Z-
432G16Mn
NLED15.6
WXGA
UMA N SO2GBIII10 N N160GB
5.4KS
EX5635Z-
432G16Mn
NLED15.6
WXGA
UMA N SO2GBIII10 N N160GB
5.4KS
EX5635Z-
432G16Mn
NLED15.6
WXGA
UMA N SO2GBIII10 N N160GB
5.4KS
EX5635Z-
432G16Mi
NLED15.6
WXGA
UMA N SO2GBIII10 N N160GB
5.4KS
EX5635Z-
432G16Mn
NLED15.6
WXGA
UMA N SO2GBIII10 N N160GB
5.4KS
EX5635Z-
432G16Mn
NLED15.6
WXGA
UMA N SO2GBIII10 N N160GB
5.4KS
Model LCD VGA Chip VRAM 1 Memory 1 Memory 2 HDD 1
(GB)

157 Appendix A
EX5635Z-
432G16Mn
NLED15.6
WXGA
UMA N SO2GBIII10 N N160GB
5.4KS
EX5635Z-
432G16Mn
NLED15.6
WXGA
UMA N SO2GBIII10 N N160GB
5.4KS
EX5635Z-
432G16Mn
NLED15.6
WXGA
UMA N SO2GBIII10 N N160GB
5.4KS
EX5635Z-
432G16Mn
NLED15.6
WXGA
UMA N SO2GBIII10 N N160GB
5.4KS
EX5635Z-
432G16Mn
NLED15.6
WXGA
UMA N SO2GBIII10 N N160GB
5.4KS
EX5635Z-
432G16Mn
NLED15.6
WXGA
UMA N SO2GBIII10 N N160GB
5.4KS
EX5635Z-
432G16Mn
NLED15.6
WXGA
UMA N SO2GBIII10 N N160GB
5.4KS
EX5635Z-
432G16Mn
NLED15.6
WXGA
UMA N SO2GBIII10 N N160GB
5.4KS
EX5635Z-
422G25Mn
NLED15.6
WXGA
UMA N SO2GBIII10 N N250GB
5.4KS
EX5635Z-
422G16Mn
NLED15.6
WXGAG
UMA N SO2GBIII10 N N160GB
5.4KS
EX5635Z-
422G16Mn
NLED15.6
WXGAG
UMA N SO2GBIII10 N N160GB
5.4KS
EX5635Z-
422G16Mn
NLED15.6
WXGA
UMA N SO2GBIII10 N N160GB
5.4KS
EX5635Z-
422G16Mn
NLED15.6
WXGA
UMA N SO2GBIII10 N N160GB
5.4KS
EX5635Z-
422G16Mn
NLED15.6
WXGA
UMA N SO2GBIII10 N N160GB
5.4KS
EX5635Z-
422G16Mn
NLED15.6
WXGA
UMA N SO2GBIII10 N N160GB
5.4KS
EX5635Z-
422G16Mn
NLED15.6
WXGA
UMA N SO2GBIII10 N N160GB
5.4KS
EX5635Z-
422G16Mn
NLED15.6
WXGA
UMA N SO2GBIII10 N N160GB
5.4KS
EX5635Z-
422G16Mn
NLED15.6
WXGA
UMA N SO2GBIII10 N N160GB
5.4KS
EX5635Z-
422G16Mn
NLED15.6
WXGA
UMA N SO2GBIII10 N N160GB
5.4KS
EX5635Z-
422G16Mn
NLED15.6
WXGA
UMA N SO2GBIII10 N N160GB
5.4KS
EX5635Z-
422G16Mn
NLED15.6
WXGA
UMA N SO2GBIII10 N N160GB
5.4KS
EX5635Z-
422G16Mn
NLED15.6
WXGA
UMA N SO2GBIII10 N N160GB
5.4KS
EX5635Z-
422G16Mn
NLED15.6
WXGA
UMA N SO2GBIII10 N N160GB
5.4KS
EX5635Z-
422G16Mn
NLED15.6
WXGA
UMA N SO2GBIII10 N N160GB
5.4KS
EX5635Z-
422G16Mn
NLED15.6
WXGA
UMA N SO2GBIII10 N N160GB
5.4KS
EX5635Z-
422G16Mn
NLED15.6
WXGA
UMA N SO2GBIII10 N N160GB
5.4KS
Model LCD VGA Chip VRAM 1 Memory 1 Memory 2 HDD 1
(GB)

Appendix A 158
EX5635Z-
422G16Mn
NLED15.6
WXGA
UMA N SO2GBIII10 N N160GB
5.4KS
EX5635Z-
422G16Mn
NLED15.6
WXGA
UMA N SO2GBIII10 N N160GB
5.4KS
EX5635Z-
422G16Mn
NLED15.6
WXGA
UMA N SO2GBIII10 N N160GB
5.4KS
EX5635Z-
422G16Mn
NLED15.6
WXGA
UMA N SO2GBIII10 N N160GB
5.4KS
EX5635Z-
422G16Mi
NLED15.6
WXGA
UMA N SO2GBIII10 N N160GB
5.4KS
EX5635Z-
422G16Mn
NLED15.6
WXGA
UMA N SO2GBIII10 N N160GB
5.4KS
EX5635Z-
422G16Mn
NLED15.6
WXGA
UMA N SO2GBIII10 N N160GB
5.4KS
EX5635Z-
422G16Mn
NLED15.6
WXGA
UMA N SO2GBIII10 N N160GB
5.4KS
EX5635Z-
422G16Mn
NLED15.6
WXGA
UMA N SO2GBIII10 N N160GB
5.4KS
EX5635Z-
422G16Mn
NLED15.6
WXGA
UMA N SO2GBIII10 N N160GB
5.4KS
EX5635Z-
422G16Mn
NLED15.6
WXGA
UMA N SO2GBIII10 N N160GB
5.4KS
EX5635Z-
422G16Mn
NLED15.6
WXGA
UMA N SO2GBIII10 N N160GB
5.4KS
EX5635Z-
422G16Mn
NLED15.6
WXGA
UMA N SO2GBIII10 N N160GB
5.4KS
EX5635Z-
422G16Mn
NLED15.6
WXGA
UMA N SO2GBIII10 N N160GB
5.4KS
EX5635Z-
422G16Mn
NLED15.6
WXGA
UMA N SO2GBIII10 N N160GB
5.4KS
EX5635Z-
422G16Mn
NLED15.6
WXGAG
UMA N SO2GBIII10 N N160GB
5.4KS
EX5635Z-
422G16Mn
NLED15.6
WXGA
UMA N SO2GBIII10 N N160GB
5.4KS
EX5635Z-
422G16Mn
NLED15.6
WXGA
UMA N SO2GBIII10 N N160GB
5.4KS
EX5635Z-
422G16Mn
NLED15.6
WXGA
UMA N SO2GBIII10 N N160GB
5.4KS
EX5635Z-
422G16Mn
NLED15.6
WXGA
UMA N SO2GBIII10 N N160GB
5.4KS
EX5635Z-
422G16Mn
NLED15.6
WXGA
UMA N SO2GBIII10 N N160GB
5.4KS
EX5635Z-
422G16Mn
NLED15.6
WXGA
UMA N SO2GBIII10 N N160GB
5.4KS
EX5635Z-
422G16Mn
NLED15.6
WXGA
UMA N SO2GBIII10 N N160GB
5.4KS
EX5635Z-
422G16Mn
NLED15.6
WXGAG
UMA N SO2GBIII10 N N160GB
5.4KS
EX5635Z-
422G16Mn
NLED15.6
WXGAG
UMA N SO2GBIII10 N N160GB
5.4KS
EX5635Z-
422G16Mn
NLED15.6
WXGAG
UMA N SO2GBIII10 N N160GB
5.4KS
Model LCD VGA Chip VRAM 1 Memory 1 Memory 2 HDD 1
(GB)

159 Appendix A
EX5635Z-
422G16Mn
NLED15.6
WXGAG
UMA N SO2GBIII10 N N160GB
5.4KS
EX5635Z-
422G16Mn
NLED15.6
WXGAG
UMA N SO2GBIII10 N N160GB
5.4KS
EX5635Z-
422G16Mn
NLED15.6
WXGAG
UMA N SO2GBIII10 N N160GB
5.4KS
EX5635Z-
422G16Mn
NLED15.6
WXGAG
UMA N SO2GBIII10 N N160GB
5.4KS
EX5635Z-
422G16Mn
NLED15.6
WXGAG
UMA N SO2GBIII10 N N160GB
5.4KS
EX5635Z-
422G16Mn
NLED15.6
WXGAG
UMA N SO2GBIII10 N N160GB
5.4KS
EX5635Z-
422G16Mn
NLED15.6
WXGAG
UMA N SO2GBIII10 N N160GB
5.4KS
EX5635Z-
422G16Mn
NLED15.6
WXGAG
UMA N SO2GBIII10 N N160GB
5.4KS
EX5635Z-
422G16Mn
NLED15.6
WXGAG
UMA N SO2GBIII10 N N160GB
5.4KS
EX5635Z-
422G16Mn
NLED15.6
WXGAG
UMA N SO2GBIII10 N N160GB
5.4KS
EX5635Z-
422G16Mn
NLED15.6
WXGAG
UMA N SO2GBIII10 N N160GB
5.4KS
EX5635Z-
422G16Mn
NLED15.6
WXGAG
UMA N SO2GBIII10 N N160GB
5.4KS
EX5635Z-
422G16Mn
NLED15.6
WXGAG
UMA N SO2GBIII10 N N160GB
5.4KS
EX5635Z-
422G16Mn
NLED15.6
WXGAG
UMA N SO2GBIII10 N N160GB
5.4KS
EX5635Z-
422G16Mn
NLED15.6
WXGAG
UMA N SO2GBIII10 N N160GB
5.4KS
EX5635Z-
422G16Mn
NLED15.6
WXGAG
UMA N SO2GBIII10 N N160GB
5.4KS
EX5635Z-
422G16Mn
NLED15.6
WXGAG
UMA N SO2GBIII10 N N160GB
5.4KS
EX5635Z-
422G16Mn
NLED15.6
WXGAG
UMA N SO2GBIII10 N N160GB
5.4KS
EX5635Z-
422G16Mn
NLED15.6
WXGAG
UMA N SO2GBIII10 N N160GB
5.4KS
EX5635Z-
422G16Mn
NLED15.6
WXGAG
UMA N SO2GBIII10 N N160GB
5.4KS
EX5635Z-
422G16Mi
NLED15.6
WXGAG
UMA N SO2GBIII10 N N160GB
5.4KS
EX5635Z-
422G16Mn
NLED15.6
WXGAG
UMA N SO2GBIII10 N N160GB
5.4KS
EX5635Z-
422G16Mn
NLED15.6
WXGAG
UMA N SO2GBIII10 N N160GB
5.4KS
EX5635Z-
422G16Mn
NLED15.6
WXGAG
UMA N SO2GBIII10 N N160GB
5.4KS
EX5635Z-
422G16Mn
NLED15.6
WXGAG
UMA N SO2GBIII10 N N160GB
5.4KS
EX5635Z-
422G16Mn
NLED15.6
WXGAG
UMA N SO2GBIII10 N N160GB
5.4KS
Model LCD VGA Chip VRAM 1 Memory 1 Memory 2 HDD 1
(GB)

Appendix A 160
EX5635Z-
422G16Mn
NLED15.6
WXGAG
UMA N SO2GBIII10 N N160GB
5.4KS
EX5635Z-
422G16Mn
NLED15.6
WXGAG
UMA N SO2GBIII10 N N160GB
5.4KS
EX5635Z-
421G16Mn
NLED15.6
WXGAG
UMA N SO1GBIII10 N N160GB
5.4KS
EX5635Z-
421G16Mn
NLED15.6
WXGAG
UMA N SO1GBIII10 N N160GB
5.4KS
EX5635Z-
422G16Mn
NLED15.6
WXGAG
UMA N SO2GBIII10 N N160GB
5.4KS
EX5635Z-
422G16Mn
NLED15.6
WXGAG
UMA N SO2GBIII10 N N160GB
5.4KS
EX5635Z-
422G16Mn
NLED15.6
WXGAG
UMA N SO2GBIII10 N N160GB
5.4KS
EX5635Z-
422G16Mn
NLED15.6
WXGAG
UMA N SO2GBIII10 N N160GB
5.4KS
EX5635Z-
422G16Mn
NLED15.6
WXGAG
UMA N SO2GBIII10 N N160GB
5.4KS
EX5635Z-
421G16Mn
NLED15.6
WXGAG
UMA N SO1GBIII10 N N160GB
5.4KS
EX5635Z-
421G16Mn
NLED15.6
WXGAG
UMA N SO1GBIII10 N N160GB
5.4KS
EX5635Z-
421G16Mn
NLED15.6
WXGAG
UMA N SO1GBIII10 N N160GB
5.4KS
EX5635Z-
421G16Mn
NLED15.6
WXGAG
UMA N SO1GBIII10 N N160GB
5.4KS
EX5635Z-
421G16Mn
NLED15.6
WXGAG
UMA N SO1GBIII10 N N160GB
5.4KS
EX5635Z-
421G16Mn
NLED15.6
WXGAG
UMA N SO1GBIII10 N N160GB
5.4KS
EX5635Z-
421G16Mn
NLED15.6
WXGAG
UMA N SO1GBIII10 N N160GB
5.4KS
EX5635Z-
421G16Mn
NLED15.6
WXGAG
UMA N SO1GBIII10 N N160GB
5.4KS
EX5635Z-
421G16Mn
NLED15.6
WXGAG
UMA N SO1GBIII10 N N160GB
5.4KS
EX5635Z-
421G16Mn
NLED15.6
WXGAG
UMA N SO1GBIII10 N N160GB
5.4KS
EX5635Z-
421G16Mn
NLED15.6
WXGAG
UMA N SO1GBIII10 N N160GB
5.4KS
EX5635Z-
421G16Mn
NLED15.6
WXGAG
UMA N SO1GBIII10 N N160GB
5.4KS
EX5635Z-
421G16Mn
NLED15.6
WXGAG
UMA N SO1GBIII10 N N160GB
5.4KS
EX5635Z-
421G16Mn
NLED15.6
WXGAG
UMA N SO1GBIII10 N N160GB
5.4KS
EX5635Z-
421G16Mn
NLED15.6
WXGAG
UMA N SO1GBIII10 N N160GB
5.4KS
EX5635Z-
421G16Mn
NLED15.6
WXGAG
UMA N SO1GBIII10 N N160GB
5.4KS
EX5635Z-
421G16Mn
NLED15.6
WXGAG
UMA N SO1GBIII10 N N160GB
5.4KS
Model LCD VGA Chip VRAM 1 Memory 1 Memory 2 HDD 1
(GB)

161 Appendix A
EX5635Z-
421G16Mn
NLED15.6
WXGAG
UMA N SO1GBIII10 N N160GB
5.4KS
EX5635Z-
421G16Mn
NLED15.6
WXGAG
UMA N SO1GBIII10 N N160GB
5.4KS
EX5635Z-
421G16Mn
NLED15.6
WXGAG
UMA N SO1GBIII10 N N160GB
5.4KS
EX5635Z-
421G16Mn
NLED15.6
WXGAG
UMA N SO1GBIII10 N N160GB
5.4KS
EX5635Z-
421G16Mn
NLED15.6
WXGAG
UMA N SO1GBIII10 N N160GB
5.4KS
EX5635Z-
421G16Mn
NLED15.6
WXGAG
UMA N SO1GBIII10 N N160GB
5.4KS
EX5635Z-
421G16Mn
NLED15.6
WXGA
UMA N SO1GBIII10 N N160GB
5.4KS
EX5635Z-
421G16Mn
NLED15.6
WXGA
UMA N SO1GBIII10 N N160GB
5.4KS
EX5635Z-
421G16Mn
NLED15.6
WXGA
UMA N SO1GBIII10 N N160GB
5.4KS
EX5635Z-
421G16Mn
NLED15.6
WXGAG
UMA N SO1GBIII10 N N160GB
5.4KS
EX5635Z-
421G16Mi
NLED15.6
WXGAG
UMA N SO1GBIII10 N N160GB
5.4KS
EX5635Z-
421G16Mn
NLED15.6
WXGAG
UMA N SO1GBIII10 N N160GB
5.4KS
EX5635Z-
421G16Mn
NLED15.6
WXGAG
UMA N SO1GBIII10 N N160GB
5.4KS
EX5635Z-
421G16Mn
NLED15.6
WXGAG
UMA N SO1GBIII10 N N160GB
5.4KS
EX5635Z-
421G16Mn
NLED15.6
WXGA
UMA N SO1GBIII10 N N160GB
5.4KS
EX5635Z-
421G16Mn
NLED15.6
WXGA
UMA N SO1GBIII10 N N160GB
5.4KS
EX5635Z-
421G16Mn
NLED15.6
WXGA
UMA N SO1GBIII10 N N160GB
5.4KS
EX5635Z-
421G16Mn
NLED15.6
WXGA
UMA N SO1GBIII10 N N160GB
5.4KS
EX5635Z-
421G16Mn
NLED15.6
WXGA
UMA N SO1GBIII10 N N160GB
5.4KS
EX5635Z-
421G16Mn
NLED15.6
WXGA
UMA N SO1GBIII10 N N160GB
5.4KS
EX5635Z-
421G16Mi
NLED15.6
WXGA
UMA N SO1GBIII10 N N160GB
5.4KS
EX5635Z-
421G16Mn
NLED15.6
WXGA
UMA N SO1GBIII10 N N160GB
5.4KS
EX5635Z-
421G16Mn
NLED15.6
WXGA
UMA N SO1GBIII10 N N160GB
5.4KS
EX5635Z-
421G16Mn
NLED15.6
WXGA
UMA N SO1GBIII10 N N160GB
5.4KS
EX5635Z-
421G16Mn
NLED15.6
WXGA
UMA N SO1GBIII10 N N160GB
5.4KS
EX5635Z-
421G16Mn
NLED15.6
WXGA
UMA N SO1GBIII10 N N160GB
5.4KS
Model LCD VGA Chip VRAM 1 Memory 1 Memory 2 HDD 1
(GB)

Appendix A 162
EX5635Z-
421G16Mn
NLED15.6
WXGA
UMA N SO1GBIII10 N N160GB
5.4KS
EX5635Z-
421G16Mn
NLED15.6
WXGA
UMA N SO1GBIII10 N N160GB
5.4KS
EX5635Z-
421G16Mn
NLED15.6
WXGA
UMA N SO1GBIII10 N N160GB
5.4KS
EX5635Z-
421G16Mn
NLED15.6
WXGA
UMA N SO1GBIII10 N N160GB
5.4KS
EX5635Z-
421G16Mn
NLED15.6
WXGA
UMA N SO1GBIII10 N N160GB
5.4KS
EX5635Z-
421G16Mn
NLED15.6
WXGA
UMA N SO1GBIII10 N N160GB
5.4KS
EX5635Z-
421G16Mn
NLED15.6
WXGA
UMA N SO1GBIII10 N N160GB
5.4KS
EX5635Z-
421G16Mn
NLED15.6
WXGA
UMA N SO1GBIII10 N N160GB
5.4KS
EX5635Z-
421G16Mn
NLED15.6
WXGA
UMA N SO1GBIII10 N N160GB
5.4KS
EX5635Z-
421G16Mn
NLED15.6
WXGA
UMA N SO1GBIII10 N N160GB
5.4KS
EX5635Z-
421G16Mn
NLED15.6
WXGA
UMA N SO1GBIII10 N N160GB
5.4KS
EX5635Z-
421G16Mn
NLED15.6
WXGA
UMA N SO1GBIII10 N N160GB
5.4KS
EX5635Z-
421G16Mn
NLED15.6
WXGA
UMA N SO1GBIII10 N N160GB
5.4KS
EX5635Z-
421G16Mn
NLED15.6
WXGA
UMA N SO1GBIII10 N N160GB
5.4KS
EX5635Z-
421G16Mn
NLED15.6
WXGA
UMA N SO1GBIII10 N N160GB
5.4KS
EX5635Z-
421G16Mn
NLED15.6
WXGA
UMA N SO1GBIII10 N N160GB
5.4KS
EX5635Z-
421G16Mn
NLED15.6
WXGA
UMA N SO1GBIII10 N N160GB
5.4KS
EX5635Z-
421G16Mn
NLED15.6
WXGA
UMA N SO1GBIII10 N N160GB
5.4KS
EX5635Z-
421G16Mn
NLED15.6
WXGAG
UMA N SO1GBIII10 N N160GB
5.4KS
EX5635Z-
421G16Mn
NLED15.6
WXGAG
UMA N SO1GBIII10 N N160GB
5.4KS
EX5635Z-
421G16Mn
NLED15.6
WXGAG
UMA N SO1GBIII10 N N160GB
5.4KS
EX5635Z-
422G16Mn
NLED15.6
WXGA
UMA N SO2GBIII10 N N160GB
5.4KS
EX5635Z-
422G16Mn
NLED15.6
WXGA
UMA N SO2GBIII10 N N160GB
5.4KS
EX5635Z-
422G25Mn
NLED15.6
WXGAG
UMA N SO1GBIII10 SO1GBIII10 N250GB
5.4KS
EX5635Z-
422G25Mn
NLED15.6
WXGAG
UMA N SO1GBIII10 SO1GBIII10 N250GB
5.4KS
EX5635Z-
421G25Mn
NLED15.6
WXGAG
UMA N SO1GBIII10 N N250GB
5.4KS
Model LCD VGA Chip VRAM 1 Memory 1 Memory 2 HDD 1
(GB)

163 Appendix A
EX5635-
651G32Mi
NLED15.6
WXGAG
UMA N SO1GBIII10 N N320GB
5.4KS
EX5635-
901G25Mi
NLED15.6
WXGAG
UMA N SO1GBIII10 N N250GB
5.4KS
EX5635-
901G25Mn
NLED15.6
WXGAG
UMA N SO1GBIII10 N N250GB
5.4KS
Model ODD Extra SW1 Card Reader Wireless LAN Wireless LAN1 BT
EX5235-
901G16Mn
NSM8XS N 5 in 1-Build in 3rd WiFi 1x2 BGN 3rd WiFi 1x2 BGN BT 2.0
EX5235-
901G16Mn
NSM8XS N 5 in 1-Build in 3rd WiFi 1x2 BGN 3rd WiFi 1x2 BGN BT 2.0
EX5235-
902G16Mn
NSM8XS McAfee 5 in 1-Build in 3rd WiFi 1x2 BGN 3rd WiFi 1x2 BGN N
EX5235-
902G16Mn
NSM8XS McAfee 5 in 1-Build in 3rd WiFi 1x2 BGN 3rd WiFi 1x2 BGN N
EX5235-
902G16Mn
NSM8XS McAfee 5 in 1-Build in 3rd WiFi 1x2 BGN 3rd WiFi 1x2 BGN N
EX5235-
902G16Mn
NSM8XS McAfee 5 in 1-Build in 3rd WiFi 1x2 BGN 3rd WiFi 1x2 BGN N
EX5235-
902G16Mn
NSM8XS McAfee 5 in 1-Build in 3rd WiFi 1x2 BGN 3rd WiFi 1x2 BGN N
EX5235-
902G16Mn
NSM8XS McAfee 5 in 1-Build in 3rd WiFi 1x2 BGN 3rd WiFi 1x2 BGN N
EX5235-
902G16Mn
NSM8XS McAfee 5 in 1-Build in 3rd WiFi 1x2 BGN 3rd WiFi 1x2 BGN N
EX5235-
902G16Mn
NSM8XS McAfee 5 in 1-Build in 3rd WiFi 1x2 BGN 3rd WiFi 1x2 BGN N
EX5235-
902G16Mn
NSM8XS McAfee 5 in 1-Build in 3rd WiFi 1x2 BGN 3rd WiFi 1x2 BGN N
EX5235-
902G16Mn
NSM8XS McAfee 5 in 1-Build in 3rd WiFi 1x2 BGN 3rd WiFi 1x2 BGN N
EX5235-
902G16Mn
NSM8XS McAfee 5 in 1-Build in 3rd WiFi 1x2 BGN 3rd WiFi 1x2 BGN N
EX5235-
902G16Mn
NSM8XS McAfee 5 in 1-Build in 3rd WiFi 1x2 BGN 3rd WiFi 1x2 BGN N
EX5235-
902G16Mn
NSM8XS McAfee 5 in 1-Build in 3rd WiFi 1x2 BGN 3rd WiFi 1x2 BGN N
EX5235-
902G16Mn
NSM8XS McAfee 5 in 1-Build in 3rd WiFi 1x2 BGN 3rd WiFi 1x2 BGN N
EX5235-
902G16Mn
NSM8XS McAfee 5 in 1-Build in 3rd WiFi 1x2 BGN 3rd WiFi 1x2 BGN N
EX5235-
902G16Mn
NSM8XS McAfee 5 in 1-Build in 3rd WiFi 1x2 BGN 3rd WiFi 1x2 BGN N
EX5235-
902G16Mn
NSM8XS McAfee 5 in 1-Build in 3rd WiFi 1x2 BGN 3rd WiFi 1x2 BGN N
EX5235-
902G16Mn
NSM8XS McAfee 5 in 1-Build in 3rd WiFi 1x2 BGN 3rd WiFi 1x2 BGN N
EX5235-
902G16Mn
NSM8XS McAfee 5 in 1-Build in 3rd WiFi 1x2 BGN 3rd WiFi 1x2 BGN N
EX5235-
902G16Mn
NSM8XS McAfee 5 in 1-Build in 3rd WiFi 1x2 BGN 3rd WiFi 1x2 BGN N
EX5235-
902G16Mn
NSM8XS McAfee 5 in 1-Build in 3rd WiFi 1x2 BGN 3rd WiFi 1x2 BGN N
Model LCD VGA Chip VRAM 1 Memory 1 Memory 2 HDD 1
(GB)

Appendix A 164
EX5235-
902G16Mn
NSM8XS McAfee 5 in 1-Build in 3rd WiFi 1x2 BGN 3rd WiFi 1x2 BGN N
EX5235-
902G16Mn
NSM8XS McAfee 5 in 1-Build in 3rd WiFi 1x2 BGN 3rd WiFi 1x2 BGN N
EX5235-
902G16Mn
NSM8XS McAfee 5 in 1-Build in 3rd WiFi 1x2 BGN 3rd WiFi 1x2 BGN N
EX5235-
902G16Mn
NSM8XS McAfee 5 in 1-Build in 3rd WiFi 1x2 BGN 3rd WiFi 1x2 BGN N
EX5235-
902G16Mn
NSM8XS McAfee 5 in 1-Build in 3rd WiFi 1x2 BGN 3rd WiFi 1x2 BGN N
EX5235-
902G16Mn
NSM8XS McAfee 5 in 1-Build in 3rd WiFi 1x2 BGN 3rd WiFi 1x2 BGN N
EX5235-
902G16Mn
NSM8XS McAfee 5 in 1-Build in 3rd WiFi 1x2 BGN 3rd WiFi 1x2 BGN N
EX5235-
902G16Mn
NSM8XS McAfee 5 in 1-Build in 3rd WiFi 1x2 BGN 3rd WiFi 1x2 BGN N
EX5235-
902G16Mn
NSM8XS McAfee 5 in 1-Build in 3rd WiFi 1x2 BGN 3rd WiFi 1x2 BGN N
EX5235-
902G16Mi
NSM8XS McAfee 5 in 1-Build in 3rd WiFi 1x2 BGN 3rd WiFi BG N
EX5235-
902G16Mn
NSM8XS McAfee 5 in 1-Build in 3rd WiFi 1x2 BGN 3rd WiFi 1x2 BGN N
EX5235-
902G16Mn
NSM8XS McAfee 5 in 1-Build in 3rd WiFi 1x2 BGN 3rd WiFi 1x2 BGN N
EX5235-
902G16Mn
NSM8XS McAfee 5 in 1-Build in 3rd WiFi 1x2 BGN 3rd WiFi 1x2 BGN N
EX5235-
902G16Mn
NSM8XS McAfee 5 in 1-Build in 3rd WiFi 1x2 BGN 3rd WiFi 1x2 BGN N
EX5235-
902G16Mn
NSM8XS McAfee 5 in 1-Build in 3rd WiFi 1x2 BGN 3rd WiFi 1x2 BGN N
EX5235-
902G16Mn
NSM8XS McAfee 5 in 1-Build in 3rd WiFi 1x2 BGN 3rd WiFi 1x2 BGN N
EX5235-
902G16Mn
NSM8XS McAfee 5 in 1-Build in 3rd WiFi 1x2 BGN 3rd WiFi 1x2 BGN N
EX5235-
902G16Mn
NSM8XS McAfee 5 in 1-Build in 3rd WiFi 1x2 BGN 3rd WiFi 1x2 BGN N
EX5235-
902G16Mn
NSM8XS McAfee 5 in 1-Build in 3rd WiFi 1x2 BGN 3rd WiFi 1x2 BGN N
EX5235-
902G16Mn
NSM8XS McAfee 5 in 1-Build in 3rd WiFi 1x2 BGN 3rd WiFi 1x2 BGN N
EX5235-
902G16Mn
NSM8XS McAfee 5 in 1-Build in 3rd WiFi 1x2 BGN 3rd WiFi 1x2 BGN N
EX5235-
902G16Mn
NSM8XS McAfee 5 in 1-Build in 3rd WiFi 1x2 BGN 3rd WiFi 1x2 BGN N
EX5235-
902G16Mn
NSM8XS McAfee 5 in 1-Build in 3rd WiFi 1x2 BGN 3rd WiFi 1x2 BGN N
EX5235-
902G16Mn
NSM8XS McAfee 5 in 1-Build in 3rd WiFi 1x2 BGN 3rd WiFi 1x2 BGN N
EX5235-
902G16Mn
NSM8XS McAfee 5 in 1-Build in 3rd WiFi 1x2 BGN 3rd WiFi 1x2 BGN N
EX5235-
902G16Mn
NSM8XS McAfee 5 in 1-Build in 3rd WiFi 1x2 BGN 3rd WiFi 1x2 BGN N
EX5235-
902G16Mn
NSM8XS McAfee 5 in 1-Build in 3rd WiFi 1x2 BGN 3rd WiFi 1x2 BGN N
Model ODD Extra SW1 Card Reader Wireless LAN Wireless LAN1 BT

165 Appendix A
EX5235-
902G16Mn
NSM8XS McAfee 5 in 1-Build in 3rd WiFi 1x2 BGN 3rd WiFi 1x2 BGN N
EX5235-
902G16Mn
NSM8XS McAfee 5 in 1-Build in 3rd WiFi 1x2 BGN 3rd WiFi 1x2 BGN N
EX5235-
902G16Mn
NSM8XS McAfee 5 in 1-Build in 3rd WiFi 1x2 BGN 3rd WiFi 1x2 BGN N
EX5235-
902G16Mn
NSM8XS McAfee 5 in 1-Build in 3rd WiFi 1x2 BGN 3rd WiFi 1x2 BGN N
EX5235-
902G16Mn
NSM8XS McAfee 5 in 1-Build in 3rd WiFi 1x2 BGN 3rd WiFi 1x2 BGN N
EX5235-
902G16Mn
NSM8XS McAfee 5 in 1-Build in 3rd WiFi 1x2 BGN 3rd WiFi 1x2 BGN N
EX5235-
902G16Mn
NSM8XS McAfee 5 in 1-Build in 3rd WiFi 1x2 BGN 3rd WiFi 1x2 BGN N
EX5235-
902G16Mn
NSM8XS McAfee 5 in 1-Build in 3rd WiFi 1x2 BGN 3rd WiFi 1x2 BGN N
EX5235-
902G16Mn
NSM8XS McAfee 5 in 1-Build in 3rd WiFi 1x2 BGN 3rd WiFi 1x2 BGN N
EX5235-
902G16Mn
NSM8XS McAfee 5 in 1-Build in 3rd WiFi 1x2 BGN 3rd WiFi 1x2 BGN N
EX5235-
902G16Mn
NSM8XS McAfee 5 in 1-Build in 3rd WiFi 1x2 BGN 3rd WiFi 1x2 BGN N
EX5235-
902G16Mi
NSM8XS McAfee 5 in 1-Build in 3rd WiFi 1x2 BGN 3rd WiFi BG N
EX5235-
902G16Mn
NSM8XS McAfee 5 in 1-Build in 3rd WiFi 1x2 BGN 3rd WiFi 1x2 BGN N
EX5235-
902G16Mn
NSM8XS McAfee 5 in 1-Build in 3rd WiFi 1x2 BGN 3rd WiFi 1x2 BGN N
EX5235-
902G16Mn
NSM8XS McAfee 5 in 1-Build in 3rd WiFi 1x2 BGN 3rd WiFi 1x2 BGN N
EX5235-
902G16Mn
NSM8XS McAfee 5 in 1-Build in 3rd WiFi 1x2 BGN 3rd WiFi 1x2 BGN N
EX5235-
902G16Mn
NSM8XS McAfee 5 in 1-Build in 3rd WiFi 1x2 BGN 3rd WiFi 1x2 BGN N
EX5235-
902G16Mn
NSM8XS McAfee 5 in 1-Build in 3rd WiFi 1x2 BGN 3rd WiFi 1x2 BGN N
EX5235-
902G16Mn
NSM8XS McAfee 5 in 1-Build in 3rd WiFi 1x2 BGN 3rd WiFi 1x2 BGN N
EX5235-
901G16Mn
NSM8XS N 5 in 1-Build in 3rd WiFi 1x2 BGN 3rd WiFi 1x2 BGN N
EX5235-
901G16Mn
NSM8XS N 5 in 1-Build in 3rd WiFi 1x2 BGN 3rd WiFi 1x2 BGN N
EX5235-
901G16Mn
NSM8XS N 5 in 1-Build in 3rd WiFi 1x2 BGN 3rd WiFi 1x2 BGN N
EX5235-
901G16Mn
NSM8XS N 5 in 1-Build in 3rd WiFi 1x2 BGN 3rd WiFi 1x2 BGN N
EX5235-
901G16Mn
NSM8XS N 5 in 1-Build in 3rd WiFi 1x2 BGN 3rd WiFi 1x2 BGN N
EX5235-
901G16Mn
NSM8XS N 5 in 1-Build in 3rd WiFi 1x2 BGN 3rd WiFi 1x2 BGN N
EX5235-
901G16Mn
NSM8XS N 5 in 1-Build in 3rd WiFi 1x2 BGN 3rd WiFi 1x2 BGN N
EX5235-
901G16Mn
NSM8XS N 5 in 1-Build in 3rd WiFi 1x2 BGN 3rd WiFi 1x2 BGN N
Model ODD Extra SW1 Card Reader Wireless LAN Wireless LAN1 BT

Appendix A 166
EX5235-
901G16Mn
NSM8XS N 5 in 1-Build in 3rd WiFi 1x2 BGN 3rd WiFi 1x2 BGN N
EX5235-
902G16Mn
NSM8XS McAfee 5 in 1-Build in 3rd WiFi 1x2 BGN 3rd WiFi 1x2 BGN N
EX5235-
901G16Mn
NSM8XS N 5 in 1-Build in 3rd WiFi 1x2 BGN 3rd WiFi 1x2 BGN N
EX5235-
901G16Mn
NSM8XS N 5 in 1-Build in 3rd WiFi 1x2 BGN 3rd WiFi 1x2 BGN N
EX5235-
901G16Mn
NSM8XS N 5 in 1-Build in 3rd WiFi 1x2 BGN 3rd WiFi 1x2 BGN N
EX5235-
901G16Mn
NSM8XS N 5 in 1-Build in 3rd WiFi 1x2 BGN 3rd WiFi 1x2 BGN N
EX5235-
901G16Mn
NSM8XS N 5 in 1-Build in 3rd WiFi 1x2 BGN 3rd WiFi 1x2 BGN N
EX5235-
901G16Mn
NSM8XS N 5 in 1-Build in 3rd WiFi 1x2 BGN 3rd WiFi 1x2 BGN N
EX5235-
901G16Mn
NSM8XS N 5 in 1-Build in 3rd WiFi 1x2 BGN 3rd WiFi 1x2 BGN N
EX5235-
901G16Mn
NSM8XS N 5 in 1-Build in 3rd WiFi 1x2 BGN 3rd WiFi 1x2 BGN N
EX5235-
901G16Mn
NSM8XS N 5 in 1-Build in 3rd WiFi 1x2 BGN 3rd WiFi 1x2 BGN N
EX5235-
901G16Mn
NSM8XS N 5 in 1-Build in 3rd WiFi 1x2 BGN 3rd WiFi 1x2 BGN N
EX5235-
901G16Mn
NSM8XS N 5 in 1-Build in 3rd WiFi 1x2 BGN 3rd WiFi 1x2 BGN N
EX5235-
901G16Mi
NSM8XS N 5 in 1-Build in 3rd WiFi 1x2 BGN 3rd WiFi BG N
EX5235-
901G16Mn
NSM8XS N 5 in 1-Build in 3rd WiFi 1x2 BGN 3rd WiFi 1x2 BGN N
EX5235-
901G16Mn
NSM8XS N 5 in 1-Build in 3rd WiFi 1x2 BGN 3rd WiFi 1x2 BGN N
EX5235-
901G16Mn
NSM8XS N 5 in 1-Build in 3rd WiFi 1x2 BGN 3rd WiFi 1x2 BGN N
EX5235-
901G16Mn
NSM8XS N 5 in 1-Build in 3rd WiFi 1x2 BGN 3rd WiFi 1x2 BGN N
EX5235-
901G16Mn
NSM8XS N 5 in 1-Build in 3rd WiFi 1x2 BGN 3rd WiFi 1x2 BGN N
EX5235-
901G16Mn
NSM8XS N 5 in 1-Build in 3rd WiFi 1x2 BGN 3rd WiFi 1x2 BGN N
EX5235-
901G16Mn
NSM8XS N 5 in 1-Build in 3rd WiFi 1x2 BGN 3rd WiFi 1x2 BGN N
EX5235-
901G16Mn
NSM8XS N 5 in 1-Build in 3rd WiFi 1x2 BGN 3rd WiFi 1x2 BGN N
EX5235-
901G16Mn
NSM8XS N 5 in 1-Build in 3rd WiFi 1x2 BGN 3rd WiFi 1x2 BGN N
EX5235-
901G16Mn
NSM8XS N 5 in 1-Build in 3rd WiFi 1x2 BGN 3rd WiFi 1x2 BGN N
EX5235-
901G16Mn
NSM8XS N 5 in 1-Build in 3rd WiFi 1x2 BGN 3rd WiFi 1x2 BGN N
EX5235-
901G16Mn
NSM8XS N 5 in 1-Build in 3rd WiFi 1x2 BGN 3rd WiFi 1x2 BGN N
EX5235-
901G16Mn
NSM8XS N 5 in 1-Build in 3rd WiFi 1x2 BGN 3rd WiFi 1x2 BGN N
Model ODD Extra SW1 Card Reader Wireless LAN Wireless LAN1 BT

167 Appendix A
EX5235-
901G16Mn
NSM8XS N 5 in 1-Build in 3rd WiFi 1x2 BGN 3rd WiFi 1x2 BGN N
EX5235-
901G16Mn
NSM8XS N 5 in 1-Build in 3rd WiFi 1x2 BGN 3rd WiFi 1x2 BGN N
EX5235-
901G16Mn
NSM8XS N 5 in 1-Build in 3rd WiFi 1x2 BGN 3rd WiFi 1x2 BGN N
EX5235-
901G16Mn
NSM8XS N 5 in 1-Build in 3rd WiFi 1x2 BGN 3rd WiFi 1x2 BGN N
EX5235-
901G16Mn
NSM8XS N 5 in 1-Build in 3rd WiFi 1x2 BGN 3rd WiFi 1x2 BGN N
EX5235-
901G16Mn
NSM8XS N 5 in 1-Build in 3rd WiFi 1x2 BGN 3rd WiFi 1x2 BGN N
EX5235-
901G16Mn
NSM8XS N 5 in 1-Build in 3rd WiFi 1x2 BGN 3rd WiFi 1x2 BGN N
EX5235-
901G16Mn
NSM8XS N 5 in 1-Build in 3rd WiFi 1x2 BGN 3rd WiFi 1x2 BGN N
EX5235-
901G16Mn
NSM8XS N 5 in 1-Build in 3rd WiFi 1x2 BGN 3rd WiFi 1x2 BGN N
EX5235-
901G16Mn
NSM8XS N 5 in 1-Build in 3rd WiFi 1x2 BGN 3rd WiFi 1x2 BGN N
EX5235-
901G16Mn
NSM8XS N 5 in 1-Build in 3rd WiFi 1x2 BGN 3rd WiFi 1x2 BGN N
EX5235-
901G16Mn
NSM8XS N 5 in 1-Build in 3rd WiFi 1x2 BGN 3rd WiFi 1x2 BGN N
EX5235-
901G16Mn
NSM8XS N 5 in 1-Build in 3rd WiFi 1x2 BGN 3rd WiFi 1x2 BGN N
EX5235-
901G16Mn
NSM8XS N 5 in 1-Build in 3rd WiFi 1x2 BGN 3rd WiFi 1x2 BGN N
EX5235-
901G16Mn
NSM8XS N 5 in 1-Build in 3rd WiFi 1x2 BGN 3rd WiFi 1x2 BGN N
EX5235-
901G16Mn
NSM8XS N 5 in 1-Build in 3rd WiFi 1x2 BGN 3rd WiFi 1x2 BGN N
EX5235-
901G16Mn
NSM8XS N 5 in 1-Build in 3rd WiFi 1x2 BGN 3rd WiFi 1x2 BGN N
EX5235-
901G16Mn
NSM8XS N 5 in 1-Build in 3rd WiFi 1x2 BGN 3rd WiFi 1x2 BGN N
EX5235-
901G16Mn
NSM8XS N 5 in 1-Build in 3rd WiFi 1x2 BGN 3rd WiFi 1x2 BGN N
EX5235-
901G16Mn
NSM8XS N 5 in 1-Build in 3rd WiFi 1x2 BGN 3rd WiFi 1x2 BGN N
EX5235-
901G16Mn
NSM8XS N 5 in 1-Build in 3rd WiFi 1x2 BGN 3rd WiFi 1x2 BGN N
EX5235-
901G16Mn
NSM8XS N 5 in 1-Build in 3rd WiFi 1x2 BGN 3rd WiFi 1x2 BGN N
EX5235-
901G16Mn
NSM8XS N 5 in 1-Build in 3rd WiFi 1x2 BGN 3rd WiFi 1x2 BGN N
EX5235-
901G16Mi
NSM8XS N 5 in 1-Build in 3rd WiFi 1x2 BGN 3rd WiFi BG N
EX5235-
901G16Mn
NSM8XS N 5 in 1-Build in 3rd WiFi 1x2 BGN 3rd WiFi 1x2 BGN N
EX5235-
901G16Mn
NSM8XS N 5 in 1-Build in 3rd WiFi 1x2 BGN 3rd WiFi 1x2 BGN N
EX5235-
901G16Mn
NSM8XS N 5 in 1-Build in 3rd WiFi 1x2 BGN 3rd WiFi 1x2 BGN N
Model ODD Extra SW1 Card Reader Wireless LAN Wireless LAN1 BT

Appendix A 168
EX5235-
901G16Mn
NSM8XS N 5 in 1-Build in 3rd WiFi 1x2 BGN 3rd WiFi 1x2 BGN N
EX5235-
901G16Mn
NSM8XS N 5 in 1-Build in 3rd WiFi 1x2 BGN 3rd WiFi 1x2 BGN N
EX5235-
901G16Mn
NSM8XS N 5 in 1-Build in 3rd WiFi 1x2 BGN 3rd WiFi 1x2 BGN N
EX5235-
901G16Mn
NSM8XS N 5 in 1-Build in 3rd WiFi 1x2 BGN 3rd WiFi 1x2 BGN N
EX5235-
901G16Mn
NSM8XS N 5 in 1-Build in 3rd WiFi 1x2 BGN 3rd WiFi 1x2 BGN N
EX5235-
902G16Mn
NSM8XS McAfee 5 in 1-Build in 3rd WiFi 1x2 BGN 3rd WiFi 1x2 BGN N
EX5235-
902G16Mn
NSM8XS McAfee 5 in 1-Build in 3rd WiFi 1x2 BGN 3rd WiFi 1x2 BGN N
EX5235-
902G16Mn
NSM8XS McAfee 5 in 1-Build in 3rd WiFi 1x2 BGN 3rd WiFi 1x2 BGN N
EX5235-
902G16Mn
NSM8XS McAfee 5 in 1-Build in 3rd WiFi 1x2 BGN 3rd WiFi 1x2 BGN N
EX5235-
902G16Mn
NSM8XS McAfee 5 in 1-Build in 3rd WiFi 1x2 BGN 3rd WiFi 1x2 BGN N
EX5235-
902G16Mn
NSM8XS McAfee 5 in 1-Build in 3rd WiFi 1x2 BGN 3rd WiFi 1x2 BGN N
EX5235-
902G16Mn
NSM8XS McAfee 5 in 1-Build in 3rd WiFi 1x2 BGN 3rd WiFi 1x2 BGN N
EX5235-
902G16Mn
NSM8XS McAfee 5 in 1-Build in 3rd WiFi 1x2 BGN 3rd WiFi 1x2 BGN N
EX5235-
162G25Mi
NSM8XS McAfee 5 in 1-Build in 3rd WiFi BG 3rd WiFi BG BT 2.0
EX5235-
162G25Mi
NSM8XS McAfee 5 in 1-Build in 3rd WiFi BG 3rd WiFi BG N
EX5235-
161G25Mi
NSM8XS McAfee 5 in 1-Build in 3rd WiFi BG 3rd WiFi BG N
EX5635G-
7A1G50Mn
NSM8XS N 5 in 1-Build in SP1x2MMW SP1x2MMW BT 2.0
EX5635G-
664G50Mn
NSM8XS McAfee 5 in 1-Build in SP1x2MMW SP1x2MMW BT 2.0
EX5635G-
664G50Mn
NSM8XS McAfee 5 in 1-Build in SP1x2MMW SP1x2MMW N
EX5635ZG-
424G32Mn
NSM8XS N 5 in 1-Build in 3rd WiFi 1x2 BGN 3rd WiFi 1x2 BGN BT 2.0
EX5635ZG-
422G25Mn
NSM8XS McAfee 5 in 1-Build in 3rd WiFi 1x2 BGN 3rd WiFi 1x2 BGN BT 2.0
EX5635ZG-
422G32n
N McAfee 5 in 1-Build in 3rd WiFi 1x2 BGN 3rd WiFi 1x2 BGN BT 2.0
EX5635Z-
421G25Mn
NSM8XS N 5 in 1-Build in 3rd WiFi 1x2 BGN 3rd WiFi 1x2 BGN BT 2.0
EX5635Z-
421G16Mn
NSM8XS N 5 in 1-Build in 3rd WiFi 1x2 BGN 3rd WiFi 1x2 BGN BT 2.0
EX5635Z-
422G16Mn
NSM8XS McAfee 5 in 1-Build in 3rd WiFi 1x2 BGN 3rd WiFi 1x2 BGN N
EX5635Z-
422G16Mn
NSM8XS McAfee 5 in 1-Build in 3rd WiFi 1x2 BGN 3rd WiFi 1x2 BGN N
EX5635Z-
423G32Mn
NSM8XS N 5 in 1-Build in 3rd WiFi 1x2 BGN 3rd WiFi 1x2 BGN BT 2.0
Model ODD Extra SW1 Card Reader Wireless LAN Wireless LAN1 BT

169 Appendix A
EX5635Z-
431G16Mn
NSM8XS N 5 in 1-Build in 3rd WiFi 1x2 BGN 3rd WiFi 1x2 BGN N
EX5635Z-
431G16Mn
NSM8XS N 5 in 1-Build in 3rd WiFi 1x2 BGN 3rd WiFi 1x2 BGN N
EX5635Z-
431G16Mn
NSM8XS N 5 in 1-Build in 3rd WiFi 1x2 BGN 3rd WiFi 1x2 BGN N
EX5635Z-
431G16Mn
NSM8XS N 5 in 1-Build in 3rd WiFi 1x2 BGN 3rd WiFi 1x2 BGN N
EX5635Z-
431G16Mn
NSM8XS N 5 in 1-Build in 3rd WiFi 1x2 BGN 3rd WiFi 1x2 BGN N
EX5635Z-
431G16Mn
NSM8XS N 5 in 1-Build in 3rd WiFi 1x2 BGN 3rd WiFi 1x2 BGN N
EX5635Z-
431G16Mn
NSM8XS N 5 in 1-Build in 3rd WiFi 1x2 BGN 3rd WiFi 1x2 BGN N
EX5635Z-
431G16Mn
NSM8XS N 5 in 1-Build in 3rd WiFi 1x2 BGN 3rd WiFi 1x2 BGN N
EX5635Z-
431G16Mn
NSM8XS N 5 in 1-Build in 3rd WiFi 1x2 BGN 3rd WiFi 1x2 BGN N
EX5635Z-
431G16Mn
NSM8XS N 5 in 1-Build in 3rd WiFi 1x2 BGN 3rd WiFi 1x2 BGN N
EX5635Z-
431G16Mn
NSM8XS N 5 in 1-Build in 3rd WiFi 1x2 BGN 3rd WiFi 1x2 BGN N
EX5635Z-
431G16Mn
NSM8XS N 5 in 1-Build in 3rd WiFi 1x2 BGN 3rd WiFi 1x2 BGN N
EX5635Z-
431G16Mn
NSM8XS N 5 in 1-Build in 3rd WiFi 1x2 BGN 3rd WiFi 1x2 BGN N
EX5635Z-
431G16Mi
NSM8XS N 5 in 1-Build in 3rd WiFi 1x2 BGN 3rd WiFi BG N
EX5635Z-
431G16Mn
NSM8XS N 5 in 1-Build in 3rd WiFi 1x2 BGN 3rd WiFi 1x2 BGN N
EX5635Z-
431G16Mn
NSM8XS N 5 in 1-Build in 3rd WiFi 1x2 BGN 3rd WiFi 1x2 BGN N
EX5635Z-
431G16Mn
NSM8XS N 5 in 1-Build in 3rd WiFi 1x2 BGN 3rd WiFi 1x2 BGN N
EX5635Z-
431G16Mn
NSM8XS N 5 in 1-Build in 3rd WiFi 1x2 BGN 3rd WiFi 1x2 BGN N
EX5635Z-
431G16Mn
NSM8XS N 5 in 1-Build in 3rd WiFi 1x2 BGN 3rd WiFi 1x2 BGN N
EX5635Z-
431G16Mn
NSM8XS N 5 in 1-Build in 3rd WiFi 1x2 BGN 3rd WiFi 1x2 BGN N
EX5635Z-
431G16Mn
NSM8XS N 5 in 1-Build in 3rd WiFi 1x2 BGN 3rd WiFi 1x2 BGN N
EX5635Z-
431G16Mn
NSM8XS N 5 in 1-Build in 3rd WiFi 1x2 BGN 3rd WiFi 1x2 BGN N
EX5635Z-
431G16Mn
NSM8XS N 5 in 1-Build in 3rd WiFi 1x2 BGN 3rd WiFi 1x2 BGN N
EX5635Z-
431G16Mn
NSM8XS N 5 in 1-Build in 3rd WiFi 1x2 BGN 3rd WiFi 1x2 BGN N
EX5635Z-
431G16Mn
NSM8XS N 5 in 1-Build in 3rd WiFi 1x2 BGN 3rd WiFi 1x2 BGN N
EX5635Z-
431G16Mn
NSM8XS N 5 in 1-Build in 3rd WiFi 1x2 BGN 3rd WiFi 1x2 BGN N
EX5635Z-
431G16Mn
NSM8XS N 5 in 1-Build in 3rd WiFi 1x2 BGN 3rd WiFi 1x2 BGN N
Model ODD Extra SW1 Card Reader Wireless LAN Wireless LAN1 BT

Appendix A 170
EX5635Z-
431G16Mn
NSM8XS N 5 in 1-Build in 3rd WiFi 1x2 BGN 3rd WiFi 1x2 BGN N
EX5635Z-
431G16Mn
NSM8XS N 5 in 1-Build in 3rd WiFi 1x2 BGN 3rd WiFi 1x2 BGN N
EX5635Z-
431G16Mn
NSM8XS N 5 in 1-Build in 3rd WiFi 1x2 BGN 3rd WiFi 1x2 BGN N
EX5635Z-
431G16Mn
NSM8XS N 5 in 1-Build in 3rd WiFi 1x2 BGN 3rd WiFi 1x2 BGN N
EX5635Z-
431G16Mn
NSM8XS N 5 in 1-Build in 3rd WiFi 1x2 BGN 3rd WiFi 1x2 BGN N
EX5635Z-
432G16Mn
NSM8XS McAfee 5 in 1-Build in 3rd WiFi 1x2 BGN 3rd WiFi 1x2 BGN N
EX5635Z-
431G16Mn
NSM8XS N 5 in 1-Build in 3rd WiFi 1x2 BGN 3rd WiFi 1x2 BGN N
EX5635Z-
432G16Mn
NSM8XS McAfee 5 in 1-Build in 3rd WiFi 1x2 BGN 3rd WiFi 1x2 BGN N
EX5635Z-
432G16Mn
NSM8XS McAfee 5 in 1-Build in 3rd WiFi 1x2 BGN 3rd WiFi 1x2 BGN N
EX5635Z-
432G16Mn
NSM8XS McAfee 5 in 1-Build in 3rd WiFi 1x2 BGN 3rd WiFi 1x2 BGN N
EX5635Z-
432G16Mn
NSM8XS McAfee 5 in 1-Build in 3rd WiFi 1x2 BGN 3rd WiFi 1x2 BGN N
EX5635Z-
432G16Mn
NSM8XS McAfee 5 in 1-Build in 3rd WiFi 1x2 BGN 3rd WiFi 1x2 BGN N
EX5635Z-
432G16Mn
NSM8XS McAfee 5 in 1-Build in 3rd WiFi 1x2 BGN 3rd WiFi 1x2 BGN N
EX5635Z-
432G16Mn
NSM8XS McAfee 5 in 1-Build in 3rd WiFi 1x2 BGN 3rd WiFi 1x2 BGN N
EX5635Z-
432G16Mn
NSM8XS McAfee 5 in 1-Build in 3rd WiFi 1x2 BGN 3rd WiFi 1x2 BGN N
EX5635Z-
432G16Mn
NSM8XS McAfee 5 in 1-Build in 3rd WiFi 1x2 BGN 3rd WiFi 1x2 BGN N
EX5635Z-
432G16Mn
NSM8XS McAfee 5 in 1-Build in 3rd WiFi 1x2 BGN 3rd WiFi 1x2 BGN N
EX5635Z-
432G16Mn
NSM8XS McAfee 5 in 1-Build in 3rd WiFi 1x2 BGN 3rd WiFi 1x2 BGN N
EX5635Z-
432G16Mn
NSM8XS McAfee 5 in 1-Build in 3rd WiFi 1x2 BGN 3rd WiFi 1x2 BGN N
EX5635Z-
432G16Mn
NSM8XS McAfee 5 in 1-Build in 3rd WiFi 1x2 BGN 3rd WiFi 1x2 BGN N
EX5635Z-
432G16Mn
NSM8XS McAfee 5 in 1-Build in 3rd WiFi 1x2 BGN 3rd WiFi 1x2 BGN N
EX5635Z-
432G16Mn
NSM8XS McAfee 5 in 1-Build in 3rd WiFi 1x2 BGN 3rd WiFi 1x2 BGN N
EX5635Z-
432G16Mn
NSM8XS McAfee 5 in 1-Build in 3rd WiFi 1x2 BGN 3rd WiFi 1x2 BGN N
EX5635Z-
432G16Mn
NSM8XS McAfee 5 in 1-Build in 3rd WiFi 1x2 BGN 3rd WiFi 1x2 BGN N
EX5635Z-
432G16Mn
NSM8XS McAfee 5 in 1-Build in 3rd WiFi 1x2 BGN 3rd WiFi 1x2 BGN N
EX5635Z-
432G16Mn
NSM8XS McAfee 5 in 1-Build in 3rd WiFi 1x2 BGN 3rd WiFi 1x2 BGN N
EX5635Z-
432G16Mn
NSM8XS McAfee 5 in 1-Build in 3rd WiFi 1x2 BGN 3rd WiFi 1x2 BGN N
Model ODD Extra SW1 Card Reader Wireless LAN Wireless LAN1 BT

171 Appendix A
EX5635Z-
432G16Mn
NSM8XS McAfee 5 in 1-Build in 3rd WiFi 1x2 BGN 3rd WiFi 1x2 BGN N
EX5635Z-
432G16Mn
NSM8XS McAfee 5 in 1-Build in 3rd WiFi 1x2 BGN 3rd WiFi 1x2 BGN N
EX5635Z-
432G16Mn
NSM8XS McAfee 5 in 1-Build in 3rd WiFi 1x2 BGN 3rd WiFi 1x2 BGN N
EX5635Z-
432G16Mn
NSM8XS McAfee 5 in 1-Build in 3rd WiFi 1x2 BGN 3rd WiFi 1x2 BGN N
EX5635Z-
432G16Mn
NSM8XS McAfee 5 in 1-Build in 3rd WiFi 1x2 BGN 3rd WiFi 1x2 BGN N
EX5635Z-
432G16Mn
NSM8XS McAfee 5 in 1-Build in 3rd WiFi 1x2 BGN 3rd WiFi 1x2 BGN N
EX5635Z-
432G16Mn
NSM8XS McAfee 5 in 1-Build in 3rd WiFi 1x2 BGN 3rd WiFi 1x2 BGN N
EX5635Z-
432G16Mi
NSM8XS McAfee 5 in 1-Build in 3rd WiFi 1x2 BGN 3rd WiFi BG N
EX5635Z-
432G16Mn
NSM8XS McAfee 5 in 1-Build in 3rd WiFi 1x2 BGN 3rd WiFi 1x2 BGN N
EX5635Z-
432G16Mn
NSM8XS McAfee 5 in 1-Build in 3rd WiFi 1x2 BGN 3rd WiFi 1x2 BGN N
EX5635Z-
432G16Mn
NSM8XS McAfee 5 in 1-Build in 3rd WiFi 1x2 BGN 3rd WiFi 1x2 BGN N
EX5635Z-
432G16Mn
NSM8XS McAfee 5 in 1-Build in 3rd WiFi 1x2 BGN 3rd WiFi 1x2 BGN N
EX5635Z-
432G16Mn
NSM8XS McAfee 5 in 1-Build in 3rd WiFi 1x2 BGN 3rd WiFi 1x2 BGN N
EX5635Z-
432G16Mn
NSM8XS McAfee 5 in 1-Build in 3rd WiFi 1x2 BGN 3rd WiFi 1x2 BGN N
EX5635Z-
432G16Mn
NSM8XS McAfee 5 in 1-Build in 3rd WiFi 1x2 BGN 3rd WiFi 1x2 BGN N
EX5635Z-
432G16Mn
NSM8XS McAfee 5 in 1-Build in 3rd WiFi 1x2 BGN 3rd WiFi 1x2 BGN N
EX5635Z-
432G16Mn
NSM8XS McAfee 5 in 1-Build in 3rd WiFi 1x2 BGN 3rd WiFi 1x2 BGN N
EX5635Z-
432G16Mn
NSM8XS McAfee 5 in 1-Build in 3rd WiFi 1x2 BGN 3rd WiFi 1x2 BGN N
EX5635Z-
422G25Mn
NSM8XS N 5 in 1-Build in 3rd WiFi 1x2 BGN 3rd WiFi 1x2 BGN N
EX5635Z-
422G16Mn
NSM8XS McAfee 5 in 1-Build in 3rd WiFi 1x2 BGN 3rd WiFi 1x2 BGN N
EX5635Z-
422G16Mn
NSM8XS McAfee 5 in 1-Build in 3rd WiFi 1x2 BGN 3rd WiFi 1x2 BGN N
EX5635Z-
422G16Mn
NSM8XS McAfee 5 in 1-Build in 3rd WiFi 1x2 BGN 3rd WiFi 1x2 BGN N
EX5635Z-
422G16Mn
NSM8XS McAfee 5 in 1-Build in 3rd WiFi 1x2 BGN 3rd WiFi 1x2 BGN N
EX5635Z-
422G16Mn
NSM8XS McAfee 5 in 1-Build in 3rd WiFi 1x2 BGN 3rd WiFi 1x2 BGN N
EX5635Z-
422G16Mn
NSM8XS McAfee 5 in 1-Build in 3rd WiFi 1x2 BGN 3rd WiFi 1x2 BGN N
EX5635Z-
422G16Mn
NSM8XS McAfee 5 in 1-Build in 3rd WiFi 1x2 BGN 3rd WiFi 1x2 BGN N
EX5635Z-
422G16Mn
NSM8XS McAfee 5 in 1-Build in 3rd WiFi 1x2 BGN 3rd WiFi 1x2 BGN N
Model ODD Extra SW1 Card Reader Wireless LAN Wireless LAN1 BT

Appendix A 172
EX5635Z-
422G16Mn
NSM8XS McAfee 5 in 1-Build in 3rd WiFi 1x2 BGN 3rd WiFi 1x2 BGN N
EX5635Z-
422G16Mn
NSM8XS McAfee 5 in 1-Build in 3rd WiFi 1x2 BGN 3rd WiFi 1x2 BGN N
EX5635Z-
422G16Mn
NSM8XS McAfee 5 in 1-Build in 3rd WiFi 1x2 BGN 3rd WiFi 1x2 BGN N
EX5635Z-
422G16Mn
NSM8XS McAfee 5 in 1-Build in 3rd WiFi 1x2 BGN 3rd WiFi 1x2 BGN N
EX5635Z-
422G16Mn
NSM8XS McAfee 5 in 1-Build in 3rd WiFi 1x2 BGN 3rd WiFi 1x2 BGN N
EX5635Z-
422G16Mn
NSM8XS McAfee 5 in 1-Build in 3rd WiFi 1x2 BGN 3rd WiFi 1x2 BGN N
EX5635Z-
422G16Mn
NSM8XS McAfee 5 in 1-Build in 3rd WiFi 1x2 BGN 3rd WiFi 1x2 BGN N
EX5635Z-
422G16Mn
NSM8XS McAfee 5 in 1-Build in 3rd WiFi 1x2 BGN 3rd WiFi 1x2 BGN N
EX5635Z-
422G16Mn
NSM8XS McAfee 5 in 1-Build in 3rd WiFi 1x2 BGN 3rd WiFi 1x2 BGN N
EX5635Z-
422G16Mn
NSM8XS McAfee 5 in 1-Build in 3rd WiFi 1x2 BGN 3rd WiFi 1x2 BGN N
EX5635Z-
422G16Mn
NSM8XS McAfee 5 in 1-Build in 3rd WiFi 1x2 BGN 3rd WiFi 1x2 BGN N
EX5635Z-
422G16Mn
NSM8XS McAfee 5 in 1-Build in 3rd WiFi 1x2 BGN 3rd WiFi 1x2 BGN N
EX5635Z-
422G16Mn
NSM8XS McAfee 5 in 1-Build in 3rd WiFi 1x2 BGN 3rd WiFi 1x2 BGN N
EX5635Z-
422G16Mi
NSM8XS McAfee 5 in 1-Build in 3rd WiFi 1x2 BGN 3rd WiFi BG N
EX5635Z-
422G16Mn
NSM8XS McAfee 5 in 1-Build in 3rd WiFi 1x2 BGN 3rd WiFi 1x2 BGN N
EX5635Z-
422G16Mn
NSM8XS McAfee 5 in 1-Build in 3rd WiFi 1x2 BGN 3rd WiFi 1x2 BGN N
EX5635Z-
422G16Mn
NSM8XS McAfee 5 in 1-Build in 3rd WiFi 1x2 BGN 3rd WiFi 1x2 BGN N
EX5635Z-
422G16Mn
NSM8XS McAfee 5 in 1-Build in 3rd WiFi 1x2 BGN 3rd WiFi 1x2 BGN N
EX5635Z-
422G16Mn
NSM8XS McAfee 5 in 1-Build in 3rd WiFi 1x2 BGN 3rd WiFi 1x2 BGN N
EX5635Z-
422G16Mn
NSM8XS McAfee 5 in 1-Build in 3rd WiFi 1x2 BGN 3rd WiFi 1x2 BGN N
EX5635Z-
422G16Mn
NSM8XS McAfee 5 in 1-Build in 3rd WiFi 1x2 BGN 3rd WiFi 1x2 BGN N
EX5635Z-
422G16Mn
NSM8XS McAfee 5 in 1-Build in 3rd WiFi 1x2 BGN 3rd WiFi 1x2 BGN N
EX5635Z-
422G16Mn
NSM8XS McAfee 5 in 1-Build in 3rd WiFi 1x2 BGN 3rd WiFi 1x2 BGN N
EX5635Z-
422G16Mn
NSM8XS McAfee 5 in 1-Build in 3rd WiFi 1x2 BGN 3rd WiFi 1x2 BGN N
EX5635Z-
422G16Mn
NSM8XS McAfee 5 in 1-Build in 3rd WiFi 1x2 BGN 3rd WiFi 1x2 BGN N
EX5635Z-
422G16Mn
NSM8XS McAfee 5 in 1-Build in 3rd WiFi 1x2 BGN 3rd WiFi 1x2 BGN N
EX5635Z-
422G16Mn
NSM8XS McAfee 5 in 1-Build in 3rd WiFi 1x2 BGN 3rd WiFi 1x2 BGN N
Model ODD Extra SW1 Card Reader Wireless LAN Wireless LAN1 BT

173 Appendix A
EX5635Z-
422G16Mn
NSM8XS McAfee 5 in 1-Build in 3rd WiFi 1x2 BGN 3rd WiFi 1x2 BGN N
EX5635Z-
422G16Mn
NSM8XS McAfee 5 in 1-Build in 3rd WiFi 1x2 BGN 3rd WiFi 1x2 BGN N
EX5635Z-
422G16Mn
NSM8XS McAfee 5 in 1-Build in 3rd WiFi 1x2 BGN 3rd WiFi 1x2 BGN N
EX5635Z-
422G16Mn
NSM8XS McAfee 5 in 1-Build in 3rd WiFi 1x2 BGN 3rd WiFi 1x2 BGN N
EX5635Z-
422G16Mn
NSM8XS McAfee 5 in 1-Build in 3rd WiFi 1x2 BGN 3rd WiFi 1x2 BGN N
EX5635Z-
422G16Mn
NSM8XS McAfee 5 in 1-Build in 3rd WiFi 1x2 BGN 3rd WiFi 1x2 BGN N
EX5635Z-
422G16Mn
NSM8XS McAfee 5 in 1-Build in 3rd WiFi 1x2 BGN 3rd WiFi 1x2 BGN N
EX5635Z-
422G16Mn
NSM8XS McAfee 5 in 1-Build in 3rd WiFi 1x2 BGN 3rd WiFi 1x2 BGN N
EX5635Z-
422G16Mn
NSM8XS McAfee 5 in 1-Build in 3rd WiFi 1x2 BGN 3rd WiFi 1x2 BGN N
EX5635Z-
422G16Mn
NSM8XS McAfee 5 in 1-Build in 3rd WiFi 1x2 BGN 3rd WiFi 1x2 BGN N
EX5635Z-
422G16Mn
NSM8XS McAfee 5 in 1-Build in 3rd WiFi 1x2 BGN 3rd WiFi 1x2 BGN N
EX5635Z-
422G16Mn
NSM8XS McAfee 5 in 1-Build in 3rd WiFi 1x2 BGN 3rd WiFi 1x2 BGN N
EX5635Z-
422G16Mn
NSM8XS McAfee 5 in 1-Build in 3rd WiFi 1x2 BGN 3rd WiFi 1x2 BGN N
EX5635Z-
422G16Mn
NSM8XS McAfee 5 in 1-Build in 3rd WiFi 1x2 BGN 3rd WiFi 1x2 BGN N
EX5635Z-
422G16Mn
NSM8XS McAfee 5 in 1-Build in 3rd WiFi 1x2 BGN 3rd WiFi 1x2 BGN N
EX5635Z-
422G16Mn
NSM8XS McAfee 5 in 1-Build in 3rd WiFi 1x2 BGN 3rd WiFi 1x2 BGN N
EX5635Z-
422G16Mn
NSM8XS McAfee 5 in 1-Build in 3rd WiFi 1x2 BGN 3rd WiFi 1x2 BGN N
EX5635Z-
422G16Mn
NSM8XS McAfee 5 in 1-Build in 3rd WiFi 1x2 BGN 3rd WiFi 1x2 BGN N
EX5635Z-
422G16Mn
NSM8XS McAfee 5 in 1-Build in 3rd WiFi 1x2 BGN 3rd WiFi 1x2 BGN N
EX5635Z-
422G16Mn
NSM8XS McAfee 5 in 1-Build in 3rd WiFi 1x2 BGN 3rd WiFi 1x2 BGN N
EX5635Z-
422G16Mn
NSM8XS McAfee 5 in 1-Build in 3rd WiFi 1x2 BGN 3rd WiFi 1x2 BGN N
EX5635Z-
422G16Mn
NSM8XS McAfee 5 in 1-Build in 3rd WiFi 1x2 BGN 3rd WiFi 1x2 BGN N
EX5635Z-
422G16Mn
NSM8XS McAfee 5 in 1-Build in 3rd WiFi 1x2 BGN 3rd WiFi 1x2 BGN N
EX5635Z-
422G16Mn
NSM8XS McAfee 5 in 1-Build in 3rd WiFi 1x2 BGN 3rd WiFi 1x2 BGN N
EX5635Z-
422G16Mn
NSM8XS McAfee 5 in 1-Build in 3rd WiFi 1x2 BGN 3rd WiFi 1x2 BGN N
EX5635Z-
422G16Mn
NSM8XS McAfee 5 in 1-Build in 3rd WiFi 1x2 BGN 3rd WiFi 1x2 BGN N
EX5635Z-
422G16Mn
NSM8XS McAfee 5 in 1-Build in 3rd WiFi 1x2 BGN 3rd WiFi 1x2 BGN N
Model ODD Extra SW1 Card Reader Wireless LAN Wireless LAN1 BT

Appendix A 174
EX5635Z-
422G16Mn
NSM8XS McAfee 5 in 1-Build in 3rd WiFi 1x2 BGN 3rd WiFi 1x2 BGN N
EX5635Z-
422G16Mi
NSM8XS McAfee 5 in 1-Build in 3rd WiFi 1x2 BGN 3rd WiFi BG N
EX5635Z-
422G16Mn
NSM8XS McAfee 5 in 1-Build in 3rd WiFi 1x2 BGN 3rd WiFi 1x2 BGN N
EX5635Z-
422G16Mn
NSM8XS McAfee 5 in 1-Build in 3rd WiFi 1x2 BGN 3rd WiFi 1x2 BGN N
EX5635Z-
422G16Mn
NSM8XS McAfee 5 in 1-Build in 3rd WiFi 1x2 BGN 3rd WiFi 1x2 BGN N
EX5635Z-
422G16Mn
NSM8XS McAfee 5 in 1-Build in 3rd WiFi 1x2 BGN 3rd WiFi 1x2 BGN N
EX5635Z-
422G16Mn
NSM8XS McAfee 5 in 1-Build in 3rd WiFi 1x2 BGN 3rd WiFi 1x2 BGN N
EX5635Z-
422G16Mn
NSM8XS McAfee 5 in 1-Build in 3rd WiFi 1x2 BGN 3rd WiFi 1x2 BGN N
EX5635Z-
422G16Mn
NSM8XS McAfee 5 in 1-Build in 3rd WiFi 1x2 BGN 3rd WiFi 1x2 BGN N
EX5635Z-
421G16Mn
NSM8XS N 5 in 1-Build in 3rd WiFi 1x2 BGN 3rd WiFi 1x2 BGN N
EX5635Z-
421G16Mn
NSM8XS N 5 in 1-Build in 3rd WiFi 1x2 BGN 3rd WiFi 1x2 BGN N
EX5635Z-
422G16Mn
NSM8XS McAfee 5 in 1-Build in 3rd WiFi 1x2 BGN 3rd WiFi 1x2 BGN N
EX5635Z-
422G16Mn
NSM8XS McAfee 5 in 1-Build in 3rd WiFi 1x2 BGN 3rd WiFi 1x2 BGN N
EX5635Z-
422G16Mn
NSM8XS McAfee 5 in 1-Build in 3rd WiFi 1x2 BGN 3rd WiFi 1x2 BGN N
EX5635Z-
422G16Mn
NSM8XS McAfee 5 in 1-Build in 3rd WiFi 1x2 BGN 3rd WiFi 1x2 BGN N
EX5635Z-
422G16Mn
NSM8XS McAfee 5 in 1-Build in 3rd WiFi 1x2 BGN 3rd WiFi 1x2 BGN N
EX5635Z-
421G16Mn
NSM8XS N 5 in 1-Build in 3rd WiFi 1x2 BGN 3rd WiFi 1x2 BGN N
EX5635Z-
421G16Mn
NSM8XS N 5 in 1-Build in 3rd WiFi 1x2 BGN 3rd WiFi 1x2 BGN N
EX5635Z-
421G16Mn
NSM8XS N 5 in 1-Build in 3rd WiFi 1x2 BGN 3rd WiFi 1x2 BGN N
EX5635Z-
421G16Mn
NSM8XS N 5 in 1-Build in 3rd WiFi 1x2 BGN 3rd WiFi 1x2 BGN N
EX5635Z-
421G16Mn
NSM8XS N 5 in 1-Build in 3rd WiFi 1x2 BGN 3rd WiFi 1x2 BGN N
EX5635Z-
421G16Mn
NSM8XS N 5 in 1-Build in 3rd WiFi 1x2 BGN 3rd WiFi 1x2 BGN N
EX5635Z-
421G16Mn
NSM8XS N 5 in 1-Build in 3rd WiFi 1x2 BGN 3rd WiFi 1x2 BGN N
EX5635Z-
421G16Mn
NSM8XS N 5 in 1-Build in 3rd WiFi 1x2 BGN 3rd WiFi 1x2 BGN N
EX5635Z-
421G16Mn
NSM8XS N 5 in 1-Build in 3rd WiFi 1x2 BGN 3rd WiFi 1x2 BGN N
EX5635Z-
421G16Mn
NSM8XS N 5 in 1-Build in 3rd WiFi 1x2 BGN 3rd WiFi 1x2 BGN N
EX5635Z-
421G16Mn
NSM8XS N 5 in 1-Build in 3rd WiFi 1x2 BGN 3rd WiFi 1x2 BGN N
Model ODD Extra SW1 Card Reader Wireless LAN Wireless LAN1 BT

175 Appendix A
EX5635Z-
421G16Mn
NSM8XS N 5 in 1-Build in 3rd WiFi 1x2 BGN 3rd WiFi 1x2 BGN N
EX5635Z-
421G16Mn
NSM8XS N 5 in 1-Build in 3rd WiFi 1x2 BGN 3rd WiFi 1x2 BGN N
EX5635Z-
421G16Mn
NSM8XS N 5 in 1-Build in 3rd WiFi 1x2 BGN 3rd WiFi 1x2 BGN N
EX5635Z-
421G16Mn
NSM8XS N 5 in 1-Build in 3rd WiFi 1x2 BGN 3rd WiFi 1x2 BGN N
EX5635Z-
421G16Mn
NSM8XS N 5 in 1-Build in 3rd WiFi 1x2 BGN 3rd WiFi 1x2 BGN N
EX5635Z-
421G16Mn
NSM8XS N 5 in 1-Build in 3rd WiFi 1x2 BGN 3rd WiFi 1x2 BGN N
EX5635Z-
421G16Mn
NSM8XS N 5 in 1-Build in 3rd WiFi 1x2 BGN 3rd WiFi 1x2 BGN N
EX5635Z-
421G16Mn
NSM8XS N 5 in 1-Build in 3rd WiFi 1x2 BGN 3rd WiFi 1x2 BGN N
EX5635Z-
421G16Mn
NSM8XS N 5 in 1-Build in 3rd WiFi 1x2 BGN 3rd WiFi 1x2 BGN N
EX5635Z-
421G16Mn
NSM8XS N 5 in 1-Build in 3rd WiFi 1x2 BGN 3rd WiFi 1x2 BGN N
EX5635Z-
421G16Mn
NSM8XS N 5 in 1-Build in 3rd WiFi 1x2 BGN 3rd WiFi 1x2 BGN N
EX5635Z-
421G16Mn
NSM8XS N 5 in 1-Build in 3rd WiFi 1x2 BGN 3rd WiFi 1x2 BGN N
EX5635Z-
421G16Mn
NSM8XS N 5 in 1-Build in 3rd WiFi 1x2 BGN 3rd WiFi 1x2 BGN N
EX5635Z-
421G16Mn
NSM8XS N 5 in 1-Build in 3rd WiFi 1x2 BGN 3rd WiFi 1x2 BGN N
EX5635Z-
421G16Mn
NSM8XS N 5 in 1-Build in 3rd WiFi 1x2 BGN 3rd WiFi 1x2 BGN N
EX5635Z-
421G16Mn
NSM8XS N 5 in 1-Build in 3rd WiFi 1x2 BGN 3rd WiFi 1x2 BGN N
EX5635Z-
421G16Mi
NSM8XS N 5 in 1-Build in 3rd WiFi 1x2 BGN 3rd WiFi BG N
EX5635Z-
421G16Mn
NSM8XS N 5 in 1-Build in 3rd WiFi 1x2 BGN 3rd WiFi 1x2 BGN N
EX5635Z-
421G16Mn
NSM8XS N 5 in 1-Build in 3rd WiFi 1x2 BGN 3rd WiFi 1x2 BGN N
EX5635Z-
421G16Mn
NSM8XS N 5 in 1-Build in 3rd WiFi 1x2 BGN 3rd WiFi 1x2 BGN N
EX5635Z-
421G16Mn
NSM8XS N 5 in 1-Build in 3rd WiFi 1x2 BGN 3rd WiFi 1x2 BGN N
EX5635Z-
421G16Mn
NSM8XS N 5 in 1-Build in 3rd WiFi 1x2 BGN 3rd WiFi 1x2 BGN N
EX5635Z-
421G16Mn
NSM8XS N 5 in 1-Build in 3rd WiFi 1x2 BGN 3rd WiFi 1x2 BGN N
EX5635Z-
421G16Mn
NSM8XS N 5 in 1-Build in 3rd WiFi 1x2 BGN 3rd WiFi 1x2 BGN N
EX5635Z-
421G16Mn
NSM8XS N 5 in 1-Build in 3rd WiFi 1x2 BGN 3rd WiFi 1x2 BGN N
EX5635Z-
421G16Mn
NSM8XS N 5 in 1-Build in 3rd WiFi 1x2 BGN 3rd WiFi 1x2 BGN N
EX5635Z-
421G16Mi
NSM8XS N 5 in 1-Build in 3rd WiFi 1x2 BGN 3rd WiFi BG N
Model ODD Extra SW1 Card Reader Wireless LAN Wireless LAN1 BT

Appendix A 176
EX5635Z-
421G16Mn
NSM8XS N 5 in 1-Build in 3rd WiFi 1x2 BGN 3rd WiFi 1x2 BGN N
EX5635Z-
421G16Mn
NSM8XS N 5 in 1-Build in 3rd WiFi 1x2 BGN 3rd WiFi 1x2 BGN N
EX5635Z-
421G16Mn
NSM8XS N 5 in 1-Build in 3rd WiFi 1x2 BGN 3rd WiFi 1x2 BGN N
EX5635Z-
421G16Mn
NSM8XS N 5 in 1-Build in 3rd WiFi 1x2 BGN 3rd WiFi 1x2 BGN N
EX5635Z-
421G16Mn
NSM8XS N 5 in 1-Build in 3rd WiFi 1x2 BGN 3rd WiFi 1x2 BGN N
EX5635Z-
421G16Mn
NSM8XS N 5 in 1-Build in 3rd WiFi 1x2 BGN 3rd WiFi 1x2 BGN N
EX5635Z-
421G16Mn
NSM8XS N 5 in 1-Build in 3rd WiFi 1x2 BGN 3rd WiFi 1x2 BGN N
EX5635Z-
421G16Mn
NSM8XS N 5 in 1-Build in 3rd WiFi 1x2 BGN 3rd WiFi 1x2 BGN N
EX5635Z-
421G16Mn
NSM8XS N 5 in 1-Build in 3rd WiFi 1x2 BGN 3rd WiFi 1x2 BGN N
EX5635Z-
421G16Mn
NSM8XS N 5 in 1-Build in 3rd WiFi 1x2 BGN 3rd WiFi 1x2 BGN N
EX5635Z-
421G16Mn
NSM8XS N 5 in 1-Build in 3rd WiFi 1x2 BGN 3rd WiFi 1x2 BGN N
EX5635Z-
421G16Mn
NSM8XS N 5 in 1-Build in 3rd WiFi 1x2 BGN 3rd WiFi 1x2 BGN N
EX5635Z-
421G16Mn
NSM8XS N 5 in 1-Build in 3rd WiFi 1x2 BGN 3rd WiFi 1x2 BGN N
EX5635Z-
421G16Mn
NSM8XS N 5 in 1-Build in 3rd WiFi 1x2 BGN 3rd WiFi 1x2 BGN N
EX5635Z-
421G16Mn
NSM8XS N 5 in 1-Build in 3rd WiFi 1x2 BGN 3rd WiFi 1x2 BGN N
EX5635Z-
421G16Mn
NSM8XS N 5 in 1-Build in 3rd WiFi 1x2 BGN 3rd WiFi 1x2 BGN N
EX5635Z-
421G16Mn
NSM8XS N 5 in 1-Build in 3rd WiFi 1x2 BGN 3rd WiFi 1x2 BGN N
EX5635Z-
421G16Mn
NSM8XS N 5 in 1-Build in 3rd WiFi 1x2 BGN 3rd WiFi 1x2 BGN N
EX5635Z-
421G16Mn
NSM8XS N 5 in 1-Build in 3rd WiFi 1x2 BGN 3rd WiFi 1x2 BGN N
EX5635Z-
421G16Mn
NSM8XS N 5 in 1-Build in 3rd WiFi 1x2 BGN 3rd WiFi 1x2 BGN N
EX5635Z-
421G16Mn
NSM8XS N 5 in 1-Build in 3rd WiFi 1x2 BGN 3rd WiFi 1x2 BGN N
EX5635Z-
421G16Mn
NSM8XS N 5 in 1-Build in 3rd WiFi 1x2 BGN 3rd WiFi 1x2 BGN N
EX5635Z-
421G16Mn
NSM8XS N 5 in 1-Build in 3rd WiFi 1x2 BGN 3rd WiFi 1x2 BGN N
EX5635Z-
421G16Mn
NSM8XS N 5 in 1-Build in 3rd WiFi 1x2 BGN 3rd WiFi 1x2 BGN N
EX5635Z-
421G16Mn
NSM8XS N 5 in 1-Build in 3rd WiFi 1x2 BGN 3rd WiFi 1x2 BGN N
EX5635Z-
421G16Mn
NSM8XS N 5 in 1-Build in 3rd WiFi 1x2 BGN 3rd WiFi 1x2 BGN N
EX5635Z-
422G16Mn
NSM8XS McAfee 5 in 1-Build in 3rd WiFi 1x2 BGN 3rd WiFi 1x2 BGN N
Model ODD Extra SW1 Card Reader Wireless LAN Wireless LAN1 BT

177 Appendix A
EX5635Z-
422G16Mn
NSM8XS McAfee 5 in 1-Build in 3rd WiFi 1x2 BGN 3rd WiFi 1x2 BGN N
EX5635Z-
422G25Mn
NSM8XS McAfee 5 in 1-Build in 3rd WiFi 1x2 BGN 3rd WiFi 1x2 BGN BT 2.0
EX5635Z-
422G25Mn
NSM8XS McAfee 5 in 1-Build in 3rd WiFi 1x2 BGN 3rd WiFi 1x2 BGN N
EX5635Z-
421G25Mn
NSM8XS McAfee 5 in 1-Build in 3rd WiFi 1x2 BGN 3rd WiFi 1x2 BGN N
EX5635-
651G32Mi
NSM8XS N 5 in 1-Build in SP1x2MABG SP1x2MABG BT 2.0
EX5635-
901G25Mi
NSM8XS N 5 in 1-Build in 3rd WiFi BG 3rd WiFi BG BT 2.0
EX5635-
901G25Mn
NSM8XS N 5 in 1-Build in 3rd WiFi 1x2 BGN 3rd WiFi 1x2 BGN BT 2.0
Model ODD Extra SW1 Card Reader Wireless LAN Wireless LAN1 BT

Appendix A 178

Appendix B 179
Test Compatible Components
This computer’s compatibility is tested and verified by Acer’s internal testing department. All of its system
functions are tested under Windows® XP Home, Windows® XP Pro environment.
Refer to the following lists for components, adapter cards, and peripherals which have passed these tests.
Regarding configuration, combination and test procedures, please refer to the Extensa 5635/5635Z/5235
series Compatibility Test Report released by the Acer Mobile System Testing Department.
Appendix B

180 Appendix B
Windows XP Environment Test
Vendor Type Description
Adapter
DELTA 65W Adapter DELTA 65W 19V 1.7x5.5x11 Yellow ADP-65JH DB A, LV5
LED LF
LITE-ON 65W Adapter LITE-ON 65W 19V 1.7x5.5x11 Yellow PA-1650-22AC LV5
LED LF
HIPRO 65W Adapter HIPRO 65W 19V 1.7x5.5x11 Yellow HP-A0652R3B 1LF, LV5
LED LF
Audio Codec
Conexant Conexant CX-20561-15Z Conexant Audio Codec CX-20561-15Z
Battery
SANYO 6CELL2.2 Battery SANYO AS-2009C Li-Ion 3S2P SANYO 6 cell 4400mAh
Main COMMON w/Halogen Free
SIMPLO 6CELL2.2 Battery SIMPLO AS-2009C Li-Ion 3S2P PANASONIC 6 cell
4400mAh Main COMMON
SIMPLO 6CELL2.2 Battery SIMPLO AS-2009C Li-Ion 3S2P SAMSUNG 6 cell 4400mAh
Main COMMON
Bluetooth
Foxconn BT 2.0 Foxconn Bluetooth FOX_BRM_2.0 F/W 300
Camera
Suyin 0.3M DV Suyin 0.3M DV Camellia_2G
Chicony 0.3M DV Chicony 0.3M DV Calla_2G
Card Reader
None 5 in 1-Build in 5 in 1-Build in MS, MS Pro, SD, SC, XD
CPU/Processor
INTEL CMT1600 CPU Intel CeleronM T1600 1.66G 1M 667 Dual Core, MV
INTEL CMT1700 CPU Intel CeleronM T1700 PGA 1.83G 1M 667 Dual Core, MV
INTEL CMT3000 CPU Intel Celeron T3000 PGA 1.8G 1M 800 35W
INTEL CMT3100 CPU Intel Celeron T3100 PGA 1.9G 1M 800 35W
INTEL CM900 CPU Intel Celeron 900 PGA 2.2G 1M 800 35W
INTEL CMT1600 CPU Intel CeleronM T1600 1.66G 1M 667 Dual Core, MV
INTEL CMT1700 CPU Intel CeleronM T1700 PGA 1.83G 1M 667 Dual Core, MV
INTEL CMT3000 CPU Intel Celeron T3000 PGA 1.8G 1M 800 35W
INTEL CMT3100 CPU Intel Celeron T3100 PGA 1.9G 1M 800 35W
INTEL CM900 CPU Intel Celeron 900 PGA 2.2G 1M 800 35W
INTEL C2DT6570 CPU Intel Core2Dual T6570 PGA 2.1G 2M 800 R-0
INTEL C2DT6600 CPU Intel Core2Dual T6600 PGA 2.2G 2M 800 35W R-0
INTEL C2DT6670 CPU Intel Core2Dual T6670 PGA 2.2G 2M 800 35W R-0
INTEL C2DP7350 CPU Intel Core2Dual P7350 PGA 2.0G 3M 1066 25W
INTEL C2DP7370 CPU Intel Core2Dual P7370 PGA 2.0G 3M 1066 25W
INTEL C2DP7570 CPU Intel Core2Dual P7570 2.26G 3M 1066 25W R-0
INTEL C2DT6570 CPU Intel Core2Dual T6570 PGA 2.1G 2M 800 R-0
INTEL C2DT6600 CPU Intel Core2Dual T6600 PGA 2.2G 2M 800 35W R-0
INTEL C2DT6670 CPU Intel Core2Dual T6670 PGA 2.2G 2M 800 35W R-0
INTEL C2DP7350 CPU Intel Core2Dual P7350 PGA 2.0G 3M 1066 25W
INTEL C2DP7370 CPU Intel Core2Dual P7370 PGA 2.0G 3M 1066 25W
INTEL C2DP7570 CPU Intel Core2Dual P7570 2.26G 3M 1066 25W R-0

Appendix B 181
INTEL PMDT4200 CPU Intel Pentium Dual-Core T4200 PGA 2.0G 1M 800 35W R-0 no
VT
INTEL PMDT4300 CPU Intel Pentium Dual-Core T4300 PGA 2.1G 1M 800 R-0
INTEL C2DT6570 CPU Intel Core2Dual T6570 PGA 2.1G 2M 800 R-0
INTEL C2DT6600 CPU Intel Core2Dual T6600 PGA 2.2G 2M 800 35W R-0
INTEL C2DT6670 CPU Intel Core2Dual T6670 PGA 2.2G 2M 800 35W R-0
INTEL C2DP7350 CPU Intel Core2Dual P7350 PGA 2.0G 3M 1066 25W
INTEL C2DP7370 CPU Intel Core2Dual P7370 PGA 2.0G 3M 1066 25W
INTEL C2DP7570 CPU Intel Core2Dual P7570 2.26G 3M 1066 25W R-0
INTEL C2DT6600 CPU Intel Core2Dual T6600 PGA 2.2G 2M 800 35W R-0
INTEL C2DT6670 CPU Intel Core2Dual T6670 PGA 2.2G 2M 800 35W R-0
INTEL C2DP7570 CPU Intel Core2Dual P7570 2.26G 3M 1066 25W R-0
HDD
SEAGATE N160GB5.4KS HDD SEAGATE 2.5" 5400rpm 160GB ST9160310AS Crockett SATA
LF F/W:0303
TOSHIBA N160GB5.4KS HDD TOSHIBA 2.5" 5400rpm 160GB MK1655GSX Libra SATA LF F/
W: FG011J
HGST N160GB5.4KS HDD HGST 2.5" 5400rpm 160GB HTS545016B9A300 Panther B
SATA LF F/W:C60F
WD N160GB5.4KS HDD WD 2.5" 5400rpm 160GB WD1600BEVT-22ZCTO ML160
SATA LF F/W:11.01A11
SEAGATE N250GB5.4KS HDD SEAGATE 2.5" 5400rpm 250GB ST9250315AS Wyatt SATA LF
F/W:0001SDM1
TOSHIBA N250GB5.4KS HDD TOSHIBA 2.5" 5400rpm 250GB MK2555GSX Libra SATA LF F/
W:FG001J
HGST N250GB5.4KS HDD HGST 2.5" 5400rpm 250GB HTS545025B9A300 Panther B
SATA LF F/W:C60F
WD N250GB5.4KS HDD WD 2.5" 5400rpm 250GB WD2500BEVT-22ZCT0 ML160 SATA
LF F/W:11.01A11
SEAGATE N320GB5.4KS HDD SEAGATE 2.5" 5400rpm 320GB ST9320320AS Crockett SATA
LF F/W:0303
TOSHIBA N320GB5.4KS HDD TOSHIBA 2.5" 5400rpm 320GB MK3255GSX Libra SATA LF F/
W:FG011J
HGST N320GB5.4KS HDD HGST 2.5" 5400rpm 320GB HTS545032B9A300 Panther B
SATA LF F/W: C60F
WD N320GB5.4KS HDD WD 2.5" 5400rpm 320GB WD3200BEVT-22ZCT0 ML160 SATA
LF F/W:11.01A11
SEAGATE N500GB5.4KS HDD SEAGATE 2.5" 5400rpm 500GB ST9500325AS Wyatt SATA LF
F/W:0001SDM1
TOSHIBA N500GB5.4KS HDD TOSHIBA 2.5" 5400rpm 500GB MK5055GSX Libra SATA LF F/
W:FG001J
HGST N500GB5.4KS HDD HGST 2.5" 5400rpm 500GB HTS545050B9A300 Panther B
SATA LF F/W:C60F
WD N500GB5.4KS HDD WD 2.5" 5400rpm 500GB WD5000BEVT-22ZAT0 ML250 SATA
LF F/W:01.01A01
Keyboard
None 17KB-FV2 Keyboard 17KB-FV2 Tangiz/Texcoco Standard (no sponge)
LAN
Atheros AR8131L Atheros AR8131L
Vendor Type Description

182 Appendix B
LCD
AUO NLED15.6WXGAG LED LCD AUO 15.6"W WXGA Glare B156XW02 V0 LF 220nit 8ms
500:1
SAMSUNG NLED15.6WXGAG LED LCD SAMSUNG 15.6"W WXGA Glare LTN156AT02-A01 LF
220nit 8ms 500:1
LPL NLED15.6WXGAG LED LCD LPL 15.6"W WXGA Glare LP156WH2-TLE1 LF 220nit 8ms
400:1
CMO NLED15.6WXGAG LED LCD CMO 15.6"W WXGA Glare N156B6-L04 LF 220nit 8ms
500:1
CMO NLED15.6WXGA LED LCD CMO 15.6"W WXGA None Glare N156B6-L03 LF 220nit
8ms 400:1
CMO NLED15.6WXGAG LED LCD CMO 15.6"W WXGA Glare N156B6-L06 LF 220nit 8ms
500:1
Memory
ELPIDA SO1GBIII10 Memory ELPIDA SO-DIMM DDRIII 1066 1GB EBJ11UE6BBS0-AE-F
LF 64*16 0.065um
SAMSUNG SO1GBIII10 Memory SAMSUNG SO-DIMM DDRIII 1066 1GB M471B2874DZ1-
CF8 LF 64*16 0.065um
SAMSUNG SO1GBIII10 Memory SAMSUNG SO-DIMM DDRIII 1066 1GB M471B2873EH1-
CF8 LF 64*16 0.055um
HYNIX SO1GBIII10 Memory HYNIX SO-DIMM DDRIII 1066 1GB HMT112S6AFP6C-
G7N0 LF 64*16 0.065um
HYNIX SO1GBIII10 Memory HYNIX SO-DIMM DDRIII 1066 1GB HMT112S6BFR6C-G7
N0 LF 64*16 0.055um
ELPIDA SO2GBIII10 Memory ELPIDA SO-DIMM DDRIII 1066 2GB EBJ21UE8BBS0-AE-
F LF 128*8 0.065um
SAMSUNG SO2GBIII10 Memory SAMSUNG SO-DIMM DDRIII 1066 2GB M471B5673DZ1-
CF8 LF 128*8 0.065um
SAMSUNG SO2GBIII10 Memory SAMSUNG SO-DIMM DDRIII 1066 2GB M471B5673EH1-
CF8 LF 128*8 0.055um
Northbridge Chipset
INTEL GL40(A1) NB Chipset Intel CS GL40NB A1
INTEL PM45 NB Chipset Intel CS PM45NB
INTEL GM45 NB Chipset Intel CS GM45NB
ODD
TOSHIBA NSM8XS ODD TOSHIBA Super-Multi DRIVE 12.7mm Tray DL 8X TS-L633B
LF W/O bezel SATA
PANASONIC NSM8XS ODD PANASONIC Super-Multi DRIVE 12.7mm Tray DL 8X UJ880A
LF W/O bezel SATA
SONY NSM8XS ODD SONY Super-Multi DRIVE 12.7mm Tray DL 8X AD-7580S LF
W/O bezel SATA
PLDS NSM8XS ODD PLDS Super-Multi DRIVE 12.7mm Tray DL 8X DS-8A3S LF W/
O bezel SATA
Southbridge Chipset
INTEL ICH9M SB Chipset Intel CS ICH9M
Software
None McAfee Antivirus application McAfee
VGA Chip
None UMA UMA (Intel)
NVIDIA N10MGE1 NVIDIA N10MGE1 65nm 29mm*29mm GB1-128 package
Vendor Type Description

Appendix B 183
VRAM
SAMSUNG VR1GbII5 VRAM SAMSUNG DDRII 500 1Gb K4N1G164QE-HC20 LF
512M-DDR2(64*16*4) 512M-DDR2 64*16*4
WiFi Antenna
WNC PIFA PIFA
WLAN
Foxconn 3rd WiFi BG Foxconn FOX_ATH_XB63 Foxconn Atheros XB63 minicard b/g
Foxconn 3rd WiFi 1x2 BGN Foxconn Wireless LAN Atheros AR5B91 1x2 BGN
Foxconn 3rd WiFi 1x2 BGN Foxconn Wireless LAN Wireless LAN Ralink RT2700E 1x2 BGN
QMI 3rd WiFi 1x2 BGN QMI Wireless LAN Atheros AR5B91 1x2 BGN (EM303)
QMI 3rd WiFi BG QMI Wireless LAN Atheros HB95 (HM) EM305
Foxconn 3rd WiFi BG Foxconn FOX_ATH_XB63 Foxconn Atheros XB63 minicard b/g
Foxconn 3rd WiFi 1x2 BGN Foxconn Wireless LAN Atheros AR5B91 1x2 BGN
Foxconn 3rd WiFi 1x2 BGN Foxconn Wireless LAN Wireless LAN Ralink RT2700E 1x2 BGN
QMI 3rd WiFi 1x2 BGN QMI Wireless LAN Atheros AR5B91 1x2 BGN (EM303)
QMI 3rd WiFi BG QMI Wireless LAN Atheros HB95 (HM) EM305
INTEL SP1x2MMW Lan Intel WLAN 512AN_MMWG Shirley Peak 5100 MM#895361
INTEL SP1x2MABG Lan Intel WLAN 512AG_MMWG Shirley Peak 5100 MM#897004
INTEL SP1x2MMW Lan Intel WLAN 512AN_MMWG2 Shirley Peak 5100 ME enable /
MM#899541
INTEL SP1x2MMW Lan Intel WLAN 512AN_MMWG Shirley Peak 5100 MM#895361
INTEL SP1x2MABG Lan Intel WLAN 512AG_MMWG Shirley Peak 5100 MM#897004
INTEL SP1x2MMW Lan Intel WLAN 512AN_MMWG2 Shirley Peak 5100 ME enable /
MM#899541
INTEL SP1x2MABG Lan Intel WLAN 512AG_MMWG Shirley Peak 5100 MM#897004
Vendor Type Description

184 Appendix B

Appendix C 185
Online Support Information
This section describes online technical support services available to help you repair your Acer Systems.
If you are a distributor, dealer, ASP or TPM, please refer your technical queries to your local Acer branch
office. Acer Branch Offices and Regional Business Units may access our website. However some information
sources will require a user i.d. and password. These can be obtained directly from Acer CSD Taiwan.
Acer's Website offers you convenient and valuable support resources whenever you need them.
In the Technical Information section you can download information on all of Acer's Notebook, Desktop and
Server models including:
• Service guides for all models
• User's manuals
• Training materials
• Bios updates
• Software utilities
• Spare parts lists
• TABs (Technical Announcement Bulletin)
For these purposes, we have included an Acrobat File to facilitate the problem-free downloading of our
technical material.
Also contained on this website are:
• Detailed information on Acer's International Traveler's Warranty (ITW)
• Returned material authorization procedures
• An overview of all the support services we offer, accompanied by a list of telephone, fax and email
contacts for all your technical queries.
We are always looking for ways to optimize and improve our services, so if you have any suggestions or
comments, please do not hesitate to communicate these to us.
Appendix C

186 Appendix C

187
B
Battery Pack
Removing 42
BIOS
ROM size 20
ROM type 20
vendor 20
Version 20
BIOS Utility 23–31
Advanced 26
Boot 29
Exit 30
Navigating 23
Save and Exit 30
Security 26
System Security 30
Bluetooth Board
Removing 69
Board Layout
Top View 111
brightness
hotkeys 7
C
Camera Board
Removing 85
Replacing 86
Common Problems 92
CPU
Removing 77
D
DIMM Modules
Removing 50
Display 4
display
hotkeys 7
E
Euro 14
External Module Disassembly
Flowchart 41
F
Features 1
FLASH Utility 31
Flash Utility 31
FPC Cable
Removing 83
FRU (Field Replaceable Unit) List 115
H
Hard Disk Drive Module
Removing 48
Hibernation mode
hotkey 7
Hinge Supports
Removing 75
Hot Keys 12
I
Intermittent Problems 105
Internal Microphone Failure 101
Internal Speaker Failure 99
J
Jumper and Connector Locations 111
Top View 111
K
Keyboard
Removing 56
Keyboard Failure 97
L
LCD Bezel
Removing 79
Replacing 90
LCD Brackets
Removing 83
Replacing 87
LCD Cable
Replacing 87
LCD Failure 96
LCD Module
Reassembly 86
Index

188
Removing 57
LCD Module Disassembly
Flowchart 78
LCD Module Reassembly 86
LCD Panel
Removing 81
Replacing 89
Left Hinge Support
Removing 75
Lower Door
Removing 44
M
Main Module Reassembly Procedure 90
Main Unit Disassembly
Flowchart 53
Mainboard
Removing 73
Memory Check 92
Microphone
Removing 68
Model Definition 128
N
No Display Issue 93
O
ODD
Removing 46
ODD Failure 103, 104
Online Support Information 185
Optical Drive Module
Removing 46
P
Panel
Bottom 9
POST Codes
Reference Tables 106
Power Button Failure 104
Power On Failure 92
R
Reassembly
Main Module 90
Right Hinge Support
Removing 75
RTC Battery
Removing 45
S
SD Dummy Card
Removing 43
Speaker Module
Removing 65
speakers
hotkey 7
Switch Cover
Removing 54
System
Block Diagram 4
T
Test Compatible Components 179
Thermal Module
Removing 76
Top 111
Touch Pad
hotkey 7
Touch Pad Failure 98
TouchPad Bracket
Removing 63
Troubleshooting
Built-in KB Failure 97
Internal Microphone 101
Internal Speakers 99
LCD Failure 96
No Display 93
ODD 103, 104
Other Failures 105
Power Button 104
Power On 92
Touch Pad 98
USB 103
WLAN 104
U
Undetermined Problems 105
Upper Cover
Removing 60
USB Board
Removing 71

190








