Filtration System Aqua Pure Reverse Osmosis Drinking Water Instr
User Manual: Filtration System
Open the PDF directly: View PDF
.
Page Count: 20

Installation, Operation and Maintenance Instructions For:
Aqua-Pure® AP-RO5500 Reverse Osmosis
Drinking Water Filtration System
Installer: Please leave manual with homeowner.
Homeowner: Please retain for operation and future
maintenance instructions.

SAFETY INFORMATION
EXPLANATION OF SIGNAL WORD CONSEQUENCES
WARNING
Read, understand, and follow all safety information contained in these instructions prior to in-
stallation and use of the AP-RO5500 Reverse Osmosis (RO) Drinking Water Filtration System.
Retain these instructions for future reference.
Intended use:
The Aqua-Pure® AP-RO5500 Reverse Osmosis Drinking Water Filtration System is intended for use in filtering
drinking water in residential locations and has not been evaluated for other uses. The system is typically installed
beneath or near a kitchen sink, and it is recommended that the installation be performed by a qualified installation
specialist or a licensed plumber.
CAUTION
WARNING Indicates a potentially hazardous situation, which, if not avoided, could result in
death or serious injury and/or property damage.
Indicates a potentially hazardous situation which, if not avoided, may result in
minor or moderate injury and/or property damage.
Indicates a potentially hazardous situation, which, if not avoided, may result in
property damage.
To reduce the risk associated with choking:
•Do not allow children under 3 years of age to have access to small parts during the installation of this product.
To reduce the risk associated with ingestion of contaminants:
•Do not use with water that is microbiologically unsafe or of unknown quality without adequate disinfection be-
fore or after the system. Systems certified for cyst reduction may be used on disinfected water that may contain
filterable cysts. EPA Establishment Number 070595-CT-001
To reduce the risk associated with a hazardous voltage due to an installer drilling through existing
electric wiring or water pipes in the area of installation:
•Do not install near electric wiring or piping which may be in the path of a drilling tool when selecting the
position to mount the filter bracket.
To reduce the risk associated with the ingestion of contaminants:
•AnapprovedairgapmustexistbetweentheROsystemrejectdrainlineandthedrainopeningtocomply
with state and local plumbing codes.
To reduce the risk of physical injury:
•Allhydro-pneumaticpressurizedtanksmusthaveanappropriatepressurereliefvalveinstalled.
To reduce the risk associated with irritation from Sodium Metabisulfite during installation:
•SodiumMetabisulte(CAS007681-57-4)isusedina1%preservativesolutionwithinthereverseosmosis
membrane.
•DonotputthissystemintoservicebeforetheROtankisushedasspeciedintheinstallationinstructions.
Wear eye and face protection during installation.
•TorequestanMSDSrelatingtothisproductcall203-238-8965orvisitthewebathttp://solutions.3m.com/wps/
portal/3M/en_us/msds(clickMSDSsearch).Foremergencies,call800-364-3577or651-737-6501
(24hours).
2
CAUTION

WARNING
To reduce the risk associated with ingestion of water contaminated with sanitizer:
•Afterinstallation,sanitizerMUSTbeushedfromthesystembeforerstuseasdirectedwithinthe
installation instructions.
To reduce the risk of eye injury while drilling counter-tops for faucet installation:
•SafetyglassesMUSTbewornduringsinkholedrillingoperations.
CAUTION
To reduce the risk associated with property damage due to water leakage:
• Read and follow all Instructions before installation and use of this system.
• InstallationandUseMUST comply with all state and local plumbing codes.
• Protect from freezing.Drainlterwhentemperaturesdropbelow40°F(4.4°C).
• Do notinstallsystemsinareaswhereambienttemperaturesmaygoabove110°F(43.3°C).
• Do notinstallifwaterpressureexceeds125psi(862kPa).Ifyourwaterpressureexceeds80psi,you
must install a pressure limiting valve. Contact a plumbing professional if you are uncertain how to check
your water pressure.
• Do notinstallwherewaterhammerconditionsmayoccur.Ifwaterhammerconditionsexistyoumustinstalla
water hammer arrester. Contact a plumbing professional if you are uncertain how to check for this condition.
• Whereabackowpreventiondeviceisinstalledonawatersystem,adeviceforcontrollingpressuredueto
thermalexpansionmustbeinstalled.
• Do not install on hot water supply lines.Themaximumoperatingwatertemperatureofthissystemis100°F
(37.8°C).
• Do not use a torch or other high temperature sources near filter or plastic fittings.
• Do not install in direct sunlight or outdoors.
• Do not install near water pipes which will be in path of a drilling tool when selecting the position to mount
the bracket.
• Ensure that the location and fasteners will support the weight of the system when installed and full of water.
• Mountlterinsuchapositionastopreventitfrombeingstruckbyotheritemsusedintheareaofinstallation
(wastebaskets,etc).
• Onplasticttings,neverusepipesealantorpipedope.UsePTFEthreadtapeonly, pipe dope properties may
deteriorate plastic.
• Takecarewhenusingpliersorpipewrenchestotightenplasticttings,asdamagemayoccurifover
-tightening occurs.
• Ensure all tubing and fittings are secure and free of leaks.
• Do notinstallunitifcolletismissing.Contact3MPIifcolletsaremissingfromanyttings.
•SHUT OFF FUEL SUPPLY TO WATER HEATER after water is shut off.
• Shutoffinletwatersupplyanddepressurizesystemasshowninmanualwhenchangingcartridgesorservicing
• Allhydro-pneumaticpressurizedtanksmusthaveanappropriatepressurereliefvalveinstalled.
• Thedisposableltercartridges(PreandPost)MUSTbereplacedeverytwelve(12)months,attheratedca-
pacityorsoonerifanoticeablereductioninowrateoccurs.
•ThedisposablereplacementmembraneMUSTbereplacedeverythirty-six(36)months,attheratedcapacity
orsoonerifanoticeablereductioninowrateoccurs.
3
IMPORTANT NOTES
•Failuretofollowinstructionswillvoidwarranty.
• Allowaminimumof2”(5cm)clearspaceunderltertofacilitatecartridgechange.
• Donotcrimpcoppertubing.

Installation, Operation and Maintenance Manual
4
Introduction
Thismanualexplains installationandoperationoftheAqua-Pure®AP-RO5500ReverseOsmosis(RO)Drinking
Water Filtration System. Please read each section of this manual carefully.
The Aqua-Pure AP-RO5500 RO Drinking Water Filtration System is designed to connect permanently to a home
plumbing system. To ensure that the installation conforms to your state and local plumbing codes, it is recommended
that the installation be performed by a qualified installation specialist for RO drinking water filtration systems or a
licensed plumber.
The RO module is shipped with a preservative solution. Make sure that you flush the system thorough-
ly as directed before the first use.
Installation Checklist and Table of Contents
1. Determine System Location ..................................................................................................................... 5
2. PreparetheAreaforInstallation ............................................................................................................... 5
3. Prepare the Drinking Water Filtration System for Installation ................................................................... 5
4. InstalltheFaucetAdapterandTubing ...................................................................................................... 6
5. Prefill and Sanitize the Storage Tank ........................................................................................................ 6
6. InstalltheDrainConnection...................................................................................................................... 7
7. Install the Faucet ...................................................................................................................................... 7
8. MaketheFaucetMountingHole ............................................................................................................... 8
9. MounttheFaucet ...................................................................................................................................... 9
10. MakeInitialFaucetTubingConnections ................................................................................................... 9
11. Install the RO Assembly and Storage Tank ............................................................................................ 10
12. MakeFinalTubingConnections .............................................................................................................. 10
13. InstallIcemakerHookup(optional) ......................................................................................................... 11
14. InstallFilterCartridges ........................................................................................................................... 11
15. StartUptheSystem ............................................................................................................................... 11
16. InstallationTroubleshooting .................................................................................................................... 12
17. Maintenance ........................................................................................................................................... 13
18. PartsList ................................................................................................................................................. 15
19. Limited Warranty ..................................................................................................................................... 19
• Failuretofollowinstructionswillvoidwarranty.
IMPORTANT NOTES

Installation, Operation and Maintenance Manual
5
1. Determine System Location (see Figure 1)
The Drinking Water Filtration System can be located under a sink or in a basement depending on space avail-
ability and preference. If a basement installation is selected, additional tubing, hardware and fittings may be
neededandaholewillhavetobemadefrominsidethecabinet,throughtheoor,tothebasement.
Space Requirements
NOTE:Neverinstalltheltrationsysteminanareaofthehome
where the temperature may drop below 40° as damage to the
system will result.
The exact placement of the various components of the ltration
system will vary from installation to installation. The installer must
decide on where to place the faucet, storage tank and Reverse
Osmosis (RO) assembly by balancing convenience with ease of
installation and servicing.
Considerations for an icemaker or other remote hookup should be predetermined, including plumbing
routing and any additional tools, fittings and tubing that may be required.
Feedwater Conditions Parameter Feedwater Conditions Parameter
pH 4-11 Manganese <0.05ppm(mg/L)
Hardness <350ppm(mg/L) HydrogenSulde Noneallowable
Iron(FE) <0.1ppm(mg/L) Organics <1ppm(mg/L)
FreeChlorine Upto3ppm(mg/L) Turbidity <1NTU
TDS Upto2,000ppm
Temperature 40-100°F(4-38°C)
Min./Max.Feedwaterpressure30-125psi(207-862kPa)
2. Prepare the Area for Installation
Determine where components will be located and how they will be mounted. Special mounting brackets
and hardware may be necessary to secure the system to a wall or ceiling joists if a basement installation is
called for. Inspect the cold water supply line and drain to determine if any additional fittings are required.
NOTE:Itisagoodideaatthistimetochecktheconditionoftheundercounterplumbingforanyexisting
or potential leaks.
3. Prepare the Drinking Water Filtration System for Installation
Open the shipping carton and remove components. Check that all of the installation parts are present which
includethereverseosmosis(RO)assembly,storagetank,faucet,installationhardware,andtubinglocated
inboxunderstoragetank.(SeePartsListonpage15)
If an optional percent rejection monitor is used, the probes should be installed at this time. Follow the in-
structions that come with the monitor.
14 5/8" NOM
6 1/2"
14 1/8" NOM
2"
Minimum Distance
Required To Remove
Cartridges
To reduce the risk associated with property damage due to
water leakage:
• Protect from freezing. Drain filter when temperatures drop below
40°F(4.4°C).
• Do notinstallifwaterpressureexceeds125psi(862kPa).If
yourwaterpressureexceeds80psi,youmust install a pressure
limiting valve. Contact a plumbing professional if you are uncer-
tain how to check your water pressure.
CAUTION

Installation, Operation and Maintenance Manual
6
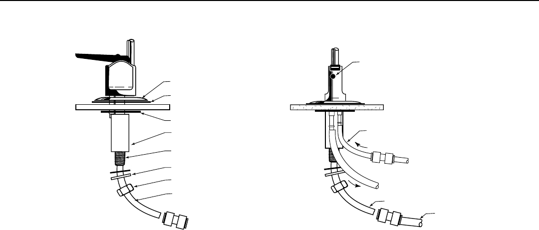
4. Install the Faucet Adapter and Tubing (see Figure 3)
Locatethecoldwaterstemontheundersideofthefaucetxture.Unscrewthecoldwaterfeedtubefromthe
faucetstem.Locatethe1/4”FaucetAdapterthatcamewithyourDrinkingWaterSystem.Inserttheblack
gasket into the threaded adapter and tighten onto the Faucet Cold Water Stem under the sink, making sure
that1/4”ttingisaccessibleandnotfacingthewall.Makesurenottoovertighten.TaketheColdWaterFeed
Tube and attach to the Faucet Adapter, making sure not to over tighten.
Locatethe1/4”FaucetTubeandinsertintothe1/4”FaucetAdapter.SeeFigure4,Page17.
5. Prefill and Sanitize the Storage Tank
Prellingthetankisalwaysrecommendedsothereispressuretocheckforleaksandwatertoushthe
carbon filters. Tanks are furnished with a special disinfection capsule which sanitizes the tank when it is
filled with water. It is important to use a sanitizer when prefilling tank so the solution can sanitize the tubing,
fittings and faucet at the time of installation and startup.
A) Placetankonstand.
B) Removethesoftrubbercapfromthetankinlettting.
C) WrapPTFEtapetotheright(clockwise)ontothreads.
D) Poursanitizerintotank.
E) Threadballvalveontotank.
F) Insertoneendof3/8”yellowtubingintoballvalve.
G)Connectsupplied3/8”x1/4”adaptortootherendofyellowtubing.
H) Connectfreeendoforangefeedwatertubingto1/4”sideofadaptor.
I) Openfeedwatervalveandtankvalveandallowtanktoll(about3minutes).
J) Toopenfeedwatervalve,turnhandletotheleft(counterclockwise).
K) Turnofffeedwatervalveandtankvalve.
L) Removeorangetubingfromadaptorthenremoveadaptorfromyellowtubing.Thetubingmayneedto
becutforremovalduetolinepressure.RefertoFigure4onpage16.
M)Settankasideforatleast15minutesfordisinfection.

Installation, Operation and Maintenance Manual
6. Install the Drain Connection (Figure 5)
For basement installations, the drain saddle is generally not used. Instead, the RO reject line is routed so
thatitdrainsintoalaundrysink,oordrainorstandpipethroughanapprovedairgap.
Under counter Installations:
Thedrainsaddleassemblyisdesignedtotaroundastandard11/2”O.D.drainpipe.Forsmaller(lavatory
type)orlarger(ABSpipe)drains,consultyourAqua-Pure® distributor.
NOTE:Thedrainsaddleshouldalwaysbeinstalledabove(before)thetrapandontheverticalorhorizontal
tailpiece. Never install the drain saddle close to the outlet of a garbage disposal or dishwashing drain be-
cause plugging of the RO drain line may occur.
A) Removebackingonfoamsealandplaceoverholeonthreadedhalfofthedrainsaddle.Placedrain
saddle at the selected location and mark the pipe through the threaded opening.
B) Drilla1/4”holeatthemarkedspotthroughonesideofdraintailpiece.
C) Positionbothhalvesofdrainsaddleondrainpipesothethreadedopeninglinesupwiththeholeinthe
drain pipe.
D) Useboltsandnutstoclampdrainsaddleontodrainpipe.Donotovertightenandmakesurethatthere
isequalspacebetweensaddlehalvesoneachside.CAUTION:Overtighteningcouldresultindamage
tothedrainline,whichmayleadtouidleaking.
E) WrapPTFEtaponthreadofdrainsaddleelbowandtightenintodrainsaddle.Orientelbowinthedirec-
tion of RO faucet location.
7. Install the Faucet
NOTE:Undercounterinstallationsrequireafaucetwithfaucetairgapmodule.SeeFigures6.
A wide variety of RO faucet mounting situations can be encountered, the most common being stainless
steel and ceramic on metal sinks.
The faucet should be positioned so that it empties into the sink and the spout swivels freely for convenience.
If the sink already has a hole provided that can accommodate the RO faucet, then no drilling is required and
you can proceed to the section on mounting the faucet.
NOTE:SprayerscanbedisconnectedtoprovideasuitableholefortheROfaucet.Apipecaporplugwill
berequiredtosealthesprayerconnectionontheexistingfaucet.
7
• Beforestartingtheundercounterinstallationprocedure,inspecttheconditionofthedrainpiping,especiallyin
older homes where the traps and tailpieces can be deceptively thin and frail.
• Somestateandlocalplumbingcodesmayprohibittheuseofsaddle-typevalvesand/ordrainconnections.See
page2forlistofstates.Optionalfeedvalveassembliescanbepurchased.
IMPORTANT NOTES

Installation, Operation and Maintenance Manual
8
8. Make the Faucet Mounting Hole
Before starting the hole making operation, always check below the sink so that nothing interferes with
mounting the faucet such as reinforcing ribs, support brackets or cabinet construction.
Stainless Steel Sink, faucet with or without air gap module.
Recommended Tools:
• Centerpunch
• Variablespeeddrillandhighspeeddrillbits
• Greenleechassispunch7/8”holesize
(alternate9/16”sizemaybeusedforfaucetswithoutairgapmodule)
• Protectivegloves
Procedure:
A)Centerpunchasmallindentatthedesiredfaucetlocation.
B)Slowlydrilltherequiredpilotholeforthechassispunch.
C)Setupthechassispunchperinstructionsandtightennuttocutthedesiredholesize.
D)Cleanupsharpedgeswithaleifnecessary.
Porcelain/Enamel/Ceramic on sheet metal or cast iron base;
faucet with or without air gap module:
Recommended Tools:
• Variablespeeddrill
• Reltonporcelaincutterset7/8”size
(alternate9/16”porcelainbitmaybeusedforfaucetswithoutairgapmodule)
• Plumbersputty
Procedure:
It is important to understand what is involved in this procedure. First, the glassy layer of porcelain must be
penetrated through to the base metal. Second, a center disc of porcelain must be removed while protecting
the surrounding porcelain against chipping or fracturing. Third, the base metal must be drilled through to
complete the hole.
A)Markthecenterforthe7/8”hole.
B)Formashallowputtydamaroundholeareaandllwithenoughwatertolubricatecarbidedrillbit.
C)Carefullydrillpilotholethroughporcelain/enamelandbasemetalusingcarbidetypepilotdrill.
D)Insertpilottipofspringloadedporcelaincutterintopilothole.
E)Drillporcelain/enamelusingspringloadedporcelaincutter,makingcertainacompleteringhasbeen
cut through the porcelain/enamel to the base metal.
F) Changetothemetalcutter.Withslowspeedandlightpressure,cutawaytheinnerporcelain/enamel
discdowntothebasemetal.Makecertainthatthecutterdoesnottouchtheouterrimofthecutpor-
celain/enamel. Continue with this bit to cut through metal until sink has been completely penetrated.
To reduce the risk of eye injury while drilling counter-tops for faucet installation:
•SafetyglassesMUSTbewornduringsinkholedrillingoperations.
• Alwaysoperatedrillwithlightpressureatslowspeed(300-400rpm).
• Whenusingaporcelaincutter,itiscriticaltotaketheprecautionthatitisalwaysinasharpenedcondition.Dull
cutters are known to chip sinks.
IMPORTANT NOTES
CAUTION

Installation, Operation and Maintenance Manual
9. Mount the Faucet (see Figure 6)
Installation With Faucet Air Gap Module:
A)Familiarizeyourselfwithallcomponentsshownintheairgapfaucetdiagram(Figure6).
B)Slidestainlessbaseplateandrubberwasheruptubeandbrassthreadedstemoffaucet.
C)Connectlengthofstandardgreen1/4”tubingtosmallerbarbonairgapfaucet.Pushonrmlyuntilitseats.
D)Connectlengthofblack3/8”tubingtolargerbarbonairgapfaucet.
E)Feedboththegreenandblacktubingandthreadednipplethroughsink/countermountingholeand
orient the faucet.
F) Frombelowsink/counter,assemblethewhitespacer(openendup,opensidetowardairgap),at
washerandhexnutonthreadednippleandtightenbyhand.
G)Backoffonhexnutjustenoughtoslideslottedwasherbetweenwhitespacerandundersideofsink/
counter(withopensideofslottedwasherclosesttoairgaptubes.)
H)Afterrecheckingfaucetorientation,tightenhexnut(9/16”wrench)untilfaucetfeelssecure.
I) Fromabovethesink,makeanyminororientationcorrectionsbyturningthefaucetwithapaddedad-
justablewrench.NOTE:Flatsonchromefaucetmaybeusedfortighteningwithanadjustablewrench.
Usecarenottomarkchromenish.
10. Make Initial Faucet Tubing Connections (see Figures 1, 2 & 3)
A)Theorange1/4”tubingshouldhavealreadybeenconnectedtotheFaucetAdapterwith1/4”brass
compression nut, insert and plastic sleeve.
B)Connectthe3/8”x1/4”adapterthatwasusedtolltanktothe1/4”bluefaucettube.
C)Routeblack3/8”tubingfromfaucetairgapmoduletodrainsaddlesothatitslopescontinuously
downward without loops or low spots. Cut to proper length and connect to drain elbow by pushing tub-
ingintotting.RefertoFigure4onpage17.Ifbasementinstallation,routestandardgreen1/4”tubing
fromanappropriatedrainconnection(e.g.laundrysink,oordrain,standpipe)tointendedlocationof
filtration assembly. An air gap must be installed between outlet and drain connection.
9
• TheUniformPlumbingCodedictatesthattheremustbeanairgapbetweentheROrejectlineandthewaste
drain. The faucet air gap module connections can be eliminated only if an air gap is provided elsewhere in the
drainline(i.e.basementinstallations).
IMPORTANT NOTES
To reduce the risk associated with property damage due to water leakage:
• Ensure all tubing and fittings are secure and free of leaks.
• InstallationandUseMUST comply with all state and local plumbing codes.
• Do notinstallifwaterpressureexceeds125psi(862kPa).Ifyourwaterpressureexceeds125psi,you
must install a pressure limiting valve. Contact a plumbing professional if you are uncertain how to check
your water pressure.
• Do not use a torch or other high temperature sources near filter or plastic fittings.
• Mountlterinsuchapositionastopreventitfrombeingstruckbyotheritemsusedintheareaofinstallation
(wastebaskets,etc).
• Shutoffinletwatersupplyanddepressurizesystemasshowninmanualwhenchangingcartridgesorservicing.
CAUTION

Installation, Operation and Maintenance Manual
11. Install the RO Assembly and Storage Tank
Under counter Installation:
The RO assembly is usually mounted to the right or left sink cabinet sidewall, taking into consideration the
space available and the tank location. Generally, the tank is placed in the rear of the sink cabinet while the
RO assembly is positioned toward the front for better accessibility.
TomounttheROassembly,elevateitatleast2”offthecabinetoor(withcartridgesinstalled)and,while
keepinglevel,markthelocationofthemountingholesonthecabinetsidewall.Makesmallpilotholeswith
an awl or drill and screw in the two mounting screws, leaving just enough protruding to allow bracket mount-
ing slots to slide over them.
NOTE:Ifthecabinetsidewallsarenotofsolidconstruction,theROassemblycanbesetonthecabinet
oorandheldagainstthesidewallwiththemountingscrews.However,theROassemblywillthenneedto
be lifted from the mounting screws in order to remove filter cartridges.
The tank can be oriented either vertically or horizontally. It is generally placed to the rear of the cabinet but
canbesetinthefromcenter(betweenthesinkbasins)foreaseofaccessifspacepermits.
Basement Installation:
TheROassemblyisgenerallymountedtothebasementwall(usingwallanchors)ortowoodceilingsup-
ports. To mount the RO assembly, keep bracket level and mark the location of the mounting holes. Install
wall anchors and/or mounting screws as required. Leave screw heads protruding to allow bracket mounting
slots to slide over them.
Thetankmaybeorientedeitherverticallyorhorizontallyandcanbeplacedonashelf,ontheoor,orsus-
pended from the ceiling supports using sturdy brackets.
An effort should be made to minimize the distance between the tank and RO assembly to help assure an
adequateowratetothefaucet.
12. Make Final Tubing Connections (see Figure 1)
With all of the components in place, the final tubing connections can be made. When routing tubing be-
tween components, several guidelines should be observed.
Tubing runs should generally follow the contour of the cabinets rather than interfere with the cabinet stor-
agearea.Striveforneatnessandanorderlytubing“ow”usingfasteners(e.g.insulatedstaples)tosecure
thetubing.Arrangethetubingsotherearenosharpbendsandleavesome“play”inthetubingforeaseof
servicing, then cut tubing to desired length.
TrytokeepthetubingfromtheROassemblytothetankandfaucetasshortaspracticalforgoodow.
Undersink Installation:
A)Connectorange1/4”tubingfromfeedwatervalveto“Feed”connectiononROassembly.
B)Connectoneendofblue3/8”tubingtofaucetadapterandtheotherendtothe“faucet”connectionon
the RO assembly.
C)Connectyellow3/8”tubingfromstoragetanktotheteeontheROassembly.
D)Routespecialred“SFC”tubefromROassemblymodule(factorymadeconnection)towardfaucet.Do
not cut this special SFC tube. Its length is important to maintain proper efficiency and performance.
E)RemovewhiteplugfromcouplingttingonendofredSFCtube.ConnectSFCtubetooneendof1/4”
x1/4”couplingtting.
F) Connectthegreen1/4”tubingfromfaucetairgapto1/4”couplingttingontheendofSFCtube
(SeeFigure4onpage17).
10
To reduce the risk associated with a hazardous voltage due to an installer drilling through existing electric
wiring or water pipes in the area of installation:
•Do not install near electric wiring or piping which may be in the path of a drilling tool when selecting the position
to mount the filter bracket.
WARNING

Installation, Operation and Maintenance Manual
11
13. Install Icemaker Hookup (optional)
The RO drinking water filtration system can be connected to any standard refrigerator icemaker or ice-
maker/water dispenser. It should never be connected to a commercial type bar icemaker.
Hookingupanicemakerinvolvesconnectingateewithshutoffvalveintotheblue3/8”faucettubingand
routingtubingovertotherefrigerator.Hookinguptoexistingcoppertubingisgenerallynotrecommended.
If copper tubing must be used, then installation of a small in-line carbon filter at the refrigerator connection
is recommended.
Beforeturningofftheexistingtapwatersupplytotherefrigeratoricemaker,alwaysshutofftheicemakerrst
(usuallybyliftingtheleverarmabovethebintotheuppermostposition).Theicemakershouldonlybeturned
on again after the RO system has been drained several times and the tank has a full supply of water.
NOTE:Highcapacityresidentialrefrigerationicemakers(e.g.Sub-Zero®)mayrequireaminimumpressure
of20psi(138kPa).Insomeinstances,thisunitwillnotprovide20psi(138kPa)orgreaterpressure.Inthat
case, a second storage tank will be required. Please call technical services for installation advice.
14. Install Filter Cartridges
A)Removenewltercartridgesfromthebox.
B)Usingtapwater,wettheo-ringsealstomakeinsertioneasier.
C)Lineupthecartridgeears,insertcartridgeandpushintotheheaduntilfullyseated.Twistthecartridge
1/4turntotheright(clockwise)tolockintoplace.
15. Start Up The System
A)Doublecheckthatallconnectionsaresecure.
B)Turnonfeedwatersaddlevalveandcheckforleaks.Ifanyleaksarenoted,turnoffvalveandcorrect
beforeproceeding.NOTE:Ifaleakoccursata“Push-In”tting,refertoFigure4onpage17.
C)Liftfaucethandleandallowtanktodraincompletelyofsanitizingsolution.Donotusethiswater.When
tank is empty, the faucet will steadily drip. This is the rate water is processed by the RO system. Ap-
proximately2-3dropspersecond.
D)Closefaucet.Waitatleast4hoursanddraintankagain.Thewatershouldbediscardedasitmaycon-
tain some disinfectant solution.
E)Thesystemshouldbereadytouseassoonasthetankrells.Ifanyobjectionabletasteisnoticedafter
the second tank draining, wait and drain tank the following day. Only when the tank is full should an
icemaker be turned on if one is connected to the system.
NOTE:Whenthesystemisrstturnedon,watermayintermittently“spurt”fromtheairgapmodule.Thisis
perfectly normal and is caused by air trapped in the system. This will usually disappear within a short time.
• BeforeanyserviceisperformedontheROsystem,alwaysturnofftheicemakervalveandtheicemakerunit.
Only turn on when the system is operating and the tank is full.
IMPORTANT NOTES
To reduce the risk associated with property damage due to water leakage:
• Ensure all tubing and fittings are secure and free of leaks.
CAUTION

Installation, Operation and Maintenance Manual
16. Installation Troubleshooting
Problem:
Water leaks from opening in air gap module.
Possible Causes:
A)Drainlineblockedordrainnotdrilledthroughcompletely.
B)Airlockinairgapoutlet.
C)Drainlinehaslooporisnotverticalenough.
Solutions:
A)Checkthatdrainlineisclearofobstructionsandremovedrainsaddlettingtoverifythattheholeis
drilled through completely.
B)Blowairintoairgapoutletusingshortlengthoftubing.
C)Shortentubingsothatrunisasverticalaspossible.
Problem:
Noiseindrain(“gurgling”or“dripping”sound)
Possible Cause:
Reject water dripping into standing water in the drain trap.
Solutions:
A)Makesurethe3/8”blacktubingfromfaucetairgapmoduleslopescontinuouslydownwardtodrain
saddle without loops or low spots.
B)Angledrainpipingsorejectwaterrunsdownsideofdrainpipe.
C)Changelocationofdrainsaddletohorizontaldrainpipeoralternateverticaldrainpipefartherfromthe
trap.Properlyplugoriginalhole.CAUTION:Makesuredrainsaddleisalwaysinstalledabove(before)
the trap.
Problem:
System is not producing water.
Possible Cause:
A)Needaminimumof30psi(207kPa)incomingwaterpressure.
B)Toolittleornorejectwater.
C)Incorrecttankpressure.
Solutions:
A)Increasepressurebyaddingpressurepump.
B)DisconnectspecialSFCrejecttubingfromfaucetairgapinlettubingandcheckrejectowratewhich
shouldbeapproximately175ml/min.
C)Emptywaterfromtank.Lifttanktoverifythatitisempty.Adjustpressureto5-7psi(34-48kPa).
Problem:
System is not producing enough water.
Possible Cause:
Incorrect tank pressure.
Solutions:
Emptywaterfromtank.Lifttanktoverifythatitisempty.Adjustpressureto5-7psi(34-48kPa).
12

Installation, Operation and Maintenance Manual
13
17. Maintenance
Reverse Osmosis drinking water filtration systems contain treatment components that are critical for effec-
tive reduction of Total Dissolved Solids as well as inorganic chemical contaminants. We strongly recom-
mendthattheusertestthewaterperiodically(everysixmonthsminimum)toverifythatthesystemisper-
formingsatisfactorily.APercentRejection(PR)WaterQualityMonitorisavailabletoprovidetheuserwith
a means to test the water at any time. Routine maintenance is necessary in the form of prefilter, postfilter
and membrane replacement.
Replacing Filter Cartridges
Thelifeofltercartridgesgenerallydependsonlocalwaterconditions(i.e.,dirt,rustand/orchlorinelevels)
and by the length of service.
When to Replace Filters
A) Every six months, at the rated capacity or sooner if a noticeable reduction in flow rate occurs.
B)Anoticeabledecreaseinwaterproductionisanindicationthattheltersrequirechanging.
C)Adecreaseinwaterqualitywouldbeanindication.
How to Replace Prefilter and Postfilter Cartridges
A)Liftuponthefaucethandletodrainthetank.Closethecoldwaterfeedvalve.Waitve(5)minutesfor
the filtration assembly to completely depressurize.
B)Twisttheltercartridge1/4turntotheleft(counterclockwise)sothattheearsonthecartridgeare
abletodisengagefromthehead.Thenpullcartridgefromthehead.(Itmaybenecessarytotwistthe
cartridgeslightlyfromsidetosidetohelpfreeit.)
C)Removenewltercartridgesandthesanitarysealedwrapperfromthebox.Doublechecktoseethat
it is the correct replacement filter cartridge by comparing the labels.
D)Usingtapwater,wettheo-ringsealstomakeinsertioneasier.
E)Lineupthecartridgeears,insertcartridgeandpushintotheheaduntilfullyseated.Twistthecartridge
1/4turntotheright(clockwise)tolockinplace.
F) Openthecoldwaterfeedvalveandcarefullycheckforleaks.
G)ROSystemFlushInstructions:
Prelters—Closetank.Liftthefaucethandleandushatleastone(1)gallonofwaterthroughthe
system(approximately10minutes).
Postlters—Install.Opentank.Liftthefaucethandleandushatleastone(1)gallonofwaterthrough
postlter(approximately30minuteswithtankemptyor5minuteswithtankfull).Itmaybenecessary
tocontinueushinguntilwaterbecomesclear.
Replacing RO Membrane Module
The life of the RO membrane depends on local water chemistry and proper maintenance, e.g., regular filter
changes.Undertypicalconditions,theROmembraneliferangesfromeighteen(18)monthstothree(3)
years because of its self cleaning feature.
TheROmembraneshouldbereplacedasdeterminedbyanoptionalpercentrejection(PR)monitor.The
monitor is factory preset so that a green light will be displayed when the water quality is good, and a red
or yellow light indicates that replacement may be necessary. If a red or yellow light is displayed, the faucet
should be opened and the storage tank drained. After it has refilled, check the system again. If a red or yel-
low light is still displayed, the membrane should be replaced.
Recommended service life of the RO membrane is 36 months, maximum.
To reduce the risk associated with property damage due to water leakage:
• ThedisposableltercartridgeMUSTbereplacedeverytwelve(12)months,attheratedcapacityorsoonerif
anoticeablereductioninowrateoccurs.
CAUTION

Installation, Operation and Maintenance Manual
How to Replace the RO Membrane Module
ReplacementoftheROMembraneModulegenerallyrequires:
New replacement membrane module of the same type and performance and supplies for sanitizing.
A)Openfaucet,shutofftankandturnofffeedwater.WaitveminutesforROassemblytocompletely
depressurize.
B)Disconnecttubingfromallthreeconnectionsonmembranemodule(refertoFigure4).Pleasenote
the tube color and respective fitting for re-connection.
C)RemoveROmembranemodulefromclipsanddiscard.
D)Positionreplacementmoduleaboveclipsandpushintoplace.Ifnecessary,rotatemodulesottings
are aligned with respective tubing.
E)Inserteachtubingendintorespective“PushIn”connectorasfarasitwillgo.RefertoFigure4.Please
note that the blue tubes attach to center fittings on module.
F) Followthesanitizingandstartupproceduresforthestoragetankandpuricationassemblyoutlinedin
thenextsection.
Sanitizing The RO Filtration System
For the highest quality water from your Aqua-Pure® RO drinking water filtration system, it is important to
routinely sanitize both the storage tank and the RO assembly.
When to Sanitize the Storage Tank
A)Uponstart-upasdescribedinSection5oftheInstallationManual.NOTE:StandardAqua-PureRO
storage tanks need a special sanitizing agent which is activated when the storage tank is initially filled.
(SeeSection5intheInstallationManual.)
B)Afteranyservicingorroutinemaintenancewhichinvolvestheprelter(s)ormembrane.
Refer to Section 5 Steps D through K to Sanitize Storage Tank.
How to Sanitize the RO Assembly
SanitizingtheROAssemblygenerallyrequires:
• Newpreandpostcartridge
• Commonhouseholdbleach(5.25%NON-scented)
• Standardeyedropperorequivalent
A)Shutofffeedwatervalveandtankballvalve.
B)Followinstructionforchangingprelterandpostlter.
C)Beforeattachingnewcartridge(s),useeyedroppertoinjectoneteaspoonful(approximately5ml)of
household bleach into the center of each filter cartridge.
D)Turnonfeedwatervalveandtankballvalve.
E)Openfaucettoallowtanktodrain.
F) Closefaucetvalveandallowsystemtorunforatleastonehour.
G)Draintankanddiscardwater.NOTE:Ifanyobjectionabletasteisnoticed,draintankagainandallow
to refill.
H)Allowthesystemtorunintothesinkfortheremainderof24hourstoushthemembrane.
I) Closefaucet.Theltrationsystemshouldbereadytouseassoonasthetankrells.
14
• Thesanitizingproceduresareintendedtobepartofaroutinemaintenanceprogramonlyandnotdesignedto
sanitize systems that have become highly contaminated from misuse.
IMPORTANT NOTES

Installation, Operation and Maintenance Manual
Long Term Non-Use
IftheROltrationsystemisleftunusedforlongperiods(>30days),followthisprocedure:
A)Openfaucettodraintankandturnofffeedwatervalve.WaitveminutesforROassemblytodepressurize.
B)Removeallcartridges.Turncartridgesupsidedowninsinkorcontainertodrainoutasmuchwateras
possible.
C)WhenROltrationsystemisreadytobeputintoservice,reinstallcartridgesintheROassembly
headsandsanitizestoragetankasdescribedinSection4.TheROassemblycanalsobesanitizedat
this time, if desired.
D)FollowstartupprocedureoutlinedinSection4.
18. Parts List
Item No. Description Part No.
1ROMembraneModule 56084-01
2Replacement Cartridges
(PreandPostlters#AP5527)
55981-01
3ShutOffValve 60-90119
4SFC Tubing 52-318212
5StorageTank(notshown) 56-18125
6Faucet 62215-38
2
4
1
3
6
AP5500 Line Art
15

Installation, Operation and Maintenance Manual
16
General Under counter Installation Schematic (Figure 1)
General Basement Installation Schematic (Figure 2)
Plastic Faucet Adapter Installation (Figure 3)
Locatethecoldwaterstemontheundersideofthefaucetxture.
Unscrewthecoldwaterfeedtubefromthefaucetstem.Locatethe1/4”
Faucet Adapter that came with your Drinking Water System. Insert the
black gasket into the threaded adapter and tighten onto the Faucet Cold
WaterStemunderthesink,makingsureA1/4”ttingisaccessibleand
notfacingthewall.Makesurenottoovertighten.TaketheColdWater
Feed Tube and attach to the Faucet Adapter, making sure not to over
tighten.Locatethe1/4”FaucetTubeandinsertintothe1/4”Faucet
Adapter.See“UsingPush-InFittings.”
Faucet with
Air Gap
Cold Water
Supply Only
Storage
Tank
Sink
Drain
Red SFC Tubing
3/8” Black
3/8” Yellow
3/8” Blue
RO
Assembly
1/4” Orange
1/4” Green
For best flow, tubing must
be as vertical as possible.
3/8” Yellow
For best flow, keep
tubing from Tank
to RO Assembly as
short as possible.
Faucet without
Air Gap
Cold Water
Supply Only
Storage Tank
Sink
Drain
Red SFC Tubing
3/8” Yellow
1/4” Green
3/8” Blue
RO
Assembly
1/4” Orange
Air gap device
(eg. Gap-A-Flow)
To laundry sink
standpipe or floor
drain
Floor
Undersink Area
For best flow, keep
tubing from Tank
to RO Assembly as
short as possible.
Faucet with
Air Gap
Cold Water
Supply Only
Storage
Tank
Sink
Drain
Red SFC Tubing
3/8” Black
3/8” Yellow
3/8” Blue
RO
Assembly
1/4” Orange
1/4” Green
For best flow, tubing must
be as vertical as possible.
3/8” Yellow
For best flow, keep
tubing from Tank
to RO Assembly as
short as possible.
Faucet without
Air Gap
Cold Water
Supply Only
Storage Tank
Sink
Drain
Red SFC Tubing
3/8” Yellow
1/4” Green
3/8” Blue
RO
Assembly
1/4” Orange
Air gap device
(eg. Gap-A-Flow)
To laundry sink
standpipe or floor
drain
Floor
Undersink Area
For best flow, keep
tubing from Tank
to RO Assembly as
short as possible.
Faucet Tubing
Faucet Stem
Under Sink
Feedwater
Tube
To Release Tubing
Push in grey collet to release tubing. With collet
held, pull tubing straight out.
Collet
Backstop
To Attach Tubing
Push tubing in as far as it will go. Tubing must be in-
serted past o-ring and hit backstop. Pull tube to ensure
it is secured.
CAUTION
To reduce the risk associated with property damage due to water leakage:
• Ensure all tubing and fi ttings are secure and free of leaks.

Installation, Operation and Maintenance Manual
Using Push-In Fittings (Figure 4)
Thisproductisequippedwithuser-friendly“PushIn”connectors.Properuseoftheconnectorsisshowninthedia-
grams.Itismostimportantthatthetubingselectedforusewiththeconnectorsbeofhighquality,exactsizeandround-
ness, and with no surface nicks or scratches. If it is necessary to cut the tubing, use a plastic tubing cutter or sharp
razorknife.Makeacleansquarecut.
Tox: 1.Relievepressure. 2.Releasetubing. 3.Cutoffatleast1/4”fromend.
4.Reattachtubing. 5.Conrmconnectionisleak-free.
17
Faucet Tubing
Faucet Stem
Under Sink
Feedwater
Tube
To Release Tubing
Push in grey collet to release tubing. With collet
held, pull tubing straight out.
Collet
Backstop
To Attach Tubing
Push tubing in as far as it will go. Tubing must be in-
serted past o-ring and hit backstop. Pull tube to ensure
it is secured.
CAUTION
To reduce the risk associated with property damage due to water leakage:
• Ensure all tubing and fi ttings are secure and free of leaks.
To reduce the risk associated with property damage due to water leakage:
• Ensure all tubing and fittings are secure and free of leaks.
• Do notinstallunitifcolletismissing.Contact3MPIifcolletsaremissingfromanyttings.
CAUTION
Drain Connection Installation (Figure 5)
Garbage
Disposal
NEVER mount here
Mount drain saddle at
either location
Hole should be
located on top
of the pipe
Drain saddle elbow
Drain saddles
Drain Connection
(horizontal example)

Installation, Operation and Maintenance Manual
Faucet Installation (Figure 6)
C.L.
Base plate
Rubber washer
Slotted washer
Spacer
Threaded nipple
Hex nut
3/8" Tubing from storage tank
Air gap hole
1/4" Standard green tubing
Special red "SFC"
tubing from RO
Black 3/8" Reject tubing to drain
Blue 1/4" Product water tubing
Back ViewSide View
Flat washer
Blue 1/4” Product
water tubing
18

3M is a trademark of 3M Company.
Aqua-Pure is a trademark of 3M Company used under license.
NSF is a trademark of NSF International.
98-880043 0513
© 2013 3M Company. All rights reserved.
3M Purification Inc.
400 Research Parkway
Meriden, CT 06450 USA
Toll Free: 1.800.222.7880
Worldwide: 203.237.5541
Fax: 203.238.8701
www.aquapure.com • www.3Mpurication.com
Visit www.nsf.
org for the claims
associated with
products that are
NSF listed.
System tested and certied by NSF International
against NSF/ANSI Standards 42 and 58 and CSA
B483.1.
3MPurication Inc.warrants this Product will be freefrom
defectsinmaterialandmanufactureforone(1)yearfrom
the date of purchase. This warranty does not cover failures
resulting from abuse, misuse, alteration or damage not
caused by 3M Purication Inc. or failure to follow installa-
tion and use instructions. No warranty is given as to the ser-
vice life of any filter cartridge or membrane as it will vary
depending on application. 3M PURIFICATION INC. MAKES
NO OTHER WARRANTIES OR CONDITIONS, EXPRESS
OR IMPLIED, INCLUDING, BUT NOT LIMITED TO, ANY
IMPLIED WARRANTY OR CONDITION OF MERCHANT-
ABILITY OR FITNESS FOR A PARTICULAR PURPOSE
OR ANY IMPLIED WARRANTY OR CONDITION ARISING
OUT OF A COURSE OF DEALING, CUSTOMER OR US-
AGE OF TRADE. If the Product fails to satisfy this Limited
Warrantyduringthewarrantyperiod,3MPuricationInc.will
replace the Product or refund your Product purchase price.
This warranty does not cover labor. The remedy stated in
this paragraph is Customer’s sole remedy and 3M Puri-
fication Inc.’s exclusive obligation.
Limitation of Liability: 3MPuricationInc.willnotbeliable
foranylossordamagearisingfromtheuseoftheProduct(s),
whether direct, indirect, special, incidental, or consequential,
regardless of the legal theory asserted, including warranty,
contract, negligence or strict liability. Some states do not al-
lowtheexclusionorlimitationofincidentalorconsequential
damages, so the above limitation may not apply to you.
Please visit www.aquapure.com to register your product.
19. Limited Warranty