WKM Pow R Seal Gate Valve DEMCO DM IOM
User Manual: DEMCO DM Gate Valve IOM Resource Library
Open the PDF directly: View PDF
.
Page Count: 24

Publication
TC1641
DEMCO® Model DM Gate Valve
Installation, Operation , Maintenance & Repair Manual
Page 1 of 24
DEMCO®
Model DM
Gate Valves
Classes : 400 1000
600 2000
900 3000
1500 5000
Installation, Operation, Maintenance and Repair Manual

Publication
TC1641
DEMCO® Model DM Gate Valve
Installation, Operation , Maintenance & Repair Manual
Page 2 of 24
Publication TC1641 Published May 2002
© Cooper Cameron Corporation, Cooper Cameron Valves Division, 2002.
All rights reserved.

Publication
TC1641
DEMCO® Model DM Gate Valve
Installation, Operation , Maintenance & Repair Manual
Page 3 of 24
Table of Contents
Bill of Materials
Class 400-1500 (except 4" and 6x4" 1500) .. 4
Class 2000, 3000, 5000 2" & 2-1/2x2".......... 5
Class 2000-3000: 2-1/2" - 5x4"; 5000:
3" & 4x3"; Class 1500: 4"; 1000: 5" ......... 6
Class 5000: 4", 5x4", 6x4" .......................... 7
Class 3000-5000: 5", 6x5" ........................... 8
Nameplate Information .................................... 9
Scope .............................................................. 9
Storage.............................................................. 9
Installation ....................................................... 10
Operation......................................................... 11
Routine Maintenance ...................................... 11
Repair - General ............................................... 11
Repair
Class 400-1500 (except 4" and 6x4" 1500) . 12
Class 2000, 3000, 5000 2" & 2-1/2x2"......... 14
Class 2000-3000: 2-1/2" - 5x4"; 5000:
3" & 4x3"; Class 1500: 4"; 1000: 5" ........ 16
Class 5000: 4", 5x4", 6x4" ......................... 18
Class 3000-5000: 5", 6x5" .......................... 20
Trouble Shooting ............................................ 22

Publication
TC1641
DEMCO® Model DM Gate Valve
Installation, Operation , Maintenance & Repair Manual
Page 4 of 24
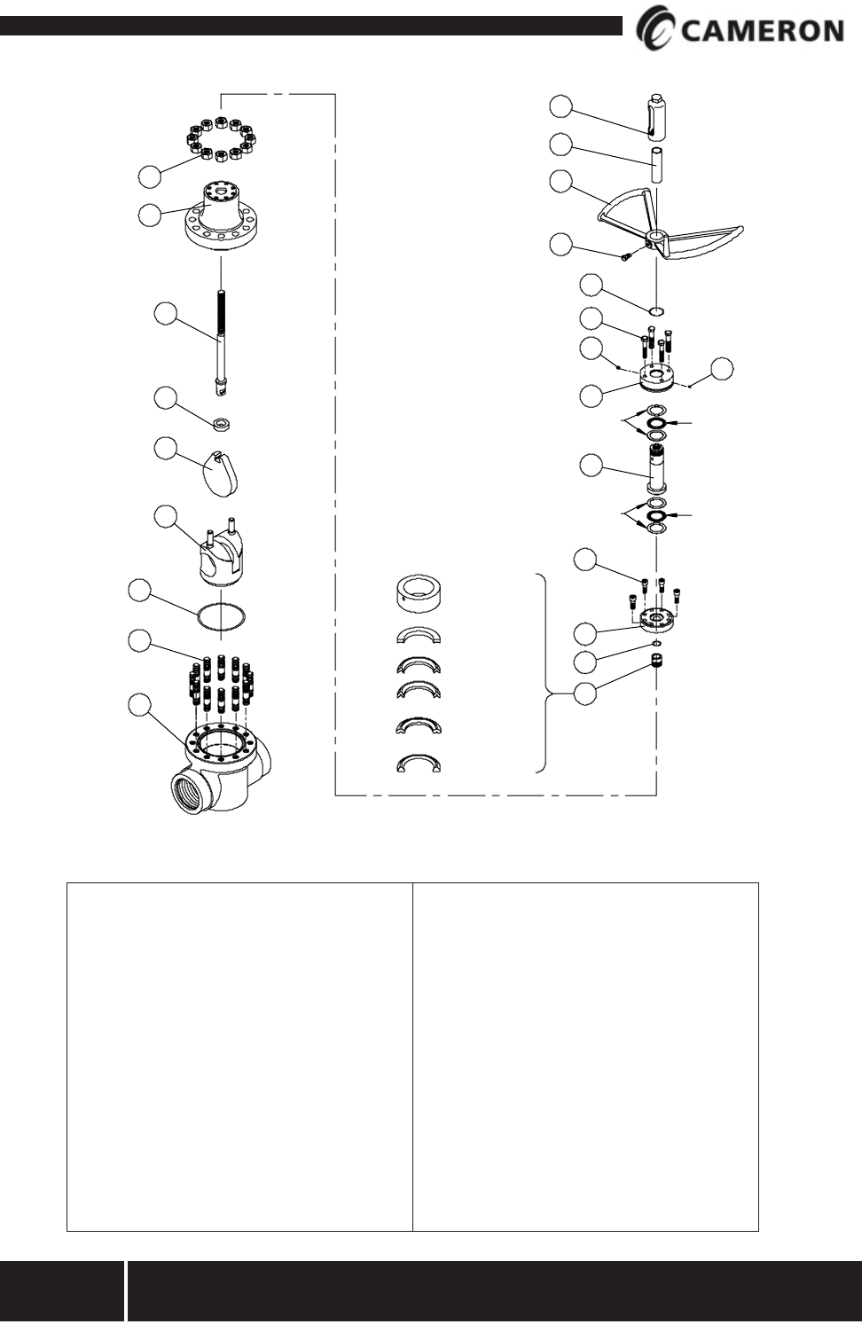
ITEM QTY DESCRIPTION
1. 1 Handle
2. 1 Stem Pin
3. 1 Lube Fitting
4. 1 Back-up Ring
5. 1 Stem Seal
6. 1 Stem
7. 1 Bonnet
8. 4 Cap Screw or Stud
9. * Nut
10. 1 Bonnet Seal
11. 1 Body
12. 1 Seat Assembly
13. 1 Gate
14. * Screw Seal
15. * Relief Fitting
Figure 1 - Series DM Gate Valve Class 400-1500 (except 4" and 6x4" 1500)
1
2
3
1
2
3
Nut Qty=
0 for 1-1/2 through 3x2"
Class 400 and 600
4 for others
Screw Seal Qty=
0 for Class 400 and 600
1 for Class 900 and 1500
Relief Fitting Qty=
0 for Class 400 and 600
1 for Class 900 and 1500
11
8
10
12
13
6
7
914
5
4
2
15
3
1

Publication
TC1641
DEMCO® Model DM Gate Valve
Installation, Operation , Maintenance & Repair Manual
Page 5 of 24
ITEM QTY DESCRIPTION
1. 1 Lube Fiting
2. 1 Handle
4. 1 Lock Handles
6. 1 Stem Screw
7. 1 Stem Screw Seal
8. 1 Screw Housing
9. 1 Stem
10. 1 Secondary Seal
11. 1 Retainer
12. 1 Stem Seal Assembly
Figure 2 - Series DM Gate Valve 2000, 3000, 5000 2" & 2-1/2x2"
ITEM QTY DESCRIPTION
13. 1 Lock Screw
15. 1 Coupling
16. 1 Bonnet
17. 1 Index Pin
18. 1 Bonnet Seal
19. 1 Gate
20. 1 Body
21. 1 Seat Assembly
22. 1 Pin-Lock Handle
BRONZE BUSHING
FLAT TOP FOLLOWER
FABRIC REINFORCED
SEAL RING
HOMOGENEOUS
RU BBER SEAL RIN G
FLAT BOTTOM
ADAPTER
1
2
4
22
15
7
8
13
6
10
11
12
16
9
19
21
18
17
20

Publication
TC1641
DEMCO® Model DM Gate Valve
Installation, Operation , Maintenance & Repair Manual
Page 6 of 24
ITEM QTY DESCRIPTION
1. 1 Lube Fiting
2. 1 Hub Assembly
4. 1 Lock Handle
6. 1 Stem Screw
7. 1 Stem Screw Seal
8. 1 Screw Housing
9. 1 Stem
10. 1 Secondary Seal
11. 1 Retainer
12. 1 Stem Seal Assembly
Figure 3 - Series DM Gate Valve 2000-3000: 2-1/2" - 5x4"; 5000: 3" & 4x3"; Class 1500: 4"; 1000: 5"
ITEM QTY DESCRIPTION
16. 1 Bonnet
18. 1 Bonnet Seal
19. 1 Gate
20. 1 Body
21. 1 Seat Assembly
22. 1 Pin-Lock Handle
23. 2 Bonnet Stud
24. 2 Bonnet Stud Nut
25. 4 Body Stud
26. 4 Body Stud Nut
BRONZE BUSHING
FLAT TOP FOLLOWER
FABRIC REINFORCED
SEAL RING
HOMOGENEOUS
RUBBER SEAL RING
FLAT BOTTOM
ADAPTER
1
22
4
2
7
24
8
6
10
11
12
23
26
16
9
19
21
18
25
20

Publication
TC1641
DEMCO® Model DM Gate Valve
Installation, Operation , Maintenance & Repair Manual
Page 7 of 24
ITEM QTY DESCRIPTION
1. 1 Lube Fiting
2. 1 Handle
3. 1 Tube
4. 1 Stem Cap
5. 1 Key
6. 1 Stem Screw
7. 1 Stem Screw Seal
8. 1 Screw Housing
9. 1 Stem
10. 1 Secondary Seal
11. 1 Retainer
12. 1 Stem Seal Assembly
Figure 4 - Series DM Gate Valve 5000: 4", 5x4", 6x4"
ITEM QTY DESCRIPTION
13. 2 Bearing
14. 1 Downstop Ring
16. 1 Bonnet
18. 1 Bonnet Seal
19. 1 Gate
20. 1 Body
21. 1 Seat Assembly
23. 2 Bnnet Stud
24. 2 Bonnet Stud Nut
25. * Body Stud
26. * Body Stud Nut
1Stud and
Nut Qty=
4 for valves
with Assembly
Bast Part
Number
J007420,
J007421 and
J011928.
12 studs
and nuts for
all other
assemblies.
1
1
BRONZE B USHING
FLAT TOP FOLLOWER
FABRIC REINFORCED
SEAL RING
HOMOGENEOUS
RUBBER SEAL RING
FLAT BOTTOM
ADA PTER
18
25
20
9
14
19
21
10
11
12
26
23
16
13
5
6
13
1
24
7
8
4
3
2

Publication
TC1641
DEMCO® Model DM Gate Valve
Installation, Operation , Maintenance & Repair Manual
Page 8 of 24
ADAPTER
FLAT BOTTOM
RUBBER SEAL RING
HOMOGENEOUS
SEAL RINGS
FABRIC REINFORCED
FLAT TOP FOLLOWER
BRONZE BUSHING
10
8
11
6
13
12
3
21
20
5
9
7
THRUST WASH ER
THRUST WASH ER NEEDLE AND CAGE
ASSEMBLY
NEEDLE AND CAGE
ASSEMBLY
18
19
26
22
14
25
2
1
23
24
4
ITEM QTY DESCRIPTION
1. 1 Handwheel
2. 1 Screw, Handwheel
3. 4 Screw, Retainer
4. 1 Downstop Ring
5. 1 Stem Seal Assembly
6. 1 Stem
7. 1 Bonnet
8. 12 Body Stud
9. 12 Body Stud Nut
10. 1 Bonnet Seal
11. 1 Body
12. 1 Seat Assembly
Figure 5 - Series DM Gate Valve 3000-5000: 5", 6x5"
ITEM QTY DESCRIPTION
13. 1 Gate
14. 1 Stem Screw Seal
18. 1 Stem Screw w/Bearings
19. 1 Housing
20. 1 Secondary Seal
21. 1 Retainer
22. 4 Screw, Housing
23. 1 Tube
24. 1 Stem Cap
25. 1 Lube Fitting
26. 1 Relief Fitting

Publication
TC1641
DEMCO® Model DM Gate Valve
Installation, Operation , Maintenance & Repair Manual
Page 9 of 24
WORKING PRESSURE,
PSI
HYDROSTATIC TEST
PRESSURE, PSI
VALVE ASSEMBLY
PART NUMBER
VALVE SERIAL
NUMBER
Nameplate Information
The Demco model DM gate valve comes in several
configurations, one of which is shown on the front
cover of this publication. Each valve is completely
identified by the nameplate data which is shown
below.
With the valve assembly part number and serial
number a complete valve bill of material may be
obtained. The valve assembly part number will
appear on the purchase order and shipping ticket.
Scope
This publication applies to the storage, installa-
tion, operation, routine maintenance and trouble
shooting of the Demco model DM gate vales in
pressure classes 400, 600, 900, 1500, 1000, 2000,
3000 & 5000. Other information concerning these
valves (e.g. dimensional data, etc.) is to be found
in other publications.
Storage
Demco model DM gate valves are shipped from
the factory fully open and with end protectors. It
is recommended that they remain in this condi-
tion until time for installation. They should be
stored in a dry place, preferably indoors, away
from extreme heat. These valves contain elasto-
meric seals which deteriorate with heat and age.
The valve serial number is a four to six digit
number that is stamped on the nameplate and
body at the time of assembly. Serial numbers are
kept on file at the factory and are traceable to the
valve assembly part number and date of assembly.
The serial number is stamped on or near one of
the end connections.

Publication
TC1641
DEMCO® Model DM Gate Valve
Installation, Operation , Maintenance & Repair Manual
Page 10 of 24
Installation
Demco model DM gate valves are bi-directional
and may be installed with either end upstream.
The valves should be installed as far as possible
from sources of extreme heat, vibration and
pulsation. The piping system should be equipped
with a pulsation dampener if a reciprocating
pump is being used. Vibration and pulsation cause
premature wear of the internal parts of the valve.
Note on weld end valves: Remove the bonnet,
bonnet seal and seat prior to welding the valve
into the line. Protect the seat bore from weld
spatter. Be sure the weld procedure is qualified
for both pipe material and valve body material. If
the valve is going to be exposed to hydrogen
sulfide, the weld procedure must conform to the
requirements of NACE spec MR0175. The material
grade of the valve body is cast or stamped on the
valve body. If in doubt, contact the factory. After
the valve body has been welded into the line and
has cooled down to below 200F, the bonnet seal,
seat and bonnet assembly may be reinstalled.
Make sure the valve gate is in the fully open
position. Apply a coating of grease to the body
seat bore and seat. Install the bonnet seal into the
body. Then, while holding the seat onto the
bonnet so that the gate is started into the slot in
the seat and the two pins on the seat are engag-
ing the holes in the bonnet, install the seat/
bonnet assembly as a unit into the body. This may
require two people on the larger valves. Never put
the seat into the body and then try to get the
bonnet on. This will most likely result in a dam-
aged seat. Draw the bonnet down uniformly until
it is flush with the body, then torque the nuts in a
star or cross pattern. Never draw one side of the
bonnet all the way down before tightening the
nuts on the opposite side. This will most likely
result in a damaged seat.
Before testing the system, the lines should be
flushed out to remove weld debris and other
foreign material. Test pressure should not exceed
that shown on the valve nameplate with the valve
open and the pressure applied to a closed valve
should not exceed the rated working pressure
shown on the nameplate.

Publication
TC1641
DEMCO® Model DM Gate Valve
Installation, Operation , Maintenance & Repair Manual
Page 11 of 24
Repair - General
Repair as described in this manual is limited to
replacement of parts or minor cleaning and
polishing of existing parts. For major repairs of
Operation
A gate valve should be either fully open or fully
closed. Flow through a partially open valve may
erode the gate and seat. The Demco DM gate valve
is designed to be opened or closed under full rated
pressure differential but it will last longer if it is
operated when there is little or no pressure in the
line. The valve is opened by turning the handle
counterclockwise until a sharp increase in torque is
felt. Further turning of the handle will damage
the stem. The valve is closed by turning the handle
clockwise. On all valves covered by this publica-
tion, either one of the following applies:
Routine Maintenance
It is important to see that the valve is kept prop-
erly lubricated. Use a good #2 grade of water-
resistant grease. Chevron Ultra-Duty #2 is used at
the factory. Grease is applied with an automotive
type grease gun to the Alemite fitting either on
the handle hub or on the housing. On valves with
the fitting on top of the handle hub, the valve is
best lubricated when it is closed. This prevents the
grease from escaping from the space between the
handle and stem screw before the housing threads
1) The handle moves down as the valve is
being closed. The valve is fully closed
when the handle stops down on the
bonnet or housing. No further movement
is possible.
2) The stem head engages a step in the inside
of the bonnet when the valve is fully
closed. Further turning of the handle will
damage the stem. On these valves the top
of the stem will be flush with the top of
the stem screw. This condition is visible
through the clear plastic stem protector
tube.
Number of handle turns required to fully open or close the valve:
ValveSize Rated working pressure as shown on the nameplate
990 1480 2220 3705 1000 2000 3000 5000
1-1/2, 2X1-1/2 3.4 3.4
2, 3x2 4.0 4.0 4.2 4.2 10.1 10.1 10.1
2-1/2 5.1 5.1 5.1 5.1 9.2 9.2
3, 4x3 5.9 5.9 6.0 6.0 10.6 10.6 10.6
4, 5x4, 6x4 7.6 7.6 7.6 11.6 11.6 11.6 23.0
5, 6x5 14.8 29.7 29.7
6, 8x6 11.1 11.1 11.1
are adequately lubricated. The valve should be
lubricated at least once a year, depending on use.
Whenever the valve is exposed to frac sand,
drilling mud, cement or acidizing uids it should
be ushed out thoroughly at the rst opportunity.
Sand, drilling mud, and cement can set up inside
the valve and render it inoperable. Acidizing uids
can corrode the internal parts and result in leak-
age.
badly corroded or washed out bodies or bonnets
please contact an authorized Cameron repair facility.

Publication
TC1641
DEMCO® Model DM Gate Valve
Installation, Operation , Maintenance & Repair Manual
Page 12 of 24
Disassembly
Demco Class 400-1500 gate valves may be disas-
sembled for inspection without removing from
the line. Simplicity of design and precision
workmanship assure ready replacement of parts
and satisfactory operation following field repairs.
1. Fully open the gate valve. Remove nuts (9) (or
cap screws on 1-1/2” and 2” valves) and lift the
bonnet (7) with stem and gate, from the body.
Using a hammer and pin punch, drive the stem
pin (2) out of the handle hub. Rotate the
handle counterclockwise, unscrewing it from
the bonnet. Withdraw the stem and gate from
the bottom of the bonnet; rotate the gate (13)
clockwise, unscrewing it from the stem (6).
11
8
10
12
13
6
7
914
5
4
2
15
3
1
Repair – Series DM gate valve class 400-1500
(except 4” and 6x4” 1500)
2. Stem seal (5) and back-up ring (4) may now be
removed from the groove in the stem bore. Re-
move seal (14) on Class 900-1500 valves.
3. Collapse the seat (12) by compressing the top pins
together and remove it from the valve body.
Remove the bonnet seal ring (10) from its groove
in the body.
Inspection
Thoroughly clean all disassembled parts and
inspect them for wear and damage. Clean the
stem bore in the bonnet, including the seal ring
groove, and inspect for dirt or corrosion. It is

Publication
TC1641
DEMCO® Model DM Gate Valve
Installation, Operation , Maintenance & Repair Manual
Page 13 of 24
recommended that seals (4), (5), (10) and (14) be
replaced if worn or damaged. Inspect the straight
section of the stem, which passes through the
bonnet, for nicks or scratches and smooth with
emery cloth if required. Before re-assembling the
valve, apply a good grade of general purpose
grease to all threads, seal rings (not the back-up
ring), exterior of the seat and on the surfaces of
the bonnet and stem which contact seals.
Reassembly
1. Install the stem seal (5) in the bonnet bore groove
and insert the back-up ring (4) above it. This ring
prevents extrusion of the stem seal into the clear-
ance between stem and bonnet, so it must be
positioned on the low-pressure side of the stem
seal. Replace seal (14) on Class 900-1500 valves.
Screw the handle on the bonnet to its limit of
travel and slide the stem through the bonnet from
the underside.
1a. Class 400-600 valves 2” through 8”x6”:
Line up the holes in the hub and stem and insert
a pin punch or screwdriver, of approximately
pin hole size, through the hub. Screw the gate
on the stem counterclockwise until it touches
the underside of the bonnet, then back it off to
align the gate with the bonnet cavity. Remove
the punch or screwdriver. Pull the stem out of
the bonnet at least one-half inch, (do not permit
stem rotation) then rotate the gate on the stem
one more turn counterclockwise. Re-insert the
stem in the bonnet and the punch or screwdriver
through the holes in the stem and hub. Measure
the distance from the underside of the bonnet
to the farthest edge of the gate. This distance
must be within the following limits for each size
valve.
Valve Size Distance
2”, 3x2” 2-15/16” – 3-3/16”
2-1/2” 3-17/32” – 3-15/16”
3”, 4x3” 4-5/32” – 4-9/16”
4”, 6x4” 5-9/32” – 5-5/8”
6”, 8x6” 7-3/4” – 8-1/32”
If the distance is incorrect, shorten or lengthen
by pulling the stem and turning the gate a half
turn on the stem. (This changes the dimension
1/4 inch.) When the distance is correct, replace
the punch or screwdriver by pin (2) and turn the
handle to full open position, retracting the gate
into the bonnet.
1b. Other valves: Line up the holes in the hub and
stem and drive pin (2) through the hub. Screw
the gate on the stem counterclockwise until it
touches the underside of the bonnet, then back
it off to align the gate with the bonnet cavity.
Turn the handle to full open position, retracting
the gate into the bonnet.
2. Replace the bonnet seal (10). Assemble seat (12)
and bonnet to the valve body keeping the seat
ports aligned with the body line bore, making
sure the gate is in the slot in the seat and that
the top pins on the seat are in the drilled holes
in the bonnet while performing this operation.
Replace nuts (9) (or cap screws on 1-1/2”, 2” and
3x2” valves). Repack the handle threads with
general purpose grease through fitting(3).

Publication
TC1641
DEMCO® Model DM Gate Valve
Installation, Operation , Maintenance & Repair Manual
Page 14 of 24
Repair – Series DM gate valve 2000, 3000,
5000 2” & 2-1/2x2”
BRONZE BUSHING
FLAT TOP FOLLOWER
FABRIC REINFORCED
SEAL RING
HOMOGENEOUS
RUBBER SEAL RING
FLAT BOTTOM
ADAPTER
1
2
4
22
15
7
8
13
6
10
11
12
16
9
19
21
18
17
20
Disassembly
1. Fully open the gate valve. Unscrew coupling (15)
and withdraw the bonnet assembly from the body.
Collapse the seat (21) by compressing the top pins
together and remove it from the body.
2. With the bonnet assembly on its side, remove pin
(22) and lock handle (4) then lift off hub (2).
Remove coupling (15). Turn stem screw (6) clock-
wise to bottom, then withdraw gate (19) from stem
(9) by rotating a quarter turn and sliding it off the
tee-head of the stem.
3. Seat or gate replacement may be made at this
point. To reassemble the valve, proceed from
reassembly instruction 3 after following the appli-
cable maintenance instructions. If it is desired to
inspect other parts, the following instructions
apply.
4. Turn the stem clockwise until it disengages from
stem screw (6) and withdraw it from the underside
of the bonnet. Unscrew the lock screw (13) and lift
screw housing (8) off the bonnet. Remove re-
tainer (11), o-ring seal (10) and stem seal assembly
(12) from the bonnet. Turn stem screw (6) clock-
wise out of the screw housing. Remove screw seal
(7) from the screw housing and bonnet seal (18)
from the valve body.

Publication
TC1641
DEMCO® Model DM Gate Valve
Installation, Operation , Maintenance & Repair Manual
Page 15 of 24
Inspection
Thoroughly clean all parts and inspect them for wear
or damage. It is recommended that seals (7), (10), (18)
and stem seal assembly (12) be replaced if they are
worn or cut. All sealing surfaces should be clean and
free of dirt, rust, nicks and scratches. These will
include the areas inside the body adjacent to the line
bore where the seat fits, the area around the lower
part of the bonnet that lies against the bonnet o-ring
seal, the bonnet stuffing box and the surface of the
stem that passes through the packing. Clean these
surfaces well and polish with emery cloth if neces-
sary, paying particular attention to the valve stem.
Before reassembling, apply a good grade of general
purpose grease to all threads, seal rings and exterior
of the seat and on the surfaces of the bonnet, stem
and stem screw which are in contact with seals.
Reassembly
1. Slide the threaded end of the stem through the
bonnet bore from the underside and place the
stem seal assembly over the stem. This assembly
consists of a flat bottomed adapter ring, homoge-
neous rubber seal ring, fabric reinforced seal ring,
a flat topped follower ring and a bushing, which
are placed over the end of the stem, lips first, in
that order. The lips on “V” rings point towards
bottom of bonnet. Slide the retainer (11) with o-
ring seal (10) inside over the stem. Seat the stem
seal assembly into its counterbore in the bonnet.
2. Engage the stem screw (6) in the screw housing (8)
about half its total travel and place the screw
housing on the bonnet and stem. Replace lock
screw (13). Place the coupling on the screw hous-
ing.
3. Rotate the stem screw clockwise until it bottoms
on the retainer, then back it up approximately one-
eighth turn. Engage the gate on the tee-head of
the stem and turn them together counterclockwise
until the gate touches the underside of the bonnet
lugs. Align the gate with the opening between
the lugs and retract it into the bonnet by turning
the stem screw counterclockwise. Place the hub
on the stem screw, insert the lock handle and
retain it with the cotter pin. Do not spread the pin
since it may be removed later while adjusting the
gate level.
4. Install the seat on the bonnet and stand the
assembly upright resting on the seat. Turn the
handle clockwise until the hub is stopped by the
top of the screw housing.
Make a pencil mark on one side of the gate even with
the bottom of the seat port. Raise the bottom of the
gate into the seat bore by rotating the handle and
measure the distance from the pencil mark to the
bottom of the gate. This distance must be be-
tween 5/16" - 7/16". If the distance is correct,
proceed to assembly step 5. If not, remove the
seat, lock handle and hub from the assembly.
Rotate the stem screw clockwise to bottom then
back off one-eighth turn. Turn the gate and stem
together while holding the stem screw: counter-
clockwise to reduce the distance or clockwise to
increase the distance as required. One-half turn of
the gate and stem changes the distance 1/16".
Repeat step 4 until the closed gate position is
correct.
5. Replace bonnet seal (18). Assemble seat (21) and
bonnet to the valve body keeping the seat ports
aligned with the body line bore, making sure the
gate is in the slot in the seat and that the top pins
of the seat are in the drilled holes in the bonnet
while performing this operation. Tighten the
coupling. Spread the cotter pin (22) in the lock
handle and repack the hub with general-purpose
grease through fitting (1). This is most effectively
done when the valve is closed.

Publication
TC1641
DEMCO® Model DM Gate Valve
Installation, Operation , Maintenance & Repair Manual
Page 16 of 24
Repair – Series DM gate valve 2000-3000: 2-1/2” –
5X4”; 5000: 3” & 4x3”;Class 1500: 4”; 1000: 5”
BRONZE BUSHING
FLAT TOP FOLLOWER
FABRIC REINFORCED
SEAL RING
HOMOGENEOUS
RUBBER SEAL RING
FLAT BOTTOM
ADAPTER
1
22
4
2
7
24
8
6
10
11
12
23
26
16
9
19
21
18
25
20
Disassembly
1. Fully open the gate valve. Remove nuts (26) and
withdraw the bonnet assembly from the body.
Collapse the seat (21) by compressing the top pins
together and remove it from the body.
2. With the bonnet assembly on its side, remove pin
(22) and lock handle (4) then lift off hub (2). Turn
stem screw (6) clockwise to bottom, then with-
draw gate (19) from stem (9) by rotating a quarter
turn and sliding it off the tee-head of the stem.
3. Seat or gate replacement may be made at this
point. To reassemble the valve, proceed from
reassembly instruction 3 after following the appli-
cable maintenance instructions. If it is desired to
inspect other parts, the following instructions
apply.
4. Turn the stem clockwise until it disengages from
stem screw (6) and withdraw it from the underside
of the bonnet. Unscrew the nuts (24) (cap screws on
5” and 6x5”) and lift screw housing (8) off the
bonnet. Remove retainer (11), o-ring seal (10) and
stem seal assembly (12) from the bonnet. Turn
stem screw (6) clockwise out of the screw housing.
Remove screw seal (7) from the screw housing and
bonnet seal (18) from the valve body.
Inspection
Thoroughly clean all parts and inspect them for wear
or damage. It is recommended that seals (7), (10), (18)
and stem seal assembly (12) be replaced if they are
worn or cut. All sealing surfaces should be clean and

Publication
TC1641
DEMCO® Model DM Gate Valve
Installation, Operation , Maintenance & Repair Manual
Page 17 of 24
free of dirt, rust, nicks and scratches. These will
include the areas inside the body adjacent to the line
bore where the seat fits, the area around the lower
part of the bonnet that lies against the bonnet o-ring
seal, the bonnet stuffing box and the surface of the
stem that passes through the packing. Clean these
surfaces well and polish with emery cloth if neces-
sary, paying particular attention to the valve stem.
Before reassembling, apply a good grade of general
purpose grease to all threads, seal rings and exterior
of the seat and on the surfaces of the bonnet, stem
and stem screw which are in contact with seals.
Reassembly
1. Slide the threaded end of the stem through the
bonnet bore from the underside and place the
stem seal assembly over the stem. This assembly
consists of a flat bottomed adapter ring, homoge-
neous rubber seal ring, fabric reinforced seal ring,
a flat-topped follower ring and a bushing, which
are placed over the end of the stem, lips first, in
that order. The lips on “V” rings point towards
bottom of bonnet. Slide the retainer (11) with o-
ring seal (10) inside over the stem. Seat the stem
seal assembly into its counterbore in the bonnet.
2. Engage the stem screw (6) in the screw housing (8)
about half its total travel and place the screw
housing on the bonnet and stem. Replace nuts (24)
(cap screws on 5” and 6x5”).
3. All except 5” 1000:
Rotate the stem screw clockwise until it bottoms
on the retainer, then back it up approximately one-
eighth turn. Engage the gate on the tee-head of
the stem and turn them together counterclockwise
until the gate touches the underside of the bonnet
lugs. Align the gate with the opening between the
lugs and retract it into the bonnet by turning the
stem screw counterclockwise. Place the hub on the
stem screw, insert the lock handle and retain it
with the cotter pin. Do not spread the pin since it
may be removed later while adjusting the gate
level.
5” 1000:
Place the hub on the stem screw, insert the lock
handle and retain it with the cotter pin. Turn the
handle clockwise until the hub contacts the screw
housing. Engage the gate on the tee-head of the
stem and turn them together counterclockwise
until the gate touches the underside of the bonnet
lugs. Align the gate with the opening between the
lugs and retract it into the bonnet by turning the
handle counterclockwise.
4. Install the seat on the bonnet and stand the
assembly upright resting on the seat. Turn the
handle clockwise until the hub is stopped by the
top of the screw housing. Make a pencil mark on
one side of the gate even with the bottom of the
seat port. Raise the bottom of the gate into the
seat bore by rotating the handle and measure the
distance from the pencil mark to the bottom of the
gate. This distance must be within the following
limits for each size valve: 2-1/2", 3" and 4x3” - 3/8"
to 1/2"; 4" and 5x4” - 7/16" to 9/16"; 5” and 6x5” –
1/2” to 5/8”.
If the distance is correct, spread the cotter pin and
proceed to assembly step 5. If not, remove the seat,
lock handle and hub from the assembly. Rotate the
stem screw clockwise to bottom then back off one-
eighth turn. Turn the gate and stem together while
holding the stem screw: counterclockwise to reduce
the distance or clockwise to increase the distance as
required. One-half turn of the gate and stem changes
the distance approximately 3/32". Repeat step 4 until
the closed gate position is correct.
5. Replace bonnet seal (18). Assemble seat (21) and
bonnet to the valve body keeping the seat ports
aligned with the body line bore, making sure the
gate is in the slot in the seat and that the top pins
of the seat are in the drilled holes in the bonnet
while performing this operation. Replace and
tighten nuts (26). Spread the cotter pin (22) in the
lock handle and repack the hub with general-
purpose grease through fitting (1). This is most
effectively done when the valve is closed.

Publication
TC1641
DEMCO® Model DM Gate Valve
Installation, Operation , Maintenance & Repair Manual
Page 18 of 24
BRONZE BUSHING
FLAT TOP FOLLOWER
FABRIC REINFORCED
SEAL RING
HOMOGENEOUS
RUBBER SEAL RING
FLAT BOTTOM
ADAPTER
18
25
20
9
14
19
21
10
11
12
26
23
16
13
5
6
13
1
24
7
8
4
3
2
Repair – Series DM gate valves 5000: 4”, 5x4”
and 6x4”
Disassembly
1. Fully open the gate valve. Remove nuts (26) (this
valve may have either 4 or 12 studs and nuts) and
withdraw the bonnet assembly from the body.
Collapse the seat (21) by compressing the top pins
together and remove it from the body.
2. With the bonnet assembly on its side, turn the
handle (2) clockwise to move the gate (19) out of
the bonnet. Withdraw the gate from the stem (9)
by rotating a quarter turn and sliding it off the tee-
head of the stem.
3. Seat or gate replacement may be made at this
point. To reassemble the valve, proceed from
reassembly instruction 4 after following the appli-
cable maintenance instructions. If it is desired to
inspect other parts, the following instructions
apply.
4. Remove stem cap (4), tube (3), handle (2) and key
(5). Remove nuts (24) and lift off the screw
housing (8). Rotate the stem screw (6) clockwise
off the stem and remove bearings (13) and retainer

Publication
TC1641
DEMCO® Model DM Gate Valve
Installation, Operation , Maintenance & Repair Manual
Page 19 of 24
(11). Lift the stem part way so that the down stop
ring (14) may be removed, then withdraw the
stem from the underside of the bonnet. The stem
seal assembly (12), including the bushing, may
now be removed.
Inspection
Thoroughly clean all parts and inspect them for
wear or damage. It is recommended that seals (7),
(10), (18) and stem seal assembly (12) be replaced if
they are worn or cut. All sealing surfaces should
be clean and free of dirt, rust, nicks and scratches.
These will include the areas inside the body
adjacent to the line bore where the seat fits, the
area around the lower part of the bonnet that lies
against the bonnet o-ring seal, the bonnet stuffing
box and the surface of the stem that passes
through the packing. Clean these surfaces well
and polish with emery cloth if necessary, paying
particular attention to the valve stem. Also clean
and polish the surfaces of the stem screw that run
against the bearings. Before reassembling, apply a
good grade of general purpose grease to all
threads, bearings, seal rings and exterior of the
seat and on the surfaces of the bonnet, stem and
stem screw which are in contact with seals.
Reassembly
1. Slide the threaded end of the stem (9) through the
bonnet bore from the underside and draw the stem
head part way up into the bonnet (16). Put the
down stop ring (14) on over the bottom of the stem
head, lower the stem so that the down stop ring
shoulders on the inside of the bonnet.
2. Place the stem seal assembly (12) over the stem. This
assembly consists of a flat bottomed adapter ring,
homogeneous rubber seal ring, fabric reinforced
seal ring, a flat topped follower ring and a bushing
which are placed over the end of the stem in that
order. The lips on “V” rings point towards bottom
of bonnet. Work the seal and follower rings
carefully down over the stem thread, lips first, and
into the stuffing box, being careful that the lips of
the rings do not get curled back. After the bushing,
put the retainer (11), with o-ring inside, down over
the stem with flat side up.
3. Follow the retainer with a bearing (13) and the
stem screw (6). The bearing must be concentric
with the stem screw before further assembly. Place
another bearing down over the stem screw and
follow with the screw housing (8), with o-ring seal
(7) inside, and tighten nuts (24). Put the key (5) into
its slot in the stem screw and replace the handle (2),
tube (3) and stem cap (4) in that order.
4. Slide the gate (19) into the stem, turn it a quarter
turn to line it up with the slot in the bonnet and
draw it up all the way into the bonnet by turning
the handle counterclockwise. Replace bonnet seal
(18). Assemble seat (21) and bonnet to the valve
body
keeping the seat ports aligned with the body line
bore, making sure the gate is in the slot in the seat
and that the top pins on the seat are in the drilled
holes in the bonnet while performing this opera-
tion. Tighten nuts (26) and repack the screw hous-
ing (8) with general-purpose grease through fit-
ting (1).

Publication
TC1641
DEMCO® Model DM Gate Valve
Installation, Operation , Maintenance & Repair Manual
Page 20 of 24
Repair – Series DM gate valve 3000-5000: 5”, 6x5”
ADAPTER
FLAT BOTTOM
RUBBER SEAL RING
HOMOGENEOUS
SEAL RINGS
FABRIC REINFORCED
FLAT TOP FOLLOWER
BRONZE BUSHING
10
8
11
6
13
12
3
21
20
5
9
7
THRUST WASHER
THRUST WASHER NEEDLE AND CAGE
ASSEMBLY
NEEDLE AND CAGE
ASSEMBLY
18
19
26
22
14
25
2
1
23
24
4
Disassembly
1. Fully open the gate valve. Remove nuts (9) and
withdraw the bonnet assembly from the body.
Collapse the seat (12) by compressing the insert
pins together and remove it from the body.
2. With the bonnet assembly on its side, turn the
handwheel (1) clockwise to move the gate (13) out
of the bonnet. Withdraw the gate from the stem
(6) by rotating a quarter turn and sliding it off the
tee-head of the stem.
3. Seat or gate replacement may be made at this
point. To reassemble the valve, proceed from
reassembly instruction 4 after following the
applicable maintenance instructions. If it is desired
to inspect other parts, the following instructions
apply.
4. Remove stem cap (24), tube (23), screw (2) and
handwheel (1). Remove screws (22) and lift off the
housing (19). Rotate the stem screw (18) off the

Publication
TC1641
DEMCO® Model DM Gate Valve
Installation, Operation , Maintenance & Repair Manual
Page 21 of 24
stem (left hand Acme) and remove needle and cage
assemblies and thrust washers. Remove screws (3)
and lift off the retainer (21). Lift the stem part way
so that the down stop ring (4) may be removed,
then withdraw the stem from the underside of the
bonnet. The stem seal assembly (5), including
bushing, may now be removed.
Maintenance
Thoroughly clean all parts and inspect them for wear
or damage. It is recommended that the seals (10),
(14), (20) and stem seal assembly (5) be replaced if they
are worn or cut. All sealing surfaces should be clean
and free of dirt, scale, nicks and scratches. These will
include the areas inside the body adjacent to the line
bore where the seat fits, the area around the lower
part of the bonnet that lies against the bonnet o-ring
seal, the bonnet stuffing box and the surface of the
stem that passes through the packing. Clean these
surfaces well and polish with 320 grit emery cloth if
necessary, paying particular attention to the valve
stem. Before reassembling, apply a good grade of
general purpose grease to all threads, bearings, seal
rings and exterior of the seat and on the surfaces of
the bonnet, stem and stem screw which are in contact
with seals.
Reassembly
1. Slide the threaded end of the stem (6) through the
bonnet bore from the underside and draw the stem
head part way up into the bonnet. Put the down
stop ring (4) on over the bottom of the stem head,
lower the stem so that the down stop ring shoulders
on the inside of the bonnet.
2. Place the stem seal assembly (5) over the stem. The
order in which the rings are assembled must be
exactly as shown with sealing lips down. While
installing the rings over the thread on the stem,
assure these lips are not damaged. Place bushing
on top of the stem seal assembly.
3. Put o-ring (20) into its groove in the bottom of
retainer (21) and work retainer with o-ring down
over the stem. Bolt retainer to the bonnet with
four screws (3). Place two thrust washers with a
needle and cage assembly between them on top of
the retainer then turn the stem screw (18)
counterclockwise on the stem so that it seats
against the thrust washer and lifts the stem off the
down stop ring approximately one turn. Place the
other two thrust washers with needle and cage
assembly between them over the stem screw. Put
o-ring (14) in its groove in housing (19) and bolt the
housing to the bonnet with screws (22). Attach
handwheel (1) to the stem screw with screw (2) and
replace tube (23) and stem cap (24).
4. Slide the gate (13) onto the stem, turn it a quarter
turn to line it up with the slot in the bonnet and
draw it up all the way into the bonnet by turning
the handle counterclockwise. Replace the bonnet
seal o-ring (10). Assemble the seat (12) and bonnet
to the valve body keeping the seat ports aligned
with the body line bore, making sure the gate is in
the slot in the seat and that the top pins on the seat
are in the drilled holes in the bonnet while
performing this operation. Replace and tighten
nuts (9). Repack housing (19) with a good grade of
general-purpose grease through fitting (25).

Publication
TC1641
DEMCO® Model DM Gate Valve
Installation, Operation , Maintenance & Repair Manual
Page 22 of 24
Troubleshooting
Trouble Pr obable Cause Remedy
Leakage through valve
Leakage around stem
Leakage between
body and bonnet
Dicult or rough
operation
Valve will not open or
close
Valve not fully closed due to
obstruction in line.
Valve is not fully closed due to
improper assembly.
Valve gate may be jammed into
bottom of seat.
Seat or gate is damaged.
Seat material incompatible with
operating media or temperature.
Body has eroded or corroded out of
tolerance.
Stem seal material is incompatible
with operating media or tempera-
ture.
Stem is bent or otherwise damaged.
Bonnet seal damaged.
Bonnet seal material is incompatible
with operating media or tempera-
ture.
Porosity has developed in body or
bonnet.
Valve needs lubrication.
Threads or bearings are worn or
otherwise damaged.
Valve is packed with solids.
Threaded parts are locked up.
Valve was improperly assembled.
Open valve slightly and re-close.
If this does not x the problem,
remove bonnet for inspection.
Disassemble valve and reassemble
according to proper instructions.
Back o hand 1/4 turn.
Never back o the handle under
normal conditions.
Replace defective parts.
Consult factory for proper materials.
Replace or repair body.
Consult factory for proper materials.
Replace
Replace
Consult factory for proper materials.
Replace valve.
Lubricate per instructions under
"Routine Maintenance"
Replace defective parts.
If ice or hydrates are suspected, the
valve may be heated to 200°F max. If
the valve is packed with other solids,
it must be disassembled and cleaned
out.
Damage may have resulted from
excessive operating forces.
See page 11 "Operation."
Reassemble per proper instructions.
Additional information is also available on-line at http://www.c-a-m.com

Publication
TC1641
DEMCO® Model DM Gate Valve
Installation, Operation , Maintenance & Repair Manual
Page 23 of 24
~CAMERON

~CAMERON
Contact your Cameron's Valves & Measurement group
representa~ve
for a Repair Manual
DEMeo
·
~CAMERON
32
50
Briarpa, k Driv ••
Suit
.
300
Ho..non
, T
ua<
77042
USA
Toll f
,.
...
800
123 9160
For
111
. moot
cu
....
'"
eontac:. ond
Ioeatloft
In
lorma'kIft
go
'0
: www
.........
comIv.I •
••
and
.....
. u
..........
c
c-nn'._
& " ,
eo
.
,,,,
'
Groop
In
stallation,
Operation
and
Ma
i
ntenanc
e Manual IOM·DEM.GATE.oM