Fuji Xerox Phaser 5335 Service Manual. Www.s Manuals.com. Manual Russian
User Manual: Laser Printer Fuji Xerox Phaser 5335 - Service manuals and Schematics, Disassembly / Assembly. Free.
Open the PDF directly: View PDF
.
Page Count: 641 [warning: Documents this large are best viewed by clicking the View PDF Link!]

THE DOCUMENT COMPANY
FUJI XEROX
Phaser 5335
Руководство по техническому
обслуживанию 1 издание

THE DOCUMENT COMPANY
FUJI XEROX
Phaser 5335
Руководство по техническому обслуживанию 1
издание : Ноябрь 2007 г.
Подготовлено Xerox International Partners
3400 Hillview Ave
Palo Alto, Ca
Телефон: 650-813-7700
[XEROX][The Document Company] являются зарегистрированными торговыми марками.
ОТПЕЧАТАНО В ЯПОНИИ
•Это руководство по техническому
обслуживанию предназначено для
следующего аппарата.
Лазерный принтер Phaser 5335 FUJI
XEROX Co. Ltd.
•Информация о пересмотрах и модификациях
Если изменяется конструкция или появляются
пересмотры, связанные с эти руководством по
техническому обслуживанию, в качестве
дополнительной информации могут быть изданы
внешняя техническая информация или внешний
технический бюллетень, действующие до тех пор,
пока эти изменения не будут учтены в обновленной
версии этого руководства.
•Сопутствующие материалы
Никакие сопутствующие материалы, кроме
этого руководства по техническому
обслуживанию, не изданы.
•Конфиденциальность
Это руководство по техническому
обслуживанию предназначено для
использования сервисным персоналом,
уполномоченным компанией FUJI XEROX
Co. Ltd. Копирование, передача или сдача в
аренду этого руководства без
предварительного согласия компании FUJI
XEROX Co. Ltd. запрещены.
Если страница становится не
соответствующей действительноси
(например, заменяется другой страницей),
уничтожьте ее в аппарате для уничтожения
бумаги или сожгите ее.
Будьте внимательны, чтобы не потерять и
не повредить это руководство.
ВНИМАНИЕ
Изменения информации, включая пересмотры
перечней запасных частей и параметров
регулировок, должны немедленно отражаться на
соответствующих страницах этого руководства
при получении такой информации.

Название компании
Название отдела
Телефон:
Фамилия, имя отчество
работника
№ работника

Введение - 0
Введение
Введение
Содержание
Введение - 1
Содержание
1 Знакомство с этим руководством по техническому обслуживанию. . . . . . . . . . . . . . . . . . Введение - 2
2 Как пользоваться этим руководством. . . . . . . . . . . . . . . . . . . . . . . . . . . . . . . . . . . . . . . . . . Введение - 2
2.1 Содержание руководства . . . . . . . . . . . . . . . . . . . . . . . . . . . . . . . . . . . . . . . . . . . . . . . . Введение - 2
2.2 Обновление информации . . . . . . . . . . . . . . . . . . . . . . . . . . . . . . . . . . . . . . . . . . . . . . ..Введение - 3
3 Словарь и обозначения . . . . . . . . . . . . . . . . . . . . . . . . . . . . . . . . . . . . . . . . . . . . . . . . . . . . Введение - 4
4 Аббревиатуры . . . . . . . . . . . . . . . . . . . . . . . . . . . . . . . . . . . . . . . . . . . . . . . . . . . . . . . . . . . . Введение - 5
Введение
1. Знакомство с этим руководством по техническому обслуживанию
Введение --2
1. Знакомство с этим руководством по техническому обслуживанию
Это руководство используется в качестве стандартного руководства по техническому
обслуживанию для аппарата Phaser 5335.
•Лист опубликования замечаний
Занесите на лист опубликования замечаний любые комментарии и/или исправления,
относящиеся к сервисному руководству по Phaser 5335, и отошлите этот лист в центр
технической поддержки SDEG.
2. Как пользоваться этим руководством
Это руководство описывает стандартные процедуры технического обслуживания аппарата
Phaser 5335. За информацией об эффективном техническом обслуживании в ходе обслуживания
вызова обратитесь к главе 1 "Процедура обслуживания вызова".
2.1 Содержание руководства
•Аппаратное обоеспечение
Это техническое руководство суммирует всю техническую информацию по phaser 5335.
•Главы
Это руководство разделено на 10 глав, описанных ниже.
Глава 1 Процедуры обслуживания вызова
Эта глава описывает общие рабочие и сервисные процедуры по профилактическому
обслуживанию Phaser 5335.
Глава 2 Поиск и устранение неисправностей
Эта глава описывает процедуры поиска и устранения неисправностей в аппарате Phaser
5335, за исключением процедур устранения дефектов изображения. Она также
описывает режим/программу самодиагностики.
Глава 3 Поиск и устранение дефектов изображения
Эта глава описывает процедуры устранения дефектов изображения в аппарате Phaser
5335.
Глава 4 Процедуры разборки/сборки и регулировки
Эта глава описывает процедуры разборки, сборки, замены, регулировки элементов
аппарата Phaser 5335.
Глава 5 Перечень запасных частей
Эта глава представляет перечни запасных частей для аппарата Phaser 5335.
Глава 6 Общая информация
Эта глава содержит следующую информацию по Phaser 5335.
6.1 Технические характеристики
6.2 Инструменты и расходные материалы для обслуживания
6.3 Расходные материалы
6.4 Периодически заменяемые части
6.5 Дополнительные элементы
6.6 Процедуры установки
6.7 Параметры окружения принтера
6.8 Информация о программном обеспечении
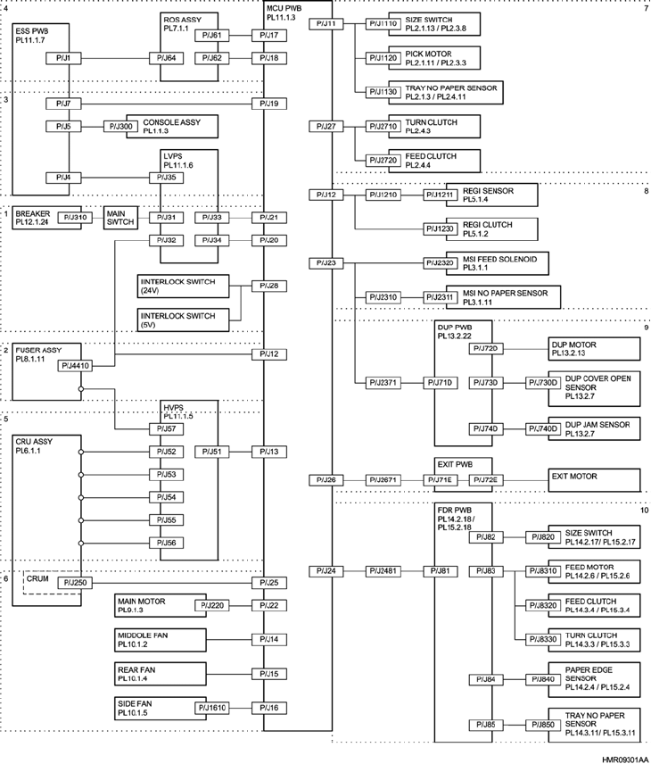
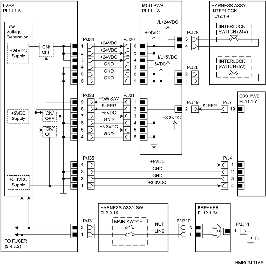
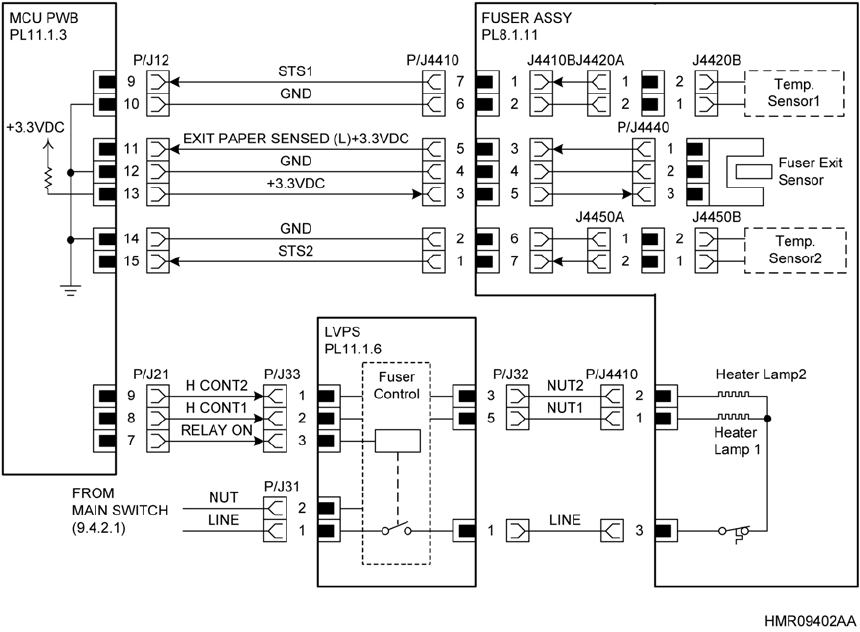
Глава 7 Схемы электрических соединений
Эта глава содержит информацию по электрическим соединениям аппарата Phaser 5335.
7.1 Список разъемов
7.2 Схемы расположения разъемов
7.3 Схемы соединений
7.4 Схемы соединений между узлами

Введение
2. Как пользоваться этим руководством
Введение - 3
Глава 8 Дополнительные элементы
Эта глава описывает дополнительные элементы/опции для аппарата Phaser 5335.
Глава 9 Блок-схемы (BSD) (еще не издана)
Глава 10 Общее описание системы
Эта глава предоставляет общее описание работы основных элементов аппарата Phaser
5335.
2.2 Информация по обновлению
Это руководство будет пересматриваться и рассылаться сервисным инженерам, как указано
далее. Для поддержания руководства на должном уровне пересмотры должны регулярно
включаться в него.
Процедура обновления:
•Если пересматривается руководство в целом, слова "1 издание" заменяются на "2
издание", "3 издание" и т.д...
•Частичные пересмотры будут называться "Пересмотр А" и так далее в следующем
порядке: "Пересмотр А", "Пересмотр В", "Пересмотр С" и т.д. Все пересмотренные
страницы помечаются словами "Пересмотр А", "Пересмотр В" для того, чтобы их
можно было легко отличать.
Боковая полоса пересмотра
Когда любой абзац, таблица или рисунок добавляется или изменяется, к нему/ней
добавляется боковая полоса пересмотра с целью указания на пересмотр.
(Пример)
Если та же самая страница изменяется еще раз в ходе последующего пересмотра, боковые
полосы предыдущего(их) пересмотра(ов) будут удаляться.

Введение
3. Словарь и обозначения
Введение --4
3. Словарь и обозначения
Обозначения, используемые в каждой главе, приводятся в соответствующих введениях.
Обозначения, приводимые здесь, используются во всех главах.
•В начале текста используются следующие термины и обозначения:
Элементы обеспечения безопасности (Safety Critical Components – SCC)
Для контроля за элементами обеспечения безопасности и иными указанными элементами
выпоняйте соответствующие указания, разработанные Fuji Xerox Co., Ltd.
Элемент хранения важной информации (Important Information Stored Component – ISC)
Этот элемент хранит всю важную информацию заказчика, которая вводится после установки.
При выполнении замены, а также утилизации следуйте процедуре в главе 4 "Процедуры
разборки/сборки и регулировки". Абсолютно убедитесь в том, что информация заказчика не будет
доступна третьим лицам.
ОПАСНОСТЬ
Указывает на неизбежно опасную ситуацию, такую как
летальный исход или серьезная травма, которая возникает,
если оператор неправильно обращается с аппаратом,
пренебрегая указаниями.
ПРЕДУПРЕЖДЕНИЕ
Указывает на потенциально опасную ситуацию, такую как
летальный исход или серьезная травма, которая возникает,
если оператор неправильно обращается с аппаратом,
пренебрегая указаниями.
ВНИМАНИЕ
Указывает на потенциально опасную ситуацию, такую как
травма или повреждение аппарата, которая возникает, если
оператор неправильно обращается с ним, пренебрегая
указаниями.
УКАЗАНИЕ Используется для оповещения вас о том, что несоблюдение
процедуры может привести к повреждению аппарата или
другого оборудования.
ПРИМЕЧАНИЕ Используется для обращения внимания на рабочие процедуры
и правила.
ССЫЛКА Используется для иных разъяснений и т.п.
ЦЕЛЬ Описывает цель регулировки.
•REP
•ADJ
•PL
• ASSY
: Указывает на процедуру разборки/сборки.
: Указывает на процедуру регулировки.
: Указывает на перечень запасных частей.
: Указывает на узел (сборку).

Введение
4. Аббревиатуры
Введение - 5
4. Аббревиатуры
Аббревиатуры
Это руководство содержит как специальные, так и общие аббревиатуры, которые включают в
себя следующее:
ADC Automatic Density Control -
Автоматический контроль плотности
AG Analog Ground - Аналоговое
заземление
APS Auto Paper Select - Автоматический
выбор бумаги
ARC Auto Registration Control -
Автоматическое управление регистрацией
ASSY Assembly - Узел (сборка)
ATS Auto Tray Switching - Автоматическое
переключение лотков
B Black - Черный
BCR Bias Charge Roll - Ролик заряда
Bk Black - Черный
BLK Black - Черный
BLU Blue - Синий
BRN Brown - Коричневый
BTR Bias Transfer Roll - Ролик переноса
C Cyan - Голубой
CLN Cleaner - Очиститель
CRU Customer Replaceable Unit - Узел,
заменяемый у заказчика
CRUM CRU Monitor - Монитор CRU
CTRG Cartridge - Картридж
DET Detoner Roll - Вал снятия тонера
DEVE. Developer - Проявитель
DIAG. Diagnostic - Диагностика
DISP Dispense - Подача
dpi dots per inch - точек на дюйм
DTS Detack Saw - Пила коротрона
отделения
DUP Duplex - Дуплексный модуль
ESB Electro Static Brush -
Электростатическая кисть
ESS Electric Subsystem - Электрическая
подсистема
F Front - Передний
FEED, FDR Feeder - Податчик
FIP Fault Isolation Procedure - Процедура
устранения неисправности
GND Ground - Заземление
GRN Green - Зеленый
GRY Gray - Серый
HT Half Tone - Полутон
HUM Humidity - Влажность
HVPS High Voltage Power Supply -
Высоковольтный блок питания
ICDC Image Count Dispense Control -
Контроль подачи тонера на
изображение
ID Image Density - Плотность
изображения
или Identification - Идентификация
IBT Intermediate Belt Transfer - Ремень
промежуточного переноса
INTL, INLK Interlock - Блокировка
IOT Image Output Terminal - Терминал
вывода изображения
K Black - черный
L Left - Левый
L/H Left Hand - Левый
LD Laser diode - Лазерный диод
LDD Lightly Doped Drain
LED Light-emitting diode - Светодиод
LEF Long Edge Feed - Подача длинной
кромкой
LH Left Hand - Левый
LV Low Voltage - Низкое напряжение
LVPS Low Voltage Power Supply -
Низковольтный блок питания
M Magenta - Пурпурный
MAG Magnet Roll - Магнитный вал
MCU Machine Control Unit - Блок контроллера
аппарата
MOB Marks On Belt - Метки на ремне
MOT Motor - Двигатель
MSI Multi Sheet Inserter - Обходной лоток
N/P No Paper - Бумага отсутствует
NVM Non Volatile Memory - Энергонезависимая
память
OEM Original Equipment Manufacuring -
Производство оригинального
оборудования
OHP Overhead Project - Проецирование на
стену
OP Operation - Операция
OPC Organic Photo Conductor - Органический
фотопроводник
ORN ORANGE - Оранжевый
PC Personal Computer - Персональный
компьютер
PCDC PCDC - Аавтоматическое управление
числом пикселей
PH Paper Handling - Работа с бумагой
PHD Printer Head - Печатающая головка
PNK Pink - Розовый
POP Paper On Photoreceptor - Бумага на
фоторецепторе
PPM Prints Per Minute - Отпечатков в минуту
PR,P/R Process - Процесс
PV Print Volume - Объем печати
PWB(A) Printed Wiring Boad (Assembly) - Плата
R Right - Правый
R Rear - Задний
R/H Right Hand - Правый
REF Refresher - Обновление
REGI. Registration - Регистрация
RH Right Hand - Правый
ROS Raster Output Scanner - Формирователь
растра
ROT Rotary - Вращающийся
RTC Rubber Tube Charger - Контактный ролик
зарядки
RTN Return - Возврат
SEF Short Edge Feed - Подача короткой
кромкой
SG Signal Ground - Сигнал заземления
SMH Special Material Handler - Податчик
специальных материалов
SNR Sensor - Датчик
SOL. Solenoid - Соленоид
SOS Start Of Scan - Начала сканирования
STM Single Tray Module - Модуль с одним
лотком
SW Switch - Выключатель
TEMP. Temperature - Температура
TM Tray Module - Модуль лотка
TNER, TNR Toner - Тонер
TP Thermopile - Термобатарея
TR Transfer - Перенос
VIO Violet - Фиолетовый
WHT White - Белый
XERO Xerographic - Ксерография
Y Yellow - Желтый
YEL Yellow - Желтый

Глава 1 Процедуры
обслуживания вызова
1.1 Перед обслуживанием . . . . . . . . . . . . . . . . . . . . . . . . . . . . . . . . . . . . . . . . . . . . . . . . . . . . . . . . . . 1-1
1.1 Перед началом обслуживания. . . . . . . . . . . . . . . . . . . . . . . . . . . . . . . . . . . . . . . . . . . . . . . . . . . . . 1-1
1.1.1 Безопасность . . . . . . . . . . . . . . . . . . . . . . . . . . . . . . . . . . . . . . . . . . . . . . . . . . . . . . . . . . . . . . . 1-1
1.1.2 Другие меры предосторожности . . . . . . . . . . . . . . . . . . . . . . . . . . . . . . . . . . . . . . . . . . . . . . . . 1-2
1.2 Процедура обслуживания вызова . . . . . . . . . . . . . . . . . . . . . . . . . . . . . . . . . . . . . . . . . . . . . . . . . 1-4
1.3 Обслуживание TRIM . . . . . . . . . . . . . . . . . . . . . . . . . . . . . . . . . . . . . . . . . . . . . . . . . . . . . . . . . . . . 1-5
1.3.1 Процедура обслуживания TRIM . . . . . . . . . . . . . . . . . . . . . . . . . . . . . . . . . . . . . . . . . . . . . . . . 1-5
1.3.2 Расходные материалы и периодически заменяемые части . . . . . . . . . . . . . . . . . . . . . . . . . . 1-6
1.3.3 Список проверок TRIM . . . . . . . . . . . . . . . . . . . . . . . . . . . . . . . . . . . . . . . . . . . . . . . . . . . . . . . . 1-8

Глава 1 Процедуры обслуживания вызова
1.1 Перед обслуживанием
1 - 1
1.1 Перед обслуживанием
1.1.1 Безопасность
Во избежание любых несчастных случаев, которые могут произойти во время технического
обслуживания строго соблюдайте все предупреждения, касающиеся его. Не выполняйте
опасные операции.
1Электропитание
Во избежание поражения электрическим током, ожогов или травм и т.п. перед началом
обслуживания убедитесь, что питание аппарата выключено и вилка силового шнура отсоединена
от розетки. Если питание аппарата нужно включить, например для измерения напряжения,
предпримите дополнительные меры безопасности, чтобы не получить поражение током.
2Зона привода
Никогда не проверяйте и не смазывайте элементы зоны привода, например шестерни, если
аппарат работает.
3Тяжелые части
Масса аппарата 21,9 кг. При перемещении аппарата для обеспечения достаточного места для
работы предпримите дополнительные меры для предотвращения повреждения спины.
4Устройство обеспечения безопасности
Убедитесь, что правильно работают устройства, предотвращающие механические поломки, такие
как предохранители, автоматические и блокировочные выключатели и т.п., а также устройства,
защищающие пользователей от травм, такие как панели и крышки. Строго запрещены
модификации, которые мешают работе любых защитных устройств.
5Установка и снятие частей
Кромки частей и крышек могут быть острыми, бкдьте остооржны и не касайтесь их. Если на ваши
руки попало масло, протрите их до начала технического обслуживания. При снятии частей или
кабелей не прикладывайте к ним большое усилие, снимайте их медленно.
ПРЕДУПРЕЖДЕНИЕ
Не заменяйте литиевый источник питания на плате ESS. Неправильная замена литиевого
элемента может привести к взрыву.
6Специальные инструменты
Если указан инструмент, выполняйте соответствующие инструкции.
7Органические растворители
При использовании органического растворителя, например очистителя барабана или очистителя
аппарата, уделите внимание следующему:
•Обеспечьте хорошую вентиляцию в комнате во избежание вдыхания большого количества
паров растворителя.
•Не используйте нагретый растворитель.
•Держите его подальше от огня.

Глава 1 Процедуры обслуживания вызова
1.1 Перед обслуживанием
1 --2
8Модификации аппарата
Если в принтер нужно внести какие-либо модификации, перед выполнением любых работ
пошлите заявление на одобрение модификации.
9Другие меры предосторожности
Для своей безопасности вы должны уделить внимание другим мерам предостоорджности
(помимо пунктов 1 – 9). Соблюдайте правила безопасности при работе, следуя РАБОЧЕЙ
ПРАКТИКЕ ДЛЯ ИНЖЕНЕРОВ, изданной отделом FXAP EH&S (Безопасность и охрана
окружающей среды).
1.1.2 Другие меры предосторожности
При техническом обслуживании уделите внимание следующему, чтобы не выполнять
бесполезные или вредные действия:
1Справочные материалы
Перед выполнением технического обслуживания прочитайте всю сопутствующую техническую
документацию, такую как SB, FTI или FTO, для обеспечения системного подхода.
2Разборка
Убедитесь, что перед снятием деталей или разборкой аппарата вы проверили его состояние в
собранном виде.
3Установка/ регулировка
После завершения установки или регулировки перед эксплуатацией аппарата убедитесь, что
внутри него или на узлах не осталось деталей или инструментов.
4Работа с замененным частями/ расходными материалами.
Убедитесь, что замененные части или расходные материалы, а также упаковочные материалы
собраны для отправки в сервисный центр.
ПРИМЕЧАНИЕ
За описанием способов разделения и переработки собранных частей обратитесь к Общей
технической информации № 2-138 для всех аппаратов.
Если вы заменили следующие расходные материалы, наклейте на заменяемые части этикетку
"U" и соберите их.
•Барабан/тонер-картридж
Для заменяемых частей: заполните необходимые позиции в "U-TAG" и соберите их.
5Общие меры предосторожности
•Будьте внимательны, чтобы не нарушить повседневную работу заказчика.
•При работе с аппаратом положите на пол ткань или бумагу, поскольку тонер может запачкать
пол и его будет трудно удалить.
Глава 1 Процедуры обслуживания вызова
1.1 Перед обслуживанием
1 - 3
•Выбросьте весь мусор, появившийся в ходе обслуживания, в мусорный мешок и верните его в
сервисный центр.
•Занесите в журнал технического обслуживания все элементы и расходные материалы,
замененные в ходе обслуживания вызова.

Глава 1 Процедуры обслуживания вызова
1.2 Процедура обслуживания вызова
1 --4
1.2 Процедура обслуживания вызова
Начальные действия 1 Расспросите оператора о состоянии аппарата.
2 Запишите показания счетчиков копий.
3 Проверьте все дефектные отпечатки, затем проверьте состояние
аппарата.
4 Проверьте журнал технического обслуживания.
Внеплановый вызов 1 Поиск и устранение неисправностей на уровне 1.
2 Поиск и устранение неисправностей.
3Проверьте качество печати с помощью тестовых шаблонов в
аппарате. (См. 3.2)
4Подайте бумагу из каждого лотка и, при необходимости, очистите или
замените ролик подачи.
5Устраните все вторичные проблемы.
6Выполните обслуживание TRIM.
Плановый вызов 1Проверьте качество печати с помощью тестовых шаблонов в
аппарате. (См. 3.2)
2 Подайте бумагу из каждого лотка и, при необходимости, очистите или
замените ролик подачи.
3 Устраните все вторичные проблемы.
4 Выполните обслуживание TRIM.
Завершающие
действия
1Проверьте работу всего аппарата и его функций.
2Проверьте внешний вид аппарата и расходные материалы.
3При необходимости обучите оператора.
4Заполните журнал технического обслуживания и отчет о нем.
5Положите образец отпечатка в журнал технического обслуживания.
Техническая информация, относящаяся к программному обеспечению
Информацию можно получить на следующей странице. Этот сайт доступен только для
служащих Fuji Xerox.
Адрес Kring Web System – http://kring.css.ksp.fujixerox.co.jp/
На этом сайте представлена самая последняя техническая информация, а также
информация о программном обеспечении и неисправностях.
Глава 1 Процедуры обслуживания вызова
1.3 Обслуживание TRIM
1 - 5
1.3 Обслуживание TRIM
Обслуживание TRIM для Phaser 5335 выполняется в время всех плановых и внеплановых вызовов для
поддержания технических возможностей
аппарата. Специальные посещения для обслуживания TRIM не выполняются.
1.3.1 Процедура обслуживания TRIM
1Перед обслуживанием проверьте работу аппарата в целом.
•Проверьте качество печати с помощью тестовых шаблонов.
* За описанием печати тестовых шаблнов обратитесь к 3.2.
2Очистите аппарат изнутри.
•Удалите все остатки тонера, бумажной пыли и т.п. из системы подачи бумаги. (Особенно
тщательно очистите рабочее пространство оператора.)
3Проверьте периодически заменяемые элементы (расходные материалы) и при
необходимости замените их.
4Меры предосторожности
•Проверьте подключение вилки силового шнура, а также наличие повреждений шнура и вилки.
5После выполнения обслуживания проверьте работу аппарата в целом следующим образом:
•Проверьте работу аппарата.
•Проверьте качество печати.
•Проверьте показания счетчиков копий.

Глава 1 Процедуры обслуживания вызова
1.3 Обслуживание TRIM
1 --6
1.3.2 Расходные материалы и периодически заменяемые части
•Во время обслуживания TRIM проверьте общее количество копий, сделанных до замены
расходных материалов в аппарате.
Расходные материалы аппарата
*1: Условие использования
•Количество распечатываемых страниц для барабан/тонер картриджей – это количество
листов при непрерывной печати на формате A4 с подачей длинной кромкой при заполнении
5%.
•Реальное число страниц меняется в зависимости от содержания и типа печати, условий
окружающей среды, частоты включения и выключения питания и т.п.
Расходные материалы Номер по
каталогу Код изделия
Количество
распечатываемых
страниц
Барабан/тонер-картридж
(10000)
113R00737 CT350641 Примерно 10 000
страниц

Глава 1 Процедуры обслуживания вызова
1.3 Обслуживание TRIM
1 - 7
Периодически заменяемые части
* Комплект профилактического обслуживания = узел фьюзера, узел ролика переноса, комплект
узлов роликов лотков и комплект узлов роликов обходного лотка
Периодически заменяемые
части
Номер по
каталогу Код изделия Примечания
Комплект профилактического
обслуживания, 220 В *
108R00772 E3300133 100 000

Глава 1 Процедуры обслуживания вызова
1.3 Обслуживание TRIM
1 --8
1.3.3 Список проверок TRIM
A ------ Выполните проверку. Очистите, замените или подайте при необходимости.
B ------ Обязательно выполните очистку и проверку.
C ------ Обязательно выполните замену через указанный интервал времени.
Нет Обслуживаемые элементы Всегда 100000 № разборки/
регулировки Подробности обслуживания
1.1 Проверьте элементы перед
обслуживанием (проверьте
работу аппарата).
A•Активируйте аппарат и проверьте
наличие необычных шумов.
1.2 Проверьте элементы перед
обслуживанием (печать
тестовых шаблонов).
A•Распечатайте встроенный тестовый
шаблон для проверки качества
печати.
2Очистите аппарат изнутри
(очистите систему
транспортировки бумаги:
ролик подачи/ тормозной
ролик/ подталкивающий
ролик.
AC •Удалите всю бумажную пыль и
остатки тонера из тракта бумаги и с
датчика застревания.
•Особенно тщательно очистите
рабочее пространство оператора.
•Проверьте и очистите ролик подачи/
тормозной ролик/ подталкивающий
ролик для всех лотков, включая
обходной.
3.1 Модуль фьюзера B C REP8.1 • Убедитесь, что на нагревательном и
прижимном валах нет царапин.
•Замените при необходимости.
3.2 Барабан/тонер-картридж BC:
10000
•Только визуальная проверка. Не
прикасайтесь руками.
4Меры предосторожности B•Убедитесь, что вилка силового шнура
вставлена правильно.
•Убедитесь, что силовые шнуры не
имеют трещин и что провода не
оголены.
•Убедитесь, что не используются
слишком короткий удлинитель или
силовой шнур, не удовлетворяющий
требованиям, например удлинитель,
купленный в магазине.
•Убедитесь, что в одну электрическую
розетку не включено несколько
аппаратов.
5.1 Проверьте элементы после
технического обслуживания
(проверка качества печати).
A•Распечатайте встроенный тестовые
шаблоны для подтверждения того,
что качество печати удовлетворяет
требованиям.
5.2 Проверьте элементы после
обслуживания (проверьте
работу аппарата).
A•Проверьте подачу бумаги и наличие
необычных шумов.
.5.3 Проверка после
обслуживания (счетчик)
A•Создайте журнал технического
обслуживания и напишите отчет о
нем.

Глава 1 Процедуры обслуживания вызова
1.3 Обслуживание TRIM
1 - 9
ВНИМАНИЕ
Не прикасайтесь руками к барабан/тонер картриджам и узлу ролика переноса.
Не используйте растворители, такие как очиститель барабана. (Для восстановления требуется
длительное время.)
Глава 1 Процедуры обслуживания вызова
Периодически заменяемые части
Введение --10

Глава 2 Поиск и устранение
неисправностей
Содержание
2.1 Обзор устранения неисправностей . . . . . . . . . . . . . . . . . . . . . . . . . . . . . . . . . . . . . . . . . . . . . . . . 2-2
2.1.1 Проверка состояния аппарата . . . . . . . . . . . . . . . . . . . . . . . . . . . . . . . . . . . . . . . . . . . . . . . . . 2-3
2.1.2 При техническом обслуживании учитывайте следующее . . . . . . . . . . . . . . . . . . . . . . . . . . . 2-4
2.1.3 При использовании FIP учитывайте следующее . . . . . . . . . . . . . . . . . . . . . . . . . . . . . . . . . . . 2-5
2.1.4 Схема выполнения RAP . . . . . . . . . . . . . . . . . . . . . . . . . . . . . . . . . . . . . . . . . . . . . . . . . . . . . . 2-6
2.2 Коды ошибок и предупреждающие сообщения . . . . . . . . . . . . . . . . . . . . . . . . . . . . . . . . . . . . . . 2-7
2.2.2 Системные ошибки . . . . . . . . . . . . . . . . . . . . . . . . . . . . . . . . . . . . . . . . . . . . . . . . . . . . . . . . . 2-10
2.2.3 Ошибки загрузки . . . . . . . . . . . . . . . . . . . . . . . . . . . . . . . . . . . . . . . . . . . . . . . . . . . . . . . . . . . 2-14
2.2.4 Предупреждение о сроке службы . . . . . . . . . . . . . . . . . . . . . . . . . . . . . . . . . . . . . . . . . . . . . . 2-15
2.2.5 Сообщения-предупреждения . . . . . . . . . . . . . . . . . . . . . . . . . . . . . . . . . . . . . . . . . . . . . . . . . 2-17
2.3 RAP . . . . . . . . . . . . . . . . . . . . . . . . . . . . . . . . . . . . . . . . . . . . . . . . . . . . . . . . . . . . . . . . . . . . . . . . . 2-21
2.3.1 FIP 1-го уровня . . . . . . . . . . . . . . . . . . . . . . . . . . . . . . . . . . . . . . . . . . . . . . . . . . . . . . . . . . . . . 2-21
FIP 1.1 IOT Exit On Jam1, IOT Exit On Jam2, IOT Exit Off Early Jam IOT Reg On Jam, IOT
PreReg Jam 2-21
FIP 1.2 IOT Early Feed Jam (Застревание при ранней подаче в IOT) . . . . . . . . . . . . . . . 2-24
FIP 1.3 IOT MSI Missfeed Jam (Застревание при пропуске подачи из обходного лотка в IOT)
2-25
FIP 1.4 IOT Tray 1 Missfeed Jam (Застревание при пропуске подачи из лотка 1 в IOT) . 2-26
FIP 1.5 IOT Tray 2 Missfeed Jam (Застревание при пропуске подачи из лотка 2 в IOT) . 2-27
FIP 1.6 IOT Tray 3 Missfeed Jam (Застревание при пропуске подачи из лотка 3 в IOT) . 2-30
FIP 1.7 IOT Tray 4 Missfeed Jam (Застревание при пропуске подачи из лотка 4 в IOT) . 2-33
FIP 1.8 IOT Duplex On Jam (Застревание в дуплексном модуле IOT), IOT Duplex Refeed Jam
(Застревание при повторной подаче в дуплексный модуль IOT) 2-36
FIP 1.9 IOT Duplex Missfeed Jam (Застревание при пропуске подачи в дуплексном модуле
IOT), IOT Remain at Dup Jam (Застревание в дуплексном модуле IOT) 2-37
FIP 1.10 IOT Fuser Failure (Неисправность фьюзера IOT) . . . . . . . . . . . . . . . . . . . . . . . . . 2-38
FIP 1.11 IOT-ESS Communication Fail (Ошибка связи IOT-ESS) . . . . . . . . . . . . . . . . . . . . . 2-39
FIP 1.12 IOT Motor Failure (Неисправность двигателя IOT) . . . . . . . . . . . . . . . . . . . . . . . . 2-40
FIP 1.13 IOT Fan Motor Failure (Неисправность двигателя вентилятора IOT) . . . . . . . . . . 2-41
FIP 1.14 IOT ROS Motor Failure (Неисправность двигателя ROS IOT) . . . . . . . . . . . . . . . . 2-43
FIP 1.15 IOT Option Feeder Communication Error (Ошибка связи дополнительного податчика с
IOT) 2-44
FIP 1.16 IOT Option Duplex Communication Error (Ошибка связи дополнительного дуплексного
модуля с IOT) 2-45
FIP 1.17 Fuser Life Warning (Срок службы фьюзера) . . . . . . . . . . . . . . . . . . . . . . . . . . . . . 2-46
FIP 1.18 Trans Assy Life Warning (Предупреждение о сроке службы узла переноса) . . . . 2-46
FIP 1.19 Tray 1 Cassette Roll Assy Kit Warning (Предупреждение об узлах роликов лотка 1) 2-
46
FIP 1.20 Tray 2 Cassette Roll Assy Kit Warning (Предупреждение об узлах роликов лотка 2) 2-
48
FIP 1.21 Tray 3 Cassette Roll Assy Kit Warning (Предупреждение об узлах роликов лотка 3) 2-
48
FIP 1.22 Tray 4 Cassette Roll Assy Kit Warning (Предупреждение об узлах роликов лотка 4) 2-
48
FIP 1.23 MSI Roll Assy Kit Warning (Предупреждение об узлах роликов обходного лотка) 2-50
FIP 1.24 ROS Unit Warning (Предупреждение об узле ROS) . . . . . . . . . . . . . . . . . . . . . . . 2-50
FIP 1.25 Regi Unit Warning (Предупреждение об узле регистрации) . . . . . . . . . . . . . . . . . 2-50
FIP 1.26 Gear Unit Warning (Предупреждение об узле шестерен) . . . . . . . . . . . . . . . . . . . 2-52
FIP 1.27 Tray 1 Cassette Chute Kit Warning (Предупреждение о комплекте желоба лотка 1) 2-
52
FIP 1.28 Tray 2 Cassette Chute Kit Warning (Предупреждение о комплекте желоба лотка 2) 2-
52
FIP 1.29 Tray 3 Cassette Chute Kit Warning (Предупреждение о комплекте желоба лотка 3) 2-
53
FIP 1.30 Tray 4 Cassette Chute Kit Warning (Предупреждение о комплекте желоба лотка 4) 2-
53
FIP 1.31 IOT Toner Detached (Тонер-картридж IOT отсоединен) . . . . . . . . . . . . . . . . . . . . 2-54
FIP 1.32 IOT Cover Front/Top Open (Передняя/верхняя крышка IOT открыта) . . . . . . . . . 2-55
FIP 1.33 IOT Cover Duplex Open (Открыта крышка дуплексного модуля IOT) . . . . . . . . . 2-56
FIP 1.34 Tray Detached, Upper Cassette Detached (Лоток выдвинут, верхняя кассета выдвинута)
2-57
FIP 1.35 IOT Paper Size Mismatch (Несоответствие форматов бумаги в IOT) . . . . . . . . . . 2-57
FIP 1.36 No Suitable Paper (Нет подходящей бумаги) . . . . . . . . . . . . . . . . . . . . . . . . . . . . . 2-59
FIP 1.37 ESS-related error (Ошибка, связанная с ESS) . . . . . . . . . . . . . . . . . . . . . . . . . . . . 2-60
FIP 1.38 ESS-related error (MPC) (Ошибка, связанная с ESS - МРС) . . . . . . . . . . . . . . . . . 2-60
FIP 1.39 ESS-related error (HDD) (Ошибка, связанная с ESS - жесткий диск) . . . . . . . . . . 2-61
2.3.2 FIP 2-го уровня . . . . . . . . . . . . . . . . . . . . . . . . . . . . . . . . . . . . . . . . . . . . . . . . . . . . . . . . . . . . 2-62
FIP 2.1 ДАТЧИК РЕГИСТРАЦИИ (PL5.1.4)) . . . . . . . . . . . . . . . . . . . . . . . . . . . . . . . . . . . . 2-62
FIP 2.2 Датчик выхода фьюзера [УЗЕЛ ФЬЮЗЕРА] (PL8.1.11) . . . . . . . . . . . . . . . . . . . . . 2-63
FIP 2.3 ДАТЧИК ФОРМАТА (PL2.3.8) (Лоток 1) . . . . . . . . . . . . . . . . . . . . . . . . . . . . . . . . . 2-64
FIP 2.4 ДАТЧИК ОТСУТСТВИЯ БУМАГИ В ЛОТКЕ (PL2.4.11) (Лоток 1) . . . . . . . . . . . . . 2-65
FIP 2.5 ДАТЧИК ОТСУТСТВИЯ БУМАГИ В ОБХОДНОМ ЛОТКЕ (PL3.1.11) . . . . . . . . . . 2-66
FIP 2.6 МУФТА РЕГИСТРАЦИИ (PL5.1.2) . . . . . . . . . . . . . . . . . . . . . . . . . . . . . . . . . . . . . . 2-67
FIP 2.7 ПОВОРОТНАЯ МУФТА (PL2.4.3) . . . . . . . . . . . . . . . . . . . . . . . . . . . . . . . . . . . . . . 2-68
FIP 2.8 МУФТА ПОДАЧИ (PL2.4.4) . . . . . . . . . . . . . . . . . . . . . . . . . . . . . . . . . . . . . . . . . . . 2-69
FIP 2.9 СОЛЕНОИД ПОДАЧИ ИЗ ОБХОДНОГО ЛОТКА (PL3.1.1) . . . . . . . . . . . . . . . . . . 2-70
FIP 2.10 ГЛАВНЫЙ ДВИГАТЕЛЬ (PL9.1.3) . . . . . . . . . . . . . . . . . . . . . . . . . . . . . . . . . . . . . . 2-71
FIP 2.11 Двигатель подхвата [УЗЕЛ КРОНШТЕЙНА ПОДАТЧИКА НА 550 ЛИСТОВ] (PL2.3.3) .
2-72
FIP 2.12 Двигатель вывода [УЗЕЛ ПРИВОДА ВЫВОДА] (PL13.1.2) . . . . . . . . . . . . . . . . . . 2-72
FIP 2.13 Датчик застревания в дуплексном модуле (PL13.2.7) . . . . . . . . . . . . . . . . . . . . . 2-73
FIP 2.14 ДВИГАТЕЛЬ ДУПЛЕКСНОГО МОДУЛЯ (PL13.2.13) . . . . . . . . . . . . . . . . . . . . . . . 2-73
FIP 2.15 ДАТЧИК ФОРМАТА (PL15.2.17) (Лоток 2/3/4) . . . . . . . . . . . . . . . . . . . . . . . . . . . . 2-74
FIP 2.16 ДАТЧИК ОТСУТСТВИЯ БУМАГИ В ЛОТКЕ (PL15.3.11) (Лоток 2/3/4) . . . . . . . . . 2-76
FIP 2.17 ПОВОРОТНАЯ МУФТА (PL15.3.3) (Лоток 2/3/4) . . . . . . . . . . . . . . . . . . . . . . . . . . 2-77
FIP 2.18 МУФТА ПОДАЧИ (PL15.3.4) (Лоток 2/3/4) . . . . . . . . . . . . . . . . . . . . . . . . . . . . . . . 2-78
FIP 2.19 Двигатель подачи [УЗЕЛ ПРИВОДА - ОПЦИЯ] (PL15.2.6 ) (Лоток 2/3/4) . . . . . . . 2-79
FIP 2.20 Нестабильная подача постоянного напряжения на плату MCU . . . . . . . . . . . . . 2-80
2.4 Сервисный режим . . . . . . . . . . . . . . . . . . . . . . . . . . . . . . . . . . . . . . . . . . . . . . . . . . . . . . . . . . . . . 2-81
2.4.1 Как войти в сервисный режим . . . . . . . . . . . . . . . . . . . . . . . . . . . . . . . . . . . . . . . . . . . . . . . . 2-82
2.4.2 Описание рабочих процедур в сервисном режиме . . . . . . . . . . . . . . . . . . . . . . . . . . . . . . . 2-82
2.4.3 Как выйти из сервисного режима . . . . . . . . . . . . . . . . . . . . . . . . . . . . . . . . . . . . . . . . . . . . . 2-83
2.4.4 Структура меню . . . . . . . . . . . . . . . . . . . . . . . . . . . . . . . . . . . . . . . . . . . . . . . . . . . . . . . . . . . 2-84
2.4.5 Подробное описание диагностики ESS (ESS Diag) . . . . . . . . . . . . . . . . . . . . . . . . . . . . . . . 2-91
2.4.6 Диагностика IOT (IOT Diag) . . . . . . . . . . . . . . . . . . . . . . . . . . . . . . . . . . . . . . . . . . . . . . . . . . 2-95
2.4.6.1 Цифровая проверка входных элементов (DI) . . . . . . . . . . . . . . . . . . . . . . . . . . . . 2-95
2.4.6.2 Цифровая проверка выходных элементов (DO) . . . . . . . . . . . . . . . . . . . . . . . . . . 2-97
2.4.6.3 Доступ к энергонезависимой памяти (NVM) . . . . . . . . . . . . . . . . . . . . . . . . . . . . 2-102
2.4.6.4 Список параметров NVM . . . . . . . . . . . . . . . . . . . . . . . . . . . . . . . . . . . . . . . . . . . 2-105
2.4.7 Установка . . . . . . . . . . . . . . . . . . . . . . . . . . . . . . . . . . . . . . . . . . . . . . . . . . . . . . . . . . . . . . . 2-109
2.4.8 Функция "Test Print" (Тестовая печать) . . . . . . . . . . . . . . . . . . . . . . . . . . . . . . . . . . . . . . . . 2-111
2.4.8.1 Тестовый шаблон 600 . . . . . . . . . . . . . . . . . . . . . . . . . . . . . . . . . . . . . . . . . . . . . . 2-111
2.4.8.2 Шаблон плотности 20% . . . . . . . . . . . . . . . . . . . . . . . . . . . . . . . . . . . . . . . . . . . . . 2-111
2.4.8.3 Шаблон градаций . . . . . . . . . . . . . . . . . . . . . . . . . . . . . . . . . . . . . . . . . . . . . . . . . 2-111
2.4.9 Настройка параметров . . . . . . . . . . . . . . . . . . . . . . . . . . . . . . . . . . . . . . . . . . . . . . . . . . . . 2-112
2.4.9.1 Пример настройки регистрации . . . . . . . . . . . . . . . . . . . . . . . . . . . . . . . . . . . . . . 2-112

Глава 2 Поиск и устранение неисправностей
2.1 Обзор устранения неисправностей
2 -2
2.1 Обзор устранения неисправностей
Процедура устранения неисправностей выполняется в следующем порядке:
После выполнения предварительной проверки убедитесь в повторении явления и обратитесь к FIP
(Процедура устранения неисправности), 2.4 "Сервисный режим", "Глава 7 Схемы электрических
соединений" и "Глава 10 Общее описание аппарата" для эффективного его устранения.
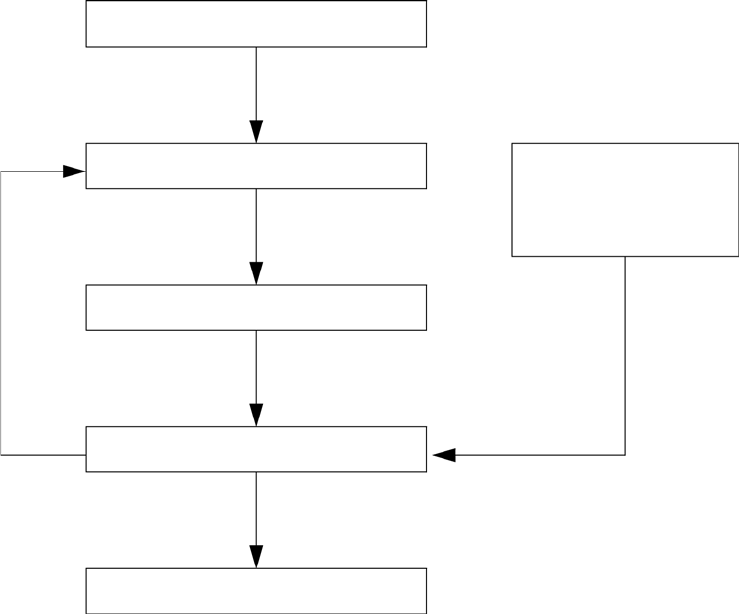
Рис. 2-1 Процедура поиска и устранения неисправностей
Проверьте состояния аппарата.
Проверьте состояние проблемы.
Выполните FIP.
Проверьте устранена ли неисправность
Завершено
Ссылка
Сервисный режим
Обзор аппарата
Схемы соединений
Глава 2 Поиск и устранение неисправностей
2.1 Обзор устранения неисправностей
2 - 3
2.1.1 Проверка состояния аппарата
Перед началом поиска и устранения неисправности обязательно проверьте следующее.
•Напряжение сети соответствует требованиям. (Измерьте напряжение в электрической
розетке.)
•В силовом шнуре нет повреждений, короткого замыкания, обрыва; внутренние подключения в
нем правильные.
•Аппарат правильно заземлен.
•Аппарат не установлен в месте с высокой или низкой температурой и влажностью или в месте
с сильными перепадами температуры.
•Аппарат не установлен вблизи водяного крана, увлажнителя, нагревателя или источника огня,
в запыленном помещении или в зоне действия потока воздуха из кондиционера.
•Аппарат не установлен в месте генерирования летучих веществ или легковоспляменяющихся
газов.
•Аппарат не установлен в месте, подверженному действию прямых солнечных лучей.
•Аппарат установлен в хорошо вентилируемом месте.
•Аппарат установлен на устойчивой горизонтальной поверхности.
•Бумага удовлетворяет требованиям. (Рекомендуется стандартная бумага.)
•С аппаратом обращаются правильно.
•Регулярно заменяемые части меняются согласно документации.
Глава 2 Поиск и устранение неисправностей
2.1 Обзор устранения неисправностей
2 -4
2.1.2 При техническом обслуживании учитывайте следующее
•Перед началом работы обязательно отсоедините силовой шнур, если не указано иное.
Если питание включено, никогда не прикасайтесь к токоведущим частям, если не указано
иное. Кроме этого, поскольку ток протекает через выключатель/входное гнездо LVPS даже
если главный выключатель переведен в положение OFF, никогда не прикасайтесь к
токоведущим частям.
•При включении питания для выполнения проверки, когда блокировочный или защитный
выключатель также включен, а крышки сняты, обязательно отсоединяйте разъемы (P/J18 и
P/J17), подключенные к узлу ROS, если не указано иное, поскольку из этого узла может
выходить лазерный луч.
•При подсоединении разъема (P/J51) к HVPS в соответствии с инструкциями в FIP никогда
не касайтесь HVPS и высоковольтных выводов.
•При проверке высокого напряжения с помощью цифровой проверки входных или выходных
элементов в сервисном режиме убедитесь, что все крышки установлены на место, если не
указано иное. Также никогда не прикасайтесь к высоковолььтным выводам при проверке
высокого напряжения.
•При проверке работы секции привода с помощью цифровой проверки входных или
выходных элементов в сервисном режиме убедитесь, что все крышки установлены на
место, если не указано иное. Также никогда не прикасайтесь к секции привода во время ее
работы.
•Будьте внимательны, чтобы не получить ожог, прикоснувшись к деталям, которые могут
быть очень горячими.
•Во время технического обслуживания сервисный персонал должен быть заземлен с
помощью браслетов для снятия статического электричества с тела.
Глава 2 Поиск и устранение неисправностей
2.1 Обзор устранения неисправностей
2 - 5
2.1.3 При использовании FIP учитывайте следующее
• При поиске и устранении неисправностей с помощью FIP заблаговременно подготовьте
нормально работающие элементы, такие как плата MCU, LVPS, HVPS и узел фьюзера,
потому что они могут понадобиться для идентификации неисправности. Кроме этого, если
неисправность устранить не удается, замените детали, которые рассматриваются как ее
причина, и сопутствующие детали в определенной последовательности, после чего
проверьте работу аппарата.
•Во время технического обслуживания обязательно отсоедините силовой шнур, если не
указано иное. Если силовой шнур подсоединен, никогда не прикасайтесь к токоведущим
частям, если эт оне является абсолютно необходимым.
•Длаее приводятся описания разъемов:
"P/J12"--> Разъем (P/J12) в соединенном состоянии
"P12"--> Вилка разъема (P/J12), когда он находится в рассоединенном состоянии (за
исключением ситуации, когда он непосредственно подключен к плате)
"J12" --> Розетка разъема (P/J12), когда он находится в рассоединенном состоянии (за
исключением ситуации, когда он непосредственно подключен к плате)
•В FIP "P/J1 <=> P/J2" означает, что все противоположные контакты между "P/J1" и "P/J2"
(см. главу 7. "Схемы электрических соединений") должны быть проверены (измерены
напряжения или проверена целостность цепи).
•Напряжения на на небольших разъемах измеряются с помощью специального
инструмента. Обращайтесь с инструментом осторожно, потому что у него острый
наконечник.
•При измерении напряжения установите узел CRU, BTR и лоток для бумаги и закройте
крышки до включения напряжения, если не указано иное.
•Числовые значения в FIP - только для справки. Близкие значения считаются одинаковыми.
•Обратите внимание, что для проверок, указанных в FIP, части, которые должны быть
сняты, и соответствующие процедуры в документе не упомянуты.
•"Замена" в FIP указывает на детали, которые считаются причиной неисправности.
Выполните проверку, заменив части и сборки, которые эти части содержат.
•В FIP первый уровень источника бумаги, находящийся в нижней части аппарата,
называется "лоток 1", а второй уровень - "лоток 2".
•В FIP некоторые процедцры описаны отдельно для каждой спецификации. При устранении
неисправностей следуйте инструкциям для вашей модели.
•Формат "aa [BB]" названия деталей (например, датчик выхода фьюзера [УЗЕЛ ФЬЮЗЕРА])
означает, что BB - это узел, который должен быть заменен, а "aa" - части, входящие в него.

Глава 2 Поиск и устранение неисправностей
2.1 Обзор устранения неисправностей
2 -6
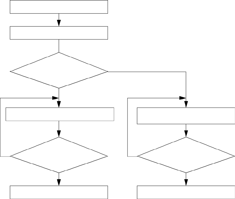
2.1.4 Схема выполнения RAP
FIP - это первый этап диагностики неисправности. FIP укажет вам путь поиска и устранения
неисправностей с помощью проверки наличия кодов ошибок и других симптомов неисправности.
Рис. 2-2 Схема выполнения FIP
Расспросите оператора о проблеме. Он
работает с аппаратом правильно?
Выключите и включите питание.
Ошибка появляется снова при
изготовлении отпечатка в режиме,
вызвавшем проблему?
Если появляется код состояния или
сообщение на ЖК-дисплее
Если проблема связана с качеством
изображения
Объясните, как работать с аппаратом.
Процедура завершена.
Обратитесь к
2.2 "Error Codes and Alarm Messages".
Обратитесь к Глава 3 - Поиск и
устранение дефектов изображения
Нет
Нет
Да
Да

Глава 2 Поиск и устранение неисправностей
2.2 Коды ошибок и предупреждающие сообщения
2 - 7
2.2 Коды ошибок и предупреждающие сообщения
2.2.1 Если застревание бумаги возникает снова, несмотря на
предпринимаемые действия
Если бумага застревает снова и снова, несмотря на действия, указанные в сообщении, может возникать
электрическая или механическая неисправность. Обратитесь к следующей таблице и выполните поиск
и устранение неисправности.
Таблица 2-1: Действия при повторяющемся застревании бумаги
ЖК-дисплей Описание ошибки
FIP,
корректирую
щие действия
Open A & C (Откройте А и С) Clear
Jam from E (Устраните
застревание в Е)
<IOT Exit On Jam1 (Застревание 1 на выходе из
IOT)>
Бумага не прошла через датчик выхода фьюзера
в заданное время.
Датчик выхода фьюзера включился во время
прогрева.
FIP 1.1
<IOT Exit On Jam2 (Застревание 2 на выходе из
IOT)>
Бумага пользовательского формата не прошла
датчик выхода фьюзера в заданное время после
прохождения датчика регистрации.
FIP 1.1
<IOT Exit Off Early Jam (Застревание с ранним
выключением датчика выхода IOT)>
Бумага достигла датчика выхода фьюзера
слишком рано.
FIP 1.1
<IOT Reg On Jam (Застревание на датчике
регистрации)>
Бумага не достигла фьюзера (датчика выхода
фьюзера) в заданное время после прохождения
положения регистрации (датчика регистрации).
FIP 1.1
<IOT PreReg Jam (Застревание при
предварительной регистрации IOT)>
Датчик регистрации включился во время
прогрева.
FIP 1.1
Open A (Откройте А)
Clear Jam or (Устраните
застревание или)
Open Tray 1 (Откройте лоток 1)
Open & Close A (Откройте и
закройте А)
<IOT Early Feed Jam (Застревание при ранней
подаче в IOT)>
Бумага достигла положения регистрации (датчика
регистрации) слишком рано.
FIP 1.2

Глава 2 Поиск и устранение неисправностей
2.2 Коды ошибок и предупреждающие сообщения
2 -8
Clear Jam from (Устраните
застревание в)
Bypass Tray or (обходном лотке
или)
Open A (Откройте А)
Clear Jam (Устраните
застревание)
<IOT MSI Missfeed Jam (Застревание при пропуске
подачи из обходного лотка в IOT)>
Бумага не достигла положения регистрации
(датчика регистрации) в заданное время после
подачи из обходного лотка.
FIP 1.3
Open Tray 1 (Откройте лоток 1)
Clear Jam (Устраните
застревание)
then Open & Close A (затем
откройте и закройте А)
<IOT Tray 1 Missfeed Jam (Застревание при
пропуске подачи из лотка 1 в IOT)>
Бумага не достигла положения регистрации
(датчика регистрации) в заданное время после
подачи из лотка 1.
FIP 1.4
Open Tray 1 & 2 (Откройте лоток 1
и 2)
Clear Jam (Устраните
застревание)
then Open & Close A (затем
откройте и закройте А)
<IOT Tray 2 Missfeed Jam (Застревание при
пропуске подачи из лотка 2 в IOT)>
Бумага не достигла положения регистрации
(датчика регистрации) в заданное время после
подачи из лотка 2.
FIP 1.5
Таблица 2-1: Действия при повторяющемся застревании бумаги
ЖК-дисплей Описание ошибки
FIP,
корректирую
щие действия

Глава 2 Поиск и устранение неисправностей
2.2 Коды ошибок и предупреждающие сообщения
2 - 9
Open Tray 3, 2 & 1 (Откройте
лоток 3, 2 и 1). Clear Jam
(Устраните застревание)
then Open & Close A (затем
откройте и закройте А)
<IOT Tray 3 Missfeed Jam (Застревание при
пропуске подачи из лотка 3 в IOT)>
Бумага не достигла положения регистрации
(датчика регистрации) в заданное время после
подачи из лотка 3.
FIP 1.6
Open All Trays Clear Jam
(Откройте все лотки, устраните
застревание)
then Open & Close A (затем
откройте и закройте А)
<IOT Tray 4 Missfeed Jam (Застревание при
пропуске подачи из лотка 4 в IOT)>
Бумага не достигла положения регистрации
(датчика регистрации) в заданное время после
подачи из лотка 4.
FIP 1.7
Open Bypass & B Clear Jam at D
(Откройте обходной лоток и В,
устраните застревание в D)
Close D & Open A (Закройте D и
откройте А)
Clear Jam (Устраните
застревание)
<IOT Duplex On Jam (Застревание в дуплексном
модуле IOT)>
Бумага достигла положения регистрации (датчика
регистрации) слишком рано после прохождения
датчика застревания в дуплексном модуле.
FIP 1.8
<IOT Duplex Refeed Jam (Застревание при
повторной подаче в дуплексный модуль IOT)>
Бумага не достигла положения регистрации
(датчика регистрации) в заданное время после
прохождения датчика застревания в дуплексном
модуле.
FIP 1.8
Open Bypass & B (Откройте
обходной лоток и В)
Clear Jam at D (Устраните
застревание в D)
Close D, Open A & C (Закройте D,
откройте А и С). Clear Jam
(Устраните застревание)
<IOT Duplex Missfeed Jam (Застревание при
пропуске подачи в дуплексный модуль IOT)>
Бумага не достигла датчика застревания в
дуплексном модуле в заданное время.
FIP 1.9
<IOT Remain at Dup Jam (Застревание бумаги в
дуплескном модуле IOT)>
Бумага не прошла датчик застревания в
дуплексном модуле в заданное время.
Датчик застревания в дуплексном модуле
включился во время прогрева.
FIP 1.9
Таблица 2-1: Действия при повторяющемся застревании бумаги
ЖК-дисплей Описание ошибки
FIP,
корректирую
щие действия

Глава 2 Поиск и устранение неисправностей
2.2 Коды ошибок и предупреждающие сообщения
2 -10
2.2.2 Системные ошибки
Таблица 2-2: Системные ошибки
Код ошибки
Название ошибки Описание ошибки
FIP,
корректиру
ющие
действия
Цепь Звено
010 397 IOT Fuser Failure
(Неисправность фьюзера
IOT)
Датчик температуры обнаружил
аномально высокую температуру.
Обнаружен обрыв цепи датчика
температуры.
Датчик температуры обнаружил
аномально низкую температуру.
Узел фьюзера не вышел на заданную
температуру в заданное время.
Когда двигатель был остановлен
после выхода узла фьюзера на
заданную температуру,
нагревательная лампа оставалась
включенной в течение 10 секунд.
FIP 1.10

Глава 2 Поиск и устранение неисправностей
2.2 Коды ошибок и предупреждающие сообщения
2 - 11
018 310 NIC-ESS Communication Fail
(Ошибка связи NIC-ESS)
Сбой связи между NIC и ESS. FIP 1.38
018 311 NIC Flash ROM Boot Module
Checksum Error (Ошибка
контрольной суммы
загрузочного модуля флэш-
ПЗУ сетевой интерфейсной
платы)
Ошибка, связанная с MPC
(многопротокольной платой) FIP1.38
FIP 1.38
018 312 NIC RAM R/W Test Error
(Ошибка проверки чтения/
записи в RAM сетевой
интерфейсной платы)
Ошибка, связанная с MPC
(многопротокольной платой) FIP1.38
FIP 1.38
018 313 NIC Flash ROM Application
Module Checksum Error
(Ошибка контрольной суммы
прикладного модуля флэш-
ПЗУ сетевой интерфейсной
платы)
Ошибка, связанная с MPC
(многопротокольной платой) FIP1.38
FIP 1.38
018 314 NIC MAC Address Checksum
Error (Ошибка контрольной
суммы MAC-адреса сетевой
интерфейсной платы)
Ошибка, связанная с MPC
(многопротокольной платой) FIP1.38
FIP 1.38
018 315 NIC Ethernet BIST parity/RAM
R/ W Error (Ошибка чтения/
записи RAM/четности при
самопроверке сетевой
интерфейсной платы
Ethernet)
Ошибка, связанная с MPC
(многопротокольной платой) FIP1.38
FIP 1.38
018 316 NIC Internal Loopback Error
MPC (Ошибка
многопротокольной платы
по контуру внутренней
обратной связи сетевой
интерфейсной платы)
Ошибка, связанная с MPC
(многопротокольной платой) FIP1.38
FIP 1.38
018 317 NIC Fatal Error MPC
(Фатальная ошибка
многопротокольной платы
сетевой интерфейсной
платы)
Ошибка, связанная с MPC
(многопротокольной платой) FIP1.38
FIP 1.38
018 318 NIC_WLANOPTERR Ошибка опции беспроводной связи FIP 1.38
018 319 NIC_OSWORKQERR Ошибка встроенной сетевой
операционной системы
FIP 1.37
018 320 NIC_OSOTHERERR Ошибка встроенной сети VxWorks FIP 1.37
Таблица 2-2: Системные ошибки
Код ошибки
Название ошибки Описание ошибки
FIP,
корректиру
ющие
действия
Цепь Звено

Глава 2 Поиск и устранение неисправностей
2.2 Коды ошибок и предупреждающие сообщения
2 -12
024 371 IOT-ESS Communication Fail
(Ошибка связи IOT-ESS)
Сбой связи между IOT и ESS. FIP 1.11
042 325 IOT Motor Failure
(Неисправность двигателя
IOT)
Главный двигатель не вышел на
заданное число оборотов в заданное
время после начала вращения.
FIP 1.12
042 358 IOT Fan Motor Failure
(Неисправность двигателя
вентилятора IOT)
Были остановлены следующие
вентиляторы. Средний вентилятор,
задний вентилятор, боковой
вентилятор
FIP 1.13
061 370 IOT ROS Motor Failure
(Неисправность двигателя
ROS IOT)
Интервал передачи сигналов данных
изображения больше заданного
значения времени с момента начала
вращения двигателя сканирования.
Интервал передачи сигналов данных
изображения стал больше заданного
значения после того, как этот
интервал достиг заданного значения.
Напряжение на лазерном диоде не
достигло заданного значения.
FIP 1.14
077 215 IOT Option Feeder
Communication Error
(Ошибка связи
дополнительного податчика
с IOT)
Ошибка связи возникла между
платой MCU PWB и податчиком
бумаги на 550 листов
(допллнительным) или в самом
податчике (между лотками 2 и 3,
лотком 3 и 4).
FIP 1.15
077 216 IOT Option Duplex
Communication Error
(Ошибка связи
дополнительного
дуплексного модуля с IOT)
Ошибка связи возникла между
платой MCU и дуплексным модулем
(дополнительным).
FIP 1.16
116 310 ESS FontROM Error (Main)
(Ошибка ПЗУ шрифтов ESS
(основная))
Ошибка контрольной суммы
встроенного ПЗУ шрифтов
FIP 1.37
116 311 ESS FontROM Error (Option)
(Ошибка ПЗУ шрифтов ESS
(дополнительная))
Ошибка контрольной суммы
дополнительного ПЗУ шрифтов
FIP 1.37
116 314 On Board Network MAC
Address Checksum Error
(Ошибка контрольной суммы
встроенного сетевого MAC-
адреса)
Ошибка контрольной суммы
встроенного сетевого MAC-адреса
FIP 1.37
Таблица 2-2: Системные ошибки
Код ошибки
Название ошибки Описание ошибки
FIP,
корректиру
ющие
действия
Цепь Звено

Глава 2 Поиск и устранение неисправностей
2.2 Коды ошибок и предупреждающие сообщения
2 - 13
116 324 ESS Illegal Exception
(Недопустимое исключение
ESS)
Недопустимое исключение
центрального процессора
FIP 1.37
116 327 ESS Instruction Cache Error
(Ошибка кэш-команды ESS)
Ошибка кэш-команды центрального
процессора
FIP 1.37
116 328 ESS Data Cache Error
(Ошибка данных в кэше
ESS)
Ошибка данных в кэше центрального
процессора
FIP 1.37
116 333 PCI Option#0 Fail (Сбой
опции №0 на PCI)
Ошибка обнаружения PCI-опции №0 FIP 1.38
116 334 PCI Option#1 Fail (Сбой
опции №1 на PCI)
Ошибка обнаружения PCI-опции №1 FIP 1.38
116 343 ASIC Fail (Сбой ASIC) Ошибка ASIC FIP 1.37
116 350 On Board Network
Communication Fail (Ошибка
связи встроенной сети)
Ошибка, связанная со встроенной
сетевой функцией
FIP 1.37
116 351 On Board Network Ethernet
BIST Parity/RAM R/W Error
(Ошибка чтения/записи
RAM/ четности при
самопроверке встроенной
сети Ethernet)
Ошибка, связанная со встроенной
сетевой функцией
FIP 1.37
116 352 On Board Network Internal
Loopback Error (Ошибка
внутреннего контура
обратной связи встроенной
сети)
Ошибка, связанная со встроенной
сетевой функцией
FIP 1.37
116 353 ESS HD Fail (Сбой жесткого
диска ESS)
Обнаружена ошибка жесткого диска. FIP 1.39
116 355 On Board Network Fatal Error
(Фатальная ошибка
встроенной сети)
Ошибка, связанная со встроенной
сетевой функцией
FIP 1.37
Таблица 2-2: Системные ошибки
Код ошибки
Название ошибки Описание ошибки
FIP,
корректиру
ющие
действия
Цепь Звено

Глава 2 Поиск и устранение неисправностей
2.2 Коды ошибок и предупреждающие сообщения
2 -14
2.2.3 Ошибки загрузки
Таблица 2-3: Ошибки загрузки
Код ошибки
Название ошибки Описание ошибки
FIP,
корректирующи
е действия
Цепь Звено
116 500 DOWNLOAD DELETE ERROR
(ОШИБКА УДАЛЕНИЯ ПРИ
ЗАГРУЗКЕ)
Ошибка удаления флэша при
загрузке
FIP 1.37
116 501 DOWNLOAD WRITE ERROR
(ОШИБКА ЗАПИСИ ПРИ
ЗАГРУЗКЕ)
Ошибка записи флэша при
загрузке
FIP 1.37
116 502 DOWNLOAD VERIFY ERROR
(ОШИБКА ПРОВЕРКИ ПРИ
ЗАГРУЗКЕ)
Ошибка проверки флэша при
загрузке
FIP 1.37
116 737 DOWNLOAD FORMAT ERROR
(ОШИБКА ФОРМАТИРОВАНИЯ
ПРИ ЗАГРУЗКЕ)
Формат загружаемого файла
неправильный
Нажмите кнопку
[Eject/Set] (Сброс/
установка)
116 738 DOWNLOAD INITIAL ERROR
(НАЧАЛЬНАЯ ОШИБКА
ЗАГРУЗКИ)
Сетевая интерфейсная плата
не активировалась в режиме
загрузки.
Нажмите кнопку
[Eject/Set] (Сброс/
установка)
116 739 DOWNLOAD INSERTION ERROR
(ОШИБКА ВСТАВКИ ПРИ
ЗАГРУЗКЕ)
Загрузка выполнена при не
установленной дополнительной
сетевой интерфейсной плате.
Нажмите кнопку
[Eject/Set] (Сброс/
установка)
116 740 DOWNLOAD COMM ERROR
(ОШИБКА СВЯЗИ ПРИ
ЗАГРУЗКЕ)
При загрузке возникла ошибка
связи с дополнительной
сетевой интерфейсной платой.
Нажмите кнопку
[Eject/Set] (Сброс/
установка)
116 741 DOWNLOAD PROTECT ERROR
(ОШИБКА ЗАЩИТЫ ПРИ
ЗАГРУЗКЕ)
Была выполнена загрузка FW,
при том, что обновление FW
было запрещено установками
на панели управления.
Нажмите кнопку
[Eject/Set] (Сброс/
установка)
116 742 DOWNLOAD ID ERROR
(ОШИБКА ИДЕНТИФИКАЦИИ
ПРИ ЗАГРУЗКЕ)
ID загружаемого файла
неправильный
Нажмите кнопку
[Eject/Set] (Сброс/
установка)
116 743 DOWNLOAD RANGE ERROR
(ОШИБКА ДИАПАЗОНА ПРИ
ЗАГРУЗКЕ)
Адрес места записи при
загрузке неправильный.
Ошибка проверки диапазона
Нажмите кнопку
[Eject/Set] (Сброс/
установка)
116 744 DOWNLOAD CHECKSUM
ERROR (ОШИБКА
КОНТРОЛЬНОЙ СУММЫ ПРИ
УСТАНОВКЕ)
Контрольная сумма
загружаемого файла
неправильная
Нажмите кнопку
[Eject/Set] (Сброс/
установка)
116 745 DOWNLOAD HEADER ERROR
(ОШИБКА ЗАГОЛОВКА ПРИ
ЗАГРУЗКЕ)
Заголовок загружаемого файла
неправильный
Нажмите кнопку
[Eject/Set] (Сброс/
установка)

Глава 2 Поиск и устранение неисправностей
2.2 Коды ошибок и предупреждающие сообщения
2 - 15
2.2.4 Предупреждение о сроке службы
Таблица 2-4: Ошибки загрузки
Код ошибки
Название ошибки Описание ошибки
FIP,
корректиру
ющие
действия
Цепь Звено
010 421 Fuser Life Warning (Срок
службы фьюзера)
Узел фьюзера вскоре нужно
заменить. (Количество отпечатков
превысило заданное значение.
FIP 1.17
094 422 Trans Assy Life Warning
(Предупреждение о сроке
службы узла переноса)
Узел ролика переноса вскоре нужно
заменить. (Количество отпечатков
превысило заданное значение.
FIP 1.18
071 401 Tray 1 Cassette Roll Assy Kit
Warning (Предупреждение
об узлах роликов лотка 1)
Комплект узлов роликов подачи
лотка 1 нужно вскоре заменить.
(Количество отпечатков из лотка 1
превысило заданное значение.)
FIP 1.19
072 401 Tray 2 Cassette Roll Assy Kit
Warning (Предупреждение
об узлах роликов лотка 2)
Комплект узлов роликов подачи
лотка 2 нужно вскоре заменить.
(Количество отпечатков из лотка 2
превысило заданное значение.)
FIP 1.20
073 401 Tray 3 Cassette Roll Assy Kit
Warning (Предупреждение
об узлах роликов лотка 3)
Комплект узлов роликов подачи
лотка 3 нужно вскоре заменить.
(Количество отпечатков из лотка 3
превысило заданное значение.)
FIP 1.21
074 401 Tray 4 Cassette Roll Assy Kit
Warning (Предупреждение
об узлах роликов лотка 4)
Комплект узлов роликов подачи
лотка 4 нужно вскоре заменить.
(Количество отпечатков из лотка 4
превысило заданное значение.)
FIP 1.22
075 401 MSI Roll Assy Kit Warning
(Предупреждение об узлах
роликов обходного лотка)
Комплект узлов роликов обхдного
лотка вскоре нужно заменить.
(Количество отпечатков из обходного
лотка превысило заданное
значение.)
FIP 1.23
061 400 ROS Unit Warning
(Предупреждение об узле
ROS)
Узел ROS вскоре нужно заменить.
(Количество отпечатков превысило
заданное значение.
FIP 1.24
077 401 Regi Unit Warning
(Предупреждение об узле
регистрации)
Комплект узла регистрации вскоре
нужно заменить. (Количество
отпечатков превысило заданное
значение.
FIP 1.25
042 401 Gear Unit Warning
(Предупреждение об узле
шестерен)
Узел привода вскоре нужно
заменить. (Количество отпечатков
превысило заданное значение.
FIP 1.26

Глава 2 Поиск и устранение неисправностей
2.2 Коды ошибок и предупреждающие сообщения
2 -16
071 410 Tray 1 Cassette Chute Kit
Warning (Предупреждение о
комплекте желоба лотка 1)
ТОРМОЗНОЙ ЖЕЛОБ лотка 1 вскоре
нужно заменить. (Количество
отпечатков из лотка 1 превысило
заданное значение.)
FIP 1.27
072 410 Tray 2 Cassette Chute Kit
Warning (Предупреждение о
комплекте желоба лотка 2)
ТОРМОЗНОЙ ЖЕЛОБ лотка 2 вскоре
нужно заменить. (Количество
отпечатков из лотка 2 превысило
заданное значение.)
FIP 1.28
073 410 Tray 3 Cassette Chute Kit
Warning (Предупреждение о
комплекте желоба лотка 3)
ТОРМОЗНОЙ ЖЕЛОБ лотка 3 вскоре
нужно заменить. (Количество
отпечатков из лотка 3 превысило
заданное значение.)
FIP 1.29
074 410 Tray 4 Cassette Chute Kit
Warning (Предупреждение о
комплекте желоба лотка 4)
ТОРМОЗНОЙ ЖЕЛОБ лотка 4 вскоре
нужно заменить. (Количество
отпечатков из лотка 4 превысило
заданное значение.)
FIP 1.30
Таблица 2-5: Сообщения-предупреждения о сроке службы
ЖК-дисплей Описание ошибки
FIP,
корректиру
ющие
действия
Вверху: Ready to Print (Готов к печати); внизу:
Toner Cartridge (Тонер-картридж); внизу: Replace
soon (Вскоре заменить) (Сообщения в нижней
строке появляются попеременно.)
<IOT Toner Near Empty (Тонер в IOT
скоро закончится)>
Узел CRU вскоре нужно заменить.
(Количество отпечатков превысило
заданное значение.
Замените
узел CRU.
Таблица 2-4: Ошибки загрузки
Код ошибки
Название ошибки Описание ошибки
FIP,
корректиру
ющие
действия
Цепь Звено

Глава 2 Поиск и устранение неисправностей
2.2 Коды ошибок и предупреждающие сообщения
2 - 17
2.2.5 Сообщения-предупреждения
Таблица 2-6: Сообщения-предупреждения
ЖК-дисплей Описание ошибки
FIP,
корректиру
ющие
действия
Install Toner Cartridge (Установите
тонер-картридж)
<IOT Toner Detached (Тонер-картридж IOT
отсоединен)>
Узел CRU ASSY не установлен. или этот узел
установлен неправильно.
FIP 1.31
Close A & C (Закройте А и С) <IOT Cover Front/Top Open (Передняя/верхняя крышка
IOT открыта)>
Открыта передняя крышка.
Это сообщение имеет более высокий приоритет на
дисплее, чем "Install Toner Cartridge" (Установите
тонер-картридж).
FIP 1.32
Close D (Закройте D) <IOT Cover Duplex Open (Открыта крышка
дуплексного модуля IOT)>
Открыта крышка дуплексного модуля.
FIP 1.33
Вставьте лотки в аппарат.
Push in Tray N (Вставьте лоток
№__)
<Tray Detached (Лоток выдвинут)>
•Если аппарат ожидает задания или задан
автоматический выбор бумаги, все
существующие лотки открыты. (All Tray
Detached) (Все лотки выдвинуты)
•При выборе конкретного лотка он открывается.
(Specified Tray Detached) (Заданный лоток
выдвинут)
FIP 1.34
(Это возникает, когда бумага
подается из лотка)
Wrong paper size (Неправильный
формат бумаги)
Reload Tray N (Перезагрузите
лоток №__)
(Это возникает, когда бумага
подается из обходного лотка)
Wrong paper size (Неправильный
формат бумаги) Reload Bypass
(Перезагрузите обходной лоток)
<IOT Paper Size Mismatch (Несоответствие форматов
бумаги в IOT)>
Установка формата бумаги для лотка не
соответствует формату загруженной бумаги.
(Формат загруженной бумаги определяется при
прохождении датчика регистрации.)
FIP 1.35

Глава 2 Поиск и устранение неисправностей
2.2 Коды ошибок и предупреждающие сообщения
2 -18
Set Tray N (Задайте для лотка
№__)
A4 Plain Paper (обычную бумагу
А4)
<Когда бумага подается из
обходного лотка>
Bypass Tray (Обходной лоток) A4
Plain Paper (Обычная бумага А4)
<No Suitable Paper (Нет подходящей бумаги)>
• Если аппарат ожидает задания или задан
автоматический выбор бумаги, во всех существующих
лотках нет бумаги. (All Tray Empty) (Все лотки пустые)
• Если задан автоматический выбор бумаги, форматы
бумаги во всех лотках неправильные. (All Tray Size
Mismatch) (Несоответствие форматов во всех лотках)
• Когда задан лоток-источник, а в нем нет бумаги.
(Specified Tray Empty) (В заданном лотке нет бумаги)
• Когда задан лоток-источник, формат бумаги в нем
неправильный. (Specified Tray Size Mismatch)
(Несоответствие формата в заданном лотке)
FIP 1.36
<Когда задан автоматический
выбор бумаги>
Push in trays (Вставьте лотки в
аппарат.)
<Когда задан лоток>
Push in all trays (Вставьте все
лотки в аппарат.)
<Upper Cassette Detached (Верхний лоток выдвинут)>
•Когда задан автоматический выбор лотка,
один из лотков выше доступного открыт.
•Когда задан лоток-источник бумаги, один из
лотков выше доступного открыт.
FIP 1.34
Таблица 2-6: Сообщения-предупреждения
ЖК-дисплей Описание ошибки
FIP,
корректиру
ющие
действия

Глава 2 Поиск и устранение неисправностей
2.2 Коды ошибок и предупреждающие сообщения
2 - 19
Out of memory (Нехватка памяти)
Use Set toCancel (Используйте
кнопку Set для отмены.)
<Memory Overflow (Переполнение памяти)>
Недостаточно памяти для создания страниц.
Нажмите
кнопку
[Eject/Set]
(Сброс/
установка)
Disk is full (Диск переполнен)
Use Set toCancel (Используйте
кнопку Set для отмены.)
<Hard Disk Full (Жесткий диск переполнен.)>
Жесткий диск переполнен.
Нажмите
кнопку
[Eject/Set]
(Сброс/
установка)
PDL Error (Ошибка PDL)
Use Set toCancel (Используйте
кнопку Set для отмены.)
<PDL Error (Ошибка PDL)>
Язык описания страниц не может быть обработан по
какой-то причине.
Нажмите
кнопку
[Eject/Set]
(Сброс/
установка)
Wrong password (Неправильный
пароль)
Use Set toCancel (Используйте
кнопку Set для отмены.)
<PDF Password Error (Ошибка пароля PDF)>
PDF-пароль не соответстсвует.
Нажмите
кнопку
[Eject/Set]
(Сброс/
установка)
PDF file secured (PDF-файл
засекречен)
Use Set toCancel (Используйте
кнопку Set для отмены.)
<PDF Error (Ошибка PDF)>
Печать PDF не допустима.
Нажмите
кнопку
[Eject/Set]
(Сброс/
установка)
UnknownPaperType
(Неизвестный тип бумаги)
Use Set toCancel (Используйте
кнопку Set для отмены.)
<Mediatype Violation (Нарушение для типа
материала)>
Возникли нарушения условий печати для данного
типа бумаги.
• Автоматический выбор лотка был задан при
отсутствии приоритетов для бумаги всех типов.
Нажмите
кнопку
[Eject/Set]
(Сброс/
установка)
Invalid Job (Недействительное
или поврежденное задание)
Use Set toCancel (Используйте
кнопку Set для отмены.)
<Job Environment Violation (Нарушение окружения для
задания)>
Возникли нарушения условий печати.
Нажмите
кнопку
[Eject/Set]
(Сброс/
установка)
Login Error (Ошибка логина)
Use Set toCancel (Используйте
кнопку Set для отмены.)
<PrinterAuditron: (Аудитрон принтера:) Invalid User
(Неправильный пользователь)>
Обнаружена ошибка незарегистрированного счета.
Нажмите
кнопку
[Eject/Set]
(Сброс/
установка)
Таблица 2-6: Сообщения-предупреждения
ЖК-дисплей Описание ошибки
FIP,
корректиру
ющие
действия

Глава 2 Поиск и устранение неисправностей
2.2 Коды ошибок и предупреждающие сообщения
2 -20
Invalid feature (Недопустимая
функция)
Use Set toCancel (Используйте
кнопку Set для отмены.)
<PrinterAuditron: (Аудитрон принтера:) Disabled
Function (Деактивированная функция)>
Обнаружена ошибка недопустимой функции.
Нажмите
кнопку
[Eject/Set]
(Сброс/
установка)
Limit reached (Достигнут предел)
Use Set toCancel (Используйте
кнопку Set для отмены.)
<Printer Auditron: (Аудитрон принтера:) Usage limit
exceeded (Превышен лимит использования)>
Обнаружена ошибка превышения лимита
использования.
Нажмите
кнопку
[Eject/Set]
(Сброс/
установка)
Таблица 2-6: Сообщения-предупреждения
ЖК-дисплей Описание ошибки
FIP,
корректиру
ющие
действия

Глава 2 Поиск и устранение неисправностей
2.3 RAP
2 - 21
2.3 RAP
2.3.1 FIP 1-го уровня
FIP 1.1IOT Exit On Jam1, IOT Exit On Jam2, IOT Exit Off Early Jam IOT Reg
On Jam, IOT PreReg Jam
Процеду
ра Проверка и действие Да Нет
Части, которые могут быть причиной неисправности
Датчик выхода фьюзера [УЗЕЛ ФЬЮЗЕРА]
(PL8.1.11)
ДАТЧИК РЕГИСТРАЦИИ (PL5.1.4)
РОЛИК ПЕРЕНОСА (PL4.1.3)
Металлический ролик регистрации [КОМПЛЕКТ
РЕГИСТРАЦИИ] (PL5.1.1)
Резиновый ролик регистрации [КОМПЛЕКТ
РЕГИСТРАЦИИ] (PL5.1.1)
МУФТА РЕГИСТРАЦИИ (PL5.1.2)
ГЛАВНЫЙ ДВИГАТЕЛЬ (PL9.1.3)
Двигатель вывода [УЗЕЛ ПРИВОДА ВЫВОДА]
(PL13.1.2) (Только для
моделей с дуплексным модулем)
Плата MCU (PL11.1.3)
1Проверьте тракт бумаги. В нем есть посторонние
предметы или обрывки бумаги?
Удалите
посторонние
предметы, обрывки
бумаги и т.п.
Перейдите к
этапу 2.
2Проверьте ролики подачи бумаги.
Ролики подачи бумаги (ролики, указанные среди
частей, которые могут быть причиной
неисправности) установлены правильно?
Перейдите к этапу
3.
Переустановите
соответствующ
ие ролики
подачи бумаги.
3Проверьте ролики подачи бумаги.
Ролики подачи бумаги (ролики, указанные среди
частей, которые могут быть причиной
неисправности) деформированы или изношены?
Замените
соответствующие
ролики подачи
бумаги.
Перейдите к
этапу 4.
4Проверьте работу датчика выхода фьюзера.
Войдите в сервисный режим и откройте следующее
меню для проверки работы этого датчика.
IOT Diag / Digital Input / DI-e. Датчик выхода
фьюзера работает нормально?
Перейдите к этапу
5.
Перейдите к FIP
2.2
5Проверьте работу датчика регистрации. Войдите в
сервисный режим и откройте следующее меню для
проверки работы этого датчика.
IOT Diag / Digital Input / DI-d. Датчик регистрации
работает нормально?
Перейдите к этапу
6.
Перейдите к FIP
2.1

Глава 2 Поиск и устранение неисправностей
2.3 RAP
2 -22
6Проверьте работу муфты регистрации. Войдите в
сервисный режим и откройте следующее меню для
проверки работы этой муфты.
IOT Diag / Digital Output / DO-1c. Муфта регистрации
работает нормально?
Перейдите к этапу
7.
Перейдите к FIP
2.6
Процеду
ра Проверка и действие Да Нет

Глава 2 Поиск и устранение неисправностей
2.3 RAP
2 - 23
7Проверьте работу главного двигателя. Войдите в
сервисный режим и откройте следующее меню для
проверки работы этого двигателя.
IOT Diag / Digital Output / DO-10. Главный двигатель
работает нормально?
Модели с
установленным
дуплексным
модулем:
перейдите к этапу
8.
Другие модели:
замените плату
MCU.
(Раздел 11.2)
Перейдите к FIP
2.10
8Проверьте работу двигателя вывода (только модели
с установленным дуплексным модулем).
Войдите в СЕ-режим и откройте следующее меню
для проверки работы двигателя вывода.
IOT Diag / Digital Output / DO-11. Двигатель вывода
работает нормально?
Замените плату
MCU (Раздел
11.2).
Перейдите к FIP
2.12
Процеду
ра Проверка и действие Да Нет

Глава 2 Поиск и устранение неисправностей
2.3 RAP
2 -24
FIP 1.2 IOT Early Feed Jam (Застревание при ранней подаче в IOT)
Процедура Проверка и действие Да Нет
Части, которые могут быть причиной неисправности
ДАТЧИК РЕГИСТРАЦИИ (PL5.1.4)
Ролик подачи (PL2.3.10)
Подталкивающий ролик (PL2.3.10)
Тормозной ролик (PL2.5.19)
УЗЕЛ ПОВОРОТНОГО РОЛИКА (PL2.4.12)
ПОВОРОТНАЯ МУФТА (PL3.2.25)
ПОВОРОТНАЯ МУФТА (PL3.2.25)
Двигатель подхвата (PL2.3.3)
PMCU PWBA (PL11.1.3)
1Проверьте тракт бумаги. В нем есть посторонние
предметы или обрывки бумаги?
Удалите
посторонние
предметы,
обрывки бумаги и
т.п.
Перейдите к
этапу 2.
2Проверьте ролики подачи бумаги.
Ролики подачи бумаги (ролики, указанные среди
частей, которые могут быть причиной неисправности)
установлены правильно?
Перейдите к
этапу 3.
Переустанов
ите
соответству
ющие
ролики
подачи
бумаги.
3Проверьте ролики подачи бумаги.
Ролики подачи бумаги (ролики, указанные среди
частей, которые могут быть причиной неисправности)
деформированы или изношены?
Замените
соответствующие
ролики подачи
бумаги.
Перейдите к
этапу 4.
4Проверьте работу датчика регистрации. Войдите в
сервисный режим и откройте следующее меню для
проверки работы этого датчика.
IOT Diag / Digital Input / DI-d. Датчик регистрации
работает нормально?
Модели с
установленным
податчиком на
550 листов:
перейдите к этапу
5
Перейдите к
FIP 2.1
5Проверьте работу поворотной муфты. Войдите в
сервисный режим и откройте следующее меню для
проверки работы этой муфты.
IOT Diag / Digital Output / DO-31. Поворотная муфта
работает нормально?
Перейдите к
этапу 6.
Перейдите к
FIP 2.7
6Проверьте работу двигателя подхвата. Войдите в
сервисный режим и откройте следующее меню для
проверки работы этого двигателя.
IOT Diag / Digital Output / DO-30. Двигатель подхвата
работает нормально?
Замените плату
MCU (Раздел
11.2).
Перейдите к
FIP 2.11

Глава 2 Поиск и устранение неисправностей
2.3 RAP
2 - 25
FIP 1.3 IOT MSI Missfeed Jam (Застревание при пропуске подачи из
обходного лотка в IOT)
Процедура Проверка и действие Да Нет
Процедура Проверка и действие Да Нет
Части, которые могут быть причиной неисправности
ДАТЧИК РЕГИСТРАЦИИ (PL5.1.4)
РОЛИК ПОДАЧИ ИЗ ОБХОДНОГО ЛОТКА (PL3.1.17)
ДЕРЖАТЕЛЬ УЗЛА ТОРМОЖЕНИЯ (PL3.1.21)
Комплект поворота [КОМПЛЕКТ ПЕРЕДНЕЙ РАМЫ]
(PL4.1.1)
СОЛЕНОИД ПОДАЧИ ИЗ ОБХОДНОГО ЛОТКА
(PL3.1.1)
ГЛАВНЫЙ ДВИГАТЕЛЬ (PL9.1.3)
Плата MCU (PL11.1.3)
1Проверьте тракт бумаги. В нем есть посторонние
предметы или обрывки бумаги?
Удалите
посторонние
предметы,
обрывки бумаги и
т.п.
Перейдите к
этапу 2.
2Проверьте ролики подачи бумаги.
Ролики подачи бумаги (ролики, указанные среди
частей, которые могут быть причиной неисправности)
установлены правильно?
Перейдите к
этапу 3.
Переустанов
ите
соответству
ющие
ролики
подачи
бумаги.
3Проверьте ролики подачи бумаги.
Ролики подачи бумаги (ролики, указанные среди
частей, которые могут быть причиной неисправности)
деформированы или изношены?
Замените
соответствующие
ролики подачи
бумаги.
Перейдите к
этапу 4.
4Проверьте работу датчика регистрации.
Войдите в СЕ-режим и откройте следующее меню для
проверки работы датчика регистрации.
IOT Diag / Digital Input / DI-d. Датчик регистрации
работает нормально?
Перейдите к
этапу 5.
Перейдите к
FIP 2.1
5Проверьте работу соленоида подачи из обходного
лотка. Войдите в сервисный режим и откройте
следующее меню для проверки работы этого
соленоида.
IOT Diag / Digital Output / DO-16. Соленоид подачи из
обходного лотка работает нормально?
Перейдите к
этапу 6.
Перейдите к
FIP 2.9
6Проверьте работу главного двигателя. Войдите в
сервисный режим и откройте следующее меню для
проверки работы этого двигателя.
IOT Diag / Digital Output / DO-10. Главный двигатель
работает нормально?
Замените плату
MCU (Раздел
11.2).
Перейдите к
FIP 2.10

Глава 2 Поиск и устранение неисправностей
2.3 RAP
2 -26
FIP 1.4 IOT Tray 1 Missfeed Jam (Застревание при пропуске подачи из
лотка 1 в IOT)
Процедура Проверка и действие Да Нет
Процедура Проверка и действие Да Нет
Части, которые могут быть причиной неисправности
ДАТЧИК РЕГИСТРАЦИИ (PL5.1.4)
Ролик подачи (PL2.3.10)
Подталкивающий ролик (PL2.3.10)
Тормозной ролик (PL2.5.19)
УЗЕЛ ПОВОРОТНОГО РОЛИКА (PL2.4.12)
ПОВОРОТНАЯ МУФТА (PL3.2.25)
ПОВОРОТНАЯ МУФТА (PL3.2.25)
МУФТА ПОДАЧИ (PL2.4.4)
Двигатель подхвата (PL2.3.3)
Плата MCU (PL11.1.3)
1Проверьте тракт бумаги. В нем есть посторонние
предметы или обрывки бумаги?
Удалите
посторонние
предметы,
обрывки бумаги и
т.п.
Перейдите к
этапу 2.
2Проверьте ролики подачи бумаги.
Ролики подачи бумаги (ролики, указанные среди
частей, которые могут быть причиной неисправности)
установлены правильно?
Перейдите к
этапу 3.
Переустанови
те
соответствую
щие ролики
подачи
бумаги.
3Проверьте ролики подачи бумаги.
Ролики подачи бумаги (ролики, указанные среди
частей, которые могут быть причиной неисправности)
деформированы или изношены?
Замените
соответствующие
ролики подачи
бумаги.
Перейдите к
этапу 4.
4Проверьте работу датчика регистрации. Войдите в
сервисный режим и откройте следующее меню для
проверки работы этого датчика.
IOT Diag / Digital Input / DI-d. Датчик регистрации
работает нормально?
Перейдите к
этапу 5.
Перейдите к
FIP 2.1
5Проверьте работу поворотной муфты. Войдите в
сервисный режим и откройте следующее меню для
проверки работы этой муфты.
IOT Diag / Digital Output / DO-31. Поворотная муфта
работает нормально?
Перейдите к
этапу 6.
Перейдите к
FIP 2.7
6Проверьте работу муфты подачи. Войдите в
сервисный режим и откройте следующее меню для
проверки работы этой муфты.
IOT Diag / Digital Output / DO-32. Муфта подачи
работает нормально?
Перейдите к
этапу 7.
Перейдите к
FIP 2.8

Глава 2 Поиск и устранение неисправностей
2.3 RAP
2 - 27
FIP 1.5 IOT Tray 2 Missfeed Jam (Застревание при пропуске подачи из
лотка 2 в IOT)
7Проверьте работу двигателя подхвата. Войдите в
сервисный режим и откройте следующее меню для
проверки работы этого двигателя.
IOT Diag / Digital Output / DO-30. Двигатель подхвата
работает нормально?
Замените плату
MCU (Раздел
11.2).
Перейдите к
FIP 2.11
Процедура Проверка и действие Да Нет
Процедура Проверка и действие Да Нет
Части, которые могут быть причиной неисправности
ДАТЧИК РЕГИСТРАЦИИ (PL5.1.4)
УЗЕЛ ПОВОРОТНОГО РОЛИКА (PL2.4.12) (Лоток 1)
ПОВОРОТНАЯ МУФТА (PL2.4.3) (Лоток 1
Двигатель подхвата [УЗЕЛ КРОНШТЕЙНА
ПОДАТЧИКА НА 550 ЛИСТОВ] (PL2.3.3)
УЗЕЛ ПОВОРОТНОГО РОЛИКА (PL15.2.12) (Лоток 2)
Ролик подачи (PL15.3.10) (Лоток 2)
Подталкивающий ролик (PL15.3.10) (Лоток 2)
Тормозной ролик (PL2.5.19) (Лоток 2)
ПОВОРОТНАЯ МУФТА (PL15.3.3) (Лоток 2)
МУФТА ПОДАЧИ (PL15.3.4) (Лоток 2)
Двигатель подачи [УЗЕЛ ПРИВОДА - ОПЦИЯ]
(PL15.2.6 ) (Лоток 2)
ПЛАТА ПОДАТЧИКА (PL15.2.18) (Лоток 2)
Плата MCU (PL11.1.3)
PL15.2.6 ) (Лоток 2)
ПЛАТА ПОДАТЧИКА (PL14.2.18 / PL15.2.18) (Лоток 2)
Плата MCU (PL11.1.3)
1Проверьте тракт бумаги. В нем есть посторонние
предметы или обрывки бумаги?
Удалите
посторонние
предметы,
обрывки бумаги и
т.п.
Перейдите к
этапу 2.
2Проверьте ролики подачи бумаги.
Ролики подачи бумаги (ролики, указанные среди
частей, которые могут быть причиной неисправности)
установлены
правильно?
Перейдите к
этапу 3.
Переустанови
те
соответствую
щие ролики
подачи
бумаги.
3Проверьте ролики подачи бумаги.
Ролики подачи бумаги (ролики, указанные среди
частей, которые могут быть причиной неисправности)
деформированы или изношены?
Замените
соответствующие
ролики подачи
бумаги.
Перейдите к
этапу 4.
Процедура Проверка и действие Да Нет

Глава 2 Поиск и устранение неисправностей
2.3 RAP
2 -28
4Проверьте работу датчика регистрации. Войдите в
сервисный режим и откройте следующее меню для
проверки работы этого датчика.
IOT Diag / Digital Input / DI-d. Датчик регистрации
работает нормально?
Перейдите к
этапу 5.
Перейдите к
FIP 2.1
5Проверьте работу поворотной муфты (лоток 1).
Войдите в сервисный режим и откройте следующее
меню для проверки работы этой муфты.
IOT Diag / Digital Output / DO-31. Поворотная муфта
работает нормально?
Перейдите к
этапу 6.
Перейдите к
FIP 2.7
6Проверьте работу двигателя подхвата. Войдите в
сервисный режим и откройте следующее меню для
проверки работы этого двигателя.
IOT Diag / Digital Output / DO-30. Двигатель подхвата
работает нормально?
Перейдите к
этапу 7.
Перейдите к
FIP 2.11
Процедура Проверка и действие Да Нет

Глава 2 Поиск и устранение неисправностей
2.3 RAP
2 - 29
7Проверьте работу поворотной муфты (лоток 2).
Войдите в сервисный режим и откройте следующее
меню для проверки работы этой муфты.
IOT Diag / Digital Output / DO-2d (Лоток 2). Поворотная
муфта работает нормально?
Перейдите к
этапу 8.
Перейдите к
FIP 2.17
8Проверьте работу муфты подачи (лоток 2). Войдите в
сервисный режим и откройте следующее меню для
проверки работы этой муфты.
IOT Diag / Digital Output / DO-35 (Лоток 2). Муфта
подачи работает нормально?
Перейдите к
этапу 9.
Перейдите к
FIP 2.18
9Проверьте работу двигателя подачи (лоток 2).
Войдите в сервисный режим и откройте следующее
меню для проверки работы этого двигателя.
IOT Diag / Digital Output / DO-2b (Лоток 2). Двигатель
подачи работает нормально?
Замените плату
MCU (Раздел
11.2).
Перейдите к
FIP 2.19
Процедура Проверка и действие Да Нет

Глава 2 Поиск и устранение неисправностей
2.3 RAP
2 -30
FIP 1.6 IOT Tray 3 Missfeed Jam (Застревание при пропуске подачи из
лотка 3 в IOT)
Процедура Проверка и действие Да Нет
Части, которые могут быть причиной неисправности
ДАТЧИК РЕГИСТРАЦИИ (PL5.1.4)
УЗЕЛ ПОВОРОТНОГО РОЛИКА (PL2.4.12) (Лоток 1)
ПОВОРОТНАЯ МУФТА (PL2.4.3) (Лоток 1)
УЗЕЛ ПОВОРОТНОГО РОЛИКА (PL15.2.12) (Лоток 2
ПОВОРОТНАЯ МУФТА (PL15.3.3) (Лоток 2)
Двигатель подачи [УЗЕЛ ПРИВОДА - ОПЦИЯ]
(PL15.2.6 ) (Лоток 2)
ПЛАТА ПОДАТЧИКА (PL15.2.18) (Лоток 2)
УЗЕЛ ПОВОРОТНОГО РОЛИКА (PL15.2.12) (Лоток 3)
Ролик подачи (PL15.3.10) (Лоток 3)
Подталкивающий ролик (PL15.3.10) (Лоток 3)
Тормозной ролик (PL2.5.19) (Лоток 3)
ПОВОРОТНАЯ МУФТА (PL15.3.3) (Лоток 3)
МУФТА ПОДАЧИ (PL15.3.4) (Лоток 3)
Двигатель подачи [УЗЕЛ ПРИВОДА - ОПЦИЯ]
(PL15.2.6 ) (Лоток 3)
ПЛАТА ПОДАТЧИКА (PL15.2.18) (Лоток 3)
Плата MCU (PL11.1.3)
Двигатель подачи [УЗЕЛ ПРИВОДА - ОПЦИЯ]
(PL15.2.6 ) (Лоток 3)
ПЛАТА ПОДАТЧИКА (PL15.2.18) (Лоток 3)
Плата MCU (PL11.1.3)
ПЛАТА ПОДАТЧИКА (PL14.2.18 / PL15.2.18) (Лоток 3)
Плата MCU (PL11.1.3)
1Проверьте тракт бумаги. В нем есть посторонние
предметы или обрывки бумаги?
Удалите
посторонние
предметы,
обрывки бумаги и
т.п.
Перейдите к
этапу 2.
2Проверьте ролики подачи бумаги.
Ролики подачи бумаги (ролики, указанные среди
частей, которые могут быть причиной неисправности)
установлены правильно?
Перейдите к
этапу 3.
Переустанови
те
соответствую
щие ролики
подачи
бумаги.
3Проверьте ролики подачи бумаги.
Ролики подачи бумаги (ролики, указанные среди
частей, которые могут быть причиной неисправности)
деформированы или изношены?
Замените
соответствующие
ролики подачи
бумаги.
Перейдите к
этапу 4.
4Проверьте работу датчика регистрации. Войдите в
сервисный режим и откройте следующее меню для
проверки работы этого датчика.
IOT Diag / Digital Input / DI-d. Датчик регистрации
работает нормально?
Перейдите к
этапу 5.
Перейдите к
FIP 2.1

Глава 2 Поиск и устранение неисправностей
2.3 RAP
2 - 31
5Проверьте работу поворотной муфты (лоток 1).
Войдите в сервисный режим и откройте следующее
меню для проверки работы этой муфты.
IOT Diag / Digital Output / DO-31. Поворотная муфта
работает нормально?
Перейдите к
этапу 6.
Перейдите к
FIP 2.7
Процедура Проверка и действие Да Нет

Глава 2 Поиск и устранение неисправностей
2.3 RAP
2 -32
6Проверьте работу двигателя подхвата. Войдите в
сервисный режим и откройте следующее меню для
проверки работы этого двигателя.
IOT Diag / Digital Output / DO-30. Двигатель подхвата
работает нормально?
Перейдите к
этапу 7.
Перейдите к
FIP 2.11
7Проверьте работу поворотной муфты (лоток 2).
Войдите в сервисный режим и откройте следующее
меню для проверки работы этой муфты.
IOT Diag / Digital Output / DO-2d (Лоток 2). Поворотная
муфта работает нормально?
Перейдите к
этапу 8.
Перейдите к
FIP 2.17
8Проверьте работу двигателя подачи (лоток 2).
Войдите в сервисный режим и откройте следующее
меню для проверки работы этого двигателя.
IOT Diag / Digital Output / DO-2b (Лоток 2). Двигатель
подачи работает нормально?
Перейдите к
этапу 9.
Перейдите к
FIP 2.19
9Проверьте работу поворотной муфты (лоток 3).
Войдите в сервисный режим и откройте следующее
меню для проверки работы этой муфты.
IOT Diag / Digital Output / DO-2e (Лоток 3). Поворотная
муфта работает нормально?
Перейдите к
этапу 10.
Перейдите к
FIP 2.17
10 Проверьте работу муфты подачи (лоток 3). Войдите в
сервисный режим и откройте следующее меню для
проверки работы этой муфты.
IOT Diag / Digital Output / DO-36 (Лоток 3). Муфта
подачи работает нормально?
Перейдите к
этапу 11.
Перейдите к
FIP 2.18
11 Проверьте работу двигателя подачи (лоток 3).
Войдите в сервисный режим и откройте следующее
меню для проверки работы этого двигателя.
IOT Diag / Digital Output / DO-2c (Лоток 3). Двигатель
подачи работает нормально?
Замените плату
MCU (Раздел
11.2).
Перейдите к
FIP 2.19
Процедура Проверка и действие Да Нет

Глава 2 Поиск и устранение неисправностей
2.3 RAP
2 - 33
FIP 1.7 IOT Tray 4 Missfeed Jam (Застревание при пропуске подачи из
лотка 4 в IOT)
Процедура Проверка и действие Да Нет
Части, которые могут быть причиной неисправности
ДАТЧИК РЕГИСТРАЦИИ (PL5.1.4)
УЗЕЛ ПОВОРОТНОГО РОЛИКА (PL2.4.12) (Лоток 1)
ПОВОРОТНАЯ МУФТА (PL2.4.3) (Лоток 1)
Двигатель подхвата [УЗЕЛ КРОНШТЕЙНА
ПОДАТЧИКА НА 550 ЛИСТОВ] (PL2.3.3)
УЗЕЛ ПОВОРОТНОГО РОЛИКА (PL15.2.12) (Лоток 2)
ПОВОРОТНАЯ МУФТА (PL15.3.3) (Лоток 2)
Двигатель подачи [УЗЕЛ ПРИВОДА - ОПЦИЯ]
(PL15.2.6 ) (Лоток 2)
ПЛАТА ПОДАТЧИКА (PL15.2.18) (Лоток 3
УЗЕЛ ПОВОРОТНОГО РОЛИКА (PL15.2.12) (Лоток 3)
ПОВОРОТНАЯ МУФТА (PL15.3.3) (Лоток 3)
Двигатель подачи [УЗЕЛ ПРИВОДА - ОПЦИЯ]
(PL15.2.6 ) (Лоток 3)
ПЛАТА ПОДАТЧИКА (PL15.2.18) (Лоток 3)
УЗЕЛ ПОВОРОТНОГО РОЛИКА (PL15.2.12) (Лоток 4)
Ролик подачи (PL15.3.10) (Лоток 4)
Подталкивающий ролик (PL15.3.10) (Лоток 4)
Тормозной ролик (PL2.5.19) (Лоток 4)
ПОВОРОТНАЯ МУФТА (PL15.3.3) (Лоток 4)
МУФТА ПОДАЧИ (PL15.3.4) (Лоток 4)
Двигатель подачи [УЗЕЛ ПРИВОДА - ОПЦИЯ]
(PL15.2.6 ) (Лоток 4)
ПЛАТА ПОДАТЧИКА (PL15.2.18) (Лоток 4)
Плата MCU (PL11.1.3)
PL15.2.6 ) (Лоток 4)
ПЛАТА ПОДАТЧИКА (PL14.2.18 / PL15.2.18) (Лоток 4)
Плата MCU (PL11.1.3)
1Проверьте тракт бумаги. В нем есть посторонние
предметы или обрывки бумаги?
Удалите
посторонние
предметы,
обрывки бумаги и
т.п.
Перейдите к
этапу 2.
2Проверьте ролики подачи бумаги.
Ролики подачи бумаги (ролики, указанные среди
частей, которые могут быть причиной неисправности)
установлены правильно?
Перейдите к
этапу 3.
Переустанови
те
соответствую
щие ролики
подачи
бумаги.
3Проверьте ролики подачи бумаги.
Ролики подачи бумаги (ролики, указанные среди
частей, которые могут быть причиной неисправности)
деформированы или изношены?
Замените
соответствующие
ролики подачи
бумаги.
Перейдите к
этапу 4.

Глава 2 Поиск и устранение неисправностей
2.3 RAP
2 -34
4Проверьте работу датчика регистрации. Войдите в
сервисный режим и откройте следующее меню для
проверки работы этого датчика.
IOT Diag / Digital Input / DI-d. Датчик регистрации
работает нормально?
Перейдите к
этапу 5.
Перейдите к
FIP 2.1
5Проверьте работу поворотной муфты (лоток 1).
Войдите в сервисный режим и откройте следующее
меню IOT Diag / Digital Output / DO-31 для проверки
работы этой муфты.
Поворотная муфта работает нормально?
Перейдите к
этапу 6.
Перейдите к
FIP 2.7
6Проверьте работу двигателя подхвата. Войдите в
сервисный режим и откройте следующее меню для
проверки работы этого двигателя.
IOT Diag / Digital Output / DO-30. Двигатель подхвата
работает нормально?
Перейдите к
этапу 7.
Перейдите к
FIP 2.11
7Проверьте работу поворотной муфты (лоток 2).
Войдите в сервисный режим и откройте следующее
меню для проверки работы этой муфты.
IOT Diag / Digital Output / DO-2d (Лоток 2). Поворотная
муфта работает нормально?
Перейдите к
этапу 8.
Перейдите к
FIP 2.17
8Проверьте работу двигателя подачи (лоток 2).
Войдите в сервисный режим и откройте следующее
меню для проверки работы этого двигателя.
IOT Diag / Digital Output / DO-2b (Лоток 2). Двигатель
подачи работает нормально?
Перейдите к
этапу 9.
Перейдите к
FIP 2.19
9Проверьте работу поворотной муфты (лоток 3).
Войдите в сервисный режим и откройте следующее
меню для проверки работы этой муфты.
IOT Diag / Digital Output / DO-2e (Лоток 3). Поворотная
муфта работает нормально?
Перейдите к
этапу 10.
Перейдите к
FIP 2.17
10 Проверьте работу двигателя подачи (лоток 3).
Войдите в сервисный режим и откройте следующее
меню для проверки работы этого двигателя.
IOT Diag / Digital Output / DO-2c (Лоток 3). Двигатель
подачи работает нормально?
Перейдите к
этапу 11.
Перейдите к
FIP 2.19
11 Проверьте работу поворотной муфты (лоток 4).
Войдите в сервисный режим и откройте следующее
меню для проверки работы этой муфты.
IOT Diag / Digital Output / DO-34 (Лоток 4). Поворотная
муфта работает нормально?
Перейдите к
этапу 12.
Перейдите к
FIP 2.17
12 Проверьте работу муфты подачи (лоток 4). Войдите в
сервисный режим и откройте следующее меню для
проверки работы этой муфты.
IOT Diag / Digital Output / DO-37 (Лоток 4). Муфта
подачи работает нормально?
Перейдите к
этапу 13.
Перейдите к
FIP 2.18
Процедура Проверка и действие Да Нет

Глава 2 Поиск и устранение неисправностей
2.3 RAP
2 - 35
13 Проверьте работу двигателя подачи (лоток 4).
Войдите в сервисный режим и откройте следующее
меню для проверки работы этого двигателя. IOT Diag /
Digital Output / DO-33 (Лоток 4)
Двигатель подачи работает нормально?
Замените плату
MCU (Раздел
11.2).
Перейдите к
FIP 2.19
Процедура Проверка и действие Да Нет

Глава 2 Поиск и устранение неисправностей
2.3 RAP
2 -36
FIP 1.8 IOT Duplex On Jam (Застревание в дуплексном модуле IOT), IOT
Duplex Refeed Jam (Застревание при повторной подаче в
дуплексный модуль IOT)
Процедура Проверка и действие Да Нет
Части, которые могут быть причиной неисправности
Датчик застревания в дуплексном модуле (PL13.2.7)
Ролик 1 дуплексного модуля (PL13.2.1)
Ролик 2 дуплексного модуля (PL13.2.1)
ДАТЧИК РЕГИСТРАЦИИ (PL5.1.4)
Комплект поворота [КОМПЛЕКТ ПЕРЕДНЕЙ РАМЫ]
(PL4.1.1)
ДВИГАТЕЛЬ ДУПЛЕКСНОГО МОДУЛЯ (PL13.2.13)
ГЛАВНЫЙ ДВИГАТЕЛЬ (PL9.1.3)
ПЛАТА ДУПЛЕКСНОГО МОДУЛЯ (PL13.2.21)
Плата MCU (PL11.1.3)
1Проверьте тракт бумаги. В нем есть посторонние
предметы или обрывки бумаги?
Удалите
посторонние
предметы,
обрывки бумаги и
т.п.
Перейдите к
этапу 2.
2Проверьте ролики подачи бумаги.
Ролики подачи бумаги (ролики, указанные среди
частей, которые могут быть причиной неисправности)
установлены правильно?
Перейдите к
этапу 3.
Переустанови
те
соответствую
щие ролики
подачи
бумаги.
3Проверьте ролики подачи бумаги.
Ролики подачи бумаги (ролики, указанные среди
частей, которые могут быть причиной неисправности)
деформированы или изношены?
Замените
соответствующие
ролики подачи
бумаги.
Перейдите к
этапу 4.
4Проверьте работу датчика регистрации. Войдите в
сервисный режим и откройте следующее меню для
проверки работы этого датчика.
IOT Diag / Digital Input / DI-d. Датчик регистрации
работает нормально?
Перейдите к
этапу 5.
Перейдите к
FIP 2.1
5Проверьте работу главного двигателя. Войдите в
сервисный режим и откройте следующее меню для
проверки работы этого двигателя.
IOT Diag / Digital Output / DO-10. Главный двигатель
работает нормально?
Перейдите к
этапу 6.
Перейдите к
FIP 2.10
6Проверьте работу двигателя дуплексного модуля.
Войдите в сервисный режим и откройте следующее
меню для проверки работы этого двигателя.
IOT Diag / Digital Output / DO-15. Двигатель
дуплексного модуля работает нормально?
Замените плату
MCU (Раздел
11.2).
Перейдите к
FIP 2.14

Глава 2 Поиск и устранение неисправностей
2.3 RAP
2 - 37
FIP 1.9 IOT Duplex Missfeed Jam (Застревание при пропуске подачи в
дуплексном модуле IOT), IOT Remain at Dup Jam (Застревание в
дуплексном модуле IOT)
Процедура Проверка и действие Да Нет
Части, которые могут быть причиной неисправности
Датчик застревания в дуплексном модуле (PL13.2.7)
Ролик 1 дуплексного модуля (PL13.2.1)
Ролик 2 дуплексного модуля (PL13.2.1)
Выходной ролик [УЗЕЛ ВЕРХНЕЙ КРЫШКИ] (PL1.1.2)
ДВИГАТЕЛЬ ДУПЛЕКСНОГО МОДУЛЯ (PL13.2.13)
Двигатель вывода [УЗЕЛ ПРИВОДА ВЫВОДА]
(PL13.1.2)
ПЛАТА ДУПЛЕКСНОГО МОДУЛЯ (PL13.2.21)
Плата MCU (PL11.1.3)
1Проверьте тракт бумаги. В нем есть посторонние
предметы или обрывки бумаги?
Удалите
посторонние
предметы,
обрывки бумаги и
т.п.
Перейдите к
этапу 2.
2Проверьте ролики подачи бумаги.
Ролики подачи бумаги (ролики, указанные среди
частей, которые могут быть причиной неисправности)
установлены правильно?
Перейдите к
этапу 3.
Переустанови
те
соответствую
щие ролики
подачи
бумаги.
3Проверьте ролики подачи бумаги.
Ролики подачи бумаги (ролики, указанные среди
частей, которые могут быть причиной неисправности)
деформированы или изношены?
Замените
соответствующие
ролики подачи
бумаги.
Перейдите к
этапу 4.
4Проверьте работу датчика застревания в дуплексном
модуле. Войдите в сервисный режим и откройте
следующее меню для проверки работы этого датчика.
IOT Diag / Digital Input / DI-f. Датчик застревания в
дуплексном модуле работает нормально?
Перейдите к
этапу 5.
Перейдите к
FIP 2.13
5Проверьте работу двигателя дуплексного модуля.
Войдите в сервисный режим и откройте следующее
меню для проверки работы этого двигателя.
IOT Diag / Digital Output / DO-15. Двигатель
дуплексного модуля работает нормально?
Перейдите к
этапу 6.
Перейдите к
FIP 2.14
6Проверьте работу двигателя вывода. Войдите в
сервисный режим и откройте следующее меню для
проверки работы этого двигателя.
IOT Diag / Digital Output / DO-11. Двигатель вывода
работает нормально?
Замените плату
MCU (Раздел
11.2).
Перейдите к
FIP 2.12

Глава 2 Поиск и устранение неисправностей
2.3 RAP
2 -38
FIP 1.10 IOT Fuser Failure (Неисправность фьюзера IOT)
Процедура Проверка и действие Да Нет
Части, которые могут быть причиной неисправности
УЗЕЛ ФЬЮЗЕРА (PL8.1.11)
УЗЕЛ ПРОВОДКИ ФЬЮЗЕРА (PL8.1.10)
УЗЕЛ ПРОВОДКИ ГЛАВНОЙ РАМЫ (PL12.1.3)
УЗЕЛ ПРОВОДКИ ПИТАНИЯ (PL11.1.9)
LVPS (PL11.1.6)
Плата MCU (PL11.1.3)
1Проверьте установку УЗЛА ФЬЮЗЕРА. УЗЕЛ
ФЬЮЗЕРА установлен правильно?
Перейдите к
этапу 2.
Установите
УЗЕЛ
ФЬЮЗЕРА
заново.
2Проверьте подключение УЗЛА ФЬЮЗЕРА.
Проверьте сосединения между УЗЛОМ ФЬЮЗЕРА и
платой MCU, между УЗЛОМ ФЬЮЗЕРА и LVPS, а
также между LVPS и платой MCU.
Разъемы P/J4410, P/J12, P/J32, P/J33 и P/J21
подсоединены надежно?
Перейдите к
этапу 3.
Подсоединит
е разъемы P/
J4410, P/J12,
P/J32, P/J33 и
P/J21
надежно.
3Проверьте целостность УЗЛА ПРОВОДКИ ФЬЮЗЕРА.
Проводка P/J4410 <=> P/J32 целая?
Перейдите к
этапу 4.
Замените
УЗЕЛ
ПРОВОДКИ
ФЬЮЗЕРА.
4Проверьте целостность УЗЛА ПРОВОДКИ ГЛАВНОЙ
РАМЫ.
Проводка P/J4410 <=> P/J12 целая?
Перейдите к
этапу 5.
Замените
УЗЕЛ
ПРОВОДКИ
ГЛАВНОЙ
РАМЫ.
5Проверьте целостность УЗЛА ПРОВОДКИ ПИТАНИЯ.
Проводка P/J33 <=> P/J21 целая?
Перейдите к
этапу 6.
Замените
УЗЕЛ
ПРОВОДКИ
ПИТАНИЯ.
6Проверка после замены УЗЛА ФЬЮЗЕРА.
Замените УЗЕЛ ФЬЮЗЕРА. (REP8.2)
Ошибка появляется снова?
Перейдите к
этапу 7.
Процедура
завершена.
7Проверка после замены LVPS.
Замените LVPS. (REP11.5)
Ошибка появляется снова?
Замените плату
MCU (Раздел
11.2).
Процедура
завершена.

Глава 2 Поиск и устранение неисправностей
2.3 RAP
2 - 39
FIP 1.11 IOT-ESS Communication Fail (Ошибка связи IOT-ESS)
Процедура Проверка и действие Да Нет
Части, которые могут быть причиной неисправности
FFC VIDEO (PL11.1.8)
УЗЕЛ ПРОВОДКИ ПИТАНИЯ (PL11.1.9)
ПЛАТА ESS (PL11.1.7)
ПЛАТА MCU (PL11.1.3)
1Проверьте соединение между ESS и платой MCU.
Проверьте соединение между платой ESS и платой
MCU.
Разъемы P/J7 и P/J19 подсоединены надежно?
Перейдите к
этапу 2.
Подсоединит
е разъемы P/
J7 и P/J19
надежно.
2Проверьте целостность проводки FFC VIDEO.
Проводка P/J7 <=> P/J19 целая?
Перейдите к
этапу 3.
Замените
FFC VIDEO.
3Проверьте проводку между платой MCU и LVPS.
Проверьте проводку между платой MCU и LVPS.
Разъемы P/J33 и P/J21 подсоединены надежно?
Перейдите к
этапу 4.
Подсоединит
е разъемы P/
J33 и P/J21
надежно.
4Проверьте целостность УЗЛА ПРОВОДКИ ПИТАНИЯ.
Проводка P/J33 <=> P/J21 целая?
Перейдите к
этапу 5.
Замените
УЗЕЛ
ПРОВОДКИ
ПИТАНИЯ.
5Проверьте после замены платы MCU.
Замените плату MCU. (Раздел 11.2)
Ошибка появляется снова?
Замените плату
ESS (Раздел
11.6)
Процедура
завершена.

Глава 2 Поиск и устранение неисправностей
2.3 RAP
2 -40
FIP 1.12 IOT Motor Failure (Неисправность двигателя IOT)
Процедура Проверка и действие Да Нет
Части, которые могут быть причиной неисправности
ГЛАВНЫЙ ДВИГАТЕЛЬ (PL9.1.3)
ПЛАТА MCU (PL11.1.3)
1Проверьте работу ГЛАВНОГО ДВИГАТЕЛЯ.
Войдите в СЕ-режим и откройте следующее меню для
проверки работы главного двигателя.
IOT Diag / Digital Output / DO-10. Главный двигатель
работает нормально?
Замените плату
MCU (Раздел
11.2).
Перейдите к
FIP 2.10

Глава 2 Поиск и устранение неисправностей
2.3 RAP
2 - 41
FIP 1.13 IOT Fan Motor Failure (Неисправность двигателя вентилятора
IOT)
Процедура Проверка и действие Да Нет
Части, которые могут быть причиной неисправности
СРЕДНИЙ ВЕНТИЛЯТОР (PL10.1.2)
ЗАДНИЙ ВЕНТИЛЯТОР (PL10.1.4)
БОКОВОЙ ВЕНТИЛЯТОР (PL10.1.5)
УЗЕЛ ПРОВОДКИ БОКОВОГО ВЕНТИЛЯТОРА
(PL10.1.6)
УЗЕЛ ОСНОВНОЙ БЛОКИРОВКИ (PL12.1.1)
УЗЕЛ ПРОВОДКИ С БЛОКИРОВКОЙ (PL12.1.4)
(УЗЕЛ ОСНОВНОЙ БЛОКИРОВКИ - это узел для
замены)
ПЛАТА MCU (PL11.1.3)
1Проверьте состояние передней и верхней крышек
(открыты/закрыты).
Передняя и верхняя крышки полностью закрыты?
(Выключатель блокировки нажат надежно?)
Перейдите к
этапу 2.
Закройте
крышку
(надежно
прижмите
блокировочн
ый
выключатель)
.
2Проверьте работу вентилятора. Войдите в сервисный
режим и откройте следующее меню для проверки
работы вентилятора.
IOT Diag / Digital Output / DO-2f. Вентиляторы
работают нормально?
Замените плату
MCU (Раздел
11.2).
Перейдите к
этапу 3.
3Проверьте разъемы вентиляторов.
Проверьте проводку между всеми вентиляторами и
платой MCU.
Разъемы Are P/J14, P/J15, P/J16 и P/J1610
подключены надежно?
Перейдите к
этапу 4.
Подсоединит
е разъемы P/
J14, P/J15, P/
J16, and P/
J1610
надежно.
4Проверьте целостность УЗЛА ПРОВОДКИ БОКОВОГО
ВЕНТИЛЯТОРА.
Проводка P/J1610 <=> P/J16 целая?
Перейдите к
этапу 5.
Замените
УЗЕЛ
ПРОВОДКИ
БОКОВОГО
ВЕНТИЛЯТО
РА.
5Проверьте подачу напряжения на БОКОВОЙ
ВЕНТИЛЯТОР.
Измерьте напряжение между заземлением платы
MCU и указанным контактом: GND <=> P/J16-1.
Перед проверкой замкните блокировочный
выключатель (УЗЕЛ ПРОВОДКИ С БЛОКИРОВКОЙ).
Напряжение на выходе (примерно +24 В) есть?
Перейдите к
этапу 6.
Перейдите к
FIP 2.20

Глава 2 Поиск и устранение неисправностей
2.3 RAP
2 -42
6Проверьте подачу напряжения на СРЕДНИЙ
ВЕНТИЛЯТОР.
Измерьте напряжение между заземлением платы
MCU и указанным контактом: GND <=> P/J14-1.
Перед проверкой замкните блокировочный
выключатель (УЗЕЛ ПРОВОДКИ С БЛОКИРОВКОЙ).
Напряжение на выходе (примерно +24 В) есть?
Перейдите к
этапу 7.
Перейдите к
FIP 2.20
7Проверьте подачу напряжения на ЗАДНИЙ
ВЕНТИЛЯТОР.
Измерьте напряжение между заземлением платы
MCU и указанным контактом: GND <=> P/J15-1.
Перед проверкой замкните блокировочный
выключатель (УЗЕЛ ПРОВОДКИ С БЛОКИРОВКОЙ).
Напряжение на выходе (примерно +24 В) есть?
Перейдите к
этапу 8.
Перейдите к
FIP 2.20
8Проверка после замены БОКОВОГО ВЕНТИЛЯТОРА.
Замените БОКОВОЙ ВЕНТИЛЯТОР. (Раздел 1.3)
Ошибка появляется снова?
Перейдите к
этапу 9.
Процедура
завершена.
9Проверка после замены СРЕДНЕГО ВЕНТИЛЯТОРА
Замените СРЕДНИЙ ВЕНТИЛЯТОР. (Раздел 10.2)
Ошибка появляется снова?
Перейдите к
этапу 10.
Процедура
завершена.
10 Проверка после замены ЗАДНЕГО ВЕНТИЛЯТОРА.
Замените ЗАДНИЙ ВЕНТИЛЯТОР. (Раздел 10.3)
Ошибка появляется снова?
Замените плату
MCU (Раздел
11.2).
Процедура
завершена.
Процедура Проверка и действие Да Нет

Глава 2 Поиск и устранение неисправностей
2.3 RAP
2 - 43
FIP 1.14 IOT ROS Motor Failure (Неисправность двигателя ROS IOT)
Процедура Проверка и действие Да Нет
Части, которые могут быть причиной неисправности
УЗЕЛ ROS (PL7.1.1)
ПЛАТА MCU (PL11.1.3)
ПЛАТА ESS (PL11.1.7)
1Проверьте подключение УЗЛА ROS.
Проверьте соединения между УЗЛОМ ROS и ПЛАТОЙ
MCU, а также между УЗЛОМ ROS и ПЛАТОЙ ESS.
Разъемы P/J62, P/J61, P/J18, P/J17, P/J64 и P/J1
подсоединены надежно?
Перейдите к
этапу 2.
Подсоединит
е разъемы P/
J62, P/J61, P/
J18, P/J17, P/
J64 и P/J1
надежно.
2Проверка после замены УЗЛА ROS.
Замените УЗЕЛ ROS. (Раздел 7.1)
Ошибка появляется снова?
Перейдите к
этапу 3.
Процедура
завершена.
3Проверка после замены платы MCU.
Замените плату MCU. (Раздел 11.2)
Ошибка появляется снова?
Замените плату
ESS (Раздел
11.6).
Процедура
завершена.

Глава 2 Поиск и устранение неисправностей
2.3 RAP
2 -44
FIP 1.15 IOT Option Feeder Communication Error (Ошибка связи
дополнительного податчика с IOT)
Процедура Проверка и действие Да Нет
Процедура Проверка и действие Да Нет
Части, которые могут быть причиной неисправности
УЗЕЛ ПРОВОДКИ ПОДАТЧИКА 1 (PL2.3.10)
УЗЕЛ ПРОВОДКИ ПОДАТЧИКА 2 (PL15.2.20)
УЗЕЛ ПРОВОДКИ ПОДАТЧИКА 3 (PL15.2.19)
ПЛАТА ПОДАТЧИКА (PL15.2.18)
ПЛАТА MCU (PL11.1.3)
1Проверьте подключение ПЛАТЫ ПОДАТЧИКА.
Проверьте соединения между ПЛАТОЙ ПОДАТЧИКА и
ПЛАТОЙ MCU, а также между ПЛАТАМИ
ПОДАТЧИКОВ.
Разъемы P/J24, P/J2481, P/J81, P/J86 и P/J8610
подсоединены надежно?
Перейдите к
этапу 2.
Подсоединит
е разъемы P/
J24, P/J2481,
P/J81, P/J86 и
P/J8610
надежно.
2Проверьте целостность УЗЛА ПРОВОДКИ.
Проводка P/J24 <=> P/J2481 (ПОДАТЧИК 1) целая?
Перейдите к
этапу 3.
Замените
УЗЕЛ
ПРОВОДКИ
ПОДАТЧИКА
1.
3Проверьте целостность УЗЛА ПРОВОДКИ
ПОДАТЧИКА 2.
Проводка P/J2481 <=> P/J81 целая?
Перейдите к
этапу 4.
Замените
УЗЕЛ
ПРОВОДКИ
ПОДАТЧИКА
2.
4Проверьте целостность УЗЛА ПРОВОДКИ
ПОДАТЧИКА 3.
Проводка P/J86 <=> P/J8610 целая?
Перейдите к
этапу 5.
Замените
УЗЕЛ
ПРОВОДКИ
ПОДАТЧИКА
3.
5Проверка после замены ПЛАТЫ ПОДАТЧИКА.
Замените плату податчика. (Раздел 14.15)
Ошибка появляется снова?
Замените плату
MCU (Раздел
11.2).
Процедура
завершена.

Глава 2 Поиск и устранение неисправностей
2.3 RAP
2 - 45
FIP 1.16 IOT Option Duplex Communication Error (Ошибка связи
дополнительного дуплексного модуля с IOT)
Процедура Проверка и действие Да Нет
Части, которые могут быть причиной неисправности
Передний узел проводки [КОМПЛЕКТ ПЕРЕДНЕЙ
РАМЫ] (PL4.1.1)
УЗЕЛ ПРОВОДКИ ДУПЛЕКСНОГО МОДУЛЯ
(PL13.2.22)
ПЛАТА ДУПЛЕКСНОГО МОДУЛЯ (PL13.2.21)
ПЛАТА MCU (PL11.1.3)
1Проверьте подключение ПЛАТЫ ДУПЛЕКСНОГО
МОДУЛЯ.
Проверьте соединение между платой ДУПЛЕКСНОГО
МОДУЛЯ и платой MCU.
Разъемы P/J23, P/J2371 и P/J71D подсоединены
надежно?
Перейдите к
этапу 2.
Подсоединит
е разъемы P/
J23, P/J2371
и P/J71D
надежно.
2Проверьте целостность переднего узла проводки.
Проводка P/J23 <=> P/J2371 целая?
Перейдите к
этапу 3.
Замените
передний
узел
проводки.
3Проверьте целостность УЗЛА ПРОВОДКИ
ДУПЛЕКСНОГО МОДУЛЯ.
Проводка P/J2371 <=> P/J71D целая?
Перейдите к
этапу 4.
Замените
УЗЕЛ
ПРОВОДКИ
ДУПЛЕКСНО
ГО МОДУЛЯ.
4Проверка после замены ПЛАТЫ ДУПЛЕКСНОГО
МОДУЛЯ.
Замените плату дуплексного модуля. (REP13.11)
Ошибка появляется снова?
Замените плату
MCU (Раздел
11.2).
Процедура
завершена.

Глава 2 Поиск и устранение неисправностей
2.3 RAP
2 -46
FIP 1.17 Fuser Life Warning (Срок службы фьюзера)
FIP 1.18 Trans Assy Life Warning (Предупреждение о сроке службы
узла переноса)
FIP 1.19 Tray 1 Cassette Roll Assy Kit Warning (Предупреждение об
узлах роликов лотка 1)
Процедура Проверка и действие Да Нет
Процедура Проверка и действие Да Нет
Части, которые могут быть причиной неисправности
УЗЕЛ ФЬЮЗЕРА (PL8.1.11)
ПЛАТА MCU (PL11.1.3)
1Проверка после замены УЗЛА ФЬЮЗЕРА.
Замените УЗЕЛ ФЬЮЗЕРА новым узлом. (REP8.2)
Войдите в СЕ-режим и откройте следующее меню для
сброса показаний счетчика срока службы УЗЛА
ФЬЮЗЕРА.
Parameter / Life Counter / Fuser / Trans / Reset Counter.
Ошибка появляется снова?
Замените плату
MCU (Раздел
11.2).
Процедура
завершена.
Процедура Проверка и действие Да Нет
Части, которые могут быть причиной неисправности
РОЛИК ПЕРЕНОСА (PL4.1.3)
ПЛАТА MCU (PL11.1.3)
1Проверка после замены ролика переноса.
Замените ролик переноса новым роликом. (Раздел
4.3)
Войдите в СЕ-режим и откройте следующее меню для
сброса показаний счетчика срока службы ролика
переноса.
Parameter / Life Counter / Fuser / Trans / Reset Counter.
Ошибка появляется снова?
Замените плату
MCU (Раздел
11.2
Процедура
завершена.
Процедура Проверка и действие Да Нет
Части, которые могут быть причиной неисправности
КОМПЛЕКТ УЗЛОВ РОЛИКОВ ПОДАЧИ (PL2.4.99)
ПЛАТА MCU (PL11.1.3)

Глава 2 Поиск и устранение неисправностей
2.3 RAP
2 - 47
1Проверка после замены КОМПЛЕКТА УЗЛОВ
РОЛИКОВ ПОДАЧИ лотка 1.
Замените КОМПЛЕКТ УЗЛОВ РОЛИКОВ ПОДАЧИ
новым комплектом.
(Раздел 2.5 и Раздел 2.17)
Войдите в СЕ-режим и откройте следующее меню для
сброса показаний счетчика срока службы
КОМПЛЕКТА УЗЛОВ РОЛИКОВ ПОДАЧИ.
Parameter / Life Counter / Tray 1 Roll / Reset Counter
Ошибка появляется снова?
Замените плату
MCU (Раздел
11.2).
Процедура
завершена.
Процедура Проверка и действие Да Нет

Глава 2 Поиск и устранение неисправностей
2.3 RAP
2 -48
FIP 1.20 Tray 2 Cassette Roll Assy Kit Warning (Предупреждение об
узлах роликов лотка 2)
FIP 1.21 Tray 3 Cassette Roll Assy Kit Warning (Предупреждение об
узлах роликов лотка 3)
FIP 1.22 Tray 4 Cassette Roll Assy Kit Warning (Предупреждение об
узлах роликов лотка 4)
Процедура Проверка и действие Да Нет
Части, которые могут быть причиной неисправности
КОМПЛЕКТ УЗЛОВ РОЛИКОВ ПОДАЧИ (PL15.3.99)
ПЛАТА MCU (PL11.1.3)
1Проверка после замены КОМПЛЕКТА УЗЛОВ
РОЛИКОВ ПОДАЧИ лотка 2.
Замените КОМПЛЕКТ УЗЛОВ РОЛИКОВ ПОДАЧИ
новым комплектом.
(Раздел 14.19 и Раздел 2.17)
Войдите в СЕ-режим и откройте следующее меню для
сброса показаний счетчика срока службы
КОМПЛЕКТА УЗЛОВ РОЛИКОВ ПОДАЧИ.
Parameter / Life Counter / Tray 2 Roll / Reset Counter
Ошибка появляется снова?
Замените плату
MCU (Раздел
11.2).
Процедура
завершена.
Процедура Проверка и действие Да Нет
Части, которые могут быть причиной неисправности
КОМПЛЕКТ УЗЛОВ РОЛИКОВ ПОДАЧИ (PL15.3.99)
ПЛАТА MCU (PL11.1.3)
1Проверка после замены КОМПЛЕКТА УЗЛОВ
РОЛИКОВ ПОДАЧИ лотка 3.
Замените КОМПЛЕКТ УЗЛОВ РОЛИКОВ ПОДАЧИ
новым комплектом.
(Раздел 14.19 и Раздел 2.17)
Войдите в СЕ-режим и откройте следующее меню для
сброса показаний счетчика срока службы
КОМПЛЕКТА УЗЛОВ РОЛИКОВ ПОДАЧИ.
Parameter / Life Counter / Tray 3 Roll / Reset Counter
Ошибка появляется снова?
Замените плату
MCU (Раздел
11.2).
Процедура
завершена.
Процедура Проверка и действие Да Нет
Части, которые могут быть причиной неисправности
КОМПЛЕКТ УЗЛОВ РОЛИКОВ ПОДАЧИ (PL15.3.99)
ПЛАТА MCU (PL11.1.3)

Глава 2 Поиск и устранение неисправностей
2.3 RAP
2 - 49
1Проверка после замены КОМПЛЕКТА УЗЛОВ
РОЛИКОВ ПОДАЧИ лотка 4.
Замените КОМПЛЕКТ УЗЛОВ РОЛИКОВ ПОДАЧИ
новым комплектом.
(Раздел 14.19 и Раздел 2.17)
Войдите в СЕ-режим и откройте следующее меню для
сброса показаний счетчика срока службы
КОМПЛЕКТА УЗЛОВ РОЛИКОВ ПОДАЧИ.
Parameter / Life Counter / Tray 4 Roll / Reset Counter
Ошибка появляется снова?
Замените плату
MCU (Раздел
11.2).
Процедура
завершена.
Процедура Проверка и действие Да Нет

Глава 2 Поиск и устранение неисправностей
2.3 RAP
2 -50
FIP 1.23 MSI Roll Assy Kit Warning (Предупреждение об узлах роликов
обходного лотка)
FIP 1.24 ROS Unit Warning (Предупреждение об узле ROS)
FIP 1.25 Regi Unit Warning (Предупреждение об узле регистрации)
Процедура Проверка и действие Да Нет
Части, которые могут быть причиной неисправности
КОМПЛЕКТ РОЛИКОВ ОБХОДНОГО ЛОТКА
(PL3.1.20)
ПЛАТА MCU (PL11.1.3)
1Проверка после замены КОМПЛЕКТА РОЛИКОВ
ОБХОДНОГО ЛОТКА.
Замените КОМПЛЕКТ РОЛИКОВ ОБХОДНОГО ЛОТКА
новым комплектом.
(Раздел 3.8 и Раздел 3.10)
Войдите в СЕ-режим и откройте следующее меню для
сброса показаний счетчика срока службы
КОМПЛЕКТА РОЛИКОВ ОБХОДНОГО ЛОТКА.
Parameter / Life Counter / Bypass Tray Roll / Reset
Counter
Ошибка появляется снова?
Замените плату
MCU (Раздел
11.2).
Процедура
завершена.
Процедура Проверка и действие Да Нет
Части, которые могут быть причиной неисправности
УЗЕЛ ROS (PL7.1.1)
ПЛАТА MCU (PL11.1.3)
1Проверка после замены УЗЛА ROS.
Замените УЗЕЛ ROS новым узлом. (REP7.1)
Войдите в СЕ-режим и откройте следующее меню для
сброса показаний счетчика срока службы УЗЛА ROS.
Parameter / Life Counter / ROS / Regist / Drive / Reset
Counter
Ошибка появляется снова?
Замените плату
MCU (Раздел
11.2).
Процедура
завершена.
Процедура Проверка и действие Да Нет
Части, которые могут быть причиной неисправности
КОМПЛЕКТ РЕГИСТРАЦИИ (PL5.1.1)
ПЛАТА MCU (PL11.1.3)

Глава 2 Поиск и устранение неисправностей
2.3 RAP
2 - 51
1Проверка после замены КОМПЛЕКТА
РЕГИСТРАЦИИ.
Замените КОМПЛЕКТ РЕГИСТРАЦИИ новым
комплектом. (REP5.1)
Войдите в СЕ-режим и откройте следующее меню для
сброса показаний счетчика срока службы
КОМПЛЕКТА РЕГИСТРАЦИИ.
Parameter / Life Counter / ROS / Regist / Drive / Reset
Counter
Ошибка появляется снова?
Замените плату
MCU (Раздел
11.2).
Процедура
завершена.
Процедура Проверка и действие Да Нет

Глава 2 Поиск и устранение неисправностей
2.3 RAP
2 -52
FIP 1.26 Gear Unit Warning (Предупреждение об узле шестерен)
FIP 1.27 Tray 1 Cassette Chute Kit Warning (Предупреждение о
комплекте желоба лотка 1)
FIP 1.28 Tray 2 Cassette Chute Kit Warning (Предупреждение о
комплекте желоба лотка 2)
Процедура Проверка и действие Да Нет
Части, которые могут быть причиной неисправности
УЗЕЛ ПРИВОДА (PL9.1.2)
ПЛАТА MCU (PL11.1.3)
1Проверка после замены УЗЛА ПРИВОДА.
Замените УЗЕЛ ПРИВОДА новым узлом. (REP9.2)
Войдите в СЕ-режим и откройте следующее меню для
сброса показаний счетчика срока службы УЗЛА
ПРИВОДА.
Parameter / Life Counter / ROS / Regist / Drive / Reset
Counter
Ошибка появляется снова?
Замените плату
MCU (Раздел
11.2).
Процедура
завершена.
Процедура Проверка и действие Да Нет
Части, которые могут быть причиной неисправности
ТОРМОЗНОЙ ЖЕЛОБ ЛОТКА (PL2.5.15)
ПЛАТА MCU (PL11.1.3)
1Проверка после замены ТОРМОЗНОГО ЖЕЛОБА
лотка 1.
Замените ТОРМОЗНОЙ ЖЕЛОБ ЛОТКА новым
желобом.
Войдите в СЕ-режим и откройте следующее меню для
сброса показаний счетчика срока службы
ТОРМОЗНОГО ЖЕЛОБА ЛОТКА.
Parameter / Life Counter / Tray 1 Chute / Reset Counter
Ошибка появляется снова?
Замените плату
MCU (Раздел
11.2).
Процедура
завершена.
Процедура Проверка и действие Да Нет
Части, которые могут быть причиной неисправности
ТОРМОЗНОЙ ЖЕЛОБ ЛОТКА (PL2.5.15)
ПЛАТА MCU (PL11.1.3)
1Проверка после замены ТОРМОЗНОГО ЖЕЛОБА лотка 2.
Замените ТОРМОЗНОЙ ЖЕЛОБ ЛОТКА новым желобом.
Войдите в СЕ-режим и откройте следующее меню для
сброса показаний счетчика срока службы ТОРМОЗНОГО
ЖЕЛОБА ЛОТКА.
Parameter / Life Counter / Tray 2 Chute / Reset Counter
Ошибка появляется снова?
Замените
плату MCU
(Раздел
11.2).
Процедура
завершена.

Глава 2 Поиск и устранение неисправностей
2.3 RAP
2 - 53
FIP 1.29 Tray 3 Cassette Chute Kit Warning (Предупреждение о
комплекте желоба лотка 3)
FIP 1.30 Tray 4 Cassette Chute Kit Warning (Предупреждение о
комплекте желоба лотка 4)
Процедура Проверка и действие Да Нет
Части, которые могут быть причиной неисправности
ТОРМОЗНОЙ ЖЕЛОБ ЛОТКА (PL2.2.15 / PL2.5.15)
ПЛАТА MCU (PL11.1.3)
1Проверка после замены ТОРМОЗНОГО ЖЕЛОБА
лотка 3.
Замените ТОРМОЗНОЙ ЖЕЛОБ ЛОТКА новым
желобом.
Войдите в СЕ-режим и откройте следующее меню для
сброса показаний счетчика срока службы
ТОРМОЗНОГО ЖЕЛОБА ЛОТКА.
Parameter / Life Counter / Tray 3 Chute / Reset Counter
Ошибка появляется снова?
Замените плату
MCU (Раздел
11.2).
Процедура
завершена.
Процедура Проверка и действие Да Нет
Части, которые могут быть причиной неисправности
ТОРМОЗНОЙ ЖЕЛОБ ЛОТКА (PL2.5.15)
ПЛАТА MCU (PL11.1.3)
1Проверка после замены ТОРМОЗНОГО ЖЕЛОБА
лотка 4.
Замените ТОРМОЗНОЙ ЖЕЛОБ ЛОТКА новым
желобом.
Войдите в СЕ-режим и откройте следующее меню для
сброса показаний счетчика срока службы
ТОРМОЗНОГО ЖЕЛОБА ЛОТКА.
Parameter / Life Counter / Tray 4 Chute / Reset Counter
Ошибка появляется снова?
Замените плату
MCU (Раздел
11.2).
Процедура
завершена.

Глава 2 Поиск и устранение неисправностей
2.3 RAP
2 -54
FIP 1.31 IOT Toner Detached (Тонер-картридж IOT отсоединен)
Процедура Проверка и действие Да Нет
Части, которые могут быть причиной неисправности
УЗЕЛ CRU (PL6.1.1)
ПРОВОДКА УЗЛА CRU (PL12.1.20)
ПЛАТА MCU (PL11.1.3)
1Проверьте установку УЗЛА CRU.
УЗЕЛ CRU установлен правильно?
Перейдите к
этапу
Установите
УЗЕЛ CRU
заново.
2Установите УЗЕЛ CRU заново.
Установлен УЗЕЛ CRU с необходимыми
характеристиками?
Перейдите к
этапу 3.
Замените
подходящим
УЗЛОМ CRU.
3Проверьте подключение ПРОВОДКИ УЗЛА CRU.
Проверьте соединение между УЗЛОМ CRU и платой
MCU.
Разъемы P/J250 и P/J25 подсоединены надежно?
Перейдите к
этапу 4.
Подсоедините
разъемы P/
J250 и P/J25
надежно.
4Проверьте подключение ПРОВОДКИ УЗЛА CRU.
Проводка P/J250 <=> P/J25 целая?
Перейдите к
этапу 5.
Замените
УЗЕЛ
ПРОВОДКИ
CRU.
5Проверка после замены УЗЛА ПРИВОДА.
Замените УЗЕЛ CRU.
Ошибка появляется снова?
Замените плату
MCU (Раздел
11.2).
Процедура
завершена.

Глава 2 Поиск и устранение неисправностей
2.3 RAP
2 - 55
FIP 1.32 IOT Cover Front/Top Open (Передняя/верхняя крышка IOT
открыта)
Процедура Проверка и действие Да Нет
Части, которые могут быть причиной неисправности
УЗЕЛ ОСНОВНОЙ БЛОКИРОВКИ (PL12.1.1)
УЗЕЛ ПРОВОДКИ С БЛОКИРОВКОЙ (PL12.1.4)
(УЗЕЛ ОСНОВНОЙ БЛОКИРОВКИ - это узел для
замены)
УЗЕЛ ВЕРХНЕЙ КРЫШКИ (PL1.1.2)
КОМПЛЕКТ ПЕРЕДНЕЙ РАМЫ (PLPL4.1.1)
ПЛАТА MCU (PL11.1.3)
1Проверьте состояние передней и верхней крышек
(открыты/закрыты).
Передняя и верхняя крышки полностью закрыты?
Перейдите к
этапу 2.
Закройте
крышку.
2Определяет положение верхней крышки.
Проверьте форму той части блокировочного
выключателя, на которую осуществляется нажим
(выступающая часть с левой стороны УЗЛА ВЕРХНЕЙ
КРЫШКИ).
Эта часть УЗЛА ВЕРХНЕЙ КРЫШКИ повреждена или
деформирована?
Замените УЗЕЛ
ВЕРХНЕЙ
КРЫШКИ
(Раздел 1.5).
Перейдите к
этапу 3.
3Определяет форму верхней крышки.
Проверьте форму той части блокировочного
выключателя, на которую осуществляется нажим
(выступающая часть с левой стороны КОМПЛЕКТА
ПЕРЕДНЕЙ РАМЫ).
Эта часть КОМПЛЕКТА ПЕРЕДНЕЙ РАМЫ
повреждена или деформирована?
Замените
КОМПЛЕКТ
ПЕРЕДНЕЙ
РАМЫ (Раздел
4.1).
Перейдите к
этапу 4.
4Проверьте работу блокировочного выключателя
(УЗЕЛ ПРОВОДКИ С БЛОКИРОВКОЙ).
Войдите в СЕ-режим и откройте следующее меню для
проверки работы блокировочного выключателя.
IOT Diag / Digital Input / DI-39
Блокировочный выключатель работает нормально?
Замените плату
MCU (Раздел
11.2).
Перейдите к
этапу 5.
5Проверьте подключение ПРОВОДКИ УЗЛА С
БЛОКИРОВКОЙ.
Проверьте соединение между УЗЛОМ ПРОВОДКИ С
БЛОКИРОВКОЙ и платой MCU.
Разъем P/J28 надежно подключен?
Замените УЗЕЛ
ОСНОВНОЙ
БЛОКИРОВКИ
(Раздел 12.1).
Подключите
разъем P/J28
надежно.

Глава 2 Поиск и устранение неисправностей
2.3 RAP
2 -56
FIP 1.33 IOT Cover Duplex Open (Открыта крышка дуплексного модуля
IOT)
Процедура Проверка и действие Да Нет
Части, которые могут быть причиной неисправности
КРЫШКА ЖЕЛОБА (PL13.2.18)
Датчик открытой крышки дуплексного модуля
(PL13.2.7)
УЗЕЛ ПРОВОДКИ КРЫШКИ ДУПЛЕКСНОГО МОДУЛЯ
(PL13.2.27)
ПЛАТА ДУПЛЕКСНОГО МОДУЛЯ (PL13.2.21)
ПЛАТА MCU (PL11.1.3)
1Проверьте состояние (открыта/закрыта) крышки
дуплексного модуля (КРЫШКА ЖЕЛОБА) .
Крышка дуплексного модуля закрыта?
Перейдите к
этапу 2.
Закройте
крышку.
2Проверьте форму крышки дуплексного модуля
(КРЫШКА ЖЕЛОБА) .
Проверьте форму той части, которая перекрывает луч
света к датчику открытой крышки дуплексного модуля
(выступ с левой стороны КРЫШКИ ЖЕЛОБА).
Эта часть КРЫШКИ ЖЕЛОБА повреждена или
деформирована?
Замените
КРЫШКУ
ЖЕЛОБА
(Раздел 13.9).
Перейдите к
этапу 3.
3Проверьте работу датчика открытой крышки
дуплексного модуля. Войдите в сервисный режим и
откройте следующее меню для проверки работы этого
датчика.
IOT Diag / Digital Input / DI-38
Датчик открытой крышки дуплексного модуля
работает нормально?
Замените плату
дуплексного
модуля (Раздел
13.11).
Перейдите к
этапу 4.
4Проверьте подключение ПРОВОДКИ УЗЛА КРЫШКИ.
Проверьте соединение между ПРОВОДКОЙ УЗЛА
КРЫШКИ ДУПЛЕКСНОГО МОДУЛЯ и ПЛАТОЙ
ДУПЛЕКСНОГО МОДУЛЯ.
Разъемы P/J730D и P/J73D подсоединены надежно?
Перейдите к
этапу 5.
Подсоединит
е разъемы P/
J730D и P/
J73D
надежно.
5Проверьте целостность УЗЛА ПРОВОДКИ КРЫШКИ
ДУПЛЕКСНОГО МОДУЛЯ.
Проводка P/J730D <=> P/J73D целая?
Перейдите к
этапу 6.
Замените
УЗЕЛ
ПРОВОДКИ
КРЫШКИ
ДУПЛЕКСНО
ГО МОДУЛЯ.
6Проверка после замены датчика открытой крышки
дуплексного модуля.
Замените датчик открытой крышки дуплексного
модуля. (Раздел 13.6)
Ошибка появляется снова?
Перейдите к
этапу 7.
Процедура
завершена.
7Проверка после замены ПЛАТЫ ДУПЛЕКСНОГО
МОДУЛЯ.
Замените плату дуплексного модуля. (Раздел 13.11)
Ошибка появляется снова?
Замените плату
MCU (Раздел
11.2).
Процедура
завершена.

Глава 2 Поиск и устранение неисправностей
2.3 RAP
2 - 57
FIP 1.34 Tray Detached, Upper Cassette Detached (Лоток выдвинут,
верхняя кассета выдвинута)
Проверьте лоток, в котором возникла проблема.
FIP 1.35 IOT Paper Size Mismatch (Несоответствие форматов бумаги в
IOT)
Проверьте лоток, в котором возникла проблема.
Процедура Проверка и действие Да Нет
Части, которые могут быть причиной неисправности
УЗЕЛ БАРАБАНА ФОРМАТОВ (PL2.5.36)
ДАТЧИК ФОРМАТА (PL2.3.8)
ДАТЧИК ФОРМАТА (PL15.2.17)
УЗЕЛ ПРОВОДКИ ПОДАТЧИКА БУМАГИ (PL12.1.4)
УЗЕЛ ПРОВОДКИ ДАТЧИКА ФОРМАТА В ПОДАТЧИКЕ
(PL15.2.19)
ПЛАТА ПОДАТЧИКА (PL15.2.18)
ПЛАТА MCU (PL11.1.3)
1Проверьте установку кассеты с бумагой.
Кассета с бумагой установлена правильно?
Перейдите к
этапу 2.
Установите
кассету
заново.
2Проверьте УЗЕЛ БАРАБАНА ФОРМАТОВ.
Проверьте форму кнопки ДАТЧИКА ФОРМАТОВ В
УЗЛЕ БАРАБАНА ФОРМАТОВ, которая нажимается.
Эта часть УЗЛА БАРАБАНА ФОРМАТОВ повреждена
или деформирована?
Замените УЗЕЛ
БАРАБАНА
ФОРМАТОВ
(Раздел 2.22).
Лоток 1:
Перейдите к
FIP 2.3
Лоток 2, 3 или
4: Перейдите
к FIP2.15
Процедура Проверка и действие Да Нет
Части, которые могут быть причиной неисправности
ДАТЧИК РЕГИСТРАЦИИ (PL5.1.4)
УЗЕЛ БАРАБАНА ФОРМАТОВ (PL2.5.36)
ДАТЧИК ФОРМАТА (PL2.3.8)
ДАТЧИК ФОРМАТА (PL15.2.17)
УЗЕЛ ПРОВОДКИ ПОДАТЧИКА БУМАГИ (PL12.1.4)
УЗЕЛ ПРОВОДКИ ДАТЧИКА ФОРМАТА В ПОДАТЧИКЕ
(PL15.2.19)
ПЛАТА ПОДАТЧИКА (PL15.2.18)
ПЛАТА MCU (PL11.1.3)
1Проверьте формат бумаги в кассете.
Формат бумаги в кассете установлен правильно, в
соответствии с форматом загруженной бумаги?
Перейдите к
этапу 2.
Загрузите
бумагу
правильного
формата.

Глава 2 Поиск и устранение неисправностей
2.3 RAP
2 -58
2Проверьте работу ДАТЧИКА РЕГИСТРАЦИИ.
Войдите в СЕ-режим и откройте следующее меню для
проверки работы ДАТЧИКА РЕГИСТРАЦИИ.
IOT Diag / Digital Input / DI-d
ДАТЧИК РЕГИСТРАЦИИ работает нормально?
Перейдите к
этапу 3.
Перейдите к
FIP 2.1
3Проверьте УЗЕЛ БАРАБАНА ФОРМАТОВ.
Проверьте форму кнопки ДАТЧИКА ФОРМАТОВ В
УЗЛЕ БАРАБАНА ФОРМАТОВ, которая нажимается.
Эта часть УЗЛА БАРАБАНА ФОРМАТОВ повреждена
или деформирована?
Замените УЗЕЛ
БАРАБАНА
ФОРМАТОВ
(Раздел 2.22).
Лоток 1:
Перейдите к
FIP 2.3
Лоток 2, 3 или
4: Перейдите
к FIP 2.15
Процедура Проверка и действие Да Нет

Глава 2 Поиск и устранение неисправностей
2.3 RAP
2 - 59
FIP 1.36 No Suitable Paper (Нет подходящей бумаги)
Проверьте лоток, в котором возникла проблема.
.
Процедура Проверка и действие Да Нет
Части, которые могут быть причиной неисправности
ДАТЧИК ОТСУТСТВИЯ БУМАГИ В ЛОТКЕ (PL2.4.11)
ДАТЧИК ОТСУТСТВИЯ БУМАГИ В ЛОТКЕ (PL15.3.11)
ДАТЧИК ОТСУТСТВИЯ БУМАГИ В ОБХОДНОМ
ЛОТКЕ (PL3.1.11)
УЗЕЛ БАРАБАНА ФОРМАТОВ (PL2.5.36)
ДАТЧИК ФОРМАТА (PL2.3.8)
ДАТЧИК ФОРМАТА (PL15.2.17)
УЗЕЛ ПРОВОДКИ ПОДАТЧИКА БУМАГИ (PL12.1.4)
УЗЕЛ ПРОВОДКИ ДАТЧИКА ФОРМАТА В ПОДАТЧИКЕ
(PL15.2.19)
ПЛАТА ПОДАТЧИКА (PL15.2.18)
ПЛАТА MCU (PL11.1.3)
1Проверьте установку кассеты с бумагой.
Кассета с бумагой установлена правильно?
Перейдите к
этапу 2.
Установите
кассету
заново.
2Проверьте формат бумаги в кассете.
Формат бумаги в кассете установлен правильно, в
соответствии с форматом загруженной бумаги?
Перейдите к
этапу 3.
Загрузите
бумагу
правильного
формата.
3Проверьте работу ДАТЧИКА ОТСУТСТВИЯ БУМАГИ В
ЛОТКЕ. Войдите в сервисный режим и откройте
следующее меню для проверки работы этого датчика.
IOT Diag / Digital Input / DI-3b (для лотка 1)
IOT Diag / Digital Input / DI-3c (для лотка 2)
IOT Diag / Digital Input / DI-3d (для лотка 3)
IOT Diag / Digital Input / DI-3e (для лотка 4)
ДАТЧИК ОТСУТСТВИЯ БУМАГИ В ЛОТКЕ работает
нормально?
Перейдите к
этапу 4.
Лоток 1:
Перейдите к
FIP 2.4
Лоток 2, 3 или
4: Перейдите
к FIP 2.16
Проверьте работу ДАТЧИКА ОТСУТСТВИЯ БУМАГИ В
ОБХОДНОМ ЛОТКЕ.
Войдите в СЕ-режим и откройте следующее меню для
проверки работы ДАТЧИКА ОТСУТСТВИЯ БУМАГИ В
ОБХОДНОМ ЛОТКЕ.
IOT Diag / Digital Input / DI-3a (для обходного лотка)
ДАТЧИК ОТСУТСТВИЯ БУМАГИ В ОБХОДНОМ
ЛОТКЕ работает нормально?
Замените плату
MCU (Раздел
11.2).
Перейдите к
FIP 2.5
4Проверьте УЗЕЛ БАРАБАНА ФОРМАТОВ.
Проверьте форму кнопки ДАТЧИКА ФОРМАТОВ В
УЗЛЕ БАРАБАНА ФОРМАТОВ, которая нажимается.
Эта часть УЗЛА БАРАБАНА ФОРМАТОВ повреждена
или деформирована?
Замените УЗЕЛ
БАРАБАНА
ФОРМАТОВ
(Раздел 2.22).
Лоток 1:
Перейдите к
FIP 2.3
Лоток 2, 3 или
4: Перейдите
к FIP 2.15

Глава 2 Поиск и устранение неисправностей
2.3 RAP
2 -60
FIP 1.37 ESS-related error (Ошибка, связанная с ESS)
FIP 1.38 ESS-related error (MPC) (Ошибка, связанная с ESS - МРС)
Процедура Проверка и действие Да Нет
Части, которые могут быть причиной неисправности
ПЛАТА ESS (PL11.1.7)
1Проверьте версию встроенного программного
обеспечения платы ESS.
Установлена самая последняя версия программного
обеспечения?
Замените плату
ESS (Раздел
11.6).
Обновите
версию
встроенного
программного
обеспечения
платы ESS.
Процедура Проверка и действие Да Нет
Части, которые могут быть причиной неисправности
КОМПЛЕКТ MPC (PL11.1.13)
ПЛАТА ESS (PL11.1.7)
1Проверьте установку КОМПЛЕКТА MPC.
КОМПЛЕКТ MPC установлен правильно?
Перейдите к
этапу 2.
Переустанови
те
КОМПЛЕКТ
MPC.
2Проверьте версию встроенного программного
обеспечения платы ESS.
Установлена самая последняя версия программного
обеспечения?
Перейдите к
этапу 3.
Обновите
версию
встроенного
программного
обеспечения
платы ESS.
3Проверка после замены КОМПЛЕКТА MPC.
Замените КОМПЛЕКТ MPC.
Ошибка появляется снова?
Замените плату
ESS (Раздел
11.6).
Процедура
завершена.

Глава 2 Поиск и устранение неисправностей
2.3 RAP
2 - 61
FIP 1.39 ESS-related error (HDD) (Ошибка, связанная с ESS - жесткий
диск)
Процедура Проверка и действие Да Нет
Части, которые могут быть причиной неисправности
КОМПЛЕКТ ЖЕСТКОГО ДИСКА (PL11.1.12)
ПЛАТА ESS (PL11.1.7)
1Проверьте установку КОМПЛЕКТА ЖЕСТКОГО
ДИСКА.
КОМПЛЕКТ ЖЕСТКОГО ДИСКА установлен
правильно?
Перейдите к
этапу 2.
Переустанови
те
КОМПЛЕКТ
ЖЕСТКОГО
ДИСКА.
2Проверьте версию встроенного программного
обеспечения платы ESS.
Установлена самая последняя версия программного
обеспечения?
Перейдите к
этапу 3.
Обновите
версию
встроенного
программного
обеспечения
платы ESS.
3Проверка после замены КОМПЛЕКТА ЖЕСТКОГО
ДИСКА.
Замените КОМПЛЕКТ ЖЕСТКОГО ДИСКА.
Ошибка появляется снова?
Замените плату
ESS (Раздел
11.6).
Процедура
завершена.

Глава 2 Поиск и устранение неисправностей
2.3 RAP
2 -62
2.3.2 FIP 2-го уровня
FIP 2.1 ДАТЧИК РЕГИСТРАЦИИ (PL5.1.4))
Процедура Проверка и действие Да Нет
Части, которые могут быть причиной неисправности
ДАТЧИК РЕГИСТРАЦИИ (PL5.1.4)
УЗЕЛ ОСНОВНОЙ БЛОКИРОВКИ (PL12.1.1)
Включая два следующих жгута:
УЗЕЛ ПРОВОДКИ ДАТЧИКА РЕГИСТРАЦИИ
(PL12.1.6)
УЗЕЛ ПРОВОДКИ ГЛАВНОЙ РАМЫ (PL12.1.3)
ПЛАТА MCU (PL11.1.3)
1Проверьте подключение ДАТЧИКА РЕГИСТРАЦИИ.
Проверьте соединение между ДАТЧИКОМ
РЕГИСТРАЦИИ и платой MCU.
Разъемы P/J1211, P/J1210 и P/J12 подсоединены
надежно?
Перейдите к
этапу
Подсоединит
е разъемы P/
J1211, P/
J1210 и P/J12
надежно.
2Проверьте целостность УЗЛА ПРОВОДКИ ДАТЧИКА
РЕГИСТРАЦИИ.
Проводка P/J1211 <=> P/J1210 целая?
Перейдите к
этапу 3.
Замените
УЗЕЛ
ОСНОВНОЙ
БЛОКИРОВК
И (REP12.1)
3Проверьте целостность УЗЛА ПРОВОДКИ ГЛАВНОЙ
РАМЫ.
Проводка P/J1210 <=> P/J12 целая?
Перейдите к
этапу 4.
Замените
УЗЕЛ
ОСНОВНОЙ
БЛОКИРОВК
И (REP12.1)
4Проверьте подачу напряжения на ДАТЧИК
РЕГИСТРАЦИИ.
Измерьте напряжение между заземлением платы
MCU и указанным контактом разъема: GND <=> P/
J12-1.
Напряжение на выходе (примерно +3,3 В) есть?
Перейдите к
этапу 5.
Перейдите к
FIP2.20
5Проверьте работу ДАТЧИКА РЕГИСТРАЦИИ.
Измерьте напряжение между заземлением платы
MCU и указанным контактом разъема: GND <=> P/
J12-3.
Напряжение меняется, когда датчик регистрации
освещается/закрывается листом бумаги и т.п.?
Замените плату
MCU (Раздел
11.2).
Замените
ДАТЧИК
РЕГИСТРАЦ
ИИ (REP5.2)

Глава 2 Поиск и устранение неисправностей
2.3 RAP
2 - 63
FIP 2.2 Датчик выхода фьюзера [УЗЕЛ ФЬЮЗЕРА] (PL8.1.11)
Процедура Проверка и действие Да Нет
Части, которые могут быть причиной неисправности
Датчик выхода фьюзера [УЗЕЛ ФЬЮЗЕРА] (PL8.1.11)
УЗЕЛ ПРОВОДКИ ФЬЮЗЕРА (PL8.1.10)
УЗЕЛ ОСНОВНОЙ БЛОКИРОВКИ (PL12.1.1)
Включая следующие жгуты
УЗЕЛ ПРОВОДКИ ГЛАВНОЙ РАМЫ (PL12.1.3)
ПЛАТА MCU (PL11.1.3)
1Проверьте подключение датчика выхода фьюзера.
Проверьте соединение между датчиком выхода
фьюзера и платой MCU.
Разъемы P/J4410, P/J1240 и P/J12 подсоединены
надежно?
Перейдите к
этапу 2.
Подсоединит
е разъемы P/
J4410, P/
J1240 и P/J12
надежно.
2Проверьте целостность УЗЛА ПРОВОДКИ ФЬЮЗЕРА.
Проводка между P/J4410 <=> P/J1240 целая?
Перейдите к
этапу
Замените
УЗЕЛ
ПРОВОДКИ
ФЬЮЗЕРА.
3Проверьте целостность УЗЛА ПРОВОДКИ ГЛАВНОЙ
РАМЫ.
Проводка между P/J1240 <=> P/J12 целая?
Перейдите к
этапу 4.
Замените
УЗЕЛ
ОСНОВНОЙ
БЛОКИРОВК
И (REP12.1)
4Проверьте подачу напряжения на датчик выхода
фьюзера.
Измерьте напряжение между заземлением платы
MCU и указанным контактом разъема: GND <=> P/
J12-13.
Напряжение на выходе (примерно +3,3 В) есть?
Перейдите к
этапу 5.
Перейдите к
FIP2.20
5Проверьте работу датчика выхода фьюзера.
Измерьте напряжение между заземлением платы
MCU и указанным контактом разъема: GND <=> P/
J12-11.
Напряжение меняется, когда датчик выхода фьюзера
освещается/закрывается листом бумаги и т.п.?
Замените плату
MCU (Раздел
11.2).
Замените
УЗЕЛ
ФЬЮЗЕРА
(REP8.1).

Глава 2 Поиск и устранение неисправностей
2.3 RAP
2 -64
FIP 2.3 ДАТЧИК ФОРМАТА (PL2.3.8) (Лоток 1)
Процедура Проверка и действие Да Нет
Части, которые могут быть причиной неисправности
УЗЕЛ БАРАБАНА ФОРМАТОВ (PL2.5.36)
ДАТЧИК ФОРМАТА (PL2.3.8)
УЗЕЛ ПРОВОДКИ ПОДАТЧИКА БУМАГИ (PL12.1.4)
ПЛАТА MCU (PL11.1.3)
1Проверьте ДАТЧИК ФОРМАТА.
Проверьте форму кнопки ДАТЧИКА ФОРМАТА.
Эта часть ДАТЧИКА ФОРМАТА повреждена или
деформирована?
Замените
ДАТЧИК
ФОРМАТА
(Раздел 2.8).
Перейдите к
этапу 2.
2Проверьте подключение УЗЛА ПРОВОДКИ
ПОДАТЧИКА БУМАГИ.
Проверьте соединение между УЗЛОМ ПРОВОДКИ
ПОДАТЧИКА БУМАГИ и платой MCU.
Разъемы P/J1110 иP/J11 подсоединены надежно?
Перейдите к
этапу 3.
Подсоединит
е разъемы P/
J1110 и P/J11
надежно.
3Проверьте целостность УЗЛА ПРОВОДКИ
ПОДАТЧИКА БУМАГИ.
Проводка между P/J1110 <=> P/J11 целая?
Перейдите к
этапу 4.
Замените
УЗЕЛ
ПРОВОДКИ
ПОДАТЧИКА
БУМАГИ.
4Проверьте подачу напряжения на ДАТЧИК ФОРМАТА.
При снятом ДАТЧИКЕ ФОРМАТА измерьте
следующие напряжения.
Между заземлением платы MCU и указанным
контактом: GND <=> P/J11-1.
Между заземлением платы MCU и указанным
контактом: GND <=> P/J11-2.
Между заземлением платы MCU и указанным
контактом: GND <=> P/J11-4.
Напряжение на выходе (примерно +3,3 В) есть?
Перейдите к
этапу 5.
Перейдите к
FIP2.20
5Проверьте работу ДАТЧИКА ФОРМАТА.
При установленном ДАТЧИКЕ ФОРМАТА измерьте
следующие напряжения.
Между заземлением платы MCU и указанным
контактом: GND <=> P/J11-1.
Между заземлением платы MCU и указанным
контактом: GND <=> P/J11-2.
Между заземлением платы MCU и указанным
контактом: GND <=> P/J11-4.
Напряжение меняется, когда любой ДАТЧИК
ФОРМАТА включается/выключается?
Замените плату
MCU (Раздел
11.2).
Замените
ДАТЧИК
ФОРМАТА
(REP2.8).

Глава 2 Поиск и устранение неисправностей
2.3 RAP
2 - 65
FIP 2.4 ДАТЧИК ОТСУТСТВИЯ БУМАГИ В ЛОТКЕ (PL2.4.11) (Лоток 1)
Процедура Проверка и действие Да Нет
Части, которые могут быть причиной неисправности
ДАТЧИК ОТСУТСТВИЯ БУМАГИ В ЛОТКЕ (PL2.4.11)
УЗЕЛ ПРОВОДКИ ПОДАТЧИКА БУМАГИ (PL12.1.4)
ПЛАТА MCU (PL11.1.3)
1Проверьте подключение ДАТЧИКА ОТСУТСТВИЯ
БУМАГИ В ЛОТКЕ.
Проверьте соединение между ДАТЧИКОМ
ОТСУТСТВИЯ БУМАГИ В ЛОТКЕ и платой MCU.
Разъемы P/J1130 и P/J11 подключены надежно?
Перейдите к
этапу 2.
Подсоединит
е разъемы P/
J1130 и P/J11
надежно.
2Проверьте целостность УЗЛА ПРОВОДКИ
ПОДАТЧИКА БУМАГИ.
Проводка между P/J1130 <=> P/J11 целая?
Перейдите к
этапу 3.
Замените
УЗЕЛ
ПРОВОДКИ
ПОДАТЧИКА
БУМАГИ.
3Проверьте подачу напряжения на ДАТЧИК
ОТСУТСТВИЯ БУМАГИ В ЛОТКЕ.
Измерьте напряжение между заземлением платы
MCU и указанным контактом: GND <=> P/J11-11.
Напряжение на выходе (примерно +3,3 В) есть?
Перейдите к
этапу 5.
Перейдите к
FIP2.20
4Проверьте работу ДАТЧИКА ОТСУТСТВИЯ БУМАГИ В
ЛОТКЕ.
Измерьте напряжение между заземлением платы
MCU и указанным контактом: GND <=> P/J11-13.
Напряжение меняется, когда ДАТЧИК ОТСУТСТВИЯ
БУМАГИ В ЛОТКЕ освещается/закрывается листом
бумаги и т.п.?
Замените плату
MCU (Раздел
11.2).
Замените
ДАТЧИК
ОТСУТСТВИ
Я БУМАГИ В
ЛОТКЕ
(Раздел 2.4).

Глава 2 Поиск и устранение неисправностей
2.3 RAP
2 -66
FIP 2.5 ДАТЧИК ОТСУТСТВИЯ БУМАГИ В ОБХОДНОМ ЛОТКЕ (PL3.1.11)
Процедура Проверка и действие Да Нет
Части, которые могут быть причиной неисправности
ДАТЧИК ОТСУТСТВИЯ БУМАГИ В ОБХОДНОМ
ЛОТКЕ (PL3.1.11)
Проводка обходного лотка [УЗЕЛ ЖЕЛОБА
ДУПЛЕКСНОГО МОДУЛЯ] (PL3.1.7)
Передний узел проводки [КОМПЛЕКТ ПЕРЕДНЕЙ
РАМЫ] (PL4.1.1)
ПЛАТА MCU (PL11.1.3)
1Проверьте подключение ДАТЧИКА ОТСУТСТВИЯ
БУМАГИ В ОБХОДНОМ ЛОТКЕ.
Проверьте соединение между ДАТЧИКОМ
ОТСУТСТВИЯ БУМАГИ В ОБХОДНОМ ЛОТКЕ и
платой MCU.
Разъемы P/J2311, P/J2310 и P/J23 подсоединены
надежно?
Перейдите к
этапу 2.
Подсоединит
е разъемы P/
J2311, P/
J2310 и P/J23
надежно.
2Проверьте целостность проводки обходного лотка.
Проводка между P/J2311 <=> P/J2310 целая?
Перейдите к
этапу 3.
Замените
УЗЕЛ
ЖЕЛОБА
ДУПЛЕКСНО
ГО МОДУЛЯ
(REP3.4).
3Проверьте целостность переднего узла проводки.
Проводка между P/J2310 <=> P/J23 целая?
Перейдите к
этапу 4.
Замените
КОМПЛЕКТ
ПЕРЕДНЕЙ
РАМЫ
(REP4.1).
4Проверьте подачу напряжения на ДАТЧИК
ОТСУТСТВИЯ БУМАГИ В ОБХОДНОМ ЛОТКЕ.
Измерьте напряжение между заземлением платы
MCU и указанным контактом: GND <=> P/J23-1.
Напряжение на выходе (примерно +3,3 В) есть?
Перейдите к
этапу 5.
Перейдите к
FIP2.2
5Проверьте работу ДАТЧИКА ОТСУТСТВИЯ БУМАГИ В
ОБХОДНОМ ЛОТКЕ.
Измерьте напряжение между заземлением платы
MCU и указанным контактом: GND <=> P/J23-3.
Напряжение меняется, когда ДАТЧИК ОТСУТСТВИЯ
БУМАГИ В ОБХОДНОМ ЛОТКЕ освещается/
закрывается листом бумаги и т.п.?
Замените плату
MCU (Раздел
11.2).
Замените
ДАТЧИК
ОТСУТСТВИ
Я БУМАГИ В
ОБХОДНОМ
ЛОТКЕ
(Раздел 3.6).

Глава 2 Поиск и устранение неисправностей
2.3 RAP
2 - 67
FIP 2.6 МУФТА РЕГИСТРАЦИИ (PL5.1.2)
Процедура Проверка и действие Да Нет
Части, которые могут быть причиной неисправности
МУФТА РЕГИСТРАЦИИ (PL5.1.2)
УЗЕЛ ОСНОВНОЙ БЛОКИРОВКИ (PL12.1.1)
Включая следующие жгуты
УЗЕЛ ПРОВОДКИ ГЛАВНОЙ РАМЫ (PL12.1.3)
ПЛАТА MCU (PL11.1.3)
1Проверьте подключение МУФТЫ РЕГИСТРАЦИИ.
Проверьте соединение между МУФТОЙ
РЕГИСТРАЦИИ и платой MCU.
Разъемы P/J1230 и P/J12 подсоединены надежно?
Перейдите к
этапу 2.
Подсоединит
е разъемы P/
J1230 и P/J12
надежно.
2Проверьте целостность УЗЛА ПРОВОДКИ ГЛАВНОЙ
РАМЫ.
Проводка между P/J1230 <=> P/J12 целая?
Перейдите к
этапу 3.
Замените
УЗЕЛ
ОСНОВНОЙ
БЛОКИРОВК
И (Раздел
12.1).
3Проверьте сопротивление МУФТЫ РЕГИСТРАЦИИ.
Отсоедините разъем P/J1230 и измерьте
сопротивление проводки между двумя контактами
МУФТЫ РЕГИСТРАЦИИ.
Сопротивление проводки 115 Ом ± 10% (при 20°C)?
Перейдите к
этапу 4.
Замените
МУФТУ
РЕГИСТРАЦ
ИИ (Раздел
5.1).
4Проверьте подачу напряжения на МУФТУ
РЕГИСТРАЦИИ.
Измерьте напряжение между заземлением платы
MCU и указанным контактом: разъема GND <=> P/
J12-8.
Перед проверкой замкните блокировочный
выключатель (УЗЕЛ ПРОВОДКИ С БЛОКИРОВКОЙ).
Напряжение на выходе (примерно +24 В) есть?
Замените МУФТУ
РЕГИСТРАЦИИ
(Раздел 5.1).
Перейдите к
FIP 2.20

Глава 2 Поиск и устранение неисправностей
2.3 RAP
2 -68
FIP 2.7 ПОВОРОТНАЯ МУФТА (PL2.4.3)
Процедура Проверка и действие Да Нет
Части, которые могут быть причиной неисправности
ПОВОРОТНАЯ МУФТА (PL3.2.25)
УЗЕЛ ПРОВОДКИ МУФТЫ (PL2.4.15)
ПЛАТА MCU (PL11.1.3)
1Проверьте подключение ПОВОРОТНОЙ МУФТЫ.
Проверьте соединение между ПОВОРОТНОЙ
МУФТОЙ и платой MCU.
Разъемы P/J2710 и P/J27 подключены надежно?
Перейдите к
этапу 2.
Подсоединит
е разъемы P/
J2710 и P/J27
надежно.
2Проверьте целостность УЗЛА ПРОВОДКИ МУФТЫ.
Проводка между P/J2710 <=> P/J27 целая?
Перейдите к
этапу 3.
Замените
УЗЕЛ
ПРОВОДКИ
МУФТЫ.
3Проверьте сопротивление ПОВОРОТНОЙ МУФТЫ.
Отсоедините разъем P/J2710 и измерьте
сопротивление проводки между двумя контактами
ПОВОРОТНОЙ МУФТЫ.
Сопротивление проводки 144 Ом ± 10% (при 20°C)?
Перейдите к
этапу 4.
Замените
ПОВОРОТНУ
Ю МУФТУ
(Раздел
2.11).
4Проверьте подачу напряжения на ПОВОРОТНУЮ
МУФТУ.
Измерьте напряжение между заземлением платы
MCU и указанным контактом: GND <=> P/J27-1.
Перед проверкой замкните блокировочный
выключатель (УЗЕЛ ПРОВОДКИ С БЛОКИРОВКОЙ).
Напряжение на выходе (примерно +24 В) есть?
Замените
ПОВОРОТНУЮ
МУФТУ (Раздел
2.11).
Перейдите к
FIP 2.20

Глава 2 Поиск и устранение неисправностей
2.3 RAP
2 - 69
FIP 2.8 МУФТА ПОДАЧИ (PL2.4.4)
Процедура Проверка и действие Да Нет
Части, которые могут быть причиной неисправности
МУФТА ПОДАЧИ (PL2.4.4)
УЗЕЛ ПРОВОДКИ МУФТЫ (PL2.4.15)
ПЛАТА MCU (PL11.1.3)
1Проверьте подключение МУФТЫ ПОДАЧИ.
Проверьте соединение между МУФТОЙ ПОДАЧИ и
платой MCU.
Разъемы P/J2720 и P/J27 подсоединены надежно?
Перейдите к
этапу 2.
Подсоединит
е разъемы P/
J2720 и P/J27
надежно.
2Проверьте целостность УЗЛА ПРОВОДКИ МУФТЫ.
Проводка между P/J2720 <=> P/J27 целая?
Перейдите к
этапу 3.
Замените
УЗЕЛ
ПРОВОДКИ
МУФТЫ.
3Проверьте сопротивление МУФТЫ ПОДАЧИ.
Отсоедините разъем P/J2720 и измерьте
сопротивление проводки между двумя контактами
МУФТЫ ПОДАЧИ.
Сопротивление проводки 144 Ом ± 10% (при 20°C)?
Перейдите к
этапу 4.
Замените
МУФТУ
ПОДАЧИ
(Раздел
2.12).
4Проверьте подачу напряжения на МУФТУ ПОДАЧИ.
Измерьте напряжение между заземлением платы
MCU и указанным контактом: GND <=> P/J27-3.
Перед проверкой замкните блокировочный
выключатель (УЗЕЛ ПРОВОДКИ С БЛОКИРОВКОЙ).
Напряжение на выходе (примерно +24 В) есть?
Замените МУФТУ
ПОДАЧИ
(Раздел 2.12).
Перейдите к
FIP 2.20

Глава 2 Поиск и устранение неисправностей
2.3 RAP
2 -70
FIP 2.9 СОЛЕНОИД ПОДАЧИ ИЗ ОБХОДНОГО ЛОТКА (PL3.1.1)
Процедура Проверка и действие Да Нет
Части, которые могут быть причиной неисправности
СОЛЕНОИД ПОДАЧИ ИЗ ОБХОДНОГО ЛОТКА
(PL3.1.1)
Передний узел проводки [КЛМПЛЕКТ ПЕРЕДНЕЙ
РАМЫ] (PL4.1.1)
ПЛАТА MCU (PL11.1.3)
1Проверьте подключение СОЛЕНОИДА ПОДАЧИ ИЗ
ОБХОДНОГО ЛОТКА.
Проверьте соединение между СОЛЕНОИДОМ
ПОДАЧИ ИЗ ОБХОДНОГО ЛОТКА и платой MCU.
Разъемы P/J2320 и P/J23 подсоединены надежно?
Перейдите к
этапу 2.
Подсоединит
е разъемы P/
J2320 и P/J23
надежно.
2Проверьте целостность переднего узла проводки.
Проводка между P/J2320 <=> P/J23 целая?
Перейдите к
этапу 3.
Замените
КОМПЛЕКТ
ПЕРЕДНЕЙ
РАМЫ
(Раздел 4.1).
3Проверьте сопротивление СОЛЕНОИДА ПОДАЧИ ИЗ
ОБХОДНОГО ЛОТКА.
Отсоедините разъем P/J2320 и измерьте
сопротивление проводки между двумя контактами
СОЛЕНОИДА ПОДАЧИ ИЗ ОБХОДНОГО ЛОТКА.
Сопротивление проводки 96 Ом ± 10% (при 20°C)?
Перейдите к
этапу 4.
Замените
СОЛЕНОИД
ПОДАЧИ ИЗ
ОБХОДНОГО
ЛОТКА
(Раздел 3.1).
4Проверьте подачу напряжения на СОЛЕНОИД
ПОДАЧИ ИЗ ОБХОДНОГО ЛОТКА.
Измерьте напряжение между заземлением платы
MCU и указанным контактом: GND <=> P/J23-5.
Перед проверкой замкните блокировочный
выключатель (УЗЕЛ ПРОВОДКИ С БЛОКИРОВКОЙ).
Напряжение на выходе (примерно +24 В) есть?
Замените
СОЛЕНОИД
ПОДАЧИ ИЗ
ОБХОДНОГО
ЛОТКА (Раздел
3.1).
Перейдите к
FIP 2.20

Глава 2 Поиск и устранение неисправностей
2.3 RAP
2 - 71
FIP 2.10 ГЛАВНЫЙ ДВИГАТЕЛЬ (PL9.1.3)
Процедура Проверка и действие Да Нет
Части, которые могут быть причиной неисправности
ГЛАВНЫЙ ДВИГАТЕЛЬ (PL9.1.3)
УЗЕЛ ПРОВОДКИ ДВИГАТЕЛЯ (PL9.1.4)
ПЛАТА MCU (PL11.1.3)
1Проверьте соединения ГЛАВНОГО ДВИГАТЕЛЯ.
Проверьте соединение между ГЛАВНЫМ
ДВИГАТЕЛЕМ и платой MCU.
Разъемы P/J220 и P/J22 подсоединены надежно?
Перейдите к
этапу 2.
Подсоединит
е разъемы P/
J220 и P/J22
надежно.
2Проверьте целостность УЗЛА ПРОВОДКИ
ДВИГАТЕЛЯ.
Проводка между P/J220 <=> P/J22 целая?
Перейдите к
этапу 3.
Замените
УЗЕЛ
ПРОВОДКИ
ДВИГАТЕЛЯ.
3Проверьте подачу напряжения на ГЛАВНЫЙ
ДВИГАТЕЛЬ.
Измерьте напряжение между заземлением платы
MCU и указанным контактом: GND <=> P/J22-1.
Напряжение на выходе (примерно +24 В) есть?
Измерьте напряжение между заземлением платы
MCU и указанным контактом: GND <=> P/J22-3.
Напряжение на выходе (примерно +5 В) есть?
Перед проверкой замкните блокировочный
выключатель (УЗЕЛ ПРОВОДКИ С БЛОКИРОВКОЙ).
Замените
главный
двигатель
(Раздел 9.3).
Перейдите к
FIP 2.20

Глава 2 Поиск и устранение неисправностей
2.3 RAP
2 -72
FIP 2.11 Двигатель подхвата [УЗЕЛ КРОНШТЕЙНА ПОДАТЧИКА НА 550
ЛИСТОВ] (PL2.3.3)
FIP 2.12 Двигатель вывода [УЗЕЛ ПРИВОДА ВЫВОДА] (PL13.1.2)
Процедура Проверка и действие Да Нет
Части, которые могут быть причиной неисправности
Двигатель подхвата (PL2.3.3)
УЗЕЛ ПРОВОДКИ ПОДАТЧИКА БУМАГИ (PL12.1.4)
ПЛАТА MCU (PL11.1.3)
ПЛАТА MCU (PL11.1.3)
1Проверьте соединения двигателя подхвата.
Проверьте соединение между двигателем подхвата и
платой MCU.
Разъемы P/J1120 и P/J11 подсоединены надежно?
Перейдите к
этапу 2.
Подсоединит
е разъемы P/
J1120 и P/J11
надежно.
2Проверьте проводимость двигателя подхвата.
Проводка между P/J1120 <=> P/J11 целая?
Перейдите к
этапу 3.
Замените
УЗЕЛ
ПРОВОДКИ
ДВИГАТЕЛЯ.
3Проверьте подачу напряжения на двигатель подхвата.
Измерьте напряжение между заземлением платы
MCU и указанными контактами GND <=> P/J11-6 и P/
J11-9.
Перед проверкой замкните блокировочный
выключатель (УЗЕЛ ПРОВОДКИ С БЛОКИРОВКОЙ).
Напряжение на выходе (примерно +24 В) есть?
Замените УЗЕЛ
КРОНШТЕЙНА
ПОДАТЧИКА
(Раздел 2.7).
Перейдите к
FIP 2.20
Процедура Проверка и действие Да Нет
Части, которые могут быть причиной неисправности
Двигатель вывода [УЗЕЛ ПРИВОДА ВЫВОДА]
(PL13.1.2)
Проводка вывода [УЗЕЛ КРОНШТЕЙНА ВЫВОДА]
(PL9.1.1)
ПЛАТА MCU (PL11.1.3)
1Проверьте подключение УЗЛА ПРИВОДА ВЫВОДА.
Проверьте соединение между УЗЛОМ ПРИВОДА
ВЫВОДА и платой MCU.
Разъемы P/J2671 и P/J26 подсоединены надежно?
Перейдите к
этапу 2.
Подсоединит
е разъемы P/
J2671 и P/J26
надежно?
2Проверьте целостность проводки вывода.
Проводка между P/J2671 <=> P/J26 целая?
Перейдите к
этапу 3.
Замените
УЗЕЛ
КРОНШТЕЙН
А ВЫВОДА
(REP9.1).
3Проверка после замены УЗЛА ПРИВОДА ВЫВОДА.
Замените УЗЕЛ ПРИВОДА ВЫВОДА. (REP13.2)
Ошибка появляется снова?
Замените плату
MCU (Раздел
11.2).
Процедура
завершена.

Глава 2 Поиск и устранение неисправностей
2.3 RAP
2 - 73
FIP 2.13 Датчик застревания в дуплексном модуле (PL13.2.7)
FIP 2.14ДВИГАТЕЛЬ ДУПЛЕКСНОГО МОДУЛЯ (PL13.2.13)
Процедура Проверка и действие Да Нет
Части, которые могут быть причиной неисправности
Датчик застревания в дуплексном модуле (PL13.2.7)
УЗЕЛ ПРОВОДКИ ДАТЧИКА ЗАСТРЕВАНИЯ В
ДУПЛЕКСНОМ МОДУЛЕ (PL13.2.27)
ПЛАТА ДУПЛЕКСНОГО МОДУЛЯ (PL13.2.21)
УЗЕЛ ДУПЛЕКСНОГО МОДУЛЯ (PL13.1.1)
1Проверьте подключение датчика застревания в
дуплексном модуле.
Проверьте соединение между датчиком застревания в
дуплексном модуле и платой дуплексного модуля.
Разъемы P/J740D и P/J74D подключены надежно?
Перейдите к
этапу 2.
Подсоединит
е разъемы P/
J740D и P/
J74D
надежно.
2Проверьте целостность УЗЛА ПРОВОДКИ ДАТЧИКА
ЗАСТРЕВАНИЯ В ДУПЛЕКСНОМ МОДУЛЕ.
Проводка между P/J740D <=> P/J74D целая?
Перейдите к
этапу 3.
Замените
УЗЕЛ
ПРОВОДКИ
ДАТЧИКА
ЗАСТРЕВАН
ИЯ В
ДУПЛЕКСНО
М МОДУЛЕ.
3Проверка после замены датчика застревания в
дуплексном модуле.
Замените датчик застревания в дуплексном модуле.
(Раздел 13.5)
Ошибка появляется снова?
Замените плату
дуплексного
модуля (Раздел
13.11).
Процедура
завершена.
Процедура Проверка и действие Да Нет
Части, которые могут быть причиной неисправности
ДВИГАТЕЛЬ ДУПЛЕКСНОГО МОДУЛЯ (PL13.2.13)
ПЛАТА ДУПЛЕКСНОГО МОДУЛЯ (PL13.2.21)
УЗЕЛ ДУПЛЕКСНОГО МОДУЛЯ (PL13.1.1)
1Проверьте соединения ДВИГАТЕЛЯ ДУПЛЕКСНОГО
МОДУЛЯ.
Проверьте соединение между платой ДВИГАТЕЛЕМ
ДУПЛЕКСНОГО МОДУЛЯ и платой ДУПЛЕКСНОГО
МОДУЛЯ.
Разъем P/J72 подсоединен надежно?
Перейдите к
этапу 2.
Подсоединит
е разъем P/
J72D
надежно.
2Проверка после замены ДВИГАТЕЛЯ ДУПЛЕКСНОГО
МОДУЛЯ.
Замените ДВИГАТЕЛЬ ДУПЛЕКСНОГО МОДУЛЯ.
(Раздел 13.7)
Ошибка появляется снова?
Замените плату
дуплексного
модуля (Раздел
13.11).
Процедура
завершена.

Глава 2 Поиск и устранение неисправностей
2.3 RAP
2 -74
FIP 2.15 ДАТЧИК ФОРМАТА (PL15.2.17) (Лоток 2/3/4)
Проверьте лоток, в котором возникла проблема.
Процедура Проверка и действие Да Нет
Процедура Проверка и действие Да Нет
Части, которые могут быть причиной неисправности
УЗЕЛ БАРАБАНА ФОРМАТОВ (PL2.5.36)
ДАТЧИК ФОРМАТА (PL15.2.17)
УЗЕЛ ПРОВОДКИ ДАТЧИКА ФОРМАТА В ПОДАТЧИКЕ
(PL15.2.19)
ПЛАТА ПОДАТЧИКА (PL15.2.18)
ПЛАТА MCU (PL11.1.3)
1Проверьте ДАТЧИК ФОРМАТА.
Проверьте форму кнопки ДАТЧИКА ФОРМАТА.
Эта часть ДАТЧИКА ФОРМАТА повреждена или
деформирована?
Замените
ДАТЧИК
ФОРМАТА
(Раздел 14.14).
Перейдите к
этапу 2.
2Проверьте подключение УЗЛА ПРОВОДКИ ДАТЧИКА
ФОРМАТА В ПОДАТЧИКЕ.
Проверьте соединение между УЗЛОМ ПРОВОДКИ
ДАТЧИКА ФОРМАТА В ПОДАТЧИКЕ и платой
ПОДАТЧИКА.
Разъемы P/J820 и P/J82 подсоединены надежно?
Перейдите к
этапу 3.
Подсоединит
е разъемы P/
J820 и P/J82
надежно.
3Проверьте целостность УЗЛА ПРОВОДКИ ДАТЧИКА
ФОРМАТА В ПОДАТЧИКЕ.
Проводка между P/J820 <=> P/J82 целая?
Перейдите к
этапу 4.
Замените
УЗЕЛ
ПРОВОДКИ
ДАТЧИКА
ФОРМАТА В
ПОДАТЧИКЕ.
4Проверьте подачу напряжения на ДАТЧИК ФОРМАТА.
При снятом ДАТЧИКЕ ФОРМАТА измерьте
следующие напряжения.
Между заземлением платы податчика и указанным
контактом: GND <=> P/J82-1.
Между заземлением платы податчика и указанным
контактом: GND <=> P/J82-2.
Между заземлением платы податчика и указанным
контактом: GND <=> P/J82-4.
Напряжение на выходе (примерно +3,3 В) есть?
Перейдите к
этапу 5.
Замените
плату
податчика
(Раздел
14.15).

Глава 2 Поиск и устранение неисправностей
2.3 RAP
2 - 75
5Проверьте работу ДАТЧИКА ФОРМАТА.
При установленном ДАТЧИКЕ ФОРМАТА измерьте
следующие напряжения.
Между заземлением платы податчика и указанным
контактом: GND <=> P/J11-1.
Между заземлением платы податчика и указанным
контактом: GND <=> P/J11-2.
Между заземлением платы податчика и указанным
контактом: GND <=> P/J11-4.
Напряжение меняется, когда любой ДАТЧИК
ФОРМАТА включается/выключается?
Замените плату
податчика
(Раздел 14.15).
Замените
ДАТЧИК
ФОРМАТА
(Раздел
14.14).
Процедура Проверка и действие Да Нет

Глава 2 Поиск и устранение неисправностей
2.3 RAP
2 -76
FIP 2.16 ДАТЧИК ОТСУТСТВИЯ БУМАГИ В ЛОТКЕ (PL15.3.11) (Лоток 2/
3/4)
Проверьте лоток, в котором возникла проблема.
.
Процедура Проверка и действие Да Нет
Части, которые могут быть причиной неисправности
ДАТЧИК ОТСУТСТВИЯ БУМАГИ В ЛОТКЕ (PL15.3.11)
УЗЕЛ ПРОВОДКИ ДАТЧИКА ОТСУТСТВИЯ БУМАГИ В
ЛОТКЕ ПОДАТЧИКА (PL15.3.13)
ПЛАТА ПОДАТЧИКА (PL15.2.18)
ПЛАТА ПОДАТЧИКА (PL15.2.18)
1Проверьте подключение ДАТЧИКА ОТСУТСТВИЯ
БУМАГИ В ЛОТКЕ.
Проверьте соединение между ДАТЧИКОМ
ОТСУТСТВИЯ БУМАГИ В ЛОТКЕ и платой
ПОДАТЧИКА.
Разъемы P/J850 и P/J85 подсоединены надежно?
Перейдите к
этапу 2.
Подсоединит
е разъемы P/
J850 и P/J85
надежно.
2Проверьте целостность УЗЛА ПРОВОДКИ ДАТЧИКА
ОТСУТСТВИЯ БУМАГИ В ЛОТКЕ ПОДАТЧИКА.
Проводка между P/J850 <=> P/J85 целая?
Перейдите к
этапу 3.
Замените
УЗЕЛ
ПРОВОДКИ
ДАТЧИКА
ОТСУТСТВИ
Я БУМАГИ В
ЛОТКЕ
ПОДАТЧИКА.
3Проверьте подачу напряжения на ДАТЧИК
ОТСУТСТВИЯ БУМАГИ В ЛОТКЕ.
Измерьте напряжение между заземлением платы
податчика и указанным контактом датчика: GND <=>
P/J85-1.
Напряжение на выходе (примерно +3,3 В) есть?
Перейдите к
этапу 4.
Замените
плату
податчика
(Раздел
14.15).
4Проверьте работу ДАТЧИКА ОТСУТСТВИЯ БУМАГИ В
ЛОТКЕ.
Измерьте напряжение между заземлением платы
податчика и указанным контактом: GND <=> P/J85-3.
Напряжение меняется, когда ДАТЧИК ОТСУТСТВИЯ
БУМАГИ В ЛОТКЕ освещается/закрывается листом
бумаги и т.п.?
Замените плату
податчика
(Раздел 14.15).
Замените
ДАТЧИК
ОТСУТСТВИ
Я БУМАГИ В
ЛОТКЕ
(Раздел
14.20).

Глава 2 Поиск и устранение неисправностей
2.3 RAP
2 - 77
FIP 2.17 ПОВОРОТНАЯ МУФТА (PL15.3.3) (Лоток 2/3/4)
Проверьте лоток, в котором возникла проблема.
.
Процедура Проверка и действие Да Нет
Части, которые могут быть причиной неисправности
ПОВОРОТНАЯ МУФТА (PL15.3.3)
УЗЕЛ ПРОВОДКИ ПОДАЧИ БУМАГИ (PL15.2.23)
ПЛАТА ПОДАТЧИКА (PL15.2.18)
1Проверьте подключение ПОВОРОТНОЙ МУФТЫ.
Проверьте соединение между ПОВОРОТНОЙ
МУФТОЙ и платой податчика.
Разъемы P/J8330 и P/J83 подсоединены надежно?
Перейдите к
этапу 2.
Подсоединит
е разъемы P/
J8330 и P/J83
надежно.
2Проверьте целостность УЗЛА ПРОВОДКИ ПОДАЧИ
БУМАГИ.
Проводка между P/J8330 <=> P/J83 целая?
Перейдите к
этапу 3.
Замените
УЗЕЛ
ПРОВОДКИ
ПОДАЧИ
БУМАГИ.
3Проверьте сопротивление ПОВОРОТНОЙ МУФТЫ.
Отсоедините разъем P/J8330 и измерьте
сопротивление проводки между двумя контактами
ПОВОРОТНОЙ МУФТЫ.
Сопротивление проводки 144 Ом ± 10% (при 20°C)?
Перейдите к
этапу 4.
Замените
ПОВОРОТНУ
Ю МУФТУ
(Раздел
14.16).
4Проверьте подачу напряжения на ПОВОРОТНУЮ
МУФТУ.
Измерьте напряжение между заземлением платы
податчика и указанным контактом: GND <=> P/J83-9.
Перед проверкой замкните блокировочный
выключатель (УЗЕЛ ПРОВОДКИ С БЛОКИРОВКОЙ).
Напряжение на выходе (примерно +24 В) есть?
Замените
ПОВОРОТНУЮ
МУФТУ (Раздел
14.16).
Замените
плату
податчика
(Раздел
14.15).

Глава 2 Поиск и устранение неисправностей
2.3 RAP
2 -78
FIP 2.18 МУФТА ПОДАЧИ (PL15.3.4) (Лоток 2/3/4)
Проверьте лоток, в котором возникла проблема.
Процедура Проверка и действие Да Нет
Части, которые могут быть причиной неисправности
МУФТА ПОДАЧИ (PL15.3.4)
УЗЕЛ ПРОВОДКИ ПОДАЧИ БУМАГИ (PL15.2.23)
ПЛАТА ПОДАТЧИКА (PL15.2.18)
1Проверьте подключение МУФТЫ ПОДАЧИ.
Проверьте соединение между МУФТОЙ ПОДАЧИ и
платой податчика бумаги.
Разъемы P/J8320 и P/J83 подсоединены надежно?
Перейдите к
этапу 2.
Подсоединит
е разъемы P/
J8320 и P/J83
надежно.
2Проверьте целостность УЗЛА ПРОВОДКИ ПОДАЧИ
БУМАГИ.
Проводка между P/J8320 <=> P/J83 целая?
Перейдите к
этапу 3.
Замените
УЗЕЛ
ПРОВОДКИ
ПОДАЧИ
БУМАГИ.
3Проверьте сопротивление МУФТЫ ПОДАЧИ.
Отсоедините разъем P/J8320 и измерьте
сопротивление проводки между двумя контактами
МУФТЫ ПОДАЧИ.
Сопротивление проводки 144 Ом ± 10% (при 20°C)?
Перейдите к
этапу 4.
Замените
МУФТУ
ПОДАЧИ
(Раздел
14.17).
4Проверьте подачу напряжения на МУФТУ ПОДАЧИ.
Измерьте напряжение между заземлением платы
податчика и указанным контактом: GND <=> P/J83-7.
Перед проверкой замкните блокировочный
выключатель (УЗЕЛ ПРОВОДКИ С БЛОКИРОВКОЙ).
Напряжение на выходе (примерно +24 В) есть?
Замените МУФТУ
ПОДАЧИ
(Раздел 14.17).
Замените
плату
податчика
(Раздел
14.15).

Глава 2 Поиск и устранение неисправностей
2.3 RAP
2 - 79
FIP 2.19 Двигатель подачи [УЗЕЛ ПРИВОДА - ОПЦИЯ] (PL15.2.6 ) (Лоток
2/3/4)
Проверьте лоток, в котором возникла проблема.
Процедура Проверка и действие Да Нет
Части, которые могут быть причиной неисправности
Двигатель подачи [УЗЕЛ ПРИВОДА - ОПЦИЯ]
(PL15.2.6)
УЗЕЛ ПРОВОДКИ ПОДАЧИ БУМАГИ (PL15.2.23)
ПЛАТА ПОДАТЧИКА (PL15.2.18)
ПЛАТА ПОДАТЧИКА (PL15.2.18)
1Проверьте соединения двигателя подачи.
Проверьте соединение между двигателем подачи и
платой податчика бумаги.
Разъемы P/J8310 и P/J83 подсоединены надежно?
Перейдите к
этапу 2.
Подсоединит
е разъемы P/
J8310 и P/J83
надежно.
2Проверьте целостность УЗЛА ПРОВОДКИ ПОДАЧИ
БУМАГИ.
Проводка между P/J8310 <=> P/J83 целая?
Перейдите к
этапу 3.
Замените
УЗЕЛ
ПРОВОДКИ
ПОДАЧИ
БУМАГИ.
3Проверьте подачу напряжения на двигатель подачи.
Измерьте напряжение между заземлением платы
податчика и указанным контактом: GND <=> P/J83-5.
Перед проверкой замкните блокировочный
выключатель (УЗЕЛ ПРОВОДКИ С БЛОКИРОВКОЙ).
Напряжение на выходе (примерно +24 В) есть?
Замените УЗЕЛ
ПРИВОДА
(ОПЦИЮ)
(Раздел 14.9).
Замените
плату
податчика
(Раздел
14.15).

Глава 2 Поиск и устранение неисправностей
2.3 RAP
2 -80
FIP 2.20 Нестабильная подача постоянного напряжения на плату MCU
Процедура Проверка и действие Да Нет
Части, которые могут быть причиной неисправности
УЗЕЛ ПРОВОДКИ ПИТАНИЯ (PL11.1.9)
LVPS (PL11.1.6)
ПЛАТА MCU (PL11.1.3)
1Проверьте соединения между LVPS и платой MCU.
Разъемы P/J21, P/J33, P/J20 и P/J34 подсоединены
надежно?
Перейдите к
этапу 2.
Подсоединит
е разъемы P/
J21, P/J33, P/
J20 и P/J34
надежно.
2Проверьте целостность УЗЛА ПРОВОДКИ ПИТАНИЯ.
Проводка между P/J21 <=> P/J33, а также между P/
J20 <=> P/J34 целая?
Перейдите к
этапу 3.
Замените
УЗЕЛ
ПРОВОДКИ
ПИТАНИЯ.
3Проверьте подачу выходного напряжения с LVPS.
Измерьте напряжение между заземлением LVPS и
указанным контактом: GND <=> P/J33-7.
Напряжение на выходе (примерно +5 В) есть?
Измерьте напряжение между заземлением LVPS и
указанным контактом: GND <=> P/J33-5.
Напряжение на выходе (примерно +3,3 В) есть?
Измерьте сопротивление между:
Заземлением LVPS и указанным контактом: GND <=>
P/J34-1,
Заземлением LVPS и указанным контактом: GND <=>
P/J34-2,
Заземлением LVPS и указанным контактом: GND <=>
P/J34-3,
Перед проверкой замкните блокировочный
выключатель (УЗЕЛ ПРОВОДКИ С БЛОКИРОВКОЙ).
Напряжение на выходе (примерно +24 В) есть?
Замените плату
MCU (Раздел
11.2).
Замените
LVPS.
(Раздел
11.5)

Глава 2 Поиск и устранение неисправностей
2.4 Сервисный режим
2 - 81
2.4 Сервисный режим
Этот режим используется сервисными инженерами для устранения проблем у заказчика, и он
предназначен для идентификации зон возникновения проблем в узлах или заменяемых элементах.
Диагностика ESS, тестовая печать, задание значений параметров и т.п. могут быть выполнены с панели
управления.
Дисплей: Показывает меню и результат выполнения действий.
[ ], [ ]:
Выбор пунктов меню/ выбор данных для значений параметров
[ ], [ ]:
Перемещение курсора вправо или влево
[Eject/Set] (Сброс/ввод):
Подтверждение диагностического меню/ выполнение пунктов диагностического меню/
подтверждение значений параметров. Перемещение на один уровень вниз в структуре меню.
[Cancel Job] (Отмена задания):
Отмена диагностического меню (возврат на один уровень вверх в структуре меню).
Прерывание выполнения пунктов цифровой диагностики выходных элементов IOT.
[Menu] (Меню):
Перемещение на один уровень вверх в структуре меню при выполнении цифровой
диагностики входных и выходных элементов IOT.

Глава 2 Поиск и устранение неисправностей
2.4 Сервисный режим
2 -82
2.4.1 Как войти в сервисный режим
1Запуск сервисного режима
Нажмите и удерживайте обе кнопки [ ] и[ ], одновременно включите питание.
2Введите пароль.
Нажмите кнопку [ ] дважды и затем нажмите кнопку [Eject/Set] (Сброс/ввод).
2.4.2 Описание рабочих процедур в сервисном режиме
1Выбор пункта меню
Выберите пункт меню с помощью кнопок [ ] и [ ].
2Подтверждение пункта меню
Нажмите кнопку [Eject/Set] (Сброс/ввод) для подтверждения выбора пункта меню.
3Запуск пункта меню
Следуйте сообщению на дисплее, нажмите кнопку [Eject/Set] (Сброс/ввод) и держите ее
нажатой до запуска пункта.
Если диагностика требует изменения значения параметра, воспользуйтесь кнопками [ ] и [ ]
для выбора и изменения значения, затем нажмите кнопку [Eject/Set] (Сброс/ввод).
4Остановка диагностики
Для остановки запущенной диагностики нажмите кнопку [Cancel Job] (Отмена задания).
Для запуска другого пункта диагностики нажмите кнопку [Cancel Job] (Отмена задания) для возврата на
тот уровень, который содержит пункт, который вы хотите запустить.
Если в середине диагностики/ввода параметров возникла ошибка, она показывается на дисплее, и
диагностика/ввод параметров останавливается; пункты, которые не были выполнены, остаются
нетронутыми.
Нажмите кнопку [Cancel Job] (Отмена задания) или [Eject/Set] (Сброс/ввод) для сброса ошибки и показа
пунктов меню.

Глава 2 Поиск и устранение неисправностей
2.4 Сервисный режим
2 - 83
2.4.3 Как выйти из сервисного режима
1Вернитесь на самый верхний уровень сервисного режима, нажмите кнопки [ ] и [ ] для
показа сообщения "Exit Mode" (Режим выхода) и затем нажмите кнопку [Eject/Set]
(Сброс/ввод).
2Нажмите кнопку [Eject/Set] (Сброс/ввод).
3Нажмите кнопку [Eject/Set] (Сброс/ввод) для выхода из сервисного режима.

Глава 2 Поиск и устранение неисправностей
2.4 Сервисный режим
2 -84
2.4.4 Структура меню
Структура меню показана далее.
ВНИМАНИЕ
Пункты меню, к которым нет доступа, выделены красным цветом. Эти пункты используются для изменения
специальных параметров аппарата. Неправильные действия могут привести к удалению установок или к
фатальным ошибкам.
Используйте эти пункты только при получении инструкций из отдела технической поддержки.
ВНИМАНИЕ
Все тестовые шаблоны для сервисного инженера (3 типа), распечатываемые при тестовой печати,
выводятся на листах формата A3.
Эти листы должны загружаться в лоток 1.
Если загружена бумага другого формата, тестовые шаблоны не распечатываются, при этом на панель
управления постоянно выводится сообщение [Processing...] (Выполняется).
Если это случилось, замените загруженную бумагу бумагой формата А3, выключите и включите питание
аппарата и затем дайте команду на тестовую печать в сервисном режиме.
ВНИМАНИЕ
При печати следующих отчетов загрузите в лоток 1 бумагу формата А4 (подача длинной кромкой).
Если загружена бумага другого формата, отчеты не распечатываются, при этом на панель управления
постоянно выводится сообщение [Processing...] (Выполняется).
Если это случилось, замените загруженную бумагу бумагой формата А4, выключите и включите питание
аппарата и затем дайте команду на печать в сервисном режиме.
• IOT Diag/NVM Settings/Print NVM Info (Диагностика IOT/ Значения параметров в энергонезависимой
памяти/ Печать данных из энергонезависимой памяти)
• Print Info/Config Page (Печать информационной страницы/страницы конфигурации)
• Print Info/Print Settings (Печать информационной страницы/ страницы параметров)
• Parameter/Print (Печать параметров)

Глава 2 Поиск и устранение неисправностей
2.4 Сервисный режим
2 - 85
*1 Не показывается, если жесткий диск не установлен.
ESS Diag All Test
CodeROM Test
FontROM Test
EEPROM Test
DRAM Test
MAC+PHY Test
ASIC Test
PANEL Test
IOT Test
HD Test_–
IOT Diag Digital Input
Digital Output
NVM Setting Edit NVM
Save NVM
Load NVM
Print NVM Info
Print Info Config Page
Print Settings
Exit Mode Complete Exit
Installation Serial No.
IOT Calibration
Display Counter Dip Switch 0
HexDump Dip Switch 1
Pixel Counter Dip Switch 2
Configuration Dip Switch 3
Counter Type
Print Counter B/W Print
CopyCounter MtoB B/W Backup
CopyCounter BtoM B/W Error
Clear All NVM
Clear JobHistory
Clear AuditronPV
Erase Hard Disk*

Глава 2 Поиск и устранение неисправностей
2.4 Сервисный режим
2 -86
Test Print Pattern IOT
Black20% ESS
Gradation ESS
PaperFeed Bypass
PaperFeed Tray1
PaperFeed Tray2
PaperFeed Tray3
PaperFeed Tray4
Parameter REG Process PaperFeed Duplex
REG Scan
REG ProcessThick Scan Bypass
Life Counter Scan Tray1
Print Scan Tray2
Scan Tray3
Scan Tray4
Scan Duplex
Fuser / Trans
Tray 1 Roll
Tray 2 Roll
Tray 3 Roll
Tray 4 Roll
Bypass Tray Roll
ROS/Regist/Drive
Tray 1 Chute
Tray 2 Chute
Tray 3 Chute
Tray 4 Chute

Глава 2 Поиск и устранение неисправностей
2.4 Сервисный режим
2 - 87
Далее приводятся пункты диагностики/ ввода параметров, которые могут быть выполнены в сервисном
режиме.
Таблица 2-7: Описание процессов
Функция Описание Детали
ESS Diag
(Диагности
ка ESS)
CodeROM Test (Проверка
ПЗУ кодов)
Рассчитывает контрольную сумму ПЗУ кодов и
сравнивает ее с сохраненным значением.
Раздел
2.4.5
FontROM Test (Проверка
ПЗУ шрифтов)
Рассчитывает контрольную сумму ПЗУ шрифтов и
сравнивает ее с сохраненным значением.
EEPROM Test (Проверка
EEPROM)
Считывает диагностическую область EEPROM,
записывает в нее и проверяет ее.
DRAM Test (Проверка
оперативной памяти)
Проверка OPEN/SHORT адресной линии
оперативной памяти (DRAM). Считывает всю
область DRAM, записывает в нее и проверяет ее.
MAC+PHY Test 1 (Тест 1
MAC + PHY)
Проверка внутреннего шлейфа PHY
ASIC Test (Проверка ASIC) Выполняет проверку регистра.
PANEL Test (Проверка
панели управления)
Проверяет светодиоды, ЖК-дисплей и кнопки
панели управления.
IOT Test (Проверка IOT) Выполняет проверку связи для IOT.
HD Test (Проверка
жесткого диска)
Выполняет проверку жесткого диска. Проверка
проводится только при установленном жестком
диске.
All Test (Все проверки)Выполняет диагностику ESS, за исключением
следующих проверок. (Диагностика жесткого
диска выполняется, если он установлен.)
• CENTRONICS/MAC+PHY/PANEL Test (Проверка
CENTRONICS/ MAC+PHY/ ПАНЕЛЬ
УПРАВЛЕНИЯ)
IOT Diag
(Диагности
ка IOT)
Digital Input (Цифровой
вход)
Цифровая проверка входных элементов Раздел
2.4.6.1
Digital Output (Цифровой
выход)
Цифровая проверка выходных элементов Раздел
2.4.6.2
NVM Settings Edit NVM
(Изменение параметров в
NVM)
Изменяет значения параметров в NVM. Раздел
2.4.6.3
NVM Settings Save NVM
(Сохранение параметров в
NVM)
Сохраняет данные IOT NVM в ESS.
NVM Settings Load NVM
(Загрузка параметров
NVM)
Загружает все данные из NVM, сохраненные в
ESS, в IOT.
NVM Settings Print NVM
(Печать параметров NVM)
Печатает данные из IOT NVM на бумаге A4.

Глава 2 Поиск и устранение неисправностей
2.4 Сервисный режим
2 -88
Print Data
(Печать
данных)
Config Page (Страница
конфигурации)
Распечатывает конфигурацию принтера на
бумаге A4.
-
Print Settings (Параметры
печати)
Распечатывает установки принтера на бумаге A4. -
Exit Mode
(Режим
выхода)
Complete Exit (Полный
выход)
Выход из режима диагностики и перезагрузка.Раздел
2.4.3
Таблица 2-7: Описание процессов
Функция Описание Детали

Глава 2 Поиск и устранение неисправностей
2.4 Сервисный режим
2 - 89
Installation
(Установка
)
Serial No. (Серийный
номер)
Показывает/задает серийные номера.Раздел
2.4.7
IOT Calibration
(Калибровка IOT)
Включает/выключает режим калибровки IOT.
Display Counter (Показ
счетчика)
Включает/выключает показ счетчика отпечатков.
HexDump Включает/выключает режим HexDump.
Pixel Counter (Счетчик
пикселов)
Показывает количество черных пикселов в
процентах (заполнение) бумаги формата А4.
Configuration
(Конфигурация)
Выполняет операции для микропереключателей
на ESS NVM.
Counter Type (Тип
счетчика)
Задает тип счетчика (типы от 1 до 4).
Print Counter (Счетчик
печати)
Выполняет операции для счетчика отпечатков.
CopyCounter MtoB
(Копирование счета из
основной памяти в
резервную)
Копирует данные из основной NVM в резервную.
CopyCounter BtoM
(Копирование счета из
резервной памяти в
основную)
Копирует данные из резервной NVM в основную.
Clear All NVM (Сброс всей
NVM)
Стирает все значения в ESS NVM, включая
показания счетчиков.
Clear JobHistory (Сброс
истории заданий)
Стирает данные по истории заданий.
Clear AuditronPV (Сброс
аудитрона объема печати)
Инициализирует установки аудитрона/объема
печати.
Erase Hard Disk (Стирание
жесткого диска)
Стирает данные на жестком диске. Проводится
только при установленном жестком диске.
Test Print
(Тестовая
печать)
IOT Pattern (Шаблон IOT) Распечатывает на бумаге формата А3 тестовые
шаблоны (решетку), хранящиеся в IOT.
Раздел
2.4.8
Black20% [ESS]
(Заполнение 20%)
Распечатывает шаблон на бумаге формата А3 с
20%-м заполнением черным.
Gradation [ESS] (Градации
[ESS])
Распечатывает шаблон градаций на бумаге
формата А3 с заполнением черным от 0 до 100%.
Parameter
(Параметр
ы)
REG Process (Регистрация
в продольном
направлении)
Выполняет настройку регистрации в направлении
подачи бумаги для всех лотков (1, 2, 3, 4,
дуплексного и обходного).
Раздел
2.4.9
REG Scan (Регистрация в
поперечном направлении)
Выполняет настройку регистрации в направлении
развертки луча для всех лотков (1, 2, 3, 4,
дуплексного и обходного).
Таблица 2-7: Описание процессов
Функция Описание Детали

Глава 2 Поиск и устранение неисправностей
2.4 Сервисный режим
2 -90
Life Counter (Счетчик срока
службы)
Считывает показания счетчиков срока службы
для лотков 1/2/3/4, ролика обходного лотка,
фьюзера, ролика переноса, ROS, узла
регистрации, привода и ЖЕЛОБОВ лотков 1/2/3/4
и инициализирует их.
Print (Печать)Распечатывает на бумаге формата А4 значения
параметров и счетчиков ошибок, хранящихся в
IOT.
Таблица 2-7: Описание процессов
Функция Описание Детали

Глава 2 Поиск и устранение неисправностей
2.4 Сервисный режим
2 - 91
2.4.5 Подробное описание диагностики ESS (ESS Diag)
Этот раздел подробно описывает все пункты диагностики ESS.
Таблица 2-8: CodeROM Test (Проверка ПЗУ кодов)
Описание
Показания дисплея после диагностики
При
нормальной
работе
После возникновения ошибки
Рассчитывает контрольную сумму
каждого ПЗУ. Сравнивает значение с
правильной сохраненной контрольной
суммой для каждого чипа и решает, что
чип норальный, если значения
совпадают.
CHECK OK
(Проверка
пройдена)
CodeROM #* ERROR (Ошибка ПЗУ кодов
№*)
S=xxxx V=yyyy
(xxxx: расчетное значение, yyyy: значение,
хранящееся в ПЗУ *: 0, 1)
Таблица 2-9: FontROM Test (Проверка ПЗУ шрифтов)
Описание
Показания дисплея после диагностики
При
нормальной
работе
После возникновения ошибки
Рассчитывает контрольную сумму
каждого ПЗУ. Сравнивает значение с
правильной сохраненной контрольной
суммой для каждого чипа и решает, что
чип норальный, если значения
совпадают.
CHECK OK
(Проверка
пройдена)
FontROM ERROR (Ошибка ПЗУ шрифтов)
S=xxxx V=yyyy
(xxxx: расчетное значение, yyyy: значение,
хранящееся в ПЗУ)
Таблица 2-10: EEPROM Test (Проверка EEPROM)
Описание
Показания дисплея после диагностики
При
нормальной
работе
После возникновения ошибки
Считывает, записывает, проверяет
тестовые шаблоны (0xff, 0xaa, 0x55,
0x00) для одного байта из каждых
0x400, начиная с первого байта
EEPROM.
CHECK OK
(Проверка
пройдена)
EEPROM ID* ERROR (*:1,2) (Ошибка ID
EEPROM)

Глава 2 Поиск и устранение неисправностей
2.4 Сервисный режим
2 -92
Таблица 2-11: DRAM Test (Проверка оперативной памяти)
Описание
Показания дисплея после диагностики
При
нормальной
работе
После возникновения ошибки
Считывает, записывает, проверяет
тестовые шаблоны (0xffffffff,
0xaaaaaaaa, 0x55555555, 0x0000000)
для всей тестируемой области в
тектовом модуле.
CHECK OK
(Проверка
пройдена)
DRAM slot* ERROR (*:0,1) (Ошибка банка*
DRAM)
Таблица 2-12: MAC+PHY Test (Проверка MAC+PHY)
Описание
Показания дисплея после диагностики
При
нормальной
работе
После возникновения ошибки
Проверка внешнего обратного контура
PHY
CHECK OK
(Проверка
пройдена)
MAC+PHY ERROR (Ошибка MAC+PHY)
Таблица 2-13: ASIC Test (Проверка ASIC)
Описание
Показания дисплея после диагностики
При
нормальной
работе
После возникновения ошибки
Проверяет регистр ASIC (регистр
состояний).
CHECK OK
(Проверка
пройдена)
ASIC ERROR (Ошибка ASIC)
Таблица 2-14: Проверка IOT
Описание
Показания дисплея после диагностики
При
нормальной
работе
После возникновения ошибки
Выполняет проверку связи для IOT.
Проверяет, считывая регистр
состояний IOT, можно ли послать
команду IOT или принять ее от IOT.
CHECK OK
(Проверка
пройдена)
IOT ERROR (Ошибка IOT)

Глава 2 Поиск и устранение неисправностей
2.4 Сервисный режим
2 - 93
Таблица 2-15: HD Test (Проверка жесткого диска)
Описание
Показания дисплея после диагностики
При
нормальной
работе
После возникновения ошибки
Проверяет вставку и выполняет
команду диагностики исполняющего
устройства при обнаружении вставки.
CHECK OK
(Проверка
пройдена)
HD ERROR (Ошибка жесткого диска)

Глава 2 Поиск и устранение неисправностей
2.4 Сервисный режим
2 -94
***: Показывает название проверки, которая не пройдена.(CodeROM/FontROM/EEPROM/DRAM/ASIC/
IOT/HD)
Таблица 2-16: PANEL Test (Проверка панели управления)
Описание Показания дисплея после диагностики
Выполняет проверку
ввода/вывода для
панели управления.
Если панель в порядке, показания светодиодов и ЖК-дисплея такие, как
показаны ниже, если нажаты кнопки.
Кнопка Светодиод ЖК-дисплей
На ЖК-дисплее показывается
стрелка вверх.
На ЖК-дисплее показывается
стрелка вниз.
На ЖК-дисплее показывается
стрелка влево.
На ЖК-дисплее показывается
стрелка вправо.
[Eject/Set]
(Сброс/ввод):
На ЖК-дисплее показывается
"SET" (Настройка).
Menu (Меню)На ЖК-дисплее показывается
"MENU" (Меню).
Cancel Job
(Отмена
задания)
На ЖК-дисплее показывается
"CANCEL JOB" (Отмена
задания).
Online (Онлайн)На ЖК-дисплее показывается
"ON LINE" (Онлайновый режим).
Power Saver
(Режим
экономии
энергии)
На ЖК-дисплее показывается
"POWER SAVER" (Режим
экономии энергии).
нажать
одновременно
- (Проверка
завершена)
- (Проверка завершена)
Показывает светодиоды "Готов" (зеленый), "Авария" (желтый) и
"Режим экономии энергии".
Выкл Вкл
Таблица 2-17: All Test (Все проверки)
Описание
Показания дисплея после диагностики
При нормальной
работе После возникновения ошибки
Выполняет все диагностические проверки
ESS, за исключением проверки
MAC+PHY/PANEL.
CHECK OK
(Проверка
пройдена)
*** ERROR (*** Ошибка)

Глава 2 Поиск и устранение неисправностей
2.4 Сервисный режим
2 - 95
2.4.6 Диагностика IOT (IOT Diag)
2.4.6.1 Цифровая проверка входных элементов (DI)
Цифровая проверка входных элементов - это функция для проверки нормальной работы DI-элементов.
На дисплее состояние каждого элемента показывается как "Н" или "L". Также на дисплее появится "0",
если цифровая проверка элемента начата, и далее ведется отсчет до момента включения этого
элемента. Цифровая проверка охватывает все входные элементы.
При выполнении цифровой проверки входных элементов другие диагностические функции выполняться
не могут. Поэтому в это время прнтер не допускает никаких действий, кроме действий с проверяемым
элементом и завершения их. По завершении цифровой проверки входных элементов на дисплее
появляется меню сервисного режима.
.
Пример выполнения цифровой проверки входного элемента
Далее показан пример выполнения проверки передней крышки.
1Войдите в сервисный режим. (См. [2.4.1 Как войти в сервисный режим])
2Нажмите кнопку [ ] один раз и затем нажмите кнопку [Eject/Set] (Сброс/ввод).
Таблица 2-18: Таблица параметров цифровой проверки входных элементов
№ меню Элемент Сообщение
DI-d Датчик регистрации No paper (Нет бумаги): L
DI-e Датчик выхода фьюзера No paper (Нет бумаги): L
Это работает только в моделях с установленным дуплексным
модулем.
DI-f Датчик застревания дуплексного
модуля
No paper (Нет бумаги): L
DI-38 Датчик открытой крышки
дуплексного модуля
No paper (Нет бумаги): L
DI-39 Блокировочный выключатель
передней крышки
Front Cover Closed (Передняя крышка закрыта): L
DI-3a Датчик отсутствия бумаги в
обходном лотке
No paper (Нет бумаги): L
DI-3b Датчик отсутствия бумаги лотка 1 No paper (Нет бумаги): L
DI-3c Датчик отсутствия бумаги лотка 2 No paper (Нет бумаги): L
Это работает только при установке дополнительного податчика.
DI-3d Датчик отсутствия бумаги лотка 3 No paper (Нет бумаги): L
Это работает только при установке дополнительного податчика.
DI-3e Датчик отсутствия бумаги лотка 4 No paper (Нет бумаги): L
Это работает только при установке дополнительного податчика.

Глава 2 Поиск и устранение неисправностей
2.4 Сервисный режим
2 -96
3Нажмите кнопку [Eject/Set] (Сброс/ввод).
4Нажмите кнопку [ ] несколько раз до появления на дисплее сообщения "DI-39 OFF".
5Нажмите кнопку [Eject/Set] (Сброс/ввод).
6Откройте и закройте переднюю крышку для проверки изменения показаний дисплея
следующим образом:
7Для остановки проверки нажмите кнопку [Cancel Job] (Отмена задания). Для возврата на один
уровень вверх и выполнения другой проверки нажмите кнопку [Menu] (Меню).
Крышка открыта
Крышка закрыта

Глава 2 Поиск и устранение неисправностей
Коды ошибок и предупреждающие сообщения
2 - 97
2.4.6.2 Цифровая проверка выходных элементов (DO)
Цифровая проверка выходных элементов - это функция для проверки DO-элементов.
Можно активировать работу каждого выходного элемента, а правильность его работы будет
проверяться снаружи.
Выходные элементы могут работать одновременно во время DO-проверки. Если во время цифровой
проверки выходных элементов блокировка размыкается, элементы прекращают свою работу.
Таблица 2-19: Таблица параметров цифровой проверки выходных элементов
№ меню Элемент Сообщение
DO-10 Главный двигатель
DO-11 Двигатель вывода (по часовой
стрелке: нормальная скорость)
Это работает только в моделях с установленным
дуплексным модулем.
DO-12 Двигатель вывода (против
часовой стрелки: высокая
скорость)
Это работает только в моделях с установленным
дуплексным модулем.
DO-13 Двигатель вывода (против
часовой стрелки: нормальная
скорость)
Это работает только в моделях с установленным
дуплексным модулем.
DO-14 Двигатель вывода (по часовой
стрелке: высокая скорость)
Это работает только в моделях с установленным
дуплексным модулем.
DO-15 Двигатель вывода (по часовой
стрелке: нормальная скорость)
Это работает только в моделях с установленным
дуплексным модулем.
DO-16 Соленоид подачи обходного
лотка
Автоматически выключается после включения.
DO-1c Муфта регистрации
DO-1d Ролик заряда (BCR ),
переменное напряжение
Высоковольтная система. Активен только при
включенном главном двигателе (DO-10).
DO-1e Ролик заряда (BCR ),
постоянное напряжение
Высоковольтная система. Активен только при
включенном главном двигателе (DO-10).
DO-1f Смещение проявителя,
переменное напряжение
Высоковольтная система. Активен только при
включенном главном двигателе (DO-10).
DO-20 Смещение проявителя,
постоянное напряжение
Высоковольтная система. Активно только когда
главный двигатель (DO-10) и ролик переноса
(BTR) (DO-21)
включены.
DO-21 Ролик переноса (BTR) - Высоковольтная система. Активен только при
включенном главном двигателе (DO-10).
DO-22 Ролик переноса (BTR) + Высоковольтная система. Активен только при
включенном главном двигателе (DO-10).
DO-23 Пила коротрона отделения Высоковольтная система. Активна только при
включенных главном двигателе (DO-10) и ролике
переноса (BTR) (DO-21).
DO-24 Двигатель вентилятора (высокая
скорость)

Глава 2 Поиск и устранение неисправностей
2 --98
DO-25 Двигатель развертки [УЗЕЛ
ROS]
DO-26 Лазерный диод [узел ROS] Активен только при включенном двигателе
развертки (DO-25).
DO-2a Смещение (DC) прижимного
вала +
Высоковольтная система. Активно только при
включенном главном двигателе (DO-10).
Таблица 2-19: Таблица параметров цифровой проверки выходных элементов
№ меню Элемент Сообщение

Глава 2 Поиск и устранение неисправностей
Коды ошибок и предупреждающие сообщения
2 - 99
Пример выполнения цифровой проверки выходного элемента
Далее показан пример выполнения проверки работы двигателя подхвата и поворотной муфты.
1Войдите в сервисный режим. (См. [2.4.1 Как войти в сервисный режим])
DO-2b Двигатель дополнительного
податчика (лоток 2)
Работает только при установке дополнительного
податчика.
DO-2c Двигатель дополнительного
податчика (лоток 3)
Работает только при установке дополнительного
податчика.
DO-2d Поворотная муфта
дополнительного податчика
(лоток 2)
Активна только при включенном двигателе
дополнительного податчика (DO-2b) (лоток 2).
Работает только при установке дополнительного
податчика.
DO-2e Поворотная муфта
дополнительного податчика
(лоток 3)
Активна только при включенном двигателе
дополнительного податчика (DO-2c) (лоток 3).
Работает только при установке дополнительного
податчика.
DO-2f Двигатель вентилятора
(нормальная скорость)
DO-30 Двигатель подхвата (лоток 1)
DO-31 Поворотная муфта (лоток 1) Активна только при включенном двигателе
подхвата (DO-30) (лоток 1). Работает только в
моделях со стандартным лотком на 550 листов.
DO-32 Муфта подачи (лоток 1) Активна только при включенном двигателе
подхвата (DO-30) (лоток 1). Работает только в
моделях со стандартным лотком на 550 листов.
DO-33 Двигатель дополнительного
податчика (лоток 4)
Работает только при установке дополнительного
податчика.
DO-34 Поворотная муфта
дополнительного податчика
(лоток 4)
Активна только при включенном двигателе
дополнительного податчика (DO-33) (лоток 4).
Работает только при установке дополнительного
податчика.
DO-35 Муфта подачи дополнительного
податчика (лоток 2)
Активна только при включенном двигателе
дополнительного податчика (DO-2b) (лоток 2).
Работает только при установке дополнительного
податчика.
DO-36 Муфта подачи дополнительного
податчика (лоток 3)
Активна только при включенном двигателе
дополнительного податчика (DO-2c) (лоток 3).
Работает только при установке дополнительного
податчика.
DO-37 Муфта подачи дополнительного
податчика (лоток 4)
Активна только при включенном двигателе
дополнительного податчика (DO-33) (лоток 4).
Работает только при установке дополнительного
податчика.
Таблица 2-19: Таблица параметров цифровой проверки выходных элементов
№ меню Элемент Сообщение

Глава 2 Поиск и устранение неисправностей
2 --100
2Нажмите кнопку [ ] один раз и затем нажмите кнопку [Eject/Set] (Сброс/ввод).
3Нажмите кнопку [ ] один раз и затем нажмите кнопку [Eject/Set] (Сброс/ввод).
4Нажмите кнопку [ ] несколько раз до появления на дисплее сообщения "DO-30 READY".
5Нажмите кнопку [Eject/Set] (Сброс/ввод). (Двигатель вентилятора начинает работать.)
Проверьте наличие звука вращения.
6Для остановки проверки нажмите кнопку [Cancel Job] (Отмена задания).
7Для проверки работы поворотной муфты в то же самое время не нажимайте кнопку [Cancel
Job] (Отмена задания), а нажмите кнопку [ ] для появления на дисплее сообщения "DO-31
READY".
8Нажмите кнопку [Eject/Set] (Сброс/ввод). (Поворотная муфта начинает работать.)

Глава 2 Поиск и устранение неисправностей
Коды ошибок и предупреждающие сообщения
2 - 101
9Для остановки работы поворотной муфты нажмите кнопку [Cancel Job] (Отмена задания).
10 Для остановки работы двигателя подхвата нажмите кнопку [ ] одоин раз для вывода на
дисплей пункта меню двигателя подхвата "DO-30 EXEC" и затем нажмите кнопку [Cancel Job]
(Отмена задания).
11 Для возврата на один уровень вверх и выполнения другой проверки нажмите кнопку [Menu]
(Меню).

Глава 2 Поиск и устранение неисправностей
2 --102
2.4.6.3 Доступ к энергонезависимой памяти (NVM)
Доступ к NVM (EEPROM на плате MCU) и выполнение считывания/записи данных могут осуществляться
с помощью клавиатуры панели управления. Доступны следующие функции:
•Редактирование содержимого NVM.
•Сохранение данных в NVM.
•Возврат к сохраненным в NVM данным.
•Печать данных NVM.
ВНИМАНИЕ
Обычно нет необходимости получать доступ к функциям, кроме [Save NVM] (Сохранение в NVM) или [Load
NVM] (Загрузка в NVM). Эти пункты используются для изменения специальных параметров аппарата.
Неправильные действия могут привести к удалению установок или к фатальным ошибкам. Используйте
эти пункты только при получении инструкций из отдела технической поддержки.
ВНИМАНИЕ
Перед печатью информации из NVM (Print NVM Info) обязательно сохраните данные NVM (Save NVM).
ВНИМАНИЕ
Не выполняйте действие "Load NVM" (Загрузка в NVM), если полностью не выполнено действие "Save NVM"
(Сохранение в NVM).
Если данные загружены без полного сохранения NVM, энергонезависимая память платы MCU повреждена.
Считывание из NVM/ запись в нее
Далее приводится пример процедуры для редактирования данных.
1Войдите в сервисный режим. (См. [2.4.1 Как войти в сервисный режим])
2Нажмите кнопку [ ] один раз и затем нажмите кнопку [Eject/Set] (Сброс/ввод).
3Нажмите кнопку [ ] один раз и затем нажмите кнопку [Eject/Set] (Сброс/ввод).

Глава 2 Поиск и устранение неисправностей
Коды ошибок и предупреждающие сообщения
2 - 103
4Нажмите кнопку [Eject/Set] (Сброс/ввод).
Загружаются данные, сохраненные в NVM.
Нажмите кнопку [ ] и [ ] для перемещения курсора влево/вправо.
Нажмите кнопку [ ] и [ ] для изменения числа у курсора. Если число по адресу (Ad)
изменяется, данные после "=" загружаются и показываются.
5Измените данные.
Когда данные изменены, метка * исчезает, показывая, что величина в NVM была изменена.
6Нажмите кнопку [Eject/Set] (Сброс/ввод).
Измененное значение записано в NVM.
курсор

Глава 2 Поиск и устранение неисправностей
2 --104
Save NVM (Сохранение данных в NVM)
Сохраняет данные IOT NVM в EEPROM платы ESS.
Далее приводится пример процедуры для редактирования данных.
1Войдите в сервисный режим. (См. [2.4.1 Как войти в сервисный режим])
2Нажмите кнопку [ ] один раз и затем нажмите кнопку [Eject/Set] (Сброс/ввод).
3Нажмите кнопку [ ] дважды и затем нажмите кнопку [Eject/Set] (Сброс/ввод).
4Нажмите кнопку [ ] один раз и затем нажмите кнопку [Eject/Set] (Сброс/ввод).
5Нажмите кнопку [Eject/Set] (Сброс/ввод) для сохранения данных NVM.
Load NVM (Загрузка данных в NVM)
Загружает данные, которые были сохранены в EEPROM платы ESS, в IOT NVM.
Последовательность действий такая же, как и для функции "Save NVM" (Сохранение в NVM).
Print NVM Info (Печать данных NVM)
Печатает все данные NVM, которые сохранены на плате ESS, на бумаге формата А4.

Глава 2 Поиск и устранение неисправностей
Коды ошибок и предупреждающие сообщения
2 - 105
2.4.6.4 Список параметров NVM
Таблица 2-20: Список параметров NVM
Код памяти
35 стр./
мин;
лоток
на 550
листов Установки данных
Доп.Пункт
Началь
ное
значени
е
00
01
02
Конфигурация 1/
конфигурация 2
80 бит 7 * Емкость стандартной кассеты 1=500
листов
бит 6 0
бит 5 0
бит 4 0
бит 3 0
бит 2 0 Поддержка длинной бумаги:
0=поддерживается, 1=не поддерживается
бит 1 0
бит 0 0
03
04
05
Конфигурация 3/
разрешение
01 бит 7 0
бит 6 * Параметры подачи питания
0=100 В/ 110 В спец.
1=200 В спец. (Фликер-функция активирована.)
бит 5 0
бит 4 0
бит с 0 по 3 *
1: 1200 точек на дюйм (определение модели
ROS)0: 600 точек на дюйм
* 35 стр./мин: 1, 26 стр./мин: 0
06
07
08
Мощность лазера/
плотность печати
48 биты с 4 по 7: величина для регулировки
мощности лазерного диода
8 уровней с 0 по 7, среднее значение 4
биты с 0 по 3: установки плотности печати, 16
уровней с 0 по F, среднее значение 8

Глава 2 Поиск и устранение неисправностей
2 --106
09
0a
0b
Количество точек
между
VDO1 и VDO2/ опция
регулировки
A0 бит с 4 по 7
Количество смещенных точек между LD1 и
LD2; начальное значение: 16 уровней с 0 по F
бит 3 0
бит 2 0
бит 1 0
бит 0 0
0c
0d
0e
Опция интерфейса/
детализированный
код U2
00 бит 7 0 Разрешение перезаписи тестовых
парамтеров: 0=деактивировано,
1=активировано
* Убедитесь в возврате к 0 (деактивировано)
после изменения тестовых параметров.
бит 6 0
бит 5 0
бит 4 0
биты с 0 to 3 U2 (ROS) Подробности
неисправности *самые последние данные
0f
10
11
Детализированный
код U4 /тестовый
параметр L0
00 биты с 4 по 7 U4 (Фьюзер) Подробности
неисправности *самые последние данные
бит с 0 по 3 0
12
13
14
Тестовый параметр
L1/тестовый
параметр L2
88 биты с 4 по 7 Значение для регулировки
регистрации в обходном лотке в направлении
подачи бумаги; 16 уровней с 0 по F, среднее
значение 8
биты с 0 по 3 Значение для регулировки
регистрации лотка 1 (стандартная кассета) в
направлении подачи бумаги
16 уровней с 0 по F, среднее значение 8
Таблица 2-20: Список параметров NVM
Код памяти
35 стр./
мин;
лоток
на 550
листов Установки данных
Доп.Пункт
Началь
ное
значени
е

Глава 2 Поиск и устранение неисправностей
Коды ошибок и предупреждающие сообщения
2 - 107
15
16
17
Тестовый параметр
L3/тестовый
параметр L4
88 биты с 4 по 7 Значение для регулировки
регистрации лотка 2 (дополнительный
податчик 1) в направлении подачи бумаги
16 уровней с 0 по F, среднее значение 8
биты с 0 по 3 Значение для регулировки
регистрации лотка 3 (дополнительный
податчик 2) в направлении подачи бумаги
16 уровней с 0 по F, среднее значение 8
18
19
20
Тестовый параметр
L5/тестовый
параметр L6
88 биты с 4 по 7 Значение для регулировки
регистрации лотка 4 (дополнительный
податчик 3) в направлении подачи бумаги
16 уровней с 0 по F, среднее значение 8
биты с 0 по 3 Значение для регулировки
регистрации дуплексного модуля (сторона 2) в
направлении подачи бумаги
16 уровней с 0 по F, среднее значение 8
1b
1c
1d
Тестовый параметр
S0/ тестовый
параметр S1
08 бит с 4 по 7 0
биты с 0 по 3 Значение для регулировки
регистрации обходного лотка в направлении
развертки
16 уровней с 0 по F, среднее значение 8
Таблица 2-20: Список параметров NVM
Код памяти
35 стр./
мин;
лоток
на 550
листов Установки данных
Доп.Пункт
Началь
ное
значени
е

Глава 2 Поиск и устранение неисправностей
2 --108
1e
1f
20
Тестовый параметр
S2/тестовый
параметр S3
88 биты с 4 по 7 Значение для регулировки
регистрации лотка 1 (стандартная кассета) в
направлении развертки
16 уровней с 0 по F, среднее значение 8
биты с 0 по 3 Значение для регулировки
регистрации лотка 2 (дополнительный
податчик 1) в направлении развертки
16 уровней с 0 по F, среднее значение 8
21
22
23
Тестовый параметр
S4/ тестовый
параметр S5
88 биты с 4 по 7 Значение для регулировки
регистрации лотка 3 (дополнительный
податчик 2) в направлении развертки
16 уровней с 0 по F, среднее значение 8
биты с 0 по 3 Значение для регулировки
регистрации лотка 4 (дополнительный
податчик 3) в направлении развертки
16 уровней с 0 по F, среднее значение 8
25
25
26
Тестовый параметр
S6/тестовый
параметр L7
88 биты с 4 по 7 Значение для регулировки
относительной регистрации дуплексного
модуля (сторона 2) в направлении развертки
16 уровней с 0 по F, среднее значение 8
биты с 0 по 3 Значение для регулировки для
относительной регистрации тяжелой бумаги и
тяжелой бумаги 2 в направлении подачи бумаги
16 уровней с 0 по F, среднее значение 8
27
28
29
Тестовый параметр
R1/ тестовый
параметр R2
00 биты с 4 по 7 0
биты с 0 по 3 0
2a
2b
2c
Тестовый параметр
R3/ тестовый
параметр P1
08 биты с 4 по 7 0
биты с 0 по 3 8
Таблица 2-20: Список параметров NVM
Код памяти
35 стр./
мин;
лоток
на 550
листов Установки данных
Доп.Пункт
Началь
ное
значени
е

Глава 2 Поиск и устранение неисправностей
Коды ошибок и предупреждающие сообщения
2 - 109
2.4.7 Установка
ВНИМАНИЕ
Обычно нет необходимости в доступе к этому пункту. Такие пункты используются для изменения
специальных параметров аппарата. Неправильные действия могут привести к удалению установок или к
фатальным ошибкам. Используйте эти пункты только при получении инструкций из отдела технической
поддержки.
Показывает и задает следующие параметры:
Таблица 2-21: Установка
Диапазон Описание
Serial No.
(Серийный номер)
9 разрядов Показывает/задает текущий комплект серийных номеров
IOT Calibration
(Калибровка IOT)
On (Вкл.), Off
(Выкл.)
Включает/выключает корректировку калибровки IOT; калибровка
IOT выполняется для поддержания постоянства плотности
печати IOT. Если предел корректировки превышен из-за
различий в моделях, калибровка может быть отключена.
Display Counter
(Показ счетчика)
On (Вкл.), Off
(Выкл.)
Включает/выключает показ счетчика отпечатков.
HexDump On (Вкл.), Off
(Выкл.)
Включает/выключает режим HexDump.
Pixel Counter
(Счетчик пикселов)
0-100% Pixel Counter (Счетчик пикселов)
Показывает количество пикселов для каждого цвета в
процентах (%) в пределах 4-мм зоны бумаги А3 или А4 для
последнего отпечатка.
Configuration
(Конфигурация)
-Конфигурация
Задает значения для четырех микропереключателей (0, 1, 2 и 3)
ESS NVM.
Counter Type (Тип
счетчика)
Тип с 1 по 4 Задает тип счетчика
Print Counter
(Счетчик печати)
Показывает текущее значение для каждого счетчика.
B/W Print (Черно-
белая печать)
-Показывает текущее значения для счетчика черно-белой
печати.
B/W Backup
(Резервирование,
черно-белая
печать)
-Показывает текущее значения для резервного счетчика черно-
белой печати.
B/W Error (Ошибка,
черно-белая
печать)
-Показывает текущее значения для счетчика ошибок черно-
белой печати.
CopyCounter MtoB
(Копирование счета
из основной памяти
в резервную)
-Копирует данные из основной NVM в резервную.

Глава 2 Поиск и устранение неисправностей
2 --110
CopyCounter BtoM
(Копирование счета
из резервной
памяти в основную)
-Копирует данные из основной NVM в резервную.
Clear All NVM
(Сброс всей NVM)
-Очищает всю энергонезависимую память ESS.
Clear JobHistory
(Сброс истории
заданий)
-Стирает данные по истории заданий.
Clear AuditronPV
(Сброс аудитрона
объема печати)
-Удаляет данные аудитрона или объема печати.
Аудитрон и "объем печати" работают по-одиночке.
Erase Hard Disk
(Стирание жесткого
диска)
-Стирает все данные на жестком диске.
Таблица 2-21: Установка
Диапазон Описание
Глава 2 Поиск и устранение неисправностей
Коды ошибок и предупреждающие сообщения
2 - 111
2.4.8 Функция "Test Print" (Тестовая печать)
Обеспечивает печать специальных шаблонов. Если во время печати возникает застревание/ состояние
отсутствия бумаги, печать не гарантируется.
Тестовая печать может выполняться только на бумаге формата А3.
2.4.8.1 Тестовый шаблон 600
Печатает тестовые шаблоны IOT. Проверяет функционирование принтера.
2.4.8.2 Шаблон плотности 20%
Распечатывает шаблон сплошной заливки черным цветом 20%-й плотности.
2.4.8.3 Шаблон градаций
Распечатывает шаблон с градацией плотности черного от 0 до 100%.

Глава 2 Поиск и устранение неисправностей
2 --112
2.4.9 Настройка параметров
ВНИМАНИЕ
Обычно нет необходимости в доступе к этому пункту. Такие пункты используются для изменения
специальных параметров аппарата. Неправильные действия могут привести к удалению установок или к
фатальным ошибкам. Используйте эти пункты только при получении инструкций из отдела технической
поддержки.
2.4.9.1 Пример настройки регистрации
Показывает текущее значения настройки, которое задается для каждого лотка при дуплексной печати.
Значение регулировки может меняться в заданном диапазоне.
Таблица 2-22: Пример настройки регистрации
Пункт Диапазон Описание
REG Process (Регистрация в
продольном направлении)
Задает регистрацию в направлении подачи бумаги.
PaperFeed Bypass (Подача
бумаги с обходного лотка)
От 0 до 15 Задает регистрацию в обходном лотке в направлении
подачи бумаги.
PaperFeed Tray 1 (В
направлении подачи бумаги,
лоток 1)
От 0 до 15 Задает регистрацию для лотка 1 (стандартная
кассета) в направлении подачи бумаги.
PaperFeed Tray 2 (В
направлении подачи бумаги,
лоток 2)
От 0 до 15 Задает регистрацию для лотка 2 (дополнительного) в
направлении подачи бумаги.
PaperFeed Tray 3 (В
направлении подачи бумаги,
лоток 3)
От 0 до 15 Задает регистрацию для лотка 3 (дополнительного) в
направлении подачи бумаги.
PaperFeed Tray 4 (В
направлении подачи бумаги,
лоток 4)
От 0 до 15 Задает регистрацию для лотка 4 (дополнительного) в
направлении подачи бумаги.
PaperFeed Duplex (Подача
бумаги в дуплексный модуль)
От 0 до 15 Задает регистрацию для дуплексного модуля в
направлении подачи бумаги.
REG Scan (Регистрация в
поперечном направлении)
От 0 до 15 Настройка регистрации в направлении развертки
Scan Bypass (В направлении
развертки, обходной лоток)
От 0 до 15 Задает регистрацию для обходного лотка в
направлении развертки.
Scan Tray 1 (В направлении
развертки, лоток 1)
От 0 до 15 Задает регистрацию для лотка 1 (стандартная
кассета) в направлении развертки.
Scan Tray 2 (В направлении
развертки, лоток 2)
От 0 до 15 Задает регистрацию для лотка 2 (дополнительного) в
направлении развертки.
Scan Tray 3 (В направлении
развертки, лоток 3)
От 0 до 15 Задает регистрацию для лотка 3 (дополнительного) в
направлении развертки.
Scan Tray 4 (В направлении
развертки, лоток 4)
От 0 до 15 Задает регистрацию для лотка 4 (дополнительного) в
направлении развертки.
Scan Duplex (В направлении
развертки, дуплексный
модуль)
От 0 до 15 Задает регистрацию для дуплексного модуля в
направлении развертки.

Глава 2 Поиск и устранение неисправностей
Коды ошибок и предупреждающие сообщения
2 - 113
Пример настройки регистрации
Далее показан пример настройки регистрации для обходного лотка:
1Войдите в сервисный режим. (См. [2.4.1 Как войти в сервисный режим])
2Нажмите кнопку [ ] 6 раз и затем нажмите кнопку [Eject/Set] (Сброс/ввод).
3Нажмите кнопку [Eject/Set] (Сброс/ввод).
4В этот момент нажмите кнопку [Eject/Set] (Сброс/ввод) для показа текущего значения, которое
задается.
5Воспользуйтесь кнопками [ ] и [ ] для изменения значения.
Кнопка [ ] увеличивает значение, кнопка [ ] уменьшает значение.
Если значение изменяется, то появляется значок "*".
6Нажмите кнопку [Eject/Set] (Сброс/ввод) для подтверждения измененного значения.

Глава 2 Поиск и устранение неисправностей
2 --114
2.4.9.2 Счетчик срока службы
Показывает текущее значение для каждого счетчика срока службы.
Показания счетчиков срока службы стираются для удаления с дисплея показаний или сообщений-
предупреждений о замене для каждого элемента.
Сообщение-предупреждение появляется, когда превышено показание счетчика, заданное для
конкретного элемента. После замены соответствующего элемента сбросьте показание счетчика службы.
Счетчики срока службы содержат максимум 4 истории. Когда показания счетчик срока службы
сброшены, самый старый счетчик удаляется, а самый новый обнуляется.
Показывается только последний счетчик.
Показываются следующие счетчики срока службы.
Таблица 2-23: Счетчик срока службы
Пункт Описание
Fuser / Trans (Фьюзер/
перенос)
Счетчики срока службы УЗЛА ФЬЮЗЕРА (PL8.1.11) и РОЛИКА ПЕРЕНОСА
(PL4.1.3)
Tray 1 Roll (Ролик лотка
1)
Счетчик срока службы КОМПЛЕКТА УЗЛОВ РОЛИКОВ ПОДАЧИ (PL2.4.99) в
лотке 1 (стандартная кассета)
Tray 2 Roll (Ролик лотка
2)
Счетчик срока службы КОМПЛЕКТА УЗЛОВ РОЛИКОВ ПОДАЧИ (PL15.3.99)
в лотке 2 (стандартная кассета)
Tray 3 Roll (Ролик лотка
3)
Счетчик срока службы КОМПЛЕКТА УЗЛОВ РОЛИКОВ ПОДАЧИ (PL15.3.99)
в лотке 3 (стандартная кассета)
Tray 4 Roll (Ролик лотка
4)
Счетчик срока службы КОМПЛЕКТА УЗЛОВ РОЛИКОВ ПОДАЧИ (PL15.3.99)
в лотке 4 (стандартная кассета)
Bypass Tray Roll (Ролик
обходного лотка)
Счетчик срока службы КОМПЛЕКТА РОЛИКОВ ОБХОДНОГО ЛОТКА
(PL3.1.20)
ROS/Regist/Drive (ROS/
регистрация/ привод)
Счетчики срока службы УЗЛА ROS (PL7.1.1), КОМПЛЕКТ РЕГИСТРАЦИИ
(PL5.1.1) и УЗЛА ПРИВОДА (PL9.1.2)
Tray 1 Chute (Желоб
лотка 1)
Счетчик срока службы ТОРМОЗНОГО ЖЕЛОБА ЛОТКА 1 (PL2.5.15)
(стандартная кассета)
Tray 2 Chute (Желоб
лотка 2)
Счетчик срока службы ТОРМОЗНОГО ЖЕЛОБА ЛОТКА 2 (PL2.5.15)
(дополнительный податчик)
Tray 3 Chute (Желоб
лотка 3)
Счетчик срока службы ТОРМОЗНОГО ЖЕЛОБА ЛОТКА 3 (PL2.5.15)
(дополнительный податчик)
Tray 4 Chute (Желоб
лотка 4)
Счетчик срока службы ТОРМОЗНОГО ЖЕЛОБА ЛОТКА 4 (PL2.5.15)
(дополнительный податчик)

Глава 2 Поиск и устранение неисправностей
Коды ошибок и предупреждающие сообщения
2 - 115
Пример считывания/стирания показаний счетчика срока службы
Далее показан пример считывания и стирания показаний счетчика службы ролика лотка 1.
1Войдите в сервисный режим. (См. [2.4.1 Как войти в сервисный режим])
2Нажмите кнопку [ ] 6 раз и затем нажмите кнопку [Eject/Set] (Сброс/ввод).
3Нажмите кнопку [ ] 3 раз и затем нажмите кнопку [Eject/Set] (Сброс/ввод).
4Нажмите кнопку [ ] один раз и затем нажмите кнопку [Eject/Set] (Сброс/ввод).
5На дисплее появляются показания счетчика срока службы.
Нажмите кнопку [Eject/Set] (Сброс/ввод) для показа текущего значения счетчика срока
службы.
6Очистите счетчик срока службы.
После того как на дисплее появится счетчик срока службы, нажмите кнопку [Cancel Job]
(Отмена задания) для перехода на один уровень выше.

Глава 2 Поиск и устранение неисправностей
2 --116
7Нажмите кнопку [ ] один раз и затем нажмите кнопку [Eject/Set] (Сброс/ввод).
8Нажмите кнопку [Eject/Set] (Сброс/ввод) для очистки счетчика срока службы.
2.4.9.3 Печать списка параметров
Распечатывает значения параметров IOT, ошибки и значения счетчиков срока службы на бумаге
А4.
Глава 2 Поиск и устранение неисправностей
Коды ошибок и предупреждающие сообщения
2 - 117
Глава 2 Поиск и устранение неисправностей
2 --118

Глава 3 - Поиск и устранение
дефектов изображения
Содержание
3.1 Проблемы качества изображения . . . . . . . . . . . . . . . . . . . . . . . . . . . . . . . . . . . . . . . . . . . . . . . . . 3-1
3.1.1 Схема происка и устранения проблем качества изображения . . . . . . . . . . . . . . . . . . . . . . . 3-1
3.1.2 Цикл для каждого ролика . . . . . . . . . . . . . . . . . . . . . . . . . . . . . . . . . . . . . . . . . . . . . . . . . . . . . 3-3
FIP.P1 Светлый отпечаток (слабая градация) . . . . . . . . . . . . . . . . . . . . . . . . . . . . . . . . . . . 3-5
FIP.P2 Пустой отпечаток . . . . . . . . . . . . . . . . . . . . . . . . . . . . . . . . . . . . . . . . . . . . . . . . . . . . . 3-7
FIP.P3 Полностью черный отпечаток . . . . . . . . . . . . . . . . . . . . . . . . . . . . . . . . . . . . . . . . . . . 3-9
FIP.P4 Отпечаток имеет белые вертикальные полосы (в направлении подачи бумаги) . 3-10
FIP.P5 Отпечаток имеет белые горизонтальные полосы . . . . . . . . . . . . . . . . . . . . . . . . . . 3-11
FIP.P6 Вертикальные штрихи . . . . . . . . . . . . . . . . . . . . . . . . . . . . . . . . . . . . . . . . . . . . . . . . 3-12
FIP.P7 Горизонтальные штрихи . . . . . . . . . . . . . . . . . . . . . . . . . . . . . . . . . . . . . . . . . . . . . . 3-13
FIP.P8 Пропуск части изображения . . . . . . . . . . . . . . . . . . . . . . . . . . . . . . . . . . . . . . . . . . . 3-14
FIP.P9 Пятна . . . . . . . . . . . . . . . . . . . . . . . . . . . . . . . . . . . . . . . . . . . . . . . . . . . . . . . . . . . . . 3-15
FIP.P10 Повторное изображение . . . . . . . . . . . . . . . . . . . . . . . . . . . . . . . . . . . . . . . . . . . . . . 3-16
FIP.P11 Сильный фон . . . . . . . . . . . . . . . . . . . . . . . . . . . . . . . . . . . . . . . . . . . . . . . . . . . . . . . 3-17
FIP.P12 Перекос изображения . . . . . . . . . . . . . . . . . . . . . . . . . . . . . . . . . . . . . . . . . . . . . . . . 3-18
FIP.P13 Поврежденная бумага отпечатка . . . . . . . . . . . . . . . . . . . . . . . . . . . . . . . . . . . . . . . 3-19
FIP.P14 Незакрепленное изображение . . . . . . . . . . . . . . . . . . . . . . . . . . . . . . . . . . . . . . . . . 3-20

Глава 3 - Поиск и устранение дефектов изображения
3.1 Проблемы качества изображения
3 - 1
3.1 Проблемы качества изображения
3.1.1 Схема происка и устранения проблем качества изображения
Рис. 3-1 Схема поиска и устранения дефекта качества изображения
Старт
Тестовая печать
Существует подходящая FIP?
Да Да
Да
Выполните соответствующую процедуру
устранения дефекта
Нет Нет
Проблема устранена?
Завершено Завершено
Нет
Замените УЗЕЛ CRU, затем
УЗЕЛ ФЬЮЗЕРА.
Проблема устранена?
Глава 3 - Поиск и устранение дефектов изображения
3.1 Проблемы качества изображения
3 - 2
Если возникает дефект качества изображения, тщательно определите и обдумайте детали проблемы и
затем сделайте распечатку для того, чтобы предпринять соответствующие действия. После этого
воспользуйтесь таблицей FIP качества изображения для каждого явления, чтобы эффективно
выполнить поиск и устранение дефекта.
Если проблема не может быть устранена с помощью FIP качества изображения, проверьте FIP качества
изображения еще раз, последовательно заменяйте "части, которые считаются причинами дефекта",
всякий раз проверяя их работу, и выполните поиск и устранение дефекта с помощью диагностической
функции и т.п. в сервисном режиме (см. 2.4 "Сервисный режим").
FIP качества изображения описывают следующие типичные проблемы качества изображения:
•FIP-1.P1
Светлый отпечаток (слабая градация)
•FIP-1.P2 Пустой отпечаток
•FIP-1.P3 Полностью черный отпечаток
•FIP-1.P4 Отпечаток имеет белые вертикальные полосы (в направлении подачи бумаги)
•FIP-1.P5 Отпечаток имеет белые горизонтальные полосы
•FIP-1.P6 Вертикальные штрихи
•FIP-1.P7 Горизонтальные штрихи
•FIP-1.P8 Пропуск части изображения
•FIP-1.P9 Пятна
•FIP-1.P10 Повторное изображение
•FIP-1.P11 Сильный фон
•FIP-1.P12 Перекос изображения
•FIP-1.P13 Поврежденная бумага отпечатка
•FIP-1.P14 Незакрепленное изображение

Глава 3 - Поиск и устранение дефектов изображения
3.1 Проблемы качества изображения
3 - 3
3.1.2 Цикл для каждого ролика
Если горизонтальные полосы или пятна появляются регулярно, проблема может быть связана с
конкретным роликом (валом). В этом случае, измерив период повторения дефекта на отпечатках и
установив связь с приводимыми далее периодами (которые не обязательно соответствуют периметру
ролика), можно легко устранить проблему.
Рис. 3-2 Расположение роликов
Узел фьюзера
Ролик вывода
Прижимной
Поджимной
Ролик дуплексного
Ролик подачи
обходного лотка
модуля ролик
ролик
Поджимной ролик
Нагревательный
Барабан
вал
Ролик заряда Магнитный вал
Металлический
ролик
регистрации
Узел CRU
Тормозной
ролик
Тормозной ролик
Подталкивающий
Подталкивающий
ролик
Ролик
подачи
Ролик подачи
Поворотный
ролик
ролик
Узел поворотного
ролика
Поджимной
поворотный ролик
Тормозной ролик
обходного лотка
Резиновый ролик
регистрации
Узел ролика
переноса
вывода

Глава 3 - Поиск и устранение дефектов изображения
3.1 Проблемы качества изображения
3 - 4
Таблица 3-1: Цикл для каждого ролика
Узел Название элемента
Наружный
диаметр
(мм)
Цикл (мм)
ФЬЮЗЕР УЗЕЛ ФЬЮЗЕРА (PL8.1.11) Нагревательный вал 30.09 94.53
Прижимной вал 30.00 94.25
Поджимной ролик вывода 10.00 31.42
ВЫВОД УЗЕЛ ВЕРХНЕЙ КРЫШКИ
(PL1.1.2)
Ролик вывода 13.80 43.35
ПЕРЕНОС РОЛИК ПЕРЕНОСА (PL4.1.3) 18.50 58.12
РЕГИСТРАЦ
ИЯ
КОМПЛЕКТ РЕГИСТРАЦИИ
(PL5.1.1)
Резиновый ролик регистрации 11.96 37.57
Металлический ролик
регистрации
11.96 37.57
CRU Узел CRU Барабан 30.025 94.33
Ролик заряда 12.00 37.70
Магнитный вал 16.00 50.27
Обходной
лоток
РОЛИК ПОДАЧИ ИЗ ОБХОДНОГО ЛОТКА (PL3.1.17) 37.35 117.34
ДЕРЖАТЕЛЬ УЗЛА
ТОРМОЖЕНИЯ (PL3.1.21)
Тормозной ролик обходного
лотка
18.00 56.55
КОМПЛЕКТ ПЕРЕДНЕЙ
РАМЫ (PLPL4.1.1)
Поворотный ролик 14.30 44.92
ПОДАТЧИК УЗЕЛ РОЛИКА ПОДАЧИ
(PL2.4.10, PL2.5.19,
PL15.3.10)
Ролик подачи 19.00 59.69
Подталкивающий ролик 19.00 59.69
Тормозной ролик 19.00 59.69
УЗЕЛ ПОВОРОТНОГО РОЛИКА (PL2.4.12, PL15.3.12) 13.97 43.89
ПОДЖИМНОЙ ПОВОРОТНЫЙ РОЛИК (PL2.3.7, PL15.2.10) 14.00 43.98
ДУПЛЕКСНЫ
Й МОДУЛЬ
РОЛИК ДУПЛЕКСНОГО МОДУЛЯ (PL13.2.1) 13.80 43.35
ПОДЖИМНОЙ РОЛИК (PL13.2.3) 19.00 59.69

Глава 3 - Поиск и устранение дефектов изображения
3.1 Проблемы качества изображения
3 - 5
FIP.P1 Светлый отпечаток (слабая градация)
Описание проблемы
Общая плотность изображения слишком мала.
Части, которые могут быть причиной неисправности
•УЗЕЛ CRU (PL6.1.1)
•РОЛИК ПЕРЕНОСА (PL4.1.3)
•УЗЕЛ ROS (PL7.1.1)
•ГЛАВНЫЙ ДВИГАТЕЛЬ (PL9.1.3)
•ПЛАТА ESS (PL11.1.7)
•ПЛАТА MCU (PL11.1.3)
• HVPS (PL11.1.5)
•УЗЕЛ ФЬЮЗЕРА (PL8.1.11)
Перед устранением дефекта проверьте тракт транспортировки бумаги принтера. Убедитесь, что в тракте
транспортировки бумаги нет посторонних предметов, таких как скрепки, скобки или обрывки бумаги.
Процедур
аПроверка и действие Да Нет
1Проверьте бумагу.
Загрузите новый сухой лист рекомендованной бумаги и
сделайте тестовый отпечаток.
Изображение на отпечатке нормальное?
Процедура
завершена.
Перейдите к
этапу 2.
2Проверьте путь лазерного луча
Между УЗЛОМ ROS И УЗЛОМ CRU есть препятствия для
луча?
Удалите
препятствие.
Перейдите к
этапу 3.
3Проверьте окно ROS.
Окно ROS загрязнено?
Очистите окно
ROS.
Перейдите к
этапу 4.
4Проверьте установку УЗЛА CRU.
Переустановите УЗЕЛ CRU и сделайте тестовую распечатку.
Изображение на отпечатке нормальное?
Процедура
завершена.
Перейдите к
этапу 5.
5Проверьте ролик переноса.
Снимите ролик переноса.
Ролик переноса нормальный (отсутствуют загрязнения,
повреждения, износ и царапины)?
Перейдите к этапу
6.
Замените
ролик
переноса (См.
REP4.7)
6Проверьте контакт между УЗЛОМ CRU и рамой.
Контакт УЗЛА CRU загрязнен?
Очистите контакт.Перейдите к
этапу 7.
7Проверка после замены УЗЛА CRU.
Замените УЗЕЛ CRU и сделайте тестовую распечатку.
Изображение на отпечатке нормальное?
Процедура
завершена.
Перейдите к
этапу 8.
8Проверка после замены платы MCU.
Замените плату MCU и сделайте тестовую распечатку.
Изображение на отпечатке нормальное?
Процедура
завершена.
Перейдите к
этапу 9.
9Проверка после замены УЗЛА ROS.
Замените УЗЕЛ ROS и сделайте тестовую распечатку.
Изображение на отпечатке нормальное?
Процедура
завершена.
Перейдите к
этапу 10.

Глава 3 - Поиск и устранение дефектов изображения
3.1 Проблемы качества изображения
3 - 6
10 Проверка после замены ГЛАВНОГО ДВИГАТЕЛЯ.
Замените ГЛАВНЫЙ ДВИГАТЕЛЬ и сделайте тестовую
распечатку.
Изображение на отпечатке нормальное?
Процедура
завершена.
Замените
последовател
ьно части,
которые могут
быть
причиной
дефекта.
Процедур
аПроверка и действие Да Нет

Глава 3 - Поиск и устранение дефектов изображения
3.1 Проблемы качества изображения
3 - 7
FIP.P2 Пустой отпечаток
Описание проблемы
Отпечаток совершенно белый.
Части, которые могут быть причиной неисправности
•УЗЕЛ CRU (PL6.1.1)
•РОЛИК ПЕРЕНОСА (PL4.1.3)
•УЗЕЛ ROS (PL7.1.1)
•ГЛАВНЫЙ ДВИГАТЕЛЬ (PL9.1.3)
•ПЛАТА ESS (PL11.1.7)
•ПЛАТА MCU (PL11.1.3)
• HVPS (PL11.1.5)
•УЗЕЛ ФЬЮЗЕРА (PL8.1.11)
Перед устранением дефекта проверьте тракт транспортировки бумаги принтера. Убедитесь, что в тракте
транспортировки бумаги нет посторонних предметов, таких как скрепки, скобки или обрывки бумаги.
Процедур
аПроверка и действие Да Нет
1Проверьте путь лазерного луча.
Между УЗЛОМ ROS И УЗЛОМ CRU есть препятствия для
луча?
Удалите
препятствие.
Перейдите к
этапу 2.
2Проверьте окно ROS.
Окно ROS полностью закрыто посторонним предметом и т.п.?
или оно загрязнено?
удалите
посторонний
предмет/очистите
окно ROS.
Перейдите к
этапу 3.
3Проверьте подключение разъемов УЗЛА ROS.
Разъемы УЗЛА ROS подключены правильно?
Перейдите к этапу
4.
Подключите
разъемы.
4Проверьте установку УЗЛА CRU.
Переустановите УЗЕЛ CRU и сделайте тестовую распечатку.
Изображение на отпечатке нормальное?
Процедура
завершена.
Перейдите к
этапу 5.
5Проверьте ролик переноса.
Снимите ролик переноса.
Ролик переноса нормальный (отсутствуют загрязнения,
повреждения, износ и царапины)?
Перейдите к этапу
6.
Замените
ролик
переноса (См.
REP4.7)
6Проверьте контакт между УЗЛОМ CRU и рамой.
Контакт УЗЛА CRU загрязнен?
Очистите контакт.Перейдите к
этапу 7.
7Проверка после замены УЗЛА CRU.
Замените УЗЕЛ CRU и сделайте тестовую распечатку.
Изображение на отпечатке нормальное?
Процедура
завершена.
Перейдите к
этапу 8.
8Проверка после замены платы MCU.
Замените плату MCU и сделайте тестовую распечатку.
Изображение на отпечатке нормальное?
Процедура
завершена.
Перейдите к
этапу 9.
9Проверка после замены УЗЛА ROS.
Замените УЗЕЛ ROS и сделайте тестовую распечатку.
Изображение на отпечатке нормальное?
Процедура
завершена.
Перейдите к
этапу 10.

Глава 3 - Поиск и устранение дефектов изображения
3.1 Проблемы качества изображения
3 - 8
10 Проверка после замены ГЛАВНОГО ДВИГАТЕЛЯ.
Замените ГЛАВНЫЙ ДВИГАТЕЛЬ и сделайте тестовую
распечатку.
Изображение на отпечатке нормальное?
Процедура
завершена.
Замените
последовател
ьно части,
которые могут
быть
причиной
дефекта.
Процедур
аПроверка и действие Да Нет

Глава 3 - Поиск и устранение дефектов изображения
3.1 Проблемы качества изображения
3 - 9
FIP.P3 Полностью черный отпечаток
Описание проблемы
Отпечаток совершенно черный.
Части, которые могут быть причиной неисправности
•УЗЕЛ CRU (PL6.1.1)
•РОЛИК ПЕРЕНОСА (PL4.1.3)
•УЗЕЛ ROS (PL7.1.1)
•ПЛАТА ESS (PL11.1.7)
•ПЛАТА MCU (PL11.1.3)
• HVPS (PL11.1.5)
Перед устранением дефекта проверьте тракт транспортировки бумаги принтера. Убедитесь, что в тракте
транспортировки бумаги нет посторонних предметов, таких как скрепки, скобки или обрывки бумаги.
Процедур
аПроверка и действие Да Нет
1Проверьте подключение разъемов УЗЛА ROS.
Разъемы УЗЛА ROS подключены правильно?
Перейдите к этапу
2.
Подключите
разъемы.
2Проверьте контакт между УЗЛОМ CRU и рамой.
Контакт УЗЛА CRU загрязнен?
Очистите контакт.Перейдите к
этапу 3.
3Проверьте состояние заряда барабана.
Полностью закройте бумагой окно УЗЛА ROS и сделайте
тестовый отпечаток.
Отпечаток полностью черный?
(Закрытие окна УЗЛА ROS блокирует путь лазерного луча к
барабану. Таким образом, если барабан полностью заряжен,
отпечаток должен быть полностью белым.)
Замените HVPS
(REP11.4)
Перейдите к
этапу 4.
4Проверьте УЗЕЛ ROS.
Закройте бумагой окно УЗЛА ROS наполовину и сделайте
тестовый отпечаток.
Одна половина отпечатка белая, а другая – черная?
(Если УЗЕЛ ROS нормальный, половина отпечатка должна
представлять собой тестовый шаблон, а не сплошную заливку
черным.)
Перейдите к этапу
5.
Замените
плату MCU
(REP11.2).
5Проверка после замены УЗЛА ROS.
Замените УЗЕЛ ROS и сделайте тестовую распечатку.
Изображение на отпечатке нормальное?
Процедура
завершена.
Перейдите к
этапу 6.
6Проверьте работу платы ESS.
Отсоедините разъем P/J1 от платы ESS и сделайте тестовый
отпечаток.
Отпечаток полностью черный?
(Отсоединение разъема (P/J1) между платой ESS и УЗЛОМ
ROS предотвращает передачу данных с платы ESS. Таким
образом, отпечаток должен быть черным. Это можно
использовать для идентификации неисправности платы ESS.)
Замените плату
ESS (REP11.6).
Замените
последовател
ьно части,
которые могут
быть
причиной
дефекта.

Глава 3 - Поиск и устранение дефектов изображения
3.1 Проблемы качества изображения
3 - 10
FIP.P4Отпечаток имеет белые вертикальные полосы (в направлении
подачи бумаги)
Описание проблемы
На изображении есть предельно светлые или совершенно белые
области. Эти области проявляются в виде протяженных
вертикальных полос в направлении подачи бумаги.
Части, которые могут быть причиной неисправности
•УЗЕЛ CRU (PL6.1.1)
•РОЛИК ПЕРЕНОСА (PL4.1.3)
•УЗЕЛ ROS (PL7.1.1)
•ПЛАТА ESS (PL11.1.7)
•ПЛАТА MCU (PL11.1.3)
• HVPS (PL11.1.5)
•УЗЕЛ ФЬЮЗЕРА (PL8.1.11)
Перед устранением дефекта проверьте тракт транспортировки бумаги принтера. Убедитесь, что в тракте
транспортировки бумаги нет посторонних предметов, таких как скрепки, скобки или обрывки бумаги.
Процедура Проверка и действие Да Нет
1Проверьте бумагу.
Загрузите новый сухой лист рекомендованной бумаги и
сделайте тестовый отпечаток.
Изображение на отпечатке нормальное?
Процедура завершена.Перейдите к
этапу 2.
2Проверьте тракт транспортировки бумаги.
В тракте транспортировки бумаги (от источника до вывода) есть
загрязнения или посторонние предметы?
Удалите посторонние
предметы.
Перейдите к
этапу 3.
3Проверьте путь лазерного луча.
Между УЗЛОМ ROS И УЗЛОМ CRU есть препятствия для луча?
Удалите посторонние
предметы.
Перейдите к
этапу 4.
4Проверьте окно ROS.
Окно ROS загрязнено?
Очистите окно ROS. Перейдите к
этапу 5.
5Проверьте ролик переноса.
Снимите ролик переноса.
Ролик переноса нормальный (отсутствуют загрязнения,
повреждения, износ и царапины)?
Перейдите к этапу 6. Замените
ролик
переноса
(REP4.7).
6Проверка после замены УЗЛА ПРИВОДА.
Замените УЗЕЛ CRU и сделайте тестовую распечатку.
Изображение на отпечатке нормальное?
Процедура завершена.Перейдите к
этапу 7.
7Проверка после замены УЗЛА ROS.
Замените УЗЕЛ ROS и сделайте тестовую распечатку.
Изображение на отпечатке нормальное?
Процедура завершена.Перейдите к
этапу 8.
8Проверьте УЗЕЛ ФЬЮЗЕРА.
ПРЕДУПРЕЖДЕНИЕ: Выполните техническое обслуживание
после охлаждения УЗЛА ФЬЮЗЕРА.
Снимите УЗЕЛ ФЬЮЗЕРА.
Поверните шестерню вручную и проверьте нагревательный вал.
Нагревательный вал в порядке (нет загрязнений или
повреждений)?
Замените последовательно
части, которые могут быть
причиной дефекта.
Замените
УЗЕЛ
ФЬЮЗЕРА
(REP9.1).

Глава 3 - Поиск и устранение дефектов изображения
3 - 11
FIP.P5 Отпечаток имеет белые горизонтальные полосы
Описание проблемы
На изображении есть предельно светлые или совершенно белые
области. Эти протяженные области без изображения расположены
горизонтально, перпендикулярно направлению подачи бумаги.
Части, которые могут быть причиной неисправности
•УЗЕЛ CRU (PL6.1.1)
•РОЛИК ПЕРЕНОСА (PL4.1.3)
•УЗЕЛ ROS (PL7.1.1)
•ПЛАТА ESS (PL11.1.7)
•ПЛАТА MCU (PL11.1.3)
• HVPS (PL11.1.5)
•УЗЕЛ ФЬЮЗЕРА (PL8.1.11)
Перед устранением дефекта проверьте тракт транспортировки бумаги принтера. Убедитесь, что в тракте
транспортировки бумаги нет посторонних предметов, таких как скрепки, скобки или обрывки бумаги.
Процедур
аПроверка и действие Да Нет
1Проверьте бумагу.
Загрузите новый сухой лист рекомендованной бумаги и сделайте
тестовый отпечаток.
Изображение на отпечатке нормальное?
Процедура
завершена.
Перейдите к
этапу 2.
2Проверьте подключение разъемов УЗЛА ROS.
Разъемы УЗЛА ROS подключены правильно?
Перейдите к этапу 3. Подключите
разъемы.
3Проверьте ролик переноса.
Снимите ролик переноса.
Ролик переноса нормальный (отсутствуют загрязнения, повреждения,
износ и царапины)?
Перейдите к этапу 4. Замените ролик
переноса (См.
REP4.7)
4Проверьте ролики в тракте транспортировки бумаги.
Есть ролик с циклом, соответствующим интервалу между белыми
полосами?
Очистите или
замените
соответствующий
ролик.
Перейдите к
этапу 5.
5Проверка после замены УЗЛА CRU.
Замените УЗЕЛ CRU и сделайте тестовую распечатку.
Изображение на отпечатке нормальное?
Процедура
завершена.
Перейдите к
этапу 6.
6Проверка после замены УЗЛА ROS.
Замените УЗЕЛ ROS и сделайте тестовую распечатку.
Изображение на отпечатке нормальное?
Процедура
завершена.
Перейдите к
этапу 7.
7Проверка после замены платы MCU.
Замените плату MCU и сделайте тестовую распечатку.
Изображение на отпечатке нормальное?
Процедура
завершена.
Перейдите к
этапу 8.
8Проверьте УЗЕЛ ФЬЮЗЕРА.
ПРЕДУПРЕЖДЕНИЕ: Выполните техническое обслуживание после
охлаждения УЗЛА ФЬЮЗЕРА.
Снимите УЗЕЛ ФЬЮЗЕРА.
Поверните шестерню вручную и проверьте нагревательный вал.
Нагревательный вал в порядке (нет загрязнений или повреждений)?
Замените
последовательно
части, которые могут
быть причиной
дефекта.
Замените УЗЕЛ
ФЬЮЗЕРА
(REP9.1).

Глава 3 - Поиск и устранение дефектов изображения
3.1 Проблемы качества изображения
3 - 12
FIP.P6 Вертикальные штрихи
Описание проблемы
На бумаге есть вертикальные черные линии по направлению ее
ориентации.
Части, которые могут быть причиной неисправности
•УЗЕЛ CRU (PL6.1.1)
•РОЛИК ПЕРЕНОСА (PL4.1.3)
•УЗЕЛ ROS (PL7.1.1)
•ПЛАТА ESS (PL11.1.7)
•ПЛАТА MCU (PL11.1.3)
• HVPS (PL11.1.5)
•УЗЕЛ ФЬЮЗЕРА (PL8.1.11)
Перед устранением дефекта проверьте тракт транспортировки бумаги принтера. Убедитесь, что в тракте
транспортировки бумаги нет посторонних предметов, таких как скрепки, скобки или обрывки бумаги.
Процедур
аПроверка и действие Да Нет
1Проверьте ролики в тракте транспортировки бумаги.
Ролики в тракте транспортировки бумаги нормальные (без
загрязнений, повреждений, износа и трещин)?
Перейдите к этапу
2.
Очистите или
замените
соответствую
щий ролик.
2Проверьте ролик переноса.
Снимите ролик переноса.
Ролик переноса нормальный (отсутствуют загрязнения,
повреждения, износ и царапины)?
Перейдите к этапу
3.
Замените
ролик
переноса.
(Refer to
REP4.7)
3Проверка после замены УЗЛА CRU.
Замените УЗЕЛ CRU и сделайте тестовую распечатку.
Изображение на отпечатке нормальное?
Процедура
завершена.
Перейдите к
этапу 4.
4Проверка после замены УЗЛА ROS.
Замените УЗЕЛ ROS и сделайте тестовую распечатку.
Изображение на отпечатке нормальное?
Процедура
завершена.
Перейдите к
этапу 5.
5Проверьте УЗЕЛ ФЬЮЗЕРА.
ПРЕДУПРЕЖДЕНИЕ: Выполните техническое
обслуживание после охлаждения УЗЛА ФЬЮЗЕРА.
Снимите УЗЕЛ ФЬЮЗЕРА.
Поверните шестерню вручную и проверьте нагревательный
вал.
Нагревательный вал в порядке (нет загрязнений или
повреждений)?
Замените
последовательно
части, которые
могут быть
причиной дефекта.
Замените
УЗЕЛ
ФЬЮЗЕРА
(REP9.1).

Глава 3 - Поиск и устранение дефектов изображения
3.1 Проблемы качества изображения
3 - 13
FIP.P7 Горизонтальные штрихи
Описание проблемы
На отпечатке есть горизонтальные черные линии,
перпендикулярные направлению подачи бумаги.
Части, которые могут быть причиной неисправности
•УЗЕЛ CRU (PL6.1.1)
•РОЛИК ПЕРЕНОСА (PL4.1.3)
•УЗЕЛ ROS (PL7.1.1)
•ПЛАТА ESS (PL11.1.7)
•ПЛАТА MCU (PL11.1.3)
• HVPS (PL11.1.5)
•УЗЕЛ ФЬЮЗЕРА (PL8.1.11)
Перед устранением дефекта проверьте тракт транспортировки бумаги принтера. Убедитесь, что в тракте
транспортировки бумаги нет посторонних предметов, таких как скрепки, скобки или обрывки бумаги.
Процедур
аПроверка и действие Да Нет
1Проверьте подключение разъемов УЗЛА ROS.
Разъемы УЗЛА ROS подключены правильно?
Перейдите к этапу
2.
Подключите
разъемы.
2Проверьте контакт между УЗЛОМ CRU и рамой.
Контакт УЗЛА CRU загрязнен?
Очистите контакт.Перейдите к
этапу 3.
3Проверьте ролик переноса.
Снимите ролик переноса.
Ролик переноса нормальный (отсутствуют загрязнения,
повреждения, износ и царапины)?
Перейдите к этапу
4.
Замените
ролик
переноса (См.
REP4.7)
4Проверьте ролики в тракте транспортировки бумаги.
Есть ролик с циклом, соответствующим интервалу между
горизонтальными штрихами?
Очистите или
замените
соответствующий
ролик.
Перейдите к
этапу 5.
5Проверка после замены УЗЛА CRU.
Замените УЗЕЛ CRU и сделайте тестовую распечатку.
Изображение на отпечатке нормальное?
Процедура
завершена.
Перейдите к
этапу 6.
6Проверка после замены УЗЛА ROS.
Замените УЗЕЛ ROS и сделайте тестовую распечатку.
Изображение на отпечатке нормальное?
Процедура
завершена.
Перейдите к
этапу 7.
7Проверьте УЗЕЛ ФЬЮЗЕРА.
ПРЕДУПРЕЖДЕНИЕ: Выполните техническое обслуживание
после охлаждения УЗЛА ФЬЮЗЕРА.
Снимите УЗЕЛ ФЬЮЗЕРА.
Поверните шестерню вручную и проверьте нагревательный
вал.
Нагревательный вал в порядке (нет загрязнений или
повреждений)?
Замените
последовательно
части, которые
могут быть
причиной дефекта.
Замените
УЗЕЛ
ФЬЮЗЕРА
(REP9.1).

Глава 3 - Поиск и устранение дефектов изображения
3.1 Проблемы качества изображения
3 - 14
FIP.P8 Пропуск части изображения
Описание проблемы
На изображении есть предельно светлые или совершенно белые области.
Эти области без изображения появляются на ограниченных участках
бумаги.
Части, которые могут быть причиной неисправности
•УЗЕЛ CRU (PL6.1.1)
•РОЛИК ПЕРЕНОСА (PL4.1.3)
•УЗЕЛ ROS (PL7.1.1)
•ПЛАТА ESS (PL11.1.7)
•ПЛАТА MCU (PL11.1.3)
• HVPS (PL11.1.5)
•УЗЕЛ ФЬЮЗЕРА (PL8.1.11)
Перед устранением дефекта проверьте тракт транспортировки бумаги принтера. Убедитесь, что в тракте
транспортировки бумаги нет посторонних предметов, таких как скрепки, скобки или обрывки бумаги.
Процедур
аПроверка и действие Да Нет
1Проверьте бумагу.
Загрузите новый сухой лист рекомендованной бумаги и
сделайте тестовый отпечаток.
Изображение на отпечатке нормальное?
Процедура
завершена.
Перейдите к
этапу 2.
2Проверьте ролик переноса.
Снимите ролик переноса.
Ролик переноса нормальный (отсутствуют загрязнения,
повреждения, износ и царапины)?
Перейдите к этапу
3.
Замените
ролик
переноса (См.
REP4.7)
3Проверка после замены УЗЛА CRU.
Замените УЗЕЛ CRU и сделайте тестовую распечатку.
Изображение на отпечатке нормальное?
Процедура
завершена.
Перейдите к
этапу 4.
4Проверьте УЗЕЛ ФЬЮЗЕРА.
ПРЕДУПРЕЖДЕНИЕ: Выполните техническое
обслуживание после охлаждения УЗЛА ФЬЮЗЕРА.
Снимите УЗЕЛ ФЬЮЗЕРА.
Поверните шестерню вручную и проверьте нагревательный
вал.
Нагревательный вал в порядке (нет загрязнений или
повреждений)?
Перейдите к этапу
5.
Замените
УЗЕЛ
ФЬЮЗЕРА
(REP9.1).
5Проверьте подключение разъемов платы MCU.
Подключите все разъемы платы MCU надежно и выполните
тестовую печать.
Изображение на отпечатке нормальное?
Процедура
завершена.
Замените
последовател
ьно части,
которые могут
быть
причиной
дефекта.

Глава 3 - Поиск и устранение дефектов изображения
3.1 Проблемы качества изображения
3 - 15
FIP.P9 Пятна
Описание проблемы
Пятна тонера распределены случайно по всей странице.
Части, которые могут быть причиной неисправности
•УЗЕЛ CRU (PL6.1.1)
•РОЛИК ПЕРЕНОСА (PL4.1.3)
•УЗЕЛ ROS (PL7.1.1)
•ПЛАТА ESS (PL11.1.7)
•ПЛАТА MCU (PL11.1.3)
• HVPS (PL11.1.5)
•УЗЕЛ ФЬЮЗЕРА (PL8.1.11)
Перед устранением дефекта проверьте тракт транспортировки бумаги принтера. Убедитесь, что в тракте
транспортировки бумаги нет посторонних предметов, таких как скрепки, скобки или обрывки бумаги.
Процедур
аПроверка и действие Да Нет
1Проверьте ролики в тракте транспортировки бумаги.
Ролики в тракте транспортировки бумаги нормальные (без
загрязнений, повреждений, износа и трещин)?
Перейдите к этапу
2.
Очистите или
замените
соответствую
щий ролик.
2Проверьте контакт между УЗЛОМ CRU и рамой.
Контакт УЗЛА CRU загрязнен?
Очистите контакт.Перейдите к
этапу 3.
3Проверьте ролик переноса.
Снимите ролик переноса.
Ролик переноса нормальный (отсутствуют загрязнения,
повреждения, износ и царапины)?
Перейдите к этапу
4.
Замените
ролик
переноса (См.
REP4.7)
4Проверьте ролики в тракте транспортировки бумаги.
(Только если промежутки между пятнами выглядят
упорядоченными, с определенным циклом.)
Есть ролик с циклом, соответствующим интервалу между
пятнами?
Очистите или
замените
соответствующий
ролик.
Перейдите к
этапу 5.
5Проверка после замены УЗЛА CRU.
Замените УЗЕЛ CRU и сделайте тестовую распечатку.
Изображение на отпечатке нормальное?
Процедура
завершена.
Перейдите к
этапу 6.
6Проверка после замены HVPS.
Замените HVPS и сделайте тестовую распечатку.
Изображение на отпечатке нормальное?
Процедура
завершена.
Перейдите к
этапу 7.
7Проверьте УЗЕЛ ФЬЮЗЕРА.
ПРЕДУПРЕЖДЕНИЕ: Выполните техническое
обслуживание после охлаждения УЗЛА ФЬЮЗЕРА.
Снимите УЗЕЛ ФЬЮЗЕРА.
Поверните шестерню вручную и проверьте нагревательный
вал.
Нагревательный вал в порядке (нет загрязнений или
повреждений)?
Замените
последовательно
части, которые
могут быть
причиной дефекта.
Замените
УЗЕЛ
ФЬЮЗЕРА
(REP9.1).

Глава 3 - Поиск и устранение дефектов изображения
3 --16
FIP.P10 Повторное изображение
Описание проблемы
На бумаге появляются повторные изображения. Части
изображения с предыдущей или текущей страницы появляются на
бумаге в виде повторных изображений.
Части, которые могут быть причиной неисправности
•УЗЕЛ CRU (PL6.1.1)
•РОЛИК ПЕРЕНОСА (PL4.1.3)
•УЗЕЛ ROS (PL7.1.1)
•ГЛАВНЫЙ ДВИГАТЕЛЬ (PL9.1.3)
•ПЛАТА ESS (PL11.1.7)
•ПЛАТА MCU (PL11.1.3)
• HVPS (PL11.1.5)
•УЗЕЛ ФЬЮЗЕРА (PL8.1.11)
Перед устранением дефекта проверьте тракт транспортировки бумаги принтера. Убедитесь, что в тракте
транспортировки бумаги нет посторонних предметов, таких как скрепки, скобки или обрывки бумаги.
Процеду
ра Проверка и действие Да Нет
1Проверьте повторные отпечатки.
Проблема появляется снова при многократной печати одного и
того же изображения?
Перейдите к этапу 2. Перейдите к этапу 3.
2Проверьте наличие повторного изображения.
Распечатайте по 30 страниц изображений каждого типа.
Повторное изображение появляется?
Перейдите к этапу 3. Процедура завершена
(посоветуйте заказчику
не печатать подряд одни
и те же изображения
слишком много.)
3Проверьте контакт между УЗЛОМ CRU и рамой.
Контакт УЗЛА CRU загрязнен?
Очистите контакт.Перейдите к этапу 4.
4Проверьте ролик переноса.
Снимите ролик переноса.
Ролик переноса нормальный (отсутствуют загрязнения,
повреждения, износ и царапины)?
Перейдите к этапу 5. Замените ролик
переноса (См. REP4.7)
5Проверка после замены УЗЛА CRU.
Замените УЗЕЛ CRU и сделайте тестовую распечатку.
Изображение на отпечатке нормальное?
Процедура
завершена.
Перейдите к этапу 6.
6Проверьте УЗЕЛ ФЬЮЗЕРА.
ПРЕДУПРЕЖДЕНИЕ: Выполните техническое обслуживание
после охлаждения УЗЛА ФЬЮЗЕРА.
Снимите УЗЕЛ ФЬЮЗЕРА.
Поверните шестерню вручную и проверьте нагревательный вал.
Нагревательный вал в порядке (нет загрязнений или
повреждений)?
Замените
последовательно
части, которые могут
быть причиной
дефекта.
Замените УЗЕЛ
ФЬЮЗЕРА (REP9.1).

Глава 3 - Поиск и устранение дефектов изображения
3 - 17
FIP.P11 Сильный фон
Описание проблемы
Вся страница или ее часть загрязнены тонером. Загрязнение
проявляется в виде светло-серого фона.
Части, которые могут быть причиной неисправности
•УЗЕЛ CRU (PL6.1.1)
•РОЛИК ПЕРЕНОСА (PL4.1.3)
•УЗЕЛ ROS (PL7.1.1)
•ПЛАТА ESS (PL11.1.7)
•ПЛАТА MCU (PL11.1.3)
• HVPS (PL11.1.5)
Перед устранением дефекта проверьте тракт транспортировки бумаги принтера. Убедитесь, что в тракте
транспортировки бумаги нет посторонних предметов, таких как скрепки, скобки или обрывки бумаги.
Процедур
аПроверка и действие Да Нет
1Проверьте подключение разъемов УЗЛА ROS.
Разъемы УЗЛА ROS подключены правильно?
Перейдите к этапу
2.
Подключите
разъемы.
2Проверьте контакт между УЗЛОМ CRU и рамой.
Контакт УЗЛА CRU загрязнен?
Очистите контакт.Перейдите к
этапу 3.
3Проверка после замены УЗЛА CRU.
Замените УЗЕЛ CRU и сделайте тестовую распечатку.
Изображение на отпечатке нормальное?
Процедура
завершена.
Перейдите к
этапу 4.
4Проверка после замены HVPS.
Замените HVPS и сделайте тестовую распечатку.
Изображение на отпечатке нормальное?
Процедура
завершена.
Замените
последовател
ьно части,
которые могут
быть
причиной
дефекта.

Глава 3 - Поиск и устранение дефектов изображения
3.1 Проблемы качества изображения
3 - 18
FIP.P12 Перекос изображения
Описание проблемы
Изображения на отпечатке не параллельны кромкам бумаги.
Части, которые могут быть причиной неисправности
•УЗЕЛ CRU (PL6.1.1)
•РОЛИК ПЕРЕНОСА (PL4.1.3)
•ПЛАТА ESS (PL11.1.7)
•УЗЕЛ ПОДАТЧИКА НА 550 ЛИСТОВ (PL2.4.1)
•УЗЕЛ ПОДАТЧИКА SP (PL15.2.1)
•УЗЕЛ КАССЕТЫ НА 550 ЛИСТОВ (PL2.5.1)
•УЗЕЛ НИЖНЕЙ ПЛАСТИНЫ (PL2.5.5)
•УЗЕЛ КАССЕТЫ НА 550 ЛИСТОВ (PL2.5.1)
•УЗЕЛ НИЖНЕЙ ПЛАСТИНЫ (PL2.5.5)
Перед устранением дефекта проверьте тракт транспортировки бумаги принтера. Убедитесь, что в тракте
транспортировки бумаги нет посторонних предметов, таких как скрепки, скобки или обрывки бумаги.
Процедур
аПроверка и действие Да Нет
1Проверьте поверхность, на которой стоит аппарат.
Поверхность, на которой стоит аппарат, горизонтальная?
Опоры аппарата установлены правильно?
Перейдите к этапу 2. Измените
установку
аппарата.
2Проверьте загрузку бумаги.
Удалите кассету для бумаги, выровняйте направляющие и загрузите
бумагу правильно.
Правильно установите кассету и выполните тестовую печать.
Изображение на отпечатке нормальное?
Процедура
завершена.
Перейдите к
этапу 3.
3Проверьте работу УЗЛА НИЖНЕЙ ПЛАСТИНЫ в кассете для бумаги.
Извлеките кассету для бумаги.
УЗЕЛ НИЖНЕЙ ПЛАСТИНЫ с кассете
для бумаги поднимается правильно, без перекосов?
Перейдите к этапу 4. Переустановите
УЗЕЛ НИЖНЕЙ
ПЛАСТИНЫ.
4Проверьте ролики в тракте транспортировки бумаги.
Ролики в тракте транспортировки бумаги нормальные (без
загрязнений, повреждений, износа и трещин)?
Ролики установлены правильно?
Перейдите к этапу 5. Очистите или
замените
соответствующи
й ролик или
переустановите
его.
5Проверьте установку УЗЛА CRU.
УЗЕЛ CRU установлен правильно?
Перейдите к этапу 6. Установите
УЗЕЛ CRU
заново.
6Проверка после замены УЗЛА CRU.
Замените УЗЕЛ CRU и сделайте тестовую распечатку.
Изображение на отпечатке нормальное?
Процедура
завершена.
Замените
последовательн
о части,
которые могут
быть причиной
дефекта.

Глава 3 - Поиск и устранение дефектов изображения
3.1 Проблемы качества изображения
3 - 19
FIP.P13 Поврежденная бумага отпечатка
Описание проблемы
Бумага, выходящая из принтера, сморщенная, со складками или
оборвана.
Части, которые могут быть причиной неисправности
•УЗЕЛ ФЬЮЗЕРА (PL8.1.11)
•УЗЕЛ CRU (PL6.1.1)
•РОЛИК ПЕРЕНОСА (PL4.1.3)
•ПЛАТА ESS (PL11.1.7)
•УЗЕЛ ПОДАТЧИКА НА 550 ЛИСТОВ (PL2.4.1)
•УЗЕЛ ПОДАТЧИКА SP (PL15.2.1)
•УЗЕЛ КАССЕТЫ НА 550 ЛИСТОВ (PL2.5.1)
•УЗЕЛ НИЖНЕЙ ПЛАСТИНЫ (PL2.2.5 / PL2.5.5)
•УЗЕЛ КАССЕТЫ НА 550 ЛИСТОВ (PL2.5.1)
•УЗЕЛ НИЖНЕЙ ПЛАСТИНЫ (PL2.2.5 / PL2.5.5)
Перед устранением дефекта проверьте тракт транспортировки бумаги принтера. Убедитесь, что в тракте
транспортировки бумаги нет посторонних предметов, таких как скрепки, скобки или обрывки бумаги.
Процедур
аПроверка и действие Да Нет
1Проверьте бумагу.
Загрузите новый сухой лист рекомендованной бумаги и
сделайте тестовый отпечаток.
Изображение на отпечатке нормальное?
Процедура
завершена.
Перейдите к
этапу 2.
2Проверьте тракт транспортировки бумаги.
В тракте транспортировки бумаги (от источника до вывода)
есть загрязнения или посторонние предметы?
Удалите
посторонние
предметы.
Перейдите к
этапу 3.
3Проверьте ролики в тракте транспортировки бумаги.
Ролики в тракте транспортировки бумаги нормальные (без
загрязнений, повреждений, износа и трещин)?
Перейдите к этапу
4.
Очистите или
замените
соответствую
щий ролик.
4Проверьте установку УЗЛА ФЬЮЗЕРА.
УЗЕЛ ФЬЮЗЕРА установлен правильно?
Перейдите к этапу
5.
Установите
УЗЕЛ
ФЬЮЗЕРА
заново.
5Проверка после замены УЗЛА ФЬЮЗЕРА.
ПРЕДУПРЕЖДЕНИЕ: Выполните техническое
обслуживание после охлаждения УЗЛА ФЬЮЗЕРА.
Замените УЗЕЛ ФЬЮЗЕРА и сделайте тестовую распечатку.
Изображение на отпечатке нормальное?
Процедура
завершена.
Замените
последовател
ьно части,
которые могут
быть
причиной
дефекта.

Глава 3 - Поиск и устранение дефектов изображения
3.1 Проблемы качества изображения
3 - 20
FIP.P14 Незакрепленное изображение
Описание проблемы
Изображение легко стирается. Напечатанные изорбражения
неправильно закреплены на бумаге. Если их потереть,
Части, которые могут быть причиной неисправности
•УЗЕЛ ФЬЮЗЕРА (PL8.1.11)
•ПЛАТА ESS (PL11.1.7)
•ПЛАТА MCU (PL11.1.3)
Перед устранением дефекта проверьте тракт транспортировки бумаги принтера. Убедитесь, что в тракте
транспортировки бумаги нет посторонних предметов, таких как скрепки, скобки или обрывки бумаги.
Процедур
аПроверка и действие Да Нет
1Проверьте установки типа бумаги.
Используемая бумага соответствует заданному типу?
Перейдите к этапу
2.
Загрузите
бумагу
правильного
типа.
2Проверьте бумагу.
Загрузите новый сухой лист рекомендованной бумаги и
сделайте тестовый отпечаток.
Изображение на отпечатке нормальное?
Процедура
завершена.
Перейдите к
этапу 3.
3Проверка после замены УЗЛА ФЬЮЗЕРА.
ПРЕДУПРЕЖДЕНИЕ: Выполните техническое обслуживание
после охлаждения УЗЛА ФЬЮЗЕРА.
Замените УЗЕЛ ФЬЮЗЕРА и сделайте тестовую распечатку.
Изображение на отпечатке нормальное?
Процедура
завершена.
Перейдите к
этапу 4.
4Проверка после замены платы MCU.
Замените плату MCU и сделайте тестовую распечатку.
Изображение на отпечатке нормальное?
Процедура
завершена.
Замените
последовател
ьно части,
которые могут
быть
причиной
дефекта.

Глава 4 Процедуры
разборки/сборки и
регулировки
Содержание
4.1 Введение . . . . . . . . . . . . . . . . . . . . . . . . . . . . . . . . . . . . . . . . . . . . . . . . . . . . . . . . . . . . . . . . . . . . . 4-1
4.1.1 Перед обслуживанием . . . . . . . . . . . . . . . . . . . . . . . . . . . . . . . . . . . . . . . . . . . . . . . . . . . . . . . . 4-2
4.1.2 Обозначения в процедурах . . . . . . . . . . . . . . . . . . . . . . . . . . . . . . . . . . . . . . . . . . . . . . . . . . . . 4-5
4.1.3 Как пользоваться процедурами разборки/сборки и регулировками . . . . . . . . . . . . . . . . . . . 4-6
4.1.4 Символы и обозначения . . . . . . . . . . . . . . . . . . . . . . . . . . . . . . . . . . . . . . . . . . . . . . . . . . . . . . 4-8
4.2 Процедуры разборки/сборки . . . . . . . . . . . . . . . . . . . . . . . . . . . . . . . . . . . . . . . . . . . . . . . . . . . . . . 4-9
PL1 КРЫШКИ . . . . . . . . . . . . . . . . . . . . . . . . . . . . . . . . . . . . . . . . . . . . . . . . . . . . . . . . . . . . . . . 4-9
REP1.1 БЛОК КРЫШКИ (PL1.1.4) . . . . . . . . . . . . . . . . . . . . . . . . . . . . . . . . . . . . . . . . . . . . . . 4-9
REP1.2 ПРАВАЯ БОКОВАЯ КРЫШКА (PL1.1.9) . . . . . . . . . . . . . . . . . . . . . . . . . . . . . . . . . . 4-10
REP1.3 ЛЕВАЯ БОКОВАЯ КРЫШКА (PL1.1.14), БОКОВОЙ ВЕНТИЛЯТОР (PL 10.1.5) . . 4-11
REP1.4 УЗЕЛ ПАНЕЛИ УПРАВЛЕНИЯ (PL 1.1.3) . . . . . . . . . . . . . . . . . . . . . . . . . . . . . . . . . 4-13
REP1.5 УЗЕЛ ВЕРХНЕЙ КРЫШКИ (PL 1.1.2) . . . . . . . . . . . . . . . . . . . . . . . . . . . . . . . . . . . . 4-15
REP1.6 КОМПЛЕКТ ПЕРЕДНЕЙ КРЫШКИ (PL1.1.11) . . . . . . . . . . . . . . . . . . . . . . . . . . . . . 4-18
REP1.7 ПРАВАЯ ПЕРЕДНЯЯ КРЫШКА (PL1.1.10) . . . . . . . . . . . . . . . . . . . . . . . . . . . . . . . 4-20
REP1.8
ЛЕВАЯ ПЕРЕДНЯЯ КРЫШКА (PL1.1.13) . . . . . . . . . . . . . . . . . . . . . . . . . . . . . . . . . 4-21
REP1.9 ВЕРХНЯЯ КРЫШКА ДУПЛЕКСНОГО МОДУЛЯ (PL1.1.1) . . . . . . . . . . . . . . . . . . . . 4-22
REP1.10 ЗАДНЯЯ КРЫШКА (PL 1.1.17) . . . . . . . . . . . . . . . . . . . . . . . . . . . . . . . . . . . . . . . . . 4-23
REP1.11 КОМПЛЕКТ СРЕДНЕЙ КРЫШКИ (PL 1.1.8) . . . . . . . . . . . . . . . . . . . . . . . . . . . . . . 4-24
REP2.1 УЗЕЛ НАПРАВЛЯЮЩЕЙ ЛОТКА (PL 2.3.1) . . . . . . . . . . . . . . . . . . . . . . . . . . . . . . . 4-26
REP2.2 Эта страница преднамеренно оставлена пустой. . . . . . . . . . . . . . . . . . . . . . . . . . . 4-30
REP2.3 ПОДУЗЕЛ ПОДАТЧИКА НА 550 ЛИСТОВ (PL 2.4.1) . . . . . . . . . . . . . . . . . . . . . . . . 4-31
REP2.4 ДАТЧИК ОТСУТСТВИЯ БУМАГИ В ЛОТКЕ (PL 2.4.11) . . . . . . . . . . . . . . . . . . . . . . 4-33
REP2.5 УЗЕЛ РОЛИКА ПОДАЧИ (PL2.4.10) . . . . . . . . . . . . . . . . . . . . . . . . . . . . . . . . . . . . . 4-34
REP2.6 АКТИВАТОР ДАТЧИКА ОТСУТСТВИЯ БУМАГИ (PL2.4.6) . . . . . . . . . . . . . . . . . . . 4-36
REP2.7 УЗЕЛ КРОНШТЕЙНА ПОДАТЧИКА (PL2.3.3) . . . . . . . . . . . . . . . . . . . . . . . . . . . . . 4-37
REP2.8 ДАТЧИК ФОРМАТА (PL2.3.8) . . . . . . . . . . . . . . . . . . . . . . . . . . . . . . . . . . . . . . . . . . 4-38
REP2.9 КРЫШКА КАССЕТЫ (PL2.3.9) . . . . . . . . . . . . . . . . . . . . . . . . . . . . . . . . . . . . . . . . . 4-39
REP2.10 УЗЕЛ ПОВОРОТНОГО ЖЕЛОБА ПОДАТЧИКА НА 550 ЛИСТОВ IOT (PL2.3.13) . 4-40
REP2.11 ПОВОРОТНАЯ МУФТА (PL2.4.3) . . . . . . . . . . . . . . . . . . . . . . . . . . . . . . . . . . . . . . . 4-41
REP2.12 МУФТА ПОДАЧИ (PL2.4.4) . . . . . . . . . . . . . . . . . . . . . . . . . . . . . . . . . . . . . . . . . . . . 4-42
REP2.13 УЗЕЛ ПОВОРОТНОГО РОЛИКА (PL2.4.12) . . . . . . . . . . . . . . . . . . . . . . . . . . . . . . 4-43
REP2.14 УЗЕЛ ПРАВОЙ НАПРАВЛЯЮЩЕЙ ДЛЯ ФОРМАТА A3 (PL2.5.2) / УЗЕЛ ЛЕВОЙ
НАПРАВЛЯЮЩЕЙ ДЛЯ ФОРМАТА A3 (PL2.5.4) 4-45
REP2.15 УЗЕЛ НИЖНЕЙ ПЛАСТИНЫ (PL2.5.5) . . . . . . . . . . . . . . . . . . . . . . . . . . . . . . . . . . 4-48
REP2.16 ДЕРЖАТЕЛЬ УЗЛА ТОРМОЖЕНИЯ (PL2.5.17) . . . . . . . . . . . . . . . . . . . . . . . . . . . 4-51
REP2.17 УЗЕЛ РОЛИКА ПОДАЧИ (PL2.5.19) . . . . . . . . . . . . . . . . . . . . . . . . . . . . . . . . . . . . . 4-53
REP2.18 ПОДВИЖНАЯ ЧАСТЬ КОРПУСА КАССЕТЫ (PL2.5.23) . . . . . . . . . . . . . . . . . . . . . 4-56
REP2.19 КОМПЛЕКТ ПЛОСКИХ ФИКСАТОРОВ ШЕСТЕРЕН (PL2.5.25) . . . . . . . . . . . . . . . 4-57
REP2.20 КОМПЛЕКТ УДЛИНИТЕЛЯ КАССЕТЫ НА 550 ЛИСТОВ (PL2.5.29) . . . . . . . . . . . 4-59
REP2.21 РУКОЯТКА КАССЕТЫ (PL2.5.35) . . . . . . . . . . . . . . . . . . . . . . . . . . . . . . . . . . . . . . . 4-61
REP2.22 УЗЕЛ БАРАБАНА ФОРМАТОВ (PL2.5.36) . . . . . . . . . . . . . . . . . . . . . . . . . . . . . . . . 4-62
REP2.23 Эта страница преднамеренно оставлена пустой. . . . . . . . . . . . . . . . . . . . . . . . . . 4-63
REP2.24 КОМПЛЕКТ РЫЧАГА БЛОКИРОВКИ ДНА (PL2.5.39) . . . . . . . . . . . . . . . . . . . . . . . 4-65
REP2.25 ТОРМОЗНОЙ ЖЕЛОБ ЛОТКА (PL2.5.15) . . . . . . . . . . . . . . . . . . . . . . . . . . . . . . . . 4-67
REP3.1 СОЛЕНОИД ПОДАЧИ ИЗ ОБХОДНОГО ЛОТКА (PL3.1.1) . . . . . . . . . . . . . . . . . . . 4-69
REP3.2 КОМПЛЕКТ ШЕСТЕРЕН ОБХОДНОГО ЛОТКА (PL3.1.2) . . . . . . . . . . . . . . . . . . . . 4-72
REP3.3 КРЫШКА РОЛИКА ПОДАЧИ (PL3.1.13) . . . . . . . . . . . . . . . . . . . . . . . . . . . . . . . . . . 4-74
REP3.4 УЗЕЛ ЖЕЛОБА ДУПЛЕКСНОГО МОДУЛЯ (PL3.1.7) . . . . . . . . . . . . . . . . . . . . . . . . 4-75
REP3.5 КОМПЛЕКТ АКТИВАТОРА ДАТЧИКА ОТСУТСТВИЯ БУМАГИ В ОБХОДНОМ ЛОТКЕ
(PL3.1.8) 4-77
REP3.6 ДАТЧИК ОТСУТСТВИЯ БУМАГИ В ОБХОДНОМ ЛОТКЕ (PL3.1.11) . . . . . . . . . . . 4-79
REP3.7 КУЛАЧОК ОБХОДНОГО ЛОТКА/ШТИФТ (PL3.1.15) . . . . . . . . . . . . . . . . . . . . . . . . 4-80
REP3.8 РОЛИК ПОДАЧИ ИЗ ОБХОДНОГО ЛОТКА (PL3.1.17) . . . . . . . . . . . . . . . . . . . . . . 4-83
REP3.9 КОМПЛЕКТ ОСНОВАНИЯ ТОРМОЗНОЙ РАМЫ (PL3.1.19) . . . . . . . . . . . . . . . . . . 4-84
REP3.10 ДЕРЖАТЕЛЬ УЗЛА ТОРМОЖЕНИЯ (PL3.1.21) . . . . . . . . . . . . . . . . . . . . . . . . . . . 4-85
REP3.11 УЗЕЛ ОБХОДНОГО ЛОТКА (PL3.1.22) . . . . . . . . . . . . . . . . . . . . . . . . . . . . . . . . . . 4-86
REP4.1 КОМПЛЕКТ ПЕРЕДНЕЙ РАМЫ (PL4.1.1) . . . . . . . . . . . . . . . . . . . . . . . . . . . . . . . . 4-87
REP4.2 УЗЕЛ КРЫШКИ ПЕРЕДНЕЙ РАМЫ (PL4.1.2) . . . . . . . . . . . . . . . . . . . . . . . . . . . . . 4-91
REP4.3 РОЛИК ПЕРЕНОСА (PL4.1.3) . . . . . . . . . . . . . . . . . . . . . . . . . . . . . . . . . . . . . . . . . . 4-92
REP4.4 КОМПЛЕКТ ПЕРЕДНИХ РЫЧАГОВ (PL1.1.4) . . . . . . . . . . . . . . . . . . . . . . . . . . . . . 4-95
REP5.1 КОМПЛЕКТ РЕГИСТРАЦИИ/ МУФТА РЕГИСТРАЦИИ (PL5.1.2) . . . . . . . . . . . . . . 4-96
REP5.2 ДАТЧИК РЕГИСТРАЦИИ (PL5.1.4) . . . . . . . . . . . . . . . . . . . . . . . . . . . . . . . . . . . . . . 4-99
REP6.1 КСЕРОГРАФИЯ . . . . . . . . . . . . . . . . . . . . . . . . . . . . . . . . . . . . . . . . . . . . . . . . . . . . 4-101
REP7.1 УЗЕЛ ROS (PL7.1.1) . . . . . . . . . . . . . . . . . . . . . . . . . . . . . . . . . . . . . . . . . . . . . . . . 4-102
REP8.1 КОМПЛЕКТ РЫЧАГОВ ФЬЮЗЕРА (PL8.1.1) . . . . . . . . . . . . . . . . . . . . . . . . . . . . . 4-105
REP8.2 УЗЕЛ ФЬЮЗЕРА (PL8.1.11) . . . . . . . . . . . . . . . . . . . . . . . . . . . . . . . . . . . . . . . . . . . 4-107
REP9.1 КРОНШТЕЙН УЗЛА ВЫВОДА (PL9.1.1) . . . . . . . . . . . . . . . . . . . . . . . . . . . . . . . . . 4-108
REP9.2 УЗЕЛ ПРИВОДА ВЫВОДА (PL9.1.2) . . . . . . . . . . . . . . . . . . . . . . . . . . . . . . . . . . . 4-111
REP9.3 ГЛАВНЫЙ ДВИГАТЕЛЬ (PL9.1.3) . . . . . . . . . . . . . . . . . . . . . . . . . . . . . . . . . . . . . . 4-112
REP10.1 УЗЕЛ ВОЗДУХОВОДА СРЕДНЕГО ВЕНТИЛЯТОРА (PL10.1.1) . . . . . . . . . . . . . . 4-113
REP10.2 СРЕДНИЙ ВЕНТИЛЯТОР (PL10.1.2) . . . . . . . . . . . . . . . . . . . . . . . . . . . . . . . . . . . 4-116
REP10.3 ЗАДНИЙ ВЕНТИЛЯТОР (PL10.1.4) . . . . . . . . . . . . . . . . . . . . . . . . . . . . . . . . . . . . 4-117
REP11.1 УЗЕЛ ЭКРАНА ESS (PL11.1.1) . . . . . . . . . . . . . . . . . . . . . . . . . . . . . . . . . . . . . . . . 4-120
REP11.2 ПЛАТА MCU (PL11.1.3) . . . . . . . . . . . . . . . . . . . . . . . . . . . . . . . . . . . . . . . . . . . . . . 4-121
REP11.3 УЗЕЛ ШАССИ ESS (PL11.1.4) . . . . . . . . . . . . . . . . . . . . . . . . . . . . . . . . . . . . . . . . 4-124
REP11.4 HVPS (PL11.1.5) . . . . . . . . . . . . . . . . . . . . . . . . . . . . . . . . . . . . . . . . . . . . . . . . . . . 4-127
REP11.5 LVPS (PL11.1.6) . . . . . . . . . . . . . . . . . . . . . . . . . . . . . . . . . . . . . . . . . . . . . . . . . . . . 4-129
REP11.6 ПЛАТА ESS (PL11.1.7) . . . . . . . . . . . . . . . . . . . . . . . . . . . . . . . . . . . . . . . . . . . . . . 4-131
REP12.1 УЗЕЛ ОСНОВНОЙ БЛОКИРОВКИ (PL12.1.1) . . . . . . . . . . . . . . . . . . . . . . . . . . . . 4-133
REP12.2 КОМПЛЕКТ РЫЧАГОВ ШТОРКИ (PL12.1.2) . . . . . . . . . . . . . . . . . . . . . . . . . . . . . 4-137
REP12.3 УЗЕЛ ПРОВОДКИ С БЛОКИРОВКОЙ (PL12.1.4) . . . . . . . . . . . . . . . . . . . . . . . . . 4-139
REP12.4 КРОНШТЕЙН УЗЛА CRUM SP (PL12.1.17) . . . . . . . . . . . . . . . . . . . . . . . . . . . . . . 4-141
REP13.1 УЗЕЛ ДУПЛЕКСНОГО МОДУЛЯ (PL13.1.1) . . . . . . . . . . . . . . . . . . . . . . . . . . . . . . 4-143
REP13.2 УЗЕЛ ПРИВОДА ВЫВОДА (PL13.1.2) . . . . . . . . . . . . . . . . . . . . . . . . . . . . . . . . . . 4-144
REP13.3 РОЛИК ДУПЛЕКСНОГО МОДУЛЯ (PL13.2.1) . . . . . . . . . . . . . . . . . . . . . . . . . . . . 4-145
REP13.4 КОМПЛЕКТ АКТИВАТОРА ДУПЛЕКСНОГО МОДУЛЯ (PL13.2.4) . . . . . . . . . . . . 4-148
REP13.5 ФОТОДАТЧИК (датчик застревания в дуплексном модуле) (PL13.2.7) . . . . . . . 4-149
REP13.6 ФОТОДАТЧИК (датчик открытой крышки дуплексного модуля) (PL13.2.7) . . . . 4-150
REP13.7 ДВИГАТЕЛЬ ДУПЛЕКСНОГО МОДУЛЯ (PL13.2.13) . . . . . . . . . . . . . . . . . . . . . . . 4-152
REP13.8 ПРАВАЯ КРЫШКА (PL13.2.16) . . . . . . . . . . . . . . . . . . . . . . . . . . . . . . . . . . . . . . . . 4-154
REP13.9 КРЫШКА ЖЕЛОБА (PL13.2.18) . . . . . . . . . . . . . . . . . . . . . . . . . . . . . . . . . . . . . . . 4-155
REP13.10 ЛЕВАЯ КРЫШКА (PL13.2.19) . . . . . . . . . . . . . . . . . . . . . . . . . . . . . . . . . . . . . . . . 4-156
REP13.11 ПЛАТА ДУПЛЕКСНОГО МОДУЛЯ (PL13.2.21) . . . . . . . . . . . . . . . . . . . . . . . . . . 4-157
REP13.12 НИЖНИЙ ЖЕЛОБ (PL13.2.23) . . . . . . . . . . . . . . . . . . . . . . . . . . . . . . . . . . . . . . . 4-158
REP13.13 ЗАДНЯЯ КРЫШКА (PL13.2.24) . . . . . . . . . . . . . . . . . . . . . . . . . . . . . . . . . . . . . . 4-159
REP14.1 УЗЕЛ ПОДАТЧИКА (PL15.1.1) . . . . . . . . . . . . . . . . . . . . . . . . . . . . . . . . . . . . . . . . 4-160
REP14.2 КРЫШКА КАССЕТЫ (PL15.1.2) . . . . . . . . . . . . . . . . . . . . . . . . . . . . . . . . . . . . . . . 4-162
REP14.3 ПРАВАЯ КРЫШКА ПОДАТЧИКА (PL15.1.4) . . . . . . . . . . . . . . . . . . . . . . . . . . . . . 4-163
REP14.4 ПРАВАЯ ПЕРЕДНЯЯ КРЫШКА ПОДАТЧИКА (PL15.1.6) . . . . . . . . . . . . . . . . . . . 4-164
REP14.5 ЛЕВАЯ КРЫШКА ПОДАТЧИКА (PL15.1.7) . . . . . . . . . . . . . . . . . . . . . . . . . . . . . . . 4-165
REP14.6 ПОДУЗЕЛ ДОПОЛНИТЕЛЬНОГО ПОДАТЧИКА SP (PL15.2.1) . . . . . . . . . . . . . . 4-166
REP14.7 ПЛАСТИНА ЖЕЛОБА (PL15.2.2) . . . . . . . . . . . . . . . . . . . . . . . . . . . . . . . . . . . . . . 4-168
REP14.8 ДАТЧИК КРОМКИ БУМАГИ (PL15.2.4) . . . . . . . . . . . . . . . . . . . . . . . . . . . . . . . . . 4-170
REP14.9 УЗЕЛ ПРИВОДА ДОПОЛНИТЕЛЬНОГО ПОДАТЧИКА (PL15.2.6) . . . . . . . . . . . . 4-171
REP14.10 УЗЕЛ ПОВОРОТНОГО ЖЕЛОБА ДОПОЛНИТЕЛЬНОГО ПОДАТЧИКА (PL15.2.7) 4-
172
REP14.11 КОМПЛЕКТ АКТИВАТОРА ДАТЧИКА КРОМКИ БУМАГИ ДОПОЛНИТЕЛЬНОГО
ПОДАТЧИКА (PL15.2.12) 4-173
REP14.12 КОМПЛЕКТ ПРАВОЙ НАПРАВЛЯЮЩЕЙ ЛОТКА (PL15.2.15) . . . . . . . . . . . . . . 4-175
REP14.13 КОМПЛЕКТ ЛЕВОЙ НАПРАВЛЯЮЩЕЙ ЛОТКА (PL15.2.16) . . . . . . . . . . . . . . . 4-177
REP14.14 ДАТЧИК ФОРМАТА (PL15.2.17) . . . . . . . . . . . . . . . . . . . . . . . . . . . . . . . . . . . . . . 4-179
REP14.15 ПЛАТА ПОДАТЧИКА (PL15.2.18) . . . . . . . . . . . . . . . . . . . . . . . . . . . . . . . . . . . . . 4-180
REP14.16 ПОВОРОТНАЯ МУФТА (PL15.3.3) . . . . . . . . . . . . . . . . . . . . . . . . . . . . . . . . . . . . 4-181
REP14.17 МУФТА ПОДАЧИ (PL15.3.4) . . . . . . . . . . . . . . . . . . . . . . . . . . . . . . . . . . . . . . . . . 4-182
REP14.18 АКТИВАТОР ДАТЧИКА ОТСУТСТВИЯ БУМАГИ (PL15.3.6) . . . . . . . . . . . . . . . . 4-183
REP14.19 УЗЕЛ РОЛИКА ПОДАЧИ (PL15.3.10) . . . . . . . . . . . . . . . . . . . . . . . . . . . . . . . . . . 4-185
REP14.20 ДАТЧИК ОТСУТСТВИЯ БУМАГИ В ЛОТКЕ (PL15.3.11) . . . . . . . . . . . . . . . . . . . 4-187
REP14.21 УЗЕЛ ПОВОРОТНОГО РОЛИКА (PL15.3.12) . . . . . . . . . . . . . . . . . . . . . . . . . . . 4-188
4.3 Эта страница преднамеренно оставлена пустой . . . . . . . . . . . . . . . . . . . . . . . . . . . . . . . . . . . 4-189
4.3.2 При замене элементов хранения важной информации следует иметь в виду следующее: . 4-
191
4.1 Введение
Эта глава разбита на 14 разделов, каждый из которых соответствует узлу в перечне запасных частей и
описывает процедуру снятия основных деталей.
PL1 КРЫШКИ
PL2 ПОДАТЧИК НА 550 ЛИСТОВ И ЛОТОК
PL3 ОБХОДНОЙ ЛОТОК
PL4 ППЕРЕДНЯЯ РАМА
PL5 УЗЕЛ РЕГИСТРАЦИИ
PL6 КСЕРОГРАФИЯ
PL7 ROS
PL8 ПРОЯВЛЕНИЕ
PL9 ФЬЮЗЕР
PL10 ПРИВОД
PL11 ЭЛЕКТРОПРОВОДКА
PL12 РАМА
PL13 ДУПЛЕКСНЫЙ МОДУЛЬ
PL14 ДОПОЛНИТЕЛЬНЫЙ ПОДАТЧИК И ЛОТОК
Внимательно ознакомьтесь с состоянием установки до начала обслуживания части, которая
рассматривается как запасная и не имеет соответствующей процедуры, описанной здесь.
В принципе, дополнительные части должны сниматься при техническом обслуживании. Однако, если в
этом нет необходимости, вы можете выполнить обслуживание при установленных частях.

Глава 4 Процедуры разборки/сборки и регулировки
4.1 Введение
4 - 2
4.1.1 Перед обслуживанием
•Перед началом работы выключите питание аппарата и отсоедините силовой шнур от
электрической розетки.
•Во время работы, по возможности, персонал должен быть заземлен с помощью браслетов на
запястье и т.п. для снятия статического электричества с тела.
•Снимите УЗЕЛ CRU (PL6.1.1) и при необходимости разберите его.
•Перед началом обслуживания УЗЛА ФЬЮЗЕРА подождите, пока его температура и
температура окружающих его деталей снизится в достаточной степени.
•Будьте осторожны и не прикладывайте избыточные усилия во время работы во избежание
поломки деталей и сбоев в работе аппарата.
•Помещайте УЗЕЛ CRU, УЗЕЛ ЛОТКА и т.п. в такое месте, где они не будут мешать работе.
(Однако, если в этом нет необходимости, вы можете выполнить обслуживание без снятия
частей).
Рис. 4-1 Перед обслуживанием
•Поскольку применяются различные типы винтов, используйте их только по назначению.
Будьте особенно внимательны и не путайте винты для металла и пластика. Неправильное их
использование может повредить резьбовые отверстия. Неправильное использование также
может привести к повреждению резьбы и возникновению соответствующих проблем.
В позициях, помеченных буквами "TAP" на платах и металлических частях, используйте винты для
пластика.
Узел CRU
УЗЕЛ ЛОТКА

Глава 4 Процедуры разборки/сборки и регулировки
4.1 Введение
4 - 3
Таблица 4-1: Типы винтов
№Тип Применение Форма Как
распознать ВНИМАНИЕ Основное
применение
1Винт с резьбой
для пластика
Серебристая
резьба
Пластик •Серебристый
•Шаг резьбы
больше,
чем у винта
для
металла.
•Кончик
винта
более
острый.
Он сам
предназнач
ен для
нарезания
резьбы.
Поэтому при
установке
его с
перекосом
резьба
может быть
повреждена
.
2Винт с резьбой
для пластика
Серебристый,
с фланцем
Пластик •Серебристый
•С фланцем
•Шаг резьбы
больше,
чем у винта
для
металла.
•Кончик
винта
более
острый.
Он сам
предназнач
ен для
нарезания
резьбы.
Поэтому при
установке
его с
перекосом
резьба
может быть
повреждена
.
3Винт для
металлических
деталей
Серебристый
Металл •Серебристый
•Диаметр
резьбы
одинаковы
й по всей
высоте.
4Винт для
металлических
деталей
Серебристый,
с фланцем
Металл •Серебристый
•С фланцем
•Диаметр
резьбы
одинаковы
й по всей
высоте.
Пласти
к
Детали
и пр.
Крупная
резьба
Пластик
Детали
и пр.
Крупная
резьба
Детали
и пр.
Металли
ческий
лист
Детали
и пр.Металли
ческий
лист

Глава 4 Процедуры разборки/сборки и регулировки
4.1 Введение
4 - 4
5Винт для
металлических
деталей
Серебристый,
с шайбой
Металл •Серебристый
•С шайбой
•Диаметр
резьбы
одинаковы
й по всей
высоте.
•Проверьте
место
установки
заземляющ
его
провода
главного
выключате
ля.
Таблица 4-1: Типы винтов
№Тип Применение Форма Как
распознать ВНИМАНИЕ Основное
применение
Детали
и пр.Металли
ческий
лист
Глава 4 Процедуры разборки/сборки и регулировки
4.1 Введение
4 - 5
4.1.2 Обозначения в процедурах
•Словосочетание "REPX.Y "AAAAA"" показывает, что необходимо снять/установить детали
"AAAAA".
•Примечание "(PLX.Y.Z)", появляющееся в процедуре после названия детали, указывает на
части, соответствующие позиции "Z" на схеме перечня запасных частей (PL) "X.Y" в " Глава 5
Перечень запасных частей". Поэтому вы можете ссылаться на главу 5 "Перечни запасны
частей" за более подробной информацией о форме детали, месте ее установки и т.п.
•Если в процедуре появляются слова "Для ... аппарата", вам необходимо перейти к процедуре
для соответствующих аппаратов. (Не выполняйте процедуру для других аппаратов.)
•Сочетание "(REPX.Y)", появляющееся в самой процедуре или в конце ее, указывает на то, что
описываются процедуры связанные с "REPX.Y".
•Винты, показанные на рисунках, следует заворачивать/отворачивать крестовой отверткой,
если не указано иное.
•Черные стрелки на рисунках показывают, что вы должны переместить деталь в указанном
направлении. Номера на рисунках показывают, что вы должны перемещать детали в
указанном порядке.
•Расположение разъемов (P/J) см. в главе 7 "Электрические соединения".
Глава 4 Процедуры разборки/сборки и регулировки
4.1 Введение
4 - 6
4.1.3 Как пользоваться процедурами разборки/сборки и
регулировками
Далее приводятся некоторые правила для процедур, включающих в себя разборку, сборку, замену и
регулировку деталей, требующих обслуживания у заказчика.
1[Подсистема]: Аппарат Phaser 5335 разбит на 14 подсистем. Каждая подсистема в
свою очередь подразделяется на несколько узлов, каждый из которых имеет свой
номер. Этот номер соответствует номеру перечня запасных частей, приведенного в
главе 5. Благодаря этому, поиск упрощается за счет такой организации, которая
позволяет делать ссылки на различные процедуры из перечней запасных частей и
наоборот.
[Пример]
Разборка/сборка/регулировка: 1.1.1XXX Сборка
Перечень запасных частей: PL1.1 Узел XXX
2[Рис. -]: Слово (Рис.- 1) в конце текста показывает, что подробно описанная процедура
сопровождается иллюстрацией.
Иллюстрация показывает только одну сторону симметричных деталей (верх/низ, справа/
слева).
3[Установка]: "Установка" указывает только на те моменты, которые нужно иметь в виду при
выполнении действий в порядке, обратном порядку разборки.
4[Процедура замены]: Простые процедуры замены, которые не требуют снятия и установки
деталей, здесь не описываются. Однако, для случае, которые могут потребовать
регулировок, предусмотрены примечания.
5[Ссылка на процедуру]: Аббревиатура (REP или ADJ 2.1.3) после процедуры указывает
другую процедуру разборки/сборки/регулировки.
6[Предварительные требования]: Убедитесь перед выполнением процедуры, что выполнены
условия, приведенные в примечании.
7[Модификация]: Из-за модификаций возникают различия в деталях или процедурах, поэтому
номер модификации будет приведен в начале такой процедуры.
[Пример 1]
X. X. X Ролик "A" [Модели на 5 В]
* Показывает, что вся процедура с таким заголовком выполняется на моделях с модификацией 5
В.
[Пример 2]
2. [Модели без 3 В]: Снимите ролик "В".
* Показывает, что эта процедура применяется только для аппаратов без модификации 3 В.
[Пример 3]
Рис. 1 [Модели на 3 В]
* Показывает, что на рис. 1 приведена модель с модификацией 3 В.

Глава 4 Процедуры разборки/сборки и регулировки
4.1 Введение
4 - 7
[Пример 4]
Этот символ указывает на конфигурацию детали после модифицикации с номером, приведенным
в кружке.
Этот символ указывает на конфигурацию детали до модифицикации с номером, приведенным в
кружке.
8[Орирентация аппарата]: Далее описаны положения аппарата или направления внутри него,
используемые в процедурах.
•Спереди: Передняя часть аппарата
•Справа: Правая сторона, если смотреть на аппарат спереди.
•Слева: Левая сторона, если смотреть на аппарат спереди.
•Сзади: Задняя часть аппарата, если смотреть на него спереди.
Рис. 4-2 Аппарат
ЛЕВАЯ СТОРОНА
ПРАВАЯ СТОРОНА
ПЕРЕДНЯЯ ЧАСТЬ
ЗАДНЯЯ ЧАСТЬ
Глава 4 Процедуры разборки/сборки и регулировки
4.1 Введение
4 - 8
4.1.4 Символы и обозначения
Далее приводятся термины, символы и обозначения, используемые в этом сервисном руководстве.
•В начале текста исплользуются следующие термины и обозначения:
! ОПАСНОСТЬ
Указывает на неизбежно опасную ситуацию, такую как летальный исход или серьезная травма,
которая возникает, если оператор неправильно обращается с аппаратом, пренебрегая
указаниями.
ПРЕДУПРЕЖДЕНИЕ
Указывает на потенциально опасную ситуацию, такую как летальный исход или серьезная
травма, которая возникает, если оператор неправильно обращается с аппаратом, пренебрегая
указаниями.
ВНИМАНИЕ
Указывает на потенциально опасную ситуацию, такую как травма или повреждение аппарата,
которая возникает, если оператор неправильно обращается с ним, пренебрегая указаниями.
Указание
Используется для оповещения вас о том, что несоблюдение процедуры может привести к
повреждению аппарата или другого оборудования.
Примечание
Используется для обращения внимания на рабочие процедуры и правила.
Указатель
Используется для иных разъяснений и т.п.
Цель
Описывает цель регулировки.
• REP: Указывает на процедуру разборки/сборки.
•ADJ: Указывает на процедуру регулировки.
•PL: Указывает на перечень запасных частей.
Элементы обеспечения безопасности (Safety Critical Components – SCC)
Для контроля за элементами обеспечения безопасности и иными указанными элементами
выпоняйте соответствующие указания, разработанные Fuji Xerox Co., Ltd.
Элемент хранения важной информации (Important Information Stored Component – ISC)
Этот элемент хранит всю важную информацию заказчика, которая вводится после установки. При
выполнении замены, а также утилизации следуйте процедуре в главе 4 "Процедуры разборки/
сборки и регулировки". Абсолютно убедитесь в том, что информация заказчика не будет доступна
третьим лицам.

Глава 4 Процедуры разборки/сборки и регулировки
4.2 Процедуры разборки/сборки
4 - 9
4.2 Процедуры разборки/сборки
PL1 КРЫШКИ
REP1.1 БЛОК КРЫШКИ (PL1.1.4)
ПРЕДУПРЕЖДЕНИЕ: Отключите подачу питания на аппарат. При выполнении работ, не
связанных с подачей электропитания, отсоедините силовой шнур от электрической розетки.
Поражение электрическим током может привести к серьезным последствиям для здоровья или
даже к смерти. Движущиеся части аппарата могут привести к травмам.
ПРЕДУПРЕЖДЕНИЕ: При выполнении этой процедуры будьте особенно осторожны.
Острые кромки могут привести к травмам.
ВНИМАНИЕ: Перед выполнением этой процедуры обратитесь к разделу "Введение"4.1.1
"Перед обслуживанием".
Снятие
1Отверните два винта (серебристые, с шайбами, 8 мм), которые крепят БЛОК
КРЫШКИ к аппарату.
2Снимите БЛОК КРЫШКИ с аппарата.
Рис. 4-3 БЛОК КРЫШКИ
БЛОК КРЫШКИ

Глава 4 Процедуры разборки/сборки и регулировки
4.2 Процедуры разборки/сборки
4 - 10
REP1.2 ПРАВАЯ БОКОВАЯ КРЫШКА (PL1.1.9)
ПРЕДУПРЕЖДЕНИЕ::Отключите подачу питания на аппарат. При выполнении работ, не
связанных с подачей электропитания, отсоедините силовой шнур от электрической розетки.
Поражение электрическим током может привести к серьезным последствиям для здоровья или
даже к смерти. Движущиеся части аппарата могут привести к травмам.
ПРЕДУПРЕЖДЕНИЕ: При выполнении этой процедуры будьте особенно осторожны.
Острые кромки могут привести к травмам.
ВНИМАНИЕ: Перед выполнением этой процедуры обратитесь к разделу "Введение"4.1.1
"Перед обслуживанием".
Снятие
1Снимите БЛОК КРЫШКИ. (REP1.1)
2Освободите защелку и откройте ПЕРЕДНЮЮ РАМУ.
3Откройте УЗЕЛ ВЕРХНЕЙ КРЫШКИ.
4Выверните винт (серебристый, с шайбой, 8 мм), который крепит ПРАВУЮ БОКОВУЮ
КРЫШКУ к аппарату.
5Сдвиньте ПРАВУЮ БОКОВУЮ КРЫШКУ назад, чтобы освободить крючок, и затем поднимите
ее, чтобы снять с аппарата.
Рис. 4-4 ПРАВАЯ БОКОВАЯ КРЫШКА
ПРАВАЯ БОКОВАЯ КРЫШКА
Глава 4 Процедуры разборки/сборки и регулировки
4.2 Процедуры разборки/сборки
4 - 11
REP1.3 ЛЕВАЯ БОКОВАЯ КРЫШКА (PL1.1.14), БОКОВОЙ
ВЕНТИЛЯТОР (PL 10.1.5)
ПРЕДУПРЕЖДЕНИЕ: Отключите подачу питания на аппарат. При выполнении работ, не
связанных с подачей электропитания, отсоедините силовой шнур от электрической розетки.
Поражение электрическим током может привести к серьезным последствиям для здоровья или
даже к смерти. Движущиеся части аппарата могут привести к травмам.
ПРЕДУПРЕЖДЕНИЕ: При выполнении этой процедуры будьте особенно осторожны.
Острые кромки могут привести к травмам.
ВНИМАНИЕ: Перед выполнением этой процедуры обратитесь к разделу "Введение"4.1.1
"Перед обслуживанием".
Снятие
1Снимите БЛОК КРЫШКИ. (REP1.1)
2Освободите защелку и откройте ПЕРЕДНЮЮ РАМУ.
3Откройте УЗЕЛ ВЕРХНЕЙ КРЫШКИ.
4Выверните винт (серебристый, с шайбой, 8 мм), который крепит ЛЕВУЮ БОКОВУЮ КРЫШКУ
к аппарату.
5Сдвиньте ЛЕВУЮ БОКОВУЮ КРЫШКУ назад, чтобы освободить крючок, и затем поднимите
ее, чтобы снять с аппарата.
6Отсоедините разъем (P/J1610) БОКОВОГО ВЕНТИЛЯТОРА (PL 10.1.5).
7Выверните два винта (серебристые, саморезы, 8 мм), которые БОКОВОЙ ВЕНТИЛЯТОР к
ЛЕВОЙ БОКОВОЙ КРЫШКЕ.
8Снимите БОКОВОЙ ВЕНТИЛЯТОР с ЛЕВОЙ БОКОВОЙ КРЫШКИ.
Инструкция: Установите БОКОВОЙ ВЕНТИЛЯТОР так, чтобы этикетка была обращена
влево (наружу).

Глава 4 Процедуры разборки/сборки и регулировки
4.2 Процедуры разборки/сборки
4 - 12
Рис. 4-5 ЛЕВАЯ БОКОВАЯ КРЫШКА/ БОКОВОЙ ВЕНТИЛЯТОР
ЭТИКЕТКА
БОКОВОЙ
ВЕНТИЛЯТОР
ЛЕВАЯ БОКОВАЯ КРЫШКА
Глава 4 Процедуры разборки/сборки и регулировки
4.2 Процедуры разборки/сборки
4 - 13
REP1.4 УЗЕЛ ПАНЕЛИ УПРАВЛЕНИЯ (PL 1.1.3)
ПРЕДУПРЕЖДЕНИЕ: Отключите подачу питания на аппарат. При выполнении работ, не
связанных с подачей электропитания, отсоедините силовой шнур от электрической розетки.
Поражение электрическим током может привести к серьезным последствиям для здоровья или
даже к смерти. Движущиеся части аппарата могут привести к травмам.
ПРЕДУПРЕЖДЕНИЕ: При выполнении этой процедуры будьте особенно осторожны.
Острые кромки могут привести к травмам.
ВНИМАНИЕ: Перед выполнением этой процедуры обратитесь к разделу "Введение"4.1.1
"Перед обслуживанием".
Снятие
1Освободите защелку и откройте ПЕРЕДНЮЮ РАМУ.
2Освободите защелки (в 2 местах), которые крепят УЗЕЛ ПАНЕЛИ УПРАВЛЕНИЯ к аппарату, и
2 Откройте УЗЕЛ ВЕРХНЕЙ КРЫШКИ. затем освободите защелки (в 3 местах) спереди, чтобы
снять УЗЕЛ ПАНЕЛИ УПРАВЛЕНИЯ.
3Отсоедините разъем D(P/J 300) ПАНЕЛИ УПРАВЛЕНИЯ.
4Снимите УЗЕЛ ПАНЕЛИ УПРАВЛЕНИЯ с УЗЛА ВЕРХНЕЙ КРЫШКИ.

Глава 4 Процедуры разборки/сборки и регулировки
4.2 Процедуры разборки/сборки
4 - 14
Рис. 4-6 УЗЕЛ ПАНЕЛИ УПРАВЛЕНИЯ
УЗЕЛ ПАНЕЛИ
УПРАВЛЕНИЯ
Глава 4 Процедуры разборки/сборки и регулировки
4.2 Процедуры разборки/сборки
4 - 15
REP1.5 УЗЕЛ ВЕРХНЕЙ КРЫШКИ (PL 1.1.2)
ПРЕДУПРЕЖДЕНИЕ: Отключите подачу питания на аппарат. При выполнении работ, не
связанных с подачей электропитания, отсоедините силовой шнур от электрической розетки.
Поражение электрическим током может привести к серьезным последствиям для здоровья или
даже к смерти. Движущиеся части аппарата могут привести к травмам.
ПРЕДУПРЕЖДЕНИЕ: При выполнении этой процедуры будьте особенно осторожны.
Острые кромки могут привести к травмам.
ВНИМАНИЕ: Перед выполнением этой процедуры обратитесь к разделу "Введение"4.1.1
"Перед обслуживанием".
Снятие
1Снимите БЛОК КРЫШКИ. (REP1.1)
2Снимите УЗЕЛ ЭКРАНА ESS. (REP1.1)
3Снимите ПРАВУЮ БОКОВУЮ КРЫШКУ.(REP1.2)
4Снимите ЛЕВУЮ БОКОВУЮ КРЫШКУ. (REP1.3)
5Снимите УЗЕЛ ПАНЕЛИ УПРАВЛЕНИЯ. (REP1.4)
6Откройте седловидную кромку, которая прикреплена к ШАССИ ESS. (PL 11.1.4)
7Выверните 2 винта (серебристые, с шайбой, 8 мм), которые крепят КРЫШКУ MCU к УЗЛУ
ЭКРАНА ESS и снимите КРЫШКУ MCU.
8Отсоедините разъем (P/J5), который подключен к плате ESS PWB, освободите зажимы (в 4
местах), которые держат проводку и затем снимите ее.
9Извлеките проводку из направляющей с левой стороны КОМПЛЕКТА СРЕДНЕЙ КРЫШКИ (PL
1.1.8).
10 По очереди, слева и справа откройте наружу секцию установки УЗЛА ВЕРХНЕЙ КРЫШКИ для
того, чтобы снять УЗЕЛ ВЕРХНЕЙ КРЫШКИ с аппарата.
11 Вытяните проводку и разъем через отверстие в левой части секции установки УЗЛА
ВЕРХНЕЙ КРЫШКИ и снимите УЗЕЛ ВЕРХНЕЙ КРЫШКИ.
Инструкция: При установке УЗЛА ВЕРХНЕЙ КРЫШКИ убедитесь, что проводка правильно
располагается в вырезе с левой стороны секции установки УЗЛА ВЕРХНЕЙ КРЫШКИ и что
она не пережата.

Глава 4 Процедуры разборки/сборки и регулировки
4.2 Процедуры разборки/сборки
4 - 16
Рис. 4-7 УЗЕЛ ВЕРХНЕЙ КРЫШКИ
КРЫШКА MCU

Глава 4 Процедуры разборки/сборки и регулировки
4.2 Процедуры разборки/сборки
4 - 17
Рис. 4-8 УЗЕЛ ВЕРХНЕЙ КРЫШКИ
УЗЕЛ ВЕРХНЕЙ КРЫШКИ
ПРИМЕЧАНИЕ

Глава 4 Процедуры разборки/сборки и регулировки
4.2 Процедуры разборки/сборки
4 - 18
REP1.6 КОМПЛЕКТ ПЕРЕДНЕЙ КРЫШКИ (PL1.1.11)
ПРЕДУПРЕЖДЕНИЕ: Отключите подачу питания на аппарат. При выполнении работ, не
связанных с подачей электропитания, отсоедините силовой шнур от электрической розетки.
Поражение электрическим током может привести к серьезным последствиям для здоровья или
даже к смерти. Движущиеся части аппарата могут привести к травмам.
ПРЕДУПРЕЖДЕНИЕ: При выполнении этой процедуры будьте особенно осторожны.
Острые кромки могут привести к травмам.
ВНИМАНИЕ: Перед выполнением этой процедуры обратитесь к разделу "Введение"4.1.1
"Перед обслуживанием".
Снятие
1Откройте КОМПЛЕКТ ПЕРЕДНЕЙ КРЫШКИ.
2Откройте УЗЕЛ ОБХОДНОГО ЛОТКА (PL3.1.22), сдвинув связи (в 2 местах) в передней части
КОМПЛЕКТА ПЕРЕДНЕЙ КРЫШКИ вправо и влево для того, освободить выступы и снять
УЗЕЛ ОБХОДНОГО ЛОТКА.
3Поверните рукоятку ШТИФТА ПЕРЕДНЕЙ КРЫШКИ (PL1.1.12) вверх и вытяните его.
4Сдвиньте правую секцию установки КОМПЛЕКТА ПЕРЕДНЕЙ КРЫШКИ с выступа и снимите
КОМПЛЕКТ ПЕРЕДНЕЙ КРЫШКИ с аппарата.
Рис. 4-9 КОМПЛЕКТ ПЕРЕДНЕЙ КРЫШКИ
КОМПЛЕКТ ПЕРЕДНЕЙ КРЫШКИ
УЗЕЛ ОБХОДНОГО
ЛОТКА

Глава 4 Процедуры разборки/сборки и регулировки
4.2 Процедуры разборки/сборки
4 - 19
Рис. 4-10 КОМПЛЕКТ ПЕРЕДНЕЙ КРЫШКИ
ШТИФТ ПЕРЕДНЕЙ КРЫШКИ

Глава 4 Процедуры разборки/сборки и регулировки
4.2 Процедуры разборки/сборки
4 - 20
REP1.7 ПРАВАЯ ПЕРЕДНЯЯ КРЫШКА (PL1.1.10)
ПРЕДУПРЕЖДЕНИЕ: Отключите подачу питания на аппарат. При выполнении работ, не
связанных с подачей электропитания, отсоедините силовой шнур от электрической розетки.
Поражение электрическим током может привести к серьезным последствиям для здоровья или
даже к смерти. Движущиеся части аппарата могут привести к травмам.
ПРЕДУПРЕЖДЕНИЕ: При выполнении этой процедуры будьте особенно осторожны.
Острые кромки могут привести к травмам.
ВНИМАНИЕ: Перед выполнением этой процедуры обратитесь к разделу "Введение"4.1.1
"Перед обслуживанием".
Снятие
1Снимите КОМПЛЕКТ ПЕРЕДНЕЙ КРЫШКИ. (REP1.6)
2Откройте ВЕРХНЮЮ КРЫШКУ ДУПЛЕКСНОГО МОДУЛЯ.
3Освободите защелку и откройте ПЕРЕДНЮЮ РАМУ.
4Выверните винт (серебристый, саморез, 8 мм), который крепит ПРАВУЮ ПЕРЕДНЮЮ
КРЫШКУ к ПЕРЕДНЕЙ РАМЕ.
5Освободите защелки (в 4 местах), которые фиксируют ПРАВУЮ ПЕРЕДНЮЮ КРЫШКУ на
ПЕРЕДНЕЙ РАМЕ, для того, чтобы снять ПРАВУЮ ПЕРЕДНЮЮ КРЫШКУ.
Рис. 4-11 ПРАВАЯ ПЕРЕДНЯЯ КРЫШКА
ПРАВАЯ ПЕРЕДНЯЯ КРЫШКА

Глава 4 Процедуры разборки/сборки и регулировки
4.2 Процедуры разборки/сборки
4 - 21
REP1.8 ЛЕВАЯ ПЕРЕДНЯЯ КРЫШКА (PL1.1.13)
ПРЕДУПРЕЖДЕНИЕ: Отключите подачу питания на аппарат. При выполнении работ, не
связанных с подачей электропитания, отсоедините силовой шнур от электрической розетки.
Поражение электрическим током может привести к серьезным последствиям для здоровья или
даже к смерти. Движущиеся части аппарата могут привести к травмам.
ПРЕДУПРЕЖДЕНИЕ: При выполнении этой процедуры будьте особенно осторожны.
Острые кромки могут привести к травмам.
ВНИМАНИЕ: Перед выполнением этой процедуры обратитесь к разделу "Введение"4.1.1
"Перед обслуживанием".
Снятие
1Снимите КОМПЛЕКТ ПЕРЕДНЕЙ КРЫШКИ. (REP1.6)
2Откройте ВЕРХНЮЮ КРЫШКУ ДУПЛЕКСНОГО МОДУЛЯ.
3Освободите защелку и откройте ПЕРЕДНЮЮ РАМУ.
4Выверните винт (серебристый, саморез, 8 мм), который крепит ПРАВУЮ ПЕРЕДНЮЮ
КРЫШКУ к ПЕРЕДНЕЙ РАМЕ.
5Освободите защелки (в 4 местах), которые фиксируют ЛЕВУЮ ПЕРЕДНЮЮ КРЫШКУ на
ПЕРЕДНЕЙ РАМЕ, для того, чтобы снять ЛЕВУЮ ПЕРЕДНЮЮ КРЫШКУ.
Рис. 4-12 ЛЕВАЯ ПЕРЕДНЯЯ КРЫШКА
ЛЕВАЯ ПЕРЕДНЯЯ КРЫШКА

Глава 4 Процедуры разборки/сборки и регулировки
4.2 Процедуры разборки/сборки
4 - 22
REP1.9 ВЕРХНЯЯ КРЫШКА ДУПЛЕКСНОГО МОДУЛЯ (PL1.1.1)
ПРЕДУПРЕЖДЕНИЕ: Отключите подачу питания на аппарат. При выполнении работ, не
связанных с подачей электропитания, отсоедините силовой шнур от электрической розетки.
Поражение электрическим током может привести к серьезным последствиям для здоровья или
даже к смерти. Движущиеся части аппарата могут привести к травмам.
ПРЕДУПРЕЖДЕНИЕ: При выполнении этой процедуры будьте особенно осторожны.
Острые кромки могут привести к травмам.
ВНИМАНИЕ:Перед выполнением этой процедуры обратитесь к разделу "Введение"4.1.1
"Перед обслуживанием".
Снятие
1Снимите КОМПЛЕКТ ПЕРЕДНЕЙ КРЫШКИ. (REP1.6)
2Снимите ПРАВУЮ ПЕРЕДНЮЮ КРЫШКУ. (REP1.7)
3Снимите ЛЕВУЮ ПЕРЕДНЮЮ КРЫШКУ. (REP1.8)
4Откройте по одной наружу правую и левую секцию установки ВЕРХНЕЙ КРЫШКИ
ДУПЛЕКСНОГО МОДУЛЯ, сдвиньте их с выступов и снимите ВЕРХНЮЮ КРЫШКУ
ДУПЛЕКСНОГО МОДУЛЯ с ПЕРЕДНЕЙ РАМЫ.
Рис. 4-13 ВЕРХНЯЯ КРЫШКА ДУПЛЕКСНОГО МОДУЛЯ
ВЕРХНЯЯ КРЫШКА ДУПЛЕКСНОГО МОДУЛЯ

Глава 4 Процедуры разборки/сборки и регулировки
4.2 Процедуры разборки/сборки
4 - 23
REP1.10 ЗАДНЯЯ КРЫШКА (PL 1.1.17)
ПРЕДУПРЕЖДЕНИЕ: Отключите подачу питания на аппарат. При выполнении работ, не
связанных с подачей электропитания, отсоедините силовой шнур от электрической розетки.
Поражение электрическим током может привести к серьезным последствиям для здоровья или
даже к смерти. Движущиеся части аппарата могут привести к травмам.
ПРЕДУПРЕЖДЕНИЕ: При выполнении этой процедуры будьте особенно осторожны.
Острые кромки могут привести к травмам.
ВНИМАНИЕ: Перед выполнением этой процедуры обратитесь к разделу "Введение"4.1.1
"Перед обслуживанием".
Снятие
1Снимите БЛОК КРЫШКИ. (REP1.1)
2Снимите ПРАВУЮ БОКОВУЮ КРЫШКУ. (REP1.2)
3Снимите ЛЕВУЮ БОКОВУЮ КРЫШКУ.(REP1.3)
4Снимите УЗЕЛ ЭКРАНА ESS. (REP11.1)
5Выверните 2 винта (серебристые, с шайбами, 8 мм), которые крепят УЗЕЛ ШАССИ ESS.
(PL11.1.4)
6Выверните 2 винта (серебристые, с шайбами, 8 мм), которые крепят ЗАДНЮЮ КРЫШКУ.
Инструкция: При выполнении следующего этапа поднимите УЗЕЛ ШАССИ ESS на
минимально необходимую высоту, потому что передняя часть этого узла закреплена. Подъем
на слишком большую высоту может привести к деформации секции установки УЗЛА ШАССИ
ESS.
7Слегка поднимите заднюю часть УЗЛА ШАССИ ESS, освободите верхнюю часть ЗАДНЕЙ
КРЫШКИ и затем освободите защелки (в 3 местах) для того, чтобы снять ЗАДНЮЮ КРЫШКУ.
Рис. 4-14 ЗАДНЯЯ КРЫШКА
ЗАДНЯЯ КРЫШКА
Глава 4 Процедуры разборки/сборки и регулировки
4.2 Процедуры разборки/сборки
4 - 24
REP1.11 КОМПЛЕКТ СРЕДНЕЙ КРЫШКИ (PL 1.1.8)
ПРЕДУПРЕЖДЕНИЕ: Отключите подачу питания на аппарат. При выполнении работ, не
связанных с подачей электропитания, отсоедините силовой шнур от электрической розетки.
Поражение электрическим током может привести к серьезным последствиям для здоровья или
даже к смерти. Движущиеся части аппарата могут привести к травмам.
ПРЕДУПРЕЖДЕНИЕ: При выполнении этой процедуры будьте особенно осторожны.
Острые кромки могут привести к травмам.
ВНИМАНИЕ: Перед выполнением этой процедуры обратитесь к разделу "Введение"4.1.1
"Перед обслуживанием".
Снятие
1Снимите БЛОК КРЫШКИ. (REP1.1)
2Снимите ПРАВУЮ БОКОВУЮ КРЫШКУ. (REP1.2)
3Снимите ЛЕВУЮ БОКОВУЮ КРЫШКУ.(REP1.3)
4Снимите УЗЕЛ ПАНЕЛИ УПРАВЛЕНИЯ. (REP1.4)
5СНИМИТЕ УЗЕЛ ВЕРХНЕЙ КРЫШКИ. (REP1.5)
6Снимите КОМПЛЕКТ РЫЧАГОВ ФЬЮЗЕРА. (REP8.1)
7Отверните один винт (серебристый, с шайбой, 8 мм) и 2 винта (серебристые, саморезы, 8
мм), которые крепят КОМПЛЕКТ СРЕДНЕЙ КРЫШКИ к аппарату.
8Снимите проводку с направляющей КОМПЛЕКТА СРЕДНЕЙ КРЫШКИ.
9Освободите защелки (в 2 местах), которые фиксируют КОМПЛЕКТ СРЕДНЕЙ КРЫШКИ, и
снимите КОМПЛЕКТ СРЕДНЕЙ КРЫШКИ с аппарата.

Глава 4 Процедуры разборки/сборки и регулировки
4.2 Процедуры разборки/сборки
4 - 25
Рис. 4-15 КОМПЛЕКТ СРЕДНЕЙ КРЫШКИ
КОМПЛЕКТ СРЕДНЕЙ КРЫШКИ
Глава 4 Процедуры разборки/сборки и регулировки
4.2 Процедуры разборки/сборки
4 - 26
REP2.1 УЗЕЛ НАПРАВЛЯЮЩЕЙ ЛОТКА (PL 2.3.1)
ПРЕДУПРЕЖДЕНИЕ: Отключите подачу питания на аппарат. При выполнении работ, не
связанных с подачей электропитания, отсоедините силовой шнур от электрической розетки.
Поражение электрическим током может привести к серьезным последствиям для здоровья или
даже к смерти. Движущиеся части аппарата могут привести к травмам.
ПРЕДУПРЕЖДЕНИЕ: При выполнении этой процедуры будьте особенно осторожны.
Острые кромки могут привести к травмам.
ВНИМАНИЕ: Перед выполнением этой процедуры обратитесь к разделу "Введение"4.1.1
"Перед обслуживанием".
Инструкция:Эта процедура требует, чтобы аппарат был поднят, так что его придется
облегчить. В зависимости от обстоятельств, перед началом работы снимите УЗЛЫ CRU и
ФЬЮЗЕРА и т.п.
Снятие
1Снимите БЛОК КРЫШКИ. (REP1.1)
2Снимите ПРАВУЮ БОКОВУЮ КРЫШКУ. (REP1.2)
3Снимите ЛЕВУЮ БОКОВУЮ КРЫШКУ. (REP1.3)
4Снимите УЗЕЛ ПРИВОДА. (REP9.2)
5Снимите УЗЕЛ ЭКРАНА ESS. (REP11.1)
6Откройте седловидную кромку, которая прикреплена к ШАССИ ESS. (PL 11.1.4)
7Выверните винты (серебристые, с шайбой, 8 мм), которые крепят КРЫШКУ MCU к УЗЛУ
ЭКРАНА ESS и снимите КРЫШКУ MCU.
8Отсоедините разъемы (P/J11, P/J24 и P/J27), которые подключены к MCU, вытяните проводку
из седловидной кромки и затем извлеките проводку из направляющей в левой части
аппарата.
9Отсоедините разъем (P/J31), который подключен к LVPS (PL11.1.6) с правой стороны
аппарата.
10 Выверните винт (серебристый, с шайбой, 8 мм), который крепит провод заземления к
металлической раме с правой стороны аппарата, и отсоедините провод заземления.
11 Выверните винт (серебристый, с шайбой, 8 мм), который крепит АВТОМАТИЧЕСКИЙ
ВЫКЛЮЧАТЕЛЬ.
12 Выверните 10 винтов (серебристых, саморезов, 12 мм) для отделения основной части
аппарата от УЗЛА НАПРАВЛЯЮЩЕЙ ЛОТКА.
Инструкция: При выполнении следующего этапа возьмите аппарат спереди и сзади.
13 Удерживая аппарат в горизонтальном положении, поднимите его вверх и дайте возможность
отсоединенным жгутам проводки справа и слева свободно выскользнуть.

Глава 4 Процедуры разборки/сборки и регулировки
4.2 Процедуры разборки/сборки
4 - 27
Рис. 4-16 УЗЕЛ НАПРАВЛЯЮЩЕЙ ЛОТКА
КРЫШКА MCU
ПЛАТА MCU

Глава 4 Процедуры разборки/сборки и регулировки
4.2 Процедуры разборки/сборки
4 - 28
Рис. 4-17 УЗЕЛ НАПРАВЛЯЮЩЕЙ ЛОТКА

Глава 4 Процедуры разборки/сборки и регулировки
4.2 Процедуры разборки/сборки
4 - 29
Рис. 4-18 УЗЕЛ НАПРАВЛЯЮЩЕЙ ЛОТКА
УЗЕЛ НАПРАВЛЯЮЩЕЙ ЛОТКА
Глава 4 Процедуры разборки/сборки и регулировки
4.2 Процедуры разборки/сборки
4 - 30
REP2.2 Эта страница преднамеренно оставлена пустой.
Рис. 4-19
Глава 4 Процедуры разборки/сборки и регулировки
4.2 Процедуры разборки/сборки
4 - 31
REP2.3 ПОДУЗЕЛ ПОДАТЧИКА НА 550 ЛИСТОВ (PL 2.4.1)
ПРЕДУПРЕЖДЕНИЕ: Отключите подачу питания на аппарат. При выполнении работ, не
связанных с подачей электропитания, отсоедините силовой шнур от электрической розетки.
Поражение электрическим током может привести к серьезным последствиям для здоровья или
даже к смерти. Движущиеся части аппарата могут привести к травмам.
ПРЕДУПРЕЖДЕНИЕ: При выполнении этой процедуры будьте особенно осторожны.
Острые кромки могут привести к травмам.
ВНИМАНИЕ: Перед выполнением этой процедуры обратитесь к разделу "Введение"4.1.1
"Перед обслуживанием".
Снятие
1Снимите УЗЕЛ НАПРАВЛЯЮЩЕЙ ЛОТКА. (REP2.1).
2Снимите УЗЕЛ ПОВОРОТНОГО ЖЕЛОБА ПОДАТЧИКА НА 550 ЛИСТОВ. (REP2.10)
3Отсоедините разъем (P/J1110), который подключен к ДАТЧИКУ ФОРМАТА (PL2.3.8).
4Отсоедините разъем (P/J1120), который подключен к УЗЛУ КРОНШТЕЙНА ПОДАТЧИКА
(PL2.3.3).
5Отверните 4 винта (серебристые, саморезы, 12 мм), которые крепят ПОДУЗЕЛ ПОДАТЧИКА
НА 550 ЛИСТОВ к УЗЛУ НАПРАВЛЯЮЩЕЙ ЛОТКА.
6Отделите ПОДУЗЕЛ ПОДАТЧИКА НА 550 ЛИСТОВ от УЗЛА НАПРАВЛЯЮЩЕЙ ЛОТКА.
Инструкция:При установке ПОДУЗЛА ПОДАТЧИКА убедитесь, что вогнутая часть МУФТЫ
ПОДАЧИ (PL2.4.4) вставлена в вырез УЗЛА НАПРАВЛЯЮЩЕЙ ЛОТКА.

Глава 4 Процедуры разборки/сборки и регулировки
4.2 Процедуры разборки/сборки
4 - 32
Рис. 4-20 4-20 ПОДУЗЕЛ ПОДАТЧИКА НА 550 ЛИСТОВ
ПОДУЗЕЛ ПОДАТЧИКА
ДАТЧИК ФОРМАТА
МУФТА ПОДАЧИ

Глава 4 Процедуры разборки/сборки и регулировки
4.2 Процедуры разборки/сборки
4 - 33
REP2.4 ДАТЧИК ОТСУТСТВИЯ БУМАГИ В ЛОТКЕ (PL 2.4.11)
ПРЕДУПРЕЖДЕНИЕ: Отключите подачу питания на аппарат. При выполнении работ, не
связанных с подачей электропитания, отсоедините силовой шнур от электрической розетки.
Поражение электрическим током может привести к серьезным последствиям для здоровья или
даже к смерти. Движущиеся части аппарата могут привести к травмам.
ПРЕДУПРЕЖДЕНИЕ: При выполнении этой процедуры будьте особенно осторожны.
Острые кромки могут привести к травмам.
ВНИМАНИЕ: Перед выполнением этой процедуры обратитесь к разделу "Введение"4.1.1
"Перед обслуживанием".
Снятие
1Снимите УЗЕЛ НАПРАВЛЯЮЩЕЙ ЛОТКА. (REP2.1).
2Отсоедините разъем (P/J1130), который подключен к ДАТЧИКУ ОТСУТСТВИЯ БУМАГИ В
ЛОТКЕ.
3Освободите защелки, которые фиксируют ДАТЧИК ОТСУТСТВИЯ БУМАГИ В ЛОТКЕ на
ПОДУЗЛЕ ПОДАТЧИКА для того, чтобы снять ДАТЧИК ОТСУТСТВИЯ БУМАГИ В ЛОТКЕ.
Рис. 4-21 ДАТЧИК ОТСУТСТВИЯ БУМАГИ В ЛОТКЕ
ДАТЧИК ОТСУТСТВИЯ БУМАГИ В ЛОТКЕ
Глава 4 Процедуры разборки/сборки и регулировки
4.2 Процедуры разборки/сборки
4 - 34
REP2.5 УЗЕЛ РОЛИКА ПОДАЧИ (PL2.4.10)
ПРЕДУПРЕЖДЕНИЕ: Отключите подачу питания на аппарат. При выполнении работ, не
связанных с подачей электропитания, отсоедините силовой шнур от электрической розетки.
Поражение электрическим током может привести к серьезным последствиям для здоровья или
даже к смерти. Движущиеся части аппарата могут привести к травмам.
ПРЕДУПРЕЖДЕНИЕ: При выполнении этой процедуры будьте особенно осторожны.
Острые кромки могут привести к травмам.
ВНИМАНИЕ: Перед выполнением этой процедуры обратитесь к разделу "Введение"4.1.1
"Перед обслуживанием".
Инструкция:При снятии УЗЛА РОЛИКА ПОДАЧИ на следующих этапах имейте в виду, что
ОДНОХОДОВАЯ МУФТА ПОДАЧИ (PL2.4.9) может упасть.
Снятие
1Снимите УЗЕЛ КАССЕТЫ с основной части аппарата.
2Освободите защелку, которая фиксирует УЗЕЛ РОЛИКА ПОДАЧИ на валу ПОДУЗЛА
ПОДАТЧИКА (PL2.4.1), и потяните УЗЕЛ РОЛИКА ПОДАЧИ, чтобы снять его.
Инструкция: При установке УЗЛА РОЛИКА ПОДАЧИ убедитесь, что защелка надежно
зафиксировала узел.
Инструкция: После замены УЗЛА РОЛИКА ПОДАЧИ вы также должны сбросить показания
соответствующего счетчика срока службы. Для этого войдите в сервисный режим и перейдите
к меню: Parameter (Параметр)/ Life Counter (Счетчик / Tray 1 Roll (Ролик лотка 1)/ Reset Counter
(Сброс счетчика) (См. пункт “2.4.4 Структура меню” раздела “2.4 Сервисный режим” в главе 2
"Поиск и устранение неисправностей”) Глава 4 Процедуры разборки/сборки и регулировки

Глава 4 Процедуры разборки/сборки и регулировки
4.2 Процедуры разборки/сборки
4 - 35
Рис. 4-22 УЗЕЛ РОЛИКА ПОДАЧИ
УЗЕЛ РОЛИКА ПОДАЧИ
ОДНОХОДОВАЯ МУФТА ПОДАЧИ

Глава 4 Процедуры разборки/сборки и регулировки
4.2 Процедуры разборки/сборки
4 - 36
REP2.6 АКТИВАТОР ДАТЧИКА ОТСУТСТВИЯ БУМАГИ (PL2.4.6)
ПРЕДУПРЕЖДЕНИЕ:: Отключите подачу питания на аппарат. При выполнении работ, не
связанных с подачей электропитания, отсоедините силовой шнур от электрической розетки.
Поражение электрическим током может привести к серьезным последствиям для здоровья или
даже к смерти. Движущиеся части аппарата могут привести к травмам.
ПРЕДУПРЕЖДЕНИЕ: При выполнении этой процедуры будьте особенно осторожны.
Острые кромки могут привести к травмам.
ВНИМАНИЕ: Перед выполнением этой процедуры обратитесь к разделу "Введение"4.1.1
"Перед обслуживанием".
Снятие
1Снимите УЗЕЛ НАПРАВЛЯЮЩЕЙ ЛОТКА. (REP1.1)
2Снимите ПОДУЗЕЛ ПОДАТЧИКА. (REP2.3)
3Одновременно нажимая на выступы (в 2 местах) с левой стороны ПОДУЗЛА ПОДАТЧИКА,
сдвиньте ЛЕВЫЙ ДЕРЖАТЕЛЬ ДАТЧИКА ОТСУТСТВИЯ БУМАГИ (PL2.4.7) вперед,
освободите защелки (в 4 местах) и снимите ЛЕВЫЙ ДЕРЖАТЕЛЬ ДАТЧИКА ОТСУТСТВИЯ
БУМАГИ.
4Вытяните ось АКТИВАТОРА ДАТЧИКА ОТСУТСТВИЯ БУМАГИ из секции установки
АКТИВАТОРА ДАТЧИКА ОТСУТСТВИЯ БУМАГИ в ПРАВОМ ДЕРЖАТЕЛЕ ДАТЧИКА
ОТСУТСТВИЯ БУМАГИ.
Рис. 4-23 АКТИВАТОР ДАТЧИКА ОТСУТСТВИЯ БУМАГИ
АКТИВАТОР ДАТЧИКА
ОТСУТСТВИЯ БУМАГИ
ЛЕВЫЙ ДЕРЖАТЕЛЬ ДАТЧИКА
ОТСУТСТВИЯ БУМАГИ

Глава 4 Процедуры разборки/сборки и регулировки
4.2 Процедуры разборки/сборки
4 - 37
REP2.7 УЗЕЛ КРОНШТЕЙНА ПОДАТЧИКА (PL2.3.3)
ПРЕДУПРЕЖДЕНИЕ: Отключите подачу питания на аппарат. При выполнении работ, не
связанных с подачей электропитания, отсоедините силовой шнур от электрической розетки.
Поражение электрическим током может привести к серьезным последствиям для здоровья или
даже к смерти. Движущиеся части аппарата могут привести к травмам.
ПРЕДУПРЕЖДЕНИЕ: При выполнении этой процедуры будьте особенно осторожны.
Острые кромки могут привести к травмам.
ВНИМАНИЕ: Перед выполнением этой процедуры обратитесь к разделу "Введение"4.1.1
"Перед обслуживанием".
Снятие
1Снимите УЗЕЛ НАПРАВЛЯЮЩЕЙ ЛОТКА. (REP1.1)
2Снимите ПОДУЗЕЛ ПОДАТЧИКА. (REP2.3)
3Отверните 2 винта (серебристые, саморезы, 8 мм), которые крепят УЗЕЛ КРОНШТЕЙНА
ПОДАТЧИКА к УЗЛУ НАПРАВЛЯЮЩЕЙ ЛОТКА.
4Отделите УЗЕЛ КРОНШТЕЙНА ПОДАТЧИКА от УЗЛА НАПРАВЛЯЮЩЕЙ ЛОТКА.
Рис. 4-24 УЗЕЛ КРОНШТЕЙНА ПОДАТЧИКА
ПОДАТЧИКА НА 550 ЛИСТОВ
УЗЕЛ КРОНШТЕЙНА

Глава 4 Процедуры разборки/сборки и регулировки
4.2 Процедуры разборки/сборки
4 - 38
REP2.8 ДАТЧИК ФОРМАТА (PL2.3.8)
ПРЕДУПРЕЖДЕНИЕ: Отключите подачу питания на аппарат. При выполнении работ, не
связанных с подачей электропитания, отсоедините силовой шнур от электрической розетки.
Поражение электрическим током может привести к серьезным последствиям для здоровья или
даже к смерти. Движущиеся части аппарата могут привести к травмам.
ПРЕДУПРЕЖДЕНИЕ: При выполнении этой процедуры будьте особенно осторожны.
Острые кромки могут привести к травмам.
ВНИМАНИЕ: Перед выполнением этой процедуры обратитесь к разделу "Введение"4.1.1
"Перед обслуживанием".
Снятие
1Снимите УЗЕЛ НАПРАВЛЯЮЩЕЙ ЛОТКА. (REP2.1)
2Отсоедините разъем (P/J1110), который подключен к ДАТЧИКУ ФОРМАТА.
3Освободите защелки в нижней части УЗЛА НАПРАВЛЯЮЩЕЙ ЛОТКА, которые фиксируют
ДАТЧИК ФОРМАТА и снимите датчик.
Рис. 4-25 ДАТЧИК ФОРМАТА
ДАТЧИК ФОРМАТА

Глава 4 Процедуры разборки/сборки и регулировки
4.2 Процедуры разборки/сборки
4 - 39
REP2.9 КРЫШКА КАССЕТЫ (PL2.3.9)
ПРЕДУПРЕЖДЕНИЕ: Отключите подачу питания на аппарат. При выполнении работ, не
связанных с подачей электропитания, отсоедините силовой шнур от электрической розетки.
Поражение электрическим током может привести к серьезным последствиям для здоровья или
даже к смерти. Движущиеся части аппарата могут привести к травмам.
ПРЕДУПРЕЖДЕНИЕ:При выполнении этой процедуры будьте особенно осторожны.
Острые кромки могут привести к травмам.
ВНИМАНИЕ: Перед выполнением этой процедуры обратитесь к разделу "Введение"4.1.1
"Перед обслуживанием".
Снятие
1Снимите УЗЕЛ КАССЕТЫ с основной части аппарата.
2Потяните КРЫШКУ КАССЕТЫ назад до упора и отогните вниз правую и левую секции
установки, чтобы снять крышку.
Рис. 4-26 КРЫШКА КАССЕТЫ
КРЫШКА КАССЕТЫ

Глава 4 Процедуры разборки/сборки и регулировки
4.2 Процедуры разборки/сборки
4 - 40
REP2.10 УЗЕЛ ПОВОРОТНОГО ЖЕЛОБА ПОДАТЧИКА НА 550
ЛИСТОВ IOT (PL2.3.13)
ПРЕДУПРЕЖДЕНИЕ: Отключите подачу питания на аппарат. При выполнении работ, не
связанных с подачей электропитания, отсоедините силовой шнур от электрической розетки.
Поражение электрическим током может привести к серьезным последствиям для здоровья или
даже к смерти. Движущиеся части аппарата могут привести к травмам.
ПРЕДУПРЕЖДЕНИЕ: При выполнении этой процедуры будьте особенно осторожны.
Острые кромки могут привести к травмам.
ВНИМАНИЕ: Перед выполнением этой процедуры обратитесь к разделу "Введение"4.1.1
"Перед обслуживанием".
Снятие
1Снимите УЗЕЛ НАПРАВЛЯЮЩЕЙ ЛОТКА. (REP2.1)
2Снимите УЗЕЛ КАССЕТЫ с основной части аппарата.
3Отверните 2 винта (серебристые, саморезы, 8 мм), которые крепят УЗЕЛ ПОВОРОТНОГО
ЖЕЛОБА ПОДАТЧИКА НА 550 ЛИСТОВ IOT к УЗЛУ НАПРАВЛЯЮЩЕЙ ЛОТКА.
4Отведите вырезы УЗЛА ПОВОРОТНОГО ЖЕЛОБА ПОДАТЧИКА НА 550 ЛИСТОВ IOT от
правого и левого ПОДШИПНИКОВ и снимите УЗЕЛ ПОВОРОТНОГО ЖЕЛОБА.
Рис. 4-27 УЗЕЛ ПОВОРОТНОГО ЖЕЛОБА ПОДАТЧИКА НА 550 ЛИСТОВ IOT
УЗЕЛ ПОВОРОТНОГО ЖЕЛОБА
ПОДАТЧИКА НА 550 ЛИСТОВ IOT

Глава 4 Процедуры разборки/сборки и регулировки
4.2 Процедуры разборки/сборки
4 - 41
REP2.11 ПОВОРОТНАЯ МУФТА (PL2.4.3)
ПРЕДУПРЕЖДЕНИЕ: Отключите подачу питания на аппарат. При выполнении работ, не
связанных с подачей электропитания, отсоедините силовой шнур от электрической розетки.
Поражение электрическим током может привести к серьезным последствиям для здоровья или
даже к смерти. Движущиеся части аппарата могут привести к травмам.
ПРЕДУПРЕЖДЕНИЕ: При выполнении этой процедуры будьте особенно осторожны.
Острые кромки могут привести к травмам.
ВНИМАНИЕ:Перед выполнением этой процедуры обратитесь к разделу "Введение"4.1.1
"Перед обслуживанием".
Снятие
1Снимите УЗЕЛ НАПРАВЛЯЮЩЕЙ ЛОТКА. (REP2.1)
2Снимите ПОДУЗЕЛ ПОДАТЧИКА. (REP2.3)
3Отсоедините разъем (P/J2710) (белый) на проводке, идущей к ПОВОРОТНОЙ МУФТЕ, и
извлеките проводку из седловидной кромки.
4Освободите пластиковую защелку, которая фиксирует ПОВОРОТНУЮ МУФТУ.
5Выдвинув отжатую часть ПОВОРОТНОЙ МУФТЫ из выступа ПОДУЗЛА ПОДАТЧИКА,
снимите ПОВОРОТНУЮ МУФТУ с вала.
Рис. 4-28 ПОВОРОТНАЯ МУФТА
ПОВОРОТНАЯ МУФТА

Глава 4 Процедуры разборки/сборки и регулировки
4.2 Процедуры разборки/сборки
4 - 42
REP2.12 МУФТА ПОДАЧИ (PL2.4.4)
ПРЕДУПРЕЖДЕНИЕ: Отключите подачу питания на аппарат. При выполнении работ, не
связанных с подачей электропитания, отсоедините силовой шнур от электрической розетки.
Поражение электрическим током может привести к серьезным последствиям для здоровья или
даже к смерти. Движущиеся части аппарата могут привести к травмам.
ПРЕДУПРЕЖДЕНИЕ: При выполнении этой процедуры будьте особенно осторожны.
Острые кромки могут привести к травмам.
ВНИМАНИЕ: Перед выполнением этой процедуры обратитесь к разделу "Введение"4.1.1
"Перед обслуживанием".
Снятие
1Снимите УЗЕЛ НАПРАВЛЯЮЩЕЙ ЛОТКА. (REP2.1)
2Снимите ПОДУЗЕЛ ПОДАТЧИКА. (REP2.3)
3Отсоедините разъем (P/J2720) (желтый) на проводке, идущей к МУФТЕ ПОДАЧИ, и извлеките
проводку из седловидной кромки.
4Освободите пластиковую защелку, которая фиксирует МУФТУ ПОДАЧИ.
5Снимите МУФТУ ПОДАЧИ с вала ПОДУЗЛА ПОДАТЧИКА.
Рис. 4-29 МУФТА ПОДАЧИ
МУФТА ПОДАЧИ

Глава 4 Процедуры разборки/сборки и регулировки
4.2 Процедуры разборки/сборки
4 - 43
REP2.13 УЗЕЛ ПОВОРОТНОГО РОЛИКА (PL2.4.12)
ПРЕДУПРЕЖДЕНИЕ: Отключите подачу питания на аппарат. При выполнении работ, не
связанных с подачей электропитания, отсоедините силовой шнур от электрической розетки.
Поражение электрическим током может привести к серьезным последствиям для здоровья или
даже к смерти. Движущиеся части аппарата могут привести к травмам.
ПРЕДУПРЕЖДЕНИЕ: При выполнении этой процедуры будьте особенно осторожны.
Острые кромки могут привести к травмам.
ВНИМАНИЕ: Перед выполнением этой процедуры обратитесь к разделу "Введение"4.1.1
"Перед обслуживанием".
Снятие
1Снимите УЗЕЛ НАПРАВЛЯЮЩЕЙ ЛОТКА. (REP2.1)
2Снимите ПОДУЗЕЛ ПОДАТЧИКА. (REP2.3)
3Снимите ПОВОРОТНУЮ МУФТУ. (REP2.11)
Инструкция: Поскольку ЖЕЛОБ ПОДАТЧИКА НА 550 ЛИСТОВ IOT должен сниматься с
подключенной проводкой, при выполнении следующего этапа не прикладывайте слишком
большое усилие.
4Отверните винт (серебристый, с шайбой, 8 мм), который крепит ЖЕЛОБ ПОДАТЧИКА НА 550
ЛИСТОВ IOT (PL2.4.13) к ПОДУЗЛУ ПОДАТЧИКА (PL2.4.1) и снимите ЖЕЛОБ ПОДАТЧИКА
НА 550 ЛИСТОВ IOT.
5Снимите стопорные кольца, которые фиксируют ПОДШИПНИКИ справа и слева, и снимите
ПОДШИПНИКИ.
6Сдвиньте УЗЕЛ ПОВОРОТНОГО РОЛИКА вправо, сдвиньте вал влево и извлеките его из
отверстия, затем снимите УЗЕЛ ПОВОРОТНОГО РОЛИКА.
Рис. 4-30 УЗЕЛ ПОВОРОТНОГО РОЛИКА
ЖЕЛОБ ПОДАТЧИКА НА 550 ЛИСТОВ IOT

Глава 4 Процедуры разборки/сборки и регулировки
4.2 Процедуры разборки/сборки
4 - 44
Рис. 4-31 УЗЕЛ ПОВОРОТНОГО РОЛИКА
УЗЕЛ ПОВОРОТНОГО РОЛИКА
Глава 4 Процедуры разборки/сборки и регулировки
4.2 Процедуры разборки/сборки
4 - 45
REP2.14 УЗЕЛ ПРАВОЙ НАПРАВЛЯЮЩЕЙ ДЛЯ ФОРМАТА A3
(PL2.5.2) / УЗЕЛ ЛЕВОЙ НАПРАВЛЯЮЩЕЙ ДЛЯ ФОРМАТА A3 (PL2.5.4)
ПРЕДУПРЕЖДЕНИЕ: Отключите подачу питания на аппарат. При выполнении работ, не
связанных с подачей электропитания, отсоедините силовой шнур от электрической розетки.
Поражение электрическим током может привести к серьезным последствиям для здоровья или
даже к смерти. Движущиеся части аппарата могут привести к травмам.
ПРЕДУПРЕЖДЕНИЕ: При выполнении этой процедуры будьте особенно осторожны.
Острые кромки могут привести к травмам.
ВНИМАНИЕ: Перед выполнением этой процедуры обратитесь к разделу "Введение"4.1.1
"Перед обслуживанием".
Снятие
1Снимите УЗЕЛ КАССЕТЫ с основной части аппарата.
2Освободите защелку, которая фиксирует ШЕСТЕРНЮ (PL2.5.3) и снимите ШЕСТЕРНЮ.
3Освободите фиксаторы (в 2 местах) и поднимите НИЖНЮЮ ПЛАСТИНУ ФОРМАТА A3
(PL2.5.11).
4Надавите на рукоятку УЗЛА ПРАВОЙ НАПРАВЛЯЮЩЕЙ ДЛЯ ФОРМАТА А3 и сдвиньте ее
внутрь. Отожмите крючок, освободите защелку и снимите УЗЕЛ ПРАВОЙ НАПРАВЛЯЮЩЕЙ
ДЛЯ ФОРМАТА А3.
5Сдвиньте рукоятку УЗЛА ЛЕВОЙ НАПРАВЛЯЮЩЕЙ ФОРМАТА А3 внутрь. Отожмите крючок,
освободите защелку и снимите УЗЕЛ ЛЕВОЙ НАПРАВЛЯЮЩЕЙ ДЛЯ ФОРМАТА А3.
Инструкция: При установке УЗЛОВ ПРАВОЙ И ЛЕВОЙ НАПРАВЛЯЮЩИХ ФОРМАТА А3
убедитесь, что вы установили шестерню и повернули ее влево после перемещения УЗЛОВ
НАПРАВЛЯЮЩИХ на максимальное расстояние между ними.

Глава 4 Процедуры разборки/сборки и регулировки
4.2 Процедуры разборки/сборки
4 - 46
Рис. 4-32 УЗЕЛ ПРАВОЙ НАПРАВЛЯЮЩЕЙ ФОРМАТА А3/УЗЕЛ ЛЕВОЙ НАПРАВЛЯЮЩЕЙ
ФОРМАТА А3
ШЕСТЕРНЯ
НИЖНЯЯ ПЛАСТИНА А3

Глава 4 Процедуры разборки/сборки и регулировки
4.2 Процедуры разборки/сборки
4 - 47
Рис. 4-33 УЗЕЛ ПРАВОЙ НАПРАВЛЯЮЩЕЙ ФОРМАТА А3/УЗЕЛ ЛЕВОЙ НАПРАВЛЯЮЩЕЙ
ФОРМАТА А3
УЗЕЛ ПРАВОЙ НАПРАВЛЯЮЩЕЙ ФОРМАТА А3
УЗЕЛ ПРАВОЙ НАПРАВЛЯЮЩЕЙ ФОРМАТА А3
Глава 4 Процедуры разборки/сборки и регулировки
4.2 Процедуры разборки/сборки
4 - 48
REP2.15 УЗЕЛ НИЖНЕЙ ПЛАСТИНЫ (PL2.5.5)
ПРЕДУПРЕЖДЕНИЕ: Отключите подачу питания на аппарат. При выполнении работ, не
связанных с подачей электропитания, отсоедините силовой шнур от электрической розетки.
Поражение электрическим током может привести к серьезным последствиям для здоровья или
даже к смерти. Движущиеся части аппарата могут привести к травмам.
ПРЕДУПРЕЖДЕНИЕ: При выполнении этой процедуры будьте особенно осторожны.
Острые кромки могут привести к травмам.
ВНИМАНИЕ:Перед выполнением этой процедуры обратитесь к разделу "Введение"4.1.1
"Перед обслуживанием".
Снятие
1Снимите УЗЕЛ КАССЕТЫ с основной части аппарата.
2Снимите УЗЛЫ ПРАВОЙ и ЛЕВОЙ НАПРАВЛЯЮЩИХ ФОРМАТА А3. (REP2.14)
3Потяните за вал ПРАВОЙ ШЕСТЕРНИ (PL2.5.37) и извлеките его.
4Надавите на вал УЗЛА НИЖНЕЙ ПЛАСТИНЫ, снимите ЛЕВУЮ ШЕСТЕРНЮ (PL2.5.7) с
ОСНОВАНИЯ КОРПУСА и затем слегка вытяните вал, чтобы поднять переднюю часть УЗЛА
НИЖНЕЙ ПЛАСТИНЫ.
5Освободите защелку в задней части УЗЛА НИЖНЕЙ ПЛАСТИНЫ и снимите это узел.
Инструкция:При установке ПРАВОЙ ШЕСТЕРНИ убедитесь, что D-образный вырез
ориентирован вверх. При этом защелка ПРАВОЙ ШЕСТЕРНИ ориентирована вниз, и УЗЕЛ
НИЖНЕЙ ПЛАСТИНЫ можно установить правильно.
Инструкция:При установке УЗЛА НИЖНЕЙ ПЛАСТИНЫ убедитесь, что ПОДЪЕМНАЯ
ПРУЖИНА (PL2.5.14) установлена правильно.

Глава 4 Процедуры разборки/сборки и регулировки
4.2 Процедуры разборки/сборки
4 - 49
Рис. 4-34 УЗЕЛ НИЖНЕЙ ПЛАСТИНЫ
ПРАВАЯ ШЕСТЕРНЯ
ПРИМЕЧАНИЕ

Глава 4 Процедуры разборки/сборки и регулировки
4.2 Процедуры разборки/сборки
4 - 50
Рис. 4-35 УЗЕЛ НИЖНЕЙ ПЛАСТИНЫ
УЗЕЛ НИЖНЕЙ ПЛАСТИНЫ

Глава 4 Процедуры разборки/сборки и регулировки
4.2 Процедуры разборки/сборки
4 - 51
REP2.16 ДЕРЖАТЕЛЬ УЗЛА ТОРМОЖЕНИЯ (PL2.5.17)
ПРЕДУПРЕЖДЕНИЕ: Отключите подачу питания на аппарат. При выполнении работ, не
связанных с подачей электропитания, отсоедините силовой шнур от электрической розетки.
Поражение электрическим током может привести к серьезным последствиям для здоровья или
даже к смерти. Движущиеся части аппарата могут привести к травмам.
ПРЕДУПРЕЖДЕНИЕ: При выполнении этой процедуры будьте особенно осторожны.
Острые кромки могут привести к травмам.
ВНИМАНИЕ: Перед выполнением этой процедуры обратитесь к разделу "Введение"4.1.1
"Перед обслуживанием".
Снятие
1Снимите УЗЕЛ КАССЕТЫ с основной части аппарата.
2Освободите стопоры на обеих кромках, которые фиксируют ТОРМОЗНОЙ ЖЕЛОБ ЛОТКА
(PL2.5.15) и снимите этот желоб.
3Откройте секцию установки ДЕРЖАТЕЛЯ УЗЛА ТОРМОЖЕНИЯ, поверните ДЕРЖАТЕЛЬ
УЗЛА на 90 градусов и снимите его с выступов.
Инструкция:При установке ДЕРЖАТЕЛЯ УЗЛА ТОРМОЖЕНИЯ убедитесь, что
ТОРМОЗНАЯ ПРУЖИНА (PL2.5.16) совмещена с выступом ДЕРЖАТЕЛЯ УЗЛА
ТОРМОЖЕНИЯ.
Рис. 4-36 ДЕРЖАТЕЛЬ УЗЛА ТОРМОЖЕНИЯ
ТОРМОЗНОЙ ЖЕЛОБ ЛОТКА

Глава 4 Процедуры разборки/сборки и регулировки
4.2 Процедуры разборки/сборки
4 - 52
Рис. 4-37 ДЕРЖАТЕЛЬ УЗЛА ТОРМОЖЕНИЯ
ДЕРЖАТЕЛЬ УЗЛА ТОРМОЖЕНИЯ
Глава 4 Процедуры разборки/сборки и регулировки
4.2 Процедуры разборки/сборки
4 - 53
REP2.17 УЗЕЛ РОЛИКА ПОДАЧИ (PL2.5.19)
ПРЕДУПРЕЖДЕНИЕ: Отключите подачу питания на аппарат. При выполнении работ, не
связанных с подачей электропитания, отсоедините силовой шнур от электрической розетки.
Поражение электрическим током может привести к серьезным последствиям для здоровья или
даже к смерти. Движущиеся части аппарата могут привести к травмам.
ПРЕДУПРЕЖДЕНИЕ: При выполнении этой процедуры будьте особенно осторожны.
Острые кромки могут привести к травмам.
ВНИМАНИЕ: Перед выполнением этой процедуры обратитесь к разделу "Введение"4.1.1
"Перед обслуживанием".
Снятие
1Снимите УЗЕЛ КАССЕТЫ с основной части аппарата.
2Освободите стопоры на обеих кромках, которые фиксируют ТОРМОЗНОЙ ЖЕЛОБ ЛОТКА
(PL2.5.15) и снимите этот желоб.
3Откройте секцию установки ДЕРЖАТЕЛЯ УЗЛА ТОРМОЖЕНИЯ, поверните узел на 90
градусов.
4Освободите защелку, которая фиксирует УЗЕЛ РОЛИКА ПОДАЧИ на валу ДЕРЖАТЕЛЯ УЗЛА
ТОРМОЖЕНИЯ (PL2.5.17) и снимите УЗЕЛ РОЛИКА ПОДАЧИ.
Инструкция:При установке УЗЛА РОЛИКА ПОДАЧИ убедитесь, что защелка надежно
зафиксировала узел.
Инструкция:После замены УЗЛА РОЛИКА ПОДАЧИ вы также должны сбросить показания
соответствующего счетчика срока службы. Для этого войдите в сервисный режим и перейдите
к меню: Parameter (Параметр)/ Life Counter (Счетчик срока службы). Tray1 (Лоток 1): Tray 1 Roll
(Ролик лотка 1), Tray 2 (Лоток 2): Tray 2 Roll (Ролик лотка 2), Tray 3 (Лоток 3): Tray 3 Roll (Ролик
лотка 3), Tray 4 (Лоток 4): Tray 4 Roll (Ролик лотка 4) (См. 2.4.4 "Структура меню" 2.4
"Сервисный режим" в Глава 2 Поиск и устранение неисправностей.)

Глава 4 Процедуры разборки/сборки и регулировки
4.2 Процедуры разборки/сборки
4 - 54
Рис. 4-38 УЗЕЛ РОЛИКА ПОДАЧИ
ТОРМОЗНОЙ ЖЕЛОБ ЛОТКА

Глава 4 Процедуры разборки/сборки и регулировки
4.2 Процедуры разборки/сборки
4 - 55
Рис. 4-39 УЗЕЛ РОЛИКА ПОДАЧИ
УЗЕЛ РОЛИКА ПОДАЧИ

Глава 4 Процедуры разборки/сборки и регулировки
4.2 Процедуры разборки/сборки
4 - 56
REP2.18 ПОДВИЖНАЯ ЧАСТЬ КОРПУСА КАССЕТЫ (PL2.5.23)
ПРЕДУПРЕЖДЕНИЕ: Отключите подачу питания на аппарат. При выполнении работ, не
связанных с подачей электропитания, отсоедините силовой шнур от электрической розетки.
Поражение электрическим током может привести к серьезным последствиям для здоровья или
даже к смерти. Движущиеся части аппарата могут привести к травмам.
ПРЕДУПРЕЖДЕНИЕ: При выполнении этой процедуры будьте особенно осторожны.
Острые кромки могут привести к травмам.
ВНИМАНИЕ: Перед выполнением этой процедуры обратитесь к разделу "Введение"4.1.1
"Перед обслуживанием".
Снятие
1Снимите УЗЕЛ КАССЕТЫ с основной части аппарата.
2Переверните УЗЕЛ КАССЕТЫ и выверните винт (серебристый, саморез, 8 мм).
3Освободите 5 элементов, которые фиксируют УЗЕЛ КАССЕТЫ (2 выступа, 1 винт и 2
фиксирующих выступа), затем сдвиньте назад ПОДВИЖНУЮ ЧАСТЬ КОРПУСА КАССЕТЫ
НА 550 ЛИСТОВ, чтобы снять ее.
Рис. 4-40 ПОДВИЖНАЯ ЧАСТЬ КОРПУСА КАССЕТЫ
ПОДВИЖНАЯ ЧАСТЬ
КОРПУСА КАССЕТЫ
Глава 4 Процедуры разборки/сборки и регулировки
4.2 Процедуры разборки/сборки
4 - 57
REP2.19 КОМПЛЕКТ ПЛОСКИХ ФИКСАТОРОВ ШЕСТЕРЕН (PL2.5.25)
ПРЕДУПРЕЖДЕНИЕ: Отключите подачу питания на аппарат. При выполнении работ, не
связанных с подачей электропитания, отсоедините силовой шнур от электрической розетки.
Поражение электрическим током может привести к серьезным последствиям для здоровья или
даже к смерти. Движущиеся части аппарата могут привести к травмам.
ПРЕДУПРЕЖДЕНИЕ: При выполнении этой процедуры будьте особенно осторожны.
Острые кромки могут привести к травмам.
ВНИМАНИЕ: Перед выполнением этой процедуры обратитесь к разделу "Введение"4.1.1
"Перед обслуживанием".
Снятие
1Снимите УЗЕЛ КАССЕТЫ с основной части аппарата.
2Освободите фиксаторы (в 2 местах) и поднимите НИЖНЮЮ ПЛАСТИНУ ФОРМАТА A3
(PL2.5.11).
3Отверните винт (серебристый, саморез, 8 мм), который крепит ПЛОСКИЙ ФИКСАТОР
ШЕСТЕРНИ (PL2.5.26) к ОСНОВАНИЮ КОРПУСА и освободите защелку для того, чтобы
снять ПЛОСКИЙ ФИКСАТОР ШЕСТЕРНИ.
4Отверните винт (серебристый, саморез, 8 мм), который крепит ЛЕВЫЙ ПЛОСКИЙ ФИКСАТОР
ШЕСТЕРНИ (PL2.5.27) к ОСНОВАНИЮ КОРПУСА и освободите защелку для того, чтобы
снять этот фиксатор.
Инструкция:При установке ПЛОСКОГО ФИКСАТОРА ШЕСТЕРНИ убедитесь, что НИЖНЯЯ
ПЛАСТИНА ФОРМАТА А3 находится в поднятом положении.

Глава 4 Процедуры разборки/сборки и регулировки
4.2 Процедуры разборки/сборки
4 - 58
Рис. 4-41 КОМПЛЕКТ ПЛОСКИХ ФИКСАТОРОВ ШЕСТЕРЕН
ЛЕВЫЙ ПЛОСКИЙ
ФИКСАТОР ШЕСТЕРНИ
ПЛОСКИЙ ФИКСАТОР ШЕСТЕРНИ
Глава 4 Процедуры разборки/сборки и регулировки
4.2 Процедуры разборки/сборки
4 - 59
REP2.20 КОМПЛЕКТ УДЛИНИТЕЛЯ КАССЕТЫ НА 550 ЛИСТОВ
(PL2.5.29)
ПРЕДУПРЕЖДЕНИЕ: Отключите подачу питания на аппарат. При выполнении работ, не
связанных с подачей электропитания, отсоедините силовой шнур от электрической розетки.
Поражение электрическим током может привести к серьезным последствиям для здоровья или
даже к смерти. Движущиеся части аппарата могут привести к травмам.
ПРЕДУПРЕЖДЕНИЕ: При выполнении этой процедуры будьте особенно осторожны.
Острые кромки могут привести к травмам.
ВНИМАНИЕ: Перед выполнением этой процедуры обратитесь к разделу "Введение"4.1.1
"Перед обслуживанием".
Снятие
1Снимите УЗЕЛ КАССЕТЫ с основной части аппарата.
2Снимите ПОДВИЖНУЮ ЧАСТЬ КАССЕТЫ НА 550 ЛИСТОВ. (REP2.18)
3Сдвиньте ПЕРЕДАТОЧНЫЙ РЫЧАГ НИЖНЕЙ ПЛАСТИНЫ НА 550 ЛИСТОВ (PL2.5.32) с
выступа НИЖНЕЙ ПЛАСТИНЫ ФОРМАТА А3 (PL2.5.11) и снимите его вместе с РАМКОЙ С
ФИКСИРУЮЩИМ ШТИФТОМ (PL2.5.31).
4Сдвиньте ФИКСАТОР ПОДВИЖНОЙ ЧАСТИ КАССЕТЫ (PL2.5.34) для того, чтобы освободить
его, и снимите его вместе с ПРУЖИННЫМ ФИКСАТОРОМ (PL2.5.33).
5Сдвиньте ФИКСАТОР ФОРМАТА A4 (PL2.5.30) для того, чтобы снять его с выступов, и
отделите его.

Глава 4 Процедуры разборки/сборки и регулировки
4.2 Процедуры разборки/сборки
4 - 60
Рис. 4-42 КОМПЛЕКТ УДЛИНИТЕЛЯ КАССЕТЫ НА 550 ЛИСТОВ
ПЕРЕДАТОЧНЫЙ РЫЧАГ НИЖНЕЙ
ПЛАСТИНЫ КАССЕТЫ НА 550 ЛИСТОВ РАМКА С ФИКСИРУЮЩИМ
ФИКСАТОР ПОДВИЖНОЙ
ПРУЖИННЫЙ ФИКСАТОР
ФИКСАТОР ФОРМАТА А4
ЧАСТИ КАССЕТЫ
ШТИФТОМ

Глава 4 Процедуры разборки/сборки и регулировки
4.2 Процедуры разборки/сборки
4 - 61
REP2.21 РУКОЯТКА КАССЕТЫ (PL2.5.35)
ПРЕДУПРЕЖДЕНИЕ: Отключите подачу питания на аппарат. При выполнении работ, не
связанных с подачей электропитания, отсоедините силовой шнур от электрической розетки.
Поражение электрическим током может привести к серьезным последствиям для здоровья или
даже к смерти. Движущиеся части аппарата могут привести к травмам.
ПРЕДУПРЕЖДЕНИЕ: При выполнении этой процедуры будьте особенно осторожны.
Острые кромки могут привести к травмам.
ВНИМАНИЕ: Перед выполнением этой процедуры обратитесь к разделу "Введение"4.1.1
"Перед обслуживанием".
Снятие
1Снимите УЗЕЛ КАССЕТЫ с основной части аппарата.
2Отверните 2 винта (серебристые, саморезы, 8 мм), которые крепят РУКОЯТКУ КАССЕТЫ к
ОСНОВАНИЮ КОРПУСА.
3Воспользуйтесь отверткой и т.п. для отделения отверстий РУКОЯТКИ КАССЕТЫ от выступов
с обеих сторон ОСНОВАНИЯ КРОПУСА, затем потяните на себя РУКОЯТКУ, чтобы отделить
ее от ОСНОВАНИЯ КОРПУСА.
Рис. 4-43 РУКОЯТКА КОРПУСА
РУКОЯТКА КОРПУСА

Глава 4 Процедуры разборки/сборки и регулировки
4.2 Процедуры разборки/сборки
4 - 62
REP2.22 УЗЕЛ БАРАБАНА ФОРМАТОВ (PL2.5.36)
ПРЕДУПРЕЖДЕНИЕ: Отключите подачу питания на аппарат. При выполнении работ, не
связанных с подачей электропитания, отсоедините силовой шнур от электрической розетки.
Поражение электрическим током может привести к серьезным последствиям для здоровья или
даже к смерти. Движущиеся части аппарата могут привести к травмам.
ПРЕДУПРЕЖДЕНИЕ: При выполнении этой процедуры будьте особенно осторожны.
Острые кромки могут привести к травмам.
ВНИМАНИЕ: Перед выполнением этой процедуры обратитесь к разделу "Введение"4.1.1
"Перед обслуживанием".
Снятие
1Снимите УЗЕЛ КАССЕТЫ с основной части аппарата.
2Снимите РУКОЯТКУ КАССЕТЫ (REP2.21)
3Выверните винт (серебристый, саморез, 8 мм), который крепит УЗЕЛ БАРАБАНА ФОРМАТОВ
к РУКОЯТКЕ КАССЕТЫ.
4Снимите УЗЕЛ БАРАБАНА ФОРМАТОВ с РУКОЯТКИ КАССЕТЫ.
Инструкция:После установки УЗЛА БАРАБАНА ФОРМАТОВ убедитесь, что вы повернули
БАРАБАН на нужный формат, и задайте его.
Рис. 4-44 УЗЕЛ БАРАБАНА ФОРМАТОВ
УЗЕЛ БАРАБАНА ФОРМАТОВ
Глава 4 Процедуры разборки/сборки и регулировки
4.2 Процедуры разборки/сборки
4 - 63
REP2.23 Эта страница преднамеренно оставлена пустой.
Рис. 4-45
Рис. 4-46
Глава 4 Процедуры разборки/сборки и регулировки
4.2 Процедуры разборки/сборки
4 - 64

Глава 4 Процедуры разборки/сборки и регулировки
4.2 Процедуры разборки/сборки
4 - 65
REP2.24 КОМПЛЕКТ РЫЧАГА БЛОКИРОВКИ ДНА (PL2.5.39)
ПРЕДУПРЕЖДЕНИЕ: Отключите подачу питания на аппарат. При выполнении работ, не
связанных с подачей электропитания, отсоедините силовой шнур от электрической розетки.
Поражение электрическим током может привести к серьезным последствиям для здоровья или
даже к смерти. Движущиеся части аппарата могут привести к травмам.
ПРЕДУПРЕЖДЕНИЕ: При выполнении этой процедуры будьте особенно осторожны.
Острые кромки могут привести к травмам.
ВНИМАНИЕ: Перед выполнением этой процедуры обратитесь к разделу "Введение"4.1.1
"Перед обслуживанием".
Снятие
1Снимите УЗЕЛ КАССЕТЫ с основной части аппарата.
2Выверните 2 винта (серебристые, саморезы, 8 мм), которые крепят КРЫШКУ МЕХАНИЗМА
ПОДЪЕМА ДНА (PL2.5.43) и снимите эту КРЫШКУ.
Инструкция:При снятии различных элементов КОМПЛЕКТА РЫЧАГА БЛОКИРОВКИ ДНА
ЛОТКА НА 550 ЛИСТОВ на следующем этапе будьте внимательны, чтобы не уронить их и не
потерять.
3Снимите элементы КОМПЛЕКТА РЫЧАГА БЛОКИРОВКИ ДНА ЛОТКА НА 550 ЛИСТОВ.
Инструкция:При установке элементов КОМПЛЕКТА РЫЧАГА БЛОКИРОВКИ ДНА ЛОТКА НА
550 ЛИСТОВ их следует правильно располжить друг относительно друга.
Установите РАМКУ РЫЧАГА БЛОКИРОВКИ ДНА так, чтобы ее метки (в 2 местах) оказались в
правильных местах до окончательной установки двух ШЕСТЕРЕН РЫЧАГА БЛОКИРОВКИ
ДНА.
Рис. 4-47 КОМПЛЕКТ РЫЧАГА БЛОКИРОВКИ ДНА ЛОТКА НА 550 ЛИСТОВ

Глава 4 Процедуры разборки/сборки и регулировки
4.2 Процедуры разборки/сборки
4 - 66
Рис. 4-48 КОМПЛЕКТ РЫЧАГА БЛОКИРОВКИ ДНА ЛОТКА НА 550 ЛИСТОВ
ШЕСТЕРНЯ
40 БЛОКИРОВКИ ДНА
ПРУЖИНА БЛОКИРОВКИ ДНА
ПРИМЕЧАНИЕ
РАМКА РЫЧАГА БЛОКИРОВКИ
ДНА ЛОТКА НА 550 ЛИСТОВ
РЫЧАГ БЛОКИРОВКИ ДНА
ШЕСТЕРНЯ РЫЧАГА
ШЕСТЕРНЯ БЛОКИРОВКИ ДНА
БЛОКИРОВКИ ДНА

Глава 4 Процедуры разборки/сборки и регулировки
4.2 Процедуры разборки/сборки
4 - 67
REP2.25 ТОРМОЗНОЙ ЖЕЛОБ ЛОТКА (PL2.5.15)
ПРЕДУПРЕЖДЕНИЕ:Отключите подачу питания на аппарат. При выполнении работ, не
связанных с подачей электропитания, отсоедините силовой шнур от электрической розетки.
Поражение электрическим током может привести к серьезным последствиям для здоровья или
даже к смерти. Движущиеся части аппарата могут привести к травмам.
ПРЕДУПРЕЖДЕНИЕ: При выполнении этой процедуры будьте особенно осторожны.
Острые кромки могут привести к травмам.
ВНИМАНИЕ: Перед выполнением этой процедуры обратитесь к разделу "Введение"4.1.1
"Перед обслуживанием".
Снятие
1Снимите УЗЕЛ КАССЕТЫ с основной части аппарата.
2Освободите стопоры на обеих кромках, которые фиксируют ТОРМОЗНОЙ ЖЕЛОБ ЛОТКА и
снимите этот желоб.
3Откройте правую и левую секции установки ТОРМОЗНОГО ЖЕЛОБА ЛОТКА, выдвиньте
выступ из отверстия и снимите ТОРМОЗНОЙ ЖЕЛОБ ЛОТКА.
Инструкция:После замены ТОРМОЗНОГО ЖЕЛОБА ЛОТКА вы также должны сбросить
показания соответствующего счетчика срока службы. Для этого войдите в сервисный режим
и перейдите к меню: Parameter (Параметр)/ Life Counter (Счетчик срока службы). Лоток 1: Tray
1 Chute (Лоток желоба 1), Tray 2 (Лоток 2): Tray 2 Chute (Лоток желоба 2), Tray 3 (Лоток 3): Tray
3 Chute (Лоток желоба 3), Tray 4 (Лоток 4): Tray 4 Chute (Желоб лотка 4) (См. пункт 2.4.4
"Структура меню" раздела 2.4 "Сервисный режим" в Глава 2 Поиск и устранение
неисправностей“).
4Снимите элементы КОМПЛЕКТА РЫЧАГА БЛОКИРОВКИ ДНА ЛОТКА НА 550 ЛИСТОВ.
Рис. 4-49 ТОРМОЗНОЙ ЖЕЛОБ ЛОТКА
ТОРМОЗНОЙ ЖЕЛОБ ЛОТКА

Глава 4 Процедуры разборки/сборки и регулировки
4.2 Процедуры разборки/сборки
4 - 68
Рис. 4-50 ТОРМОЗНОЙ ЖЕЛОБ ЛОТКА
ТОРМОЗНОЙ ЖЕЛОБ ЛОТКА
Глава 4 Процедуры разборки/сборки и регулировки
4.2 Процедуры разборки/сборки
4 - 69
REP3.1 СОЛЕНОИД ПОДАЧИ ИЗ ОБХОДНОГО ЛОТКА (PL3.1.1)
ПРЕДУПРЕЖДЕНИЕ: Отключите подачу питания на аппарат. При выполнении работ, не
связанных с подачей электропитания, отсоедините силовой шнур от электрической розетки.
Поражение электрическим током может привести к серьезным последствиям для здоровья или
даже к смерти. Движущиеся части аппарата могут привести к травмам.
ПРЕДУПРЕЖДЕНИЕ: При выполнении этой процедуры будьте особенно осторожны.
Острые кромки могут привести к травмам.
ВНИМАНИЕ: Перед выполнением этой процедуры обратитесь к разделу "Введение"4.1.1
"Перед обслуживанием".
Снятие
1Снимите ДУПЛЕКСНЫЙ УЗЕЛ. (REP13.1)
2Снимите КОМПЛЕКТ ПЕРЕДНЕЙ КРЫШКИ. (REP1.6
3Снимите ПРАВУЮ ПЕРЕДНЮЮ КРЫШКУ. (REP1.7)
4Снимите ЛЕВУЮ ПЕРЕДНЮЮ КРЫШКУ. (REP1.8)
5Откройте ВЕРХНЮЮ КРЫШКУ ДУПЛЕКСНОГО МОДУЛЯ. (REP1.9)
6Снимите УЗЕЛ КРЫШКИ ПЕРЕДНЕЙ РАМЫ. (REP4.2)
7Отсоедините разъем (P/J2320) на проводке, которая подключена к СОЛЕНОИДУ ПОДАЧИ ИЗ
ОБХОДНОГО ЛОТКА, и извлеките проводку из седловидной кромки.
Инструкция: На следующем этапе не снимайте полностью ПРУЖИНУ ПОДАЧИ ИЗ
ОБХОДНОГО ЛОТКА (PL3.1.3). Держите ее на стороне ШЕСТЕРНИ ОБХОДНОГО ЛОТКА
(PL3.1.4).
8Освободите ПРУЖИНУ ПОДАЧИ ИЗ ОБХОДНОГО ЛОТКА только со стороны ПЕРЕДНЕЙ
РАМЫ.
9Выверните винт (серебристый, саморез, 8 мм), который крепит СОЛЕНОИД ПОДАЧИ ИЗ
ОБХОДНОГО ЛОТКА.
10 Отделите СОЛЕНОИД ПОДАЧИ ИЗ ОБХОДНОГО ЛОТКА от ШЕСТЕРНИ ОБХОДНОГО
ЛОТКА.

Глава 4 Процедуры разборки/сборки и регулировки
4.2 Процедуры разборки/сборки
4 - 70
Рис. 4-51 СОЛЕНОИД ПОДАЧИ ОБХОДНОГО ЛОТКА

Глава 4 Процедуры разборки/сборки и регулировки
4.2 Процедуры разборки/сборки
4 - 71
Рис. 4-52 СОЛЕНОИД ПОДАЧИ ОБХОДНОГО ЛОТКА
Инструкция:При установке прикрепите ПРУЖИНУ ПОДАЧИ ИЗ ОБХОДНОГО ЛОТКА к
ПЕРЕДНЕЙ РАМЕ с помощью наконечника подвижной части СОЛЕНОИДА ПОДАЧИ ИЗ
ОБХОДНОГО ЛОТКА, прикрепленного к выступу на поверхности КУЛАЧКА ШЕСТЕРНИ
ОБХОДНОГО ЛОТКА.
Рис. 4-52 показывает ШЕСТЕРНЮ ОБХОДНОГО ЛОТКА в положении ожидания.
Если установка была выполнена неправильно, обходной лоток будет неправильно работать
во время инициализации при включении питания.
КУЛАЧОК
ПРИМЕЧАНИЕ
ПРУЖИНА ПОДАЧИ ИЗ
ОБХОДНОГО ЛОТКА
СОЛЕНОИД ПОДАЧИ ИЗ
ОБХОДНОГО ЛОТКА

Глава 4 Процедуры разборки/сборки и регулировки
4.2 Процедуры разборки/сборки
4 - 72
REP3.2 КОМПЛЕКТ ШЕСТЕРЕН ОБХОДНОГО ЛОТКА (PL3.1.2)
ПРЕДУПРЕЖДЕНИЕ: Отключите подачу питания на аппарат. При выполнении работ, не
связанных с подачей электропитания, отсоедините силовой шнур от электрической розетки.
Поражение электрическим током может привести к серьезным последствиям для здоровья или
даже к смерти. Движущиеся части аппарата могут привести к травмам.
ПРЕДУПРЕЖДЕНИЕ: При выполнении этой процедуры будьте особенно осторожны.
Острые кромки могут привести к травмам.
ВНИМАНИЕ:Перед выполнением этой процедуры обратитесь к разделу "Введение"4.1.1
"Перед обслуживанием".
Снятие
1Снимите КОМПЛЕКТ ПЕРЕДНЕЙ КРЫШКИ. (REP1.6)
2Снимите ПРАВУЮ ПЕРЕДНЮЮ КРЫШКУ. (REP1.7)
3Выверните 2 винта (серебристые, саморезы, 8 мм) и 2 винта (серебристые, с шайбой, 8 мм),
которые крепят ПЕРЕДНИЙ УЗЕЛ ПРИВОДА А (PL3.1.25) к ПЕРЕДНЕЙ РАМЕ и снимите
провод заземления вместе с ПЕРЕДНИМ УЗЛОМ ПРИВОДА А.
4Сдвиньте ограничитель узла муфты (PL3.1.24) и снимите его с вала.
5Снимите ПРУЖИНУ ПОДАЧИ ОБХОДНОГО ЛОТКА с ШЕСТЕРНИ ОБХОДНОГО ЛОТКА.
6Освободите защелку, которая фиксирует ШЕСТЕРНЮ ОБОХОДНОГО ЛОТКА на валу и
снимите ее.
Рис. 4-53 КОМПЛЕКТ ШЕСТЕРЕН ОБХОДНОГО ЛОТКА
ОГРАНИЧИТЕЛЬ УЗЛА
ПЕРЕДНИЙ УЗЕЛ
МУФТЫ
ПРИВОДА А

Глава 4 Процедуры разборки/сборки и регулировки
4.2 Процедуры разборки/сборки
4 - 73
Рис. 4-54 КОМПЛЕКТ ШЕСТЕРЕН ОБХОДНОГО ЛОТКА
Инструкция:При установке прикрепите ПРУЖИНУ ПОДАЧИ ИЗ ОБХОДНОГО ЛОТКА к
ПЕРЕДНЕЙ РАМЕ с помощью наконечника подвижной части СОЛЕНОИДА ПОДАЧИ ИЗ
ОБХОДНОГО ЛОТКА, прикрепленного к выступу на поверхности КУЛАЧКА ШЕСТЕРНИ
ОБХОДНОГО ЛОТКА.
Рис. 4-54 показывает ШЕСТЕРНЮ ОБХОДНОГО ЛОТКА в положении ожидания.
Если установка была выполнена неправильно, обходной лоток будет неправильно работать
во время инициализации при включении питания.
КУЛАЧОК
ПРИМЕЧАНИЕ
ШЕСТЕРНЯ ОБХОДНОГО
ПРУЖИНА ПОДАЧИ
ЛОТКА
ОБХОДНОГО ЛОТКА

Глава 4 Процедуры разборки/сборки и регулировки
4.2 Процедуры разборки/сборки
4 - 74
REP3.3 КРЫШКА РОЛИКА ПОДАЧИ (PL3.1.13)
ПРЕДУПРЕЖДЕНИЕ: Отключите подачу питания на аппарат. При выполнении работ, не
связанных с подачей электропитания, отсоедините силовой шнур от электрической розетки.
Поражение электрическим током может привести к серьезным последствиям для здоровья или
даже к смерти. Движущиеся части аппарата могут привести к травмам.
ПРЕДУПРЕЖДЕНИЕ: При выполнении этой процедуры будьте особенно осторожны.
Острые кромки могут привести к травмам.
ВНИМАНИЕ:Перед выполнением этой процедуры обратитесь к разделу "Введение"4.1.1
"Перед обслуживанием".
Снятие
1Откройте ВЕРХНЮЮ КРЫШКУ ДУПЛЕКСНОГО МОДУЛЯ (PL1.1.1).
2Откройте КОМПЛЕКТ ПЕРЕДНЕЙ КРЫШКИ (PL1.1.11).
3Потяните за рукоятку с правой стороны, сдвиньте КРЫШКУ РОЛИКА ПОДАЧИ влево и
снимите ее.
Рис. 4-55 КРЫШКА РОЛИКА ПОДАЧИ
КРЫШКА РОЛИКА ПОДАЧИ

Глава 4 Процедуры разборки/сборки и регулировки
4.2 Процедуры разборки/сборки
4 - 75
REP3.4 УЗЕЛ ЖЕЛОБА ДУПЛЕКСНОГО МОДУЛЯ (PL3.1.7)
ПРЕДУПРЕЖДЕНИЕ: Отключите подачу питания на аппарат. При выполнении работ, не
связанных с подачей электропитания, отсоедините силовой шнур от электрической розетки.
Поражение электрическим током может привести к серьезным последствиям для здоровья или
даже к смерти. Движущиеся части аппарата могут привести к травмам.
ПРЕДУПРЕЖДЕНИЕ:При выполнении этой процедуры будьте особенно осторожны.
Острые кромки могут привести к травмам.
ВНИМАНИЕ:Перед выполнением этой процедуры обратитесь к разделу "Введение"4.1.1
"Перед обслуживанием".
Снятие
1Снимите ДУПЛЕКСНЫЙ УЗЕЛ. (REP13.1)
2Снимите КОМПЛЕКТ ПЕРЕДНЕЙ КРЫШКИ. (REP1.6)
3Снимите ПРАВУЮ ПЕРЕДНЮЮ КРЫШКУ. (REP1.7)
4Снимите КРЫШКУ РОЛИКА ПОДАЧИ. (REP3.3)
5Выверните 2 винта (серебристые, саморезы, 8 мм) и 2 винта (серебристые, с шайбой, 8 мм),
которые крепят ПЕРЕДНИЙ УЗЕЛ ПРИВОДА А (PL3.1.25) к ПЕРЕДНЕЙ РАМЕ и снимите
провод заземления вместе с ПЕРЕДНИМ УЗЛОМ ПРИВОДА А.
6Сдвиньте ограничитель узла муфты (PL3.1.24) и снимите его с вала.
7Отверните 2 винта (серебристые, саморезы, 8 мм), которые крепят ПЕРЕДНИЙ УЗЕЛ
ПРИВОДА В (PL3.1.23) к ПЕРЕДНЕЙ РАМЕ и снимите ПЕРЕДНИЙ УЗЕЛ ПРИВОДА В.
8Отверните 2 винта (серебристые, саморезы, 8 мм), которые крепят УЗЕЛ ЖЕЛОБА
ДУПЛЕКСНОГО МОДУЛЯ к ПЕРЕДНЕЙ РАМЕ и снимите УЗЕЛ ЖЕЛОБА ДУПЛЕКСНОГО
МОДУЛЯ.
9Отсоедините разъем (P/J2311), который подсоединен к ДАТЧИКУ ОТСУТСТВИЯ БУМАГИ В
ОБХОДНОМ ЛОТКЕ (PL3.1.11), высвободите проводку из направляющей проводки и снимите
УЗЕЛ ЖЕЛОБА ДУПЛЕКСНОГО МОДУЛЯ.
Рис. 4-56 УЗЕЛ ЖЕЛОБА ДУПЛЕКСНОГО МОДУЛЯ
ПЕРЕДНИЙ УЗЕЛ ПРИВОДА В
ОГРАНИЧИТЕЛЬ УЗЛА МУФТЫ
ПЕРЕДНИЙ УЗЕЛ ПРИВОДА А

Глава 4 Процедуры разборки/сборки и регулировки
4.2 Процедуры разборки/сборки
4 - 76
Рис. 4-57 УЗЕЛ ЖЕЛОБА ДУПЛЕКСНОГО МОДУЛЯ
Инструкция:Во время установки прикрепите УЗЕЛ ЖЕЛОБА ДУПЛЕКСНОГО ЛОТКА,
вставьте наконечник АКТИВАТОРА ДАТЧИКА ОТСУТСТВИЯ БУМАГИ В ОБХОДНОМ ЛОТКЕ
(Pl3.1.10) в длинное отверстие НИЖНЕЙ ПЛАСТИНЫ ОБХОДНОГО ЛОТКА.
УЗЕЛ ЖЕЛОБА ДУПЛЕКСНОГО
АКТИВАТОР ДАТЧИКА
ОТСУТСТВИЯ БУМАГИ
МОДУЛЯ
Глава 4 Процедуры разборки/сборки и регулировки
4.2 Процедуры разборки/сборки
4 - 77
REP3.5 КОМПЛЕКТ АКТИВАТОРА ДАТЧИКА ОТСУТСТВИЯ БУМАГИ
В ОБХОДНОМ ЛОТКЕ (PL3.1.8)
ПРЕДУПРЕЖДЕНИЕ: Отключите подачу питания на аппарат. При выполнении работ, не
связанных с подачей электропитания, отсоедините силовой шнур от электрической розетки.
Поражение электрическим током может привести к серьезным последствиям для здоровья или
даже к смерти. Движущиеся части аппарата могут привести к травмам.
ПРЕДУПРЕЖДЕНИЕ: При выполнении этой процедуры будьте особенно осторожны.
Острые кромки могут привести к травмам.
ВНИМАНИЕ:Перед выполнением этой процедуры обратитесь к разделу "Введение"4.1.1
"Перед обслуживанием".
Снятие
1Снимите ДУПЛЕКСНЫЙ УЗЕЛ. (REP13.1)
2Снимите КОМПЛЕКТ ПЕРЕДНЕЙ КРЫШКИ. (REP1.6)
3Снимите ПРАВУЮ ПЕРЕДНЮЮ КРЫШКУ. (REP1.7)
4Снимите КРЫШКУ РОЛИКА ПОДАЧИ. (REP3.3)
5Снимите УЗЕЛ ЖЕЛОБА ДУПЛЕКСНОГО МОДУЛЯ, (REP3.4)
6Потяните за среднюю часть оси АКТИВАТОРА ДАТЧИКА ОТСУТСТВИЯ БУМАГИ В
ОБХОДНОМ ЛОТКЕ (PL3.1.10), вытяните его через вырез в отверстии и выдвиньте
наконечник оси в отверстие так, чтобы можно было снять АКТИВАТОР ДАТЧИКА
ОТСУТСТВИЯ БУМАГИ В ОБХОДНОМ ЛОТКЕ.
7Снимите ПРУЖИНУ ДАТЧИКА ОТСУТСТВИЯ БУМАГИ В ОБХОДНОМ ЛОТКЕ (PL3.1.9) с
АКТИВАТОРА ЭТОГО ДАТЧИКА. Инструкция: При установке убедитесь, что ПРУЖИНА
прикреплена надежно.

Глава 4 Процедуры разборки/сборки и регулировки
4.2 Процедуры разборки/сборки
4 - 78
Рис. 4-58 4-58 КОМПЛЕКТ АКТИВАТОРА ДАТЧИКА ОТСУТСТВИЯ БУМАГИ В ОБХОДНОМ ЛОТКЕ
ПРИМЕЧАНИЕ
АКТИВАТОР ДАТЧИКА
ПРУЖИНА ДАТЧИКА ОТСУТСТВИЯ
БУМАГИ В ОБХОДНОМ ЛОТКЕ
ОТСУТСТВИЯ БУМАГИ

Глава 4 Процедуры разборки/сборки и регулировки
4.2 Процедуры разборки/сборки
4 - 79
REP3.6 ДАТЧИК ОТСУТСТВИЯ БУМАГИ В ОБХОДНОМ ЛОТКЕ
(PL3.1.11)
ПРЕДУПРЕЖДЕНИЕ: Отключите подачу питания на аппарат. При выполнении работ, не
связанных с подачей электропитания, отсоедините силовой шнур от электрической розетки.
Поражение электрическим током может привести к серьезным последствиям для здоровья или
даже к смерти. Движущиеся части аппарата могут привести к травмам.
ПРЕДУПРЕЖДЕНИЕ: При выполнении этой процедуры будьте особенно осторожны.
Острые кромки могут привести к травмам.
ВНИМАНИЕ:Перед выполнением этой процедуры обратитесь к разделу "Введение"4.1.1
"Перед обслуживанием".
Снятие
1Снимите ДУПЛЕКСНЫЙ УЗЕЛ. (REP13.1)
2Снимите КОМПЛЕКТ ПЕРЕДНЕЙ КРЫШКИ. (REP1.6)
3Снимите ПРАВУЮ ПЕРЕДНЮЮ КРЫШКУ. (REP1.7)
4Снимите КРЫШКУ РОЛИКА ПОДАЧИ. (REP3.3)
5Снимите УЗЕЛ ЖЕЛОБА ДУПЛЕКСНОГО МОДУЛЯ. (REP3.4)
6Освободите защелки, которые фиксируют ДАТЧИК ОТСУТСТВИЯ БУМАГИ В ОБХОДНОМ
ЛОТКЕ на УЗЛЕ ЖЕЛОБА ДУПЛЕКСНОГО МОДУЛЯ, и сдвиньте АКТИВАТОР ДАТЧИКА
ОТСУТСТВИЯ БУМАГИ В ОБХОДНОМ ЛОТКЕ для того, чтобы снять этот ДАТЧИК.
Рис. 4-59 ДАТЧИК ОТСУТСТВИЯ БУМАГИ В ОБХОДНОМ ЛОТКЕ
ДАТЧИК ОТСУТСТВИЯ БУМАГИ
АКТИВАТОР ДАТЧИКА
ОТСУТСТВИЯ БУМАГИ
В ОБХОДНОМ ЛОТКЕ
Глава 4 Процедуры разборки/сборки и регулировки
4.2 Процедуры разборки/сборки
4 - 80
REP3.7 КУЛАЧОК ОБХОДНОГО ЛОТКА/ШТИФТ (PL3.1.15)
ПРЕДУПРЕЖДЕНИЕ: Отключите подачу питания на аппарат. При выполнении работ, не
связанных с подачей электропитания, отсоедините силовой шнур от электрической розетки.
Поражение электрическим током может привести к серьезным последствиям для здоровья или
даже к смерти. Движущиеся части аппарата могут привести к травмам.
ПРЕДУПРЕЖДЕНИЕ: При выполнении этой процедуры будьте особенно осторожны.
Острые кромки могут привести к травмам.
ВНИМАНИЕ:Перед выполнением этой процедуры обратитесь к разделу "Введение"4.1.1
"Перед обслуживанием".
Снятие
1Снимите ДУПЛЕКСНЫЙ УЗЕЛ. (REP13.1)
2Снимите КОМПЛЕКТ ПЕРЕДНЕЙ КРЫШКИ. (REP1.6)
3Снимите ПРАВУЮ ПЕРЕДНЮЮ КРЫШКУ. (REP1.7)
4Снимите ЛЕВУЮ ПЕРЕДНЮЮ КРЫШКУ. (REP1.8)
5Снимите КОМПЛЕКТ ШЕСТЕРЕН ОБХОДНОГО ЛОТКА. (REP3.2)
6Снимите КРЫШКУ РОЛИКА ПОДАЧИ. (REP3.3)
7Снимите УЗЕЛ ЖЕЛОБА ДУПЛЕКСНОГО МОДУЛЯ. (REP3.4)
8Снимите пластиковые зажимы, которые фиксируют ПОДШИПНИКИ с правой и левой стороны
УЗЛА ВАЛА ОБХОДНОГО ЛОТКА (PL3.1.16), и снимите ПОДШИПНИКИ.
Инструкция:На следующем этапе будьте внимательны, чтобы не уронить и не потерять
ШТИФТ ОБХОДНОГО ЛОТКА.
9Снимите пластиковый зажим, который фиксирует левый КУЛАЧОК ОБХОДНОГО ЛОТКА, и
сдвиньте КУЛАЧОК ОБХОДНОГО ЛОТКА вправо, чтобы извлечь ШТИФТ ОБХОДНОГО
ЛОТКА.
10 Удерживая правый КУЛАЧОК ОБХОДНОГО ЛОТКА на месте, сдвиньте УЗЕЛ ВАЛА
ОБХОДНОГО ЛОТКА влево, чтобы извлечь этот узел через правое установочное отверстие.
11 Сдвиньте правый КУЛАЧОК ОБХОДНОГО ЛОТКА с УЗЛА ВАЛА ОБХОДНОГО ЛОТКА и
извлеките ШТИФТ ОБХОДНОГО ЛОТКА.

Глава 4 Процедуры разборки/сборки и регулировки
4.2 Процедуры разборки/сборки
4 - 81
Рис. 4-60 КУЛАЧОК ОБХОДНОГО ЛОТКА/ ШТИФТ ОБХОДНОГО ЛОТКА
ШТИФТ ОБХОДНОГО
ЛОТКА
КУЛАЧОК ОБХОДНОГО
ЛОТКА

Глава 4 Процедуры разборки/сборки и регулировки
4.2 Процедуры разборки/сборки
4 - 82
Рис. 4-61 КУЛАЧОК ОБХОДНОГО ЛОТКА/ ШТИФТ ОБХОДНОГО ЛОТКА
ШТИФТ ОБХОДНОГО ЛОТКА
КУЛАЧОК ОБХОДНОГО ЛОТКА
КУЛАЧОК ОБХОДНОГО ЛОТКА

Глава 4 Процедуры разборки/сборки и регулировки
4.2 Процедуры разборки/сборки
4 - 83
REP3.8 РОЛИК ПОДАЧИ ИЗ ОБХОДНОГО ЛОТКА (PL3.1.17)
ПРЕДУПРЕЖДЕНИЕ: Отключите подачу питания на аппарат. При выполнении работ, не
связанных с подачей электропитания, отсоедините силовой шнур от электрической розетки.
Поражение электрическим током может привести к серьезным последствиям для здоровья или
даже к смерти. Движущиеся части аппарата могут привести к травмам.
ПРЕДУПРЕЖДЕНИЕ: При выполнении этой процедуры будьте особенно осторожны.
Острые кромки могут привести к травмам.
ВНИМАНИЕ:Перед выполнением этой процедуры обратитесь к разделу "Введение"4.1.1
"Перед обслуживанием".
Снятие
1Снимите КРЫШКУ РОЛИКА ПОДАЧИ. (REP3.3)
2Освободите защелку, которая фиксирует правый РОЛИК ОБХОДНОГО ЛОТКА (PL3.1.18) на
валу, и сдвиньте этот ролик вправо.
3Сдвиньте РОЛИК ПОДАЧИ ОБХОДНОГО ЛОТКА вправо со ШТИФТА на валу, поверните
РОЛИК ПОДАЧИ ОБХОДНОГО ЛОТКА в такое положение, чтобы его легко можно было снять,
и снимите его.
Инструкция:После замены УЗЛА РОЛИКА ПОДАЧИ ОБХОДНОГО ЛОТКА вы также должны
сбросить показания соответствующего счетчика срока службы. Для этого войдите в
сервисный режим и перейдите к меню: Parameter (Параметр)/ Life Counter (Счетчик срока
службы)/Bypass Tray Roll (Ролик обходного лотка). (См. пункт 2.4.4 "Структура меню" раздела
2.4 "Сервисный режим" в “ Глава 2 Поиск и устранение неисправностей.)
Рис. 4-62 РОЛИК ПОДАЧИ ОБХОДНОГО ЛОТКА
Ролик подачи обходного лотка
РОЛИК ОБХОДНОГО ЛОТКА

Глава 4 Процедуры разборки/сборки и регулировки
4.2 Процедуры разборки/сборки
4 - 84
REP3.9 КОМПЛЕКТ ОСНОВАНИЯ ТОРМОЗНОЙ РАМЫ (PL3.1.19)
ПРЕДУПРЕЖДЕНИЕ: Отключите подачу питания на аппарат. При выполнении работ, не
связанных с подачей электропитания, отсоедините силовой шнур от электрической розетки.
Поражение электрическим током может привести к серьезным последствиям для здоровья или
даже к смерти. Движущиеся части аппарата могут привести к травмам.
ПРЕДУПРЕЖДЕНИЕ: При выполнении этой процедуры будьте особенно осторожны.
Острые кромки могут привести к травмам.
ВНИМАНИЕ:Перед выполнением этой процедуры обратитесь к разделу "Введение"4.1.1
"Перед обслуживанием".
Снятие
1Освободите защелку и откройте ПЕРЕДНЮЮ РАМУ.
2Снимите ДЕРЖАТЕЛЬ УЗЛА ТОРМОЖЕНИЯ. (REP3.10)
3Выверните 4 винта (серебристые, с шайбами, 10 мм), которые крепят КОМПЛЕКТ
ОСНОВАНИЯ ТОРМОЗНОЙ РАМЫ к аппарату, и снимите две ШАЙБЫ ОБХОДНОГО ЛОТКА
(PL3.1.26).
4Снимите КОМПЛЕКТ ОСНОВАНИЯ ТОРМОЗНОЙ РАМЫ с аппарата.
Рис. 4-63 КОМПЛЕКТ ОСНОВАНИЯ ТОРМОЗНОЙ РАМЫ
КОМПЛЕКТ ОСНОВАНИЯ ТОРМОЗНОЙ РАМЫ

Глава 4 Процедуры разборки/сборки и регулировки
4.2 Процедуры разборки/сборки
4 - 85
REP3.10 ДЕРЖАТЕЛЬ УЗЛА ТОРМОЖЕНИЯ (PL3.1.21)
ПРЕДУПРЕЖДЕНИЕ:Отключите подачу питания на аппарат. При выполнении работ, не
связанных с подачей электропитания, отсоедините силовой шнур от электрической розетки.
Поражение электрическим током может привести к серьезным последствиям для здоровья или
даже к смерти. Движущиеся части аппарата могут привести к травмам.
ПРЕДУПРЕЖДЕНИЕ: При выполнении этой процедуры будьте особенно осторожны.
Острые кромки могут привести к травмам.
ВНИМАНИЕ:Перед выполнением этой процедуры обратитесь к разделу "Введение"4.1.1
"Перед обслуживанием".
Снятие
1Освободите защелку и откройте ПЕРЕДНЮЮ РАМУ.
2Освободите защелки ДЕРЖАТЕЛЯ УЗЛА ТОРМОЖЕНИЯ, поднимите заднюю часть и
освободите защелку спереди.
Инструкция:При установке ДЕРЖАТЕЛЯ УЗЛА ТОРМОЖЕНИЯ убедитесь, что ДЕРЖАТЕЛЬ
установлен на метке _? КОМПЛЕКТА ОСНОВАНИЯ ТОРМОЗНОЙ РАМЫ.
Инструкция:После замены УЗЛА РОЛИКА ПОДАЧИ ОБХОДНОГО ЛОТКА вы также должны
сбросить показания соответствующего счетчика срока службы. Для этого войдите в
сервисный режим и перейдите к меню: Parameter (Параметр)/ Life Counter (Счетчик срока
службы)/Bypass Tray Roll (Ролик обходного лотка). (См. пункт 2.4.4 "Структура меню" раздела
2.4 "Сервисный режим" в Глава 2 Поиск и устранение неисправностей.)
Рис. 4-64 ДЕРЖАТЕЛЬ УЗЛА ТОРМОЖЕНИЯ
ДЕРЖАТЕЛЬ УЗЛА ТОРМОЖЕНИЯ

Глава 4 Процедуры разборки/сборки и регулировки
4.2 Процедуры разборки/сборки
4 - 86
REP3.11 УЗЕЛ ОБХОДНОГО ЛОТКА (PL3.1.22)
ПРЕДУПРЕЖДЕНИЕ: Отключите подачу питания на аппарат. При выполнении работ, не
связанных с подачей электропитания, отсоедините силовой шнур от электрической розетки.
Поражение электрическим током может привести к серьезным последствиям для здоровья или
даже к смерти. Движущиеся части аппарата могут привести к травмам.
ПРЕДУПРЕЖДЕНИЕ: При выполнении этой процедуры будьте особенно осторожны.
Острые кромки могут привести к травмам.
ВНИМАНИЕ:Перед выполнением этой процедуры обратитесь к разделу "Введение"4.1.1
"Перед обслуживанием".
Снятие
1Снимите КОМПЛЕКТ ПЕРЕДНЕЙ КРЫШКИ. (REP1.6)
2Снимите ПРАВУЮ ПЕРЕДНЮЮ КРЫШКУ. (REP1.7)
3Снимите Е-образные стопорные шайбы, которые фиксируют правую сторону УЗЛА
ОБХОДНОГО ЛОТКА, и снимите ОСЬ ШАРНИРА ЛОТКА (PL3.1.6).
4Извлеките выступ с правой стороны УЗЛА ОБХОДНОГО ЛОТКА из отверстия и снимите УЗЕЛ
ОБХОДНОГО ЛОТКА.
Рис. 4-65 УЗЕЛ ОБХОДНОГО ЛОТКА
УЗЕЛ ОБХОДНОГО ЛОТКА
Глава 4 Процедуры разборки/сборки и регулировки
4.2 Процедуры разборки/сборки
4 - 87
REP4.1 КОМПЛЕКТ ПЕРЕДНЕЙ РАМЫ (PL4.1.1)
ПРЕДУПРЕЖДЕНИЕ: Отключите подачу питания на аппарат. При выполнении работ, не
связанных с подачей электропитания, отсоедините силовой шнур от электрической розетки.
Поражение электрическим током может привести к серьезным последствиям для здоровья или
даже к смерти. Движущиеся части аппарата могут привести к травмам.
ПРЕДУПРЕЖДЕНИЕ: При выполнении этой процедуры будьте особенно осторожны.
Острые кромки могут привести к травмам.
ВНИМАНИЕ:Перед выполнением этой процедуры обратитесь к разделу "Введение"4.1.1
"Перед обслуживанием".
Снятие
1Снимите ДУПЛЕКСНЫЙ УЗЕЛ. (REP13.1)
2Снимите ролик переноса. (REP4.3)
3Снимите БЛОК КРЫШКИ. (REP1.1)
4Снимите ЛЕВУЮ БОКОВУЮ КРЫШКУ. (REP1.3)
5Снимите КОМПЛЕКТ ПЕРЕДНЕЙ КРЫШКИ. (REP1.6)
6Снимите ПРАВУЮ ПЕРЕДНЮЮ КРЫШКУ. (REP1.7)
7Снимите ЛЕВУЮ ПЕРЕДНЮЮ КРЫШКУ. (REP1.8)
8Откройте ВЕРХНЮЮ КРЫШКУ ДУПЛЕКСНОГО МОДУЛЯ. (REP1.9)
9Снимите УЗЕЛ ОБХОДНОГО ЛОТКА. (REP3.11)
10 Снимите УЗЕЛ ЭКРАНА ESS. (REP11.1)
11 Откройте седловидную кромку, которая прикреплена к ШАССИ ESS (PL 11.1.4).
12 Выверните винт (серебристый, с шайбой, 8 мм), который крепит КРЫШКУ MCU к УЗЛУ
ЭКРАНА ESS и снимите КРЫШКУ MCU.
13 Отсоедините разъем (P/J23), который подключен к MCU, вытяните проводку из седловидной
кромки и затем извлеките проводку из направляющей в левой части аппарата.
14 Отсоедините разъемы (VD, TR и VG), которые подключены к LVPS, освободите зажим и
извлеките проводку.
15 Извлеките проводку, которая подключена к КОМПЛЕКТУ ПЕРЕДНЕЙ РАМЫ и была
отключена на этапах 13 и 14, из держателя с левой стороны аппарата.
16 Выверните винт (серебристый, с шайбой, 8 мм), который крепит провод заземления к
шарниру с правой стороны КОМПЛЕКТА ПЕРЕДНЕЙ РАМЫ, и отсоедините этот провод.
Инструкция:На следующем этапе будьте осторожны, чтобы не уронить КОМПЛЕКТ
ПЕРЕДНЕЙ РАМЫ.
17 Горизонтально сдвиньте ПЕРЕДНИЕ СТРОПЫ (PL4.1.10) с правой и левой стороны
КОМПЛЕКТА ПЕРЕДНЕЙ РАМЫ и снимите их.
18 Возьмитесь за КОМПЛЕКТ ПЕРЕДНЕЙ РАМЫ, извлеките правую и левую передние ОСИ
(PL4.1.9), и снимите КОМПЛЕКТ ПЕРЕДНЕЙ РАМЫ.

Глава 4 Процедуры разборки/сборки и регулировки
4.2 Процедуры разборки/сборки
4 - 88
Рис. 4-66 КОМПЛЕКТ ПЕРЕДНЕЙ РАМЫ
КРЫШКА MCU
MCU PWB

Глава 4 Процедуры разборки/сборки и регулировки
4.2 Процедуры разборки/сборки
4 - 89
Рис. 4-67 КОМПЛЕКТ ПЕРЕДНЕЙ РАМЫ
Рис. 4-68 КОМПЛЕКТ ПЕРЕДНЕЙ РАМЫ

Глава 4 Процедуры разборки/сборки и регулировки
4.2 Процедуры разборки/сборки
4 - 90
Рис. 4-69 КОМПЛЕКТ ПЕРЕДНЕЙ РАМЫ
КОМПЛЕКТ ПЕРЕДНЕЙ РАМЫ
ПЕРЕДНЯЯ СТРОПА

Глава 4 Процедуры разборки/сборки и регулировки
4.2 Процедуры разборки/сборки
4 - 91
REP4.2 УЗЕЛ КРЫШКИ ПЕРЕДНЕЙ РАМЫ (PL4.1.2)
ПРЕДУПРЕЖДЕНИЕ: Отключите подачу питания на аппарат. При выполнении работ, не
связанных с подачей электропитания, отсоедините силовой шнур от электрической розетки.
Поражение электрическим током может привести к серьезным последствиям для здоровья или
даже к смерти. Движущиеся части аппарата могут привести к травмам.
ПРЕДУПРЕЖДЕНИЕ: При выполнении этой процедуры будьте особенно осторожны.
Острые кромки могут привести к травмам.
ВНИМАНИЕ:Перед выполнением этой процедуры обратитесь к разделу "Введение"4.1.1
"Перед обслуживанием".
Снятие
1Снимите ДУПЛЕКСНЫЙ УЗЕЛ. (REP13.1)
2Снимите КОМПЛЕКТ ПЕРЕДНЕЙ КРЫШКИ. (REP1.6)
3Снимите ПРАВУЮ ПЕРЕДНЮЮ КРЫШКУ. (REP1.7)
4Снимите ЛЕВУЮ ПЕРЕДНЮЮ КРЫШКУ. (REP1.8)
5Откройте ВЕРХНЮЮ КРЫШКУ ДУПЛЕКСНОГО МОДУЛЯ. (REP1.9)
6Сожмите ПРУЖИНЫ ПЕРЕДНИХ РЫЧАГОВ и снимите ПРУЖИНЫ (PL4.1.7) с правой и левой
стороны.
7Выверните 3 винта (серебристые, саморезы, 8 мм), которые крепят УЗЕЛ КРЫШКИ
ПЕРЕДНЕЙ РАМЫ, и снимите этот узел.
Рис. 4-70 УЗЕЛ КРЫШКИ ПЕРЕДНЕЙ РАМЫ
УЗЕЛ КРЫШКИ ПЕРЕДНЕЙ РАМЫ
Глава 4 Процедуры разборки/сборки и регулировки
4.2 Процедуры разборки/сборки
4 - 92
REP4.3 РОЛИК ПЕРЕНОСА (PL4.1.3)
ПРЕДУПРЕЖДЕНИЕ: Отключите подачу питания на аппарат. При выполнении работ, не
связанных с подачей электропитания, отсоедините силовой шнур от электрической розетки.
Поражение электрическим током может привести к серьезным последствиям для здоровья или
даже к смерти. Движущиеся части аппарата могут привести к травмам.
ПРЕДУПРЕЖДЕНИЕ: При выполнении этой процедуры будьте особенно осторожны.
Острые кромки могут привести к травмам.
ВНИМАНИЕ:Перед выполнением этой процедуры обратитесь к разделу "Введение"4.1.1
"Перед обслуживанием".
Снятие
1Освободите защелку и откройте ПЕРЕДНЮЮ РАМУ.
[До 07.2]
2Освободите зажимы ПОДШИПНИКОВ РОЛИКА ПЕРЕНОСА с левой и правой стороны и
снимите их.
[07.2 и позже]
3Поверните рукоятки РЫЧАЖКОВ CRU (PL4. 1.11) с левой и правой стороны по стрелкам и
снимите их.
4Возьмитесь за правый и левый концы РОЛИКА ПЕРЕНОСА и извлеките его из секции
установки.
Инструкция:После замены УЗЛА ПЕРЕНОСА вы также должны сбросить показания
соответствующего счетчика срока службы. Для этого войдите в сервисный режим и перейдите
к меню: Parameter (Параметр) / Life Counter (Счетчик срока службы)/ Fuser (Фьюзер)/ Trans.
(Перенос) (См. пункт 2.4.4 "Структура меню" раздела 2.4 "Сервисный режим" в Глава 2 Поиск
и устранение неисправностей.)

Глава 4 Процедуры разборки/сборки и регулировки
4.2 Процедуры разборки/сборки
4 - 93
Рис. 4-71 РОЛИК ПЕРЕНОСА [до 07.2]

Глава 4 Процедуры разборки/сборки и регулировки
4.2 Процедуры разборки/сборки
4 - 94
Рис. 4-72 РОЛИК ПЕРЕНОСА [07.2 и позже]
Инструкция:При установке ПОДШИПНИКОВ РОЛИКА ПЕРЕНОСА и РЫЧАЖКОВ CRU
надавите на верхнюю поверхность, чтобы убедиться, что защелки надежно зафиксированы.
Рис. 4-72 РОЛИК ПЕРЕНОСА [07.2 и позже]
РЫЧАЖОК CRUПОДШИПНИК РОЛИКА ПЕРЕНОСА

Глава 4 Процедуры разборки/сборки и регулировки
4.2 Процедуры разборки/сборки
4 - 95
REP4.4 КОМПЛЕКТ ПЕРЕДНИХ РЫЧАГОВ (PL1.1.4)
ПРЕДУПРЕЖДЕНИЕ:Отключите подачу питания на аппарат. При выполнении работ, не
связанных с подачей электропитания, отсоедините силовой шнур от электрической розетки.
Поражение электрическим током может привести к серьезным последствиям для здоровья или
даже к смерти. Движущиеся части аппарата могут привести к травмам.
ПРЕДУПРЕЖДЕНИЕ:При выполнении этой процедуры будьте особенно осторожны.
Острые кромки могут привести к травмам.
ВНИМАНИЕ:Перед выполнением этой процедуры обратитесь к разделу "Введение"4.1.1
"Перед обслуживанием".
Снятие
1Снимите ДУПЛЕКСНЫЙ УЗЕЛ. (REP13.1)
2Снимите КОМПЛЕКТ ПЕРЕДНЕЙ КРЫШКИ. (REP1.6)
3Снимите ПРАВУЮ ПЕРЕДНЮЮ КРЫШКУ. (REP1.7)
4Снимите ЛЕВУЮ ПЕРЕДНЮЮ КРЫШКУ. (REP1.8)
5Откройте ВЕРХНЮЮ КРЫШКУ ДУПЛЕКСНОГО МОДУЛЯ. (REP1.9)
6Снимите УЗЕЛ КРЫШКИ ПЕРЕДНЕЙ РАМЫ. (REP4.2)
7Сожмите ПРУЖИНЫ ПЕРЕДНИХ РЫЧАГОВ и снимите ПРУЖИНЫ (PL4.1.7) с правой и левой
стороны.
8Откройте секцию установки КОМПЛЕКТА ПЕРЕДНИХ РЫЧАГОВ, извлеките выступы из
отверстий и снимите правый и левый ПЕРЕДНИЙ РЫЧАГИ.
Рис. 4-73 КОМПЛЕКТ ПЕРЕДНИХ РЫЧАГОВ
КОМПЛЕКТ ПЕРЕДНИХ РЫЧАГОВ
Глава 4 Процедуры разборки/сборки и регулировки
4.2 Процедуры разборки/сборки
4 - 96
REP5.1 КОМПЛЕКТ РЕГИСТРАЦИИ/ МУФТА РЕГИСТРАЦИИ (PL5.1.2)
ПРЕДУПРЕЖДЕНИЕ:Отключите подачу питания на аппарат. При выполнении работ, не
связанных с подачей электропитания, отсоедините силовой шнур от электрической розетки.
Поражение электрическим током может привести к серьезным последствиям для здоровья или
даже к смерти. Движущиеся части аппарата могут привести к травмам.
ПРЕДУПРЕЖДЕНИЕ:При выполнении этой процедуры будьте особенно осторожны.
Острые кромки могут привести к травмам.
ВНИМАНИЕ:Перед выполнением этой процедуры обратитесь к разделу "Введение"4.1.1
"Перед обслуживанием".
Снятие
1Снимите БЛОК КРЫШКИ. (REP1.1)
2Снимите УЗЕЛ ФЬЮЗЕРА. (REP8.2)
3Снимите ЛЕВУЮ БОКОВУЮ КРЫШКУ. (REP1.3) 4 Отсоедините разъем (P/J1230) на
проводке, которая подключена к КОМПЛЕКТУ РЕГИСТРАЦИИ, и извлеките проводку
направляющей.
4Выверните 4 винта (серебристые, саморезы, 8 мм), которые крепят КОМПЛЕКТ
РЕГИСТРАЦИИ к аппарату.
5Вытяните проводку, которая подключена к КОМПЛЕКТУ РЕГИСТРАЦИИ, через квадратное
отверстие, положите КОМПЛЕКТ РЕГИСТРАЦИИ левой стороной вверх, извлеките МУФТУ
РЕГИСТРАЦИИ из отверстия и снимите КОМПЛЕКТ РЕГИСТРАЦИИ.
6Извлеките проводку, которая подключена к МУФТЕ РЕГИСТРАЦИИ, из направляющей
КОМПЛЕКТА РЕГИСТРАЦИИ.
7Снимите пластиковый зажим, который крепит МУФТУ РЕГИСТРАЦИИ к валу КОМПЛЕКТА
РЕГИСТРАЦИИ.
8Сдвиньте отжатую часть МУФТЫ РЕГИСТРАЦИИ и снимите ее с вала.
Инструкция:При установке КОМПЛЕКТА РЕГИСТРАЦИИ на аппарат убедитесь, что
АКТИВАТОР под КОМПЛЕКТОМ РЕГИСТРАЦИИ установлен ниже АКТИВАТОРА УЗЛА
РЕГИСТРАЦИИ (PL5.1.3) со стороны аппарата.
Инструкция:После замены КОМПЛЕКТА РЕГИСТРАЦИИ вы также должны сбросить
показания соответствующего счетчика срока службы. Для этого войдите в сервисный режим
и перейдите к меню: Parameter (Параметр)/ Life Counter (Счетчик срока службы)/ ROS / Regist
(Регистрация)/ Drive (Привод)/ Reset Counter (Сброс счетчика) (См. пункт 2.4.4 "Структура
меню" раздела 2.4 "Сервисный режим" в Глава 2 Поиск и устранение неисправностей.)

Глава 4 Процедуры разборки/сборки и регулировки
4.2 Процедуры разборки/сборки
4 - 97
Рис. 4-74 КОМПЛЕКТ РЕГИСТРАЦИИ/ МУФТА РЕГИСТРАЦИИ
КОМПЛЕКТ РЕГИСТРАЦИИ
ПРИМЕЧАНИЕ

Глава 4 Процедуры разборки/сборки и регулировки
4.2 Процедуры разборки/сборки
4 - 98
Рис. 4-75 КОМПЛЕКТ РЕГИСТРАЦИИ/ МУФТА РЕГИСТРАЦИИ
МУФТА РЕГИСТРАЦИИ
Глава 4 Процедуры разборки/сборки и регулировки
4.2 Процедуры разборки/сборки
4 - 99
REP5.2 ДАТЧИК РЕГИСТРАЦИИ (PL5.1.4)
ПРЕДУПРЕЖДЕНИЕ:Отключите подачу питания на аппарат. При выполнении работ, не
связанных с подачей электропитания, отсоедините силовой шнур от электрической розетки.
Поражение электрическим током может привести к серьезным последствиям для здоровья или
даже к смерти. Движущиеся части аппарата могут привести к травмам.
ПРЕДУПРЕЖДЕНИЕ:При выполнении этой процедуры будьте особенно осторожны.
Острые кромки могут привести к травмам.
ВНИМАНИЕ:Перед выполнением этой процедуры обратитесь к разделу "Введение"4.1.1
"Перед обслуживанием".
Снятие
1Снимите БЛОК КРЫШКИ. (REP1.1)
2Снимите ЛЕВУЮ БОКОВУЮ КРЫШКУ. (REP1.3)
3Отсоедините разъем (P/J1230) на проводке, которая подключена к КОМПЛЕКТУ
РЕГИСТРАЦИИ, и извлеките проводку направляющей.
Инструкция:Поскольку УЗЕЛ ОСНОВНОЙ БЛОКИРОВКИ (PL12. 1.1) должен сниматься с
подсоединенной проводкой, не прикладывайте избыточное усилие при выполнении
следующего этапа.
4Выверните 3 винта (серебристые, саморезы, 3х8 мм) и 1 винт (серебристый, саморез, 4х8
мм), которые крепят УЗЕЛ ОСНОВНОЙ БЛОКИРОВКИ к аппарату.
5Откройте переднюю часть УЗЛА ОСНОВНОЙ БЛОКИРОВКИ.
6Отсоедините разъем (PJ1211) от ДАТЧИКА РЕГИСТРАЦИИ.
7Освободите защелки, которые фиксируют ДАТЧИК РЕГИСТРАЦИИ на УЗЛЕ ОСНОВНОЙ
БЛОКИРОВКИ, чтобы снять ДАТЧИК РЕГИСТРАЦИИ.

Глава 4 Процедуры разборки/сборки и регулировки
4.2 Процедуры разборки/сборки
4 - 100
Рис. 4-76 ДАТЧИК РЕГИСТРАЦИИ
ДАТЧИК РЕГИСТРАЦИИ
Глава 4 Процедуры разборки/сборки и регулировки
4.2 Процедуры разборки/сборки
4 - 101
REP6.1 КСЕРОГРАФИЯ
Глава 4 Процедуры разборки/сборки и регулировки
4.2 Процедуры разборки/сборки
4 - 102
REP7.1 УЗЕЛ ROS (PL7.1.1)
ПРЕДУПРЕЖДЕНИЕ:Отключите подачу питания на аппарат. При выполнении работ, не
связанных с подачей электропитания, отсоедините силовой шнур от электрической розетки.
Поражение электрическим током может привести к серьезным последствиям для здоровья или
даже к смерти. Движущиеся части аппарата могут привести к травмам.
ПРЕДУПРЕЖДЕНИЕ:При выполнении этой процедуры будьте особенно осторожны.
Острые кромки могут привести к травмам.
ПРЕДУПРЕЖДЕНИЕ:Избегайте попадания в зону действия лазерного луча. Невидимое
лазерное излучение.
ВНИМАНИЕ:Перед выполнением этой процедуры обратитесь к разделу "Введение"4.1.1
"Перед обслуживанием".
Снятие
1Снимите УЗЕЛ ПРИВОДА ВЫВОДА. (REP13.1)
2Снимите БЛОК КРЫШКИ. (REP1.1)
3Снимите ПРАВУЮ БОКОВУЮ КРЫШКУ. (REP1.2)
4Снимите ЛЕВУЮ БОКОВУЮ КРЫШКУ. (REP1.3)
5Снимите УЗЕЛ ПАНЕЛИ УПРАВЛЕНИЯ. (REP1.4)
6СНИМИТЕ УЗЕЛ ВЕРХНЕЙ КРЫШКИ. (REP1.5)
7Снимите КОМПЛЕКТ РЫЧАГОВ ФЬЮЗЕРА. (REP8.1)
8Снимите КОМПЛЕКТ СРЕДНЕЙ КРЫШКИ. (REP1.11)
9Снимите УЗЕЛ ЭКРАНА ESS. (REP11.1)
10 Снимите КРОНШТЕЙН УЗЛА ВЫВОДА. (REP9.1)
11 Снимите ШАССИ УЗЛА ESS. (REP11.3)
12 Снимите ЗАДНЮЮ КРЫШКУ. (REP1.10)
13 Извлеките проводку, которая подключена к УЗЛУ ПРИВОДА и ЗАДНЕМУ ВЕНТИЛЯТОРУ, из
направляющей для проводки УЗЛА ROS.
14 Выверните 2 винта (серебристые, саморезы, 8 мм) и 2 винта (серебистые, с шайбами, 8 мм),
которые крепят УЗЕЛ ROS к аппарату, и снимите УЗЕЛ ROS.
Инструкция:После замены УЗЛА ROS вы также должны сбросить показания
соответствующего счетчика срока службы. Для этого войдите в сервисный режим и перейдите
к меню: Parameter (Параметр)/ Life Counter (Счетчик срока службы)/ ROS / Regist
(Регистрация)/ Drive (Привод)/ Reset Counter (Сброс счетчика) (См. пункт 2.4.4 "Структура
меню" раздела 2.4 "Сервисный режим" в Глава 2 Поиск и устранение неисправностей.)

Глава 4 Процедуры разборки/сборки и регулировки
4.2 Процедуры разборки/сборки
4 - 103
Рис. 4-77 УЗЕЛ ROS

Глава 4 Процедуры разборки/сборки и регулировки
4.2 Процедуры разборки/сборки
4 - 104
Рис. 4-78 УЗЕЛ ROS
УЗЕЛ ROS
Глава 4 Процедуры разборки/сборки и регулировки
4.2 Процедуры разборки/сборки
4 - 105
REP8.1 КОМПЛЕКТ РЫЧАГОВ ФЬЮЗЕРА (PL8.1.1)
ПРЕДУПРЕЖДЕНИЕ:Отключите подачу питания на аппарат. При выполнении работ, не
связанных с подачей электропитания, отсоедините силовой шнур от электрической розетки.
Поражение электрическим током может привести к серьезным последствиям для здоровья или
даже к смерти. Движущиеся части аппарата могут привести к травмам.
ПРЕДУПРЕЖДЕНИЕ:При выполнении этой процедуры будьте особенно осторожны.
Острые кромки могут привести к травмам.
ВНИМАНИЕ:Перед выполнением этой процедуры обратитесь к разделу "Введение"4.1.1
"Перед обслуживанием".
Снятие
1Снимите УЗЕЛ ФЬЮЗЕРА. (REP8.2)
2Выверните 1 винт (серебристый, саморез, 8 мм) и 1 винт (серебистый, с шайбой, 8 мм),
которые крепят ПРАВУЮ ЗАЩИТНУЮ КРЫШКУ (PL8.1.5) к аппарату, и снимите эту крышку.
3Снимите ПРАВЫЙ РЫЧАГ CRU ФЬЮЗЕРА (PL8.1.6) с ПРАВОЙ ЗАЩИТНОЙ КРЫШКИ.
4Выверните 1 винт (серебристый, саморез, 8 мм) и 1 винт (серебистый, с шайбой, 8 мм),
которые крепят ЛЕВУЮ ЗАЩИТНУЮ КРЫШКУ к аппарату, и снимите эту крышку.
5Снимите ЛЕВЫЙ РЫЧАГ CRU ФЬЮЗЕРА (PL8. 1.2) с ЛЕВОЙ ЗАЩИТНОЙ КРЫШКИ.
6Выверните 1 винт (серебристый, саморез, 8 мм) и 1 винт (серебристый, с шайбой, 8 мм),
которые крепят ЛЕВУЮ ЗАЩИТНУЮ КРЫШКУ, и снимите провод заземления вместе с
ПРУЖИНОЙ (PL8.1.4).

Глава 4 Процедуры разборки/сборки и регулировки
4.2 Процедуры разборки/сборки
4 - 106
Рис. 4-79 КОМПЛЕКТ РЫЧАГОВ ФЬЮЗЕРА
ПРУЖИНА
ПРАВАЯ ЗАЩИТНАЯ КРЫШКА
ЛЕВАЯ ЗАЩИТНАЯ КРЫШКА
ПРАВЫЙ РЫЧАГ CRU
ЛЕВЫЙ РЫЧАГ CRU ФЬЮЗЕРА
ФЬЮЗЕРА

Глава 4 Процедуры разборки/сборки и регулировки
4.2 Процедуры разборки/сборки
4 - 107
REP8.2 УЗЕЛ ФЬЮЗЕРА (PL8.1.11)
ПРЕДУПРЕЖДЕНИЕ:Отключите подачу питания на аппарат. При выполнении работ, не
связанных с подачей электропитания, отсоедините силовой шнур от электрической розетки.
Поражение электрическим током может привести к серьезным последствиям для здоровья или
даже к смерти. Движущиеся части аппарата могут привести к травмам.
ПРЕДУПРЕЖДЕНИЕ:При выполнении этой процедуры будьте особенно осторожны.
Острые кромки могут привести к травмам.
ПРЕДУПРЕЖДЕНИЕ:Не прикасайтесь к нагретому фьюзеру.
ВНИМАНИЕ:Перед выполнением этой процедуры обратитесь к разделу "Введение"4.1.1
"Перед обслуживанием".
Снятие
1Снимите УЗЕЛ ФЬЮЗЕРА. (REP8.2)
2Откройте УЗЕЛ ВЕРХНЕЙ КРЫШКИ.
3Поднимите левый и правый РЫЧАГИ CRU ФЬЮЗЕРА (PL8.1.6) и снимите УЗЕЛ ФЬЮЗЕРА.
Инструкция:После замены УЗЛА ФЬЮЗЕРА вы также должны сбросить показания
соответствующего счетчика срока службы. Для этого войдите в сервисный режим и перейдите
к меню: Parameter (Параметр) / Life Counter (Счетчик срока службы)/ Fuser (Фьюзер)/ Trans.
(Перенос) (См. пункт “2.4.4 Структура меню” раздела “2.4 Сервисный режим” в главе 2 "Поиск
и устранение неисправностей”.)
Рис. 4-80 УЗЕЛ ФЬЮЗЕРА
Инструкция:При установке следует иметь в виду, что: Некоторые шестерни могут не
фиксироваться правильно относительно друг друга из-за их расположения. Поэтому вы
можете столкнуться с трудностями при их установке. Перед фиксацией РЫЧАГОВ CRU
ФЬЮЗЕРА убедитесь, что УЗЕЛ ФЬЮЗЕРА был полностью вставлен на свое место.
Глава 4 Процедуры разборки/сборки и регулировки
4.2 Процедуры разборки/сборки
4 - 108
REP9.1 КРОНШТЕЙН УЗЛА ВЫВОДА (PL9.1.1)
ПРЕДУПРЕЖДЕНИЕ:Отключите подачу питания на аппарат. При выполнении работ, не
связанных с подачей электропитания, отсоедините силовой шнур от электрической розетки.
Поражение электрическим током может привести к серьезным последствиям для здоровья или
даже к смерти. Движущиеся части аппарата могут привести к травмам.
ПРЕДУПРЕЖДЕНИЕ:При выполнении этой процедуры будьте особенно осторожны.
Острые кромки могут привести к травмам.
ВНИМАНИЕ:Перед выполнением этой процедуры обратитесь к разделу "Введение"4.1.1
"Перед обслуживанием".
Снятие
1Снимите УЗЕЛ ПРИВОДА ВЫВОДА. (REP13.2)
2Снимите БЛОК КРЫШКИ. (REP1.1)
3Снимите ПРАВУЮ БОКОВУЮ КРЫШКУ. (REP1.2)
4Снимите ЛЕВУЮ БОКОВУЮ КРЫШКУ. (REP1.3)
5Снимите УЗЕЛ ПАНЕЛИ УПРАВЛЕНИЯ. (REP1.4)
6СНИМИТЕ УЗЕЛ ВЕРХНЕЙ КРЫШКИ. (REP1.5)
7Снимите КОМПЛЕКТ РЫЧАГОВ ФЬЮЗЕРА. (REP8.1)
8Снимите КОМПЛЕКТ СРЕДНЕЙ КРЫШКИ. (REP1.11)
9Снимите УЗЕЛ ЭКРАНА ESS. (REP11.1)
10 Откройте седловидную кромку, которая прикреплена к ШАССИ ESS (PL 11.1.4).
11 Выверните винт (серебристый, с шайбой, 8 мм), который крепит КРЫШКУ MCU к УЗЛУ
ЭКРАНА ESS и снимите КРЫШКУ MCU.
12 Отсоедините разъем (P/J26), который подключен к ПЛАТЕ MCU (PL11.1.3).
13 Раскройте зажимы (в 3 местах), чтобы освободить проводку, которая подключена к
КРОНШТЕЙНУ УЗЛА ВЫВОДА, и извлеките ее из седловидной кромки.
14 Выверните 2 винта (серебристые, с шайбами, 8 мм), 2 винта (саморезы, 12мм) и 1 винт
(серебристый, саморез, 8 мм), которые крепят КРОНШТЕЙН УЗЛА ВЫВОДА к аппарату, и этот
кронштейн.

Глава 4 Процедуры разборки/сборки и регулировки
4.2 Процедуры разборки/сборки
4 - 109
Рис. 4-81 КРОНШТЕЙН УЗЛА ВЫВОДА
КРЫШКА MCU

Глава 4 Процедуры разборки/сборки и регулировки
4.2 Процедуры разборки/сборки
4 - 110
Рис. 4-82 КРОНШТЕЙН УЗЛА ВЫВОДА
КРОНШТЕЙН УЗЛА ВЫВОДА

Глава 4 Процедуры разборки/сборки и регулировки
4.2 Процедуры разборки/сборки
4 - 111
REP9.2 УЗЕЛ ПРИВОДА ВЫВОДА (PL9.1.2)
ПРЕДУПРЕЖДЕНИЕ: Отключите подачу питания на аппарат. При выполнении работ, не
связанных с подачей электропитания, отсоедините силовой шнур от электрической розетки.
Поражение электрическим током может привести к серьезным последствиям для здоровья или
даже к смерти. Движущиеся части аппарата могут привести к травмам.
ПРЕДУПРЕЖДЕНИЕ: При выполнении этой процедуры будьте особенно осторожны.
Острые кромки могут привести к травмам.
ВНИМАНИЕ:Перед выполнением этой процедуры обратитесь к разделу "Введение"4.1.1
"Перед обслуживанием".
Снятие
1Снимите УЗЕЛ ПРИВОДА ВЫВОДА. (REP13.1)
2Снимите БЛОК КРЫШКИ. (REP1.1)
3Снимите ПРАВУЮ БОКОВУЮ КРЫШКУ. (REP1.2)
4Выверните 4 винта (серебристые, с шайбами, 8 мм) и 4 винта (саморезы, 8 мм), которые
крепят УЗЕЛ ПРИВОДА к аппарату, и снимите этот узел.
5Отсоедините разъем (P/J220), который подключен в ГЛАВНОМУ ДВИГАТЕЛЮ(PL9.1.3), чтобы
снять УЗЕЛ ПРИВОДА с аппарата.
Инструкция:После замены УЗЛА ПРИВОДА вы также должны сбросить показания
соответствующего счетчика срока службы. Для этого войдите в сервисный режим и перейдите
к меню: Parameter (Параметр)/ Life Counter (Счетчик срока службы)/ ROS / Regist
(Регистрация)/ Drive (Привод)/ Reset Counter (Сброс счетчика) (См. пункт 2.4.4 "Структура
меню" раздела 2.4 "Сервисный режим" в Глава 2 Поиск и устранение неисправностей.)
Рис. 4-83 УЗЕЛ ПРИВОДА
УЗЕЛ ПРИВОДА

Глава 4 Процедуры разборки/сборки и регулировки
4.2 Процедуры разборки/сборки
4 - 112
REP9.3 ГЛАВНЫЙ ДВИГАТЕЛЬ (PL9.1.3)
ПРЕДУПРЕЖДЕНИЕ: Отключите подачу питания на аппарат. При выполнении работ, не
связанных с подачей электропитания, отсоедините силовой шнур от электрической розетки.
Поражение электрическим током может привести к серьезным последствиям для здоровья или
даже к смерти. Движущиеся части аппарата могут привести к травмам.
ПРЕДУПРЕЖДЕНИЕ: При выполнении этой процедуры будьте особенно осторожны.
Острые кромки могут привести к травмам.
ВНИМАНИЕ:Перед выполнением этой процедуры обратитесь к разделу "Введение"4.1.1
"Перед обслуживанием".
Снятие
1Снимите БЛОК КРЫШКИ. (REP1.1)
2Снимите ПРАВУЮ БОКОВУЮ КРЫШКУ. (REP1.2)
3Снимите УЗЕЛ ПРИВОДА. (REP9.2)
4Выверните 4 винта (серебристые, с шайбой, 6 мм), которые крепят ГЛАВНЫЙ ДВИГАТЕЛЬ к
УЗЛУ ПРИВОДА, и снимите ГЛАВНЫЙ ДВИГАТЕЛЬ.
Рис. 4-84 ГЛАВНЫЙ ДВИГАТЕЛЬ
ГЛАВНЫЙ ДВИГАТЕЛЬ
Глава 4 Процедуры разборки/сборки и регулировки
4.2 Процедуры разборки/сборки
4 - 113
REP10.1 УЗЕЛ ВОЗДУХОВОДА СРЕДНЕГО ВЕНТИЛЯТОРА (PL10.1.1)
ПРЕДУПРЕЖДЕНИЕ: Отключите подачу питания на аппарат. При выполнении работ, не
связанных с подачей электропитания, отсоедините силовой шнур от электрической розетки.
Поражение электрическим током может привести к серьезным последствиям для здоровья или
даже к смерти. Движущиеся части аппарата могут привести к травмам.
ПРЕДУПРЕЖДЕНИЕ: При выполнении этой процедуры будьте особенно осторожны.
Острые кромки могут привести к травмам.
ВНИМАНИЕ:Перед выполнением этой процедуры обратитесь к разделу "Введение"4.1.1
"Перед обслуживанием".
Снятие
1Снимите УЗЕЛ ПРИВОДА ВЫВОДА. (REP13.1)
2Снимите БЛОК КРЫШКИ. (REP1.1)
3Снимите ПРАВУЮ БОКОВУЮ КРЫШКУ. (REP1.2)
4Снимите ЛЕВУЮ БОКОВУЮ КРЫШКУ. (REP1.3)
5Снимите УЗЕЛ ПАНЕЛИ УПРАВЛЕНИЯ. (REP1.4)
6СНИМИТЕ УЗЕЛ ВЕРХНЕЙ КРЫШКИ. (REP1.5)
7Снимите КОМПЛЕКТ РЫЧАГОВ ФЬЮЗЕРА. (REP8.1)
8Снимите КОМПЛЕКТ СРЕДНЕЙ КРЫШКИ. (REP1.11)
9Снимите КРОНШТЕЙН УЗЛА ВЫВОДА. (REP9.1)
10 Снимите УЗЕЛ ЭКРАНА ESS. (REP11.1)
11 Снимите ШАССИ УЗЛА ESS. (REP11.3)
12 Выверните 2 винта (серебристые, с шайбами, 12 мм), которые крепят КОМПЛЕКТ ПРАВОГО
КРОНШТЕЙНА ФЬЮЗЕРА к аппарату, и снимите этот кронштейн (PL8.1.8).
13 Извлеките проводку, которая подключена к КОМПЛЕКТУ ПРАВОГО КРОНШТЕЙНА
ФЬЮЗЕРА, из направляющей УЗЛА ВОЗДУХОВОДА СРЕДНЕГО ВЕНТИЛЯТОРА.
14 Выверните винт (серебристый, саморез, 8 мм), который крепит УЗЕЛ ВОЗДУХОВОДА
СРЕДНЕГО ВЕНТИЛЯТОРА к аппарату, и снимите этот узел.

Глава 4 Процедуры разборки/сборки и регулировки
4.2 Процедуры разборки/сборки
4 - 114
Рис. 4-85 УЗЕЛ ВОЗДУХОВОДА СРЕДНЕГО ВЕНТИЛЯТОРА

Глава 4 Процедуры разборки/сборки и регулировки
4.2 Процедуры разборки/сборки
4 - 115
Рис. 4-86 УЗЕЛ ВОЗДУХОВОДА СРЕДНЕГО ВЕНТИЛЯТОРА
УЗЕЛ ВОЗДУХОВОДА СРЕДНЕГО
ВЕНТИЛЯТОРА

Глава 4 Процедуры разборки/сборки и регулировки
4.2 Процедуры разборки/сборки
4 - 116
REP10.2 СРЕДНИЙ ВЕНТИЛЯТОР (PL10.1.2)
ПРЕДУПРЕЖДЕНИЕ:Отключите подачу питания на аппарат. При выполнении работ, не
связанных с подачей электропитания, отсоедините силовой шнур от электрической розетки.
Поражение электрическим током может привести к серьезным последствиям для здоровья или
даже к смерти. Движущиеся части аппарата могут привести к травмам.
ПРЕДУПРЕЖДЕНИЕ:При выполнении этой процедуры будьте особенно осторожны.
Острые кромки могут привести к травмам.
ВНИМАНИЕ:Перед выполнением этой процедуры обратитесь к разделу "Введение"4.1.1
"Перед обслуживанием".
Снятие
1Снимите УЗЕЛ ПРИВОДА ВЫВОДА. (REP13.1)
2Снимите БЛОК КРЫШКИ. (REP1.1)
3Снимите ПРАВУЮ БОКОВУЮ КРЫШКУ. (REP1.2)
4Снимите УЗЕЛ ПАНЕЛИ УПРАВЛЕНИЯ. (REP1.4)4 Снимите ЛЕВУЮ БОКОВУЮ КРЫШКУ.
(REP1.3)
5СНИМИТЕ УЗЕЛ ВЕРХНЕЙ КРЫШКИ. (REP1.5)
6Снимите КОМПЛЕКТ РЫЧАГОВ ФЬЮЗЕРА. (REP8.1)
7Снимите КОМПЛЕКТ СРЕДНЕЙ КРЫШКИ. (REP1.11)
8Снимите УЗЕЛ ЭКРАНА ESS. (REP11.1)
9Снимите КРОНШТЕЙН УЗЛА ВЫВОДА. (REP9.1)
10 Снимите ШАССИ УЗЛА ESS. (REP11.3)
11 Снимите УЗЕЛ ВОЗДУХОПРОВОДА СРЕДНЕГО ВЕНТИЛЯТОРА. (REP10.1)
12 Извлеките проводку, которая подключена к СРЕДНЕМУ ВЕНТИЛЯТОРУ, из направляющей
УЗЛА ВОЗДУХОВОДА СРЕДНЕГО ВЕНТИЛЯТОРА (PL10.1.1).
13 Выверните 2 винта (серебристые, саморезы, 30 мм), которые крепит СРЕДНИЙ
ВЕНТИЛЯТОР к УЗЛУ ВОЗДУХОВОДА СРЕДНЕГО ВЕНТИЛЯТОРА, и снимите СРЕДНИЙ
ВЕНТИЛЯТОР.
Инструкция:Установите СРЕДНИЙ ВЕНТИЛЯТОР так, чтобы этикетка была обращена
вперед.
Рис. 4-87 СРЕДНИЙ ВЕНТИЛЯТОР
СРЕДНИЙ ВЕНТИЛЯТОР
Глава 4 Процедуры разборки/сборки и регулировки
4.2 Процедуры разборки/сборки
4 - 117
REP10.3 ЗАДНИЙ ВЕНТИЛЯТОР (PL10.1.4)
ПРЕДУПРЕЖДЕНИЕ: Отключите подачу питания на аппарат. При выполнении работ, не
связанных с подачей электропитания, отсоедините силовой шнур от электрической розетки.
Поражение электрическим током может привести к серьезным последствиям для здоровья или
даже к смерти. Движущиеся части аппарата могут привести к травмам.
ПРЕДУПРЕЖДЕНИЕ: При выполнении этой процедуры будьте особенно осторожны.
Острые кромки могут привести к травмам.
ВНИМАНИЕ:Перед выполнением этой процедуры обратитесь к разделу "Введение"4.1.1
"Перед обслуживанием".
Снятие
1Снимите УЗЕЛ ПРИВОДА ВЫВОДА. (REP13.1)
2Снимите БЛОК КРЫШКИ. (REP1.1)
3Снимите ПРАВУЮ БОКОВУЮ КРЫШКУ. (REP1.2)
4Снимите ЛЕВУЮ БОКОВУЮ КРЫШКУ. (REP1.3)
5Снимите УЗЕЛ ПАНЕЛИ УПРАВЛЕНИЯ. (REP1.4)
6СНИМИТЕ УЗЕЛ ВЕРХНЕЙ КРЫШКИ. (REP1.5)
7Снимите КОМПЛЕКТ РЫЧАГОВ ФЬЮЗЕРА. (REP8.1)
8Снимите КОМПЛЕКТ СРЕДНЕЙ КРЫШКИ. (REP1.11)
9Снимите УЗЕЛ ЭКРАНА ESS. (REP11.1)
10 Снимите КРОНШТЕЙН УЗЛА ВЫВОДА. (REP9.1)
11 Снимите ШАССИ УЗЛА ESS. (REP11.3)
12 Снимите УЗЕЛ ВОЗДУХОПРОВОДА СРЕДНЕГО ВЕНТИЛЯТОРА. (REP10.1)
13 Извлеките проводку, которая подключена к ЗАДНЕМУ ВЕНТИЛЯТОРУ, из направляющей
УЗЛА ROS (PL7.1.1).
14 Выверните винты (серебристые, саморезы, 8 мм), которые крепят ЗАДНИЙ ВЕНТИЛЯТОР к
ОСНОВАНИЮ УЗЛА РАМЫ, и снимите ЗАДНИЙ ВЕНТИЛЯТОР с ОСНОВАНИЯ УЗЛА РАМЫ.
Инструкция:Установите ЗАДНИЙ ВЕНТИЛЯТОР так, чтобы этикетка была обращена назад
(наружу).

Глава 4 Процедуры разборки/сборки и регулировки
4.2 Процедуры разборки/сборки
4 - 118
Рис. 4-88 ЗАДНИЙ ВЕНТИЛЯТОР

Глава 4 Процедуры разборки/сборки и регулировки
4.2 Процедуры разборки/сборки
4 - 119
Рис. 4-89 ЗАДНИЙ ВЕНТИЛЯТОР
ЭТИКЕТКА
ЗАДНИЙ ВЕНТИЛЯТОР

Глава 4 Процедуры разборки/сборки и регулировки
4.2 Процедуры разборки/сборки
4 - 120
REP11.1 УЗЕЛ ЭКРАНА ESS (PL11.1.1)
ПРЕДУПРЕЖДЕНИЕ:Отключите подачу питания на аппарат. При выполнении работ, не
связанных с подачей электропитания, отсоедините силовой шнур от электрической розетки.
Поражение электрическим током может привести к серьезным последствиям для здоровья или
даже к смерти. Движущиеся части аппарата могут привести к травмам.
ПРЕДУПРЕЖДЕНИЕ:При выполнении этой процедуры будьте особенно осторожны.
Острые кромки могут привести к травмам.
ВНИМАНИЕ:Перед выполнением этой процедуры обратитесь к разделу "Введение"4.1.1
"Перед обслуживанием".
Снятие
1Снимите БЛОК КРЫШКИ. (REP1.1)
2Выверните винты (в 3 местах), которые крепят УЗЕЛ ЭКРАНА ESS к УЗЛУ ШАССИ ESS
(PL11.1.4), и снимите УЗЕЛ ЭКРАНА ESS.
Рис. 4-90 УЗЕЛ ЭКРАНА ESS
УЗЕЛ ЭКРАНА ESS
Глава 4 Процедуры разборки/сборки и регулировки
4.2 Процедуры разборки/сборки
4 - 121
REP11.2 ПЛАТА MCU (PL11.1.3)
ПРЕДУПРЕЖДЕНИЕ:Отключите подачу питания на аппарат. При выполнении работ, не
связанных с подачей электропитания, отсоедините силовой шнур от электрической розетки.
Поражение электрическим током может привести к серьезным последствиям для здоровья или
даже к смерти. Движущиеся части аппарата могут привести к травмам.
ПРЕДУПРЕЖДЕНИЕ:При выполнении этой процедуры будьте особенно осторожны.
Острые кромки могут привести к травмам.
ВНИМАНИЕ:Перед выполнением этой процедуры обратитесь к разделу "Введение"4.1.1
"Перед обслуживанием".
Снятие
Инструкция:Данные в энергонезависимой памяти на плате MCU должны быть перенесены
на новую плату. Войдите в сервисный режим и выполните процедуру "IOT Diag (Диагностика
IOT)/ NVM Setting (Параметры NVM)/ Save NVM (Сохранение в NVM)" для резервирования
данных из NVM (со старой платы) на плате ESS. После замены платы MCU войдите в
сервисный режим и выполните процедуру "IOT Diag (Диагностика IOT)/ NVM Setting
(Параметры NVM)/ Load NVM (Загрузка в NVM)" для записи данных из NVM (со старой платы),
которые были сохранены на плате ESS, на новую плату MCU.
1Снимите БЛОК КРЫШКИ. (REP1.1)
2Снимите УЗЕЛ ЭКРАНА ESS. (REP11.1)
3Откройте седловидную кромку, которая прикреплена к ШАССИ ESS (PL 11.1.4).
4Выверните винт (серебристый, с шайбой, 8 мм), который крепит КРЫШКУ MCU к УЗЛУ
ЭКРАНА ESS и снимите КРЫШКУ MCU.
5Освободите 3 зажима рядом с платой MCU.
6Отсоедините все разъемы, которые подключены к плате MCU.
7Выверните 4 винта (серебристые, с шайбой, 8 мм), которые крепят ПЛАТУ MCU к ШАССИ
ESS, и снимите ПЛАТУ MCU.

Глава 4 Процедуры разборки/сборки и регулировки
4.2 Процедуры разборки/сборки
4 - 122
Рис. 4-91 ПЛАТА MCU
КРЫШКА MCU

Глава 4 Процедуры разборки/сборки и регулировки
4.2 Процедуры разборки/сборки
4 - 123
Рис. 4-92 4-92 ПЛАТА MCU
ПЛАТА MCU
Глава 4 Процедуры разборки/сборки и регулировки
4.2 Процедуры разборки/сборки
4 - 124
REP11.3 УЗЕЛ ШАССИ ESS (PL11.1.4)
ПРЕДУПРЕЖДЕНИЕ: Отключите подачу питания на аппарат. При выполнении работ, не
связанных с подачей электропитания, отсоедините силовой шнур от электрической розетки.
Поражение электрическим током может привести к серьезным последствиям для здоровья или
даже к смерти. Движущиеся части аппарата могут привести к травмам.
ПРЕДУПРЕЖДЕНИЕ: При выполнении этой процедуры будьте особенно осторожны.
Острые кромки могут привести к травмам.
ВНИМАНИЕ:Перед выполнением этой процедуры обратитесь к разделу "Введение"4.1.1
"Перед обслуживанием".
Снятие
1Снимите УЗЕЛ ПРИВОДА ВЫВОДА. (REP13.2)
2Снимите БЛОК КРЫШКИ. (REP1.1)
3Снимите ПРАВУЮ БОКОВУЮ КРЫШКУ. (REP1.2)
4Снимите ЛЕВУЮ БОКОВУЮ КРЫШКУ. (REP1.3)
5Снимите УЗЕЛ ПАНЕЛИ УПРАВЛЕНИЯ. (REP1.4)
6СНИМИТЕ УЗЕЛ ВЕРХНЕЙ КРЫШКИ. (REP1.5)
7Снимите КОМПЛЕКТ РЫЧАГОВ ФЬЮЗЕРА. (REP8.1)
8Снимите КОМПЛЕКТ СРЕДНЕЙ КРЫШКИ. (REP1.11)
9Снимите УЗЕЛ ЭКРАНА ESS. (REP11.1)
10 Снимите КРОНШТЕЙН УЗЛА ВЫВОДА. (REP9.1)
11 Откройте седловидную кромку, которая прикреплена к ШАССИ ESS (PL 11.1.4).
12 Выверните винт (серебристый, с шайбой, 8 мм), который крепит КРЫШКУ MCU к УЗЛУ
ЭКРАНА ESS и снимите КРЫШКУ MCU.
13 Освободите 3 зажима рядом с платой MCU для того, чтобы снять проводку.
Инструкция:На следующем этапе нет необходимости отсоединять плоский кабель, который
соединяет ПЛАТУ MCU и ПЛАТУ ESS.
14 Отсоедините все разъемы, которые подключены к плате MCU.
Инструкция:Если на плате ESS установлена дополнительная плата, снимите ее перед
выполнением следующего этапа.
15 Отсоедините все разъемы, которые подключены к плате ESS.
16 Извлеките проводку из седловидной кромки, которая прикреплена к ШАССИ ESS.
17 Выверните 2 винта (серебристые, саморезы, 8 мм) и 4 винта (серебистые, с шайбами, 8 мм),
которые крепят УЗЕЛ ШАССИ ESS к аппарату, и снимите УЗЕЛ ШАССИ ESS.

Глава 4 Процедуры разборки/сборки и регулировки
4.2 Процедуры разборки/сборки
4 - 125
Рис. 4-93 УЗЕЛ ШАССИ ESS (и ПЛАТ MCU и ESS)
КРЫШКА MCU

Глава 4 Процедуры разборки/сборки и регулировки
4.2 Процедуры разборки/сборки
4 - 126
Рис. 4-94 УЗЕЛ ШАССИ ESS (и ПЛАТ MCU и ESS)
УЗЕЛ ШАССИ ESS
Глава 4 Процедуры разборки/сборки и регулировки
4.2 Процедуры разборки/сборки
4 - 127
REP11.4 HVPS (PL11.1.5)
ПРЕДУПРЕЖДЕНИЕ:Отключите подачу питания на аппарат. При выполнении работ, не
связанных с подачей электропитания, отсоедините силовой шнур от электрической розетки.
Поражение электрическим током может привести к серьезным последствиям для здоровья или
даже к смерти. Движущиеся части аппарата могут привести к травмам.
ПРЕДУПРЕЖДЕНИЕ:При выполнении этой процедуры будьте особенно осторожны.
Острые кромки могут привести к травмам.
ВНИМАНИЕ:Перед выполнением этой процедуры обратитесь к разделу "Введение"4.1.1
"Перед обслуживанием".
Снятие
1Снимите УЗЕЛ ПРИВОДА ВЫВОДА. (REP13.2)
2Снимите БЛОК КРЫШКИ. (REP1.1)
3Снимите ПРАВУЮ БОКОВУЮ КРЫШКУ. (REP1.2)
4Снимите ЛЕВУЮ БОКОВУЮ КРЫШКУ. (REP1.3)
5Снимите УЗЕЛ ПАНЕЛИ УПРАВЛЕНИЯ. (REP1.4)
6СНИМИТЕ УЗЕЛ ВЕРХНЕЙ КРЫШКИ. (REP1.5)
7Снимите КОМПЛЕКТ РЫЧАГОВ ФЬЮЗЕРА. (REP8.1)
8Снимите КОМПЛЕКТ СРЕДНЕЙ КРЫШКИ. (REP1.11)
9Снимите УЗЕЛ ЭКРАНА ESS. (REP11.1)
10 Снимите КРОНШТЕЙН УЗЛА ВЫВОДА. (REP9.1)
11 Снимите УЗЕЛ ШАССИ ESS. (REP11.3)
12 Снимите ЗАДНЮЮ КРЫШКУ. (REP1.10)
13 Снимите УЗЕЛ ROS. (REP7.1
14 Отсоедините все разъемы, которые подключены к HVPS.
15 Выверните 4 винта (серебристые, с шайбами, 8 мм), которые крепят HVPS к аппарату, и
снимите HVPS.

Глава 4 Процедуры разборки/сборки и регулировки
4.2 Процедуры разборки/сборки
4 - 128
Рис. 4-95 HVPS
Глава 4 Процедуры разборки/сборки и регулировки
4.2 Процедуры разборки/сборки
4 - 129
REP11.5 LVPS (PL11.1.6)
ПРЕДУПРЕЖДЕНИЕ: Отключите подачу питания на аппарат. При выполнении работ, не
связанных с подачей электропитания, отсоедините силовой шнур от электрической розетки.
Поражение электрическим током может привести к серьезным последствиям для здоровья или
даже к смерти. Движущиеся части аппарата могут привести к травмам.
ПРЕДУПРЕЖДЕНИЕ: При выполнении этой процедуры будьте особенно осторожны.
Острые кромки могут привести к травмам.
ВНИМАНИЕ:Перед выполнением этой процедуры обратитесь к разделу "Введение"4.1.1
"Перед обслуживанием".
Снятие
1Снимите УЗЕЛ ПРИВОДА ВЫВОДА. (REP13.2)
2Снимите БЛОК КРЫШКИ. (REP1.1)
3Снимите ПРАВУЮ БОКОВУЮ КРЫШКУ. (REP1.2)
4Снимите ЛЕВУЮ БОКОВУЮ КРЫШКУ. (REP1.3)
5Снимите УЗЕЛ ПАНЕЛИ УПРАВЛЕНИЯ. (REP1.4)
6СНИМИТЕ УЗЕЛ ВЕРХНЕЙ КРЫШКИ. (REP1.5)
7Снимите КОМПЛЕКТ РЫЧАГОВ ФЬЮЗЕРА. (REP8.1)
8Снимите КОМПЛЕКТ СРЕДНЕЙ КРЫШКИ. (REP1.11)
9Снимите УЗЕЛ ЭКРАНА ESS. (REP11.1)
10 Снимите КРОНШТЕЙН УЗЛА ВЫВОДА. (REP9.1)
11 Снимите УЗЕЛ ШАССИ ESS. (REP11.3)
12 Снимите ЗАДНЮЮ КРЫШКУ. (REP1.10)
13 Снимите УЗЕЛ ROS. (REP7.1)
14 Отсоедините все разъемы, которые подключены к LVPS.
15 Выверните 4 винта (серебристые, с шайбами, 8 мм), которые крепят LVPS к аппарату, и
снимите LVPS.

Глава 4 Процедуры разборки/сборки и регулировки
4.2 Процедуры разборки/сборки
4 - 130
Рис. 4-96 4-96 LVPS
Глава 4 Процедуры разборки/сборки и регулировки
4.2 Процедуры разборки/сборки
4 - 131
REP11.6 ПЛАТА ESS (PL11.1.7)
ПРЕДУПРЕЖДЕНИЕ: Отключите подачу питания на аппарат. При выполнении работ, не
связанных с подачей электропитания, отсоедините силовой шнур от электрической розетки.
Поражение электрическим током может привести к серьезным последствиям для здоровья или
даже к смерти. Движущиеся части аппарата могут привести к травмам.
ПРЕДУПРЕЖДЕНИЕ: При выполнении этой процедуры будьте особенно осторожны.
Острые кромки могут привести к травмам.
ВНИМАНИЕ:Перед выполнением этой процедуры обратитесь к разделу "Введение"4.1.1
"Перед обслуживанием".
Снятие
Инструкция:При снятии платы ESS не забудьте снять модули EEPROM (3 шт, слева U20,
U29 и U18) со старой платы и установить их на новую плату. Поскольку положение установки
каждого модуля EEPROM фиксировано, заменяйте их по одному, чтобы не перепутать их.
1Снимите БЛОК КРЫШКИ. (REP1.1)
2Снимите УЗЕЛ ЭКРАНА ESS. (REP11.1)
Инструкция:Если на плате ESS установлена дополнительная плата, снимите ее перед
выполнением этапа 3.
3Отсоедините все разъемы, которые подключены к плате ESS.
4Выверните 9 винтов (серебристые, с шайбой, 8 мм), которые крепят ПЛАТУ ESS к ШАССИ
ESS, и снимите ПЛАТУ ESS.

Глава 4 Процедуры разборки/сборки и регулировки
4.2 Процедуры разборки/сборки
4 - 132
Рис. 4-97 4-97 ПЛАТА ESS
Глава 4 Процедуры разборки/сборки и регулировки
4.2 Процедуры разборки/сборки
4 - 133
REP12.1 УЗЕЛ ОСНОВНОЙ БЛОКИРОВКИ (PL12.1.1)
ПРЕДУПРЕЖДЕНИЕ: Отключите подачу питания на аппарат. При выполнении работ, не
связанных с подачей электропитания, отсоедините силовой шнур от электрической розетки.
Поражение электрическим током может привести к серьезным последствиям для здоровья или
даже к смерти. Движущиеся части аппарата могут привести к травмам.
ПРЕДУПРЕЖДЕНИЕ: При выполнении этой процедуры будьте особенно осторожны.
Острые кромки могут привести к травмам.
ВНИМАНИЕ:Перед выполнением этой процедуры обратитесь к разделу "Введение"4.1.1
"Перед обслуживанием".
Снятие
1Снимите БЛОК КРЫШКИ. (REP1.1)
2Снимите ЛЕВУЮ БОКОВУЮ КРЫШКУ. (REP1.3)
3Снимите УЗЕЛ ЭКРАНА ESS. (REP11.1)
4Откройте седловидную кромку, которая прикреплена к ШАССИ ESS (PL 11.1.4).
5Выверните винт (серебристый, с шайбой, 8 мм), который крепит КРЫШКУ MCU к УЗЛУ
ЭКРАНА ESS и снимите КРЫШКУ MCU.
6Из всех разъемов, которые подключены к плате MCU и плате ESS, отсоедините те, проводка
которых проходит через седловидную кромку с левой стороны аппарата, и высвободите
проводку из седловидной кромки.
7Выверните 1 винт (серебристый, саморез, 8 мм) и 1 винт (серебистый, с шайбой, 8 мм),
которые крепят ЛЕВУЮ ЗАЩИТНУЮ КРЫШКУ (PL8.1.3) к аппарату, и снимите эту крышку.
8Отсоедините разъем (P/J4410), который подключен к УЗЛУ ПРОВОДКИ ФЬЮЗЕРА (PL8.1.10),
и высвободите проводку из седловидной кромки.
9Отсоедините разъем (P/J1230) на проводке, которая подключена к КОМПЛЕКТУ
РЕГИСТРАЦИИ, и извлеките проводку направляющей.
10 Выверните 3 винта (серебристые, саморезы, 3х8 мм) и 1 винт (серебристый, саморез, 4х8
мм), которые крепят УЗЕЛ ОСНОВНОЙ БЛОКИРОВКИ к аппарату.
11 Извлеките проводку из направляющей УЗЛА ОСНОВНОЙ БЛОКИРОВКИ и снимите этот узел
с аппарата.

Глава 4 Процедуры разборки/сборки и регулировки
4.2 Процедуры разборки/сборки
4 - 134
Рис. 4-98 УЗЕЛ ОСНОВНОЙ БЛОКИРОВКИ
КРЫШКА MCU
ПЛАТА MCU
ПЛАТА ESS

Глава 4 Процедуры разборки/сборки и регулировки
4.2 Процедуры разборки/сборки
4 - 135
Рис. 4-99 УЗЕЛ ОСНОВНОЙ БЛОКИРОВКИ
ЛЕВАЯ ЗАЩИТНАЯ КРЫШКА

Глава 4 Процедуры разборки/сборки и регулировки
4.2 Процедуры разборки/сборки
4 - 136
Рис. 4-100 УЗЕЛ ОСНОВНОЙ БЛОКИРОВКИ
УЗЕЛ ОСНОВНОЙ БЛОКИРОВКИ
Глава 4 Процедуры разборки/сборки и регулировки
4.2 Процедуры разборки/сборки
4 - 137
REP12.2 КОМПЛЕКТ РЫЧАГОВ ШТОРКИ (PL12.1.2)
ПРЕДУПРЕЖДЕНИЕ:Отключите подачу питания на аппарат. При выполнении работ, не
связанных с подачей электропитания, отсоедините силовой шнур от электрической розетки.
Поражение электрическим током может привести к серьезным последствиям для здоровья или
даже к смерти. Движущиеся части аппарата могут привести к травмам.
ПРЕДУПРЕЖДЕНИЕ:При выполнении этой процедуры будьте особенно осторожны.
Острые кромки могут привести к травмам.
ВНИМАНИЕ:Перед выполнением этой процедуры обратитесь к разделу "Введение"4.1.1
"Перед обслуживанием".
Снятие
1Снимите БЛОК КРЫШКИ. (REP1.1)
2Снимите ЛЕВУЮ БОКОВУЮ КРЫШКУ. (REP1.3)
3Снимите УЗЕЛ ЭКРАНА ESS. (REP11.1)
4Снимите УЗЕЛ ОСНОВНОЙ БЛОКИРОВКИ. (REP12.1)
5Поверните РЫЧАГ ШТОРКИ B (PL12.1.11) и РЫЧАГ ШТОРКИ A (PL12.1.23) назад, потяните
РЫЧАГ ШТОРКИ B вместе с ПРУЖИНОЙ РЫЧАГОВ ШТОРКИ (PL12.1.10) влево и вытяните
РЫЧАГ ШТОРКИ A вверх.
Инструкция:При установке убедитесь, что ПРУЖИНА прикреплена надежно.

Глава 4 Процедуры разборки/сборки и регулировки
4.2 Процедуры разборки/сборки
4 - 138
Рис. 4-101 4-101 КОМПЛЕКТ РЫЧАГОВ ШТОРКИ
РЫЧАГ ШТОРКИ В
ПРИМЕЧАНИЕ
РЫЧАГ ШТОРКИ А
ПРУЖИНА РЫЧАГОВ ШТОРКИ

Глава 4 Процедуры разборки/сборки и регулировки
4.2 Процедуры разборки/сборки
4 - 139
REP12.3 УЗЕЛ ПРОВОДКИ С БЛОКИРОВКОЙ (PL12.1.4)
ПРЕДУПРЕЖДЕНИЕ: Отключите подачу питания на аппарат. При выполнении работ, не
связанных с подачей электропитания, отсоедините силовой шнур от электрической розетки.
Поражение электрическим током может привести к серьезным последствиям для здоровья или
даже к смерти. Движущиеся части аппарата могут привести к травмам.
ПРЕДУПРЕЖДЕНИЕ: При выполнении этой процедуры будьте особенно осторожны.
Острые кромки могут привести к травмам.
ВНИМАНИЕ:Перед выполнением этой процедуры обратитесь к введению (раздел 4.1.1.
"Перед обслуживанием").
Снятие
1Снимите БЛОК КРЫШКИ. (REP1.1)
2Снимите ЛЕВУЮ БОКОВУЮ КРЫШКУ. (REP1.3)
3Снимите УЗЕЛ ЭКРАНА ESS. (REP11.1)
4Откройте седловидную кромку, которая прикреплена к ШАССИ ESS (PL11.1.4).
5Выверните винт (серебристый, с шайбой, 8 мм), который крепит КРЫШКУ MCU к УЗЛУ
ЭКРАНА ESS и снимите КРЫШКУ MCU.
6Отсоедините разъем (P/J28), который подключен к ПЛАТЕ MCU, и высвободите проводку из
седловидной кромки.
7Снимите ДЕРЖАТЕЛЬ БЛОКИРОВОЧНОГО ВЫКЛЮЧАТЕЛЯ (PL12.1.5) с помощью
миниотвертки и т.п.
8Снимите УЗЕЛ ПРОВОДКИ С БЛОКИРОВКОЙ с аппарата.
Рис. 4-102 УЗЕЛ ПРОВОДКИ С БЛОКИРОВКОЙ
КРЫШКА MCU

Глава 4 Процедуры разборки/сборки и регулировки
4.2 Процедуры разборки/сборки
4 - 140
Рис. 4-103 УЗЕЛ ПРОВОДКИ С БЛОКИРОВКОЙ
ДЕРЖАТЕЛЬ БЛОКИРОВОЧНОГО
ВЫКЛЮЧАТЕЛЯ
УЗЕЛ ПРОВОДКИ С БЛОКИРОВКОЙ
Глава 4 Процедуры разборки/сборки и регулировки
4.2 Процедуры разборки/сборки
4 - 141
REP12.4 КРОНШТЕЙН УЗЛА CRUM SP (PL12.1.17)
ПРЕДУПРЕЖДЕНИЕ:Отключите подачу питания на аппарат. При выполнении работ, не
связанных с подачей электропитания, отсоедините силовой шнур от электрической розетки.
Поражение электрическим током может привести к серьезным последствиям для здоровья или
даже к смерти. Движущиеся части аппарата могут привести к травмам.
ПРЕДУПРЕЖДЕНИЕ:При выполнении этой процедуры будьте особенно осторожны.
Острые кромки могут привести к травмам.
ВНИМАНИЕ:Перед выполнением этой процедуры обратитесь к разделу "Введение"4.1.1
"Перед обслуживанием".
Снятие
1Снимите БЛОК КРЫШКИ. (REP1.1)
2Снимите ЛЕВУЮ БОКОВУЮ КРЫШКУ. (REP1.3)
3Снимите УЗЕЛ ЭКРАНА ESS. (REP11.1)
4Снимите УЗЕЛ ОСНОВНОЙ БЛОКИРОВКИ. (REP12.1)
5Отверните винт (серебристый, саморез, 8 мм), который крепит УЗЕЛ ПРОВОДКИ С
БЛОКИРОВКОЙ к аппарату, и снимите КРОНШТЕЙН УЗЛА CRUM SP.

Глава 4 Процедуры разборки/сборки и регулировки
4.2 Процедуры разборки/сборки
4 - 142
Рис. 4-104 КРОНШТЕЙН УЗЛА CRUM SP
КРОНШТЕЙН УЗЛА CRUM SP

Глава 4 Процедуры разборки/сборки и регулировки
4.2 Процедуры разборки/сборки
4 - 143
REP13.1 УЗЕЛ ДУПЛЕКСНОГО МОДУЛЯ (PL13.1.1)
ПРЕДУПРЕЖДЕНИЕ: Отключите подачу питания на аппарат. При выполнении работ, не
связанных с подачей электропитания, отсоедините силовой шнур от электрической розетки.
Поражение электрическим током может привести к серьезным последствиям для здоровья или
даже к смерти. Движущиеся части аппарата могут привести к травмам.
ПРЕДУПРЕЖДЕНИЕ: При выполнении этой процедуры будьте особенно осторожны.
Острые кромки могут привести к травмам.
ВНИМАНИЕ:Перед выполнением этой процедуры обратитесь к разделу "Введение"4.1.1
"Перед обслуживанием".
Снятие
1Снимите КОМПЛЕКТ ПЕРЕДНЕЙ КРЫШКИ.
2Откройте ВЕРХНЮЮ КРЫШКУ ДУПЛЕКСНОГО МОДУЛЯ.
3Снимите УЗЕЛ ЭКРАНА ESS. (REP1.1)
4Поверните против часовой стрелки винты слева и справа УЗЛА ДУПЛЕКСНОГО МОДУЛЯ для
того, чтобы освободить их, возьмитесь за рукоятку этого узла и потяните его вперед, чтобы
снять.
Рис. 4-105 УЗЕЛ ДУПЛЕКСНОГО МОДУЛЯ
УЗЕЛ ДУПЛЕКСНОГО МОДУЛЯ

Глава 4 Процедуры разборки/сборки и регулировки
4.2 Процедуры разборки/сборки
4 - 144
REP13.2 УЗЕЛ ПРИВОДА ВЫВОДА (PL13.1.2)
ПРЕДУПРЕЖДЕНИЕ: Отключите подачу питания на аппарат. При выполнении работ, не
связанных с подачей электропитания, отсоедините силовой шнур от электрической розетки.
Поражение электрическим током может привести к серьезным последствиям для здоровья или
даже к смерти. Движущиеся части аппарата могут привести к травмам.
ПРЕДУПРЕЖДЕНИЕ: При выполнении этой процедуры будьте особенно осторожны.
Острые кромки могут привести к травмам.
ВНИМАНИЕ:Перед выполнением этой процедуры обратитесь к разделу "Введение"4.1.1
"Перед обслуживанием".
Снятие
1Освободите защелку и откройте ПЕРЕДНЮЮ РАМУ.
2Откройте УЗЕЛ ВЕРХНЕЙ КРЫШКИ.
3Поверните винт УЗЛА ПРИВОДА ВЫВОДА против часовой стрелки, чтобы освободить его,
надавите на рычаг фиксатора, поднимите УЗЕЛ ПРИВОДА ВЫВОДА и снимите его.
Рис. 4-106 УЗЕЛ ПРИВОДА ВЫВОДА
УЗЕЛ ПРИВОДА ВЫВОДА
Глава 4 Процедуры разборки/сборки и регулировки
4.2 Процедуры разборки/сборки
4 - 145
REP13.3 РОЛИК ДУПЛЕКСНОГО МОДУЛЯ (PL13.2.1)
ПРЕДУПРЕЖДЕНИЕ: Отключите подачу питания на аппарат. При выполнении работ, не
связанных с подачей электропитания, отсоедините силовой шнур от электрической розетки.
Поражение электрическим током может привести к серьезным последствиям для здоровья или
даже к смерти. Движущиеся части аппарата могут привести к травмам.
ПРЕДУПРЕЖДЕНИЕ: При выполнении этой процедуры будьте особенно осторожны.
Острые кромки могут привести к травмам.
ВНИМАНИЕ:Перед выполнением этой процедуры обратитесь к разделу "Введение"4.1.1
"Перед обслуживанием".
Снятие
1Снимите ДУПЛЕКСНЫЙ УЗЕЛ. (REP13.1)
2Снимите ПРАВУЮ КРЫШКУ. (REP13.8)
3Снимите ЛЕВУЮ КРЫШКУ. (REP13.10)
4Снимите КРЫШКУ ЖЕЛОБА. (REP13.9)
5Снимите НИЖНИЙ ЖЕЛОБ. (REP13.12)
6Снимите ЗАДНЮЮ КРЫШКУ. (REP13.13)
7Снимите ПЛАТУ ДУПЛЕКСНОГО МОДУЛЯ. (REP13.11)
8Снимите ДВИГАТЕЛЬ ДУПЛЕКСНОГО МОДУЛЯ. (REP13.7)
9Извлеките проводку из зажима, который прикреплен к КРОНШТЕЙНУ ПЛАТЫ (PL13.2.20).
10 Выверните 2 винта (серебристые, саморезы, 8 мм), которые крепят КРОНШТЕЙН ПЛАТЫ к
РАМЕ ДУПЛЕКСНОГО МОДУЛЯ, и снимите КРОНШТЕЙН ПЛАТЫ вместе с проводом
заземления.
Инструкция:Поскольку ПЕРФОРИРОВАННАЯ ПЛАСТИНА снимается вместе с
КРОНШТЕЙНОМ ДВИГАТЕЛЯ на следующем этапе, не потеряйте ее.
11 Выверните 4 винта (серебристые, саморезы, 8 мм), которые крепят КРОНШТЕЙН
ДВИГАТЕЛЯ (PL13.2.15) к РАМЕ ДУПЛЕКСНОГО МОДУЛЯ, и снимите КРОНШТЕЙН
ДВИГАТЕЛЯ вместе с УЗЛОМ ДЕМПФЕРА ДВИГАТЕЛЯ (PL13.2.14).
12 Снимите 5 шестерен с РАМЫ ДУПЛЕКСНОГО МОДУЛЯ.
13 Освободите защелки, которые фиксируют четыре ПОДШИПНИКА ДУПЛЕКСНОГО МОДУЛЯ
на РАМЕ ДУПЛЕКСНОГО МОДУЛЯ, и снимите ПОДШИПНИКИ ДУПЛЕКСНОГО МОДУЛЯ.
14 Сдвиньте РОЛИК ДУПЛЕКСНОГО МОДУЛЯ влево и потяните правый его конец на себя,
чтобы снять ролик.

Глава 4 Процедуры разборки/сборки и регулировки
4.2 Процедуры разборки/сборки
4 - 146
Рис. 4-107 РОЛИК ДУПЛЕКСНОГО МОДУЛЯ
Рис. 4-108 РОЛИК ДУПЛЕКСНОГО МОДУЛЯ
КРОНШТЕЙН ПЛАТЫ
ПЕРФОРИРОВАННАЯ ПЛАСТИНА
КРОНШТЕЙН ДВИГАТЕЛЯ

Глава 4 Процедуры разборки/сборки и регулировки
4.2 Процедуры разборки/сборки
4 - 147
Рис. 4-109 РОЛИК ДУПЛЕКСНОГО МОДУЛЯ
РОЛИК ДУПЛЕКСНОГО МОДУЛЯ
РОЛИК ДУПЛЕКСНОГО МОДУЛЯ

Глава 4 Процедуры разборки/сборки и регулировки
4.2 Процедуры разборки/сборки
4 - 148
REP13.4 КОМПЛЕКТ АКТИВАТОРА ДУПЛЕКСНОГО МОДУЛЯ
(PL13.2.4)
ПРЕДУПРЕЖДЕНИЕ:Отключите подачу питания на аппарат. При выполнении работ, не
связанных с подачей электропитания, отсоедините силовой шнур от электрической розетки.
Поражение электрическим током может привести к серьезным последствиям для здоровья или
даже к смерти. Движущиеся части аппарата могут привести к травмам.
ПРЕДУПРЕЖДЕНИЕ:При выполнении этой процедуры будьте особенно осторожны.
Острые кромки могут привести к травмам.
ВНИМАНИЕ:Перед выполнением этой процедуры обратитесь к введению (раздел 4.1.1.
"Перед обслуживанием").
Снятие
1Снимите ДУПЛЕКСНЫЙ УЗЕЛ. (REP13.1)
2Снимите ЗАДНЮЮ КРЫШКУ. (REP13.13)
3Извлеките АКТИВАТОР ДУПЛЕКСНОГО МОДУЛЯ из прорези, которая удерживает ось
АКТИВАТОРА ДУПЛЕКСНОГО МОДУЛЯ (PL13.2.5).
4Снимите ПРУЖИНУ АКТИВАТОРА (PL13.2.6) с АКТИВАТОРА ДУПЛЕКСНОГО МОДУЛЯ.
Инструкция:При установке убедитесь, что ПРУЖИНА прикреплена надежно.
Рис. 4-110 КОМПЛЕКТ АКТИВАТОРА ДУПЛЕКСНОГО МОДУЛЯ
ПРИМЕЧАНИЕ
ПРУЖИНА АКТИВАТОРА
АКТИВАТОР ДУПЛЕКСНОГО МОДУЛЯ

Глава 4 Процедуры разборки/сборки и регулировки
4.2 Процедуры разборки/сборки
4 - 149
REP13.5 ФОТОДАТЧИК (датчик застревания в дуплексном модуле)
(PL13.2.7)
ПРЕДУПРЕЖДЕНИЕ: Отключите подачу питания на аппарат. При выполнении работ, не
связанных с подачей электропитания, отсоедините силовой шнур от электрической розетки.
Поражение электрическим током может привести к серьезным последствиям для здоровья или
даже к смерти. Движущиеся части аппарата могут привести к травмам.
ПРЕДУПРЕЖДЕНИЕ: При выполнении этой процедуры будьте особенно осторожны.
Острые кромки могут привести к травмам.
ВНИМАНИЕ:Перед выполнением этой процедуры обратитесь к разделу "Введение"4.1.1
"Перед обслуживанием".
Снятие
1Снимите ДУПЛЕКСНЫЙ УЗЕЛ. (REP13.1)
2Снимите ЗАДНЮЮ КРЫШКУ. (REP13.13)
3Отсоедините разъем (P/J740D), который подключен к ДАТЧИКУ ДУПЛЕКСНОГО МОДУЛЯ.
4Освободите защелки, которые фиксируют ДАТЧИК ЗАСТРЕВАНИЯ В ДУПЛЕКСНОМ МОДУЛЕ
на РАМЕ ДУПЛЕКСНОГО МОДУЛЯ, и снимите этот датчик.
Рис. 4-111 ФОТОДАТЧИК (датчик застревания в дуплексном модуле)
ДАТЧИК ЗАСТРЕВАНИЯ В ДУПЛЕКСНОМ МОДУЛЕ

Глава 4 Процедуры разборки/сборки и регулировки
4.2 Процедуры разборки/сборки
4 - 150
REP13.6 ФОТОДАТЧИК (датчик открытой крышки дуплексного
модуля) (PL13.2.7)
ПРЕДУПРЕЖДЕНИЕ:Отключите подачу питания на аппарат. При выполнении работ, не
связанных с подачей электропитания, отсоедините силовой шнур от электрической розетки.
Поражение электрическим током может привести к серьезным последствиям для здоровья или
даже к смерти. Движущиеся части аппарата могут привести к травмам.
ПРЕДУПРЕЖДЕНИЕ:При выполнении этой процедуры будьте особенно осторожны.
Острые кромки могут привести к травмам.
ВНИМАНИЕ:Перед выполнением этой процедуры обратитесь к разделу "Введение"4.1.1
"Перед обслуживанием".
Снятие
1Снимите ДУПЛЕКСНЫЙ УЗЕЛ. (REP13.1)
2Снимите ЛЕВУЮ КРЫШКУ. (REP13.10)
3Снимите ПЛАТУ ДУПЛЕКСНОГО МОДУЛЯ. (REP13.11)
4Извлеките проводку из зажима, который прикреплен к КРОНШТЕЙНУ ПЛАТЫ (PL13.2.20).
5Выверните 2 винта (серебристые, саморезы, 8 мм), которые крепят КРОНШТЕЙН ПЛАТЫ к
РАМЕ ДУПЛЕКСНОГО МОДУЛЯ, и снимите КРОНШТЕЙН ПЛАТЫ вместе с проводом
заземления.
6Отсоедините разъем (P/J730D), который подключен к ДАТЧИКУ ОТКРЫТОЙ КРЫШКИ
ДУПЛЕКСНОГО МОДУЛЯ.
7Освободите защелки, которые фиксируют ДАТЧИК ОТКРЫТОЙ КРЫШКИ ДУПЛЕКСНОГО
МОДУЛЯ на РАМЕ ДУПЛЕКСНОГО МОДУЛЯ, и снимите этот датчик.
Рис. 4-112 ФОТОДАТЧИК (датчик открытой крышки дуплексного модуля)
КРОНШТЕЙН ПЛАТЫ

Глава 4 Процедуры разборки/сборки и регулировки
4.2 Процедуры разборки/сборки
4 - 151
Рис. 4-113 ФОТОДАТЧИК (ДАТЧИК ОТКРЫТОЙ КРЫШКИ ДУПЛЕКСНОГО МОДУЛЯ)
ДАТЧИК ОТКРЫТОЙ КРЫШКИ
ДУПЛЕКСНОГО МОДУЛЯ

Глава 4 Процедуры разборки/сборки и регулировки
4.2 Процедуры разборки/сборки
4 - 152
REP13.7 ДВИГАТЕЛЬ ДУПЛЕКСНОГО МОДУЛЯ (PL13.2.13)
ПРЕДУПРЕЖДЕНИЕ:Отключите подачу питания на аппарат. При выполнении работ, не
связанных с подачей электропитания, отсоедините силовой шнур от электрической розетки.
Поражение электрическим током может привести к серьезным последствиям для здоровья или
даже к смерти. Движущиеся части аппарата могут привести к травмам.
ПРЕДУПРЕЖДЕНИЕ:При выполнении этой процедуры будьте особенно осторожны.
Острые кромки могут привести к травмам.
ВНИМАНИЕ:Перед выполнением этой процедуры обратитесь к введению (раздел 4.1.1.
"Перед обслуживанием").
Снятие
1Снимите ДУПЛЕКСНЫЙ УЗЕЛ. (REP13.1)
2Снимите ПРАВУЮ КРЫШКУ. (REP13.8)
3Снимите ЛЕВУЮ КРЫШКУ. (REP13.10)
4Снимите ЗАДНЮЮ КРЫШКУ. (REP13.13)
5Снимите ПЛАТУ ДУПЛЕКСНОГО МОДУЛЯ. (REP13.11)
6Извлеките проводку из зажима, который прикреплен к КРОНШТЕЙНУ ПЛАТЫ (PL13.2.20).
7Выверните 2 винта (серебристые, саморезы, 8 мм), которые крепят КРОНШТЕЙН ПЛАТЫ к
РАМЕ ДУПЛЕКСНОГО МОДУЛЯ, и снимите КРОНШТЕЙН ПЛАТЫ вместе с проводом
заземления.
8Извлеките проводку из направляющей РАМЫ ДУПЛЕКСНОГО МОДУЛЯ.
9Отверните 2 винта (серебристые, саморезы, 8 мм), которые крепят ДВИГАТЕЛЬ
ДУПЛЕКСНОГО МОДУЛЯ к РАМЕ ДУПЛЕКСНОГО МОДУЛЯ, и снимите ДВИГАТЕЛЬ
ДУПЛЕКСНОГО МОДУЛЯ.
Рис. 4-114 ДВИГАТЕЛЬ ДУПЛЕКСНОГО МОДУЛЯ
КРОНШТЕЙН ПЛАТЫ

Глава 4 Процедуры разборки/сборки и регулировки
4.2 Процедуры разборки/сборки
4 - 153
Рис. 4-115 ДВИГАТЕЛЬ ДУПЛЕКСНОГО МОДУЛЯ
ДВИГАТЕЛЬ ДУПЛЕКСНОГО МОДУЛЯ

Глава 4 Процедуры разборки/сборки и регулировки
4.2 Процедуры разборки/сборки
4 - 154
REP13.8 ПРАВАЯ КРЫШКА (PL13.2.16)
ПРЕДУПРЕЖДЕНИЕ:Отключите подачу питания на аппарат. При выполнении работ, не
связанных с подачей электропитания, отсоедините силовой шнур от электрической розетки.
Поражение электрическим током может привести к серьезным последствиям для здоровья или
даже к смерти. Движущиеся части аппарата могут привести к травмам.
ПРЕДУПРЕЖДЕНИЕ:При выполнении этой процедуры будьте особенно осторожны.
Острые кромки могут привести к травмам.
ВНИМАНИЕ:Перед выполнением этой процедуры обратитесь к разделу "Введение"4.1.1
"Перед обслуживанием".
Снятие
1Снимите ДУПЛЕКСНЫЙ УЗЕЛ. (REP13.1)
2Потяните на себя винт, который крепит ПРАВУЮ КРЫШКУ к УЗЛУ ДУПЛЕКСНОГО МОДУЛЯ,
одновременно поворачивая винт против часовой стрелки, чтобы извлечь его.
3Выверните 2 винта (серебристые, саморезы, 8 мм), которые крепят ПРАВУЮ КРЫШКУ к
РАМЕ ДУПЛЕКСНОГО МОДУЛЯ, и освободите крючок, чтобы снять ПРАВУЮ КРЫШКУ.
Рис. 4-116 ПРАВАЯ КРЫШКА
ПРАВАЯ КРЫШКА

Глава 4 Процедуры разборки/сборки и регулировки
4.2 Процедуры разборки/сборки
4 - 155
REP13.9 КРЫШКА ЖЕЛОБА (PL13.2.18)
ПРЕДУПРЕЖДЕНИЕ: Отключите подачу питания на аппарат. При выполнении работ, не
связанных с подачей электропитания, отсоедините силовой шнур от электрической розетки.
Поражение электрическим током может привести к серьезным последствиям для здоровья или
даже к смерти. Движущиеся части аппарата могут привести к травмам.
ПРЕДУПРЕЖДЕНИЕ: При выполнении этой процедуры будьте особенно осторожны.
Острые кромки могут привести к травмам.
ВНИМАНИЕ:Перед выполнением этой процедуры обратитесь к разделу "Введение" 4.1.1
"Перед обслуживанием".
Снятие
1Снимите ДУПЛЕКСНЫЙ УЗЕЛ. (REP13.1)
2Откройте КРЫШКУ ЖЕЛОБА и поверните ее на 90 градусов.
3Поднимите правую секцию установки КРЫШКИ ЖЕЛОБА, чтобы снять ее с выступа, и
выдвиньте выступ с левой стороны секции установки, чтобы снять КРЫШКУ ЖЕЛОБА.
Рис. 4-117 КРЫШКА ЖЕЛОБА
КРЫШКА ЖЕЛОБА

Глава 4 Процедуры разборки/сборки и регулировки
4.2 Процедуры разборки/сборки
4 - 156
REP13.10 ЛЕВАЯ КРЫШКА (PL13.2.19)
ПРЕДУПРЕЖДЕНИЕ: Отключите подачу питания на аппарат. При выполнении работ, не
связанных с подачей электропитания, отсоедините силовой шнур от электрической розетки.
Поражение электрическим током может привести к серьезным последствиям для здоровья или
даже к смерти. Движущиеся части аппарата могут привести к травмам.
ПРЕДУПРЕЖДЕНИЕ: При выполнении этой процедуры будьте особенно осторожны.
Острые кромки могут привести к травмам.
ВНИМАНИЕ:Перед выполнением этой процедуры обратитесь к разделу "Введение"4.1.1
"Перед обслуживанием".
Снятие
1Снимите ДУПЛЕКСНЫЙ УЗЕЛ. (REP13.1)
2Потяните на себя винт, который крепит ЛЕВУЮ КРЫШКУ к УЗЛУ ДУПЛЕКСНОГО МОДУЛЯ,
одновременно поворачивая винт против часовой стрелки, чтобы извлечь его.
3Выверните винт (серебристый, саморез, 8 мм), который крепит ЛЕВУЮ КРЫШКУ к РАМЕ
ДУПЛЕКСНОГО МОДУЛЯ, и освободите крючки (в 2 местах), чтобы снять ЛЕВУЮ КРЫШКУ.
Рис. 4-118 ЛЕВАЯ КРЫШКА
ЛЕВАЯ КРЫШКА

Глава 4 Процедуры разборки/сборки и регулировки
4.2 Процедуры разборки/сборки
4 - 157
REP13.11 ПЛАТА ДУПЛЕКСНОГО МОДУЛЯ (PL13.2.21)
ПРЕДУПРЕЖДЕНИЕ: Отключите подачу питания на аппарат. При выполнении работ, не
связанных с подачей электропитания, отсоедините силовой шнур от электрической розетки.
Поражение электрическим током может привести к серьезным последствиям для здоровья или
даже к смерти. Движущиеся части аппарата могут привести к травмам.
ПРЕДУПРЕЖДЕНИЕ: При выполнении этой процедуры будьте особенно осторожны.
Острые кромки могут привести к травмам.
ВНИМАНИЕ:Перед выполнением этой процедуры обратитесь к разделу "Введение"4.1.1
"Перед обслуживанием".
Снятие
1Снимите ДУПЛЕКСНЫЙ УЗЕЛ. (REP13.1)
2Снимите ЛЕВУЮ КРЫШКУ. (REP13.10)
3Отсоедините все разъемы, которые подключены к ПЛАТЕ ДУПЛЕКСНОГО МОДУЛЯ.
4Отверните 3 винта (серебристые, саморезы, 8 мм), которые крепят ПЛАТУ ДУПЛЕКСНОГО
МОДУЛЯ к РАМЕ ДУПЛЕКСНОГО МОДУЛЯ, и снимите ПЛАТУ ДУПЛЕКСНОГО МОДУЛЯ.
Рис. 4-119 ПЛАТА ДУПЛЕКСНОГО МОДУЛЯ
ПЛАТА ДУПЛЕКСНОГО МОДУЛЯ

Глава 4 Процедуры разборки/сборки и регулировки
4.2 Процедуры разборки/сборки
4 - 158
REP13.12 НИЖНИЙ ЖЕЛОБ (PL13.2.23)
ПРЕДУПРЕЖДЕНИЕ: Отключите подачу питания на аппарат. При выполнении работ, не
связанных с подачей электропитания, отсоедините силовой шнур от электрической розетки.
Поражение электрическим током может привести к серьезным последствиям для здоровья или
даже к смерти. Движущиеся части аппарата могут привести к травмам.
ПРЕДУПРЕЖДЕНИЕ: При выполнении этой процедуры будьте особенно осторожны.
Острые кромки могут привести к травмам.
ВНИМАНИЕ:Перед выполнением этой процедуры обратитесь к разделу "Введение"4.1.1
"Перед обслуживанием".
Снятие
1Снимите ДУПЛЕКСНЫЙ УЗЕЛ. (REP13.1)
2Надавите на боковые поверхности в секциях установки НИЖНЕГО ЖЕЛОБА, чтобы
увеличить зазор, и выдвиньте выступы НИЖНЕГО ЖЕЛОБА из отверстий в боковых
поверхностях, чтобы снять желоб.
Рис. 4-120 НИЖНИЙ ЖЕЛОБ
НИЖНИЙ ЖЕЛОБ

Глава 4 Процедуры разборки/сборки и регулировки
4.2 Процедуры разборки/сборки
4 - 159
REP13.13 ЗАДНЯЯ КРЫШКА (PL13.2.24)
ПРЕДУПРЕЖДЕНИЕ: Отключите подачу питания на аппарат. При выполнении работ, не
связанных с подачей электропитания, отсоедините силовой шнур от электрической розетки.
Поражение электрическим током может привести к серьезным последствиям для здоровья или
даже к смерти. Движущиеся части аппарата могут привести к травмам.
ПРЕДУПРЕЖДЕНИЕ: При выполнении этой процедуры будьте особенно осторожны.
Острые кромки могут привести к травмам.
ВНИМАНИЕ:Перед выполнением этой процедуры обратитесь к разделу "Введение"4.1.1
"Перед обслуживанием".
Снятие
1Снимите ДУПЛЕКСНЫЙ УЗЕЛ. (REP13.1)
2Выверните 2 винта (серебристые, саморезы, 8 мм), которые крепят ЗАДНЮЮ КРЫШКУ к
РАМЕ ДУПЛЕКСНОГО МОДУЛЯ, и освободите крючки (в 4 местах), чтобы снять ЗАДНЮЮ
КРЫШКУ.
Рис. 4-121 ЗАДНЯЯ КРЫШКА
ЗАДНЯЯ КРЫШКА
Глава 4 Процедуры разборки/сборки и регулировки
4.2 Процедуры разборки/сборки
4 - 160
REP14.1 УЗЕЛ ПОДАТЧИКА (PL15.1.1)
ПРЕДУПРЕЖДЕНИЕ: Отключите подачу питания на аппарат. При выполнении работ, не
связанных с подачей электропитания, отсоедините силовой шнур от электрической розетки.
Поражение электрическим током может привести к серьезным последствиям для здоровья или
даже к смерти. Движущиеся части аппарата могут привести к травмам.
ПРЕДУПРЕЖДЕНИЕ: При выполнении этой процедуры будьте особенно осторожны.
Острые кромки могут привести к травмам.
ВНИМАНИЕ:Перед выполнением этой процедуры обратитесь к разделу "Введение"4.1.1
"Перед обслуживанием".
Снятие
Инструкция:Поскольку аппарат очень тяжелый, поднимать его должны три человека.
1Снимите УЗЕЛ КАССЕТЫ с основной части аппарата.
2Снимите дополнительный УЗЕЛ КАССЕТЫ.
3Снимите СОЕДИНИТЕЛИ ПОДАТЧИКА (PL15.1.3) (в 4 местах), которые скрепляют аппарат с
УЗЛОМ ПОДАТЧИКА.
4Перед тем как поднимать аппарат вверх, чтобы снять его с УЗЛА ПОДАТЧИКА, убедитесь, что
аппарат стоит горизонтально.

Глава 4 Процедуры разборки/сборки и регулировки
4.2 Процедуры разборки/сборки
4 - 161
Рис. 4-122 УЗЕЛ ПОДАТЧИКА
ДЕТАЛЬ А
ДЕТАЛЬ В
ДЕТАЛЬ С
УЗЕЛ ПОДАТЧИКА

Глава 4 Процедуры разборки/сборки и регулировки
4.2 Процедуры разборки/сборки
4 - 162
REP14.2 КРЫШКА КАССЕТЫ (PL15.1.2)
ПРЕДУПРЕЖДЕНИЕ: Отключите подачу питания на аппарат. При выполнении работ, не
связанных с подачей электропитания, отсоедините силовой шнур от электрической розетки.
Поражение электрическим током может привести к серьезным последствиям для здоровья или
даже к смерти. Движущиеся части аппарата могут привести к травмам.
ПРЕДУПРЕЖДЕНИЕ: При выполнении этой процедуры будьте особенно осторожны.
Острые кромки могут привести к травмам.
ВНИМАНИЕ:Перед выполнением этой процедуры обратитесь к введению (раздел 4.1.1.
"Перед обслуживанием").
Снятие
1Снимите дополнительный УЗЕЛ КАССЕТЫ.
2Потяните КРЫШКУ КАССЕТЫ назад до упора и отогните вниз правую и левую секции
установки, чтобы снять крышку.
Рис. 4-123 КРЫШКА КАССЕТЫ
КРЫШКА КАССЕТЫ

Глава 4 Процедуры разборки/сборки и регулировки
4.2 Процедуры разборки/сборки
4 - 163
REP14.3 ПРАВАЯ КРЫШКА ПОДАТЧИКА (PL15.1.4)
ПРЕДУПРЕЖДЕНИЕ: Отключите подачу питания на аппарат. При выполнении работ, не
связанных с подачей электропитания, отсоедините силовой шнур от электрической розетки.
Поражение электрическим током может привести к серьезным последствиям для здоровья или
даже к смерти. Движущиеся части аппарата могут привести к травмам.
ПРЕДУПРЕЖДЕНИЕ: При выполнении этой процедуры будьте особенно осторожны.
Острые кромки могут привести к травмам.
ВНИМАНИЕ:Перед выполнением этой процедуры обратитесь к введению (раздел 4.1.1.
"Перед обслуживанием").
Снятие
Инструкция:ПРАВАЯ КРЫШКА ПОДАТЧИКА также может быть снята, когда аппарат
установлен на УЗЕЛ ПОДАТЧИКА.
1Снимите УЗЕЛ ПОДАТЧИКА. (REP14.1)
2Снимите ПРАВУЮ ПЕРЕДНЮЮ КРЫШКУ ПОДАТЧИКА. (REP14.4)
3Выверните 5 винтов (серебристые, 8 мм), которые крепят ПРАВУЮ КРЫШКУ ПОДАТЧИКА к
УЗЛУ ПОДАТЧИКА.
4Откройте переднюю часть ПРАВОЙ КРЫШКИ ПОДАТЧИКА и выдвиньте выступ в задней
части, чтобы снять ПРАВУЮ КРЫШКУ ПОДАТЧИКА.
Рис. 4-124 ПРАВАЯ КРЫШКА ПОДАТЧИКА
ПРАВАЯ КРЫШКА ПОДАТЧИКА

Глава 4 Процедуры разборки/сборки и регулировки
4.2 Процедуры разборки/сборки
4 - 164
REP14.4 ПРАВАЯ ПЕРЕДНЯЯ КРЫШКА ПОДАТЧИКА (PL15.1.6)
ПРЕДУПРЕЖДЕНИЕ: Отключите подачу питания на аппарат. При выполнении работ, не
связанных с подачей электропитания, отсоедините силовой шнур от электрической розетки.
Поражение электрическим током может привести к серьезным последствиям для здоровья или
даже к смерти. Движущиеся части аппарата могут привести к травмам.
ПРЕДУПРЕЖДЕНИЕ: При выполнении этой процедуры будьте особенно осторожны.
Острые кромки могут привести к травмам.
ВНИМАНИЕ:Перед выполнением этой процедуры обратитесь к введению (раздел 4.1.1.
"Перед обслуживанием").
Снятие
Инструкция:ПРАВАЯ ПЕРЕДНЯЯ КРЫШКА ПОДАТЧИКА также может быть снята, когда
аппарат установлен на УЗЕЛ ПОДАТЧИКА.
1Снимите УЗЕЛ ПОДАТЧИКА. (REP14.1)
2Выверните 5 винтов (серебристые, 8 мм), которые крепят ПРАВУЮ ПЕРЕДНЮЮ КРЫШКУ
ПОДАТЧИКА к УЗЛУ ПОДАТЧИКА.
3Освободите защелки (в 2 местах), которые фиксируют ПРАВУЮ ПЕРЕДНЮЮ КРЫШКУ
ПОДАТЧИКА на УЗЛЕ ПОДАТЧИКА, для того, чтобы снять ПРАВУЮ ПЕРЕДНЮЮ КРЫШКУ
ПОДАТЧИКА.
Рис. 4-125 ПРАВАЯ ПЕРЕДНЯЯ КРЫШКА ПОДАТЧИКА
ПРАВАЯ ПЕРЕДНЯЯ
КРЫШКА ПОДАТЧИКА

Глава 4 Процедуры разборки/сборки и регулировки
4.2 Процедуры разборки/сборки
4 - 165
REP14.5 ЛЕВАЯ КРЫШКА ПОДАТЧИКА (PL15.1.7)
ПРЕДУПРЕЖДЕНИЕ:Отключите подачу питания на аппарат. При выполнении работ, не
связанных с подачей электропитания, отсоедините силовой шнур от электрической розетки.
Поражение электрическим током может привести к серьезным последствиям для здоровья или
даже к смерти. Движущиеся части аппарата могут привести к травмам.
ПРЕДУПРЕЖДЕНИЕ:При выполнении этой процедуры будьте особенно осторожны.
Острые кромки могут привести к травмам.
ВНИМАНИЕ:Перед выполнением этой процедуры обратитесь к разделу "Введение"4.1.1
"Перед обслуживанием".
Снятие
Инструкция:ПРАВАЯ КРЫШКА ПОДАТЧИКА также может быть снята, когда аппарат
установлен на УЗЕЛ ПОДАТЧИКА.
1Снимите УЗЕЛ ПОДАТЧИКА. (REP14.1)
2Снимите УЗЕЛ ПОВОРОТНОГО ЖЕЛОБА ДОПОЛНИТЕЛЬНОГО ПОДАТЧИКА. (REP14.10)
3Выверните 5 винтов (серебристые, 8 мм), которые крепят ЛЕВУЮ КРЫШКУ ПОДАТЧИКА к
УЗЛУ ПОДАТЧИКА.
4Откройте переднюю часть ЛЕВОЙ КРЫШКИ ПОДАТЧИКА и выдвиньте выступ в задней части,
чтобы снять ЛЕВУЮ КРЫШКУ ПОДАТЧИКА.
Рис. 4-126 ЛЕВАЯ КРЫШКА ПОДАТЧИКА
ЛЕВАЯ КРЫШКА ПОДАТЧИКА
Глава 4 Процедуры разборки/сборки и регулировки
4.2 Процедуры разборки/сборки
4 - 166
REP14.6 ПОДУЗЕЛ ДОПОЛНИТЕЛЬНОГО ПОДАТЧИКА SP (PL15.2.1)
ПРЕДУПРЕЖДЕНИЕ:Отключите подачу питания на аппарат. При выполнении работ, не
связанных с подачей электропитания, отсоедините силовой шнур от электрической розетки.
Поражение электрическим током может привести к серьезным последствиям для здоровья или
даже к смерти. Движущиеся части аппарата могут привести к травмам.
ПРЕДУПРЕЖДЕНИЕ:При выполнении этой процедуры будьте особенно осторожны.
Острые кромки могут привести к травмам.
ВНИМАНИЕ:Перед выполнением этой процедуры обратитесь к разделу "Введение"4.1.1
"Перед обслуживанием".
Снятие
1Снимите УЗЕЛ ПОДАТЧИКА. (REP14.1)
2Снимите ПРАВУЮ ПЕРЕДНЮЮ КРЫШКУ ПОДАТЧИКА. (REP14.4)
3Снимите ПРАВУЮ КРЫШКУ ПОДАТЧИКА. (REP14.3)
4Снимите УЗЕЛ ПОВОРОТНОГО ЖЕЛОБА ДОПОЛНИТЕЛЬНОГО ПОДАТЧИКА. (REP14.10)
5Снимите ЛЕВУЮ КРЫШКУ ПОДАТЧИКА. (REP14.5)
6Отсоедините разъем (P/J8330) на проводке, которая подключена к ПОВОРОТНОЙ МУФТЕ
(PL15.3.3), и разъем (P/J8320) на проводке, которая подключена к МУФТЕ ПОДАЧИ
(PL15.3.4), освободите зажимы и снимите проводку.
7Отсоедините разъемы (P/J84 и P/J85), которые подключены к ПЛАТЕ ПОДАТЧИКА, и
высвободите проводку из направляющей.
8Отверните 4 винта (серебристые, саморезы, 4х8 мм), которые крепят ПОДУЗЕЛ
ДОПОЛНИТЕЛЬНОГО ПОДАТЧИКА к УЗЛУ ПОДАТЧИКА.
9Поднимите левую сторону ПОДУЗЛА ДОПОЛНИТЕЛЬНОГО ПОДАТЧИКА и сдвиньте ее
влево, затем высвободите МУФТУ справа из отверстия рамы, чтобы снять ПОДУЗЕЛ
ДОПОЛНИТЕЛЬНОГО ПОДАТЧИКА.
Инструкция:При установке ПОДУЗЛА ДОПОЛНИТЕЛЬНОГО ПОДАТЧИКА убедитесь, что
вогнутая часть МУФТЫ ПОДАЧИ (PL15.3.4) вставлена в выступ КОМПЛЕКТА ПРАВОЙ
НАПРАВЛЯЮЩЕЙ ЛОТКА.

Глава 4 Процедуры разборки/сборки и регулировки
4.2 Процедуры разборки/сборки
4 - 167
Рис. 4-127 ПОДУЗЕЛ ДОПОЛНИТЕЛЬНОГО ПОДАТЧИКА
ПОДУЗЕЛ ДОПОЛНИТЕЛЬНОГО ПОДАТЧИКА
ПРИМЕЧАНИЕ
Глава 4 Процедуры разборки/сборки и регулировки
4.2 Процедуры разборки/сборки
4 - 168
REP14.7 ПЛАСТИНА ЖЕЛОБА (PL15.2.2)
ПРЕДУПРЕЖДЕНИЕ: Отключите подачу питания на аппарат. При выполнении работ, не
связанных с подачей электропитания, отсоедините силовой шнур от электрической розетки.
Поражение электрическим током может привести к серьезным последствиям для здоровья или
даже к смерти. Движущиеся части аппарата могут привести к травмам.
ПРЕДУПРЕЖДЕНИЕ: При выполнении этой процедуры будьте особенно осторожны.
Острые кромки могут привести к травмам.
ВНИМАНИЕ:Перед выполнением этой процедуры обратитесь к разделу "Введение"4.1.1
"Перед обслуживанием".
Снятие
1Снимите УЗЕЛ ПОДАТЧИКА. (REP14.1)
2Выверните 2 винта (серебристые, с шайбами, 8 мм), которые крепят ПЛАСТИНУ ЖЕЛОБА к
ПОДУЗЛУ ДОПОЛНИТЕЛЬНОГО ПОДАТЧИКА (PL15.2.1).
3Переверните ПЛАСТИНУ ЖЕЛОБА и отсоедините разъем (P/J840), который подключен к
ДАТЧИКУ КРОМКИ БУМАГИ (PL15.2.4).
4Освободите зажимы (в 2 местах), которые прикреплены к ПЛАСТИНЕ ЖЕЛОБА, чтобы снять
проводку.

Глава 4 Процедуры разборки/сборки и регулировки
4.2 Процедуры разборки/сборки
4 - 169
ПЛАСТИНА ЖЕЛОБА
Рис. 4-128 ПЛАСТИНА ЖЕЛОБА
ПЛАСТИНА ЖЕЛОБА

Глава 4 Процедуры разборки/сборки и регулировки
4.2 Процедуры разборки/сборки
4 - 170
REP14.8 ДАТЧИК КРОМКИ БУМАГИ (PL15.2.4)
ПРЕДУПРЕЖДЕНИЕ:Отключите подачу питания на аппарат. При выполнении работ, не
связанных с подачей электропитания, отсоедините силовой шнур от электрической розетки.
Поражение электрическим током может привести к серьезным последствиям для здоровья или
даже к смерти. Движущиеся части аппарата могут привести к травмам.
ПРЕДУПРЕЖДЕНИЕ:При выполнении этой процедуры будьте особенно осторожны.
Острые кромки могут привести к травмам.
ВНИМАНИЕ:Перед выполнением этой процедуры обратитесь к разделу "Введение"4.1.1
"Перед обслуживанием".
Снятие
1Снимите УЗЕЛ ПОДАТЧИКА. (REP14.1)
2Снимите ПЛАСТИНУ ЖЕЛОБА. (REP14.7)
3Выверните винт (серебристый, 8 мм), который крепит КРОНШТЕЙН ДАТЧИКА (PL15.2.3) к
ПЛАСТИНЕ ЖЕЛОБА, и снимите КРОНШТЕЙН ДАТЧИКА.
4Освободите крючки, которые фиксируют ДАТЧИК КРОМКИ БУМАГИ на КРОНШТЕЙНЕ
ДАТЧИКА, и снимите ДАТЧИК КРОМКИ БУМАГИ.
Рис. 4-129 ДАТЧИК КРОМКИ БУМАГИ
ДАТЧИК КРОМКИ БУМАГИ

Глава 4 Процедуры разборки/сборки и регулировки
4.2 Процедуры разборки/сборки
4 - 171
REP14.9 УЗЕЛ ПРИВОДА ДОПОЛНИТЕЛЬНОГО ПОДАТЧИКА
(PL15.2.6)
ПРЕДУПРЕЖДЕНИЕ: Отключите подачу питания на аппарат. При выполнении работ, не
связанных с подачей электропитания, отсоедините силовой шнур от электрической розетки.
Поражение электрическим током может привести к серьезным последствиям для здоровья или
даже к смерти. Движущиеся части аппарата могут привести к травмам.
ПРЕДУПРЕЖДЕНИЕ: При выполнении этой процедуры будьте особенно осторожны.
Острые кромки могут привести к травмам.
ВНИМАНИЕ:Перед выполнением этой процедуры обратитесь к разделу "Введение"4.1.1
"Перед обслуживанием".
Снятие
Инструкция:УЗЕЛ ПРИВОДА ДОПОЛНИТЕЛЬНОГО ПОДАТЧИКА также может быть снят,
когда аппарат установлен на УЗЕЛ ПОДАТЧИКА.
1Снимите УЗЕЛ ПОДАТЧИКА. (REP14.1)
2Снимите ПРАВУЮ ПЕРЕДНЮЮ КРЫШКУ ПОДАТЧИКА. (REP14.4)
3Снимите ПРАВУЮ КРЫШКУ ПОДАТЧИКА. (REP14.3)
4Отсоедините разъем (P/J8310) на проводке, которая подключена к УЗЛУ ПРИВОДА
ДОПОЛНИТЕЛЬНОГО ПОДАТЧИКА, освободите зажим и снимите проводку.
5Отверните 4 винта (серебристые, 8 мм), которые крепят УЗЕЛ ПРИВОДА
ДОПОЛНИТЕЛЬНОГО ПОДАТЧИКА к УЗЛУ ПОДАТЧИКА.
6Сдвиньте УЗЕЛ ПРИВОДА ДОПОЛНИТЕЛЬНОГО ПОДАТЧИКА назад и снимите его.
Рис. 4-130 УЗЕЛ ПРИВОДА
УЗЕЛ ПРИВОДА
ДОПОЛНИТЕЛЬНОГО
ПОДАТЧИКА

Глава 4 Процедуры разборки/сборки и регулировки
4.2 Процедуры разборки/сборки
4 - 172
REP14.10 УЗЕЛ ПОВОРОТНОГО ЖЕЛОБА ДОПОЛНИТЕЛЬНОГО
ПОДАТЧИКА (PL15.2.7)
ПРЕДУПРЕЖДЕНИЕ: Отключите подачу питания на аппарат. При выполнении работ, не
связанных с подачей электропитания, отсоедините силовой шнур от электрической розетки.
Поражение электрическим током может привести к серьезным последствиям для здоровья или
даже к смерти. Движущиеся части аппарата могут привести к травмам.
ПРЕДУПРЕЖДЕНИЕ: При выполнении этой процедуры будьте особенно осторожны.
Острые кромки могут привести к травмам.
ВНИМАНИЕ:Перед выполнением этой процедуры обратитесь к разделу "Введение"4.1.1
"Перед обслуживанием".
Снятие
1Снимите УЗЕЛ ПОДАТЧИКА. (REP14.1)
2Отверните 2 винта (серебристые, саморезы, 8 мм), которые крепят УЗЕЛ ПОВОРОТНОГО
ЖЕЛОБА ДОПОЛНИТЕЛЬНОГО ПОДАТЧИКА к УЗЛУ ПОДАТЧИКА.
3Отведите вырезы УЗЛА ПОВОРОТНОГО ЖЕЛОБА ДОПОЛНИТЕЛЬНОГО ПОДАТЧИКА от
правого и левого ПОДШИПНИКОВ и снимите УЗЕЛ ПОВОРОТНОГО ЖЕЛОБА
ДОПОЛНИТЕЛЬНОГО ПОДАТЧИКА.
Рис. 4-131 УЗЕЛ ПОВОРОТНОГО ЖЕЛОБА ДОПОЛНИТЕЛЬНОГО ПОДАТЧИКА
УЗЕЛ ПОВОРОТНОГО ЖЕЛОБА
ДОПОЛНИТЕЛЬНОГО ПОДАТЧИКА
Глава 4 Процедуры разборки/сборки и регулировки
4.2 Процедуры разборки/сборки
4 - 173
REP14.11 КОМПЛЕКТ АКТИВАТОРА ДАТЧИКА КРОМКИ БУМАГИ
ДОПОЛНИТЕЛЬНОГО ПОДАТЧИКА (PL15.2.12)
ПРЕДУПРЕЖДЕНИЕ: Отключите подачу питания на аппарат. При выполнении работ, не
связанных с подачей электропитания, отсоедините силовой шнур от электрической розетки.
Поражение электрическим током может привести к серьезным последствиям для здоровья или
даже к смерти. Движущиеся части аппарата могут привести к травмам.
ПРЕДУПРЕЖДЕНИЕ: При выполнении этой процедуры будьте особенно осторожны.
Острые кромки могут привести к травмам.
ВНИМАНИЕ:Перед выполнением этой процедуры обратитесь к разделу "Введение"4.1.1
"Перед обслуживанием".
Снятие
1Снимите УЗЕЛ ПОДАТЧИКА. (REP14.1)
2Снимите УЗЕЛ ПОВОРОТНОГО ЖЕЛОБА ДОПОЛНИТЕЛЬНОГО ПОДАТЧИКА. (REP14.10)
3Выверните винт (серебристый, саморез, 8 мм), который крепит ДЕРЖАТЕЛЬ АКТИВАТОРА
(PL15.2.11) к УЗЛУ ПОВОРОТНОГО ЖЕЛОБА ДОПОЛНИТЕЛЬНОГО ПОДАТЧИКА, и снимите
ДЕРЖАТЕЛЬ АКТИВАТОРА.
4Откройте ДЕРЖАТЕЛЬ АКТИВАТОРА и снимите ось АКТИВАТОРА ДАТЧИКА КРОМКИ
БУМАГИ ДОПОЛНИТЕЛЬНОГО ПОДАТЧИКА (PL15.2.13).
5Снимите ПРУЖИНУ ДАТЧИКА ДОПОЛНИТЕЛЬНОГО ПОДАТЧИКА (PL15.2.14) с
АКТИВАТОРА ДАТЧИКА КРОМКИ БУМАГИ ДОПОЛНИТЕЛЬНОГО ПОДАТЧИКА. Инструкция:
При установке убедитесь, что ПРУЖИНА прикреплена надежно.

Глава 4 Процедуры разборки/сборки и регулировки
4.2 Процедуры разборки/сборки
4 - 174
Рис. 4-132 КОМПЛЕКТ АКТИВАТОРА ДАТЧИКА КРОМКИ БУМАГИ ДОПОЛНИТЕЛЬНОГО
ПОДАТЧИКА
АКТИВАТОР ДАТЧИКА
КРОМКИ БУМАГИ
ДОПОЛНИТЕЛЬНОГО
ПОДАТЧИКА
ДЕРЖАТЕЛЬ АКТИВАТОРА
ПРУЖИНА ДАТЧИКА
ДОПОЛНИТЕЛЬНОГО
ПОДАТЧИКА
Глава 4 Процедуры разборки/сборки и регулировки
4.2 Процедуры разборки/сборки
4 - 175
REP14.12 КОМПЛЕКТ ПРАВОЙ НАПРАВЛЯЮЩЕЙ ЛОТКА (PL15.2.15)
ПРЕДУПРЕЖДЕНИЕ: Отключите подачу питания на аппарат. При выполнении работ, не
связанных с подачей электропитания, отсоедините силовой шнур от электрической розетки.
Поражение электрическим током может привести к серьезным последствиям для здоровья или
даже к смерти. Движущиеся части аппарата могут привести к травмам.
ПРЕДУПРЕЖДЕНИЕ: При выполнении этой процедуры будьте особенно осторожны.
Острые кромки могут привести к травмам.
ВНИМАНИЕ:Перед выполнением этой процедуры обратитесь к разделу "Введение"4.1.1
"Перед обслуживанием".
Снятие
1Снимите УЗЕЛ ПОДАТЧИКА. (REP14.1)
2Снимите КРЫШКУ КАССЕТЫ. (REP14.2)
3Снимите ПРАВУЮ ПЕРЕДНЮЮ КРЫШКУ ПОДАТЧИКА. (REP14.4)
4Снимите ПРАВУЮ КРЫШКУ ПОДАТЧИКА. (REP14.3)
5Снимите УЗЕЛ ПОВОРОТНОГО ЖЕЛОБА ДОПОЛНИТЕЛЬНОГО ПОДАТЧИКА. (REP14.10)
6Снимите ЛЕВУЮ КРЫШКУ ПОДАТЧИКА. (REP14.5)
7Снимите ПОДУЗЕЛ ДОПОЛНИТЕЛЬНОГО ПОДАТЧИКА. (REP14.6
8Отсоедините разъем (P/J8310) на проводке, которая подключена к УЗЛУ ПРИВОДА
ДОПОЛНИТЕЛЬНОГО ПОДАТЧИКА, освободите зажим и снимите проводку.
9Отверните 2 винта (серебристые, саморезы, 8 мм), которые крепят КОМПЛЕКТ ПРАВОЙ
НАПРАВЛЯЮЩЕЙ ЛОТКА к УЗЛУ ПОДАТЧИКА.
10 Надавите на выступ КОМПЛЕКТА ПРАВОЙ НАПРАВЛЯЮЩЕЙ ЛОТКА и сдвиньте его вперед,
затем освободите крючки (в 5 местах) и наклоните КОМПЛЕКТ ПРАВОЙ НАПРАВЛЯЮЩЕЙ
ЛОТКА в их сторону.
11 Вытяните проводку через квадратное отверстие КОМПЛЕКТА ПРАВОЙ НАПРАВЛЯЮЩЕЙ
ЛОТКА и снимите КОМПЛЕКТ ПРАВОЙ НАПРАВЛЯЮЩЕЙ ЛОТКА спереди.

Глава 4 Процедуры разборки/сборки и регулировки
4.2 Процедуры разборки/сборки
4 - 176
Рис. 4-133 КОМПЛЕКТ ПРАВОЙ НАПРАВЛЯЮЩЕЙ ЛОТКА
КОМПЛЕКТ ПРАВОЙ
НАПРАВЛЯЮЩЕЙ ЛОТКА
Глава 4 Процедуры разборки/сборки и регулировки
4.2 Процедуры разборки/сборки
4 - 177
REP14.13 КОМПЛЕКТ ЛЕВОЙ НАПРАВЛЯЮЩЕЙ ЛОТКА (PL15.2.16)
ПРЕДУПРЕЖДЕНИЕ: Отключите подачу питания на аппарат. При выполнении работ, не
связанных с подачей электропитания, отсоедините силовой шнур от электрической розетки.
Поражение электрическим током может привести к серьезным последствиям для здоровья или
даже к смерти. Движущиеся части аппарата могут привести к травмам.
ПРЕДУПРЕЖДЕНИЕ: При выполнении этой процедуры будьте особенно осторожны.
Острые кромки могут привести к травмам.
ВНИМАНИЕ:Перед выполнением этой процедуры обратитесь к разделу "Введение"4.1.1
"Перед обслуживанием".
Снятие
1Снимите УЗЕЛ ПОДАТЧИКА. (REP14.1)
2Снимите КРЫШКУ КАССЕТЫ. (REP14.2)
3Снимите ПРАВУЮ ПЕРЕДНЮЮ КРЫШКУ ПОДАТЧИКА. (REP14.4)
4Снимите ПРАВУЮ КРЫШКУ ПОДАТЧИКА. (REP14.3)
5Снимите УЗЕЛ ПОВОРОТНОГО ЖЕЛОБА ДОПОЛНИТЕЛЬНОГО ПОДАТЧИКА. (REP14.10)
6Снимите ЛЕВУЮ КРЫШКУ ПОДАТЧИКА. (REP14.5)
7Снимите ПОДУЗЕЛ ДОПОЛНИТЕЛЬНОГО ПОДАТЧИКА. (REP14.6)
8Отсоедините разъем (P/J83), который подключен к ПЛАТЕ ПОДАТЧИКА, освободите зажим и
снимите проводку.
9Отверните 2 винта (серебристые, саморезы, 8 мм), которые крепят КОМПЛЕКТ ЛЕВОЙ
НАПРАВЛЯЮЩЕЙ ЛОТКА к УЗЛУ ПОДАТЧИКА.
10 Внутри аппарата надавите на выступ КОМПЛЕКТА ЛЕВОЙ НАПРАВЛЯЮЩЕЙ ЛОТКА и
сдвиньте его вперед, затем освободите крючки (в 5 местах) и наклоните КОМПЛЕКТ ЛЕВОЙ
НАПРАВЛЯЮЩЕЙ ЛОТКА в их сторону.
11 Вытяните проводку через квадратное отверстие КОМПЛЕКТА ЛЕВОЙ НАПРАВЛЯЮЩЕЙ
ЛОТКА и снимите КОМПЛЕКТ ЛЕВОЙ НАПРАВЛЯЮЩЕЙ ЛОТКА спереди.

Глава 4 Процедуры разборки/сборки и регулировки
4.2 Процедуры разборки/сборки
4 - 178
Рис. 4-134 4-134 КОМПЛЕКТ ЛЕВОЙ НАПРАВЛЯЮЩЕЙ ЛОТКА
КОМПЛЕКТ ЛЕВОЙ
НАПРАВЛЯЮЩЕЙ ЛОТКА

Глава 4 Процедуры разборки/сборки и регулировки
4.2 Процедуры разборки/сборки
4 - 179
REP14.14 ДАТЧИК ФОРМАТА (PL15.2.17)
ПРЕДУПРЕЖДЕНИЕ: Отключите подачу питания на аппарат. При выполнении работ, не
связанных с подачей электропитания, отсоедините силовой шнур от электрической розетки.
Поражение электрическим током может привести к серьезным последствиям для здоровья или
даже к смерти. Подвижные части могут привести к травме.
ПРЕДУПРЕЖДЕНИЕ: При выполнении этой процедуры будьте особенно осторожны.
Острые кромки могут привести к травмам.
ВНИМАНИЕ:Перед выполнением этой процедуры обратитесь к разделу "Введение"4.1.1
"Перед обслуживанием".
Снятие
1Снимите УЗЕЛ ПОДАТЧИКА. (REP14.1)
2Снимите УЗЕЛ ПОВОРОТНОГО ЖЕЛОБА ДОПОЛНИТЕЛЬНОГО ПОДАТЧИКА. (REP14.10)
3Снимите ЛЕВУЮ КРЫШКУ ПОДАТЧИКА. (REP14.5)
4Освободите крючки, которые фиксируют ДАТЧИК ФОРМАТА, и снимите ДАТЧИК ФОРМАТА.
5Отсоедините разъем (P/J820), который подключен к ДАТЧИКУ ФОРМАТА.
Рис. 4-135 ДАТЧИК ФОРМАТА
ДАТЧИК ФОРМАТА

Глава 4 Процедуры разборки/сборки и регулировки
4.2 Процедуры разборки/сборки
4 - 180
REP14.15 ПЛАТА ПОДАТЧИКА (PL15.2.18)
ПРЕДУПРЕЖДЕНИЕ: Отключите подачу питания на аппарат. При выполнении работ, не
связанных с подачей электропитания, отсоедините силовой шнур от электрической розетки.
Поражение электрическим током может привести к серьезным последствиям для здоровья или
даже к смерти. Движущиеся части аппарата могут привести к травмам.
ПРЕДУПРЕЖДЕНИЕ: При выполнении этой процедуры будьте особенно осторожны.
Острые кромки могут привести к травмам.
ВНИМАНИЕ:Перед выполнением этой процедуры обратитесь к разделу "Введение"4.1.1
"Перед обслуживанием".
Снятие
1Снимите УЗЕЛ ПОДАТЧИКА. (REP14.1)
2Снимите УЗЕЛ ПОВОРОТНОГО ЖЕЛОБА ДОПОЛНИТЕЛЬНОГО ПОДАТЧИКА. (REP14.10)
3Снимите ЛЕВУЮ КРЫШКУ ПОДАТЧИКА. (REP14.5)
4Отсоедините все разъемы, которые подключены к ПЛАТЕ ПОДАТЧИКА.
5Выверните 4 винта (серебристые, 8 мм), которые крепят ПЛАТУ ПОДАТЧИКА к УЗЛУ
ПОДАТЧИКА, и снимите ПЛАТУ ПОДАТЧИКА.
Рис. 4-136 ПЛАТА ПОДАТЧИКА
ПЛАТА ПОДАТЧИКА

Глава 4 Процедуры разборки/сборки и регулировки
4.2 Процедуры разборки/сборки
4 - 181
REP14.16 ПОВОРОТНАЯ МУФТА (PL15.3.3)
ПРЕДУПРЕЖДЕНИЕ: Отключите подачу питания на аппарат. При выполнении работ, не
связанных с подачей электропитания, отсоедините силовой шнур от электрической розетки.
Поражение электрическим током может привести к серьезным последствиям для здоровья или
даже к смерти. Движущиеся части аппарата могут привести к травмам.
ПРЕДУПРЕЖДЕНИЕ: При выполнении этой процедуры будьте особенно осторожны.
Острые кромки могут привести к травмам.
ВНИМАНИЕ:Перед выполнением этой процедуры обратитесь к разделу "Введение"4.1.1
"Перед обслуживанием".
Снятие
1Снимите УЗЕЛ ПОДАТЧИКА. (REP14.1)
2Снимите ПРАВУЮ ПЕРЕДНЮЮ КРЫШКУ ПОДАТЧИКА. (REP14.4)
3Снимите ПРАВУЮ КРЫШКУ ПОДАТЧИКА. (REP14.3)
4Снимите УЗЕЛ ПОВОРОТНОГО ЖЕЛОБА ДОПОЛНИТЕЛЬНОГО ПОДАТЧИКА. (REP14.10)
5Снимите ЛЕВУЮ КРЫШКУ ПОДАТЧИКА. (REP14.5)
6Снимите ПОДУЗЕЛ ДОПОЛНИТЕЛЬНОГО ПОДАТЧИКА. (REP14.6)
7Снимите пластиковые зажимы, которые фиксируют ПОВОРОТНУЮ МУФТУ на валу УЗЛА
ПОВОРОТНОГО РОЛИКА (PL15.3.12).
8Выдвинув отжатую часть ПОВОРОТНОЙ МУФТЫ из выступа ПОДУЗЛА ПОДАТЧИКА,
снимите ПОВОРОТНУЮ МУФТУ с вала.
Рис. 4-137 ПОВОРОТНАЯ МУФТА
ПОВОРОТНАЯ МУФТА

Глава 4 Процедуры разборки/сборки и регулировки
4.2 Процедуры разборки/сборки
4 - 182
REP14.17 МУФТА ПОДАЧИ (PL15.3.4)
ПРЕДУПРЕЖДЕНИЕ: Отключите подачу питания на аппарат. При выполнении работ, не
связанных с подачей электропитания, отсоедините силовой шнур от электрической розетки.
Поражение электрическим током может привести к серьезным последствиям для здоровья или
даже к смерти. Движущиеся части аппарата могут привести к травмам.
ПРЕДУПРЕЖДЕНИЕ: При выполнении этой процедуры будьте особенно осторожны.
Острые кромки могут привести к травмам.
ВНИМАНИЕ:Перед выполнением этой процедуры обратитесь к разделу "Введение"4.1.1
"Перед обслуживанием".
Снятие
1Снимите УЗЕЛ ПОДАТЧИКА. (REP14.1)
2Снимите ПРАВУЮ ПЕРЕДНЮЮ КРЫШКУ ПОДАТЧИКА. (REP14.4)
3Снимите ПРАВУЮ КРЫШКУ ПОДАТЧИКА. (REP14.3)
4Снимите УЗЕЛ ПОВОРОТНОГО ЖЕЛОБА ДОПОЛНИТЕЛЬНОГО ПОДАТЧИКА. (REP14.10)
5Снимите ЛЕВУЮ КРЫШКУ ПОДАТЧИКА. (REP14.5)
6Снимите ПОДУЗЕЛ ДОПОЛНИТЕЛЬНОГО ПОДАТЧИКА. (REP14.6)
7Снимите пластиковые зажимы, которые фиксируют МУФТУ ПОДАЧИ на валу УЗЛА РОЛИКА
ПОДАЧИ.
8Снимите МУФТУ ПОДАЧИ с вала.
Рис. 4-138 МУФТА ПОДАЧИ
МУФТА ПОДАЧИ
Глава 4 Процедуры разборки/сборки и регулировки
4.2 Процедуры разборки/сборки
4 - 183
REP14.18 АКТИВАТОР ДАТЧИКА ОТСУТСТВИЯ БУМАГИ (PL15.3.6)
ПРЕДУПРЕЖДЕНИЕ: Отключите подачу питания на аппарат. При выполнении работ, не
связанных с подачей электропитания, отсоедините силовой шнур от электрической розетки.
Поражение электрическим током может привести к серьезным последствиям для здоровья или
даже к смерти. Движущиеся части аппарата могут привести к травмам.
ПРЕДУПРЕЖДЕНИЕ: При выполнении этой процедуры будьте особенно осторожны.
Острые кромки могут привести к травмам.
ВНИМАНИЕ:Перед выполнением этой процедуры обратитесь к разделу "Введение"4.1.1
"Перед обслуживанием".
Снятие
1Снимите УЗЕЛ ПОДАТЧИКА. (REP14.1)
2Снимите ПРАВУЮ ПЕРЕДНЮЮ КРЫШКУ ПОДАТЧИКА. (REP14.4)
3Снимите ПРАВУЮ КРЫШКУ ПОДАТЧИКА. (REP14.3)
4Снимите УЗЕЛ ПОВОРОТНОГО ЖЕЛОБА ДОПОЛНИТЕЛЬНОГО ПОДАТЧИКА. (REP14.10)
5Снимите ЛЕВУЮ КРЫШКУ ПОДАТЧИКА. (REP14.5)
6Снимите ПОДУЗЕЛ ДОПОЛНИТЕЛЬНОГО ПОДАТЧИКА. (REP14.6)
7Одновременно нажимая на выступы (в 2 местах) с левой стороны ПОДУЗЛА
ДОПОЛНИТЕЛЬНОГО ПОДАТЧИКА, сдвиньте ЛЕВЫЙ ДЕРЖАТЕЛЬ ДАТЧИКА ОТСУТСТВИЯ
БУМАГИ (PL15.3.7) вперед, затем освободите защелки (в 4 местах) и снимите ЛЕВЫЙ
ДЕРЖАТЕЛЬ ДАТЧИКА ОТСУТСТВИЯ БУМАГИ.
8Вытяните ось АКТИВАТОРА ДАТЧИКА ОТСУТСТВИЯ БУМАГИ из секции установки
АКТИВАТОРА ДАТЧИКА ОТСУТСТВИЯ БУМАГИ в ПРАВОМ ДЕРЖАТЕЛЕ ДАТЧИКА
ОТСУТСТВИЯ БУМАГИ.

Глава 4 Процедуры разборки/сборки и регулировки
4.2 Процедуры разборки/сборки
4 - 184
Рис. 4-139 АКТИВАТОР ДАТЧИКА ОТСУТСТВИЯ БУМАГИ
ЛЕВЫЙ ДЕРЖАТЕЛЬ ДАТЧИКА
АКТИВАТОР ДАТЧИКА
ОТСУТСТВИЯ БУМАГИ
ОТСУТСТВИЯ БУМАГИ
Глава 4 Процедуры разборки/сборки и регулировки
4.2 Процедуры разборки/сборки
4 - 185
REP14.19 УЗЕЛ РОЛИКА ПОДАЧИ (PL15.3.10)
ПРЕДУПРЕЖДЕНИЕ: Отключите подачу питания на аппарат. При выполнении работ, не
связанных с подачей электропитания, отсоедините силовой шнур от электрической розетки.
Поражение электрическим током может привести к серьезным последствиям для здоровья или
даже к смерти. Движущиеся части аппарата могут привести к травмам.
ПРЕДУПРЕЖДЕНИЕ: При выполнении этой процедуры будьте особенно осторожны.
Острые кромки могут привести к травмам.
ВНИМАНИЕ:Перед выполнением этой процедуры обратитесь к разделу "Введение"4.1.1
"Перед обслуживанием".
Снятие
1Снимите дополнительный УЗЕЛ КАССЕТЫ.
Инструкция:При снятии УЗЛА РОЛИКА ПОДАЧИ на следующих этапах имейте в виду, что
ОДНОХОДОВАЯ МУФТА ПОДАЧИ (PL15.3.9) может упасть.
2Освободите защелку, которая фиксирует УЗЕЛ РОЛИКА ПОДАЧИ на валу ПОДУЗЛА
ДОПОЛНИТЕЛЬНОГО ПОДАТЧИКА (PL15.2.1), и вытяните УЗЕЛ РОЛИКА ПОДАЧИ, чтобы
снять его.
Инструкция:При установке УЗЛА РОЛИКА ПОДАЧИ убедитесь, что защелка надежно
зафиксировала узел.
Инструкция:После замены УЗЛА РОЛИКА ПОДАЧИ вы также должны сбросить показания
соответствующего счетчика срока службы. Для этого войдите в сервисный режим и перейдите
к меню: Parameter (Параметр)/ Life Counter (Счетчик срока службы). Лоток 2: Tray 2 Roll (Ролик
лотка 2), Tray 3 (Лоток 3): Tray 3 Roll (Ролик лотка 3), Tray 4 (Лоток 4): Tray 4 Roll (Ролик лотка
4) (См. пункт 2.4.4 "Структура меню" раздела 2.4 "Сервисный режим" в Глава 2 Поиск и
устранение неисправностей.)

Глава 4 Процедуры разборки/сборки и регулировки
4.2 Процедуры разборки/сборки
4 - 186
Рис. 4-140 УЗЕЛ РОЛИКА ПОДАЧИ
ОДНОХОДОВАЯ МУФТА ПОДАЧИ
УЗЕЛ РОЛИКА ПОДАЧИ

Глава 4 Процедуры разборки/сборки и регулировки
4.2 Процедуры разборки/сборки
4 - 187
REP14.20 ДАТЧИК ОТСУТСТВИЯ БУМАГИ В ЛОТКЕ (PL15.3.11)
ПРЕДУПРЕЖДЕНИЕ: Отключите подачу питания на аппарат. При выполнении работ, не
связанных с подачей электропитания, отсоедините силовой шнур от электрической розетки.
Поражение электрическим током может привести к серьезным последствиям для здоровья или
даже к смерти. Движущиеся части аппарата могут привести к травмам.
ПРЕДУПРЕЖДЕНИЕ: При выполнении этой процедуры будьте особенно осторожны.
Острые кромки могут привести к травмам.
ВНИМАНИЕ:Перед выполнением этой процедуры обратитесь к разделу "Введение"4.1.1
"Перед обслуживанием".
Снятие
1Снимите УЗЕЛ ПОДАТЧИКА. (REP14.1)
2Снимите ПЛАСТИНУ ЖЕЛОБА. (REP14.7)
3Отсоедините разъем (P/J850), который подключен к ДАТЧИКУ ОТСУТСТВИЯ БУМАГИ В
ЛОТКЕ.
4Освободите защелки, которые фиксируют ДАТЧИК ОТСУТСТВИЯ БУМАГИ В ЛОТКЕ на
ПОДУЗЛЕ ДОПОЛНИТЕЛЬНОГО ПОДАТЧИКА для того, чтобы снять ДАТЧИК ОТСУТСТВИЯ
БУМАГИ В ЛОТКЕ.
Рис. 4-141 ДАТЧИК ОТСУТСТВИЯ БУМАГИ В ЛОТКЕ
ДАТЧИК ОТСУТСТВИЯ
БУМАГИ В ЛОТКЕ

Глава 4 Процедуры разборки/сборки и регулировки
4.2 Процедуры разборки/сборки
4 - 188
REP14.21 УЗЕЛ ПОВОРОТНОГО РОЛИКА (PL15.3.12)
ПРЕДУПРЕЖДЕНИЕ: Отключите подачу питания на аппарат. При выполнении работ, не
связанных с подачей электропитания, отсоедините силовой шнур от электрической розетки.
Поражение электрическим током может привести к серьезным последствиям для здоровья или
даже к смерти. Движущиеся части аппарата могут привести к травмам.
ПРЕДУПРЕЖДЕНИЕ: При выполнении этой процедуры будьте особенно осторожны.
Острые кромки могут привести к травмам.
ВНИМАНИЕ:Перед выполнением этой процедуры обратитесь к разделу "Введение"4.1.1
"Перед обслуживанием".
Снятие
1Снимите УЗЕЛ ПОДАТЧИКА. (REP14.1)
2Снимите ПРАВУЮ ПЕРЕДНЮЮ КРЫШКУ ПОДАТЧИКА. (REP14.4)
3Снимите ПРАВУЮ КРЫШКУ ПОДАТЧИКА. (REP14.3)
4Снимите УЗЕЛ ПОВОРОТНОГО ЖЕЛОБА ДОПОЛНИТЕЛЬНОГО ПОДАТЧИКА. (REP14.10)
5Снимите ЛЕВУЮ КРЫШКУ ПОДАТЧИКА. (REP14.5)
6Снимите ПОДУЗЕЛ ДОПОЛНИТЕЛЬНОГО ПОДАТЧИКА. (REP14.6)
7Снимите ПЛАСТИНУ ЖЕЛОБА. (REP14.7)
8Снимите ПОВОРОТНУЮ МУФТУ. (REP14.6)
9Снимите стопорные кольца, которые фиксируют ПОДШИПНИКИ справа и слева, и снимите
ПОДШИПНИКИ.
10 Сдвиньте УЗЕЛ ПОВОРОТНОГО РОЛИКА вправо, сдвиньте вал влево и извлеките его из
отверстия, затем снимите УЗЕЛ ПОВОРОТНОГО РОЛИКА.
Рис. 4-142 УЗЕЛ ПОВОРОТНОГО РОЛИКА
УЗЕЛ ПОВОРОТНОГО РОЛИКА
Глава 4 Процедуры разборки/сборки и регулировки
4.3 Эта страница преднамеренно оставлена пустой
4 - 189
4.3 Эта страница преднамеренно оставлена пустой
4.3.1
Глава 4 Процедуры разборки/сборки и регулировки
4.3 Эта страница преднамеренно оставлена пустой
4 - 190
Глава 4 Процедуры разборки/сборки и регулировки
4.3 Эта страница преднамеренно оставлена пустой
4 - 191
4.3.2 При замене элементов хранения важной информации следует
иметь в виду следующее:
После установки все данные, зарегистрированные пользователем, являются очень важными. Утечка
или потеря данных были бы непростительны. Для того чтобы заслужить доверие заказчиков, сервисному
инженеру важно знать название элементов, в которых хранятся эти данные. Сервисный инженер также
должен полностью понимать, как работать с этими элементами при их замене.
Процедура
Этот аппарат хранит важные данные в следующих элементах. Выполняйте действия в соответствии со
следующими процедурами.
•УЗЕЛ ЖЕСТКОГО ДИСКА [дополнительного жесткого дискаA] (PL11.1.12)
•Энергонезависимая память (NVM) на ПЛАТЕ ESS (PL11.1.7)

Глава 4 Процедуры разборки/сборки и регулировки
4.3 Эта страница преднамеренно оставлена пустой
4 - 192
УЗЕЛ ЖЕСТКОГО ДИСКА ПЛАТА ESS
Хранящаяс
я
информаци
я
1Оставшиеся данные
•Шрифты (загружаемый массив)
•Формы (загружаемый массив)
•Логотип и т.п. (загружаемый массив)
•Защищенная печать
•Пробная печать
2Удаленные данные
(данные, которые были удалены, но
физически остались на жестком диске.
Обычно их сложно восстановить.)
•Временно сохраняемые данные
изображений, которые используются для
печати.
Параметры, которые могут быть
применяться пользователями (IP-адрес
и т.п.), а также системные данные ESS
(исключая MCU).
•Регистрация задания пользователя
•История заданий
•История ошибок (история
неисправностей, счетчики)
•Регистрация DV/установки аудитрона/
Данные по общему объему работ
•Сетевые установки
Действия
перед
заменой
Действия перед заменой
•Процедуры, выполняемые перед
обслуживанием
Поскольку данные не могут быть
зарезервированы или восстановлены,
сначала распечатайте отчеты и
проверьте пункты, которые были
загружены пользователем.
•Сохраненные документы
•Список шрифтов
•Список шрифтов PCL
•Список шрифтов PS
•Список, определяемый пользователем
•Список форм ART EX
•Список макросов PCL
•Операция по удалению данных
В случае пунктов, загруженных
пользователями, либо запросите помощь
пользователей в их удалении, либо
получите разрешение на это.
Более того, если при замене УЗЛА
ЖЕСТКОГО ДИСКА также должна быть
заменена ПЛАТА ESS, перенесите NVM.
•Процедуры, выполняемые перед
обслуживанием
Для последующего восстановления
параметров распечатайте отчеты.
(Параметры не могут быть
зарезервированы с помощью обычных
средств.)
•Параметры принтера
•История заданий
•История ошибок
•Счетчик печати
•Настройки панели управления
•Логика ESC/P
•Логика PS
•Параметры принтера (сервисный режим)
•Резервные данных
После замены NVM выполните
резервирование данных по количеству
отпечатков в сервисном режиме с
помощью меню [Installation (Установка) /
CopyCounter M to B (Копирование из
основной памяти в резервную)].
•Операция по удалению данных
Если необходимо удалbnm
пользовательскиt данныt из NVM,
выполните инициализацию из меню
[Initialization].
•Удаление всей информации
Выполните пункт меню "Installation
(Установка) / Clear ALL NVM (Очистка
всей NVM)" в сервисном режиме.

Глава 4 Процедуры разборки/сборки и регулировки
4 - 193
Действия
после
замены
•Работа с УЗЛОМ ЖЕСТКОГО ДИСКА или
его замена
Перед тем как вы вернете на место УЗЕЛ
ЖЕСТКОГО ДИСКА, обязательно
сообщите об этом закзачику. Объясните,
что снятый УЗЕЛ ЖЕСТКОГО ДИСКА,
будет послан в пункт переработки FX, где
он либо подвергнется "процессу
перезаписи" или "процессу уничтожения"
во избежание возникновения проблем с
безопасностью.
Если заказчик желает лично убедиться в
уничтожении УЗЛА ЖЕСТКОГО ДИСКА,
сделайте это на месте (расходы
оплачиваются).
•Обращение с заменяемыми платами
Обязательно инициализируйте плату
перед ее установкой на место.
Сообщите заказчику, что даже если ее
нельзя инициализировать на аппарате
заказчика, это будет сделано в пункте
переработки FX, так что проблем с
безопасностью не будет.
•Процедуры после обслуживания
Распечатайте отчеты и подтвердите, что
установки были сохранены.
Переустановите данные,
зарегистрированные пользователем, и
подтвердите их установку, распечатав
отчет.
УЗЕЛ ЖЕСТКОГО ДИСКА ПЛАТА ESS
Глава 4 Процедуры разборки/сборки и регулировки
4 - 194

Глава 5 Перечень запасных
частей
Содержание
5.1 О перечнях запасных частей . . . . . . . . . . . . . . . . . . . . . . . . . . . . . . . . . . . . . . . . . . . . . . . . . . . . . 5-1
5.1.1 Как пользоваться перечнями запасных частей . . . . . . . . . . . . . . . . . . . . . . . . . . . . . . . . . . . . 5-1
5.1.2 Меры безопасности . . . . . . . . . . . . . . . . . . . . . . . . . . . . . . . . . . . . . . . . . . . . . . . . . . . . . . . . . . 5-1
5.1.3 Структура листа . . . . . . . . . . . . . . . . . . . . . . . . . . . . . . . . . . . . . . . . . . . . . . . . . . . . . . . . . . . . . 5-2
5.1.4 Символы и обозначения . . . . . . . . . . . . . . . . . . . . . . . . . . . . . . . . . . . . . . . . . . . . . . . . . . . . . . 5-3
5.2 Соответствие перечней запасных частей узлам аппарата . . . . . . . . . . . . . . . . . . . . . . . . . . . . . 5-5
5.3 Перечень запасных частей . . . . . . . . . . . . . . . . . . . . . . . . . . . . . . . . . . . . . . . . . . . . . . . . . . . . . . 5-10
PL1 КРЫШКИ . . . . . . . . . . . . . . . . . . . . . . . . . . . . . . . . . . . . . . . . . . . . . . . . . . . . . . . . . 5-10
PL1.1 Крышка . . . . . . . . . . . . . . . . . . . . . . . . . . . . . . . . . . . . . . . . . . . . . . . . . . . . . . . . . . 5-10
PL2 N/A . . . . . . . . . . . . . . . . . . . . . . . . . . . . . . . . . . . . . . . . . . . . . . . . . . . . . . . . . . . . . . 5-11
PL2.1 N/A . . . . . . . . . . . . . . . . . . . . . . . . . . . . . . . . . . . . . . . . . . . . . . . . . . . . . . . . . . . . . . 5-11
PL2.2 N/A . . . . . . . . . . . . . . . . . . . . . . . . . . . . . . . . . . . . . . . . . . . . . . . . . . . . . . . . . . . . . . 5-12
PL2.3 Податчик на 550 листов (1/2) . . . . . . . . . . . . . . . . . . . . . . . . . . . . . . . . . . . . . . . . . 5-13
PL2.4 Податчик на 550 листов (2/2) . . . . . . . . . . . . . . . . . . . . . . . . . . . . . . . . . . . . . . . . . 5-14
PL2.5 Кассета на 550 листов . . . . . . . . . . . . . . . . . . . . . . . . . . . . . . . . . . . . . . . . . . . . . . 5-15
PL3 Обходной лоток . . . . . . . . . . . . . . . . . . . . . . . . . . . . . . . . . . . . . . . . . . . . . . . . . . . . 5-16
PL3.1 Обходной лоток . . . . . . . . . . . . . . . . . . . . . . . . . . . . . . . . . . . . . . . . . . . . . . . . . . . . 5-16
PL4
ПЕРЕДНЯЯ РАМА . . . . . . . . . . . . . . . . . . . . . . . . . . . . . . . . . . . . . . . . . . . . . . . . . . 5-17
PL4.1 Передняя рама . . . . . . . . . . . . . . . . . . . . . . . . . . . . . . . . . . . . . . . . . . . . . . . . . . . . 5-17
PL5 РЕГИСТРАЦИЯ . . . . . . . . . . . . . . . . . . . . . . . . . . . . . . . . . . . . . . . . . . . . . . . . . . . . 5-19
PL5.1 Регистрация . . . . . . . . . . . . . . . . . . . . . . . . . . . . . . . . . . . . . . . . . . . . . . . . . . . . . . 5-19
PL6 КСЕРОГРАФИЯ . . . . . . . . . . . . . . . . . . . . . . . . . . . . . . . . . . . . . . . . . . . . . . . . . . . . 5-21
PL6.1 CRU . . . . . . . . . . . . . . . . . . . . . . . . . . . . . . . . . . . . . . . . . . . . . . . . . . . . . . . . . . . . . 5-21
PL7 ROS . . . . . . . . . . . . . . . . . . . . . . . . . . . . . . . . . . . . . . . . . . . . . . . . . . . . . . . . . . . . . 5-22
PL7.1 ROS . . . . . . . . . . . . . . . . . . . . . . . . . . . . . . . . . . . . . . . . . . . . . . . . . . . . . . . . . . . . . 5-22
PL8 ФЬЮЗЕР . . . . . . . . . . . . . . . . . . . . . . . . . . . . . . . . . . . . . . . . . . . . . . . . . . . . . . . . . 5-23
PL8.1 Фьюзер . . . . . . . . . . . . . . . . . . . . . . . . . . . . . . . . . . . . . . . . . . . . . . . . . . . . . . . . . . . 5-23
PL9 ПРИВОД . . . . . . . . . . . . . . . . . . . . . . . . . . . . . . . . . . . . . . . . . . . . . . . . . . . . . . . . . . 5-24
PL9.1 Привод . . . . . . . . . . . . . . . . . . . . . . . . . . . . . . . . . . . . . . . . . . . . . . . . . . . . . . . . . . . 5-24
PL10 Nohad . . . . . . . . . . . . . . . . . . . . . . . . . . . . . . . . . . . . . . . . . . . . . . . . . . . . . . . . . . . . 5-25
PL10.1 Nohad . . . . . . . . . . . . . . . . . . . . . . . . . . . . . . . . . . . . . . . . . . . . . . . . . . . . . . . . . . . 5-25
PL11 ЭЛЕКТРИЧЕСКИЕ ЭЛЕМЕНТЫ . . . . . . . . . . . . . . . . . . . . . . . . . . . . . . . . . . . . . . . 5-26
PL11.1 Электрические элементы . . . . . . . . . . . . . . . . . . . . . . . . . . . . . . . . . . . . . . . . . . . 5-26
PL12 РАМА . . . . . . . . . . . . . . . . . . . . . . . . . . . . . . . . . . . . . . . . . . . . . . . . . . . . . . . . . . . . 5-27
PL12.1 Рама . . . . . . . . . . . . . . . . . . . . . . . . . . . . . . . . . . . . . . . . . . . . . . . . . . . . . . . . . . . . 5-27
PL13 ДУПЛЕКСНЫЙ МОДУЛЬ . . . . . . . . . . . . . . . . . . . . . . . . . . . . . . . . . . . . . . . . . . . . . 5-28
PL13.1 Дуплексный модуль (1/2) . . . . . . . . . . . . . . . . . . . . . . . . . . . . . . . . . . . . . . . . . . . 5-28
PL13.2 Дуплексный модуль (2/2) . . . . . . . . . . . . . . . . . . . . . . . . . . . . . . . . . . . . . . . . . . . 5-29
PL14 N/A . . . . . . . . . . . . . . . . . . . . . . . . . . . . . . . . . . . . . . . . . . . . . . . . . . . . . . . . . . . . . . 5-30
PL14.1 N/A . . . . . . . . . . . . . . . . . . . . . . . . . . . . . . . . . . . . . . . . . . . . . . . . . . . . . . . . . . . . . 5-30
PL14.2 N/A . . . . . . . . . . . . . . . . . . . . . . . . . . . . . . . . . . . . . . . . . . . . . . . . . . . . . . . . . . . . . 5-31
PL14.3 N/A . . . . . . . . . . . . . . . . . . . . . . . . . . . . . . . . . . . . . . . . . . . . . . . . . . . . . . . . . . . . . 5-32
PL15 ДОПОЛНИТЕЛЬНЫЙ ПОДАТЧИК НА 550 ЛИСТОВ . . . . . . . . . . . . . . . . . . . . . . . 5-33
PL15.1 Податчик на 550 листов (1/3) . . . . . . . . . . . . . . . . . . . . . . . . . . . . . . . . . . . . . . . . 5-33
PL15.2 Податчик на 550 листов (2/3) . . . . . . . . . . . . . . . . . . . . . . . . . . . . . . . . . . . . . . . . 5-34

Глава 5 Перечень запасных частей
5.1 О перечнях запасных частей
5 - 1
5.1 О перечнях запасных частей
5.1.1 Как пользоваться перечнями запасных частей
Глава 5 "Перечни запасных частей" содержит информацию о запасных частях. Она используется при
заказе запасных частей и ввода кода зоны. Перед началом ее использования внимательно прочитайте
следующие объяснения и используйте их правильно.
5.1.2 Меры безопасности
•Для упрощения списка и облегчения его просмотра винты и соответствующие элементы
обозначены буквами и цифрами без каких-либо иллюстраций.
•Если в столбце DESCRIPTION (Описание) есть слово "Note" (Примечание), внимательно
прочитайте примечание до того, как элемент будет заказан и установлен.
•Элементы с буквами (SCC) перед их названиями в столбце DESCRIPTION (Описание)
являются важными с точки зрения обеспечения безопасности. При работе с важными
элементами безопасности следуйте соответствующим предписаниям, разработанным Fuji
Xerox Co., Ltd.
•Элементы с буквами (ISC) перед их названиями в столбце DESCRIPTION (Описание)
являются элементами хранения важной информации заказчика. Выполняйте замену/
утилизацию в соответствии с процедурами в главе 4.
•Коды областей указаны на соответствующих листах. Коды областей, которые не могут быть
описаны элементами на соответствующих листах (тонер, настройка текущих параметров и
т.п.), приводятся на листах в таблице кодов областей в конце этой главы.
•Ориентация аппарата задается следующим образом.
Рис. 5-1 Ориентация принтера
ЛЕВАЯ СТОРОНА
ПРАВАЯ СТОРОНА
ПЕРЕДНЯЯ ЧАСТЬ
ЗАДНЯЯ ЧАСТЬ

Глава 5 Перечень запасных частей
5.1 О перечнях запасных частей
5 - 2
5.1.3 Структура листа
(1) Название листа
Название модуля
(2) Номер сублиста
Соответствует номеру ссылки в перечне запасных частей, приводимому в каждой главе.
(3) Название сублиста
Заголовок иллюстрации, которая механически делит каждый модуль.
(4) Позиция
Соответствует номеру на иллюстрации с таким же номером сублиста.
(5) Номер части
Номер для заказа запасной части
(6) Описание
Название запасной части
(7) Код зоныAREA
Код может быть введен в столбец неисправности в отчете о техническом обслуживании.

Глава 5 Перечень запасных частей
5.1 О перечнях запасных частей
5 - 3
5.1.4 Символы и обозначения
Символы и
терминология Описание
Сообщает вам, что процедуры регулировки соответствующих частей описаны в
главе 4 "Процедуры разборки/сборки и регулировки".
Сообщает вам, что процедуры снятия, установки и замены описаны в главе 4
"Процедуры разборки/сборки и регулировки".
Сообщает вам, что процедуры снятия, установки и замены и регулировки
описаны в главе 4 "Процедуры разборки/сборки и регулировки".
3 (with 4-10) Эта комбинация располагается в верхнем правом или верхнем левом углу
иллюстрации и показывает, что сборка, состоящая из частей, приведена как одна
позиция.
Пример показывает, что позиция 3 является сборкой из частей с 4 по 10.
(1/4 Pcs.) Показывает, что устанавливаются 4 идентичных части, но на иллюстрации
приведена только одна из них.
- - Если такой символ находится в столбце PARTS NO (Номер по каталогу), то это
значит, что отдельно данная деталь не считается запасной.
(P/O Item 5) Если такое обозначение приводится в столбце DESCRIPTION (Описание), то это
значит, что данная деталь не считается запасной. Он показывает, что позиция 5
является сборкой.
(New) (Old) Если эти слова приводятся в столбце DESCRIPTION (Описание), то это значит,
что части для замены поставляются в новой и старой версиях. Если нет
специальных инструкций или особых причин, заказывайте старые (Old) части.
(Alternative)
(Альтернатива)
Если это слово приведено в столбце DESCRIPTION (Описание), заказывайте для
замены какую-нибудь одну часть.
Если этот символ приведен в столбце PARTS No. (Номер по каталогу), то цифра
в кружке показывает, что весь рисунок или его области, обведенные в рамку,
представлены в конфигурации после модификации, номер которой приведен в
кружке.
Если этот символ приведен в столбце PARTS No. (Номер по каталогу), то цифра
в кружке показывает, что весь рисунок или его области, обведенные в рамку,
представлены в конфигурации до модификации, номер которой приведен в
кружке.
Этот символ показывает, что деталь представлена в конфигурации после
модификации, номер которой приведен в кружке.
Этот символ показывает, что деталь представлена в конфигурации до
модификации, номер которой приведен в кружке.
[Models with 5V] Если такое обозначение приведено в столбце DESCRIPTION (Описание), то
номер показывает конфигурацию детали после ее модификации.

Глава 5 Перечень запасных частей
5.1 О перечнях запасных частей
5 - 4
[Models without 5V] Если такое обозначение приведено в столбце DESCRIPTION (Описание), то
номер показывает конфигурацию детали до ее модификации.
(SCC) Fuser
Assembly
Элементы с буквами (SCC) перед их названиями в столбце DESCRIPTION
(Описание) являются важными с точки зрения обеспечения безопасности. При
работе с важными элементами безопасности следуйте соответствующим
предписаниям, разработанным Fuji Xerox Co., Ltd.
(ISC) NVMPWB Элементы с буквами (ISC) перед их названиями в столбце DESCRIPTION
(Описание) являются элементами хранения важной информации заказчика.
Выполняйте замену/утилизацию в соответствии с процедурами в главе 4.
Символы и
терминология Описание

Глава 5 Перечень запасных частей
5.2 Соответствие перечней запасных частей узлам аппарата
5 - 5
5.2 Соответствие перечней запасных частей узлам аппарата
Рис. 5-2 Крышка
Рис. 5-3 Податчик и кассета на 250 листов

Глава 5 Перечень запасных частей
5.2 Соответствие перечней запасных частей узлам аппарата
5 - 6
Рис. 5-4 Податчик и кассета на 550 листов
Рис. 5-5 Обходной лоток и передняя рама

Глава 5 Перечень запасных частей
5.2 Соответствие перечней запасных частей узлам аппарата
5 - 7
Рис. 5-6 Узел регистрации, CRU и фьюзера
Рис. 5-7 Привод и рама

Глава 5 Перечень запасных частей
5.2 Соответствие перечней запасных частей узлам аппарата
5 - 8
Рис. 5-8 ROS, Nohad и электрические элементы
Рис. 5-9 Дуплексный модуль

Глава 5 Перечень запасных частей
5.2 Соответствие перечней запасных частей узлам аппарата
5 - 9
Рис. 5-10 Дополнительный податчик на 550 листов
Рис. 5-11 Дополнительный податчик на 550 листов
Рис. 5-12

Глава 5 Перечень запасных частей
5.3 Перечень запасных частей
5 - 10
5.3 Перечень запасных частей
PL1 КРЫШКИ
PL1.1 Крышка
Передняя крышка

Глава 5 Перечень запасных частей
5.3 Перечень запасных частей
5 - 11
PL2 N/A
PL2.1 N/A

Глава 5 Перечень запасных частей
5.3 Перечень запасных частей
5 - 12
PL2.2 N/A
Передняя крышка

Глава 5 Перечень запасных частей
5.3 Перечень запасных частей
5 - 13
PL2.3 Податчик на 550 листов (1/2)
Передняя часть

Глава 5 Перечень запасных частей
5.3 Перечень запасных частей
5 - 14
PL2.4 Податчик на 550 листов (2/2)
Передняя часть

Глава 5 Перечень запасных частей
5.3 Перечень запасных частей
5 - 15
PL2.5 Кассета на 550 листов

Глава 5 Перечень запасных частей
5.3 Перечень запасных частей
5 - 16
PL3 Обходной лоток
PL3.1 Обходной лоток
Передняя часть

Глава 5 Перечень запасных частей
5.3 Перечень запасных частей
5 - 17
PL4 ПЕРЕДНЯЯ РАМА
PL4.1 Передняя рама
Передняя часть
Глава 5 Перечень запасных частей
5.3 Перечень запасных частей
5 - 18
*1 Для аппаратов, поставленных после февраля 2007 года.

Глава 5 Перечень запасных частей
5.3 Перечень запасных частей
5 - 19
PL5 РЕГИСТРАЦИЯ
PL5.1 Регистрация
Передняя часть
Глава 5 Перечень запасных частей
5.3 Перечень запасных частей
5 - 20

Глава 5 Перечень запасных частей
5.3 Перечень запасных частей
5 - 21
PL6 КСЕРОГРАФИЯ
PL6.1 CRU
*1. Расходные материалы
Передняя часть

Глава 5 Перечень запасных частей
5.3 Перечень запасных частей
5 - 22
PL7 ROS
PL7.1 ROS
Передняя часть

Глава 5 Перечень запасных частей
5.3 Перечень запасных частей
5 - 23
PL8 ФЬЮЗЕР
PL8.1 Фьюзер

Глава 5 Перечень запасных частей
5.3 Перечень запасных частей
5 - 24
PL9 ПРИВОД
PL9.1 Привод
Передняя часть

Глава 5 Перечень запасных частей
5.3 Перечень запасных частей
5 - 25
PL10 Nohad
PL10.1Nohad
Передняя часть

Глава 5 Перечень запасных частей
5.3 Перечень запасных частей
5 - 26
PL11 ЭЛЕКТРИЧЕСКИЕ ЭЛЕМЕНТЫ
PL11.1Электрические элементы
Передняя часть

Глава 5 Перечень запасных частей
5.3 Перечень запасных частей
5 - 27
PL12 РАМА
PL12.1 Рама
Передняя часть

Глава 5 Перечень запасных частей
5.3 Перечень запасных частей
5 - 28
PL13 ДУПЛЕКСНЫЙ МОДУЛЬ
PL13.1 Дуплексный модуль (1/2)
Передняя часть

Глава 5 Перечень запасных частей
5.3 Перечень запасных частей
5 - 29
PL13.2 Дуплексный модуль (2/2)

Глава 5 Перечень запасных частей
5.3 Перечень запасных частей
5 - 30
PL14 N/A
PL14.1N/A
Передняя часть

Глава 5 Перечень запасных частей
5.3 Перечень запасных частей
5 - 31
PL14.2N/A
Передняя часть

Глава 5 Перечень запасных частей
5.3 Перечень запасных частей
5 - 32
PL14.3N/A
Передняя часть

Глава 5 Перечень запасных частей
5.3 Перечень запасных частей
5 - 33
PL15 ДОПОЛНИТЕЛЬНЫЙ ПОДАТЧИК НА 550 ЛИСТОВ
PL15.1 Податчик на 550 листов (1/3)
Передняя часть

Глава 5 Перечень запасных частей
5.3 Перечень запасных частей
5 - 34
PL15.2 Податчик на 550 листов (2/3)
Передняя часть

Глава 5 Перечень запасных частей
5.3 Перечень запасных частей
5 - 35
PL15.3 Податчик на 550 листов (3/3)
Передняя часть
Глава 5 Перечень запасных частей
5.3 Перечень запасных частей
5 - 36
Глава 5 Перечень запасных частей
5.3 Перечень запасных частей
5 - 37
Глава 5 Перечень запасных частей
5.3 Перечень запасных частей
5 - 38
Глава 5 Перечень запасных частей
5.3 Перечень запасных частей
5 - 39
Глава 5 Перечень запасных частей
5.3 Перечень запасных частей
5 - 40
Глава 5 Перечень запасных частей
5.3 Перечень запасных частей
5 - 41
Глава 5 Перечень запасных частей
5.3 Перечень запасных частей
5 - 42
Глава 5 Перечень запасных частей
5.3 Перечень запасных частей
5 - 43
Глава 5 Перечень запасных частей
5.3 Перечень запасных частей
5 - 44
Глава 5 Перечень запасных частей
5.3 Перечень запасных частей
5 - 45
Глава 5 Перечень запасных частей
5.3 Перечень запасных частей
5 - 46
Глава 5 Перечень запасных частей
5.3 Перечень запасных частей
5 - 47
Глава 5 Перечень запасных частей
5.3 Перечень запасных частей
5 - 48
Глава 5 Перечень запасных частей
5.3 Перечень запасных частей
5 - 49
Глава 5 Перечень запасных частей
5.3 Перечень запасных частей
5 - 50
Глава 5 Перечень запасных частей
5.3 Перечень запасных частей
5 - 51
Глава 5 Перечень запасных частей
5.3 Перечень запасных частей
5 - 52
Глава 5 Перечень запасных частей
5.3 Перечень запасных частей
5 - 53
Глава 5 Перечень запасных частей
5.3 Перечень запасных частей
5 - 54
Глава 5 Перечень запасных частей
5.3 Перечень запасных частей
5 - 55
Глава 5 Перечень запасных частей
5.3 Перечень запасных частей
5 - 56
Глава 5 Перечень запасных частей
5.3 Перечень запасных частей
5 - 57
Глава 5 Перечень запасных частей
5.3 Перечень запасных частей
5 - 58
Глава 5 Перечень запасных частей
5.3 Перечень запасных частей
5 - 59

Глава 6 Общая информация
Содержание
6.1 Технические характеристики . . . . . . . . . . . . . . . . . . . . . . . . . . . . . . . . . . . . . . . . . . . . . . . . . . . . . 6-1
6.1.1 Название аппарата/ код аппарата/ XJ-код . . . . . . . . . . . . . . . . . . . . . . . . . . . . . . . . . . . . . . . . 6-1
6.1.2 Габариты и масса принтера . . . . . . . . . . . . . . . . . . . . . . . . . . . . . . . . . . . . . . . . . . . . . . . . . . . 6-1
6.1.3 Пространство для установки . . . . . . . . . . . . . . . . . . . . . . . . . . . . . . . . . . . . . . . . . . . . . . . . . . . 6-1
6.1.4 Системная конфигурация принтера . . . . . . . . . . . . . . . . . . . . . . . . . . . . . . . . . . . . . . . . . . . . . 6-2
6.1.4.1 Общее описание принтера . . . . . . . . . . . . . . . . . . . . . . . . . . . . . . . . . . . . . . . . . . . . 6-2
6.1.4.2 Список функций . . . . . . . . . . . . . . . . . . . . . . . . . . . . . . . . . . . . . . . . . . . . . . . . . . . . . 6-3
6.1.5.1 Стандартные части . . . . . . . . . . . . . . . . . . . . . . . . . . . . . . . . . . . . . . . . . . . . . . . . . . 6-6
6.1.5.2 Дополнительные части . . . . . . . . . . . . . . . . . . . . . . . . . . . . . . . . . . . . . . . . . . . . . . . 6-7
6.1.5.3 Производительность . . . . . . . . . . . . . . . . . . . . . . . . . . . . . . . . . . . . . . . . . . . . . . . . . 6-8
6.1.6 Время вывода первого отпечатка (FPOT - First Print Output Time) . . . . . . . . . . . . . . . . . . . . . 6-9
6.1.8 Источник бумаги . . . . . . . . . . . . . . . . . . . . . . . . . . . . . . . . . . . . . . . . . . . . . . . . . . . . . . . . . . . . 6-11
6.1.8.1 Стандартный обходной лоток (MSI) . . . . . . . . . . . . . . . . . . . . . . . . . . . . . . . . . . . . 6-11
6.1.8.2 Стандартный универсальный лоток для бумаги (стандартный аппарат) . . . . . . 6-11
6.1.9 Модуль дополнительного лотка . . . . . . . . . . . . . . . . . . . . . . . . . . . . . . . . . . . . . . . . . . . . . . . 6-12
6.1.10 Упраление подачей бумаги . . . . . . . . . . . . . . . . . . . . . . . . . . . . . . . . . . . . . . . . . . . . . . . . . . . 6-12
6.1.11 Вывод бумаги . . . . . . . . . . . . . . . . . . . . . . . . . . . . . . . . . . . . . . . . . . . . . . . . . . . . . . . . . . . . . . 6-14
6.1.11.1 Укладка лицевой стороной вниз (стандарт) . . . . . . . . . . . . . . . . . . . . . . . . . . . . . 6-14
6.1.12 Дуплексный модуль . . . . . . . . . . . . . . . . . . . . . . . . . . . . . . . . . . . . . . . . . . . . . . . . . . . . . . . . . 6-14
6.1.12.1 Дуплексный модуль (дополнительный) . . . . . . . . . . . . . . . . . . . . . . . . . . . . . . . . . 6-14
6.1.13 Управление дуплексным модулем . . . . . . . . . . . . . . . . . . . . . . . . . . . . . . . . . . . . . . . . . . . . . 6-14
6.1.14 Работа с другими материалами . . . . . . . . . . . . . . . . . . . . . . . . . . . . . . . . . . . . . . . . . . . . . . . 6-15
6.1.14.1 Прозрачный разделитель . . . . . . . . . . . . . . . . . . . . . . . . . . . . . . . . . . . . . . . . . . . . 6-15
6.1.14.2 Load While Run (Загрузка во время работы) . . . . . . . . . . . . . . . . . . . . . . . . . . . . . 6-15
6.1.15 Емкость лотков . . . . . . . . . . . . . . . . . . . . . . . . . . . . . . . . . . . . . . . . . . . . . . . . . . . . . . . . . . . . . 6-15
6.1.16 Резюме по форматам бумаги и ограничениям по качеству бумаги . . . . . . . . . . . . . . . . . . . 6-16
6.1.16.1 Ограничения по формату . . . . . . . . . . . . . . . . . . . . . . . . . . . . . . . . . . . . . . . . . . . . 6-16
6.1.16.2 Ограничения по типу материала для печати . . . . . . . . . . . . . . . . . . . . . . . . . . . . 6-17
6.1.17 Интерфейс хост-компьютера . . . . . . . . . . . . . . . . . . . . . . . . . . . . . . . . . . . . . . . . . . . . . . . . . 6-18
6.1.17.1 Подключаемые аппараты (поддерживаемые клиенты/серверы) . . . . . . . . . . . . 6-18
6.1.17.2 IEEE1284 . . . . . . . . . . . . . . . . . . . . . . . . . . . . . . . . . . . . . . . . . . . . . . . . . . . . . . . . . 6-19
6.1.17.4 Ethernet . . . . . . . . . . . . . . . . . . . . . . . . . . . . . . . . . . . . . . . . . . . . . . . . . . . . . . . . . . . 6-20
6.1.17.5 USB . . . . . . . . . . . . . . . . . . . . . . . . . . . . . . . . . . . . . . . . . . . . . . . . . . . . . . . . . . . . . . 6-22
6.1.17.6 Описание функций. . . . . . . . . . . . . . . . . . . . . . . . . . . . . . . . . . . . . . . . . . . . . . . . . . 6-23
6.1.17.7 Управление заданиями . . . . . . . . . . . . . . . . . . . . . . . . . . . . . . . . . . . . . . . . . . . . . . 6-25
6.1.17.8 Функция Job History (История заданий) . . . . . . . . . . . . . . . . . . . . . . . . . . . . . . . . . 6-26
6.1.17.9 Диагностика/техническое обслуживание . . . . . . . . . . . . . . . . . . . . . . . . . . . . . . . . 6-27
6.1.17.10 Обслуживание, выполняемое пользователем . . . . . . . . . . . . . . . . . . . . . . . . . . . 6-27
6.1.17.11 Режим работы . . . . . . . . . . . . . . . . . . . . . . . . . . . . . . . . . . . . . . . . . . . . . . . . . . . . . 6-28
6.1.17.12 Утилита Print Function (Печать функции) . . . . . . . . . . . . . . . . . . . . . . . . . . . . . . . 6-30
6.1.17.13 Функция нескольких языков (не поддерживается драйвером NPDL) . . . . . . . . 6-32
6.1.18 Характеристики программного обеспечения . . . . . . . . . . . . . . . . . . . . . . . . . . . . . . . . . . . . . 6-33
6.1.18.1 Функция обновления встроенного программного обеспечения . . . . . . . . . . . . . . 6-33
6.1.18.2 Программная утилита . . . . . . . . . . . . . . . . . . . . . . . . . . . . . . . . . . . . . . . . . . . . . . . 6-33
6.1.18.3 Другие программные утилиты . . . . . . . . . . . . . . . . . . . . . . . . . . . . . . . . . . . . . . . . 6-34
6.1.19 Электрические свойства . . . . . . . . . . . . . . . . . . . . . . . . . . . . . . . . . . . . . . . . . . . . . . . . . . . . . 6-35
6.1.19.1 Рабочее напряжение/частота источника питания . . . . . . . . . . . . . . . . . . . . . . . . . 6-35
6.1.19.2 Номинальная потребляемая мощность . . . . . . . . . . . . . . . . . . . . . . . . . . . . . . . . . 6-35
6.1.20 Шум . . . . . . . . . . . . . . . . . . . . . . . . . . . . . . . . . . . . . . . . . . . . . . . . . . . . . . . . . . . . . . . . . . . . . . 6-36
6.2 Инструменты и расходные материалы для обслуживания . . . . . . . . . . . . . . . . . . . . . . . . . . . . 6-37
6.2.1 Инструменты . . . . . . . . . . . . . . . . . . . . . . . . . . . . . . . . . . . . . . . . . . . . . . . . . . . . . . . . . . . . . . 6-37
6.2.2 Расходные материалы для технического обслуживания . . . . . . . . . . . . . . . . . . . . . . . . . . . 6-37
6.3 Расходные материалы . . . . . . . . . . . . . . . . . . . . . . . . . . . . . . . . . . . . . . . . . . . . . . . . . . . . . . . . . 6-38
6.4 Периодически заменяемые части . . . . . . . . . . . . . . . . . . . . . . . . . . . . . . . . . . . . . . . . . . . . . . . . 6-39
6.5 Дополнительные части . . . . . . . . . . . . . . . . . . . . . . . . . . . . . . . . . . . . . . . . . . . . . . . . . . . . . . . . . 6-40
6.6 Процедуры установки . . . . . . . . . . . . . . . . . . . . . . . . . . . . . . . . . . . . . . . . . . . . . . . . . . . . . . . . . . 6-41
6.6.1 Проверьте комплект поставки . . . . . . . . . . . . . . . . . . . . . . . . . . . . . . . . . . . . . . . . . . . . . . . . . 6-41
6.6.2 Решение по месту установки аппарата . . . . . . . . . . . . . . . . . . . . . . . . . . . . . . . . . . . . . . . . . 6-43
6.6.3 Установка дополнительных элементов . . . . . . . . . . . . . . . . . . . . . . . . . . . . . . . . . . . . . . . . . 6-45
6.6.4 Включите питание и следуйте указаниям. . . . . . . . . . . . . . . . . . . . . . . . . . . . . . . . . . . . . . . . 6-45
6.6.5 Загрузка бумаги . . . . . . . . . . . . . . . . . . . . . . . . . . . . . . . . . . . . . . . . . . . . . . . . . . . . . . . . . . . . 6-48
6.6.6 Выполнение тестовой печати . . . . . . . . . . . . . . . . . . . . . . . . . . . . . . . . . . . . . . . . . . . . . . . . . 6-50
6.7 Конфигурирование окружения печати . . . . . . . . . . . . . . . . . . . . . . . . . . . . . . . . . . . . . . . . . . . . . 6-51
6.7.1 Поддерживемое окружение . . . . . . . . . . . . . . . . . . . . . . . . . . . . . . . . . . . . . . . . . . . . . . . . . . . 6-51
6.7.2 Подключение кабелей . . . . . . . . . . . . . . . . . . . . . . . . . . . . . . . . . . . . . . . . . . . . . . . . . . . . . . . 6-54
6.7.3 Конфигурирование сетевого окружения . . . . . . . . . . . . . . . . . . . . . . . . . . . . . . . . . . . . . . . . . 6-56
6.7.4 Активация используемого порта . . . . . . . . . . . . . . . . . . . . . . . . . . . . . . . . . . . . . . . . . . . . . . . 6-59
6.7.5 Задание конфигурации принтера с помощью CentreWare Internet Services . . . . . . . . . . . . 6-60
6.7.6 Установка драйвера принтера . . . . . . . . . . . . . . . . . . . . . . . . . . . . . . . . . . . . . . . . . . . . . . . . 6-65
6.8 Список пунктов меню панели управления . . . . . . . . . . . . . . . . . . . . . . . . . . . . . . . . . . . . . . . . . . 6-66

Глава 6 Общая информация
6.1 Технические характеристики
6 - 1
6.1 Технические характеристики
6.1.1 Название аппарата/ код аппарата/ XJ-код
6.1.2 Габариты и масса принтера
6.1.3 Пространство для установки
Минимальное пространство для установки следующее.
Рис. 6-1
Таблица 6-1:
Название
аппарата
Стран
иц в
минут
у
Сеть
Дупл
ексн
ый
моду
ль
Стандартный
лоток Код аппарата Номер по каталогу
Phaser 5335
(220 В)
35 Станд
артная
Допол
нител
ьно
550 HXN 100S12632
Таблица 6-2:
Phaser 5335 со стандартным
лотком на 550 листов
Длина
(мм)Ширина (мм)Высота (мм)Масса (кг) (без
CRU)
С
установленны
м лотком на
550 листов
Если лоток не
выдвинут
459 506 375,3 21,3
Если лоток
выдвинут
459 636 375,3

Глава 6 Общая информация
6.1 Технические характеристики
6 - 2
6.1.4 Системная конфигурация принтера
Phaser 5335 - это название системы принтера с ESS, добавленной к IOT, как показано на следующем
рисунке. Далее приводится общее описание каждого блока:
6.1.4.1 Общее описание принтера
1Компьютер клиента
Персональные компьютеры, Macintosh и т.п.
2ESS
ESS интерпретирует информацию для печати, посылаемую из компьютера клиента (данные
управления, данные о кодах символов, графические данные, данные изображения и т.п.),
преобразует ее в видеоданные и передает их в IOT.
3IOT
Видеоданные, принятые от ESS, распечатываются и таким образом визуализируются.
Рис. 6-2 Общее описание принтера

Глава 6 Общая информация
6.1 Технические характеристики
6 - 3
6.1.4.2 Список функций
•Обзор функций IOT
Таблица 6-3: Обзор функций IOT
Конфигурация
Содержание
Phaser 5335
220 В
Запись
изображения
35 страниц в минуту, 600/1200 точек на
дюйм (2 луча)
Система записи
изображения
Электрографический метод,
светочувствительный барабан
Система зарядки Роликовый метод
Система проявления Магнитная, 1-компонентная, с магнитным
валом
Система экспонирования Сканирование лучом
полупроводникового лазера
Система переноса Роликовый метод
Система закрепления Термический метод
CRU Барабан/тонер-картридж
Источник бумаги
Стандартный обходно лоток (150 листов)
Стандартный лоток (550 листов)
Дополнительный лоток (550 листов,
можно добавить максимум 3 лотка)
Вывод бумаги В выходной лоток, лицевой стороной
вниз (250 листов)
Панель
управления
ЖК-дисплей 16 разрядов х 2 строки
Кнопки 9 шт
Светодиоды 2 светодиода + светодиод режима
экономии энергии
LVPS Переменное напряжение 220 - 240 В ±
10%
50/60 ± 3 Гц

Глава 6 Общая информация
6.1 Технические характеристики
6 - 4
Таблица 6-4: Обзор функций IOT
O: Стандартная : Дополнительная X: Не поддерживается
Конфигурация Позиция 220 В
Узел IOT 35 страниц в минуту O
Электропитание Переменное напряжение 220 В,
50/60 Гц
O
Обходной лоток Стандартный обходной лоток O
Источник бумаги 1 Стандартный лоток O
Источник бумаги 2 Модуль дополнительного лотка
Источник бумаги 3 Модуль дополнительного лотка
Источник бумаги 4 Модуль дополнительного лотка
Вывод бумаги Лоток на 250 листов O
ESS Hakugin O
Датчик малого количества
тонера
X
Датчики Датчик отсутствия бумаги (в
источнике бумаги)
O
Датчик переполнения X
Панель управления Жидкокристаллический
дисплей: 16 разрядов х 2
строки, кнопки: 9, светодиоды: 3
O
Язык символов Английский/ французский/
испанский/ русский
CPU RM5231A 400 МГц
RAM Встроенная, 64 Mбайт O
Дополнительная RAM 256
Mбайт
Дополнительная RAM 512
Mбайт
ROM Встроенное, FW: 16 Мбайт O
Встроенное ПЗУ шрифтов O 8 Мбайт
Улучшенные PostScript +
латинские символы, 136
шрифтов
O
Жесткий диск 2,5” 40 Гбайт
MPC Многопротокольная плата
Хост-интерфейс IEEE1284 O
Ethernet (10base-T, 100Base-TX) O
USB 2.0 O (1 гнездо)

Глава 6 Общая информация
6.1 Технические характеристики
6 - 5
*1 PostScript, версия 3015.103
*2 PCL_XL, версия 2.1
*3 Не поддерживаемый PS-драйвер
Сеть
LPD O
Port9100 O
FTP O
IPP/IPPS
SMB
NetWare (Pserver)
Apple Talk (EtherTalk)
SNMP (TCP/IP) O
SNMP (IPX)
HTTP (EWS) O
HTTPS (EWS)
DHCP O
BOOTP O
RARP O
AutoIP O
SMTP O
WINS
Bonjour(mDNS)
DNS O
DDNS Ј
PDL FX-PDF O
PCL_XL protocol ver O
PCL5e O
ESC/P O
Adobe PostScript3 *1 O
Шрифт PostScript Adobe - 136 шрифтов O
PCL: Agfa - 81 шрифт O
PDF MMF: 2 шрифта O
Драйвер принтера PCL_XL *2 O
PostScript3 O
FX-PDF O
Утилита SimpleMonitor O *3
Таблица 6-4: Обзор функций IOT
O: Стандартная : Дополнительная X: Не поддерживается
Конфигурация Позиция 220 В

Глава 6 Общая информация
6.1 Технические характеристики
6 - 6
6.1.5.1 Стандартные части
Таблица 6-5: Стандартные части
O: Стандартная
Стандартная конфигурация XC 220 В
Принтер В отдельной упаковке O
CRU / MRU / ERU O
Комбинированный барабан/тонер-
картридж
В отдельной упаковке
(установочный, 6000
отпечатков)
O
Модуль фьюзера Установлен O
Узел переноса (BTR) Установлен O
Комплект узлов роликов лотка Установлен O
Комплект узлов роликов обходного
лотка Установлен
Установлен O
Дуплексный модуль Не установлен O
Стандартный лоток Установлен O
Стандартный обходной лоток Установлен O
Силовой шнур Рекомендуемые FX элементы
комплектуются на заводе.
O
Полный комплект руководств 1Листок помощи
2CD-ROM с драйверами
принтера
3CD-ROM с руководствами
(предоставляется GKLS)
O
Гарантия Гарантийный талон XC
(предоставляется GKLS)
O

Глава 6 Общая информация
6.1 Технические характеристики
6 - 7
6.1.5.2 Дополнительные части
Таблица 6-6: Опции IOT
Стандартная конфигурация XC 220 В
Податчик на 550 листов 097S03870 HXU
Дуплексный модуль 097S03871 HXV
Многопротокольная плата 098S05007 HXW
Внутренний жесткий диск 098S05006 HXT
Память 256 Мбайт 098S05021 KTA
Память 512 Мбайт 098S05022 KTB

Глава 6 Общая информация
6.1 Технические характеристики
6 - 8
6.1.5.3 Производительность
Далее приводится время, прошедшее с подачи команды на печать драйверу принтера до выхода
последнего отпечатка в выходной лоток. Продолжительность процесса в компьютере исключена. ROS
во включенном состоянии.
WindowsXP:PC-AT совместимый (Pentium 4-2,4 ГГц), 512 Мбайт (эталон)
ОС
Язык
описа
ния
стран
иц
Измерительн
ая таблица Бумага Качество
бумаги
Подача
бумаги
Одно-/
двусторонняя
печать
35 стр/мин
Win XP
PostSc
ript
J11 A4 LEF
Нормальн
ое
Лоток 1 Одностороння
я
Примерно 19,0
с
J12 A4 LEF
Нормальн
ое
Лоток 1 Одностороння
я
Примерно 9,6
с
PDF
Bridge
J12 A4 LEF
Нормальн
ое
Лоток 1 Одностороння
я
Примерно 19,5
с
OS X
PostSc
ript
J11 A4 LEF
Нормальн
ое
Лоток 1 Одностороння
я
Примерно 13,2
с
J12 A4 LEF
Нормальн
ое
Лоток 1 Одностороння
я
Примерно 19,6
с
PDFJ11 A4 LEF
Нормальн
ое
Лоток 1 Одностороння
я
Примерно 13,0
с
J12 A4 LEF
Нормальн
ое
Лоток 1 Одностороння
я
Примерно 3,1
с

Глава 6 Общая информация
6.1 Технические характеристики
6 - 9
6.1.6 Время вывода первого отпечатка (FPOT - First Print Output Time)
ROS находится во включенном состоянии, исключена продолжительность процесса в компьютере.
Далее в таблице приводится время, прошедшее с момента подачи команды на печать драйверу
принтера до момента выхода отпечатка.
WindowsXP ïðåäïèñûâàåò)
ОС
Язык
описа
ния
стран
иц
Измерительн
ая таблица Бумага Качество
бумаги
Подача
бумаги
Одно-/
двусторонняя
печать
35 стр/мин
Win XP
PostSc
ript
J4 A4 LEF
Нормальн
ое
Лоток 1 Одностороння
я
Примерно 19,5
с
J11 A4 LEF
Нормальн
ое
Лоток 1 Одностороння
я
Примерно 13,3
с
PDF
Bridge
J4 A4 LEF
Нормальн
ое
Лоток 1 Одностороння
я
Примерно 8,5
с
J11 A4 LEF
Нормальн
ое
Лоток 1 Одностороння
я
Примерно 13,3
с
OS X
PostSc
ript
J4 A4 LEF
Нормальн
ое
Лоток 1 Одностороння
я
Примерно 11,5
с
J11 A4 LEF
Нормальн
ое
Лоток 1 Одностороння
я
Примерно 45,6
с
PDF J4 A4 LEF
Нормальн
ое
Лоток 1 Одностороння
я
Примерно 13,6
с
J11 A4 LEF
Нормальн
ое
Лоток 1 Одностороння
я
Примерно 45,6
с
Глава 6 Общая информация
6.1 Технические характеристики
6 - 10
Эта страница преднамеренно оставлена пустой
6.1.7

Глава 6 Общая информация
6.1 Технические характеристики
6 - 11
6.1.8 Источник бумаги
6.1.8.1 Стандартный обходной лоток (MSI)
6.1.8.2 Стандартный универсальный лоток для бумаги (стандартный аппарат)
Приводимые далее условия применяются как к обходному лотку (стандартному обходному лотку), так и
к стандартному универсальному лотку для бумаги (стандартный аппарат).
*1
•Бумага 1 соответствует бумаге Japanese (от 60 до 70 г/кв. м) Бумага 2 соответствует бумаге
Overseas (от 70 до 80 г/кв. м) Может быть задана в ESS.
•Нельзя использовать: предварительно оплаченные почтовые карточки с линиями сгиба,
почтовые карточки для струйных принтеров и почтовые карточки с иллюстрациями.
• Youkei 4 Envelope (E506), изготавливаемые компанией LIFE, используются в качестве
стандарта для конвертов. В другом случае емкость лотка будет меняться в зависимости от
состояния конверов.
Таблица 6-7: Стандартный обходной лоток (MSI)
Поддерживаемые форматы
бумаги
Подача короткой кромкой: SEF A3/B4/A4/Ledger/Legal (13)/Legal (14)/Letter/Postcard/
Prepaid Postcard/Youkei 4
Envelope/ Commercial 10/5,5 x 8,5 дюйма/Monarch Envelope/DL Envelope/Choukei 3
Envelope (120 x 235 мм)
Подача длинной кромкой: A4/B5/A5/Letter/C5 Envelope/7,25 x 10,5 дюйма
Поддерживает бумагу, которая попадает в диапазон между минимальным и
максимальным пользовательским форматом.
Минимум: ширина 75 мм (ширина визитной карточки) x длина 148 мм
Максимум: ширина 297 мм (A3) x длина 431,8 мм (Ledger)
Длинная бумага: длина до 900 мм
Датчики Обнаружение бумаги: Установлен
Определение оставшейся бумаги: Не установлен
Определение размера бумаги: Не установлен
Емкость лотков 150 листов стандартной бумаги или менее 17,5 мм
Материал для печати *1 Бумага 1, бумага 2, прозрачные пленки, тяжелая бумага 1, тяжелая бумага 2
Плотность бумаги: От 60 г/кв. м до 216 г/кв. м
Таблица 6-8: Стандартный универсальный лоток для бумаги (стандартный аппарат)
Поддерживаемые форматы
бумаги
Подача короткой кромкой: SEF A3/B4/A4/Ledger/Legal (13)/Legal (14)/Letter/Postcard/
Prepaid Postcard/Youkei 4
Envelope/ Commercial 10/5,5 x 8,5 дюйма/Monarch Envelope/DL Envelope/Choukei 3
Envelope (120 x 235 мм)
Подача длинной кромкой: A4/B5/A5/Letter/C5 Envelope/7,25 x 10,5 дюйма
Поддерживает бумагу, которая попадает в диапазон между минимальным и
максимальным пользовательским форматом.
Минимум: ширина 75 мм x длина 148 мм
Максимум: ширина 297 мм (A3) x длина 431,8 мм (Ledger)
Датчики Обнаружение лотка для бумаги: Установлен
Обнаружение бумаги: Установлен
Определение оставшейся бумаги: Не установлен
Определение размера бумаги: Ручной (диск)
Емкость лотков Аппараты с лотком на 550 листов: 550 листов стандартной бумаги или менее 59,4 мм
Материал для печати *1 Бумага 1, бумага 2, прозрачные пленки, тяжелая бумага 1, тяжелая бумага 2
Плотность бумаги: От 60 г/кв. м до 216 г/кв. м

Глава 6 Общая информация
6.1 Технические характеристики
6 - 12
•Приведенные выше емкости основаны на использовании свежей бумаги. (Плотность должна
быть от 70 г/кв. м [стандарт JIS] до 80 г/кв. м)
•Бумагу с наштампованной фольгой и тисненую бумагу использовать нельзя.
•Бумагу с ленточками и/или застежками использовать нельзя.
6.1.9 Модуль дополнительного лотка
*1
•Бумага 1 соответствует бумаге Japanese (от 60 до 70 г/кв. м) Бумага 2 соответствует бумаге
Overseas (от 70 до 80 г/кв. м) Может быть задана в ESS.
•Нельзя использовать: предварительно оплаченные почтовые карточки с линиями сгиба,
почтовые карточки для струйных принтеров и почтовые карточки с иллюстрациями.
• Youkei 4 Envelope (E506), изготавливаемые компанией LIFE, используются в качестве
стандарта для конвертов. В другом случае емкость лотка будет меняться в зависимости от
состояния конверов.
•Приведенные выше емкости основаны на использовании свежей бумаги. (Плотность должна
быть от 70 г/кв. м [стандарт JIS] до 80 г/кв. м)
•Бумагу с наштампованной фольгой и тисненую бумагу использовать нельзя.
•Бумагу с ленточками и/или застежками использовать нельзя. *1 Бумага 1 соответствует
бумаге Japanese (от 60 до 70 г/кв. м) Бумага 2 соответствует бумаге Overseas (от 70 до 80 г/кв.
м) Может быть задана в ESS.
6.1.10 Упраление подачей бумаги
1Автоматический выбор лотка
Поиск и автоматический выбор лотка, в который загружена бумага заданного формата.
Логика автоматического выбора следующая:
Задается следующий приоритет: лоток 1, лоток 2, лоток 3, лоток 4.
Любая комбинация с бумагой, которую использовать нельзя, будет запрещаться драйвером принтера.
2Выбор лотка
Выбирается один из следующих лотков: лоток 1, лоток 2, лоток 3, лоток 4 и обходной лоток.
Таблица 6-9: Модуль дополнительного лотка
Поддерживаемые форматы
бумаги
Подача короткой кромкой: SEF A3/B4/A4/Ledger/Legal (13)/Legal (14)/Letter/Postcard/
Prepaid Postcard/Youkei
4 Envelope/ Commercial 10/5,5 x 8,5 дюйма/Monarch Envelope/DL Envelope/Choukei 3
Envelope (120 x 235 мм)
Подача длинной кромкой: A4/B5/A5/Letter/C5 Envelope/7,25 x 10,5 дюйма
Поддерживает бумагу, которая попадает в диапазон между минимальным и
максимальным пользовательским форматом.
Минимум: ширина 75 мм x длина 148 мм
Максимум: ширина 297 мм (A3) x длина 431,8 мм (Ledger)
Датчики Обнаружение лотка для бумаги: Установлен
Обнаружение бумаги: Установлен
Определение оставшейся бумаги: Не установлен
Определение размера бумаги: Ручной (диск)
Емкость лотков Аппараты с лотком на 250 листов: 250 листов стандартной бумаги или менее 27,6 мм
Аппараты с лотком на 550 листов: 550 листов стандартной бумаги или менее 59,4 мм
Материал для печати *1 Бумага 1, бумага 2, прозрачные пленки, тяжелая бумага 1, тяжелая бумага 2
Плотность бумаги: От 60 г/кв. м до 216 г/кв. м
Глава 6 Общая информация
6.1 Технические характеристики
6 - 13
Любая комбинация с бумагой, которую использовать нельзя, будет запрещаться драйвером принтера.
3Индикация оставшейся бумаги
Нет

Глава 6 Общая информация
6.1 Технические характеристики
6 - 14
6.1.11 Вывод бумаги
6.1.11.1 Укладка лицевой стороной вниз (стандарт)
* Определяется для свежей бумаги при нормальных условиях окружающей среды (22 градуса по
Цельсию/ относительная влажность 55%). Свежей называется бумага, которая пролежала 12
часов после распаковки в месте работы.
** Применимо для односторонней печати.
6.1.12 Дуплексный модуль
6.1.12.1 Дуплексный модуль (дополнительный)
Технические характеристики дуплексного модуля приведены далее.
6.1.13 Управление дуплексным модулем
Выбор между одно- и двусторонней печатью. Можно выбрать "сшивание по короткой кромке" и
"сшивание по длинной кромке".
Любая комбинация с бумагой, которую использовать нельзя, будет запрещаться драйвером принтера.
Также функция автоматической двусторонней печати может осуществлять печать как из кассеты, так и
из обходного лотка.
При необходимости увеличить скорость используется пакетный режим.
Таблица 6-10: Укладка лицевой стороной вниз (стандарт)
Место вывода Верхняя часть главного процессора принтера
Емкость выходного
лотка*
250 листов (стандартная бумага Letter/A4 или меньше)
Размер выводимой
бумаги
Все форматы, поддерживаемые аппаратом
Загружаемые материалы
для печати
Все материалы, поддерживаемые аппаратом
Определение
переполнения выходного
лотка
Нет
Возможности финишной
обработки
Можно легко сортировать без фальцовки или без изменения порядка.
Скручивание бумаги** 20 мм и менее (стандартная бумага, 22 градуса по Цельсию/ относительная
влажность 55%)
Таблица 6-11: Дуплексный модуль (дополнительный)
Материалы для печати,
используемые в
дуплексном модуле
Бумага 1, бумага 2, тяжелая бумага 1, тяжелая бумага 2
Плотность бумаги: От 60 г/кв. м до 190 г/кв. м
Форматы, пригодные для
двусторонней печати
Минимум: ширина 100 мм x длина 148 мм (A5 LEF)
Максимум: ширина 297 мм (A3) x длина 431,8 мм (Ledger)
Пользовательская бумага: ширина 100 - 297 мм х длина 148 - 431,8 мм

Глава 6 Общая информация
6.1 Технические характеристики
6 - 15
6.1.14 Работа с другими материалами
6.1.14.1 Прозрачный разделитель
Функция разделителя предназначена для прозрачных пленок. Она вставляет пустой лист или лист с
заранее напечатанным изображением в качестве разделителя. При печати изображений на
разделителях используется прозрачный лист. Источник бумаги может быть сконфигурирован на
автоматический выбор лотка, в который загружена бумага того же формата, что и прозрачная пленка (по
умолчанию), или на выбор лотка, который был задан как лоток с разделителями без дополнительных
условий.
6.1.14.2 Load While Run (Загрузка во время работы)
Если заполняется кассета, не используемая в ходе печати, печать продолжается без остановки. Это
позволяет вам загружать бумагу в середине работы. (Если выдвинута самая верхняя кассета, функция
Load While Run (Загрузка во время работы) не может осуществляться из всех модулей лотков,
находящихся ниже выдвинутой кассеты.) * Если установлены дополнительные модули.
6.1.15 Емкость лотков
Число, заключенное в скобки показывает количество листов бумаги плотностью 64 г/кв. м
*1 Свежей называется бумага, которая пролежала 12 часов после распаковки
в месте работы.
*2 Нельзя использовать следующее: почтовые карточки предварительной оплаты с линиями сгиба,
почтовые карточки для струйных принтеров и
почтовые карточки с изображениями.
•Загружайте почтовые карточки предварительной оплаты как показано на следующем рисунке.
*3 • Конверт Youkei 4 в основе своей имеет конверт the E506, изготавливаемый компанией LIFE.
•Конверты с клапаном и клеевой полосой загружайте так, как показано на следующем рисунке.
•Конверты с открытым клапаном (такие конверты с лентой использовать нельзя) загружайте
так, как показано на рисунке.
•Приведенные выше емкости основаны на использовании свежей бумаги. (Плотность должна
быть от 70 г/кв. м [стандарт JIS] до 80 г/кв. м)
•Бумагу с наштампованной фольгой и тисненую бумагу использовать нельзя.
•Бумагу с ленточками и/или застежками использовать нельзя.
Направление подачи
Конверт (подача короткой кромкой - SEF)
Почтовые карточки предварительной оплаты (подача короткой кромкой - SEF)
Таблица 6-12: Емкость лотков
Емкость лотков (листы)
Тип бумаги Кассета на 550 листов Обходной лоток на 150 листов
Стандартная бумага (А4) 550 листов (670 листов)150 листов (190 листов)
Почтове карточки *2 230 листов 50 листов
Конверты *3 60 листов 10 листов
Наклейки 250 листов 75 листов
Прозрачные пленки 100 листов 75 листов

Глава 6 Общая информация
6.1 Технические характеристики
6 - 16
6.1.16 Резюме по форматам бумаги и ограничениям по качеству
бумаги
В приводимой далее таблице суммируются установки драйвера и ограничения на работу с бумагой.
6.1.16.1 Ограничения по формату
Таблица 6-13: Ограничения по формату
Формат
выбранной
бумаги
Размер
бумаги
(ширина х
длина), мм
Стандартн
ый лоток
Обходн
ой
лоток
Дополните
льный
лоток
Отобра
жение
формат
а и типа
бумаги
в
драйве
ре
Установк
а
драйвер
а *1
Примечания
550 550
A3 SEF 297 x 420 O O O O O
A4 SEF 210 x 297 O O O O O
A4 LEF 297 x 210 O O O O O
A5 LEF 210 x 148 O O O O O
B4 SEF 257 x 364 O O O O O
B5 LEF 257 x 182 O O O O O
Letter LEF 279,4 x 215,9 O O O O O 8,5 x 11
Почтовые
карточки SEF
100 x 148 O O O O O Почтовые
карточки
Почтовые
карточки
предварительной
оплаты SEF
148 x 200 O O O O O
Youkei 4 SEF 105 x 234 O O O X O Конверт (105 x
235 мм)
Ledger SEF 279,4 x 431,8 O O O O O 11 x 17
Com-10 SEF 104,8 x 241,3 O O O X O Commercial 10
Legal 13 SEF 215,9 x 330,2 O O O O O 8,5 x 13
Legal 14 SEF 215,9 x 355,6 O O O O O 8,5 x 14
Statement SEF 139,7 x 215,9 O O O O O 5,5 x 8,5"
Executive LEF 266,7 x 184,2 O O O O O 7,25 x 10,5
Monarch SEF 98,4 x 190,5 O O O X O Конверты
Monarch
Конверт C5 LEF 162,0 x 229,0 O O O X O Конверт C5
Конверт DL SEF 220,0 x 110,0 O O O X O Конверт DL
Choukei 3 SEF 120,0 x 235,0 O O O X O
Нестандартная От 75 до 297 x
от 148 до 431,8
OO OC*3 O
Длинная бумага 297 х 900 X O X X J

Глава 6 Общая информация
6.1 Технические характеристики
6 - 17
O: Да X: Нет
*1: Стандартные форматы бумаги, которые могут быть заданы в драйвере, помечены знаком
"О".
Нестандартные форматы *2 задаются или выбираются в пользовательских форматах
(пользовательский интерфейс или устройство). Поддерживается следующий диапазон
выбора (от 75 до 297) х (от 148 до 431,8).
*2: Стандартные форматы: A3 SEF, A4 SEF, A4 LEF, A5 LEF, B4 SEF и B5 LEF.
*3: Для двусторонней печати можно выбрать форматы с размерами от 100 до 297 мм х от
148 до 431,8 мм.
6.1.16.2 Ограничения по типу материала для печати
O: Да X: Нет
*1: Типы материалов для печати, которые могут быть заданы в драйвере, помечены знаком "О".
*2: Выбор типа материала для печати изменяет внутренние установки, скорости записи и
закрепления.
Таблица 6-14: Ограничения по типу материала для печати
Формат выбранной
бумаги
Стандартный
лоток
Обходн
ой
лоток
Дополнительный
лоток
Дуплексн
ый
модуль
Установка
драйвера *1
550 550
Бумага 1 OO O O O
Бумага 2 OO O O O
Прозрачные пленки OO O X O
Тяжелая бумага 1 OO O O O
Тяжелая бумага 2 OO O O O

Глава 6 Общая информация
6.1 Технические характеристики
6 - 18
6.1.17 Интерфейс хост-компьютера
6.1.17.1 Подключаемые аппараты (поддерживаемые клиенты/серверы)
1Клиентское аппаратное обеспечение
Поддерживается следующее клиентское аппаратное обеспечение.
2Клиентские операционные системы
В таблице 6-16 представлены японские/английские/ТС/SC/KO версии клиентских операционных
систем. Основные опции отображаются на языке версии, дополнительные на английском языке.
Если операционная система в английской версии, то вся информация в драйвере будет
представляться на английском..
Печать с помощью драйвера Linux-PDF под Linux возможна, но не гарантируется и ограничивается
английской версией.
*1: поддерживаемые операционные системы: Mac OS X 10.2, 10.3, 10.4
Таблица 6-15: Поддерживаемое клиентское аппаратное обеспечение
Аппаратное обоеспечение Гарантированные условия
PC-AT совместимость (DOS/V) Работа под Windows2000, Windows XP, Windows Vista или NT4.0
гарантируется.
Macintosh *1 Работа под Mac OS X: 10.2.8/10.3.9/10.4 гарантируется.
Таблица 6-16: Поддерживаемые клиентские операционные системы
O: Поддерживается –: Не поддерживается
Клиентские операционные
системы
Драйвер
PCL PS
Windows NT4 O O
Windows 2000 O O
Windows XP O O
Windows XPx64Edition O O
Windows Vista O O
Mac OS X *1 - O
Глава 6 Общая информация
6.1 Технические характеристики
6 - 19
3Серверные операцонные системы
Поддерживаются следующие серверные операционные системы. Для поддержки операционных
систем требуется поддержка FX-стандарта (последняя версия ОС/выпуска), даже для тех,
которых нет в следующем списке.
1) Windows NT 4.0 Server
2) Windows 2000 Server
3) Windows Server 2003
4) NetWare 3.12J, 3.2J, 4.1J, 4.11J, 4.2J, 5J, 6, 6.5
5) Windows Vista
6.1.17.2 IEEE1284
1Разъем
Amphenol Full, 36 контактов
2Поддержка IEEE1284
IEEE1284 (полубайт, ECP-режим) поддерживаются как стандартные. Ооднако, если хост-
компьютер не поддерживает IEEE1284, функцию двунаправленной печати использовать нельзя.
3Поддерживаемые операционные системы
Windows NT4.0, Windows 2000/XP, Vista, Windows Server 2003
6.1.17.3

Глава 6 Общая информация
6.1 Технические характеристики
6 - 20
6.1.17.4 Ethernet
Сетевое подключение возможно как через 100BASE-TX, так и через 10BASE-T. Кроме этого возможно
переключение между
Auto/Manual (Автоматическое/ручное) и Full Duplex/Half Duplex (Полный дуплекс/ полудуплекс).
Физические характеристики удовлетворяют стандартам IEEE 802.3.
1Разъем
RJ-45
2Протокол печати
Поддерживаются следующие протоколы печати.
Стандартные: lpd, Port9100, IPP, SMB, NetWare, AppleTalk, ftp и pop3
1) Стандарт
*1: Требуется дополнительная многопротокольная LAN-плата.
*2: Максимальное число сессий определяется как количество команд, которые могут быть
приняты одновременно.
*3: NetWare 6.5 применяется для SP1.1 или более поздней версии.
*4: Поддерживается только PS.
Таблица 6-17: Протокол печати
Протокол Протокол
передачи
Максимально
е число
сессий *2
Поддерживаемый клиент
Lpd TCP/IP 1 NT4.0/2000/XP/Vista/Server2003 Linux
Mac OS X: 10.2/10.3/10.4
Port9100 TCP/IP 1 2000/XP/Vista/Server2003
IPP/IPPS*1 TCP/IP 5 Win2000/XP/Vista/Server2003/
Mac OS X: 10.3
SMB*1 TCP/IP 5 WNT4.0/2000/XP/Vista/Server2003
NetBEUI 5 WNT4.0/2000
NetWare
(Pserver)*1
NCP/IPX 1 NetWare3.12, 3.2 (NDS не поддерживается)
NetWare4.1, 4.11, 4.2, 5, 6, 6.5*3
TCP/IP
AppleTalk
(EtherTalk)*1,
*4
ATP/DDP 1 Mac OS X: 10.2/10.3/10.4
ftp TCP/IP 1 WNT4.0/2000/XP/Vista/Server2003
pop3 TCP/IP 1 Печать электронной почты

Глава 6 Общая информация
6.1 Технические характеристики
6 - 21
2) Другой протокол
Другие протоколы приведены в таблице 6-18.
*1: Требуется дополнительная многопротокольная LAN-плата.
Таблица 6-18: Протокол управления
Протокол Протокол
передачи Поддерживается
SNMP TCP/IP [Поддерживаемые MIB]
MIB-II (RFC1213)
HostResources MIB (RFC1514)
Printer MIB (RFC1759)
XCMI5.3
IPX*1
HTTP/HTTPS*1 TCP/IP [Клиент]
NT4.0/2000/Xp/Vista
Internet Explorer 6.0 или более поздняя версия
FireFox 1.5 или более поздняя версия
(Mac OS X 10.3 или более поздняя версия)
SAFARI 2.0 или более поздняя версия
FireFox 1.5 или более поздняя версия
DHCP TCP/IP [Поддерживаемая OS] сервер DHCP
WinNT4.0Server/2000Server/Server2003,
RedHat Linux 8/9, Unix Solaris 9 (пакет OS)
bootp TCP/IP [Поддерживаемая OS] сервер
WinNT4.0Server/2000Server/Server2003,
RedHat Linux 8/9, Unix Solaris 9 (пакет OS)
rarp TCP/IP [Поддерживаемые операционные системы]
Unix Solaris 9 (пакет OS)
AutoIP TCP/IP
WINS*1 TCP/IP [Поддерживаемые операционные системы]
WinNT4.0Server/Server2000/Server2003
SMTP/POP3 TCP/IP Сообщение о состоянии
Bonjour (mDNS)*1 UDP/IP [Поддерживаемые операционные системы]
Mac OS X 10.2 или более поздняя версия
FTP TCP/IP Обновление программного обеспечения
DNS/DDNS*1 TCP/IP [Поддерживаемые операционные системы]
Windows 2000Server/Server2003, UNIX
Глава 6 Общая информация
6.1 Технические характеристики
6 - 22
6.1.17.5 USB
Соответствует стандарту USB2.0 (высокая скорость, далее HS)
2.0 (HS) Slave 1 порт
1Разъем
4 контакта, В-разъем
2Поддерживаемые операционные системы
Windows 2000, Windows XP, Windows Vista, Windows Server 2003
Mac OS X: 10.2, 10.3
Предварительно установленная версия
3Идентификация
Получите USB-идентификацию.

Глава 6 Общая информация
6.1 Технические характеристики
6 - 23
6.1.17.6 Описание функций.
Таблица 6-19: Описание функций
O: Стандартная : Дополнительная X: Не поддерживается
Конфигурация Позиция 220 В
Узел IOT 35 страниц в минуту O
Электропитание Переменное напряжение 220 В, 50/60
Гц
O
Обходной лоток Стандартный обходной лоток O
Источник бумаги 1 Стандартный лоток O
Источник бумаги 2 Модуль дополнительного лотка
Источник бумаги 3 Модуль дополнительного лотка
Источник бумаги 4 Модуль дополнительного лотка
Вывод бумаги Лоток на 250 листов O
ESS Hakugin O
Датчик малого количества тонера X
Датчики Датчик отсутствия бумаги (в
источнике бумаги)
O
Датчик переполнения X
Панель управления Жидкокристаллический дисплей: 16
разрядов х 2 строки, кнопки: 9,
светодиоды: 3
O
Язык символов Английский/ французский/
испанский/ русский
CPU RM5231A 400 МГц
RAM
Встроенная, 64 Mбайт O
Дополнительная RAM 256 Mбайт
Дополнительная RAM 512 Mбайт
ROM
Встроенное, FW: 16 Мбайт O
Встроенное ПЗУ шрифтов O 8 Мбайт
Улучшенные PostScript + латинские
символы, 136 шрифтов
O
Жесткий диск 2,5” 40 Гбайт
MPC Многопротокольная плата
Хост-интерфейс
IEEE1284 O
Ethernet (10base-T, 100Base-TX) O
USB 2.0 O (1 гнездо)

Глава 6 Общая информация
6.1 Технические характеристики
6 - 24
*1 PostScript, версия 3015.103
*2 PCL_XL, версия 2.1
*3 Не поддерживаемый PS-драйвер
Сеть
LPD O
Port9100 O
FTP O
IPP/IPPS
SMB
NetWare (Pserver)
Apple Talk (EtherTalk)
SNMP (TCP/IP) O
SNMP (IPX)
HTTP (EWS) O
HTTPS (EWS)
DHCP
BOOTP O
RARP O
AutoIP O
SMTP O
WINS
Bonjour(mDNS)
DNS O
DDNS
Язык описания страниц
FX-PDF O
PCL_XL protocol ver O
PCL5e O
ESC/P O
Adobe PostScript3 *1 O
Шрифт
PostScript Adobe - 136 шрифтов O
PCL: Agfa - 81 шрифт O
PDF MMF: 2 шрифта O
Драйвер принтера
PCL_XL *2 O
PostScript3 O
FX-PDF O O
Утилита SimpleMonitor O *3
Таблица 6-19: Описание функций
O: Стандартная : Дополнительная X: Не поддерживается
Конфигурация Позиция 220 В
Глава 6 Общая информация
6.1 Технические характеристики
6 - 25
6.1.17.7 Управление заданиями
6.1.17.7.1 Отмена задания
Выполняемое задание может быть отменено с панели управления.
6.1.17.7.2 Принудительная печать
Если аппарат ожидает данные от хост-компьютера во время обработки задания, эта функция
принудительно распечатывает любые данные, принятые ранее.
6.1.17.7.3 Окончание времени ожидания задания
Если во время передачи данных возникает пауза на определенный период времени (который с
панели управления может быть изменен или установлен на бесконечность), уже переданные
данные будут отменены как ошибка.
6.1.17.7.4 Возобновление заданий
Если застревание бумаги приводит к сбою задания, это задание будет возобновлено
автоматически после устранения застревания.
6.1.17.7.5 Режим гарантированной печати
При добавлении дополнительной оперативной памяти даже документы с наивысшей степенью
сжатия (256 Мбайт только для данных изображения) могут распечатываться без сжатия с
разрешением 1200 точек на дюйм, на формате А3, в дуплексном режиме. В этом режиме печать
возможна всегда.
6.1.17.7.6
6.1.17.7.7
Глава 6 Общая информация
6.1 Технические характеристики
6 - 26
6.1.17.8 Функция Job History (История заданий)
Способна сохранять и распечатывать историю заданий объемом до 22 записей. Журнал может
распечатываться непосредственно с панели управления. Также можно печатать журнал автоматически,
когда достигается максимальное число сохраняемых записей.
Далее приводится подробная информация о журнале:
1Принятое задание (дата/время)
2Интерфейс ввода (порт ввода - Centronics, lpd и т.п.)
3Имя файла (название документа)
4Имя хост-компьютера/пользователя
5Количество листов
6Количество страниц
7Формат бумаги
8Результат (завершено, ошибка и т.п.)
9Прочая информация, заголовок, общий объем печати, показ прав и т.п.

Глава 6 Общая информация
6.1 Технические характеристики
6 - 27
6.1.17.9 Диагностика/техническое обслуживание
6.1.17.9.1 Самодиагностика
Самодиагностика выполняется во время включения питания.
6.1.17.9.2 Режим технического обслуживания
Войдя в сервисный режим (CE-режим) с помощью специальной операции на панели управления,
вы можете выполнить различные проверки.
6.1.17.9.3 Функция обновления встроенного программного обеспечения
Программное обеспечение для управления принтером может быть загружено с хост-компьютера
сервисным инженером или пользователем.
За более подробной информацией обратитесь к руководству по CentreWare Firmware Download
Tool.
Программное обеспечение ESS может быть перезаписано (обновлено) извне пользователем.
Перезапись может быть осуществлена с помощью способов, приведенных в следующей таблице.
*1: Несмотря на то, что процесс перезаписи может быть отодвинут на более позднее время,
поскольку есть планы применить маску во время массового производства, в настоящее время его
оставили доступным. Однако, сделано так, что его можно отнести на другое время, когда было
принято решение применить маску.
*2: Программа "CentreWare Firmware Download Tool" не может быть загружена через USB для
операционных систем Windows95/98/Me.
6.1.17.10 Обслуживание, выполняемое пользователем
Приводимые далее задачи могут выполняться пользователем регулярно или по требованию.
•Замена расходных материалов (CRU)
•Устранение застреваний
•Замена периодически заменяемых частей (только аппараты IBG)
Таблица 6-20: Способы перезаписи встроенного программного обеспечения
Целевой
элемент
перезаписи
Через IEEE1284 Через сеть (ftp) Через internet
(web) Через USB
ESS Да Да Нет Да*2
MPC Да Да Нет Да

Глава 6 Общая информация
6.1 Технические характеристики
6 - 28
6.1.17.11 Режим работы
6.1.17.11.1 Рабочий режим
Состояние работы: печать, запись и т.п.
6.1.17.11.2 Режим ожидания
Это состояние ожидания задания. Существует возможность войти в этот режим в течение 16
секунд после выключения и последующего включения питания или из спящего режима.
6.1.17.11.3 Режим экономии энергии 1
Если аппарат не принимает данные для печати в течение некоторого времени, то для
уменьшения потребления энергии он входит в режим экономии энергии 1. По умолчанию время
до перехода в этот режим составляет 3 минуты. С панели управления оно может быть изменяться
с шагом 1 минута в диапазоне от 1 до 60 минут.
Нельзя запретить аппарату входить в этот режим.
Таблица 6-21: Рабочий режим
ESS ESS Полная мощность
IOT
Система закрепления Поддержание рабочей
температуры
Система экспонирования Вращение с рабочей скоростью
Система записи
изображения
Работает
Таблица 6-22: Режим ожидания
ESS ESS Полная мощность
IOT
Система закрепления Поддержание температуры
режима ожидания
Система экспонирования Пауза
Система записи
изображения
Пауза
Таблица 6-23: Режим экономии энергии 1
ESS Спящий режим
IOT
Система закрепления Пауза
Система экспонирования Пауза
Система записи
изображения
Пауза
MCU MCU Полная мощность

Глава 6 Общая информация
6.1 Технические характеристики
6 - 29
6.1.17.11.4 Режим экономии энергии 2 (режим глубокого сна)
Если аппарат не принимает данные для печати в течение определенного времени после входа в
режим экномии 1, то для уменьшения расхода энергии он переходит в режим экономии энергии 2.
По умолчанию время перехода в этот режим - 5 минут. С панели управления оно может быть
изменяться с шагом 1 минута в диапазоне от 1 до 120 минут. Переход в этот режим можно
запретить. Однако, данный запрет нельзя активировать в аппаратах, предназначенных для
китайского рынка.
Этот режим удовлетворяет требованиям по экономии энергии E-Star и BAM (2004_BA). При
установке в качестве опции нестандартного жесткого диска и т.п. это гарантроваться не будет.
6.1.17.11.5 Резюме по режиму экономии энергии
1Режим экономии энергии 1
Принтер возвращается в режим готовности, если в режиме экономии энергии 1 принято задание
на печать или нажата любая кнопка на панели управления.
2Режим экономии энергии 2
Принтер возвращается в режим готовности, если в режиме экономии энергии 2 принято задание
на печать или нажата кнопка Power Saver на панели управления.
Таблица 6-24: Режим экономии энергии 2 (режим глубокого сна)
ESS ESS Спящий режим
IOT
Система закрепления Пауза
Система экспонирования Пауза
Система записи
изображения
Пауза
MCU MCU Полная мощность
Глава 6 Общая информация
6.1 Технические характеристики
6 - 30
6.1.17.12 Утилита Print Function (Печать функции)
6.1.17.12.1 Параметры принтера
Параметры принтера можно распечатать с панели управления.
Печать выполняется на бумаге А4 при автоматическом выборе лотка.
Содержимое параметров принтера следующее:
(Формат бумаги по умолчанию А4. Формат отпечатка и формат бумаги по умолчанию изменить
нельзя.)
[Title] (Заголовок)
[Company Name Logo] (Логотип компании)
[Product Name Logo] (Логотип продукции)
[General] (Общая информация)Серийный номер
Емкость встроенной памяти, количество встроенных шрифтов, названия и версии встроенных
языков описания страниц, версия F/W, версия IOT, счетчик копий: общий объем печати, версия
PS, серийный номер PS, версия загрузочной программы.
[Network] (Сеть)
Версия F/W
Ethernet: MAC-адрес, 10 или 100 base и половинный или полный
TCP/IP: IP-адрес, маска подсети, адрес шлюза, метод получения IP-адреса, ограничения на
прием IP
Информация о состоянии
IPX/SPX: Тип фрейма, сетевой адрес
Встроенные протоколы
[Printer Options] (Опции принтера)
Показывает лотки, которые могут использоваться как "модуль лотка" (лоток 1 - 3, обходной
лоток).
Доступность многопротокольной платы
Доступность жесткого диска
Дуплексный модуль
6.1.17.12.2 Список шрифтов
Список шрифтов можно распечатать с панели управления.
Печать выполняется на бумаге А4 (по умолчанию) при автоматическом выборе лотка.
6.1.17.12.3 История заданий для печати
Историю заданий для печати можно распечатать.
Печать выполняется на бумаге А4 (по умолчанию) при автоматическом выборе лотка.
6.1.17.12.4 История ошибок печати
Историю ошибок печати можно распечатать. Печать выполняется на бумаге А4 при
автоматическом выборе лотка.
6.1.17.12.5 Демонстрационная печать
Не поддерживается.
Глава 6 Общая информация
6.1 Технические характеристики
6 - 31
6.1.17.12.6 Настройки панели управления
Список пунктов меню можно распечатать.
6.1.17.12.7
6.1.17.12.8 Список, определяемый пользователем
Можно распечатать ART-IV, форму для ESC/P, и журнал состояния регистрации.
6.1.17.12.9 Счетчик печати
Функцию управления объемом печати или общий аудит принтера можно распечатать с панели
управления.
6.1.17.12.10 Печать дампа
Печатает принятые данные в шестнадцатиричном формате.
6.1.17.12.11 Список логических принтеров
ESC/P, PostScript, по 5 наборов для каждого.
Можно обозначить любой из списков логических принтеров.
6.1.17.12.12
6.1.17.12.13 Счетчик периодически заменяемых частей
Поддерживается.
Усовершенствование меню обслуживания (такое как показ сообщения-приглашения заменить
периодически
заменяемые части и т.п.) удовлетворяет следующим характеристикам:
1Показ предупреждения о замене
•Дисплей должен четко показывать, какую часть следует заменить. (показ с использованием
кода Неисправность/код ошибки (ххх-ххх).)
•Если возникает перекрытие с частями, которые нужно заменять, они будут показывать
отдельно друг от друга.
•Печать остается возможной, даже если показывается предупреждение о замене.
2После замены сброс показания счетчика с помощью панели управления.
•Функцию сброса можно найти в пользовательском меню.
•Если получена инструкция на сброс (сброс выполнен), величина записывается в историю
замен.

Глава 6 Общая информация
6.1 Технические характеристики
6 - 32
•Каждая часть будет иметь от 1 до 4 записей в журнале истории. Когда записи переполняют
список, самая старая величина будет переписана.
3Добавление счетчика обслуживания в список установок.
•Печатает текущее значение и историю для каждой части.
•Текущее значение счетчика получается путем вычитания ближайшей величины замены из
текущего значения.
4Определение счетчика
•Расчет на основании А4 LEF (расчет с помощью соотношения площадей А4 LEF +1, А3 +2 и
А4 LEF).
5Лист состояния
•Аппарат имеет функцию печати предупреждения о состоянии.
6.1.17.13 Функция нескольких языков (не поддерживается драйвером NPDL)
Таблица 6-25:
Комплект
технического
обслуживания
Срок
службы
Эталонный
счетчик История Примечания
Комплект
технического
обслуживания
100 000 - CRU Счетчик в ESS 4
Таблица 6-26: Ôóíêöèÿ íåñêîëüêèõ ÿçûêîâ
UI XC
Панель Английский, французский,
испанский, русский
Драйвер пользовательского
интерфейса
Английский, французский,
испанский, русский
SimpleMonitor
Английский, французский,
испанский, русский
Отчет/список
Английский, французский,
испанский, русский
EWS
Английский, французский, испанский, русский

Глава 6 Общая информация
6.1 Технические характеристики
6 - 33
6.1.18 Характеристики программного обеспечения
6.1.18.1 Функция обновления встроенного программного обеспечения
Программное обеспечение для управления принтером может быть загружено с хост-компьютера
сервисным инженером или пользователем.
Программное обеспечение ESS может быть перезаписано (обновлено) извне пользователем.
Перезапись может быть осуществлена с помощью способов, приведенных в следующей таблице..
6.1.18.2 Программная утилита
6.1.18.2.1 Драйвер печати/Программа установки
Предусмотрены драйверы печати для WinNT4.0, Win2000, WinXP, Windows Server 2003, Vista,
Mac OS 8.2
Mac OS X 10.2, 10.3 и 10.4.
Эти драйверы печати могут быть установлены с помощью специальной программы.
6.1.18.2.2 Утилита прямой печати через TCP/IP
Не поддерживается.
6.1.18.2.3 Network Settings Tool (Программа сетевых установок)
Не поддерживается
Таблица 6-27: Способы перезаписи встроенного программного обеспечения
Целевой
элемент
перезаписи
Через IEEE1284 Через сеть (ftp) Через internet
(web) Через USB
ESS Да Да Нет Да
MPC Да Да Нет Да
Глава 6 Общая информация
6.1 Технические характеристики
6 - 34
6.1.18.2.4 SimpleMonitor
Позволяет пользователям проверять состояние принтера (ожидание/готовность), оставшееся
количество тонера (газовый датчик), состояние барабана (ОК/пустой), крышки (открыта/закрыта)
и т.п.
6.1.18.3 Другие программные утилиты
N/A
Таблица 6-28:
Таблица 6-29:
Таблица 6-30:
Таблица 6-31:
Таблица 6-32:

Глава 6 Общая информация
6.1 Технические характеристики
6 - 35
6.1.19 Электрические свойства
6.1.19.1 Рабочее напряжение/частота источника питания
Аппарат может работать в следующих условиях.
6.1.19.2 Номинальная потребляемая мощность
Номинальная потребляемая мощность следующая:
*1 Потребляемая мощность рассчитывается только для IOT. (без ESS/с размыкателем цепи при
утечке тока)
Таблица 6-33: Рабочее напряжение/частота источника питания
Напряжен
ие
(номинал
ьное)
Страни
ц в
минуту
Все опции Электрический ток
IOT Все опции IOT Все опции
220 В35 1100 Вт и менее 1230 Вт и менее До 5,7A До 6,7A
Таблица 6-34: Номинальная потребляемая мощность
Напряжен
ие
(номинал
ьное)
Страни
ц в
минуту
Режим
ожидания (все
опции)
При печати со средней потребляемой
мощностью (все опции)
При пониженной
мощности *1
Односторонняя
печать
Двусторонняя
печать
Фьюзер и
выключатель
выключены.
220 В35 1100 Вт и менее 700 Вт и менее 570 Вт и менее 5 Вт или менее

Глава 6 Общая информация
6.1 Технические характеристики
6 - 36
6.1.20 Шум
Оценки уровней шума для модели M/C на 60 Гц ниже приведенных значений.
Оценка основана на стандартах измерения ISO7779.
*1: Конфигурация - вся система: главный процессор + опции *5
*2: LwAd: уровень энергии (окружение) = измеренное значение LwA (1 устройство) + 0,3 Б
*3: LwAI: Уровень импульса энергии
*4: LpAm: Уровень звукового давления в проекции на поверхность (положение наблюдателя)
*5: Дуплексный модуль и модули лотков ( 35 страниц в минуту лотки 3 уровня), которые
установлены в качестве опций.
Таблица 6-35: Шум
Параметр
35 страниц в минуту
Аппарат Вся
система *1
Характеристический уровень звуковой энергии
в режиме ожидания (окружение) (единицы:
Белл) *2 4.3 4.3 5.3 5.3
5,3 5,3
Характеристический уровень звуковой энергии
при работе (окружение) (единицы: Белл) *2 6,6
7,1 7,1 7,8
7,1 7,8
Характеристический уровень звукового
импульса при работе (единицы: Белл) *3 6,8
7,5 7,1 8,0
7,1 8,0
Характеристическое звуковое давление в
проекции на поверхность во время работы
(единицы: Белл) *4
(Положение наблюдателя) (единицы: дБ
--
Глава 6 Общая информация
6.2 Инструменты и расходные материалы для обслуживания
6 - 37
6.2 Инструменты и расходные материалы для обслуживания
6.2.1 Инструменты
Для этого аппарата нет специальных инструментов. Основной инструмент
6.2.2 Расходные материалы для технического обслуживания
Для этого аппарата нет специальных расходных материалов для технического обслуживания.

Глава 6 Общая информация
6.3 Расходные материалы
6 - 38
6.3 Расходные материалы
Расходные материалы приведены в таблице ниже.
Таблица 6-36: Расходные материалы
Расходные материалы Номер по каталогу Примечания
Принт-картридж, 10 000
отпечатков
113R00737 Объем печати 10 000 отпечатков
Комплект профилактического
обслуживания, 220 В
108R00772 Объем печати 100 000
отпечатков

Глава 6 Общая информация
6.4 Периодически заменяемые части
6 - 39
6.4 Периодически заменяемые части
Периодически заменяемые части приведены далее.
* Комплект профилактического обслуживания включает в себя следующее: модуль фьюзера,
узел переноса, комлпект узлов роликов лотка и комплект узлов роликов обходного лотка
Таблица 6-37: Периодически заменяемые части
Расходные материалы Номер по каталогу Примечания
Комплект профилактического
обслуживания, 220 В *
108R00772 Объем печати 100 000
отпечатков
Модуль фьюзера Объем печати 100 000
отпечатков
Узел переноса Объем печати 100 000
отпечатков
Комплект узлов роликов
обходного лотка
Объем печати 100 000
отпечатков
Комплект узлов роликов лотка Объем печати 100 000
отпечатков

Глава 6 Общая информация
6.5 Дополнительные части
6 - 40
6.5 Дополнительные части
Дополнительные части приведены далее...
Таблица 6-38: Опции IOT
Дополнительное устройство Номер по каталогу
Податчик на 550 листов 097S03870
Дуплексный модуль 097S03871
Многопротокольная плата
(MPC)
098S05007
Внутренний жесткий диск 098S05006
Память 256 Мбайт 098S05021
Память 512 Мбайт 098S05022
Глава 6 Общая информация
6.6 Процедуры установки
6 - 41
6.6 Процедуры установки
6.6.1 Проверьте комплект поставки
•Основной модуль принтера
•Барабан-картридж
•Гарантийный талон
•Краткое руководство по установке
Поднимая аппарат, следуйте инструкциям на листе.

Глава 6 Общая информация
6.6 Процедуры установки
6 - 42
•Компакт-диски с драйверами и электронной версией руководства пользователя
•Силовой шнур
•Лист горячей линии XE/DMO
ВНИМАНИЕ
•Аппарат (основной модуль) весит примерно 21,3 кг (Phaser 5335) или примерно 19,2 кг.
Его должны поднимать два или более человека.
•Поднимая аппарат, согните колени и возьмитесь за полости, расположенные с правой и
левой стороны аппарата. Это делается во избежание травм спины.

Глава 6 Общая информация
6.6 Процедуры установки
6 - 43
6.6.2 Решение по месту установки аппарата
•Условия установки
•Место с устойчивой горизонтальной поверхностью
•Температурный диапазон 10 - 32°C при относительной влажности 15 - 85% (без
конденсации)
•Место установки не должно подвергаться прямому действию солнечных лучей
•Электрическая розетка, заземление
ПРЕДУПРЕЖДЕНИЕ
•Во избежание поражения электрическим током или возгорания из-за утечки тока
зеленый провод заземления, который выступает из вилки, должен быть подключен к
одному из приводимого далее:
•Контакт заземления розетки
•Медная пластина, заглубленная в землю на 750 мм или глубже
•Контакт заземления, с которым проведена соответствующая работа (тип D)
•Проверьте контакт заземления используемой электрической розетки. Если заземление
невозможно или оно не выполнено, обратитесь за консультацией в службу технической
поддержки или в офис продаж. Никогда не подключайте провод заземления к
следующему:
•Газовым трубам (это может привести к возгоранию или взрыву.)
•Провод заземления телефонной линии и молниеотвод (в случае удара молнии
большая часть тока может протекать через него.)
•Водопроводные трубы или вентили (если где-нибудь в середине трубопровода есть
пластиковые элементы, это не может служить заземлением.)
•Если аппарат заземлен неправильно, это может привести к поражению электрическим
током.
•Силовой шнур должен подключаться в хорошо заземленную розетку вблизи аппарата.
Не используйте удлинитель. Убедитесь, что в одну электрическую розетку не включено
несколько аппаратов. Это может привести к возгоранию из-за перегрева.
•Если у вас возникли какие-либо вопросы по подключению аппарата к источнику
питания, обратитесь в нашу службу технической поддержки или офис продаж за
консультацией. Обратите внимание на шильдик в задней части аппарата• Силовой
шнур должен подключаться к электрической розетке, рассчитанной на большую
мощность, чем мощность самого аппарата.
•Используйте только поставляемый в комплекте аппарата силовой шнур или шнур,
одобренный нашей компанией. Использование других шнуров может привести к
возгоранию или поражению электрическим током. Также не используйте этот шнур для
других аппаратов.
•Не повреждайте, не ломайте и не модернизируйте силовой шнур. Силовой шнур можно
повредить, если его вытаскивать с излишним усилием или сильно сгибать. Это может
стать причиной перегрева и привести к возгоранию или поражению электрическим
током.
•Если силовой шнур поврежден (попал в открытый огонь, оборван и т.п.), обратитесь в
службу технической поддержки или офис продаж за заменой. Если вы его не замените,
это может привести к возгоранию или поражению электрическим током.

Глава 6 Общая информация
6.6 Процедуры установки
6 - 44
•Пространство для установки
Единица измерения: мм

Глава 6 Общая информация
6.6 Процедуры установки
6 - 45
6.6.3 Установка дополнительных элементов
Выполните установку в соответствии с руководством, которое поступает вместе с каждым аппаратом, и
разделами "Установка дополнительной памяти" и "Встроенный дополнительный жесткий диск" в главе 8
"Дополнительные элементы".
6.6.4 Включите питание и следуйте указаниям.
Не подвергайте барабан-картридж действию прямого солнечного света или сильного света.
Несмотря на то, что тонер не вреден для вашего организма, немедленно смойте его, если тонер попал
на руки или одежду.
После этого следуйте сообщениям на панели управления для того, чтобы выполнить установку.

Глава 6 Общая информация
6.6 Процедуры установки
6 - 46
Установка тонер-картриджа
Потяните рычаг [A] на себя, чтобы открыть переднюю крышку.
Откройте верхнюю крышку.
Встряхните барабан/тонер-картридж примерно 10 раз.
Медленно потяните за уплотнение тонера в горизонтальном направлении.
Передняя крышка

Глава 6 Общая информация
6.6 Процедуры установки
6 - 47
Закройте верхнюю крышку.
Установите барабан/тонер-картридж, совместив выступы с обеих сторон со стрелками на
внутренней стороне принтера и задвинув картридж.
Не прикасайтесь к защитной шторке фоторецептора (барабана) и поверхности фоторецептора.
Будьте осторожны, чтобы не прищемить пальцы.
Не прикасайтесь!

Глава 6 Общая информация
6.6 Процедуры установки
6 - 48
6.6.5 Загрузка бумаги
Установите направляющие в соответствии с форматом бумаги.
Только при загрузке форматов B4/ A3/ 11 x 17 дюймов
Выдвиньте удлинитель лотка.
При загрузке бумаги не заходите за эту линию.

Глава 6 Общая информация
6.6 Процедуры установки
6 - 49
Поверните барабан форматов в требуемое положение.
Будьте осторожны, чтобы не прищемить пальцы.
Указание:
Если в лоток загружается не бумага, смените тип материала для печати для этого лотка с панели
управления.
Обратитесь к пункту "4. Бумага" в "Кратком руководстве" за описанием процедуры смены типа
материала для печати.

Глава 6 Общая информация
6.6 Процедуры установки
6 - 50
6.6.6 Выполнение тестовой печати
Указание:
Если вы сделали ошибку, работая с панелью управления, вы можете вернуться к (1), нажав
кнопку Menu.

Глава 6 Общая информация
6.7 Конфигурирование окружения печати
6 - 51
6.7 Конфигурирование окружения печати
Если принтер был установлен в соответствии с руководством по установке, настройте окружение
принтера.
6.7.1 Поддерживемое окружение
Этот принтер может использоваться в качестве локального принтера, подсоединенного
непосредственно к компьютеру, или в качестве сетевого принтера.
Задайте для используемого порта значение "Enable" (Активен) с помощью панели управления.
•При использовании в качестве локального принтера:
Локальные принтеры могут быть подключены следующим образом:
•Параллельный подключение: Подключите аппарат к компьютеру с помощью
параллельного кабеля.
(Заводские установки: Активен)
•Подключение по USB: Подключите аппарат к компьютеру с помощью USB-кабеля.
(Заводские установки: Активен)
•При использовании в качестве сетевого принтера:
Сетевые принтеры могут использоваться в следующем окружении:
•LPD: Используется для обеспечения прямой связи с аппаратом с помощью протокола TCP/
IP.
(Заводские установки: Активен)
•Порт 9100: В качестве порта используется Port 9100.
(Заводские установки: Активен)
•FTP: Используется при печати через службу FTP.
(Заводские установки: Активен)
Глава 6 Общая информация
6.7 Конфигурирование окружения печати
6 - 52
Если установлена дополнительная многопротокольная LAN-плата, становятся доступными
следующие окружения.
• Netware®: Используется для доступа к аппарату с помощью сервера NetWare.
(Заводские установки: Активен)
•SMB: Используется при печати через сеть Windows®.
(Заводские установки: Активен)
•IPP: Используется при печати через Internet.
(Заводские установки: Активен)
• EtherTalk®: Используется для печати с Macintosh®. (Заводские установки: Активен)

Глава 6 Общая информация
6.7 Конфигурирование окружения печати
6 - 53
Поддерживаемые операционные системы и окружения
*1 – Требуется дополнительная многопротокольная LAN-плата
*2 – NDS не поддерживается
*3 - NetWare 6.5 после SP1.1
Таблица 6-39: Поддерживаемые операционные системы и окружения
Соедине
ние Локальное Сеть
Порт
Паралл
ельны
й
USB LPD NetWare *1 SMB *1 IPP *1 Порт
9100
AppleTalk
(EtherTalk
*1)
FTP
Протокол TCP/ IP NCP/IPX TCP/IP Net
BEUI
TCP/IP TCP/IP TCP/
IP
ATP/DDP TCP/IP
Windows
NT4.
OO OO O
Windows
2000
OOO OO OO O
Windows
XP
OOO O OO O
Windows
Vista
OOO OO OO O
Mac OS X
*1
OO O O
Linux O O
Server2003 O O O O O
NetWare 3.12,
3.2*2
4.1
4.11
4.2
5,6
6.5 *3

Глава 6 Общая информация
6.7 Конфигурирование окружения печати
6 - 54
6.7.2 Подключение кабелей
Соедините принтер и компьютер с помощью интерфейсных кабелей, которые подходят для данной
конфигурации соединения.
Интерфейсные кабели не включаются в поставку этого аппарата. Они должны приобретаться отдельно.
В случае параллельного соединения
Для параллельного соединения подготовьте наш дополнительный параллельный кабель. Если
используется не наш кабель, то могут возникнуть радиопомехи.
1Выключите питание принтера.
2Вставьте параллельный кабель в интерфейсный разъем аппарата. Зафиксируйте его
зажимами с обеих сторон.
3Подключите другой конец параллельного кабеля к компьютеру.
4Включите питание аппарата.
В случае USB-соединения
Для USB-соединения установите драйвер принтера в компьютер до подключения кабеля. За
информацией о процедуре установки обратитесь к [6.7.6 Установка драйвера принтера] (стр. 72)
и документации на CD-ROM (HTML) в комплекте компакт-дисков с драйверами.
1Выключите питание принтера. Вставьте USB-кабель в интерфейсный разъем
аппарата.
2Подключите другой конец USB-кабеля к компьютеру.
3Включите питание аппарата.
В случае сетевого соединения
В качестве сетевого кабеля подготовьте прямой кабель, который поддерживает 100BASE-TX или
10BASE-T.

Глава 6 Общая информация
6.7 Конфигурирование окружения печати
6 - 55
1Выключите питание принтера.
2Вставьте сетевой кабель в интерфейсный разъем аппарата.
3Подсоедините другой конец сетевого кабеля в сетевое устройство, например хаб.
4Включите питание аппарата.

Глава 6 Общая информация
6.7 Конфигурирование окружения печати
6 - 56
6.7.3 Конфигурирование сетевого окружения
В этом разделе описываются установки, необходимые для использования протокола TCP/IP. Для
использования этого принтера в другом окружении, за информацией о конфигурировании сетвых
установок обратитесь к документации на CD-ROM (HTML) в комплекте компакт-дисков с драйверами.
Задание IP-адреса
Для использования протокола TCP/IP необходимо задать IP-адрес.
При поставке с завода аппарата в нем для параметра "Get IP Address" (Получение IP-адреса)
задано "DHCP/Autonet". Поэтому в сетевом окружении с сервером DHCP IP-адрес задается
автоматически, как только аппарат подключается к сети.
Распечатайте "Printer Settings" (Установки принтера) для того, чтобы проверить, задан ли уже IP-
адрес.
Если IP-адрес не задан, измените значение параметра "Get IP Address" (Получение IP-адреса) на
"Panel" (Панель управления) и задайте IP-адрес.
Примечание
•За информацией о том, как распечатать установки принтера обратитесь в руководстве
пользователя к разделу "7.2 Печать отчетов/ списков " (стр. 164).
•Этот аппарат может автоматически получать информацию об адресе с помощью сервера
BOOTP или RARP. В этом случае измените значение параметра "Get IP Address" (Получение
IP-адреса на "BOOTP" или "RARP").
•При использовании сервера DHCP IP-адрес может изменяться, так что вам придется
регулярно проверять IP-адрес.
•При использовании DHCP-сервера в окружении WINS (Windows Internet Name Service)
требуется дополнительная многопротокольная LAN-плата.
Процедура задания IP-адреса выполняется следующим образом.
Этот раздел описывает процедуру задания IP-адреса с панели управления. В зависимости от
используемого сетевого окружения могут понадобиться установки маски подсети и адрес шлюза. При
задании этих параметров проконсультируйтесь с администратором сети.
Как только IP-адрес задан, все в порядке.
Если адрес не задан или если вы хотите изменить установки,
выполните следующую процедуру.
Глава 6 Общая информация
6.7 Конфигурирование окружения печати
6 - 57
•Задание IP-адреса
1Для вывода на экран меню нажмите кнопку [Menu] на панели управления.
2Нажмите кнопку [ ] несколько раз до появления пункта "Admin Menu" (Меню администратора).
Примечание
•Если вы проскочили мимо пункта, который хотели выбрать, воспользуйтесь кнопкой [ ] для
возврата.
3Сделайте выбор с помощью кнопки [ ].
Появляется "Network / Port" (Сеть/ порт).
Примечание
•Если вы ошибочно нажали кнопку [ ] на неправильном пункте, вернитесь к предыдущей
экранной странице с помощью кнопки [ ].
•Если вы захотите начать сначала нажмите кнопку [Menu] (Меню).
4Сделайте выбор с помощью кнопки [ ].
Появляется "Parallel" (Параллельный).
5Нажмите кнопку [ ] несколько раз до появления пункта "TCP/IP".
6Сделайте выбор с помощью кнопки [ ].
Появляется "Get IP Address" (Получение IP-адреса).
7Сделайте выбор с помощью кнопки [ ].
Появляется текущее значение.
8Нажмите кнопку [ ] несколько раз до появления пункта "Panel" (Панель управления).
9Подтвердите ввод кнопкой [Eject/Set] (Сброс/ввод).
После появления на три секунды на экране сообщения "Reboot to apply settings"
(Перезагрузка для вступления установок в силу) экран вернется к странице установок.
Перед выключением питания принтера и его последующим включением задайте адрес
шлюза. Перейдите к следующему этапу.
10 Нажмите кнопку [ ] для возврата к пункту "Get IP Address" (Получение IP-адреса).
11 Нажмите кнопку [ ] для показа пункта "IP Address" (IP-адрес).
12 Сделайте выбор с помощью кнопки [ ].
На экране показывается текущий IP-адрес.
Глава 6 Общая информация
6.7 Конфигурирование окружения печати
6 - 58
13 Нажмите кнопки [ ] и [ ] для ввода значения в первое поле и затем нажмите кнопку [ ].
Примечание
•Там, где изменения не требуются, нажмите кнопку [ ] для перехода к следующему полю.
•Постоянное нажатие кнопок [ ] или [ ] приводит к тому, что значение изменяется с шагом 10.
•Нажмите кнопку [ ] для возврата к предыдущему полю.
14 Заполните другие поля таким же образом и нажмите кнопку [Eject/Set] (Сброс/ввод) для
подтверждения установок, когда последнее (4-е) поле было заполнено.
15 Для продолжения и задания маски подсети и адреса шлюза нажмите кнопку [ ] и перейдите к
пункту 16.
Для завершения процедуры на этом месте перейдите к этапу 23.
•Задание маски подсети/адреса шлюза
16 Нажмите кнопку [ ] несколько раз до появления пункта "Subnet Mask" (Маска подсети).
17 Сделайте выбор с помощью кнопки [ ].
Появляется текущая маска подсети.
18 Введите маску подсети таким же образом, как и IP-адрес, и подтвердите ввод нажатием
кнопки [Eject/Set] (Сброс/ввод).
19 Нажмите кнопку [ ] для возврата к пункту "Subnet Mask" (Маска подсети).
20 Нажмите кнопку [ ] для показа пункта "Gateway Address" (Адрес шлюза).
21 Сделайте выбор с помощью кнопки [ ].
На экране показывается текущий адрес шлюза.
22 Введите адрес шлюза таким же образом, как и IP-адрес, и подтвердите ввод нажатием кнопки
[Eject/Set] (Сброс/ввод).
23 Этим завершается ввод установок.
Выключите питание принтера и включите его снова.
24 Распечатайте установки принтера и проверьте содержимое, установленное ранее.
Глава 6 Общая информация
6.7 Конфигурирование окружения печати
6 - 59
6.7.4 Активация используемого порта
Для порта, который должен использоваться, следует заблаговременно задать значение "Enable"
(Активирован) с панели управления. Если порт не активирован, выполните следующие действия для
изменения установок.
Здесь в качестве примера используется IPP.
1Для вывода на экран меню нажмите кнопку [Menu] на панели управления.
2Нажмите кнопку [ ] несколько раз до появления пункта "Admin Menu" (Меню администратора).
3Сделайте выбор с помощью кнопки [ ].
Появляется "Network / Port" (Сеть/ порт).
4Сделайте выбор с помощью кнопки [ ].
Появляется "Parallel" (Параллельный).
5Нажмите кнопку [ ] несколько раз, чтобы появился задаваемый протокол. (Пример: IPP)
6Сделайте выбор с помощью кнопки [ ].
Появляется сообщение [Port Status] (Состояние порта).
7Сделайте выбор с помощью кнопки [ ].
Появляется текущее значение.
8Нажмите кнопку [ ] для показа пункта "Enable" (Активирован).
9Подтвердите ввод кнопкой [Eject/Set] (Сброс/ввод).
После появления на три секунды на экране сообщения "Reboot to apply settings"
(Перезагрузка для вступления установок в силу) экран вернется к странице установок.
10 Этим завершается ввод установок.
Выключите питание принтера и включите его снова.

Глава 6 Общая информация
6.7 Конфигурирование окружения печати
6 - 60
6.7.5 Задание конфигурации принтера с помощью CentreWare
Internet Services
Обзор CentreWare Internet Services
CentreWare Internet Services - это служба, которая позволяет пользователю использовать web-браузер в
окружении с активированным протоколом TCP/IP для показа на экране состояния принтера или задания
на печать, а также для изменения установок.
Некоторые из параметров, которые задаются с панели управления, также могут задаваться на вкладке
[Properties] (Свойства) этой службы.
Примечание
•Служба CentreWare Internet Services недоступна, если принтер используется как локальный.
Поддерживаемое окружение и конфигурация
•Поддерживаемые web-браузеры
Было подтверждено, что CentreWare Internet Services работает со следующими web-браузерами.
Для Windows 2000, Windows XP и Windows Server 2003
• Microsoft® Internet Explorer 6.0
• Mozilla Firefox 1.5
Для Mac OS X 10.4
• Mozilla Firefox 1.5
• Safari 2.x
Глава 6 Общая информация
6.7 Конфигурирование окружения печати
6 - 61
•Установки web-браузера
При использовании CentreWare Internet Services рекомендуются следующие установки web-
браузера.
•Задайте адрес аппарата непосредственно, без использования прокси-сервера.
•Активируйте JavaScript.
Примечание
•Если адрес аппарата задается через прокси-сервер, ответ может замедляться или экранные
страницы могут не появляться.
•Если JavaScript не работает или остановлен, некоторые кнопки не показываются. В этом
случае вместо кнопок показвыаются URL-ссылки.
•За процедурами установок обратитесь к файлу помощи или используемому web-браузеру.
Вдобавок, при изменении установок языка дисплея в web-браузере можно переключать рабочую
страницу CentreWare Internet Services на различные версии языков.
Примечание
•За процедурами установок обратитесь к файлу помощи или используемому web-браузеру.
•Установки принтера
При использовании службы CentreWare Internet Services должен быть задан IP-адрес аппарата и
для параметра "Internet Services" (Службы Internet) должно быть задано значение "Enable"
(Активирован) (заводская поставка: "Enable"). Если для параметра "Internet Services" (Службы
Internet) задано значение "Disable" (Деактивирован), смените его на "Enable" (Активирован) с
помощью панели управления.
Ссылка
•Руководство пользователя "Internet Services" (стр. 112)
•Руковдство пользователя "1.4 Enabling Ports" (Активация портов) (стр. 28)

Глава 6 Общая информация
6.7 Конфигурирование окружения печати
6 - 62
Параметры, которые могут быть заданы с помощью службы CentreWare Internet Services
Основные функции, которые могут быть заданы на каждой вкладке, следующие:
Таблица 6-40:
Название
вкладки Основная функция
Status (Состояние) • [General] (Общие сведения)
Показывает название принтера, IP-адрес и состояние принтера.
• [Printer Information] (Информация о принтере)
Показывает форматы бумаги, загруженной в лотки, и количество оставшейся бумаги,
состояние выходного лотка, состояние оставшихся расходных материалов.
• [Fault Status] (Состояние неисправностей)
Показывает состояние панели управления, место ошибок и содержимое состояния
неисправности.
Jobs (Задания)• Показывает список заданий и список истории заданий.
Properties (Свойства) • [Machine Details] (Подробная информация об аппарате)
Показывает название аппарата и его серийный номер. Могут также быть заданы Name*
(Имя), Location* (Расположение), Contact Person* (Контактное лицо) и Administrator E-
mail Address* (Адрес электронной почты администратора).
• [Configuration] (Конфигурация)
Показывает характеристики принтера, язык описания страниц (PDL) и информацию о
памяти.
• [Counters] (Счетчики)
Показывается общее количество отпечатков.
• [Initialization] (Инициализация)
Инициализирует энергонезависимую память и перезапускает принтер.
• [Security]* (Безопасность)
Здесь можно формировать, управлять, удалять сертификаты с подписью и
активировать связь с сервером SSL/TLS.
Этот пункт показывается, если установлена многопротокольная LAN-плата.
• [Status Messenger]* (Сообщение о состоянии)
Этот аппарат может уведомлять о своем состоянии, отсылая электронную почту по
указанным адресам. Здесь можно задать адрес, темы уведомлений и т.п.
• [Internet Services Settings]* (Параметры служб Internet)
Позволяет вам задавать интервалы обновления в секундах и автоматическое
обновление показа CentreWare Internet Services с помощью браузера. Позволяет вам
задавать имя и пароль администратора, а также активировать и деактивировать режим
администрирования в CentreWare Internet Services.
Заводские установки ID логина администратора "11111", а пароль - "x-admin". Заводская
установка пароля может быть изменена до ввода аппарата в эксплуатацию.
• [Port Status] (Состояние порта)
Позволяет вам активировать и деактивировать порты.
• [Port Settings] (Установки порта)
Позволяет вам конфигурировать параметры Ethernet.
• [Protocol Settings]* (Настройки протокола)
Позволяет вам конфигурировать тонкие настройки всех протоколов.
Printer (Принтер) • [Print User Restrictions]* (Ограничения для пользователей принтера)
Можно ограничить круг пользователей аппарата с помощью функции идентификации.
Для использования этой функции введите информацию о пользователях этого аппарата.
• [Logical Printer Settings]* (Параметры логических принтеров)
Задает логические принтеры PostScript и ESC/P.
PostScript показывается, если установлен дополнительный комплект программного
обеспечения PostScript.

Глава 6 Общая информация
6.7 Конфигурирование окружения печати
6 - 63
*: Эти параметры могут быть заданы только с помощью CentreWare Internet Services. Их нельзя
задать с панели управления.
Support (Поддержка)• Показывает информацию о поддержке. Содержит ссылку на службу поддержки.
Таблица 6-40:
Название
вкладки Основная функция

Глава 6 Общая информация
6.7 Конфигурирование окружения печати
6 - 64
Использование службы CentreWare Internet Services
Процедура использования этой службы следующая.
1Загрузите компьютер и запустите web-браузер.
2Введите IP-адрес принтера в соответствующее поле web-браузера и нажмите кнопку [Enter]
(Ввод). Появится главная страница CentreWare Internet Services.
Примечание
•Задавая номер порта, введите ":" и "80" (заводская установка номера порта) после адреса.
Номер порта можно проверить в "Printer Settings" (Параметры принтера).
•Номер порта можно изменить на вкладке "Properties" (Свойства) в разделе > "Protocol
Settings" (Настройки протокола)> "HTTP". Если номер порта меняется, то его нужно указать
после ":", которое добавляется к адресу.
•Если связь с сервером SSL/TLS активирована для шифрования передачи, в поле адреса
браузера введите адрес, начинающийся с "https", а не с "http", при установлении связи с
CentreWare Internet Services.
•За более подробной информацией об идентификации/функциях счетчиков и шифровании
передачи обратитесь к руководству пользователя, разделу "7.6 Функции безопасности" (стр.
172) и разделу "7.8 Функции идентификации и администрирования аудитрона" (стр. 181).
Использование справки
Для получения подробной информации о пунктах н аразличных экранных страницах щелкните
мышью на кнопке [Help] (Справка) для вывода на экран онлайновой помощи.
•Ввод IP-адреса •Ввод URL
Глава 6 Общая информация
6.7 Конфигурирование окружения печати
6 - 65
6.7.6 Установка драйвера принтера
Для печати с компьютера установите драйвер принтера с CD-ROM из комплекта компатк-дисков с
драйверами.
Способ установки драйвера принтера зависит от того, как аппарат подключен к компьютеру.
Обратитесь к документации на CD-ROM (HTML) и ознакомьтесь с процедурами до начала выполнения
установки.
Примечание
•Если устанавливатеся такое программное обеспечение, как ContentsBridge Utility, также
обратитесь к документации на CD-ROM (HTML).
Деинсталляция
•Деинсталляция драйвера принтера
Драйвер принтера может быть деинсталлирован с помощью программы Print Driver Uninstallation
Tool на CD-ROM из комплекта компакт-дисков с драйверами. За более подробной информацией
обратитесь к документации на CD-ROM (HTML).
•Деинсталляция других приложений
Для того чтобы деинсталлировать приложения, установленные с CD из комплекта компакт-
дисков с драйверами, прочитайте соответствующий файл Readme. Файлы Readme можно
вывести на дисплей в программе "Product Info (HTML)" (Информация о продукции) в комплекте
компакт-дисков с драйверами.

Глава 6 Общая информация
6.8 Список пунктов меню панели управления
6 - 66
6.8 Список пунктов меню панели управления
Основные функции панели управления
Функции ввода букв и цифр
Обозначения для меню администратора
: Главное меню
: Пункты, которые появляются/н епоявляются в зависимости от опций, установленных в принтере.
* : По умолчанию
Меню печати появляется на дисплее, только если установлен дополнительный жесткий диск.
Для перемещения вверх и вниз по меню:
Длдя выбора пункта меню или
перемещения вправо:
Для отмены выбора или перемещения
влево:
Для подтверждения ввода:
Для выхода с экранной страницы меню:
< кнопка > или < >
<кнопка >
<кнопка >
<кнопка Eject/Set> (Сброс/ввод)
<Кнопка Menu> (Меню)
Для увеличения или уменьшения
значения:
Для перехода между разрядами или
полями:
Для сброса значения на значение по
умолчанию:
< кнопка > или < >
< кнопка > или < >
< кнопки > и < >

Глава 6 Общая информация
6.8 Список пунктов меню панели управления
6 - 67

Глава 6 Общая информация
6.8 Список пунктов меню панели управления
6 - 68
*A
К B (справа вверху)

Глава 6 Общая информация
6.8 Список пунктов меню панели управления
6 - 69
От B (слева внизу) (продолжение [Network / Port])

Глава 6 Общая информация
6.8 Список пунктов меню панели управления
6 - 70
* D

Глава 6 Общая информация
6.8 Список пунктов меню панели управления
6 - 71
От Е (слева внизу) (продолжение [System Settings] )
От G (предыдущая страница) (продолжение [Printer Settings])

Глава 6 Общая информация
6.8 Список пунктов меню панели управления
6 - 72
Глава 6 Общая информация
6.8 Список пунктов меню панели управления
6 - 73
Глава 6 Общая информация
6 - 74

Глава 7 Схемы
электрических соединений
Содержание
7.1 Список разъемов . . . . . . . . . . . . . . . . . . . . . . . . . . . . . . . . . . . . . . . . . . . . . . . . . . . . . . . . . . . . . . 7-1.
7.1.1 Список разъемов механизма печати . . . . . . . . . . . . . . . . . . . . . . . . . . . . . . . . . . . . . . . . . . . . 7-1
7.1.2 N/A . . . . . . . . . . . . . . . . . . . . . . . . . . . . . . . . . . . . . . . . . . . . . . . . . . . . . . . . . . . . . . . . . . . . . . . . 7-2
7.1.3 Список разъемов податчика на 550 листов (основного) . . . . . . . . . . . . . . . . . . . . . . . . . . . . . 7-3
7.1.4 Список разъемов дуплексного модуля/ узла вывода . . . . . . . . . . . . . . . . . . . . . . . . . . . . . . . 7-3
7.1.5 N/A . . . . . . . . . . . . . . . . . . . . . . . . . . . . . . . . . . . . . . . . . . . . . . . . . . . . . . . . . . . . . . . . . . . . . . . . 7-4
7.1.6 Список разъемов податчика на 250 листов (дополнительного) . . . . . . . . . . . . . . . . . . . . . . . 7-5
7.2 7.2 Схемы расположения разъемов . . . . . . . . . . . . . . . . . . . . . . . . . . . . . . . . . . . . . . . . . . . . . . . 7-6
7.2.1 Схемы расположения разъемов . . . . . . . . . . . . . . . . . . . . . . . . . . . . . . . . . . . . . . . . . . . . . . . . 7-6
7.2.2 Эта страница преднамеренно оставлена пустой. . . . . . . . . . . . . . . . . . . . . . . . . . . . . . . . . . . 7-8
7.2.3 Схемы расположения разъемов податчика на 550 листов (основного) . . . . . . . . . . . . . . . . 7-9
7.2.4 Список разъемов дуплексного модуля/ узла вывода . . . . . . . . . . . . . . . . . . . . . . . . . . . . . . 7-10
7.2.5 Эта страница преднамеренно оставлена пустой. . . . . . . . . . . . . . . . . . . . . . . . . . . . . . . . . . 7-11
7.2.6 Схемы расположения разъемов податчика на 550 листов (дополнительного) . . . . . . . . . 7-12
7.3 Схемы соединений . . . . . . . . . . . . . . . . . . . . . . . . . . . . . . . . . . . . . . . . . . . . . . . . . . . . . . . . . . . . 7-13
7.3.1 Обозначения на общей схеме соединений . . . . . . . . . . . . . . . . . . . . . . . . . . . . . . . . . . . . . . 7-13
7.3.2 Общая схема соединений . . . . . . . . . . . . . . . . . . . . . . . . . . . . . . . . . . . . . . . . . . . . . . . . . . . . 7-14
7.4 Схема соединений между частями . . . . . . . . . . . . . . . . . . . . . . . . . . . . . . . . . . . . . . . . . . . . . . . 7-15
7.4.1 Замечания по использованию схемы соединений между частями . . . . . . . . . . . . . . . . . . . 7-15
7.4.2 Организация блок-схем соединений между частями . . . . . . . . . . . . . . . . . . . . . . . . . . . . . . 7-17
7.4.2.1 Подача питания . . . . . . . . . . . . . . . . . . . . . . . . . . . . . . . . . . . . . . . . . . . . . . . . . . . . 7-19
7.4.2.2 Фьюзер . . . . . . . . . . . . . . . . . . . . . . . . . . . . . . . . . . . . . . . . . . . . . . . . . . . . . . . . . . . 7-21
7.4.2.3 Контроллер . . . . . . . . . . . . . . . . . . . . . . . . . . . . . . . . . . . . . . . . . . . . . . . . . . . . . . . 7-23
7.4.2.4 ROS . . . . . . . . . . . . . . . . . . . . . . . . . . . . . . . . . . . . . . . . . . . . . . . . . . . . . . . . . . . . . 7-25
7.4.2.5 HVPS . . . . . . . . . . . . . . . . . . . . . . . . . . . . . . . . . . . . . . . . . . . . . . . . . . . . . . . . . . . . 7-27
7.4.2.6 Вентилятор/ привод . . . . . . . . . . . . . . . . . . . . . . . . . . . . . . . . . . . . . . . . . . . . . . . . . 7-29
7.4.2.7 Податчик на 550 листов (основной) . . . . . . . . . . . . . . . . . . . . . . . . . . . . . . . . . . . . 7-31
7.4.2.8 Обходной лоток/ узел регистрации . . . . . . . . . . . . . . . . . . . . . . . . . . . . . . . . . . . . 7-34
7.4.2.9 Дуплексный модуль/ узел вывода . . . . . . . . . . . . . . . . . . . . . . . . . . . . . . . . . . . . . 7-36
7.4.2.10 Податчик на 550 листов (дополнительный) . . . . . . . . . . . . . . . . . . . . . . . . . . . . . . 7-38

Глава 7 Схемы электрических соединений
7.1 Список разъемов
7 - 1
7.1 Список разъемов
7.1.1 Список разъемов механизма печати
Таблица 7-1: Список разъемов механизма печати
Разъе
мРасположение Описание
1G-119Соединение ПЛАТЫ ESS и УЗЛА ПРОВОДКИ ВИДЕО (ROS)
4G-117Соединение ПЛАТЫ ESS и УЗЛА ПРОВОДКИ ПОДАЧИ ПИТАНИЯ
5B-117Соединение ПЛАТЫ ESS и УЗЛА ПРОВОДКИ ПАНЕЛИ УПРАВЛЕНИЯ
7G-118Соединение ПЛАТЫ ESS и FFC ВИДЕО [ПЛАТА MCU]
11 J-118 Соединение ПЛАТЫ MCU и УЗЛА ПРОВОДКИ ПОДАЧИ БУМАГИ
12 J-118 Соединение ПЛАТЫ MCU и УЗЛА ПРОВОДКИ ГЛАВНОЙ РАМЫ
13 J-119 Соединение ПЛАТЫ MCU и УЗЛА ПРОВОДКИ ПОДАЧИ ПИТАНИЯ
14 I-119 Соединение ПЛАТЫ MCU и СРЕДНЕГО ВЕНТИЛЯТОРА
15 I-119 Соединение ПЛАТЫ MCU и ЗАДНЕГО ВЕНТИЛЯТОРА
16 I-119 Соединение ПЛАТЫ MCU и УЗЛА ПРОВОДКИ БОКОВОГО ВЕНТИЛЯТОРА
17 H-119 Соединение ПЛАТЫ MCU и УЗЛА ПРОВОДКИ ДВИГАТЕЛЯ [УЗЕЛ ROS]
18 H-119 Соединение ПЛАТЫ MCU и УЗЛА ПРОВОДКИ ROS [УЗЕЛ ROS]
19 H-118 Соединение ПЛАТЫ MCU и FFC ВИДЕО [ПЛАТА ESS]
20 H-118 Соединение ПЛАТЫ MCU и УЗЛА ПРОВОДКИ ПОДАЧИ ПИТАНИЯ
21 H-117 Соединение ПЛАТЫ MCU и УЗЛА ПРОВОДКИ ПОДАЧИ ПИТАНИЯ
22 H-117 Соединение ПЛАТЫ MCU и УЗЛА ПРОВОДКИ ДВИГАТЕЛЯ
23 I-117 Соединение ПЛАТЫ MCU и УЗЛА ПЕРЕДНЕЙ ПРОВОДКИ [КОМПЛЕКТ ПЕРЕДНЕЙ
РАМЫ]
24 J-117 Соединение ПЛАТЫ MCU и УЗЛА ПРОВОДКИ ПОДАТЧИКА 1
25 H-117 Соединение ПЛАТЫ MCU и УЗЛА ПРОВОДКИ CRU
26 I-117 Соединение ПЛАТЫ MCU и УЗЛА ПРОВОДКИ ВЫВОДА 1 [КРОНШТЕЙН УЗЛА
ВЫВОДА]
27 I-117 Соединение ПЛАТЫ MCU и УЗЛА ПРОВОДКИ МУФТЫ
28 I-117 Соединение ПЛАТЫ MCU и УЗЛА ПРОВОДКИ БЛОКИРОВКИ
31 B-128 Соединение LVPS и УЗЛА ПРОВОДКИ ВЫКЛЮЧАТЕЛЯ
32 B-127 Соединение LVPS и УЗЛА ПРОВОДКИ ФЬЮЗЕРА
33 F-127 Соединение LVPS и УЗЛА ПРОВОДКИ ПОДАЧИ ПИТАНИЯ
34 F-129 Соединение LVPS и УЗЛА ПРОВОДКИ ПОДАЧИ ПИТАНИЯ
35 F-128 Соединение LVPS и УЗЛА ПРОВОДКИ ПОДАЧИ ПИТАНИЯ
51 F-129 Соединение HVPS и УЗЛА ПРОВОДКИ ПОДАЧИ ПИТАНИЯ
52 I-128 Соединение HVPS и УЗЛА ПРОВОДКИ НАПРЯЖЕНИЯ СМЕЩЕНИЯ
53 I-129 Соединение HVPS и УЗЛА ПРОВОДКИ НАПРЯЖЕНИЯ СМЕЩЕНИЯ
54 I-129 Соединение HVPS и УЗЛА ПРОВОДКИ НАПРЯЖЕНИЯ ПЕРЕНОСА

Глава 7 Схемы электрических соединений
7.1 Список разъемов
7 - 2
7.1.2 N/A
55 F-127 Соединение HVPS и УЗЛА ПРОВОДКИ НАПРЯЖЕНИЯ СМЕЩЕНИЯ ПРОЯВЛЕНИЯ
56 I-127 Соединение HVPS и УЗЛА ПРОВОДКИ ЗАРЯДКИ
57 F-127 Соединение HVPS и УЗЛА ПРОВОДКИ ФЬЮЗЕРА
220 J-108 Соединение ГЛАВНОГО ДВИГАТЕЛЯ и УЗЛА ПРОВОДКИ ДВИГАТЕЛЯ
250 D-107 Соединение CRUM [КРОНШТЕЙН УЗЛА CRUM] и УЗЛА ПРОВОДКИ CRU
300 D-106 Соединение УЗЛА ПАНЕЛИ УПРАВЛЕНИЯ и УЗЛА ПРОВОДКИ ПАНЕЛИ
УПРАВЛЕНИЯ
1210 H-123 Соединение УЗЛА ПРОВОДКИ ДАТЧИКА РЕГИСТРАЦИИ и УЗЛА ПРОВОДКИ
ГЛАВНОЙ РАМЫ
1211 I-124 Соединение ДАТЧИКА РЕГИСТРАЦИИ и УЗЛА ПРОВОДКИ ДАТЧИКА РЕГИСТРАЦИИ
1230 H-124 Соединение МУФТЫ РЕГИСТРАЦИИ и УЗЛА ПРОВОДКИ ГЛАВНОЙ РАМЫ
1610 H-123 Соединение БОКОВОГО ВЕНТИЛЯТОРА и УЗЛА ПРОВОДКИ БОКОВОГО
ВЕНТИЛЯТОРА
2310 A-108 Соединение УЗЛА ПРОВОДКИ ДАТЧИКА ОБХОДНОГО ЛОТКА и УЗЛА ПРОВОДКИ
ПЕРЕДНЕЙ РАМЫ
2311 C-108 Соединение ДАТЧИКА ОТСУТСТВИЯ БУМАГИ В ОБХОДНОМ ЛОТКЕ и УЗЛА
ПРОВОДКИ ДАТЧИКА ОТСУТСТВИЯ БУМАГИ В ОБХОДНОМ ЛОТКЕ
2320 G-108 Соединение СОЛЕНОИДА ПОДАЧИ ОБХОДНОГО ЛОТКА и УЗЛА ПРОВОДКИ
ПЕРЕДНЕЙ РАМЫ
2371 C-107 Соединение УЗЛА ПРОВОДКИ ПЕРЕДНЕЙ РАМЫ и УЗЛА ПРОВОДКИ ПЛАТЫ
ДУПЛЕКСНОГО МОДУЛЯ
4410 C-106 Соединение УЗЛА ФЬЮЗЕРА и УЗЛА ПРОВОДКИ ГЛАВНОЙ РАМЫ
Таблица 7-1: Список разъемов механизма печати
Разъе
мРасположение Описание

Глава 7 Схемы электрических соединений
7.1 Список разъемов
7 - 3
7.1.3 Список разъемов податчика на 550 листов (основного)
7.1.4 Список разъемов дуплексного модуля/ узла вывода
Таблица 7-2:
Таблица 7-3: Список разъемов податчика на 550 листов (основного)
Разъе
мРасположение Описание
310 J-154 Соединение ВЫКЛЮЧАТЕЛЯ и УЗЛА ПРОВОДКИ ВЫКЛЮЧАТЕЛЯ
311 J-153 Соединение ВЫКЛЮЧАТЕЛЯ и УЗЛА ПРОВОДКИ ПОДАЧИ БУМАГИ
1110 B-154 Соединение ДАТЧИКА ФОРМАТА и УЗЛА ПРОВОДКИ ПОДАЧИ БУМАГИ
1120 H-155 Соединение ДВИГАТЕЛЯ ПОДХВАТА [КРОНШТЕЙН УЗЛА ПОДАТЧИКА] и УЗЛА
ПРОВОДКИ ПОДАЧИ БУМАГИ
1130 D-154 Соединение ДАТЧИКА ОТСУТСТВИЯ БУМАГИ и УЗЛА ПРОВОДКИ ПОДАЧИ БУМАГИ
2481 D-154 Соединение УЗЛА ПРОВОДКИ ПОДАТЧИКА 1 и УЗЛА ПРОВОДКИ ПОДАТЧИКА 2
2710 F-154 Соединение ПОВОРОТНОЙ МУФТЫ [ПОДАТЧИК НА 550 ЛИСТОВ] и УЗЛА
ПРОВОДКИ МУФТЫ
2720 F-154 Соединение МУФТЫ ПОДАЧИ [ПОДАТЧИК НА 550 ЛИСТОВ] и УЗЛА ПРОВОДКИ
МУФТЫ
Таблица 7-4: Список разъемов дуплексного модуля/ узла вывода
Разъе
мРасположение Описание
71D I-166 Соединение ПЛАТЫ ДУПЛЕКСНОГО МОДУЛЯ и УЗЛА ПРОВОДКИ ДУПЛЕКСНОГО
МОДУЛЯ
71E A-166 Соединение ПЛАТЫ УЗЛА ВЫВОДА [УЗЕЛ ПРИВОДА ВЫВОДА] и УЗЛА ПРОВОДКИ
ВЫВОДА 2
72D I-165 Соединение ПЛАТЫ ДУПЛЕКСНОГО МОДУЛЯ и ДВИГАТЕЛЯ ДУПЛЕКСНОГО
МОДУЛЯ
72E B-165 Соединение ПЛАТЫ УЗЛА ВЫВОДА [УЗЕЛ ПРИВОДА ВЫВОДА] и ДВИГАТЕЛЯ
ВЫВОДА
73D I-165 Соединение ПЛАТЫ ДУПЛЕКСНОГО МОДУЛЯ и УЗЛА ПРОВОДКИ КРЫШКИ
ДУПЛЕКСНОГО МОДУЛЯ
74D I-166 I-166 Соединение ПЛАТЫ ДУПЛЕКСНОГО МОДУЛЯ и УЗЛА ПРОВОДКИ ДАТЧИКА
ЗАСТРЕВАНИЯ В ДУПЛЕКСНОМ МОДУЛЕ
730D J-170 Соединение ФОТОДАТЧИКА и УЗЛА ПРОВОДКИ КРЫШКИ ДУПЛЕКСНОГО МОДУЛЯ
740D G-169 Соединение ФОТОДАТЧИКА и УЗЛА ПРОВОДКИ ДАТЧИКА ЗАСТРЕВАНИЯ В
ДУПЛЕКСНОМ МОДУЛЕ
2371 I-170 Соединение УЗЛА ПРОВОДКИ ПЕРЕДНЕЙ РАМЫ и УЗЛА ПРОВОДКИ ПЛАТЫ
ДУПЛЕКСНОГО МОДУЛЯ
2671 A-169 Соединение УЗЛА ПРОВОДКИ ВЫВОДА 1 и УЗЛА ПРОВОДКИ ВЫВОДА 2
Глава 7 Схемы электрических соединений
7.1 Список разъемов
7 - 4
7.1.5 N/A

Глава 7 Схемы электрических соединений
7.1 Список разъемов
7 - 5
7.1.6 Список разъемов податчика на 250 листов (дополнительного)
Таблица 7-5: Список разъемов податчика на 250 листов (дополнительного)
Разъе
мРасположение Описание
81 B-193 Соединение ПЛАТЫ ПОДАТЧИКА и УЗЛА ПРОВОДКИ ПОДАТЧИКА 2
82 C-195 Соединение ПЛАТЫ ПОДАТЧИКА и УЗЛА ПРОВОДКИ ДАЧТИКА ФОРМАТА
ПОДАТЧИКА
83 C-193 Соединение ПЛАТЫ ПОДАТЧИКА и УЗЛА ПРОВОДКИ ПОДАЧИ БУМАГИ
[ДОПОЛНИТЕЛЬНЫЙ ПОДАТЧИК]
84 D-195 Соединение ПЛАТЫ ПОДАТЧИКА и УЗЛА ПРОВОДКИ ДАТЧИКА КРОМКИ БУМАГИ
[ДОПОЛНИТЕЛЬНЫЙ ПОДАТЧИК]
85 D-195 Соединение ПЛАТЫ ПОДАТЧИКА и УЗЛА ПРОВОДКИ ДАТЧИКА ОТСУТСТВИЯ
БУМАГИ [ДОПОЛНИТЕЛЬНЫЙ ПОДАТЧИК]
86 B-195 Соединение ПЛАТЫ ПОДАТЧИКА и УЗЛА ПРОВОДКИ ПОДАТЧИКА 3
820 A-199 Соединение ДАТЧИКА ФОРМАТА и УЗЛА ПРОВОДКИ ДАТЧИКА ФОРМАТА
[ДОПОЛНИТЕЛЬНЫЙ ПОДАТЧИК]
840 E-198 Соединение ДАТЧИКА КРОМКИ БУМАГИ и УЗЛА ПРОВОДКИ ДАТЧИКА КРОМКИ
БУМАГИ
850 D-198 Соединение ДАТЧИКА ОТСУТСТВИЯ БУМАГИ и УЗЛА ПРОВОДКИ ПОДАЧИ БУМАГИ
[ДОПОЛНИТЕЛЬНЫЙ ПОДАТЧИК]
2481 D-196 Соединение УЗЛА ПРОВОДКИ ПОДАТЧИКА 1 и УЗЛА ПРОВОДКИ ПОДАТЧИКА 2
8310 J-199 Соединение УЗЛА ПРИВОДА ДОПОЛНИТЕЛЬНОГО ПОДАТЧИКА и УЗЛА ПРОВОДКИ
ПОДАЧИ БУМАГИ [ДОПОЛНИТЕЛЬНЫЙ ПОДАТЧИК]
8320 J-199 Соединение МУФТЫ ПОДАЧИ и УЗЛА ПРОВОДКИ ПОДАЧИ БУМАГИ
[ДОПОЛНИТЕЛЬНЫЙ ПОДАТЧИК]
8330 J-199 Соединение ПОВОРОТНОЙ МУФТЫ и УЗЛА ПРОВОДКИ ПОДАЧИ БУМАГИ
[ДОПОЛНИТЕЛЬНЫЙ ПОДАТЧИК]
8610 D-198 Соединение УЗЛА ПРОВОДКИ ПОДАТЧИКА 3 и ПОДАТЧИКА 3

Глава 7 Схемы электрических соединений
7.2 7.2 Схемы расположения разъемов
7 - 6
7.2 7.2 Схемы расположения разъемов
7.2.1 Схемы расположения разъемов
Рис. 7-1 Схема расположения разъемов механизма печати
(1/2)
<Механизм печати (ПЕРЕДНЯЯ ЧАСТЬ)>

Глава 7 Схемы электрических соединений
7.2 7.2 Схемы расположения разъемов
7 - 7
Рис. 7-2 Схема расположения разъемов механизма печати
(2/2)
<Механизм печати (ЗАДНЯЯ ЧАСТЬ)>
Глава 7 Схемы электрических соединений
7.2 7.2 Схемы расположения разъемов
7 - 8
7.2.2 Эта страница преднамеренно оставлена пустой.
Рис. 7-3

Глава 7 Схемы электрических соединений
7.2 7.2 Схемы расположения разъемов
7 - 9
7.2.3 Схемы расположения разъемов податчика на 550 листов
(основного)
Рис. 7-4 Схемы расположения разъемов податчика на 550
листов (основного)
<Податчик на 550 листов>

Глава 7 Схемы электрических соединений
7.2 7.2 Схемы расположения разъемов
7 - 10
7.2.4 Список разъемов дуплексного модуля/ узла вывода
Рис. 7-5 Схемы расположения разъемов дуплексного
модуля/ узла вывода
<ДУПЛЕКСНЫЙ МОДУЛЬ И ПРИВОД ВЫВОДА>
Глава 7 Схемы электрических соединений
7.2 7.2 Схемы расположения разъемов
7 - 11
7.2.5 Эта страница преднамеренно оставлена пустой.
Рис. 7-6

Глава 7 Схемы электрических соединений
7.2 7.2 Схемы расположения разъемов
7 - 12
7.2.6 Схемы расположения разъемов податчика на 550 листов
(дополнительного)
Рис. 7-7 Схемы расположения разъемов податчика на 550
листов (дополнительного)
<ДОПОЛНИТЕЛЬНЫЙ ПОДАТЧИК НА 550 ЛИСТОВ>

Глава 7 Схемы электрических соединений
7.3 Схемы соединений
7 - 13
7.3 Схемы соединений
7.3.1 Обозначения на общей схеме соединений
Способ чтения общей схемы соединений приведен ниже.
Таблица 7-6:
Таблица 7-7: Обозначения на общей схеме соединений
Обозначение Описание
Показывает соединение между частями в виде проводки, проводов
и т.п.
Показывает разъем и его номер.
Показывает клеммное соединение с пластинчатой пружиной и т.п.
на плате и соответствующий номер разъема (порта).
Показывает детали, если названия деталей приведены в рамке.
PLX.Y.Z показывает позицию 'Z' на листе (PL) 'X.Y' в главе 5
"Перечни запасных частей".
Показывает функциональный элемент в детали и название
соответствующего элемента.
Показывает пункт в разделе "7.4 Схема соединений между
частями" и соответствующий номер пункта.

Глава 7 Схемы электрических соединений
7.3 Схемы соединений
7 - 14
7.3.2 Общая схема соединений

Глава 7 Схемы электрических соединений
7.4 Схема соединений между частями
7 - 15
7.4 Схема соединений между частями
7.4.1 Замечания по использованию схемы соединений между
частями
Способ чтения схемы соединений между частями на следующих страницах приведен ниже.
Ооднако, описание общеупотребимых символов было опущено.
Показывает соединение между проводами.
Таблица 7-8: Обозначения на схеме соединений между частями
Обозначение Описание
Показывает вилку разъема.
Показывает розетку разъема.
Показывает контакт штекера yy и гнезда yy разъема Pxx и Jxx
Показывает детали.
PLX.Y.Z показывает позицию 'Z' на листе (PL) 'X.Y' в главе 5
"Перечни запасных частей".
Показывает детали.
PLX.Y.Z показывает позицию 'Z' на листе (PL) 'X.Y' в главе 5
"Перечни запасных частей".
Показывает функциональный элемент в детали и название
соответствующего элемента.
Показывает сигнал управления на плате и его описание.
Показывает соединение между частями в виде проводки, проводов
и т.п., а также содержание/название сигналов.
Стрелка показывает направление передачи сигнала.

Глава 7 Схемы электрических соединений
7.4 Схема соединений между частями
7 - 16
REGI CLUTCH ON (L) +24VDC Показывает функцию и логическое значение (Low (Низкий): L, High
(Высокий): H) сигнала, когда функция работает. Значение
напряжения относится к тому случаю, когда сигнал имеет высокий
(Н) уровень.
Стрелка показывает направление передачи сигнала.
EXIT PAPER SENSED (L)
+3.3VDC
Показывает функцию и логическое значение (Low (Низкий): L, High
(Высокий): H) сигнала, когда функция работает. Значение
напряжения относится к тому случаю, когда сигнал имеет высокий
(Н) уровень.
Стрелка показывает направление передачи сигнала.
I/L +24VDC Показывает постоянное напряжение, когда блокировочный
выключатель включен.
+5VDC
+3.3VDC
Показывает постоянное напряжение.
GND Показывает сигнал заземления.
Таблица 7-8: Обозначения на схеме соединений между частями
Обозначение Описание
Глава 7 Схемы электрических соединений
7.4 Схема соединений между частями
7 - 17
7.4.2 Организация блок-схем соединений между частями
Блок-схемы соединений разделены на 10 частей; они показывают подробное соединение между
частями.
1Подача питания
Соединение между LVPS и платой MCU.
Соединение между LVPS и УЗЛОМ ПРОВОДКИ ВЫКЛЮЧАТЕЛЯ (главного), а также между
LVPS и РАЗМЫКАТЕЛЕМ ЦЕПИ.
Соединение между LVPS и платой ESS.
Соединение между ПЛАТОЙ MCU и УЗЛОМ ПРОВОДКИ БЛОКИРОВКИ (блокировочный
выключатель)
Соединение между ПЛАТОЙ MCU и ПЛАТОЙ ESS.
2Фьюзер
Соединение между ПЛАТОЙ MCU и УЗЛОМ ФЬЮЗЕРА
Соединение между ПЛАТОЙ MCU и LVPS
Соединение между LVPS и УЗЛОМ ФЬЮЗЕРА
3Контроллер
Соединение между ПЛАТОЙ MCU и ПЛАТОЙ ESS.
Соединение между ПЛАТОЙ ESS и УЗЛОМ ПАНЕЛИ УПРАВЛЕНИЯ
4ROS
Соединение между ПЛАТОЙ MCU и УЗЛОМ ROS
Соединение между ПЛАТОЙ ESS и УЗЛОМ ROS
5HVPS
Соединение между ПЛАТОЙ MCU и HVPS
6Вентилятор/ привод
Соединение между ПЛАТОЙ MCU и УЗЛОМ CRU (CRUM)
Соединение между ПЛАТОЙ MCU и ГЛАВНЫМ ДВИГАТЕЛЕМ
Соединение между ПЛАТОЙ MCU и СРЕДНИМ ВЕНТИЛЯТОРОМ
Соединение между ПЛАТОЙ MCU и ЗАДНИМ ВЕНТИЛЯТОРОМ
Соединение между ПЛАТОЙ MCU и БОКОВЫМ ВЕНТИЛЯТОРОМ
7Податчик на 550 листов (основной)
Соединение между ПЛАТОЙ MCU и ДАТЧИКОМ ФОРМАТА
Соединение между ПЛАТОЙ MCU и ДВИГАТЕЛЕМ ПОДХВАТА
Соединение между ПЛАТОЙ MCU и ДАТЧИКОМ ОТСУТСТВИЯ БУМАГИ
Соединение между ПЛАТОЙ MCU и ПОВОРОТНОЙ МУФТОЙ
Соединение между ПЛАТОЙ MCU и МУФТОЙ ПОДАЧИ
Глава 7 Схемы электрических соединений
7.4 Схема соединений между частями
7 - 18
8Обходной лоток/ узел регистрации
Соединение между ПЛАТОЙ MCU и ДАТЧИКОМ ОТСУТСТВИЯ БУМАГИ В ОБХОДНОМ
ЛОТКЕ
Соединение между ПЛАТОЙ MCU и СОЛЕНОИДОМ ПОДАЧИ ОБХОДНОГО ЛОТКА
Соединение между ПЛАТОЙ MCU и ДАТЧИКОМ РЕГИСТРАЦИИ
Соединение между ПЛАТОЙ MCU и МУФТОЙ РЕГИСТРАЦИИ
9Дуплексный модуль/ узел вывода
Соединение между ПЛАТОЙ MCU и УЗЛА ПРИВОДА ВЫВОДА [ДВИГАТЕЛЯ ВЫВОДА]
Соединение между ПЛАТОЙ MCU и ПЛАТОЙ ДУПЛЕКСНОГО МОДУЛЯ
Соединение между ПЛАТОЙ ДУПЛЕКСНОГО МОДУЛЯ и ДВИГАТЕЛЕМ ДУПЛЕКСНОГО
МОДУЛЯ
Соединение между ПЛАТОЙ ДУПЛЕКСНОГО МОДУЛЯ и ДАТЧИКОМ ОТКРЫТОЙ КРЫШКИ
ДУПЛЕКСНОГО МОДУЛЯ
Соединение между ПЛАТОЙ ДУПЛЕКСНОГО МОДУЛЯ и ДАТЧИКОМ ЗАСТРЕВАНИЯ В
ДУПЛЕКСНОМ МОДУЛЕ
10 Податчик на 550 листов (дополнительный)
Соединение между ПЛАТОЙ MCU и ПЛАТОЙ ПОДАТЧИКА.
Соединение между ПЛАТОЙ ПОДАТЧИКА и ДАТЧИКОМ ФОРМАТА
Соединение между ПЛАТОЙ ПОДАТЧИКА и ДВИГАТЕЛЕМ ПОДАТЧИКА
Соединение между ПЛАТОЙ ПОДАТЧИКА и МУФТОЙ ПОДАЧИ
Соединение между ПЛАТОЙ ПОДАТЧИКА и ПОВОРОТНОЙ МУФТОЙ
Соединение между ПЛАТОЙ ПОДАТЧИКА и ДАТЧИКОМ КРОМКИ БУМАГИ
Соединение между ПЛАТОЙ ПОДАТЧИКА и ДАТЧИКОМ ОТСУТСТВИЯ БУМАГИ

Глава 7 Схемы электрических соединений
7.4 Схема соединений между частями
7 - 19
7.4.2.1 Подача питания

Глава 7 Схемы электрических соединений
7.4 Схема соединений между частями
7 - 20
Защита от тока перегрузки
Каждый выход LVPS может быть отключен в случае короткого замыкания на землю.
Выходы могут быть восстановлены либо отключением питания и ожиданием в течение 5 минут и
более до включения питания, либо автоматическим сбросом.
Безопасные значения:
•+24 В: 18 А
•+5 В: 8 А
• +3,3 В: 8 А
Защита от перенапряжения
Каждый выход LVPS может быть отключен в случае перенапряжения.
Выходы могут быть восстановлены либо отключением питания и ожиданием в течение 5 минут и
более до включения питания, либо автоматическим сбросом.
Напряжение для каждого выхода, когда активирована защита от перенапряжения, следующие:
•+24 В: 38 В
•+5 В: 8 В
• +3,3 В: 8 В
Таблица 7-9: Сигналы подачи питания
Название сигнала Описание
POW SAV (POWER SAVE) Сигнал, который выключает подачу постоянного
напряжения +24 В с LVPS на плату MCU.
SLEEP Сигнал, который выключает подачу постоянных
напряжений + 5 В и +3,3 В на плату MCU, а также
+ 5В на плату ESS.
(Постоянное напряжение +3,3 В, подаваемое на
плату ESS, остается включенным.)

Глава 7 Схемы электрических соединений
7.4 Схема соединений между частями
7 - 21
7.4.2.2 Фьюзер

Глава 7 Схемы электрических соединений
7.4 Схема соединений между частями
7 - 22
Таблица 7-10: Сигналы фьюзера
Название сигнала Описание
EXIT PAPER SENSED (L) +3.3VDC Сигнал обнаружения бумаги в зоне выхода датчика
выхода фьюзера.
(L: Бумага есть)
STS1 Данные о температуре нагревательного вала,
полученные от датчика.
Датчик 1 в УЗЛЕ ФЬЮЗЕРА (аналоговая величина)
STS2 Данные о температуре нагревательного вала,
полученные от датчика.
Датчик 2 в УЗЛЕ ФЬЮЗЕРА (аналоговая величина)
H CONT1
H CONT2
Сигнал включения нагревательных ламп 1 и 2
RELAY ON Сигнал включения/выключения реле фьюзера на LVPS

Глава 7 Схемы электрических соединений
7.4 Схема соединений между частями
7 - 23
7.4.2.3 Контроллер

Глава 7 Схемы электрических соединений
7.4 Схема соединений между частями
7 - 24
Таблица 7-11: Сигналы контроллера
Название сигнала Описание
/C_CLOCK
/COMMAND
/CPRDY
/START
/CBSY
Сигнал управления с платы ESS на плату MCU
/STATUS
/SBSY
/TOP
/RDY
/PPRDY
/BD
Сигнал управления с платы MCU на плату ESS
SLEEP Сигнал, который отключает подачу с LVPS напряжений
+5 В и +3,3 В на плату MCU, а также напряжения +5 В на
плату ESS (плата ESS передает этот сигнал на LVPS
через плату MCU.)

Глава 7 Схемы электрических соединений
7.4 Схема соединений между частями
7 - 25
7.4.2.4 ROS

Глава 7 Схемы электрических соединений
7.4 Схема соединений между частями
7 - 26
Таблица 7-12: Сигналы ROS
Название сигнала Описание
DATA1+
DATA1-
DATA2+
DATA2-
Сигнал управления с платы ESS на УЗЕЛ ROS
PCONT1
LD_VREF
LD MONITOR
PCONT2
LD_ENABLE
Сигналы управления платой лазерного диода в УЗЛЕ
ROS
SOS SENSED SIGNAL Стандартный выходной сигнал c платы SOS для начала
быстрого сканирования лазерного луча
SCAN MOTOR CLOCK
SCAN MOTOR ON (L) +24VDC
Сигналы включения/выключения двигателя сканера в
УЗЛЕ ROS

Глава 7 Схемы электрических соединений
7.4 Схема соединений между частями
7 - 27
7.4.2.5 HVPS

Глава 7 Схемы электрических соединений
7.4 Схема соединений между частями
7 - 28
Таблица 7-13: Сигналы HVPS
Название сигнала Описание
VG D/A Сигнал выходного напряжения на направляющую
смещения
VD D/A Сигнал выходного напряжения на пилу коротрона
отделения
VD MONITOR Сигнал слежения для выходного напряжения пилы
коротрона отделения (аналоговая величина)
PR ON Сигнал включения/выключения подачи напряжения на
прижимной вал
HVPS STANDARD Стандартное выходное напряжение с HVPS
TR+ MONITOR Сигнал слежения для выходного напряжения BTR+
(аналоговая величина)
VG TR- ON Сигнал включения/выключения подачи напряжения на
направляющую смещения и напряжения BTR-
TR+ ON Сигнал включения/выключения подачи напряжения
BTR+
TR+ D/A Сигнал выходного напряжения BTR+
DB DC D/A Сигнал постоянной составляющей выходного
напряжения смещения
DB AC D/A Сигнал переменной составляющей выходного
напряжения смещения
DB AC CLOCK Сигнал таймера переменной составляющей напряжения
смещения
CR DC D/A Сигнал постоянной составляющей выходного
напряжения зарядки
CR AC CLOCK Сигнал таймера переменной составляющей напряжения
зарядки
HVPS POWER ON Сигнал включения/выключения постоянного напряжения
+24 В, подаваемого на HVPS

Глава 7 Схемы электрических соединений
7.4 Схема соединений между частями
7 - 29
7.4.2.6 Вентилятор/ привод

Глава 7 Схемы электрических соединений
7.4 Схема соединений между частями
7 - 30
Таблица 7-14: Сигналы вентилятора/ привода
Название сигнала Описание
SDA
SLC
Сигнал управления считыванием/записью данных CRUM
в УЗЛЕ CRU
MAIN MOTOR ALARM Аварийный сигнал ГЛАВНОГО ДВИГАТЕЛЯ
MAIN MOTOR ON Сигнал включения/выключения ГЛАВНОГО ДВИГАТЕЛЯ
MIDDLE FAN ON (H) +24VDC Сигнал включения/выключения СРЕДНЕГО
ВЕНТИЛЯТОРА
MIDDLE FAN ALARM Аварийный сигнал СРЕДНЕГО ВЕНТИЛЯТОРА
REAR FAN ON (H) +24VDC Сигнал включения/выключения ЗАДНЕГО
ВЕНТИЛЯТОРА
REAR FAN ALARM Аварийный сигнал ЗАДНЕГО ВЕНТИЛЯТОРА
SIDE FAN ON (H) +24VDC Сигнал включения/выключения БОКОВОГО
ВЕНТИЛЯТОРА
SIDE FAN ALARM Аварийный сигнал БОКОВОГО ВЕНТИЛЯТОРА

Глава 7 Схемы электрических соединений
7.4 Схема соединений между частями
7 - 31
7.4.2.7 Податчик на 550 листов (основной)

Глава 7 Схемы электрических соединений
7.4 Схема соединений между частями
7 - 32
Описание ДАТЧИКА ФОРМАТА
Формат бумаги, загруженной в лоток, определяется по сочетанию состояний ДАТЧИКА
ФОРМАТА.
Таблица 7-15: Сигналы податчика на 550 листов (основного)
Название сигнала Описание
SIZE SW 1 ON (L) +3.3VDC Сигнал обнаружения (включения/выключения) ДАТЧИКА
ФОРМАТА 1 (расположенного с левой стороны, если
смотреть на аппарат спереди)
SIZE SW 2 ON (L) +3.3VDC Сигнал обнаружения (включения/выключения) ДАТЧИКА
ФОРМАТА 2 (расположенного в центре, если смотреть на
аппарат спереди)
SIZE SW 3 ON (L) +3.3VDC Сигнал обнаружения (включения/выключения) ДАТЧИКА
ФОРМАТА 3 (расположенного с правой стороны, если
смотреть на аппарат спереди)
PICK MOTOR CLOCK B+
PICK MOTOR CLOCK BPICK
MOTOR CLOCK A+
PICK MOTOR CLOCK A-
Сигналы возбуждения двигателя подхвата
TRAY PAPER SENSED (L) +3.3VDC Сигнал обнаружения бумаги в лотке ДАТЧИКОМ
ОТСУТСТВИЯ БУМАГИ В ЛОТКЕ
(L: Бумага есть)
TURN CLUTCH ON (L) +24VDC Сигнал управления (включения/выключения)
ПОВОРОТНОЙ МУФТОЙ (только для податчика на 550
листов)
FEED CLUTCH ON (L) +24VDC Сигнал управления (включения/выключения) МУФТЫ
ПОДАЧИ (только для податчика на 550 листов)
Таблица 7-16: Формат бумаги соответствует состоянию ДАТЧИКА ФОРМАТА
Последовательнос
ть Формат бумаги ДАТЧИК ФОРМАТА*1
1 2 3
1B5 LEF ON (Вкл.) ON (Вкл.) ON (Вкл.)
2A5 LEF OFF
(Выкл.)
ON (Вкл.) OFF
(Выкл.)
3A3 ON (Вкл.) ON (Вкл.) OFF
(Выкл.)
4B4 ON (Вкл.) OFF
(Выкл.)
ON (Вкл.)
5Нестандартный формат OFF
(Выкл.)
ON (Вкл.) ON (Вкл.)
6 A4 SEF OFF
(Выкл.)
OFF
(Выкл.)
ON (Вкл.)

Глава 7 Схемы электрических соединений
7.4 Схема соединений между частями
7 - 33
*1. Выключатели нумеруются слева направо (1, 2 и 3).
7 A4 LEF ON (Вкл.) OFF
(Выкл.)
OFF
(Выкл.)
Кассета отсутствует OFF
(Выкл.)
OFF
(Выкл.)
OFF
(Выкл.)
Таблица 7-16: Формат бумаги соответствует состоянию ДАТЧИКА ФОРМАТА
Последовательнос
ть Формат бумаги ДАТЧИК ФОРМАТА*1
1 2 3

Глава 7 Схемы электрических соединений
7.4 Схема соединений между частями
7 - 34
7.4.2.8 Обходной лоток/ узел регистрации

Глава 7 Схемы электрических соединений
7.4 Схема соединений между частями
7 - 35
Таблица 7-17: Сигналы обходного лотка/ узла регистрации
Название сигнала Описание
MSI PAPER SENSED (L) +3.3VDC Сигнал обнаружения бумаги в лотке ДАТЧИКОМ
ОТСУТСТВИЯ БУМАГИ В ОБХОДНОМ ЛОТКЕ
(L: Бумага есть)
MSI SOLENOID ON (L) +24VDC Сигнал включения/выключения СОЛЕНОИДА
ОБХОДНОГО ЛОТКА
REGI PAPER SENSED (L) +3.3VDC Сигнал обнаружения бумаги в положении регистрации
ДАТЧИКОМ РЕГИСТРАЦИИ
(L: Бумага есть)
REGI CLUTCH ON (L) +24VDC Сигнал включения/выключения МУФТЫ РЕГИСТРАЦИИ

Глава 7 Схемы электрических соединений
7.4 Схема соединений между частями
7 - 36
7.4.2.9 Дуплексный модуль/ узел вывода

Глава 7 Схемы электрических соединений
7.4 Схема соединений между частями
7 - 37
Таблица 7-18: Сигналы дуплексного модуля/ узла вывода
Название сигнала Описание
TXD
RXD
Сигнал связи платы MCU с платой ESS
TXD
RXD
Сигнал связи платы MCU с платой дуплексного модуля
DUP MOTOR CLOCK B+
DUP MOTOR CLOCK BDUP
MOTOR CLOCK A+
DUP MOTOR CLOCK A-
Сигнал возбуждения ДВИГАТЕЛЯ ДУПЛЕКСНОГО
МОДУЛЯ
DUP COVER OPEN (L) +3.3VDC Сигнал обнаружения открывания/закрывания крышки
транспортного желоба дуплексного модуля
(L: Открыта крышка)
DUP JAM SENSED (L) +3.3VDC Сигнал обнаружения бумаги в транспортере дуплексного
модуля ДАТЧИКОМ ЗАСТРЕВАНИЯ В ДУПЛЕКСНОМ
МОДУЛЕ
(L: Бумага есть)

Глава 7 Схемы электрических соединений
7.4 Схема соединений между частями
7 - 38
7.4.2.10 Податчик на 550 листов (дополнительный)

Глава 7 Схемы электрических соединений
7- 39
Описание ДАТЧИКА ФОРМАТА
Формат бумаги, загруженной в лоток, определяется по сочетанию состояний ДАТЧИКА
ФОРМАТА.
Таблица 7-19: Сигналы податчика на 550 листов (дополнительного)
Название сигнала Описание
TRY SNS Сигнал таймера, подаваемый CPU на плату податчика для
определения того, какой цикл задавать
(Этот сигнал формирует плата MCU.)
TXD
RXD
Сигнал связи платы MCU с платой податчика
SIZE SW 1 ON (L) +3.3VDC Сигнал обнаружения (включения/выключения) ДАТЧИКА ФОРМАТА 1
(расположенного с левой стороны, если смотреть на аппарат спереди)
SIZE SW 2 ON (L) +3.3VDC Сигнал обнаружения (включения/выключения) ДАТЧИКА ФОРМАТА 2
(расположенного в центре, если смотреть на аппарат спереди)
SIZE SW 3 ON (L) +3.3VDC Сигнал обнаружения (включения/выключения) ДАТЧИКА ФОРМАТА 3
(расположенного с правой стороны, если смотреть на аппарат
спереди)
FEED MOTOR CLOCK B+
FEED MOTOR CLOCK B
FEED MOTOR CLOCK A+
FEED MOTOR CLOCK A-
Сигнал возбуждения ДВИГАТЕЛЯ ПОДАЧИ
FEED CLUTCH ON (L) +24VDC Сигнал включения/выключения МУФТЫ ПОДАЧИ
TURN CLUTCH ON (L) +24VDC Сигнал включения/выключения ПОВОРОТНОЙ МУФТЫ
PAPER EDGE SENSED (L) +3.3VDC Сигнал обнаружения бумаги в дополнительном лотке в положении
подачи ДАТЧИКОМ КРОМКИ БУМАГИ
(L: Бумага есть)
TRAY PAPER SENSED (L) +3.3VDC Сигнал обнаружения бумаги в лотке ДАТЧИКОМ ОТСУТСТВИЯ
БУМАГИ В ЛОТКЕ
(L: Бумага есть)
Таблица 7-20: Формат бумаги соответствует состоянию ДАТЧИКА ФОРМАТА
Последовательнос
ть Формат бумаги ДАТЧИК ФОРМАТА*1
1 2 3
1 B5 LEF ON (Вкл.) ON (Вкл.) ON (Вкл.)
2 A5 LEF OFF
(Выкл.)
ON (Вкл.) OFF
(Выкл.)
3 A3 ON (Вкл.) ON (Вкл.) OFF
(Выкл.)
4 B4 ON (Вкл.) OFF
(Выкл.)
ON (Вкл.)
5Нестандартный формат OFF
(Выкл.)
ON (Вкл.) ON (Вкл.)

Глава 7 Схемы электрических соединений
6 - 40
*1. Выключатели нумеруются слева направо (1, 2 и 3).
6 A4 SEF OFF
(Выкл.)
OFF
(Выкл.)
ON (Вкл.)
7A4 LEF ON (Вкл.) OFF
(Выкл.)
OFF
(Выкл.)
Кассета отсутствует OFF
(Выкл.)
OFF
(Выкл.)
OFF
(Выкл.)
Таблица 7-20: Формат бумаги соответствует состоянию ДАТЧИКА ФОРМАТА
Последовательнос
ть Формат бумаги ДАТЧИК ФОРМАТА*1
1 2 3

Глава 8 Дополнительные
элементы
Содержание
8.1 Модуль лотка (550 листов) . . . . . . . . . . . . . . . . . . . . . . . . . . . . . . . . . . . . . . . . . . . . . . . . . . . . . . . 8-1
8.1.1 Проверка комплекта поставки . . . . . . . . . . . . . . . . . . . . . . . . . . . . . . . . . . . . . . . . . . . . . . . . . 8-2
8.1.2 Процедура установки . . . . . . . . . . . . . . . . . . . . . . . . . . . . . . . . . . . . . . . . . . . . . . . . . . . . . . . . . 8-3
8.1.3 Процедура демонтажа . . . . . . . . . . . . . . . . . . . . . . . . . . . . . . . . . . . . . . . . . . . . . . . . . . . . . . . . 8-8
8.2 Универсальная кассета A3 (550 листов) . . . . . . . . . . . . . . . . . . . . . . . . . . . . . . . . . . . . . . . . . . . 8-11
8.2.1 Проверка комплекта поставки . . . . . . . . . . . . . . . . . . . . . . . . . . . . . . . . . . . . . . . . . . . . . . . . 8-11
8.2.2 Загрузка бумаги . . . . . . . . . . . . . . . . . . . . . . . . . . . . . . . . . . . . . . . . . . . . . . . . . . . . . . . . . . . . 8-12
8.3 Дуплексный модуль . . . . . . . . . . . . . . . . . . . . . . . . . . . . . . . . . . . . . . . . . . . . . . . . . . . . . . . . . . . . 8-15
8.3.1 Проверка комплекта поставки . . . . . . . . . . . . . . . . . . . . . . . . . . . . . . . . . . . . . . . . . . . . . . . . 8-15
8.3.2 Процедура установки . . . . . . . . . . . . . . . . . . . . . . . . . . . . . . . . . . . . . . . . . . . . . . . . . . . . . . . . 8-16
8.4 Расширенная память . . . . . . . . . . . . . . . . . . . . . . . . . . . . . . . . . . . . . . . . . . . . . . . . . . . . . . . . . . 8-21
8.4.1 Процедура установки . . . . . . . . . . . . . . . . . . . . . . . . . . . . . . . . . . . . . . . . . . . . . . . . . . . . . . . . 8-22
8.5 Внутренний дополнительный жесткий диск . . . . . . . . . . . . . . . . . . . . . . . . . . . . . . . . . . . . . . . . 8-27
8.5.1 Проверка комплекта поставки . . . . . . . . . . . . . . . . . . . . . . . . . . . . . . . . . . . . . . . . . . . . . . . . 8-27
8.5.2 Процедура установки . . . . . . . . . . . . . . . . . . . . . . . . . . . . . . . . . . . . . . . . . . . . . . . . . . . . . . . . 8-28
8.5.3 Замечания по аппарату и ограничения для него . . . . . . . . . . . . . . . . . . . . . . . . . . . . . . . . . . 8-32
8.6 Комплект программного обеспечения PostScript . . . . . . . . . . . . . . . . . . . . . . . . . . . . . . . . . . . . 8-33
8.6.1 Проверка комплекта поставки . . . . . . . . . . . . . . . . . . . . . . . . . . . . . . . . . . . . . . . . . . . . . . . . 8-34
8.7 Многопротокольная LAN-плата . . . . . . . . . . . . . . . . . . . . . . . . . . . . . . . . . . . . . . . . . . . . . . . . . . 8-39
8.7.1 Проверка комплекта поставки . . . . . . . . . . . . . . . . . . . . . . . . . . . . . . . . . . . . . . . . . . . . . . . . 8-39
8.7.2 Процедура установки . . . . . . . . . . . . . . . . . . . . . . . . . . . . . . . . . . . . . . . . . . . . . . . . . . . . . . . . 8-40

Глава 8 Дополнительные элементы
8.1 Модуль лотка (550 листов)
8 - 1
8.1 Модуль лотка (550 листов)
Для безопасной эксплуатации аппарата прочитайте раздел "Безопасное использование" в "Кратком
руководстве". Этот раздел описывает установку модуля лотка на принтер при первом его
использовании. которое поставляется вместе с принтером.
ВНИМАНИЕ
•Аппарат (только механизм печати и расходные материалы) весит 23, 5 кг (Phaser 5335)
или 20,8 кг (Phaser 5335). Аппарат всегда должны поднимать два или более человека.
•Поднимая аппарат, согните колени и возьмитесь за полости, расположенные с правой и
левой стороны аппарата. Это делается во избежание травм спины.
ПРИМЕЧАНИЕ
• Перед отключением или подключением разъема интерфейсного кабеля убедитесь, что
вы отключили питание аппарата и отсоединили силовой шнур от розетки. Если вы
подключаете или отключаете разъем при включенном питании, это может привести к
неисправности аппарата.

Глава 8 Дополнительные элементы
8.1 Модуль лотка (550 листов)
8 - 2
8.1.1 Проверка комплекта поставки
В упаковочной коробке можно найти следующие элементы. Если что-то отсутствует, обратитесь в
службу поддержки заказчика или вашему дилеру.
Пример установки модуля лотка
Этот аппарат (Phaser 5335) может иметь до трех уровней одновременно установленных модулей лотков.
•Модуль лотка (с уже
установленным лотком)
•4 зажима для установки модуля
лотка
•Руководство по установке Phaser
Phaser 5335
•Пример установки 3 уровней лотков на 550 листов.
[Во время установки]
Установите модуль лотка на другие модули лотков (при 2 или более уровнях)
до окончательной установки принтера.
Ссылка: Процедура установки (стр. 8-3)

Глава 8 Дополнительные элементы
8.1 Модуль лотка (550 листов)
8 - 3
8.1.2 Процедура установки
Этот раздел, в качестве примера, описывает процедуру, используемую при установке 3 уровней лотков
на принтер Phaser 5335.
1Переведите выключатель спереди справа внизу в положение [O] для выключения
питания принтера.
Затем отключите силовой шнур от розетки и принтера.
2Установите модуль, который должен быть внизу на горизонтальную поверхность. Если
устанавливается только 1 модуль лотка, перейдите к этапу 8.
3Совместите углы верхнего и нижнего модулей лотков, опустите верхний модуль так, чтобы
три направляющих штифта нижнего модуля лотка плавно вошли в отверстия в нижней части
верхнего модуля лотка.

Глава 8 Дополнительные элементы
8.1 Модуль лотка (550 листов)
8 - 4
4Осторожно опустите верхний модуль лотка до упора. Возьмитесь за лоток обеими руками,
слегка поднимите его и извлеките из модуля.
5Надежно вставьте 4 прилагаемых зажима в отверстия (2 спереди и 2 сзади) модуля лотка, как
показано на следующем рисунке, для закрепления верхнего модуля на нижнем
.

Глава 8 Дополнительные элементы
8.1 Модуль лотка (550 листов)
8 - 5
6Верните лоток в модуль лотка. Вставьте лоток назад до упора.
ПРИМЕЧАНИЕ
•Возвращая лоток в модуль лотка, будьте осторожны, чтобы не защемить пальцы
между лотками.
7Повторите этапы с 3 по 6 и установите еще один уровень модуля лотка поверх уже
установленного. Если устанавливаются только 2 уровня модулей, этот этап не нужен.
8Наконец установите всерху принер. Совместите углы принтера и модуля лотка, опустите
принтер так, чтобы три направляющих штифта модуля лотка плавно вошли в отверстия в
нижней части принтера.
ПРИМЕЧАНИЕ
•Поднимая принтер, вы должны выполнять инструкции, приведенные ранее в " " (стр.
8-1).
•Опуская принтер на модуль лотка будьте осторожны, чтобы не прищемить пальцы.

Глава 8 Дополнительные элементы
8.1 Модуль лотка (550 листов)
8 - 6
9Осторожно вытяните лоток 1 из принтера до упора. Возьмитесь за лоток обеими руками,
слегка поднимите его и извлеките из принтера.
ПРИМЕЧАНИЕ
•Никогда не вытягивайте два и более лотка одновременно. Аппарат может
опрокинуться.
10 Надежно вставьте 4 прилагаемых зажима в отверстия (2 спереди и 2 сзади) принтера, как
показано на следующем рисунке, для закрепления принтера на находящемся под ним
модулем лотка.

Глава 8 Дополнительные элементы
8.1 Модуль лотка (550 листов)
8 - 7
11 Верните лоток в модуль лотка. Вставьте лоток назад до упора.
ПРИМЕЧАНИЕ
•Возвращая лоток в модуль лотка, будьте осторожны, чтобы не защемить пальцы
между принтером и модулем или между модулями.
12 Подсоедините силовой шнур.
13 Переведите выключатель принтера в положение [I] для включения питания.
Установка модуля лотка закончена. За более подробной информацией по загрузке бумаги
обратитесь к "Краткому руководству", которое поставляется вместе с принтером.
Примечание
•Для проверки правильности установки модулей лотков распечатайте "Printer Settings"
(Параметры принтера). За более подробной информацией по печати этого списка обратитесь
к "Краткому руководству", которое поставляется вместе с принтером.
•После завершения установки модуля измените конфигурацию опции с помощью дравйвера
принтера. За более подробной информацией обратитесь к файлу справки драйвера
принтера.

Глава 8 Дополнительные элементы
8.1 Модуль лотка (550 листов)
8 - 8
8.1.3 Процедура демонтажа
Этот раздел описывает процедуру демонтажа модуля лотка с принтера.
ПРИМЕЧАНИЕ
•Если принтер необходимо переместить, прежде снимите модули лотков с принтера.
Поскольку модули недостаточно прично прикреплены к принтеру, они могут упасть и
причинить травму.
1Переведите выключатель спереди справа внизу в положение [O] для выключения
питания принтера. Затем отключите силовой шнур от розетки и принтера.
2Осторожно вытяните лоток 1 до упора. Возьмитесь за лоток обеими руками, слегка
поднимите его и извлеките из принтера.
ПРИМЕЧАНИЕ
•Никогда не вытягивайте два и более лотка одновременно. Аппарат может
опрокинуться.

Глава 8 Дополнительные элементы
8.1 Модуль лотка (550 листов)
8 - 9
3Снимите с принтера 4 зажима (2 спереди и 2 сзади).
Примечание
•Сохраните зажимы для последующей установки модуля лотка.
4Осторожно поднимите принтер над модулями лотков и поставьте его на плоскую
поверхность.
ПРИМЕЧАНИЕ
•Поднимая принтер, вы должны выполнять инструкции, приведенные ранее в " " (стр.
8-1). Никогда не хватайтесь за места, где устанавливается лоток.

Глава 8 Дополнительные элементы
8.1 Модуль лотка (550 листов)
8 - 10
5Верните лоток в модуль лотка. Вставьте лоток назад до упора.
ПРИМЕЧАНИЕ
•Возвращая лоток в модуль лотка, будьте осторожны, чтобы не защемить пальцы
между принтером и лотком.
6Подсоедините силовой шнур. Переведите выключатель принтера в положение [I] для
включения питания.
Снятие модуля лотка с принтера завершено. При изменении конфигурации по количеству
модулей лотков снятие может выполняться точно так же.
Характеристики продукта
Модуль лотка (550 листов)
За более подробной информацией по загрузке бумаги обратитесь к "Краткому руководству",
которое поставляется вместе с принтером.
Размеры В сложенном виде: Длина 459 x ширина 463 x высота 144,6 мм
В разложенном виде: Длина 459 x ширина 598 x высота 144,6
мм
Масса 7,9 кг

Глава 8 Дополнительные элементы
8.2 Универсальная кассета A3 (550 листов)
8 - 11
8.2 Универсальная кассета A3 (550 листов)
Этот раздел описывает работу с универсальной кассетой для формата А3 при первом использовании
аппарата. Для безопасной эксплуатации аппарата перед началом его установки прочитайте раздел
"Безопасное использование" в "Кратком руководстве", которое поставляется вместе с принтером.
8.2.1 Проверка комплекта поставки
В упаковочной коробке можно найти следующие элементы. Если что-то отсутствует, обратитесь в
службу поддержки заказчика или вашему дилеру.
•Универсальная кассета для
А3
• Руководство по установке

Глава 8 Дополнительные элементы
8.2 Универсальная кассета A3 (550 листов)
8 - 12
8.2.2 Загрузка бумаги
Этот раздел описывает процедуру загрузки бумаги в лоток.
В этом аппарате лоток может быть удлинен для загрузки бумаги длинее 14 дюймов (297,4 мм), такой как
В4, А3 и 11 х 17 дюймов. В этом случае задняя часть лотка будет выступать из задней части аппарата,
поскольку ее длина превышает ширину аппарата.
Если лоток удлинен, вы не сможете загружать бумагу форматов A5, B5, A4 или 8,5 x 11 дюймов в
книжной ориентации. Для этого верните лотку его первоначальную длину.
1Если нет необходимости менять длину лотка, перейдите к этапу 3. Для изменения
длины лотка сдвиньте наружу фиксаторы с правой и левой стороны, чтобы
освободить защелки.
2Вытяните лоток (сдавите боковые направляющие). Вытягивайте лоток (сжимая боковые
направляющие) до тех пор, пока защелки, освобожденные на этапе 1, не зафиксируются
автоматически. (Например: когда лоток будет удлинен полностью)
•Лоток в удлиненном
состоянии
• Лоток в обычном состоянии

Глава 8 Дополнительные элементы
8.2 Универсальная кассета A3 (550 листов)
8 - 13
3Надавите на фиксатор левой направляющей для бумаги и передвиньте ее в требуемое
положение. (Например: при загрузке формата А4 в книжной ориентации)
4Надавите на вертикальный фиксатор направляющей для бумаги и передвиньте ее в
требуемое положение. Совместите конец метки формата бумаги с концом метки на
направляющей для бумаги.
5Загрузите бумагу стороной для печати вверх.
Примечание
•Не загружайте бумагу сверх ограничительной линии. Это может вызвать застревание бумаги.

Глава 8 Дополнительные элементы
8.2 Универсальная кассета A3 (550 листов)
8 - 14
6Воспользуйтесь барабаном для задания форматов бумаги и установите его в соответствии с
загруженной бумагой.
7Втолкните лоток до упора в принтер (или в модуль лотка). Если лоток удлинен, удлинитель
будет выступать из задней части принтера.
ПРИМЕЧАНИЕ
•Возвращая лоток назад, будьте осторожны, чтобы не защемить пальцы между
принтером и лотокм или между лотками (если установлены дополнительные модули).
Характеристики продукта
? Универсальная кассета A3 (550 листов)
За более подробной информацией по загрузке бумаги обратитесь к "Краткому руководству",
которое поставляется вместе с принтером.
Размеры В сложенном виде: Длина 412 x ширина 463 x высота 74,7 мм
В разложенном виде: Длина 412 x ширина 598 x высота 106,5
мм
Масса 2,8 кг

Глава 8 Дополнительные элементы
8.3 Дуплексный модуль
8 - 15
8.3 Дуплексный модуль
Этот раздел описывает установку дуплексного модуля в принтер при первом использовании аппарата.
Для безопасной эксплуатации аппарата перед началом его установки прочитайте раздел "Безопасное
использование" в "Кратком руководстве", которое поставляется вместе с принтером.
ПРЕДУПРЕЖДЕНИЕ:
•Этот аппарат был спроектирован так, чтобы предотвратить контакт пользователей с
опасными частями. Поскольку эти опасные части защищены крышками и т.п., никогда
не открывайте никакие панели и крышки, которые закреплены винтами. Это может
привести к поражению электрическим током или травмам.
ПРИМЕЧАНИЕ
•Перед отключением или подключением разъема интерфейсного кабеля убедитесь, что
вы отключили питание аппарата и отсоединили силовой шнур от розетки. Если вы
подключаете или отключаете разъем при включенном питании, это может привести к
неисправности аппарата.
8.3.1 Проверка комплекта поставки
В упаковочной коробке можно найти следующие элементы. Если что-то отсутствует, обратитесь в
службу поддержки заказчика или вашему дилеру.
•Дуплексный модуль • Узел вывода
•Руководство по установке

Глава 8 Дополнительные элементы
8.3 Дуплексный модуль
8 - 16
8.3.2 Процедура установки
1Переведите выключатель спереди справа внизу в положение [O] для выключения
питания принтера. Затем отключите силовой шнур от розетки и принтера.
2Удалите всю бумагу, загруженную в обходной лоток. Если обходной лоток закрыт, откройте
его.
3Откройте верхнюю крышку.

Глава 8 Дополнительные элементы
8.3 Дуплексный модуль
8 - 17
4Снимите колпачок гнезда разъема слева спереди внутри аппарата.
Примечание
•Сохраните защитный колпачок в надежном месте.
5Вставьте дуплексный модуль, горизонтально вдвинув его в направляющую до упора.
6Затяните левый и правый винты, расположенные в верхней части дуплексного модуля.

Глава 8 Дополнительные элементы
8.3 Дуплексный модуль
8 - 18
7Закройте верхнюю крышку и затем закройте обходной лоток.
8Потяните за рычаги передней крышки с правой и левой стороны аппарата, чтобы открыть
переднюю крышку.
9Откройте верхнюю крышку.

Глава 8 Дополнительные элементы
8.3 Дуплексный модуль
8 - 19
10 Снимите колпачок гнезда разъема справа вверху внутри аппарата.
Примечание
•Сохраните защитный колпачок в надежном месте.
11 Вставьте узел вывода вертикально, совместив треугольные метки и вдавив разъем узла
вывода в гнездо разъема аппарата. При правильном соединении раздастся щелчок.
12 Затяните винт, расположенный в верхней части узла вывода.

Глава 8 Дополнительные элементы
8.3 Дуплексный модуль
8 - 20
13 Закройте снаяала верхнюю крышку и затем переднюю крышку.
Примечание
•Закрывая переднюю крышку, будьте осторожны, чтобы не прищемить пальцы между крышкой
(вверху, внизу, справа и слева) и принтером.
14 Подсоедините силовой шнур.
Переведите выключатель принтера в положение [I] для включения питания.
Установка дуплексного модуля закончена.
Примечание
•Для проверки правильности установки дуплексного модуля распечатайте "Printer Settings"
(Параметры принтера). За более подробной информацией по печати этого списка обратитесь
к "Краткому руководству", которое поставляется вместе с принтером.
•После завершения установки дуплексного модуля измените конфигурацию опции с помощью
дравйвера принтера. За более подробной информацией обратитесь к файлу справки
драйвера принтера.

Глава 8 Дополнительные элементы
8.4 Расширенная память
8 - 21
8.4 Расширенная память
Этот аппарат требует установки дополнительной памяти в следующих случаях.
•При печати с использованием режима Print Page (Печать страницы) в драйвере принтера.
Режим обработки печати в принтере меняется, если для Print Page Mode задано значение
"Enable" (Активирован). Если распечатываемые данные слишком большие или печать
задания больше не продолжается, выберите "Enable" и попытайтесь еще раз.
•Если во время печати часто появляют сообщения об ошибках, такие как [Insufficient Memory]
(Недостаточно памяти). Подумайте об увеличении памяти.
•Если установлен комплект программного обеспечения PostScript (рекомендуется)
Кроме этого, увеличение объема памяти может понадобиться в зависимости от установок режима в
драйвере принтера и характеристик бумаги для печати. За информацией о необходимом объеме памяти
обратитесь к следующей таблице:
Требование печати: Несмотря на то, что этого будет достаточно для печати большинства данных, может
оказаться, что этого будет недостаточно для печати некоторых типов данных или при этом будет
снижена скорость двусторонней печати.
Рекомендуемая емкость: Емкость, которую мы рекомендуем для данной операции.
Объем необходимой памяти также зависит от рабочего окружения принтера.
Примечание
•Длинная бумага не может использоваться для 2-сторонней печати и печати с высоким
разрешением.
•За информацией об объемах памяти, которые могут быть установлены в аппарат, обратитесь
к разделу 6.5 "Дополнительные части" в главе 6.
Режим
печати
Формат
бумаги
1-сторонняя 2-сторонняя
Требование
печати
Рекомендуема
я емкость
Требование
печати
Рекомендуема
я емкость
Драйвер
принтера
ART- EX
Стандарт A5 Стандарт (64
Мбайт)
Стандарт (64
Мбайт)
Стандарт (64
Мбайт)
Стандарт (64
Мбайт)
B5
A4
8,5 x 14"
Длинная
бумага (297 х
900 мм)
--
Высокое
разрешение
A5 Стандарт (64
Мбайт)
Стандарт (64
Мбайт)
Стандарт (64
Мбайт)
Стандарт (64
Мбайт)
B5 320 Мбайт
(стандарт +
256 Мбайт)
320 Мбайт
(стандарт + 256
Мбайт)
A4
8,5 x 14"

Глава 8 Дополнительные элементы
8.4 Расширенная память
8 - 22
8.4.1 Процедура установки
Установите дополнительную память так, чтобы она перекрывала дополнительную многопротокольную
LAN-плату. Если многопротокольная LAN-плата уже была установлена, ее придется временно снять. За
описанием процедуры снятия/установки многопротокольной LAN-платы обратитесь к процедуре в
разделе 8.7 "Многопротокольная LAN-плата".
Далее в этом разделе описана процедура установки расширенной памяти в аппарат. Этот аппарат имеет
только одно гнездо для дополнительной памяти. Если дополнительная память уже была установлена,
замените ее памятью большего объема.
ПРЕДУПРЕЖДЕНИЕ:
•Этот аппарат был спроектирован так, чтобы предотвратить контакт пользователей с
опасными частями. Поскольку эти опасные части защищены крышками и т.п., никогда
не открывайте никакие панели и крышки, которые закреплены винтами. Это может
привести к поражению электрическим током или травмам.
ПРИМЕЧАНИЕ
•Перед отключением или подключением разъема интерфейсного кабеля убедитесь, что
вы отключили питание аппарата и отсоединили силовой шнур от розетки. Если вы
подключаете или отключаете разъем при включенном питании, это может привести к
неисправности аппарата.
1Переведите выключатель спереди справа внизу в положение [O] для выключения
питания принтера. Затем отключите силовой шнур от розетки и принтера.
Многопротокольная
LAN-плата
Расширенная память

Глава 8 Дополнительные элементы
8.4 Расширенная память
8 - 23
2Ослабьте винты (в 2 местах) на задней крышке принтера.
3Потяните за заднюю крышку и снимите ее.
4Ослабьте винты (в 3 местах) на внутренней металлической крышке.
5Потяните за металлическую крышку и снимите ее.

Глава 8 Дополнительные элементы
8.4 Расширенная память
8 - 24
6Если многопротокольная LAN-плата уже была установлена, временно снимите ее.
7Если дополнительная память уже была установлена, освободите левый и правый зажимы,
которые удерживают ее на месте. Поскольку это поднимет модуль памяти наклонно, потяните
его также наклонно.
8Возьмитесь за устанавливаемый дополнительный модуль памяти так, чтобы прорезь
оказалась выше середины.

Глава 8 Дополнительные элементы
8.4 Расширенная память
8 - 25
9Совместите прорезь в дополнительном модуле памяти с выступом в гнезде RAM
(помеченном как "SDRAM.op" на плате контроллера) и вставьте модуль диагонально в гнездо.
ПРИМЕЧАНИЕ
•Дополнительная память должна устанавливаться в левой гнездо платы контроллера.
Правое гнездо предназначено для ПЗУ PostScript (дополнительного). Для того чтобы
установить память в правильное положение, проверьте это положение, обратившись к
следующему рисунку.
10 Вставляйте дополнительную память сверху, как показано на рисунке. Если память вставлена
правильно, будет слышен щелчок.
11 Если многопротокольная LAN-плата была снята, установите ее.
12 Верните на место металлическую крышку и затяните винты (в 3 местах), чтобы
зафиксировать ее.

Глава 8 Дополнительные элементы
8.4 Расширенная память
8 - 26
13 Верните на место заднюю крышку и затяните винты (в 2 местах), чтобы зафиксировать ее.
14 Подсоедините силовой шнур. Переведите выключатель принтера в положение [I] для
включения питания.
Установка дополнительной памяти закончена.
Примечание
•Для проверки правильности установки дополнительной памяти распечатайте "Printer Settings"
(Параметры принтера) и проверьте столбец "Installed Memory" (Установленная память) в
разделе "General" (Общая информация). Пункт "Installed Memory" показывает объем памяти,
которая была добавлена сверх 64 Мбайт на плате контроллера. За более подробной
информацией по печати этого списка обратитесь к "Краткому руководству", которое
поставляется вместе с принтером.
•Если дополнительная память устанавливается в эксплуатируемый принтер, после ее
установки измените объем памяти в драйвере принтера. За более подробной информацией
обратитесь к файлу справки драйвера принтера.

Глава 8 Дополнительные элементы
8.5 Внутренний дополнительный жесткий диск
8 - 27
8.5 Внутренний дополнительный жесткий диск
Жесткий диск требуется для использования некоторых функций, таких как Secure Print (Защищенная
печать) и Sample Print (Пробная печать).
ПРЕДУПРЕЖДЕНИЕ:
•Этот аппарат был спроектирован так, чтобы предотвратить контакт пользователей с
опасными частями. Поскольку эти опасные части защищены крышками и т.п., никогда
не открывайте никакие панели и крышки, которые закреплены винтами. Это может
привести к поражению электрическим током или травмам.
ПРИМЕЧАНИЕ
•Перед отключением или подключением разъема интерфейсного кабеля убедитесь, что
вы отключили питание аппарата и отсоединили силовой шнур от розетки. Если вы
подключаете или отключаете разъем при включенном питании, это может привести к
неисправности аппарата.
8.5.1 Проверка комплекта поставки
В упаковочной коробке можно найти следующие элементы. Если что-то отсутствует, обратитесь в
службу поддержки заказчика или вашему дилеру.
ПРИМЕЧАНИЕ
•Перед тем как брать в руки жесткий диск, прикоснитесь к металлической поверхности
для снятия заряда статического электричества.
•Жесткий диск • 2 винта

Глава 8 Дополнительные элементы
8.5 Внутренний дополнительный жесткий диск
8 - 28
8.5.2 Процедура установки
Установите внутренний дополнительный жесткий диск так, чтобы он перекрывал дополнительный
комплект для программного обеспечения PostScript. Если вы уже приобрели комплект программного
обеспечения PostScript, установите его до установки жесткого диска. За процедурой установки
обратитесь к разделу 8.6 "Комплект программного обеспечения PostScript".
Этот раздел описывает установку жесткого диска.
Для его снятия выполните процедуру, описанную в этом разделе, в обратном порядке.
1Переведите выключатель спереди справа внизу в положение [O] для выключения
питания принтера. Затем отключите силовой шнур от розетки и принтера.
2Ослабьте винты (в 2 местах) на задней крышке принтера.
Жесткий
диск
ПЗУ комплекта программного
обеспечения PostScript

Глава 8 Дополнительные элементы
8.5 Внутренний дополнительный жесткий диск
8 - 29
3Потяните за заднюю крышку и снимите ее.
4Ослабьте винты (в 3 местах) на внутренней металлической крышке.
5Потяните за металлическую крышку и снимите ее.

Глава 8 Дополнительные элементы
8.5 Внутренний дополнительный жесткий диск
8 - 30
6Совместите разъем жесткого диска с разъемом принтера для этого диска (с правой стороны
платы контроллера) и вставьте разъемы один в другой.
ПРИМЕЧАНИЕ
•Разъем с левой стороны платы контроллера используется для дополнительной
многопротокольной LAN-платы. Будьте внимательны, чтобы выполнить соединение
правильно.
Разъем для жесткого диска
7Надавите на место, показанное на рисунке, чтобы надежно установить жесткий диск.
8Зафиксируйте жесткий диск снаружи с помощью прилагаемых двух винтов и отвертки.

Глава 8 Дополнительные элементы
8.5 Внутренний дополнительный жесткий диск
8 - 31
9Верните на место металлическую крышку и затяните винты (в 3 местах), чтобы
зафиксировать ее.
10 Верните на место заднюю крышку и затяните винты (в 2 местах), чтобы зафиксировать ее.
11 Подсоедините силовой шнур. Переведите выключатель принтера в положение [I] для
включения питания.
Установка жесткого диска закончена.
Примечание
•Для проверки правильности установки дуплексного модуля распечатайте "Printer Settings"
(Параметры принтера). За более подробной информацией по печати этого списка обратитесь
к "Краткому руководству", которое поставляется вместе с принтером.
Глава 8 Дополнительные элементы
8.5 Внутренний дополнительный жесткий диск
8 - 32
8.5.3 Замечания по аппарату и ограничения для него
Этот раздел содержит замечания и ограничения по использованию аппарата.
Жесткий диск (дополнительный)
•Если при установленном жестком диске питание аппарата было отключено в середине
работы из-за отключения электроэнергии и т.п., данные, хранящиеся на жестком диске, могут
быть повреждены.
•Если доступ к диску был осуществлен в режиме экономии энергии, светодиод [Power Saver]
(Режим экономии энергии) будет мигать. Не выключайте питание аппарата, если светодиод
[Power Saver] мигает.
Дополнительные части
•Дополнительный жесткий диск необходим для использования защищенной/пробной печати.
•Дополнительный комплект программного обеспечения PostScript необходим для
использования этого аппарата как принтера, поддерживающего PostScript. При
использовании этого комплекта рекомендуется установить дополнительную память 256
Мбайт.
Примечание
•Память может быть увеличена для использования режима Print Page. Режим обработки
печати в принтере меняется, если для Print Page Mode задано значение "Enable"
(Активирован). Если распечатываемые данные слишком большие или печать задания больше
не продолжается, выберите "Enable" и попытайтесь еще раз.
Подсчет объема печати при 2-сторонней печати
При 2-стороннеей печати некоторые приложения могут автоматически вставлять пустые страницы для
регулировки количества страниц в соответствии с заданными условиями и т.п. В таким случаях лист с
пустой страницей, вставляемой приложением, будет считаться одной страницей.

Глава 8 Дополнительные элементы
8.6 Комплект программного обеспечения PostScript
8 - 33
8.6 Комплект программного обеспечения PostScript
Этот раздел описывает установку комплекта программного обеспечения PostScript® в принтер при
первом использовании аппарата.
Для безопасной эксплуатации аппарата перед началом его установки прочитайте раздел "Безопасное
использование" в "Кратком руководстве", которое поставляется вместе с принтером.
ПРЕДУПРЕЖДЕНИЕ:
•Этот аппарат был спроектирован так, чтобы предотвратить контакт пользователей с
опасными частями. Поскольку эти опасные части защищены крышками и т.п., никогда
не открывайте никакие панели и крышки, которые закреплены винтами. Это может
привести к поражению электрическим током или травмам.
ПРИМЕЧАНИЕ
•Перед отключением или подключением разъема интерфейсного кабеля убедитесь, что
вы отключили питание аппарата и отсоединили силовой шнур от розетки. Если вы
подключаете или отключаете разъем при включенном питании, это может привести к
неисправности аппарата.
Примечание
• При установке комплекта программного обеспечения PostScript этот аппарат может
использоваться в качестве принтера, поддерживающего PostScript. Чтобы установить
PostScript-драйвер принтера на свой компьютер, обратитесь к руководству на CD-ROM,
который прилагается к этой опции,
Вдобавок, если этот комплект установлен, пункты, связанные с PostScript, добавляются в
меню панели управления. Что касается панели управления, то обратитесь к "Краткому
руководству" или "Руководству пользователя", которые поставляются вместе с принтером.
•При использовании этого комплекта рекомендуется установить дополнительную память 256
Мбайт.

Глава 8 Дополнительные элементы
8.6 Комплект программного обеспечения PostScript
8 - 34
8.6.1 Проверка комплекта поставки
В упаковочной коробке можно найти следующие элементы. Если что-то отсутствует, обратитесь в
службу поддержки заказчика или вашему дилеру.
(Содержит электронную версию лицензионного соглашения)
ПРИМЕЧАНИЕ
•Не прикасайтесь к контактам ПЗУ.
•Не сгибайте и не повреждайте ПЗУ.
•Перед тем как брать ПЗУ голыми руками, прикоснитесь к металлической поверхности
для снятия заряда статического электричества.
•ПЗУ PostScript • Наклейка с логотипом
Adobe® PostScript® 3TM
•Лицензионное соглашение
•Библиотека
драйверов PostScript
на CD-ROM
•Руководство по установке

Глава 8 Дополнительные элементы
8.6 Комплект программного обеспечения PostScript
8 - 35
8.6.1.1 Процедура установки
Установите ПЗУ PostScript так, чтобы оно перекрывало дополнительный внутренний жесткий диск. Если
внутренний дополнительный жесткий диск уже был установлен, временно снимите его. За описанием
процедуры снятия/установки внутреннего дополнительного жесткого диска обратитесь к разделу 8.5
"Внутренний дополнительный жесткий диск".
Далее в этом разделе объясняется, как установить ПЗУ PostScript.
1Переведите выключатель спереди справа внизу в положение [O] для выключения
питания принтера.
Затем отключите силовой шнур от розетки и принтера.
2Ослабьте винты (в 2 местах) на задней крышке принтера.
Внутренний дополнительный
жесткий диск
ПЗУ PostScript

Глава 8 Дополнительные элементы
8.6 Комплект программного обеспечения PostScript
8 - 36
3Потяните за заднюю крышку и снимите ее.
4Ослабьте винты (в 3 местах) на внутренней металлической крышке.
5Потяните за металлическую крышку и снимите ее.
6Если внутренний дополнительный жесткий диск уже был установлен, временно снимите его.
С помощью отвертки выверните 2 внешних винта и потяните внутренний дополнительный
жесткий диск вертикально вверх, удерживая его так, как показано на рисунке.

Глава 8 Дополнительные элементы
8.6 Комплект программного обеспечения PostScript
8 - 37
7Совместите прорезь ПЗУ PostScript с выступом в соответствующем гнезде и вставьте ПЗУ в
гнездо диагонально.
ПРИМЕЧАНИЕ
•ПЗУ PostScript должно устанавливаться в правое гнездо платы контроллера. Левое
гнездо предназначено для дополнительной памяти. Для того чтобы установить ПЗУ в
правильное положение, проверьте это положение, обратившись к следующему
рисунку.
8Вставляйте ПЗУ PostScript сверху, как показано на рисунке. Если ПЗУ вставлено правильно,
будет слышен щелчок.
Примечание
•Для снятия ПЗУ отведите наружу язычки, которые фиксируют его с обеих сторон, и затем
извлеките плату ПЗУ.
9Если внутренний дополнительный жесткий диск был снят, установите его на место.
10 Верните на место металлическую крышку и затяните винты (в 3 местах), чтобы
зафиксировать ее.

Глава 8 Дополнительные элементы
8.6 Комплект программного обеспечения PostScript
8 - 38
11 Верните на место заднюю крышку и затяните винты (в 2 местах), чтобы зафиксировать ее.
12 Приклейте наклейку с логотипом Adobe® PostScript® 3TM на место, показанное на рисунке.
13 Подсоедините силовой шнур. Переведите выключатель принтера в положение [I] для
включения питания.
Установка комплекта программного обеспечения PostScript завершена.
Примечание
•Распечатайте "Printer Settings" (Параметры принтера). Если в столбце Page Description
Language (Язык описания страниц) "PostScript" представлен, комплект программного
обеспечения PostScript установлен правильно. За более подробной информацией по печати
этого списка обратитесь к "Краткому руководству", которое поставляется вместе с принтером.

Глава 8 Дополнительные элементы
8.7 Многопротокольная LAN-плата
8 - 39
8.7 Многопротокольная LAN-плата
Этот раздел описывает установку многопротокольной LAN-платы в принтер при первом использовании
аппарата.
Для безопасной эксплуатации аппарата перед началом его установки прочитайте раздел "Безопасное
использование" в "Кратком руководстве", которое поставляется вместе с принтером.
ПРЕДУПРЕЖДЕНИЕ:
•Этот аппарат был спроектирован так, чтобы предотвратить контакт пользователей с
опасными частями. Поскольку эти опасные части защищены крышками и т.п., никогда
не открывайте никакие панели и крышки, которые закреплены винтами. Это может
привести к поражению электрическим током или травмам.
ПРИМЕЧАНИЕ
•Перед отключением или подключением разъема интерфейсного кабеля убедитесь, что
вы отключили питание аппарата и отсоединили силовой шнур от розетки. Если вы
подключаете или отключаете разъем при включенном питании, это может привести к
неисправности аппарата.
ПРИМЕЧАНИЕ
•Если многопротокольная LAN-плата устанавливается первый раз в принтер,
эксплуатируемый в сетевом окружении, инициализируются сетевые установки. Для
проверки параметров принтера рекомендуется заблаговременно распечатать "Printer
Settings". За более подробной информацией по печати этого списка обратитесь к
"Краткому руководству", которое поставляется вместе с принтером.
8.7.1 Проверка комплекта поставки
В упаковочной коробке можно найти следующие элементы. Если что-то отсутствует, обратитесь в
службу поддержки заказчика или вашему дилеру.
•LAN-плата •2 винта
• Руководство по установке

Глава 8 Дополнительные элементы
8.7 Многопротокольная LAN-плата
8 - 40
8.7.2 Процедура установки
Установите LAN-плату так, чтобы она перекрывала верхнюю часть дополнительной памяти. Если вы уже
приобрели дополнительную память, установите ее до установки многопротокольной LAN-платы. За
описанием процедуры установки обратитесь к разделу 8.4 "Дополнительная память".
Этот раздел описывает установку LAN-платы.
Для ее снятия выполните процедуру, описанную в этом разделе, в обратном порядке.
1Переведите выключатель спереди справа внизу в положение [O] для выключения
питания принтера.
Затем отключите силовой шнур от розетки и принтера.
2Ослабьте винты (в 2 местах) на задней крышке принтера.
Многопротокольная
LAN-плата
Дополнительная
память

Глава 8 Дополнительные элементы
8.7 Многопротокольная LAN-плата
8 - 41
3Потяните за заднюю крышку и снимите ее.
4Ослабьте винты (в 3 местах) на внутренней металлической крышке.
5Потяните за металлическую крышку и снимите ее.

Глава 8 Дополнительные элементы
8.7 Многопротокольная LAN-плата
8 - 42
6Совместите разъем LAN-платы с разъемом принтера для нее (с левой стороны платы
контроллера) и вставьте разъемы один в другой.
ПРИМЕЧАНИЕ
•Разъем с правой стороны платы контроллера используется для дополнительного
жесткого диска. Будьте внимательны, чтобы выполнить соединение правильно.
7Надавите на место, показанное на рисунке, чтобы надежно установить LAN-плату.
8Надежно закрепите LAN-плату снаружи двумя прилагаемыми винтами.

Глава 8 Дополнительные элементы
8.7 Многопротокольная LAN-плата
8 - 43
9Верните на место металлическую крышку и затяните винты (в 3 местах), чтобы
зафиксировать ее.
10 Верните на место заднюю крышку и затяните винты (в 2 местах), чтобы зафиксировать ее.
11 Подсоедините силовой шнур. Переведите выключатель принтера в положение [I] для
включения питания.
Установка многопротокольной платы завершена.
Примечание
•Для проверки правильности установки LAN-платы распечатайте "Printer Settings" (Параметры
принтера).
Глава 8 Дополнительные элементы
8.7 Многопротокольная LAN-плата
8 - 44

Глава 10 Общее описание
аппарата
Содержание
10.1 1 Процесс печати . . . . . . . . . . . . . . . . . . . . . . . . . . . . . . . . . . . . . . . . . . . . . . . . . . . . . . . . . . . . . . 10-1
10.1.1 Описание процесса печати . . . . . . . . . . . . . . . . . . . . . . . . . . . . . . . . . . . . . . . . . . . . . . . . . . . 10-1
10.1.2 Электрическая зарядка . . . . . . . . . . . . . . . . . . . . . . . . . . . . . . . . . . . . . . . . . . . . . . . . . . . . . . 10-3
10.1.3 Экспонирование . . . . . . . . . . . . . . . . . . . . . . . . . . . . . . . . . . . . . . . . . . . . . . . . . . . . . . . . . . . . 10-4
10.1.4 Проявление . . . . . . . . . . . . . . . . . . . . . . . . . . . . . . . . . . . . . . . . . . . . . . . . . . . . . . . . . . . . . . . 10-5
10.1.5 Перенос . . . . . . . . . . . . . . . . . . . . . . . . . . . . . . . . . . . . . . . . . . . . . . . . . . . . . . . . . . . . . . . . . . 10-7
10.1.6 Отделение . . . . . . . . . . . . . . . . . . . . . . . . . . . . . . . . . . . . . . . . . . . . . . . . . . . . . . . . . . . . . . . . 10-8
10.1.7 Закрепление . . . . . . . . . . . . . . . . . . . . . . . . . . . . . . . . . . . . . . . . . . . . . . . . . . . . . . . . . . . . . . . 10-9
10.1.8 Очистка . . . . . . . . . . . . . . . . . . . . . . . . . . . . . . . . . . . . . . . . . . . . . . . . . . . . . . . . . . . . . . . . . . 10-10
10.2 Поток данных печати . . . . . . . . . . . . . . . . . . . . . . . . . . . . . . . . . . . . . . . . . . . . . . . . . . . . . . . . . . 10-11
10.2.1 Поток данных . . . . . . . . . . . . . . . . . . . . . . . . . . . . . . . . . . . . . . . . . . . . . . . . . . . . . . . . . . . . . 10-11
10.2.2 Формирование 2-мерного изображения . . . . . . . . . . . . . . . . . . . . . . . . . . . . . . . . . . . . . . . . 10-11
10.3 Ксерография . . . . . . . . . . . . . . . . . . . . . . . . . . . . . . . . . . . . . . . . . . . . . . . . . . . . . . . . . . . . . . . . 10-12
10.3.1 ROS . . . . . . . . . . . . . . . . . . . . . . . . . . . . . . . . . . . . . . . . . . . . . . . . . . . . . . . . . . . . . . . . . . . . . 10-12
10.3.2 Барабан/тонер-картридж и ролик переноса . . . . . . . . . . . . . . . . . . . . . . . . . . . . . . . . . . . . . 10-14
10.4 Подача бумаги . . . . . . . . . . . . . . . . . . . . . . . . . . . . . . . . . . . . . . . . . . . . . . . . . . . . . . . . . . . . . . . 10-18
10.4.1 Подача бумаги . . . . . . . . . . . . . . . . . . . . . . . . . . . . . . . . . . . . . . . . . . . . . . . . . . . . . . . . . . . . 10-18
10.4.2 Податчик бумаги на 550 листов . . . . . . . . . . . . . . . . . . . . . . . . . . . . . . . . . . . . . . . . . . . . . . 10-20
10.4.3
Обходной лоток/ узел регистрации . . . . . . . . . . . . . . . . . . . . . . . . . . . . . . . . . . . . . . . . . . . . 10-26
10.4.4 Вывод бумаги/ 2-сторонняя подача . . . . . . . . . . . . . . . . . . . . . . . . . . . . . . . . . . . . . . . . . . . 10-30
10.4.5 Податчик на 550 листов (дополнительный) . . . . . . . . . . . . . . . . . . . . . . . . . . . . . . . . . . . . . 10-32
10.5 Другие части . . . . . . . . . . . . . . . . . . . . . . . . . . . . . . . . . . . . . . . . . . . . . . . . . . . . . . . . . . . . . . . . 10-34
10.5.1 Электрика . . . . . . . . . . . . . . . . . . . . . . . . . . . . . . . . . . . . . . . . . . . . . . . . . . . . . . . . . . . . . . . . 10-34
10.5.2 Вентилятор/ привод . . . . . . . . . . . . . . . . . . . . . . . . . . . . . . . . . . . . . . . . . . . . . . . . . . . . . . . . 10-36
10.6 Кинематические цепи привода . . . . . . . . . . . . . . . . . . . . . . . . . . . . . . . . . . . . . . . . . . . . . . . . . . 10-37
10.6.1 ГЛАВНЫЙ ДВИГАТЕЛЬ (PL9.1.3) . . . . . . . . . . . . . . . . . . . . . . . . . . . . . . . . . . . . . . . . . . . . . 10-37
10.6.2 Эта страница преднамеренно оставлена пустой. . . . . . . . . . . . . . . . . . . . . . . . . . . . . . . . . 10-38
10.6.3 Двигатель подхвата [УЗЕЛ КРОНШТЕЙНА ПОДАТЧИКА НА 550 ЛИСТОВ] (PL2.3.3) . . . 10-39
10.6.4 Двигатель вывода [УЗЕЛ ПРИВОДА ВЫВОДА] (PL13.2.1) . . . . . . . . . . . . . . . . . . . . . . . . . 10-40
10.6.5 ДВИГАТЕЛЬ ДУПЛЕКСНОГО МОДУЛЯ (PL13.2.13) . . . . . . . . . . . . . . . . . . . . . . . . . . . . . . 10-41
10.6.6 Двигатель подачи [УЗЕЛ ПРИВОДА ДОПОЛНИТЕЛЬНОГО ПОДАТЧИКА] (PL15.2.6) . . . 10-42
10.7 Режим работы . . . . . . . . . . . . . . . . . . . . . . . . . . . . . . . . . . . . . . . . . . . . . . . . . . . . . . . . . . . . . . . 10-43
Глава 10 Общее описание аппарата
10.1 1 Процесс печати
10 - 1
10.1 1 Процесс печати
10.1.1 Описание процесса печати
Этот аппарат представляет собой черно-белый лазерный принтер, основанный на принципе
электрографической регистрации изображения. Процесс электрографической регистрации состоит из
следующих семи этапов, которые формируют тонерное изображение на поверхности барабана,
переносят тонерное изображение на бумагу и затем закрепляют перенесенное изображение на бумаге.
Процесс печати аппарата включает следующие основные этапы:
1Электрическая зарядка: Зарядка поверность барабана
2Экспонирование: Освещение поверхности барабана лазерным лучом для формирования
изображения
3Проявление: Проявление изображения на поверхности барабана с помощью тонера
4Перенос: Перенос тонерного изображения с барабана на бумагу.
5Отделение: Отделение бумаги от поверхности барабана
6Закрепление: Закрепление тонера на поверхности бумаги с помощью нагрева и давления
7Очистка: Очистка барабан
1. Электрическая зарядка
2. Экспонирование
3. Проявление
4. Перенос изображения
5. Отделение
6. Закрепление
7. Очистка
Вывод отпечатка
Источник бумаги
Следующий цикл печати
Путь бумаги
Процесс переноса
Рис. 10-1 Описание процесса печати
При вращении барабана его поверхность проходит через этапы электрической зарядки, экспонирования,
проявления, переноса, отделения и очистки, которые формируют тонерное изображение на ней и
переносят изображение на бумагу. Бумага проходит через этапы переноса, отделения и закрепления,
которые переносят тонерное изображение с поверхности барабана на бумагу и закрепляют
изображение на ней.
Глава 10 Общее описание аппарата
10.1 1 Процесс печати
10 - 2
Схема процесса представлена далее.
Лазерный луч
Подача бумаги
УЗЕЛ ФЬЮЗЕРА
Пила коротрона отделения [5. Отделение]
Прижимной вал [6. Закрпление]
Нагревательный вал [6. Закрепление]
Ракель [7. Очистка]
Ролик заряда (BCR) [1. Электрическая зарядка]
Ролик переноса (BTR) [4. Перенос]
Магнитный вал [3. Проявление]
Барабан
Узел CRU
УЗЕЛ ROS [2. Экспонирование]
Рис. 10-2 Схема процесса печати
Глава 10 Общее описание аппарата
10.1 1 Процесс печати
10 - 3
10.1.2 Электрическая зарядка
В процессе электрической зарядки ролик заряда (BCR) равномерно распределяет отрицательный
электрический заряд по поверхности барабана, который вращается с постоянной скоростью.
•Ролик заряда всегда находится в контакте с барабаном и приводится в движение за счет
последнего. Ролик заряда - проводящий ролик, который получает постоянную отрицательную
компоненту переменного напряжения от HVPS и равномерно наносит на поверхность
барабана отрицательный заряд.
•Поверхность барабана фотопроводящая (она становится непроводящей без освещения и
проводящей - при освещении), и ее внутренняя сторона представляет собой проводник
(алюминиевый цилиндр).
Отрицательный заряд
Положительный заряд
Фотопроводник
Барабан
Проводник
Поверхность барабана
Потенциал поверхности барабана
Рис. 10-3 Процесс электрической зарядки
Глава 10 Общее описание аппарата
10.1 1 Процесс печати
10 - 4
10.1.3 Экспонирование
При экспонировании по отрицательно заряженной поверхности барабана развертывается лазерный луч
для формирования на ней скрытого электростатического изображения.
•Интенсивность лазерного луча меняется в соответствии с данными для печати (данными
изображения), поступаемыми от контроллера принтера. Луч испускается только тогда, когда
нужно сформировать пикселы изображения (маленькие точки, из которых состоит
изображение). (Лазерный диод включается там, где должен быть тонер, и выключается там,
где тонера быть не должно.) Когда части поверхности барабана освещаются лазерным лучом,
они становятся проводящими, и отрицательные заряды стекают на положительную сторону,
нейтрализуя положительные заряды и уменьшая потенциал на поверхности барабана. Эти
части с пониженным поверхностным потенциалом формируют скрытое электростатическое
изображение.
Отрицательный заряд
Положительный заряд
Фотопроводник
Барабан
Проводник
УЗЕЛ ROS
(Лазерный луч)
[Идея барабана;
Лазерный луч
Скрытое электростатическое изображение
Фото : проводник
Проводник
-Поверхность барабана-
(Лазерный луч)
Потенциал поверхности барабана (лазерный луч)
Скрытое электростатическое изображение
Рис. 10-4 Процесс экспонирования
Глава 10 Общее описание аппарата
10.1 1 Процесс печати
10 - 5
10.1.4 Проявление
В процессе проявления частицы тонера, несущие электрический заряд, притягиваются к скрытому
электростатическому изображению на поверхности барабана и формируют видимое изображение на
ней (частицы тонера можно видеть).
•В этом аппарате используется сухой однокомпонентный магнитный тонер. Мешалка подает
тонер из емкости к магнитному валу, расположенному вблизи поверхности барабана.
Поскольку тонер слегка намагничен, он притягивается к поверхности магнитного вала, где с
помощью дозирующего и чистящего лезвия формируется очень тонкий равномерный слой.
Лезвие имеет резиновый элемент, который контактирует с тонером. Трение между резиной и
частицами тонера заряжает последние отрицательно.
•Поверхность магнитного вала покрыта тонким слоем полупроводника. На этот
полупроводниковый слой с HVPS подается напряжение смещения (DB). Это напряжение
состоит и отрицательного постоянного напряжения и перекрывающего переменного
напряжения. Постоянное напряжение используется для поддержания на магнитном валу
постоянного потенциала, отрицательного по отношению к проводящему слою барабана.
Поэтому, те части поверхности барабана, где отрицательные заряды не были уменьшены,
будут иметь более низкий потенциал, чем магнитный вал, а те части, где отрицательные
заряды были уменьшены - соответственно более высокий потенциал по сравнению с
магнитным валом. Переменное напряжение используется для вибрации тонера на
поверхности магнитного вала, что облегчает его перенос. Следовательно, отрицательно
заряженный тонер будет притягиваться только к участкам с уменьшенными отрицательными
зарядами на поверхности барабана (к скрытому электростатическому изображению) и
формировать тонерное изображение на барабане. (Поскольку притяжение положительного
заряда в проводящем слое барабана сильнее, чем отталкивание отрицательного заряда на
поверхности барабана, тонер будет притягиваться к барабану, несмотря на отталкивание. Чем
больше тонера притягивается к барабану, тем больше становится отрицательный заряд этого
участка, что приводит к падению потенциала и снижению силы притяжения тонера.
Глава 10 Общее описание аппарата
10.1 1 Процесс печати
10 - 6
Отрицательный заряд
Положительный заряд
Заряженный тонер
Незаряженный тонер
Барабан
Проводник
Фотопроводник
Ракель
Магнитный вал
Поверхность барабана-
Потенциал поверхности барабана-
Тонерное изображение
Смещение проявителя
Рис. 10-5 Процесс проявления
Глава 10 Общее описание аппарата
10.1 1 Процесс печати
10 - 7
10.1.5 Перенос
В процессе переноса используется ролик переноса (BTR), который переносит тонерное изображение с
поверхности барабана на бумагу.
•Ролик переноса представляет собой проводящий ролик, находящийся в контакте с барабаном
и получающий высокое напряжение от HVPS. Когда лист бумаги проходит между роликом
переноса и барабаном, ролик наводит положительный заряд на обратную поверхность
бумаги. Положительный заряд на обратной стороне бумаги притягивает тонерное
изображение на поверхности барабана и вызывает перенос его с барабана на бумагу. Затем
бумага притягивается к барабану из-за отрицательного потенциала в его проводящем слое и
положительного заряда на ее обратной стороне.
Отрицательный заряд
Положительный заряд
Заряженный тонер
Пила коротрона отделения
Барабан
Бумага
Поверхность барабана-
Потенциал поверхности барабана
Неперенесенный тонер
Рис. 10-6 Процесс переноса
Глава 10 Общее описание аппарата
10.1 1 Процесс печати
10 - 8
10.1.6 Отделение
Для отделения бумаги от поверхности барабана используется пила коротрона отделения.
•На пилу коротрона отделения подается высокое напряжение с HVPS для наведения
отрицательного заряда на обратной стороне бумаги с целью нейтрализации положительного
заряда, наведенного на этапе переноса. Это нейтрализует силу притяжения бумаги к
поверхности барабана и приводит к тому, что бумага отделяется от барабана из-за
собственной жесткости.
Глава 10 Общее описание аппарата
10.1 1 Процесс печати
10 - 9
10.1.7 Закрепление
В процессе закрепления тонерное изображение фиксируется на бумаге за счет расплавления тонера и
вдавливания его в бумагу.
•Тонерное изображение, перенесенное с барабана, может быть повреждено даже при легком
прикосновении к нему пальцем. Бумага должна пройти через УЗЕЛ ФЬЮЗЕРА для
закрепления тонерного изображения на ней. Нагревательный вал получает тепло для
расплавления тонера от нагревательного стержня; давление, создаваемое между
нагревательным и прижимным валами, закрепляет тонер на бумаге.
•На прижимной вал подается высокое постоянное положительное напряжение от HVPS. Это
напряжение, противоположное по знаку заряду тонера, прикладывается к обратной стороне
бумаги во избежание расплывания тонера в зоне прижима фьюзера. (Давление используется
для зажима бумаги между нагревательным и прижимным валами.)
Бумага
Закрепленный тонер
Прижимной вал
(Тепло)
Нагревательный стержень
Нагревательный вал
Незакрепленный тонер
Рис. 10-7 Процесс закрепления
Глава 10 Общее описание аппарата
10.1 1 Процесс печати
10 - 10
10.1.8 Очистка
В процессе очистки с поверхности барабана удаляется избыточный тонер. Кроме этого, будет
выполняться электрическая очистка барабана и ролика переноса.
•Механическая очистка барабана
Она используется для удаления всего оставшегося тонера с поверхности барабана.
Очищающее лезвие (ракель), контактирующий с поверхностью барабана, снимает весь
тонер, который не был перенесен на бумагу и остался на поверхности барабана.
Удаленный тонер собирается как отходы в специальном отсеке, отделенном от еще не
использованного тонера (в УЗЛЕ CRU).
•Электрическая очистка барабана
Она используется для нейтрализации всех оставшихся на барабане зарядов, не
нейтрализованных на предыдущих этапах, и выравнивания потенциала.
Любой заряд, оставшийся от предудущих процессов, выравнивается с помощью
отрицательного постоянного и переменного напряжений, подаваемых с ролика заряда, в
результате чего поверхность барабана снова имеет равномерно распределенный
отрицательный заряд, соответствующий напряжению смещения. (См. этап "Электрическая
зарядка".)
Для нейтрализации любых остаточных зарядов и выравнивания потенциала по поверхности
барабана также развертывается лазерный луч.
При освещении всей поверхности барабана лазерным лучом в начале следующего цикла
печати (при условии, что главный двигатель вращается) любые остаточные заряды на
барабане, накопленные после предыдущего цикла, будут нейтрализованы, а потенциал
выровняется.
•Электрическая очистка ролика переноса
Это выполняется путем обратного переноса на барабан всего тонера, который притянулся к
ролику переноса.
При приложении высокого отрицательного напряжения (обратного тому, что было приложено
в ходе переноса) к ролику переноса в начале и в конце следующего цикла печати весь
притянутый к нему тонер, накопившийся после предыдущего цикла, переносится на барабан,
и поверхность ролика очищается.
Отрицательный заряд
Положительный заряд
Заряженный тонер
Ракель очистки
Барабан
Ролик заряда
Рис. 10-8 Очистка
Глава 10 Общее описание аппарата
10.2 Поток данных печати
10 - 11
10.2 Поток данных печати
10.2.1 Поток данных
Данные для печати (электрические сигналы) проходят следующий путь от контроллера принтера до
изображения на отпечатке.
Хост (Электрический сигнал)
Контроллер принтера (Электрический сигнал)
УЗЕЛ ROS (Лазерный луч)
Скрытое электростатическое изображение на барабане (невидимое изображение)
Тонерное изображение на барабане (видимое изображение)
Тонерное изображение на бумаге
Отпечаток на бумаге
Рис. 10-9 Поток данных печати
10.2.2 Формирование 2-мерного изображения
В соответствии с электрическими сигналами от контроллера принтера (видеосигналы: представление
данных изображения с помощью высокого и низкого уровня) развертка включаюегося и
выключающегося лазерного луча создает одну строку точечного изображения.
При выполнении развертки для всего изображения получается монохроматическое двумерное точечное
изображение. Для формирования полноцветного изображения такое двумерное точечное изображение
должно создаваться для каждого из 4 цветов.
Рарешение рассчитывается следующим образом:
•Направление быстрого сканирования: количество точек/ дюйм
•Направление медленного сканирования: количество линий развертки/ дюйм
Направление подачи бумаги
Количество точек/ дюйм
Количество линий/ дюйм
Рис. 10-10 Формирование 2-мерного изображения
Глава 10 Общее описание аппарата
10.3 Ксерография
10 - 12
10.3 Ксерография
Приводимая далее иллюстрация показывает основные функциональные части, связанные с
ксерографией.
10.3.1 ROS
Плата SOS
Плата полигонального зеркала
УЗЕЛ ROS
Плата LD
Рис. 10-11 Элементы УЗЛА ROS
УЗЕЛ ROS (PL7.1.1)
УЗЕЛ ROS - это устройство экспонирования, которое испускает лазерный луч, используемый для
формирования скрытого электростатического изображения на поверхности барабана.
УЗЕЛ ROS состоит из следующих основных элементов.
•Плата лазерного диода
Преобразует данные изображения, поступающие в УЗЕЛ ROS с платы ESS в лазерный луч,
испускаемый лазерным диодом.
Плата лазерного диода всегда отслеживает интенсивность луча и следит за тем, чтобы он
находился в заданном диапазоне. Этот процесс называется автоматическим управлением
мощности (Auto Power Control - APC).
•Плата полигонального зеркала
Она состоит из двигателя развертки, который вращается с постоянной скоростью и
полигонального зеркала на оси двигателя.
Глава 10 Общее описание аппарата
10.3 Ксерография
10 - 13
•Плата SOS
Плата, на которой установлен датчик SOS (датчик начала сканирования).
Датчик SOS преобразует входящий лазерный луч в электрические сигналы, которые
образуют эталон для начала сканирования, и затем пересылает эти сигналы на плату MCU.
Путь лазерного луча
•Лазерный луч испускается лазеоным диодом и затем проходит через два объектива -
объектив COL и объектив CYL - для освещения полигонального зеркала. Затем он отражается
полигональным зеркалом, проходит через объектив 1 и объектив 2 и затем проходит через
окно и освещает барабан.
•Полигональное зеркало, вращаемое двигателем развертки, имеет 6 отражающих граней.
Такми образом, лазерный луч развертывается по оси барабана за счет изменения угла
отражения от полигонального зеркала. Одна отражающая грань зеркала обеспечивает
развертку одной строки.
•Лазерный луч, отклоненный полигональным зеркалом на максимальный угол, падает на
зеркало SOS (зеркало начала сканирования), которое отражает его на объектив SOS и далее
в датчик SOS. Датчик SOS в свою очередь формирует эталонный сигнал сканирования для
падающего лазерного луча. Этот сигнал используется для синхронизации начала развертки
луча и записи изображения.
Окно
Барабан
Объектив SOS
Плата SOS
Объектив L2
Объектив L1
Полигональное зеркало
Двигатель развертки
Объектив CYL
Объектив COL
Плата лазерного диода
Зеркало SOS
Рис. 10-12 Путь лазерного луча
Глава 10 Общее описание аппарата
10.3 Ксерография
10 - 14
10.3.2 Барабан/тонер-картридж и ролик переноса
Ролик переноса
УЗЕЛ CRU
CRUM
Емкость для отработанного тонера
Тонер
Ракель
Магнитный вал
Барабан
Ролик заряда
Ракель очистки
Рис. 10-13 Элементы барабан/тонер-картриджа и ролика
переноса
Глава 10 Общее описание аппарата
10.3 Ксерография
10 - 15
УЗЕЛ CRU (PL6.1.1)
УЗЕЛ CRU - эт узел, который наводит заряд на барабане и обеспечивает проявление.
УЗЕЛ CRU состоит из следующих основных элементов.
•Барабан
Формирует скрытые электростатические изображения и тонерные изображения.
•Ролик заряда
Заряжает барабан.
•Ракель очистки
Удаляет весь тонер, оставшийся на барабане после переноса тонерного изображения на
бумагу.
•Магнитный вал
Контактирует с барабаном и формирует тонерные изображения на барабане.
•Очищающий и дозирующий ракель
Равномерно распределяет тонер по поверхности магнитного вала и создает трение для
наведения отрицательного заряда на тонере.
•CRUM
Энергонезависимая память, в которой храняться данные об аппарате.
•Емкость для тонера
Содержит неиспользованный тонер.
•Емкость для отработанного тонера
Содержит отработанный тонер, который удаляется с барабана.
РОЛИК ПЕРЕНОСА [УЗЕЛ РОЛИКА ПЕРЕНОСА] (PL4.1.3)
Ролик переноса находится в контакте с барабаном УЗЛА CRU и вращается вместе с барабаном.
Во время печати он наводит положительный заряд на обратную сторону бумаги для переноса
тонера с поверхности барабана на бумагу. После этого бумага подается в УЗЕЛ ФЬЮЗЕРА.
Пила коротрона отделения [УЗЕЛ ОСНОВАНИЯ ПЕРЕДНЕЙ РАМЫ] (PL4.1.8)
Пила коротрона отделения устанавливается в УЗЛЕ ОСНОВАНИЯ ПЕРЕДНЕЙ РАМЫ. При
печати она наводит отрицательный заряд на обратную сторону бумаги. Это нейтрализует заряд
на бумаге и позволяет ей отделиться от барабана.
Глава 10 Общее описание аппарата
10.3 Ксерография
10 - 16
Датчик температуры
Датчик выхода фьюзера
Нагревательная лампа
Нагревательный вал
Термостат
Прижимной вал
Рис. 10-14 УЗЕЛ ФЬЮЗЕРА Элементы 10.3.3 фьюзера
Глава 10 Общее описание аппарата
10.3 Ксерография
10 - 17
УЗЕЛ ФЬЮЗЕРА (PL8.1.11)
УЗЕЛ ФЬЮЗЕРА - узел для закрепления завершенного тонерного изображения, перенесенного
на бумагу, с помощью нагрева и давления.
Элементы вывода бумаги интегрированы в УЗЕЛ ФЬЮЗЕРА.
УЗЕЛ ФЬЮЗЕРА состоит из следующих основных элементов.
•Нагревательный вал
Полый металлический вал с трубчатым покрытием, который обеспечивает тепло для
расплавления тонера на себе.
•Прижимной вал
Резиновый вал с трубчатым покрытием и металлическим валом в центре, который вместе с
нагревательным валом обеспечивает приложение давления к бумаге для закрепления тонера
на ней.
•Нагревательные лампы (2 шт)
Эти лампы располагаются в нагревательном валу. В них герметично запаяны спирали,
которые нагревают весь вал.
•Датчики температуры (2 шт)
Эти термисторы представляют собой электрические резисторы, реагирующие на изменения
температуры. Они контактируют с нагревательным валом для того, чтобы определять
температуру его поверхности. Они управляют включением и выключением нагревательной
лампы в зависимости от определенной ими температуры во избежание первичного
перегрева.
•Термостат
Он включается последовательно в цепь питания нагревательной лампы. Если датчики
температуры (термисторы) не смогли предотвратить перегрев (первичный), и в точке контакта
достигнута заданная температура, цепь разомкнется во избежание вторичного перегрева.
•Датчик выхода фьюзера
Определяет прохождение бумаги через секцию фьюзера. (Нет бумаги: датчик заблокирован)
Глава 10 Общее описание аппарата
10.4 Подача бумаги
10 - 18
10.4 Подача бумаги
Приводимый далее рисунок показывает общий путь бумаги и основные функциональные части
этого пути.
10.4.1 Подача бумаги
Эта страница преднамеренно оставлена пустой
Рис. 10-15
Глава 10 Общее описание аппарата
10.4 Подача бумаги
10 - 19
Рис. 10-16 показывает путь бумаги в аппарате с податчиком бумаги на 550 листов и тремя
дополнительными податчиками на 550 листов.
РОЛИК ПОДАЧИ ИЗ ОБХОДНОГО ЛОТКА (PL3.1.17)
РОЛИК ДУПЛЕКСНОГО МОДУЛЯ 2 (PL13.2.1)
РОЛИК ДУПЛЕКСНОГО МОДУЛЯ 1 (PL13.2.1)
Датчик застревания в дуплексном модуле (PL13.2.7)
[УЗЕЛ ФЬЮЗЕРА] (PL8.1.11)
Ролик вывода [УЗЕЛ ВЕРХНЕЙ КРЫШКИ] (PL1.1.2)
Датчик выхода фьюзера [УЗЕЛ ФЬЮЗЕРА] (PL8.1.11)
Резиновый ролик регистрации [КОМПЛЕКТ РЕГИСТРАЦИИ] (PL5.1.1)
Металлический ролик регистрации [КОМПЛЕКТ РЕГИСТРАЦИИ] (PL5.1.1)
УЗЕЛ ROS (PL7.1.1)
Подталкивающий ролик (PL2.4.10)
ДАТЧИК РЕГИСТРАЦИИ (PL5.1.4)
ДАТЧИК ОТСУТСТВИЯ БУМАГИ В ЛОТКЕ (PL2.4.11)
ДАТЧИК ОТСУТСТВИЯ БУМАГИ В ЛОТКЕ (PL15.3.11)
Подталкивающий ролик (PL15.3.10)
Тормозной ролик (PL2.5.19)
Ролик подачи (PL15.3.10)
УЗЕЛ ПОВОРОТНОГО РОЛИКА (PL15.3.12)
ДАТЧИК КРОМКИ БУМАГИ (PL14.2.4)
Тормозной ролик (PL2.5.19)
Ролик подачи (PL2.4.10)
УЗЕЛ ПОВОРОТНОГО РОЛИКА (PL2.4.12)
Поворотный ролик [КОМПЛЕКТ ПЕРЕДНЕЙ РАМЫ] (PL4.1.1)
РОЛИК ПЕРЕНОСА [УЗЕЛ РОЛИКА ПЕРЕНОСА] (PL4.1.3)
Тормозной ролик обходного лотка [ДЕРЖАТЕЛЬ ТОРМОЗНОГО УЗЛА] (PL3.1.21)
Рис. 10-16 Путь бумаги (податчик на 550 листов)
Глава 10 Общее описание аппарата
10.4 Подача бумаги
10 - 20
10.4.2 Податчик бумаги на 550 листов
Рис. 10-17
ДАТЧИК ОТСУТСТВИЯ БУМАГИ В ЛОТКЕ
ДАТЧИК ФОРМАТА
УЗЕЛ БАРАБАНА ФОРМАТОВ
ПОВОРОТНАЯ МУФТА
МУФТА ПОДАЧИ
Двигатель подхвата
Рис. 10-18 Элементы податчика бумаги на 550 листов
Глава 10 Общее описание аппарата
10.4 Подача бумаги
10 - 21
УЗЕЛ БАРАБАНА ФОРМАТОВ (PL2.5.36)
Задает формат бумаги в кассете.
ДАТЧИК ФОРМАТА (PL2.3.8)
Установка кассеты для бумаги приводит к нажатию кнопок выключателей ДАТЧИКА ФОРМАТА в
УЗЛЕ БАРАБАНА ФОРМАТОВ. Формат бумаги в кассете определяется комбинацией состояния
(вкл./выкл.) этих выключателей.
ДАТЧИК ОТСУТСТВИЯ БУМАГИ В ЛОТКЕ (PL2.4.11)
Определяет наличие или отсутствие кассеты для бумаги по изменению положения активатора.
(Нет бумаги: датчик заблокирован)
Двигатель подхвата [УЗЕЛ КРОНШТЕЙНА ПОДАТЧИКА НА 550 ЛИСТОВ] (PL2.3.3)
Приводит в движение ролик подачи и УЗЕЛ ПОВОРОТНОГО РОЛИКА.
ПОВОРОТНАЯ МУФТА (PL2.4.3)
Передает вращение двигателя подхвата на УЗЕЛ ПОВОРОТНОГО РОЛИКА.
МУФТА ПОДАЧИ (PL2.4.4)
Передает вращение двигателя подхвата на ролик подачи.
Работа УЗЛА НИЖНЕЙ ПЛАСТИНЫ
УЗЕЛ НИЖНЕЙ ПЛАСТИНЫ - это механизм, который работает от шестерни, прикрепленной сбоку
кассеты для бумаги. Пока сцепленная шестерня не отпущена, она может поддерживать заданное
положение без подъема/опускания. Бумага подается из этого положения.
Когда верхний уровень стопки бумаги опускается по мере ее подачи, подталкивающий ролик также
опускается, рычаг освобождает шестерню и УЗЕЛ НИЖНЕЙ ПЛАСТИНЫ поднимается.
Глава 10 Общее описание аппарата
10.4 Подача бумаги
10 - 22
Эта страница преднамеренно оставлена пустой
Рис. 10-19
Глава 10 Общее описание аппарата
10.4 Подача бумаги
10 - 23
УЗЕЛ НИЖНЕЙ ПЛАСТИНЫ
Рычаг
Рис. 10-20 Работа УЗЛА НИЖНЕЙ ПЛАСТИНЫ (кассета на 550
листов)
Связанные элементы
•УЗЕЛ НИЖНЕЙ ПЛАСТИНЫ (PL2.5.5)
Глава 10 Общее описание аппарата
10.4 Подача бумаги
10 - 24
Подача бумаги из кассеты
Бумага, загруженная в кассету, транспортируется подталкивающим роликом к ролику подачи и
тормозному ролику и затем подается за счет вращения последних. К тормозному ролику прикладывает
усилие пружина, расположенная под ним; за счет этого тормозной ролик прижимается к ролику подачи
для того, чтобы разделять бумагу за счет сопротивления вращению. Если бумага перекрывается
(подача нескольких листов), тормозное усилие ограничителя крутящего момента, которые соединен с
тормозным роликом, отделяет самый верхний лист от остальных и подает его.
Подталкивающий ролик
Ролик подачи
Тормозной ролик
Подталкивающий ролик
Ролик подачи
Тормозной ролик
Рис. 10-21 Подача бумаги из кассеты
Связанные элементы
•УЗЕЛ РОЛИКА ПОДАЧИ (Ролик подачи, подталкивающий ролик) (PL2.4.10)
•УЗЕЛ РОЛИКА ПОДАЧИ (Тормозной ролик) (PL2.5.19)

Глава 10 Общее описание аппарата
10.4 Подача бумаги
10 - 25
Формат бумаги
Этот аппарат не имеет механизма для автоматического определения форматов бумаги. Формат
загруженной бумаги задается с помощью барабана (УЗЕЛ БАРАБАНА ФОРМАТОВ) в передней части
лотка. Изменение положения барабана в УЗЛЕ БАРАБАНА ФОРМАТОВ изменяет комбинацию
состояний (вкл./выкл.) трех выключателей ДАТЧИКА ФОРМАТОВ, когда лоток вставлен на свое место.
В таблице 10-1 приводятся соотношения между сочетанием состояний (вкл./выкл.) трех выключателей
ДАТЧИКА ФОРМАТОВ и форматами бумаги.
ДАТЧИК ФОРМАТА
УЗЕЛ БАРАБАНА ФОРМАТОВ
Рис. 10-22 10-22 Установка форматов бумаги
.
*1. Выключатели нумеруются слева направо (1, 2 и 3).
Таблица 10-1: Состояния ДАТЧИКА ФОРМАТОВ и форматы бумаги
Комбинация
состояний
выключателей
Формат бумаги ДАТЧИК ФОРМАТА*1
1 2 3
1 B5 LEF ON (Вкл.) ON (Вкл.) ON (Вкл.)
2 A5 LEF OFF
(Выкл.)
ON (Вкл.) OFF
(Выкл.)
3 A3 ON (Вкл.) ON (Вкл.) OFF
(Выкл.)
4 B4 ON (Вкл.) OFF
(Выкл.)
ON (Вкл.)
5Нестандартный формат OFF
(Выкл.)
ON (Вкл.) ON (Вкл.)
6 A4 SEF OFF
(Выкл.)
OFF
(Выкл.)
ON (Вкл.)
7 A4 LEF ON (Вкл.) OFF
(Выкл.)
OFF
(Выкл.)
Кассета отсутствует OFF
(Выкл.)
OFF
(Выкл.)
OFF
(Выкл.)
Глава 10 Общее описание аппарата
10.4 Подача бумаги
10 - 26
10.4.3 Обходной лоток/ узел регистрации
Äàò÷èê ðåãèñòðàöèè
ÄÀÒ×ÈÊ ÎÒÑÓÒÑÒÂÈß ÁÓÌÀÃÈ Â ÎÁÕÎÄÍÎÌ ËÎÒÊÅ
ÑÎËÅÍÎÈÄ ÏÎÄÀ×È ÎÁÕÎÄÍÎÃÎ ËÎÒÊÀ
Ìóôòà ðåãèñòðàöèè
Рис. 10-23 Элементы обходного лотка/ узла регистрации
СОЛЕНОИД ПОДАЧИ ИЗ ОБХОДНОГО ЛОТКА (PL3.1.1)
Передает вращение ГЛАВНОГО ДВИГАТЕЛЯ на РОЛИК ПОДАЧИ MSI.
ДАТЧИК ОТСУТСТВИЯ БУМАГИ В ОБХОДНОМ ЛОТКЕ (PL3.1.11)
Определяет наличие или отсутствие бумаги в обходном лотке по изменению положения
активатора. (Нет бумаги: датчик заблокирован)
Датчик регистрации (PL5.1.4)
Определяет, достигла ли передняя кромка бумаги секции регистрации (КОМПЛЕКТ
РЕГИСТРАЦИИ) по изменению положения активатора. (Нет бумаги: датчик заблокирован)
Муфта регистрации (PL5.1.2)
Передает вращение ГЛАВНОГО ДВИГАТЕЛЯ на резиновый ролик регистрации, установленный в
КОМПЛЕКТЕ РЕГИСТРАЦИИ.
Глава 10 Общее описание аппарата
10.4 Подача бумаги
10 - 27
Подача бумаги из обходного лотка
При подаче бумага, загруженная в обходной лоток, поднимается узлом нижней пластины и
подталкивается к РОЛИКУ ПОДАЧИ ОБХОДНОГО ЛОТКА для начала процедуры. Если в ходе подачи
бумага перекрывается (подача нескольких листов), тормозное усилие ограничителя крутящего момента,
встроенного ДЕРЖАТЕЛЬ УЗЛА ТОРМОЖЕНИЯ, отделяет самый верхний лист от остальных и подает
его.
Узел нижней пластины находится в режиме ожидания, удерживаемый рычагом и пружиной.
Когда начинается подача бумаги, вал поворачивается и заставляет двигаться закрепленный на нем
кулачок. Рычаг и пружина поднимаются по траектории кулачка и поднимают узел нижней пластины.
Узел нижней пластины
РОЛИК ПОДАЧИ ОБХОДНОГО ЛОТКА
ДЕРЖАТЕЛЬ УЗЛА ТОРМОЖЕНИЯ (Узел тормозного ролика)
РОЛИК ПОДАЧИ ОБХОДНОГО ЛОТКА
Узел тормозного ролика
Узел нижней пластины
Рис. 10-24 Подача бумаги из обходного лотка
Связанные элементы
•РОЛИК ПОДАЧИ ИЗ ОБХОДНОГО ЛОТКА (PL3.1.17)
•ДЕРЖАТЕЛЬ УЗЛА ТОРМОЖЕНИЯ (Узел тормозного ролика) (PL3.1.21)
Глава 10 Общее описание аппарата
10.4 Подача бумаги
10 - 28
Регулировка для передней кромки бумаги
Если бумага подается в зону переноса тонера в том же состоянии, в каком она была загружена в лоток,
существуют случаи, когда изображение не может быть перенесено в нужное положение. Передняя
кромка бумаги выравнивается в зоне регистрации с помощью метода "петли".
В этом методе бумага, которая была подана и перемещена из основного или обходного лотка к
металлическому ролику регистрации, формирует "петлю". Эта "петля" формируется за счет вращения
резинового и металлического роликов регистрации, так что в дальнейшем бумага будет
транспортироваться с выровненной передней кромкой.
Резиновый ролик регистрации
Металлический ролик регистрации
Рис. 10-25 Регулировка для передней кромки бумаги
Связанные элементы
•КОМПЛЕКТ РЕГИСТРАЦИИ (металлический ролик регистрации, резиновый ролик
регистрации) (PL5.1.1)
Глава 10 Общее описание аппарата
10.4 Подача бумаги
10 - 29
Транспортировка бумаги к УЗЛУ ФЬЮЗЕРА
Барабан и ролик переноса переносят тонерное изображение с барабана на бумагу, когда она проходит
через зону регистрации; затем бумага подается в УЗЕЛ ФЬЮЗЕРА. Поскольку УЗЕЛ ФЬЮЗЕРА этого
аппарата расположен прямо над барабаном и роликом переноса, бумага, проходящая через ролик
переноса, должна двигаться почти вертикально. Тонкая бумага с невысокой жесткостью недостаточно
устойчива, чтобы прямо подаваться вертикально. Поэтому в тракте бумаги используется направляющая
пластина, на которую подается напряжение смещения от HVPS и которая транспортирует бумагу
"электрическим способом".
УЗЕЛ ФЬЮЗЕРА (PL8.1.11)
Направляющая пластина
Бумага
РОЛИК ПЕРЕНОСА (PL4.1.3)
УЗЕЛ CRU (PL6.1.1)
Рис. 10-26 Транспортировка бумаги к УЗЛУ ФЬЮЗЕРА
Связанные элементы
•УЗЕЛ ОСНОВАНИЯ ПЕРЕДНЕЙ РАМЫ (Направляющая пластина) (PL4.1.8)
•УЗЕЛ ФЬЮЗЕРА (PL8.1.11)
•РОЛИК ПЕРЕНОСА (PL4.1.3)
Глава 10 Общее описание аппарата
10.4 Подача бумаги
10 - 30
10.4.4 Вывод бумаги/ 2-сторонняя подача
ПЛАТА ДУПЛЕКСНОГО МОДУЛЯ
Двигатель вывода
ДВИГАТЕЛЬ ДУПЛЕКСНОГО МОДУЛЯ
Датчик застревания в дуплексном модуле
Датчик открытой крышки дуплексного модуля
Рис. 10-27 Элементы вывода бумаги/ 2-сторонней подачи
Двигатель вывода [УЗЕЛ ПРИВОДА ВЫВОДА] (PL13.1.2)
Обеспечивает привода ролика вывода, который установлен в УЗЛЕ ВЕРХНЕЙ КРЫШКИ. Если
двигатель вывода вращается нормально, ролик вывода вращается в направлении вывода бумаги.
Если двигатель вывода вращается в обратном направлении, ролик вывода вращается в
направлении ДУПЛЕКСНОГО УЗЛА и направляет бумагу в этот узел.
ДВИГАТЕЛЬ ДУПЛЕКСНОГО МОДУЛЯ (PL13.2.13)
Приводит в действие ролик 1 и ролик 2 дуплексного модуля для транспортировки бумаги в
ДУПЛЕКСНЫЙ УЗЕЛ.
Датчик застревания в дуплексном модуле [ФОТОДАТЧИК] (PL13.2.7)
Определяет транспортировку бумаги в ДУПЛЕКСНЫЙ УЗЕЛ по изменению положения
активатора.
(Нет бумаги: датчик заблокирован)
Датчик открытой крышки дуплексного модуля [ФОТОДАТЧИК] (PL13.2.7)
Определяет состояние КРЫШКИ ЖЕЛОБА (открыта/закрыта). Закрывание крышки блокирует
датчик.
(Крышка закрыта: датчик заблокирован)
ПЛАТА ДУПЛЕКСНОГО МОДУЛЯ (PL13.2.21)
Управляет всеми элементами ДУПЛЕКСНОГО УЗЛА.
Глава 10 Общее описание аппарата
10.4 Подача бумаги
10 - 31
Путь вывода бумаги/ 2-сторонней подачи
Бумага, прошедшая через УЗЕЛ ФЬЮЗЕРА, выводится за счет вращения ролика вывода, который
установлен в УЗЛЕ ВЕРХНЕЙ КРЫШКИ. Завершение вывода определяется датчиком выхода фьюзера.
Если дуплексный модуль не установлен, ГЛАВНЫЙ ДВИГАТЕЛЬ приводит в движене ролик вывода
через шестерню в КРОНШТЕЙНЕ УЗЛА ВЫВОДА.
Дуплексный модуль состоит из ДУПЛЕКСНОГО УЗЛА и УЗЛА ПРИВОДА ВЫВОДА. Если установлен
УЗЕЛ ПРИВОДА ВЫВОДА, шестерня в КРОНШТЕЙНЕ УЗЛА ВЫВОДА отжимается и расцепляется с
шестерней на ролике вывода. Тем временем, с шестерней ролика вывода сцепляется шестерня в УЗЛЕ
ПРИВОДА ВЫВОДА. Это позволяет двигателю вывода приводить в действие ролик вывода.
С УЗЛОМ ПРИВОДА ВЫВОДА
Без УЗЛА ПРИВОДА ВЫВОДА
КРОНШТЕЙН УЗЛА ВЫВОДА
УЗЕЛ ПРИВОДА ВЫВОДА
УЗЕЛ ПРИВОДА (ГЛАВНЫЙ ДВИГАТЕЛЬ)
УЗЕЛ ПРИВОДА ВЫВОДА
Двигатель вывода
Ролик вывода
Ролик вывода
Рис. 10-28 Различия в конфигурации с установленным и не
установленным дуплексным модулем
Связанные элементы
•РОЛИКИ ДУПЛЕКСНОГО МОДУЛЯ (ролик 1 дуплексного модуля, ролик 2 дуплексного модуля)
(PL13.2.1)
•УЗЕЛ ВЕРХНЕЙ КРЫШКИ (Ролик вывода) (PL1.1.2)
•ГЛАВНЫЙ ДВИГАТЕЛЬ (PL9.1.3)
Глава 10 Общее описание аппарата
10.4 Подача бумаги
10 - 32
10.4.5 Податчик на 550 листов (дополнительный)
Рис. 10-29
ДАТЧИК КРОМКИ БУМАГИ
ПЛАТА ПОДАТЧИКА НА 550 ЛИСТОВ
ДАТЧИК ФОРМАТА
УЗЕЛ БАРАБАНА ФОРМАТОВ
ДАТЧИК ОТСУТСТВИЯ БУМАГИ В ЛОТКЕ
ПОВОРОТНАЯ МУФТА
МУФТА ПОДАЧИ
Двигатель подачи
Рис. 10-30 Элементы податчика бумаги на 550 листов
Глава 10 Общее описание аппарата
10.4 Подача бумаги
10 - 33
Кассета для бумаги точно такая же, как и поставляемая вместе с аппаратом.
Механизмы подачи бумаги и задания форматов также точно такие, как и в податчике бумаги в самом
аппарате.
УЗЕЛ БАРАБАНА ФОРМАТОВ (PL2.5.36)
Задает формат бумаги в кассете.
ДАТЧИК ФОРМАТА (PL15.2.17)
Установка кассеты для бумаги приводит к нажатию кнопок выключателей ДАТЧИКА ФОРМАТА в
УЗЛЕ БАРАБАНА ФОРМАТОВ. Формат бумаги в кассете определяется комбинацией состояния
(вкл./выкл.) этих выключателей.
ДАТЧИК ОТСУТСТВИЯ БУМАГИ В ЛОТКЕ (PL15.3.11)
Определяет наличие или отсутствие кассеты для бумаги по изменению положения активатора.
(Нет бумаги: датчик заблокирован)
ДАТЧИК КРОМКИ БУМАГИ (PL15.2.4)
Определяет подачу бумаги из податчика по изменению положения активатора.
(Нет бумаги: датчик заблокирован)
Двигатель подачи [УЗЕЛ ПРИВОДА ДОПОЛНИТЕЛЬНОГО ПОДАТЧИКА] (PL15.2.6)
Приводит в движение ролик подачи и УЗЕЛ ПОВОРОТНОГО РОЛИКА.
ПОВОРОТНАЯ МУФТА (PL15.3.3)
Передает вращение двигателя подхвата на УЗЕЛ ПОВОРОТНОГО РОЛИКА.
МУФТА ПОДАЧИ (PL15.3.4)
Передает вращение двигателя подхвата на ролик подачи.
ПЛАТА ПОДАТЧИКА (PL15.2.18)
Управляет всеми элементами податчика бумаги.
Глава 10 Общее описание аппарата
10.5 Другие части
10 - 34
10.5 Другие части
В этом разделе приведены рисунки и описания основных функциональных частей, связанных с
элекрической системой, вентиляторами и приводом.
10.5.1 Электрика
Блокировочный выключатель
УЗЕЛ ПАНЕЛИ УПРАВЛЕНИЯ
ПЛАТА MCU
ПЛАТА ESS
РАЗМЫКАТЕЛЬ ЦЕПИ
УЗЕЛ ПРОВОДКИ ВЫКЛЮЧАТЕЛЯ
HVPS
LVPS
Рис. 10-31 Электрические элементы
Глава 10 Общее описание аппарата
10.5 Другие части
10 - 35
ПЛАТА MCU (PL11.1.3)
Обеспечивает связь с контроллером принтера и управляет элементами, задействованными в
цикле печати.
HVPS (PL11.1.5)
Подает высокое напряжение на ролик заряда в УЗЛЕ CRU, магнитный вал, ролик переноса, пилу
коротрона отделения в УЗЛЕ ОСНОВАНИЯ ПЕРЕДНЕЙ РАМЫ, направляющую пластину и
прижимной вал в УЗЛЕ ФЬЮЗЕРА.
LVPS (PL11.1.6)
Работает от источника переменного напряжения, генерирует постоянные напряжения +24 В, + 5В
и +3,3 В и распределяет их между потребителями.
ПЛАТА ESS (PL11.1.7)
Преобразует входные данные печати, полученные через сеть, USB-порт или параллельный порт
и т.п., а также осуществляет связь с компьютером.
УЗЕЛ ПРОВОДКИ ВЫКЛЮЧАТЕЛЯ (PL2.1.15)
Включае в себя главный выключатель и проводку, которая используется для подключения
главного выключателя к РАЗМЫКАТЕЛЮ ЦЕПИ и LVPS.
РАЗМЫКАТЕЛЬ ЦЕПИ (PL12.1.24)
Включает в себя входное гнездо для подачи переменного напряжения и размыкатель цепи для
предупреждения перенапряжения.
Блокировочный выключатель (24 В/5 В) [УЗЕЛ ПРОВОДКИ С БЛОКИРОВКОЙH] (PL12.1.4)
Определяет состояние передней крышки (открыта/закрыта). Открытие передней крышки
отключает подачу постоянного напряжения (24 В, 5 В) потребителям в аппарате.
УЗЕЛ ПАНЕЛИ УПРАВЛЕНИЯ (PL1.1.3)
Состоит из жидкокристаллического дисплея, светодиодов и выключателя.
Жидкокристаллический дисплей и светодиоды показывают состояние аппарата, а выключатель
используется для его работы.
Глава 10 Общее описание аппарата
10.5 Другие части
10 - 36
10.5.2 Вентилятор/ привод
БОКОВОЙ ВЕНТИЛЯТОР
СРЕДНИЙ ВЕНТИЛЯТОР
ГЛАВНЫЙ ДВИГАТЕЛЬ
ЗАДНИЙ ВЕНТИЛЯТОР
Рис. 10-32 Вентиляторы/ элементы привода
ГЛАВНЫЙ ДВИГАТЕЛЬ (PL9.1.3)
Приводите в действие МУФТУ ПОДАЧИ ОБХОДНОГО ЛОТКА, ролик регистрации [КОМПЛЕКТ
РЕГИСТРАЦИИ], барабан [УЗЕЛ CRU], ролик переноса, нагревательный вал [УЗЕЛ ФЬЮЗЕРА] и
поворотный ролик [УЗЕЛ ОСНОВАНИЯ ПЕРЕДНЕЙ РАМЫ]. Также приводит в действие ролик
вывода [УЗЕЛ ВЕРХНЕЙ КРЫШКИ], если дуплексный модуль не установлен. Рассеивает тепло в
аппарате. В основном охлаждает секцию УЗЛА CRU. СРЕДНИЙ ВЕНТИЛЯТОР (PL10.1.2)
ЗАДНИЙ ВЕНТИЛЯТОР (PL10.1.4)
Рассеивает тепло в аппарате. В основном охлаждает секцию LVPS.
БОКОВОЙ ВЕНТИЛЯТОР (PL10.1.5)
Рассеивает тепло в аппарате. В основном охлаждает секцию УЗЛА ROS.
Глава 10 Общее описание аппарата
10.6 Кинематические цепи привода
10 - 37
10.6 Кинематические цепи привода
10.6.1ГЛАВНЫЙ ДВИГАТЕЛЬ (PL9.1.3)
ГЛАВНЫЙ ДВИГАТЕЛЬ приводит в движение ролик вывода, нагревательный вал, барабан, ролик
переноса, резиновый ролик регистрации, РОЛИК ПОДАЧИ ОБХОДНОГО ЛОТКА и поворотный ролик
через шестерни в УЗЛЕ ПРИВОДА и КРОНШТЕЙНЕ УЗЛА ВЫВОДА, как показано на рис. 10-33.
Ролик вывода
Нагревательный вал
Барабан
Ролик переноса
Резиновый ролик регистрации
РОЛИК ПОДАЧИ ОБХОДНОГО ЛОТКА
Поворотный ролик
КРОНШТЕЙН УЗЛА ВЫВОДА (PL9.1.1)
УЗЕЛ ПРИВОДА (PL9.1.2)
ГЛАВНЫЙ ДВИГАТЕЛЬ (PL9.1.3)
Поворотный ролик РОЛИК ПОДАЧИ ИЗ ОБХОДНОГО ЛОТКА (PL3.1.17)
Резиновый ролик регистрации [КОМПЛЕКТ РЕГИСТРАЦИИ] (PL5.1.1)
Поворотный ролик [КОМПЛЕКТ ПЕРЕДНЕЙ РАМЫ] (PL4.1.1)
РОЛИК ПОДАЧИ ИЗ ОБХОДНОГО ЛОТКА (PL3.1.17)
РОЛИК ПЕРЕНОСА [УЗЕЛ РОЛИКА ПЕРЕНОСА] (PL4.1.3)
Барабан [УЗЕЛ CRU] (PL6.1.1)
Нагревательный вал [УЗЕЛ ФЬЮЗЕРА] (PL8.1.11)
Ролик вывода [УЗЕЛ ВЕРХНЕЙ КРЫШКИ] (PL1.1.2)
Рис. 10-33 ГЛАВНЫЙ ДВИГАТЕЛЬ
Глава 10 Общее описание аппарата
10.6 Кинематические цепи привода
10 - 38
10.6.2Эта страница преднамеренно оставлена пустой.
Рис. 10-34
Глава 10 Общее описание аппарата
10.6 Кинематические цепи привода
10 - 39
10.6.3 Двигатель подхвата [УЗЕЛ КРОНШТЕЙНА ПОДАТЧИКА НА 550
ЛИСТОВ] (PL2.3.3)
Двигатель подхвата в податчике на 550 листов приводит в действие ролик подачи, подталкивающий
ролик и УЗЕЛ ПОВОРОТНОГО РОЛИКА через шестерню в КРОНШТЕЙНЕ УЗЛА ПОДАТЧИКА НА 550
ЛИСТОВ, как показано на рис. 10-35.
УЗЕЛ ПОВОРОТНОГО РОЛИКА
Подталкивающий ролик
Ролик подачи
УЗЕЛ ПОВОРОТНОГО РОЛИКА (PL2.4.12)
Ролик подачи (PL2.4.10) Шестерня подачи
Промежуточная шестерня подталкивающего ролика
Подталкивающий ролик (PL2.4.10) Шестерня подталкивающего ролика
Двигатель подхвата [УЗЕЛ КРОНШТЕЙНА ПОДАТЧИКА НА 550 ЛИСТОВ] (PL2.3.3)
Рис. 10-35 Двигатель подхвата [УЗЕЛ КРОНШТЕЙНА
ПОДАТЧИКА НА 550 ЛИСТОВ] (PL2.3.3)
Глава 10 Общее описание аппарата
10.6 Кинематические цепи привода
10 - 40
10.6.4 Двигатель вывода [УЗЕЛ ПРИВОДА ВЫВОДА] (PL13.2.1)
Двигатель вывода приводит в действие ролик вывода в УЗЛЕ ВЕРХНЕЙ КРЫШКИ через шестерню в
УЗЛЕ ПРИВОДА ВЫВОДА, как показано на рис. 10-36.
Ролик вывода
Ролик вывода [УЗЕЛ ВЕРХНЕЙ КРЫШКИ] (PL1.1.2)
Шестерня ролика вывода
Двигатель вывода [УЗЕЛ ПРИВОДА ВЫВОДА] (PL13.1.2)
Рис. 10-36 Двигатель вывода
Глава 10 Общее описание аппарата
10.6 Кинематические цепи привода
10 - 41
10.6.5 ДВИГАТЕЛЬ ДУПЛЕКСНОГО МОДУЛЯ (PL13.2.13)
ДВИГАТЕЛЬ ДУПЛЕКСНОГО МОДУЛЯ приводит в действие ролики 1 и 2 дуплексного модуля через
шестерню, как показано на рис. 10-37.
Ролик 1 дуплексного модуля
Ролик 2 дуплексного модуля
Шестерня ролика 35 (PL13.2.10)
Шестерня 37 (PL13.2.11)
Шестерня 23-34 (PL13.2.12)
Шестерня 37 (PL13.2.11)
Шестерня ролика 35 (PL13.2.10)
Ролик 2 дуплексного модуля (PL13.2.1)
ДВИГАТЕЛЬ ДУПЛЕКСНОГО МОДУЛЯ (PL13.2.13)
Ролик 1 дуплексного модуля (PL13.2.1)
Рис. 10-37 Двигатель дуплексного модуля
Глава 10 Общее описание аппарата
10.6 Кинематические цепи привода
10 - 42
10.6.6 Двигатель подачи [УЗЕЛ ПРИВОДА ДОПОЛНИТЕЛЬНОГО
ПОДАТЧИКА] (PL15.2.6)
Двигатель подачи приводит в действие ролик подачи, подталкивающий ролик и УЗЕЛ ПОВОРОТНОГО
РОЛИКА через шестерни ролика подачи и УЗЕЛ ПРИВОДА ДОПОЛНИТЕЛЬНОГО ПОДАТЧИКА, как
показано на рис. 10-38.
Рис. 10-38 показывает кинематическую схему привода с дополнительным податчиком на 250 листов. Эта
схема полностью идентична схеме дополнительного податчика на 550 листов.
УЗЕЛ ПОВОРОТНОГО РОЛИКА
Подталкивающий ролик
УЗЕЛ ПОВОРОТНОГО РОЛИКА (PL15.3.12)
Ролик подачи (PL15.3.10)
Шестерня подачи
Промежуточная шестерня подталкивающего ролика
Подталкивающий ролик (PL15.3.10) Шестерня подталкивающего ролика
Двигатель подачи [УЗЕЛ ПРИВОДА ДОПОЛНИТЕЛЬНОГО ПОДАТЧИКА] (PL15.2.6)
Рис. 10-38 Двигатель подачи [УЗЕЛ ПРИВОДА
ДОПОЛНИТЕЛЬНОГО ПОДАТЧИКА]

Глава 10 Общее описание аппарата
10.7 Режим работы
10 - 43
10.7 Режим работы
Предусмотрены четыре режима работы.
Рабочий режим
Состояние работы: печать, запись и т.п.
Режим ожидания
Это состояние ожидания задания. Существует возможность войти в этот режим в течение 16 секунд
после выключения и последующего включения питания или из спящего режима.
Режим экономии энергии 1
Если аппарат не принимает данные для печати в течение некоторого времени, то для уменьшения
потребления энергии он входит в режим экономии энергии 1. По умолчанию время до перехода в этот
режим составляет 3 минуты. С панели управления оно может быть изменяться с шагом 1 минута в
диапазоне от 1 до 60 минут. Переход в режим экономии энергии нельзя запретить.
Параметр Состояние
ESS Полная мощность
IOT Система закрепления (УЗЕЛ ФЬЮЗЕРА)Поддержание рабочей температуры
Система экспонирования (УЗЕЛ ROS) Вращение с рабочей скоростью
Система записи (УЗЕЛ CRU) Работает
ПЛАТА MCU Полная мощность
Параметр Status (Состояние)
ESS Полная мощность
IOT Система закрепления (УЗЕЛ ФЬЮЗЕРА)Поддержание рабочей температуры
Система экспонирования (УЗЕЛ ROS) Пауза
Система записи (УЗЕЛ CRU) Пауза
ПЛАТА MCU Полная мощность
Параметр Состояние
ESS Полная мощность
IOT Система закрепления (УЗЕЛ ФЬЮЗЕРА)Пауза
Система экспонирования (УЗЕЛ ROS) Пауза
Система записи (УЗЕЛ CRU) Пауза
ПЛАТА MCU Полная мощность

Глава 10 Общее описание аппарата
6 - 44
Режим экономии энергии 2 (режим глубокого сна)
Если аппарат не принимает данные для печати в течение определенного времени после входа в режим
экномии 1, то для уменьшения расхода энергии он переходит в режим экономии энергии 2. По
умолчанию время перехода в этот режим - 5 минут. С панели управления оно может быть изменяться с
шагом 1 минута в диапазоне от 1 до 120 минут. Аппарату можно запретить входить в этот режим.
При установке в качестве опции нестандартного жесткого диска и т.п. это гарантроваться не будет.
Переход из одного режима работы в другой
Схема перехода из одного режима работы в другой показана ниже.
Питание выключено
Режим ожидания
Окончание задания
Запуск задания
Рабочий режим
Через определенное время
Через определенное время
Режим экономии энергии 1
Режим экономии энергии 2
Когда нажата кнопка на панели управления
Когда принимается задание
Когда открыта/ закрыта крышка
Когда нажата кнопка на панели управления
Когда принимается задание
Рис. 10-39 Переход из одного режима работы в другой
Параметр Состояние
ESS Полная мощность
IOT Система закрепления (УЗЕЛ ФЬЮЗЕРА)Пауза
Система экспонирования (УЗЕЛ ROS) Пауза
Система записи (УЗЕЛ CRU) Пауза
ПЛАТА MCU Пауза
