GC7107B, GC7107C Datasheet. Www.s Manuals.com. Ic Cn
User Manual: Datasheets GC7107, GC7107BD, GC7107BF, GC7107CD, GC7107CF.
Open the PDF directly: View PDF
.
Page Count: 10

GC7107B/C
三位半 LED 显示 A/D 转换器
概述
GC7107B/C 是高性能、低功耗的三位半 A/D 转换器电路。它包含有七段译码器、显示
驱动器、参考源和时钟系统,可直接驱动发光二极管(LED)。
GC7107B/C 将高精度、通用性和低成本很好的结合在一起,它有低于 10µV 的自动校零
功能,零漂小于 1µV/℃,低于 10pA 的输入电流,极性转换误差小于一个字。真正的差动输
入和差动参考源在各种系统中都很有用。在广泛用于各种单片测量单元、
GC7107B/C 可用于组装成各种数字仪表或数控系统中的监控仪表,广泛用于电压、电
流、温度、压力等各种物理的测量。封装形式有 DIP40、LQFP44 或 QFP44。
特点
* 保证零电平输入时,各量程的读数均为零。 * 很低的噪声(小于 15µVp-p)
* 1pA 典型输入电流 * 片上时钟
* 真正的差动输入和差动参考源,直接驱动 LED 显示 * 低功耗(典型值小于 10mW)
* 不需外接有源电路
管脚图
GC7107B/CF GC7107B/CD

GC7107B/C
管脚说明
◆ V+和 V-分别是电源的正极和负极。
◆ A1∽G1、A2∽G2、A3∽G3 分别为个位、十位、百位的 LED 段驱动信号。相应的对应见图
1。
◆ AB4:千位的驱动信号,接千位 LED 显示的 b、c 两端。 当计数值大于 1999 时,发生溢
出,千位数显示“1”,表示超量程显示。
◆ POL:负极性指示,接千位数码 g 端,当 POL 端输出的方波与背电极方波的相位相反时,
显示负号“-”。
◆ DGND:芯片数字地。
◆ OSC1∽OSC3:时钟振荡器的引出端,外接阻容元件组成多谐振荡器。
◆ COM:模拟信号公共端,简称“模拟地”。
◆TEST:逻辑电路的公共地,简称“逻辑地”,可接负电源供外部驱动器使用。
◆ VREF+与 VREF-:基准电压的正端与负端,简称“基准正”和“基准负”。
◆ CREF+、CREF-:外接基准电容端。
◆ VIN+、VIN-:模拟量输入端,分别接输入信号的正端与负端。
◆ A/Z:积分器与比较器的反相输入端,接自动调零电容 CAZ。
◆ BUF:缓冲放大器的输出端,接积分电阻 RINT。
◆ INT:积分器输出端,接积分电容 CINT。
◆ HOLD:显示保持控制端,脉冲触发方式(LQFP44 封装引出脚)。
图1:
LED 显示字段定义

GC7107B/C
电参数
(除非特别说明,在环境温度 Tamb=25℃,时钟频率 Fclock=48KHz 条件下测试。)
参 数 测 试 条 件 最小值 典型值 最大值 单 位
零输入读值
VIN=0.0V,满量程=200mV
-000.0
±000.0
+000.0
数 字
读 数
比例值读数
VIN=VREF,VREF =100mV
999
999/
1000
1000
数 字
读 数
极性转换误差
- C =+ C≈ 200mV
当输入分别为两个极性相反、
数值相等且接近满量程的电
压时读数值的差异。
±0.2
±1
字
线性度
满量程=200mV 或 2V,
最直线间的最大偏差
±0.2
±1
字
共模抑制比
VCM=1V,VIN=0V,
满量程=200mV
50
µV/V
噪声 VIN=0V,满量程=200mV,
输入端漏电流 VIN =0V 1 10 pA
零读值漂移 VIN =0V,0℃至 70℃ 0.2 1 µV/℃
量程温度系数
VIN =199mV,0℃至 70℃
(外部参考源 0ppm/℃)
1
5
ppm/℃
正电源端电流 VIN =0(不包括 LED 的输出
电流)
1.0 1.8 mA
负电源端电流 0.6 1.8 mA
公共端模拟公
共电压
公共端与正电源间接 25KΩ
电阻(相对于正电源)
2.4
3.0
3.2
V
模拟公共端温
度系数
公共端与正电源间接 25KΩ
电阻(相对于正电源)
40
ppm/℃

GC7107B/C
极限参数
参 数 符号 参数范围 单位
V+ ~ GND 6
电源电压 V - ~ GND -9
V
模拟输入电压(任一输入)(注 1) V+ ~ V-
参考源输入(任一输入) V+ ~ V-
时钟输入 GND至V+
工作温度 Topr 0 ~ +70 ℃
贮存温度 Tstg -65 ~ 150 ℃
热阻(典型值)(注 2) θJA 50 ℃/W
最大结温 150 ℃
注:1)输入电压允许超过电源电压,但输入电流必须限制在±100µA。
2)电路安装在实验版上,在空气流通环境下测试θJA。
功能框图
36 3534 33
32
31
30
比较器
29
7 段译码
28 27
7 段译码
22
积分器
1
LED显示
7 段译码
BUF
10uA
/4
数据寄存器
DE(+)
CREF-
A-Z
V+
DE(+)
个位
REFLO
COM
A-Z
AZ
DE(-)
INLO
V+
十位
REFHI
INHI
INT
Rx=10k
INT
DE(-)
控制逻辑
V-
千位 百位
CREF+
A-Z
V+
缓冲器
低端输入
#
500
1V+
37 TEST
27 V-
40
OSC1
39
OSC2
38
OSC3
INT
A-Z
&DE(+/-)
CINT
CAZ
RINT RX
ZI

GC7107B/C
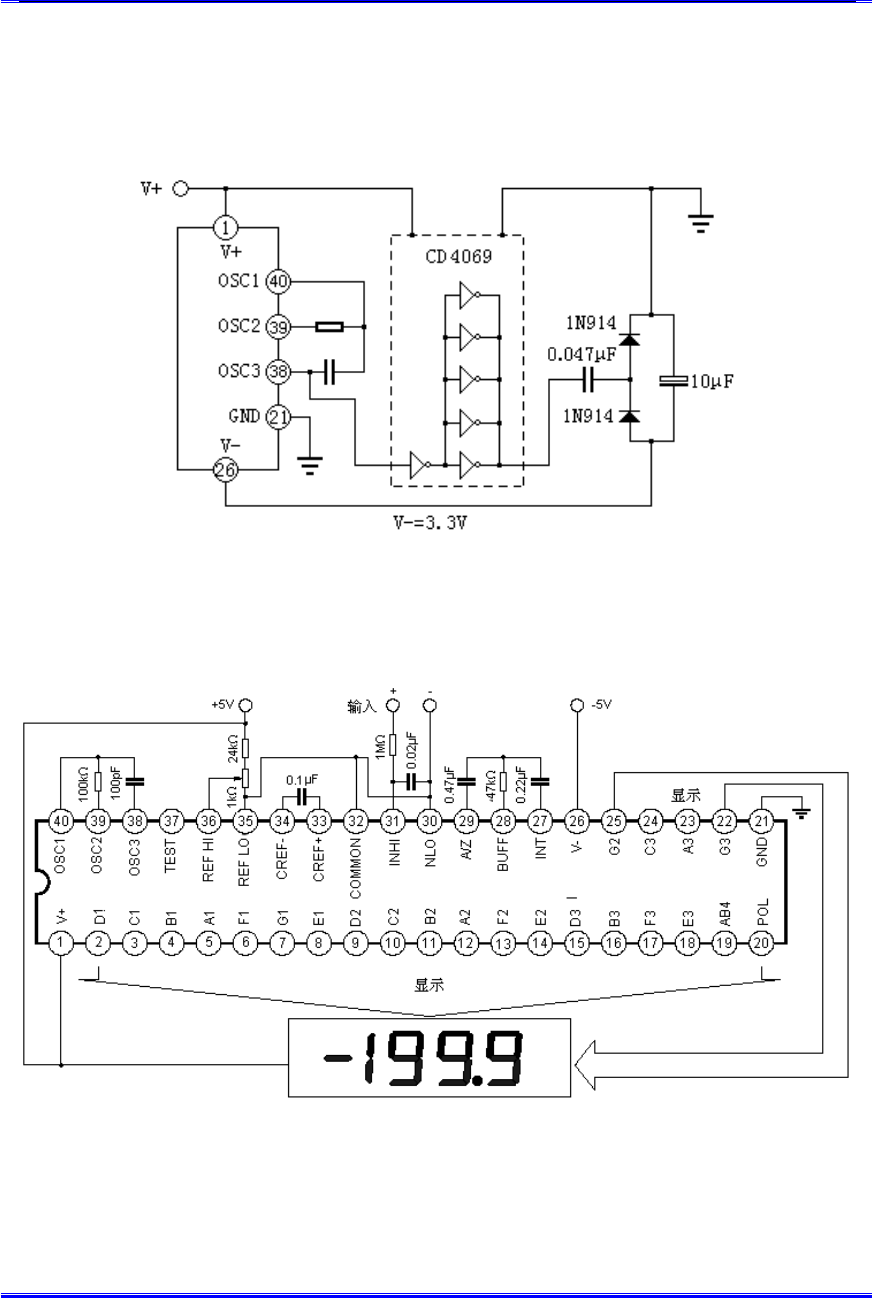
GC7107B/C 的电源供应
GC7107B/C 设计工作于±5V 的电源电压,如果无负电源时,可利用时钟输出信号,外接
2 只二极管、2 只电容和一块廉价的集成电路来产生负电源,如图所示。
从+5V 电压产生-5V 电源电压
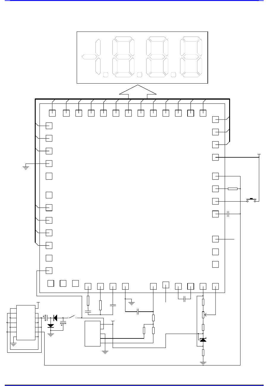
测试电路图
GC7107B/C 的测试线路图(200mV 满量程)
GC7107B

GC7107B/C
C4
220nF
C3
220nF
R5
82K
INT
BUF AZ INLO INHI COM CREF- CREF+ RFLO RFHI
TEST
OSC3
HOLD
OSC2
OSC1
V+
D1
C1
B1A1F1G1B1D2C2B2A2F2E2D3B3F3
E3
AB4
POL
GND
G3
A3
C3
G2
V-
GC7107B
C1
100nF
C2
10nF
SW1
C0
100pF
R0
100k
Rx *
330
4069
1
2
3
4
5
6
7
14
13
12
11
10
9
8
+5V
C5
10uF
1N4148
D2
1N4148
D1
10uF
C6
SW2
1
2
3
4
5
CON5
+5V
R5
1M
RVRA
+5V
R4
15k
1k
VR1
R3
100
TL4 31
2.5V
R2
5k
典型应用图 1
备注:衬底须接正电源
GC7107B/C

GC7107B/C
典型应用图 2
备注:衬底须接正电源
C4
220nF
C3
220nF
R5
82K
INT
BUF AZ INLO INHI COM CREF- CREF+ RFLO RFHI
TEST
OSC3
HOLD
OSC2
OSC1
V+
D1
C1
B1A1F1G1B1D2C2B2A2F2E2D3B3F3
E3
AB4
POL
GND
G3
A3
C3
G2
V-
GC7107B
C1
100nF
C2
10nF
SW1
C0
100pF
R0
100k
Rx *
330
1
2
3
4
5
CON5
+5V
R4
15k
1k
VR1
R3
100
TL431
2.5V
R2
5k
R5
1M
RVRA
+5V
GC7107B/C

GC7107B/C
LCD 显示回零的问题
根据 GC7107B 的技术指标要求,LED 显示数字最末一位允许有±1 的误差,但在万用表
实际生产中,用户对零显示时最末一位的误差要求极为严格。为了消除某些芯片在零显示
时,最末一位有可能为 1 的情况,建议用户在芯片积分回路串联一只 200Ω~800Ω的普通
电阻,一般取 500Ω可满足校正零位误差的要求,如下图所示。
封装尺寸图
DIP40L 封装尺寸图
A/ZBUFFINT
GC7206A
调零电容0.22uF
积分电阻82千欧
积分电容0.22u
零点校正电阻约500欧
1.27±0.10
52.25±0.20
0.46±0.10
1.87 2.54
13.80±0.25
GC7107B/C

GC7107B/C
LQFP44 封装尺寸图
公制(mm) 英制(inch)
符号
最小 最大 最小 最大
A 0.300 0.450 0.012 0.018
B 0.800(TYP) 0.031(TYP)
C 9.900 10.100 0.390 0.398
D 11.800 12.200 0.456 0.480
备注:
1、 以上表格内尺寸为 LQFP 封装,若封装形式为 QFP44,则 A、B、C三项均与 LQFP44
同,但 D项为 13.80±0.20(公制)/0.543±0.008(英制)。
2、 本公司产品型号中用最后一个字母 F表示 LQFP 封装,用 Q表示 QFP 封装。例如
GC7140AQ 表示是 QFP 封装。
D
AB
C
