Jfm Instructions
User Manual:
Open the PDF directly: View PDF
.
Page Count: 29
This draft was prepared using the LaTeX style file belonging to the Journal of Fluid Mechanics 1
Lagrangian investigations on velocity
gradients in compressible turbulence:
Examination of viscous process and flow-field
topology
Nishant Parashar1†, Sawan Suman Sinha 1and Balaji Srinivasan2
1Department of Applied Mechanics, Indian Institute of Technology Delhi, New Delhi 110016,
India
2Department of Mechanical Engineering, Indian Institute of Technology Madras, Chennai
600036, India
(Received xx; revised xx; accepted xx)
We perform Lagrangian investigations (following fluid particles) of the dynamics of
velocity gradients in compressible decaying turbulence. Specifically, we examine (i) the
evolution of the viscous process in the governing equation of the velocity gradient
tensor, and (ii) evolution of the invariants of the velocity gradient tensor. Well-resolved
direct numerical simulations over a range of Mach and Reynolds number along with a
Lagrangian particle tracker are employed for our investigations. We find that an increase
in the initial turbulent Mach number tends to intensify the viscous process following fluid
particles. We provide evidence and explain that this intensification is attributable to the
development of a large disparity in the magnitude of the velocity gradients associated
with contracting and expanding fluid particles combined with the overall preferences
of the these contracting and expanding fluid particles to change their dilatation rate.
Further, we examine the performance of the so-called linear Lagrangian diffusion model
(LLDM) of the viscous process. Subsequent to identifying the shortcomings of the model,
we propose some suggestions for model improvement as well. In the second part of the
study, we employ our DNS results to examine the trajectories of fluid particles in the
the space of the invariants of the velocity gradient tensor. Such an examination allows us
to accurately measure the lifetimes of major topologies of compressible turbulence and
provide explanation why some selective topologies tend to exit longer than the others.
1. Introduction
Gradients of the small-scale velocity field and its dynamics in a turbulent flow influence
many important nonlinear turbulence processes like cascade, mixing, intermittency and
material element deformation. Thus, examination of the velocity gradient tensor in
canonical turbulent flow fields have been the subject of interest employing experimental
measurements (L¨uthi et al. 2005), direct numerical simulations (DNS) (Ashurst et al.
1987b), as well as simple autonomous dynamical models (ordinary differential equations)
(Vieillefosse 1982; Cantwell 1992) of velocity gradients. The pioneering work done by
the cited authors have been further followed up extensively by several researchers for
both incompressible (Ashurst et al. 1987b,a; Girimaji 1991; Girimaji & Speziale 1995;
Ohkitani 1993; Pumir 1994; da Silva & Pereira 2008; O’Neill & Soria 2005; Chevillard &
Meneveau 2006, 2011) and compressible turbulence (Soria et al. 1994; Pirozzoli & Grasso
†Email address for correspondence: nishantparashar14@gmail.com
2N. Parashar, S. S. Sinha and B. Srinivasan
2004; Suman & Girimaji 2009, 2010b, 2012; Wang & Lu 2012; Chu & Lu 2013; Vaghefi
& Madnia 2015; Danish et al. 2016a; Bechlars & Sandberg 2017; Parashar et al. 2017a).
These efforts have led to an improved understanding of small-scale turbulence.
Most DNS or experiment-based studies of fluid mechanics have so far been per-
formed using the Eulerian approach. However, it is desirable to investigate various
flow physics following individual fluid particles (the Lagrangian tracking) as well. Such
an investigation is especially required from the point of view of developing/improving
simple dynamical models of the velocity gradients like the restricted Euler equation
(REE) (Cantwell 1992; Girimaji & Speziale 1995; Meneveau 2011) and the enhanced
homogenized Euler equation model of Suman & Girimaji (2009). Such simple models,
in turn, can be used for closure of Lagrangian PDF method of turbulence (Pope 2002).
An apt example of how Lagrangian statistics can reveal more profound insights into
velocity gradient dynamics is the recent experimental study of Xu et al. (2011), wherein
the authors provided evidence of the so-called “Pirouette effect”. Even though the
vorticity vector had always been expected to align with the largest strain-rate eigenvector,
Eulerian investigations invariably revealed a counterintuitive picture of vorticity aligning
most strongly with the intermediate eigenvector of the instantaneous local strain-rate
tensor. Xu et al. (2011), with their experimental Lagrangian investigations, provided
first-hand evidence that indeed the vorticity vector dynamically attempts to align with
the largest strain-rate eigenvector of an initial reference time in order to cause intense
vortex stretching, and the alignment tendency as shown by the Eulerian one-time field
(with the instantaneous intermediate eigenvector) was merely a transient and incidental
picture.
In incompressible flows, Lagrangian studies using the direct numerical simulation
of decaying turbulence have earlier been performed by Yeung & Pope (1989) and ?.
(see ref. 48 in 2008chevillard). Yeung and Pope Yeung & Pope (1989), focused on
Lagrangian statistics of velocity, acceleration, and dissipation. ?examined the evolution
of material elements in incompressible decaying turbulence. Recently, Xu et al. (2011)
have complemented their experimental observations of vorticity alignment with the
Lagrangian data extracted from DNS of forced isotropic turbulence as well. Chevillard
& Meneveau (2011) evaluated the Lagrangian model for velocity gradient tensor in its
capability to predict vorticity alignment using Lagrangian data obtained from DNS of
forced isotropic turbulent flow. Bhatnagar et al. (2016) quantified the persistence time of
fluid particles in vorticity-dominated and strain-dominated topologies using Lagrangian
data obtained from DNS of isotropic forced incompressible turbulence.
In compressible turbulence, Lagrangian statistics of velocity gradients have been re-
cently studied by Danish et al. (2016a) and Parashar et al. (2017a). While Danish et al.
(2016a) provided the first glimpse of compressibility effects on the alignment tendencies
of the vorticity vector, Parashar et al. (2017a) followed it up and made attempts at
explaining the observed behavior in terms of the dynamics of the inertia tensor of fluid
particles and conservation of angular momentum of tetrads representing fluid particles.
In continuation of our effort to develop deeper insight into the dynamics of small-
scale turbulence from a Lagrangian perspective, in this work, we focus on another two
important aspects of velocity gradient dynamics: (i) evolution of the viscous process and
the role of the deformation gradient tensor in it, and (ii) dynamics of flow field topology
in compressible turbulence.
Our primary motivation behind investigating the dynamics of the deformation gradient
tensor is that this quantity has been used in modeling the viscous processes in both
restricted Euler equation (REE) by Jeong & Girimaji (2003). The authors modeled the
viscous process using the gradient-diffusion hypothesis, wherein diffusion is allowed to
Lagrangian statistics in compressible turbulence 3
be amplified as a function of the deformation gradient tensor. This model was called
the linear Lagrangian diffusion model (LLDM). Later the same model was used by
Suman & Girimaji (2009) in their enhanced homogenized Euler equation (EHEE) model
(while the REE is the simple dynamical representation of velocity gradient dynamics
in incompressible flows, the EHEE model is the counterpart for compressible flows).
Even though the EHEE model employing the LLDM approach does capture some Mach
number and Prandtl number effects, further improvements are indeed desirable (Danish
et al. 2014). From this point of view, in the first part of this work, we first examine
the influence of compressibility on the exact viscous process in the Lagrangian dynamics
of velocity gradients, and subsequently subject the LLD modeling approach to a direct
scrutiny by comparing its Lagrangian evolution history against that of the exact process
it represents. Direct numerical simulation data of decaying compressible turbulence over
a wide range of Mach number along with a well-validated Lagrangian particle tracker is
employed for the purpose. The influence of compressibility on the exact viscous process
is parameterized in terms of Mach number and dilatation rate. Finally, we also propose a
new modified model of the viscous process to address the identified shortcomings of the
original LLDM of Jeong & Girimaji (2003).
In the second part of this work, we examine the evolution of flow-field topology in
compressible turbulence following the Lagrangian trajectories of the invariants of the
velocity gradient tensors. Topology can also be visualized as the local streamline pattern
as observed with respect to a reference frame which is translating with the center of mass
of a local fluid particle (Chong et al. 1990). Topology actually depends on the nature of
eigenvalues of the velocity gradient tensor (VGT), and can also be readily determined
by knowing the three invariants of the velocity gradient tensor (Cantwell & Coles 1983;
Chong et al. 1990). Topology can not only be used for visualization of a flow field, it has
been observed to reveal deeper insights into various nonlinear turbulence processes as well
(Cantwell 1993; Soria et al. 1994). Recently, Danish et al. (2016b) have also attempted
developing models for scalar mixing using topology as a conditioning parameter.
Traditionally, due to the prohibitive demand of computational resources, dynamics
of topology have been studied employing an approximate surrogate method called the
conditional mean trajectory (CMT). The idea of CMT was proposed by Mart´ın et al.
(1998), who employed merely one-time velocity gradient data of the entire flow field
and computed bin-averaged rates-of-change of second and third invariants of VGT using
the right-hand-side of evolution equations of the invariants. These bin-averaged rates
of change conditioned upon their locations were subsequently used to plot trajectories
in the space of VGT invariants. The authors called these trajectories as conditional
mean trajectories (CMT) and used them as a surrogate approach to study invariant
dynamics. Subsequently, several authors have employed the CMTs to investigate various
aspects of topology dynamics both for incompressible (Ooi et al. 1999; Meneveau 2011;
Atkinson et al. 2012) and compressible flows (Chu & Lu 2013; Bechlars & Sandberg 2017).
Indeed the work done by previous researchers employing the approximate approach of
CMTs have improved our understanding of the distribution and dynamics of topology
in compressible turbulence. Even though CMTs provide some useful information about
dynamics of invariants, they are after all an approximation and merely a surrogate
approach in the absence of adequate computational resources (Mart´ın et al. 1998). An
investigation of the exact Lagrangian dynamics in compressible turbulence must be per-
formed, if adequate computational resources are available. Indeed such an investigation
of invariants using Lagrangian trajectories have been recently performed by Bhatnagar
et al. (2016) for incompressible turbulence.Based on such a motivation, we identify the
following objectives for the second part of this work: (i) highlighting the differences,

4N. Parashar, S. S. Sinha and B. Srinivasan
between CMT and the exact Lagrangian trajectory (LT) in compressible turbulence,
and (ii) employing the LTs to investigate lifetime of topologies and their interconversion
processes.
To address the identified objectives of both parts of this paper, we employ direct
numerical simulations of decaying isotropic compressible turbulence and over a wide
range of turbulent Mach number (0.01, 1.5) and a moderate range of Reynolds number
(70, 350). The Lagrangian dynamics are obtained using an almost time continuous set
of flow field along with spline-aided Lagrangian particle tracker (more details in §??).
This paper is organized into seven sections. In §2 we present the governing equa-
tions. In §3 we provide details of our direct numerical simulations and the Lagrangian
particle tracker. In §?? we explain our study plan. In §4 we examine the influence of
compressibility on the viscous processes of the velocity gradient dynamics, evaluate the
LLD model and propose modifications in the model to address its shortcomings. In §5 we
study the dynamics of topologies, compare CMT and LT and quantify lifetime of various
flow-topologies existing in compressible turbulence. Section 6 concludes the paper with
a summary.
2. Governing Equations
The governing equations of compressible flow field of a perfect gas are the continuity,
momentum, energy and state equations:
∂ρ
∂t +Vk
∂ρ
∂xk
=−ρ∂Vk
∂xk
; (2.1)
∂Vi
∂t +Vk
∂Vi
∂xk
=−1
ρ
∂p
∂xi
+1
ρ
∂σik
∂xk
,(2.2)
∂T
∂t +Vk
∂T
∂xk
=−T(n−1)∂Vi
∂xi−n−1
ρR
∂qk
∂xk
+n−1
ρR
∂
∂xj
(Viσji),(2.3)
p=ρRT, (2.4)
where Vi, xi, ρ, p, T, R, σik, qk, n denote velocity, position, density, pressure,
temperature, gas constant, stress tensor, heat flux and ratio of specific heat values,
respectively. The quantities σij and qkobey the following constitutive relationships:
σij =µ∂Vi
∂xj
+∂Vj
∂xi+δij λ∂Vk
∂xk
; (2.5)
qk=−K∂T
∂xk
,(2.6)
where δij is the Kronecker delta, Krepresents the thermal conductivity, and µand λ
denote the first and second coefficients of viscosity respectively (λ=−2µ
3) . The velocity
gradient tensor is defined as:
Aij ≡∂Vi
∂xj
.

Lagrangian statistics in compressible turbulence 5
The evolution equation of Aij can be obtained by taking the gradient of momentum
equation 2.2, as
DAij
Dt =−AikAkj −∂
∂xj1
ρ
∂p
∂xi
| {z }
Pij
+∂
∂xj1
ρ
∂
∂xkµ∂Vi
∂xk
+∂Vk
∂xi−2
3
∂Vp
∂xp
δik
| {z }
Υij
,(2.7)
where, the operator D
Dt (≡∂
∂t +Vk∂
∂xk) stands for the substantial derivative, which
represents the rate of change following a fluid particle. In equation 2.7, the first term on
its right-hand side (RHS) represents the self-deformation process of velocity-gradients.
The term Pij is called the pressure Hessian tensor, whereas Υij represents the action of
viscosity on the evolution of the velocity gradient tensor.
3. Direct numerical simulations and particle tracking
Our direct numerical simulations of nearly incompressible and compressible decaying
turbulence are performed using the gas kinetic method (GKM). The gas kinetic method
(GKM) was originally developed by Xu et al. (1996) and has been shown to be quite
robust in terms of numerical stability. Further, GKM has the ability to capture shocks
without numerical oscillations. Several workers have employed GKM for simulating
compressible decaying turbulence (Kerimo & Girimaji 2007; Liao et al. 2009; Kumar
et al. 2013; Parashar et al. 2017b).
Our computational domain is of size 2πwith a uniform grid and periodic boundary
conditions imposed on opposite sides of the domain. The initial velocity field is generated
at random with zero mean and having the following energy spectrum E(κ):
E(κ) = A0κ4exp −2κ2/κ2
0,(3.1)
where κis wavenumber. Values for spectrum constants A0and κ0are provided in Table 1
for various simulations employed in this work. The relevant Reynolds number for isotropic
turbulence is the one based on Taylor micro-scale (Reλ):
Reλ=r20
3ν k, (3.2)
where k,, and νrepresent turbulent kinetic energy, its dissipation-rate, and kinematic
viscosity. For compressible isotropic turbulence, the relevant Mach number is the turbu-
lent Mach number (Mt):
Mt=r2k
nRT ,(3.3)
where Trepresents mean temperature.
Following the work of Kumar et al. (2013), we have used a 4th order accurate weighted-
essentially-non-oscillatory (WENO) method for interpolation of flow variables. Our solver
has been extensively validated with established DNS results of compressible turbulent
flows (Danish et al. 2016a). In total, this study employs eight different simulations
(Simulations A-H). Descriptions of these simulations are presented in Table 1.

6N. Parashar, S. S. Sinha and B. Srinivasan
0 2 4 6 8
t/τ
0
0.2
0.4
0.6
0.8
1
k/k0
A
B
C
D
E
F
G
(a)
02468
t/τ
-4
-2
-0.5
0
SV
A
B
C
D
E
F
G
(b)
Figure 1. Evolution of (a) normalized turbulent kinetic energy k
k0and (b) Velocity derivative
skewness SV, in Simulations A-G: (Table 1).
In Figure 1(a) we present evolution of turbulent kinetic energy (k) observed in Simula-
tions A-H. In Figure 1(b), we present the evolution of skewness of the velocity derivative
(SV) defined as (your expressions are not meaningful - what does the index i represent–
please be careful- such things annoy reviewer and the reader alike. Please pay attention
to such details..if we want our work to be published we will have to pay attention to such
details):
SVi=∂V 0
i
∂xi3
∂V 0
i
∂xi23/2,(3.4)
SV=SV1+SV2+SV3
3.(3.5)
Note that the time has been normalized using τ, which represents eddy turnover time
(Yeung & Pope 1989; Elghobashi & Truesdell 1992; Samtaney et al. 2001; Mart´ın et al.
2006):
τ=λ0
u0
0
; (3.6)
where u0
0and λ0are the root mean square (rms) velocity and integral-length-scale of the
initial flow field (at time, t= 0).
To extract Lagrangian statistics, a Lagrangian particle tracker (LPT) is used to extract
the full time-history of tagged fluid particles. Our LPT obtains the trajectory (X+(y,t))
of a fluid particle by solving the following equation of motion:
∂X+(t, y)
∂t =VX+(t, y), t,(3.7)
where the superscript “+” represents a Lagrangian flow variable, and yindicates the
label/identifier assigned to the fluid particle at a reference time (tref ). The initial value
of X+at a reference time is chosen at random. Using this initial condition, we then
integrate Equation 3.7 by employing second order Runge-Kutta method. However, upon
integration, the position of the fluid particle at a subsequent time instant may not fall
exactly on one of the grid points of computational domain used in the parent DNS.

Lagrangian statistics in compressible turbulence 7
Simulation ReλMtGrid size A0κ0
A. 70 0.075 12830.000023 4
B. 350 0.6 102430.0015 4
C. 150 1.0 51230.0042 4
D. 100 1.0 51230.0042 4
E. 70 1.0 25630.0042 4
F. 70 1.25 25630.0065 4
G. 70 1.5 25630.0094 4
Table 1. Initial parameters of DNS simulations.
Therefore, an interpolation method is required to find relevant flow quantities at the
particle’s subsequent locations.Following the work of Yeung & Pope (1988), we choose
cubic spline interpolation for this purpose. Like our DNS solvers, our LPT algorithm and
implementation have been adequately validated. Details are available in Danish et al.
(2016a).
4. Study I: Lagrangian investigations on the viscous process of
velocity gradients
In this section we first examine the influence of compressibility on the exact process of
velocity gradient dynamics (Section 4.1). Following a similar methodology, in Section 4.2
we examine the performance of the LLD model of Jeong & Girimaji (2003). Subsequently,
in Section ?? we propose modification in the LLD model to address its shortcomings.
4.1. DNS-based examination of viscous process
The viscous process Υin the evolution equation of the velocity gradient tensor (Equa-
tion 2.7) is:
Υij =ν∂Aij
∂xk∂xk
| {z }
ΥIij
+ν∂Akk
∂xi∂xj
| {z }
ΥIIij
−ν
ρ
∂ρ
∂xj∂Aik
∂xk
+1
3
∂Akk
∂xi
| {z }
ΥIIIij
.(4.1)
In Equation 4.1, ΥIij and ΥIIij are essentially diffusion terms and ΥIIIij is an interaction
between density gradient and viscous process of the Aij tensor. From the point of view
of a dynamical equation of Aij (like REE of Vieillefosse (1982) and/or HEE of Suman
& Girimaji (2009)), each of the three viscous terms (ΥIij ,ΥIIij and ΥIIIij ) represents a
non-local, unclosed process.
To gauge the relative importance of these three constituent viscous processes, we define
three fractions (fI,fII ,fIII):
fI=pΥIij ΥIij
pΥIij ΥIij +pΥIIij ΥIIij +pΥIIIij ΥIIIij
;
fII =pΥIIij ΥIIij
pΥIij ΥIij +pΥIIij ΥIIij +pΥIIIij ΥIIIij
,
fIII =pΥIIIij ΥIIIij
pΥIij ΥIij +pΥIIij ΥIIij +pΥIIIij ΥIIIij
.(4.2)

8N. Parashar, S. S. Sinha and B. Srinivasan
Any of these fractions approaching unity can be used as an evidence of the corresponding
process to be the dominant one. Using the flow-field at peak dissipation time from several
simulations (A-H, Table 1), we have computed the volume-averaged values of fI,fII and
fIII. We find that in all these simulations fI≈0.9, fII ≈0.09 and fIII ≈0.01. Based
on these findings, we conclude that for the range of Mach number and Reynolds number
considered in this study, the exact process Υij is almost solely represented by ΥIij , itself.
Thus in the rest of this study we focus only on ΥIij and assume it to be synonymous
with Υij .
Our interest is to examine how the viscous process ΥIij undergoes change in comparison
to its state at a reference time following a fluid particle. For monitoring this change we
define an amplification ratio r(t, tref ):
r(t, tref ) = pΥIij (t)ΥIij (t)
pΥIij (tref )ΥIij (tref ),(4.3)
where, ΥIij (t) and ΥIij (tref ) are values of the quantity ΥIij associated with an identified
fluid particle at an arbitrary time tand at the reference time tref , respectively. Since
an individual particle represents just one realization, we obtain relevant statistics by
calculating the mean of r(t, tref ) over several identified fluid particles of a homogeneous
flow field. The resulting quantity is referred as hr(t, tref )i, and is truly a two-time
Lagrangian correlation. Direct numerical simulation of compressible decaying turbulence
along with our Lagrangian particle tracker (LPT) are employed to access hr(t, tref )i. A
set of 1,000,000 particles are identified at tref for the purpose.
In this work fluid compressibility is parametrized based on the initial turbulent Mach
number (3.3) and the locally normalized dilatation rate. The normalized dilatation rate
(aii) is the trace of the locally normalized velocity gradient tensor, which is defined as:
aij =Aij /pAmnAmn.(4.4)
The normalized dilatation-rate of a fluid particle (henceforth, referred to as just “dilata-
tion”) represents the normalized rate of change in density of a local fluid particle:
1
ρ
dρ
dt0=−aii (4.5)
where dt0=dtpAij Aij represents time normalized with the local magnitude of the
velocity gradient tensor itself. A positive value of aii implies an expanding fluid element,
a negative value of aii implies a contracting fluid element. A fluid particle with instan-
taneous aii = 0 implies a volume preserving fluid element. While the turbulent Mach
number is a global/statistical indicator of compressibility, the normalized dilatation is a
local parameter and thus it aptly represents the influence of compressibility on a specific
local fluid particle. Note that aii is algebraically bounded between ±√3.
To understand the influence of initial Mt, in Figure 2 we present Lagrangian mean
hr(t, tref )ifrom simulations E-G. These simulations have identical initial Reynolds num-
ber (70) but different initial Mach numbers (1.00, 1.25, 1.50) In each of these simulations,
the exact viscous process shows a two-stage evolution. In the first stage, hr(t, tref )i
increases and reaches a peak value. In the second stage, it decays a monotonic decay.
This evolution pattern is reminiscent of the evolution of dissipation itself. Indeed the
time instant of the peak of dissipation and that of the viscous process almost match
(tpeak−dissipation ≈0.8τ). The amplification in the first stage can be attributed to the
steepening of gradients due to the rapid spread of the spectrum. The decay in the second

Lagrangian statistics in compressible turbulence 9
0 1 2 3 4 5 6 7
t/τ
0
10
20
30
40
hr(t, tref )i
E
F
G
Figure 2. Mach number dependence on evolution of exact viscous term.
stage of evolution can be attributed mainly to the decay in kinetic energy. We observe
that as initial Mtincreases, the peak value of hr(t, tref )iincreases.
In several previous studies like Suman & Girimaji (2010b) and Parashar et al. (2017a),
it has been demonstrated that even when the unconditioned Eulerian or Lagrangian
statistics obtained using DNS data of homogeneous turbulence do not show any dis-
cernible influence of a global compressibility parameter like Mt, the same statistics when
conditioned upon appropriate local compressibility parameters like normalized dilatation
(aii) reveal, significant variations and insightful physics. Examining the influence of local
parameters like aii on turbulence processes is especially useful from the point of view
of Lagrangian based statistical closure of turbulence (Lagrangian PDF methods, Pope
(2002)), wherein dynamical equations are typically cast in terms of local flow variables
directly. Thus to gain further insight, into the viscous diffusion process (ΥIij ), we subject
hr(t, tref )ito conditioned averaging on discrete values of aii at tref .
In Figure 3 we present conditional Lagrangian mean of hr(t, tref )ifrom Simulation
G, with aii as the conditioning parameter. The reference time is chosen to be
xx eddy-turnover time. In Figure 3a, separate curves are presented for aii =
−1.0,−0.75,−0.50,−0.25 and 0, whereas in Figure 3b separate curves are presented for
aii = +1.0,+0.75,+0.50,+0.25 and 0. In both figures we observe profound influence
of both the magnitude and the sign of aii on the evolution of hr(t, tref )i. Even though
almost at all dilatation levels, the conditional mean,hr(t, tref )|aiii, seem to retain the
two-stage evolution patterns as shown by the unconditioned statistics hr(t, tref )i, the
extent to which magnification of hr(t, tref )ihappens (Figure 3) seems to be strongly
affected by the value of aii that a fluid particle has at t=tref . In Figure 3a we observe
that as the dilatation level change from being zero (volume preserving fluid particles)
to being more negative (contracting fluid particles), the peak value of hr(t, tref )|aiii
reduces. On the other hand, in Figure 3b we observe the opposite trend. For fluid
particles with high positive dilatation (fast expanding fluid particles) the peak value of
hr(t, tref )|aiiitends to increase.
In our attempt to understand and explain the behavior observed in Figure 3a, 3b in
Figure 4a and 4b we present the mean value of the amplification of the magnitude of
the velocity gradient tensor Aij itself, following the same set of fluid particles as used in
Figures 3. We measure this amplification as:
hrA(t, tref )i=Aij (t)Aij (t)
Aij (tref )Aij (tref ).(4.6)
We observe that over almost the entire range of dilatation considered in this work,

10 N. Parashar, S. S. Sinha and B. Srinivasan
0 1 2 3 4 5 6 7
(t−tref )/τ
0
1
2
3
4
5
+r(t, tref )-
-aii,
aii =−1.00
aii =−0.75
aii =−0.50
aii =−0.25
aii = 0.00
(a)
0 1 2 3 4 5 6 7
(t−tref )/τ
0
2
4
6
8
10
12
14
+r(t, tref )-
-aii,
aii = +1.00
aii = +0.75
aii = +0.50
aii = +0.25
aii = 0.00
(b)
Figure 3. Dependence of dilatation rate on evolution of exact viscous term for simulation G
at tref = 0.5τ
the trend shown by hrA(t, tref )|aiiiis similar to hr(t, tref )|aiii. Like hr(t, tref )|aiii, a
more positive dilatation tends to move the peak of hrA(t, tref )|aiiihigher and a more
negative dilatation tends to lower the peak of hrA(t, tref )|aiii. This similarity in the trends
shown by hr(t, tref )|aiiiin Figure 3 and that shown by hrA(t, tref )|aiiiin Figure 4 is not
completely unexpected, and it indeed substantiates a gradient diffusion like hypothesis
which assumes ∆A ∝A(Mart´ın et al. 1998; Jeong & Girimaji 2003). However, in the
light of Figure 4a, 4b our primary curiosity that why the peaks of hr(t, tref )i(in Figure
3a, 3b) rise for expanding fluid particles and reduce for contracting fluid particles can
now possibly be explained based on the behavior of Aij itself. In Figure 5 we show
pAij (t)Aij (t)aiiat three time instants, tref ,tref +τ/4 and tref +τ/2. We observe
that the one time statistics of pAij (t)Aij (t)aiidoes not show significant variations
with time.
The dependence of pAij Aij on aii is monotonic and almost linear for aii >0. A faster
expanding fluid particle (large positive aii) is associated with smaller pAij Aij than
a slower expanding fluid particle (small positive aii). On the other hand contracting
particles show a more complex behavior. Extremely fast contracting particles (very high
negative aii) have a very large pAij Aij . As dilatation becomes less negative pAij Aij
drops first (till aii ≈0.25) and then again tends to be larger. Thus the dependence of
pAij Aij on aii is non-monotonic as well as (apparently) non-linear. (Figure 5). In Figure
6a we present averaged rate of change in dilatation (ψ) of tagged fluid particles over one
Kolmogorov time:
ψ= (aii(τκ+tref )−aii(tref )) /τκ,(4.7)
where, τκis the Kolmogorov time at tref .
In Figure 6b we present the fraction of particles having increased/decreased their aii
over one Kolmogorov time relative to the dilatation the particles had at tref . We observe
that expanding particles are more associated with negative ψand contracting particles are
associated with positive ψ. In other words, both contracting and expanding fluid particles
tend to reduce the magnitude of their dilatation. Since particles with higher initial
dilatation tend to acquire lower positive dilatation levels and the associated pAij Aij of
particles with higher positive dilatation is larger than those with lower positive dilatation,
it is plausible to expect that the peak of hr(t, tref )iwill be more at higher positive

Lagrangian statistics in compressible turbulence 11
0 1 2 3 4 5 6 7
(t−tref )/τ
0
0.2
0.4
0.6
0.8
1
1.2
1.4
+rA(t, tref )-
-aii,
aii =−1.00
aii =−0.75
aii =−0.50
aii =−0.25
aii = 0.00
(a)
0 1 2 3 4 5 6 7
(t−tref )/τ
0.2
0.4
0.6
0.8
1
1.2
1.4
1.6
+rA(t, tref )-
-aii,
aii = +1.00
aii = +0.75
aii = +0.50
aii = +0.25
aii = 0.00
(b)
Figure 4. Dependence of dilatation rate on evolution of pAij Aij for simulation G at
tref = 0.5τ.
dilatation than that at lower positive dilatation. Indeed this behavior is observed in
Figure 3a. For contracting particles the dynamics seem to be more complicated because
of non-monotonic and highly non-linear distribution of pAij Aij |aii(Figure 5). At
low negative dilatation (say aii ≈0.25), the dominant tendency of particles is to
move towards zero dilatation (Figure 5). The association of higher pAij Aij at zero
dilatation compare to that at low negative dilatation still allows hrA(t, tref )|aiiito
show a substantial magnification at early times (Figure 4a). However, the relatively
value of pAij Aij at low negative dilatation (say -0.25) as compared to that at low
positive dilatation say aii = +0.25 (Figure 5) seem to somewhat restrict the peak value
of hrA(t, tref )|aiiiof particles with small negative dilatation when compared to peak
value of hrA(t, tref )|aiiiof particles with small positive dilatations (compare the curve of
aii =−0.25 in Figure 4b to the curve of aii =−0.25 in Figure 4a).
For faster contracting particles (say those with initial aii ≈ −0.75), Figure 5 shows
that (like other contracting particles) they begin their journey towards zero dilatation.
However, Figure 5 suggests that as their dilatation reduces, pAij Aij severely drops
(almost exponential drop). This tendency, combined with the fact that initially also they
had a high value of pAij Aij , results into dramatic drop in hrA(t, tref )|aiiias observed
in Figure 4a.
In the light of the foregoing discussion we now make an attempt to explain the
influence of initial turbulent Mach number observed in Figure 2. As the initial turbulent
Mach number is increased (Simulations xx, yy and zz), more particles tend to have
non-zero dilatation, and also, larger magnitudes of normalized dilatation are generated.
In Figure xx we show pdf of dilatation at the peak dissipation time in Simulation xx,
yy and zz.We observe that (i) the population of fast expanding particles and the fast
contracting particles increase as the initial turbulent Mach number is increased, and
(ii) the population distribution is almost symmetric on the positive and the negative aii
sides. In Figure 3 we have already observed that that expanding particles tend to undergo
much more amplification os r(t, tref) than the contracting particles (for example compare
the peak of hr(tref ))|aii = +0.75iin Figure 3a and the peak of hr(tref ))|aii =−0.75iin
Figure 3b). Thus at a higher Mach number, the higher amplification achieved by the
particles with high positive dilatation seem to offset the lower amplification of the viscous
process in the contracting particles resulting into a net increase in the peak value of the
overall hr(tref )ias evident in Figure 2.

12 N. Parashar, S. S. Sinha and B. Srinivasan
-1 -0.5 0 0.5 1
aii
1000
3000
5000
7000
pAij Aij
t=tref
t=tref +τ/4
t=tref +τ/2
Figure 5. Variation in magnitude of Aij tensor with dilatation aii for simulation G
(tref = 0.5τ).
-1 -0.5 0 0.5 1
aii
-0.5
0
0.5
1
ψ
(a)
-1 -0.5 0 0.5 1
aii
0
0.2
0.4
0.6
0.8
1
(b)
Figure 6. Variation of rate of change of dilatation ψwith dilatation over one Kolmogorov time
(at tref = 0.5τ) expressed as: a) average rate of change of dilatation b) Fraction of particles
moving towards +ve aii (symbol +) and -ve aii (symbol o).
4.2. Evaluation of the LLD model
Having examined the behavior of the exact process ΥIij following fluid particles, now
we examine the performance of the LLD model of Jeong & Girimaji (2003), which intends
to capture the essential physics of this exact process. The primary motivation of Jeong
& Girimaji (2003) to develop the LLD model was to ensure that the viscous process is
large enough to eliminate the finite time singularity problem seen earlier in the restricted
Euler dynamics Cantwell & Coles (1983). While the LLD model was found to achieve
this requirement by quickly amplifying the modeled expression of the viscous action using
the trace of the Cauchy-Green tensor, the exact nature of its evolution and other time-
dependent aspects remain questionable - especially its anticipated exponential growth
at late times (Chevillard et al. 2003). In this work we pursue a detailed examination of
the behavior of the LLD model following fluid particles and employing the exact DNS
flow field in the background. For this examination, we use the results of two simulations:
xx and yy. Both these simulations have the same initial Reynolds number (150) but

Lagrangian statistics in compressible turbulence 13
different Mach numbers. Simulation xx with initial Mt≈0.01 can be treated as almost
incompressible, while Simulation yy has considerable compressibility with initial Mach
number being xx.
The LLD modeling approach of Jeong & Girimaji (2003) uses Lagrangian-Eulerian
change in variables to cast ΥIij as:
ν∂2Aij
∂xk∂xk
=ν∂
∂xk∂Xm
∂xk
∂Aij
∂Xm,(4.8)
where, Xiand xiare Eulerian and Lagrangian spatial co-ordinates. Further expansion
of rhs of Equation 4.8 leads to:
ν∂2Aij
∂xk∂xk
=ν∂Xn
∂xk
∂Xm
∂xk
∂2Aij
∂Xm∂Xn
| {z }
A
+ν∂Aij
∂Xm
∂2Xm
∂xk∂xk
| {z }
B
.(4.9)
(4.10)
Jeong & Girimaji (2003) neglects term B (first modeling assumption) on the RHS of
Equation 4.9 to arrive at the following equation:
ν∂2Aij
∂xk∂xk≈ν∂Xn
∂xk
∂Xm
∂xk
∂2Aij
∂Xm∂Xn
.(4.11)
(4.12)
Using the definition of the deformation gradient tensor Dij =∂xi
∂Xiand the right Cauchy-
Green tensor Cij =DkmDkn (Equation ??), the RHS of Equation 4.11 can be expressed
in terms of the tensor C:
∂Xn
∂xk
∂Xm
∂xk
=D−1
kn D−1
km (4.13)
∂Xn
∂xk
∂Xm
∂xk
= (DkmDkn)−1(4.14)
ν∂2Aij
∂xk∂xk≈νC−1
mn
∂2Aij
∂Xm∂Xn
(4.15)
Further, Jeong & Girimaji (2003) make the second modeling assumption wherein C−1
mn
is approximated as an isotropic tensor:
ν∂2Aij
∂xk∂xk≈νC−1
kk
3δmn
∂2Aij
∂Xm∂Xn
(4.16)
ν∂2Aij
∂xk∂xk≈νC−1
kk
3
∂2Aij
∂Xm∂Xm
(4.17)
(4.18)
Finally, the third approximation is made ( ∂2Aij
∂Xm∂Xm≈ −Aij
τL) leading to the following
equation:
ν∂2Aij
∂xk∂xk≈ − 1
τL
C−1
kk
3Aij .(4.19)
(4.20)
Jeong & Girimaji (2003) consider the quantity τLto be a constant and interpret this
as a molecular viscous relaxation time scale. This model has been employed by Jeong
& Girimaji (2003) in the restricted Euler equation (REE) model. Recently, Suman &

14 N. Parashar, S. S. Sinha and B. Srinivasan
Girimaji (2012), Danish et al. (2014) have employed it to capture the physics of viscous
diffusion process in the enhanced Homogenized Euler equation (EHEE) model, which is
the counterpart of REE for compressible flows.
While introducing their recent fluid formation closure hypothesis, ?employed almost
the same final form for the viscous process as proposed by Jeong & Girimaji (2003),
however, they rationalized the model using a different set of arguments. First, instead of
assuming the C−1tensor to be isotropic, the authors assumed the fourth-order tensor
∂2Aij
∂Xm∂Xn(Lagrangian Hessian of the tensor A) to be isotropic, and thereafter expressed
it in terms of the tensor Aij and a length scale δX associated with the flow field at tref :
∂2Aij
∂Xm∂Xm≈ −C−1
mnAij
(δX)2
δmn
3.(4.21)
Subsequently, equation 4.21 when combined with 4.15 led to the following form:
ν∂2Aij
∂xk∂xk≈ −νC−1
kk
3
Aij
(δX)2,(4.22)
?interpret δX as the characteristic length scale that a fluid particle traverses over
a Kolmogorov timescale, and thus δX ≈λ, where λis the Taylor-microscale of the
turbulent flow field at the reference time tref . Thus, the final version of the LLD model
takes the form:
ν∂2Aij
∂xk∂xk≈ − ν
λ2
C−1
kk
3Aij ,(4.23)
As mentioned in the Introduction, with access to DNS data of decaying turbulence
and a validated Lagrangian particle tracker, we intend to scrutinize the performance of
this model (4.23). For this study we select the same set of particles that we used in §4.1
to examine the exact ΥIij process. We follow the same particles and calculate C−1
kk ν
3λ2Aij
of each particle. Like the exact process (Equation ??), we define the amplification ratio
of the viscous process modeled process as:
rm(t, tref ) = hν
λ2
C−1
kk
3pAij Aij it
hν
λ2
C−1
kk
3pAij Aij itref
(4.24)
At each time instant the ratio rm(t, tref ) is calculated, and subsequently the mean value
hrm(t, tref )iis computed by taking averages across the selected set of particles. A direct
comparison of hrm(t, tref )iis then performed against hr(t, tref )i. Note that to find C−1
kk at
any arbitrary times we use the following exact evolution equation of deformation gradient
tensor Dij (Jeong & Girimaji 2003):
dDij
dt =DikAkj ,(4.25)
where, both Aand Dare calculated using DNS data fields at different time instants and
the Lagrangian particle tracker. Thus, our evaluation procedure uses the exact states of
the Aand the Ctensors.
In Figure 7a, we present evolution of both hrm(t, tref )iand hr(t, tref )iusing results of
simulation A (nearly incompressible with initial Mtbeing 0.01 and Reλ=150). In Figure
7b, results are shown using DNS data from Simulation G (highly compressible with initial
Mtbeing 1.5 and Reλ=150). In each case tref = 0. We observe that in both simulations,
unlike the evolution of the exact process, the LLD model shows monotonic growth with

Lagrangian statistics in compressible turbulence 15
01234567
t/τ
0
2
4
6
8
10 ×10 6
hrm(t, tref )i
hr(t, tref )i
(a)
01234567
t/τ
0
20
40
60
80
100
hrm(t, tref )i
hr(t, tref )i
(b)
Figure 7. Comparison of LLD model term and the exact viscous term: a) unscaled axis, b)
axis scaled to visualize the difference in growth rates of the two processes.
time. At the early stages of evolution, this monotonic growth is at least qualitatively
the same as the exact process. However, at later stages (after the dissipation peak) the
continued monotonic growth of hrm(t, tref )iis in gross disagreement with hr(t, tref )i,
which shows a decaying behavior in the second stage. Our results clearly show that
even though the LLD model may eliminate the problem of finite time singularity of the
restricted Euler equation (Jeong & Girimaji 2003), its growth, especially at late times,
is unrealistic and severely overestimates the strength of the viscous process.
In an attempt to diagnose the problems of the LLD model (4.23), we revisit the
LLD modeling procedure of Jeong & Girimaji (2003) and ?. To begin with, we avoid
the assumption made by ?regarding the isotropic structure of the fourth-order tensor
∂2Aij
∂Xm∂Xn(or the assumption made by Jeong & Girimaji (2003) of C−1being isotropic).
Instead, we go back to (4.21) and approximate the left hand side (lhs) as:
∂2Aij
∂Xm∂Xn≈Aij
(δX)2Rmn.(4.26)
In (4.26) the symbol Rmn represents the (m−n)th component of a second-order tensor,
which is no more necessarily an isotropic tensor as assumed by ?. Now combining (4.26)
with (refeq:lldm6mod), we arrive at:
ν∂2Aij
∂xk∂xk≈νC−1
mn
∂2Aij
∂Xm∂Xn≈ −νC−1
mn
Aij
(δX)2Rmn (4.27)
Equation 4.27 has so far been written in terms of the components of various tensors using
a coordinate system fixed to the laboratory. The equation can be readily expressed in its
full tensor form as:
ν∇2A≈ − ν
(δX)2(C:R)A(4.28)
If we now express C−1and Rtensors in the eigen-system of the instantaneous C−1
tensor, then (4.28) can be expressed as:
ν∇2A≈ − ν
(δX)2(αRα+βRβ+γRγ)A(4.29)
where, α,βand γare the three eignevalues of the instantaneous C−1sorted as α>

16 N. Parashar, S. S. Sinha and B. Srinivasan
0 0.5 1 1.5 2
(t−tref )/τ
0
0.2
0.4
0.6
0.8
1
hRγi
hRβi
hRαi
Figure 8. Evolution of locally normalized eigenvalues of C−1
β>γ, and these symbols when sub-scripted, imply the component of a tensor along the
corresponding eigenvector.
Our DNS results from both incompressible and compressible cases show that C−1
tensor evolves to a highly skewed state with its largest eigenvalue being overwhelmingly
dominant over the other two - Figure 8 show the instantaneously normalized eigenvalues
of C−1from Simulation G. The plotted quantities Tα,Tβand Tγare defined as:
Tα=α2
α2+β2+γ2;
Tβ=β2
α2+β2+γ2;
Tγ=γ2
α2+β2+γ2; (4.30)
Similar findings from incompressible simulations have been reported earlier as well ?.
Further, since we expect magnitudes of all components of Rto be small, (4.29) can be
further approximated as:
ν∇2A≈ − ν
(δX)2(αRα+βRβ+γRγ)A≈ − ν
(δX)2(αRα)A(4.31)
Now, adopting the interpretation offered by ?for the quantity δX ≈λ, (??) is expressed
as:
ν∇2A≈ − ν
λ2(αRα)A(4.32)
At this point we compare (4.32) and the form of the model used by ?(4.23). Taking into
account that the DNS behaviour shows |α|>> |β|,|γ|, the approximation made in (4.31)
can also be applied to (4.23). This will reduce (4.23) to:
ν∇2A≈ − ν
λ2α1
3A(4.33)
Thus, the essential difference between the modified model (4.33) and the original LLD
model (4.32) is that while the original model has already committed to Rαbeing 1/3,
the latter has not imposed any such restriction so far.
Given that αis known to grow exponentially, and the fact that (4.33) leads to gross
overestimation of growth of hrm(t, tref )i(Figure 7), we conjecture that the quantity Rα
must follow an exponential decay towards zero so as to restrain the unrealistic growth of

Lagrangian statistics in compressible turbulence 17
Acronyms p= 0 p < 0p > 0 Eigenvalues of aij
SFS r < 0r < 0 & S2>0r < 0 complex
UFC r > 0r > 0r > 0 & S2<0 complex
UNSS r > 0 & q < 0r > 0r > 0 & q < 0 real
SNSS r < 0 & q < 0r < 0 & q < 0r < 0 real
UFS — r < 0 & S2<0 — complex
UN/UN/UN — r < 0 & q > 0 — real
SFC — — r > 0 & S2>0 complex
SN/SN/SN — — q > 0 & r > 0 real
Table 2. Zones of various topologies on p−q−rspace, where acronyms are:
stable-focus-stretching (SFS), unstable-focus-compressing (UFC), unstable-node/saddle/saddle
(UNSS), stable-node/saddle/saddle (SNSS), unstable-focus-stretching (UFS), unstable-n-
ode/unstable-node/unstable-node (UN/UN/UN), stable-focus-compressing (SFC), stable-n-
ode/stable-node/stable-node (SN/SN/SN).
hrm(t, tref )iin comparison to the expected behavior represented by hr(t, tref )i:
Rα≈B|α|−m(4.34)
The exponent m, however, is expected to be a time varying quantity dependent on the
instantaneous as well as the history of the fluid particle being followed. The role of mis
to provide an additional exponential modulation, so that the exponential growth shown
by the original LLD model (4.23) displayed in Figure 7 can be reined in. At this point
we present 4.34 merely as a proposal. More detailed analysis and probably DNS data
over a wide range of Mach number and Reynolds number will be required to arrive at a
concrete functional form of m. Currently, however, such an effort is outside the scope of
the present work.
5. Study II: Lagrangian investigation of dynamics of velocity
gradient invariants
The topology associated with a fluid element is the local streamline pattern in its
vicinity observed with respect to a reference frame which is purely translating with the
center of mass of the fluid element. Topology depends on the nature of eigenvalues of
the local state of the velocity gradient tensor. However, it can also be inferred with a
knowledge of the three invariants (P,Q,R) of the velocity gradient tensor :
P=−Aii, Q =1
2P2−Aij Aji, and
R=1
3−P3+ 3P Q −Aij AjkAki.(5.1)
Correspondingly, the locally normalized invariants (p,q,r) of the local velocity gradient
tensor (aij ) are defined in terms of the normalized velocity gradient tensor (aij ):
p=−aii, q =1
2p2−aij aji, and

18 N. Parashar, S. S. Sinha and B. Srinivasan
UFC
S2
S1bS1a
0
0
q
r
q-axis
SFS
(a)
S2
S1b
S1a
0
q
0r
q-axis
UFC
SFC
SFS
(b)
UFC
S2
S1b
S1a
0
q
0r
q-axis
UFS
SFS
(c)
Figure 9. Flow topologies represented in different p-planes: a) p= 0, b) p > 0 and c) p < 0.
(Figures to be reproduced with permission from Suman & Girimaji (2010a).)
r=1
3−p3+ 3pq −aij ajkaki.(5.2)
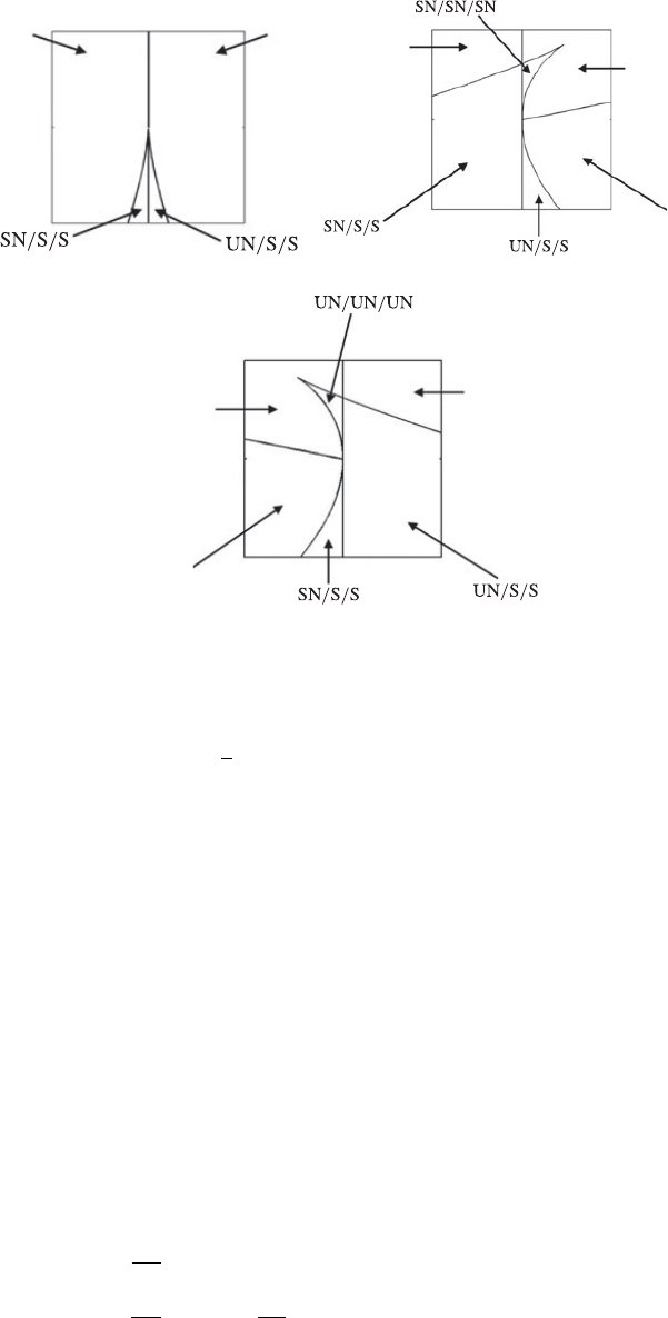
Chen et al. (1989) categorizes topological patterns (Table 2) that can be observed
in an incompressible field into unstable-node-saddle-saddle (UNSS), stable-node-saddle-
saddle (SNSS), stable-focus-stretching (SFS), and unstable-focus-compressing (UFC).
In compressible flows, additional four more major topologies can exist: stable-focus-
stretching (SFS) and stable-node-stable-node-stable-node(SNSNSN), which are associ-
ated with contracting fluid particles; and unstable-focus-stretching (UFS) and unstable-
node-unstable-node-unstable-node (UNUNUN), which are associated with expanding
fluid particles. Figure 9 shows different regions in the p−q−rspace associated with
different topologies. Figure 10 present schematics of these topological patterns. The
reader is referred to Chong et al. (1990) for further details on topology. Since the value
of the three invariants of the velocity gradient tensor uniquely determines the topology
associated with a local fluid element, the dynamics of topology can be studied in terms
of the dynamics of invariants themselves.
Using the evolution equation of the velocity-gradient-tensor (Equation 2.7), the time-
evolution of invariants (P,Q,R) of the velocity-gradient-tensor Aij can be expressed
Bechlars & Sandberg (2017):
dP
dt =P2−2Q−Sii,
dQ
dt =QP −2P
3Sii −3R−Aij S∗
ji,

Lagrangian statistics in compressible turbulence 19
(a) (b)
(c) (d)
(e) (f)
(g) (h)
Figure 10. Flow patterns corresponding to different flow topologies: a) UNSS, b) SNSS, c)
SFS, d) UFC, e) UFS, f) SFC, g) SNSNSN and h)UNUNUN. (Figures to be reproduced with
permission from Suman & Girimaji (2010a).)
dR
dt =−Q
3Sii +P R −P Aij S∗
ji)−AikAkj S∗
ji (5.3)
where, Sij is the source term in the evolution equation of velocity-gradient-tensor (Equa-
tion 2.7). The symbol S∗
ij is the traceless part of the Sij tensor, which is defined as:
Sij =−Pij +Υij , and
S∗
ij =Sij −Skk
3δij .(5.4)
Here Pij is the pressure hessian tensor and Υij represents the viscous process in the
evolution equation of the velocity-gradient tensor (2.7).
The relationship between the non-normalized invariants (P,Q,R) and normalized in-
variants (p,q,r) is:
p=P
pAij Aij
, q =Q
Aij Aij
, and r =R
(Aij Aij )3/2(5.5)

20 N. Parashar, S. S. Sinha and B. Srinivasan
Using equations (5.3 and the relationship (5.5), the evolution equation of normalized
invariants (p,q,r) can be derived as:
dp
dt =d
dtP
pAij Aij =1
pAij Aij
dP
dt −P
(Aij Aij )3/2Aij
dAij
dt ,
dq
dt =d
dtQ
Aij Aij =1
Aij Aij
dQ
dt −2Q
(Aij Aij )2Aij
dAij
dt ,
dr
dt =d
dtR
(Aij Aij )3/2=1
(Aij Aij )3/2
dQ
dt −3R
(Aij Aij )5/2Aij
dAij
dt .(5.6)
While following an identified fluid particle in physical space and tracking its invariants
information, we can track the movement of the fluid particle in the p-q-r space as well. We
refer to such a trajectory of the fluid particle in p-q-rspace as the Lagrangian trajectory
(LT).
5.1. Lifetime of topology
One of the central questions to address while studying the dynamics of velocity
gradients and flow field topology is how long a topology lasts and how compressibility
influences that. In this section we address this question. We quantify the lifetime of a
topology as the time it takes for a fluid particle in to change its topology relative to the
topology it had at a reference time tref . We express this time non-dimensionalized by
the the Kolmogorov time scale τκof the homogeneous flow field at tref . We refer to this
normalized lifetime of a given topology (T) as LT:
LT=t∗−tref
τκ
; (5.7)
where t∗denotes the time instant when the original topology Tassociated with a tagged
fluid particle changes to another topology, and τκdenotes the Kolmogorov time scale of
the flow field at tref . Correspondingly, the mean value of LTis calculated by following a
large number of tagged particles which have the same topology Tat tref :
hLTi=ht∗−tref i
τκ
.(5.8)
In all our calculations and analysis of lifetime of topologies we employ the data fields
of Simulation A-H, and in each case tref = 4τ. The sample sizes used for calculating
the mean lifetime of topologies ranges between 50,000 −300,000. To identify the rolw of
compressibility on lifetimes, we also examine hLTiconditioned upon discrete values of
aii of the reference time: hLT|aiii.
In Figure 11 we present mean lifetimes of various topologies conditioned upon different
initial dilatation levels: hLT|aiii. Each sub-figure corresponds to a specific topology. The
six major topologies that exist in compressible turbulence are considered (UNSS, SNSS,
SFC, SFS, UFC and UFS). Further, to identify the role of initial turbulent Mach number
Mt, we have calculated hLT|aiiiusing Simulations xx, yy and zz. These simulations have
identical initial Reynolds number (70), but different initial Mach number (1.00. 1.25 and
1.5).
We observe that the both compressibility parameters dilatation and initial Mach
numbers influence the lifetimes of some topologies selectively. Mean lifetimes of UNSS
(Figure 11a), UFC (Figure 11c) and SFS (Figure 11d) topologies seem to be significantly
more sensitive to both the Mach number and dilatation comnapred to those of other
topologies. As the level of dilatation increases from high negative values to zero dilatation,

Lagrangian statistics in compressible turbulence 21
-1 -0.5 0 0.5 1
aii
0.5
1
1.5
2
hLT|aii i
(a)
-1 -0.5 0 0.5 1
aii
0.5
1
1.5
2
hLT|aii i
(b)
-1 -0.5 0 0.5 1
aii
0.5
1
1.5
2
hLT|aii i
(c)
-1 -0.5 0 0.5 1
aii
0.5
1
1.5
2
hLT|aii i
(d)
0 0.5 1
aii
0.5
1
1.5
2
hLT|aii i
(e)
-1 -0.5 0
aii
0.5
1
1.5
2
hLT|aii i
(f)
Figure 11. Variation of life of topology LTwith initial dilatation aii (bin size: aii ±0.05) for
6 major topologies: (a)UNSS, (b)SNSS, (c)SFS, (d)UFC, (e)UFS and (f)SFC. Symbol 4,,∗,
×, and O represents life-time of topology for simulations B, C, D, E and G respectively.
lifetimes of these topologies increase. On the other side, however, as we move from zero to
positive dilatation, lifetimes seem to decrease again. An increase in initial Mach number
seem to pronounce these variations more as evident in Figures 11 a, c, and d. In contrast to
UNSS, UFC and SFS topologies the other three major topologies exiting in a compressible
flow field- SNSS, UFC and SFS seem to last for more-or-less the same time showing not
much sensitivity to either dilatation rate or Mach number.
To further understand the behavior observed in Figure 11, we investigate two prospec-
tive reasons which may influence the lifetime of a topology of a fluid particle as it moves
in the p−q−rspace: (i) the actual volume available to a topology in the p−q−rspace,

22 N. Parashar, S. S. Sinha and B. Srinivasan
p (−aii) UNSS SNSS SFS UFC UFS SFC SNSNSN UNUNUN
-ve 0.043 0.011 0.075 0.10 0.08 0 0 0.006
+ve 0.011 0.043 0.010 0.075 0 0.08 0.006 0
Table 3. Volume of available region for different topologies in p-q-r space (non-dimensional).
and (ii) the velocity of the fluid particles in the p−q−rspace. The velocity of a particle
in the p−q−rspace can be defined as the rate at which its three invariants, p, q and r,
change with time. This rate is quantitifed as a velocity vector in the p−q−rspace. We
denote this velocity vector by ~
Upqr. This vector can be computed as:
~
Upqr =dp
dt ˆp+dq
dt ˆq+dr
dt ˆr; (5.9)
where dp
dt ,dq
dt , and dr
dt are rates of change of invariants following a fluid particle in
accordance with Equation 5.3. The symbols ˆp, ˆqand ˆrdenote the unit vectors along
the three mutually perpendicular axes of p,qand rcoordinates. The quantity ~
Upqr is
indeed a measure of how fast the footprint of a fluid particle is changing in the p−q−r
space.
We expect that a smaller volume available to a topology in the p−q−rspace will be a
contributing factor towards decreasing the lifetime of a topology, because a particle even
if moving slowly will tend to crossover to the territory of neighboring topology quicker.
On the other hand, a higher magnitude of ~
Upqr of a fluid particle in the p−q−rspace will
tend to bring the particle closer to the bounding surfaces quickly and thus contributing
in reducing the lifetime of the topology associated with that fluid particle.
In Table 3 we present the volumes associated with the six major topologies that exist
in compressible turbulence in the space of normalized invriants p,q and r. These volumes
have been reported separately on the positive and the negative side of the paxis. In
Figure 12 a-f we present the magnitude of the mean value of ~
Upqr calculated by taking
the average of the magnitude of ~
Upqr over subsets of the tagged particles belonging to
different topologies and different dilatation bins. This averaging is done using the flow
field from Simulation G at tref = 4.0τ.
5.1.1. UNSS and SNSS
Referring first to the UNSS and SNSS topologies, we examine if the volume measures
available in Table 3 and the conditional mean values of ~
Upqr available in Figure 12 can help
us understand the variation of lifetime with dilatation reported in Figure 11. In Figure
12 we observe that mean value of the magnitude of ~
Upqr is higher at positive/negative
dilatations than what it is at at zero dilatation. Moreover, if we compare only the high
positive and high negative dilatations, mean velocity is somewhat more at negative
dilatations. On the other hand, Table 3 shows that the available volume of UNSS topology
on the negative side is less than what it is one the positive side. A higher mean velocity
associated with a smaller volume on the aii <0 side, allows a particle with initial UNSS
topology to quickly cross over to the territory of the neighboring topologies making its
lifetime low as observed in Figure 11a. At zero dilatation, the velocity drops significantly
thus allowing the fluid element to stay inside the UNSS territory for a longer duration.
At positive dilatations, even though the velocity is high, a significant increase in the
volume of UNSS allows the lifetime to decrease moderately as evident in Figure 11a. In
the case of SNSS topology, as dilatation increases from high negative dilatation to high
positive dilatations, volume decreases. Velocity, however, deceases from a high value at

Lagrangian statistics in compressible turbulence 23
-1 -0.5 0 0.5 1
aii
0.5
1
1.5
2
-
-
-
~
Upqr
-
-
-
(a)
-1 -0.5 0 0.5 1
aii
0.5
1
1.5
2
-
-
-
~
Upqr
-
-
-
(b)
-1 -0.5 0 0.5 1
aii
0.5
1
1.5
2
-
-
-
~
Upqr
-
-
-
(c)
-1 -0.5 0 0.5 1
aii
0.5
1
1.5
2
-
-
-
~
Upqr
-
-
-
(d)
-1 -0.5 0 0.5 1
aii
0.5
1
1.5
2
-
-
-
~
Upqr
-
-
-
(e)
-1 -0.5 0 0.5 1
aii
0.5
1
1.5
2
-
-
-
~
Upqr
-
-
-
(f)
Figure 12. Variation of average velocity in p-q-r space |Upqr |with initial dilatation aii (bin
size: aii ±0.05) for 6 major topologies: (a)UNSS, (b)SNSS, (c)SFS, (d)UFC, (e)UFS and (f)SFC.
(Simulation G)
negative to a very low value at zero dilatation. The drop in the available volume seems to
be offset by a decrease in velocity keeping the average lifetime of topology more-or-less
at the same level as it was a at high negative dilatation. When dilatation increases to
positive values, velocity increases (Figure 12)−though not as much as it was at negative
dilatations and thus even a decrease in volume results into only a little increase in the
lifetime (Figure 11b).

24 N. Parashar, S. S. Sinha and B. Srinivasan
Simulation UNSS SNSS SFS UFC UFS SFC
A 0.23 0.28 0.23 0.26 - -
B 0.58 0.88 0.60 0.66 0.62 0.96
C 0.86 1.39 0.95 1.00 0.82 1.55
D 0.84 1.35 0.92 0.99 0.80 1.49
E 0.88 1.37 0.97 1.03 0.87 1.46
G 1.01 1.57 1.13 1.18 0.90 1.76
Table 4. Average velocity of particles in p-q-r space (|Upqr |=|∂p
∂t ˆp+∂q
∂t ˆq+∂r
∂t ˆr|) for various
simulations (Table 1)
5.1.2. SFS and UFC
The behavior of SFS and UFC topologies can also be explained in a similar manner.
SFS topology is associated with (i) very high mean velocity values and (ii) a small
volume at negative dilatations resulting into very low lifetime as evident in Figure 11c.
As dilatation increases, the mean velocity drops down−both factors contributing to a
steep increase in hLTi. As dilatation further increases, there is increase in volume, but
there is also an increase in velocity. The gain in velocity seem to be more dominating
as compared to increase in volume resulting into decrease in lifetime again at positive
dilatations (Figure 11c). Similar explanation can be provided for the lifetime of UFC
topology.
5.1.3. UFS and SFC
For the UFS and SFC topologies we do not observe any change in lifetime in Figure
11e. While UFS exists only at positive dilatation, SFC exists only at negative dilatations.
For both these topologies the volumes increase as the magnitude of dilatation increases.
Further, Figure 11e clearly shows that their velocities also increase as the magnitude of
normalized dilatation increases. For both these topologies, the increase in volume (which
favors high lifetime) seem to be effectively counteracted by increase in mean velocity
(which favors low lifetime) resulting into an almost dilatation-independent lifetime as
evident in Figure 11.
5.1.4. Role of Mach number
As observed earlier, in general, the influence of increasing initial turbulent Mach
number is to decrease the lifetime of topologies (Figure 11). The explanation of this
trend is provided by Table 4, wherein we have included the mean magnitude of ~
Upqr
in various simulations at tref = 4.0τ. In general, an increase in initial turbulent Mach
number increases mean velocity in the p−q−rspace, consequently reducing hLTias
evident in Figure 11.
Overall, our results in Figure 11 clearly show that in terms of longevity, overall, the six
major topologies existing in compressible turbulence (Simulation G) can be arranged in
the following descending order: SFS>UNSS>UFC>SNSS>UFS>SFC. Accordingly, it is
plausible to expect that at a typical instant of this simulation, compressible decaying
turbulence should have the highest population of particles associated with the SFS
topology, lowest with the SFC topology and the populations of other four topologies
falling in the same order as the order of their lifetimes. In Table 5 we present the

Lagrangian statistics in compressible turbulence 25
UNSS SNSS SFS UFC UFS SFC
26.07 10.10 27.44 21.16 10.49 4.32
Table 5. Percentage topology composition for compressible simulation case G.
population percentage of each of the six topologies at the peak dissipation instant in
Simulation G. We observe that indeed the percentage population of the six topologies
decrease exactly in the same order as the order shown by them in terms of lifetimes.
While previous studies have also reported the percentage population of various topologies
in compressible turbulence (Table 5) in other contexts Suman & Girimaji (2010b), the
analysis presented in this work has provided a clear explanation of the same based on
careful particle tracking and calculations of invariant dynamics using actual Lagrangian
trajectories.
5.2. CMT versus LT
As mentioned in the Introduction, many researchers have adopted an alternate though
approximate procedure of examining trajectories in the p-q-r space. This alternative
method does not track the individual fluid particles at different time instants, but uses the
averaged value of the RHS of Equation 5.6 conditioned on a chosen set of p, q, r merely
at one single time instant. The statistics thus obtained are essentially the conditional
averages of the rate of change of the invariants with the conditional parameters being the
local values of p,q,r. The trajectories thus obtained are the instantaneous streamlines in
p-q-r space. Such trajectories are referred to as the conditional mean trajectories (CMT)
(Mart´ın et al. 1998). CMTs are approximate, and their use in the past studies can only be
justified as a surrogate tool in the absence of adequate computational resources (Mart´ın
et al. 1998).
To further underline the significance of our present work using Lagrangian trajectories,
we present Table 6, wherein we have included mean values of the lifetime of UNSS,
SNSS, SFS and UFC topologies computed using flow fields of Simulation A. Note that
Simulation A has very low initial Mach number and can be practically treated as an
incompressible flow.
The percentage composition in terms of the four topologies in this flow field is included
in the Table 6. We observe that the mean lifetime calculated using our Lagrangian
approach for these four topologies are in almost the same proportion as the percentage
population of the topologies. In the last row of Table 6 we have included the percentage
of time spent in various topologies as calculated by Mart´ın et al. (1998) using their CMT
approach. SinceMart´ın et al. (1998)’s CMTs do show a cyclic change in topology (UFC-
¿UNN-¿SNSS-¿SFS-¿UFC), the time spent in various topologies can be interpreted as the
CMT-based estimate of lifetime of topologies. We find that the proportion of lifetimes
calculated using CMTs are in gross disagreement with the percentage composition of
incompressible turbulence.
To elucidate why CMTs fail significantly in capturing topology lifetimes (and probably
other time dependents aspect of the dynamics of velocity gradients) we present a simple
comparison. In Figure 13(a) we show a conditional mean trajectory (solid line) originating
at point (q= 0.24, r =−0.05). This CMT has been generated using one-time Eulerian
field from Simulation A at τ= 4 eddy-turnover time. The CMT shows a spiraling path
around the origin. Performing a procedure of line integrations along such trajectories, Ooi
et al. (1999) estimate characteristic cycle time of topology interconversion as three eddy

26 N. Parashar, S. S. Sinha and B. Srinivasan
UNSS SNSS SFS UFC
Composition % 25.2 5.4 43.5 25.9
Lifetime (κτ) 1.80 0.53 3.32 2.08
Percentage % of time spent 53 21.5 20 5.5
in different topologies CMTs Mart´ın et al. (1998)
Table 6. Comparison of the performances of CMTs versus the approach adopted in this work.
The composition and the computed lifetime (data in the first two rows) are from Simulation A
of this work.
-0.15 -0.1 -0.05 0 0.05 0.1 0.15
r
-0.4
-0.2
0
0.2
0.4
q
high concentration
(Vieillefosse tail)
(a)
012345
0
0.05
0.25
RMS
q
r
(b)
Figure 13. (a) Evolution of root mean squared value of invariants q and r starting from a
bounded region r (-0.05 ±0.01) and q (0.3±0.025) (b) Instantaneous CMT (solid line) and final
spread of Lagrangian particles after 1 eddy-turnover time starting from the bounded region.
Sample size of conditioned particles in the bounded region ≈5000.
turnover times. Next, we tag the same particles (in total xx) which were having their
initial invariants in the vicinity of the (q= 0.24, r =−0.05) at the reference time of four
eddy -turnover time and track their movement on the q−rplane. The locations of these
xx particles after just one eddy turnover time have been shown on 13(a) itself. It can be
observed that the tagged population of particles spreads vastly over the q-r plane. Indeed
the spread of this population sample is identical to the characteristic global distribution
of particles of the entire flow field. This characteristic distribution has tear-drop shape
with the bulk of data concentrated on one side in the SFC region and on the other side
along the curve separating the UFC and UNSS regions (the so -called vieillefosse tail, ?).
Further, in Figure 13(b), we present the root mean squared value of qand rof the
same sample of particles which had their q, r in the vicinity of (q= 0.24, r =−0.05) at
the reference time. The rms values start increasing and within just eddy-turnover times
reach thier asymptotic states. The rms of q reaches an asymptotic state of 0.24, and
the rms of r reaches an asymptotic state of 0.05. Indeed, these values match with the
unconditioned rms values of q and r of all the particles that are present in the flow field.
Thus, even one eddy turnover time is long enough a duration for particles to completely
forget their initial association with a particular point in the q-r plane. Thus, employing
CMTs to estimate phenomena which happen over this time scale may not be reasonable.
Lagrangian statistics in compressible turbulence 27
6. Conclusions
We investigate dynamics of velocity gradients in compressible decaying turbulence
employing the Lagrangian approach of following a set of identified fluid particles. Well
resolved direct numerical simulations over a wide range of turbulent Mach number and
Reynolds number along with a well validated Lagrangian particle tracker are employed
for this study. In the first part of our work, we focus on the viscous diffusion process
incumbent in the exact evolution equation of the velocity gradient tensor. Specifically,
we investigate the influence of Mach number on this process. We find that the initial
turbulent Mach number has considerable influence on the Lagrangian statistics of the
viscous process. We provide evidence and explain that this intensification is attributable
to the development of a large disparity in the magnitude of the velocity gradients
associated with contracting and expanding fluid particles combined with the overall
preferences of these contracting and expanding fluid particles to change their dilatation
rate (Section 4.1). Our investigation of the exact process is followed up by evaluation of
the so called Linear Lagrangian Diffusion model (LLDM) of the viscous process (section
4.2). Using Lagrangian tracking we clearly demonstrate that the LLD model shows an
unphysical exponential behavior which is in gross disagreement with the exact Lagrangian
evolution of the viscous process seen in DNS, especially in the late stages of the turbulence
decay. We argue that the unrealistic behavior of the LLD model is attributable to the
assumption that the fourth order tensor representing the Lagrangian Hessian of the
velocity gradient tensor remains isotropic at all times. Finally, we propose a possible
modeling approach with which this shortcoming can eb addressed.
In the second part of the study we examine the dynamics of the invariants of the
velocity gradient tensor using the Lagrangian approach and compute lifetimes of various
topologies in compressible turbulence. In particular, we identify the role of initial turbu-
lent Mach number and the normalized dilatation rate on topology lifetimes. Explanation
of the identified trends are then provided in terms of the geometric constraint of the
p−q−rspace and the disparity in the speed of the fluid particles in the p−q−rspace.
Further, using our Lagrangian data and analysis we clearly demonstrate the limitation
of the so-called conditional mean trajectory (CMT) in explaining certain aspects of the
dynamics of velocity gradient invariants.
7. Acknowledgments
The authors acknowledge the computational support provided by the High-
Performance Computing Center (HPC) of the Indian Institute of Technology Delhi,
India.
REFERENCES
Ashurst, Wm. T., Chen, J-Y & Rogers, M. M. 1987aPressure gradient alignment with
strain rate and scalar gradient in simulated Navier–Stokes turbulence. Phys. Fluids
30 (10), 3293–3294.
Ashurst, Wm. T., Kerstein, A. R., Kerr, R. M. & Gibson, C. H. 1987bAlignment of
vorticity and scalar gradient with strain rate in simulated Navier–Stokes turbulence. Phys.
Fluids 30 (8), 2343–2353.
Atkinson, Callum, Chumakov, Sergei, Bermejo-Moreno, Ivan & Soria, Julio 2012
Lagrangian evolution of the invariants of the velocity gradient tensor in a turbulent
boundary layer. Phys. Fluids 24 (10), 105104.
Bechlars, P. & Sandberg, R. D. 2017 Evolution of the velocity gradient tensor invariant
dynamics in a turbulent boundary layer. J. Fluid Mech. 815, 223242.
28 N. Parashar, S. S. Sinha and B. Srinivasan
Bhatnagar, Akshay, Gupta, Anupam, Mitra, Dhrubaditya, Pandit, Rahul &
Perlekar, Prasad 2016 How long do particles spend in vortical regions in turbulent
flows? Phys. Rev. E 94 (5), 1–8.
Cantwell, Brian & Coles, Donald 1983 An experimental study of entrainment and
transport in the turbulent near wake of a circular cylinder. Journal of fluid mechanics
136, 321–374.
Cantwell, Brian J. 1992 Exact solution of a restricted Euler equation for the velocity gradient
tensor. Phys. Fluids A 4(4), 782–793.
Cantwell, Brian J. 1993 On the behavior of velocity gradient tensor invariants in direct
numerical simulations of turbulence. Phys. Fluids A 5(8), 2008–2013.
Chen, Hudong, Herring, Jackson R., Kerr, Robert M. & Kraichnan, Robert H. 1989
Non-Gaussian statistics in isotropic turbulence. Phys. Fluids A 1(11), 1844–1854.
Chevillard, Laurent & Meneveau, Charles 2006 Lagrangian dynamics and statistical
geometric structure of turbulence. Phys. Rev. Lett. 97 (17), 174501.
Chevillard, Laurent & Meneveau, Charles 2011 Lagrangian time correlations of vorticity
alignments in isotropic turbulence: Observations and model predictions. Phys. Fluids
23 (10), 101704.
Chevillard, Laurent, Roux, SG, L´
evˆ
eque, Emmanuel, Mordant, Nicolas, Pinton, J-
F & Arn´
eodo, Alain 2003 Lagrangian velocity statistics in turbulent flows: Effects of
dissipation. Phys. Rev. Lett. 91 (21), 214502.
Chong, M. S., Perry, A. E. & Cantwell, B. J. 1990 A general classification of three-
dimensional flow fields. Phys. Fluids A 2(5), 765–777.
Chu, You-Biao & Lu, Xi-Yun 2013 Topological evolution in compressible turbulent boundary
layers. J. Fluid Mech. 733, 414–438.
Danish, Mohammad, Sinha, Sawan Suman & Srinivasan, Balaji 2016aInfluence of
compressibility on the lagrangian statistics of vorticity–strain-rate interactions. Phys. Rev.
E94 (1), 013101.
Danish, Mohammad, Suman, Sawan & Girimaji, Sharath S 2016bInfluence of flow topology
and dilatation on scalar mixing in compressible turbulence. J. Fluid Mech. 793, 633–655.
Danish, Mohammad, Suman, Sawan & Srinivasan, Balaji 2014 A direct numerical
simulation-based investigation and modeling of pressure Hessian effects on compressible
velocity gradient dynamics. Phys. Fluids 26 (12), 126103.
Elghobashi, S. & Truesdell, G. C. 1992 Direct simulation of particle dispersion in a decaying
isotropic turbulence. J. Fluid Mech. 242, 655700.
Girimaji, S.S. 1991 Assumed β-pdf Model for Turbulent Mixing: Validation and Extension to
Multiple Scalar Mixing. Combustion Science and Technology 78 (4-6), 177–196.
Girimaji, Sharath S. & Speziale, Charles G. 1995 A modified restricted Euler equation
for turbulent flows with mean velocity gradients. Phys. Fluids 7(6), 1438–1446.
Jeong, Eunhwan & Girimaji, Sharath S. 2003 Velocity-gradient dynamics in turbulence:
Effect of viscosity and forcing. Theor. Comp. Fluid Dyn. 16 (6), 421–432.
Kerimo, Johannes & Girimaji, Sharath S. 2007 Boltzmann–BGK approach to simulating
weakly compressible 3D turbulence: comparison between lattice Boltzmann and gas kinetic
methods. J. Turbul. 8(46), 1–16.
Kumar, G., Girimaji, Sharath S. & Kerimo, J. 2013 WENO-enhanced gas-kinetic scheme
for direct simulations of compressible transition and turbulence. J. Comput. Phys. 234,
499–523.
Liao, Wei, Peng, Yan & Luo, Li-Shi 2009 Gas-kinetic schemes for direct numerical
simulations of compressible homogeneous turbulence. Phys. Rev. E 80 (4), 046702.
L¨
uthi, Beat, Tsinober, Arkady & Kinzelbach, Wolfgang 2005 Lagrangian measurement
of vorticity dynamics in turbulent flow. J. Fluid Mech. 528, 87–118.
Mart
´
ın, Jes´
us, Ooi, Andrew, Chong, M.S. & Soria, Julio 1998 Dynamics of the velocity
gradient tensor invariants in isotropic turbulence. Phys. Fluids 10, 2336–2346.
Mart
´
ın, M Pino, Taylor, Ellen M, Wu, Minwei & Weirs, V Gregory 2006 A bandwidth-
optimized WENO scheme for the effective direct numerical simulation of compressible
turbulence. J. Comput. Phys. 220 (1), 270–289.
Meneveau, Charles 2011 Lagrangian dynamics and models of the velocity gradient tensor in
turbulent flows. Annu. Rev. Fluid Mech. 43, 219–245.
Lagrangian statistics in compressible turbulence 29
Ohkitani, Koji 1993 Eigenvalue problems in three-dimensional Euler flows. Phys. Fluids A
5(10), 2570–2572.
O’Neill, Philippa & Soria, Julio 2005 The relationship between the topological structures
in turbulent flow and the distribution of a passive scalar with an imposed mean gradient.
Fluid Dyn. Res. 36 (3), 107–120.
Ooi, Andrew, Martin, Jesus, Soria, Julio & Chong, M.S. 1999 A study of the evolution
and characteristics of the invariants of the velocity-gradient tensor in isotropic turbulence.
J. Fluid Mech. 381, 141–174.
Parashar, N., Sinha, S. S., Danish, M. & Srinivasan, B. 2017aLagrangian investigations
of vorticity dynamics in compressible turbulence. Physics of Fluids 29 (10), 105110.
Parashar, N., Sinha, S. S., Srinivasan, B. & Manish, A. 2017bGpu-accelerated direct
numerical simulations of decaying compressible turbulence employing a gkm-based solver.
Int. J. Numer. Meth. Fluids 83 (10), 737–754.
Pirozzoli, S. & Grasso, F. 2004 Direct numerical simulations of isotropic compressible
turbulence: influence of compressibility on dynamics and structures. Phys. Fluids 16 (12),
4386–4407.
Pope, Stephen B. 2002 Stochastic Lagrangian models of velocity in homogeneous turbulent
shear flow. Phys. Fluids 14 (5), 1696–1702.
Pumir, Alain 1994 A numerical study of the mixing of a passive scalar in three dimensions in
the presence of a mean gradient. Phys. Fluids 6(6), 2118–2132.
Samtaney, Ravi, Pullin, Dale I. & Kosovic, Branko 2001 Direct numerical simulation of
decaying compressible turbulence and shocklet statistics. Phys. Fluids 13 (5), 1415–1430.
da Silva, Carlos B. & Pereira, Jos´
e C.F. 2008 Invariants of the velocity-gradient, rate-
of-strain, and rate-of-rotation tensors across the turbulent/nonturbulent interface in jets.
Phys. Fluids 20 (5), 55101–55101.
Soria, J., Sondergaard, R., Cantwell, B. J., Chong, M. S. & Perry, A. E. 1994 A
study of the fine-scale motions of incompressible time-developing mixing layers. Phys.
Fluids 6(2), 871–884.
Suman, S. & Girimaji, S. S. 2009 Homogenized Euler equation: a model for compressible
velocity gradient dynamics. J. Fluid Mech. 620, 177–194.
Suman, Sawan & Girimaji, Sharath S. 2010aOn the invariance of compressible Navier–
Stokes and energy equations subject to density-weighted filtering. Flow Turbul. Combust.
85 (3-4), 383–396.
Suman, Sawan & Girimaji, Sharath S. 2010bVelocity gradient invariants and local flow-field
topology in compressible turbulence. J. Turbul. 11 (2), 1–24.
Suman, Sawan & Girimaji, Sharath S. 2012 Velocity-gradient dynamics in compressible
turbulence: influence of Mach number and dilatation rate. J. Turbul. 13 (8), 1–23.
Vaghefi, Navid S. & Madnia, Cyrus K. 2015 Local flow topology and velocity gradient
invariants in compressible turbulent mixing layer. J. Fluid Mech. 774.
Vieillefosse, P. 1982 Local interaction between vorticity and shear in a perfect incompressible
fluid. J. Phys. 43 (6), 837–842.
Wang, Li & Lu, Xi-Yun 2012 Flow topology in compressible turbulent boundary layer. J.
Fluid Mech. 703, 255–278.
Xu, Haitao, Pumir, Alain & Bodenschatz, Eberhard 2011 The pirouette effect in turbulent
flows. Nature Phys. 7(9), 709–712.
Xu, K., KIM, CHONGAM, MARTINELLI, LUIGI & JAMESON, ANTONY 1996 BGK-
based schemes for the simulation of compressible flow. Int. J. Comput. Fluid D. 7(3),
213–235.
Yeung, P. K. & Pope, S. B. 1988 An algorithm for tracking fluid particles in numerical
simulations of homogeneous turbulence. J. Comput. Phys. 79 (2), 373–416.
Yeung, P. K. & Pope, S. B. 1989 Lagrangian statistics from direct numerical simulations of
isotropic turbulence. J. Fluid Mech. 207, 531–586.