LG Flatron W1934S Service Manual. Www.s Manuals.com. Manual
User Manual: LCD Monitor LG Flatron W1934S - Service manuals and Schematics. Free.
Open the PDF directly: View PDF
.
Page Count: 50

1
Website:http://biz.LGservice.com
E-mail:http://www.LGEservice.com/techsup.html
COLOR MONITOR
SERVICE MANUAL
CHASSIS NO. :
MODEL:
W1934S
(W1934S-
SNI/W1934S-BNI.Axx*QP)
xx * means sales region and module type
(AxxIQP: INL 5ms, AxxQQP: CMO 5ms, AxxYQP: IVO 5ms)
CAUTION
BEFORE SERVICING THE UNIT,
READ THE
SAFETY PRECAUTIONS
IN THIS MANUAL.
*To apply the MSTAR Chip.

2
CONTENTS
SPECIFICATIONS ...................................................
2
PRECAUTIONS .......................................................
3
TIMING CHART
.......................................................
7
DISASSEMBLY
........................................................ 9
BLOCK DIAGRAM...................................................11
DISCRIPTION OF BLOCK DIAGRAM
...................
12
ADJUSTMENT ......................................................
14
SERVICE OSD
............................................... .........16
TROUBLESHOOTING GUIDE
..............................
17
WIRING DIAGRAM
...............................................
24
EXPLODED VIEW
................................................... 25
REPLACEMENT PARTS LIST
............................... 27
SCHEMATIC DIAGRAM
.........................................
43
SPECIFICATIONS
1. LCD CHARACTERISTICS
Type
: TFT Color LCD Module
Active Display Area
: 19 inch
Pixel Pitch
: 0.285(H) x 0.285(V)
Color Depth
: 16.7M colors
3-3. Operating Frequency:
40~80 KHz
4
. Max. Resolution
D-sub Analog: 1440 x 900 @ 75Hz
5. POWER SUPPLY
5-1. Power
: AC 90~264V, 47.5~63Hz, <0.8A
5-2. Power Consumption
Size
:
410.4mm (H)*256.5mm (V)
Electrical Interface
: LVDS
Surface Treatment
: Hard-coating (3H),
Haze=25% Anti-Glare
treatment
Operating Mode
:
Normally White,
Transmissive mode
Backlight Unit
: Top/Bottom edge side 4-CCFL
(Cold Cathode Fluorescent Lamp)
2. OPTICAL CHARACTERISTICS
2-1. Viewing Angle by Contrast Ratio
(a) For
InnoLux
MT190AW01 V.5
Left 70°/Right 70°; Top 70°/Bottom 70°
at Min CR≥10
(b) For CMO
M190A1-L07 panel
Left 75°/Right75°; Top 70°/Bottom 70°
at Min CR≥10
(c) For IVO M190MWW1-201
panel
H 140(min),160(typ),V 140(min) 160(typ)CR≥10
2-2. Luminance
(a) For InnoLux MT190AW01 V.5
panel: 300cd/m2 (Typ.)
220cd/m2 (Min.) (6500k);170 cd/m2 (Min.)(9300k)
(b)
For
CMO M190A1-L07 panel: 300cd/m2 (Typ.)
220cd/m2 (Min.) (6500k);170 cd/m2 (Min.)(9300k)
(b)
For
IVO M190MWW1-201 panel: 300cd/m2 (Typ.)
220cd/m2 (Min.) (6500k);170 cd/m2 (Min.)(9300k)
2-3. Contrast Ratio
(a) For
InnoLux
MT190AW01 V.5 1000:1 Typical
(b) For CMO
M190A1-L07 panel: 1000:1 Typical
(c) For M190MWW1-201
panel: 800:1 Typical
3. SIGNAL (Refer to the Timing Chart)
3-1. Sync Signal
Type
:
Separate Sync, Composite, and
SOG (Sync On Green)
3-2. Video Input Signal
1) Type
: R, G, B Analog
2) Voltage Level
: 0~0.71 V
3) Input Impedance
:
75
6. ENVIRONMENT
6-1. Operating Temperature
:
0°C to 40°C
6-2. Relative Humidity
:
20% to 90%
6-3. MTBF
:
60,000 HRS with 90% Confidence
Lamp Life
: 60,000 Hours (Min)
7. DIMENSIONS (with TILT/SWIVEL)
Width:
434.8mm
Depth:
180mm (W Base), 75.5mm (W/O
Base)
Height:
370mm (W Base), 287.8mm (W/O Base)
8. WEIGHT (with TILT/SWIVEL)
Net. Weight :
3.615+/-0.5Kg(IVO);3.655+/-
0.5Kg(V5);3.355+/-0.5Kg(INL)
Gross Weight:
4.7+/-0.5Kg (IVO); 4.7+/-0.5Kg (V5); 4.4+/-
0.5Kg (INL)

3
PRECAUTION
WARNING FOR THE SAFETY-RELATED COMPONENT.
• There are some special components used in LCD
monitor that are important for safety. These parts are
marked on the schematic diagram and
the replacement parts list. It is essential that these
critical parts should be replaced with the
manufacturer’s specified parts to prevent electric
shock, fire or other hazard.
• Do not modify original design without obtaining written
permission from manufacturer or you will void the
original parts and labor guarantee.
TAKE CARE DURING HANDLING THE LCD MODULE
WITH BACKLIGHT UNIT.
• Must mount the module using mounting holes arranged
in four corners.
• Do not press on the panel, edge of the frame strongly
or electric shock as this will result in damage to the
screen.
WARNING
BE CAREFUL ELECTRIC SHOCK !
• If you want to replace with the new backlight (CCFL)
or inverter circuit, must disconnect the AC
adapter because high voltage appears at inverter
circuit about
650Vrms.
• Handle with care wires or connectors of the
inverter circuit. If the wires are pressed cause short
and may burn or take fire.
• Be careful while tilting and rotating the monitor to
avoid pinching hand(s)
Leakage Current Hot Check Circuit
AC Volt-meter
Good Earth Ground
such as WATER PIPE,
• Protect the module from the ESD as it may damage the
electronic circuit (C-MOS).
• Make certain that treatment person’s body is
grounded through wrist band.
• Do not leave the module in high temperature and in
areas of high humidity for a long time.
• The module not be exposed to the direct sunlight.
• Avoid contact with water as it may a short circuit within
the module.
• If the surface of panel become dirty, please wipe it off
with a soft material. (Cleaning with a dirty or rough cloth
may damage the panel.)
To Instrument's
exposed METALLIC
PARTS
1.5 Kohm/10W
CONDUIT etc.
CAUTION
Please use only a plastic screwdriver to protect yourself
from shock hazard during service operation.
4
SERVICING PRECAUTIONS
CAUTION: Before servicing receivers covered by this
service manual and its supplements and addenda, read
and follow the SAFETY PRECAUTIONS on page 3 of this
publication.
NOTE:
If unforeseen circumstances create conflict
between the following servicing precautions and any of the
safety precautions on page 3 of this publication, always
follow the safety precautions. Remember: Safety First.
General Servicing Precautions
1. Always unplug the receiver AC power cord from the AC
power source before;
a. Removing or reinstalling any component, circuit
board module or any other receiver assembly.
b. Disconnecting or reconnecting any receiver electrical
plug or other electrical connection.
c. Connecting a test substitute in parallel with an
electrolytic capacitor in the receiver.
CAUTION: A wrong part substitution or incorrect
polarity installation of electrolytic capacitors may
result in an explosion hazard.
d. Discharging the picture tube anode.
2. Test high voltage only by measuring it with an
appropriate high voltage meter or other voltage
measuring device (DVM, FETVOM, etc) equipped with a
suitable high voltage probe.
Do not test high voltage by "drawing an arc".
3. Discharge the picture tube anode only by (a) first
connecting one end of an insulated clip lead to the
degaussing or kine aquadag grounding system shield
at the point where the picture tube socket ground lead is
connected, and then (b) touch the other end of the
insulated clip lead to the picture tube anode button,
using an insulating handle to avoid personal contact
with high voltage.
4. Do not spray chemicals on or near this receiver or any of
its assemblies.
5. Unless specified otherwise in this service manual,
clean electrical contacts only by applying the following
mixture to the contacts with a pipe cleaner, cotton-
tipped stick or comparable non-abrasive applicator;
10% (by volume) Acetone and 90% (by volume)
isopropyl alcohol (90%-99% strength)
CAUTION: This is a flammable mixture.
Unless specified otherwise in this service manual,
lubrication of contacts in not required.
6. Do not defeat any plug/socket B+ voltage interlocks
with which receivers covered by this service manual
might be equipped.
7. Do not apply AC power to this instrument and/or any of
its electrical assemblies unless all solid-state device
heat sinks are correctly installed.
8. Always connect the test receiver ground lead to the
receiver chassis ground before connecting the test
receiver positive lead.
Always remove the test receiver ground lead last.
9. Use with this receiver only the test fixtures specified in
this service manual.
CAUTION: Do not connect the test fixture ground strap
to any heat sink in this receiver.
Electrostatically Sensitive (ES) Devices
Some semiconductor (solid-state) devices can be
damaged easily by static electricity. Such components
commonly are called Electrostatically Sensitive (ES)
Devices. Examples of typical ES devices are integrated
circuits and some field-effect transistors
and semiconductor "chip" components. The
following techniques should be used to help reduce the
incidence of component damage caused by static by static
electricity.
1. Immediately before handling any semiconductor
component or semiconductor-equipped assembly, drain
off any electrostatic charge on your body by touching a
known earth ground. Alternatively, obtain and wear a
commercially available discharging wrist strap device,
which should be removed to prevent potential shock
reasons prior to applying power to the unit under test.
2. After removing an electrical assembly equipped with
ES devices, place the assembly on a conductive
surface such as aluminum foil, to prevent electrostatic
charge buildup or exposure of the assembly.
3. Use only a grounded-tip soldering iron to solder or
unsolder ES devices.
4. Use only an anti-static type solder removal device.
Some solder removal devices not classified as "anti-
static" can generate electrical charges sufficient to
damage ES devices.
5. Do not use freon-propelled chemicals. These can
generate electrical charges sufficient to damage ES
devices.
6. Do not remove a replacement ES device from its
protective package until immediately before you are
ready to install it. (Most replacement ES devices are
packaged with leads electrically shorted together by
conductive foam, aluminum foil or comparable
conductive material).
7. Immediately before removing the protective material
from the leads of a replacement ES device, touch the
protective material to the chassis or circuit assembly
into which the device will be installed.
CAUTION: Be sure no power is applied to the chassis
or circuit, and observe all other safety precautions.
8. Minimize bodily motions when handling unpackaged
replacement ES devices. (Otherwise harmless motion
such as the brushing together of your clothes fabric or
the lifting of your foot from a carpeted floor
can generate static electricity sufficient to damage an
ES device.)
5
General Soldering Guidelines
1. Use a grounded-tip, low-wattage soldering iron and
appropriate tip size and shape that will maintain tip
temperature within the range or 500。F to 600。F.
2. Use an appropriate gauge of RMA resin-core solder
composed of 60 parts tin/40 parts lead.
3. Keep the soldering iron tip clean and well tinned.
4. Thoroughly clean the surfaces to be soldered. Use a
mall wire-bristle (0.5 inch, or 1.25cm) brush with a
metal handle.
Do not use freon-propelled spray-on cleaners.
5. Use the following unsoldering technique
a. Allow the soldering iron tip to reach normal
temperature.
(500。F to 600。F)
b. Heat the component lead until the solder melts.
c. Quickly draw the melted solder with an anti-static,
suction-type solder removal device or with solder
braid.
CAUTION: Work quickly to avoid overheating the
circuitboard printed foil.
6. Use the following soldering technique.
a. Allow the soldering iron tip to reach a normal
temperature (500。F to 600。F)
b. First, hold the soldering iron tip and solder the strand
against the component lead until the solder melts.
c. Quickly move the soldering iron tip to the junction of
the component lead and the printed circuit foil, and
hold it there only until the solder flows onto and
around both the component lead and the foil.
CAUTION: Work quickly to avoid overheating the
circuit board printed foil.
d. Closely inspect the solder area and remove any
excess or splashed solder with a small wire-bristle
brush.
IC Remove/Replacement
Some chassis circuit boards have slotted holes (oblong)
through which the IC leads are inserted and then bent flat
against the circuit foil. When holes are the slotted type,
the following technique should be used to remove and
replace the IC. When working with boards using the
familiar round hole, use the standard technique as
outlined in paragraphs 5 and 6 above.
Removal
1. Desolder and straighten each IC lead in one operation
by gently prying up on the lead with the soldering iron
tip as the solder melts.
2. Draw away the melted solder with an anti-static
suction-type solder removal device (or with solder
braid) before removing the IC.
Replacement
1. Carefully insert the replacement IC in the circuit board.
2. Carefully bend each IC lead against the circuit foil pad
and solder it.
3. Clean the soldered areas with a small wire-bristle
brush. (It is not necessary to reapply acrylic coating to
the areas).
"Small-Signal" Discrete Transistor
Removal/Replacement
1. Remove the defective transistor by clipping its leads as
close as possible to the component body.
2. Bend into a "U" shape the end of each of three leads
remaining on the circuit board.
3. Bend into a "U" shape the replacement transistor leads.
4. Connect the replacement transistor leads to the
corresponding leads extending from the circuit board
and crimp the "U" with long nose pliers to insure metal
to metal contact then solder each connection.
Power Output, Transistor Device
Removal/Replacement
1. Heat and remove all solder from around the transistor
leads.
2. Remove the heat sink mounting screw (if so equipped).
3. Carefully remove the transistor from the heat sink of the
circuit board.
4. Insert new transistor in the circuit board.
5. Solder each transistor lead, and clip off excess lead.
6. Replace heat sink.
Diode Removal/Replacement
1. Remove defective diode by clipping its leads as close
as possible to diode body.
2. Bend the two remaining leads perpendicular y to the
circuit board.
3. Observing diode polarity, wrap each lead of the new
diode around the corresponding lead on the circuit
board.
4. Securely crimp each connection and solder it.
5. Inspect (on the circuit board copper side) the
solder joints of the two "original" leads. If they are not
shiny, reheat them and if necessary, apply additional
solder.
Fuse and Conventional Resistor
Removal/Replacement
1. Clip each fuse or resistor lead at top of the circuit board
hollow stake.
2. Securely crimp the leads of replacement component
around notch at stake top.
3. Solder the connections.
CAUTION: Maintain original spacing between the
replaced component and adjacent components and the
circuit board to prevent excessive
component temperatures.
6
Circuit Board Foil Repair
Excessive heat applied to the copper foil of any printed
circuit board will weaken the adhesive that bonds the foil to
the circuit board causing the foil to separate from or
"lift-off" the board. The following guidelines and
procedures should be followed whenever this condition is
encountered.
At IC Connections
To repair a defective copper pattern at IC connections use
the following procedure to install a jumper wire on the
copper pattern side of the circuit board. (Use this
technique only on IC connections).
1. Carefully remove the damaged copper pattern with a
sharp knife. (Remove only as much copper as
absolutely necessary).
2. carefully scratch away the solder resist and acrylic
coating (if used) from the end of the remaining copper
pattern.
3. Bend a small "U" in one end of a small gauge jumper
wire and carefully crimp it around the IC pin. Solder the
IC connection.
4. Route the jumper wire along the path of the out-away
copper pattern and let it overlap the previously scraped
end of the good copper pattern. Solder the overlapped
area and clip off any excess jumper wire.
At Other Connections
Use the following technique to repair the defective copper
pattern at connections other than IC Pins. This technique
involves the installation of a jumper wire on the
component side of the circuit board.
1. Remove the defective copper pattern with a sharp
knife.
Remove at least 1/4 inch of copper, to ensure that a
hazardous condition will not exist if the jumper wire
opens.
2. Trace along the copper pattern from both sides of the
pattern break and locate the nearest component that is
directly connected to the affected copper pattern.
3. Connect insulated 20-gauge jumper wire from the lead
of the nearest component on one side of the pattern
break to the lead of the nearest component on the
other side.
Carefully crimp and solder the connections.
CAUTION: Be sure the insulated jumper wire
is dressed so the it does not touch components or
sharp edges.

7
TIMING CHART
VIDEO
A
E
D B
SYNC
C
M
distingis
hment
Polo
rity
DOT
CLOCK
[MHz]
Frequency
[kHz]/ [Hz]
Total period
(E)
Display
(A)
Front
Porch
(D)
Sync.
(C)
Back
Porch
(B)
Resolutio
n
H(Pixels) + 31.469 800 640 16 96 48
1
V(Lines) -
25.175
70.8 449 350 37 2 60
640 x 350
H(Pixels) - 31.468 900 720 18 108 54
2 V(Lines) +
28.321
70.09 449 400 12 2 35
720 X 400
H(Pixels) - 31.469 800 640 16 96 48
3 V(Lines) -
25.175
59.94 525 480 10 2 33
640 x 480
H(Pixels) - 37.5 840 640 16 64 120
4 V(Lines) -
31.5
75 500 480 1 3 16
640 x 480
H(Pixels) + 37.879 1056 800 40 128 88
5 V(Lines) +
40.0
60.317 628 600 1 4 23
800 x 600
H(Pixels) + 46.875 1056 800 16 80 160
6 V(Lines) +
49.5
75.0 625 600 1 3 21
800 x 600
H(Pixels) +/- 49.725 1152 832 32 64 224
7 V(Lines) +/-
57.283
74.55 667 624 1 3 39
832 x 624
H(Pixels) - 48.363 1344 1024 24 136 160
8 V(Lines) -
65.0
60.0 806 768 3 6 29
1024 x 768
H(Pixels) - 60.123 1312 1024 16 96 176
9 V(Lines) -
78.75
75.029 800 768 1 3 28
1024 x 768
H(Pixels) +/- 68.681 1456 1152 32 128 144
10 V(Lines) +/-
100.0
75.062 915 870 3 3 39
1152 x 870
H(Pixels) +/- 61.805 1504 1152 18 134 200
11 V(Lines) +/-
92.978
65.96 937 900 2 4 31
1152 x 900
H(Pixels) + 63.981 1688 1280 48 112 248
12 V(Lines) +
108.0
60.02 1066 1024 1 3 38
1280 x 1024
H(Pixels) + 79.976 1688 1280 16 144 248
13 V(Lines) +
135.0
75.035 1066 1024 1 3 38
1280 x 1024
14 H(Pixels) + 88.750 55.5 1600 1440 48 32 80 1440 x 900

8
V(Lines) - 59.90 926 900 3 6 17
H(Pixels) - 55.935 1904 1440 80 152 232
15
V(Lines) +
106.500
59.887 934 900 3 6 25
1440x 900
H(Pixels) - 70.635 1936 1440 96 152 248
16
V(Lines) +
136.750
74.984 942 900 3 6 33
1440x 900

9
DISASSEMBLY

10

11
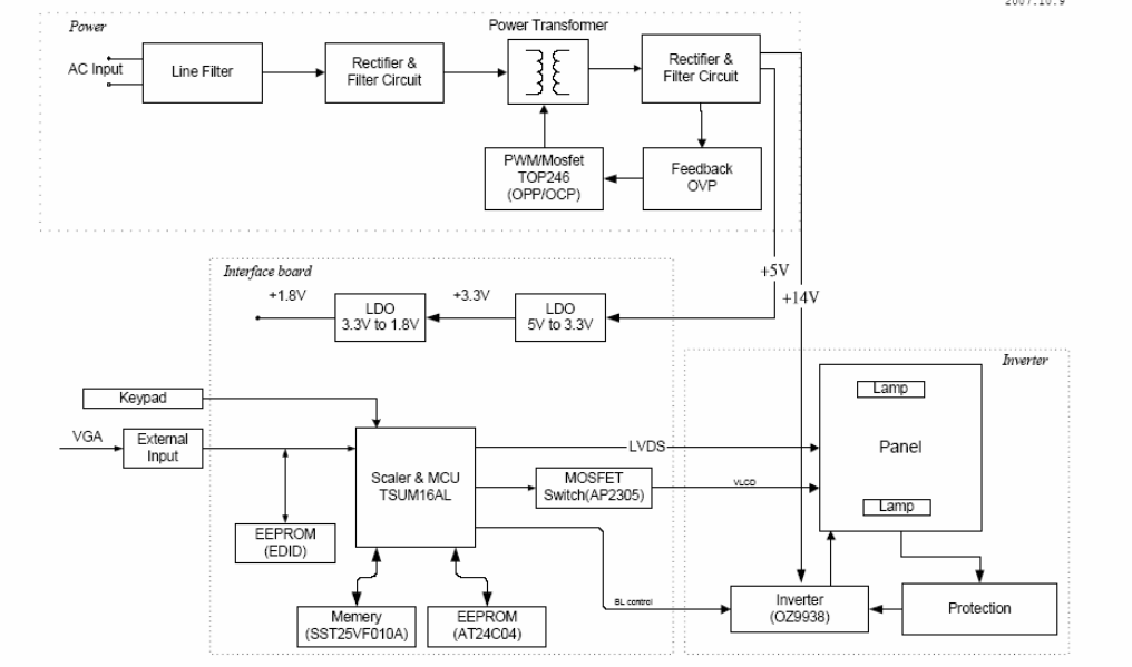
BLOCK DIAGRAM
12
DESCRIPTION OF BLOCK DIAGRAM
1. Video Controller Part.
This part amplifies the level of video signal for the digital conversion and converts from the analog video signal to the
digital video signal using a pixel clock.
The pixel clock for each mode is generated by the PLL.
The range of the pixel clock is from 25MHz to 135MHz.
This part consists of the Scaler, ADC convertor and LVDS transmitter.
The Scaler gets the video signal converted analog to digital, interpolates input to 1440 X 900 resolution signal and
outputs 8-bit R, G, B signal to transmitter.
2. Power Part.
This part consists of the one 3.3V, and one 1.8V regulators to convert power which is provided 5V in Power board.
14V is provided for inverter, 14V is provided for LCD panel and 5V for micom.
Also, 5V is converted 3.3V and 1.8V by regulator. Converted power is provided for IC in the main board.
The inverter converts from DC14V to AC 700Vrms and operates back-light lamps of module.
3. MICOM Part.
This part is include video controller part. And this part consists of EEPROM IC which stores control data, and the
Micom which imbedded in scaler IC.
The Micom distinguishes polarity and frequency of the H/V sync are supplied from signal cable.
The controlled data of each modes is stored in EEPROM.

13
LIPS Board Block Diagram
Operation description_LIPS
1. EMI components.
This part contains of EMI components to comply with global marketing EMI standards like FCC, VCCI CISPR, the
circuit included a line-filter, across line capacitor and of course the primary protection fuse.
2. Input rectifier and filter.
This part function is for transfer the input AC voltage to a DC voltage through a bridge rectifier and a bulk capacitor.
3. Energy Transfer.
This part function is transfer the primary energy to secondary through a power transformer.
4. Output rectifier and filter.
This part function is to make a pulse width modulation control and to provide the driver signal to power switch, to
adjust the duty cycle during different AC input and output loading condition to achive the dc output stablize, and also the
over power protection is also monitor by this part.
5. Photo-Coupler isolation.
This part function is to feed back the dc output changing status through a photo transistor to primary controller to
achieve the stabilized dc output voltage.
6. Signal collection.
This part function is to collect the any change from the dc output and feed back to the primary through photo
transistor.
50-60HZ

14
ADJUSTMENT
1. Software
a. port95nt.exe
b. Edid.exe
c. Writing data: Mars W1934
2. Hardware
a. PC(winXP, win2000 or win98)1 pc;
b. Writing tools(Including EDID writing card、connecting cable etc.)
3. EDID Writing Connection
4. EDID Writing SOP:
a. Select “File" submenu,select “Auto Write”.
Figure 1 Figure 2 Figure 3

15
b. Select “Model” of main menu. Password: 1234
c. Select written model W1934S
d. Input product serial number (The SN is 12 numbers) in “S/N”Column, then the program auto writing start.

16
SERVICE OSD
1) Press MENU Key and Power Key, Monitor Will Enter Service OSD.
2) The SVC OSD menu contains additional menus that the User OSD menu as described below.
a) Auto Color : W/B balance and Automatically sets the gain and offset value.
b) NVRAM INIT : EEPROM initialize.(24C04)
c) CLEAR ETI : To initialize using time.
d) AGING : Select Aging mode(on/off).
e) R/G/B-9300K : Allows you to set the R/G/B-9300K value manually.
f) R/G/B-6500K : Allows you to set the R/G/B-6500K value manually.
g) R/G/B-Offset : Allows you to set the R/G/B-Offset value manually.(Analog Only)
h) R/G/B-Gain : Allows you to set the R/G/B-Gain value manually.(Analog Only)
i) MODULE : Show Current module Type
j)RS232: Enable/Disable Debug Mode(on/off)
k)SRGB:Allows you to set the sRGB value manually
Insert to
Parallel Port
on PC
ISP Board LCD
Monitor D-
Sub
Parallel
Port
D-SUB
15PIN
Figure 1.Cable Connection For ISP

17
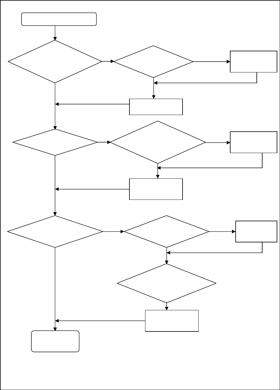
TROUBLESHOOTING GUIDE
1. No Power & Power LED Off
No
p
owe
r
Check primary
rectifier volta
g
e
Check IC802,
C805, T801
Check circuit
if short
Check F801, P801,
D801
Check pin3 of
IC802 voltage
about 1V
Check R801, R805,
R822, R823, R817
Check pin2 of IC802
volta
g
e about 2V
Check R803, R807,
R824, R825
Check pin1 of IC802
Check R812, R816,
C818
END

18
2. Backlight can’t be turned on
END
No raster?
LED Green?
Yes
Yes
Yes
Backlight can’t be
turned on.
No
Check power supply
Is there high-level
voltage on pin10 of IC501? No Is Ok R526? Check I/F board
Yes
R526 open
No
Yes
Is there instantaneously pulse
wave on pin1, pin3, pin15 of IC501
at the moment of restart?
No Is Ok IC501? Yes U501, U502 fail
No IC501 fail
Yes
Is ok T501, T502? T501, T502 fail
Are connected rightly CN501,
CN502, CN503 and CN504?
No Connecting the
output
connector
No
Yes
Is there 5Vdc voltage on
pin2 of IC501?
Yes
Yes
Check feedback circuit
Isen,Vsen.(D503,D504,D501,D50

19
3. DC output voltage is unstable
Check R810, R811
Check feedback
circuit Check Vpin3-4 of
IC801 about 6V
Check Vpin1-2 of
IC801 about 1V
Check C815,
D806, R812
Check R809,
R814
END
Output Voltage Unstable
Check Vbe of
Q801 below 0.3V Check circuit if
short
Check ZD801,
ZD802, ZD803,
D803
D805
Check Q801, Q802
Check reference
voltage
Check Pin R of
IC803 voltage
about 2.5V
Check R809,
R814, IC801,
R818

20
4. Output power is unstable
Check the R pin
voltage of IC803
about 2.5V
Check R809, R808,
R814, D809
Check D806, C815 if
short
Change
D806, C815
Check pin1 of
IC802 voltage
is 5.8V
Check pin3 of
IC802 voltage
about 1V
Change R801, R805,
R822, R823, R817
END
Check the C
pin voltage
of IC803 if
3V
Change
IC803
Unstable power
Check sampling
Circuit
Check R810,
R811, R818
Change
R810, R811,

21
Black Screen
Power Fail
Check power supply:
Pin1, 2 of CN101
Check pin34, 51, 66, and 82
Of U105
Check Crystal: Pin96,
Pin97
Of U105
Check CCFL -
Enable
(pin85) of U105
MCU Fail
Check FB103
Check: X101,
C153, C154
Inverter Fail
OK
NG
OK
Check Reset (pin84)
Of U105
Check pin5 of
CN101
Check R167, Q106
R108, R110
Check C144, R172
NG
NG
OK OK
Check pin32, 49, 56, and 75
Of U105
And U102
Check FB106
And U101
NG
NG
NG
OK
OK
OK
NG
5. Black Screen and backlight turn on

22
White Screen
LVDS Cable
Reinsert
Change LVDS
Cable
Check VLCD
Is 5V?
Check Panel
-
Enable
Of U105 (pin48) is High?
Check R168, R105
Q103, Q101
END
Workmanship
LVDS Cable NG
Panel Fail
Check LVDS
Signals
Check the HW Reset
Of U105 pin84
Check the pins
Of U105
Check C144
R172
NG
NG
NG
NG
NG
NG
OK
OK
OK OK
OK
6. White Screen

23
7. BAD SCREEN
Bad Screen
WorkmanshipLVDS Cable Reinsert
Change LVDS Cable
Check Crystal:Pin96,97
Of U105
Check the communication
Of U105 and U106
Check the pins of
U105 and U106
LVDS Cable NG
Check :X101,
C153,C154
Check: SDO,SCZ,
SCK,SDI, Reset
NG
OK
OK
NG
OK
OK
OK
NG

24
WIRING DIAGRAM

Exploded View and Parts List
080
090
070
060
050
040
030
020
100
010
120
130
110

25
Ref.No. LGE Part No. INL Part No. Description
ABJ53968501 714030014200R ASSY,BEZEL,SILVER,LE19B5
10 ABJ53968502 714030014201R ASSY,BEZEL,BLACK,LE19B5
COV30007401 631102091440R LCP 19" M190A1-L07-908(A)(CMO)ROHS
COV30007601 631102091370R LCP 19" M190MWW1-201(A)(MTDIS)ROHS (IVO)
20
COV30007501 631102091401R LCP 19" MT190AW01-V5- G1,AM1900004511(INL)
30 EBU49007701 791271500000R PCBA,KEYPAD BOARD,LE19B5-6E0 ROHS
40 EBU49009001 791271400600R PCBA,P/I BOARD,W/O SPK,LE19B5-6E0 ROHS
EBU49008101 791271300500R PCBA,I/F BOARD,L07,W/O SPK,LE19B5-5E0 ROHS
EBU49008501 791271300600R PCBA,I/F BOARD,V5,W/O SPK,LE19B5-6E0 ROHS 50
EBU49008901 791271300E00R PCBA,I/F BOARD,W/O SPK,LE19B5-EE0 ROHS
60 MDQ47252401 502090309100R CHASSIS,LE17B4
ACQ53969101 714050013200R ASSY,BACK COVER,LE19B5-6E0
70 ACQ53969102 714050013210R ASSY,BACK COVER,LE19B5-EE0 (FOR IVO)
80 ACQ52748101 714020012000R ASSY,BASE ,LE19B5
90 MCK47213101 502020800110R STAND ,LE19B5
6410TUW008A 453070800150R PWR CORD 10A/125V BLK 6FT UL/CSA SVT 3Cx
--US/Mexico/Panama/Canada
6410TBW004A 453070800720R PWRCORD 10A/250V BLK 6FT UK,H05VV-F 3Cx0
--UK/Malaysia/Singapore
6410TEW003A 453070800730R PWRCORD 16A/250V BLK 6FT VDE,H05VV-F 3Cx
---Europe/Thailand/Vietnam/Russia/U.A.E
6410TSW003A 453070800740R PWRCORD 10A/250V BLK 1850mm SAA,H05W-F 3
---Australia
100
6410TTW001A 453070800750R PWRCORD 7A/125V BLK 1850mm CNS,VCTF 3Gx0
---Taiwan
110 MFZ47237101 506060008100R CUSHION,EPS-L,LE19B5
120 MFZ47237102 506060008110R CUSHION,EPS-R,LE19B5
130 MAY42295502 506020019900R CARTON LG W1934S(LE19B5)

27
Related to Models: W1934-SNI/BNI.AxxIQP for 5ms InnoLux module and
W1934-SNI/BNI.AxxQQP for 5ms CMO Module and
W1934-SNI/BNI.AxxYQP for 5ms IVO Module
For INL
Item LGE PN INL PN Descriptions Usage MOQ
1 COV30007501 631102091401R LCP 19" MT190AW01-V5- G1,AM1900004511(INL) 1 20
2 EBU49008501 791271300600R PCBA,I/F BOARD,V5,W/O SPK,LE19B5-6E0 ROHS 1 20
3 EBU49009001 791271400600R PCBA,P/I BOARD,W/O SPK,LE19B5-6E0 ROHS 1 20
4 EBU49007701 791271500000R PCBA,KEYPAD BOARD,LE19B5-6E0 ROHS 1 20
5 ACQ52748101 714020012000R ASSY,BASE ,LE19B5 1 20
6 ABJ53968501 714030014200R ASSY,BEZEL,SILVER,LE19B5 1 20
7 ABJ53968502 714030014201R ASSY,BEZEL,BLACK,LE19B5 1 20
8 ACQ53969101 714050013200R ASSY,BACK COVER,LE19B5-6E0 1 20
9 MDQ47252401 502090309100R CHASSIS,LE17B4 1 20
10 MCK47213101 502020800110R STAND ,LE19B5 1 20
11 COV30007701 430300801620R HRN ASS'Y 8P 260mm UL1571#28, ROHS 1 20
12 COV30007702 430303001410R HRN LVDS FFC 30P 171mm RoHs 1 20
13 COV30007703 453010100340R CABLE D-SUB 15P MALE 1850mm BLACK/BLUE R 1 20
14 6410TUW008A 453070800150R
PWR CORD 10A/125V BLK 6FT UL/CSA,SVT 3Cx
--US/Mexico/Panama/Canada 1 20
6410TBW004A 453070800720R
PWRCORD 10A/250V BLK 6FT UK,H05VV-F 3Cx0
--UK/Malaysia/Singapore 1 20
6410TEW003A 453070800730R PWRCORD 16A/250V BLK 6FT VDE,H05VV-F 3Cx
---Europe/Thailand/Vietnam/Russia/U.A.E 1 20
6410TSW003A 453070800740R
PWRCORD 10A/250V BLK 1850mm SAA,H05W-F 3
---Australia 1 20
6410TTW001A 453070800750R
PWRCORD 7A/125V BLK 1850mm CNS,VCTF 3Gx0
---Taiwan 1 20
15
MAY42295502 506020019900R CARTON LG W1934S(LE19B5) 1 20
16 MFZ47237101 506060008100R CUSHION,EPS-L,LE19B5 1 20
17 MFZ47237102 506060008110R CUSHION,EPS-R,LE19B5 1 20
For CMO
Item LGE PN INL PN Descriptions Usage MOQ
1 COV30007401 631102091440R LCP 19" M190A1-L07-908(A)(CMO)ROHS 1 20
2 EBU49008101 791271300500R PCBA,I/F BOARD,L07,W/O SPK,LE19B5-5E0 ROHS 1 20
3 EBU49009001 791271400600R PCBA,P/I BOARD,W/O SPK,LE19B5-6E0 ROHS 1 20
4 EBU49007701 791271500000R PCBA,KEYPAD BOARD,LE19B5-6E0 ROHS 1 20
5 ACQ52748101 714020012000R ASSY,BASE ,LE19B5 1 20
6 ABJ53968501 714030014200R ASSY,BEZEL,SILVER,LE19B5 1 20
7 ABJ53968502 714030014201R ASSY,BEZEL,BLACK,LE19B5 1 20
8 ACQ53969101 714050013200R ASSY,BACK COVER,LE19B5-6E0 1 20
9 MDQ47252401 502090309100R CHASSIS,LE17B4 1 20
10 MCK47213101 502020800110R STAND ,LE19B5 1 20
11 COV30007701 430300801620R HRN ASS'Y 8P 260mm UL1571#28, ROHS 1 20

28
12 COV30007702 430303001410R HRN LVDS FFC 30P 171mm RoHs 1 20
13 COV30007703 453010100340R CABLE D-SUB 15P MALE 1850mm BLACK/BLUE R 1 20
14 6410TUW008A 453070800150R
PWR CORD 10A/125V BLK 6FT UL/CSA,SVT 3Cx
--US/Mexico/Panama/Canada 1 20
6410TBW004A 453070800720R
PWRCORD 10A/250V BLK 6FT UK,H05VV-F 3Cx0
--UK/Malaysia/Singapore 1 20
6410TEW003A 453070800730R PWRCORD 16A/250V BLK 6FT VDE,H05VV-F 3Cx
---Europe/Thailand/Vietnam/Russia/U.A.E 1 20
6410TSW003A 453070800740R
PWRCORD 10A/250V BLK 1850mm SAA,H05W-F 3
---Australia 1 20
6410TTW001A 453070800750R
PWRCORD 7A/125V BLK 1850mm CNS,VCTF 3Gx0
---Taiwan 1 20
15
MAY42295502 506020019900R CARTON LG W1934S(LE19B5) 1 20
16 MFZ47237101 506060008100R CUSHION,EPS-L,LE19B5 1 20
17 MFZ47237102 506060008110R CUSHION,EPS-R,LE19B5 1 20
For IVO
Item LGE PN INL PN Descriptions Usage MOQ
1 COV30007601 631102091370R LCP 19" M190MWW1-201(A)(MTDIS)ROHS (IVO) 1 20
2 EBU49008901 791271300E00R PCBA,I/F BOARD,W/O SPK,LE19B5-EE0 ROHS 1 20
3 EBU49009001 791271400600R PCBA,P/I BOARD,W/O SPK,LE19B5-6E0 ROHS 1 20
4 EBU49007701 791271500000R PCBA,KEYPAD BOARD,LE19B5-6E0 ROHS 1 20
5 ACQ52748101 714020012000R ASSY,BASE ,LE19B5 1 20
6 ABJ53968501 714030014200R ASSY,BEZEL,SILVER,LE19B5 1 20
7 ABJ53968502 714030014201R ASSY,BEZEL,BLACK,LE19B5 1 20
8 ACQ53969102 714050013210R ASSY,BACK COVER,LE19B5-EE0 (FOR IVO) 1 20
10 MDQ47252401 502090309100R CHASSIS,LE17B4 1 20
11 MCK47213101 502020800110R STAND ,LE19B5 1 20
12 COV30007701 430300801620R HRN ASS'Y 8P 260mm UL1571#28, ROHS 1 20
13 COV30007702 430303001410R HRN LVDS FFC 30P 171mm RoHs 1 20
14 COV30007703 453010100340R CABLE D-SUB 15P MALE 1850mm BLACK/BLUE R 1 20
15 6410TUW008A 453070800150R
PWR CORD 10A/125V BLK 6FT UL/CSA,SVT 3Cx
--US/Mexico/Panama/Canada 120
6410TBW004A 453070800720R
PWRCORD 10A/250V BLK 6FT UK,H05VV-F 3Cx0
--UK/Malaysia/Singapore 120
6410TEW003A 453070800730R PWRCORD 16A/250V BLK 6FT VDE,H05VV-F 3Cx
---Europe/Thailand/Vietnam/Russia/U.A.E 120
6410TSW003A 453070800740R
PWRCORD 10A/250V BLK 1850mm SAA,H05W-F 3
---Australia 120
6410TTW001A 453070800750R
PWRCORD 7A/125V BLK 1850mm CNS,VCTF
3Gx0
---Taiwan 120
16
MAY42295502 506020019900R CARTON LG W1934S(LE19B5) 1 20
17 MFZ47237101 506060008100R CUSHION,EPS-L,LE19B5 1 20
18 MFZ47237102 506060008110R CUSHION,EPS-R,LE19B5 1 20

29
IF BOARD
1. FOR INL
ITEM Location P/N Description Usage Un
791271300600R PCBA,I/F BOARD,V5,W/O SPK,LE19B5-6E0 ROH
10 629030014000R PROGRAM,V5,W/O SPK,LE19B5-6E0 ROHS 1 PC
20 791271320600R PCBA,I/F BOARD,MI,LE19B5-6E0 ROHS 1 PC
30 791271340600R PCBA,I/F BOARD,SMT,LE19B5-6E0 ROHS 1 PC
40 511130001201R SOLDER BAR,Sn96.5/Ag3.0/Cu0.5(SAC305 VAC 2 G
50 C111,C144, 420431000260R CAP EC 10uF 25V M,105℃ ST 5x11 RoHS 2 PC
60 C101,C102, 420431010461R CAP EC 100uF 16V M,105℃ ST 5x11(SK) RoH 2 PC
70 C105,C130,C133,C142,C145, 420432200460R CAP EC 22uF 16V M,105℃ ST, 5x11,RoHS 5 PC
80 C108, 420432210460R CAP EC 220uF 16V M,105℃ ST 6.3x11 RoHS 1 PC
90 CN101, 430631060020R WAFER 2.0mm 6P 180°,RoHS 1 PC
100 CN105, 430631080130R WAFER 2x4P 2.0mm,200PHD-2*4ST RoHS 1 PC
110 X101, 432008010370R XTAL 14.31818MHz 16pF HC-49US 30PPM,DIP, 1 PC
120 CN103, 440819015030R CON D-SUB FEM.15P RA W/O SCREW DZ11AA1-H 1 PC
130 Q103,Q106, 410500045210R XSTR PMBT3904 NPN 200MA,40V SOT23(PHILIP 2 PC
140 Q102,Q105, 410500046210R XSTR PMBT3906 PNP 200MA,40V SOT23(PHILIP 2 PC
150 Q101, 410500068290R XSTR AP2305GN P-CH SOT23(APEC) RoHS 1 PC
160 Q107, 410500050210R XSTR 2N7002,N-CH FET SOT-23 (PHILIPS)RoH 1 PC
170 TVS101,TVS102,
TVS103,TVS104, 411020026210R DIO BAV99 350mW 70V SOT-23(PHI RoHS 4 PC
180 D103, 411020047210R DIO BAV70 85V SOT23 (PHILIPS) RoHS 1 PC
190 ZD101,ZD105, ZD106,
ZD107,ZD108, 411100956920R ZENER 5.6V MMSZ5232A SOD123(PE C)RoHS 5 PC
200 U108, 412000279480R IC AT24C04N-10SU-2.7 SOP8 4K(A TMEL)RoHS 1 PC
210 U102, 412000330830R IC AS1117L-1.8/TR-LF,SOT223(A1 SEMI)RoHS 1 PC
220 U101, 412000372830R IC AS1117L-3.3TR-LF,SOT223(A1S EMI)RoHS 1 PC
230 U103, 412000435480R IC AT24C02BN-10SU-1.8 SOIC8 2K (ATMEL)Ro 1 PC
240 U105, 412000508190R IC TSUM16AL-LF-1 PQFP100(MSTAR)RoHS 1 PC
250 U106, 412000373190R IC SST25VF010A-33-4C-SAE,SOIC- 8(SST)RoH 1 PC
260 R103,R190, 414916000050R RES SMD (0603) 0Ω J,RT RoHS 2 PC
270 R186,R187, 414916010050R RES SMD (0603) 10Ω J,RT RoHS 2 PC
280
R114,R117,R120,
R124,R125,R127,
R129,R130,R131,
R132,R167,R168,
R178,R179,R161,
414916010150R RES SMD (0603) 100Ω J,RT RoHS REV:A 15 PC
290 R157,R158,R159,
R160,R162,R163, 414916010250R RES SMD (0603) 1KΩ J,RT RoHS REV:A 6 PC

30
300 R106,R172,R180,
R181,R191,R184,
R185,R175, 414916010350R RES SMD (0603) 10KΩ J,RT RoHS 8 PC
310 R102, 414916010450R RES SMD (0603) 100KΩ J,RT REV:A RoHS 1 PC
320 R105, 414916020350R RES SMD (0603) 20KΩ J,RT RoHS REV:A 1 PC
330 R136,R137, 414916022250R RES SMD (0603) 2.2KΩ J,RT RoHS 2 PC
340 R121, 414916047150R RES SMD (0603) 470Ω J,RT RoHS REV:A 1 PC
350
R108,R109,R110,
R122,R149,R150,
R154,R155,R166,
R173,R174,R182,
R183,R176,
414916047250R RES SMD (0603) 4.7KΩ J,RT RoHS 14 PC
360 R169, 414916390010R RES SMD (0603) 390Ω F,RT RoHS 1 PC
370 R133,R134,R135, 414916750910R RES SMD (0603) 75Ω F,RT RoHS REV:A 3 PC
380 RP102, 415751035080R RP(0612)10KΩx4 1/16W J 8P4R RoHS 1 PC
390 C158,C159,C160,
C161,C162,C163,
C164,C138,C155, 419311020060R C SMD(0603) X7R 1000PF/50V K RoHS 9 PC
400 C153,C154, 419302200560R C SMD(0603) NPO 22PF/50V J RoHS 2 PC
410 C126, 419302210560R C SMD(0603) NPO 220PF/50V J RoHS 1 PC
420 C125, 419303300560R C SMD(0603) NPO 33PF/50V J RoHS 1 PC
430
C103,C104,C106,
C107,C109,C129,
C131,C132,C134,
C135,C136,C137,
C139,C141,C143,
C147,C148,C149,
C150,C151,C152,
C156,C166,C146,
419311040060R C SMD(0603) X7R 0.1uF/50V K RoHS 24 PC
440 C140, 419311054070R C SMD(0805) X7R 1uF/16V K RoHS REV:A 1 PC
450 C112,C113,C114,
C115,C116,C117,
C118, 419314730060R C SMD (0603) X7R 0.047uF 50V,K RoHS 7 PC
460 FB101, 432002312111R BEAD CORE SMD(0805)120Ω 300mA RoHS 1 PC
470 FB102,FB103,
FB105,FB106, 432002360012R BEAD CORE SMD(0805)60Ω 800mA GBK201209T 4 PC
480 CN104, 444099030030R CON, SMD 1.0mm 30PIN RoHS AL2309-A0G1Z 1 PC
490 506140005700R LABEL,BARCODE,BLANK,33x7mm, ROHS,FOR
PCB 1 PC
500 491291300100R PCB,I/F BOARD,LE19B5-XE0 ROHS 1 PC
510 R107, 414916068150R RES SMD (0603) 680Ω J,RT RoHS REV:A 1 PC
520 R113,R116,R119, 414916560910R RES SMD (0603) 56Ω F,RT RoHS REV:A 3 PC
530 FB107,FB108,
FB109, 432002360140R BEAD CORE SMD(0603)60Ω 600mA, GBK160808 3 PC
540 511130002203R SOLDER PASTE,Sn96.5/Ag3.0/Cu0.5(SAC305 O 0.21 G
550 R101, 414916033150R RES SMD (0603) 330Ω J,RT RoHS 1 PC

31
2. FOR CMO
ITEM Location P/N Description Usage Un
791271300500R PCBA,I/F BOARD,L07,W/O SPK,LE19B5-5E0 RO
10 629030014020R PROGRAM,L07,W/O SPK,LE19B5-5E0 ROHS 1 PC
20 791271320600R PCBA,I/F BOARD,MI,LE19B5-6E0 ROHS 1 PC
30 791271340600R PCBA,I/F BOARD,SMT,LE19B5-6E0 ROHS 1 PC
40 511130001201R SOLDER BAR,Sn96.5/Ag3.0/Cu0.5(SAC305 VAC 2 G
50 C111,C144, 420431000260R
CAP EC 10uF 25V M,105℃ ST 5x11 RoHS 2 PC
60 C101,C102, 420431010461R
CAP EC 100uF 16V M,105℃ ST 5x11(SK) RoH 2 PC
70 C105,C130,
C133,C142,
C145, 420432200460R CAP EC 22uF 16V M,105℃ ST, 5x11,RoHS 5 PC
80 C108, 420432210460R
CAP EC 220uF 16V M,105℃ ST 6.3x11 RoHS 1 PC
90 CN101, 430631060020R WAFER 2.0mm 6P 180°,RoHS 1 PC
100 CN105, 430631080130R WAFER 2x4P 2.0mm,200PHD-2*4ST RoHS 1 PC
110 X101, 432008010370R XTAL 14.31818MHz 16pF HC-49US 30PPM,DIP, 1 PC
120 CN103, 440819015030R CON D-SUB FEM.15P RA W/O SCREW DZ11AA1-H 1 PC
130 Q103,Q106, 410500045210R XSTR PMBT3904 NPN 200MA,40V SOT23(PHILIP 2 PC
140 Q102,Q105, 410500046210R XSTR PMBT3906 PNP 200MA,40V SOT23(PHILIP 2 PC
150 Q101, 410500068290R XSTR AP2305GN P-CH SOT23(APEC) RoHS 1 PC
160 Q107, 410500050210R XSTR 2N7002,N-CH FET SOT-23 (PHILIPS)RoH 1 PC
170 TVS101,TVS102,
TVS103,TVS104, 411020026210R DIO BAV99 350mW 70V SOT-23(PHI RoHS 4 PC
180 D103, 411020047210R DIO BAV70 85V SOT23 (PHILIPS) RoHS 1 PC
190 ZD101,ZD105,
ZD106,ZD107,
ZD108, 411100956920R ZENER 5.6V MMSZ5232A SOD123(PE C)RoHS 5 PC
200 U108, 412000279480R IC AT24C04N-10SU-2.7 SOP8 4K(A TMEL)RoHS 1 PC
210 U102, 412000330830R IC AS1117L-1.8/TR-LF,SOT223(A1 SEMI)RoHS 1 PC
220 U101, 412000372830R IC AS1117L-3.3TR-LF,SOT223(A1S EMI)RoHS 1 PC
230 U103, 412000435480R IC AT24C02BN-10SU-1.8 SOIC8 2K (ATMEL)Ro 1 PC
240 U105, 412000508190R IC TSUM16AL-LF-1 PQFP100(MSTAR)RoHS 1 PC
250 U106, 412000373190R IC SST25VF010A-33-4C-SAE,SOIC- 8(SST)RoH 1 PC
260 R103,R190, 414916000050R RES SMD (0603) 0Ω J,RT RoHS 2 PC
270 R186,R187, 414916010050R RES SMD (0603) 10Ω J,RT RoHS 2 PC
280
R114,R117,R120,
R124,R125,R127,
R129,R130,R131,
R132,R167,R168,
R178,R179,R161,
414916010150R RES SMD (0603) 100Ω J,RT RoHS REV:A 15 PC
290 R157,R158,R159,
R160,R162,R163, 414916010250R RES SMD (0603) 1KΩ J,RT RoHS REV:A 6 PC
300 R106,R172,R180,
R181,R191,R184,
R185,R175, 414916010350R RES SMD (0603) 10KΩ J,RT RoHS 8 PC
310 R102, 414916010450R RES SMD (0603) 100KΩ J,RT REV:A RoHS 1 PC
320 R105, 414916020350R RES SMD (0603) 20KΩ J,RT RoHS REV:A 1 PC
330 R136,R137, 414916022250R RES SMD (0603) 2.2KΩ J,RT RoHS 2 PC

32
340 R121, 414916047150R RES SMD (0603) 470Ω J,RT RoHS REV:A 1 PC
350
R108,R109,R110,
R122,R149,R150,
R154,R155,R166,
R173,R174,R182,
R183,R176,
414916047250R RES SMD (0603) 4.7KΩ J,RT RoHS 14 PC
360 R169, 414916390010R RES SMD (0603) 390Ω F,RT RoHS 1 PC
370 R133,R134,R135, 414916750910R RES SMD (0603) 75Ω F,RT RoHS REV:A 3 PC
380 RP102, 415751035080R RP(0612)10KΩx4 1/16W J 8P4R RoHS 1 PC
390 C158,C159,C160,
C161,C162,C163,
C164,C138,C155, 419311020060R C SMD(0603) X7R 1000PF/50V K RoHS 9 PC
400 C153,C154, 419302200560R C SMD(0603) NPO 22PF/50V J RoHS 2 PC
410 C126, 419302210560R C SMD(0603) NPO 220PF/50V J RoHS 1 PC
420 C125, 419303300560R C SMD(0603) NPO 33PF/50V J RoHS 1 PC
430
C103,C104,C106,
C107,C109,C129,
C131,C132,C134,
C135,C136,C137,
C139,C141,C143,
C147,C148,C149,
C150,C151,C152,
C156,C166,C146,
419311040060R C SMD(0603) X7R 0.1uF/50V K RoHS 24 PC
440 C140, 419311054070R C SMD(0805) X7R 1uF/16V K RoHS REV:A 1 PC
450 C112,C113,C114,
C115,C116,C117,
C118, 419314730060R C SMD (0603) X7R 0.047uF 50V,K RoHS 7 PC
460 FB101, 432002312111R BEAD CORE SMD(0805)120Ω 300mA RoHS 1 PC
470 FB102,FB103,
FB105,FB106, 432002360012R BEAD CORE SMD(0805)60Ω 800mA GBK201209T 4 PC
480 CN104, 444099030030R CON, SMD 1.0mm 30PIN RoHS AL2309-A0G1Z 1 PC
490 506140005700R
LABEL,BARCODE,BLANK,33x7mm, ROHS,FOR
PCB 1 PC
500 491291300100R PCB,I/F BOARD,LE19B5-XE0 ROHS 1 PC
510 R107, 414916068150R RES SMD (0603) 680Ω J,RT RoHS REV:A 1 PC
520 R113,R116,R119, 414916560910R RES SMD (0603) 56Ω F,RT RoHS REV:A 3 PC
530 FB107,FB108,
FB109, 432002360140R BEAD CORE SMD(0603)60Ω 600mA, GBK160808 3 PC
540 511130002203R SOLDER PASTE,Sn96.5/Ag3.0/Cu0.5(SAC305 O 0.21 G
550 R101, 414916033150R RES SMD (0603) 330Ω J,RT RoHS 1 PC
3. FOR IVO
ITEM Location P/N Description Usag
e Un
791271300E00R PCBA,I/F BOARD,W/O SPK,LE19B5-EE0 ROHS
10 629030014010R PROGRAM,W/O SPK,LE19B5-EE0 ROHS 1 PC
20 791271320600R PCBA,I/F BOARD,MI,LE19B5-6E0 ROHS 1 PC
30 791271340600R PCBA,I/F BOARD,SMT,LE19B5-6E0 ROHS 1 PC
40 511130001201R SOLDER BAR,Sn96.5/Ag3.0/Cu0.5(SAC305 VAC 2 G
50 C111,C144, 420431000260R CAP EC 10uF 25V M,105℃ ST 5x11 RoHS 2 PC

33
60 C101,C102, 420431010461R CAP EC 100uF 16V M,105℃ ST 5x11(SK) RoH 2 PC
70 C105,C130,C133,
C142,C145, 420432200460R CAP EC 22uF 16V M,105℃ ST, 5x11,RoHS 5 PC
80 C108, 420432210460R CAP EC 220uF 16V M,105℃ ST 6.3x11 RoHS 1 PC
90 CN101, 430631060020R WAFER 2.0mm 6P 180°,RoHS 1 PC
100 CN105, 430631080130R WAFER 2x4P 2.0mm,200PHD-2*4ST RoHS 1 PC
110 X101, 432008010370R XTAL 14.31818MHz 16pF HC-49US 30PPM,DIP, 1 PC
120 CN103, 440819015030R CON D-SUB FEM.15P RA W/O SCREW DZ11AA1-H 1 PC
130 Q103,Q106, 410500045210R XSTR PMBT3904 NPN 200MA,40V SOT23(PHILIP 2 PC
140 Q102,Q105, 410500046210R XSTR PMBT3906 PNP 200MA,40V SOT23(PHILIP 2 PC
150 Q101, 410500068290R XSTR AP2305GN P-CH SOT23(APEC) RoHS 1 PC
160 Q107, 410500050210R XSTR 2N7002,N-CH FET SOT-23 (PHILIPS)RoH 1 PC
170 TVS101,TVS102,
TVS103,TVS104, 411020026210R DIO BAV99 350mW 70V SOT-23(PHI RoHS 4 PC
180 D103, 411020047210R DIO BAV70 85V SOT23 (PHILIPS) RoHS 1 PC
190 ZD101,ZD105,ZD106
,
ZD107,ZD108, 411100956920R ZENER 5.6V MMSZ5232A SOD123(PE C)RoHS 5 PC
200 U108, 412000279480R IC AT24C04N-10SU-2.7 SOP8 4K(A TMEL)RoHS 1 PC
210 U102, 412000330830R IC AS1117L-1.8/TR-LF,SOT223(A1 SEMI)RoHS 1 PC
220 U101, 412000372830R IC AS1117L-3.3TR-LF,SOT223(A1S EMI)RoHS 1 PC
230 U103, 412000435480R IC AT24C02BN-10SU-1.8 SOIC8 2K (ATMEL)Ro 1 PC
240 U105, 412000508190R IC TSUM16AL-LF-1 PQFP100(MSTAR)RoHS 1 PC
250 U106, 412000373190R IC SST25VF010A-33-4C-SAE,SOIC- 8(SST)RoH 1 PC
260 R103,R190, 414916000050R RES SMD (0603) 0Ω J,RT RoHS 2 PC
270 R186,R187, 414916010050R RES SMD (0603) 10Ω J,RT RoHS 2 PC
280
R114,R117,R120,
R124,R125,R127,
R129,R130,R131,
R132,R167,R168,
R178,R179,R161,
414916010150R RES SMD (0603) 100Ω J,RT RoHS REV:A 15 PC
290 R157,R158,R159,
R160,R162,R163, 414916010250R RES SMD (0603) 1KΩ J,RT RoHS REV:A 6 PC
300 R106,R172,R180,
R181,R191,R184,
R185,R175, 414916010350R RES SMD (0603) 10KΩ J,RT RoHS 8 PC
310 R102, 414916010450R RES SMD (0603) 100KΩ J,RT REV:A RoHS 1 PC
320 R105, 414916020350R RES SMD (0603) 20KΩ J,RT RoHS REV:A 1 PC
330 R136,R137, 414916022250R RES SMD (0603) 2.2KΩ J,RT RoHS 2 PC
340 R121, 414916047150R RES SMD (0603) 470Ω J,RT RoHS REV:A 1 PC
350
R108,R109,R110,
R122,R149,R150,
R154,R155,R166,
R173,R174,R182,
R183,R176,
414916047250R RES SMD (0603) 4.7KΩ J,RT RoHS 14 PC
360 R169, 414916390010R RES SMD (0603) 390Ω F,RT RoHS 1 PC
370 R133,R134,R135, 414916750910R RES SMD (0603) 75Ω F,RT RoHS REV:A 3 PC
380 RP102, 415751035080R RP(0612)10KΩx4 1/16W J 8P4R RoHS 1 PC

34
390 C158,C159,C160,
C161,C162,C163,
C164,C138,C155, 419311020060R C SMD(0603) X7R 1000PF/50V K RoHS 9 PC
400 C153,C154, 419302200560R C SMD(0603) NPO 22PF/50V J RoHS 2 PC
410 C126, 419302210560R C SMD(0603) NPO 220PF/50V J RoHS 1 PC
420 C125, 419303300560R C SMD(0603) NPO 33PF/50V J RoHS 1 PC
430
C103,C104,C106,
C107,C109,C129,
C131,C132,C134,
C135,C136,C137,
C139,C141,C143,
C147,C148,C149,
C150,C151,C152,
C156,C166,C146,
419311040060R C SMD(0603) X7R 0.1uF/50V K RoHS 24 PC
440 C140, 419311054070R C SMD(0805) X7R 1uF/16V K RoHS REV:A 1 PC
450 C112,C113,C114,
C115,C116,C117,
C118, 419314730060R C SMD (0603) X7R 0.047uF 50V,K RoHS 7 PC
460 FB101, 432002312111R BEAD CORE SMD(0805)120Ω 300mA RoHS 1 PC
470 FB102,FB103,
FB105,FB106, 432002360012R BEAD CORE SMD(0805)60Ω 800mA GBK201209T 4 PC
480 CN104, 444099030030R CON, SMD 1.0mm 30PIN RoHS AL2309-A0G1Z 1 PC
490 506140005700R LABEL,BARCODE,BLANK,33x7mm, ROHS,FOR PCB 1 PC
500 491291300100R PCB,I/F BOARD,LE19B5-XE0 ROHS 1 PC
510 R107, 414916068150R RES SMD (0603) 680Ω J,RT RoHS REV:A 1 PC
520 R113,R116,R119, 414916560910R RES SMD (0603) 56Ω F,RT RoHS REV:A 3 PC
530 FB107,FB108,
FB109, 432002360140R BEAD CORE SMD(0603)60Ω 600mA, GBK160808 3 PC
540 511130002203R SOLDER PASTE,Sn96.5/Ag3.0/Cu0.5(SAC305 O 0.21 G
550 R101, 414916033150R RES SMD (0603) 330Ω J,RT RoHS 1 PC
Power and Inverter Board
1. FOR INL
ITEM Location P/N Description Usage Un
791271400600R PCBA,P/I BOARD,W/O SPK,LE19B5-6E0 ROHS
10 IC801, 412140002380R IC LTV817M-PR VDE (LITE-ON) P=10mm RoHS 1 PC
20 D801, 411050005090R DIO BRDG FL406 600V/4A(PEC)RoH S 1 PC
30 C804, 416194743011R CAP MEX 0.47uF 275V K X2,F15 RoHS 1 PC
40 C820,C801,C806, 416202224610R CAP MEY 2200pF 400V M Y,F10mm RoHS 3 PC
50 C808, 420421020211R
CAP SD 1000uF 25V M,105℃ F 13x20 RoHS 1 PC
60 C805, 420431214581R
CAP SEK 120uF/450V M 105℃ CF 18X40 ROHS 1 PC
70 C824, 416204724610R CAP MEY 4700pF 400V M Y,F10mm RoHS 1 PC
80 L802,L803, 425000010530R COIL CHK 5uH 7.8X10 CHK-053 0 181085R0L 2 PC
90 L801, 426000050070R CHOKE L-FILTER 12mH LIN-007 ET-20,RoHS 1 PC
100 T801, 426000090510R XFMR 750u@1K,+-8%,3m,113m,SPW- 051,DIP-1 1 PC
110 RT801, 432009401300R
NTC 8Ω 4A 13Φ P=7.5mm F ROHS 1 PC
120 F801, 430613430290R FUSE SLOW 3.15,250,Axial Lead,3.6 x10mm 1 PC
130 P801, 440149000220R SKT AC 10A/250V U/C/V,G/Y=45mm TU-301-SP 1 PC
140 CN801, 430300600340R HRN ASS'Y 6P 130mm UL1007#24 ROHS 1 PC

35
150 C803, 418247233020R CAP CD X7R 4700pF 1KV K,W/O FO RMING,RoH 1 PC
160 CN501,CN502,
CN503,CN504, 430637020030R WFR. 2P P=3.5mm 90°W/LOCK,RoHS 4 PC
170 T501,T502, 426000090680R XFMR SW,121.5uH EEL19M DIP SPW-068,RoHS 2 PC
180 C506,C523, 418110058560R CAP CD SL 10pF 3KV J,ST,RoHS CC45SL3FD10 2 PC
190 C528,C509, 418105058960R CAP CD SL 5pF 3KV D,ST, RoHS CC45SL3FD05 2 PC
200 H802, 735100007120R ASSY,H/S,SBR10U100CT/U40CT, LE1710 1 PC
210 H801, 735100005900R ASSY,H/S TOP246Y, LE1X09 ROHS 1 PC
220 H501, 502040604500R SHIELD EMI LE1915 ROHS 1 PC
230 791271440600R PCBA,P/I BOARD,SMT,W/O SPK,LE19B5-6E0 RO 1 PC
240 511130001200R SOLDER BAR,Sn96.5/Ag3.0/Cu0.5/Ni0.06/Ge0 4.6 G
250 511110000101R HOT-MELT ADHESIVES (#526) 1.338 G
260 511110000501R SILICONE RTV RUBBER,UB-511(EURO) 0.45 G
270 IC802, 412000379270R IC TOP246YN,TO-220-7C(POWER IN TEGRATION 1 PC
280 507200003700R HEATSINK,46x20xt10mm LE1704/05 1 PC
290 509112306100R SCREW,P,CROSS,T.T-3*6,ZnROHS 1 PC
300 D803, 411090009480R SCHTKY SP10100C 100V/10A ITO220(WILLAS)R 1 PC
310 D805, 411090011090R SCHTKY SB1060FCT 60V/10A ITO 220AB(PANJI 1 PC
320 507200003800R HEATSINK,56x20xt10mm LE1904/05 1 PC
330 509112308101R SCREW,PAN,TT"B",M3x1.049x8,PHP LP1702 2 PC
340 Q801, 410500045211R XSTR PMBS3904 NPN 100MA,60V SOT23(PHILIP 1 PC
350 ZD803, 411131456920R ZENER 5.6V MMSZ5232A SOD-123(WILLAS)ROHS 1 PC
360 ZD801, 411131491920R ZENER 9.1V MMSZ5239A SOD-123(WILLAS)ROHS 1 PC
370 ZD804,ZD805, 411100916020R ZENER 16V MMSZ5246A SOD123(PEC RoHS 2 PC
380 R809, 414904100010R RES SMD (1206) 100Ω F,RT RoHS 1 PC
390 R808,R819,R827, 414908010350R RES SMD (0805) 10KΩ J,RT RoHS REV:A 3 PC
400 R801,R805,
R822,R823, 414908033550R RES SMD(0805) 3.3MΩ J,RT,RoHS 4 PC
410 R813,R814,R815, 414908010250R RES SMD (0805) 1KΩ J,RT RoHS REV:A 3 PC
420 R825, 414908047450R RES SMD (0805) 470KΩ J,RT RoHS 1 PC
430 R803,R807,R824, 414908051450R RES SMD (0805) 510KΩ J,RT RoHS 3 PC
440 R818, 414908330110R RES SMD (0805) 3.3KΩ F,RT RoHS REV:A 1 PC
450 R816, 414908068950R RES SMD (0805) 6.8Ω J RT RoHS 1 PC
460 R811, 414908510210R RES SMD (0805) 51KΩ F,RT RoHS 1 PC
470 R508, 414916430210R RES SMD (0603) 43KΩ F,RT,RoHS 1 PC
480 R817, 414908120210R RES SMD (0805) 12K F RT RoHS REV:A 1 PC
490 R802,R806, 414904010050R RES SMD (1206) 10Ω J,RT RoHS 2 PC
500 R829, 414908020150R RES SMD (0805) 200Ω J,RT RoHS 1 PC
510 R810, 414908510110R RES SMD (0805) 5.1KΩ F,RT RoHS 1 PC
520 R535, 414916075150R RES SMD (0603) 750Ω J,RT RoHS 1 PC
530 C502, 419342253670R C SMD(0805) Y5V 2.2uF/25V Z RoHS 1 PC
540 C821, 419311040060R C SMD(0603) X7R 0.1uF/50V K RoHS 1 PC
550 C504,C505,
C522,C529, 419311020070R C SMD(0805) X7R 1000PF/50V K RoHS 4 PC
560 C510,C516, 419311020060R C SMD(0603) X7R 1000PF/50V K RoHS 2 PC
570 C511, 419314730060R C SMD (0603) X7R 0.047uF 50V,K RoHS 1 PC
580 C512, 419302710560R C SMD(0603) NPO 270PF/50V J RoHS REV:A 1 PC
590 C513,C525, 419316820070R C SMD(0805) X7R 6800PF/50V K RoHS 2 PC
600 C518, 419311030060R C SMD(0603) X7R 0.01uF/50V K RoHS 1 PC
610 C521, 419301810560R C SMD(0603) NPO 180PF/50V J RoHS REV:A 1 PC

36
620 C524,C532, 419316830060R C SMD (0603) X7R 0.068uF 50V,K RoHS 2 PC
630 D501,D505,
D506,D510, 411023004021R DIO SN4148-LF 75V/0.15A SMD 1206 (FEC)Ro 4 PC
640 D502,D503,D504,
D507,D508,D509, 411020026210R DIO BAV99 350mW 70V SOT-23(PHI RoHS 6 PC
650 F802, 430613740400R FUSE SLW 4A/32V SMD U/C/ 0603 ROHS 1 PC
660 R502, 414916033050R RES SMD (0603) 33Ω J,RT RoHS REV:A 1 PC
670 R507, 414916330410R RES SMD (0603) 3.3M F RT RoHS 1 PC
680 R512,R522, 414916330210R RES SMD (0603) 33KΩ F,RT RoHS 2 PC
690 R513,R501, 414916100210R RES SMD (0603) 10KΩ F,RT RoHS 2 PC
700 R514, 414916220210R RES SMD (0603) 22KΩ F,RT RoHS 1 PC
710 R516, 414916604310R RES SMD (0603) 604KΩ F,RT RoHS 1 PC
720 R521,R519,R518, 414916010550R RES SMD (0603) 1MΩ J,RT RoHS REV:A 3 PC
730 R523,R524,R527,
R529, 414916047150R RES SMD (0603) 470Ω J,RT RoHS REV:A 4 PC
740 R528, 414916470010R RES SMD (0603) 470Ω F,RT RoHS 1 PC
750 R533, 414916200110R RES SMD (0603) 2KΩ F,RT,RoHS 1 PC
760 IC501, 412000455630R IC OZ9938GN SOIC16(O2 MICRO)RoHS 1 PC
770 U501,U502, 410500070290R XSTR AP9971GM,N-CH,SO8(APEC) RoHS 2 PC
780 R504,R505,
R530,R532, 414908033050R RES SMD (0805) 33Ω J,RT RoHS 4 PC
790 791271410600R PCBA,P/I BOARD,AI,W/O SPK,LE19B5-6E0 ROH 1 PC
800 C507,C515, 419342254670R C SMD(0805) Y5V 2.2uF/16V Z RoHS 2 PC
810 C519,C520, 419313330060R C SMD(0603) X7R 0.033uF/50V K ROHS 2 PC
820 511110001101R SEAL-GLUE,3629,(LOCTITE) 0.09 G
830 R510,R531, 414908340110R RES SMD (0805) 3.4KΩ F,RT RoHS REV:A 2 PC
840 C514,C527, 419313910070R C SMD(0805) X7R 390PF/50V K,RoHS 2 PC
850 R804, 415130680540R RES CF 1/2W 68Ω J,AT RoHS REV:A 1 PC
860 R828, 415340101540R RES MOF 1W 100Ω J,AT MINI RoHS 1 PC
870 D806, 411030003040R DIO FR103 200V/1A DO-41(MOSPEC RoHS 1 PC
880 D809, 411022003210R DIO 1N4148 75V/0.2A AT (PHIL) RoHS 1 PC
890 D804, 411020053090R DIO PS1010R 1000V/1A DO-41(PAN JIT)RoHS 1 PC
900 ZD802, 411022020090R DIO P6KE200A 600W/100A,DO-15(P ANJIT)RoH 1 PC
910 506140005700R
LABEL,BARCODE,BLANK,33x7mm, ROHS,FOR
PCB 1 PC
920 R820,R821, 415030105540R RES CF 1/2W 1MΩ J,AT MINI RoHS 2 PC
930 J504,J513,J516,
J803,J514,J517, 430405000000R JMPR ROLL/KG D=0.6mm,AT,RoHS 7.5MM 105.96 MM
940 J501,J510,J801,
J805,J806,J807, 430405000000R JMPR ROLL/KG D=0.6mm,AT,RoHS 10MM 120.96 MM
950 J505,J506,J511,
J804,J808, 430405000000R JMPR ROLL/KG D=0.6mm,AT,RoHS 12.5MM 113.3 MM
960 J503,J502,J512,
J809,J507, 430405000000R JMPR ROLL/KG D=0.6mm,AT,RoHS 15MM 125.8 MM
970 J509,J508, 430405000000R JMPR ROLL/KG D=0.6mm,AT,RoHS 20MM 60.32 MM
980 700000000700R ASSY,PCB&RIVENT,LE19B5-6E0 1 PC
990 R506,R525, 414870305540R RES MG HV 1/2Ws 3MΩ 3KV J,AT RoHS 2 PC
1000 R812, 414020689540R RES FSM 1/4W 6.8Ω J AT MINI,RoHS 1 PC
1010 FB501, 432002200240R Bead Cores 25Ω 100M 3A 2.5X3X0.65,RoHS 1 PC
1020 C813, 418210133030R CAP CD X7R 100pF 1KV K VT RoHS 1 PC

37
1030 C802,C811, 418210227030R CAP CD X7R 1000pF 500V K VT RoHS 2 PC
1040 C817,C822, 419111040030R CAP MTL X7R 0.1uF 50V K,VT, RoHS 2 PC
1050 C814,C815,
C818,C819, 420264700230R CAP SH 47uF 25V M,125℃,VT, 6.3x11,RoHS 4 PC
1060 Q802, 410072013210R XSTR 2PC1815GR*I VT (PHILIPS) RoHS REV: 1 PC
1070 IC803, 412022002840R IC TL431ACLPG TO-92 1%,VT(ON)RoHS 1 PC
1080 C816, 416231041530R CAP MEB 0.1uF 100V J,(RSB),VT RSBEC3100D 1 PC
1090 C501,C810, 420424710260R CAP SD 470uF/25V M 105℃ ST 10x16,RoHS 2 PC
1100 C812, 420421020102R CAP EC 1000uF/10V M,105℃ N-F 10x16(L-ES 1 PC
1110 491291400100R PCB,P/I BOARD,LE19B5-XE0 ROHS 1 PC
1120 M3,M4,M5,M6,M7,
M8,M9,M10,M11,
M12,M13,M14, 512006000500R RIVET,Φ3.0xΦ1.6x3.0mm 12 PC
1130 M1,M2, 512006000600R RIVET,Φ4.1xΦ2.2x3.0mm 2 PC
2. FOR CMO
ITEM Location P/N Description Usage Un
791271400600R PCBA,P/I BOARD,W/O SPK,LE19B5-6E0 ROHS
10 IC801, 412140002380R IC LTV817M-PR VDE (LITE-ON) P=10mm RoHS 1 PC
20 D801, 411050005090R DIO BRDG FL406 600V/4A(PEC)RoH S 1 PC
30 C804, 416194743011R CAP MEX 0.47uF 275V K X2,F15 RoHS 1 PC
40 C820,C801,C806, 416202224610R CAP MEY 2200pF 400V M Y,F10mm RoHS 3 PC
50 C808, 420421020211R
CAP SD 1000uF 25V M,105℃ F 13x20 RoHS 1 PC
60 C805, 420431214581R
CAP SEK 120uF/450V M 105℃ CF 18X40 ROHS 1 PC
70 C824, 416204724610R CAP MEY 4700pF 400V M Y,F10mm RoHS 1 PC
80 L802,L803, 425000010530R COIL CHK 5uH 7.8X10 CHK-053 0 181085R0L 2 PC
90 L801, 426000050070R CHOKE L-FILTER 12mH LIN-007 ET-20,RoHS 1 PC
100 T801, 426000090510R XFMR 750u@1K,+-8%,3m,113m,SPW- 051,DIP-1 1 PC
110 RT801, 432009401300R
NTC 8Ω 4A 13Φ P=7.5mm F ROHS 1 PC
120 F801, 430613430290R FUSE SLOW 3.15,250,Axial Lead,3.6 x10mm 1 PC
130 P801, 440149000220R SKT AC 10A/250V U/C/V,G/Y=45mm TU-301-SP 1 PC
140 CN801, 430300600340R HRN ASS'Y 6P 130mm UL1007#24 ROHS 1 PC
150 C803, 418247233020R CAP CD X7R 4700pF 1KV K,W/O FO RMING,RoH 1 PC
160 CN501,CN502,
CN503,CN504, 430637020030R WFR. 2P P=3.5mm 90°W/LOCK,RoHS 4 PC
170 T501,T502, 426000090680R XFMR SW,121.5uH EEL19M DIP SPW-068,RoHS 2 PC
180 C506,C523, 418110058560R CAP CD SL 10pF 3KV J,ST,RoHS CC45SL3FD10 2 PC
190 C528,C509, 418105058960R CAP CD SL 5pF 3KV D,ST, RoHS CC45SL3FD05 2 PC
200 H802, 735100007120R ASSY,H/S,SBR10U100CT/U40CT, LE1710 1 PC
210 H801, 735100005900R ASSY,H/S TOP246Y, LE1X09 ROHS 1 PC
220 H501, 502040604500R SHIELD EMI LE1915 ROHS 1 PC
230 791271440600R PCBA,P/I BOARD,SMT,W/O SPK,LE19B5-6E0 RO 1 PC
240 511130001200R SOLDER BAR,Sn96.5/Ag3.0/Cu0.5/Ni0.06/Ge0 4.6 G
250 511110000101R HOT-MELT ADHESIVES (#526) 1.338 G
260 511110000501R SILICONE RTV RUBBER,UB-511(EURO) 0.45 G
270 IC802, 412000379270R IC TOP246YN,TO-220-7C(POWER IN TEGRATION 1 PC
280 507200003700R HEATSINK,46x20xt10mm LE1704/05 1 PC
290 509112306100R SCREW,P,CROSS,T.T-3*6,ZnROHS 1 PC

38
300 D803, 411090009480R SCHTKY SP10100C 100V/10A ITO220(WILLAS)R 1 PC
310 D805, 411090011090R SCHTKY SB1060FCT 60V/10A ITO 220AB(PANJI 1 PC
320 507200003800R HEATSINK,56x20xt10mm LE1904/05 1 PC
330 509112308101R SCREW,PAN,TT"B",M3x1.049x8,PHP LP1702 2 PC
340 Q801, 410500045211R XSTR PMBS3904 NPN 100MA,60V SOT23(PHILIP 1 PC
350 ZD803, 411131456920R ZENER 5.6V MMSZ5232A SOD-123(WILLAS)ROHS 1 PC
360 ZD801, 411131491920R ZENER 9.1V MMSZ5239A SOD-123(WILLAS)ROHS 1 PC
370 ZD804,ZD805, 411100916020R ZENER 16V MMSZ5246A SOD123(PEC RoHS 2 PC
380 R809, 414904100010R RES SMD (1206) 100Ω F,RT RoHS 1 PC
390 R808,R819,R827, 414908010350R RES SMD (0805) 10KΩ J,RT RoHS REV:A 3 PC
400 R801,R805,R822,
R823, 414908033550R RES SMD(0805) 3.3MΩ J,RT,RoHS 4 PC
410 R813,R814,R815, 414908010250R RES SMD (0805) 1KΩ J,RT RoHS REV:A 3 PC
420 R825, 414908047450R RES SMD (0805) 470KΩ J,RT RoHS 1 PC
430 R803,R807,R824, 414908051450R RES SMD (0805) 510KΩ J,RT RoHS 3 PC
440 R818, 414908330110R RES SMD (0805) 3.3KΩ F,RT RoHS REV:A 1 PC
450 R816, 414908068950R RES SMD (0805) 6.8Ω J RT RoHS 1 PC
460 R811, 414908510210R RES SMD (0805) 51KΩ F,RT RoHS 1 PC
470 R508, 414916430210R RES SMD (0603) 43KΩ F,RT,RoHS 1 PC
480 R817, 414908120210R RES SMD (0805) 12K F RT RoHS REV:A 1 PC
490 R802,R806, 414904010050R RES SMD (1206) 10Ω J,RT RoHS 2 PC
500 R829, 414908020150R RES SMD (0805) 200Ω J,RT RoHS 1 PC
510 R810, 414908510110R RES SMD (0805) 5.1KΩ F,RT RoHS 1 PC
520 R535, 414916075150R RES SMD (0603) 750Ω J,RT RoHS 1 PC
530 C502, 419342253670R C SMD(0805) Y5V 2.2uF/25V Z RoHS 1 PC
540 C821, 419311040060R C SMD(0603) X7R 0.1uF/50V K RoHS 1 PC
550 C504,C505,C522,
C529, 419311020070R C SMD(0805) X7R 1000PF/50V K RoHS 4 PC
560 C510,C516, 419311020060R C SMD(0603) X7R 1000PF/50V K RoHS 2 PC
570 C511, 419314730060R C SMD (0603) X7R 0.047uF 50V,K RoHS 1 PC
580 C512, 419302710560R C SMD(0603) NPO 270PF/50V J RoHS REV:A 1 PC
590 C513,C525, 419316820070R C SMD(0805) X7R 6800PF/50V K RoHS 2 PC
600 C518, 419311030060R C SMD(0603) X7R 0.01uF/50V K RoHS 1 PC
610 C521, 419301810560R C SMD(0603) NPO 180PF/50V J RoHS REV:A 1 PC
620 C524,C532, 419316830060R C SMD (0603) X7R 0.068uF 50V,K RoHS 2 PC
630 D501,D505,
D506,D510, 411023004021R DIO SN4148-LF 75V/0.15A SMD 1206 (FEC)Ro 4 PC
640 D502,D503,D504,
D507,D508,D509, 411020026210R DIO BAV99 350mW 70V SOT-23(PHI RoHS 6 PC
650 F802, 430613740400R FUSE SLW 4A/32V SMD U/C/ 0603 ROHS 1 PC
660 R502, 414916033050R RES SMD (0603) 33Ω J,RT RoHS REV:A 1 PC
670 R507, 414916330410R RES SMD (0603) 3.3M F RT RoHS 1 PC
680 R512,R522, 414916330210R RES SMD (0603) 33KΩ F,RT RoHS 2 PC
690 R513,R501, 414916100210R RES SMD (0603) 10KΩ F,RT RoHS 2 PC
700 R514, 414916220210R RES SMD (0603) 22KΩ F,RT RoHS 1 PC
710 R516, 414916604310R RES SMD (0603) 604KΩ F,RT RoHS 1 PC
720 R521,R519,R518, 414916010550R RES SMD (0603) 1MΩ J,RT RoHS REV:A 3 PC
730 R523,R524,R527,
R529, 414916047150R RES SMD (0603) 470Ω J,RT RoHS REV:A 4 PC
740 R528, 414916470010R RES SMD (0603) 470Ω F,RT RoHS 1 PC

39
750 R533, 414916200110R RES SMD (0603) 2KΩ F,RT,RoHS 1 PC
760 IC501, 412000455630R IC OZ9938GN SOIC16(O2 MICRO)RoHS 1 PC
770 U501,U502, 410500070290R XSTR AP9971GM,N-CH,SO8(APEC) RoHS 2 PC
780 R504,R505,
R530,R532, 414908033050R RES SMD (0805) 33Ω J,RT RoHS 4 PC
790 791271410600R PCBA,P/I BOARD,AI,W/O SPK,LE19B5-6E0 ROH 1 PC
800 C507,C515, 419342254670R C SMD(0805) Y5V 2.2uF/16V Z RoHS 2 PC
810 C519,C520, 419313330060R C SMD(0603) X7R 0.033uF/50V K ROHS 2 PC
820 511110001101R SEAL-GLUE,3629,(LOCTITE) 0.09 G
830 R510,R531, 414908340110R RES SMD (0805) 3.4KΩ F,RT RoHS REV:A 2 PC
840 C514,C527, 419313910070R C SMD(0805) X7R 390PF/50V K,RoHS 2 PC
850 R804, 415130680540R RES CF 1/2W 68Ω J,AT RoHS REV:A 1 PC
860 R828, 415340101540R RES MOF 1W 100Ω J,AT MINI RoHS 1 PC
870 D806, 411030003040R DIO FR103 200V/1A DO-41(MOSPEC RoHS 1 PC
880 D809, 411022003210R DIO 1N4148 75V/0.2A AT (PHIL) RoHS 1 PC
890 D804, 411020053090R DIO PS1010R 1000V/1A DO-41(PAN JIT)RoHS 1 PC
900 ZD802, 411022020090R DIO P6KE200A 600W/100A,DO-15(P ANJIT)RoH 1 PC
910 506140005700R
LABEL,BARCODE,BLANK,33x7mm, ROHS,FOR
PCB 1 PC
920 R820,R821, 415030105540R RES CF 1/2W 1MΩ J,AT MINI RoHS 2 PC
930 J504,J513,J516,
J803,J514,J517, 430405000000R JMPR ROLL/KG D=0.6mm,AT,RoHS 7.5MM 105.96 MM
940 J501,J510,J801,
J805,J806,J807, 430405000000R JMPR ROLL/KG D=0.6mm,AT,RoHS 10MM 120.96 MM
950 J505,J506,J511,
J804,J808, 430405000000R JMPR ROLL/KG D=0.6mm,AT,RoHS 12.5MM 113.3 MM
960 J503,J502,J512,
J809,J507, 430405000000R JMPR ROLL/KG D=0.6mm,AT,RoHS 15MM 125.8 MM
970 J509,J508, 430405000000R JMPR ROLL/KG D=0.6mm,AT,RoHS 20MM 60.32 MM
980 700000000700R ASSY,PCB&RIVENT,LE19B5-6E0 1 PC
990 R506,R525, 414870305540R RES MG HV 1/2Ws 3MΩ 3KV J,AT RoHS 2 PC
1000 R812, 414020689540R RES FSM 1/4W 6.8Ω J AT MINI,RoHS 1 PC
1010 FB501, 432002200240R Bead Cores 25Ω 100M 3A 2.5X3X0.65,RoHS 1 PC
1020 C813, 418210133030R CAP CD X7R 100pF 1KV K VT RoHS 1 PC
1030 C802,C811, 418210227030R CAP CD X7R 1000pF 500V K VT RoHS 2 PC
1040 C817,C822, 419111040030R CAP MTL X7R 0.1uF 50V K,VT, RoHS 2 PC
1050 C814,C815,C818,
C819, 420264700230R CAP SH 47uF 25V M,125℃,VT, 6.3x11,RoHS 4 PC
1060 Q802, 410072013210R XSTR 2PC1815GR*I VT (PHILIPS) RoHS REV: 1 PC
1070 IC803, 412022002840R IC TL431ACLPG TO-92 1%,VT(ON)RoHS 1 PC
1080 C816, 416231041530R CAP MEB 0.1uF 100V J,(RSB),VT RSBEC3100D 1 PC
1090 C501,C810, 420424710260R
CAP SD 470uF/25V M 105℃ ST 10x16,RoHS 2 PC
1100 C812, 420421020102R
CAP EC 1000uF/10V M,105℃ N-F 10x16(L-ES 1 PC
1110 491291400100R PCB,P/I BOARD,LE19B5-XE0 ROHS 1 PC
1120 M3,M4,M5,M6,M7,
M8,M9,M10,M11,
M12,M13,M14, 512006000500R RIVET,Φ3.0xΦ1.6x3.0mm 12 PC
1130 M1,M2, 512006000600R RIVET,Φ4.1xΦ2.2x3.0mm 2 PC

40
3. FOR IVO
ITEM Location P/N Description Usage Un
791271400600R PCBA,P/I BOARD,W/O SPK,LE19B5-6E0 ROHS
10 IC801, 412140002380R IC LTV817M-PR VDE (LITE-ON) P=10mm RoHS 1 PC
20 D801, 411050005090R DIO BRDG FL406 600V/4A(PEC)RoH S 1 PC
30 C804, 416194743011R CAP MEX 0.47uF 275V K X2,F15 RoHS 1 PC
40 C820,C801,C806, 416202224610R CAP MEY 2200pF 400V M Y,F10mm RoHS 3 PC
50 C808, 420421020211R
CAP SD 1000uF 25V M,105℃ F 13x20 RoHS 1 PC
60 C805, 420431214581R
CAP SEK 120uF/450V M 105℃ CF 18X40 ROHS 1 PC
70 C824, 416204724610R CAP MEY 4700pF 400V M Y,F10mm RoHS 1 PC
80 L802,L803, 425000010530R COIL CHK 5uH 7.8X10 CHK-053 0 181085R0L 2 PC
90 L801, 426000050070R CHOKE L-FILTER 12mH LIN-007 ET-20,RoHS 1 PC
100 T801, 426000090510R XFMR 750u@1K,+-8%,3m,113m,SPW- 051,DIP-1 1 PC
110 RT801, 432009401300R
NTC 8Ω 4A 13Φ P=7.5mm F ROHS 1 PC
120 F801, 430613430290R FUSE SLOW 3.15,250,Axial Lead,3.6 x10mm 1 PC
130 P801, 440149000220R SKT AC 10A/250V U/C/V,G/Y=45mm TU-301-SP 1 PC
140 CN801, 430300600340R HRN ASS'Y 6P 130mm UL1007#24 ROHS 1 PC
150 C803, 418247233020R CAP CD X7R 4700pF 1KV K,W/O FO RMING,RoH 1 PC
160 CN501,CN502,
CN503,CN504, 430637020030R WFR. 2P P=3.5mm 90°W/LOCK,RoHS 4 PC
170 T501,T502, 426000090680R XFMR SW,121.5uH EEL19M DIP SPW-068,RoHS 2 PC
180 C506,C523, 418110058560R CAP CD SL 10pF 3KV J,ST,RoHS CC45SL3FD10 2 PC
190 C528,C509, 418105058960R CAP CD SL 5pF 3KV D,ST, RoHS CC45SL3FD05 2 PC
200 H802, 735100007120R ASSY,H/S,SBR10U100CT/U40CT, LE1710 1 PC
210 H801, 735100005900R ASSY,H/S TOP246Y, LE1X09 ROHS 1 PC
220 H501, 502040604500R SHIELD EMI LE1915 ROHS 1 PC
230 791271440600R PCBA,P/I BOARD,SMT,W/O SPK,LE19B5-6E0 RO 1 PC
240 511130001200R SOLDER BAR,Sn96.5/Ag3.0/Cu0.5/Ni0.06/Ge0 4.6 G
250 511110000101R HOT-MELT ADHESIVES (#526) 1.338 G
260 511110000501R SILICONE RTV RUBBER,UB-511(EURO) 0.45 G
270 IC802, 412000379270R IC TOP246YN,TO-220-7C(POWER IN TEGRATION 1 PC
280 507200003700R HEATSINK,46x20xt10mm LE1704/05 1 PC
290 509112306100R SCREW,P,CROSS,T.T-3*6,ZnROHS 1 PC
300 D803, 411090009480R SCHTKY SP10100C 100V/10A ITO220(WILLAS)R 1 PC
310 D805, 411090011090R SCHTKY SB1060FCT 60V/10A ITO 220AB(PANJI 1 PC
320 507200003800R HEATSINK,56x20xt10mm LE1904/05 1 PC
330 509112308101R SCREW,PAN,TT"B",M3x1.049x8,PHP LP1702 2 PC
340 Q801, 410500045211R XSTR PMBS3904 NPN 100MA,60V SOT23(PHILIP 1 PC
350 ZD803, 411131456920R ZENER 5.6V MMSZ5232A SOD-123(WILLAS)ROHS 1 PC
360 ZD801, 411131491920R ZENER 9.1V MMSZ5239A SOD-123(WILLAS)ROHS 1 PC
370 ZD804,ZD805, 411100916020R ZENER 16V MMSZ5246A SOD123(PEC RoHS 2 PC
380 R809, 414904100010R RES SMD (1206) 100Ω F,RT RoHS 1 PC
390 R808,R819,R827, 414908010350R RES SMD (0805) 10KΩ J,RT RoHS REV:A 3 PC
400 R801,R805,
R822,R823, 414908033550R RES SMD(0805) 3.3MΩ J,RT,RoHS 4 PC
410 R813,R814,R815, 414908010250R RES SMD (0805) 1KΩ J,RT RoHS REV:A 3 PC
420 R825, 414908047450R RES SMD (0805) 470KΩ J,RT RoHS 1 PC
430 R803,R807,R824, 414908051450R RES SMD (0805) 510KΩ J,RT RoHS 3 PC
440 R818, 414908330110R RES SMD (0805) 3.3KΩ F,RT RoHS REV:A 1 PC

41
450 R816, 414908068950R RES SMD (0805) 6.8Ω J RT RoHS 1 PC
460 R811, 414908510210R RES SMD (0805) 51KΩ F,RT RoHS 1 PC
470 R508, 414916430210R RES SMD (0603) 43KΩ F,RT,RoHS 1 PC
480 R817, 414908120210R RES SMD (0805) 12K F RT RoHS REV:A 1 PC
490 R802,R806, 414904010050R RES SMD (1206) 10Ω J,RT RoHS 2 PC
500 R829, 414908020150R RES SMD (0805) 200Ω J,RT RoHS 1 PC
510 R810, 414908510110R RES SMD (0805) 5.1KΩ F,RT RoHS 1 PC
520 R535, 414916075150R RES SMD (0603) 750Ω J,RT RoHS 1 PC
530 C502, 419342253670R C SMD(0805) Y5V 2.2uF/25V Z RoHS 1 PC
540 C821, 419311040060R C SMD(0603) X7R 0.1uF/50V K RoHS 1 PC
550 C504,C505,
C522,C529, 419311020070R C SMD(0805) X7R 1000PF/50V K RoHS 4 PC
560 C510,C516, 419311020060R C SMD(0603) X7R 1000PF/50V K RoHS 2 PC
570 C511, 419314730060R C SMD (0603) X7R 0.047uF 50V,K RoHS 1 PC
580 C512, 419302710560R C SMD(0603) NPO 270PF/50V J RoHS REV:A 1 PC
590 C513,C525, 419316820070R C SMD(0805) X7R 6800PF/50V K RoHS 2 PC
600 C518, 419311030060R C SMD(0603) X7R 0.01uF/50V K RoHS 1 PC
610 C521, 419301810560R C SMD(0603) NPO 180PF/50V J RoHS REV:A 1 PC
620 C524,C532, 419316830060R C SMD (0603) X7R 0.068uF 50V,K RoHS 2 PC
630 D501,D505,
D506,D510, 411023004021R DIO SN4148-LF 75V/0.15A SMD 1206 (FEC)Ro 4 PC
640 D502,D503,D504,
D507,D508,D509, 411020026210R DIO BAV99 350mW 70V SOT-23(PHI RoHS 6 PC
650 F802, 430613740400R FUSE SLW 4A/32V SMD U/C/ 0603 ROHS 1 PC
660 R502, 414916033050R RES SMD (0603) 33Ω J,RT RoHS REV:A 1 PC
670 R507, 414916330410R RES SMD (0603) 3.3M F RT RoHS 1 PC
680 R512,R522, 414916330210R RES SMD (0603) 33KΩ F,RT RoHS 2 PC
690 R513,R501, 414916100210R RES SMD (0603) 10KΩ F,RT RoHS 2 PC
700 R514, 414916220210R RES SMD (0603) 22KΩ F,RT RoHS 1 PC
710 R516, 414916604310R RES SMD (0603) 604KΩ F,RT RoHS 1 PC
720 R521,R519,R518, 414916010550R RES SMD (0603) 1MΩ J,RT RoHS REV:A 3 PC
730 R523,R524,R527,
R529, 414916047150R RES SMD (0603) 470Ω J,RT RoHS REV:A 4 PC
740 R528, 414916470010R RES SMD (0603) 470Ω F,RT RoHS 1 PC
750 R533, 414916200110R RES SMD (0603) 2KΩ F,RT,RoHS 1 PC
760 IC501, 412000455630R IC OZ9938GN SOIC16(O2 MICRO)RoHS 1 PC
770 U501,U502, 410500070290R XSTR AP9971GM,N-CH,SO8(APEC) RoHS 2 PC
780 R504,R505,R530,
R532, 414908033050R RES SMD (0805) 33Ω J,RT RoHS 4 PC
790 791271410600R PCBA,P/I BOARD,AI,W/O SPK,LE19B5-6E0 ROH 1 PC
800 C507,C515, 419342254670R C SMD(0805) Y5V 2.2uF/16V Z RoHS 2 PC
810 C519,C520, 419313330060R C SMD(0603) X7R 0.033uF/50V K ROHS 2 PC
820 511110001101R SEAL-GLUE,3629,(LOCTITE) 0.09 G
830 R510,R531, 414908340110R RES SMD (0805) 3.4KΩ F,RT RoHS REV:A 2 PC
840 C514,C527, 419313910070R C SMD(0805) X7R 390PF/50V K,RoHS 2 PC
850 R804, 415130680540R RES CF 1/2W 68Ω J,AT RoHS REV:A 1 PC
860 R828, 415340101540R RES MOF 1W 100Ω J,AT MINI RoHS 1 PC
870 D806, 411030003040R DIO FR103 200V/1A DO-41(MOSPEC RoHS 1 PC
880 D809, 411022003210R DIO 1N4148 75V/0.2A AT (PHIL) RoHS 1 PC
890 D804, 411020053090R DIO PS1010R 1000V/1A DO-41(PAN JIT)RoHS 1 PC

42
900 ZD802, 411022020090R DIO P6KE200A 600W/100A,DO-15(P ANJIT)RoH 1 PC
910 506140005700R
LABEL,BARCODE,BLANK,33x7mm, ROHS,FOR
PCB 1 PC
920 R820,R821, 415030105540R RES CF 1/2W 1MΩ J,AT MINI RoHS 2 PC
930 J504,J513,J516,
J803,J514,J517, 430405000000R JMPR ROLL/KG D=0.6mm,AT,RoHS 7.5MM 106 MM
940 J501,J510,J801,
J805,J806,J807, 430405000000R JMPR ROLL/KG D=0.6mm,AT,RoHS 10MM 121 MM
950 J505,J506,J511,
J804,J808, 430405000000R JMPR ROLL/KG D=0.6mm,AT,RoHS 12.5MM 113.3 MM
960 J503,J502,J512,
J809,J507, 430405000000R JMPR ROLL/KG D=0.6mm,AT,RoHS 15MM 125.8 MM
970 J509,J508, 430405000000R JMPR ROLL/KG D=0.6mm,AT,RoHS 20MM 60.32 MM
980 700000000700R ASSY,PCB&RIVENT,LE19B5-6E0 1 PC
990 R506,R525, 414870305540R RES MG HV 1/2Ws 3MΩ 3KV J,AT RoHS 2 PC
1000 R812, 414020689540R RES FSM 1/4W 6.8Ω J AT MINI,RoHS 1 PC
1010 FB501, 432002200240R Bead Cores 25Ω 100M 3A 2.5X3X0.65,RoHS 1 PC
1020 C813, 418210133030R CAP CD X7R 100pF 1KV K VT RoHS 1 PC
1030 C802,C811, 418210227030R CAP CD X7R 1000pF 500V K VT RoHS 2 PC
1040 C817,C822, 419111040030R CAP MTL X7R 0.1uF 50V K,VT, RoHS 2 PC
1050 C814,C815,C818,
C819, 420264700230R CAP SH 47uF 25V M,125℃,VT, 6.3x11,RoHS 4 PC
1060 Q802, 410072013210R XSTR 2PC1815GR*I VT (PHILIPS) RoHS REV: 1 PC
1070 IC803, 412022002840R IC TL431ACLPG TO-92 1%,VT(ON)RoHS 1 PC
1080 C816, 416231041530R CAP MEB 0.1uF 100V J,(RSB),VT RSBEC3100D 1 PC
1090 C501,C810, 420424710260R
CAP SD 470uF/25V M 105℃ ST 10x16,RoHS 2 PC
1100 C812, 420421020102R
CAP EC 1000uF/10V M,105℃ N-F 10x16(L-ES 1 PC
1110 491291400100R PCB,P/I BOARD,LE19B5-XE0 ROHS 1 PC
1120 M3,M4,M5,M6,M7,
M8,M9,M10, M11,
M12,M13,M14, 512006000500R RIVET,Φ3.0xΦ1.6x3.0mm 12 PC
1130 M1,M2, 512006000600R RIVET,Φ4.1xΦ2.2x3.0mm 2 PC

43
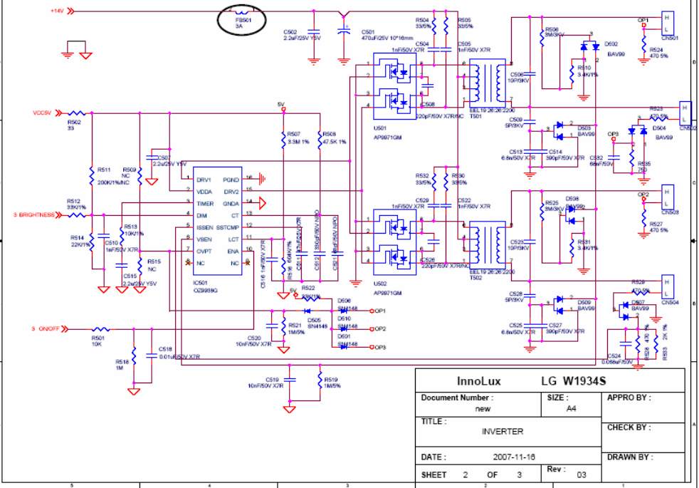
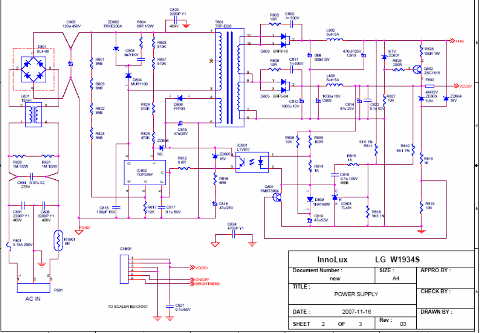
SCHEMATIC DIAGRAM
1. DC to DC

44
2. Input

45
3. Scaler_TSUM16AL

46
4. Keypad

47
5. Inverter

48
6. Power
r

49
. 2007
P/NO:
Printed in Korea
