Cover 9910 P Series Ll .asp?file=P 164000006 1 3K Installation Guide
User Manual: 9910 p Series
Open the PDF directly: View PDF
.
Page Count: 54

Powerware Series
Eaton 9910 UPS and EBM
Installation Guide for IBM Applications
3000 VA Models
®

Powerware Series
Eaton 9910 UPS and EBM
Installation Guide for IBM Applications
3000 VA Models
®
Requesting a Declaration of Conformity
Units that are labeled with a CE mark comply with the following harmonized standards and EU directives:
SHarmonized Standards: IEC 62040-1-1 and IEC 62040-2; IEC 60950 Third Edition
SEU Directives: 73/23/EEC, Council Directive on equipment designed for use within certain voltage limits
93/68/EEC, Amending Directive 73/23/EEC
89/336/EEC, Council Directive relating to electromagnetic compatibility
92/31/EEC, Amending Directive 89/336/EEC relating to EMC
The EC Declaration of Conformity is available upon request for products with a CE mark. For copies of the EC
Declaration of Conformity, contact:
Eaton Power Quality Oy
Koskelontie 13
FIN-02920 Espoo
Finland
Phone: +358-9-452 661
Fax: +358-9-452 665 68
Eaton and Powerware are registered trademarks of Eaton Corporation or its subsidiaries and affiliates. IBM and AIX
are registered trademarks of International Business Machines Corporation. Linux is a registered trademark of Linus
Torvalds. Microsoft and Windows are registered trademarks of Microsoft Corporation in the United States and other
countries. National Electrical Code and NEC are registered trademarks of National Fire Protection Association, Inc.
Phillips is a registered trademark of Phillips Screw Company. All other trademarks are property of their respective
companies.
ECopyright 2011 Eaton Corporation, Raleigh, NC, USA. All rights reserved. No part of this document may be
reproduced in any way without the express written approval of Eaton Corporation.

Class A EMC Statements
FCC Part 15
NOTE This equipment has been tested and found to comply with the limits for a Class A digital device, pursuant to
part 15 of the FCC Rules. These limits are designed to provide reasonable protection against harmful interference
when the equipment is operated in a commercial environment. This equipment generates, uses, and can radiate
radio frequency energy and, if not installed and used in accordance with the instruction manual, may cause harmful
interference to radio communications. Operation of this equipment in a residential area is likely to cause harmful
interference in which case the user will be required to correct the interference at his own expense.
ICES-003
This Class A Interference Causing Equipment meets all requirements of the Canadian Interference Causing
Equipment Regulations ICES-003.
Cet appareil numérique de la classe A respecte toutes les exigences du Reglement sur le matériel brouilleur du
Canada.
IEC 62040-2
Some configurations are classified under IEC 62040-2 as “Class-A UPS for Unrestricted Sales Distribution.” For
these configurations, the following applies:
WARNING This is a Class A-UPS Product. In a domestic environment, this product may cause radio interference, in
which case, the user may be required to take additional measures.
VCCI Notice

Special Symbols
The following are examples of symbols used on the UPS or accessories to alert you to important
information:
RISK OF ELECTRIC SHOCK - Observe the warning associated with the risk of electric
shock symbol.
CAUTION: REFER TO OPERATOR'S MANUAL - Refer to your operator's manual for
additional information, such as important operating and maintenance
instructions.
This symbol indicates that you should not discard the UPS or the UPS batteries
in the trash. This product contains sealed, lead-acid batteries and must be
disposed of properly. For more information, contact your local recycling/reuse or
hazardous waste center.
This symbol indicates that you should not discard waste electrical or electronic
equipment (WEEE) in the trash. For proper disposal, contact your local
recycling/reuse or hazardous waste center.
Eaton 9910 UPS and EBM Installation Guide (3000 VA Models) SP-164000006 Rev 1 i
Table of Contents
1 Preparation 1.........................................................
Parts List 1...........................................................................
Inspecting the Equipment 4................................................................
Tools Required 4.......................................................................
2 Safety Warnings 5.....................................................
3 Installation 17..........................................................
Installation Precautions 17.................................................................
UPS Rear Panels 19......................................................................
Replacing an EBM 20.....................................................................
Rack Installation and UPS Internal Battery Connection 22...........................................
Connecting the EBM 30...................................................................
Remote Emergency Power-off (REPO) 32.......................................................
About REPO 32.......................................................................
Installing REPO 32....................................................................
Initial Startup 34........................................................................
4 Shipping the UPS in a Rack 37.............................................
Installing the Shipping Bracket on the UPS 37...................................................
Removing the Shipping Bracket from the UPS 38.................................................
5 Operation 39...........................................................
Contol Panel 39.........................................................................
Turning on the UPS 40....................................................................
Starting the UPS on Battery 40..............................................................
Turning off the UPS 40....................................................................
Display Functions 40.....................................................................
6 Communication Features 41...............................................
UPS Manager Software 41.................................................................
Communication Ports 41...................................................................
Communication Cards 42..................................................................
Load Segments 42.......................................................................
TABLE OF CONTENTS
Eaton 9910 UPS and EBM Installation Guide (3000 VA Models) SP-164000006 Rev 1
ii
7 Service and Support 43..................................................
Updating the UPS Firmware 43..............................................................
Contacting Service 43....................................................................

Eaton 9910 UPS and EBM Installation Guide (3000 VA Models) SP-164000006 Rev 1 1
Chapter 1 Preparation
Use the information in this chapter to prepare to install or connect the
UPS, EBM, and optional accessories.
NOTE The illustrations in this document might differ slightly from your hardware.
Parts List
IBM®and Eaton part numbers are subject to change without notice.
Table 1. 9910-E35 UPS Base Configuration (74Y8478)
Quantity IBM MTM IBM FC IBM PN Eaton PN Description
19910-E35 —74Y8478 9003-4041-00P
S730-B0340-00P
S730-B0107-00P
9910-E35 UPS 3000 VA, 208V
S3U cabinet, 208V
SBattery
1 — — — 730-B0104-00P Rail Kit
1 — — — 373-52791-00 3000 VA Shipping Bracket
1 — — 74Y8480 744-A1321-00P 9910-E35 and 9910-E36 Accessory Kit
Table 2. 9910-E36 UPS Base Configuration (74Y8479)
Quantity IBM MTM IBM FC IBM PN Eaton PN Description
19910-E36 —74Y8479 9003-4040-00P
S730-B0343-00P
S730-B0107-00P
9910-E36 UPS 3000 VA, 230V
S3U cabinet, 230V
SBattery
1 — — — 730-B0104-00P Rail Kit
1 — — — 373-52791-00 3000 VA Shipping Bracket
1 — — 74Y8480 744-A1321-00P 9910-E35 and 9910-E36 Accessory Kit

PREPARATION
Eaton 9910 UPS and EBM Installation Guide (3000 VA Models) SP-164000006 Rev 1
2
Table 3. Rail Kit, All Models (730-B0104-00P)
IBM MTM IBM FC IBM PN Eaton PN Description Quantity per Rail Kit
— — —
373-52322-00 Slide Rail, Front Right
1 each
(assembled into one
Left Rail Assembly and one
Right Rail Assembly)
373-52323-00 Slide Rail, Front Left
373-52324-00 Slide Rail, Rear Right
373-52325-00 Slide Rail, Rear Left
— — — 410-30407-00 Rail Adjustment Screw 2
(1 each per Rail Assembly)
— — — 612-25342-00 Round Hole Adapter Plate 4
Table 4. 9910-E35 and 9910-E36 UPS Accessory Kit (74Y8480)
Quantity Eaton PN Description
1P-164000012 Documentation CD-ROM
1619-00441-00 UPS Management Software CD-ROM
1 P-164000006 3000 VA UPS and EBM Installation Guide
1614-03781-00 REACH document
1730-B0350-00P UPS front cover
1720-60258-00 RS-232 cable
16 420-90804-00 Screws, M5×16 round slotted for rack installation
2108-00650-00 IEC 320-C13 to C14 jumper cords
NOTE The UPS and EBM User's Guide (P-164000005) and the UPS Firmware Upgrade User's Guide (P-164000011) are
available as PDFs on the Documentation CD or at www.eaton.com/IBM.

PREPARATION
Eaton 9910 UPS and EBM Installation Guide (3000 VA Models) SP-164000006 Rev 1 3
Table 5. 9910-E35 and 9910-E36 UPS Options Matrix
IBM MTM IBM FC IBM PN Eaton PN Description Quantity
—9910-6651 74Y8481 9000-1339-00P Extended Battery Module (EBM) Min: 0, Max: 1
— — 74Y8482 744-A1323-00P EBM Accessory Kit 1 per FC 9910-6651
—2945 74Y8489 744-A1401-00P Network Management Card (NMC)
Min: 0, Max: 1
—2944 74Y8488 744-A1402-00P Relay-Serial Card
—2975 42R4335 103005157 Power cord, C19 to L6-30P 32A, 1.8m/6 ft.,
with two-pole 20A circuit breaker *
Min: 0, Max: 1
—2976 42R4336 103005158 Power cord, C19 to IEC 309 (P+N+G) 32A,
3m/10 ft, with one-pole 16A circuit breaker *
* Rated for 30A outlets. The built-in circuit breaker provides the required 20A overcurrent protection for the UPS.
Table 6. 9910-6651 EBM Base Configuration (74Y8481)
Quantity IBM MTM IBM FC IBM PN Eaton PN Description
1 — 9910-6651 74Y8481 730-B0346-00P 9910-6651 EBM 3000 VA
1 — — — 730-B0104-00P Rail Kit
Table 7. EBM Accessory Kit (74Y8482)
Quantity Eaton PN Description
1 P-164000006 3000 VA UPS and EBM Installation Guide
1614-03781-00 REACH document
1730-B0030-00P EBM front cover
16 420-90804-00 Screws, M5×16 round slotted for rack installation

PREPARATION
Eaton 9910 UPS and EBM Installation Guide (3000 VA Models) SP-164000006 Rev 1
4
Table 8. Network Management Card (NMC) Base Configuration (74Y8489)
Quantity IBM MTM IBM FC IBM PN Eaton PN Description
1 — 2945 74Y8489 710-A0931-00P NMC Card
1 — — 81Y1914 P-164000009 NMC Quick Installation Guide
1 — — — CAB-00010 NMC Setting Cable
NOTE The NMC User's Guide (P-164000008) is available as a PDF on the Documentation CD or at
www.eaton.com/IBM.
Table 9. Relay-Serial Card Base Configuration (74Y8488)
Quantity IBM MTM IBM FC IBM PN Eaton PN Description
1 — 2944 74Y8488 103006828 Relay-Serial Card
1 — — 81Y1914 P-164000010 Relay-Serial Card Installation Guide
1 — — — 720-65366-00 Communication Cable, DB-9 to DB-9
Inspecting the Equipment
If any equipment has been damaged during shipment, keep the shipping
cartons and packing materials for the carrier or place of purchase, and
file a claim for shipping damage. If you discover damage after
acceptance, file a claim for concealed damage.
To file a claim for shipping damage or concealed damage: 1) File with the
carrier within 15 days of receipt of the equipment; 2) Send a copy of the
damage claim within 15 days to your service representative.
Tools Required
To assemble the components, you may need the following tools:
S#2 Phillips® screwdriver
SMedium flat-bladed screwdriver

Eaton 9910 UPS and EBM Installation Guide (3000 VA Models) SP-164000006 Rev 1 5
Chapter 2 Safety Warnings
IMPORTANT SAFETY INSTRUCTIONS
SAVE THESE INSTRUCTIONS
This manual contains important instructions that you should follow during installation and
maintenance of the UPS and batteries. Please read all instructions before operating the
equipment and save this manual for future reference.
DANGER
This UPS contains LETHAL VOLTAGES. All repairs and service should be performed by
AUTHORIZED SERVICE PERSONNEL ONLY. There are NO USER SERVICEABLE PARTS
inside the UPS.
WARNING
SThis UPS contains its own energy source (batteries). The UPS output may carry live
voltage even when the UPS is not connected to an AC supply.
STo reduce the risk of fire or electric shock, install this UPS in a temperature and humidity
controlled, indoor environment, free of conductive contaminants. Ambient temperature
must not exceed 40C (104F). Do not operate near water or excessive humidity
(90% maximum).
STo reduce the risk of fire, connect only to a circuit provided with branch circuit
overcurrent protection in accordance with the National Electrical Code®(NEC®),
ANSI/NFPA 70, or your local electrical code:
Model Overcurrent Protection
9910-E35, 9910-E36 20A
SOutput overcurrent protection and disconnect switch must be provided by others.
STo comply with international standards and wiring regulations, the sum of the leakage
current of the UPS and the total equipment connected to the output of this UPS must not
have an earth leakage current greater than 3.5 milliamperes.
SIf the UPS requires any type of transportation, disconnect the internal UPS batteries
before transporting.

SAFETY WARNINGS
Eaton 9910 UPS and EBM Installation Guide (3000 VA Models) SP-164000006 Rev 1
6
CAUTION
SServicing of batteries should be performed or supervised by personnel knowledgeable
about batteries and the required precautions. Keep unauthorized personnel away from
batteries.
SBatteries can present a risk of electrical shock or burn from high short-circuit current. The
following precautions should be observed: 1) Remove watches, rings, or other metal
objects; 2) Use tools with insulated handles; 3) Wear rubber gloves and boots; 4) Do not
lay tools or metal parts on top of batteries; 5) Disconnect the charging source prior to
connecting or disconnecting battery terminals.
SDetermine if the battery is inadvertently grounded. If inadvertently grounded, remove the
utility source from the ground. Contact with any part of a grounded battery can result in
electrical shock. The likelihood of such shock can be reduced if such grounds are
removed during installation and maintenance (applicable to equipment and remote
battery supplies not having a grounded supply circuit).
SProper disposal of batteries is required. Refer to your local codes for disposal
requirements.
SNever dispose of batteries in a fire. Batteries may explode when exposed to flame.
SDo not open or mutilate the battery or batteries. Released electrolyte is harmful to the
skin and eyes and may be extremely toxic.
SReplace batteries with the same number and type of batteries as originally installed in
the UPS.
SFor PLUGGABLE EQUIPMENT, the power outlet shall be installed near the equipment and
shall be easily accessible.
SThe UPS may be connected to a maximum of one Extended Battery Module (EBM).

SAFETY WARNINGS
Eaton 9910 UPS and EBM Installation Guide (3000 VA Models) SP-164000006 Rev 1 7
Consignes de sécurité
CONSIGNES DE SÉCURITÉ IMPORTANTES
CONSERVER CES INSTRUCTIONS
Ce manuel comporte des instructions importantes que vous êtes invité à suivre lors de toute
procédure d'installation et de maintenance des batteries et de l'onduleur. Veuillez consulter
entièrement ces instructions avant de faire fonctionner l'équipement et conserver ce manuel
afin de pouvoir vous y reporter ultérieurement.
DANGER!
Cet onduleur contient des TENSIONS MORTELLES. Toute opération d'entretien et de
réparation doit être EXCLUSIVEMENT CONFIÉE A UN PERSONNEL QUALIFIÉ AGRÉÉ.
AUCUNE PIÈCE RÉPARABLE PAR L'UTILISATEUR ne se trouve dans l'onduleur.
AVERTISSEMENT!
SCette onduleur possède sa propre source d'alimentation (batteries). Il est possible que la
sortie de l'onduleur soit sous tension même lorsque l'onduleur n'est pas connectée à une
alimentation CA.
SPour réduire les risques d'incendie et de décharge électrique, installer l'onduleur
uniquement à l'intérieur, dans un lieu dépourvu de matériaux conducteurs, où la
température et l'humidité ambiantes sont contrôlées. La température ambiante ne doit
pas dépasser 40 °C. Ne pas utiliser à proximité d'eau ou dans une atmosphère
excessivement humide (95 % maximum).
SAfin de réduire le risque d'incendie, connectez seulement à un circuit équipé d'un
dispositif de protection divisionnaire avec un ampérage conforme à votre code électrique
local :
Modèle Protection de surintensité
9910-E35, 9910-E36 20A
SLa protection de surintensité de sortie ainsi que le sectionneur doivent être fournis par
des tiers.
SAfin d'être conforme aux normes et règlements internationaux de câblage, le courant de
fuite à la terre de la totalité du matériel branché sur la sortie de l'onduleur ne doit pas
dépasser 3,5 mA.
SSi l'onduleur doit être transporté, débranchez les batteries internes de l'onduleur avant le
transport.

SAFETY WARNINGS
Eaton 9910 UPS and EBM Installation Guide (3000 VA Models) SP-164000006 Rev 1
8
ATTENTION!
SLa réparation des batteries doit être réalisée ou supervisée par un personnel connaissant
les batteries et les précautions requises. Maintenez le personnel non autorisé éloigné
des batteries.
SLes batteries peuvent présenter un risque de choc électrique ou de brûlure provenant
d'un courant de court-circuit élevé. Les précautions suivantes doivent être respectées :
1) Retirez les montres, bagues ou autres objets métalliques ; 2) Utilisez des outils avec
des poignées isolées ; 3) Portez des gants et des bottes en caoutchouc ; 4) Ne laissez pas
d'outils ou de pièces métalliques sur les batteries ; 5) Déconnectez la source de charge
avant de connecter ou de déconnecter des bornes de batterie.
SDéterminez si la batterie est mise à la terre par mégarde. Si elle est mise à la terre par
mégarde, retirez la source secteur de la terre. Le contact avec toute pièce d'une batterie
mise à la masse peut provoquer un choc électrique. La probabilité d'un tel choc peut être
réduite si de telles mises à la terre sont retirées pendant l'installation et la maintenance
(applicables aux alimentations de batterie de l'équipement et distante n'ayant pas un
circuit d'alimentation relié à la terre).
SUne mise au rebut réglementaire des batteries est obligatoire. Consulter les règlements
en vigueur dans votre localité.
SNe jamais jeter les batteries au feu. L'exposition aux flammes risque de les faire
exploser.
SN'ouvrez pas ou ne détériorez pas la ou les batteries. L'électrolyte relâché est nocif pour
la peau et les yeux et peut être extrêmement toxique.
SRemplacez les batteries par des batteries de même type et en même nombre que celles
installées à l'origine dans l'onduleur.
SPour un ÉQUIPEMENT ENFICHABLE, la prise de courant doit être installée près de
l'équipement et facilement accessible.
SL'onduleur peut être connecté au maximum à un Module de batterie externe (EBM).

SAFETY WARNINGS
Eaton 9910 UPS and EBM Installation Guide (3000 VA Models) SP-164000006 Rev 1 9
Sicherheitswarnungen
WICHTIGE SICHERHEITSANWEISUNGEN
AUFBEWAREN
Dieses Handbuch enthält wichtige Anweisungen, die Sie während der Installation und
Wartung des USV (Unterbrechungsfreies Stromversorgungssystem) und der Batterien
befolgen müssen. Bitte lesen Sie alle Anweisungen des Handbuches bevor sie mit dem
Gerät arbeiten. Bewaren Sie das Handbuch zum Nachlesen auf.
WARNUNG
Die USV führt lebensgefährliche Spannungen. Alle Reparatur- und Wartungsarbeiten sollten
nur von Kundendienstfachleuten durchgeführt werden. Die USV enthält keine vom Benutzer
zu wartenden Komponenten.
ACHTUNG
SDieses USV (Unterbrechungsfreies Stromversorgungssystem) enthält eine eigene
Energiequelle (Batterien). Der USV-Ausgang kann Spannung führen, auch wenn das USV
nicht an eine Wechselstromquelle angeschlossen ist.
SUm die Brand- oder Elektroschockgefahr zu verringern, diese USV nur in Gebäuden mit
kontrollierter Temperatur und Luftfeuchtigkeit installieren, in denen keine leitenden
Schmutzstoffen vorhanden sind. Die Umgebungstemperatur darf 40°C nicht übersteigen.
Die USV nicht in der Nähe von Wasser oder in extrem hoher Luftfeuchtigkeit (max. 95 %)
betreiben.
SZur Vermeidung von Brandgefahr sollte das Gerät nur an einen Stromkreis angeschlossen
werden, der mit einem Überstromschutz mit einem Nennstrom gemäß Ihren örtlichen
Elektrizitätsvorschriften ausgestattet ist:
Modell Überstromschutz
9910-E35, 9910-E36 20A
SDer Ausgangs-Überlaststromschutz und der Trennschalter müssen von anderen
Herstellern geliefert werden.
SUm internationale Normen und Verdrahtungsvorschriften zu erfüllen, dürfen die an den
Ausgang dieser USV angeschlossenen Geräte zusammen einen Erdableitstrom von
insgesamt 3,5 Milliampere nicht überschreiten.
SMuss die USV transportiert werden, so müssen die internen USV-Batterien vor dem
Transport vom Gerät getrennt werden.

SAFETY WARNINGS
Eaton 9910 UPS and EBM Installation Guide (3000 VA Models) SP-164000006 Rev 1
10
VORSICHT!
SDie Wartung der Batterien sollte unter Befolgung der erforderlichen
Sicherheitsvorkehrungen durch fachkundiges Personal erfolgen oder beaufsichtigt
werden. Nicht ausreichend geschultem Personal ist der Zugang zu den Batterien zu
verwehren.
SBatterien bergen das Risiko eines elektrischen Schlages oder einer Verletzung durch
hohen Kurzschlussstrom. Bitte befolgen Sie die folgenden Sicherheitsvorkehrungen:
1) Nehmen Sie Uhren, Ringe und andere Metallgegenstände ab. 2) Verwenden Sie
Werkzeug mit isoliertem Handgriff. 3) Tragen Sie Gummihandschuhe und Gummistiefel.
4) Legen Sie keine Werkzeuge oder Metallteile auf die Batterien. 5) Trennen Sie die
Aufladequelle vor dem Anschließen oder Trennen der Batterieklemmen.
SErmitteln Sie, ob die Batterie unbeabsichtigt geerdet ist. Im Falle der unbeabsichtigten
Erdung ist die Netzstromquelle von der Erdung zu entfernen. Durch Berührung von
geerdeten Batterieteilen kann ein elektrischer Schlag verursacht werden. Die
Wahrscheinlichkeit eines solchen Schlages kann verringert werden, wenn derartige
Erdungen bei der Installation und Wartung aufgehoben werden (dies gilt für Geräte und
Remote-Batterieversorgungen ohne geerdeten Versorgungsschaltkreis).
SDie Batterien müssen ordnungsgemäß entsorgt werden. Hierbei sind die örtlichen
Bestimmungen zu beachten.
SBatterien niemals verbrennen, da sie explodieren können.
SÖffnen oder manipulieren Sie die Batterien nicht anderweitig. Auslaufende Batteriesäure
ist schädlich für Haut und Augen und kann hochgiftig sein.
SErsetzen Sie die Batterie mit einer Batterie des gleichen Typs und in der gleichen Anzahl
sie ursprünglich in der USV installiert.
SBei AN EINESTECKDOSE ANSCHLOSSENEN GERÄTEN muss sich die Netzsteckdose in
der Nähe des Gerätes befinden und einfach zugänglich sein.
SDie USV darf maximal an ein Externes Batteriemodul (EBM) angeschlossen werden.

SAFETY WARNINGS
Eaton 9910 UPS and EBM Installation Guide (3000 VA Models) SP-164000006 Rev 1 11
Regulamentos de Segurança
INSTRUÇÕES DE SEGURANÇA IMPORTANTES
GUARDE ESTAS INSTRUÇÕES
Este manual contém instruções importantes que devem ser seguidas durante a instalação e
manutenção do no-break e das baterias. Leia todas as instruções antes de operar o
equipamento e guarde este manual para consultá-lo futuramente.
CUIDADO
A UPS contém VOLTAGEM MORTAL. Todos os reparos e assistência técnica devem ser
executados SOMENTE POR PESSOAL DA ASSISTÊNCIA TÉCNICA AUTORIZADO. Não há
nenhuma PEÇA QUE POSSA SER REPARADA PELO USUÁRIO dentro da UPS.
ADVERTÊNCIA
SEste no-break possui sua própria fonte de energia (baterias). A saída do no-break pode
estar energizada mesmo que este não esteja conectado a uma fonte de energia elétrica.
SPara reduzir o risco de incêndios ou choques elétricos, instale a UPS em ambiente
interno com temperatura e umidade controladas e livres de contaminadores condutíveis.
A temperatura ambiente não deve exceder 40°C. Não opere próximo a água ou em
umidade excessiva (máx: 90%).
SPara reduzir o risco de incêndio, conecte apenas em um circuito que tenha proteção de
corrente com classificação de amperagem de acordo com seu código elétrico local:
Modelo Proteção da sobrecarga
9910-E35, 9910-E36 20A
SAproteçãocontraasobretensãodesaídaeodisjuntordeveserfornecidaporterceiros.
SPara estar de acordo com os padrões internacionais e os regulamentos de fiação, o
equipamento total conectado à saída desta UPS não deve ter uma corrente de fuga à
terra maior que 3,5 miliampères.
SSe o UPS precisar de qualquer tipo de transporte, desconecte as baterias internas do
UPS antes de transportar.

SAFETY WARNINGS
Eaton 9910 UPS and EBM Installation Guide (3000 VA Models) SP-164000006 Rev 1
12
PERIGO
SO serviço na bateria deve ser feito ou supervisionado por funcionários com conhecimento
de baterias e das precauções necessárias. Mantenha funcionários não autorizados longe
das baterias.
SAs baterias podem apresentar um risco de choque elétrico ou queimadura do calor de
curto circuito. As seguintes precauções devem ser observadas: 1) Remova relógios, anéis
ou outros objetos de metal; 2) Use ferramentas com manoplas isoladas; 3) Use luvas e
botas de borracha; 4) Não deixe ferramentas ou peças de metal sobre as baterias; 5)
Desconecte a fonte de carga antes de conectar ou desconectar os terminais da bateria.
SDetermine se a bateria está aterrada inadvertidamente. Se aterrada inadvertidamente,
remova a fonte utilitária do aterramento. Tocar qualquer parte de uma bateria aterrada
pode resultar em choque elétrico. A possibilidade de choque elétrico pode ser reduzida
se estes aterramentos forem removidos durante a instalação e manutenção (aplicável ao
equipamento e baterias remotas sem circuito de aterramento).
SSiga as instruções apropriadas ao desfazer-se das baterias. Consulte os códigos do local
para maiores informações sobre os regulamentos de descarte de produtos.
SNunca jogue as baterias no fogo, porque há risco de explosão.
SNão abra ou mutile a bateria ou baterias. A liberação de eletrolite é perigosa para a pele
e olhos e pode ser extremamente tóxica.
STroque as baterias com baterias do mesmo número e tipo que as originais instaladas no
UPS.
SPara EQUIPAMENTO PLUGÁVEL, a tomada de energia deve ser instalada perto do
equipamento e deve ser de fácil acesso.
SO UPS pode ser conectado no máximo em um Módulo Externo de Bateria (EBM).

SAFETY WARNINGS
Eaton 9910 UPS and EBM Installation Guide (3000 VA Models) SP-164000006 Rev 1 13
Предупреждения по мерам безопасности
ВАЖНЫЕ УКАЗАНИЯ ПО МЕРАМ БЕЗОПАСНОСТИ
СОХРАНИТЕ ЭТИ УКАЗАНИЯ
В данном руководстве содержатся важные инструкции по установке и
обслуживанию источника бесперебойного питания (ИБП) и батарей. Перед
работой с оборудованием прочтите все инструкции. Сохраните данное
руководство для дальнейшего использования.
ОПАСНО
В данном ИБП имеются СМЕРТЕЛЬНО ОПАСНЫЕ НАПРЯЖЕНИЯ. Все
работы по ремонту и обслуживанию должны выполняться ТОЛЬКО
УПОЛНОМОЧЕННЫМ ОБСЛУЖИВАЮЩИМ ПЕРСОНАЛОМ. Внутри
ИБП нет узлов, ОБСЛУЖИВАЕМЫХ ПОЛЬЗОВАТЕЛЕМ.
ПРЕДУПРЕЖДЕНИЕ
SВ данном ИБП установлены собственные источники энергии (батареи). В
ИБП может иметься напряжение даже в том случае, если он не подключен
к сети переменного тока.
SДля снижения опасности пожара или поражения электрическим током
устанавливайте ИБП в закрытом помещении с контролируемыми
температурой и влажностью, в котором отсутствуют проводящие
загрязняющие вещества. Температура окружающего воздуха не должна
превышать 40°С. Не эксплуатируйте устройство около воды или в местах с
повышенной влажностью (макс. 90%).
SДля снижения риска пожара подключайтесь только к сети, снабженной
ответвлением с защитой от перегрузки с силой тока в соответствии с
вашими местными электрическими правилами:
модель предохранение от перегрузок по току
9910-E35, 9910-E36 20A
SУстройство защиты от перегрузки выходного напряжения и
размыкающий переключатель приобретаются отдельно.
SДля обеспечения соблюдения требований международных стандартов и
требований к разводке электрических цепей, суммарная величина тока
утечки на землю всего оборудования, подключенного к выходу ИБП, не
должна превышать 3,5 миллиампера.
SЕсли ИБП требует какой-либо транспортировки, отсоединяйте
внутренние батареи ИБП перед транспортировкой.

SAFETY WARNINGS
Eaton 9910 UPS and EBM Installation Guide (3000 VA Models) SP-164000006 Rev 1
14
ОСТОРОЖНО
SОбслуживание батарей должно выполняться или контролироваться
персоналом, знакомым с батареями и мерами предосторожности. Лица, не
обладающие соответствующими полномочиями, не должны допускаться к
батареям.
SБатареи могут представлять опасность с точки зрения поражения
электрическим током или ожогов в результате воздействия сильного тока
в случае короткого замыкания. Следующие меры предосторожности
следует соблюдать: 1) Снять часы, кольца и металлические предметы; 2)
Применять инструменты с изоляцией; 3) Надеть резиновые перчатки и
сапоги; 4) Не класть инструменты или металлические части на батареи; 5)
отсоединять источник зарядки перед подключением или отключением
контактов батареи.
SПроверьте,незаземленалибатареяслучайно. Если случайно подключена к
заземлению, отключите проводник от заземления. Контакт с любой
частью заземленной батареи может привести к электрическому удару.
Вероятность такого удара можно снизить, если убирать такое заземление
во время установки и обслуживания (применимо к оборудованию и
удаленному аккумуляторному питанию, не имеющему заземленную цепь
питания).
SНеобходимо соблюдать правила утилизации аккумуляторов. Обратитесь к
местным нормативным актам за информацией о требованиях к
утилизации.
SНикогда не бросайте аккумуляторы в огонь. Аккумуляторы могут
взорваться под воздействием огня.
SНе вскрывайте и не портите батарею или батареи. Вытекший электролит
вреден для кожи и может быть исключительно токсичным.
SМеняйте батареи на то же количество и тип, который изначально
установлен в ИБП.
SДля ОБОРУДОВАНИЯ, которое ПОДКЛЮЧАЕТСЯ К СЕТИ:
электрическая розетка должна быть установлена вблизи оборудования и
быть легкодоступной.
SИБП может быть подключен максимум к одному модулю Внешний
батарейный модуль (EBM).

SAFETY WARNINGS
Eaton 9910 UPS and EBM Installation Guide (3000 VA Models) SP-164000006 Rev 1 15
Advertencias de Seguridad
INSTRUCCIONES DE SEGURIDAD IMPORTANTES
GUARDE ESTAS INSTRUCCIONES
Este manual contiene instrucciones importantes que debe seguir durante la instalación y el
mantenimiento del SIE y de las baterías. Por favor, lea todas las instrucciones antes de
poner en funcionamiento el equipo y guarde este manual para referencia en el futuro.
PELIGRO
Este SIE contiene VOLTAJES MORTALES. Todas las reparaciones y el servicio técnico deben
ser efectuados SOLAMENTE POR PERSONAL DE SERVICIO TÉCNICO AUTORIZADO. No hay
NINGUNA PARTE QUE EL USUARIO PUEDA REPARAR dentro del SIE.
ADVERTENCIA
SEste SIE contiene su propia fuente de energía (baterías). La salida del SIE puede
transportar voltaje activo aun cuando el SIE no esté conectado con una fuente de CA.
SPara reducir el riesgo de incendio o de choque eléctrico, instale este SIE en un lugar
cubierto, con temperatura y humedad controladas, libre de contaminantes conductores.
La temperatura ambiente no debe exceder los 40°C. No trabaje cerca del agua o con
humedad excesiva (90% máximo).
SPara reducir el riesgo de incendio, conecte únicamente a un circuito provisto con
protección de sobrecorriente en el circuito ramal con una clasificación de amperios de
acuerdo con su código eléctrico local:
Modelo Protección de la sobreintensidad de corriente
9910-E35, 9910-E36 20A
SLa protección contra sobrecorriente de salida y el conmutador de desconexión debe
suministrarse por parte de terceros.
SPara cumplir con los estándares internacionales y las normas de instalación, la totalidad
de los equipos conectados a la salida de este SIE no debe tener una intensidad de
pérdida a tierra superior a los 3,5 miliamperios.
SSi el SAI requiere de algún tipo de transporte, desconecte las baterías internas del SAI
antes de transportar.

SAFETY WARNINGS
Eaton 9910 UPS and EBM Installation Guide (3000 VA Models) SP-164000006 Rev 1
16
PRECAUCIÓN
SEl servicio a las baterías se debe llevar a cabo o estar supervisado por personal con
conocimientos sobre las baterías y las precauciones requeridas. No permita que personal
no autorizado entre en contacto con las baterías.
SLas baterías pueden presentar riesgo de descarga eléctrica o quemaduras por
cortocircuito. Deberán respetarse las siguientes medidas de precaución: 1) Quítese
relojes, anillos y otros objetos metálicos; 2) Use herramientas con mangos aislados; 3)
Use guantes y botas de goma; 4) No coloque las herramientas o piezas metálicas sobre
las baterías; 5) Desconecte la carga antes de conectar o desconectar los terminales de la
batería.
SDetermine si la batería ha sido puesta a tierra inadvertidamente. Si se ha conectado a
tierra inadvertidamente, quite la fuente de energía de la tierra. El contacto de cualquier
parte de una batería con toma a tierra puede provocar un cortocircuito eléctrico. La
posibilidad de tal cortocircuito puede ser reducida si se retiran las tomas a tierra durante
la instalación y el mantenimiento (aplicable al equipamiento y a las baterías remotas que
no tengan un circuito de alimentación con toma de tierra).
SEs necesario desechar las baterías de un modo adecuado. Consulte las normas locales
para conocer los requisitos pertinentes.
SNunca deseche las baterías en el fuego. Las baterías pueden explotar si se las expone a
la llama.
SNo abra ni mutile las baterías. La liberación de electrolitos es dañina para la piel y los
ojos y puede ser extremadamente tóxica.
SRemplace las baterías con baterías del mismo tipo y número que las instaladas
originalmente en el SAI.
SPara EQUIPOS CON ENCHUFE, la toma de alimentación deberá instalarse cerca del
equipo y se podrá acceder rápidamente a ella.
SEl SAI se puede conectar a un máximo de un Externes Batteriemodul (EBM).

Eaton 9910 UPS and EBM Installation Guide (3000 VA Models) SP-164000006 Rev 1 17
Chapter 3 Installation
The 9910 UPS and EBM can be purchased separately or factory-installed
in an IBM rack.
NOTE Review “Preparation” on page 1 and the following “Installation Precautions,” and
then follow the procedures in this chapter that apply to your installation.
Installation Precautions
Before you install or connect the UPS or EBM in a rack cabinet, observe
the following precautions:
SRead and understand all warnings and cautions listed in “Safety
Warnings”onpage5.
SReview the documentation that comes with your rack cabinet for
safety and cabling information.
NOTE Removing the rack doors and side panels might make installation easier. See the
rack cabinet documentation for more information.
SVerify that the room air temperature is below 35°C(95°F).
SDo not block any air vents. Usually 15 cm (6 in.) of air space provides
proper airflow.
STake all necessary precautions to handle the weight of the devices.
CAUTION
The UPS and EBM are heavy (see Table 10). Use at least the minimum number of people
required to lift the cabinets into the rack.
Table 10. Weights
UPS EBM
Weights 40.9 kg (90.2 lb) total weight
21.3 kg (47 lb) internal batteries only
19.6 kg (43.2 lb) cabinet only
52.2 kg (115.1 lb)
Handling Requirement Two persons Three persons
INSTALLATION
Eaton 9910 UPS and EBM Installation Guide (3000 VA Models) SP-164000006 Rev 1
18
SPlan the device installation starting from the bottom of the rack
cabinet. Install the heaviest device in the bottom of the rack cabinet.
SDo not extend more than one device out of the rack cabinet at the
same time.
SConnect all power cords to properly wired and grounded electrical
outlets.
SDo not overload the power outlet when you install multiple devices in
the rack cabinet.

INSTALLATION
Eaton 9910 UPS and EBM Installation Guide (3000 VA Models) SP-164000006 Rev 1 19
UPS Rear Panels
NOTE The shaded areas shown in the following figures indicate the load segment
groupings. The shading does not appear on the cabinet.
REPO EBM connector
Communication bay
Figure 1. The 9910-E35 UPS Rear Panel
REPO EBM connector
Communication bay
Figure 2. The 9910-E36 UPS Rear Panel

INSTALLATION
Eaton 9910 UPS and EBM Installation Guide (3000 VA Models) SP-164000006 Rev 1
20
ReplacinganEBM
Follow the steps in this section if you are replacing an existing, installed
EBM with a new EBM. If you are installing a new UPS or EBM, continue
to “Rack Installation and UPS Internal Battery Connection” on page 22.
NOTE DO NOT DISCONNECT the batteries while the UPS is in Battery mode.
An EBM can be replaced easily without turning the UPS off or
disconnecting the load.
If you prefer to remove input power to replace the EBM:
1. Press and hold the on/off button until the long beep ceases
(approximately 3 seconds), and then disconnect the UPS.
2. Wait 60 seconds while the internal processor shuts down before
you disconnect the EBM.
To replace an EBM:
1. Remove the EBM connector cover and screws [2] securing the
EBM power cord to the UPS. Retain the cover and screws.
2. Unplug the EBM power cord from the UPS.
3. Replace the EBM. See the recycling information in the User's Guide
for proper disposal.
4. Remove the two screws from the metal cover that protects the end
of the new EBM power cord. Remove the metal cover. See
Figure 3.
Figure 3. Removing the EBM Power Cord Cover

INSTALLATION
Eaton 9910 UPS and EBM Installation Guide (3000 VA Models) SP-164000006 Rev 1 21
5. Align the EBM power cord with the EBM connector on the UPS.
FIrmly press the power cord into the UPS. See Figure 4.
NOTE A small amount of arcing might occur when you connect the EBM to the UPS. This is
normal and does not damage the unit or present any safety concern.
6. To provide strain relief and a secure connection for the EBM power
cord, reinstall the EBM connector cover [1] and screws [2] that you
removedinStep1.SeeFigure4.
Figure 4. Connecting the EBM

INSTALLATION
Eaton 9910 UPS and EBM Installation Guide (3000 VA Models) SP-164000006 Rev 1
22
Rack Installation and UPS Internal Battery Connection
NOTE If the UPS is pre-installed in a rack, you must first remove the protective shipping
bracket installed on the front of the UPS. See “Removing the Shipping Bracket from the UPS”
on page 38, then continue to Step 19 on page 27 to connect the internal batteries.
To install a UPS or EBM in a rack cabinet:
1. If your rack has round holes, continue to Step 2. Otherwise, skip to
Step 6.
2. Locate the four adapter plates that come in the rail kit.
3. Peel off the covering that protects the adhesive side of one adapter
plate, as shown in Figure 5.
Figure 5. Removing the Adapter Plate Adhesive
4. Align the adapter plate holes with the holes on one end of a rail.
Press firmly to adhere the adapter plate to the end of the rail, as
shown in Figure 6.
Figure 6. Attaching the Adapter Plates
5. Attach the remaining three adapter plates to the rails.

INSTALLATION
Eaton 9910 UPS and EBM Installation Guide (3000 VA Models) SP-164000006 Rev 1 23
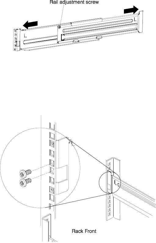
6. Loosen the rail adjustment screw and adjust the left and right rail
length to the depth of the rack cabinet, as shown in Figure 7.
Figure 7. Adjusting the Rail Length
7. Select a location in the the rack cabinet for the UPS or EBM.
8. Secure each rail to the front of the rack with two M5×16 mm
screws. Verify that the rails are on the inside of the rack-cabinet
mounting flanges, and that the L(Left) or R(Right) letter on each rail
faces inside the rack. See Figure 8.
Figure 8. Attaching the Fronts of the Rails

INSTALLATION
Eaton 9910 UPS and EBM Installation Guide (3000 VA Models) SP-164000006 Rev 1
24
9. Secure each rail to the rear of the rack with four M5×16 mm
screws, as shown in Figure 9.
Figure 9. Attaching the Rears of the Rails
10. Tighten the rail adjustment screw in the middle of each rail.
11. If you are installing a UPS, continue to Step 12. If you are installing
an EBM, skip to Step 15.

INSTALLATION
Eaton 9910 UPS and EBM Installation Guide (3000 VA Models) SP-164000006 Rev 1 25
12. Loosen the thumbscrew on the UPS metal battery cover [1], slide
the cover to the right [2], and open the cover [3].
Figure 10. Opening the UPS Battery Cover
13. Move both internal battery connectors out of the way [1]. Using the
plastic tabs, pull the battery partially out of the bay [2]. Pull the
battery fully out of the bay and place it on a sturdy, flat surface.
Figure 11. Removing the UPS Internal Battery

INSTALLATION
Eaton 9910 UPS and EBM Installation Guide (3000 VA Models) SP-164000006 Rev 1
26
14. Close the UPS metal battery cover [1], then slide the cover slightly
to the right and then to the left [2]. Tighten the thumbscrew [3].
Torque the screw to 0.7 Nm (6.2 lb in) if using a torque wrench.
Figure 12. Closing the UPS Battery Cover
15. Align the rear hold down brackets on the sides of the UPS or EBM
with the inner rails. Carefully slide the UPS or EBM into the rack
cabinet. See Figure 13.
Figure 13. Installing the Cabinet in the Rack

INSTALLATION
Eaton 9910 UPS and EBM Installation Guide (3000 VA Models) SP-164000006 Rev 1 27
16. Secure the front of the UPS or EBM to the rack cabinet with four
M5×16 mm screws, as shown in Figure 13.
17. If the rack cabinet has conductors for grounding or bonding of
ungrounded metal parts, connect the ground cable (purchased
separately) to the ground bonding screw on the rear of the UPS or
EBM.
18. If you are installing a UPS, continue to Step 19. If you are installing
an EBM, skip to Step 22.
19. Loosen the thumbscrew on the UPS metal battery cover [1], slide
the cover to the right [2], and open the cover [3].
Figure 14. Opening the Battery Cover

INSTALLATION
Eaton 9910 UPS and EBM Installation Guide (3000 VA Models) SP-164000006 Rev 1
28
20. Carefully slide the battery [1] into the UPS (if not already installed)
and connect the internal battery connector [2].
NOTE A small amount of arcing might occur when you connect the batteries. This is
normal and does not damage the unit or present any safety concern. Push the two connectors
together firmly until fully seated.
Figure 15. Installing and Connecting the Internal Batteries

INSTALLATION
Eaton 9910 UPS and EBM Installation Guide (3000 VA Models) SP-164000006 Rev 1 29
21. Close the metal battery cover [1], then slide the cover slightly to the
right and then to the left [2]. Tighten the thumbscrew [3]. Torque
the screw to 0.7 Nm (6.2 lb in) if using a torque wrench.
Figure 16. Closing the Battery Cover
22. Locate the front cover that comes with the UPS or EBM. Press the
two side latches toward each other, align the cover with the UPS,
andsnapitintoplace.
Figure 17. Installing the UPS Front Cover
23. Remove the clear protective film that covers the liquid crystal
display (LCD) on the front of the UPS.

INSTALLATION
Eaton 9910 UPS and EBM Installation Guide (3000 VA Models) SP-164000006 Rev 1
30
Connecting the EBM
NOTE You can connect only one EBM to the UPS.
To connect an EBM to the UPS:
1. Remove the two screws from the metal cover that protects the end
of the EBM power cord. Remove the metal cover. See Figure 18.
Figure 18. Removing the EBM Power Cord Cover
2. Remove the battery connector cover from the rear panel of the
UPS. Keep the cover and screws for possible future use.
NOTE If the UPS is stored or used without an EBM, install the battery connector cover as a
safety precaution.
Figure 19. Removing the Battery Connector Cover

INSTALLATION
Eaton 9910 UPS and EBM Installation Guide (3000 VA Models) SP-164000006 Rev 1 31
3. Align the EBM power cord with the EBM connector on the UPS.
Firmly press the power cord into the UPS.
NOTE A small amount of arcing might occur when you connect the EBM to the UPS. This is
normal and does not damage the unit or present any safety concern.
Figure 20. Connecting the EBM
4. To provide strain relief and a secure connection for the EBM power
cord, rotate the battery connector cover on its side and position it
under the EBM power cord [1].
Figure 21. Connecting the EBM

INSTALLATION
Eaton 9910 UPS and EBM Installation Guide (3000 VA Models) SP-164000006 Rev 1
32
5. Secure the battery connector cover to the UPS rear panel by using
the screws [2] that you removed in Step 2 on page 30.
Remote Emergency Power-off (REPO)
An emergency power-off (disconnect) switch may be required by local
codes.
NOTE For Europe, the emergency switch requirements are detailed in Harmonized
document HD-384-48 S1, “Electrical Installation of the Buildings, Part 4: Protection for Safety,
Chapter 46: Isolation and Switching.”
About REPO
The UPS includes a REPO connector that lets you turn off power at the
UPS output receptacles from a customer-supplied switch in a remote
location. For example, you can use this feature to shut down the load
and the UPS by thermal relay, in the event of a room overtemperature
condition. When a REPO is activated, the UPS shuts down the output
and all its power converters immediately. The UPS logic power remains
ontoissueanalarm.
The REPO feature shuts down the connected devices immediately and
does not follow the orderly shutdown procedure that is initiated by any
power-management software.
Any devices that are operating on battery power are also shut down
immediately. When the REPO switch is reset, the connected devices
will not return to battery power until the UPS is restarted manually.
Installing REPO
To install the remote emergency power-off (REPO) switch:
1. Verify that the UPS is turned off and all external cables and power
cords are disconnected.
2. Verify that the REPO connector installed on the rear of the UPS has
its jumper installed, as shown in Figure 22.

INSTALLATION
Eaton 9910 UPS and EBM Installation Guide (3000 VA Models) SP-164000006 Rev 1 33
Jumper
Figure 22. REPO Connector
3. Connect the switch or circuit to the REPO connector on the rear of
the UPS using insulated size 18–20 AWG (0.75 mm2–0.5mm
2)
wire.
Table 11. REPO Connections
Wire Function Terminal Wire Size Rating Suggested Wire Size
REPO
L1
4–0.32 mm2(12–22 AWG) 0.82 mm2(18 AWG)
L2
NOTE A separate contact must simultaneously cause UPS input AC power to be removed.
4. The REPO contacts are closed by default and cannot be changed.
The pins must be kept closed to keep the UPS running. If the UPS
shuts down because the REPO connector pins are opened, restart
the UPS by shorting the REPO connector pins and turning on the
UPS manually. Maximum resistance in the shorted loop is 10 ohm.
5. Verify that the externally connected REPO switch is not activated.
An activated REPO switch disables power to the UPS receptacles.
NOTE To avoid accidental load loss, always test the REPO function before you apply your
critical load.

INSTALLATION
Eaton 9910 UPS and EBM Installation Guide (3000 VA Models) SP-164000006 Rev 1
34
Initial Startup
To start the UPS for the first time:
1. Verify that the following installation procedures are completed:
SThe internal batteries are connected.
SIf an optional EBM is installed, the EBM is connected to the UPS.
SThe power input to the UPS has adequate upstream overcurrent
protection (see “Safety Warnings” on page 5).
2. Connect the detachable UPS power cord to the input connector on
the UPS rear panel.
See “UPS Rear Panels” on page 19 for the location of the input
connector on your model.
3. Connect the UPS power cord to a power outlet.
The UPS front panel display is illuminated. The Eaton startup screen
changes to the UPS status summary screen. Standby status is
displayed on the front panel of the UPS.
Figure 24 on page 39 describes the display buttons.
4. Press the on/off button on the UPS front panel.
After the startup is complete, the status changes according to the
UPS operating mode.
NOTE At initial startup, the UPS sets system frequency according to input line frequency
(input frequency auto sensing is enabled by default). After initial startup, auto sensing is
disabled until you manually enable it by using the output frequency setting.
NOTE Battery start is automatically enabled after one power cycle.
NOTE Site Wiring Fault is disabled by default.
5. Press the down (
B
) button to check for active alarms or notices.
Resolve any active alarms before you continue. For more
information, see the Troubleshooting chapter in the User's Guide.
6. To set the time and date, configure the UPS for an installed EBM, or
change other factory-set defaults, see “Operation” on page 39.

INSTALLATION
Eaton 9910 UPS and EBM Installation Guide (3000 VA Models) SP-164000006 Rev 1 35
7. If you installed an optional REPO switch, verify that the function is
working correctly by performing the following tests:
SActivate the external REPO switch. Verify that the status
changes on the UPS are displayed.
SDeactivate the external REPO switch and restart the UPS.
8. Charge the batteries. With load, the internal batteries charge to
90% capacity in less than 4 hours. However, you must charge the
batteries for 48 hours after installation or long-term storage.
9. Connect the devices that you want to protect to the applicable UPS
output receptacles. Do not turn on the devices. For information about
using load segments, see “Load Segments” on page 42.
NOTE Do not protect laser printers with the UPS because of the exceptionally high power
requirements of the heating elements.
10. To prevent a UPS overload condition, turn on one connected device
at a time and verify that each device starts up completely before
turning on the next device.
11. To install a communication option, see “Communication Features”
on page 41.
INSTALLATION
Eaton 9910 UPS and EBM Installation Guide (3000 VA Models) SP-164000006 Rev 1
36

Eaton 9910 UPS and EBM Installation Guide (3000 VA Models) SP-164000006 Rev 1 37
Chapter 4 Shipping the UPS in a Rack
The procedures in this chapter apply to a UPS that is shipped assembled
in a rack cabinet.
O
K
100%
6
mi
n
1500
VA
208V/60hz
UPS ON
Shipping bracket
Figure 23. Shipping Bracket
Installing the Shipping Bracket on the UPS
You must install the shipping bracket on the front of the UPS before the
UPS is shipped installed in a rack cabinet. The shipping bracket provides
extra protection for the UPS during shipment.
To install the shipping bracket:
1. If the UPS front cover is installed, remove the cover. Press the two
side latches toward each other to release the cover, and pull the
cover away. Keep the cover.
2. If not already disconnected, disconnect the UPS internal batteries.
SHIPPING THE UPS IN A RACK
Eaton 9910 UPS and EBM Installation Guide (3000 VA Models) SP-164000006 Rev 1
38
3. Remove the four screws that secure the front of the UPS to the
rack cabinet. Keep the four screws.
4. Align the shipping bracket with the front of the UPS, with the
support lip under the UPS. See Figure 23.
5. Secure the shipping bracket and the UPS to the rack cabinet with
the four screws that you removed in Step 3, as shown in Figure 23.
6. To attach the front cover, press the two side latches toward each
other, align the cover over the shipping bracket and snap into place.
Removing the Shipping Bracket from the UPS
If the UPS was shipped installed in a rack cabinet, a shipping bracket is
installed to provide extra protection for the UPS during shipment. Before
using the UPS, remove the shipping bracket on the front of the UPS.
To remove the shipping bracket:
1. If the UPS front cover is installed, remove the cover. Press the two
side latches toward each other to release the cover, and pull the
cover away. Keep the cover.
2. Remove the four screws that secure the shipping bracket and the
UPS to the rack cabinet. Keep the four screws. See Figure 23.
3. Remove the shipping bracket and save it in case you have to ship
the UPS in the rack cabinet in the future.
4. Secure the front of the UPS to the rack cabinet with the four
screws that you removed in Step 2.
5. Connect the UPS internal batteries, if appropriate to your installation
process. See Step 19 on page 27 for detailed instructions.
6. To attach the front cover, press the two side latches toward each
other, align the cover over the front of the UPS and snap into place.

Eaton 9910 UPS and EBM Installation Guide (3000 VA Models) SP-164000006 Rev 1 39
Chapter 5 Operation
This section describes basic operations. For detailed procedures, see the
User's Guide.
Contol Panel
Figure 24 shows the display and controls on the front of the UPS.
3
3
Figure 24. Eaton 9910 Control Panel
The front panel has three control buttons and one on/off button.
SEscape (X). Press to return to the previous menu without running a
command or saving any changes.
SDown (
B
). Press to scroll down to the next menu option. Holding
down this button provides faster scrolling on some menus.
SOK. Press to select the current menu or option.
SOn/off. Press to turn on the UPS. Press and hold for 3 seconds to turn
off the UPS.

OPERATION
Eaton 9910 UPS and EBM Installation Guide (3000 VA Models) SP-164000006 Rev 1
40
Turning on the UPS
To turn on the UPS, press the on/off button for approximately 1 second.
The display changes from the start screen to the UPS Status Summary
screen and shows the Standby icon flashing while the UPS starts.
Starting the UPS on Battery
NOTE Before you use this feature, the UPS must have been powered by utility power at
least once.
To turn on the UPS without using utility power, press and hold the on/off
button for 3 seconds. The UPS provides power to the connected
devices, and it switches into Battery mode.
Turning off the UPS
To turn off the UPS:
1. Prepare the connected devices for shutdown.
2. Press and hold the on/off button until the long beep ceases
(approximately 3 seconds). The UPS transfers to Standby mode (if
utility power is available) and removes power from the connected
devices.
3. Disconnect the UPS from the power source; otherwise, it remains
in Standby mode. After the power source is removed, the UPS
shuts down fully in 10 seconds.
Display Functions
The UPS provides information about the load status, events,
measurements, identification, and settings through the front panel
display.
While any screen is displayed, press the escape (X) button until the main
menu is displayed, and then press the down (
B
) button to scroll through
the main menu choices.
Press the OK button to select a menu item.

Eaton 9910 UPS and EBM Installation Guide (3000 VA Models) SP-164000006 Rev 1 41
Chapter 6 Communication Features
The Eaton 9910 UPS includes UPS Manager software, a USB port, an
RS-232 port, and a communication bay. Each UPS has two load
segments.
For more information about the communication features, refer to the
User's Guide.
UPS Manager Software
The UPS comes with the UPS Manager software. The management
software provides up-to-date graphics of UPS power and system data
and power flow. It also gives you a complete record of critical power
events, and it notifies you of important UPS or power information. If
there is a power outage and the UPS battery power becomes low, the
software can automatically shut down the system to protect the data
before the UPS shutdown occurs.
You can install the UPS Manager software on a computer running a
Microsoft®Windows®, Linux®,orAIX
®operating system, as either a
standalone application or part of a network.
Communication Ports
The UPS has a USB port and an RS-232 port that you can use for UPS
monitoring, control, and firmware updates. After communication is
established between the UPS and a computer, you can use the UPS
Manager software to exchange data between the UPS and the
computer. The software polls the UPS for detailed information about the
status of the power environment. If a power emergency occurs, the
software initiates the saving of all data and an orderly shutdown of the
devices that are connected to the UPS.
For the communication port locations, see “UPS Rear Panels” on
page 19.
NOTE Only one of the communication ports can be active at one time. The USB port has
priority over the RS-232 port.

COMMUNICATION FEATURES
Eaton 9910 UPS and EBM Installation Guide (3000 VA Models) SP-164000006 Rev 1
42
Communication Cards
Communication cards allow the UPS to communicate in a variety of
networking environments and with different types of devices. The
optional card must be purchased separately.
NOTE You do not have to shut down the UPS to install an optional communication card.
The Eaton 9910 has an available communication bay for one of the
following communication cards:
SNetwork Management Card. Provides power management software to
control load segments, set the time and date, configure other
settings, and update the UPS firmware.
SRelay-Serial Card. Provides two types of interfaces through a DB-9
connector: a dry contact (relay) mode and an RS-232 (serial) mode.
For information about installing, configuring, and using an optional card,
refer to the card's user guide for more information.
NOTE To use the Relay-Serial Card with IBM servers, leave the jumpers in the default
position (middle of the card).
Load Segments
Load segments are sets of receptacles that can be controlled by power
management software, providing an orderly shutdown and startup of
your equipment. For example, during a power outage, you can keep key
pieces of equipment running while you turn off other equipment. This
feature allows you to save battery power. See the User's Guide or your
power management software manual for details.
Each UPS has two load segments as shown in “UPS Rear Panels” on
page 19.
Eaton 9910 UPS and EBM Installation Guide (3000 VA Models) SP-164000006 Rev 1 43
Chapter 7 Service and Support
Updating the UPS Firmware
To keep the UPS firmware updated with the latest improvements and
benefits, visit www.eaton.com/IBM often for updates. You can
download the latest firmware version. The downloadable file includes
the instructions for installing the update.
Contacting Service
In the United States and Canada, call the IBM Service Support Center at
800-IBM-SERV (800-426-4968). In Europe, the Middle East, and Africa
(EMEA); Latin America; or Asia-Pacific, call the IBM office that services
your account.
Please have the following information ready when you call:
SModel number
SSerial number
SVersion number (if available)
SDate of failure or problem
SSymptoms of failure or problem
SCustomer return address and contact information
Comments
We welcome your comments about this manual. Please send your
questions or suggestions for improvements to IBMSupport@eaton.com.
SERVICE AND SUPPORT
Eaton 9910 UPS and EBM Installation Guide (3000 VA Models) SP-164000006 Rev 1
44
*P -1640000061*
P-164000006 1