B350CEA Master
User Manual: B350CEA
Open the PDF directly: View PDF
.
Page Count: 233 [warning: Documents this large are best viewed by clicking the View PDF Link!]

®
S P A R E P A R T S
P R I C E L I S T

Searching method in this pricelist:
• Find correct exploded view of the heater for which you need parts.
• Find key number, partnumber and description on side page of each exploded view.
• Find part in alphabetical order for direct fired heaters in frontpages.
• Find part in key number ranking for all other heaters in pages near exploded view.
• Order parts with Desa Europe codenumber.
New Order Policies for 2002/2003 Seasons
1. Minimum value orders:
All orders will have a minimum value of 100 Euro’s
(after all dealer discounts are applied)
To cover administration fees
2. Orders will be shipped Via UPS Delivery (unless otherwise specified by the customer)
Various types of service will be available including:
Express next day service
Express saver next day service
Standard Two day service
Expedite service for shipments Outside the EC.
Shipping Costs will be added to your final invoice as in the past.
3. Package Tracking Ability
All packages sent by UPS Express, Express saver, and Standard
will receive a tracking number which will be sent to you as soon
as your order has been shipped. This will allow you to track your packages
from the moment they have been shipped to you.
Please give your E-mail address when placing your order with DESA Italia.
Master parts can be found and ordered by authorised dealers on the
Desa Europe
Internet website from September 1, 2002.
Please visit our website:
www.desaeurope.com
Welcome to Desa Europe on the Web !
Alle Preise sind in Euros exkl. Mwst.
Lieferung ab Werk - Verona - Italy
All prices are in Euros excl. V.A.T.
Delivery ex Warehouse - Verona - Italy
We reserve the right to amend these specifications
at any time without notice.

Spareparts
MASTER OIL HEATERS . . . . . . . . . . . . . . . . . . . . . . . . . . . . . . . . . . . . . . . . . . . . . . . . . . . . . . . . . . . . . . . . . . . . . . . . . . . . . . . . . . . . . . . . . 1
DEHUMIDIFIERS . . . . . . . . . . . . . . . . . . . . . . . . . . . . . . . . . . . . . . . . . . . . . . . . . . . . . . . . . . . . . . . . . . . . . . . . . . . . . . . . . . . . . . . . . . . . . . . . . . . . . . . . . . . 2
VAL 6 . . . . . . . . . . . . . . . . . . . . . . . . . . . . . . . . . . . . . . . . . . . . . . . . . . . . . . . . . . . . . . . . . . . . . . . . . . . . . . . . . . . . . . . . . . . . . . . . . . . . . . . . . . . . . . . . . . . . . . . . . . . . . . . . . . . . . . . 3
MASTER ELECTRIC . . . . . . . . . . . . . . . . . . . . . . . . . . . . . . . . . . . . . . . . . . . . . . . . . . . . . . . . . . . . . . . . . . . . . . . . . . . . . . . . . . . . . . . . . . . . . . . . . . 4
MASTER PROPANE GASHEATERS . . . . . . . . . . . . . . . . . . . . . . . . . . . . . . . . . . . . . . . . . . . . . . . . . . . . . . . . . . . 5
MASTER VENTED HEATERS . . . . . . . . . . . . . . . . . . . . . . . . . . . . . . . . . . . . . . . . . . . . . . . . . . . . . . . . . . . . . . . . . . . . . . . . . . . . 6
MASTER ACCESSOIRIES . . . . . . . . . . . . . . . . . . . . . . . . . . . . . . . . . . . . . . . . . . . . . . . . . . . . . . . . . . . . . . . . . . . . . . . . . . . . . . . . . . . . 7
PRICELIST . . . . . . . . . . . . . . . . . . . . . . . . . . . . . . . . . . . . . . . . . . . . . . . . . . . . . . . . . . . . . . . . . . . . . . . . . . . . . . . . . . . . . . . . . . . . . . . . . . . . . . . . . . . . . . . . . . . . . . . . . . 8
INDEX


1
1
MASTER OIL HEATERS


DIRECT FIRED FORCED AIR HEATERS
Illustrated Parts Lists
Models
35CEA, 70CEA, 100CEA, 150CEA
35CEB, 70CEB, 100CEB, 150CEB
35CED, 70CED, 100CED, 150CED
35CEH, 70CEH, 100CEH, 150CEH
35CEL, 70CEL, 100CEL, 150CEL
Heater Sizes: 35,000 70,000 100,000 150,000 Btu/Hr
7


DESA International Master Number Reference Index
078918-01 TAB CAP 4108.547 097752-01 CONTR. BOX 4101.111
079673 07 CORD POWER 4110.038 097785 01 GASKET VINYL FOAM 4110.075
079685-01 CONNECTOR MALE 4101.155 097785 04 GASKET VINYL FOAM 4110.041
079721-01 NUT FLARED 4105.219 098068-01 HEAT SHIELD 4109.884
079721-01 ZIE 4105.219 4105.201 098083-01 IGNITOR DECAL 4101.202
079722-01 ZIE 4109.849 4106.198 098102-01 FUEL FILTER HP-MOD. 4105.829
079724-04 FUEL FILTER BV125E 4109.849 098103-01 FILTER ELEMENT 4105.088
079725-02 FUEL FILTER 4109.807 098136-05 RELAY 4103.919
079725-03 FUEL FILTER 4105.086 098165-02 (098136-02) RELAY 4106.143
079725-04 FUEL FILTER 4105.094 098165-02 =098136-02 =4106.143 4103.917
079883-01 SWITCH 4106.188 098165-04 RELAY (= 4106.152) 4104.089
079885 01 DEACL SERIAL NUMBER 4110.039 098165-04 (098136-04)RELAY 4106.152
079919-01 COVER SWITCH 4104.336 098511-02 SHELL LOWER 4104.154
079965-01 PUMP BODY FINISHED 4101.891 098511-02 ZIE 4104.154 4103.845
079973-01 FUEL LINE 4105.508 098511-101 SHELL LOWER 4105.078
079975-02 (M 8645) PUMP BODY 4101.317 098511-12 SHELL LOWER B35/70 4105.195
079975-03 PUMP BODY 4101.532 098511-138 (098511-61 OR 66) SHELL 4104.006
079975-03 = 4101.532 (M8645-2) 4101.171 098511-191 SHELL LOW. B100/150 4108.126
079975-04 PUMP BODY 4101.895 098511-235 SHELL LOWER B35/70 4100.636
079980-01 ADAPTER NOZZLE 4109.542 098511-236 SHELL LOWER B100/15 4100.637
097061-01 RELAY SOLENOID 4101.208 098511-26 SHELL LOWER 4105.060
097124-01 ZIE 4103.648 4106.158 098511-28 SHELL KIT 4104.159
097125-01 ZIE 4103.648 4109.559 098511-39 SHELL UPPER 4102.851
097197-02 WHEEL SUPPORT 4101.114 098511-54 SHELL UPPER 4103.842
097198-02 HANDLE REAR 4101.115 098511-58 SHELL UPPER 4105.102
097213-01 ADAPTER NOZZLE KIT 4103.648 098511-77 SHELL UPPER 4108.940
097293-01 FAN 4104.055 098512-01 COMBUSTION CHAMBER 4108.932
097307-01 ZIE 4108.555 4109.369 098512-03 COMBUSTION CHAMBER 4100.566
097308-03 MOTOR 4101.224 098512-07 COMBUSTION CHAMBER 4104.022
097308-04 MOTOR KIT NOT AV. 4108.555 098512-10 ZIE 4105.037 4104.024
097461-01AA COVER SIDE 4104.175 098512-10 (15) COMB. CHAMBER 4105.037
097462-01 SWITCH 4106.179 098512-12 COMB.CHAMBER-NOT AVAILABLE 4101.182
097467-01 PLUG BUTTON 4106.120 098512-18 (02) COMB. CHAMBER 4105.045
097467-02 PLUG BUTTON 4106.121 098512-19 COMBUSTION CHAMBER 4109.328
097468-01 EDGE LINER 4103.850 098512-20 COMBUSTION CHAMBER 4103.719
097475-01 WIRE HARNESS+CELL 4101.117 098512-21 COMB. CHAM. B100EGC 4101.157
097475-02 WIRE HARNESS+CELL 4101.118 098512-23 COMBUSTION CHAMBER 4103.727
097514-01 FUEL LINE TUBE 4101.154 098512-25 COMB. CHAM. B150EGC 4101.159
097545-01 POWER CORD 4105.115 098512-27 COMB. CHAMB. B70EGC 4101.150
097630-02 FLAME CONTROL 4104.196 098512-31 COMB.CHAMB. B100CEA 4101.180
097650 01 DECAL TRADENAME 4110.040 098512-36 COMB CHAMBER 4104.088
097661-02AB SIDE COVER PAINTED 4101.250 098512-43 COMB. CHAMBER 4104.060
097702-01 CAP FUEL 4103.891 098512-44 COMB. CHAMB. B70CEA 4104.090
097740-01 FITTING 4101.153 098512-55 COMB. CHAMBER R15E 4104.091
097741-01 BLOCK TERMINAL 4106.044 098512-63 COMB. CHAMBER B35CEH 4100.638
097742-02 (01) CONTROL BOX 4106.053 098512-64 COMB.CHAMBER B70CEH 4100.639
097744-01 FUSE HOLDER 4106.134 098512-65 COMB.CHAMBER B100CEH 4100.640
097746-01 FUSE 4106.123 098512-66 COMB.CHAMBER B150CEH 4100.641
097748-01 ZIE 4106.170 4101.162 098513-04 ZIE 4105.250 4101.175
097748-02 (01) SAFETY CONTROL 4106.170 098513-04 (03) FUEL TANK 4105.250
9
Master NR Description Art. Code Master NR Description Art. Code

DESA International Master Number Reference Index
Master NR Description Art. Code Master NR Description Art. Code
0098513-05 FUEL TANK B 350 4101.143 1000576 GROMMET 4103.224
098513-08 (09) FUEL TANK 4105.276 100212-01 PUMP KIT 4101.206
098513-08 ZIE 4105.276 F. TANK 4101.217 100311-01 FUEL TUBE BLP300 4104.151
098513-101 FUEL TANK B35CEH 4100.642 100647-01 M 15823-27(26) SCREW 4108.502
098513-102 FUEL TANK B70CEH 4100.643 100679-01 FASTENER 4101.141
098513-11 FUEL TANK B 150 EGC 4104.191 100680-01 CLIP MNTG. 4106.541
098513-21 = 4105.298 TANK 4104.188 100681-01 RING DRIP PROOF 4101.139
098513-23 (01) FUEL TANK 4103.750 100682-01 FUSE HOLDER ASSY 4101.138
098513-24 (02) FUEL TANK 4103.776 100735-05 = M 23103 NOZZLE 4108.593
098513-24 FUEL TANK 4101.177 100735-05 NOZZLE ZIE 4108.593 4101.236
098513-33 FUEL TANK B 100 EGC 4104.190 100735-11 NOZZLE B150 CEA 4103.898
098513-34 FUEL TANK B 70 EGC 4104.189 100735-14 NOZZLE 4103.486
098513-36 FUEL TANK 4105.285 100735-15 NOZZLE ASSY B100CEA 4103.559
098513-70 FUEL TANK 4105.289 100735-16 NOZZLE R15E 4103.852
098513-73 FUEL TANK B35 CEA 4105.293 100735-23 NOZZLE ASS. B100CEH 4100.645
098513-74 FUEL TANK B70 CEA 4105.295 100735-24 NOZZLE ASS. B150CEH 4100.646
098513-75 = 4105.298 TANK 4105.297 100735-25 NOZZLE ASS. B70CEH 4100.647
098513-76 FUEL TANK B150 CE 4105.290 100735-26 NOZZLE ASS. B35CEH 4100.648
098513-89 FUEL TANK B 35 CEB 4105.294 100735-27 NOZZLE REM12 4100.650
098513-90 FUEL TANK B 70 CEB 4105.296 101205-02 BRACKET MOTOR 4109.560
098513-97 FUELTANK D30/EHGB100 4104.192 101206-01 BRACKET MOTOR REPLACE 4110.186 4101.240
098557-07 ZIE 4106.089 4106.091 101695-01 PLUG BUTTON B100/150 4100.649
098557-07 (05) SEE 4106.095 4106.089 102001-03 (102040-01) MOTOR 4108.550
098641-07 IGNITOR 4101.179 102001-06 MOTOR KIT 4101.260
098784-02 MOTOR B150 =4105.227 4106.125 102001-09 (M 23107-6) MOTOR 4108.742
098872 03 POWER CORD 4103.881 102001-10 097464-01 MOT.70EGC 4106.109
098892-01 BRACKET 4103.856 102001-11 (097464-02) MOTOR-INACTIVE 4106.118
098894-01 RELAY POWER-NOT AVAILABLE 4104.567 102001-15 (098642-01) MOTOR SEE 4110.042 4106.098
098918-01 MOTOR B 30 4103.818 102001-16 (098782-02) MOTOR 4106.107
098918-02 (078894-04) MOTOR 4103.800 102001-17 (098783-02) MOTOR 4106.116
098918-02 ZIE 4103.800 MOTOR 4101.230 102001-18 MOTOR NOT AVAILABLE 4106.128
098918-04 MOTOR 4103.905 102001-19 (102803-01) MOTOR 4109.780
098918-05 MOTOR 4104.071 102001-23 MOTOR B70CEH 4100.651
098918-06 MOTOR-NOT AVAILABLE 4103.995 102001-24 MOTOR 100/150 REPLACE 4110.080 4100.652
099125-01 BOARD TERM 4101.216 102042-01 FAN 4105.062
099125-02 BOARD TERMINAL 4103.884 102243 01AA FAN GUARD B350CEA 4103.880
099125-13 BOARD TERMINAL 4106.110 102336-01 BRCKT NOZZLE ADP CEH/CEL 4100.653
099177-01 NUT HEX 4109.592 102349-01 PC-BOARD SUPPORT 4100.654
099213-01 PLUG BUTTON 4106.122 102431-01 zie 4109.590 SCREW 4109.594
099229-01 BR.PH.CELL 4101.214 102482-01 IGNITION DEVICE KIT 4101.222
099509-03 WIRE HARNESS 4106.584 102482-02 IGNITOR 4106.095
099566-03 THERMOSTAT B350 4103.882 102482-03 (098641-07) IGNITOR 4106.090
099617-01 FILTER EMC 4108.972 102548-05 IGNITOR KIT HSI 4100.655
099646-01 COVER SPARK PLUG 4104.144 102762-03 (M 51359-02) MOTOR - INACTIVE 4105.229
099652-02 ZIE HA 2205 4103.647 102801-01 POWER LINE RFI FILT. 4105.287
099673-01 =4105.004 TRANSFORMER 4105.003 102861-01 LOCKNUT NYLON CEH 4100.656
099674-01 MOTOR B350 4101.127 103154-03 BRACK. PH.CELL 35/70 4100.657
099679-02 ZIE 4150.175 4105.175 103154-05 BRCKT PHOTOCELL B150 4100.659
099743-01 see 107961-01 - 4100.630 4100.644 103229-01 CAPACITOR 4101.937
099895-01 THERMOSTAT 4102.307 103259-01 RFI FILTER B350CEA 4105.288
10

DESA International Master Number Reference Index
Master NR Description Art. Code Master NR Description Art. Code
103347-01 WASHER BELLEV. CEH 4100.660 HA 3019 PHOTOCELL 4103.552
103409-01 WAVE SPRING WASHER 4100.526 HA 3020 PUMP ADJ KT 4103.568
103676-01 ELBOW 90DGR NYLON 4100.661 M 10659-1 WASHER 4100.525
103684-01 FAN 4100.662 M 10809-1 SPRING NZL SEAL 4100.533
103971-01 BRCKT PHOTOCELL B100 4100.658 M 10816-20 ELECTRODE 4102.166
104007-01 CAPACITOR B70 CEB 4101.851 M 10908-1 SCREW 4103.511
104054-01 ADAPTER NOZZLE 4100.663 M 10908-2 SCREW 4103.529
104056-01 ADAPTER NOZZLE 4100.664 M 10908-75 SCRW #6-32x7/8" CEH 4100.669
104068-04 REV K PC-BOARD HSI 4100.676 M 10990-3 BUSHING 4100.541
104183-01 (M 29835) SPARK PLUG 4109.526 M 10993-1 SPRING 4102.141
104184-01 (M10962-2)SPARK PLUG 4101.846 M 11054-1 NOZZLE SIPHON 4101.184
105780-01 CAP PLASTIC B35/70 4100.666 M 11084 2 SCREW REPLACE 4110.192 4110.028
105793-01 ON/OFF SWITCH CEH 4100.667 M 11084-26 SCREW 4101.133
107426 01 KIT WHEEL 4103.289 M 11084-27 SCREW 4101.132
107645 01 DECAL IGNITOR WARNING 4110.054 M 11084-29 SCREW 4108.510
107961-01 FUEL FILTER 4100.630 M 11084-37 SCREW 4101.136
108088-04 FUEL TANK 098513-91 4105.298 M 11143-1 STR REL BUSHING 4101.254
108088-05 FUEL TANK B150CEB/H 4105.299 M 11271-8 CLIP NUT 4104.170
108436-02(M50060-02AB)SHELL B350 UPPER 4110.089 M 11637 FILTER LINT 4101.333
57413 ELBOW STREET B350 4106.335 M 11952 BRACKET RELAY OLD 4108.361
69246 NIPPLE B350EAI 4106.334 M 12179 FILTER INTAKE 4101.358
FHPF3 2C SCREW 4101.131 M 12244-1 FILTER OUTPUT 4101.341
FHPF3 4C SCREW 4105.235 M 12303 THERMAL LIM 4102.455
FHPF3 5C SCREW 4108.588 M 12342-3 WHEEL SUPPORT FRAME 4109.906
FHPF3 6C SCREW 4108.590 M 12345-33 SCREW 4108.619
FHPF3 7C SCREW 4108.577 M 12345-34 SCREW ZIE 4108.619 4108.544
HA 1170 TESTER SAFETY CONTROL 4106.058 M 12461 51 SCREW HX SLT WSR 10-24X1/2 4110.029
HA 1180 PRESSURE GAGE LD 4109.427 M 12461-13 SCREW 4108.530
HA 1202 WHEEL KIT HD B35/70CEB 4103.925 M 12461-14 SCREW 4108.540
HA 1206 WHEEL KIT LD B35/70CEB 4103.930 M 12461-25 SCREW 4108.783
HA 2203 HANDLE B100 4109.864 M 12461-31 SCREW 4108.528
HA 2204 HANDLE STRAIGHT SH. 4109.872 M 12461-32 SCREW 4108.536
HA 2205 HANDLE ROUND SH.-INACTIVE- 4109.875 M 12461-34 SCREW 4105.300
HA 2210 = M 18053 (4105.292) 4105.291 M 12462-11 RELAY 4101.499
HA 3004 ROTOR KIT 4103.554 M 12462-13 RELAY 4103.839
HA 3005 ROTOR KIT 4103.553 M 12462-17 RELAY 4101.238
HA 3006 NOZZLE B35 CEA 4101.854 M 12462-3 RELAY 4101.515
HA 3007 (M50597) NOZZLE 4103.584 M 12462-5 RELAY 4101.507
HA 3008 = 4103.834 NOZZLE KIT 4103.600 M 12576 BODY VALVE 4102.703
HA 3008 = M 50880-01 NOZZLE 4103.834 M 12577 GASKET 4109.855
HA 3009 NOZZLE KIT 4103.558 M 12650-1 CAPACITOR 4101.218
HA 3011 = M 18022 NOZZLE 4105.169 M 12650-12 CAPACITOR 4101.242
HA 3011 NOZZLE = 4105.169 4103.560 M 12650-13 CAPACITOR 4101.140
HA 3012 = 4101.846 4103.555 M 12650-3 CAPACITOR START 4101.929
HA 3013 ZIE 4109.526 4101.226 M 12749-2 SCREW 4101.134
HA 3014 FILTER KIT 4103.561 M 12831-3 WHEEL SUPPORT FRAME 4109.914
HA 3017 FILTER KIT 4103.556 M 12951 ELECTRODE LH 4101.978
HA 3018 FILTER KIT 4103.557
11

DESA International Master Number Reference Index
Master NR Description Art. Code Master NR Description Art. Code
M 12952 ELECTRODE RH 4101.986 M 25291 WHEEL B 66 4109.278
M 13942-5 WIRE CONNE 4101.234 M 25296-1 BRACKET RELAY NEW 4103.578
M 14293 NOZZLE 4101.879 M 26203-3 HANDLE FR. 4109.898
M 15770-3 COMB. CHAM 4103.404 M 26204-3 HANDLE RR 4109.880
M 15823-26 SCREW ZIE 4108.502 4108.551 M 26207A SHELL UPPER 4100.624
M 15823-27 SCREW ZIE 4108.502 4104.014 M 26287-3 HANDLE F&R 4109.856
M 15823-39 SCREW 4101.135 M 26316 NOZZLE B66 4109.344
M 15823-39 SCREW ZIE 4101.135 4104.019 M 26317 FAN 4109.161
M 16535 ADAPTER NOZZLE 4105.193 M 26589 A SHELL UPP. 4109.146
M 16545 END COVER 4108.643 M 27299 BAG POLYETHYLENE 4110.030
M 16656-18 PHOTOCELL B350 4103.448 M 27324-3AA BOX M. B 150 EGC 4101.160
M 16656-24(23) PHOTOCELL CEH 4103.590 M 27417 PLUG DRAIN 4100.632
M 16660 BRACKET PHOTO CELL 4103.537 M 27585-1 INTERRUPTER BV 60 4109.294
M 16661-1 CLAMP MOTOR 4102.737 M 27669-01 FUEL FILTER 4106.080
M 16741-18 RING RETAINING 4105.177 M 27694 SCREW PRESSURE 4102.133
M 16790-12 FUEL LINE TUBE 4104.099 M 27828 NOZZLE 4108.874
M 16790-18 FUEL TUBE 4109.570 M 28526 NUT CAP 4108.429
M 16790-8 FUEL LINE TUBE 4101.158 M 29608 END PUMP COVER 4109.724
M 16801-2 AXLE B 150 4105.284 M 29609 END COVER 4109.674
M 16803-5 BURNER HD 4105.029 M 29612-01 FILTER OUTPUT 4109.708
M 16841-57 WIRE ASSEMBLY 4109.122 M 29616 BRACKET MOTOR 4100.608
M 16841-58 WIRE ASSY 4101.120 M 29632 FILTER LINT 4109.716
M 16886-1 PUMP KIT+ 4105.031 M 29633 FILTER INTAKE 4109.690
M 17016-1S FUEL TANK N/A 4102.646 M 29652-01 ZIE 4109.633 4102.752
M 17058 FAN 4102.648 M 29652-04 AIRLINE TUBE 4109.633
M 17316 END PLATE 4102.828 M 29652-05 FUEL LINE TUBE 4109.567
M 17499-2 PIPE NIPPLE 4105.840 M 29681 NOZZLE SIPHON B30 4101.192
M 17920 FAN 4105.052 M 29824 NUT SPECIAL 4109.518
M 18048 NOZZLE 4105.151 M 30724 S SHELL UPP. 4109.492
M 18053 = HA2210 SCREEN 4105.292 M 30726AA BRCK ENDC 4102.729
M 18303 NOZZLE 4109.062 M 30865-02 BUSHING OPEN 4101.151
M 18436 SPRING 4100.806 M 30884 FAN B30/70 EDI-EGC-CEB 4103.651
M 18774 AXLE 4108.759 M 30900-01 MOTOR B 30 ES 4109.799
M 18775 BRACKET NOZZLE 4106.035 M 3107 NOZZLE 4105.172
M 18971 PUMP KIT 4102.687 M 31301 FAN SWITCH KIT 4102.683
M 19630 FUEL FILTER 4103.878 M 31316 MOTOR 4103.900
M 20137 PIPE BUSHING 4105.180 M 3301-1 ZIE M 51102-01 4102.143
M 22009 INSERT 4108.635 M 3334-12 FUEL LINE 4106.153
M 22456-1 ROTOR 4108.627 M 3981 ELECTRODE L=R 4101.101
M 22456-2 ROTOR 4103.441 M 4574 Alt PRESSURE GAGE HD 4109.435
M 22456-3 ROTOR 4101.911 M 50016 ELBOW 90 GR 4101.156
M 22626 NOZZLE 4108.668 M 50050 IGNITION BOOT 4108.574
M 22873 COUPLING 4108.718 M 50062 HANDLE REAR B350 4109.885
M 22997 PLUG 4102.125 M 50062-03 HANDLE FRONT B350 4108.956
M 23090 BODY BURNER HEAD 4109.377 M 50064-07 MOTOR B 350 4104.678
M 23148 FAN B 100 E 4108.585 M 50065-02 PUMP B350 4103.610
M 23753 AIRLINE 4108.957 M 50077-02 VALVE SOLENOID 4102.535
M 24717 CLAMP TUBE 4105.198 M 50104-01 BUSHING SHORT 4101.232
M 25061-2 RELAY 4100.574 M 50104-02 BUSHING SHORT 4101.152
M 25061-5 RELAY 4101.256 M 50104-03 BUSHING SHORT 4101.112
12

DESA International Master Number Reference Index
Master NR Description Art. Code Master NR Description Art. Code
M 50113-02 STRAIGHT FITTING 4105.842 M 51104-01 HANDLE B30-70 4103.784
M 50114-02 MALE ELBOW 4105.239 M 51105-01 FAN GUARD 4103.685
M 50115-01 FUEL LINE B 350 4106.181 M 51107-01 FAN 4100.631
M 50121-02 FAN 4103.462 M 51108-01 HEAT SHIELD B35/70 4100.671
M 50140 FAN GUARD B 150 4103.611 M 51114-01 FAN GUARD 4103.695
M 50295 FUEL LINE 4105.238 M 51151-01 FUEL LINE 4104.121
M 50296 WHEEL SPACER 4105.240 M 51151-02 FUELLINE TUBE 4101.262
M 50297 ELBOW B 350 4106.333 M 51159-05 MOTOR B 150 ES 4105.227
M 50298 NUT B 155 4108.488 M 51160-01 SWITCH COVER 4101.246
M 50299 SLEEVE B155 4101.623 M 51170-01 PLUG BODYBURN. B350 4102.398
M 50314-01 INTERRUPTER BV125 4108.973 M 51226-01 CAPACITOR CAP 4101.243
M 50387-01 AIRLINE B 100 ES 4105.136 M 51336-02 FAN SWITCH 4100.582
M 50387-02 AIRLINE B 150 ES 4105.144 M 51345 04 TUBING RUBBER 4110.032
M 50387-04 AIRLINE B 66 N.A. 4109.179 M 51345-01 FUEL LINE TUBE 4104.097
M 50389 WHEEL B 300 4103.271 M 51345-06 FUEL LINE B100/150 4100.672
M 50420-06 RELAY 4106.161 M 51357-02 CAPACITOR RUN 4103.896
M 50429 GASKET SPARKPLUG 4105.841 M 51369-01 POWER CORD 4101.113
M 50542-01 COMBUSTION CHAMBER 4104.040 M 5788 SLEEVE 4103.370
M 50545 END PUMP COVER 4101.325 M 5976 CONNECTOR MALE 4101.747
M 50657 01 TAG TESTED 4110.031 M 6777 TIE PLASTIC 4110.033
M 50660-05 NUT FLARED 4104.197 M 8434-3 TRANSFORMER B 300 4101.119
M 50814-03 AIRLINE TUBE 4104.156 M 8643 BLADE 4101.200
M 50814-06 AIRLINE TUBE 4104.147 M 8643-2 BLADE 4101.666
M 50814-07 TUBING RUBBER. 4101.215 M 8643-3 BLADE 4101.887
M 50820-01 FITTING BARB 4106.071 M 8882 SLEEVE 4101.622
M 50820-02 FITTING BARB 4104.118 M 8940 BALL 1/4" CHROME STEEL AISI52100 4108.379
M 50876-01 FILTER BUSHING 4103.894 M 8941 SPRING 4108.350
M 50876-04 FUEL FILTER B 30 4109.575 M 8989 ELECTRODE LH 4101.085
M 50876-05 FUEL FILTER 4103.875 M 8990 ELECTRODE RH 4101.077
M 50899-03AA SIDE COVER BLACK 4101.252 M 9900-192 WIRE ASSY 4109.121
M 50899-03AB SIDE COVER 4101.248 M51077-09AA COVER SIDE 100/150 4100.670
M 50924-01 BODY BURNER HEAD 4105.185 NPF-3B NUT #10-32 CEH REPLACE 4110.188 4100.673
M 50924-02 BODY BURNER HD B350 4109.350 NTC 3C NUT REPLACE 4110.189 4108.494
M 50924-03 BODY BURNER 4109.352 NTC 4C NUT 4108.486
M 50924-08 BODY BURNER 4105.187 RF3 4B SCREW 10-32 REPLACE 4110.188 4110.034
M 50924-09 BURNER HD 4109.353 RF3 6B ROUND HD SCREW 4109.580
M 51015-01 AXLE B 100 4103.222 RF3-5B SCRW #10-32x5/8" CEH 4100.674
M 51015-04 AXLE PLATED 4101.116 RPC4-18C SCREW 4102.745
M 51027-01 CAP B30 E 4109.658 ST2 2AC SCREW 4109.591
M 51027-06 CAP BLACK B30-70EA 4103.743 WLE 3 LOCKWASHER CEH 4100.527
M 51028-03 THERMAL SWITCH 4106.197
M 51028-04 SWITCH TH. LIMIT 4102.802
M 51043-01 SCREW 4108.569
M 51049-03 WIRE HARNESS+CELL 4101.129
M 51070-02 NOZZLE B 350 4104.162
M 51077-01AA COVER SIDE 4104.183
M 51090 FUEL TANK 4109.666
M 51098-01 BODY BURNER HEAD 4108.924
M 51098-02 BODY BURNER HEAD 4109.351
M 51102-01 FILTER ELEMENT 4103.586
13

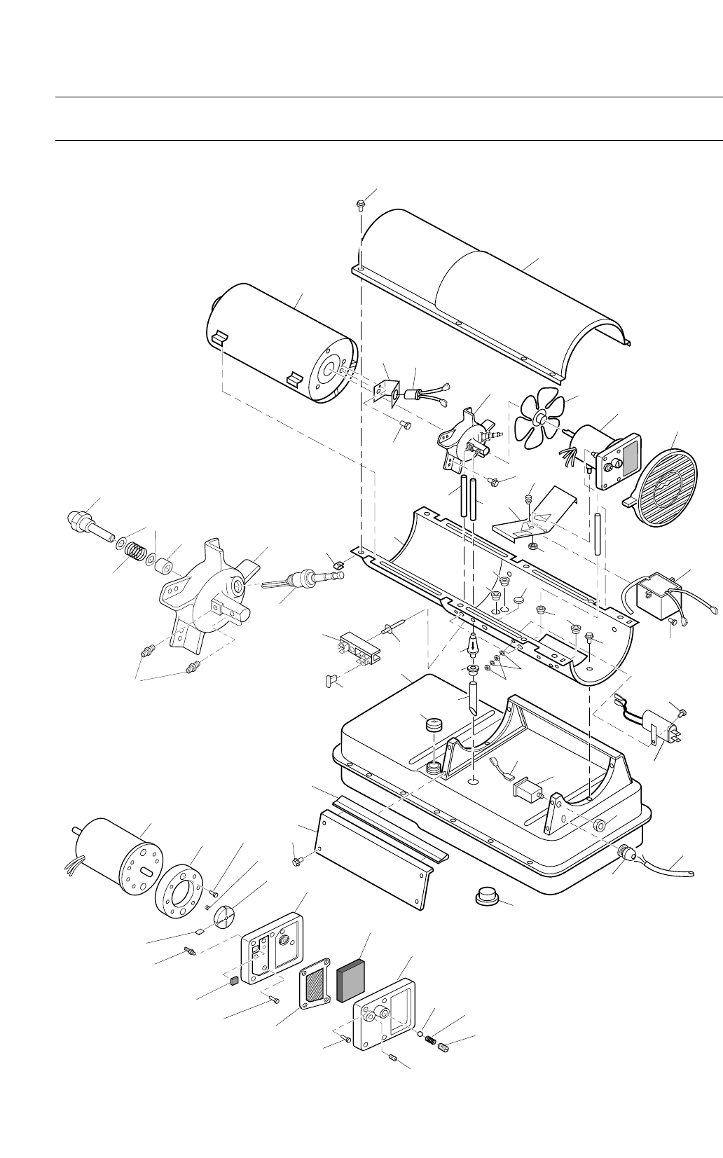
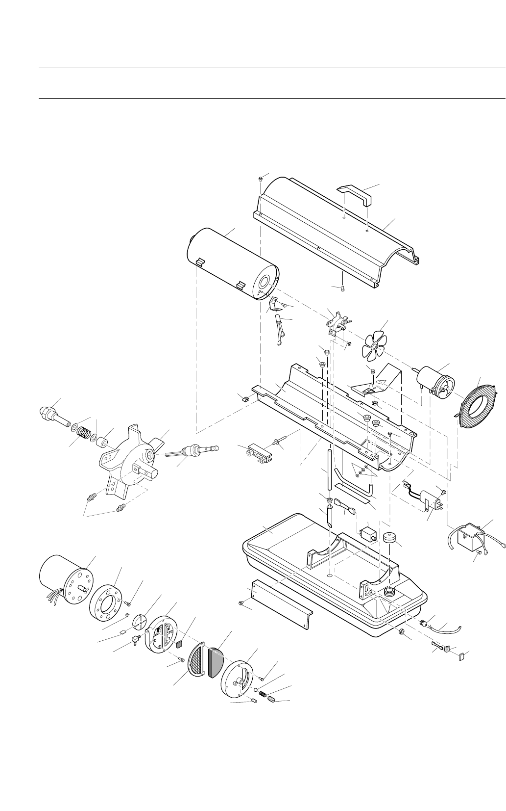
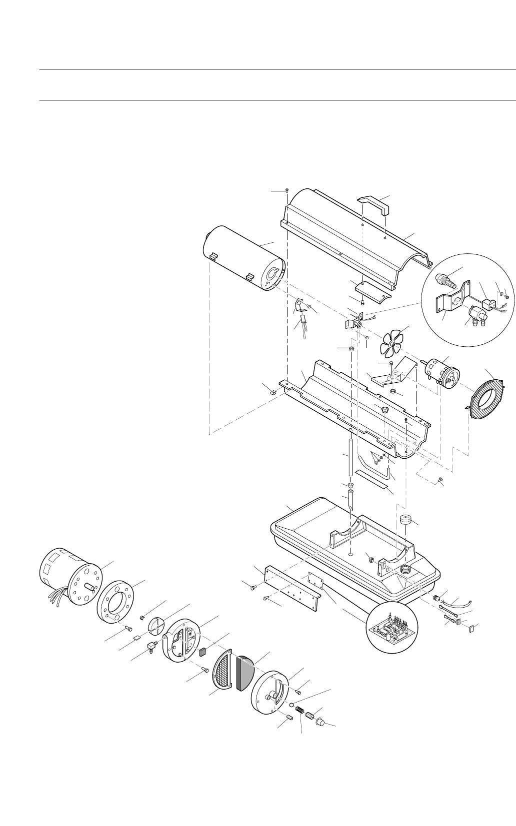
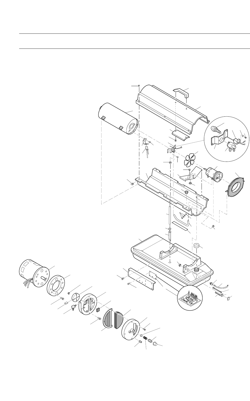
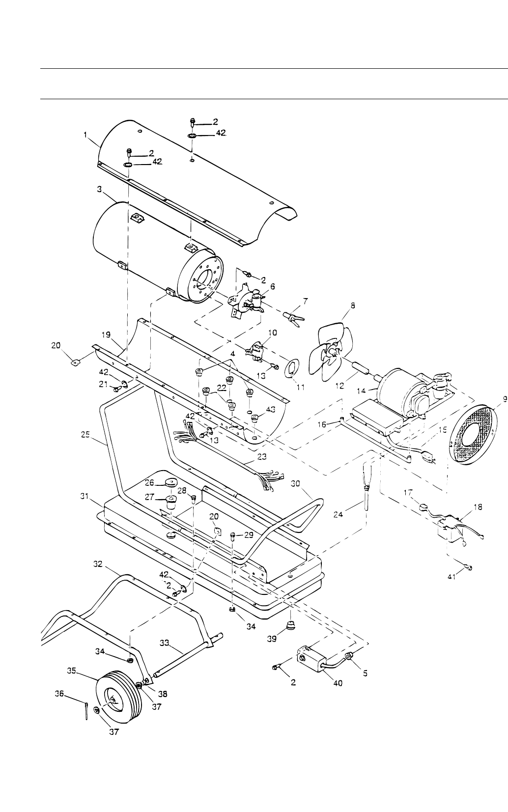
Spareparts MASTER HEATERS
MODEL 35 CEA 35,000 Btu/Hr Model ILLUSTRATED PARTS BREAKDOWN
14
20
1
2
3
4
5
6
7
8
9
11
22
13
13
15
16
17
18
19
20
21
22
39
43
23
24
26
27
28
29
30
31
32
35
36
37
38
22 14 10
11-1
11-2
11-3
11-4
11-5
33
34
40
41
42
21
25
12
18-1
18-2
18-18
18-4
18-5
18-6
18-7
18-8
18-9
18-10
18-11
18-12
18-13
18-14
18-15
18-16
18-17
18-3
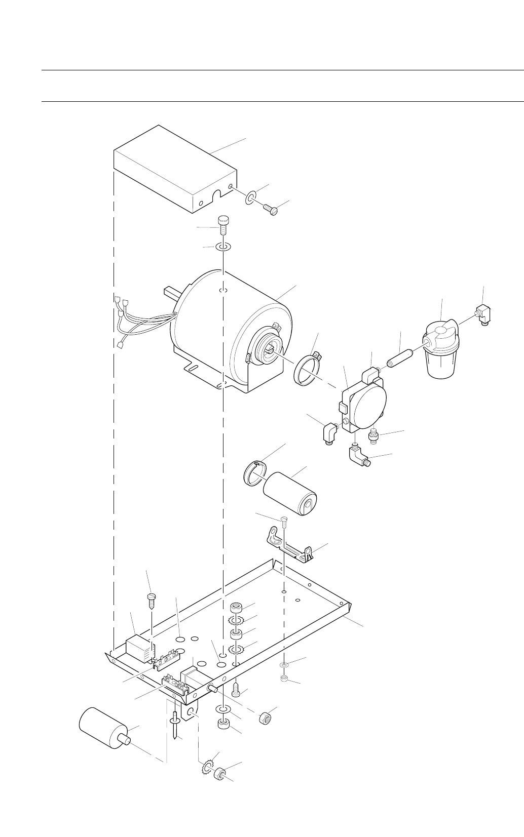
Motor and Pump Assembly

Spareparts MASTER HEATERS
MODEL 35 CEA 35,000 Btu/Hr Model PARTS LIST
15
Key Part Description Qty.
No. Number
1 4103.784 Handle 1
2 4103.842 Upper Shell 1
3 4109.590 Screw/Lockwasher, 1/2" 6
4 4104.060 Combustion Chamber 1
5 4100.671 Heat Shield 1
6 4108.510 Screw, #10-16 x 3/4" 2
7 4103.537 Photocell Bracket 1
8 4103.529 Screw, #6-32 x 3/8" 2
9 4103.552 Photocell Assembly 1
10 S/R Power Cord 1
11 ** Burner Strap Assembly 1
11-1 4103.648 Bracket 1
11-2 4109.526 Spark Plug 1
11-3 4109.542 Nozzle Adapter 1
11-4 4109.518 Nut, 14mm 1
11-5 4101.854 Nozzle 1
12 4105.287 Power Line RFI Filter 1
13 4101.151 Bushing 1
14 4150.528 Strain Relief Bushing 1
15 4103.651 Fan 1
16 4150.553 Rubber Bumper 2
17 4109.560 Motor Bracket 1
18 ** Motor and Pump
Assembly 1
18-1 4106.098 Motor (230V/50Hz) 1
18-2 4101.532 Pump Body 1
18-3 4108.635 Insert 1
18-4 4103.441 Rotor 1
18-5 4109.724 End Pump Cover 1
18-6 4109.716 Lint Filter 1
18-7 4109.690 Intake Filter 1
18-8 4109.674 End Filter Cover 1
18-9 4108.528 Screw, #10-32 x 1" 3
18-10 4108.379 Steel Ball (1/4" Dia.) 1
18-11 4102.141 Pressure Relief Spring 1
18-12 4102.133 Adjusting Screw 1
18-13 4102.125 Plug 1
18-14 4109.708 Output Filter 1
18-15 4108.536 Screw, #10-32 x 1 1/8" 6
18-16 4101.156 Elbow, 90° (Barb Fitting) 1
Key Part Description Qty.
No. Number
18-17 4101.666 Blade 4
18-18 4108.590 Screw, #10-32 x 3/4" 2
19 4103.685 Fan Guard 1
20 4108.486 Hex locknut 2
21 4101.152 Bushing (wires) 2
22 4110.124 Screw/Lockwasher, 1/2" 11
23 4105.195 Lower Shell 1
24 4104.170 Clip Nut 6
25 4109.580 Screw, #10-32 x 3/4" 1
26 4109.633 Rubber Airline 1
27 4109.567 Fuel Line 1
28 S/R Wire Assembly (red) 1
29 4100.541 Rubber Bushing 1
30 4109.575 Fuel Filter Assembly 1
31 4106.095 Electronic Ignitor 1
32 4108.510 Screw, #10-16 x 3/4" 2
33 4103.884 Terminal Board 1
34 N/A Rivet 1
35 4104.196 Flame-Out Control 1
36 4103.891 Fuel Tank Cap 1
37 4105.294 Fuel Tank 1
38 4104.175 Side Cover 1
39 4100.673 Nut, #10-32 3
40 4109.592 Hex Nut 1
41 N/A Terminal Board Tab Cap 2
42 S/R Vinyl Foam Gasket 1
43 4100.527 Lock Washer, #10 2
4105.292 Filler Neck Screen 1
4110.138 Tradename Decal 2
S/R Combustion Chamber
Ground Wire 1
4110.150 Decal Package 1
PARTS AVAILABLE - NOT SHOWN
S/R = Parts Available by Special Request Only N/A = Parts Not Available
This list contains replaceable parts used in your heater. When ordering parts, be sure to provide the correct model and
serial numbers (from the model plate), then the part number and description of the desired part.

Spareparts MASTER HEATERS
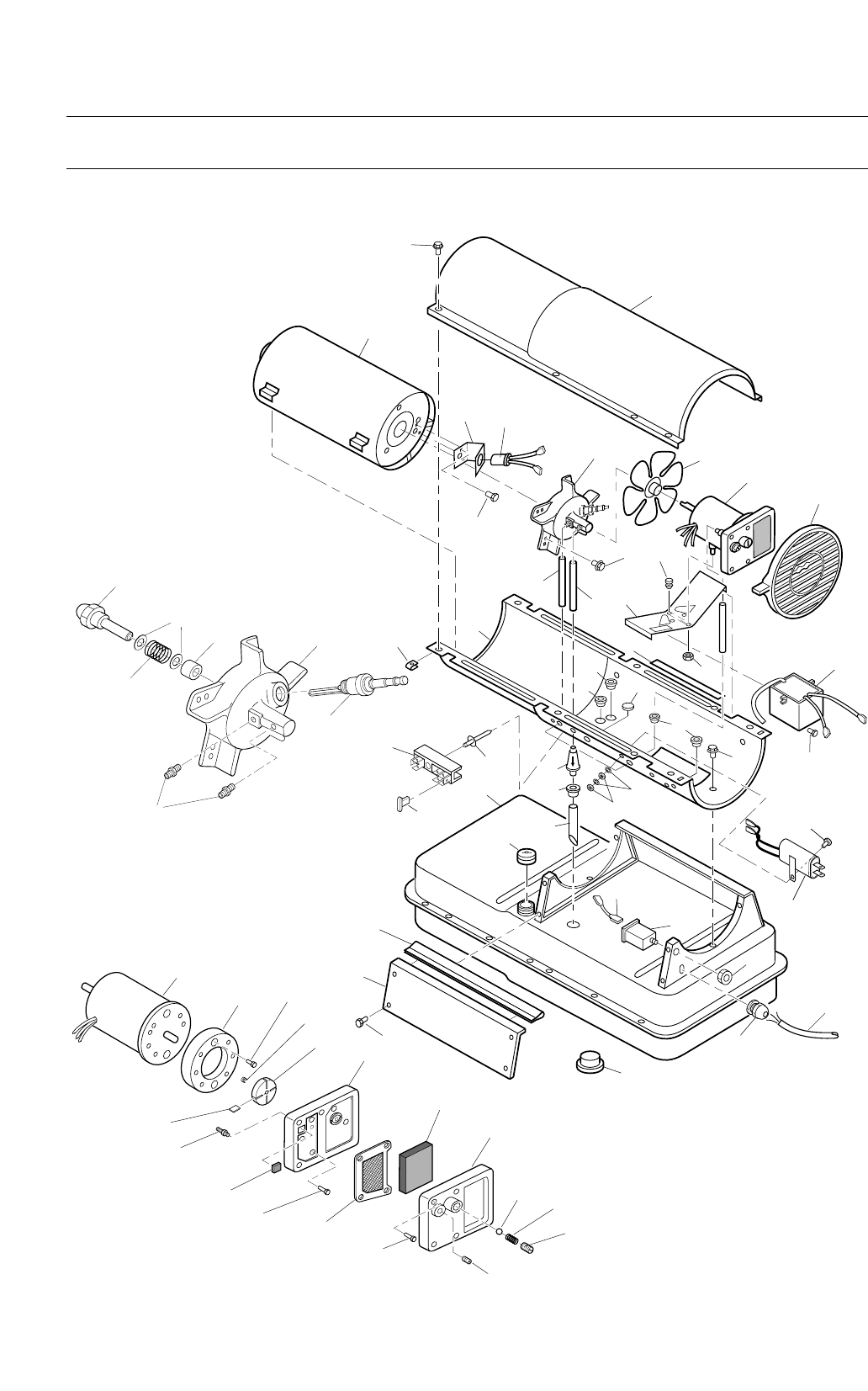
MODEL 70 CEA 70,000 Btu/Hr Model ILLUSTRATED PARTS BREAKDOWN
16
10-6
10-3
10-2
10-4 10-5
10-7
10-1
18-1
18-2
18-18
18-4
18-5
18-6
18-7
18-8
18-9
18-10
18-11
18-12
18-13
18-14
18-15
18-16
18-17
18-3
1
2
4
3
5
6
7
8
10
11
12
12
14
15
16
17
20
18
19
21
21
24
25
26
28
29
30
31
32
34
38
37
11 13
9
33
35
36
42
43
39
40
23
44
11
41
45
22
27
Motor and Pump Assembly
Burner Head Assembly

Spareparts MASTER HEATERS
MODEL 70 CEA 70,000 Btu/Hr Model PARTS LIST
17
Key Part Description Qty.
No. Number
1 4103.784 Handle 1
2 4103.842 Upper Shell 1
3 4109.590 Screw/Lockwasher, 1/2" 6
4 4104.090 Combustion Chamber 1
5 4108.510 Screw, #10-16 x 3/4" 2
6 4103.537 Photocell Bracket 1
7 4103.529 Screw, #6-32 x 3/8" 2
8 4103.552 Photocell Assembly 1
9 S/R Power Cord 1
10 ** Burner Head Assembly 1
10-1 4103.486 Nozzle 1
10-2 4100.525 Nozzle Seal Washer 2
10-3 4100.533 Nozzle Seal Spring 1
10-4 4101.622 Nozzle Seal Sleeve 1
10-5 4109.351 Burner Head Body 1
10-6 4106.071 Barb Fitting 2
10-7 4101.846 Spark Plug 1
11 4110.124 Screw/Lockwasher, 1/2" 12
12 4101.151 Bushing 1
13 4150.528 Strain Relief Bushing 1
14 4103.651 Fan 1
15 4150.553 Rubber Bumper 2
16 4108.530 Screw, #8-32 x 1/4" 2
17 4109.560 Motor Bracket 1
18 ** Motor and Pump Assembly 1
18-1 4109.780 Motor with capacitor 1
18-2 4101.317 Pump Body 1
18-3 4108.635 Insert 1
18-4 4108.627 Rotor 1
18-5 4109.724 End Pump Cover 1
18-6 4109.736 Lint Filter 1
18-7 4109.690 Intake Filter 1
18-8 4109.674 End Filter Cover 1
18-9 4108.528 Screw, #10-32 x 1" 3
18-10 4108.379 Steel Ball (1/4" Dia.) 1
18-11 4102.141 Pressure Relief Spring 1
18-12 4102.133 Adjusting Screw 1
18-13 4102.125 Plug 1
18-14 4109.708 Output Filter 1
18-15 4108.528 Screw, #10-32 x 1" 6
Key Part Description Qty.
No. Number
18-16 4101.156 Elbow, 90° (Barb Fitting) 1
18-17 4101.200 Blade 4
18-18 4108.588 Screw, #10-32 x 5/8" 2
18-19 4101.851 Capacitor 1
19 4103.685 Fan Guard 1
20 4108.486 Hex locknut 2
21 4101.152 Bushing (wires) 2
22 4105.287 Power Line RFI Filter 1
23 4105.195 Lower Shell 1
24 4104.170 Clip Nut 6
25 4106.179 Relay, (motor start) 1
26 S/R Wire Assembly (red) 1
27 4109.580 Screw, #10-32 x 3/4" 1
28 4109.633 Rubber Airline 1
29 4105.508 Fuel Line 1
30 N/A Wire Assembly (red) 1
31 4100.541 Rubber Bushing 1
32 4103.875 Fuel Filter Assembly 1
33 4106.095 Electronic Ignitor 1
34 4108.510 Screw, #10-16 x 3/4" 2
35 4106.110 Terminal Board 1
36 N/A Rivet 1
37 4103.891 Fuel Tank Cap 1
38 4104.196 Flame-Out Control 1
39 4100.643 Fuel Tank 1
40 4104.183 Side Cover 1
41 4100.673 Nut, #10-32 3
42 4109.592 Hex Nut 1
43 N/A Terminal Board Tab Cap 2
44 S/R Vinyl Foam Gasket 1
45 4100.527 Lock Washer, #10 2
46 S/R Bushing 1
4105.292 Filler Neck Screen 1
4110.138 Tradename Decal 2
S/R Combustion Chamber
Ground Wire 1
S/R Decal Package 1
PARTS AVAILABLE - NOT SHOWN
S/R = Parts Available by Special Request Only N/A = Parts Not Available
This list contains replaceable parts used in your heater. When ordering parts, be sure to provide the correct model and
serial numbers (from the model plate), then the part number and description of the desired part.

Spareparts MASTER HEATERS
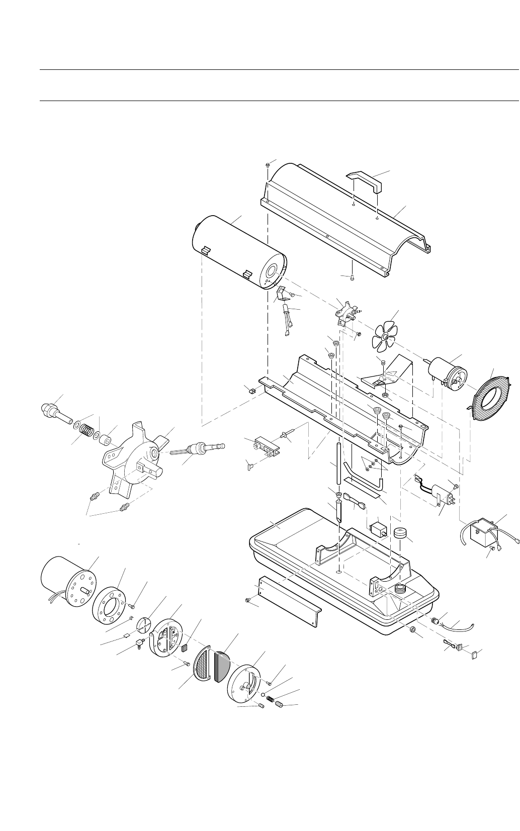
MODEL 100 CEA 100,000 Btu/Hr Model ILLUSTRATED PARTS BREAKDOWN
18
24
13-1
13-2 13-3
13-4
13-5
13-6
13-7
13-8
13-13
13-15
13-16
13-17
13-18
13-14
8-1
8-2
8-4
8-3
8-5
8-7
8-6
13-11
13-10
13-9
13-12
1
2
3
45
7
8
9
10 11
12
13
14
15
17
20
25
26
9
30
31
33
34
35
36
37
38
39
40
41
6
42
9
21
22
23
24
43
44
27
28
16
19
18
29
32
Motor and Pump Assembly
Burner Head Assembly

Spareparts MASTER HEATERS
MODEL 100 CEA 100,000 Btu/Hr Model PARTS LIST
19
Key Part Description Qty.
No. Number
1 4104.006 Upper Shell 1
2 4109.590 Screw/Lockwasher, 1/2" 8
3 4101.180 Combustion Chamber 1
4 4103.537 Photocell Bracket 1
5 4103.552 Photocell Assembly 1
6 4100.632 Drain Plug 1
7 4103.529 Screw, #6-32 x 3/8" 2
8 ** Burner Head Assembly 1
8-1 4103.559 Nozzle 1
8-2 4100.525 Nozzle Seal Washer 2
8-3 4100.533 Nozzle Seal Spring 1
8-4 4101.622 Nozzle Seal Sleeve 1
8-5 4109.352 Burner Head Body 1
8-6 4104.118 Barb Fitting 2
8-7 4101.846 Spark Plug 1
9 4110.124 Screw/Lockwasher, 1/2" 13
10 4104.147 Air Line 1
11 4104.097 Fuel Line 1
12 4105.062 Fan 1
13 ** Motor and Pump Assembly 1
13-1 4108.550 Motor with capacitor 1
13-2 4101.317 Pump Body 1
13-3 4108.588 Screw, #10-32 x 5/8" 2
13-4 4108.635 Insert 1
13-5 4108.627 Rotor 1
13-6 4101.325 End Pump Cover 1
13-7 4101.358 Intake Filter 1
13-8 4108.643 End Filter Cover 1
13-9 4108.379 Steel Ball (1/4" Dia.) 1
13-10 4102.141 Pressure Relief Spring 1
13-11 4102.133 Adjusting Screw 1
13-12 4102.125 Plug 1
13-13 4108.528 Screw, #10-32 x 1" 4
13-14 4101.341 Output Filter 1
13-15 4108.528 Screw, #10-32 x 1" 6
13-16 4101.333 Lint Filter 1
13-17 4104.118 Barb Fitting 1
13-18 4101.200 Blade 4
14 4103.695 Fan Guard 1
15 4150.553 Rubber Bumper 2
Key Part Description Qty.
No. Number
16 4103.850 Edge Liner 1
17 4101.240 Motor Bracket 1
18 4100.527 Lock Washer, #10 2
19 4100.673 Nut, #10-32 3
20 4108.486 Hex locknut 2
21 4106.095 Electronic Ignitor 1
22 4108.510 Screw, #10-16 x 3/4" 2
23 4103.884 Terminal Board 1
24 N/A Rivet 1
25 4101.112 Bushing 1
26 4101.112 Bushing 1
27 4101.232 Bushing 2
28 4110.070 Button Plug 1
29 4105.287 Power Line RFI Filter 1
30 4108.126 Lower Shell 1
31 4104.170 Clip Nut 8
32 4109.580 Screw, #10-32 x 3/4" 1
33 4100.630 Fuel filter 1
34 4100.541 Rubber Bushing 1
35 4104.121 Fuel Line 1
36 4105.298 Fuel Tank 1
37 4103.891 Fuel Tank Cap 1
38 N/A Wire Assembly (red) 1
39 4104.196 Flame-Out Control 1
40 4150.528 Strain Relief Bushing 1
41 S/R Power Cord 1
42 4104.183 Side Cover 1
43 4109.592 Hex Nut 1
44 N/A Terminal Board Tab Cap 2
4105.292 Filler Neck Screen 1
4110.138 Tradename Decal 2
S/R Combustion Chamber
Ground Wire 1
S/R Decal Package 1
PARTS AVAILABLE - NOT SHOWN
S/R = Parts Available by Special Request Only N/A = Parts Not Available
This list contains replaceable parts used in your heater. When ordering parts, be sure to provide the correct model and
serial numbers (from the model plate), then the part number and description of the desired part.

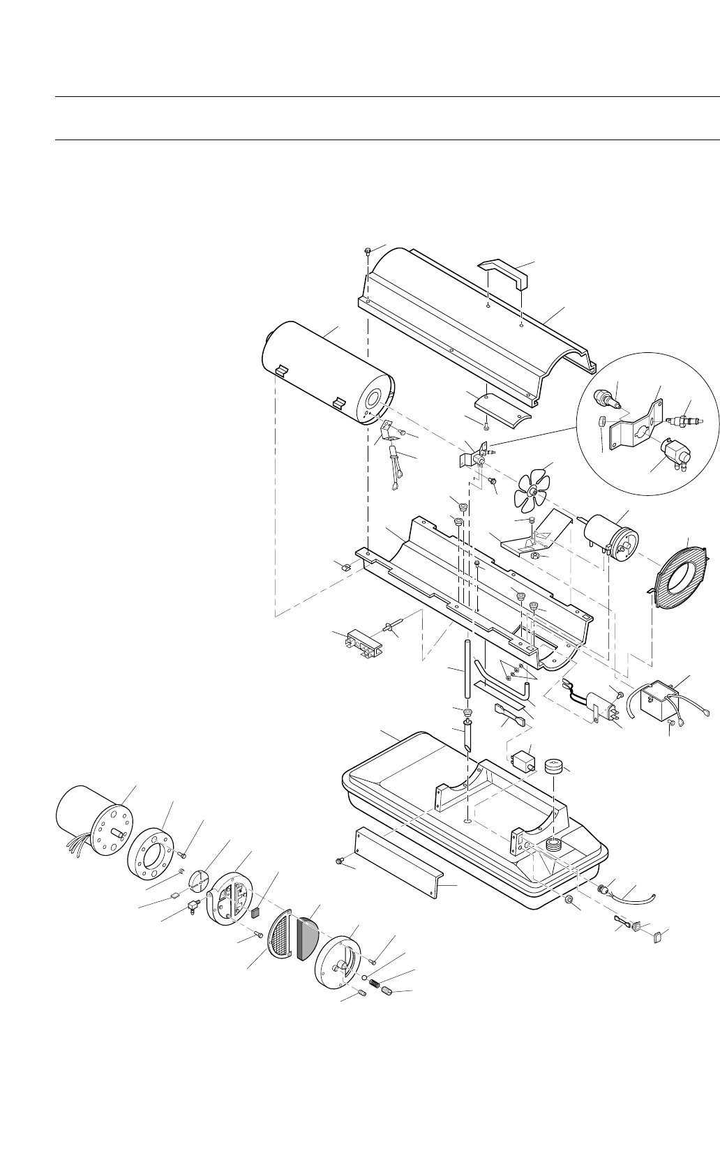
Spareparts MASTER HEATERS
MODEL 150 CEA 150,000 Btu/Hr Model ILLUSTRATED PARTS BREAKDOWN
20
8-1
8-2
8-4
8-3
8-5
8-7
8-6
13-1
13-2 13-3
13-4
13-5
13-6
13-7
13-8
13-13
13-15
13-16
13-17
13-18
13-14 13-11
13-10
13-9
13-12
1
2
3
45
7
8
9
10
11
12
13
14
15
17
20
25
26
9
30
31
33
34
35
36
37
38
39
40
41
6
42
43
21
22
23
24
45
44
27
28
16
19
18
46
29
32
Motor and Pump Assembly
Burner Head Assembly

Spareparts MASTER HEATERS
MODEL 150 CEA 150,000 Btu/Hr Model PARTS LIST
21
Key Part Description Qty.
No. Number
1 4104.006 Upper Shell 1
2 4109.590 Screw/Lockwasher, 1/2" 8
3 4104.088 Combustion Chamber 1
4 4103.537 Photocell Bracket 1
5 4103.552 Photocell Assembly 1
6 4100.632 Drain Plug 1
7 4103.529 Screw, #6-32 x 3/8" 2
8 ** Burner Head Assembly 1
8-1 4103.898 Nozzle 1
8-2 4100.525 Nozzle Seal Washer 2
8-3 4100.533 Nozzle Seal Spring 1
8-4 4101.622 Nozzle Seal Sleeve 1
8-5 4105.187 Burner Head Body 1
8-6 4104.118 Barb Fitting 2
8-7 4101.846 Spark Plug 1
9 4110.124 Screw/Lockwasher, 1/2" 13
10 4104.156 Air Line 1
11 4104.097 Fuel Line 1
12 4105.062 Fan 1
13 ** Motor and Pump
Assembly 1
13-1 4108.550 Motor with capacitor 1
13-2 4101.532 Pump Body 1
13-3 4108.588 Screw, #10-32 x 5/8" 2
13-4 4108.635 Insert 1
13-5 4103.441 Rotor 1
13-6 4101.325 End Pump Cover 1
13-7 4101.358 Intake Filter 1
13-8 4108.643 End Filter Cover 1
13-9 4108.379 Steel Ball (1/4" Dia.) 1
13-10 4102.141 Pressure Relief Spring 1
13-11 4102.133 Adjusting Screw 1
13-12 4102.125 Plug 1
13-13 4108.528 Screw, #10-32 x 1" 4
13-14 4101.341 Output Filter 1
13-15 4108.536 Screw, #10-32 x 1 1/8" 6
13-16 4101.333 Lint Filter 1
13-17 4104.118 Barb Fitting 1
13-18 4101.200 Blade 4
14 4103.695 Fan Guard 1
Key Part Description Qty.
No. Number
15 4150.553 Rubber Bumper 2
16 4103.850 Edge Liner 1
17 4101.240 Motor Bracket 1
18 4100.527 Lock Washer, #10 2
19 4100.673 Nut, #10-32 3
20 4108.486 Hex locknut 2
21 4106.095 Electronic Ignitor 1
22 4108.510 Screw, #10-16 x 3/4" 2
23 4103.884 Terminal Board 1
24 N/A Rivet 1
25 4101.112 Bushing 1
26 4101.112 Bushing 1
27 4101.232 Bushing 2
28 4110.070 Button Plug 1
29 4105.287 Power Line RFI Filter 1
30 4108.126 Lower Shell 1
31 4104.170 Clip Nut 8
32 4109.580 Screw, #10-32 x 3/4" 1
33 4100.630 Fuel filter 1
34 4100.541 Rubber Bushing 1
35 4101.262 Fuel Line 1
36 4105.299 Fuel Tank 1
37 4103.891 Fuel Tank Cap 1
38 N/A Wire Assembly (red) 1
39 4104.196 Flame-Out Control 1
40 4150.528 Strain Relief Bushing 1
41 S/R Power Cord 1
42 4104.183 Side Cover 1
43 4110.124 Screw Hex Head 4
44 N/A Terminal Board Tab Cap 2
45 4109.592 Hex Nut 1
4105.292 Filler Neck Screen 1
4110.138 Tradename Decal 2
S/R Combustion Chamber
Ground Wire 1
S/R Decal Package 1
PARTS AVAILABLE - NOT SHOWN
S/R = Parts Available by Special Request Only N/A = Parts Not Available
This list contains replaceable parts used in your heater. When ordering parts, be sure to provide the correct model and
serial numbers (from the model plate), then the part number and description of the desired part.

Spareparts MASTER HEATERS
MODEL 35 CEB 35,000 Btu/Hr Model ILLUSTRATED PARTS BREAKDOWN
22
1
2
3
4
5
6
7
8
9
11
22
13
47
15
16
17
18
19
20
21
22
39
43
23
24
26
27
28
29
30
31
32
35
36
37
38
22 14 10
11-1
11-2
11-3
11-4
11-5
33
34
40
41
42
21
46
45
44
25
12
18-1
18-2
18-18
18-4
18-5
18-6
18-7
18-8
18-9
18-10
18-11
18-12
18-13
18-14
18-15
18-16
18-17
18-3
Motor and Pump Assembly

Spareparts MASTER HEATERS
MODEL 35 CEB 35,000 Btu/Hr Model PARTS LIST
23
Key Part Description Qty.
No. Number
1 4103.784 Handle 1
2 4103.842 Upper Shell 1
3 4109.590 Screw/Lockwasher, 1/2" 6
4 4104.060 Combustion Chamber 1
5 4100.671 Heat Shield 1
6 4108.510 Screw, #10-16 x 3/4" 2
7 4103.537 Photocell Bracket 1
8 4103.529 Screw, #6-32 x 3/8" 2
9 4103.552 Photocell Assembly 1
10 S/R Power Cord 1
11 ** Burner Strap Assembly 1
11-1 4110.092 Bracket 1
11-2 4109.526 Spark Plug 1
11-3 4109.542 Nozzle Adapter 1
11-4 4109.518 Nut, 14mm 1
11-5 4101.854 Nozzle 1
12 4105.287 Power Line RFI Filter 1
13 4101.151 Bushing 1
14 4150.528 Strain Relief Bushing 1
15 4103.651 Fan 1
16 4150.553 Rubber Bumper 2
17 4109.560 Motor Bracket 1
18 ** Motor and Pump
Assembly 1
18-1 4106.098 Motor (230V/50Hz) 1
18-2 4101.532 Pump Body 1
18-3 4108.635 Insert 1
18-4 4103.441 Rotor 1
18-5 4109.724 End Pump Cover 1
18-6 4109.716 Lint Filter 1
18-7 4109.690 Intake Filter 1
18-8 4109.674 End Filter Cover 1
18-9 4108.528 Screw, #10-32 x 1" 3
18-10 4108.379 Steel Ball (1/4" Dia.) 1
18-11 4102.141 Pressure Relief Spring 1
18-12 4102.133 Adjusting Screw 1
18-13 4102.125 Plug 1
18-14 4109.708 Output Filter 1
18-15 4108.536 Screw, #10-32 x 1 1/8" 6
18-16 4101.156 Elbow, 90° (Barb Fitting) 1
Key Part Description Qty.
No. Number
18-17 4101.666 Blade 4
18-18 4108.590 Screw, #10-32 x 3/4" 2
19 4103.685 Fan Guard 1
20 4108.486 Hex locknut 2
21 4101.152 Bushing (wires) 2
22 4110.124 Screw/Lockwasher, 1/2" 11
23 4105.195 Lower Shell 1
24 4104.170 Clip Nut 6
25 4109.580 Screw, #10-32 x 3/4" 1
26 4109.633 Rubber Airline 1
27 4109.567 Fuel Line 1
28 S/R Wire Assembly (red) 1
29 4100.541 Rubber Bushing 1
30 4109.575 Fuel Filter Assembly 1
31 4106.095 Electronic Ignitor 1
32 4108.510 Screw, #10-16 x 3/4" 2
33 4106.110 Terminal Board 1
34 N/A Rivet 1
35 4104.196 Flame-Out Control 1
36 4103.891 Fuel Tank Cap 1
37 4105.294 Fuel Tank 1
38 4104.175 Side Cover 1
39 4100.673 Nut, #10-32 3
40 4109.592 Hex Nut 1
41 N/A Terminal Board Tab Cap 2
42 S/R Vinyl Foam Gasket 1
43 4100.527 Lock Washer, #10 2
44 S/R Wire Assembly (black) 2
45 4106.179 ON/OFF Switch 1
46 4104.336 Switch Cover 1
47 N/A Bushing 1
4105.292 Filler Neck Screen 1
4110.138 Tradename Decal 2
S/R Combustion Chamber
Ground Wire 1
4110.150 Decal Package 1
PARTS AVAILABLE - NOT SHOWN
S/R = Parts Available by Special Request Only N/A = Parts Not Available
This list contains replaceable parts used in your heater. When ordering parts, be sure to provide the correct model and
serial numbers (from the model plate), then the part number and description of the desired part.

Spareparts MASTER HEATERS
MODEL 70 CEB 70,000 Btu/Hr Model ILLUSTRATED PARTS BREAKDOWN
24
1
2
4
3
5
6
7
8
10
11
12
46
14
15
17
20
18
19
21
21
24
28
29
30
31
32
34
38
37
11 13
9
33
35
36
42
43
39
40
23
44
11
41
45
26
25
16
22
27
10-6
10-3
10-2
10-4 10-5
10-7
10-1
18-1
18-2
18-18
18-4
18-5
18-6
18-7
18-8
18-9
18-10
18-11
18-12
18-13
18-14
18-15
18-16
18-17
18-3
Motor and Pump Assembly
Burner Head Assembly

Spareparts MASTER HEATERS
MODEL 70 CEB 70,000 Btu/Hr Model PARTS LIST
25
Key Part Description Qty.
No. Number
1 4103.784 Handle 1
2 4103.842 Upper Shell 1
3 4109.590 Screw/Lockwasher, 1/2" 6
4 4104.090 Combustion Chamber 1
5 4108.510 Screw, #10-16 x 3/4" 2
6 4103.537 Photocell Bracket 1
7 4103.529 Screw, #6-32 x 3/8" 2
8 4103.552 Photocell Assembly 1
9 S/R Power Cord 1
10 ** Burner Head Assembly 1
10-1 4103.486 Nozzle 1
10-2 4100.525 Nozzle Seal Washer 2
10-3 4100.533 Nozzle Seal Spring 1
10-4 4101.622 Nozzle Seal Sleeve 1
10-5 4109.351 Burner Head Body 1
10-6 4106.071 Barb Fitting 2
10-7 4101.846 Spark Plug 1
11 4110.124 Screw/Lockwasher, 1/2" 12
12 4101.151 Bushing 1
13 4150.528 Strain Relief Bushing 1
14 4103.651 Fan 1
15 4150.553 Rubber Bumper 2
16 S/R Wire Assembly (black) 2
17 4109.560 Motor Bracket 1
18 ** Motor and Pump
Assembly 1
18-1 4109.780 Motor with capacitor 1
18-2 4101.317 Pump Body 1
18-3 4108.635 Insert 1
18-4 4108.627 Rotor 1
18-5 4109.724 End Pump Cover 1
18-6 4109.736 Lint Filter 1
18-7 4109.690 Intake Filter 1
18-8 4109.674 End Filter Cover 1
18-9 4108.528 Screw, #10-32 x 1" 3
18-10 4108.379 Steel Ball (1/4" Dia.) 1
18-11 4102.141 Pressure Relief Spring 1
18-12 4102.133 Adjusting Screw 1
18-13 4102.125 Plug 1
18-14 4109.708 Output Filter 1
Key Part Description Qty.
No. Number
18-15 4108.528 Screw, #10-32 x 1" 6
18-16 4101.156 Elbow, 90° (Barb Fitting) 1
18-17 4101.200 Blade 4
18-18 4108.588 Screw, #10-32 x 5/8" 2
18-19 4101.851 Capacitor 1
19 4103.685 Fan Guard 1
20 4108.486 Hex locknut 2
21 4101.152 Bushing (wires) 2
22 4105.287 Power Line RFI Filter 1
23 4105.195 Lower Shell 1
24 4104.170 Clip Nut 6
25 4106.179 ON/OFF Switch 1
26 4104.336 Switch Cover 1
27 4109.580 Screw, #10-32 x 3/4" 1
28 4109.633 Rubber Airline 1
29 4105.508 Fuel Line 1
30 N/A Wire Assembly (red) 1
31 4100.541 Rubber Bushing 1
32 4103.875 Fuel Filter Assembly 1
33 4106.095 Electronic Ignitor 1
34 4108.510 Screw, #10-16 x 3/4" 2
35 4106.110 Terminal Board 1
36 N/A Rivet 1
37 4103.891 Fuel Tank Cap 1
38 4104.196 Flame-Out Control 1
39 4100.643 Fuel Tank 1
40 4104.183 Side Cover 1
41 4100.673 Nut, #10-32 3
42 4109.592 Hex Nut 1
43 N/A Terminal Board Tab Cap 2
44 S/R Vinyl Foam Gasket 1
45 4100.527 Lock Washer, #10 2
46 S/R Bushing 1
4105.292 Filler Neck Screen 1
4110.138 Tradename Decal 2
S/R Combustion Chamber
Ground Wire 1
S/R Decal Package 1
PARTS AVAILABLE - NOT SHOWN
S/R = Parts Available by Special Request Only N/A = Parts Not Available
This list contains replaceable parts used in your heater. When ordering parts, be sure to provide the correct model and
serial numbers (from the model plate), then the part number and description of the desired part.

Spareparts MASTER HEATERS
MODEL 100 CEB 100,000 Btu/Hr Model ILLUSTRATED PARTS BREAKDOWN
26
Motor and Pump Assembly
Burner Head Assembly

Spareparts MASTER HEATERS
MODEL 100 CEB 100,000 Btu/Hr Model PARTS LIST
27
Key Part Description Qty.
No. Number
1 4104.006 Upper Shell 1
2 4109.590 Screw/Lockwasher, 1/2" 8
3 4101.180 Combustion Chamber 1
4 4103.537 Photocell Bracket 1
5 4103.552 Photocell Assembly 1
6 4100.632 Drain Plug 1
7 4103.529 Screw, #6-32 x 3/8" 2
8 ** Burner Head Assembly 1
8-1 4103.559 Nozzle 1
8-2 4100.525 Nozzle Seal Washer 2
8-3 4100.533 Nozzle Seal Spring 1
8-4 4101.622 Nozzle Seal Sleeve 1
8-5 4109.352 Burner Head Body 1
8-6 4104.118 Barb Fitting 2
8-7 4101.846 Spark Plug 1
9 4110.124 Screw/Lockwasher, 1/2" 13
10 4104.147 Air Line 1
11 4104.097 Fuel Line 1
12 4105.062 Fan 1
13 ** Motor and Pump Assembly 1
13-1 4108.550 Motor with capacitor 1
13-2 4101.317 Pump Body 1
13-3 4108.588 Screw, #10-32 x 5/8" 2
13-4 4108.635 Insert 1
13-5 4108.627 Rotor 1
13-6 4101.325 End Pump Cover 1
13-7 4101.358 Intake Filter 1
13-8 4108.643 End Filter Cover 1
13-9 4108.379 Steel Ball (1/4" Dia.) 1
13-10 4102.141 Pressure Relief Spring 1
13-11 4102.133 Adjusting Screw 1
13-12 4102.125 Plug 1
13-13 4108.528 Screw, #10-32 x 1" 4
13-14 4101.341 Output Filter 1
13-15 4108.528 Screw, #10-32 x 1" 6
13-16 4101.333 Lint Filter 1
13-17 4104.118 Barb Fitting 1
13-18 4101.200 Blade 4
13-19 4101.937 Capacitor 1
14 4103.695 Fan Guard 1
Key Part Description Qty.
No. Number
15 4150.553 Rubber Bumper 2
16 4103.850 Edge Liner 1
17 4101.240 Motor Bracket 1
18 4100.527 Lock Washer, #10 2
19 4100.673 Nut, #10-32 3
20 4108.486 Hex locknut 2
21 4106.095 Electronic Ignitor 1
22 4108.510 Screw, #10-16 x 3/4" 2
23 4106.110 Terminal Board 1
24 N/A Rivet 1
25 4101.112 Bushing 1
26 4101.112 Bushing 1
27 4101.232 Bushing 2
28 4110.070 Button Plug 1
29 4105.287 Power Line RFI Filter 1
30 4108.126 Lower Shell 1
31 4104.170 Clip Nut 8
32 4109.580 Screw, #10-32 x 3/4" 1
33 4100.630 Fuel filter 1
34 4100.541 Rubber Bushing 1
35 4104.121 Fuel Line 1
36 4105.298 Fuel Tank 1
37 4103.891 Fuel Tank Cap 1
38 N/A Wire Assembly (red) 1
39 4104.196 Flame-Out Control 1
40 4150.528 Strain Relief Bushing 1
41 S/R Power Cord 1
42 4104.183 Side Cover 1
43 4109.592 Hex Nut 1
44 N/A Terminal Board Tab Cap 2
45 S/R Wire Assembly (black) 2
46 4106.179 ON/OFF Switch 1
47 4104.336 Switch Cover 1
4105.292 Filler Neck Screen 1
4110.138 Tradename Decal 2
S/R Combustion Chamber
Ground Wire 1
S/R Decal Package 1
PARTS AVAILABLE - NOT SHOWN
S/R = Parts Available by Special Request Only N/A = Parts Not Available
This list contains replaceable parts used in your heater. When ordering parts, be sure to provide the correct model and
serial numbers (from the model plate), then the part number and description of the desired part.

Spareparts MASTER HEATERS
MODEL 150 CEB 150,000 Btu/Hr Model ILLUSTRATED PARTS BREAKDOWN
28
Motor and Pump Assembly
Burner Head Assembly

Spareparts MASTER HEATERS
MODEL 150 CEB 150,000 Btu/Hr Model PARTS LIST
29
Key Part Description Qty.
No. Number
1 4104.006 Upper Shell 1
2 4109.590 Screw/Lockwasher, 1/2" 8
3 4104.088 Combustion Chamber 1
4 4103.537 Photocell Bracket 1
5 4103.552 Photocell Assembly 1
6 4100.632 Drain Plug 1
7 4103.529 Screw, #6-32 x 3/8" 2
8 ** Burner Head Assembly 1
8-1 4103.898 Nozzle 1
8-2 4100.525 Nozzle Seal Washer 2
8-3 4100.533 Nozzle Seal Spring 1
8-4 4101.622 Nozzle Seal Sleeve 1
8-5 4105.187 Burner Head Body 1
8-6 4104.118 Barb Fitting 2
8-7 4101.846 Spark Plug 1
8-8 4100.526 Wave Spring Washer 1
9 4110.124 Screw/Lockwasher, 1/2" 13
10 4104.156 Air Line 1
11 4104.097 Fuel Line 1
12 4105.062 Fan 1
13 ** Motor and Pump Assembly 1
13-1 4108.550 Motor 1
13-2 4101.532 Pump Body 1
13-3 4108.590 Screw, #10-32 x 3/4" 2
13-4 4108.635 Insert 1
13-5 4103.441 Rotor 1
13-6 4101.325 End Pump Cover 1
13-7 4101.358 Intake Filter 1
13-8 4108.643 End Filter Cover 1
13-9 4108.379 Steel Ball (1/4" Dia.) 1
13-10 4102.141 Pressure Relief Spring 1
13-11 4102.133 Adjusting Screw 1
13-12 4102.125 Plug 1
13-13 4108.528 Screw, #10-32 x 1" 4
13-14 4101.341 Output Filter 1
13-15 4108.536 Screw, #10-32 x 1 1/8" 6
13-16 4101.333 Lint Filter 1
13-17 4104.118 Barb Fitting 1
13-18 4101.666 Blade 4
13-19 4101.937 Capacitor 1
14 4103.659 Fan Guard 1
Key Part Description Qty.
No. Number
15 4108.536 Scew, #10-32 x 1 1/8” 6
16 4103.850 Edge Liner 1
17 4110.186 Motor Bracket 1
18 4100.527 Lock Washer, #10 2
19 4100.673 Nut, #10-32 3
20 4108.486 Hex locknut 2
21 4106.095 Electronic Ignitor 1
22 4108.510 Screw, #10-16 x 3/4" 2
23 4106.110 Terminal Board 1
24 NA Rivet 1
25 4101.112 Bushing 1
26 4101.112 Bushing 1
27 4101.232 Bushing 2
28 4110.070 Button Plug 1
29 4105.287 Power Line RFI Filter 1
30 4108.126 Lower Shell 1
31 4104.170 Clip Nut 8
32 4109.590 Screw, #10-32 x 3/4" 1
33 4100.630 Fuel filter 1
34 4100.541 Rubber Bushing 1
35 4101.262 Fuel Line 1
36 4105.299 Fuel Tank 1
37 4103.891 Fuel Tank Cap 1
38 S/R Wire Assembly (red) 1
39 4104.196 Flame-Out Control 1
40 4150.528 Strain Relief Bushing 1
41 S/R Power Cord 1
42 4104.183 Side Cover 1
43 4110.041 Vinyl Foam Gasket 2
44 N/A Terminal Board Tab Cap 2
45 4109.592 Hex Nut 1
46 S/R Wire Assembly (black) 2
47 4106.179 ON/OFF Switch 1
48 4104.336 Switch Cover 1
4105.292 Filler Neck Screen 1
S/R Tradename Decal 2
S/R Combustion Chamber
Ground Wire 1
S/R Decal Package 1
PARTS AVAILABLE - NOT SHOWN
S/R = Parts Available by Special Request Only N/A = Parts Not Available
This list contains replaceable parts used in your heater. When ordering parts, be sure to provide the correct model and
serial numbers (from the model plate), then the part number and description of the desired part.

Spareparts MASTER HEATERS
MODEL 35 CED 35,000 Btu/Hr Model ILLUSTRATED PARTS BREAKDOWN
30
1
2
3
4
5
6
7
8
9
11
22
13
41
15
16
17
18
19
20
21
22
39
43
23
24
26
27
28
29
30
31
32
35
36
37
38
22 14 10
11-1
11-2
11-3
11-4
11-5
33
34
40
42
21
46
45
44
25
12
18-1
18-2
18-18
18-4
18-5
18-6
18-7
18-8
18-9
18-10
18-11
18-12
18-13
18-14
18-15
18-16
18-17
18-3
Motor and Pump Assembly

Spareparts MASTER HEATERS
MODEL 35 CED 35,000 Btu/Hr Model PARTS LIST
31
Key Part Description Qty.
No. Number
1 4110.130 Handle 1
2 4103.842 Upper Shell 1
3 4109.590 Screw/Lockwasher, 1/2" 6
4 4100.638 Combustion Chamber 1
5 4100.671 Heat Shield 1
6 4160.602 Screw, #10-16 x 3/4" 2
7 4100.658 Photocell Bracket 1
8 4103.529 Screw, #6-32 x 3/8" 2
9 4103.552 Photocell Assembly 1
10 4110.563 Power Cord 1
11 ** Burner Strap Assembly 1
11-1 4110.092 Bracket 1
11-2 4109.526 Spark Plug 1
11-3 4100.664 Nozzle Adapter 1
11-4 4109.518 Nut, 14mm 1
11-5 4101.854 Nozzle 1
12 4105.287 Power Line RFI Filter 1
13 4101.151 Bushing 1
14 4150.528 Strain Relief Bushing 1
15 4103.651 Fan 1
16 4150.553 Rubber Bumper 2
17 4109.560 Motor Bracket 1
18 ** Motor and Pump
Assembly 1
18-1 4106.098 Motor (230V/50Hz) 1
18-2 4101.532 Pump Body 1
18-3 4108.635 Insert 1
18-4 4103.441 Rotor 1
18-5 4109.724 End Pump Cover 1
18-6 4109.716 Lint Filter 1
18-7 4109.690 Intake Filter 1
18-8 4109.674 End Filter Cover 1
18-9 4108.528 Screw, #10-32 x 1" 3
18-10 4108.379 Steel Ball (1/4" Dia.) 1
18-11 4102.141 Pressure Relief Spring 1
18-12 4102.133 Adjusting Screw 1
18-13 4102.125 Plug 1
18-14 4109.708 Output Filter 1
18-15 4108.536 Screw, #10-32 x 1 1/8" 6
18-16 4100.661 Elbow, 90° (Barb Fitting) 1
Key Part Description Qty.
No. Number
18-17 4101.666 Blade 4
18-18 4108.590 Screw, #10-32 x 3/4" 2
19 4103.685 Fan Guard 1
20 4108.486 Hex locknut 2
21 4101.152 Bushing (wires) 2
22 4110.124 Screw/Lockwasher, 1/2" 11
23 4105.195 Lower Shell 1
24 4104.170 Clip Nut 6
25 4110.133 Screw, #10-32 x 3/4" 1
26 4104.147 Rubber Airline 1
27 4109.567 Fuel Line 1
28 4110.195 Wire Assembly (red) 1
29 4100.541 Rubber Bushing 1
30 4110.135 Fuel Filter Assembly 1
31 4110.609 Electronic Ignitor 1
32 4108.510 Screw, #10-16 x 3/4" 2
33 4106.110 Terminal Board 1
34 4110.571 Rivet 1
35 4104.196 Flame-Out Control 1
36 4103.891 Fuel Tank Cap 1
37 4105.294 Fuel Tank 1
38 4104.175 Side Cover 1
39 4110.134 Nut, #10-32 3
40 4109.592 Hex Nut 1
41 4101.151 Bushing 1
42 4110.610 Vinyl Foam Gasket 1
43 4100.527 Lock Washer, #10 2
44 4110.165 Wire Assembly (black) 2
45 4106.179 ON/OFF Switch 1
46 4104.336 Switch Cover 1
4105.292 Filler Neck Screen 1
4110.138 Tradename Decal 2
4110.196 Combustion Chamber
Ground Wire 1
4110.611 Decal Package 1
PARTS AVAILABLE - NOT SHOWN
**Not available as an assembly, order parts separately.
This list contains replaceable parts used in your heater. When ordering parts, be sure to provide the correct model and
serial numbers (from the model plate), then the part number and description of the desired part.

Spareparts MASTER HEATERS
MODEL 70 CED 70,000 Btu/Hr Model ILLUSTRATED PARTS BREAKDOWN
32
1
2
4
3
5
6
7
8
10
11
12
43
14
15
17
20
18
19
21
21
24
28
29
30
31
32
34
38
37
11 13
9
33
35
36
42
39
40
23
44
11
41
45
26
25
16
22
27
10-6
10-3
10-2
10-4 10-5
10-7
10-1
18-1
18-2
18-18
18-4
18-5
18-6
18-7
18-8
18-9
18-10
18-11
18-12
18-13
18-14
18-15
18-16
18-17
18-3
Motor and Pump Assembly
Burner Head Assembly

Spareparts MASTER HEATERS
MODEL 70 CED 70,000 Btu/Hr Model PARTS LIST
33
Key Part Description Qty.
No. Number
1 4110.130 Handle 1
2 4103.842 Upper Shell 1
3 4109.590 Screw/Lockwasher, 1/2" 6
4 4104.090 Combustion Chamber 1
5 4160.602 Screw, #10-16 x 3/4" 2
6 4103.537 Photocell Bracket 1
7 4103.529 Screw, #6-32 x 3/8" 2
8 4110.564 Photocell Assembly 1
9 4110.536 Power Cord 1
10 ** Burner Head Assembly 1
10-1 4103.486 Nozzle 1
10-2 4100.525 Nozzle Seal Washer 2
10-3 4100.533 Nozzle Seal Spring 1
10-4 4101.622 Nozzle Seal Sleeve 1
10-5 4109.351 Burner Head Body 1
10-6 4106.071 Barb Fitting 2
10-7 4101.846 Spark Plug 1
11 4110.124 Screw/Lockwasher, 1/2" 12
12 4101.151 Bushing 1
13 4150.528 Strain Relief Bushing 1
14 4103.651 Fan 1
15 4150.553 Rubber Bumper 2
16 4110.165 Wire Assembly (black) 2
17 4109.560 Motor Bracket 1
18 ** Motor and Pump Assembly 1
18-1 4100.561 Motor with capacitor 1
18-2 4101.317 Pump Body 1
18-3 4108.635 Insert 1
18-4 4108.627 Rotor 1
18-5 4109.724 End Pump Cover 1
18-6 4109.736 Lint Filter 1
18-7 4109.690 Intake Filter 1
18-8 4109.674 End Filter Cover 1
18-9 4108.528 Screw, #10-32 x 1" 3
18-10 4108.379 Steel Ball (1/4" Dia.) 1
18-11 4102.141 Pressure Relief Spring 1
18-12 4102.133 Adjusting Screw 1
18-13 4102.125 Plug 1
18-14 4109.708 Output Filter 1
18-15 4108.528 Screw, #10-32 x 1" 6
Key Part Description Qty.
No. Number
18-16 4101.156 Elbow, 90° (Barb Fitting) 1
18-17 4101.200 Blade 4
18-18 4108.588 Screw, #10-32 x 5/8" 2
19 4103.685 Fan Guard 1
20 4108.486 Hex locknut 2
21 4101.152 Bushing (wires) 2
22 4105.287 Power Line RFI Filter 1
23 4105.195 Lower Shell 1
24 4104.170 Clip Nut 6
25 4106.179 ON/OFF Switch 1
26 4104.336 Switch Cover 1
27 4110.133 Screw, #10-32 x 3/4" 1
28 4109.633 Rubber Airline 1
29 4105.508 Fuel Line 1
30 4110.195 Wire Assembly (red) 1
31 4100.541 Rubber Bushing 1
32 4103.875 Fuel Filter Assembly 1
33 4110.609 Electronic Ignitor 1
34 4108.510 Screw, #10-16 x 3/4" 2
35 4106.110 Terminal Board 1
36 4110.571 Rivet 1
37 4103.891 Fuel Tank Cap 1
38 4104.196 Flame-Out Control 1
39 4100.643 Fuel Tank 1
40 4104.183 Side Cover 1
41 4110.134 Nut, #10-32 3
42 4109.592 Hex Nut 1
43 4101.151 Bushing 1
44 4110.610 Vinyl Foam Gasket 1
45 4100.527 Lock Washer, #10 2
4105.292 Filler Neck Screen 1
4110.138 Tradename Decal 2
4110.196 Combustion Chamber
Ground Wire 1
4110.604 Decal Package 1
**Not available as an assembly, order parts separately.
This list contains replaceable parts used in your heater. When ordering parts, be sure to provide the correct model and
serial numbers (from the model plate), then the part number and description of the desired part.
PARTS AVAILABLE - NOT SHOWN

Spareparts MASTER HEATERS
MODEL 100 CED 100,000 Btu/Hr Model ILLUSTRATED PARTS BREAKDOWN
34
8-1
8-2
8-4
8-3
8-5
8-7
8-6
1
2
3
45
7
8
9
10 11
12
13
14
15
17
20
25
26
9
30
31
33
34
35
36
37
38
39
40
41
6
42
9
21
22
23
24
43
27
28
16
19
18
44
46
45
29
32
13-1
13-2 13-3
13-4
13-5 13-6
13-7
13-8
13-13
13-15
13-16
13-17
13-18
13-14 13-11
13-10
13-9
13-12
Motor and Pump Assembly
Burner Head Assembly

Spareparts MASTER HEATERS
MODEL 100 CED 100,000 Btu/Hr Model PARTS LIST
35
Key Part Description Qty.
No. Number
1 4104.006 Upper Shell 1
2 4109.590 Screw/Lockwasher, 1/2" 8
3 4101.180 Combustion Chamber 1
4 4103.537 Photocell Bracket 1
5 4110.564 Photocell Assembly 1
6 4100.632 Drain Plug 1
7 4103.529 Screw, #6-32 x 3/8" 2
8 ** Burner Head Assembly 1
8-1 4103.559 Nozzle 1
8-2 4100.525 Nozzle Seal Washer 2
8-3 4100.533 Nozzle Seal Spring 1
8-4 4101.622 Nozzle Seal Sleeve 1
8-5 4109.352 Burner Head Body 1
8-6 4104.118 Barb Fitting 2
8-7 4101.846 Spark Plug 1
9 4110.124 Screw/Lockwasher, 1/2" 13
10 4104.147 Air Line 1
11 4104.097 Fuel Line 1
12 4105.062 Fan 1
13 ** Motor and Pump Assembly 1
13-1 4100.652 Motor with capacitor 1
13-2 4101.317 Pump Body 1
13-3 4108.588 Screw, #10-32 x 5/8" 2
13-4 4108.635 Insert 1
13-5 4108.627 Rotor 1
13-6 4101.325 End Pump Cover 1
13-7 4101.358 Intake Filter 1
13-8 4108.643 End Filter Cover 1
13-9 4108.379 Steel Ball (1/4" Dia.) 1
13-10 4102.141 Pressure Relief Spring 1
13-11 4102.133 Adjusting Screw 1
13-12 4102.125 Plug 1
13-13 4108.528 Screw, #10-32 x 1" 4
13-14 4101.341 Output Filter 1
13-15 4108.528 Screw, #10-32 x 1" 6
13-16 4101.333 Lint Filter 1
13-17 4104.118 Barb Fitting 1
13-18 4101.22 Blade 4
14 4103.695 Fan Guard 1
15 4150.553 Rubber Bumper 2
Key Part Description Qty.
No. Number
16 4103.850 Edge Liner 1
17 4101.240 Motor Bracket 1
18 4100.527 Lock Washer, #10 2
19 4110.134 Nut, #10-32 3
20 4108.486 Hex locknut 2
21 4110.609 Electronic Ignitor 1
22 4108.510 Screw, #10-16 x 3/4" 2
23 4106.110 Terminal Board 1
24 4110.571 Rivet 1
25 4101.112 Bushing 1
26 4101.112 Bushing 1
27 4101.232 Bushing 2
28 4110.070 Button Plug 1
29 4105.287 Power Line RFI Filter 1
30 4108.126 Lower Shell 1
31 4104.170 Clip Nut 8
32 4110.133 Screw, #10-32 x 3/4" 1
33 4100.630 Fuel filter 1
34 4100.541 Rubber Bushing 1
35 4104.121 Fuel Line 1
36 4110.149 Fuel Tank 1
37 4103.891 Fuel Tank Cap 1
38 4110.195 Wire Assembly (red) 1
39 4104-196 Flame-Out Control 1
40 4150.528 Strain Relief Bushing 1
41 4110.563 Power Cord 1
42 4104.183 Side Cover 1
43 4109.592 Hex Nut 1
44 4104.336 Switch Cover 1
45 4110.164 Wire Assembly (black) 2
46 4106.179 ON/OFF Switch 1
4105.292 Filler Neck Screen 1
4110.138 Tradename Decal 2
4110.196 Combustion Chamber
Ground Wire 1
4110.605 Decal Package 1
PARTS AVAILABLE - NOT SHOWN
**Not available as an assembly, order parts separately.
This list contains replaceable parts used in your heater. When ordering parts, be sure to provide the correct model and
serial numbers (from the model plate), then the part number and description of the desired part.

Spareparts MASTER HEATERS
MODEL 150 CED 150,000 Btu/Hr Model ILLUSTRATED PARTS BREAKDOWN
36
8-1
8-2
8-4
8-3
8-5
8-7
8-6
1
2
3
45
7
8
9
10
11
12
13
14
15
17
20
25
26
9
30
31
33
34
35
36
37
38
39
40
41
6
42
9
21
22
23
24
45
27
28
16
19
18
43
44
47
46
29
32
8-8
13-1
13-2 13-3
13-4
13-5
13-6
13-7
13-8
13-13
13-15
13-16
13-17
13-18
13-14 13-11
13-10
13-9
13-12
Motor and Pump Assembly
Burner Head Assembly

Spareparts MASTER HEATERS
MODEL 150 CED 150,000 Btu/Hr Model PARTS LIST
37
Key Part Description Qty.
No. Number
1 4104.006 Upper Shell 1
2 4109.590 Screw/Lockwasher, 1/2" 8
3 4100.641 Combustion Chamber 1
4 4103.537 Photocell Bracket 1
5 4103.552 Photocell Assembly 1
6 4100.632 Drain Plug 1
7 4103.529 Screw, #6-32 x 3/8" 2
8 ** Burner Head Assembly 1
8-1 4103.898 Nozzle 1
8-2 4100.525 Nozzle Seal Washer 2
8-3 4100.533 Nozzle Seal Spring 1
8-4 4101.622 Nozzle Seal Sleeve 1
8-5 4105.187 Burner Head Body 1
8-6 4104.118 Barb Fitting 2
8-7 4101.846 Spark Plug 1
8-8 4100.526 Wave Spring Washer 1
9 4110.124 Screw/Lockwasher, 1/2" 13
10 4104.156 Air Line 1
11 4110.032 Fuel Line 1
12 4105.062 Fan 1
13 ** Motor and Pump Assembly 1
13-1 4100.562 Motor with capacitor 1
13-2 4101.532 Pump Body 1
13-3 4108.590 Screw, #10-32 x 3/4" 2
13-4 4108.635 Insert 1
13-5 4103.441 Rotor 1
13-6 4101.325 End Pump Cover 1
13-7 4101.358 Intake Filter 1
13-8 4108.643 End Filter Cover 1
13-9 4108.379 Steel Ball (1/4" Dia.) 1
13-10 4102.141 Pressure Relief Spring 1
13-11 4102.133 Adjusting Screw 1
13-12 4102.125 Plug 1
13-13 4108.528 Screw, #10-32 x 1" 4
13-14 4101.341 Output Filter 1
13-15 4108.536 Screw, #10-32 x 1 1/8" 6
13-16 4101.333 Lint Filter 1
13-17 4104.118 Barb Fitting 1
13-18 4101.666 Blade 4
14 4103.659 Fan Guard 1
Key Part Description Qty.
No. Number
15 4150.533 Rubber Bumper 2
16 4103.850 Edge Liner 1
17 4110.186 Motor Bracket 1
18 4100.527 Lock Washer, #10 2
19 4110.134 Nut, #10-32 3
20 4108.486 Hex locknut 2
21 4110.609 Electronic Ignitor 1
22 4108.510 Screw, #10-16 x 3/4" 2
23 4106.110 Terminal Board 1
24 4110.571 Rivet 1
25 4101.112 Bushing 1
26 4101.112 Bushing 1
27 4101.232 Bushing 2
28 4110.070 Button Plug 1
29 4105.287 Power Line RFI Filter 1
30 4108.126 Lower Shell 1
31 4104.170 Clip Nut 8
32 4110.133 Screw, #10-32 x 3/4" 1
33 4100.630 Fuel filter 1
34 4100.541 Rubber Bushing 1
35 4104.121 Fuel Line 1
36 4110.149 Fuel Tank 1
37 4103.891 Fuel Tank Cap 1
38 4110.195 Wire Assembly (red) 1
39 4104.196 Flame-Out Control 1
40 4150.528 Strain Relief Bushing 1
41 4110.563 Power Cord 1
42 4104.183 Side Cover 1
43 4110.041 Vinyl Foam Gasket 2
44 4104.336 Switch Cover 1
45 4109.592 Hex Nut 1
46 4110.164 Wire Assembly (black) 2
47 4106.179 ON/OFF Switch 1
4105.292 Filler Neck Screen 1
4110.138 Tradename Decal 2
4110.196 Combustion Chamber
Ground Wire 1
4110.606 Decal Package 1
PARTS AVAILABLE - NOT SHOWN
**Not available as an assembly, order parts separately.
This list contains replaceable parts used in your heater. When ordering parts, be sure to provide the correct model and
serial numbers (from the model plate), then the part number and description of the desired part.

Spareparts MASTER HEATERS
MODEL 35 CEH 35,000 Btu/Hr Model ILLUSTRATED PARTS BREAKDOWN
38
1
2
3
4
5
6
7
8
9
10
11
12
13
16
9-2
9-1
9-3
9-4
9-5
17
18
19
20
21
22
23
24
26
27
28
29
30
34
35
36
32 33
9-6
15
14
31
42
41
43
40
38
37
39
25
12-11
12-18
12-17
12-16
12-15
12-14
12-13
12-12
12-10
12-1
12-3 12-4
12-5
12-6
12-7
12-8
12-9
12-2
12-19
Motor and Pump Assembly

Spareparts MASTER HEATERS
MODEL 35 CEH 35,000 Btu/Hr Model PARTS LIST
39
Key Part Description Qty.
No. Number
1 4103.784 Handle 1
2 4103.842 Upper Shell 1
3 4108.510 Screw 2
4 4109.590 Screw/Lockwasher 6
5 4100.638 Combustion Chamber 1
6 4103.529 Screw, #6-32 x 3/8" 2
7 4100.657 Photocell Bracket 1
8 4103.590 Photocell Assembly 1
9 ** Burner Strap Assembly 1
9-1 4100.648 Nozzle Assembly 1
9-2 4110.516 Ignitor Kit w/ Ignition
Control 1
9-3 4100.664 Nozzle Adapter 1
9-4 4100.653 Nozzle Adapter Bracket 1
9-5 4100.669 Screw, #6-32 x 7/8" 1
9-6 4100.660 Belleville Washer 1
10 4110.124 Screw/Lockwasherr 2
11 4100.662 Fan 1
12 ** Motor and Pump Assembly 1
12-1 4106.098 Motor 1
12-2 4101.532 Pump Body 1
12-3 4108.635 Insert 1
12-4 4103.441 Rotor 1
12-5 4109.724 Pump End Cover 1
12-6 4109.736 Lint Filter 1
12-7 4109.690 Intake Filter 1
12-8 4109.674 Filter End Cover 1
12-9 4108.528 Screw, #10-32 x 1" 3
12-10 4102.133 Adjusting Screw 1
12-11 4102.141 Pressure Relief Spring 1
12-12 4102.125 Plug 1
12-13 4108.379 Steel Ball, 1/4" Diameter 1
12-14 4109.708 Output Filter 1
12-15 4108.536 Screw #10-32 x 1 1 /8" 6
12-16 4101.666 Blade 4
12-18 4108.590 Screw, #10-32 x 3/4" 2
12-19 4100.666 Plastic Cap 1
13 4103.685 Fan Guard 1
14 S/R Power Cord 1
15 4150.528 Strain Relief Bushing 1
Key Part Description Qty.
No. Number
16 4108.486 Hex Lock Nut, 1/4-20 2
17 4110.124 Screw/Lockwasher, 1/2" 4
18 4150.553 Rubber Bumper 2
19 4100.635 Side Cover 1
20 4110.187 Motor Bracket 1
21 4101.151 Bushing 1
22 4104.170 Clip Nut 6
23 4101.152 Bushing 1
24 4110.124 Screw/Lockwasher, 1/2" 6
25 4100.674 Screw 1
26 4100.636 Lower Shell 1
27 4104.147 Rubber Airline 1
28 4109.567 Fuel Line 1
29 4109.575 Fuel Filter 1
30 4100.541 Rubber Bushing 1
31 4100.656 Nylon Locknut 1
32 4100.654 PCB Support 5
33 4110.516 Ignition Control w/ Ignitor 1
34 4103.891 Fuel Cap (Includes Gasket) 1
35 4100.642 Fuel Tank 1
36 4100.671 Shell Heat-Shield 1
37 4100.673 Nut 3
38 4110.075 Vinyl Foam Gasket 1
39 4100.527 Lockwasher 1
40 S/R Wire Assembly (Brown) 1
41 4100.667 ON/OFF Switch 1
42 4104.336 Switch Cover 1
43 S/R Wire Assembly (White) 1
4105.292 Filler Neck Screen 1
S/R Wire Tie 1
4110.138 Tradename Decal 2
S/R Decal Package 1
PARTS AVAILABLE - NOT SHOWN
S/R = Parts Available by Special Request Only N/A = Parts Not Available
This list contains replaceable parts used in your heater. When ordering parts, be sure to provide the correct model and
serial numbers (from the model plate), then the part number and description of the desired part.

Spareparts MASTER HEATERS
MODEL 70 CEH 70,000 Btu/Hr Model ILLUSTRATED PARTS BREAKDOWN
40
1
2
3
4
5
6
7
8
9
10
11
12
13
16
9-2
9-1
9-3
9-4
9-5
17
18
19
20
21
22
23
24
26
27
28
29
30
34
35
36
32 33
9-6
15
14
31
42
41
43
40
38
37
39
25
12-11
12-18
12-17
12-16
12-15
12-14
12-13
12-12
12-10
12-1
12-3 12-4
12-5
12-6
12-7
12-8
12-9
12-2
12-19
Motor and Pump Assembly

Spareparts MASTER HEATERS
MODEL 70 CEH 70,000 Btu/Hr Model PARTS LIST
41
Key Part Description Qty.
No. Number
1 4103.784 Handle 1
2 4103.842 Upper Shell 1
3 4108.510 Screw 2
4 4109.590 Screw/Lockwasher 6
5 4100.639 Combustion Chamber 1
6 4103.529 Screw, #6-32 x 3/8" 2
7 4100.657 Photocell Bracket 1
8 4103.590 Photocell Assembly 1
9 ** Burner Strap Assembly 1
9-1 4100.647 Nozzle Assembly 1
9-2 4110.516 Ignitor Kit w/ Ignition Control 1
9-3 4100.664 Nozzle Adapter 1
9-4 4100.653 Nozzle Adapter Bracket 1
9-5 4100.669 Screw, #6-32 x 7/8" 1
9-6 4100.660 Belleville Washer 1
10 4110.124 Screw/Lockwasherr 2
11 4100.662 Fan 1
12 ** Motor and Pump Assembly 1
12-1 4100.651 Motor 1
12-2 4101.317 Pump Body 1
12-3 4108.635 Insert 1
12-4 4108.627 Rotor 1
12-5 4109.724 Pump End Cover 1
12-6 4109.736 Lint Filter 1
12-7 4109.690 Intake Filter 1
12-8 4109.674 Filter End Cover 1
12-9 4108.528 Screw, #10-32 x 1" 3
12-10 4102.133 Adjusting Screw 1
12-11 4102.141 Pressure Relief Spring 1
12-12 4102.125 Plug 1
12-13 4108.379 Steel Ball, 1/4" Diameter 1
12-14 4109.708 Output Filter 1
12-15 4108.528 Screw #10-32 x 1" 6
12-16 4100.661 Nylon Elbow, 90 1
12-17 4101.200 Blade 4
12-18 4108.588 Screw, #10-32 x 5/8" 2
12-19 4100.666 Plastic Cap 1
13 4103.685 Fan Guard 1
14 S/R Power Cord 1
15 4150.528 Strain Relief Bushing 1
Key Part Description Qty.
No. Number
16 4108.486 Hex Lock Nut, 1/4-20 2
17 4110.124 Screw/Lockwasher, 1/2" 4
18 4150.553 Rubber Bumper 2
19 4100.635 Side Cover 1
20 4110.187 Motor Bracket 1
21 4101.151 Bushing 1
22 4104.170 Clip Nut 6
23 4101.152 Bushing 1
24 4110.124 Screw/Lockwasher, 1/2" 6
25 4100.674 Screw 1
26 4100.636 Lower Shell 1
27 4104.147 Rubber Airline 1
28 4109.567 Fuel Line 1
29 4103.875 Fuel Filter 1
30 4100.541 Rubber Bushing 1
31 4100.656 Nylon Locknut 1
32 4100.654 PCB Support 5
33 4110.516 Ignition Control w/ Ignitor 1
34 4103.891 Fuel Cap (Includes Gasket) 1
35 4100.643 Fuel Tank 1
36 4100.671 Shell Heat-Shield 1
37 4100.673 Nut 3
38 S/R Vinyl Foam Gasket 1
39 4100.527 Lockwasher 1
40 S/R Wire Assembly (Brown) 1
41 4100.667 ON/OFF Switch 1
42 4104.336 Switch Cover 1
43 S/R Wire Assembly (White) 1
4105.292 Filler Neck Screen 1
4110.049 Wire Tie 1
4110.138 Tradename Decal 2
S/R Decal Package 1
S/R = Parts Available by Special Request Only N/A = Parts Not Available
This list contains replaceable parts used in your heater. When ordering parts, be sure to provide the correct model and
serial numbers (from the model plate), then the part number and description of the desired part.
PARTS AVAILABLE - NOT SHOWN

Spareparts MASTER HEATERS
MODEL 100 CEH 100,000 Btu/Hr Model ILLUSTRATED PARTS BREAKDOWN
42
Motor and Pump Assembly

Spareparts MASTER HEATERS
MODEL 100 CEH 100,000 Btu/Hr Model PARTS LIST
43
Key Part Description Qty.
No. Number
1 4104.006 Upper Shell 1
2 4109.590 Screw/Lockwasher, 1/2" 8
3 4100.640 Combustion Chamber 1
4 4100.658 Photocell Bracket 1
5 4103.529 Screw 2
6 4103.590 Photocell Assembly 1
7 ** Burner Strap Assembly 1
7-1 4100.645 Nozzle Assembly 1
7-2 4110.516 Ignitor Kit w/Ignition Control 1
7-3 4100.669 Screw, #6-32 x 7/8" 1
7-4 4100.653 Nozzle Adapter Bracket 1
7-5 4100.663 Nozzle Adapter 1
7-6 4100.660 Belleville Washer 1
8 4110.124 Screw/Lockwasher, 1/2" 2
9 4105.062 Fan 1
10 ** Motor and Pump Assembly 1
10-1 4100.652 Motor 1
10-2 4101.317 Pump Body 1
10-3 4108.588 Screw, #10-32 x 5/8" 2
10-4 4108.635 Rotor Insert 1
10-5 4108.627 Pump Rotor 1
10-6 4101.325 Pump End Cover 1
10-7 4101.358 Intake Filter 1
10-8 4108.643 Filter End Cover 1
10-9 4108.379 Steel Ball, 1/4" Diameter 1
10-10 4102.141 Relief Spring 1
10-11 4102.133 Adjusting Screw 1
10-12 4102.125 Plug 1
10-13 4108.528 Screw, #10-32 x 1" 10
10-14 4101.341 Output Filter 1
10-15 4101.333 Lint Filter 1
10-16 4104.118 Barb Fitting 1
10-17 4101.200 Blade 4
11 4150.553 Rubber Bumper 2
12 4110.186 Motor Mounting Bracket 1
12 4100.649 Button Plug 1
14 4110.516 Igniton Control w/Ignitor 1
15 4108.486 Hex Lock Nut, 1/4-20 2
16 4103.659 Fan Guard 1
17 4100.632 Drain Plug (Includes “o” Ring) 1
Key Part Description Qty.
No. Number
18 4110.070 Button Plug 1
19 4100.672 Fuel Line 1
20 4100.630 Fuel Filter 1
21 4104.121 Fuel Line Tube 1
22 4100.541 Rubber Bushing 1
23 4104.156 Airline 1
24 4100.637 Lower Shell 1
25 4101.112 Bushing 1
26 4101.232 Bushing 1
27 4110.124 Screw/Lockwasher, 1/2" 6
28 4104.170 Clip Nut 8
29 4100.674 Screw, 1
30 4105.298 Fuel Tank 1
31 4103.891 Fuel Cap (Includes Gasket) 1
32 4100.654 P.C. Board Support 5
33 4150.528 Strain Relief Bushing 1
34 S/R Power Cord 1
35 4100.670 Side Cover 1
36 4110.124 Screw/Lockwasher, 1/2" 4
37 4100.656 Nylon Locknut 1
38 S/R Wire Assembly (Brown) 1
39 4100.667 ON/OFF Switch 1
40 4104.336 Switch Cover 1
41 4100.527 Lockwasher, #10 1
42 4100.673 Nut 3
43 4103.850 Edge Liner 1
44 S/R Wire Assembly (White) 1
4105.292 Filler Neck Screen 1
4110.049 Wire Tie 1
4110.138 Tradename Decal 2
S/R Decal Package 1
PARTS AVAILABLE - NOT SHOWN
S/R = Parts Available by Special Request Only N/A = Parts Not Available
This list contains replaceable parts used in your heater. When ordering parts, be sure to provide the correct model and
serial numbers (from the model plate), then the part number and description of the desired part.

Spareparts MASTER HEATERS
MODEL 150 CEH 150,000 Btu/Hr Model ILLUSTRATED PARTS BREAKDOWN
44
Motor and Pump Assembly

Spareparts MASTER HEATERS
MODEL 150 CEH 150,000 Btu/Hr Model PARTS LIST
45
Key Part Description Qty.
No. Number
1 4104.006 Upper Shell 1
2 4109.590 Screw/Lockwasher, 1/2" 8
3 4100.641 Combustion Chamber 1
4 4100.659 Photocell Bracket 1
5 4103.529 Screw 2
6 4103.590 Photocell Assembly 1
7 ** Burner Strap Assembly 1
7-1 4100.646 Nozzle Assembly 1
7-2 4110.516 Ignitor Kit w/Ignition
Control 1
7-3 4100.669 Screw, #6-32 x 7/8" 1
7-4 4100.653 Nozzle Adapter Bracket 1
7-5 4100.663 Nozzle Adapter 1
7-6 4100.660 Belleville Washer 1
8 4110.124 Screw/Lockwasher, 1/2" 2
9 4105.062 Fan 1
10 ** Motor and Pump Assembly 1
10-1 4100.652 Motor 1
10-2 4101.532 Pump Body 1
10-3 4108.590 Screw, #10-32 x 3/4" 2
10-4 4108.635 Rotor Insert 1
10-5 4103.441 Pump Rotor 1
10-6 4101.325 Pump End Cover 1
10-7 4101.358 Intake Filter 1
10-8 4108.643 Filter End Cover 1
10-9 4108.379 Steel Ball, 1/4" Diameter 1
10-10 4102.141 Relief Spring 1
10-11 4102.133 Adjusting Screw 1
10-12 4102.125 Plug 1
10-13 4108.528 Screw, #10-32 x 1" 4
10-14 4101.341 Output Filter 1
10-15 4101.333 Lint Filter 1
10-16 4104.118 Barb Fitting 1
10-17 4101.666 Blade 4
10-18 4108.536 Screw, #10-32 x 1 1 /8" 6
11 4150.553 Rubber Bumper 2
12 4110.186 Motor Mounting Bracket 1
13 4100.649 Button Plug 1
14 4110.516 Ignition Control w/Ignitor 1
15 4108.486 Hex Lock Nut, 1/4-20 2
Key Part Description Qty.
No. Number
16 4103.659 Fan Guard 1
17 4100.632 Drain Plug
(Includes “o” Ring) 1
18 4110.070 Button Plug 1
19 4100.672 Fuel Line 1
20 4100.630 Fuel Filter 1
21 4101.262 Fuel Line Tube 1
22 4100.541 Rubber Bushing 1
23 4104.156 Airline 1
24 4100.637 Lower Shell 1
25 4101.112 Bushing 1
26 4101.232 Bushing 1
27 4110.124 Screw/Lockwasher, 1/2" 6
28 4104.170 Clip Nut 8
29 4100.674 Screw, 1
30 4105.299 Fuel Tank 1
31 4103.891 Fuel Cap (Includes Gasket) 1
32 4100.654 P.C. Board Support 5
33 4150.528 Strain Relief Bushing 1
34 S/R Power Cord 1
35 4100.670 Side Cover 1
36 4110.124 Screw/Lockwasher, 1/2" 4
37 4100.656 Nylon Locknut 1
38 S/R Wire Assembly (Brown) 1
39 4100.667 ON/OFF Switch 1
40 4104.336 Switch Cover 1
41 4100.527 Lockwasher, #10 1
42 4100.673 Nut 3
43 4103.850 Edge Liner 1
44 S/R Wire Assembly (White) 1
4105.292 Filler Neck Screen 1
S/R Wire Tie 1
4110.138 Tradename Decal 2
S/R Decal Package 1.
PARTS AVAILABLE - NOT SHOWN
S/R = Parts Available by Special Request Only N/A = Parts Not Available
This list contains replaceable parts used in your heater. When ordering parts, be sure to provide the correct model and
serial numbers (from the model plate), then the part number and description of the desired part.

Spareparts MASTER HEATERS
MODEL 35 CEL 35,000 Btu/Hr Model ILLUSTRATED PARTS BREAKDOWN
46
1
2
3
4
5
6
7
8
9
10
11
12
13
16
9-2
9-1
9-3
9-4
9-5
17
18
19
20
21
22
23
24
26
27
28
29
30
34
35
36
32 33
9-6
15
14
31
42
41
43
40
38
37
39
25
12-11
12-18
12-17
12-16
12-15
12-14
12-13
12-12
12-10
12-1
12-3 12-4
12-5
12-6
12-7
12-8
12-9
12-2
12-19
Motor and Pump Assembly

Spareparts MASTER HEATERS
MODEL 35 CEL 35,000 Btu/Hr Model PARTS LIST
47
Key Part Description Qty.
No. Number
1 4110.130 Handle 1
2 4103.842 Upper Shell 1
3 4160.602 Screw 2
4 4109.590 Screw/Lockwasher 6
5 4100.638 Combustion Chamber 1
6 4103.529 Screw, #6-32 x 3/8" 2
7 4100.657 Photocell Bracket 1
8 4103.590 Photocell Assembly 1
9 ** Burner Strap Assembly 1
9-1 4100.648 Nozzle Assembly 1
9-2 4110.132 Ignitor Kit 1
9-3 4100.664 Nozzle Adapter 1
9-4 4100.653 Nozzle Adapter Bracket 1
9-5 4100.669 Screw, #6-32 x 7/8" 1
9-6 4100.660 Belleville Washer 1
10 4110.124 Screw/Lockwasherr 2
11 4100.662 Fan 1
12 ** Motor and Pump Assembly 1
12-1 4106.098 Motor 1
12-2 4101.532 Pump Body 1
12-3 4108.635 Insert 1
12-4 4103.441 Rotor 1
12-5 4109.724 Pump End Cover 1
12-6 4109.736 Lint Filter 1
12-7 4109.690 Intake Filter 1
12-8 4109.674 Filter End Cover 1
12-9 4108.528 Screw, #10-32 x 1" 3
12-10 4102.133 Adjusting Screw 1
12-11 4102.141 Pressure Relief Spring 1
12-12 4102.125 Plug 1
12-13 4108.379 Steel Ball, 1/4" Diameter 1
12-14 4109.708 Output Filter 1
12-15 4108.536 Screw #10-32 x 1 1 /8" 6
12-16 4100.661 Nylon Elbow, 90 1
12-17 4101.666 Blade 4
12-18 4108.590 Screw, #10-32 x 3/4" 2
12-19 4100.666 Plastic Cap 1
13 4103.685 Fan Guard 1
14 S/R Power Cord 1
15 4150.528 Strain Relief Bushing 1
Key Part Description Qty.
No. Number
16 4108.486 Hex Lock Nut, 1/4-20 2
17 4110.124 Screw/Lockwasher, 1/2" 4
18 4150.553 Rubber Bumper 2
19 4100.635 Side Cover 1
20 4110.187 Motor Bracket 1
21 4101.151 Bushing 1
22 4104.170 Clip Nut 6
23 4101.152 Bushing 1
24 4110.124 Screw/Lockwasher, 1/2" 6
25 4110.133 Screw 1
26 4100.636 Lower Shell 1
27 4104.147 Rubber Airline 1
28 4109.567 Fuel Line 1
29 4110.135 Fuel Filter 1
30 4100.541 Rubber Bushing 1
31 4100.656 Nylon Locknut 1
32 4100.654 PCB Support 5
33 4110.142 Ignition Control Assembly 1
34 4103.891 Fuel Cap (Includes Gasket) 1
35 4110.136 Fuel Tank 1
36 4100.671 Shell Heat-Shield 1
37 4110.134 Nut 3
38 4110.075 Vinyl Foam Gasket 1
39 4100.527 Lockwasher 1
40 S/R Wire Assembly (Brown) 1
41 4100.667 ON/OFF Switch 1
42 4104.336 Switch Cover 1
43 S/R Wire Assembly (White) 1
4105.292 Filler Neck Screen 1
4110.049 Wire Tie 1
4110.138 Tradename Decal 2
S/R Decal Package 1
4110.137 Ignition Control
Assembly Fuse 1
PARTS AVAILABLE - NOT SHOWN
S/R = Parts Available by Special Request Only N/A = Parts Not Available
This list contains replaceable parts used in your heater. When ordering parts, be sure to provide the correct model and
serial numbers (from the model plate), then the part number and description of the desired part.

Spareparts MASTER HEATERS
MODEL 70 CEL 70,000 Btu/Hr Model ILLUSTRATED PARTS BREAKDOWN
48
1
2
3
4
5
6
7
8
9
10
11
12
13
16
9-2
9-1
9-3
9-4
9-5
17
18
19
20
21
22
23
24
26
27
28
29
30
34
35
36
32 33
9-6
15
14
31
42
41
43
40
38
37
39
25
12-11
12-18
12-17
12-16
12-15
12-14
12-13
12-12
12-10
12-1
12-3 12-4
12-5
12-6
12-7
12-8
12-9
12-2
12-19
Motor and Pump Assembly

Spareparts MASTER HEATERS
MODEL 70 CEL 70,000 Btu/Hr Model PARTS LIST
49
Key Part Description Qty.
No. Number
1 4110.130 Handle 1
2 4103.842 Upper Shell 1
3 4160.602 Screw 2
4 4109.590 Screw/Lockwasher 6
5 4100.639 Combustion Chamber 1
6 4103.529 Screw, #6-32 x 3/8" 2
7 4100.657 Photocell Bracket 1
8 4103.590 Photocell Assembly 1
9 ** Burner Strap Assembly 1
9-1 4100.647 Nozzle Assembly 1
9-2 4110.132 Ignitor Kit 1
9-3 4100.664 Nozzle Adapter 1
9-4 4100.653 Nozzle Adapter Bracket 1
9-5 4100.669 Screw, #6-32 x 7/8" 1
9-6 4100.660 Belleville Washer 1
10 4110.124 Screw/Lockwasherr 2
11 4100.662 Fan 1
12 ** Motor and Pump Assembly 1
12-1 4100.651 Motor 1
12-2 4101.317 Pump Body 1
12-3 4108.635 Insert 1
12-4 4108.627 Rotor 1
12-5 4109.724 Pump End Cover 1
12-6 4109.736 Lint Filter 1
12-7 4109.690 Intake Filter 1
12-8 4109.674 Filter End Cover 1
12-9 4108.528 Screw, #10-32 x 1" 3
12-10 4102.133 Adjusting Screw 1
12-11 4102.141 Pressure Relief Spring 1
12-12 4102.125 Plug 1
12-13 4108.379 Steel Ball, 1/4" Diameter 1
12-14 4109.708 Output Filter 1
12-15 4108.528 Screw #10-32 x 1" 6
12-16 4100.661 Nylon Elbow, 90 1
12-17 4101.200 Blade 4
12-18 4108.588 Screw, #10-32 x 5/8" 2
12-19 4100.666 Plastic Cap 1
13 4103.685 Fan Guard 1
14 S/R Power Cord 1
15 4150.528 Strain Relief Bushing 1
Key Part Description Qty.
No. Number
16 4108.486 Hex Lock Nut, 1/4-20 2
17 4110.124 Screw/Lockwasher, 1/2" 4
18 4150.553 Rubber Bumper 2
19 4100.635 Side Cover 1
20 4110.187 Motor Bracket 1
21 4101.151 Bushing 1
22 4104.170 Clip Nut 6
23 4101.152 Bushing 1
24 4110.124 Screw/Lockwasher, 1/2" 6
25 4110.133 Screw 1
26 4100.636 Lower Shell 1
27 4104.147 Rubber Airline 1
28 4109.567 Fuel Line 1
29 4103.875 Fuel Filter 1
30 4100.541 Rubber Bushing 1
31 4100.656 Nylon Locknut 1
32 4100.654 PCB Support 5
33 4110.142 Ignition Control Assembly 1
34 4103.891 Fuel Cap
(Includes Gasket) 1
35 4110.140 Fuel Tank 1
36 4100.671 Shell Heat-Shield 1
37 4110.134 Nut 3
38 4110.075 Vinyl Foam Gasket 1
39 4100.527 Lockwasher 1
40 S/R Wire Assembly (Brown) 1
41 4100.667 ON/OFF Switch 1
42 4104.336 Switch Cover 1
43 S/R Wire Assembly (White) 1
4105.292 Filler Neck Screen 1
4110.049 Wire Tie 1
4110.138 Tradename Decal 2
S/R Decal Package 1
4110.137 Ignition Control
Assembly Fuse 1
PARTS AVAILABLE - NOT SHOWN
S/R = Parts Available by Special Request Only N/A = Parts Not Available
This list contains replaceable parts used in your heater. When ordering parts, be sure to provide the correct model and
serial numbers (from the model plate), then the part number and description of the desired part.

Spareparts MASTER HEATERS
MODEL 100 CEL 100,000 Btu/Hr Model ILLUSTRATED PARTS BREAKDOWN
50
Motor and Pump Assembly

Spareparts MASTER HEATERS
MODEL 100 CEL 100,000 Btu/Hr Model PARTS LIST
51
Key Part Description Qty.
No. Number
1 4104.006 Upper Shell 1
2 4109.590 Screw/Lockwasher, 1/2" 8
3 4100.640 Combustion Chamber 1
4 4100.658 Photocell Bracket 1
5 4103.529 Screw 2
6 4103.590 Photocell Assembly 1
7 ** Burner Strap Assembly 1
7-1 4100.645 Nozzle Assembly 1
7-2 4110.132 Ignitor Kit 1
7-3 4100.669 Screw, #6-32 x 7/8" 1
7-4 4100.653 Nozzle Adapter Bracket 1
7-5 4100.663 Nozzle Adapter 1
7-6 4100.660 Belleville Washer 1
8 4110.124 Screw/Lockwasher, 1/2" 2
9 4105.062 Fan 1
10 ** Motor and Pump Assembly 1
10-1 4100.652 Motor 1
10-2 4101.317 Pump Body 1
10-3 4108.588 Screw, #10-32 x 5/8" 2
10-4 4108.635 Rotor Insert 1
10-5 4108.627 Pump Rotor 1
10-6 4101.325 Pump End Cover 1
10-7 4101.358 Intake Filter 1
10-8 4108.643 Filter End Cover 1
10-9 4108.379 Steel Ball, 1/4" Diameter 1
10-10 4102.141 Relief Spring 1
10-11 4102.133 Adjusting Screw 1
10-12 4102.125 Plug 1
10-13 4108.528 Screw, #10-32 x 1" 10
10-14 4101.341 Output Filter 1
10-15 4101.333 Lint Filter 1
10-16 4104.118 Barb Fitting 1
10-17 4101.200 Blade 4
11 4150.553 Rubber Bumper 2
12 4110.186 Motor Mounting Bracket 1
12 4100.649 Button Plug 1
14 4110.142 Igniton Control Assymbly 1
15 4108.486 Hex Lock Nut, 1/4-20 2
16 4103.659 Fan Guard 1
Key Part Description Qty.
No. Number
17 4100.632 Drain Plug
(Includes “o” Ring) 1
18 4110.070 Button Plug 1
19 4110.032 Fuel Line 1
20 4100.630 Fuel Filter 1
21 4110.147 Fuel Line Tube 1
22 4100.541 Rubber Bushing 1
23 4104.156 Airline 1
24 4100.637 Lower Shell 1
25 4101.112 Bushing 1
26 4101.232 Bushing 1
27 4110.124 Screw/Lockwasher, 1/2" 6
28 4104.170 Clip Nut 8
29 4110.133 Screw, 1
30 4110.149 Fuel Tank 1
31 4103.891 Fuel Cap (Includes Gasket) 1
32 4100.654 P.C. Board Support 5
33 4150.528 Strain Relief Bushing 1
34 S/R Power Cord 1
35 4100.670 Side Cover 1
36 4110.124 Screw/Lockwasher, 1/2" 4
37 4100.656 Nylon Locknut 1
38 S/R Wire Assembly (Brown) 1
39 4100.667 ON/OFF Switch 1
40 4104.336 Switch Cover 1
41 4100.527 Lockwasher, #10 1
42 4110.134 Nut 3
43 4103.850 Edge Liner 1
44 S/R Wire Assembly (White) 1
4105.292 Filler Neck Screen 1
4110.049 Wire Tie 1
4110.138 Tradename Decal 2
S/R Decal Package 1
4110.137 Ignition Control
Assembly Fuse 1
PARTS AVAILABLE - NOT SHOWN
S/R = Parts Available by Special Request Only N/A = Parts Not Available
This list contains replaceable parts used in your heater. When ordering parts, be sure to provide the correct model and
serial numbers (from the model plate), then the part number and description of the desired part.

Spareparts MASTER HEATERS
MODEL 150 CEL 150,000 Btu/Hr Model ILLUSTRATED PARTS BREAKDOWN
52
Motor and Pump Assembly

Spareparts MASTER HEATERS
MODEL 150 CEL 150,000 Btu/Hr Model PARTS LIST
53
Key Part Description Qty.
No. Number
1 4104.006 Upper Shell 1
2 4109.590 Screw/Lockwasher, 1/2" 8
3 4100.641 Combustion Chamber 1
4 4100.659 Photocell Bracket 1
5 4103.529 Screw 2
6 4103.590 Photocell Assembly 1
7 ** Burner Strap Assembly 1
7-1 4100.646 Nozzle Assembly 1
7-2 4110.132 Ignitor Kit 1
7-3 4100.669 Screw, #6-32 x 7/8" 1
7-4 4100.653 Nozzle Adapter Bracket 1
7-5 4100.663 Nozzle Adapter 1
7-6 4100.660 Belleville Washer 1
8 4110.124 Screw/Lockwasher, 1/2" 2
9 4105.062 Fan 1
10 ** Motor and Pump Assembly 1
10-1 4100.652 Motor 1
10-2 4101.532 Pump Body 1
10-3 4108.590 Screw, #10-32 x 3/4" 2
10-4 4108.635 Rotor Insert 1
10-5 4103.441 Pump Rotor 1
10-6 4101.325 Pump End Cover 1
10-7 4101.358 Intake Filter 1
10-8 4108.643 Filter End Cover 1
10-9 4108.379 Steel Ball, 1/4" Diameter 1
10-10 4102.141 Relief Spring 1
10-11 4102.133 Adjusting Screw 1
10-12 4102.125 Plug 1
10-13 4108.528 Screw, #10-32 x 1" 4
10-14 4101.341 Output Filter 1
10-15 4101.333 Lint Filter 1
10-16 4104.118 Barb Fitting 1
10-17 4101.666 Blade 4
10-18 4108.536 Screw, #10-32 x 1 1 /8" 6
11 4150.553 Rubber Bumper 2
12 4110.186 Motor Mounting Bracket 1
13 4100.649 Button Plug 1
14 4110.142 Ignition Control Assembly 1
15 4108.486 Hex Lock Nut, 1/4-20 2
16 4103.659 Fan Guard 1
Key Part Description Qty.
No. Number
17 4100.632 Drain Plug
(Includes “o” Ring) 1
18 4110.070 Button Plug 1
19 4110.032 Fuel Line 1
20 4100.630 Fuel Filter 1
21 4110.147 Fuel Line Tube 1
22 4100.541 Rubber Bushing 1
23 4104.156 Airline 1
24 4100.637 Lower Shell 1
25 4101.112 Bushing 1
26 4101.232 Bushing 1
27 4110.124 Screw/Lockwasher, 1/2" 6
28 4104.170 Clip Nut 8
29 4110.133 Screw, 1
30 4110.149 Fuel Tank 1
31 4103.891 Fuel Cap
(Includes Gasket) 1
32 4100.654 P.C. Board Support 5
33 4150.528 Strain Relief Bushing 1
34 S/R Power Cord 1
35 4100.670 Side Cover 1
36 4110.124 Screw/Lockwasher, 1/2" 4
37 4100.656 Nylon Locknut 1
38 S/R Wire Assembly (Brown) 1
39 4100.667 ON/OFF Switch 1
40 4104.336 Switch Cover 1
41 4100.527 Lockwasher, #10 1
42 4110.134 Nut 3
43 4103.850 Edge Liner 1
44 S/R Wire Assembly (White) 1
4105.292 Filler Neck Screen 1
4110.049 Wire Tie 1
4110.138 Tradename Decal 2
S/R Decal Package 1
4110.137 Ignition Control
Assembly Fuse 1
PARTS AVAILABLE - NOT SHOWN
S/R = Parts Available by Special Request Only N/A = Parts Not Available
This list contains replaceable parts used in your heater. When ordering parts, be sure to provide the correct model and
serial numbers (from the model plate), then the part number and description of the desired part.

54
Spareparts MASTER HEATERS - WHEELS AND HANDLES
MODELS 100/150 CEL and 100/150 CED ILLUSTRATED PARTS BREAKDOWN
1
2
3
4
5
6
7

55
Spareparts MASTER HEATERS - WHEELS AND HANDLES
MODELS 100/150 CEL and 100/150 CED PARTS LIST
Key Part Description
No. Number Qty.
1 4110.077 Handles 2
2 4110.144 Screw 8
3 4110.078 Wheel Support Frame 1
4 4110.143 Hex Nut, 8
5 4110.084 Wheel (2) 1
6 4110.085 Cap Nut 2
7 4110.109 Axle 1

56
Spareparts MASTER HEATERS - WHEELS AND HANDLES
MODELS 100 CEH and 150 CEH ILLUSTRATED PARTS BREAKDOWN
1
2
3
4
5
6
7

57
Spareparts MASTER HEATERS - WHEELS AND HANDLES
MODELS 100 CEH and 150 CEH PARTS LIST
Key Part Description B100 CEH B150 CEH
No. Number Qty. Qty.
1 4109.864 Handles 2 -
4109.872 Handles - 2
2 4108.619 Screw, #10-24 x 1 3/4” 88
3 4109.906 Wheel Support Frame 1 -
4109.914 Wheel Support Frame - 1
4 4108.494 Hex Nut, #10-24 8 8
5 4103.289 Wheel (2) 1 1
6 4108.429 Cap Nut 2 2
7 4103.222 Axle 1 -
4105.284 Axle - 1

58
Spareparts MASTER HEATERS
MODEL 350 CEA ILLUSTRATED PARTS BREAKDOWN
Motor and Pump Assembly

59
Spareparts MASTER HEATERS
MODEL 350 CEA PARTS LIST
Key Part Description Qty.
No. Number
1 4110.089 Upper shell 1
2 4101.132 Screw, #10-16 x 1/2” 25
3 4104.040 Combustion chamber &
shield 1
4 4101.151 Bushing 3
5 4103.224 Grommet 1
6 * Burner head assembly 1
7 4103.448 Photocell assembly 1
8 4103.462 Fan 1
9 4103.880 Fan guard 1
10 4100.582 Fan switch 1
11 4101.246 Fan switch cover 1
12 S/R Sleeve 1
13 4101.133 Screw, #10-16 x 3/8” 13
14 * Motor and pump assembly 1
15 S/R Power cord 1
16 4105.238 Fuel line 1
17 4108.574 Ignition boot 1
18 4106.090 Electronic ignitor 1
19 S/R Lower shell 1
20 4104.170 Clip nut 14
21 S/R Screw, #12-14 x 1/2” 4
22 4101.152 Bushing 2
23 4106.584 Wire harness 1
24 4106.181 Fuel line assembly 1
25 4108.956 Front handle 1
26 4103.891 Fuel cap 1
27 4105.292 Filler neck screen 1
28 S/R Screw,1/4-20 x 2 1/4” 6
29 4108.569 Screw,1/4-20 x 1 1/2” 2
30 4109.885 Rear handle 1
31 4101.143 Fuel tank 1
32 S/R Wheel support frame 1
33 4108.759 Axle 1
34 4108.486 Hex lock nut, 1/4-20 8
35 4103.271 Wheel 2
36 S/R Cotter pin, 5/32 x 1 1/4” 2
37 S/R Flatwasher, 5/8” 4
38 4105.240 Wheel spacer 2
39 4100.632 Drain plug 1
Key Part Description Qty.
No. Number
39 4100.632 Drain plug 1
40 4103.882 Thermostat 1
41 4108.510 Srew, #10-16 x 3/4” 2
42 4100.527 Lockwasher, #10 29
43 4101.112 Bushing 1
S/R = Parts Available by Special Request Only N/A = Parts Not Available
This list contains replaceable parts used in your heater. When ordering parts, be sure to provide the correct model and
serial numbers (from the model plate), then the part number and description of the desired part.

60
Spareparts MASTER HEATERS - MOTOR AND PUMP ASSEMBLY
MODEL 350 CEA ILLUSTRATED PARTS BREAKDOWN
4
1
2
3
30
5
6
7
8
9
10 11
12
8
13
14
15
16
17
18
20
19
21
32
32
30
30
23
24
25
27
26
28
29
30
33
36 35
31
34
22

61
Spareparts MASTER HEATERS - MOTOR AND PUMP ASSEMBLY
MODEL 350 CEA PARTS LIST
Key Part Description Qty.
No. Number
1 S/R Wiring cover 1
2 S/R Screw, 5/16-24 x 5/16” 4
3 S/R Lockwasher, 5/16” 4
4 4110.133 Screw, #10-16 x 3/8” 3
5 4104.678 Motor 1
6 S/R Flange clamp
(holds pump to motor) 1
7 S/R Motor support 1
8 4106.335 Street elbow 2
9 4105.840 Pipe nipple 1
10 4105.829 Fuel filter assembly 1
4105.088 Filter element
(inside fuel filter
assembly, includes
rubber gaskets) 1
11 4105.239 90° Male elbow 1
12 4106.333 Compression elbow 1
13 4105.842 Straight fitting 1
14 4103.610 Fuel pump 1
15 S/R Lockwasher, 5/16” 4
16 S/R Hex nut, 5/16-24” 4
17 4104.196 Flame-out control 1
18 4104.567 Power relay 1
19 4101.152 Shorty bushing 3
20 4103.511 Screw, #6-32 x 1/4” 2
21 4150.528 Strain relief bushing 1
22 4109.580 Screw, #10-32 x 1/2” 1
23 S/R Terminal board 1
24 S/R Terminal board 1
25 N/A Rivet 2
26 4101.242 Capacitor 1
27 4101.243 Capacitor cap 1
28 S/R Capacitor bracket 1
29 4105.235 Screw, #10-32 x 1/2” 2
30 4100.527 Lockwasher, #10 7
31 4100.673 Nut, #10-32 2
32 4100.673 Nut, #10-32 2
33 4109.592 Hex nut 1
34 4105.288 Power Line Filter 1
35 N/A Nut, 8 mm 1
36 S/R Lockwasher, 5/16” 1
S/R = Parts Available by Special Request Only N/A = Parts Not Available
This list contains replaceable parts used in your heater. When ordering parts, be sure to provide the correct model and
serial numbers (from the model plate), then the part number and description of the desired part.

62
Spareparts MASTER HEATERS - BURNER HEAD ASSEMBLY
MODEL 350 CEA ILLUSTRATED PARTS BREAKDOWN
4
9
8
7
6
5
3
10
1
2
MODEL 350 CEA PARTS LIST
Key Part Description Qty.
No. Number
1 4103.529 Screw, #6-32 x 3/8” 2
2 4101.214 Photocell bracket 1
3 4101.846 Spark plug 1
4 4104.162 Nozzle 1
5 S/R Plug 1
6 4109.350 Burner head body 1
7 4106.334 Straight nipple 1
8 4102.535 Solenoid valve 1
9 4106.333 Compression elbow 1
10 4105.841 Spark plug gasket 1

63
Spareparts MASTER HEATERS
ACCESSORIES
AIR GAUGE KIT - 4109.427
For all models. Special tool to check
pump pressure.
STANDARD WHEELS AND
HANDLE KIT - 4103.930
Makes heater even more portable
and con-venient.
Easy to assemble. For all 35 and 70
models.
HEAVY DUTY WHEELS AND
HANDLE KIT - 4103.925
For heavy duty applications.
Makes your heater even more portable
and convenient.
For all 35 and 70 models.
IGNITION CONTROL
ASSEMBLY/PHOTOCELL
TESTER - 4106.058
Special tool used to test the ignition
control assembly and photocell, for all
model CEH/CEL.


65
DIRECT FIRED FORCED AIR HEATERS
Illustrated Parts Lists
Models
220CEA, 354CEA
Heater Sizes: 220,000 and 354,000 Btu/Hr

83
12
15
16
25
1
93
8
5
10 2
7
4
9
102
85
21
20
19
11
102
85
13
14
88
85
6
109
107
108
108
3
99
84
86
18
17
95
58 59
87
87 98
79
78
77
76
60 87
61
30
96 80
81
82
94
73
70
69
70
69
64
43
66
67
66
72
68
65
62
43 71
Marchio blu
Marque bleu
Blau Zeichen
Blue mark
75
74
97
63
61
30
56
55
54
57
101
44
43
51
49
53
52
48
43
45
47
50
106
43
33
32
90
91
92
38
37
34
35
36
100
39
40
87
41
42
28
26
27
30
29
89 31
43
22
ILLUSTRATED PARTS BREAKDOWN
66
Spareparts MASTER HEATERS
MODELS 220 CEA and 354 CEA

67
Spareparts MASTER HEATERS
MODELS 220 CEA and 354 CEA PARTS LIST
Key Description Part Number
No. 220 CEA 354 CEA
MAIN BODY
1 FRAME HANDLE S/R S/R
2 FRAME BEARING S/R S/R
3 OUTLET CONE 4031.278 S/R
4 PLUG S/R S/R
5 AXLE S/R S/R
6 WHEEL 200 MM 4031.133 -
6.1 WHEEL 250 MM - 4031.134
7 WHEEL HOLDER 20 mm 4031.175 -
7.1 WHEEL HOLDER 25 mm - 4031.177
8 FUEL TANK 4031.004 -
8.1 FUEL TANK - 4031.006
9 DRAIN PLUG 4031.013 4031.013
10 DRAIN PLUG OR S/R S/R
11 TANK PLUG 4031.145 4031.145
12 REAR INLET GRILL S/R -
12.1 REAR INLET GRILL - 4031.137
13 FAN 300MM 27 DGR 4031.271 -
13.1 FAN 500MM 33 DGR - 4031.272
14 GRUB SCREW S/R S/R
15 MOTOR SUPPORT 4031.138 4031.139
16 AIR FLAB S/R S/R
17 COMBUSTION CHAMBER S/R -
17.1 COMBUSTION CHAMBER - S/R
18 FLAME GUARD SHIELD S/R S/R
19 BASE SX S/R 4031.363
20 BASE DX S/R 4031.364
21 LOWER BODY S/R S/R
22 UPPER BODY S/R S/R
25 CABLE PROTECTION S/R S/R
83 SCREW TC M5x16 S/R S/R
84 SCREW TE 10x1/2" FR S/R S/R
85 NUT M6 S/R S/R
86 SLEEVE S/R S/R
88 SCREW TE M6x16 S/R S/R
93 SCREW TE 14x1/2" FR S/R S/R
99 ELASTIC PLATE S/R S/R
102 SCREW TE M6x30 S/R S/R
107 POWER CORD HOOK S/R S/R
108 SUPPORT BAR B354 S/R S/R
Key Description Part Number
No. 220 CEA 354 CEA
MAIN BODY
109.1 YELLOW PLUG WHEEL
DIAM. 200mm S/R -
109.2 YELLOW PLUG WHEEL
DIAM. 250MM - S/R
CONTROL BOARD
26 CONTROL BOX SUPPORT S/R S/R
27 CONTROL BOX BASE
LANDIS & GYR 4031.010 4031.010
28 CONTROL BOX LANDIS
& GYR 4031.005 4031.005
29 TRANSFORMER H.T. 220 V 4031.035 4031.035
30 H.T CABLE 4031.097 4031.097
31 RELAY 65.31 4031.040 4031.040
32 TERMINAL BOARD S/R S/R
33 ELECTR. COMP. DRAWER S/R S/R
34 PILOT LAMP 4031.169 4031.169
35 SWITCH COVER S/R S/R
36 SWITCH MAN - AUT. 4031.170 4031.170
37 SOCKET 4 PIN 90 DGR. 4031.088 4031.088
38
PLUG 4 PIN CONNECTED (2&3)
4031.089 4031.089
39 CABLE FASTENER S/R S/R
40 FUSE 6 A (6 X 30) 4031.080 -
40.1 FUSE 10 A ( 6 X 30) - 4031.085
41 EL. WIRE WITH PLUG S/R S/R
42 EL. WIRE WITH PLUG &
CABLE FASTENER S/R S/R
89 SCREW TC 8 X 1'' 1/2'' S/R S/R
90 SCREW TC 4 X 1/2'' S/R S/R
91 NUT CLAMP M6 4031.215 4031.215
92 SCREW TE M6 X 16 S/R S/R
100 SCREW TC 4X 3/8'' S/R S/R
S/R = Parts Available by Special Request Only N/A = Parts Not Available
This list contains replaceable parts used in your heater. When ordering parts, be sure to provide the correct model and
serial numbers (from the model plate), then the part number and description of the desired part.

68
Spareparts MASTER HEATERS
MODELS 220 CEA and 354 CEA PARTS LIST
Key Description Part Number
No. 220 CEA 354 CEA
FILTER CONNECTION
43 FLEX FUEL PIPE DIAM 6mm 4031.140 4031.140
44 CABLE PROTECTION S/R S/R
45 FUEL PICK UP TUBE 4031.148 4031.148
47 CONNECTION STRAIGHT
1/4”MX6 4031.160 4031.160
48 CONNECTION STRAIGHT
1/8” MX6 S/R S/R
49 NUT 3/8'' X 5 4031.800 4031.800
50 FILTER SUPPORT 4031.011 4031.011
51 DOUBLE SCREW 4031.802 4031.802
52
CONNECTION 90 DGR 3/8” MX6
4031.803
52.1
CONNECTION STRAIGHT 3/8” MX6
4031.804
53 FILTER COMPLETE 3/8” 4031.070 4031.070
54 FILTER O RING 4031.150 4031.150
55 TOP SEAL OIL FILTER 4031.075 4031.075
56 FILTER ELEMENT 4031.015 4031.015
57 FILTER HOUSING 4031.180 4031.180
101 LOWER OIL FILTER SEAL 4031.191 4031.191
MOTOR & BURNER PARTS
30 H.T CABLE 4031.097 4031.097
58 COOL OFF THERMOSTAT
(FAN) 4031.047 4031.047
59 OVERHEAT THERMOSTAT 4031.045 4031.045
60 ELECTRODE 4031.095 4031.095
61 CABLE CONNECTION 90 DGR S/R S/R
62 OIL SUPPLY PIPE
(DIAM 4 MM) 4031.106 4031.106
63 DANFOSS PUMP 4031.197 4031.197
64 SPOOL DANFOSS 4031.019 4031.019
65 VALVE DANFOSS 4031.195 4031.195
66 CONNECTION STRAIGH
1/4”MX6 S/R S/R
67 COUPLING K1 4031.060 -
68 CONNECTION 90 DGR
1/8” MX4 4031.096 4031.096
69 BICONE 4 MM 4031.115 4031.115
70 NUT FOR BICONE 4031.110 4031.110
Key Description Part Number
No. 220 CEA 354 CEA
MOTOR & BURNER PARTS
71 MOTOR 200 W 4031.131 -
71.1 MOTOR 750 W - 4031.125
72 CAPACITOR 6.3 UF 4031.165 -
72.1 CAPACITOR 16 UF - 4031.166
73 CONNECTION STRAIGHT
1/8'' MX6 S/R S/R
74 NUT M14 S/R S/R
75 BURNER FLANGE S/R S/R
76 NOZZLE SUPPORT 4031.012 4031.012
77 DIFFUSOR 4031.066 4031.066
78 NOZZLE 1.25 GPH 80 DGR 4031.027 -
78.1 NOZZLE 2.00 GPH 80 DGR - 4031.031
79 AIR REGULATION FLAP S/R -
79.1 AIR REGULATION FLAP - 4031.007
80 PHOTO CELL 4031.090 4031.090
81 PHOTOCELL CLAMP 4031.009 4031.009
82 PHOTOCELL FLANGE 4031.008 4031.008
87 SCREW TC 8X3/8'' S/R S/R
94 NUT M5 S/R S/R
95 SCREW S/R S/R
96 SCREW TC 6X1/2'' S/R S/R
97 SCREW TC M4X8 S/R S/R
98 SCREW TCEI M6X25 S/R S/R
S/R = Parts Available by Special Request Only N/A = Parts Not Available
This list contains replaceable parts used in your heater. When ordering parts, be sure to provide the correct model and
serial numbers (from the model plate), then the part number and description of the desired part.

2
2
DEHUMIDIFIERS


71
Spareparts DEHUMIDIFIERS
MODEL DH3818 ILLUSTRATED PARTS BREAKDOWN
DH 3818 dwg

Spareparts DEHUMIDIFIERS
MODEL DH 5128 ILLUSTRATED PARTS BREAKDOWN
72
DH 5128 dwg

Spareparts DEHUMIDIFIERS
MODEL DH3818 - DH 5128 PARTS LIST
73
1 Frame for cooling plant S/R S/R
2 Label f. operating signals 4140.402 4140.402
3 Fan bracket S/R S/R
4 Support for fan bracket S/R S/R
5 Fan motor 11 W 230 V 4140.409 -
5a Fan motor 11 W 230 V - 4140.406
6 Fan blade 4140.411 4140.412
7 Fan housing S/R S/R
8 Condensor and evaporator coil S/R S/R
9 Handle, upper part S/R S/R
10 Filter frame S/R S/R
11 Filter 4140.414 4140.415
12 Grille for filter frame S/R S/R
13 Rear jacket with profiled bracket S/R S/R
15 Solenoid valve S/R S/R
16 Coil for solenoid valve S/R S/R
17 Evaporator sensor, BLUE 4140.417 4140.417
18 Water stop sensor 4140.419 4140.419
19 Brush S/R S/R
20 Water container complete 4140.420 4140.420
23 Front jacket 4140.404 S/R
24 Front output grill S/R S/R
24a Blind for front output grille S/R S/R
25 Capillary tube S/R S/R
26 Liquid line drierl S/R S/R
27 Condensor sensor, RED 4140.421 4140.421
28 Partition wall S/R S/R
29 Compressor complete S/R S/R
30 Compressor bracket S/R S/R
31 LEDs for operating signals S/R S/R
32 Flat cable for LEDs S/R S/R
33 PC board control 4140.403 4140.403
34 PCB screen S/R S/R
35 Back plate S/R S/R
36 Control panel S/R S/R
37 Bracket for main switch S/R S/R
38 Running hour meter BAUSER type 4140.407 4140.407
39 On/Off switch, 2-poled, green 4140.422 4140.422
40 Jack socket S/R S/R
41 Cable relief S/R S/R
42 Drip tray complete 4140.423 4140.423
42B Unloading sleeve 4140.400 4140.400
42C Distance bush 4140.401 4140.401
43 Bottom plate, complete S/R S/R
46 Wheel 4140.425 4140.425
47 Lock washer S/R S/R
48 Handle, lower part S/R S/R
49 Shoes S/R S/R
50 Electric cable S/R S/R
S/R = Parts Available by Special Request Only
Position Description DH 3818 DH 5128
Master NR Master NR

Spareparts DEHUMIDIFIERS
MODEL DH 7937 ILLUSTRATED PARTS BREAKDOWN
74
DH 7937 dwg

Spareparts DEHUMIDIFIERS
MODEL DH 7937 PARTS LIST
75
1 Frame for cooling plant S/R
2 Label for operating signals S/R
3 Fan bracket S/R
4 Support for fan bracket S/R
5 Fan motor 34W 4140.410
6 Fan blade 4140.413
7 Fan housing S/R
8 Condensor S/R
9 Evaporator S/R
10 Handle, upper part S/R
11 Filter frame S/R
12 Filter 4140.416
13 Grille for filter frame S/R
14 Rear jacket with profiled bracket S/R
16 Solenoid valve EVR 6, 032F1212 S/R
17 Coil solenoid valve S/R
18 Evaporator sensor, blue, L 115 4140.418
19 Partition wall S/R
20 Front jacket S/R
21 Front output grille S/R
22 Blind for front output grille S/R
23 Compressor bracket S/R
24 Compressor 9739 Complete S/R
25 Condensor sensor all models, RED 4140.421
26 Receiver 77 x 220 mm, 0,88 ltr S/R
27 Liquid line dryer DN 53S 3/8 S/R
28 Termostatic valve TUB, 68U2061 S/R
29 LEDs for operating signals S/R
30 Flat cable for LEDs S/R
31 PC-Board control all models 4140.403
32 PCB screen S/R
33 Running hour meter 4140.407
34 Bracket for main switch S/R
35 On/Off switch, 2-poled, green 4140.422
36 Jack socket S/R
37 Cable relief S/R
38 Control panel S/R
39 Back plate, right hand side S/R
40 Back plate, left hand side S/R
41 Plastic hose S/R
42 Drip tray complete 4140.424
43 Bottom plate, complete S/R
46 Wheel 4140.425
47 Lock washer S/R
48 Handle, lower part S/R
49 Shoes S/R
50 Electric cable S/R
S/R = Parts Available by Special Request Only
Position Description DH 7937
Master NR


3
3
VAL 6


Spareparts VAL 6 before 2001 (PACKING NO. 1: MAIN UNIT)
Fabr. NR Description Code NR
1 MAIN UNIT=PACKING 1 4116.216
1-1 RADIATION DISK 4115.473
1-2 CONICAL INSULATOR 4115.481
1-3 DRUM 4115.499
1-4 CONICAL HOUSING 4115.507
1-5 BURNER FITTING
PIECE 4115.515
1-6 VISOR 4116.224
1-7 GUARD RAIL 4116.232
1-9 CLAMP BOLT (RH) 4115.549
1-10 CLAMP BOLT (LH) 4115.556
1-11 CLAMP LEVER 4115.564
* Screw for guard rail 4116.231
VAL 6 before 2001 (PACKING NO. 2: FUEL TANK)
Fabr. NR Description Code NR
2 FUEL TANK=PACKING 2 4116.158
2-1 FUEL TANK 4115.382
2-2 SWIVEL BASE 4116.167
2-3 SWIVEL BOLT 4116.174
2-4 TANK LEG 4116.182
2-5 GRIP 4116.190
2-7 WHEEL 4115.390
2-8A DRAIN CAP 4115.407
2-10 FUEL GAUGE KB 4115.424
2-11 TANK INLET FILTER 4115.432
2-12 FILTER CAP 4115.440
2-13 SUCTION PIPE SINGLE 4115.457
2-13A SUCTION PIPE DOUBLE 4115.458
2-14 FUEL INTAKE LINE FLEX. 4115.465
2-16 DRAIN BOLT
TILL 90/91 4115.408
2-16A DRAIN BOLT
FROM 91/92 4115.409
79

80
Spareparts VAL 6 before 2001
MODEL MAIN UNIT = PACKING 1 ILLUSTRATED PARTS BREAKDOWN

81
Spareparts VAL 6 before 2001
MODEL FUEL TANK = PACKING 2 ILLUSTRATED PARTS BREAKDOWN

82
Spareparts VAL 6 before 2001 (PACKING NO. 3: BURNER)
Fabr. NR Description Code NR
3 BURNER=PACKING 3 4116.273
3-1 NOZZLE 1 -STEP 4115.614
3-1 NOZZLE 2-STEP 4115.615
3-2 NOZZLE HOLDER 4115.623
3-3 NOZZLE PIPE 4115.624
3-4 ELECTRODE (L) 4115.200
3-5 ELECTRODE (R) 4115.218
3-6 ELECTRODE STAY 4115.648
3-7 ELECTRODE FITTING 4116.609
3-8 ELECTRODE COVER 4115.663
3-9 FILTER COMPLETE 4115.226
3-10 FILTER ELEMENT 4115.234
3-11 FILTER BOWL 4115.671
3-15 ELBOW NIPPLE 4115.242
3-16 FILTER NIPPLE 4115.259
3-17 FUEL INTAKE LINE 4115.697
3-17 FUEL INTAKE LINE 2-STEP 4116.613
3-18 PUMP ELBOW 1 -STEP 4115.267
3-18A PUMP ELBOW 2-STEP 4115.268
3-19 FUEL PUMP 1-STEP 4115.275
3-19 FUEL PUMP 2-STEP 4116.610
3-20 REVERSE CHECK VALVE 92< 4115.283
3-20A REVERSE CHECK VALVE 92> 4115.285
3-21 PUMP NIPPLE 92< 4115.291
3-21A PUMP NIPPLE 92> 4115.292
3-22 FUEL INTAKE LINE 4115.309
3-25 HOUSING 4115.739
3-26 HOUSING GRIP 4115.747
3-29 SEAL 4115.770
3-30 HOUSING FITTING PIECE A 4115.788
3-37 BURNER CONTROL 4115.317
3-38 FUSE HOLDER 4115.853
3-41 FUSE 4115.887
3-44 CHASSIS GROMMET 4115.928
3-45 FACE PLATE 4115.929
3-47 FAN MOTOR 1-STEP 4115.325
3-47 FAN MOTOR 2-STEP 4116.612
3-48 FLAME MONITOR 4115.333
3-50 FLAME MONITOR
BRACKET 4115.952
3-51 TRANSFORMER 4115.960
3-51 TRANSFORMER 2-STEP 4116.615
3-52 HIGH TENSION CORD 4115.341

Spareparts VAL 6 before 2001 (PACKING NO. 3: BURNER)
Fabr. NR Description Code NR
3-53 HIGH TENSION
CORD CAP 4115.358
3-55 HOUSING FITTING PIECE B 4115.789
3-56 HOUSING SEAL 4115.994
3-57 BURNER BOSS 4116.000
3-58 BURNER CONE 4116.018
3-59 WHIRL VANE 4116.026
3-65 MISFIRE LAMP 4116.067
3-67 OPERATION LAMP 4116.281
3-69 SWITCH 4115.345
3-70 SWITCH LEAD 4116.091
3-74 BURNER PACKING 4115.374
3-76 RELAY 2-ST 4116.620
3-79 AIR VENT VALVE 4116.166
3-80 RETURN LINE 1 STEP 4116.161
3-80 RETURN LINE 2-STEP 4116.616
3-81 RETURN LINE NIPPLE 4116.172
3-84 PHD NIPPLE 4115.271
3-88 DIODE 4116.356
3-89 O-RING 4116.141
3-92 NOISE FILTER RFI <97 4116.203
3-92 NOISE FILTER WITH FUSE 4116.204
3-93 ELECTRODE NIPPLE 4116.380
3-94 NIPPLE FITTING NUT 4116.205
REPAIR BURNER
CONTROL 4115.321
3-98 JACK 4115.305
3-100 SWITCH HIGH LOW 4115.366
83

Spareparts VAL 6-1 STEP before 2001
EP 6J - MODEL BURNER = PACKING 3 ILLUSTRATED PARTS BREAKDOWN
84

85
Spareparts VAL 6-2 STEP before 2001
EP 8J - MODEL BURNER = PACKING 3 ILLUSTRATED PARTS BREAKDOWN


Spareparts VAL 6-KB 2001-2002 (PACKING NO. 1: MAIN UNIT)
Pos. Description Code NR
1-1 RADIATION DISK 4115.473
1-2 CONICAL INSULATOR 4115.481
1-3 DRUM 4115.499
1-4 CONICAL HOUSING 4115.507
1-5 BURNER FITTING PIECE 4115.515
1-6 VISOR 4116.224
1-7 GUARD RAIL 4116.232
1-8 BURNER STAY S/R
1-9 ANGLE ADJUSTMENT BOLT S/R
S/R = Parts Available by Special Request Only
2-1 FUEL TANK 4115.383
2-2 WHEEL HOLDER S/R
2-3 WHEEL SHAFT S/R
2-4 WHEEL S/R
2-5 FUEL GAUGE 4115.425
2-6 TANK INLET FILTER 4115.432
2-7 TANK CAP S/R
2-8 SUCTION PIPE S/R
2-9 RETURN NIPPLE S/R
2-10 SUCTION PACKING S/R
2-11 DRAIN BOLT S/R
2-12 DRAIN PACKING S/R
2-13 FRAME (R) S/R
2-14 FRAME (L) S/R
2-15 HOLDER PIPE S/R
2-16 REINFORCEMENT S/R
2-17 HANDLE STAY BRACKET (R) S/R
2-18 HANDLE STAY BRACKET (L) S/R
2-19 FIXING PIN S/R
2-20 FUEL HOSE 4115.465
2-21 HANDLE S/R
S/R = Parts Available by Special Request Only
87
Spareparts VAL 6-KB 2001-2002 (PACKING NO. 2: FUEL TANK)
Pos. Description Code NR

88
Spareparts VAL 6
MODEL MAIN UNIT = PACKING 1 ILLUSTRATED PARTS BREAKDOWN

89
Spareparts VAL 6
MODEL FUEL TANK = PACKING 2 ILLUSTRATED PARTS BREAKDOWN

90
Spareparts VAL 6-1 STEP -KB - KL
EP 6JA - MODEL BURNER = PACKING 3 ILLUSTRATED PARTS BREAKDOWN

91
Spareparts VAL 6-KBE 2001-2002 (PACKING NO. 3: BURNER)
Pos. Description Code NR
3-1 NOZZLE 4115.614
3-2 NOZZLE HOLDER 4115.623
3-3 NOZZLE PIPE 4115.624
3-4 ELECTRODE (RH) 4115.218
3-5 ELECTRODE (LH) 4115.200
3-6 ELECTRODE STAY 4115.648
3-7 ELECTRODE FITTING PIECE 4115.609
3-8 ELECTRODE COVER 4115.663
3-9 FUEL FILTER COMPLETE 4115.226
3-10 FILTER ELEMENT 4115.234
3-11 FILTER BOWL 4115.671
3-12 FILTER BODY S/R
3-15 ELBOW NIPPLE 4115.242
3-16 FILTER NIPPLE 4115.259
3-17 FUEL INTAKE LINE 4116.613
3-18 PUMP ELBOW 4115.267
3-19 FUEL PUMP 4116.630
3-22 FUEL OUTLET LINE 4115.309
3-23 PUMP NOZZLE GROMMIT S/R
3-25 HOUSING 4115.739
3-26 HOUSING GRIP 4115.747
3-28 HOUSING SEAL (A) 4115.770
3-30 HOUSING FITTING PIECE (A) 4115.788
3-35 CONDENSOR S/R
3-36 SHORT CIRCUIT CORD S/R
3-37 BURNER CONTROL 4116.631
3-38 FUSE HOLDER 4116.765
3-39 FUSE HOLDER BRACKET S/R
3-41 FUSE (1.6 A) 4116.764
3-42 CONTROL CHASSIS S/R
3-43 PUMP TRANSFORMER BRACKET S/R
3-44 GROMMET S/R
3-45 FACE PLATE S/R
3-46 STEP DOWN TRANSFORMER 4116.631
3-47 FAN MOTOR 4116.632
3-48 FLAME MONITOR 4116.640
3-49 FLAME MONITOR HOLDER 4116.641
3-51 IGNITION TRANSFORMER 4116.636
3-52 INSULATING CAP S/R
3-54 HOUSING END S/R
3-55 HOUSING FITTING PIECE (B) 4115.789
3-56 HOUSING SEAL (B) 4115.994
3-57 BURNER BOSS 4116.000
3-58 BURNER CONE 4116.018
3-59 WHIRL VANE 4116.026
3-69 SWITCH 4116.637
3-71 POWER CABLE S/R
3-72A PLUG S/R
3-73A CABLE STOPPER S/R
3-74 BURNER PACKING 4115.374
3-75 NOZZLE SPANNER S/R
3-77 WASHER S/R
3-79 AIR VENT VALVE 4116.166
3-80 RETURN LINE 4116.161
3-81 RETURN LINE NIPPLE 4116.172
3-82 RUBBER CAP S/R
3-84 PHD NIPPLE 4115.271
3-89 O-RING 4116.141
3-90 WASHER S/R
3-93 ELECTRODE NIPPLE 4116.380
3-94 NIPPLE FITTING NUT 4116.205
3-97 BURNER CONTROL COVER S/R
3-98 JACK S/R
3-99 FACE PLATE BRACKET S/R
S/R = Parts Available by Special Request Only

92
Spareparts VAL 6
MODEL MAIN UNIT = PACKING 1 ILLUSTRATED PARTS BREAKDOWN

93
Spareparts VAL 6
EP 6A - MODEL FUEL TANK = PACKING 2 ILLUSTRATED PARTS BREAKDOWN


Spareparts VAL 6-1 STEP 2001-2002 (PACKING NO. 1: MAIN UNIT)
Pos. Description Code NR
1 MAIN UNIT (PACKING NO.1) 4116.216
1-1 RADIATION DISK 4115.473
1-2 CONICAL INSULATOR 4115.481
1-3 DRUM 4115.499
1-4 CONICAL HOUSING 4115.507
1-5 BURNER FITTING PIECE 4115.515
1-6 VISOR 4116.224
1-7 GUARD RAIL 4116.232
1-8 BURNER STAY S/R
1-9 CLAMP BOLT (RH) 4115.549
1-10 CLAMP BOLT (LH) 4115.556
1-11 CLAMP LEVER 4115.564
1-12 WASHER S/R
1-13 BURNER LEG S/R
** Screw for guard rail 4116.231
S/R = Parts Available by Special Request Only
2 FUEL TANK (PACKING NO.2) 4116.158
2-1 FUEL TANK 4115.382
2-2 SWIVEL BASE 4116.167
2-3 SWIVEL BOLT 4116.174
2-4 TANK LEG 4116.182
2-5 GRIP 4116.190
2-6 WHEEL SHAFT S/R
2-7 WHEEL 4115.390
2-8A DRAIN CAP ( OLD MODELS) 4115.407
2-10 FUEL GAUGE 4115.424
2-11 TANK INLET FILTER 4115.432
2-12 FILLER CAP 4115.400
2-13 SUCTION PIPE SINGLE 4115.457
2-13A SUCTION PIPE DOUBLE 4115.458
2-14 FUEL LINE FLEXIBLE 4115.465
2-16 DRAIN BOLT TILL 90/91 4115.408
2-16A DRAIN BOLT FROM 91/92 4115.409
2-17 PACKING S/R
S/R = Parts Available by Special Request Only
Spareparts VAL 6-1 STEP 2001-2002 (PACKING NO. 2: FUEL TANK)
Pos. Description Code NR
95

96
Spareparts VAL 6-1 STEP 2001-2002
EP 6JA - MODEL BURNER = PACKING 3 ILLUSTRATED PARTS BREAKDOWN

97
Spareparts VAL 6-1 STEP 2001-2002 (PACKING NO. 3: BURNER)
Pos. Description Code NR
3-1 NOZZLE 4115.614
3-2 NOZZLE HOLDER 4115.623
3-3 NOZZLE PIPE 4115.624
3-4 ELECTRODE (RH) 4115.218
3-5 ELECTRODE (LH) 4115.200
3-6 ELECTRODE STAY 4115.648
3-7 ELECTRODE FITTING PIECE 4115.609
3-8 ELECTRODE COVER 4115.663
3-9 FUEL FILTER COMPLETE 4115.226
3-10 FILTER ELEMENT 4115.234
3-11 FILTER BOWL 4115.671
3-12 FILTER BODY S/R
3-15 ELBOW NIPPLE 4115.242
3-16 FILTER NIPPLE 4115.259
3-17 FUEL INTAKE LINE 4116.613
3-18 PUMP ELBOW 4115.267
3-19 FUEL PUMP 4116.630
3-22 FUEL OUTLET LINE 4115.309
3-23 PUMP NOZZLE GROMMIT S/R
3-25 HOUSING 4115.739
3-26 HOUSING GRIP 4115.747
3-28 HOUSING SEAL (A) 4115.770
3-30 HOUSING FITTING PIECE (A) 4115.788
3-35 CONDENSOR S/R
3-36 SHORT CIRCUIT CORD S/R
3-37 BURNER CONTROL 4116.631
3-38 FUSE HOLDER 4116.765
3-39 FUSE HOLDER BRACKET S/R
3-41 FUSE (1.6 A) 4116.764
3-42 CONTROL CHASSIS S/R
3-43 PUMP TRANSFORMER BRACKET S/R
3-44 GROMMET S/R
3-45 FACE PLATE S/R
3-46 STEP DOWN TRANSFORMER 4116.633
3-47 FAN MOTOR 4116.632
3-48 FLAME MONITOR 4116.640 NEW
3-49 FLAME MONITOR HOLDER 4116.641 NEW
3-51 IGNITION TRANSFORMER 4116.636
3-52 INSULATING CAP S/R
3-54 HOUSING END S/R
3-55 HOUSING FITTING PIECE (B) 4115.789
3-56 HOUSING SEAL (B) 4115.994
3-57 BURNER BOSS 4116.000
3-58 BURNER CONE 4116.018
3-59 WHIRL VANE 4116.026
3-69 SWITCH 4116.637
3-71 POWER CABLE S/R
3-72A PLUG S/R
3-73A CABLE STOPPER S/R
3-74 BURNER PACKING 4115.374
3-75 NOZZLE SPANNER S/R
3-77 WASHER S/R
3-79 AIR VENT VALVE 4116.166
3-80 RETURN LINE 4116.161
3-81 RETURN LINE NIPPLE 4116.172
3-82 RUBBER CAP S/R
3-84 PHD NIPPLE 4115.271
3-89 O-RING 4116.141
3-90 WASHER S/R
3-93 ELECTRODE NIPPLE 4116.380
3-94 NIPPLE FITTING NUT 4116.205
3-97 BURNER CONTROL COVER S/R
3-98 JACK S/R
3-99 FACE PLATE BRACKET S/R
S/R = Parts Available by Special Request Only


99
Spareparts VAL 6-2 STEP 2001-2002 (PACKING NO. 1: MAIN UNIT)
Pos. Description Code NR
1 MAIN UNIT (PACKING NO.1) 4116.216 ON S/R
1-1 RADIATION DISK 4115.473
1-2 CONICAL INSULATOR 4115.481
1-3 DRUM 4115.499
1-4 CONICAL HOUSING 4115.507
1-5 BURNER FITTING PIECE 4115.515
1-6 VISOR 4116.224
1-7 GUARD RAIL 4116.232
1-8 BURNER STAY S/R
1-9 CLAMP BOLT (RH) 4115.549
1-10 CLAMP BOLT (LH) 4115.556
1-11 CLAMP LEVER 4115.564
1-12 WASHER S/R
1-13 BURNER LEG S/R
** Screw for guard rail 4116.231
S/R = Parts Available by Special Request Only
2 FUEL TANK (PACKING NO.2) 4116.158 ON S/R
2-1 FUEL TANK 4115.382
2-2 SWIVEL BASE 4116.167
2-3 SWIVEL BOLT 4116.174
2-4 TANK LEG 4116.182
2-5 GRIP 4116.190
2-6 WHEEL SHAFT S/R
2-7 WHEEL 4115.390
2-10 FUEL GAUGE 4115.424
2-11 TANK INLET FILTER 4115.432
2-12 FILLER CAP 4115.400
2-13 SUCTION PIPE DOUBLE 4115.458
2-14 FUEL LINE FLEXIBLE 4115.465
2-16 DRAIN BOLT FROM 91/92 4115.409
2-17 PACKING S/R
S/R = Parts Available by Special Request Only
Spareparts VAL 6-2 STEP 2001-2002 (PACKING NO. 2: FUEL TANK)
Pos. Description Code NR

100
Spareparts VAL 6
MODEL MAIN UNIT = PACKING 1 ILLUSTRATED PARTS BREAKDOWN

101
Spareparts VAL 6
MODEL FUEL TANK = PACKING 2 ILLUSTRATED PARTS BREAKDOWN


Spareparts VAL 6-2 STEP 2001-2002 (PACKING NO. 3: BURNER)
Pos. Description Code NR
3 BURNER (PACKING NO.3) S/R
3-1 NOZZLE 4115.615
3-2 NOZZLE HOLDER 4115.623
3-3 NOZZLE PIPE 4115.624
3-4 ELECTRODE (RH) 4115.218
3-5 ELECTRODE (LH) 4115.200
3-6 ELECTRODE STAY 4115.648
3-7 ELECTRODE FITTING PIECE 4115.609
3-8 ELECTRODE COVER 4115.663
3-9 FUEL FILTER COMPLETE 4115.226
3-10 FILTER ELEMENT 4115.234
3-11 FILTER BOWL 4115.671
3-12 FILTER BODY S/R
3-15 ELBOW NIPPLE 4115.242
3-16 FILTER NIPPLE 4115.259
3-17 FUEL INTAKE LINE 4116.613
3-18 PUMP ELBOW 4115.268
3-19 FUEL PUMP 4116.638
3-22 FUEL OUTLET LINE 4115.309
3-23 PUMP NOZZLE GROMMIT S/R
3-25 HOUSING 4115.739
3-26 HOUSING GRIP 4115.747
3-28 HOUSING SEAL (A) 4115.770
3-30 HOUSING FITTING PIECE (A) 4115.788
3-35 CONDENSOR S/R
3-36 SHORT CIRCUIT CORD S/R
3-37 BURNER CONTROL 4116.631
3-38 FUSE HOLDER 4116.765
3-39 FUSE HOLDER BRACKET S/R
3-41 FUSE (1.6A) 4116.764
3-42 CONTROL CHASSIS S/R
3-43 PUMP TRANSFORMER BRACKET S/R
3-45 FACE PLATE S/R
3-46 STEP DOWN TRANSFORMER 4116.633
3-47 FAN MOTOR 4116.639
3-48 FLAME MONITOR` 4116.640
3-49 FLAME MONITOR HOLDER 4116.641
3-51 IGNITION TRANSFORMER 4116.636
3-52 INSULATING CAP S/R
3-54 HOUSING END S/R
3-55 HOUSING FITTING PIECE (B) 4115.789
3-56 HOUSING SEAL (B) 4115.994
3-57 BURNER BOSS 4116.000
3-58 BURNER CONE 4116.018
3-59 WHIRL VANE 4116.026
3-69 SWITCH 4116.637
3-71 POWER CABLE S/R
3-72 PLUG S/R
3-73 CABLE STOPPER S/R
3-74 BURNER PACKING 4115.374
3-75 NOZZLE SPANNER S/R
3-77 WASHER S/R
3-79 AIR VENT VALVE 4116.166
3-80 RETURN LINE S/R
3-81 RETURN LINE NIPPLE 4116.172
3-82 RUBBER CAP S/R
3-84 PHD NIPPLE 4115.271
3-89 O-RING 4116.141
3-90 WASHER S/R
3-93 ELECTRODE NIPPLE 4116.380
3-94 NIPPLE FITTING NUT 4116.205
3-97 BURNER CONTROL COVER S/R
3-98 JACK S/R
3-99 FACE PLATE BRACKET S/R
3-100 SWITCH HIGH-LOW 4116.635
S/R = Parts Available by Special Request Only
103


105
Spareparts VAL 6-2 STEP
EP 8JA - MODEL BURNER = PACKING 3 ILLUSTRATED PARTS BREAKDOWN

106
Spareparts VAL 6 KBE1S Small Unit (PACKING NO. 1: MAIN UNIT)
Pos. Description Code NR
1-1 RADIATION DISK 4115.473
1-2 CONICAL INSULATOR 4116.750
1-3 CONICAL HOUSING 4116.751
1-4 CAUTION LABEL PLATE S/R
1-5 BURNER FITTING PIECE 4115.515
1-6 BURNER PACKING 4116.752
1-7 BURNER SUPPORT S/R
S/R = Parts Available by Special Request Only
2-1 PROTECTOR 4116.753
2-2 PROTECTOR BRACKETT 4116.754
2-3 FRAME (R) S/R
2-4 FRAME (L) S/R
2-5 FRAME CONNECTIO PIPE S/R
2-6 KNOB BOLT S/R
2-7 HANDLE S/R
2-8 PIPE END CAP S/R
2-9 TANK LEG S/R
2-10 WHEEL SHAFT S/R
2-11 WHEEL 4115.390
2-12 FUEL HOSE 4116.755
2-13 RETURN NIPPLE S/R
2-14 SUCTION PACKING S/R
2-15 SUCTION PIPE ASSEMBLY 4116.756
2-16 FUEL GAUGE S/R
2-17 TANK CAP 4114.626
2-18 TANK INLET FILTER 4115.432
2-19 FUEL TANK 4116.757
2-20 DRAIN PACKING S/R
2-21 DRAIN BOLT 4115.409
2-22 GASKET S/R
S/R = Parts Available by Special Request Only
Spareparts VAL 6 KBE1S Small Unit (PACKING NO. 2: FUEL TANK)
Pos. Description Code NR

107
Spareparts VAL 6 KBE1S Small Unit
MODEL MAIN UNIT = PACKING 1 ILLUSTRATED PARTS BREAKDOWN

108
Spareparts VAL 6 KBE1S Small Unit
MODEL FUEL TANK = PACKING 2 ILLUSTRATED PARTS BREAKDOWN

109
Spareparts VAL 6 KBE1S Small Unit (PACKING NO. 3: BURNER)
Pos. Description Code NR
3-1 BURNER CONE 4116.758
2 BURNER FLANGE S/R
3 DIFFUSER PACKING S/R
4 NOZZLE 4116.759
5 WHIRL VANE S/R
6 ELECTRODE COVER S/R
7 ELECTRODE 4116.760
8 DIFFUSER 4116.761
9 NOZZLE NIPPLE S/R
10 BURNER BASE S/R
11 FLAME MONITOR COMPLETE 4116.762
12 FUEL PUMP 4116.763
13 FUEL FILTER COMPLETE 4115.226
14 FILTER ELEMENT 4115.234
15 FILTER NIPPLE S/R
16 PUMP BRACKET S/R
17 FUSE (1.6A) 4116.764
18 FUSE HOLDER 4116.765
19 POWER CABLE S/R
20 CABLE STOPPER S/R
21 FUEL OUTLET LINE 4116.766
22 PUMP NOZZLE GROMMET 4116.767
23 FAN MOTOR 4116.768
24 STEP DOWN TRANSFORMER 4116.631
25 BURNER CONTROL S/R
26 BURNER CONTROL COVER S/R
28 CONTROL CHASSIS S/R
29 SWITCH ASSEMBLY 4116.769
30 CONTROL SUPPORT S/R
31 SHORT CIRCUIT CORD S/R
32 FACE PLATE S/R
33 BURNER COVER S/R
34 AIR VENT VALVE 4116.166
35 RETURN LINE 4116.770
36 RETURN LINE NIPPLE S/R
37 NIPPLE FITTING NUT S/R
(38-1) O-RING 4116.141
(38-2) NOZZLE SPANNER S/R
39 FUSE HOLDER BRACKET S/R
40 NOISE FILTER S/R
41 INSULATING CAP S/R
S/R = Parts Available by Special Request Only

110
Spareparts VAL 6 KBE1S Small Unit
EP 8JA - MODEL BURNER = PACKING 3 ILLUSTRATED PARTS BREAKDOWN

4
4
MASTER ELECTRIC


113
Spareparts MASTER ELECTRIC HEATERS
MODEL B 2 IT ILLUSTRATED PARTS BREAKDOWN
Cod. 4165.063

114
Spareparts MASTER ELECTRIC HEATERS B 2 IT
Pos. Description Code NR
1 TOP COVER 4165.000
2 CONTROL BASE 4165.001
3 DEFLECTOR 4165.002
4 SIDE PANELS 4165.003
5 FRONT PANEL 4165.004
6 GRILL 4165.005
7 BOTTOM PANEL 4165.006
8 KNOB 4165.007
9 RESET LEVER 4165.008
10 TEMP LIMITER SUPPORT 4165.009
11 TEMP LIMITER 4165.010
12 THERMOSTAT 4165.011
13 SWITCH 4165.012
14 ELEMENT 4165.013
15 FAN 4165.014
16 ELECTRIC MOTOR 4161.331
17 POWER CORD 4165.016
18 CABLE RELIEF 4165.017
19 HANDLE 4160.715
20 SUPPORT 4165.019
21 OVERHEAT SENSOR 4165.020

115
Spareparts MASTER ELECTRIC HEATERS
MODEL B 3 IT ILLUSTRATED PARTS BREAKDOWN
Cod. 4165.063

116
Spareparts MASTER ELECTRIC HEATERS B 3 IT
Pos. Description Code NR
1 COVER 4165.000
2 CONTROL BASE 4165.001
3 DEFLECTOR 4165.002
4 SIDE PANELS 4165.003
5 FRONT PANEL 4165.021
6 GRILL 4165.005
7 BOTTOM PANEL 4165.006
8 KNOB 4165.007
9 RESET LEVER 4165.008
10 TEMP LIMITER SUPPORT 4165.009
11 TEMP LIMITER 4165.022
12 THERMOSTAT 4165.011
13 SWITCH 4165.012
14 ELEMENT 4165.023
15 FAN 4165.014
16 ELECTRIC MOTOR 4161.331
17 POWER CORD 4165.024
18 CABLE RELIEF 4165.017
19 HANDLE 4160.715
20 SUPPORT 4165.019
21 OVERHEAT SENSOR 4165.020

117
Spareparts MASTER ELECTRIC HEATERS
MODEL B 5 IT ILLUSTRATED PARTS BREAKDOWN
Cod. 4165.064

118
Spareparts MASTER ELECTRIC HEATERS B 5 IT
Pos. Description Code NR
1 TOP COVER 4165.025
2 CONTROL BASE 4165.026
3 DEFLECTOR 4165.002
4 SIDE PANELS 4165.027
5 FRONT PANEL 4165.028
6 GRILL 4165.005
7 BOTTOM PANEL 4165.006
8 KNOB 4165.007
9 RESET LEVER 4165.008
10 TEMP LIMITER SUPPORT 4165.009
11 TEMP LIMITER 4165.010
12 THERMOSTAT 4165.029
13 SWITCH 4165.030
14 ELEMENT 4165.031
15 FAN 4165.014
16 ELECTRIC MOTOR 4165.032
17 HANDLE 4165.033
18 PLUG 4160.102
19 RELAY 4165.035
20 RUBBER SUPPORT 4165.036
21 SEPARATOR 4165.037
22 OVERHEAT SENSOR 4165.020

119
Spareparts MASTER ELECTRIC HEATERS
MODEL B 9 IT ILLUSTRATED PARTS BREAKDOWN
Cod. 4165.064

120
Spareparts MASTER ELECTRIC HEATERS B 9 IT
Pos. Description Code NR
1 TOP COVER 4165.038
2 CONTROL BASE 4165.039
3 DEFLECTOR 4165.040
4 SIDE PANELS 4165.041
5 FRONT PANEL 4165.042
6 GRILL 4165.043
7 BOTTOM PANEL 4165.044
8 KNOB 4165.007
9 RESET LEVER 4165.008
10 TEMP LIMITER SUPPORT 4165.009
11 TEMP LIMITER 4165.010
12 THERMOSTAT 4165.029
13 SWITCH 4165.030
14 ELEMENT 4165.045
15 FAN 4165.046
16 ELECTRIC MOTOR 4165.047
17 HANDLE 4165.048
18 PLUG 4160.102
19 RELAY 4165.035
20 RUBBER SUPPORT 4165.036
21 SEPARATOR 4165.049
22 OVERHEAT SENSOR 4165.020

121
Spareparts MASTER ELECTRIC HEATERS
MODEL B 15 IT ILLUSTRATED PARTS BREAKDOWN
Cod. 4165.034

122
Spareparts MASTER ELECTRIC HEATERS B 15 IT
Pos. Description Code NR
1 TOP COVER 4165.050
2 CONTROL BASE 4165.051
3 DEFLECTOR 4165.052
4 SIDE PANELS 4165.053
5 FRONT PANEL 4165.054
6 GRILL 4165.055
7 BOTTOM PANEL 4165.056
8 KNOB 4165.007
9 RESET LEVER 4165.008
10 TEMP LIMITER SUPPORT 4165.009
11 TEMP LIMITER 4165.010
12 THERMOSTAT 4165.029
13 SWITCH 4165.030
14 ELEMENT 4165.057
15 FAN 4165.058
16 ELECTRIC MOTOR 4165.059
17 HANDLE 4165.060
18 PLUG 4160.103
19 RELAY 4165.035
20 RUBBER SUPPORT 4165.036
21 SEPARATOR 4165.061
22 OVERHEAT SENSOR 4165.020
23 TERMINAL BOARD 4165.062

Spareparts MASTER ELECTRIC HEATERS
NR Vat Description Appropriate Code NR
2 TOP COVER B 2 TH 4160.209
3 MAINS-LEAD B 2 TH 4160.208
4 TEMP. LIMIT B 2 TH 4160.207
5 THERMOSTAT B 2 TH 4160.198
8 KNOB B 2 TH 4160.200
9 ELECTRIC SWITCH B 2 TH 4160.193
14 MOTOR B 2 TH 4160.201
15 FAN B 2 TH 4160.220
16 INSULAT. PLATE B 2 TH 4160.221
17 ELEMENT B 2 TH 4160.222
123
MODEL B 2 TH ILLUSTRATED PARTS BREAKDOWN


Spareparts MASTER ELECTRIC HEATERS
Description Appropriate Master NR Code NR
1 PLUG B 5 + B 9 TH 5 P-MALE, 16A 4160.102
1 PLUG B 15 TH 4 P-MALE, 32A 4160.101
1 PLUG B 15 TH 5 P-MALE, 32A 4160.103
1 PLUG B 5+B 9 TH 4 P-MALE, 16A 4160.105
2 SWITCH B 3-5 TH 4160.196
2 SWITCH B 9-15 TH 4160.197
3 THERMOSTAT B 3 TH 4160.198
3 THERMOSTAT B 5-15 TH 4160.199
3 THERMOSTAT KIT B 15 TH 4160.218
4 KNOB B 3-15 TH 4160.200
5 MOTOR B 3 TH 4160.201
5 MOTOR B 5 TH 4160.202
5 MOTOR B 9-15 TH 4160.203
6 FAN B 3-5 TH 4160.064
6 FAN B 9 TH 4160.066
6 FAN B 15 TH 4160.067
7 INSULAT. PLATE B 3 TH 4160.217
7 INSULAT. PLATE B 5TH 4160.216
7 INSULAT. PLATE B 9 TH 4160.215
7 INSULAT. PLATE B 15 TH 4160.214
8 ELEMENT B 3-5 TH 4160.204
8 ELEMENT B 9 TH 4160.205
8 ELEMENT B 15TH 4160.206
9 TEMP.LIMIT B 2 TH/B 3 TH 4160.207
10 CABLE RELIEF B 3 TH 4160.208
12 TOP COVER B 3-5 TH 4160.210
12 TOP COVER B 9 TH 4160.211
12 TOP COVER B 15 TH 4160.212
CONNECTION FAN B 3-15 TH 4150.717
HANDLE B 9 TH 4160.235
FUSE 4 AMP. B 15 TH 4160.213
FRONT GRILL B 3-5 TH 4160.232
FRONT GRILL B 9 TH 4160.233
FRONT GRILL B 15 TH 4160.234
TS-3 SPAREPARTS:
2 ROCKER SWITCH TS-3 4160.301
3 NEON INDICATOR TS-3 4160.302
5 STRAIN RELIEF
BUSH TS-3 4160.303
11 CERAMIC TS-3 4160.300
EMITTER
HAL 3000/3000E SPAREPARTS:
LAMP 1.5 KW HAL 3000/3000E 4160.350
CONNECTOR HAL 3000/3000E 4160.351
FUSE HOLDER HAL 3000/3000E 4160.352
FUSE HAL 3000/3000E 4160.353
125

Spareparts MASTER ELECTRIC HEATERS
MODEL B 3 TH ILLUSTRATED PARTS BREAKDOWN
MODEL B 5 TH ILLUSTRATED PARTS BREAKDOWN
126

Spareparts MASTER ELECTRIC HEATERS
MODEL B 9 TH ILLUSTRATED PARTS BREAKDOWN
127
MODEL B 15 TH ILLUSTRATED PARTS BREAKDOWN


Spareparts MASTER ELECTRIC HEATERS
NR Vat Description Appropriate Code NR
3 PLUG B 22 TH 4160.103
9 FUSE B 22 TH 4160.213
10 CAPACITOR B 22 TH 4160.236
11 CONTACTOR B 22 TH 4160.407
14 SWITCH B 22 TH 4160.223
15 THERMOSTAT B 22 TH 4160.199
18 KNOB B 22 TH 4160.200
20 REAR GRILL 4160.230
21 MOTOR+FAN B 22 TH 4160.225
22 HANDLE B 22 TH
27 INSULAT. PLATE L. B 22 TH 4160.228
28 INSULAT. PLATE R. B 22 TH 4160.231
29 ELEMENT B 22 TH 4160.227
32 BASE B 22 TH 4160.229
129
MODEL B 22 TH ILLUSTRATED PARTS BREAKDOWN

MASTER ELECTRIC HEATERS BS 10 E / BS 15 E
Fabr. NR. Description Appropriate Code NR
03 PLUG FEMALE TH. BS 10 E/ BS 15 E 4160.400
04 CHASSIS FEMALE BS 10 E/ BS 15 E 4160.401
05 PLUG MALE BS 10 E/ BS 15 E 4031.087
08 PLUG 16A-5POL BS 10 E 4160.102
08A PLUG 32A-5POL BS 15 E 4160.103
24 PC-BOARD BS 10 E/ BS 15 E 4160.402
26 FAN MOTOR BS 10/ BS 15 E 4160.403
28 KNOB BS 10 E/ BS 15 E 4160.200
29 LAMP BS 10 E/ BS 15 E 4160.404
30 THERMOSTAT BS 10 E/ BS 15 E 4160.405
31 SWITCH BS 10 E/ BS 15 E 4160.197
32 SAFETY THERM. BS 10 E/ BS 15 E 4160.406
34 ELEMENT BS 10/15 E 4160.204
36 CONTACTOR BS 10/15 E 4160.407
130

MASTER ELECTRIC HEATERS BS 10E / BS 15E
MODEL BS 10/15 E ILLUSTRATED PARTS BREAKDOWN
131

Spareparts MASTER ELECTRIC HEATERS
Description Appropriate Master NR Code NR
BACKGRILL B 9 TH B 4160.097
BRACKET ASS. B 12 E 4160.094
ELEMENT 2 KW B 2 E 2KW-220 V. 4160.002
ELEMENT 2 KW B 6 E 2KW-220 V. 4160.017
ELEMENT 2 KW B 12 E 2KW-220 V. 4160.018
ELEMENT 3 KW B 18 E 3KW-220 V. 4160.019
ELEMENT 3 KW B 3 TH B* 2 X 1500 W 4160.058
ELEMENT 9 KW B 9 TH B* 6 X 1500 W 4160.061
ELEMENT 15 KW B 15 TH B* 6 X 2500 W 4160.062
FAN B 2 E 4160.003
FAN B 12 E 17802930 4160.066
FRONT GRILL B 9 TH B 4160.096
KNOB B 9 TH B 18508004 4160.098
MOTOR B 2 E 4160.001
MOTOR B 3 E AA 2M 5848K 4160.005
MOTOR B 6 E AA 2M 5849K 4160.009
MOTOR ROUND B 12 E AA 2R 5683K
4160.011 / 4160.203
MOTOR ROUND B 18 E CA 2J 5770K 4160.014
MOTOR B 3 TH B* 82D-1305/06 4160.078
MOTOR B2-TH 17801006
MOTOR BRACKET B 9 TH B 4160.104
PLUG B 18 E 34 AMP/4 PIN 4160.036
PLUG-CONTRA B 15 TH 5 P-FEMALE, 32A 4160.099
PLUG-CONTRA B 5/9 TH 5 P-FEMALE, 16A 4160.100
SWITCH B 2 E 16 A/250 V. 4160.008
STAND B 9 TH B 4160.108
SWITCH B 6E RA68-LLL F1 05/417.0200 4160.010
SWITCH B 12 E F1 05/407.0200 4160.013
SWITCH B 18 E F1 56/407.0400 4160.016
SWITCH B 3 E 4160.024
SWITCH B 3 TH B* 3031/4A 4160.075
SWITCH B 2 TH 17110022 4160.193
THERMAL SWITCH B 5 + 9 TH B* 55.32522.22 4160.069
THERMOSTAT B 6E/BL2E TH-4A 4160.025
THERMOSTAT B 18 E TH-4B 4160.030
THERMOSTAT B 3+B 15 TH B* 55.13001.060 4160.072
THERMOSTAT B 5+B 9 TH B* 55.34001.110 4160.073
WIRINGSET ASS. B 12 E 4160.035
WIRINGSET B 9 TH B 4160.106
* TH-B* = KNOPPEN OP ACHTERPANEEL
KNOBS ON BACKSIDE-PANEL
KNOPFEN AM HINTEN-PANEL
GEEN TEKENINGEN BESCHIKBAAR
NO EXPLODED VIEWS AVAILABLE
KEINE EXPLOSIONS ZEICHNUNGEN
ZUR VERFUGUNG
132

Spareparts MASTER ELECTRIC HEATERS B 6 IT and B 10 IT
Item Description Appropriate Master NR
5 POWERPLUG 16A 5P B 6/10 IT 4160.102
6 CABLE RELIEF B 6/10 IT 4160.453
7 SOCKET B 6/10 IT 4160.454
9 CONTACTOR B 6/10 IT 4160.407
11 SWITCH B 6/10 IT 4160.223
12 SAFETY THERMOSTAT B 6/10 IT 4160.199
16 PC-BOARD B 6/10 IT 4160.455
17 SUPPORT PC-BOARD B 6/10 IT 4160.456
20 KNOB B 6/10 IT 4160.200
21 PRESS BUTTON B 6/10 IT 4160.457
25 MOTOR WITH FAN B 6/10 IT 4160.458
26 HANDLE B 6/10 IT 4160.451
27 LEFT PIPE HANDLE B 6/10 IT 4160.459
28 RIGHT PIPE HANDLE B 6/10 IT 4160.460
33 SHORT LOCK CLIP B 6/10 IT 4160.461
34 LONG LOCK CLIP B 6/10 IT 4160.462
35 HEAT ELEMENT B 6 IT 3X 4160.463
35 HEAT ELEMENT B 10 IT 4X 4160.464
36 HEAT ELEMENT B 10 IT LX 4160.465
36/37 FRONT GRILL B 6/10 IT 4160.466
WALL BRACKET B 6/10 IT 4160.450
133
MASTER ELECTRIC HEATERS B 6 IT and B 10 IT ILLUSTRATED PARTS BREAKDOWN


5
5
MASTER PROPANE GASHEATERS


137
Spareparts MASTER MANUAL GAS HEATERS
MODEL 10 kW ILLUSTRATED PARTS BREAKDOWN
Cod. 4160.795

138
Spareparts MASTER MANUAL GAS HEATERS 10 kW
Pos. Code NR Description
1 4160.714 OUTLET GRID
2 4161.336 COMBUSTION CHAMBER
3 4160.918 YELLOW COVER RAL 1006
4 4160.715 PLASTIC HANDLE
5 4160.689 FAN Ø172 19°
6 4160.628 ELECTRIC MOTOR 29 W 230/50-60HZ IP44
7 4160.713 PLASTIC GRID
8 4160.636 SAFETY THERMOSTAT
9 4160.708 SUPPORT FOR THERMOSTAT
10 4160.707 IGNITION ELETTRICAL FOLDER
11 4160.654 INTERRUPTED THERMOCOUPLE
12 4160.746 GAS NOZZLE
13 4160.655 ELECTRO VALVE
14 4160.620 90° DEGREE ELBOW 1/8°
15 4160.653 SAFETY GAS VALVE
16 4160.701 RING NUT M12X0,75
17 4160.700 GAS INLET 3/8 M - 1/8 M
18 4160.733 ELECTRIC CABLE
19 4160.635 KEEPER WIRE DEVICE
20 4160.638 COVER SWITCH
21 4160.637 SWITCH
22 4160.641 PIEZO IGNITOR
23 4160.640 ADAPTER FOR PIEZO IGNITOR
24 4160.699 PLASTIC BASE
25 4160.702 GAS BURNER
26 4160.627 ELASTIC WASHER

139
Spareparts MASTER MANUAL GAS HEATERS
MODEL 15 kW Reg. ILLUSTRATED PARTS BREAKDOWN
Cod. 4160.989

140
Spareparts MASTER MANUAL GAS HEATERS 15 kW Reg.
Pos. Code NR Description
1 4160.714 OUTLET GRID
2 4161.372 COMBUSTION CHAMBER
3 4160.921 YELLOW COVER RAL 1006
4 4160.715 PLASTIC HANDLE
5 4160.689 FAN Ø172 19°
6 4160.628 ELECTRIC MOTOR 29 W 230/50-60HZ IP44
7 4160.713 PLASTIC GRID
8 4160.636 SAFETY THERMOSTAT 90°
9 4160.708 SUPPORT FOR THERMOSTAT
10 4160.707 IGNITION ELETTRICAL FOLDER
11 4160.654 INTERRUPTED THERMOCOUPLE
12 4160.746 GAS NOZZLE
13 4160.742 EXTENSION
14 4160.675 COCK
15 4160.655 ELECTRO VALVE
16 4160.653 SAFETY GAS VALVE
17 4160.701 RING NUT M12X0,75ER
18 4160.700 GAS INLET NOZZLE 3/8 M - 1/8 M
19 4160.635 KEEPER WIRE DEVICE
20 4160.733 ELECTRIC CABLE
21 4160.638 COVER SWITCH
22 4160.637 SWITCH
23 4160.641 PIEZO IGNITOR
24 4160.640 ADAPTER FOR PIEZO IGNITOR
25 4160.760 PLASTIC BASE
26 4160.620 90° DEGREE ELBOW 1/8"
27 4160.702 GAS BURNER
28 4160.627 ELASTIC WASHER

141
Spareparts MASTER MANUAL GAS HEATERS
MODEL 30 kW ILLUSTRATED PARTS BREAKDOWN
Cod. 4160.796

142
Spareparts MASTER MANUAL GAS HEATERS 30 kW
Pos. Code NR Description
1 4160.764 OUTLET GRID
2 4161.373 COMBUSTION CHAMBER
3 4161.027 YELLOW COVER RAL 1006
4 4160.715 PLASTIC HANDLE
5 4160.690 FAN Ø200 19°
6 4160.629 ELECTRIC MOTOR 80 W 230-240/50HZ IP44
7 4160.784 INLET
8 4161.010 SUPPORT ELECTRIC MOTOR
9 4160.731 IGNITION ELETTRICAL FOLDER
10 4160.636 SAFETY THERMOSTAT 90°
11 4160.708 SUPPORT FOR THERMOSTAT
12 4160.654 INTERRUPTED THERMOCOUPLE
13 4160.627 ELASTIC WASHER
14 4160.726 PLATE BURNER
15 4160.687 GAS BURNER
16 4160.724 COPPER EXTENDIN
17 4160.623 NOZZLE 1/8"
18 4160.700 GAS INLET NOZZLE 3/8 M - 1/8 M
19 4160.653 SAFETY GAS VALVE
20 4160.701 RING NUT M12X0,75
21 4160.968 NOZZLE 1/8"
22 4160.660 GAS COCK WITH ELECTRO-VALVE
23 4160.782 SUPPORT BURNER
24 4160.778 BASE
25 4160.733 ELECTRIC CABLE
26 4160.635 KEEPER WIRE DEVICE
27 4160.638 COVER SWITCH
28 4160.637 SWITCH
29 4160.641 PIEZO IGNITOR
30 4160.640 ADAPTER FOR PIEZO IGNITOR
31 4160.646 GROMMET 16-30-22
32 4160.639 RIVET POP
33 4160.621 OGIVA 90°
34 4160.722 GAS NOZZLE Ø1,15

143
Spareparts MASTER MANUAL GAS HEATERS
MODEL 30 kW E ILLUSTRATED PARTS BREAKDOWN
Cod. 4161.134

144
Spareparts MASTER MANUAL GAS HEATERS 30 kW E
Pos. Code NR Description
1 4160.764 OUTLET
2 4161.373 COMBUSTION
3 4161.027 YELLOW COVER RAL 1006
4 4160.715 PLASTIC HANDLE
5 4160.690 FAN Ø200 19°
6 4160.629 ELECTRIC MOTOR 80 W 230-240/50HZ IP44
7 4160.784 INLET GRID
8 4161.010 SUPPORT ELECTRIC MOTOR
9 4160.636 SAFETY THERMOSTAT
10 4160.708 SUPPORT FOR THERMOSTAT
11 4160.632 FLAME PROBE
12 4161.248 IGNITION ELETTRICAL FOLDER
13 4160.752 PLATE BURNER
14 4160.687 GAS BURNER
15 4160.722 GAS NOZZLE Ø1,15
16 4160.660 GAS COCK WITH ELECTRO-VALVE
17 4160.614 PLAIN WASHER M10
18 4160.700 GAS INLET NOZZLE 3/8 M - 1/8 M
19 4160.655 ELECTROVALVE
20 4160.623 NOZZLE 1/8"
21 4160.724 COPPER EXTENDIN VALVOLE-NOZZLE
22 4160.635 KEEPER WIRE DEVICE PA 107
23 4160.733 ELECTRIC CABLE
24 4160.651 KEEPER WIRE DEVICE
25 4160.648 COMPLETE PLUG IN
26 4160.650 CONNEXION PLUG 5 PIN
26 4161.401 CONNEXION PLUG 4 PIN
27 4160.649 CONNEXION SOCKET 5 PIN
27 4161.400 CONNEXION SOCKET 4 PIN
28 4160.647 ANGULAR FIX CASE
29 4160.638 COVER SWITCH
30 4161.058 LIGHT SWITCH
31 4161.057 SWITCH
32 4161.075 BASE
33 4160.646 GROMMET 16-30-22
34 4161.004 ELECTRONIC PC BOARD FOR GAS
35 4160.782 SUPPORT BURNER
36 4160.639 RIVET POP
37 4160.621 90° DEGREE ELBOW 1/8"

145
Spareparts MASTER MANUAL GAS HEATERS
MODEL 30 kW PB ILLUSTRATED PARTS BREAKDOWN
Cod. 4161.211

146
Spareparts MASTER MANUAL GAS HEATERS 30 kW PB
Pos. Code NR Description
1 4160.764 OUTLET GRID
2 4161.373 COMBUSTION CHAMBER
3 4161.468 YELLOW COVER RAL 1006
4 4160.715 PLASTIC HANDLE
5 4160.690 FAN Ø200 19°
6 4160.629 ELECTRIC MOTOR 80 W 230-240/50HZ IP44
7 4160.784 INLET GRID
8 4161.010 SUPPORT ELECTRIC MOTOR
9 4160.646 GROMMET 16-30-22
10 4160.731 IGNITION ELETTRICAL FOLDER
11 4160.636 SAFETY THERMOSTAT 90°
12 4160.708 SUPPORT FOR THERMOSTAT
13 4160.654 INTERRUPTED THERMOCOUPLE
14 4160.627 ELASTIC WASHER
15 4160.726 PLATE BURNER
16 4160.687 GAS BURNER
17 4160.724 COPPER EXTENDIN VALVOLE-NOZZLE
18 4160.623 NOZZLE 1/8"
19 4160.700 GAS INLET NOZZLE 3/8 M - 1/8 M
20 4160.653 SAFETY GAS VALVE
21 4160.701 RING NUT M12X0,75
22 4160.968 NOZZLE 1/8"
23 4160.660 GAS COCK WITH ELECTRO-VALVE
24 4160.721 PLASTIC BASE
25 4160.733 ELECTRIC CABLE
26 4160.635 KEEPER WIRE DEVICE PA 107
27 4160.638 COVER SWITCH
28 4160.637 SWITCH
29 4160.641 PIEZO IGNITOR
30 4160.640 ADAPTER FOR PIEZO IGNITOR
31 4160.621 90° DEGREE ELBOW 1/8"
32 4160.722 GAS NOZZLE Ø1,15
33 4160.639 RIVET POP

147
Spareparts MASTER MANUAL GAS HEATERS
MODEL 30 kW E PB ILLUSTRATED PARTS BREAKDOWN
Cod. 4161.461

148
Spareparts MASTER MANUAL GAS HEATERS 30 kW E PB
Pos. Code NR Description
1 4160.764 OUTLET GRID
2 4161.373 COMBUSTION CHAMBER
3 4161.468 YELLOW COVER RAL 1006
4 4160.715 PLASTIC HANDLE
5 4160.690 FAN Ø200 19°
6 4160.629 ELECTRIC MOTOR
7 4160.784 INLET GRID
8 4161.010 SUPPORT ELECTRIC MOTOR
9 4160.646 GROMMET 16-30-22
10 4160.639 RIVET POP
11 4160.636 SAFETY THERMOSTAT 90°
12 4160.708 SUPPORT FOR THERMOSTAT
13 4161.248 IGNITION ELETTRICAL FOLDER
14 4160.632 FLAME PROBE
15 4160.722 GAS NOZZLE Ø1,15
16 4160.660 GAS COCK WITH ELECTRO-VALVE
17 4160.700 GAS INLET NOZZLE 3/8 M - 1/8 M
18 4161.501 NIPPLE 1/8"M.F.
19 4160.655 ELECTROVALVE
20 4160.623 NOZZLE 1/8"
21 4160.724 COPPER EXTENDIN VALVOLE-NOZZLE
22 4160.635 KEEPER WIRE DEVICE PA 107
23 4160.733 ELECTRIC CABLE
24 4160.651 KEEPER WIRE DEVICE
25 4160.648 COMPLETE PLUG IN
26 4160.650 CONNEXION PLUG 5 PIN
26 4161.401 ONNEXION PLUG 4 PIN
27 4160.649 CONNEXION SOCKET 5 PIN
27 4161.400 CONNEXION SOCKET 4 PIN
28 4160.647 ANGULAR FIX CASE
29 4160.638 COVER SWITCH
30 4161.058 LIGHT SWITCH
31 4161.057 SWITCH
32 4161.281 PLASTIC BASE
33 4161.004 ELECTRONIC PC BOARD FOR GAS
34 4160.621 90° DEGREE ELBOW 1/8"
35 4160.687 GAS BURNER
36 4160.752 PLATE BURNER

149
Spareparts MASTER MANUAL GAS HEATERS
MODEL 30 kW D.V. PB ILLUSTRATED PARTS BREAKDOWN
Cod. 4161.462

150
Spareparts MASTER MANUAL GAS HEATERS 30 kW D.V. PB
Pos. Code NR Description
1 4160.764 OUTLET GRID
2 4161.373 COMBUSTION CHAMBER
3 4161.468 YELLOW COVER RAL 1006
4 4160.715 PLASTIC HANDLE
5 4160.690 FAN Ø200 19°
6 4161.165 ELECTRIC MOTOR 80 W 230-240/50HZ IP44
7 4160.784 INLET GRID
8 4161.010 SUPPORT ELECTRIC MOTOR
9 4160.646 GROMMET 16-30-22
10 4160.731 IGNITION ELETTRICAL FOLDER
11 4160.636 SAFETY THERMOSTAT90°
12 4160.708 SUPPORT FOR THERMOSTAT
13 4160.654 INTERRUPTED THERMOCOUPLE
14 4160.627 ELASTIC WASHER
15 4160.726 PLATE BURNER
16 4160.687 GAS BURNER
17 4160.724 COPPER EXTENDIN VALVOLE-NOZZLE
18 4160.623 NOZZLE 1/8"
19 4160.700 GAS INLET NOZZLE 3/8 M - 1/8 M
20 4160.653 SAFETY GAS VALVE
21 4160.701 RING NUT M12X0,75
22 4160.968 NOZZLE 1/8"
23 4161.267 GAS COCK WITH ELECTRO-VALVE
24 4161.282 PLASTIC BASE
25 4160.743 ELECTRIC CABLE
26 4160.635 KEEPER WIRE DEVICE PA 107
27 4160.638 COVER SWITCH
28 4160.637 SWITCH
29 4160.641 PIEZO IGNITOR
30 4160.640 ADAPTER FOR PIEZO IGNITOR
31 4161.292 SWITCH DUAL VOLTAGE
32 4161.284 COVER SWITCH DUAL VOLTAGE
33 4160.621 90° DEGREE ELBOW 1/8"
34 4160.722 GAS NOZZLE Ø1,15
35 4160.639 RIVET POP

151
Spareparts MASTER MANUAL GAS HEATERS
MODEL 50 kW ILLUSTRATED PARTS BREAKDOWN
Cod. 4160.988

152
Spareparts MASTER MANUAL GAS HEATERS 50 kW
Pos. Code NR Description
1 4160.740 OUTLET GRID
2 4161.083 COMBUSTION CHAMBER
3 4161.028 YELLOW COVER RAL 1006
4 4160.715 PLASTIC HANDLE
5 4160.691 FAN
6 4160.630 ELECTRIC MOTOR
7 4160.739 INLET GRID
8 4161.013 SUPPORT ELECTRIC MOTOR
9 4160.744 PLATE BURNER
10 4160.731 IGNITION ELETTRICAL FOLDER
11 4160.708 SUPPORT FOR THERMOSTAT
12 4160.636 SAFETY THERMOSTAT 90°
13 4160.953 INTERRUPTED THERMOCOUPLE
14 4160.627 ELASTIC WASHER
15 4160.962 NOZZLE 1/4" - 1/8"
16 4160.963 ELECTROVALVE
17 4160.964 NIPPLES REDUCER
18 4160.700 GAS INLET NOZZLE 3/8 M - 1/8 M
19 4160.688 SAFETY GAS VALVE
20 4160.701 RING NUT M12X0,75
21 4160.683 GAS COCK
22 4160.646 GROMMET 16-30-22
23 4161.018 SUPPORT BURNER
24 4161.015 BASE
25 4160.637 SWITCH
26 4160.638 COVER SWITCH
27 4160.631 ELECTRIC CABLE
28 4160.635 KEEPER WIRE DEVICE PA 107
29 4160.641 PIEZO IGNITOR
30 4160.640 ADAPTER FOR PIEZO IGNITOR
31 4160.639 RIVET POP
32 4160.967 90° DEGREE ELBOW 1/8"
33 4160.768 SUPPORT GAS NOZZLE
34 4160.766 GAS NOZZLE
35 4161.019 COPPER EXTENDIN VALVOLE-NOZZLE
36 4160.769 NECK PLATE
37 4160.676 GAS BURNER

153
Spareparts MASTER MANUAL GAS HEATERS
MODEL 50 kW E ILLUSTRATED PARTS BREAKDOWN
Cod. 4161.135

154
Spareparts MASTER MANUAL GAS HEATERS 50 kW E
Pos. Code NR Description
1 4160.740 OUTLET GRID
2 4161.083 COMBUSTION CHAMBER
3 4161.028 YELLOW COVER RAL 1006
4 4160.715 PLASTIC HANDLE
5 4160.691 FAN
6 4160.630 ELECTRIC MOTOR
7 4160.739 INLET GRID
8 4161.013 SUPPORT ELECTRIC MOTOR
9 4161.041 PLATE BURNER
10 4161.248 IGNITION ELETTRICAL FOLDER
11 4160.708 SUPPORT FOR THERMOSTAT
12 4160.636 SAFETY THERMOSTAT 90°
13 4160.632 FLAME PROBE
14 4161.039 COPPER EXTENDIN VALVOLE-NOZZLE
15 4160.962 NOZZLE 1/4" - 1/8"
16 4160.963 ELECTROVALVE
17 4160.683 GAS COCK
18 4161.094 VERBINDUNGSMUFFE
19 4160.614 PLAIN WASHER M10
20 4160.700 GAS INLET NOZZLE 3/8 M - 1/8 M
21 4160.964 NIPPLES REDUCER
22 4161.095 NOZZLE 1/4"
23 4161.018 SUPPORT BURNER
24 4160.631 ELECTRIC CABLE
25 4160.651 KEEPER WIRE DEVICE PG11
26 4160.648 COMPLETE PLUG IN
27 4160.650 CONNEXION PLUG 5 PIN
27 4161.401 CONNEXION PLUG 4 PIN
28 4160.649 CONNEXION SOCKET 5 PIN
28 4161.400 CONNEXION SOCKET 4 PIN
29 4160.647 ANGULAR FIX CASE
30 4161.058 LIGHT SWITCH
31 4160.638 COVER SWITCH
32 4161.057 SWITCH
33 4160.635 KEEPER WIRE DEVICE PA 107
34 4161.092 BASE
35 4160.646 GROMMET 16-30-22
36 4161.004 ELECTRONIC PC BOARD FOR GAS
37 4160.639 RIVET POP
38 4160.967 90° DEGREE ELBOW 1/8"
39 4160.768 SUPPORT GAS NOZZLE
40 4160.766 GAS NOZZLE
41 4160.769 NECK PLATE
42 4160.676 GAS BURNER

155
Spareparts MASTER MANUAL GAS HEATERS
MODEL 50 kW D.V. ILLUSTRATED PARTS BREAKDOWN
Cod. 4161.470

156
Spareparts MASTER MANUAL GAS HEATERS 50 kW D.V.
Pos. Code NR Description
1 4160.740 OUTLET GRID
2 4161.083 COMBUSTION CHAMBER
3 4161.028 YELLOW COVER RAL 1006
4 4160.715 PLASTIC HANDLE
5 4160.691 FAN
6 4161.166 ELECTRIC MOTOR
7 4160.739 INLET GRID
8 4161.013 SUPPORT ELECTRIC MOTOR
9 4160.744 PLATE BURNER
10 4160.731 IGNITION ELETTRICAL FOLDER
11 4160.708 SUPPORT FOR THERMOSTAT
12 4160.636 SAFETY THERMOSTAT 90°
13 4160.953 INTERRUPTED THERMOCOUPLE
14 4160.627 ELASTIC WASHER
15 4160.962 NOZZLE 1/4" - 1/8"
16 4161.268 ELECTROVALVE
17 4160.964 NIPPLES REDUCER
18 4160.700 GAS INLET NOZZLE 3/8 M - 1/8 M
19 4160.688 SAFETY GAS VALVE
20 4160.701 RING NUT M12X0,75
21 4160.683 GAS COCK
22 4160.646 GROMMET 16-30-22
23 4161.018 SUPPORT BURNER
24 4161.472 BASE
25 4160.637 SWITCH
26 4160.638 COVER SWITCH
27 4161.471 ELECTRIC CABLE
28 4160.635 KEEPER WIRE DEVICE PA 107
29 4160.641 PIEZO IGNITOR
30 4160.640 ADAPTER FOR PIEZO IGNITOR
31 4161.292 SWITCH DUAL VOLTAGE
32 4161.284 COVER SWITCH DUAL VOLTAGE
33 4160.639 RIVET POP
34 4160.967 90° DEGREE ELBOW 1/8"
35 4160.768 SUPPORT GAS NOZZLE
36 4160.766 GAS NOZZLE
37 4161.019 COPPER EXTENDIN VALVOLE-NOZZLE
38 4160.769 NECK PLATE
39 4160.676 GAS BURNER

157
Spareparts MASTER MANUAL GAS HEATERS
MODEL 70 kW ILLUSTRATED PARTS BREAKDOWN
Cod. 4160.988

158
Spareparts MASTER MANUAL GAS HEATERS 70 kW
Pos. Code NR Description
1 4160.759 OUTLET GRID
2 4160.957 COMBUSTION CHAMBER
3 4161.030 YELLOW COVER RAL 1006
4 4160.715 PLASTIC HANDLE
5 4160.959 FAN
6 4160.958 ELECTRIC MOTOR
7 4160.758 INLET GRID
8 4161.012 SUPPORT ELECTRIC MOTOR
9 4160.744 PLATE BURNER
10 4160.731 IGNITION ELETTRICAL FOLDER
11 4160.708 SUPPORT FOR THERMOSTAT
12 4160.636 SAFETY THERMOSTAT 90°
13 4160.953 INTERRUPTED THERMOCOUPLE
14 4160.627 ELASTIC WASHER
15 4160.962 NOZZLE 1/4" - 1/8"
16 4160.963 ELECTROVALVE
17 4160.964 NIPPLES REDUCER
18 4160.700 GAS INLET NOZZLE 3/8 M - 1/8 M
19 4160.688 SAFETY GAS VALVE
20 4160.701 RING NUT M12X0,75
21 4160.684 GAS COCK
22 4160.646 GROMMET 16-30-22
23 4160.951 SUPPORT BURNER
24 4160.950 BASE
25 4160.637 SWITCH
26 4160.638 COVER SWITCH
27 4160.631 ELECTRIC CABLE
28 4160.635 KEEPER WIRE DEVICE PA 107
29 4160.641 PIEZO IGNITOR
30 4160.640 ADAPTER FOR PIEZO IGNITOR
31 4160.639 RIVET POP
32 4160.967 90° DEGREE ELBOW 1/8"
33 4160.768 SUPPORT GAS NOZZLE
34 4160.770 GAS NOZZLE
35 4160.767 COPPER EXTENDIN VALVOLE-NOZZLE
37 4160.676 GAS BURNER

159
Spareparts MASTER MANUAL GAS HEATERS
MODEL 70 kW E ILLUSTRATED PARTS BREAKDOWN
Cod. 4161.135

160
Spareparts MASTER MANUAL GAS HEATERS 70 kW E
Pos. Code NR Description
1 4160.759 OUTLET GRID
2 4160.957 COMBUSTION CHAMBER
3 4161.030 YELLOW COVER RAL 1006
4 4160.715 PLASTIC HANDLE
5 4160.959 FAN
6 4160.958 ELECTRIC MOTOR
7 4160.758 INLET GRID
8 4161.012 SUPPORT ELECTRIC MOTOR
9 4161.041 PLATE BURNER
10 4161.248 IGNITION ELETTRICAL FOLDER
11 4160.708 SUPPORT FOR THERMOSTAT
12 4160.636 SAFETY THERMOSTAT 90°
13 4160.632 FLAME PROBE
14 4161.039 COPPER EXTENDIN VALVOLE-NOZZLE
15 4160.962 NOZZLE 1/4" - 1/8"
16 4160.963 ELECTROVALVE
17 4160.684 GAS COCK
18 4161.094 VERBINDUNGSMUFFE
19 4160.614 PLAIN WASHER M10
20 4160.700 GAS INLET NOZZLE 3/8 M - 1/8 M
21 4160.964 NIPPLES REDUCER
22 4161.095 NOZZLE 1/4"
23 4160.951 SUPPORT BURNER
24 4160.631 ELECTRIC CABLE
25 4160.651 KEEPER WIRE DEVICE PG11
26 4160.648 COMPLETE PLUG IN
27 4160.650 CONNEXION PLUG 5 PIN
27 4161.401 CONNEXION PLUG 4 PIN
28 4160.649 CONNEXION SOCKET 5 PIN
28 4161.400 CONNEXION SOCKET 4 PIN
29 4160.647 ANGULAR FIX CASE
30 4161.058 LIGHT SWITCH
31 4160.638 COVER SWITCH
32 4161.057 SWITCH
33 4160.635 KEEPER WIRE DEVICE PA 107
34 4161.086 BASE
35 4160.646 PASSACAVO 16-30-22 GROMMET
36 4161.004 ELECTRONIC PC BOARD FOR GAS
37 4160.639 RIVET POP
38 4160.967 90° DEGREE ELBOW 1/8"
39 4160.768 SUPPORT GAS NOZZLE
40 4160.770 GAS NOZZLE
42 4160.676 GAS BURNER

161
Spareparts MASTER MANUAL GAS HEATERS
MODEL 70 kW D.V. ILLUSTRATED PARTS BREAKDOWN
Cod. 4161.470

162
Spareparts MASTER MANUAL GAS HEATERS 70 kW D.V.
Pos. Code NR Description
1 4160.759 OUTLET GRID
2 4160.957 COMBUSTION CHAMBER
3 4161.030 YELLOW COVER RAL 1006
4 4160.715 PLASTIC HANDLE
5 4160.959 FAN
6 4161.167 ELECTRIC MOTOR
7 4160.758 INLET GRID
8 4161.012 SUPPORT ELECTRIC MOTOR
9 4160.744 PLATE BURNER
10 4160.731 IGNITION ELETTRICAL FOLDER
11 4160.708 SUPPORT FOR THERMOSTAT
12 4160.636 SAFETY THERMOSTAT 90°
13 4160.953 INTERRUPTED THERMOCOUPLE
14 4160.627 ELASTIC WASHER
15 4160.962 NOZZLE 1/4" - 1/8"
16 4161.268 ELECTROVALVE
17 4160.964 NIPPLES REDUCER
18 4160.700 GAS INLET NOZZLE 3/8 M - 1/8 M
19 4160.688 SAFETY GAS VALVE
20 4160.701 RING NUT M12X0,75
21 4160.684 GAS COCK
22 4160.646 GROMMET 16-30-22
23 4160.951 SUPPORT BURNER
24 4161.473 BASE
25 4160.637 SWITCH
26 4160.638 COVER SWITCH
27 4161.471 ELECTRIC CABLE
28 4160.635 KEEPER WIRE DEVICE PA 107
29 4160.641 PIEZO IGNITOR
30 4160.640 ADAPTER FOR PIEZO IGNITOR
31 4161.292 SWITCH DUAL VOLTAGE
32 4161.284 COVER SWITCH DUAL VOLTAGE
33 4160.639 RIVET POP
34 4160.967 90° DEGREE ELBOW 1/8"
35 4160.768 SUPPORT GAS NOZZLE
36 4160.770 GAS NOZZLE
37 4160.767 COPPER EXTENDIN VALVOLE-NOZZLE
39 4160.676 GAS BURNER

163
Spareparts MASTER MANUAL GAS HEATERS
MODEL 14M 29M P.B. Since 99 ILLUSTRATED PARTS BREAKDOWN

164
Spareparts MASTER MANUAL GAS HEATERS (TYPE - 14/29 M Plastic Base since 99’)
Fabr. NR Description Appropriate Code NR
BLP 14M BLP 29M
1 BEARING SADDLE N/A N/A
2 PLASTIC BASE N/A N/A
3 TUCK OPENING N/A N/A
4 PIPE 4150.653 4150.653
5 * 90 DEGREE ELBOW THREAD 1/4"-M8 4150.645 4150.645
5.1 * 90 DEGREE ELBOW THREAD 1/4"-1/8" 4150.646 4150.646
6 * GAS INLET SOCKET 4160.636 4160.636
7 GAS SUPPLY TAP INLET THREAD M8 4150.649 4150.650
7.1 GAS SUPPLY TAP INLET THREAD 1/8" 4161.072 4160.675
8 RING NUT 4160.701 4160.701
9 GAS VALVE 4150.643 4150.643
10 NIPPLE 4150.915 4150.915
11 PIPE 4150.658 4150.658
12 END FITTING 4161.139 4161.139
13 ELECTRO-VALVE 4160.655 4160.655
14 90 DEGREE ELBOW 4150.641 4150.641
15 GAS NOZZLE 4161.103 4160.722
16 FERRULE FOR THERM. 4150.682 4150.682
17 THERMOCOUPLE 4150.673 4150.673
18 IGNITION ELECTRODE 4150.761 4150.761
19 FAIRLEAD 4150.683 4150.683
20 ENTRY GRILL 4160.784 4160.784
21 HANDLE 4150.615 4150.615
22 YELLOW COVER N/A N/A
23 ELECTRIC MOTOR 4160.628 4160.629
24 FAN 4161.049 4160.690
25 CHAMBER N/A N/A
26 OUTLET GRILL 4150.611 4150.611
27 DEFLECTOR DISC N/A N/A
28 GAS BURNER 4160.687 4160.687
29 SWITCH 4150.635 4150.635
30 PIEZO IGNITOR 4160.641 4160.641
31 WIRE NUT 4150.625 4150.625
32 ELECTRIC CABLE 4160.631 4160.631
33 * THERMOSTAT SUPPORT 4150.924 4150.924
34 SAFETY THERMOSTAT 4160.636 4160.636
35 CONNECTION FAN 4150.717 4150.717
36 CONDENSER 4150.912
37 ADAPTER FOR PIEZO IGNITOR 4160.640 4160.640
38 THROTTLING DISC 4161.124
GAS HOSE 4160.661 4160.661
* Discontinued limited Qty. Available N/A = Parts Not Available

165
Spareparts MASTER MANUAL GAS HEATERS
MODEL 29A P.B. Since 99 ILLUSTRATED PARTS BREAKDOWN

166
Spareparts MASTER MANUAL GAS HEATERS (TYPE - 29 A Plastic Base since 99’)
Fabr. NR Description Appropriate Code NR
BLP 29A
1 BEARING SADDLE N/A
2 SWITCH BOARD N/A
3 TUCK OPENING N/A
4 PIPE 4150.653
5 * 90 DEGREE ELBOW THREAD 1/4"-M8 4150.645
5. 1 * 90 DEGREE ELBOW THREAD 1/4"-1/8" 4150.646
6 * GAS INLET SOCKET 4160.636
7 GAS SUPPLY TAP INLET THREAD M8 4150.650
7.1 GAS SUPPLY TAP INLET THREAD 1/8" 4160.675
8 GAS VALVE 4150.643
9 RING NUT 4160.701
10 T-PIECE 4150.904
11 COPPER PIPE 4150.658
12 REDUCING CONNECTOR 4160.964
13 END FITTING 4161.139
14 PRESSURE REGULATOR 4161.035
15 90 DEGREE ELBOW N/A
16 ELECTRO-VALVE 4160.655
17 90 DEGREE ELBOW 150.641
18 GAS NOZZLE 4160.722
19 PIPE 4150.661
20 SPACER 4161.047
21 IGNITION ELECTRODE 4161.046
22 PILOT BURNER 4161.102
23 THERMOCOUPLE 4161.138
24 SAFETY THERMOSTAT 4160.636
25 * THERMOSTAT SUPPORT 4150.924
26 FAIRLEAD 150.683
27 ENTRY GRILL 4160.784
28 HANDLE 4150.615
29 YELLOW COVER N/A
30 ELECTRIC MOTOR 4160.629
31 FAN 4160.690
32 CHAMBER N/A
33 OUTLET GRILL 4150.611
34 DEFLECTOR DISC N/A
35 GAS BURNER 4160.687
36 PILOT BURNER SHIELD 4161.048
37 SOCKET ELEMENT 4161.400
38 FIXED CASE 4160.647
39 COMPLETE PLUG 4150.696
40 SWITCH 4150.635
41 PIEZO IGNITOR 4160.641
42 WIRE NUT 4150.625
43 ELECTRIC CABLE 4160.631
44 CONDENSER 4150.912
45 FAN CONNECTION 4150.717
46 ADAPTER FOR PIEZO IGNITOR 4160.640
GAS HOSE 4160.661
* Discontinued limited Qty. Available N/A = Parts Not Available

167
Spareparts MASTER MANUAL GAS HEATERS
MODEL 46M 69M Since 99 ILLUSTRATED PARTS BREAKDOWN

168
Spareparts MASTER MANUAL GAS HEATERS (TYPE - 46/69 M since 99’ - Motor on back grill)
Fabr. NR Description Appropriate Code NR
BLP 46M BLP 69M
1 *PIN 4150.665 4150.666
2 * LOWER COVER 4150.639 4150.640
3 * CONTROL PANEL 4150.686 4150.687
4 * PROTECTION 4150.693 4150.694
5 ELECTRIC CABLE 4150.631 4150.631
6 WIRE NUT 4150.625 4150.625
7 PIEZO IGNITOR 4150.634 4150.634
8 SWITCH 4150.635 4150.635
9 FAIRLEAD 4150.683 4150.683
10 SAFETY THERMOSTAT 4160.636 4160.636
11 * THERMOSTAT SUPPORT 4150.924 4150.924
12 DEFLECTOR DISC N/A N/A
13 DEFLECTOR DISH N/A N/A
14 FAIRLEAD N/A N/A
15 ENTRY GRILL N/A 4160.758
16 HANDLE 4150.615 4150.615
17 * YELLOW COVER 4150.602 4150.603
18 ELECTRIC MOTOR 4160.630 4160.958
19 FAN 4160.691 4160.959
20 * CHAMBER 4150.606 4150.607
21 OUTLET GRILL 4150.613 4150.614
22 GAS NOZZLE 4150.669 4150.670
23 NOZZLE HOLDER N/A N/A
24 90 DEGREE ELBOW 4150.642 4150.642
25 NUT 4160.701 4160.701
26 90 DEGREE ELBOW 4150.906 4150.906
27 ELECTRO-VALVE 4160.963 4160.963
28 THERMOCOUPLE 4150.673 4150.673
29 FERRULE FOR THERM. 4150.682 4150.682
30 COPPER PIPE 4150.659 4150.700
31 IGNITION ELECTRODE 4150.671 4150.671
32 END FITTING 4161.139 4161.139
33 COPPER PIPE 4150.654 4150.654
34 GAS VALVE 4150.644 4150.644
35 REDUCTION 4160.964 4160.964
36 GAS SUPPLY TAP INLET THREAD M8 4150.651 4150.652
36.1 GAS SUPPLY TAP INLET THREAD 1/8" 4160.683 4160.684
37 *90 DEGREE ELBOW THREAD 1/4"-M8 4150.645 4150.645
37.1 *90 DEGREE ELBOW THREAD 1/4"-1/8" 4150.646 4150.646
38 FLAT WASHER 4160.614 4160.614
39 * GAS INLET SOCKET 4150.636 4150.636
40 CONNECTION FAN 4150.717 4150.717
41 CONDENSER 4150.912 4150.914
42 NIPPLE 4150.911 4150.911
43 * SUPPORT BURNER 4150.629 4150.630
44 THROTTLING 4160.769
45 GAS BURNER 4150.676 4150.676
GAS HOSE 4160.661 4160.661
* Discontinued limited Qty.Available N/A = Parts Not Available

169
Spareparts MASTER MANUAL GAS HEATERS
MODEL 46A 69A Since 99 ILLUSTRATED PARTS BREAKDOWN

170
Spareparts MASTER MANUAL GAS HEATERS (TYPE - 46/69 A since 99’ - Motor on back grill)
Fabr. NR Description Appropriate Code NR
BLP 46A BLP 69A
1 *PIN 4150.665 4150.666
2 * LOWER COVER 4150.639 4150.640
3 CONTROL PANEL N/A N/A
4 * PROTECTION 4150.693 4150.694
5 ELECTRIC CABLE 4150.631 4150.631
6 WIRE NUT 4150.625 4150.625
7 SWITCH 4150.635 4150.635
8 PIEZO IGNITOR 4150.634 4150.634
9 COMPLETE PLUG 4150.696 4150.696
10 FIXED CASE 4160.647 4160.647
11 SOCKET ELEMENT 4161.400 4161.400
12 FAIRLEAD 4150.683 4150.683
13 SAFETY THERMOSTAT 4160.636 4160.636
14 * THERMOSTAT SOPPORT 4150.924 4150.924
15 DEFLECTOR DISC N/A N/A
16 DEFLECTOR DISH N/A N/A
17 FAIRLEAD N/A N/A
18 ENTRY GRILL N/A 4160.758
19 HANDLE 4150.615 4150.615
20 * YELLOW COVER 4150.602 4150.603
21 ELECTRIC MOTOR 4160.630 4160.958
22 FAN 4160.691 4160.959
23 CHAMBER N/A N/A
24 OUTLET GRILL 4150.613 4150.614
25 GAS NOZZLE 4150.669 4150.670
26 NOZZLE HOLDER N/A N/A
27 90 DEGREE ELBOW 4150.642 4150.642
28 ELECTRO-VALVE 4160.963 4160.963
29 90 DEGREE ELBOW 4150.906 4150.906
30 THERMOCOUPLE 4161.138 4161.138
31 PILOT BURNER 4161.102 4161.102
32 IGNITION ELECTRODE 4161.046 4161.046
33 PILOT BURNER SHIELD N/A N/A
34 SPACER 4161.047 4161.047
35 PIPE 4150.661 4150.661
36 COPPER PIPE 4150.654 4150.654
37 REDUCTION 4160.964 4160.964
38 GAS SUPPLY TAP INLET THREAD M8 4150.651 4150.652
38.1 GAS SUPPLY TAP INLET THREAD 1/8" 4160.683 4160.684
39 * 90 DEGREE ELBOW THREAD 1/4"-M8 4150.645 4150.645
39. 1 * 90 DEGREE ELBOW THREAD 1/4"-1/8" 4150.646 4150.646
40 FLAT WASHER 4160.614 4160.614
41 * GAS INLET SOCKET 4150.636 4150.636
42 GAS VALVE 4150.644 4150.644
43 RING NUT 4160.701 4160.701
44 CONNECTION FAN 4150.717 4150.717
45 T-PIECE 4150.907 4150.907
46 COPPER PIPE 4150.659 4150.660
47 * SUPPORT BURNER N/A N/A
48 THROTTLING 4160.769
49 PRESSURE REGULATOR 4161.035 4161.035
50 END FITTING 4161.139 4161.139
51 PILOT BURNER SHIELD 4161.048 4161.048
52 GAS BURNER 4160.676 4160.676
53 CONDENSER 4150.912 4150.914
GAS HOSE 4160.661 4160.661
* Discontinued limited Qty.Available N/A = Parts Not Available

171
Spareparts MASTER MANUAL GAS HEATERS
MODEL “M” Till ‘98 ILLUSTRATED PARTS BREAKDOWN

172
Spareparts MASTER MANUAL GAS HEATERS (TYPE - M till 98’)
Fabr. NR Description Appropriate Code NR
BLP 14M BLP 29M BLP 46M BLP 69M
1 * COVER 4150.600 4150.601 4150.602 4150.603
2 * CHAMBER 4150.604 4150.605 4150.606 4150.607
3 OUTLET GRILL 4150.611 4150.612 4150.613 4150.614
4 HANDLE 4150.615 4150.615 4150.615 4150.615
5 SAFETY THERMOSTAT 4160.636 4160.636 4160.636 4160.636
6 ELECTRIC MOTOR 4160.628 4160.629 4160.630 4160.958
7 FAN 4161.049 4150.622 4150.623 4160.959
8 WIRE NUT 4150.625 4150.625 4150.625 4150.625
9 ELECTIC CABLE 4160.631 4160.631 4160.631 4160.631
10 * SUPPORT BURNER 4150.627 4150.628 4150.629 4150.630
11 PIEZO IGNITOR 4150.634 4150.634 4150.634 4150.634
12 SWITCH 4150.635 4150.635 4150.635 4150.635
13 * GAS INLET SOCKET 4150.636 4150.636 4150.636 4150.636
14 * LOWER PROTECTIVE COVER 4150.637 4150.638 4150.639 4150.640
15 90 DEGREE ELBOW 4150.641 4150.641 4150.642 4150.642
16 GAS VALVE 4150.643 4150.643 4150.644 4150.644
17 * INLET ELBOW 4150.645 4150.645 4150.645 4150.645
18 ELECTRO- VALVE 4160.655 4160.655 4160.963 4160.963
19 GAS TAP 4150.649 4150.650 4150.651 4150.652
20 EXTENDING NOZZLE FITTING 4150.653 4150.653 4150.654 4150.654
21 END FITTING 4161.139 4161.139 4161.139 4161.139
22 EXTENDING NOZZLE FITTING 4150.658 4150.658 4150.659 4150.700
23 * PIN 4150.663 4150.664 4150.665 4150.666
24 GAS NOZZLE 4161.103 4160.722 4150.669 4150.670
25 IGNITION ELECTRODE 4150.671 4150.671 4150.671 4150.671
26 THERMOCOUPLE 4150.673 4150.673 4150.673 4150.673
27 GAS BURNER 4160.687 4160.687 4160.676 4160.676
28 RING NUT 4160.701 4160.701 4160.701 4160.701
29 FERRULE FOR THERMOCOUPLE 4150.682 4150.682 4150.682 4150.682
30 FAIRLEAD 4150.683 4150.683 4150.683 4150.683
31 * BASE 4150.684 4150.685 4150.686 4150.687
32 * PROTECTION 4150.691 4150.692 4150.693 4150.694
33 GAS CONNECTION 4150.915 4150.915 4150.911 4150.911
34 CONDENSER 4150.912 4150.912 4150.914
35 90° ELBOW 4150.906 4150.906
36 CONNECTION FAN 4150.717 4150.717 4150.717 4150.717
37 * THERMOSTAT SUPPORT 4150.924 4150.924 4150.924 4150.924
38 PLATE BURNER N/A N/A N/A N/A
39 THROTTLING DISC 4161.124 4160.769
GAS HOSE 4160.661 4160.661 4160.661 4160.661
* Discontinued limited Qty. Available N/A = Parts Not Available

173
Spareparts MASTER MANUAL GAS HEATERS
MODEL “A” Till ‘98 ILLUSTRATED PARTS BREAKDOWN

174
Spareparts MASTER MANUAL GAS HEATERS (TYPE - A till 98’)
Fabr. NR Description Appropriate Code NR
BLP 29A BLP 46A BLP 46A
1 * COVER 4150.601 4150.602 4150.603
2 * CHAMBER 4150.608 4150.609 4150.610
3 OUTLET GRILL 4150.612 4150.613 4150.614
4 HANDLE 4150.615 4150.615 4150.615
5 SAFETY THERMOSTAT 4160.636 4160.636 4160.636
6 ELECTRIC MOTOR 4160.629 4160.630 4160.958
7 FAN 4150.622 4150.623 4160.959
8 WIRE NUT 4150.625 4150.625 4150.625
9 ELECTIC CABLE 4160.631 4160.631 4160.631
10 * SUPPORT BURNER 4150.628 4150.628 4150.629
11 PIEZO IGNITOR 4150.634 4150.634 4150.634
12 SWITCH 4150.635 4150.635 4150.635
13 * GAS INLET SOCKET 4150.636 4150.636 4150.636
14 * LOWER PROTECTIVE COVER 4150.638 4150.639 4150.640
15 GAS VALVE 4150.643 4150.644 4150.644
16 * 90 DEGREE ELBOW 4150.645 4150.645 4150.645
17 ELECTRO- VALVE 4160.655 4160.963 4160.963
18 GAS TAP 4150.650 4150.651 4150.652
19 EXTENDING NOZZLE FITTING 4150.653 4150.654 4150.654
20 END FITTING 4161.139 4161.139 4161.139
21 EXTENDING NOZZLE FITTING 4150.658 4150.659 4150.660
22 EXTENDING PILOT FITTING 4150.661 4150.661 4150.661
23 * PIN 4150.664 4150.665 4150.666
24 GAS NOZZLE 4160.722 4150.669 4150.670
25 IGNITION ELECTRODE 4161.046 4161.046 4161.046
26 THERMOCOUPLE 4161.138 4161.138 4161.138
27 GAS BURNER 4160.687 4160.676 4160.676
28 PILOT FLAME 4161.102 4161.102 4161.102
29 REGULATOR 4161.035 4161.035 4161.035
30 FAIRLEAD 4150.683 4150.683 4150.683
31 BASE N/A N/A N/A
32 * PROTECTION 4150.692 4150.69 4150.694
33 FIX CASE 4031.088 4031.088 4031.088
34 PLUG-IN 4150.696 4150.696 4150.696
35 CONNECTION FAN 4150.717 4150.717 4150.717
36 CONDENSER 4150.912 4150.912 4150.914
37 PILOT FLAME COVER 4161.048 4161.048 4161.048
38 * THERMOSTAT SUPPORT 4150.924 4150.924 4150.924
39 90 DEGREE ELBOW 4150.641 4150.642 4150.642
40 T-PIECE 4150.904 4150.907 4150.907
41 90° ELBOW 4150.906 4150.906
42 THROTTLING DISC 4160.769
43 PLATE BURNER N/A N/A N/A
44 RING NUT 4160.701 4160.701 4160.701
GAS HOSE 4160.661 4160.661 4160.661
* Discontinued limited Qty. Available N/A = Parts Not Available

175
Spareparts MASTER GAS HEATERS
Description Appropriate Master NR Code NR
BURNER ASS. BLP 300 097849-01 4150.560
BURNER ASS. BLP 150 097849-02 4150.513
BURNER ASS. BLP 35 099727-01 4150.508
BUSHING INTERVAL BLP 35/150 097776-01 4150.503
BUMPER RUBBER BLIP 150 M 50631 4150.553
CLIP BLP 150 098428-01 4150.514
COUPLING KIT FOR GAS-BOTTLES DUTCH 4150.250
COUPLING KIT FOR GAS BOTTLES EUROPEAN 4150.260
D.S.I. CONTROL BLP 150/300 M 51605-04 4150.526
ELECTR.-IGNITOR BLP 35 099539-01 4150.506
FAN BLP 300 097811-01 4150.535
FAN BLP 35 099537-02 4150.505
FAN BLP 150 M 51153-01 4150.522
FAN GUARD BLP 35 099540-01 4150.500
FAN GUARD BLIP 150 097964-03AA 4150.520
FAN GUARD BLP 300 097964-01AA 4150.536
FUEL TUBE BLP 1 50 097905-02 4150.597
FUEL TUBE BLP300 100311-01 4104.151
HOSE & REGULATOR BLP 35 100399-01 4150.510
HOSE & REGULATOR BLP 150/300 097953-02 4150.512
IGNITOR BLP 35 097159-02 4150.507
IGNITOR BLP 150/300 097805-01 4150.511
IGNITOR CABLE BLP 150/300 097806-02 4150.516
LAMP BLIP 150/300 100371-01 4150.518
MALE FITTING BLP 300 097809-01 4150.884
MALE COMPR. ELBOW BLP 300 098825-01 4150.885
MOTOR BLP 300 100144-01 4150.525
MOTOR BLIP 150 100298-01 4150.521
MOTOR BLP 35 100398-01 4150.530
NOZZLE BLP 150 098425-01 4150.595
NOZZLE BLP 300 099679-02 4150.175
NUT BLP 150/300 NPC 00C 4150.548
ORIFICE-VALVE BLP 35 099541-01 4150.504
REAR PLATE BLP 150 100299-01 4150.519
SLEEVE REGULATOR ALL BLP TYPES - 4150.254
SCREW ALL BLP TYPES M12461-14 4108.540
SCREW BLP 35 099230-01 4150.509
SPACER BLP 150 098431-01 4150.515
STRAIN RELIEF BUSHING M 50400 4150.528
TERMINAL BOARD BLP 150/300 099125-06 4150.517
THERMAL SWITCH BLP 35 097952-04 4150.551
THERMAL SWITCH BLP 300 097952-06 4150.550
THERM.SWITCH ASS BLP 150 097952-07 4150.501
THERMOCOUPLE BLP 35 099538-01 4150.502
THERMOSTAT TH-2 BLP 150/300 4100.426
VALVE SOLENOID BLP 150/300 097803-01 4150.524
(098201-01)


6
6
MASTER VENTED HEATERS


Spareparts VENTED HEATERS
MODEL BV 100 E - BV 160 E - BV 280 E before 2002 ILLUSTRATED PARTS BREAKDOWN
179

Spareparts VENTED HEATERS before 2002
Pos. Description BV 100 BV 160 BV 280
C01 FRAME S/R S/R S/R
C02 WHEEL 4031.133 4031.133 4031.134
C03 WHEEL-HOLDER 4031.175 4031.175 4031.177
C04 SCREW S/R S/R S/R
C05 FUEL TANK 4031.004 4031.004 4031.006
C06 DRAIN PLUG 4031.013 4031.013 4031.013
C07 DRAIN PLUG OR S/R S/R S/R
C08 TANK PLUG 4031.145 4031.145 4031.145
C09 PIPE CONNECTION 1/4"MX6 S/R S/R S/R
C10 PIPE CONNECTION / CONNECTION STRAIGH 1/4"MX6 S/R S/R S/R
C11 FUEL PIPE 6 MM 4031.140 4031.140 4031.140
C13 TRANSF.HT 220V 4031.035 4031.035 4031.035
C14 SCREW TC 8X1"1/2" S/R S/R S/R
C15 H.T. CABLE 4031.097 4031.097 4031.097
C16 CONNECTING PLUG H.T. S/R S/R S/R
C19 PILOT LAMP 220 V S/R S/R S/R
C20 SWITCH MAN-AUT 4031.170 4031.170 4031.170
C21 THERMOSTAT SOCKET S/R S/R S/R
C21A PLATE SUPPORT S/R S/R S/R
C22 PLATE PLUG S/R S/R S/R
C23 PLUG 3 P+G 4031.089 4031.089 4031.089
C25 CONTROL BOX SUPPORT S/R S/R S/R
C33 RELAY 65,31 4031.040 4031.040 4031.040
C35 COMB.CHAMBER 4031.273 4031.274 4031.276
C36 FLAME GUARD SHIELD S/R S/R S/R
C37 OUTLET CONE 4031.278 4031.278 S/R
C38 CHIMNEY 4031.152 4031.152 4031.277
C39 OVERHEAT THERM. 4031.047 4031.047 4031.047
C39,1 COOL-OFF THERM 4031.045 4031.045 4031.045
C40 SCREW TC 8X3/8" S/R S/R S/R
C41 SCREW TCCE M6X25 S/R S/R S/R
C42 AIR REGULAT. FL. 4031.196 4031.196 4031.007
C43 NUT M6 S/R S/R S/R
C44 BASE S/R S/R S/R
C45 LOWER BODY S/R S/R S/R
C46 ELASTIC PLATE S/R S/R S/R
C47 UPPER BODY S/R S/R S/R
C48 SCREW TE 10X1/2" S/R S/R S/R
C49.1 NOZZLE 0,65 GPH 80 4031.02 S/R S/R
C49,2 NOZZLE 1 GPH 80 S/R 4031.025 S/R
C49,3 NOZZLE 1,50 GPH 80 S/R S/R 4031.03
C50 DIFFUSOR 4031.066 4031.066 4031.066
C58 OIL PUPPLY PIPE <1997> 4031.105 4031.105 4031.105
C63.1 PUMP SUNTEC AS 47 4031.050 4031.050 4031.050
C63.2 PUMP DANFOSS 4031.197 4031.197 4031.197
C64.1 VALVE SOLENOID SUNTEC 4031.055 4031.055 4031.055
C64.2 VALVE SOLENOID DANFOSS 4031.195 4031.195 S/R
C65.1 SPOOL SOLEN DANFOSS 4031.019 4031.019 4031.019
C65.2 SPOOL SOLEN SUNTEC 4031.300 4031.300 4031.300
C67 CONNECTOR 4031.160 4031.160 4031.160
C68.1 COUPLING K1 4031.060 4031.060 S/R
S/R = Parts Available by Special Request Only
180

Spareparts VENTED HEATERS before 2002
Pos. Description BV 100 BV 160 BV 280
C68.2 COUPLING K2 S/R S/R 4031.065
C69 PROTECTION CABLE 0 18 S/R S/R S/R
C70 AIR FLAP S/R S/R S/R
C72 MOTOR 130W 4031.130 4031.131 4031.125
C73 CAPACITOR / 5UF 4031.165 4031.165 4031.166
C74 MOTOR FLANGE S/R S/R S/R
C75.1 FAN 300MM 18 4031.270 S/R S/R
C75.2 FAN 300MM 27 S/R 4031.271 S/R
C75.3 FAN 500MM 33 S/R S/R 4031.272
C76 GRUB SCREW M8X8 S/R S/R S/R
C77 REAR INLET GRILL S/R S/R 4031.137
C78 CONNECTION 90 3/8" MX6 / STRAIGHT 3/8" MX6 S/R S/R S/R
C79 FILTER 3/8" KIT 4031.070 4031.070 4031.070
C80 FILTER HOUSING 4031.180 4031.180 4031.180
C81 FILTER SEAL 4031.191 4031.191 4031.191
C82 FILTER ELEMENT 4031.015 4031.015 4031.015
C83 TOPSEAL OILFILTER 4031.075 4031.075 4031.075
C84 FILTER O-RING 4031.150 4031.150 4031.150
C85 DOUBLE SCREW S/R S/R S/R
C86 FILTER SUPPORT 4031.011 4031.011 4031.011
C87 NUT 3/8"X5 S/R S/R S/R
C88 CONNECT. STRAIGHT 1/8" MX6 S/R S/R S/R
C89 UPPER BODY S/R S/R S/R
C90 ELECT. COMPONETS DRAWER S/R S/R S/R
C91 CABLE FASTENER S/R S/R S/R
C92 EL. WIRE WITH PLUG (PVC) S/R S/R S/R
C93.1 FUSE 6 A 6X30 4 031.080 4031.080 S/R
C93.2 FUSE 10 A 6X30 S/R S/R 4031.085
C94 CONTROL BOX LANDIS & GYR 4031.005 4031.005 4031.005
C95 CONRTOL BOX BASE LANDIS & GYR 4031.010 4031.010 4031.010
C96 PHOTOCELL LANDIS & GYR 4031.090 4031.090 4031.090
C97 PHOTOCELL CLAMP 4031.009 4031.009 4031.009
C98 PHOTOCELL FLANGE 4031.008 4031.008 4031.008
C99 TERMINAL BOARD S/R S/R S/R
C100 CREW TC 4X1/2" S/R S/R S/R
C101 CONNECTION 1/8"M4 4031.096 4031.096 4031.096
C102 BICONE 4 MM 4031.115 4031.115 4031.115
C103 NUT FOR BICONE 4031.110 4031.110 4031.110
C104 PROTECTION CABLE O 35 S/R S/R S/R
C105 ELECTRODE 4031.095 4031.095 4031.095
C106 NOZZLE SUPPORT 4031.012 4031.012 4031.012
OIL PREHEATER 4031.120 4031.120 4031.120
CLIP NUT M6 4031.215 4031.215 4031.215
RM THERMOSTAT LS/1 4031.264 4031.264 4031.264
CARTR. FILTER DANFOSS S/R S/R S/R
S/R = Parts Available by Special Request Only
181

Spareparts VENTED HEATERS
MODEL BV 100 E - BV 160 E - BV 280 E from 2002 ILLUSTRATED PARTS BREAKDOWN
182
24
23
83
12
15
16
25
1
93
8
510 2
74
9
102
85
21
20
19
11
102
85
13
14
88
85
6
109
107
108
108
22
22
3
99
84
86
18
17
95
58 59
87
87 98
79
78
77 76
60 87
61
30
96 80
81
82
94
73
70
69
70
69
64
43
66
67
66
72
68
65
62
43 71
Marchio blu
Marque bleu
Blau Zeichen
Blue mark
75 74
97
63
61
30
56
55
54
57
101
44
43
51 49
53
52
48
43
45
47
50
106
43
33
32
90
91
92
38
37
34
35
36
100
39
40
87
41 42
28
26
27
30
29
89 31
43

Spareparts VENTED HEATERS from 2002
Pos. Description BV 100 BV 160 BV 280
MAIN BODY
1 FRAME HANDLE S/R S/R S/R
2 FRAME BEARING S/R S/R S/R
3 OUTLET CONE 4031.278 4031.278 S/R
4 PLUG S/R S/R S/R
5 AXLE S/R S/R S/R
6 WHEEL 200 MM 4031.133 4031.133 -
6.1 WHEEL 250 MM - - 4031.134
7 WHEEL HOLDER 20 MM 4031.175 4031.175 -
7.1 WHEEL HOLDER 25 MM - - 4031.177
8 FUEL TANK 4031.004 4031.004 -
8.1 FUEL TANK - - 4031.006
9 DRAIN PLUG 4031.013 4031.013 4031.013
10 DRAIN PLUG OR S/R S/R S/R
11 TANK PLUG 4031.145 4031.145 4031.145
12 REAR INLET GRILL S/R S/R -
12.1 REAR INLET GRILL - - 4031.137
13.1 FAN 300MM 18 DGR 4031.270 - -
13.2 FAN 300MM 27 DGR - 4031.271 -
13.3 FAN 500MM 33 DGR - - 4031.272
14 GRUB SCREW S/R S/R S/R
15 MOTOR SUPPORT 4031.139 4031.139 4031.138
16 AIR FLAB S/R S/R S/R
17.1 COMBUSTION CHAMBER 4031.273 - -
17.2 COMBUSTION CHAMBER - 4031.274 -
17.3 COMBUSTION CHAMBER - - 4031.276
18 F LAME GUARD SHIELD S/R S/R S/R
19 BASE SX S/R S/R 4031.363
20 BASE DX S/R S/R 4031.364
21 LOWER BODY S/R S/R S/R
22 UPPER BODY S/R S/R S/R
23 UPPER BODY (REAR) S/R S/R S/R
24 CHIMNEY DIAM. 150 MM 4031.277 4031.277 4031.277
25 CABLE PROTECTION S/R S/R S/R
83 SCREW TC M5X16 S/R S/R S/R
84 SCREW TE 10X1/2" FR S/R S/R S/R
85 NUT M6 S/R S/R S/R
86 SLEEVE S/R S/R S/R
88 SCREW TE M6X16 S/R S/R S/R
93 SCREW TE 14X1/2" FR S/R S/R S/R
99 ELASTIC PLATE U42-032 S/R S/R S/R
102 SCREW TE M6X30 S/R S/R S/R
107 POWER CORD HOOK S/R S/R S/R
108 SUPPORT BAR - - S/R
109.1 YELLOW PLUG WHEEL DIAM.200MM S/R S/R -
109.2 YELLOW PLUG WHEEL DIAM. 250MM - - S/R
S/R = Parts Available by Special Request Only
183

Spareparts VENTED HEATERS
Pos. Description BV 100 BV 160 BV 280
CONTROL BOARD
26 CONTROL BOX SUPPORT S/R S/R S/R
27 CONTROL BOX BASE LANDIS & GYR 4031.010 4031.010 4031.010
28 CONTROL BOX LANDIS & GYR 4031.005 4031.005 4031.005
29 TRANSFORMER H.T. 220 V 4031.035 4031.035 4031.035
30 H.T CABLE 4031.097 4031.097 4031.097
31 RELAY 65.31 4031.040 4031.040 4031.040
32 TERMINAL BOARD S/R S/R S/R
33 ELECTR. COMP. DRAWER S/R S/R S/R
34 PILOT LAMP 4031.169 4031.169 4031.169
35 SWITCH COVER S/R S/R S/R
36 SWITCH MAN - AUT. 4031.170 4031.170 4031.170
37 SOCKET 4 PIN 90 DGR. 4031.088 4031.088 4031.088
38 PLUG 4 PIN CONNECTED ( 2&3 ) 4150.696 4150.696 4150.696
39 CABLE FASTENER S/R S/R S/R
40 FUSE 6 A (6 X 30) 4031.080 4031.080 -
40.1 FUSE 10 A ( 6 X 30) - - 4031.085
41 EL. WIRE WITH PLUG S/R S/R S/R
42 EL. WIRE WITH PLUG & CABLE FASTENER S/R S/R S/R
89 SCREW TC 8 X 1'' 1/2'' S/R S/R S/R
90 SCREW TC 4 X 1/2'' S/R S/R S/R
91 NUT CLAMP M6 4031.215 4031.215 4031.215
92 SCREW TE M6 X 16 S/R S/R S/R
100 SCREW TC 4X 3/8'' S/R S/R S/R
FILTER CONNECTION
43 FLEX FUEL PIPE DIAM 6MM 4031.140 4031.140 4031.140
44 CABLE PROTECTION S/R S/R S/R
45 FUEL PICK UP TUBE 4031.148 4031.148 4031.148
47 CONNECTION STRAIGHT 1/4 '' MX6 4031.160 4031.160 4031.160
48 CONNECTION STRAIGHT 1/8'' MX6 S/R S/R S/R
49 NUT 3/8'' X 5 4031.800 4031.800 4031.800
50 FILTER SUPPORT 4031.011 4031.011 4031.011
51 DOUBLE SCREW 4031.802 4031.802 4031.802
52 CONNECTION 90 DGR 3/8'' MX6 4031.803 4031.803 -
52.1 CONNECTION STRAIGHT 3/8'' MX6 - - 4031.804
53 FILTER COMPLETE 3/8'' 4031.070 4031.070 4031.070
54 FILTER O RING 4031.150 4031.150 4031.150
55 TOP SEAL OIL FILTER 4031.075 4031.075 4031.075
56 FILTER ELEMENT 4031.015 4031.015 4031.015
57 FILTER HOUSING 4031.180 4031.180 4031.180
101 LOWER OIL FILTER SEAL 4031.191 4031.191 4031.191
MOTOR & BURNER PARTS
30 H.T CABLE 4031.097 4031.097 4031.097
58 COOL OFF THERMOSTAT (FAN) 4031.047 4031.047 4031.047
S/R = Parts Available by Special Request Only
184

Spareparts VENTED HEATERS
Pos. Description BV 100 BV 160 BV 280
59 OVERHEAT THERMOSTAT (BLUE DOT) 4031.045 4031.045 4031.045
60 ELECTRODE 4031.095 4031.095 4031.095
61 CABLE CONNECTION 90 DGR S/R S/R S/R
62 OIL SUPPLY PIPE ( DIAM 4 MM) 4031.106 4031.106 4031.106
62.1 OIL SUPPLY PIPE ( DIAM 4 MM) < 97 4031.105 4031.105 4031.105
63 DANFOSS PUMP 4031.197 4031.197 4031.197
63.1 SUNTEC PUMP < 95 4031.050 4031.050 4031.050
64 SPOOL DANFOSS 4031.019 4031.019 4031.019
64.1 SPOOL SUNTEC < 95 4031.300 4031.300 4031.300
65 VALVE DANFOSS 4031.195 4031.195 4031.195
65.1 VALVE SUNTEC < 95 4031.055 4031.055 4031.055
66 CONNECTION STRAIGH 1/4'' MX6 S/R S/R S/R
67 COUPLING K1 4031.060 4031.060 -
67.1 COUPLING K2 - - 4031.065
68 CONNECTION 90 DGR 1/8'' MX4 4031.096 4031.096 4031.96
69 BICONE 4 MM 4031.115 4031.115 4031.115
70 NUT FOR BICONE 4031.110 4031.110 4031.110
71.1 MOTOR 130 W 4031.130 - -
71.2 MOTOR 200 W - 4031.131 -
71.3 MOTOR 750 W - - 4031.125
72.1 CAPACITOR 5 UF 4031.165 - -
72.2 CAPACITOR 6.3 UF - 4031.304 -
72.3 CAPACITOR 16 UF - - 4031.166
73 CONNECTION STRAIGHT 1/8'' MX6 S/R S/R S/R
74 NUT M14 S/R S/R S/R
75 BURNER FLANGE S/R S/R S/R
76 NOZZLE SUPPORT 4031.012 4031.012 4031.012
77 DIFFUSOR 4031.066 4031.066 4031.066
78.1 NOZZLE 0.65 GPH 80 DGR 4031.020 - -
78.2 NOZZLE 1 GPH 80 DGR - 4031.025 -
78.3 NOZZLE 1.50 GPH 80 DGR - - 4031.030
79 AIR REGULATION FLAP 4031.196 4031.196 -
79.1 AIR REGULATION FLAP - - 4031.007
80 PHOTO CELL 4031.090 4031.090 4031.090
81 PHOTOCELL CLAMP 4031.009 4031.009 4031.009
82 PHOTOCELL FLANGE 4031.008 4031.008 4031.008
87 SCREW TC 8X3/8'' S/R S/R S/R
94 NUT M5 S/R S/R S/R
95 SCREW S/R S/R S/R
96 SCREW TC 6X1/2'' S/R S/R S/R
97 SCREW TC M4X8 S/R S/R S/R
98 SCREW TCEI M6X25 S/R S/R S/R
S/R = Parts Available by Special Request Only
185

Spareparts VENTED HEATERS
Pos. Description BV 440 <97
1 INLET GRILLE 4031.189
2 ELASTIC PLATE M5 4031.182
3 SCREW TC M5X16 S/R
4 1.5 HP 3-MOTOR 4031.253
5 45 UF CONDENSER 4031.212
6 FAN Ø 550 MM 36 4031.263
7 WASHER 6X24X2 S/R
8 ELASTIC GROVER WASHER Ø 6 S/R
9 SCREW TE M6X16 S/R
10 CABLE FASTENER PG 11 S/R
11 CABLE PROTECTION Ø 18 S/R
12 KABEL 4X1 (MT) S/R
13 AXLE 4031.157
14 WHEEL Ø 250X50 4031.134
15 WHEEL HOLDER Ø 25 4031.177
16 BEARING 4031.183
17 GASKET 4031.201
18 BURNER SUPPORT S/R
19 1" IRON PLUG S/R
20 BURNER COVER 4031.185
21 TOP COVER BURNER 4031.190
22 SUSPENDING RING SCREW M10 4031.332
23 THERMAL ISULATION 4031.203
24 CHIMNEY INSPECTION DOOR S/R
25 COMBUSTION CHAMBER S/R
26 1,5 HP FAN 3- S/R
27 CONNECTION 90" 1/4 MF 4031.222
28 FILTER HEAD S/R
29 FILTER OR S/R
30 UPPER SEAL 4031.181
31 FILTER CARTRIDGE S/R
32 LOWER SEAL S/R
33 FILTER HOUSING S/R
34 FILTER 1/4 S/R
35 BITHERMOSTAT TTCA 4031.194
36 EL. COMPONENTS BOX 4031.261
37 TERMINAL BOARD 6MM 2 S/R
38 CONTROL KNOB 1-0-2 4031.268
39 FUSE HOLDER 4031.206
40 6,3 A FUSE (5X20) 4031.102
41 10 A FUSE (5X20) 4031.101
42 RED PILOT LAMP Ø 10 4031.260
43 4P + G SOCKET 4031.086
44 4P + G PLUG 4031.087
45 3P + G SOCKET 4031.088
46 3P + G PLUG 4031.089
47 EL. WIRE 5X1.5 (MT) S/R
48 EL. COMPONENTS DRAWER 4031.198
49 FUSE HOLDER UN. (5X20) 4031.188
S/R = Parts Available by Special Request Only
186

187
Spareparts VENTED HEATERS
MODEL BV 440 <97 ILLUSTRATED PARTS BREAKDOWN

Spareparts VENTED HEATERS
MODEL BV 440 ILLUSTRATED PARTS BREAKDOWN
188

189
Spareparts VENTED HEATERS
MODEL BV 440 <97 ILLUSTRATED PARTS BREAKDOWN

Spareparts VENTED HEATERS (BURNER MINOR 12 <1997)
Pos. Description BV 440 E <1997
1 DANFOSS PUMP 4031.197
1.1 SUNTEC PUMP AS 47 4031.050
2 DANFOSS SPOOL 4031.019
2.1 SUNTEC SPOOL 4031.300
3 DANFOSS VALVE 4031.195
3.1 SUNTEC VALVE 4031.055
4 COUPLING K1 4031.060
5 NIPPLE FE 1/4" FF90 4031.234
6 PIPE FLEX L=400 MM 4031.257
7 OIL PREHEATER 4031.121
8 MOTOR 130 W 4031.254
9 CAPACITOR 6.3UF 4031.165
10 FAN 124 X 60 4031.209
11 H.T TRANSFORMER 8/20 4031.098
12 ALLUMINIUM COVER S/R
13 BURNER BODY 4031.280
14 AIR FLAP S/R
15 AIR DAMPER 4031.252
16 PLASTIC AIR INLET 4031.258
17 CONTR. BOX BASE LANDIS & GYR 4031.010
18 CONTR. BOX LANDIS & GYR LOA 21 4031.005
19 PHOTOCELL LANDIS & GYR 4031.090
25 HT CABLES 4031.200
26 BLAST TUBE 4031.247
27 ELECTRODE SET (2 PIECES) 4031.338
28 FIRING HEAD COMPLETE 4031.251
29 NOZZLE HOLDER 4031.256
30 DIFFUSER 4031.237
31 NOZZLE 2.5 GPH 60 DGR 4031.100
32 ROD L.200 4031.259
33 INDEX S/R
34 HEAD SETTING SCREW 4031.211
37 CABLE S/R
39 CONTROL BOX BASE S/R
41 SEAL (170 X 145) 4031.199
42 PHOTOCELL RING 4031.009
43 PHOTOCELL FLANGE 4031.008
*** 27 ELECTRODE RIGHT 4031.204
ELECTRODE LEFT 4031.208
S/R = Parts Available by Special Request Only
190

191
Spareparts VENTED HEATERS
MODEL BV 440 >97 ILLUSTRATED PARTS BREAKDOWN


Spareparts VENTED HEATERS (BURNER MINOR 12 >1997)
Pos. Description BV 440 E >1997
1 DANFOSS PUMP 4031.197
1.1 SUNTEC PUMP AS 47 4031.050
2 DANFOSS SPOOL 4031.019
2.1 SUNTEC SPOOL 4031.300
3 DANFOSS VALVE 4031.195
3.1 SUNTEC VALVE 4031.055
4 COUPLING K1 4031.060
5 NIPPLE FE 1/4" FF90 4031.234
6 PIPE FLEX L=400 MM 4031.257
7 OIL PREHEATER 4031.121
8 MOTOR 130 W 4031.254
9 SUPPORT S/R
10 CAPACITOR 6.3UF 4031.165
11 FAN 124 X 60 4031.209
12 H.T TRANSFORMER 8/20 4031.098
13 ALLUMINIUM COVER S/R
13 BURNER BODY 4031.280
14 SUPPORT S/R
15 FAN HOUSING/BURNER BODY 4031.280
16 AIR DAMPER 4031.252
17 AIR CONVEYOR S/R
18 AIR DAMPER SCREW S/R
19 COVER AIR INLET 4031.258
20 CONTR. BOX BASE BRAHMA > 97 4031.016
21 CONTR. BOX BRAHMA >97 4031.014
22 PHOTOCELL BRAHMA 4031.018
23 WIRING TERMINAL BOX S/R
24 PROTECTION BOX 4031.312
25 SEAL 4031.199
26 FLANGE S/R
27 O-RING S/R
28 HT CABLES 4031.200
29 BLAST TUBE 4031.247
30 ELECTRODE SET (2 PIECES) 4031.338
31 FIRING HEAD COMPLETE 4031.251
32 NOZZLE HOLDER 4031.256
33 DIFFUSER 4031.237
34 ANTI DISTURB HEATER 4031.283
35 NOZZLE 2.5 GPH 60 DGR 4031.100
36 ROD L.200 4031.259
37 INDEX S/R
38 HEAD SETTING SCREW 4031.211
39 CABLE S/R
40 ANTIDISTURB FILTER 4031.282
S/R = Parts Available by Special Request Only
193

Spareparts VENTED HEATERS (BURNER MINOR 12 >1997)
Pos. Description BV 440 E >1997
ELECTRIC COMPONENTS BOX.
10 CABLE FASTENER S/R
11 CABLE PROTECTION 18 MM S/R
12 CABLE 3 X 1.5 (MT) S/R
35 FAN LIMIT CONTROL MANUAL 4031.207
35.1 FAN LIMIT AUTOMATIC 4031.194
35.2 FAN LIMIT CONTROL ALRE > 97 4031.265
36 ELECTRIC COMPONENTS BOX 4031.261
37 TERMINAL BOARD S/R
38 CONTROL KNOB 1-0-2 4031.268
39 FUSE HOLDER 4031.206
40 FUSE 6.3 A 4031.102
41 FUSE 10 A 4031.101
42 RED PILOT LAMP 4031.260
43 FEMALE PLUG 90 DGR 5-PIN 4031.086
44 MALE PLUG 5 PIN CONNECTED 4031.089
45 FEMALE PLUG 90 DGR 4-PIN 4031.088
46 MALE PLUG 4 PIN CONNECTED 4031.087
47 ELECTRIC WIRE 3X1.5 WITH PLUG S/R
***48 ELECTRIC COMP. BOX COMPLETE 4031.198
S/R = Parts Available by Special Request Only
194


Spareparts VENTED HEATERS
MODEL BV 440 E and BV 460 E ILLUSTRATED PARTS BREAKDOWN
196

Spareparts VENTED HEATERS
Pos. Description BV 440 E BV 460 E
1 BURNER COVER 4031.185 4031.342
2 TOP BURNER COVER 4031.190 4031.343
3 BURNER PANEL S/R S/R
4 4-WAY OUTLET PANEL 4031.234 S/R
5 FRONT UPPER PANEL S/R S/R
6 INNER PANEL (FRONT) S/R S/R
7 REAR UPPER PANEL S/R S/R
8 INNER PANEL (REAR) S/R S/R
9 SIDE PANEL S/R S/R
10 INNER PANEL S/R S/R
11 CHIMNEY FLANGE S/R S/R
12 CHIMNEY PANEL S/R S/R
13 FAN SUPPORT PANEL S/R S/R
14 MOTOR SUPPORT PLATE S/R S/R
15 BOTTOM PANEL S/R S/R
16 AXLE 4031.157 4031.344
17 FRONT SUPPORT 4031.183 4031.183
18 ALUMINUM JOINT WITH NUT M10 S/R 4031.331
19 UPPER SHORT ANGLE STEEL S/R S/R
20 UPPER LONG SX ANGLE STEEL S/R S/R
21 UPPER LONG DX ANGLE STEEL S/R S/R
22 VERTICAL FRONT SX ANGLE STEEL S/R S/R
23 VERTICAL FRONT DX ANGLE STEEL S/R S/R
24 VERTICAL BACK SX ANGLE STEEL S/R S/R
25 VERTICAL BACK DX ANGLE STEEL S/R S/R
26 LOWER SHORT ANGLE STEEL S/R S/R
27 LOWER LONG SX ANGLE STEEL S/R S/R
28 LOWER LONG DX ANGLE STEEL S/R S/R
29 COMB. CHAMBER SUPPORT S/R S/R -
30 COMB. CHAMBER SX SUPPORT S/R S/R
31 COMB. CHAMBER DX SUPPORT S/R S/R
32 ALUMINUM JOINT S/R S/R
51 SUSPENDING RING SCREW M10 4031.332 S/R
52 BURNER SUPPORT 4031.118 S/R
53 BURNER PLATE SEAL 4031.201 S/R
56 WHEEL (DIAM 250 MM) 4031.134 4031.134
56.1 WHEEL ( DIAM 340MM) 4031.132 4031.132
57 WASHER 4031.325 4031.125
62 MOTOR HP 1,5 4031.253 4031.345
63 CAPACITOR 45 UF 4031.212 -
63.1 CAPACITOR 32 UF 4031.346 -
68 FAN 550 MM 36 DGR 4031.263 -
68.1 FAN 560 MM 4031.347 -
89 COMBUSTION CHAMBER S/R S/R
90 BAFFLE PLATE S/R -
91 CHIMNEY SEAL 4031.203 4031.365
92 CHIMNEY INSPEKTION DOOR S/R S/R
125 FILTER KIT OIL PREHEATER 4031.181 4031.181
126 FILTER OIL PREHEATER 4031.179 4031.179
127 BRACKET OIL PREHEATER 4031.122 4031.122
128 CONNECTION 3/8"- 1/4" 4031.222 4031.222
130 WHEEL HOLDER DIAM 25MM 4031.232 4031.232
131 PLASTIC PLUG 4031.178 4031.178
133 ELASTIC PLATE M5 4031.182 -
134 INLET GRILLE 4031.189 S/R
S/R = Parts Available by Special Request Only
197

Spareparts VENTED HEATERS
MODEL BV 680 E ILLUSTRATED PARTS BREAKDOWN
198

199
Spareparts VENTED HEATERS
MODEL BV 460 E - BV 680 E ILLUSTRATED PARTS BREAKDOWN

Spareparts VENTED HEATERS
Pos. Description BV 680 E
1 BURNER COVER 4031.185
2 TOP BURNER COVER 4031.190
3 BURNER PANEL S/R
5 FRONT UPPER PANEL S/R
6 INNER PANEL (FRONT) S/R
7 REAR UPPER PANEL S/R
8 INNER PANEL (REAR) S/R
9 SIDE PANEL (FRONT) S/R
10 INNER SIDE PANEL (FRONT) S/R
11 SIDE PANEL (REAR) S/R
12 INNER SIDE PANEL (REAR) S/R
13 CHIMNEY FLANGE S/R
14 CHIMNEY PANEL S/R
15 FAN SUPPORT PANEL S/R
16 MOTOR SUPPORT PLATE S/R
17 AXLE 4031.344
18 FRONT SUPPORT 4031.321
19 ALUMINUM JOINT WITH NUT M10 4031.331
20 UPPER SHORT ANGLE STEEL S/R
21 UPPER LONG SX ANGLE STEEL S/R
22 UPPER LONG DX ANGLE STEEL S/R
23 VERTICAL FRONT SX ANGLE STEEL S/R
24 VERTICAL FRONT DX ANGLE STEEL S/R
25 VERTICAL BACK SX ANGLE STEEL S/R
26 VERTICAL BACK DX ANGLE STEEL S/R
27 LOWER SHORT ANGLE STEEL S/R
28 LOWER LONG SX ANGLE STEEL S/R
29 LOWER LONG DX ANGLE STEEL S/R
30 COMB. CHAMBER SUPPORT S/R
31 COMB. CHAMBER SX SUPPORT S/R
32 COMB. CHAMBER DX SUPPORT S/R
33 ALUMINUM JOINT S/R
34 4 WAY OUTLET PANEL 300 MM 4013.239
51 SUSPENDING RING SCREW M10 4031.332
52 BURNER SUPPORT S/R
53 BURNER PLATE SEAL 4031.322
56 WHEEL ( DIAM 385MM) 4031.324
57 WASHER 4031.325
60 INLET GRILLE S/R
62 MOTOR HP 3 4031.326
63 CAPACITOR 65 UF 4031.327
68 FAN 630 MM 4031.328
72 ELECTRIC COMPONENTS BOX 4031.335
73 CABLE FASTENER PG 9 S/R
74 CABLE FASTENER PG 11 S/R
75 CABLE PROTECTION S/R
76 ELECT.COMP.SUPPORT PLATE S/R
S/R = Parts Available by Special Request Only
200

Spareparts VENTED HEATERS
Pos. Description BV 680 E
77 TERMINAL BOARD 12 EL.MMQ 6 S/R
78 TERMINAL BOARD 12 EL.MMQ 10 S/R
79 WIMEX RELAY 4031.334
80 ISKRA RELAY 4031.336
81 CONTROL KNOB 1-0-2 4031.268
82 FUSE HOLDER S/R
83 FUSE 6 A (5 X 20) S/R
84 PILOT LAMP S/R
88 FAN LIMIT CONTROL ALRE 4031.265
89 COMBUSTION CHAMBER 4031.631
90 BAFFLE PLATE S/R
91 CHIMNEY SEAL 4031.366
92 CHIMNEY INSPEKTION DOOR S/R
93 NUT M6 OT S/R
94 FEMALE PLUG 1'' S/R
125 FILTER KIT OIL PREHEATER 4031.181
126 FILTER OIL PREHEATER 4031.179
127 BRACKET OIL PREHEATER 4031.122
128 CONNECTION 3/8"- 1/4" 4031.222
S/R = Parts Available by Special Request Only
201

Spareparts VENTED HEATERS (BURNER MINOR 20)
Pos. Description BV 460 E BV 680 E
1 DANFOSS PUMP 4031.197 4031.197
1.1 SUNTEC PUMP AS 47 K 4031.050 4031.050
2 DANFOSS SPOOL 4031.019 4031.019
2.1 SUNTEC SPOOL 4031.300 4031.300
3 DANFOSS VALVE 4031.195 4031.195
3.1 SUNTEC VALVE 4031.055 4031.055
4 COUPLING 4031.329 4031.329
5 NIPPLE 4031.234 4031.234
6 PIPE FLEX L=400 MM 4031.257 4031.257
8 MOTOR 200 W 4031.303 4031.303
10 CAPACITOR 6,3 UF X 200 W 4031.304 4031.304
11 FAN 180 X 40 4031.305 4031.305
12 IGNITION TRANSFORMER 4031.035 4031.035
13 COVER 4031.333 4031.333
14 GLASS 4031.340 4031.340
15 BURNER BODY 4031.330 4031.330
16 AIR DAMPER 4031.307 4031.307
17 AIR CONVEYOR 4031.308 4031.308
18 AIR DAMPER SCREW 4031.309 4031.309
19 COVER AIR INLET 4031.310 4031.310
20 CONTR. BOX BASE BRAHMA 4031.016 4031.016
21 CONTR. BOX BRAHMA 4031.014 4031.014
22 PHOTOCELL BRAHMA 4031.018 4031.018
23 ANTI DISTURB FILTER 4031.311 4031.311
24 PROTECTION BOX 4031.312 4031.312
25 GASKET 4031.313 4031.313
27 FIRING HEAD ADJUSTMENT 4031.341 4031.341
28 HT CABLES 4031.314 4031.314
29 BLAST TUBE 4031.315 4031.315
30 ELECTRODE SET (2 PIECES) 4031.338 4031.316
31 FIRING HEAD 4031.317 4031.317
32 NOZZLE HOLDER 4031.318 4031.318
33 DIFFUSER 4031.319 4031.319
34 NOZZLE 4031.100 4031.335
S/R = Parts Available by Special Request Only
202

203
Spareparts VENTED HEATERS
BURNER minor 20 BV 460 E - BV 680 E ILLUSTRATED PARTS BREAKDOWN

Spareparts VENTED HEATERS (BF 30 - BF 60 HOUSING)
Pos. Description MASTER Code
BF 30 E BF 60 E
1 FAN LIMIT CONTROL AUTO 4031.194 S/R
2 COMBUSTION CHAMBER S/R S/R
3 BURNER COVER S/R S/R
4 POWER CORD (3X1.5) S/R S/R
5 CONTROL KNOB 4031.225 S/R
6 CAPACITOR 10UF 4031.219 -
6.1 CAPACITOR 20UF S/R 4031.221
7 INSPECTION DOOR S/R S/R
8 INSPECTION DOOR S/R S/R
9 ELECT.COMP.DRAWER S/R S/R
10 GASKET 4031.201 4031.201
11 GASKET 4031.255 S/R
12 GASKET S/R S/R
13 GASKET 4031.295 4031.295
14 THERMOSTAT KNOB COMPLETE 4031.244 4031.244
15 COUPLING S/R S/R
16 INTERMEDIATE SUPPORT S/R S/R
17 THERMOSTAT KNOB S/R S/R
18 SPRING 4031.241 4031.241
18.1 COVER PIN 4031.224 4031.224
20 SPRING PIN 4031.242 4031.242
21 PLATE 4031.118 4031.118
22 CABLE FASTENER PG 9 S/R S/R
23 CONNECTION 90DGR 1/4" MX8 4031.223 4031.223
24 FUEL TANK 4031.001 4031.001
25 IRON PLUG 1" S/R S/R
26 TANK PLUG 4031.145 4031.145
27 ADJUSTABLE AIR HEAD 4031.146 4031.147
28 THERMOSTAT 0-40 DEGR. C. 4031.243 4031.243
29 RILSAN PIPE DIAM. 8MM 4031.002 4031.002
30 FAN MOTOR COMPLETE 4031.154 4031.156
31 FILTER 1/4" 4031.071 4031.071
32 FILTER O-RING 4031.150 4031.150
33 TOPSEAL OIL FILTER 4031.075 4031.075
34 FILTER ELEMENT 4031.015 4031.015
35 LOWER FILTER SEAL 4031.191 4031.191
36 FILTER HOUSING 4031.180 4031.180
37 CONNECTION 90DGR 1/4" MF 4031.222 4031.222
38 FILTER COVER S/R S/R
S/R = Parts Available by Special Request Only
204

205
Spareparts VENTED HEATERS
MODEL BF 30 E - BF 60 E ILLUSTRATED PARTS BREAKDOWN

Spareparts VENTED HEATERS (BURNER BF 30 - BF 60)
Pos. Description MASTER Code
MINOR 4 MINOR 8
1 DANFOSS PUMP 4031.197 4031.197
1.1 SUNTEC PUMP AS 47 4031.050 4031.050
2 DANFOSS SPOOL 4031.019 4031.019
2.1 SUNTEC SPOOL 4031.300 4031.300
3 DANFOSS VALVE 4031.195 4031.195
3.1 SUNTEC VALVE 4031.055 4031.055
4 COUPLING K1 4031.060 4031.060
4.1 SIMEL PL COUPLING 4031.003 4031.003
5 NIPPLE FE 1/4" M-M 4031.234 4031.234
6 CONNECTION 90 DGR 1/4" MX8 4031.223 4031.223
7 CONNECTION 90 DGR 1/4" M-F 4031.222 4031.222
8 MOTOR 100W 4031.233 4031.233
9 CAPACITOR 4 UF 4031.218 4031.218
10 FAN ( DIAM 124 X 60) 4031.209 4031.209
11 H.T. TRANSFORMER 8/20 4031.098 4031.098
12 ALLUMINIUM COVER S/R S/R
13 BURNER BODY S/R S/R
14 AIR DAMPER 4031.213 4031.213
15 MEATL AIR INLET 4031.232 4031.232
16 PLASTIC AIR INLET S/R S/R
17 BASE CONTR. BOX L&G 4031.010 4031.010
18 CONTROL BOX L&G 4031.005 4031.005
19 PHOTOCELL L&G 4031.090 4031.090
25 H.T. CABLE (DIAM 4MM) 4031.200 4031.200
26 BLAST TUBE 4031.216 4031.217
27 ELECTRODE 4031.208 4031.208
28 FIRING HEAD COMPLETE 4031.229 4031.231
29 NOZZLE HOLDER 4031.235 4031.236
30 DIFFUSER (DIAM 80MM) 4031.226 -
30.1 DIFFUSER (DIAM 74MM) 4031.227 -
31 NOZZLE 4031.032 -
31.1 NOZZLE 4031.034 -
32 ROD L.176 4031.239 -
32.1 ROD L. 192 4031.240 -
33 INDEX S/R S/R -
34 HEAD SETTING SCREW 4031.211 4031.211
37 CABLE WITH CONNECTOR S/R S/R
38 AIR FLAP 4031.214 4031.214
39 CONTROL BOX BASE S/R S/R
40 REAR DISC 4031.238 -
41 SEAL (170 X 145) DIAM 90MM 4031.199 4031.199
42 PHOTOCELL CLAMP 4031.009 4031.009
43 PHOTOCELL FLANGE 4031.008 4031.008
BURNER BF 30, MINOR 4 COMPLETE 4031.210 -
BURNER BF 60, MINOR 8 COMPLETE 4031.220 -
S/R = Parts Available by Special Request Only
206

207
Spareparts VENTED HEATERS
BURNER BF 30 E - BF 60 E minor 4 and minor 8
ILLUSTRATED PARTS BREAKDOWN


7
7
MASTER ACCESSOIRIES


Spareparts ACCESSORIES
Description Appropriate Code NR
DIRECT FIRED HEATERS
PHOTOCELL TESTER (HA 1170) MASTER OIL LP/LD TYPES 4106.058
PRESSURE GAUGE 0.6 A (HA 1180) DIRECT OIL LP/LD TYPES 4109.427
PRESSURE GAUGE 16 A (M 4574) DIRECT OIL HP/HD TYPES 4109.435
ROOM THERMOSTAT TH-2 ALL MODELS 4100.426
WHEEL KIT HEAVY DUTY (HA 1202) MASTER B 35 & 70 TYPES 4103.925
WHEEL KIT LIGHT DUTY (HA 1206) MASTER B 35 & 70 TYPES 4103.930
INFRARED VAL-6 HEATERS
FUEL PREHEATER ALL MODELS 4116.372
ROOM THERMOSTAT TH-3 ALL MODELS 4115.523
ELECTRIC HEATERS
HOSE 160MM X 700 CM MASTER BS10 E 4160.250
HOSE 203MM X 700 CM MASTER BS15 E 4160.251
ROOM THERMOSTAT TH-2 TS 3A 4100.426
ROOM THERMOSTAT TH-5 MASTER BS10 & 15 4150.105
GASHEATERS
GAS COUPLING KIT NETHERLANDS ALL MODELS 4150.250
GAS COUPLING KIT EUROPE ALL MODELS 4150.260
GASHOSE 1.5 MTR 1/4'' BLP 15 M 4150.889
GASHOSE 1.5MTR 3/8 '' ALL OTHER MODELS 4150.708
ROOM THERMOSTAT TH-5 AUTOMATIC & ELECTRONIC MODELS 4150.105
211

Spareparts ACCESSORIES
Description Appropriate Code NR
VENTED HEATERS
FUEL CAP WITH OIL & RETURN LINE
(DRUM CONNECTION) BV360-440-460-680 E 4031.135
FUEL TRANSPORT PUMP ALL MODELS 4031.475
FLEX.REINF. FUEL LINE 4 MTR DIAM 8 MM BV360-440-460-680 E 4031.460
HOSE 305MM X 760 CM BV440-460-680 E 4031.406
HOSE 407MM X 760 CM BV100-160-280 E 4031.402
HOSE 510MM X 760 CM BV460 & 680 E 4031.403
HOSE 610MM X 760 CM BV440 & 680 E 4031.407
HOSE 710MM X 760 CM BV460 & 680 E 4031.411
HOSE BINDER ALL MODELS 4031.408
OIL PREHEATER BV100 -160-280 E 4031.120
OIL PREHEATER BV360-440-460-680 E 4031.121
OUTLET 1-WAY 580MM BV460 E 4013.228
OUTLET 2-WAY 450MM BV440 E 4013.225
OUTLET 2-WAY 500MM BV680 E 4013.237
OUTLET 4-WAY 300MM BV440 E 4013.234
OUTLET 4-WAY 300MM BV680 E 4013.239
ROOM THERMOSTAT TH-5 BV100-160-280 E 4150.105
ROOM THERMOSTAT TH-5A BV360-440-460-680 E 4150.110
THERMOSTAT 0 - 150 DEGREE 4031.290
WHEEL KIT CASTOR BV360-460-680 E 4031.409
WHEEL KIT + BURNER COVER BV680 E 4031.410
WHEEL DIAM 340MM BV440-460 E 4031.132
DEHUMIDIFIERS
HYGROSTAT ALL MODELS 4140.101
212

8
8
PRICE LIST


215
Spareparts PRICELIST
4013.225 OUTLET 2-WAY 450MM BV440 405,95
4013.226 OUTLET 1-WAY 600 MM BV440 91,89
4013.227 OUTLET 4-WAY 300MM BV460 186,50
4013.228 OUTLET 1-WAY 580 MM BV460 144,50
4013.234 OUTLET 4-WAY 300MM BV440 199,95
4013.238 OUTLET 2-WAY 500MM BV680 153,83
4013.238 OUTLET 1-WAY 680MM BV680 153,83
4013.239 OUTLET 4-WAY 300MM BV680 169,95
4031.001 24 FUEL TANK BF30/60 369,35
4031.002 29 RILSAN PIPE ROND 8 BF30/60 3,35
4031.003 04.1 SIMEL PL. COUPL. BF30/60 3,40
4031.004 C.05 FUEL TANK BV100/160 357,00
4031.005 C94 CONTROL BOX LANDIS & GYR 128,45
4031.006 C.05 FUEL TANK BV280 399,00
4031.007 C42.1 AIR REGULATION FL. BV280 14,15
4031.008 C98 PHOTOCELL FLANGE BHO 1,85
4031.009 C97 PHOTOCELL CLAMP BHO 1,85
4031.010 C95 BASE LANDIS & GYR 23,95
4031.011 C86 FILTER SUPPORT BV100/280 16,75
4031.012 C106 NOZZLE SUPPORT BV100/280 18,00
4031.013 C.06 DRAIN PLUG BV100/280 7,00
4031.014 18.1 CONTROL BOX BRAHMA GF3 150,25
4031.015 FILTER 44 MICRON 12,95
4031.016 17.1 CONTROL BOX BASE BRAHMA 12,75
4031.017 42.1 PHOTOCELL HOLDER BRAHMA 1,02
4031.018 19.1 PHOTOCELL BRAHMA FC7 25,95
4031.019 C65 SPOOL SOLENOID DANFOSS 59,10
4031.020 C49.1 NOZZLE 0.65-80 15,70
4031.025 C49.2 NOZZLE 1.00-80 15,70
4031.030 C49.3 NOZZLE 1.50-80 15,70
4031.031 NOZZLE 2.00 80 DGR B354 15,70
4031.032 31 NOZZLE 0.65-60 BF30 14,25
4031.034 31.1 NOZZLE 1.25-60 BF60 15,75
4031.035 C13 TRANSFORMER H.T. 220V 83,35
4031.040 C33 RELAY 65.31 220V 28,35
4031.041 C33.1 RELAY 4031.040 29,22
4031.045 C39.1 COOL-OFF THERMOSTAT 13,40
4031.046 C39 CAP THERMOSTAT 11,53
4031.047 C39 OVERHEAT THERMOSTAT 14,15
4031.050 C63 PUMP SUNTEC AS 47 REF.4031.197 153,00
4031.051 C63.1 PUMP DANF.BFP11 INT.4031.197 142,26
4031.055 C64 VALVE SOLENOID SUNTEC AS47 54,90
4031.060 C68.1 COUPLING K1 1,95
4031.065 C68.2 COUPLING K2 BV280 2,15
4031.066 C50 DIFFUSOR BV100/160/280 24,75
4031.070 OIL FILTER 3/8" 24,00
4031.071 34 FILTER ASSY 1/4" 23,95
4031.075 TOPGASKET FOR OIL FILTER 0,85
4031.080 C93.1 FUSE 6A (6X30) BV100/160 1,95
4031.084 MALE PLUG 5-PIN SEE 4031.087 12,48
Code NR Description
Final Customer
price list ‘02-’03
Euro ex works
4031.085 C93.2 FUSE 10A (6X30) BV280 1,95
4031.086 43 FEMALE PLUG 90 DEGREE 5-PIN 14,50
4031.087 MALE-PLUG 4-PIN+1 CONNECTED (1-4) 11,30
4031.088 45 FEMALE PLUG 90 DEGREE 4-PIN 12,60
4031.089 46 MALE PLUG 4-PIN 13,35
4031.090 C96 PHOTOCELL BHO 61-LOA21 31,50
4031.091 C105.1 ELECTRODE SEE 4031.095 5,49
4031.094 FILTRO POMPA DANFOSS BFP 21R5 KIT 25,81
4031.095 C105 ELECTRODE BV100/160/280 7,45
4031.096 C101 CONNECTION 1/8"M4 3,35
4031.097 C15 H.T. CABLE BV100/280 9,25
4031.098 11 H.T.TRANSF.8/20 440/BF30/60 67,15
4031.100 31 NOZZLE 2.50-60 BV440/460 15,70
4031.101 40 FUSE 10 AMP (5X20) 1,00
4031.102 41 FUSE 6.3 AMP (5X20) 0,85
4031.105 C58 OIL SUPPLY PIPE <1997 7,65
4031.106 C58.1 OIL SUPPLY PIPE 1997> 8,50
4031.110 C103 NUT FOR BICONE 4MM 1,00
4031.111 BICONE 4 MM BF30/60/BV440 1,41
4031.115 C102 BICONE 4MM BV100/160/280 1,50
4031.116 NUT FOR BICONE BF30/60 BV440 0,82
4031.117 ADAPTER 140/150 MM BV-HEATERS 18,65
4031.118 18 PLATE 23,95
4031.119 ELECTRICAL RESISTANCE FOR FILTER 26,00
4031.120 FILTER WARMER FOR OIL ATT.3/8 224,95
4031.121 OIL PRE-HEATER BV360/460/680 275,00
4031.122 BRACKET FOR OIL-PREHEATER 5,00
4031.123 33 INDEX 5,22
4031.124 PLASTIC SCREW CONTROL BOX 0,91
4031.125 C72.2 MOTOR 750W BV280 383,00
4031.130 C72 MOTOR 130W BV100 165,00
4031.131 C72.1 MOTOR 200W BV160 165,00
4031.132 14.1 WHEEL 800X34 BV440 43,63
4031.133 C02 WHEEL 200X20 BV100/160 11,85
4031.134 C02.1 WHEEL 250X25 16,35
4031.135 FUEL-CAP WITH OIL & RETURNLINE 147,93
4031.136 FITTING 3/8" x 1/4" 1,13
4031.137 C77 REAR INLET GRILL BV280 49,15
4031.138 C74 MOTOR FLANCE BV280 303,58
4031.140 C11 FUEL PIPE 6 MM L=1MT 3,00
4031.145 C08 TANK PLUG 3,00
4031.146 27 ADJUSTABLE AIR HEAD BF30 181,65
4031.147 27.1 ADJUSTABLE AIR HEAD BF60 181,65
4031.148 C09 PIPE CONN. 1/4" MX6 13,78
4031.150 GASKET FOR FILTER CAP 70450 1,50
4031.152 C38 CHIMNEY<'97 BV100/160 36,70
4031.154 30 FAN MOTOR COMPLETE BF30 676,00
4031.155 C88 CONNECTION 90 DG 1/8" MX6 2,16
4031.156 30.1 FAN MOTOR COMPLETE BF60 998,32
4031.157 13 AXLE BV440 39,75
Code NR Description
Final Customer
price list ‘02-’03
Euro ex works

216
Spareparts PRICELIST
4031.160 C67 CONNECTOR BV100/160/280 2,45
4031.165 C73 CAPACITOR 5 UF 17,35
4031.166 C73.1 CAPACITOR BV280 32,25
4031.169 C19 PILOT LAMP BV100/160/280 2,63
4031.170 C20 SWITCH MAN-AUT (1-0-2) 3,75
4031.175 C03 WHEEL-HOLDER 20 BV100/160 1,00
4031.177 C03 WHEEL-HOLDER 25 1,20
4031.178 RETAINING RING BV440 1,45
4031.179 FILTER FOR OIL PRE-HEATER 25,40
4031.180 36 FILTER HOUSING 7,20
4031.181 SEAL FOR OIL PRE-HEATER 11,25
4031.182 02 ELASTIC PLATE M5 BV440 1,45
4031.183 16 FRONT SUPPORT 29,65
4031.184 02 TOP BURNER COVER BV680 41,00
4031.185 20 BURNER COVER BV440 79,65
4031.187 01 BURNER HOUSING BV680 83,35
4031.188 FRAME BV440 41,00
4031.189 01 REAR INLET GRILL BV440 48,95
4031.190 21 TOP COVER BURNER BV440 34,45
4031.191 RUBBER BOTTOM GASKET FOR FILTER 70450 1,50
4031.192 CAPACITOR BV440E SEE 4031.212 49,69
4031.193 FAN BV440E SEE 4031.263 99,11
4031.194 35.1 FAN LIMIT CONTROL AUT. 128,25
4031.195 DANFOSS VALVE BFP 071N0050 82,20
4031.196 C42 AIR REGULATION FL. 100/160 14,15
4031.197 C63.2 PUMP DANFOSS 146,50
4031.198 48 ELECTRIC COMPONENT BOX 440 446,25
4031.199 41 SEAL BV440 17,85
4031.200 25 H.T. CABLE BV440/BF30/60 9,25
4031.201 17 GASKET 9,25
4031.202 WHEEL-KIT BV 440 E 350 MM 170,17
4031.203 23 THERMAL INSULATION BV440 11,25
4031.204 ELECTRODE RIGHT BV440 13,25
4031.205 ELECTRODE SEE 4031.338 20,01
4031.206 39 FUSE HOLDER BV440 4,15
4031.207 35 FAN LIMIT CONTROL MAN BV440 128,25
4031.208 ELECTRODE LEFT 13,25
4031.209 10 FAN BV440/BF30/60 51,35
4031.210 BURNER MINOR 4 BF30 1.395,00
4031.211 34 HEAD SETTING SCREW 6,25
4031.212 05 CAPACITOR 45 UF BV440 60,25
4031.213 14 AIR DAMPER BF30/60 13,40
4031.214 38 AIR FLAP BF30/60 13,35
4031.215 CLIP NUT M6 BV100/160/280 0,60
4031.216 26 BLAST TUBE BF30 72,00
4031.217 26.1 BLAST TUBE BF60 72,00
4031.218 09 CAPACITOR UF4 BF30/60 13,40
4031.219 06 CAPACITOR UF10 BF30 23,95
4031.220 BURNER MINOR 8 BF60 1.395,00
4031.221 06.1 CAPACITOR UF20 BF60 34,85
Code NR Description
Final Customer
price list ‘02-’03
Euro ex works
4031.222 37 CONNECTION 1/4" MF BF30/60 3,85
4031.223 23 CONNECTION 1/4"Mx8 BF30/60 3,05
4031.224 18.1 COVER PIN BF30/60 12,75
4031.225 05 CONTROL KNOB BF30/60 4,45
4031.226 30 DIFFUSOR 80 ROND BF30 34,90
4031.227 30.1 DIFFUSOR 74 ROND BF60 25,00
4031.228 1 BITHERMOST./FAN LIM.4031.194 113,81
4031.229 28 FIRING HEAD BF30 136,15
4031.230 BURNER MINOR 12 SEE 4031.281 1.266,05
4031.231 28.1 FIRING HEAD BF60 136,15
4031.232 15 METAL AIR INLET BF30/60 24,00
4031.233 08 MOTOR W100 BF30/60 225,50
4031.234 05 NIPPLE FE 1/4" M-M 3,40
4031.235 29 NOZZLE HOLDER BF30 44,95
4031.236 29.1 NOZZLE HOLDER BF60 44,95
4031.237 30 DIFFUSOR 7 BV440 44,85
4031.238 40 REAR DISC BF30/60 25,00
4031.239 32 ROD L. 176 BF30 22,60
4031.240 32.1 ROD L.192 BF60 22,60
4031.241 18 SPRING BF30/60 0,50
4031.242 20 SPRING PIN BF30/60 0,75
4031.243 28 THERMOSTAT 0-40 GR. BF30/60 34,95
4031.244 14 THERM. KNOB COMPL. BF30/60 3,85
4031.247 26 BLAST TUBE 102 BV440 87,35
4031.249 38 CONTROL KNOB SEE 4031.268 25,41
4031.250 4.MOTOR+COUPLING = 4031.060 1,50
4031.251 28 FIRING HEAD BV440 132,00
4031.252 15 METAL AIR INLET BV440 28,90
4031.253 04 1.5 HP MOTOR BV440 498,00
4031.254 08 MOTOR W 130 BV440 259,00
4031.255 11 GASKET BF30 9,85
4031.256 29 NOZZLE HOLDER BV440 44,85
4031.257 06 PIPE FLEX L=400 MM 14,95
4031.258 16 PLAS AIR INLET BV440 48,75
4031.259 32 ROD L.200 BV440 25,00
4031.260 42 RED PILOT LAMP 10 BV440 5,00
4031.261 36 EL. COMPONENTS BRACK. BV440 50,00
4031.262 21 PLATE SEE 4031.118 17,33
4031.263 06 FAN 550MM BV440 134,65
4031.264 RM THERMOSTAT LS/1 1994/1995 40,85
4031.265 35.2 FAN LIMIT CONTROL ALRE 412,75
4031.268 38 CONTROL KNOB 1-0-2 28,95
4031.270 C75 FAN 300MM 18ø BV100 44,90
4031.271 C75 FAN 300MM 27ø BV160 44,90
4031.272 C75 FAN 500MM 33ø BV280 128,25
4031.273 C35 COMBUSTION CHAMBER BV100 535,00
4031.274 C35 COMBUSTION CHAMBER BV160 615,00
4031.275 75 FAN SUPPORT PANEL BV440 142,26
4031.276 C35 COMBUSTION CHAMBER BV280 1.010,00
4031.277 C38.1 CHIMNEY >'97 BV100/160/280 36,70
Code NR Description
Final Customer
price list ‘02-’03
Euro ex works

217
Spareparts PRICELIST
4031.278 C37 OUTLET CONE BV100/160 76,95
4031.280 13 BURNER BODY BV440 250,55
4031.281 BURNER MINOR 12 EN BV440 1.195,00
4031.282 ANTI DISTURB FILTER BV440 16,85
4031.283 ANTI DISTURB HEATER BV440 13,25
4031.284 OIL BURNER COMPLETE BV360 980,75
4031.285
OILBURNER COMPLETE MINOR 20 SHORT HEAD
1.327,25
4031.286
OILBURNER COMPLETE MINOR 20 LONG HEAD
1.327,25
4031.287 GAS BURNER COMPLETE BV360/460 2.266,15
4031.289 GAS BURNER COMPLETE BV680 3.578,45
4031.290 THERMOSTAT 0/150 DEGREE 245,95
4031.295 13 GASKET BF30/60 22,55
4031.296 99 CHIMNEY SEAL BV360 18,15
4031.297 CARTR. FILTER DANFOSS BFP20/21 24,40
4031.298 68 FAN BV360 163,36
4031.299 13 FAN SUPPORT PANEL BV360 158,82
4031.300 02 SPOOL SOLENOID SUNTEC 52,90
4031.301 03 OIL VALVE SEE 4031.055 51,62
4031.302 05 NIPPLE BV680 3,97
4031.303 08 MOTOR 200W BV460/680 284,50
4031.304 10 CAPACITOR 6.3 UFx200W 15,72
4031.305 11 FAN 180x40 BV460/680 60,89
4031.306 12 IGNITION TRANSFORMER SEE 4031.035 74,53
4031.307 16 AIR DAMPER BV460/680 40,45
4031.308 17 AIR CONVEYER BV460/680 37,95
4031.309 18 AIR DAMPER SCREW BV460/680 2,45
4031.310 19 COVER AIR INLET BV460/680 40,45
4031.311 23 ANTI DISTURB FILTER 37,75
4031.312 24 PROTECTION BOX BV460/680 4,15
4031.313 25 GASKET BV460/680 24,45
4031.314 28 HT. CABLES BV460/680 13,55
4031.315 29 BLAST TUBE BV460/680 115,45
4031.316 30 ELECTRODE (2PIECES) BV680 26,50
4031.317 31 FIRING HEAD BV460/680 164,75
4031.318 32 NOZZLE HOLDER BV460/680 40,45
4031.319 33 DIFFUSER BV460/680 37,75
4031.320 17 AXLE BV680 39,75
4031.321 18 FRONT SUPPORT BV680 31,45
4031.322 53 GASKET BV680 8,15
4031.323 55 WHEEL HOLDER BV680 4,75
4031.324 56 WHEEL 385MM BV680 45,45
4031.325 57 WASHER BV460/680 0,55
4031.326 62 MOTOR HP3 BV680 756,22
4031.327 63 CAPACITOR BV680 89,75
4031.328 68 FAN 630MM BV680 213,65
4031.329 04 COUPLING BV460/680 4,45
4031.330 15 BURNER BODY BV460/680 375,35
4031.331 19 ALUMINUM JOINT WITH NUT M10 23,95
4031.332 SUSPENDING RING M10 BV680 4,85
4031.333 13 COVER BV460/680 44,85
Code NR Description
Final Customer
price list ‘02-’03
Euro ex works
4031.334 79 RELAY WIMEX BV680 56,50
4031.335 34 NOZZLE 3.50-60 BV680 15,70
4031.336 80 RELAY ISKRA BV680 79,60
4031.337 FAN D=560MM 26 BV460 171,94
4031.338 ELECTRODE SET (L+R) BV440/460 19,80
4031.339 FAN D=145x50MM BV460 36,10
4031.340 14 GLASS BV460/680 3,85
4031.341 27 FIRING HEAD ADJ. BV460/680 24,95
4031.342 01.1 BURNER HOUSING BV460 74,35
4031.343 02.1 TOP BURNER COVER BV460 34,80
4031.344 17.1 AXLE BV460 39,75
4031.345 62.1 MOTOR HP1.5 BV460 536,55
4031.346 63.1 CAPACITOR BV460 42,90
4031.347 68.1 FAN BV460 194,65
4031.350 NOZZLE 2.00-60 BV360 14,27
4031.355 72 ELECTRIC COMP. BOX 460/680 72,35
4031.356 80.1 RELAY ISKRA BV460 79,60
4031.357 15 AIR INLET PANEL BV440 147,48
4031.358 13 CHIMNEY FLANGE BV440 26,09
4031.359 14 CHIMNEY PANEL BV440 43,11
4031.360 25 VERTICAL ANGLE BV440 38,57
4031.361 NIPPLE CONNECTION 19,95
4031.362 SEAL FOR BURNER 7,50
4031.363 PANEL LEFT 30,77
4031.364 PANEL RIGHT 30,77
4031.365 91 THERMAL INSULATION BV 460 E 12,50
4031.366 91.1 THERMAL INSULATION BV680E 14,95
4031.400 HOSE GREY 180 MM X 10 M 250,00
4031.402 HOSE 407MM X 750CM YELLOW 329,95
4031.403 HOSE 510 MM X 750 CM YELLOW 515,00
4031.404 HOSE YEL 460 MM X 750 CM 495,53
4031.406 HOSE 305MM X 760CM YELLOW 239,95
4031.407 HOSE 610MM X 750CM YELLOW 408,00
4031.408 HOSEBINDER 2.6 MTR 8,95
4031.409 WHEEL KIT BV360/460/680 139,95
4031.410 WHEEL KIT + BURNER COVER BV680 384,95
4031.411 HOSE 710 MM X 760 CM YELLOW 515,00
4031.420 HOSE VP-RED 356 MM 1000 CM 195,58
4031.422 HOSE VP-GREY 406 MM X 10 MTR 223,26
4031.423 HOSE VP-RED 510 MM X 10 MTR 274,99
4031.425 HOSE VP-RED 315 MM X 10 MTR 166,99
4031.430 DIESELMATE TANK YELLOW 100L 487,81
4031.431 WATERMATE TANK BLEU 110L 487,81
4031.450 CLAMP 60-425 MM FOR HOSES 6,17
4031.455 QUICK-CLAMP 60 - 425 MM F HOSE 23,14
4031.460 FUEL LINE FLEXIBLE 4 MTR REINF 61,95
4031.475 FUEL TRANSPORT POMP 642,95
4031.700 PUMP RV260 152,02
4031.701 PUMP RV100/150 115,71
4031.702 CONTROL BOX RV100/150/260 152,02
Code NR Description
Final Customer
price list ‘02-’03
Euro ex works

218
Spareparts PRICELIST
4031.705 RESISTANCE RV100/150/260 43,11
4031.706 SATRONIC SUPPORT RV100/150/260 2,95
4031.707 ELECTR.VALVE COIL 100/150/260 17,02
4031.708 SWITCH RV100/150/260 6,13
4031.711 RELAIS RV100/150/260 31,76
4031.716 FILTER RV100/150/260 26,09
4031.720 SAFETY THERMOST. RV100/150/260 11,12
4031.722 HOSE RV100/150/260 2,95
4031.735 FUSE 5X20 2,5A RV100 0,88
4031.736 FUSE 5X20 4A RV150 0,88
4031.737 FUSE RV260 0,88
4031.738 TRANSFORMER RV100/150/260 79,41
4031.739 OVERHEAT TERM. RV100/150/260 5,67
4031.740 ELECTRODES RV100/150/260 10,21
4031.743 OIL NOZZLE 1,5 45° S D30F4928 15,88
4031.744 FAN RV100/150 38,57
4031.745 FAN RV260 122,52
4031.746 CABLE RV100/150/260 6,81
4031.747 COUPLING K2 RV100-150 2,27
4031.748 COUPLING K1 REF.4031.060 2,27
4031.749 COMBUSTION HEAD RV100 204,20
4031.750 COMBUSTION HEAD RV150 204,20
4031.751 COMBUSTION HEAD RV260 204,20
4031.752 THERMOSTAT PLUG RV MODELS 13,61
4031.800 NUT 3/8"X5 BRASS POS.C87 0,75
4031.802 DOUBLE SCREW POS.C85 4,00
4031.803 ELBOW 90° 3/8 MX6 POS.C78 3,75
4031.804 STREIGHT FITTING 3/8 MX6 POS.C78 2,50
4100.426 ROOM THERMOSTAT TH-2 69,00
4100.509 FILT. ELEM. SEE 4100.510 13,57
4100.510 FUEL FILTER SEE 4105.829 26,77
4100.525 M 10659-1 WASHER 0,50
4100.526 103409-01 WAVE SPRING WASHER 0,55
4100.527 WLE 3 LOCKWASHER CEH 0,45
4100.533 M 10809-1 SPRING NZL SEAL 0,95
4100.541 M 10990-3 BUSHING 1,00
4100.566 098512-03 COMBUSTION CHAMBER 67,00
4100.574 M 25061-2 RELAY B66 14,10
4100.582 M 51336-02 FAN SWITCH 14,00
4100.630 107961-01 FUEL FILTER 3,75
4100.631 M 51107-01 FAN 8,96
4100.632 M 27417 PLUG DRAIN 1,35
4100.633 NOZZLE ADAPTER 6,69
4100.635 COVER SIDE PC BOARD B35/70 PAINTED 6,00
4100.636 098511-235 SHELL LOWER B35/70 49,45
4100.637 098511-236 SHELL LOWER B100/15 53,10
4100.638 098512-63 COMB. CHAMBER B35CEH/CEL 55,40
4100.639 098512-64 COMB.CHAMBER B70CEH/CEL 55,40
4100.640 098512-65 COMB.CHAMBER B100CEH/CEL 82,45
4100.641 098512-66 COMB.CHAMBER B150CEH/CEL 99,00
Code NR Description
Final Customer
price list ‘02-’03
Euro ex works
4100.642 098513-101 FUEL TANK B35CEH 107,10
4100.643 108088-03 FUEL TANK B70CEH/CEL 111,65
4100.644 099743-01 see 107961-01 - 4100.630 2,13
4100.645 100735-23 NOZZLE ASS. B100CEH/CEL 14,75
4100.646 100735-24 NOZZLE ASS. B150CEH/CEL 14,75
4100.647 100735-25 NOZZLE ASS. B70CEH/CEL 14,75
4100.648 100735-26 NOZZLE ASS. B35CEH/CEL 14,75
4100.649 101695-01 PLUG BUTTON B100/150 0,45
4100.650 100735-27 NOZZLE REM12 14,75
4100.651 102001-23 MOTOR B70CEH/CEL 118,15
4100.652
102001-24 MOTOR 100/150 REPLACE 4110.080
145,20
4100.653 102336-01 BRCKT NOZZLE ADP CEH/CEL 1,00
4100.654 102349-01 PC-BOARD SUPPORT 0,45
4100.655 102548-05 IGNITOR KIT HSI 54,95
4100.656 102861-01 LOCKNUT NYLON CEH 1,20
4100.657 103154-03 BRACK. PH.CELL 35/70 1,40
4100.658 103971-01 BRCKT PHOTOCELL B100 1,40
4100.659 103154-05 BRCKT PHOTOCELL B150 1,40
4100.660 103347-01 WASHER BELLEV. CEH 0,50
4100.661 103676-01 ELBOW 90DGR NYLON 0,90
4100.662 103684-01 FAN 6,50
4100.663 104054-01 ADAPTER NOZZLE 5,30
4100.664 104056-01 ADAPTER NOZZLE 5,30
4100.665
104068-04 PC-BOARD ASSY (REPLACED BY 4100.676)
53,32
4100.666 105780-01 CAP PLASTIC B35/70 0,50
4100.667 105793-01 ON/OFF SWITCH CEH/CEL 5,30
4100.668 FUSE 5X20 1,60
4100.669 M 10908-75 SCRW #6-32x7/8" CEH/CEL 0,50
4100.670 M51077-09AA COVER SIDE 100/150 6,15
4100.671 M 51108-01 HEAT SHIELD B35/70 1,15
4100.672 M 51345-06 FUEL LINE B100/150 1,80
4100.673 NPF-3B NUT #10-32 CEH REPLACE 4110.188 0,45
4100.674 RF3-5B SCRW #10-32x5/8" 0,60
4100.675 NL2870 TESTLAMP NEON 3,95
4100.676 104068-04 REV K PC-BOARD HSI 53,32
4100.764 PUMP WITHOUT FLENS HP MODELS 135,70
4100.765 FLENS FOR PUMP HP MODELS 25,15
4100.806 M 18436 SPRING 4,20
4101.077 M 8990 ELECTRODE RH 9,75
4101.085 M 8989 ELECTRODE LH 9,75
4101.112 M 50104-03 BUSHING SHORT 0,50
4101.113 M 51369-01 POWER CORD 13,10
4101.114 097197-02 WHEEL SUPPORT 26,70
4101.115 097198-02 HANDLE REAR 25,25
4101.116 M 51015-04 AXLE PLATED 3,15
4101.117 097475-01 WIRE HARNESS+CELL 11,75
4101.118 097475-02 WIRE HARNESS+CELL 12,35
4101.119 M 8434-3 TRANSFORMER B 300 167,00
4101.120 M 16841-58 WIRE ASSY 0,41
4101.127 099674-01 MOTOR B350 260,00
Code NR Description
Final Customer
price list ‘02-’03
Euro ex works

219
Spareparts PRICELIST
4101.129 M 51049-03 WIRE HARNESS+CELL 17,50
4101.130
M 51039-01 FAN B150EGC D40-NOT AVAILABLE
20,25
4101.131 FHPF3 2C SCREW 0,50
4101.132 M 11084-27 SCREW 0,50
4101.133 M 11084-26 SCREW 0,50
4101.134 M 12749-2 SCREW 1,50
4101.135 M 15823-39 SCREW 0,50
4101.136 M 11084-37 SCREW 0,50
4101.137 FUSE HOLDER ASSEMBLY 6,99
4101.138 100682-01 FUSE HOLDER ASSY 13,75
4101.139 100681-01 RING DRIP PROOF 8,55
4101.140 M 12650-13 CAPACITOR 24,00
4101.141 100679-01 FASTENER 1,40
4101.143 098513-05 FUEL TANK B 350 400,00
4101.150 098512-27 COMB. CHAMB. B70EGC 60,00
4101.151 M 30865-02 BUSHING OPEN 0,50
4101.152 M 50104-02 BUSHING SHORT 1,75
4101.154 097514-01 FUEL LINE TUBE 6,10
4101.155 079685-01 CONNECTOR MALE 2,45
4101.156 M 50016 ELBOW 90 GR 2,50
4101.157 098512-21 COMB. CHAM. B100EGC 78,35
4101.158 M 16790-8 FUEL LINE TUBE 6,05
4101.159 098512-25 COMB. CHAM. B150EGC 164,00
4101.160 M 27324-3AA BOX M. B 150 EGC 26,85
4101.176 FILTER ALL LP TYPES 6,00
4101.180 098512-31 COMB.CHAMB. B100CEA 71,75
4101.182
098512-12 COMB.CHAMBER-NOT AVAILABLE
70,34
4101.184 M 11054-1 NOZZLE SIPHON 18,55
4101.192 M 29681 NOZZLE SIPHON B30 16,75
4101.200 M 8643 BLADE 2,25
4101.202 098083-01 IGNITOR DECAL 0,59
4101.208 097061-01 RELAY SOLENOID 10,73
4101.214 099229-01 BR.PH.CELL 1,47
4101.218 M 12650-1 CAPACITOR 14,97
4101.222 102482-01 IGNITION DEVICE KIT 85,31
4101.224 097308-03 MOTOR 122,52
4101.232 M 50104-01 BUSHING SHORT 0,50
4101.234 M 13942-5 WIRE CONNE 0,54
4101.238 M 12462-17 RELAY 11,75
4101.240
101206-01 BRACKET MOTOR REPLACE 4110.186
2,45
4101.242 M 12650-12 CAPACITOR 18,25
4101.243 M 51226-01 CAPACITOR CAP 8,15
4101.246 M 51160-01 SWITCH COVER 1,36
4101.248 M 50899-03AB SIDE COVER 6,24
4101.250 097661-02AB SIDE COVER PAINTED 6,69
4101.252 M 50899-03AA SIDE COVER BLACK 6,58
4101.254 M 11143-1 STR REL BUSHING 0,45
4101.256 M 25061-5 RELAY 14,29
4101.260 102001-06 MOTOR KIT 116,17
4101.262 M 51151-02 FUELLINE TUBE 2,09
Code NR Description
Final Customer
price list ‘02-’03
Euro ex works
4101.317 079975-02 (M 8645) PUMP BODY 28,55
4101.325 M 50545 END PUMP COVER 21,00
4101.333 M 11637 FILTER LINT 0,50
4101.341 M 12244-1 FILTER OUTPUT 3,85
4101.358 M 12179 FILTER INTAKE 1,30
4101.499 M 12462-11 RELAY 13,40
4101.507 M 12462-5 RELAY 13,60
4101.515 M 12462-3 RELAY 13,40
4101.532 079975-03 PUMP BODY 24,00
4101.598 IGPH 80 GR. NOZZLE B155 16,35
4101.606 NOZZLE 2.25 GPH 90 GR. 12,70
4101.622 M 8882 SLEEVE 1,00
4101.623 M 50299 SLEEVE 0,45
4101.666 M 8643-2 BLADE 2,25
4101.747 M 5976 CONNECTOR MALE 4,00
4101.846 104184-01 (M10962-2)SPARK PLUG 15,35
4101.851 104007-01 CAPACITOR B70 CEB 12,00
4101.854 HA 3006 NOZZLE B35 CEA/CEB/CEH/CEL 15,85
4101.879 M 14293 NOZZLE 15,10
4101.887 M 8643-3 BLADE 2,65
4101.891 079965-01 PUMP BODY FINISHED 18,00
4101.895 079975-04 PUMP BODY 27,00
4101.911 M 22456-3 ROTOR 19,50
4101.929 M 12650-3 CAPACITOR START 11,60
4101.937 103229-01 CAPACITOR 18,00
4101.978 M 12951 ELECTRODE LH 9,75
4101.986 M 12952 ELECTRODE RH 9,75
4102.125 M 22997 PLUG 1,00
4102.133 M 27694 SCREW PRESSURE 0,60
4102.141 M 10993-1 SPRING 0,50
4102.166 M 10816-20 ELECTRODE 5,20
4102.257 STOPCONTACT-THERMOSTAT TH-1 61,71
4102.258 THERMOSTAT TH-1 (FR.BEL.) 63,08
4102.307 099895-01 THERMOSTAT 79,30
4102.398 M 51170-01 PLUG BODYBURN. B350 2,45
4102.455 M 12303 THERMAL LIM 21,19
4102.521 M31372 VALVESOLEN.SEE 4102.522 49,25
4102.522 VALVE SOLENOID 38,55
4102.535 M 50077-02 VALVE SOLENOID 42,00
4102.648 M 17058 FAN 16,15
4102.658 M 28340 BUSHING SPLIT-NOT AVAILABLE 0,90
4102.683 M 31301 FAN SWITCH KIT 26,00
4102.737 M 16661-1 CLAMP MOTOR 0,90
4102.802 M 51028-04 SWITCH TH. LIMIT 51,05
4102.828 M 17316 END PLATE 40,39
4102.851 098511-39 SHELL UPPER 63,50
4103.222 M 51015-01 AXLE 4,50
4103.224 1000576 GROMMET 0,55
4103.271 M 50389 WHEEL 58,54
4103.289 107426 01 KIT WHEEL 8,85
Code NR Description
Final Customer
price list ‘02-’03
Euro ex works

220
Spareparts PRICELIST
4103.370 M 5788 SLEEVE 0,85
4103.441 M 22456-2 ROTOR 20,75
4103.448 M 16656-18 PHOTOCELL B350 11,10
4103.462 M 50121-02 FAN 48,10
4103.486 100735-14 NOZZLE 17,70
4103.511 M 10908-1 SCREW 0,50
4103.529 M 10908-2 SCREW 0,50
4103.537 M 16660 BRACKET PHOTO CELL 1,40
4103.552 HA 3019 PHOTOCELL 15,00
4103.553 HA 3005 ROTOR KIT 20,75
4103.554 HA 3004 ROTOR KIT 19,75
4103.556 HA 3017 FILTER KIT 9,60
4103.557 HA 3018 FILTER KIT 8,35
4103.558 HA 3009 NOZZLE KIT 21,30
4103.559
100735-15 NOZZLE ASSY B100CEA/CEB/CED
17,30
4103.561 HA 3014 FILTER KIT 5,00
4103.578 M 25296-1 BRACKET RELAY NEW 5,00
4103.584 HA 3007 (M50597) NOZZLE 18,85
4103.586 M 51102-01 FILTER ELEMENT 10,00
4103.590 M 16656-24(23) PHOTOCELL CEH/CEL 11,84
4103.594 FK-2M FLAME CONTROL 204,20
4103.610 M 50065-02 PUMP B350 157,00
4103.611 M 50140 FAN GUARD B 150 5,25
4103.648 097213-01 ADAPTER NOZZLE KIT 6,30
4103.651 M 30884 FAN 8,55
4103.685 M 51105-01 FAN GUARD 8,10
4103.695 M 51114-01 FAN GUARD 8,15
4103.719 098512-20 COMBUSTION CHAMBER 63,00
4103.727 098512-23 COMBUSTION CHAMBER 59,00
4103.743 M 51027-06 CAP BLACK B30-70EA 2,15
4103.750 098513-23 (01) FUEL TANK SEE 4105.294 80,86
4103.776 098513-24 (02) FUEL TANK SEE 4100.643 80,86
4103.784 M 51104-01 HANDLE 35-70CEH 2,60
4103.800 098918-02 (078894-04) MOTOR 133,90
4103.818 098918-01 MOTOR B 30 89,85
4103.834 HA 3008 = M 50880-01 NOZZLE 17,63
4103.839 M 12462-13 RELAY 13,40
4103.842 098511-54 SHELL UPPER 37,10
4103.850 097468-01 EDGE LINER 2,25
4103.852 100735-16 NOZZLE R15E 17,70
4103.875 M 50876-05 FUEL FILTER 7,75
4103.878 M 19630 FUEL FILTER 2,95
4103.880 102243 01AA FAN GUARD B350CEA 126,70
4103.881 098872 03 POWER CORD 20,42
4103.882 099566-03 THERMOSTAT B350 69,60
4103.884 099125-02 BOARD TERMINAL 2,45
4103.891 097702-01 CAP FUEL 1,60
4103.894 M 50876-01 FILTER BUSHING 7,95
4103.896 M 51357-02 CAPACITOR RUN 29,35
4103.898
100735-11 NOZZLE B150 SPARK PLUG TYPES
10,40
Code NR Description
Final Customer
price list ‘02-’03
Euro ex works
4103.905 098918-04 MOTOR 129,33
4103.919 098136-05 RELAY 11,75
4103.925 HA 1202 WHEEL KIT HD B35/70 55,60
4103.930 HA 1206 WHEEL KIT LD B35/70 32,55
4103.995 098918-06 MOTOR-NOT AVAILABLE 154,30
4104.006 098511-138 (098511-61 OR 66) SHELL 52,20
4104.022 098512-07 COMBUSTION CHAMBER 75,50
4104.040 M 50542-01 COMBUSTION CHAMBER 316,75
4104.055 097293-01 FAN 12,00
4104.060 098512-43 COMB. CHAMBER 55,35
4104.071 098918-05 MOTOR 143,40
4104.088 098512-36 COMB CHAMBER 94,00
4104.090 098512-44 COMB. CHAMB. 61,00
4104.091 098512-55 COMB. CHAMBER 60,81
4104.097 M 51345-01 FUEL LINE TUBE 1,75
4104.099 M 16790-12 FUEL LINE TUBE 7,15
4104.113 M 51150-01=4100.630 =107961-01 3,75
4104.118 M 50820-02 FITTING BARB 1,68
4104.121 M 51151-01 FUEL LINE 1,65
4104.144 099646-01 COVER SPARK PLUG 7,50
4104.147 M 50814-06 AIRLINE TUBE 3,30
4104.151 100311-01 FUEL TUBE BLP300 7,25
4104.154 098511-02 SHELL LOWER 54,00
4104.156 M 50814-03 AIRLINE TUBE 4,00
4104.162 M 51070-02 NOZZLE B 350 10,45
4104.170 M 11271-8 CLIP NUT 0,45
4104.175 097461-01AA COVER SIDE 6,00
4104.183 M 51077-01AA COVER SIDE 6,00
4104.189 098513-34 FUEL TANK B 70 EGC 107,00
4104.190 098513-33 FUEL TANK B 100 EGC 115,00
4104.191 098513-11 FUEL TANK B 150 EGC 109,00
4104.192 098513-97 FUELTANK D30/EHGB100 108,00
4104.196 097630-02 FLAME CONTROL 51,30
4104.197 M 50660-05 NUT FLARED 2,45
4104.336 079919-01 COVER SWITCH 1,50
4104.567 098894-01 RELAY POWER-NOT AVAILABLE 44,60
4104.678 M 50064-07 MOTOR B 350 284,10
4105.004 TRANSFORMER LD/LP 90,00
4105.037 098512-10 (15) COMB. CHAMBER 65,00
4105.045 098512-18 (02) COMB. CHAMBER 86,45
4105.052 M 17920 FAN 19,00
4105.060 098511-26 SHELL LOWER 58,08
4105.062 102042-01 FAN 10,25
4105.078 098511-101 SHELL LOWER 63,75
4105.086 079725-03 FUEL FILTER 10,50
4105.088 098103-01 FILTER ELEMENT 28,85
4105.094 079725-04 FUEL FILTER 11,30
4105.102 098511-58 SHELL UPPER 74,75
4105.115 097545-01 POWER CORD 17,25
4105.136 M 50387-01 AIRLINE B 100 ES 20,45
Code NR Description
Final Customer
price list ‘02-’03
Euro ex works

221
Spareparts PRICELIST
4105.144 M 50387-02 AIRLINE B 150 ES 16,15
4105.151 M 18048 NOZZLE 19,10
4105.169 HA 3011 = M 18022 NOZZLE 21,10
4105.177 M 16741-18 RING RETAINING 1,37
4105.185 M 50924-01 BODY BURNER HEAD 22,25
4105.187 M 50924-08 BODY BURNER 22,00
4105.193 M 16535 ADAPTER NOZZLE 8,00
4105.195 098511-12 SHELL LOWER B35/70 57,20
4105.219 079721-01 NUT FLARED 5,95
4105.227
M 51159-05 MOTOR B 150 ES NOT AVAILABLE
171,50
4105.229
102762-03 (M 51359-02) MOTOR - INACTIVE
148,85
4105.235 FHPF3 4C SCREW 0,50
4105.238 M 50295 FUEL LINE 7,49
4105.239 M 50114-02 MALE ELBOW 4,22
4105.240 M 50296 WHEEL SPACER 2,85
4105.250 098513-04 (03) FUEL TANK 107,00
4105.268 M 23284 CAP FUEL N/A 6,06
4105.276 098513-08 (09) FUEL TANK 119,00
4105.284 M 16801-2 AXLE B 150 5,45
4105.285 098513-36 FUEL TANK 107,09
4105.287 102801-01 POWER LINE RFI FILT. 33,27
4105.288 103259-01 RFI FILTER B350CEA 39,80
4105.290 098513-76 FUEL TANK B150 CEA 120,70
4105.292 M 18053 = HA2210 SCREEN 8,60
4105.293
098513-73 FUEL TANK B35 CEA SEE 4105.294
96,20
4105.294 108088-01 FUEL TANK B 35 104,50
4105.295 098513-74 FUEL TANK B70 CEA 102,50
4105.296 098513-90 FUEL TANK SEE 4100.643 102,55
4105.298 108088-04 FUEL TANK B100 120,70
4105.299 108088-05 FUEL TANK B150 120,70
4105.300 M 12461-34 SCREW 0,60
4105.508 079973-01 FUEL LINE 1,15
4105.829 098102-01 FUEL FILTER HP-MOD. 28,20
4105.840 M 17499-2 PIPE NIPPLE 3,35
4105.841 M 50429 GASKET SPARKPLUG 0,50
4105.842 M 50113-02 STRAIGHT FITTING 3,10
4106.035 M 18775 BRACKET NOZZLE 39,00
4106.044 097741-01 BLOCK TERMINAL 33,65
4106.053 097742-02 (01) CONTROL BOX 76,25
4106.058 HA 1170 TESTER SAFETY CONTROL 135,20
4106.071 M 50820-01 FITTING BARB 1,68
4106.080 M 27669-01 FUEL FILTER 11,75
4106.089 098557-07 (05) SEE 4106.095 85,31
4106.090 102482-03 (098641-07) IGNITOR 76,70
4106.092 101901-08 IGNITOR See 4106.095 85,31
4106.095 102482-02 IGNITOR 76,60
4106.098
102001-15 (098642-01) MOTOR SEE 4110.042
98,90
4106.107 102001-16 (098782-02) MOTOR 118,90
4106.109 102001-10 097464-01 MOT.70EGC 138,90
4106.110 099125-13 BOARD TERMINAL 2,65
Code NR Description
Final Customer
price list ‘02-’03
Euro ex works
4106.116 102001-17 (098783-02) MOTOR 141,60
4106.118 102001-11 (097464-02) MOTOR-INACTIVE 141,60
4106.120 097467-01 PLUG BUTTON 0,45
4106.121 097467-02 PLUG BUTTON 0,45
4106.122 099213-01 PLUG BUTTON 0,45
4106.123 097746-01 FUSE 2,15
4106.134 097744-01 FUSE HOLDER 8,00
4106.143 098165-02 (098136-02) RELAY 20,00
4106.152 098165-04 (098136-04)RELAY 20,85
4106.161 M 50420-06 RELAY 14,30
4106.170 097748-02 (01) SAFETY CONTROL 81,70
4106.179 097462-01 SWITCH 4,50
4106.181 M 50115-01 FUEL LINE B 350 22,25
4106.188 079883-01 SWITCH 6,25
4106.197 M 51028-03 THERMAL SWITCH 47,15
4106.198 079722-01 SEE 4109.849 96,22
4106.333 M 50297 ELBOW B 350 9,25
4106.334 69246 NIPPLE B350EAI 1,50
4106.335 57413 ELBOW STREET B350 3,25
4106.584 099509-03 WIRE HARNESS 10,37
4108.126 098511-191 SHELL LOW. B100/150 53,10
4108.350 M 8941 SPRING 0,50
4108.361 M 11952 BRACKET RELAY OLD 0,85
4108.379 M 8940 BALL 1/4" CHROME STEEL AISI52100 0,50
4108.429 M 28526 NUT CAP 0,70
4108.486 NTC 4C NUT 0,45
4108.488 M 50298 NUT 0,79
4108.494 NTC 3C NUT REPLACE 4110.189 0,45
4108.502 100647-01 M 15823-27(26) SCREW 0,50
4108.510 M 11084-29 SCREW 0,50
4108.528 M 12461-31 SCREW 0,50
4108.530 M 12461-13 SCREW 0,50
4108.536 M 12461-32 SCREW 0,50
4108.540 M 12461-14 SCREW 0,65
4108.544 M 12345-34 SCREW SEE 4108.619 0,50
4108.547 078918-01 TAB CAP 0,86
4108.550 102001-03 (102040-01) MOTOR 141,60
4108.555 097308-04 MOTOR KIT NOT AVAILABLE 98,92
4108.569 M 51043-01 SCREW 0,45
4108.574 M 50050 IGNITION BOOT 0,86
4108.577 FHPF3 7C SCREW 0,50
4108.585 M 23148 FAN B 100 E 21,42
4108.588 FHPF3 5C SCREW 0,50
4108.590 FHPF3 6C SCREW 0,45
4108.593 100735-05 = M 23103 NOZZLE 19,10
4108.619 M 12345-33 SCREW 0,50
4108.627 M 22456-1 ROTOR 14,93
4108.635 M 22009 INSERT 0,50
4108.643 M 16545 END COVER 6,26
4108.650 M 23367 FAN B300 N/A 60,80
Code NR Description
Final Customer
price list ‘02-’03
Euro ex works

222
Spareparts PRICELIST
4108.668 M 22626 NOZZLE 15,65
4108.718 M 22873 COUPLING 8,30
4108.734 FLAME CONTROL DANFOSS 115,71
4108.742 102001-09 (M 23107-6) MOTOR 145,20
4108.759 M 18774 AXLE 26,50
4108.783 M 12461-25 SCREW 0,50
4108.924 M 51098-01 BODY BURNER HEAD 24,15
4108.932 098512-01 COMBUSTION CHAMBER 568,30
4108.940 098511-77 SHELL UPPER 70,80
4108.956 M 50062-03 HANDLE FRONT B350 34,70
4108.957 M 23753 AIRLINE BV 125 18,50
4108.972 099617-01 FILTER EMC 48,95
4108.973 M 50314-01 INTERRUPTER BV125 62,75
4109.062 M 18303 NOZZLE 12,71
4109.122 M 16841-57 WIRE ASSEMBLY 0,68
4109.161 M 26317 FAN 14,75
4109.179 M 50387-04 AIRLINE B 66 N.A. 16,75
4109.278 M 25291 WHEEL B 66 7,26
4109.294 M 27585-1 INTERRUPTER BV 60 20,42
4109.328 098512-19 COMBUSTION CHAMBER 67,00
4109.344 M 26316 NOZZLE B66 17,70
4109.350 M 50924-02 BODY BURNER HD B350 22,25
4109.351 M 51098-02 BODY BURNER HEAD 24,50
4109.352 M 50924-03 BODY BURNER 22,25
4109.377 M 23090 BODY BURNER HEAD 22,01
4109.427 HA 1180 PRESSURE GAGE LD 37,60
4109.435 M 4574 Alt PRESSURE GAGE HD 37,60
4109.476 FOTOCEL FOTO1001/1002 30,86
4109.518 M 29824 NUT SPECIAL 2,10
4109.526 104183-01 (M 29835) SPARK PLUG 9,00
4109.542 079980-01 ADAPTER NOZZLE 6,45
4109.560 101205-02 BRACKET MOTOR 2,00
4109.567 M 29652-05 FUEL LINE TUBE 1,45
4109.570 M 16790-18 FUEL TUBE 4,12
4109.575 M 50876-04 FUEL FILTER B 30 6,50
4109.580 RF3 6B ROUND HD SCREW 0,50
4109.590
102432-01 HEX SCREW INT4110.190+4160.613
0,50
4109.591 ST2 2AC SCREW 0,45
4109.592 099177-01 NUT HEX 0,60
4109.633 M 29652-04 AIRLINE TUBE 2,30
4109.658 M 51027-01 CAP B30 E 3,75
4109.674 M 29609 END COVER 3,65
4109.690 M 29633 FILTER INTAKE 1,00
4109.708 M 29612-01 FILTER OUTPUT 2,30
4109.716 M 29632 FILTER LINT 0,50
4109.724 M 29608 END PUMP COVER 13,50
4109.780 102001-19 (102803-01) MOTOR 126,15
4109.799 M 30900-01 MOTOR B 30 ES 89,85
4109.807 079725-02 FUEL FILTER 14,60
4109.849 079724-04 FUEL FILTER BV125E 37,40
Code NR Description
Final Customer
price list ‘02-’03
Euro ex works
4109.855 M 12577 GASKET 1,40
4109.864 HA 2203 HANDLE B100 19,10
4109.872 HA 2204 HANDLE STRAIGHT SH. 20,40
4109.875
HA 2205 HANDLE ROUND SH.NOT AVAILABLE
14,50
4109.880 M 26204-3 HANDLE RR 18,61
4109.884 098068-01 HEAT SHIELD 17,80
4109.885 M 50062 HANDLE REAR B350 24,10
4109.906 M 12342-3 WHEEL SUPPORT FRAME 25,36
4109.914 M 12831-3 WHEEL SUPPORT FRAME 21,70
4110.028 M 11084 2 SCREW REPLACE 4110.192 0,50
4110.029 M 12461 51 SCREW HX SLT WSR 10-24X1/2 0,50
4110.032 M 51345 04 TUBING RUBBER 2,50
4110.033 M 6777 TIE PLASTIC 0,50
4110.034 RF3 4B SCREW 10-32 REPLACE 4110.188 0,50
4110.036 079010-39 WIRE ASSYMBLY BROWN 4,50
4110.037 079010-40 WIRE ASSYMBLY WHITE 4,50
4110.038 079673 07 CORD POWER 13,10
4110.062 COVER PAINTED SIDE MOD 100/150 6,00
4110.070 PLUG BUTTON 099213 01 0,50
4110.075 097785 01 GASKET VINYL FOAM 2,00
4110.077 HANDLE B100-150 CEL-CED M51334-04 19,50
4110.078
FRAME SUPPORT B100-150 CEL-CED M12831-04
24,45
4110.089
108436-02(M50060-02AB)SHELL B350 UPPER
179,95
4110.092 BRACKET,NOZZLE ADAPTER 35 CEB ZINC 1,00
4110.109 AXLE ZINC. OIL HEATER 100/150 5,00
4110.123 CORD POWER EUROPEAN UK 17,25
4110.124
102431-01 HEX HD SCREW REPLACE 4110.163
0,50
4110.130 KIT, HANDLE 35/70 CEL 3,10
4110.132 KIT, IGNITER 230 VOLT 40,00
4110.133 SCREW M5X16 BRASS 0,50
4110.134 NUT HEXAGONAL M5 BRASS 0,50
4110.135 ASSEMBLY, FUEL FILTER 35 CEL 6,50
4110.136 KIT, TANK 35 CEL 107,10
4110.137 FUSE IGNITION CONTROL CEL 2,50
4110.138 KIT, TRADENAME DECAL MASTER(2) 8,00
4110.139 KIT, DECAL B35 CEL 5,00
4110.140 KIT, TANK 70 CEL 111,65
4110.141 KIT, DECAL B70 CEL 8,00
4110.142 KIT, IGNITION CONTROL ASSEMBLY CEL 40,00
4110.143 NUT HEX M5 LOCKING NORMAL 0,50
4110.144 SCREW M5 X 40 0,50
4110.145 KIT, DECAL B150 CEL 8,00
4110.146 KIT, DECAL B100 CEL 8,00
4110.147 FUEL LINE TUBE PICK UP 100/150 CEL 1,65
4110.148 AIR LINE TUBE 100/150 CEL 4,00
4110.149 KIT, TANK 100/150 CEL 120,70
4110.150 KIT, DECAL B35 CED 8,00
4110.163 SCREW, 4.8 X 13 SELF TAPPING 0,50
4110.164 079010-34 WIRE ASSEMBLY BLACK 4,50
4110.165 079010-33 WIRE ASSEMBLY BLACK 4,50
Code NR Description
Final Customer
price list ‘02-’03
Euro ex works

223
Spareparts PRICELIST
4110.170 NUT CAP, AXLE CEL - CED 0,50
4110.184 TUBING RUBBER FUEL LINE 100/150 CEL 1,80
4110.186 101206-01 BRACKET MOTOR 100/150 CEL/CED2,45
4110.187 101205-02 BRACKET MOTOR 35/70 CEL/CED 2,00
4110.188 KIT GROUND SCREW W/NUT 0,50
4110.189 KIT HANDLE SCREW W/NUT 0,50
4110.190 SCREW, 4.8 X 13 SELF TAPPING 0,50
4110.191 SCREW, M3 X 10 ZINC COAT 0,50
4110.192 SCREW, SELF TAPPING 5.5 X 9.5 0,50
4110.194 HIGH TENSION CABLE CED 9,25
4110.513 SCREW M5 X 10 0,50
4110.516 KIT, IGNITION SYSTEM REPLACEMENT CEH 65,00
4110.517 SCREW, 5.5 X 13 SELF TAPPING 0,50
4110.518 SCREW, M 5 X 50 0,50
4110.521 WASHER DIAMETER 10 0,50
4110.522 TRANSFORMER CED 54,50
4110.523 SCREW, M3 X 12 0,50
4110.524 SCREW, M5 X 12 SELF TAPPING 0,50
4110.533 KIT, IGNITER 240 VOLT UK 40,00
4110,609 KIT, IGNITION TRANSFORMER CED 67,00
4113.007 076906 SCREW, TAP FLAT HD PR25 0,45
4113.008 078787 BALL BEARING 7 MM EL 6 6,38
4113.010 078788 BALL BEARING 9 MM EL 6 6,38
4113.012 078789 BRAKE BAND EL 6 10,91
4113.014 078790 ADJUSTING BLOCK EL6 N/A 0,66
4113.016 078792 END CAP (STUB) EL 6 3,72
4113.018 078794 OIL TANK CAP EL 6 1,16
4113.020 078795 SIDE COVER EL 6 11,28
4113.022 078796 SPROCKET COVER STD/C/B 4,27
4113.024 078797 SPROCKET COVER F/S EL 6 11,80
4113.026 078798 BRAKE DRUM EL 6 3,06
4113.028 078799 MOTOR FIELD AS. STD EL6 60,24
4113.030 078800 MOTOR FIELD ASS C/B EL6 60,63
4113.032 078801 INTERNAL GEAR EL 6 10,66
4113.034 078802 FRONT GUARD (STUB) EL 6 14,14
4113.036 078805 MOTOR HOUSING STD EL 6 12,32
4113.038 078806 MOTOR HOUSING (C/B) EL6 12,32
4113.040 078807 FRONT HANDLE (STUB) EL6 5,31
4113.042 078808 FRONT HANDLE (WRAP) EL6 13,23
4113.044 078810 BRAKE LATCH EL 6 2,38
4113.046 078811 GUIDE BAR MOUNT EL 6 15,20
4113.048 078812 DRIVE PINION EL 6 1,95
4113.050 078813 BEARING PLATE EL 6 13,11
4113.052 078814 PIVOT PLATE EL 6 1,34
4113.054 078815 OIL PUMP ASS BLACK EL 6 12,34
4113.056 078822 PINION SPACER EL 6 0,52
4113.058 078823 BRAKE LATCH COMP SPRING 0,48
4113.060 078824 SPROCKET SUPPORT EL 6 1,25
4113.062 078825 BRAKE SNAP SWITCH EL 6 8,28
4113.064 078826 OIL TANK (AUTOM.) EL 6 2,18
Code NR Description
Final Customer
price list ‘02-’03
Euro ex works
4113.066 078827 OIL INLET TUBE EL 6 1,23
4113.068 078828 OIL OUTLET TUBE EL 6 1,23
4113.070 078830 HEX FLANGE LOCKNUT EL 6 0,39
4113.072 078831 SCREW PLASTITE 0,18
4113.074 078832 SCREW PLASTITE EL 6 0,14
4113.076 078833 SCREW PLASTITE EL 6 0,14
4113.078 078834 ADJUSTING SCREW EL 6 0,14
4113.080 078835 TRUSS HD SHOULDER SCREW 1,25
4113.082 078836 MOTOR MOUNT. SCREW EL 6 0,18
4113.084 078838 SET 2 MOTOR BRUSHES EL6 7,87
4113.086 078850 SCREW PLASTITE EL 6 0,18
4113.088 078851 SCREW TAPTITE EL 6 0,18
4113.090 078955 LOCKOUT TRIGGER SWITCH 8,05
4113.092 078971 OIL TANK SEE 4113.064 2,18
4113.096 079029 POWER SUPPLY CORD EL 6 7,10
4113.098 079074 GUIDE BAR BOLT EL 6 0,73
4113.100 079088 BAR COVER (SCABBARD)EL6 4,02
4113.102 079127 FAST SHARP ASS. EL 6 24,80
4113.104 079188 BRUSH HOL&BEAR ASS EL 6 20,33
4113.108 079441 SCREW PLASTITE EL 6 0,14
4113.110 079576 MOTOR ARMATURE 220V EL6 45,15
4113.112 079577 BOWED RETAININGRING EL6 0,18
4113.116 079647-01 BUSHING EL 6 0,50
4113.118 079647 BRAKE ROLL PIN EL 6 0,14
4113.120 079648 TORSION SPRING EL 6 0,86
4113.124 090549 GUIDE BAR 300 MM H/N 18,33
4113.126 091367S CHAIN 350 MM F/S EL 6 44,67
4113.128 091373S CHAIN 300 MM EL 6 22,42
4113.132 091376 CHAIN 400 MM STD EL 6 20,65
4113.134 091377S CHAIN 400 MM F/S EL 6 46,17
4113.136 091388 CHAIN 300 MM F/S 52,64
4113.138 097569-01 GUIDE BAR 300 MM S/N 15,91
4113.140 097571 GUIDE BAR 350 MM S/N 17,20
4113.142 097573-02 GUIDE BAR 400 MM S/N 41,84
4113.144 099118-01 RETAINING RING EL 6 0,82
4113.146 099119-01 LOCKNUT EL 6 0,36
4113.152 079251 AIR BAFFLE EL 6 1,77
4113.154 078803-2 + 079647 FR. GRD. EL6 15,70
4113.156 079684 END CAP (WRAP) EL 6 3,72
4113.158 091374S CHAIN 350 MM EL 3 11,09
4113.201 077398-02 COVER SPROCKET EL 3 1,75
4113.203 077399-02 COVER SIDE BLACK EL3 3,13
4113.205 079648-01 SPRING 0,77
4113.207 SEE 4113.096 8,98
4113.208 079091-01 SIDE COVER BLACK 3,04
4113.209 079086-01 RESERVOIR OIL EL 3 2,27
4113.211 079088-01 GUARD HAND FRONT EL3 3,45
4113.215 098189-01 FIELD EL1 EL 1 38,84
4113.217 098207-01 BRUSH HOLDER ASS EL3 10,32
4113.219 098208-01 BRUSH SHUNTED EL 3 4,29
Code NR Description
Final Customer
price list ‘02-’03
Euro ex works

224
Spareparts PRICELIST
4113.223 079084-02 CAP OIL EL 3 1,34
4113.225 098038-01 ARMATURE EL 3 N/A 39,14
4113.247 MASTER SCR. M5X10LH078837 KETZ 0,45
4113.248 077776 ASSY SHARPENER EL 1 7,12
4113.249 029903 BALL STEEL EL 3 0,45
4113.251 059045 SCREW TAP PAN EL 3 0,45
4113.253 059046 SCREW TAP PAN EL 3 0,45
4113.254 076905 SCREW SHOULDER PAN EL-4 0,73
4113.255 059606 GEAR DRIVE EL 3 0,57
4113.257 075202 CAPACITOR EL 3 3,45
4113.259 075241 CLAMP CORD EL 3 0,48
4113.261 075253 SWITCH TRIGGER EL 3 6,99
4113.263 075676 SPR ROLLER BEARING EL 4 2,36
4113.265 075752 SPROCKET EL-3 + EL-4 5,45
4113.266 076759 SPROCKET SUPPORT 0,73
4113.267 076009 SCREW HI-LO EL 3 0,45
4113.269 076032 MOTOR HOUSING KIT 7,65
4113.271 076744 BOLT EL 3 0,45
4113.275 077115 PLATE ASS ADJUSTING EL3 2,22
4113.277 077143 SUPPORT SPROCKET EL 3 1,13
4113.279 099448-01 GUIDE BAR ASS. EL 3 19,06
4113.280 100929-01 ARMATURE 230V 1450 W 34,35
4113.281
097973-02 GEAR HOUSING RED INT.4113.324
14,88
4113.282 100259-01 CHAIN BRAKE ASS.EL 4 31,74
4113.283 076695 SPROCKET EL 3 11,12
4113.284 103180-02 (100278-01) MOT. KIT 66,27
4113.285 100930-01 FIELD 30,65
4113.286 100255-01 BRAKE BAND EL 4 3,88
4113.290 100217-01 HAND GUARD EL 4 6,10
4113.292 100253-01 BRAKE LATCH EL 4 1,88
4113.294 100454-01 RETAINING RING EL 4 0,45
4113.296 100262-01 SWITCH EL 4 6,78
4113.298 100159-01 SCREW EL 4 0,45
4113.300 100160-01 SCREW EL 4 0,45
4113.301 100161-01 SCREW 0,50
4113.302 100162-01 SCREW EL 4 0,57
4113.304 100254-01 BUSHING EL 4 0,86
4113.306 100256-01 DOWEL PIN EL 4 0,54
4113.308 100455-01 COMPR. SPRING EL 4 0,45
4113.310 100261-01 TORSION SPRING EL 4 0,45
4113.312 100218-01 CH. BRAKE HOUS. EL 4 4,29
4113.314 100219-01 CH. BRAKE COVER EL 4 3,54
4113.316 076014 MOTOR HOUSING 6,31
4113.318 076105 THRUST DISC 0,45
4113.320 097570-04(-01S) GUIDE BAR 35CM 17,54
4113.322 100279-01 BOLT 0,79
4113.324 097973-02(11) HOUSING GEAR EX 4113.281 14,52
4113.328 100263-01 ASSEMBLY WIRE 1,11
4113.332 076720A OIL RESERVOIR N/A 10,51
4113.334 097570-01 GUIDE BAR = 4113.320 17,52
Code NR Description
Final Customer
price list ‘02-’03
Euro ex works
4113.336 097570-03S GUIDE BAR 18,83
4113.338 075499 ROLLER BEARING 2,25
4113.340 NPC-4C HEX NUT 0,45
4113.350 078330 GRIP HANDLE FRONT EL-4 1,61
4113.351 101043-01 ARMATURE EL-4 1.4 KW 43,38
4113.352 100930-02 FIELD 30,04
4113.390 CONTRA-PLUG 230 V RUBBER(FEM.) 7,94
4114.435 WILMS TRANSFORMATOR BV 380 91,55
4114.450 FUSE SUNSTOVE 2-29 1,45
4114.500 NOZZLE 80-0.50 24,50
4114.534 FLAME MONITOR SUNSTOVE 2-55 42,00
4114.617 TANK SUNSTOVE 1-22 307,00
4114.625 TANK CAP 50 MM SUNSTOVE 1-23 19,50
4114.626 TANK CAP 60 MM SUNSTOVE 1-23A 19,50
4114.799 FUEL PUMP SUNSTOVE 2-1A 159,25
4114.807 REV.CHECK VALVE SST/VAL<1992 35,45
4114.809 REV.CHECK VALVE SST+VAL>92 35,45
4114.815 BURNER CONTROL SUNSTOVE 2-2 199,00
4114.823 IGN.TRANSFORMER SUNSTOVE 2-3 100,30
4114.849 FAN MOTOR SUNSTOVE 2-4 128,30
4115.077 GUARD FITTING PIECE SUNST.1-6A 11,00
4115.093 TOP DISK SUNSTOVE 1-7-2 48,90
4115.127 RADIATION TUBE SUNSTOVE 1-8 118,45
4115.136 CAP SUNSTOVE 1-9 88,60
4115.140 SUPPORT CYLINDER SUNSTOVE 1-11 100,60
4115.150 FUEL GAUGE SUNSTOVE 1-28 35,40
4115.176 COMBUSTION CHAMBER SUNST.1-14 230,10
4115.200 ELECTRODE L SUNST./VAL 2-41 12,75
4115.218 ELECTRODE R SUNST./VAL 2-40 12,75
4115.226 FILTER COMPLETE 3-9/2-53 45,75
4115.234 FILTER ELEMENT 3-10/2-53-2 8,75
4115.242 ELBOW NIPPLE VAL 3-15 12,75
4115.259 FILTER NIPPLE VAL 3-16 8,45
4115.267 PUMP ELBOW 3-18/2-43 10,95
4115.268 PUMP ELBOW VAL6 2-STEP 3-18A 12,50
4115.271 PHD NIPPLE VAL 3-84 33,95
4115.275 FUEL PUMP VAL6 1-STEP 3-19 211,95
4115.283 REVERSE CHECK VALVE (OLD) VAL 35,45
4115.285 REVERSE CHECK VALVE (NEW) VAL 35,45
4115.291 PUMP NIPPLE <92 VAL6 1-ST 3-21 10,95
4115.292 PUMP NIPPLE >92 VAL 1-ST 3-21A 10,95
4115.305 JACK VAL6 3-98 15,95
4115.309 FUEL INTAKE LINE VAL 3-22 16,95
4115.317 BURNER CONTROL VAL 3-37 252,00
4115.321 REPAIR BURNER CONTROL 110,50
4115.322 SCREW RADIATION DISK 0,45
4115.325 FAN MOTOR VAL6 1-STEP 3-47 119,95
4115.333 FLAME MONITOR VAL 3-48 41,95
4115.341 HIGH TENSION CORD VAL 3-52 4,75
4115.345 SWITCH OPERATION 17,75
Code NR Description
Final Customer
price list ‘02-’03
Euro ex works

225
Spareparts PRICELIST
4115.358 HIGH TENS. CORD CAP VAL 3-53 3,85
4115.366 SWITCH HI-LOW 3-100 17,75
4115.374 BURNER PACKING VAL 3-74 9,15
4115.382 FUEL TANK VAL 2-1 337,45
4115.383 2-1 FUEL TANK KL 306,76
4115.390 WHEEL VAL 2-7 66,50
4115.407 DRAIN CAP VAL 2-8A 33,65
4115.408 DRAIN BOLT (OLD) VAL 2-16 5,50
4115.409 DRAIN BOLT (NEW) VAL 2-16A 5,50
4115.424 FUEL GAUGE VAL 2-10 35,40
4115.425 FUEL GAUGE VAL-6 KB 2-5 25,75
4115.432 TANK INLET FILTER VAL 2-11 13,55
4115.440 FILLER CAP VAL 2-12 23,00
4115.457 SUCTION PIPE (SINGLE) VAL 2-13 35,39
4115.458 SUCTION PIPE(DOUBLE) VAL 2-13A 35,40
4115.465 FUEL INTAKE LINE FLEX. 2-14 64,90
4115.473 RADIATION DISK VAL 1-1 210,20
4115.481 CONICAL INSULATOR VAL 1-2 405,00
4115.499 DRUM VAL 1-3 41,10
4115.507 CONICAL HOUSING VAL 1-4 176,40
4115.515 BURNER FITTING PIECE VAL 1-5 35,70
4115.523 ROOM THERMOSTAT TH-3 69,00
4115.535 CABLE + CONNECTOR TBV TH-3 THERM 10,21
4115.549 CLAMP BOLT (RH) VAL 1-9 6,25
4115.556 CLAMP BOLT (LH) VAL 1-10 6,25
4115.564 CLAMP LEVER VAL 1-11 13,20
4115.614 NOZZLE 1.00-80 VAL6 1-ST+KL 15,25
4115.615 NOZZLE 0.85-80 VAL6 2-ST 15,25
4115.622 NOZZLE HOLDER SUNSTOVE 2-36 30,45
4115.623 NOZZLE HOLDER VAL 3-2 14,65
4115.624 NOZZLE PIPE VAL 3-3 24,75
4115.648 ELECTRODE STAY SUNSTOVE 2-38 12,00
4115.663 ELECTRODE COVER VAL 3-8 2,25
4115.671 FILTERBOWL VAL/SUNST.2-53-3 6,25
4115.697 FUEL INTAKE LINE VAL 3-17 13,15
4115.739 HOUSING VAL 3-25 84,65
4115.747 HOUSING GRIP 3-26 22,95
4115.762 HOUSING SEAL 3-28 11,98
4115.770 SEAL VAL 5,45
4115.788 HOUSING FITTING PIECE A 3-30 3,25
4115.789 HOUSING FITTING PIECE B 3-55 2,60
4115.853 FUSE HOLDER VAL 3-38 10,25
4115.887 FUSE VAL 3-41 1,45
4115.928 CHASSIS GROMMET VAL 3-44 1,45
4115.929 FACE PLATE 3-45 17,65
4115.952 FLAME MON. BRACK. SUNST.2-42 9,15
4115.960 TRANSFORMER VAL 3-51 100,50
4115.994 HOUSING SEAL VAL 3-56 21,30
4116.000 BURNER BOSS VAL 3-57 24,60
4116.018 BURNER CONE VAL 3-58 42,25
Code NR Description
Final Customer
price list ‘02-’03
Euro ex works
4116.026 WHIRL VANE VAL 3-59 4,55
4116.067 MISFIRE LAMP VAL 3-65 13,25
4116.091 SWITCH LEAD 3-70 1,00
4116.092 3-73B CABLE STOPPER & NUT VAL6 13,30
4116.093 3-55A SCREW VAL-6 0,45
4116.141 O-RING VAL 3-89 2,45
4116.158 FUEL TANK (PACKING 2) VAL 685,00
4116.161 RETURN LINE VAL6 1-STEP 3-80 7,65
4116.166 AIR VENT VALVE VAL+SST 89,35
4116.167 SWIVEL BASE VAL 2-2 40,80
4116.172 RETURN LINE NIPPLE VAL 3-81 14,65
4116.174 SWIVEL BOLT VAL 2-3 12,10
4116.182 TANK LEG VAL 2-4 68,85
4116.190 GRIP VAL 2-5 48,70
4116.203 NOISE FILTER 3-92 VAL 65,00
4116.204 NOISE FILTER WITH FUSE 3-92 80,00
4116.205 NIPPLE FITTING NUT VAL 3-94 3,75
4116.216 MAIN UNIT (PACKING 1) VAL 1.515,00
4116.224 VISOR VAL 1-6 164,70
4116.231 SCREW FOR GUARD RAIL VAL 0,50
4116.232 GUARD RAIL VAL 1-7 94,10
4116.273 BURNER (PACKING 3) VAL 1.352,00
4116.281 OPERATION LAMP SUNSTOVE 2-44 15,95
4116.315 FAN MOTOR VAL 6 110V 92,75
4116.331 TRANSFORMER VAL-6 110 VOLT 39,16
4116.349 CAPACITER ZNR VAL 6 3-87 7,74
4116.356 DIODE VAL6 3-88 4,25
4116.364 CIRCUIT BOARD VAL-6 9,76
4116.372 FUEL PREHEATER VAL6 107,32
4116.377 ASSEMBLY CABLE TBV THERM. TH-3 4,08
4116.379 RADIATION DISK MINI VAL 1-1 267,73
4116.380 ELECTRODE NIPPLE 3-93 2,00
4116.598 ELECTRODE R MINIVAL 16,13
4116.599 ELECTRODE L MINIVAL 16,13
4116.600 COMBUSTION CHAMBER MINIVAL 1-7 122,43
4116.601 SLEEVE MINI VAL 1-8 58,99
4116.602 PACKINGRING 1-14 MINIVAL 8,48
4116.603 NOZZLE 0.65-80 MINIVAL 13,86
4116.604 THERMOSTAT CABLE KPL TBV TH-3 6,24
4116.605 1-6 GUARD MINI VAL 60,47
4116.607 ELECTRODE SET N2-40 S.ST >81 26,25
4116.609 ELECTRODE FITTING VAL 3-7 2,25
4116.610 FUEL PUMP VAL6 2-STEP 3-19 246,00
4116.612 FAN MOTOR VAL6 2-STEP 3-47 121,50
4116.613 FUEL INTAKE LINE VAL6 2-STEP 16,25
4116.615 TRANSFORMER VAL6 2-STEP 3-51 100,50
4116.616 RETURN LINE VAL6 2-STEP 3-80 7,65
4116.620 RELAY VAL6 2-STEP 3-76 40,50
4116.630 FUEL PUMP VAL6KB +1-ST 2001 211,95
4116.631 BURNER CONTROL ALL VAL6 2001 252,00
Code NR Description
Final Customer
price list ‘02-’03
Euro ex works

226
Spareparts PRICELIST
4116.632 FAN MOTOR VAL6KL +1-ST 2001 119,95
4116.633 S.D.TRANSFORM. ALL VAL6 2001 62,33
4116.635 CHANGE OVER SWITCH 503081 01002 17,75
4116.636 TRANSFORMER 502912 01003 100,50
4116.637 SWITCH 502911 01002 17,75
4116.638
FUEL PUMP VAL6 2-STEP 3-19 AFTER2001
246,00
4116.750 CONICAL INSULATOR 502982 03001 325,00
4116.751 CONICAL HOUSING 502981 03003 169,30
4116.752 BURNER PACKING 502982 01016 9,15
4116.753 PROTECTOR 502191 03004 56,40
4116.754 PROT. BRACKET 502982 02012 18,80
4116.755 FUEL HOUSE 503002 02009 42,50
4116.756 SUCTION PIPE ASS 503001 02008 28,30
4116.757 TANK 503001 02002 337,45
4116.758 BURNER CONE 503002 01017 25,77
4116.759 NOZZLE 503002 01018 18,25
4116.760 ELECTRODE 503032 01010 27,50
4116.761 DIFFUSER 502842 02007 45,20
4116.762 FLAME MONITOR COMPL. 502621 02008 41,95
4116.763 POMP 503032 01A03 180,15
4116.764 FUSE 502912 01006 1,75
4116.765 FUSE HOLDER 502912 01004 10,25
4116.766 FUEL OUTLET LINE 503002 01009 16,95
4116.767 FAN MOTOR 503032 01002 119,95
4116.768 IGNITION TRANSFORMER 503032 01002 99,50
4116.769 SWICTH ASS. 502991 01001 19,75
4116.770 RETURN LINE 0503002 01014 11,85
4140.060 E.T.A. RELAY 4.0 A 54,00
4140.061 E.T.A. RELAY 6.0 A 54,00
4140.100 HYGROSTAT 98,02
4140.101 HYGROSTAT FOR DEHUMIDIFIERS 170,17
4140.102 TEST-UNIT BD 2411-18-20-24 251,17
4140.110 MON. COMPRESSOR 723,78
4140.111 MON. COND. COIL VERD. 204,20
4140.112 MON. PRINTBOARD BD 3672-2754 61,26
4140.113 MON. CONDENSOR COIL BD2754 142,94
4140.114 MON. FAN BD 3672 27,00
4140.115 MON. MOTOR BD 2754 158,82
4140.116 MON. MOTOR BD 3672 179,24
4140.124 MON. CAPACITOR 23,60
4140.125 MON. CONDENSER 79,41
4140.132 MON. RING WH 50 - 220 R 5,67
4140.134 MON. RELAY 81,68
4140.136 MON. WATER RETURN 52,64
4140.138 MON. MOTOR 122,52
4140.140 MON. PRINT BD 3672 AUTOMATIC 158,82
4140.142 MON. FAN MOTOR 288,15
4140.144 MON. TEMP BD 3672 11,34
4140.146 MON. PRINT BD 2754 49,35
4140.148 MON. COUPLER 77,12
Code NR Description
Final Customer
price list ‘02-’03
Euro ex works
4140.150 MON. DIODES BD 3672 17,70
4140.155 COMPRESSOR BD 2420 412,94
4140.156 COMPRESSOR BD 2424 490,08
4140.302 SENSOR BD 2411 29,95
4140.303 CONTROL BOX BD 2411-18-20-24 264,55
4140.304 SENSOR BD 2418-20-24 29,95
4140.305 DRIP TRAY BD 2411/2418/2420 24,05
4140.306 WATERSTOP SENSOR BD2411-18-20 14,52
4140.307 30 FILTERFRAME BD2418-20 68,29
4140.308 AXLE BD 2420 9,05
4140.309 WHEEL BD 2420 18,13
4140.310 FILTER BD 2418-2420 14,75
4140.311 ON-OFF SWITCH BD 2420 8,60
4140.312 7 COIL FOR SOLENOID VALVE 2420 16,56
4140.313 28 WATERCONT./TANK BD2411-18 68,29
4140.314 19 BASE CONTROL BOX BD2411-18-2 37,44
4140.315 SENSOR TERMINAL 31,31
4140.316 SENSOR AIR 23,60
4140.317 SENSOR CONDENSATOR 23,60
4140.318 5 EVAPORATOR COIL BD2420 270,00
4140.400 UNLOADING SLEEVE 1,36
4140.401 DISTANCE BUSH 1,36
4140.402 LABEL OPERATION 4,31
4140.403 PC-BOARD CONTROL DH38/51/79 260,92
4140.404 FRONT JACKET DH3818 85,26
4140.405 SCREW PHX 5X35 HANDLE MOUNTING 0,48
4150.001 HANDLE GASHEATER 1225/1840 10,51
4150.002 T-CONNECTOR WA29A/WA41A 91,89
4150.003 PUMPMOTOR 230,23
4150.004 PUMPMOTOR WA 29 A 197,14
4150.005 FILTER 11,34
4150.006 PUMP 110,27
4150.007 PUMP WA 29 A 121,61
4150.008 MOTOR GASHEATER 1225/1840 9,62
4150.009 FAN MOTOR B1225G/1840GA 59,22
4150.010 ELECTRODE 3 TYPES GH 26,09
4150.011 ELECTRODE GASHEATER 9,01
4150.012 LIGHTPLATE B1225G/B1840 GA 9,10
4150.013 BURNER GASHEATER 1225/1840 62,49
4150.014 FRONTGRILL B1225G/B1840 GA 15,50
4150.015 CONSOLE GASHEATER 1225/1840 30,81
4150.016 NIPPLE GASH. B1225/1840/3560GA 9,12
4150.017 MEGNET VALVE B1225/1840/3560 90,03
4150.018 THERMOCOUPLE GASHEATER B1225G 43,11
4150.019 KLIXON-THERMOSTAT 8,17
4150.020 OVERHEAT-SWITCH 16,54
4150.021 COMBUSTION DISH 108,90
4150.022 COMBUSTION DISH WA 29 A 22,96
4150.024 TERMINAL BLOCK GASHEATER 1225/1840GA 1,02
4150.025 POWERCORD B1225/1840/3560G 13,14
Code NR Description
Final Customer
price list ‘02-’03
Euro ex works

227
Spareparts PRICELIST
4150.026 SWIVEL GASHEATER B1225G/1840GA 1,52
4150.027 CABLE STOP GASHEATER B1840GA 30,81
4150.028 TRANSFORMER B1840GA/3560GA 88,58
4150.029 LAMP GASHEATER B1840GA/3560GA 9,10
4150.030 THERMOSTAT CONN. B1840GA/3560 14,23
4150.031 COVER GASH. B1840GA/3560GA 5,06
4150.032 SWITCH GASHEATER B1225G 8,10
4150.033 BURNER B1840GA/3560GA 118,44
4150.034 SUPPORT GASHEATER B1840GA 1,02
4150.035 RING-RUBBER GASHEATER B1840GA 4,58
4150.037 ADJUSTIBLE BRACE GASHEATER 1225/1840 7,20
4150.038 PIEZO B1225G 6,29
4150.039 GROUNDPLATE GASHEATER 1225/1840 15,53
4150.040 GASHOSE B1225G/1840/3560 22,44
4150.041 HOSE SECURE 1225/1840 19,44
4150.042 UPPER RING WA 29 A 27,86
4150.043 UPPER RING WA 41 A 43,20
4150.044 HEAT SHIELD WA 41 A 11,46
4150.047 HEAT SHIELD WA 59 A 49,62
4150.105 ROOM-THERMOST. TH-5 69,00
4150.110 ROOM-THERMOST. TH-5A 460/680 69,00
4150.115 CORD UNDER 19,24
4150.120 GAS FLOW MAIN B1840G 2,15
4150.121 ATOMIZER B1840GA 8,69
4150.132 SWITCH GASH. B1840GA/3560G 4,46
4150.150 SETUP KNOB TBV TH-1/TH-5 THERM 3,40
4150.175 099679-02 NOZZLE BLP300 19,00
4150.201 CORD UPPER 8,05
4150.202 MICRO-SWITCH 14,50
4150.203 CYLINDER WA 29 A 26,48
4150.204 SUPPORT B3560GA 16,00
4150.207 OPERATION PANEL B3560GA 3,14
4150.208 CONDENSATOR B3560GA 10,20
4150.214 WATERJACKET B3560GA 24,66
4150.215 RADIATION PLATE B3560GA 18,74
4150.216 BURNER B3560GA 37,81
4150.219 MAXIMAL THERMOSTAT B3560 20,42
4150.220 T-STAT BRACE B3560GA 1,17
4150.221 TULE B3560GA 0,64
4150.222 CONSOLE B3560GA 31,23
4150.223 ATOMIZER B3560GA 8,22
4150.224 GAS FLOW MAIN B3560GA 6,74
4150.228 COUPLING B3560GA 2,81
4150.230 SUPPORT B3560GA 0,81
4150.233 HOSE CLAMP B3560GA 19,42
4150.234 REGULATOR B3560GA 54,00
4150.236 CABLE B3560GA 1,00
4150.237 INLET GRILL B3560GA 7,58
4150.238 OUTLET GRILL B3560GA 11,80
4150.239 WHEEL B3560GA 13,68
Code NR Description
Final Customer
price list ‘02-’03
Euro ex works
4150.240 RING CLAMP B3560GA 0,29
4150.241 CAP B3560GA 2,24
4150.250 COUPLING KIT DUTCH 56,15
4150.251 PLUG TBV GAS-THERMOSTAT 13,50
4150.252 GAS HOSE + COUPLING B 1225-3560 22,69
4150.253 GASKET REPLACEMENT FOR COUPLE 0,41
4150.254 SLEEVE FOR GASREGULATOR 0,50
4150.260 COUPLING KIT EUROPE 66,35
4150.300 GAS REGULATOR 0-40 KG 619,41
4150.305 GAS REGULATOR 0-200 KG 1.077,73
4150.415 GASHOSE REDDY LP-3 10,89
4150.416 REGULATOR 50-150 MBAR 11,80
4150.500 099540-01 FAN GUARD BLP35 8,90
4150.501 097952-07 THERM. SWITCH BLP150 44,75
4150.502 099538-01 THERMOCOUPLE BLP35 11,25
4150.503 097776-01 BUSHING BLP35/150 0,50
4150.504 099541-01 ORIFICE-VALVE 33,10
4150.505 099537-02 FAN BLP35 6,00
4150.506 099539-01 ELECTRODE-IGNITOR 6,00
4150.507 102445-01/097159-01 IGNITOR 35 11,00
4150.508 099727-01 BURNER ASS. BLP35 15,10
4150.509 099230-01 SCREW BLP35 0,65
4150.510 100399-01 HOSE/REGUL. BLP35 49,32
4150.511 097805-01 IGNITOR BLP150/300 11,00
4150.512 097953-02 HOSE/REGUL. 150/300 132,30
4150.513 097849-02 BURNER ASS. BLP150 122,95
4150.514 098428-01 CLIP BLP150 0,85
4150.515 098434-01 SPACER BLP150 2,30
4150.516 097806-02 IGNITOR CABLE 5,00
4150.517 099125-06 TERMINAL BOARD 6,30
4150.518 100371-01 LAMP BLP150/300 8,50
4150.519 100299-01 REAR PLATE BLP150 31,70
4150.520 097964-03AA FAN GUARD BLP150 15,00
4150.521 100298-01 MOTOR BLP150 132,25
4150.522 M 51153-01 FAN BLP150 9,30
4150.523 099237-01 THERMOCOUPLE CLIP 0,45
4150.524 098201-01/097803-01 VALVE SOL. 69,88
4150.525 100144-01 MOTOR BLP300 124,80
4150.526 M 51605-04 DSI CONTROL 150/300 100,00
4150.528 M 50400 STRAIN RELIEF BUSHING 7,00
4150.530 100398-01 MOTOR BLP35 74,80
4150.535 097811-01 FAN BLP300 15,50
4150.536 097964-01AA FAN GUARD BLP300 20,00
4150.548 NPC 00C NUT BLP150/300 0,50
4150.550 097952-06 THERM. SWITCH BLP300 43,40
4150.551 097952-04 THERMAL SWITCH BLP35 38,00
4150.553 M 50631 BUMPER RUBBER BLP150 0,50
4150.560 097849-01 BURNER ASS. BLP300 104,55
4150.595 098425-01 NOZZLE BLP150 17,90
4150.597 097905-02 FUEL TUBE BLP150 18,00
Code NR Description
Final Customer
price list ‘02-’03
Euro ex works

228
Spareparts PRICELIST
4150.598 HOSE SAFETY GUARD BLP 35 E 13,50
4150.600 01 COVER 14KW 50,10
4150.601 01 COVER 29KW M/A 52,16
4150.602 01 COVER 46KW M/A 71,55
4150.603 01 COVER 69KW M/A 74,80
4150.605 02 COMBUSTION CHAMBER 29KW M 19,94
4150.608 02 COMBUSTION CHAMBER 29KW A 25,00
4150.611 03 OUTLET GRILL 14/29KW M PLASTIC BASE 8,70
4150.612 03 OUTLET GRILL 29KW METAL BASE 10,00
4150.613 03 OUTLET GRILL 46KW M/A 12,25
4150.614 03 OUTLET GRILL 69KW M/A 13,75
4150.615 04 HANDLE ALL MODELS 2,50
4150.616 05 SAFETY THERMOSTAT INT.4160.636 7,75
4150.617 06 MOTOR 14KW M INT.4160.628 48,30
4150.618 06 MOTOR 29KW M/A INT.4160.629 64,14
4150.619 06 MOTOR 46KW M/A INT.4160.630 61,14
4150.620 06 MOTOR 69KW M/A INT.4160.958 101,80
4150.621 07 FAN 14KW INT. 4161.049 3,70
4150.622 FAN EL5 D.230 19° AA 4,25
4150.623 FAN EL5 D.254 23° AA 5,30
4150.624 07 FAN 69KW M/A INT.4160.959 9,00
4150.625 08 WIRE NUT ALL MODELS 1,95
4150.626
09 ELECTRIC CABLE ALL MODEL INT.4160.631
5,00
4150.634
11 PIEZO IGNITOR ALL MODELS METAL BASE
10,75
4150.635 12 SWITCH ALL MODELS 3,75
4150.636 13 GAS INLET SOCKET ALL MODELS 1,75
4150.638 14 LOWER PROT. COVER 29KW M/A 10,11
4150.641 15 90 DEGREE ELBOW 14/29KW M 1,62
4150.642 15 90 DEGREE ELBOW 46/69KW M 6,11
4150.643 16/15 GAS VALVE 14/29KW M/A 23,25
4150.644 16/15 GAS VALVE 46/69KW M/A 30,95
4150.645 16 90 DEGREE ELBOW A-MODELS 3,50
4150.647 18/17 ELECT.VALVE 14/29KW INT.4160.655 28,50
4150.648 18/17 ELEC.VALVE 46/69KW INT.4160.963 32,90
4150.649 19 GAS TAP 0,5 14KW M 13,15
4150.650 19/18 GAS TAP 0,8 29KW M/A 13,15
4150.651 19/18 GAS TAP 1,0 46KW M/A 21,00
4150.652 19/18 GAS TAP 1,2 69KW M/A 24,45
4150.653 20/19 EXT.ENTR FITT.14/29M 29A 3,00
4150.654 20 EXTEND. ENTRY FITT. 46/69M 6,75
4150.655 19 EXTEND.ENTRY FITT.46/69A INT.4150.654 6,75
4150.656 21 END FITTING 14/29KW M INT.4161.139 7,40
4150.657
22 EXT.NOZZLE FITTING 14KWM INT.4150.653
3,00
4150.658 22 EXT. NOZZLE FITTING 29KW M 3,50
4150.659 22 EXT. NOZZLE FITT. 46KW M 6,75
4150.660 21 EXTEN. NOZZLE FITT.A-MODELS 69 KW 7,15
4150.661 22 EXT. PILOT FITT. 29KW A 6,75
4150.662 22 EXT.PILOT FITT.46/69KW A INT.4150.661 6,75
4150.664 23 PIN 29KW M/A 7,50
4150.667 24 GAS NOZZLE 14KW INT.4161.103 2,25
Code NR Description
Final Customer
price list ‘02-’03
Euro ex works
4150.668 24 GAS NOZZLE 29/30KW M/A INT.4160.722 2,25
4150.669 24 GAS NOZZLE 46KW M/A 2,25
4150.670 24 GAS NOZZLE 69KW M/A 2,25
4150.671 25 ELECTRODE MET.BASE M-MOD 11,25
4150.672 25 ELECTRODE A-MODELS INT. 4161.046 7,45
4150.673
THERMOCOUPLE L=320MM GIUNTO FIL.M8X1 MAN.
6,00
4150.674
26 THERMOCOUPLE A-MODELS INT.4161.138
6,40
4150.676 27 GAS BURNER 29KW M/A INT.4160.687 24,75
4150.678
27 GAS BURNER 46/69KW M/A INT.4160.676
25,00
4150.679 28 RING NUT M-MODELS INT.4160.701 0,85
4150.680
28 PILOT FLAME A-MODELS INTERC.4161.102
17,00
4150.681
29 REGULATOR A-MODELS INT.4161.035
23,00
4150.682 29 FERRULE FOR THERM.COUP. M 1,95
4150.685 31 BASE 29KW M 22,67
4150.695 33 FIX CASE A-MODELS INT.4031.088 3,40
4150.696 34 PLUG-IN A-MODELS 5,67
4150.698 21/20 END FITTING 29/46/69 SEE 4161.139 7,40
4150.699 21 EXTENDING NOZZLE FITT. 46A 6,13
4150.701 SEE 4150.711 REGULATOR 1A 25,75
4150.702 SEE 4150.712 REGULATOR 2A 25,75
4150.703 REGULATOR NR.3 29,50
4150.704 SEE 4150.714 REGULATOR 4A 29,50
4150.705 REGULATOR NR.5 25,75
4150.706 SEE 4150.716 REGULATOR 6A 25,75
4150.707 SAFETY VALVE ALL GASH. TYPES 22,46
4150.708 GASHOSE ALL MODELS SEE 4160.661 10,66
4150.709
PILOT FLAME COVER A-MODELS SEE 4161.048
7,00
4150.710 REGULATOR 7A EX 4160.665 25,75
4150.711
REGULATOR 1,5BAR ITA/GR. SEE 4160.673
25,75
4150.712
REGULATOR 1,5 BAR DE/A/DK SEE 4160.658
25,75
4150.713 REGULATOR 1,5 BAR GB(U.K) EX 4160.669 25,75
4150.714 REGULATOR 1,5 BAR NL EX 4160.677 25,75
4150.715 REGULATOR 1,5BAR E/F/CH EX 4160.681 25,75
4150.716 REGULATOR 1,5 BAR PL EX 4160.685 25,75
4150.717 CONNECTION FAN EL+GAS 1,25
4150.718 31 PLASTIC BASE 14/29KW M/A 22,50
4150.719 TABLE WHITE LP-2 72,38
4150.720 TROLLEY LP-2 61,26
4150.723 23 IGNITION ELECTRODE LP-10 7,49
4150.724 26 GAS NOZZLE LP-10 2,04
4150.730 UNIVERS. REG. 50 MBAR + SL.PIL 7,92
4150.750 13 GAS FILTER CARTIDGE LP-2 5,67
4150.751 19 GAS TAP LP-2 14,75
4150.753 23 NOZZLE FITTING LP-2 INT.4150.653 7,94
4150.754 25 NOZZLE LP-2 2,61
4150.755 26 ELECTRODE LP-2 9,30
4150.756 BURNER COMPLETE LP-2 374,37
4150.757 01 BURNER CAP LP-2 88,49
4150.758 06 RUBBER GASKET 70 LP-2 5,67
4150.759 07 RUBBER GASKET 120 LP-2 5,67
Code NR Description
Final Customer
price list ‘02-’03
Euro ex works

229
Spareparts PRICELIST
4150.760 27 GAS BURNER LP-2 34,03
4150.761 25.1 ELECTR. PLAST. BASE 14/29 11,25
4150.762 11.1 PIEZO IGN.PLASTIC BASE 10,75
4150.800 330W ELCTRODE LEAD REDDY PATIO 2,72
4150.803 698W ELECTRODE STRAIGHT LP-1 7,26
4150.804 COMPLETE BURNER LP-1 769,16
4150.805 ALUMINIUM CAP 80 CM. 114,81
4150.806 RUBBER RING FOR BASE LP-1 3,40
4150.807 THERMOCOUPLE LP-1 15,32
4150.808 313W LOW.PROT.CAP & LITTLE CYC 21,67
4150.884 097809-01 MALE FITTING 300 2,15
4150.885 098825-01 MALE COMPRESS. ELBOW 3,25
4150.886 097153-02 PIPE NIPPLE 1/4X 2" 2,11
4150.889
PROPANE GASHOSE 1/4 BLP15M INT.4160.656
10,66
4160.001 MAS EL MOTOR B2E 73,35
4160.002 MAS EL ELEMENT 2 KW B2E 43,55
4160.003 MAS EL FAN B2E 16,50
4160.005 MAS EL MOTOR B3E 102,70
4160.008 MAS EL SWITCH B2ES 19,85
4160.009 MAS EL MOTOR B6E 114,25
4160.010 MAS EL SWITCH B6E 54,00
4160.011 MOTOR B12E SEE 4160.203 105,40
4160.013 MAS EL SWITCH B12E 61,45
4160.014 MAS EL MOTOR CA2J5770 K B18 E 174,50
4160.016 MAS EL SWITCH H3P-X88 B18E 75,00
4160.017 MAS EL ELEMENT 2 KW B6E 50,40
4160.018 MAS EL ELEMENT 2 KW B12E 47,32
4160.019 MAS EL ELEMENT 3 KW B18 61,70
4160.024 MAS EL SWITCH B3E 14,50
4160.025 THERMOSTAAT 4/4P B12E TH-4A 151,50
4160.030 THERMOSTAAT B18E 4/4 TH-4B 218,50
4160.035 MAS EL WIRINGSET B 12 E ASS. 23,15
4160.036 MAS EL PLUG 32 A. 4-PIN 18,50
4160.058 MAS EL ELEMENT B3TH B 41,85
4160.061 MAS EL ELEMEMT B9TH B 40,50
4160.064 06 FAN 3/5KW 18,75
4160.066 06 FAN B9TH/B12E 24,70
4160.067 06 FAN 15KW 24,90
4160.069 MAS EL THERM. SWITCH B5+9TH B 73,80
4160.072 MAS EL THERMOSTAT B3+B15TH B 71,50
4160.073 MAS EL THERMOSTAT B5+B9TH B 133,70
4160.075 MAS EL SWITCH B3TH B 33,40
4160.077 SWITCH B9TH B 30,38
4160.078 MAS EL MOTOR B3TH B 73,45
4160.094 MOTORBRACKET ALTERNATIVE B12E 21,60
4160.095 MAS EL TOPCOVER B9TH B 17,92
4160.096 MAS EL FRONTGRILLE B9TH B 16,75
4160.097 MAS EL BACKGRILL B9TH B 16,75
4160.098 MAS EL KNOB B9TH B 8,50
4160.099 MAS EL PLUG-CONTRA 5-PIN 32 A 13,00
Code NR Description
Final Customer
price list ‘02-’03
Euro ex works
4160.100 MAS EL PLUG-CONTRA 5-PIN 16 A 10,50
4160.101 01 PLUG 4 P-MALE 32A 15KW 32,50
4160.102 01 PLUG 5 P-MALE 16A 5/9KW 11,30
4160.103 01 PLUG 5 P-MALE 32A 15/22KW 21,25
4160.104 MAS EL MOTORBRACKET B9TH B 15,30
4160.105 01 PLUG 4 P-MALE 16A 5/9KW 24,75
4160.106 MAS EL WIRINGSET B9TH B 9,50
4160.108 MAS EL STAND L + R B9TH B 14,40
4160.160 RIGHT PIPE HANDLE B6/10IT 26,36
4160.193 09 ELECTRIC SWITCH 2KW 12,45
4160.196 02 SWITCH 3/5KW 18,75
4160.197 02 SWITCH 9/15KW 24,10
4160.198 03 THERMOSTAT 2/3KW 14,43
4160.199 03 THERMOSTAT 5/22KW 67,00
4160.200 04 KNOB 3,00
4160.201 05 MOTOR 2/3KW 55,15
4160.202 05 MOTOR 5KW 58,00
4160.203 05 MOTOR 9/15KW 72,50
4160.204 08 ELEMENT 3/5KW 17,60
4160.205 08 ELEMENT 9KW 18,75
4160.206 08 ELEMENT 15KW 29,50
4160.207 09 TEMP. LIMITER 2/3KW 15,20
4160.208 10 MAINS-LEAD 2/3KW 5,15
4160.209 02 TOP COVER 2KW 25,00
4160.210 12 TOP COVER 3/5KW 25,00
4160.211 12 TOP COVER 9KW 25,00
4160.212 12 TOP COVER 15KW 25,00
4160.213 FUSE 4 AMP. 15/22KW 2,75
4160.214 07 INSULATION PLATE 15KW 10,25
4160.215 07 INSULATION PLATE 9KW 10,00
4160.216 07 INSULATION PLATE 5KW 7,10
4160.217 07 INSULATION PLATE 3KW 6,00
4160.218 03 THERMOSTAT KIT 5/22KW 67,50
4160.220 15 FAN 2KW 14,00
4160.221 16 INSULATION PLATE 2KW 6,00
4160.222 17 HEAT ELEMENT 2KW 30,10
4160.223 14 SWITCH 22KW 33,00
4160.225 21 MOTOR + FAN 22KW 275,00
4160.227 29 ELEMENT 22KW 41,70
4160.228 27 INSULATION PLATE LEFT 22KW 16,10
4160.229 32 BODEMPLAAT 22KW 18,75
4160.230 20 REAR GRILL 22KW 29,20
4160.231 28 INSULATION PLATE RIGHT 22KW 16,10
4160.232 FRONT GRILL 3/5KW 15,30
4160.233 FRONT GRILL 9KW 18,35
4160.234 FRONT GRILL 15KW 22,25
4160.235 HANDLE 9/15KW 20,00
4160.236 CAPACITOR 22KW 10,95
4160.250 HOSE 160MM X 700CM YELLOW 103,00
4160.251 HOSE 200MM X 700CM YELLOW 132,00
Code NR Description
Final Customer
price list ‘02-’03
Euro ex works

230
Spareparts PRICELIST
4160.300 CERAMIC EMITTER 1.5 KW TS-3 71,75
4160.301 ROCKER SWITCH TS-3 8,95
4160.302 NEON INDICATOR TS-3 12,75
4160.303 STRAIN RELIEF BUSH. TS-3 1,35
4160.350 LAMP 1.5 KW HAL3000 164,00
4160.351 CONNECTOR HAL3000 3,70
4160.352 FUSE HOLDER HAL3000 5,25
4160.353 FUSE 16A/240V HAL3000 3,70
4160.400 03 PLUG FEMALE THERM. 10KW 30,20
4160.401 04 CHASSIS FEMALE 10KW 19,15
4160.402 24 PC-BOARD 10KW 53,80
4160.403 26 FAN MOTOR + CAPACITOR 10KW 302,00
4160.404 29 LAMP 10KW 10,40
4160.405 30 THERMOSTAT 10KW 41,60
4160.406 32 SAFETY THERMOSTAT 10KW 56,10
4160.407 36 RELAY BS10/15E/B22TH 59,20
4160.408 11 PIPE HOLDER 10/15KW 37,44
4160.409 16 PIPE HOLDER PLUG 10/15KW 2,16
4160.410 15 NUT FEMALE 0,68
4160.411 14 NUT MALE 0,68
4160.450 WALL BRACKET B6-B10 IT 27,75
4160.451 GRIP B6-B10 78,20
4160.453 CABLE RELIEF B6/10IT 6,45
4160.454 SOCKET B6/10IT 4,40
4160.455 PC-BOARD B6/10IT 150,00
4160.456 SUPPORT PC-BOARD B6/10IT 2,85
4160.457 PRESS BUTTON B6/10IT 17,70
4160.458 MOTOR WITH FAN B6/10IT 151,25
4160.459 LEFT PIPE HANDLE B6/10IT 29,00
4160.461 SHORT LOCK CLIP B6/10IT 2,50
4160.462 LONG LOCK CLIP B6/10IT 2,50
4160.463 HEAT ELEMENT B6IT 41,50
4160.464 HEAT ELEMENT B10IT 44,85
4160.465 HEAT ELEMENT B10IT 49,30
4160.466 FRONT GRILL B6/10IT 51,20
4160.600 SCREW M4X10 0,50
4160.601 SCREW M5X12 0,50
4160.602 SCREW M5X16 0,50
4160.603 SCREW M3X25 0,50
4160.604 SCREW M3X10 0,50
4160.605 SCREW 3,9X9,5 0,50
4160.606 SCREW 3,5X15 SP. PLASTIC 0,50
4160.607 SCREW 4,8X9,5 0,50
4160.608 SCREW 3,9X6,5 0,50
4160.609 WASHER, FLAT 4X12 UNI6593 0,50
4160.610 WASHER, FLAT 4X9 UNI6592 0,50
4160.611 WASHER, GASKET ALLUM. 10X16X1 0,50
4160.612 LOCKWASHER D.4 0,50
4160.613 LOCKWASHER D.5 0,50
4160.614 WASHER, FLAT M10 UNI6592 0,45
Code NR Description
Final Customer
price list ‘02-’03
Euro ex works
4160.615 WASHER, FLAT M5 6592-125 0,50
4160.616 HEX, NUT M4 0,50
4160.617 HEX, NUT M6 0,50
4160.618 HEX, NUT M5 0,50
4160.619 HEX, NUT M3 0,45
4160.620 ELBOW 90° M.F. 1/8" CONE 3,50
4160.621 ELBOW 90° M.F. 1/8" -NUT, BUSHING D.4 4,50
4160.622 NIPPLE 1/8" M.M. CYLINDER 3,50
4160.623 NOZZLE 1/8" 5,50
4160.627 ELASTIC WASHER 0,55
4160.628 ELECTRIC MOTOR 45,25
4160.629 ELECTRIC MOTOR 55,25
4160.630 ELECTRIC MOTOR 65,75
4160.631 ELECTRIC CABLE 4,95
4160.632 FLAME PROBE 3,55
4160.635 KEEPER WIRE DEVICE 2,25
4160.636 SAFETY THERMOSTAT 7,45
4160.637 SWITCH 3,59
4160.638 COVER SWITCH 1,50
4160.639 RIVET POP 0,50
4160.640 ADAPTER FOR PIEZO IGNITOR 1,00
4160.641 PIEZO IGNITOR 8,55
4160.642 IGNITION ELECTRICAL FOLDER 6,55
4160.646 GROMMET 0,50
4160.647 ANGULAR FIX CASE 5,75
4160.648 COMPLETE PLUG IN 6,50
4160.649 CONNEXION SOCKET 4,25
4160.650 CONNEXION PLUG 3,95
4160.651 KEEPER WIRE DEVICE 2,65
4160.653 SAFETY GAS VALVE 19,95
4160.654 INTERRUPTED THERMOCOUPLE 7,85
4160.655 ELECTROVALVE 25,95
4160.658 REGOLATOR 1,5 BAR DE/A/DK SEE 4150.712 23,75
4160.659 REGOLATOR 700 MBAR DE/A/DK/RUS/PL/NL 18,75
4160.660 GAS COCK WITH ELECTRO-VALVE 29,95
4160.661
TUBO GAS 1,5MT ENTRATA3/8SX-INT.4150.708
10,66
4160.664 REGOLATOR 700 MBAR NO/SVE/FIN 18,75
4160.665
REGOLATOR 1,5BAR N/SV/FIN REPLACES 4150.710
23,75
4160.668
REGOLATOR 700 MBAR GRAN BRETAGNA (U.K)
18,75
4160.675 GAS COCK 4,95
4160.676 GAS BURNER 25,95
4160.680
REGOLATOR 700 MBAR E/F/CH/SLO/CRO/B/CK
18,75
4160.683 GAS COCK 1,0 1/8 M/M 4,95
4160.684 GAS COCK 1,2 1/8 M/M 4,95
4160.687 BURNER GAS 30 KW REPLACES 4150.676 23,55
4160.688 SAFETY VALVE GAS T15 REPLACES 4161.137 22,50
4160.689 FAN ø172 19° 2,75
4160.690 FAN ø200 19° 3,95
4160.691 FAN ø254MM-19° 4,95
4160.692 COPPER EXTENSION VALVE-NOZZLE 2,55
Code NR Description
Final Customer
price list ‘02-’03
Euro ex works

231
Spareparts PRICELIST
4160.699 PLASTIC BASE 15,95
4160.700 GAS INLET NOZZLE 1,95
4160.701 RING NUT M12X0,75 0,55
4160.702 GAS BURNER 18,95
4160.708 SUPPORT FOR THERMOSTAT 1,55
4160.712 COMBUSTION CHAMBER 10,95
4160.713 PLASTIC GRID 6,50
4160.714 OUTLET GRID 5,25
4160.715 PLASTIC HANDLE 2,25
4160.717 COMBUSTION CHAMBER 14,95
4160.719 GAS NOZZLE 2,25
4160.722 GAS NOZZLE ø1,15 2,25
4160.726 PLATE BURNER 5,95
4160.733 ELECTRIC CABLE 6,25
4160.739 INLET GRID 10,50
4160.740 OUTLET GRID 6,50
4160.742 EXTENSION 1,95
4160.744 PLATE BURNER 5,95
4160.746 GAS NOZZLE 2,25
4160.749 BASE 30KW METAL 29,75
4160.751 COMBUSTION CHAMBER 16,95
4160.752 PLATE BURNER 5,95
4160.758 INLET GRID 11,25
4160.759 OUTLET GRID 8,50
4160.760 PLASTIC BASE 19,95
4160.764 OUTLET GRID 5,25
4160.766 GAS NOZZLE 2,25
4160.767 COPPER EXTENSION VALVE-NOZZLE 5,95
4160.768 SUPPORT GAS NOZZLE 5,25
4160.769 NECK PLATE 3,25
4160.770 GAS NOZZLE 2,25
4160.773 SHELL YELLOW RAL 1006 10KW 44,10
4160.774 SHELL YELLOW RAL 1006 15KW 50,10
4160.775 SHELL RED RAL 3000 10KW 44,10
4160.776 SHELL RED RAL 3000 15KW 50,10
4160.777 SHELL BLUE RAL 5002 10KW 44,10
4160.778 BASE BLACK RAL 9005 30KW 32,50
4160.779 SHELL WHITE RAL 9003 10KW 44,10
4160.780 SHELL YELLOW RAL 1006 30KW 52,15
4160.781 SHELL BLUE RAL 5015 10KW 44,10
4160.782 BURNER SUPPORT 5,95
4160.783 COVE RED RAL 3000 30KW 52,15
4160.784 INLET GRID 8,50
4160.785 OUTLET GRILL 9,95
4160.876 KIT THERMOSTAT AMBIENT TH5 65,00
4160.877 COUPLING SET 66,35
4160.913 WHITE COVER RAL 9003 44,95
4160.914 RED COVER RAL 3000 44,95
4160.915 BLUE COVER RAL 5015 44,95
4160.916 BLUE COVER RAL 5002 44,95
Code NR Description
Final Customer
price list ‘02-’03
Euro ex works
4160.917 INOX COVER 52,95
4160.918 YELLOW COVER RAL 1006 44,95
4160.919 WHITE COVER RAL 9003 46,95
4160.920 RED COVER RAL 3000 46,95
4160.921 YELLOW COVER RAL 1006 46,95
4160.922 INOX COVER 55,95
4160.923 INOX COVER 59,95
4160.924 RED COVER RAL 3000 63,75
4160.940 MOTOR SCREW M4 X 16 0,50
4160.941 MOTOR WASHER 0,45
4160.950 BASE 35,95
4160.951 SUPPORT BURNER 7,50
4160.953 INTERRUPTED THERMOCOUPLE 8,50
4160.955 RED COVER RAL 3000 69,95
4160.957 COMBUSTION CHAMBER 20,25
4160.958 ELECTRIC MOTOR 79,95
4160.959 FAN 4,95
4160.962 NOZZLE 1/4" - 1/8" 4,95
4160.963 ELECTROVALVE 29,95
4160.964 NIPPLES REDUCER 2,25
4160.967 90° DEGREE ELBOW 1/8" 5,50
4160.968 NOZZLE 1/8" 6,95
4160.969 SCREW. TCC 3,5X6,5 0,50
4160.971 SCREW TCC 3,9X13 0,50
4160.992 COVER YELLOW RAL 1006 70KW 74,80
4160.993 COVER BLUE RAL 5015 15KW 50,10
4160.994 SCREW TCC 3,5X38 0,50
4160.995 SCREW M5X10 0,50
4161.004 ELECTRONIC PC BOARD FOR GAS 49,95
4161.010 SUPPORT ELECTRIC MOTOR 3,25
4161.012 SUPPORT ELECTRIC MOTOR 6,75
4161.013 SUPPORT ELECTRIC MOTOR 5,75
4161.015 BASE 35,95
4161.018 SUPPORT BURNER 7,50
4161.019 COPPER EXTENDIN VALVOLE-NOZZLE 5,95
4161.020 RED COVER RAL 3000 64,95
4161.027 YELLOW COVER RAL 1006 64,95
4161.028 YELLOW COVER RAL 1006 69,95
4161.030 COPPER COUPLING VALVE-NOZZLE 64,95
4161.033 POWER CORD H05-VVF 3X0,75 11,25
4161.035 REGULATOR 1,5KG/H TF50 G1/4F-1/8M 23,75
4161.036 BASE 50KWE 49,00
4161.037 BASE 50KWE COMPLETE 49,00
4161.039 PLATE BURNER 5,95
4161.040 COPPER TUBE D.6X0,75 L=310 4,50
4161.041 BURNER DEFLECTOR 50/70 KWE 5,95
4161.042 BASE 70KWE 49,00
4161.045 PIEZOELECTRODE C/FILO DIR.L=54 D.2 6,55
4161.046 STREIGHT PIEZO ELECTRODE L=13,5MM D.2 6,55
4161.047 BRASS EXTENSION L=8 14 AUTO 0,45
Code NR Description
Final Customer
price list ‘02-’03
Euro ex works

232
Spareparts PRICELIST
4161.057 SWITCH WITH LIGHT 3,80
4161.058 IGNITION ELECTRICAL FOLDER 3,80
4161.059 IGNITION ELECTRICAL FOLDER 6,95
4161.075 BASE 32,50
4161.081 COMBUSTION CHAMBER 46,95
4161.083 COMBUSTION CHAMBER 19,95
4161.086 BASE 35,95
4161.092 BASE 35,95
4161.094 COUPLING SLEEVE 1,55
4161.095 NOZZLE 1/4" 6,95
4161.096 BRASS TUBE D.6X1 L=152 4,75
4161.100 ELECTRONIC FLAME SENSOR 4,50
4161.101 LOCKWASHER 0,50
4161.103 NOZZLE GAS DIAM. 0,77 2,25
4161.121 COMBUSTION CHAMBER 16,50
4161.122 BASE 14KWA 22,50
4161.124 DEFLECTOR DISC 14KWA 4,45
4161.125 SCREW M3X16 0,50
4161.126 BURNER 14KWA 24,75
4161.128
DOUBLE WIRE BROWN1X0.75 220/300 14KWA
4,45
4161.129 DOUBLE WIRE BLUE 1X0.75 370/370 14KWA 4,45
4161.130 THERMOSTAT CABLE 14KWA 4,50
4161.131 WIRE, SAFTRY THERMOSTAT 14KWA 4,45
4161.132 DEFLECTOR DISC, BURNER 14 KWA 14,95
4161.137 SAFETY VALVE.GAS INT.4160.653/4160.688 23,25
4161.138
THERMOCOUPLE L=380MM REPLACES 4150.674
6,40
4161.139
END FITTING TC M8X1 F/M REPLACES 4150.656
7,40
4161.140 ELBOW 90° M.M. 1/8" 6,10
4161.141 STREIGHT FITTING 1/8 M.F 3,45
4161.142 FITTING 1/8 M.F. 3,45
4161.143 COPPER TUBE D.4X0.75 L=70 3,75
4161.148 SCREW M4X30 0,50
4161.150 SCREW 3,5X22 0,50
4161.152 AMBIENT THERMOSTAT COMPLETE 52,50
4161.153 COVER ASSYMBLY BLUE RAL 5015 14AKW 56,10
4161.154 COVER BLUE RAL 5015 14AKW 50,10
4161.158 COPPER TUBE D.4X0.75 L=230 4,10
4161.159 MOTOR 29W 230/50-60HZ IP44 SPECIALE 64,15
4161.164 MOTOR 29W 115/230/50HZ IP44 64,00
4161.165 MOTOR 80W 2 POLI 115-230/50HZ IP44 96,00
4161.166
MOTOR 103W 2POLI P.20 115-230/50HZ IP44
96,00
4161.167
MOTOR 188W 2POLI P.20 115-230/50HZ IP44
154,80
4161.168 SCREW 3,5X9,5 0,50
4161.178 COVER PAINTED GREY RAL 7001 30KW 52,15
4161.179 COVER ASSEMBLY GREY 58,00
4161.191 NIPPLE 1/4"X1/4" 3,45
4161.196 DOUBLE BLUE CABLE 1X0,75 4,45
4161.197 TRIPLE BROWN CABLE 1X0.75 4,45
4161.198 DOUBLE BLACK CABLE 1X0,75 4,45
4161.199 DOUBLE BROWN CABLE 1X0,75 4,45
Code NR Description
Final Customer
price list ‘02-’03
Euro ex works
4161.200 TRIPLE BLACK CABLE 1X0,75 4,45
4161.201 DOUBLE BLUE CABLE 1X0,75 4,45
4161.202 TRIPLE BROWN CABLE 1X0.75 4,45
4161.204 BASE 50KW DV 49,00
4161.205 DUAL VOTLAGE PLASTIC BASE 22,50
4161.208 BASE 70KW DV 49,00
4161.211 ELECTRIC BLUE CABLE 1X0,75 4,45
4161.266 GAS ELECTROVALVE SERIE6000 115V 28,50
4161.267 GAS TAP 0,8 ELECTICAL 115V 13,15
4161.268 GAS ELECTROVALVE SERIE7000 115V 28,50
4161.271 COVER WHITE RAL 9003 15KW 50,10
4161.272
COVER, ASSEMBLY STAINLESS AISI430BA 50KW
77,00
4161.273
COVER, ASSEMBLY STAINLESS AISI430BA 70KW
83,00
4161.281 BASE BLACK 30 KW ELETT. 22,50
4161.282 BASE PLASTIC BASE 30 KW DUAL VOLTAGE 25,45
4161.290 COVER ASSEMBLED GREY RAL 7001 10KW 47,95
4161.291 COVER PAINTED GREY RAL 7001 10KW 44,10
4161.294 MOTOR 29W 115/60HZ IP44 73,50
4161.302 SCREW M10X25 0,50
4161.303 HEX NUT M10 0,45
4161.306 NOZZLE GAS DIAM. 0,65 2,25
4161.315 SCREW M5X16 0,50
4161.316 WING NUT M10 0,45
4161.328 COVER GREY RAL 7001 70KW 74,80
4161.329 COVER GREY RAL 7001 50KW 71,55
4161.330 COVER GREY RAL 7001 15KW 50,10
4161.331 MOTOR 29W 230/50-60HZ IP44 ELECTRIC 43,00
4161.333 CABLE 7 PIN,ELEC VERSION 2 4,50
4161.334 CABLE 3 PIN,ELEC VERSION 2 4,50
4161.335 THERMOSTAT CABLE ELEC. 5,25
4161.336 COMBUSTION CHAMBER 10 KW 16,50
4161.351 MALE-PLUG 4-PIN+1 CONNECTED (1-2) 11,30
4161.372 COMBUSTION CHAMBER 15 KW 18,90
4161.373 COMBUSTION CHAMBER 30 KW 22,95
4161.377 REGULATOR 30M 17,55
4161.388
NOZZLE GAS DIAM. 1.50 X 45G PATIO HEATER
2,25
4161.389
NOZZLE GAS DIAM. 1.60 X 45G PATIO HEATER
2,25
4161.390
NOZZLE GAS DIAM. 1.80 X 45G PATIO HEATER
2,25
4161.402 ELBOW 90° M.F. M10 3,25
4161.413 REGULATOR 30MBAR ITALIA S/RIARMO 15,55
4161.414
REGULATOR 50MBAR FEST DE/A/PL S/RIARMO
15,55
4161.415
REGULATOR 50MBAR POL UK S/RIARMO
15,55
4161.416
REGULATOR 37MBAR PROPANO FR. S/RIARMO
15,55
4161.417
REGULATOR 30MBAR POL USA S/RIARMO
15,55
4161.430 ELECTRODE METAL BASE 11,25
4165.000 TOP COVER 23,75
4165.001 CONTROL BASE 20,00
4165.002 DEFLECTOR 15,00
4165.003 SIDE PANELS 23,75
4165.004 FRONT PANEL 15,50
Code NR Description
Final Customer
price list ‘02-’03
Euro ex works

233
Spareparts PRICELIST
4165.005 GRILL 15,25
4165.006 BOTTOM PANEL 24,50
4165.007 KNOB 3,00
4165.008 RESET LEVER 4,25
4165.009 TEMP LIMITER SUPPORT 4,25
4165.010 TEMP LIMITER 16,75
4165.011 THERMOSTAT 34,95
4165.012 SWITCH 14,50
4165.013 ELEMENT 15,25
4165.014 FAN 18,50
4165.015 ELECTRIC MOTOR 52,50
4165.016 POWER CORD 14,25
4165.017 CABLE RELIEF 5,15
4165.018 HANDLE 2,50
4165.019 SUPPORT 3,25
4165.020 OVERHEAT SENSOR 15,00
4165.021 FRONT PANEL 15,75
4165.022 TEMP LIMITER 16,75
4165.023 ELEMENT 15,75
4165.024 POWER CORD 14,25
4165.025 TOP COVER 24,50
4165.026 CONTROL BASE 22,50
4165.028 FRONT PANEL 16,25
4165.029 THERMOSTAT 42,50
4165.030 SWITCH 22,50
4165.031 ELEMENT 16,95
4165.032 ELECTRIC MOTOR 57,25
4165.033 HANDLE 17,50
4165.035 RELAY 17,50
4165.036 RUBBER SUPPORT 0,50
4165.037 SEPARATOR 9,50
4165.038 TOP COVER 24,75
4165.039 CONTROL BASE 23,50
4165.040 DEFLECTOR 17,50
4165.041 SIDE PANELS 24,50
4165.042 FRONT PANEL 16,75
4165.043 GRILL 18,25
4165.044 BOTTOM PANEL 24,50
4165.045 ELEMENT 17,50
4165.046 FAN 23,25
4165.047 ELECTRIC MOTOR 69,45
4165.048 HANDLE 19,50
4165.049 SEPARATOR 11,25
4165.050 TOP COVER 25,00
4165.051 CONTROL BASE 24,75
4165.052 DEFLECTOR 18,50
4165.053 SIDE PANELS 25,25
4165.054 FRONT PANEL 17,50
4165.055 GRILL 21,95
4165.056 BOTTOM PANEL 24,50
Code NR Description
Final Customer
price list ‘02-’03
Euro ex works
4165.057 ELEMENT 28,75
4165.058 FAN 24,50
4165.059 ELECTRIC MOTOR 71,79
4165.060 HANDLE 21,25
4165.061 SEPARATOR 12,50
4165.062 TERMINAL BOARD 7,75
4500.300 104355 FILTER PAD 800 + CH 22,46
4500.301 351803 SPREADER CAP 500 0,27
4500.302 320700 DRAIN PLUG 0,41
4500.305 804354 CAPACITOR 500-3000 6,49
Code NR Description
Final Customer
price list ‘02-’03
Euro ex works