NRF52840 Dongle N RF52840 Pca10059 User Guide V1.0
nRF52840%20dongle%20user%20guide%20v1.0
User Manual:
Open the PDF directly: View PDF
.
Page Count: 15

nRF52840 Dongle
PCA10059 v1.0.0
User Guide
v1.0
4440_052 v1.0 / 2018-06-20

Contents
Revision history.................................. iii
1Introduction................................... 4
2Minimum requirements............................ 5
3Kit content.................................... 6
3.1 Hardware content ................................ 6
3.2 Downloadable content .............................. 6
3.3 Related documentation .............................. 7
4Getting started................................. 8
5Programming.................................. 9
6Hardware description............................. 10
6.1 Hardware drawings ............................... 10
6.2 Block diagram ................................. 10
6.3 Power supply ..................................11
6.3.1 Internal regulator .............................. 11
6.3.2 External regulated source ........................... 12
6.4 Buttons and LEDs ................................ 12
6.5 32.768 kHz crystal ................................13
6.6 USB ......................................13
6.7 SWD interface ................................. 14
6.8 External connections .............................. 14
Legal notices................................... 15
4440_052 v1.0 ii

Revision history
Date Version Description
June 2018 1.0 First release
4440_052 v1.0 iii

1Introduction
The nRF52840 Dongle (PCA10059) is the preferred hardware to be used with the nRF Connect for Desktop
software package to develop and test your nRF-based wireless solutions. The hardware supports all the
short range wireless standards available on the nRF52 family of devices, and the built-in USB device
controller provides a high data throughput communication interface.
The nRF52840 Dongle can also be used together with the nRF5 SDK for product development based on the
the nRF52840 SoC.
The nRF52840 Dongle is a low-cost, versatile USB development dongle for Bluetooth® Low Energy, ANT™,
802.15.4, and user-proprietary 2.4 GHz applications using the nRF52840 SoC.
Key features:
• nRF52840 flash-based ANT/ANT+™, Bluetooth Low Energy SoC solution
• Button and LEDs for user interaction
• 15 GPIO available on a castellated edge
• Onboard USB bootloader with buttonless support
• USB support
4440_052 v1.0 4

3Kit content
The nRF52840 Dongle consists of hardware (PCA10059), access to application firmware examples,
documentation, hardware schematics, and layout files.
3.1 Hardware content
The nRF52840 Dongle hardware consists of the board (PCA10059).
Figure 1: nRF52840 Dongle hardware (PCA10059) front
Figure 2: nRF52840 Dongle hardware (PCA10059) back
The sticker on the back side of the nRF52840 Dongle contains the following information:
• Board number (PCA10059)
• Hardware revision
• Production year and week (YYYY.WK)
• MAC address/serial number
3.2 Downloadable content
The nRF52840 Dongle downloadable content consists of a software tool, application firmware examples,
and hardware files.
4440_052 v1.0 6

Kit content
Software
•nRF Connect for Desktop
Firmware package
In the nRF5 SDK, you can find precompiled application firmware examples.
Hardware files
Schematics, layout, bill of materials, and Gerber files for nRF52840 Dongle (PCA10059) are included in a
zip file:
•nRF52840 Dongle Hardware Files
3.3 Related documentation
In addition to the information in this document, you may need to consult other documents.
Nordic documentation
•nRF52840 Product Specification
•nRF52840 Errata
•nRF52840 Compatibility Matrix
•nRF52840 Development Kit User Guide
•nRF Connect
•nRF5 SDK
4440_052 v1.0 7

4Getting started
Complete a few steps to set up the hardware and install the required software.
Before you start, check Minimum requirements on page 5.
Connect the Dongle to a computer and get started with nRF Connect for Desktop.
1. Download and install nRF Connect for Desktop.
This includes the driver for the nRF52840 USB Device Firmware Upgrade (DFU) feature. For
documentation on the tool, see nRF Connect.
2. Insert the nRF52840 Dongle in a USB port on your computer.
The status light (LD2) starts pulsing red, indicating that the Dongle is powered up and is in bootloader
mode. After a few seconds, the computer will recognize the Dongle as a USB composite device. The
driver needed for the nRF52840 USB DFU feature is also installed.
3. Optional: Download the nRF5 SDK.
nRF5 SDK contains application examples for the Dongle. For documentation, see nRF5 SDK v15.0.0.
4. Optional: Download SEGGER Embedded Studio (SES).
SES is needed for building application examples for the Dongle. It can be used free of charge with nRF
devices.
5. Optional: Install nrfutil.
nrfutil can be used for programming the Dongle from the command line.
6. Open an nRF Connect for Desktop app and select the serial number of the nRF52840 Dongle as the
target.
Applications that support the nRF52840 Dongle will display the serial numbers of any connected
Dongles in the device drop-down list.
If the app supports the Dongle but the correct firmware is missing, you will be asked to confirm that
you want to have the Dongle programmed. Click OK.
If the Dongle contains the correct firmware, the app will start immediately.
4440_052 v1.0 8

5Programming
The nRF52840 Dongle can be programmed through the built-in USB bootloader.
Before you start, check Getting started on page 8.
To program the Dongle, it must be in bootloader mode.
The Dongle can be made to enter bootloader mode in one of the two ways:
• Trigger the nRF52840 USB DFU endpoint.
The firmware to support this is embedded in all nRF Connect for Desktop apps for the nRF52840
Dongle. If you add the DFU Trigger Library (USB) to your custom device firmware, you will be able to
trigger the DFU from nRF Connect for Desktop without using any buttons. For documentation, see DFU
Trigger Library (USB), which is part of the nRF5 SDK v15.0.0.
• For Dongles with applications missing the USB DFU endpoint: Press the RESET button.
When the nRF52840 Dongle has entered the bootloader mode, LD2 pulses red. The Dongle is now ready
for programming.
All the nRF Connect for Desktop apps require specific firmware to be present on the nRF52840 Dongle to
function correctly. The apps will update the firmware if needed. If you want to upload a custom firmware
to the Dongle, you can do this by using the dedicated Programmer programming app, or nrfutil.
4440_052 v1.0 9

6Hardware description
The nRF52840 Dongle can be used as a development platform for the nRF52840 SoC. It features user
configurable LEDs and a button as well as multiple GPIOs available along the board edges. In addition to
radio communication, the nRF5240 SoC can communicate with a computer through USB.
6.1 Hardware drawings
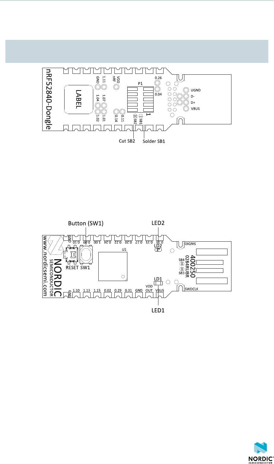
The nRF52840 Dongle hardware drawings show both sides of the PCA10059 board.
Figure 3: nRF52840 Dongle (PCA10059) front view
Figure 4: nRF52840 Dongle (PCA10059) back view
6.2 Block diagram
The block diagram illustrates the nRF52840 Dongle functional architecture.
4440_052 v1.0 10

Hardware description
LEDs
GPIO
USB
Debug
nRF52840
Reset
Button
Matching network
Osc
32768 kHz
Osc
32 MHz
Antenna
Figure 5: Block diagram
6.3 Power supply
The nRF52840 Dongle can be powered from different sources.
6.3.1 Internal regulator
The default power supply of the nRF52840 Dongle is the USB interface. The USB interface supplies power
to the on-chip high voltage regulator of the nRF52840 SoC.
The output of the regulator supplies the SoC and the LEDs. The USB power connection (VBUS) is also
available along the board edge. Next to VBUS, there is a connection point for VDD OUT, which is the
output of the nRF52840 SoC high voltage regulator. For maximum power draw from this pad, see
nRF52840 Product Specification, and take into account the power draw of the onboard nRF52840 and the
LEDs.
Figure 6: USB power connection (VBUS) and SoC high voltage regulator output (VDD OUT)
By using the on-chip high voltage regulator, the VDD voltage level can be set in the REGOUT0 register in
UICR. See nRF52840 Product Specification.
4440_052 v1.0 11

Hardware description
6.3.2 External regulated source
The nRF52840 Dongle can also be configured to be supplied from an external regulated 1.8–3.6 V source
through the VDD OUT connection point. To enable this, SB2 must be cut and SB1 must be soldered.
CAUTION: Do not have both SB1 and SB2 connected at the same time as this will damage the
nRF52840 SoC.
Figure 7: Configuring 1.8-3.6 V external source
6.4 Buttons and LEDs
The nRF528540 Dongle is equipped with a green LED (LD1), a multicolor RGB LED (LD2), a user
configurable button (SW1), and a reset button (SW2).
The LEDs and buttons are connected to dedicated I/Os on the nRF52840 SoC.
Figure 8: nRF52840 Dongle buttons and LEDs
4440_052 v1.0 12

Hardware description
Part Description GPIO
SW1 Button P1.06
SW2 Reset P0.181
LD1 Green P0.06
LD2 Red P0.08
LD2 Green P1.09
LD2 Blue P0.12
Table 1: LED connections
The buttons are active low, which means that the input will be connected to ground when the button is
activated. The SW1 button has no external pull-up resistor, but the reset button (SW2) has a 10 k pull-up
resistor. To use SW1, P1.06 must be configured as an input with an internal pull-up resistor.
The LEDs are active low, which means that writing a logical zero '0' to the output pin will illuminate the
LED.
6.5 32.768 kHz crystal
The nRF52840 Dongle is equipped with a 32.768 kHz crystal (X2) for high accuracy and low average power
consumption.
Note: The 32.768 kHz crystal (X2) is required for correct operation when using ANT/ANT+.
6.6 USB
The nRF52840 Dongle features a USB-A-type connector printed on the circuit board.
Additional test points for the USB data lines are available on the bottom side of the circuit board if the
nRF52840 Dongle is used as a module on a motherboard with a USB connector. To disconnect data lines
from the onboard USB connector, cut solder bridges SB3 and SB4.
Figure 9: Disconnecting USB data lines
1SW2 is also connected to P0.19, P0.21, P0.23, and P0.25. This is done to simplify PCB routing. These
GPIOs should not be used and should be left as input with no pull or be disconnected by firmware.
4440_052 v1.0 13

Hardware description
6.7 SWD interface
On the back side of the nRF52840 Dongle, there are connection points for the SWD interface.
The dongle is equipped with a footprint for two different connectors. On footprint P1, a standard 2×5-pin
pin header with a 1.27 mm pitch can be soldered. On footprint J2, it is possible to connect a TC2050 cable
from Tag-Connect.
Figure 10: SWD interface connectors
For instance, a Nordic development kit can be used as a programmer for the Dongle.
6.8 External connections
The nRF52840 Dongle has 15 GPIOs in addition to the ground, power, and SWD connections along the
castellated edges.
The castellated edge holes have a pitch of 0.1 inches (2.54 mm) and a row spacing of 0.6 inches (15.24
mm)2, making it suitable for stripboard connection. Test points for additional nine GPIOs are available on
the back side of the circuit board, leaving a total of 24 GPIOs accessible.
Note: There is no reverse voltage protection on the power connections.
2The SWD connections are located 0.2 inches (5.08 mm) away from the GPIOs with a row spacing of
0.4 inches (10.16 mm)
4440_052 v1.0 14

Legal notices
By using this documentation you agree to our terms and conditions of use. Nordic Semiconductor may
change these terms and conditions at any time without notice.
Liability disclaimer
Nordic Semiconductor ASA reserves the right to make changes without further notice to the product to
improve reliability, function or design. Nordic Semiconductor ASA does not assume any liability arising out
of the application or use of any product or circuits described herein.
All information contained in this document represents information on the product at the time of
publication. Nordic Semiconductor ASA reserves the right to make corrections, enhancements, and other
changes to this document without notice. While Nordic Semiconductor ASA has used reasonable care
in preparing the information included in this document, it may contain technical or other inaccuracies,
omissions and typographical errors. Nordic Semiconductor ASA assumes no liability whatsoever for any
damages incurred by you resulting from errors in or omissions from the information included herein.
Life support applications
Nordic Semiconductor products are not designed for use in life support appliances, devices, or systems
where malfunction of these products can reasonably be expected to result in personal injury.
Nordic Semiconductor ASA customers using or selling these products for use in such applications do so
at their own risk and agree to fully indemnify Nordic Semiconductor ASA for any damages resulting from
such improper use or sale.
RoHS and REACH statement
Nordic Semiconductor products meet the requirements of Directive 2011/65/EU of the European
Parliament and of the Council on the Restriction of Hazardous Substances (RoHS 2) and the requirements
of the REACH regulation (EC 1907/2006) on Registration, Evaluation, Authorization and Restriction of
Chemicals.
The SVHC (Substances of Very High Concern) candidate list is continually being updated. Complete
hazardous substance reports, material composition reports and latest version of Nordic's REACH
statement can be found on our website www.nordicsemi.com.
Trademarks
All trademarks, service marks, trade names, product names and logos appearing in this documentation are
the property of their respective owners.
Copyright notice
© 2018 Nordic Semiconductor ASA. All rights are reserved. Reproduction in whole or in part is prohibited
without the prior written permission of the copyright holder.
4440_052 v1.0 15
