Xerox Phaser 3100MFP Service Manual. Www.s Manuals.com. Manual
User Manual: Multi-functional printer Xerox Phaser 3100MFP - Service manuals and Schematics, Disassembly / Assembly. Free.
Open the PDF directly: View PDF
.
Page Count: 243 [warning: Documents this large are best viewed by clicking the View PDF Link!]
- Phaser 3100MFP
- Introduction
- 1 Service Call Procedures
- 2 Status Indicator RAPs
- 3 Image Quality
- 4 Repairs and Adjustments
- REP 1 Control Panel
- REP 2 ADF Cover and Document Pad
- REP 3 Front Door and Side Cover
- REP 4 Feeder Assembly
- REP 5 Retard Pad and Cork Pad
- REP 6 ADF Document Feed Assembly
- REP 7 Upper Paper Guide Assembly
- REP 8 Motor Frame
- REP 9 ADF Feed Guide / Registration Roll / Paper Deflector
- REP 10 ADF Sliders and Antistatic Brush
- REP 11 CPU Module
- REP 12 Speaker
- REP 13 Back Cover
- REP 14 Output Tray Assembly
- REP 15 Machine Disassembly
- REP 16 Scanner Assembly
- REP 17 Power Supply Unit
- REP 18 Scanner Frame
- REP 19 CIS
- REP 20 CIS Ribbon Cable
- REP 21 CIS Support
- REP 22 Scanner Motor
- REP 23 Paper Tray Components
- REP 24 Laser Unit
- REP 25 Fusing Unit
- REP 26 Paper Exit Assembly
- REP 27 Fusing Lamp and Heat Roller
- REP 28 Pressure Roller
- REP 29 Thermistor
- REP 30 Thermostat
- REP 31 Heat Roller Stripper Fingers
- REP 32 Paper Feed Roller
- REP 33 Registration Roller
- REP 34 Transfer Roller
- REP 35 Fan Assembly
- REP 36 Main Motor
- REP 37 Discharge Lamp Assembly
- REP 38 Scanner Cover and Document Pad
- 5 Parts List
- PL 1 Controls and Cables
- PL 2 Covers
- PL 3 Paper Exit and Rear Cover
- PL 4 Output Tray Assembly
- PL 5 Scanner
- PL 6 CIS Support
- PL 7 Automatic Document Feeder (3100MFP/X only) (1 of 3)
- PL 8 Automatic Document Feeder (3100MFP/X only) (2 of 3)
- PL 9 Automatic Document Feeder (3100MFP/X only) (3 of 3)
- PL 10 Paper Tray
- PL 11 Rollers and Drives
- PL 12 Fuser
- PL 13 Power Supply and Laser Unit
- 6 General Procedures and Information
- GP 1 Presentation
- GP 2 Characteristics (Xerox 3100MFP/X and 3100MFP/S)
- GP 3 Electronic Architecture
- GP 4 Print Cartridge Characteristics
- GP 5 Operation
- GP 6 Printer Language
- GP 7 Paper types
- GP 8 Space Requirements
- GP 9 Environmental Conditions
- GP 10 Connections
- GP 11 Connecting the Power and Switching on the Machine
- GP 12 Getting Started and Software Configuration
- GP 13 Downloading the Software
- GP 14 Remote Readout
- GP 15 Storing User Parameters And Activity Counters On The Machine
- GP 16 Packing and Transporting the Machine
- GP 17 Administrator Functions
- GP 18 Component Layout
- GP 19 Service Log
- 7 Wiring Data
- Log Sheet
- Health and Safety Incident Report Form
- Publication Comment Sheet

04/08
Phaser 3100MFP
SERVICE MANUAL
708P89057
04/08 Phaser 3100MFP
Phaser 3100MFP
Service Documentation
708P89057
04/08
Prepared by:
Xerox Europe,
Global Knowledge & Language Services,
Enterprise Centre,
P.O. Box 17,
Bessemer Road,
Welwyn Garden City,
Hertfordshire,
AL7 1BU, England.
© Copyright 2008 by Xerox Ltd.
Xerox, and all identifying numbers used in connection with the Xerox products mentioned in this
publication are registered trademarks of Xerox. Other company trademarks are also acknowl-
edged.
NOTICE
While every care has been taken in the preparation of this manual, no liability will be accepted by
Xerox Europe arising out of any inaccuracies or omissions.
All service documentation is supplied to Xerox external customers for informational purposes
only. Xerox service documentation is intended for use by certified, product trained service per-
sonnel only. Xerox does not warrant or represent that it will notify or provide to such customer
any future change to this documentation. Customer performed service of equipment, or modules,
components or parts of such equipment may affect whether Xerox is responsible to fix machine
defects under the warranty offered by Xerox with respect to such equipment. You should consult
the applicable warranty for its terms regarding customer or third-party provided service.

Introduction
04/08 i
Introduction
Safety Precautions ..................................................................................................................... iii
Health and Safety Incident Reporting ........................................................................................ viii
1 Service Call Procedures
Section Contents....................................................................................................................... 1-1
2 Repair Analysis Procedures
Section Contents....................................................................................................................... 2-1
3 Image Quality
Section Contents....................................................................................................................... 3-1
4 Repairs and Adjustments
Section Contents....................................................................................................................... 4-1
5 Parts List
Section Contents....................................................................................................................... 5-1
6 General Procedures and Information
Section Contents....................................................................................................................... 6-1
7 Wiring Data
Section Contents....................................................................................................................... 7-1

Introduction
ii 4/08
This page is intentionally blank

Introduction
Phaser 3100 MFP 04/08 iii
Safety Precautions
In order to prevent accidents and to prevent damage to the equipment, please read the precau-
tions listed below carefully before servicing the machine and follow them closely.
Warnings, Cautions and Notes WARNING
A warning is used whenever an operating or maintenance procedure, practice, condition or state-
ment, if not strictly observed, could result in personal injury.
CAUTION
A caution is used whenever an operation or maintenance procedure, practice, condition or state-
ment, if not strictly observed, could result in damage to the equipment.
Note: A note is used where it is essential to highlight a procedure, practice, condition or
statement.
Safety Warning
1. Only to be serviced by appropriately qualified service engineers.
High voltages and lasers inside this product are dangerous. This machine should only be ser-
viced by a suitably trained and qualified service engineer.
2. Use only Xerox replacement parts
There are no user serviceable parts inside the machine. Do not make any unauthorized
changes or additions to the machine, these could cause the machine to malfunction and cre-
ate electric shock or fire hazards.
3. Laser Safety Statement
The machine is certified in the U.S. to conform to the requirements of DHHS 21 CFR, chapter
1 Subchapter J for Class 1(1) laser products, and elsewhere, it is certified as a Class I laser
product conforming to the requirements of IEC 825. Class I laser products are not considered
to be hazardous. The laser system and machine are designed so there is never any human
access to laser radiation above a Class I level during normal operation, user maintenance, or
prescribed service condition.
WARNING
Follow the service procedure exactly as written. Use of controls or adjustments other than those
specified in this manual, may result in an exposure to invisible laser radiation. During servicing,
the invisible laser radiation can cause eye damage if looked at directly.

Introduction
iv 04/08 Phaser 3100 MFP
Materials
1. If the LCD control panel is damaged, it is possible for the liquid inside the display to leak.
Contact with skin should be avoided, wash any splashes from eyes or skin immediately and
contact your doctor. If the liquid gets into the mouth or is swallowed see a doctor immediately.
2. Please keep print cartridges away from children.
Electric Shock and Fire Safety Precautions
Failure to follow the following instructions could cause electric shock or potentially cause a fire.
1. Use only the correct voltage, failure to do so could damage the machine and potentially
cause a fire or electric shock.
2. Use only the power cable supplied with the machine. Use of an incorrectly specified cable
could cause the cable to overheat and potentially cause a fire.
3. Do not overload the power socket, this could lead to overheating of the cables inside the wall
and could lead to a fire.
4. Do not allow water or other liquids to spill into the machine, this can cause electric shock. Do
not allow paper clips, pins or other foreign objects to fall into the machine these could cause a
short circuit leading to an electric shock or fire hazard.
5. Never touch the plugs on either end of the power cable with wet hands, this can cause elec-
tric shock. When servicing the machine, remove the power plug from the wall socket.
6. Use caution when inserting or removing the power connector. The power connector must be
inserted completely otherwise a poor contact could cause overheating and possibly leading to
a fire. When removing the power connector grip it firmly and pull.
7. Take care of the power cable. Do not allow it to become twisted, bent sharply round corners
or otherwise damaged. Do not place objects on top of the power cable. If the power cable is
damaged, it could overheat and cause a fire or exposed wires could cause an electric shock.
Replace a damaged power cable immediately, do not reuse or repair the damaged cable.
Some chemicals can corrode the coating on the power cable, weaken the cover or exposing
wires causing fire and shock risks.
8. Ensure that the power sockets and plugs are not cracked or broken in any way. Any such
defects should be repaired immediately. Take care not to cut or damage the power cable or
plugs when moving the machine.
9. Avoid damp or dusty areas, install the machine in a clean well ventilated location. Do not
position the machine near a humidifier. Moisture and dust build up inside the machine can
lead to overheating and cause a fire.
10.Do not position the machine in direct sunlight.
11.Do not insert any metal objects into the machine through the ventilator fan or other part of the
casing, it could make contact with a high voltage conductor inside the machine and cause an
electric shock.
Handling Precautions
The following instructions are for your own personal safety, to avoid injury and so as not to dam-
age the machine
1. Ensure the machine is installed on a level surface, capable of supporting its weight. Failure to
do so could cause the machine to tip or fall.

Introduction
Phaser 3100 MFP 04/08 v
2. The machine contains many rollers, gears and fans. Take great care to ensure that you do
not catch your fingers, hair or clothing in any of these rotating devices.
3. Do not place any small metal objects, containers of water, chemicals or other liquids close to
the machine which if spilled could get into the machine and cause damage or a shock or fire
hazard.
4. Do not install the machine in areas with high dust or moisture levels, beside an open window
or close to a humidifier or heater. Damage could be caused to the machine in such areas.
5. Do not place candles, burning cigarettes, etc. on the machine, these could cause a fire.
6. The fuser unit works at a high temperature. Use caution when working on the machine. Wait
for the fuser to cool down before disassembly.
Assembly / Disassembly Precautions
Replace parts carefully, always use Xerox parts. Take care to note the exact location of parts and
also cable routing before dismantling any part of the machine. Ensure all parts and cables are re-
placed correctly.
Please carry out the following procedures before dismantling the machine or replacing any parts.
1. Check the contents of the machine memory and make a note of any user settings. These will
be erased if the mainboard is replaced.
2. Ensure that power is disconnected before servicing or replacing any electrical parts.
3. Disconnect printer interface cables and power cables.
4. Be sure to remove the print cartridge before you disassemble any parts.
5. Only use approved spare parts. Ensure that part number, product name, any voltage, current
or temperature rating are correct.
6. When removing or re-fitting any parts do not use excessive force, especially when fitting
screws into plastic.
7. Take care not to drop any small parts into the machine.
8. Handling of the OPC Drum
- The OPC Drum can be irreparably damaged if it exposed to light.
Take care not to expose the OPC Drum either to direct sunlight or to fluorescent or incandes-
cent room lighting. Exposure for as little as 5 minutes can damage the surface’s photocon-
ductive properties and will result in print quality degradation. Take extra care when servicing
the machine. Remove the OPC Drum and store it in a black bag or other lightproof container.
Take care when working with the covers (especially the top cover) open as light is admitted to
the OPC area and can damage the OPC Drum.
- Take care not to scratch the green surface of OPC Drum Unit.
If the green surface of the Drum Cartridge is scratched or touched the print quality will be
compromised.
ESD Precautions
Certain semiconductor devices can be easily damaged by static electricity. Such components are
commonly called “Electrostatically Sensitive (ES) Devices”, or ESDs. Examples of typical ESDs
are: integrated circuits, some field effect transistors, and semiconductor “chip” components.

Introduction
vi 04/08 Phaser 3100 MFP
The techniques outlined below should be followed to help reduce the incidence of component
damage caused by static electricity. CAUTION
Be sure no power is applied to the chassis or circuit, and observe all other safety precautions.
1. Immediately before handling a semiconductor component or semiconductor-equipped
assembly, drain off any electrostatic charge on your body by touching a known earth ground.
Alternatively, employ a commercially available wrist strap device, which should be removed
for your personal safety reasons prior to applying power to the unit under test.
2. After removing an electrical assembly equipped with ESDs, place the assembly on a conduc-
tive surface, such as aluminium or copper foil, or conductive foam, to prevent electrostatic
charge buildup in the vicinity of the assembly.
3. Use only a grounded tip soldering iron to solder or desolder ESDs.
4. Use only an “anti-static” solder removal device. Some solder removal devices not classified
as “anti-static” can generate electrical charges sufficient to damage ESDs.
5. Do not use Freon-propelled chemicals. When sprayed, these can generate electrical charges
sufficient to damage ESDs.
6. Do not remove a replacement ESD from its protective packaging until immediately before
installing it. Most replacement ESDs are packaged with all leads shorted together by conduc-
tive foam, aluminium foil, or a comparable conductive material.
7. Immediately before removing the protective shorting material from the leads of a replacement
ESD, touch the protective material to the chassis or circuit assembly into which the device will
be installed.
8. Maintain continuous electrical contact between the ESD and the assembly into which it will be
installed, until completely plugged or soldered into the circuit.
9. Minimize bodily motions when handling unpackaged replacement ESDs. Normal motions,
such as the brushing together of clothing fabric and lifting one’s foot from a carpeted floor,
can generate static electricity sufficient to damage an ESD.

Introduction
Phaser 3100 MFP 04/08 vii
Health and Safety Incident Reporting
I. Summary
This section defines requirements for notification of health and safety incidents involving Xerox
products (equipment and materials) at customer locations.
II. Scope
Xerox Corporation and subsidiaries worldwide.
III. Objective
To enable prompt resolution of health and safety incidents involving Xerox products and to ensure
Xerox regulatory compliance.
IV. Definitions
Incident:
An event or condition occurring in a customer account that has resulted in injury, illness or prop-
erty damage. Examples of incidents include machine fires, smoke generation, physical injury to
an operator or service representative. Alleged events and product conditions are included in this
definition.
V. Requirements
Initial Report:
1. Xerox organisations shall establish a process for individuals to report product incidents to
Xerox Environment Health & Safety within 24 hours of becoming aware of the event.
2. The information to be provided at the time of reporting is contained in Appendix A (Health and
Safety Incident Report involving a Xerox product).
3. The initial notification may be made by any of the following methods:
• For incidents in North America and Developing Markets West (Brazil, Mexico, Latin Amer-
ican North and Latin American South):
- Phone* Xerox EH&S at: 1-800-828-6571.
- Electronic mail Xerox EH&S at: Doris.Bush@usa.xerox.com.
- Fax Xerox EH&S at: 1-585-422-6449 [intelnet 8*222 6449].
• For incidents in Europe and Developing Markets East (Middle East, Africa, India, China
and Hong Kong):
- Phone* Xerox EH&S at: +44 (0) 1707 353434.
- Electronic mail Xerox EH&S at: Elaine.Grange@GBR.xerox.com.
- Fax Xerox EH&S at: +44 (0) 1707 353914 [intelnet 8*668 3914].
*Initial notification made by phone must be followed within 24 hours by a completed incident
report and sent to the indicated electronic mail address or fax number.
Note: If sending a fax, please also send the original via internal mail.

Introduction
viii 04/08 Phaser 3100 MFP
Responsibilities for Resolution:
1. Business Groups/Product Design Teams responsible for the product involved in the incident
shall:
a. Manage field bulletins, customer correspondence, product recalls, safety retrofits.
b. Fund all field retrofits.
2. Field Service Operations shall:
a. Preserve the Xerox product involved and the scene of the incident inclusive of any associ-
ated equipment located in the vicinity of the incident.
b. Return any affected equipment/part(s) to the location designated by Xerox EH&S and/or
the Business Division.
c. Implement all safety retrofits.
3. Xerox EH&S shall:
a. Manage and report all incident investigation activities.
b. Review and approve proposed product corrective actions and retrofits, if necessary.
c. Manage all communications and correspondence with government agencies.
d. Define actions to correct confirmed incidents.
VI. Appendices
The Health and Safety Incident Report involving a Xerox Product (Form # EH&S-700) is available
at the end of the manual.

Service Call Procedures
Phaser 3100 MFP 04/08 1-1
1 Service Call Procedures
SCP 1 Service Call Actions....................................................................................................... 1-3
SCP 2 Cleaning......................................................................................................................... 1-4
SCP 3 Final Actions .................................................................................................................. 1-7

Service Call Procedures
1-2 04/08 Phaser 3100 MFP
This page is intentionally blank

Service Call Procedures
Phaser 3100 MFP 04/08 1-3
SCP 1 Service Call Actions
Procedure
WARNING
Switch off the electricity to the machine. Disconnect the power cord from the customer supply
while performing tasks that do not need electricity. Electricity can cause death or injury. Moving
parts can cause injury.
1. Take note of symptoms or error messages.
2. Ask the operator to describe or demonstrate the problem.
3. Make sure that:
• The power cord is connected to the wall outlet and to the machine.
• All cables are connected correctly.
• If necessary perform SCP 2 Cleaning.
4. If available, check the machine service log book for any previous actions that may be relevant
to the call.
5. Review any defective print or copy samples.
6. Refer to RAP 1 Error Codes for a list of error codes and possible solutions.

Service Call Procedures
1-4 04/08 Phaser 3100 MFP
SCP 2 Cleaning
To keep the machine in good working condition, the following operations should be carried out
regularly:
• Cleaning the paper transport rollers of the ADF (3100 MFP/X only).
• Cleaning the paper separator (3100 MFP/X only).
• Cleaning the CIS window of the scanner.
• Cleaning the control panel keys and the printer covers.
• Cleaning the printer with a soft cloth, never use abrasives or detergents.
Paper Transport Rollers (3100 MFP/X only)
Figure 1
1. Set the On/Off switch to Off (position 0).
2. Open the ADF cover.
3. Clean the rollers of the document feeder and feed shafts, and also the two idler rollers located
on the mobile part of the scanner, with a lint-free cloth moistened in isopropyl alcohol. To
clean them, rotate them in the same direction as during paper transport.
Recommended interval: from 2 to 6 months, depending on utilization.

Service Call Procedures
Phaser 3100 MFP 04/08 1-5
Paper Separator Module (3100 MFP/X only)
Figure 2
1. Set the On/Off switch to Off (position 0).
2. Open the ADF scanner cover.
3. Disassemble the ADF feeder (REP 4).
4. Wipe the elements of the paper separator module with a lint-free cloth soaked with isopropyl
alcohol. Recommended interval: from 2 to 6 months, depending on utilization.
CIS and Document Glass
1. Set the On/Off switch to Off (position 0).
2. Open the scanner cover.
3. Clean the CIS window with a lint-free cloth moistened with isopropyl alcohol or use antistatic
paper used for cleaning optic glass.
Recommended interval: depending on utilization; it is advisable to make a local copy to check if
the window is clean.
Control Panel Keys and Covers
Cleaning the Control Panel Keys
1. Set the On/off switch to Off (position 0).
2. Clean the top of the control panel and the keys with a lint-free cloth moistened with isopropyl
alcohol or a spray-on cleaning product.
3. Leave the product on for a few seconds before wiping it off.
Recommended interval: to be defined depending on utilization.

Service Call Procedures
1-6 04/08 Phaser 3100 MFP
Cleaning the Covers
It is advisable to clean all the covers during a maintenance visit.
1. Set the On/Off switch to Off (position 0).
2. Clean the external areas of the covers with a lint-free cloth moistened with isopropyl alcohol
or a spray-on cleaning product.
3. Leave the product on for a few seconds before wiping it off.

Service Call Procedures
Phaser 3100 MFP 04/08 1-7
SCP 3 Final Actions
After the machine has been re-assembled, perform the steps that follow:
1. Exercise the machine in all modes.
2. Make a proof copy or print of a customer document.
3. If any of the customers selections were changed, return them to the customers preferred set-
tings.
4. Mark off any hardware/software options and modifications installed and/or enabled in the
Service Log, GP 19.
5. At the first service and at any subsequent service where changes are made or options are
added, print the configuration report and store it with the machine log book. Discard any pre-
vious versions of the configuration report.
6. Remove and destroy any copies of test patterns.
7. Complete the machine service log, refer to GP 19 Service Log.
8. Ensure the machine and service area are clean before leaving the customer premises.
9. Provide customer training if required.

Service Call Procedures
1-8 04/08 Phaser 3100 MFP
This page is intentionally blank

Status Indicator RAPs
Phaser 3100 MFP 04/08 2-1
2 Status Indicator RAPs
RAP 1 Error Codes ................................................................................................................... 2-3
RAP 2 Jam Detection ............................................................................................................... 2-6

Status Indicator RAPs
2-2 04/08 Phaser 3100 MFP
This page is intentionally blank

Status Indicator RAPs
Phaser 3100 MFP 04/08 2-3
RAP 1 Error Codes
Scanning and Communication Error Codes
The communication error codes appear in the logs (printed using key sequence 5 4) and in the
transmission reports.
General Codes
The following table presents and details for each error code displayed by the machine its cause
and when required the corrective action to perform.
Table 1:
Code Error Cause Action
01 Engaged or no fax tone This code appears after 6 failed attempts. Restart the transmission
at a later time.
03 Stopped by operator Communication stopped by the operator by
pressing the STOP key.
04 Programmed number invalid Invalid programmed single-key or quick-
dial number (Example: a delayed transmis-
sion has been programmed with a single
key and this key has been deleted).
Check the validity of the
programmed number
and/or the single-key
associated to the pro-
grammed number.
05 Scanning fault An error has occurred at the location of the
document to be transmitted (Example: the
sheet is jammed).
Check the ADF module.
06 Printer not available An error has occurred on the printer
(Example: out of paper, paper jam or cover
open). In the case of a reception, this inci-
dent code only appears if the RECEPTION
WITHOUT PAPER parameter is set to
WITHOUT PAPER.
Check the printer.
07 Disconnect The communication has been cut (bad
connection). Check the called number.
08 Quality The document that you have transmitted
has not been received correctly. Contact your corre-
spondent to check
whether it is necessary to
retransmit the document:
the interference may
have occurred in an
unimportant area of the
document.

Status Indicator RAPs
2-4 04/08 Phaser 3100 MFP
0A No document to recover You have attempted to recover a document
from a correspondent, but the latter has not
stored the document or the password that
was entered is wrong.
Contact your corre-
spondent to check
whether the document to
recover has been stored
or to check the validity of
the password.
0B Wrong number of pages There is a difference between the number
of pages indicated when the document was
stored for transmission and the number of
pages actually transmitted.
Check the number of
pages of the document.
0C Received document faulty. The document is too long to be received in
its entirety. Ask the correspondent to
check/reduce the length
of his document.
0D Document transmission fault Document reception error. Ask the correspondent to
retransmit his document.
13 Memory full The machine memory is full (there are too
many documents that have been received
but not yet printed, or waiting to be trans-
mitted).
Print the received docu-
ments. Delete or transmit
in immediate mode the
documents waiting to be
transmitted.
14 Memory full Received document memory saturated. Print the received docu-
ments.
16 List number x not retransmitted Failure to retransmit a document via a
remote fax (the requested list of recipients
is not programmed on the remote fax).
Check that the list of
recipients is programmed
on the remote fax.
19 Stopped by correspondent Communication stopped by your corre-
spondent (Example: a machine attempts to
recover a document from your machine,
and there is no document waiting for this
correspondent).
1A Disconnect Transmission has not started (the phone
line is too noisy). Check the quality of the
phone line or restart the
transmission at a later
time.
Table 1:

Status Indicator RAPs
Phaser 3100 MFP 04/08 2-5
1B Document transmission fault Document transmission error. Transmission: restart the
transmission. Reception:
ask your correspondent
to retransmit the docu-
ment.
Table 1:

Status Indicator RAPs
2-6 04/08 Phaser 3100 MFP
RAP 2 Jam Detection
Jam 1. Paper jam at the paper cassette
When the registration sensor does not turn on within 2.52 seconds after the paper pick-up clutch
for the paper cassette turns on.
Jam 2. Paper did not pass the registration sensor
When the registration sensor does not turn off within the specified time for passing each paper
size (see below) + 3 seconds after the registration sensor turns on.
Jam 3. Paper did not reach the fusing unit
When the paper exit sensor does not turn on within 1.94 seconds after the registration sensor
turns on.
Jam 4. Paper jam in the fusing exit area
When the paper exit sensor does not turn off within 2.99 seconds after the registration sensor
turns off.
Jam 5. Paper no feed jam in the bypass tray
When the registration sensor does not turn on within 1.72 seconds after the main motor starts.
Table 2:
Paper Size A4SEF A5SEF A5LEF A6SEF B5SEF B6SEF Letter
SEF Legal
SEF Envelope
(91x191mm)
Specified
Time
(msec)
2555 1807 1273 1273 2211 1566 2400 3059 1643

Image Quality
3-2 04/08 Phaser 3100 MFP
This page is intentionally blank

Image Quality
Phaser 3100 MFP 04/08 3-3
IQ 1 Checking the Quality of Prints and Calibrating the Scanner
To check or improve the quality of prints, you should first calibrate the scanner. Follow this proce-
dure:
1. Press enter * then A on the keyboard and confirm with OK. The machine reboots.
2. Start making copies of documents on the document glass and check the quality of the copies.
If the problem persists and if it is related to the scanner:
• Repeat the calibration procedure (step 1). If the problem persists and if it is related to the
printer (the scanner still provides unsatisfactory results):
1. Press then enter 56 on the keyboard. The machine prints the list of printer parameters.
2. Check the printer’s printing and copying parameters.
3. Check the print cartridge.

Image Quality
3-4 04/08 Phaser 3100 MFP
This page is intentionally blank

Repairs and Adjustments
Phaser 3100 MFP 04/08 4-1
4 Repairs and Adjustments
REP 1 Control Panel ................................................................................................................ 4-3
REP 2 ADF Cover and Document Pad .................................................................................... 4-5
REP 3 Front Door and Side Cover ......................................................................................... 4-10
REP 4 Feeder Assembly ........................................................................................................ 4-13
REP 5 Retard Pad and Cork Pad ........................................................................................... 4-15
REP 6 ADF Document Feed Assembly .................................................................................. 4-17
REP 7 Upper Paper Guide Assembly .................................................................................... 4-20
REP 8 Motor Frame ............................................................................................................... 4-22
REP 9 ADF Feed Guide / Registration Roll / Paper Deflector ................................................ 4-25
REP 10 ADF Sliders and Antistatic Brush .............................................................................. 4-28
REP 11 CPU Module .............................................................................................................. 4-30
REP 12 Speaker ..................................................................................................................... 4-33
REP 13 Back Cover ............................................................................................................... 4-35
REP 14 Output Tray Assembly .............................................................................................. 4-37
REP 15 Machine Disassembly ............................................................................................... 4-39
REP 16 Scanner Assembly .................................................................................................... 4-40
REP 17 Power Supply Unit .................................................................................................... 4-43
REP 18 Scanner Frame ......................................................................................................... 4-44
REP 19 CIS ............................................................................................................................ 4-46
REP 20 CIS Ribbon Cable ..................................................................................................... 4-48
REP 21 CIS Support .............................................................................................................. 4-50
REP 22 Scanner Motor .......................................................................................................... 4-52
REP 23 Paper Tray Components ........................................................................................... 4-54
REP 24 Laser Unit .................................................................................................................. 4-58
REP 25 Fusing Unit ................................................................................................................ 4-61
REP 26 Paper Exit Assembly ................................................................................................. 4-63
REP 27 Fusing Lamp and Heat Roller ................................................................................... 4-65
REP 28 Pressure Roller ......................................................................................................... 4-70
REP 29 Thermistor ................................................................................................................. 4-73
REP 30 Thermostat ................................................................................................................ 4-74
REP 31 Heat Roller Stripper Fingers ..................................................................................... 4-76
REP 32 Paper Feed Roller ..................................................................................................... 4-78
REP 33 Registration Roller .................................................................................................... 4-81
REP 34 Transfer Roller .......................................................................................................... 4-84
REP 35 Fan Assembly ........................................................................................................... 4-86
REP 36 Main Motor ................................................................................................................ 4-87
REP 37 Discharge Lamp Assembly ....................................................................................... 4-89
REP 38 Scanner Cover and Document Pad .......................................................................... 4-91

Repairs and Adjustments
4-2 04/08 Phaser 3100 MFP
This page is intentionally blank

Repairs and Adjustments
Phaser 3100 MFP 04/08 4-3
REP 1 Control Panel
Parts List on: PL 1
WARNING
Switch off the electricity to the machine. Disconnect the power cord from the customer supply
while performing tasks that do not need electricity. Electricity can cause death or injury. Moving
parts can cause injury.
Preparation
• None.
Removal
1. Unlock the three clips of the front panel (A, B and C), Figure 1.
Figure 1 (3100 MFP/X shown, 3100 MFP/S similar)
2. Pull the panel forward to release it from the two bottom slots (D and E).

Repairs and Adjustments
4-4 04/08 Phaser 3100 MFP
3. Disconnect the ribbon cable from the control panel board, Figure 2.
Figure 2
4. Remove the control panel.
Replacement
1. Replacement is the reverse of the removal procedure.

Repairs and Adjustments
Phaser 3100 MFP 04/08 4-5
REP 2 ADF Cover and Document Pad
Parts List on: PL 7
WARNING
Switch off the electricity to the machine. Disconnect the power cord from the customer supply
while performing tasks that do not need electricity. Electricity can cause death or injury. Moving
parts can cause injury.
Preparation
• None.
Removal
Document Pad:
1. Raise the ADF.
2. Remove the document pad located on the underside of the ADF, Figure 1.
Figure 1

Repairs and Adjustments
4-6 04/08 Phaser 3100 MFP
ADF Cover:
1. Close the ADF and open the ADF cover assembly, Figure 2.
Figure 2
2. Remove the ADF motor cover from its two slots using a flat screwdriver then remove the ADF
motor cover, Figure 3.
Figure 3

Repairs and Adjustments
Phaser 3100 MFP 04/08 4-7
3. Unscrew the mounting screw of the ground cable, Figure 4.
Figure 4
4. Disconnect the ADF cover sensor connector (A) and the paper sensor connector (B), Figure
5.
Figure 5

Repairs and Adjustments
4-8 04/08 Phaser 3100 MFP
5. Open the ADF cover, unscrew the two mounting screws of the cable cover and remove the
cable cover, Figure 6.
Figure 6
6. Remove the ground cable, the ADF cover sensor connector and the paper sensor connector
from their cable guide then slide them out of the ADF cover, Figure 7.
Figure 7

Repairs and Adjustments
Phaser 3100 MFP 04/08 4-9
7. Insert a flat screwdriver in each slot of the two ADF cover hinges, Figure 8.
Figure 8
8. Lift and remove the ADF cover, do not forget the mounting screws of the hinges, Figure 9.
Figure 9
Replacement
1. Replacement is the reverse of the removal procedure.

Repairs and Adjustments
4-10 04/08 Phaser 3100 MFP
REP 3 Front Door and Side Cover
Parts List on: PL 2
WARNING
Switch off the electricity to the machine. Disconnect the power cord from the customer supply
while performing tasks that do not need electricity. Electricity can cause death or injury. Moving
parts can cause injury.
Preparation
• None.
Removal
Front Door:
1. Push the left and right side of the printer front door and simultaneously pull it forward.
2. Move the arms away from each other and remove the printer front door, Figure 1.
Figure 1
Side Covers:
1. Open the printer’s paper tray.

Repairs and Adjustments
Phaser 3100 MFP 04/08 4-11
2. Unscrew the two mounting screws on the front and back of the side covers, front mounting
screw of the right hand side cover, back mounting screw of the right-hand side cover, Figure
2.
Figure 2
3. Using a flat screwdriver, release the tabs under the covers from their slots, Figure 3.
Figure 3

Repairs and Adjustments
4-12 04/08 Phaser 3100 MFP
4. Unclip the side covers from the top slots located at the back of the machine and pivot them
towards yourself to remove them, Figure 4.
Figure 4
5. Remove the side covers.
Replacement
1. Replacement is the reverse of the removal procedure.

Repairs and Adjustments
Phaser 3100 MFP 04/08 4-13
REP 4 Feeder Assembly
Parts List on: PL 8
WARNING
Switch off the electricity to the machine. Disconnect the power cord from the customer supply
while performing tasks that do not need electricity. Electricity can cause death or injury. Moving
parts can cause injury.
Preparation
• None.
Removal
1. Open the ADF cover, Figure 1.
Figure 1
2. Remove the ADF motor cover, refer to REP 2.

Repairs and Adjustments
4-14 04/08 Phaser 3100 MFP
3. Lift the roller bearing, Figure 2.
Figure 2
4. Lift the roller bearing from the other end of the feeder, Figure 3.
Figure 3
5. Lift the feeder and remove the feeder.
Replacement
1. Replacement is the reverse of the removal procedure.

Repairs and Adjustments
Phaser 3100 MFP 04/08 4-15
REP 5 Retard Pad and Cork Pad
Parts List on: PL 8
WARNING
Switch off the electricity to the machine. Disconnect the power cord from the customer supply
while performing tasks that do not need electricity. Electricity can cause death or injury. Moving
parts can cause injury.
Preparation
• Remove the feeder assembly, REP 4.
Removal
Rocking Plate:
1. Insert a screwdriver in the right slot as shown below and make a pivoting movement down-
wards without strain to remove the retard pad.
2. Repeat the previous step for the left slot of the retard pad, Figure 1.
Figure 1
3. Remove the feed roll assembly.

Repairs and Adjustments
4-16 04/08 Phaser 3100 MFP
Cork Dad:
4. Insert a screwdriver in the right slot as shown below and make a pivoting movement down-
wards without strain to remove the cork pad, Figure 2.
Figure 2
Replacement
Cork Pad
1. Make sure that the slot of the cork on the paper input guide is clean.
2. Replacement is the reverse of the removal procedure.
Retard Pad Assembly:
1. Replacement is the reverse of the removal procedure.

Repairs and Adjustments
Phaser 3100 MFP 04/08 4-17
REP 6 ADF Document Feed Assembly
Parts List on: PL 7
WARNING
Switch off the electricity to the machine. Disconnect the power cord from the customer supply
while performing tasks that do not need electricity. Electricity can cause death or injury. Moving
parts can cause injury.
Preparation
None.
Removal
1. Lift the ADF cover and unscrew the two mounting screws of the document feed assembly,
Figure 3.
Figure 3

Repairs and Adjustments
4-18 04/08 Phaser 3100 MFP
2. Lift the document feed assembly and remove it from its slot without disassembling it, Figure
4.
Figure 4
3. Remove the motor frame cable from its cable guide, Figure 5.
Figure 5

Repairs and Adjustments
Phaser 3100 MFP 04/08 4-19
4. Disconnect the connector to the ADF cover and remove the assembly, Figure 6.
Figure 6
Replacement
1. Replacement is the reverse of the removal procedure.

Repairs and Adjustments
4-20 04/08 Phaser 3100 MFP
REP 7 Upper Paper Guide Assembly
Parts List on: PL 8
WARNING
Switch off the electricity to the machine. Disconnect the power cord from the customer supply
while performing tasks that do not need electricity. Electricity can cause death or injury. Moving
parts can cause injury.
Preparation
• Remove the feeder assembly, REP 4.
Removal
1. Open the ADF cover.
2. Unscrew the two mounting screws of the paper guide assembly, Figure 1.
Figure 1

Repairs and Adjustments
Phaser 3100 MFP 04/08 4-21
3. Pull out the paper guide assembly, Figure 2.
Figure 2
Replacement
1. Replacement is the reverse of the removal procedure.

Repairs and Adjustments
4-22 04/08 Phaser 3100 MFP
REP 8 Motor Frame
Parts List on: PL 8
WARNING
Switch off the electricity to the machine. Disconnect the power cord from the customer supply
while performing tasks that do not need electricity. Electricity can cause death or injury. Moving
parts can cause injury.
Preparation
• Remove the feeder assembly, REP 4.
• Remove the document feed assembly, REP 6.
Removal
1. Unscrew the mounting screw of the motor frame, Figure 1.
Figure 1

Repairs and Adjustments
Phaser 3100 MFP 04/08 4-23
2. Lift and remove the motor frame. Take note of the location of the teeth gears, then remove
them, Figure 2.
Figure 2
3. If required unscrew the two mounting screws of the motor and remove the motor, Figure 3.
Figure 3

Repairs and Adjustments
4-24 04/08 Phaser 3100 MFP
Replacement
1. Replacement is the reverse of the removal procedure.
2. Position the teeth gears respecting their location identified during disassembly, Figure 4.
Figure 4

Repairs and Adjustments
Phaser 3100 MFP 04/08 4-25
REP 9 ADF Feed Guide / Registration Roll / Paper Deflector
Parts List on: PL 9
WARNING
Switch off the electricity to the machine. Disconnect the power cord from the customer supply
while performing tasks that do not need electricity. Electricity can cause death or injury. Moving
parts can cause injury.
Preparation
• Remove the feeder assembly, REP 4.
• Remove the ADF document feed assembly, REP 6
• Remove the motor frame REP 8.
Removal
ADF Feed Guide
1. Turn the assembly upside down.
2. Lift the ADF feed guide to remove it from the ADF document feed assembly, Figure 1.
Figure 1

Repairs and Adjustments
4-26 04/08 Phaser 3100 MFP
Paper Deflector
3. Turn the ADF assembly upside down.
4. Unclip the paper deflector and remove it.
Registration Roller
5. Turn the assembly upside down.
6. Turn each roller bearing of the registration roller, Figure 2.
Figure 2
7. Remove the E-clip, bearing, gear then the registration roller.

Repairs and Adjustments
Phaser 3100 MFP 04/08 4-27
Replacement
ADF Feed Guide
1. Replacement is the reverse of the removal procedure.
Paper Deflector
2. Position the paper deflector on the registration roller and press to clip it in place, Figure 3.
Figure 3
Registration Roller
3. Replacement is the reverse of the removal procedure.

Repairs and Adjustments
4-28 04/08 Phaser 3100 MFP
REP 10 ADF Sliders and Antistatic Brush
Parts List on: PL 8, PL 9
WARNING
Switch off the electricity to the machine. Disconnect the power cord from the customer supply
while performing tasks that do not need electricity. Electricity can cause death or injury. Moving
parts can cause injury.
Preparation
• Remove the feeder assembly, REP 4.
• Remove the ADF document feed assembly, REP 6
• Remove the motor frame REP 8.
Removal
1. Turn the assembly upside down.
2. Remove the 2 mounting screws of the lower cover and remove it, Figure 1.
Figure 1

Repairs and Adjustments
Phaser 3100 MFP 04/08 4-29
3. Lift the rack gears and remove them from the input tray assembly, Figure 2.
Figure 2
4. Carefully remove the antistatic brush, Figure 3.
Figure 3
Replacement
1. Replacement is the reverse of the removal procedure.
2. Check that the slot of the antistatic brush is clean. Position the antistatic brush in its slot and
press on the lower part to make sure the adhesives are strongly fixed.

Repairs and Adjustments
4-30 04/08 Phaser 3100 MFP
REP 11 CPU Module
Parts List on: PL 2
WARNING
Switch off the electricity to the machine. Disconnect the power cord from the customer supply
while performing tasks that do not need electricity. Electricity can cause death or injury. Moving
parts can cause injury.
Preparation
• Print the machine’s parameters (user, administrator and technical) and the activity counter
values in order to keep a record ( 5 6). You can also store user parameters and directory
entries on a smart card ( * 6) and restore them ( * 9) after the machine is serviced.
• Remove the printer front door assembly and the right side cover, REP 3.
Removal
1. Unscrew the three mounting screws of the CPU board shield plate, Figure 1.
Figure 1
2. Pull the CPU board shield plate forwards and remove it.

Repairs and Adjustments
Phaser 3100 MFP 04/08 4-31
3. Unscrew the mounting screw of the CPU card ground connector and disconnect it, Figure 2.
Figure 2
4. Disconnect all connectors from the CPU board.
CAUTION
Note all connections for reassembly.
5. Unscrew the eight mounting screws and remove the CPU board, Figure 3.
Figure 3

Repairs and Adjustments
4-32 04/08 Phaser 3100 MFP
Replacement
1. Replacement is the reverse of the removal procedure.
2. Connect all connectors to the CPU board, Figure 4.
Figure 4
3. Perform the scanner calibration ( 8 0).

Repairs and Adjustments
Phaser 3100 MFP 04/08 4-33
REP 12 Speaker
Parts List on: PL 2
WARNING
Switch off the electricity to the machine. Disconnect the power cord from the customer supply
while performing tasks that do not need electricity. Electricity can cause death or injury. Moving
parts can cause injury.
Preparation
• Remove the printer front door assembly and the right side cover, REP 3.
• Remove the CPU shield plate, REP 11.
Removal
1. Disconnect the speaker connector from the CPU board.
CAUTION
Before removing the speaker harness from the ferrite tube make a note of the routing.
2. Remove the speaker connector from its ferrite tube and cable guide, Figure 1.
Figure 1

Repairs and Adjustments
4-34 04/08 Phaser 3100 MFP
3. Press the top clip inwards until it unclips and pull out the speaker, Figure 2.
Figure 2
Replacement
1. Replacement is the reverse of the removal procedure.

Repairs and Adjustments
Phaser 3100 MFP 04/08 4-35
REP 13 Back Cover
Parts List on: PL 3
WARNING
Switch off the electricity to the machine. Disconnect the power cord from the customer supply
while performing tasks that do not need electricity. Electricity can cause death or injury. Moving
parts can cause injury.
Preparation
• Remove the ADF cover, REP 2.
• Remove the printer front door and the side covers, REP 3.
• Remove the CPU shield plate, refer to REP 11.
• Remove the platen assembly, REP 16.
Removal
1. Unscrew the two back mounting screws on the back cover (A and B), Figure 1.
Figure 1

Repairs and Adjustments
4-36 04/08 Phaser 3100 MFP
2. Unscrew the two top mounting screws on the back cover (C and D), Figure 2.
Figure 2
3. Pull the back cover and remove it.
Replacement
1. Replacement is the reverse of the removal procedure.

Repairs and Adjustments
Phaser 3100 MFP 04/08 4-37
REP 14 Output Tray Assembly
Parts List on: PL 3
WARNING
Switch off the electricity to the machine. Disconnect the power cord from the customer supply
while performing tasks that do not need electricity. Electricity can cause death or injury. Moving
parts can cause injury.
Preparation
• Remove the ADF cover, REP 2.
• Remove the front door and the side covers, REP 3.
• Remove the CPU shield plate, REP 11.
• Remove the speaker, REP 12.
• Remove the platen assembly, REP 16.
• Remove the back cover, REP 13.
Removal
1. Unscrew the two mounting screws on the left and right side on the output tray assembly, Fig-
ure 1.
Figure 1

Repairs and Adjustments
4-38 04/08 Phaser 3100 MFP
2. Lift and remove the output tray assembly, Figure 2.
Figure 2
Replacement
1. Replacement is the reverse of the removal procedure.

Repairs and Adjustments
Phaser 3100 MFP 04/08 4-39
REP 15 Machine Disassembly
Parts List on: PL 2
WARNING
Switch off the electricity to the machine. Disconnect the power cord from the customer supply
while performing tasks that do not need electricity. Electricity can cause death or injury. Moving
parts can cause injury.
Preparation
• None.
Removal
1. Stand in front of the machine.
2. Remove the control panel REP 1.
3. Remove the ADF cover (REP 2) or the platen cover (REP 38).
4. Remove the front door and the side covers (REP 3).
5. Remove the CPU module (REP 11) and the speaker (REP 12).
6. Remove the platen assembly (REP 16).
7. Remove the back cover (REP 13) and the output tray assembly (REP 14).
Replacement
1. Replacement is the reverse of the removal procedure.

Repairs and Adjustments
4-40 04/08 Phaser 3100 MFP
REP 16 Scanner Assembly
Parts List on: PL 2
WARNING
Switch off the electricity to the machine. Disconnect the power cord from the customer supply
while performing tasks that do not need electricity. Electricity can cause death or injury. Moving
parts can cause injury.
Preparation
• Print the machine’s parameters (user, administrator and technical) and the activity counter
values in order to keep a record ( 5 6). You can also store user parameters and directory
entries on a smart card ( * 6) and restore them ( * 9) after the machine is serviced.
• Remove the printer front door and the side covers, REP 3.
• Remove the CPU shield plate, REP 11.
Removal
1. Disconnect the scanner connector from the CPU board and remove it from its ferrite tube and
cable guide. CAUTION
Before removing the ribbon connections make a note of the correct connection positions.
2. Disconnect the front panel ribbon cable and the CIS ribbon cable from the CPU board, Figure
1.
Figure 1
Panel ribbon connection CIS ribbon connection

Repairs and Adjustments
Phaser 3100 MFP 04/08 4-41
3. Remove the front panel and CIS ribbon cables from their cable guide, Figure 2.
Figure 2
4. Use a flat head screwdriver to unhook, then remove the scanner assembly, Figure 3.
Figure 3

Repairs and Adjustments
4-42 04/08 Phaser 3100 MFP
5. Lift, then remove the platen assembly, Figure 4.
Figure 4
Replacement
1. Replacement is the reverse of the removal procedure.
2. Perform the scanner calibration ( 8 0).

Repairs and Adjustments
Phaser 3100 MFP 04/08 4-43
REP 17 Power Supply Unit
Parts List on: PL 13
WARNING
Switch off the electricity to the machine. Disconnect the power cord from the customer supply
while performing tasks that do not need electricity. Electricity can cause death or injury. Moving
parts can cause injury.
Preparation
• Remove the print cartridge.
• Remove the paper tray.
• Remove the output tray assembly, REP 14
• Remove the right and left shield, refer to REP 36
Removal
1. Remove the power supply unit, Figure 1.
Figure 1
Replacement
1. Replacement is the reverse of the removal procedure.
1
Remove 4 connectors,
circled in blue
2
Remove 9 screws to
remove the power
supply unit

Repairs and Adjustments
4-44 04/08 Phaser 3100 MFP
REP 18 Scanner Frame
Parts List on: PL 5
WARNING
Switch off the electricity to the machine. Disconnect the power cord from the customer supply
while performing tasks that do not need electricity. Electricity can cause death or injury. Moving
parts can cause injury.
Preparation
• Remove the ADF cover, REP 2, or the platen cover, REP 38.
• Remove the front door and the side covers, REP 3.
• Remove the CPU shield plate, REP 11.
• Remove the platen assembly, REP 16.
Removal
1. Remove the two mounting screws on the frame (A and B) and turn the cover upside down,
Figure 1.
Figure 1

Repairs and Adjustments
Phaser 3100 MFP 04/08 4-45
2. Unscrew the seven mounting screws at the back of the frame and turn it upside down, Figure
2.
Figure 2
3. Lift the front part of the scanner frame and remove it, Figure 3.
Figure 3
Replacement
1. Replacement is the reverse of the removal procedure.

Repairs and Adjustments
4-46 04/08 Phaser 3100 MFP
REP 19 CIS
Parts List on: PL 5
WARNING
Switch off the electricity to the machine. Disconnect the power cord from the customer supply
while performing tasks that do not need electricity. Electricity can cause death or injury. Moving
parts can cause injury.
Preparation
• Remove the ADF cover, REP 2.
• Remove the printer front door and the side covers, REP 3.
• Remove the CPU armour plate, REP 11.
• Remove the platen assembly, REP 16.
Removal
1. Lift the CIS backwards, Figure 1.
Figure 1

Repairs and Adjustments
Phaser 3100 MFP 04/08 4-47
2. Disconnect the CIS ribbon cable and remove it from its two side slots, Figure 2.
CAUTION
Keep the CIS support springs and slides.
Figure 2
3. Remove the CIS.
Replacement
1. Replacement is the reverse of the removal procedure.

Repairs and Adjustments
4-48 04/08 Phaser 3100 MFP
REP 20 CIS Ribbon Cable
Parts List on: PL 6
WARNING
Switch off the electricity to the machine. Disconnect the power cord from the customer supply
while performing tasks that do not need electricity. Electricity can cause death or injury. Moving
parts can cause injury.
Preparation
• Remove the ADF cover, REP 2.
• Remove the front door and the side covers, REP 3.
• Remove the CPU shield plate, REP 11.
• Remove the platen assembly, REP 16.
Removal
1. Unfold the end of the CIS ribbon cable and remove it from its slot, Figure 1.
Figure 1
2. Slide the CIS ribbon cable out of its ferrite tube which is fixed to the CIS panel and remove it
from the scanner.
3. Remove the CIS ribbon cable from its cable guides located above and below the scanner bot-
tom then slide it to remove it from the scanner bottom.
CAUTION
Note the cable guide position for reassembly.
4. Remove the CIS ribbon cable.

Repairs and Adjustments
Phaser 3100 MFP 04/08 4-49
Replacement
1. Replacement is the reverse of the removal procedure.

Repairs and Adjustments
4-50 04/08 Phaser 3100 MFP
REP 21 CIS Support
Parts List on: PL 6
WARNING
Switch off the electricity to the machine. Disconnect the power cord from the customer supply
while performing tasks that do not need electricity. Electricity can cause death or injury. Moving
parts can cause injury.
Preparation
• Remove the ADF cover, REP 2.
• Remove the front door and the side covers, REP 3.
• Remove the CPU shield plate, REP 11.
• Remove the platen assembly, REP 16.
Removal
1. Lift the CIS drive pulley and the drive to remove the CIS drive pulley from its slot, Figure 1.
Figure 1

Repairs and Adjustments
Phaser 3100 MFP 04/08 4-51
2. Remove the belt from the drive pulley, Figure 2.
Figure 2
3. Lift then remove the CIS panel.
Replacement
1. Replacement is the reverse of the removal procedure.

Repairs and Adjustments
4-52 04/08 Phaser 3100 MFP
REP 22 Scanner Motor
Parts List on: PL 5
WARNING
Switch off the electricity to the machine. Disconnect the power cord from the customer supply
while performing tasks that do not need electricity. Electricity can cause death or injury. Moving
parts can cause injury.
Preparation
• Remove the ADF cover, REP 2.
• Remove the front door and the side covers, REP 3.
• Remove the CPU shield plate, REP 11.
• Remove the platen assembly, REP 16.
Removal
1. Unscrew the two mounting screws of the scanner motor (A and B), Figure 1.
Figure 1
2. Remove the end of the scanner motor connector from its ferrite tube.

Repairs and Adjustments
Phaser 3100 MFP 04/08 4-53
3. Remove the CIS motor connector from its cable guide, Figure 2.
Figure 2
4. Remove the scanner motor.
Replacement
1. Replacement is the reverse of the removal procedure.

Repairs and Adjustments
4-54 04/08 Phaser 3100 MFP
REP 23 Paper Tray Components
Parts List on: PL 10
WARNING
Switch off the electricity to the machine. Disconnect the power cord from the customer supply
while performing tasks that do not need electricity. Electricity can cause death or injury. Moving
parts can cause injury.
Preparation
None.
Removal
1. Remove the paper tray, Figure 1.
Figure 1

Repairs and Adjustments
Phaser 3100 MFP 04/08 4-55
Pinion Gear
2. Remove the pinion gear, Figure 2.
Figure 2

Repairs and Adjustments
4-56 04/08 Phaser 3100 MFP
3. Unhook and lift the bottom plate, Figure 3.
Figure 3
4. Unhook the left pinion gear. Repeat with the right pinion gear.
Bottom Plate
5. Unhook the bottom plate from the pivots pins at both sides of the cassette, Figure 3.

Repairs and Adjustments
Phaser 3100 MFP 04/08 4-57
Friction Pad
6. Release 2 hooks from below, Figure 4. CAUTION
When releasing the hooks take care not to lose the spring.
Figure 4
Replacement
1. Replacement is the reverse of the removal procedure.

Repairs and Adjustments
4-58 04/08 Phaser 3100 MFP
REP 24 Laser Unit
Parts List on: PL 13
WARNING
Switch off the electricity to the machine. Disconnect the power cord from the customer supply
while performing tasks that do not need electricity. Electricity can cause death or injury. Moving
parts can cause injury.
WARNING
Avoid exposure to laser beam. Invisible laser radiation.
Preparation
1. Remove the output tray assembly, REP 14

Repairs and Adjustments
Phaser 3100 MFP 04/08 4-59
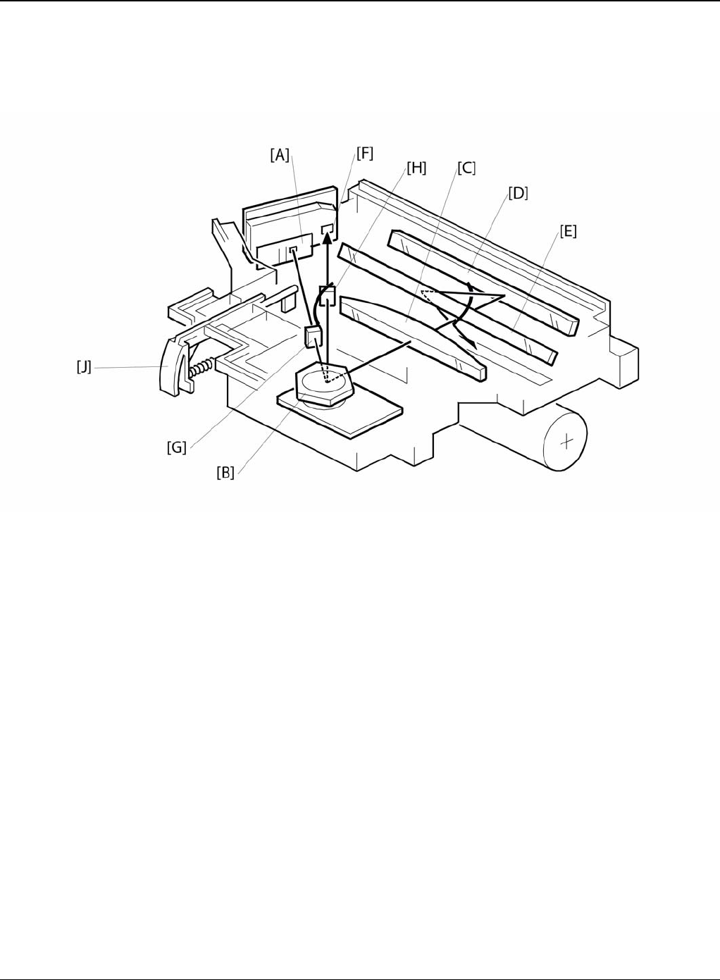
Removal
2. Remove the laser unit, Figure 1.
Figure 1
1
Disconnect the laser
diode harness
2
Disconnect the polygon
mirror motor harness
3
Remove 3 screws (circled)
to remove the laser unit

Repairs and Adjustments
4-60 04/08 Phaser 3100 MFP
Replacement
1. Replacement is the reverse of the removal procedure.
2. When reassembling, ensure to set the positioning pin in the hole, Figure 2.
Figure 2
Positioning pin

Repairs and Adjustments
Phaser 3100 MFP 04/08 4-61
REP 25 Fusing Unit
Parts List on: PL 12
WARNING
Switch off the electricity to the machine. Disconnect the power cord from the customer supply
while performing tasks that do not need electricity. Electricity can cause death or injury. Moving
parts can cause injury.
WARNING
Do not touch the fuser while it is hot.
Preparation
• Remove the output tray assembly, REP 14
Removal
1. Remove the fusing unit, Figure 1.
Figure 1
1
Disconnect the
thermistor harness
2
Disconnect the paper
exit sensor harness
3
Disconnect the fusing
lamp harness
4
Remove 4 screws
(circled in blue) to
remove the fusing
unit

Repairs and Adjustments
4-62 04/08 Phaser 3100 MFP
Replacement
1. Replacement is the reverse of the removal procedure.

Repairs and Adjustments
Phaser 3100 MFP 04/08 4-63
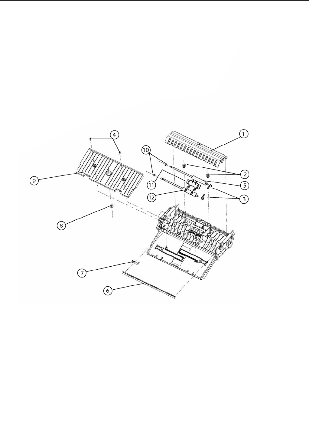
REP 26 Paper Exit Assembly
Parts List on: PL 12
WARNING
Switch off the electricity to the machine. Disconnect the power cord from the customer supply
while performing tasks that do not need electricity. Electricity can cause death or injury. Moving
parts can cause injury.
Preparation
• Remove the fuser, REP 25
Removal
1. Remove the end plate, Figure 1.
Figure 1
1
Remove 1 screw

Repairs and Adjustments
4-64 04/08 Phaser 3100 MFP
2. Remove 2 screws to remove the paper exit assembly, Figure 2 and Figure 3.
Figure 2
Figure 3
Replacement
1. Replacement is the reverse of the removal procedure.
1
Remove 2 screws

Repairs and Adjustments
Phaser 3100 MFP 04/08 4-65
REP 27 Fusing Lamp and Heat Roller
Parts List on: PL 12
WARNING
Switch off the electricity to the machine. Disconnect the power cord from the customer supply
while performing tasks that do not need electricity. Electricity can cause death or injury. Moving
parts can cause injury. WARNING
Do not touch the fuser while it is hot.
Preparation
• Remove the paper exit assembly, REP 26.
• Remove the fuser, REP 25

Repairs and Adjustments
4-66 04/08 Phaser 3100 MFP
Removal
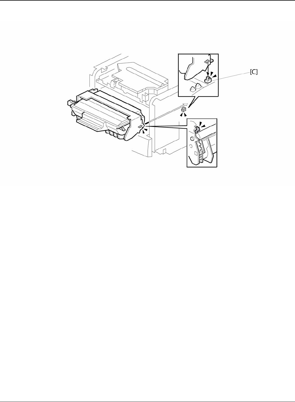
Fusing Lamp
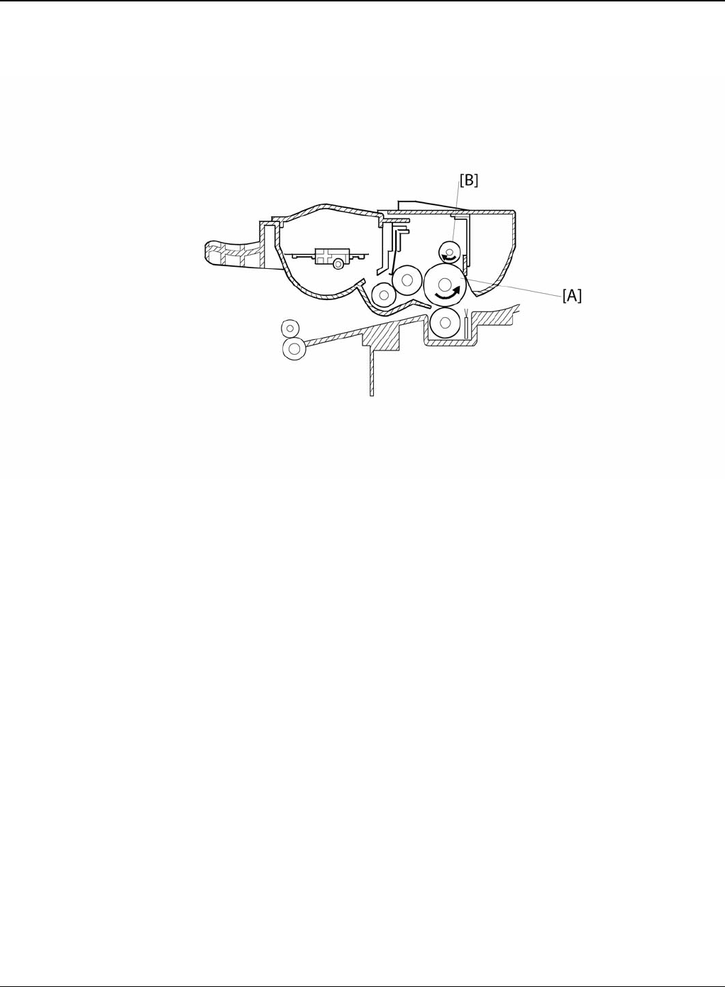
1. Release the fusing lamp, Figure 1. CAUTION
Do not touch the surface of the fusing lamp with bare hands. Take care when removing the lamp,
it can break if not handled with care.
Figure 1
1
Remove 2 screws,
1 at each end of the fusing lamp

Repairs and Adjustments
Phaser 3100 MFP 04/08 4-67
2. Remove the fusing lamp from the fuser, Figure 2.
Figure 2
Hot Roller
3. Disconnect the electrode, Figure 3.
Figure 3
1
Carefully remove the fusing
lamp by withdrawing it from
the fuser
1
Disconnect the electrode

Repairs and Adjustments
4-68 04/08 Phaser 3100 MFP
4. Pull the heat roller out of the fuser unit, Figure 4.
CAUTION
Do not touch the surface of the heat roller with bare hands.
Figure 4

Repairs and Adjustments
Phaser 3100 MFP 04/08 4-69
Replacement
1. Replacement is the reverse of the removal procedure.
CAUTION
When re-assembling, be careful not to damage the stripper fingers.
2. When reassembling, be careful to set the fusing lamp on the frame first, then set the termi-
nals, Figure 5.
Figure 5

Repairs and Adjustments
4-70 04/08 Phaser 3100 MFP
REP 28 Pressure Roller
Parts List on: PL 12
WARNING
Switch off the electricity to the machine. Disconnect the power cord from the customer supply
while performing tasks that do not need electricity. Electricity can cause death or injury. Moving
parts can cause injury. WARNING
Do not touch the fuser while it is hot.
Preparation
• Remove the paper exit assembly, REP 26.
• Remove the fusing lamp and hot roller, REP 27.

Repairs and Adjustments
Phaser 3100 MFP 04/08 4-71
Removal
1. Remove the pressure roller, Figure 1.
CAUTION
Note the position of the bushing and spring at each end of the roller.
Figure 1
Pressure roller
Bushing and spring at each side

Repairs and Adjustments
4-72 04/08 Phaser 3100 MFP
Replacement
1. Replacement is the reverse of the removal procedure.
2. When re-assembling, be careful to set the bushing and spring in the correct position, Figure
2.
Figure 2

Repairs and Adjustments
Phaser 3100 MFP 04/08 4-73
REP 29 Thermistor
Parts List on: PL 12
WARNING
Switch off the electricity to the machine. Disconnect the power cord from the customer supply
while performing tasks that do not need electricity. Electricity can cause death or injury. Moving
parts can cause injury. WARNING
Do not touch the fuser while it is hot.
Preparation
• Remove the paper exit assembly, REP 26.
Removal
1. Remove the thermistor, Figure 1.
Replacement
1. Replacement is the reverse of the removal procedure.
CAUTION
When reassembling, do not damage the thermistor, and check that the element touches the hot
roller.
1
Remove 1 screw to remove the thermistor

Repairs and Adjustments
4-74 04/08 Phaser 3100 MFP
REP 30 Thermostat
Parts List on: PL 12
WARNING
Switch off the electricity to the machine. Disconnect the power cord from the customer supply
while performing tasks that do not need electricity. Electricity can cause death or injury. Moving
parts can cause injury. WARNING
Do not touch the fuser while it is hot.
Preparation:
• Remove the paper exit assembly, REP 26.
• Remove the fusing lamp and hot roller, REP 27.
Removal
1. Remove the thermostat, Figure 1 and Figure 2.
Figure 1
Location of the thermostat on the fuser

Repairs and Adjustments
Phaser 3100 MFP 04/08 4-75
Figure 2
Replacement
1. Replacement is the reverse of the removal procedure.
1.
Remove 2 screws (circled) to remove the thermostat

Repairs and Adjustments
4-76 04/08 Phaser 3100 MFP
REP 31 Heat Roller Stripper Fingers
Parts List on: PL 12
WARNING
Switch off the electricity to the machine. Disconnect the power cord from the customer supply
while performing tasks that do not need electricity. Electricity can cause death or injury. Moving
parts can cause injury. WARNING
Do not touch the fuser while it is hot.
Preparation
• Remove the paper exit assembly, REP 26.
• Remove the fusing lamp and hot roller, REP 27.
Removal
1. Identify the location of the heat roller stripper fingers, Figure 1.
Figure 1
Location of the stripper fingers

Repairs and Adjustments
Phaser 3100 MFP 04/08 4-77
2. Remove the heat roller stripper fingers, Figure 2,
Figure 2
Replacement
1. Replacement is the reverse of the removal procedure.
CAUTION
When reassembling, be careful not to lose the spring.

Repairs and Adjustments
4-78 04/08 Phaser 3100 MFP
REP 32 Paper Feed Roller
Parts List on: PL 11
WARNING
Switch off the electricity to the machine. Disconnect the power cord from the customer supply
while performing tasks that do not need electricity. Electricity can cause death or injury. Moving
parts can cause injury.
Preparation
• Remove the output tray assembly, REP 14
Removal
1. Remove the drive assembly, Figure 1.
Figure 1
1
Remove 4 screws to remove
the drive assembly

Repairs and Adjustments
Phaser 3100 MFP 04/08 4-79
2. Remove the electromagnetic clutch assembly, Figure 2.
Figure 2
3. Release the second clip to remove the shaft, Figure 3.
Figure 3
1
Remove the clip to release the
clutch from the shaft
2
Remove the clip to release the
shaft end
2
Release the second clip to allow
the shaft to be withdrawn and re-
moved

Repairs and Adjustments
4-80 04/08 Phaser 3100 MFP
4. Remove the paper feed roller from the shaft, Figure 4.
Figure 4
Replacement
1. Replacement is the reverse of the removal procedure.
1
Release the clip to remove the roller from the shaft

Repairs and Adjustments
Phaser 3100 MFP 04/08 4-81
REP 33 Registration Roller
Parts List on: PL 11
WARNING
Switch off the electricity to the machine. Disconnect the power cord from the customer supply
while performing tasks that do not need electricity. Electricity can cause death or injury. Moving
parts can cause injury.
Preparation
• Remove the paper tray.
• Remove the print cartridge.
• Remove the output tray assembly, REP 14

Repairs and Adjustments
4-82 04/08 Phaser 3100 MFP
Removal
1. Remove the surrounding components, Figure 1.
Figure 1
1
Remove the paper
tray guides, 2
screws
2
Remove the left
shield, 13 screws
and 2 screws at the
bottom
3
Remove the
right shield, 9
screws
4
Remove the laser
shield, 4 screws
5
Remove the
guide shield, 4
screws

Repairs and Adjustments
Phaser 3100 MFP 04/08 4-83
2. Remove the registration roller, Figure 2.
Figure 2
Replacement
1. Replacement is the reverse of the removal procedure.
1
Remove 2 screws (circled)
2
Remove 2 white bushings
3
Lift out the registration
roller

Repairs and Adjustments
4-84 04/08 Phaser 3100 MFP
REP 34 Transfer Roller
Parts List on: PL 11
WARNING
Switch off the electricity to the machine. Disconnect the power cord from the customer supply
while performing tasks that do not need electricity. Electricity can cause death or injury. Moving
parts can cause injury.
Preparation
• Remove the print cartridge.
• Remove the output tray assembly, REP 14.
Removal
1. Remove the bushing at each end of the transfer roller, Figure 1.
Figure 1
1
Remove the bushing from each end

Repairs and Adjustments
Phaser 3100 MFP 04/08 4-85
2. Use a screwdriver to lift the transfer roller out of the recess, Figure 2.
Figure 2
Replacement
1. Replacement is the reverse of the removal procedure.

Repairs and Adjustments
4-86 04/08 Phaser 3100 MFP
REP 35 Fan Assembly
Parts List on: PL 13
WARNING
Switch off the electricity to the machine. Disconnect the power cord from the customer supply
while performing tasks that do not need electricity. Electricity can cause death or injury. Moving
parts can cause injury.
Preparation
• Remove the output tray assembly, REP 14
Removal
1. Remove the fan assembly
Figure 1
Replacement
1. Replacement is the reverse of the removal procedure.
1
Disconnect the harness
2
Remove 1 screw to re-
lease the fan assembly

Repairs and Adjustments
Phaser 3100 MFP 04/08 4-87
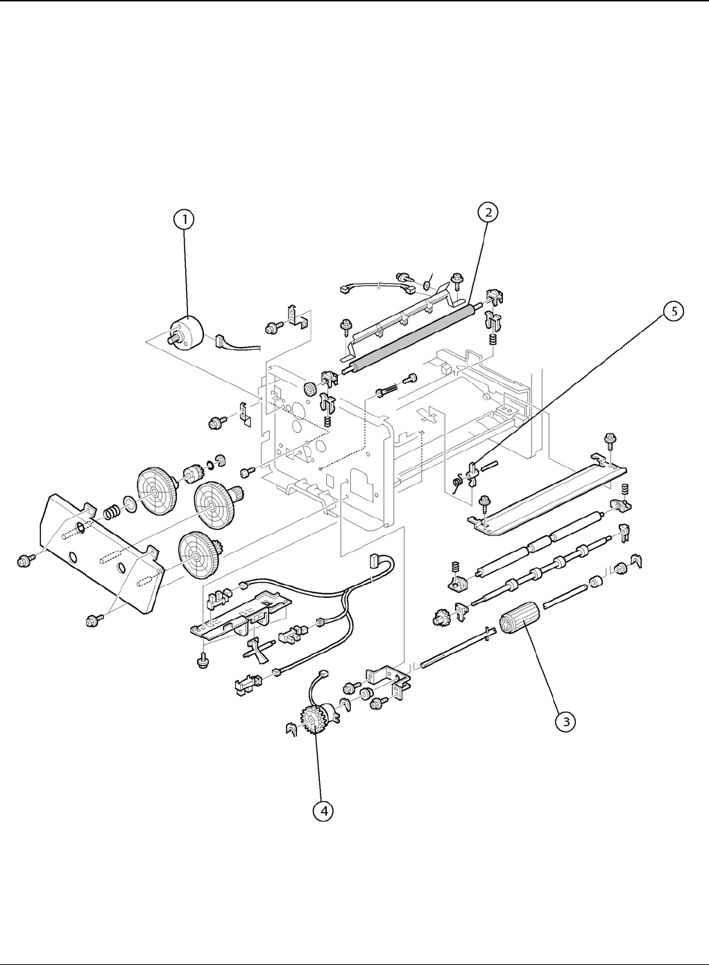
REP 36 Main Motor
Parts List on: PL 11
WARNING
Switch off the electricity to the machine. Disconnect the power cord from the customer supply
while performing tasks that do not need electricity. Electricity can cause death or injury. Moving
parts can cause injury.
Preparation
• Remove the paper tray.
• Remove the print cartridge.
• Remove the output tray assembly, REP 14.
• Remove the laser unit, REP 24.
Removal
1. Remove the surrounding components, Figure 1 (detail Figure 2).
Figure 1
1
Remove the paper
tray guides, 2
screws
2
Remove the left
shield, 13 screws
and 2 screws at the
bottom
3
Remove the
right shield, 9
screws
4
Remove the laser
shield, 4 screws
5
Remove the
guide shield, 4
screws
6
Remove the main motor (circled in blue), 3
screws and 1 harness

Repairs and Adjustments
4-88 04/08 Phaser 3100 MFP
Figure 2 Main motor
Replacement
1. Replacement is the reverse of the removal procedure.

Repairs and Adjustments
Phaser 3100 MFP 04/08 4-89
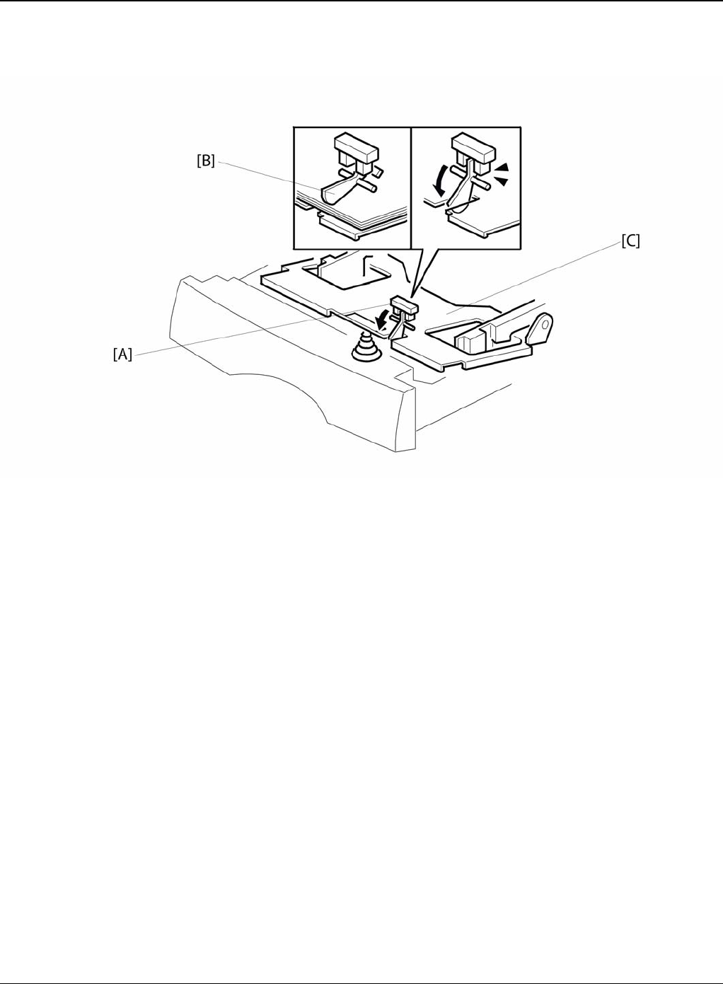
REP 37 Discharge Lamp Assembly
Parts List on: PL 11
WARNING
Switch off the electricity to the machine. Disconnect the power cord from the customer supply
while performing tasks that do not need electricity. Electricity can cause death or injury. Moving
parts can cause injury.
Preparation
• Remove the fusing unit, REP 25.
Removal
1. Remove the discharge lamp assembly, Figure 1.
Figure 1
1
Remove 1 screw to release the
ground harness
2
Disconnect the discharge
lamp harness
3
Remove 1 screw at each end
to release the discharge lamp
assembly

Repairs and Adjustments
4-90 04/08 Phaser 3100 MFP
Replacement
1. Replacement is the reverse of the removal procedure.

Repairs and Adjustments
Phaser 3100 MFP 04/08 4-91
REP 38 Scanner Cover and Document Pad
Parts List on: PL 2
WARNING
Switch off the electricity to the machine. Disconnect the power cord from the customer supply
while performing tasks that do not need electricity. Electricity can cause death or injury. Moving
parts can cause injury.
Preparation
None.
Removal
Document Pad
1. Open the platen cover.
2. Remove the document pad located under the platen cover, Figure 1.
Figure 1
Platen Cover
3. Lift the platen cover to extract the two hinges from their slots and remove the platen cover.
Replacement
1. Replacement is the reverse of the removal procedure.

Repairs and Adjustments
4-92 04/08 Phaser 3100 MFP
This page is intentionally blank

Parts List
Phaser 3100 MFP 04/08 5-1
5 Parts List
PL 1 Controls and Cables ........................................................................................................ 5-2
PL 2 Covers .............................................................................................................................. 5-4
PL 3 Paper Exit and Rear Cover .............................................................................................. 5-6
PL 4 Output Tray Assembly ..................................................................................................... 5-8
PL 5 Scanner .......................................................................................................................... 5-10
PL 6 CIS Support ................................................................................................................... 5-12
PL 7 Automatic Document Feeder (3100MFP/X only) (1 of 3) ............................................... 5-14
PL 8 Automatic Document Feeder (3100MFP/X only) (2 of 3) ............................................... 5-16
PL 9 Automatic Document Feeder (3100MFP/X only) (3 of 3) ............................................... 5-18
PL 10 Paper Tray ................................................................................................................... 5-20
PL 11 Rollers and Drives ........................................................................................................ 5-22
PL 12 Fuser ............................................................................................................................ 5-24
PL 13 Power Supply and Laser Unit ...................................................................................... 5-26

Parts List
5-2 04/08 Phaser 3100 MFP
PL 1 Controls and Cables

Parts List
Phaser 3100 MFP 04/08 5-3
PL 1 Controls and Cables
ITEM No. REFERENCE DESCRIPTION QTY R
1 002N02742 Pupitre PHASER Assemble
Control panel assembly (3100 MFP/X) 1REP 1
1 002N02751 Pupitre PHASER Assemble
Control panel assembly (3100MFP/S) 1REP 1
2 Refer to PL 2 Flap équipé V2
ADF cover (3100MFP/X) 1
3 Refer to PL 2 ADF doc tray D7N coloré
ADF doc tray D7N coloured 1
4 117N01799 Cordon d’alimentation secteur
AC Power cord (220V) 1
4 177N01773 Cordon d’alimentation secteur
AC Power cord (110V) 1
5 117N01774 Cordon ligne téléphonique
Phone line cord (3100MFP/X USSG/XCL) 1
6 117N01800 Cordon USB types A+B L=1,50m + étiquette
A+B types USB cable L=1,50m with label 1
7 Refer to PL 2 Platen cover (3100 MFP/S) 1

Parts List
5-4 04/08 Phaser 3100 MFP
PL 2 Covers

Parts List
Phaser 3100 MFP 04/08 5-5
PL 2 Covers
ITEM No. REFERENCE DESCRIPTION QTY R
1 022N02364 Flap équipé V2
ADF assembly (3100MFP/X) 1REP 2
2 050N00523 ADF doc tray D7N coloré (3100MFP/X only)
ADF doc tray D7N coloured (3100MFP/X only) 1
3 109N00690 Scanner à plat LFF3 assemblé V2
Scanner assembly V2 (3100MFP/X) 1REP 16
3 002N00691 Scanner à plat LFF1 assemblé V2
Scanner assembly V2 (3100MFP/S) REP 16
4 Not spared Equipement Imprimante V2 Grey White
Output tray assembly 1
5 Not spared Vis AUTAR.M3X6 steel swch16A
Screw M3X6 steel 15
6 Not spared Haut-parleur
Speaker 1
7 002N02743 Capot droit imprimante LFF V2 Coloré
Right cover 1REP 3
8 015N00619 Tôle de blindage carte UC
Shield plate of UC Board 1REP 11
9 140N63328 Carte UC
Main PCB board (3100MFP/S) (220V) 1REP 11
9 140N63327 Carte UC
Main PCB board (3100MFP/S) (110V) 1REP 11
9 140N63326 Carte UC
Main PCB board (3100MFP/X) (110V) 1REP 11
9 140N63325 Carte UC
Main PCB board (3100MFP/X) (220V) 1REP 11
10 002N02748 Porte façade avant imprimante assemblé
Front door assembly 1REP 3
11 002N02744 Capot gauche imprimante LFF V2 Coloré
Left cover 1REP 3
12 002N02749 Support Pupitre ASS.LFF3/4V2 XEROX
Control Panel (3100MFP/X) 1REP 1
12 002N02753 Support Pupitre ASS.LFF1V2 XEROX
Control Panel (3100MFP/S) 1REP 1
13 120N00526 Serre câble Twist-lok nylon
Serre câble Twist-lok nylon 1
14 102N13562 Mylar condensateur (3100MFP/X only)
Capacitor mylar (3100MFP/X only) 1
15 063N00112 Mylar de sécurité
Security mylar 1
16 252N02752 Capot scanner a plat assemble grisclair
Platen cover (3100MFP/S) 1REP 38

Parts List
5-6 04/08 Phaser 3100 MFP
PL 3 Paper Exit and Rear Cover

Parts List
Phaser 3100 MFP 04/08 5-7
PL 3 Paper Exit and Rear Cover
ITEM No. REFERENCE DESCRIPTION QTY R
1 038N00521 Guide papier sortie imprimante
Exit paper guide 2
2 Not spared VIS 3x10 self tapping screw for plastic Screw 3x10
Self tapping screw for plastic 2
3 002N02745 Capot arrière imprimante LFX V2 coloré
Lower rear cover 1REP 13
4 002N02746 Trappe arrière
Upper rear cover 1REP 13
5 Not spared Imprimante
Machine 1
6 050N00522 Tirette imprimante + extension
Tray exit+ extend 1
7 050N00525 Interface équipée Gray White V2 (voir planche 4)
Output tray assembly (refer to PL 4)1REP 14
8 Not spared Vis autar. M3x6 steel swch16A
Screw M3x6 steel 6

Parts List
5-8 04/08 Phaser 3100 MFP
PL 4 Output Tray Assembly

Parts List
Phaser 3100 MFP 04/08 5-9
PL 4 Output Tray Assembly
ITEM No. REFERENCE DESCRIPTION QTY R
1 Not spared VIS 3x10 self tapping screw for plastic
Screw 3x10 self tapping screw for plastic 2
2 115N00872 Brosse antistatique
Discharge brush 1
3 050N00526 Interface LFX V2 Colorée Grey White
Output tray 1REP 14
4 117N01797 Ferrite p.cable plat 3W800 10 cond. SP
Ferrite p.cable plat 3W800 10 cond. SP

Parts List
5-10 04/08 Phaser 3100 MFP
PL 5 Scanner

Parts List
Phaser 3100 MFP 04/08 5-11
PL 5 Scanner
ITEM No. REFERENCE DESCRIPTION QTY R
1 Not spared Vis 3x10 self tapping screw for plastic Screw 3x10
Self tapping screw for plastic 14
2 Not spared Cadre vitre scanner LFF3 assemblé
Scanner frame LFF3 assembly (3100 MFP/X) 1REP 18
2 Not spared Cadre vitre scanner LFF1 assemblé
Scanner frame LFF1 assembly (3100 MFP/S) 1REP 18
3 Not spared Adhésif double face ferrite
Ferrite D-tape 2
4 Not spared Support CIS LFx
CIS support LFx 1REP 21
5 Not spared Poulie renvoi courroie CIS colorée
CIS drive pulley colored 1
6 Not spared Nappe console 16 points
Ribbon cable 1
7 Not spared Fond scanner coloré V2
Scanner bottom colored V2 1
8 Not spared Pignon 55 dents scanner à plat coloré
Scanner gear 55 teeth colored 1
9 Not spared Disque pignon 15-55 dents coloré
CIS drive disc colored 1
10 Not spared Pignon 32/70 dents scanner à plat coloré
Scanner gear 32/70 teeth colored 1
11 Not spared Interface support moteur colorée
CIS drive adaptor colored 1
12 Not spared Tôle moteur scanner à plat
CIS drive heat sink 1
13 Not spared Moteur scanner à plat LFF
Scanner motor LFF 1REP 22
14 Not spared Glissière CIS gauche colorée
CIS slider left colored 1
15 Not spared CIS A4 600 DPI 1.5MS 3.3V SP
CIS A4 600 DPI 1.5MS 3.3V LF 1
16 Not spared Glissière CIS droite colorée
CIS slider right colored 1
17 Not spared Ressort CIS
CIS spring 2

Parts List
5-12 04/08 Phaser 3100 MFP
PL 6 CIS Support

Parts List
Phaser 3100 MFP 04/08 5-13
PL 6 CIS Support
ITEM No. REFERENCE DESCRIPTION QTY R
1 117N01798 Nappe CIS 12 points 50 microns
12 pin 50 micrometers CIS flat cable 1REP 20
2 117N01797 Ferrite p.cable plat 3W800 10 cond. SP
Ferrite p.cable plat 3W800 10 cond. SP 1
3 Not spared Guidage central chariot CIS coloré
Central roller of CIS support colored 2
4 Not spared CIS support coloré
CIS support colored 1
5 Not spared Guidage latéral chariot CIS coloré
Lateral roller of CIS support colored 3
6 Not spared Connecteur courroie CIS
CIS drive belt connection 1
7 Not spared Ressort courroie
CIS belt spring 1
8 Not spared Courroie
CIS drive belt 1

Parts List
5-14 04/08 Phaser 3100 MFP
PL 7 Automatic Document Feeder (3100MFP/X only) (1 of 3)

Parts List
Phaser 3100 MFP 04/08 5-15
PL 7 Automatic Document Feeder (3100MFP/X only) (1 of 3)
ITEM No. REFERENCE DESCRIPTION QTY R
1 002N02750 Capot ADF assemblé V2
ADF cover assembly V2 1
2 002N02747 Capot moteur coloré
Motor cover 1
3 038N00522 Chemin papier interne deflect. ass V2
Document input tray 1
4 050N00527 Flap assemblé V2
Document output tray 1
5 Not spared Vis autotartête large pour plast. 3x8
3x8 self tap. screw large for head plas 2
6 Not spared ADF motor&sensor wires overmolded LFX V2
ADF motor & sensor wires overmolded LFX V2 1
7 Not spared Cache charnière coloré
Hide hinge colored 1

Parts List
5-16 04/08 Phaser 3100 MFP
PL 8 Automatic Document Feeder (3100MFP/X only) (2 of 3)

Parts List
Phaser 3100 MFP 04/08 5-17
PL 8 Automatic Document Feeder (3100MFP/X only) (2 of 3)
ITEM No. REFERENCE DESCRIPTION QTY R
1 Not spared ADF slider left D7N coloré
Left document guide 1REP 10
2 Not spared ADF slider right D7N coloré
Right document guide 1REP 10
3 Not spared Palier quart de tour rouleau coloré
Roller bearing 3
4 Not spared Vis autotartête large pour plast. 3X8
3X8 self tapping screw large for plastic 6
5 Not spared Guide papier supérieur assemblé
Upper paper guide assembly 1REP 7
6 019N00958 Kit déliasseur pour LFx
Retard pad assembly 1REP 5
7 Not spared Introducteur papier deflect colorée
Paper input guide 1REP 6
8 Not spared Pignon 38 dents coloré
38 teeth analysis roller gear colored 2
9 007N01602 Pignon 27-33 dents coloré
27-33 teeth gear colored 1
10 001N00501 Support moteur assemblé
Motor frame assembly 1REP 22
11 007N01603 Pignon 16-51 dents coloré
16-51 teeth gear colored 1
12 007N01604 Pignon 42 dents coloré
42 teeth gear colored 2
13 Not spared Photo interupter opic GP1A73A sp
Sensor 1
14 Not spared Rondelles M3X0,6
Washer M3X0.6 2
15 Not spared Chargeur assemble
Feeder assembly 1REP 4

Parts List
5-18 04/08 Phaser 3100 MFP
PL 9 Automatic Document Feeder (3100MFP/X only) (3 of 3)

Parts List
Phaser 3100 MFP 04/08 5-19
PL 9 Automatic Document Feeder (3100MFP/X only) (3 of 3)
ITEM No. REFERENCE DESCRIPTION QTY R
1 Not spared Chassis blanc coloré
White frame plate colored 1REP 9
2 Not spared Ressort palette blanche
White frame plate spring 2
3 Not spared Palier quart de tour rouleau coloré
Roller bearing turning colored 3
4 Not spared Vis autotartête large pour plast. 3X8
3X8 self tap.screw large for head plas 6
5 022N02361 Rouleau analyse
Registration roller 1REP 9
6 115N00873 Brosse antistatique auto adhésive 224 mm
Antistatic brush 1
7 Not spared Reprise de masse balayette
Brush ground plate 1
8 Not spared Pignon bac papier coloré
Gear document tray colored 1
9 Not spared ADF wheelbox D7N coloré
ADF wheelbox D7N colored 1
10 Not spared Palier LFX coloré
LFX bearing colored 2
11 Not spared Deflecteur chemin papier colouree
Paper deflector colored 1REP 9
12 Not spared Rouleau analyse pour ejection
Exit roller 1REP 9

Parts List
5-20 04/08 Phaser 3100 MFP
PL 10 Paper Tray

Parts List
5-22 04/08 Phaser 3100 MFP
PL 11 Rollers and Drives

Parts List
Phaser 3100 MFP 04/08 5-23
PL 11 Rollers and Drives
ITEM No. REFERENCE DESCRIPTION QTY R
1 127N07574 Brushless motor - DC24V 1 REP 36
2 022N02362 Transfer roller 1 REP 34
3 022N02363 Paper feed roller - MM32 1 REP 32
4 121N01171 Magnetic clutch -43z 1
5 120N00525 Actuator - Paper pick-up sensor 1

Parts List
5-24 04/08 Phaser 3100 MFP
PL 12 Fuser

Parts List
5-26 04/08 Phaser 3100 MFP
PL 13 Power Supply and Laser Unit

Parts List
Phaser 3100 MFP 04/08 5-27
PL 13 Power Supply and Laser Unit
ITEM No. REFERENCE DESCRIPTION QTY R
1 122N00280 Laser unit 1 REP 24
2 110N01425 Micro switch 1
3 127N07575 Fan assembly 1 REP 35
4 105N02149 Power supply unit (220V) 1 REP 17
105N02148 Power supply unit (110) 1 REP 17
5 110N01426 Push switch 1

Parts List
5-28 04/08 Phaser 3100 MFP
This page is intentionally blank

General Procedures and Information
Phaser 3100 MFP 04/08 6-1
6 General Procedures and Information
GP 1 Presentation .................................................................................................................... 6-3
GP 2 Characteristics (Xerox 3100MFP/X and 3100MFP/S) ..................................................... 6-7
GP 3 Electronic Architecture .................................................................................................. 6-12
GP 4 Print Cartridge Characteristics ..................................................................................... 6-18
GP 5 Operation ...................................................................................................................... 6-19
GP 6 Printer Language ........................................................................................................... 6-20
GP 7 Paper types ................................................................................................................... 6-21
GP 8 Space Requirements ..................................................................................................... 6-22
GP 9 Environmental Conditions ............................................................................................. 6-24
GP 10 Connections ................................................................................................................ 6-25
GP 11 Connecting the Power and Switching on the Machine ................................................ 6-29
GP 12 Getting Started and Software Configuration ............................................................... 6-30
GP 13 Downloading the Software .......................................................................................... 6-43
GP 14 Remote Readout ......................................................................................................... 6-45
GP 15 Storing User Parameters And Activity Counters On The Machine .............................. 6-51
GP 16 Packing and Transporting the Machine ....................................................................... 6-52
GP 17 Administrator Functions .............................................................................................. 6-53
GP 18 Component Layout ...................................................................................................... 6-58
GP 19 Service Log ................................................................................................................. 6-78

General Procedures and Information
6-2 04/08 Phaser 3100 MFP
This page is intentionally blank

General Procedures and Information
Phaser 3100 MFP 04/08 6-3
GP 1 Presentation
General Description
3100MFP/X
The Xerox 3100MFP/X consists of a colour scanner with a 600 Dpi resolution and a Black and
White printer with a 600 Dpi resolution. These two components are integrated into a single com-
pact machine. Documents are processed by a scanner using CIS (Contact Image Sensor) tech-
nology, via the ADF (Automatic Document Feeder) or via the document glass for bulky
documents.
The control panel consists of:
• An alphanumerical keyboard and function keys to control the machine;
• An LCD display with 2 lines and a line of icons that allows users to view the command or alert
messages;
• A smart card reader that allows validating consumables.
When replacing the printer assembly, it is recommended that the old consumable (print cartridge)
be transferred to the new printer assembly for further use.
When replacing the consumable, carry out the installation procedure for the new consumable (re-
fer to the User Guide booklet).

General Procedures and Information
6-4 04/08 Phaser 3100 MFP
Figure 1
Figure 2
*Can be used for the same function as the USB connection on the front side.
Document feeder
Paper output
Master USB connection
(USB key)
Manual input tray
Paper tray
Manual paper feed setup
guides
Front cover
Output support tab
Smart card insertion
point
Control panel
Slave USB connection
(For PC)
EXT. socket - connection
for external devices
Line socket - telephone
cable connection
Master USB connection
(USB key)*
Paper jam cover
Power supply cable
connection
On/Off switch

General Procedures and Information
Phaser 3100 MFP 04/08 6-5
General Description
X3100MFP/S
The Xerox 3100MFP/S consists of a colour scanner with a 600 Dpi resolution and a Black and
White printer with a 600 Dpi resolution. These two components are integrated into a single com-
pact machine. Documents are processed by a scanner using CIS (Contact Image Sensor) tech-
nology, via the document glass.
The control panel consists of:
• An alphanumerical keyboard and function keys to control the machine.
• An LCD display with 2 lines and a line of icons that allows users to view the command or alert
messages;
• A smart card reader that allows validating consumables.
When replacing the printer assembly, it is recommended that the old consumable (print cartridge)
be transferred to the new printer assembly for further use.
When replacing the consumable, carry out the installation procedure for the new consumable (re-
fer to the User Guide booklet).

General Procedures and Information
6-6 04/08 Phaser 3100 MFP
Figure 3
Figure 4
Paper output
Master USB connection
(USB key)
Manual input tray
Paper tray
Manual paper feed setup
guides
Front cover
Output support tab
Smart card insertion
point
Control panel
Slave USB connection
(For PC)
Paper jam cover
Power supply cable
connection
On/Off switch

General Procedures and Information
Phaser 3100 MFP 04/08 6-7
GP 2 Characteristics (Xerox 3100MFP/X and 3100MFP/S)
Physical Characteristics
Environment
Operating:
- The machine should not be exposed to direct sunlight.
- Power Supply
- Single phase 120 V -50/60 Hz 8.5 A or Single phase 220-240 V - 50/60 Hz - 4.5 A
according model (see rating plate).
- Power consumption in power save mode: 13 W.
- Typical consumption for printing: 450 W.
- Temperature: 10 °C to 27 °C [50 °F to 80.6 °F] with an ambient humidity included between
15 to 80% (up to 32°C [89.6 °F] with an ambient humidity included between15 to 54%).
- Altitude: from 0 to 2500 meters (above sea level).
- Ambient light: 3000 lux.
Storage of the machine and consumable (print cartridge):
- Temperature: - 20 to 40 degrees C [-4 degrees F to 104 degrees F)
- Humidity: 20% to 80% (RH without condensation).
Maximum storage time:12 months.

General Procedures and Information
6-8 04/08 Phaser 3100 MFP
General Technical Characteristics
General
Measurements L-D-H in mm 386 x 447 x 412 (15.1 x 17.6 x 16.2
inches) (3100 MFP/X)
Measurements L-D-H in mm 386 x 447 x 344 (15.1 x 17.6 x 13.5
inches) (3100 MFP/S)
Weight 13 kgs (28.6 lbs) (3100 MFP/X)
Weight 11.6 kgs (25.5 lbs) (3100 MFP/S)
Consumables
Type (for platen and ADF scanners) Inapa tecno SPEED A4 -80 g/m2
Type (for printer) Xerox 75gsm
Document reference (DR)
Type ITU #1 -A4
Black/white ratio 3%
Resolution Normal mode (200 x 100 DPI)
ADF scanner (3100MFP/X only)
Type CIS Colour and B/W
Colour analysis Yes
Resolution in DPI 600
Grey scale 256
Colour scale 36 bits/pixel
Paper size A4 (210 x 297 mm)
• Maximum width 216 mm (8.5 inches)
• Minimum width 145 mm (5.7 inches)
• Maximum length 1 m (39.3 inches)
• Minimum length 120 mm (4.7 inches)
Paper weight 60 to 90 g/m²
Capacity of document feeder 50 pages (80 g/m²)
Effective scanner width 210 mm (8.2 inches)
Zoom in steps of 1% 25% to 400%
Contrast Yes (7 levels)
Brightness Yes (7 levels)
Margin adjustment (left/right) Yes
Origin adjustment Yes

General Procedures and Information
Phaser 3100 MFP 04/08 6-9
Platen scanner
Type CIS Colour and B/W
Colour analysis Yes
Resolution in DPI 600 x 2400
Grey scale 256
Colour scale 36 bits/pixel
Window size 220 mm x 304 mm
Maximum paper width Letter (215.9 x 279.4)
Zoom in steps of 1% 25% to 400%
Contrast Yes (7 levels)
Brightness Yes (7 levels)
Printer
Type Laser B/W
Printer language GDI
Resolution in DPI 600 x 600
Maximum paper width (in mm) Legal (215.9 x 355.6)
Paper feed tray
• Page capacity (in pages) 250 (64g) / 200 (80g)
• Paper weight 60 to 105 g/m2
Manual paper feed
• Capacity of pages (in pages) 1
• Paper weight 52 to 162 g/m2
• Transparent (laser printer compatible) Yes
Page capacity of the output tray 50
Printing on envelopes Yes (Manual paper feed)
Printer speed 20 PPM
First page printed after 13 s
Printing time at start-up 21 s
Printing area (in mm) 201.54 x 287
Consumable for RD document
• Maximum initial print cartridge capacity (in ISOIEC19752
pages) 1.5K prints
• Management of consumables (depending on model) By smart card
• Weight of print cartridge (in Kg) 1.2
• Toner saving function Yes

General Procedures and Information
6-10 04/08 Phaser 3100 MFP
Copier
Type Black/White
Input resolution (optical) in DPI 300 x 300 (fast) or 600 x 600 (quality)
Output resolution in DPI 600 x 600
Maximum paper size (in mm) Legal (215.9 x 355.6)
Maximum speed for 300 x 300 (RP) resolution 20 PPM
Maximum speed for 300 x 300 resolution (Letter) 21 PPM
First page printed after 13 s
Multicopy 1 to 99
Zoom 25% to 400%
Zoom steps 1%
Collated copies Yes
Keyboard and screen
Keyboard (3100MFP/X) 62 keys
Keyboard (3100MFP/S) 25 keys
Screen (3100MFP/X) 2 lines of 16 characters + 7 icons
Screen (3100MFP/S) 2 lines of 16 characters + 4 icons
Fax-Modem (3100MFP/X only)
Type PSTN - Super G3
Maximum speed in bps (V34Fax) 33 600
V34Fax capacity in bps 33 600 to 2 400
• Incrementation in bps 2 400
V17 capacity in bps 14 400, 12 000, 9 600, 7 200
V29 capacity in bps 9 600, 7 200
V27ter capacity in bps 4 800, 2 400
Fax communication (3100MFP/X only)
Type PSTN, ITU T-30, G3
Maximum speed in bps (V34Fax) 33 600
Coding MH, MR, MMR, JBIG
ECM T30 ECM
Time to transmit RD 2.5 s
Type of transmission Memory and direct (ADF)
Max. send delay 24 hours
PSTN redial last 10 numbers

General Procedures and Information
Phaser 3100 MFP 04/08 6-11
Component Characteristics
Control Panel PWB
The control panel PWB interfaces with the keyboard keys and the LCD display.The LCD has its
own driver in COB (Chip On Board).The card also has an external connector to the smart card
which is managed by the CPU.
SMS Communication (3100MFP/X only)
Transmission Yes (V23)
Reception No
Mailing 10 directly 249 from directory
DECT Telephone Communication (option)
(3100MFP/X only)
Wireless DECT Telephone Yes (via USB dongle)
SMS No
Network notification No
Answering device No
Directory (3100MFP/X only)
Capacity 250
Type Name / PSTN and SMS number
Transmission list 32
Transmission list capacity 249
Alphabetical typing Yes
Associated key Yes
Import/export directory on PC XML, EAB and CSV formats
Save directory on PC XML format
Geographical settings
Countries (3100MFP/X only) 25
Network (3100MFP/X only) TBR21, FCC68 depending on model
Languages 17

General Procedures and Information
6-12 04/08 Phaser 3100 MFP
GP 3 Electronic Architecture
The CPU card is based on the Digicolor2 circuit, which ensures the processor functions. All exe-
cutable code is stored in the flash Z466. This flash is divided into two zones, one is reserved for
storing code and the other is reserved for storing documents. The code is loaded in SDRAM from
this flash and the processor executes its instructions from the SDRAM. The SDRAM also serves
as the operating memory for Digicolor2.
CPU Card
The CPU card is based on the Digicolor2 circuit, which ensures the processor functions. All the
executable code is stored in the flash Z466.
This flash is divided into two zones. One zone is reserved for storing code and the other is re-
served for storing documents.
The code is loaded in SDRAM from this flash and the processor executes its instructions from the
SDRAM. The SDRAM also serves as the operating memory for Digicolor2.

General Procedures and Information
Phaser 3100 MFP 04/08 6-13
Electronic Architecture
Figure 1 Overview of the CPU electronic architecture (3100MFP/X):

General Procedures and Information
6-14 04/08 Phaser 3100 MFP
Figure 2 Overview of the CPU electronic architecture (3100MFP/S):

General Procedures and Information
Phaser 3100 MFP 04/08 6-15
Power Supply
The 24V and 5V power supply are provided by the printer.
Figure 3 Diagram of printer power supply connections:

General Procedures and Information
6-16 04/08 Phaser 3100 MFP
CPU Card Clocks
Figure 4

General Procedures and Information
Phaser 3100 MFP 04/08 6-17
Reset
The reset is generated from 3.3V as all logical parts (DIGICOLOR2, memory, …) are supplied in
3.3V. The reset is active during at least 100ms.
Figure 5 Printer’s reset diagram:

General Procedures and Information
6-18 04/08 Phaser 3100 MFP
GP 4 Print Cartridge Characteristics
For the print cartridge a counter assigns the percentage of toner that can still be used.
For a new cartridge this counter is initialized to the capacity announced by the vendor. This ca-
pacity is stored on the smart card provided with the new cartridge and requested for print cartridge
replacement.
The percentage displayed (remaining quantity) is calculated in relation to the initial capacity of the
cartridge (from 100% to 1%).
The values of the counter are regularly updated in the EEPROM memory. Each time the machine
is switched on, the counter is read in the EEPROM memory.

General Procedures and Information
Phaser 3100 MFP 04/08 6-19
GP 5 Operation
The Xerox 3100MFP range is a Group 3 multi-function machine operating in accordance with the
UIT-T T30 recommendations.
The 3100MFP/X consists of a laser printer, a CIS (Contact Image Sensor) colour ADF scanner, a
colour flatbed scanner, a control panel with an alphanumerical keyboard and a LCD display with
2 lines of 16 characters (refer to the User Guide for a more complete description of the control
panel).
It allows the following operations to be carried out:
• Fax transmission and reception on the switched telephone network using the V34 protocol
(max. 33.6 kbits/s) and the V17 protocol (max. 14.4 kbits/s).
• SMS (Short Message Service) transmission on the switched telephone network using the
V23 protocol (depending on the model).
• Photocopying documents.
• Local printing and scanning for PC via USB connections.
The 3100MFP/S consists of a laser printer, a colour flatbed scanner, a control panel with a numer-
ic keypad and a LCD display with 2 lines of 16 characters (refer to the User Guide for a more com-
plete description of the control panel).
It allows the following operations to be carried out:
• Photocopying documents.
• Local printing and scanning for PC via USB connections.
The electronics for both the 3100MFP/X and the 3100MFP/S are made up of a control panel PWB
and a CPU board. The power supply is provided by the printer.
Before performing any operations on the electronic CPU board, you should:
1. Set the On/Off button to Off (position 0).
2. Unplug all external connectors (phone line connectors, USB connectors master, slave).
3. Unplug the power supply cord.

General Procedures and Information
6-20 04/08 Phaser 3100 MFP
GP 6 Printer Language
The machine uses the proprietary GDI printing language.
To install the drivers, carried out via the Companion Suite software installation, refer to the User
Guide and the Companion Suite documentation kit.
Remark(s): The two-way PJL mode is supported.

General Procedures and Information
Phaser 3100 MFP 04/08 6-21
GP 7 Paper types
The following is a list of compatible paper formats:
Figure 1

General Procedures and Information
6-22 04/08 Phaser 3100 MFP
GP 8 Space Requirements
The following diagram provides the machine’s measurements, excluding optional accessories.
3100MFP/X
Figure 1
447 mm
(17.5 inches)
345 mm
(13.5 inches)
445 mm
(17.5 inches)

General Procedures and Information
Phaser 3100 MFP 04/08 6-23
3100MFP/S
Figure 2
447 mm
(17.5 inches)
344 mm
(13.5 inches)
386 mm
(15.1 inches)

General Procedures and Information
6-24 04/08 Phaser 3100 MFP
GP 9 Environmental Conditions
When selecting the machine’s location, the following factors should be taken into consideration:
• The room should be adequately ventilated.
• A standard single-phase power socket with earth (rated in conformance with the information
on the label at the back of the machine) should be located no more than 2 meters (78
inches) from the machine. This socket should be easily accessible.
• For easy access to the machine and to allow the different machine covers to be opened eas-
ily, leave a space of at least 30 cm (12 inches) on each side and at the back. Make sure that
there is sufficient space in front of the machine.
• Never place the machine where it is under direct sunlight, heating radiators, air-conditioners,
Avoid areas with frequent vibrations.
• Avoid areas where water or other products may be splashed on to the machine.
• Never place the machine directly on the floor.
• Always place the machine on a sturdy, flat surface.
• Always keep the machine away from hanging objects and any inflammable products.

General Procedures and Information
Phaser 3100 MFP 04/08 6-25
GP 10 Connections
3100MFP/X
Figure 1
A Master USB connection (USB key)
B Power cord
C Telephone cord (US only)
D Master USB connection (USB key)
E Slave USB connection (for PC)
F EXT.socket - connection for external devices
G LINE socket - telephone cable connection
H On/Off switch
I Power supply cord connection
J USB cord
AJ
D
E
F
GHI
C
B

General Procedures and Information
6-26 04/08 Phaser 3100 MFP
3100MFP/S
Figure 2
Phone Line Connection (3100MFP/X only)
1. Plug the end of the telephone line (C) into the terminal socket (G).
2. Plug the other end of the telephone line (C) into the wall telephone socket.
PC Connections
Users can install and configure the machine on their PC as a local printer and scanner. There are
two ways of connecting the machine to a PC:
• Via a USB connection,
• Via a WLAN connection.
This section only describes physical connections. Refer to the User Guide booklet for more infor-
mation on configuring the machine to a PC.
A Master USB connection (USB key)
B Power cable
C On/Off switch
D Power connection
E Slave USB for PC
F USB cable

General Procedures and Information
Phaser 3100 MFP 04/08 6-27
PC Connections Via USB
Note: Before connecting the machine to a PC, the Companion Suite software must be installed
on the PC (Refer to the User Guide booklet for the detailed procedure).
1. Connect the end of the USB cable into the USB slave connector (E) located at the back of the
machine.
Figure 1
2. Connect the other end of the USB cable into a USB port on the PC.
PC Connections Via WLAN
Note: Before connecting the machine to a PC, the WLAN connection and the Companion Suite
software must be installed on the PC (Refer to the User Guide booklet for the detailed
procedure).
1. Plug in the electronic WLAN key into the USB master connector (A) located at the front of the
machine.

General Procedures and Information
6-28 04/08 Phaser 3100 MFP
Figure 2
2. Connect the other end of the USB cable into a USB port on the PC.

General Procedures and Information
Phaser 3100 MFP 04/08 6-29
GP 11 Connecting the Power and Switching on the Machine
1. Make sure the machines On/Off switch (H) is positioned to Off (position 0).
2. Plug one end of the power cord (B) into the machines power socket (I), refer to GP 10.
3. Plug the other end of the power cord (B) into the power supply wall socket.
4. Set the On/Off switch (H) to On (position I).
The machine powers on. After a few seconds, when the machine has warmed up, the Easy Install
function is launched and the LCD screen displays the following message:
LANGUAGE
YES=OK - NO=C
Refer to the User Guide booklet for more information on carrying out the Easy Install initial setup.

General Procedures and Information
6-30 04/08 Phaser 3100 MFP
GP 12 Getting Started and Software Configuration
User Parameters
Refer to the User Guide booklet for a detailed description of parameters available to the user.
Installation Parameters
The installation parameters are used for configuring the machine to the specific requirements of
users.
Each machine is programmed with the factory test configurations. The installer can obtain a print-
ed copy of these parameters (sequence of keys 5 6).
Note: It is recommended to conserve a paper copy of the list of parameters provided at delivery.
Access to these parameters is only authorized for the maintenance and/or installation service
technicians.
The machine comes with software blocks called SOS (Soft Switches) N° 1 to 60. Each block is
made up of 8 bits called bit 1 to 8. Each bit has a value of 0 or 1. Reading the block (from bit 1 to
bit 8) on the display panel is done from right to left. The blinking cursor is always located on the
bit 8 (on the extreme left) when selecting the configuration.
Access to the configuration bytes is available via the initialization screen, via a succession of keys:
The description of the principal configuration parameters for the machine are provided in the List
of Configuration. They can be modified just like any other parameter.

General Procedures and Information
Phaser 3100 MFP 04/08 6-31
List of Configuration (SOS)
Note: The undocumented Soft Switches in this section are reserved.
Soft-switch 1: Tuning the ringing tone and automatic printing (3100MFP/X)
Soft-switch 1: Tuning the ringing tone and automatic printing (3100MFP/S)
Bit Value Description
1 1 Reserved
2 0 Reserved
3 0 SOS-DURPAUSE: Long/short pause while dialing
Values:
0 (Short 2s)
1 (Long 6s)
4 0 Reserved
5 0 Reserved
6 1 SOS-IMPAUTO: Automatic log print
Values:
0 (Without)
1 (With)
7 0 SOS-IMPT30: Automatic printing of T30 trace after comm error
Values:
0 (Without)
1 (With)
8 0 SOS-IMPTRA: Access to service functions
Values:
0 (Without)
1 (With)
Bit Value Description
1 1 Reserved
2 0 Reserved
3 0 Reserved
4 0 Reserved
5 0 Reserved
6 1 Reserved
7 0 Reserved
8 0 SOS-IMPTRA: Printing of traces/authorization for PC download
Values:
0 (Without)
1 (With)

General Procedures and Information
6-32 04/08 Phaser 3100 MFP
Soft-switch 2: Scanner/printer configuration
Soft-switch 3: Line Configuration (3100MFP/X only)
Bit Value Description
1 0 Reserved
2 0 Reserved
3 0 Emitting a beep tone when pressing a front panel key
Values:
0 (with beep tone)
1 (without beep tone)
4 1 Reserved
5 0 Reserved
6 0 Reserved
7 0 SOS-COPLOC: Local copy
Values:
0 (Enabled)
1 (Disabled)
8 0 Reserved
Bit Value Description
1 1 SOS-NIVEMI: Transmission level
Values:
00 = 0 dBm
01 = -1 dBm
...
06 = -6 dBm
...
0F = -15 dBm
2 0
3 0
4 1
5 0 Reserved
6 0 SOS-SEUILREC: Reception threshold 1
Values: #
0 (-43 dB)
1 (-47 dB)
7 0 SOS - EPTV29: Use Echo Protect Tone with V29
Values:
0 (Without)
1 (With)
8 0 SOS - ECHO: Echo cancelling
Values:
0 (Without)
1 (With)

General Procedures and Information
Phaser 3100 MFP 04/08 6-33
Soft-switch 4: Fax protocol configuration (3100MFP/X only)
Bit Value Description
1 1 SOS-MODPRIV: Communication in private mode
Values:
0 (Without)
1 (With)
2 0 SOS-DIS-COURT: Restricted DIS size
Values:
0 (long DIS (complete))
1 (Short DIS)
3 0 SOS-TCF: TCF accept criterion
Values:
0 (Normal): refused if there has not been 1 continuous second.
1 (Special): 1 discontinuous second in the TCF, then accepted systematically at 2 400 b/s.
4 0 SOS-RTN: Page accept criterion
Values:
0 (10 percent)
1 (15 percent)
2 (20 percent)
3 (no check)
5 0
6 1 SOS-DISINF: Unlimited DIS length Values:
0 (Without)
1 (With)
7 0 SOS-LGINF: Maximum length of scan, printing, communication
Values:
0 (1 meter)
1 (3 meters)
8 1 SOS-ECM: ECM
Values:
0 (Without)
1 (With)

General Procedures and Information
6-34 04/08 Phaser 3100 MFP
Soft-switch 5: Voice/loudspeaker Configuration (3100MFP/X only)
Soft-switch 6: Line adjustment (3100MFP/X only)
Bit Value Description
1 1 Reserved
2 0 Reserved
3 0 Reserved
4 0 Reserved
5 0 SOS-HP: Line monitoring during fax comm.
Values:
0 (Without)
1 (With)
6 1 Reserved
7 1 Reserved
8 0 Reserved
Bit Value Description
1 0 Reserved
2 0 Reserved
3 0 Reserved
4 0 Reserved
5 0 Reserved
6 0 Reserved
7 0 Reserved
8 0 SOS-TSTDCOM: Driver com test functions
Values:
0 (Without)
1 (With)

General Procedures and Information
Phaser 3100 MFP 04/08 6-35
Soft-switch 8: Remote readout/internal answering machine/modem (3100MFP/X only)
Soft-switch 9: Approval + communication applications (3100MFP/X only)
Bit Value Description
1 0 SOS-TLR: Remote readout enable (ATTENTION!)
Values:
0 (No remote readout)
1 (Remote readout enabled)
2 1 Reserved
3 1 Reserved
4 0 Reserved
5 1 Reserved
6 1 Reserved
7 0 Reserved
8 1 Reserved
Bit Value Description
1 0 Reserved
2 0 Reserved
3 0 Reserved
4 1 SOS-REPERR: Redialing from page fault
Values:
0 (Without)
1 (With)
5 1 SOS-NOTREMIS: Printing of first page on transmission rapport
Values:
0 (Without)
1 (With)
6 0 SOS-GRILLAGE: Burn phone numbers
Values:
0 (Without)
1 (With)
7 1 SOS-LIGNE5S: Lines of 5 sec.during reception
Values:
0 (Length of lines not limited to 5 sec./line)
1 (Maximum length of a line: 5 seconds)
8 1 Reserved

General Procedures and Information
6-36 04/08 Phaser 3100 MFP
Soft-switch 10: Communications: Locks/Miscellaneous (3100MFP/X only)
Soft-switch 18: Coding/UART Rate (3100MFP/X only)
Bit Value Description
1 0 SOS-AFFVIT: Communication rate display
Values:
0 (Without) the page number is displayed.
1 (With) the comm. rate is displayed.
2 1 SOS-BTYPNUM: Access to impulse/DTMF parameter
Values:
0 (With) Reserved
1 (Without)
3 0 Reserved
4 1 Reserved
5 1 SOS-TLRFAX: Remote readout by fax (ATTENTION!!!)
Values:
0 (Remote readout to Quadrige in transparent mode)
1 (Remote readout by fax)
6 0 Reserved
7 0 SOS-SONREA: Access to redialing parameters (screen /printer)
Values:
0 (No access)
1 (With access)
8 0 Reserved
Bit Value Description
1 1 SOS-CODMEM: Stored document encoding type
Values:
00 (MMR Coding)
01 (MH Coding)
10 (MR Coding)
11 (JBIG Coding)
2 1
3 1 SOS-CODCOM: COM negotiated encoding type
Values:
01 (MH Coding)
10 (MR Coding)
11 (MMR Coding)
4 1
5 0 Reserved
6 0
7 0 SOS-AFF_VIT_REELLE: Show/hide real communication rates
Values:
0 (show reduced rates)
1 (show real rates)
8 0 Reserved

General Procedures and Information
Phaser 3100 MFP 04/08 6-37
Soft-switch 19: Miscellaneous software functions (3100MFP/X only)
Soft-switch 21: T4 Decodeur/Debug (3100MFP/X only)
Bit Value Description
1 0 Reserved
2 1 Reserved
3 0 SOS-GROUPE: Restriction on groups (or distribution list)
Values:
0 (No groups)
1 (Groups accepted)
4 0 SOS-REGULREC: T30 reception control inhibited
Values:
0 (Without)
1 (With)
5 0 Reserved
6 1 SOS-MENUCLAVIER: Hide keyboard menus and force QWERTY keyboard
Values:
0 (Show)
1 (Hide)
7 0 SOS-ONETOUCH: Enable "One touch" functions
Values:
0 (Without)
1 (With)
8 0 SOS-TLC: Accept software download via Telephone line
Values:
0 (Without)
1 (With)
Bit Value Description
1 1 SOS-TRAITLIGERR: T4 decoding line copying mode
Values:
0 (For each line with an error)
1 (Only once, then destroy)
2 0 Reserved
3 0 Reserved
4 0 Reserved
5 1 Reserved
6 0 Reserved
7 0 SOS-DETECT OCCUP: Inhibition of engaged tone detect
Values:
0 (Without)
1 (With)
8 0 Reserved

General Procedures and Information
6-38 04/08 Phaser 3100 MFP
Soft-switch 22: Miscellaneous (3100MFP/X only)
Soft-switch 23: Miscellaneous (3100MFP/X)
Bit Value Description
1 1 SOS-DUREE-2100: Transmission time of the 2100 modified for V34 reception
Values:
00 (5 seconds)
01 (4.5 seconds)
10 (4 seconds)
11 (3.5 seconds)
2 1
3 0 Reserved
4 0 Reserved
5 0 Reserved
6 0 Reserved
7 0 Reserved
8 0 Reserved
Bit Value Description
1 1 SOS-JBIG: SUPER 3 capability to execute communication with JBIG encoding.
Values:
0 (No SUPER G3)
1 (Negociated SUPER G3)
2 1 Reserved
3 0 Reserved
4 1 SOS-COMPACTE-RL: Compacting of run length (for fax server ELLIPSE)
Values:
0 (No compacting)
1 (Compacting run length of no length)
5 0 SOS-DEBRIDAGE-JAUGE: Expectation of EEPROM cards at any moment.
Values:
0 (No)
1 (Yes)
6 0 Reserved
7 0 Reserved
8 1 Reserved

General Procedures and Information
Phaser 3100 MFP 04/08 6-39
Soft-switch 23: Miscellaneous (3100MFP/S)
Soft-switch 26: Miscellaneous (3100MFP/X)
Bit Value Description
1 1 Reserved
2 0 Reserved
3 0 Reserved
4 0 Reserved
5 0 SOS-DEBRIDAGE-JAUGE: Acceptance of EEPROM cards at any moment.
Values:
0 (No)
1 (Yes)
6 0 Reserved
7 0 Reserved
8 1 Reserved
Bit Value Description
1 0 Reserved
2 0 Reserved
3 0 Reserved
4 0 Restriction on USB function
Values:
0 (Without)
1 (With)
5 0 With or without duplication of on page passage threshold.
Values:
0: No duplication: NBI_SUP_B (1cm)
1: Duplication: NBI_SUP_B * 2 (2 cm)
6 0 RR/RNR regulation limitation to 4 in T30.
Values:
0: No limitation
1: With limitation
7 1 Double alternation optocoupler use
Values:
0: Optocoupleur mono alternation
1: Optocoupleur double alternation
8 0 Reserved

General Procedures and Information
6-40 04/08 Phaser 3100 MFP
Soft-switch 26: Miscellaneous (3100MFP/S)
Soft-switch 27: Miscellaneous (3100MFP/X only)
Bit Value Description
1 0 Reserved
2 0 Reserved
3 0 Reserved
4 0 Restriction on USB function
Values:
0 (Without)
1 (With)
5 0 Reserved
6 0 Reserved
7 0 Reserved
8 0 Reserved
Bit Value Description
1 0
Reserved
2 0
3 0
4 1
5 0 Waiting time before validation of unexpected modulation in comparison with expected
modulation. (~/driver/m_lucent/sms_m_dp2v/src/dpmain.c)
00 = 60 + 0*30 ms= 60 ms
01 = 60 + 1*30 ms = 90 ms
02 = 60 + 2*30 ms = 120 ms
03 = 60 + 3*30 ms = 150 ms
04 = 60 + 4*30 ms = 180 ms
05 = 60 + 5*30 ms = 210 ms
06 = 60 + 6*30 ms = 240 ms
......
0F = 60 + 15*30 ms = 510 ms
6 0
7 0
8 0

General Procedures and Information
Phaser 3100 MFP 04/08 6-41
Soft-switch 29: Miscellaneous (3100MFP/X only)
Soft-switch 31: Miscellaneous
Bit Value Description
1 0 Reserved
2 0 Reserved
3 0 Reserved
4 0 Force the V29 modulation for 9600 and 7200 rates #0: Enabled 1: Disabled
5 0 Reserved
6 0 Reserved
7 0 Reserved
8 0 Reserved
Bit Value Description
1 0 Reserved
2 0 Reserved
3 0 Reserved
4 0 Displaying the TRASH CAN consumable (in the 86 menu)
Values:
0 (Without)
1 (With)
5 0 Using the DHCP queries in ad-hoc WLAN mode
Values:
0 (With)
1 (Without DHCP-directly APIPA)
6 0 Reserved
7 0 Reserved
8 0 Reserved

General Procedures and Information
6-42 04/08 Phaser 3100 MFP
Soft-switch 32: Miscellaneous (3100MFP/X only)
Soft-switch 33: Miscellaneous (3100MFP/X only)
Bit Value Description
1 0 Reserved
2 0 Reserved
3 0 Reserved
4 0 Reserved
5 1 Reserved
6 1 Reserved
7 0 Reserved
8 1 Reserved
Bit Value Description
1 0 Reserved
2 0 Reserved
3 0 Reserved
4 0 Reserved
5 1 Question to the user about a good fax printing Values: # 0 (with) 1 (without question to
user)
6 0 Reserved
7 0 Reserved
8 0 Reserved

General Procedures and Information
Phaser 3100 MFP 04/08 6-43
GP 13 Downloading the Software
Updating the machine software is principally carried out via a PC connection (USB only, see PC
connections, page 7).
The principal software which controls the card core and the miniboot software may be downloaded
separately.
Note: After downloading the principal software, the scanner may require calibration. Enter 8 0
and confirm by pressing OK. Wait until the screen refreshes and reverts to the default screen
mode. Make a local copy to check its quality.
Downloading via PC connection
Via the executable TELUSB2
This procedure requires a standard PC running under Windows and equipped with the
TELUSB2.exe (version 2.02) executable and a USB cable.
Before you start, position the bit n° 8 to 1 on the Soft-switch 1.
1. Connect the machine to a PC with the USB cable.
2. Set the machine to download via PC mode ( * 4).
3. Launch the executable TELUSB2.EXE and select the file to be downloaded (extensions.bin
or.fwf).
After about ten seconds, a window will appear to indicate that the download was successful.
The machine should not be restarted immediately.
If the machine restarts immediately, the file is corrupted (checksum false) or the software is
not compatible with the machine. The machine then restarts with the initially installed soft-
ware. In this case, check the file and repeat step 1.
4. After about 40 seconds, the machine switches off then restarts. The message WAIT is dis-
played.
5. Check the version of the principal software and checksum by typing in * V or check the
software version and the miniboot’s checksum by typing in * B.
Via the Update Device function of Companion Suite
This procedure requires a standard PC running under Windows equipped with the Companion
Suite software and a USB cable.
Before you start, Check that the machine is connected to the PC via the USB cable.
1. On the PC, click START >ALL PROGRAMS >COMPANION SUITE >PHASER 3100 MFP >
UPDATE.
2. In the Update window, click on the BROWSE icon and select the update file to be down-
loaded on the machine.
3. After selecting the update file, click on OPEN.
4. Click on UPDATE.

General Procedures and Information
6-44 04/08 Phaser 3100 MFP
Downloading with the miniboot
Via the executable TELUSB2
This procedure requires a standard PC running under Windows and equipped with the
TELUSB2.exe (version 2.02) executable and a USB cable.
Before you start, position the bit n° 8 to 1 on the Soft-switch 1.
1. Set the machine On/Off switch to Off (position 0).
2. Connect the machine to the PC via the USB cable.
3. Press the 4, 6 and 0 keys simultaneously and set the On/Off switch to On (position I). The
machine is switched on. The message USB DETECTED WAITING FOR DOWNLOAD is dis-
played and an alert sound is emitted. If the message WAITING FOR A USB LINK is dis-
played, check that the machine is properly connected to the PC via the USB cable.
4. Release the 4, 6 and 0 keys.
5. Launch the executable TELUSB2.EXE and select the file to be downloaded (extensions.bin
or.fwf).
After about ten seconds, a window will appear to indicate that the download was successful.
The machine should not be restarted immediately.
If the machine restarts immediately, the file is corrupted (checksum false) or the software is
not compatible with the machine. The machine then restarts with the initially installed soft-
ware. In this case, check the file and repeat step 1.
6. After about 40 seconds, the machine switches off then restarts. The message WAIT is dis-
played.
7. Check the version of the principal software and checksum by typing in * V or check the
software version and the miniboot’s checksum by typing in * B.
Via the UdpateDevice function of the Companion Suite
This procedure requires a standard PC running under Windows and equipped with the Compan-
ion Suite software and a USB cable.
Before you start, position the bit n° 8 to 1 on the Soft-switch 1.
1. Set the machine On/Off switch to Off (position 0).
2. Connect the machine to the PC via the USB cable.
3. Press the 4, 6 and 2 keys simultaneously and set the On/Off switch to On (position I). The
machine is switched on. The message RECEIVING FILE is displayed and an alert sound is
emitted.
4. Release the 4, 6 and 2 keys.
5. On the PC, click START >ALL PROGRAMS >COMPANION SUITE >PHASER 3100 MFP >
UPDATE.
6. In the Update window, click on the BROWSE icon and select the update file to be down-
loaded on the machine.
7. After selecting the update file, click on OPEN.
8. Click on UPDATE.

General Procedures and Information
Phaser 3100 MFP 04/08 6-45
GP 14 Remote Readout
CAUTION
Before and after each service call on a machine equipped with the remote readout option, per-
form a manual transmission of the remote readout parameters to the service center, if the state of
the machine allows it.
All machines are equipped with the Remote Readout option (locked).
The option is unlocked by the installer or maintenance technician during the initial installation or
during the intervention following the subscription of the contract.
When intervening on these machines, it is very important to proceed with care, because the re-
mote readout parameters are verified by the processing centre in order to detect any anomalies,
such as moving the machine, withdrawal, unintentional modification of the parameters, attempted
fraud, etc.
At each automatic transmission, the Remote Readout parameters are transmitted in the night to
the Server centre. A report of the transmission of these parameters is printed.
Enabling the Remote Readout
The remote readout is enabled by means of a softswitch: bit 1of SOS 8. The parameters can then
be set by means of the hidden menu (key sequence * 6). The essential parameters that trigger
a remote readout are the interval in days and the page thresholds. Once the parameters have
been entered, they can be consulted by means of the key sequence 8 7 1 and printed by means
of the key sequence 8 7 2.
The transmission mode of the remote readout can be selected by means of another softswitch, bit
5 of SOS 10, which can be set to 1 for conventional fax transmission and 0 for transparent mode.
Trigger Criteria
The remote readout can be triggered by two types of criteria: “day” or “threshold”.
The “day” criterion is based on the “interval in days” parameter entered in the remote readout
menu accessible by means of the key sequence * 6. This parameter represents the interval at
the end of which a remote readout is transmitted. If the parameter has been set to 30, a remote
readout will be transmitted every 30 days. This parameter cannot exceed 365 days. A transmis-
sion using the day criterion allows the server centre to regularly monitor its installed base of ma-
chines and to detect any anomalies that may occur. The remote readout using the day criterion
can be disabled by entering an interval of zero.
The “threshold” criterion is based on the page thresholds entered in the remote readout menu ac-
cessible by means of the key sequence * 6. When a consumables counter drops below the cor-
responding threshold, the remote readout is triggered. For instance, if the toner threshold is set to
1500 pages, a remote readout will be transmitted when the toner counter drops below 1500, or in
other words, when the remaining toner allows no more than 1500 pages to be printed.
These counters cannot be read directly, however, they can be calculated easily by means of the
percentages displayed in the advanced functions menu (key sequence 8 6), relative to the initial
number of pages for the consumable (as shown in the remote readout report). If, for instance, the

General Procedures and Information
6-46 04/08 Phaser 3100 MFP
initial number of pages for the consumable is 8000 and the threshold is set to 2000 pages, the
remote readout will be triggered when the corresponding percentage drops below 25%.
The remote readout using the threshold criterion can be triggered only once per consumable.
Once the remote readout has been transmitted, the criterion will no longer be tested until the con-
sumable has been replaced.
The transmissions triggered by the two criteria (thresholds and day) are independent of each oth-
er. I.e., as soon as one of the criteria is met, the transmission is triggered, irrespective of the state
of the other parameters. The transmission is immediate.
It is also possible to force a transmission manually by means of the advanced functions menu
(key sequence 8 7 3).
Initial Consumables (print cartridge)
On a new machine, the consumables are activated by reading an initial EEPROM card. The con-
sumables present in the machine at that time are referred to as the initial consumables. In this
case, regardless of the thresholds entered in the advanced functions menu (key sequence *
6), for each consumable the first remote readout will be triggered on the base of a threshold cri-
terion of 1000 pages. After this, when the consumable has been replaced and after reading the
EEPROM card, the machine switches to the standard remote readout mode as described earlier.
Description of the Transmitted Data
Format of transmitted data in transparent mode
When a criterion is met, a transmission in transparent mode is generated (the softswitch SOS 10
bit 5 must have been set to 0).The structure of the transmitted file is of the type TLV (Type - Length
- Value).
The transmitted data are defined below, with for each item: its identifier (TLV “type”), its format
(numerical or character string) and its origin (entered by the operator or generated by the soft-
ware).
These parameters, which are also present in the transmission report, will be described further on.

General Procedures and Information
Phaser 3100 MFP 04/08 6-47
The values of the field TCAUSE_EMIS (reason for transmission) are the following:
Interval days 2
Manual send 3
Toner 4
The initial values of the page counters for a new print cartridge is T_INIT_NOIR.
Field Type Char. / Num. Manual entry
TVERS_TLR 0x00 char No
TNO_23MIL 0x01 char* Yes
TNO_SERIE 0x02 char* Yes
TNO_CLIENT 0x03 char* Yes
TNO_VERSION 0x04 char* No
TINDICATIF 0x05 char* Yes
TIDENTIFIANT 0x06 char* Yes
TNO_SERVEUR 0x08 char* Yes
TCAUSE_EMIS 0x09 uchar No
TNOMRESP 0x10 char[15] Yes
TSOCIETE 0x11 char[15] Yes
TADRESSEL1 0x12 char[30] Yes
TADRESSEL2 0x13 char[30] Yes
TADRESSEL3 0x14 char[30] Yes
TCODEPOSTAL 0x15 char[15] Yes
TVILLE 0x16 char[30] Yes
TPAYS 0x17 char[15] Yes
TLANGUE 0x18 char[15] Yes
TTELEPHONE 0x19 char[30] Yes
TDATE_EMIS 0x21 char* No
T_CPT_PAGES 0x40 long No
T_CRIT_JOURS 0x42 long Yes
T_CPT_PAGES_JOURS 0x43 long No
T_DATE_SEUIL_JOURS 0x45 char* No
T_INIT_NOIR 0x46 long No
T_CPT_NOIR 0x47 long No
T_SEUIL_NOIR 0x48 long Yes
T_DATE_SEUIL_NOIR 0x49 char* No
T_DATE_CHG_NOIR 0x4a char* No
T_INIT_OPC 0x5a long No
T_CPT_OPC 0x5b long No
T_SEUIL_OPC 0x5c long Yes
T_DATE_SEUIL_OPC 0x5d char* No
T_DATE_CHG_OPC 0x5e char* No

General Procedures and Information
6-48 04/08 Phaser 3100 MFP
Remote Readout Report
For each transmission a remote readout report is printed. It contains all the data that has been
transmitted to the service center in transparent mode. In the case of a transmission in fax mode,
the fax that is received is identical to this report.
The report uses the presentation shown below:
Figure 3

General Procedures and Information
Phaser 3100 MFP 04/08 6-49
Description of the Parameters
The different fields shown in the report are described below.
General Information
• (TNO_23MIL): the 23M of the module managed by the service center, entered by the
installer;
• (TNO_SERIE): the identification of the machine, entered by the installer;
• (TNO_CLIENT): the identification of the contract, entered by the installer;
• (TNO_VERSION): generated automatically;
• (TINDICATIF): the machine number, entered by the installer;
• (TIDENTIFIANT): the machine name, entered by the installer;
• (TNO_SERVEUR): the phone number of the service center or of the fax, entered by the
installer.
• (TNOMRESP): the name of the person responsible for the machine, entered by the installer.
• (TSOCIETE): the name of the company who owns the machine, entered by the installer.
• (TADRESSEL1, TADRESSEL2 et TADRESSEL3): postal address of the machine, entered by
the installer.
• (TCODEPOSTAL): entered by the installer.
• (TVILLE): entered by the installer.
• (TPAYS): entered by the installer.
• (TLANGUE): entered by the installer.
• (TTELEPHONE): entered by the installer.
Printer Status
• T_CPT_PAGES): the cumulative total number of pages printed since the installation of the
machine.
Interval in Days
• (T_CRIT_JOURS): the trigger interval using the day criterion (0 if the criterion is not active),
entered by the installer;
• (T_DATE_SEUIL_JOURS): date of the last remote readout triggered by the day criterion, or
installation date if there has not been any previous remote readout;
• (T_CPT_PAGES_JOURS): value of the cumulative number of pages printed at the date of
the previous remote readout triggered by the day criterion (or 0 if there has not been any pre-
vious remote readout).
Toner
• (T_INIT_NOIR): theoretical capacity of the cartridge estimated in average pages;
• (T_SEUIL_NOIR): trigger level (expressed as the number of pages remaining to be printed)
for the transmission of a remote readout triggered by the toner threshold criterion, entered by
the installer;
• (T_DATE_SEUIL_NOIR): date of the last remote readout triggered by the toner threshold
criterion, or installation date if there has not been any previous remote readout;
• T_CPT_NOIR): theoretical number of pages remaining to be printed at the instant of the
triggering of the previous remote readout by the toner threshold criterion (or 0 if there has not
been any previous remote readout);

General Procedures and Information
6-50 04/08 Phaser 3100 MFP
• (T_DATE_CHG_NOIR): date of the last replacement of the print cartridge.
Transmission Data
• (TCAUSE_EMIS): reason for the remote readout transmission;
• (TDATE_EMIS): date of the transmission of the remote readout.
Reminders
• Every machine is equipped with a copy counter, implemented in EEPROM memory on the
CPU board. This counter is used in particular by the Remote Readout function. It can be con-
sulted by the user (see § 5 of the User booklet). This counter cannot be modified. It is stored
indefinitely.
• Before any service on the machine that risks modifying the installation parameters or the
value of the counter (replacement of the CPU board or installation of new software), a manual
Remote Readout transmission should be performed, if the state of the machine allows it. If
this transmission is not possible for any reason, print out the Remote Readout parameters or
display the copy counter and note these values on the service report.

General Procedures and Information
Phaser 3100 MFP 04/08 6-51
GP 15 Storing User Parameters And Activity Counters On The
Machine
The condition of the printer consumable (print cartridge) is stored in EEPROM memory (on the
CPU card) and can be read via the command 8 6. This evaluation, provided in percentage for-
mat, indicates the remaining quantity of toner in relation to the consumable’s initial values.
The printer activity counters are also stored in flash (on the CPU card), they can be read via the
command 8 2 and can be printed via 5 6 (printing of parameters). These absolute counters
reflect the machine’s overall utilization regardless of the consumable:
• number of pages sent (3100MFP/X only),
• number of pages received (3100MFP/X only),
• number of pages printed,
• number of pages scanned.
CAUTION
Any major service on the machine (replacement of the CPU card, major upgrade of the machine
software) may lead to the permanent loss of the user parameters and the activity counter values.
Note: If such operations are necessary, print the parameters and counters ( 5 6) to retain a
copy. You can also store user parameters and directory entries on a smart card ( * 6) and
restore them ( * 9) after the machine is serviced.

General Procedures and Information
6-52 04/08 Phaser 3100 MFP
GP 16 Packing and Transporting the Machine
If you need to transport the machine, always use the original package. If the machine is not prop-
erly packed, the warranty may be cancelled. Also check that the machine new location meets the
installation requirements, GP 9.
1. Set the machine On/Off switch to Off (position 0).
2. Disconnect all the cables connected to the machine.
3. Remove the document feeder and gently push the paper tray inwards to avoid obstructing the
machine packaging.
4. Pack the machine in its original plastic wrapping and put it in its original packing box together
with the other components (power cord, etc.).
5. Pack all documentation (manuals and printed documents) into the packing box and seal it
with adhesive tape.
Figure 1
Machine
USB cable
Print cartridge
Power cable
Documentation
supplied with
machine
CD ROMs containing:
- User Guide
- Software depending
on model
Telephone cable
(US 3100MFP/X only)
Removable ADF
document tray
(3100MFP/X only)

General Procedures and Information
Phaser 3100 MFP 04/08 6-53
GP 17 Administrator Functions
Each one of the administrator functions described here is accessible via a specific sequence of
keys. The alphabetic keys are available via the navigation keys and via the keyboard. For
example, to enter a sequence * A (launching scanner calibration):
1. Press the following key
2. Press the following key *.
3. Press to display all the options available until you reach A. Confirm your choice with OK.
Initializing and Erasing Memory
Before you start, set the 8 bit parameter installation configuration 1 to 1.
CAUTION
Undocumented functions are reserved. Do not try and use functions that are not documented in
this section, this may lead to the permanent loss of data.
CAUTION
Undocumented functions are reserved. Do not try and use functions that are not documented in
this section, this may lead to the permanent loss of data.
• Reset all parameters (user, installer or technical) to the default configuration (factory
configuration):
• Erase the directory:
• Erase the logs:
• Erase the printer counters:
• Reinitialize the flash data (erases all):open the printer front door then:
• Erase all. Reset to default configuration (combination of functions 0 and 8):

General Procedures and Information
6-54 04/08 Phaser 3100 MFP
• Erase all documents stored in memory:
• Erase the first job in the print queue:
• Erase Printer Error:
Then switch ON/OFF the machine.

General Procedures and Information
Phaser 3100 MFP 04/08 6-55
Other Functions
Some of the administrator functions allow you to display or print the machine counters. The table
below details the counters available:
The counter... lists the number of...
Sent pages counter (3100MFP/X only) pages sent
Received pages counter (3100MFP/X only) pages received
Printed pages counter pages printed
Scanned pages counter pages scanned
Printed sheets counter paper sheets printed
Printer does not grip the sheet no-paper feeds detected on the printer
Jam in printer paper jams detected inside the printer
Jam in printer output paper jams detected on the exit tray
ADF misfeed (3100MFP/X only) no-paper feeds detected on the ADF scanner
ADF jams (3100MFP/X only) paper jams detected in the ADF scanner
07 Error in fax transmission (3100MFP/X only) code 07 errors detected during fax transmission (busy or no
fax answer)
01Error in fax transmission (3100MFP/X only) code 01 errors detected during fax transmission (discon-
nections)
Other errors in fax transmission (3100MFP/X only) any other error codes detected during fax transmission
64 Error in maintenance transmission
(3100MFP/X only) code 64 errors detected during remote readout
07 Error in fax reception
(3100MFP/X only) code 07 errors detected during fax reception (busy or no fax
answer)
Vocal call in fax reception
(3100MFP/X only) voice calls detected during fax reception
Other errors in fax reception
(3100MFP/X only) any other error codes detected during fax reception
Other errors in IP communication (3100MFP/X only) error codes detected during IP communication (connection
loss)
Manual and automatic ON/OFF times the machine has been switched On/Off (manually and
automatically)
Insert toner card toner card readings
Pixel number (*10000) pixels the machine has printed (*10000)
Counter TONER toner remaining in toner units

General Procedures and Information
6-56 04/08 Phaser 3100 MFP
Before you start, position the Soft-switch 1 bit n°8 to 1.
CAUTION
Undocumented functions are reserved. Do not try and use functions that are not documented in
this section, this may lead to the permanent loss of data.
• Printing all parameters (including installation and technical parameters):
• Switching to forced standby mode regardless of the clock:
• Switching to software download via a computer link:
• Save the directory and parameters on I2C card:
CAUTION
All data present on the i2c card prior to the operation will be lost after operation and replaced by
directory and parameters from the machine
• Restore the directory and parameters from I2C card:
CAUTION
All directory contacts and parameters stored in the machine prior to the operation will be lost after
operation and replaced by those from the i2c card.
• Launching scanner calibration:
• Displaying miniboot version:
• Displaying the state of the applications, traffic and drivers:

General Procedures and Information
Phaser 3100 MFP 04/08 6-57
• Display modem software version:
• Entering the serial number (with the SOS 1 bit 8 at 1):
• Displaying the internal counters:
• Displaying the GDI throughput:
• Rebooting the machine manually (with the SOS 1 bit 8 at 1):
• Displaying main software version, checksum:
• Displaying the printer firmware version and the 120V/220V configuration:
• Depending on the printer model, the machine LCD screen displays:
or
• Printing internal counters:

General Procedures and Information
6-58 04/08 Phaser 3100 MFP
GP 18 Component Layout
Mechanical Components
Figure 1
Table 1:
No. Name Description
A Laser Unit Consists of the laser diode unit, cylindrical lens, f-theta lens, poly-
gon mirror motor, and other laser optical components.
B Toner Cassette Consists of the OPC drum, toner, toner application roller, develop-
ment roller, charge brush roller, cleaning blade, and other develop-
ment components.
C Upper Tray Bottom Plate Presses paper stacked in the upper paper tray against the paper
feed roller.
D Paper Feed Roller Picks up the top sheet of paper from the stack in the upper paper
tray and feeds it into the transfer area.
E Transfer Roller Applies a charge to the paper to pull the toner off the drum and onto
the copy paper.
F Pressure Roller Applies pressure to the paper during fusing.
G Heat Roller Fuses the toner to the copy paper.
H Paper Exit Roller Feeds the paper out of the printer.

General Procedures and Information
Phaser 3100 MFP 04/08 6-59
Printing
Printing Processes Around the Drum
Figure 2
This machine uses a “write to black” system, using negative toner.
Charge: The charge brush roller [A] gives the OPC drum [B] surface a negative charge.
Exposure: A laser [C] writes a latent image on the drum. The charge in the area exposed by the
laser beam drops.
Development: The development roller [D] carries toner to the drum and develops the latent image
on the drum. The following charges are applied. Development bias (during printing): Toner appli-
cation roller [E] Development roller [D] Switching bias (At the start and the end of any print proc-
ess): Toner application roller [E] Development roller [D]
Image Transfer: The transfer roller [F] pulls the toner from the drum onto the paper [G].
Paper Separation: The antistatic brush [H] removes the charge on the underside of the paper to
help the paper separate from the drum.
Drum Cleaning: The Discharge Lamp[L] discharge the OPC drum [B] surface, The cleaning blade
[J] removes any toner remaining on the drum after the image is transferred to paper.
The high voltages [K] are supplied from the Power Supply Unit board.

General Procedures and Information
6-60 04/08 Phaser 3100 MFP
Charge
Figure 3
The OPC (Organic Photoconductor) drum [A] used in this machine is small in diameter. This al-
lows a very compact design.
A charge roller [B] charges the photoconductor. The charge roller has the advantage of not gen-
erating ozone. A large negative voltage is applied from the Power Supply Unit board to the charge
roller. This charge roller gives the OPC drum surface a negative charge.

General Procedures and Information
Phaser 3100 MFP 04/08 6-61
Figure 4
The voltage to the charge roller is supplied through the terminal [C] from the Power Supply Unit
board.

General Procedures and Information
6-62 04/08 Phaser 3100 MFP
Laser Exposure
Overview
Figure 1
Laser Unit Layout
A: Laser Diode Unit
B: Polygon Mirror Motor
C: F-theta Lens
D: First Mirror
E: Second Mirror
F: Laser Synchronization Detector
G: Cylindrical Lens
H: Synchronization Detector Lens
J: Shutter
This machine uses a laser diode to produce an electrostatic latent image on the OPC drum. The
laser diode unit converts image data into laser pulses, and the optical components direct these
pulses to the OPC drum.
As a mechanical safety feature, the shutter [J] closes to block the laser beam path whenever the
front door is opened.

General Procedures and Information
Phaser 3100 MFP 04/08 6-63
Block Diagram
Figure 2
The Engine Board controls the laser diode power (APCSH) and transfers data for printing to the
laser diode (VIDEO). As an electrical safety feature, there is an interlock switch on the Engine
Board. This switch cuts +24 volts whenever the front door is opened.
Error Conditions
Laser Error
The machine detects laser synchronization signal pulses (PGSYCI) 70 milliseconds after the
(LDENA) signal is sent. It detects a laser error if the pulse count does not reach the specified
number within 400 milliseconds.
When this occurs, the machine displays an error on the LCD panel (Error 56).
Polygon Mirror Motor Error
The machine detects a polygon mirror motor error when the (PMLOK) signal does not go low with-
in 3.5 seconds of the (PMENA) signal. When this occurs, the machine displays an error on the
LCD panel (Error 57).

General Procedures and Information
6-64 04/08 Phaser 3100 MFP
Development
Overview [D]
Figure 3
This machine uses mono-component toner, which is composed of resin and ferrite. The toner mix-
ing bar [A] stirs and carries toner to the toner application roller [B]. The toner application roller sup-
plies toner to the development roller [C]. As the development roller turns past the toner metering
blade [D], only a thin coating of negatively charged toner particles stays adhered to the develop-
ment roller.
During printing, a bias voltage is applied to the toner application roller and another bias voltage is
applied to the development roller. The toner is transferred from the toner application roller to the
development roller by the potential difference between these two rollers.
The development roller applies toner to the exposed areas of the latent image as they turn past
the drum.

General Procedures and Information
Phaser 3100 MFP 04/08 6-65
Figure 4
The voltage to the development roller and the toner application roller is supplied through the ter-
minals ([A] for the development roller and [B] for the toner application roller) from the Power Sup-
ply Unit board.
Toner End Detection
This machine does not have toner end detection.

General Procedures and Information
6-66 04/08 Phaser 3100 MFP
Transfer and Separation
Overview
Figure 5
This machine uses a transfer roller [A], which touches the OPC drum [B] surface. A constant cur-
rent is applied to the transfer roller from the power supply unit board [C]. The positively-biased
transfer roller pulls negatively-charged toner off the drum.
The curvature of the drum, and the antistatic brush [D], help the paper [E] to drop away from the
drum.
Cleaning Mode
If a paper jam occurs during printing, toner may be transferred to the transfer roller surface. To
prevent this toner from transferring to the underside of the paper, the transfer roller must be
cleaned before the next printing run.
While the machine is in the cleaning mode, the Power Supply Unit board applies a negative volt-
age to the transfer roller.
The negatively charged toner on the transfer roller is then transferred back to the drum.
The machine goes through the cleaning mode at the following times.
• At power-up: The process starts when the fusing temperature reaches the standby tempera-
ture.
• When the cover is opened and then closed during the printing process.
• After a printer jam has been cleared.

General Procedures and Information
Phaser 3100 MFP 04/08 6-67
Drum Cleaning
Figure 6
The cleaning blade and the used toner tank are contained in the print cartridge.
The Discharge Lamp and A counter blade system is used for drum cleaning. The Discharge
Lamp[C] discharge the drum surface. The cleaning blade [A] removes any toner remaining on the
drum after the image is transferred to the paper. This removed toner is stored in the used toner
tank [B].
There is no used toner overflow detection mechanism, because the used toner tank is large
enough for the lifetime of the toner cassette.

General Procedures and Information
6-68 04/08 Phaser 3100 MFP
Paper Feed and Registration
Overview
Figure 7
Paper Feed System: Feed roller [A] and Friction pad [B]
Paper Lift Mechanism: Bottom plate with spring [C]
Sheet feeder 1 sheet feeder [D]
Tray Capacity: 250 sheets [E]
Paper End Detection: Paper end sensor [F]
Paper Size Detection: None

General Procedures and Information
Phaser 3100 MFP 04/08 6-69
Paper Feed Drive Mechanism
Figure 8
The feed roller [A] is located above the upper tray bottom plate [B], and the friction pad [C]. It al-
lows only one sheet to feed from the paper tray. They are controlled by the paper feed clutch [D].
The registration sensor detects the leading edge of the paper and synchronizes paper feed with
the activation of the laser diode to write the image on the OPC drum.

General Procedures and Information
6-70 04/08 Phaser 3100 MFP
Paper Feed Operation
Figure 9
A: Paper feed drive gear
B: Paper feed clutch
C: Paper feed roller
D: Friction pad
E: Paper feed sensor
F: Registration sensor
The paper feed drive gear [A] always rotates while the main motor rotates, since the paper feed
clutch (magnet clutch) [B] is energized to turn the paper feed roller [C].
When the paper feed clutch [B] is energized to turn the feed roller, the paper feed roller feeds one
sheet of paper from the tray. The paper is fed into the machine by the registration roller.

General Procedures and Information
Phaser 3100 MFP 04/08 6-71
Registration
Figure 10
The registration sensor [A] detects the leading edge of the paper and synchronizes paper feed
with the writing of the image on the drum, so that the image and paper match up properly. This
sensor also detects paper feed jams.

General Procedures and Information
6-72 04/08 Phaser 3100 MFP
Tray Empty Sensor
Figure 11
The laser unit [A] has the tray empty sensor [B] built into it. The tray empty sensor detects the
presence or absence of paper. The sensor has an actuator that extends through a slot in the paper
tray bottom plate [C], so that the sensor is actuated when paper is placed in the upper tray.
When the upper tray runs out of paper, the actuator of the tray empty sensor moves into the slot
in the upper tray bottom plate. This informs the CPU that paper has run out.

General Procedures and Information
Phaser 3100 MFP 04/08 6-73
Fusing
Overview
Figure 1
After the image is transferred, the sheet enters the fusing unit. The image is fused to the sheet by
applying heat and pressure through the use of a heat roller [A] and pressure roller [B].
The CPU monitors the heat roller temperature through a thermistor [C] that is in contact with the
heat roller surface. A thermostat [D] protects the fusing unit from overheating.
The heat roller stripper fingers [E] separate the sheet from the heat roller and direct it to the exit
rollers [F]. The paper feed/exit sensor [G], which is under the fusing unit, monitors the progress of
the sheet through the fusing unit and detects misfeeds. The exit rollers [F] drive the sheet to the
paper output tray.
Springs [H] at the front and rear apply the proper fusing pressure between the heat roller and pres-
sure roller.
The fusing lamp [K] is located in the heat roller.
Power Save Control
When the main switch is turned on, the machine turns on the fusing lamp. For printing, the ma-
chine raises the fusing temperature to 175×C. The fusing temperature is kept at 175×C during
printing.

General Procedures and Information
6-74 04/08 Phaser 3100 MFP
Figure 2
When the power saver timer expires, the machine automatically goes into energy saver mode.
Power saver timer
t1 =? minutes.
• After time interval t1 passes following printing, copying, scanning, or key-in [A], the LCD and
all LEDís go off.
t1 + t2 =? minutes or? minutes (selectable)
• The default value is? minutes. (Economy Mode)
• Pressing the Clear Modes key for more than one second will change this condition.
• When the Economy Mode LED is lit, t1 + t2 =? minutes.
• When the Economy Mode LED is not lit, t1 + t2 =? minutes.

General Procedures and Information
Phaser 3100 MFP 04/08 6-75
Cover Interlock Switch
Figure3
When the front door is opened, the interlock switch will be opened and power supply to the follow-
ing parts will be cut.
• Power pack
• Laser diode driver
• Fan motor
•Main motor
• Polygon mirror motor
•Fusing lamp

General Procedures and Information
6-76 04/08 Phaser 3100 MFP
Paper Feed Drive Release and Fusing Drive Release
Figure 1

General Procedures and Information
Phaser 3100 MFP 04/08 6-77
The main motor drives the paper feed unit, the transfer roller, the toner cassette, and fusing unit
through a series of gears as follows.

General Procedures and Information
6-78 04/08 Phaser 3100 MFP
GP 19 Service Log
Service Log
Use the service log to record all service procedures. The service log is included at the end of the
manual.

Wiring Data
7-2 04/08 Phaser 3100 MFP
This page is intentionally blank

Wiring Data
Phaser 3100 MFP 04/08 7-3
WD1 Connector Information
Figure 1 Overview of the position of the connectors and sockets for the control panel
PWB (bottom view):
Table 1: List of connectors:
Connector Topography Number of points Gender Position
CPU Connection P4200 16 Female Elbow top contact
LCD P4002 10 Female Elbow, top contact
Smart card P4001 10 Female
Table 2: CPU - P4200: CPU connection
Pin Signal Input/Output Utilization
1-7-8-10-15 GND - Ground
2 FERCAP I Detection of smart card
3 CVCC I/O Smart card power supply (3.3V) (control-
led by I/O CVCC)
4 CLKPUCE O Smart card clock
5 RSTPUCE I Smart card reset
6 IOPUCE I/O Smart card data
9 SCLKPUP O Serial clock link for differential registers
11 RXPUP I Sending data from the front panel
12 TXPUP O Sending data from the CPU
13 STROB1 - Out-of-register strobe to control the key-
board

Wiring Data
7-4 04/08 Phaser 3100 MFP
14 STROB2 - Out-of-register strobe to control the dis-
play
16 P5V - 5V power supply
Table 3: LCD - P4002: LCD interface
Pin Signal Input/Output Utilization
1 GND - Ground
2 V0 O LCD Contrast
3 RS O Selection of registers
4 R/W O Read or Write (driver configured to write in
0V)
5 LCD_E O Enable Signal (active at 1)
6 VCCLCD - Vcc: 4.5V to 5.5V
7 DB4 O Data (Bit 4)
8 DB5 O Data (Bit 5)
9 DB6 O Data (Bit 6)
10 DB7 O Data (Bit 7)
Table 4: Smart card - P4001: connection with the smart card
Pin Signal Input/Output Utilization
1 CVCC O Smart card power supply (3.3V)
2 RSTPUCE O Smart card reset
3 CLKPUCE O Smart card clock
4 - - Not connected
5 GND - Ground
6 - - Not connected
7 IOPUCE I/O Smart card data (input/output)
8 - - Not connected
S1 GND - Ground
S2 FERCAP I Smart card detection
Table 2: CPU - P4200: CPU connection

Wiring Data
Phaser 3100 MFP 04/08 7-5
Figure 5 Overview of the CPU card connector positions (3100MFP/X)
Figure 6 Overview of the CPU card connector positions (3100MFP/S)

Wiring Data
7-6 04/08 Phaser 3100 MFP
Table 7: List of connectors:
Connector Topography Number of points Sex Position
Printer CNx
Loudspeaker P1650 2
Front panel P4100 16 Female Straight, top con-
tact
ADF scanner motor P4303 11 Female Straight
Flatbed scanner motor P4302 5 Female Straight
CIS P4380 12 Female Straight, top con-
tact
Phone line P4420 4 Female
External phone line P4440 4 Female
USB Slave P4901 4 External, type USB
type B
USB Master P4950 4 External, type USB
type A
USB Master P4960 4 External, type USB
type A
Table 8: CNx: printer connectors
Topography Connector Pin Signal Input/
Output Utilization
CN1 Polygon motor
1 +24VS - 24V power supply
2 GND - Ground
3 XPMENA S Starting the polygon motor
4 XSCRDY E Locking the polygon motor
5 PMCLK Polygon motor clock
CN2 Diode laser
1 +5VLD -
2 XLDENA O Activating the laser
3 APCSH O Sampling
4 XDETP I Ray beam detector
5 GND - Ground
6 XVD O Diode laser video
7 NC - Not connected
CN3 Printer motor
1 P24VS - 24V power supply

Wiring Data
Phaser 3100 MFP 04/08 7-7
2 GND - Ground
3 P5V -
4 XMMENA
5 MMCLK
6 MMCW
7 XMMLOCK
8 MMGAIN
CN4 Fan
1 FANEMA O Fan in operation motor signal
2 GND - Ground
3 FANLOCK
CN5 Paper output clutch
1 +24VS - 24V power supply
2 XFPCL O Electric paper clutch signal
CN6 Paper detection captors
1-4-7 GND - Ground
2 XFEED I Paper feed signal captor
3-6-9 +5V - 5V power supply
5 XREGIST I Register of signal captors
8 XMANUAL I Manual paper feed signal cap-
tor
CN7 Paper output captor
1 GND - Ground
2 XEXIT I Four paper output signal cap-
tors
3 +5V - 5V power supply
CN9 Debug
1 +5V - 5V power supply
2 DBGRXD I Debug receipt
3 DBGTXD O Debug command
4 GND - Ground
CN10 High voltage
1 TRAPWM0 O PWM signal for transfer of
charger (+)
2 TRAPWM1 O PWM signal for transfer of
charger (-)
3 BIASPWM O PWM development signal
4 CHEPWM O PWM signal charger
CN11 Power supply
1 HTON O Phase Fuser control
2 ZEROC I Control signal
Table 8: CNx: printer connectors

Wiring Data
7-8 04/08 Phaser 3100 MFP
3 HTEN O Fuser relay (Activated to H)
4 GND - Ground
5-1213 +24V - 24V power supply
6-710-
11 GND - Ground
8-9 +5V - 5V power supply
CN12 Temperature captor 1 FTEMP I Fuser temperature detector
2 GND - Ground
CN13 Opening of printer cover
captor
1 P24V I 24V power supply
2 P24VS O 24V power supply
CN15 IAO captor (presence of
toner) 1 XAIO I Detection of cartridge
2 GND - Ground
CN16 Motor temperature cap-
tor 1 TEMP I Detection of printer motor tem-
perature
CN17 Printer LED bar power
supply 2 GND - Ground
1 XLED O Printer LED bar command
2 P24VS O 24V power supply
Table 9: Loudspeaker - P1650: connection with the loudspeaker
Pin Signal Input/Output Utilization
1 HPP O Differentiated BF signal to HP
2 HPN O Differentiated BF signal to HP
Table 10: Frontpanel - P4100: connection with the front panel card
Pin Signal Input/Output Utilization
1 P5V - 5V power supply
2-7-9-10-16 GND - Ground
3 STRB2 - Out-of-register strobe to control the dis-
play
4 STRB1 - Out-of-register strobe to control the key-
board
5 TXPUP O Data emitted by the CPU
6 RXPUP I Data emitted by the front panel
8 SCLKPUP O Serial link clock for differentiated registers
11 IOPUCE I/O Smart card data (3.3V)
12 RSTPUCE O Smart card reset
Table 8: CNx: printer connectors

Wiring Data
Phaser 3100 MFP 04/08 7-9
13 CLKPUCE O Smart card clock
14 CVCC O Smart card power supply (3.3V) (control-
led byr I/0 CVCC)
15 FERCAP I Detection of smart card
Table 11: ADF scanner motor - P4303: connection with the ADF scanner motor
Pin Signal Input/Output Utilization
1 P24V - 24V power supply
2 ADF_BN O Scanner motor coil BN
3 ADF_B O Scanner motor coil B
4 ADF_AN O Scanner motor coil AN
5 ADF_A O Scanner motor coil A
6 GND - Ground
7 PSF I Sheet sensor
8 ALIMPSF - PSF sensor power supply
9 GND - Ground
10 STSC I Document ready sensor
11 ALIMOUVCAP I STSC sensor power supply
Table 12: Flatbed scanner motor - P4302: connection with the flatbed scanner motor
Pin Signal Input/Output Utilization
1 P24V - 24V power supply
2 FTB_BN O Scanner motor coil BN
3 FTB_B O Scanner motor coil B
4 FTB_AN O Scanner motor coil AN
5 FTB_A O Scanner motor coil A
Table 13: Phone line - P4420
Pin Signal Input/Output Utilization
1 R1 - Loopback
2 L1 - Phone line
3 L2 - Phone line
4 R2 - Loopback
Table 14: External phone line - P4440
Pin Signal Input/Output Utilization
1 NC -
2 L1 - Phone line
3 L2 - Phone line
4 NC -
Table 10: Frontpanel - P4100: connection with the front panel card

Wiring Data
7-10 04/08 Phaser 3100 MFP
Table 15: CIS - P4380: connection with the CIS
Pin Signal Input/Output Utilization
1 VIDCIS I CIS video
2 CMD RESOL O 300/600dpi resolution command
3 VREFCIS O CIS voltage reference
4 VIDEOGND - Ground
5 CLKCIS O CIS (synchro point) pixel clock
6 ALIMCIS - 3.3V power supply
7 SPCIS O Start Pulse CIS (line synchro)
8 ALIMLED O leds power supply (in voltage)
9 GNDLEDB O Blue led cathode
10 GNDLEDV O Green led cathode
11 GNDLEDR O Red led cathode
12 GND - Ground

Wiring Data
Phaser 3100 MFP 04/08 7-11
Table 16: USB - P4901: USB slave interface
Pin Signal Input/Output Utilization
1 VBUS_USB I Power supply provided by the master
2 USBN I/O Differential pair
3 USBP I/O Differential pair
4 GND I/O Ground
Table 17: USB - P4950: USB master interface
Pin Signal Input/Output Utilization
1 VBUS_USB_HO
ST1 O Power supply provided to the slave
2 USBN I/O Differential pair
3 USBP I/O Differential pair
4 GND I/O Ground
Table 18: USB - P4960: USB master interface
Pin Signal Input/Output Utilization
1 VBUS_USB_HO
ST2 O Power supply provided to the slave
2 USBN I/O Differential pair
3 USBP I/O Differential pair
4 GND I/O Ground

Wiring Data
7-12 04/08 Phaser 3100 MFP
This page is intentionally blank


Form EH&S-700 Rev 2.0 (21 February 2008) North America Letter Format
EHS 700 - Health & Safety Incident Report Form
for Incidents Involving a Xerox Product
For incidents in Canada:
PIPEDA consent given YES NO EH&S Office Use ONLY
EH&S Incident Reference Number:
PIPEDA is the Canadian “Personal Information Protection and Electronic Documents Act.”
*Date Of Incident (mm / dd / yy):
Product Description
*Model No. or Product Name:
Product Serial Number:
Serial Number(s) of Accessory (ies):
Installation Date:
Total Copy Meter:
Date of last service maintenance:
List damaged and affected part(s) of the machine by description and part number:
*Description
Part Number
*Location of product and affected part(s):
Customer Identification
*Customer Name:
*Name of Customer Contact Person:
*Telephone:
*Address:
E-mail:
Fax:
Customer Service Engineer Identification
*Name (required for Xerox serviced equipment):
Employee:
E-mail:
Location:
*Phone (required for Xerox serviced equipment):
Individual Providing Notification
*Name: *Title: *Telephone Number:
*Organization:
E-Mail:
Mailing Address:
*Date Report Submitted:
* Required information is preceeded by asterisk, title shown in red, turquoise wash background

EHS 700 - Health & Safety Incident Report Form for Page 2
Incidents Involving a Xerox Product
Form EH&S-700 Rev 2.0 (21 February 2008) North America Letter Format
Details of Incident
*Description Of Incident: (Check all that apply)
Smoke
Describe quantity and duration of smoke:
Fire with open flames seen
Electric shock to operator or service representative
Physical injury/illness to operator or service representative
Describe:
Other, Describe:
MANDATORY DESCRIPTION (above): Provide a detailed description of all valid factors that may have
contributed to the incident. Hardware involved in the incident should be preserved and retained for further
investigation should investigation be deemed necessary by EH&S.
LIST INCIDENT DESCRIPTIONS AND SUPPORT DIAGRAMS/DATA INCLUDED OR ATTACHED:
*Any damage to customer property? No Yes Describe:
*Did external emergency response provider(s) such as fire department, ambulance, etc. respond?
No Yes Identify: (i.e., source, names of individuals)
Apparent cause of incident (identify part that is suspect to be responsible for the incident)
*Preliminary actions taken to mitigate incident:
Instructions: E-mail or fax both pages of this completed form to EH&S:
• For incidents in Xerox Europe and Developing Markets East
(Middle East, Africa, India, China, and Hong Kong)
Submit to Elaine Grange
e-mail: ehs-europe@xerox.com or fax: +44 (0) 1707 35 3914 [Intelnet 8*668 3914]
• For incidents in North America and Developing Markets West
(Brazil, Mexico, Latin America North and Latin America South,
Submit form to Doris Bush
e-mail: usa.xerox.ehs@xerox.com or fax 888-845-0908 [1-585-422-7918 / Intelnet 8*222-7734]
* Required information is preceeded by asterisk, title shown in red, turquoise wash background

XEROX EUROPE
PUBLICATION COMMENT SHEET
Please copy this master sheet and use it to help us to improve this publication. We would like you to tell us about
improvements to its accuracy, format and quality.
Please give specific references, i.e.: page numbers and figure numbers and attach marked up photocopies wher-
ever possible. If you have identified a solution please include your suggestions with your reply.
Please also answer the customer satisfaction question set.
When you have completed the PCS, send it by internal mail to the address below. You will receive an acknowl-
edgement and feedback on your comments. Please ensure that your name and CBU/District location code are
fully completed.
NAME:
JOB TITLE:
ENGINEER NUMBER:
CONTACT TELEPHONE NUMBER:
DATE:
OPERATING COMPANY:
CBU/DISTRICT LOCATION CODE:
PRODUCT AND PUBLICATION
TITLE: PUBLICATION REVISION
DATE: SOFTWARE REVISION LEVEL:
PAGE NUMBER: COMMENT
Please submit a marked-up photocopy of the relevant pages
CUSTOMER SATISFACTION QUESTION SET
QUESTION NOT
APPLICABLE VERY
SATISFIED SATISFIED NEITHER
SATISFIED
NOR
DISSATISFIED
DISSATISFIED VERY
DISSATISFIED
DO YOU FIND THE MANUAL IS TECHNICALLY
ACCURATE?
DO YOU FIND THE FORMAT OF THE MANUAL EASY
TO USE?
WHAT IS YOUR OVERALL SATISFACTION LEVEL
WITH THE MANUAL
FOR OFFICE USE ONLY Global Knowledge & Language Services
Xerox Europe
Enterprise Centre
Bessemer Road
Welwyn Garden City
Hertfordshire AL7 1HE
England
Attention: Phil Hayes
RECEIVED DATE:
PCS. NUMBER:
MANAGER:
DUE DATE:




