Dremel F013039519 Users Manual DM 2610925474 10 04
F013039519 to the manual 7bbaab3f-9f02-413e-9d42-1fdc55c0cf45
2015-02-02
: Dremel Dremel-F013039519-Users-Manual-396708 dremel-f013039519-users-manual-396708 dremel pdf
Open the PDF directly: View PDF
.
Page Count: 88

75th Anniversary
Rotary Tool Owner’s Manual
F013039519
•Safety
•Assembly
•Operation
• Maintenance
•Attachment Information
•Accessory Information
•Warranty
• Service Parts
2610935540 01/07 Printed in Mexico
P.O. Box 1468
Racine, Wisconsin 53401
1-800-437-3635
http://www.dremel.com
Parlez-vous français?
Voir page 27
¿Habla español?
Vea página 55
©
Robert Bosch Tool
Corporation
2007
All Rights Reserved
Dremel brand products are manufactured and sold by the
Dremel Division of Robert Bosch Tool Corporation
DM 2610935540 01-07 1/17/07 4:06 PM Page 1

Page 2
Power Tool Safety Rules
Read and understand all instructions.Failure to follow all instructions listed below, may
result in electric shock, fire and/or serious personal injury.
SAVE THESE INSTRUCTIONS
!
WARNING
Work Area
Keep your work area clean and well lit. Cluttered
benches and dark areas invite accidents.
Do not operate power tools in explosive atmospheres,
such as in the presence of flammable liquids, gases,
or dust. Power tools create sparks which may ignite the
dust or fumes.
Keep by-standers, children, and visitors away while
operating a power tool. Distractions can cause you to
lose control.
Electrical Safety
Double Insulated tools are equipped with a polarized
plug (one blade is wider than the other.) This plug
will fit in a polarized outlet only one way. If the plug
does not fit fully in the outlet, reverse the plug. If it
still does not fit, contact a qualified electrician to
install a polarized outlet. Do not change the plug in
any way. Double Insulation eliminates the need for
the three wire grounded power cord and grounded
power supply system. Before plugging in the tool, be
certain the outlet voltage supplied is within the voltage
marked on the nameplate. Do not use “AC only” rated
tools with a DC power supply.
Avoid body contact with grounded surfaces such as
pipes, radiators, ranges and refrigerators. There is an
increased risk of electric shock if your body is
grounded. If operating the power tool in damp locations
is unavoidable, a Ground Fault Circuit Interrupter must
be used to supply the power to your tool. Electrician’s
rubber gloves and footwear will further enhance your
personal safety.
Don't expose power tools to rain or wet conditions.
Water entering a power tool will increase the risk of
electric shock.
Do not abuse the cord. Never use the cord to carrythe
tools or pull the plug from an outlet. Keep cord away
from heat, oil, sharp edges or moving parts. Replace
damaged cords immediately.Damaged cords increase
the risk of electric shock.
When operating a power tool outside, use an outdoor
extension cord marked "W-A" or "W." These cords are
rated for outdoor use and reduce the risk of electric
shock. Refer to “Recommended sizes of Extension
Cords” in the Accessory section of this manual.
Personal Safety
Stay alert, watch what you are doing and use common
sense when operating a power tool. Do not use tool
while tired or under the influence of drugs, alcohol, or
medication. Amoment of inattention while operating
power tools may result in serious personal injury.
Dress properly. Do not wear loose clothing or jewelry.
Contain long hair. Keep your hair, clothing, and gloves
away from moving parts. Loose clothes, jewelry, or
long hair can be caught in moving parts. Keep handles
dry, clean and free from oil and grease.
Avoid accidental starting. Be sure switch is “OFF”
before plugging in. Carrying tools with your finger on
the switch or plugging in tools that have the switch
“ON” invites accidents.
Remove adjusting keys or wrenches before turning the
tool “ON”. Awrench or a key that is left attached to a
rotating part of the tool may result in personal injury.
Do not overreach. Keep proper footing and balance at
all times. Proper footing and balance enables better
control of the tool in unexpected situations.
Use safety equipment. Always wear eye protection.
Dust mask, non-skid safety shoes, hard hat, or hearing
protection must be used for appropriate conditions.
Tool Use and Care
Use clamps or other practical way to secure and
support the workpiece to a stable platform. Holding
the work by hand or against your body is unstable and
may lead to loss of control.
Do not force tool. Use the correct tool for your
application. The correct tool will do the job better and
safer at the rate for which it is designed.
Do not use tool if switch does not turn it “ON” or
“OFF”. Any tool that cannot be controlled with the
switch is dangerous and must be repaired.
Disconnect the plug from the power source before
making any adjustments, changing accessories, or
storing the tool. Such preventive safety measures
reduce the risk of starting the tool accidentally.
Store idle tools out of reach of children and other
untrained persons. Tools are dangerous in the hands of
untrained users.
Maintain tools with care. Keep cutting tools sharp and
clean. Properly maintained tools, with sharp cutting
edges are less likely to bind and are easier to control.
Any alteration or modification is a misuse and may
result in a dangerous condition.
Check for misalignment or binding of moving parts,
breakage of parts, and any other condition that may
affect the tools operation. If damaged, have the tool
serviced before using. Many accidents are caused by
poorly maintained tools. Develop a periodic
maintenance schedule for your tool.
DM 2610935540 01-07 1/17/07 4:06 PM Page 2

Page 3
Use only accessories that are recommended by the
manufacturer for your model. Accessories that may be
suitable for one tool, may become hazardous when
used on another tool.
Service
Tool service must be performed only by qualified
repair personnel. Service or maintenance performed by
unqualified personnel could result in a risk of injury. For
example: internal wires may be misplaced or pinched,
safety guard return springs may be improperly
mounted.
When servicing a tool, use only identical replacement
parts. Follow instructions in the Maintenance section
of this manual. Use of unauthorized parts or failure to
follow Maintenance Instructions may create a risk of
electric shock or injury. Certain cleaning agents such as
gasoline, carbon tetrachloride, ammonia, etc. may
damage plastic parts.
Accessories must be rated for at least the speed
recommended on the tool warning label. Wheels
and other accessories running over rated speed can
fly apart and cause injury.
Hold tool by insulated gripping surfaces when
performing an operation where the cutting tool may
contact hidden wiring or its own cord. Contact with
a"live" wire will make exposed metal parts of the tool
"live" and shock the operator.If cutting into existing
walls or other blind areas where electrical wiring may
exist is unavoidable, disconnect all fuses or circuit
breakers feeding this worksite.
Do not operate the flexible shaft with a sharp bend.
Over bending the shaft can generate excessive heat
on the jacket or hand piece. The recommended
minimum is 6" radius.
Always disconnect the power cord from the power
source before making any adjustments or attaching
any accessories. You may unexpectedly cause the
tool to start leading to serious personal injury.
Be aware of the switch location, when placing the
tool down or when picking the tool up. You may
accidentally activate the switch.
Always hold the hand piece firmly in your hands
during the start-up. The reaction torque of the motor,
as it accelerates to full speed, can cause the shaft to
twist.
Always wear safety goggles and dust mask. Use
only in well ventilated area. Using personal safety
devices and working in safe environment reduces risk
of injury.
After changing the bits or making any adjustments,
make sure the collet nut and any other adjustment
devices are securely tightened. Loose adjustment
device can unexpectedly shift, causing loss of control,
loose rotating components will be violently thrown.
Do not reach in the area of the spinning bit. The
proximity of the spinning bit to your hand may not
always be obvious.
Allow brushes to run at operating speed for at least
one minute before using wheel. During this time no
one is to stand in front or in line with the brush.
Loose bristles or wires will be discharged during the
run-in time.
Wire and bristle brushes must never be operated at
speeds greater than 15,000/min. Direct the
discharge of the spinning wire brush away from
you. Small particles and tiny wire fragments may be
discharged at high velocity during the “cleaning”
action with these brushes and may become imbedded
in your skin. Bristles or wires will be discharged from
the brush at high speeds.
Wear protective gloves and face shield with wire or
bristle brushes. Apply wire or bristle brushes lightly
to the work as only the tips of the wire/bristles do
the work. “Heavy” pressure on bristles will cause the
wire or bristle to become overstressed, resulting in a
wiping action and will cause the bristles/wire to be
discharged.
Carefully handle both the tool and individual
grinding wheels to avoid chipping or cracking.
Install a new wheel if tool is dropped while
grinding. Do not use a wheel that may be damaged.
Fragments from a wheel that bursts during operation
will fly away at great velocity possibly striking you or
bystanders.
Never use dull or damaged bits. Sharp bits must be
handled with care. Damaged bits can snap during
use. Dull bits require more force to push the tool,
possibly causing the bit to break.
Use clamps to support workpiece whenever
practical. Never hold a small workpiece in one hand
and the tool in the other hand while in use. Allow
for sufficient space, at least 6",between your hand
and the spinning bit. Round material such as dowel
rods, pipes or tubing have a tendency to roll while
being cut, and may cause the bit to “bite” or jump
toward you. Clamping a small workpiece allows you
to use both hands to control the tool.
Safety Rules for RotaryTools
DM 2610935540 01-07 1/17/07 4:06 PM Page 3

Page 4
Inspect your workpiece before cutting. When cutting
irregularly shaped workpieces, plan your work so it
will not slip and pinch the bit and be torn from your
hand. For example, if carving wood, make sure there
are no nails or foreign objects in the workpiece. Nails
or foreign objects can cause the bit to jump.
Never start the tool when the bit is engaged in the
material. The bit cutting edge may grab the material
causing loss of control of the cutter.
Avoid bouncing and snagging the wheel, especially
when working corners, sharp edges etc. This can
cause loss of control and kick-back.
The direction of feed with the bit into the material
when carving, routing or cutting is very important.
Always feed the bit into the material in the same
direction as the cutting edge is exiting from the
material (which is the same direction as the chips
are thrown). Feeding the tool in the wrong direction,
causes the cutting edge of the bit to climb out of the
work and pull the tool in the direction of this feed.
If the workpiece or bit becomes jammed or bogged
down, turn the tool “OFF” by the switch. Wait for
all moving parts to stop and unplug the tool, then
work to free the jammed material. If the switch to
the tool is left “ON” the tool could restart
unexpectedly causing serious personal injury.
Do not leave a running tool unattended, turn power
off. Only when tool comes to a complete stop it is
safe to put it down.
Do not grind or sand near flammable materials.
Sparks from the wheel could ignite these materials.
Do not touch the bit or collet after use. After use the
bit and collet are too hot to be touched by bare hands.
Regularly clean the tool's air vents by compressed
air.Excessive accumulation of powdered metal inside
the motor housing may cause electrical failures.
Do not allow familiarity gained from frequent use of
your rotary tool to become commonplace. Always
remember that a careless fraction of a second is
sufficient to inflict severe injury.
Do not alter or misuse tool. Any alteration or
modification is a misuse and may result in serious
personal injury.
This product is not intended for use as a dental
drill, in human or veterinary medical applications.
Serious personal injury may result.
When using the steel saws, cutoff wheels, high
speed cutters or tungsten carbide cutters, always
have the work securely clamped. Never attempt to
hold the work with one hand while using any of
these accessories. The reason is that these wheels
will grab if they become slightly canted in the groove,
and can kickback causing loss of control resulting in
serious injury. Your second hand should be used to
steady and guide the hand holding the tool. When a
cutoff wheel grabs, the wheel itself usually breaks.
When the steel saw, high speed cutters or tungsten
carbide cutter grab, it may jump from the groove and
you could lose control of the tool.
Some dust created by power
sanding, sawing, grinding,
drilling, and other construction activities contains
chemicals known to cause cancer, birth defects or
other reproductive harm. Some examples of these
chemicals are:
•Lead from lead-based paints,
•Crystalline silica from bricks and cement and other
masonryproducts, and
•Arsenic and chromium from chemically treated
lumber.
Your risk from these exposures varies, depending on
how often you do this type of work. Toreduce your
exposure to these chemicals: work in a well ventilated
area, and work with approved safety equipment, such
as those dust masks that are specially designed to
filter out microscopic particles.
Safety Rules for Rotary Tools - (cont.)
!
WARNING
DM 2610935540 01-07 1/17/07 4:06 PM Page 4

Page 5
Symbols
IMPORTANT: Some of the following symbols may be used on your tool. Please study them
and learn their meaning. Proper interpretation of these symbols will allow you to operate the
tool better and safer.
Symbol Name Designation/Explanation
V Volts Voltage (potential)
A Amperes Current
Hz Hertz Frequency (cycles per second)
W Watt Power
kg Kilograms Weight
min Minutes Time
sSeconds Time
Diameter Size of drill bits, grinding wheels, etc.
n0No load speed Rotational speed, at no load
.../min Revolutions or reciprocation per minute Revolutions, strokes, surface speed,
orbits etc. per minute
0 Off position Zero speed, zero torque...
1, 2, 3, ... Selector settings Speed, torque or position settings.
I, II, III, Higher number means greater speed
Infinitely variable selector with off Speed is increasing from 0 setting
Arrow Action in the direction of arrow
Alternating current Type or a characteristic of current
Direct current Type or a characteristic of current
Alternating or direct current Type or a characteristic of current
Class II construction Designates Double Insulated
Construction tools.
Earthing terminal Grounding terminal
Warning symbol Alerts user to warning messages
Ni-Cad RBRC seal Designates Ni-Cad battery recycling
program
A
0
A
0
A
0
A
0
A
A
A
This symbol designates
that this tool is listed by
Underwriters Laboratories.
This symbol designates
that this tool is listed by
the Canadian Standards
Association.
This symbol designates
that this tool is listed to
Canadian Standards by
Underwriters Laboratories. This symbol
designates
that
this tool
complies
to NOM
Mexican
Standards.
This symbol designates that
this tool is listed by
Underwriters Laboratories,
and listed to Canadian
Standards by Underwriters
Laboratories.
DM 2610935540 01-07 1/17/07 4:06 PM Page 5

Page 6
Disconnect the plug from the power source before making any assembly, adjustments or
changing accessories.Such preventive safety measures reduce the risk of starting the tool
accidentally.
!
WARNING
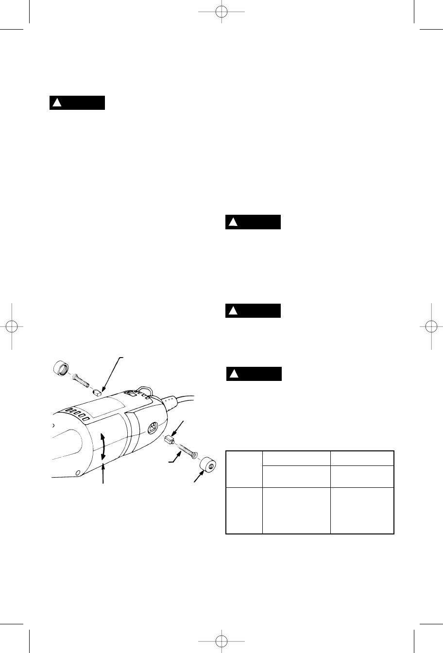
Functional Description and Specifications
HOUSING CAP
HANGER
VENTILATION
OPENINGS
COLLET
NUT
VARIABLE SPEED
SWITCH
CORD
VENTILATION
OPENINGS
COLLET
SOFT GRIP
SHAFT LOCK
BUTTON
Model number F013039519
Voltage rating 120V 50 - 60Hz
Amperage rating 1.15A
No load speed n05,000-35,000/min
Collet capacities 1/32", 1/16", 3/32", 1/8"
Model F013039519 Rotary Tool
DM 2610935540 01-07 1/17/07 4:06 PM Page 6

Flex-Shaft 225
Page 7
WRENCH
HANDPIECE
CAP
FLEXIBLE
SHAFT
CORE
DRIVER
CAP
OVERTHROW NUT
ASSEMBLY
COLLET
NUT
Cutting Guide 565 Grout Removal Kit 568
Right Angle Attachment 575
3/4
1/2
1/4
0
COLLET
COLLET
ADAPTER
COLLAR
GUIDE
INSERT
DEPTH
ADJUSTMENT
SCREW
DEPTH
ADJUSTMENT
SCREW
GUIDE
INSERT
COLLET
NUT
DM 2610935540 01-07 1/17/07 4:06 PM Page 7

Page 8
COLLET NUT — To loosen, first press shaft lock
button and rotate the shaft by hand until the lock
engages the shaft preventing further rotation.
Do not engage lock while the
Rotary Tool is running.
With the shaft lock engaged use the collet wrench to
loosen the collet nut if necessary. The collet nut must
be loosely threaded on when inserting an accessory.
Change accessories by inserting the new one into the
collet as far as possible to minimize runout and
unbalance. With the shaft lock engaged, finger tighten
the collet nut until the accessory shank is gripped by
the collet. Avoid excessive tightening of the collet
nut when there is no bit inserted.
COLLETS — Four different size collets (see illus-
tration), to accommodate different shank sizes, are
available for your Rotary Tool. To install a different
collet, remove the collet nut and remove the old collet.
Insert the unslotted end of the collet in the hole in the
end of the tool shaft. Replace collet nut on the shaft.
Always use the collet which
matches the shank size of the
accessory you plan to use. Never force a larger
diameter shank into a collet.
Note: Some rotary tool kits may not include all four
collets sizes.
BALANCING ACCESSORIES — For precision work, it
is important that all accessories be in good balance
(much the same as the tires on your automobile). To
true up or balance an accessory, slightly loosen collet
nut and give the accessory or collet a 1/4 turn. Re-
tighten collet nut and run the Rotary Tool. You should
be able to tell by the sound and feel if your accessory
is running in balance. Continue adjusting in this
fashion until best balance is achieved. To maintain
balance on abrasive wheel points, before each use,
with the wheel point secured in the collet, turn on the
Rotary Tool and run the 415 Dressing Stone lightly
against the revolving wheel point. This removes high
spots and trues up the wheel point for good balance.
The hanger is provided for the use of hanging your
tool while using the flex-shaft or for storage. If you do
not use the hanger, remove it from the tool and snap
it back into place underneath the cord so it will be out
of the way while the tool is in use.
DREMEL KEYLESS CHUCK
Use only with black chuck #4486.
Other chucks may not allow
accessory bit to be tightened fully.
The keyless chuck holds various accessories with
shank sizes 1/32" to 1/8" and is intended for light duty
accessories such as drill bits, sanding drums,
polishing accessories, wire and bristle brushes and
cut-off wheels. The keyless chuck allows you to
change accessories frequently,quickly and easily.
There are some applications which can generate high
forces on the bit or if you are unable to generate
finger tightening pressure sufficient to secure the bit
you must use the supplied wrench to assist in
securing the bit.
Attaching the Keyless Chuck and AccessoryBit
Read and understand the manual
for use of the keyless chuck with
the tool. Insert and securely tighten the shank of the
accessory well within the jaws of the chuck. If an
accessoryis not properly gripped within the jaws of a
Always unplug Rotary Tool before
changing accessories, changing
collets or servicing your Rotary Tool.
Assembly
COLLET IDENTIFICATION CHART
Collet sizes can be identified by the rings on the back
end of collet.
1/32"Collet has one (1) ring.
1/16"Collet has two (2) rings.
3/32"Collet has three (3) rings.
1/8"Collet has no rings.
COLLET
COLLET
NUT
TO LOOSEN
TO TIGHTEN
COLLET
WRENCH
SHAFT LOCK
BUTTON
COLLET NUT
KEYLESS CHUCK
IDENTIFICATION
RINGS
480
1/8"
COLLET 481
3/32"
COLLET 482
1/16"
COLLET
483
1/32"
COLLET
!
WARNING
!
WARNING
!
CAUTION
!
CAUTION
!
CAUTION
DM 2610935540 01-07 1/17/07 4:06 PM Page 8

The Rotary Tool is a handful of high-speed power. It
serves as a carver, grinder, polisher, sander, cutter,
power brush, drill and more.
The Rotary Tool has a small, powerful electric
universal motor,is comfortable in the hand, and is
made to accept a large variety of accessories
including abrasive wheels, drill bits, wire brushes,
polishers, engraving cutters, router bits, cutting
wheels and attachments. Accessories come in a
variety of shapes and permit you to do a number of
different jobs. As you become familiar with the range
of accessories and their uses, you will learn just how
versatile the Rotary Tool is. You’ll see dozens of uses
you hadn’t thought of before.
The real secret of the Rotary Tool is its speed. To
understand the advantages of its high speed, you
have to know that the standard portable electric drill
runs at speeds up to 2,800 revolutions per minute.
The Rotary Tool operates at speeds up to 35,000
revolutions per minute. The typical electric drill is a
low-speed, high torque tool; the Rotary Tool is just
the opposite – a high-speed, low torque tool. The
major difference to the user is that in the high speed
tools, the speed combined with the accessory
mounted in the collet does the work. You don’t apply
pressure to the tool, but simply hold and guide it. In
the low speed tools, you not only guide the tool, but
also apply pressure to it, as you do, for example,
when drilling a hole.
It is this high speed, along with its compact size and
wide variety of special accessories and attachments,
that makes the Rotary Tool different from other tools.
The speed enables it to do jobs low speed tools
cannot do, such as cutting hardened steel, engraving
glass, etc.
Getting the most out of your Rotary Tool is a matter of
learning how to let this speed work for you. To learn
about more uses and the versatility of Dremel
accessories and attachments refer to this Owner's
Manual or Dremel's “Getting Started” booklet.
Page 9
chuck it may loosen and fly out during use possibly
striking you or bystanders.
To replace or attach the keyless chuck accessory to
your MultiPro rotary tool, unplug the tool and engage
the shaft lock button then remove the collet and collet
nut. Thread the keyless chuck on the end of the shaft.
Engage the shaft lock button again, insert the
accessory shank into the chuck and finger tighten
until the shank is secure.
For small size drill bits, close the chuck to the point
where the bit will just fit in; then tighten securely. This
helps center the bit in the keyless chuck correctly. In
some high force applications such as removing metal,
tile cutting or routing, the bit (tungsten carbide
cutters, high speed cutters, router bits or tile cutters)
and chuck will become hot if overloaded for extended
periods of time. Overloading the chuck may cause the
bit to loosen and slip. It is recommended that in these
types of applications that the bit be secured in the
chuck with the supplied wrench and work in intervals
to allow cooling of the bit and chuck. If the bit slips
the tool will begin to vibrate excessively, this is an
indication that you should shut the tool off, re-
position and tighten the bit then allow the tool to run
no-load for a few minutes to cool.
The chuck should be cleaned occasionally to keep it
functioning properly. Simply remove the chuck from
the tool and gently tap the tip of the chuck on a fat
surface to remove any loose debris. In some
applications the keyless chuck may tighten up during
use. If this occurs, gently loosen using the wrench
included in your rotary tool kit.
Operating Instructions
Sharpen Tools Drilling
Shape Wood Carve Wood
Deburr Metal Cut Metal
DM 2610935540 01-07 1/17/07 4:06 PM Page 9

Page 10
Using the Rotary Tool
The first step in learning to use the Rotary Tool is to
get the “feel” of it. Hold it in your hand and feel its
weight and balance. Feel the taper of the housing.
This taper permits the Rotary Tool to be grasped
much like a pen or pencil. The F013039519. Variable
Speed tool has a unique comfort grip on the nose and
back seating, which allows the user added comfort
and control during use. You can feel the difference!
Always hold the tool away from your face.
Accessories can be damaged during handling, and
can fly apart as they come up to speed. This is not
common, but it does happen.
Practice on scrap materials first to see how the
Rotary Tool's high speed action performs. Keep in
mind that the work is done by the speed of the tool
and by the accessory in the collet. You should not
lean on or push the tool during use.
Instead, lower the spinning accessory lightly to the
work and allow it to touch the point at which you want
cutting (or sanding or etching, etc.) to begin. Con-
centrate on guiding the tool over the work using very
little pressure from your hand. Allow the accessory to
do the work.
Usually, it is best to make a series of passes with the
tool rather than attempt to do all the work in one
pass. To make a cut, for example, pass the tool back
and forth over the work, much as you would a small
paint brush. Cut a little material on each pass until
you reach the desired depth. For most work, the
gentle touch is best. With it, you have the best
control, are less likely to make errors, and will get the
most efficient work out of the accessory.
For best control in close work, grip the Rotary Tool
like a pencil between your thumb and forefinger. The “Golf Grip” method of holding the tool is used
for more aggressive operations such as grinding a
flat surface or using cutoff wheels.
Questions or Problems?Call 1-800-437-3635
or check our website at www.Dremel.com
WARNING
Wear Eye Protection
Whenever you hold the tool, be careful not to cover
the air vents with your hand. This blocks the air
flow and causes the motor to overheat.
CAUTION
!
Operating Instructions - (Cont.)
DM 2610935540 01-07 1/17/07 4:06 PM Page 10

Page 11
To select the right speed for each job, use a practice
piece of material. Vary speed to find the best speed
for the accessory you are using and the job to be
done.
NOTE: Speed is affected by voltage changes. A
reduced incoming voltage will slow the RPM of the
tool, especially at the lowest setting. If your tool
appears to be running slowly increase the speed
setting accordingly. The tool may not start at switch
position #1 in those areas where outlet voltage is
less than 120 volts. Simply move the switch lever to
ahigher position to begin operation.
On the variable speed model, there are switch setting
indicators marked with a line. Slide to the number on
the housing to select the operating speed needed
from 5,000 – 35,000 RPM. You can refer to the
charts on page 24, 25, and 26 to determine the
proper speed, based on the material being worked
and the type of accessorybeing used. These charts
enable you to select both the correct accessory and
the optimum speed at a glance.
Needs for Slower Speeds
Certain materials, however,(some plastics and
precious metals, for example) require a relatively slow
speed because at high speed the friction of the
accessorygenerates heat and may cause damage to
the material.
Slow speeds (15,000 RPM or less) usually are best
for polishing operations employing the felt polishing
accessories. They may also be best for working on
delicate projects as “eggery” work, delicate wood
carving and fragile model parts. (All brushing
applications require lower speeds to avoid wire
discharge from the holder.) No greater than speed
setting 4 for the model F013039519.
Higher speeds are better for carving, cutting, routing,
shaping, cutting dadoes or rabbets in wood.
Hardwoods, metals and glass require high speed
operation, and drilling should also be done at high
speeds.
The speed of Rotary Tool is controlled by setting
this indicator on the housing.
The Settings for Approximate Revolutions Per Min-
ute Rotary Tool Variable Speed Model F013039519.
Switch Setting Speed Range
215,000 – 18,000 RPM
4* 19,000 – 11,000 RPM
6 12,000 – 17,000 RPM
8 18,000 – 24,000 RPM
10 25,000 – 35,000 RPM
*Wire Brush Setting.
Use only Dremel Tested, High Performance Accessories.
Operating Speeds
DM 2610935540 01-07 1/17/07 4:06 PM Page 11

Page 12
Assembly & Operation of Attachments
Flex-Shaft 225
Not for use with router bits. Use
with router bits will cause
kickback.
INSTALLATION INSTRUCTIONS
It is extremely important to carefully read and follow
the directions to assemble the flex-shaft to your
rotary tool below to ensure the tool will function
properly.
Attention: For optimum performance, allow your new
flex shaft attachment to run at high speed on your
rotarytool in a vertical position for 2 minutes before
use.
Toproperly attach the flex-shaft to the rotarytool,
THREE items must be removed from the tool: the
housing cap, collet nut and collet.
Step 1. Press the Shaft lock button, unscrew and
remove the collet nut.
The point to remember is this: You can do the great
majority of work with the single speed at its regular
speed of 35,000 RPM. But for certain materials and
types of work, you need slower speeds — which is the
reason the variable speed models and the speed
control units are available.
To aid you in determining the optimum operational
speed for different materials and different accessories,
we have constructed a series of tables that appear on
page 24, 25 and 26. By referring to these tables, you
can discover the recommended speeds for each type
of accessory. Look these tables over and become
familiar with them.
Ultimately, the best way to determine the correct speed
for work on any material is to practice for a few
minutes on a piece of scrap, even after referring to the
chart. You can quickly learn that a slower or faster
speed is more effective just by observing what happens
as you make a pass or two at different speeds. When
working with plastic, for example, start at a slow rate of
speed and increase the speed until you observe that the
plastic is melting at the point of contact. Then reduce
the speed slightly to get the optimum working speed.
Some rules of thumb in regard to speed:
1. Plastic and other materials that melt at low
temperatures should be cut at low speeds.
2. Polishing, buffing and cleaning with a wire brush
must be done at speeds not greater than 15,000
RPM to prevent damage to the brush.
3. Wood should be cut at high speed.
4. Iron or steel should be cut at high speed. If a high
speed steel cutter starts to chatter — this normally
means it is running too slow.
5. Aluminum, copper alloys, lead alloys, zinc alloys
and tin may be cut at various speeds, depending on
the type of cutting being done. Use paraffin or other
suitable lubricant on the cutter to prevent the cut
material from adhering to the cutter teeth.
Increasing the pressure on the tool is not the answer
when it is not performing as you think it should.
Perhaps you should be using a different accessory, and
perhaps an adjustment in speed would solve the
problem. Leaning on the tool does not help.
Let speed do the work!
Operating Speeds - (Cont.)
STEP 1
!
WARNING
DM 2610935540 01-07 1/17/07 4:06 PM Page 12

Step 2. Unscrew the housing cap from the tool.
Step 3. Remove the collet.
Note: If the collet nut and collet are not removed from
the motor shaft, the tool will not function properly.
Step 4. Install the driver cap on the motor shaft and
tighten.
To prevent damage to tool, do not
overtighten driver cap. Tighten
the driver cap finger tight and then tighten an
additional 1/3 turn with the wrench. (Wrench included
with your rotary tool kit)
Step 5. Attach by screwing the collar of the flex-shaft
to the rotarytool. Make sure the square end of the
center core engages the square hole socket in the
driver cap.
Do not pull out center core to
engage into driver cap. This
could cause disengagement of center core from
handpiece. If tool stops when shaft is bent, center
core may be lodged in driver cap. Loosen shaft and
remove core from driver cap. Then screw flexible
shaft onto rotary tool housing again.
OPERATING INSTRUCTIONS
Disengagement of the Flex-Shaft
The flexible shaft may become disengaged if the
motor of your rotary tool is not elevated higher than
the working end of the flex-shaft. The #2222 Rotary
Tool Stand is recommended to hold the rotary tool at
the proper height.
Collet and Accessory Assembly
The collet assembly consists of a collet nut and collet.
Take the collet nut and collet that were removed from
your tool in step 2 and 3 and insert them into the tip
of the flex-shaft handpiece.
Insert an accessory or bit as deeply as possible to
avoid wobble during use. With the shaft lock button
engaged on the flex-shaft handpiece retighten the
collet nut.
Collet Removal and Replacement
Four different size collets to accommodate different
shank sizes, are sold separately for your flex-shaft. To
install a different collet, remove the collet nut and
remove the old collet. Insert the unslotted end of the
collet in the hole in the end of the flex-shaft. Replace
collet nut on the shaft. Always use the collet which
matches the shank size of the accessoryyou plan to
use. Never force a larger diameter shank into a collet.
FLEXIBLE SHAFT LUBRICATION — The flexible shaft
should be lubricated after every 25-30 hours of use.
Tolubricate, unscrew the flexible shaft assembly from
the motor housing. Pull the center core out of the
flexible shaft assembly. Wipe a very thin film of a
good quality, high temperature grease on to the center
core.
Toprevent damage to tool do not
over grease shaft. Too much
grease will cause the unit to overheat. Dremel shaft
lubricant No. 5990952 or automotive wheel bearing
grease should be used.
Reattach the flex-shaft to the rotary tool.
Page 13
STEP 5
STEP 3STEP 2
STEP 4
!
CAUTION
!
CAUTION
!
CAUTION
DM 2610935540 01-07 1/17/07 4:06 PM Page 13

Do not operate the flexible shaft
with a sharp bend. This can
generate excessive heat and will reduce tool and flex-
shaft life. The recommended minimum is 5" radius.
Contents of 225 Flex-Shaft Attachment:
Qty. Description
1 Flex-Shaft Assembly (42" long)
1 Driver Cap
Page 14
#560
Drywall Cutting Bit
For use in drywall.
•When inserting the #560 bit into your Rotary Tool,
make sure that the bit has been inserted as far as
possible.
•When using a template (outlet box) behind the
drywall, use the drywall bit #560, cutting in a counter-
clockwise direction.
#561
Multipurpose Cutting Bit
For use in wood, plastics, drywall, fiberglass, vinyl
or aluminum siding, acoustical tile and laminates.
•When inserting the #561 bit into your Rotary Tool,
make sure that the bit has been inserted as far as
possible.
•When making freehand cuts in Drywall, example
repairing a hole in drywall, use the Multipurpose bit
#561,cutting in a clockwise direction.
•When using #561, Multipurpose Cutting Bit, start the
bit into the material at a 45 degree angle and then
slowly bring it to a 90 degree angle to begin the cut.
#562
Tile Cutting Bit
For use on wall tile, cement board and plaster
•When inserting the #562 bit into your MultiPro tool,
it is very important that 1/16”-1/8” of smooth shank
remains visible above the collet.
•When using #562, Tile Cutting Bit, start the bit into
the material at a 45 degree angle and then slowly
bring it to a 90 degree angle to begin the cut.
•NOT FOR USE ON FLOOR TILE
Cutting Guide 565
The Cutting Guide 565 (sold separately) comes
completely assembled and ready to use. For use in a
variety of materials up to 3/4” thick. Match the bit
type to the material to be cut. Always hold the tool
firmly, using slow steady pressure to make cuts.
To attach, follow the four steps shown below.
Important: When viewing the tool from the top, the
bit rotates clockwise. Feed direction of cutting
must be counter-clockwise.
WARNING
!
5" RADIUS
3/4
1/2
1/4
0
3/4
1/2
1/4
0
3/4
1/2
1/4
0
3/4
1/2
1/4
0
Step 1 Step 2
Step 3 Step 4
Assembly & Operation of Attachments - (Cont.)
DM 2610935540 01-07 1/17/07 4:06 PM Page 14

Page 15
Grout Removal Kit 568
The #568 grout removal attachment comes
completely assembled and ready to use. Use the #569
(1/16") bit for tiles spaced more than 1/16" apart. If
your tiles are spaced more than 1/8" apart, it is
recommended that you use the #570 (1/8") bit.
Note: If the bit is too wide for the spacing between
your tiles, you may damage your tile or the grout
removal bit.
Step 1: Remove the housing cap from the tool.
Step 2: Insert the grout removal bit into your rotary
tool.
When inserting the #569 or #570
grout removal bit into your
Dremel rotary tool, be sure that the bit is secure
within the “jaws” of the collet. Use the wrench to
tighten the collet nut to prevent the bit from loosening
within the collet. Do not use your Dremel Chuck,
#4486, with the grout removal bits.
Step 3: Screw the grout removal attachment onto the
rotary tool.
Step 4: Adjust the attachment and bit to the desired
cutting depth.
Grout Removal Attachment Cutting Depth
Adjustment
The Multi Slide Depth Adjustment has increment
markings of 1/8" (3,2 mm). These markings are for
reference only in identifying the depth of your desired
cut. The multiple channels of the depth adjustment let
you choose the orientation of the attachment to the
tool. Be sure to securely tighten the screw within one
of the multiple channel positions.
To set cutting depth:
Cleaning Grout:
Do not remove grout more than 1/8" below the face
surface of the tile. Adjust the Multi Slide Depth
Adjustment and bit so that no more than 1/8" of the
bit extends beyond the base of the attachment.
After removing 1/8" of grout, regrout to tile level. Seal
the new grout.
Removing Grout to Replace A Broken Tile:
Remove all of the grout surrounding the broken tile.
Adjust the Multi Slide Depth Adjustment so that no
more than 1/8" of the bit extends beyond the base of
the attachment. See Figure 5. Remove grout at a
depth no more than 1/8" at a time. You may need to
adjust the Multi Slide Depth Adjustment by 1/8"
increments (reference the 1/8" incremental white
markings on the Multi Slide Depth Adjustment) and
make several passes until all the grout is removed.
When removing grout deeper into the grout line, you
may strike hidden objects like screw heads, mortar,
tile cement or nails that may cause the bit to bind,
overheat or break. Reduce the tool speed and work
through it slowly,making several passes. In case of
screws or nails, remove the grout around the area as
the bit will not cut through them.
Step 1
Step 2
Step 3
Step 4
CAUTION
!
1/8"
3,2mm
DM 2610935540 01-07 1/17/07 4:06 PM Page 15

Page 16
Operating Instructions
Always pull the tool toward you!
Do not push it! Pushing the bit
may cause it to break. Hold the tool in a golf grip
with the tool positioned below the attachment and the
bit pointing upwards.
On your variable speed tool, recommended tool speed
is 15,000-20,000 RPM's or speed setting 6 to avoid
damage to the bit. On your two speed tool,
recommended tool speed is "Low" to avoid damage to
the bit. Do not force the bit or put pressure on the
back of the tool to remove the grout. Let the speed of
the rotating bit do the work.
Wear eye protection and dust
mask. Inspect bit for damage.
When bit is installed, always run it at no-load speed
of the tool for one minute, as a damaged bit will
break apart. Do not stand in front of or in line with
bit.
Always use the tool with the depth guide positioned
flat against the material being cut.
The guide securely positioned on the material
improves stability and control of your tool.
The direction of feed with the bit into the grout is
important. Always drag or pull the bit through the
grout line. The grout bit is not intended for "plowing"
through the grout and feeding the tool in the wrong
direction will cause the bit to climb out of the work
possibly damaging the bit and/or causing loss of
control.
Assembly & Operation of Attachments - (Cont.)
!
WARNING
!
WARNING
DM 2610935540 01-07 1/17/07 4:06 PM Page 16

Page 17
Right Angle Attachment 575
Before you begin, remove the black protective cap on
your attachment. If cap does not slide off easily, insert
the shank portion of any accessory through the
housing opening of the attachment to hold shaft from
rotating. Then twist off. Figure 1.
Do not use the rotary tool shaft
lock button when changing
accessories on the attachment. Internal damage to
the attachment may occur.
Remove the housing cap from your existing rotary
tool as shown in fig. 2. Then press the shaft lock
button on your rotary tool, unscrew the collet nut and
remove the collet.
Set your collet nut and collet aside it will be
reinstalled later in step 4.
Install the drive adapter, included with your right
angle attachment, on the motor shaft as shown in
fig.3 and tighten.
Do not over tighten drive adapter.
Tighten the drive adapter finger
tight and then tighten an additional 1/3 turn with the
wrench. (Wrench included with your rotary tool kit)
Screw the attachment onto your rotary tool. Hand
tighten only. Reassemble the collet and the collet nut
from step 2, on to the output shaft of the attachment.
Figure 4.
The right angle attachment can be oriented on your
rotary tool in 12 different positions. The attachment
should be positioned so the on/off speed control
switch is easy to access.
To reposition, unscrew the collar from the attachment
until disengaged. Slide the attachment off. Then,
reposition, slide the attachment back on the tool and
retighten the collar. Figure 5.
To change an accessory, insert the shank portion of
any accessory (3,2 mm recommended) through the
housing opening of the attachment to hold the shaft
from rotating. With the shaft secured, loosen the
collet nut and insert an accessory as deeply as
possible to avoid wobble during use. You may need to
pull back the shank from the housing opening to
provide clearance while inserting the accessory.
Figure 6.
Attachment can become hot after
prolong usage.
1
2
3
4
5
FIG. 1 FIG. 2 FIG. 3
FIG. 4 FIG. 5
FIG. 6
!
WARNING
!
CAUTION
!
CAUTION
DM 2610935540 01-07 1/17/07 4:06 PM Page 17

Page 18
Service
Preventive maintenance performed
by unauthorized personnel may
result in misplacing of internal wires and components
which could cause serious hazard. We recommend that
all tool service be performed by a Dremel Service
Facility.
CARBON BRUSHES
The brushes and commutator in your tool have been
engineered for many hours of dependable service. In
order to prepare your brushes for use, run your tool at
full speed for 5 minutes under no load. This will properly
“seat” your brushes, which extends the life of both your
brushes and your tool. To maintain peak efficiency of the
motor, we recommend every 50 - 60 hours the brushes
be examined. Only genuine Dremel replacement brushes
specially designed for your tool should be used.
MAINTENANCE OF REPLACEABLE BRUSHES
ON MODEL F013039519
The brushes should be inspected frequently when tools
are used continuously. If your tool runs sporadically,
loses power, makes unusual noises or runs at a
reduced speed, check the brushes. To continue using
the tool in this condition will permanently damage your
tool.
With the cord unplugged, remove the brush caps one
at a time with a small screwdriver by rotating cap
counter-clockwise and check each brush.
If the brush is less than 1/8" long and the end surface
of the brush that contacts the commutator is rough
and/or pitted, they should be replaced. Check both
brushes. Usually the brushes will not wear out simul-
taneously.If one brush is worn out, replace both
brushes. Make sure the brushes are installed as illus-
trated. The curved surface of the brush must match the
curvature of the commutator.
After replacing brushes the tool should be run at no-
load; place it on a clean surface and run it freely at full
speed for 5 minutes before loading (or using) the tool.
This will allow the brushes to “seat” properly and will
give you more hours of life from each set of brushes.
This will also extend the total life of your tool since the
commutator surface will “wear” longer.
BEARINGS
Model F013039519 has double ball bearing
construction. Under normal use they will not require
lubrication.
Cleaning
To avoid accidents always dis-
connect the tool from the power
supply before cleaning or performing any main-
tenance. The tool may be cleaned most effectively with
compressed dryair. Always wear safety goggles when
cleaning tools with compressed air.
Ventilation openings and switch levers must be kept
clean and free of foreign matter. Do not attempt to clean
by inserting pointed objects through openings.
Certain cleaning agents and
solvents damage plastic parts.
Some of these are: gasoline, carbon tetrachloride, chlo-
rinated cleaning solvents, ammonia and household
detergents that contain ammonia.
Extension Cords
If an extension cord is necessary,
acord with adequate size
conductors that is capable of carrying the current
necessaryfor your tool must be used. This will
prevent excessive voltage drop, loss of power or
overheating. Grounded tools must use 3-wire
extension cords that have 3-prong plugs and
receptacles.
RECOMMENDED SIZES OF EXTENSION CORDS
120 VOLT ALTERNATING CURRENT TOOLS
NOTE: The smaller the gauge number, the heavier the
cord.
Maintenance Information
CURVATURE OF HOUSING BRUSH
CAP
BRUSH
SPRING
CURVED END OF BRUSH
MUST MATCH CURVATURE
OF HOUSING
BRUSH
WARNING
!
WARNING
!
CAUTION
!
Tool’s
Ampere
Rating
Cord Size in A.W.G. Wire Sizes in mm2
3-6
6-8
8-10
10-12
12-16
18 16 16 14 .75 .75 1.5 2.5
18 16 14 12 .75 1.0 2.5 4.0
18 16 14 12 .75 1.0 2.5 4.0
16 16 14 12 1.0 2.5 4.0 —
14 12 — — — — — —
25 50 100 150 15 30 60 120
Cord Length in Feet Cord Length in Meters
WARNING
!
DM 2610935540 01-07 1/17/07 4:06 PM Page 18

Page 19
575 - Right Angle Attachment
Enhances the versatility of your
Dremel rotary tool by allowing you
to get into hard-to-reach areas.
568 - Grout Removal Kit
Four use on wall and floor grout
•30° angle for controlled cutting
•Guides 180° apart to keep bit
centered between tiles
•Easy screw on mounting
2500 - Multi-Vise™
Firmly holds rotary tools in any
position. Control workpiece
(hands free) for better results.
225 - Flex-Shaft
Allows finger-tip control for tight
corners and hard-to-reach areas.
36" long cable attaches to Model
F013039519. Pencil-like 1/2"
diameter hand piece is cool-
running and ideal for light duty
wood carving and other uses.
231 - Shaper/Router Table
Converts the Rotary Tool into a
bench mounted wood shaper.
Clamp it to a workbench and
perform professional quality
slotting, edge trimming, grooving
and sanding of irregular shapes
accurately and with ease. Large 8" x
6" worktable. Use with Model
F013039519.
220 - Work Station
For precision drilling, routing,
grooving, 6" square work surface,
0" to 3" throat depth. Table slotted
for guides, hold downs. Holds
Model F013039519.
Dremel Attachments
Add these Dremel attachments to your compact workshop and make your Rotary Tool more versatile.
565 - Multipurpose Cutting Kit
•Includes 2 drywall cutting bits
(560) and 1 spiral cutting bit (561)
•Cuts fiberglass, wood & drywall
easily
566 - Tile Cutting Kit
•Includes 1 Ceramic tile cutting
bit (562)
•Cuts ceramic wall tile to any
shape
335 - Router Attachment
Shapes, edges, chamfers, cuts,
rabbets, dadoes, etc. Adjustable
edge guide can be easily removed
for freehand routing. The Model
335 can be used with Model
F013039519.
DM 2610935540 01-07 1/17/07 4:06 PM Page 19

Page 20
Dremel Accessories
The number and variety of accessories for the Rotary
Tool are almost limitless. There is a category suited to
almost any job you might have to do — and a variety of
sizes and shapes within each category which enables
you to get the perfect accessory for every need.
Refer to the DREMEL ACCESSORY ORDER FORM for
illustrations of the accessories available. These
accessories may be found at your local hardware,
hobby or home center dealers.
Collets
If you expect to use a variety of accessories, we
recommend that in the beginning you purchase a
complete set of four collets. Store these so that you will
have the proper size of collet for any accessory or drill
bit you want to use. Currently, the 1/8", 3/32",1/32"
and 1/16" collets accommodate all of the available
Dremel accessories. 1/8" collets are included in most
rotary tool kits.
Mandrels
Amandrel is a shank with a threaded or screw head,
which are required when you use polishing
accessories, cutting wheels, sanding discs, and polish-
ing points. The reason mandrels are used is that
sanding discs, cutting wheels and similar accessories
must be replaced frequently. The mandrel is a per-
manent shank, allowing you to replace only the worn
head when necessary, thus saving the expense of
replacing the shaft each time.
Screw Mandrel No. 401
This is a screw mandrel used with the felt polishing tip
and felt polishing wheels. 1/8" shank.
Small Screw Mandrel No. 402
This is a mandrel with a small screw at its tip, and is
used with emeryand fiberglass cutting wheels, sanding
discs and polishing wheels. 1/8" shank.
Threaded Tip Mandrel No. 424
This is a mandrel with a threaded tip which threads into
the polishing point accessory No. 427. 1/8" shank.
High Speed Cutters
Available in many shapes, high speed cutters are used
in carving, cutting and slotting in wood, plastics and
soft metals such as aluminum, copper and brass. These
are the accessories to use for freehand routing or
carving in wood or plastic, and for precision cutting.
Made of high quality steel. 1/8" shank.
Tungsten Carbide Cutters
These are tough, long-lived cutters for use on hardened
steel, fired ceramics and other very hard materials.
They can be used for engraving on tools and garden
equipment. 1/8" shanks.
Engraving Cutters
This group has a wide variety of sizes and shapes, and
are made for intricate work on ceramics (greenware),
wood carvings, jewelry and scrimshaw. They often are
used in making complicated printed circuit boards.
They should not be used on steel and other veryhard
materials but are excellent on wood, plastic and soft
metals. 3/32" shank.
Structured Tooth
Tungsten Carbide Cutters
Fast cutting, needle-sharp teeth for greater material
removal with minimum loading. Use on fiberglass,
wood, plastic, epoxy and rubber. 1/8" and 1/4" shank.
Aluminum Oxide Grinding Stones (red/brown)
Round, pointed, flat — you name the shape and there is
one available in this category. These are made of
aluminum oxide and cover virtually everypossible kind
of grinding application. Use them for sharpening lawn
mower blades, screwdriver tips, knives, scissors, chisels
and other cutting tools. Use to remove flash from metal
castings, deburring any metal after cutting, smoothing
welded joints, grinding off rivets and removing rust.
These grinding stones can be resharped with a dressing
stone. In machine shops, high speed drills and cutters
normally are ground with aluminum oxide wheels. 1/8"
shank.
Silicon Carbide Grinding Stones (blue/green)
Tougher than aluminum oxide points, these are made
especially for use on hard materials such as glass and
ceramics. Typical uses might be the removal of stilt
marks and excess glaze on ceramics and engraving on
glass. 1/8" shank.
Diamond Wheel Points
Excellent for fine detail work on wood, jade, ceramic,
glass and other hard material. Bits are covered with
diamond particles. 3/32" shanks.
Use only Dremel Tested, High Performance Accessories.Other accessories are not
designed for this tool and may lead to personal injury or property damage.
!
WARNING
DM 2610935540 01-07 1/17/07 4:06 PM Page 20

Page 21
Wire Brushes
Three different shapes of wire brushes are available.
Never use wire brushes at speeds greater than
15,000 RPM. Refer to Operating Speeds section for
proper tool speed setting. The three shapes come in
three different materials: stainless steel, brass and
carbon wire. The stainless steel perform well on
pewter, aluminum, stainless steel, and other metals,
without leaving "after-rust". Brass brushes are non
sparking, and softer than steel; making them good for
use on soft metal like gold, cooper and brass. The
carbon wire brushes are good for general purpose
cleaning.
Bristle Brushes
These are excellent cleaning tools on silverware, jew-
elry and antiques. The three shapes make it possible to
get into tight corners and other difficult places. Bristle
brushes can be used with polishing compound for
faster cleaning or polishing.
Brushing Pressure
1. Remember, the tips of a wire brush do the work.
Operate the brush with the lightest pressure so only
the tips of the wire come in contact with the work.
2. If heavier pressures are used, the wires will be
overstressed, resulting in a wiping action; and if this
is continued, the life of the brush will be shortened
due to wire fatigue.
3. Apply the brush to the work in such a way that as
much of the brush face as possible is in full contact
with the work. Applying the side or edge of the brush
to the work will result in wire breakage and shortened
brush life.
Polishing Accessories
These include an impregnated polishing point and an
impregnated polishing wheel for bringing metal sur-
faces to smooth finish; a felt polishing tip and felt
polishing wheel, and cloth polishing wheel, all used for
polishing plastics, metals, jewelry and small parts. Also
included in this group is a polishing compound (No.
421) for use with the felt and cloth polishers.
Polishing points make a very smooth surface, but a
high luster is obtained using felt or cloth wheels and
polishing compound. For best results polishing
accessories should be used at speeds not greater
than 15,000 RPM. Refer to Operating Speeds section
for proper tool speed setting.
No polishing compound is needed when using the
425 Polishing Wheel or 427 Polishing point.
Aluminum Oxide Abrasive Wheels
Use to remove paint, deburr metal, polish stainless
steel and other metals. Available in fine and medium
grits. 1/8" shank.
Sanding Accessories
Sanding discs in fine, medium and coarse grades are
made to fit mandrel No. 402. They can be used for
nearly any small sanding job you might have, from
model making to fine furniture finishing. In addition,
there is the drum sander, a tiny drum which fits into the
Rotary Tool and makes it possible to shape wood,
smooth fiberglass, sand inside curves and other diffi-
cult places, and other sanding jobs. You replace the
sanding bands on the drum as they become worn and
lose their grit. Bands come in fine and coarse grades.
Flapwheels grind and polish flat or contoured surfaces.
They are used most effectively as a finishing sander
after heavier surface sanding and material removal is
completed. Flapwheels come in fine and coarse grades.
Buffs are a great finishing accessoryfor cleaning and
light sanding. They work effectively on metal, glass,
wood, aluminum and plastics. Coarse and medium
buffs are sold together.1/8" shank.
Grinding Wheel
Use for deburring, removing rust, and general purpose
grinding. Use with Mandrel #402.
15°
CORRECT:
Wire tips doing the work.
INCORRECT:
Excessive pressure can cause wire breakage.
DM 2610935540 01-07 1/17/07 4:06 PM Page 21

Page 22
Cutting Wheels
These thin discs of emery or fiberglass are used for
slicing, cutting off and similar operations. Use them for
cutting off frozen bolt heads and nuts, or to reslot a
screw head which has become so damaged that the
screwdriver won’t work in it. Fine for cutting BX cable,
small rods, tubing, cable and cutting rectangular holes
in sheet metal.
Drywall Cutting Bit
Gives you fast, clean cuts in drywall.
Tile Cutting Bit
Cuts ceramic wall tile, cement board, and plaster.
Spiral Cutting Bit
Cuts through all types of wood and wood composites.
High Speed Router Bits
For routing, inlaying, and mortising in wood and other
soft materials. Use only with Dremel No. 330 Router
attachment or No. 231 Shaper/Router table.
Dremel Accessories - (Cont.)
DM 2610935540 01-07 1/17/07 4:06 PM Page 22

Page 23
To replace a band on the Drum Sander, loosen the screw without removing it to contract the drum then slide
the old band off. Slide the new sanding band on and then expand the drum by tightening the screw once again.
Before each use, check to make certain that all components are assembled to accessory
shank and that the drum is sufficiently expanded to secure the band during use. If sanding
band is loose on the drum during operation it may “fly” off and strike you or bystanders.
Mandrel No. 401 is used with the felt polishing tip and wheels. Thread the tip on to the screw carefully. The felt
tip must thread down straight on the screw Mandrel, and be turned all the way to the collar.
Mandrel No. 402 has a small screw at its tip, and is used with emery cutting wheels and sanding discs. Higher
speeds, usually maximum, are best for most work, including cutting steel. Which is shown here.
The machine-screw threading on Mandrel No. 424 threads into polishing point No. 427. This and other
threaded mandrels must be screwed firmly down to the collar before being used.
!
WARNING
DM 2610935540 01-07 1/17/07 4:06 PM Page 23

Page 24
1010
10
CATALOG
NUMBER SOFT
WOOD HARD
WOOD LAMINATES
PLASTIC STEEL ALUMINUM,
BRASS, ETC. SHELL/
STONE CERAMIC GLASS
SPEED SETTINGS * Speed for light cuts, caution burning on deep grooves.
• Depending on cutting direction relative to grain.
HIGH SPEED CUTTERS
ENGRAVING CUTTERS
100, 121, 131
114, 124, 134, 144
190
118, 191, 192, 193, 194
116, 117, 125, 196
115
198
199
10
10
10
10*
10*
10*
8
6
6
8*
6*
6*
4
4
4
4
4
4
6
6
6
6
6
6
10
10
10
10
10
10
10
10
10
6
10
10
6
10
8
8
6
4
4
4
4
4
4
4
6
6
8
6
6
6
6
6
8
6
10
10
6
6
6
6
Use only Dremel Tested, High Performance Accessories.
105, 108
106, 109
107, 110
111
112
113
10
10
10
10*
10*
10*
DIAMOND WHEEL POINTS
7103, 7105, 7117, 7120,
7122, 7123, 7134, 7144 10 8
9931, 9932, 9933, 9934,
9935, 9936 10 8 4 6
TUNGSTEN CARBIDE CUTTERS
STRUCTURED TOOTH TUNGSTEN CARBIDE CUTTERS
9901, 9902, 9903, 9904,
9905, 9906, 9912 10 8 4 10 6
9909, 9910, 9911
8-10 8-108
8-10 8-10
8
DM 2610935540 01-07 1/17/07 4:06 PM Page 24

Page 25
8-10
8
6-10
2-4
2-4
2-4
10 10
10
10
6-8
10
6-8
10
409, 420, 426, 540
542
545
560
561
562
10
8-10
6-10
83142, 83322, 83702,
84922, 85422, 85602,
85622
903, 911, 921, 932, 941,
945, 952, 953, 954, 971,
997, 8153, 8175, 8193,
8215
610 4
4 6
610 10
CUTTING ACCESSORIES
612, 640
615, 617, 618, 650, 652
654
10*
10*
10*
10 1010 8
8•
10•
8•
ABRASIVE POINTS
516, 517, 518
500
4-6
4-6
4-6
4-6
8
6-8
6
4-6
CATALOG
NUMBER SOFT
WOOD HARD
WOOD LAMINATES
PLASTIC STEEL ALUMINUM,
BRASS, ETC. SHELL/
STONE CERAMIC GLASS
SPEED SETTINGS * Speed for light cuts, caution burning on deep grooves.
• Depending on cutting direction relative to grain.
HIGH SPEED ROUTER BITS
Use only Dremel Tested, High Performance Accessories.
541
453, 454, 455
46
10 1010 8
10
SILICON CARBIDE GRINDING STONES
ALUMINUM OXIDE GRINDING STONES
CHAIN SAW SHARPENING STONES
For use on drywall. For best results, use at 30,000 rpm.
DM 2610935540 01-07 1/17/07 4:06 PM Page 25

Page 26
461, 462, 463
414, 422, 429
425, 427
423
403, 404, 405
530, 531, 532
428, 442, 443
535, 536, 537
8
6
8
6-8
6
4
4
4
4
4
4
4
4
4
4
2-4
2
8
6
8
6-8
6
4
4
8
6
6-8
8
6
6-8
4
8
6
6-8
CATALOG
NUMBER SOFT
WOOD HARD
WOOD LAMINATES
PLASTIC STEEL ALUMINUM,
BRASS, ETC. SHELL/
STONE CERAMIC GLASS
SPEED SETTINGS * Speed for light cuts, caution burning on deep grooves.
• Depending on cutting direction relative to grain.
POLISHING ACCESSORIES
430, 431, 438
439, 440, 444
407, 408, 432
411, 412, 413
502, 503, 504, 505 10 10 8-108 2
2-10
2-10
2-10
8
2-10
2-10
2-10
2-10
2-10
2-10
2-10
2-10
2-10
8
2-6
2-6
2-6
2-4
10
10
10
10
10
10
2-4
SANDING BANDS AND DISCS
FLAPWHEELS
569, 570 For Use on Wall and Floor Grout
GROUT REMOVAL BITS
150 10 6
6-8
8-10 2-4
DRILL BIT
5116 6 6
6 4
FINISHING ABRASIVE BUFFS
Use only Dremel Tested, High Performance Accessories.
DM 2610935540 01-07 1/17/07 4:06 PM Page 26

Page 27
Mode d'emploi de l'outil
rotatif - 75e anniversaire
Modèle F013039519
P.O. Box 1468
Racine, Wisconsin 53401
1-800-437-3635
http://www.dremel.com
©
Robert Bosch Tool
Corporation
2007
Tous droits réservés
•Sécurité
•Assemblage
•Fonctionnement
•Maintenance
•Informations sur les accessoires
•Liste des nécessaires d'accessoires
•Garantie
•Pièces de service
Les produits de marque Dremel sont fabriqués et commercialisés par la
Division Dremel de Robert Bosch Tool Corporation
DM 2610935540 01-07 1/17/07 4:06 PM Page 27

Page 28
Aire de travail
Veillez à ce que l'aire de travail soit propre et bien
éclairée. Le désordre et le manque de lumière favorisent
les accidents.
N'utilisez pas d'outils électriques dans une atmosphère
explosive, par exemple enprésence de liquides, de gaz
ou de poussières inflammables. Les outils électriques
créent des étincelles qui pourraient enflammer les
poussières ou les vapeurs.
Tenez à distance les curieux, les enfants et les visiteurs
pendant que vous travaillezavec un outil électrique. Ils
pourraient vous distraire et vous faire faire une fausse
manoeuvre. Sécurité électrique
Les outils à double isolation sont équipés d'une fiche
polarisée (une des lames est pluslarge que l'autre), qui
ne peut se brancher que d'une seule façon dans une
prise polarisée. Si la fiche n'entre pas parfaitement
dans la prise, inversez sa position ; si elle n'entre
toujours pasbien, demandez à un électricien qualifié
d'installer une prise de courant polarisée. Ne modifiez
pas la fiche de l'outil. La double isolation élimine le
besoin d'un cordon d'alimentationà trois fils avec mise à
la terre ainsi que d'une prise de courant mise à la terre.
Avant de brancher l'outil, assurez-vous que la tension de
la prise correspond, à celle indiquée sur la plaque
signalétique. N'utilisez pas d'outils prévus pour courant
alternatif seulement avec une source de courant continu.
Évitez tout contact corporel avec des surfaces mises à
la terre (tuyauterie, radiateurs, cuisinières,
réfrigérateurs, etc.). Le risque de choc électrique est
plus grand si votre corps est encontact avec la terre.Si
l'utilisation de l'outil électrique dans un endroit humide
est inévitable, un disjoncteur de fuite à la terre doit être
utilisé pour alimenter votre outil. Des chaussures et des
gants en caoutchouc d'électricien contribueront à
accroître davantage votre sécurité personnelle.
N'exposez pas les outils électriques à la pluie ou à
l'eau. La présence d'eau dans un outil électrique
augmente le risque de choc électrique.
Ne maltraitez pas le cordon. Ne transportez pas l'outil
par son cordon et ne débranchez pas la fiche en tirant
sur le cordon. N'exposez pas le cordon à la chaleur, à
des huiles, à des arêtes vives ou à des pièces en
mouvement. Remplacez immédiatement un cordon
endommagé. Un cordon endommagé augmente le
risque de choc électrique.
Lorsque vous utilisez un outil électrique à l'extérieur,
employez un prolongateur pour l'extérieur marqué « W-
A»ou « W ». Ces cordons sont faits pour être utilisés à
l'extérieur et réduisent le risque de choc électrique.
Reportez-vous aux « Dimensions recommandées des
cordons de rallonge » dans la section Accessoires de ce
manuel.
Sécurité des personnes
Restez alerte, concentrez-vous sur votre travail et
faites preuve de jugement. N'utilisez pas un outil
électrique si vous êtes fatigué ou sous l'influence de
drogues, d'alcool ou de médicaments. Un instant
d'inattention suffit pour entraîner des blessures graves.
Habillez-vous convenablement. Ne portez ni vêtements
flottants ni bijoux. Confinez les cheveux longs.
N'approchez jamais les cheveux, les vêtements ou les
gants des pièces en mouvement. Des vêtements
flottants, des bijoux ou des cheveux longs risquent d'être
happés par des pièces en mouvement. Gardez les
poignées sèches, propres et exemptes d'huile et de
graisse.
Méfiez-vous d'un démarrage accidentel. Avant de
brancher l'outil, assurez-vous que son interrupteur est
sur ARRÈT. Le fait de transporter un outil avec le doigt
sur la détente ou de brancher un outil dont l'interrupteur
est en position MARCHE peut mener tout droit à un
accident.
Enlevez les clés de réglage ou de serrage avant de
démarrer l'outil. Une clé laissée dans une pièce
tournante de l'outil peut provoquer des blessures.
Ne vous penchez pas trop en avant. Maintenez un bon
appui et restez en équilibre entout temps. Un bonne
stabilité vous permet de mieux réagir à une situation
inattendue.
Utilisez des accessoires de sécurité. Portez toujours
des lunettes ou une visière. Selon les conditions, portez
aussi un masque antipoussière, des bottes de sécurité
antidérapantes, un casque protecteur et/ou un appareil
antibruit.
Utilisation et entretien des outils
Immobilisez le matériau sur une surface stable au
moyen de brides ou de toute autre façon adéquate. Le
fait de tenir la pièce avec la main ou contre votre corps
offre une stabilité insuffisante et peut amener un
dérapage de l'outil.
Ne forcez pas l'outil. Utilisez l'outil approprié à la
tâche. L'outil correct fonctionne mieux et de façon plus
sécuritaire. Respectez aussi la vitesse de travail qui lui est
propre.
N'utilisez pas un outil si son interrupteur est bloqué. Un
outil que vous ne pouvez pas commander par son
interrupteur est dangereux et doit être réparé.
Débranchez la fiche de l'outil avant d'effectuer un
réglage, de changer d'accessoire oude ranger l'outil.
De telles mesures préventives de sécurité réduisent le
risque de démarrage accidentel de l'outil.
Rangez les outils hors de la portée des enfants et
d'autres personnes inexpérimentées. Les outils sont
dangereux dans les mains d'utilisateurs novices.
Règles de Sécurité Générales
Vous devez lire et comprendre toutes les instructions. Le non-respect, même partiel, des
instructions ci-après entraîne un risque de choc életrique, d'incendie et/ou de blessures graves.
CONSERVEZ CES INSTRUCTIONS
AVERTISSEMENT
!
DM 2610935540 01-07 1/17/07 4:06 PM Page 28

Page 29
Les accessoires doivent être prévus pour au moins la
vitesse recommandée sur l'étiquette d'avertissement
de l'outil. Les meules et les autres accessoires utilisés
àune vitesse supérieure à la vitesse nominale peuvent
se détacher et provoquer des blessures.
Tenez l'outil par les surfaces isolées de prise en
exécutant une opération lorsque l'outil de coupe peut
venir en contact avec des fils cachés ou son propre
cordon. Le contact avec un fil sous tension rendra les
parties métalliques exposées de l'outil sous tension et
causera des secousses électriques à l'opérateur.Pour
couper dans des murs existants ou autres endroits
aveugles pouvant dissimuler des fils électriques,
débranchez tous les fusibles ou les disjoncteurs
alimentant ce lieu de travail.
L’avertissement suivant s’applique aux outils à arbre
flexible et à leurs accessoires : ne faites pas
fonctionner l’arbre flexible avec une courbe
prononcée. Lors du pliage, l’arbre peut produire une
chaleur excessive sur la gaine ou la partie maniable. Le
rayon minimum recommandé est de 6 po.
Débranchez toujours le cordon de la prise de courant
avant d'effectuer quelque réglage que ce soit ou de
poser des accessoires. L'outil pourrait se mettre en
marche par mégarde et causer des blessures graves.
Connaissez l'emplacement de l'interrupteur lorsque
vous déposez l'outil ou lorsque vous le reprenez.
Vous pouvez actionner l'interrupteur par mégarde.
L’avertissement suivant s’applique aux outils à arbre
flexible et à leurs accessoires : maintenez toujours
fermement la partie maniable dans vos mains
pendant le démarrage. Lors de son accélération pour
atteindre le plein régime, le couple à réaction du moteur
peut entraîner une torsion de l’arbre.
Portez toujours des lunettes de sécurité et un masque
anti-poussières. N'utilisez l'outil qu'à un endroit bien
aéré. L'utilisation de dispositifs de sécurité personnelle
et le travail dans un environnement sûr réduisent les
risques de blessures.
Après avoir changé les lames ou effectué quelque
réglage que ce soit, assurez-vous que l'écrou de la
douille et tout autre dispositif de réglage sont bien
serrés. Un dispositif de réglage lâche peut bouger
soudainement et causer ainsi une perte de contrôle avec
projection violente des composants en rotation.
Ne placez pas la main à proximité de la mèche qui
tourne. Vous ne vous rendrez pas toujours compte de
cette proximité.
Laissez les brosses tourner à la vitesse de fonctionne-
ment pendant au moins une minute avant d’utiliser la
meule. Durant cette période, personne ne doit se
tenir devant la meule ou en ligne avec celle-ci.
Pendant la période de rodage, les poils ou fils de fer
seront éjectés de la brosse.
Les brosses (à poils standards ou métalliques) ne
doivent jamais être utilisées au-dessus de 15 000
tr/min. Dirigez la décharge de la brosse métallique en
rotation en sens opposé à vous. Des petites particules
et des petits fragments de fil peuvent être déchargés à
grande vitesse durant l'action de « nettoyage » de ces
brosses et peuvent se loger dans votre peau. À haute
vitesse, les poils ou fils de fer mal attachés seront
éjectés.
Portez des gants protecteurs et un masque de soudeur
avec les brosses métalliques ou en soie de porc.
Appliquez légèrement les brosses métalliques ou en
soie de porc sur votre ouvrage, puisque seules les
extrémités du fil métallique/des brosses font le
travail. Une « lourde » pression sur les brosses
entraînera une surcharge du fil métallique ou de la
brosse, résultant en une action d’essuyage, et entraînera
une décharge des brosses/du fil métallique.
Maniez soigneusement l'outil aussi bien que les
meules individuelles pour éviter les éclats ou les
fissurations. Posez une nouvelle meule si l'outil
tombe pendant la rectification. N'utilisez pas une
meule qui peut être endommagée. Les fragments
d'une meule qui éclate durant le fonctionnement
Consignes de sécurité pour outils rotatifs
Prenez soin de bien entretenir les outils. Les outils de
coupe doivent être toujours bien affûtés et propres. Des
outils bien entretenus, dont les arêtes sont bien
tranchantes, sont moins susceptibles de coincer et plus
faciles à diriger.Toute altération ou modification constitue
un usage erroné et peut causer un danger.
Soyez attentif à tout désalignement ou coincement des
pièces en mouvement, à tout bris ou à toute autre
condition préjudiciable au bon fonctionnement de
l'outil. Si vous constatez qu'un outil est endommagé,
faites-le réparer avant de vous en servir. De nombreux
accidents sont causés par des outils en mauvais état.
Élaborez un calendrier d'entretien périodique de votre
outil.
N'utilisez que des accessoires que le fabricant
recommande pour votre modèle d'outil. Certains
accessoires peuvent convenir à un outil, mais être
dangereux avec un autre.
Réparation
La réparation des outils électriques doit être confiée à
un réparateur qualifié. L'entretien ou la réparation d'un
outil électrique par un amateur peut avoir des
conséquences graves. Ainsi, des fils internes peuvent être
mal placés ou pincés, des ressorts de rappel de
protecteur peuvent être montés erronément.
Pour la réparation d'un outil, n'employez que des
pièces de rechange d'origine. Suivez les directives
données à la section « Réparation » de ce manuel.
L'emploi de pièces non autorisées ou le non-respect des
instructions d'entretien peut créer un risque de choc
électrique ou de blessures. Certains agents nettoyants
tels qu'essence, tétrachlorure de carbone, ammoniac,
etc., peuvent abîmer les pièces en plastique.avant
l’entretien; avant de changer les lames, les mèches, les
couteaux, etc.
DM 2610935540 01-07 1/17/07 4:06 PM Page 29

Page 30
seront projetés à grande vitesse et pourraient frapper
des personnes présentes ou vous-même.
N'utilisez jamais de lames émoussées ou abîmées.
Les lames affilées doivent être maniées soigneusement.
Les mèches abîmées peuvent se rompre brusquement
durant l'usage. Les lames émoussées nécessitent plus
de force pour pousser l'outil, causant éventuellement un
bris de la lame.
Utilisez des pinces pour supporter l'ouvrage autant
que possible. Ne tenez jamais un petit ouvrage d'une
main et l'outil de l'autre main pendant que celui-ci est
en usage. Prévoyez un espace suffisant, d'au moins
150 mm, entre votre main et la mèche qui tourne. Les
pièces rondes, telles que tiges cylindriques, tuyaux ou
tubes, ont tendance à rouler pendant qu'on les coupe et,
de ce fait, la mèche peut « mordre » ou sauter vers
vous. En fixant un petit ouvrage, vous pourrez utiliser
vos deux mains pour contrôler l'outil.
Inspectez l'ouvrage avant de le couper. Avant de
couper un ouvrage de forme irrégulière, planifiez
votre travail de manière à ce que l'ouvrage ne glisse
pas et ne vienne pas pincer la mèche qui sera
arrachée de votre main. Ainsi, si vous taillez du bois,
assurez-vous de l'absence de clous ou de corps
étrangers dans l'ouvrage. Sous l'effet du contact avec
des clous ou corps étrangers, la mèche peut sauter.
Ne mettez jamais l'outil en marche alors que la lame
est enfoncée dans le matériau. Le tranchant de la lame
peut se coincer dans le matériau et vous faire perdre le
contrôle du couteau.
Évitez de faire rebondir et de heurter la meule, surtout
en travaillant des coins, des arêtes vives, etc. Ceci
peut causer une perte de contrôle et un rebond.
Le sens d'avance de la mèche dans l'ouvrage lorsque
vous taillez, détourez ou coupez est très important.
Avancez toujours la mèche dans l'ouvrage dans le
sens dans lequel le tranchant sort de l'ouvrage (ce qui
correspond au sens d'éjection des copeaux). L'avance
de l'outil dans le mauvais sens fait sortir le tranchant de
la mèche de l'ouvrage et tire l'outil dans le sens de cette
avance.
Si le matériau ou la mèche se grippe ou se bloque,
mettez l'outil hors tension « OFF » par l'interrupteur.
Attendez que toutes les pièces mobiles
s'immobilisent et débranchez l'outil, procédez ensuite
àdébloquer l'ouvrage bloqué. Si l'interrupteur de
l'outil est laissé en position de marche « ON », l'outil
pourrait se remettre en marche par mégarde et causer
ainsi des blessures graves.
Ne laissez pas un outil en marche sans surveillance,
mettez hors tension. L'outil peut être déposé en toute
sécurité uniquement lorsqu'il s'est arrêté
complètement.
Ne rectifiez et ne poncez pas à proximité de matières
inflammables. Les étincelles provenant de la meule
pourraient enflammer ces matières.
Ne touchez pas la mèche ou la douille après usage.
Après usage, la mèche et la douille sont trop chaudes
pour être touchées à mains nues.
Nettoyez régulièrement les prises d'air de l'outil à
l'aide d'air comprimé. Une accumulation excessive de
métal en poudre à l'intérieur du carter du moteur peut
causer des défaillances électriques.
Ne soyez pas dupé par la familiarité acquise par un
usage fréquent de votre outil rotatif. N'oubliez pas
qu'une fraction de seconde d'insouciance suffit à
infliger des blessures graves.
Ne modifiez pas l'outil et n'en faites pas un usage
erroné. Toute altération ou modification constitue un
usage erroné et peut provoquer des blessures graves.
Ce produit n’est pas destiné à être utilisé comme
fraise dentaire dans des applications médicales
humaines ou vétérinaires. Des blessures graves
peuvent s’ensuivre.
Lorsque vous utilisez les scies en acier,les disques
de découpage, les couteaux à grande vitesse ou les
couteaux au carbure de tungstène, assurez-vous que
la pièce est toujours bien assujettie. Ne tentez jamais
de tenir la pièce d’une seule main tout en utilisant
l’un de ces accessoires. La raison en est que ces roues
grippent lorsqu’elles sont le moindrement inclinées
dans la rainure, et elles peuvent alors rebondir,vous
faisant ainsi perdre le contrôle et causant des blessures
graves. Votre autre main doit servir à stabiliser et guider
la main qui tient l’outil. Lorsqu’un disque de découpage
grippe, on peut généralement s’attendre à ce qu’il se
brise. Lorsque la scie en acier,les couteaux à grande
vitesse ou le couteau au carbure de tungstène grippent,
ils peuvent sauter hors de la rainure et vous pouvez
perdre le contrôle de l’outil.
Les travaux à la machine
tel que ponçage, sciage,
meulage, perçage et autres travaux du bâtiment
peuvent créer des poussières contenant des produits
chimiques qui sont des causes reconnues de cancer,
de malformation congénitale ou d’autres problèmes
reproductifs. Ces produits chimiques sont, par
exemple :
•Le plomb provenant des peintures à base de plomb,
•Les cristaux de silices provenant des briques et du
ciment et d’autres produits de maçonnerie, et
•L’arsenic et le chrome provenant des bois traités
chimiquement.
Le niveau de risque dû à cette exposition varie avec la
fréquence de ces types de travaux. Pour réduire
l’exposition à ces produits chimiques, il faut travailler
dans un lieu bien ventilé et porter un équipement de
sécurité approprié tel que certains masques à poussière
conçus spécialement pour filtrer les particules
microscopiques.
Consignes de sécurité pour outils rotatifs - (suite)
AVERTISSEMENT
!
DM 2610935540 01-07 1/17/07 4:06 PM Page 30

Page 31
Symboles
IMPORTANT : Certains des symboles suivants peuvent être utilisés sur votre outil. Veuillez les étudier et
apprendre leur signification. Une interprétation appropriée de ces symboles vous permettra d'utiliser l'outil de
façon plus efficace et plus sûre.
Symbole Nom Désignation/Explication
V Volts Tension (potentielle)
A Ampères Courant
Hz Hertz Fréquence (cycles par seconde)
W Watt Puissance
kg Kilogrammes Poids
min Minutes Temps
s Secondes Temps
Diamètre Taille des mèches de perceuse, meules,
etc.
n0Vitesse à vide Vitesse de rotation, à vide
.../min Tours ou mouvement alternatif par Tours, coups, vitesse en surface, orbites,
minute etc., par minute
0 Position d'arrêt Vitesse zéro, couple zéro ...
1, 2, 3, ... Réglages du sélecteur Réglages de vitesse, de couple ou de
l, ll, lll, ... position. Un nombre plus élevé signifie
une vitesse plus grande.
Sélecteur variable à l'infini avec arrêt La vitesse augmente depuis le réglage 0
Flèche Action dans la direction de la flèche
Courant alternatif Type ou caractéristique du courant
Courant continu Type ou caractéristique du courant
Courant alternatif Type ou caractéristique du courant
ou continu
Construction classe II Désigne des outils construits avec double
isolation
Borne de terre Borne de mise à la terre
Symbole d'avertissement Alerte l'utilisateur aux messages
d'avertissement.
Sceau Ni-Cad RBRC Désigne le programme de recyclage des piles
Ni-Cad.
A
0
A
0
A
0
A
0
A
A
A
Ce symbole signifie que cet
outil est approuvé par
Underwriters Laboratories.
Ce symbole signifie que cet
outil est approuvé par
l'Association canadienne de
normalisation.
Ce symbole signifie que
cet outil est approuvé
conformément aux normes
canadiennes par Underwriters
Laboratories. Ce symbole
signifie que
cet outil se
conforme aux
normes
mexicaines
NOM.
Ce symbole signifie que cet outil
est approuvé par Underwriters
Laboratories et qu’il a été
homologué selon les normes
canadiennes par Underwriters
Laboratories.
DM 2610935540 01-07 1/17/07 4:06 PM Page 31

Page 32
Débranchez la fiche de la prise de courant avant d'effectuer quelque assemblage
ou réglage que ce soit ou de changer les accessoires. Ces mesures de sécurité
préventive réduisent le risque d'une mise en marche accidentelle de l'outil.
Description fonctionnelle et spécifications
AVERTISSEMENT
!
Numéro de modèle F013039519
Intensité nominale 120V 50 - 60Hz
Amperaje nominal 1,15 A
Régime à vide n05 000-35 000/min
Capacités de la douille 0,8 mm, 1,6 mm, 2,4 mm, 3,2 mm
Outil Rotatif modèle F013039519
CHAPEAU DU
BÂTI
BRIDE DE
SUSPENSION
PRISES
D’AIR
ÉCROU
DE
DOUILLE
L'INTERRUPTEUR
CORDON
PRISES
D’AIR
DOUILLE
POIGNÉE
CAOUTCHOUTÉE
BOUTON
DE BLOCAGE
DE L’ARBRE
DM 2610935540 01-07 1/17/07 4:07 PM Page 32

Page 33
CLÉ
DOUILLE
TAPA DEL
MANGO
NOYAU D'ARBRE
FLEXIBLE
CAPUCHON
D'ENTRAÎNEMENT
CONJUNTO DE
TUERCA
ÉCROU DE
DOUILLE
575 - Accessoire à angle droit
3/4
1/2
1/4
0
DOUILLE
GUIDE
INSERT
VIS DE
RÉGLAGE DE
PROFONDEUR
VIS DE
RÉGLAGE DE
PROFONDEUR
GUIDE
INSERT
ÉCROU
DE
DOUILLE
225 - Arbre flexible
565 - Nécessaire 568 - Kit pour l’extraction
universel de coupe de coulis
ADAPTATEUR
COLLIER
DM 2610935540 01-07 1/17/07 4:07 PM Page 33

Page 34
ÉCROU DE DOUILLE — Pour desserrer, appuyez
d’abord sur le bouton de blocage de l’arbre et tournez
l’arbre à la main jusqu’à ce que le dispositif de blocage
engage l’arbre, empêchant ainsi toute rotation
ultérieure.
N’appuyez pas sur le bouton
de blocage de l’arbre pendant
que le Outil Rotatif est en marche.
L’arbre étant bloqué, utilisez la clé à douille pour
desserrer l’écrou de douille, au besoin. L’écrou de
douille doit être taraudé sans serrer lors de l’insertion
d’un accessoire. Changez les accessoires en insérant le
nouveau le plus loin possible dans la douille de serrage,
réduisant ainsi les possibilités qu’il ne se libère ou ne se
déséquilibre. L’arbre étant bloqué, serrez à la main
l’écrou de douille jusqu’à ce que la tige de l’accessoire
soit retenue solidement par la douille. Évitez de serrer
l'écrou de douille trop fort quand il n'y a pas d'embout.
DOUILLES — Quatre tailles différentes de douilles
(reportez-vous à l’illustration), adaptées à des tailles
différentes de tiges, sont offertes pour votre Outil
Rotatif. Pour poser une autre douille, retirez l’écrou de la
douille ainsi que la douille à remplacer. Insérez
l’extrémité non fendue de la douille dans l’ouverture à
l’extrémité de l’arbre de l’outil. Replacez l’écrou sur
l’arbre.
Utilisez toujours la douille de
même grosseur que la tige de
l’accessoire que vous désirez utiliser. Ne forcez jamais
une tige trop grosse pour la douille.
Remarque : Certains kits d’outils rotatifs peuvent ne pas
inclure les quatre formats de douilles.
ÉQUILIBRAGE DES ACCESSOIRES — Pour le travail de
précision, il est important que tous les accessoires
soient bien équilibrés (tout comme les pneus de votre
voiture). Pour rectifier ou équilibrer un accessoire,
desserrez légèrement l’écrou de la douille, et tournez
l’accessoire ou la douille d’un quart de tour. Resserrez
l’écrou de la douille et mettez le Outil Rotatif en marche.
Le son qui se fait entendre et le maniement de l’outil
devraient vous indiquer si l’accessoire est bien équilibré.
Continuez l’ajustement de cette façon jusqu’à ce que
vous obteniez le meilleur équilibre. Pour maintenir
l’équilibre des pointes de meule abrasive, avant chaque
usage, alors que la pointe de roue est retenue
fermement dans la douille, mettez le Outil Rotatif en
marche et tenez la pierre à rectifier 415 légèrement ap-
puyée sur la pointe de la meule en rotation. Ceci a pour
effet d’éliminer les points élevés tout en rectifiant la
pointe de meule pour un meilleur équilibre.
Vous pouvez suspendre votre outil au crochet de
suspension pour le ranger ou lors de la pose de l’arbre
flexible. Si vous n’utilisez pas le crochet de suspension,
retirez-le de l’outil et remettez-le en place d’un coup sec
en-dessous du cordon de façon à ce qu’il ne gêne pas
l’utilisation de l’outil.
MANDRIN SANS CLÉ DREMEL
N’utilisez qu’avec le mandrin
noir No. 4486. D'autres
mandrins peuvent ne pas permettre le serrage
complet de l'embout d'accessoire.
Le mandrin sans clé maintient divers accessoires avec
des formats de tige d’1/32 à 1/8 po, et est destiné à des
accessoires de faible puissance tels que des forets, des
tambours de ponçage, des accessoires de polissage, des
brosses métalliques ou en soie de porc et des disques de
découpage. Le mandrin sans clé vous permet de
changer d’accessoires fréquemment, rapidement et
facilement. Certaines applications peuvent produire des
pressions élevées sur le foret, ou bien si vous êtes
incapable de créer une pression de serrage des doigts
suffisante pour caler le foret, vous devez utiliser la clé
fournie pour vous aider à le caler.
DOUILLE
ÉCROU
DE
DOUILLE
ÉCROU DE DOUILLE
MANDRIN SANS CLÉ
POUR DESSERRER
POUR SERRER
CLÉ À
DOUILLE
TABLEAU D’IDENTIFICATION DES DOUILLES DE SER-
RAGE — Les tailles des douilles de serrage peuvent
être identifiées par les anneaux à l’extrémité arrière de
la douille.
La douille de 0,8 mm possède un (1) anneau.
La douille de 1,6 mm possède deux (2) anneaux.
La douille de 2.4 mm possède trois (3) anneaux.
La douille de 3,2 mm ne possède aucun anneau.
BOUTON
DE BLOCAGE
DEL’ARBRE
ANNEAUX
D’IDENTIFICATION
DOUILLE
480
3,2 mm DOUILLE
481
2,4 mm
DOUILLE
482
1,6 mm
DOUILLE
483
0,8 mm
Assemblage
MISE EN GARDE
!
MISE EN GARDE
!
Débranchez toujours le
Outil Rotatif avant de
changer les accessoires ou les douilles, ou de faire
l’entretien de votre Outil Rotatif.
AVERTISSEMENT
!
MISE EN GARDE
!
DM 2610935540 01-07 1/17/07 4:07 PM Page 34

Page 35
Fixation du mandrin sans clé et du foret accessoire
Lisez et comprenez le manuel
pour utiliser le mandrin sans
clé avec l’outil. Insérez et serrez bien solidement la tige
de l’accessoire à l’intérieur des mors du mandrin. Si un
accessoire n’est pas convenablement bloqué à l’intérieur
des mors d’un mandrin, il peut se relâcher et se trouver
éjecté lors de son utilisation, risquant de vous porter un
coup, à vous ou à des spectateurs.
Réenclenchez le bouton de verrouillage de l’arbre, insérez la
tige accessoire dans le mandrin et serrez avec les doigts
jusqu’à ce que la tige soit fixée.
Pour les forets de petit format, fermez le mandrin jusqu’à ce
que le foret s’emboîte tout net, puis serrez solidement. Ceci
aide à centrer correctement le foret dans le mandrin sans
clé. Dans certaines applications à pression élevée, telles que
le retrait du métal, le taillage de tuiles ou le toupillage, le
foret (outils de coupe en carbure de tungstène, fraises à
haute vitesse, fers de toupie ou fraises pour tuiles) et le
mandrin deviendront brûlants s’ils sont surmenés pendant
des périodes longues. Le surmenage du mandrin peut
entraîner un relâchement et un glissement du foret. Dans
ces types d’applications, il est recommandé de caler le foret
dans le mandrin avec la clé fournie et de travailler par
intervalles pour permettre un refroidissement du foret et du
mandrin. Si le foret glisse, l’outil commencera à vibrer de
manière excessive. Cela indiquera que vous devrez arrêter
l’outil, repositionner et serrer le foret, puis permettre à
l’outil de marcher à vide pendant quelques minutes pour se
refroidir.
Lemandrin doit occasionnellement être nettoyé pour le
maintenir en bon état de marche. Retirez simplement le
mandrin de l’outil et tapotez doucement l’extrémité du
mandrin sur une surface plate pour ôter les débris épars.
Dans certaines applications, le mandrin sans clé peut se
resserrer en cours d’usage. Si cela arrive, relâchez-le
doucement en utilisant la clé comprise dans votre kit
d’outils rotatifs.
Le Outil Rotatif est un outil polyvalent à grande vitesse.
Il peut servir à découper, aiguiser, polir, poncer, couper,
brosser, percer et davantage.
L’outil rotatif a un petit moteur électrique universel
puissant, il se manie confortablement, et il a été conçu
de manière à recevoir un vaste éventail d’accessoires, y
compris roues abrasives, forets, brosses métalliques,
polissoirs, fraises à graver, fers de toupie, disques de
découpage et accessoires. Les accessoires sont offerts
en différentes formes et ils vous permettent d’exécuter
différentes tâches. À mesure que vous vous
familiariserez avec l’éventail d’accessoires et leurs
usages, vous constaterez la grande souplesse d’emploi
du Outil Rotatif et découvrirez de nombreux usages
auxquels vous n’aviez pas pensé auparavant.
Le véritable secret du Outil Rotatif tient à sa vitesse.
Pour comprendre les avantages de sa grande vitesse, il
vous faut savoir que la perceuse électrique portative
standard fonctionne à des vitesses allant jusqu’à 2800
tours/minute. Le Outil Rotatif fonctionne à des vitesses
allant jusqu’à 35 000 tours/minute. La perceuse élec-
trique standard est un outil à basse vitesse mais à
couple élevé ; le Outil Rotatif est précisément l’inverse,
un outil à grande vitesse mais à couple réduit. La
différence principale du point de vue de l’utilisateur est
que, sur les outils à grande vitesse, la vitesse alliée au
fait que l’accessoire est monté dans la douille de
serrage fait le travail. Il ne vous est nullement néces-
saire d’exercer une pression sur l’outil ; il vous suffit de
tenir et de guider l’outil. Dans le cas des outils à basse
vitesse, non seulement devez-vous guider l’outil, vous
devez également exercer une pression sur celui-ci
comme vous le faites, par exemple, en perçant un trou.
C’est cette grande vitesse, alliée à son format compact
ainsi qu’au vaste éventail d’accessoires spéciaux, qui
distingue l’outil rotatif des autres outils. Sa vitesse lui
permet d’exécuter des tâches, telles que la coupe de
l’acier trempé, la gravure du verre, etc., que des outils à
basse vitesse ne peuvent accomplir.
Pour tirer le maximum de votre Outil Rotatif, il vous
faut apprendre comment mettre cette vitesse à votre
service. Pour en apprendre plus sur les utilisations et la
polyvalence des accessoires Dremel, reportez-vous à ce
manuel ou au livret « Commencer » de Dremel.
Consignes d’utilisation
Affûtage des outils Perçage
Façonnage du bois Sculptage du bois
Ébarbage du métal Coupe du métal
AVERTISSEMENT
!
DM 2610935540 01-07 1/17/07 4:07 PM Page 35

Page 36
Utilisation du Outil Rotatif
Apprendre à utiliser le Outil Rotatif, c’est d’abord en
connaître le maniement. Tenez-le dans votre main pour
en sentir le poids et l’équilibre. Habituez-vous à la forme
conique de son boîtier qui permet d’empoigner le Outil
Rotatif comme s’il s’agissait d’un stylo ou d’un crayon.
L’outil à vitesse variable F013039519. a une poignée au
confort exceptionnel sur la surface de contact avant et
arrière, qui permet à l’utilisateur d’avoir un confort et
une maîtrise supplémentaires au cours de l’usage. Vous
pouvez sentir la différence !
Tenez toujours l’outil éloigné de votre visage. Certains
accessoires peuvent avoir été endommagés durant la
manutention et peuvent alors se séparer en morceaux
lorsqu’ils atteignent une certaine vitesse. Ceci ne
survient pas fréquemment, mais il vaut mieux prévenir.
Pratiquez d’abord sur des matériaux de rebut pour voir
comment fonctionne l’action à haute vitesse de l’outil
rotatif. N’oubliez pas que le travail est accompli par la
vitesse de l’outil et par l’accessoire monté dans la
douille. Vous ne devez pas appuyer sur l’outil ni pousser
celui-ci pendant l’usage.
Abaissez plutôt l’accessoire en rotation, légèrement vers
la pièce, en le laissant toucher l’endroit où vous voulez
commencer la coupe (ou le ponçage ou la gravure,
etc.). Axez vos efforts sur le guidage de l’outil sur la
pièce, en n’exerçant qu’une très faible pression de votre
main. Laissez l’accessoire faire le travail.
Il est habituellement préférable de passer l’outil
plusieurs fois plutôt que de tenter de faire tout le travail
d’une seule fois. Ainsi, pour pratiquer une coupe,
passez l’outil allant-venant sur la pièce, tout comme
vous le feriez avec un petit pinceau. Coupez un peu de
matériau à chaque passage jusqu’à ce que vous
atteigniez la profondeur désirée. L’approche douce et
adroite est celle qui convient le mieux à la plupart des
tâches. Vous exercez ainsi un meilleur contrôle, êtes
moins susceptible de commettre des erreurs, et obtenez
le meilleur rendement de l’accessoire.
Pour obtenir un meilleur contrôle dans le travail de
précision, tenez le Outil Rotatif comme un crayon,
entre le pouce et l’index.
La méthode de maintien de l’outil dans la « paume
de la main » s’utilise pour des opérations plus
énergiques, comme le meulage de surfaces planes
ou l’utilisation de disques de découpage.
Questions ou problèmes ? Composez le 1-800-437-3635.
Portez Des Lunettes De Protection
AVERTISSEMENT
Wear Eye Protection
Portez Des Lunettes De Protection
Use Anteojos De Protección
Chaque fois que vous prenez l’outil, veillez
àne pas couvrir les trous d’aération avec
votre main, ce qui a pour effet d’empêcher l’air de circuler à
l’intérieur et ainsi faire surchauffer le moteur.
AVERTISSEMENT
!
Consignes d’utilisation - (suite)
DM 2610935540 01-07 1/17/07 4:07 PM Page 36

Page 37
Utilisez une pièce d’essai afin de sélectionner la
vitesse convenant à chaque tâche. Changez la vitesse
pour trouver celle convenant le mieux à l’accessoire
que vous utilisez et à la tâche à accomplir.
REMARQUE : Les changements de tension influent sur
la vitesse. Une tension d’entrée réduite ralentira le
régime de l’outil, particulièrement à son réglage le
plus bas. Si l’outil semble tourner lentement,
augmentez le réglage de la vitesse en conséquence.
Si la tension du secteur est inférieure à 120 Volts, il
se peut que l’outil ne démarre pas quand
l’interrupteur est en position 1. Il suffit de mettre le
levier de l’interrupteur sur une position plus élevée
pour démarrer l’outil.
Sur le modèle à vitesse variable, il y a une ligne blanche
sur l’indicateur de l’interrupteur. Glissez-le jusqu’au
chiffre sur le bâti indiquant la vitesse de service requise
allant de 5000 à 35 000 tours/minute. Vous pouvez
consulter les tableaux des pages 50, 51, et 52 pour
déterminer la vitesse appropriée en fonction des
matériaux et du type de couteau ou autre accessoire
utilisé. Ces tableaux vous permettent de sélectionner
d’un coup d’œil tant l’accessoire correct que la
vitesse optimale.
Nécessité de vitesses plus lentes
Cependant, certains matériaux (certains plastiques et
métaux précieux, par exemple) nécessitent une vitesse
relativement lente parce que la friction de l’accessoire à
haute vitesse produit de la chaleur et peut endommager
le matériau.
Les basses vitesses (15 000 tours/minute ou moins)
sont généralement préférables pour les opérations de
polissage ayant recours à des accessoires de polissage
en feutre. Elles peuvent également être préférables pour
certains travaux délicats tels que la sculpture ou la
gravure délicate dans le bois, et les pièces fragiles de
modelage. Toutes les applications de brossage
nécessitent une vitesse plus faible pour éviter que les
fils de fer ne soient éjectés du moyeu de la brosse.
Les vitesses plus élevées sont préférables pour ciseler,
couper, rainurer, façonner, couper des feuillures ou des
moulures dans le bois.
Les bois durs, les métaux et le verre nécessitent une
vitesse élevée, tout comme le perçage qui doit
également être effectué à haute vitesse.
Pour contrôler la vitesse du Outil Rotatif, il suffit de
régler cet indicateur sur le bâti.
Réglages pour le nombre approximatif de
tours/minute du Outil Rotatif modèle F013039519 à
vitesse variable.
Réglage de l’interrupteur Plage de vitesses
2 5000 à 8000 tr/mn
4* 9000 à 11 000 tr/mn
612 000 à 17 000 tr/mn
818 000 à 24 000 tr/mn
10 25 000 à 35 000 tr/mn
*réglage pour brosse métallique
Utilisez uniquement les accessoires de haute
performance mis à l'épreuve par Dremel.
Vitesses de fonctionnement
DM 2610935540 01-07 1/17/07 4:07 PM Page 37

Page 38
Assemblage et fonctionnement des accessoires
Le point à retenir est celui-ci : vous pouvez exécuter la
plupart des tâches avec l’outil à vitesse simple en
utilisant sa vitesse régulière de 35 000 tours/minute.
Cependant, pour certains matériaux et types de tâches,
vous aurez besoin d’une vitesse moindre, ce qui est la
raison pour laquelle les modèles à vitesse variable et
les régulateurs de vitesse furent mis au point.
Pour vous aider à déterminer la vitesse de service
optimale pour différents matériaux ou accessoires,
nous avons préparé une série de tableaux qui
apparaissent aux pages 50, 51 et 52. En consultant ces
tableaux, vous aurez tôt fait de découvrir les vitesses
recommandées pour tous les genres d’accessoires.
Examinez bien ces tableaux pour vous familiariser avec
le contenu de chacun.
En dernière analyse, la meilleure façon de déterminer la
bonne vitesse de travail sur un matériau donné est de
procéder à des essais pendant quelques minutes sur
une pièce de rebut, même après avoir consulté le
tableau. Vous apprendrez vite qu’une vitesse plus lente
ou plus rapide est plus efficace, par une simple
observation de ce qui se produit lorsque vous passez
l’outil une ou deux fois à des vitesses différentes. Ainsi,
lorsque vous travaillez avec une matière plastique,
commencez à basse vitesse et augmentez cette vitesse
jusqu’à ce que vous constatiez que la matière plastique
fond au point de contact. Diminuez la vitesse
progressivement afin d’obtenir la vitesse de travail
optimale.
Certaines règles concernant la vitesse :
1. Les matériaux plastiques et les autres matériaux
qui fondent à basses températures doivent être
coupés à basses vitesses.
2. Le polissage, l’émeulage et le nettoyage à l’aide
d’une brosse métallique doivent se faire à des
vitesses non supérieures à 15 000 tours/minute
afin de prévenir les dommages à la brosse.
3. Le bois doit être coupé à haute vitesse.
4. Le fer ou l’acier doit être coupé à haute vitesse. Si
un couteau à acier rapide commence à claquer,
c’est généralement une indication qu’il tourne trop
lentement.
5. L’aluminium, les alliages de cuivre, les alliages de
plomb, les alliages de zinc, et l’étain peuvent être
coupés à n’importe quelle vitesse, selon le genre de
coupe que l’on effectue. Utilisez de la paraffine ou
tout autre lubrifiant convenable sur le couteau pour
éviter que le matériau coupé n’adhère aux dents du
couteau.
Il ne suffit pas d’accroître la pression sur l’outil lorsqu’il
ne coupe pas à votre satisfaction. Peut-être devriez-
vous utiliser un accessoire différent, et peut-être qu’un
ajustement de vitesse solutionnerait le problème. Faire
pression sur l’outil n’est d’aucune aide.
Laissez la vitesse faire le travail !
Vitesses de fonctionnement - (suite)
l'arbre flexible 225
N’utilisez pas de fers de
défonceuse car cela
provoquerait des rebonds.
DIRECTIVES D’INSTALLATION
Il est très important de lire attentivement et de suivre
les directives de fixation de l’arbre Flex-Shaft sur votre
outil rotatif afin d’assurer que l’outil fonctionne
convenablement.
Attention: Pour optimiser la performance de votre
accessoire, laissez votre arbre flexible neuf tourner à
haute vitesse sur votre outil rotatif en position
verticale pendant 2 minutes avant de l’utiliser.
Pour bien fixer l’arbre Flex-Shaft sur l’outil rotatif,
vous devez retirer de l’outil TROIS éléments : le
capuchon-boîtier, l’écrou du mors et le mors.
Étape 1 : Appuyez sur le bouton de verrouillage de
l’arbre, dévissez et retirez l’écrou du mors.
Étape 1
AVERTISSEMENT
!
DM 2610935540 01-07 1/17/07 4:07 PM Page 38

Page 39
Étape 2 : Dévissez le capuchon-boîtier de l’outil.
Étape 3 : Retirez le mors.
Remarque : si le mors et l’écrou du mors ne sont pas
retirés de l’arbre du moteur, l’outil ne fonctionnera
pas correctement.
Étape 4 : Installez le capuchon conducteur sur l’arbre
du moteur et resserrez-le.
Pour éviter les dommages
àl’outil, évitez de trop
serrer le capuchon conducteur. Resserrez le
capuchon conducteur sans le forcer et serrez-le d’un
tiers de tour de plus avec la clé (la clé est incluse dans
votre trousse d’outil rotatif).
Étape 5 : Fixez en vissant le collet de l’arbre Flex-
Shaft sur l’outil rotatif. Assurez-vous que l’extrémité
carrée de l’arbre central s’insère bien dans l’orifice
carré du capuchon conducteur.
Ne tirez pas sur l’arbre
central pour insérer le
capuchon conducteur.
Ceci pourrait entraîner l’arbre
central hors du manche. Si l’outil s’arrête lorsque l'arbre
flexible est replié, cela pourrait indiquer que l'arbre central
s’est logé dans le capuchon conducteur. Desserrez l’arbre et
retirez l’arbre central du capuchon conducteur. Vissez de
nouveau l'arbre flexible Flex-Shaft sur le boîtier de l’outil.
DIRECTIVES D’USAGE
Débranchement de l’arbre Flex-Shaft
L’arbre flexible pourrait se débrancher si le moteur de votre
outil rotatif ne se trouve pas en position surélevée par
rapport à l’extrémité de l'arbre Flex-Shaft. Le support
d’outils rotatif 2222 est recommandé pour assurer que
l’outil se trouve à la hauteur voulue.
Assemblage du mors et de l’accessoire
L’assemblage du mors comporte un écrou de mors et
un mors. Retirez l’écrou du mors et le mors que vous
avez retirés de l'outil aux étapes 2 et 3 et placez-les
dans la pointe du manche de l'arbre Flex-Shaft.
Insérez l’accessoire ou la fraise aussi profondément que
possible pour éviter toute ondulation pendant l’usage. En
vous assurant que le bouton de verrouillage est enclenché
sur le manche de l’arbre Flex-Shaft, resserrez l’écrou du
mors.
Enlèvement et remplacement du mors
Des mors en quatre dimensions, convenant aux tiges
de différentes tailles, sont vendus séparément pour
l'usage avec l’arbre Flex-Shaft. Pour installer un autre
mors, retirez l’écrou du mors et l’ancien mors. Insérez
l’extrémité sans fente du nouveau mors dans l’orifice à
l’extrémité de l'arbre Flex-Shaft. Remettez l’écrou du
mors en place sur l'arbre. Utilisez toujours un mors
dont la taille correspond à celle de l'accessoire que
vous comptez utiliser. Ne forcez jamais une tige de
trop grande dimension dans un mors.
Graissage de l'arbre flexible — L'arbre flexible doit
être graissé après 25 à 30 heures d'usage. Pour
graisser,dévissez l'ensemble d'arbre flexible du
boîtier du moteur. Tirez le noyau central hors de
l'ensemble d'arbre flexible. Appliquez une pellicule
très mince de graisse de bonne qualité pour service à
températures élevées sur le noyau central.
Pour prévenir les
dommages à l'outil, ne
graissez pas excessivement l'arbre. Une quantité
excessive de graisse fera surchauffer l'outil. On doit
utiliser la graisse d'arbre Dremel No. 5990952 ou une
graisse pour roulements de roues automobiles.
Reposez l'arbre flexible sur l'outil rotatif.
MISE EN GARDE
!
MISE EN GARDE
!
MISE EN GARDE
!
Étape 5
Étape 3Étape 2
Étape 4
DM 2610935540 01-07 1/17/07 4:07 PM Page 39

Page 40
N'utilisez pas l'arbre
flexible s'il présente un
coude accusé. Ceci peut produire une chaleur
excessive et réduire la durée d'utilisation de l'outil et de
l'arbre. Le rayon minimum recommandé est de 127 mm.
Contenu d'un accessoire arbre flexible 225
Qté Description
1 Ensemble d'arbre flexible (1066,8 mm de long)
1 Capuchon d'entraînement
3/4
1/2
1/4
0
3/4
1/2
1/4
0
3/4
1/2
1/4
0
3/4
1/2
1/4
0
Step 1 Step 2 Step 3 Step 4
AVERTISSEMENT
!
#560
Fraise à placoplâtre, à utiliser pour les cloisons
sèches
•Lorsque la fraise n°560 est introduite dans l’outil
MultiPro, s’assurer qu’elle a été insérée le plus loin
possible.
•Lorsqu’un gabarit (une boîte de raccordement) est
utilisé derrière la cloison sèche, utiliser la fraise à
placoplâtre n° 560 et tailler à gauche, c’est-à-dire dans
le sens contraire des aiguilles d’une montre.
#561
Fraise tout usage, à utiliser pour le bois, le plastique,
les cloisons sèches, le fibre de verre, le revêtement
d’aluminium ou de vinyle, les carreaux insonorisants
et les lamellés.
•Lorsque la fraise n° 561 est introduite dans l’outil
MultiPro, s’assurer qu’elle a été insérée le plus loin
possible.
•Pour exécuter des coupes à main levée dans le
placoplâtre – dans le but de réparer un trou dans une
cloison sèche, par exemple – utiliser la fraise tout usage
n° 561 et tailler à droite, c’ est-à-dire dans le sens des
aiguilles d’une montre.
• Avec les fraises n° 561 tout usage, attaquer le
matériau à un angle de 45°, puis redresser doucement l’
outil à 90° avant d’amorcer la coupe.
#562
Fraise à carreaux, à utiliser pour le carrelage mural,
les panneaux de ciment et le plâtre.
•Lorsque la fraise n° 562 est introduite dans l’ outil
MultiPro, il est très important que 1,6 mm à 3,2 mm de
la partie lisse de la queue soit visible au-delà du mors.
•Avec les fraises n° 562 pour carreaux, attaquer le
matériau à un angle de 45°, puis redresser doucement l’
outil à 90° avant d’ amorcer la coupe.
•NE PAS UTILISER SUR LES CARREAUX
CÉRAMIQUES
Assemblage et Fonctionnement des Accessoires
RAYON DE 127 mm
Le guide de coupe 565
Le guide de coupe 565 (vendu séparément) est offert
entièrement assemblé et prêt à l’usage. Pour utilisation
dans des matériaux variés allant jusqu’à 19 mm po
d’épaisseur.Tenez toujours l'outil fermement, en
utilisant une pression lente et régulière pour pratiquer
des coupes.
Pour poser, reportez-vous aux quatre étapes illustrées
ci-après.
Important : Lorsque vous regardez l'outil depuis le
dessus, la lame tourne en sens horaire. Le sens
d'introduction du couteau doit être anti-horaire.
DM 2610935540 01-07 1/17/07 4:07 PM Page 40

Page 41
568 - Kit pour l’extraction de
coulis
L’équipement d’élimination de coulis no 568 est vendu
complètement assemblé et prêt à utiliser. Employer la
fraise no 569 (3,2 mm) lorsque l’espacement entre les
carreaux est supérieur à 3,2 mm. Si l’espacement des
carreaux est supérieur à 3,2 mm, nous vous
recommandons d’utiliser la fraise no 570.
Remarque: Une fraise trop large risique d’endommager
les carreaux ou de subir elle-même des dommages.
1e étape : Détacher le capuchon de la carcasse de
l’outil. Voir la figure 1.
2 e étape: Introduire la fraise à coulis dans l’outil rotatif.
En introduisant la fraise à
coulis no 569 ou 570 dans
l’outil rotatif Dremel, s’assurer qu’elle est retenue
solidement dans le mors du mandrin. Utiliser la clé
pour serrer l’écrou de manière à prévenir que la fraise
se déloge. Ne pas utiliser le mandrin Dremel, no 4486,
avec les fraises à coulis.
3 e étape: Visser l’extension d’élimination de coulis sur
l’outil rotatif.
4 e étape: Ajuster l’extension et la fraise à la profondeur
de coupe désirée.
Réglage de la profondeur de coupe de l’extension
d’élimination de coulis
Le réglage à glissières est doté de marques à intervalles
de 3,2 mm (1/8 po). Celles-ci servent uniquement à titre
de référence pour identifier la profondeur de coupe. Les
nombreuses glissières du dispositif de réglage
permettent de choisir l’orientation de l’extension par
rapport à l’outil. Prendre soin de bien serrer la vis dans
une des nombreuses glissières de positionnement.
Pour régler la profondeur de coupe:
Nettoyage du coulis:
Ne pas éliminer le coulis à plus de 3,2 mm (1/8 po)
sous la face des carreaux. Ajuster le réglage à glissières
et la fraise pour que pas plus de 3,2 mm (1/8 po) de la
fraise ne dépasse la base de l’extension.
Après avoir éliminé 3,2 mm (1/8 po) de coulis, poser un
nouveau coulis à ras des carreaux. Apprêter le nouveau
coulis.
Élimination du coulis pour remplacer un carreau
cassé :
Éliminer tout le coulis entourant le carreau cassé.
Ajuster le réglage à glissières pour que pas plus de 3,2
mm (1/8 po) de la fraise dépasse sous la base de
l’extension. Voir la figure 5. Ne pas retirer une
profondeur de joint de plus de 3,2 mm à la fois. Pour
éliminer tout le coulis, il faudra peut-être faire plusieurs
passes en ajustant chaque fois le réglage à glissières de
3,2 mm (1/8 po) en se référant aux marques blanches
sur le dispositif de réglage.
En enlevant le coulis en profondeur entre les carreaux, il
est possible que l’outil touche des éléments invisibles,
comme des têtes de vis, du mortier, du ciment ou des
clous, qui peuvent coincer la fraise ou la faire
surchauffer, voire même la casser. Si cela se produit,
réduire la vitesse de l’outil et enlever le coulis lentement
en exécutant plusieurs passes. En présence de clous ou
de vis, éliminer le coulis autour de ces articles, car la
fraise ne pourra pas les traverser.
Step 1
Step 2
Step 3
Step 4
1/8"
3,2mm
MISE EN GARDE
!
DM 2610935540 01-07 1/17/07 4:07 PM Page 41

Page 42
Mode d’emploi Toujours tirer la fraise le
long de la ligne de coulis!
Ne pas la pousser! Si la fraise était pousée, elle
pourrait casser. Tenir l’outil comme un bâton de golf
avec l’outil sous l’extension et la fraise orientée vers le
haut.
Avec l'outil à vitesse variable, entre 15 000 et 20 000.
Avec l'outil à deux vitesses, la vitesse recommandée
est la plus faible afin de prévenir les dommages à la
fraise. Ne pas forcer la fraise ou exercer de pression
sur l’arrière de l’outil afin d’éliminer le coulis. Laisser la
vitessse de rotation de la fraise faire le travail.
Directives de sécurité pour l’élimination de coulis
Porter une protection pour les yeux et un masque
antipoussière. Inspecter la fraise à l’affût de tout
dommage. Après avoir installé la fraise, toujours la faire
tourner à vide pendant une minute ; une fraise
endommagée volerait alors en éclats. Ne pas se tenir
devant la fraise ou en ligne directe par rapport à elle.
Toujours utiliser l’outil avec le guide de profondeur à
plat contre la surface de travail.
Ainsi positionné, le guide augmente la stabilité de l’outil
et en améliore la maîtrise.
Le sens de l’avance de la fraise dans le coulis est
important. Toujours traîner ou tirer la fraise dans la
ligne de coulis. La fraise à coulis n’est pas conçue pour
être poussée contre le coulis; avancée dans le mauvais
sens, elle aura tendance à grimper hors de la surface,
entraînant des dommages à la fraise et la possibilité
d’une perte de maîtrise.
Assemblage et Fonctionnement des Accessoires - (Cont.)
AVERTISSEMENT
!
DM 2610935540 01-07 1/17/07 4:07 PM Page 42

Page 43
1
2
3
4
5
FIG. 1 FIG. 2 FIG. 3
FIG. 4 FIG. 5
FIG. 6
575 - Accessoire à angle droit
Avant de commencer, retirer le cache de protection noir
de l'équipement complémentaire au renvoi d'angle en le
faisant glisser. Si le cache ne s'enlève pas facilement,
introduire la queue d'un outil (3.2mm conseillé) dans
l'ouverture du corps de l'équipement au renvoi d'angle
pour empêcher l'arbre de tourner. Puis enlever en
tournant. Fig. 1.
N’utilisez pas le bouton de
blocage de l’arbre de l’outil
rotatif lors du changement d'ustensiles sur
l’accessoire car vous risquez de provoquer des
dommages internes sur ce dernier.
Retirer le cache de protection de votre outil rotatif
comme indiqué sur la fig. 2. Puis appuyer sur le bouton
du système de blocage de votre outil rotatif, dévisser
l'écrou de pince et retirer la pince.
Mettre l'écrou de pince et pince de côté pour le
réinstaller plus tard dans la phase 4.
Installer l'adaptateur d'entraînement ainsi que
l'équipement complémentaire au renvoi d'angle sur
l'arbre du moteur comme indiqué sur la fig. 3, puis serrer.
Ne pas trop serrer
l'adaptateur d'entraînement.
Serrer l'adaptateur à la main puis faire encore 1/3 de tour
avec la clé. (La clé est fournie avec le kit de votre appareil
rotatif)
Visser l'équipement complémentaire sur votre outil
rotatif. Seulement à la main. Remonter la pince et l'écrou
de pince de la phase 2 sur l'axe de sortie de
l'équipement complémentaire. Fig. 4.
L'équipement complémentaire au renvoi d'angle peut
être orienté sur votre outil rotatif dans 12 positions
différentes. L'équipement peut être mis de telle sorte
qu'il soit facile d'accéder au bouton de commande de
vitesse on/off.
Pour mettre l'appareil dans la position désirée, dévisser
la bague de l'équipement au renvoi d'angle jusqu'à ce
qu'il se désenclenche. Retirer l'équipement en le faisant
glisser. Puis repositionner, faire glisser l'équipement sur
l'outil et revisser la bague. Fig. 5.
Pour changer un accessoire, introduire la queue d'un
outil (3,2 mm conseillé) dans l'ouverture du corps de
l'équipement complémentaire pour empêcher l'arbre de
tourner. Alors que l'arbre est bloqué, desserrer l'écrou de
pince et introduire l'accessoire le plus profond possible
pour éviter toute vibration pendant l'utilisation. Il se peut
que vous ayez besoin de retirer le manche de l'ouverture
du corps pour pouvoir introduire l'accessoire sans être
gêné. Fig. 6.
Il est possible que
l’accessoire chauffe lors
d’une utilisation prolongée.
MISE EN GARDE
!
MISE EN GARDE
!
AVERTISSEMENT
!
DM 2610935540 01-07 1/17/07 4:07 PM Page 43

Page 44
Entretien
L’entretien préventif
effectué par des employés
non autorisés peut entraîner un positionnement
erroné des composants et des fils internes, et ainsi
causer des dangers sévères. Il est recommandé que
l’entretien et la réparation de nos outils soient confiés à
un centre de service-usine Dremel ou à un centre de
service après-vente Dremel agréé.
BALAIS DE CHARBON
Les balais et le collecteur de votre outil ont été conçus
pour donner plusieurs heures de fonctionnement sans
aléas. Pour maintenir le moteur en forme, nous
recommandons d’examiner les balais tous les deux à six
mois. Vous ne devriez utiliser que les balais de rechange
d’origine Dremel qui conviennent spécialement à votre
outil.
ENTRETIEN DES BALAIS REMPLAÇABLES
Modèles F013039519
Les balais doivent être inspectés fréquemment lorsque
les outils sont utilisés de façon continue. Si l’outil ne
tourne que sporadiquement, perd de la puissance,
produit des bruits inusités ou tourne à vitesse réduite,
vérifiez les balais. Si vous continuez à utiliser l’outil dans
cet état, vous pourriez l’abîmer de façon permanente.
Le cordon étant débranché, retirez les capuchons des
balais un à la fois, à l’aide d’un petit tournevis, en
tournant le capuchon en sens anti-horaire, et vérifiez
chacun des balais.
Si le balai a moins de 3,2 mm de long et que le bout du
balai qui vient en contact avec le commutateur est
rugueux et/ou piqué, le balai doit être remplacé. Vérifiez
les deux balais. Habituellement, les balais ne s’usent pas
simultanément mais, si l’un d’eux est usé, remplacez les
deux. Assurez-vous que les balais sont posés de la
manière illustrée. La surface courbée du balai doit
suivre la courbe du commutateur.
Après avoir remplacé les balais, on doit faire tourner
l’outil sans charge ; placez-le sur une surface propre et
laissez-le tourner librement pendant cinq minutes sans
charger (ou utiliser) l’outil. Les balais pourront ainsi se
« caler » adéquatement, et chaque jeu de balais durera
plus longtemps. La vie totale de votre outil s’en trouvera
également prolongée car la surface du commutateur
durera plus longtemps.
ROULEMENTS
Les modèle F013039519 ont une construction à double
palier à billes. Dans des conditions normales
d’utilisation, ils ne nécessitent pas de lubrification.
Nettoyage
Pour éviter le risque
d’accidents, débranchez
toujours l’outil de la prise de courant avant de procéder au
nettoyage ou à l’entretien. Vous pouvez très bien le
nettoyer à l’air comprimé. Dans ce cas, portez toujours des
lunettes de sécurité.
Gardez les prises d’air et les interrupteurs propres et libres
de débris. N’essayez pas de les nettoyer en introduisant des
objets pointus dans leurs ouvertures.
Certains agents de nettoyages
et certains dissolvants
abîment les pièces en plastique. Parmi ceux-ci se
trouvent: l’essence, le tétrachlorure de carbone, les
dissolvants de nettoyage chlorés, l’ammoniaque ainsi
que les détergents domestiques qui en contiennent.
Rallonges
Si un cordon de rallonge
s'avère nécessaire, vous
devez utiliser un cordon avec conducteurs de dimension
adéquate pouvant porter le courant nécessaire à votre
outil. Ceci préviendra une chute excessive de tension, une
perte de courant ou une surchauffe. Les outils mis à la terre
doivent utiliser des cordons de rallonge trifilaires pourvus
de fiches à trois broches ainsi que des prises à trois
broches.
DIMENSIONS DE RALLONGES RECOMMANDÉES
OUTILS 120 VOLTS COURANT ALTERNATIF
REMARQUE:Plus le calibre est petit, plus le fil est gros.
Renseignements sur l’entretien
AVERTISSEMENT
!
AVERTISSEMENT
!
AVERTISSEMENT
!
MISE EN GARDE
!
COURBURE
DU BÂTI
CAPUCHON
DU BALAI
RESSORT
DE BALAI
BALAI
L’EXTRÉMITÉ COURBÉE
DU BALAI DOIT SUIVRE
LA COURBE DU BÂTI
Intensité
nominale
de l’outil
Longueur en pieds Longueur en mètres
3-6
6-8
8-10
10-12
12-16
18 16 16 14 .75 .75 1.5 2.5
18 16 14 12 .75 1.0 2.5 4.0
18 16 14 12 .75 1.0 2.5 4.0
16 16 14 12 1.0 2.5 4.0 —
14 12 — — — — — —
25 50 100 150 15 30 60 120
Calibre A.W.G. Calibre en mm2
DM 2610935540 01-07 1/17/07 4:07 PM Page 44

Page 45
225 - Arbre flexible
Permet le contrôle du bout des doigts
pour les coins serrés et les endroits
difficiles d’accès. Le câble de 914,4 de
long se fixe sur les modèle
F013039519.. Sa poignée genre
crayon de 13,0 mm de diamètre ne
chauffe pas et est idéale pour ciselage
léger sur le bois et autres usages.
231 - Table de façonnage et
toupillage
Transforme le Outil Rotatif en une
machine à façonner le bois montée
sur établi. Cramponnez-la à un établi
et vous pourrez alors faire un travail
de qualité professionnelle en
rainurage, ébarbage, mortaisage et
ponçage de formes irrégulières avec
exactitude et facilité. Grande table de
travail de 203,2 mm x 152,4 mm
S’utilise avec les modèle
F013039519..
220 - Poste de Travail
Surface de travail de 152,4 pouces
carrés, 0 à 76,2 mm de profondeur,
pour le perçage de précision, le
toupillage et le rainurage. Table
rainurée pour guides ou serra-flan.
Peut tenir les modèle F013039519..
575 - Accessoire à angle droit
Améliore la polyvalence de votre outil
rotatif Dremel en vous permettant
d’atteindre des zones d’accès difficile.
568-Kit pour l’extraction de coulis
Àutiliser sur coulis pour murs et
plancher •Angle à 30° pour une coupe
maîtrisée •Guides à 180° de distance
pour maintenir le foret centré entre les
carreaux •Montage à vissage facile
2500 - Multi-Vise™
Maintient fermement les outils rotatifs
dans toute position. Maîtrise l’ouvrage
(mains libres) pour de meilleurs
résultats.
Accessoires Dremel
Ajoutez ces accessoires Dremel à votre atelier compact et accroissez la souplesse d’emploi de votre Outil Rotatif.
565 - Nécessaire universel de coupe
•Comprend 2 mèches de coupe de
murs secs (560) et une mèche de
coupe en spirale (561).
•Coupe facilement la fibre de verre, le
bois et les murs secs.
566 - Nécessaire de coupe de
céramique
•Comprend 1 mèche pour coupe de
carrelage en céramique (562).
•Coupe le carrelage mural en
céramique à toute forme.
335 - Accessoire toupie
Façonne, aiguise, biseaute, coupe,
rainure, moulure, etc. Le guide de
bord ajustable s’enlève facilement
pour le toupillage à main libre. Le
modèle 335 peut être utilisé avec les
modèle F013039519.
DM 2610935540 01-07 1/17/07 4:07 PM Page 45

Page 46
Reportez-vous à la section d’informations sur le bon de
commande d’accessoires DREMEL : vous y trouverez les
illustrations des accessoires disponibles. Vous pouvez
vous procurer ces accessoires auprès de votre quin-
caillerie locale ou au centre de bricolage ou d’articles
ménagers le plus proche de chez vous.
Douilles
Si vous vous attendez à utiliser différents accessoires,
nous vous recommandons d’acheter initialement un jeu
complet de quatre douilles. Rangez-les de manière à avoir
la douille de taille appropriée pour tout accessoire ou foret
que vous désirez utiliser. Les douilles de 3,2 mm, 2,4
mm, 0,8 mm et 1,6 mm peuvent actuellement recevoir
tous les accessoires Dremel offerts. Les douilles d’1/8
po sont comprises dans la plupart des kits d’outils
rotatifs.
Mandrins
Un mandrin est une tige à embout fileté ou à vis qui est
nécessaire pour l’utilisation d’accessoires de polissage, de
disques de découpage, de disques de ponçage ou de
meules de polissage. Les mandrins sont utilisés parce que
les disques de ponçage, les disques de découpage et les
accessoires similaires doivent être remplacés souvent. Le
mandrin est une tige permanente, ce qui vous permet de
ne remplacer que la tête usée au besoin et d’économiser
les frais de remplacer l’arbre chaque fois.
Mandrin à vis No. 401
Il s’agit d’un mandrin à vis utilisé avec la pointe de polis-
sage en feutre et les disques de polissage en feutre. Tiges
de 3,2 mm.
Mandrin à petite vis No. 402
Il s’agit d’un mandrin avec une petite vis à son extrémité. Il
s’utilise avec les disques de découpage en émeri et en fibre
de verre, les disques de ponçage et les disques de
polissage. Tiges de 3,2 mm.
Mandrin à extrémité filetée No. 424
Il s’agit d’un mandrin présentant une extrémité filetée qui
se visse dans la pointe de polissage, accessoire No. 427.
Tiges de 3,2 mm.
Couteaux à grande vitesse
Offerts en un grand nombre de formes, les couteaux à
grande vitesse servent à ciseler, couper et mortaiser dans
le bois, les matières plastiques et les métaux mous tels
que l’aluminium, le cuivre et le laiton. Ce sont les acces-
soires à utiliser pour le détourage à main libre ou le cise-
lage dans le bois ou le plastique, ainsi que pour le coupage
de précision. Faits d’acier de haute qualité. Tiges de 3,2
mm.
Couteaux au carbure de tungstène
Ces couteaux résistants et de longue durée sont destinés à
être utilisés sur l’acier trempé, la céramique cuite et autres
matériaux très durs. On peut s’en servir pour graver les
outils et le matériel de jardinage. Tiges de 3,2 mm.
Couteaux à graver
Ce groupe présente un vaste éventail de tailles et de
formes, et ces couteaux sont conçus pour le travail délicat
sur la céramique (à l’état vert), les sculptures en bois, les
bijoux et la gravure sur coquillages, os, etc. On les utilise
souvent dans le travail complexe de production des pla-
quettes à circuits imprimés. Ils ne doivent pas être utilisés
sur l’acier et autres matériaux très durs, mais ils sont ex-
cellents sur le bois, les matières plastiques et les métaux
mous. Ils nécessitent la tiges de 2,4 mm.
Couteaux au carbure de tungstène
(aux dents nervurées)
Les dents très affilées, à coupe rapide, enlèvent une plus
grande quantité de matériau tout en se chargeant le moins
possible. S’emploient sur la fibre de verre, le bois, les
matières plastiques, l’époxyde et le caoutchouc. Tiges de
3,2 mm et 2,4 mm.
Meules en oxyde d’aluminium (rouge/brun)
Rondes, pointues, plates : elles sont offertes dans toutes
les formes. Ces meules sont faites d’oxyde d’aluminium et
elles couvrent pratiquement chaque application de meu-
lage. Vous pouvez les utiliser pour aiguiser les lames de
tondeuse à gazon, les pointes de tournevis, les couteaux,
les ciseaux, les burins et autres outils de coupe. Utilisez-
les pour enlever les bavures sur les pièces coulées en
métal, ébarber tout métal après la coupe, lisser les joints
soudés, meuler les rivets et enlever la rouille. Ces meules
peuvent être réaiguisées avec une pierre d’ébarbage. Dans
les ateliers d’usinage, les forets et les couteaux pour usage
àgrande vitesse sont généralement meulés à l’aide de dis-
ques en oxyde d’aluminium. Tiges de 3,2 mm.
Meules au carbure de silicium (bleu/vert)
Plus robustes que les pointes en oxyde d’aluminium, ces
meules sont conçues spécialement pour usage sur les
matériaux durs tels que le verre et la céramique. On les
utilise souvent pour enlever les marques et l’excès de
glaçure sur la céramique, ainsi que la gravure sur le verre.
Tiges de 3,2 mm.
Pointes de meule en diamant
Excellentes pour le travail de précision sur le bois, le jade,
la céramique, le verre et autres matériaux durs. Les
mèches sont recouvertes de particules de diamant. Tiges
de 2,4 mm.
Accessoires Dremel
Utilisez uniquement les accessoires de haute performance mis à l'épreuve par Dremel.
Aucun des autres accessoires n’a été conçu pour cet outil. Leur usage pourrait occasionner
des blessures corporelles ou des dommages matériels.
AVERTISSEMENT
!
DM 2610935540 01-07 1/17/07 4:07 PM Page 46

Page 47
Brosses métalliques
Trois formes différentes de brosses en fil métallique sont
offertes. Pour obtenir de meilleurs résultats, les brosses
en fil métallique doivent être utilisées à des vitesses ne
dépassant pas 15 000 tr/min. Référez-vous au chapitre
sur les vitesses d’utilisation pour déterminer le réglage
approprié de l’outil. Les trois formes sont offertes en trois
matériaux différents : acier inoxydable, laiton et fil de
carbone. L'acier inoxydable est efficace sur l'étain,
l'aluminium, l'acier inoxydable et les autres métaux, sans
laisser d'« après-rouille ». Les brosses en laiton ne
forment pas d'étincelles et sont plus douces que l'acier, ce
qui les rend adaptées pour usage sur les métaux mous tels
que l'or, le cuivre et le laiton. Les brosses en fil de carbone
sont bonnes pour le nettoyage à usage général.
Brosses en soie de porc
Ces brosses conviennent parfaitement bien au nettoyage
de l’argenterie, des bijoux et des objets d’antiquité. Les
trois formes permettent d’atteindre les angles étroits et
autres endroits difficiles d’accès. Les brosses en soie de
porc peuvent être utilisées avec la pâte à polir pour ac-
célérer le nettoyage ou le polissage.
Pression de brossage
1. Souvenez-vous : ce sont les pointes d’une brosse
métallique qui font le travail. N’appliquez qu’une
pression très légère sur la brosse de sorte que seules les
pointes des poils viennent en contact avec la pièce.
2. Si vous appliquez une pression trop importante, les
poils seront surchargés, résultant en un balayage de la
pièce. Si ceci se prolonge, la durée de vie de la brosse
s’en trouvera écourtée à cause de la fatigue des poils.
3. Appliquez la brosse sur la pièce de manière à ce que
la plus grande partie possible de sa tranche soit en
contact total avec la pièce. Appliquer le côté ou le bord
de la brosse sur la pièce résulterait en une cassure des
poils et écourterait sa durée de vie.
Accessoires de polissage
Ceux-ci comprennent une pointe ainsi qu’un disque à polir,
tous deux imbibés, pour lisser les surfaces métalliques ;
une pointe et un disque en feutre ainsi qu’un disque en
tissu servant tous à polir les matières plastiques, les
métaux et les petites pièces de bijouterie. Ce groupe com-
prend également une pâte à polir (No. 421) pour usage
avec les disques à polir en feutre et en tissu.
Les pointes de polissage produisent une surface très lisse,
mais la surface est plus éclatante lorsque l’on utilise les
disques en feutre ou en tissu et la pâte à polir. Pour de
meilleurs résultats, les accessoires de polissage
doivent être utilisés à des vitesses non supérieures à 15
000 tr/min. Référez-vous au chapitre sur les vitesses
d’utilisation pour déterminer le réglage approprié de
l’outil.
Aucun pâte à polir n’est nécessaire si on utilise le disque à
polir No. 425, la pointe à polir No. 427.
Meules abrasives en oxyde d’aluminium
Servent à enlever la peinture, ébarber le métal et polir
l’acier inoxydable ainsi que les autres métaux. Offertes en
grains fin et moyen. Tiges de 3,2 mm.
Accessoires de ponçage
Les disques de ponçage, à grains fin, moyen et gros, sont
adaptés au mandrin No. 402. Ils peuvent être utilisés pour
pratiquement toute petite tâche de ponçage à exécuter,
allant de la fabrication de maquettes à la finition de beaux
meubles. Ces accessoires comprennent également le tam-
bour ponceur, petit tambour qui s’insère dans le Outil
Rotatif et permet de façonner le bois, de lisser la fibre de
verre, de poncer l’intérieur des courbes et autres endroits
difficiles, et d’accomplir d’autres tâches de ponçage. Vous
remplacez les bandes de ponçage sur le tambour à mesure
qu’elles s’usent et perdent leur grain. Les bandes sont
offertes en grains fin ou gros. Les disques lamellaires
meulent et polissent les surfaces plates ou à contours. Ils
peuvent être utilisés le plus efficacement possible en tant
que ponceuses de finition après avoir procédé à un
ponçage de surface et à une extraction de matériaux plus
intensifs. On peut trouver des disques lamellaires à grain
fin et à gros grain. Les buffles sont un excellent accessoire
de finition pour le nettoyage et le ponçage léger.Ils sont
d’un usage efficace sur le métal, le verre, le bois,
l’aluminium et le plastique. Les buffles à gros grain et à
grain moyen sont vendus ensemble. Tiges de 3,2 mm.
Meule
Utiliser pour ébavurer, enlever la rouille et la rectification à
usage général. Utiliser avec le mandrin No. 402.
15°
CORRECT
Les pointes des poils font le travail.
INCORRECT
Pression excessive risquant de briser les poils.
DM 2610935540 01-07 1/17/07 4:07 PM Page 47

Page 48
Disques de découpage
Ces disques minces en fibre de verre ou émeri servent à
trancher, couper et autres opérations du genre. Utilisez-les
pour couper les têtes de boulon et écrous gelés, ou pour
refaire la fente d’une tête de vis qui est si abîmée que le
tournevis n’y a plus de prise. Très efficaces pour couper les
câbles BX, les petites tiges, les tubes et les câbles, ainsi que
pour pratiquer des trous rectangulaires dans la tôle.
Mèche pour coupe de murs secs
Vous donne des coupes rapides et nettes dans les murs
secs.
Mèche pour coupe de carrelage
Coupe le carrelage des murs en céramique, les plaques de
ciment et le plâtre.
Mèche pour coupe en spirale
Coupe à travers tous les types de bois et bois composites.
Fers de défonceuse en acier rapide
Pour le défonçage, la marqueterie et le mortaisage du bois
et autres matériaux mous. Utilisez-les avec l’accessoire de
défonçage Dremel No 330 et la table de toupillage Dremel
No 231.
Accessoires Dremel - (suite)
DM 2610935540 01-07 1/17/07 4:07 PM Page 48

Page 49
Pour remplacer une bande sur la ponceuse à tambour,desserrez la vis sans la retirer pour contracter le tambour,
puis faites glisser la vieille bande à l'extérieur. Faites glisser la nouvelle bande de ponçage sur la ponceuse, puis
donnez de l'expansion au tambour en serrant à nouveau la vis.
Avant chaque usage, vérifiez pour vous assurer que tous les composants sont
assemblés sur la tige de l'accessoire et que le tambour est suffisamment étendu pour
fixer solidement la bande durant l'utilisation. Si la bande de ponçage est lâche sur le tambour durant le
fonctionnement, elle peut être projetée et vous frapper ou frapper les personnes présentes.
AVERTISSEMENT
!
Le mandrin No. 401 s'emploie avec les meules et l'embout de polissage en feutre. Insérez l'embout sur la vis
soigneusement. L'embout en feutre doit descendre droit sur le mandrin de la vis, et il doit être tourné complètement
jusqu'à la douille.
Le mandrin No. 402 possède une petite vis à son extrémité, et cette vis est utilisée avec les patins de ponçage et les
meules de coupe à l'émeri. Les vitesses élevées, habituellement les vitesses maximales, sont celles qui conviennent
le mieux à la plupart des tâches, y compris la coupe de l'acier qui est illustrée ici.
Le filet de la vis à métaux sur le mandrin No. 424 se visse dans la pointe à polir No. 427. Ce mandrin et les
autres mandrins filetés doivent être vissés fermement sur la douille avant d'être utilisés.
DM 2610935540 01-07 1/17/07 4:07 PM Page 49

Page 50
1010
10
NUMÉRO DE
CATALOGUE BOIS
TENDRE BOIS
DUR
STRATIFIÉS
MATIÈRES PLASTIQUES
ACIER ALUMINIUM,
LAITON, ETC. COQUILLE /
PIERRE CÉRAMIQUE VERRE
RÉGLAGES DE VITESSE
* Vitesse pour coupes légères, risque de brûlures sur rainures profondes.
• Selon le sens de coupe par rapport au grain du bois.
COUTEAUX À COUPE RAPIDE
COUTEAUX À GRAVER
100, 121, 131
114, 124, 134, 144
190
118, 191, 192, 193, 194
116, 117, 125, 196
115
198
199
10
10
10
10*
10*
10*
8
6
6
8*
6*
6*
4
4
4
4
4
4
6
6
6
6
6
6
10
10
10
10
10
10
10
10
10
6
10
10
6
10
8
8
6
4
4
4
4
4
4
4
6
6
8
6
6
6
6
6
8
6
10
10
6
6
6
6
Utilisez uniquement les accessoires de haute performance mis à l'épreuve par Dremel.
105, 108
106, 109
107, 110
111
112
113
10
10
10
10*
10*
10*
POINTES DE MEULE EN DIAMANT
7103, 7105, 7117, 7120,
7122, 7123, 7134, 7144 10 8
9931, 9932, 9933, 9934,
9935, 9936 10 8 4 6
COUTEAUX AU CARBURE DE TUNGSTÈNE
COUTEAUX AU CARBURE DE TUNGSTÈNE À DENT STRUCTURÉE
9901, 9902, 9903, 9904,
9905, 9906, 9912 10 8 4 10 6
9909, 9910, 9911
8-108
8-10 8-10
8
8-10
DM 2610935540 01-07 1/17/07 4:07 PM Page 50

Page 51
8-10
8
6-10
2-4
2-4
2-4
10 10
10
10
6-8
10
6-8
10
409, 420, 426, 540
542
545
560
561
562
10
8-10
6-10
83142, 83322, 83702,
84922, 85422, 85602,
85622
903, 911, 921, 932, 941,
945, 952, 953, 954, 971,
997, 8153, 8175, 8193,
8215
610 4
4 6
610 10
ACCESSOIRES DE COUPE
612, 640
615, 617, 618, 650, 652
654
10*
10*
10*
10 1010 8
8•
10•
8•
POINTES ABRASIVES
516, 517, 518
500
4-6
4-6
4-6
4-6
8
6-8
6
4-6
NUMÉRO DE
CATALOGUE BOIS
TENDRE BOIS
DUR
STRATIFIÉS
MATIÈRES PLASTIQUES
ACIER ALUMINIUM,
LAITON, ETC. COQUILLE /
PIERRE CÉRAMIQUE VERRE
RÉGLAGES DE VITESSE
* Vitesse pour coupes légères, risque de brûlures sur rainures profondes.
• Selon le sens de coupe par rapport au grain du bois.
MÈCHES DE TOUPILLAGE À HAUTE VITESSE
Utilisez uniquement les accessoires de haute performance mis à l'épreuve par Dremel.
541
453, 454, 455
46
10 1010 8
10
MEULES AU CARBURE DE SILICIUM
MEULES À L’OXYDE D’ALUMINIUM
PIERRES À AFFÛTER POUR TRONÇONNEUSE A CHAÎNE
À utiliser sur du placoplâtre. Pour un résultat optimal, utiliser à 30 000 tr/min.
DM 2610935540 01-07 1/17/07 4:07 PM Page 51

Page 52
461, 462, 463
414, 422, 429
425, 427
423
403, 404, 405
530, 531, 532
428, 442, 443
535, 536, 537
8
6
8
6-8
6
4
6
4
4
4
6
4
4
6
4
2-4
2
8
6
8
6-8
6
6
4
8
6
6-8
8
6
6-8
4
8
6
6-8
NUMÉRO DE
CATALOGUE BOIS
TENDRE BOIS
DUR
STRATIFIÉS
MATIÈRES PLASTIQUES
ACIER ALUMINIUM,
LAITON, ETC. COQUILLE /
PIERRE CÉRAMIQUE VERRE
RÉGLAGES DE VITESSE
* Vitesse pour coupes légères, risque de brûlures sur rainures profondes.
• Selon le sens de coupe par rapport au grain du bois.
ACCESSOIRES DE POLISSAGE
430, 431, 438
439, 440, 444
407, 408, 432
411, 412, 413
502, 503, 504, 505 10 10 8-108 2
2-10
2-10
2-10
8
2-10
2-10
2-10
2-10
2-10
2-10
2-10
2-10
2-10
8
2-6
2-6
2-6
2-4
10
10
10
10
10
10
2-4
RUBANS ET DISQUES DE PONÇAGE
DISQUES LAMELLAIRES
569, 570 À utiliser sur coulis pour murs et plancher
FORETS POUR EXTRACTION DE COULIS
150 10 6
6-8
8-10 2-4
FORET
5116 6 6
6 4
BUFFLES ABRASIFS DE FINITION
Utilisez uniquement les accessoires de haute performance mis à l'épreuve par Dremel.
DM 2610935540 01-07 1/17/07 4:07 PM Page 52

Pagina 53
Remarques :
DM 2610935540 01-07 1/17/07 4:07 PM Page 53

Page 54
Garantie limitée de Dremel™
Votre produit Dremel est garanti contre les vices de matériau ou de façon pendant un délai de cinq ans à
compter de la date d’achat. Dans l’hypothèse où le produit ne se conformerait pas à cette garantie écrite,
veuillez procéder de la façon suivante :
1. NE RAPPORTEZ PAS votre produit à l’endroit où vous l’avez acheté.
2. 2. Emballez avec soin le produit seul, sans aucun autre article, et renvoyez-le, port payé,
accompagné :
A. d’une copie de votre justificatif d’achat daté (veuillez en garder une copie pour
vous-même)
B. d’une déclaration écrite concernant la nature du problème
C. d’une indication de vos nom, adresse et numéro de téléphone, à l’adresse suivante :
ÉTATS-UNIS
Dremel Service Center Dremel Service Center
4915 21st Street OU 4631 E. Sunny Dune
Racine, WI 53406 Palm Springs, CA 92264
CANADA À L’EXTÉRIEUR DU TERRITOIRE
Giles Tool Agency CONTINENTAL DES ÉTATS-UNIS
47 Granger Av. Consultez votre distributeur local ou
Scarborough, Ont. écrivez à Dremel : 4915 21st Street
Canada M1K 3K9 Racine, WI 53406
1-416-287-3000
Nous vous recommandons d’assurer le paquet contre la perte ou les dommages en cours de
route dont nous ne pouvons assumer la responsabilité.
Cette garantie n’est offerte qu’à l’acheteur enregistré d’origine. LES DOMMAGES AU PRODUIT
RÉSULTANT DE MANIPULATIONS ABUSIVES, D'ACCIDENTS, D'USAGES ABUSIFS, DE
NÉGLIGENCE, DE RÉPARATIONS OU D'ALTÉRATIONS NON AUTORISÉES, D'UTILISATION
D’ACCESSOIRES NON APPROUVÉS OU D'AUTRES CAUSES NON LIÉES AU MATÉRIAU OU À LA
FAÇON NE SONT PAS COUVERTS PAR CETTE GARANTIE.
Aucun employé, mandataire, vendeur ou autre personne n’est autorisé à accorder des garanties
au nom de Dremel. Si l’inspection effectuée par Dremel révèle que le problème a été causé par
un problème de matériau ou de façon dans les limites de la garantie, Dremel réparera ou
remplacera le produit gratuitement et renverra le produit en port payé. Si elles peuvent être
effectuées, les réparations rendues nécessaires par l’usure normale ou un usage abusif, ou les
réparations du produit une fois la période de garantie expirée, seront facturées aux tarifs
réguliers de l’usine.
DREMEL N’ACCORDE AUCUNE AUTRE GARANTIE DE QUELQUE NATURE QUE CE SOIT, EXPLICITE
OU IMPLICITE, ET TOUTES LES GARANTIES IMPLICITES DE COMMERCIALISATION ET
D’APTITUDE À UN USAGE PARTICULIER EN PLUS DE L’OBLIGATION SUSVISÉE SONT REJETÉES
PAR LES PRÉSENTES PAR DREMEL ET EXCLUES DE CETTE GARANTIE LIMITÉE.
Cette garantie vous accorde certains droits précis, et vous pouvez également avoir d’autres droits qui
varient d’un endroit à un autre. L’obligation du garant se limite à réparer ou remplacer le produit. Le
garant n’est responsable d’aucun dommage accessoire ou indirect attribuable à de telles défaillances
alléguées. Certaines juridictions ne permettent pas l’exclusion ou la limitation des dommages
accessoires ou indirects ; il se peut donc que les limitations ou l’exclusion qui précède ne
s’appliquent pas à vous.
En ce qui concerne les prix et la façon de vous prévaloir de la garantie sur le territoire continental des
États-Unis, mettez-vous en contact avec votre distributeur Dremel local.Exportado por: Robert
Bosch Tool Corporation Mt. Prospect, IL 60056 -2230, E.U.A.
Importado en México por: Robert Bosch, S.A. de C.V., Calle Robert Bosch No. 405, Zona
Industrial, Toluca, Edo. de México, C.P. 50070, Tel. (722) 2792300
DM 2610935540 01-07 1/17/07 4:07 PM Page 54

Pagina 55
Manual del usuario de la
herramienta rotativa
del 75 aniversario
Modelo F013039519
P.O. Box 1468
Racine, Wisconsin 53401
1-800-437-3635
http://www.dremel.com
©
Robert Bosch Tool
Corporation
2007
Todos los derechos
reservados
•Seguridad
•Ensamblaje
•Funcionamiento
•Mantenimiento
•Información sobre accesorios
•Lista de juegos de accesorios
•Garantía
•Piezas de repuesto
Los productos de la marca Dremel son fabricados y vendidos por la
División Dremel de Robert Bosch Tool Corporation
DM 2610935540 01-07 1/17/07 4:07 PM Page 55

Pagina 56
Normas de seguridad para herramientas mecánicas
Area de trabajo
Mantenga el área de trabajo limpia y bien iluminada.
Las mesas desordenadas y las áreas oscuras invitan a
que se produzcan accidentes.
No utilice herramientas mecánicas en atmósferas
explosivas, tales como las existentes en presencia de
líquidos, gases o polvos inflamables. Las herramientas
mecánicas generan chispas y éstas pueden dar lugar a la
ignición del polvo o los vapores.
Mantenga a las personas que se encuentren
presentes, a los niños y a los visitantes alejados al
utilizar una herramienta mecánica. Las distracciones
pueden hacer que usted pierda el control.
Seguridad eléctrica
Las herramientas con aislamiento doble están
equipadas con un enchufe polarizado (un terminal es
más ancho que el otro). Este enchufe entrará en un
tomacorriente polarizado solamente de una manera.
Si el enchufe no entra por completo en el
tomacorriente, déle la vuelta. Si sigue sin entrar,
póngase en contacto con un electricista competente
para instalar un tomacorriente polarizado. No haga
ningún tipo de cambio en el enchufe. El aislamiento
doble elimina la necesidad del sistema de cordón de
energía de tres hilos conectado a tierra y la fuente de
energía conectada a tierra. Antes de enchufar la
herramienta, asegúrese de que la tensión del
tomacorriente suministrada se encuentre dentro del
margen de la tensión especificada en la placa del
fabricante. No utilice herramientas con capacidad
nominal "AC solamente" ("AC only") con una fuente de
energía DC.
Evite el contacto del cuerpo con las superficies
conectadas a tierra tales como tuberías, radiadores,
estufas de cocina y refrigeradores. Hay mayor riesgo
de que se produzcan sacudidas eléctricas si su cuerpo
está conectado a tierra. Si la utilización de la herramienta
mecánica en lugares húmedos es inevitable, se debe
usar un interruptor de circuito para fallos a tierra para
suministrar la energía a la herramienta. Los guantes de
goma para electricista y el calzado antideslizante
aumentarán más la seguridad personal.
No exponga las herramientas mecánicas a la lluvia ni
asituaciones húmedas. La entrada de agua en una
herramienta mecánica aumentará el riesgo de que se
produzcan sacudidas eléctricas.
No abuse del cordón. Nunca use el cordón para llevar las
herramientas ni para sacar el enchufe de un
tomacorriente. Mantenga el cordón alejado del calor, el
aceite, los bordes afilados o las piezas móviles. Cambie
los cordones dañados inmediatamente. Los cordones
dañados aumentan el riesgo de que se produzcan
sacudidas eléctricas.
Al utilizar una herramienta mecánica a la intemperie,
utilice un cordón de extensión para intemperie
marcado "W-A" o "W". Estos cordones tienen capacidad
nominal para uso a la intemperie y reducen el riesgo de
que se produzcan sacudidas eléctricas. Consulte
"Tamaños recomendados de los cordones de extensión"
en la sección Accesorios de este manual.
Seguridad personal
Manténgase alerta, fíjese en lo que está haciendo y
use el sentido común cuando utilice una herramienta
mecánica. No use la herramienta cuando esté cansado
ose encuentre bajo la influencia de drogas, alcohol o
medicamentos. Un momento de distracción al utilizar
herramientas mecánicas puede dar lugar a lesiones
personales graves.
Vístase adecuadamente. No se ponga ropa holgada ni
joyas. Sujétese el pelo. Mantenga el pelo, la ropa y
los guantes alejados de las piezas móviles. La ropa
holgada, las joyas o el pelo largo pueden quedar
atrapados en las piezas móviles. Mantenga los mangos
secos, limpios y libres de aceite y grasa.
Evite el arranque accidental. Asegúrese de que el
interruptor esté en la posición "OFF" (apagado) antes
de enchufar la herramienta. El llevar las herramientas
con el dedo en el interruptor o el enchufar herramientas
que tengan el interruptor en la posición "ON" (encendido)
invita a que se produzcan accidentes.
Quite las llaves de ajuste o de tuerca antes de
encender la herramienta. Una llave de ajuste o de
tuerca que se deje puesta en una pieza giratoria de la
herramienta puede ocasionar lesiones personales.
No intente alcanzar demasiado lejos. Mantenga un
apoyo de los pies y un equilibrio adecuados en todo
momento. El apoyo de los pies y el equilibrio adecuados
permiten un mejor control de la herramienta en
situaciones inesperadas.
Utilice equipo de seguridad. Use siempre protección
de los ojos. Se debe utilizar una máscara antipolvo,
zapatos de seguridad antideslizantes, casco o protección
de los oídos según lo requieran las condiciones.
Utilización y cuidado de las herramientas
Utilice abrazaderas u otro modo práctico de fijar y
soportar la pieza de trabajo a una plataforma estable.
La sujeción de la pieza de trabajo con la mano o contra
el cuerpo resulta inestable y puede ocasionar pérdida de
control.
No fuerce la herramienta. Use la herramienta correcta
para la aplicación que desea. La herramienta correcta
hará el trabajo mejor y con más seguridad a la capacidad
nominal para la que está diseñada.
No utilice la herramienta si el interruptor no la
enciende o apaga. Toda herramienta que no se pueda
controlar con el interruptor es peligrosa y debe ser
Lea y entienda todas las instrucciones. El incumplimiento de todas las instrucciones indicadas
acontinuación puede dar lugar a sacudidas eléctricas, incendios y/o lesiones personales graves.
CONSERVE ESTAS INSTRUCCIONES
ADVERTENCIA
!
DM 2610935540 01-07 1/17/07 4:07 PM Page 56

Pagina 57
Los accesorios deben tener capacidad nominal para al
menos la velocidad recomendada en la etiqueta de
advertencia de la herramienta. Las muelas y otros
accesorios que funcionen a velocidades superiores a la
velocidad nominal pueden saltar en pedazos y causar
lesiones.
Sujete siempre la herramienta por las superficies de
agarre aisladas al realizar una operación en la que la
herramienta de corte pueda entrar en contacto con
cables ocultos o con su propio cordón. El contacto con
un cable con corriente transmitirá corriente a las piezas
metálicas al descubierto y hará que el operador reciba
sacudidas eléctricas. Si el corte en paredes existentes u
otras áreas ciegas donde puedan existir cables eléctricos
es inevitable, desconecte todos los fusibles o
cortacircuitos que alimentan el lugar de trabajo.
La siguiente advertencia está destinada a las
herramientas y los accesorios de eje flexible. No
utilice el eje flexible en una posición en la que el eje
esté muy doblado. Doblar el eje excesivamente puede
generar calor excesivo en la envoltura o en la pieza de
mano. El mínimo recomendado es un radio de 15,3 cm
(6”).
Desconecte siempre el cordón de energía de la fuente
de energía antes de hacer cualquier ajuste o de colocar
cualquier accesorio. Es posible que inesperadamente
usted haga que la herramienta arranque, dando lugar a
graves lesiones personales.
Sepa la ubicación del interruptor. Al dejar la herramienta
oal recogerla, usted podría activar el interruptor
accidentalmente.
La advertencia siguiente está destinada a las
herramientas y los accesorios de eje flexible. Sostenga
siempre firmemente la pieza de mano en las manos
durante el arranque. El par de torsión de reacción del
motor, a medida que éste acelera hasta alcanzar toda su
velocidad, puede hacer que el eje se tuerza.
Use siempre gafas de seguridad y máscara antipolvo.
Use la herramienta únicamente en un área bien
ventilada. La utilización de dispositivos de seguridad
personal y el trabajar en un entorno seguro reducen el
riesgo de que se produzcan lesiones.
Después de cambiar las brocas o de hacer ajustes,
asegúrese de que la tuerca del portaherramienta y
otros dispositivos de ajuste estén apretados
firmemente. Un dispositivo de ajuste flojo puede
desplazarse inesperadamente, causando pérdida de
control, y los componentes giratorios flojos saldrán
despedidos violentamente.
No ponga las manos en el área de la broca que gira.
Es posible que la proximidad de la mano a la broca que
gira no siempre sea obvia.
Deje que los cepillos estén en marcha a la velocidad
de funcionamiento durante al menos un minuto antes
de utilizar la rueda. Durante este tiempo nadie debe
situarse delante del cepillo o en línea con éste. Las
cerdas o los alambres sueltos se desprenderán durante el
tiempo de rodaje.
Los cepillos de cerda nunca deben utilizarse a
velocidades superiores a 15 000/min. Dirija la
descarga de la escobilla de alambre que gira de
manera que se aleje de usted. Durante la acción de
"limpieza" con estas escobillas pueden descargarse
pequeñas partículas y diminutos fragmentos de alambre a
alta velocidad que pueden incrustarse en la piel. Las
cerdas o los alambres se desprenderán del cepillo a altas
velocidades.
Use guantes protectores y careta protectora con los
cepillos de alambre o de cerdas. Aplique suavemente
los cepillos de alambre o de cerdas a la pieza de
trabajo, ya que solamente las puntas de los alambres o
de las cerdas realizan el trabajo. Una presión "grande"
sobre los alambres o las cerdas hará que estas partes
resulten sometidas a una tensión excesiva, lo cual dará
como resultado una acción de barrido y hará que las
cerdas o los alambres se desprendan.
Maneje cuidadosamente la herramienta y las ruedas de
amolar individuales para evitar que se mellen o se
agrieten. Instale una muela nueva si la herramienta se
cae al amolar. No use una muela que pueda estar
dañada. Los fragmentos de una muela que salta en
pedazos durante el funcionamiento saldrán despedidos a
gran velocidad y posiblemente le golpearán a usted o
golpearán a las personas que estén presentes.
Nunca use brocas desafiladas o dañadas. Las brocas
afiladas se deben manejar con cuidado. Las brocas
dañadas pueden romperse bruscamente durante el uso.
Las brocas desafiladas requieren más fuerza para
empujar la herramienta, con lo que es posible que la
broca se rompa.
Use abrazaderas para soportar la pieza de trabajo
siempre que resulte práctico. Nunca tenga una pieza
de trabajo pequeña en una mano y la herramienta en la
otra mano mientas esté utilizando la herramienta.
Deje que haya suficiente espacio, al menos 150 mm,
entre la mano y la broca que gira. El material redondo,
tal como las varillas con espiga, las tuberías y los tubos,
tiene tendencia a rodar cuando se corta y puede hacer
que la broca "muerda" o salte hacia usted. El fijar con
abrazaderas una pieza de trabajo pequeña le permite usar
ambas manos para controlar la herramienta.
Inspeccione la pieza de trabajo antes de cortar. Al
cortar piezas de trabajo que tengan forma irregular,
planifique el trabajo para que la pieza de trabajo no
patine ni pellizque la broca y le sea arrancada de las
manos. Por ejemplo, si talla madera, asegúrese de que
no haya clavos ni objetos extraños en la pieza de trabajo.
Los clavos o los objetos extraños pueden hacer que la
broca salte.
Nunca arranque la herramienta cuando la broca esté
acoplada en el material. El borde de corte de la broca
puede engancharse en el material, causando pérdida de
control de la cortadora.
Evite que la muela rebote y se atasque, especialmente
al trabajar en esquinas, bordes afilados, etc. Esto
puede causar pérdida de control y retroceso.
Normas de seguridad para
herramientas giratorias
DM 2610935540 01-07 1/17/07 4:07 PM Page 57

Pagina 58
El sentido de avance con la broca en el interior del
material al tallar, fresar o cortar es muy importante.
Haga avanzar siempre la broca hacia el interior del
material en el mismo sentido en que el borde de corte
esté saliendo del material (que es el mismo sentido en
que las virutas salen despedidas). El hacer avanzar la
herramienta en sentido incorrecto hace que el borde de
corte de la broca se salga de la pieza de trabajo y tire de
la herramienta en el sentido de dicho avance.
Si la pieza de trabajo o la broca se atasca o se
engancha, apague la herramienta utilizando el
interruptor (posición "OFF"). Espere a que todas las
piezas móviles se detengan, desenchufe la
herramienta y luego libere el material atascado. Si el
interruptor de la herramienta se deja encendido (posición
"ON"), la herramienta podría volver a arrancar
inesperadamente, causando graves lesiones personales.
No deje desatendida una herramienta en marcha.
Apáguela. Solamente cuando la herramienta se detenga
por completo es seguro dejarla.
No amuele ni lije cerca de materiales inflamables. Las
chispas provenientes de la muela podrían inflamar estos
materiales.
No toque la broca ni el portaherramienta después de la
utilización. Después de la utilización, la broca y el
portaherramienta están demasiado calientes para tocarlos
con las manos desnudas.
Limpie regularmente con aire comprimido las
aberturas de ventilación de la herramienta. La
acumulación excesiva de metal en polvo dentro de la caja
del motor puede causar averías eléctricas.
No deje que el trabajar de manera confiada debido a la
familiarización adquirida con el uso frecuente de la
herramienta giratoria se convierta en algo habitual.
Recuerde siempre que un descuido de una fracción de
segundo es suficiente para causar lesiones graves.
No altere ni utilice incorrectamente la herramienta.
Cualquier alteración o modificación constituye uso
incorrecto y puede tener como resultado graves lesiones
personales.
Este producto no está diseñado para utilizarse como
taladro dental en aplicaciones médicas en seres
humanos ni en veterinaria. Pueden producirse lesiones
personales graves.
Al utilizar sierras de acero, ruedas de recortar,
cortadores de alta velocidad o cortadores de carburo de
tungsteno, tenga siempre la pieza de trabajo fija con
abrazaderas. Nunca intente sujetar la pieza de trabajo
con una mano cuando esté utilizando cualquiera de
estos accesorios. La razón es que estas ruedas se atas-
carán si se ladean ligeramente en la ranura y pueden
experimentar retroceso, causando una pérdida de control
que tendrá como resultado lesiones graves. La otra mano
se debe utilizar para afianzar y guiar la mano que sujeta la
herramienta. Cuando una rueda de recortar se atasca,
normalmente la propia rueda se rompe. Cuando la sierra
de acero, los cortadores de alta velocidad o el cortador de
carburo de tungsteno se atascan, es posible que salten y
se salgan de la ranura, con lo que usted podría perder el
control de la herramienta.
Cierto polvo generado por el
lijado, aserrado, amolado y
taladrado mecánicos, y por otras actividades de
construcción, contiene agentes químicos que se sabe que
causan cáncer, defectos de nacimiento u otros daños
sobre la reproducción. Algunos ejemplos de estos
agentes químicos son:
•Plomo de pinturas a base de plomo,
•Sílice cristalina de ladrillos y cemento y otros productos
de mampostería, y
•Arsénico y cromo de madera tratada químicamente.
Su riesgo por causa de estas exposiciones varía,
dependiendo de con cuánta frecuencia realice este tipo de
trabajo. Para reducir su exposición a estos agentes
químicos: trabaje en un área bien ventilada y trabaje con
equipo de seguridad aprobado, como por ejemplo
máscaras antipolvo que estén diseñadas especialmente
para impedir mediante filtración el paso de partículas
microscópicas.
Normas de seguridad para herramientas
giratorias - (cont.)
ADVERTENCIA
!
DM 2610935540 01-07 1/17/07 4:07 PM Page 58

Pagina 59
Símbolos
IMPORTANTE: Es posible que algunos de los símbolos siguientes se usen en su herramienta. Por favor,
estúdielos y aprenda su significado. La interpretación adecuada de estos símbolos le permitirá utilizar la
herramienta mejor y con más seguridad.
Símbolo Nombre Designación/explicación
V Volt Tensión (potencial)
A Ampere Corriente
Hz Hertz Frecuencia (ciclos por segundo)
W Watt Potencia
kg Kilogramo Peso
min Minuto Tiempo
s Segundo Tiempo
Diámetro Tamaño de las brocas taladradoras,
muelas, etc
n0Velocidad sin carga Velocidad rotacional sin carga
.../min Revoluciones o alternación por minuto Revoluciones, golpes, velocidad de
superficie, órbitas, etc., por minuto
0 Posición "off" (apagado) Velocidad cero, par motor cero...
1, 2, 3, ... Graduaciones del selector Graduaciones de velocidad, par motor o
I, II, III, posición. Un número más alto significa
mayor velocidad
Selector infinitamente variable con La velocidad aumenta desde la
apagado graduación de 0
Flecha Acción en la dirección de la flecha
Corriente alterna Tipo o una característica de corriente
Corriente continua Tipo o una característica de corriente
Corriente alterna o continua Tipo o una característica de corriente
Construcción de clase II Designa las herramientas de construcción
con aislamiento doble.
Terminal de toma de tierra Terminal de conexión a tierra
Símbolo de advertencia Alerta al usuario sobre mensajes de
advertencia
Sello RBRC de Ni-Cd Designa el programa de reciclaje de baterías
de Ni-Cd
A
0
A
0
A
0
A
0
A
A
A
Este símbolo indica que esta
herramienta está catalogada
por Underwriters
Laboratories.
Este símbolo indica que esta
herramienta está catalogada
por la Canadian Standards
Association.
Este símbolo indica que
Underwriters Laboratories ha
catalogado esta herramienta
indicando que cumple las
normas canadienses. Este símbolo
indica que esta
herramienta
cumple con la
norma mexicana
oficial (NOM).
Este símbolo indica que esta
herramienta está catalogada por
Underwriters Laboratories y que
Underwriters Laboratories la ha
catalogado según las normas
canadienses.
DM 2610935540 01-07 1/17/07 4:07 PM Page 59

Pagina 60
Desconecte el enchufe de la fuente de energía antes de realizar cualquier ensamblaje
oajuste, o cambiar accesorios. Estas medidas de seguridad preventivas reducen el
riesgo de arrancar la herramienta accidentalmente.
Descripción funcional y especificaciones
ADVERTENCIA
!
Número de modelo F013039519
Tensión nominal 120V 50 - 60Hz
Amperaje nominal 1,15 A
Capacidad sin carga n05 000-35 000/min
Capacidad del portaherramienta 0,8 mm, 1,6 mm, 2,4 mm, 3,2 mm
Herramienta giratoria modelo F013039519
TAPADE LA CAJA
PROTECTORA
GANCHO
ABERTURAS DE
VENTILACIÓN
TUERCA DEL
PORTAHERRAMIENTA
INTERRUPTOR
CORDÓN
ABERTURAS DE
VENTILACIÓN
PORTAHERRAMIENTA
EMPUÑADURA
CAUCHUTADA
BOTON DE FIJACION
DEL EJE
DM 2610935540 01-07 1/17/07 4:07 PM Page 60

Pagina 61
LLAVE DE
TUERCA
ENSEMBLE
D'ÉCROU DE
RENVERSEMENT
PORTAHERRAMIENTA
CHAPEAU DE
LA PIÈCE
MANUELLE
NÚCLEO DEL EJE
FLEXIBLE
TAPA DEL
IMPULSOR
TUERCA
DEL
PORTAHER
RAMIENTA
225 - Eje flexible
565 - Juego de 568 – Juego para
cortadores multiuso quitar lechada
575 – Accesorio de ángulo recto
3/4
1/2
1/4
0
PORTAHERRAMIENTA
GUIDE
INSERT
TORNILLO DE
AJUSTE DE
PROFUNDIDAD
TORNILLO DE
AJUSTE DE
PROFUNDIDAD
GUIDE
INSERT
TUERCA DEL
PORTAHERRAMIENTA
TAPA DE LA
CAJA
PROTECTORA
ADAPTADOR
COLLARÍN
DM 2610935540 01-07 1/17/07 4:07 PM Page 61

Pagina 62
TUERCA DEL PORTAHERRAMIENTA —Para aflojarlo,
oprima primero el botón de fijación del eje y gire el eje a
mano hasta que el cierre acople el eje, impidiendo así toda
rotación posterior.
No acople el cierre mientras la
herramienta giratoria está en marcha.
Con el cierre del eje acoplado, utilice la llave de porta-
herramienta para aflojar la tuerca del portaherramienta en
caso de que sea necesario. La tuerca del portaherramienta
debe estar enroscada flojamente cuando se introduzca un
accesorio. Cambie accesorios introduciendo el nuevo
accesorio en el portaherramienta hasta donde se pueda para
minimizar el descentramiento y el desequilibrio. Con el cierre
del eje acoplado, apriete la tuerca del portaherramienta con
los dedos hasta que el portaherramienta agarre el cuerpo del
accesorio. Evite apretar excesivamente la tuerca del
portaherramienta cuando no haya una broca introducida.
PORTAHERRAMIENTAS — Hay portaherramientas de cuatro
tamaños distintos (vea la ilustración) disponibles para la
herramienta giratoria con objeto de acomodar diferentes
tamaños de cuerpo. Para instalar un portaherramienta dis-
tinto, saque la tuerca del portaherramienta y quite el porta-
herramienta viejo. Introduzca el extremo no ranurado del
portaherramienta en el agujero que se encuentra al final del
eje de la herramienta. Vuelva a colocar la tuerca del porta-
herramienta en el eje.
Utilice siempre el portaherramienta
que corresponda al tamaño del
cuerpo del accesorio que usted piensa utilizar. Nunca
intente introducir a la fuerza en un portaherramienta un
cuerpo de diámetro más grande que el que pueda aceptar
dicho portaherramienta.
Nota: Es posible que algunos juegos de herramienta giratoria
no incluyan los cuatro tamaños de portaherramienta.
EQUILIBRADO DE ACCESORIOS — Para realizar trabajo de
precisión es importante que todos los accesorios se encuen-
tren bien equilibrados (de manera muy parecida a las gomas de
su automóvil). Para nivelar o equilibrar un accesorio, afloje
ligeramente la tuerca del portaherramienta y haga girar el
accesorio o el portaherramienta 1/4 de vuelta. Vuelva a apretar
la tuerca del portaherramienta y ponga en marcha la
herramienta giratoria. El sonido y la sensación del accesorio
deberán permitirle saber si éste está funcionando de manera
equilibrada. Siga realizando ajustes de esta manera hasta lograr
el mejor equilibrio. Para mantener equilibradas las fresas
abrasivas, antes de cada utilización, con la fresa fijada de
manera segura en el portaherramienta, encienda la herramienta
giratoria y haga funcionar la piedra de reacondicionamiento
415 apoyándola ligeramente contra la fresa que gira. Esto quita
las partes que sobresalen y nivela la fresa para que ésta quede
bien equilibrada.
El colgador se suministra con el fin de emplearlo para colgar la
herramienta mientras se esté utilizando el eje flexible o para
almacenamiento. Si no usa el colgador,quítelo de la
herramienta y acóplelo a presión de vuelta en su sitio debajo
del cordón, para que no estorbe mientras la herramienta se
esté utilizando.
MANDRIL DE APRIETE SIN LLAVE DREMEL:
Utilice la herramienta únicamente
con el mandril negro No. 4486. Es
posible que otros mandriles no permitan apretar
completamente la broca accesorio.
El mandril de apriete sin llave sujeta diversos accesorios con
tamaños de cuerpo de 0,8 mm (1/32”) a 3,2 mm (1/8”) de
pulgada y está diseñado para accesorios de servicio ligero,
como brocas taladradoras, tambores de lijar, accesorios de
pulir, cepillos de alambre y de cerdas, y ruedas de corte. El
mandril de apriete sin llave le permite cambiar los accesorios
con frecuencia, rapidez y facilidad. En el caso de aplicaciones
que pueden generar grandes fuerzas en la broca, o si usted
no puede generar una presión de apriete con los dedos
suficiente como para sujetar firmemente la broca, debe
utilizar la llave de tuerca suministrada para ayudar a sujetar
firmemente la broca.
Ensamblaje
TUERCA DEL
PORTAHERRAMIENTA
MANDRIL DE APRIETE
SIN LLAVE
CUADRO DE IDENTIFICACION DE PORTAHERRAMIENTAS
—Los tamaños de portaherramienta se pueden identificar
por medio de las anillas que seencuentran en el extremo
posterior del portaherramienta.
El portaherramienta de 0,8 mm tiene (1) anilla.
El portaherramienta de 1,6 mm tiene (2) anillas.
El portaherramienta de 2,4 mm tiene (3) anillas.
El portaherramienta de 3,2 mm no tiene anillas.
ANILLAS DE
IDENTIFICACION
PORTA-
HERRAMIENTA
480 DE
3,2 mm 481 DE
2,4 mm 482 DE
1,6 mm
483 DE
0,8 mm
PORTAHERRAMIENTA
TUERCA DEL
PORTAHERRA-
MIENTA
PARA AFLOJAR
PARA APRETAR
LLAVE DE
PORTAHERRAMIENTA
BOTON DE
FIJACION
DEL EJE
PRECAUCION
!
PRECAUCION
!
Desenchufe siempre la herramienta
giratoria antes de cambiar
accesorios, cambiar portaherramientas o realizar servicio
de ajustes y reparaciones en la herramienta giratoria.
ADVERTENCIA
!
PRECAUCION
!
DM 2610935540 01-07 1/17/07 4:07 PM Page 62

La herramienta giratoria pone en la mano del usuario
potencia a alta velocidad. Sirve de talladora, amoladora,
pulidora, lijadora, cortadora, cepillo mecánico, taladro y más.
La herramienta giratoria tiene un pequeño y potente motor
eléctrico universal, es cómoda en la mano y está fabricada
para aceptar una amplia variedad de accesorios, incluyendo
ruedas abrasivas, brocas taladradoras, cepillos de alambre,
pulidoras, cortadores de grabar,brocas de fresadora, ruedas
de corte y aditamentos. Los accesorios vienen en formas
diversas y le permiten a usted realizar varios trabajos
diferentes. A medida que se vaya familiarizando con la gama
de accesorios y sus usos, irá dándose cuenta de la gran
versatilidad de la herramienta giratoria. Descubrirá docenas
de usos en los que no había pensado hasta ahora.
El verdadero secreto de la herramienta giratoria es su
velocidad. Para entender las ventajas que ofrece su alta velo-
cidad, usted ha de saber que el taladro eléctrico portátil
estándar funciona a velocidades de hasta 2 800 revoluciones
por minuto. La herramienta giratoria funciona a velocidades
de hasta 35 000 revoluciones por minuto. El taladro eléctrico
típico es una herramienta de baja velocidad y par motor alto;
la herramienta giratoria es justo lo contrario — una
herramienta de alta velocidad y par motor bajo. La diferencia
principal para el usuario es que en las herramientas de alta
velocidad, la velocidad combinada con el accesorio montado
en el portaherramienta realiza el trabajo. Usted no tiene que
ejercer presión sobre la herramienta, sino simplemente suje-
tarla y guiarla. En las herramientas de baja velocidad, usted
no sólo tiene que guiar la herramienta, sino que además
tiene que ejercer presión sobre ella, tal como lo hace, por
ejemplo, al taladrar un agujero.
Es esta alta velocidad, junto con el tamaño compacto y la
amplia variedad de accesorios y aditamentos especiales, lo
que hace que la herramienta giratoria sea diferente a otras
herramientas. La velocidad permite que la herramienta haga
trabajos que las herramientas de baja velocidad no pueden
hacer,tales como cortar acero templado, grabar vidrio, etc.
El sacar el mayor provecho a la herramienta giratoria
es
cuestión de aprender cómo dejar que la velocidad haga
el trabajo para usted. Para obtener información sobre
más usos y la versatilidad de los accesorios y
aditamentos Dremel, consulte este manual del usuario o
el folleto de Dremel "Iniciación".
Pagina 63
Colocación del mandril de apriete sin llave y una broca accesorio
Lea y entienda el manual para el
uso del mandril de apriete sin
llave con la herramienta. Introduzca y apriete firmemente
el cuerpo del accesorio bien a fondo en las mordazas del
mandril. Si un accesorio no está sujeto correctamente en el
interior de las mordazas de un mandril, dicho accesorio
puede aflojarse y salir despedido durante el uso, y podría
golpearles a usted o a las personas que se encuentren
presentes.
Accione nuevamente el botón de fijación del eje, introduzca
el cuerpo del accesorio en el mandril y apriete el mandril con
los dedos hasta que el cuerpo del accesorio esté sujeto
firmemente.
En el caso de brocas taladradoras de tamaño pequeño, cierre
el mandril hasta el punto en que la broca justo quepa en él;
luego, apriete firmemente el mandril. Esto ayuda a centrar la
broca correctamente en el mandril de apriete sin llave. En
algunas aplicaciones de gran fuerza, como la remoción de
metal, el corte de losetas o el fresado de losetas, la broca
(cortadores de carburo de tungsteno, cortadores de alta
velocidad, brocas de fresadora o cortadores de loseta) y el
mandril se calentarán si se sobrecargan durante períodos de
tiempo prolongados. La sobrecarga del mandril puede hacer
que la broca se afloje y patine. Se recomienda que en estos
tipos de aplicaciones la broca se sujete firmemente en el
mandril con la llave de tuerca suministrada y que se trabaje a
intervalos para permitir que la broca y el mandril se enfríen.
Si la broca patina, la herramienta comenzará a vibrar
excesivamente. Esto es una indicación de que usted debe
apagar la herramienta, reposicionar y apretar la broca, y
luego dejar que la herramienta funcione sin carga durante
unos minutos para enfriarse.
El mandril debe limpiarse de vez en cuando para mantenerlo
funcionando correctamente. Simplemente quite el mandril de
la herramienta y golpee suavemente la punta del mandril
sobre una superficie plana para quitar todos los residuos
sueltos que tenga. En algunas aplicaciones, es posible que el
mandril de apriete sin llave se apriete durante el uso. Si esto
sucede, aflójelo suavemente utilizando la llave de tuerca
incluida en el juego de herramienta giratoria.
Instrucciones de utilización
Afilar herramientas Taladrar
Dar forma a madera Tallar madera
Desbarbar metal Cortar metal
ADVERTENCIA
!
DM 2610935540 01-07 1/17/07 4:07 PM Page 63

Pagina 64
Utilización de la herramienta giratoria
El primer paso para aprender a utilizar la herramienta
giratoria consiste en acostumbrase a la herramienta.
Téngala en la mano y experimente la sensación que
producen su peso y equilibrio. Toque la parte cónica de
la caja protectora. Esta parte cónica permite agarrar la
herramienta giratoria de manera muy parecida a como
se agarra una pluma o un lápiz. La herramienta de
velocidad variable F013039519. tiene una empuñadura
de confort especial en la punta y en el asiento trasero,
que brinda al usuario confort y control adicionales
durante el uso. ¡Usted puede notar la diferencia!
Sostenga siempre la herramienta alejada de la cara. Los
accesorios pueden resultar dañados durante el
transporte o el manejo y pueden salir despedidos al
ganar velocidad. Esto no es común, pero sí sucede.
Practique primero en materiales de desecho para ver
cómo funciona la acción de alta velocidad de la
herramienta giratoria. Tenga presente que el trabajo es
realizado por la velocidad de la herramienta y por el
accesorio instalado en el portaherramienta. Usted no
debe apoyarse en la herramienta ni empujarla durante el
uso.
En vez de hacer esto, haga descender lentamente hasta
la pieza de trabajo el accesorio mientras éste gira y deje
que toque el punto en el cual usted quiere que comience
el corte (o lijado o grabado, etc.). Concéntrese en guiar
la herramienta sobre la pieza de trabajo ejerciendo muy
poca presión con la mano. Deje que el accesorio realice
el trabajo.
Normalmente, es mejor realizar una serie de pasadas
con la herramienta en vez de intentar hacer todo el
trabajo en una sola pasada. Por ejemplo, para realizar
un corte, pase la herramienta hacia adelante y hacia
atrás sobre la pieza de trabajo de manera muy parecida
acomo lo haría con una brocha pequeña. Corte un poco
de material en cada pasada hasta que llegue a la
profundidad deseada. Para la mayoría de los trabajos,
es mejor utilizar un toque hábil y suave. Con éste, usted
logra el mejor control, reduce las posibilidades de
cometer errores y logrará que el accesorio realice el
trabajo de la manera más eficaz posible.
Consejos de funcionamiento
Para tener mejor control al realizar trabajo fino,
agarre la herramienta giratoria como un lápiz entre
el dedo pulgar y el dedo índice.
El método de "empuñadura de golf" para agarrar la
herramienta se utiliza para realizar operaciones más
agresivas, como amolar una superficie plana o
utilizar ruedas de corte.
¿Preguntas o problemas? Llame al 1-800-437-3635
Use Anteojos De Protección
ADVERTENCIA
Cuando agarre la herramienta, tenga cuidado de no
cubrir las aberturas de ventilación con la mano. Esto
bloquea el flujo de aire y hace que el motor se recaliente.
PRECAUCION
!
DM 2610935540 01-07 1/17/07 4:07 PM Page 64

Pagina 65
Con objeto de seleccionar la velocidad correcta para
cada trabajo, utilice una pieza de material de
práctica. Varíe la velocidad a fin de encontrar la
mejor velocidad para el accesorio que usted está
utilizando y el trabajo que va a realizar.
NOTA: Los cambios de tensión afectan a la velocidad.
Una tensión de entrada reducida hará bajar las
revoluciones por minto de la herramienta,
especialmente en la posición más baja. Si parece
que la herramienta funciona despacio, seleccione
una posición de velocidad más alta de manera
correspondiente. Es posible que la herramienta no
arranque en la posición No. 1 del interruptor en
aquellas áreas en las que la tensión del
tomacorriente sea inferior a 120 V. Simplemente
mueva la palanca del interruptor hasta una posición
más elevada para comenzar la operación.
En el modelo de velocidad variable hay un indicador del
interruptor que tiene una línea blanca sobre él. Deslícelo
hasta el número de la caja protectora para seleccionar la
velocidad de funcionamiento que se necesita desde
5000/min hasta 35 000/min. Puede consultar los
cuadros de las páginas 78, 79 y 80 para determinar la
velocidad adecuada basándose en el material en el
que se está trabajando y el tipo de cortador u otro
accesorio que se está utilizando. Estos cuadros le
permiten seleccionar de un vistazo tanto el accesorio
correcto como la velocidad óptima.
Necesidades de velocidades más lentas
Sin embargo, determinados materiales (algunos
plásticos y metales preciosos, por ejemplo) requieren
una velocidad relativamente lenta debido a que a alta
velocidad la fricción del accesorio genera calor y puede
causar daños en el material.
Las velocidades lentas (15 000/min o menos) normal-
mente son mejores para operaciones de pulido
utilizando los accesorios de pulir de fieltro. Puede que
también sean mejores para trabajar en proyectos
delicados tales como trabajo de tallado de “cáscaras de
huevo”, tallado de madera delicada y trabajo con piezas
frágiles de modelos. Todas las aplicaciones de cepillado
requieren velocidades más bajas para evitar que el
alambre se desprenda del soporte.
Las velocidades más altas son mejores para tallar,
cortar, fresar, dar forma y cortar esquinas o rebajos en
madera.
Las maderas duras, los metales y el vidrio requieren un
funcionamiento a alta velocidad, y el taladrado también
deberá realizarse a altas velocidades.
La velocidad de las herramienta giratoria se controla
ajustando este indicador en la caja protectora.
Las posiciones correspondientes a revoluciones por
minuto aproximadas para el modelo F013039519 de
herramienta giratoria de velocidad variable son:
Posición del interruptor Intervalo de velocidad
25 000 – 8000/min
4* 9 000 – 11 000/min
6 12 000 – 17 000/min
818 000 – 24 000/min
10 25 000 – 35 000/min
*Ajuste del cepillo de alambre.
Utilice únicamente accesorios de alto rendimiento comprobados por Dremel.
Velocidades de funcionamiento
DM 2610935540 01-07 1/17/07 4:07 PM Page 65

Pagina 66
El punto que hay que recordar es el siguiente: Usted
puede realizar la mayor parte de los trabajos con el
modelo de una sola velocidad funcionando a su
velocidad normal de 35 000/min. Pero para ciertos
materiales y tipos de trabajo usted necesita velocidades
más lentas — esta es la razón por la cual fueron
desarrollados los modelos de velocidad variable y las
unidades de control de velocidad.
Para ayudarle a determinar la velocidad de
funcionamiento óptima para diferentes materiales y
distintos accesorios, hemos preparado una serie de
tablas que aparecen en las páginas 78, 79 y 80.
Consultando dichas tablas usted puede determinar las
velocidades recomendadas para cada tipo de accesorio.
Eche un vistazo a estas tablas y familiarícese con ellas.
En última instancia, la mejor manera de determinar la
velocidad correcta para realizar trabajo en cualquier
material es practicar durante unos minutos utilizando
una pieza de desecho, incluso después de consultar el
cuadro. Usted puede descubrir rápidamente que una
velocidad más lenta o más rápida es mucho más eficaz
simplemente observando qué pasa cuando usted realiza
una o dos pasadas a diferentes velocidades. Por
ejemplo, al trabajar con plástico comience utilizando un
régimen bajo de velocidad y aumente la velocidad hasta
que observe que el plástico se está fundiendo en el
punto de contacto. Luego, reduzca la velocidad
ligeramente para obtener la velocidad de trabajo óptima.
Algunas reglas prácticas en cuanto a velocidad:
1. El plástico y otros materiales que se derriten a bajas
temperaturas deben cortarse a bajas velocidades.
2. El pulido, el bruñido y la limpieza con un cepillo de
alambre deben realizarse a velocidades que no
superen las 15 000/min para evitar dañar el cepillo.
3. La madera debe cortarse a alta velocidad.
4. El hierro o el acero debe cortarse a alta velocidad. Si
un cortador de acero de alta velocidad comienza a
chirriar, normalmente esto significa que está
funcionando demasiado lentamente.
5. El aluminio, las aleaciones de cobre, las aleaciones
de plomo, las aleaciones de cinc y el estaño se
podrán cortar a cualquier velocidad, según el tipo de
corte que se esté realizando. Aplique al cortador
parafina u otro lubricante adecuado para evitar que
el material cortado se adhiera a los dientes del
cortador.
Aumentar la presión sobre la herramienta no es la
respuesta cuando ésta no esté funcionando como usted
cree que debe hacerlo. Quizás usted debería estar
utilizando un accesorio distinto, y tal vez un ajuste de la
velocidad resolvería el problema. Apoyarse sobre la
herramienta no ayuda.
¡Deje que la velocidad haga el trabajo!
Velocidades de funcionamiento para los accesorios - (cont.)
Montaje y funcionamiento de los aditamentos
Eje flexible 225
No es para utilizarse con
brocas de fresadora. La
utilización con brocas de fresadora causará
retroceso.
INSTRUCCIONES PARA LA INSTALACIÓN
Para asegurarse que el eje flexible en la funcione
adecuadamente en la herramienta rotativa, es muy
importante leer y seguir las instrucciones de
ensamblaje que se indican a continuación.
Atención: Para lograr un rendimiento óptimo, deje
que su nuevo aditamento de eje flexible funcione a
alta velocidad en su herramienta giratoria en posición
vertical durante 2 minutos antes de utilizarlo.
Para instalar el eje flexible adecuadamente en la
herramienta rotativa, deben sacarse TRES piezas de la
herramienta: El anillo tapa del casco, la tuerca del
mandril y el mandril.
Paso 1: Presione el seguro del eje y saque la tuerca
del mandril.
Paso 1
ADVERTENCIA
!
DM 2610935540 01-07 1/17/07 4:07 PM Page 66

Pagina 67
Paso 2: Desenrosque el anillo que tapa el casco de la
herramienta.
Paso 3: Saque el mandril.
Nota: La herramienta no funcionará adecuadamente si
no se saca la tuerca del mandril y el mandril del eje del
motor.
Paso 4: Instale la tapa del eje en el eje del motor y
ajústela.
Para evitar daños a la
herramienta, no sobreajuste la
tapa. Ajústela con los dedos y después 1/3 de vuelta
adicional con la llave. (La llave viene incluida en el
juego de herramienta rotativa).
Paso 5: Instale el eje flexible enroscando su collar en el
eje de la herramienta. Asegúrese que el extremo
cuadrado del núcleo enganche en el orificio cuadrado
del cubo en la tapa del eje.
No jale el núcleo del eje flexible
para engancharlo en la tapa del
eje porque el núcleo podría zafarse del mango. Si la
herramienta se detiene cuando el eje está flexionado, el
núcleo podría quedar atrapado en la tapa del eje del
motor. Afloje el eje y saque el núcleo de la tapa del eje
del motor. Luego vuelva a enroscar el eje flexible en el
casco de la herramienta rotativa.
INSTRUCCIONES PARA OPERAR
Desenganche del Eje Flexible
El eje flexible podría desengancharse si el motor de la
herramienta rotativa no está más elevado que el
extremo de trabajo del eje flexible. Se recomienda usar
el Sujetador de Herramienta con Eje Flexible No. 2222
para sujetar la herramienta a la altura adecuada.
Ensamblaje del Mandril y sus Accesorios
El mandril consiste de una tuerca y del mandril
propiamente. Tome el mandril y su tuerca que se
sacaron en los pasos 2 y 3 e insértelos en la punta del
mango del eje flexible.
Inserte un accesorio o broca tan adentro como sea
posible para evitar que bambolee durante el uso.
Vuelva a ajustar el mandril enganchando el botón del
seguro en el mango del eje flexible.
Desmontaje y Montaje del Mandril
Para acomodar vástagos de diferentes tamaños en el
eje flexible, se venden por separado mandriles de
cuatro tamaños. Para cambiar el mandril, saque la
tuerca del mandril existente y el mandril. Inserte el
extremo sin ranuras del mandril en el orificio en el
extremo del eje flexible. Reinstale la tuerca del mandril
en el eje. Siempre use el mandril del diámetro
adecuado para el vástago del accesorio que se va a
usar.Nunca fuerce un vástago de mayor diámetro en
un mandril
LUBRICACIÓN DEL EJE FLEXIBLE — Se debe lubricar
el eje flexible después de cada 25-30 horas de uso.
Para lubricarlo, desenrosque el ensamblaje del eje
flexible de la caja protectora del motor. Tire del núcleo
central hacia afuera del ensamblaje del eje flexible.
Aplique en el núcleo central una película muy fina de
grasa de buena calidad para altas temperaturas.
Para evitar dañar la
herramienta, no engrase
excesivamente el eje. Demasiada grasa hará que la
unidad se recaliente. Se debe usar lubricante para ejes
Dremel No. 5990952 ó grasa para cojinetes de ruedas
automotrices.
Vuelva a colocar el eje flexible en la herramienta giratoria.
PRECAUCION
!
PRECAUCION
!
PRECAUCION
!
Paso 5
Paso 3Paso 2
Paso 4
DM 2610935540 01-07 1/17/07 4:07 PM Page 67

Pagina 68
No utilice el eje flexible con
una curva pronunciada. Esto
puede generar calor excesivo y acortar la vida de la
herramienta y del eje flexible. El mínimo
recomendado es un radio de 127 mm.
Contenido del aditamento de eje flexible 225
Cant. Descripción
1 Ensamblaje del eje flexible
(1066,8 mm de longitud)
1 Tapa del impulsor
ADVERTENCIA
!
La guía de corte 565
La guía de corte 565 (vendida por separado) viene
completamente ensamblada y lista para utilizarse. Esta
guía puede utilizarse en una amplia gama de materiales
de hasta 19 mm de pulgada de grosor. Sostenga
siempre la herramienta de manera firme, ejerciendo una
presión lenta y firme para hacer los cortes.
Para instalar la guía, siga los cuatro pasos que se
muestran a continuación.
Importante: Al mirar a la herramienta desde arriba,
la broca gira en el sentido de las agujas del reloj. El
sentido de avance de corte debe ser en contra de las
agujas del reloj.
3/4
1/2
1/4
0
3/4
1/2
1/4
0
3/4
1/2
1/4
0
3/4
1/2
1/4
0
Step 1 Step 2 Step 3 Step 4
#560
Broca para cortar paredes de yeso, para utilizarse
en paredes de yeso.
•Cuando se inserte la broca #560 dentro de su
herramienta MultiPro, asegúrese de que la broca ha
sido insertada lo más profundo posible.
•Cuando esté usando un patrón detrás de la pared de
yeso para dar una forma (como para la caja eléctrica),
use la broca #560 para pared de yeso, cortando en
dirección opuesta a las manecillas del reloj.
#561
Herramienta de Corte Multiusos, para uso en
madera, plásticos, paredes de yeso, fibra de vidrio,
vinilo o paneles de aluminio, losa acústica y
laminados
•Cuando esté insertando la broca #561 dentro de su
herramienta MultiPro asegúrese de que la broca ha
sido insertada lo más profundo posible.
•Cuando esté haciendo cortes sin ayuda de
instrumentos en paredes de yeso, por ejemplo,
reparando un hoyo en pared de yeso, use la broca
Multiusos #561, cortando en dirección de las
manecillas del reloj.
•Cuando esté utilizando la Broca de Corte Multiusos
#561, penetre la broca dentro del material en un
ángulo de 45 grados y entonces lentamente llévela a
un ángulo de 90 grados para comenzar el corte.
#562
Broca de Corte de Losa, para utilizarse en losa para
paredes, plancha de cemento y yeso.
•Cuando esté insertando la broca #562 dentro de su
herramienta MultiPro, es muy importante que 1,6
mm-3,2 mm de la parte lisa del mango permanezca
visible por encima del cuello.
•Cuando esté utilizando la Broca de Corte de Losa
#562, penetre la broca dentro del material en un
ángulo de 45 grados y lentamente llévela a un ángulo
de 90 grados para comenzar el corte.
•NO PARA UTILIZAR CON CERÁMICA DE PISO
Montaje y Funcionamiento de los Accesorios - (cont.)
RADIO DE 127 mm
DM 2610935540 01-07 1/17/07 4:07 PM Page 68

568 – Juego para quitar lechada
El acople removedor de lechada #568 viene
completamente ensamblado y listo para el uso. Utilice la
fresa #569 1,6mm (1/16") para baldosas espaciadas a
más de 1,6mm 1/16" pulgada de distancia. Si las
baldosas están espaciadas más de 3,2mm (1/8") de
distancia, se recomienda usar la fresa #570 3,2mm
(1/8").
Nota: si la fresa es demasiado ancha, se puede dañar la
baldosa o la fresa removedora de lechada.
Paso 1: Retire la tapa del caparazón de la herramienta.
Paso 2: Inserte la fresa removedora de lechada en la
herramienta rotatoria.
Al insertar la fresa removedora
de lechada #569 ó #570 en su
herramienta rotatoria Dremel, asegúrese de que la
fresa esté firme en la "mordaza" del collarín. Utilice la
llave para apretar la tuerca del collarín para así impedir
que la fresa quede suelta en el collarín. No utilice el
Portabrocas Dremel #4486 con fresas removedoras de
lechada.
Paso 3: Atornille el acople removedor de lechada a la
herramienta rotatoria.
Paso 4: Ajuste el acople y la fresa a la profundidad de
corte deseada.
Ajuste de la profundidad de corte del acople
removedor de lechada
El ajuste de profundidad de control móvil tiene marcas
que aumentan cada tramo 3,2mm (1/8"). Estas marcas
sirven únicamente para identificar la profundidad de
corte deseada. Los canales múltiples del ajuste de
profundidad le permite escoger la orientación del acople
en la herramienta. No olvide apretar suficientemente el
tornillo en una de las posiciones del canal.
Cómo ajustar la profundidad de corte:
Al Limpiar Lechada:
No quite la lechada más allá de 3,2mm (1/8") debajo de
la superficie anterior de la baldosa. Coloque el ajuste de
profundidad de control móvil para que sólo 3,2mm
(1/8") de la fresa se extienda más allá de la base del acople.
Después de quitar 3,2mm (1/8") de lechada, vuelva a
aplicar lechada hasta el nivel de la baldosa. Selle la
nueva lechada.
Al Quitar lechada para Remplazar una Baldosa Rota:
Quite toda la lechada alrededor de la baldosa rota.
Coloque el ajuste de profundidad de control móvil para
que sólo 3,2mm (1/8") de la fresa se extienda más allá
de la base del acople. Ver Figura 5. Quitar la lechada
con una profundidad máxima de 3,2mm en cada
pasada. Puede que se necesite regular el ajuste de
profundidad de control móvil en tramos consecutivos
de 3,2mm (1/8") (consulte las marcas espaciadas de
3,2mm (1/8") en el ajuste de profundidad de control
móvil) y haga varias pasadas hasta que se retire la
lechada.
Al remover lechada a mayor profundidad en la línea de
lechada, se puede encontrar cierta resistencia que hace
que la fresa se atasque, se recaliente o se rompa
(ejemplo: mortero, cemento de baldosas, pegamentos,
tornillos de tablones de refuerzo o clavos). En caso de
encontrar mortero, cemento de baldosas o
pegamentos, reduzca la velocidad de la herramienta y
desplácela lentamente, haciendo varias pasadas. En
caso de la presencia de tornillos o clavos, remueva la
lechada alrededor de éstos ya que la fresa no los podrá
atravesar.
Pagina 69
1/8"
3,2mm
PRECAUCION
!
Paso 1
Paso 2
Paso 3
Paso 4
DM 2610935540 01-07 1/17/07 4:07 PM Page 69

Pagina 70
Instrucciones de operación
¡Siempre tire la herramienta
hacia usted! ¡No la empuje!
Para evitar la rotura de la broca no la empuje.
Agarre la herramienta como se hace con un palo de
golf con la herramienta colocada debajo del acople y
la fresa apuntando hacia arriba. Ver Figura 6.
En su herramienta de velocidad variable, 15 000 - 20
000. En su herramienta de dos velocidades, la
velocidad recomendada es en bajo" para evitar que se
dañe la fresa.No ejerza demasiada fuerza sobre la
fresa ni en la parte posterior de la herramienta para
quitar la lechada. Deje que la velocidad de la fresa en
rotación haga el trabajo.
Advertencias de Seguridad para la Remoción de
Lechada
Utilice siempre anteojos protectores de seguridad y
mascarilla. Examine la fresa y asegúrese de que no
esté dañada. Después de instalar la fresa, ponga la
herramienta a funcionar sin carga por un minuto, ya
que una fresa dañada se romperá. No permanezca
delante de o en línea con la fresa.
Utilice siempre la herramienta con la guía de
profundidad en posición plana contra el material que
se corta.
Al colocar correctamente la guía en el material, se
mejora la estabilidad y el control de la herramienta.
La dirección de desplazamiento de la fresa en la
lechada es importante. Arrastre o tire siempre la fresa
através de la línea de lechada. La fresa removedora
de lechada no sirve para "arar" a través de la lechada,
yal desplazar la herramienta en la dirección
equivocada la fresa se puede salir del material, lo que
posiblemente dañará la fresa y/o causará la pérdida
del control sobre la herramienta.
ADVERTENCIA
!
Montaje y funcionamiento de los accesorios - (cont.)
DM 2610935540 01-07 1/17/07 4:07 PM Page 70

Pagina 71
Aditamento en ángulo recto 575
Antes de comenzar, quite la tapa protectora negra que
está en el aditamento. Si la tapa no se desliza fácilmente
hasta quitarse, introduzca la parte del cuerpo de
cualquier accesorio a través de la abertura de la carcasa
del aditamento para sujetar el eje con el fin de evitar que
gire. Luego, gire la tapa hasta quitarla, Figura 1.
No utilice el botón de fijación del
eje de la herramienta giratoria
cuando cambie los accesorios en el aditamento.
Podrían producirse daños internos en el aditamento.
Quite la tapa de la carcasa protectora de su herramienta
giratoria existente de la manera que se muestra en la
fig. 2. Luego, oprima el botón de fijación del eje de la
herramienta giratoria, desenrosque la tuerca del
portaherramienta y quite el portaherramienta.
Ponga a un lado la tuerca del portaherramienta y el
portaherramienta. Ambas piezas se volverán a instalar
más tarde en el paso 4.
Instale el adaptador de accionamiento, incluido con el
aditamento en ángulo recto, en el eje del motor de la
manera que se muestra en la fig. 3 y apriételo.
No apriete excesivamente el
adaptador de accionamiento.
Apriete con los dedos el adaptador de accionamiento y
luego apriételo 1/3 de vuelta adicional con la llave de
tuerca. (La llave de tuerca está incluida con el juego de
herramienta giratoria.)
Enrosque el aditamento únicamente en la herramienta
giratoria. Apriételo solamente con la mano. Vuelva a
instalar el portaherramienta y la tuerca del
portaherramienta, que quitó en el paso 2, en el eje de
salida del aditamento, Figura 4.
El aditamento en ángulo recto puede orientarse en la
herramienta giratoria en 12 posiciones distintas. El
aditamento debe posicionarse de manera que se facilite
el acceso al interruptor de control de velocidad de
encendido y apagado.
Para reposicionar el aditamento, desenrosque el collarín
del aditamento hasta que se desacople. Deslice el
aditamento hasta quitarlo. Luego, reposicione el
aditamento, deslícelo de vuelta sobre la herramienta y
vuelva a apretar el collarín, Figura 5.
Para cambiar un accesorio, introduzca la parte del
cuerpo de cualquier accesorio (se recomienda
introducirla 3.2 mm) a través de la abertura de la
carcasa del aditamento para sujetar el eje con el fin de
que no gire. Con el eje firmemente sujeto, afloje la
tuerca del portaherramienta e introduzca un accesorio lo
más profundamente posible para evitar el bamboleo
durante el uso. Es posible que sea necesario sacar el
cuerpo del aditamento de la abertura de la carcasa para
proporcionar holgura mientras introduce el accesorio,
Figura 6.
El aditamento puede calentarse
después del uso prolongado.
1
2
3
4
5
FIG. 1 FIG. 2 FIG. 3
FIG. 4 FIG. 5
FIG. 6
ADVERTENCIA
!
PRECAUCION
!
PRECAUCION
!
DM 2610935540 01-07 1/17/07 4:07 PM Page 71

Pagina 72
Servicio
El mantenimiento preventivo
realizado por personal no
autorizado pude dar lugar a la colocación incorrecta
de cables y componentes internos que podría
constituir un peligro serio. Recomendamos que todo
elservicio de las herramientas sea realizado por un
Centro de servicio de fábrica Dremel o por una
Estación de servicio Dremel autorizada.
ESCOBILLAS DE CARBÓN
Las escobillas y el conmutador de la herramienta han
sido diseñados para muchas horas de servicio fiable.
Para mantener un rendimiento óptimo del motor,
recomendamos que cada dos a seis meses se
examinen las escobillas. Sólo se deben usar escobillas
de repuesto Dremel genuinas diseñadas
específicamente para su herramienta.
MANTENIMIENTO DE ESCOBILLAS REEMPLAZABLES
Modelo F013039519.
Se deberán inspeccionar las escobillas frecuentemente
cuando las herramientas se utilicen de manera
continua. Si la herramienta es utilizada
esporádicamente, pierde potencia, hace ruidos
extraños o funciona a velocidad reducida, revise las
escobillas. El seguir utilizando la herramienta en este
estado la dañará de manera permanente.
Con el cordón desenchufado, saque las tapas de
escobilla una a una con un destornillador pequeño
girando la tapa en sentido contrario al de las agujas del
reloj y revise cada escobilla.
Si la escobilla tiene una longitud inferior a 3,2 mm y la
superficie del extremo de la escobilla que hace
contacto con el conmutador está áspera y/o corroída,
se deberá cambiar. Revise ambas escobillas.
Normalmente, las escobillas no se desgastarán
simultáneamente. Si una escobilla está desgastada,
cambie ambas escobillas. Asegúrese de que las
escobillas se instalan tal como se muestra en la ilus-
tración. La superficie curva de la escobilla debe coin-
cidir con la curvatura del conmutador.
Después de cambiar las escobillas, se deberá hacer
funcionar la herramienta sin carga; colóquela sobre
una superficie limpia y hágala funcionar libremente
durante 5 minutos antes de someter a carga (o utilizar)
la herramienta. Esto permitirá que las escobillas se
asienten adecuadamente y hará que cada juego de
escobillas proporcione muchas más horas de servicio.
Esto también prolongará la vida total de la herramienta,
ya que la superficie del conmutador tardará más en
desgastarse.
RODAMIENTOS
Los modelo F013039519. tienen una construcción de
rodamientos de bolas dobles. Bajo uso normal, no
requerirán lubricación.
Limpieza
Para evitar accidentes
desconecte siempre la herra-
mienta de la fuente de energía antes de la limpieza o
de la realización de cualquier mantenimiento. La
herramienta se puede limpiar más eficazmente con aire
comprimido seco. Use gafas de seguridad siempre
que limpie herramientas con aire comprimido.
Las aberturas de ventilación y las palancas de
interruptor deben mantenerse limpias y libres de
materias extrañas. No intente limpiar introduciendo
objetos puntiagudos a través de las aberturas.
Ciertos agentes de limpieza y
disolventes dañan las piezas de
plástico. Algunos de estos son: gasolina, tetracloruro
de carbono, disolventes de limpieza clorados, amoníaco
ydetergentes domésticos que contienen amoníaco.
Cordones de extensión
Si es necesario un cordón de
extensión, se debe usar un
cordón con conductores de tamaño adecuado que sea
capaz de transportar la corriente necesaria para la
herramienta. Esto evitará caídas de tensión excesivas,
pérdida de potencia o recalentamiento. Las
herramientas conectadas a tierra deben usar cordones
de extensión de 3 hilos que tengan enchufes de 3
terminales y receptáculos para 3 terminale.
TAMAÑOS RECOMENDADOS DE CORDONES DE EXTENSION
HERRAMIENTAS DE 120 V CORRIENTE ALTERNA
NOTA: Cuanto más pequeño es el número de calibre,
más grueso es el cordón.
Información de mantenimiento
CURVATURA DE
LA CAJA
PROTECTORA
TAPADE LA
ESCOBILLA
MUELLE DE
LA
ESCOBILLA
ESCOBILLA
EL EXTREMO CURVO DE
LA ESCOBILLA DEBE COINCIDIR
CON LA CURVATURA DE LA CAJA
PROTECTORA.
Capacidad
nominal en
amperes de la
herramienta
Tamaño del cordón en A.W.G. Tamaños del cable en mm 2
3-6
6-8
8-10
10-12
12-16
18 16 16 14 0,75 0,75 1,5 2,5
18 16 14 12 0,75 1,0 2,5 4,0
18 16 14 12 0,75 1,0 2,5 4,0
16 16 14 12 1,0 2,5 4,0 —
14 12 ————— —
25 50 100 150 15 30 60 120
Longitud del cordón en pies Longitud del cordón en metros
ADVERTENCIA
!
PRECAUCION
!
ADVERTENCIA
!
ADVERTENCIA
!
DM 2610935540 01-07 1/17/07 4:07 PM Page 72

Pagina 73
Aditamentos para Dremel
Incorpore estos aditamentos Dremel a su taller compacto y haga que su herramienta giratoria sea más versátil.
565 - Juego de cortadores multiuso
•Incluye 2 brocas de corte para pared
de tipo seco (560) y 1 broca de corte
espiral (561)
•Corta fácilmente fibra de vidrio,
madera y pared de tipo seco
566 - Juego para cortar loseta
•Incluye 1 broca de corte para loseta
de cerámica (562)
•Corta loseta de cerámica para pared
dándole cualquier forma
335 - Aditamento de fresadora
Da forma, cantea, achaflana, corta,
hace rebajos, redondea esquinas, etc.
La guía de borde ajustable se puede
quitar fácilmente para fresar a pulso. El
modelo 330 se puede utilizar con los
modelo F013039519.
225 - Eje flexible
Permite el control con la punta de los
dedos para rincones estrechos y áreas
difíciles de alcanzar. El cable de 914,4
mm de longitud se puede conectar a
las Modelo F013039519.. La pieza de
mano en forma de lápiz de 13,0 mm de
diámetro funciona sin calentarse y es
ideal para trabajo ligero de tallado de
madera y otros usos.
231 - Mesa para formadora/fresadora
Convierte la herramienta giratoria en
una herramienta montada en banco
para dar forma a madera. Sujétela con
abrazaderas a un banco de trabajo y
realice trabajo de calidad profesional de
ranurado, recorte de bordes, acanalado
ylijado de formas irregulares con
precisión y facilidad. Mesa de trabajo
grande de 203,2 mm x 152,4 mm.
Utilícela con las Modelo F013039519..
220 - Estación de Trabajo
Para taladrado, fresado y acanalado de
precisión; superficie de trabajo de
152,4 cuadradas, profundidad de
garganta de 0 a 76,2 mm Mesa
ranurada para guías y soportes.
Soporta únicamente los modelo
F013039519..
575 – Accesorio de ángulo recto
Mejora la versatilidad de su
herramienta rotatoria Dremel al
permitirle llegar a las superficies
difíciles de alcanzar.
568 – Juego para quitar lechada
Para usar en lechadas de paredes y
pisos
•El ángulo de 30º controla el corte.
•Guías separadas a 180º mantienen la
broca centrada entre las losetas.
•Montaje fácil atornillable
2500 - Étau portable Multi-Vise™
Sujeta firmemente las herramientas
rotatorias en cualquier posición.
Controla la pieza de trabajo (deja las
manos libres), proporcionándole
mejores resultados.
DM 2610935540 01-07 1/17/07 4:07 PM Page 73

Pagina 74
Utilice únicamente accesorios de alto rendimiento comprobados por Dremel. Otros
accesorios no están diseñados para esta herramienta y pueden causar lesiones personales o
daños materiales.
Consulte el FORMULARIO DE PEDIDO CON INFORMA-
CION SOBRE ACCESORIOS DREMEL para ver ilustra-
ciones de los accesorios disponibles. Estos accesorios se
pueden encontrar en los distribuidores locales de
ferretería, hobbys o centros para el hogar.
Portaherramientas
Si usted piensa utilizar diversos accesorios, le recomen-
damos que inicialmente compre un juego completo de
cuatro portaherramientas. Guárdelos con objeto de tener el
tamaño adecuado de portaherramienta para cualquier
accesorio o broca taladradora que quiera usar. En la actua-
lidad los portaherramientas de 3,2 mm, 2,4 mm, 0,8 mm
y1,6 mm acomodan todos los accesorios Dremel dis-
ponibles. Los portaherramientas de 3,2mm (1/8”) de
pulgada se incluyen en la mayoría de juegos de
herramienta giratoria.
Vástagos
Un vástago es un cuerpo con una cabeza roscada o de
tornillo, y es necesario cuando se utilicen accesorios de
pulir, ruedas de corte, discos de lijar y puntas de pulir. La
razón por la cual se utilizan vástagos es que los discos de
lijar, las ruedas de corte y accesorios similares deben ser
sustituidos frecuentemente. El vástago es una espiga
permanente que permite que usted cambie únicamente la
cabeza desgastada cuando sea necesario, por lo que se
ahorra el costo de sustituir el eje cada vez.
Vástago de tornillo No. 401
Este es un vástago de tornillo utilizado con la punta de pulir
de fieltro y las ruedas de pulir de fieltro. Espigas de 3,2 mm.
Vástago de tornillo pequeño No. 402
Este es un vástago con un tornillo pequeño en la punta y se
utiliza con ruedas de corte de esmeril, discos de lijar y
ruedas de pulir.Espigas de 3,2 mm.
Vástago de punta roscada No. 424
Este es un vástago con una punta roscada que se enrosca
en el accesorio de punta de pulir No. 427. Espigas de 3,2
mm.
Cortadores de alta velocidad
Disponibles en muchas formas, los cortadores de alta velo-
cidad se utilizan para tallar, cortar y ranurar madera,
plásticos y metales blandos tales como aluminio, cobre y
latón. Estos son los accesorios que se han de utilizar para
realizar a pulso fresado o tallado de madera o plástico y
para realizar cortes de precisión. Espigas de 3,2 mm.
Cortadores de carburo de tungsteno
Estos son cortadores duros y de larga duración para utiliza-
ción en acero templado, cerámica cocida en horno y otros
materiales muy duros. Se pueden utilizar para grabar en
herramientas y equipos de jardín. Espigas de 3,2 mm.
Cortadores para grabar
Este grupo de cortadores abarca una amplia gama de tama-
ños y formas, y los cortadores están hechos para realizar
trabajo complicado en cerámica (del tipo no cocido en
horno), tallados en madera, joyas y tallados en marfil, ca-
parazones de moluscos o barbas de ballena. Se utilizan
frecuentemente para hacer placas de circuitos impresos
complicados. No se deben utilizar en acero ni en otros mate-
riales muy duros, pero son excelentes en madera, plástico y
metales blandos. Necesitan un portaherramienta de 2,4 mm.
Cortadores de carburo de tungsteno
de dientes estructurados
Dientes de corte rápido y afilados como una aguja para
mayor remoción de material y mínima carga. Utilícelos en
fibra de vidrio, madera, plástico, epóxi y caucho. Espigas de
3,2 mm y 2,4 mm.
Piedras de amolar de óxido de aluminio
(naranja/marrón)
Redondas, puntiagudas, planas — diga qué forma quiere y
habrá alguna disponible en esta categoría. Estas piedras
están hechas de óxido de aluminio y cubren prácticamente
todos los tipos posibles de aplicaciones de amolado. Utilíce-
las para afilar hojas de cortadoras de césped, puntas
de destornillador,cuchillos, tijeras, cinceles y otras herra-
mientas de corte. Utilícelas para quitar rebabas de piezas
metálicas fundidas, desbarbar cualquier metal después de
cortarlo, alisar juntas soldadas, amolar remaches y quitar
herrumbre. Estas piedras de amolar pueden reafilarse con
una piedra de reacondicionamiento. En los talleres de
maquinaria, normalmente las brocas y los cortadores de alta
velocidad son amolados con muelas de óxido de aluminio.
Espigas de 3,2 mm.
Piedras de amolar de carburo de silicio (verde/gris)
Más duras que las puntas de óxido de aluminio, estas pie-
dras están hechas especialmente para la utilización en
materiales duros tales como vidrio y cerámica. Algunos usos
típicos podrían ser la remoción de marcas que sobresalgan y
el exceso de esmalte en cerámica, y el grabar en vidrio.
Espigas de 3,2 mm.
Fresas con punta de diamante
Excelentes para trabajos que involucran detalles finos en
madera, jade, cerámica, vidrio y otros materiales duros. Las
brocas están cubiertas con partículas de diamante. Espigas
de 2,4 mm.
Accesorios para la Dremel
ADVERTENCIA
!
DM 2610935540 01-07 1/17/07 4:07 PM Page 74

Pagina 75
Escobillas de alambre
Hay disponibles escobillas de alambre de tres formas
distintas. Para obtener resultados óptimos, las escobillas
de alambre deben utilizarse a velocidades que no sean
superiores a 15 000/min. Consulte la sección
Velocidades de funcionamiento para informarse sobre el
ajuste adecuado de la velocidad de la herramienta. Las
tres formas de escobillas vienen en tres materiales
distintos: alambre de acero inoxidable, de latón y de
carbono. El acero inoxidable da buenos resultados en
peltre, aluminio, acero inoxidable y otros metales, sin dejar
"residuos de herrumbre". Las escobillas de latón no
generan chispas y son más blandas que las de acero, por lo
que dan buenos resultados cuando se usan en metales
blandos como oro, cobre y latón. Las escobillas de
alambre de carbono dan buenos resultados para limpieza
de propósito general.
Cepillos de cerda
Estos cepillos constituyen excelentes herramientas para la
limpieza de objetos de plata, joyas y antigüedades. Las tres
formas hacen posible tener acceso a rincones estrechos y
otros lugares difíciles. Los cepillos de cerda se pueden
utilizar con compuesto para pulir con objeto de lograr una
limpieza o pulido más rápido.
Presión de cepillado
1. Recuerde que las puntas de un cepillo de alambre
hacen el trabajo. Utilice el cepillo con la presión más
ligera para que solamente las puntas del alambre entren
en contacto con la pieza de trabajo.
2. Si se utilizan presiones más grandes, se someterá a
los alambres a una tensión excesiva, lo cual dará como
resultado una acción de barrido, y si se continúa haciendo
esto, podrá acortarse la duración del cepillo debido a la
fatiga del alambre.
3. Aplique el cepillo a la pieza de trabajo de manera que
tanta cara del cepillo como sea posible esté en contacto
completo con la pieza de trabajo. La aplicación del lado o
del borde del cepillo a la pieza de trabajo causará la
rotura del alambre y acortará la duración del cepillo.
Accesorios para pulir
Entre estos accesorios se encuentran una punta de pulir
impregnada y una rueda de pulir impregnada para dar un
acabado liso a las superficies metálicas; una punta de pulir
de fieltro y una rueda de pulir de fieltro, y una rueda de pulir
de tela. Todos estos accesorios se utilizan para pulir
plásticos, metales y pequeñas piezas de joyería. También se
encuentra en este grupo un compuesto para pulir (No.
421) para utilizar con los pulidores de fieltro y de tela.
Las puntas de pulir dejan una superficie muy lisa, pero se
obtiene un brillo mayor utilizando ruedas de fieltro o de tela
ycompuesto para pulir. Para obtener los mejores
resultados, los accesorios de pulir deben utilizarse a
velocidades que no superen las 15 000/min. Consulte la
sección Velocidades de funcionamiento para informarse
sobre el ajuste adecuado de la velocidad de la
herramienta.
No se necesita compuesto para pulir cuando se utiliza la
rueda de pulir 425 o la punta de pulir 427.
Ruedas abrasivas de óxido de aluminio
Se utilizan para quitar pintura, desbarbar metal y pulir acero
inoxidable y otros metales. Disponibles con grano fino y
mediano. Espigas de 3,2 mm.
Accesorios para lijar
Los discos de lijar de grado fino, mediano y grueso están
hechos para acoplarse en el vástago No. 402. Se pueden
utilizar para casi todos los trabajos pequeños de lijado que
usted tenga que realizar,desde la fabricación de modelos
hasta el acabado de muebles finos. Además, está el lijador
de tambor, un diminuto tambor que encaja en la herramienta
giratoria y que hace posible dar forma a madera, alisar fibra
de vidrio, lijar en el interior de curvas y otros lugares difíciles
yrealizar otros trabajos de lijado. Cambie las bandas de lijar
del tambor a medida que se vayan desgastando y pierdan el
grano. Las bandas vienen en grados finos y gruesos. Las
ruedas de aletas amuelan y pulen superficies planas o
contorneadas. Se utilizan con la máxima eficacia como
lijadora de acabado después de completar un lijado más
pesado de la superficie y la remoción de material. Las
ruedas de aletas vienen en calidades fina y gruesa. Los
discos de pulir son un magnífico accesorio de acabado para
limpieza y lijado ligero. Funcionan eficazmente en metal,
vidrio, madera, aluminio y plásticos. Los discos de pulir
gruesos y medianos se venden juntos. Espigas de 3,2 mm.
Muela
Se utiliza para desbarbar,quitar herrumbre y amolado de
propósito general. Utilícela con el vástago roscado No.
402.
15°
CORRECTO:
Las puntas de alambre hacen el trabajo.
INCORRECTO:
Una presión excesiva puede causar la rotura del alambre.
DM 2610935540 01-07 1/17/07 4:07 PM Page 75

Ruedas de corte
Estos delgados discos de esmeril o de fibra de vidrio se
utilizan para rebanar, cortar y operaciones similares.
Utilícelos para cortar cabezas de perno y tuercas
agarrotadas o para volver a ranurar una cabeza de
tornillo que esté tan dañada que no permita usar un
destornillador. Buenas para cortar cable BX, varillas
pequeñas, tubería, cable, y para cortar agujeros
rectangulares en chapa metálica.
Broca para cortar pared de tipo seco
Permite hacer cortes rápidos y limpios en pared de tipo
seco.
Broca para cortar loseta
Corta loseta de cerámica para pared, tablero de
cemento y yeso.
Broca de corte en espiral
Corta a través de todos los tipos de madera y materiales
compuestos de madera.
Brocas de fresadora de alta velocidad
Para fresar, incrustar y mortajar en madera y otros
materiales blandos. Utilícelas con el accesorio de
fresadora No. 330 de Dremel y la mesa de
perfiladora/fresadora No. 231 de Dremel.
Pagina 76
Accesorios para la Dremel - (cont.)
DM 2610935540 01-07 1/17/07 4:07 PM Page 76

Pagina 77
Para cambiar una cinta de lijar en la lijadora de tambor,afloje el tornillo sin quitarlo para contraer el tambor y
luego deslice la cinta vieja hasta sacarla. Deslice la cinta de lijar nueva sobre el tambor hasta que esté colocada
yluego expanda el tambor apretando el tornillo una vez más.
Antes de cada uso, asegúrese de que todos los componentes estén montados en el
cuerpo del accesorio y de que el tambor esté suficientemente expandido para
mantener fija la cinta de lijar durante el uso. Si dicha cinta está floja en el tambor durante la operación, podrá
salir despedida y golpearles a usted o las personas que se encuentren presentes.
ADVERTENCIA
!
El roscado de tornillo para metales del vástago No. 424 se enrosca en el interior de la punta de pulir No. 427.
Este y otros vástagos roscados se deben enroscar firmemente hacia abajo hasta el collarín antes de utilizarse.
El vástago No. 401 se utiliza con la punta de pulir de fieltro y las ruedas de pulir de fieltro. Enrosque la punta en el
tornillo cuidadosamente. La punta de fieltro debe enroscarse hacia abajo en línea recta sobre el vástago del tornillo y
se debe girar del todo hasta el collarín.
El vástago No. 402 tiene un tornillo pequeño en la punta y se utiliza con ruedas de corte de esmeril y discos de lijar
de esmeril. Las velocidades más altas, normalmente las máximas, son mejores para la mayoría de los trabajos,
incluyendo el corte de acero, que se muestra aquí.
DM 2610935540 01-07 1/17/07 4:07 PM Page 77

Pagina 78
1010
10
NUMERO DE
CATALOGO MADERA
BLANDA MADERA
DURA
MATERIALES
LAMINADOS PLASTICO
ACERO ALUMINIO,
LATON, ETC. CAPARAZON/
PIEDRA CERAMICA VIDRIO
POSICIONES DE VELOCIDAD *Velocidad para cortes ligeros; precaución de no quemar en ranuras profundas.
•Según la dirección de corte respecto a la veta.
CORTADORES DE ALTA VELOCIDAD
CORTADORES PARA GRABAR
100, 121, 131
114, 124, 134, 144
190
118, 191, 192, 193, 194
116, 117, 125, 196
115
198
199
10
10
10
10*
10*
10*
8
6
6
8*
6*
6*
4
4
4
4
4
4
6
6
6
6
6
6
10
10
10
10
10
10
10
10
10
6
10
10
6
10
8
8
6
4
4
4
4
4
4
4
6
6
8
6
6
6
6
6
8
6
10
10
6
6
6
6
Utilice únicamente accesorios de alto rendimiento comprobados por Dremel.
105, 108
106, 109
107, 110
111
112
113
10
10
10
10*
10*
10*
FRESAS CON PUNTA DE DIAMANTE
7103, 7105, 7117, 7120,
7122, 7123, 7134, 7144 10 8
9931, 9932, 9933, 9934,
9935, 9936 10 8 4 6
CORTADORES DE CARBURO DE TUNGSTENO
CORTADORES DE CARBURO DE TUNGSTENO CON DIENTES ESTRUCTURADOS
9901, 9902, 9903, 9904,
9905, 9906, 9912 10 8 4 10 6
9909, 9910, 9911
8-10 8-108
8-10 8-10
8
DM 2610935540 01-07 1/17/07 4:07 PM Page 78

Pagina 79
8-10
8
6-10
2-4
2-4
2-4
10 10
10
10
6-8
10
6-8
10
409, 420, 426, 540
542
545
560
561
562
10
8-10
6-10
83142, 83322, 83702,
84922, 85422, 85602,
85622
903, 911, 921, 932, 941,
945, 952, 953, 954, 971,
997, 8153, 8175, 8193,
8215
610 4
4 6
610 10
ACCESORIOS DE CORTE
612, 640
615, 617, 618, 650, 652
654
10*
10*
10*
10 1010 8
8•
10•
8•
FRESAS ABRASIVAS
516, 517, 518
500
4-6
4-6
4-6
4-6
8
6-8
6
4-6
NUMERO DE
CATALOGO MADERA
BLANDA MADERA
DURA
MATERIALES
LAMINADOS PLASTICO
ACERO ALUMINIO,
LATON, ETC. CAPARAZON/
PIEDRA CERAMICA VIDRIO
POSICIONES DE VELOCIDAD *Velocidad para cortes ligeros; precaución de no quemar en ranuras profundas.
•Según la dirección de corte respecto a la veta.
BROCAS DEL ALTA VELOCIDAD PARA FRESAR
Utilice únicamente accesorios de alto rendimiento comprobados por Dremel.
541
453, 454, 455
46
10 1010 8
10
PIEDRAS DE AMOLAR DE CARBURO DE SILICIO
PIEDRAS DE AMOLAR DE OXIDO DE ALUMINIO
PIEDRAS DE AFILAR PARA SIERRAS DE CADENA
Para usar en paredes en seco. Para obtener mejores resultados utilícelos a 30 000/min.
DM 2610935540 01-07 1/17/07 4:07 PM Page 79

Pagina 80
461, 462, 463
414, 422, 429
425, 427
423
403, 404, 405
530, 531, 532
428, 442, 443
535, 536, 537
8
6
8
6-8
6
4
6
4
4
4
6
4
4
6
4
2-4
2
8
6
8
6-8
6
6
4
8
6
6-8
8
6
6-8
4
8
6
6-8
NUMERO DE
CATALOGO MADERA
BLANDA MADERA
DURA
MATERIALES
LAMINADOS PLASTICO
ACERO ALUMINIO,
LATON, ETC. CAPARAZON/
PIEDRA CERAMICA VIDRIO
POSICIONES DE VELOCIDAD *Velocidad para cortes ligeros; precaución de no quemar en ranuras profundas.
•Según la dirección de corte respecto a la veta.
ACCESORIOS PARA PULIR
430, 431, 438
439, 440, 444
407, 408, 432
411, 412, 413
502, 503, 504, 505 10 10 8-108 2
2-10
2-10
2-10
8
2-10
2-10
2-10
2-10
2-10
2-10
2-10
2-10
2-10
8
2-6
2-6
2-6
2-4
10
10
10
10
10
10
2-4
CINTAS Y DISCOS DE LIJAR
RUEDAS DE ALETAS
569, 570 Para usar en lechada de paredes y pisos
BROCAS PARA QUITAR LECHADA
150 10 6
6-8
8-10 2-4
BROCA TALADRADORA
5116 6 6
6 4
DISCOS DE PULIR ABRASIVOS DE ACABADO
Utilice únicamente accesorios de alto rendimiento comprobados por Dremel.
DM 2610935540 01-07 1/17/07 4:07 PM Page 80

Pagina 81
Garantía limitada de Dremel™
Su producto Dremel está garantizado contra defectos de material o de fabricación durante un período
de cinco años a partir de la fecha de compra. En caso de que un producto no se ajuste a esta garantía
escrita, por favor, tome las medidas siguientes:
1. NO devuelva el producto al lugar de compra.
2. Empaquete el producto cuidadosamente y solo, sin otros artículos, y envíelo con el porte pagado
junto con:
A. Una copia de la prueba de compra fechada (por favor, conserve una copia para usted).
B. Una explicación por escrito de la naturaleza del problema.
C. Su nombre, dirección y número de teléfono a:
ESTADOS UNIDOS
Dremel Service Center Dremel Service Center
4915 21st Street O 4631 E. Sunny Dune
Racine, WI 53406 Palm Springs, CA 92264
CANADÁ FUERA DE LOS TERRITORIOS
Giles Tool Agency CONTINENTALES DE LOS EE.UU.
47 Granger Av. Vea al distribuidor local o escriba a
Scarborough, Ont Dremel, 4915 21st Street
Canada M1K 3K9 Racine, WI 53406
1-416-287-3000
Recomendamos que el paquete sea asegurado contra pérdida o daños durante el transporte por los
cuales no podemos ser responsables.
Esta garantía tiene validez únicamente para el comprador original inscrito. LOS DAÑOS AL
PRODUCTO PRODUCIDOS POR MANIPULACION INCORRECTA, ACCIDENTE, ABUSO,
NEGLIGENCIA, REPARACIONES O ALTERACIONES NO AUTORIZADAS, ACCESORIOS NO
APROBADOS U OTRAS CAUSAS NO RELACIONADAS CON PROBLEMAS DEL MATERIAL O LA
FABRICACION NO ESTAN CUBIERTOS POR ESTAGARANTIA.
Ningún empleado, agente, distribuidor, ni ninguna otra persona está autorizado a dar ninguna garantía
en nombre de Dremel. Si la inspección de Dremel demuestra que el problema fue causado por
problemas con el material o la fabricación dentro de los límites de la garantía, Dremel reparará o
reemplazará el producto gratuitamente y devolverá el producto con el porte pagado. Las reparaciones
necesarias debido al desgaste normal o al abuso, o las reparaciones de productos que se encuentren
fuera del período de garantía, en caso de que se puedan realizar, se cobrarán a precios de fábrica
normales.
DREMEL NO DA NINGUNA OTRA GARANTIA DE NINGUN OTRO TIPO, EXPRESA O IMPLICITA, Y
TODAS LAS GARANTIAS IMPLICITAS DE COMERCIABILIDAD E IDONEIDAD PARA UN PROPOSITO
ESPECIFICO QUE EXCEDEN LA OBLIGACION MENCIONADA ANTERIORMENTE QUEDAN POR LA
PRESENTE RECHAZADAS POR PARTE DE DREMEL Y ESTAN EXCLUIDAS DE ESTA GARANTIA
LIMITADA.
Esta garantía le confiere a usted derechos legales específicos y es posible que usted también tenga
otros derechos que varían de un estado a otro. La obligación del garante consiste únicamente en
reparar o reemplazar el producto. El garante no es responsable de ningún daño incidental o emergente
debido a cualquiera de dichos defectos alegados. Algunos estados no permiten la exclusión o
limitación de los daños incidentales o emergentes, por lo que es posible que las limitaciones o la
exclusión anteriores no sean aplicables en el caso de usted.
Para precios y cumplimiento de la garantía en los territorios continentales de los Estados Unidos,
póngase en contacto con el distribuidor local Dremel.
Exportado por: Robert Bosch Tool Corporation Mt. Prospect, IL 60056 -2230, E.U.A.
Importado en México por: Robert Bosch, S.A. de C.V., Calle Robert Bosch No. 405, Zona Industrial,
Toluca, Edo. de México, C.P. 50070, Tel. (722) 2792300
DM 2610935540 01-07 1/17/07 4:07 PM Page 81

Pagina 82
MODEL MODÈLE MODELO
F013039519
DM 2610935540 01-07 1/17/07 4:07 PM Page 82

Pagina 83
ORDER BY PART NUMBER, NOT CODE NUMBER
COMMANDEZ PAR LE NUMÉRO DE LA PIÉCE—NON PAR LE NUMÉRO DE CODE
ORDERNE POR NUMERO DE PIEZA, NO POR NUMERO DE CODIGO
CODE NO. PART NO.
NO. DE CODE NO. DE LA PIECE
NUMERO DE CODIGO NUMERO DE PIEZA DESCRIPTION DESCRIPTION DESCRIPCION
1 2615990962 Wrench Clé Llave de tuerca
2 2610945684 Collet Nut Ecrou De Douille Tuerca del portaherramienta
3 2615000480 1/8" Collet (In Tool) Douille 3,2 mm (avec l'outil) Portaherramienta de 3,2 mm
(en la herramienta)
4 2610913684 Housing Cap Chapeau du bâti Tapa de la caja protectora
*481 3/32" Collet Douille 2,4 mm Portaherramienta de 2,4 mm
5 2610941200 Armature & Bearing Assembly Ensemble de l'armature et palier Ensamblaje de inducido y rodamientos
6 2610907324 Field Assembly Champ d'induit Ensamblaje de campo
7 2615297356 Collet Lock & Spring Verrou et ressort pour douille Cierre y resorte de portaherramienta
8 2610945687 Housing Set Bâti Juego de caja protectora
9 2610945685 Hanger Bride de suspension Gancho
10 2610945689 Brush Cap (Pair) Chapeau de balai (paire) Tapa para escobillas (par)
11 2615302695 Brush Spring (Pair) Ressort de balai (paire) Muelle para escobillas (par)
12 2610945681 Switch Assembly Montage de l'interrupteur Ensamblaje del interruptor
13 2615294041 Cord Cordon Cordón
14 2615294035 Screw (individual) Vis Tornillos
15 2615297373 Isolator Manchon isolant Aislante
WRITE FOR CURRENT PRICES ÈCRIVEZ POUR OBTENIR LES PRIX ESCRIBA PARA OBTENER PRECIOS
NO C.O.D.'S COURANTS PAS DE P.S.L. ACTUALES - NO SE HACEN ENVIOS CONTRA REEMBOLSO
DM 2610935540 01-07 1/17/07 4:07 PM Page 83

Pagina 84
8
9
10
5
2
34
6
7
1
DREMEL CUTTING GUIDE
GUIDE DE GOUPE DREMEL
GUIA DE CORTE DREMEL
CODE NO. PART NO.
NO. DE CODE NO. DE PIÈCE
NO. DE CODIGO NO. DE PIEZA DESCRIPTION DESCRIPTION DESCRIPCION
14484 Collet Nut (Not included) Écrou de douille (non fourni) Tuerca del portaherramienta (no incluida)
2480 1/8" Collet available as AccessoryDouille de 3,2 mm offerte comme accessoire Portaherramienta de 3,2 mm disponible como accesorio
(Not included) (non fournie) (no incluido)
481 3/32" Collet available as AccessoryDouille de 2,4 mm offerte comme accessoire Portaherramienta de 2,4 mm disponible como accesorio
(Not included) (non fournie) (no incluido)
482 1/16" Collet available as AccessoryDouille de 1,6 mm offerte comme accessoire Portaherramienta de 1,6 mm disponible como accesorio
(Not included) (non fournie) (no incluido)
483 1/32" Collet available as AccessoryDouille de 0,8 mm offerte comme accessoire Portaherramienta de 0,8 mm disponible como accesorio
(Not included) (non fournie) (no incluido)
32610914373 Handpiece Cap Tapa del Mango Chapeau de la pièce manuelle
4529410970 Flexible Shaft Core Noyau d'arbre flexible Núcleo del eje flexible
590962 Wrench Available as AccessoryClé offerte comme accessoire Llave de tuerca disponible como accesorio
(Not included) (non fournie) (no incluida)
62610915085 Overthrow Nut Assembly Conjunto de tuerca Ensemble d'écrou de renversement
7529417870 Driver Cap Capuchon d'entraînement Tapa del impulsor
82615302049 Guide Guia
92615302102 Guide insert Guia para insertar
10 2615302103 Screw spring & nut Destornillador, Muelle & Tuerca
DREMEL FLEX-SHAFT ATTACHMENT
FIXATION DE L’ARBRE FLEXIBLE DREMEL
ADITAMENTO DE EJE FLEXIBLE DREMEL
DM 2610935540 01-07 1/17/07 4:07 PM Page 84

Pagina 85
CODE NO. PART NO.
NUMERO DE CODIGO NUMERO DE PIEZA
NO. DE CODE NO. DE LA PIECE DESCRIPTION DESCRIPCION DESCRIPTION
1 2615302691 Angled Cone Housing Cubierta Protectora en Forma de Angulos Enveloppe angulaire conique
2 2615302687 Multi Channel Slide Deslizamiento Multi-Canales Glissière à cannelures
3 2615302688 Thumbscrew Tornillo de Apriete Manual Vis à ailette
4 2615302689 Square Nut Tuerca Cuadrada Écrou carré
5 2615302690 Compression Spring Resorte Ressort
GROUT REMOVAL KIT
KIT POUR L’EXTRACTION DE COULIS
JUEGO PARA QUITAR LECHADA
DM 2610935540 01-07 1/17/07 4:07 PM Page 85

Pagina 86
Notes:
DM 2610935540 01-07 1/17/07 4:07 PM Page 86

Pagina 87
Remarques :
Notas:
DM 2610935540 01-07 1/17/07 4:07 PM Page 87

Dremel™Limited Warranty
Your Dremel product is warranted against defective material or workmanship for a
period of five years from date of purchase. In the event of a failure of a product to
conform to this written warranty, please take the following action:
1. DO NOT return your product to the place of purchase.
2. Carefully package the product by itself, with no other items, and return it, freight prepaid, along
with:
A. A copy of your dated proof of purchase (please keep a copy for yourself).
B. A written statement about the nature of the problem.
C. Your name, address and phone number to:
UNITED STATES
Dremel Service Center Dremel Service Center
4915 21st Street OR 4631 E. Sunny Dune
Racine, WI 53406 Palm Springs, CA 92264
CANADA OUTSIDE
Giles Tool Agency CONTINENTAL UNITED STATES
47 Granger Av. See your local distributor or write to
Scarborough, Ont Dremel, 4915 21st Street
Canada M1K 3K9 Racine, WI 53406
1-416-287-3000
We recommend that the package be insured against loss or in transit damage for which we cannot
be responsible.
This warranty applies only to the original registered purchaser. DAMAGE TO THE PRODUCT
RESULTING FROM TAMPERING, ACCIDENT, ABUSE, NEGLIGENCE, UNAUTHORIZED REPAIRS OR
ALTERATIONS, UNAPPROVED ATTACHMENTS OR OTHER CAUSES UNRELATED TO PROBLEMS
WITH MATERIAL OR WORKMANSHIP ARE NOT COVERED BY THIS WARRANTY.
No employee, agent, dealer or other person is authorized to give any warranties on behalf of Dremel.
If Dremel inspection shows that the problem was caused by problems with material or workmanship
within the limitations of the warranty,Dremel will repair or replace the product free of charge and
return product prepaid. Repairs made necessaryby normal wear or abuse, or repair for product
outside the warranty period, if they can be made, will be charged at regular factoryprices.
DREMEL MAKES NO OTHER WARRANTY OF ANY KIND WHATEVER, EXPRESSED OR IMPLIED,
AND ALL IMPLIED WARRANTIES OF MERCHANTABILITY AND FITNESS FOR A PARTICULAR
PURPOSE WHICH EXCEED THE ABOVE MENTIONED OBLIGATION ARE HEREBY DISCLAIMED BY
DREMEL AND EXCLUDED FROM THIS LIMITED WARRANTY.
This warranty gives you specific legal rights and you may also have other rights which vary from
state to state. The obligation of the warrantor is solely to repair or replace the product. The warrantor
is not liable for any incidental or consequential damages due to any such alleged defect. Some states
do not allow the exclusion or limitation of incidental or consequential damages, so the above
limitations or exclusion may not apply to you.
For prices and warranty fulfillment in the continental United States, contact your local Dremel
distributor.Exportado por: Robert Bosch Tool Corporation Mt. Prospect, IL 60056 -2230, E.U.A.
Importado en México por: Robert Bosch, S.A. de C.V., Calle Robert Bosch No. 405, Zona Industrial,
Toluca, Edo. de México, C.P. 50070, Tel. (722) 2792300
DM 2610935540 01-07 1/17/07 4:07 PM Page 88