Easypix Dvc 527 Hd Users Manual DVC528HD_DUTCH_
DVC-527 HD - User Manual DVC527HD Free User Guide for EasyPix Camcorder, Manual
2015-08-11
: Easypix Easypix-Dvc-527-Hd-Users-Manual-784902 easypix-dvc-527-hd-users-manual-784902 easypix pdf
Open the PDF directly: View PDF
.
Page Count: 80

user manual

1
1. Parts of the camcorder
1: Zoom switch
2: Capture /voice record
button
3: Power button
4: Power LED
5: Video record mode
6: Charging LED
7: Mode dial
8: AV out jack
9: Earphone jack
10: DC in jack
11: USB Jack
12: HDMI jack
13 : Display button
14: Speaker
15: LCD screen
16: Menu button

2
17:Joystick/ OK button
18: Delete/ Flash button
19: Compensating LED
20: Flash strobe
21: Microphone
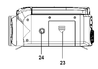
22: Lens
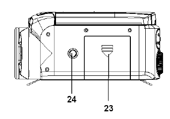
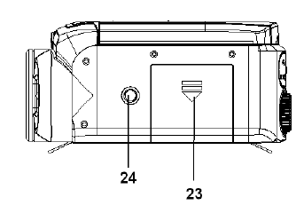
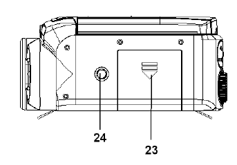
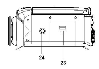
23: Battery cover
24: Tripod socket

3
2. Preparing for using
Installing the Battery
1. Slide the battery cover.
2. Place the accessory lithium-ion
battery into the compartment.
Note that the metallic contacts
must be aligned with the contacts
in the compartment.
3. After the battery is properly
installed, replace the battery cover.
Charging the battery
Please charge the battery at least 8 hours for first time use.

4
a) Power OFF; connect the camcorder to a PC by the attached USB
cable.
b) Charging starts when charging LED turns BLUE. The charge indicator
light turns OFF when charging is completed.
c) Disconnect the camcorder.
Inserting the Memory Card
This camcorder has an internal memory, it can only record a few pictures or
movie clips. If you want record more you have to use a SD or MMC card.
Turn off the camcorder before inserting or removing the memory card. Be
sure to orient the card correctly when inserting it.
Never try to force the memory card into the slot
when you feel resistance. The memory card has
a write protect switch, which used to protect data
from accidental deletion. Therefore, whenever
you want to record, format or delete files in the
SD card, disable the write protection
beforehand.
5
1. Turn off the camcorder.
2. Slide the battery cover and then you will see the SD card slot.
3. Insert the memory card as illustrated.
4. Close the battery cover.
• To release the memory card press the edge of the card gently.
3. Using this camcorder
Turning the Camcorder On and Off
1. Open the LCD panel to power on the camcorder and close the L CD
panel to turn off the camcorder.
2. You can also press the POWER button to turn on the camcorder and
press it again to turn the camcorder off.
To save battery power, the LCD monitor automatically turns off 30 seconds
after the last control accessed (factory-preset setting). Press any button
other than the power button to turn on the LCD monitor. After the power

6
saving function has been active for the set time, the power will turn off
completely. Press the Power button to power the camera back on. You can
change the power-off time by setting the function [Auto off] in the Setup
menu.
Change the record mode
There are four record modes in this camcorder. Rotate
the mode dial to set the camcorder to different mode.
Display Title Description
Capture mode For taking still photos.
Video mode For recording movie clips.
Audio mode For recording audio files.
Playback mode For playback record files.

7
Recording a video clip
1: Turn on the camcorder and set the camcorder to video record mode
( ).
2: Zooming:
Moving the Zoom switch rightward or leftward to zoom in or zoom out the
screen. The value of magnification level appears on the LCD monitor.
3: Press the VIDEO RECORD button to start recording.
4: Press the VIDEO RECORD again to end the recording. If the memory is
full the video camera will stop recording automatically.
• On the upper of the LCD monitor displays the recorded time.
• When the light is insufficient press the FLASH/DELETE button to
turn on the compensating LED and when the light is enough press the
FLASH/DELETE button to turn off the compensating LED.
Taking still images
1. Set the camcorder to capture mode, the icon appears on the LCD
8
screen.
2. Zooming: Moving the Zoom switch rightward or leftward to zoom in or
zoom out the screen. The value of magnification level appears on the
LCD monitor.
3. Hold the camcorder steady and then press the CAPTURE/VIOCE
RECORD button down to take a picture.
Recording audio
1: Turn the camcorder on and set it to audio record mode.
2: Press the CAPTURE/VIOCE RECORD button to start recording.
3: Press the CAPTURE/VIOCE RECORD again to end the recording. If the
memory is full the video camera will stop recording automatically.
• On the center of the LCD monitor displays the recorded time.
• There is no menu in audio record mode.
9
5.Playback
Playing back movie clips
1: Set the camcorder to playback mode.
2: Push the joystick leftward or rightward to select the movie clips you want
to playback.
3: Press the VIDEO RECORD button to start playing. Press the OK button
to pause it and press it again to continue. Push the joystick rightward to
fast forward and push the joystick leftward to back forward.
4: Push the joystick upward or downward to adjust the volume.
Playback still image
1: Set the camcorder to playback mode.
The latest recorded file appears on the LCD screen. If there are no
images stored, a message [No Image] appears.
2: Push the joystick leftward or rightward to preview the previous or next
image.
10
3: Zooming:
Moving the ZOOM switch leftward or rightward to zoom in or zoom out
the image. When the picture is enlarged you can push the joystick
upward/downward/Leftward/Rightward to browse the details of the
image.
Playing back audio files
1: Set the camcorder to playback mode.
2: Push the joystick leftward or rightward to select the audio file you want to
playback.
3: Press the CAPTURE/VIOCE RECORD button to start playing and press
it again to end the playing. Press the OK button to pause it and press it
again to continue.

11
9. Technical Specifications
Sensor 5MegaPixels CMOS,
Display 2.7 " TFT Color LCD
Focus range Standard:80cm ~ infinity
Aperture F3.2, f=7.36mm
Shutter Electronic Shutter:
Resolution StillImage:12M;8M;5M;3M; 0.3M;
Video:1280x720, 720x480.
Sensitivity Auto
White balance Auto / Daylight / Tungsten / Fluoresce / Cloudy
Exposure control -2EV to +2EV in 0.5 step
Burst Included
Photo effect Color/Sepia/Monochrome
Self-timer 10/ 20 sec.
Storage 32 MB internal memory
External memory: SD / MMC

12
TV system NTSC / PAL
Power Supply Lithium-ion battery
Ambient
temperature
Operating: 0° C to 40° C
Storage: -20 to 60° C
Microphone Built-in
Speaker Built-in
Dimension 128X62X59 (mm)
Weight Camera Body w/o battery: Approx. 220g

Bedienungsanleitung

1
1. Aufbau des Camcorders
1: Zoomschalter
2: Auslöser/
Sprachaufnahme-Taste
3: Power (Ein/Aus)-Taste
4: Betriebsanzeige LED
5: Video-Aufnahmemodus
6: Lade-LED
7: Modusauswahlrad
8: AV-Ausgangsbuchse
9: Kopfhörerbuchse
10: DC-IN Eingangsbuchse
11: USB-Buchse
12: HDMI-Buchse
13 : Anzeigetaste
14: Lautsprecher
15: LCD-Bildschirm

2
16: Menütaste
17:Joystick/ OK-Taste
18: Lösch-/Blitz-Taste
19: Kompensations-LED
20: Blitzlicht
21: Mikrofon
22: Objektiv
23: Batteriefachdeckel
24: Stativgewinde

3
2. Vorbereitung zur Inbetriebnahme
Einlegen der Batterie
1. Öffnen Sie den
Batteriefachdeckel durch
Schieben.
2. Setzen Sie den Li-Ion-Akku in das
Batteriefach ein. Beachten Sie,
dass die Metallkontakte mit den
Kontakten im Batteriefach
ausgerichtet werden müssen.
3. Nachdem die Batterie richtig installiert wurde, setzen Sie den Deckel
wieder auf das Batteriefach.

4
Laden der Batterie
Bitte laden Sie die Batterie für die erste Inbetriebnahme mindestens 8
Stunden auf.
a) Ausschalten und den Camcorder mit dem mitgelieferten USB-Kabel an
einen PC anschließen.
b) Der Ladevorgang beginnt, wenn die Lade-LED BLAU aufleuchtet.
Die Ladeanzeige erlischt, wenn der Ladevorgang abgeschlossen ist.
c) Stecken Sie den Camcorder ab.
Einsetzen der Speicherkarte
Dieser Camcorder verfügt über einen
internen Speicher, er kann nur ein paar
Bilder oder Videoclips aufnehmen. Wenn
Sie mehr aufnehmen möchten, müssen
Sie eine SD- oder MMC-Karte benutzen.
Schalten Sie den Camcorder vor dem
Einsetzen oder Entfernen der
5
Speicherkarte aus. Bitte achten Sie beim Einsetzen der Karte auf die
korrekte Ausrichtung. Schieben Sie die Speicherkarte niemals mit Gewalt in
den Schlitz, wenn Sie einen Widerstand spüren. Die Speicherkarte besitzt
einen Schreibschutzschalter, mit dem die Daten vor versehentlichem
Löschen geschützt werden können. Deshalb deaktivieren Sie vor dem
Aufnehmen, Formatieren und Löschen von Dateien auf der SD-Karte zuerst
den Schreibschutz.
1. Schalten Sie den Camcorder aus.
2. Öffnen Sie den Batteriefachdeckel durch Schieben und anschließend
wird der SD-Kartenschlitz sichtbar.
3. Setzen Sie die Speicherkarte wie beschrieben ein.
4. Schließen Sie den Batteriefachdeckel wieder.
• Um die Speicherkarte freizugeben, drücken Sie vorsichtig auf den
Rand der Karte.
6
3. Verwendung des Camcorders
Ein- und Ausschalten des Camcorders
1. Öffnen Sie das LCD-Panel, um den Camcorder einzuschalten und
schließen Sie das LCD-Panel zum Ausschalten des Camcorders.
2. Sie können den Camcorder auch durch Drücken der Taste POWER
einschalten. Mit einem erneuten Tastendruck schalten Sie den
Camcorder wieder aus.
Um die Batterie zu schonen, schaltet sich der LCD-Monitor nach 30
Sekunden ab der letzten Bedienung automatisch aus (werkseitige
Einstellung). Drücken Sie eine beliebige Taste außer der Einschalttaste, um
den LCD-Monitor wieder einzuschalten. Nachdem die Energiesparfunktion
für einen eingestellte Zeit aktiviert wurde, schaltet sich der Camcorder
vollständig aus. Zum erneuten Einschalten des Camcorders drücken Sie die
POWER-Taste. Sie können die Ausschaltzeit durch Einstellen der Funktion
[Autom Aus] im Setup-Menü ändern.

7
Ändern des Aufnahmemodus
Der Camcorder besitzt vier Aufnahmemodi. Drehen Sie
das Modus-Auswahlrad am Camcorder auf einen
anderen Modus.
Aufnahme eines Videoclips
1: Schalten Sie den Camcorder ein und stellen den Video-Aufnahmemodus
( ) ein.
2: Zoomen:
Display Titel Beschreibung
Aufnahmemodus Aufnahme von Fotos.
Videomodus Aufnahme von Filmclips.
Audiomodus Aufnahme von
Audiodateien.
Wiedergabemodus Wiedergabe
aufgenommener Dateien.

8
Durch Verschieben des Zoomschalters nach rechts oder links wird in das Bild
hinein- oder aus dem Bild heraus gezoomt. Der Wert des
Vergrößerungsfaktors wird auf dem LCD-Monitor angezeigt.
3: Starten Sie die Aufnahme mit der VIDEO-AUFNAHME-Taste.
4: Zum Beenden der Aufnahme drücken Sie erneut die
VIDEO-AUFNAHME-Taste. Wenn der Speicher voll ist, stoppt der
Camcorder automatisch die Aufnahme.
• Auf dem LCD-Monitor wird oben die Aufnahmezeit angezeigt.
• Wenn das Licht nicht ausreicht, drücken Sie die
BLITZ/LÖSCHEN-Taste, um die Kompensations-LED einzuschalten und
wenn ausreichend Licht vorhanden ist, schalten Sie mit der
BLITZ/LÖSCHEN-Taste die Kompensations-LED aus.
Bilder aufnehmen
1. Stellen Sie den Camcorder in den Aufnahmemodus. Auf dem
LCD-Bildschirm erscheint das Symbol .
2. Zoomen:
9
Durch Verschieben des Zoomschalters nach rechts oder links wird in
das Bild hinein- oder aus dem Bild heraus gezoomt. Der Wert des
Vergrößerungsfaktors wird auf dem LCD-Monitor angezeigt.
3 Halten Sie den Camcorder ruhig und drücken vollständig die
AUSLÖSER/SPRACHAUFNAHME-Taste, um ein Foto aufzunehmen.
Audioaufnahmen
1: Schalten Sie den Camcorder ein und stellen den Audio-Aufnahmemodus
ein.
2: Starten Sie die Aufnahme mit der
AUSLÖSER/SPRACHAUFNAHME-Taste.
3: Zum Beenden der Aufnahme drücken Sie erneut die
AUSLÖSER/SPRACHAUFNAHME-Taste. Wenn der Speicher voll ist,
stoppt der Camcorder automatisch die Aufnahme.
• In der Mitte des LCD-Monitors wird die Aufnahmezeit angezeigt.
• Im Audio-Aufnahmemodus gibt es kein Menü.
10
5. Wiedergabe
Filmclip wiedergeben
1: Stellen Sie den Camcorder in den Wiedergabemodus.
2: Drücken Sie den Joystick nach links oder rechts, um die Filmclips zur
Wiedergabe auszuwählen.
3: Starten Sie die Aufnahme mit der VIDEO-AUFNAHME-Taste. Halten Sie
die Wiedergabe mit der OK-Taste an und drücken Sie die Taste erneut, um
fortzufahren. Schieben Sie für den schnellen Vorlauf den Joystick nach
rechts und für den schnellen Rücklauf nach rechts.
4: Schieben Sie den Joystick nach oben oder unten, um die Lautstärke
anzupassen.
Foto anzeigen
1: Stellen Sie den Camcorder in den Wiedergabemodus.
Die zuletzt aufgenommene Datei wird auf dem LCD-Bildschirm angezeigt.
Wenn keine Bilder gespeichert sind, erscheint die Meldung [Keine Bilder].
11
2: Drücken Sie den Joystick nach links oder rechts, um eine Vorschau des
vorherigen oder nächsten Bilds anzuzeigen.
3: Zoomen:
Durch Verschieben des Zoomschalters nach rechts oder links wird in das
Bild hinein- oder aus dem Bild heraus gezoomt. Wenn das Bild vergrößert
wurde, können Sie den Joystick nach oben/unten/nach links/rechts
schieben, um Details im Bild zu suchen.
Audiodateien wiedergeben
1: Stellen Sie den Camcorder in den Wiedergabemodus.
2: Drücken Sie den Joystick nach links oder rechts, um eine Audiodatei zur
Wiedergabe auszuwählen.
3: Drücken Sie die AUSLÖSER/SPRACHAUFNAHME-Taste, um mit der
Wiedergabe zu beginnen und drücken Sie die Taste erneut, um die
Wiedergabe abzubrechen. Halten Sie die Wiedergabe mit der OK-Taste
an und drücken Sie die Taste erneut, um fortzufahren.

12
9. Technische Spezifikationen
Sensor 5 Mega-Pixel CMOS,
Display 5,08 cm TFT Farb-LCD
Fokusbereich Standard: 80cm - unendlich
Blende F3,2, f=7,36mm
Auslöser Elektronischer Auslöser:
Auflösung Foto: 12M, 8M, 5M, 3M, 0,3M.
Video: 1280x720, 720x480.
Empfindlichkeit Autom.
Weißabgleich Autom. / Tageslicht / Kunstlicht / Fluoreszent /
bewölkt
Belichtungssteuer
ung
-2EV bis +2EV in 0,5 Schritten
Serienaufnahme Ja
Fotoeffekte Farbe/Sepia/Monochrom
Selbstauslöser 10/20 Sek.

13
Speicher 32 MB interner Speicher
Externer Speicher: SD/MMC
TV-System NTSC / PAL
Stromversorgung Li-Ion Akku
Umgebungstempe
ratur
Betrieb: 0° C bis 40° C
Lagerung: -20 bis 60° C
Mikrofon Intern
Lautsprecher Intern
Abmessungen 128x62x59 (mm)
Gewicht Camcorder ohne Batterien: ca. 220g

Manuel d’utilisation

1
1. Eléments du caméscope
1: Molette de zoom
2:Touche de Capture
/enregistrement de voix
3: Touche d’alimentation
4: Témoin d’alimentation
5: Mode enregistrement
vidéo
6: Témoin de charge
7: Molette sélection de
mode
8: Sortie jack AV
9: Jack casque
10: Jack alimentation
11: Prise USB
12: Prise HDMI
13 : Touche affichage
14: Haut parleur

2
15: Ecran LCD
16: Touche menu
17: Touche Joystick/ OK
18: Touche supprimer/Flash
19: Témoin de compensation
20: Flash stroboscopique
21: Microphone
22: Lentille
23: Couvercle de batterie
24: Prise pour trépied

3
2. Préparation à l’utilisation
Installer la batterie
1. Faire glisser le couvercle de la
batterie
2. Positionner la batterie lithium-ion
dans le compartiment. Notez que
les contacteurs métalliques
doivent être alignés avec ceux
présents dans le compartiment.
3. Après que la batterie a été correctement installée, remettez le
couvercle en place.
Chargement de la batterie
Pour une première utilisation, merci de charger la batterie pendant au

4
minimum 8 heures.
a) Alimentation éteinte; connectez le caméscope à un PC à l'aide du
câble USB joint
b) La charge commence lorsque le témoin de charge devient bleu. Le
témoin de charge s’éteint lorsque la batterie est chargée.
c) Déconnecter le caméscope.
Insérer la carte mémoire
Ce caméscope dispose d’une mémoire interne, mais ne peut enregistrer
que quelques photos ou vidéos. Si vous souhaitez enregistrer davantage,
vous devez utiliser une carte SD ou MMC. Eteindre le caméscope avant
d’insérer ou de retirer la carte mémoire.
Assurez-vous que la carte est positionnée dans
le bon sens avant de l’insérer. N’essayez jamais
de forcer la carte dans la fente si vous sentez
une résistance. La carte mémoire a une
protection contre l’écriture, destinée à empêcher
un effacement accidentel des données. Ainsi,
5
lorsque vous souhaitez enregistrer, formater ou effacer des fichiers dans la
carte SD, désactivez la protection contre l’écriture.
1. Eteindre le caméscope.
2. Retirez le couvercle de la batterie et vous apercevrez alors la fente
pour carte SD.
3. Insérez la carte mémoire comme indiqué sur le dessin.
4. Fermez le couvercle de la batterie.
• Pour faire sortir la carte mémoire, appuyer délicatement sur le
bord de la carte.
3. Utiliser ce caméscope
Allumer et éteindre le caméscope
1. Ouvrir l’écran LCD pour allumer le caméscope et fermer l’écran LCD
pour l’éteindre.
2. Vous pouvez aussi appuyer sur la touche ALIMENTATION pour allumer

6
le caméscope et appuyer à nouveau sur cette touche pour l’éteindre.
Pour économiser la batterie, l’écran LCD s’éteint automatiquement 30
secondes après avoir appuyé pour la dernière fois sur une touche
(paramétrage d’usine). Appuyer sur n’importe quelle touche pour allumer
l’écran LCD. Après que la fonction d’économie d’énergie a été activée
pendant la durée programmée, l’alimentation se coupe totalement.
Appuyer sur la touche “power” pour rétablir l’alimentation. Vous pouvez
changer la durée de la minuterie en modifiant le paramètre de la fonction
[Fermeture automatique] dans le menu Paramètres.
Changer le mode d’enregistrement
Ce caméscope dispose de quatre modes
d’enregistrement. Faites tourner la molette de sélection
de modes pour sélectionner un mode différent.

7
Enregistrer une séquence vidéo
1: Allumer le caméscope et le mettre sur mode enregistrement vidéo
( ).
2: Zoom:
Faire pivoter la commande de zoom vers la droite ou vers la gauche pour
zoomer ou dézoomer à l’écran. Le niveau de grossissement apparaît sur
l’ecran LCD.
3: Appuyer sur la touche ENREGISTREMENT VIDEO pour débuter
l’enregistrement.
Affichage Titre Description
Mode Photo Pour prendre des photos.
Mode Vidéo Pour enregistrer des vidéos.
Mode Audio Pour enregistrer des fichiers
audio.
Mode Lecture Pour lire les fichiers
enregistrés.

8
4: Appuyer à nouveau sur ENREGISTREMENT VIDEO pour mettre fin à
l’enregistrement. Si la mémoire est pleine, le caméscope arrêtera
automatiquement l’enregistrement.
• Le temps d’enregistrement apparaît sur la partie supérieure de
l’écran LCD.
• Lorsque la lumière est trop faible, appuyez sur la touche
FLASH/SUPPRIMER pour activer la LED de compensation et lorsque
la lumière est suffisante, appuyer à nouveau sur la touche
FLASH/SUPPRIMER pour éteindre la LED de compensation.
Prendre des photos
1. Mettre le caméscope en mode photo, l’icône apparaît sur l’écran
LCD.
2. Zoom:Faire pivoter la commande de zoom vers la droite ou vers la
gauche pour zoomer ou dézoomer à l’écran. Le niveau de
grossissement apparait sur l’écran LCD.
3. Tenir le caméscope sans bouger et appuyer sur la touche
CAPTURE/ENREGISTREMENT SONORE pour prendre une photo.
9
Enregistrer une plage audio
1: Allumer le caméscope et sélectionner le mode enregistrement audio.
2: Appuyer sur la touche CAPTURE/ENREGISTREMENT SONORE pour
commencer l’enregistrement.
3: Appuyer à nouveau sur la touche CAPTURE/ENREGISTREMENT
SONORE pour mettre fin à l’enregistrement. Si la mémoire est pleine, le
caméscope arrêtera automatiquement l’enregistrement
• Le temps d’enregistrement est indiqué au centre de l’écran LCD.
• Il n’y a pas de menu en mode enregistrement audio.
5. Lecture
Lire les fichiers vidéo
1: Mettre le caméscope en mode lecture.
2: Déplacer le joystick vers la gauche ou la droite pour sélectionner le
fichier vidéo que vous désirez lire.
3: Appuyer sur la touche ENREGISTREMENT VIDEO pour démarrer la
lecture. Appuyer sur la touche OK pour mettre en pause et appuyer à
10
nouveau pour reprendre la lecture. Déplacer le joystick vers la droite
pour mettre en avance rapide et vers la gauche pour le retour rapide.
4: Déplacer le joystick vers le haut ou le bas pour ajuster le volume.
Lire des photos
1: Mettre le caméscope en mode lecture.
Les fichiers enregistrés en dernier apparaissent à l’écran. S’il n’y a pas
d’image enregistrée, le message [Pas d’image] est affiché.
2: Déplacer le joystick vers la gauche ou la droite pour pré-visualiser
l’image précédente ou suivante.
3: Zoom:
Déplacer la molette de ZOOM vers la gauche ou la droite pour zoomer
ou dézoomer l’image. Lorsque l’image est agrandie, vous pouvez
déplacer le joystick vers la haut/le bas/la gauche/la droite pour parcourir
l’image en détail.
Lire les fichiers audio
1: Mettre le caméscope en mode lecture.

11
2: Déplacer le joystick vers la gauche ou la droite pour sélectionner le
fichier audio que vous désirez lire.
3: Appuyer sur la touche CAPTURE/ENREGISTREMENT SONORE pour
démarrer la lecture et appuyer à nouveau pour y mettre fin. Appuyer sur
la touche OK pour mettre en pause et appuyer à nouveau pour
reprendre.
9. Spécifications techniques
Capteur 5MegaPixels CMOS,
Affichage 2,7 " TFT LCD Couleur
Gamme de focus Standard:80cm ~ infini
Ouverture F3,2, f=7,36mm
Obturateur Obturateur électronique:
Résolution Photo:12M;8M;5M;3M; 0,3M;
Vidéo:1280x720, 720x480.
Sensibilité Auto
Variation des Auto / Lumière du jour / Tungstène / Fluorescent
/ Nuageux

12
blancs
Contrôle de
l’exposition
-2EV à +2EV par palier de 0,5
Burst Inclus
Effets de photo Couleur/Sépia/Monochrome
Minuteur 10/ 20 sec.
Stockage Mémoire interne 32 MB
Mémoire externe: SD / MMC
Système TV NTSC / PAL
Alimentation Batterie lithium-ion
Température
ambiante
Utilisation: 0° C à 40° C
Stockage: -20 à 60° C
Microphone Intégré
Haut Parleur Intégré
Dimensions 128X62X59 (mm)
Poids Camera hors batterie: Approx. 220g

Manual de uso

1
1. Partes de la videocámara
1: Interruptor del zoom
2: Botón de captura /
grabación de voz
3: Botón de encendido
4: LED indicador de
funcionamiento
5: Modo grabación vídeo
6: LED indicador de carga
7: Dial de modo
8: Toma de salida AV
9: Toma de auriculares
10: Toma de entrada de CC
11: Toma USB
12: Toma HDMI
13: Botón de pantalla
14: Altavoz

2
15: Pantalla LCD
16: Botón de menú
17: Palanca/botón OK
18: Botón Borrar/Flash
19: LED de compensación de luz
20: Flash estroboscópico
21: Micrófono
22: Objetivo
23: Tapa de la batería
24: Rosca para el trípode

3
2. Antes de utilizar la cámara
Instalación de la batería
1. Abra la tapa de la batería.
2. Introduzca la batería de iones de
litio en el compartimento. Los
contactos metálicos de la batería
deben coincidir con los contactos
del compartimento.
3. Cuando la batería esté
correctamente instalada, vuelva a
cerrar la tapa de la batería.
Carga de la batería
La batería debe cargarse al menos durante 8 horas antes de utilizarse por
primera vez.
a) Apague la videocámara; conéctela a un PC mediante el cable USB

4
incluido.
b) La carga comenzará cuando el LED indicador de carga se ponga
AZUL. La luz indicadora de carga se APAGA cuando la carga ha
finalizado.
c) Desconecte la videocámara.
Introducción de la tarjeta de memoria
Esta videocámara cuenta con una memoria
interna que sólo puede grabar cierta cantidad de
fotos o clips de vídeo. Si desea grabar más
tendrá que utilizar una tarjeta SD o MMC.
Apague la videocámara antes de introducir o extraer la tarjeta de memoria.
Asegúrese de orientar correctamente la tarjeta al introducirla. Nunca
fuerce la tarjeta de memoria para introducirla en la ranura cuando note
resistencia. La tarjeta de memoria tiene un dispositivo de protección contra
escritura que sirve para evitar el borrado accidental de datos. Por lo tanto,
cuando desee grabar, formatear o eliminar archivos en la tarjeta SD,
5
desactive la protección contra escritura previamente.
1. Apague la videocámara.
2. Abra la tapa de la batería y verá la ranura para la tarjeta SD.
3. Introduzca la tarjeta de memoria tal y como se le indica.
4. Cierre la tapa de la batería.
• Para extraer la tarjeta de memoria presione suavemente el borde
de la misma.
3. Utilización de la cámara de vídeo
Encendido y apagado de la cámara de vídeo
1. Abra el panel LCD para encender la videocámara y ciérrelo para
apagarla.
2. También puede pulsar el botón de ENCENDIDO para encender la
videocámara y volver a pulsarlo para apagarla.
Para ahorrar batería, el monitor LCD se apaga automáticamente 30
segundos después de haber pulsado el último control (ajuste predefinido

6
de fábrica). Pulse cualquier botón que no sea el botón de encendido para
encender el monitor LCD. Después de que la función de ahorro de energía
esté activa durante el tiempo establecido, la videocámara se apagará por
completo. Pulse el botón de encendido para volver a encender la cámara.
Puede cambiar el tiempo de apagado configurando la función [Apagado
automático] en el menú Configuración.
Cambio del modo de grabación
Esta videocámara dispone de cuatro modos de
grabación. Gire el dial de modo para ajustar la
videocámara en los distintos modos.
Pantalla Título Descripción
Modo captura Para tomar fotografías fijas
Modo vídeo Para grabar clips de vídeo
Modo audio Para grabar archivos de audio
Modo
reproducción
Para reproducir archivos
grabados

7
Grabación de un clip de vídeo
1: Encienda la videocámara y ajústela en el modo de grabación de vídeo
( ).
2: Zoom:
Mueva el interruptor del zoom hacia la derecha o hacia la izquierda para
aumentar o reducir la pantalla. El valor del nivel de aumento aparecerá en
el monitor LCD.
3: Pulse el botón GRABACIÓN DE VÍDEO para iniciar la grabación.
4: Vuelva a pulsar el botón de GRABACIÓN DE VÍDEO para finalizar la
grabación. Si la memoria está llena, la videocámara dejará de grabar
automáticamente.
• En la parte superior del monitor LCD se muestra el tiempo grabado.
• Cuando no haya suficiente luz, pulse el botón FLASH/BORRAR para
encender el LED de compensación de luz; cuando tenga suficiente
luz, vuelva a pulsar el mismo botón para apagar el LED de
compensación de luz.

8
Captura de imágenes fijas
1. Ajuste la videocámara en el modo de captura. En la pantalla
aparecerá el icono .
2. Zoom:
Mueva el interruptor del zoom hacia la derecha o hacia la izquierda
para aumentar o reducir la pantalla. El valor del nivel de aumento
aparecerá en el monitor LCD.
3 Sujete la videocámara firmemente y, a continuación, pulse el botón
de CAPTURA/GRABACIÓN DE VOZ para hacer una foto.
Grabación de audio
1: Encienda la videocámara y ajústela en el modo de grabación de audio.
2: Pulse el botón CAPTURA/GRABACIÓN DE VOZ para iniciar la
grabación.
3: Vuelva a pulsar el botón CAPTURA/GRABACIÓN DE VOZ para
finalizar la grabación. Si la memoria está llena, la videocámara dejará de
grabar automáticamente.
9
• En el centro del monitor LCD se muestra el tiempo grabado.
• En el modo de grabación de audio no existe menú.
5. Reproducción
Reproducción de clips de vídeo
1: Ajuste la videocámara en el modo de reproducción.
2: Mueva la palanca hacia la izquierda o hacia la derecha para seleccionar
los clips de vídeo que desea reproducir.
3: Pulse el botón de GRABACIÓN DE VÍDEO para iniciar la reproducción.
Pulse el botón OK para hacer una pausa y vuelva a pulsarlo para
continuar. Mueva la palanca hacia la derecha para un avanzar y hacia la
izquierda para retroceder en el vídeo.
4: Mueva la palanca hacia arriba o hacia abajo para ajustar el volumen.
10
Reproducción de imágenes fijas
1: Ajuste la videocámara en el modo de reproducción.
En la pantalla LCD aparecerá el último archivo grabado. Si no hay
imágenes almacenadas, aparecerá un mensaje indicando [No hay
imágenes].
2: Mueva la palanca hacia la izquierda o hacia la derecha para ver la foto
anterior o la siguiente.
3: Zoom:
Mueva el interruptor del ZOOM hacia la izquierda o hacia la derecha
para ampliar o reducir la imagen. Cuando la imagen esté ampliada,
puede mover la palanca hacia arriba/abajo/derecha/izquierda para ver
los detalles de la imagen.
Reproducción de archivos de audio
1: Ajuste la videocámara en el modo de reproducción.
2: Mueva la palanca hacia la izquierda o hacia la derecha para seleccionar
el archivo de audio que desea reproducir.

11
3: Pulse el botón CAPTURA/GRABACIÓN DE VOZ para iniciar la
reproducción y vuelva a pulsarlo para finalizarla. Pulse el botón OK para
hacer una pausa y vuelva a pulsarlo para continuar.
9. Especificaciones técnicas
Sensor 5 Megapíxeles CMOS,
Pantalla Pantalla LCD TFT a color de 2.7”
Rango de enfoque Estándar: 80cm ~ infinito
Apertura F3.2, f=7,36mm
Obturador Obturador electrónico
Resolución Imagen fija:12M;8M;5M;3M; 0.3M;
Vídeo: 1280x720, 720x480.
Sensibilidad Automática
Balance de
blancos Automático / Luz del día / Tungsteno /
Fluorescente / Nublado
Control de
exposición
De -2EV a +2EV en intervalos de 0,5

12
Modo ráfaga Incluido
Efectos de foto Color/Sepia/Monocromo
Temporizador
automático
10/ 20 seg.
Almacenamiento 32 MB de memoria interna
Memoria externa: SD / MMC
Sistema de TV NTSC / PAL
Alimentación Batería de iones de litio
Temperatura
ambiente
En funcionamiento: de 0° C a 40° C
En almacenamiento: de -20 a 60° C
Micrófono Integrado
Altavoz Integrado
Dimensiones 128X62X59 (mm)
Peso Cuerpo de la cámara sin batería: 220 g. aprox.

Gebruiksaanwijzing

1
1. Beschrijving van de camcorder
1: Zoomschakelaar
2:Opname
/spraakopname-toets
3: Aan/uit-schakelaar
4: LED-voedingsindicator
5: Video-opnamemodus
6: LED-oplaadindicator
7: Modusregelaar
8: AV-uitgang
9: Oortelefooningang
10: Voedingsingang
11: USB-aansluiting
12: HDMI-aansluiting
13 : Displaytoets
14: Luidspreker
15: LCD-scherm
16: Menutoets

2
17: Joystick/ OK-toets
18: Wissen/ Flash-toets
19: Compensatie-LED
20: Flashstrobe
21: Microfoon
22: Lens
23: Batterijklep
24: Statiefaansluiting

3
2. Voorbereidingen voor gebruik
Batterij plaatsen
1. Schuif de batterijklep open.
2. Plaats de speciale lithium-ion
batterij in de houder. Let erop dat
de metalen contactpunten van de
batterij gelijk gericht zijn met de
contactpunten in de houder.
3. De batterijklep weer sluiten na het
plaatsen van de batterij.
De batterij opladen
De batterij moet voor gebruik minimaal 8 uur worden opgeladen.

4
a) Voeding UIT; de camcorder op een PC aansluiten met de USB-kabel.
b) Het opladen begint wanneer de LED-oplaadindicator BLAUW wordt.
De oplaadindicator gaat AAN als het opladen voltooid is.
c) De camcorder loskoppelen.
Plaatsen van de geheugenkaart
Deze camcorder heeft een intern geheugen die slechts enkele
afbeeldingen op video's kan opslaan. U dient een SD- of MMC-kaart
gebruiken om meer geheugen voor opnamen te gebruiken. De camcorder
uitschakelen alvorens de geheugenkaart te
plaatsen of verwijderen. Zorg ervoor dat de kaart
correct wordt geplaatst. De kaart nooit in de
sleuf forceren wanneer er weerstand is. De
geheugenkaart heeft een write
protect-schakelaar die gebruikt kan worden
tegen onbedoeld wissen van gegevens. Deze
bescherming moet worden uitgeschakeld wanneer u wilt opnemen,
formatteren of bestanden van de SD-kaar wilt wissen.
5
1. De camcorder uitschakelen.
2. De batterijklep openen voor toegang tot de SD-kaarthouder.
3. Plaats de geheugenkaart zoals getoond in de afbeelding.
4. De batterijklep weer sluiten.
• Druk licht op de rand van de geheugenkaart om deze te
ontgrendelen.
3. Gebruik van de camcorder
De camcorder aan- en uitschakelen.
1. Open het LCD-paneel om de camcorder in te schakelen en sluit het
LCD-paneel om de camcorder uit te schakelen.
2. U kunt ook op de Aan/uit-schakelaar drukken om de camcorder aan en
weer uit te zetten.
Om stroom te besparen wordt het LCD-scherm 30 seconden na de laatste
bediening automatisch uitgeschakeld (fabrieksinstelling). Druk op een

6
willekeurige toets behalve de Aan/uitschakelaar om het LCD-scherm weer
in te schakelen. Nadat de stroombesparingsfunctie gedurende de
ingestelde tijd actief is geweest, wordt de voeding geheel uitgeschakeld.
Druk op de Aan-/uitschakelaar om de voeding van de camera weer in te
schakelen. U kunt de uitschakeltijd wijzigen met de functie [Automatisch uit]
in het Instelmenu.
Opnamemodus wijzigen
Deze camcorder heeft vier opnamestanden. Roteer de
modusregelaar om de camcorder in de gewenste modus
te schakelen.

7
Videoclip opnemen
1: De camcorder inschakelen en de camcorder instellen op de
video-opnamemodus ( ).
2: Zoomen:
Draai de zoomring naar rechts of links om op het beeld in of uit te zoomen.
Het zoomniveau wordt op het LCD-scherm aangegeven.
3: Druk op de VIDEO-OPNAME-toets om op te nemen.
4: Druk opnieuw op de VIDEO-OPNAME-toets om het opnemen te stoppen.
De videocamera stopt automatisch als het geheugen vol is.
Display Titel Beschrijving
Opnamemodus Normale foto's opnemen.
Videomodus Videoclips opnemen.
Audiomodus Audiobestanden opnemen.
Weergavemodus Opgenomen bestanden
afspelen.

8
• De opnametijd verschijnt bovenin het LCD-scherm.
• Wanneer er onvoldoende licht aanwezig is, op de
FLASH/WISSEN-toets drukken om de compensatie-LED in te
schakelen. Wanneer er voldoende licht is, weer op de
FLASH/WISSEN-toets drukken om de compensatie-LED uit te
schakelen.
Normale foto's maken
1. Zet de camcorder in de opnamemodus; het pictogram verschijnt op
het LCD-scherm.
2. Zoomen: Draai de zoomring naar rechts of links om op het beeld in of
uit te zoomen. Het zoomniveau wordt op het LCD-scherm
aangegeven.
3. De camcorder stil houden en dan op de
OPNAME/SPRAAKOPNAME-toets drukken op een opname te
maken.
9
Audio opnemen
1: De camcorder inschakelen en in de audio opnamemodus schakelen.
2: Druk op de OPNAME/SPRAAKOPNAME-toets om op te nemen.
3: Druk opnieuw op de OPNAME/SPRAAKOPNAME-toets om het
opnemen te stoppen. De videocamera stopt automatisch als het
geheugen vol is.
• De opnametijd verschijnt in het midden van het LCD-scherm.
• Er verschijnt geen menu in de audio opnamemodus.
5.Weergave
Videoclips afspelen
1: Zet de camcorder in de weergavemodus.
2: Druk de joystick naar links of recht om de gewenste video te selecteren
voor weergave.
3: Druk op de VIDEO-OPNAME-toets om af te spelen. Druk op de OK-toets
om weergave te pauzeren. Opnieuw indrukken om weergave te hervatten.
10
Druk de joystick naar recht om snel door te spoelen en druk de joystick
naar links of snel terug te spoelen.
4: Druk de joystick naar boven of beneden om het volume aan te passen.
Weergave van foto's
1: Zet de camcorder in de weergavemodus.
Het laatst gemaakt opnamebestand verschijnt op het LCD-scherm. Als er
geen bewaarde opnamen zijn, verschijnt de melding [Geen
afbeeldingen].
2: Druk de joystick naar links of recht om de vorige of volgende afbeelding te
bekijken.
3: Zoomen:
Beweeg de ZOOM-regelaar naar links of rechts om in of uit te zoomen op
het beeld. Wanneer de afbeelding is vergroot, kunt u de joystick naar
boven/beneden/links/rechts drukken om details van de afbeelding te
bekijken.

11
Audiobestanden afspelen
1: Zet de camcorder in de weergavemodus.
2: Druk de joystick naar links of rechts om het gewenste audiobestand te
selecteren voor weergave.
3: Druk op de OPNAME/SPRAAKOPNAME-toets om weergave te starten;
opnieuw indrukken om weergave te stoppen. Druk op de OK-toets om
weergave te pauzeren. Opnieuw indrukken om weergave te hervatten.
9. Technische specificaties
Sensor 5Megapixels CMOS,
Display 2,7" TFT kleuren-LCD
Focusbereik Standaard: 80cm ~ oneindig
Apertuur F3,2, f=7,36mm
Sluiter Elektronische sluiter:
Resolutie Foto: 12M; 8M; 5M; 3M; 0,3M;
Video: 1280x720, 720x480.
Gevoeligheid Automatisch

12
Witbalans Automatisch / Daglicht / Tungsten / Fluorescent /
Bewolkt
Belichtingscontrol
e
-2EV tot +2EV in 0,5 stap
Burst Inclusief
Foto-effect Kleur/Sepia/Monochroom
Zelftimer 10/ 20 seconden
Opslag 32 MB intern geheugen
Extern geheugen: SD / MMC
TV-systeem NTSC / PAL
Voeding Lithium-ion batterij
Omgevingstemper
atuur
Bedrijfstemperatuur: 0° C tot 40° C
Opslag: -20 tot 60° C
Microfoon Ingebouwd
Luidspreker Ingebouwd
Afmetingen 128X62X59 (mm)
Gewicht Camera body zonder batterij: Ongeveer 220g

Manuale istruzioni

1
1. Parti della videocamera
1: Interruttore zoom
2: Tasto Capture/registr.
voce
3: Tasto alimentazione
4: LED Alimentazione
5: Modo registr. video
6: LED ricarica
7: Modo Ghiera
8: Spin. Uscita AV
9: Spinotto cuffie
10: Spinotto ing. CC
11: Spinotto USB
12: Spinotto HDMI
13 : Tasto Display
14: Altoparlante
15 Display LCD
16: Tasto Menu

2
17:Joystick/ Tasto OK
18: Tasto Cancella/ Flash
19: LED compensazione
20: Flash
21: Microfono
22: Obiettivo
23: Coperchio batteria
24: Presa treppiede

3
2. Preparazione all’uso
Installazione batteria
1. Togliere il coperchio della
batteria.
2. Collocare la batteria al litio nel
vano batteria. Notare che i
contatti metallici devono essere
allineati ai contatti all’interno del
vano batterie.
3. Quando la batteria è installata correttamente,rimontare il coperchio.
Ricarica batteria
Caricare la batteria per almeno 8 ore quando la si utilizza per la prima

4
volta.
a) Alimentazione OFF; collegare la videocamera a un PC con il cavo
USB in dotazione.
b) La ricarica ha inizio quando il LED di carica diventa BLU. La spia di
ricarica si spegne quando la carica è stata completata.
c) Scollegare la videocamera.
Inserimento della Memory Card
La videocamera é dotata di memoria interna e può registrare soltanto
alcune immagini o video. Per registrarne di più è necessario utilizzare un
SD o una MMC card. Spegnere la videocamera prima di inserire o
rimuovere la memory card. Orientare la card
correttamente quando la si inserisce. Non
cercare mai di forzare la memory card nello slot
se si incontra resistenza. La memory card è
dotata di un interruttore di protezione dalla
sovrascrittura utilizzato per proteggere i dati
dalla cancellazione accidentale. Quando si
5
desidera registrare, formattare o cancellare i file nella SD card, disabilitare
prima la protezione.
1. Spegnere la videocamera.
2. Rimuovere il coperchio della batteria per accedere allo slot della SD
card.
3. Inserire la memory card come illustrato.
4. Chiudere il coperchio della batteria.
• Per rilasciare la memory card, premere delicatamente il bordo
della card.
3. Uso della videocamera
Accensione e spegnimento della videocamera
1. Aprire l pannello LCD per alimentare la videocamera e chiudere il
pannello LCD per spegnere la videocamera.
2. È inoltre possible premere il tasto POWER (ALIMENTAZIONE) per

6
accendere la videocamera e premerlo nuovamente per spegnerlo.
Per risparmiare la batteria, il monitor LCD si spegne automaticamente 30
secondi dopo l’ultimo accesso (impostazione di fabbrica). Premere un tasto
qualunque escluso quello di alimentazione per accendere il monitor LCD.
Dopo che il tasto Risparmio energetico è stato attivo per il tempo impostato,
l’alimentazione si disattiva completamente. Premere il tasto Alimentazione
per riaccendere la videocamera. È possible modificare il tempo di riposo
impostando la funzione [Auto off] nel menu Setup.
Modifica modo registrazione
La videocamera dispone di Quattro modi di registrazione.
Ruotare la ghiera di modo per impostare un modo .

7
Registrazione video
1: Accendere la videocamera e impostarla sul modo registrazione video
( ).
2: Zoom:
Spostare l’interruttore Zoom verso destra o verso sinistra per ingrandire o
ridurre lo schermo. Il valore di ingrandimento appare sul monitor LCD.
3: Premere il tasto VIDEO RECORD per avviare la registrazione.
4: Premere nuovamente VIDEO RECORD per terminare la registrazione.
Se la memoria è piena, la videocamera interrompe automaticamente la
Display
Nome
Descrizione
Modo Capture
Per fotografie.
Modo Vide
Per video.
Modo Audio
Per registrazione di file audio.
Modo
Riproduzione
Per riproduzione file registrati.

8
registrazione.
• Sulla parte superiore del monitor LCD viene visualizzato il tempo
di registrazione.
• Quando la luce è insufficiente, premere il tasto FLASH/DELETE per
attivare il LED di compensazione e quando la luce è sufficiente
premere il tasto FLASH/DELETE per disattivare il LED di
compensazione.
Fermo Immagine
1. Impostare la videocamera sul modo Capture. Sul display LCD viene
visualizzata l’icona .
3. Zoom:
Spostare l’interruttore Zoom verso destra o verso sinistra per
ingrandire o ridurre lo schermo. Il valore d’ingrandimento viene
visualizzato sul monitor LCD.
5. Tenere ben ferma la videocamera e premere il tasto
CAPTURE/VOICE RECORD per fare una fotografia.
9
Registrazione audio
1: Accendere la videocamera e impostarla sul modo registrazione audio.
2: Premere il tasto CAPTURE/VOICE RECORD per avviare la
registrazione.
3: Premere nuovamente CAPTURE/VOICE RECORD per interrompere la
registrazione. Se la memoria è piena, la videocamera interrompe
automaticamente la registrazione.
• Al centro del monitor LCD viene visualizzato il tempo di
registrazione.
• Non vi è alcun menu nel modo registrazione audio.
5.Riproduzione
Riproduzione video
1: Impostare la videocamera nel modo Riproduzione.
2: Spingere il joystick verso sinistra o verso destra per selezionare il video
che si desidera riprodurre.
10
3: Premere il tasto VIDEO RECORD per avviare la riproduzione. Premere il
tasto OK per mettere in pausa e premerlo nuovamente per continuare.
Spingere il joystick verso destra per l’avanzamento rapido e verso
sinistra per l’avvolgimento rapido.
4: Spingere il joystick verso l’alto o verso il basso per regolare il volume.
Riproduzione fermo immagine
1: Impostare la videocamera sul modo Riproduzione.
Il display LCD mostra l’ultimo file registrato. Se non vi sono immagini
memorizzate, viene mostrato il messaggio [No Image] .
2: Spingere il joystick verso sinistra o verso destra per l’anteprima di
stampa dell’immagine precedente o successiva.
3: Zoom:
Spostare l’interruttore ZOOM verso sinistra o verso destra per ingrandire
o ridurre l’immagine. Quando l’immagine viene ingrandita, è possible
premere il joystick verso l’alto/il basso/sinistra/destra per scorrere i
particolari dell’immagine.

11
Riproduzione di file audio
1: Impostare la videocamera sul modo di riproduzione.
2: Spingere il joystick verso sinistra o verso destra per selezionare il file
audio che si desidera riprodurre.
3: Premere il tasto CAPTURE/VOICE RECORD per avviare la
riproduzione e premerlo nuovamente per interromperla. Premere il tasto
OK per mettere in pausa e premerlo nuovamente per continuare.
9. Specifiche tecniche
Sensore
5 MegaPixels CMOS,
Display
2.7 " TFT LCD a colori
Gamma focus
Standard:80 cm ~ infinito

12
Apertura
F3.2, f=7,36 mm
Otturatore
Otturatore elettronico
Risoluzione
Fermo immagine:12 M;8 M;5 M;3 M; 0,3 M;
Video:1280 x 720, 720 x 480.
Sensibilità
Auto
Bil. bianchi
Auto / Luce diurna / tungsteno / fluorescente /
nuvoloso
Comando espos.
-2EV to +2EV a passi di 0,5
Burst
Incluso
Effetto foto
Colore / Seppia / Monocromo
Self-timer
10/ 20 sec.
Memoria
32 MB memoria interna
Memoria esterna: SD / MMC
Sistema TV
NTSC / PAL
Alimentazione
Batteria ioni al litio
Temperatura
ambiente
Esercizio: da 0° C a 40° C
Non utilizzo:da -20 a 60° C
Microfono
Integrato
Speaker
Integrato

13
Misure
128 X 62 X 59 (mm)
Peso
Corpo camera con/senza batteria: circa. 220 g