Eclipse Fujitsu Ten Avx5000 Users Manual AVX5000_Audio
AVX5000 to the manual f46d4699-366a-4fe8-b8e7-189f9c6c8be1
2015-02-06
: Eclipse-Fujitsu-Ten Eclipse-Fujitsu-Ten-Avx5000-Users-Manual-537378 eclipse-fujitsu-ten-avx5000-users-manual-537378 eclipse-fujitsu-ten pdf
Open the PDF directly: View PDF
.
Page Count: 262 [warning: Documents this large are best viewed by clicking the View PDF Link!]
- Introduction
- Basic operation
- How to turn the power ON or OFF
- Display open/tilt/close
- Inserting/Ejecting the disc or “Memory Stick Duo”
- Switching source
- Operational screen for each source
- Adjusting the volume
- Adjusting sound quality
- Setting background screen
- Adjusting/setting the screen
- Others
- How to operate the tuner
- How to operate the CD player
- How to operate the MP3/WMA player
- How to use the MP3/WMA player
- How to operate the optional CD changer
- How to operate the DVD player
- Before using the DVD player
- How to use the DVD player
- How to operate the video CD player (Asia only)
- How to operate the Area Shot function (U.S.A./CANADA only)
- Before using the Area Shot
- How to use the Area Shot function
- Displaying ePID
- Reading Area Shot data
- Changing Area Shot screen
- How to view the Area Shot screen
- Displaying touch switch
- Switching the map reduction scale
- Displaying the all-route map
- Switching guidance points
- Switching text information
- Re-scrolling through text information
- Displaying POI vicinity
- When an optional GPS unit is connected
- To end Area Shot
- ESN security operating procedure
- ESN security operating procedure
- About ESN
- How to switch the security type (Key CD security/ "Memory Stick" security)
- How to operate the ESN (Key CD) security
- How to operate the ESN (“Memory Stick”) security
- How to operate the ACC security
- How to turn the security indicator on/off
- How to read the Electronic Serial Number
- ESN security operating procedure
- How to use the remote control
- How to operate the optional 5.1ch decoder & AV selector unit
- Sound quality information
- Adjusting sound quality
- Setting display
- How to operate the optional HD radio tuner (U.S.A. only)
- How to operate the optional SIRIUS satellite radio tuner (U.S.A. only)
- How to operate the optional TV tuner (U.S.A./CANADA/KOREA/TAIWAN only)
- How to operate the VTR
- How to operate the Back-eye Camera
- For reference
- Important Points
- Other
- Glossary
- About care and maintenance
- Topic index
- About screen and sound adjustment
- About using AM/FM radio
- About using the CD player and CD changer
- About using the MP3/WMA player
- About using the DVD player
- About video CD player (Asia only)
- About Area Shot (U.S.A./CANADA only)
- About ESN security
- About optional 5.1ch decoder & AV selector unit
- About optional HD radio (U.S.A. only)
- About optional SIRIUS satellite radio (U.S.A. only)
- About optional TV (U.S.A./CANADA/KOREA/ TAIWAN only)
- About optional Back-eye Camera
- When something isn't clear
- Index
- Specifications
- How to contact customer service
- Before installation
- Mounting instruction

OWNER'S MANUAL
We appreciate your purchase of this receiver.
Please read through this manual for correct operation.
We suggest that after reading it you keep this manual
in a safe place for future reference.
"DVD/MS Multi-Source Receiver with 7" Wide TFT Display"
AVX5000

1
Warnings and cautions signs, illustrated below, are posted throughout this manual as well as
on the device itself. They show safe and correct ways to handle the product so as to prevent
personal injury to you and others, and to avoid damage to property. Before reading through
the manual, take time to read through and learn the important information listed in this section.
The symbol shown below indicates important instructions or helpful information to keep in
mind.
●Please read all materials that come with the product, such as manuals and warranties.
Eclipse will not be liability for unsatisfactory product performance due to failure to follow
these instructions.
●Changes in product specifications may result in differences between the content of the
manual and actual product features.
Cautions for use
* The images appearing on the screen may differ from those shown in this manual
depending on the type of database used and when it was created.
Please use care in handling the manual.
Forcefully spreading or pulling on pages may result in their falling out of the binding.
Use the manual carefully.
This sign indicates a situation in which incorrect handling
through disregard of a sign might result in death or serious
personal injury.
This sign indicates a situation in which incorrect handling
through disregard of a sign might result in personal injury or may
result solely in damage to property.
Warning
Caution
A point it will be helpful to remember.
Important points.

2
●Do not modify this system for use other than that specified herein. Also, do not
deviate from the installation procedures described herein; Eclipse will not be held
liable for damages including, but not limited to serious injury, death or property
damage resulting from installations that enable unintended operation.
●This equipment requires 12V DC and should only be installed in a vehicle with a
12V negative ground electrical system. Any other installation may cause a fire or
other severe damage to the equipment and the vehicle.
●Never install this equipment where it will interfere with safe operation of the
vehicle. Never block the drivers’ view. Do not install equipment where it may
interfere with operation of the brakes, the steering or any safety equipment,
including seat belts and air bags.
●Before to drilling holes in a vehicle for installation, you must confirm the locations
of pipes, tanks, electrical wiring, and other vehicle systems and components to
ensure that there will be no interference or contact. In addition, addition, it is
necessary apply rust prevention and leak prevention measures at the drilling
area. Otherwise, fire or electric shock could occur.
●When installing equipment do not remove or alter existing vehicle fasteners,
including nuts, bolts, screws, clips, and fittings. Never detach, move or alter
existing vehicle wiring, including electrical grounds and straps. Alteration of
existing vehicle components may make vehicle unsafe to operate.
●Before installation, remove the negative (-) battery terminal to prevent shocks,
electrical arcing, fires, and damage to vehicle wiring and the equipment you are
installing.
●Secure wiring with tape or plastic ties so that wires do not interfere with vehicle
operation, including brake pedal, gear shifter and steering. Position wires so that
they will not be rubbed, abraded, or damaged by moving vehicle components,
including power seats.
●To avoid equipment and vehicle damage, including fire, never supply power to
installed equipment in a way which will overload the capacity of an existing
vehicle circuit. Never leave a power supply wire or connection uninsulated.
Always install supplied fuses, circuit breakers, and relays.
●Air bags are vital safety equipment. Never install equipment in a way which will
alter air bag wiring or interfere with air bag deployment. Air bags must function
properly in the event of an accident.
●When installation is complete, test all vehicle electrical systems for proper
operation, including lights, horn, brake lights, and emergency flashers.
●For your protection, never use a power drill without safety glasses or goggles.
Debris or broken drill bits may cause severe eye injuries, including blindness.
●Use electrical tape to insulate the ends of all wires, even if not used. Proper
insulation prevents arcs, shocks and fires.

3
●Do not damage the camera cable. Any holes in the camera will provide a point of
entry for moisture and water, which may cause malfunctions, fire or electric
shock.
●Some equipment uses batteries. Never install equipment where young children
can get access to batteries. If a battery is swallowed, seek medical attention
immediately.
●When vehicle is moving, never take your eyes off the road to make adjustments
to the equipment. You must pay attention to the road to avoid accidents, do not
let the operation or adjustment of the equipment distract you from proper vehicle
operation.
●The driver should never watch video or television while driving. Displays and
screens should never be used or installed where they can be seen by and
possibly distract the driver. It is against the law in many places to have video or
television screens used where they can be seen by the driver. Driving and
watching video or television is an extremely dangerous thing to do.
●The driver should not look at the screen while driving. Accidents may result if you
are not paying attention to the forward direction.
●DO NOT look at the monitor screen while reversing the vehicle. The rear monitor
is merely to assist in confirming the locations of obstacles, and therefore there is
a limit to the visual range that it provides. Be sure to visually check for safety
while reversing the vehicle. Otherwise, you may hit a person or object in the blind
spot of the camera, resulting in a serious accident.
●Drive slowly while reversing the vehicle. The rear monitor uses a wide angle
lens, and the actual distance is different than how it appears. If you reverse the
vehicle at high speed, you may hit a person or object, resulting in a serious
accident.
●Do not put foreign objects in the loading slot of Memory Stick Duo or disc. Fires
or shocks may result.
●Do not disassemble or alter this equipment. Accidents, fires or shocks may
result.
●Do not let water, dust or foreign objects enter the internal parts of this equipment.
Smoke, fires or shocks may result.
●Pay attention to where the remote control is left. Traffic accidents or problems
with driving may result if the remote control makes its way under the foot pedals
etc. when the vehicle is stopped or when it goes around a corner.
●Do not use when it is broken (the screen is not lit or no sound comes out).
Accidents, fires or shocks may result.

4
●Always replace fuses with fuses of identical capacity and characteristics. Never
use a high capacity fuse than the original. Using the wrong type of fuse may
cause a fire or severe damage.
●If foreign objects or water enters the equipment, smoke comes out, or there is a
strange odor, stop using it immediately, and contact your dealer. Accidents, fires,
or shocks may result if you continue to use it in these conditions.
●The driver should not change the Memory Stick Duo or CD while driving. As
accidents may result if you are not paying attention to the forward direction, first
stop the car at a safe location and then proceed.
●Plastic bags and wrappings may cause suffocation and death. Keep away from
babies and children. Never put bag over your head or mouth.
●Wiring and installing this equipment requires expertise and experience.
Professional installation is recommended. Consult with your dealer or a
professional installer. Incorrect wiring may damage the equipment or interfere
with safe vehicle operation.
●Use only the accessory parts as specified. Using other parts may cause damage
to the equipment or cause parts to fall or fly off the equipment.
●Do not install the unit in places where it may get dew condensation on (around
the air conditioning hose, etc.), come in contact with water, or in condition of high
moisture, dust or oily smoke. If water, moisture, dust or oily smoke enters this
unit, smoke, fires or malfunctions may result.
●Avoid installing in places where it cannot be fastened securely or where there are
strong vibrations. Also, if you installed the unit with double-sided tape, first wipe
away dirt and wax from the installation area. Otherwise, the unit may come loose
due to vibration while driving, causing problems for driving and resulting in traffic
accidents or injuries.
●Do not install in places with direct sunlight or where it will be hit directly by hot air
from the heater. This may increase the temperature of the interior of this
equipment, resulting in fires and malfunctions.
●Chose the installation location carefully so that the unit is not installed so that it
can contact pedestrians and injure them.
●Do not install the television antenna in hard-to-install, unstable places, or on
easily peeled surfaces that have been treated with fluorine resin or water
repellent. Accidents may result if the antenna comes off while the can is
traveling, falls or makes contact with pedestrians.

5
●When installing a TV antenna on the trunk or similar location, be careful of the tip
of the TV antenna when opening and closing the trunk. Otherwise, it could cause
injury to eyes, etc.
●Tighten the fasteners for the antenna securely so that it will not vibrate loose and
injure a pedestrian or cause an accident.
●Occasionally check the camera installation screws, and tighten any that are
loose. If a screw falls out, it could come into contact with a pedestrian or cause
an accident.
●Be careful when driving into parking garages, under elevated structures, etc.
when the television antenna extends above vehicle height. Accidents may result
if the television antenna makes contact with the elevated structure, breaks off
and falls or makes contact with pedestrians.
●Be careful of the tip of the antenna when opening and closing the trunk if the
television antenna is installed on the trunk. Eye damage or other injuries may
result.
●Do not block the fan, heat sink or vents of this unit. When fan, heat sink or vent is
blocked, the interior overheats, and fires may result.
●Carry out the wiring such that cords are not pinched by movable parts such as
seat rails, and screw parts of the vehicle body. Accidents, fires and shocks may
result from disconnection and electrical shorts.
●Carry out the wiring such that the cord does not make contact with metal parts.
The cord maybe be damaged by contact with metal parts, resulting in fire and
shocks.
●Avoid hot surfaces when wiring equipment. High temperatures may damage
wiring, causing shorts, arcing and fires.
●Seal the antenna lead and other wires into the vehicle body to prevent rain and
water from entering the vehicle. Water leaks may cause shorts and fires.

6
●When changing the installation location for this equipment, please consult the
dealer where you bought it for safety reasons. Expertise is necessary for removal
and installation.
●Keep volume to a reasonable level so that you can hear sounds from outside the
vehicle, including warning sounds, voices, and sirens. Failure to do so may
cause an accident.
●Be careful that hands and fingers are not pinched when adjusting the tilting angle
or closing display. Injuries may result.
●Do not put your hands or fingers into the loading slot of Memory Stick Duo or
disc. Injuries may result.
●Do not touch the heat dissipating part of the amp. Burns may result from the heat
of this part.
●Avoid immersing the camera in water or passing it through automated (high
pressure) car washing machines. Otherwise, water will get inside the camera or
the camera may fall off, resulting in an accident.
●Do not recharge dry batteries. Dry batteries may rupture, resulting in injuries.
●Do not use batteries other than those specified. Also, do not mix old and new
batteries. Injuries or pollution to the surroundings may result from battery
ruptures and leakage.
●When inserting batteries into the equipment, be careful with the polarity (positive/
negative), and insert them as indicated. If the battery polarities are incorrect,
injuries and pollution to the surroundings may result from battery ruptures and
leakage.
●Replace used batteries as soon as possible; they may leak and damage
equipment. Battery leakage can burn your skin or your eyes. Wash hands after
handling.
●If alkaline solution from alkaline dry batteries makes contact with your skin or
clothes, flush with clean water. If any of the solution gets in your eyes, also flush
clean with water and then seek medical attention.
●When disposing of lithium dry batteries, affix insulating tape to the positive and
negative terminals, and after they are insulated, dispose of them according to the
"Local municipal ordinances". Shorts, fires and ruptures may result from disposal
when coming contact with other electrically conductive objects such as metal
parts, etc.
●Do not short, disassemble or heat the batteries, or place them in fire or water.
Fire and injuries may result from battery rupture and leakage.
●Store the remote control in a place away from direct sunlight, high temperatures,
and high moisture levels. The case may change shape, and the batteries may
rupture and leak.

7
●Do not use this equipment except for in-vehicle use. Shocks or injuries may
result.
●Be careful of the position of the volume when turning the power source ON.
Hearing damage may result if very loud noise is emitted when the power is
turned ON.
●The image from the rear monitor is the same image from the rearview mirror and
side mirrors, with the left and right sides reversed. In addition, the view is
different depending upon the type of vehicle. Pay careful attention.
●Do not operate under abnormal conditions such as when the sound is broken or
distorted. Fires may result.
●This equipment uses invisible laser light. Do not disassemble or alter this
equipment. If trouble occurs, contact the dealer where you bought the
equipment.
Altering this equipment may cause exposure to laser emissions (worsening
eyesight), or result in accidents, fires or shocks.
●If the equipment is dropped or the cosmetics appear broken, turn off the power to
the main unit and contact your dealer. If used in this condition, fires or shocks
may result.

8

9
Table of Contents
Introduction ............................................................................................... 24
Basic operation ......................................................................................... 40
How to operate the tuner.......................................................................... 80
How to operate the CD player .................................................................. 87
How to operate the MP3/WMA player...................................................... 92
How to operate the optional CD changer.............................................. 103
How to operate the DVD player.............................................................. 106
How to operate the video CD player (Asia only) .................................. 129
How to operate the Area Shot function (U.S.A./CANADA only).......... 134
ESN security operating procedure ........................................................ 149
How to use the remote control .............................................................. 165
How to operate the optional 5.1ch decoder & AV selector unit.......... 170
How to operate the optional HD radio tuner (U.S.A. only) .................. 202
How to operate the optional SIRIUS satellite radio tuner
(U.S.A. only)... 208
How to operate the optional TV tuner
(U.S.A./CANADA/KOREA/TAIWAN only). ... 214
How to operate the VTR.......................................................................... 219
How to operate the Back-eye Camera................................................... 222
For reference ........................................................................................... 226
Before installation................................................................................... 247
Mounting instruction .............................................................................. 248
I
II
III
IV
V
VI
VII
VIII
IX
X
XI
XII
XIII
XIV
XV
XVI
XVII
XVIII
XIX
XX

10
Introduction
How to use this manual . . . . . . . . . . . . . . . . . . . . . . . . . . . . 24
Features . . . . . . . . . . . . . . . . . . . . . . . . . . . . . . . . . . . . . . . . . 26
Before using the deck . . . . . . . . . . . . . . . . . . . . . . . . . . . . . 29
About discs. . . . . . . . . . . . . . . . . . . . . . . . . . . . . . . . . . . . . . . . . . . . . 31
About supported disc types . . . . . . . . . . . . . . . . . . . . . . . . . . 31
About handling discs . . . . . . . . . . . . . . . . . . . . . . . . . . . . . . . 32
About new discs . . . . . . . . . . . . . . . . . . . . . . . . . . . . . . . . . . . 33
About rental discs . . . . . . . . . . . . . . . . . . . . . . . . . . . . . . . . . . 33
About specially shaped discs. . . . . . . . . . . . . . . . . . . . . . . . . 33
About disc accessories. . . . . . . . . . . . . . . . . . . . . . . . . . . . . . 33
About the “Memory Stick Duo” . . . . . . . . . . . . . . . . . . . . . . . . . . . . 34
About supported “Memory Stick Duo” types . . . . . . . . . . . . 34
About handling the “Memory Stick Duo” . . . . . . . . . . . . . . . 35
About the LCD panel . . . . . . . . . . . . . . . . . . . . . . . . . . . . . . . . . . . . . 35
About TV (U.S.A./CANADA/KOREA/TAIWAN only). . . . . . . . . . . . . 36
Name of controls and parts . . . . . . . . . . . . . . . . . . . . . . . . . 37
Panel buttons . . . . . . . . . . . . . . . . . . . . . . . . . . . . . . . . . . . . . . . . . . . 37
Touch switches . . . . . . . . . . . . . . . . . . . . . . . . . . . . . . . . . . . . . . . . . 38
Remote control. . . . . . . . . . . . . . . . . . . . . . . . . . . . . . . . . . . . . . . . . . 39
Basic operation
How to turn the power ON or OFF . . . . . . . . . . . . . . . . . . . . 40
Turning the power on and off . . . . . . . . . . . . . . . . . . . . . . . . . . . . . . 40
Display open/tilt/close . . . . . . . . . . . . . . . . . . . . . . . . . . . . . 41
Opening the display. . . . . . . . . . . . . . . . . . . . . . . . . . . . . . . . . . . . . . 41
Adjusting the angle of the display . . . . . . . . . . . . . . . . . . . . . . . . . . 42
Switching the display’s pull-out positions . . . . . . . . . . . . . . . . . . . 43
Closing the display . . . . . . . . . . . . . . . . . . . . . . . . . . . . . . . . . . . . . . 44
Setting the display AUTO CLOSE function . . . . . . . . . . . . . . . . . . . 45
Inserting/Ejecting the disc or “Memory Stick Duo”. . . . . . 46
How to insert disc (CD/DVD) and “Memory Stick Duo” . . . . . . . . . 46
Inserting disc (CD/DVD) or “Memory Stick Duo” . . . . . . . . . 46

11
How to eject disc (CD/DVD) or “Memory Stick Duo” . . . . . . 48
Switching source . . . . . . . . . . . . . . . . . . . . . . . . . . . . . . . . . 49
Switching the source . . . . . . . . . . . . . . . . . . . . . . . . . . . . . . . . . . . . . 49
Switching source using panel buttons . . . . . . . . . . . . . 49
Switching source using touch switches . . . . . . . . . . . . 50
Operational screen for each source . . . . . . . . . . . . . . . . . . 51
Adjusting the volume . . . . . . . . . . . . . . . . . . . . . . . . . . . . . . 52
Adjusting the main volume . . . . . . . . . . . . . . . . . . . . . . . . . . . . . . . . 52
Adjusting main volume using touch switches . . . . . . . 52
Adjusting main volume using panel buttons. . . . . . . . . 52
Adjusting sound quality . . . . . . . . . . . . . . . . . . . . . . . . . . . . 53
Displaying the sound adjustment screen . . . . . . . . . . . . . . . . . . . . 53
Setting Circle Surround II . . . . . . . . . . . . . . . . . . . . . . . . . . . . . . . . . 55
Setting CS II TruBass . . . . . . . . . . . . . . . . . . . . . . . . . . . . . . . 55
Adjusting PEQ (parametric equalizer) . . . . . . . . . . . . . . . . . . . . . . . 56
Adjusting/Saving a PEQ . . . . . . . . . . . . . . . . . . . . . . . . . . . . . 56
Selecting a PEQ pattern from memory . . . . . . . . . . . . . . . . . 57
Adjusting POS (Positioning selector) . . . . . . . . . . . . . . . . . . . . . . . 58
Setting the balance . . . . . . . . . . . . . . . . . . . . . . . . . . . . . . . . . . . . . . 59
Setting LOUDNESS . . . . . . . . . . . . . . . . . . . . . . . . . . . . . . . . . . . . . . 60
Setting the harmonizer . . . . . . . . . . . . . . . . . . . . . . . . . . . . . . . . . . . 60
Simplified time alignment settings (Time Alignment) . . . . . . . . . . 61
Selecting the type of vehicle (Car Type) . . . . . . . . . . . . . . . . 61
Tweeter settings (Tweeter) . . . . . . . . . . . . . . . . . . . . . . . . . . . 62
Rear speaker position selection (Rear SP) . . . . . . . . . . . . . . 62
Setting sub woofer. . . . . . . . . . . . . . . . . . . . . . . . . . . . . . . . . . . . . . . 63
Phase selection (NON-F Phase) . . . . . . . . . . . . . . . . . . . . . . . 63
Woofer output setting . . . . . . . . . . . . . . . . . . . . . . . . . . . . . . . 64
Crossover adjustment (X-Over) . . . . . . . . . . . . . . . . . . . . . . . 64
Woofer output level adjustment . . . . . . . . . . . . . . . . . . . . . . . 65
Setting background screen . . . . . . . . . . . . . . . . . . . . . . . . . 66
Setting the Background. . . . . . . . . . . . . . . . . . . . . . . . . . . . . . . . . . . 66
Importing Background. . . . . . . . . . . . . . . . . . . . . . . . . . . . . . . . . . . . 66
Adjusting/setting the screen . . . . . . . . . . . . . . . . . . . . . . . . 69
Switching the FUNCTION switch display. . . . . . . . . . . . . . . . . . . . . 69
Changing the clock settings . . . . . . . . . . . . . . . . . . . . . . . . . . . . . . . 70

12
Setting the clock display. . . . . . . . . . . . . . . . . . . . . . . . . . . . . 70
Adjusting the time . . . . . . . . . . . . . . . . . . . . . . . . . . . . . . . . . . 70
Adjusting image quality. . . . . . . . . . . . . . . . . . . . . . . . . . . . . . . . . . . 71
Switching screen mode . . . . . . . . . . . . . . . . . . . . . . . . . . . . . . . . . . . 72
Others . . . . . . . . . . . . . . . . . . . . . . . . . . . . . . . . . . . . . . . . . . 74
Setting the steering switch function . . . . . . . . . . . . . . . . . . . . . . . . 74
Reading steering switch data . . . . . . . . . . . . . . . . . . . . . . . . . 75
Compatibility with various switches . . . . . . . . . . . . . . . . . . . 76
Setting the Guide tone. . . . . . . . . . . . . . . . . . . . . . . . . . . . . . . . . . . . 77
Displaying Amplifer Status (E-AMP) . . . . . . . . . . . . . . . . . . . . . . . . 78
Screen lock settings . . . . . . . . . . . . . . . . . . . . . . . . . . . . . . . . . . . . . 79
How to operate the tuner
How to use the AM/FM radio . . . . . . . . . . . . . . . . . . . . . . . . 80
Listening to the AM/FM radio . . . . . . . . . . . . . . . . . . . . . . . . . . . . . . 80
Listening to the radio using touch switches . . . . . . . . . 80
Listening to the radio using panel button . . . . . . . . . . . 80
Switching the band . . . . . . . . . . . . . . . . . . . . . . . . . . . . . . . . . . . . . . 80
Selecting radio stations. . . . . . . . . . . . . . . . . . . . . . . . . . . . . . . . . . . 81
Manual selection . . . . . . . . . . . . . . . . . . . . . . . . . . . . . . . . . . . 81
Automatic selection. . . . . . . . . . . . . . . . . . . . . . . . . . . . . . . . . 81
Selection using preset switches . . . . . . . . . . . . . . . . . . . . . . 81
Saving radio stations. . . . . . . . . . . . . . . . . . . . . . . . . . . . . . . . . . . . . 82
Saving manually. . . . . . . . . . . . . . . . . . . . . . . . . . . . . . . . . . . . 82
Saving with ASM . . . . . . . . . . . . . . . . . . . . . . . . . . . . . . . . . . . 82
Changing stations saved by ASM . . . . . . . . . . . . . . . . . . . . . 82
Checking preset stations . . . . . . . . . . . . . . . . . . . . . . . . . . . . . . . . . 83
Creating a station name . . . . . . . . . . . . . . . . . . . . . . . . . . . . . . . . . . 84
Deleting a previously created station name . . . . . . . . . . . . . . . . . . 85
Turning off the radio . . . . . . . . . . . . . . . . . . . . . . . . . . . . . . . . . . . . . 86
How to operate the CD player
How to use the CD player. . . . . . . . . . . . . . . . . . . . . . . . . . . 87
Listening to a CD . . . . . . . . . . . . . . . . . . . . . . . . . . . . . . . . . . . . . . . . 87
Listening to a CD using the touch switches . . . . . . . . . 87
Listening to a CD using the panel buttons . . . . . . . . . . 87

13
Selecting a track. . . . . . . . . . . . . . . . . . . . . . . . . . . . . . . . . . . . . . . . . 88
Fast-forwarding/rewinding . . . . . . . . . . . . . . . . . . . . . . . . . . . . . . . . 88
Repeating a track . . . . . . . . . . . . . . . . . . . . . . . . . . . . . . . . . . . . . . . . 88
Playing tracks in random order . . . . . . . . . . . . . . . . . . . . . . . . . . . . 88
Creating a title for a CD . . . . . . . . . . . . . . . . . . . . . . . . . . . . . . . . . . . 89
Deleting a previously created title . . . . . . . . . . . . . . . . . . . . . . . . . . 90
Displaying CD TEXT by scrolling . . . . . . . . . . . . . . . . . . . . . . . . . . . 91
Turning off the CD player . . . . . . . . . . . . . . . . . . . . . . . . . . . . . . . . . 91
How to use the MP3/WMA player
How to use the MP3/WMA player . . . . . . . . . . . . . . . . . . . . 92
Playing MP3/WMA . . . . . . . . . . . . . . . . . . . . . . . . . . . . . . . . . . . . . . . 93
Playing MP3/WMA using the touch switches. . . . . . . . . 93
Playing MP3/WMA using the panel buttons. . . . . . . . . . 93
Selecting a music file. . . . . . . . . . . . . . . . . . . . . . . . . . . . . . . . . . . . . 94
Selecting with file change switches. . . . . . . . . . . . . . . . . . . . 94
Selecting with TUNE/TRACK button . . . . . . . . . . . . . . . . . . . 94
Selecting a folder . . . . . . . . . . . . . . . . . . . . . . . . . . . . . . . . . . . . . . . . 94
Fast-forwarding/rewinding . . . . . . . . . . . . . . . . . . . . . . . . . . . . . . . . 95
Changing display of the current level . . . . . . . . . . . . . . . . . . . . . . . 95
Displaying the current level . . . . . . . . . . . . . . . . . . . . . . . . . . . . . . . 95
Repeating the same music file or folder . . . . . . . . . . . . . . . . . . . . . 96
Repeating the same music file . . . . . . . . . . . . . . . . . . . . . . . . 96
Repeating the same folder . . . . . . . . . . . . . . . . . . . . . . . . . . . 96
Playing music files in random order . . . . . . . . . . . . . . . . . . . . . . . . 97
Playing music files on folder in random order . . . . . . . . . . . 97
Playing music files on CD in random order . . . . . . . . . . . . . 97
Turning off the MP3/WMA player . . . . . . . . . . . . . . . . . . . . . . . . . . . 97
About MP3/WMAs . . . . . . . . . . . . . . . . . . . . . . . . . . . . . . . . . . . . . . . 98
Playable MP3 file standards . . . . . . . . . . . . . . . . . . . . . . . . . . 98
Playable WMA file standards . . . . . . . . . . . . . . . . . . . . . . . . . 98
ID3/WMA tags . . . . . . . . . . . . . . . . . . . . . . . . . . . . . . . . . . . . . . 99
Media. . . . . . . . . . . . . . . . . . . . . . . . . . . . . . . . . . . . . . . . . . . . . 99
Format of discs . . . . . . . . . . . . . . . . . . . . . . . . . . . . . . . . . . . 100
File names . . . . . . . . . . . . . . . . . . . . . . . . . . . . . . . . . . . . . . . 101
Multi-sessions . . . . . . . . . . . . . . . . . . . . . . . . . . . . . . . . . . . . 101
Playing MP3 . . . . . . . . . . . . . . . . . . . . . . . . . . . . . . . . . . . . . . 101
MP3/WMA playing time display . . . . . . . . . . . . . . . . . . . . . . 101
Display order of MP3 file/folder names . . . . . . . . . . . . . . . . 101
Making and playing MP3/WMA files . . . . . . . . . . . . . . . . . . . . . . . . 102

14
Downloading MP3/WMA music from internet . . . . . . . . . . . 102
Converting CD music to MP3/WMA files . . . . . . . . . . . . . . . 102
When writing to CD-R/RW . . . . . . . . . . . . . . . . . . . . . . . . . . . 102
When playing back CD-R/RW . . . . . . . . . . . . . . . . . . . . . . . . 102
How to operate the optional CD changer
How to use the CD changer . . . . . . . . . . . . . . . . . . . . . . . . 103
Listening to a CD . . . . . . . . . . . . . . . . . . . . . . . . . . . . . . . . . . . . . . . 103
Listening to a CD using the touch switches . . . . . . . . 103
Listening to a CD using the panel buttons . . . . . . . . . 103
Selecting a track. . . . . . . . . . . . . . . . . . . . . . . . . . . . . . . . . . . . . . . . 104
Fast-forwarding/rewinding . . . . . . . . . . . . . . . . . . . . . . . . . . . . . . . 104
Selecting a CD . . . . . . . . . . . . . . . . . . . . . . . . . . . . . . . . . . . . . . . . . 104
Repeating a track or CD . . . . . . . . . . . . . . . . . . . . . . . . . . . . . . . . . 104
Repeating the current track . . . . . . . . . . . . . . . . . . . . . . . . . 104
Repeating the current CD . . . . . . . . . . . . . . . . . . . . . . . . . . . 104
Playing tracks in random order . . . . . . . . . . . . . . . . . . . . . . . . . . . 105
Playing tracks on current CD in random order . . . . . . . . . . 105
Playing tracks on all CDs in random order . . . . . . . . . . . . . 105
Creating a title for a CD . . . . . . . . . . . . . . . . . . . . . . . . . . . . . . . . . . 105
Deleting a previously created title . . . . . . . . . . . . . . . . . . . . . . . . . 105
Turning off the CD changer. . . . . . . . . . . . . . . . . . . . . . . . . . . . . . . 105
How to operate the DVD player
Before using the DVD player . . . . . . . . . . . . . . . . . . . . . . . 106
DVD video characteristics. . . . . . . . . . . . . . . . . . . . . . . . . . . . . . . . 106
About multiple languages. . . . . . . . . . . . . . . . . . . . . . . . . . . 106
About multiple angles . . . . . . . . . . . . . . . . . . . . . . . . . . . . . . 106
About subtitles. . . . . . . . . . . . . . . . . . . . . . . . . . . . . . . . . . . . 107
About discs. . . . . . . . . . . . . . . . . . . . . . . . . . . . . . . . . . . . . . . . . . . . 107
About playable discs . . . . . . . . . . . . . . . . . . . . . . . . . . . . . . . 107
About region codes of playable discs . . . . . . . . . . . . . . . . . 108
About marks displayed on discs . . . . . . . . . . . . . . . . . . . . . 108
About DVD disc structures . . . . . . . . . . . . . . . . . . . . . . . . . . 109
How to use the DVD player . . . . . . . . . . . . . . . . . . . . . . . . 110
Watching a DVD . . . . . . . . . . . . . . . . . . . . . . . . . . . . . . . . . . . . . . . . 110
Watching a DVD using the touch switches . . . . . . . . . 110

15
Watching a DVD using the panel buttons . . . . . . . . . . 111
Waching a DVD using the remote control . . . . . . . . . . 111
Operating the video . . . . . . . . . . . . . . . . . . . . . . . . . . . . . . . . . . . . . 112
Playing the video . . . . . . . . . . . . . . . . . . . . . . . . . . . . . . . . . . 112
Playing the video using the touch switches . . . . . . . . 112
Playing the video using the remote control. . . . . . . . . 112
Fast-forwarding/rewinding . . . . . . . . . . . . . . . . . . . . . . . . . . 112
Fast-forwarding/rewinding using the
panel buttons . . . . . . . . . . . . . . . . . . . . . . . . . . . . . . . . . 112
Fast-forwarding/rewinding using the
touch switches . . . . . . . . . . . . . . . . . . . . . . . . . . . . . . . . 112
Fast-forwarding/rewinding using the
remote control . . . . . . . . . . . . . . . . . . . . . . . . . . . . . . . . 113
Repeating a chapter. . . . . . . . . . . . . . . . . . . . . . . . . . . . . . . . 114
Pausing the video . . . . . . . . . . . . . . . . . . . . . . . . . . . . . . . . . 114
Pausing the video using the touch switches. . . . . . . . 114
Pausing the video using the remote control . . . . . . . . 114
Playing back in slow motion . . . . . . . . . . . . . . . . . . . . . . . . . . . . . . 114
Stopping the video. . . . . . . . . . . . . . . . . . . . . . . . . . . . . . . . . 115
Stopping the video using the touch switches . . . . . . . 115
Stopping the video using the remote control . . . . . . . 115
Operating the disc menu . . . . . . . . . . . . . . . . . . . . . . . . . . . . . . . . . 116
Operating disc menu using the touch switches . . . . . 116
Operating disc menu using the remote control . . . . . 116
Turning off the DVD . . . . . . . . . . . . . . . . . . . . . . . . . . . . . . . . . . . . . 117
Turning off the DVD using the panel buttons . . . . . . . 117
Turning off the DVD using the remote control . . . . . . 117
Searching for a desired chapter . . . . . . . . . . . . . . . . . . . . . . . . . . . 118
Searching by chapter . . . . . . . . . . . . . . . . . . . . . . . . . . . . . . 118
Serching by chapter using the panel buttons . . . . . . . 118
Switching screen display/audio . . . . . . . . . . . . . . . . . . . . . . . . . . . 118
Changing the angle . . . . . . . . . . . . . . . . . . . . . . . . . . . . . . . . 118
Switching subtitle language . . . . . . . . . . . . . . . . . . . . . . . . . 119
Switching dubbed audio language. . . . . . . . . . . . . . . . . . . . 119
Setting the DVD player . . . . . . . . . . . . . . . . . . . . . . . . . . . . . . . . . . 120
Setting the audio language. . . . . . . . . . . . . . . . . . . . . . . . . . 121
Inputting a code . . . . . . . . . . . . . . . . . . . . . . . . . . . . . . . 121
Setting subtitle language . . . . . . . . . . . . . . . . . . . . . . . . . . . 122
Inputting a code . . . . . . . . . . . . . . . . . . . . . . . . . . . . . . . 122
Setting menu language . . . . . . . . . . . . . . . . . . . . . . . . . . . . . 123
Inputting a code . . . . . . . . . . . . . . . . . . . . . . . . . . . . . . . 123
Setting display of multi-angle mark
(angle selection mark). . . . . . . . . . . . . . . . . . . . . . . . . . . . . . 124
Setting viewer restriction . . . . . . . . . . . . . . . . . . . . . . . . . . . 125

16
Changing video output . . . . . . . . . . . . . . . . . . . . . . . . . . . . . 126
Switching dual play . . . . . . . . . . . . . . . . . . . . . . . . . . . . . . . . 127
Table of language codes . . . . . . . . . . . . . . . . . . . . . . . . . . . . . . . . . 128
How to operate the video CD player
(Asia only)
How to use the video CD player . . . . . . . . . . . . . . . . . . . . 129
Watching a video CD . . . . . . . . . . . . . . . . . . . . . . . . . . . . . . . . . . . . 129
Watching a video CD using the touch switch . . . . . . . 129
Watching a video CD using the panel buttons . . . . . . 130
Watching a video CD using the remote control . . . . . 130
Using the menu screen . . . . . . . . . . . . . . . . . . . . . . . . . . . . . . . . . . 130
Displaying menu screen . . . . . . . . . . . . . . . . . . . . . . . . . . . . 130
Selecting menu list . . . . . . . . . . . . . . . . . . . . . . . . . . . . . . . . 130
Advancing to the next scene or returning to the beginning of
the scene being played . . . . . . . . . . . . . . . . . . . . . . . . . . . . . . . . . . 131
Using panel buttons . . . . . . . . . . . . . . . . . . . . . . . . . . . . . . . 131
Using remote control. . . . . . . . . . . . . . . . . . . . . . . . . . . . . . . 131
Fast-forwarding/rewinding . . . . . . . . . . . . . . . . . . . . . . . . . . . . . . . 131
Using panel buttons . . . . . . . . . . . . . . . . . . . . . . . . . . . . . . . 131
Using remote control. . . . . . . . . . . . . . . . . . . . . . . . . . . . . . . 131
Specifying a track to playback . . . . . . . . . . . . . . . . . . . . . . . . . . . . 132
Pausing/Advancing the video. . . . . . . . . . . . . . . . . . . . . . . . . . . . . 132
Stopping playback . . . . . . . . . . . . . . . . . . . . . . . . . . . . . . . . . . . . . . 132
Using slow motion . . . . . . . . . . . . . . . . . . . . . . . . . . . . . . . . . . . . . . 133
Turning off the video CD . . . . . . . . . . . . . . . . . . . . . . . . . . . . . . . . . 133
Turning off the video CD using the panel buttons . . . 133
Turning off the video CD using the remote control . . 133
How to operate the Area Shot function
(U.S.A./CANADA only)
Before using the Area Shot . . . . . . . . . . . . . . . . . . . . . . . . 134
About the Area Shot . . . . . . . . . . . . . . . . . . . . . . . . . . . . . . . . . . . . 134
To use the Area Shot function . . . . . . . . . . . . . . . . . . . . . . . 135
Map data . . . . . . . . . . . . . . . . . . . . . . . . . . . . . . . . . . . . . . . . . 136
GPS (Global Positioning System) . . . . . . . . . . . . . . . . . . . . 136

17
How to use the Area Shot function . . . . . . . . . . . . . . . . . . 137
Displaying ePID . . . . . . . . . . . . . . . . . . . . . . . . . . . . . . . . . . . . . . . . 137
Reading Area Shot data. . . . . . . . . . . . . . . . . . . . . . . . . . . . . . . . . . 138
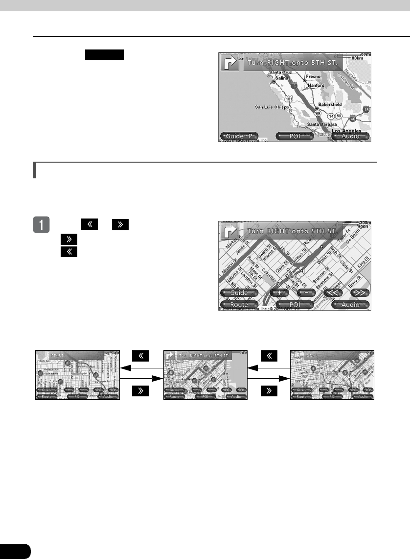
Changing Area Shot screen . . . . . . . . . . . . . . . . . . . . . . . . . . . . . . 140
How to view the Area Shot screen . . . . . . . . . . . . . . . . . . . . . . . . . 141
Displaying touch switch . . . . . . . . . . . . . . . . . . . . . . . . . . . . . . . . . 142
Switching the map reduction scale . . . . . . . . . . . . . . . . . . . . . . . . 143
Displaying the all-route map. . . . . . . . . . . . . . . . . . . . . . . . . . . . . . 143
Switching guidance points . . . . . . . . . . . . . . . . . . . . . . . . . . . . . . . 144
Switching text information . . . . . . . . . . . . . . . . . . . . . . . . . . . . . . . 145
Re-scrolling through text information . . . . . . . . . . . . . . . . . . . . . . 145
Displaying POI vicinity . . . . . . . . . . . . . . . . . . . . . . . . . . . . . . . . . . 146
Selecting POI category . . . . . . . . . . . . . . . . . . . . . . . . . . . . . 146
Displaying POI vicinity information . . . . . . . . . . . . . . . . . . . 147
When an optional GPS unit is connected . . . . . . . . . . . . . . . . . . . 148
To end Area Shot . . . . . . . . . . . . . . . . . . . . . . . . . . . . . . . . . . . . . . . 148
ESN security operating procedure
ESN security operating procedure . . . . . . . . . . . . . . . . . . 149
About ESN . . . . . . . . . . . . . . . . . . . . . . . . . . . . . . . . . . . . . . . . . . . . 149
How to switch the security type
(Key CD security/"Memory Stick" security). . . . . . . . . . . . . . . . . . 150
How to operate the ESN (Key CD) security . . . . . . . . . . . . . . . . . . 151
How to program the Key CD . . . . . . . . . . . . . . . . . . . . . . . . . 151
How to cancel the Key CD. . . . . . . . . . . . . . . . . . . . . . . . . . . 152
How to change the Key CD . . . . . . . . . . . . . . . . . . . . . . . . . . 153
How to resume normal operation
(ESN security lock out) . . . . . . . . . . . . . . . . . . . . . . . . . . . . . 153
What happens if an incorrect CD is inserted? . . . . . . . . . . 154
How to operate the ESN (“Memory Stick”) security . . . . . . . . . . . 155
How to record a security code . . . . . . . . . . . . . . . . . . . . . . . 155
How to cancel the “Memory Stick” security . . . . . . . . . . . . 157
Canceling the security function by entering the
security code . . . . . . . . . . . . . . . . . . . . . . . . . . . . . . . . . 157
Canceling the security function using a
“Memory Stick Duo” . . . . . . . . . . . . . . . . . . . . . . . . . . . 158
How to change the “Memory Stick Duo” . . . . . . . . . . . . . . . 159
How to resume normal operation
(ESN security lock out) . . . . . . . . . . . . . . . . . . . . . . . . . . . . . 159

18
Canceling ESN security lock out using security
code entry . . . . . . . . . . . . . . . . . . . . . . . . . . . . . . . . . . . . 159
Canceling ESN security lock using
“Memory Stick Duo” . . . . . . . . . . . . . . . . . . . . . . . . . . . 160
What happens if a “Memory Stick Duo” or security code
is incorrect? . . . . . . . . . . . . . . . . . . . . . . . . . . . . . . . . . . . . . . 162
How to operate the ACC security . . . . . . . . . . . . . . . . . . . . . . . . . . 163
How to turn the security indicator on/off . . . . . . . . . . . . . . . . . . . . 164
How to read the Electronic Serial Number . . . . . . . . . . . . . . . . . . 164
How to use the remote control
Before using remote control . . . . . . . . . . . . . . . . . . . . . . . 165
How to use the remote control . . . . . . . . . . . . . . . . . . . . . 166
Turning the power on/off. . . . . . . . . . . . . . . . . . . . . . . . . . . . . . . . . 166
Adjusting the audio volume . . . . . . . . . . . . . . . . . . . . . . . . . . . . . . 166
Muting the volume . . . . . . . . . . . . . . . . . . . . . . . . . . . . . . . . . 166
Switching playback modes . . . . . . . . . . . . . . . . . . . . . . . . . . . . . . . 166
How to select the tuner . . . . . . . . . . . . . . . . . . . . . . . . . . . . . . . . . . 167
Selecting the FM/AM band . . . . . . . . . . . . . . . . . . . . . . . . . . 167
How to play back CDs . . . . . . . . . . . . . . . . . . . . . . . . . . . . . . . . . . . 168
Switching disc modes . . . . . . . . . . . . . . . . . . . . . . . . . . . . . . 168
Replacing the battery. . . . . . . . . . . . . . . . . . . . . . . . . . . . . . . . . . . . 169
How to operate the optional 5.1ch
decoder & AV selector unit
Sound quality information . . . . . . . . . . . . . . . . . . . . . . . . . 170
Functions of the optional 5.1 ch decoder & AV selector
unit is connected . . . . . . . . . . . . . . . . . . . . . . . . . . . . . . . . . . . . . . . 170
About parametric EQ. . . . . . . . . . . . . . . . . . . . . . . . . . . . . . . 171
About time alignment . . . . . . . . . . . . . . . . . . . . . . . . . . . . . . 173
About crossover . . . . . . . . . . . . . . . . . . . . . . . . . . . . . . . . . . 174
About E-iSERV sound effect customizations . . . . . . . . . . . 175
About automatic parametic equalizer . . . . . . . . . . . . . 175
Adjusting sound quality . . . . . . . . . . . . . . . . . . . . . . . . . . . 176
Displaying the sound adjustment screen . . . . . . . . . . . . . . . . . . . 176
Adjusting PEQ (Parametric equalizer) . . . . . . . . . . . . . . . . . . . . . . 178

19
Adjusting/Saving a PEQ . . . . . . . . . . . . . . . . . . . . . . . . . . . . 179
Selecting a PEQ pattern from memory . . . . . . . . . . . . . . . . 181
Measuring/Displaying frequency characteristics . . . . . . . . 181
To avoid writing measurement results to the
“Memory Stick Duo” . . . . . . . . . . . . . . . . . . . . . . . . . . . 181
To write measurement results to a
“Memory Stick Duo” . . . . . . . . . . . . . . . . . . . . . . . . . . . 182
Adjusting POS (Positioning selector) . . . . . . . . . . . . . . . . . . . . . . 183
Setting the balance . . . . . . . . . . . . . . . . . . . . . . . . . . . . . . . . . . . . . 184
Setting LOUDNESS . . . . . . . . . . . . . . . . . . . . . . . . . . . . . . . . . . . . . 185
Setting the harmonizer . . . . . . . . . . . . . . . . . . . . . . . . . . . . . . . . . . 185
Setting/Adjusting surround system . . . . . . . . . . . . . . . . . . . . . . . . 186
Setting the Dolby Pro Logic II. . . . . . . . . . . . . . . . . . . . . . . . 186
Setting the Center Level . . . . . . . . . . . . . . . . . . . . . . . . . . . . 187
Setting the Rear Level . . . . . . . . . . . . . . . . . . . . . . . . . . . . . . 187
Setting the Center Width . . . . . . . . . . . . . . . . . . . . . . . . . . . . 187
Setting the Compression . . . . . . . . . . . . . . . . . . . . . . . . . . . 188
Setting/Adjusting speakers. . . . . . . . . . . . . . . . . . . . . . . . . . . . . . . 189
Adjusting time alignment . . . . . . . . . . . . . . . . . . . . . . . . . . . 189
Manual adjustment. . . . . . . . . . . . . . . . . . . . . . . . . . . . . 189
Automatic adjustment . . . . . . . . . . . . . . . . . . . . . . . . . . 191
Adjusting X-Over . . . . . . . . . . . . . . . . . . . . . . . . . . . . . . . . . . 191
Adjusting sub-woofer output level. . . . . . . . . . . . . . . . . . . . 193
Setting phase control . . . . . . . . . . . . . . . . . . . . . . . . . . . . . . 194
Adjusting speaker level. . . . . . . . . . . . . . . . . . . . . . . . . . . . . 195
Adjusting speaker size . . . . . . . . . . . . . . . . . . . . . . . . . . . . . 196
Importing sound data . . . . . . . . . . . . . . . . . . . . . . . . . . . . . . . . . . . 198
Setting display . . . . . . . . . . . . . . . . . . . . . . . . . . . . . . . . . . 201
Screen settings of the optional 5.1 ch decoder & AV
selector unit . . . . . . . . . . . . . . . . . . . . . . . . . . . . . . . . . . . . . . . . . . . 201
External monitor image settings . . . . . . . . . . . . . . . . . . . . . . . . . . 201
How to operate the optional HD radio
tuner (U.S.A. only)
How to use the HD radio . . . . . . . . . . . . . . . . . . . . . . . . . . 202
About HD Radio . . . . . . . . . . . . . . . . . . . . . . . . . . . . . . . . . . . . . . . . 202
Listening to the HD radio . . . . . . . . . . . . . . . . . . . . . . . . . . . . . . . . 202
Listening to the HD radio using the
touch switches . . . . . . . . . . . . . . . . . . . . . . . . . . . . . . . . 202

20
Listening to the HD radio using the
panel buttons . . . . . . . . . . . . . . . . . . . . . . . . . . . . . . . . . 202
Switching the band . . . . . . . . . . . . . . . . . . . . . . . . . . . . . . . . . . . . . 203
Selecting radio stations. . . . . . . . . . . . . . . . . . . . . . . . . . . . . . . . . . 203
Manual selection . . . . . . . . . . . . . . . . . . . . . . . . . . . . . . . . . . 203
Automatic selection. . . . . . . . . . . . . . . . . . . . . . . . . . . . . . . . 203
Selection when using preset switches . . . . . . . . . . . . . . . . 203
Saving radio stations. . . . . . . . . . . . . . . . . . . . . . . . . . . . . . . . . . . . 204
Saving manually. . . . . . . . . . . . . . . . . . . . . . . . . . . . . . . . . . . 204
Saving with ASM . . . . . . . . . . . . . . . . . . . . . . . . . . . . . . . . . . 204
Changing stations saved by ASM . . . . . . . . . . . . . . . . . . . . 204
Checking preset stations . . . . . . . . . . . . . . . . . . . . . . . . . . . . . . . . 205
HD radio information screen display . . . . . . . . . . . . . . . . . . . . . . . 206
HD radio reception settings . . . . . . . . . . . . . . . . . . . . . . . . . . . . . . 207
Turning off the radio . . . . . . . . . . . . . . . . . . . . . . . . . . . . . . . . . . . . 207
How to operate the optional SIRIUS
satellite radio tuner (U.S.A. only)
How to use the SIRIUS satellite radio . . . . . . . . . . . . . . . . 208
About SIRIUS satellite radio . . . . . . . . . . . . . . . . . . . . . . . . . . . . . . 208
Listening to the SIRIUS satellite radio . . . . . . . . . . . . . . . . . . . . . . 209
Listening to SIRIUS satellite radio using the touch
switches . . . . . . . . . . . . . . . . . . . . . . . . . . . . . . . . . . . . . 209
Listening to SIRIUS satellite radio using the panel
buttons . . . . . . . . . . . . . . . . . . . . . . . . . . . . . . . . . . . . . . 209
Selecting SIRIUS channels . . . . . . . . . . . . . . . . . . . . . . . . . . . . . . . 210
Manual selection . . . . . . . . . . . . . . . . . . . . . . . . . . . . . . . . . . 210
Automatic selection. . . . . . . . . . . . . . . . . . . . . . . . . . . . . . . . 210
Selection using preset switches . . . . . . . . . . . . . . . . . . . . . 210
Category selection . . . . . . . . . . . . . . . . . . . . . . . . . . . . . . . . . . . . . . 211
Direct Channel selection . . . . . . . . . . . . . . . . . . . . . . . . . . . . . . . . . 212
Saving SIRIUS channels . . . . . . . . . . . . . . . . . . . . . . . . . . . . . . . . . 213
SIRIUS satellite radio information screen display . . . . . . . . . . . . 213
Turning off the radio . . . . . . . . . . . . . . . . . . . . . . . . . . . . . . . . . . . . 213

21
How to operate the optional TV tuner
(U.S.A./CANADA/KOREA/TAIWAN only)
How to use the TV. . . . . . . . . . . . . . . . . . . . . . . . . . . . . . . . 214
Watching TV . . . . . . . . . . . . . . . . . . . . . . . . . . . . . . . . . . . . . . . . . . . 214
Watching TV using the touch switches . . . . . . . . . . . . 214
Watching TV using the panel buttons. . . . . . . . . . . . . . 214
Selecting channel. . . . . . . . . . . . . . . . . . . . . . . . . . . . . . . . . . . . . . . 215
Manual selection . . . . . . . . . . . . . . . . . . . . . . . . . . . . . . . . . . 215
Automatic selection. . . . . . . . . . . . . . . . . . . . . . . . . . . . . . . . 215
Selection when using preset switches . . . . . . . . . . . . . . . . 215
Saving channels. . . . . . . . . . . . . . . . . . . . . . . . . . . . . . . . . . . . . . . . 216
Saving manually. . . . . . . . . . . . . . . . . . . . . . . . . . . . . . . . . . . 216
Saving with AUTO.P . . . . . . . . . . . . . . . . . . . . . . . . . . . . . . . 216
Changing stations saved by AUTO.P. . . . . . . . . . . . . . . . . . 216
Checking preset stations . . . . . . . . . . . . . . . . . . . . . . . . . . . . . . . . 218
Switching to TV/VTR mode . . . . . . . . . . . . . . . . . . . . . . . . . . . . . . . 218
To end TV mode . . . . . . . . . . . . . . . . . . . . . . . . . . . . . . . . . . . . . . . . 218
How to operate the VTR
How to use the VTR . . . . . . . . . . . . . . . . . . . . . . . . . . . . . . 219
Viewing the VTR . . . . . . . . . . . . . . . . . . . . . . . . . . . . . . . . . . . . . . . . 219
Viewing the VTR using the touch switches . . . . . . . . . 219
Viewing the VTR using the panel switches . . . . . . . . . 219
Switching to the TV/VTR . . . . . . . . . . . . . . . . . . . . . . . . . . . . . . . . . 220
Turning off the VTR mode . . . . . . . . . . . . . . . . . . . . . . . . . . . . . . . . 221
How to operate the Back-eye Camera
Back-eye Camera operations. . . . . . . . . . . . . . . . . . . . . . . 222
Back-eye Camera image . . . . . . . . . . . . . . . . . . . . . . . . . . . . . . . . . 224
Automatic back-eye camera image display setting . . . . . . . . . . . 224

22
For reference
Important Points . . . . . . . . . . . . . . . . . . . . . . . . . . . . . . . . . 226
If one of these messages appears . . . . . . . . . . . . . . . . . . . . . . . . . 226
Before asking for repairs. . . . . . . . . . . . . . . . . . . . . . . . . . . . . . . . . 228
Other . . . . . . . . . . . . . . . . . . . . . . . . . . . . . . . . . . . . . . . . . . 230
Products equipped with Dolby Digital . . . . . . . . . . . . . . . . . . . . . . 230
Products equipped with Macrovision . . . . . . . . . . . . . . . . . . . . . . 230
Glossary. . . . . . . . . . . . . . . . . . . . . . . . . . . . . . . . . . . . . . . . 231
About care and maintenance. . . . . . . . . . . . . . . . . . . . . . . 233
About care and maintenance - main unit . . . . . . . . . . . . . . . . . . . . 233
Topic index . . . . . . . . . . . . . . . . . . . . . . . . . . . . . . . . . . . . . 234
About screen and sound adjustment. . . . . . . . . . . . . . . . . . . . . . . 234
About using AM/FM radio . . . . . . . . . . . . . . . . . . . . . . . . . . . . . . . . 235
About using the CD player and CD changer . . . . . . . . . . . . . . . . . 235
About using the MP3/WMA player . . . . . . . . . . . . . . . . . . . . . . . . . 236
About using the DVD player . . . . . . . . . . . . . . . . . . . . . . . . . . . . . . 237
About video CD player (Asia only) . . . . . . . . . . . . . . . . . . . . . . . . . 238
About Area Shot (U.S.A./CANADA only) . . . . . . . . . . . . . . . . . . . . 238
About ESN security . . . . . . . . . . . . . . . . . . . . . . . . . . . . . . . . . . . . . 239
About optional 5.1ch decoder & AV selector unit. . . . . . . . . . . . . 239
About optional HD radio (U.S.A. only) . . . . . . . . . . . . . . . . . . . . . . 240
About optional SIRIUS satellite radio (U.S.A. only) . . . . . . . . . . . 240
About optional TV (U.S.A./CANADA/KOREA/TAIWAN only) . . . . 241
About optional Back-eye Camera. . . . . . . . . . . . . . . . . . . . . . . . . . 241
When something isn't clear. . . . . . . . . . . . . . . . . . . . . . . . . . . . . . . 241
Index. . . . . . . . . . . . . . . . . . . . . . . . . . . . . . . . . . . . . . . . . . . 242
Specifications . . . . . . . . . . . . . . . . . . . . . . . . . . . . . . . . . . . 243
Display . . . . . . . . . . . . . . . . . . . . . . . . . . . . . . . . . . . . . . . . . . 243
Radio tuner . . . . . . . . . . . . . . . . . . . . . . . . . . . . . . . . . . . . . . . 243
CD . . . . . . . . . . . . . . . . . . . . . . . . . . . . . . . . . . . . . . . . . . . . . . 243
DVD . . . . . . . . . . . . . . . . . . . . . . . . . . . . . . . . . . . . . . . . . . . . . 243
Common component . . . . . . . . . . . . . . . . . . . . . . . . . . . . . . . 244
How to contact customer service . . . . . . . . . . . . . . . . . . . 245

23
Before installation
Before installation. . . . . . . . . . . . . . . . . . . . . . . . . . . . . . . . 247
Components . . . . . . . . . . . . . . . . . . . . . . . . . . . . . . . . . . . . . . . . . . . 247
Installation preparation . . . . . . . . . . . . . . . . . . . . . . . . . . . . . . . . . . 247
Mounting instruction
Mounting instruction . . . . . . . . . . . . . . . . . . . . . . . . . . . . . 248
Mounting the main unit . . . . . . . . . . . . . . . . . . . . . . . . . . . . . . . . . . 248
Names and function of terminals . . . . . . . . . . . . . . . . . . . . . . . . . . 252
Connecting the parking-brake signal and the reverse signal . . . 254
System connection example. . . . . . . . . . . . . . . . . . . . . . . . . . . . . . 256
The Topic Index simplifies searches for explanations about
individual features. When confused by an operation, use the Topic
Index to search for information about the operation.

24
Introduction
How to use this manual
Item title
A title is
assigned to
each item.
Section title
A title is assigned to each section.
Operation title
A title is assigned
to each operation.
Operation
procedure
Describes the
operation.
Proceed with the
operation according
to the numerical
order.
Detailed operation
title
A title is assigned to
each detailed
operation.
Attention
Additional points
regarding operation
are given here.

25
I
II
III
IV
V
VI
VII
VIII
IX
X
XI
XII
XIII
XIV
XV
XVI
XVII
XVIII
XIX
Operation screen
A screen showing
the operation.
Section side
heading
The side heading for
the current section.

26
Introduction
Features
DVD player with sharp video and dynamic sound
(Page 106)
Plays DVD videos recorded with high image
and sound quality.
(DVD media is able to record a movie with high
quality video and digital sound that exceeds
the quality of CD media.)
MP3 player that plays back the equivalent of several albums
of music recorded on a single music disc (Page 92)
MP3 audio compression technology
compresses audio data to one-tenth the
original size. CD-R/RW with recorded MP3s
can be played.
Selection and display of favorite wallpaper (screen
backgrounds) (Page 66)
Wallpaper of your choice can be switched and
displayed for use as the background of the
information screen and audio operation
screens.
The screen from a navigation unit can also be
linked and selected.

27
I
II
III
IV
V
VI
VII
VIII
IX
X
XI
XII
XIII
XIV
XV
XVI
XVII
XVIII
XIX
Area Shot for displaying map (U.S.A./CANADA only) (Page 134)
Using Area Shot, maps to destinations and
guidance information can be displayed on
your unit if you have set route using E-
iSERV (web site).
System upgrade
●CD changer (Page 103)
A CD changer enables non-stop playing of
multiple discs, for long drive convenience.
Playing and selecting songs among the
discs can be done with ease.
●VTR (Page 219)
Videos can be watched if a VTR deck is
connected.
●HD Radio tuner (Page 202)
Terrestrial digital broadcasts can be received
if the optional HD Radio tuner unit is
connected.

28
Features
Introduction
●SIRIUS satellite radio tuner (Page 208)
Satellite radio broadcast can be received if
the optional SIRIUS satellite radio tuner unit
is connected.
●5.1ch decoder & AV selector unit (Page
170)
Fine audio adjustments can be performed by
connecting an optional 5.1ch decoder & AV
selector unit.

Introduction
29
I
II
III
IV
V
VI
VII
VIII
IX
X
XI
XII
XIII
XIV
XV
XVI
XVII
XVIII
XIX
Before using the deck
●Be very careful and pay close attention to safety when
operating the audio controls while driving and set the
volume level so that you can still adequately hear sounds
outside the vehicle.
Otherwise accidents may occur.
●Never continue to use the system if it is malfunctioning in
any way. If smoke, abnormal noises or abnormal odors
are noticed, turn off the power immediately.
●Exercise caution when experiencing not weather or high
temperature. The temperature inside the vehicle can
increase during hot weather. Wait for the temperature
inside the vehicle to drop before using the unit.
Otherwise damage to equipment may occur.
●Drivers should not operate the DVD while driving. The
volume level should be set to so that you can still
adequately hear sounds outside the vehicle.
Otherwise damage may occur.
●Do not disassemble or modify the deck.
This equipment is designed with a very precise structure.
Contact the store of purchase in the event of any unsatis-
factory performance.

30
Before using the deck
Introduction
●Do not apply excessive force to the monitor, or damage to
the equipment may occur.
●Do not insert any objects other than discs or “Memory
Stick Duos” into their respected slots.
Otherwise damage may occur.
●Be careful not to get fingers or other objects caught in the
monitor when it is being extended or retracted into place.
Interference can cause an injury or damage the equip-
ment.
●When removing a disc or “Memory Stick Duo” from the
deck, do so in a horizontal direction.
Do not forcibly pull up or press down when removing
them.
Improper removal can scratch the disc, cause deck noise
or damage the “Memory Stick Duo”.

31
I
II
III
IV
V
VI
VII
VIII
IX
X
XI
XII
XIII
XIV
XV
XVI
XVII
XVIII
XIX
About discs
●Water droplets (condensation) can form on the inside of the unit during cold or
rainy weather in the same way car windows can fog up. If this occurs, there may
be a drop in the performance of the equipment. To help reduce this performance
variation, ventilate or dehumidify the vehicle for a short time prior operating the
equipment.
●To safeguard the components of the equipment, this equipment will automatically
stop the player if a malfunction is detected. If the player does not resume normal
operation, it is possible that the unit has been damaged. Contact the store of
purchase.
●It is possible that the sound may seem to skip or cuts out if the vehicle
experiences violent motion on rough roads.
●An audio or DVD video disc bearing one of the marks shown below can be
played. Only DVD-R/RW (DVD-Recordable/ReWritable) and DVD+R/RW
(DVD+Recordable/ReWritable) discs recorded in Video mode can be played.
Discs recorded in Video mode (VR) cannot be played.
●Depending on the type of disc used, playback may not be possible.
●Supports Dolby Digital. Discs bearing the following mark can be used.
Manufactured under license from Dolby Laboratories, Inc. Dolby and the double-D symbol are
registered trademarks of Dolby Laboratories.
●It is possible that a CD-R (CD-Recordable) or CD-RW (CD-ReWritable) disc will
not play on the unit due to special disc characteristics, scratches, dirt or
deterioration caused by long storage in the vehicle. In addition, an unfinalized
CD-R or CD-RW disc written in CD-R, CD-RW or UDF format will not play in this
equipment.
●It is possible that a DVD-R/RW (DVD-Recordable/ReWritable) or DVD+R/RW
(DVD+Recordable/ReWritable) disc will not play on the unit due to special disc
characteristics, scratches, or dirt or deterioration caused by long storage in the
vehicle. In addition, an unfinalized DVD-R or DVD-RW disc will not play in this
equipment. It is possible that discs recorded using a computer may not play in
this equipment depending on the environment and/or settings of applications.
●The CD-TEXT function requires commercially available CDs which support
CD-TEXT. It is possible that characters in CD-R and CD-RW data may not be
displayed correctly.
About supported disc types

32
Before using the deck
Introduction
●Do not use discs with transparent or semi-transparent portions within the
recording area, or see through discs, since they cause the equipment to operate
improperly.
●
Super Audio CDs cannot be played.
●CCCDs (Copy Control CD) do not conform to official CD
standards and are not supported.
●CD-EXTRA discs can be played as audio CDs.
●Voice tracks on Mixed Mode CDs cannot be played. Only
music tracks will be played.
●Video-CDs can be played. (Asia only)
●Be sure to store discs in their cases and keep them out of
direct sunlight. Discs can warp and become unusable.
●Do not apply paper-based tape to either the recording
side or label side of a disc. Otherwise damage to the disc
or equipment may occur.
●Do not use discs where cracks and/or large warps in the
disc are present. Otherwise damage to the disc or
equipment may occur.
●Do not touch the recorded side of a disc when handling it.
(Iridescent side of the CD) The disc may become dirty
causing skipping type effect to occur.
●Using a disc that has become dirty can scratch the disc
and result in sound having a skipping type effect. Use a
commercially available compact disc cleaner to clean the
CD, wiping lightly from the center to the edge.
About handling discs

33
I
II
III
IV
V
VI
VII
VIII
IX
X
XI
XII
XIII
XIV
XV
XVI
XVII
XVIII
XIX
●You may notice that some brand new discs are rough
around the center hole or outside edge. Remove the
rough edges with the side of a ballpoint pen, etc. Rough
edges may prevent proper loading in the unit. Flakes from
the rough edges may also stick to the recorded surface,
interfere with playback, and/or damage the disc or
equipment.
●Do not use CD discs with attached cellophane tape, rental
CD discs with glue protruding from labels or discs with the
residue of peeled adhesives. Using discs with those
conditions can prevent the player from proper operation
and cause damege to the disc or equipment.
●Specially-shaped CDs cannot be played. Do not attempt
to play them, even with an adapter, since they may
damage the player.
●Please do not use a commercially available lens cleaner,
because it may cause damage to the pickup of the player.
●Do not use accessories (stabilizers, protective seals, laser
lens cleaners, etc.) sold for “improving sound
performance” or “protecting CDs.” The changes in CD
thickness or outside dimensions made by these
accessories may cause problems in the player.
●Do NOT attach any ring-shape protector (or other
accessory) to your discs. Those protectors are
commercially available and said to protect discs and to
improve sound quality (and anti vibration effect), but they
can do more harm than good during regular use. The
most common problems are insert/eject related problems
and “No playback” problems due to the protector ring
coming off in the disc mechanism.
About new discs
Ballpoint pen
Rough Edges
About rental discs
Recorded surface
Flakes
About specially shaped discs
About disc accessories
CD stabilizer ring

34
Before using the deck
Introduction
About the “Memory Stick Duo”
●Do not leave the “Memory Stick Duo” in places exposed to static electricity or
electrical noise. Otherwise, data may be lost.
●To safeguard the components of the player, this equipment will automatically
stop the player if a malfunction is detected. If the player does not resume normal
operation, it is possible that the unit has been damaged. Contact the store of
purchase.
●
After uploading of data to the hard drive is complete, promptly remove the “Memory
Stick Duo”.
●
Do not remove the “Memory Stick Duo” while it is being used to upload data to the
this unit. Otherwise, data may be lost. Please be aware that Eclipse will not be held
responsible for lost data.
●“Memory Stick Duos” with a capacity of up to 128MB are supported.
●“Memory Stick Duo” PRO is not supported.
●“Memory Stick Duos” labeled with the following marks can only be used when
registering a pass code in database update or Eclipse Security Network (ESN).
“Memory Stick Duo” are registered trademarks of Sony Corporation.
●The “Memory Stick Duo” cannot be used on this equipment if it has been
formatted using a device other than the dedicated device.
About supported “Memory Stick Duo” types

35
I
II
III
IV
V
VI
VII
VIII
IX
X
XI
XII
XIII
XIV
XV
XVI
XVII
XVIII
XIX
About the LCD panel
●
Regularly wipe clean
any dust or dirt from the
surface of the cartridge
with a dry cloth.
●
Do not use “Memory Stick
Duos” with tape or peeling
labels.
●Store in a dry place, out
of direct sunlight.
Otherwise, it may
become impossible to
use the “Memory Stick
Duo”.
●Always place in the
case provided when
transporting or storing.
●Do not touch terminals
with metal objects or
your bare hands.
About handling the “Memory Stick Duo”
●The LCD panel can appear to be white or black when seen from certain angles.
●The screen will be difficult to read when external light source (bright lights,
sunlight) falls sunlight falls on the display.

36
Before using the deck
Introduction
About TV (U.S.A./CANADA/KOREA/TAIWAN only)
●When the loss of power is lost due to vehicle battery replacement, replacing
fuses, etc., all preset channels will be erased.
●It may be difficult for the TV to maintain optimal reception due to variation in
signal strength or interference from other objects. The main causes of
interference are listed below.
• Visual or audio static may result when in
close proximity to overhead train wires,
high-tension wires, traffic signals, neon
signs, etc.
• Depending on the signal, buildings and
mountains may adversely affect reception.
• Visual or audio static may result when in
close proximity to radio broadcasting or
ham radio antennas.
• Signal reception will become extremely
weak when driving through a tunnel.
• Signal reception will become weak when
traveling at a great distance from the
broadcasting station.
• In some areas, visual or audio static may
result when in close proximity to TV or radio
towers. This is due to the influence of
electro-magnetic waves outside of the
reception range.

Introduction
37
I
II
III
IV
V
VI
VII
VIII
IX
X
XI
XII
XIII
XIV
XV
XVI
XVII
XVIII
XIX
Name of controls and parts
The unit can be operated by pressing buttons on the detachable panel (panel buttons) and by
touching buttons displayed on the screen (touch switches).
Panel buttons
VOL button Turn to adjust volume.
PWR button Press to turn deck power ON/OFF
SOURCE button Press to switch source modes.
button Press to select radio stations, CD audio tracks and DVD chapters.
Security indicator Flashes when the ESN security system is in operation.
EJECT button Press to eject DISC.
OPEN·TILT button Press to open the display panel.
button Press to select radio stations, CD audio tracks and DVD chapters.
Detach panel release
button Press to detach the control panel.
DISC slot Disc insertion and removal slot
“Memory Stick Duo” slot
Inserts and ejects “Memory Stick Duo”.
FUNC button Press to switch to function mode and display adjustment mode.
SOUND button Press to switch to sound adjustment mode.
MENU button Press to display the audio menu screen that enables the switching of
audio modes.
Area Shot button Press to switch to Area Shot screen.
With display retracted Control panel detached
With display opened

38
Name of controls and parts
Introduction
Touch switches
Unit can be operated by touching switches on the screen.
[About the operation of touch switch]
●Touch the switches until you hear a beep.
●Touch the switches lightly to prevent damage to the screen.
●If a switch does not respond, remove your finger and touch it again.
●Unavailable switches are shaded.
●When a function for a switch is active, the color of that switch will change.
Touch these switches with your fingers.
Using a pen, pencil or object with a hard or sharp tip to touch the screen may
cause damage to the unit.

39
I
II
III
IV
V
VI
VII
VIII
IX
X
XI
XII
XIII
XIV
XV
XVI
XVII
XVIII
XIX
Remote control
PWR button Press to turn unit power ON/OFF.
MODE button Press to switch SOURCE modes.
BAND button Press to switch radio band.
MUTE button Press to mute audio and cancels mute.
VOL button Turn to adjust volume.
MENU button Press to display DVD menu and title menu.
NUMBER button Press to search for video track.
CLEAR button Press to clear numbers currently being input.
SEARCH button Press to switch between search for DVD chapters and DVD title.
SET UP button Press to display DVD operation screen.
ANGLE button Press to switch angle of the DVD.
AUDIO button Press to switch voices during DVD playback.
SUB TITLE button Press to switch during DVD playback.
ENTER button Press to set the content for each setting.
RETURN button Press to return to previous screen.
(cursor) button Press to move the cursor during operation of DVD menu.
STOP button Press to stop video playback.
PLAY button Press to start (restart) video playback.
SLOW button Press to activates slow-motion video playback.
PAUSE button Press to pauses video playback.
< DISC > button Press to select disc in CD changer or select radio preset channels.
CHAPTER button Press to select DVD chapter and disc track.

40
Basic operation
How to turn the power ON or OFF
Turning the power on and off
When the power is turned on, the last state or mode used prior to power turning off will be
restored.
When power is OFF, press the .
●The power will come ON.
When power is ON, press the .
●The power will go OFF.
The display can be set to automatically open and close when the power is
switched ON or OFF. (See “Setting the display AUTO CLOSE function” on
page 45)

Basic operation
41
I
II
III
IV
V
VI
VII
VIII
IX
X
XI
XII
XIII
XIV
XV
XVI
XVII
XVIII
XIX
Display open/tilt/close
Opening the display
Turn the ignition switch ON.
Press .
●Opens the display.
ON
OPEN·TILT
button
OPEN·TILT
Do not force the display to open manually.
Applying excessive force to the display could damage it.
The display can be set to automatically open when the ignition switch is turned ON.
(See “Setting the display AUTO CLOSE function” on page 45)

42
Basic operation
Display open/tilt/close
Adjusting the angle of the display
With the display open, press
for less than 1
second.
●The display setting screen will appear.
To u ch .
●The display will tilt upwards by one
step (5°). Each touch of switch tilts the
panel by another step.
●The display can be adjusted to 7
different tilt positions. (Front Position)
(Rear Position: 5 tilt positions)
After completing the adjustment,
press .
OPEN·TILT
button
OPEN·TILT
TILT
OPEN·TILT
button
OPEN·TILT
Do not attempt to manually adjust the display.
Applying excessive force to the display could damage it.
The adjusted display angle will be saved. When reopened, the display will
automatically return to this angle.

43
I
II
III
IV
V
VI
VII
VIII
IX
X
XI
XII
XIII
XIV
XV
XVI
XVII
XVIII
XIX
Switching the display’s pull-out positions
With the display open, press
for less than 1
second.
●The display setting screen will appear.
To u ch .
●Each time the switch is touched, the
display pull out positions will be
changed in the following order shown
below.
When adjustment is complete,
press .
OPEN·TILT
button
OPEN·TILT
POSITION
Rear position (toward the dashboad)
*Front position (toward the viewer)
*: The front position cannot be adjusted
when the screen is in the 6th or 7th
tilt position.
OPEN·TILT
button
OPEN·TILT
Do not attempt to manually adjust the pull-out display. Applying excessive force to
the display could damage it.
The pull-out position of the display will be saved once it has been adjusted. The
display will then automatically return to this position when it is reopened.

44
Basic operation
Display open/tilt/close
Closing the display
With the display open, press
for less than 1
second.
To u ch .
OPEN·TILT
button
OPEN·TILT
CLOSE
●Do not attempt to close the display manually. Applying excessive force to the
display could damage it.
●When closing the display, check to make sure it has retracted completely. The
display could be damaged if left in a partially closed position.
●The display can be closed by pressing the button until a beep
noise is heard (after approx. 1 second).
● If the ignition switch is turned OFF while the display is open, the display can still
be closed if the button is pressed before a beep noise is heard
(within approx. 1 second).
OPEN·TILT
OPEN·TILT

45
I
II
III
IV
V
VI
VII
VIII
IX
X
XI
XII
XIII
XIV
XV
XVI
XVII
XVIII
XIX
Setting the display AUTO CLOSE function
The display can be set to automatically open when the ignition switch is turned ON, and
automatically close when it is turned OFF.
With the display open, press
for less than 1
second.
To u ch .
●Touching the switch toggles between
ON and OFF.
When adjustment is complete,
press
OPEN·TILT
button
OPEN·TILT
AUTO CLOSE
OPEN·TILT
button
OPEN·TILT
Do not enable the AUTO CLOSE function if the display interferes with the shift
lever position (P range) when it is opening and/or closing.
If the display is closed before the ignition switch is turned OFF, the display will not
automatically open when the ignition switch is turned ON again. Press
to open the display.
OPEN·TILT

46
Basic operation
Inserting/Ejecting the disc or “Memory Stick Duo”
How to insert disc (CD/DVD) and “Memory Stick Duo”
When you want to listen to music, insert a CD into the disc slot. When playing a DVD video,
insert a DVD video disc into the disc slot. When reading data (ESN recorded data and sound
quality data etc.), insert the “Memory Stick Duo” into the “Memory Stick” slot.
■When inserting a DVD or CD
Insert a DVD or CD by holding it
label up with one finger on the
center rim and another finger on
the edge.
●CD or MP3 playback starts as soon as
a CD is inserted.
●Playback starts as soon as a DVD is
inserted.
■When inserting a “Memory Stick
Duo”
Press the detach panel release button and remove the control panel.
Insert the “Memory Stick Duo” in the direction on the mark until a click is
heard.
●Once the “Memory Stick Duo” meets the back stopper, do not continue to apply force.
(Once fully inserted, the “Memory Stick Duo” should still protrude a few millimeters.)
Inserting disc (CD/DVD) or “Memory Stick Duo”

47
I
II
III
IV
V
VI
VII
VIII
IX
X
XI
XII
XIII
XIV
XV
XVI
XVII
XVIII
XIX
Install the control panel.
●DVDs and CDs are inserted into the same slot. Only one type of disc can be
inserted at any time.
●Do not remove the “Memory Stick Duo” while reading data. Otherwise, data may
be lost. Please be aware that Eclipse will not be hold responsible for lost data.

48
Basic operation
Inserting/Ejecting the disc or “Memory Stick Duo”
■When ejecting a DVD or CD
Press .
●The disc is automatically ejected.
●If the disc does not eject (is not
released from the internal mechanism),
press and hold for at least five
seconds.
■When ejecting a “Memory Stick Duo”
Press the detach panel release
button and remove the control
panel.
Lightly press the “Memory Stick
Duo” (once) to eject.
Install the control panel.
How to eject disc (CD/DVD) or “Memory Stick Duo”
EJECT
button

Basic operation
49
I
II
III
IV
V
VI
VII
VIII
IX
X
XI
XII
XIII
XIV
XV
XVI
XVII
XVIII
XIX
Switching source
The unit can be used when the vehicle's ignition switch is on or in the ACC position.
●This unit supports the use of a remote control. A DVD remote control is included. See page
165 for instructions on operation of the remote control.
Switching the source
Switching source using panel buttons
Press .
●Each time the button is pressed, the
source will be changed in the order
shown below.
●Sources which are not connected to
the unit will be skipped.
SOURCE
button
SOURCE
FM AM SIRIUS
VTR TV CDCH
DISC (DVD/
CD/MP3·WMA)

50
Basic operation
Switching source
Switching source using touch switches
Press .
●The SOURCE MENU screen will
appear.
When the SOURCE MENU switch
is touched, the operation screen for
the available sources is displayed.
MENU
button
MENU

Basic operation
51
I
II
III
IV
V
VI
VII
VIII
IX
X
XI
XII
XIII
XIV
XV
XVI
XVII
XVIII
XIX
Operational screen for each source
The operation screen for each source will appear as shown below.
When the operation screen for the DVD, TV or VTR has not been operated for 6 seconds or
more, it will automatically be canceled.
●
SIRIUS satellite radio operation screen (optional: U.S.A. only)
●AM
ra
di
o opera
ti
on screen
●FM
ra
di
o opera
ti
on screen
●
HD radio operation screen (optional: U.S.A. only)
●CD player operation screen ●MP3/WMA player operation screen
●DVD player operation screen ●CD changer operation screen (optional)
●
TV operation screen (optional: U.S.A./CANADA/KOREA/TAIWAN only)
●VTR operation screen (optional)

52
Basic operation
Adjusting the volume
Adjusting the main volume
Adjusting main volume using touch switches
Touch or .
● : Volume UP (louder)
: Volume DOWN (quieter)
Adjusting main volume using panel buttons
Turn the VOL button.
●Adjustment levels from 0 to 80 are
available.
Turn to the right :Volume UP (louder)
Turn to the left : Volume DOWN
(quieter)
●Press the VOL button to cut or mute
the volume or restore it instantly. Press
the VOL button again or turn it to the
right to turn the sound ON.
VOL button

Basic operation
53
I
II
III
IV
V
VI
VII
VIII
IX
X
XI
XII
XIII
XIV
XV
XVI
XVII
XVIII
XIX
Adjusting sound quality
By adjusting the equalizer and the volume balance you can simulate a custom sound
environment within the vehicle.
Displaying the sound adjustment screen
Press .
●The sound adjustment screen will
appear.
●Touch any of the following buttons on
the sound adjustment screen to display
the corresponding adjustment screen.
SOUND
●
S
oun
d
a
dj
ustment screen ●
P
arametr
i
c equa
li
zer a
dj
ustment screen
●Position setting screen
●
Time alignment adjustment screen
PEQ
SETTING
POS

54
Basic operation
Adjusting sound quality
The following settings/adjustments can be made in the operation screens and setting
screens.
Touch switch/item Function Page
PEQ The parametric equalizer adjusts 7 frequency bands. 56
Circle Surround II
Circle surround can easily be simulated using the existing
speaker system in your vehicle (when the vehicle has 4
speakers).
55
TruBass Deep bass sounds can be heard even if a subwoofer is not
connected. 55
POS
Sound localization can be adjusted according to the
number and position of passengers in order to obtain
optimum acoustic effects.
58
FADER BALANCE The left/right/front/rear balance can be adjusted. 59
LOUDNESS To emphasize bass/treble when listening at low volume. 60
HARMONIZER
To set the harmonizer level so that compressed data is
played back with a sound quality corrected to a level as
close as possible to that of the original data.
60
Time Aligment
This function corrects the positional characteristics and
frequency characteristics in order to delay the signals
being output from the various speakers so that the signals
from each speaker reach the listening position at the same
time.
61
Woofer The sub woofer output can be adjusted. 63

55
I
II
III
IV
V
VI
VII
VIII
IX
X
XI
XII
XIII
XIV
XV
XVI
XVII
XVIII
XIX
Setting Circle Surround II
The Circle Surround II function enables surround sound and boosts bass even if the center
speaker and sub woofer are not connected. It can also be applied to dialog data when
listening to the radio.
Touch in the sound
adjustment screen.
●Each time the switch is touched, the
CS II setting will be changed in the
following order shown below.
●High : High re-creation effect
Low : Low re-creation effect
OFF : The function is disabled.
CS II TruBass allows for deep bass sounds without the aid of a subwoofer.
Touch in the sound
adjustment screen.
●Touching the switch toggles between
ON and OFF.
●When CS II is High or Low, TruBass
can be turned ON/OFF.
CS II
OFF High Low
Setting CS II TruBass
TruBass
●You cannot set Circle Surround II at the same time as POS, or LOUDNESS.
●Circle Surround II, CS II TruBass, SRS, and the (●) symbol are trademarks of
SRS Labs, Inc.
●Circle Surround II technology is manufactured under license from SRS Labs, Inc.

56
Basic operation
Adjusting sound quality
Adjusting PEQ (parametric equalizer)
The parametric equalizer adjusts 7 frequency bands.
Touch the in the sound
adjustment screen.
Touch the to select the
band to be adjusted.
●Each time the switch is touched, the
band will be changed in the following
order shown below.
Touch or to select the
frequency to be adjusted.
● : Increase frequency.
: Decrease frequency.
●Each band can be set to the following
frequencies:
Touch or to adjust the
frequency level.
● : Increase level
: Decrease level
Band Frequency (Hz)
1 63, 80, 100
2 125, 160, 200
3 250, 315, 400, 500
4 630, 800, 1k, 1.25k
5 1.6k, 2k, 2.5k, 3.15k
6 4k, 5k, 6.3k, 8k
7 10k, 12.5k, 16k
Adjusting/Saving a PEQ
PEQ
BAND
Band1 Band2 Band3
Band7 Band6 Band5 Band4

57
I
II
III
IV
V
VI
VII
VIII
IX
X
XI
XII
XIII
XIV
XV
XVI
XVII
XVIII
XIX
Touch the to select the Q
curve pattern.
●Each time the switch is touched, the Q
curve pattern will be changed in the
following order shown below.
Repeat the operations in step to
to change the setting for each
channel and band.
●The frequencies that have been
adjusted for either the channel or band
cannot be selected.
Touch the switch you want to use
to save ( to ) until you hear
a beep.
●The saved PEQ setting can be
selected for further customization.
●Touch after making changes.
The PEQ mode adjustments will be
saved and system will return to the
previous operation screen.
Touch the to .
●The preset pattern stored in memory
will be retrieved.
●Touch after making changes.
The PEQ mode adjustments will be
saved and system will return to the
previous operation screen.
Q
SHARPSLOWNORMAL
1 5
BACK
Selecting a PEQ pattern from memory
1 5
BACK

58
Basic operation
Adjusting sound quality
Adjusting POS (Positioning selector)
Sound localization can be adjusted according to the number and position of passengers in
order to obtain optimum acoustic effects.
A seat's sound localization can be adjusted simply by touching the switch.
Touch in the sound
adjustment screen.
Touch each seat image displayed
in the POSITION setting screen to
switch the sound localization for
that seat.
●The selected position will appear in a
green frame. Touch the seat again to
cancel the selection. The four positions
shown by the table below can be set.
●Touch to cancel all settings.
●Touch after making changes.
The position will be saved and the
system will return to the previous
operation screen.
Touch switch Function Touch switch Function
Acoustics optimized for
driver's seat
Acoustics optimized for
both front seats
Acoustics optimized for
passenger's seat
Acoustics optimized for
rear seats
POS
OFF
BACK
If the positioning selector has been set (to a setting other OFF), the FAD/BAL
(Fader/Balance) settings cancelled (next page).

59
I
II
III
IV
V
VI
VII
VIII
IX
X
XI
XII
XIII
XIV
XV
XVI
XVII
XVIII
XIX
Setting the balance
The left/right/front/rear balance can be adjusted so that sound from all speakers arrives at the
listener's ears at the same time.
Touch in the POSITION
setting screen to display the
volume balance adjustment
screen.
Touch , , or .
●The adjustment level can be set to one
of 15 levels between F (front) and R
(rear).
●The adjustment level can be set to one
of 15 levels between L (left) and R
(right).
●Touch to set the volume
balance to the center position.
●Touch after making changes.
The set volume balance will be saved
and the system will return to the
previous operation screen.
●To set the position again, touch
and repeat the steps above.
FAD/BAL
CENTER
BACK
POS
●If the balance has been set (to a setting other CENTER), the positioning selector
setting will be cancelled (previous page).
●Touch and hold , , or while making fine adjustments to adjust
values continuously. Adjustment will lock when it reaches the center value, and
, , or must be touched again to continue adjustment.

60
Basic operation
Adjusting sound quality
Setting LOUDNESS
Audio can be modulated to correct for insufficient bass and treble when listening at low
volume.
Touch in the sound
adjustment screen.
●Touching the switch toggles between
ON and OFF.
Setting the harmonizer
It is possible to set the sound quality boost level to automatically regenerate harmonics such
as reverberation, depth, and tone lost in compression, producing a much clearer sound.
Touch in the sound
adjustment screen.
●Each time the switch is touched, the
Harmonizer settings will be changed in
the following order shown below.
● : Low level of correction
: High level of correction
: No correction
LOUDNESS
Harmonizer
OFF Hi Low
LOW
HI
OFF
You cannot set LOUDNESS while using Circle Surround II.

61
I
II
III
IV
V
VI
VII
VIII
IX
X
XI
XII
XIII
XIV
XV
XVI
XVII
XVIII
XIX
Simplified time alignment settings (Time Alignment)
This function corrects the position characteristics and frequency characteristics in order to
delay the signals being output from the various speakers so that the signals from each
speaker reach the listening position at the same time.
To u ch .
●The Time Alignment screen will
appear.
You can select the time alignment settings to match your vehicle from a range of preset
settings for different types of vehicles, allowing you to select the optimum time alignment
settings automatically.
To u ch .
●Each time a car selection is touched,
the Car Type will be changed in the
following order shown below.
●Touch after making changes.
The time alignment settings will be
saved and system will return to the
previous operation screen.
SETTING
●Time Alignment cannot be operated when the CSII is ON.
●Before selecting a position, make sure that CSII is OFF. (For details about
turning CSII ON/OFF, see page 55.)
Selecting the type of vehicle (Car Type)
Car Type
Compact Sedan Wagon
Truck SUV Mini Van
BACK

62
Basic operation
Adjusting sound quality
You can select the tweeter installation location and whether or not a tweeter is being used or
not, allowing you to select the optimum time alignment settings automatically.
To u ch .
●Each time the switch is touched, the
tweeter settings will be changed in the
following order shown below.
●Touch after making changes.
The time alignment settings will be
saved and system will return to the
previous operation screen.
You can select the rear speaker installation location, allowing you to select the optimum time
alignment settings automatically.
To u ch .
●Each time the switch is touched, the
rear speaker position settings will be
changed in the following order shown
below.
●Touch after making changes.
The time alignment settings will be
saved and system will return to the
previous operation screen.
Tweeter settings (Tweeter)
Tweeter
NO Dash Door
BACK
Rear speaker position selection (Rear SP)
Rear SP
Door Others
BACK
If the front speakers have been installed to the dash panel, you can set the tweeter
setting to “Dash” even if no tweeter has been installed.

63
I
II
III
IV
V
VI
VII
VIII
IX
X
XI
XII
XIII
XIV
XV
XVI
XVII
XVIII
XIX
Setting sub woofer
When a sub woofer is connected, the preferred output level for the audio can be set.
Touch in the Time
Alignment screen.
The merging of sound between the front and rear speakers and the woofer can be improved
by selecting the phase.
Switch to a phase which lets the speakers combine without any disharmony.
Touch to select NORMAL
or REVERSE.
●NORMAL: Normal phase
REVERSE: Reverse phase
●Touch after making changes.
The phase selection will be saved and
system will return to the previous
operation screen.
Woofer
Phase selection (NON-F Phase)
Phase
BACK

64
Basic operation
Adjusting sound quality
Woofer Output can be stereo or mono. Select the method that matches the output method for
the sub-woofer system that is connected to the unit.
Touch to select
STEREO or MONO.
●Touch after making changes.
The woofer output setting will be saved
and system will return to the previous
operation screen.
The frequencies for the front and rear speaker high-pass filter (HPF) and woofer low-pass filter
(LPF) can be set within a range of 63 to 200 Hz. (This is the same as the HPF and LPF cutoff
frequencies.)
Touch to select the cut-off
frequency.
●Each time the switch is touched, the
frequency will be changed in the
following order shown below.
Woofer output setting
Woofer OUT
BACK
Crossover adjustment (X-Over)
Freq
63Hz 80Hz 100Hz 125Hz 160Hz 200Hz

65
I
II
III
IV
V
VI
VII
VIII
IX
X
XI
XII
XIII
XIV
XV
XVI
XVII
XVIII
XIX
To u ch .
●Each time this switch is touched, the
slope will be changed in the following
order shown below.
●Touch after making changes.
The crossover setting will be saved
and system will return to the previous
operation screen.
The output level of the woofer can be adjusted.
Touch the or .
●The adjustment level has 6 “+” steps
and 6 “-” steps.
: Increase level.
: Decrease level.
●Touch after making changes.
The woofer output level adjustment will
be saved and system will return to the
previous operation screen.
SLOPE
PASS 6 dB/oct 12 dB/oct
24 dB/oct 18 dB/oct
BACK
If no woofer has been connected, set the slope adjustment to “PASS”. (If slope is
set to a setting other than PASS, the low frequency range will not be outptted from
the speakers.)
Woofer output level adjustment
BACK

66
Basic operation
Setting background screen
The background for the audio operation screen can be changed to a preferred wallpaper.
Setting the Background
Press and hold until you
hear a beep.
Touch or for Background.
●Each time switch is touched, the
Background screen will be changed in
following order shown below.
Importing Background
Background provided by the E-iSERV (website) can be downloaded and used instead of the
pre-set Background. To download Background follow the E-iSERV (website) instructions.
After downloading the data to your PC, copy the data to a “Memory Stick Duo” and import the
data into the deck. (URL: http://www.e-iserv.jp)
Insert the “Memory Stick Duo”
containing the images to be saved.
Press for less than one
second.
FUNC
1 2 3
Copy the Background to a “Memory Stick Duo”.
Download a background picture available on the E-iSERV website.
(Follow downloading instructions posted on the site.)
Import into the unit.
Access the E-iSERV (web site). (URL: http://www.e-iserv.jp)
FUNC

67
I
II
III
IV
V
VI
VII
VIII
IX
X
XI
XII
XIII
XIV
XV
XVI
XVII
XVIII
XIX
●The mode will change to function mode.
If you press the button once more, function mode will be exited.
To u ch .
●The display will change to the menu
screen for data management mode.
To u ch .
Touch the image file to be read and
saved.
●The image for the selected file will be
displayed.
If there are more than 7 files on the
media, touch or to search
through the list of image files for the
files you would like to read and save.
To u ch .
FUNC
DATA
PICTURE
DATA READ

68
Basic operation
Setting background screen
Touch ,
or .
●The image file that was selected in
step above will then be saved.
If an image file has already been
saved, it will be overwritten.
●Touch the to cancel data
saving.
Background 1
Background 2 Background 3
Cancel
●Do not eject the “Memory Stick Duo” while a file is saved. Otherwise the file data
may become corrupted.
●Data downloaded from the E-iSERV (web site) can be saved in folders on the
“Memory Stick Duo” as follows:
●Files that can be imported into the unit are created automatically when
downloaded from the E-iSERV (web site).
●The file name can be changed using 8 alphameric characters (adding a space for
a character cannot be used).
MSFTEN
PIC
File extension
XXXXXXXX.jpg Automatic creation
User creation

Basic operation
69
I
II
III
IV
V
VI
VII
VIII
IX
X
XI
XII
XIII
XIV
XV
XVI
XVII
XVIII
XIX
Adjusting/setting the screen
Switching the FUNCTION switch display
Touch switches not frequently used are not displayed in the audio operation screens and DVD
screens. These switches can be displayed as follows.
Touch .
●The FUNCTION switches appear.
●The FUNCTION switches are different
in each audio mode.
●The FUNCTION switches can be
hidden by touching .
●If the FUNCTION switches are
displayed, operations corresponding to
other switches cannot be performed.
Hide the FUNCTION switches, then try
the operation again.
FUNC
CLOSE

70
Basic operation
Adjusting/setting the screen
Changing the clock settings
Touch switches not frequently used are not displayed in the audio operation screens and DVD
screens. These switches can be displayed as follows.
Press for less than 1
second.
●The FUNC screen will appear.
This turns the clock display on or off.
To u ch .
●The clock display turns on and off each
time is touched.
When the clock display is on, the touch
switch display color changes to the
selected switch.
This adjusts the time.
Touch or for adjust each
item.
FUNC
Setting the clock display
Clock
Clock
Adjusting the time
To set the clock to 0 minutes (an exact hour), touch the touch switch.
For example:
At 3:29: Touch returns to 3:00.
At 3:30: Touch advances to 4:00.
SET
SET

71
I
II
III
IV
V
VI
VII
VIII
IX
X
XI
XII
XIII
XIV
XV
XVI
XVII
XVIII
XIX
Quality adjustments can be made for images as with the audio operation screen and DVD or
VTR (optional).
Adjusting image quality
Contrast, brightness and other picture settings can be adjusted to match preferences for
viewing DVD video or the audio operation screen.
Press and hold until you hear a beep.
●The PICTURE screen will appear.
Bright
Touch to increase brightness, or to decrease brightness.
Contrast
Touch to increase contrast, or to decrease contrast.
Color (for DVD/VTR screen only)
Touch to increase red, or to increase green.
Tint (for DVD/VTR screen only)
Touch for a darker color, or for a lighter color.
FUNC
●When adjusting audio operation screen ●When adjusting DVD/VTR screen

72
Basic operation
Adjusting/setting the screen
Switching screen mode
Touch .
To u ch , ,
or .
●This selects the wide mode.
WIDE
NORMAL WIDE1
WIDE2 WIDE3

73
I
II
III
IV
V
VI
VII
VIII
IX
X
XI
XII
XIII
XIV
XV
XVI
XVII
XVIII
XIX
NORMAL mode
The screen is shown with a vertical to
horizontal ratio of 3 to 4. The side edges
are black.
WIDE 1 mode
The screen is shown with a vertical to
horizontal ratio of 3 to 4 and is expanded
in the left and right directions. A wide
screen effect can be displayed without
any image loss.
WIDE 2 mode
Only the left and right edges of the screen
are stretched out. However, the vertical to
horizontal ratio of 3 to 4 is maintained at
the center of the screen to provide a
comfortable wide screen image.
WIDE 3 mode
The screen is expanded in both the
vertical and horizontal directions by the
same ratio. The image is clipped slightly
at the top and bottom edges.
Viewing of wide screen modes is permitted when limited to the personal
entertainment of the user, but exercise caution when using technologies such as
image compression and expansion for the purpose of commercial benefit or public
presentation. This may infringe upon the rights of the copyright holder protected by
applicable copyright law.

74
Basic operation
Others
Setting the steering switch function
The vehicle’s factory loaded steering switch becomes inoperable when the this unit is
installed. The E-iSERV (web site) provides software that enables steering switch operation.
Import this software into this unit.
For details, contact the store from which you purchased your unit. Depending on your
vehicle’s make and model, material downloaded from the website may not be compatible with
your steering switch.
Software for the steering switch can be downloaded and imported into the deck as follows:
Access The E-iSERV (web site). (URL : http/www.e-iserv.jp)
Copy the downloaded software to “Memory Stick Duo”.
Download the steering switch software following instructions
provided on the E-iSERV (web site). (Because material available
on the website may not be compatible with the steering switches
found on some automobiles, make sure to check the website for
details about compatibility.)
Import the data into the deck from the “Memory Stick Duo”.
(For details about importing into the unit, see next page.)
The steering switch can now be operated.
Consult the store from which you purchased this unit about compatibility and set-
up procedures.

75
I
II
III
IV
V
VI
VII
VIII
IX
X
XI
XII
XIII
XIV
XV
XVI
XVII
XVIII
XIX
The steering switch data that has been downloaded from E-iSERV (web site) to a “Memory
Stick Duo” can be loaded in the this unit.
Insert the “Memory Stick Duo”
containing the steering switch data
to be saved.
Press for less than 1
second.
To u ch .
To u ch .
A message will appear to confirm
the data transfer.
●Touch to update the data.
●Touch to return to the screen in
step .
Reading steering switch data
FUNC
DATA
Steering SW
Yes
No

76
Basic operation
Others
The compatibility of the deck’s various modes and the steering switches installed on your
vehicle are as follows:
*: Switch names may change depending on vehicle make and models.
Compatibility with various switches
Source
Switch*
Radio
TV CD DVD
MODE Change source Change source Change source
Tune UP Tune UP (Short tap) TRACK UP (Short tap) Chapter UP
SEEK UP (Hold) FAST UP (Hold)
Tune DOWN Tune DOWN (Short tap) TRACK DOWN (Short tap) Chapter DOWN
SEEK DOWN (Hold) FAST DOWN (Hold)
VOL UP VOL UP VOL UP VOL UP
VOL DOWN VOL DOWN VOL DOWN VOL DOWN
Source
Switch* MP3/WMA Others
MODE Change source Change source
Tune UP FILE UP (Short tap) –
FAST UP (Hold)
Tune DOWN
FILE DOWN
(Short tap) –
FAST DOWN (Hold)
VOL UP VOL UP VOL UP
VOL DOWN VOL DOWN VOL DOWN

77
I
II
III
IV
V
VI
VII
VIII
IX
X
XI
XII
XIII
XIV
XV
XVI
XVII
XVIII
XIX
Setting the Guide tone
The guide tone that is emitted when touching a panel switch or touch switch can be set.
Press for less than 1
second.
Touch in the
FUNCTION screen.
●Touching the switch toggles between
ON and OFF.
FUNC
Guide Tone
●Set the volume at a level which will not adversely affect safety while driving.
●The volume level may change after switching sources. Adjust the volume to
match the source being used.
●A volume adjustment made during DVD playback will not affect other sources.
The volume will return to the level set for the source used prior to the DVD.

78
Basic operation
Others
Displaying Amplifer Status (E-AMP)
If a DSP Amp is connected, the status of the DSP amp will be displayed.
Press for less than 1
second.
To u ch .
●The DSP Amp status screen will
appear.
FUNC
E-AMP

79
I
II
III
IV
V
VI
VII
VIII
IX
X
XI
XII
XIII
XIV
XV
XVI
XVII
XVIII
XIX
Screen lock settings
Screen lock enables the unit to switch to a separate audio source such as radio or CD while
continuing to display a DVD or TV image.
Select the screen lock image settings.
Press until you hear a
beep.
To u ch .
Touch to select Lock ON/
OFF.
●Touching the switch toggles between
ON and OFF.
●Touch after making settings.
The screen lock settings will be saved
and system will return to the previous
operation screen.
Touch to select an image.
●Each time the switch is touched, the
image is changed in the following order
shown below.
●The selected image will appear on the
left side of the screen.
●Touch after making changes.
The screen lock settings will to save
and system will return to the previous
operation screen.
FUNC
AV Setting
Lock
BACK
Picture
DVD VTR1 (TV) VTR2 (TV)
BACK

80
How to operate the tuner
How to use the AM/FM radio
Listening to the AM/FM radio
Listening to the radio using touch switches
Press .
Touch for AM radio, or for FM radio.
Listening to the radio using panel button
Press the to select the AM or FM.
Switching the band
To u ch .
●Each time the switch is touched, the radio bands will be changed in the following order.
POWER
button
Preset switches
SOURCE
button
TUNE·TRACK
button
MENU
button
FUNCTION switch
• Station Name
•ASM
•Info
BAND switches
MENU
AM FM
SOURCE
BAND
FM1 FM2 FM3 AM
When an optional HD Radio tuner unit is connected, digital broadcasts have
reception priority. (U.S.A. only)

81
I
II
III
IV
V
VI
VII
VIII
IX
X
XI
XII
XIII
XIV
XV
XVI
XVII
XVIII
XIX
Selecting radio stations
Press or .
●Pressing the switch once moves the frequency one step up or down.
● (up) : Raises the frequency
(down) : Lowers the frequency
Press and hold or until you hear a beep.
●The station that is closest to the current frequency will be searched for automatically,
and searching will stop when the station is received. To stop the search before a
station is found, press the button again.
Touch a preset switch that already has a station recorded.
●See “Saving radio stations” on next page for more information.
Manual selection
Automatic selection
Selection using preset switches
If the reception for a particular station is weak in the area you are in, the automatic
selection may not work.

82
How to use the AM/FM radio
How to operate the tuner
Saving radio stations
There are two modes for saving radio stations, manual and ASM. These modes operate
independently.
Use manual tuning or automatic tuning to select the station to be saved.
Choose a preset switch and touch it until you hear a beep.
●The radio station (frequency) is set. Touch the preset switch to tune in the selected
station.
To u ch .
To u ch
until you hear a beep.
●The ASM function will activate and start automatically selecting stations. You will hear
a beep when the automatic selection of stations is completed. Touch
again to
switch the display back to the broadcast station originally saved.
Use manual tuning or automatic tuning to select the station to be saved.
Touch the preferred preset switch until you hear a beep.
Saving manually
Saving with ASM
FUNC
ASM
ASM
Changing stations saved by ASM
●ASM may not automatically receive stations if radio waves in the surrounding
area are weak.
●A frequency saved with the tuning switch may not match the frequency saved
with ASM even though the signal is received from the same station.
●Due to conditions for receiving radio waves, saved stations may differ even when
the ASM switch is operated repeatedly in the same location.
●Up to six stations with good signal reception are automatically saved in order of
frequency (low to high).
●When less than six stations capable of reception are found, nothing is saved for
the remaining preset switches.

83
I
II
III
IV
V
VI
VII
VIII
IX
X
XI
XII
XIII
XIV
XV
XVI
XVII
XVIII
XIX
Checking preset stations
This recalls all the stations that have been preset either automatically or manually and plays
them each for 5 seconds.
To u ch .
To u ch
for less than 1
second.
●“P.SCAN” will be displayed, and the
preset stations will each be played
back for 5 seconds.
To u ch
for less than one
second.
●The station that was being played
when the switch was touched will then
be played continuously.
FUNC
ASM
ASM

84
How to use the AM/FM radio
How to operate the tuner
Creating a station name
A station name can be created and displayed.
To u ch .
To u ch
for less than
1 second.
●The screen will switch to the station
name setting mode. Default character
type is upper-case alphabet.
Touch one of the switch ,
, , .
● : Upper-case alphabet
:Lower-case alphabet
:Numerical
:Symbol
Touch the character touch switch.
FUNC
Station Name
ABC
abc 123 !”#
ABC
abc
123
!”#
●To u c h t he
to delete the character that was just entered.
●A maximum of 16 characters may be entered per title.
●The station name entered may not be displayed when an optional HD radio tuner
unit is connected.
RTN

85
I
II
III
IV
V
VI
VII
VIII
IX
X
XI
XII
XIII
XIV
XV
XVI
XVII
XVIII
XIX
Touch the touch switch to enter station name setting mode.
The station name is now memorized.
Deleting a previously created station name
To u ch .
Press and hold
until you hear 2 beeps in
succession.
●The station name has now been
deleted.
U
pper case c
h
arac
t
ers,
alphabet characters
L
ower case c
h
arac
t
ers,
alphabet characters
Numerical character Symbol
ENTER
FUNC
Station Name

86
How to use the AM/FM radio
How to operate the tuner
Turning off the radio
Press .
●Press again to turn on the radio
and to resume the radio station
received prior to turning power off.

How to operate the CD player
87
I
II
III
IV
V
VI
VII
VIII
IX
X
XI
XII
XIII
XIV
XV
XVI
XVII
XVIII
XIX
How to use the CD player
Listening to a CD
Playback starts when a CD is inserted into the disc slot.
Listening to a CD using the touch switches
Press when a CD has been inserted.
Touch .
●Playback will begin.
Listening to a CD using the panel buttons
Press the to select the CD source when a CD has been inserted.
SOURCE
button
TUNE·TRACK
button
MENU
button
FUNCTION switch
•TITLE
• TEXT
• REPEAT
• RANDOM
MENU
CD
SOURCE
●Titles and track names can be displayed when they are recorded on a CD. Up to
16 characters can be shown in the display.
●Only characters recorded by ASCII code can be shown on the CD-TEXT display.
●The CD-TEXT display may not be able to show characters for discs recorded
with many title characters.
●There may be occasions when CD-R/RW CD-TEXT cannot be displayed.

88
How to use the CD player
How to operate the CD player
Selecting a track
You can jump to the opening of a track you want to hear.
Press or .
● (up) : Selects next track
(down) : Selects previous track
Fast-forwarding/rewinding
It is possible to fast-forward/rewind the track being played.
Press and hold or until you hear a beep.
● (up) : Fast-forward
(down) : Rewind
If you hear a beep while rewinding (fast-forwarding), the unit has switched to fast-
forward (rewind) mode and will continue until you remove your finger from the button.
Repeating a track
To u ch .
Touch .
●Repeats the current track.
●The track will repeat until the function is canceled. Touch again to cancel.
Playing tracks in random order
To u ch .
Touch .
●Plays tracks in random order.
●Random playback will continue until the function is canceled. Touch
again to cancel.
●At the end of each track the system arbitrarily chooses which track to play next. As a
result, it is possible for the same track to be played multiple times in a row.
FUNC
REPEAT
REPEAT
FUNC
RANDOM
RANDOM

89
I
II
III
IV
V
VI
VII
VIII
IX
X
XI
XII
XIII
XIV
XV
XVI
XVII
XVIII
XIX
Creating a title for a CD
A CD title can be created and displayed.
To u ch .
To u ch
for less than 1
second.
●The screen will switch to the disc title
setting mode. Default character type is
upper-case alphabet.
Touch one of the switch ,
, , .
● : Upper-case alphabet
:Lower-case alphabet
:Numerical
:Default character type is
symbol
Touch the character touch switch.
FUNC
TITLE
ABC
abc 123 !”#
ABC
abc
123
!”#
●To u c h t he
to delete the character that was just entered.
●A maximum of 16 characters may be entered per title.
●No CD text disc can be set.
RTN

90
How to use the CD player
How to operate the CD player
Touch the touch switch to exist disc title setting mode.
The disc title is now memorized.
Deleting a previously created title
To u ch .
Press and hold
until you
hear 2 beeps in succession.
●The title has now been deleted.
U
pper case c
h
arac
t
ers,
alphabet characters
L
ower case c
h
arac
t
ers,
alphabet characters
Numerical character Symbol
ENTER
FUNC
TITLE

91
I
II
III
IV
V
VI
VII
VIII
IX
X
XI
XII
XIII
XIV
XV
XVI
XVII
XVIII
XIX
Displaying CD TEXT by scrolling
CD TEXT (such as disc titles and track titles) stored in the memory can be displayed. A
maximum of 16 characters are displayed on the display area at one time. When the CD TEXT
exceeds 16 characters, it is displayed by scrolling.
After the disc title is displayed by scrolling, track titles are displayed by scrolling.
The title display will be fixed after track titles are scrolled.
To u ch .
To u ch .
Turning off the CD player
Press .
●Press again to resume playback.
FUNC
TEXT
●This function cannot be used when no CD titles or track titles are displayed on
the display screen of this unit.
●Depending on the equipment used for entering titles, the titles may not be
displayed properly.
●Some title characters may not be displayed for some discs.

92
How to operate the MP3/WMA player
How to use the MP3/WMA player
For safety considerations, some functions are disabled while the vehicle is in motion.
Example of MP3/WMA file structure
Explanations are based on this example of MP3/WMA file structure.
POWER
button
Folder change
switches
SOURCE
button
TUNE·TRACK
button
MENU
button
FUNCTION switch
• REPEAT
• RANDOM
File change
switches
HOME switch
switch
Folder
MP3/WMA audio file
1st
level
2nd
level
3rd
level
4th
level
It is not possible to playback WMA files protected by a DRM (Digital Rights
Management) system or protected recordings (licensed).

93
I
II
III
IV
V
VI
VII
VIII
IX
X
XI
XII
XIII
XIV
XV
XVI
XVII
XVIII
XIX
Playing MP3/WMA
Playback starts automatically when a CD is inserted into the disc slot.
Playing MP3/WMA using the touch switches.
Press when a disc has been inserted.
To u ch .
●Playback will begin.
●The CD player screen will be shown for about 2 seconds as the system checks
whether the inserted CD is a music CD or an MP3/WMA.
●Normally, tracks are played back in the order .
●When multiple MP3/WMA files and folders are on the same level, they are played in
ascending order by folder and file names.
Playing MP3/WMA using the panel buttons
Press the to select the CD source when CD has been inserted.
MENU
CD
SOURCE

94
How to use the MP3/WMA player
How to operate the MP3/WMA player
Selecting a music file
A music file located within a folder can be selected.
Touch the music file.
●The currently selected file name and folder name will be shown in the display.
●When 4 or more music files are located in the same folder, touch or to show
data not currently displayed. (This function is not available when the vehicle is in
motion)
When several music files are located in the same folder, the next music file or previous music
file can be selected with the track selection (track start point).
Press or .
● (up): Selects next music file
(down): Selects previous music file
Selecting a folder
A folder located within a disc can be selected.
Touch the folder.
●The currently selected folder name will be shown in the display.
●When 4 or more folder are located in the disc, touch or to show data not
currently displayed. (This function is not available when the vehicle is in motion)
Selecting with file change switches
Selecting with TUNE/TRACK button
If music data and MP3/WMA data have been recorded on the same disc, playback
is not possible.

95
I
II
III
IV
V
VI
VII
VIII
IX
X
XI
XII
XIII
XIV
XV
XVI
XVII
XVIII
XIX
Fast-forwarding/rewinding
It is possible to fast-forward/rewind within the current file.
Press and hold or until you hear a beep.
● (up) : Fast-forward
(down): Rewind
If you hear a beep while rewinding (fast-forwarding), the deck has switched to the fast-
forward (rewind) mode and will continue until you remove your finger from the button.
Changing display of the current level
The folder level can be switched and displayed.
Touch or .
●: Displays the next folder level up.
●: Displays the level of the file currently being played.
Displaying the current level
Displays the file currently being played.
To u ch .
HOME
HOME
HOME

96
How to use the MP3/WMA player
How to operate the MP3/WMA player
Repeating the same music file or folder
To u ch .
Touch for less than one second.
●Repeats the current file.
●The file will repeat until the function is canceled. Touch again to cancel.
To u ch .
Touch until you hear a beep.
●Repeats the current file.
●The file will repeat until the function is canceled. Touch again to cancel.
Repeating the same music file
FUNC
REPEAT
REPEAT
Repeating the same folder
FUNC
REPEAT
REPEAT

97
I
II
III
IV
V
VI
VII
VIII
IX
X
XI
XII
XIII
XIV
XV
XVI
XVII
XVIII
XIX
Playing music files in random order
To u ch .
Touch for less than one second.
●Files will be randomly selected from among all files at the folder currently being played.
●Plays files in random order.
●Random playback will continue until canceled. Touch again to cancel.
●Touch during random playback to repeat the file currently being played.
Touch again to return to random playback.
●At the end of each file, the system arbitrarily chooses which file to play next. As a
result, it is possible for the same file to be played multiple times in a row.
To u ch .
Touch until you hear a beep.
●Randomly selects and plays files using all files on the disc.
●Plays files in random order.
●Random playback will continue until canceled. Touch again to cancel.
●Touch during random playback to repeat the file currently being played.
Touch again to return to random playback.
●At the end of each file, the system arbitrarily chooses which file to play next. As a
result, it is possible for the same file to be played multiple times in a row.
Turning off the MP3/WMA player
Press .
●Press again to resume playback.
Playing music files on folder in random order
FUNC
RANDOM
RANDOM
REPEAT
REPEAT
Playing music files on CD in random order
FUNC
RANDOM
RANDOM
REPEAT
REPEAT
See page 92 for an example MP3/WMA file structure.
If of the third level is being played and the display shows the folder and files of
the second level ( , and ), touch to display the folder and file of
the third level ( and ).
HOME

98
How to use the MP3/WMA player
How to operate the MP3/WMA player
About MP3/WMAs
MP3 (MPEG Audio Layer III) is a standard format for audio compression technology. By using
MP3 a file can be compressed to one-tenth the size of the original.
WMA (Windows MediaTM Audio) is format for audio compression technology. WMA files can
be compressed to a size smaller than MP3 files. This unit has limitations on MP3/WMA file
standards and recorded media and formats that can be used.
●Supported standards : MPEG1 Audio Layer III
●Supported sampling frequencies: 44.1, 48 (kHz)
●Supported bit rates : 64, 80, 96, 112, 128, 160, 192, 224, 256, 320 (kbps)
* Supports VBR.
* Does not support free format.
* Bit rates vary for MPEG-1 and MPEG-2.
●Supported channel modes : stereo
●Supported standards: WMA Ver. 7
WMA Ver. 8
WMA Ver. 9
●Supported sampling frequencies: 32, 44.1, 48 (kHz)
●Supported bit rate: 48, 64, 80, 96, 128, 160, 192, 256, 320 (kbps)
* Supports VBR (48~192 kbps).
* Does not support lossless compression.
* Does not support WMA files recorded at a frequency of 48 kHz with a bit
rate of 48 kbps.
Playable MP3 file standards
Playable WMA file standards
Use 128 kbps or lower for the MP3 bit rate. If the bit rate exceeds 128 kbps, there
may be a skipping type effect during MP3 playback.

99
I
II
III
IV
V
VI
VII
VIII
IX
X
XI
XII
XIII
XIV
XV
XVI
XVII
XVIII
XIX
MP3/WMA files have an “ID3/WMA Tag” that allows input of information so that data such as
song title and artist can be saved. This unit supports ID3v. 1.0, 1.1 and WMA tags.
Media capable of playing MP3 include CD-ROM, CD-R and CD-RW discs.
Compared to CD-ROM media commonly used for music discs, CD-R discs are fragile in high
temperature/high humidity environments and sections of the CD-R may become incapable of
playback. Fingerprints or scratches on the disc may prevent playback or cause skipping.
Sections of a CD-R may deteriorate if left inside a vehicle for long periods of time.
It is also recommended that CD-R discs be kept in a light-blocking case because the discs are
vulnerable to ultra-violet light.
ID3/WMA tags
Media

100
How to use the MP3/WMA player
How to operate the MP3/WMA player
The format of discs to be used must be ISO9660 Level 1 or Level 2. Also, be sure to record in
“MODE 1”. Discs recorded in “MODE 2” are not supported.
MP3 files recorded in formats other than those outlined above may result in files that cannot
be played normally and file names and folder names that do not display properly.
The following additional limitations apply:
●Maximum directory layers : 8 levels
●Maximum characters for folder names/file names: 31 (including “.” and the 3 letters of the
file extension)
●Allowable characters for folder names/file names : A-Z, 0-9, _ (underscore), all ASCII
characters
●Number of files/folders possible in a single folder : 512*
*: Each file is counted as one file, even if it is not an MP3/WMA file (i.e. files with extensions
other than “.MP3/.WMA”).
Format of discs

101
I
II
III
IV
V
VI
VII
VIII
IX
X
XI
XII
XIII
XIV
XV
XVI
XVII
XVIII
XIX
Only files with the MP3/WMA file extension “.mp3”, “.wma” can be recognized as MP3/WMA
and played. Be sure to save MP3 files with the “.mp3” file extension. Be sure to save WMA
files with the “.wma” file extension. The “MP” or “WMA” letters of the file extension will be
recognized whether entered as uppercase letters or lowercase letters.
Multi-sessions are supported, and playing of CD-R and CD-RW discs with annotated MP3/
WMA files is possible. However, when “Track at once” has been written, close the session or
process the warning message. Standardize the format of each session without changing the
format.
When a disc with recorded MP3/WMA files is inserted, the deck first checks all the files on the
disc. No sound is output while the deck is checking the files on the disc. It is recommended
that the disc be recorded without files other than MP3/WMA files and without unnecessary
folders in order to speed up the checking of disc files by the deck.
It is possible that playing time will not be correct, depending on the writing condition of the
MP3/WMA file.
* It is possible that playing time will not be correct when VBR Fast Up/Down is operated.
Names of MP3 folders and files within the same level are displayed in the following order.
1. MP3 files displayed first, by ascending order of numbers, letters.
2. Folders displayed next, by ascending order of numbers, letters.
File names
Multi-sessions
Playing MP3
MP3/WMA playing time display
Display order of MP3 file/folder names
If the “.mp3”, “.wma” file extension is attached to a file other than an MP3/WMA file,
that file will be mistakenly recognized by the unit as an MP3/WMA file and played,
resulting in noise and static that can damage the speakers. Do not attach the
“.mp3”, “.wma” extension to any non-MP3/WMA files.

102
How to use the MP3/WMA player
How to operate the MP3/WMA player
Making and playing MP3/WMA files
MP3/WMA files created by recording broadcasts, records, audio recordings, video recordings
or live performances cannot be used for purposes other than personal entertainment without
permission of the copyright holder as set forth in copyright law.
There are many kinds of sites that distribute MP3/WMA files on the Internet, such as “pay per
download” online shopping sites, “try before you buy” listening sites and free download sites.
Follow the rules for each site (such as paying fees) and download according to site
instructions.
Prepare a computer with commercially available MP3/WMA encoding software (conversion
software). (Some encoding programs available on the Internet do not require payment.) Music
data files in MP3/WMA format can be made by inserting the music CD into the CD-ROM drive
of the computer and following the procedures of the MP3/WMA encoding software to
compress the songs of the music CD. A 12cm music CD (having a maximum of 74 minutes of
recording/650MB of data) can be compressed to 65MB (about 1/10 of the original size).
MP3/WMA files can be recorded on CD-R/RW by using a CD-R/RW drive connected to a
computer. Record by setting the recording format of the recording software to ISO9660 level 1
or level 2 (not including extension format).
Select CD-ROM (mode 1) for the disc format. Discs recorded with CD-ROM xA (mode 2)
cannot be played on this deck.
Insert a CD-R/RW containing recorded MP3/WMA files. The system will automatically
determine whether the disc is a music CD or a CD-R/RW with MP3/WMA files and begin
playing the disc. A music CD recorded onto a CD-R/RW can also be played. However,
depending on the type of disc being used, playback may not be possible.
Downloading MP3/WMA music from internet
Converting CD music to MP3/WMA files
When writing to CD-R/RW
When playing back CD-R/RW
●A fixed bit rate of 128kbps and sampling frequency of 44.1kHz is recommended
for obtaining stable audio quality at playback.
●Depending on the characteristics of a disc, the system may not be able to read
CD-R and CD-RW discs.
●Because there are many types of MP3/WMA encoding software available,
including commercial and freeware programs, audio quality may deteriorate,
noise may be generated when playing starts and some recordings may not play,
depending on the condition of the encoder and the file format.
●When files other than MP3/WMA files are recorded on a disc, the system may
take some time to recognize the disc or it may not play.

How to operate the optional CD changer
103
I
II
III
IV
V
VI
VII
VIII
IX
X
XI
XII
XIII
XIV
XV
XVI
XVII
XVIII
XIX
How to use the CD changer
An optional CD changer can be connected and used.
Listening to a CD
Listening to a CD using the touch switches
Press .
To u ch .
Listening to a CD using the panel buttons
Press to select the CD changer source when optional CD
changer has been connected.
POWER
button
SOURCE
button
TUNE·TRACK
button
MENU
button
FUNCTION switch
• REPEAT
• RANDOM
•TITLE
Disc change
switches
MENU
CDCH
SOURCE
When two CD changers are connected, ( : number) is displayed on
the CD changer operation screen. Touch ( : number) to switch to the
second disc changer.
CDCH
CDCH

104
How to use the CD changer
How to operate the optional CD changer
Selecting a track
See “How to use the CD player” (Page 88).
Fast-forwarding/rewinding
See “How to use the CD player” (Page 88).
Selecting a CD
A CD can be selected from among all the discs in the changer.
Touch one of the disc change switches.
●The number for the selected CD will change color.
Repeating a track or CD
See “How to use the CD player” (Page 88).
To u ch .
Touch until you hear a beep.
●Touch once to continue repeating the CD. Repeat will continue until canceled. Touch
again to cancel.
●A disc change switch is displayed for each disc tray in the changer but only the
disc change switches that correspond to a currently loaded tray can be selected.
●No operation is possible when there are no discs loaded into the CD changer.
Repeating the current track
Repeating the current CD
FUNC
REPEAT
REPEAT

105
I
II
III
IV
V
VI
VII
VIII
IX
X
XI
XII
XIII
XIV
XV
XVI
XVII
XVIII
XIX
Playing tracks in random order
See “How to use the CD player” (Page 88).
To u ch .
Touch until you hear a beep.
●Setting once will start random playback which will not stop until the function is
canceled. Touch again to cancel.
●At the end of each track the system arbitrarily chooses which track to play next. As a
result, it is possible for the same track to be played multiple times in a row.
Creating a title for a CD
See “How to use the CD player” (Page 89).
Deleting a previously created title
See “How to use the CD player” (Page 90).
Turning off the CD changer
Press .
●Press again to resume playback.
Playing tracks on current CD in random order
Playing tracks on all CDs in random order
FUNC
RANDOM
RANDOM

106
How to operate the DVD player
Before using the DVD player
This unit can output the high quality images and high quality digital sound of DVD videos. It is
also possible to switch between different languages recorded on the DVD video (dubbing,
subtitles, etc.), and with videos having several angles of the same scene recorded, the
preferred angle can be selected and played.
DVD video characteristics
Some DVD discs have dialog recorded in several different languages, and the language can
be switched during playback in the same way as multilingual TV broadcasts.
Some DVD discs have a single scene recorded from several different angles (multiple angle),
and the preferred angle can be switched during playback.
* Depending on the disc, multiple angles may not be recorded.
About multiple languages
This river, which runs through
the center of the town is...
Cette riviere, laquelle court au
travers le centre de la ville est...
About multiple angles
The angle of the image is changed.
This unit includes copyright protection technology used in accordance with US
patents and other intellectual property rights owned by Macrovision Corporation
and other entities. Use of this copyright protected technology requires approval
from Macrovision Corporation and the technology must not be used for audiovisual
purposes aside from general household use without special approval from
Macrovision Corporation. Modification and disassembly of this technology is
prohibited.

107
I
II
III
IV
V
VI
VII
VIII
IX
X
XI
XII
XIII
XIV
XV
XVI
XVII
XVIII
XIX
Some DVD discs have subtitles recorded in several different languages, and the subtitles can
be switched during playback. The video can also be played without any subtitles displayed.
About discs
This unit conforms to NTSC color television methods, so please use discs that display “NTSC” on
the disc or package.
Playable disc types and their marks Size/Playing surface Maximum playing time
12cm/single-sided
single-layer
double-layer
<MPEG2>
133 min.
242 min.
12cm/double-sided
single-layer
double-layer
266 min.
484 min.
About subtitles
About playable discs

108
Before using the DVD player
How to operate the DVD player
Some DVD discs display a (“Region Code”). This mark (a number) shows the
geographical region where the disc can be played. This unit can only play discs with region
codes “1” (North America), “3” (Asia) “4” (Australia) or “ALL”. If you play discs with any region
code other than those shown above, a “This disc cannot be played” message is displayed. It is
possible that discs bearing no region code can not be played as a result of geographical
restrictions.
The following marks may be displayed on a DVD disc or its package.
Mark Meaning
Shows number of voice tracks.
Shows number of subtitle languages.
Shows number of filmed angles.
Shows available aspect ratio (television screen horizontal to
vertical ratio).
●“16 : 9” is wide screen, “4 : 3” is standard screen.
Shows playable region code.
●ALL indicates worldwide. A number indicates a specific
region code. “1” is the region number for North America.
“3” is the region number for Asia.
“4” is the region number for Australia.
About region codes of playable discs
1
About marks displayed on discs
3
2
3
16:9 LB 4:3
ALL 1
3
4
The playing condition is determined by the creator of the DVD/software. Some
functions may not perform during operation because the unit is playing the disc
according to content specifications intended by the software creator. Be sure to
consult the explanatory material provided with the disc to be played.

109
I
II
III
IV
V
VI
VII
VIII
IX
X
XI
XII
XIII
XIV
XV
XVI
XVII
XVIII
XIX
Videos and tracks recorded on a DVD are divided into many segments.
Large segments are called “titles”, and each title has a number (“title number”). Title segments
are further divided into smaller segments called “chapters”, and each chapter has a number
(“chapter number”).
About DVD disc structures
DVD-Video
Title 1
Title 2
Title 3
Chapter 1
Chapter 2
Chapter 3
Chapter 1
Chapter 2
Chapter 3
Chapter 1
Chapter 2
Chapter 3
Title number Chapter number

110
How to operate the DVD player
How to use the DVD player
For safety reasons, DVDs can only be played when the ignition is switched to ON or ACC and
the vehicle is completely stopped with the parking brake applied. (Only sound is output if a
DVD is played while the car is in motion.)
Watching a DVD
Playback starts automatically when a DVD is inserted into the disc slot.
Watching a DVD using the touch switches
Press when a DVD has been inserted.
Touch .
●Playback will begin.
●To display the operation switches (touch switches), touch the screen.
POWER
button
SOURCE
button
TUNE·TRACK
button
MENU button
Playing time
SET switch
C
hapter number
MODE button
TOP button
SUB TITLE
button
STOP button
PAUSE button
PLAY button
ENTER button
ANGLE button
PWR button
AUDIO button
CURSOR button
SLOW button
CHAPTER
button
MENU
DVD

111
I
II
III
IV
V
VI
VII
VIII
IX
X
XI
XII
XIII
XIV
XV
XVI
XVII
XVIII
XIX
Watching a DVD using the panel buttons
Press to select DVD source when a DVD has been inserted.
Waching a DVD using the remote control
Press to select DVD source when a DVD has been inserted.
SOURCE
●Information for items such as touch switches will be displayed for about 6
seconds. Touch the screen to display again.
●Depending on the disc, automatic playback or playback may not function unless
a menu recorded on the disc is selected. (See “Operating the disc menu” on
page 116)
MODE

112
How to use the DVD player
How to operate the DVD player
Operating the video
Playing the video using the touch switches
Touch .
Playing the video using the remote control
Press on the remote control.
It is possible to fast-forward or rewind through the video being played.
Fast-forwarding/rewinding using the panel buttons
Press and hold or until you hear a beep.
● (up) : Fast-forward
(down) : Rewind
If you hear a beep while rewinding (fast-forwarding), the deck has switched to the fast-
forward (rewind) mode and will continue until you remove your finger from the button.
Fast-forwarding/rewinding using the touch switches
Touch or .
●If you hear a beep while rewinding
(fast-forwarding), the deck has
switched to the fast-forward (rewind)
mode and will continue until you
remove your finger from the switch.
Playing the video
(PLAY)
Fast-forwarding/rewinding

113
I
II
III
IV
V
VI
VII
VIII
IX
X
XI
XII
XIII
XIV
XV
XVI
XVII
XVIII
XIX
Fast-forwarding/rewinding using the remote control
Press until you hear a beep.
: When pressed and released immediately, the picture moves to the next chapter
or track.
When pressed and held (for 1 second or more), the pictures or track are fast-for-
warded.
: RewindWhen pressed and released immediately, the picture moves to the
beginning of the current chapter or track.
When pressed and held (for 1 second or more), the pictures or track are
rewound.
CHAPTER

114
How to use the DVD player
How to operate the DVD player
Touch .
●Repeat the current chapter.
●The chapter will repeat untill the
function is canceled.
Touch again to cancel.
Pausing the video using the touch switches
To u ch .
Pausing the video using the remote control
Press on the remote control.
●The picture playback will pause.
●To return to normal playback, press .
Playing back in slow motion
Press on the remote control.
●The picture is played in slow motion.
●To play back in normal mode, press .
Repeating a chapter
REPEAT
REPEAT
Pausing the video
(PAUSE)
(PLAY)
SLOW
(PLAY)

115
I
II
III
IV
V
VI
VII
VIII
IX
X
XI
XII
XIII
XIV
XV
XVI
XVII
XVIII
XIX
Stopping the video using the touch switches
Touch .
Stopping the video using the remote control
Press on the remote control.
●If you then press playback will resume from the point where it was stopped.
Stopping the video
(STOP)
(PLAY)

116
How to use the DVD player
How to operate the DVD player
Operating the disc menu
It is possible to use the menu recorded on the disc.
Operating disc menu using the touch switches
Touch or
.
Touch , , , or to
select the video you want to play.
To u ch .
Operating disc menu using the remote control
Press button on the remote control.
●The DVD menu will turn on and off each time the button is pressed.
Use the buttons to select an item, and then press the
button on the remote control.
TITLE MENU
TOP MENU
ENTER
TOP
CURSOR ENTER

117
I
II
III
IV
V
VI
VII
VIII
IX
X
XI
XII
XIII
XIV
XV
XVI
XVII
XVIII
XIX
Turning off the DVD
Turning off the DVD using the panel buttons
Press .
●Press again to resume playback.
Turning off the DVD using the remote control
Press on the remote control.
PWR
Recorded menu items will differ by disc. The disc is played according to its content
so all functions may not be available.

118
How to use the DVD player
How to operate the DVD player
Searching for a desired chapter
It is possible to search for a particular video segment by title and chapter or by menu number
(number for divided segments).
Serching by chapter using the panel buttons
Press or .
● (up) : Selects next chapter
(down) : Selects previous chapter
Switching screen display/audio
It is possible to change the language for subtitles and audio, as well as, the display angle for
the video being played.
This function can only be performed with the special remote control.
When several angles of a scene are recorded on a disc, the angle can be switched.
Press on the remote
control when the multiple angle
mark is displayed.
●The angle number will be displayed.
Searching by chapter
Chapter number
Changing the angle
M
u
lti
-ang
l
e mar
k
ANGLE
Each time is pressed, the angle will change in order from among the
angles recorded on the disc.
ANGLE

119
I
II
III
IV
V
VI
VII
VIII
IX
X
XI
XII
XIII
XIV
XV
XVI
XVII
XVIII
XIX
When subtitles in several languages are recorded on a disc, the subtitles can be switched.
Press on the remote control.
●The subtitle number will be displayed.
If several audio languages are recorded on a disc, the languages can be switched.
Press on the remote control.
●The audio number and language will be displayed.
Switching subtitle language
SUB TITLE
Switching dubbed audio language
AUDIO
●Each time is pressed, the subtitle language will change in order
from among the subtitles recorded on the disc.
●Depending on the disc, it may only be possible to change subtitles in the top
menu.
●Each time is pressed, the audio language will change in order from
among the languages recorded on the disc.
●Depending on the disc, it may only be possible to change audio languages in the
top menu.
●The dts format is not supported by this deck, so no audio will be emitted if “dts
audio” is selected on a disc that enable it. In this case, select “Dolby Digital
audio”, which should also be recorded on the DVD video.
●dts is a registered trademark of the US company Digital Theater Systems, Inc.
SUB TITLE
AUDIO
Language 1 Language 2 Language…

120
How to use the DVD player
How to operate the DVD player
Setting the DVD player
The language preferences for voices, subtitles and menu display used during DVD playback
can be set in advance. Optional display of the multiple angle mark, viewer restriction and other
functions can also be set.
To u ch .
Touch the appropriate touch switch
to progress to the next page and
perform settings.
SET

121
I
II
III
IV
V
VI
VII
VIII
IX
X
XI
XII
XIII
XIV
XV
XVI
XVII
XVIII
XIX
The preferred language for video playback can be selected.
Touch in the
FUNC DVD SETTING screen.
Touch the preferred language.
●Touch to set a language
other than those displayed on the
screen.
Inputting a code
Touch in the AUDIO
LANGUAGE setting screen.
Input a language code.
●For language codes see “Table of
language codes” on page 128.
Touch .
Touch switch Function Page
Sets the voice language for video playback. See below
Sets the subtitle language for video playback. Next page
Sets the language of displayed menus. page 123
Sets display/non-display of multiple angle mark. page 124
Restricts the types of DVD videos that can be
played. page 125
Sets screen size. page 126
Audio Language
Sub Title
Menu Language
Angle Indicator
Parental Setting
Monitor
After changing settings in the SET UP screen, the DVD will stop if you press one of
the buttons that switch screens ( or ) without touching
. Touch in the operation screen to start playback again. (See page
112)
SOURCE MENU
ENTER
Setting the audio language
Audio Language
OTHER
OTHER
ENTER

122
How to use the DVD player
How to operate the DVD player
The preferred subtitles for the video playback can be selected.
Touch in the FUNC
DVD SETTING screen.
Touch the preferred language.
●Touch to set a language
other than those displayed on the
screen.
Inputting a code
Touch in the SUB TITLE
setting screen.
Input a language code.
●For language codes see “Table of
language codes” on page 128.
Touch .
Setting subtitle language
Sub Title
OTHER
OTHER
ENTER
Language switching cannot be performed if the selected language is not recorded
on the disc.

123
I
II
III
IV
V
VI
VII
VIII
IX
X
XI
XII
XIII
XIV
XV
XVI
XVII
XVIII
XIX
Allows selection of a preferred menu language from those recorded on the disc.
To u ch
in the FUNC DVD SETTING
screen.
Touch the preferred language.
●Touch to set a language
other than those displayed on the
screen.
Inputting a code
Touch in the MENU
LANGUAGE setting screen.
Input a language code.
●For language codes see “Table of
language codes” on page 128.
Touch .
Setting menu language
Menu Language
OTHER
OTHER
ENTER
Language switching cannot be performed if the selected language is not recorded
on the disc.

124
How to use the DVD player
How to operate the DVD player
The multi-angle mark can be set to display/not display during video playback.
To u ch
in the FUNC DVD SETTING
screen.
●Touching the switch toggles between
“ON” and “OFF” mode.
Touch .
Setting display of multi-angle mark (angle selection mark)
Multi-angle mark
Angle Indicator
ENTER
Setting the multi-angle mark display to “ON” will display the multi-angle mark in the
upper right corner of the screen when multiple angles are available on the disc.

125
I
II
III
IV
V
VI
VII
VIII
IX
X
XI
XII
XIII
XIV
XV
XVI
XVII
XVIII
XIX
This function allows viewing restriction to be set so that discs with adult content or violence will
not be available to children. Viewer restriction can be set at different levels to match restriction
ratings.
Touch in the
FUNC DVD SETTING screen.
Enter a pass code (4-digits) by
touching one number at a time.
Touch .
Touch the preferred restriction
level.
Touch .
Setting viewer restriction
Parental Setting
ENTER
ENTER
●Restriction cannot be set for discs that do not have a viewer restriction level
recorded.
●Be sure to enter a pass code number. If a number is not entered, setting viewer
restriction will not be possible.
●The pin code shown in the upper section will be displayed as [----] when a pin
code has not yet been set.
●Once the pass code has been set, the pass code will be required for subsequent
use of this function. Please do not forget the pass code. If you forget your pass
code, the default setting (no pass code set) can be restored by touching
10 times.
●Viewer restriction levels are classified in 3 types.
Level 1 . . . . . . . Plays only DVD software intended for children. (Playing of DVD
software intended for general audiences or adult audiences is
prohibited.)
Levels 2 - 7 . . . Plays only DVD software intended for children or general audi-
ences. (Playing of DVD software intended for adult audiences is
prohibited.)
Level 8 . . . . . . . Plays all DVD software. (Factory setting)
RTN

126
How to use the DVD player
How to operate the DVD player
Touch in the FUNC DVD
SETTING screen.
●Each time the switch is touched, the
screen size changes in the order
shown below.
●16 : 9 (WIDE)
The video is displayed at normal width. DVD software recorded in 4 : 3 size will be
displayed with black left and right edges or will be expanded to the left and right.
●4 : 3 (PS)
The video is displayed with right and left edges cut off. DVD software recorded in 4 : 3
size will be displayed exactly at screen size (4 : 3).
●4 : 3 (LB)
The video is displayed with black upper and lower edges.
DVD software recorded in 4 : 3 size will be displayed exactly at screen size (4 : 3).
Touch .
Changing video output
Monitor
16 : 9
WIDE
4 : 3
PS
4 : 3
LB
BACK
There are no problems with using this function as long as the customer views
images privately in wide-screen format. However, if the images are compressed or
enlarged for viewing for any commercial or public purpose, it may infringe upon the
rights of the copyright holder under applicable copyright laws.
When another monitor such as a rear seat monitor is being used, the size of the
video being displayed in the rear seat monitor will differ according to the video
output size set by the deck (front).

127
I
II
III
IV
V
VI
VII
VIII
IX
X
XI
XII
XIII
XIV
XV
XVI
XVII
XVIII
XIX
When an optional rear monitor is connected, use this function to switch to sources other than
the DVD, such as the Area Shot screen.
Touch in the FUNC
DVD SETTING screen.
●Touching the switch toggles between
ON and OFF.
Switching dual play
Dual Play

128
How to use the DVD player
How to operate the DVD player
Table of language codes
These codes are used to specify the language for audio tracks, subtitles and on-screen menu
displays.
Input
code Language Input
code Language Input
code Language
1001 Japanese 0801 Hausa 1721 Quechua
0514 English 0809 Hindi 1813 Rhaeto-Romance
0618 French 0818 Croatian 1814 Kirundi
0405 German 0821 Hungarian 1815 Romanian
0920 Italian 0825 Armenian 1823 Kinyarwanda
0519 Spanish 0901 Interlingua 1901 Sanskrit
1412 Dutch 0905 Interlingue 1904 Sindhi
1821 Russian 0911 Inupiak 1907 Sangho
2608 Chinese 0914 Indonesian 1908 Serbo-Croatian
1115 Korean 0919 Icelandic 1909 Sinhalese
0512 Greek 0923 Hebrew 1911 Slovak
0101 Afar 1009 Yiddish 1912 Slovenian
0102 Abkhazian 1023 Javanese 1913 Samoan
0106 Afrikaans 1101 Georgian 1914 Shona
0113 Amharic 1111 Kazakh 1915 Somali
0118 Arabic 1112 Greenlandic 1917 Albanian
0119 Assamese 1113 Cambodian 1918 Serbian
0125 Aymara 1114 Kannada 1919 Siswati
0126 Azerbaijani 1119 Kashmiri 1920 Sesotho
0201 Bashkir 1121 Kurdish 1921 Sundanese
0205 Byelorussian 1125 Kirghiz 1922 Swedish
0207 Bulgarian 1201 Latin 1923 Swahili
0208 Bihari 1214 Lingala 2001 Tamil
0209 Bislama 1215 Laothian 2005 Telugu
0214 Bengali 1220 Lithuanian 2007 Tajik
0215 Tibetan 1222 Latvian 2008 Thai
0218 Breton 1307 Malagasy 2009 Tigrinya
0301 Catalan 1309 Maori 2011 Turkmen
0315 Corsican 1311 Macedonian 2012 Tagalog
0319 Czech 1312 Malayalam 2014 Setswana
0325 Welsh 1314 Mongolian 2015 Tonga
0401 Danish 1315 Moldavian 2018 Turkish
0426 Bhutani 1318 Marathi 2019 Tsonga
0515 Esperanto 1319 Malay 2020 Tatar
0520 Estonian 1320 Maltese 2023 Twi
0521 Basque 1325 Burmese 2111 Ukrainian
0601 Persian 1401 Nauru 2118 Urdu
0609 Finnish 1405 Nepali 2126 Uzbek
0610 Fiji 1415 Norwegian 2209 Vietnamese
0615 Faroese 1503 Occitan 2215 Volapuk
0625 Frisian 1513 Oromo 2315 Wolof
0701 Irish 1518 Oriya 2408 Xhosa
0704 Scots- Gaelic 1601 Panjabi 2515 Yoruba
0712 Galician 1612 Polish 2621 Zulu
0714 Guarani 1619 Pashto
0721 Gujarati 1620 Portuguese

How to operate the video CD player (Asia only)
129
I
II
III
IV
V
VI
VII
VIII
IX
X
XI
XII
XIII
XIV
XV
XVI
XVII
XVIII
XIX
How to use the video CD player
A video CD recorded with Video-CD ver. 2.0 can be played on this unit.
A video CD can be watched only if the vehicle is completely stopped in a safe location with
the parking brake set and ignition switch turned ON or ACC. (Only sound can be heard if a
video CD is played while the car is in motion.)
Watching a video CD
Playback starts automatically when video CD is inserted into the disc slot.
Watching a video CD using the touch switch
Press when video CD has been inserted.
Touch .
●Playback will begin.
POWER
button
SOURCE
button
TUNE·TRACK
button
MODE button
PLAY button
ENTER button
PWR button
PAUSE button
SLOW button
CHAPTER
button
RETURN button
NUMBER button
MENU
DVD/VCD
Video CD will be play as designed by producer, and may not be played as
operated.

130
How to use the video CD player
How to operate the video CD player (Asia only)
Watching a video CD using the panel buttons
Press to select DVD/CD source when video CD has been
inserted.
Watching a video CD using the remote control
Press to select DVD/CD source when video CD has been inserted.
Using the menu screen
When a video CD featuring PBC (Play Back Control) function is played, the menu screen will
be displayed. With the PBC function, original menu items of a disc can be displayed and
operated while PBC disc is played.
The menu screen can be displayed while a video CD featuring the PBC function is played.
Press on the remote control.
●Switches display to the menu screen.
●When a CD contains more than 1 page of the menu screen, the display can be
switched by pressing or of the panel switch or by pressing the
on the remote control.
Enter a menu number with the to number button.
●Entered numbers can be retracted with each pressing of the .
Press .
●Begins playing the selected menu.
SOURCE
MODE
Displaying menu screen
RETURN
CHAPTER
Selecting menu list
0 9
CLEAR
ENTER

131
I
II
III
IV
V
VI
VII
VIII
IX
X
XI
XII
XIII
XIV
XV
XVI
XVII
XVIII
XIX
Advancing to the next scene or returning to the
beginning of the scene being played
The image can be controlled during playback.
This function can be operated by using either the panel buttons or remote control.
Press or for less than 1 second.
● (up) : Advances to next track.
(down) : Return to previous track.
●The currently selected track number will be shown on the display.
Press for less than 1 second.
● : Advances to next track.
: Return to previous track.
●The currently selected track number will be shown on the display.
Fast-forwarding/rewinding
Press or until you hear a beep.
● : Fast-forward.
: Rewinds.
●The fast-forward/rewind will continue while or is held. The fast-forward/
rewind action will stop when button is released.
Press until you hear a beep.
● : Fast-forward.
: Rewinds
●The fast-forward/rewind will continue while is held. The fast-forward/
rewind action will stop when button is released.
Using panel buttons
Using remote control
CHAPTER
Using panel buttons
Using remote control
CHAPTER
CHAPTER

132
How to use the video CD player
How to operate the video CD player (Asia only)
Specifying a track to playback
A track of your choice is directly selectable.
This function can only be performed with the remote control.
Enter a menu number with the to number button during video CD
playback.
●Entered number can be retracted with each pressing of the .
Press .
●Begins playing the selected track
Pausing/Advancing the video
This function can only be performed with the remote control.
Press during video CD playback.
●The video will pause.
●The video will advance each time is pressed while paused.
Press .
●Restarts playback.
Stopping playback
This function can only be performed with the remote control.
Press during video CD playback.
Press .
●Restarts playback.
0 9
CLEAR
ENTER
(PAUSE)
(PAUSE)
(PLAY)
(PAUSE)
(PLAY)

133
I
II
III
IV
V
VI
VII
VIII
IX
X
XI
XII
XIII
XIV
XV
XVI
XVII
XVIII
XIX
Using slow motion
This function can only be performed with the remote control.
Press during video CD playback.
Press .
●Restarts playback.
Turning off the video CD
Turning off the video CD using the panel buttons
Press .
●Press again to resume playback.
Turning off the video CD using the remote control
Press .
SLOW
(PLAY)
PWR

134
How to operate the Area Shot function (U.S.A./CANADA only)
Before using the Area Shot
About the Area Shot
Using Area Shot function, maps to destinations and guidance information can be displayed on
your unit if you have set route using the E-iSERV (web site). Current vehicle position can also
be displayed on the map if an optional GPS unit is connected.
The display in this manual may differ from that of the actual product.

135
I
II
III
IV
V
VI
VII
VIII
IX
X
XI
XII
XIII
XIV
XV
XVI
XVII
XVIII
XIX
In order to use Area Shot, driving instructions such as the direction of travel and the street names
of turn intersections must be downloaded from the E-iSERV (web site) and imported into the unit.
The process is as follows:
To use the Area Shot function
Access The E-iSERV (web site). (URL: http//www.e-iserv.jp)
Register as a user. A ePID (User Registration Key) is required when registering. For
details for “Displaying ePID” on page 137.
(To register, follow the instructions provided by the website. Once you have
registered, there is no need to repeat the procedure.)
Login.
Set your start point and destination on the Area Shot page. Address or intersection,
city, state/prov and zip/postal code can be used to search for start points, to set
routes and destinations. Your home can be registered as a memory point. (Follow
the instructions provided on the website.)
* Searching condition may differ depending on the service area.
Download information.
Write the downloaded information to a “Memory Stick Duo”.
Import the data written to the “Memory Stick Duo” into the this unit.
(For details, see page 138.)
Area Shot is ready for use.

136
Before using the Area Shot
How to operate the Area Shot function (U.S.A./CANADA only)
When using the map data, be aware of actual road conditions and obey traffic rules.
Copying, publishing, or using maps in electronic media without the expressed written
consent is forbidden.
Developed and operated in the United States, GPS (Global Positioning System), is a
system that locates current position (longitude and latitude) using radio waves beamed
to earth from 3 or 4 GPS satellites.
GPS information may not be available under the following circumstances:
●When GPS satellite radio waves are interrupted by buildings, tunnels, elevated
roads, etc.
●When radio waves are interrupted by objects on or near the GPS antenna.
●In some instances, wave transmission is interrupted by the U.S. tracking control
center during maintenance or upgrades.
●When a digital cellular phone (1.5 GHz) is used near a GPS antenna.
Map data
GPS (Global Positioning System)
●Be sure to obey all traffic rules and regulations while driving.
●Driving while strictly following guidance instructions may lead to traffic violations
and accidents, due to possible discrepancies between actual road conditions and
map guidance.
●Do not modify this system for use other than that specified herein. Also, do not
deviate from the installation procedures described herein, ECLIPSE will not be
held liable for damages including, but not limited to serious injury, death or
property damage resulting from installations that enable unintended operation.

How to operate the Area Shot function (U.S.A./CANADA only)
137
I
II
III
IV
V
VI
VII
VIII
IX
X
XI
XII
XIII
XIV
XV
XVI
XVII
XVIII
XIX
How to use the Area Shot function
Displaying ePID
ePID is your unit's unique ID. In order to use the E-iSERV (web site), a 16-digit ePID is
necessary.
Press to display the
FUNCTION screen.
Touch .
●If an Area Shot route is already
selected, ePID can be displayed even
if is pressed.
●The ePID will appear.
FUNC
Area Shot
AREA SHOT
Your ePID is a 16-digit ID composed of number (0-9) and letters (A-F).

138
How to use the Area Shot function
How to operate the Area Shot function (U.S.A./CANADA only)
Reading Area Shot data
The Area Shot data that has been downloaded from E-iSERV (web site) to a “Memory Stick
Duo” can be loaded in the the unit and saved there.
Insert the “Memory Stick Duo”.
Press to display the FUNC
screen.
Touch .
To u ch .
Do not turn the power or ignition switch off while the “Memory Stick Duo” is
reading. Interrupting this reading process may corrupt the data.
FUNC
Area Shot
Route Select

139
I
II
III
IV
V
VI
VII
VIII
IX
X
XI
XII
XIII
XIV
XV
XVI
XVII
XVIII
XIX
Touch file name switch to select the
route.
●Touch the , to move the list.
●The selected route will be read.
●Touch return to the previous
screen.
BACK
●Data downloaded from the E-iSERV (web site) is saved to folders created in the
“Memory Stick Duo” as shown below.
●Files that can be imported into your unit are created automatically when
downloaded from E-iSERV (web site)
●All of the searched route maps, guidance information, and POI are stored in
these automatically created files.
●The file name can be changed using 8 alphameric characters (adding a space for
a character cannot be used).

140
How to use the Area Shot function
How to operate the Area Shot function (U.S.A./CANADA only)
Changing Area Shot screen
Once Area Shot data has been acquired, a switch is displayed on the various audio
operation screens.
Touch .
●The Area Shot screen will appear.
●Touch to switch to the audio
operation screen.
MAP
MAP
Audio

141
I
II
III
IV
V
VI
VII
VIII
IX
X
XI
XII
XIII
XIV
XV
XVI
XVII
XVIII
XIX
How to view the Area Shot screen
A map screen like the one shown will appear when the Area Shot screen has been selected.
The map is oriented with north at the top.
Guidance information:
Information about guidance points are (traveling direction, street names) displayed as a text.
Arrows:
Indicates the direction to the guidance point.
POI mark:
Up to 5 POI points in the vicinity of the guidance point can be displayed.
Vehicle position mark:
If an optional GPS unit is connected, your vehicle position will be displayed. The vehicle
position mark will move on the map in accordance to your vehicle's movement.
Guidance points:
The guidance point is shown at the center of the map.
The display in this manual may differ from that of the what is actually displayed.

142
How to use the Area Shot function
How to operate the Area Shot function (U.S.A./CANADA only)
Displaying touch switch
The touch switches displayed on the Area Shot screen will disappear if they are not operated
for approximately 6 seconds. Perform the following to redisplay the switches.
Touch screen.
●The touch switches will reappear.

143
I
II
III
IV
V
VI
VII
VIII
IX
X
XI
XII
XIII
XIV
XV
XVI
XVII
XVIII
XIX
Switching the map reduction scale
When the Area Shot data is downloaded from E-iSERV, three maps of different scales for
each guidance point are downloaded. Any one of the three (small-scale, standard, or large-
scale) can be displayed.
Touch or on the standard
map screen.
●The map will switch to the following:
: large-scale map
: small-scale map
●Touch while the large-scale map is
displayed to return to the standard
map.
●Touch while the small-scale map is
displayed to return to the standard map.
●Large-scale map ●Standard map ●Small-scale map
Displaying the all-route map
A map showing the entire route from starting point to destination can be displayed.
Touch the .
●The all-route map is displayed.
Route

144
How to use the Area Shot function
How to operate the Area Shot function (U.S.A./CANADA only)
●Touch to return to the
previous map screen.
Switching guidance points
After passing each location described in the guidance, it is necessary to switch manually to the
next guidance screen. The previous screen can also be accessed manually and confirmed.
Touch or .
● : To switch to next guidance point.
: To switch to the previous
guidance point.
●Start point ●Intersections, etc. ●Destination
GuidebP

145
I
II
III
IV
V
VI
VII
VIII
IX
X
XI
XII
XIII
XIV
XV
XVI
XVII
XVIII
XIX
Switching text information
The text information display can be switched ON and OFF.
To u ch .
●This removes the displayed text
information.
●Touch again to redisplay text
information.
Re-scrolling through text information
Text information including intersection, street names, and turn directions can be scrolled
across the screen by switching through the guidance points. A maximum of 32 characters are
scrolled on the display. When scrolling is complete, the first 32 characters are once more
displayed on the screen. To re-scroll, perform the following operation:
Touch until you hear a
beep.
●Guidance information can be re-
scrolled.
Guide
Guide
Guide

146
How to use the Area Shot function
How to operate the Area Shot function (U.S.A./CANADA only)
Displaying POI vicinity
POI vicinity information can be displayed on the maps for various guidance points. A single
POI category, such as restaurants or shopping, can be set to be display.
A maximum of 5 POI marks can be displayed in the vicinity of a guidance point. The points are
numbered 1 through 5 beginning with the closest POI to the guidance point.
Touch .
Touch .
Touch POI category.
●Touch , to move the list.
●Touch to turn the POI vicinity
display OFF.
Selecting POI category
POI
SET
OFF

147
I
II
III
IV
V
VI
VII
VIII
IX
X
XI
XII
XIII
XIV
XV
XVI
XVII
XVIII
XIX
Touch .
●POIs from the selected category are
displayed when you return to the map
display screen.
●Press to return to the
previous screen.
POI vicinity information can be displayed as text on the Area Shot screen. The information is
displayed as follows:
●Name
●ZIP code
●Address
●Telephone number
Touch .
Touch the POI you wish to display.
●The selected POI vicinity information
will be displayed.
ENTER
BACK
Displaying POI vicinity information
POI

148
How to use the Area Shot function
How to operate the Area Shot function (U.S.A./CANADA only)
●Touch or to switch among
text information for the displayed next
page or previous page.
● : Displays POI vicinity information
for the next page
: Displays POI vicinity information
for the previous page
●Touch to cancel the POI vicinity
display.
When an optional GPS unit is connected
When an optional GPS unit is connected, the following operations are available.
●When your vehicle enters the display/map range of the guidance point, a blinking mark will
appear to indicate the position of your vehicle.
●When the vehicle position mark goes outside of the map display area, a map with the
vehicle position mark is no longer displayed. When this happens, switch to the next
guidance point. For details, see “Switching guidance points” on page 144.
To end Area Shot
Press .
●The Area Shot can be ended by ejecting the “Memory Stick Duo”.
OFF
AREA SHOT

ESN security operating procedure
149
I
II
III
IV
V
VI
VII
VIII
IX
X
XI
XII
XIII
XIV
XV
XVI
XVII
XVIII
XIX
ESN security operating procedure
About ESN
This unit is equipped with ESN (ECLIPSE Security Network). A preregistered music CD
(Key CD), four-digit security code, or a “Memory Stick Duo” on which all unit functions will
not operate, even by turning the ignition switch to the ACC, ON position, reconnecting
the battery after turning the ignition switch off, or disconnecting the battery during
maintenance.
ESN can be set or cancelled using any of the following methods:
●Key CD security (See page 151)
You can record a specific CD that you have as a “key CD” with the unit, and this CD
can then be used to set and cancel the security settings.
●“Memory Stick” security (See page 155)
You can record a secret code (security code) to “Memory Stick Duo”. This “Memory
Stick Duo” or secret code (security code) with the unit, and this “Memory Stick Duo” or
secret code (security code) can then be matched with the unit to set and cancel the
security settings.
●ACC security (See page 163)
This method can only be used when “Memory Stick” security has already been set.
When ACC security is set, button operations are disabled when the ignition switch is
turned to OFF and then back to ACC.

150
ESN security operating procedure
ESN security operating procedure
How to switch the security type (Key CD security/
"Memory Stick" security)
You can switch the type of security being used (Key CD security or “Memory Stick” security).
The initial setting is for “Memory Stick” security.
Press for less than 1 second.
To u ch .
●The security setting screen will appear.
To u ch .
●Security type will switch from Key CD
security (DISC) l“Memory Stick”
security (MS) in order each time the
switch is touched.
FUNC
SEC
SEC
If a security is activated, switching the security type is not available.

151
I
II
III
IV
V
VI
VII
VIII
IX
X
XI
XII
XIII
XIV
XV
XVI
XVII
XVIII
XIX
How to operate the ESN (Key CD) security
Press for less than 1 second.
To u ch .
●The security setting screen will appear.
To u ch .
●“Please insert disc.” will appear.
Insert the CD into the slot.
●“SECURITY” will appear then the Key
CD is ejected.
How to program the Key CD
FUNC
SEC
SET
●If a CD has already been inserted, a message appears, and then the front panel
opens and the CD is ejected.
●If security is activated, programming the Key CD is not available.
●If there is a problem with the inserted CD, an “ERROR” message will appear for
two seconds and the CD will be ejected. Reinsert the ejected CD.
●If a CD causes the “ERROR” message to appear twice in a row, a “Please
exchange discs.” message will appear for two seconds. Try another CD.
●Copy Protected CD and MP3/WMA CD-ROM cannot be programmed for Key CD
security.
●The Security indicator will flash whenever the vehicle's ignition is switched off.

152
ESN security operating procedure
ESN security operating procedure
Press for less than 1 second.
To u ch .
●The security setting screen will appear.
To u ch .
●“Please insert disc.” will appear.
Insert your Key CD into the slot.
●A “The key disc was cancelled”
message appears, then the Key CD is
ejected.
The Key CD is cancelled.
How to cancel the Key CD
FUNC
SEC
CANCEL
●If a CD has already been inserted, a message appears, and the CD is ejected.
●This process cancels the protection for the ESN protection.
●If the CD other than the Key CD is inserted, ESN protection will not cancel and
the CD is ejected.

153
I
II
III
IV
V
VI
VII
VIII
IX
X
XI
XII
XIII
XIV
XV
XVI
XVII
XVIII
XIX
First, cancel the existing Key CD.
●Refer to “How to cancel the key CD”.
Next, program a new Key CD.
●Refer to “How to program the Key CD”.
If power is disconnected while ESN security is active (a Key CD was programmed), operation
is disabled until power is restored and the unit unlocked. Follow this procedure to resume
normal operation.
When the power is turned on after disconnecting the battery power, a
“SECURITY” message will appear for 2 seconds.
Insert your Key CD.
●If the correct CD is inserted, “The security lock was unlocked.” message will appear for
two seconds and the CD will begin playing.
How to change the Key CD
How to resume normal operation (ESN security lock out)
●If the incorrect CD is inserted, an “ERROR” (“ERROR” and error number)
message will appear for 2 seconds, after which the CD will be ejected.
●If “ERROR5” (the 5th time an error has occurred) appears, “HELP” will appear,
after which the CD will be ejected. When “HELP” appears, carry out the
operations for an ESN security lock out by following the procedure in “What
happens if an incorrect CD is inserted?” on next page.
●You must be use the same CD used for Key CD programming; a duplicate CD
may not work properly.

154
ESN security operating procedure
ESN security operating procedure
After the 5th incorrect attempt, the display reads “HELP” for 5 seconds.
●After the “HELP” message appears for 5 seconds, serial number will then appear.
Press the , then , and hold them for 5 seconds.
●After the “SEC” message will appears for 2 seconds, the rolling code (six digit) will
appear.
Press the .
●A “DISC” message appears.
You will have 5 more attempts the to insert the correct disc.
Insert the key CD into the slot.
●If the correct CD is inserted, an “OK” message will appear for 2 seconds and the CD
will be ejected.
What happens if an incorrect CD is inserted?
FUNC SOUND
FUNC
●After the 5th try and the correct Key CD is not inserted, the display reads
“CALL800”; the unit must be returned to Eclipse to be reset. In this case, please
contact your Eclipse dealer for assistance. For country-specific customer service
information, refer to “How to contact customer service” on page 245.
Your Key CD can be easily forgotten. Write the album name in a reminder note.
●If an incorrect CD is inserted, an “ERR_” (“ERR” and error number) message will
appear for 2 seconds, after which the CD will be ejected.
●This process cancels the protection for ESN deck.

155
I
II
III
IV
V
VI
VII
VIII
IX
X
XI
XII
XIII
XIV
XV
XVI
XVII
XVIII
XIX
How to operate the ESN (“Memory Stick”) security
Press for less than 1 second.
To u ch .
●The security setting screen will appear.
To u ch .
●The security code entry screen will
appear.
Insert the “Memory Stick Duo” into
the slot.
Input a security code by touching
switches.
●Enter a four-digit security code using
digits 0 to 9, A to F.
Press and hold .
●The security code is registered in the
unit and security is set. The registered
security code is encrypted and then
written to “Memory Stick Duo”.
How to record a security code
FUNC
SEC
SET
ENTER

156
ESN security operating procedure
ESN security operating procedure
Eject the “Memory Stick Duo”.
●Refer to “How to eject disc (CD/DVD) or “Memory Stick Duo”” on page 48.
●If a “Memory Stick Duo” has already been inserted, a “MS EJECT” message
appears. In this case, eject the “Memory Stick Duo” and insert it again. (Refer to
“How to eject disc (CD/DVD) or “Memory Stick Duo”” on page 48 for details on
ejection of the “Memory Stick Duo”.)
●If the security is already activated, recording the security code function is not
available.
●When the security code is registered using a “Memory Stick Duo” that contains
several kinds of data, such as music, etc., be careful not to clear the recorded
data by formatting the “Memory Stick Duo”.

157
I
II
III
IV
V
VI
VII
VIII
IX
X
XI
XII
XIII
XIV
XV
XVI
XVII
XVIII
XIX
The security function can be canceled when the security code that has been recorded with the
deck is entered and verified.
Canceling the security function can be done by entering the security code into the unit, or by
using the “Memory Stick Duo”.
Canceling the security function by entering the security code
Press for less than 1 second.
To u ch .
●The security setting screen will appear.
To u ch .
●The security code entry screen will
appear.
A security code is entered by
touching switches.
●Enter a four-digit security code using
digits 0 to 9, A to F.
Press and hold .
●If a security code is entered and the
unit verifies that it is correct, the
security function will be canceled.
How to cancel the “Memory Stick” security
FUNC
SEC
CANCEL
ENTER

158
ESN security operating procedure
ESN security operating procedure
Canceling the security function using a “Memory Stick Duo”
Press for less than 1 second.
To u ch .
●The security setting screen will appear.
To u ch .
●The security code entry screen will
appear.
Press .
Insert the “Memory Stick Duo”.
●The recorded data will be read from the “Memory Stick Duo”.
If the contents recorded in the “Memory Stick Duo” match the information
recorded by the unit, “The security lock was unlocked.” will appear on the
display.
●The security function will be canceled and the deck will return to normal operation.
Eject the “Memory Stick Duo”.
●Refer to “How to eject disc (CD/DVD) or “Memory Stick Duo”” on page 48.
FUNC
SEC
CANCEL
FUNC
●If the security code that is entered does not match the code that is recorded by
the unit, “ERROR” will appear on the display for 2 seconds and operation will
continue as normal without the security function being canceled.
●If a “Memory Stick” has already been inserted, a “MS EJECT” message appears.
In this case, eject the “Memory Stick Duo” and insert it again. (Refer to “How to
eject disc (CD/DVD) or “Memory Stick Duo”” on page 48 for details on ejection of
the “Memory Stick Duo”.)
●If a reading error occurs or if an incorrect “Memory Stick Duo” is inserted,
“ERROR” will appear on the display for 2 seconds, and then the display will
change to “EJECT”. If this happens, eject the “Memory Stick Duo” and try again.
●Security setting cannot be canceled by this procedure if the “Memory Stick Duo”
containing the security code is formatted.

159
I
II
III
IV
V
VI
VII
VIII
IX
X
XI
XII
XIII
XIV
XV
XVI
XVII
XVIII
XIX
You can change the “Memory Stick Duo” and security code that have been recorded by the
unit to a different “Memory Stick Duo” and security code.
Cancel the security code that has been recorded with the deck.
●Refer to “How to cancel the “Memory Stick” security” on page 157.
Re-record the new “Memory Stick Duo” and security code that you would
like to use.
●Refer to “How to record a security code” on page 155.
If power is disconnected while ESN security is active (a security code was recorded),
operation is disabled until power is restored and the unit unlocked. Follow this procedure to
resume normal operation.
ESN security lock can be canceled by directly entering the security code into the unit, or by
using the “Memory Stick Duo” that was being used when the security code was recorded.
Canceling ESN security lock out using security code entry
When the power is turned on after disconnecting the battery power, a
“SECURITY” message will appear for 2 seconds. Thereafter, the security
code entry screen will appear.
A security code is entered by
touching switches.
●Enter a four-digit security code using
digits 0 to 9, A to F.
How to change the “Memory Stick Duo”
How to resume normal operation (ESN security lock out)

160
ESN security operating procedure
ESN security operating procedure
Press and hold .
●If the security code matches the code
recorded by the unit, “Security lock was
unlocked.” will appear on the display
and the security function will be
canceled.
Canceling ESN security lock using “Memory Stick Duo”
After the battery is connected and the unit’s power is turned on,
“SECURITY” will appear on the display for 2 seconds. After this, the
security code entry screen will appear.
Press .
Insert the “Memory Stick Duo” that has been recorded, and then close the
front panel.
●The recorded data will be read from the “Memory Stick Duo”.
ENTER
FUNC

161
I
II
III
IV
V
VI
VII
VIII
IX
X
XI
XII
XIII
XIV
XV
XVI
XVII
XVIII
XIX
If the contents recorded in the “Memory Stick Duo” match the information
recorded by the deck, “Security lock was unlocked.” will appear on the
display for 2 seconds, and then the deck will return to normal operation.
●If the security code does not match the information recorded by the unit,
“ERROR_” (ERROR and the error number) will appear on the display for two
seconds, and then “- - - -” (security code entry display) will appear. If this
happens, check the security code and repeat the procedure from step 2.
●If “ERROR5” (the 5th time an error has occurred) appears, “HELP” will appear.
When “HELP” appears, carry out the operations for an ESN security lock out by
following the procedure in “What happens if a “Memory Stick Duo” or security
code is incorrect?” on next page.
●If a “Memory Stick” has already been inserted, a “MS EJECT” message appears.
In this case, eject the “Memory Stick” and insert it again. (Refer to “How to eject
disc (CD/DVD) or “Memory Stick Duo”” on page 48 for details on ejection of the
“Memory Stick Duo”.)
●If the contents recorded in the “Memory Stick Duo” do not match the information
recorded by the unit, “ERROR_” (ERROR and the error number) will appear on
the display for 2 seconds, and then “- - - -” (security code entry display) will
appear. If this happens, check the “Memory Stick” and repeat the procedure from
step 2.
●ESN security lock cannot be canceled by this procedure if the “Memory Stick
Duo” containing the security code was formatted.

162
ESN security operating procedure
ESN security operating procedure
After the 5th incorrect attempt, the display reads “HELP” for 5 seconds.
●After the “HELP” message was displayed for 5 seconds, the serial number will appear.
You will only get 5 unsuccessful unlock code entries. After the 5th attempt, you will be
asked to insert the DISC (Key CD). At this point, please contact your local Eclipse
dealer or Eclipse Customer Service for procedure on unlocking the unit.
What happens if a “Memory Stick Duo” or security code is incorrect?
For country-specific customer service information, refer to “How to contact
customer service” on page 245.
Your security code and “Memory Stick Duo” can be easily forgotten. Write the
security code and “Memory Stick Duo” title in a reminder note.

163
I
II
III
IV
V
VI
VII
VIII
IX
X
XI
XII
XIII
XIV
XV
XVI
XVII
XVIII
XIX
How to operate the ACC security
ACC security involves using “Memory Stick” security to record a security code, and then when
the ignition switch is turned to OFF and back to ACC, the operation of all buttons is disabled.
Press for less than 1 second.
To u ch .
●The security setting screen will appear.
To u ch .
●Touching the this switch toggles
between ON and OFF.
FUNC
SEC
ACC
●If the vehicle's battery is disconnected at times such as during servicing, ACC
security will be canceled.
●When ignition switch is turned OFF and back to ACC, the operation all button is
disabled. If this happen, resume normal operation. (Refer to “How to resume
normal operation (ESN security lock out)” on page 159.)

164
ESN security operating procedure
ESN security operating procedure
How to turn the security indicator on/off
Once ESN security is activated, the indicator flashes whenever the vehicle's ignition switch is
turned off, warning potential thieves that the unit is protected. However, if do not want this
visible deterrent, it may be turned off.
Press for less than 1
second.
To u ch .
●The security setting screen will appear.
To u ch .
●Touching the this switch toggles
between ON and OFF.
“ON” means the security indicator will flash when the vehicle's ignition switch is off, and
“OFF” means it will not.
Repeat the above steps to reactivate the flash mode.
How to read the Electronic Serial Number
Press for less than 1 second.
To u ch .
●The security setting screen will appear.
●An 8-digit number appears on display.
FUNC
SEC
INDICATOR
FUNC
SEC

How to use the remote control
165
I
II
III
IV
V
VI
VII
VIII
IX
X
XI
XII
XIII
XIV
XV
XVI
XVII
XVIII
XIX
Before using remote control
●Be sure to properly store the remote control when not in use. An improperly
stored remote control could shift during braking or cornering and interfere with
driving operation (for example, by becoming lodged under the brake pedal) and
cause an accident.
●Do not expose the remote control to extreme heat or direct sunlight, especially
when it is in the vehicle. Doing so could cause a fire.
Precautions when using the remote control
●Be careful when handling the remote control, especially because it is small and
light. Dropping or striking it may damage it, wear out the battery or cause a
malfunction.
●Keep the remote control free of moisture, dust and water. Do not subject it to
shock.
●Do not place the remote control unit where it will get hot, such as on the
dashboard or near a heater vent. Allowing the remote control unit to overheat
may warp its case or cause other problems.
●Do not operate the remote control unit while driving because doing so could
cause an accident.
●When using the remote control, point it directly at the remote control light
receptor.
●The light receptor may not operate correctly if it is exposed to bright light such as
direct sunlight.
●Remove the batteries from the remote control unit whenever it is not to be used
for a long time.
●Store the remote control away from direct sunlight, extreme heat, and high
pressure. Exposure to these elements could result in warping of the casing,
battery rupture, or battery leakage.
Cleaning the remote control
●Use a dry cloth to keep the unit clean. If the remote control unit gets extremely
dirty, clean it with a cloth moistened in a diluted liquid detergent. Do not use
alcohol or thinner; these compounds may damage the finish.
●In no event should benzine or thinner be used. These substances will damage
the case or finish.

166
How to use the remote control
How to use the remote control
Turning the power on/off
When the power is turned on, the last mode prior to turning off the power such as CD and
tuner playing is restored.
Press .
●The power turns on or off each time the button is pressed.
Adjusting the audio volume
Press or .
● button: Increases the volume.
button: Decreases the volume.
Press to cut or mute the volume or restore it instantly.
Switching playback modes
Press .
●Tap the button to switch modes in the following sequence:
Remote-Control
light receptor
button
PWR
button
MUTE
button
button
button
MODE
PWR
Muting the volume
MUTE
MODE
Tuner DVD (CD) CDCH VTR

167
I
II
III
IV
V
VI
VII
VIII
IX
X
XI
XII
XIII
XIV
XV
XVI
XVII
XVIII
XIX
How to select the tuner
Select the tuner mode first.
Press the .
●Each tap will switch tuner modes from FM1 FM2 FM3 AM.
button
BAND
Selecting the FM/AM band
BAND

168
How to use the remote control
How to use the remote control
How to play back CDs
Select the disc mode first.
Press the button to switch DVD (CD) player or CD changer.
When two CD changers are connected, press the button to change
between CD changer 1 and CD changer 2.
button
BAND
button
MODE
Switching disc modes
MODE
BAND

169
I
II
III
IV
V
VI
VII
VIII
IX
X
XI
XII
XIII
XIV
XV
XVI
XVII
XVIII
XIX
Replacing the battery
Use two AA-size batteries.
Remove the back cover of the remote control by
gently pressing and sliding it in the direction
indicated by the arrow.
Install the two batteries provided into the
compartment as illustrated inside the
compartment.
Return the back cover into place by sliding it in
the direction indicated by the arrow.
To prevent accidents, store batteries out of the reach of children. If a child has
swallowed one, consult a doctor immediately.
●Be extremely careful not to swallow the battery.
●The battery life is approximately one year. If the remote control unit does not
operate correctly or if the button lamp gets dim, replace the batteries.
●Be sure to orient the batteries correctly so that the positive and negative poles
match the diagram.
●Do not use one new battery and one old one; use two new batteries.
●Use only two of the same kind of battery.
●If any liquid is seen leaking from the batteries, remove both batteries and
dispose of them properly. Thoroughly clean the battery compartment with a dry
cloth. Then install new batteries.

170
How to operate the optional 5.1ch decoder & AV selector unit
Sound quality information
Functions of the optional 5.1 ch decoder & AV
selector unit is connected
The following table shows the finer audio adjustments that can be performed when the
optional 5.1 ch decoder & AV selector unit is connected.
Item Function Page
Parametric EQ
Perform a 5-band parametric equalizer adjustment on each
channel (front, rear, center) and a 1-band adjustment on
the woofer for a total of a 16-band adjustment.
178
POSITION
Sound localization can be adjusted according to the
number and position of passengers in order to obtain
optimum acoustic effects.
183
FADER/BALANCE The left/right/front/rear balance can be adjusted. 184
Speaker
Settings
Time
Alighnment
The delay time and level of the sound from each speaker
can be adjusted in order to correct any phase mismatches
in the sound resulting from the listening position.
189
Crossover Allocate specified frequency bands to each speaker for
improved sound integration. 191
Non-fader
level
When a sub-woofer is connected, the preferred output
level for the audio can be set. 193
Non-fader
phase
The merging of sound between the front and rear speakers
and the sub-woofer can be improved by selecting the
phase. Switch to a phase which lets the speakers combine
without any disharmony.
194
Speaker
Level
Adjust the frequency band output to fit the size of the
speakers connected to the unit. 195
Speaker
Size Set the speaker size. 196
Surround
System
Settings
Dolby Pro
Logic II
Achieve surround sound by moving from 2 channel stereo
to 5.1 channel sound. 186
COMPRES
SION
Set the dynamic range (difference between the lowest and
highest audio signal). 188
Center
Width
When Dolby Pro Logic II is set to Music and the center
speaker is set to LARGE or SMALL, sound from the center
speaker is distributed to the left and right front speakers.
187
Center
Level Adjust the output level of the center speaker. 187
Rear Level Adjust the output level of the rear speakers. 187

171
I
II
III
IV
V
VI
VII
VIII
IX
X
XI
XII
XIII
XIV
XV
XVI
XVII
XVIII
XIX
A variety of materials are used inside a vehicle to manufacture the seats and windows, and
because these materials absorb and reflect sound in different ways, the parametric equalizer
lets you adjust the peaks and dips of the frequency characteristics inside the vehicle to
compensate for this.
An “equalizer” is a function that corrects these peaks and dips in order to flatten the frequency
characteristics. However with a normal graphic equalizer, the median frequency and the Q
(sharpness and band width) are fixed, so that when neighboring bands are corrected, there is
a limit to the amount by which distortion in the peak and dip characteristics can be corrected.
A “parametric equalizer” lets you adjust the median frequency, Q (sharpness and band width)
and gain to variable levels, so that you can make fine adjustments to spot areas of the
frequency band.
Item Function Page
Harmonizer
When original sounds are converted to a MP3/WMA
format, frequency ranges that are not normally audible to
the human ear are compressed. The harmonizer can be
used to play back these compressed sounds at as close to
their original form as possible so that clear and powerful
sound can be enjoyed.
185
Loudness
The loudness control may be turned on the emphasize low
and high frequencies at low volume levels. Loudness
compensates for the apparent weakness of low and high
frequencies at low volume by boosting the bass and treble
levels.
185
E-iSERV Sound Effect
Customizations
Download sound adjustment data from the ECLIPSE
website (E-iSERV) that matches the vehicle's interior and
store it in the unit.
175
About parametric EQ
Peak
High
[Sound pressure]
Low Dip
Low [Frequency] High

172
Sound quality information
How to operate the optional 5.1ch decoder & AV selector unit
[Parametric equalizer characteristics]
1. Median frequency can be varied.
2. Gain can be varied.
3. Q (sharpness/band width) can be varied.
High
[Sound pressure]
Low
Low [Frequency] High
High
[Sound pressure]
Low
Low [Frequency] High
High
[Sound pressure]
Low
Low [Frequency] High

173
I
II
III
IV
V
VI
VII
VIII
IX
X
XI
XII
XIII
XIV
XV
XVI
XVII
XVIII
XIX
With vehicle audio systems, the installation position of the speakers and the position of the
listener mean that the distances from the listener to the left and right speakers are almost
always different. These differences in the distance from the listener to each speaker in turn
means that the time taken for the sound to reach the listener is different for each speaker. The
result of this is that the phases of each speaker (biases) become mismatched and the sound
becomes unnatural, as though the sound stage is not wide enough. The “time alignment”
function corrects the time taken for the sound waves to reach the listener in order to set the
optimum phase for the listening position so that the sound becomes more expansive as
though it is being listened to from a sound stage.
The basic adjustment method involves measuring the actual distances to each speaker and
calculating the differences in distance relative to the most distant speaker in order to derive
the delay time for the sound from each speaker.
About time alignment

174
Sound quality information
How to operate the optional 5.1ch decoder & AV selector unit
The frequency band that is stored by audio media such as CDs is a fairly wide range from 20
Hz to 20 kHz, and it is difficult for a single speaker to be able to play back all frequencies in
such a wide range.
Because of this, several speakers can be used, with different frequency bands (such as treble,
medium and bass) allotted to each speaker so that wide frequency ranges can be played
back. The “Crossover” function is used to allot the frequency ranges that are to be played back
by each speaker in accordance to the installed speaker units and the layout of the speakers, in
order to obtain the maximum level of performance from the speakers and to provide the most
stable frequency characteristics.
The crossover function includes a high-pass filter (HPF) for playing back treble sounds, and a
low-pass filter (LPF) for playing back bass sounds. In addition, the HPF and LPF are used in
combination in order to play back sounds in the mid range.
For example, when adjusting the HPF, frequencies that are lower than the specified frequency
are progressively dampened, rather than simply not being played back at all. The “slope”
adjustment function is the function that is used to adjust these dampening characteristics.
The slope characteristics of a filter are such that with larger slope values (for example 12 dB/
oct), the slope becomes steeper, and so the amount of sound mixing in with neighboring
bands becomes less so that only the target band is played back. However, it also causes the
merging of sound between speakers to become poorer and can result in greater distortion.
●The crossover function is a filter that allocates specified frequency bands.
●A high-pass filter (HPF) is a filter that cuts out frequencies that are lower than the specified
frequency (bass range) and allows higher frequencies (treble range) to pass through.
●A low-pass filter (LPF) is a filter that cuts out frequencies that are higher than the specified
frequency (treble range) and allows lower frequencies (bass range) to pass through.
●The slope is the signal level at which frequencies that are one octave higher or one octave
lower are dampened.
The larger the slope value, the greater the slope. In addition, when “PASS” is selected, the
slope is eliminated (sound does not pass through the filters), so that the crossover function
has no effect.
About crossover
fc1(LPF) fc2(HPF) fc3(LPF) fc4(HPF) 20kHz
-3dB
Bass range Mid range Treble range
20Hz
fc*: Cutoff frequency

175
I
II
III
IV
V
VI
VII
VIII
IX
X
XI
XII
XIII
XIV
XV
XVI
XVII
XVIII
XIX
The parametric equalizer, time alignment and crossover setting can be adjusted using this
unit, or through the E-iSERV (web site).
About automatic parametic equalizer
This can be used to automatically correct distortion in frequency characteristics (peaks and
dips) based on the results of measuring the frequency characteristics inside the vehicle.
Automatic parametric equalizer correction is carried out in the following steps.
About E-iSERV sound effect customizations
Speakers adjustment
(Refer to “Setting/Adjusting speakers” on page 189.)
Frequency characteristics mearurement
Saving sound data
After measureing frequency characteristics, sound data will be
written to “Memory Stick Duo” automatically.
(Refer to “Measuring/Displaying frequency characteristics” on
page 182.)
E-iSERV (web site) accesing
Access the following URL: http://www.e-iserv.jp
Automatic parametric equalizer adjustment
Follow the instructions given on the web site.
Correction data downloading
Follow the instructions given on the web site.
Correction data reading
(Refer to “Importing sound data” on page 198.)
Register as a user. A ePID (User Registration Key) is required when registering. For
details for “Displaying ePID” on page 137.
(To register, follow the instructions provided by the website. Once you have
registered, there is no need to repeat the procedure.)
Login.

176
How to operate the optional 5.1ch decoder & AV selector unit
Adjusting sound quality
Displaying the sound adjustment screen
Press .
●The sound adjustment screen will
appear.
●Touch any of the following buttons on
the sound adjustment screen to display
the corresponding adjustment screen.
SOUND
●S
oun
d
a
dj
us
t
men
t
screen
●P
arame
t
r
i
c equa
li
zer a
dj
us
t
men
t
screen
●Position setting screen
●
Setting screen
PEQ
SETTING
POS

177
I
II
III
IV
V
VI
VII
VIII
IX
X
XI
XII
XIII
XIV
XV
XVI
XVII
XVIII
XIX
●S
e
tti
ng screen
●S
pea
k
er
L
eve
l
se
tti
ng screen
●Time alignment adjustment screen
●
X-over setting screen
SP Level
Time Alignment
X-Over

178
Adjusting sound quality
How to operate the optional 5.1ch decoder & AV selector unit
Adjusting PEQ (Parametric equalizer)
If the optional 5.1 ch AV selector unit is connected, the parametric equalizer can be used for a
5-band adjustment of each of the front, center, and rear channels, and a 1-band adjustment of
the woofer for a total of a 16-band adjustment. Each band can be set to the following median
frequencies:
Each band is initially set to the following median frequency:
●Front, Rear and Center channel
Band1: 100 Hz
Band2: 200 Hz
Band3: 400 Hz
Band4: 800 Hz
Band5: 1.6 kHz
●WOOFER channel
63 Hz
Channel Band Adjustable frequency (Hz)
Front
Center
Rear
1 to 5
20, 25, 31.5, 40, 50, 100, 125, 160, 200, 250, 315, 400,
500, 630, 800, 1k, 1.25k, 1.6k, 2k, 2.5k, 3.15k, 4k, 5k, 6.3k,
8k, 10k, 12.5k, 16k, 20k
WOOFER 120, 25, 31.5, 40, 50, 63, 80, 100, 125, 160, 200, 250
It is not possible to set more than one band in the same channel and median
frequency. Either change the median frequency of the current band, or change the
median frequency of another band.

179
I
II
III
IV
V
VI
VII
VIII
IX
X
XI
XII
XIII
XIV
XV
XVI
XVII
XVIII
XIX
Touch in the sound
adjustment screen.
Touch to select the channel to
be adjusted.
●Each time the switch is touched, the
channel will be changed in the
following order shown below.
Touch to select the band to
be adjusted.
●Each time the switch is touched, the
band will be changed in the following
order shown below.
Touch or for Freq to select
the frequency to be adjusted.
● : Increase frequency
: Decrease frequency
Touch or for Level to
adjust the frequency lelvel.
● : Increase level
: Decrease level
Adjusting/Saving a PEQ
PEQ
ch
Front Rear Center Woofer
BAND
Band1 Band2 Band3
Band5 Band4

180
Adjusting sound quality
How to operate the optional 5.1ch decoder & AV selector unit
Touch to select the Q curve
pattern.
●Each time this switch is touched, Q
curve pattern will be changed in the
following order shown below.
Repeat the operations in step to
to change the setting for each
channel and band.
Press and hold the switch you want
to use to save ( to ) until
you hear a beep.
●Save the PEQ setting so they can be
used for other settings.
●Touch after making settings.
The PEQ mode adjustments will be
saved and system will return to the
previous operation screen.
Q
MIDDLE
SHARP
NORMALSHARP MIDDLE
SLOW
SLOW
1 5
BACK

181
I
II
III
IV
V
VI
VII
VIII
IX
X
XI
XII
XIII
XIV
XV
XVI
XVII
XVIII
XIX
Touch to .
●The preset pattern stored in memory
will be retrieved.
●Touch after making settings.
The PEQ mode adjustments will be
saved and system will return to the
previous operation screen.
Frequency characteristics inside the vehicle can be measured and displayed on the display.
The measurement result can be referred to when adjusting parametric equalizer. This is also
necessary to automatically correct parametric equalizer setting using E-iSERV sound effect
customizations.
Connect the accessory
microphone with an optional 5.1ch
decoder & AV selector unit.
●Align the microphone with the actual
ear position and attach it to the
headrest or another appropriate fixture.
(Attach the microphone using tape or
string.)
To avoid writing measurement results to the “Memory Stick Duo”
Touch for less than 1
second.
●After touching the switch, a 10-second
count down begins. Leave the vehicle
during that time.
●Pink noise will be outputted from the
speakers and measurement of the
frequency characteristics will start.
●When measurement is complete, the
measurement results of the front
channel will appear on the display.
Selecting a PEQ pattern from memory
1 5
BACK
Measuring/Displaying frequency characteristics
Measure

182
Adjusting sound quality
How to operate the optional 5.1ch decoder & AV selector unit
●Touch to cancel measurement.
To write measurement results to a “Memory Stick Duo”
Insert the “Memory Stick Duo”.
Press and hold the
switch until you hear a beep.
●After touching the switch, a 10-second
count down begins. Leave the vehicle
during that time.
●Pink noise will be outputted from the
speakers and measurement of the
frequency characteristics will start.
●When measurement is complete, the
measurement results of the front
channel will appear on the display.
●Measurements can be written to a
“Memory Stick Duo” and corrected
automatically using E-iSERV web site.
●Touch to cancel
measurement.
STOP
Measure
STOP
Slight errors may occur in the measurement data under some circumstances when
this function is used. In addition, it is not equivalent to the precise measurements
that can be made by professional measuring devices.
●Close all doors and windows while measurement is in progress.
●Sound quality data is written to “Memory Stick Duo” as follows.
●The folders and files that are required for E-iSERV sound effect customizations
are created automatically when the data is written to the “Memory Stick Duo”.
●Select a file in when uploading sound quality data to the E-iSERV
(web site).
MSFTEN
SOUND
Adjustment mode
105*000.ftn
Three digit numbe
r
File extension
MSFTEN SOUND

183
I
II
III
IV
V
VI
VII
VIII
IX
X
XI
XII
XIII
XIV
XV
XVI
XVII
XVIII
XIX
Adjusting POS (Positioning selector)
Sound localization can be adjusted according to the number and position of passengers in
order to obtain optimum acoustic effects.
A seat's sound localization can be adjusted simply by touching the switch.
Touch in the sound
adjustment screen.
Touch each seat image displayed
in the POSITION setting screen to
switch the sound localization for
that seat.
●The selected position will appear in a
green frame. Touch the seat again to
cancel the selection. The four positions
shown by the table below can be set.
●Touch to cancel all settings.
●Touch after making settings.
The position will be saved and the
system will return to the previous
operation screen.
Touch switch Function Touch switch Function
Acoustics optimized for
driver's seat
Acoustics optimized for
both front seats
Acoustics optimized for
passenger's seat
Acoustics optimized for
rear seats
POS
OFF
BACK
If the positioning selector has been set (to a setting other OFF), the FAD/BAL
(Fader/Balance) settings cancelled (next page).

184
Adjusting sound quality
How to operate the optional 5.1ch decoder & AV selector unit
Setting the balance
The left/right/front/rear balance can be adjusted so that sound from all speakers arrives at the
listener's ears at the same time.
Touch in the POSITION
setting screen to display the
volume balance adjustment
screen.
Touch , , or .
●The adjustment level can be set to one
of 15 levels between F (front) and R
(rear).
●The adjustment level can be set to one
of 15 levels between L (left) and R
(right).
●Touch to set the volume
balance to the center position.
●Touch after making settings.
The set volume balance will be saved
and the system will return to the
previous operation screen.
●To set the position again, touch
and repeat the steps above.
FAD/BAL
CENTER
BACK
POS
●If the balance has been set (to a setting other CENTER), the positioning selector
setting will be cancelled (previous page).
●Touch and hold , , or while making fine adjustments to adjust
values continuously. Adjustment will lock when it reaches the center value, and
, , or must be touched again to continue adjustment.

185
I
II
III
IV
V
VI
VII
VIII
IX
X
XI
XII
XIII
XIV
XV
XVI
XVII
XVIII
XIX
Setting LOUDNESS
Audio can be modulated to correct for insufficient bass and treble when listening at low
volume.
Touch .
●Touching the switch toggles between
ON and OFF.
Setting the harmonizer
It is possible to set the sound quality boost level to automatically regenerate harmonics such
as reverberation, depth, and tone lost in compression, producing a much clearer sound.
To u ch .
●Each touch the switch is touched, the
Harmonizer setting will be changed in
the following order shown below.
● : Low level of correction
: High level of correction
: No correction
LOUDNESS
Harmonizer
Low Hi OFF
LOW
HI
OFF

186
Adjusting sound quality
How to operate the optional 5.1ch decoder & AV selector unit
Setting/Adjusting surround system
Dolby Digital (5.1 ch), DTS (5.1ch), LPCM, and Dolby Pro Logic are supported when the
optional 5.1 ch AV selector unit is connected. Playing discs recorded using these technologies
allows the listener to enjoy theater-quality sound within a limited space.
Dolby Pro Logic II expands sound recorded in stereo (2 ch) for a rich listening experience.
Different modes may be selected for different media types.
Touch in the sound
adjustment screen.
Touch in the
setting screen.
●Each time the switch is touched, the
modes will be changed in the following
order shown below.
●Touch after making settings.
The time setting mode adjustments will
be saved and system will return to the
previous operation screen.
Item Effectiveness
Movie Select when playing a DVD or VTR recorded in stereo (2
ch).
Music Select when playing an audio CD.
4ch ST Select when stereo (2ch) sound is played through 4
speakers (4 ch).
OFF Turns Dolby Pro Logic II OFF.
Setting the Dolby Pro Logic II
SETTING
Dolby Pro Logic II
Movie Music 4chST OFF
BACK

187
I
II
III
IV
V
VI
VII
VIII
IX
X
XI
XII
XIII
XIV
XV
XVI
XVII
XVIII
XIX
Adjusts the dialog and music output level heard from center speaker.
Touch or for Center Level.
●The center level can be adjusted within
-10 to 10 (in units of 1 step).
: Increase the level.
: Decrease the level.
Adjusts the dialog and music output level heard from rear speaker.
Touch or for Rear Level.
●The rear level can be adjusted within -
10 to 10 (in units of 1 step).
: Increase the level.
: Decrease the level.
When Dolby Pro Logic II is set to Music and the center speaker is set to LARGE or SMALL,
sound from the center speaker is distributed to the left and right front speakers.
Touch or for Center Width.
●The center width level can be adjusted
within 0 to 7 (in units of 1 step).
: Increase the level.
: Decrease the level.
Setting the Center Level
Setting the Rear Level
Setting the Center Width

188
Adjusting sound quality
How to operate the optional 5.1ch decoder & AV selector unit
Adjusts the sound sensation range (difference between maximum and minimum when playing
a DVD with Dolby Digital (5.1 ch) or DTS (5.1 ch). Raising the numerical value of the
compression level will narrow the sound range so that dialog and voice will be easier to hear
even when background sounds are intense.
Touch in the sound
adjustment screen.
Touch in the
setting screen.
●Each time this switch is touched,
compression setting will be changed in
the following order shown below.
●Touch after making settings.
The compression setting mode
adjustments will be saved and system
will return to the previous operation
screen.
Adjustment Level Function
0Compression function effect is off.
1 to 7 Compression function effect can be adjusted in a middle
range.
8Compression function effect is at maximum.
Setting the Compression
SETTING
Compression
0 1 2 3 4 5
8 7 6
BACK

189
I
II
III
IV
V
VI
VII
VIII
IX
X
XI
XII
XIII
XIV
XV
XVI
XVII
XVIII
XIX
Setting/Adjusting speakers
Settings and adjustments can be made to fit the speakers connected to the unit.
The following settings and adjustments can be performed when the optional 5.1 ch AV
selector unit is connected.
●Time alignment
●X-Over
●Speaker size
●Speaker level
The delay time and level of the sound from each speaker can be adjusted in order to correct
any phase mismatches in the sound resulting from the listening position.
In addition, the optional 5.1 AV selector unit has a function for automatically correcting time
alignment.
Manual adjustment
Touch in the sound
adjustment screen.
Touch in the
setting screen.
Adjusting time alignment
SETTING
Time Alignment

190
Adjusting sound quality
How to operate the optional 5.1ch decoder & AV selector unit
Touch or for each speaker
to adjust the delay time.
●The delay time can be adjusted within
0.0 to 10.0 ms (in units of 0.1 ms).
: Increase the time
: Decrease the time
●Touch after making settings.
The time alignment mode adjustments
will be saved and system will return to
the previous operation screen.
BACK
●Refer to the following for the method of calculating the delay time.
A=(B-C)/34
A: Delay time (ms)
B: Distance from listening position to furthest speaker (cm)
C: Distance from listening position to the speaker to be adjusted (cm)
<Example>
Listening position: Driver's seat (left)
B: 200 (cm)
C: 50 (cm)
Delay time=[200 (cm) - 50 (cm)]/34 =Approx. 4.4 ms
CB

191
I
II
III
IV
V
VI
VII
VIII
IX
X
XI
XII
XIII
XIV
XV
XVI
XVII
XVIII
XIX
Automatic adjustment
Connect the microphone
accessory with an optional 5.1ch
decoder & AV selector unit.
●Align the microphone with the actual
ear position and attach it to the
headrest or another appropriate fixture.
(Attach the microphone using tape or
string.)
To u ch .
●After touching the switch, a 10-second
count down begins. Leave the vehicle
during that time.
●Pink noise will be outputted from the
speakers and setting of the time
alignment will start.
●Touch to cancel setting.
●Touch after making settings.
The time alignment mode adjustments
will be saved and system will return to
the previous operation screen.
Allocate specified frequency bands to each speaker for improved sound integration.
Touch in the sound
adjustment screen.
Touch in the setting
screen.
AUTO
STOP
BACK
Adjusting X-Over
SETTING
X-Over

192
Adjusting sound quality
How to operate the optional 5.1ch decoder & AV selector unit
Touch , , ,
or to select the speaker
to be adjusted.
Touch to select the cut-off
frequency.
●Each time this switch is touched, the
cut-off frequency will be changed in the
following order shown below.
Front/Center/ Rear (Hz):
Woofer (Hz):
Touch to select the
slope.
●Each time this switch is touched, the
slope will be changed in the following
order shown below.
●Touch after making settings.
The X-Over mode adjustments will be
saved and system will return to the
previous operation screen.
Front Center Rear
Woofer
Freq
100 125 160 200 250
315 400 500 630 800
1k 1.25k 1.6k 2k 2.5k
3.15k 4k 5k 6.3k 8k
10k 12.5k 16k 20k
20 25 31.5 40 50 63
80 100 125 160 200
250
SLOPE
PASS 6 dB/oct 12 dB/oct
18 dB/oct 24 dB/oct
BACK
If no woofer has been connected, set the slope adjustment to “PASS”. (If slope is
set to a setting other than PASS, the low frequency range will not be outputted
from the speakers.

193
I
II
III
IV
V
VI
VII
VIII
IX
X
XI
XII
XIII
XIV
XV
XVI
XVII
XVIII
XIX
When a sub-woofer is connected, the preferred output level for the audio can be set.
Touch in the sound
adjustment screen.
Touch in the setting
screen.
Touch or for level to adjust
the Woofer Level.
● : Increase the level
: Decrease the level
●Touch after making settings.
The sub-woofer output level mode
adjustments will be saved and system
will return to the previous operation
screen.
Adjusting sub-woofer output level
SETTING
X-Over
BACK

194
Adjusting sound quality
How to operate the optional 5.1ch decoder & AV selector unit
The merging of sound between the front and rear speakers and the sub-woofer can be
improved by selecting the phase. Switch to a phase which lets the speakers combine without
any disharmony.
Touch in the sound
adjustment screen.
Touch in the setting
screen.
Touch to select the
NORMAL or REVERSE.
●Touch after making settings.
The phase control adjustments will be
saved and system will return to the
previous operation screen.
Setting phase control
SETTING
X-Over
Phase
BACK

195
I
II
III
IV
V
VI
VII
VIII
IX
X
XI
XII
XIII
XIV
XV
XVI
XVII
XVIII
XIX
Touch in the sound
adjustment screen.
Touch in the setting
screen.
Touch or for each speaker
to adjust the speaker level.
●The speaker level can be adjusted
within -10 to 10 dB (in units of 0.1 dB).
: Increase the level.
: Decrease the level.
●Touch after making settings.
The speaker level mode adjustments
will be saved and system will return to
the previous operation screen.
Adjusting speaker level
SETTING
SP LEVEL
BACK

196
Adjusting sound quality
How to operate the optional 5.1ch decoder & AV selector unit
Touch in the sound
adjustment screen.
Touch in the setting
screen.
Touch , , ,
and to set the speaker
size.
●Each time this switch is touched, the
speaker size will be changed in the
following order shown below.
Center/Rear:
Front:
Woofer:
Adjusting speaker size
SETTING
SP LEVEL
Center Front Rear
Woofer
LARGE SMALL NONE
LARGE SMALL
Yes No

197
I
II
III
IV
V
VI
VII
VIII
IX
X
XI
XII
XIII
XIV
XV
XVI
XVII
XVIII
XIX
■Speaker settings and functions
Speaker Size Function
Center
NONE Distributes output to the center speaker to the front left and
right speakers.
SMALL
This setting is used when the speakers connected to the
unit are unable to output frequencies lower than 100Hz.
(Frequencies lower than 100 Hz will not be output.)
LARGE This setting is used when the speakers connected to the
unit are able to output frequencies lower than 100 Hz.
Front
SMALL
This setting is used when the speakers connected to the
unit are unable to output frequencies lower than 100 Hz.
(Frequencies lower than 100 Hz will not be output.)
LARGE This setting is used when the speakers connected to the
unit are able to output frequencies lower than 100Hz.
Rear
NONE Distributes output to the center speaker to the front left and
right speakers.
SMALL
This setting is used when the speakers connected to the
unit are unable to output frequencies lower than 100 Hz.
(Frequencies lower than 100 Hz will not be output.)
LARGE This setting is used when the speakers connected to the
unit are able to output frequencies lower than 100 Hz.
Woofer YES Outputs sound from the sub-woofer.
NO Does not output sound from the sub-woofer.

198
Adjusting sound quality
How to operate the optional 5.1ch decoder & AV selector unit
Importing sound data
Sound data adjusted by the E-iSERV (web site) can be downloaded to a “Memory Stick Duo”
and imported into the unit.
Insert the “Memory Stick Duo” to
be used for the sound data.
Press to display the FUNC
screen.
To u ch .
To u ch .
Touch the file name to select the
correct file.
●Touch , to move the list.
FUNC
DATA
SOUND

199
I
II
III
IV
V
VI
VII
VIII
IX
X
XI
XII
XIII
XIV
XV
XVI
XVII
XVIII
XIX
To u ch .
Select a preset switch through
.
●Sound data will be recorded for the
selected switch.
●Touch the to cancel data
saving.
DATA READ
1
5
Cancel

200
Adjusting sound quality
How to operate the optional 5.1ch decoder & AV selector unit
●If the selected switch already contains
stored data, a message will be
displayed.
●Select to overwrite the data.
Yes
Do not turn the power or ignition switch off while reading. Interrupting the reading
process may corrupt the data.
●Data downloaded from the E-iSERV (web site) is saved to folders created in the
“Memory Stick Duo” as shown below.
●Files that can be imported into your unit are created automatically when
downloaded from E-iSERV (web site)
MSFTEN
DATA
File extension
Two digit number
105 X 00 .eis
Adjustment mode
Adjustment pattern
a: Flat tuning B: Bass range emphasis
c: Bass and Treble range emphasis
d: Midium range emphasis
0: No automatic parametric equalizer correction
User creation
Automatic creation

How to operate the optional 5.1ch decoder & AV selector unit
201
I
II
III
IV
V
VI
VII
VIII
IX
X
XI
XII
XIII
XIV
XV
XVI
XVII
XVIII
XIX
Setting display
Screen settings of the optional 5.1 ch decoder & AV
selector unit
Up to two external monitors can be connected when the 5.1 ch decoder & AV selector unit is
connected. Separate images can be displayed on each external monitor.
External monitor image settings
Select the image to be displayed on the external monitors.
Press and hold until you
hear a beep.
To u ch .
Touch or
and select an image.
●Each time the switch is touched, the
image is changed in the following order
shown below.
●The selected image will appear on the
left side of the screen.
●Touch after making settings.
The picture setting mode adjustments
will be saved and system will return to
the previous operation screen.
FUNC
AV Setting
Monitor 1 Monitor 2
DVD VTR1 VTR2
BACK
If a VTR or DVD player is not connected to the 5.1 ch decoder & AV selector unit,
no image will be displayed.

202
How to operate the optional HD radio tuner (U.S.A. only)
How to use the HD radio
About HD Radio
If the optional HD Radio (High Definition Radio) tuner unit is connected, terrestrial digital
broadcasts can be received. When terrestrial digital broadcasts are received, FM reception
has the same quality as a CD, and AM reception has the same quality as conventional FM
sound. Depending on the reception status, HD Radio can also receive analog broadcasts,
which means reception is still possible in regions with no digital coverage.
Listening to the HD radio
Listening to the HD radio using the touch switches
Press .
Touch or .
Listening to the HD radio using the panel buttons
Touch to select the AM or FM.
POWER
button
Preset switches
SOURCE
button
TUNE·TRACK
button
MENU
button
FUNCTION switch
•ASM
•Info
BAND switch
MENU
AM FM
SOURCE

203
I
II
III
IV
V
VI
VII
VIII
IX
X
XI
XII
XIII
XIV
XV
XVI
XVII
XVIII
XIX
Switching the band
To u ch .
●Each time the switch is touched, the band will be changed in the following order shown
below.
Selecting radio stations
Press or .
●Pressing the switch once moves the frequency one step up or down.
● (up) : Raises the frequency
(down) : Lowers the frequency
Press and hold or until you hear a beep.
●The station that is closest to the current frequency will be searched for automatically,
and searching will stop when the station is received. To stop the search before a
station is found, press the button again.
Touch a preset switch that already has a station recorded.
●See “Saving radio stations” on next page for more information.
BAND
HD (FM) HD (FM2) HD (FM3) HD (AM)
Manual selection
Automatic selection
Selection when using preset switches
If the reception for a particular station is weak in the area you are in, the automatic
selection may not work.

204
How to use the HD radio
How to operate the optional HD radio tuner (U.S.A. only)
Saving radio stations
There are two modes for saving radio stations, manual and ASM. These modes operate
independently.
Use manual tuning or automatic tuning to select the station to be saved.
Choose a preset switch and press and hold it until you hear a beep.
●The radio station (frequency) is set. Touch the preset switch to tune in the selected
station.
To u ch .
Press and hold
until you hear 2 beeps in succession.
●The ASM function will activate and start automatically selecting stations. You will hear
a beep when the automatic selection of stations is completed. Touch
again to
switch the display back to the broadcast stations originally saved.
Use manual tuning or automatic tuning to select the station to be saved.
Press and hold the preferred preset switch until you hear a beep.
Saving manually
Saving with ASM
FUNC
ASM
ASM
Changing stations saved by ASM
●ASM may not automatically receive stations if radio waves in the surrounding
area are weak.
●A frequency saved with the tuning switch may not match the frequency saved
with ASM even though the signal is received from the same station.
●Due to conditions for receiving radio waves, saved stations may differ even when
the ASM switch is operated repeatedly in the same location.
●Up to six stations with good signal reception are automatically saved in order of
frequency (low to high).
●When less than six stations capable of reception are found, nothing is saved for
the remaining preset switches.

205
I
II
III
IV
V
VI
VII
VIII
IX
X
XI
XII
XIII
XIV
XV
XVI
XVII
XVIII
XIX
Checking preset stations
This recalls all the stations that have been preset either automatically or manually and plays
them each for 5 seconds.
To u ch .
To u ch
touch switch for less
than 1 second.
●“P.SCAN” will be displayed, and the
preset stations will each be played
back for 5 seconds.
To u ch
touch switch for less
than 1 second once more.
●The station that was being played
when the switch was touched will then
be played continuously.
FUNC
ASM
ASM

206
How to use the HD radio
How to operate the optional HD radio tuner (U.S.A. only)
HD radio information screen display
Displays the HD radio station name and other information.
To u ch
.
●The function mode is activated.
To u ch
.
●The HD radio information screen will
appear.
FUNC
Info

207
I
II
III
IV
V
VI
VII
VIII
IX
X
XI
XII
XIII
XIV
XV
XVI
XVII
XVIII
XIX
HD radio reception settings
The HD radio reception method can be selected. When the HD Radio tuner is connected to
this deck for the first time, it will be set at “AUTO” (automatic digital/analog selection).
To u ch .
●The function mode is activated.
To u ch .
●The information mode is activated.
To u ch .
●In the “AUTO” setting, the selection is
switched between digital and analog
reception automatically. In areas where
digital reception is not possible,
reception is automatically switched to
analog to avoid loss of reception.
During digital reception, “DIGITAL” is
shown on the display. “DIGITAL” will be
removed from the display during
analog reception.
●In the “OFF” setting, reception is
always analog.
Turning off the radio
Press .
●Press again to turn on the radio
and resume reception of the radio
station (frequency) received before
power was turned off.
FUNC
Info
Mode

208
How to operate the optional SIRIUS satellite radio tuner (U.S.A. only)
How to use the SIRIUS satellite radio
About SIRIUS satellite radio
If the optional SIRIUS satellite radio tuner unit is connected, satellite radio broadcast can
be received.
With SIRIUS satellite radio, over 100 channels are available including music, sports,
news, and entertainment programs.
A channel can be selected from categories such as POP and ROCK, or by selecting
individual channels manually.
Reception of SIRIUS satellite radio is fee based; you have to subscribe to it.
It is possible to subscribe through the SIRIUS radio website.
URL: http://cdn.sirius.com
POWER
button
Preset switches
SOURCE
button
TUNE·TRACK
button
MENU
button
FUNCTION switch
•CAT
• Direct
•Info
BAND switch

209
I
II
III
IV
V
VI
VII
VIII
IX
X
XI
XII
XIII
XIV
XV
XVI
XVII
XVIII
XIX
Listening to the SIRIUS satellite radio
Listening to SIRIUS satellite radio using the touch switches
Press .
To u ch .
Listening to SIRIUS satellite radio using the panel buttons
Press to select the SIRIUS mode.
MENU
SIRIUS
SOURCE
For information about the operation and set-up of the SIRIUS satellite radio tuner
unit, see the SIRIUS satellite radio unit's owner's manual.

210
How to use the SIRIUS satellite radio
How to operate the optional SIRIUS satellite radio tuner (U.S.A. only)
Selecting SIRIUS channels
Press or .
●Pressing the switch once moves the channel one step up or down.
● (up) : Raises the channel
(down) : Lowers the channel
Press and hold or until you hear a beep.
●The station that is closest to the current frequency will be searched for automatically,
and searching will stop when the station is received. To stop the search before a
station is found, press the button again.
Touch a preset switch that already has a channel recorded.
●See “Saving SIRIUS channels” on next page for more information.
Manual selection
Automatic selection
Selection using preset switches
If the reception for a particular station is weak in the area you are in, the automatic
selection may not work.

211
I
II
III
IV
V
VI
VII
VIII
IX
X
XI
XII
XIII
XIV
XV
XVI
XVII
XVIII
XIX
Category selection
The channel can be selected from among categories such as POP and ROCK.
Consult the SIRIUS website for details of categories.
To u ch
.
To u ch
.
●The category selection screen will
appear.
Touch a category.
●Touch to switch to the next
screen.
FUNC
Category
NEXT

212
How to use the SIRIUS satellite radio
How to operate the optional SIRIUS satellite radio tuner (U.S.A. only)
Direct Channel selection
The channel can be selected by inputting the channel directly.
To u ch
.
●The function mode is activated.
To u ch
.
●The direct channel selection screen will
appear
Enter the number of the desired
channel.
●Touch to delete one
number at a time.
To u ch
.
FUNC
Direct
CLEAR
ENTER

213
I
II
III
IV
V
VI
VII
VIII
IX
X
XI
XII
XIII
XIV
XV
XVI
XVII
XVIII
XIX
Saving SIRIUS channels
Use manual tuning or automatic tuning to select the channel to be saved.
Choose a preset switch and press and hold it until you hear a beep.
●The radio SIRIUS channel is set. Touch the preset switch to tune in the selected
station.
SIRIUS satellite radio information screen display
Displays the SIRIUS satellite radio station name, current track name, artist, category, and
SIRIUS ID.
To u ch
.
●The function mode is activated.
To u ch
.
●The SIRIUS satellite radio information
screen will appear.
●The SIRIUS ID is necessary when
subscribing to programs, etc.
Turning off the radio
Press .
●Press again to turn on the radio
and to resume the SIRIUS channel
received prior to turning power off.
FUNC
Info

214
How to operate the optional TV tuner (U.S.A./CANADA/KOREA/TAIWAN only)
How to use the TV
The unit can be used as a TV if a TV tuner (sold separately) is connected to the unit. The
vehicle must be safely parked with the parking brake engaged and the ignition switch in ON or
ACC before the TV can be viewed. If TV mode is selected while the vehicle is in motion, or
while the display is closed, only sound will be outputted.
Watching TV
Watching TV using the touch switches
Press .
To u ch .
Watching TV using the panel buttons.
Press to select the TV source.
POWER
button
Preset switches
SOURCE
button
TUNE·TRACK
button
MENU
button
WIDE switch
AUTO.P switch
VTR switch
MENU
TV
SOURCE

215
I
II
III
IV
V
VI
VII
VIII
IX
X
XI
XII
XIII
XIV
XV
XVI
XVII
XVIII
XIX
Selecting channel
Press or .
●Pressing the switch once moves the channel one step up or down.
(up): Raises the channel
(down): Lowers the channel
Press and hold or until you hear a beep.
●The station that is closest to the current channel will be searched for automatically, and
searching will stop when the station is received. To stop the search before a station is
found, press the button again.
Touch a preset switch that already
has a station recorded.
●See “Saving TV channels” on next
page for more information.
Manual selection
After switching to the TV operation screen, touch switches will be displayed for
about 6 seconds. Touch the screen to display them again.
Automatic selection
Selection when using preset switches

216
How to use the TV
How to operate the optional TV tuner (U.S.A./CANADA/KOREA/TAIWAN only)
Saving channels
There are two modes for saving channel, manual and AUTO.P.
Use manual tuning or automatic
tuning to select the channel to be
saved.
Choose a preset switch and press
and hold it until you hear a beep.
●The channel is set. Touch the preset
switch to tune in the selected channel.
Press and hold
until you hear 2 beeps in succession.
●The AUTO.P function will activate and start automatically selecting channels. You will
hear a beep when the automatic selection of channels is completed. Touch
again to switch the display back to the channel originally saved.
Use manual tuning or automatic tuning to select the channel to be saved.
Press and hold the preferred preset switch until you hear a beep.
Saving manually
Saving with AUTO.P
AUTO.P
AUTO.P
Changing stations saved by AUTO.P

217
I
II
III
IV
V
VI
VII
VIII
IX
X
XI
XII
XIII
XIV
XV
XVI
XVII
XVIII
XIX
Because the AUTO.P function can be used to temporarily save channels for the
preset switches, channels saved manually will remain in memory even if AUTO.P is
used. Manually saving channels that are used regularly allows them to be restored
even after AUTO.P has been used, such as after traveling.
Touching while AUTO.P is operating or after it has been used will return
the preset memories to their previous settings. (The channel saved with AUTO.P will
be deleted.)
Manual AUTO.P
(Search started)
AUTO.P
(Search
completed)
AUTO.P
Automatically saving
channels to preset switches
Press and hold
until you
hear 2 beep in succession.
AUTO.P
About AUTO.P
●AUTO.P may not automatically receive channels if TV waves in the surrounding
area are weak.
●A channel saved with the tuning switch may not match the channel saved with
AUTO.P even though the signal is received from the same station.
●Due to conditions for receiving TV waves, saved channel may differ even when
the AUTO.P switch is operated repeatedly in the same location.
●Up to eight channels with good signal reception are automatically saved in order
of channel (low to high).
●When less than eight channels capable of reception are found, nothing is saved
for the remaining preset switches.

218
How to use the TV
How to operate the optional TV tuner (U.S.A./CANADA/KOREA/TAIWAN only)
Checking preset stations
This recalls all the stations that have been preset either automatically or manually and plays
them each for 5 seconds.
Touch for less than 1
second.
●“P.SCAN” will be displayed, and the
preset stations will each be played
back for 5 seconds.
Touch for less than 1 second once more.
●The station that was being played when the switch was touched will then be played
continuously.
Switching to TV/VTR mode
It is possible to switch to VTR mode from TV mode when a VTR device is connected.
To u ch .
●Touching will switch the display
to the TV operation screen.
To end TV mode
Press .
●Press again to turn on the TV and resume reception of the channel received
before power was turned off.
AUTO.P
AUTO.P
VTR
TV

How to operate the VTR
219
I
II
III
IV
V
VI
VII
VIII
IX
X
XI
XII
XIII
XIV
XV
XVI
XVII
XVIII
XIX
How to use the VTR
Video tapes can be played by connecting a commercially available VTR deck. For safety
reasons, videos can be played only when the ignition is switched to ON or ACC and the
vehicle is completely stopped with the parking brake set. (If the VTR mode is activated while
the vehicle is in motion, only the audio will be played.)
Viewing the VTR
Viewing the VTR using the touch switches
Press .
To u ch .
●The VTR screen will be displayed.
●Touch the screen to display the VTR operation screen.
Viewing the VTR using the panel switches
Press to select the VTR source when VTR device has been
connected.
POWER
button
SOURCE
button
TUNE·TRACK
button
MENU
button
TV switch
WIDE switch
VTR2 switch
MENU
VTR
SOURCE

220
How to use the VTR
How to operate the VTR
Switching to the TV/VTR
It is possible to switch to VTR mode from TV mode when the optional TV tuner is connected.
Touch in the TV screen.
●Touch to return to the TV operation screen.
●When two VTR devices are connected, appears on the VTR operation
screen. Touch to switch to the second VTR device.
●After switching to the VTR operation screen, touch switches will be displayed for
about 6 seconds. Touching the screen will display them again.
●The VTR operation screen can be displayed by touching the screen, even when
the VTR is playing.
●It is possible that the image may not be displayed correctly depending on the
connected devices.
VTR2
VTR2
VTR
TV

221
I
II
III
IV
V
VI
VII
VIII
IX
X
XI
XII
XIII
XIV
XV
XVI
XVII
XVIII
XIX
Turning off the VTR mode
Press .
●Press again to resume playback.
●Press and then touch to resume playback of the video that was being
played before the power was turned off.
MENU VTR

222
How to operate the Back-eye Camera
Back-eye Camera operations
When the optional Back-eye Camera is installed, the rear view image can be displayed on the
monitor screen.
●Do not rely too heavily on the Back-eye Camera.
●Please use the Back-eye Camera as a backup means to check for obstructions
behind the vehicle.
●Raindrops or other natural phenomena may blur the camera's image.
●Do not backup your vehicle looking only at the monitor. Use the rear view mirror
and both side mirrors to check for any obstructions behind or around your
vehicle.
●Do not use the Back-eye Camera in the following situations:
• On frozen, slippery or snowbound roads
• With the trunk opened
• When using tire chains or a spare tire
• On a slope or any uneven road
●When the external air temperature is low, the image may darken or become faint.
Images of moving objects in particular may be distorted, or they may not be
visible on the screen, so the driver must directly confirm safety around the
vehicle visually.

223
I
II
III
IV
V
VI
VII
VIII
IX
X
XI
XII
XIII
XIV
XV
XVI
XVII
XVIII
XIX
●The actual position and distance of people or objects may vary depending on the
features of the camera lens.
●Do not expose the camera to strong shocks such as hitting it or knocking it into
other objects. The Back-eye Camera may not function properly if the position of
the camera or its mounting angle is incorrect.
●The camera is waterproof. Do not uninstall, dismantle or reconfigure the unit.
Otherwise, the Back-eye Camera may not function properly.
●If the camera cover is rubbed strongly or a hard brush or abrasive is used to
clean it, the camera may get scratched, adversely affecting the image quality.
●The camera cover is made of plastic. Do not apply organic solvent, body wax, oil
remover, glass coating, etc. to it. If any of the above have been applied, wipe off
immediately.
●Pouring hot water on the Back-eye Camera to deice it in cold weather can lead to
a drastic change in temperature that may render normal operation impossible.
●The Back-eye Camera may not operate normally if the camera is damaged as a
result of it being hit. Immediately bring it to your local retailer for an inspection.
●Do not leave the unit in direct sunlight for long periods of time. Otherwise, a
printed image phenomenon may result.
●The range appearing on the monitor screen varies depending on the vehicle
model.
●The instant the vehicle is put in reverse, part of the monitor will appear white then
gradually stabilize.
●A white vertical band will appear when the camera is struck by light from the sun,
headlights or any other strong light beam source (Smear effect).
●After having used the Back-eye Camera for a long time, white scratches and
vertical lines may appear due to a rise in temperature, depending on the features
of the CCD.
●The 50 Hz power source range fluorescent light may cause flickering in the
screen. This is not a malfunction.
●Because the Back-eye Camera uses a special lens, the image and distance
appearing on the screen differs from the actual image and distance.

224
Back-eye Camera operations
How to operate the Back-eye Camera
Back-eye Camera image
Press for less than 1 second.
To u ch .
●The rear image appears on the monitor
screen.
Automatic back-eye camera image display setting
The Back-eye Camera image can be set to automatically display when the ignition switch is
ON and the vehicle is shifted into reverse.
Press for less than 1 second.
To u ch .
●Touching the switch toggles between
AUTO and MANUAL.
FUNC
CAMERA SCREEN
FUNC
CAMERA SETTING

225
I
II
III
IV
V
VI
VII
VIII
IX
X
XI
XII
XIII
XIV
XV
XVI
XVII
XVIII
XIX
●The range of the image may vary depending on the vehicle and the road
conditions.
●There is a limit to the range of the camera. Objects near the ends of the bumper
and under the bumper cannot be seen.
●The rear image color may vary from that of the actual objects.
●In the following situations, the screen may be difficult to view but they do not
constitute a malfunction:
• In a dark area (such as at night)
• The temperature near the camera is high or low
• Raindrops are on the camera lens or the humidity is high (when raining)
• A foreign object is near the camera (such as mud)
• When the sun or a beam from headlights strikes the camera lens directly
• When a high-luminance point strikes the camera (such as the reflection of the
sun's rays on the chassis), a Smear effect* typical of CCD cameras may occur.
[Screen condition]
*Smear effect: A phenomenon where a
vertical line appears from a
high-luminance point striking
the camera (such as the
reflection of the sun's rays on
the chassis).
High-luminance point

226
For reference
Important Points
If one of these messages appears
If any of the following messages are displayed, check the unit while referring to the cause and
corrective action columns.
*1 If the unit still will not work after the disc is ejected, contact your local retailer.
*2 If this error occurs, wait a moment for the changer to cool down. When the temperature
inside the unit returns to normal, the message will disappear and playback will start. If
the message does not disappear after waiting for a long period, contact your local
retailer.
Messages Cause Corrective action
CD SEEK
The CD changer is searching for
discs when a magazine has been
inserted in the CD changer.
Wait until the unit has finished
identifying the type of disc.
CD DOOR OPEN The door of the CD changer is
open. Close the door of the CD changer.
CHECK DISC The CD/MP3/DVD is dirty or has
been inserted upside down.
Clean the disc if it is dirty. Insert the
disc correctly if it is upside down.
NO DISC
NO CD
There is no disc in the CD/MP3/
DVD player or CD changer. Load a music disc.
CD ERROR
DVD ERROR
DISC ERROR
The CD/MP3/DVD player or CD
changer will not play for some
reason.
Eject the disc. *1
The temperature of the CD/MP3/
DVD player or CD changer has
become unusually high.
Wait a moment for the unit to cool
down. Do not perform any other
operations. *2
NO CD MAGAZINE There is no magazine in the CD
changer. Load a magazine.
CD OO CHECK The OO spot in the CD changer
has a CD that cannot be read.
Check for a properly loaded music
CD.
PASS CODE INCORRECT Displayed when the pass code has
been entered incorrectly. Enter the correct pass code.
This “Memory Stick” is not
available.
The inserted “Memory Stick Duo”
type is not supported.
Check that the “Memory Stick Duo”
is a type supported by this unit.
(See page 34)
No “Memory Stick”. An “Memory Stick Duo” has not
been inserted. Insert an “Memory Stick Duo”.
Checking “Memory Stick”. The “Memory Stick Duo” is being
checked.
Checking the “Memory Stick Duo”
may take a short while. Wait a
moment for the message to
disappear before using.
Please check “Memory Stick”. The “Memory Stick Duo” cannot be
played because of static electricity.
Wait a moment then re-insert and
attempt to play again.
This “Memory Stick” is not
available.
You have tried to save data to the
this unit from a “Memory Stick Duo”
not supported by this unit.
Check that the “Memory Stick Duo”
is a type supported by this unit.
(See page 34)

227
I
II
III
IV
V
VI
VII
VIII
IX
X
XI
XII
XIII
XIV
XV
XVI
XVII
XVIII
XIX
Messages Cause Corrective action
PARENTAL LOCK ENABLED Viewing restrictions are enabled.
Change the setting for viewing
restrictions and start again. (See
page 125)
THIS FUNCTION IS CURRENTLY
DISABLED
A function that has been disabled
was selected with the menu.
Follow the directions on the screen
and start again.
A function that cannot be used
while the vehicle is in motion was
selected.
Stop the vehicle.
INVALID CODE A number not supported was input
for selecting a language code. Input a valid language code.
REGION CODE ERROR
The region code (controlled region
for playback) of the disc isn't
acceptable.
Check that the DVD is a type
supported by this unit. (See page
108)
ANTENNA The SIRIUS antenna is
disconnected.
Check the connection of the
SIRIUS antenna.
ACQUIRING Displayed when the signal is lost
(during access).
Try receiving the signal again in the
place where there are no
obstacles.
CALL888-539-SIRIUS
You are tuned to a valid channel
but you are not subscribed to that
channel.
Subscribe to SIRIUS. Or, check/
change your subscription plan.
SUB UPDATED
Displayed when your channel
subscription has been accepted
and your status is being updated to
allow you to receive the channels.
After this message is displayed, the
channels for which you do have a
subscription can be received.
INVALID Displayed when you are tuned to a
channel that you cannot receive.
Tune to channels that you can
receive.
UPDATING Displayed while the channel map is
being updated.
After this message is displayed,
subscribe to SIRIUS. The channels
for which you do have a
subscription can be received.

228
Important Points
For reference
Before asking for repairs
Slight differences in operation can sometimes be mistaken for malfunctions, so check the
following table before requesting any repairs.
If the following fail to solve the problem, contact your local retailer.
Symptom Possible reason Corrective action
The screen is dark for a brief period
when the power is turned on at low
temperatures.
This is a characteristic of LCDs. This is not a malfunction. Wait for a
brief period.
The display is distorted for a brief
period after the power is turned on.
This is a characteristic of LCD
backlighting.
This is not a malfunction. The
display will stabilize after a brief
period.
No sound comes out. Volume is poorly adjusted. Press the volume switch and check
volume.
Sound comes out of only one side
(left or right, front or back).
A speaker wire is disconnected. Check the connections of the
speaker wires.
Volume is poorly adjusted. Check the left/right volume
adjustments.
Sound quality does not change
even after making adjustments.
The adjusted audio quality is not
included in the radio broadcast or
disc.
Check by changing the radio
station or disc.
A CD/DVD will not go into the deck.
Power is not turned on. Turn the vehicle’s ignition switch to
[ACC] or [ON].
A disc is already inserted and you
are trying to insert a second disc.
Eject the previously inserted CD/
DVD and insert the preferred CD/
DVD.
A CD/DVD cannot be played.
There is water condensation in the
deck.
Do not use the deck for a while and
then try using it again. (See page
31)
There is a large scratch or warp in
the CD/DVD. Insert a different CD/DVD.
The CD/DVD is very dirty. Clean the CD/DVD.
(See page 32)
The CD/DVD is upside down. Insert the CD/DVD the correct way.
(See page 32)
The inserted CD/DVD type is not
supported.
Insert a CD/DVD that is supported
by the unit. (See page 31, page 32)
not displayed on the
screen.
The CD changer is not completely
connected.
Check the connections to the CD
changer.
Audio is outputted, but not TV or
DVD video. (With vehicle stopped.) The parking brake has not be set. Set the parking brake.
Neither video nor audio is output.
The vehicle ignition switch has not
been turned on.
Turn the vehicle ignition switch to
[ACC] or [ON].
The connection wires/cables is not
completely connected. Check all connections.
TV image nor audio is outputted. VTR mode is activated. Touch and select the
channel.
CDCH
TV

229
I
II
III
IV
V
VI
VII
VIII
IX
X
XI
XII
XIII
XIV
XV
XVI
XVII
XVIII
XIX
Symptom Possible reason Corrective action
There is a point of light on the
display.
At least 99. 99% of the pixels on
the LCD panel are effective, but it is
possible that 0. 01% of the pixels
may not light or may stay lighted.
This is not a defect, so please use
the deck in this condition.
The Audio screen is distorted by
electrical noise.
Are electrical devices that generate
electrical noise being used in the
vicinity of the unit?
For example, devices generating
high voltage (such as those that
generate negative icons) or high
frequency electromagnetic waves
(cell phones or two-way radios)
Use such equipment as far away
from the unit as possible.
If such equipment continues to
affect the unit, even from a
distance, refrain from using such
equipment while the unit is in
operation.

230
For reference
Other
Products equipped with Dolby Digital
Manufactured under license from Dolby Laboratories.
“Dolby” and the double-D symbol are trademarks of Dolby Laboratories.
Confidential Unpublished Works. ©1992-1997 Dolby Laboratories, lnc. All rights reserved.
Manufactured under license from Dolby Laboratories, Inc.
Dolby and the double-D symbol are trademarks of Dolby Laboratories.
Confidential Unpublished Works. ©1992-1997 Dolby Laboratories, lnc. All rights reserved.
Products equipped with Macrovision
This unit includes copyright protection technology used in accordance with US patents and
other intellectual property rights owned by Macrovision Corporation and other entities. Use of
this copyright protection technology requires approval from Macrovision Corporation and the
technology must not be used for audiovisual purposes aside from general household use
without special approval from Macrovision Corporation. Modification and disassembly of this
technology is prohibited.

For reference
231
I
II
III
IV
V
VI
VII
VIII
IX
X
XI
XII
XIII
XIV
XV
XVI
XVII
XVIII
XIX
Glossary
CD-R This is a disc that can only be recorded once.
Recorded data cannot be deleted. There are two
types of CD-R, one having a capacity of 650MB
(74 minutes of music), the same as a regular CD,
and the other having a capacity of 700MB (80
minutes of music).
(Compact Disc Recordable)
CD-DA This disc is the standard for recording and playing
of music data. One track is recorded with one
song, and a maximum of 74 minutes can be used
with the CD.
(Compact Disc Digital Audio)
CD-RW This disc uses a phase transformation method
that enables recording and deleting of data as
many times needed. The capacity is 700MB (80
minutes of music).
(Compact Disc ReWritable)
EQ (Equalizer) This enables setting of emphasis on certain
sounds in the bass-treble range to achieve the
preferred tonal profile. Levels can be adjusted to
personal preference, enhancing enjoyment of the
music.
MP3 MP3 stands for MPEG Audio Layer III, the
standard format for audio compression
technology. MP3 can compress files to one-tenth
the original size because they compress inaudible
sounds found in areas of the spectrum beyond
human hearing.
(MPEG-1 Audio Layer-3)
LPCM This is an abbreviation for Linear Pulse Code
Modulation, a signal recording method used with
music CDs. A music CD is recorded at 44.1kHz/
16 bit, but a DVD is recorded at 48kHz/16 bit ~
96kHz/24 bit, enabling a DVD to be played with
higher sound quality than a music CD.
(Linear PCM)
MPEG This is an abbreviation for Moving Picture Experts
Group and is pronounced “empeg”. It is the
international standard for moving image
compression. With DVDs, this method is also
used to compress and record digital audio.
Copy Control CD This is a CD that has controls for preventing
computers from copying and ripping (taking audio
information recorded on a compact disc and using
it as data to create a file).
UDF This is one format for use with optical discs not
reliant on the OS. It is used with media such as
DVD and CD-RW.
(Universal Disc Format)

232
Glossary
For reference
Track The single division for a song on a music CD is
called a track.
Viewing Restriction This is a DVD video function that “Restricts
playing of discs that support viewing restrictions,
in accordance with the regulated levels of each
country.” Restrictions differ by DVD video and
may completely prevent playing of the video or
may skip or insert alternate scenes for extreme
scenes.
Title This is the largest unit for divisions of video or
songs recorded on a DVD video. Usually a single
movie is treated as a title by video software and a
single album (or song) is treated as a single title
by music software. The consecutive numbers
attached to titles are called title numbers.
Chapter This is a unit for divisions of video or songs
recorded on a DVD video, but it is a smaller unit
than a title. A single title is made up of several
chapters, and the consecutive numbers attached
to chapters are called chapter numbers.
Multi-Angle This is one feature of DVD video, where
viewpoints of the same scene are changed by
recording from several different angles (camera
positions), allowing the viewer to select the
preferred angle.
Multi-Language This is one feature of DVD video, where the same
scene is recorded with several different
languages and subtitles, allowing the viewer to
select the preferred language.
Region code DVD players and DVD discs have a region code
that enables playing by geographic marketing
regions, and a disc cannot be played if the
number recorded on the disc is not included in the
region codes of the player. See page 108 for
details on region codes.
(Region code)

For reference
233
I
II
III
IV
V
VI
VII
VIII
IX
X
XI
XII
XIII
XIV
XV
XVI
XVII
XVIII
XIX
About care and maintenance
About care and maintenance - main unit
●Use a soft cloth (silicon cloth) to remove dirt from the main unit.
If the unit is very dirty, soak a cloth in diluted kitchen detergent, wring dry, then use it to wipe
the unit clean. Finally, wipe down with a dry cloth.
Use any cloths made from artificial fibers in accordance with the relevant cautionary
instructions.
●Do not use volatile chemicals such as benzine or thinner.
Otherwise, the unit may be damaged or the coating may peel.
Take care when
cleaning the touch
panel as it is easily
scratched.

234
For reference
Topic index
About screen and sound adjustment
[Regarding screen adjustment]
To make the audio operation screen or DVD·TV·VTR screen easier to see
"Adjusting image quality" . . . . . . . . . . . . . . . . . . . . . . . . . . . . . . . . . . . . P71
To change the wallpaper
"Setting the Background" . . . . . . . . . . . . . . . . . . . . . . . . . . . . . . . . . . . . P66
To set the screen to wide mode
"Switching screen mode". . . . . . . . . . . . . . . . . . . . . . . . . . . . . . . . . . . . . P72
[Regarding audio adjustment]
To change the volume
"Adjusting the main volume". . . . . . . . . . . . . . . . . . . . . . . . . . . . . . . . . . P52
To turn on/off the guide tone used at switch operation
"Setting the Guide tone" . . . . . . . . . . . . . . . . . . . . . . . . . . . . . . . . . . . . . P77
To adjust sound quality
●To simulate Multichannel
"Setting Circle Surround II" . . . . . . . . . . . . . . . . . . . . . . . . . . . . . . . . . . . P55
●To adjust parametric equalizer
"Adjusting PEQ (parametric equalizer)" . . . . . . . . . . . . . . . . . . . . . . . . . P56
●To switch the sound image localization to match the position of passengers
"Adjusting POS (Positioning selector)" . . . . . . . . . . . . . . . . . . . . . . . . . P58
●To adjust the left/right/front/rear balance
"Setting the balance" . . . . . . . . . . . . . . . . . . . . . . . . . . . . . . . . . . . . . . . . P59

235
I
II
III
IV
V
VI
VII
VIII
IX
X
XI
XII
XIII
XIV
XV
XVI
XVII
XVIII
XIX
●To adjust the MP3/WMA sound
"Setting the harmonizer" . . . . . . . . . . . . . . . . . . . . . . . . . . . . . . . . . . . . . P60
●To add sharpness when listening at low/high volumes
"Setting LOUDNESS" . . . . . . . . . . . . . . . . . . . . . . . . . . . . . . . . . . . . . . . . P60
●To adjust time alignment
"
Simplified time alignment settings (Time Alignment)
" . . . . . . . . . . . . . . P61
●To change the sub woofer settings
"Setting sub woofer" . . . . . . . . . . . . . . . . . . . . . . . . . . . . . . . . . . . . . . . . P63
About using AM/FM radio
To play the radio
"Listening to the AM/FM radio" . . . . . . . . . . . . . . . . . . . . . . . . . . . . . . . . P80
To search for a radio station
"Selecting radio stations" . . . . . . . . . . . . . . . . . . . . . . . . . . . . . . . . . . . . P81
To save radio stations
"Saving radio stations" . . . . . . . . . . . . . . . . . . . . . . . . . . . . . . . . . . . . . . P82
To check preset stations
"Checking preset stations" . . . . . . . . . . . . . . . . . . . . . . . . . . . . . . . . . . . P83
To create station name
"Creating a station name" . . . . . . . . . . . . . . . . . . . . . . . . . . . . . . . . . . . . P84
About using the CD player and CD changer
To play a CD
"Listening to a CD" . . . . . . . . . . . . . . . . . . . . . . . . . . . . . . . . . . . . . . . . . . P87
To select a song or CD
"Selecting a track" . . . . . . . . . . . . . . . . . . . . . . . . . . . . . . . . . . . . . . . . . . P88
"Selecting a CD" . . . . . . . . . . . . . . . . . . . . . . . . . . . . . . . . . . . . . . . . . . . P104
To repeat the song or CD currently being played
"Repeating a track". . . . . . . . . . . . . . . . . . . . . . . . . . . . . . . . . . . . . . . . . .P88
"Repeating a track or CD" . . . . . . . . . . . . . . . . . . . . . . . . . . . . . . . . . . . P104
To play songs in a different order
"Playing tracks in random order" . . . . . . . . . . . . . . . . . . . . . . . . . . P88, 105
To fast-forward or rewind
"Fast-forwarding/rewinding" . . . . . . . . . . . . . . . . . . . . . . . . . . . . . . . . . . P88

236
Topic index
For reference
About using the MP3/WMA player
To play an MP3/WMA file
"Playing MP3/WMA" . . . . . . . . . . . . . . . . . . . . . . . . . . . . . . . . . . . . . . . . . P93
To select a music file or folder to listen to
"Selecting a music file" . . . . . . . . . . . . . . . . . . . . . . . . . . . . . . . . . . . . . . P94
When you want to return to a level or don't know the current level
"Changing display of the current level" . . . . . . . . . . . . . . . . . . . . . . . . . P95
To repeat the same music file
"Repeating the same music file or folder" . . . . . . . . . . . . . . . . . . . . . . . P96
To play songs in a different order
"Playing music files in random order" . . . . . . . . . . . . . . . . . . . . . . . . . . P97
To learn about MP3/WMA
"About MP3/WMAs" . . . . . . . . . . . . . . . . . . . . . . . . . . . . . . . . . . . . . . . . . P98
To learn about making MP3/WMA files
"Making and playing MP3/WMA files". . . . . . . . . . . . . . . . . . . . . . . . . . P102

237
I
II
III
IV
V
VI
VII
VIII
IX
X
XI
XII
XIII
XIV
XV
XVI
XVII
XVIII
XIX
About using the DVD player
To play a DVD video
"Watching a DVD" . . . . . . . . . . . . . . . . . . . . . . . . . . . . . . . . . . . . . . . . . . P110
To learn about discs
●To learn about the marks displayed on discs and packages
"About marks displayed on discs" . . . . . . . . . . . . . . . . . . . . . . . . . . . . P108
●To learn about discs that can be played
"About playable discs". . . . . . . . . . . . . . . . . . . . . . . . . . . . . . . . . . . . . . P107
●To learn about disc structures
"About DVD disc structures" . . . . . . . . . . . . . . . . . . . . . . . . . . . . . . . . . P109
To operate the menu recorded on a disc
"Operating the disc menu". . . . . . . . . . . . . . . . . . . . . . . . . . . . . . . . . . . P116
To operate the video being played
"Operating the video". . . . . . . . . . . . . . . . . . . . . . . . . . . . . . . . . . . . . . . P112
To select/search for a video
"Searching by chapter" . . . . . . . . . . . . . . . . . . . . . . . . . . . . . . . . . . . . . P118
To change subtitles, audio or the video angle
"Changing the angle" . . . . . . . . . . . . . . . . . . . . . . . . . . . . . . . . . . . . . . . P118
"Switching subtitle language" . . . . . . . . . . . . . . . . . . . . . . . . . . . . . . . . P119
"Switching dubbed audio language" . . . . . . . . . . . . . . . . . . . . . . . . . . P119

238
Topic index
For reference
To set the player
"Setting the audio language". . . . . . . . . . . . . . . . . . . . . . . . . . . . . . . . . P121
"Setting subtitle language" . . . . . . . . . . . . . . . . . . . . . . . . . . . . . . . . . .P122
"Setting menu language" . . . . . . . . . . . . . . . . . . . . . . . . . . . . . . . . . . . . P123
"Setting display of multi-angle mark (angle selection mark)" . . . . . . P124
"Setting viewer restriction" . . . . . . . . . . . . . . . . . . . . . . . . . . . . . . . . . . P125
"Changing video output" . . . . . . . . . . . . . . . . . . . . . . . . . . . . . . . . . . . . P126
To use the VTR
"How to use the VTR" . . . . . . . . . . . . . . . . . . . . . . . . . . . . . . . . . . . . . . . P219
About video CD player (Asia only)
To play a video CD
"Watching a video CD" . . . . . . . . . . . . . . . . . . . . . . . . . . . . . . . . . . . . . . P129
To operate the menu recorded on a disc
"Using the menu screen" . . . . . . . . . . . . . . . . . . . . . . . . . . . . . . . . . . . . P130
To select a track
"Advancing to the next scene or returning to the beginning of
the scene being played". . . . . . . . . . . . . . . . . . . . . . . . . . . . . . . . . . . . . P131
About Area Shot (U.S.A./CANADA only)
To use Area Shot function
"To use the Area Shot function" . . . . . . . . . . . . . . . . . . . . . . . . . . . . . . P135
To read Area Shot data
"Reading Area Shot data" . . . . . . . . . . . . . . . . . . . . . . . . . . . . . . . . . . . P138
To change Area Shot screen
"Changing Area Shot screen" . . . . . . . . . . . . . . . . . . . . . . . . . . . . . . . . P140
To learn about Area Shot screen
"How to view the Area Shot screen" . . . . . . . . . . . . . . . . . . . . . . . . . . . P141
To switch map reduction scale
"Switching the map reduction scale" . . . . . . . . . . . . . . . . . . . . . . . . . . P143
To switch guidance points
"Switching guidance points" . . . . . . . . . . . . . . . . . . . . . . . . . . . . . . . . . P144
To display POI vicinity
"Displaying POI vicinity" . . . . . . . . . . . . . . . . . . . . . . . . . . . . . . . . . . . . P146

239
I
II
III
IV
V
VI
VII
VIII
IX
X
XI
XII
XIII
XIV
XV
XVI
XVII
XVIII
XIX
About ESN security
To learn about ESN
"About ESN" . . . . . . . . . . . . . . . . . . . . . . . . . . . . . . . . . . . . . . . . . . . . . . P149
To switch security type
"How to switch the security type
(Key CD security/"Memory Stick" security)" . . . . . . . . . . . . . . . . . . . . P150
To set security function
"How to program the Key CD" . . . . . . . . . . . . . . . . . . . . . . . . . . . . . . . . P151
"How to record a security code" . . . . . . . . . . . . . . . . . . . . . . . . . . . . . . P155
To cancel security function
"How to cancel the Key CD" . . . . . . . . . . . . . . . . . . . . . . . . . . . . . . . . . P152
"How to cancel the “Memory Stick” security" . . . . . . . . . . . . . . . . . . . P157
To resume normal operation
"How to resume normal operation (ESN security lock out)" . . . P153, 159
To operate ACC security
"How to operate the ACC security". . . . . . . . . . . . . . . . . . . . . . . . . . . . P163
About optional 5.1ch decoder & AV selector unit
To adjust sound quality
●To adjust parametric equalizer
"Adjusting PEQ (Parametric equalizer)". . . . . . . . . . . . . . . . . . . . . . . . P178
●To measure frequency characteristics
"Measuring/Displaying frequency characteristics" . . . . . . . . . . . . . . . P181
●To switch the sound image localization to match the position of passengers
"Adjusting POS (Positioning selector)" . . . . . . . . . . . . . . . . . . . . . . . . P183
●To adjust the left/right/front/rear balance
"Setting the balance" . . . . . . . . . . . . . . . . . . . . . . . . . . . . . . . . . . . . . . . P184
●To adjust the MP3/WMA sound
"Setting the harmonizer" . . . . . . . . . . . . . . . . . . . . . . . . . . . . . . . . . . . . P185
●To add sharpness when listening at low/high volume
"Setting LOUDNESS" . . . . . . . . . . . . . . . . . . . . . . . . . . . . . . . . . . . . . . . P185
●To adjust the surround system
"Setting/Adjusting surround system". . . . . . . . . . . . . . . . . . . . . . . . . . P186

240
Topic index
For reference
●To set speakers
"Setting/Adjusting speakers" . . . . . . . . . . . . . . . . . . . . . . . . . . . . . . . . P189
●To import sound quality data
"Importing sound data" . . . . . . . . . . . . . . . . . . . . . . . . . . . . . . . . . . . . . P198
To set display
●To set external monitor image
"External monitor image settings" . . . . . . . . . . . . . . . . . . . . . . . . . . . . P201
About optional HD radio (U.S.A. only)
To play radio
"Listening to the HD radio" . . . . . . . . . . . . . . . . . . . . . . . . . . . . . . . . . . P202
To search for a radio station
"Selecting radio stations" . . . . . . . . . . . . . . . . . . . . . . . . . . . . . . . . . . . P203
To save radio stations
"Saving radio stations" . . . . . . . . . . . . . . . . . . . . . . . . . . . . . . . . . . . . . P204
To check preset stations
"Checking preset stations" . . . . . . . . . . . . . . . . . . . . . . . . . . . . . . . . . . P205
To display information screen
"HD radio information screen display" . . . . . . . . . . . . . . . . . . . . . . . . . P206
To set reception
"HD radio reception settings" . . . . . . . . . . . . . . . . . . . . . . . . . . . . . . . . P207
About optional SIRIUS satellite radio (U.S.A. only)
To play radio
"Listening to the SIRIUS satellite radio". . . . . . . . . . . . . . . . . . . . . . . . P209
To search for a radio station
"Selecting SIRIUS channels" . . . . . . . . . . . . . . . . . . . . . . . . . . . . . . . . . P210
To save radio stations
"Saving SIRIUS channels" . . . . . . . . . . . . . . . . . . . . . . . . . . . . . . . . . . . P213
To display information screen
"SIRIUS satellite radio information screen display" . . . . . . . . . . . . . . P213

241
I
II
III
IV
V
VI
VII
VIII
IX
X
XI
XII
XIII
XIV
XV
XVI
XVII
XVIII
XIX
About optional TV (U.S.A./CANADA/KOREA/
TAIWAN only)
To watch radio
"Watching TV" . . . . . . . . . . . . . . . . . . . . . . . . . . . . . . . . . . . . . . . . . . . . . P214
To search for channel
"Selecting channel" . . . . . . . . . . . . . . . . . . . . . . . . . . . . . . . . . . . . . . . . P215
To save channels
"Saving channels" . . . . . . . . . . . . . . . . . . . . . . . . . . . . . . . . . . . . . . . . . P216
About optional Back-eye Camera
To operate Back-eye Camera
"Back-eye Camera image" . . . . . . . . . . . . . . . . . . . . . . . . . . . . . . . . . . . P224
When something isn't clear
When you don't understand a screen message
"If one of these messages appears" . . . . . . . . . . . . . . . . . . . . . . . . . . . P226
When you think the deck may have a problem
"Before asking for repairs" . . . . . . . . . . . . . . . . . . . . . . . . . . . . . . . . . . P228

242
For reference
Index
A
Adjusting the main volume....................... 52
Adjusting sound quality...........................53
ANGLE..................................................118
AUTO.P ..................................................82
B
BRIGHT ..................................................71
C
CD-R (CD-Recordable)...........................31
CD-RW (CD-ReWritable)........................31
Circle Surround II....................................55
COLOR ...................................................71
CONTRAST ............................................71
H
HOME.....................................................95
How to use the remote control..............165
How to use the AM/FM radio ..................80
How to use the Area Shot function .......137
How to use the CD changer..................103
How to use the CD player.......................87
How to use the DVD player ..................110
How to use the HD radio.......................202
How to use the MP3/WMA player...........92
How to use the SIRIUS satellite radio...208
How to use the TV ................................214
How to use the video CD player ...........129
How to use the VTR..............................219
M
Multi-angle mark ...................................118
N
NORMAL mode ......................................73
P
POS (position selector) ............................ 58
R
RANDOM ................................. 88, 97, 105
REPEAT ................................... 88, 96, 104
S
Saving radio stations.............................. 82
Setting LOUDNESS ...............................60
Setting the BEEP tone............................ 77
Switching dubbed audio language ....... 119
Switching subtitle languages ................ 119
T
TINT ....................................................... 71
V
Volume balance...................................... 59
VOL button ............................................. 52
W
Wallpaper (background) ......................... 66
WIDE 1 mode ......................................... 73
WIDE 2 mode ......................................... 73
WIDE 3 mode ......................................... 73
Woofer.................................................... 63

For reference
243
I
II
III
IV
V
VI
VII
VIII
IX
X
XI
XII
XIII
XIV
XV
XVI
XVII
XVIII
XIX
Specifications
Liquid crystal panel 7” type wide low reflection panel
Screen dimensions 154.08 mm (W) x 87.048 mm (H)
Pixel count 336,960 pixels (480 (H) x3 x 234 (V))
Active pixel rate Over 99.99%
Display format Transmissive color filter format
Drive system TFT (thin membrane transistor) active matrix
format
Usage temperature range -20 to +65°C (-4 to +149°F)
Storage temperature range -40 to +85°C (-40 to +185°F)
Reception frequency ● U.S.A./CANADA: AM530 to 1710 kHz
FM87.75 to 107.9 MHz
● Asia: AM522 to 1629 kHz
FM87.5 to 108.0 MHz
● Australia: AM522 to 1710 kHz
FM 87.5 to 108.0 MHz
Practical speed ● AM22PV (S/N20dB)
● FM13dBf (new IHF)
Frequency characteristic 30 to 15,000Hz (FM)
Stereo separation 38dB (1kHz)
Wow & flutter Below measurement limit
Higher harmonic distortion
rate
0.03% (0dB, 1kHz)
Frequency characteristic 20 to 20,000Hz
S/N ratio 88dB (1kHz)
Dynamic range 85dB
Total harmonic distortion 0.3% (1kHz, 0dB, 0.5W output)
Frequency characteristic 20 to 20,000Hz
S/N ratio 85dB (1kHz)
Display
Radio tuner
CD
DVD

244
Specifications
For reference
Rated output 15W x 4 (1kHz, 1%4:) (EIAJ)
Maximum output 50W x 4 (test voltage 14.4V)
Suitable load impedance 4: (each channel)
Power source voltage DC13.2V (11-16V)
Grounded
Power consumption 0.5W x4 output time about 3.5A
About 15A max
Exterior dimensions 180mm (W), 50mm (H), 165mm (D)
Weight About 3.6kg
Common component

For reference
245
I
II
III
IV
V
VI
VII
VIII
IX
X
XI
XII
XIII
XIV
XV
XVI
XVII
XVIII
XIX
How to contact customer service
Should the product require service, please contact your nearest Eclipse dealer.
<U.S.A./CANADA>
Fujitsu Ten Corp. of America
19600 South Vermont Avenue, Torrance, CA 90502
Phone: (310) 327-2151
<AUSTRALIA>
Fujitsu Ten (Australia) PTY LTD.
89 Cook Street Port Melbourne, Victoria 3207, Australia
Phone: 1800 211 411
<MALAYSIA>
CSE Automotive Technologies Sdn. Bhd.
Level 5, Axis Plaza, Jalan U1/44, Glenmarie, 40150 Shah Alam,
Selangor D.E., Malaysia.
Phone: 03-5569-4200
Fax: 03-5569-4201
<SINGAPORE>
Cobra Singapore Pte Ltd
#07-02 King’s Centre 390, Havelock Road Singapore 169662
Phone: 6737 2568
Fax : 6737 9538

246
How to contact customer service
For reference
<KOREA>
Transpectra Co., LTD.
115-16 nonhyun dong kangnam ku Seoul, Korea.
Phone: 02-540-4595
Fax: 02-2-540-4666
<TAIWAN>
Sentrek Taiwan, LTD.
1, 9F, Lane 155, Section 3, Peishen RD., Shenkeng, Taipei Hsien, 222
Taiwan, R.O.C.
Phone: 02-2662-8110
Fax: 02-2662-8117
<THAILAND>
Sho-Ten Co., Ltd.
114/9 Soi Suwansawadi, Thungmahamek, Rama 4 Rd., Sathorn,
Bangkok 10120, Thailand.
Phone: 02-671-9610-12
Fax: 02-671-9614

Before installation
247
I
II
III
IV
V
VI
VII
VIII
IX
X
XI
XII
XIII
XIV
XV
XVI
XVII
XVIII
XIX
Before installation
Components
Installation preparation
Before the main unit installation, be sure to remove the caution tag and the caution label.
●Note ●
Be sure to disconnect the vehicle battery's negative terminal
before installing the main unit.
No. Item Q'ty
1 Main unit 1
2 Mounting sleeve 1
3 Side bracket 2
4 Bezel 1
5 Bushing 1
6 Thin flat screw (4 x 5 mm) 4
7 Flat head screw (4 x 6 mm) 4
8 Interconnecting cable (16P) 1
9 Interconnecting cable (20P) 1
10 Splicing connector 2
11 Remote control 1
12 Pan screw with washer (Blue: 4 x 3 mm) 4
13 Battery 2
14 Antenna extension cable 1
15 Case (For detachable panel) 1
●Note ●
In the event that the main unit requires shipping, re-attach the
caution label to help prevent potential damage that may be caused
by shipping.
CAUTION TAG CAUTION
MAIN UNIT
CAUTION LABEL

248
Mounting instruction
Mounting instruction
Mounting the main unit
-If installing the main unit by the mounting sleeve-
Insert the mounting sleeve into the opening in the vehicle dash board or
console box.
Use a screwdriver or a similar tool to bend the tabs in the mounting sleeve
to secure the mounting sleeve.
BEND THE MOUNTING
TABS.
DASH BOARD
OR CONSOLE BOX
MOUNTING
SLEEVE
2

249
I
II
III
IV
V
VI
VII
VIII
IX
X
XI
XII
XIII
XIV
XV
XVI
XVII
XVIII
XIX
XX
Attach the side brackets to the main unit using flat head screws.
●Note ●
●Connect all cables before installing the main unit.
●Be sure to use the accessory mounting screws (M4 x 6) as the
mounting screws. If any other screws are used, they may
damage the inside of the unit.
1MAIN UNIT
7FLAT HEAD SCREW [x 2]
(4 x 6 mm)
1MAIN UNIT
3SIDE
BRACKET
3SIDE
BRACKET
SCREW
POSITION
SCREW
POSITION
3SIDE BRACKETS [x 2]
NOTES
By adjusting the positions of the brackets, the main unit's installed depth can be adjusted.
FRONT OF
VEHICLE
FRONT OF
VEHICLE
example 1
1MAIN UNIT
example 2

250
Mounting instruction
Mounting instruction
Mount the stud bolt to the main unit.
Insert the main unit into the mounting sleeve until it locks in place.
Install the bezel on the main unit.
-If installing the main unit using the side brackets of the vehicle-
Remove the pockets and any other accessories from the center cluster to
make room for the main unit.
Remove the mounting side brackets for the pocket.
●Note ●
Connect all cables before installing the main unit.
BEZEL
4
MOUNTING SLEEVE
2
BUSHING
METAL OF
VEHICLE
DASH BOARD
OR CONSOLE BOX
5
CENTER CLUSTER
POCKET
SCREWS

251
I
II
III
IV
V
VI
VII
VIII
IX
X
XI
XII
XIII
XIV
XV
XVI
XVII
XVIII
XIX
XX
Attach the side brackets to the main unit.
Install the main unit in the vehicle.
●Note ●
Be sure to use the accessory mounting screws (M4 x 6) as the
mounting screws. If any other screws are used, they may damage
the inside of the unit.
●Note ●
Be careful not to push the main unit display or the buttons too
strongly when installing the main unit to the vehicle, otherwise the
main unit and buttons may become damaged.
●Caution ●
When installing the main unit, be sure to the supplied mounting
hardware. If parts other than those supplied are used, the main
unit may be damaged internally.
1MAIN UNIT
6THIN FLAT SCREW (4 x 5 mm)
12
Pan screw with washer (Blue: 4 x 3 mm)
POCKET
If using these installation holes, be sure to
use the
SCREWS [x 4]
1MAIN UNIT
SCREW POSITION SCREW POSITION
SIDE BRACKETS
NOTES
By adjusting the positions of the brackets, the main unit's installed depth can be adjusted.
FRONT OF
VEHICLE
FRONT OF
VEHICLE
example 1
1MAIN UNIT
example 2

252
Mounting instruction
Mounting instruction
Names and function of terminals
●Caution ●
Never connect the power supply to the speaker leads, otherwise it
causes damage to the main unit.
●Note ●
To prevent unconnected leads from shorting out, insulate them by
wrapping their tips with electrical tape. Similarly, insulate all the
connected leads.
If an external amplifier is to be connected to the main unit, be sure
to ground its outside chassis to the vehicle body (a metal part).
●Caution ●
Installation is not possible for vehicles without ACC.
Brown
Red/White
Green
Blue
Brown/Black
Black
Blue/White
Blue
Orange/White
Red
Yellow
1MAIN UNIT
9INTERCONNECTING
CABLE
14
ANTENNA EXTENSION CABLE
ANTENNA PLUG
8INTERCONNECTING
CABLE
20P
16P
15
1
2
3
4
5
6
7
8
16
18
17
19
21
20
22
12
11 10
13
9

253
I
II
III
IV
V
VI
VII
VIII
IX
X
XI
XII
XIII
XIV
XV
XVI
XVII
XVIII
XIX
XX
No. Name Wire color Destination
1
B+ Yellow Connect where the power is constantly available,
regardless of the ignition switch's position.
2
ACC Red Connect where the power comes on when the ignition is
in the ACC position.
3
Illumination power supply Orange/white Connect to where power comes on when the vehicle
light switch is turned on.
4
Antenna power supply Blue Connect to the automatic antenna control terminal of the
vehicle.
5
External amp turn on Blue/white Connect to the control terminal for the external amp turn
on.
6
Speaker output leads
(Front)
Connect to the front speakers.
White: Left +, White/Black: Left -
Gray: Right +, Gray/Black: Right -
7
Speaker output leads
(Rear)
Connect to the rear speakers.
Green: Left +, Green/Black: Left -
Purple: Right +, Purple/Black: Right -
8
Ground Black Connect where good body grounding is available.
9
E-LAN terminal (13P) Connect to the E-LAN terminal of the CD changer, etc.
10
Front line-out terminals Connect to the RCA connector of an external amplifier.
11
Rear line-out terminals Connect to the RCA connector of an external amplifier.
12
Line-out terminals
(Non-fader)
Connect to the RCA input connectors of a EQ, or the
RCA input connectors of a woofer amplifier.
13
GPS antenna terminal (8P) Connect to the GPS unit.
14
Radio antenna receptacle Connect to the radio antenna of the vehicle.
15
Back-eye camera external input
terminal (4P)
Connect when using a back-eye camera (sold
separately) with the system.
16
VTR input terminals
Connect to the output cable of external video equipment
such as a VTR.
Yellow: Video signal, White: Audio (left) signal
Red: Audio (right) signal
17
VTR output terminals
Connect to the monitor with video input.
Yellow: Video signal, White: Audio (left) signal
Red: Audio (right) signal
18
Digital output terminal Connect to the digital input connectors of an auxiliary
unit.
19
Parking brake signal Red/white Connect to the parking brake signal terminal.
20
Reverse signal Green Connect the reverse signal output of the vehicle to this
terminal when connecting a back-eye camera.
21
DVD-MUTE output Blue Connect to the DVD-MUTE input terminal.
22
Steering remote control terminal
Connect to the vehicle steering remote control.
* Compatible vehicle models for installation :
Vehicle with voltage detection-type steering
remote control. Ask your dealer for details.

254
Mounting instruction
Mounting instruction
Connecting the parking-brake signal and the reverse signal
A connecting point for the parking-brake signal
(example)
A connecting point for the reverse signal
(example)
●Warning ●
Verify the parking-brake signal and the reverse signal before
making the signal connection. Using the wrong wires may cause
accidents or malfunctions.
●Note ●
The connecting point for the parking-brake signal and the reverse
signal may vary with models and grades. Check with your nearest
car dealer regarding remove details.
HAND OPERATED
PARKING BRAKE
PARKING BRAKE
SIGNAL-CABLE
FOOT OPERATED
PARKING BRAKE
ATTACH A SPLICING
CONNECTOR AT THIS LOCATION
PARKING BRAKE
LAMP
ATTACH A SPLICING
CONNECTOR AT THIS LOCATION
REVERSE LAMP
REVERSE SIGNAL CABLE
REVERSE SIGNAL CABLE

255
I
II
III
IV
V
VI
VII
VIII
IX
X
XI
XII
XIII
XIV
XV
XVI
XVII
XVIII
XIX
XX
Insert the connection wire [parking brake signal wire (red/white), reverse
signal wire (fresh green)] of the main unit and the vehicle’s wire into the
splicing connector.
Push in the terminal (the metal part) of the splicing connector using a pair of
pliers.
Press down the cover of the splicing connector and squeeze it until it locks.
10
SPLICING
CONNECTOR
10
SPLICING CONNECTOR
CABLE IN THE CAR
COVER
PARKING BRAKE
SIGNAL WIRE (RED/WHITE) OR
REVERSE SIGNAL WIRE
(FRESH GREEN)

256
Mounting instruction
Mounting instruction
System connection example
1) AVX5000 + GPS105
TO BATTERY +12V (Permanent supply)
TO HEAD LIGHT SWITCH (Illumination)
TO POWER ANTENNA RELAY (Supply)
TO TURN-ON LEAD OF EACH UNIT (Supply)
FRONT SPEAKER
REAR SPEAKER
TO ACC (Power supply)
TO GROUND
Yellow
Red
Brown
Red/White
Green
Blue
Black
Brown/Black
Blue
Blue/White
Orange/White
TO EXTERNAL
VIDEO EQUIPMENT
TO THE MONITOR
TO PARKING BRAKE SIGNAL
TO REVERSE SIGNAL
TO DVD-MUTE
INTERCONNECTING
CABLE
INTERCONNECTING CABLE
TO STEERING
REMOTE CONTROL
8
9
GPS ANTENNA
(Supplied with GPS 105)
GPS UNIT
(Supplied with GPS 105)
INTERCONNECTING CABLE
(Supplied with GPS 105)
NO CONNECTION
(Do not remove cap)
MAIN UNIT
1
15
9
20P
16P
8P
18
22
16
17
8P
14
ANTENNA EXTENSION CABLE

257
I
II
III
IV
V
VI
VII
VIII
IX
X
XI
XII
XIII
XIV
XV
XVI
XVII
XVIII
XIX
XX
2) AVX5000 + TVR105 + CH3083
INTERCONNECTING CABLE
TO GROUND
TV TUNER (Supplied with TVR105)
NO
CONNECTION
VIDEO INPUT
TO BATTERY +12V
(Parmanent supply)
TO HEAD LIGHT
SWITCH (Illumination)
TO POWER ANTENNA
RELAY (Supply)
TO TURN ON LEAD OFF
EACH UNIT (Supply)
TO STEERING
REMOTE CONTROL
TO EXTERNAL
VIDEO EQUIPMENT
Yellow
Red
Orange/White
Red/White
Green
Blue
Blue
Blue/White
Brown
Brown/Black
INTERCONNECTING
CABLE
(Sold separately)
FRONT
SPEAKER
REAR
SPEAKER
TO GROUND
TO GROUND
TO ACC
(POWER Supply)
TO GROUND
TO GROUND
TO GROUND
INTERCONNECTING CABLE
(Supplied with CH3083)
CH3083
ANTENNA SELECTOR
(Supplied with TVR105)
INTERCONNECTING CABLE
(Supplied with CH3083)
INTERCONNECTING CABLE
(Supplied with TVR105)
DIGITAL OUT
(Do not remove cap)
TV ANTENNA
(Supplied with TVR105)
NO CONNECTION
(Do not remove cap)
12P
13P
20P
13P
13P
2P
16P 5P 6P
5P
MAIN UNIT
15
16
13
18
17
19 20 21
1
9
INTERCONNECTING CABLE
8
14
ANTENNA EXTENSION CABLE
ANTENNA PLUG

258
Mounting instruction
Mounting instruction
3) AVX5000 + DCU105 + CH3083
9INTERCONNECTING
CABLE
INTERCONNECTING
CABLE
(Supplied with DCU105)
VIDEO
INPUT
VIDEO INPUT
NAVI-VOICE SIGNAL(No connection)
VIDEO OUTPUT
DIGITAL INPUT
INTERCONNECTING CABLE
(Supplied with DCU105)
DCU105
8INTERCONNECTING
CABLE
NO CONNECTION
Yellow
Black
Brown
Blue
INTERCONNECTING CABLE
(Supplied with DCU105)
TO BATTERY +12V
(Permanent supply)
MICROPHONE
(supplied with DCU105)
TO GROUND
REAR
SPEAKER
TO GROUND
NO CONNECTION
(Do not remove cap)
POWER CONNECTOR CABLE
(Supplied with CH3083)
TO ACC (Power supply)
TO HEAD LIGHT SWITCH
(Illumination)
Red
Orange/White
Blue
Black
Brown
Brown/Black
Blue/White
TO POWER ANTENNA RELAY
(Supply)
TO TURN-ON LEAD OF
EACH UNIT (Supply)
TO REVERSE SIGNAL
DVD-MUTE
OUTPUT
TO PARKING BRAKE SIGNAL
NO CONNECTION
ANTENNA PLUG
Red/White
Blue
INTERCONNECTING CABLE
(Supplied with DCU105)
INSULATE EACH
WIRE WITH TAPE
TO STEERING
REMOTE CONTROL
TO GROUND
TO BATTERY +12V
(Permanent supply)
Black
Yellow
DIGITAL OUT
(Do not
remove cap)
INTERCONNECTING CABLE
(Supplied with CH3083)
CH3083
13P
20P
2P
16P
16P
12P
13P
13P
16
15
18
13
17
1MAIN UNIT
INTERCONNECTING
CABLE
(Supplied with DCU105)
Green
ANTENNA EXTENSION
CABLE
14
13P
FRONT
SPEAKER

259
I
II
III
IV
V
VI
VII
VIII
IX
X
XI
XII
XIII
XIV
XV
XVI
XVII
XVIII
XIX
XX
4) AVX5000 + DCU105 + CH3083 + Power Amplifier (for 5.1ch system)
9INTERCONNECTING
CABLE
INTERCONNECTING
CABLE
(Sold separately)
VIDEO
INPUT
VIDEO INPUT
NAVI-VOICE SIGNAL(No connection)
VIDEO OUTPUT
DIGITAL INPUT
INTERCONNECTING CABLE
(Supplied with DCU105)
DCU105
8INTERCONNECTING
CABLE
NO CONNECTION
Yellow
Black
Brown
Blue
INTERCONNECTING CABLE
(Supplied with DCU105)
TO BATTERY +12V
(Permanent supply)
TO SIGNAL INPUT OF
AUXILIARY POWER AMPLIFIER
TO SIGNAL INPUT OF
AUXILIARY POWER AMPLIFIER
TO GROUND
INSULATE
EACH
WIRE WITH TAPE
TO GROUND
NO CONNECTION
(Do not remove cap)
POWER CONNECTOR CABLE
(Supplied with CH3083)
TO ACC (Power supply)
TO HEAD LIGHT SWITCH
(Illumination)
Red
Orange/White
Blue
Black
Brown
Brown/Black
Blue/White
TO POWER ANTENNA RELAY
(Supply)
TO TURN-ON LEAD OF
EACH UNIT (Supply)
TO REVERSE SIGNAL
DVD-MUTE
OUTPUT
TO PARKING BRAKE SIGNAL
NO CONNECTION
ANTENNA PLUG
Red/White
Blue
INTERCONNECTING CABLE
(Supplied with DCU105)
INSULATE EACH
WIRE WITH TAPE
TO STEERING
REMOTE CONTROL
TO GROUND
TO BATTERY +12V
(Permanent supply)
Black
Yellow
DIGITAL OUT
(Do not remove cap)
INTERCONNECTING CABLE
(Supplied with CH3083)
CH3083
13P
20P
2P
16P
16P
12P
13P
13P
16
15
18
13
17
1MAIN UNIT
INTERCONNECTING
CABLE
(Supplied with DCU105)
Green
ANTENNA EXTENSION
CABLE
14
MICROPHONE
(Supplied with DCU105)

260

www.eclipse-web.com
FUJITSU TEN LIMITED
Contact:FUJITSU TEN CORP. OF AMERICA
19600 So. Vermont Avenue, Torrance, CA 90502
Call:800-233-ECLIPSE "ECLIPSE" is a registered trademark of
FUJITSU TEN LIMITED in 50 countries.
090001-14770700 0508C (F.O)
CUSTOMER NOTICE
Please retain this booklet and write in the serial number
of your AVX5000 for identification.
The serial number is labeled or stamped on the chassis.
Serial No.