EcoWater Systems 7243748 Water Conditioner User Manual cover
EcoWater Systems, Inc Water Conditioner cover
manual

6(5,(6
31
cut along dotted line to remove torn outer cover

(FR:DWHU &RQGLWLRQHU ZLWK 5HPRWH (&5
(FR:DWHU 5HILQHU ZLWK 5HPRWH (55
6(5,(6
9
PRINTEDINUSA Part No. 7250818 (Rev. D 7/19/02)
EcoWater Systems
PO Box 64420, St. Paul MN 55164-9888
2:1(56 0$18$/
+RZ WR PDLQWDLQ DQG RSHUDWH \RXU
(FR:DWHU GLJLWDO GHPDQG ZDWHU V\VWHP

ECOWATER
SYST E MS Unpacking, Table of Contents
2
UNPACKING
EcoWater Systems conditioner models R70 and
R50S are shipped from the factory in two cartons.
These contain resin tank/controller assembly in one
carton and the brine tank, cover, skin pack of small
parts needed to assemble and install the unit, and
this manual.
EcoWater Systems conditioners, models R20, R30
and R40 are shipped from the factory in 1 master
carton. The carton also includes a skin pack of small
parts needed to assemble and install the unit, and
this manual.
Thoroughly check the EcoWater Systems condition-
er for possible shipping damage and parts loss. Also
inspect and note any damage to the shippingcarton.
Notify the transportation company if damage is pres-
ent. EcoWater Systems is not responsible for in-
transit damages.
Remove and discard (RECYCLE)allpackingmateri-
als. We suggest you keep the small parts on the
skin-pack until you are ready to use them. Minimal
assembly is needed on all two tank models...see
page 6.
TABLE OF CONTENTS
Page
Warranty 3
Water / Water Conditioning 4-5
Assembly 6
Planning / Installation 7-13
1st Time Programming Face Plate Controller 14-15
Faceplate Controller Features / Options 16-22
Remote Monitor Features / Options, FCC
user information 23
EcoWater Conditioner Operation 24-27
Service Information 28-34
Refilling with Salt 28
Troubleshooting 30-33
Dimensions / Specifications 35
Repair Parts 36-39
SAFETY GUIDES
Follow the installation instructions carefully. Failure to install the EcoWater Systems conditioner properly
voids the warranty.
Before you begin installation, read this entire manual. Then, obtain all the materials and tools you will need
to make the installation.
Check local plumbing and electrical codes. The installation must conform to them.
Use only lead-free solder and flux for all sweat-solder connections, as required by state and federal codes.
Use care when handling the EcoWater Systems conditioner. Do not turn upside down, drop, or set on sharp
protrusions.
Do not locate the EcoWater Systems conditioner where freezing temperatures occur. Do not attempt to treat
waterover120F. Freezing, or hot water damage voids the warranty.
Avoid installing in direct sunlight. Excessive sun heat may cause distortion or other damage to non-metallic
parts.
The EcoWater Systems conditioner requires a minimum water flow of 3 gallons per minute at the inlet. Maxi-
mum allowable inlet water pressure is 125 psi. If daytime pressure is over 80 psi, nighttime pressure may
exceed the maximum. Use a pressure reducing valve if necessary. (Adding a pressure reducing valve may
reduce the flow.)
The EcoWater Systems conditioner works on 24 volt-60 hz electrical power only. Be sure to use the
included transformer.
This device complies with Part 15 of the FCC Rules. Operation is subject to the following two conditions:
(1) this device may not cause harmful interference,and (2)this device must accept any interference received,
including interference that may cause undesired operation. Changes or modifications not expressly ap-
proved by the party responsible for compliance could void the user’s authority to operate the equipment.
This system is not intended to be used for treating water that is microbiologically unsafe or of unknown quality
without adequate disinfection before or after the system.

ECOWATER
SYSTEMS Warranty
3
LIMITED WARRANTY
EcoWater Systems, Inc.
Advantage Warranty
Series ECR & ERR 3000 Water System
Congratulations! You have just purchased the highest quality water conditioning
product on the market. To register your warranty, complete the enclosed Warranty
Registration Card and mail it within 30 days of purchase.
To whom is this warranty extended?
EcoWater Systems, Inc. warrants its products to the original owner and
guarantees that the products will be free from defects in materials and
workmanship from the original date of installation.
How does my warranty work?
If, during the respective warranty period, a part proves, after inspection by
EcoWater, to be defective, EcoWater will, at its sole option repair or replace that
part at no charge, other than normal shipping, installation or service charges.
What is covered by the warranty?
EcoWater Systems, Inc. guarantees that,
for the LIFETIME of the original owner, the SALT TANK and the MINERAL TANK
will not rust, corrode, leak, burst, or in any other manner fail to perform their proper
functions and that,
for a period of TEN YEARS, the VALVE BODY will be free of defects in materials
and workmanship and will perform its proper function and that,
for a period of FIVE YEARS, the ELECTRONIC FACEPLATE and ALL OTHER
PARTS, including the REMOTE MONITOR will be free of defects in materials and
workmanship and will perform their normal functions.
Only on models designated as ERR on the rating decal, the EcoLife resin is also
guaranteed, for the lifetime of the original owner, to be free of defects in materials
and workmanship and to remove chlorine form a municipal water supply.
How do I obtain warranty service?
Should you need service, your local, independent EcoWater Dealer is only a
phone call away.
PHONE:
To obtain warranty service, notice must be given, within thirty (30) days of the dis-
covery of the defect, to your local EcoWater Systems dealer.
If I needa part replaced after the factory warranty expires, is the replacement
part warranted?
Yes, EcoWater Systems, Inc. warrants FACTORY REPAIRS as well as all
REPLACEMENTPARTS for a period of 90 DAYS. This warranty does not include
normal shipping, installation or service charges.
Are any additional warranties available?
We are pleased to say, YES! EcoWater Systems, Inc. sells an EXTENDED,
PARTS ONLY WARRANTY for the ELECTRONICS portion of your product. This
warranty is called the “Perfect Ten” and extends the five year warranty on the
electronic FACEPLATE, WIRINGHARNESS, DRIVE MOTOR, TRANSFORMER,
POWER CORD, SENSOR HOUSING, and MICRO SWITCHES to a total of TEN
YEARS from the date of original installation. Your local dealer will provide details
regarding this warranty or will refer you to the factory for additional information.
In addition, the 3000 SERIES product carries the CREST OF EXCELLENCE
GUARANTEE that, should you experience a repetitive problem that remains
uncorrected, EcoWater will, during the FIRST YEAR OF INSTALLATION, replace
the product with the exact or comparable product.* This guarantee may be subject
to normal shipping and installation or service charges.
General Provisions
The above warranties are effective provided the water conditioner is operated at
water pressures not exceeding 125 psi, and at watertemperatures not exceeding
120 F (and on a municipal chlorinated water supply -
); provided further that the water conditioner is not subject to
abuse, misuse, alteration, neglect, freezing, accident or negligence; and provided
further that the water conditioner is not damaged as the result of any unusual force
of nature such as, but not limited to, flood, hurricane, tornado or earthquake.
EcoWater Systems, Inc., is excused if failure to perform its warranty obligations
is the result of strikes, government regulation, materials shortages, or other
circumstances beyond its control.
*THERE ARE NO WARRANTIES ON THE WATER CONDITIONER BEYOND
THOSE SPECIFICALLY DESCRIBED ABOVE. ALL IMPLIED WARRANTIES,
INCLUDING ANY IMPLIED WARRANTY OF MERCHANTABILITY OR OF
FITNESS FOR A PARTICULAR PURPOSE, ARE DISCLAIMED TO THE EXTENT
THEY MIGHT EXTEND BEYOND THE ABOVE PERIODS. THE SOLE
OBLIGATION OF ECOWATER SYSTEMS, INC. UNDER THESE WARRANTIES
IS TO REPLACE OR REPAIR THE COMPONENT OR PART WHICH PROVES
TOBE DEFECTIVE WITHIN THE SPECIFIED TIME PERIOD, AND ECOWATER
IS NOT LIABLE FOR CONSEQUENTIAL OR INCIDENTAL DAMAGES. NO
ECOWATER DEALER, AGENT, REPRESENTATIVE, OR OTHER PERSON IS
AUTHORIZED TO EXTEND OR EXPAND THE WARRANTIES EXPRESSLY
DESCRIBED ABOVE.
Some states do not allow limitations on how long an implied warranty lasts or
exclusions or limitations of incidental or consequential damage, so the limitations
and exclusions in this warranty may not apply to you. This warranty gives you
specific legal rights, and you may have other rights which vary from state to state.
This warranty applies to consumer-owned installations only.
*8$5$17((
%21'
The Continental Casualty Company, an Illinois corporation, has
issued it’s bond in the form shown below, guaranteeing full perfor-
mance by EcoWater Systems, Inc.
CONTINENTAL CASUALTY COMPANY, Chicago, Illinois, here-
inafter called ‘‘Surety,’’ guarantees unto Harris Trust and Savings
Bank, 111 West Monroe Street, Chicago, Illinois, as Trustee hold-
ing said Guarantee Bond under the terms of a Trust Agreement
dated September 15, 1963, for the use and benefit of original pur-
chasers of residential EcoWater Systems Units within the Conti-
nental United States, as described herein, that EcoWater Systems,
Inc., will discharge the obligations of the ‘‘EcoWater Bonded Parts
and Service Guarantee Policy.’’
PROVIDED, HOWEVER, that:
1. Liability of Surety hereunder shall not exceed the sum of FIVE
HUNDRED AND 00/100th DOLLARS ($500.00) as to any one
installation, and shall not exceed the sum of FIVE HUNDRED
THOUSAND AND 00/100th DOLLARS ($500,000.00) in the ag-
gregate, and
2. Thereshall be no liability hereunder as to any purchaser to whom
there has not been issued at the time of installation and pur-
chase completed registration card which is enclosed with a fac-
simile of this bond, and who has not returned such card in accor-
dance with this guarantee.
3. Claim must be made by such original purchaser in writing within
30 days from the expiration of these guarantees upon EcoWater
Systems, Inc., PO Box 64420, St. Paul, MN 55164, to perform
the terms of said guarantee, and notice of any default on such
guarantee must be sent to Surety at its address by Registered
Mail.
CONTINENTAL CASUALTY COMPANY
attest:
assistant secretary
by:
vice-president
This is to certify that the original of the above
guarantee and bond is on file with Harris Trust
and Savings Bank, 111 West Monroe Street,
Chicago, Illinois.
HARRIS TRUST AND SAVINGS BANK
As Trustee
by:
authorized officer

ECOWATER
SYSTEMS Water, and Water Conditioning
4
WATER
Man’s very existence depends on water. It is one of
the basic commodities of life. Water is best as nature
provides it, is a common misconception. Practically
all natural water needs refinement or treatment to
make it safe to drink or more satisfactory to use.
The earth’s water supply cycle starts in the upper
cloud layers. As it falls to the earth as rain or snow,
it picks up impurities and gases from the atmo-
sphere. Landing on earth, it seeps over and through
the ground, dissolving earth minerals. Passing
through limestone, it dissolves calcium and magne-
sium, the hardness minerals. Iron deposits impart
iron to the water. Acidity and sediments are other
water conditions.
Municipal water supplies come from surface reser-
voirs, such as lakes and rivers, or from underground
reservoirs. Usually, municipalities chlorinate the wa-
ter to make it safe to drink. Sediment is removed by
filtration. Tastes and odors are reduced or elimi-
nated. The water is conditioned to comply with cer-
tain specifications. However, hardness minerals,
tastes and odors are not always reduced to the most
desirable levels.
Underground reservoirs provide our private water
supplies. Because the water is raw and untreated, it
can have varying amounts of hardness, iron, tastes,
odors, acidity, or combinations of these. Different lo-
calities and water levels affect mineral content.
WATER CONDITIONING
Water conditioning is the treatment of 4 general
conditions. These are: (1) +DUGQHVV,(2),URQ,(3)
$FLGLW\ DQG (4) 6HGLPHQWV.
(1) +$5'1(66 is a term to describe the presence
of calcium and magnesium minerals in water. A
chemical analysis accurately measures the amount
of minerals in grain weight. For example, 1 gallon of
water with 5 grains per gallon (gpg) hardness has
dissolved minerals, that if solidified, about equals
the size of 1ordinary aspirin tablet. One gallon of wa-
ter, 25 gpg hard, has a mineral content equal in size
to 5 aspirin tablets. Water hardness varies greatly
across the country. It generally contains from 3 to
100 gpg.
Hard water affectsliving ingeneral. Hardness miner-
als combine with soap to make a soap curd. The
curd greatly reduces the cleaning action of soap.
Precipitated hardness minerals form a crust on
cooking utensils, appliances, and plumbing fixtures.
Even the tastes of foods are affected. A water soft-
ener removes the hardness minerals to eliminate
these problems, and others. Pages 25-28 describe
how the EcoWater conditioner works.
Sodium Information: Water softeners using sodium
chloride (salt) for regeneration add sodium to the
water. Persons on sodium restricted diets should
consider the added sodium as part of their overall in-
take.
(2) ,521 in water is measured in parts per million
(ppm). The total* ppm of iron, and type or types*, is
determined by chemical analysis. Four different
types of iron in water are: ❶Ferrous (clear water),
❷Ferric (red water), ❸Bacterial and organically
bound iron, ❹Colloidal and inorganically boundiron
(ferrous or ferric).
*Water may contain 1 or more of the 4 types of iron
and any combination of these. Total iron is the sum
of the contents.
❶Ferrous (clear water) iron is soluble and dissolves
in water. It is usually detected by taking a sample of
water in a clear bottle or glass. Immediately after tak-
ing, the sample is clear. As the water sample stands,
it gradually clouds and turns slightly yellow or brown
as air oxidizes the iron. This usually occurs in 15 to
30 minutes. An EcoWater conditioner will remove
moderate amounts of this type of iron (see specifica-
tions).
❷Ferric (red water), and ❸Bacterial and organically
bound ironsare insoluble.This ironis visible immedi-
ately when drawn from a faucet because it has oxi-
dized before reaching the home. It appears as small
cloudy yellow, orange, or reddish suspended par-
ticles. After the water stands for a period of time, the
particles settle to thebottom of the container.Gener-
ally these irons are removed from water by filtration.
Chlorination is also recommended for bacterial iron.
An EcoWater conditioner will remove minimal quan-
tities (see specifications) of ferric iron.
continued

ECOWATER
SYSTEMS Water, and Water Conditioning
5
❹Colloidal and inorganically bound iron is a ferric or
ferrous form that will not filter or exchange out of wa-
ter. In some instances, treatment may improve col-
loidal iron water, but always consult a qualified
water chemistry lab before attempting to treat it.
Colloidal iron water usually has a yellow appearance
when drawn. After standing for several hours, the
color persists and the iron does not settle, but re-
mains suspended in the water.
Iron in water causes stains on clothing and plumbing
fixtures. It negatively affects the taste of food, drink-
ing water, and other beverages.
(3) $&,',7< or acid water is caused by carbon diox-
ide, hydrogen sulfide, and sometimes industrial
wastes. It is corrosive to plumbing, plumbing fix-
tures, water heaters, and other water using ap-
pliances. It can also damage and cause premature
failure of seals, diaphragms, etc., in water handling
equipment.
A chemical analysis is needed to measure the de-
gree of acidity in water. This is called thepH ofwater.
Water testing below 6.9 pH is acidic. The lower the
pHreading, the greater the acidity.A neutralizerfilter
or a chemical feed pump are usually recommended
to treat acid water.
(4) 6(',0(17 is fine, foreign material particles sus-
pended in water. This material is most often clay or
silt. Extreme amounts of sediment may give the wa-
ter a cloudy appearance. A sediment filter normally
corrects this condition.

ECOWATER
SYSTEMS Assembly Instructions
6
1. Cabinet models are factory assembled. During
installation, remove thetop and salt hole covers. Set
aside to prevent damage. Check the brinewell to be
sure it is secured and vertical (FIG. 1).
2. Lift the brine valve out of the brinewell. Be sure
the float stem is parallel to the stand tube so seals
will seat properly during operation. Replace the
brine valve in the brinewell bottom and install the
brinewell cover.
3. Install the brine tank overflow grommet and elbow
in the 3/4” diameter hole in the brine tank sidewall.
grommet
elbow nozzle assembly
brine tubing
brine tank
brinewell
brine valve
screw, Tuflok
slots
brine valve
brinewell
brine tank
brine tubing
elbow
grommet
washer
FIGURE 2
FIGURE 1
brinewell cover brinewell cover
stand
tube
float stem
stand
tube
float stem
TWO TANK MODELS
CABINET MODELS

ECOWATER
SYSTEMS Planning Installation
7
FIG. 3 - TYPICAL INSTALLATION DRAWINGS
INLET - OUTLET OPTIONS
1” copper tube
(2 supplied)
1’ x 1” strgt.
sweat connector
1’ x 3/4” strgt.
sweat connector
1” sweat x 1” or 3/4”
pipe thread
floor drain
floor drain
NOTE: Faceplate and support
not shown for clarity of drawing.
Tie or wire valve drain hose in place, to keep
over floor drain.
valve drain
valve drain hose
brine tank
overflow
hose
brine tank
overflow hose
TWO TANK,
MODEL
CABINET
MODEL
1-1/2”
airgap
120V,
60Hz
outlet
transformer
(supplied)
to timer
to timer
1-1/2”
airgap
INLET
INLET
OUTLET
OUTLET
3- valve
bypass system
inlet valve
outlet valve
bypass valve
HARD
WATER
HARD
WATER
CONDITIONED
WATER
bypass valve
#7214383
INLET - OUTLET PLUMBING OPTIONS
:ALWAYS INSTALL either an EcoWater bypass
valve #7214383, or a 3 valve bypass system. By-
pass valves allow you to turn off water to the soft-
ener for repairs if needed, but still have water in
house pipes.
:Use 1”... or, 3/4” (minimum) pipe and fittings.
:Use sweat copper... or, threaded pipe*... or, PVC
plastic pipe.*
*Sweat soldering is required to adapt to the fittings
(1” male) supplied with the EcoWater System Unit,
or obtain approved compression adaptors. The fol-
lowing special fittings are available from EcoWater.
Be sure to comply with all local plumbing codes.

ECOWATER
SYSTEMS Planning Installation
8
OTHER REQUIREMENTS
:A drain is needed for regeneration discharge wa-
ter. A floor drain is preferred, close to the EcoWa-
ter conditioner. A laundry tub, standpipe, etc., are
other drain options.
FIG. 4 - DRAIN OPTIONS
STANDPIPE
1-1/2”
airgap
drain
hose
1-1/2”
airgap
drain
hose
LAUNDRY TUB
:A 120V-60Hz, grounded, continuously ‘‘live’’,
electrical outlet is needed within 10’ of the Eco-
Water conditioner.
TOOLS YOU MAY NEED
common screwdriver pliers
cross-point screwdriver tape measure
SOLDERED COPPER THREADED CPVC PLASTIC
tubing cutter hacksaw or
pipe cutter hacksaw
propane torch threading tool adjustable
wrench
LEAD-FREE
solder and flux pipe joint com-
pound* solvent cement*
emery cloth,
sandpaper or steel
wool
primer
MATERIALS YOU MAY NEED
1bypass valve, or 3 valves
1pipe and fittings as required
11/2” I. D. high quality, flexible hose for the valve
drain,* and brine tank drain. The brine tank drain el-
bow accepts either 1/2” or 3/8” I. D. hose.
*VALVE DRAIN OPTIONS: Flexible drain hose is
not allowed in all localities (check your codes). To
make a rigid valve drain run, cut the barbed section
off the drain fitting for access to the 1/2” pipe
threads. Then plumb a rigid drain as needed (see
diagram). An optional drain fitting, part no. 7141239,
is available from EcoWater to connect a standard
garden hose, or 5/8” I.D. hose onto a barb.
garden
hose
threads
barbs for
5/8” I.D.
hose
1/2” NPT
barbs for
1/2” I.D.
tubing
#7219066 #7141239
FIG. 5
HARD PLUMB DIAGRAM
1/2” NPT to pipe
female adaptor
1/2” pipe x 1-9/16” long
(cut length)
1/2” pipe x 2” long
(cut length)
90 elbow (2)
1/2” NPT to pipe
female adaptor
1/2” pipe x 1-9/16” long
(cut length)
1/2” pipe x 2-1/4” long
(cut length)
45 elbow (2)
NOTE: Codes in the state of Massachusetts require installation by a licensed plumber. For installation, use
plumbing code 248-CMR of the Commonwealth of Massachusetts.

ECOWATER
SYSTEMS Installation
9
SELECT INSTALLATION LOCATION
Consider all of the following when selecting an
installation location for the EcoWater conditioner.
:To condition allwater in the home, install the Eco-
Water conditioner close to the water supply inlet,
and before all other plumbing connections, ex-
cept outside water pipes. Outside faucets should
remain on hard water to avoid wasting condi-
tioned water and salt.
:A nearby drain is needed to carry away regenera-
tion discharge water. A floor drain is preferred,
with a laundry tub, standpipe, etc., as other op-
tions (check your local codes).
:The EcoWater conditioner works on 24 volts
only. A transformer is included to reduce 120-60
Hzhouse power. Provide an approved, grounded
outlet within 10’ of the conditioner. The condition-
er includes a 10’ power cable for connection be-
tween the transformer and the controller.
:Position the EcoWater conditioner at least 6”
from surrounding walls, or other appliances, to
allow access for adding salt and servicing.
:Locate theEcoWater conditioner, in the plumbing
system, after all other installed water condition-
ing equipment, except for a taste and odor filter.
A taste and odor filter is installed after all equip-
ment. Always install the EcoWater conditioner
BEFORE the water heater. See the Safety
Guides on page 2. To reduce the risk of hot water
back-up, conditioned water piping between the
EcoWater conditioner and water heater should
be as long as possible.
:Install the EcoWater conditioner in a place water
damage is least likely to occur if it develops a
leak.
:If installing the conditioner in an outside location,
be sure to provide protection from the elements,
contamination, vandalism, and sunlight heat.
The sun’s heat can melt plastic parts.
FIGURE 6 FIGURE 7
o-ring (2)
turbine
support
clip (2)
copper tube (2)
VALVE INLET
shim plywood
copper
tube o-ring
clip turbine
support
Bypass
Valve
Installation
copper
tube (2)
A.
B.
o-ring (2)

ECOWATER
SYSTEMS Installation
10
1. INSTALL BYPASS VALVE and/or COPPER
TUBES
IMPORTANT: The turbine support (FIG. 6) is factory
installed. The bypass valve or outlet copper tube will
not insert properly if the support assembly is re-
versed or not fully into the valve port.
a. IF INSTALLING AN ECOWATER BYPASS
VALVE, put lubricated o-ring seals onto both bypass
valve ports (FIG. 6B). Carefully slide the bypass
valve into the softener valve and install the “C” clips.
b. Slide a lubricatedo-ring sealonto eachof the cop-
per tubes. Carefully insert the copper tubes into the
bypass valve (FIG. 6B), or into the softener valve
(FIG. 6 and 6A). Then install the ‘‘C’’ clips.
NOTE: For lubrication, use silicone grease ap-
proved for potable water supplies.
IMPORTANT: Be sure the bypass valve and/or
copper tubes are firmly held in place by the plas-
tic ‘‘C’’ clips, and the clips are securely in place.
2. TURN OFF WATER SUPPLY
a. Close the main water supply valve, near the well
pump or water meter.
b. Shut off the electric or fuel supply to the water
heater.
c. Open high and low faucets to drain all water from
the house pipes.
3. INSTALLING THREE VALVE BYPASS
If installing a 3-valve bypass system, plumb as need-
ed using FIG. 3 as a guide. When installing sweat
copper, be sure to use lead-free solder and flux,
required by federal and state codes. Use pipe joint
compound on outside pipe threads.
4. MOVE THE ECOWATER UNIT INTO PLACE
Move the EcoWater System Unit (resin tank only if
2-tank model) into installation position. Set it on a
solid, smooth and level surface. If needed, place the
unit on a section of plywood, a minimum of 3/4” thick.
Then, shim under the plywood to level the unit, FIG.
7.
CAUTION: '2 127 3/$&( 6+,06 ',5(&7/< 81
'(5 7+( %5,1( 7$1. The weight of the tank,
when full of water and salt, may cause the tank to
fracture at the shim.
5. ASSEMBLE INLET AND OUTLET PLUMBING
Measure, cut, and loosely assemblepipe andfittings
from the main water pipe (or from the bypass valves
installed in step 3), to the inlet and outlet copper
tubes, installed in step 1b.
Be sure hard water supply pipe goes to the valve
inlet side. Trace the water flow direction to be sure.
CAUTION: Besure to fit, align and support allplumb-
ing to prevent putting stress on the softener valve in-
let and outlet. Undo stress may cause damage to
the valve. continued
ground wire
clamp (2)
nozzle &
venturi
o-ring
elbow
FIGURE 8 FIGURE 9 FIGURE 10
Note: To ease brine tubing con-
nection, use the elbow and o-
ring seal as shown. Lubricate
the o-ring and insert into the el-
bow. Turn the elbow on and
tighten. Then, back-off up to 1
turn, as needed.
B
A3 - Valve Bypass
OUTLET
VALVE INLET
VALVE
BYPASS
VALVE
to conditioner
from conditioner
EcoWater
Bypass Valve
for SERVICE:
-Openthe inlet and outlet
valves.
- Close the bypass valve.
for BYPASS:
- Close the inlet and outlet
valves.
-Openthe bypass valve.
brine tubing
nut-ferrule
screen
Install hose clamps before
soldering copper tubes
copper
tubes
hose clamp,
ground (2)
ground wire

ECOWATER
SYSTEMS Installation
11
6. CONNECT INLET AND OUTLET PLUMBING
Complete the inlet and outlet plumbing as applica-
ble, below.
a. SOLDERED COPPER
(1) Thoroughly clean and flux all joints.
(2) Pull the plastic ‘‘C’’ clips and remove the inlet and
outlet tubes from the valve. Remove o-rings from the
tubes. DO NOT solder with tubes in the valve. Sol-
dering heat will damage the valve.
NOTE: If installing a ground as shown in figure 8A,
place hose clamps on copper tubes before sol-
dering (see step 7a).
(3) Make all solder connections. Be sure to keep fit-
tings fully together, and pipes square and straight.
IMPORTANT: Be sure the bypass valve and/or
copper tubes are firmly held in place by the plas-
tic ‘‘C’’ clips, and the clips are securely in place.
b. THREADED PIPE
(1) Apply pipe joint compound to all outside pipe
threads.
(2) Tighten all threaded joints.
(3) If soldering to the inlet and outlet tubes, observe
step aabove.
c. CPVC PLASTIC PIPE
(1) Clean, prime and cement all joints, following the
manufactures instructions supplied with the plastic
pipe and fittings.
(2) If soldering to the inlet and outlet tubes, observe
step aabove.
7. COLD WATER PIPE GROUNDING
The house cold water pipe (metal only) is often used
as a ground for the house electrical system. The
3-valve bypass type of installation, shown in FIG. 3,
will maintain ground continuity. If you use the plastic
bypass, continuity is broken. To restore the ground,
do either step aor bfollowing.
a. Use the included hose clamps and wire, to make
a jumper across the inlet and outlet copper tubes,
FIG. 8A. Put the hose clamps on the copper tubes
before soldering, step 6a.
b. Install a #4 copper wire across the removed sec-
tion of main water pipe, securely clamping at both
ends, FIG. 8B (parts not included).
8. INSTALL VALVE DRAIN HOSE
NOTE: See valve drain options on page 8.
a. Connect a length of 1/2” I.D. hose (check codes)
to the valve drain elbow, on the controller, FIG. 5.
Use a hose clamp to hold the hose in place. Route
the hose out through the notch in the back of the top
cover.
b. Run the hose to the floor drain, and as typically
shown in FIG. 4, tie or wire the end to a brick or other
heavy object. This will prevent ‘‘whipping’’ during re-
generations. Be sure to provide a 1-1/2” minimumair
gap, to prevent possible sewer water backup.
NOTE: In place of a floor drain, you can use a laun-
dry tub or standpipe as a good drain point for this
hose. Avoid long drain hose runs, or elevating the
hose more than 8’ above the floor.
9. IF INSTALLING A TWO TANKMODEL, move the
brine tank into position next to the resin tank. Ob-
serve the instructions in step 4, page 10.

ECOWATER
SYSTEMS Installation
12
10. INSTALL BRINE TANK OVERFLOW HOSE
a. Connect a length of 1/2” I. D. hose to the brine
tank overflow elbow and secure in place with a hose
clamp.
b. Run the hose to the floor drain, or other suitable
drain point no higher than the drain fitting on the
tank. If the tank overfills with water, the excess water
flows to the drain point.
11. On Two Tank models, connect the brine tubing
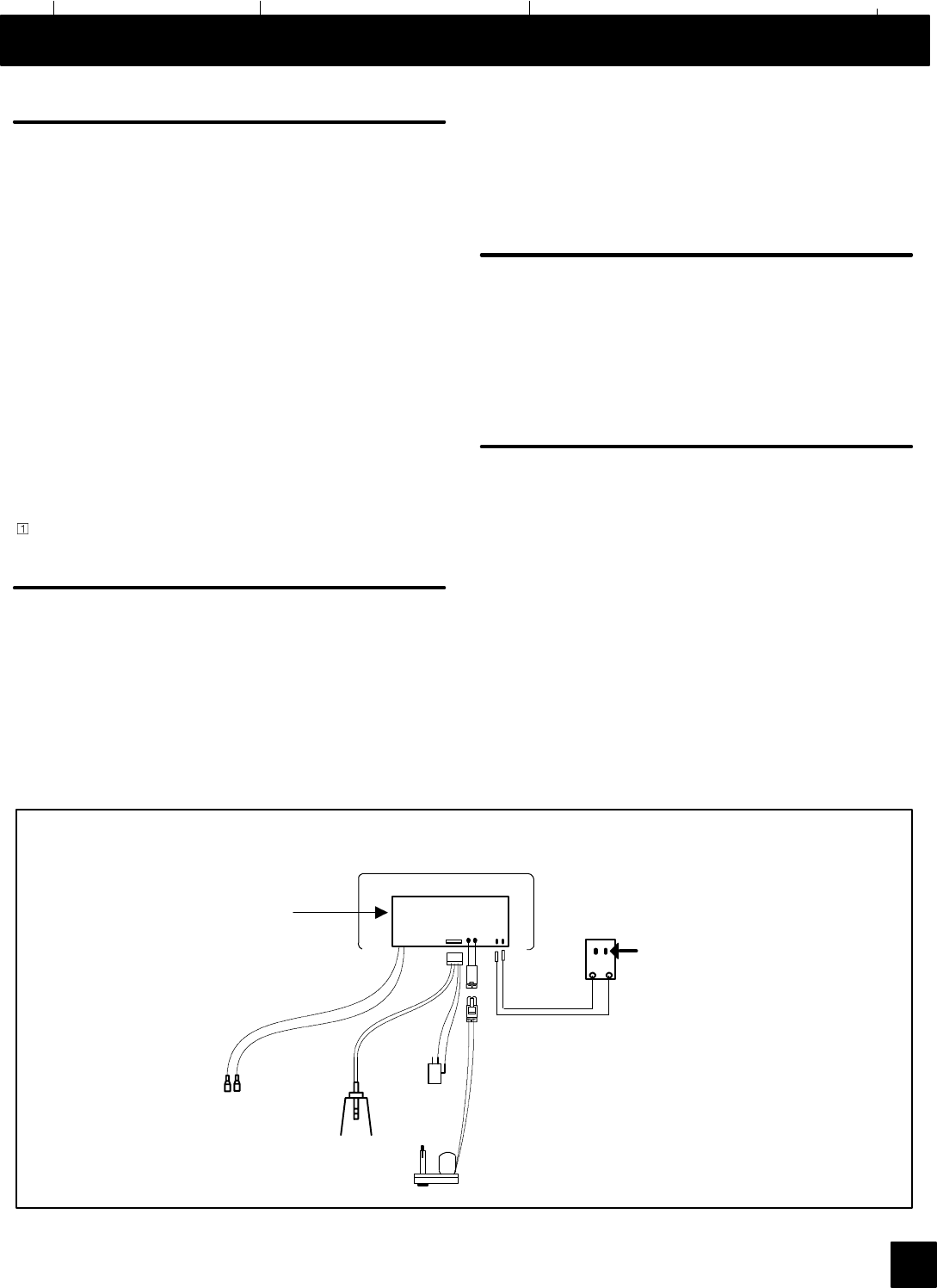
to the nozzle and venturi housing, FIGS. 1, 2 and 9.
Use the elbow, o-ring, nut-ferrule and screen in-
cluded on the skin-pack. Tighten the nut by hand,
then another 1/4 turn with a pliers.
NOTE: Route the tubing neatly out of the way and
cut it to the desired length. For longer distances, or-
der the optional parts shown on page 37, to extend
the tubing.
ECR3000R20 MODEL: A white color coded nozzle
and venturi (.023)is factoryinstalled foruse onwater
supply pressure of 50 psi and higher. If water supply
pressure is under 50 psi, install the black nozzle and
venturi (.032) along with the .1 gpm flow plug. They
are included on the small parts skin pack. Insert the
.1 gpm flow plug into the nozzle and venturi, as
shown, NUMBERED SIDE UP, CONCAVE SIDE
DOWN.
CAUTION: When removing and installing the cap,
holdthe housing tightly with 1 handto preventbreak-
age.
12. PRESSURE TESTING FOR LEAKS
To prevent excessive air pressure in the EcoWa-
ter Unit and plumbing system, do the following
steps EXACTLY in order.
a. Fully open two or more FRQGLWLRQHG cold water
faucets nearby the EcoWater Unit.
b. Place the bypass valve(s) in ‘‘bypass’’ position.
See figure 10.
c. Fully open the main water supply valve. Observe
steady flow from the opened faucets, with no air
bubbles.
d. (;$&7/< as follows, place bypass valve(s) in
‘‘service’’.
(1) SINGLE BYPASS VALVE: SLOWLY, move
the valve stem toward ‘‘service’’, pausing several
times to allow the unit to pressurize slowly.
(2) 3-VALVE BYPASS: Fully close the bypass
valve and open the outlet valve. SLOWLY, open
the inlet valve, pausing several times to allow the
unit to pressurize slowly.
e. After about 3 minutes, open a hot water faucet
for about 1 minute, or until all air is expelled, then
close.
f. Close all cold water faucets and check your
plumbing work for leaks.
13. ADD WATER AND SALT TO THE BRINE TANK
a. Using a pail or garden hose, add about 3 gallons
of water into the brine tank. DO NOT pour into the
brinewell, FIGS. 1 and 2, page 6.
b. Fill the brine tank with salt. You can use most wa-
ter conditioner salts, but it must be clean. Recom-
mended nugget, pellet or coarse solar salts have
less than 1% impurities. Salt storage capacity is
shown on page 35.
NOTE: See page 28 for additional information on
salt.

ECOWATER
SYSTEMS Installation
13
14. SANITIZING THE ECOWATER SYSTEM UNIT
Care is taken at the factory to keep your EcoWater
System conditioner clean and sanitary. Materials
used to make the unit will not infect or contaminate
your water supply, and will not cause bacteria to
form or grow. However, during shipping, storage,
installing and operating, bacteria could get into the
unit. For this reason, sanitizing as follows is sug-
gested owhen installing.
...Remove the brinewell cover and pour about 1-1/2
oz. (2 to 3 tablespoons) of common household
bleach into the softener brinewell, FIGS. 1 and 2,
page 6. Clorox, Linco, BoPeep, White Sail, Eagle,
etc.arebrand namesof bleachreadily available. Re-
place the brinewell cover.
...The final step in the sanitizing procedure is done
as you complete the following steps, including con-
troller programming on page 14.
Recommended by the Water Quality Association. On some water sup-
plies, the EcoWater System Unit may need periodic disinfecting.
15. CONNECT TRANSFORMER
a. Connect the power cable leads to the 2 terminals
on the transformer.
NOTE: Check to be sure all leadwire connectors are
secure on the back of the controller.
Caution:Be sure all wiring is away from thevalve
cam, which rotates during regenerations.
b. Plug the transformer into a continuously ‘‘live’’,
grounded, 120V-60Hz house electrical outlet, ap-
proved by local codes. 7+( 81,7 :25.6 21 9
21/< '2 127 &211(&7 :,7+287 7+(
75$16)250(5
16. START A RECHARGE
Press the RECHARGE keypad, move cursor to Set
Recharge Now and press SELECT/EXIT ( ¤)key-
pad, starting a recharge. This recharge draws the
sanitizing bleach into and through the EcoWater
System Unit. Any air remaining in the unit is purged
to the drain.
17. RESTART THE WATER HEATER
Turn on the electric or fuel supply to the water heat-
er, and light the pilot, if applies.
NOTE: The water heater is filled with HARD water
and, as hot water is used, it refills with conditioned
water. In a few days, the hot water will be fully condi-
tioned. To have fully conditioned hot water immedi-
ately, wait until the recharge (step 16) is over. Then,
drain the water heater until water runs cold.
18. Install the tank top cover(s).
COMPLETE THE PROGRAMMING STEPS ON
PAGES 14 AND 15.
Transformer
24V
tank
light
valve
motor
BACK OF
controller
120V
POWER
SOURCE
FIGURE 11
WATER
METER
SENSOR

ECOWATER
SYSTEMS Programming the Digital Demand Faceplate Controller
14
display keypad
keypad
RECHARGE
keypad
SALT LEVEL
keypad
SELECT/EXIT
keypad
TANK LIGHT
keypad
THE FOLLOWING STEPS ARE FOR FIRST TIME SET UP ONLY.
When the transformer is plugged in, a ‘‘beep’’ will
sound, followed by the factory set model code dis-
play and software version for a few seconds. Then,
12:00 PM present time display.
1. MODEL CODE: The controller is factory set to
the model code, which provides the shortest re-
charge times and greatest water savings. Verify the
correct model code or set if needed.
Note: To reset the model code, see page 21.
2. SET THE CLOCK:Use the ()or() keypads
to set the present time of day, being sure AM or PM
shows, as applicable. Press () to move the display
ahead; press () to move the time backward.NOTE:
Each press of a keypad changes the time by 1 min-
ute. Holding a keypad in changes the time by 32
minutes each second. Pressing the SELECT/EXIT
(¤) keypad will set the clock.
3. SET WATER HARDNESS:The controller is
factory set to 25 grains. Set the grains per gallon
hardness of your water supply. Water hardness is
determined bywater analysis, or call your local water
department. Use the () keypad to advance the
number; use the () keypad to reduce the number.
Each press of a keypad changes the display by 1.
Hold down the keypad to scroll. After 25, scrolling will
be at a faster rate. NOTE: To compensate for iron in
the water, add 5 to the hardness number for each 1
ppm of iron. Pressing the SELECT/EXIT ( ¤)key-
pad will set the hardness level. NOTE: If using po-
tassium chloride (KCl) instead of standard sodium
chloride (NaCl) watersoftener salt, hardness setting
must be increased by 25%.

ECOWATER
SYSTEMS Programming the Digital Demand Faceplate Controller
15
4. SET RECHARGE (REGENERATION) TIME:
The controller is factory set to 2:00 AM. At this set-
ting, the EcoWater conditioner begins recharge, or
regeneration, ending no later than 5:30 AM. This is
a good time in most households because water is
not being used. If hot water is used while the unit is
regenerating, the water heater will refill with KDUG wa-
ter. To select a different recharge start time, use the
()or() keypad. Pressing the SELECT/EXIT ( ¤)
keypad will set the recharge time.
5. REMOTE SET-UP: Press SELECT/EXIT ( ¤)
to enter the Primary Menu. Move the cursor next to
Advanced/Service Menu and press SELECT/EXIT
(¤) to enter this Menu. Warning screen will show.
Press () keypad to continue. Move cursor to Test
Remote and press SELECT/EXIT ( ¤) to enter this
screen. The controller will start sending a signal to
the remote every 3 seconds. Press reset on the
back of remote. When the remote is receiving this
signal, the LED’s will flash red, amber, green. Now
remote can be placed in a convenient location. The
remote may not work in all places in your home. If
the red LED flashes twice every 3 seconds, the re-
mote is out of range ofsignaland needs to bereposi-
tioned. Press SELECT/EXIT (¤) to exit to the Ad-
vanced/Service Menu. Move square cursor (3)to
EXIT and press SELECT/EXIT (¤). Now the unit
should start transmitting a normal signal.
GREEN LED
AMBER LED
RED LED
6. Press the RECHARGE keypad to get to the re-
charge menu. Move the cursor to Start Recharge
Nowand pressthe SELECT/EXIT( ¤), starting a re-
charge. This recharge draws the bleach (see step
14, page 13) through the EcoWater conditioner to
sanitize it and to purge any air remaining in the resin
tank assembly.
7. RESTART THE WATER HEATER: Turn on the electric or fuel supply to the water heater, and light
the pilot, if applies.
NOTE: When the sanitizing regeneration is over, all remaining bleach is flushed from the conditioner and
your cold water supply is ready for use. However, the water heater is filled with HARD water and, as hot
water is used, it refills with conditioned water. In a few days, the hot water will be fully conditioned. To have
fully conditioned hot water immediately, wait until the recharge (step 6) is over.Then, drain the water heat-
er until water runs cold.
INSTALLATION OF THE DIGITAL DEMAND ECOWATER CONDITIONER IS COMPLETE.
Additional faceplate controller features and options are described on following pages.

ECOWATER
SYSTEMS Faceplate Controller, Features/Options
16
FEATURES AND OPTIONS
NORMAL SCREEN VIEWS
The display will scroll through as many as 5 screens at an interval of
4 seconds each.
/Soft Water Available will show a percent of available soft water and
a bar graph at the bottom of the display.
/WaterFlowRate shows gallons per minute (GPM) flowing through
the system at that time and a moving bar graph at the bottom of the
screen.
/Recharge Tonight is shown only if the unit will be initiating a re-
charge that night.
/Salt Level is Low is shown only if the salt level is below the amount
set for warning.
/If the unit is in recharge, the display will show remaining time in
recharge and current stage of recharge.
PROGRAM MEMORY: If electrical power to the EcoWater conditioner goes off, the display is blank, but the
faceplate controller keeps the correct time for at least 2 days. When electrical power comes on again, you
have to verify clock time is correct. The MODEL CODE, HARDNESS and RECHARGE TIME never need re-
setting unless a change is desired.
Even if the controller is incorrect, after a long power outage, the unit works as it should to keep your water
conditioned. However, regenerations may occur at the wrong time of day until you reset the controller to the
correct time of day. To reset present time, see step 2 on page 14.
CONTROL FEATURES:There are 3 keypads on the left side of the
display. Salt Level keypad is used when adding salt to the brine tank.
The level number on the brinewell corresponds to the number to pro-
graminto the controller. Recharge keypad has 2 options: Set/Cancel
recharge tonight, which eithersets orcancels a recharge for that night
and Start Recharge Now, which will start a recharge immediately.
NOTE: If in a recharge, and the Recharge keypad is pressed, it will
advance the valve to the next regeneration cycle. On cabinet style
units, there is also a Tank Light keypad. This will turn tank light on
or off, and will work while in any screen. The tanklight willautomatical-
ly turn off after 4 minutes.
-SOUND ‘‘BEEPER’’- A‘‘beeper’’ sounds while pressing keypads for controller setup. One beep signals
a change in the faceplate display. Repeated beeps means the controller will not accept a change from the
keypad you have pressed, telling you to use another keypad. For example, while setting the hardness num-
ber, thebeeper sounds repeatedly whenthe displayreaches 1using the () keypad or 160, for example, using
the () keypad.
SALT LEVEL: This feature is used when salt is added to the conditioner. Press the salt level keypad and
use the () keypad to reset the levelof salt as it corresponds to the decalon the brinewell. Press the SELECT/
EXIT (¤) to set and return to Normal Screen Views.

ECOWATER
SYSTEMS Faceplate Controller, Features/Options
17
INITIATING EXTRA RECHARGES
RECHARGE NOW: Press the Recharge keypad to go to the recharge menu. Move square cursor down to
Start Recharge Now. Press SELECT/EXIT keypad and a recharge begins immediately.
To assure an adequate supply of conditioned water, at times of unusual or XQH[SHFWHG high water use de-
mand, use the RECHARGE NOW feature. For example, if you have guests and the Soft Water Available
screen is at orbelow50%, you could deplete conditioned watercapacity before the next recharge is automati-
cally initiated. To be sure this will not happen, use RECHARGE NOW to restore 100% conditioned water ca-
pacity.
RECHARGE TONIGHT: Press the Recharge keypad to go to the recharge menu. Move cursor down to Set/
Cancel Recharge Tonight. Press SELECT/EXIT keypad to return to Normal Screen Views. When this feature
is set, the EcoWater conditioner will regenerate at the next programmed start time. This feature is beneficial
to assure a sufficient supply of conditioned water for an H[SHFWHG heavy water usage the next day.
To cancel a recharge when RECHARGE TONIGHT is shown, press the Recharge keypad to go to the re-
charge menu. Move cursor down to Set/Cancel Recharge Tonight. Press SELECT/EXIT keypad to return
to Normal Screen Views.
The following is a description of the options in the Primary Menu. To enter this menu press SELECT/EXIT
(¤) keypad and move squarecursor (3)to menuchoice. To exit to Normal Screen Views move squarecursor
(3)to EXIT, which appears at either the top orthe bottom of this menu. If no keypad has been pressed display
will show for 4 minutes before defaulting back to the Normal Screen Views.
SetClock:Enter Primary Menu. Press the ()or()keypads untilcur-
sor is next to Set Clock. Again, use the ()or() keypads to set the
present time of day, being sure AM orPM shows, as applicable. Press
() to move the display ahead; press () to move the time backward.
NOTE: Each press of a keypadchanges thetime by 1 minute.Holding
a keypad in changes the time by 32 minutes each second. Press the
SELECT/EXIT ( ¤) keypad to set.
Set Water Hardness:Enter Primary Menu. Press the ()or()key-
pads until cursor is next to Set Hardness. Press the SELECT/EXIT (
¤) keypad once to display a flashing number and GRAINS. Set the
grains per gallon hardness of your water supply. Use the () keypad
to advance the number; use the () keypad to reduce the number.
Pressing the SELECT/EXIT ( ¤) keypad will set the hardness level.
NOTE: If using potassium chloride (KCl) instead of standard sodium
chloride (NaCl) water softener salt, hardness setting must be in-
creased by 25%.
Set Recharge (Regeneration) Time: Enter Primary Menu. Press the
()or() keypads untilcursor isnext to Set Recharge Time. Press the
SELECT/EXIT ( ¤) keypad once to display a flashing 2:00 AM. At
this setting, the EcoWater conditioner begins recharge, or regenera-
tion, at 2:00 AM., ending no later than 5:30 AM. This is a good time
in most households because water is not being used. If hot water is
used while the unit is regenerating, the waterheater will refill with KDUG
water. To select a different recharge start time, use the ()or()key-
pad. Pressing the SELECT/EXIT ( ¤) keypad will set the recharge
time.
continued

ECOWATER
SYSTEMS Faceplate Controller, Features/Options
18
Primary Menu, continued
Water Flow Rate: Enter Primary Menu. Press the ()or() keypads
until cursor is next to Water Flow Rate. Press the SELECT/EXIT (¤
) keypad. When selected, this screen will show the water flow rate in
gallons per minute (GPM) or liters per minute (LPM) with the moving
bar graph at the bottom of the display.
Water Used Today: Enter Primary Menu. Press the ()or()key-
pads until cursor is next to Water Used Today. Press the SELECT/
EXIT ( ¤) keypad and the gallons/liters used since midnight will be
shown in the display.
Average Water Use: Enter Primary Menu. Press the ()or()key-
pads until cursor is next to Average Water Use. Press the SELECT/
EXIT ( ¤) keypad and the average gallons/liters use each day will be
shown in the display.
Soft Water Meter: Enter Primary Menu. Press the ()or() keypads
until cursor is next to Soft Water Meter. Press the SELECT/EXIT (¤)
keypad. This screen is similar to a trip odometer in that it will count
the number of gallons/liters through the system until it is reset. To re-
setbacktozeropressthe() keypad.
Set Rolling Screen: Enter Primary Menu. Press the ()or()key-
pads until cursor is next to Set Rolling Screen. Press the SELECT/
EXIT (¤) keypad. This menu will disable the Normal Screen Views
from scrolling and will show only the screen that is most current.
Set 12/24 Hour Clock: Enter Primary Menu. Press the ()or()key-
pads until cursor is next to Set 12/24 Hour Clock. Press the SELECT/
EXIT ( ¤) keypad. Moving the ()or() keypads will change clock
display from 12 hour (AM & PM) or 24 hour format.
Set Gallons/Liters: Enter Primary Menu. Pressthe ()or()keypads
until cursor is next to Set Gallons/Liters. Press the SELECT/EXIT (¤)
keypad. Moving the ()or() keypads will change displays to indicate
water in gallons or liters.
Set Grains/PPM: Enter Primary Menu. Press the ()or() keypads
until cursor is next to Set Grains/PPM. Press the SELECT/EXIT (¤)
keypad. Change between diplaying hardness units in grains or parts
per million (PPM).

ECOWATER
SYSTEMS Faceplate Controller, Features/Options
19
Primary Menu, continued
Remote Status: Enter Primary Menu. Press the ()or() keypads
until cursor is next to Remote Status. Press the SELECT/EXIT ( ¤
) keypad. The current remote status is displayed.
Send E.A.S.E. Message: Enter Primary Menu. Press the ()or()
keypads until cursorisnext to Send E.A.S.E. Message. Press theSE-
LECT/EXIT ( ¤) keypad. The unit will automatically start sending
E.A.S.E. message and show a progress bar on the display. See page
30.
Advanced/Service: By entering these menus, a warning screen will
first be displayed. Only technicians or knowledgeable users should
use these menus.

ECOWATER
SYSTEMS Faceplate Controller, Features/Options
20
The following is a description of the options in the Advanced/Service
Menu. To enter any of the following menus, press SELECT/EXIT (¤)
to enterPrimary Menu. Press the ()or() keypads untilcursor is next
to Advanced/Service. Press the SELECT/EXIT ( ¤) keypad to enter
this menu. Warning screen will show, press the () keypad to contin-
ue. To exit to Normal Screen Views move square cursor (3) to EXIT,
which appears at either the top or the bottom of this menu. If no key-
pad has been pressed display will show for 4 minutes before default-
ing back to the Normal Screen Views.
Set Language: Press the ()or() keypads until cursor is next to Set
Language. Language can be changed from English to Spanish or
French. Warning: If the language has been mistakenly changed, the
following steps can be followed to reset.
1) Unplug transformer, then reapply power to the unit. After 4 sec-
onds, the time of day should show in the upper right corner. If the time
of day is not shown, press the SELECT/EXIT ( ¤) keypad until it is.
2) Press the SELECT/EXIT ( ¤) keypad.
3) Press the () keypad until the square cursor (3) is next to one of
the following: Advanced/Service (English)
Servicio/Avanzando (Spanish)
Fonct avanc (French)
4) Press the SELECT/EXIT ( ¤) keypad.
5) Press the () keypad.
6) Press the () keypad until the square cursor (3) is next to one of
the following: Set Language (English)
Seleccionar idioma (Spanish)
Réglage langue (French)
7) Press the SELECT/EXIT ( ¤) keypad.
8) Language can now be selected by pressing the ()or() keypads
until the cursor is next to correct language.
9) Press the SELECT/EXIT ( ¤) keypad to select language.
10) Press the ()or() keypads until cursor is next to EXIT.
11) Press the SELECT/EXIT ( ¤) keypad.
Diagnostics: Press the ()or() keypads until cursor is next to Diag-
nostics and press SELECT/EXIT ( ¤). This screen is for viewing only
and will show any error codes plus information about the unit. Use the
()or() keypads to view all lines of the screen. See page 31.
Test Remote: Press the ()or() keypads until cursor is next to Test
Remote and press SELECT/EXIT ( ¤). At set up, the unit will send
a signal to the remote every 3 seconds to allow for correct positioning
of remote monitor. Press SELECT/EXIT ( ¤) to exit. See page 22 for
information on Remote Monitor.
continued

ECOWATER
SYSTEMS Faceplate Controller, Features/Options
21
Advanced/Service Menu, continued
Set Low Salt Alert: Press the ()or() keypads until cursor is next
to Set Low Salt Alert and press SELECT/EXIT ( ¤). Use the ()or
() keypads to change Alert Level. At this level the controller will sig-
nal that salt needs to be added to the conditioner brine tank. Press
SELECT/EXIT (¤)toexit.
Efficiency Mode: Press the ()or() keypads until cursor is next to
Efficiency Mode and press SELECT/EXIT ( ¤). Default is Auto Ad-
justing which has a minimum efficiency of 3350 grains/lb of salt. Use
the ()or() keypads to change to either High Capacity which sets
the regeneration salt doses that are increased by a certain % to han-
dle applications requiring 1.5 PPM (parts per million) or less soft wa-
ter, or to handle special cases such as low leakage requirement or
problem water conditions; and Salt Efficient which operates at a
minimum of 4000 grains/lb of salt. Changing this setting will prompt
a warning that changes could affect performance. Press SELECT/
EXIT (¤)toexit.
NOTE: California regulations require the Efficiency Mode to be ON for
sale in California.
Set Max Days/Recharge: Press the ()or() keypads until cursor is
next to Set Max Days/Recharge and press SELECT/EXIT ( ¤). De-
fault is Automatic. The algorithm will determine when to recharge.
Use the ()or() keypads to change between 1 and 15 days. With
this setting the unit will never go past number of days set for a re-
charge, but could recharge before. Press SELECT/EXIT (¤)toexit.
Set 97% Feature: Press the ()or() keypads until cursor is next to
Set 97% Feature and press SELECT/EXIT ( ¤). Default is Off. Use
the () keypad to set to On. By setting to On, unit will automatically
recharge when 97% capacity has been used, at any time of day.
Press SELECT/EXIT (¤)toexit.
Set Backwash Time: Press the ()or() keypads until cursor is next
to Set Backwash Time and press SELECT/EXIT ( ¤). Time can be
changed from 1 to 30 minutes. See chart on page 33 for recom-
mended backwash time. Press SELECT/EXIT (¤)toexit.
Set 2nd Backwash: Press the ()or() keypads until cursor is next
to Set 2nd Backwash and press SELECT/EXIT ( ¤). Default is Off.
Use the () keypad to set to On. When set to On, unit will always per-
form a 2nd backwash and rinse. Press SELECT/EXIT (¤)toexit.
Elect this feature if water contains a lot of sediment or iron.
continued

ECOWATER
SYSTEMS Remote Monitor, Features/Options
22
Advanced/Service Menu, continued
Set FastRinse: Press the ()or() keypads until cursor is next to Set
Fast Rinse and press SELECT/EXIT ( ¤). Time can be changed from
1 to 30 minutes. See chart on page 33 for recommended fast rinse
time. Press SELECT/EXIT (¤)toexit.
Set Model: The controller is factory set to the model code, which pro-
vides the shortest recharge times and greatest water savings. For op-
eration at higher salt efficiency levels, the alternate model code selec-
tion is required (see the product specification sheet). Do the following
to change to this code, if desired.
1) Press the ()or() keypads until cursor is next to Set Model and
press SELECT/EXIT ( ¤). Warning screen will display, press ()to
continue.
2) Use the ()or() keypads to change to new model code. Be sure
to set the correct code, or the EcoWater conditioner will operate
on incorrect timing. NOTE: If this feature is changed, it will delete all
information stored in the controller (Hardness, Recharge time will
have to be reset. All usage history will be cleared). When you are cer-
tain the correct code appears, press SELECT/EXIT (¤) to exit. Warn-
ing screen will appear after changing model code, press () to contin-
ue. The display will return to the start-up screens.
MODEL NUMBER
(on rating decal) Required Code Alternate Code
ECR3000R20 R20 HR20
ERR3000R20 R20+ -
ECR3000R30 R30 HR30
ECR3002R30 2R30 2H30
ERR3002R30 2R30 2H30
ECR3002R40 2R40 2H40
ECR3002R50S 2H50 -
ECR3002R70 2R70 2H70
Restore To Factory Settings: Press the ()or() keypads until cur-
sor is next to Restore System and press SELECT/EXIT ( ¤). Default
is No. If set to Yes will restore controller to factory settings. NOTE:
This will affect ALL settings, and controller will go through first time
set-up screens again. Press SELECT/EXIT (¤)toexit.

GREEN LED
AMBER LED
RED LED
ECOWATER
SYSTEMS Remote Monitor, Features/Options
23
Remote Monitor, Features and Options
This EcoWater unit comes with a Remote Monitor which can conve-
niently be placed in yourhome forviewing ofyourconditioners’status.
During normal operation, the green LED will flash at intervals of 5 sec-
onds. If the unit requires salt, the amber LED will flash, and if the unit
needs to be checked the red LED will flash.
The controller on the EcoWater Systems conditioner will send a signal to the remote monitor every minute.
The remote monitor will listen for a signal every 10 minutes. Any changes in softener status could possibly
take up to 10 minutes before the remote registers the change. If the unit stops sending a signal, the remote
will keep trying to listen for the signal. If after 10 minutes with no signal received, the remote will try 1 minute
later and 2 minutes later to find the signal, gradually increasing the time between, but will keep trying to listen
for the signal for up to 2 days. After 20 minutes with no signal received, the remote monitor will turn off the
LED’s to conserve battery life, but will still be active. After 2 days with no signal received, the remote monitor
will shut down untill the reset button is pushed (on back of remote).
The EcoWater Systems remote uses 3 “AA” batteries, which are included. To check batteries, press reset
button on back of remote monitor. If batteries are good, the LED’s on the remote should scroll green, amber,
red. If LED’s do not light, batteries need to be changed.
If there is another EcoWater unit within range of the remote, it may cause a conflict with the channel that the
remote monitor is receiving. If the remote monitor displays the wrong message (example: low salt when salt
is above warning level) this is an indication that the remote monitor is receiving a different signal. Follow the
steps below to change the remote channel.
Set Remote Channel: Enter Advanced/Service Menu. Move cursor
next to Set Remote Channel and press SELECT/EXIT ( ¤). Default
is random from 1 to 16. Press ( )or() to select new channel. Press
SELECT/EXIT (¤) to exit to the Primary Menu and press reset button
on back of remote monitor.
NOTE: This device complies with Part 15 of the FCC Rules. Operation is subject to the following two condi-
tions: (1) this device may not cause harmful interference, and (2) this device must accept any interference
received, including interference that maycause undesired operation. Changes ormodificationsnot expressly
approved by the party responsible for compliance could void the user’s authority to operate the equipment.
NOTE: ALSO SEE SERVICE INFORMATION, PAGES 28 THROUGH 34.

ECOWATER
SYSTEMS EcoWater Conditioner Operation
24
ELECTRONICS
WATER METER:
The water meter consists of a turbine, turbine
mounting assembly, and sensor housing. It is lo-
cated at the valve outlet port, FIG. 6, page 9. As wa-
ter passes through and spins the turbine, 2 magnets
(in the turbine) cause a back-and-forth movement of
a switch in the sensor housing. This switch move-
ment sends a pulse to the faceplate controller.
FACEPLATE CONTROLLER:
The faceplate controlleris actuallya smallcomputer.
As it receives pulses from the water meter, it con-
verts them to gallons of water passing through the
EcoWater conditioner. It multiplies this water usage
information times the water hardness (prepro-
grammed into the controller) to continually calculate
the conditioned water capacity required. The com-
puter adjusts daily to water using habits, seeking to
supply conditioned water for the longest time, using
the least (and most efficient) amount of salt and wa-
ter to regenerate.
When the computer determines more capacity is
needed, it schedules a regeneration at the next re-
generation starting time (2:00AM, or as otherwise
preset). RECHARGE TONIGHT shows in the dis-
play to inform of the coming regeneration. During
vacations, etc., when you are not using water, the
EcoWater conditioner will not regenerate.
SERVICE, AND REGENERATION
The EcoWater conditioner is filled with a man-made
resin material, called the UHVLQ EHG The resin looks
somewhat like coarse sand, but the beads are round
and smooth. Resin has the ability to remove hard-
ness minerals from water by ion-exchange.
SERVICE (FIG. 14):
Hard waterenters the EcoWater conditioner, passes
through the valve and down into the resin tank and
resin bed. As it passes through the bed, hardness
minerals are extracted from the water and held by
the resin beads. Conditioned water exits the resin
tank through the bottom distributor, flows up the in-
ternalstandpipe, into the valve, and out to the house
pipes.
In time, the resin beads hold all the hardness miner-
als they can, and cleaning with a salt solution (brine)
is needed. Regeneration and recharge are words
used to describe this cleaning.
REGENERATION, OR RECHARGE:
The faceplate controller determines when a regen-
eration is needed (see above). Regeneration starts
at 2:00AM, or other preselected time, and consists
of 5 different steps, or cycles. These are ILOO EULQLQJ
EULQH ULQVH EDFNZDVK and IDVW ULQVH.
67(3 ),// &<&/( ),* Salt, dissolved in
water, is called brine. Brine is the cleaning agent for
the resin bed. To make brine, water is needed in the
brine tank salt storage area. A controlled water flow
to the brine tank takes place during fill.
To enter fill, the EcoWater conditioner valve reposi-
tions slightly (motor energized). A valve passage
opensallowing FRQGLWLRQHG water to flow throughthe
nozzle and venturi, to the brine valve, and into the
brine tank. Fill cycle length is regulated by the con-
troller, depending upon how much cleaning is need-
ed to remove all hardness minerals, and restore
100% capacity.
continued, page 26

FRONT VIEW (CUT-AWAY)
TOP VIEW
(CUT-AWAY)
HARD
WATER
IN
CONDITIONED
WATER OUT
LEFT END VIEW
(CUT-AWAY)
RIGHT END VIEW
(CUT-AWAY)
outlet
disc inlet
disc
top
distributor
to resin
bed
to resin
bed
from
resin bed
resin
tank
standpipe and
bottom distributor
HARD
WATER
IN
CONDI-
TIONED
WATER OUT
FIGURE 14
SERVICE CYCLE
FRONT VIEW (CUT-AWAY)
TOP VIEW
(CUT-AWAY)
HARD
WATER
IN
CONDITIONED
WATER OUT
LEFT END VIEW
(CUT-AWAY)
RIGHT END VIEW
(CUT-AWAY)
outlet
disc inlet
disc
to resin
bed
to resin
bed
from
resin bed
CONDI-
TIONED
WATER
OUT
FIGURE 15
FILL CYCLE
HARD
WATER
IN
CONDITIONED
WATER TO
BRINE TANK
fill flow
plug
ECOWATER
SYSTEMS EcoWater Conditioner Operation
25
WATER FLOW PATHS

ECOWATER
SYSTEMS EcoWater Conditioner Operation
26
67(3 %5,1,1* &<&/( DQG
67(3 %5,1( 5,16( &<&/( ),*
The controller energized motor moves the valve out
of fill and into brining. A port opens, routing water to
the nozzle. Flow, through the nozzle and into the
venturi, creates a suction in the brine tubing and
brine valve. The suction pulls brine out of the brine
tank, and it mixeswith water at the nozzle and ventu-
ri. Brine and water flow back into the valve, down the
internal standpipe, and into the resin bed. As brine
passes through the resin bed, hardness minerals
are released from the resin and carried with water
flow to the drain.
After all brine is drawn from the brine tank, the brine
valve float seats to prevent air induction. Water con-
tinues to flow in the same direction exceptfor thedis-
continued brine flow. Hardness minerals and brine
rinse from the resin bed and flow to the drain.
Brining and brine rinse time is also variable and con-
trolled by the controller (see page 33).
BYPASS HARD WATER: During brining and brine
rinse (also backwash and fast rinse, page 27), KDUG
ZDWHU is bypassed through the valve and available at
house faucets. Avoid using HOT water however, be-
cause the water heater will refill with hard water.
FIGURE 16
BRINING and
BRINE RINSE CYCLES
WATER FLOW PATH
FRONT VIEW (CUT-AWAY)
TOP VIEW
(CUT-AWAY)
HARD
WATER
IN
BYPASS HARD
WATER OUT
LEFT END VIEW
(CUT-AWAY)
RIGHT END VIEW
(CUT-AWAY)
brine
to resin bed
from
resin bed
BYPASS
WATER
OUT
HARD
WATER
IN
BRINE FROM
BRINE TANK
nozzle & venturi
from
resin bed
to
drain
water to nozzle
& venturi brine from
nozzle & venturi
nozzle & venturi

FRONT VIEW (CUT-AWAY)
TOP VIEW
(CUT-AWAY)
HARD
WATER
IN
BYPASS HARD
WATER OUT
LEFT END VIEW
(CUT-AWAY)
RIGHT END VIEW
(CUT-AWAY)
from
resin bed
BYPASS
WATER
OUT
HARD
WATER
IN
from
resin bed
to
drain
fast flow to bottom
of resin bed
backwash
flow plug
FRONT VIEW (CUT-AWAY)
TOP VIEW
(CUT-AWAY)
HARD
WATER
IN
LEFT END VIEW
(CUT-AWAY)
RIGHT END VIEW
(CUT-AWAY)
fast flow to top
of resin bed
from bottom
of resin bed
HARD
WATER
IN
fast flow to top
of resin bed
BYPASS HARD
WATER OUT
BYPASS
HARD
WATER OUT
fast rinse
flow plug
to
drain
FIGURE 18
ECOWATER
SYSTEMS EcoWater Conditioner Operation
27
FIGURE 17
67(3 %$&.:$6+ The motor drives
the valve to end brine rinse and begin
backwash. In backwash, a fast XSZDUG
flow of water, through the resin bed,
flushes remaining hardness minerals,
brine, dirt, sediments, iron deposits, etc.,
from the bed and to the drain. The fast flow
lifts and expands the resin bed for maxi-
mum cleaning.
67(3 )$67 5,16( After backwash,
valve rotation places the valve in fast rinse.
The continued fast flow of water changes
directiontoflowGRZQ through the resin
bed. Any brine, hardness minerals, etc.,
still at the bottom of the resin bed, are
flushed up the standpipe and out the valve
to the drain. The resin bed ispacked by the
fast flow, and prepared for service. The
motor is energized a final time to return the
valve to service position.

ECOWATER
SYSTEMS Service Information
28
REFILLING WITH SALT
Remove the brine tank coverand check the salt stor-
age level frequently. If the conditioner uses all the
salt before you refill it, you will get hard water. Be
sure the brinewell cover is on when refilling with
salt.
RECOMMENDED SALT: Cube, pellet, coarse so-
lar, etc., water conditioner salt is recommended.
This type of salt is from high purity evaporated crys-
tals, sometimes formed, or compressed, into bri-
quets. It has less than 1% insoluble (will not dissolve
in water) impurities. &OHDQ KLJK JUDGH rock salts are
acceptable, but may require frequent brine tank
cleaning to remove the‘‘sludge’’ residue (insolubles)
that collects at the bottom of the tank.
SALT NOT RECOMMENDED: Rock salt, high in im-
purities, block, granulated, table, ice melting, ice
cream making salts, etc., are not recommended.
SALT WITH IRON REMOVING ADDITIVES: Some
salts have an additive to help a water conditioner
handle iron in a water supply. Although this additive
may help keep the resin bed clean, it may also re-
lease corrosive fumes that will weaken and shorten
the life of some EcoWater conditioner parts.
BREAKING A SALT BRIDGE
Sometimes, a hard crust or salt bridge forms in the
brine tank. It is usually caused by high humidity or
the wrong kind of salt. When the salt bridges, an
empty space forms between the water and the salt.
Then, salt will not dissolve in the water to make
brine. Withoutbrine, theresin bedis notregenerated
and you will have hard water.
If the brine tank is full of salt, it is hard to tell if you
have a salt bridge. Salt is loose on top, but the bridge
is under it. Take a broom handle, or like tool, and
push it straight down into the salt. If a hard object is
felt, it’s most likely a salt bridge. &DUHIXOO\ push into
the bridge in several places to break it.
NOTE: ,Q KXPLG DUHDV LW LV EHVW WR NHHS WKH VDOW VWRU
DJH OHYHO ORZHU DQG WR UHILOO PRUH RIWHQ
CLEANING THE NOZZLE AND VENTURI
A clean nozzle and venturi (FIG. 19) is a must for the
EcoWater conditioner to work right. This small unit
creates the suction to move brine from the brine
tank, into the resin tank. If it should become plugged
with sand, silt, dirt, etc., the EcoWater conditioner
will not work, and you will get hard water.
To get to the nozzle and venturi, remove the condi-
tioner top cover. Be sure the conditioner is in the
service cycle (no water pressure atnozzle andven-
turi). Then, holding the nozzle and venturi housing
with 1 hand, turn off the cap. 'R QRW ORVH WKH RULQJ
VHDO Lift out the screen support and screen. Then,
remove the nozzle and venturi. Wash the parts in
warm, soapy water and rinse in fresh water. If need-
ed, use a small brush to remove iron or dirt. Be care-
ful not to scratch, misshape, etc., surfaces of the
nozzle and venturi. Also, check and clean the gasket
and flow plug(s) if dirty.
Carefully replace all parts in the correct order. Lubri-
cate the o-ring seal with silicone grease and locate
in position. Installand tightenthe cap,by hand only.
Do not overtighten and break the cap or housing.
cap
o-ring
screen support
screen
nozzle &
venturi
gasket
flow plug➀
(fill)
nozzle &
venturi housing
cone screen
flow plug➀(not used
on all models)
install with numbered
side UP,
brine tubing
FIGURE 19
➀

ECOWATER
SYSTEMS Service Information
29
RESIN BED CLEANING
If the water supply contains ‘‘clear water ’’ iron (see
page 4), regular resin bed cleaning is needed to
keep the bed from coating with iron. Use resin bed
cleaner, available from EcoWater, following direc-
tions on the container. Clean the resin every 6
months, or more often if iron appears in your condi-
tioned water supply.
ADDING RESIN
Normally, the resin bed (FIG. 20) will last the lifetime
of the EcoWater conditioner. However, certain
conditions may requirepartial ortotal replacement of
the resin bed. Some of these conditions are:
(1) damaged top and/or bottom distributors have al-
lowed resin to escape
(2) resin bed iron fouled beyond use
(3) some water supplies cause resin degradation
FREEBOARD
resin
bed
resin
tank
bottom
distributor
tube
add resin
plug distributor tube
while adding resin
FIGURE 20
To add more resin, or to replace the entire bed, use
the following guides. See resin and gravel require-
ments on page 33.
MODEL
NUMBER RESIN TANK
SIZE FREEBOARD
RANGE*
LBS. RESIN PER
INCH BED
DEPTH*
ECR3000R20 8x35 8.5 - 12.5 1.6
ERR3000R20,
ECR3000R30,
ECR3002R30 10 x 35 10.5 - 14.5 2.2
ERR3002R30,
ECR3002R40 10 x 47 14.5 - 18.5 2.2
ECR3002R70 12 x 54 20 - 24 3.4
ECR3002R50S 12 x 54 27 - 31 3.4
does not include carbon in ERR models
*)UHHERDUG UDQJH and OEV RI UHVLQ SHU LQFK EHG
GHSWK in the preceding chart, are provided only as
a guide formaintenance when adding to,or if replac-
ing the entire bed with new, fully regenerated, resin
with typical moisture content. Freeboard can vary
several inches depending on resin bed conditions
including...if regenerated or exhausted, total mois-
ture content, settling during shipping and storage,
tolerance variables in resin tank size, and amount
and type of gravel underbedding.
Each model is factory loaded with the specific
pounds or cubic feet of resin required, not by a free-
board measurement. Refer to page 33 for this infor-
mation.
IMPORTANT NOTES:
Turn off the water supply and relieve pressure...see
page 30.
Handle the resin tank carefully. It isheavy when filled
with resin and water.
Do not lose o-ring seals or other small parts.
Refer to the assembly instructions, page 6, and to
installation steps 1, 12, 14, 15 and 18 to reassemble
and restart the unit.
standpipe
top distributor
resin
tank
valve
assembly
shipping
cap clamp retainer (2)
clamp section (2)
o-ring,
13/16” x 1-1/16”
o-ring,
2-7/8” x 3-1/4”
(thick)
o-ring,
2-3/4’ x 3”
(thin)
standpipe

ECOWATER
SYSTEMS Service Information
30
3 - Valve Bypass
OUTLET
VALVE
INLET
VALVE
BYPASS
VALVE
water
flow
to conditioner
from conditioner
for SERVICE:
-Openthe inlet and outlet valves.
- Close the bypass valve.
for BYPASS:
- Close the inlet and outlet valves.
-Openthe bypass valve.
EcoWater Bypass Valve
CAUTION: ALWAYS relieve water pressure in the EcoWater
conditioner,as follows, before removing parts from the valve or resin tank.
DE-PRESSURIZE
1. Put bypass valve(s) in bypass position.
2. Do Manual Advance step1, page 32, (fill water to brine tank will depressurize the resin
tank).
PRESSURIZE
1. Put bypass valve(s) in service position.
2. Do Manual Advance steps 2-5, page 32, to return unit to service.
ALTERNATE METHOD
3-VALVE BYPASS ECOWATER BYPASS VALVE
DE-PRESSURIZE
1. Close the INLET valve.
2. Open HOT and COLD conditioned water
house faucets.
3. Close the OUTLET valve and open the
BYPASS valve.
4. Close all house faucets.
PRESSURIZE
1. Open HOT and COLD house faucets.
2. Close the BYPASS valve and open the
OUTLET valve.
3. Slowly, open the INLET valve.
4. Close all house faucets
DE-PRESSURIZE
1. Close the house main water supply valve.
2. Open HOT and COLD conditioned water
faucets.
3. Push the bypass valve handle to bypass
position.
Note: For hard water bypass to house fau-
cets, reopen the main water supply valve.
PRESSURIZE
1. Open HOT and COLD house faucets
(main water supply valve open).
2. Pull the bypass valve handle to service
position.
3. Close all house faucets.
ECOWATER CONDITIONER OPERATION, ELECTRONIC CHECKOUT
ALWAYS MAKE THE INITIAL CHECKS FIRST
INITIAL CHECKS:
1. Does the time display show the correct time of
day?
..,I GLVSOD\ LV EODQN check power source to the Eco-
Water conditioner.
...,I WLPH LV LQFRUUHFW power was off for over 2 days.
The conditioner resumes normal operation, when
power returns, but regenerations occur at the wrong
time.
...,I DQ HUURU FRGH VKRZV in the display (example: Er-
ror3), go to AUTOMATIC ELECTRONICDIAGNOS-
TICS, following.
2. Are plumbing bypass valve(s) in service position
(all the way open or closed, as applies).
3. Are the inlet and outlet pipes connected to the
EcoWater conditioner inlet and outlet respectively.
4. Is the transformer plugged into a ‘‘live’’, grounded
wall outlet, and the power cable fastened securely?
5. The valve drain hose must be free of kinks and
sharp bends, and not elevated over 8’ above the
floor.
6. Is there salt in the brine tank?
7. Is the brine tubing connected? See FIG. 9, page
10.
8. Press SELECT/EXIT ( ¤) to enter Primary Menu.
Move the cursor so that it is next to Set Hardness.
Press the SELECT/EXIT ( ¤) keypad once to dis-
play the hardness setting. Be sure it is the correct
setting for the household’s water supply. -- Make a
hardness test of the raw water and compare with the
hardness setting. Also test a conditioned water sam-
ple to verify if a problem exists. --Press SELECT/
EXIT ( ¤) keypad to exit to Normal View Screens.
If you do not find a problem after making the initial
checks, do MANUAL INITIATED ELECTRONIC
DIAGNOSTICS, and the MANUAL ADVANCE RE-
GENERATION CHECK, pages 31 and 32.
E.A.S.E.: EcoWater digital demand controllers have the latest diagnostic technology. With E.A.S.E., or Electronic
Automated Service Evaluation, a service person or homeowner can transmit operational data through the tele-
phone, to a personal computer (PC). The PC processes the data to determine if all electrical functions are working
normally, or helps to identify a problem should one occur. Ask your participating EcoWater dealer for more informa-
tion on this feature.

ECOWATER
SYSTEMS Service Information
31
AUTOMATIC ELECTRONIC DIAGNOSTICS
The faceplate computer has a self-diagnostic func-
tion for the electrical system (except input powerand
water meter). The computer monitors electronic
components and circuits for correct
operation. If a malfunction occurs, the
computer attempts to self correct, dis-
playing ADJUST VALVE in the Normal
View Screen. If self correction fails, an
error code appears in the faceplate
display.
The chart below shows the error codes that could
appear, and the possible defects for each code.
While an error code appears in the display, all face-
plate keypads are inoperable except the SELECT
keypad.SELECT remains operationalso the service
person can make the MANUAL INI-
TIATED ELECTRONIC DIAGNOS-
TICS, below, to further isolate the de-
fect, to check the water meter and to
send an E.A.S.E. transmission.
POSSIBLE DEFECT
CODE MOST LIKELY ----------------------------------LEAST LIKELY
Error 1 Error 2
Error 3 Error 4 wiring harness or connection to position switch / switch / valve defect causing high
torque / motor inoperative
Error 5 faceplate
PROCEDURE FOR REMOVING ERROR CODE FROM FACEPLATE: 1. Unplug transformer---- 2. Correct defect---- 3.
Plug in transformer---- 4. Wait for 8 minutes. The error code will return if the defect was not corrected.
TROUBLESHOOTING,
MANUAL INITIATED ELECTRONIC DIAGNOSTICS
1. To enter diagnostics,
press the SELECT/EXIT
(¤)to enterthe menu.This
screen contains informa-
tion that can be used to
troubleshoot errors. Use
the () and () keypads to
scroll through all lines on
this screen.
The first line shows time of day and error code.
Second line is Pos: which shows what position the
valve is in. Example: Service, Fill, Brining and Brine
Rinse, Backwash and Fast Rinse. The clock to the
right counts backward the time for each of the posi-
tions to be completed.
The next line is Req Pos: which is for requested
position, or what position the valve is travelling to.
Next line displays Motor:, either on or off, and Sw:
(switch) either open or closed.
Next is Trbn: (turbine) and Gals: (gallons) which in-
dicate water meter operation as follows.
000 (steady) = conditioned water not in use...no flow
through the meter.
-open a nearby CONDITIONED WATER faucet-
000 to 151 (continual) = repeats display for each gal-
lon of water passing through
the meter. Gallons up by one.
If you don’t get a reading in the display, with a faucet
open, pull the sensor housing from the valve outlet
port. Pass a small magnet back and forth in front of
the sensor. You should get a reading. If you do get
a reading, disconnect the outlet plumbing and
check the turbine for binding. If you don’t get a
reading, the sensor is probably defective.
turbine
support
turbine
sensor housing
BACK OF CONTROLLER
CIRCUIT BOARD
magnet
sensor pickup
continued

ECOWATER
SYSTEMS Service Information
32
continued from page 31
Use the recharge keypad to manually advance the
valve into each cycle and check correct switch op-
eration, and observe the valve position indicator.
NOTE: 7KH SRVLWLRQ VZLWFK LV FORVHG ZKHQ WKH SOXQJ
HU LV GHSUHVVHG RSHQ ZKHQ H[WHQGHG
While in this diagnostic screen, the following in-
formation is available and may be beneficial. This in-
formation is retained by the computer from the first
time electrical power is applied to the faceplate.
...Remote: either Installed or Not Installed.
...Days: displays the number of days this faceplate
has had electrical power applied.
...Rchg: to show the number of regenerations initi-
ated by this faceplate since power was first applied.
NOTE: This number resets to 0 if the model code is
changed.
...Last Rchg: displays the number of days since last
recharge.
...Cap: displays numerically the capacity the soften-
er is operating at with 1 lowest and 5 highest.
Press the SELECT/EXIT(¤)to exitto the Advanced/
Service menu, move cursor up to EXIT and press
SELECT/EXIT (¤)togotoNormalScreenViews.
TROUBLESHOOTING,
MANUAL ADVANCE REGENERATION CHECK
This check verifies proper operation of the gearmo-
tor, brine tank fill, brine draw, regeneration flow
rates, and other controller functions. $OZD\V PDNH
WKH LQLWLDO FKHFNV DQG WKH PDQXDO LQLWLDWHG GLDJQRV
WLFV ILUVW
1. Press the RECHARGE keypad. Move cursor
down to Start Rchg Now and press SELECT/EXIT
(¤) to start a recharge. As the EcoWater conditioner
enters the fill cycle of regeneration, remove the
brinewell cover and, using a flashlight, observe fill
water entering the tank.
a. If water does not enter the tank, look for an ob-
structed nozzle and venturi, fill flow plug or brine tub-
ing FIG. 19, page 28.
2. After verifying fill, press Recharge keypad to move
the valve into brining*. A slow flow of water to the
drain will begin. Verify brine draw from the brine tank
by shining the flashlight into the brinewell and ob-
serving a noticeable drop in the liquid level.
*If the 2ND BACKWASH option is set, the valve will
enter backwash and fast rinse before brining...see
page 21.
NOTE: Be sure water is in contact with the salt, and
not separated by a salt bridge...see page 28.
a. If the unit does not draw brine, check for...
...dirty or defective nozzle and venturi, page 28
...nozzle and venturi not seated on the gasket, or
gasket defective
...restriction in valve drain, causing a back-pressure
(bends, kinks, elevated too high, etc.), installation
step 8
...obstruction in brine valve or brine tubing, page 6
and FIG. 9, page 10
...inner valve failure (obstructed outlet disc, wave
washer defective, etc.)
3. Again press Recharge keypad to move the valve
into backwash. Look for a fast flow of water from the
drain hose.
a. If flow is slow, check for a plugged top distributor,
backwash flow plug or drain hose.
4. Press Recharge keypad to move the valve to fast
rinse position. Again look for a fast drain flow. Allow
the unit to rinse for several minutes to flush out any
brine that may remain from the brining cycle test.
5. To return the valve to service position, press Re-
CHARGE ONCE AGAIN.
continued

ECOWATER
SYSTEMS Service Information
33
MISCELLANEOUS SERVICE INFORMATION
MODEL CODE R20+ R20 HR20 R30
2R30 HR30
2H30 2R40 2H40 2R70 2H70 2H50
LBS / CU FT RESIN ➏38/.71 32 / 0.6 ❼47 / .88 ❽59 / 1.12 109/2.05 79/1.5
LBS GRAVEL 10 810 10 12 17
F
I
L
L
C
Y
C
L
E
➊TIME 2-10 2-6 3-10 4-12 7-21 5-15
FILL CYCLE ➋FLOW .3 .3 .3 .3 .3 .3
➊42 37 90 41 69 54 102 58 98 74
B
R
I
N
E
C
Y
C
L
E
TIME ↕↕↕↕↕↕↕↕↕↕
BRINE CYCLE ➌63 58 103 63 108 91 141 92 152 114
➍FLOW .22 .11 .15 .15 .22 .22
BRINE RINSE CYCLE ➍FLOW .14 .07 .10 .10 .14 .14
B
A
C
K
W
A
S
H
C
Y
C
L
E
➎TIME 8 8 8 12 13 13
BACKWASH CYCLE ➍FLOW 1.5 1.0 1.8 1.8 4.0 4.0
F
A
S
T
R
I
N
S
E
C
Y
C
L
E
➎TIME 2 2 2 3 4 4
FAST RINSE CYCLE ➍FLOW 3.3 2.4 3.0 3.0 5.4 5.4
❶minutes, varies with capacity operating level ❷gallon per minute flow to brine tank ➌includes brine rinse cycle minutes
➍gallon per minute flow to drain ➎factory set default minutes
➏synthetic high capacity resin - For field replacement, use the following pounds of standard /finemeshresins:
R20 - 30 /2 R30-44 /3 R40-55.5 / 3.5 R50S - 79 /0 R70-102.5 /6.5
❼ERR3000R20 models use 35.7/1.9 lbs blended resin, 9.6 lbs of carbon and 10 lbs gravel. ❽ERR3002R30 models also have 12 lbs of carbon
OTHER SERVICE
HARD WATER BYPASS (hard water ‘‘bleeds’’ into
conditioned water supply).
1. Defective inlet disc, seal, or wave washer (see
pages 38 and 39).
2. Missing ordefective o-ring(s) at resin tank to valve
connection.
WATER LEAKS FROM DRAIN HOSE (during ser-
vice).
1. Defective inlet disc, seal, or wave washer.
2. Defective o-ring on inlet disc shaft.
3. Defective outlet disc, seal, or wave washer.
FLOODED SALT TANK
1. Nozzle venturi plugged.
2. Defective valve seals.
3. Restricted or plugged backwash/fast rinse con-
trols.
4. Restricted or plugged drain line.
WATER HAS SALTY TASTE
1. House water pressure low (adjust pump, if well
system).
2. Partially restricted valve drain hose, top distribu-
tor, backwash flow plug, resin tank internal riser, or
bottom distributor.
WIRING SCHEMATIC
24VAC
TRANSFORMER
GND
OUT
+5
TURBINE
SENSOR
NC
NO
PWA on
back of controller
VAC
24
6 pin connector
white
POSITION
SWITCH
M
24V
TANK
LIGHT
110 V
60 Hz

ECOWATER
SYSTEMS Service Information
34
FOR FUTURE REFERENCE, ENTER THE FOLLOWING INFORMATION
MODEL NO. ➀➁
DATE CODE ➁
WATER HARDNESS GPG
WATER HARDNESS SETTING (see page 15)
SERIAL NO. ➀➁
INSTALLATION DATE
IRON CONTENT PPM
➀on rating decal ➁on shipping carton

ECOWATER
SYSTEMS Dimensions / Specifications
35
IN
OUT
3-13/16”
32-1/2”
45-1/8”
A
IN - OUT
IN - OUT
14”
20”
14”
14”
C
B
16”
16”
36-9/16”
32”
ECR3000R20 ERR3000R20 ERR3002R30
ECR3000R30
ECR3002R30 ECR3002R40 ECR3002R50S ECR3002R70
s
e
e
r
a
t
i
n
g
d
e
c
a
l
o
n
t
h
e
s
o
f
t
e
n
e
r
◆see rat
i
ng
d
eca
l
on t
h
eso
f
tener
0.60 0.71 0.88 1.12 1.5 2.05
9.4 5.5 9.6 11.5 15 9.3
40 47 58 72 93 125
810 12 15 15 15
20 - 125
40 - 120
3
2.4 2.4 3.0 3.0 5.4 5.4
These systems conform to ANSI/NSF 44 and ERR3000R20 and ERR3002R30 conform to WQA S-200 for the specific performance
claims as verified and substantiated by test data.
◆Efficiency ratings are only valid at the lowest salt dosage. These softeners were efficiency rated according to ANSI/NSF standard 44.
MODEL NOMINAL RESIN TANK SIZE AB C
ECR3000R20 8” DIA. X 35” 39.5” - -
ECR3000R30, ECR3002R30, ERR3000R20 10” DIA. X 35” 39.5” 39.5” 44.8”
ECR3002R40, ERR3002R30 10” DIA. X 47” -51.3” 56.6”
ECR3002R50S, ECR3002R70 12” DIA. X 54” -57.1” 62.2”
SALT STORAGE CAPACITIES
17ZR 7DQN Brine Tank - 250 lbs
1&DELQHW Brine Tank - 200 lbs

ECOWATER
SYSTEMS Repair Parts
36
ECOWATER CONDITIONER
ASSEMBLY
9
8
10
11
33
34
35
36
37
38
39
12
13
14
15
16
17
20
21 30
26
25
23
24 23 24
32
22
19 20
21
31
40
42
43
44
15
47
45
25
1
2
3
4
5
7
48
41
6
28
29
46
27
18
19 22

ECOWATER
SYSTEMS Repair Parts
37
➀
➀
➀optional parts, not included with conditioner

ECOWATER
SYSTEMS Repair Parts
38
1
2
3
4
5
6
78
910
11 12
13
14
15
16
17
18
19
15
20
21
22
23
24
25
26
27
28
29
30
31
32
33
34
35 36
37
38
12
39
13
40
41
42
43
44
45
46
47
48
49
50
VALVE ASSEMBLY
11

ECOWATER
SYSTEMS Repair Parts
39
optional - not required
included in Disc Kit, # 7218688
not all parts are shown
Use black nozzle along with key no. 28 flow plug on water
pressures of 50 psi and less (ref: Service Bulletin #94068).
includes key nos. 21 - 26 and 29
order key nos. 35 and 36 if needed

ECOWATER
SYSTEMS
EcoWater Systems
PO Box 64420, St. Paul MN 55164-9888
1-800-86WATER