Eltax Atomic A 6 2 Users Manual AtomicA 6.2_Manual

A-6.2 to the manual bb4385a6-5222-26f4-7d6f-9d871165f581

2015-02-02

: Eltax Eltax-Atomic-A-6-2-Users-Manual-426571 eltax-atomic-a-6-2-users-manual-426571 eltax pdf

Open the PDF directly: View PDF PDF.
Page Count: 12

Instruction manual
Betriebsanleitung
Instruktions manual
Mode d’emploi
Active
Subwoofer
A-6.2
Dolby® Pro Logic
If you are going to set up your new home theatre system we recommend the following products: First a large screen, and
laser disc or hi- VCR. Connect them to a Dolby® Pro Logic receiver or amplier and 5 loudspeakers.
The Dolby® Pro Logic processor is the brains of the system. It is a very sophisticated electronic circuit that co-ordinates
the sound with the action on the screen. For example, if a car is coming from the right side of the screen and travels
to the left of the screen, the Dolby® Pro Logic System will follow the sound on your system enabling you to hear the
car moving from right to left. A helicopter that is ying towards the viewer and then disappears will still leave the viewer
hearing the sound of the helicopter ying behind him long after it leaves the screen.
As you can imagine, it is very difcult to co-ordinate the action with events on the screen. The Dolby® Pro Logic decoder
is mastering several voice controlled ampliers to manage this trick.
Dolby® Digital
Popularized in theatres world-wide, Dolby® Digital is now available for in-home use. Dolby® Digital delivers six totally
separate channels of sound. It includes amplication to the Left, Center and Right channels across the front room.
Where Dolby® Digital really distinguishes itself from Dolby® Pro Logic mono surround channel is in the separate
left surround and right surround channels that are fullrange stereo. This delivers more precise localization of sounds
and a more convincing, realistic ambience.
The sixth channel, sometimes referred to as the “.1” channel, is the low frequency effects channel for the active
subwoofer, which can contain additional bass information to maximize the impact of scenes such as explosions
and crashes.
Dolby® Digital has been employed to bring you Dolby® Digital movies for several years now (over 200 Dolby®
Digital movies have already been produced). Now, due to the arrival of Dolby® Digital DVD´s, you are able to enjoy
this exciting performance in your home.
Dolby® Pro Logic
Wenn Sie ein komplettes Surround System kaufen möchten, schlagen wir Ihnen folgende Produkte dafür vor: einen
grossen Fernseher und entweder einen DVD- oder einen Hi-Fi-CD-Spieler. Verbinden Sie diese mit einem Dolby Pro
Logic-Receiver oder -Verstärker und 5 Surround-Lautsprecherboxen.
Der Dolby Pro Logic-Prozessor ist das Gehirn des Systems. Der Prozessor ist ein äusserst kompliziertes, elektronisches
Steuerwerk, das den Klang mit dem Bild auf dem Bildschirm koordiniert. Wenn auf dem Bildschirm z.B. ein Auto von links
nach rechts fährt, wird das Dolby Pro Logic-System dieses Geräusch in den Lautsprecherboxen wiedergeben; und Sie
werden so den Eindruck haben, dass das sich Auto in Ihrem Wohnzimmer von links nach rechts bewegt.
Damit die Koordination der Töne mit dem Bild richtig läuft, kontrolliert der Dolby Pro Logic Decoder mehrere
Verstärker.
Dolby® Digital
Wo Dolby Digital früher ein avanziertes Klangsystem aus den Kinos war, ist es heute möglich, den digitalen Klang zu
Hause zu erleben. Dolby Digital verfügt über 6 völlig unabhängige Lautsprecherausgänge, und zwar für rechts und
links Front, Center, rechts und links Rear sowie für einen aktiven Subwoofer. Im Vergleich zu Dolby Pro Logic, der nur
einen begrenzten Frequenzbereich als ein Monosignal wiedergibt, gibt Dolby Digital aufgrund der getrennten Ausgänge
der Rear-Boxen den ganzen Frequenzbereich wieder. Dadurch wird eine präzisere örtliche Bestimmung der Töne und
ein überzeugenderes Raumgefühl gewährleistet.
Der sechste Ausgang, auch den *1*-Ausgang genannt, wird als Effektausgang der niedrigen Frequenzen eingesetzt -
hier kann der aktive Subwoofer angeschlossen werden. Wenn der aktive Subwoofer an das System angeschlossen wird,
können z. B. Explosionen im Film maximal ausgearbeitet werden.
Dolby Digital ist der Standard künftiger Kinolme - es sind heute bereits mehr als 200 Filmtitel in diesem Format
produziert worden. Aufgrund der neuen Technologie ist es jetzt möglich, im Heimkino die gleichen Klangerlebnisse
wie im Kino zu haben.
General • Generelt • Generell • Généralités
2
General • Generelt • Generell • Généralités
Dolby® Pro Logic
Hvis du planlægger at investere i et komplet surround system anbefaler vi følgende produkter: Et stort TV og
enten en DVD eller en hi-fi video. Forbind disse til en Dolby® Pro Logic receiver eller forstærker og forbind
herefter 5 højttalere.
Dolby® Pro Logic processoren er hjernen i systemet, processoren er en yderst kompliceret elektronisk styringsenhed,,
som koordinerer lyden med billedet skærmet. F. eks. hvis der kommer en bil fra højre mod venstre side og
forsvinder i venstre side, vil Dolby® Pro Logic systemet følge lyden fra dit TV, du vil opfatte at bilen bevæger sig
fra højre mod venstre. En helikopter, der yver imod seeren og forsvinder vil opfattes som om, at den yver hen
over hovedet på seeren.
Du kan sikkert forestille dig hvor svært det er at koordinere handlingerne på skærmen med dine højttalere. For at opnå
denne effekt kontrollerer Dolby® Pro Logic dekoderen ere forstærkere.
Dolby® Digital
Fra udelukkende at være et avanceret lydsystem fra biograferne er det i dag blevet muligt at opnå Dolby® Digtal i sin
egen hjemmebiograf. Dolby® Digital indeholder 6 helt uafhængige kanaler, hvilket inkluderer højre, center, venstre
kanaler i front og venstre og højre i bag. I forhold til Dolby® Pro Logic er baghøjttalerne to separate kanaler, der
gengiver fuldt frekvensområde, hvorimod Dolby® Pro Logic baghøjttalerne gengiver begrænset frekvensområde
som et monosignal.
Herved opnås en mere præcis lokalisering af surround lydene og derved en mere overbevisende rumfølelse.
Den sjette kanal, ofte benævnt den “.1“ kanal, er benyttet som effektkanal for de lave frekvenser, hvortil kan tilsluttes aktiv
subwoofer. Ved at tilslutte en aktiv subwoofer opnås et maksimalt udbytte af scener med eksplosioner og brag.
Dolby® Digital er blevet valgt som standarden for fremtidige Dolby Digital lm, faktisk er der produceret mere end
200 lmtitler. baggrund af den nyeste Dolby® Digital teknologi, er det nu muligt at endnu større lydoplevelser
hjemme i stuerne.
Dolby® Pro Logic
Si vous comptez investir dans un système complet de son cinéma, nous vous recommandons les produit suivants:
une grande télé, un lecteur DVD ou/et un magnétoscope hi-Fi. Reliez-les à un amplicateur Pro-Logic et ajoutez
5 enceintes.
Le processeur Dolby Pro Logic est le cerveau du système, il coordonne le son avec l’image sur l’écran. Si par
exemple une voiture vient de la droite vers la gauche, et disparaît à gauche, le processeur fera en sorte que le
son suive cette image. De même, un hélicoptère qui vole vers le spectateur et disparaît, sera perçu comme s’il
passait au dessus de votre tête.
Vous imaginez sans peine la complexité de cette manipulation. Pour y arriver, le processeur Dolby Pro Logic contrôle
plusieurs amplicateurs en même temps.
Dolby® Digital
Ce système sonore très complexe, qui appartenait jusqu’ici aux salles de cinéma, est aujourd’hui possible chez vous.
Le Dolby Digital comprend 6 canaux complètement indépendants: Droite, centre et gauche à l’avant et droite et gauche
à l’arrière, ainsi qu’une sortie pour caisson de basses. Les deux canaux arrières, par comparaison au Pro Logic, ne
jouent donc plus en mono dans une bande passante réduite, mais dans toute la bande passante et en signal stéréo.
Les effets surround sont donc plus précis et plus convaincants.
Le sixième canal est celui des effets dans les basses fréquences. On peut y ajouter un caisson de basses actif, ce qui
améliore le rendu des scènes spectaculaires, du style explosions etc…
3
Aktiv Subwoofer Atomic A-6.2 Sub
Aufbau
Packen Sie den aktiven Subwoofer mit grosser Vorsicht aus
und heben Sie die Originalverpackung auf.Wenn ein Scha-
den am Gerät festzustellen ist, kontakten Sie unverzüglich
Ihren Händler.
Man kann den aktiven Subwoofer auf 2 Weise aufbauen -
unten werden die Möglichkeiten geschildert:
1. Verbindung von Verstärker (Subwoofer pre out) zum
Subwoofer:
Verbinden Sie das Kabel vom Verstärker Subwoofer pre out
mit dem Subwoofer (Line In (1)). Hiermit läuft das Lautsignal
vom Subwoofer pre out zu Ihrem aktiven Subwoofer.(s. Abb.
1 Seite 8).
2. Verbindung vom Verstärker (Speaker out) zum Sub-
woofer:
Verbinden Sie das Kabel der Lautsprecheranschlüsse des
Verstärkers mit dem aktiven Subwoofer (High Level In )
Beachten Sie, dass der rechte Anschluss des Verstärkers mit
dem rechten Anschluss des Subwoofers verbunden werden
muss. Das gleiche gilt für die linken Anschlüsse. Die Satel-
liten oder Frontlautsprecherboxen werden darauf mit dem
Subwoofer verbunden (High Level Out ). Beachten Sie, dass
der rechte Anschluss des Subwoofers mit dem rechten Laut-
sprecher verbunden werden muss. Das gleiche gilt für die
linken Anschlüsse.(s. Abb. 2 Seite 9).
Funktionen (s. Abb. 3 Seite 10).
Lautstärkenregler (4)
Die Lautstärke des Subwoofers wird direkt am Subwoofer
geregelt. Vorsicht bei der Einstellung der Lautstärke. Es
sind oft grosse Lautstärkenuntrerschiede in verschiedenen
Sequenzen eines Filmes; daher ist Genauigkeit bei der Ein-
stellung erforderlich.
Phase (8)
Phasenverschiebung 0 oder 180 Grad. Probieren Sie einfach
die Einstellungen aus, um den gewünschten Effekt zu
erzielen.
Crossover (5)
Es gibt die Möglichkeit, den Bass zu reduzieren - Einstellung
von 50-250 Hz. Probieren Sie einfach verschiedene Einstel-
lungen aus, um den gewünschten Effekt zu erzielen.
Standort
Das menschliche Ohr kann die Frequenzen des aktiven Sub-
woofers nicht orten, da sie bei unter 135 Hz liegen. Folgen-
des muss aber trotzdem bei der Plazierung des Subwoofers
beachtet werden:
1. Damit der Raum die Basstöne verteilen kann, stellt man
den Subwoofer am besten in eine Ecke mit etwa 10 cm
Abstand zur Wand. Wenn die Basswiedergabe etwas zu kräf-
tig ist, einfach etwas von der Wannd abrücken. (s. Abb. A
Seite 6).
2. Der Subwoofer sollte in der Nähe der Satelliten aufgestellt
sein (s. Abb. B Seite 6).
3. Der Subwoofer darf nicht zugedeckt werden.
4
UK
D
Active Subwoofer Atomic A-6.2 Sub
Carefully unpack the Eltax Active subwoofer and check for
any damages. If possible, keep the carton box in case future
transportation is needed.
You should immediately contact your dealer if the active
subwoofer is damaged.
Installation
There are two ways to install Your new subwoofer ; below we
will describe how:
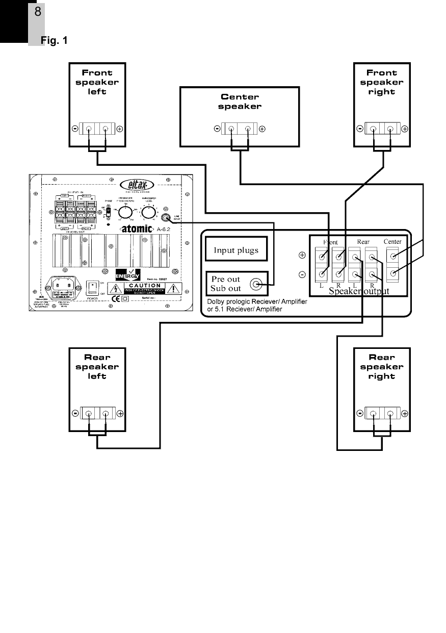
1. From amplier with pre out to subwoofer:
Connect the power cord from the amplier pre out to Line
In on Your active subwoofer. Hereby the sound signal runs
from amplier subwoofer pre out to Your active subwoofer.
(See Fig 1 on page 8)
2. From amplier speaker out to subwoofer:
Connect the speaker cords from the amplier speaker termi-
nations to High Level In on Your active subwoofer. Make sure
that the right channel on the amplier is connected to the
right channel on the subwoofer. Repeat the same check for
the left channels. Next, connect the front speakers from High
Level Out on Your active subwoofer. Make sure that the right
channel on the subwoofer is connected to the right speaker.
Repeat the same check for the left channel.(See Fig 2 on
page 9)
Functions (See Fig. 3 on page 10)
Volume (4)
The sound level of the active subwoofer can be adjusted.
Use the volume control carefully, remember that programme
material may contain very high energy.
Phase (8)
The phase is adjustable to 0 or 180 degrees. Try both set-
tings for preferred sound.
Crossover (5)
It is possible to reduce the bass - adjustment from 50-250
Hz. Try different settings for preferred sound.
Placement
Your active subwoofer is designed to re-produce music infor-
mation in the frequency range below 100Hz. The human ear
is not able to localize sound for these low frequencies, this
is why the placement of the subwoofer is not critical.However
you can use the nature of the acoustic laws in the following
ways:
a. To get the most amplication of the room itself, place the
active subwoofer close to a corner at a distance of about 10
cm from the walls. If you get to much bass please move the
subwoofer out from the corner. (See drawing A on page 6)
b. By experimenting with the placement of the subwoofer you
can optimize the sound quality. One good rule is to place
the subwoofer near the satellite speakers. (See drawing B
on page 6)
c. Never cover the built-in amplier.
Aktiv Subwoofer Atomic A-6.2 Sub
Venligst udpak din nye aktive Eltax subwoofer med forsig-
tighed. Hvis du har mulighed for at opbevare papkassen
til eventuelle fremtidige forsendelser vil dette klart være at
foretrække.
Skulle subwooferen være beskadiget ved udpakning skal
du øjeblikkelig kontakte din forhandler.
Installation
Der er 2 måder at tilslutte din nye subwoofer på. I det
følgende kapitel vil vi beskrive hvordan:
1. Forbind ledningen fra forstærkeren subwoofer-out til Line
Input på din aktive subwoofer. Herved løber lydsignalet fra
Subwoofer Out til din aktive subwoofer. (se Fig. 1 side 8)
2. Fra forstærkerens speaker out til subwooferen:
Forbind højttalerkablet fra forstærkerens højttaler termina-
ler til High Level In på din aktive subwoofer. Venligst check
at højre kanal på forstærkeren forbindes til højre kanal
på subwooferen. Gentag samme check på venstre kanal.
Fronthøjttalerne forbindes herefter fra High Level Out på
den aktive subwoofer. Venligst check at højre kanal på
subwooferen forbindes med den højre højttaler. Gentag
processen for venstre kanal.(se Fig. 2 side 9)
Funktioner (se Fig. 3 side 10)
Volume Control (4)
Her justeres niveauet på subwooferen. Vær forsigtig ved
indstilling af niveauet. Der er ofte store niveauforskelle på
forskellige lm scener, hvilket gør indstillingen til en læn-
gere process.
Phase (8)
Fasen kan indstilles til 0 eller 180 grader. Prøv begge
indstillinger og vurder hvor størst mulig effekt opnås.
Crossover (5)
Det er muligt at afskære bassen - regulering fra 50-250
Hz. Prøv forskellige indstillinger og vurder hvor størst mulig
effekt opnås.
Placering
Den active subwoofer er designet til at gengive alle infor-
mationer op til 135 Hz. Det menneskelige øre er ikke i
stand til lokalisere lave frekvenser. Dette er årsagen til at
placering af subwooferen ikke er problematisk.
Du kan dog udnytte naturlovene på følgende måder:
1. For at opnå størst muligt effekt via rummet stilles sub-
wooferen tæt på et hjørne med en afstand til væggene
på ca. 10 cm. Hvis dette giver for meget bas bør
subwooferen yttes længere fra hjørnet. (Se tegning A
på side 6)
2. Ved at eksperimentere med placeringen af subwoofe-
ren kan lydkvaliteten optimeres. En gylden regel er at
placere subwooferen ved satellitterne. (Se tegning B
på side 6)
3. Forstærkerdelen på subwooferen må aldrig tildækkes.
Actif Subwoofer Atomic A-6.2 Sub
Veuillez déballer votre caisson de basses actif ELTAX
avec précaution.
Si possible, gardez le carton pour d’éventuels envois.
Si le caisson est abîmé au déballage, contactez votre
revendeur au plus vite.
Installation
Il y a deux façons de raccorder votre nouveau caisson de
basses (subwoofer). Dans le chapitre suivant, nous allons
vous les expliquer.
1. Depuis l’amplicateur, avec la prise RCA (out)
jusqu’au caisson de basses:
Reliez la prise jack PRE OUT SUBWOOFER sur l’am-
plicateur à la prise RCA Line In sur le caisson de
basses.(voir g. 1 page 8)
2. Depuis la sortie enceintes de l’amplicateur,
jusqu’au caisson de basses:
Reliez, à l’aide de câble d’enceintes, les borniers (speaker
out) de l’amplicateur à l’entrée high level in sur votre
caisson actif. Vériez que la sortie droite soit reliée à l’en-
trée droite, et la sortie gauche à l’entrée gauche. Reliez
ensuite la sortie High Level Out aux enceintes frontales,
en respectant toujours les côtés.(voir g. 2 page 9)
Fonctions (voir g. 3 page 10)
Volume (4)
Ce reglage est délicat, car il y a toujours de grandes varia-
tions de niveau dans un lm il faut donc soigneusement
regler le volume.
Phase (8)
La phase peut être positionnée à 0 ou à 180 °. Essayez
les deux et choisissez celui qui donne le plus d’effet.
Crossover (5)
Il est possible de couper les basses - réglage de 50-250
Hz. Testez plusieurs réglages et voyez où vous obtenez
le plus d’effet.
Placement
Le placement du caisson de basses est relativement aisé,
étant donné que l’oreille humaine ne peut localiser les
très basses fréquences. En clair, vous pouvez le placer
où vous le voulez.
1. Toutefois on obtient plus d’effets en le plaçant dans un
coin à 10 cm. Des deux murs. Si celà donne trop de
basses, éloignez le un peu des murs. (voir g. A page 6)
2. Il est également conseillé de le placer près des encein-
tes frontales (voir g. B page 6)
3. Ne couvrez jamais la partie amplicatrice du caisson
actif
5
DK
F
Warning!
To reduce the risk of electric shock, do not open or remove cover
or back. Do not expose this appliance to rain or moisture. In case of
malfunction consult qualied service personel
Advarsel!
For at eliminere risikoen for elektrisk stød denne enhed aldrig
åbnes. Ved driftsforstyrelse kontakt da straks den lokale forhandler
for service.
Achtung!
Um die Gefahr eines Stromschlages zu vermeiden, ist dieses Gerät
nicht zu öffnen. Bei Störung kontakten Sie bitte Ihren Händler.
Attention!
Risque de choc électrique - Ne pas ouvrir
Avertissement
Pour éliminer le risque de choc électrique, ne jamais ouvrir cette
unité. En cas de panne, contacter le revendeur
A B
6
7
The lightning flash with
arrowhead, within an equilate-
ral triangel, enteded to alert the
user of the presence of unin-
sulated „dangerous voltage“
within the product’s enclosure;
that may be of sufciant mag-
nitude to constitude a risk of
elektrick shock to persons!
En blinkende pil i en ligesidet
trekant alarmerer forbrugeren
om der i produktet findes
strømførende dele med så høj
spænding, at risikoen for „elek-
trisk stød“ foreligger.
Ein leuchtender Pfeil in einem
gleichseitigen Dreieck macht
den Verbraucher darauf auf-
merksam, dass im Gerät Teile
sind, die unter Strom stehen,
und dass die Gefahr eines
Stromschlages besteht.
Une flèche dans un triangle
informe l’utilisateur de la pré-
sence de tension électrique
pouvant causer u choc élec-
trique
The exclamationpoint, within an
equilateral triangel, is atended
to alert the user of the pre-
sence of important operating
and maintanance (servicing)
instructions in the literature
accompayning the appliance.
Udråbstegn i en ligesidet tre-
kant alamerer forbrugeren om,
at der i vejledningen findes
vigtige informationer for det
daglige brug og vedligehol-
delse (service) af produktet.
Ein Ausrufezeichen in einem
gleichseitigen Dreieck macht
den Verbraucher darauf auf-
merksam, dass in der Gebrau-
chsanleitung wichtige Infor-
mationen über die tägliche
Benutzung sowie die Wartung
des Produktes zu nden sind.
Un point d’exclamation dans
un triangle informe l’utilisateur
de la présence, dans le manuel
d’utilisation, de point impor-
tants pour l’entretien et l’utili-
sation quotidienne du produit.
8
Fig. 1
9
Fig. 2
10
2
$
9
Fig. 3
1 Line In
- Input from amplier
- Eingang von Verstärker
- Entrée depuis l’amplicateur
- Indgang fra forstærker
2 High Level In
- Speaker input from amplier
- Lautsprechereingang von Verstärker
- Entrée pour enceintes depuis l’ampli
cateur
- Højttalerindgang fra forstærker
3 High Level Out
- Rear or front speaker connection
- Anschluss für Satelliten o. Frontlautspre
cherboxen
- Sortie pour enceintes avant ou satellites
- Tilslutning for bag- eller fronthøjttalere
4 Volumel
- Volume control
- Einstellung der Lautstärke
- Réglage du volume sonore
- Regulering af lydstyrke
5 Crossover
- Bass control; personal adjustment of the
total sound
- Basskontrolle; persönliche Anpassung
des totalen Hörbildes
- Réglage des basses, personnalisation
de l’image sonore
- Baskontrol; personlig tilpasning af det
totale lydbillede
6 On/Stand-by indicator
- Green = „on“, red = „stand-by“ (automatic)
- Grün = „on“, rot = „stand-by“ (automatisch)
- Vert = „on“, rouge = „stand-by“
- Grøn = „on“, rød = „stand-by“ (automatisk)
7 On/off switch
- Power switch (manual)
- Ein- und ausschalten (manuell)
- Bouton d’allumage/arrêt
- Tænd-og-sluk knap (manuel)
8 Phase
- Sound adjustment
- Lautanpassung
- Réglage du son
- Lydtilpasning
9 Mains cord
- Mains connection (with fuse)
- Netzanschluss (mit sicherung)
- Cable de branchement (avec fusible)
- El-tilslutning (med sikring)
1
5
$
4
$
#
3
#
6
#
7
8
$
11
Troubleshooting
Symptom Check
No sound Subwoofer connected to the mains lead.
Power is ON.
Your unit is connected to the LINE IN (1) of
the sub-woofer.
Volume control (4).
Crossover (5).
Red LED not ON Power switch is in ON position.
Subwoofer fuse.
Mains plug fuse.
Please note you may hear a tone from the subwoofer when the power are
being switched OFF, this is normal and not a fault.
For your guidance.
Service
Before requesting service, please refer to the trouble-shooting guide above. To
obtain service please contact your local dealer.
www.eltax.com
TECHNICAL DATA Atomic A-12R
Frequency Response 40-200 Hz
Cross-over Frequency 40-170 Hz Adjustable
Phase Changer 0˚-180˚
On/Off Automatic Yes
Input Line RCA / L,R Speaker
Output L,R Speaker
Mains Voltage 230V 50-60Hz
Mains Power Max. 450 Watt
Mains Power Stand By 12 Watt
Amplier Output 240 Watt
Woofer 300mm
Cabinet Finishes Black
Dimensions (HxWxD) 390x380x380 mm
Weight (net) 19,0 Kg
www.eltax.com
Active
Subwoofer
A-6.2
Page 1 of 12 - Eltax Eltax-Atomic-A-6-2-Users-Manual- AtomicA-6.2_Manual  Eltax-atomic-a-6-2-users-manual
Page 2 of 12 - Eltax Eltax-Atomic-A-6-2-Users-Manual- AtomicA-6.2_Manual  Eltax-atomic-a-6-2-users-manual
Page 3 of 12 - Eltax Eltax-Atomic-A-6-2-Users-Manual- AtomicA-6.2_Manual  Eltax-atomic-a-6-2-users-manual
Page 4 of 12 - Eltax Eltax-Atomic-A-6-2-Users-Manual- AtomicA-6.2_Manual  Eltax-atomic-a-6-2-users-manual
Page 5 of 12 - Eltax Eltax-Atomic-A-6-2-Users-Manual- AtomicA-6.2_Manual  Eltax-atomic-a-6-2-users-manual
Page 6 of 12 - Eltax Eltax-Atomic-A-6-2-Users-Manual- AtomicA-6.2_Manual  Eltax-atomic-a-6-2-users-manual
Page 7 of 12 - Eltax Eltax-Atomic-A-6-2-Users-Manual- AtomicA-6.2_Manual  Eltax-atomic-a-6-2-users-manual
Page 8 of 12 - Eltax Eltax-Atomic-A-6-2-Users-Manual- AtomicA-6.2_Manual  Eltax-atomic-a-6-2-users-manual
Page 9 of 12 - Eltax Eltax-Atomic-A-6-2-Users-Manual- AtomicA-6.2_Manual  Eltax-atomic-a-6-2-users-manual
Page 10 of 12 - Eltax Eltax-Atomic-A-6-2-Users-Manual- AtomicA-6.2_Manual  Eltax-atomic-a-6-2-users-manual
Page 11 of 12 - Eltax Eltax-Atomic-A-6-2-Users-Manual- AtomicA-6.2_Manual  Eltax-atomic-a-6-2-users-manual
Page 12 of 12 - Eltax Eltax-Atomic-A-6-2-Users-Manual- AtomicA-6.2_Manual  Eltax-atomic-a-6-2-users-manual

Navigation menu