Emerson Process Management 1051 Users Manual D100320
1051 to the manual c959a858-1d2e-4699-8df4-5ace97bc3035
2015-02-06
: Emerson-Process-Management Emerson-Process-Management-1051-Users-Manual-540071 emerson-process-management-1051-users-manual-540071 emerson-process-management pdf
Open the PDF directly: View PDF
.
Page Count: 36

www.Fisher.com
D100320X012
Types 1051 and 1052 Sizes 40, 60 and 70
Styles H and J Rotary Actuators
Contents
Introduction 3. . . . . . . . . . . . . . . . . . . . . . . . . . . . . . .
Scope of Manual 3. . . . . . . . . . . . . . . . . . . . . . . . .
Description 3. . . . . . . . . . . . . . . . . . . . . . . . . . . . . .
Specifications 4. . . . . . . . . . . . . . . . . . . . . . . . . . . .
Principle of Operation 4. . . . . . . . . . . . . . . . . . . . .
Installation 4. . . . . . . . . . . . . . . . . . . . . . . . . . . . . . . .
Actuator Mounting 4. . . . . . . . . . . . . . . . . . . . . . . .
Loading Connections 11. . . . . . . . . . . . . . . . . . . . .
Adjustment 11. . . . . . . . . . . . . . . . . . . . . . . . . . . . . . .
Type 1051 and 1052 Turnbuckle Adjustment 11
Type 1052 Spring Adjustment 12. . . . . . . . . . . . .
Initial Compression 12. . . . . . . . . . . . . . . . . . . . .
Stroking Range 13. . . . . . . . . . . . . . . . . . . . . . . .
Maintenance 13. . . . . . . . . . . . . . . . . . . . . . . . . . . . .
Disassembly 14. . . . . . . . . . . . . . . . . . . . . . . . . . . .
Assembly 16. . . . . . . . . . . . . . . . . . . . . . . . . . . . . . .
Changing Actuator Mounting 18. . . . . . . . . . . . . . .
Changing Styles 18. . . . . . . . . . . . . . . . . . . . . . . . .
Changing Positions 19. . . . . . . . . . . . . . . . . . . . . .
Top-Mounted Handwheels and
Adjustable Travel Stops 21. . . . . . . . . . . . . . . . .
Handwheel and Travel Stop Operations 21. . . .
Handwheel and Travel Stop Maintenance 22. . .
For Top-Mounted Handwheels and Adjustable
Up Travel Stops 22. . . . . . . . . . . . . . . . . . . . . . .
For Adjustable Down Travel Stops 23. . . . . . . . .
Parts Ordering 23. . . . . . . . . . . . . . . . . . . . . . . . . . . .
Parts List 24. . . . . . . . . . . . . . . . . . . . . . . . . . . . . . . .
Note
Neither Emerson, Emerson Process
Management, nor any of their affiliated
entities assumes responsibility for the
selection, use and maintenance of any
product. Responsibility for the
selection, use, and maintenance of any
product remains with the purchaser
and end-user.
Figure 1. Type 1051 Actuator with H Mounting Adaptation
and Type 3610J Positioner
Figure 2. Type 1052 Actuator with J Mounting Adaptation
W4252 / IL
W4139-1 / IL
Instruction Manual
Form 5587
November 2006 1051 & 1052 H & J

1051 & 1052 H & J
Instruction Manual
Form 5587
November 2006
2
Table 1. Type 1051 and 1052 Actuator Specifications
Operation
Direct Acting: Increasing loading pressure
extends the diaphragm rod out of the spring barrel
Service:
Type 1051: For on-off or throttling service with
positioner
Type 1052: For on-off or throttling service with or
without a positioner
Actuator Sizes
Type 1051: 40, and 60
Type 1052: 40, 60, and 70
Maximum Diaphragm Sizing Pressure(2)(3)
Size 40: 4.5 bar (65 psig)
Size 60: 2.8 bar (40 psig)
Size 70: 3.8 bar (55 psig)
Maximum Diaphragm Casing Pressure(2)(3)
Size 40: 5.2 bar (75 psig)
Size 60: 3.4 bar (50 psig)
Size 70: 4.5 bar (65 psig)
Maximum Valve Shaft Rotation
90, 75, or 60 deg with optional stops
Torque Limits (mm)(4)
Limited by maximum diaphragm sizing pressure
or tables 2 and 3, whichever is less
Stroking Time
Dependent on actuator size, rotation, spring rate,
initial spring compression, and supply pressure. If
stroking time is critical, consult your Emerson
Process Managementt sales office
Material Temperature Capabilities(3)
Nitrile Diaphragm or O-Rings(1): –40 to 82_C
(–40 to 180_F)
Silicone Diaphragm: –40 to 149_C (–40 to
300_F)
Travel Indication
Graduated disc and pointer combination located
on actuator end of valve shaft
Pressure Connections
1/4 in. NPT female
Mounting Positions
See figure 10
Approximate Weights
See table 7
Additional Specifications
For casing pressure ranges and for material
identification of the parts, see the Parts List
1. Nitrile O-rings are used in optional top-mounted handwheel, adjustable down travel stop, and adjustable up travel stop assemblies.
2. Use this value to determine the maximum torque output allowed.
3. The pressure / temperature limits in this manual and any applicable standard or code limitation for valve should not be exceeded.
4. Exceeding any torque requirements could damage the actuator and impair safe operation.
Table 2. Output Shaft Diameters and Torque Limits for Actuators With H Mounting
ACTUATOR SIZE OUTPUT SHAFT DIAMETER TORQUE LIMIT FOR
H MOUNTING
ACTUATOR
SIZE
mm Inches NDmInch-Pounds
40
22.2
28.6
38.1
7/8
1-1/8
1-1/2
240
468
1110
2120
4140
9815
60 28.6
38.1
1-1/8
1-1/2
468
1210
4140
10,680
70(1) 38.1 1-1/2 1210 10,680
1. Type 1052 actuator only.

1051 & 1052 H & J
Instruction Manual
Form 5587
November 2006
3
Table 3. Acceptable Shaft Diameters and Torque Limits for Actuators With J Mounting
ACTUATOR SIZE
COUPLING AVAILABILITY BY KEYED SHAFT
DIAMETER TORQUE LIMIT FOR J MOUNTING
ACTUATOR
SIZE
mm Inches NDmInch-Pounds
40
9.5
12.7
15.9
19.1
25.4
3/8
1/2
5/8
3/4
1
52
69
114
207
468
460
610
1010
1830
4140
60
19.1
25.4
31.8
38.1
50.8
3/4
1
1-1/4
1-1/2
2
207
468
1030
1360
2650
1830
4140
9110
12,000
23,430
70(1)
31.8
38.1
50.8
1-1/4
1-1/2
2(2)
1030
1360
2650
9110
12,000
23,430
1. Type 1052 actuator only.
2. Coupling supplied for mating with either 44.5 or 50.8 mm (1-3/4 or 2-inch) keyed shaft.
Introduction
Scope of Manual
This manual provides installation, adjustment,
operation, maintenance, and parts ordering
information for the Type 1051 (sizes 40 and 60) and
Type 1052 (sizes 40, 60, and 70) diaphragm rotary
actuators with H and J mounting adaptations (see
figures 1 and 2). Also, this instruction manual
provides information for the optional top-mounted
handwheel, and both the optional up and down
travel stops. Instructions for the control valve body,
the positioner, accessories, and other sizes or
constructions of this actuator are covered in
separate manuals.
Do not install, operate, or maintain a Type 1051 or
1052 actuator without first D being fully trained and
qualified in valve, actuator, and accessory
installation, operation, and maintenance, and D
carefully reading and understanding the contents of
this manual. If you have any questions about these
instructions, contact your Emerson Process
Management sales office before proceeding.
Description
The Type 1051 and 1052 diaphragm rotary actuators
are pneumatic spring-return actuators for use with
rotary-control valves and other equipment. The Type
1051 actuator can be used for on-off service, or it
can be used for throttling service when equipped
with a valve positioner. The Type 1052 actuator can
be used for on-off service, or it can be used for
throttling service when equipped with or without a
valve positioner. The Type 1052 actuator spring is
adjustable.
The H mounting adaptation permits the actuator to
be used with equipment other than Fisherr valve
bodies. The mounting brackets and couplings for
rotary actuation are user-provided. This mounting
adaptation includes a flat-surface mounting plate
that is drilled and tapped for attaching the
user-provided bracket. Cap screws for attaching the
bracket are provided. H mounting also includes an
output shaft (with milled flats) to provide the Double
D rotary output either directly or through a
user-provided coupling. Output shaft diameters and
torque limits are listed in table 2. Dimensional
information for the mounting plate and output shaft
are shown in figures 4, 5, and 6.
The J mounting adaptation permits the actuator to
be used for rotary actuation of Fisher keyed-shaft
butterfly valve bodies and other keyed-shaft
equipment. This mounting adaptation uses the
standard butterfly valve mounting bracket and
provides an output shaft with an attached coupling
for keyed equipment shafts. Coupling sizes and
torque limits are listed in table 3. Dimensional
information for the mounting bracket and stub shaft
coupling is shown in figures 4, 5, and 7.
Additionally, a top-mounted handwheel can be
applied for infrequent service as a manual
handwheel actuator. For more frequent manual
operation, a side-mounted handwheel actuator is
available. Also, an adjustable up travel stop can be
added to limit the actuator stroke in the upward
direction, or an adjustable down travel stop can be
added to limit actuator stroke in the downward
direction.

1051 & 1052 H & J
Instruction Manual
Form 5587
November 2006
4
Specifications
Specifications are shown in table 1 for Type 1051
and 1052 actuators. Specifications for a given Type
1051 or 1052 actuator as it originally comes from the
factory are stamped on a nameplate attached to the
actuator.
Principle of Operation
The diaphragm rod moves down as loading pressure
is increased on top of the diaphragm. As the loading
pressure is decreased, the spring forces the
diaphragm rod upward.
The spring and diaphragm have been selected to
meet the requirements of the application and, in
service, the actuator should produce full travel of the
valve or other operated equipment with the
diaphragm pressure as indicated on the nameplate.
Consult the separate positioner instruction manual
for actuator principle of operation with positioner.
Installation
WARNING
Always wear protective gloves,
clothing, and eyewear when
performing any maintenance
operations to avoid personal injury.
To avoid personal injury or property
damage caused by bursting of
pressure retaining parts, be certain the
service conditions do not exceed the
limits given in table 1. Use pressure
limiting or pressure relieving devices
to prevent the diaphragm sizing
pressure from exceeding the maximum
allowable diaphragm sizing pressure.
Check with your process or safety
engineer for any additional measures
that must be taken to protect against
process media.
If installing into an existing
application, also refer to the WARNING
at the beginning of the Maintenance
section in this instruction manual.
Top Mounted Handwheel
ACTUATOR HCJC
ACTUATOR
SIZE mm Inch mm Inch
40 281 11.06 356 14.00
60 359 14.12 432 17.00
70(1) 335 13.62 356 14.00
1. Size 70 available in Type 1052 only.
Figure 3. Top Mounted Handwheel
WARNING
To avoid personal injury or parts
damage, do not use an operating
pressure that exceeds the Maximum
Diaphragm Casing Pressure (table 1)
or produces a torque greater than the
Maximum Allowable Valve Shaft
Torque (see Catalog 14). Use
pressure-limiting or pressure-relieving
devices to prevent the diaphragm
casing pressure from exceeding its
limit.
Actuator Mounting
Use the following steps to connect the actuator to a
valve body or other equipment. Unless otherwise
specified, key numbers are shown in figures 12
and 13. Mounting dimensions are shown in figures 4,
5, 6, and 7.
Note
For an actuator with an H mounting
adaptation and a 22.2 through 38.1 mm
(7/8 through 1-1/2 inch) output shaft,
find dimensions and center of gravity
information in figures 3, 4, 5, 6, and 9,

1051 & 1052 H & J
Instruction Manual
Form 5587
November 2006
5
and approximate weights in table 7.
This information is required for proper
fabrication of the user-provided
bracket and coupling.
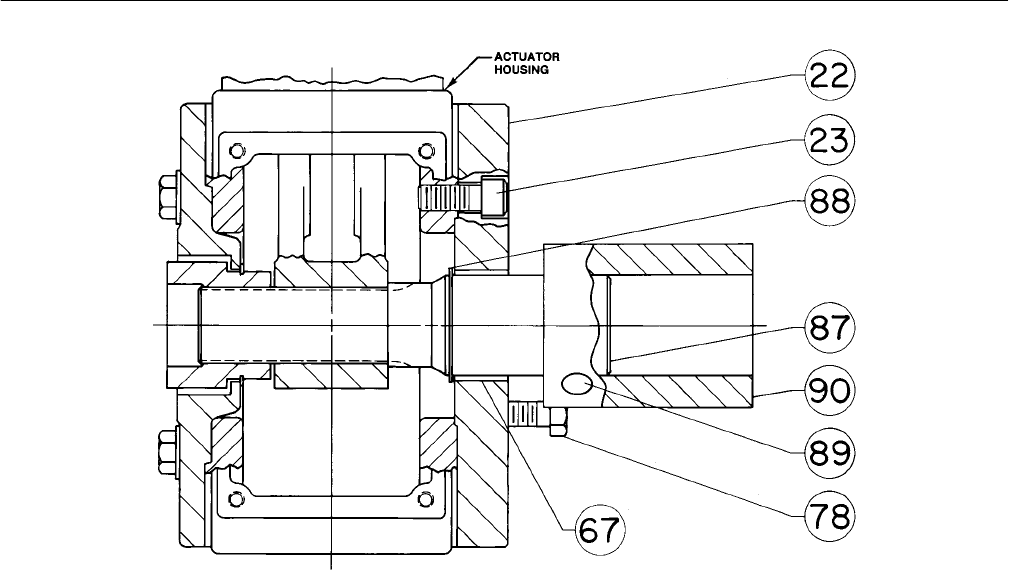
1. For an actuator with an H mounting adaptation,
attach an appropriate mounting bracket (not
provided) to the mounting plate (key 22) with the cap
screws (key 78). See figures 4, 5, and 6 for
mounting dimensions on the mounting plate. Tighten
the cap screws to the bolt torques listed in table 10.
2. Consult figure 10 for available mounting styles
and positions. The actuator is normally positioned
vertically with the valve body or other equipment in a
horizontal pipeline.
Note
If the milled flats or the coupling on
the end of the actuator output shaft
(key 87) are oriented such that the
output shaft cannot accommodate the
operated equipment shaft, refer to the
Changing Positions portion of the
Changing Actuator Mounting section.
This procedure describes how the
output shaft can be repositioned to
accommodate the operated equipment
shaft.
3. If using an actuator with a J mounting adaptation,
note that the valve shaft coupling (key 90) is
furnished with two keyways lettered A and B as
shown in figure 8 and 12 (letters C and D on the
coupling are not used and can be disregarded).
Align the appropriate keyway with the keyway in the
operated equipment shaft. If using a Fisher butterfly
valve, align the appropriate keyway on the coupling
with the valve shaft keyway indicated in table 8.
Then install the woodruff key (key 91) in the shaft
keyseat, and slide the coupling onto the shaft. It is
helpful to apply a light coat of grease to the inside of
the coupling before sliding it onto the shaft.
4. For an actuator with an H mounting adaptation,
slide the actuator (with the user-provided mounting
bracket attached) into the user-provided coupling on
the operated shaft. Then, secure the actuator to the
operated equipment in the desired mounting position
with the appropriate fasteners, such as mounting
cap screws. See figures 4, 5 and 6 for output shaft
dimensions.
5. For an actuator with a J mounting adaptation,
secure the mounting bracket (key 22) to the valve
body with the cap screws (key 78, not shown).
Tighten the cap screws to the bolt torques in
table 10. For 31.8 and 38.1 mm (1-1/4 and 1-1/2
inch) valve shafts, also place the two spacers
(key 92, not shown) between the mounting bracket
and valve body during this step.
6. For an actuator with a J mounting adaptation
and a 50.8 mm (2-inch) output shaft (key 87,
figure 14), note that the valve shaft coupling (key 90,
figure 14) is furnished with two keyways lettered A
and B as shown in figure 8 (letters C and D on the
coupling are not used and can be disregarded).
Align the appropriate keyway with the keyway in the
operated equipment shaft. Then, install the woodruff
key (key 91, not shown in figure 14) in the shaft
keyseat, and slide the coupling onto the shaft using
the appropriate coupling keyway (see table 8 and
figure 8). It is helpful to apply a light coat of grease
to the inside of the coupling before sliding it onto the
shaft. Secure the actuator (user-provided mounting
bracket) to the operated equipment in the desired
mounting position with the appropriate fasteners,
such as mounting cap screws.
7. Follow the instructions given in the Turnbuckle
Adjustment section before proceeding to the Loading
Connection portion of this section.

1051 & 1052 H & J
Instruction Manual
Form 5587
November 2006
6
Table 4. Style H or J Mounting Dimensions
ACTUATOR SIZE
C
E
F
H
P
Y
ACTUATOR SIZE CType 1051 Type 1052 F H P Y
mm
40 333 505 607 54 114 175 73
60 473 749 876 64 121 186 76
70(1) 536 – – – 849 64 121 186 76
Inch
40 13.12 19.88 23.88 2.12 4.50 6.88 2.88
60 18.62 29.50 34.50 2.50 4.75 7.31 3.00
70(1) 21.12 – – – 33.44 2.50 4.75 7.31 3.00
1. Size 70 available in Type 1052 only.
1/4-INCH NPT
Figure 4. Type 1051 Mounting Dimensions (refer to table 4)
19A1465-C
C0577-3 / IL
NOTE:
SEE PARTS LIST FOR WOODRUFF KEY NUMBERS
1
1
1/4-INCH NPT C (DIA)
EE
H
YF
P
H
Y
TYPE 1051 TYPE 1051 STYLE H
MOUNTING ADAPTATION
WOODRUFF KEY
TYPE 1051 STYLE J
MOUNTING ADAPTATION
19A1459-B
19A1459-B

1051 & 1052 H & J
Instruction Manual
Form 5587
November 2006
7
Figure 5. Type 1052 Mounting Dimensions (refer to table 4)
C0676-3 / IL
NOTE:
SEE PARTS LIST FOR WOODRUFF KEY NUMBERS
1
19A1467-E /
1
1/4-INCH NPT
C (DIA)
E
H
Y
F
P
TYPE 1052
WOODRUFF KEY
TYPE 1052 STYLE J ADAPTATION
9.5 THRU 38.1 mm (3/8 THRU 1Ć1/2ĆINCH)
OUTPUT SHAFTS
19A1461-D
19A1461-G
1/4-INCH NPT
E
H
Y
TYPE 1052 STYLE J MOUNTING ADAPTATION
FOR 44.5 AND 50.8 mm (1Ć3/4 AND 2ĆINCH)
KEYED EQUIPMENT SHAFT
19A1461-D
TYPE 1052 STYLE H ADAPTATION
12.7 THRU 38.1 mm (1/2 THRU 1Ć1/2ĆINCH)
OUTPUT SHAFTS
E
H
Y
S (DIA)
M
K
N
Sj
L
V
K

1051 & 1052 H & J
Instruction Manual
Form 5587
November 2006
8
Table 5. Style H Mounting Dimensions
ACTUATO
R SIZE
1051
ACTUATO
R SIZE
1052
S
ACTUATOR
OUTPUT SHAFT
DIAMETER
V L K(1) T U W
1051
1052
mm Inch mm Inch mm Inch mm Inch mm Inch mm Inch
40 40 22.2 7/8 26.2 1.03 19.1 0.75 15.75
15.62
0.620
0.615 57.2 2.25 28.4 1.12 5/16-18
UNC
40&60
40 & 60 28.6 1-1/8 26.2 1.03 19.1 0.75 22.10
21.97
0.870
0.865 76.2 3.00 38.1 1.50 3/8-16
UNC
40 & 60 40, 60 &
70 38.1 1-1/2 28.4 1.50 28.4 1.12 28.45
28.32
1.120
1.115 88.9 3.50 44.5 1.75 1/2-13
UNC
1. Tolerance for the K dimension is indicated by showing maximum and minimum dimensions.
Figure 6. Type 1051 and 1052 Style H Mounting Dimensions (refer to table 5)
22.2 THRU 38.1 mm
(7/8 THRU 1Ć1/2 INCH)
OUTPUT SHAFTS WITH
STYLE H MOUNTING
22.2 THRU 38.1 mm
(7/8 THRU 1Ć1/2 INCH)
OUTPUT SHAFTS WITH
STYLE H MOUNTING

1051 & 1052 H & J
Instruction Manual
Form 5587
November 2006
9
Table 6. Style J Mounting Dimensions
ACTUATOR
SIZE 1051 &
1052
VALVE SHAFT
DIAMETER
COUPLING(1)
INNER
DIAMETER
V L(2) K T U W
1052 mm Inch mm Inch mm Inch mm Inch mm Inch mm Inch mm Inch mm Inch
9.5 3/8 9.53
9.58
0.375
0.377 137 5.38 39.6 1.56 15.7 0.62 117 4.62 - - - - - - 11.2 0.44
40 12.7 1/2 12.70
12.75
0.500
0.502 137 5.38 39.6 1.56 15.7 0.62 117 4.62 - - - - - - 11.2 0.44
15.9 5/8 15.90
15.95
0.626
0.628 160 6.31 49.3 1.94 25.4 1.00 146 5.75 31.8 1.25 11.2 0.44
40&60
19.1 3/4 19.05
19.10
0.750
0.752 160 6.31 47.8 1.88 20.6 0.81 146 5.75 31.8 1.25 11.2 0.44
40 & 60
25.4 1 25.43
25.48
1.0010
1.0025 160 6.31 47.8 1.88 17.5 0.69 146 5.75 31.8 1.25 11.2 0.44
60&70
(3)
31.8 1-1/4 31.75
31.80
1.250
1.252 148 5.81 68.3 2.69 30.2 1.19 210 8.25 50.8 2.00 17.5 0.69
60 & 70
(3)
38.1 1-1/2 38.13
38.18
1.501
1.503 148 5.81 68.3 2.69 23.9 0.94 210 8.25 50.8 2.00 17.5 0.69
60&70
(3)
50.8 1-3/4
& 2
44.45
44.50
1.750
1.752 123 4.84 69.9 2.75 - - - - - - 88.9 3.50 44.5 1.75 1/2-13
UNC
1/2-13
UNC
60 & 70
(3)
50.8 2 50.83
50.90
2.001
2.004 123 4.84 69.9 2.75 - - - - - - 88.9 3.50 44.5 1.75 1/2-13
UNC
1/2-13
UNC
1. Tolerance for the Coupling Inner diameter is indicated by showing maximum and minimum dimensions.
2. The L dimension is the matchline to the end of the actuator shaft.
3. Size 70 is only available for the Type 1052.
Figure 7. Type 1051 and 1052 Style J Mounting Dimensions (refer to table 6)
Y
Sj
L
V
K
19A1461-G
STYLE J MOUNTING
44.5 AND 50.8 mm (1Ć3/4 AND 2ĆINCH)
9.5 AND 38.1 mm (5/8 AND 1Ć1/2ĆINCH)
44.5 AND 50.8 mm (1Ć3/4 AND 2ĆINCH)
KEYED EQUIPMENT SHAFTS WITH
STYLE J MOUNTING

1051 & 1052 H & J
Instruction Manual
Form 5587
November 2006
10
Table 7. Approximate Actuator Weights
SIZE
TYPE 1051 TYPE 1052 TOP-MOUNTED HANDWHEEL
SIZE Kg Lb Kg Lb Kg Lb
40
60
70
43
89
–––
94
197
–––
45
92
123
99
203
272
7.3
11
21.3
16
24
47
Table 8. Keyway Alignment Information(1)
DESIRED
DESIRED
ACTUATOR
COUPLING
VALVE SHAFT KEYWAY TO USE FOR FISHTAILR DISC VALVE
BODIES(2) (SEE FIGURE 10)
DESIRED
ACTUATOR
ACTION
DESIRED
SHAFT
ROTATION,
ACTUATOR
MOUNTING
POSITION
COUPLING
KEYWAY TO
USE(
3
)
Clockwise to
Close Valve Action(4)
Counterclockwise to
Close Valve Action(4)
ACTION
OO,
DEGREES
POSITION
USE(3)
Flow Left to
Right(4)
Flow Right to
Left(4)
Flow Left to
Right(4)
Flow Right to
Left(4)
1 B Nose Tail Tail Nose
Push Down to
60 or 90
2 A Tail Nose Nose Tail
Push
Down
to
Open (PDTO) 60 or 90 3 B Tail Nose Nose Tail
p( )
4 A Nose Tail Tail Nose
1 A Tail Nose Tail Nose
Push Down to
60(5) or 90
2 B Tail Nose Tail Nose
Push
Down
to
Close (PDTC) 60
(5)
or 90 3 A Nose Tail Nose Tail
()
4 B Nose Tail Nose Tail
1. For actuators with J mounting.
2. For conventional disc valve bodies, use either valve shaft keyway.
3. See figure 10 for reference coupling orientation to use with this table.
4. When viewed from actuator side of valve body.
5. For 60-degree rotation with PDTC action, the coupling and actuator output shaft assembly will be offset 30 degrees clockwise (for actuator housing construction style B) or
counterclockwise (for actuator housing construction Style A) in the lever when viewed from the splined end of the actuator shaft. 30 degrees is one spline tooth for 9.5, 12.7, and 15.9
mm (3/8, 1/2, and 5/8-inch) valve shafts and two spline teeth for 19.1 through 38.1 mm (3/4 through 1-1/2 inch) valve shafts.
Figure 8. Valve Shaft Coupling
EXPLODED VIEW OF VALVE SHAFT
AND COUPLING
REFERENCE COUPLING ORIENTATION
FOR TABLE 8
NOTE:
FOR USE WITH J MOUNTING ADAPTATION (UP TO 50.8 mm (2-INCH)
KEYED SHAFT DIAMETERS.
1
1
A3253-1
FULL KEYWAY
LOCATED ON
NOSE AND TAIL
SIDE OF VALVE SHAFT
VALVE SHAFT
COUPLING
PARTIAL KEYWAY
FOR DETERMINING
DISC POSITION
USE APPROPRIATE LETTERED
KEYWAY AS INDICATED IN
TABLE 8
USE APPROPRIATE
VALVE SHAFT
KEYWAY AS
INDICATED
IN TABLE 8
KEYWAY A KEYWAY B
ABOVE
KEYWAY A
19B1465-B

1051 & 1052 H & J
Instruction Manual
Form 5587
November 2006
11
Center of Gravity Dimensions
ACTUATOR ACTUATOR X Y
ACTUATOR
TYPE
ACTUATOR
SIZE mm Inch mm Inch
1051
40 15 0.6 191 7.5
1051 60 10 0.4 361 14.2
40 15 0.6 241 9.5
1052 60 10 0.4 432 17.0
1052
70 23 0.9 488 19.2
Figure 9. Center of Gravity Dimensions
Loading Connection
1. Connect the loading pressure piping to the
pressure connection in the top of the diaphragm
casing.
For size 40 through 60 actuators, run either 1/4-inch
pipe or 3/8-inch tubing between the 1/4-inch
pressure connection and the positioner or automatic
controller.
For size 70 actuators, run either pipe or tubing
between the pressure connection and the positioner
or automatic controller. If necessary, remove
the 1/4-inch bushing in the pressure connection to
increase connection size.
2. Keep the length of pipe or tubing as short as
possible to avoid transmission lag in the control
signal. If an accessory (such as a volume booster or
a positioner) is used, be sure that the accessory is
properly connected to the actuator. If a positioner is
part of the assembly, the pressure connection to the
actuator will normally be made at the factory.
3. When the actuator is completely installed and
connected to the instrument, check for correct action
(air-to-open or air-to-close) to match the controlling
instrument. For successful operation, the actuator
stem and operating shaft must move freely in
response to the loading pressure change on the
diaphragm.
Adjustment
WARNING
Before performing any adjustment
steps, follow the steps in the
WARNING at the beginning of the
Maintenance section.
Type 1051 and 1052 Turnbuckle
Adjustment
Correct turnbuckle adjustment ensures that the valve
body or other operated equipment is correctly closed
when the actuator is against its travel stops. The
turnbuckle adjustment is the only adjustment
necessary on the Type 1051 actuator. Key numbers
used in this procedure are shown in figure 12 for
Type 1051 actuators and in figure 13 for Type 1052
actuators.
For accurate adjustment, remove the valve body or
other operated equipment from the pipeline.
A regulated air supply will be required to stroke the
actuator. Consult table 9 for the sizes of the three
open end wrenches required for this procedure.
1. Remove the access plate (key 59). Also remove
the machine screws (key 60), if present.
Note
For the most accurate adjustment of
the actuator, do not remove the cover
(key 33) during this procedure.
2. Loosen the lower locknut (key 16).

1051 & 1052 H & J
Instruction Manual
Form 5587
November 2006
12
Table 9. Wrench Sizes Required for Turnbuckle
Adjustment, Inches
ACTUATOR TURN-
BUCKLE
LOWER
LOCKNUT
UPPER
LOCKNUT
Type Size BUCKLE
(KEY 57)
LOCKNUT
(KEY 16)
LOCKNUT
(KEY 58)
1051 &
1052
40
60
1-1/8
1-5/16
3/4
15/16
1-1/8
1-5/16
1052 70 1-5/16 1-1/8 1-5/16
3. Make sure the actuator housing (key 20) is clear
of any tools or other instruments that could obstruct
the actuator stroke path. Pressure the diaphragm
casing enough to stroke the actuator down so that
the left-hand threaded upper locknut (key 58) is
accessible through the access opening. Loosen the
locknut.
4. Use one of the following:
a. For push-down-to-close action—Slowly
stroke the actuator to the down travel stop.
Consult the appropriate instruction manual for
determining the closed position of the valve body
or other operated equipment. Adjust the
turnbuckle (key 57) until the closed position is
reached. Lock this adjustment with the left-hand
threaded locknut (key 58). Stroke the actuator to
the mid-travel position, and tighten the locknut
(key 16). Tighten each locknut to the appropriate
torque value listed in table 10.
WARNING
Exceeding any torque requirements
could damage the actuator and impair
safe operation.
b. For push-down-to-open action—Consult the
appropriate instruction manual for determining
the closed position of the valve or other operated
equipment. Release all pressure from the
diaphragm casing, making sure the diaphragm is
against its up travel stop. Be sure that the
optional handwheel is adjusted to its topmost
position so that the closed position of the actuator
and valve body or other operated equipment can
be reached simultaneously. Check the position of
the valve body or other operated equipment with
respect to its properly closed position. Stroke the
actuator so the turnbuckle (key 57) is accessible
through the access opening. Adjust the linkage.
Release pressure to the actuator, and check the
new adjustment. Continue this procedure until the
operated equipment is in the closed position
when the actuator is resting on its up travel stop.
Tighten locknut (key 16). Stroke the actuator, and
tighten the left-hand threaded locknut (key 58).
Tighten each locknut to the appropriate torque
value listed in table 10.
WARNING
Exceeding any torque requirements
could damage the actuator and impair
safe operation.
5. Replace the access plate (key 59). Also, replace
the machine screws (key 60), if present.
6. Loosen the self-tapping screws (key 38), and
adjust the travel indicator (key 37). Retighten the
self-tapping screws.
Type 1052 Spring Adjustment
Initial Compression
The Type 1052 nameplate specifies a spring set,
which is the initial compression adjusted into the
actuator spring, Initial compression is the casing
pressure at which the diaphragm and diaphragm rod
begin to move away from the up travel stop with the
actuator disconnected from the valve body or other
operated equipment. (With the actuator connected
and pressure applied to the valve body or other
operated equipment, a higher casing pressure will
be required to start actuator travel). The initial
compression was selected (based upon the service
conditions specified when the actuator was ordered)
so that when the actuator and valve body or other
operated equipment are in service, the operated
equipment will close properly and full travel will be
obtained within a diaphragm casing pressure range
of 0 to 1.2, 0 to 2.3, 0 to 2.8 or 0 to 3.8 bar (0 to 18,
0 to 33, 0 to 40, or 0 to 55 psig) depending on
specific actuator size and construction.
If the actuator has been disassembled or if the
spring adjustment was changed, and it is desired to
match the initial compression stated on the
nameplate, make sure the rod end bearing (key 17,
figure 13) has been disconnected from the lever
(key 27, figure 13). Adjust the spring so that the
diaphragm rod just starts to travel at the spring set
pressure specified on the nameplate. Be sure the
rod end bearing does not hit the lever as the
diaphragm and diaphragm rod move away from the
up travel stop.

1051 & 1052 H & J
Instruction Manual
Form 5587
November 2006
13
Table 10. Recommended Bolting Torques(1)
KEY
ACTUATOR SIZE
KEY
NUMBER
40 60 70
NUMBER
NDmlbfDft NDmlbfDft NDmlbfDft
6 27 20 27 20 27 20
7 & 8 41 30 41 30 102 75
9 34 25 102 75 102 75
16 34 25 61 45 102 75
18 81 60 163 120 271 200
21 23 17 68 50 68 50
23 34 25 81 60 81 60
28 81 60 163 120 271 200
34 34 25 81 60 81 60
40 9 7 9 7 9 7
54
handwheel 34 25 34 25 34 25
54
down stop 27 20 66 49 69 51
58 102 75 163 120 163 120
141 41 30 41 30 81 60
1. Exceeding any torque requirements could damage the actuator and impair safe
operation.
To adjust the spring, insert a round rod into one of
the slots in the lower bearing seat (key 73,
figure 13). Slot diameter is 9.5 mm (3/8-inch) for
size 40 actuators, 15.9 mm (5/8-inch) for size 60
actuators, and 19.1 mm (3/4-inch) for size 70
actuators.
Rotate the bearing seat to move it toward the
casings (keys 1 and 2, figure 13) to increase initial
compression or away from the casings to decrease
initial compression.
Stroking Range
The initial spring set listed on the nameplate has
been determined to be the optimum setting, and it is
not recommended to make spring adjustments that
will cause this value to change or be exceeded. For
push-down-to-open (PDTO) action, the initial spring
set is normally the maximum allowable to provide
the maximum spring closing force. Any increase of
this setting could over-stress the spring at full travel.
For push-down-to-close (PDTC) action, the initial
spring set has been determined to be the optimum
balance between the air to close and the spring to
open breakout torque.
If the Type 1052 actuator is to be changed from one
action to another (i.e., from PDTC to PDTO), first
refer to the initial spring compression values listed in
the table for keys 11 and 13 in the Parts List section.
Then adjust the unit according to the procedures in
the Initial Compression portion of this section.
Maintenance
Actuator parts are subject to normal wear and must
be inspected and replaced as necessary. The
frequency of inspection and replacement depends
upon the severity of service conditions. Instructions
are given below for disassembly and assembly of
parts. Key numbers referenced in the following steps
are shown in figure 12 for Type 1051 actuators and
in figure 13 for Type 1052 actuators unless
otherwise specified.
WARNING
Avoid personal injury or property
damage from sudden release of
process pressure or uncontrolled
movement of parts. Before performing
any maintenance operations:
DAlways wear protective gloves,
clothing, and eyewear when
performing any maintenance
operations to avoid personal injury.
DDisconnect any operating lines
providing air pressure, electric power,
or a control signal to the actuator. Be
sure the actuator cannot suddenly
open or close the valve.
DUse bypass valves or completely
shut off the process to isolate the
valve from process pressure. Relieve
process pressure from both sides of
the valve. Drain the process media
from both sides of the valve.
DVent the power actuator loading
pressure and relieve any actuator
spring precompression.
DUse lock-out procedures to be
sure that the above measures stay in
effect while you work on the
equipment.
DThe valve packing box may
contain process fluids that are
pressurized, even when the valve has
been removed from the pipeline.
Process fluids may spray out under
pressure when removing the packing
hardware or packing rings, or when
loosening the packing box pipe plug.
DCheck with your process or safety
engineer for any additional measures
that must be taken to protect against
process media.

1051 & 1052 H & J
Instruction Manual
Form 5587
November 2006
14
Disassembly
The following procedure describes how the actuator
can be completely disassembled. When inspection
or repairs are required, perform only those steps
necessary to accomplish the procedure. Do not
under ordinary circumstances remove the cap
screws (keys 7, 8, and 21).
CAUTION
Cap screw (key 18) must be
disengaged from the lever (key 27)
before removing the diaphragm casing
(key 1). Failure to do so will allow the
spring precompression to rotate the
valve body or other operated
equipment beyond its fully open or
closed position. This could cause
damage to the operated equipment.
1. Bypass the valve or other operated equipment.
Relieve all actuator loading pressure, and remove
the tubing or pipe from the top of the actuator.
2. Remove the positioner, if one is used.
3. Mark the orientation of the travel indicator
(key 37) with respect to the travel indicator scale
(key 35). Then, unscrew the cap screws and
washers (keys 34 and 63), and remove the cover
(key 33).
4. Remove the retaining ring (key 30), and then
remove the hub (key 29) from the cover.
5. Check the condition of the bearing (key 31). If
replacement of the bearing is necessary, the travel
indicator scale (key 35) must first be removed by
removing the self-tapping screws (key 36). Mark the
orientation of the travel indicator scale on the cover
before removing it.
CAUTION
When removing the actuator from the
valve body, do not use a hammer or
similar tool to drive the lever (key 27)
or actuator off the output shaft
(key 87). Driving the lever or actuator
could damage operated equipment.
For valves, driving the lever (key 27)
could move the valve disc and
bearings away from the centered
position causing subsequent damage
to valve parts.
If necessary, use a wheel puller to
remove the lever. It is permissible to
tap the wheel puller screw lightly to
loosen the lever, but hitting the screw
with excessive force could also
damage operated parts or disrupt the
centered position of a valve disc or
other equipment.
6. For an actuator with an H mounting adaptation
and a 22.2 through 38.1 mm (7/8 through 1-1/2 inch)
output shaft, unscrew the cap screws (key 78) and
remove the actuator from the operated equipment.
Mark the orientation of the lever (key 27) with
respect to the output shaft (key 87). This marking is
used during reassembly to allow for proper
lever/output shaft positioning.
Then, loosen the cap screw (key 28) so that the
output shaft is free to slide off the lever. With the
lever and output shaft properly marked, unscrew the
cap screws (key 23) and remove the mounting plate
(key 22) and output shaft (key 87) assembly from the
actuator housing (key 20). If necessary, remove the
retaining ring (key 88) and separate the output shaft
from the mounting plate.
7. For an actuator with a J mounting adaptation (see
figures 12 and 13) with a 50.8 mm (2-inch) output
shaft (see figure 14) and proceed as follows:
a. Remove the cap screws (key 78, not shown in
figures 12 and 13) and remove the actuator from
the operated equipment. For an actuator with J
mounting and a 31.8 or 38.1 mm (1-1/4 or 1-1/2
inch) valve shaft diameter, two spacers (key 92,
not shown in figures 12 and 13) are also removed
with the cap screws (key 78).
b. When separating the output shaft (key 87) and
coupling (key 90) from the operated shaft,
remember to remove the woodruff key (key 91,
not shown in figure 14) from the operated shaft
keyway.
c. Mark the orientation of the lever (key 27,
figures 12 and 13) with respect to the output shaft
(key 87). This marking is used during reassembly
to allow for proper lever/output shaft positioning,
d. Loosen the cap screw (key 28, figures 12
and 13) so that the output shaft is free to slide off
the lever.
e. With the lever and output shaft properly
marked, unscrew the cap screws (key 23) and
remove either the mounting bracket (key 22,
figures 12 and 13 for J mounting) or the mounting
plate (key 22, figure 14 for H mounting) plus the

1051 & 1052 H & J
Instruction Manual
Form 5587
November 2006
15
attached output shaft (key 87) from the actuator
housing (key 20).
f. If necessary, remove the retaining ring (key 88)
and slide the mounting bracket or mounting plate
off the output shaft.
8. Check the bearing (key 67) in the mounting
bracket or mounting plate (key 22). Press out and
replace the bearing if necessary.
9. Heat the hex nut (key 19) to 177_C (350_F) long
enough for the thread-locking adhesive (high
strength) (key 77) to lose its holding strength. Then,
remove the cap screw and hex nut (keys 18 and 19),
and remove the lever (key 27) from the housing.
10. Rotate the handwheel (if one is used)
counter-clockwise until the handwheel is not
compressing the spring (key 11).
WARNING
To avoid personal injury from
precompressed spring force suddenly
thrusting the upper diaphragm casing
(key 1) away from the actuator, relieve
Type 1052 spring compression, or
carefully remove Type 1051 casing cap
screws by following the instructions
presented in the next two steps before
proceeding further.
11. To relieve Type 1052 spring compression, insert
a round rod into one of the slots in the lower bearing
seat (key 73). Slot diameter is 9.5 mm (3/8 inch) for
size 40 actuators, 15.9 mm (5/8 inch) for size 60
actuators, and 19.1 mm (3/4 inch) for size 70
actuators. Use the rod to rotate the lower bearing
seat, and move it away from the actuator casings.
Continue rotating the lower bearing seat until spring
compression is completely removed.
12. Loosen, but do not remove, all casing cap
screws (key 5). Make sure there is no spring force
on the Type 1051 upper diaphragm casing. Unscrew
and remove the cap screws and hex nuts (keys 5
and 6), and then remove the upper diaphragm
casing and the diaphragm (key 3).
13. Proceed as appropriate:
For Type 1051 actuators,
a. Read and follow the warning printed on the
nameplate (key 56) located on the diaphragm
plate (key 4).
b. Pull the diaphragm plate (key 4) and attached
parts out of the actuator. The spring (key 11),
diaphragm rod (key 10), cap screw (key 9), spring
seat (key 13), hex nut (key 58), turnbuckle
(key 57), hex nut (key 16), and rod end bearing
(key 17) will be attached to the diaphragm head.
WARNING
For Type 1051 actuators, the
diaphragm plate (key 4) may be
wedged against the diaphragm rod
(key 10), thereby preventing the spring
compression from being relieved as
the cap screw (key 9) is loosened.
Dislodge the diaphragm head from the
diaphragm rod by loosening the cap
screw (key 9) one full turn and tapping
the underside of the diaphragm head
until it follows the cap screw
disassembly. Failure to check for this
situation before removing the cap
screw (key 9) could cause personal
injury due to the sudden release of
spring compression as the cap screw
is disengaged.
c. Slowly remove the cap screw (key 9) while
making sure that the diaphragm head is following
the cap screw removal. Note that spring load will
be zero before the cap screw is completely
removed. Then separate the remaining parts of
the assembly.
For Type 1052 actuators,
a. Remove the rod end bearing (key 17), the hex
nut (key 16), the turnbuckle (key 57), and the hex
nut (key 58) from the diaphragm rod (key 10).
b. Pull the diaphragm plate (key 4) and attached
parts out of the actuator. Then remove the cap
screw (key 9) to separate the diaphragm plate
and the diaphragm rod.
c. Proceed as appropriate:
DFor actuator designs without a set screw in
the spring barrel (key 12), remove the actuator
spring (key 11) from the actuator. If it is necessary to
remove the adjustor (key 74) from the spring barrel
during this procedure, heat the base of the adjustor
to 177_C (350_F) long enough for the thread locking
adhesive (high strength) (key 77) to lose its holding
strength. Then, unscrew the adjustor from the spring
barrel. If the spring seat and the lower bearing seat

1051 & 1052 H & J
Instruction Manual
Form 5587
November 2006
16
(key 13 and 73) are to be replaced, unscrew the
lower bearing seat from the adjustor, and then
remove the thrust bearing and the bearing races
(keys 71 and 72) from the lower bearing seat.
DFor actuator designs with a set screw
(key 75), remove the actuator spring (key 11) from
the actuator. If the spring seat and the lower bearing
seat (keys 13 and 73) are to be replaced, unscrew
the lower bearing seat from the adjustor, and then
remove the thrust bearing and the bearing races
(keys 71 and 72) from the lower bearing seat. If it is
necessary to remove the spring adjustment parts,
heat the set screw (key 75) to 177_C (350_F) long
enough for the thread-locking adhesive (high
strength) (key 77) to lose its holding strength, and
then loosen the set screw (key 75). Unscrew the
spring adjustor (key 74) from the spring barrel
(key 12).
Assembly
This procedure assumes that the actuator is
completely disassembled. If the actuator is not
completely disassembled, start these instructions at
the appropriate step. Key numbers used are shown
in figure 12 to Type 1051 actuators and in figure 13
for Type 1052 actuators.
1. If the Type 1052 spring barrel (key 12) was
removed from the housing (key 10), align the spring
barrel to the housing as described below to ensure
that the offset hole in the base of the spring barrel is
located properly.
For size 40 and 60 actuators, note that one of the
accessory mounting bosses on the spring barrel is
closer to the diaphragm end of the spring barrel.
Place the spring barrel on the housing with the upper
boss (the one closer to the diaphragm end) on the
same side as the boss located on the housing (see
figure 13). This ensures proper positioning of the
offset hole. Secure the spring barrel with the cap
screws (key 21).
For size 70 actuators, the spring barrel need not be
aligned in any particular position when placing it on
the housing.
Note
Refer to table 10 for bolting torques for
actuator bolts and cap screws.
Exceeding any torque requirement
may impair the safe operation of the
actuator.
2. Proceed as appropriate:
For Type 1051 actuators,
a. Coat the thread of the cap screw (key 9) and
the tapered end of the diaphragm rod (key 10)
with lithium grease (key 76).
b. Assemble the diaphragm rod, spring seat
(key 13), spring (key 11), and diaphragm plate
(key 4), and secure with the cap screw (key 9).
Tightening the cap screw will compress the
spring. Be certain the tapered end of the
diaphragm rod is seated in the corresponding
hole in the diaphragm plate, that the spring is
seated in the spring seat, and that the cap screw
is tightened to the torque specified in table 10.
c. Install the hex nut (key 58), turnbuckle
(key 57), hex nut (key 16), and rod end bearing
(key 17) onto the diaphragm rod.
d. Be certain the travel stops (key 8) are located
as shown in figure 11.
e. Install the diaphragm plate and attached parts
into the actuator.
f. Be sure the warning nameplate (key 56) is in
place. Install the diaphragm (key 3) and the upper
diaphragm casing (key 1). Install the cap screws
and hex nuts (keys 5 and 6). Tighten the cap
screws evenly in a crisscross pattern to compress
the spring and secure the upper diaphragm
casing. Tighten these cap screws to the torques
shown in table 10.
For Type 1052 actuators,
a. Proceed as appropriate:
DFor actuator designs without a set screw in
the spring barrel (key 12), if the adjustor and
attached parts were removed, first clean and then
lubricate the upper threads of the adjustor (key 74)
with lithium grease (key 76) as shown in figure 13.
Install the lower bearing seat (key 73), the thrust
bearing (key 71), the thrust bearing races (key 72),
and the spring seat (key 13) onto the adjustor. Then,
first clean and then coat the lower end of the
adjustor with thread-locking adhesive (high strength)
(key 77) as shown in figure 13, and install the entire
assembly into the spring barrel (key 12). Let the
adjustor stand undisturbed for at least two hours
after installation to allow the thread-locking
compound to cure.
CAUTION
When applying lubricant to the upper
threads and thread-locking compound

1051 & 1052 H & J
Instruction Manual
Form 5587
November 2006
17
to the lower threads of the adjustor, do
not overlap the coat of lubricant with
the coat of thread-locking compound
since this will adversely affect the
performance quality of both
substances.
DFor actuator designs with a set screw
(key 75), if the adjustor (key 74) and attached parts
were removed, lubricate the threads of the adjustor
with lithium grease (key 76). Install the lower bearing
seat (key 73), the thrust bearing (key 71), the thrust
bearing races (key 72), and the spring seat (key 13)
onto the adjustor. Install this assembly into the
spring barrel (key 12). After first cleaning and then
coating the set screw (key 75) with thread-locking
adhesive (high strength) (key 77), secure the
adjustor with the set screw (key 75).
b. Coat the tapered end of the diaphragm rod
(key 10) and the threads of the cap screw (key 9)
with lithium grease (key 76). Bolt the diaphragm
plate (key 4) to the diaphragm rod with the cap
screw (key 9). Tighten the cap screw to the
torque value listed in table 10.
c. Be certain the travel stops (key 8) are located
as shown in figure 11.
d. Install the spring (key 11) into the spring
barrel. Install the diaphragm plate and diaphragm
rod into the actuator. Attach the hex nut (key 58),
turnbuckle (key 57), hex nut (key 16), and rod
end bearing (key 17) to the diaphragm rod.
e. Install the diaphragm (key 3).
f. Place the upper diaphragm casing (key 1) on
the lower diaphragm casing (key 2). If necessary,
rotate the lower bearing seat (key 73) so that the
upper diaphragm casing travel stop will not
contact the diaphragm when the casing cap
screws (key 5) are tightened. Secure the upper
diaphragm casing with the cap screws and hex
nuts (keys 5 and 6) in a criss-cross pattern to the
torques shown in table 10. Be sure the warning
nameplate is in place on the casing.
3. If the bearing (key 67) was removed, press in the
new bearing. The end of the bearing should be flush
with the outside of the mounting bracket or mounting
plate (key 22).
4. For an actuator with an H mounting adaptation,
install the output shaft (key 87) through the mounting
plate (key 22) and secure it with the retaining ring
(key 88). Then, attach the mounting plate and output
shaft assembly to the actuator housing (key 20) with
the cap screws (key 23). Tighten the cap screws to
the appropriate torque value listed in table 10.
5. For an actuator with a J mounting adaptation,
refer to figures 12 and 13. Install the output shaft
(key 87) with attached coupling (key 90) through the
mounting bracket (key 22) and secure it with the
retaining ring (key 88). Attach the mounting bracket
and output shaft assembly to the actuator housing
(key 20) with the cap screws (key 23). Tighten the
cap screws to the appropriate torque value listed in
table 10.
6. For an actuator with a J mounting adaptation
and a 50.8 mm (2-inch) output shaft, refer to
figure 14. Install the output shaft (key 87) with
attached coupling (key 90) through the mounting
plate (key 22) and secure it with the retaining ring
(key 88). Attach the mounting plate and output shaft
assembly to the actuator housing with the cap
screws (key 23). Tighten the cap screws to the
appropriate torque value listed in table 10.
7. Apply lithium grease (key 76) to the output shaft
splines. Then, align the lever (key 27) and output
shaft so that the marking that was made in step 6
or 7 of the Disassembly procedure is oriented
correctly. Slide the lever into place. When installing
the lever, align the bolt holes in the lever as close as
possible with the hole in the rod end bearing
(key 17). Temporarily rotate the lever and output
shaft until the rod end bearing no longer interferes
with further installation of the lever. Then, slide the
lever as far as it can go onto the output shaft.
8. Clamp the lever to the output shaft with the cap
screw (key 28). Tighten the cap screw to the torque
value listed in table 10.
9. For Type 1052 actuators, complete the Initial
Compression portion of the Adjustment section
before proceeding.
10. Rotate the lever (key 27) to align with the rod
end bearing (key 17). This connection can be aided
by stroking the actuator off its up travel stop with a
regulated air source.

1051 & 1052 H & J
Instruction Manual
Form 5587
November 2006
18
DESIRED ACTION OF HOUSING
CONSTRUCTION
Actuator Operated Equipment CONSTRUCTION
TO SPECIFY
Push Down
to Open(1)
Clockwise to Close(3) Style A
to Open
(1)
(PDTO) Counterclockwise to Close(3) Style B
Push Down
to Close(2)
Clockwise to Close(3) Style B
to Close
(2)
(PDTC) Counterclockwise to Close(3) Style A
1. This action uses the spring to close the valve body or other equipment.
2. This action uses the spring to open the valve body or other equipment.
3. When viewed from actuator side of valve body or other equipment.
Figure 10. Actuator Housing Construction Styles and
Mounting Positions
11. Apply thread-locking adhesive (high strength)
(key 77) to the threads of the cap screw (key 18).
12. Connect the lever (key 27) and the rod end
bearing (key 17) with the cap screw and hex nut
(keys 18 and 19). Tighten the cap screw to the
torque value listed in table 10.
13. If a positioner is to be used, consult the
separate positioner instruction manual for proper
positioner installation.
14. Coat the bearing surfaces of the hub (key 29)
and cover (key 33) with lithium grease (key 76).
Install the bearing (key 31) and hub into the cover.
Secure with the retaining ring (key 30).
15. Install the travel indicator scale (key 35) so that
the markings on the scale and cover that were made
in step 5 of the Disassembly procedure are oriented
correctly. Secure the travel indicator scale to the
cover with the self-tapping screws (key 36). Then
install the travel indicator (key 37), and secure it with
the self-tapping screws (key 38).
16. Position the travel indicator (key 37) so that the
markings on the travel indicator and travel indicator
scale that were made in step 3 of the Disassembly
procedure are oriented correctly. Then, replace the
cover (key 33), and secure it with the cap screws
and washers (keys 34 and 63). If the holes in the
cover and housing (key 20) do not align, use a
regulated air source to move the actuator slightly off
the up travel stop. If hole alignment cannot be
obtained in this manner, temporarily loosen the cap
screws (key 23), and shift the housing slightly. Do
not stroke the actuator while the cover is off. Tighten
the cap screws to the torque value listed in table 10.
17. Follow the instructions in the Actuator Mounting
section for correct actuator mounting and
adjustment. Remember to replace the access plate
(key 59) when performing this procedure.
Changing Actuator Mounting
The actuator is normally positioned vertically in a
horizontal pipeline. However, each style can be
mounted in two possible mounting styles and four
possible positions (see figure 10 ).
Note
Due to its weight, the Type 1052,
size 70 actuator must be externally
supported if mounted in the horizontal
position.
WARNING
Before performing any Actuator
Mounting steps, follow the steps in the
WARNING at the beginning of the
Maintenance section.
Use the following procedures along with figures 12
and 13 for key number references to convert from
style A to style B or vice versa or to change the
mounting position.
Changing Styles
1. Unscrew the cap screws and washers (keys 34
and 63), and remove the cover (key 33).
2. Heat the hex nut (key 19) to 177_C (350_F) long
enough for the thread-locking adhesive (high
strength) (key 77) to lose its holding strength. Then,
remove the cap screw and hex nut (keys 18 and 19).

1051 & 1052 H & J
Instruction Manual
Form 5587
November 2006
19
3. Loosen the cap screw (key 28).
CAUTION
If necessary, use a wheel puller to
remove the lever (key 27) from the
output shaft (key 87). It is permissible
to tap the wheel puller screw lightly to
loosen the lever, but hitting the screw
with excessive force could damage the
operated equipment.
4. Mark the side of the lever (key 27) that is nearest
to the end of the output shaft (key 87). This marking
is used during reassembly to determine which side
of the lever should be inserted into the actuator
housing first. When the lever is marked, remove the
lever.
5. For an actuator with a J mounting adaptation,
a. Unscrew the cap screws (key 23), and remove
the actuator housing (key 20) from the mounting
bracket (key 22).
b. Rotate the actuator housing 180 degrees,
maintaining the appropriate position (1, 2, 3,
or 4), and place the actuator onto the mounting
bracket (key 22).
c. Secure the actuator housing to the mounting
bracket with the cap screws (key 23). Tighten the
cap screws to the torque value listed in table 10.
6. For an actuator with an H mounting adaptation,
a. Unscrew the cap screws (key 78) and remove
the actuator assembly from its mounting bracket.
b. Unscrew the cap screws (key 23) and remove
the mounting plate (key 22) and output shaft
(key 87) assembly from the actuator housing.
Remount the assembly on the opposite side of
the actuator, and secure it to the housing with the
cap screws (key 23). Tighten the cap screws to
the torque value listed in table 10.
c. Rotate the actuator housing 180 degrees,
maintaining the appropriate position (1, 2, 3, or 4)
and secure the actuator housing to the mounting
bracket with the cap screws (key 78). Tighten the
cap screws to the torque value listed in table 10.
7. Install the lever (key 27) as follows:
a. For push-down-to-open action, rotate the
operated equipment to the fully closed position.
b. For push-down-to-close action, rotate the
operated equipment to the fully open position.
c. With the operated equipment oriented
correctly, slide the lever onto the output shaft
(key 87) with the end marked in step 4 inserted
first. When installing the lever, align the bolt holes
in the lever as close as possible with the hole in
the rod end bearing (key 17).
d. Temporarily rotate the lever and output shaft
until the rod end bearing no longer interferes with
further installation of the lever. Then, slide the
lever as far as it can go onto the output shaft.
Clamp the lever to the output shaft with the cap
screw (key 28). Tighten the cap screw to the
torque value listed in table 10.
e. Rotate the lever and output shaft back to the
original position (i.e., operated equipment fully
closed for push-down-to-open action or operated
equipment fully open for push-down-to-close
action). Then, adjust the rod end bearing so that
it can be attached to the lever.
8. Apply thread-locking adhesive (high strength)
(key 77) to the threads of the cap screw (key 18).
9. Connect the lever (key 27) and the rod end
bearing (key 17) with the cap screw and hex nut
(keys 18 and 19). This connection can be aided by
stroking the actuator from its up travel stop with a
regulated air source. Tighten the cap screw to the
torque value listed in table 10.
10. Note the position of the valve body or other
operated equipment and direction of rotation.
Position the travel indicator (key 37) accordingly.
Replace the cover (key 33), and secure it with the
cap screws and washers (keys 34 and 63). If the
holes in the cover and housing (key 20) do not align,
use a regulated air source to move the actuator
slightly off the up travel stop. If hole alignment
cannot be obtained in this manner, temporarily
loosen the cap screws (key 23), and shift the
housing slightly. Do not stroke the actuator while the
cover is off. Tighten both sets of cap screws to the
torque values listed in table 10.
11. Follow the instructions in the Turnbuckle
Adjustment section.
Changing Positions
1. Unscrew the cap screws and washers (keys 34
and 63), and remove the cover (key 33).

1051 & 1052 H & J
Instruction Manual
Form 5587
November 2006
20
2. Mark the orientation of the lever (key 27) with
respect to the output shaft (key 87). This marking is
used during reassembly to allow for proper
lever/output shaft positioning. When the lever and
output shaft are properly marked, heat the hex nut
(key 19) to 177_C (350_F) long enough for the
thread-locking adhesive (high strength) (key 77) to
lose its holding strength. Then, remove the cap
screw and hex nut (keys 18 and 19).
CAUTION
If necessary, use a wheel puller to
remove the lever (key 27) from the
output shaft (key 87). You may tap the
wheel puller screw lightly to loosen the
lever, but hitting the screw with
excessive force could damage the
operated equipment.
3. Loosen the cap screw (key 28) and remove the
lever (key 27) from the output shaft (key 87).
4. For an actuator with a J mounting adaptation.
a. Unscrew the cap screws (key 23), and remove
the actuator housing (key 20) from the mounting
bracket (key 22).
b. Rotate the actuator housing to the new
position (1, 2, 3, or 4).
c. Secure the actuator housing to the mounting
bracket with the cap screws (key 23). Tighten the
cap screws to the torque value listed in table 10.
5. For an actuator with an H mounting adaptation.
a. Unscrew the cap screws (key 78) and loosen
the actuator assembly from its mounting bracket.
b. Rotate the actuator housing to the new
position (1, 2, 3, or 4).
c. Secure the actuator housing to the mounting
bracket with the cap screws (key 78). Tighten the
cap screws to the torque value listed in table 10.
6. Referring to the alignment marks that were made
in step 2, install the lever (Key 27) onto the output
shaft (key 87) as follows:
a. If the new actuator position is 90 degrees
clockwise from the previous actuator position,
install the lever so that its orientation mark is
located 90 degrees clockwise from the mark on
the output shaft.
b. If the new actuator position is 90 degrees or
180 degrees counterclockwise from the previous
position, install the lever so that its orientation
mark is located either 90 degrees (for 90
degrees) or 180 degrees (for 180 degrees)
counterclockwise (respectively) from the mark on
the output shaft.
c. Slide the lever onto the output shaft with the
bolt holes in the lever aligned as closely as
possible with the hole in the rod end bearing
(key 17). Then, temporarily rotate the lever and
output shaft until the rod end bearing no longer
interferes with further installation of the lever, and
slide the lever as far as it can go onto the output
shaft. Clamp the lever to the output shaft with the
cap screw (key 28). Tighten the cap screw to the
torque value listed in table 10.
d. Rotate the lever and output shaft back to the
original position, and then adjust the rod end
bearing so that it can be attached to the lever.
7. Apply thread-locking adhesive (high strength)
(key 77) to the threads of the cap screw (key 18).
8. Connect the lever (key 27) and the rod end
bearing (key 17) with the cap screw and hex nut
(keys 18 and 19). This connection can be aided by
stroking the actuator from its up travel stop with a
regulated air source. Tighten the cap screw to the
torque value listed in table 10.
9. Note the position of the valve body or other
operated equipment and direction of rotation.
Position the travel indicator (key 37) accordingly.
Replace the cover (key 33), and secure it with the
cap screws and washers (keys 34 and 63). If the
holes in the cover and housing (key 20) do not align,
use a regulated air source to move the actuator
slightly off the up travel stop. If hole alignment
cannot be obtained in this manner, temporarily
loosen the cap screws (key 23), and shift the
housing slightly. Do not stroke the actuator while the
cover is off. Then, tighten both sets of cap screws to
the torque values listed in table 10.

1051 & 1052 H & J
Instruction Manual
Form 5587
November 2006
21
Figure 11. Travel Stop Orientation
10. Follow the instructions in the Turnbuckle
Adjustment section.
Top-Mounted Handwheels and
Adjustable Travel Stops
Handwheel and Travel Stop Operation
Note
If repeated or daily manual operation is
expected or desired, the unit should
be equipped with a manual handwheel
actuator. Refer to the separate manual
handwheel actuator instruction manual
for mounting instructions.
The top-mounted handwheel assembly is attached
to a special upper diaphragm casing (key 1,
figures 12 and 13) with cap screws (key 141,
figure 15). A hex nut (key 137, figure 15) locks the
handwheel in position.
Turning the handwheel (key 51, figure 15) clockwise
into the upper diaphragm casing forces the pusher
(key 135, figure 15) against the diaphragm and
diaphragm plate (keys 3 and 4, figures 12 and 13) to
compress the spring (key 11, figures 12 and 13) and
move the diaphragm rod downward. Turning the
handwheel counterclockwise allows the actuator
spring to move the diaphragm rod upward. If the
action is push-down-to-close, full opening can be
restricted by positioning the handwheel at the
desired position. If the action is push-down-to-open,
full closing can be restricted by use of the
handwheel.
The adjustable up travel stop (figure 16) limits the
actuator stroke in the upward direction. To make
adjustments, first relieve actuator loading pressure
before removing the closing cap (key 187) as it is a
pressure retaining part. Also, for size 70 actuators,
the hex nut (key 137) must be loosened.
Turning the stem (key 133) clockwise into the
diaphragm case moves the actuator stem downward
or counterclockwise to allow the spring to move the
actuator stem upward. If the action is
push-down-to-close, full opening can be restricted;
or if the action is push-down-to-open full closing can
be restricted by the position of the adjustable travel
stop.
The adjustable down travel stop (figure 17) limits the
actuator stroke in the downward direction. To make
adjustments, first relieve actuator loading pressure
before removing the closing cap (key 187) as it is a
pressure retaining part. After removing the closing
cap loosen the hex jam nut (key 189) and either turn
the hex nut (key 63 for size 40, and 70 actuators; or
key 54 for size 60 actuators) down on the stem
(key 133) to limit travel, or up on the stem to allow
more travel. Lock the jam nut against the hex nut,
and replace the closing cap after the adjustment has
been made. For size 70, tighten the hex nut and
replace the closing cap after adjustment.

1051 & 1052 H & J
Instruction Manual
Form 5587
November 2006
22
Handwheel and Travel Stop
Maintenance
WARNING
Avoid personal injury or property
damage from sudden release of
process pressure or uncontrolled
movement of parts. Before performing
any maintenance operations:
DAlways wear protective gloves,
clothing, and eyewear when
performing any maintenance
operations to avoid personal injury.
DDisconnect any operating lines
providing air pressure, electric power,
or a control signal to the actuator. Be
sure the actuator cannot suddenly
open or close the valve.
DUse bypass valves or completely
shut off the process to isolate the
valve from process pressure. Relieve
process pressure from both sides of
the valve. Drain the process media
from both sides of the valve.
DVent the power actuator loading
pressure and relieve any actuator
spring precompression.
DUse lock-out procedures to be
sure that the above measures stay in
effect while you work on the
equipment.
DThe valve packing box may
contain process fluids that are
pressurized, even when the valve has
been removed from the pipeline.
Process fluids may spray out under
pressure when removing the packing
hardware or packing rings, or when
loosening the packing box pipe plug.
DCheck with your process or safety
engineer for any additional measures
that must be taken to protect against
process media.
If loading pressure seems to be leaking from either
the handwheel or adjustable up stop, the O-rings
(key 138 and 139, figures 15 and 16) may need
replacement. If the adjustable down stop leaks, the
O-ring (key 139, figure 17) may need replacement or
possibly the closing cap, (key 187, figure 17) is not
tight. To tighten the closing cap, apply a good grade
of thread sealant to the closing cap threads.
For ease of operation, the stem (key 133,
figures 15, 16, and 17) threads may need an
occasional application of lithium grease. A grease
fitting (key 169, figures 15 and 16) is provided for
this purpose in the size 70. The size 70 may also
need to have the thrust bearing (key 175, figures 15
and 16) packed with lithium grease. Travel stops for
the smaller casings can be lubricated between the
stem and pusher (key 135, figures 15 and 16) with
lithium grease.
1. Bypass the control valve, reduce loading
pressure to atmospheric, and remove the tubing or
pipe from the body (key 142, figures 15, 16, and 17).
WARNING
To avoid personal injury from the
precompressed spring force thrusting
the upper diaphragm casing (key 1,
figures 12 and 13) away from the
actuator, either relieve Type 1052
spring compression, or carefully
remove Type 1051 casing cap screws
by following the instructions that are
referenced in the steps below before
removing the casing.
2. Relieve all actuator spring compression by
following the procedures presented in the
Disassembly portion of the Maintenance section.
Then, rotate either the handwheel (key 51, figure 15)
or the travel stop stem (key 133, figures 16 and 17)
counterclockwise until the handwheel or travel stop
assembly is no longer compressing the spring.
3. Proceed as appropriate:
For Top-Mounted Handwheels and
Adjustable Up Travel Stops
a. Remove the upper diaphragm casing (key 1,
figures 12 and 13) by following steps 1, 3, 6, 7, 9,
11, and 12 of the Disassembly portion of the
Maintenance section.
b. Remove the cap screws (key 141, figures 15
and 16, and separate the assembly from the
upper casing.
c. Loosen the locknut (key 137, figure 15) or
remove the closing cap (key 187, figure 16).
d. Turn the stem (key 133, figures 15 and 16)
clockwise out of the body. On handwheel

1051 & 1052 H & J
Instruction Manual
Form 5587
November 2006
23
assemblies, the cotter pen and slotted nut
(keys 247 and 54, figure 15) will have to be
removed so that the handwheel (key 51,
figure 15) and locknut can be taken off the stem
first.
e. Remove and inspect the O-rings (keys 138
and 139, figures 15 and 16); replace them if
necessary.
f. To complete disassembly for sizes 40 and 60,
drive out the groove pin (key 140, figures 15
and 16), and slide the pusher (key 135, figures 15
and 16) off the stem. The pusher of a size 70 unit
is held to the stem by a retaining screw (key 174,
figures 15 and 16). Removing the retaining screw
and pusher exposes the thrust bearing (key 175,
figures 15 and 16) for inspection.
For Adjustable Down Travel Stops
Refer to figure 17 for appropriate key numbers
unless otherwise stated.
a. Remove the closing cap (key 187), and
unscrew the jam nut and hex nut (keys 189
and 63 for sizes 40, and 70 actuators; or
keys 189 and 54 for size 60 actuators) off the
stem (key 133).
b. Remove the upper diaphragm casing (key 1,
figures 12 and 13) and travel stop body (key 142)
by following steps 1, 3, 6, 7, 9, 11, and 12 of the
Disassembly portion of the Maintenance section.
c. Unscrew cap screws (key 141), and remove
the body from the diaphragm case.
d. Check the condition of the O-ring (key 139),
and replace it if necessary.
e. Loosen the hex nut (key 54), and then
unscrew the travel stop stem (key 133) out of the
actuator stem. The lower diaphragm plate
(key 82) can now be removed and the rest of the
actuator disassembled.
4. Reassemble by reversing the order of the steps
you took to disassemble, being sure to apply
lubricant as previously mentioned and as shown by
the lubrication boxes (key 241) in figures 15 and 16.
For size 70 handwheels or up travel stop
assemblies, coat the threads of the retaining screws
(key 174, figures 15 and 16) with thread-locking
adhesive (high strength) (key 242).
5. Adjust the spring to obtain the appropriate travel
stop restriction by following the procedures
presented in the introductory portion of this section,
and then return the unit to operation.
Parts Ordering
When corresponding with your Emerson Process
Management sales office about this equipment, refer
to the serial number found on the actuator
nameplate (key 41, figure 12). Also, specify the
complete 11-character part number from the
following parts list when ordering replacement parts.
WARNING
Use only genuine Fisher replacement
parts. Components that are not
supplied by Emerson Process
Management should not, under any
circumstances, be used in any Fisher
valve, because they will void your
warranty, might adversely affect the
performance of the valve, and could
give rise to personal injury and
property damage.
Note
Neither Emerson, Emerson Process
Management, nor any of their affiliated
entities assumes responsibility for the
selection, use and maintenance of any
product. Responsibility for the
selection, use, and maintenance of any
product remains with the purchaser
and end-user.

1051 & 1052 H & J
Instruction Manual
Form 5587
November 2006
24
Parts List
Retrofit Kits
Kit provides parts to add a top-mounted handwheel.
Kit number 1 includes the handwheel assembly only.
Kit number 2 includes Kit number 1 and a new upper
case (key 1) that is required to mount the handwheel
assembly.
Key Description Part Number
Type 1052 Actuator
Kit Number 1
Size 40 38A1213X032
Size 60, Push-Down-to-Close 38A1213X062
Size 60, Push-Down-to-Open 38A1213X052
Kit Number 2
Size 40 38A1213X072
Size 60, Push-Down-to-Close 38A1213X022
Size 60, Push-Down-to-Open 38A1213X042
Type 1052 Actuator
Kit Number 1
Size 40 38A1213X032
Size 60, Push-Down-to-Close 38A1213X062
Size 60, Push-Down-to-Open 38A1213X052
Size 70 CV8010X0012
Kit Number 2
Size 40 38A1213X072
Size 60, Push-Down-to-Close 38A1213X022
Size 60, Push-Down-to-Open 38A1213X042
Size 70 CV8010X0022
Common Parts (figures 12 and 13)
Note
Part numbers are shown for recommended spares
only. For part numbers not shown, contact your
Emerson Process Management sales office.
Note
The size 70 actuator is available only in Type 1052
actuators.
Key Description Part Number
1 Casing, upper
2 Diaphragm Casing, Lower
3* Diaphragm
Molded Nitrile/Nylon
Std, w/handwheel, or w/adj up stop
Size 40 2E670002202
Size 60 2E859702202
Size 70 2N126902202
w/adj down stop
Size 40 2E669902202
Size 60 2E859802202
Size 70 2N130902202
Molded Silicone/Polyester
Std, w/handwheel, or w/up stop
Size 40 2E6700X0012
Size 60 2E8597X0032
Size 70 2N1269X0012
w/down stop
Size 40 2E6699X0042
Size 60 2E8598X0012
Size 70 2N1309X0012
4 Diaphragm Head
5 Screw, Cap, Hex hd
Size 40 (16 req’d)
Size 60 (24 req’d)
Size 70 (28 req’d)
*Recommended spare parts

1051 & 1052 H & J
Instruction Manual
Form 5587
November 2006
25
Figure 12. Type 1051 Actuator with Typical H and J Mounting Adaptations
D0299-1/IL
Key Description Part Number
6 Nut, hex
Size 40 (16 req’d)
Size 60 (24 req’d)
Size 70 (28 req’d)
7 Screw, cap, Hex hd
Size 40 (4 req’d)
Size 60 (6 req’d)
Size 70 (10 req’d)
8 Travel Stop (2 req’d)
9 Screw, cap, Hex socket
10 Diaphragm Rod
Key Description Part Number
11 Spring See following table
12 Spring barrel
13 Spring seat See following table
16 Nut, hex
17 Bearing, Rod End
18 Screw, cap, Hex hd
19 Nut, Hex, Jam
20 Housing
21 Screw, Cap, Hex Hd (4 req’d)
22 Plate, mounting
23 Screw, Cap, Hex socket (4 req’d)

1051 & 1052 H & J
Instruction Manual
Form 5587
November 2006
26
Figure 12. Type 1051 Actuator with Typical H and J Mounting Adaptations (continued)
59A2408-B
D0299-2

1051 & 1052 H & J
Instruction Manual
Form 5587
November 2006
27
Figure 13. Type 1052 Actuator with Typical H and J Mounting Adaptations
59A2420-A
D0300–1/IL

1051 & 1052 H & J
Instruction Manual
Form 5587
November 2006
28
Figure 13. Type 1052 Actuator with Typical H and J Mounting Adaptations (continued)
59A2420-A/DOC
55A6970-J/DOC
59A2416-A/DOC
Key Description Part Number
27 Lever
28 Screw cap, Hex Hd
29 Hub
30 Retaining Ring, Ext
31* Bushing (2 req’d)
Size 40 12A9373X012
Sizes 60 & 70 12A9374X012
33 Cover
34 Screw, Cap, Hex Hd
Key Description Part Number
34 Stud post, Steel (not shown)(w/Type 3555T)(4 req’d)
35 Scale, Indicator (w/out handwheel or w/Type 3555T)
36 Screw, Self Tap (2 req’d)
37 Travel Indicator
38 Self-Tapping Screw (2 req’d)
38 Machine Screw (2 req’d)
*Recommended spare parts

1051 & 1052 H & J
Instruction Manual
Form 5587
November 2006
29
Figure 13. Type 1052 Actuator with Typical H and J Mounting Adaptations (Continued)
59A2420-A/DOC
55A6970-J/DOC
59A2416-A/DOC
Key Description Part Number
39 Plate, Cover
w/o Type 3610J/3620J Positioner
40 Screw, Cap, Hex hd
w/o Type 3610J/3620J Positioner (4 req’d)
41 Nameplate
42 Screw, Drive (4 req’d)
56 Nameplate
57 Turnbuckle
58 Nut, Hex, Jam
59 Plate, Access
63 Washer, Plain
Type 1051 w/Type 304 or Type 4200
Size 40 (4 req’d)
Sizes 60 & 70 (2 req’d)
64 Ind, Travel (not shown)(w/Type 3555T)
65 Screw, Mach, Fill hd (w/Type 3555T)
66 Disc, Travel Indicator (w/Type 3555T) (not shown)
67* Bushing, PTFE
Style H Mounting
w/22.2 mm (7/8-inch)
Actuator output shaft 12A9557X012
w/28.6 mm (1-1/8 inch)
Actuator output shaft 12A9775X012
w/38.1 mm (1-1/2 inch)
Actuator output shaft 12A9559X012
Key Description Part Number
67* Bushing, PTFE (continued)
Style J Mounting
Size 40
w/9.5 & 12.7 mm (3/8 & 1/2-inch)
Actuator output shaft 12A9555X012
w/15.9 mm (5/8-inch) output shaft 12A9555X012
Sizes 40 & 60
w/19.1 & 25.4 mm (3/4 & 1-inch)
Actuator output shaft 12A9775X012
Sizes 60 & 70
w/31.8 & 38.1 mm (1-1/4 & 1-1/2 inch)
Actuator output shaft 12A9559X012
w/50.4 mm (2-inch)
Actuator output shaft 12A9715X012
71 Bearing, Thrust, Steel (Type 1052)
72 Bearing race, Steel (Type 1052) (2 req’d)
73 Bearing Seat (Type 1052, Sizes 60 & 70)
74 Screw, adjusting (Type 1052)
75 Set Screw, Hex Socket (Type 1052, Size 70)
76 Lithium Grease (not furnished w/actuator)
77 Thread Locking Adhesive (High Strength)
(not furnished w/actuator)
*Recommended spare parts

1051 & 1052 H & J
Instruction Manual
Form 5587
November 2006
30
Figure 14. H Mounting for 44.5 or 50.8 mm (1-3/4 or 2-Inch)
Keyed Equipment Shafts
39A2401-A
A3245-1/IL
Key Description Part Number
78 Cap Screw, Hex Hd
Style H
Size 40
w/22.2 mm (7/8-inch) actuator output shaft (4 req’d)
w/28.6 mm (1-1/8 inch) actuator output shaft (4 req’d)
w/38.1 mm (1-1/2 inch) actuator output shaft (4 req’d)
Size 60
w/28.6 mm (1-1/8 inch) actuator output shaft (4 req’d)
w/38.1 mm (1-1/2 inch) actuator output shaft (4 req’d)
Style J
Size 30/40
w/9.5 mm (3/8-inch) actuator output shaft (2 req’d)
w/12.7 mm (1/2-inch) actuator output shaft (2 req’d)
w/15.9 mm (5/8-inch) actuator output shaft (4 req’d)
Size 40
w/19.1 mm (3/4-inch) actuator output shaft (4 req’d)
w/25.4 mm (1-inch) actuator output shaft (4 req’d)
Size 60
w/19.1 mm (3/4-inch) actuator output shaft (4 req’d)
w/25.4 mm (1-inch) actuator output shaft (4 req’d)
w/31.8 mm (1-1/4 inch) actuator output shaft (4 req’d)
w/38.1 mm (1-1/2 inch) actuator output shaft (4 req’d)
w/50.4 mm (2-inch) actuator output shaft
for 44.5 mm (1-3/4 inch) keyed equipment shaft (1 req’d)
for 50.4 mm (2-inch) keyed equipment shaft (1 req’d)
Key Description Part Number
82 Diaphragm head, lower (Type 1051 w/adj down stop)
83 Plug, protective polyethylene (Type 1052 Size 70)
87 Actuator Output Shaft
88 Retaining Ring
89* Pin, Groove, Steel Alloy
Style J
Size 40
w/9.5 mm (3/8-inch)
actuator output shaft 19A1658X012
w/12.7 mm (1/2-inch)
actuator output shaft 19A1658X012
w/15.9 mm (5/8-inch)
actuator output shaft 19A1658X012
w/19.1 mm (3/4-inch)
actuator output shaft G1232232992
w/25.4 mm (1-inch)
actuator output shaft G1232232992
Size 60
w/19.1 mm (3/4-inch)
actuator output shaft G1232232992
w/25.4 mm (1-inch)
actuator output shaft G1232232992
*Recommended spare parts

1051 & 1052 H & J
Instruction Manual
Form 5587
November 2006
31
Figure 15. Top-Mounted Handwheel Assemblies
38A1213-B/DOC CV8010-E/DOC
Key Description Part Number
89* Pin, Groove, Steel Alloy (continued)
Style J
Size 60
w/38.1 mm (1-1/2 inch)
Actuator Output Shaft G1232332992
Sizes 60 & 70
w/50.4 mm (2-inch) actuator output shaft
for 44.5 mm (1-3/4 inch) keyed
equipment shaft H1361632992
for 50.4 mm (2-inch) keyed
equipment shaft H1361632992
90 Coupling
91* Key, Woodruff See following table
92 Spacer, steel (not shown) (2 req’d)
Sizes 60 & 70 Style J
w/38.1 mm (1-1/2 inch) actuator output shaft
w/31.8 mm (1-1/4 inch) actuator output shaft
– – – Bushing, Pipe (not shown) (Type 1052 Size 70)
146 Spacer (1 req’d)
Top-Mounted Handwheel (figure 15)
51 Handwheel
54 Hex Nut, Slotted
133 Stem
135 Plate, Pusher
137 Hex Nut, Jam, Steel
138* O-Ring, Nitrile
Size 40 1D237506992
Size 60 1B885506992
Size 70 1C415706992
Key Description Part Number
139* O-Ring, Nitrile
Size 40 1D267306992
Size 60 1D547106992
Size 70 1D269106992
140 Groove Pin (Sizes 40 & 60)
141 Cap Screw, Hex hd
Size 40 (6 req’d)
Size 60 (8 req’d)
Size 70 (12 req’d)
142 Body
164 Body Extension (Sizes 40 & 60)
169 Grease Fitting (Size 70)
171 Spacer (Size 60)
174 Retaining Screw (Size 70
175 Thrust Bearing (Size 70)
241 Lithium Grease (not furnished w/travel stop)
242 Thread Locking Adhesive (High Strength)
(not furnished w/travel stop)
(Type 1052 Size 70 only)
246 Spacer (Sizes 60 & 70)
247 Pin, Cotter, Stainless Steel
Adjustable Up Travel Stop (figure 16)
133 Stem
135 Plate, Pusher
137 Nut, Travel Stop (Size 70)
138* O-Ring, Nitrile
Size 40 1D237506992
Size 60 1B885506992
Size 70 1C415706992
*Recommended spare parts

1051 & 1052 H & J
Instruction Manual
Form 5587
November 2006
32
Key Description Part Number
139* O-Ring, Nitrile
Size 40 1D267306992
Size 60 1D547106992
Size 70 1D269106992
140* Groove Pin
Size 40 1F118028992
Size 60 1B627035072
141 Cap Screw, Hex Hd, Steel
Size 40 (6 req’d)
Size 60 (8 req’d)
Size 70 (12 req’d)
142 Body
164 Body Extension (Sizes 40 & 60)
169 Grease Fitting, Steel (Size 70)
171 Spacer (Size 60)
174 Retaining Screw, Steel (Size 70)
175 Thrust Bearing
176 Bearing Race, Thrust (Type 1052, Size 70) (2 req’d)
187 Travel stop cap (Size 70)
241 Lithium Grease (not furnished w/travel stop)
242 Thread Locking Adhesive (High Strength)
(not furnished w/travel stop)
(Type 1052 Size 70 only)
Key Description Part Number
Adjustable Down Travel Stop
(figure 17)
54 Hex Nut
Type 1051
Size 40 (1 req’d)
Size 60 (2 req’d)
Type 1052
Size 40 (1 req’d)
Sizes 60 & 70 (2 req’d)
63 Flange Nut (Sizes 40 & 70)
133 Travel Stop Stem
134 Washer, Plain
139* O-Ring, Nitrile
Size 40 1D267306992
Size 60 1D547106992
Size 70 1D269106992
141 Cap Screw, Hex hd
Size 40 (6 req’d)
Size 60 (8 req’d)
Size 70 (12 req’d)
142 Travel Stop Body
187 Travel Stop Cap
189 Hex Nut, Jam
Sizes 40 & 60 (1 req’d)
Size 70 (2 req’d)
241 Lithium Grease (not furnished w/travel stop)
*Recommended spare parts

1051 & 1052 H & J
Instruction Manual
Form 5587
November 2006
33
Key 11 Spring(1), steel (for Type 1052 actuator only)
CASING
ACTUATOR
INITIAL SPRING COMPRESSION KEY 11
CASING
PRESSURE ACTUATOR
SIZE
Push-Down-to-Open Push-Down-to-Close
KEY
11
SPRING PART
Bar Psig
SIZE
Bar Psig Bar Psig
SPRING
PART
NUMBER
30
0.2
0.2
0.3
2.7
3.1
4.3
0.2
0.2
0.2
2.7
3.0
3.0
1F361627032
1K509827032
1N751527032
0 to 1.2 0 to 18 40 0.2
0.3
3.0
4.3
0.2
0.2
3.0
3.0
1L217427042
1P637127082
60 0.3
0.2
3.7
3.5
0.2
0.2
3.0
3.0
1K162727082
1N937327082
30
0.3
0.3
0.3
0.2
4.3
3.7
3.9
3.1
0.3
0.2
0.2
0.2
4.2
3.0
3.0
3.0
1N751527032
1F177027092
1F177127092
1F177227092
0 to 2.3 0 to 33 40
0.3
0.4
0.3
4.3
6.0
4.4
0.3
0.2
0.2
4.3
3.0
3.0
1P637127082
1L217327042
1N844027082
60
0.2
0.5
0.5
3.5
7.0
6.8
0.2
0.2
0.2
3.5
3.0
3.0
1N937327082
1K162827082
1P270227042
70 0.7 10.1 0.2 3.0 1R676027042
30
0.3
0.3
– – –
3.7
3.9
– – –
0.3
0.2
0.2
3.7
3.0
3.0
1F177027092
1F171127092
1F177227092
0 to 2.8 0 to 40 40 0.3
0.4
4.4
6.0 0.2 3.0
3.0
1N844027082
1L217327042
60 0.5
0.5
6.8
7.0 0.2 3.0
3.1
1P270227042
1K16287082
70 0.7 10.1 0.2 3.3 1R676027082
30 0.2 3.1 0.2 3.1 1F177227092
0 to 3.8 0 to 55 40 0.3 4.4 0.2 3.5 1N844027082
0
to
3.8
0
to
55
70 0.7 10.1 0.7 10.1 1R676027082
30 – – – – – – 0.2 3.0 1K509827032
0.2 to 1.0 3 to 15 40 – – – – – – 0.2 3.0 1L217427042
0.2
to
1.0
3
to
15
60 0.3 3.7 0.2 3.0 1K16272082
30
– – –
– – –
– – –
0.3
– – –
– – –
– – –
4.3
0.2
0.2
0.2
0.3
3.1
3.0
3.0
4.2
1F177027092
1F177127092
1F177227092
1N751527032
0.2 to 2.1 3 to 30 40
0.3
0.4
– – –
4.3
6.0
– – –
0.3
0.2
0.2
4.3
3.0
3.0
1P637127082
1L217327042
1N844027082
60
0.2
0.5
– – –
3.5
7.0
– – –
0.2
0.2
0.2
3.5
3.0
3.0
1N937327082
1K162827082
1P270227042
70 0.7 10.1 0.2 3.0 1R676027082
1. For more detailed ordering information concerning proper spring selection to obtain the torque required by the valve, consult your Emerson Process Management sales office.

1051 & 1052 H & J
Instruction Manual
Form 5587
November 2006
34
Key 11 Spring(1), steel (for Type 1051 actuator only)
Key 13 Spring Seat(1), steel (for Type 1051 actuator only)
CASING PRESSURE
ACTUATOR SIZE
KEY 11 KEY 13
Bar Psig ACTUATOR SIZE
KEY
11
SPRING PART NUMBER
KEY
13
SPRING SEAT PART NUMBER
30 1K509827032
1F361627032
12A9445X012
12A9445X012
0to1.2
0to18
40 1L217427042 12A9447X012
0
t
o
1
.
2
0
t
o
18
60
1K162727082
1N937327082
1N937327082
12A9450X012
12A9448X012
12A9449X012
30 1N751527032 12A9445X012
40 1L217327042
1P637127082
12A9446X012
12A9447X012
0 to 2.3 0 to 33
60
1K162827082
1K162827082
1N937327082
1N937327082
12A9448X012
12A9449X012
12A9448X012
12A9449X012
40 1L217327042 12A9446X012
0 to 2.8 0 to 40 60 1K162827082
1K162827082
12A9448X012
12A9449X012
0 to 3.8 0 to 55 40 1L217327042 12A9446X012
0.2 to 1.0 3 to 15 60 1K162727082 12A9450X012
30 1N751527032 12A9445X012
0.2 to 2.1 3 to 30 40 1L217327042
1P637127082
12A9446X012
12A9447X012
0.2
to
2.1
3
to
30
60 1K612827082
1N937327082
12A9449X012
12A9449X012
1. For more detailed ordering information concerning proper spring and spring seat selection to obtain the torque required by the valve, contact your Emerson Process Management
sales office.
Key 91*. Woodruff Key for Actuator with J Mounting Adaptation, Alloy Steel
ACTUATOR SIZE
KEYED SHAFT COUPLING DIAMETER WOODRUFF KEY
PART NUMBER
ACTUATOR SIZE mm Inches
WOODRUFF
KEY
NUMBER PART NUMBER
9.5 3/8 304 F1357631252
40 12.7 1/2 304 F1357631252
40
15.9 5/8 404 F1357731252
40&60
19.1 3/4 406 F1357831252
40 & 60 25.4 1 607 F1357931252
60&70
(1)
31.8 1-1/4 809 F1358031252
60 & 70
(1)
38.1 1-1/2 811 F1358131252
60&70
(1)
44.5 1-3/4 1211 F1358231252
60 & 70
(1)
50.8 2 1022-1 F1366131252
1. Size 70 for Type 1052 actuator only.
*Recommended spare parts

1051 & 1052 H & J
Instruction Manual
Form 5587
November 2006
35
Figure 16. Adjustable Up Travel Stops
28A1207-B/DOC 28A1214-A/DOC
CV8057-D/DOC
ADJUSTABLE UP TRAVEL STOP FOR
SIZE 30 AND 40 ACTUATORS
ADJUSTABLE UP TRAVEL STOP FOR
SIZE 60 ACTUATORS
ADJUSTABLE UP TRAVEL STOP FOR SIZE 70
TYPE 1052 ACTUATORS

1051 & 1052 H & J
Instruction Manual
Form 5587
November 2006
36
Figure 17. Adjustable Down Travel Stop
NOTE:
FOR SIZE 60 ACTUATORS, A
SECOND HEX NUT (KEY 54) IS
USED IN THE PLACE OF THE
HEX NUT (KEY 63)
38B5654-B
A7238 / IL
Emerson Process Management
Marshalltown, Iowa 50158 USA
Cernay 68700 France
Sao Paulo 05424 Brazil
Singapore 128461
www.Fisher.com
The contents of this publication are presented for informational purposes only, and while every effort has been made to ensure their accuracy, they are
not to be construed as warranties or guarantees, express or implied, regarding the products or services described herein or their use or applicability.
We reserve the right to modify or improve the designs or specifications of such products at any time without notice.
Neither Emerson, Emerson Process Management, nor any of their affiliated entities assumes responsibility for the selection, use and
maintenance of any product. Responsibility for the selection, use and maintenance of any product remains with the purchaser and end-user.
EFisher Controls International LLC 1984, 2006; All Rights Reserved Printed in USA
Fishtail and Fisher are marks owned by Fisher Controls International LLC, a member of the Emerson Process Management business division of
Emerson Electric Co. Emerson Process Management, Emerson, and the Emerson logo are trademarks and service marks of Emerson Electric Co.
All other marks are the property of their respective owners.