Emerson Fisher D2 Flopro Instruction Manual
2015-03-30
: Emerson Emerson-Fisher-D2-Flopro-Instruction-Manual-680662 emerson-fisher-d2-flopro-instruction-manual-680662 emerson pdf
Open the PDF directly: View PDF
.
Page Count: 24

www.Fisher.com
FisherrD2 FloPro Control Valve
Contents
Introduction 1.................................
Scope of Manual 1.............................
Description 1.................................
Specifications 2...............................
Installation 3..................................
Setting Valve FloPro Flow Adjuster 4..............
Changing Actuator Action from
(Air-to-Open) to (Air-to-Close) 4...............
Maintenance 5.................................
Valve Trim Maintenance 6......................
Packing, Valve Trim, and
Actuator Maintenance 7.....................
Parts Kits 14...................................
Parts List 14...................................
Appendix A (Packing Constructions
with Lot Numbers Less Than 0410-xxxx) 17.........
Figure 1. Fisher D2 FloPro Control Valve
W9235-1
Introduction
Scope of Manual
This instruction manual provides installation, maintenance, and parts information for the NPS 1 Fisher D2 FloPro
control valve and actuator manufactured with lot numbers equal to and greater than 0410-xxxx.
See Appendix A for information on packing constructions manufactured with lot numbers less than 0410-xxxx.
Do not install, operate, or maintain a D2 FloPro control valve without being fully trained and qualified in valve,
actuator, and accessory installation, operation, and maintenance. To avoid personal injury or property damage, it is
important to carefully read, understand, and follow all the contents of this manual, including all safety cautions and
warnings. If you have any questions about these instructions, contact your Emerson Process Management sales office
before proceeding.
Description
The D2 FloPro control valve (figure 1) is a compact, rugged valve designed for on-off control of a variety of fluids at
pressures up to 155 bar (2250 psig). This valve is ideal for use as a dump valve on gas separators and scrubbers. It is
also well suited for other high pressure applications in natural gas production, compression, and processing. The D2
FloPro valve has threaded end connections and is available in an NPS 1 globe style valve body.
Instruction Manual
D103031X012
D2 FloPro Valve
June 2011

Instruction Manual
D103031X012
D2 FloPro Valve
June 2011
2
Table 1. Specifications
Valve Assembly Pressure Class
ASME B16.34 CL900
Maximum Inlet Pressure and Temperature(1)
155 bar from -46 to 93C, and 150 bar at 149C.
(2250 psig from —50 to 200F, and 2185 psig at
300F)
Maximum Allowable Pressure Drop(1)
Flow Down(2)
Maximum Inlet Pressure: 155 bar (2250 psig)
Maximum Outlet Pressure: 103 bar (1500 psig)
Flow Up
Maximum Inlet Pressure: 103 bar (1500 psig)
Maximum Outlet Pressure: 103 bar (1500 psig)
Shutoff Classification
Class IV ANSI/FCI 70-2 and IEC 60534-4
Construction Materials
Valve Body and Bonnet: ASME SA 352 LCC
Valve Plug and Seat: JR30006 (Alloy 6) or
JS17400 double H1150
Valve Stem: S31600
O-Rings: HNBR (Hydrogenated Nitrile)
Packing: PTFE/Carbon PTFE
Packing Springs: N07718
Stem Bushing: PPS (polyphenylene sulfide)
Actuator Diaphragm: Nitrile/Polyester
Actuator Springs: Zinc-plated steel
Flow Characteristic
FloPro Characterized
Port Diameter
13 mm (0.5 inch)
Maximum Travel
13 mm (0.5 inch)
Approximate Weight
7.7 kg (17 lb)
Material Temperature Capabilities
Valve Body Assembly: -46 to 149C (-50 to 300F)
Actuator Assembly: -46 to 93C (-50 to 200F)
Bonnet/Body Connection
Threaded with leakoff bleed
Standard Actuator Configuration
TheD2FloProactuatorisanon-off
spring-and-diaphragm.
Globe Valve Body: Supplied as either Air-to-Open or
Air-to-Close.
Maximum Actuator Casing Pressure
2.8bar(40psig)
Minimum Required Actuator Casing Pressure
2.1 to 2.4 bar (30 to 35 psig)
Actuator Diaphragm Effective Area
194 cm2(30 square inches)
Actuator Pressure Connections
1/4 NPT internal
1. The pressure or temperature limits in the referenced tables and any applicable ASME code limitations should not be exceeded.
2. Standard flow direction.
Specifications
Table 1 lists specifications for the D2 FloPro control valve. Some of the specifications for a given control valve as it
originally comes from the factory are stamped on a nameplate located on the upper diaphragm casing flange.

Instruction Manual
D103031X012
D2 FloPro Valve
June 2011
3
Installation
WARNING
Always wear protective gloves, clothing, and eyewear when performing any installation operations to avoid personal
injury.
Personal injury or equipment damage caused by sudden release of pressure may result if the valve assembly is installed
where service conditions could exceed the limits given in table 1 or on the appropriate nameplates. To avoid such injury or
damage, provide a relief valve for overpressure protection as required by accepted industry or local, state, and Federal
codes and good engineering practices.
Check with your process or safety engineer for any additional measures that must be taken to protect against process
media.
If installing into an existing application, also refer to the WARNING at the beginning of the Maintenance section in this
instruction manual.
CAUTION
This valve is intended for a specific range of pressures, temperatures, and other service conditions (see table 1). Applying
different pressure, temperature, and other conditions to the valve could result in parts damage, malfunction of the valve,
or loss of control of the process. Do not expose this valve to service conditions or variables other than those for which this valve
is intended. If you are not sure what these conditions are, you should contact your Emerson Process Management sales
office for more complete specifications.
1. Before installing the valve, inspect it to be certain that the valve body cavity is free of foreign material. Clean out all
pipelines to remove scale, welding slag, and other foreign materials.
2. The control valve assembly may be installed in any orientation unless limited by seismic criteria.
The standard flow direction is indicated by the arrow on the valve body.
3. Use accepted piping practices when installing the valve in the pipeline.
4. If continuous operation is required during inspection or maintenance, install a three-valve bypass around the
control valve assembly.
Note
The NPS 1 D2 FloPro valve is equipped with ENVIRO-SEALtD2 packing.
The actuator is available from the factory as either air-to-open or air-to-close.
Additionally, the actuator as shipped from the factory, has the FloPro flow adjuster set at a 0.375 inch port flow rate
position. If some other flow rate is desired, see the Setting Valve FloPro Flow Adjuster section in this manual.

Instruction Manual
D103031X012
D2 FloPro Valve
June 2011
4
Figure 2. Flow Rate Adjustments
0.5 INCH FLOW RATE
Cv = 6
Fl = 0.77
Xt = 0.476
0.375 INCH FLOW RATE
Cv = 4
Fl = 0.706
Xt = 0.319
0.25 INCH FLOW RATE
Cv = 2
Fl = 0.65
Xt = 0.245
FLOW ADJUSTER SAFETY
VENT
123
123
FloPro TRAVEL
INDICATOR
GE15452
Setting Valve FloPro Flow Adjuster
Air-to-Open Actuator Action
1. To change the valve flow rate, loosen the flow adjuster socket head cap screws (key 29), and reposition the flow
adjuster halves (key 14 and 15) to the desired flow rate position. See figure 2 for flow rate settings.
Air-to-Close Actuator Action
1. Attach a pressure line to the actuator. Supply pressure to the actuator to seat the plug in the seat ring.
2. To change the valve flow rate, loosen the flow adjuster socket head cap screws (key 29), and reposition the flow
adjuster halves (key 14 and 15) to the desired flow rate position. See figure 2 for flow rate settings.
Changing Actuator Action from (Air-to-Open) to (Air-to-Close)
Key numbers are referenced in figures 6 and 7.
WARNING
To prevent possible personal injury or property damage from removing the casing cap screws in the wrong sequence,
follow the procedure as outlined below for removing the upper casing.

Instruction Manual
D103031X012
D2 FloPro Valve
June 2011
5
1. Remove the six short actuator casing cap screws (key 22) first. Once these have been removed from the actuator
assembly, remove the two long actuator cap screws (key 30) by alternating between them as you loosen them, to
keep the upper casing (key 21) level during this procedure.
Note
Be aware as you loosen and remove the actuator cap screws that the actuator springs are under compression.
2. Remove the upper casing (key 21) and the springs (key 27).
3. Do not turn the valve stem (key 4) while removing the diaphragm hex nut (key 26). Keep the stem from turning by
using an open end wrench on the machined flats located on the valve stem above the flow adjuster for this
procedure. Continue the actuator disassembly by removing the washer (key 24) diaphragm plate (key 25),
diaphragm (key 19), washer (key 36), and O-ring (key 37). Inspect the diaphragm for any wear or damage. Replace
with a new one if necessary.
4. Unscrew the socket head cap screws (key 29), and remove the flow adjuster halves (key 14 and 15). Position the
stem (key 4) to its most upward position.
5. Place 2 of the springs (key 27) from the actuator into the bottom casing (key 20), equally spaced, 180 degrees
apart. Place the washer (key 36) over the valve stem, as shown in view A of figure 7. Then place the O-ring (key 37)
over the valve stem. Next install the diaphragm plate (key 25) and, using the diaphragm plate, correctly position the
actuator springs.
6. Place the diaphragm (key 19) over the stem, along with washer (key 24). Position the diaphragm so the holes in the
diaphragm align with the holes in the bottom casing.
7. Insert a 1/8 inch diameter drift punch, or other suitabledevicethroughthe5/32inchdiameterholeinthevalve
stem located below the bottom of the previously removed flow adjuster. Install hex nut (key 26) and tighten to 10
NSm(90lbfSin). Use the 1/8 inch drift punch or other holding device to turn the stem to align the holes of the
diaphragm (key 19) to the lower casing (key 20).
8. Position the upper casing and install the two long cap screws (key 30) opposite one another. Install the six shorter
cap screws (key 22) and the hex nuts, tightening the actuator casing cap screws evenly using a cross-tightening
procedure. Torque to 10 NSm(8lbfSft).
9. Connect a pressure line to the top actuator pressure connection, and apply pressure to the actuator. Stroke the
actuator until the valve plug is seated on the seat ring. Install the flow adjuster, positioning it to the desired travel.
Tighten the flow adjuster socket head cap screws to 3 NSm(26lbfSin).
10. Release the actuator pressure, and install the vent plug (key 28) into the bottom casing pressure connection.
Maintenance
Valve parts are subject to normal wear and must be inspected and replaced as necessary. Inspection and maintenance
frequency depends on the severity of service conditions. This section includes instructions for packing and trim
maintenance, and replacing actuator parts.
All maintenance operations can be performed with the valve in the line.
Note
Whenever a gasket seal or O-ring is disturbed by removing or shifting gasketed parts, a new gasket should be installed upon
reassembly. This is necessary to ensure a good gasket seal, since the used gasket or O-ring will not seal properly.

Instruction Manual
D103031X012
D2 FloPro Valve
June 2011
6
WARNING
Avoid personal injury from sudden release of process pressure. Before performing any maintenance operations:
DDo not remove the actuator from the valve while the valve is still pressurized.
DAlways wear protective gloves, clothing, and eyewear when performing any maintenance operations to avoid personal
injury.
DDisconnect any operating lines providing air pressure or a control signal to the actuator. Be sure the actuator cannot
suddenly open or close the valve.
DUse bypass valves or completely shut off the process to isolate the valve from process pressure. Relieve process pressure
on both sides of the valve. Drain the process media from both sides of the valve.
DUselock-outprocedurestobesurethattheabovemeasures stay in effect while you work on the equipment.
DThe valve packing box may contain process fluids that are pressurized, even when the valve has been removed from the
pipeline. Process fluids may spray out under pressure when removing the packing hardware or packing rings.
DCheck with your process or safety engineer for any additional measures that must be taken to protect against process
media.
Valve Trim Maintenance
Note
The following maintenance procedures apply to both air-to-open and air-to-close actuator configurations, except for steps 2. and
8. as noted.
Key numbers are referenced in figures 6 and 7.
1. Isolate the control valve from the line pressure, release pressure from both sides of the valve body, and drain the
process media from both sides of the valve.
2. For air-to-open actuator action only, apply pressure to the actuator to fully stroke it open. This will raise the plug off
its seat so that the valve stem serrations are visible inside the flow adjuster window (see figure 3). Loosen the socket
head screws (key 29) and lower the flow adjuster (key 14 and 15) to its lowest position on the valve stem. Retighten
the socket head screws (key 29) to 3 NSm(26lbfSin). Relieve pressure to the actuator, shut off all pressure lines to
the actuator, and disconnect. Use lockout procedures to be sure that the above measures stay in effect while you
work on the equipment.
CAUTION
The preceding step is intended to prevent damage to the valve plug (key 3) and seat ring (key 5) during the removal of the
bonnet and actuator.
3. Unscrew the bonnet from the valve body.

Instruction Manual
D103031X012
D2 FloPro Valve
June 2011
7
WARNING
Avoid personal injury from sudden release of process pressure. If the process media starts to escape from the safety vent
(see figure 2) located in the bonnet neck of the valve body,
STOP DISASSEMBLY IMMEDIATELY!
The escape of process media indicates that the valve has NOT been isolated from the process media, or process pressure is
trapped in the valve body.
Check with your process or safety engineer for any additional measures that must be taken to protect against process
media.
4. Once the bonnet has been removed from the valve body, inspect the seat ring (key 5) for wear or damage. If the
seating surface has been damaged, remove it from the valve body. Also remove the seat ring gasket (key 6). Clean
and inspect the valve body gasket surface for damage. Visually inspect the valve body interior below the seat ring
for erosion. Replace the valve body if necessary.
To replace the seat ring, first install a new seat ring gasket. Install the new seat ring and tighten to 230 NSm (170
lbfSft).
Cover the opening in the valve body to prevent foreign material from getting into the valve body cavity.
5. Inspect the valve stem for scratches or wear, and valve plug for wear or damage. Replace if necessary.
6. If the valve plug requires replacement, use an open end wrench on the machined flats located on the valve stem
above the flow adjuster and unscrew the valve plug from the valve stem. Replace it with a new valve plug. Screw the
valve plug into the valve stem, being careful not to damage the plug seat or plug contour. Tighten to 18 NSm(13
lbfSft).
WARNING
Upon reassembly, ensure that no foreign material blocks the safety vent hole as shown in figure 2. If the safety vent hole is
blocked or plugged, possible personal injury from the sudden release of process pressure during maintenance disassembly
may occur.
7. Lubricate a new O-ring (key 13) with lithium grease and place it into the valve body as shown in figure 6 or 7. Ensure
that no foreign material blocks the safety vent hole. Screwthebonnetintothevalvebody,andtorquetoarangeof
542 to 678 NSm (400 to 500 lbfSft).
8. For air-to-open actuator action only, attach the pressure line to the actuator, and supply pressure to the actuator.
Loosen the socket head screws (key 29) and remove the flow adjuster (keys 14 and 15). Release the pressure to the
actuator. This allows the plug to find its seated position.
9. Set the flow adjuster to the desired travel position (see figure 2), and tighten the flow adjuster socket head cap
screws to 3 NSm(26lbfSin).
Packing, Valve Trim, and Actuator Maintenance
Note
The following maintenance procedures apply to both air-to-open and air-to-close actuator configurations, except as noted.

Instruction Manual
D103031X012
D2 FloPro Valve
June 2011
8
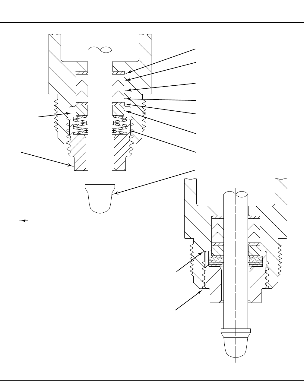
Figure 3. Fisher D2 FloPro Construction
GLOBE STYLE AIR-TO-OPEN
W9005-1
PRESSURE
CONNECTION
VALVE STEM SERRATIONS
VISIBLE IN THE FLOW
ADJUSTER WINDOW
Key numbers are referenced in figures 6 and 7.
Disassembly
1. Isolate the control valve from the line pressure, release pressure from both sides of the valve body, and drain the
process media from both sides of the valve.
2. For air-to-open actuator action only, apply pressure to the actuator to fully stroke it open. This will raise the plug off
its seat so that the valve stem serrations are visible inside the flow adjuster window (see figure 3). Loosen the socket
head screws (key 29) and lower the flow adjuster (key 14 and 15) to its lowest position on the valve stem. Retighten
the socket head screws (key 29) to 3 NSm(26lbfSin). Relieve pressure to the actuator, shut off all pressure lines to
actuator, and disconnect. Use lockout procedures to be sure that the above measures stay in effect while you work
on the equipment.

Instruction Manual
D103031X012
D2 FloPro Valve
June 2011
9
CAUTION
The preceding step is intended to prevent damage to the valve plug (key 3) and seat ring (key 5) during the removal of the
bonnet and actuator.
3. Unscrew the bonnet from the valve body.
WARNING
Avoid personal injury from sudden release of process pressure. If the process media starts to escape from the safety vent
(see figure 2) located in the bonnet neck of the valve body,
STOP DISASSEMBLY IMMEDIATELY!
The escape of process media indicates that the valve has NOT been isolated from the process media, or process pressure is
trapped in the valve body.
Check with your process or safety engineer for any additional measures that must be taken to protect against process
media.
4. Once the bonnet has been removed from the valve body, inspect the valve seat (key 5) for wear or damage. If the
seating surface has been damaged, remove it from the valve body. Also remove the seat ring gasket (key 6). Clean
and inspect the valve body gasket surface for damage. Visually inspect the valve body interior below the seat ring
for erosion. Replace the valve body if necessary.
To replace the seat ring, first install a new seat ring gasket. Install the new seat ring and tighten to 230 NSm (170
lbfSft).
Cover the opening in the valve body to prevent foreign material from getting into the valve body cavity.
WARNING
To prevent possible personal injury or property damage from removing the casing cap screws in the wrong sequence,
follow the procedure as outlined below for removing the upper casing.
5. Remove the six short actuator casing cap screws (key 22) first. Once these have been removed from the actuator
assembly, remove the two long actuator cap screws (key 30) by alternating between them as you loosen them, to
keep the upper casing (key 21) level during this procedure.
Note
Be aware as you loosen and remove the actuator cap screws that the actuator springs are under compression for the air-to-open
configuration.
6. Remove the upper casing (key 21) and the springs (key 27).
7. Do not turn the valve stem (key 4) while removing the diaphragm hex nut (key 26). Keep the stem from turning by
using an open end wrench on the machined flats located on the valve stem above the flow adjuster for this

Instruction Manual
D103031X012
D2 FloPro Valve
June 2011
10
procedure. Continue the actuator disassembly by removing these parts: washer (key 24) diaphragm plate (key 25),
diaphragm (key 19), washer (key 36), and O-ring (key 37). Inspect the diaphragm for any wear or damage. Replace
with a new one if necessary.
If you wish to inspect/replace the bonnet to actuator casing O-ring (key 16), mark the orientation of the actuator
pressure connection to the bonnet for later reference (see figure 3). Unscrew the hex nut (key 18) from the bonnet.
Remove the bottom casing (key 20).
8. Unscrew the flow adjuster socket head cap screws (key 29), and remove the flow adjuster halves.
9. Unscrew the packing retainer (key 7) from the bonnet (key 2). After the packing retainer has been unscrewed from
the bonnet, pull the valve stem and plug out of the bonnet.
10. Remove the five Belleville springs (key 9), packing spacer (key 10), packing (key 11), and two anti-extrusion rings
(key12)fromthebonnet.Seefigure4.
11. Clean and inspect the packing box wall to ensure that the packing surfaces are not damaged. If the surface
condition is damaged, and cannot be improved by light sanding, replace the bonnet by contacting your Emerson
Process Management sales office.
12. Inspect the valve stem for scratches or wear, and valve plug for wear or damage. Replace if necessary.
13. If the valve plug requires replacement, use an appropriate tool on the machined flats located on the valve stem
above the flow adjuster and unscrew the valve plug from the valve stem. Replace it with a new valve plug. Screw the
valve plug into the valve stem, being careful not to damage the plug seat or plug contour. Tighten to 18 NSm(13
lbfSft).
14. Inspect the valve stem bushing (key 8) located in the upper end of the bonnet. If damaged, remove and replace it
with new bushing (key 8). Replace the valve stem bushing by inserting the bushing, flange end first, into the bore
located at the top of the bonnet flow adjuster window. Insert until the flange snaps into the groove provided for it.
15. Remove the O-ring (key 17) from the upper end of the bonnet. Replace it with a new one, and lubricate it with
lithium grease.
Assembly
1. Use the packing spacer (key 10) and a tube to push the upper anti-extrusion washer (key 12) into place. Using the
packing spacer in this manner will ensure the upper anti-extrusion washer is fully seated and flat when installed in
the packing bore.
2. Remove the packing spacer from the packing bore.
CAUTION
All D2 FloPro packing kits include a single use packet of high performance fluorinated grease. This is the only acceptable D2
packing lubricant.
Note
In the following procedure, carefully install each packing ring individually over the valve stem and push completely into the
packing box with a non-marring tube. A 12-inch length of 1/2 inch PVC pipe works well for this. It is recommended that the
lubricated packing rings be installed individually rather than pushed in as a set.
3. Apply a 3mm (1/8 inch) bead of the supplied high performance fluorinated grease (key 38) around the groove of
the female packing adaptor as shown in figure 5 and install over the valve stem.
4. Apply a 3mm (1/8 inch) bead of the supplied high performance fluorinated grease (key 38) around the groove of
the packing ring as shown in figure 5 and install over the valve stem.

Instruction Manual
D103031X012
D2 FloPro Valve
June 2011
11
Figure 4. Packing and Belleville Spring Stacking Order
ANTI-EXTRUSION
WASHER (KEY 12)
PACKING RING
(KEY 11)
FEMALE PACKING
ADAPTER (KEY 11)
PACKING SPACER
(KEY 10)
BELLEVILLE
SPRINGS (KEY 9)
MALE PACKING
ADAPTER (KEY 11)
ANTI-EXTRUSION
WASHER (KEY 12)
VALVE
PLUG (KEY 3)
PACKING RETAINER
(KEY 8)
UNTIGHTENED,
NOTE THE GAP
FULLY TIGHTENED,
NO GAP
BELLEVILLE SPRINGS FULLY ENCLOSED BY
THE PACKING RETAINER
VALVE PLUG, BELLEVILLE SPRINGS, AND PACKING RETAINER
CORRECTLY INSTALLED AND TIGHTENED
FLUSH

Instruction Manual
D103031X012
D2 FloPro Valve
June 2011
12
5. Install the male packing adaptor, lower anti-extrusion washer (key 12), and packing spacer over the valve stem as
showninfigure4.
6. Firmly press all packing parts into the packing bore with a tube.
7. Install the five Belleville springs (key 9) over the valve stem as shown in figure 4.
8. Lubricate the threads of the packing retainer with anti-seize and install into the bonnet using a 1-1/8 inch wrench.
Make sure the Belleville springs are completely enclosed by the packing retainer as shown in figure 4.
9. Torque the packing retainer to 81 NSm(60lbfSft). The packing retainer has been installed correctly when a
metal-to-metal contact has been made between the packing retainer end and the bonnet (key 2). The packing
retainer threads should be flush with the bottom of the bonnet as shown in figure 4.
10. If the bottom casing (key 20) has been removed, place O-ring (key 16) into the groove provided in the top of the
bonnet. Place the bottom casing on the bonnet, oriented in the same position as marked in step 7. on page 10.
Screw the hex nut (key 18) onto the bonnet, and tighten to 203 NSm (150 lbfSft).
Figure 5. Lubrication Locations on Packing
FEMALE PACKING ADAPTER
MALE PACKING ADAPTER
PACKING RING
LUBRICATE WITH 3mm (1/8 INCH
BEAD) OF SUPPLIED HIGH
PERFORMANCE FLUORINATED
GREASE (KEY 44)
LUBRICATE WITH 3mm (1/8 INCH
BEAD) OF SUPPLIED HIGH
PERFORMANCE FLUORINATED GREASE
11. For air-to-open actuator action only (see figure 6), assemble the actuator by first placing the O-ring (key 37) over
the valve stem. Then place the washer (key 36) over the valve stem. Place the diaphragm (key 19) over the valve
stem, and position it so the holes in the diaphragm match the holes in the casing. Place the diaphragm plate (key
25) over the valve stem. Install the washer (key 24) and the diaphragm hex nut (key 26). Tighten the diaphragm hex
nut to 10 NSm(90lbfSin), while holding the stem by the flats. Install six springs (key 27) and attach the upper casing
(key 21) by first installing the two long cap screws (key 30) opposite one another.
12. For air-to-close actuator action only (see figure 7), assemble the actuator by first placing 2 of the springs (key 27)
from the actuator into the bottom casing (key 20), equally spaced, 180 degrees apart. Place the washer (key 36)
over the valve stem, as shown in view A of figure 7. Then place the O-ring (key 37) over the valve stem. Next install
the diaphragm plate (key 25) and, using the diaphragm plate, correctly position the actuator springs.
a. Place the diaphragm (key 19) over the stem, along with the washer (key 24). Position the diaphragm so the holes
in the diaphragm align with the holes in the bottom casing.
b. Insert a 1/8 inch diameter drift punch, or other suitabledevicethroughthe5/32inchdiameterholeinthevalve
stem located below the bottom of the previously removed flow adjuster. Install the hex nut (key 26) and tighten
to 10 NSm(90lbfSin). Use the 1/8 inch drift punch or other holding device to turn the stem to align the holes of
the diaphragm (key 19) to the lower casing (key 20).
13. Position the upper casing and install the two long cap screws (key 30) opposite one another. Install the six shorter
cap screws (key 22) and the hex nuts, tightening the actuator casing cap screws evenly using a cross-tightening
procedure. Torque to 10 NSm(8lbfSft).

Instruction Manual
D103031X012
D2 FloPro Valve
June 2011
13
WARNING
Upon reassembly, ensure that no foreign material blocks the safety vent hole as shown in figure 2. If the safety vent hole is
blocked or plugged, possible personal injury from the sudden release of process pressure during maintenance disassembly
may occur.
14. Lubricate a new O-ring (key 13) with lithium grease and place it into the valve body as shown in figure 6 or 7.
Ensure that no foreign material blocks the safety vent hole. Screw the bonnet into the valve body, and torque to a
range of 542 to 678 NSm (400 to 500 lbfSft).
15. For air-to-open actuator action only, attach the pressure line to the actuator, and supply pressure to the actuator.
Loosen the socket head screws (key 29) and remove the flow adjuster (keys 14 and 15). Release the pressure to the
actuator. This allows the plug to find its seated position.
16. Set the flow adjuster to the desired travel position (see figure 2), and tighten the flow adjuster socket head cap
screws to 3 NSm(26lbfSin).
17. For air-to-close actuator action only, attach a pressure line to the actuator. Supply pressure to the actuator to seat
the plug in the seat ring.
18. Set the flow adjuster to the desired travel position (see figure 2), and tighten the flow adjuster socket head cap
screws to 3 NSm(26lbfSin).

Instruction Manual
D103031X012
D2 FloPro Valve
June 2011
14
Parts Ordering
WARNING
Use only genuine Fisher replacement parts. Components that are not supplied by Emerson Process Management should
not, under any circumstances, be used in any Fisher valve, because they may void your warranty, might adversely affect the
performance of the valve, and could cause personal injury and property damage.
Note
Neither Emerson, Emerson Process Management, nor any of their affiliated entities assumes responsibility for the selection, use, or
maintenance of any product. Responsibility for the selection, use, and maintenance of any product remains with the purchaser and
end user.
Parts Kits
Description Part Number
* Valve Trim Kit
R30006 Valve Plug and Seat
Includes key numbers 3, 5, 6, and 13 19B8485X012
S17400 double H1150 Valve Plug and Seat
Includes key numbers 3, 5, 6, and 13 19B8485X022
* Valve Packing Kit
Includes key numbers 8, 11,
12 (2 req'd), 13, 16, 17, and 38 19B8486X012
Parts List
Note
Part numbers are shown for recommended spares only. For part
numbers not shown, contact your Emerson Process Management sales
office.
Key Description Part Number
1ValveBody
2 Bonnet
3ValvePlug
4* Valve Stem 39B5914X012
Key Description Part Number
5SeatRing
6* Seat Ring Gasket 19B5887X012
7 Packing Retainer
8 Valve Stem Bushing
9 Belleville Springs (3 req'd)
10 Packing Spacer
11 ENVIRO-SEAL D2 Packing Set
12 Anti-Extrusion Ring (2 req'd)
13 Valve Body O-ring
14 Flow Adjuster Half
15 Flow Adjuster Half
16 Casing O-ring
17 Valve Stem O-ring
18 Hex Nut
19* Diaphragm 39B3849X012
20 Bottom Casing
21 Upper Casing
22 Short Actuator Casing Cap Screws (6 req'd)
23 Nut
24 Washer
25 Diaphragm Plate
26 Diaphragm Hex Nut
27 Springs
Air-to-Open (use 6 springs)
Air-to-Close (use 2 springs)
28 Vent Plug
29 Flow Adjuster Socket Head Cap Screws (2 req'd)
30 Long Actuator Casing Cap Screws (2 req'd)
31 Nameplate
32 Caution Label
33 Lubricant, Lithium Grease
36 Washer
37* O-ring GE12527X012
38* High Performance Fluorinated Grease Packing
Lubricant GE25891X012
*Recommended spare parts

Instruction Manual
D103031X012
D2 FloPro Valve
June 2011
15
Figure 6. Fisher D2 FloPro Assembly–Air-to-Open
39B5892-M

Instruction Manual
D103031X012
D2 FloPro Valve
June 2011
16
Figure 7. Fisher D2 FloPro Assembly–Air-to-Close
39B8450-M

Instruction Manual
D103031X012
D2 FloPro Valve
June 2011
17
Appendix A
(Packing Constructions with Lot Numbers Less Than 0410)
Appendix A provides information on packing constructions manufactured with lot numbers less than 0410-xxxx.
Packing and Valve Trim Maintenance (Appendix A)
Note
The following maintenance procedures apply to both air-to-open and air-to-close actuator configurations, except as noted.
Key numbers are referenced in figures 10 and 11.
1. Isolate the control valve from the line pressure, release pressure from both sides of the valve body, and drain the
process media from both sides of the valve.
2. For air-to-open actuator action only, apply pressure to the actuator to fully stroke it open. This will raise the plug off
its seat so that the valve stem serrations are visible inside the flow adjuster window (see figure 9). Loosen the socket
head screws (key 29) and lower the flow adjuster (key 14 and 15) to its lowest position on the valve stem. Retighten
the socket head screws (key 29) to 3 NSm(26lbfSin). Relieve pressure to the actuator, shut off all pressure lines to
actuator, and disconnect. Use lockout procedures to be sure that the above measures stay in effect while you work
on the equipment.
CAUTION
The preceding step is intended to prevent damage to the valve plug (key 3) and seat ring (key 5) during the removal of the
bonnet and actuator.
3. Unscrew the bonnet from the valve body.
WARNING
Avoid personal injury from sudden release of process pressure. If the process media starts to escape from the safety vent
(see figure 2) located in the bonnet neck of the valve body,
STOP DISASSEMBLY IMMEDIATELY!
The escape of process media indicates that the valve has NOT been isolated from the process media, or process pressure is
trapped in the valve body.
Check with your process or safety engineer for any additional measures that must be taken to protect against process
media.
4. Once the bonnet has been removed from the valve body, inspect the valve seat (key 5) for wear or damage. If the
seating surface has been damaged, remove it from the valve body. Also remove the seat ring gasket (key 6). Clean

Instruction Manual
D103031X012
D2 FloPro Valve
June 2011
18
and inspect the valve body gasket surface for damage. Visually inspect the valve body interior below the seat ring
for erosion. Replace the valve body if necessary.
To replace the seat ring, first install a new seat ring gasket. Install the new seat ring and tighten to 230 NSm (170
lbfSft).
Cover the opening in the valve body to prevent foreign material from getting into the valve body cavity.
WARNING
To prevent possible personal injury or property damage from removing the casing cap screws in the wrong sequence,
follow the procedure as outlined below for removing the upper casing.
5. Remove the six short actuator casing cap screws (key 22) first. Once these have been removed from the actuator
assembly, remove the two long actuator cap screws (key 30) by alternating between them as you loosen them, to
keep the upper casing (key 21) level during this procedure..
Figure 8. Packing and Belleville Spring Stacking Order (Appendix A)
ANTI-EXTRUSION
RING
PACKING SET
ANTI-EXTRUSION
RING
SPACER
BELLEVILLE
SPRINGS
PACKING
RETAINER
E0784-1
Note
Be aware as you loosen and remove the actuator cap screws that the actuator springs are under compression for the air-to-open
configuration.
6. Remove the upper casing (key 21) and the springs (key 27).
7. Do not turn the valve stem (key 4) while removing the diaphragm hex nut (key 26). Keep the stem from turning by
using an open end wrench on the machined flats located on the valve stem above the flow adjuster for this
procedure. Continue the actuator disassembly by removing these parts: washer (key 24) diaphragm plate (key 25),
diaphragm (key 19), washer (key 36), and O-ring (key 37). Inspect the diaphragm for any wear or damage. Replace
with a new one if necessary.
If you wish to inspect/replace the bonnet to actuator casing O-ring (key 16), mark the orientation of the actuator
pressure connection to the bonnet for later reference (see figure 9). Unscrew the hex nut (key 18) from the bonnet.
Remove the bottom casing (key 20).

Instruction Manual
D103031X012
D2 FloPro Valve
June 2011
19
8. Unscrew the flow adjuster socket head cap screws (key 29), and remove the flow adjuster halves.
9. Unscrew the packing retainer (key 7) from the bonnet (key 2). After the packing retainer has been unscrewed from
the bonnet, pull the valve stem and plug out of the bonnet.
10. Remove the three Belleville springs (key 9), packing spacer (key 10), packing (key 11), and two anti-extrusion rings
(key12)fromthebonnet.Seefigure8.
11. Clean and inspect the packing box wall to ensure that the packing surfaces are not damaged. If the surface
condition is damaged, and cannot be improved by light sanding, replace the bonnet by contacting your Emerson
Process Management sales office.
12. Inspect the valve stem for scratches or wear, and valve plug for wear or damage. Replace if necessary.
13. If the valve plug requires replacement, use an appropriate tool on the machined flats located on the valve stem
above the flow adjuster and unscrew the valve plug from the valve stem. Replace it with a new valve plug. Screw the
valve plug into the valve stem, being careful not to damage the plug seat or plug contour. Tighten to 18 NSm(13
lbfSft).
14. Inspect the valve stem bushing (key 8) located in the upper end of the bonnet. If damaged, remove and replace it
with new bushing (key 8). Replace the valve stem bushing by inserting the bushing, flange end first, into the bore
located at the top of the bonnet flow adjuster window. Insert until the flange snaps into the groove provided for it.
15. Remove the O-ring (key 17) from the upper end of the bonnet. Replace it with a new one, and lubricate it with
lithium grease.
16. Install new packing according to the packing arrangement shown in figure 8, Apply a light film of lithium grease to
the threads of the packing retainer (key 7). Install the Belleville springs and packing retainer, as shown in figure 8,
but do not tighten.
17. Apply a light film of lithium grease to the valve stem. Carefully slide the valve stem through the packing retainer
and packing to a point where the serration extends completely into the flow adjuster window of the bonnet (see
figure 9).
18. Tighten the packing retainer to a range of 81 to 95 NSm (60 to 70 lbfSft). Then loosen the packing retainer 30
degrees counter-clockwise. See figure 8.
19. If the bottom casing (key 20) has been removed, place O-ring (key 16) into the groove provided in the top of the
bonnet. Place the bottom casing on the bonnet, oriented in the same position as marked in step 7. on page 10.
Screw the hex nut (key 18) onto the bonnet, and tighten to 203 NSm (150 lbfSft).
20. For air-to-open actuator action only (see figure 10), assemble the actuator by first placing the O-ring (key 37) over
the valve stem. Then place the washer (key 36) over the valve stem. Place the diaphragm (key 19) over the valve
stem, and position it so the holes in the diaphragm match the holes in the casing. Place the diaphragm plate (key
25) over the valve stem. Install the washer (key 24), diaphragm hex nut (key 26). Tighten the diaphragm hex nut to
10 NSm(90lbfSin), while holding the stem by the flats. Install six springs (key 27) and attach the upper casing (key
21) by first installing the two long cap screws (key 30) opposite one another.
21. For air-to-close actuator action only (see figure 11), assemble the actuator by first placing 2 of the springs (key 27)
from the actuator into the bottom casing (key 20), equally spaced, 180 degrees apart. Place the washer (key 36)
over the valve stem, as shown in view A of figure 11. Then place the O-ring (key 37) over the valve stem. Next install
the diaphragm plate (key 25) and, using the diaphragm plate, correctly position the actuator springs.
a. Place the diaphragm (key 19) over the stem, along with washer (key 24). Position the diaphragm so the holes in
the diaphragm align with the holes in the bottom casing.
b. Insert a 1/8 inch diameter drift punch, or other suitabledevicethroughthe5/32inchdiameterholeinthevalve
stem located below the bottom of the previously removed flow adjuster. Install hex nut (key 26) and tighten to
10 NSm(90lbfSin). Use the 1/8 inch drift punch or other holding device to turn the stem to align the holes of the
diaphragm (key 19) to the lower casing (key 20).
22. Position the upper casing and install the two long cap screws (key 30) opposite one another. Install the six shorter
cap screws (key 22) and the hex nuts, tightening the actuator casing cap screws evenly using a cross-tightening
procedure. Torque to 10 NSm(8lbfSft).

Instruction Manual
D103031X012
D2 FloPro Valve
June 2011
20
Figure 9. Fisher D2 FloPro Construction (Appendix A)
GLOBE STYLE AIR-TO-OPEN
W9005-1
PRESSURE
CONNECTION
VALVE STEM SERRATIONS
VISIBLE IN THE FLOW
ADJUSTER WINDOW
WARNING
Upon reassembly, ensure that no foreign material blocks the safety vent hole as shown in figure 2. If the safety vent hole is
blocked or plugged, possible personal injury from the sudden release of process pressure during maintenance disassembly
may occur.
23. Lubricate a new O-ring (key 13) with lithium grease and place it into the valve body as shown in figure 10 or 11.
Ensure that no foreign material blocks the safety vent hole. Screw the bonnet into the valve body, and torque to a
range of 542 to 678 NSm (400 to 500 lbfSft).
24. For air-to-open actuator action only, attach the pressure line to the actuator, and supply pressure to the actuator.
Loosen the socket head screws (key 29) and remove the flow adjuster (keys 14 and 15). Release the pressure to the
actuator. This allows the plug to find its seated position.

Instruction Manual
D103031X012
D2 FloPro Valve
June 2011
21
25. Set the flow adjuster to the desired travel position (see figure 2), and tighten the flow adjuster socket head cap
screws to 3 NSm(26lbfSin).
26. For air-to-close actuator action only, attach a pressure line to the actuator. Supply pressure to the actuator to seat
the plug in the seat ring.
27. Set the flow adjuster to the desired travel position (see figure 2), and tighten the flow adjuster socket head cap
screws to 3 NSm(26lbfSin).
Parts Ordering (Appendix A)
WARNING
Use only genuine Fisher replacement parts. Components that are not supplied by Emerson Process Management should
not, under any circumstances, be used in any Fisher valve, because they may void your warranty, might adversely affect the
performance of the valve, and could cause personal injury and property damage.
Note
Neither Emerson, Emerson Process Management, nor any of their affiliated entities assumes responsibility for the selection, use, or
maintenance of any product. Responsibility for the selection, use, and maintenance of any product remains with the purchaser and
end user.
Parts Kits (Appendix A)
Description Part Number
* Valve Trim Kit
R30006 Valve Plug and Seat
Includes key numbers 3, 5, 6, and 13 19B8485X012
S17400 double H1150 Valve Plug and Seat
Includes key numbers 3, 5, 6, and 13 19B8485X022
* Valve Packing Kit
Includes key numbers 8, 11,
12 (2 req'd), 13, 16, and 17 19B8486X012
Parts List (Appendix A)
Note
Part numbers are shown for recommended spares only. For part
numbers not shown, contact your Emerson Process Management sales
office.
Key Description Part Number
1ValveBody
2 Bonnet
3ValvePlug
4* Valve Stem 39B5914X012
5SeatRing
6* Seat Ring Gasket 19B5887X012
Key Description Part Number
7 Packing Retainer
8 Valve Stem Bushing
9 Belleville Springs (3 req'd)
10 Packing Spacer
11 ENVIRO-SEAL D2 Packing Set
12 Anti-Extrusion Ring (2 req'd)
13 Valve Body O-ring
14 Flow Adjuster Half
15 Flow Adjuster Half
16 Casing O-ring
17 Valve Stem O-ring
18 Hex Nut
19* Diaphragm 39B3849X012
20 Bottom Casing
21 Upper Casing
22 Short Actuator Casing Cap Screws (6 req'd)
23 Nut
24 Washer
25 Diaphragm Plate
26 Diaphragm Hex Nut
27 Springs
Air-to-Open (use 6 springs)
Air-to-Close (use 2 springs)
28 Vent Plug
29 Flow Adjuster Socket Head Cap Screws (2 req'd)
30 Long Actuator Casing Cap Screws (2 req'd)
31 Nameplate
32 Caution Label
33 Lubricant, Lithium Grease
36 Washer
37* O-ring GE12527X012
*Recommended spare parts

Instruction Manual
D103031X012
D2 FloPro Valve
June 2011
22
Figure 10. Fisher D2 FloPro Assembly–Air-to-Open (Appendix A)
39B5892-K
BELLEVILLE SPRING
AND PACKING ARRANGEMENT
APPLY LUB/ADHESIVE

Instruction Manual
D103031X012
D2 FloPro Valve
June 2011
23
Figure 11. Fisher D2 FloPro Assembly–Air-to-Close (Appendix A)
39B8450-K
BELLEVILLE SPRING
AND PACKING ARRANGEMENT
APPLY LUB/ADHESIVE

Instruction Manual
D103031X012
D2 FloPro Valve
June 2011
24
Emerson Process Management
Marshalltown, Iowa 50158 USA
Sorocaba, 18087 Brazil
Chatham, Kent ME4 4QZ UK
Dubai, United Arab Emirates
Singapore 128461 Singapore
www.Fisher.com
The contents of this publication are presented for informational purposes only, and while every effort has been made to ensure their accuracy, they arenot
to be construed as warranties or guarantees, express or implied, regarding the products or services described herein or their use or applicability. All sales are
governed by our terms and conditions, which are available upon request. We reserve the right to modify or improve the designs or specifications of such
products at any time without notice. Neither Emerson, Emerson Process Management, nor any of their affiliated entities assumes responsibility for the
selection, use or maintenance of any product. Responsibility for proper selection, use, and maintenance of any product remains solely with the purchaser
and end user.
EFisher Controls International LLC 2001, 2011; All Rights Reserved
Fisher and ENVIRO-SEAL are marks owned by one of the companies in the Emerson Process Management business division of Emerson Electric Co. Emerson
Process Management, Emerson, and the Emerson logo are trademarks and service marks of Emerson Electric Co. All other marks are the property of their
respective owners.