Emerson Fisher L2 And L2Sj Instruction Manual D103216X012_Jan15_AQ
2015-03-30
: Emerson Emerson-Fisher-L2-And-L2Sj-Instruction-Manual-681793 emerson-fisher-l2-and-l2sj-instruction-manual-681793 emerson pdf
Open the PDF directly: View PDF
.
Page Count: 16

www.Fisher.com
Fisherr L2sj Low Emission Liquid Level Controller
Contents
Introduction 1.................................
Scope of Manual 1.............................
Description 3.................................
Specifications 3...............................
Educational Services 3.........................
Principle of Operation 4.........................
Installation 5..................................
Attaching Vertical Displacer 6...................
Mounting the Controller to the Vessel 6...........
Attaching Horizontal Displacer 6.................
Supply Pressure Connections 6..................
Vent 7.......................................
Set‐up and Adjustments 7.......................
Dry Displacer Setup 7..........................
Wet Displacer Adjustments 9...................
Maintenance 9.................................
Removing the Controller From the Sensor 10........
Replacing the Sensor O‐Rings 10.................
Disassembly 10............................
Assembly 10..............................
Replacing the Controller Relay 12................
Replacing the Controller Supply Filter 12..........
Parts Ordering 12...............................
Figure 1. Fisher L2sj Liquid Level Controller
W9331
Parts Kits 13...................................
Parts List 13...................................
Controller 13.................................
Sensor 14....................................
Introduction
Scope of Manual
This instruction manual includes installation, adjustment, maintenance, and parts ordering information for the Fisher
L2sj low emission liquid level controller.
Do not install, operate or maintain a L2sj low emission liquid level controller without being fully trained and qualified in
valve, actuator, and accessory installation, operation, and maintenance. To avoid personal injury or property damage,
it is important to carefully read, understand, and follow all contents of this instruction manual, including all safety
cautions and warnings. If you have any questions about these instructions, contact your Emerson Process
Management sales office before proceeding.
Instruction Manual
D103216X012
L2sj Controller
January 2015

Instruction Manual
D103216X012
L2sj Controller
January 2015
2
Table 1. Specifications
Available Configuration
Controller: On‐Off / Direct Acting
Sensor: Displacer‐type liquid level sensor for
mounting to side of vessel.
Input Signal
Liquid Level (gas over liquid)
Liquid Level Span(1)
See table 2
Minimum Specific Gravity
3 x 6 inch displacer: 0.6
1-7/8 x 12 inch displacer: 0.75
Output Signal
Control: Pneumatic On‐Off
Range: 0 psi (off) or full supply pressure (on)
Action: Direct acting (increasing level increases
output signal)
Supply Pressure Requirements
Any desired pressure between 0.34 and 2.4 bar
(5 and 35 psig).
Supply Medium
Air or natural gas(2)
Steady‐State Air Consumption(3)
t0.01 normal m3/hr (t0.3 scfh) at 1.4 bar (20 psig)
supply pressure
Sensor to Vessel Connection
J2 NPT threaded or JNPS 2 CL150 through 1500
slip‐on flange connection
Controller Connections
Supply: 1/4 NPT internal located on the bottom of the
case
Output: 1/4 NPT internal located on the top of the
case
Case Vent: 1/4 NPT internal with vent screen
assembly located on the back of the case
Displacer Size
J48 x 305 mm, 541 cm3 (1‐7/8 x 12 inches,
33 in3)(4) or J76 x 152 mm, 688 cm3 (3 x 6 inches,
42 in3)(5)
Maximum Sensor Working Pressure(6)
PVC Displacer: Consistent with CL1500 pressure
temperature ratings per ASME B16.34 up to
maximum pressure of 258 bar (3750 psig)
For PED (97/23/EC) maximum pressure limited to 200
bar (2900 psig)
S31603 SST Displacer: CL600 pressure temperature
ratings per ASME B16.34 up to maximum pressure of
99.3 bar (1440 psig)
Note: For slip‐on flange connection, maximum sensor
working pressure must be consistent with the flange
ratings
Sensor Temperature Limits(6)
PVC Displacer -29 to 79_C (-20 to 175_F)
S31603 SST Displacer: -40 to 204_C (-40 to 400_F)
Operative Ambient Temperature Limits(6)
Controller: -29 to 71_C (-20 to 160_F)
Standard Supply, and Output Pressure Gauge
Indications
Triple scale gauges in 0 to 60 psig / 0 to 0.4 MPa / 0 to
4.0 bar
Hazardous Area Classification
Complies with the requirements of ATEX Group II
Category 2 Gas and Dust
-continued-

Instruction Manual
D103216X012
L2sj Controller
January 2015
3
Table 1. Specifications (continued)
Canadian Registration
The L2sj utilizes the same sensor unit pressure
component as the L2 pneumatic controller version.
Refer to the L2 CRN which is deemed applicable to
the L2sj.
Declaration of SEP
Fisher Controls International LLC declares this
product to be in compliance with Article 3 paragraph
3 of the Pressure Equipment Directive (PED) 97 / 23 /
EC. It was designed and manufactured in accordance
with Sound Engineering Practice (SEP) and cannot
bear the CE marking related to PED compliance.
However, the product may bear the CE marking to
indicate compliance with other applicable European
Community Directives.
NOTE: Specialized instrument terms are defined in ANSI/ISA Standard 51.1 - Process Instrument Terminology.
1. Level change required for full change in output signal.
2. This product can be used with natural gas as the supply medium. Natural gas should contain no more than 20 ppm of H2S.
3. Normal m3/hr—Normal cubic meters per hour (0_C and 1.01325 bar, absolute) Scfh—Standard cubic feet per hour (60_F and 14.7 psia).
4. Supplied with 6 inch extension.
5.Supplied with 3 inch extension.
6. The pressure and temperature limits in this document and any applicable standard or code limitation should not be exceeded.
Table 2. Liquid Level Span
SENSOR SPECIFIC GRAVITY OF LIQUID
0.6 0.75 1
Vertical Displacer Span, mm (inch)
1-7/8 x 12 inch Displacer with 6 inch extension n/a 135 (5.3) 102 (4.0)
3 x 6 inch Displacer 3 inch extension 57 (2.25) 46 (1.8) 34 (1.35)
Horizontal Displacer Span, mm (inch)
3 x 6 inch Displacer with 3 inch extension 22 (0.85) 17 (0.67) 13 (0.5)
NOTES
1. Level change required for full change in output signal.
2. Span adjuster set for maximum sensitivity.
3. 1.4 bar (20 psig) supply pressure.
4. For vessels with fast dump cycles, actual liquid span will be larger
Description
The rugged L2sj low emission liquid level controller uses a displacer type sensor (see figure 1) to detect liquid level.
The controller features a rugged, metal‐seated relay with proportional and integral action. The device delivers a
pneumatic output signal to a control/dump valve.
Specifications
Specifications for the controller and sensor are listed in table 1.
Educational Services
For information on available courses for the L2sj low emission liquid level controller, as well as a variety of other
products, contact:
Emerson Process Management
Educational Services, Registration
Phone: +1-641-754-3771 or +1-800-338-8158
E‐mail: education@emerson.com
http://www.emersonprocess.com/education

Instruction Manual
D103216X012
L2sj Controller
January 2015
4
Principle of Operation
The operation of the L2sj controller in combination with the sensor is based on the Archimedes Principle, which states
that a body immersed in a liquid will be buoyed up by a force equal to the weight of the liquid displaced. The buoyant
force and resultant movement of the displacer in the liquid is transmitted to the controller which delivers a pneumatic
signal to a control valve.
Figure 2 shows a simple schematic of the controller and sensor. In its normal position, the counterclockwise moment
due to the weight of the displacer about pivot point O is balanced by the sum of the clockwise zero spring moment
and the counterclockwise relay force moment applied through lever A to the displacer rod. The weight of the displacer
decreases when the liquid level increases and the subsequent buoyant force increases causing a force imbalance
between the zero spring, relay, and displacer forces. This force imbalance is transmitted to the relay by levers A and B.
The relay compensates for the force imbalance by converting it to a pressure output to a control/dump valve and
bringing the forces back into equilibrium.
Figure 2. Operational Schematic
DISPLACER ROD
LEVER B
PROPORTIONAL BAND
ADJUSTMENT
PIVOT
POINT O
DISPLACER
LEVER A
ZERO SPRING
RELAY

Instruction Manual
D103216X012
L2sj Controller
January 2015
5
Installation
WARNING
D Wear protective clothing, gloves, and eyewear whenever possible when performing any installation operations to
avoid personal injury or property damage.
D To avoid personal injury or property damage caused by the sudden release of process fluid, be certain the service
conditions do not exceed the sensor pressure limits. Use pressure‐limiting or pressure‐relieving devices to prevent
service conditions from exceeding these limits.
D Personal injury or property damage may result from fire or explosion if natural gas is used as the supply medium and
preventive measures are not taken. Preventive measures may include, but are not limited to, one or more of the
following: Remote venting of the unit, re‐evaluating the hazardous area classification, ensuring adequate ventilation,
and the removal of any ignition sources. For information on remote venting of this controller, refer to page 7.
D If installing this into an existing application, also refer to the WARNING at the beginning of the Maintenance section of
this instruction manual.
D Check with your process or safety engineer for any additional measures that must be taken to protect against process
media.
CAUTION
If the L2sj low emission liquid level controller is installed on a vessel that is to be shipped to a different location (e.g. skid
mounted units), remove the displacer and displacer rod extensions before shipment. Failure to do so could result in
damage to the displacer rod due to vibration and impact loading during shipment. After the vessel is installed at its final
location, reassemble the displacer and displacer rod extension.
1. Be sure there are no obstructions inside the vessel that will interfere with displacer installation or operation.
2. Provide the appropriate connection in the vessel wall to match the sensor connection. Locate the vessel connection
so that the displacer will be at the desired control level.

Instruction Manual
D103216X012
L2sj Controller
January 2015
6
Mounting the Controller to the Vessel
Insert the displacer end of the controller‐sensor assembly into the vessel connection, and screw the sensor threads
into the vessel connection. Tighten sufficiently to seal the threads. If necessary, loosen or tighten slightly to obtain the
orientation shown in figure 3. Make sure that the controller case is level.
Figure 3. Sensor Orientation
CORRECT CONTROLLER MOUNTING
HOLE ORIENTATION WHEN
MOUNTED ON VESSEL
A6639
CAUTION
Do not pick up the controller/sensor by lifting the displacer rod (key 64). This action could place excessive stress on the
displacer rod and cause the unit to malfunction.
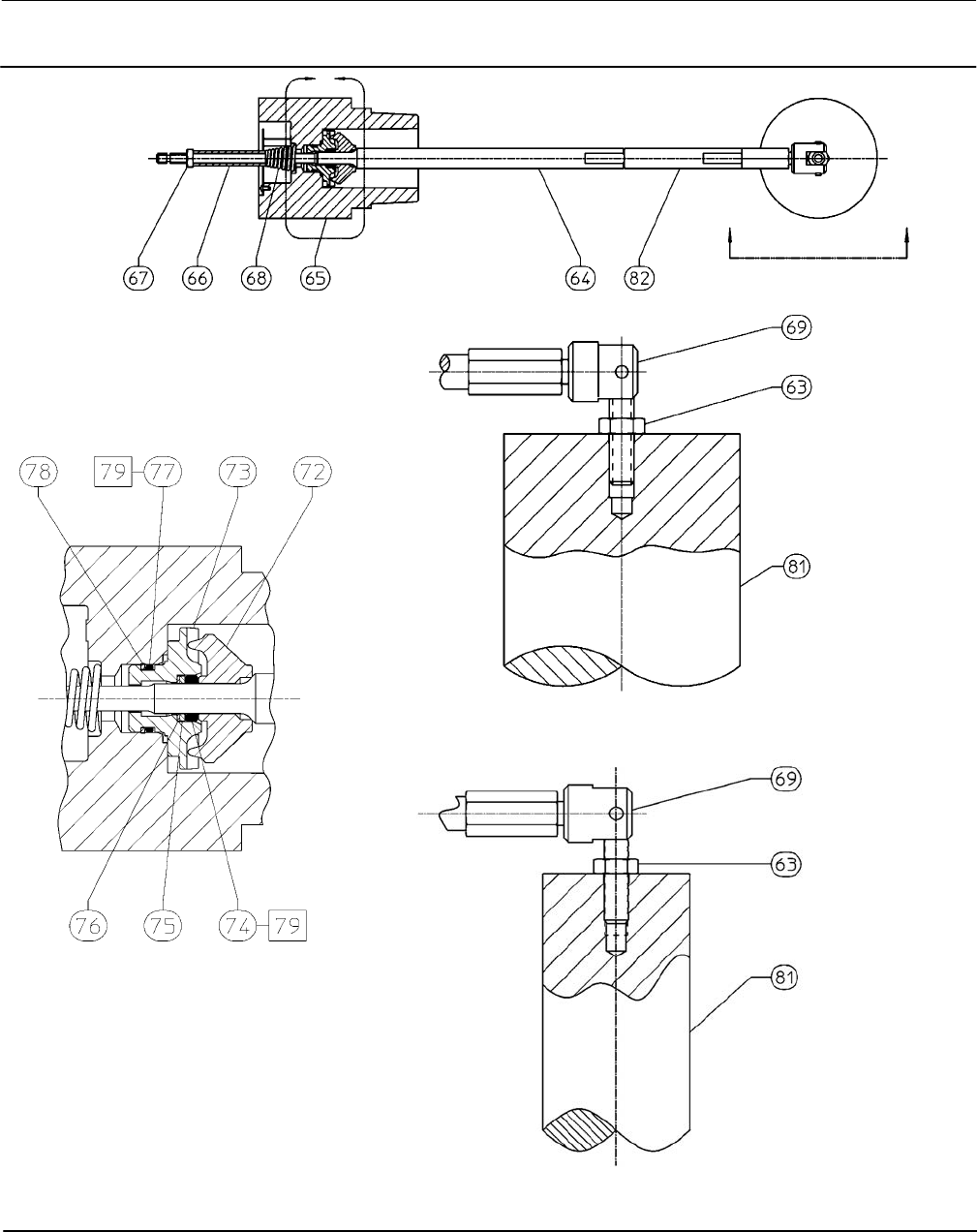
Attaching a Vertical Displacer
Refer to figure 5 for part locations.
1. Thread jam nut (key 63) all the way onto the threaded portion of the universal joint assembly (key 69).
2. Thread the displacer (key 81) all the way onto the threaded portion of the universal joint assembly.
3. Tighten the jam nut (key 63) against the displacer (key 81).
Attaching a Horizontal Displacer
Refer to figure 5 for part locations.
1. Thread jam nut (key 63) all the way onto the displacer rod (key 64) or extension (key 82).
2. Thread the displacer (key 81) all the way onto the displacer rod (key 64) or extension (key 82).
3. Tighten the jam nut (key 63) against the displacer (key 81).
Supply Pressure Connections
WARNING
Personal injury or property damage may occur from an uncontrolled process if the supply medium is not clean, dry, oil‐free
air, or non‐corrosive gas. While use and regular maintenance of a filter that removes particles larger than 40 micrometers

Instruction Manual
D103216X012
L2sj Controller
January 2015
7
in diameter will suffice in most applications, check with an Emerson Process Management field office and industry
instrument air quality standards for use with corrosive air or if you are unsure about the proper amount or method of air
filtration or filter maintenance.
Provide a source of clean, dry air that meets the requirements of ISA Standard 7.0.01 or noncorrosive gas as the
operating medium. Refer to table 1 to determine supply pressure.
1. Connect the supply pressure to the 1/4 NPT internal connection on the bottom of the controller case.
2. Connect the output signal line to the equipment being operated and to the 1/4 NPT output connection on the top
of the controller case.
Vent
WARNING
If a flammable or hazardous gas is to be used as the supply pressure medium, personal injury or property damage could
result from fire or explosion of accumulated gas or from contact with hazardous gas. The controller/actuator assembly
does not form a gas‐tight seal, and when the assembly is enclosed, a remote vent line, adequate ventilation, and necessary
safety measures should be used. A remote vent pipe alone cannot be relied upon to remove all hazardous gas. Vent line
piping should comply with local and regional codes and should be as short as possible with adequate inside diameter and
few bends to reduce case pressure buildup.
The vent opening or the end of the remote vent pipe, if one is required, must be protected against the entrance of all
foreign matter that could plug the vent. Use 13 mm (1/2‐inch) diameter pipe for the remote vent pipe. Check the vent
periodically to be certain it is free of any obstructions.
Setup and Adjustments
Dry Displacer Setup
Refer to the setup and adjustments label shown in figure 4 for the following adjustments.

Instruction Manual
D103216X012
L2sj Controller
January 2015
8
Figure 4. Setup and Adjustments Label (Inside Fisher L2sj Cover)
GE16844
1. Set the supply pressure to 25 psig.
Note
Supply pressure can be set between 0.34 and 2.4 bar (5 and 35 psig).
2. Set the span adjuster to the maximum sensitivity.
3. Turn the spring adjustor to tighten the spring to it's maximum extension. If the output pressure rises, loosen the
spring until the output pressure exhausts to 0 psig.

Instruction Manual
D103216X012
L2sj Controller
January 2015
9
4. Check the setup, as follows:
a. Press down firmly on the displacer rod end and observe the amount of time it takes for the output pressure to
reach supply pressure.
b. Slowly release the displacer and observe the amount of time it takes for the output pressure to exhaust to 0 psig.
c. The time observed in step a should equal the time observed in step b. If these times are not equal, loosen the
spring for quicker exhaust action, and repeat step 4.
Note
Always observe one or more dump cycles to verify the L2sj controller settings and adjustments.
Wet Displacer Adjustments
Refer to the setup and adjustments label shown in figure 4 for the following adjustments.
D To raise the position where the L2sj catches a rising level, loosen the spring.
D To lower the position where the L2sj catches a rising lever, tighten the spring. If the spring is at it's maximum
extension, extend the relay post slightly.
D To increase the level span, decrease the sensitivity by sliding the span adjustor to the right.
Note
Always observe one or more dump cycles to verify the L2sj controller settings and adjustments.
Maintenance
Parts are subject to normal wear and must be inspected periodically and replaced as necessary. The frequency of parts
inspection and replacement depends upon the severity of service conditions. When inspection or repairs are required,
disassemble only those parts necessary to accomplish the task.
WARNING
Always wear protective clothing, gloves, and eyewear whenever possible when performing any maintenance operations to
avoid personal injury or property damage.
To avoid personal injury or property damage caused by the release of pressure or process fluid, observe the following
before starting maintenance:
D Personal injury or property damage may result from fire or explosion if natural gas is used as the supply medium and
preventive measures are not taken. Preventive measures may include, but are not limited to, one or more of the
following: Remote venting of the unit, re‐evaluating the hazardous area classification, ensuring adequate ventilation,
and the removal of any ignition sources. For information on remote venting of this controller, refer to page 7.

Instruction Manual
D103216X012
L2sj Controller
January 2015
10
D Completely shut off the process to isolate the controller/sensor from process pressure.
D Provide a means of containing the process fluid before removing any measurement devices from the process.
D Vent any trapped process pressure.
D Check with your process or safety engineer for any additional measures that must be taken to protect against process
media.
Removing the Controller From the Sensor
1. Disconnect the supply and output pressure lines.
2. Slide the hook end of the zero spring (key 5, figure 6) over and off the controller end of the displacer rod (key 64,
figure 5).
3. Remove the four controller mounting screws (key 11, figure 6), and pull the controller straight away from the
sensor.
Replacing the Sensor O‐Rings
Refer to figure 5 for key number locations unless otherwise indicated.
Disassembly
1. Remove the controller from the sensor by following the procedure outlined in the previous section.
2. Remove the sensor from the tank.
3. Unscrew the hex nut (key 67) and remove the spacer (key 66) and spring (key 68). After removing the spring,
replace the spacer (key 66) and hex nut (key 67) on the displacer rod.
From the displacer end, pull the displacer rod away from the sensor connection (key 65) to pull the pivot base
(key 73) loose from the sensor connection. Remove the hex nut (key 67) to permit removing the displacer rod,
pivot base, pivot body, and spacer from the sensor connection.
4. Slide the pivot base (key 73), retaining ring (key 76), anti‐extrusion ring (key 75), and O‐ring (key 74) off the
displacer rod. Remove the O‐ring (key 77) and backup ring (key 78) from the pivot base.
Assembly
WARNING
Improper assembly of the O‐rings, anti‐extrusion ring, and backup ring could result in O‐ring extrusion and permit leakage
of process fluids. To avoid personal injury or property damage from leaking process fluid, be sure the O‐rings,
anti‐extrusion ring and backup ring are assembled in the order shown in figure 5.
1. Place the pivot body (key 72) on the displacer rod (key 64) so that it is positioned as shown in figure 5.
2. Slide the O‐ring (key 74), anti‐extrusion ring (key 75) and retaining ring (key 76) onto the displacer rod assembly
(key 64). Be sure the O‐ring, anti‐extrusion ring, and retaining ring are in the order shown in figure 5. Slide the pivot
base onto the displacer rod so that the points of the pivot body (key 72) will engage the slots in the pivot base
(key 73).
3. Install the O‐ring (key 77) and backup ring (key 78) into the groove on the pivot base (key 73). Be sure the backup
ring is on the downstream pressure side of the O‐ring as shown in figure 5.

Instruction Manual
D103216X012
L2sj Controller
January 2015
11
Figure 5. Sensor
GB0139-C, Sheet 1 and 2
A
A
B
VIEW B
3 X 6‐INCH DISPLACER
VIEW A‐A
1‐7/8 X 12‐INCH DISPLACER
VIEW A‐A

Instruction Manual
D103216X012
L2sj Controller
January 2015
12
4. Insert the displacer rod (key 64) into the vessel side of the sensor connection (key 65).
5. The pivot base must seat in the slots cast in the sensor connection. These slots will be horizontal when the sensor
connection (key 65) is oriented as shown in figure 3.
6. To reduce the possibility of nicking the O‐ring (key 77) on the pivot base, keep the displacer rod centered in the
sensor connection as much as possible while pushing the pivot base into the sensor connection. Be sure the pivot
base seats in the slots cast in the sensor connection.
7. Slide the spring (key 68) and spacer (key 66) onto the displacer rod and secure with the hex nut (key 67). Fully
tighten the hex nut (key 67).
8. View the sensor connection from the vessel side. Ensure that the pivot body arms remain aligned with the pivot
base arms (the two pivot body points are seated in the pivot base slots).
9. Install the sensor in the vessel.
Replacing the Controller Relay
Refer to figure 6 for key number locations unless otherwise indicated.
1. Disconnect the supply and output pressure lines.
2. Remove the two relay mounting screws (key 33), and pull the relay, including the relay mounting O‐rings (keys 43
and 44, not shown), away from the controller base (key 1).
3. Install the new relay using two relay mounting screws (key 33). To install it properly, you will need to shift it to the
right. Make certain that the relay mounting O‐rings (keys 43 and 44, not shown) are lubricated and completely in
their mounting bosses before installing the relay. Make certain the span lever assembly (key 6) is in line with and
pushing in on the end of the relay post (key 87).
Replacing the Controller Supply Filter
Refer to figure 6 for key number locations unless otherwise indicated.
1. Disconnect the supply and output pressure lines.
2. Loosen the filter cap screws (key 17), and rotate the filter cap (key 14) to the side to uncover the supply filter
(key 15).
3. Remove the O‐ring (key 16) and the old filter (key 15), and remove any debris from the filter boss.
4. Install a new supply filter, and O‐ring (key 16). Reinstall the filter cap (key 14), and tighten the filter cap screws
(key 17).
Parts Ordering
When corresponding with your Emerson Process Management sales office about this equipment, always mention the
serial number of the controller. The serial number can be found on the nameplate (key 55, figure 6). When ordering
replacement parts, also specify the complete 11‐character part number of each part required as found in the following
parts list.
WARNING
Use only genuine Fisher replacement parts. Components that are not supplied by Emerson Process Management should
not, under any circumstances, be used in any Fisher instrument. Use of components not supplied by Emerson Process
Management may void your warranty, might adversely affect the performance of the valve, and could cause personal
injury or property damage.

Instruction Manual
D103216X012
L2sj Controller
January 2015
13
Parts Kits
Description Part Number
Controller Repair Kit
Kit includes O‐rings (keys 13 and 16) and
gaskets (keys 18, 21, and 23) RL2CNTRX012
Relay Repair Kit
Kit includes relay assembly,
relay mounting screws (key 33), and
O‐rings (key 43, and 44)
On/Off Control GE16507X012
Sensor Repair Kit
Kit includes keys 74, 75, 76, 77, and 78
(fluorocarbon O‐rings, anti‐extrusion ring, retaining ring,
and fluorocarbon backup ring) RL2SENSX012
Parts List
Note
For part numbers not shown, contact your Emerson Process
Management sales office.
Key Description
Controller (figure 6)
1 Controller Base, marine grade aluminum
2 Zero Spring Seat, 316 SST
3 Zero Adjustment Bolt, stainless steel
4 Spring Adjustment, 316 SST
5 Zero Spring, 17‐7PH SST
Key Description Part Number
6 Span Lever Assembly, stainless steel
7 Shoulder Screw, stainless steel (2 req'd)
8 Flanged Bearing, nylon (4 req'd)
9 Span Adjustor, stainless steel
10* Pressure Gauge (2 req'd) 11B4040X022
11 Mounting Screw, stainless steel (4 req'd)
12 Cover Screw, stainless steel
13* O‐Ring, nitrile(1)
14 Filter Cap, reinforced PMMA (polymethylmethacrylate)
15* Filter 11B2307X012
16* O‐Ring, nitrile(1)
17 Machine Screw, stainless steel (2 req'd)
18* Sensor Gasket, composition(1)
19 Cover, marine grade aluminum
20 Cover Lens, PMMA (2 req'd)
21* Gasket, chloroprene (2 req'd)(1)
22 Retaining Ring, steel (2 req'd)
23* Cover Gasket, nitrile(1)
33 Relay Mounting Screw, stainless steel (2 req'd)(2)
43* Relay Mounting O‐Ring, nitrile (not shown)(2)
44* Relay Mounting O‐Ring, nitrile (not shown)(2)
53 Label, setup and calibration
54 Self‐Tapping Screw, stainless steel (2 req'd)
55 Nameplate
56 Screen, stainless steel
60 Anti‐seize sealant
(not furnished with controller)
61 Lubricant, silicone sealant
(not furnished with controller)
62 Thread locking adhesive, mild strength
(not furnished with controller)
84 Adhesive, industrial grade cyanoacrylate
85 Nameplate (ATEX)
86 Span Lever Assy, min adj
87 Relay Post
*Recommended spare parts
1. Included in the Controller Repair Kit
2. Included in the Relay Repair Kit

Instruction Manual
D103216X012
L2sj Controller
January 2015
14
Figure 6. Fisher L2sj Low Emission Liquid Level Controller
VIEW A‐A
APPLY LUB/SEALANT
GB16509‐A
A
A
Key Description
Sensor (figure 5)
63 Hex Nut, 316 SST
64 Displacer Rod, 17-4 SST (17‐4PH SST)
65 Sensor Connection
66 Spacer, 304 SST
67 Hex Nut, 316 SST
68 Conical Spring, 316 SST
69 Universal Joint, 316 SST (vertical displacer only)
70 Nameplate (not shown)
71 Drive Screw, stainless steel (not shown)
72 Pivot Body, CB7CU‐1 (17‐4PH SST)
Key Description Part Number
73 Pivot Base, CF8M (316 SST)
74* O‐Ring, fluorocarbon(3)
75* Anti‐Extrusion Ring, PTFE(3)
76 Retaining Ring, 304 SST(3)
77* O‐Ring, fluorocarbon(3)
78* Backup Ring, fluorocarbon(3)
79 Lubricant, silicone sealant
(not furnished with sensor)
80 Instruction Tag
81 Displacer, PVC
1‐7/8x12‐inches 12B2936X032
3x6‐inches GE16513X012
82 Extension, S31600
3‐inch GE14958X012
6‐inch 12B2953X022
*Recommended spare parts
3. Included in the Sensor Repair Kit

Instruction Manual
D103216X012
L2sj Controller
January 2015
15

Instruction Manual
D103216X012
L2sj Controller
January 2015
16
Emerson Process Management
Marshalltown, Iowa 50158 USA
Sorocaba, 18087 Brazil
Chatham, Kent ME4 4QZ UK
Dubai, United Arab Emirates
Singapore 128461 Singapore
www.Fisher.com
The contents of this publication are presented for informational purposes only, and while every effort has been made to ensure their accuracy, they are not
to be construed as warranties or guarantees, express or implied, regarding the products or services described herein or their use or applicability. All sales are
governed by our terms and conditions, which are available upon request. We reserve the right to modify or improve the designs or specifications of such
products at any time without notice.
E 2005, 2015 Fisher Controls International LLC. All rights reserved.
Fisher is a mark owned by one of the companies in the Emerson Process Management business unit of Emerson Electric Co. Emerson Process Management,
Emerson, and the Emerson logo are trademarks and service marks of Emerson Electric Co. All other marks are the property of their respective owners.
Neither Emerson, Emerson Process Management, nor any of their affiliated entities assumes responsibility for the selection, use or maintenance
of any product. Responsibility for proper selection, use, and maintenance of any product remains solely with the purchaser and end user.